LDL101 - Capteur de conductivité IFM - Notice d'utilisation et mode d'emploi gratuit
Retrouvez gratuitement la notice de l'appareil LDL101 IFM au format PDF.
| Caractéristiques | Détails |
|---|---|
| Type de produit | Capteur de niveau |
| Technologie de mesure | Capteur capacitif |
| Plage de mesure | 0 à 1 m |
| Alimentation | 10 à 30 V DC |
| Sortie | PNP/NPN, programmable |
| Température de fonctionnement | -25 à 70 °C |
| Protection | IP67 |
| Utilisation | Mesure de niveaux de liquides dans divers environnements industriels |
| Maintenance | Vérification régulière du fonctionnement, nettoyage si nécessaire |
| Sécurité | Respecter les normes de sécurité électrique lors de l'installation |
| Informations générales | Produit conçu pour une utilisation dans des environnements exigeants |
FOIRE AUX QUESTIONS - LDL101 IFM
Questions des utilisateurs sur LDL101 IFM
0 question sur cet appareil. Repondez a celles que vous connaissez ou posez la votre.
Poser une nouvelle question sur cet appareil
Téléchargez la notice de votre Capteur de conductivité au format PDF gratuitement ! Retrouvez votre notice LDL101 - IFM et reprennez votre appareil électronique en main. Sur cette page sont publiés tous les documents nécessaires à l'utilisation de votre appareil LDL101 de la marque IFM.
MODE D'EMPLOI LDL101 IFM
Notice d'utilisation
Capteur de conductivité conductif pour UPW hygiénique
G1/2
LDL101
Contenu
1 Remarques préliminaires 3
1.1 Symboles utilisés 3
2 Consignes de sécurité. 4
3 Usage prévu 5
3.1 Applications 5 3.2 Restrictions de l'application. 5
4 Fonction 6
4.1 Principe de mesure 6 4.2 Fonction analogue 6 4.3 État défini en cas de défaut. 7 4.4 Interface de communication IO-Link 7
5 Montage 8
5.1 Lieu de montage / environnement de montage 8 5.1.1 Montage dans des tuyaux 9 5.2 Montage 9 5.3 Processus de montage de l'adaptateur 9 5.4 Processus de montage du capteur 10 5.5 Remarques sur l'utilisation selon EHEDG 10 5.6 Remarques sur l'utilisation selon 3A® 11
6 Raccordement électrique 12
6.1 Dans le champ d'application cULus 12
7 Paramétrage 13
7.1 Interface de communication IO-Link 13 7.2 Paramétrage via PC et maître IO-Link USB 13 7.3 Paramétrage pendant le fonctionnement. 13 7.4 Paramètres réglables 14
7.4.1 Réglages de base 14 7.4.2 Autres réglages 14 7.4.3 Exemple de paramétrage 15
7.5 Influence de la température et coefficient de température 15
7.5.1 Influence de la température du fluide 15 7.6 Détermination du coefficient de température Tk 15
8 Fonctionnement 17
8.1 Vérifier la fonction 17 8.2 Messages de mise en service et de diagnostic via IO-Link 17 8.3 Comportement de la sortie en différents modes de fonctionnement 17
9 Maintenance, réparation, transport et élimination 18 10 Réglage usine 19
1 Remarques préliminaires
Notice d'utilisation, données techniques, homologations et informations supplémentaires via le code QR sur l'appareil / l'emballage ou sur www.ifm.com.
1.1 Symboles utilisés
✓ Condition préalable Action à effectuer Réaction, résultat
Désignation d'une touche, d'un bouton ou d'un affichage
→ Réinitialisation

Remarque importante
Le non-respect peut aboutir à des dysfonctionnements ou perturbations

Information
Remarque supplémentaire
2 Consignes de sécurité
L'appareil décrit ici est un composant à intégrer dans un système. - L'installateur du système est responsable de la sécurité du système. - L'installateur du système est tenu d'effectuer une évaluation des risques et de rédiger, sur la base de cette dernière, une documentation conforme à toutes les exigences prescrites par la loi et par les normes et de la fournir à l'opérateur et à l'utilisateur du système. Cette documentation doit contenir toutes les informations et consignes de sécurité nécessaires à l'opérateur et à l'utilisateur et, le cas échéant, à tout personnel de service autorisé par l'installateur du système. - Lire ce document avant la mise en service du produit et le conserver pendant la durée d'utilisation du produit. - Le produit doit être approprié pour les applications et conditions environnantes concernées sans aucune restriction d'utilisation. Utiliser le produit uniquement pour les applications pour lesquelles il a été prévu ( Usage prévu). - Un non-respect des consignes ou des données techniques peut provoquer des dommages matériels et/ou corporels. - Le fabricant n'assume aucune responsabilité ni garantie pour les conséquences d'une mauvaise utilisation ou de modifications apportées au produit par l'utilisateur. - Le montage, le raccordement électrique, la mise en service, le fonctionnement et l'entretien du produit doivent être effectués par du personnel qualifié et autorisé par le responsable de l'installation. Assurer une protection efficace des appareils et des câbles contre l'endommagement. - Utiliser le produit uniquement pour les fluides admissibles ( Données techniques). - L'appareil est conforme à la norme EN 61000-6-4 et est un produit de classe A. L'appareil peut causer des problèmes de radiodiffusion dans des maisons. S'il y a des problèmes, l'utilisateur doit pouvoir trouver un remède approprié.
3 Usage prévu
L'appareil détecte la conductivité et la température de l'eau pure et ultrapure, par exemple dans les usines de traitement des eaux pour l'industrie des boissons ou l'industrie pharmaceutique. L'appareil est conçu pour le contact direct avec le fluide.
3.1 Applications
- Applications d'eau pure et ultrapure.
- Fluides difficilement conducteurs d'électricité (→ Fiche technique).
Exemples d'applications :
- Échangeur d'ions
- Osmose inverse
- Surveillance de la distillation Eau pour l'injection (WFI)
- Production de semi-conducteurs
- Production de modules solaires (nettoyage de surface)
- Installations de dessalement
3.2 Restriction de l'application
- Utiliser l'appareil exclusivement pour des fluides auxquels les matières en contact avec le processus sont suffisamment résistantes ( Fiche technique). L'appareil n'est pas approprié pour les fluides de moyenne ou élevée conductivité électrique (par ex. eau industrielle, eau usée, eau de mer, acides, bases).
- L'appareil n'est pas approprié pour les applications dans lesquelles la sonde est soumise aux fortes sollicitations mécaniques permanentes (par ex. fluides abrasifs ou fluides en fort mouvement contenant des solides).
- N'est pas approprié pour les fluides avec tendance à la formation de dépôts.
- Ne pas exposer l'extrémité de la sonde aux rayons solaires directs (rayonnement UV).
4.1 Principe de mesure

L'appareil fonctionne selon le principe de mesure conductif. Il mesure la conductivité du fluide à surveiller à l'aide du passage de courant entre l'électrode interne et l'électrode externe.
Fig. 1: Vue en coupe de l'objet de mesure
La tête du capteur doit être en contact avec le fluide process, de l'extrémité de la sonde jusqu'à l'adaptateur de montage. Si cela n'est pas le cas, il n'y a pas de connexion électrique et la mesure n'est pas possible.
1: électrode externe 2: électrode interne 3: adaptateur de montage
Afin de compenser les influences de la température, la température du processus est mesurée à l'aide d'une sonde de température située sur le bout de l'appareil.
4.2 Fonction analogue
L'appareil fournit un signal analogique proportionnel à la conductivité ou (au besoin) à la température. La sortie analogique (OUT2) peut être paramétrée.
Valeur du signal analogique (réglage usine) :

Valeur du signal analogique (étendue de mesure mise à l'échelle):

L: conductivité T: température 1:[ou2] = [I] 2:[ou2] = [lnEG] ASP2 : valeur minimum de la sortie analogique AEP2 : valeur maximum de la sortie analogique
4.3 État défini en cas de défaut
Si un défaut de l'appareil est détecté ou si la qualité du signal tombe en dessous d'une valeur minimale, la sortie OUT2 passe à l'état sur selon la recommandation Namur (NE43).
Le comportement de la sortie en cas de défaut est réglable à l'aide du paramètre [FOU2].
4.4 Interface de communication io-link
Cet appareil dispose d'une interface de communication IO-Link. Son fonctionnement nécessite l'utilisation d'un maître IO-Link.
L'interface IO-Link permet :
- l'accès direct aux données process et de diagnostic.
- le paramétrage de l'appareil en dehors de l'installation.
- le paramétrage de l'appareil pendant le fonctionnement via un maître IO-Link.
Les IODD nécessaires pour la configuration de l'appareil, les informations détaillées concernant la structure des données process, les informations de diagnostic et les adresses des paramètres ainsi que toutes les informations nécessaires concernant le matériel et le logiciel IO-Link sont disponibles sur www.ifm.com.

Attention
Avec des températures de plus de 50°C (122^), certaines parties du boîtier peuvent s'échauffer à plus de 65°C (149^).
Risque de brûlures. Ne pas toucher l'appareil. Protéger le boîtier contre le contact avec des matières inflammables et contre le contact non intentionnel. Laisser refroidir l'appareil et l'adaptateur process avant de procéder à l'entretien.

Avant le montage et le démontage de l'appareil :
s'assurer que l'installation est hors pression et qu'il n'y a pas de fluide dans le tuyau ou la cuve. Toujours tenir compte des dangers eventuels dus aux températures extrêmes de l'installation et du fluide.

Le capteur est livré sans accessoires de montage ni de raccordement.

Utiliser seulement des accessoires d'ifm electronic gmbh! Le bon fonctionnement n'est pas assuré en cas d'utilisation de composants d'autres fabricants.

Accessoires disponibles: www.ifm.com.

Avant d'utiliser le capteur pour la première fois, il doit être nettoyé avec un produit de nettoyage approprié et approuvé pour l'application.
5.1 Lieu de montage / environnement de montage

Seuls les raccords ifm garantissant un positionnement et un fonctionnement corrects de l'appareil et l'étanchéité du raccord.
Respecter les points suivants pour les applications dans les zones aseptiques : Remarques sur l'utilisation selon EHEDG, Remarques sur l'utilisation selon 3A® → 11).

Pour l'installation dans des cuves et tuyaux :
Monter l'appareil latéralement ou avec un angle de max. par rapport à l'horizontal (notamment en cas de montage dans des tuyaux horizontaux). Éviter des perturbations par des bulles d'air ou des dépôts.

5.1.1 Montage dans des tuyaux

Élément de mesure 2: Tuyau

Le capteur et l'élément de mesure (1) doit être inséré entièrement dans le tuyau (2). Ceci assure un débit sans perturbation à travers l'élément de mesure.
Eviter le montage dans une adaptation Clamp, un débit optimal à travers l'élément de mesure n'est pas garantie dans ce cas. Si le montage dans une adaptation Clamp est inévitable : Respecter les dimensions, voir Remarques sur l'utilisation selon EHEDG (→ 10) Montage de préférence en amont ou dans un tuyau montant. Prévoir des distances suffisantes d'aspiration et d'évacuation (5 x DN). Ainsi des parasites dus aux coudes, aux vannes, aux réductions de diamètre et autres sont compensés.

S: Perturbation
DN: Diamètre du tuyau
1: Capteur
5.2 Montage
L'appareil s'installe à l'aide d'un raccord G1/2 (→ Accessoires).
5.3 Processus de montage de l'adaptateur
Lire la notice d'utilisation du raccord utilisé. S'assurer de la propreté des zones d'étanchéité. Enlever les emballages protecteurs juste avant le montage. En cas d'endommagement des zones d'étanchéité, remplacer l'appareil ou le raccord. Souder ou monter le raccord. En cas de raccords à souder, s'assurer que l'adaptateur ne se déforme pas lors du soudage.

L'ordre des étapes de montage diffère pour les raccords clamp ou d'autres raccords de ce type. Lire les remarques dans la notice de montage du raccord correspondant.
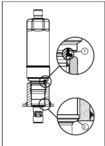
5.4 Processus de montage du capteur
Glisser le joint d'étanchéité fourni (joint profile) (1) sur le filetage du capteur ou vérifier sa position correcte s'il est déjà monté. Le joint assure l'étanchéité extérieure entre le capteur et le raccord.

1: joint d'étanchéité arrière (joint profile). 2: cône d'étanchéité / joint d'étanchéité PEEK sur métal* ou métal sur métal.
- L'appareil peut être utilisé avec ou sans joint d'étanchéité PEEK (prémonté sur le côté d'étanchéité (2)).
Pour des applications en zones aseptiques selon EHEDG ou 3A :
S'assurer que le joint d'étanchéité PEEK est monté sur le cône d'étanchéité (2).
Graisser légèrement le filtre du capteur avec une pâte lubrifiante appropriée et homologuée pour l'application. Visser l'appareil dans le raccord process correspondant et serrer. Couple de serrage: 20 Nm Après le montage, contrôler l'étanchéité de la cuve / du tuyau.
5.5 Remarques sur l'utilisation selon EHEDG
Si des raccords à souder sont utilisés, la surface de contact alimentaire doit être lisse (rugosité de surface Ra < 0,8 μm) et la soudure doit être effectuée conformément aux directives EHEDG 9 et 35. Si l'appareil est correctement installé, il est approprié pour le NEP (nettoyage en place).
- Prendre en compte les limites d'utilisation (résistance à la température et résistance de la matière) selon la fiche technique.
S'assurer d'une intégration de l'appareil dans l'installation selon EHEDG. Utiliser une installation auto-vidant. Utiliser uniquement des adaptateurs process homologués EHEDG ayant des joints d'étanchéité spéciaux exigés par la norme EHEDG. En cas d'éléments présents dans la cuve, ils doivent être installés de manière affleurante et permettre l'accès d'un jet de nettoyage direct. S'assurer que toutes les zones en contact avec la matière soient bien nettoyées. Installer les orifices de fuite de manière bien visible et orientés vers le bas en cas de conduites verticales.

Pour éviter des zones mortes, respecter les dimensions : L < (D - d).
1: Orifice de fuite 2: Joint d'étanchéité
5.6 Remarques sur l'utilisation selon 3A®
S'assurer d'une intégration du capteur dans l'installation selon 3A. Utiliser uniquement des raccords avec homologation 3A et marqués avec le symbole 3A. Accessoires disponibles : www.ifm.com.
Le raccord process doit être muni d'un orifice de fuite. Ceci est assuré en cas d'utilisation de raccords avec homologation 3A.
Installer les orifices de fuite de manière bien visible et orientés vers le bas en cas de conduites verticales.

En cas d'utilisation selon 3A, il faut respecter des prescriptions spécifiques pour le nettoyage et la maintenance.

L'utilisation n'est pas possible dans des installations qui doivent satisfaire aux critères du point E9.2 de la norme 3A, 63-04.
6 Raccordement électrique

L'appareil doit être raccordé par un électricien qualifié.
Les règlements nationaux et internationaux relatifs à l'installation de matériel électrique doivent être respectés.
Tension d'alimentation selon EN50178, TBTS, TBTP selon la fiche technique.
Mettre l'installation hors tension. Raccorder l'appareil comme suit :

| Broche Couleur du fil conducteur | ||
| 1: BN brun | ||
| 2: WH blanc | ||
| 3: BU bleu | ||
| 4: BK noir | ||
| OUT1: • IO-Link | ||
| OUT2: • Sortie analogue | ||
| Couleurs selon DIN EN 60947-5-2 | ||
6.1 Dans le champ d'application culus
L'alimentation électrique ne doit s'effectuer que via des circuits TBTS/TBTP.
L'utilisation d'une alimentation de la classe d'alimentation 2 (Supply Class 2) est également possible.
L'appareil doit être alimenté via un circuit "limited energy" selon l'article 9.4 de la norme UL 61010-1, troisième édition, ou équivalent.
Les circuits externes raccordés à l'appareil doivent être des circuits TBTS/TBTP.
L'appareil est sûr sous les conditions suivantes :
- Utilisation à l'intérieur
- Humidité relative de l'air jusqu'à 90 % au maximum, sans condensation
- Degré de salissure 3
- Utiliser des câbles homologués et certifiés par UL de la catégorie PVVA ou CYJV avec des données appropriées pour l'application.
- Aucun traitement spécifique n'est nécessaire pour le nettoyage de l'appareil.
7 Paramétrage
Le paramétrage nécessite un PC avec un maître IO-Link USB ou un environnement IO-Link configuré.

Des changements du paramétrage pendant l'opération affectent le mode de fonctionnement de l'installation.
S'assurer qu'il n'y aura pas de mauvais fonctionnement ou situation dangereuse dans l'installation. - Tenir compte des dangers éventuels dus à des états d'installations particuliers.
7.1 Interface de communication io-link
Cet appareil dispose d'une interface de communication IO-Link. Son fonctionnement nécessite l'utilisation d'un maître IO-Link.
L'interface IO-Link permet :
- l'accès direct aux données process et de diagnostic.
- le paramétrage de l'appareil en dehors de l'installation.
- le paramétrage de l'appareil pendant le fonctionnement via un maître IO-Link.
Les IODD nécessaires pour la configuration de l'appareil, les informations détaillées concernant la structure des données process, les informations de diagnostic et les adresses des paramètres ainsi que toutes les informations nécessaires concernant le matériel et le logiciel IO-Link sont disponibles sur www.ifm.com.
7.2 Paramétrage via PC et maître io-link USB
Préparer le PC, le logiciel et le maître. Respecter les notices d'utilisation du logiciel / des appareils correspondants. Raccorder l'appareil au maître IO-Link USB ( Accessoires). Suivre le menu du logiciel IO-Link. Faire le paramétrage, paramètres réglables ( Paramètres). Vérifier si le paramétrage effectué a été accepté par l'appareil. Le cas échéant, effectuer une nouvelle lecture du capteur. Enlever le maître IO-Link USB et mettre l'appareil en service.
7.3 Paramétrage pendant le fonctionnement

Le paramétrage de l'appareil pendant le fonctionnement n'est possible qu'avec un maître IO-Link.
Les paramètres de réglage peuvent être changés directement via le système de commande. Exemple : Les paramètres spécifiques du fluide comme le coefficient de température [T. Cmp] peuvent être adaptés pour améliorer l'exactitude.
Ainsi, des formulations et réglages peuvent être mémorisés dans le système de commande et changés pendant le fonctionnement.
Par le paramétrage via le système de commande, un contrôle des appareils est assuré via un bit dans le paramétrage.
7.4.1 Réglages de base
| Rétablit les régliages usine Remise | à l'état de livraison (réglages usine) (bouton pour exécuter la commande de sys- tème) |
| rEF.T Température normale (25 °C) | = température de référence pour la mesure de la conductivi- té. Le cas échéant, la température normale peut être adaptée par l'utilisateur. Plage de réglage : 15...35 °C |
| T.Cmp Compensation de température. | En entrant le coefficient de température (indicateur spécifique au fluide), la conductivité est recalculée à la température normale ([rEF.T]). Plage de réglage : 0...5 % |
| ! • La compensation de température est librement régiable sur 10 μS/cm dans la plage de valeurs correspondante et est linéaire. • La compensation de température en dessous de 10 μS/cm est non-lineaire selon ASTM D 1125. • Si le paramètre T.Cmp = 0 est régèle, la compensation de température est désactivée. | |
| uni.T Sélection de l'unité de température | [°C] = la température est affichée en °C (degrès Celsius) [°F] = la température est affichée en °F (degrès Fahrenheit) |
| CGA Amplification de calibrage (fa | facteur de correction de la constante de cellule) Ce facteur permet de calibrer le capteur par rapport à un système existant ou optimisé pour une valeur de conductivité spécifique. Plage de réglage : 80...120 %. |
7.4.2 Autres réglages
| ou2 Configuration pour la sortie analogique (OUT2) : [I] = l'endetue de mesure est affichée pour 4...20 mA [InEG] = l'endetue de mesure est affichée pour 20...4 mA [OFF] = sortie non commutée (haute impédance) | |
| SEL2 Affection de la sortie analogique à la valeur process : [COND] = conductivité [TEMP] = température | |
| ASP2-TEMP Point de départ analogique | logique température ; plage de réglage : -25...115 °CHystérésis à AEP2-TEMP > 20 % de AEP2-TEMP, au moins 35 °C |
| AEP2-TEMP Point final analogique | température ; plage de réglage : 10...150 °CHystérésis à ASP2-TEMP >20 % de ASP2-TEMP, au moins 35 °C |
| Offset-TEMP Calibrage du point zéro (offset du calibrage) / température ; plage de réglage : +/- 5 K | |
| ASP2-COND Point de départ analogique | logique conductivité ; plage de réglage : 0...1500 μS/cm.Hystérésis à AEP2-COND > 50 % de AEP2-COND. |
| AEP2-COND Point final analogique | conductivité ; plage de réglage : 1...3000 μS/cm.Hystérésis à ASP2-COND > 50 % de ASP2-COND. |
| Lo.T Mémoire valeur minimum pour la température | |
| Hi.T Mémoire valeur maximum pour la température | |
| Remise à zéro [Hi.T] et [Lo.T] Remette la mémoire valeur maximum et la mémoire valeur minimum (bouton pour exécuter la commande de système) | |
| Lo.C Mémoire valeur minimum pour la conductivité | |
| Hi.C | Mémoire valeur maximum pour la conductivité |
| Remetre [Hi.C] et [Lo.C] | Remetre la mémoire valeur maximum et la mémoire valeur minimum (bouton pour exécuter la commande de système) |
| FOU2 Comportement de OUT2 e | n cas de défaut : [OU] = La sortie analogique se compte selon la valeur process, si possible. Sinon : la sortie analogique passes à [OFF]. [On] = la sortie analogique passé à > 21 mA en cas de défaut [OFF] = la sortie analogique passé à < 3,6 mA en cas de défaut |
| dAP Amortissement du signal de | mesure ; plage de réglage : 0...20 s |
| S.Tim Simulation ; saisie de la durée | née de simulation Plage de réglage : 1...60 min |
| S.On Simulation ; État de la simulatation : [OFF] = simulation OFF [On] = simulation ON | |
| Démarrage de la simulation Démarriage de la simulation (bouton pour exécuter la commande de système) | |
| Arrêt de la simulation Arrêtier la réalisation (bouton pour exécuter la commande de système) | |
| S.TMP Simulation ; sélection de la valeur de température à simuler Plage de réglage : -35...160 °C | |
| S.CND Simulation ; sélection de la valeur de conductivité à simuler Plage de réglage : 0... 3150 μS/cm | |
| Température de l'appareil Température actuelle de l'appareil Plage de mesure : -40...110 °C | |
Pour plus d'informations, consulter la description IODD (www.ifm.com) ou les descriptions des paramètres spécifique du contexte du logiciel de paramétrage utilisé.
7.4.3 Exemple de paramétrage
Adapter la compensation de température (paramètre [T. Cmp]) à un fluide avec un coefficient de température de 3,0%/K. Exemple: [T. Cmp] = [3,0]. Effectuer tous les autres réglages. Sauvegarder les données du capteur dans l'appareil.
7.5.1 Influence de la température du fluide
La conductivité dépend de la température. Si la température monte, la conductivité change. Cette influence de la température dépend du fluide respectif et peut être compensée par l'appareil si le coefficient de température (Tk) du fluide est connu. La compensation de température peut être réglée via le paramètre [T. Cmp]. La valeur de conductivité après le réglage de la compensation de la température correspond à la conductivité en cas de température normale (25°C; réglage usine du paramètre [REF. T]).

La valeur Tk d'un fluide s'applique à tous les capteurs (indicateur indépendant de l'appareil). Il n'y a aucune autre dépendance du principe de mesure, du lot ou du fabricant des capteurs.

Si le coefficient de température du fluide n'est pas connu, il peut être déterminé. Voir : Détermination du coefficient de température Tk (→ □ 15)

Dans un environnement IO-Link, les Tk existants peuvent être mémoirisés comme formulations dans le système de commande pour améliorer l'exactitude des valeurs à détecter.
7.6 Détermination du coefficient de température tk
- Remettre les paramètres [T. Cmp] et [dAP] à zéro : [T. Cmp] = [0], [dAP] = [0].
Écrire les valeurs modifiées au capteur.
- Ajuster la température du fluide à par exemple 25°C et noter la valeur de la conductivité après un délai d'attente de 2 min.
- Porter la température du fluide à par exemple 45°C et noter la valeur de la conductivité après un délai d'attente de 2 min.
Exemple des valeurs notées :
Médium à 25^ = 500~ S / cm; médium à 45^ = 800~ S / cm Changement de la température = 20K
- Calculer le pourcentage du changement de la conductivité. La conductivité est augmentée de 300~ S / cm Donc, le pourcentage du changement est de 300 / 500 = 60%
- Calculer le coefficient de température Tk : Le Tk se calcule à partir du changement en pourcentage et du changement de la température comme suit : Tk = 60 % / 20 K = 3 % / K
- Maintenant, le Tk calculé peut être écrit dans le paramètre [T. Cmp]. Exemple : [T. Cmp] = [3]. Le cas échéant, réajuster l'amortissement (paramètre [dAP]).
Écrire les valeurs au capteur.
8.1 Vérifier la fonction
Après la mise sous tension, l'appareil se trouve en mode de fonctionnement. Il exécute ses fonctions de mesure et d'évaluation et génère des données process (par IO-Link) selon les paramètres régés.
Vérifier le bon fonctionnement de l'appareil.
8.2 Messages de mise en service et de diagnostic via io-link
IODD et texte descriptif IODD en PDF sur: www.ifm.com
8.3 Comportement de la sortie en différents modes de fonctionnement
| OUT1" | OUT2 | |
| Initialisation Valeur process non valable CFF | ||
| Mode normal Valeur process selon la conductivité / température | selon la conductivité / température et du réglage [ou2] | |
| Défaut Valeur process non valable < 3,6 mA à [FOU2] = [OFF] | >21 mA à [FOU2] = [On]aucun changement à [FOU2] = [OU] | |
9 Maintenance, réparation, transport et élimination
Eviter la formation de dépôts et de salissures sur l'élément de mesure. En cas de nettoyage manuel, éviter l'utilisation d'objets durs ou abrasifs pour ne pas endommager le capteur.

Si le fluide est changé, il pourrait être nécessaire de changer également les réglages de l'appareil (paramètre [T. Cmp]) pour assurer une précision accrue.
L'appareil ne peut pas être réparé. S'assurer d'une élimination écologique de l'appareil après son usage selon les règlements nationaux en vigueur. En cas de return, s'assurer que l'appareil est exempt d'impuretés, en particulier de substances dangereuses et toxiques. Utiliser seulement des emballages appropriés pour le transport afin d'éviter l'endommagement de l'appareil.
Réglage usine
| Réglage usine Réglages par l'utilisateur | ||
| rEF.T 25 (°C) | ||
| T.Cmp 2 (%) | ||
| uni.T °C | ||
| CGA 100 (%) | ||
| ou2 I | ||
| SEL2 COND (conductivité) | ||
| ASP2-TEMP 0 (°C) | ||
| AEP2-TEMP 150 (°C) | ||
| Offset-TEMP 0 (K) | ||
| ASP2-COND 0 (μS/cm) | ||
| AEP2-COND 1000 (μS/cm) | ||
| Lo.T --- | ||
| Hi.T --- | ||
| Lo.C --- | ||
| Hi.C | --- | |
| FOU2 | OFF | |
| dAP | 1 (s) | |
| S.Tim | 3 min | |
| S.On | OFF | |
| S.TMP | 20 (°C) | |
| S.CND | 0,5 (μS/cm) | |
Notice Facile