HM776GKB1F - Four encastrable SIEMENS - Notice d'utilisation et mode d'emploi gratuit
Retrouvez gratuitement la notice de l'appareil HM776GKB1F SIEMENS au format PDF.
| Caractéristiques techniques | Four encastrable multifonction avec chaleur tournante, capacité de 71 litres, classe énergétique A+ |
|---|---|
| Modes de cuisson | Chaleur tournante, grill, cuisson traditionnelle, cuisson à la vapeur |
| Dimensions | Dimensions (HxLxP) : 59,5 x 59,4 x 54,8 cm |
| Poids | Poids : environ 38 kg |
| Utilisation | Panneau de commande tactile, affichage numérique, 13 fonctions de cuisson |
| Entretien | Nettoyage par catalyse, intérieur en émail facile à nettoyer |
| Sécurité | Verrouillage de sécurité, porte froide, protection contre la surchauffe |
| Accessoires inclus | Grille, plaque de cuisson, bac à eau pour cuisson à la vapeur |
| Informations générales | Garantie de 2 ans, compatible avec les cuisines modernes, design élégant en noir |
FOIRE AUX QUESTIONS - HM776GKB1F SIEMENS
Téléchargez la notice de votre Four encastrable au format PDF gratuitement ! Retrouvez votre notice HM776GKB1F - SIEMENS et reprennez votre appareil électronique en main. Sur cette page sont publiés tous les documents nécessaires à l'utilisation de votre appareil HM776GKB1F de la marque SIEMENS.
MODE D'EMPLOI HM776GKB1F SIEMENS
Manuel d'utilisation et notice d'installation

MANUEL d'utilisation
1 Sécurité 2 2 Prévention des dégats matériels 7 3 Protection de l'environnement et economies d'énergie 8 4 Description de l'appareil 10 5 Modes de fonctionnement. 11 6 Accessoires 14 7 Avant la première utilisation 15 8 Utilisation 16 9 Prechauffage rapide 17 10 Fonctions de temps 18 11 Micro-ondes 19 12 Fonction de ventilation Crisp Finish 21 13 Plats 21 14 Favoris. 23 15 Sécurité enfants 23 16 Reglages de base 23 17 Home Connect 25 18 Nettoyage et entretien 27 19 Fonction de nettoyage Pyrolyse active-Clean. 29 20 Aide au nettoyage humidClean. 30 21 Fonction séchage 31 22 Porte de l'appareil 31 23Supports 33 24Dépannage 34 25 Mise au rebut. 36 26 Service après-venture 36 27 Informations concernant les logiciels libres et open source 37 28 Déclaration de conformité 37 29 Comment faire 37
30 Instructions de montage 47
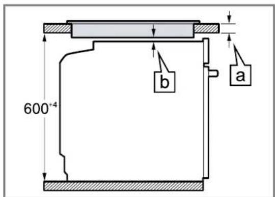
30.1 Consignes générales de montage 47
1 Sécurité
Respectez les consignes de sécurité suivantes.
1.1 Indications générales
Lisez attentivement cette notice. - Conservez la notice ainsi que les informations produit en vue d'une réutilisation ultérieure ou pour un futur nouveau propriétaire. - Ne branchez pas l'appareil si ce dernier a été endommagé durant le transport.
1.2 Utilisation conforme
Cet appareil est conçu pour être encastré uniquement. Respecter les instructions de montage spécifiques.
Seul un personnel qualifié et agréé peut raccorder l'appareil sans fiche. En cas de dommages dus à un raccordement incorrect, il n'y a aucune droit à la garantie.
Utilisez l'appareil uniquement :
- pour préparer des aliments et des boissons.
- dans un usage domestique et similaire tel que : dans les cuisines pour le personnel de magasins, bureaux et autres secteurs professionnels ; dans les exploitations agricoles ; par les clients des hôtels et autres établissements résidentiels ; dans les pensions servent le petit-déjeuner.
- jusqu'à une altitude maximale de 4000 m au-dessus du niveau de la mer.
Cet appareil est conforme à la norme EN 55011 ou CISPR 11. Il s'agit d'un produit du groupe 2, classe B. « Groupe 2 » signifie que des micro-ondes sont générées pour chauffer des aliments. « Classe B » signifie que l'appareil est adapté à un environnement domestique privé.
1.3 Restrictions du périmètre utilisateurs
Les enfants de 8 ans et plus, les personnes souffrant d'un handicap physique, sensoriel ou mental ou ne détenant pas l'expérience et/ou les connaissances nécessaires pourront utiliser cet appareil à condition de le faire sous surveillance, ou que son utilisation leur ait été expliquée et qu'ils aient compris les dangers qui en émanent.
Les enfants ne sont pas autorisés à jouer avec l'appareil.
Les enfants ne doivent en aucun cas s'occuper du nettoyage et de la maintenance utilisateur, sauf s'ils sont âgés de 15 ans et plus et agissant sous surveillance.
Les enfants de moins de 8 ans doivent être tenus à distance de l'appareil et du cordon d'alimentation secteur.
Insérez toujours correctement les accessoires dans le four.
→ "Accessoires", Page 14
Avertissement - risque d'incendie!
Les objets inflammables stockés dans le compartiment de cuisson peuvent prendre feu.
N'entreposez jamais d'objets inflammables dans le compartiment de cuisson. En cas d'émission de fumée, éteignez l'appareil ou débranchez la prise et gardez la porte fermée pour éteindre les flammes qui pourraient être présentes.
Les résidus alimentaires, la graisse et le jus de roiti peuvent s'enflammer.
- Avant utilisation, stériliser les grosses salissures présentes dans le compartiment de cuisson, sur les résistances de chauffe et sur les accessoires.
Vous risquez de créer un courant d'air si vous ouvrez la porte de l'appareil. Le papier sulfurisé peut toucher les résistances chauffantes et s'enflammer.
- Ne posez jamais de papier sulfurisé non fixé sur un accessoire lors du préchauffage et pendant la cuisson.
- Coupez toujours le papier sulfurisé à la bonne taille et lestez-le avec un plat ou un moule de cuisson.
Avertissement - risque de brûlures!
Pendant leur utilisation, l'appareil et ses pièces accessibles deviennent très chauds.
Il convient d'être prudent afin d'éviter tout contact avec les résistances chauffantes. - Veuillez tenir à l'écart les enfants âgés de moins de 8 ans.
Les récipients ou les accessoires deviennent très chauds.
- Toujours utiliser des maniques pour retirer le récipient ou l'accessoire chaud du département de cuisson.
Les vapeurs d'alcool peuvent s'enflammer dans un compartiment de cuisson chaud. La porte de l'appareil peut s'ouvrir violemment.
Des vapeurs chaudes et des flammes peuvent s'échapper.
Si votre plat contient de l'alcool fort, dosez-le uniquement en petite quantité. - Ne faites pas chauffer de spiritueux (≥ 15 % vol.) à l'état non dilué (par ex. pourarroser des aliments). - Ouvrez la porte de l'appareil avec précaution.
Les rails téléscopiques deviennent chauds lors du fonctionnement de l'appareil.
Laissez refroidir les rails téléscopiques chauds avant de les toucher. - Ne touchez les rails téléscopiques chauds qu'avec des maniques.
Avertissement - risque de brûlure!
Les éléments accessibles deviennent chauds pendant le fonctionnement.
Ne jamais toucher les éléments chauds. Éloigner les enfants.
De la vapeur chaude peut s'échapper lors de l'ouverture de la porte de l'appareil. La vapeur n'est pas visible selon sa température.
- Ouvrir la porte de l'appareil avec précaution. Éloignez les enfants.
La présence d'eau dans un compartiment de cuisson chaud peut générer de la vapeur d'eau chaude.
Ne jamais verser d'eau dans le compartiment de cuisson chaud.
Avertissement - risque de blessure!
Un verre de porte d'appareil rayé peut se fendre.
N'utilisez pas de nettoyants abrasifs ni de racloirs métalliques tranchants pour nettoyer la vitre de la porte du four, car ils peuvent rayer la surface. L'appareil et ses pièces accessibles peuvent dégager des arêtes coupantes. - Prudence lors de la manipulation et du nettoyage. - Si possible, portez des gants de protection. Les charnières de la porte de l'appareil bougent à l'ouverture et à la fermeture de la porte et vous pouvez vous pincer. - Ne jamais mettre les doigts dans la zone des charnières.
Certaines pièces situées à l'intérieur de la porte de l'appareil peuvent avoir des arêtes coupantes.
- Portez des gants de protection.
Les vapeurs d'alcool peuvent s'enflammer dans le compartiment de cuisson chaud et la porte de l'appareil peut s'ouvrir et, le cas échéant, tomber. Les vitres des portes peuvent se briser et se fendre.
→ "Prévention des dégâts matériels", Page 7
Si votre plat contient de l'alcool fort, dosez-le uniquement en petite quantité. - Ne faites pas chauffer de spiritueux ( ≥ 15% vol.) à l'état non dilué (par ex. pour arroser des aliments). - Ouvrez la porte de l'appareil avec précaution.
Avertissement - risque d'électrocution!
Les réparations non conformes sont dangereuses.
Seul un personnel dûment qualifié peut entreprendre des réparations sur l'appareil. - Seules des pièces de rechange d'origine peuvent être utilisées pour réparer l'appareil. Afin d'écarter tout danger quand le cordon d'alimentation secteur de cet appareil est endommagé, seul le fabricant ou son service après-vente ou toute autre personne de qualification équivalente est habilité à le remplacer.
Le cordon d'alimentation pose un danger si sa gaine de protection est endommagée.
- Ne mettez jamais en contact le cordon d'alimentation avec des sources de chaleur et des pièces chaudes de l'appareil.
- Ne mettez jamais en contact le cordon d'alimentation avec des pointes acérées ou arêtes tranchantes.
- Ne pliez, n’écrasez ou ne modifiez jamais le cordon d'alimentation.
L'infiltration d'humidité peut occasionner un choc électrique.
Ne pas utiliser de nettoyeur vapeur ou haute pression pour nettoyer l'appareil.
Un appareil endommagé ou un cordon d'alimentation secteur endommagé est dangereux.
N'utilisez jamais un appareil endommagé. - Ne tirez jamais sur le cordon d'alimentation secteur pour débrancher l'appareil du secteur. Débranchez toujours la fiche du cordon d'alimentation secteur. Si l'appareil ou le cordon d'alimentation secteur est endommagé, débranchez immédiatement le cordon d'alimentation secteur ou coupez le fusible dans le boîtier à fusibles. - Appelez le service après-vente. → Page 36
Avertissement - risque d'asphyxie!
Les enfants risquent de s'envelopper dans les matériaux d'emballage ou de les mettre sur la tête et de s'étouffer.
- Conserver les matériaux d'emballage hors de portée des enfants.
- Ne jamais laisser les enfants jouer avec les emballages.
Les enfants risquent d'inhaler ou d'avaler des petits morceaux et s'étouffer.
- Conserver les petites pièces hors de portée des enfants.
- Ne pas laisser les enfants jouer avec les petites pièces.
1.5 Micro-ondes
LIRE ATTENTIVEMENT LES CONSIGNES DE SÉCURITÉ IMPORTANTES ET LES CONSERVER POUR UNE UTILISATION ULTÉRIEURE
Avertissement - risque d'incendie!
Toute utilisation non conventionnelle de l'appareil est dangereuse et peut provoquer des dommages. Par exemple, des pantoufles, coussins de graines ou de céréales chauffés peuvent s'enflammer même après plusieurs heures.
- Ne jamais sécher des aliments ou des vêtements avec l'appareil.
- Ne jamais réchauffer de pantoufles, coussins de graines ou de céréales, dépons, de chiffons humides et autres articles avec l'appareil. Utiliser l'appareil uniquement pour préparer des aliments et des boissons.
Les aliments, leurs emballages et leurs récipients peuvent s'enflammer.
- Ne jamais réchauffer des aliments dans leurs emballages qui conservent la chaleur.
- Ne jamais réchauffer des aliments dans des récipients en plastique, en papier ou autres matériaux inflammables, sans les surveiller.
- Ne jamais régler une puissance ou une durée de micro-ondes trop élevée. Suivre les indications de cette notice d'utilisation.
- Ne jamais déshydrater des aliments aux micro-ondes. Ne jamais décongeler ni réchauffer au micro-ondes à une puissance trop élevée ou trop longtemps des aliments dont la teneur en eau est faible, comme du pain.
L'huile alimentaire peut s'enflammer.
Ne jamais chauffer de l'huile alimentaire seule aux micro-ondes.
Avertissement - risque d'explosion!
Les liquides ou autres aliments dans des récipients hermétiquement fermés peuvent facilement exploser.
- Ne jamais chauffer de liquides ou d'autres alimentés dans des récipients hermétiquement fermés.
Avertissement - risque de brûlures!
Les aliments comportant une enveloppe ou une peau dure peuvent éclater, à la manière d'une explosion, au moment de les réchauffer, mais également après.
- Ne jamais faire cuire les œufs dans leur coquille ou faire chauffer des œufs durs dans leur coquille.
Ne jamais faire cuire de fruits de mer ni de crustacés. Avant de faire des œufs sur le plat ou des œufs pochés, percer leur jaune. En cas d'utilisation d'aliments dont l'enveloppe ou la peau est ferme, comme des pommes, tomates, pommes de terre ou saucisses, l'enveloppe peut éclater. Percer l'enveloppe ou la peau avant de les réchauffer. La chaleur ne se répartit pas uniformément dans l'alimentation pour bébé. - Ne jamais réchauffer des alimentés pour bébé dans des récipients fermés. Toujours retirer le couvercle et la tête. - APRÈS réchauffement, remuer ou secouer énergiquement. Vérifier la température des alimentés avant de les donner à l'enfant.
Les aliments chauffés dégagent de la chaleur. Le plat peut devenir chaud.
- Toujours utiliser des maniques pour retirer le récipient ou l'accessoire du de cuisson.
Si les aliments sont hermétiquement emballés, leur emballage peut éclater.
- Toujours respecter les consignes figurant sur l'emballage.
- Toujours utiliser des maniques pour retirer des plats du compartiment de cuisson.
Les éléments accessibles deviennent chauds pendant le fonctionnement.
- Ne touchez jamais les éléments chauds. Éloignez les enfants.
Avec les plus hauts niveaux en mode micro-ondes pur, la fonction de séchage active automatiquement une résistance de chauffe et chauffe le compartiment de cuisson.
- Ne jamais toucher les surfaces internes chaudes du compartiment de cuisson ni les résistances chauffantes. Éloigner les enfants.
Avertissement - risque de brûlure!
Un retard d'ébullition peut se produire lorsqu vous chauffez des liquides. Cela signifie que la température d'ébullition est atteinte sans que les bulles de vapeur typiques remontent. La prudence est requise même à la moindre secousse du récipient. Le liquide chaud peut alors subitement déborder et jaillir.
Toujours placer une cuillère dans le récipient que vous faites chauffer. Cela permet d'éviter ce retard d'ébullition.

Avertissement - risque de blessure!
Toute vaisselle inappropriée peut éclater. La vaisselle en porcelaine ou en céramique peut développer des microporosités dans les poignées et les couvercles. Derrière ces microporosités se dissimulent des cavités. De l'humidité peut s'y introduire et faire éclater le réseau.
Utiliser uniquement de la vaisselle conque pour aller au micro-ondes.
La vaisselle et les récipients métalliques ou la vaisselle dotée d'applications en métal peuvent produire des étincelles en mode micro-ondes pur. L'appareil est endommagé.
En mode micro-ondes pur, n'utilisez jamais de récipients métalliques.
Utilisez uniquement de la vaisselle adaptée au micro-ondes ou le micro-ondes en combinaison avec un mode de cuisson.
Avertissement - risque d'électrocution!
L'appareil fonctionne avec une tension élevée.
Ne jamais retirer le boîtier.
Avertissement - risque de préjudice grave pour la santé!
Un mauvais nettoyage peut détruire la surface de l'appareil, réduire sa durée de vie et entraîner des situations dangereuses, telles que des fuites d'énergie de micro-ondes.
Nettoyer l'appareil régulièrement et enlever immédiatement tous les restes d'aliments. Veillez à ce que le compartiment de cuisson, le joint de porte, la porte et la charnière restent toujours propres.
→ "Nettoyage et entretien", Page 27
Ne jamais utiliser l'appareil si la porte du compartiment de cuisson ou si le joint de porte est endommagé. De l'énergie de micro-ondes risque de s'échapper.
Ne jamais utiliser l'appareil si la porte du compartiment de cuisson, le joint de porte ou le cadre en plastique est endommagé. - Confier la réparation uniquement au service après-vente.
L'énergie des micro-ondes s'échappe dans le cas d'appareils sans habillage.
- Ne jamais enlever l'habillage du corps de l'appareil. Appeler le service après-vente en cas d'intervention de maintenance ou de réparation.
Avertissement - risque d'incendie!
Le jus de cuisson, la graisse et les restes de nourriture épars peuvent s'enflammer au cours de la fonction de nettoyage.
- Avant chaque démarrage de la fonction de nettoyage, enlevez les grosses salissures générées dans le département de cuisson.
- Ne nettoyez jamais les accessoires en même temps.
L'extérieur de l'appareil devient très chaud lors de la fonction de nettoyage.
N'accrochez jamais d'objet inflatable, tel qu'un torchon à vaisselle, à la poignée de la porte. - Gardez la façade de l'appareil dégagée. Éloignez les enfants.
Si le joint de porte est endommagé, une intense chaleur s'échappe au niveau de la porte.
- Ne récurez pas les joints et ne les retirez pas. N'utilisez jamais l'appareil avec un joint endommagé ou sans joint.
Avertissement - risque de préjudice grave pour la santé!
L'appareil devient très chaud lors de la fonction de nettoyage. Le revêtement anti-adhérent des plaques et des moules est détruit et il se dégage des gaz toxiques.
- Ne nettoyez jamais les tôles ni les moules à revêtement anti-adhérent avec la fonction de nettoyage.
- Ne nettoyez jamais les accessoires en même temps.
Avertissement - risque de préjudice pour la santé !
La fonction de nettoyage chauffe le four de cuisson à une très forte température, pour que les résidus provenant du rotissage, des grillades et de la cuisson soient réduits en cendres. Des fumées sont en même temps libérées et risquent d'irriter les muqueuses.
- Pendant la fonction de nettoyage, bien aérer la cuisine. Ne restez pas longtemps dans la pièce. Éloignez les enfants et les animaux.
Avertissement - risque de brûlures!
Le compartiment de cuisson devient très chaud pendant la fonction de nettoyage.
N'ouvrez jamais la porte de l'appareil. Laissez l'appareil refroidir. Éloignez les enfants.
L'extérieur de l'appareil devient très chaud lors de la fonction de nettoyage.
- Ne touchez jamais la porte de l'appareil. Laissez l'appareil refroidir. Éloignez les enfants.
Attention!
Les vapeurs d'alcool peuvent s'enflammer dans le compartiment de cuisson chaud et entraîner des dommages durables sur l'appareil. En cas de déflagration, la porte de l'appareil peut s'ouvrir et, le cas échéant, tomber. Les vitres des portes peuvent se briser et se fendre. La dépression qui en résulte peut entraîner une forte déformation du compartiment de cuisson vers l'intérieur.
- Ne faites pas chauffer de spiritueux (≥ 15 % vol.) à l'état non dilué (par ex. pour arroser des aliments).
L'eau qui se trouve sur le fond du compartiment de cuisson lors du fonctionnement de l'appareil à des températures supérieures à 120°C endommage l'émail.
- Ne faites pas fonctionner l'appareil lorsque de l'eau se trouve sur le fond du compartiment de cuisson.
- Essuyez l'eau du fond du compartiment de cuisson avant toute utilisation.
Si vous placez des objets sur le fond du compartiment de cuisson au-delà de 50°C, cela risque de provoquer une accumulation de chaleur. Les temps de cuisson ne correspondent alors plus et l'émail est endommagé.
- Ne placez pas d'accessoires, de papier sulfurisé ni de papier d'aluminium de quelque nature que ce soit sur le fond du compartiment de cuisson.
- Placez un récipient sur le fond du compartiment de cuisson uniquement lorsqu'une température inférieure à 50°C est réglée.
La présence d'eau dans le compartiment de cuisson chaud peut générer de la vapeur d'eau. Le changement de température peut endommager le fond du compartiment de cuisson.
- Ne jamais verser d'eau dans le compartiment de cuisson chaud.
- Ne jamais placer de plat avec de l'eau sur le fond du compartiment de cuisson.
Une humidité prolongée dans le compartiment de cuisson favorise la formation de corrosion.
- Laissez sécher le compartiment de cuisson après utilisation. Pour ce faire, ouvrez complètement la porte du compartiment de cuisson ou utilisez la fonction de séchage.
- Ne conservez pas d'aliments humides dans le compartiment de cuisson pendant une longue durée.
- Ne stockez pas de plats dans le compartiment de cuisson. Ne coincidez rien dans la porte de l'appareil.
Le jus de fruits qui goutte de la plaque laisse des taches définitives.
- Ne pas garnir trop la plaque à pâtisserie en cas de gâteaux aux fruits très juteux. Utiliser de préférence la échefe à bords hauts.
Du produit de nettoyage pour four dans le compartiment de cuisson chaud endommage l'email.
- Ne jamais utiliser de produit de nettoyage pour four dans un compartiment de cuisson chaud.
- Avant le réchauffement suivant, éliminer complètement les résidus du compartiment de cuisson et de la porte de l'appareil.
Si le joint est fortement encrassé, la porte de l'appareil ne se ferme plus correctement pendant le fonctionnement. Les façades des meubles adjacents peuvent être endommagées.
Veillez à ce que le joint soit toujours propre. N'utilisez jamais l'appareil avec un joint endommagé ou sans joint.
L'utilisation de la porte de l'appareil comme surface d'assise ou de support peut endommager la porte de l'appareil.
- Ne montez pas, ne vous asseyez pas, ne vous suspendez pas et ne vous appuyez pas sur la porte de l'appareil.
- Ne pas déposer de récipients ou des accessoires sur la porte de l'appareil.
En fonction du modèle d'appareil, les accessoires risquent de griffer la vitre de la porte en refermant la porte de l'appareil. - Toujours veiller à insérer les accessoires jusqu'à la butée dans le compartiment de cuisson.
Du film d'aluminium sur la vitre de la porte peut conduire à des décolorations définitives.
- Une feuille d'aluminium placée dans le de cuisson ne doit pas entrer en contact avec la vitre de la porte.
2.2 Micro-ondes
Respectez ces consignes lorsque vous utilisez le micro-ondes.
Attention!
Au contact de métal avec la paroi du compartiment de cuisson se produisent des étincelles susceptibles d'endommager l'appareil ou de déterminer la vitre intérieure de la porte.
Le métal, par ex. la cuillère dans le verre, doit être couvert à une distance d'au moins 2 cm des parois du compartiment de cuisson et de l'intérieur de la porte.
Des accessoires insérés directement les uns sur les autres génèrent des étincelles.
- Ne pas combiner la grille avec la l'échaffle.
- Insérer les accessoires uniquement à une hauteur distincte respectivement.
Lors du mode micro-ondes uniquement, la léchefrite ou la plaque à pâtisserie ne convient pas. Des étincelles peuvent se produire, ce qui endommagerait le contrôle de cuisson.
Utiliser la grille fournie comme surface de support. Des barquettes en aluminium dans l'appareil peuvent provoquer des étincelles. L'appareil subira des dommages par la formation d'étincelles. - Ne pas utiliser de barquettes en aluminium dans l'appareil.
Faire fonctionner l'appareil sans aliments dans le compartiment de cuisson entraîne une surcharge.
- Ne jamais démarrer le micro-ondes sans mets dans le compartiment de cuisson. Sauf pour tester brièvement un récipient.

Lorsque vous préparez du pop-corn au micro-ondes avec une puissance trop élevée, la vitre de la porte peut éclater en raison de la surcharge.
- Ne réglez jamais la puissance du micro-ondes à un niveau trop élevé.
- Réglez-le au maximum sur 600 W.
- Placez toujours le sachet de pop-corn sur une assiette en verre.
3.1 Élimination de l'emballage
Les emballages sont écologiques et recyclables.
- Veuillez éliminer les pièces détachées après les avoir triées par matière.

Éliminez l'emballage en respectant l'environnement.
3.2 Économie d'énergie
Si vous respectez les instructions suivantes, votre appareil consommera moins de courant.
Préchauffez l'appareil uniquement si la recette ou les recommandations de réglage le préconisent.
Ne pas préchauffer l'appareil vous permet d'économiser jusqu'à 20% d'énergie.
Utilisez des moules de couleur foncée, laqués noirs ou émaillés.
- Ces types de moules absorbent particulièrement bien la chaleur.
Ouvrez le moins possible la porte de l'appareil pendant son fonctionnement.
La température du compartiment de cuisson est maintenue et l'appareil n'a pas besoin de chauffer.
Faites cuire plusieurs mets directement l'un après l'autre ou en parallèle.
- Le compartiment de cuisson est chauffé après la première cuisson. Le temps de cuisson diminue ainsi pour le gâteau suivant.
Si les temps de cuisson sont longs, éteignez l'appareil 10 minutes avant la fin du temps de cuisson.
- La chaleur résiduelle est suffisante pour terminer de cuire le plat.
Retirez les accessoires non utilisés du compartiment de cuisson.
- Les accessoires inutiles ne doivent pas être chauffés.
Laissez décongeler les plats surgelés avant de les préparer.
- Vous économisez ainsi l'énergie nécessaire pour décongeler les plats.
Désactivez l'écran dans les réglages de base.
→ "Réglages de base", Page 23
- Vous économisez de l'énergie lorsque l'écran est éteint.
Faites chauffer deux verres ou tasses de liquide en même temps.
- Faire chauffer plusieurs mets en même temps nécessite moins d'énergie que de chauffer plusieurs mets l'un après l'autre.
Remarque :
L'appareil consomme :
en mode veille connecté, max. 2 W en mode veille non connecté avec l'écran éteint, max. 0,5 W
4.1 Bandeau de commande
Le champ de commande vous permet de configurer toutes les fonctions de votre appareil et vous donne des informations sur l'état de fonctionnement. Selon le type d'appareil, les détails représentés sur la photo peuvent différer, p. ex. par sa couleur et sa forme.

1 Affichage
L'affichage indique les valeurs de réglage actuelles, les options de sélection ou les textes d'information.
→ "Affichage", Page 10
2 Touches
Les touches permettent de régler directement différentes fonctions.
→ "Touches", Page 11
4.2 Affichage
L'affichage est divisé en différentes zones.
Ligne d'état
La ligne d'état se situe en haut de l'écran. Selon l'étape de réglage, vous pouvez effectuer des actions.
Symbole fonction
Revenir en arrêté d'un réglage.

Ouvre les réglages de base.
Outre des informations textuelles, vous pouvez également voir l'objet actuel de différentes fonctions à l'aide de symboles.
Symbole signification
| Durée, par ex. "12min10s" | Affichage des fonctions de temps de fonctionnement. → "Fonctions de temps", Page 18 |
| La minuterie est activée. → "Régler la minuterie", Page 18 | |
| La sécurité enfants est active. → "Sécurité enfants", Page 23 |
Symbole Signification
| D | En raison de la fonction de nettoyage ou de la sécurité enfant, la porte de l'appareil est verrouillée. → "Fonction de nettoyage 'Pyrolyse activeClean", Page 29 → "Réglages de base", Page 23 |
| E | Force du signal WLAN pour Home Connect. Plus les lignes du symbole sont rem-plies, meilleur est le signal. Lorsque le symbole est barré, il n'y a pas de signal WLAN. Un « x » en regard du symbole d'idique qu'il n'y a pas de connexion au serveur Home Connect. → "Home Connect", Page 25 |
| □ | Le démarrage à distance est activé avec Home Connect. → "Home Connect", Page 25 |
| # | Le diagnostic à distance avec Home Connect pour l'entretien est activé. → "Home Connect", Page 25 |
| # | La lampe du four est allumée ou éteinte. → "Éclairage", Page 11 |
Zone de réglage
La zone de réglage est représentée dans les vignettes. Les vignettes vous indiquent les options de sélection actuelles et les réglages déjà effectués. Pour sélectionner une fonction, appuyez sur la vignette correspondante.
Les vignettes contiennent également des informations. Pour faire défiler l'affichage vers la gauche ou la droite en présence de plusieurs vignettes, utilisez les touches de navigation (et > ou balayez l'écran.
Symboles possibles dans les vignettes
| Symbole Signification | |
| ^ | Parcourir la vignette pour voir tous les contenus. |
| ✓ | |
| - | Réduire ou augmenter la valeur de ré- glage. |
| + | |
| [ ] | Saisir la valeur de réglage dans le champ numérique. |
| 0 | Réinitialiser la valeur de réglage. |
| × | Fermer la vignette. |
Remarque : un point bleu ou une étoile bleue dans une vignette indique qu'une nouvelle fonctionnalité, un nouveau favori ou une mise à jour a été téléchargée sur votre appareil à l'aide de l'appli Home Connect.
Ligne d'info
Selon l'étape de réglage, des informations supplémentaires sur votre réglage s'affichent en bas de l'écran et vous pouvez effectuer des actions.
4.3 Touches
Les touches vous permettent de sélectionner directement différentes fonctions.
| Touche Fonction | |
| O | Allumer ou éteindre l'appareil. → "Utilisation", Page 16 |
| 图 | Sélectionner directement le mode de fonctionnement Micro-ondes. → "Micro-ondes", Page 19 |
| i | Afficher des informations supplémentaires sur une fonction ou un réglage. → "Afficher des informations", Page 17 |
| D/口 | Démarrer ou interrompre un fonctionnement. → "Utilisation", Page 16 |
| Sélectionner la minuterie. → "Régler la minuterie", Page 18 | |
| Maintien de la touche enforcée pendant environ 4 secondes: activer ou désactiver la sécurité-enfants. → "Sécurité enfants", Page 23 | |
Différentes fonctions du compartiment de cuisson facilitent le fonctionnement de votre appareil.
Supports
Vous pouvez insérer des accessoires à différentes hauteurs dans les supports du compartiment de cuisson.
→ "Accessoires", Page 14
Votre appareil possède 5 hauteurs d'enfournement. Les hauteurs d'enfournement se comptent de bas en haut.
Selon le type d'appareil, les supports sont équipés de rails télescopiques sur un ou plusieurs niveaux.
Vous pouvez retirer les supports, par exemple pour les laver.
Une ou plusieurs lampes de four éclairent le compartiment de cuisson.
Lorsque vous ouvrez la porte de l'appareil, l'éclairage s'allume dans le compartiment de cuisson. Si la porte de l'appareil reste ouverte plus de 18 minutes, l'éclairage s'éteint à nouveau.
Pour la plupart des modes de fonctionnement, l'éclairage s'allume avec le démarrage du mode de fonctionnement. Lorsque le fonctionnement prend fin, l'éclairage s'éteint.
Ventilateur de refroidissement
Le ventilateur de refroidissement se met en marche et s'arrête en fonction de la température de l'appareil. L'air chaud s'échappe au-dessus de la porte.
Attention!
La couverture des fentes d'aération entraîne une surchauffe de l'appareil.
Ne pas couvrir les fentes d'aération.
Le ventilateur continue de fonctionner un certain temps, afin que l'appareil refroidisse plus vite une fois le programme terminé.
Porte de l'appareil
Si vous ouvrez la porte de l'appareil en cours de programme, l'appareil cesse de fonctionner. Lorsque vous refermez la porte de l'appareil, le programme se poursuit automatiquement.
Lorsque vous refermez la porte de l'appareil en présence de la fonction Micro-ondes, vous devez poursuivre le fonctionnement.
5 Modes de fonctionnement
Vous trouverez ici un aperçu des modes de fonctionnement et des fonctions principales de votre appareil.
Conseil : Selon le type d'appareil, des fonctions supplémentaires ou plus étendues sont à votre disposition dans l'appli Home Connect. Vous trouvez de plus amples informations à ce sujet dans l'appli.
| Mode de fonctionnement | Utilisation |
| Modes de cuisson | Sélectionnez des modes de cuisson précis pour préparer vos mets de manière optimale. → "Modes de cuisson", Page 12 → "Utilisation", Page 16 |
| Plats Utilisez | uniquement des réglages re-commandés et programmes pour diffé-rents mets. → "Plats", Page 21 |
| Micro-ondes | Utilisez le micro-ondes pour cuire, réchauffer ou décongeler plus rapidement. → "Micro-ondes", Page 19 |
| Nettoyage Sélectionnez la fonction de nettoyage pour le compartment de cuisson. → "Fonction de nettoyage 'Pyrolyse activéClean"', Page 29 → "Aide au nettoyage 'humidClean"', Page 30 → "Fonction séchage", Page 31 | |
| Favoris Utiliser ses propres réglages enregistrés. → "Favoris", Page 23 | |
5.1 Modes de cuisson
Pour vous permettre de toujours trouver le mode de cuisson adapté à vos mets, nous vous expliquons ci-après les différences et les utilisations. Les symboles relatifs aux différents modes de cuisson vous aident à les reconnaître.
Home Connect vous permet de connecter le four à un appareil mobile et de le commander à distance, ainsi que d'utiliser toutes les fonctionnalités de l'appareil. Selon le type d'appareil, des fonctions supplémentaires ou plus étendues pour votre appareil sont à votre disposition dans l'appli Home Connect. Vous trouvez de plus amples informations à ce sujet dans l'appli. "Home Connect", Page 25
Lorsque vous sélectionnez un mode de cuisson, l'appareil vous propose une température ou un niveau approprié. Vous pouvez accepter ces valeurs ou les modifier dans la plage spécifique.
Si la température est réglée au-dessus de 275°C avec le niveau de grill 3, l'appareil abaisse la température à environ 275°C ou au niveau de grill 1 après environ 40 minutes.
| Symbole | Mode de cuisson Plage de température | Utilisation et mode de fonctionnement Fonctions supplémentaires possibles |
| Chaleur tournante 4D 30 - 275 °C Cuire ou rôtir sur un ou plusieurs niveaux. Le ventilateur répartit uniformément dans le compartment de cuisson la chaleur de la résistance circulaire située dans la paroi arrêté. | ||
| Convection naturelle 30 - 300 °C Cuire ou rôtir de manière traditionnelle sur un niveau. Ce mode de cuisson convient particulièrement pour les gâteaux avec gar-niture fondante. La chaleur est diffusée uniformément par la voûte et la sole. | ||
| Chaleur tournante douce 125-250 °C Cuire délicatement les mets sélectionnés sur un niveau sans les préchauffer. Le ventilateur répartit uniformément dans le compartment de cuisson la chaleur de la résistance circulaire située dans la paroi arrêté. Le plat cuiné est préparé progressivement avec la chaleur résiduelle. Laisser la porte de l'appareil fermée pendant la cuisson. Le plat cuiné est préparé progressivement avec la chaleur résiduelle. Laisser la porte de l'appareil fermée pendant la cuisson. Si vous ouvrez la porte de l'appareil, même brièvement, l'appareil continue ensuite à chauffer sans utiliser la chaleur résiduelle. Ce mode de cuisson est utilisé pour déterminer la consomma-tion d'énergie en mode recirculation de l'air et la classe d'efficaci-té énergétique. | ||
| Chaleur voûte/sole Eco | 150-250 °C Cuire certains mets en préserverant leurs qualités. La chaleur est diffusée par la VOûte et la sole. Le plat cuiné est préparé progressively avec la chaleur résiduelle. Laisser la porte de l'appareil fermée pendant la cuisson. Le plat cuiné est préparé progressivement avec la chaleur résiduelle. Laisser la porte de l'appareil fermée pendant la cuisson. Si vous ouvrez la porte de l'appareil, même brivement, l'appareil continue ensuite à chauffer sans utiliser la chaleur résiduelle. Ce mode de cuisson est utilisé pour déterminer la consommation d'énergie en mode conventionnel. | |
| Gril air pulsé 30 - 300 °C Cuire de la volaille, des poissons entiers ou des gros morceaux de viande. La résistance chauffante du grill et le ventilateur fonctionnent en alternance. Le ventilateur répartit l'air saud autour du mets. | ||
| Gril, grande surface Positions gril : 1 = faible 2 = moyenne 3 = forte | Griller des mets peu épais, tels que steaks, saucisses ou toasts. Gratiner des mets. Toute la surface située sous la résistance chauffante du grill est chauffée. | |
| Gril, petite surface Positions gril : 1 = faible 2 = moyenne 3 = forte | Faire griller de petites quantités, comme un steak, des saucisses ou des toasts. Gratiner de petites quantités. La surface centrale sous la résistance chauffage du grill est chauffée. | |
| Position pizza 30 - 275 °C Préparer des pizzas ou des mets quirequirement beaucoup de chaleur par le dessous. La résistance chauffante inférieure et la résistance circulaire dans la paroi arrêté chauffent. | ||
| Fonction coolStart 30 - 275 °C Pour la préparation rapide de produits surgelés sans préchauf-fage. La température est fonction des indications du fabricant. Utilisez la température la plus élevé qui est indiquée sur l'em-ballage. | ||
| Cuire à BASSE tempé-rature 70 - 120 °C Cuire doucement et lentement des morceaux de viande saisis et tendres dans des ustensiles de cuisson ouverts. La chaleur est diffusée uniformément à BASSE température par la VOûte et la sole. | ||
| Chaleur de sole 30 - 250 °C Poursuivre | la cuisson de mets ou les cuire au bain-marie. La chaleur est diffusée par la sole. | |
| Maintenir au chaud 50 - 100 °C Maintenir des mets déjà cuits au chaud. | ||
| Préchauffer de la vaisse | 30 - 90 °C Préchauffer la vaisse. | |
5.2 Température
Pendant la chauffe, dans la plupart des modes de cuisson, l'écran indique côte à côte la température actuelle du compartiment de cuisson et la température régée, par exemple 120 °C / 210 °C.
Lorsque vous préchauffez, le moment optimal pour enfournier le plat est atteint dès que la ligne de chauffe est entièrement remplie et qu'un signal sonore retentit.
Remarque: En raison de l'inertie thermique, la température affichée peut être légèrement différente de la température réelle du compartiment de cuisson.
Indicateur de chaleur résiduelle
Lorsque l'appareil est éteint, l'affichage indique la chaleur résiduelle du compartiment de cuisson à l'aide du symbole +. Plus la température diminue, moins le symbole est visible. À partir d'environ 60°C, le symbole disparaît complètement.
5.3 Puissances du micro-ondes
Vous trouverez ici un aperçu des puissances du micro-ondes et de leur utilisation. Les puissances du micro-ondes sont des niveaux et ne correspondent pas toujours exactement au nombre de Watts utilisés par l'appareil.
| Puisance du micro- ondes en Watts Durée maximale en Utilisation heures | |
| 90 W 1.30 Décon GPLer des mets délicats. | |
| 180 W 1.30 Décon GPLer et poursuivre la cuisson de mets. | |
| 360W 1.30 Cuire du poisson et de la vianne. Réchauffer des mets délicats. | |
| 600 W 1.30 Chauffer et cuire des mets. | |
| 800 W "Boost" 00.30 Chauffer des liquides. | |
| Remarques■ Afin de protégger l'appareil, la puissance maximale du micro-ondes "Boost" est réduite graduelflement dans les premières minutes à 600 Watts. La puis-sance maximale est de nouveau disponible après un temps de refroidissement. | ■ Les puissances du micro-ondes ne correspondant pas à la consommation réelle de l'appareil. |
| 6 AccessoiresUtilisez uniquement des accessoires d'origine. Ils ont été spécialement conçus pour votre appareil.Remarque : Lorsque l'accessoire devient chaud, il peut se déformer. Cette déformation n'a aucun effet sur sa fonction. Quand il refroidit, la déformation disparait. | |
| Accessoires UtilisationGrille ■ Moules à gâteauGrèle : Gâteaux moelleuxLèchefrite ■ Gâteaux moelleuxPlaque à pâtisserie ■ Gâteau cuit sur une plaque | Plats à gratinRécipientsViande, par ex. rôtis ou pièces à grillerPlats surgelésPâtisseriesPainGros rôtisPlats surgelésRecueillir les liquides qui s'égouttent, par exemple la graisse, lors de la cuisson sur le grill.Pétites pâtisseries |
6.1 Remarques concernant les accessoires
Certaines accessoires ne sont adaptés qu'à certains modes de fonctionnement.
Accessoires de micro-ondes
Pour un fonctionnement pur au micro-ondes, seule la grille fournie convient.
Les tôles, par exemple les léchefrites ou la tôle de cuisson, peuvent produire des étincelles et sont inappropriées.
Respectez les instructions pour le micro-ondes.
→ "Vaisselet accessoires avec micro-ondes", Page 19
6.2 Fonction d'arrêt
La fonction d'arrêt empêche le basculement de l'accessoire lors de son extraction.
Vous pouvez retirer l'accessoire à peu près mi-chemin jusqu'à ce qu'il s'enclenche en place. La sécurité anti-basculement fonctionne uniquement si vous enfournez les accessoires dans le bon sens dans le compartiment de cuisson.
6.3 Insérer les accessoires dans le compartiment de cuisson
Insérez toujours les accessoires dans le bon sens dans le compartiment de cuisson. C'est la seule façon de pouvoir retirer les accessoires à peu près moitié sans les faire basculer.
- Tournez l'accessoire de manière à ce que l'encoche se trouve à l'arrière et pointe vers le bas.
- Introduisez les accessoires entre les deux barres de guidage d'un niveau d'enfournement.
Grille com- Introduisez la grille avec la courbure vers le bas, la face ouverte vers la porte de l'appareil.

Tôle Introduisez la plaque en orientant la par ex. le- partie biseauté vers la porte de l'appareil.

- Pour installer les accessoires à hauteur d'encastrement avec les rails téléscopiques, sortez ces derniers.
Grille ou tôle Placez les accessoires de manière à ce qu'ils soient insérés au niveau de la butée arrière du système télescopique.

Remarque : Repoussez les rails télescopiques dans le compartiment de cuisson en exerçant une légère pression. 4. Introduire complètement l'accessoire pour qu'il ne touche pas la porte de l'appareil.
Remarque : Retirez du compartiment de cuisson les accessoires dont vous n'avez pas besoin pendant le fonctionnement.
6.4 Autres accessoires
Vous pouvez acheter des accessoires auprès du service après-vente, dans les commerces spécialisés ou sur Internet.
Vous trouverez un large choix d'accessoires pour votre appareil sur Internet ou dans nos brochures : siemens-home.bsh-group.com
Les accessoires sont spécifiques à l'appareil. Lors de l'achat, indiquez toujours la désignation exacte de votre appareil (E-Nr.).
Pour connaître les accessoires disponibles pour votre appareil, consultez notre boutique en ligne ou le service après-vente.
7 Avant la première utilisation
Effectuez les réglages pour la première mise en service. Nettoyez l'appareil et les accessoires.
7.1 Première mise en service
Après le raccordement électrique, vous devez effectuer les réglages pour la première mise en service de l'appareil. Cela peut durer quelques minutes jusqu'à ce que les réglages s'affichent.
Remarque : Vous pouvez également procéder aux réglages avec l'application Home Connect. Lorsque votre appareil est connecté, suivez les instructions de l'application.
- Allumer l'appareil avec ⌀ Le premier réglage apparait.
- Modifier ce réglage si nécessaire. Réglages possibles :
- Langue Home Connect - Heure - Date
- Passer au réglage suivant à l'aide de
- Parcourir les réglages et les modifier si nécessaire.
- Après le dernier réglage, un message apparait pour indiquer que la première mise en service est terminée.
- Afin que l'appareil fasse une vérification avant la première chauffe, ouvrir et fermer une fois la porte de l'appareil.
7.2 Nettoyer l'appareil avant la première utilisation
Avant de préparer des mets pour la première fois avec l'appareil, nettoyez le compartiment de cuisson et les accessoires.
- Retirez les informations produit et les accessoires du compartiment de cuisson. Retirez les restes d'emballage, tels que billes de polystyrène ou ruban adhésif, qui se trouvent à l'intérieur ou l'extérieur de l'appareil.
- Essuyez les surfaces lisses du compartiment de cuisson avec un chiffon doux et humide.
- Allumez l'appareil avec
- Procédez aux réglages suivants:
Mode de cuisson Chaleur tournante 4D

Température maximale
Durée 1 heures
→ "Utilisation", Page 16
- Démarrez le fonctionnement.
- ît pour indiquer que le fonctionnement est terminé.
- Éteignez l'appareil avec ©
- Lorsque l'appareil a refroidi, nettoyez les surfaces lisses du compartiment de cuisson avec du produit de nettoyage et une lavette.
- Nettoyez soigneusement les accessoires avec du produit de nettoyage et une lavette ou une brosse douce.
8.1 Allumer l'appareil
Allumez l'appareil avec un menu apparait.
8.2 Éteindre l'appareil
Si vous n'utilisez pas votre appareil, éteignez-le. Si vous n'utilisez pas l'appareil pendant une période prolongée, celui-ci s'éteint automatiquement.
Éteignez l'appareil avec. L'appareil s'éteint. Les fonctions en cours sont interrompues. L'heure ou l'affichage de chaleur résiduelle apparaît.
8.3 Démarrer le fonctionnement
Vous devez demarrer chaque fonctionnement.
Attention!
L'eau qui se trouve sur le fond du compartiment de cuisson lors du fonctionnement de l'appareil à des températures supérieures à 120°C endommage l'émail.
- Ne faites pas fonctionner l'appareil lorsque de l'eau se trouve sur le fond du compartiment de cuisson.
- Essuyez l'eau du fond du compartiment de cuisson avant toute utilisation. Démarrez le fonctionnement à l'aide de / Les réglages apparaisent.
8.4 Interrompre le fonctionnement
Vous pouvez interrompre le fonctionnement et le poursuivre de nouveau.
- Appuyer sur ▶ pour interrompre le fonctionnement.
- Pour poursuivre le fonctionnement, appuyez de nouveau sur ▶ / □
8.5 Régler un mode de fonctionnement
Une fois l'appareil allumé, le menu s'affiche.
- Pour faire défiler les différentes possibilités de sélection, balayez l'écran vers la gauche ou la droite.
- Pour sélectionner une fonction, appuyez sur la vignette correspondante.
Selon la fonction, des valeurs de réglage possibles ou d'autres vignettes apparaissent pour la sélection. 3. Si nécessaire, appuyez sur une autre vignette. 4. Pour modifier les valeurs de réglage :
- Appuyez sur -ou.+
- Ou appuyez sur saisissez la valeur directement via le champ numérique qui apparait.
- Démarrer le fonctionnement à l'aide de /
- Lorsque le fonctionnement est terminé :
- Si nécessaire, vous pouvez effectuer d'autres réglages et redémarrer le fonctionnement. Lorsque le plat est pret, eteignez l'appareil a I'aide de
Conseil : Vous pouvez enregistrer vos réglages en tant que "Favoris" et les réutiliser.
→ "Favoris", Page 23
8.6 Régler le mode de cuisson et la température
- Appuyez sur "Modes de cuisson".
- Appuyez sur le mode de cuisson souhaité.
- Réglez la température avec ou du via la barre de réglage. Ou saisissez directement la température via le champ numérique. Si nécessaire, vous pouvez effectuer d'autres réglages:
→ "Préchauffage rapide", Page 17 → "Fonctions de temps", Page 18 → "Micro-ondes", Page 19 → "Fonction de ventilation 'Crisp Finish'", Page 21
- Démarrer le fonctionnement à l'aide de /
L'appareil commence à chauffer. - Les valeurs de réglage apparaissent à l'écran, ainsi que le temps écoulé depuis le démarrage du mode. 5. Lorsque le mets est prêt, éteignez l'appareil à l'aide de ①
Remarque : Vous trouverez le mode de cuisson le plus adaptable à vos mets dans la description des modes de cuisson.
→ "Modes de cuisson", Page 12
Modifier le mode de cuisson
Lorsque vous modifiez le mode de cuisson, les autres réglages sont également réinitialisés.
- Appuyez sur /
- Appuyez sur
- Appuyez sur le mode de cuisson souhaité.
- Réglez de nouveau le fonctionnement et redémarrez-le avec /
Modifier la température
Vous pouvez modifier à tout moment la température après le démarrage du fonctionnement.
- Appuyez sur la température.
2. Modifiez la température avec ou via la barre de réglage. Ou saisissez directement la température via le champ numérique. 3. Appuyez sur "Appliquer".
8.7 Afficher des informations
Dans la plupart des cas, vous pouvez appeler des informations concernant la fonction en cours d'exécution. L'appareil affiche certains messages automatiquement, par exemple de confirmation, d'invitation ou d'avertissement.
- Appuyez sur [
Lorsque des informations sont disponibles, elles s'affichent pendant quelques secondes. 2. S'il y a beaucoup de contenu dans la vignette, naviguez avec ~ ou ~ 3. Si nécessaire, fermez l'indication avec X
8.8 Maintenir au chaud pendant une longue période
Vous pouvez maintenir des plats au chaud avec votre appareil pendant 24 heures sans que le comportement de l'appareil ne change. Utilisez les fonctions minuterie et modifiez les réglages de base.
Remarque: Si vous ouvrez la porte de l'appareil en cours de fonctionnement, l'appareil cesse de chauffer. Lorsque vous refermez la porte de l'appareil, celui-ci chauffe de nouveau. Pour vous assurer que le comportement de l'appareil ne change pas en cours de fonctionnement, n'ouvre la porte de l'appareil qu'une fois le tempsprogramme écoué.
- Modifiez le réglage de base « Éclairage » sur « Toujours éteint »
→ "Réglages de base", Page 23
- Modifiez le réglage de base « Affichage de veille » sur « Marche ». Modifiez le réglage de base « Signal sonore » sur « très courte durée ». Ainsi, la lumière du compartiment de cuisson reste toujours éteinte pendant le fonctionnement et lorsque vous ouvrez la porte de l'appareil, et l'affichage de l'heure ne change pas. La durée du signal sonore à la fin du fonctionnement est réduite.
- Réglez le mode de fonctionnement souhaité.
Régler le mode de fonctionnement", Page 16 → "Régler le mode de cuisson et la température", Page 16
- Selon le mode de fonctionnement, régalez la durée souhaitée.
→ "Régler la durée", Page 18 → "Fonctions de temps", Page 18
- Réglez l'heure à laquelle le fonctionnement doit s’arrêter avec "Fin".
"Régler la fin", page 18 "Fonctions de temps", page 18
- Placez les mets dans le compartiment de cuisson avant de commencer à faire chauffer l'appareil.
- Démarrer le fonctionnement.
L'écran indique la durée jusqu'au démarrage. L'appareil est en position d'attente. Lorsque l'heure de démar-rage est atteinte, l'appareil commence à chauffer et la durée s'écoule. 9. Lorsque le fonctionnement est terminé, retirez les mets du compartiment de cuisson. L'appareil s'éteint automatiquement et complètement après environ 15 à 20 minutes.
Remarque: Si nécessaire, modifiez de nouveau les différents réglages de base.
9 Préchauffage rapide
Pour gagner du temps, le préchauffage rapide permet de raccourcir la durée de chauffe à partir d'une température supérieure à 100 °C.
Pour ces modes de cuisson, vous pouvez utiliser le préchauffage rapide :
Chaleur tournante 4D Convection naturelle
9.1 Régler le préchauffage rapide
Afin d'obtenir un résultat de cuisson uniforme, enfournez vos mets dans le compartiment de cuisson uniquement une fois le préchauffage rapide terminé.
Remarque: Réglez une durée seulement lorsque le préchauffage rapide est terminé.
- Réglez un mode de cuisson approprié et une température à partir de 100°C.
À partir d'une température de consigne de 200°C, la fonction de préchauffage rapide se déclenche automatiquement.
- Appuyez sur "Chauffage rapide". "Marche" apparaît dans la vignette.
- Démarrer le fonctionnement à l'aide de / Le préchauffage rapide démarre. Un signal retentit lorsque le préchauffage rapide est terminé. En cas de "Chauffage rapide" y a "Arrêt".
- Enfournez le met dans le compartiment de cuisson.
Annuler le préchauffage rapide
- Appuyez sur "Chauffage rapide". "Chauffage rapide Arrêt" s'affiche.
10 Fonctions de temps
Vous pouvez définir la durée et l'heure à laquelle le fonctionnement doit être terminé pour un mode de fonctionnement. La minuterie peut être réglée indépendamment du programme.
| Fonction de temps | Utilisation |
| Durée à vous réglez une durée pour un programme, l'appareil s'arrête automatiquement de chauffer après écoulement de cette durée. | |
| Fin à vous pouvez régler l'heure de la fin de programme. L'appareil démarre automatiquement afin que le programme soit terminé à l'heure souhaitée. | |
| Minuterie à vous pouvez régler la minuterie indépendamment du programme. Elle n'influence pas l'appareil. | |
10.1 Régler la durée
Vous pouvez régler la durée de fonctionnement jusqu'à 24 heures.
Condition: Un mode de fonctionnement et une température ou un niveau sont régés.
- Appuyez sur "Durée".
- Pour régler la durée, appuyez sur la valeur de temps correspondante, par exemple l'affichage des heures "h" ou l'affichage des minutes "min".
La valeur sélectionnée apparait en bleu.
- Réglez la durée avec ou du via la barre de réglage. Ou saisissez directement la durée via le champ numérique. Si nécessaire, réinitialisez la valeur de réglage avec 0.
- Appuyez sur "Appliquer".
- Démarrez le fonctionnement à l'aide de ▶ / □
L'appareil commence à chauffer et la durée s'écoule. Un signal retentit lorsque la durée est écoulée. Un message apparait pour indiquer que le fonctionnement est terminé.
- Lorsque la durée est écoulée :
- Si nécessaire, vous pouvez effectuer d'autres réglages et redémarrer le fonctionnement.
- Lorsque le plat est prêt, éteignez l'appareil à l'aide de
Modifier la durée
Vous pouvez modifier la durée à tout moment.
- Appuyez sur la durée. 2. Modifiez la durée avec ou du directement via la barre de réglage.
- Appuyez sur "Appliquer".
Annuler la durée
Vous pouvez annuler la durée à tout moment.
- Appuyez sur la durée.
- Réinitialisez la durée avec O
Remarque : Pour les modes de fonctionnement qui nécessitent toujours une durée, le dispositif réinitialise la durée à la valeur prédéfinie. 3. Appuyez sur "Appliquer".
10.2 Régler la fin
Vous pouvez différer de 24 heures au maximum l'heure à laquelle la durée de fonctionnement doit être terminée.
Conditions
- Un mode de fonctionnement et une température ou un niveau sont régés. Une durée est régée.
- Appuyez sur "Fin".
- Déplacez l'heure avec — ou — et saisissez l'heure directement dans le champ numérique. Si nécessaire, réinitialisez la valeur de réglage avec ⑤.
- Appuyez sur "Appliquer".
- Démarrer le fonctionnement à l'aide de / L'heure de démarrage s'affiche. L'appareil est en position d'attente. Lorsque l'heure de démar rage est atteinte, l'appareil commence à chauffer et la durée s'écoule. Un signal retentit lorsque la durée est écoulée. Un message apparait pour indiquer que le fonctionnement est terminé.
- Lorsque la durée est écoulée :
- Si nécessaire, vous pouvez effectuer d'autres réglages et redémarrer le fonctionnement.
- Lorsque le metss est prêt, éteindre l'appareil à l'aide de
Régler la fin
Pour obtenir un bon résultat de cuisson, modifier uniquement l'heure réglée avant le démarrage du fonctionnement et avant que la durée ne s'écoule.
- Appuyez sur "Fin". 2. Modifiez l'heure avec ou du saisissez l'heure directement dans le champ numérique
- Appuyez sur "Appliquer".
Annuler la fin
Vous pouvez annuler l'heure réglée à tout moment.
- Appuyez sur "Arrêt".
- Appuyez sur "Arrêt".
- Réinitialiser l'heure avec ⑤
Remarque: Pour les modes de fonctionnement qui nécessitent toujours une durée, l'appareil réinitialise l'heure à laquelle la durée se termine à la prochaine heure possible.
- Appuyez sur "Démarrer".
10.3 Régler la minuterie
La minuterie fonctionne indépendamment du programme. Vous pouvez régler la minuterie jusqu'à 24 heures lorsque l'appareil est allumé ou éteint. Un signal sonore spécifique est émis pour vous permettre de distinguer si le temps écoulé est celui de la minuterie ou d'une durée.
- Appuyez sur la touche
- Pour régler la minuterie, appuyez sur la valeur de temps correspondante, par exemple l'affichage des heures "h" ou l'affichage des minutes "min". La valeur sélectionnée apparait en bleu.
- Réglez la minuterie via le champ numérique. Si nécessaire, réinitialisez la valeur de réglage avec 0.
- Pour démarrer la minuterie, appuyez sur "Démarrer". La minuterie se déclenche.
- La minuterie reste visible à l'écran lorsque l'appareil est éteint. Lorsque l'appareil est allumé, les réglages du fonctionnement en cours apparaissent. La minuterie est affichée dans la ligne d'état. Un signal retentit lorsque la minuterie est écoulée. Un message apparait pour indiquer que la minuterie est terminée.
Modifier la minuterie
Vous pouvez modifier la minuterie à tout moment.
- Appuyez sur la touche
- Appuyez sur "Arrêt".
- Modifier la minuterie.
- Appuyez sur "Démarrer".
Annuler la minuterie
- Appuyez sur la touche
- Appuyez sur "Arrêt"
- Réinitialiser la minuterie avec 0
- Appuyez sur
11 Micro-ondes
Le micro-ondes vous permet de faire mijoter, chauffer, cuire ou décongeler vos mets très rapidement.
11.1 Vaisselle et accessoires avec micro-ondes
Pour réchauffer vos mets uniformément et ne pas endommager l'appareil, utilisez uniquement de la vaisselle et des accessoires adaptés.
Respectez les indications du fabricant de votre vaisseau.
Sauf indication contraire, introduisez la vaisselle et les accessoires au niveau 2.
Vaiselle adaptée au micro-ondes
Vaisselle en matière résistante à la chaleur et au micro-ondes :
Verre Vitrocéramique Porcelaine - Plastique résistant aux températures Céramique entièrement émaillée sans fissures Vaissette de service
Utilisez de la vaisselle avec un décor doré ou argenté uniquement si le fabricant garantit la compatibilité avec le four à micro-ondes.
Grille fournie
Les tôles, par exemple la lèchefrite ou la plaque à pâtisserie, peuvent produire des étincelles en cas de fonctionnement uniquement au micro-ondes et sont inappropriées.
Ces matériaux laissent passer les micro-ondes et ne sont pas endommagés.
Vaisselle non adaptée au micro-ondes
Remarque: Respectez les informations sur la manière de prévenir les dommages matériels.
"Micro-ondes", Page 8 Vaisseaux moules en métal
Le métal est imperméable aux micro-ondes. Les mets ne sont pas ou à peine réchauffés. Le métal peut former des étincelles en cas de fonctionnement uniquement aux micro-ondes.
Vaisselle en cas d'ajout de micro-ondes à un mode de fonctionnement
Si vous allumez le micro-ondes sur un autre mode de fonctionnement, vous pouvez également utiliser du métal en plus de la vaisselle et des accessoires adaptés au micro-ondes :
Vaisselle et moules en métal. Le métal doit être couvert à une distance d'au moins 2 cm des parois du compartiment de cuisson et de l'intérieur de la porte. Placez toujours les moules à pâtisserie et la vaisselle en métal sur la grille fournie. - Accessoires fournis :
Grille combinée
Lèchefrite
Plaque à pâtisserie
Test de micro-ondabilité
Si vous n'êtes pas sûr que votre vaisselle est micro-ondable, effectuez un test de micro-ondabilité.
Attention!
Faire fonctionner l'appareil sans aliments dans le compartiment de cuisson entraîne une surcharge.
- Ne jamais démarrer le micro-ondes sans mets dans le compartiment de cuisson. Sauf pour tester brièvement un récipient.

Avertissement - risque de brûlures!
Les éléments accessibles deviennent chauds pendant le fonctionnement.
- Ne touchez jamais les éléments chauds.
- Éloignez les enfants.
- Placez le récipient vide dans le compartiment de cuisson.
- Réglez l'appareil à la puissance maximale pendant 12 à 1 minute.
- Démarrez le fonctionnement.
- Contrôler le récipient plusieurs fois :
- Si elle reste froide ou tiède, elle est appropriée pour le micro-ondes.
- Si elle devient chaude ou si des étincelles se forment, arrêtez le test de micro-ondabilité. Le salarié n'est pas approprié pour le micro-ondes.
11.2 Possibilités de réglage avec le micro-ondes
Vous pouvez utiliser le micro-ondes seul ou en combinaison avec un autre mode de fonctionnement.
Fonctionnement pur du micro-ondes
Les ondes électromagnétiques des micro-ondes génèrent à elles seules de l'énergie qui est convertie en chaleur dans les alimentés, par exemple.
Pour éviter toute condensation, l'appareil active automatiquement une résistance chauffante aux puissances du micro-ondes 600 et "Boost". Le compartiment de cuisson et les accessoires deviennent chauds. Cela n'influence pas le résultat de cuisson.
Vous pouvez désactiver la fonction de séchage automatique dans les réglages de base.
→ "Réglages de base", Page 23
Avertissement - risque de brûlures!
Avec les plus hauts niveaux en mode micro-ondes pur, la fonction de séchage active automatiquement une résistance de chauffe et chauffe le compartiment de cuisson.
- Ne jamais toucher les surfaces internes chaudes du compartiment de cuisson ni les résistances chauffantes. Éloigner les enfants.
Ajout de micro-ondes
L'ajout du micro-ondes à un mode de fonctionnement réduit le temps de cuisson des mets.
Vous pouvez combiner le micro-ondes avec les fonctions suivantes :
- Modes de cuisson → Page 16
- Chaleur tournante 4D
- Convection naturelle
- Gril air pulse
- Gril, grande surface
- Gril, petite surface → "Plats", Page 21 → "Fonction de ventilation 'Crisp Finish'", Page 21
Les puissances de micro-ondes possibles en combinaison avec un mode de fonctionnement sont les suivantes :
90 Watts 180 Watts 360W
Remarque :
Veillez à utiliser correctement le micro-ondes :
"Sécurité", Page 2 → "Prévention des dégâts matériels", Page 7 → "Puissances du micro-ondes", Page 13 → "Vaisselle et accessoires avec micro-ondes", Page 19
- Appuyez sur la puissance du micro-ondes souhaitée.
- Appuyez sur "Durée".
- Appuyez sur "Micro-ondes".
- Ou sélectionnez directement le micro-ondes à l'aide de la touche. Le fonctionnement avec les micro-ondes nécessite toujours une durée.
- Pour modifier la durée préréglée, appuyez sur la valeur de temps correspondante, par exemple l'affiche des minutes "min" ou l'affichage des secondes "s". La valeur sélectionnable apparait en bleu.
- Réglez la durée avec ou du via la barre de réglage. Ou saisissez directement la durée via le champ numérique. Si nécessaire, réinitialisez la valeur de réglage avec 0.
- Appuyez sur "Appliquer".
- Démarrer le fonctionnement à l'aide de D/ Le micro-ondes démarre et la durée s'écoule. À la puissance maximale du micro-ondes "Boost", l'affiche indique la réduction de puissance. "Puissances du micro-ondes", Page 13 Un signal retentit lorsque la durée est écoulée. Un message apparait pour indiquer que le fonctionnement est terminé.
- Lorsque la durée est écoulée :
- Si nécessaire, vous pouvez effectuer d'autres réglages et redémarrer le fonctionnement. Lorsque le mets est pret, eteignez l'appareil a I'aide de
- Si vous avez désactiv iment de cuisson, séchez ce dernier.
→ "Fonction séchage", Page 31
Remarque: L'appareil cesse de fonctionner si vous ouvrez la porte de l'appareil en cours de programme.
Lorsque vous fermez la porte de l'appareil, vous devez poursuivre le fonctionnement. Si vous avez modifié le réglage de base, veillez à ce que le micro-ondes ne continue pas à fonctionner sans mets à l'intérieur.
→ "Réglages de base", Page 23
Modifier la puissance du micro-ondes
Vous pouvez modifier à tout moment la puissance du micro-ondes.
- Appuyez sur la puissance du micro-ondes. 2. Modifiez la puissance du micro-ondes.
- Appuyez sur "Appliquer".
Modifier la durée
Vous pouvez modifier la durée à tout moment.
- Appuyez sur la durée.
2. Modifiez la durée avec ou via la barre de réglage. Ou saisissez directement la température via le champ numérique. 3. Appuyez sur "Appliqueur".
Remarque :
Veillez à utiliser correctement le micro-ondes :
"Sécurité", Page 2 → "Prévention des dégâts matériels", Page 7 → "Puissances du micro-ondes", Page 13 → "Vaisselle et accessoires avec micro-ondes", Page 19
Condition : Respectez les indications relatives à chaque mode de fonctionnement.
→ "Possibilités de réglage avec le micro-ondes", Page 20
- Appuyez sur le mode de fonctionnement souhaité.
- Effectuez les réglages pour le mode de fonctionnement, par exemple le mode de cuisson et la température.
- Appuyez sur "Ajout de micro-ondes" ≈
- Appuyez sur la puissance du micro-ondes souhaitée.
- Appuyez sur "Durée" et réglez la durée.
- Démarrer le fonctionnement à l'aide de /
L'appareil commence à chauffer et la durée s'écoule. Un signal retentit lorsque la durée est écoulée. Un message apparait pour indiquer que le fonctionnement est terminé.
- Lorsque la durée est écoulée :
- Si nécessaire, vous pouvez effectuer d'autres réglages et redémarrer le fonctionnement. Lorsque le mets est pret, eteignez l'appareil a laide de
Modifier l'ajout de micro-ondes
Vous soupez modifier ou désactiver l'ajout de micro-ondes à tout moment.
- Appuyez sur la puissance du micro-ondes.
- Modifier ou désactiver la puissance du micro-ondes.
- Appuyez sur "Appliqueur".
12 Fonction de ventilation "crisp finish
La fonction de ventilation "Crisp Finish" absorbe l'humidité du compartiment de cuisson pour que vos mets soient plus croustillants.
La vapeur chaude qui peut s'échapper lorsque la porte de l'appareil est ouverte est réduite.
12.1 Modes de cuisson adaptés avec fonction de ventilation
Pour la fonction de ventilation, certains modes de cuisson sont adaptés.
Pour ces modes de cuisson, vous pouvez utiliser la fonction de ventilation :
Chaleur tournante 4D Convection naturelle Position pizza Grill air pulse
12.2 Régler la fonction de ventilation
Activez totalement la fonction de ventilation, même après le démarrage du fonctionnement.
- Réglez un mode de cuisson approprié et une température.
Si nécessaire, vous pouvez effectuer d'autres réglages et les combiner avec la fonction de ventilation.
- Appuyez sur "Crisp Finish". "Marche" apparaît dans la vignette.
- Démarrer le fonctionnement à l'aide de /. L'appareil commence à chauffer.
- Les valeurs de réglage sont affichées.
- Lorsque le met est prêt, éteignez l'appareil à l'aide de Remarque: Le ventilateur peut faire plus de bruit pendant le fonctionnement.
Annuler la fonction de ventilation
Vous pouvez annuler la fonction de ventilation à tout moment.
Appuyez sur "Crisp Finish". "Arrêt" apparait. Le fonctionnement se poursuit sans la fonction de ventilation.
13 Plats
Grâce au mode de fonctionnement "Plats", votre appareil vous aide à préparer différents mets et sélectionne automatiquement les réglages optimaux.
13.1 Réceptacle pour les plats
Le résultat de la cuisson dépend de la nature et de la taille du réseau.
Utilisez des récipients résistants à la chaleur et adaptés à des températures allant jusqu'à 300°C. Les récipients les plus appropriés sont en verre ou en céramique. Le rôti doit recouvrir environ les 2/3 du fond du récipient.
Les récipients fabriqués dans les matériaux suivants sont inadaptés :
aluminium poli et brillant argile non vernie matières plastiques ou poignées en plastique
Remarque: Pour certains plats, l'appareil allume le micro-ondes. Une indication apparait pour vous inviter à utiliser des récipients allant au micro-ondes. "Vaisselle et accessoires avec micro-ondes", Page 19
13.2 Possibilités de réglage des plats
Pour préparer les plats de manière optimale, l'appareil utilise différents réglages selon les plats. Les réglages utilisés sont affichés. Vous pouvez adapter certains réglages. Suivez les instructions à l'écran.
Remarque: Le résultat de cuisson dépend de la qualité et de la nature des aliments. Utilisez des aliments frais, de préférence à la température du réfrigérateur. Utilisez des mets surgelés sortant directement du congélateur.
Conseils et astuces pour les réglages
Lorsque vous régalez un plat, l'écran affiche des informations relatives à ce plat, par exemple :
La hauteur d'enfournement adaptée - Les accessoires ou récipients adaptés L'ajout de liquide Le moment ou retourner ou remuer un plat Dès que ce moment est atteint, un signal retentit.
Pour appeler ces informations, appuyez sur Certaines indications apparaissent automatiquement.
Programmes
Pour les programmes, le mode de cuisson optimal, la température et la durée sont préréglés.
Afin d'obtenir un résultat de cuisson optimal, vous devez régler le poids, l'épaisseur ou le niveau de cuisson. Vous pouvez uniquement effectuer ces réglages dans les plages prévues.
Sauf indication contraire, réglez le poids total de votre plat.
Recommandations de réglage
Dans le cas des réglages recommandés, le mode de cuisson optimal est préréglé en permanence. Vous pouvez adapter la température préréglée et la durée.
Modes de préparation
Pour certains plats, vous pouvez désirer un mode de préparation préféré.
Pour une cuisson conventionnelle, sélectionnez un mode de préparation avec la valeur suivante :
classique
Plats avec micro-ondes
Pour certains plats, vous pouvez sélectionner un mode de préparation avec des micro-ondes. La durée de cuisson est plus courte. Sélectionnez un mode de préparation avec les valeurs suivantes :
plus rapide, doux et rapide
Respectez les informations relatives au fonctionnement avec des micro-ondes.
→ "Micro-ondes", Page 19
13.3 Vue d'ensemble des plats
Vous pouvez voir quels plats individuels sont disponibles sur l'appareil lorsque vous appelez le mode de fonctionnement. Les plats recommandés dépendent de l'équipement de votre appareil.
Les plats sont triés par catégories et mets.
Remarque : Dans les réglages de base, vous pouvez spécialiser les plats affichés par région.
→ "Réglages de base", Page 23
Categorié Mets
| Gâteau Gâteaux dans des moules Gâteaux sur plaque à pâtisserie Petites pâtisseries Petits gâteaux secs | |
| Pain, petits pains | Pain Petits pains |
| Pizza, gâ- teaux salés | Pizza Gâteaux salés, quiches |
| Gratins, soufflés | Gratin sale, frais, ingrédients cuits Gratin de pommes de terre, ingrédients crus, 4 cm d'épaissur Lasagnes, fraîches Lasagnes, réfrigérées Gratin sucre, frais Crumble aux fruits Sousflés dans des ramequins Yorkshire Pudding |
| Volatile Poulet Canard, oie Dinde | |
| Vianne Viande de porc Vianne de bœuf Veau Agneau Gibier Plats de viande | |
| Poisson Poisson, entier Filet de poisson | |
| Produits surgelés | Pizza Petits pains Soufflés/gratins Produits de pommes de terre Légumes Volaille, poisson |
| Garnitures, légumes | Légumes Pommes de terre Riz Céréales |
| Déconceler des mets | Pain, petits pains Gâteau Viande, volaille Poisson |
13.4 Régler un plat
- Appuyez sur "Plats".
- Appuyer sur la catégorie souhaitée.
- Appuyer sur le mets souhaite.
- Appuyez sur le plat souhaité.
Conseil : Pour certains plats, vous pouvez désirer un mode de préparation préféré.
→ "Possibilités de réglage des plats", Page 22
- Les réglages du plat apparaissent à l'affichage.
- Modifiez les réglages si nécessaire. Selon le plat, vous pouvez uniquement effectuer certains réglages. "Possibilités de réglage des plats", Page 22
- Pour obtenir des informations, par exemple sur les accessoires et la hauteur d'enfournement, appuyez sur
- Démarrez le fonctionnement à l'aide de / L'appareil commence à chauffer et la durée s'écoule. Un signal retentit lorsque le plat est pret. L'appareil cesse de chauffer.
- Lorsque la durée est écoulée :
- est prêt, éteignez l'appareil à l'aide de
13.5 Fonction de coupure automatique
La fonction de coupure automatique pour les plats vous permet de cuir et de rôrir en toute tranquillité. Lorsque la cuisson est terminée, l'appareil cette automatiquement de chauffer.
Afin d'obtenir un résultat de cuisson optimal, retirez ce plat du compartiment de cuisson lorsque le fonctionnement est terminé.
14 Favoris
Vous pouvez enregistrer vos réglages dans les Favoris et les réutiliser.
Remarque : Selon le type de votre appareil/la version logicielle de votre appareil, vous devrez peut-être d'abord télécharger cette fonction sur votre appareil. Informez-vous dans l'appli Home Connect.
14.1 Enregistrer des favoris
Vous pouvez enregistrer jusqu'à 30 modes de fonctionnement différents comme favors.
- Appuyez sur à côté du titre du mode de fonctionnement.
Pour renommer un favori, vous devez utiliser l'appli Home Connect. Lorsque votre appareil est connecté, suivez les instructions de l'appli.
14.2 Sélectionner des favoris
Si vous avez enregistré des favoris, vous pouvez les sélectionner pour définir le fonctionnement.
- Appuyez sur "Favoris".
- Appuyez sur le favori souhaité.
- Vous pouvez si besoin modifier les réglages.
- Démarrer le fonctionnement à l'aide de / L'écran affiche les valeurs de réglage.
Remarque :
Respectez les indications des différents modes de fonctionnement :
→ "Micro-ondes", Page 19 → "Fonction de ventilation 'Crisp Finish'", Page 21
14.3 Modifier des favoris
Vous pouvez modifier, trier ou supprimer vos favoris enregistrés à tout moment.
Pour modifier les favoris, vous devez utiliser l'appli Home Connect. Lorsque votre appareil est connecté, suivez les instructions de l'appli.
15 Sécurité enfants
Protégez votre appareil, afin que les enfants ne puissent pas l'allumer par mégarde ou en modifier les réglages.
15.1 Activer la sécurité enfants
Vous pouvez activer et désactiver la sécurité enfants que l'appareil soit allumé ou éteint.
Pour activer la sécurité enfants, maintenez enfoncé pendant environ 4 secondes. Un message de confirmation apparait.
Le bandeau de commande est verrouillé. L'appareil peut uniquement être mis hors tension avec. Le symbole s'allume.
15.2 Désactiver la sécurité enfants
Vous pouvez désactiver la sécurité enfants à tout moment.
Pour désactiver la sécurité enfants, maintenez enoncependant environ 4 secondes. Un message de confirmation apparait.
16 Réglages de base
Vous pouvez modifier les réglages de base de votre appareil en fonction de vos besoins.
16.1 Vue d'ensemble des réglages de base
Vous trouvez ici un aperçu des réglages de base et des réglages usine. Les réglages de base sont en fonction de l'équipement de votre appareil.
Vous trouverez de plus amples informations sur les différents réglages de base sur l'affichage avec
| Réglages de base | Sélection |
| Langue Voir la sélection sur l'appareil | |
| Home Connect Connector le four à un apparil mobile et le commander à distance. → "Home Connect", Page 25 | |
| Heure Heure au format 24h | |
| Date Date au format JJ.MM.AAAA | |
| Affichage Sélection | |
| Luminosité ■ Niveau 1, 2, 3, 4 et 51 | |
| Affichage de veille | Marche, temps limitéMarche (ce réglage augmente la consommation d'énergie)Arrêt1 |
| heures ■ Numérique + date1 | |
| Digital | |
| Analogue | |
| Ajustement ■ Orienter l'affichage horizontally-ment et verticalement | |
| 1 Réglages d'usine (peut varier selon l'appareil) | |
| Son Sélection | |
| Tonalité des touches | Marché1Arrêt |
| Signal sonore ■ Durée très courteDurée courteDurée moyenne1Durée longue | |
| 1 Réglages d'usine (peut varier selon l'appareil) | |
| Réglages de l'appareil | Sélection |
| Temps de poursuite du ventilateur | MinimalRecommendé1LongTrès long |
| Éclairage ■ Allumé pendant la cuisson et l'ouverture de la portecUniquement à l'ouverture de la portetoujours éteint | |
| Préréglage de la puissance du micro-ondes | 90 W180 W360 W600 WBoost1 |
| Poursuivre le micro-ondes | MarcheArrêt1 |
| Sécher le micro-ondes | Marché1Arrêt |
| 1 Réglages d'usine (peut varier selon l'appareil) | |
| Personnalisa-tion | Sélection |
| Logo de la marque | ■ Affichages1 ■ Ne pas afficher |
| Fonctionne-ment après la mise en service | ■ Menu principal1 ■ Modes de cuisson ■ Micro-ondes ■ Plats ■ Favoris |
| Temps de cuisson écoulé | ■ Affichages1 ■ Ne pas afficher |
| Plaque à pâtisserie pour micro-ondes | ■ Marché1 ■ Arrêt |
| Plats ▪ Tous | 1 ■ Pas de viande de porc ■ Casher uniquement |
| Plats régio-naux | ■ Tous1 ■ Plats européens ■ Plats à l'anglaise |
| Sécurité en-fants | ■ Verrouillage touches seulement1 ■ Verrouillage de la porte + ver-rouillage des touches ■ Verrouillage touches seulement1 ■ Désactivé |
| Préchauffage rapide automa-tique | ■ Marché1 ■ Arrêt |
| 1 Réglages d'usine (peut varier selon l'appareil) | |
| Réglages usine | Sélection |
| Réglages usine | ■ Restaurer |
| Informations sur l'appareil | ■ Informations sur l'appareil |
16.2 Modifier les réglages de base
- Appuyez sur dans la ligne d'état.
- Appuyez sur la plage de réglage de base souhaitée.
- Appuyez sur le réglage de base souhaité.
- Appuyez sur la sélection souhaitée pour le réglage de base.
- La modification est appliquée directement à la majorité des réglages de base.
- Pour modifier d'autres réglages de base, revenez en arrière avec et sélectionnez un autre réglage de base.
- Pour quitter les réglages de base, revenez au menu principal avec ← ou éteignez l'appareil avec Ⓞ.
- Les modifications sont enregistrées.
Remarque : Vos modifications des réglages de base sont conservées après une panne de courant.
Cet appareil peut être mis en réseau. Connectez votre appareil à un appareil mobile pour le commander via l'application Home Connect, en modifier les réglages de base ou pour surveiller son état de fonctionnement. Les services Home Connect ne sont pas proposés dans tous les pays. La disponibilité de la fonction Home Connect dépend de l'offre des services Home Connect dans votre pays. Vous trouvez de plus amples informations à ce sujet à l'adresse: www.home-connect.com.
L'appli Home Connect vous guide tout au long du processus de connexion. Suivez les étapes recommandées par l'appli Home Connect pour configurer aux réglages.
Conseil : Observe également les consignes dans l'appli Home Connect.
Remarques
Suivez les consignes de sécurité de la présente notice d'utilisation et assurez-vous qu'elles sont également respectées si vous utilisez l'appareil via l'appli Home Connect. "Sécurité", Page 2 - Les commandes directement effectuées sur l'appareil sont toujours prioritaires. Pendant ce temps, la commande via l'application Home Connect n'est pas possible. - En mode veille avec maintien de la connexion au réseau, l'appareil consomme max. 2 W.
17.1 Configurer l'appli home connect
- Installez l'appli Home Connect sur le terminal mobile.
- Démarrer l'appli Home Connect et configurez l'accès à Home Connect.
L'appli Home Connect vous guide tout au long de la durée du processus de connexion.
L'appareil est déjà connecté au réseau électrique et est allumé. - Vous disposez d'un terminal mobile doté de la version actuelle du système d'exploitation iOS ou Android, par ex. un smartphone. - L'appli Home Connect est configurée sur l'appareil mobile. L'appareil a accès à votre réseau domestique WLAN (Wi-Fi) depuis le lieu d'installation. Le terminal mobile et l'appareil se trouvent à portée du signal Wi-Fi de votre réseau domestique. 1. Ouvrez l'appli Home Connect et scannez le code QR ci-après.

- Suivez les instructions de l'appli Home Connect.
17.3 Réglages home connect
Les réglages de base de votre appareil vous permettent d'ajuster les réglages et les paramètres réseau de Home Connect.
Les réglages qui s'affichent dépendent de la configuration de Home Connect et de la connexion de l'appareil au réseau domestique.
Réglage de base Réglages possibles Explication
| Assistant Home Connect | Démarrer l'assistant Déconnecter | L'assistant Home Connect yous permit de connecter voitre ap- pareil à l'appli Home Connect. Remarque: Si vous utilisez l'assistant Home Connect pour la première fois, seul le réglage "Démarrer l'assistant" est dispos- nible. |
Réglage de base Réglages possibles Explication
| WiFi Marche | Arrêt | Le Wi-Fi youspermert de déssacter la connexion réseau de votrecappareil. Lorsque la connexion est réussie, youspouvez déssacter le Wi-Fi sans perdrecosdonnées détaillées.Dés que yousexactiez de nouveau le Wi-Fi, l'appareil se connecte automatiquement.Remarque:En mode veille avec maintien de la connexion au réseau, l'appareil consomme 2 Watts maximum. |
| État de la télécom- mande | Surveillance Démarragaddistance ma- nelDémarragaddistance per- manent | En mode Surveillance, youpouvez uniquemafficher l'état de fonctionnement de l'appareil dans l'application. Si you passez de la surveillance ou du démarriage à distance permanente au démarriage à distance manuel, youdevez acti- ver le démarriage à distance à chaque fois. Youpouvez ouvrir la portedl'appareil dans les 15 minutes qui suivient l'activa- tion du démarriage à distance. Cela ne désactive pas le dé- marrage à distance. Une fois les 15 minutes écouées, l'ouver- ture de la portedel'appareil déssactive le démarriage à dis- tance manuel. Le démarriage à distance permanent youpermert de démarrer et de faire fonctionner l'appareil à distance à tout moment. Si vousutilisezsoonvent l'appareil à distance, il est judieux de régler le démarriage à distance sur permanent. |
17.4 Utilisez l'appareil avec l'appli home connect
L'appli Home Connect vous permet de régler et de démarrer l'appareil à distance.
Avertissement - risque d'incendie!
Les objets inflammables stockés dans le compartiment de cuisson peuvent prendre feu.
- N'entreposez jamais d'objets inflammables dans le compartiment de cuisson. En cas d'émission de fumée, éteignez l'appareil ou débranchez la prise et gardez la porte fermée pour étouffer les flammes qui pourraient être présentes.
Conditions
L'appareil est éteint. L'appareil est connecté au réseau domestique et à l'appli Home Connect. Pour pouvoir régler l'appareil via l'appli, le démarrage à distance permanent ou manuel doit être sélectionné dans le réglage de base État de la commande à distance. 1. Pour activer le démarrage à distance manuel, appuyez sur La confirmation sur le four est uniquement nécessaire lorsque vous passez de la surveillance ou du démarrage à distance permanent au démarrage à distance manuel. Pour le démarrage à distance permanent, aucune confirmation n'est nécessaire sur le four. 2. Effectuez un réglage dans l'appli Home Connect et envoyez-le à l'appareil.
Remarques
- Si vous démarrez le fonctionnement du four sur l'appareil, le démarrage à distance sera automatiquement activé. Vous pouvez modifier les réglages via l'appli Home Connect ou démarrer un nouveau programme.
- Vous pouvez ouvrir la porte de l'appareil dans les 15 minutes qui suivent l'activation du démarrage à distance. Cela ne désactive pas le démarrage
démarrage à distance. Une fois les 15 minutes écoulées, l'ouverture de la porte de l'appareil désactive le démarrage à distance manuel.
17.5 Mise à jour logicielle
La fonction de mise à jour du logiciel permet d'actualiser le logiciel de votre appareil, par ex. pour l'optimiser, corriger des erreurs, effectuer des mises à jour liées à la sécurité ou proposer des fonctions et des services supplémentaires.
Pour cela, vous devez enregistrer comme utilisateur Home Connect, avoir installé l'application sur votre appareil mobile et vous devez connecter au serveur Home Connect.
Dès qu'une mise à jour de logiciel est disponible, vous en êtes informé par l'application Home Connect et vous pouvez la lancer via l'application. Après un téléchargement réussi, vous pouvez lancer l'installation via l'application Home Connect, si vous vous trouvez dans votre réseau domestique WLAN (WiFi). L'application Home Connect vous en informe dès que l'installation est réussie.
Remarques
- La mise à jour du logiciel comprend deux étapes.
- La première étape est celle du téléchargement.
- La deuxième étape concerne l'installation sur votre appareil.
- Pendant le téléchargement, vous pouvez continuer d'utiliser votre appareil. En fonction des réglages personnels dans l'application, les mises à jour de logiciel peuvent également être téléchargées automatiquement.
- L'installation dure quelques minutes. Pendant l'installation, vous ne pouvez pas utiliser votre appareil.
- En cas de mise à jour de sécurité, il est recommandé d'effectuer l'installation le plus rapidement possible.
17.6 Diagnostic à distance
Le service après-vente peut accéder à votre appareil via le diagnostic à distance si vous en faites la demande spécifique, si votre appareil est connecté au serveur Home Connect et si le diagnostic à distance est disponible dans le pays où vous utilisez l'appareil.
Conseil : Pour plus d'informations et pour connaître la disponibilité du service de diagnostic à distance dans votre pays, veuillez consulter la section Service/Support du site internet local : www.home-connect.com.
17.7 Protection des données
Observez les conseils de protection des données. Lors de la première connexion de votre appareil à un réseau domestique relié à Internet, votre appareil transmet les catégories de données suivantes au serveur Home Connect (premier enregistrement):
- Identifient unique de l'appareil (constitué de codes d'appareil ainsi que de l'adresse MAC du module de communication Wi-Fi intégré).
- Certificat de sécurité du module de communication Wi-Fi (pour la protection des informations de la connexion). La version actuelle du logiciel et du matériel de votre électroménager.
- État d'une précédente restauration éventuelle des réglages d'usine.
Ce premier enregistrement prépare l'utilisation des fonctions Home Connect et s'avère uniquement nécessaire au moment où vous souhaitez utiliser les fonctions Home Connect pour la première fois.
Remarque : Veuillez noter que les fonctions Home Connect ne sont utilisables qu'avec l'application Home Connect. Vous pouvez consulter les informations sur la protection des données dans l'appli Home Connect.
18 Nettoyage et entretien
Pour que votre appareil reste longtemps opérationnel, nettoyez-le et entretenez-le avec soin.
18.1 Produits de nettoyage
Afin d'éviter d'endommager les différentes surfaces de l'appareil, n'utilisez pas de produits de nettoyage inappropriés.

Avertissement - risque d'électrocution!
L'infiltration d'humidité peut occasionner un choc électrique.
- Ne pas utiliser de nettoyeur vapeur ou haute pression pour nettoyer l'appareil.
Attention!
Les produits de nettoyage inappropriés endommagent les surfaces de l'appareil.
N'utilisez pas de produits de nettoyage agressifs ou abrasifs. N'utilisez pas de produits de nettoyage fortement alcoolisés.
Produits de nettoyage appropriés
Utilisez uniquement des produits de nettoyage adaptés pour les différentes surfaces de votre appareil.
N'utilisez pas de tampon abrasif ni d'éponge en laine d'acier. N'utilisez pas de nettoyant spécial pour le nettoyage à chaud.
Du produit de nettoyage pour four dans le compartiment de cuisson chaud endommage l'email.
- Ne jamais utiliser de produit de nettoyage pour four dans un compartiment de cuisson chaud.
- Avant le réchauffement suivant, éliminer complètement les résidus du compartiment de cuisson et de la porte de l'appareil.
Les différents produits de nettoyage mélangés peuvent réagir chimiquement les uns avec les autres.
- Ne mélangez pas les produits de nettoyage.
- Retirez complètement les résidus de produits de nettoyage.
Le sel présent dans les lavettes éponges neuves peut endomager les surfaces.
- Lavez soigneusement les lavettes éponges neuves avant de les utiliser.
Suivez les instructions de nettoyage de l'appareil.
→ "Nettoyer l'appareil", Page 29
Façade de l'appareil
| Surface Produits de nettoyage appropriés | Remarques | |
| Acier inoxydable | Produit de nettoyage chaud | Afin d'éviter la corrosion, éliminez immédiatement les taches de calcaire, de graisse, d'amidon et de protéines des surfaces en acier inox. |
| Produits de nettoyage spéciaux pour les surfaces chaudes en acier inox | Appliquez une fine pellicule de produit d'entretien pour acier inox. | |
| Surface Produits de nettoyage appropriés | Remarques | |
| Surfaces laquées ou en plastique | Produit de nettoyage chaud | |
| Verre | Produit de nettoyage chaud | |
Porte de l'appareil
| Surface Produits de nettoyage appropriés | Remarques | |
| Vitres de la portep | Produit de nettoyage chaud | N'utilisez pas de racloir à verre ni d'éponge spirale inox. |
| Nettoyants pour four | Conseil : Déposez les vitres de la portepour un nettoyage approfon-di. → "Porte de l'appareil", Page 31 | |
| Recouvrement de la portep | En acier inox : Nettoyant pour inox | N'utilisez pas de nettoyant pour vitres ni de racloir à verre. |
| En plastique : Produit de nettoyage chaud | N'utilisez pas de produit d'entretien pour inox. Conseil : Retirez le recouvrement de la portepour un nettoyage ap-profondi. → "Porte de l'appareil", Page 31 | |
| Cadre interieur de la portep en acier inox | Nettoyant pour inox Les décolorations peuvent être enlevées avec un nettoyant pour acier inox. | Pour éviter les taches indélébiles, retirez immédiatement le détar-trant qui se trouve à la surface. |
| Poignée de la portep | Produit de nettoyage chaud | |
| Joint de portep | Produit de nettoyage chaud | Ne les enlevez pas et ne les retirez pas. |
| Surface Produits de nettoyage appropriés | Remarques | |
| Surfaces émailées | Produit de nettoyage chaudEau vinaigréeNettoyants pour four | En cas de fort encrassement, faites tremper les salissures et utilisez une Brosse ou une éponge spirale inox.Pour sécher le compartment de cuisson après le nettoyage, laissez la porte de l'appareil ouverte.RemarquesUtilissez de préférence la fonction de nettoyage.→ "Fonction de nettoyage 'Pyrolyse activeClean", Page 29L'émail est cuit à des températures très élevées, ce qui entraîne de légères différences de couleur. Elle n'afteche pas la fonctionnalité de l'appareil.Les bords de plaques minces ne peuvent pas être émailés complètement et peuvent être rugueux. La protection contre la corrosion n'en est pas compromise.Une couche blanche se forme sur les surfaces émailées à cause des résidus alimentaires. Cette couche n'entraine aucun risque pour la santé. Elle n'afteche pas la fonctionnalité de l'appareil.Vous pouvez eliminer les résidus avec de l'acide citrique. |
| Supports | Produit de nettoyage chaud | En cas de fort encrassement, faites tremper les salissures et utilisez une Brosse ou une éponge spirale inox.Remarque: Décrochez les supports pour un nettoyage en profon-deur.→ "Supports", Page 33 |
| Système téléSCOpique | Produit de nettoyage chaud | En cas de fort encrassement, utilisez une Brosse.Afin de ne pas éliminer la graisse de lubrication, nettoyez les rails téléscopiques en position rentrée.Ne le passez pas au lave-vaisselle.Remarque: Pour un nettoyage minutieux, décrochez le système téléscopique.→ "Supports", Page 33 |
| Accessoires | Produit de nettoyage chaudNettoyants pour four | En cas de fort encrassement, faites tremper les salissures et utilisez une Brosse ou une éponge spirale inox.Les accessoires émailrés vont au lave-vaisselle. |
18.2 Nettoyer l'appareil
Afin d'éviter d'endommager l'appareil, nettoyez-le uniquement comme indiqué et avec des produits de nettoyage appropriés.
Avertissement - risque de brûlures!
Pendant leur utilisation, l'appareil et ses pièces accessibles deviennent très chauds.
Il convient d'être prudent afin d’éviter tout contact avec les résistances chauffantes. - Veuillez tenir à l’écart les enfants âgés de moins de 8 ans.
Avertissement - risque d'incendie!
Les résidus alimentaires, la graisse et le jus de roiti peuvent s'enflammer.
- Avant utilisation, stérilisez les grosses salissures présentes dans le compartiment de cuisson, sur les résistances de chauffe et sur les accessoires.
Condition : Respectez les instructions relatives aux produits de nettoyage.
→ "Produits de nettoyage", Page 27
- Nettoyez l'appareil avec de l'eau chaude additionnée de produit à vaisselle et une lavette.
- Pour certaines surfaces, vous pouvez utiliser des produits de nettoyage alternatifs. → "Produits de nettoyage appropriés", page 27
- Séchez avec un chiffon doux.
19 Fonction de nettoyage "pyrolyse activeClean
La fonction de nettoyage "Pyrolyse activeClean" nettoie le compartiment de cuisson presque automatiquement.
Nettoyez le compartiment de cuisson avec cette fonction de nettoyage tous les 2 ou 3 mois. Si nécessaire, vous pouvez utiliser la fonction de nettoyage plus souvent. La fonction de nettoyage consomme environ 3,6 - 4,7 kWh.
La fonction de nettoyage consomme environ 3,9 - 4,8 kWh.
19.1 Préparer l'appareil pour la fonction de nettoyage
Afin d'obtenir un bon résultat de nettoyage et d’éviter tout dommage, préparez l’appareil avec soin.
Avertissement - risque d'incendie!
Les objets inflammables stockés dans le compartiment de cuisson peuvent prendre feu.
- N'entreposez jamais d'objets inflammables dans le compartiment de cuisson. En cas d'émission de fumée, éteignez l'appareil ou débranchez la prise et gardez la porte fermée pour étouffer les flammes qui pourraient être présentes.
Le jus de cuisson, la graisse et les restes de nourriture épars peuvent s'enflammer au cours de la fonction de nettoyage.
- Avant chaque démarrage de la fonction de nettoyage, enlevez les grosses salissures générées dans le compartiment de cuisson.
- Ne nettoyez jamais les accessoires en même temps.
L'extérieur de l'appareil devient très chaud lors de la fonction de nettoyage.
N'accrochez jamais d'objet inflammable, tel qu'un torchon à vaisselle, à la poignée de la porte. - Gardez la façade de l'appareil dégagée. Éloignez les enfants.
Si le joint de porte est endommagé, une intense chaleur s'échappe au niveau de la porte.
- Ne récurez pas les joints et ne les retirez pas.
- N'utilisez jamais l'appareil avec un joint endommagé ou sans joint.
- Sortez les accessoires et la vaisselle du four de cuisson. Vous pouvez également nettoyer les supports et les rails.
- Éliminez les grosses salissures présentes dans le compartiment de cuisson et sur les supports.
- Nettoyez l'intérieur de la porte de l'appareil et les bords du compartiment de cuisson au niveau du joint de porte à l'aide d'un produit de nettoyage et d'un chiffon doux.
Ne retirez pas le joint de porte et ne le recurez pas.
Retirez les salissures tenaces sur la vitre intérieure de la porte avec un produit de nettoyage pour four.
- Retirez les objets du compartiment de cuisson. Le compartiment de cuisson doit être vide, à l'exception des supports.
19.2 Régler la fonction de nettoyage
Aérez la cuisine tant que la fonction de nettoyage est en marche.
Avertissement - risque de préjudice pour la santé !
La fonction de nettoyage chauffe le compartiment de cuisson à une très forte température, pour que les résidus provenant du rotissage, des grillades et de la cuisson soient réduits en cendres. Des fumées sont en même temps libérées et risquent d'irriter les muqueuses.
- Pendant la fonction de nettoyage, bien aérer la cuisine. Ne restez pas longtemps dans la pièce.
- Éloignez les enfants et les animaux.
Avertissement - risque de brûlures!
Le compartiment de cuisson devient très chaud pendant la fonction de nettoyage.
N'ouvre jamais la porte de l'appareil. Laissez l'appareil refroidir. Éloignez les enfants.
L'extérieur de l'appareil devient très chaud lors de la fonction de nettoyage.
- Ne touchez jamais la porte de l'appareil. Laissez l'appareil refroidir. Éloignez les enfants.
Remarque: L'ampoule du four ne s'allume pas pendant la fonction de nettoyage.
Condition: → "Préparer l'appareil pour la fonction de nettoyage", Page 29.
- Appuyer sur "Nettoyage".
- Appuyer sur "Pyrolyse activeClean".
- Appuyez sur "Niveau" et réglez la position de nettoyage.
| Position nettoyage | Degré de nettoyage | Durée en heures |
| 1 Peu sale Env. 2h15 | ||
| 2 Très sale env. 2:30 | ||
La durée n'est pas modifiable.
Vous pouvez différer l'heure à laquelle le fonctionnement doit se terminer.
→ "Régler la fin", Page 18
- Appuyer sur ▶ / □
- Une indication concernant les préparatifs nécessaires pour la fonction de nettoyage s'affiche.
- Confirmez l'indication. La fonction de nettoyage démarre et la durée s'écoule. Pour votre sécurité, la porte de l'appareil se verrouille à partir d'une certaine température atteinte dans le compartiment de cuisson. L'affichage indique un signal retentit lorsque la fonction de nettoyage est terminée. Un message apparait pour indiquer que le fonctionnement est terminé.
- Eteignez l'appareil avec O
- Rémettre en service l'appareil après la fonction de nettoyage, Page 30.
Interrompre la fonction de nettoyage
Une fois lancée, vous ne pouvez pas arrêter ni modifier la fonction de nettoyage.
Pour arrêter la fonction de nettoyage, éteignez l'appareil avec ©
19.3 Remettre en service l'appareil après la fonction de nettoyage
- Laissez l'appareil refroidir.
- Essuyez les cendres restantes dans le dé de cuisson, sur les supports et au niveau de la porte de l'appareil avec un chiffon humide.
- Insérez et retirez plusieurs fois les rails. Pendant le nettoyage, des colorations peuvent apparaître sur les rails téléscopiques. Ces décolorations ne compromettent pas le fonctionnement de l'appareil.
- Éliminez les dépôts blancs avec de l'acide citrique. Remarque: Des dépôts blanchâtres peuvent se former sur les surfaces émaillées en cas d'encrassement important. Ces résidus d'aliments ne doivent aucun risque. Ils ne promonttent pas le fonctionnement de l'appareil.
Remarque : Pendant la fonction de nettoyage, le cadre à l'intérieur de la porte de l'appareil ou d'autres parties en acier inoxydable de la porte de l'appareil se décolorent. Ces décolorations ne compromettent pas le fonctionnement de l'appareil. Les décolorations peuvent être éliminées avec un produit nettoyant pour inox.
20 Aide au nettoyage "humidclean
La fonction d'aide au nettoyage "humidClean" est une alternative rapide pour nettoyer le compartiment de cuisson de temps en temps. L'aide au nettoyage ramollit les salissures en faisant évaporer le produit de nettoyage. Les salissures peuvent ensuite s'enlever plus facilement.
Avertissement - risque de brûlure!
La présence d'eau dans un compartiment de cuisson chaud peut générer de la vapeur d'eau chaude.
- Ne jamais verser d'eau dans le compartiment de cuisson chaud.
Remarque: La lampe du four ne s'allume pas pendant l'aide au nettoyage.
Condition: Le compartiment de cuisson est complètement refroidi.
- Retirez les accessoires du compartiment de cuisson.
2. Attention!
L'eau distillée dans le compartiment de cuisson empêche la corrosion. N'utilisez pas d'eau distillée.
Mélangez 0,4 litre d'eau avec une goutte de liquide vaisselle et versez le mélange au milieu du fond du compartiment de cuisson.
- Appuyez sur "Nettoyage".
- Appuyez sur "humidClean".
La durée n'est pas modifiable.
- Appuyez sur ▶ / □
Une indication concernant les préparats nécessaires pour la fonction d'aide au nettoyage s'affiche. 6. Confirmez l'indication. L'aide au nettoyage démarre et la durée s'écoule. Un signal retentit lorsque l'aide au nettoyage est terminée. Un message apparait pour indiquer que le fonctionnement est terminé.
- Eteignez l'appareil avec
- → "Nettoyer le compartiment de cuisson après l'aide au nettoyage", Page 31.
Attention!
La présence prolongée d'humidité dans le compartiment de cuisson entraîne la formation de corrosion.
- À l'aide du nettoyage, essuyez le compartiment de cuisson et laissez-le sécher complètement.
- Laissez l'appareil refroidir.
- Essuyez l'eau résiduelle du compartiment de cuisson avec une lavette éponge absorbante.
- Nettoyez les surfaces lisses en émail du four de cuisson avec une lavette ou une brosse douce. Vous pouvez éliminer les résidus tenaces à l'aide d'une spirale à récurer en inox.
- Éliminez les traces de calcaire avec un chiffon trempé dans du vinaigre et essuyez à l'eau claire.
- Séchez le compartiment de cuisson à l'aide d'un chiffon doux.
- Pour sécher complètement le compartiment de cuisson, laissez la porte de l'appareil ouverte pendant environ 1 heures ou utilisez la fonction "Sécher". → "Régler le séchage", Page 31
21 Fonction séchage
Pour éviter toute humidité résiduelle, séchez le de cuisson après un fonctionnement au micro-ondes uniquement.
Attention!
L'eau qui se trouve sur le fond du compartiment de cuisson lors du fonctionnement de l'appareil à des températures supérieures à 120°C endommage l'émail.
- Ne faites pas fonctionner l'appareil lorsque de l'eau se trouve sur le fond du compartiment de cuisson.
- Essuyez l'eau du fond du compartiment de cuisson avant toute utilisation.
21.1 Sécher le compartiment de cuisson
Vous pouvez sécher le compartiment de cuisson manuellement ou utiliser la fonction "Fonction séchage".
- Laissez l'appareil refroidir.
- Retirez les salissures du compartiment de cuisson.
- Essuyez l'eau dans le compartiment de cuisson.
- Séchez le compartiment de cuisson.
- Pour laisser sécher le compartiment de cuisson, laissez la porte de l'appareil ouverte pendant environ 1 heure.
- Pour utiliser la fonction "Fonction séchage" réglez "Fonction séchage". "Régler le séchage", Page 31
Régler le séchage
- Appuyez sur "Nettoyage".
- Appuyez sur "Fonction séchage". La durée ne peut pas être modifiée.
- Appuyez sur ▶ / □
- Une indication concernant les préparats nécessaires pour le séchage s'affiche.
- Confirmez l'indication. Le séchage est lancé et la durée s'écoule. Un signal retentit lorsque le séchage est terminé. Un message apparait pour indiquer que le fonctionnement est terminé.
- Eteignez l'appareil avec
- Pour sécher complètement le compartiment de cuisson, laissez la porte de l'appareil ouverte pendant 1 à 2 minutes.
22 Porte de l'appareil
Vous pouvez démonter la porte de l'appareil pour la nettoyer soigneusement.
22.1 Enlever le recouvrement de porte
L'insert en inox du recouvrement de porte peut changer de couleur. Enlevez le recouvrement de la porte pour nettoyer celui-ci et l'insert en inox ou pour démonter les vitres de la porte.
- Ouvrez légèrement la porte de l'appareil.
Porte de l'appareil
- Appuyer sur le recouvrement de porte à gauche et à droite ①
- Retirer le recouvrement de porte et fermer la porte ② de l'appareil avec précaution.

Avertissement - risque de blessure!
Un verre de porte d'appareil rayé peut se fendre.
N'utilise pas de nettoyants abrasifs ni de racloirs métalliques tranchants pour nettoyer la vitre de la porte du four, car ils peuvent rayer la surface.
Les charnières de la porte de l'appareil bougent à l'ouverture et à la fermeture de la porte et vous pouvez vous pincer.
- Ne jamais mettre les doigts dans la zone des charnières.
Certaines pièces situées à l'intérieur de la porte de l'appareil peuvent avoir des arêtes coupantes.
- Portez des gants de protection.
Condition : Le recouvrement de la porte a été retiré. → "Enlever le recouvrement de porte", Page 31
- Dévissez les vis à gauche et à droite sur la porte de l'appareil ① et retirez-les.
- Coincer un torchon de cuisine plié plusieurs fois dans la porte de l'appareil.
- Fermez la porte de l'appareil.
- Extrayez la vitre frontale par en haut ②

- Tirer la vitre frontale avec la poignée de la porte vers le bas et la déposer sur une surface plane.
- Poussez la vitre intermédiaire contre l'appareil d'une main tout en poussant les fixations de gauche et de droite vers le haut. Ne retirez pas les fixations

- Retirez la vitre intermédiaire.
8. Avertissement - risque de préjudice grave pour la santé!
Par l'ouverture des vis, la sécurité de l'appareil n'est plus garantie. De l'énergie de micro-ondes risque de s'échapper.
Ne jamais dévisser les vis.
Ne jamais dévisser les 4 vis noires sur le cadre.

Avertissement - risque de blessure!
Les charnières de la porte de l'appareil bougent à l'ouverture et à la fermeture de la porte et vous pouvez vous pincer.
- Ne jamais mesurer les doigts dans la zone des charnières. Certaines pièces situées à l'intérieur de la porte de l'appareil peuvent présenter des arêtes coupantes.
- Portez des gants de protection.
- Tourner la vitre intermédiaire jusqu'à ce que la flèche soit en haut à droite.

- Introduire la vitre intermédiaire en bas dans la fixation a. Quis appuyer sur le haut en maintenant la pression.
- Appuyer sur les fixations de gauche et de droite a vers le bas jusqu'à ce que la vitre intermédiaire soit serrée ②

- Accrochez la vitre frontale en bas dans les fixations de gauche et de droite a.①
- Poussez la vitre frontale vers l'appareil jusqu'à ce que les crochets de gauche et de droite a soient en face du logement b.②

- Appuyez la vitre frontale en bas ① jusqu'à ce qu'elle s'enclenche de manière audible.
- Ouvrez légèrement la porte de l'appareil et retirez le torchon de cuisine.
- Révissez les deux vis à gauche et à droite de la porte de l'appareil.
- Posez le recouvrement de la porte et appuyez sur ② jusqu'à ce qu'il s'enclenche de manière audible.

- Fermez la porte de l'appareil.
Remarque : Utilisez le compartiment de cuisson uniquement lorsque les vitres de la porte sont correctement installées.
23 Supports
Pour nettoyer soigneusement les supports et le compartiment de cuisson ou pour changer les supports, vous pouvez décrocher ceux-ci.
Avertissement - risque de brûlures!
Les supports deviennent très chauds.
- Ne touchez jamais les supports chauds. Laissez toujours l'appareil refroidir. Éloignez les enfants.
- Soulevez le support à l'avant ① et décrochez-le. ②
- Poussez l'ensemble du support vers l'arrière et extrayez-le ④

23.2 Insérer les fixations
Lorsque vous décrochez les supports, les fixations risquent de tomber.
Remarque :
Les fixations sont différentes à l'avant et à l'arrière.

- Enfiler les fixations à l'avant avec le crochet en haut dans le trou rond et les incliner légèrement ①
- Accrocher les fixations avant en bas et les redresser ②

- Accrocher les fixations arrière avec le crochet dans le trou supérieur ① et les pousser dans le trou inférieur ②

23.3 Accrocher des supports
- Enfiler le support à l'arrière en haut et en bas dans les fixations ① et le tirer vers l'avant. ②
- Accrocher le support à l'avant 3 et l'enfoncer vers le bas 4

24 Dépannage
Voulez corriger par vous-meme les petits défauts de votre appareil. Lisez les renseignements de dépannage avant de contacter le service consommateurs. Vous épargnerez ainsi des dépenses inutiles.

Avertissement - risque de blessure!
Les réparations non conformes sont dangereuses.
- Seul un personnel qualifié est en droit d'effectuer des réparations sur l'appareil.
- Si l'appareil est défectueux, appeler le service après-vente.
→ "Service après-vente", Page 36

Avertissement - risque d'électrocution!
Les réparations non conformes sont dangereuses.
Seul un personnel dûment qualifié peut entreprendre des réparations sur l'appareil. Seules des pièces de rechange d'origine peuvent être utilisées pour réparer l'appareil. - Afin d'écarter tout danger quand le cordon d'alimentation secteur de cet appareil est endommagé, seul le fabricant ou son service après-vente ou toute autre personne de qualification équivalente est habilitée à le remplacer.
Défaut cause et dépannage
L'appareil ne fonctionne pas.
Le fusible dans le coffret à fusibles s'est déclenché.
Vérifiez le fusible dans le boîtier à fusibles.
L'alimentation électrique est tombée en panne.
Vérifiez si l'éclairage du compartiment ou d'autres appareils dans la pièce.
| Défaut Cause et dépannage | |
| L'appareil ne fonctionne pas. | Défaut électronique1. Débrancher l'appareil du secteur pendant au moins 30 secondes en coupant le fusible dans le boîtier à fusibles.2. Réinitialisez les réglages de base aux réglages d'usine.→ "Réglages de base", Page 23 |
| "Sprache Deutsch"(langue allemande) apparait. | L'alimentation électriche est tombée en panne.➢ Effectuez les réglages pour la première mise en service. |
| Le fonctionnement ne démarre pas ou s'in-terrompt. | Différentes causes sont possibles.➢ Vérifiez les notifications qui apparaissent dans l'écran.→ "Afficher des informations", Page 17 |
| Dysfonctionnement➢ Appelez le→ "Service après-vente", Page 36. | |
| L'appareil ne chauffe pas. | Le mode démonstration est activé.1. Débranche brièvement l'appareil du réseau électriche en désarmant le fusible dans le boîtier à fusibles, puis en le réarmant.2. Désactiver le mode démonstration ans les réglages de base au bout d'environ 5 minutes.→ "Modifier les réglages de base", Page 24 |
| L'alimentation électriche est tombée en panne.➢ Ouvrez, puis fermez la porte de l'appareil une fois après une panne de courant.➢ L'appareil se contrôle lui-même et est prét à fonctionner. | |
| L'heure n'apparait pas lorsque l'appareil est étient. | Le réglage de base a été modifié.➢ Modifiez le réglage de base concernant l'affichage de l'hourre.→ "Réglages de base", Page 23 |
| La porte de l'appareil ne s'ouvre pas. | La fonction de nettoyage verrouille la porte de l'appareil, às'allume.➢ Laissez refroidir l'appareil jusqu'à ce que Disparaisse dans l'écran.→ "Fonction de nettoyage 'Pyrolyse activeClean", Page 29 |
| La sécurité enfants verrouille la porte de l'appareil.➢ Désactiver la sécurité enfants à l'aide de la touche ≈3→ "Sécurité enfants", Page 23Vous pouvez désactiver le verrouillage dans les réglages de base.→ "Réglages de base", Page 23 | |
| Home Connect ne fonctionne pas correctement. | Différentes causes sont possibles.➢ Aliez sur www.home-connect.com. |
| En mode micro-ondes pur, le compartiment de cuissonchauffe. | La fonction de séchage est activée.Pour éviter toute condensation lors du fonctionnement micro-ondes pur, l'appareil active automatiquement une résistance de chauffe aux puissances 600 Watts et 800 Watts. Cela n'influence pas le résultat de cuisson.➢ Vous pouvez modifier le réglage de base de la fonction de séchage en mode micro-ondes.→ "Réglages de base", Page 23- Respectez les informations relatives au fonctionnement avec des micro-ondes.→ "Micro-ondes", Page 19 |
| L'éclairage du compartiment de cuissonne fonctionne pas. | Le réglage de base a été modifié.➢ Modifiez le réglage de base concernant l'éclairage.→ "Réglages de base", Page 23La lampe LED est défectueuse.➢ Appelez le→ "Service après-vente", Page 36. |
Défaut Cause et dépannage
| Durée de fonctionnementemaxale at-teinte. | Pour éviter que l'appareil ne continue à fonctionner par inadvertance, il s'arrête automatique-ment de chauffer après plusieurs heures si les réglages sontinchangés. Une indication ap-paraït.Lé moment où la durée de fonctionnement maximale est atteinte dépend des réglages res-pectifs relatifs au mode de fonctionnement.1. Pour continuer le fonctionnement, éteignez d'abord l'appareil à l'aide de Cet rallumez-le.Réglez et redémarrez le fonctionnement.2. Si vous n'avez pas besoin de l'appareil, éteignez-le avec ©Conseil : Afin que l'appareil ne se coupe pas par inadventance, réglez une durée.→ "Fonctions de temps", Page 18 |
| Un code d'erreur composé de lettres et de chiffres apparaît,par exemple E0111. | L'électronique a déetecté un défaut.1. Mettez l'appareil hors, puis sous tension.✓ Si le défaut était unique, le message disparait.2. Si ce message réapparait, contactez le service après-venture. Lors de l'appeil, indiquez lemessage d'erreur exact.→ "Service après-venture", Page 36 |
| Le résultat de cuis-son n'est pas satisfais-ant. | Les réglages étaient inadaptés.Les valeurs de réglage, par exemple la température ou la durée, dépendent de la recette,de la quantité et des alimentents.La prochaine fois, réglez des valeurs plus ou moins élevées.Conseil : Vous trouvez z'autres indications sur la préparation et les valeurs de réglage appropriées dans l'appli Home Connect ou sur notre page d'accueil siemens-home.bsh-group.com. |
25.1 Mettre au rebut un appareil usage
La destruction dans le respect de l'environnement permet de récupérer de précieuses matières premières.
- Débrancher la fiche du cordon d'alimentation secteur.
- Couper le cordon d'alimentation secteur.
- Éliminez l'appareil dans le respect de l'environnement.
Vous trouvez des informations sur les circuits actuels d'élimination auprès de votre revendeur spécialisé ou de l'administration de votre commune/ville.

Cet appareil est marqué selon la directive française 2012/19/UE relative aux appareils électriques et électroniques usagés (waste electrical and electronic equipment - WEEE). La directive définit le cadre pour une reprise et une回收的翻译结果: Cet appareil est marqué selon la directive française 2012/19/UE relative aux appareils électriques et électroniques usagés (waste electrical and electronic equipment - WEEE). La directive définit le cadre pour une reprise et une recyclage des appareils usagés applicables dans les pays de la CE.
26 Service après-vente
Les pièces de rechange relatives au fonctionnement de l'appareil et conformes à l'ordonnance d'écoconception correspondante sont disponibles auprès de notre service après-vente pour une durée d'au moins 10 ans à partir de la mise sur le marché de votre appareil dans l'espace économique européen.
Remarque : Dans le cadre des conditions de la garantie, le recours au service après-vente est gratuit.
Pour plus d'informations sur la durée et les conditions de la garantie dans votre pays, adressez-vous à notre service après-vente, à votre revendeur ou consultez notre site Web.
Lorsque vous contactez le service après-vente, vous avez besoin du numéro de produit (E-Nr.), du numéro de fabrication (FD) et du numéro de série (Z-Nr.) de votre appareil.
Vous trouverez les données de contact du service après-vente dans la liste ci-jointe ou sur notre site Web. Ce produit contient des sources de luminère de la classe d'efficacité énergétique G. La source de luminère est disponible en tant que pièce de rechange et doit être remplacée uniquement par du personnel qualifié.
26.1 Numéro de produit (E-Nr.), numéro de fabrication (FD) et numéro de série (Z-Nr.)
Le numéro de produit (E-Nr.), le numéro de fabrication (FD) et le numéro de série (Z-Nr.) sont indiqués sur la plaque signalétique de l'appareil.
Vous trouverez la plaque signalétique avec les numéros en ouvrant la porte de l'appareil.

Pour retrouver rapidement les données de votre appareil et le numéro de téléphone du service consommateurs, n'hésitez pas à les recopier ailleurs.
Vous pouvez également afficher les informations de l'appareil dans les réglages de base.
→ "Réglages de base", Page 23
27 Informations concernant les logiciels libres et open source
Ce produit contient des composants logiciels mis sous licence, par les détenteurs des droits d'auteur en tant que logiciel libre ou open source.
Les informations relatives à la licence sont mémorisées sur l'appareil électroménager. L'accès aux informations relatives à la licence correspondante est également possible via l'appli Home Connect: « Profil -> Mentions légales -> Informations sur la licence ». 1 Vous pouvez télécharger les informations relatives à la licence sur le site Web de la marque. (Recherchez le modèle de votre appareil et d'autres documents sur le site Web du produit.) Vous pouvez également demander les infor
informations correspondantes à l'adresse : ossrequest@bshg.com ou BSH Hausgeräte GmbH Carl-Weery-Str. 34, 81739 Munich, Allemagne.
Le code source vous sera mis à disposition sur simple demande.
Veuillez envoyer toute demande à ossrequest@bshg.com ou BSH Hausgeräte GmbH Carl-Wery-Str. 34, D-81739 Munich.
Objet : "OSSREQUEST"
Les coûts liés au traitement de votre demande vous seront facturés. Cette offre est valable pendant trois ans à compter de la date d'achat, ou au moins pour la période pendant laquelle nous fournissons le support et les pièces de rechange pour l'équipement.
28 Déclaration de conformité
BSH Hausgeräte GmbH déclare par la présente que l'appareil doté de la fonction Home Connect est conforme aux exigences fondamentales et aux autres dispositions applicables de la directive 2014/53/EU.
Vous trouverez une déclaration de conformité RED détaillée sur Internet à l'adresse siemens-home.bsh-group.com sur la page de votre appareil dans les documents supplémentaires.

Bande de 2,4 GHz (2400-2483,5 MHz) : max.
100mW
Bande de 5 GHz (5150-5350 MHz + 5470-
5725 MHz): max. 200mW
| BE BG CZ DK DE EE IE EL ES |
| FR HR IT CY LI LV LT LU HU |
| MT NL AT PL PT RO SI SK FI |
| SE NO CH TR IS UK (NI) |
WLAN (Wi-Fi) de 5 GHz : uniquement destiné à un usage intérieur.
| AL | BA | MD | ME | MK | RS | UK | UA |
| WLAN (Wi-Fi) de 5 GHz : uniquement destiné à un usage interieur. | |||||||
29 Comment faire
Vous trouverez ici les bons réglages, ainsi que les accessoires et récipients les plus adaptés pour vos différents plats. Nous avons adapté les recommandations de manière optimale à votre appareil.
Conseil : Vous trouverez d'autres indications sur la préparation et les valeurs de réglage appropriées ainsi que des recettes dans l'appli Home Connect ou sur notre page d'accueil siemens-home.bsh-group.com.
29.1 Conseils généraux de préparation
Respectez ces informations pour la préparation de tous les plats.
- La température et la durée dépendent des quantités préparées et de la recette. C'est pourquoi des plages de réglages sont indiquées. Essayez d'abord les valeurs les plus basses.
- Les valeurs de réglage s'entendent pour un enfournement des plats dans le compartiment de cuisson froid. Si vous souhaitez quand même préchauffer, insérez les accessoires dans le compartiment de cuisson uniquement après le préchauffage.
- Retirez les accessoires inutilisés du compartiment de cuisson.
Attention!
Les aliments acides peuvent endommager la grille
- Ne placez pas d'aliments acides, tels que des fruits ou des grillades assaisonnées avec de la marinade acide, directement sur la grille.
Remarque pour les personnes allergiques au nickel
Dans de rares cas, de faibles traces de nickel peuvent se retrouver dans les aliments.
Vous pouvez acheter les accessoires adaptés auprès du service après-vente, dans le commerce spécialisé ou sur notre site internet.
→ "Autres accessoires", Page 15
Conseil
Pour certains mets, vous pouvez utiliser la fonction de ventilation "Crisp Finish". La fonction de ventilation "Crisp Finish" absorbe l'humidité importante dans le compartiment de cuisson. La préparation est recommandée pour des aliments avec beaucoup d'humidité, p. ex.
Lors de la préparation sur plusieurs niveaux - pour des pâtisseries à des garnitures juteuses - pour la meringue - si vous souhaitez renforcer le croustillant
Pour obtenir des aliments plus croustillants, il est recommandé d'allumer la fonction pendant la deuxième moitié de cuisson.
→ "Fonction de ventilation 'Crisp Finish'", Page 21
29.2 Conseils de préparation pour la cuisson
Pour faire cuire des gâteaux, de la pâtisserie ou du pain, les moules en métal de couleur foncée sont les plus appropriés. Utilisez un récipient large et plat pour les soufflés et gratins. Dans un récipient étroit et haut, les plats mettront plus de temps à cuire et seront plus foncés sur le dessus. - Les moules en silicone ne sont pas adaptés. Si vous préparez des soufflés directement dans la casserole, enfournez-les au niveau 2. - Les valeurs de réglage pour la pâte à pain s'appliquent aussi bien pour la pâte cuite sur la plaque à pâtisserie que pour la pâte cuite dans un moule à cake. - Les recommandations de réglage pour la cuisson en combinaison avec le micro-ondes s'appliquent aux moules en métal.
Attention!
La présence d'eau dans le compartiment de cuisson chaud peut générer de la vapeur d'eau. Le changement de température peut endommager le fond du compartiment de cuisson.
- Ne jamais verser d'eau dans le compartiment de cuisson chaud.
- Ne jamais placer de plat avec de l'eau sur le fond du compartiment de cuisson.
Niveau d'enfournement
Si vous utilisez le mode de cuisson Chaleur tournante 4D, vous pouvez choisir entre les hauteurs d'enfournement 1, 2, 3 et 4. Vous obtiendrez le meilleur résultat si vous utilisez les hauteurs d'enfournement suivantes.
Cuisson sur un niveau hauteur
Pâtisserie haute/moule sur la grille 2
Pâtisserie plate/plaque à pâtisserie 3
Cuisson sur plusieurs niveaux hauteur
2 niveaux
Lèchefrite 3 Plaque à pâtisserie 1 2 niveaux 2 grilles avec moules dessus 3
3 niveaux
Plaque à pâtisserie 5 Lèchefrite 3 Plaque à pâtisserie 1
4 niveaux
4 grilles avec papier de cuisson 5 3 2 1
Utilisez le mode de cuisson Chaleur tournante 4D.
Remarques
- Les pâtisseries sur plaque à pâtisserie ou en moules enfournées simultanément ne doivent pas nécessairement être prêtes au même moment.
- Une préparation en combinaison avec le micro-ondes n'est possible que sur un niveau.
29.3 Instructions de préparation pour rôtis, viandes braisées et grillades
- Les recommandations de réglage s'entendent pour la pièce à rôtir à la température du réfrigérateur, ainsi que pour une volaille non farcie et prête à cuire.
- Placez la volaille, avec le côté blanc ou avec le côté peu vers le bas sur le récipient.
- Retournez le rôti, la pièce à griller ou le poisson entier après environ 12 à 34 du temps de cuisson indiqué.
Rôtissage sur la grille
Sur la grille, les mets à rôtir deviennent particulièrement croustillants de tous les côtés. Par exemple, faites rôtir de grosses volailles ou plusieurs morceaux en même temps.
- Faites rôtir des morceaux de poids et d'épaisseur similaires. Ils doreront ainsi de manière uniforme et resteront bien juteux.
- Placez le rôti directement sur la grille. Pour recueillir les liquides qui s'égouttent, enfournez la lèchefrite à un niveau au-dessous de la grille. En fonction de la taille et du type de rôti, ajoutez jusqu'à 12 litre d'eau dans la lèchefrite. Vous pourrez utiliser le jus de cuisson pour préparer une sauce. De plus, moins de fumée se dégage et le compartiment de cuisson se salit moins.
Cuisson dans un récipient
Lorsque vous cuisinez dans des récipients fermés, le compartiment de cuisson reste plus propre.
Généralités pour le rotissage dans un récipient
Utilisez un récipient résistant à la chaleur et allant au four. - Placez le récipient sur la grille. - Un récipient en verre est le plus approprié. Respectez les indications du fabricant du récipient de cuisson.
Cuisson dans un récipient ouvert
Utilisez un plat à rôtir à bord haut. Si vous n’avez pas de récipient adapté, utilisez la lèchefrite.
Cuisson dans un récipient fermé
Utilisez un couvercle approprié, bien fermé. Pour de la viande, l'espace entre le roti et le couvercle doit être d'au moins 3 cm. Le volume de la viande peut augmenter.
Avertissement - risque de brûlure !
À l'ouverture du couvercle après la cuisson, de la vapeur très chaude peut s'échapper. Selon la température, la vapeur n'est pas visible.
- Soulevez le couvercle de manière à laisser s’échapper la vapeur chaude loin de vous. Éloignez les enfants.
Griller
Faites griller des mets qui doivent être croustillants. Le grill air pulse convient parfaitement à la préparation d'une volaille entière ou d'un poisson entier, ou de viande, par ex. un rôti avec couenne.
Grillez des morceaux à griller d'épaisseur et de poids similaires. Ils doreront ainsi de manière uniforme et resteront bien juteux. - Posez les morceaux à griller directement sur la grille. Pour recueillir les liquides qui s'égouttent, enfournez la lèchefrite, au moins à un niveau au-dessous de la grille.
Remarques
- La résistance du grill s'allume et s'éteint en permanence. C'est normal. La fréquence dépend de la position du grill réglée. La cuisson au grill peut générer de la fumée.
29.4 Préparation au micro-ondes
Si vous préparez les mets au micro-ondes, vous pouvez réduire considérablement le temps de cuisson.
Généralités
Le temps de cuisson pour la cuisson au micro-ondes dépend du poids total.
Si vous souhaitez préparer une quantité différente de celle indiquée, la règle de base est utile : une quantité double nécessite presque deux fois plus de temps de cuisson.
- Les mets transmettent de la chaleur au récipient. Le récipient peut devenir très chaud.
- Dans la partie principale de la notice d'utilisation, vous trouverez des informations sur la façon de configurer le micro-ondes et d'ajouter des micro-ondes.
→ "Micro-ondes", Page 19 → "Ajout de micro-ondes", Page 20
Conseil
Vous trouverez d'autres préparations au micro-ondes ici:
"Décongeler", page 44 → "Réchauffer au micro-ondes", page 44
Cuisiner ou cuire à la vapeur au micro-ondes
Utilisez un récipient fermé, adapté au micro-ondes. Vous pouvez aussi utiliser une assiette ou du film spécial micro-ondes pour couvrir vos mets. Utilisez un récipient à bord haut avec un couvercle pour les produits céréaliers, par exemple pour le riz. Les céréales forment beaucoup d'écume lors de la cuisson. Ajoutez du liquide conformément aux recommandations de réglage. - Lavez les aliments et ne les séchez pas. Ajoutez 1 à 3 cuillères à soupe d'eau ou de jus de citron à vos mets. - Répartissez les mets à plat dans le récipient. Les mets plats cuisent plus vite que des aliments égaux. Utilisez le sel et les épices avec modération. La préparation au four à micro-ondes permet de préserver en grande partie le goût inhérent. - Retournez ou remuez les mets 2 à 3 fois. Laissez les mets reposer pendant 2 à 3 minutes après la cuisson.
29.5 Conseils de préparation de plats cuisinés
- Le résultat de cuisson dépend très fortement des aliments. Une précoloration ou des irrégularités peuvent apparaître dès que vous sortez les aliments du congélateur. N'utilisez pas de produits trop congélés. Retirez la glace des mets. Retirez les plats cuisine de leur emballage.
- Si vous faites chauffer ou cuire le plat préparé dans un récipient, utilisez un récipient résistant à la chaleur.
- Répartissez les mets en morceaux, comme les petits pains ou les produits à base de pomme de terre, uniformément et à plat sur l'accessoire. Laissez un peu d'espace entre chaque morceau. Respectez les indications du fabricant figurant sur l'emballage. Pour un résultat optimal, nous vous recommandons de réchauffer les aliments ou les plats à 600 Watts. Si une puissance du micro-ondes plus élevée est indiquée sur l'emballage, prolongez la durée.
29.6 Sélection des mets
Recommandations de réglage pour de nombreux mets triés par catégories de mets.
Recommandations de réglage pour différents plats
| Plats Accessoires/réci-pients | Hauteur Mode de cuisson | Température en °C/position gril | Puisance du micro-ondes en W | Durée en min. | |
| Quatre-quarts, simple Moule en couronne ou Moule à cake | 2 160-180 30-40 | ||||
| Quatre-quarts, fin Moule en couronne ou Moule à cake | 2 150-170 -60-80 | ||||
| Quatre-quarts, 2 niveaux Moule en couronne ou Moule à cake | 3+1 140-150-60-80 | ||||
| Tarte aux fruits ou au fro-mage blanc avec fond en pâté sablée | Moule démontable Ø 26 cm | 2 150-170 -65-85 | |||
| Tarte aux fruits ou au fro-mage blanc avec fond en pâté sablée | Moule démontable Ø 26 cm | 2 1. 160-180 | 2. 100 | 1. 180 | 1. 30-40 |
| 2. - | 2. 20 | ||||
| Tarte génoise, 6 oeufs Moule démontable Ø 28 cm | 2 150-160 -60-60 | ||||
| Tarte génoise, 6 oeufs Moule démontable Ø 28 cm | 2 150-170 | 1 | - 30-50 | ||
| Tarte en pâté sablée avec garniture fondante | L'échefrite 3 160-180 - 55-75 | Ø | |||
| Gâteau à la levure avec garniture fondante | L'échefrite 3 180-190 - 30-40 | Ø | |||
| Biscuit roulé Plaque à pâtisserie 3 180-190 | Ø | 1 | - 15-20 | ||
| Muffins Plaque à muffins 3 170-190 - 15-20 | Ø | ||||
| Petites pâtisseries en pâté levée | Plaque à pâtisserie 3 160-180 - 25-40 | ||||
| Petits gâteaux secs Plaque à pâtisserie 3 140-160 - 15-30 | |||||
| Petits gâteaux secs, 2 ni-veaux | L'échefrite + Plaque à pâtisserie | 3+1 140-160-15-30 | |||
| Petits gâteaux secs, 3 ni-veaux | 2x Plaque à pâtisserie + L'échefrite | 5+3+1 | 140-160 - 15-30 | ||
| Pain, 750 g | L'échefrite ou Moule à cake | 2 1. 210-220 | 2. 180-190 | - 1. 10-15 | 2. 25-35 |
| Pain, 1500 g | L'échefrite ou Moule à cake | 2 1. 210-220 | 2. 180-190 | - 1. 10-15 | 2. 40-50 |
| Pain, 1500 g | L'échefrite ou Moule à cake | 2 200-210 -35-45 | |||
| Fougasse | L'échefrite 3 250-270 - 20-25 | Ø | |||
| Petits pains, frais | Plaque à pâtisserie 3 180-190 - 20-30 | ||||
| 1 Préchauffer l'appareil.2 Retourner le mets après 2/3 du temps de cuisson.3 Remuez liéquement les alimentés 1 à 2 fois en cours de cuisson. | |||||
| Plats Accessoires/réci-pients | Hauteur Mode de cuisson | Température en °C/position gril | Puisance du micro-ondes en W | Durée en min. |
| Pizza, fraîche, sur la plaque | Plaque à pâtisserie 3 200-220 - 25-35 | |||
| Pizza, fraîche, sur la plaque, 2 niveaux | L'échefrite + Plaque à pâtisserie 3+1 180-190-35-45 | |||
| Pizza, fraîche, fond mince, dans un moule à pizza | Plaque à pizza 2 220-230 - 20-30 | |||
| Böreks L'échefrite 1 200-220 | 1 | - 20-30 | ||
| Quiche Moule à quiche | sombre anti-adhé-rent 3 190-210 - 20-40 | |||
| Tarte flambée L'échefrite 3 | 260-280 | 1 | - 10-15 | |
| Gratin sale, ingrédients cuits | Plat à gratin 2 150-170 360 20-30 | |||
| Lasagnes, surgelées, 350-450 g, 3 cm d'épais-seur | Récipient ouvert 2 200-210 180 20-25 | |||
| Lasagnes, surgelées, 600-1000 g, 4-5 cm d'épaisseur | Récipient ouvert 2 200-210 180 35-45 | |||
| Gratin de pommes de terre, ingrédients crus, 4 cm d'épaisseur | Plat à gratin 2 160-190 - 50-70 | |||
| Gratin de pommes de terre, ingrédients crus, 4 cm d'épaisseur | Plat à gratin 2 170-190 360 20-25 | |||
| Poulet, 1,3 kg, non farci Grille combinée | 2 200-220 - 60-70 | |||
| Poulet, 1,3 kg, non farci Récipient fermé | 2 230-250 360 25-35 | |||
| Petits morceaux de pou-let, pièces de 250 g | Grille combinée 3 220-230 - 30-35 | |||
| Petits morceaux de pou-let, pièces de 250 g | Récipient ouvert 2 190-210 360 20-30 | |||
| Oie, non farcie, 3 kg | Grille combinée 2 160-180 - 20-150 | |||
| Oie, non farcie, 3 kg | Grille combinée 2 170-190 - 80-90 | |||
| Rôti de porc sans couenne, par ex. échine, 1,5 kg | Récipient ouvert 2 180-190 - 110-30 | |||
| Rôti de porc sans couenne, par ex. échine, 1,5 kg | Récipient fermé 2 220-240 360 55-65 | |||
| Rôti de porc sans couenne, par ex. échine, 1,5 kg | Récipient ouvert 2 190-200 - 120-40 | |||
| Filet de bœuf, à point, 1 kg | Grille combinée 2 210-220 - 20-50 | |||
| Bœuf braisé, 1,5 kg | Récipient fermé 2 200-220 - 30-160 | |||
| Bœuf braisé, 1,5 kg | Récipient fermé 2 200-220 - 40-160 | |||
| Rosbif, à point, 1,5 kg | Grille combinée 2 220-230 - 30-70 | |||
| Rosbif, à point, 1,5 kg | Récipient ouvert 2 240-260 180 30-40 | |||
| Hamburger, 3-4 cm d'épaisseur | Grille combinée 4 3 - 25-30 | 2 | ||
| 1 Préchauffer l'appareil. | ||||
| 2 Retourner le mets après 2/3 du temps de cuisson. | ||||
| 3 Remuez spécifique les alimentés 1 à 2 fois en cours de cuisson. | ||||
| Gigot d'agneau désossé, à point, 1,5 kg | Récipient ouvert 2 170-190 - 50-80 | |||
| Gigot d'agneau désossé, à point, 1,5 kg | Récipient fermé 2 240-260 1. 360 | 2. 180 | 1. 302. 35-40 | |
| Rôti de viande hachée, 1 kg + 20 ml d'eau | Récipient ouvert 2 170-190 360 30-40 | |||
| Poisson, grillé, entier 300 g, par ex. truite | Grille combinée 2 170-180 - 20-30 | |||
| Poisson, grillé, entier 300 g, par ex. truite | Grille combinée 3 2 90 15-20 | |||
| Légumes, frais, 250 g Récipient fermé 2 - 600 6-10 | R | 3 | ||
| Jardinière de légumes, 250 g + 25 ml d'eau | Récipient fermé 2 - 600 8-12 | 3 | ||
| Pommes de terre au four, coupées en deux, 1 kg | L'échefrite 3 200-220 360 15-20 | |||
| Pommes de terre à l'an-glaise, en quartiers, 500 g | Récipient fermé 2 - 600 12-15 | 3 | ||
| Riz long grain, 250 g + 500 ml d'eau | Récipient fermé 2 - 1. 600 | 2. 180 | 1. 7-92. 13-16 | |
| Millet complet, 250 g + 600 ml d'eau | Récipient fermé 2 - 1. 600 | 2. 180 | 1. 8-102. 5-10 | |
| Polenta ou semoule de mais, 125 g + 500 ml d'eau | Récipient fermé 2 - 600 6-8 | 3 | ||
1 Préchauffer l'appareil. 2 Retourner le mets après 2/3 du temps de cuisson. 3 Remuez délicatement les aliments 1 à 2 fois en cours de cuisson.
Préparer du yaourt
- Retirez les accessoires et les supports du de cuisson.
- Faites chauffer 1 litre de lait (3,5%) MG) sur la table de cuisson à 90°C et laissez-le refroidir à 40°C. Pour le lait UHT, il suffit de le chauffer à 40°C.
- Mélangez 150 g de yaourt du réfrigérateur dans le lait.
- Versez le mélange dans de petits récipients, par exemple des tasses ou des petits verres.
- Filmez les récipients, par ex. avec du film alimentaire.
- Placez les récipients sur le fond du compartiment de cuisson.
- Réglez l'appareil conformément aux recommandations de réglage.
- Laissez le yaourt reposer au réfrigerateur au moins 12 heures après la préparation.
Préparer un pudding à base de préparation pour flan
- Utilisez un grand récipient adapté au micro-ondes.
- Dans le récipient, mélangez la préparation pour flan avec toute la quantité de lait et de sucre.
- Placez le récipient sur la grille dans le compartiment de cuisson.
- Reglez l'appareil conformément aux recommandations de réglage.
- Lorsque le lait monte, mélangez vivement.
- Répétez l'opération jusqu'à obtenir la constance souhaitée.
Avertissement - risque de brûlures!
Si les alimentés sont hermétiquement emballés, leur emballage peut éclater.
- Toujours respecter les consignes figurant sur l'emballage.
- Toujours utiliser des maniques pour retirer des plats du compartiment de cuisson.
- Utilisez un plat à gratin plat adapté au micro-ondes. N'utilisez pas de porcelaine ni d'assiettes fortement incurvées.
- Placez le sachet de pop-corn sur le récipient en suivant les instructions de l'emballage.
- Réglez l'appareil conformément aux recommandations de réglage.
- En fonction du produit et de la quantité, il sera nécessaire d'adapter le temps.
- Pour que le pop corn ne brûle pas, retirez et refermez le sachet de pop-corn après 1 12 minute.
- Placez le sachet de popcorn au four et continuez à le faire sauter.
- Lorsque vous n'entendez que des bruits de popcorn toutes les 2 ou 3 secondes, et éteignez l'appareil et retirez le sachet de popcorn du four.
- Une fois la préparation terminée, essuyez le compartiment de cuisson.
Recommandations de réglage pour les desserts, les compotes
| Mets Accessoires/réci-pients | Hauteur Mode de cuisson → Page 12 | Température en °C | Puisance du micro-ondes en W | Durée en min. | |
| Pudding à base de préparation pour flan | Récipient fermé 2 - 600 5-8 | ⓷ | 1 | ||
| Yaourt Ramequins Fond duYaourt Ramequins Fond du | comparti-ment de cuisson | ⓹ | 40-45 - 8-9h | ||
| Pop-corn pour micro-ondes, 1 sachet de 100 g2 | Récipient ouvert 2 - 600 4-6 | ⓹ | |||
1 Remuez délicatement les aliments 1 à 2 fois en cours de cuisson. Posez le sachet fermé sur le récipient.
29.7 Modes de préparation spéciaux et autres applications
Informations et recommandations sur les modes de préparation spéciaux et autres applications, par exemple la cuissonasse temperature.
Cuisson basse température
Pour tous les morceaux de viande noble qui doivent être cuits rosés ou à point. La viande et la volaille restent juteuses et tendres grâce à une cuisson lente à basse température.
Cuire une volaille ou une viande à basse température
Remarque: Le fonctionnement différé avec heures de fin de cuisson n'est pas possible avec le mode de cuisson à basse temperature.
Condition : Le compartiment de cuisson est froid.
- Utilisez de la viande fraîche et hygiéniquement impeccable. Les morceaux sans os et sans trop de tissus conjonctifs sont les moins adaptés.
- Placez le récipient sur la grille au niveau 2 dans la cavité du four.
- Préchauffez le compartiment de cuisson et le récipient pendant environ 15 minutes.
- Faites revenir la viande de chaque côté à feu vif.
- Placez immédiatement la viande sur les récipients préchauffés dans le compartiment de cuisson. Pour maintenir une température homogène dans le compartiment de cuisson, gardez la porte du compartiment de cuisson fermée pendant la cuissonasse temperature.
Conseils pour la cuisson basse température
Vous trouverez ici des conseils pour obtenir un bon résultat de cuissonasse température.
| Problème Conseil | |
| Vous poulez faire cuire un magret de canard à basse température. | Posez le magret de canard à froid dans une poële.Saisissez d'abord le côté peu.Cuisez le magret de canard à basse température.Après l'avoir cuit à basse température, faites-le grillerpendant 3 à 5 minutes pour qu'il devienne croustillant. |
| Vous poulez servir votre viande cuite à basse température aussi chaude que possible. | Réchauffez les assiettes de serviceServez les sauces d'accompagnement très chaudes. |
Recommandations de réglage pour cuisson à température
| Plats Accessoires/ré-cipiens | Hauteur Durée de la cuisson en min. | Mode de cuisson | Tempéra-ture en °C | Puis-sance du micro-ondes en W | Durée en min. |
| Magret de canard, ro-se, 300 g | Récipient ou-vert | 2 6-8 | 90 | 1 | 45-60 |
| Filet mignon de porc, entier | Récipient ou-vert | 2 4-6 | 80 | 1 | 45-70 |
| Filet de bœuf, 1 kg | Récipient ou-vert | 2 4-6 | 80 | 1 | 90-120 |
1 Préchauffer l'appareil.
| Plats Accessoires/ré-cipiens | Hauteur Durée de la cuisson en min. | Mode de cuisson | Température en °C | Puis-sance du micro-ondes en W | Durée en min. |
| Médaillons de vase, 4 cm d'épaisseur | Récipient ou-vert | 2 4 80 | 1 | - 30-50 | |
| Selle d'agneau, désossée, pieces de 200 g | Récipient ou-vert | 2 4 80 | 1 | - 30-45 |
1 Préchauffer l'appareil.
Décongeler
Décongelez les aliments surgelés avec votre appareil.
Conseils de préparation pour décongeler
- Le mode de fonctionnement "Micro-ondes" vous permet de décongeler des fruits, des légumes, de la volaille, de la viande, du poisson ou des pâtisseries surgelés. Pour décongeler, sortez les mets surgelés à décongeler de leur emballage. Utilisez un récipient résistant à la chaleur et adapté au micro-ondes.
- Les recommendations de réglage s'appliquent aux mets à température de conge lation (-18 C).
Pour une décongélation plus facile, procédez en plusieurs étapes. Les étapes sont indiquées les unes après les autres dans les recommandations de réglage. - Remuez ou retournez les mets 1 à 2 fois. Retournez les gros morceaux plusieurs fois. Séparez les mets. Retirez les morceaux déjà décongelés du décongélateur. Laissez reposer le mets décongelé entre 10 et 30 minutes dans l'appareil éteint, afin que la température se stabilise.
Recommandations de réglage pour décongeler
| Mets Accessoires/réci-pients | Hauteur Mode de cuisson | Température en °C | Puisance du micro-ondes en W | Durée en min. |
| Petits pains Grille combinée 2 140-160 90 2-4 | ® |
Réchauffer au micro-ondes
Les mets peuvent être rechauffés au micro-ondes ou bien être décongelés et rechauffés en une seule étape.
Conseils de préparation pour réchauffer avec le micro-ondes
Utilisez un récipient fermé, adapté au micro-ondes. - Retournez ou remuez les mets 2 à 3 fois. Laissez les mets reposer pendant 1 à 2 minutes après avoir été réchauffés. - Les mets transmettent de la chaleur au récipient. Le récipient peut devenir très chaud. - Notez ce qui suit lorsque vous faites chauffer des aliments pour bébés :
- Placez le biberon sans tétine ni bouchon sur la grille.
- Agitez ou remuez bien les aliments pour bébés après les avoir fait chauffer.
- Vérifiez impérativement la température des aliments pour bébé.
- Essuyez le compartiment de cuisson après l'avoir chauffé.
Avertissement - risque de brûlure!
Un retard d'ébullition peut se produire lorsque vous chauffez des liquides. Cela signifie que la température d'ébullition est atteinte sans que les bulles de vapeur typiques remontent. La prudence est requise même à la moindre secousse du récipient. Le liquide chaud peut alors subitement déborder et jaillir.
- Toujours placer une cuillère dans le récipient que vous faites chauffer. Cela permet d'éviter ce retard d'ébullition.

Attention!
Au contact de métal avec la paroi du compartiment de cuisson se produisent des étincelles susceptibles d'endommager l'appareil ou de déterminer la vitre intérieure de la porte.
Le métal, par ex. la cuillère dans le verre, doit être couvert à une distance d'au moins 2 cm des parois du compartiment de cuisson et de l'intérieur de la porte.
Recommandations de réglage pour maintenir au chaud et réchauffer
| Mets Accessoires/réci-pients | Hauteur Mode de cuisson | Température en °C | Puisance du micro-ondes en W | Durée en min. |
| Gratins, 400 g, par ex.lasagnes, gratin depommes de terre, surge-lés | Récipient ouvert 2 180-200 180 | 20-25 |
Conseils de préparation pour maintenir au chaud
Si vous utilisez le mode de cuisson "Maintenir au chaud", évitez la formation de condensation. Vous ne devez pas essuyer le compartiment de cuisson.
Pour éviter que les mets ne se dessèchent, vous pouvez les recouvrir. - Ne maintenez pas les mets au chaud plus de 2 heures. Notez que certains mets continuent de cuire lorsqu'ils sont maintenus au chaud.
29.8 Plats testés
Les informations de cette section sont destinées aux instituts d'essai pour faciliter les essais de l'appareil conformément à la norme EN 60350-1 ou IEC 60350-1 et à la norme EN 60705, IEC 60705.
Cuire
- Les valeurs de réglage s'entendent pour un enfournement dans le compartiment de cuisson froid. Veuillez noter les indications de préchauffage figurant dans les recommandations de réglage. Les valeurs de réglage s'entendent sans chauffage rapide. Pour la cuisson, régalez d'abord la plus faible des températures indiquées.
- Les pâtisseries sur plaque à pâtisserie ou en mouses enfournées simultanément ne doivent pas nécessairement être prêtes au même moment. Hauteurs d'enfournement lors de la cuisson de pâtisseries sur 2 niveaux :
- Léchefrite : hauteur 3 Plaque à pâtisserie : hauteur 1
- Moules sur la grille :
Première grille : hauteur 3
Deuxième grille : hauteur 1
Hauteurs d'enfournement lors de la cuisson de pâtisseries sur 3 niveaux :
- Plaque à pâtisserie : hauteur 5
- Léchefrite : hauteur 3
- Plaque à pâtisserie : hauteur 1
Biscuit à l'eau
- Si vous pâtissez sur 2 niveaux, placez les moules démontables en quinconce sur les grilles.
- En guise d'alternative à une grille, vous pouvez également utiliser la plaque Air Fry que nous proposons.
Recommandations de réglage pour la cuisson de pâtisserie
| Mets Accessoires/réci-pients | Hauteur Mode de cuisson → Page 12 | Température en °C | Puisance du micro-ondes en W | Durée en min. | |
| Biscuiterie dressée Plaque à pâtisserie 3 140-150 | 1 | - 25-40 | |||
| Biscuiterie dressée Plaque à pâtisserie 3 140-150 | 1 | - 25-40 | |||
| Biscuiterie dressée, 2 ni-veaux L'echefrite + Plaque à pâtisserie | 3+1 140-150 | 1 | - 30-40 | ||
| Biscuiterie dressée, 3 ni-veaux 2x Plaque à pâtisserie + L'echefrite | 5+3+1 130-240 | 1 | - 35-55 | ||
| Petits gâteaux Plaque à pâtisserie 3 160 | 1 | - 20-30 | |||
| Petits gâteaux Plaque à pâtisserie 3 150 | 1 | - 25-35 | |||
| Petits gâteaux, 2 niveaux L'echefrite + Plaque à pâtisserie | 3+1 150 | 1 | - 25-35 | ||
1 Préchauffez l'appareil 5 minutes. N'utilisez pas la fonction de chauffage rapide. 2 Préchauffez l'appareil. N'utilisez pas la fonction de chauffage rapide.
| Mets Accessoires/réci-pients | Hauteur Mode de cuisson → Page 12 | Température en °C | Puisance du micro-ondes en W | Durée en min. |
| Petits gâteaux, 3 niveaux 2x | 5+3+1 140 ☎ | 1 | - 35-45 | |
| Plaque à pâtisserie + L'échérite | ||||
| Biscuit à l'eau Moule démontable Ø 26 cm | 2 160-170 ☐ | 2 | - 25-35 | |
| Biscuit à l'eau Moule démontable Ø 26 cm | 2 160-170 ☐ | 2 | - 25-35 | |
| Biscuit à l'eau, 2 niveaux 2x | 3+1 150-17 ☎ | 2 | - 30-50 | |
| Moule démontable Ø 26 cm |
1 Préchauffez l'appareil 5 minutes. N'utilisez pas la fonction de chauffage rapide. 2 Préchauffez l'appareil. N'utilisez pas la fonction de chauffage rapide.
Griller
Recommandations de réglage pour griller
| Plats Accessoires/réci-pients | Hauteur Mode de cuisson → Page 12 | Température en °C/position gril | Puisance du micro-ondes en W | Durée en min. |
| Dorer des toasts Grille combinée 5 3 | □ | 1 | - 3-5 | |
| 1 Ne pas préchauffer l'appareil. |
Préparation au micro-ondes
Pour tester le fonctionnement du micro-ondes, désactive la fonction séchage dans les réglages de base. → Page 23
Recommandations de réglage pour décongeler au micro-ondes
| Mets Accessoires/réci-pients | Hauteur Mode de cuisson → Page 12 | Température en °C | Puisance du micro-ondes en W | Durée en min. |
| Viande Récipient ouvert 2 - 1. 180 | # | 2. 90 | 1. 52. 10-15 |
Recommendations de réglage pour cuire au micro-ondes
| Mets Accessoires/réci-pients | Hauteur Mode de cuisson → Page 12 | Température en °C | Puisance du micro-ondes en W | Durée en min. | |
| Lait aux øeufs | Récipient ouvert 2 - 1.360 | ⓷ | 2.180 | 1.202.20-25 | |
| Génoise | Récipient ouvert 2 - 600 | ⓷ 7-9 | |||
| Pain de viande hachée | Récipient ouvert 2 - 600 | ⓸ 22-27 | |||
Recommandations de réglage pour cuire au micro-ondes combiné
| Mets Accessoires/réci-pients | Hauteur Mode de cuisson → Page 12 | Température en °C | Puisance du micro-ondes en W | Durée en min. | |
| Gratin de pommes de terre | Récipient ouvert 2 | 170-190 | 360 | 25-30 | |
Retourner le met après 2/3 du temps de cuisson.
| Mets Accessoires/réci-pients | Hauteur Mode de cuisson → Page 12 | Température en °C | Puisance du micro-ondes en W | Durée en min. |
| Gâteau Récipient ouvert 2 180-200 180 18-23 | ® | |||
| Poulet Grille combinée 2 200-220 360 25-35 | ® | 1 | ||
| 1 Retourner le mets après 2/3 du temps de cuisson. | ||||
30 Instructions de montage
Respectez ces informations lors du montage de l'appareil.

30.1 Consignes générales de montage
Respectez ces consignes avant de commencer à installer l'appareil.
Le meuble d'encastrement doit être sans paroi derrière l'appareil. Entre le mur et le plancher du meuble ou bien la paroi arrière du meuble situé au-dessus, respecter une distance d'au moins 35 mm. - Les fentes d'aération et les orifices d'aspiration ne peuvent pas être recouverts. - Seule une installation effectuée selon les présentes instructions de montage garantit une utilisation en toute sécurité. L'installateur est responsable des dommages résultant d'une installation incorrecte. - N'utilisez pas la poignée de porte pour le transport ou l'installation. - Contrôlez l'état de l'appareil après l'avoir déballé. Ne le raccordez pas s'il présente une avarie en raison du transport. - Avant la mise en service, retirez le matériel d'emballage et les films adhésifs du département de cuisson et de la porte. Respectez la notice de montage pour l'installation des accessoires. - Les meubles d'encastrement doivent résister à une température jusqu'à 95°C, la façade des meubles adjacents, jusqu'à 70°C. - Ne pas installer l'appareil derrière une porte de meuble ni derrière une porte décorative. Il existe un risque de surchauffe.
- Réalisez des travaux de découpes sur le meuble avant la mise en place de l'appareil. Enlevez les copeaux. Le fonctionnement des composants électriques peut être compromis.
- Placez l'appareil sur une surface horizontale.
- La prise de raccordement de l'appareil doit se situer dans la zone de la surface hachurée à ou à l'extérieur de l'espace d'installation.
Les meubles non fixés doivent être fixés au mur au moyen d'une équerre du commerce.

- Portez des gants de protection pour éviter des coupures. Certaines pièces accessibles lors du montage peuvent posséder des arêtes coupantes.
- Dimensions indiquées dans les illustrations en mm.
Avertissement - risque d'incendie!
Il est dangereux d'utiliser un cordon d'alimentation secteur avec une rallonge ou un adaptateur non autorisé.
- Ne pas utiliser de rallonge ni de bloc multi-prise. Utiliser uniquement des adaptateurs et cordons d'alimentation secteur agréés par le fabricant. Si le cordon d'alimentation secteur est trop court et qu'aucun cordon d'alimentation plus long n'est disponible, contacter un electricien spécialisé pour adapter l'installation domestique.
Attention!
Le fait de porter l'appareil par la poignée risque de casser celle-ci. La poignée de porte ne résiste pas au poids de l'appareil.
- Ne jamais transporter ni porter l'appareil par la poignée de la porte.
30.2 Dimensions de l'appareil
Vous trouverez ici les dimensions de l'appareil

30.4 Installation sous une table de cuisson
Si l'appareil est encastre sous une table de cuisson, les dimensions minimales doivent être respectées, y compris la sous-structure si nécessaire.

30.3 Installation sous un plan de travail
Observe les dimensions d'installation et les instructions d'installation lors de l'installation sous un plan de travail.

Pour la ventilation de l'appareil, le plancher intermédiaire doit avoir une découverte de ventilation. Le plan de travail doit être fixé sur le meuble d'encastrement. - Respecter les instructions de montage de la table de cuisson éventuellement disponibles. Respecter les consignes d'encastrement nationales divergentes de la table de cuisson.
En raison de la distance minimale nécessaire, le replisséreur minimale du plan de travail qui en découle est
Type de table de cuisson à posé en mm, à affleurant en mm, b en mm
| Table de cuisson induction 37 38 5 | |
| Table de cuisson induction Full Zone | 47 48 5 |
| Table de cuisson gaz 27 38 5 | 1 |
| Table de cuisson électrique 27 30 2 | |
| 1 Respecter les consignes d'encastrement nationales divergentes de la table de cuisson. | |
30.5 Installation dans un meuble haut
Observer les dimensions d'installation et les instructions d'installation lors de l'installation dans le meuble haut.

Pour la ventilation de l'appareil, les planchers intermédiaires doivent partager une découverte de ventilation. - Afin de garantir une ventilation suffisante de l'appareil, un orifice d'aération d'au moins 200 cm² est nécessaire dans la zone de la plinthe. À cet effet, découvrez le cache du socle ou fixez une grille de ventilation. Il est important de veiller à ce que l'échange d'air soit garanti comme indiqué dans le croquis.

- Si le meuble haut possède une paroi arrière en plus des parois arrière préfabriquées, celle-ci doit être retirée.
- Encastrer l'appareil à une hauteur qui permette de retirer sans problème les accessoires.
30.6 Installation dans un angle
Observez les dimensions d'installation et les instructions d'installation lors de l'installation dans un angle.

- Afin de pouvoir ouvrir la porte de l'appareil, respectez les dimensions minimales en cas d'installation dans un angle. La dimension dépend de l'épaisseur de la façade du meuble et de la poignée.
30.7 Raccordement électrique
Respectez les présentes consignes pour pouvoir effectuer le branchement électrique de l'appareil en toute sécurité.
L'appareil est conforme à la classe de protection I et ne peut utiliser qu'avec une prise à conducteur de protection. La protection par fusible doit s'effectuer conformément à l'indication de puissance figurant sur la plaque signalétique et aux prescriptions locales. Pour tous les travaux de montage, l'appareil doit être hors tension. L'appareil doit uniquement être raccordé au moyen du cordon d'alimentation secteur fourni. - Le cordon d'alimentation secteur doit être connecté au dos de l'appareil jusqu'à ce que vous entendiez un clic. Un cordon d'alimentation secteur de 3 m est en vente auprès du service après-vente.

Instructions de montage
Le cordon d'alimentation secteur doit uniquement être remplacé par un cordon d'origine. Celui-ci est disponible auprès du service après-vente. L'encastrement doit garantir la protection contre les contacts accidentels. - Si l'afficheur de l'appareil reste nombre, cela signifie qu'il est mal raccordé. Débrancher l'appareil du secteur, vérifier le branchement.
Raccorder électriquement l'appareil avec une fiche de contact de sécurité
Remarque: L'appareil doit uniquement être raccordé à une prise avec fiche de contact de sécurité installée de manière réglementaire.
Insérez la fiche sur la prise de courant de sécurité. Si l'appareil est encastré, la fiche du cordon d'alimentation secteur doit être librement accessible ou, si un accès libre est impossible, un dispositif de sectionnement doit être installé dans l'installation électrique fixe, conformément aux réglementations d'installation.
Raccorder l'appareil électriquement sans fiche de contact de sécurité
Remarque: Seul du personnel qualifié et agréé peut raccorder l'appareil. En cas de dommages dus à un raccordement incorrect, il n'y a aucun droit à la garantie.
Un dispositif de sectionnement doit être intégré dans l'installation électrique fixe, conformément aux prescriptions d'installation.
- Identifiez le conducteur de phase et le conducteur neutre dans la prise de raccordement. L'appareil risque d'être endommagé en cas de raccordement incorrect.
- Effectuez le raccordement selon le schéma de raccordement. Pour la tension, reportez-vous à la plaque signalétique.
- Raccordez les fils du cordon d'alimentation secteur conformément au code de couleur :
- vert jaune : conducteur de protection - bleu = (neutre) conducteur neutre.
- marron = phase (conducteur externe)
30.8 Installer l'appareil
- Poussez l'appareil jusqu'au fond et centrez-le.

- Vissez fermement l'appareil.

Remarque: L'écart entre le plan de travail et l'appareil ne peut pas être obturé par des baguettes supplémentaires.
Aucune baguette de protection thermique ne doit être montée sur les parois latérales du meuble d'encastrement.
30.9 Pour les cuisines sans poignée avec baguette poignée verticale :
- Fixez une pièce d'obturation appropriée des deux côtés pour couvrir les éventuels bords tranchants et garantir une installation sûre.

- Fixez la pièce de replissage au meuble.
- Pré-percez la pièce de replissage et le meuble pour réaliser un raccord à vis.

- Fixez l'appareil avec une vis.

30.10 Dépôt de l'appareil
- Mettez l'appareil hors tension.
- Desserrez les vis de fixation.
- Soulevez légèrement l'appareil et retirez-le complètement.
Fabriqué par BSH Hausgeräte GmbH sous la licence de marque de Siemens AG
BSH Hausgeräte GmbH
Carl-Wery-Straße 34
81739 Munich, GERMANY
Notice Facile