RevueLED 120 COB - Éclairage Stairville - Notice d'utilisation et mode d'emploi gratuit
Retrouvez gratuitement la notice de l'appareil RevueLED 120 COB Stairville au format PDF.
| Caractéristiques techniques | LED COB, puissance 120W, température de couleur 3200K, flux lumineux 12000 lumens |
|---|---|
| Utilisation | Idéal pour les spectacles, concerts, événements et installations scéniques |
| Maintenance et réparation | Vérifier régulièrement les connexions électriques et nettoyer les lentilles pour un éclairage optimal |
| Sécurité | Utiliser uniquement avec une alimentation appropriée, éviter l'exposition à l'eau et à l'humidité |
| Informations générales | Poids : 3,5 kg, dimensions : 300 x 200 x 150 mm, garantie de 2 ans |
FOIRE AUX QUESTIONS - RevueLED 120 COB Stairville
Questions des utilisateurs sur RevueLED 120 COB Stairville
0 question sur cet appareil. Repondez a celles que vous connaissez ou posez la votre.
Poser une nouvelle question sur cet appareil
Téléchargez la notice de votre Éclairage au format PDF gratuitement ! Retrouvez votre notice RevueLED 120 COB - Stairville et reprennez votre appareil électronique en main. Sur cette page sont publiés tous les documents nécessaires à l'utilisation de votre appareil RevueLED 120 COB de la marque Stairville.
MODE D'EMPLOI RevueLED 120 COB Stairville
1.1 Informations complémentaires 6 1.2 Conventions typographiques 7 1.3 Symboles et mots-indicateurs 8
2 Consignes de sécurité 11 3 Performances 15 4 Installation 17 5 Mise en service 21 6 Connexions et éléments de commande 24 7 Utilisation 27
7.1 Mise en marche de I'appareil 27 7.2CommandesurI'appareil 27 7.3Vue d'ensemble du menu 42 7.4 Fonctions en mode DMX 1 canal. 43 7.5 Fonctions en mode DMX 2 canaux (mode 1) 44
7.6 Fonctions en mode DMX 2 canaux (mode 2) 44 7.7 Fonctions en mode DMX 3 canaux 45 7.8 Fonctions en mode DMX 4 canaux 46
8 Données techniques 47 9 Cables et connecteurs 50 10 Dépannage 51 11 Nettoyage 53 12 Protection de l'environnement 54

projecteur LED
1 Remarques générales
La présente notice d'utilisation contient des remarques importantes à propos de l'utilisation en toute sécurité de cet appareil. Lisez et respectez les consignes de sécurité et les instructions fournies. Conservez cette notice en vue d'une utilisation ultérieure. Veillez à ce que tous les utilisateurs de l'appareil puissent la consulter. En cas de vente de l'appareil, vous devez impérativement remettre la présente notice à l'acheteur.
Nos produits et notices d'utilisation sont constamment perfectionnés. Toutes les informations sont donc fournies sous réserve de modifications. Veuillez consulter la dernière version de cette notice d'utilisation disponible sous www.thomann.de.
1.1 Informations complémentaires
Sur notre site (www.thomann.de) vous trouvez beaucoup plus d'informations et de détails sur les points suivants :
| Téléchargement Cette notice d'utilisation est également disponible sous forme de fichier PDF à télécharger. | |
| Recherche par mot-clé | Utilisez dans la version électronique la fonction de recherche pour trouverrapidement les sujets qui vousinteressent. |
| Guides en ligne | Nos guides en ligne fournissant des informations détaillées sur les bases et termes techniques. |
| Conseils personnalisés | Pour obtenir des conseils, veuilles contacter notre hotline technique. |
| Service | Si vous ave des problèmes avec l'appareil, notre service clients sera heures de vous aider. |

projecteur LED
1.2 Conventions typographiques
Cette notice d'utilisation utilise les conventions typographiques suivantes :
Inscriptions
Les inscriptions pour les connecteurs et les éléments de commande sont entre crochets et en italique.
Exemples: bouton [VOLUME], touche [Mono].
Affichages
Des textes et des valeurs affichés sur l'appareil sont indiqués par des guillemets et en italique.
Exemples : «ON»/«OFF»
Les différences étapes d'une instruction sont numérotées consécutivement. Le résultat d'une étape est en retrait et mis en évidence par une flèche.
- Allumez l'appareil.
- Appuyez sur [AUTO].
Le fonctionnement automatique est démarré.
- Eteignez l'appareil.
1.3 Symboles et mots-indicateurs
Cette section donne un aperçu de la signification des symboles et mots-indicateurs utilisés dans cette notice d'utilisation.

projecteur LED
Terme générique signification
DANGER directe se traduisant par de graves lésions voire la mort si cette-ci ne peut être évitée.
AVERTISSEMENT potentielle pouvant se traduire par de graves lésions voire la mort si celle-ci ne peut être évitée.
REMARQUE s dommages matériels et sur l'environnement si celle-ci ne peut être évitée.
Symbole d'avertissement type de danger

Avertissement : tension électrique dangereuse.
Symbole d'avertissement type de danger

Avertissement : rayonnement optique dangereux.

Avertissement : charge suspendue.

Avertissement : emplacement dangereux.

projecteur LED
Utilisation conforme
Cet appareil est conçu pour produire un effet d'éclairage électronique au moyen de la technique LED. Cet appareil a été conçu pour un usage professionnel et ne convient pas à une utilisation domestique. Utilisez l'appareil uniquement selon l'utilisation prévue, telle que décrite dans cette notice d'utilisation. Toute autre utilisation, de même qu'une utilisation sous d'autres conditions de fonctionnement, sera considérée comme non conforme et peut occasionner des dommages corporels et matériels. Aucune responsabilité ne sera assumée en cas de dommages résultant d'une utilisation non conforme.
L'appareil doit uniquement être utilisé par des personnes en pleine possession de leurs capacités physiques, sensorielles et mentales et disposant des connaissances et de l'expérience requises. Toutes les autres personnes sont uniquement autorisées à utiliser l'appareil sous la surveillance ou la direction d'une personne chargée de leur sécurité.

Prolongez la durée de vie de l'appareil par des arrêts réguliers en évitant de mettre l'appareil souvent en marche et en arrêt. L'appareil ne convient pas au fonctionnement en continu.
Dangers pour les enfants
Assurez-vous d'une élimination correcte des enveloppes en matière plastique et des emballages. Ils ne doivent pas se trouver à proximité de bébés ou de jeunes enfants. Danger d'étouffement! Veillez à ce que les enfants ne détachent pas de petites pièces de l'appareil (par exemple des boutons de commande ou similaires). Les enfants pourraient avaler les pièces et s'étouffer. Ne laissez jamais des enfants utiliser des appareils électriques.

Décharge électrique due aux tensions élevées circulant à l'intérieur de l'appareil
Des pièces sous haute tension sont installées à l'intérieur de l'appareil. Ne démontez jamais les caches de protection. Les pièces à l'intérieur de l'appareil ne nécessitant aucun entretien de la part de l'utilisateur. N'utilisez pas l'appareil lorsque des caches, dispositifs de protection ou composants optiques manquent ou sont endommagés.

Décharge électrique due à un court-circuit
Utilisez toujours un câble d'alimentation électrique à trois fils et isolé correctement. Ne modifiez pas le câble d'alimentation. En cas de non-respect, il y a risque de décharge électrique et danger d'incendie et de mort. En cas de doute, veuillez contacter votre electricien/agree.

Blessures des yeux dues à une intensité lumineuse élevée
Ne regardez jamais directement dans la source lumineuse.

projecteur LED

Danger de crise d'épilepsie
Les flashs (effets stroboscopiques) peuvent provoquer des crises d'épilepsie chez les personnes sensibles. Les personnes sensibles devraient éviter de regarder les flashes.

Risque de blessures par la chute de l'appareil
Assurez-vous que le montage est conforme aux normes et consignes en vigueur dans votre pays. Sécurisez toujours l'appareil à l'aide d'une seconde fixation, par exemple un câble d'arrêt de sécurité ou une chaîne de sécurité. Sécurisez le volet réglable après le montage par un câble de sécurité au projecteur. Le câble de sécurité doit cheminer en dehors du volet réglable et ne doit pas affecter la sortie de la lumière.

Risque d'incendie
Ne recouvre jamais les fentes d'aération. Ne montez pas l'appareil à proximité directe d'une source de chaleur. Tenez l'appareil éloigné des flammes nues.

Risque d'incendie et de surchauffe
Le fonctionnement avec des volets coupe-flux fermés peut causer un incendie ou une surchauffe dans le projecteur. La durée de vie des LED se réduit à cause des volets coupe-flux fermés. Dans le cas contraire, le thermostat intégré déclenchera une coupure thermique raisonnable. Utilisez l'appareil seulement avec des volets coupe-flux ouverts.
Conditions d'utilisation
L'appareil est conçu pour une utilisation en intérieur. Pour ne pas l'endommager, n'exposez jamais l'appareil à des liquides ou à l'humidité. Évitez toute exposition directe au soleil, un encrassement important ainsi que les fortes vibrations. Utilisez l'appareil seulement sous les conditions d'environnement indiquées dans le chapitre « Données techniques » de la notice d'utilisation. Évitez de fortes variations de température et ne mettez pas en marche l'appareil immédiatement après des variations de température (p. ex. après le transport par temps froid). Les dépôts de poussière et salissures à l'intérieur peuvent endommager l'appareil. Lors des conditions d'environnement correspondantes (poussière, fumée, nicotine, brouillard, etc.), l'appareil doit être maintenu régulièrement par un professionnel dûment qualifié pour éviter des dommages par surchauffe et d'autres dysfonctionnements.
Alimentation électrique
Avant de raccorder l'appareil, contrôlez si la tension indiquée sur l'appareil correspond à la tension de votre réseau d'alimentation local et si la prise de courant est équipée d'un disjoncteur différentiel. En cas de non-observation, l'appareil pourrait être endommagé et l'utilisateur risquerait d'être blessé. Lorsqu'un orage s'annonce ou que l'appareil ne doit pas être utilisé pendant une période prolongée, débranchez-le du secteur afin de réduire le risque de décharge électrique ou d'incendie.
Éventuels dommages dus à un fusible incorrect
L'utilisation des fusibles d'un autre type peut entraîner des dommages graves sur l'appareil. Risque d'incendie! Utilisez uniquement des fusibles du même type.
3 Performances
Le RevueLED 120 COB True White CW WW est conçu comme projecteur LED professionnel pour une utilisation sur les scènes de théâtre, dans des expositions et dans les productions médiatiques.
Caractéristiques particulières de l'appareil :
LED COB 120 W (blanc chaud et blanc froid) Température de couleur librement réglable de 2800 K à 7800 K Répartition homogène de la lumière sur l'ensemble de la zone d'illumination Activation via DMX ainsi que par le biais des touches et de l'écran de l'appareil Fonctionnement maître / esclave Commande par la musique • fonctionnement silencieux grâce à un refroidissement par convection active régulé par la température Coupe-flux montés Conques pour une installation debout et suspendue Câble secteur fourni
Pour des raisons technologiques, la puissance lumineuse des LEDs se réduit pendant la durée de vie. Cet effet augmente à une température de fonctionnement élevée. Vous pouvez prolonger la durée d'utilisation des agents lumineux en vérifiant que la ventilation est toujours suffisante et en faisant fonctionner les LEDs à une luminosité aussi faible que possible.

projecteur LED
4 Installation
Sortez l'appareil de son emballage et vérifiez soigneusement l'absence de tout dommage avant de l'utiliser. Veuillez conserver l'emballage. Utilisez l'emballage d'origine ou vos propres emballages particulièrement appropriés au transport ou à l'entreposage afin de protégérl'appareil des secousses, de la poussière et de l'humidité pendant le transport et l'entreposage.

Risque de blessures par la chute de l'appareil
Assurez-vous que le montage est conforme aux normes et consignes en vigueur dans votre pays. Sécurisez toujours l'appareil à l'aide d'une seconde fixation, par exemple un cable d'arrêt de sécurité ou une chaîne de sécurité.
Sécurisez le volet réglable après le montage par un câble de sécurité au projecteur. Le câble de sécurité doit cheminer en dehors du volet réglable et ne doit pas affecter la sortie de la lumière.
La distance entre la source de lumière et la surface éclairée doit être supérieure à 1,5 m.
Vérifiez que la ventilation est toujours suffisante.
La température ambiante doit toujours être inférieure à 40°C.

Utilisation de trépieds
En cas de montage de l'appareil sur un trépied, veillez à ce qu'il soit stable et que le poids de l'appareil ne dépasse pas la capacité admissible du trépied.

projecteur LED

Risque de perturbations durant la transmission des données
Afin de garantir un fonctionnement irréprochable, n'utilisez pas des câbles de microphone courants, mais des câbles DMX spéciaux.
Ne raccordez jamais l'entrée ou la sortie DMX à des périphériques audio tels que tables de mixage ou amplificateurs.
Possibilités de fixation
Vous pouvez installer l'appareil debout ou avec la tête en bas. Pendant son utilisation, l'appareil doit toujours être fixe sur une surface solide ou un support certifié. Utilisez les ouvertures prévues pour la fixation de l'étrier en deux parties.
Travailliez toujours à partir d'une plate-forme stable lors de l'installation, du déplacement ou de l'entretien de l'appareil. Pendant ce temps, la zone située en-dessous de l'appareil doit être bloquée.
Le câble de retenue doit être attaché à l'œillet pour la corde de sécurité.
Assurez-vous que cet appareil ne soit pas raccordé à un gradateur.

projecteur LED
5 Mise en service
Établissez toutes les connexions tant que l'appareil n'est pas branché. Pour toutes les connexions, utilisez des câbles de qualité qui doivent être les plus courts possibles. Posez les câbles afin que personne ne marche dessus ni ne trébuche.
Connexions en mode DMX
Raccordez l’entrée DMX de l’appareil à la sortie DMX d’un contrôleur DMX ou d’un autre appareil DMX. Raccordez la sortie du premier appareil DMX à l’entrée du second appareil et ainsi de suite. Vérifiez que la sortie du dernier appareil DMX de la chaîne est terminée avec une résistance (110, 1/4W).


projecteur LED
Connexions en mode de fonctionnement « Maître/Esclave »
Si vous configurez un groupe d'appareils en mode maître/esclave, le premier appareil commande les autres et permet un spectacle automatique piloté et synchronisé par la musique. Cette fonction est particulièrement utile pour démarrer un spectacle sans grands travaux de programmation. Connectez la sortie DMX de l'appareil maître avec l'entrée DMX du premier appareil esclave. Connectez ensuite la sortie DMX du premier appareil esclave à l'entrée esclave du deuxième appareil esclave, et ainsi de suite.
6 Connexions et éléments de commande



projecteur LED
| 1 Poignée double pour la mise en place ou l'accrochage | |
| 2 Sortie de luminè, 1 × 120 W COB True White CW WW | |
| 3 Coupe-flux | |
| 4 [DMX INPUT] | Entrée DMX |
| [DMX OUTPUT]Sortie DMX | |
| 5 [POWER IN] | Prise d'entrée verrouillable (Power Twist) |
| [POWER OUT]Prise de sortie verrouillable (Power Twist) pour l'alimentation électrique d'autres apparueils | |
| 6 Vis de blocage de la poignée | |
| 7 Porte-fusible | |
| 8 Écran | |
Pour activer le menu principal ou un sous-menu.
[UP]
Navigue vers le haut dans une liste de menus. Incrément la valeur affichée d'une unité.
[DOWN]
Navigue vers le bas dans une liste de menus. Décrémente la valeur affichée d'une unité.
[ENTER]
Pour confirmer une valeur sélectionnée.
9 Clip pour une corde de sécurité

projecteur LED
7.1 Mise en marche de l'appareil
Branchez l'appareil sur le secteur pour le faire démarrer. L'appareil est immédiatement prêt à fonctionner.
Commande des menus
- Appuyez sur [MENU] pour ouvrir le menu principal.
- Appuyez sur [UP] et [DOWN], pour sélectionner le paramètre souhaité ou modifier la valeur respectivement affichée.
- Lorsque l'écran affiche la valeur ou le paramètre souhaité, appuyez sur [ENTER].
Le sous-menu respectif s'affiche ou la nouvelle valeur est confirmée.
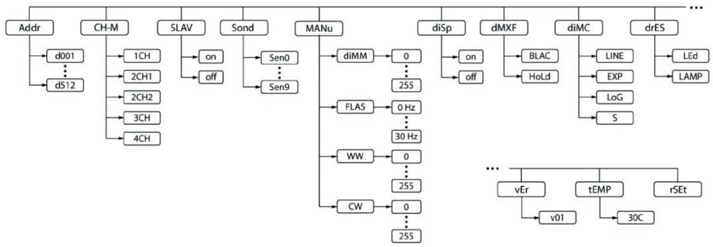
Adresse DMX
- Pour revenir au niveau de menu précédent sans modification, appuyez sur [MENU].
Pour réinitialiser l'appareil sur les réglages standard, maintenez [MENU] appuyé pendant 5 secondes.
- Appuyez sur [MENU] et appuyez sur [UP] ou [DOWN] à plusieurs reprises jusqu'à ce que l'écran affiche « Addr »
- Appuyez sur [ENTER].
- Sélectionnez à l'aide de [UP] ou [DOWN] l'adresse DMX souhaitée entre 001 et 512 (Affiche « d.001 »... « d.512 »). Assurez-vous que ce numéro est ajusté à la configuration de votre contrôleur DMX.
- Confirmez la sélection par [ENTER].
La sélection est enregistrée.
Ce réglage n'est utile que lorsque l'appareil est commandé par le biais de DMX.

projecteur LED
Mode DMX
- Appuyez sur [MENU] et appuyez sur [UP] ou [DOWN] à plusieurs reprises jusqu'à ce que l'écran affiche « CH-M »
- Appuyez sur [ENTER].
- À l'aide de [UP] ou [DOWN], sélectionnez le mode DMX souhaité (affichage « 1CH », « 2CH1 », « 2CH2 », « 3CH », « 4CH »).
- Confirmez la sélection par [ENTER].
La sélection est enregistrée.
Ce réglage n'est utile que lorsque l'appareil est commandé par le biais de DMX.
- Appuyez sur [MENU] et appuyez sur [UP] ou [DOWN] à plusieurs reprises jusqu'à ce que l'écran affiche « SLAV »
- Avec [UP] et [DOWN] sélectionnez l'option « ON », pour activer le mode esclave.
- Confirmez la sélection par [ENTER].
La sélection est enregistrée.
L'appareil fonctionne alors en mode esclave, c'est-à-dire qu'avec un raccordement correct, il se comportera exactement comme l'appareil maître.
- Avec [UP] ou [DOWN], sélectionnez l'option « OFF », pour désactiver le mode esclave.
- Confirmez la sélection par [ENTER].
La sélection est enregistrée.
Ce réglage n'est utile que lorsque l'appareil n'est pas commandé par le biais de DMX.

projecteur LED
Commande par la musique
- Appuyez sur [MENU] et appuyez sur [UP] ou [DOWN] à plusieurs reprises jusqu'à ce que l'écran affiche « Sond »
- À l'aide de [UP] ou [DOWN], sélectionnez la valeur souhaitée pour la sensibilité du microphone intégré. Une valeur comprise entre « SEn0 » (basse) et « SEn9 » (élevée) peut être précisée pour la sensibilité du microphone intégré.
- Confirmez la sélection par [ENTER].
La sélection est enregistrée.
Luminosité gradateur
- Appuyez sur [MENU] et appuyez sur [UP] ou [DOWN] à plusieurs reprises jusqu'à ce que l'écran affiche « MANU »
- À l'aide de [UP] ou [DOWN] sélectionnez le sous-menu « dIMM » pour régler la luminosité du gradateur et confirmez la sélection avec [ENTER].
- À l'aide de [UP] ou [DOWN] sélectionnez la valeur souhaitée pour la luminosité du gradateur. Une valeur comprise entre « 0 » (basse) et « 255 » (élevée) peut être précisée pour la luminosité du gradateur.
- Confirmez la sélection par [ENTER].
La sélection est enregistrée.

projecteur LED
Fréquence du clignotement
- Appuyez sur [MENU] et appuyez sur [UP] ou [DOWN] à plusieurs reprises jusqu'à ce que l'écran affiche « MANU »
- À l'aide de [UP] ou [DOWN] sélectionnez le sous-menu « FLAS » pour régler la fréquence du clignotement et confirmez la sélection avec [ENTER].
- À l'aide de [UP] ou [DOWN] sélectionnez la valeur souhaitée pour la fréquence du clignotement. Une valeur comprise entre « 0 Hz » (basse) et « 30 Hz » (élevée) peut être pour la fréquence du clignotement.
- Confirmez la sélection par [ENTER].
La sélection est enregistrée.
Luminosité blanc chaud
- Appuyez sur [MENU] et appuyez sur [UP] ou [DOWN] à plusieurs reprises jusqu'à ce que l'écran affiche « MANU »
- À l'aide de [UP] ou [DOWN] sélectionnez le sous-menu « ww » pour régler la luminosité de la LED blanc chaud et confirmez la sélection avec [ENTER].
- À l'aide de [UP] ou [DOWN] sélectionnez la valeur souhaitée pour la luminosité de la LED blanc chaud. Une valeur comprise entre « 0 » (basse) et « 255 » (élevée) peut être sélectionnée pour la luminosité de la LED blanc chaud.
- Confirmez la sélection par [ENTER].
La sélection est enregistrée.

projecteur LED
Luminosité blanc froid
- Appuyez sur [MENU] et appuyez sur [UP] ou [DOWN] à plusieurs reprises jusqu'à ce que l'écran affiche « MANU »
- À l'aide de [UP] ou [DOWN] sélectionnez le sous-menu « Cw » pour régler la luminosité de la LED blanc froid et confirmez la sélection avec [ENTER].
- À l'aide de [UP] ou [DOWN] sélectionnez la valeur souhaitée pour la luminosité de la LED blanc froid. Une valeur comprise entre « 0 » (basse) et « 255 » (élevée) peut être désignée pour la luminosité de la LED blanc froid.
- Confirmez la sélection par [ENTER].
La sélection est enregistrée.
- Appuyez sur [MENU] et appuyez sur [UP] ou [DOWN] à plusieurs reprises jusqu'à ce que l'écran affiche « DISP »
- Avec [UP] ou [DOWN], sélectionnez l'option « ON », si l'affichage de l'écran doit s'allumer durablement.
- Avec [UP] ou [DOWN] selectionnez l'option « OFF », si l'affichage de l'écran doit s'éteindre automatiquement en cas d'inactivité.
- Confirmez la sélection par [ENTER].
La sélection est enregistrée.

projecteur LED
Comportement en cas de panne de la commande DMX
- Appuyez sur [MENU] et appuyez sur [UP] ou [DOWN] à plusieurs reprises jusqu'à ce que l'écran affiche « DMXF »
- Avec [UP] ou [DOWN] selectionnez « BLAC » lorsque le projecteur doit être obscurci en cas de panne de la commande DMX.
- Avec [UP] ou [DOWN] selectionnez « Hold » lorsque le projecteur doit conserver le dernier effet réglé en cas de panne de la commande DMX.
- Confirmez la sélection par [ENTER].
La sélection est enregistrée.
- Appuyez sur [MENU] et appuyez sur [UP] ou [DOWN] à plusieurs reprises jusqu'à ce que l'écran affiche « diMC »
- Vous pouvez maintenant sélectionner l'une des courbes gradateur indiquées ci-après avec [UP] et [DOWN]. La courbe gradateur détermine la croissance ou la décroissance de la luminosité en fonction de la valeur DMX réglée.
- Confirmez la sélection par [ENTER].
La sélection est enregistrée. En fonction de la valeur DMX régée, l'appareil s'allume avec une luminosité entre 0% et 100%.
La figure montre le schéma gradateur réglable.





projecteur LED
| AffichageSignification | |
| « LINE » Linéaire | Courbe linéaire (proportionnelle) |
| « S » S-Type | courbe non linéaire avec courbe plate prononcée au début et à la fin |
| « EXP » InvSquare | courbe quadratique inverse avec courbe raide au début et courbe plate à la fin |
| « LoG » Square | courbe quadratique avec courbe plate au début et courbe raide à la fin |
Comportement du gradateur
- Appuyez sur [MENU] et appuyez sur [UP] ou [DOWN] à plusieurs reprises jusqu'à ce que l'écran affiche « DES »
- Avec [UP] ou [DOWN] sélectionnez «LED» lorsque le comportement du gradateur doit être activé comme LED.
- Avec [UP] ou [DOWN] selectionnez « LAMP » lorsque le comportement du gradateur doit être activé comme projecteur.
- Confirmez la sélection par [ENTER].
La sélection est enregistrée.
Version du logiciel
- Appuyez sur [MENU] et appuyez sur [UP] ou [DOWN] à plusieurs reprises jusqu'à ce que l'écran affiche « VERSION »
- Confirmez la sélection par [ENTER]. L'écran affiche la version du logiciel de l'appareil.
- Appuyez sur [MENU] pour revenir au menu principal.

projecteur LED
Température de l'appareil
- Appuyez sur [MENU] et appuyez sur [UP] ou [DOWN] à plusieurs reprises jusqu'à ce que l'écran affiche « TEMP »
- Confirmez la sélection par [ENTER]. L'écran affiche la température de l'appareil.
- Appuyez sur [MENU] pour revenir au menu principal.
7.3 Vue d'ensemble du menu


projecteur LED
Mode DMX
Connectez l'appareil via les connexions XLR à un contrôleur DMX. L'appareil peut être commandé en mode à 1, 2, 3 ou 4 canaux.
7.4 Fonctions en mode DMX 1 canal
| Canal Valeur Fonction | |
| 1 0...255 Luminosité du gradateur (0 % – 100 %) |
7.5 Fonctions en mode DMX 2 canaux (mode 1)
| Canal Valeur Fonction |
| 1 0 ... 255 Luminosité du gradateur (0 % - 100 %) |
| 2 0 ... 005 Le réglage de la température de couleur suit la commande du gradateur. |
| 006 ... 255 Température de couleur 2800 K - 7800 K |
7.6 Fonctions en mode DMX 2 canaux (mode 2)
| Canal Valeur Fonction |
| 1 0 ... 255 Intensité du blanc chaud (0 % – 100 %) |
| 2 0 ... 255 Intensité du blanc froid (0 % – 100 %) |

projecteur LED
7.7 Fonctions en mode DMX 3 canal
| Canal Valeur Fonction | |
| 1 0 ... 255 Luminosité duGradateur (0 % – 100 %) | |
| 2 0 ... 005 Stroboscope activé | |
| 006 ... 255 Vitesse du stroboscope, de lent à rapide (1 Hz– 30 Hz) | |
| 3 0 ... 005 Le réglage de la température de couleur suit la commande du gradateur. | |
| 006 ... 255 Température de couleur 2800 K – 7800 K | |
7.8 Fonctions en mode DMX 4 canal
| Canal Valeur Fonction | |
| 1 0 ... 255 Luminosité du gradateur (0 % – 100 %) | |
| 2 0 ... 005 Stroboscope activé | |
| 006 ... 255 Vitesse du stroboscope, de lent à rapide (1 Hz– 30 Hz) | |
| 3 0 ... 255 Intensité du blanc chaud (0 % – 100 %) | |
| 4 0 ... 255 Intensité du blanc froid (0 % – 100 %) |

projecteur LED
8 Données techniques



| Source lumineuse 1 × 120 W COB True White CW WW | ||
| Caracteristiques de la source lumineuse Température de couleur 2800...7800 K | ||
| Puisance lumineuse 20000 lux pour 1 m | ||
| Flux lumineux 7000 lm | ||
| Caracteristiques optiques Angle de dispersion 50°, symétrie axiale | ||
| Contrôle DMX, touches et écran sur l'appareil | ||
| Nombre de canaux DMX 1, 2, 3 ou 4 | ||
| Connexions d'entrée Alimentation électrique | Prise d'entrée verrouillable (Power Twist) | |
| Contrôle par DMX Prise XLR, 3 pôles | ||
| Connexions de sortie Alimentation en tension, autres appar兼s Prise de sortie verrouillable (Power Twist) | ||
| Contrôle par DMX Prise XLR, 3 pôles | ||
| Puisance consommée 120 W | ||
| Tension d'alimentation | 100 - 240 V ~50/60 Hz | |
| Fusible 5 mm × 20 mm, 2 A, 250 V, rapide | ||

projecteur LED
| Indice de protection IP20 | |
| Options de montage Suspendu, debout | |
| Dimensions (L × H × P) 440 mm × 250 mm × 160 mm | |
| Poids 5,5 kg | |
| Conditions d'environnement Plage de température 0 °C...40 °C | |
| Humidité relative 20 %...80 % (sans condensation) |
Informations complémentaires
| Construction Cannon | |
| Boîtier de sol Oui | |
| sans ventilateur Non | |
| Télécommande Pas possible | |
| DMX sans filNon | |
| Couleur du boîtier Noir |
Préambule
Ce chapitre vous aide à choisir les bons câbles et connecteurs et à raccorder votre précieux équipement de sorte qu'une expérience lumineuse parfaite soit garantie.
Veuillez suivre ces conseils, car il est préférible d'être prudent, particulièrement dans le domaine des sons et lumières. Même si une fiche va bien dans une prise, le résultat d'une mauvaise connexion peut être un contrôleur DMX détruit, un court-circuit ou « seulement » un spectacle lumière qui ne fonctionne pas.
Connexions DMX

Une prise XLR tripolaire sert de prise DMX, une fiche XLR tripolaire d'entrée DMX. Le dessin et le tableau ci-dessous montrent le brochage d'un couplage adapté.
1 Terre (blindage) 2 Signal inverse (DMX-, point froid) 3 Signal (DMX+, point chaud)

projecteur LED

Remarque! risque de perturbations durant la transmission des données
Afin de garantir un fonctionnement irréprochable, n'utilisez pas des câbles de microphone courants, mais des câbles DMX spéciaux.
Ne raccordez jamais l'entrée ou la sortie DMX à des périphériques audio tels que tables de mixage ou amplificateurs.
Nous mentionnons ci-après quelques problèmes susceptibles de se produire en fonctionnement. Vous trouverez sous ce point quelques propositions de dépannage simple :
| Symptôme Remède | |
| L'appareil ne fonctionne pas, pas de lumière | Vérifiez le branchement électrique et le fusible. |
| Aucune réaction sur le contrôleur DMX | 1. Vérifiez le bon raccordement des connexions et du cable DMX. |
| 2. Vérifiez le réglage des adresses et la polarité DMX. | |
| 3. Faites un essai avec un autre contrôleur DMX. | |
| 4. Vérifiez si le cable DMX se trouve à proximate ou à côté de cables à haute tension, ce qui pourrait induire des perturbations ou créé des dommages à un circuit d'in-terfaçage DMX. |
Si vous ne réussissez pas à éliminer le dérangement avec les mesures proposées, veuillez contacter notre centre de service. Vous trouvez les coordonnées de contact sur le site www.thomann.de.

projecteur LED
Lentilles optiques
Nettoyez les lentilles optiques accessibles de l’extérieur afin d’optimiser la puissance lumineuse. La fréquence du nettoyage dépend de l’environnement de fonctionnement : les environnements humides, enfumés ou particulièrement sales peuvent causer des dépôts de poussières importants sur le système optique de l’appareil.
Effectuez le nettoyage avec un chiffon doux et notre nettoyant pour luminaires et lentilles (n° art. 280122). Séchez toujours les pièces avec soin.
Grilles d'aération
Les grilles d'aération de l'appareil doivent être débarrassées des impuretés comme la poussière, etc. Éteignez l'appareil avant le nettoyage et débranchez les appareils du secteur. Utilisez exclusivement des produits de nettoyage pH neutre, sans solvant et non abrasifs. Nettoyez l'appareil avec un chiffon légèrement humide qui ne peluche pas.
12 Protection de l'environnement
Recyclage des emballages

Pour les emballages, des matériaux écologiques ont été retenus qui peuvent être recyclés sous conditions normales. Assurez-vous d'une élimination correcte des enveloppes en matière plastique et des emballages.
Ne jetez pas tout simplement ces matériaux, mais faites en sorte qu'ils soient recyclés. Tenez compte des remarques et des symboles sur l'emballage.

projecteur LED
Recyclage de votre ancien appareil

Ce produit relève de la directive européenne relative aux déchets d'équipements électriques et électroniques (DEEE) dans sa version en vigueur. Il ne faut pas éliminer votre ancien appareil avec les déchets domestiques.
Recyclez ce produit par l'intermédiaire d’une entreprise de recyclage agréée ou les services de recyclage communaux. Respectez la réglementation en vigueur dans votre pays. En cas de doute, contactez le service de recyclage de votre commune.
Notice Facile