Ikon Profile - Éclairage Adj - Notice d'utilisation et mode d'emploi gratuit
Retrouvez gratuitement la notice de l'appareil Ikon Profile Adj au format PDF.
| Caractéristiques techniques | Type d'éclairage : LED, Puissance : 30W, Lumens : 3000lm, Température de couleur : 4000K |
|---|---|
| Utilisation | Convient pour un éclairage intérieur et extérieur, idéal pour les espaces commerciaux et résidentiels. |
| Maintenance et réparation | Remplacement des ampoules non nécessaire, nettoyage régulier avec un chiffon doux recommandé. |
| Sécurité | Certifié IP65, résistant à l'eau et à la poussière, installation conforme aux normes électriques en vigueur. |
| Informations générales | Durée de vie estimée : 50 000 heures, garantie : 2 ans, disponible en plusieurs finitions. |
FOIRE AUX QUESTIONS - Ikon Profile Adj
Questions des utilisateurs sur Ikon Profile Adj
0 question sur cet appareil. Repondez a celles que vous connaissez ou posez la votre.
Poser une nouvelle question sur cet appareil
Téléchargez la notice de votre Éclairage au format PDF gratuitement ! Retrouvez votre notice Ikon Profile - Adj et reprennez votre appareil électronique en main. Sur cette page sont publiés tous les documents nécessaires à l'utilisation de votre appareil Ikon Profile de la marque Adj.
MODE D'EMPLOI Ikon Profile Adj
Déballage : Nous vous remercions d'avoir choisi la mini-découpe Ikon Profile d'American DJ®. Chaque Ikon Profile a été minutieusement testée et expédiée en parfait état de fonctionnement.
Veuillez inspecter avec minutie le carton d'emballage et vérifier qu'il n'a pas été endommagé durant le transport. Si le carton semble endommagé, veuillez inspecter soigneusement votre appareil pour vérifier qu'il ne comporte aucun dommage et que tous les accessoires nécessaires au bon fonctionnement de l'unité sont arrivés intacts. Si l'unité venait à être endommagée ou des accessoires à manquer, veuillez-vous mettre en rapport avec notre service clientèle afin d'obtenir des renseignements supplémentaires. Veuillez ne pas renvoyer cette unité à votre revendeur agréé avant d'avoir contacté notre service clientèle.
Introduction : L'Ikon Profile d'American DJ® est une mini-découpe à LED blanche 32W munie de 4 couteaux, d'un porte-gobo et d'un porte-filtre, ayant un angle d'ouverture variable manuellement de 15 à 30 degrés. L'Ikon Profile peut être configuré manuellement via l'affichage à 4 boutons de navigation, via protocole DMX ou avec la télécommande UC-IR ou l'app pour iOS « Airstream IR ». Elle est superbement adaptée pour les installations dans les clubs, productions théâtrales, les magasins, bars, discos mobiles et tout endroit ayant besoin d'une projection d'image ou d'une découpe pour accentuer la décoration ou par exemple des tables. Elle comprend 4 gobos métalliques et un gobo verre coloré.
Service clientèle : Si vous veniez à rencontrer quelque problème que ce soit mettez-vous en rapport avec votre revendeur American DJ. Vous pouvez également nous contacter directement à travers notre site Web www.americandj.eu ou par email à support@americandj.eu
Attention ! Pour éviter ou réduire le risque de décharge électrique ou d'incendie, veillez à ne pas exposer cet appareil à la pluie ou à l'humidité.
INSTRUCTIONS GÉNÉRALES
Afin d'optimiser le fonctionnement de cette unité, veuillez lire attentivement les instructions de fonctionnement pour vous familiariser avec le fonctionnement de base de cette unité. Ces instructions contiennent d'importantes consignes de sécurité relatives à l'utilisation et l'entretien de cette unité. Veuillez garder ce manuel avec votre unité pour consultation future.
CARACTÉRISTIQUES
• Double-lyre de suspension incluse
- 2 modes opérationnels : Mode manuel et mode DMX
- Mode autonome ou maître/esclave
- Affichage numérique pour configurations d'adresses et de fonctions
- Compatible avec la télécommande UC-IR d'ADJ (vendue séparément) et l'application pour iOS „Airstream IR“ (dongle IR inclus)
- Chainage de l'alimentation
• 4 couteaux, 5 gobos, 1 porte-gobo et un porte-filtre inclus
PRÉCAUTIONS DE MANIPULATION
Attention ! Il n'existe aucun composant pouvant être réparé par l'utilisateur à l'intérieur de cette unité. N'essayez pas de réparer l'unité vous-même, vous pourriez entraîner l'annulation de la garantie constructeur.
Si votre unité devait être envoyée en réparation, veuillez-vous mettre en rapport avec American DJ®.
Pendant son fonctionnement, le boîtier de l'unité peut devenir extrêmement chaud. Évitez de toucher l'unité à mains nues pendant son utilisation.
American DJ® n'acceptera aucune responsabilité relative à des dommages résultant du non-respect des instructions reprises dans ce manuel ou d'une modification non autorisée de l'unité.
CONSIGNES DE SECURITE
Pour votre propre sécurité veuillez lire et assimiler ce manuel dans sa totalité avant d'essayer ou d'utiliser cette unité !
Afin de prévenir tout risque de décharge électrique ou d'incendie, veuillez ne pas exposer l'unité à l'humidité ou la pluie.
Veillez à ne pas renverser d'eau ou d'autre liquide dans ou sur l'unité.
Assurez-vous que l'alimentation électrique locale est adaptée à celle requise pour la bonne utilisation de l'appareil.
N'essayez en aucun cas d'utiliser l'appareil si vous vous apercevez que le cordon d'alimentation est dénudé ou cassé.
N'essayez pas d'ôter ou de casser la broche de terre du cordon d'alimentation. La broche est conçue pour réduire le risque de décharge électrique et d'incendie en cas de court-circuit interne.
Débranchez l'unité de l'alimentation principale avant d'effectuer tout type de connexion.
N'ôtez en aucun cas le couvercle de l'unité. Aucun composant à l'intérieur de cette unité ne peut être réparé par l'utilisateur.
N'utilisez jamais l'unité si son couvercle est ôté.
Assurez-vous de monter l'unité dans un endroit bien ventilé. Assurez-vous de bien laisser un espace de 15 cm (6") entre l'unité et le mur.
Cette unité est conçue pour un usage intérieur exclusivement. L'utiliser en extérieur annule toute garantie.
Veillez à monter l'unité sur un support stable et fixe.
Les cordons d'alimentation doivent être disposés de manière à ce que personne ne marche dessus ou qu'ils ne soient pincés ni par les objets posés sur eux ni par ceux posés à leurs côtés. Faites attention également à leur sortie de l'unité.
CONSIGNES DE SECURITE (Suite)
Entretien : L'unité doit être nettoyée exclusivement selon les recommandations du fabricant. Voir page 15 pour les détails.
Chaleur : L'unité doit être placée loin des sources de chaleur telles que radiateurs, ventilation à air chaud, cuisinière ou autre appareil ménager produisant de la chaleur (y compris les amplis).
Cette unité ne doit être réparée que par du personnel qualifié quand :
A. des objets ou des liquides sont tombés ou ont été renversés sur l'unité ;
B. l'unité a été exposée à la pluie ou à l'eau ;
C. l'appareil ne semble pas fonctionner normalement ou montre des signes de fonctionnement anormal.
DISPOSITIONS

| DMX | ON | L’unité reçoit des signaux DMX |
| MASTER | ON | L’unité se trouve en Mode Maître |
| SLAVE | ON | L’unité se trouve en Mode Esclave |
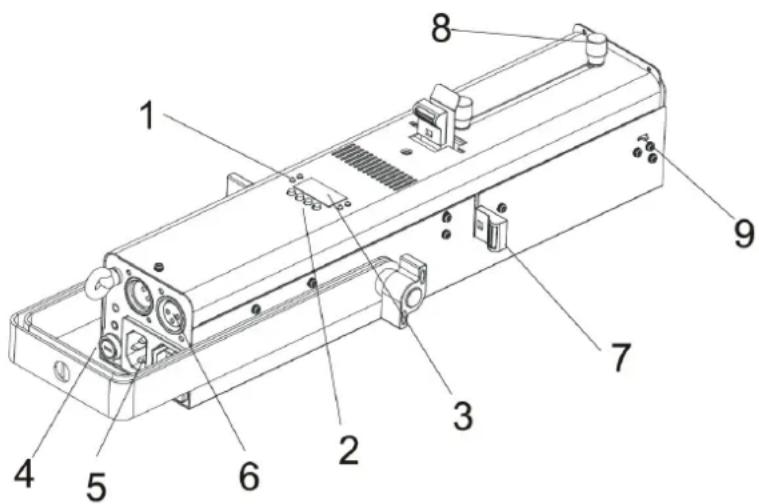
- Boutons de navigation :
| MENU | Pour sélectionner les fonctions de configuration |
| ▲ UP | Pour naviguer en avant dans les fonctions |
| ▼ DOWN | Pour retourner en arrière dans les fonctions |
| ENTER | Pour confirmer votre choix |
- Fusible (T 2A) : Protège l'unité de dommages causées par des fluctuations du courant électrique
- Affichage LCD : affiche les différents menus et fonctions
- Entrée/sortie CEI d'alimentation
- Entrée/sortie DMX 3 pôles pour pilotage par protocole DMX-512
- Couteaux : afin de définir la zone à éclairer
- Boutons rotatifs : pour ajuster et fixer l'angle d'ouverture de faisceau de 15 à 30 degrés ainsi que pour réglér le focus.
- Verrouillage du porte-filtre.
CONFIGURATION
Source d'alimentation : l'Iokn Profile 8 d'American DJ® est équipée d'un ballast électronique qui détecte automatiquement le voltage une fois l'unité branchée à l'alimentation électrique. Grâce au ballast électronique, vous n'avez pas à vous soucier du voltage local, cette unité peut être branchée où que ce soit.
DMX-512 : DMX est l'abréviation de Digital Multiplex. Le DMX est un protocole universel utilisé comme moyen de communication entre appareils et consoles/logiciels DMX intelligents. Une console DMX envoie des instructions DMX au format data (données) de la console à l'appareil. Les data DMX sont envoyés en série de data qui voyagent d'un appareil à l'autre via terminaux XLR, (entrée) DATA « IN » et (sortie) DATA « OUT », situés sur tous les appareils DMX (la majorité des consoles/logiciels DMX ne possèdent qu'un terminal de sortie DATA).
Chainage DMX : Le langage DMX permet aux appareils de toutes marques et modèles des différents constructeurs d'être raccordés entre eux et d'être pilotés depuis une seule console DMX, pour peu que tous les appareils et les commandes soient compatibles DMX. Lors de l'utilisation de plusieurs unités DMX, pour s'assurer d'une bonne transmission DATA DMX, essayez au possible d'utiliser le chaînage par câble le plus court. L'ordre dans lequel les unités sont chaînées dans un circuit DMX n'influence en aucun cas le pilotage DMX.

Par exemple, une unité à laquelle on aurait affecté l'adresse1l'adresse 1 peut être placée à n'importe quel endroit de la chaîne, au début, à la fin ou n'importe où au milieu. Quand on affecte l'adresse DMX 1 à une unité, la console DMX sait qu'il doit envoyer les DATA requises à l'adresse 1 de cette unité, quel que soit son emplacement dans le circuit.
Exigences de câble DATA (câble DMX) (pour fonctionnement DMX) : l'Ikon Profile peut être commandée via un protocole DMX-512. L'Ikon Profile est une unité DMX fonctionnant 3 canaux DMX. L'adresse DMX peut être configurée via l'affichage LCD à 4 boutons de navigation sur le dessus del'unité. Votre unité et votre console/logiciel DMX requièrent un câble DATA (Données) 110 Ohm homologué DMX-512 pour entrée et sortie de DATA (Figure 1). Nous recommandons l'utilisation de câbles DMX Accu-Cable. Si vous faites vos câbles vous-même, veillez à bien utiliser un câble blindé standard 110-120 Ohm. (Ce câble peut être acheté chez tous les revendeurs d'éclairage professionnel.) Vos câbles doivent comporter des connecteurs mâle et femelle à chaque extrémité. Rappelez-vous que les câble DMX se montent en Daisy Chain et ne se divisent pas. Pour diviser une ligne DMX, utilisez un répartiteur ou amplificateur DMX (DMX Booster/Branch)
Remarque : assurez-vous de suivre les instructions décrites en figures 2 et 3 lors de la fabrication artisanale de vos câbles. N'utilisez pas la prise de terre de votre connecteur XLR. Ne reliez pas le blindage du connecteur de votre câble à la prise de terre et ne permettez pas au blindage du conducteur d'entrer en contact avec le boîtier externe du XLR Reliez le blindage à la terre pourrait entraîner un court-circuit et un fonctionnement erratique.
Remarque spéciale : terminaison de ligne. Lorsque vous utilisez un long câble, il se peut que vous soyez amené à placer un bouchon sur la dernière unité pour éviter un fonctionnement erratique. Le bouchon est une résistance d'¼ W 90-120 Ohm qui est connectée entre la broche 2 et la broche 3 du connecteur XLR mâle (DATA + et DATA -). Cette unité est insérée dans le connecteur XLR femelle de la dernière unité de votre montage en Daisy Chain pour terminer la ligne. L'utilisation d'une terminaison de câble (Référence de composant ADJ Z-DMX/T) diminue la possibilité de fonctionnement erratique.
Le bouchon de terminaison réduit les erreurs de signal et évite le problèmes de transmission de signal et les interférences. Il est toujours recommandé de connecter un bouchon DMX (résistance 120 Ohm ¼ W) entre la broche 2 (DMX-) et la broche 3 (DMX+) de la dernière unité.

Figure 4
Connecteurs DMX XLR 5 broches Certains fabricants utilisent des connecteurs XLR 5 broches pour la transmission de données DATA au lieu de connecteurs 3 broches. Ces câbles XLR 5 broches peuvent être intégrés dans un circuit DMX 3 broches. Il est impératif d'utiliser un adaptateur de câbles lorsque vous insérez des connecteurs XLR 5 broches dans un circuit 3 broches, ils se trouvent généralement dans la plupart des magasins de vente de pièces électroniques. Le tableau suivant indique en détail la conversion correcte d'un câble.
| Conversion XLR 3 broches en XLR 5 broches | ||
| Conducteur | Femelle XLR 3 broches (sortie) | Mâle XLR 5 broches (entrée) |
| Terre/blindage | Broche 1 | Broche 1 |
| Data Compliment (signal -) | Broche 2 | Broche 2 |
| Data True (signal +) | Broche 3 | Broche 3 |
| Non utilisée | Broche 4 - Non utilisée | |
| Non utilisée | Broche 5 - Non utilisée | |
MENU SYSTEME

flowchart
graph TD
A["MENU"] --> B["Addr"]
A --> C["SLnd"]
A --> D["dnst"]
A --> E["dInd"]
A --> F["Led"]
A --> G["dISP"]
A --> H["nRnu"]
B --> I["Adressage DMX"]
C --> J["nast"]
C --> K["SL1"]
D --> L["nasl"]
D --> M["BLnd"]
D --> N["LAST"]
E --> O["StdA"]
E --> P["StGE"]
E --> Q["Eu"]
E --> R["AcAL"]
E --> S["ethAL"]
F --> T["Affichage LCD activé"]
F --> U["Affichage LCD s'éteint après 2min."]
G --> V["dISP"]
G --> W["dSIP"]
H --> X["dInn"]
H --> Y["Stro"]
X --> Z["Configuration manuelle"]
Y --> AA["2SS"]
H --> AB["Test automatique"]
H --> AC["Température interne"]
H --> AD["Fhrs"]
H --> AE["Durée de fonctionnement totale"]
H --> AF["uEr"]
H --> AG["Version firmware"]
MENU SYSTEME (Suite)
Menu Système : L'Ikon Profile est muni d'un affichage à 4 boutons de navigation facile d'utilisation. Pour accéder au menu principal appuyez le bouton MENU. Pour naviguer dans les sous-menus, utilisez les boutons UP et DOWN. Pour confirmer vos réglages, confirmez d'abord avec le bouton ENTER, puis poussez et maintenez le bouton MENU pendant 3 secondes pour sauvegarder votre choix. Quand le bouton MENU est appuyé et maintenu au moins 8 secondes, l'unité automatiquement sauvegardera les changements dans la mémoire interne. Pour sortir d'un menu sans faire de changement, appuyez le bouton MENU.
ADDR : configurer l'adresse DMX
- Pressez le bouton MENU jusqu'à ce que s'affiche « ADDR », puis pressez ENTER.
- L'adresse DMX actuelle clignote. Pressez les boutons UP ou DOWN jusqu'à atteindre l'adresse désirée.
- Pressez ENTER pour confirmer.
Note : Si, après avoir connecté votre console DMX, l'unité ne change pas automatiquement en mode DMX, appuyez et maintenez le bouton MENU pendant au moins 3 secondes.
SLND : cette fonction vous permet de configurer une unité en maître ou esclave en configuration maître/esclave.
- Pressez le bouton MENU jusqu'à ce que s'affiche « SLND », puis pressez ENTER. S'affichera alors soit « MAST », soit « SL1 ».
- Pressez les boutons UP ou DOWN jusqu'à atteindre le mode esclave désiré puis pressez ENTER pour confirmer.
DNST : cette fonction peut être utilisé comme mode de secours: dans le cas où le signal DMX serait perdu, le mode choisi dans cette fonction s'activera. Vous pouvez aussi utiliser cette fonction pour mettre l'unité dans le mode désirée quand vous brancher l'appareil au courant.
- Appuyez sur le bouton MENU jusqu'à ce que s'affiche « DNST » puis pressez ENTER.
- Soit „MASL”, soit „BLND”, soit „LAST” est affiché. Utilisez les boutons UP et DOWN pour choisir le mode de secours désiré en utilisant les boutons UP ou DOWN et confirmez en appuyant la touche ENTER
- MASL : Quand le signal DMX est perdu ou que l'appareil est mis sous tension, l'unité se mettra automatiquement dans le mode Maître/Esclave.
- BLND : Quand le signal DMX est perdu ou que l'appareil est mis sous tension, l'unité se mettra automatiquement en mode stand-by (Noir général)
- LAST : Quand le signal DMX est perdu ou que l'appareil est mis sous tension, l'unité se mettra automatiquement dans la dernière configuration DMX.
- Appuyez sur le bouton ENTER pour confirmer.
MENU SYSTEME (Suite)
DIND : cette fonction permet de définir la courbe de gradation
- Appuyez sur le bouton MENU jusqu'à ce que s'affiche « DIND » puis pressez ENTER. Une des cinq courbes de gradation sera affichée. « STDA » (Standard), « STGA » (Stage), « TV » (TV), « ARAL » (Architectural) ou « THAL » (Théâtre). Voir aussi le tableau des courbes de gradation page 14.
- Utilisez les boutons UP et DOWN pour choisir la courbe de gradation désirée et confirmez en appuyant la touche ENTER.
LED: cette fonction permet de configurer le rétro-éclairage de manière à ce qu'il s'éteigne après 2 minutes d'inactivité.
- Pressez le bouton MENU jusqu'à ce que s'affiche « LED », puis pressez le bouton ENTER
- L'écran indiquera alors « ON » ou « OFF ». Pressez les boutons UP ou DOWN pour sélectionner « ON » afin que le rétro-éclairage reste constamment allumé ou « OFF » afin qu'il s'éteigne après 2 minutes. Appuyez sur ENTER pour confirmer.
DISP : cette fonction permet de retourner l'affichage de 180 degrés dans le cas où l'Ikon Profile serait monté tête-en-bas afin de faciliter la lecture de l'affichage.
- Pressez le bouton MENU jusqu'à ce que s'affiche « DISP », puis pressez le bouton ENTER
- L'écran indiquera alors « DISP » ou « DSIP ». Pressez les boutons UP ou DOWN pour sélectionner « DISP » pour avoir un affichage normal ou « DSIP » pour retourner l'affichage de 180 degrés. Appuyez sur ENTER pour confirmer.
MANU : Test manuel du gradateur et de la fonction stroboscope.
- Pressez le bouton MENU jusqu'à ce que s'affiche « MANU », puis pressez ENTER.
- Utilisez les boutons UP ou DOWN pour naviguer entre la gradation et la fonction stroboscopique. Quand vous avez choisi un des deux, appuyez sur ENTER. Utilisez les boutons UP ou DOWN pour manuellement changer la valeur DMX du canal et ainsi tester celui-ci. Pour sortir, appuyez le bouton MENU.
TEST : cette fonction effectuera un test automatique de l'unité.
- Pressez le bouton MENU jusqu'à ce que s'affiche « TEST », puis pressez ENTER.
- L'unité effectuera un test automatique.
TEMP: cette fonction vous permet d'afficher la température interne de l'unité.
- Pressez le bouton MENU jusqu'à ce que s'affiche « TEMP», puis pressez ENTER.
- L'écran indiquera la température interne de l'unité. Pressez le bouton MENU pour quitter.
FHRS: cette fonction vous permet d'afficher la durée de fonctionnement de l'unité.
- Pressez le bouton MENU jusqu'à ce que s'affiche « FHRS », puis pressez ENTER.
- L'écran indiquera la durée de fonctionnement de l'unité. Pressez le bouton MENU pour quitter.
MENU SYSTEME (Suite)
VER : cette fonction vous permet d'afficher la version du logiciel interne.
- Pressez à répétition le bouton MENU jusqu'à ce que s'affiche « VER ». Pressez le bouton ENTER et la version du logiciel s'affichera alors.
- Pressez le bouton MENU pour quitter cette fonction.
DESSIN DAO

DONNÉES PHOTOMÉTRIQUES

area
| Distance(m) | Value | |-------------|-------| | 0 | 0 | | 1.0 | 35200 | | 2.0 | 8930 | | 3.0 | 3790 | | 4.0 | 2120 | | 5.0 | 1280 |DIMENSIONS GOBOS

text_image
26.8 mm 24 mm
text_image
26.8 mm 24 mm
text_image
26.8 mm 24 mm
text_image
26.8 mm 24 mm
text_image
26.8 mm 24 mmCHANGEMENT DE GOBO
Le gobo de l'Ikon Profile peut être changé très facilement et être remplacé par des gobos personnalisés si vous le désirez.
Afin de remplacer le gobo :
- Retirez doucement le porte-gobo du boîtier de l'Ikon Profile. Le porte-gobo est localisé juste devant le couteau supérieur de l'unité.
- Une fois le porte-gobo retiré, ôtez l'anneau de fixation du gobo
- Retirez lee gobo délicatement et rempacez-le par le nouveau gobo
- Replacez l'anneau de fixation
- Remettez le porte-gobo à sa place. Pensez à bien enfoncer le porte-gobo pour qu'il ne se eclipse dans la fixation interne
6.
UTILISATION D'UNE GELATINE
Une gelatine (non incluse) peut être ajoutée à l'avant de l'unité.
Pour ajouter une gelatine, procédez comme suit :
- Localisez le clips de verrouillage du porte-filtre sur l'avant-gauche de l'unité (1)
- Glissez ce clips de verrouillage vers l'arrière avant de pouvoir retirer le porte-filtre (2)
- Placez la gelatine dans le porte-filtre et glissez à nouveau le clips de verrouillage vers l'arrière afin de pouvoir replacer le porte-filtre.

L'Ikon Profile devrait être montée à l'aide d'un crochet de fixation (non fourni) sur la lyre de suspension fournie avec l'unité ou placé à plat au sol. Assurez-vous de toujours fixer correctement l'unité afin d'éviter toute vibration ou décrochage de celle-ci lors de son fonctionnement. Assurez-vous toujours que la structure sur laquelle vous attachez l'unité est sécurisée et en mesure de supporter 10 fois le poids de cette dernière. Nous vous recommandons également de toujours utiliser une élingue de sécurité pouvant prendre en charge 12 fois le poids de l'unité à installer.
L'équipement doit être installé par un professionnel là où il ne se trouve pas à portée du public.
TÉLÉCOMMANDE UC-IR
La télécommande à infrarouge UC-IR d'ADJ (vendue séparément) vous permet de piloter différentes fonctions de l'Ikon Profile jusqu'à une distance de 10 mètres. L'application pour iOS "Airstream IR" (téléchargement gratuit sur l'App Store d'Apple) pour de piloter les mêmes fonctions jusqu'à une distance de 5m. Après avoir acheté les kit éetteur IR et téléchargé l'application, utilisez la page 1 de l'application. L'émetteur est connecté sur la sortie casque de l'appareil iOS. Le volume doit être mis à fond et la protection volume en Europe désactivée dans le menu de configuration de l'appareil iOS.

text_image
ADJ STAND BY FULL ON MODE/8000 DIMMER + STANDARD COLOR DIMMER - 1 2 3 4 5 6 7 8 9 SOUND ON SHOW 8 SOUND OFF www. adj. comSTAND BY : ce bouton active le Noir Général (BlackOut)
DIMMER + et DIMMER - : Utilisez les boutons DIMMER + ou DIMMER – afin d'ajuster l'intensité de la LED blanche de 32W.
STROBE : Cette fonction active l'effet stroboscope. Appuyez et maintenez le bouton pour activer la fonction stroboscope
FULL ON : Ce bouton n'est pas utilisé
FADE/GOBO : Ce bouton n'est pas utilisé
COLOR : Ce bouton n'est pas utilisé
BOUTONS 1-9 : Ces boutons ne sont pas utilisés
SOUND ON : Ce bouton n'est pas utilisé
SOUND OFF : Ce bouton n'est pas utilisé
SHOW 0 : Ce bouton n'est pas utilisé
TRAITS DMX 3 CANAUX DMX
| CANAL | VALEUR | FONCTION |
| 1 | STROBOSCOPELED OFFLED ONSTROBOSCOPE LENT – RAPIDELD ONFERMETURE RAPIDE – OUVERTURE LENTELED ONFERMETURE LENTE – OUVERTURE RAPIDELD ONSTRBOSCOPE ALÉATOIRELED ON | |
| 0 – 7 | ||
| 8 – 15 | ||
| 16 – 131 | ||
| 132 – 139 | ||
| 140 – 181 | ||
| 182 – 189 | ||
| 190 – 231 | ||
| 232 – 239 | ||
| 240 – 247 | ||
| 248 – 255 | ||
| 2 | GRADATION0 – 100% | |
| 0 – 255 | ||
| 3 | COURBES DE GRADATIONSTANDARDSTAGETVARCHITECTURALTHEATRECOURBE PAR DÉFAUT | |
| 0 – 20 | ||
| 21 – 40 | ||
| 41 – 60 | ||
| 61 – 80 | ||
| 81 – 100 | ||
| 101 – 255 |
CHAINAGE DES UNITÉS
Via les entrées/sorties CEI à l'arrière de l'Ikon Profile, vous pouvez chaîner max. 16 unités en 120V ou 27 unités en 230V. Après le maximum d'unités cohainables, vous devez vous brancher sur une autre prise secteur. Ne mélangez pas différents modèles dans un chaînage.
COURBES DE GRADATION

line
| Time (ms) | Dimmer | | --------- | ------ | | 0 | 0% | | T_rise | 100% | | T_down | 100% || Ramp Effect | 0 255 OS (Fade Time) | 0 255 1S (Fade Time) | ||
| T_rise (ms) | T_down (ms) | T_rise (ms) | T_down (ms) | |
| Standard | 0 | 0 | 0 | 0 |
| Stage | 780 | 1100 | 1540 | 1660 |
| TV | 1180 | 1520 | 1860 | 1940 |
| Architectural | 1380 | 1730 | 2040 | 2120 |
| Theatre | 1580 | 1940 | 2230 | 2280 |
Débrancher d'abord l'unité de la prise secteur. Le fusible est situé à l'arrière de l'unité à côté des prises CEI. Utilisez un tournevis plat pour dévisser le capuchon du portefusible. Remplacez le fusible ave un fusible de même ampérage seulement.
ENTRETIEN
Nettoyage de l'unité : En raison des résidus de brouillard, de fumée et de poussière, un nettoyage régulier des lentilles internes et externes doit être effectué afin d'optimiser le rendu de lumière. La fréquence de nettoyage dépend de l'endroit où se situe et fonctionne l'unité (par exemple, fumée, résidus de brouillard, poussière et condensation). En cas d'utilisation intensive en club, nous recommandons un nettoyage mensuel. Un nettoyage fréquent assure la longévité de l'unité et un rendu clair et précis.
- Utilisez un nettoyant pour vitres courant et un tissu doux pour nettoyer le boîtier extérieur.
- Utilisez une brosse pour nettoyer les grilles de ventilation et celles du ventilateur.
- Nettoyez les lentilles optiques externes avec un nettoyant pour vitres et un tissu tous les 20 jours.
- Nettoyez les lentilles optiques internes avec un nettoyant pour vitres et un tissu tous les 30-60 jours.
- Assurez-vous de toujours essuyer toutes les parties entièrement avant de rebrancher l'unité.
DÉPANNAGE
Aucune sortie de lumière de l'unité ;
- Assurez-vous que le fusible externe n'a pas sauté. Le fusible se situe sur le panneau arrière de l'unité.
- Assurez-vous que les couteaux de l'unité soit bien sorties et non fermés.
SPÉCIFICATIONS
| Modèle | Ikon Profile |
| Alimentation multi-voltage* | 120V - 240V 50/60Hz |
| Lampe | 1 LED blanche de 32W |
| Consommation électrique | 44W |
| Dimensions | 403mm(L) x 150mm(I) x 127mm(H)16“(L) x 6“(I) x 5“(H) |
| Chaînage | 16 Ikon Profile max @ 120V27 Ikon Profile max @ 230V |
| Angle d'ouverture de faisceau | de 15 à 30 degrés (manuellement) |
| Poids | 2,7kg / 6 Lbs |
| Fusible | 2A |
| Pilotage DMX | 3 canaux DMX |
| Dimensions Gobo | Dimension extérieure 26,8mmGobo visible : 24mm |
*Détection automatique du voltage : l'unité est équipée d'un ballast électronique qui détecte automatiquement le voltage une fois l'unité branchée à l'alimentation électrique.
À noter : Les caractéristiques et améliorations dans la conception apportées à cette unité ainsi que ce manuel sont sujets à modification sans notice préalable écrite ou publiée.
RoHS et DEEE
RoHS – Une contribution sans précédent à la préservation de l'environnement
Cher client,
L'Union européenne vient d'adopter une directive de restriction/interdiction d'utilisation de substances nocives. Cette directive, connue sous l'acronyme RoHS, est un sujet d'actualité au sein de l'industrie électronique.
Elle restreint, entre autres, l'utilisation de six matériaux : le plomb (Pb), le mercure (Hg), le chrome hexavalent (CR VI), le cadmium (Cd), les polybromobiphényles utilisés en tant que retardateurs de flammes (PBB), et les polybromodiphényléther également utilisés comme retardateurs de flammes (PBDE). Cette directive s'applique à quasiment tous les appareils électriques et électroniques dont le fonctionnement implique des champs électriques ou électromagnétiques – en un ot, tout appareil que nous pouvons retrouver dans nos foyers ou au bureau.
En tant que fabricants de produits des marques AMERICAN AUDIO, AMERICAN DJ, ELATION Professional et ACCLAIM Lighting, nous devons nous conformer à la directive RoHS. Par conséquent, deux ans même avant l'entrée en vigueur de cette directive, nous nous sommes mis en quête de matériaux alternatifs et de procédés de fabrication respectant davantage l'environnement.
Bien avant la prise d'effet de la directive RoHS, tous nos produits ont été fabriqués pour répondre aux normes de l'Union européenne. Grâce à des contrôles et des tests de matériel réguliers, nous pouvons assurer que tous les composants que nous utilisons répondent aux normes RoHS et que, pour autant que la technologie nous le permette, notre procédé de fabrication est des plus écologiques.
La directive RoHS franchit un pas important dans la protection de l'environnement. En tant que fabricants, nous nous sentons obligés de contribuer à son respect.
DEEE – Déchets d'équipements électriques et électroniques
Chaque année, des milliers de tonnes de composants électroniques, nuisibles pour l'environnement, atterrissent dans des décharges à travers le monde. Afin d'assurer les meilleures collecte et récupération de composants électroniques, l'Union européenne à adopté la directive DEEE.
Le système DEEE (Déchets d'équipements électriques et électroniques) peut être comparé au système de collecte « verte », mis en place il y a plusieurs années. Les fabricants, au moment de la mise sur le marché de leur produit, doivent contribuer à l'utilisation des déchets. Les ressources économiques ainsi obtenues, vont être appliquées au développement d'un système commun de gestion des déchets. De cette manière, nous pouvons assurer un programme de récupération et de mise au rebut écologique et professionnel.
En tant que fabricant, nous faisons partie du système allemand EAR à travers lequel nous payons notre contribution.
(Numéro d'enregistrement en Allemagne : DE41027552)
Par conséquent, les produits AMERICAN DJ et AMERICAN AUDIO peuvent être déposés aux points de collecte gratuitement et seront utilisés dans le programme de recyclage. Les produits ELATION Professional, utilisés uniquement par les professionnels, seront gérés par nos soins. Veuillez nous renvoyer vos produits Elation directement à la fin de leur vie afin que nous puissions en disposer de manière professionnelle.
Tout comme pour la directive RoHS, la directive DEEE est une contribution de premier ordre à la protection de l'environnement et nous serons heureux d'aider l'environnement grâce à ce système de d'enlèvement des déchets.
Nous sommes heureux de répondre à vos questions et serions ravis d'entendre vos suggestions. Pour ce faire contactez-nous par e-mail à : info@americandj.eu
NOTES
Junostraat 2
6468 EW Kerkrade
The Netherlands
www.americandj.eu
Notice Facile