Record Box Advanced 110 - Equipement DJ Glorious - Notice d'utilisation et mode d'emploi gratuit
Retrouvez gratuitement la notice de l'appareil Record Box Advanced 110 Glorious au format PDF.
| Caractéristiques techniques | Capacité : 110 disques vinyles, Matériau : MDF, Dimensions : 36 x 36 x 36 cm, Poids : 5 kg |
|---|---|
| Utilisation | Conçu pour le rangement et la protection des disques vinyles, idéal pour les DJ et les collectionneurs. |
| Maintenance et réparation | Nettoyer avec un chiffon doux, éviter l'humidité excessive, pas de pièces remplaçables. |
| Sécurité | Ne pas exposer à des températures extrêmes, garder hors de portée des enfants. |
| Informations générales | Design élégant, disponible en plusieurs couleurs, garantie de 2 ans. |
FOIRE AUX QUESTIONS - Record Box Advanced 110 Glorious
Questions des utilisateurs sur Record Box Advanced 110 Glorious
0 question sur cet appareil. Repondez a celles que vous connaissez ou posez la votre.
Poser une nouvelle question sur cet appareil
Téléchargez la notice de votre Equipement DJ au format PDF gratuitement ! Retrouvez votre notice Record Box Advanced 110 - Glorious et reprennez votre appareil électronique en main. Sur cette page sont publiés tous les documents nécessaires à l'utilisation de votre appareil Record Box Advanced 110 de la marque Glorious.
MODE D'EMPLOI Record Box Advanced 110 Glorious
Boîte de rangement pour disques vinyles

Nous vous felicitons d'avoir besoin la boite de rangement Glorious, preuve de la confiance que vous accordez à notre équipement pour Disc Jockey. Avant l'utilisation, nous vous prions de dire attentivement cette notice et de respecter les instructions.
Retirez les éléments de la boite de rangement Glorious de l'emballage et vérifie qu'ils soient tous exempts d'un quel-conque dommage de transport. Si vous détectez le moindre défaut, veuillez contacter votre revendeur.
Usage conforme
Le produit est une boîte de rangement pour environ 110 disques vinyles de 12" .
Bauteile
Components

Ax1

Bx1

Cx1

Dx1

Ex1

Fx12

Gx12
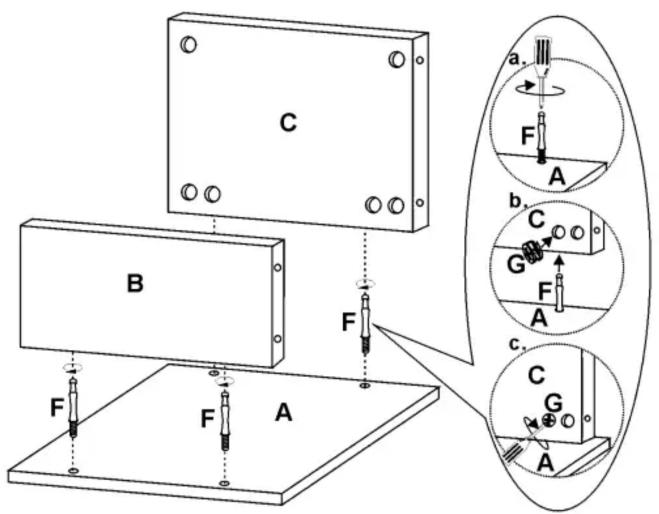
Montage Schritt 1
Assembly step 1
1ère étape du montage


Technische Daten
La plausibilité et l'exactitude des données suivantes du fabricant ne sont pas contrôlées par la société Global Distribution GmbH :
Matériau bois MDF
Dimensions 350 × 265 × 340 ~mm
Poids 4,2kg
Notice Facile