TE 300i (2020) - Moto HUSQVARNA - Notice d'utilisation et mode d'emploi gratuit
Retrouvez gratuitement la notice de l'appareil TE 300i (2020) HUSQVARNA au format PDF.
| Caractéristiques techniques | Détails |
|---|---|
| Moteur | 2 temps, refroidi par liquide, cylindrée de 300 cm³ |
| Puissance | Environ 50 ch |
| Transmission | Boîte de vitesses à 6 rapports |
| Poids | Environ 106 kg (à sec) |
| Suspension avant | Fourche WP XPLOR de 48 mm |
| Suspension arrière | Amortisseur WP PDS |
| Freins | Disques avant et arrière, diamètre de 260 mm et 240 mm respectivement |
| Réservoir de carburant | 9,5 litres |
| Utilisation | Conçue pour le tout-terrain, idéale pour les randonnées et les compétitions |
| Maintenance | Vérification régulière de l'huile, nettoyage du filtre à air, entretien de la chaîne |
| Sécurité | Port d'équipements de protection recommandé (casque, gants, bottes) |
| Informations générales | Modèle 2020, homologation pour la route selon les pays |
FOIRE AUX QUESTIONS - TE 300i (2020) HUSQVARNA
Questions des utilisateurs sur TE 300i (2020) HUSQVARNA
0 question sur cet appareil. Repondez a celles que vous connaissez ou posez la votre.
Poser une nouvelle question sur cet appareil
Téléchargez la notice de votre Moto au format PDF gratuitement ! Retrouvez votre notice TE 300i (2020) - HUSQVARNA et reprennez votre appareil électronique en main. Sur cette page sont publiés tous les documents nécessaires à l'utilisation de votre appareil TE 300i (2020) de la marque HUSQVARNA.
MODE D'EMPLOI TE 300i (2020) HUSQVARNA
Permettez-nous de vous feliciter sincerement d'avoir porte votrechoix sur une moto Husqvarna. Vous etes+.dorsmais propriete d'un vehicule moderne et sportif qui vous satisfera longtemps si vous l'entretenez de!.
facon appropriee.
Nous vous souhaionts de plusieurs rouler en toute sécurité !
Inscrite ci-dessous les numeros de série de votre vehicule.
| Numéro d'identification du vehicule ( p. 15) Cache | du concessionnaire |
| Numéro de moteur ( p. 15) | |
| Numéro de clé (tous les modèles EU) ( p. 15) |
Le present manuel d'utilisation correspond à l'état de la série concernée au moment de la publication. Cependant, des divergences minimes résultat du perfectionnement de la construction ne sauraient etre exclues.
Toutes les informations duprésent document sont fournies sans aucun engagement. Sous réserve de modification, de suppression sans substitution ou d'adaptation aux exigences locales des informations techniques, des tarifs, des couleurs, des formes, des matériaux, des prestations de services et de maintenance, des constructions et des équipements ou autres, ainsi que d'un arrêt de fabrication définit d'un modele donné sans avis préalable ni indication d'un motif quelconque par la société Husqvarna Motorcycles GmbH. Husqvarna Motorcycles décline toute responsabilité en ce qui concerne les possibilités de livraison, les divergences au niveau des croquis et des descriptions, ainsi que les fautes d'impression ou les erreurs. Les modèles produits dans leprésent document sont partiellement pourvus d'équipements spéciaux ne faisant pas partie de l'équipement de série.
© 2019 Husqvarna Motorcycles GmbH, Mattighofen Autriche
Tous droits réservés
Toute reproduction, même partielle, est strictement interdite sans autorisation écrite de l'auteur.

ISO 9001(12 100 6061)
Conformément à la norme internationale de qualité ISO 9001, Husqvarna Motorcycles utilise des standards d'assurance qualité permettant d'obtenir une qualité maximale du produit.
Établi par : TÜV-Management Service
REG.NO.12 1006061
Husqvarna Motorcycles GmbH
Stallhofnerstraße 3
5230 Mattighofen, Autriche
Ce document est valable pour les modèles suivants :
TE 250i EU (F2303T7)
TE 250i US (F2375T7)
TE 300i EU (F2403T7)
TE 300i US (F2475T7)
TE 300i JARVIS EDITION EU (F2403T8)

1 SYMBOLIQUE 6
1.1 Symboles utilisés 6
1.2 Conventions typographiques utilisées 6
2 CONSIGNES DE SECURITE 7
2.1 Définition de l'application - utilisation conforme à l'usage prévu 7
2.2 Mauvaise utilisation 7
2.3 Consignes de sécurité 7
2.4 Niveau de danger et symboles 8
2.5 Avertissement contre les manipulations 8
2.6 Fonctionnement en toute sécurité.... 8
2.7 Vêtements de protection 9
2.8 Regles de travail 9
2.9 Environment 10
2.10 Manuel d'utilisation 10
3 REMARQUES IMPORTANTES. 11
3.1 Garantie constructeur, garantie tegale 11
3.2 Carburants, lubricants ou produits aux specifications de même nature et produits auxiliaires. 11
3.3 Pièces détachées, accessoires 11
3.4 Service 11
3.5 Illustrations 12
3.6 Service après-vente 12
4 VUE DU VEHICULE 13
4.1 Vue avant gauche du vehicule (réprésentation simplifiée) 13
4.2Vuearriere droite du vehicule (representation simplifiee) 14
5.1 Numéro d'identification du vehicule. 15
5.2 Plaque signalétique (tous les
modetes EU). 15
5.3 Numéro de clé (tous les modèles EU) 15
5.4 Numero de moteur 15
5.5 Reforence de la fourche.. 16
5.6 Reteence de I'amortisseur. 16
6 ÉLÉMENTS DE COMMANDE 17
6.1 Levier d'embrayage 17
6.2 Levier de frein a main 17
6.3 Poignee des gaz 17
6.4 Bouton d'arrêt (tous les modèles EU) 17
6.5 Bouton d'arrêt (tous les modèles US) 18
6.6 Bouton d'avertisseur sonore (tous les modèles EU) 18
6.7 Contacteur de l'éclairage (tous les modèles EU) 18
6.8 Contacteur de l'éclairage (tous les modèles US) 18
6.9 Bouton de clignotants (tous les
modetes EU) 19
6.10 Bouton d'arrêt d'urgence (tous les modèles EU) 19
6.11 Bouton de démarrage (tous les
modèle US) 19
6.12 Bouton de démarriage (tous les
modèles EU) 19
6.13 Interrupteur de courbe d'allumage .... 20
6.14 Aperçu des témoins (tous les modèles EU). 20
6.15 Aperçu des témoins (tous les modèles US) 20
6.16 Ouvrir le bouchon du réservoir de carburant. 21
6.17 Fermer le bouchon du réservoir de carburant. 22
6.18 Ouvrir le bouchon du réservoir d'huile deux temps 22
6.19 Fermer le bouchon du réservoir d'huile deux temps 22
6.20 Bouton de démarrage à froid 22
6.21 Vis de réglage du régime de ralenti ... 23
6.22 Selecteur 23
6.23 Pedale de frein arriere 24
6.24 Béquille latérale 24
6.25 Antivol de direction (tous les
modeles EU) 24
6.26 Verrouiller la direction (tous les
modeles EU) 25
6.27 Deverrouiller la direction (tous les
modes EU) 25
7.1Vue d'ensemble 26
7.2 Activation 26
7.3 Messages affichés sur le tableau de bord. 26
7.4 Regler le tableau de bord 26
7.5 Regler l'unité kilomètres/miles 27
7.6 Regler l'heure 28
7.7 Regler l'affichage du mode Service.... 28
7.8 Vitesse, heures et DST distance parcoursue 1. 29
7.9 Vitesse, heures et DST2 distance parcoursue 2. 29
7.10 Vitesse moyenne AVG, heures d'utilisation ART et distance totale parcourue ODO 30
8 MISE EN SERVICE 31
8.1 Consignes pour la première mise en service. 31
8.2 Roder le moteur 32
8.3 Puissance de démarrage des batteries lithium-ion à basses températures 33
8.4 Préparer le vehicule pour des conditions d'utilisation difficiles.... 33
8.5 Préparation du vehicule aux trajets sur sable sec. 34
8.6 Préparation du vehicule aux trajets sur sable humide 35
8.7 Préparation du vehicule aux trajets sur voies humides et boueuses 36
8.8 Préparation du vehicule aux températures extérieures élevées ou aux trajets lents 36
8.9 Préparation du vehicule aux faibles températures extérieures ou à la neige 37
9 CONSEILS D'UTILISATION 38
9.1 Travaux de contrôle et d'entretien avant chaque mise en service 38
9.2 Demarrer le vehicule 38
9.3 Demarrer 39
9.4 Passer les vitesses, conduire 40
9.5 Freiner 41
9.6 Arreter, bequiller 41
9.7 Transport 42
9.8 Faire le plein de carburant 42
9.9 Faire I'appoint en huié deux temps.... 43
10 PLAN D'ENTRETIEN 45
10.1 Informations additionelles.. 45
10.2 Travaux obligatoires 45
10.3 Travaux recommends 46
11 ADAPTER LA PARTIE-CYCLE. 48
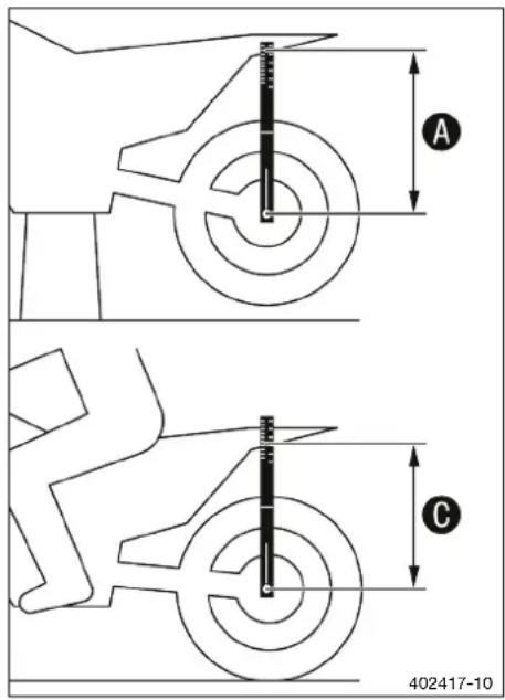
11.1 Contrôler le réglage de base de la partie-cycle en fonction du poids du pilote 48
11.2 Amortissement en compression de l'amortisseur 48
11.3 Régler l'amortissement en compression de petite Vitesse de l'amortisseur 48
11.4 Regler l'amortissement en compression de Grande Vitesse de l'amortisseur 49
11.5 Regler l'amortissement en détente de l'amortisseur 50
11.6 Détérminer la valeur d'enforcement à vide de la roue arrête 50
11.7 Vérifier l'enforcement statique de l'amortisseur 51
11.8 Vérifier l'enforcement en charge de l'amortisseur 52
11.9 Regler la pretension du ressort de l'amortisseur 52
11.10 Regler I'enforcement en charge 53
11.11 Vérifier le réglage de base de la fourche... 54
11.12 Régler l'amortissement en compression de la fourche 54
11.13 Régler l'amortissement en détente de la fourche 55
11.14 Regler la pretension du ressort de la fourche 56
11.15 Position du guidon 57
11.16 Regler la position du guider 57
12 TRAVAUX D'ENTRETIEN SUR LA PARTIE-CYCLE. 59
12.1 Surélever la moto sur un socle régliable 59
12.2 Retirer la moto du socle régiable.... 59
12.3 Purger les bras de fourche 59
12.4 Nettoyer les cache-poussieres des bras de fourche 60
12.5 Déposer les bras de fourche 60
12.6 Monter les bras de fourche 61
12.7 Demonter la protection de fourche.... 62
12.8 Remonter la protection de fourche.... 62
12.9 Déposer le té de fourche inférieur 63
12.10 Monter le te de fourche inférieur 64
12.11 Verifier le jeu du palier de la tete de direction 66
12.12 Régler le palier de la tête de direction 67
12.13 Graisser le palier de la tete de direction 67
12.14 Déposer le garde-boue avant 67
12.15 Poser le garde-boue avant 68
12.16 Déposer l'amortisseur 69
12.17 Monter I'amortisseur 70
12.18 Déposer la salle 72
12.19 Monter la selle. 72
12.20 Déposer le couvercle du boitier du filtre à air 73
12.21 Monter le couvercle du boitier du filtrre à air 73
12.22 Déposer le filtré à air 74
12.23 Nettoyer le filtré à air et le boîtier du filtré à air 74
12.24 Monter le filtré a air 75
12.25 Déposer le silencieux arrêté 75
12.26 Monter le silencieux arrriere 76
12.27 Remplacer la laine de roche du silencieux arrriere 76
12.28 Déposer le cache l'边际 croit 77
12.29 Monter le cache lateral de croite 78
12.30 Déposer le réservoir de carburant 78
12.31 Monter le réservoir de carburant.... 80
12.32 Vérifier l' état d'encrassement de la chaine 81
12.33 Nettoyer la chaine 82
12.34 Contrcler la tension de la chaine 82
12.35 Regler la tension de la chaine 83
12.36 Vérifier la chaine, la couronne, le pignon et le guide-chaine 84
12.37 Contrcler le cadre 87
12.38 Verifier le bras oscillant 87
12.39 Vérifier l'emplacement du cable d'accélérateur 87
12.40 Vérifier le caoutchouc de poignée .... 88
12.41 Regler la position de base du levier d'embrayage. 89
12.42 Vérifier/rectifier le niveau de liquide d'embrayage hydraulique 89
12.43 Remplacer le liquide d'embrayage hydraulique 90
12.44 Déposer la protection moteur 91
12.45 Monter la protection moteur 92
13 SYSTÉME DE FREIN. 93
13.1 Régler la position de base du levier de frein à main 93
13.2 Verifier les disques de frein 93
13.3 Vérifier le niveau de liquide de frein à l'avant. 94
13.4 Faire l'appoint de liquide de frein à l'avant 94
13.5 Contrcler les plaquettes de frein a l'avant 95
13.6 Remplacer les plaquettes de frein avant 96
13.7 Vérifier la course libre de la pedale de frein arrête 98
13.8 Régler la position de base de la pedale de frein arrêté 99
13.9 Vérifier le niveau de liquide de frein à l'arrête 100
13.10 Faire l'appoint du liquide de frein à l'arrière 100
13.11 Contrcler les plaquettes de frein arriere 101
13.12 Remplacer les plaquettes de frein arrriere 102
14 ROUES, PNEUS 105
14.1 Déposer la roue avant 105
14.2 Monter la roue avec 106
14.3 Déposer la roue arrêté 107
14.4 Monter la roue arriere 108
14.5 Vérifier l'etat des pneus 110
14.6 Vérifier la pression des pneus.... 110
14.7 Contraler la tension des rayons..... 111
15 CIRCUIT ÉLECTRIQUE 112
15.1 Déposer la batterie 12 112
15.2 Monter la batterie 12 114
15.3 Charger la batterie 12 115
15.4 Remplacer le fusible general 117
15.5 Remplacer les fusions des divers consommateurs 119
15.6 Déposer la plaque-phare et le phare. 120
15.7 Monter la plaque-phare et le phare. 121
15.8 Remplacer I'ampoule de phare..... 122
15.9 Remplacer l'ampoule de clignotant (tous les modèles EU) 123
15.10 Vérifier le réglage du phare 124
15.11 Regler la portee du phare 125
15.12 Remplacer la batterie du tableau de bord 125
15.13 Connecteur de diagnostic 126
16 SYSTÉME DE REFROIDISSEMENT 127
16.1 Systeme de refroidissement 127
16.2 Vérifier l'antigel et le niveau de liquide de refroidissement 127
16.3 Vérifier le niveau de liquide de refroidissement 128
16.4 Vidanger le liquide de refroidissement 129
16.5 Remplir de liquide de refroidissement 130
17 ADAPTER LE MOTEUR. 132
17.1 Vérifier le jeu du cable d'accéléateur 132
17.2 Regler le jeu du cable d'accéléateur 132
17.3 Regler la caractéristique de l'accelération 133
17.4 Regler le régime de ralenti 134
17.5 Programmation de la pression de l'air ambient 135
17.6 Contrcler la position de base du selecteur 135
17.7 Regler la position de base du selecteur 136
18 TRAVAUX D'ENTRETIEN SUR LE MOTEUR 137
18.1 Remplacer la crépine à essence 137
18.2 Contrcler le niveau d'huile deux temps 138
18.3 Synchroniser la pompe a huiie 139
18.4 Nettoyer la crépine dans le réservoir d'huile 141
18.5 Vérifier le niveau d'huile de boite.... 143
18.6 Remplacer I'huile de boite 144
18.7 Faire l'appoint d'huile de boite 145
19 NETTOYAGE, ENTRETIEN. 146
19.1 Nettoyer la moto 146
19.2 Travaux de contrôle et d'entretien en prévision de l'usure d'hiver.... 147
20 STOCKAGE 148
20.1 Stockage. 148
20.2 Mise en service après le stockage.... 149
21 DIAGNOSTIC. 150
22 DONNÉES TECHNIQUES. 153
22.1 Moteur 153
22.1.1 tous les modèles TE 250i 153
22.1.2 tous les modeles TE 300i 153
22.2 Couples de serrage moteur 154
22.3 Quantités de replissage 156
22.3.1 Huile de boîte 156
22.3.2 Liquide de refroidissement.... 156
22.3.3 Carburant 156
22.4 Partie-cycle 156
22.5 Circuitélectrique. 157
22.6 Pneus. 158
22.7 Fourche. 158
22.8 Amortisseur 158
22.9 Couples de serrage sur la partie-cycle 159
23 MATIÈRES CONSOMMABLES 162
24 PRODUITS AUXILIARES 164
25 NORMES 166
26 GLOSSAIRE 167
27 LIST DES ABBREVIATIONS 168
28LISTEDESSYMBOLES 169
28.1 Symboles rouges 169
28.2 Symboles jaunes et oranges 169
28.3 Symboles vertes et bleus.. 169
INDEX 170
1.1 Symboles utilisés
Les symboles utilisés dans le manuel sont décrites ci-dessous.
| √ | Indique un résultat prévu (d'une étape ou d'une fonction, par exemple). |
| × | Indique un résultat indésirable (d'une étape ou d'une fonction, par exemple). |
| ♀ | Tous les travaux arrivapagnés de ce symbole nécessitant des connaissances approfondies ainsi qu'un certain savoir-faire technique. Pour la sécurité de tous, faire exécuter ces travaux par un atelier Husqvarna Motorcycles! Notre moto y sera entretenue de manière optimale par des spécialistes ayant suivi une formation spécifique et disposant de l'outillage spécial nécessaire. |
| ♂ | Indique un renvoi à une page (des informations supplémentaires sont disponibles à la page indiquée). |
| i | Indique un complément d'information ou des conseils. |
| ♀ | Indique le résultat d'une étape de contrôle. |
| ← | Indique le fin d'une activité (dont d'éventuels travaux ultérieurs). |
1.2 Conventions typographiques utilisées
Ci-dessous sont expliqués certains formats de polices utilisés dans le present document.
Nom propre Caracterise un nom.
Nom®
Caracterise une marque déposée.
Marque™ Caracterise une marque commerciale.
Termes soulignés Renvoient à des détails techniques du vehicule ou caractérisent des termes techniques expliqués dans le glossaire.
2.1 Définition de l'application - utilisation conforme à l'usage prévu
(tous les modèles EU)
Ce vehicule a ete concu et construit de maniere a resister aux sollicitations courantes resultant d'une utilisation normale en course. Ce vehicule est conforme aux reglements actuels en vigueur et aux catogories des federations nationales de sports motorisés.

Info
Seule la version homologuée (bridee) de ce vehicule est autorisee sur les routes ouvertes au public. Debride, il ne doit etre utilise qu'en circuit fermé sur des routes non ouvertes au public. Le vehicule a ete concu pour le sport d'endurance tout-terrain de competition et non pas pour etre utilise principalement pour du moto-cross.
(tous les modèles US)
Ce vehicule a ete concu et construit de maniere a resister aux sollicitations courantes resultant d'une utilisation normale en course. Ce vehicule est conforme aux reglements actuels en vigueur et aux catégories des federations nationales de sports motorisés.

Info
Ce vehicule ne doit etre utilise qu'en circuit fermé et sur des routes non ouvertes au public. Le vehicule a ete concu pour le sport d'endurance tout-terrain de competition et non pas pour etre utilisé principalement pour du moto-cross.
2.2 Mauvaise utilisation
La moto ne doit être utilisée que conformément à l'usage prévu.
Toute utilisation non conforme met en danger les personnes, le matériel et l'environnement.
Tout utilise non conforme de la moto ou qui dépasse l'utilisation prévue, constitue une mauvaise utilisation. La mauvaise utilisation comprend également l'utilisation de liquides et d'additives ne remplissant pas les spécifi-cations exigées pour l'utilisation prévue.
2.3 Consignes de sécurité
Afin de garantir une utilisation du produit décrit en toute sécurité, certaines consignes de sécurité doivent être respectées. Lisez par conséquent attentivement ces instructions ainsi que toutes celles contenues dans la livraison. Les consignes de sécurité ressortent visuellement du corps de texte et contiennent des liens quand cela est pertinent.

0
férents autocollants comportant des consignes et des averissements ont été apposés à plusieurs droits bien visibles sur le produit décrit. Les autocollants comportant des consignes et des averissements ne doivent jamais être retirés. En l'absence de ces autocollants, le conducteur ou les tiers ne sont s à même de détecter certains dangers. Le risque de blessure est alors accru.
2.4 Niveau de danger et symboles

Danger
Remarque concernant un danger qui entraine immédiatement ou avec certitude la mort ou de graves blessures lorsque les mesures correspondantes ne sont pas prises.

Avertissement
Remarque concernant un danger qui peut entraîner la mort ou de graves blessures lorsque les mesures correspondantes ne sont pas prises.

Attention
Remarque concernant un danger qui peut eventuellement entrainer des blessures legères lorsque les mesures correspondantes ne sont pas prises.
Remarque
Remarque concernant un danger qui entraine de graves dommages sur les machines ou sur le matériel lorsque les mesures correspondantes ne sont pas prises.

Remarque
Remarque concernant un danger constituent un risque pour l'environnement lorsque les mesures correspondantes ne sont pas prises.
2.5 Avertissement contre les manipulations
Il est interdit de proceder à des modifications des composants destinés à atténuer le bruit. Les mesures de débridage suivantes ainsi que l'établissement des circonstances correspondantes sont interdits par la loi :
1 Enlevement ou mise hors service de tous les équipements ou composants destinés à attenuer les bruits sur un vehicule neuf avant sa vente ou sa livraison à un utilisateur final ou pendant la durée d'utilisation du vehicule, à d'autres fins que l'entretien, la réparation ou le remplacement, ainsi que
2 Utilisation du vehicule après avoir enlevé ou mis hors service un équipement ou composant de ce type.
Exemples de manipulation interdite par la loi :
1 Retrait ou perçage des silencieux arrêté, chicanes, collecteurs ou autres composants qui évacuent les gaz d'échéppement.
2 Retrait ou perçage d' éléments du système d'admission.
3 Utilisation dans un état de maintenance incorrect.
4 Remplacement d'elements mobiles du vehicule ou d'elements de l'échévement ou du système d'admission par des pieces non homologuees par le fabricant.
2.6 Fonctionnement en toute sécurité

Danger
Risque d'accident Un conducteur qui n'est pas en état de conduire se met en danger lui-même ainsi que les autres.
- Ne conduisez pas si vous avez consommez de l'alcool, des drogues ou des médicaments influant sur la conduite.
- Ne conduisez pas si vous n'êtes pas en état physiquement ou mentalement.

Danger
Danger d'intoxication Les gaz d'échévement sont toxiques et peuvent faire perdre conscience voire entrainer la mort.
- Veillez donc en permanence à une aération suffisante lorsque le moteur tourne.
- Utilisez un système d'extraction des gaz d'échévement approprié si vous démarrez ou faites tourner le moteur dans une piece fermée.

Avertissement
Risque de brûlures Certaines pieces du vehicule deviennent brûlantes pendant la conduite du vehicule.
- Ne pas toucher les composants tels que l'échémpement, le radiateur, le moteur, l'amortisseur ou le système de frein avant que ces composants ne soient refroidis.
- Laisser refroidir les pieces du vehicule avant de commencer les travaux.
N'utiliser le vehicule que lorsqu'il est en parfait etat de marche et dans le respect de l'usage prevu, des normes de securite et de I'ecologie.
Le vehicule ne doit etre utilise que par des personnes instruites en la matière. Un permis de conduire adequat est requis pour la conduite sur voies publiques.
Les pannes susceptibles de nuire à la sécurité doivent être réparées sans décai par un atelier Husqvarna Motorcycles agree.
Respecter les consignes et les avertissements des autocollants apposés sur le vehicule.
2.7 Vêtements de protection

Avertissement
Risque de blessures Ne pas porter de vêtements de protection ou porter des vêtements de protection abîmés constitue un risque pour la sécurité.
- Toujours porter des vêtements de protection adéquats comme un casque, des bottes, des gants, un pantalon et une veste avec protections.
- N'utiliser que des vêtements de protection en parfait état et qui correspondent aux directives légales.
Dans votre propre intérêt, Husqvarna Motorcycles recommende vivement de porter un équipement de protection adapté à la conduite du vehicule.
2.8 Regles de travail
Sauf indication contraire, l'allumage doit etre eteint lors de chaque travail (modles avec contacteur, moddes avec radiocommande), ou bien le moteur doit etre a l'arrêt (modles sans contacteur ni radiocommande).
Certaines opérations nécessitent des outils spéciaux. Ces outils ne font pas partie intégrante du vehicule, mais peuvent être commandés sous le numéro indiqué entre parenthèses. Exemple : extracteur de roulements (15112017000)
Lors de l'assemblage, les pieces ne pouvant pas etre réutilisées (par ex. les vis autobloquantes et les ecrous, les joints, les bagues d'etanchete, les joints toriques, les goupilles, les rondelles frein) doivent etre remplacées par de nouvelles pieces.
Dans certains cas, les vis doivent etre equipees d'un frein fillet (par ex. 10ite consignes specifiques du fabricant doit etre respectees lors de l'utilisation.
Si un dispositif de blocage de vis (par ex. Precededeja ete applique sur une nouvelle piece, n'applique pas de produit de blocage de vis supplémentaire.
Nettoyer les pieces devant etre reutilises apres demontage, controler leur etat et leur niveau d'usure. Rempacer les pieces uses ou degradees.
Une fois qu'une réparation ou une opération de maintenance est achevée, veiller à assurer la sécurité de fonctionnement du vehicule.
2.9 Environnement
Un comportement responsable lors de l'utilisation de la moto désamorce d'emblée problèmes et conflits. Afin de garantir la pérennité de la conduite à moto, veiller à rester dans le cadre légal, à faire preuve de respect envers l'environnement et à tener compte des droits d'autrui.
Lors de la vidange de l'huile usagee ou de tout autre fluide utilisé sur la moto, ainsi que dans le cadre de la mise au rebut des dernux composants, veiller à appliquer la législation et les directives correspondantes en vigueur dans le pays d'utilisation.
En matière de mise à la casse des vehicules anciens, les motos ne tombent pas sous le coup de la directive de l'UE. Il n'y a donc aucune reglementation relative à la mise à la casse d'une moto. Notre concessionnaire
Husqvarna Motorcycles agre est a votre entiere disposition.
2.10 Manuel d'utilisation
Veiller impératifement à dire ce manuel d'utilisation avec attention et dans son intégralité avant de prendre la route pour la première fois avec ce vehicule. Le manuel d'utilisation comporte de nombreuses informations et conseils qui faciliteront l'utilisation, le maniement et le service. Il permet d'apprendre comment régler le véhi-
cule pour qu'il reponde au moins aux besoin de l'utilisateur et comment éviter les blessures.
Conserver le manuel d'utilisation dans un endroit facilement accessible, pour l'avoir à portée de main dés que son utilisation est requise.
Pour de plus amples informations sur le vehicule ou si certains points de ce manuel demandent des éclaircissements, contacter un distributeur Husqvarna Motorcycles agree.
Le manuel d'utilisation est un élément important faisant partie intégrante du vehicule. Il doit être remis au nouveau propriétaire lors de la vente de ce dernier.
De plus, le manuel d'utilisation est disponible en téléchargement sur le site de votre distributeur Husqvarna Motorcycles agree et sur le site de Husqvarna Motorcycles.
Site web international de Husqvarna Motorcycles : www.husqvarna-motorcycles.com
3.1 Garantie constructeur, garantie legale
Les travaux d'entretien prescrits dans le plan d'entretien doivent être réalisés exclusivement auprès d'un atelier agréé Husqvarna Motorcycles, puis confirmés sur la plateforme Husqvarna Motorcycles Dealer.net afin de conserver le droit à la garantie. La garantie est nulle et non avenue en cas de dommages et conséquences résultat de manipulations et/ou de modifications sur le vehicule.
3.2 Carburants, lubricants ou produits aux specifications de même nature et produits auxiliaires

Remarque
Danger pour l'environnement Une manipulation inadéquate du carburant constitue un danger pour l'environnement.
- Le carburant ne doit pas pénétrer dans la nappe phréatique, le sol ou les canalisations.
Utiliser les carburants, lubrifiants ou produits aux specifications de même nature et les produits auxiliaires conformément au manuel d'utilisation et aux specifications.
3.3 Pièces détachées, accessoires
Pour des raisons de sécurité, utiliser uniquement des pieces détaches et des accessoires autorisés et/ou recommends par Husqvarna Motorcycles et les faire monter par un atelier agreé Husqvarna Motorcycles.
Husqvarna Motorcycles décline toute responsabilité pour les autres produits et les dommages consécutifs à l'utilisation de tels produits.
Dans les descriptifs, les reférences de certaines pieces détachées et accessoires sont indiquées entre parentesses. Notre distributeur Husqvarna Motorcycles agréé est la pour vous conseiller.
Voup vouz routur les accessoires Husqvarna Motorcycles actuellement disponibles pour le vehicule chez voire distributeur Husqvarna Motorcycles agree ou sur le site web de Husqvarna Motorcycles.
Site web international de Husqvarna Motorcycles : www.husqvarna-motorcycles.com
3.4 Service
Le respect des travaux de maintenance, d'entretien et de réglage du moteur et de la partie-cycle figurant dans le present manuel d'utilisation constitue la condition préalable au parfait fonctionnement de la moto et permet d'éviter l'usure précote. Un réglage incorrect de la partie-cycle risque d'entrainer des dégats sur cette dernière ou la rupture de composants.
Une utilisation du vehicule dans des conditions extrimes, telles que dans le sable ou sur un terrain détrempé ou boueux, risque d'entrainer une usure plus importante de composants tels les organes d'entrainement, le système de freinage ou les composants de la suspension. De telles conditions imposent un contrôle ou un remplacement des composants avant que l'intervalle d'entretien suivant n'ait ete atteint.
Respecter impératifement les durées de rodage ainsi que les intervalles de maintenance. Leur respect prolonge de manière notable la durée de vie de la moto.
En cas d'intervalles de kilométrage et de temps, c'est le premier intervalle qui survient qui doit être pris en compte.
3 REMARQUES IMPORTANTES
3.5 Illustrations
Les figures représentées dans ce manuel illustrent parfois des équipements speciaux.
Pour une meilleure représentation et comprhension, certains composants peuvent etre déposés ou ne sont pas illustrés. Une dépose n'est pas always impérale pour le descriptif correspondant. Respecter les indications textuelles.
3.6 Service après-venture
Votre concessionnaire Husqvarna Motorcycles agree est a votre entiere disposition pour toute question relative à votre vehicule et à la société Husqvarna Motorcycles.
La liste des concessionnaires agreés Husqvarna Motorcycles est disponible sur le site web de Husqvarna Motorcycles.
Site web international de Husqvarna Motorcycles : www.husqvarna-motorcycles.com

4.1 Vue avant gauche du vehicule (réprésentation simplifiée)
Levier d'embrayage (p. 17)
Bouchon du réservoir de carburant
3 Couvercle du boitier du filtré à air
4 Numéro de moteur (p. 15)
5 Bequille latere (p. 24)
6 Selecteur (p. 23)

4.2 Vue arrêté droit du vehicule (réprésentation simplifiée)
1 Bouchon du réservoir d'huile deux temps
Bouton d'arrêt (p. 17) (tous les modèles EU)
Bouton d'arrêt (p. 18) (tous les modèles US)
Bouton d'avertisseur sonore (p. 18) (tous les modeles EU)
2 Contacteur de I'ecailrage (p. 18) (tous les modeles EU)
Bouton de clignotants (p. 19) (tous les modèles EU)
Bouton d'arrêt d'urgence (p. 19) (tous les modèles EU)
Bouton de démarrage (p. 19) (tous les modèles US)
Bouton de démarrage (p. 19) (tous les modèles EU)
3 Interrupteur de courbe d'allumage (p. 20)
4 Poignée des gaz (p. 17)
Levier de frein a main (p. 17)
6 Pedale de frein arriere (p. 24)
5.1 Numéro d'identification du vehicule

Le numero d'identification du vehicul est grave sur la tete de direction, à droite.
5.2 Plaque signalétique (tous les modèles EU)

La plaque signalétique est place à l'avant de la tête de direction.
5.3 Numéro de clé (tous les modèles EU)

Le numero de la cde l'antivol de direction est grave sur une plaquette de I'anneau porte-clés.
5.4 Numéro de moteur

Le numero de moteu est frappé à froid sur le coté gauche du moteur, au-dessus du pignon de chaine.
5.5 Récurrence de la fourche

La reférence de la fourch est gravée sur la partie interne de la fixation de l'axe de roue avant.
5.6 Référence de l'amortisseur

La reférence de l'amortisseu est estampée sur la partie supérieure de l'amortisseur, au-dessus de la bague de réglage, orientée vers le côté moteur.
6.1 Levier d'embrayage

Le levier d'embrayage est situé à gauche du guidon. L'embrayage à actionnement hydraulique s'ajuste automatique.
6.2 Levier de frein a main

Le levier de frein a ma est situé a droite du guidon.
Le levier de frein a main permet d'actionner le frein avant.
6.3 Poignée des gaz

La poignée des ga est située à droite du guidon.
6.4 Bouton d'arrêt (tous les modèles EU)

Le bouton d'arrêt se trouve sur le côte gauche du guidon.
États possibles
- Bouton d'arrêt en position de base - Dans cette position, le circuit d'allumage est fermé et le moteur peut démarrer.
- Bouton d'arrêt enforcé - Dans cette position, le circuit d'allumage est ouvert, le moteur en marche s'éteint et le moteur à l'arrêt ne démarre pas.
6 ÉLÉMENTS DE COMMANDE
6.5 Bouton d'arrêt (tous les modèles US)

Le bouton d'arrêt se trouve sur le côte gauche du guidon.
États possibles
- Bouton d'arret en position de base - Dans cette position, le circuit d'allumage est fermé et le moteur peut démarrer.
- Bouton d'arrêt enforcé - Dans cette position, le circuit d'allumage est ouvert, le moteur en marche s'éteint et le moteur à l'arrêt ne démarre pas.
6.6 Bouton d'vertisseur sonore (tous les modèles EU)

Le bouton d'avertisseur sonore se trouve sur le cote gauche du guidon.
États possibles
- Bouton d'avertisseur sonore en position de base
- Bouton d'avertisseur sonore enforcé - Dans cette position, ce bouton actionne l'avertisseur sonore.
6.7 Contacteur de l'éclairage (tous les modèles EU)

Le contacteur de l'éclairag se trouve sur le côte gauche du guidon.
États possibles
| D | Feu de croisement - Contacteur de l'éclairage en position mediane. Dans cette position, le feu de croisement et le feu arrêté sont allumés. |
| D | Feu de route - Contacteur de l'éclairage pousse la gauche. Dans cette position, le feu de route et le feu arrêté sont allumés. |
6.8 Contacteur de l'éclairage (tous les modèles US)

Le contacteur de l'éclairag est situé à gauche du tableau de bord.
États possibles
- Éclairage étéint - Contacteur de l'éclairage repoussé vers l'intérieur jusqu'en butée. Dans cette position, l'éclairage est étéint.
- Eclairage allumé - Le contacteur de l'éclairage est tiré jusqu'en butée. Dans cette position, le feu de croisement et le feu arrière sont allumés.
6.9 Bouton de clignotants (tous les modèles EU)

Le bouton de clignotant se trouve sur le côte gauche du guidon.
États possibles
| Clignotant désactivé - Bouton de clignotants en position médiane. | |
| Clignotant gauche activé - Bouton de clignotants pousse vers la gauche. | |
| Clignotant droit activé - Bouton de clignotants pousse vers la droite. |
6.10 Bouton d'arrêt d'urgence (tous les modèles EU)

Le bouton d'arrêt d'urgenc est situé à droite du guidon.
États possibles
| Allumage désactivé - Dans cette position, le circuit d'allumage est ouvert, le moteur en marche s'éteint et le moteur à l'arrêt ne démarre pas. | |
| Allumage activé - Dans cette position, le circuit d'al-lumage est fermé et le moteur peut démarrer. |
6.11 Bouton de démarrage (tous les modèles US)

Le bouton de démarrag est situé à droite du guidon.
États possibles
- Bouton de démarrage en position de base
- Bouton de démarrage enforcé - Dans cette position, le démarreur électrique est actionné.
6.12 Bouton de démarrage (tous les modèles EU)

Le bouton de démarrag est situé à droite du guidon.
États possibles
- Bouton de démarrage en position de base
- Bouton de démarrage enforcé - Dans cette position, le démarreur électrique est actionné.
6.13 Interrupteur de courbe d'allumage

L'interrupteur de courbe d'allumage est situé à droite sur le guidon.
États possibles
- Interrupteur de courbe d'allumage en position I - Dans cette position, la courbe d'allumage Performance est active.
- Interrupteur de courbe d'allumage en position II - Dans cette position, la courbe d'allumage Soft est active.
La caractéristique du moteur peut être modifiée via l'interrupteur de courbe d'allumage.

Info
L'interrupteur de la courbe d'allumage est sans fonction lorsque la moto est à l'etat homologué (bride).
6.14 Aperçu des témoins (tous les modèles EU)

États possibles
| Le témoin des clignotants clignote en vert - Le cli-gnotant est allumé. | |
| Levoyant de contrôle du feu de route s'allume en bleu - Le feu de route est allumé. | |
| Le témoin de dysfonctionnement est allumé/clignote en jaune - Le dispositif de diagnostics matériels (OBD) a détecté un dysfonctionnement au niveau de l'électronique du vehicule. S'arrête à un endroit sur et contacter un atelier Husqvarna Motorcycles agréé. | |
| La lampe-témoin du niveau de carburant s'allume en jaune - Le niveau de carburant a atteint le repère de la réserve. | |
| La lampe-témoin du niveau d'huile s'allume en rouge - Le niveau d'huile a atteint le repère MIN. Conduire la moto au maximum jusqu'à ce que le réservoir de carburant soit vide et faire l'appoint en huile deux temps à la prochaine occasion. |
6.15 Aperçu des témoins (tous les modèles US)

États possibles
| Témoin de contrôle du feu de route - Sans fonction | |
| Le témoin de dysfonctionnement est allumé/clignote en jaune - Le dispositif de diagnostics matériels (OBD) a détecté un dysfonctionnement au niveau de l'électronique du vehicule. S'arrête à un endroit sur et contacter un atelier Husqvarna Motorcycles agréé. | |
| La lampe-témoin du niveau de carburant s'allume en jaune - Le niveau de carburant a atteint le repère de la réserve. |

La lampe-témoin du niveau d'huile s'allume en rouge -Le niveau d'huile a atteint le repere MIN. Conduire la moto au maximum jusqu'à ce que le réservoir de carburant soit vide et faire l'appoint en huile deux temps à la prochaine occasion.
6.16 Ouvr le bouchon du réservoir de carburant

Danger
Risque d'incendie Le carburant est facilement inflammable.
Le carburant contenu dans le réservoir se dilate sous l'effet de la chaleur et peut déborder lorsque le réservoir est trop rempli.
- Ne jamais faire le plein du vehicule à proximé de flammes ou de cigarettestes allumées.
- Arreter le moteur lorsque vous faites le plein.
S'assurer de ne pas renverser de carburant, notamment sur les parties chaudes du vehicule. - Essuyer immédiatement tout carburant renversé.
- Respecter les consignes indiquées lorsque vous faites le plein.

Avertissement
Danger d'intoxication Le carburant est toxique et constitue un danger pour la santé.
- Éviter tout contact du carburant avec la peau, les yeux ou les vêtements.
- Consulter immédiatement un médecin en cas d'ingestion de carburant.
- Ne pas respirer les vapeurs d'essence.
- En cas de contact cutané, rincer immediatement à grande eau la zone touchée.
- En cas de contact du carburant avec les yeux, bien les rincer à l'eau et consulter immediatement un medecin.
- Si les vêtements sont aspergés de carburant, il faut les changer.
- Stocker le carburant dans un jerrycan approprié, conformément aux directives en vigueur et le tenir hors de portée des enfants.

Remarque
Danger pour l'environnement Une manipulation inadéquate du carburant constitue un danger pour l'environnement.
- Le carburant ne doit pas pénétrer dans la nappe phréatique, le sol ou les canalisations.

- Appuyer sur le bouton de déverrouilla, tournier le bouchon du réservoir de carburant dans le sens inverse des aiguilles d'une montre et le retarder vers le haut.
6.17 Fermer le bouchon du réservoir de carburant

- Placer le bouchon du réservoir de carbura et tourner dans le sens des aiguilles d'une montre jusqu'à ce que le bouton de déverrouillage s'enclenche.

Info
Poser le flexible de ventilation du réservoir de carburant 2 sans le plier.
6.18 Ouvrir le bouchon du réservoir d'huile deux temps

- Relever l'attache ① vers le haut.
- Tourner le bouchon du réservoir d'huile deux temps dans le sens inverse des aiguilles d'une montre et le retarder par le haut.
6.19 Fermer le bouchon du réservoir d'huile deux temps

- Mettre en place le bouchon du réservoir d'huile deux temps et le tourner dans le sens des aiguilles d'une montre.
Rabattrel'attache1 vers le bas.
Le bouchon du réservoir d'huile deux temps s'enclenche.
6.20 Bouton de démarrage à froid

Le bouton de démarrage à fro est situé sur le corps du clapet d'étranglement, sur le côté.
Lorsque le moteur est froid et que la températe ambiente est bassé, l'injection électronique de carburant augmente le temps d'injection. Pour permettre au moteur de brûler le volume de carburant additionnel, un apport en oxygène est réalisé en tirant sur le bouton de démarrage à froid.
Info Lorsque le moteur a atteint la tempereature de fonctionnement, désactiver le bouton de demarrage à froid.
États possibles
-
Bouton de démarrage à froid activé - Le bouton de démarriage à froid est tiré jusqu'en butée et tourné d^1/4 de tour.
-
Bouton de démarrage à froid désactifé - Refaire un 14 de tour pour faire revenir le bouton de démarrage à froid à sa position de base.
6.21 Vis de réglage du régime de ralenti

Le réglage de ralenti du corps du clapet d'etranglement a une force incidence sur le comportement au démarrage, la stabilité du régime de ralenti et la réponse lors d'accelérations.
Lorsque le régime de ralenti est regle correctement, le moteur démarre plus facilement que lorsque le régime de ralenti est mal régle.
La vis de réglage du régime de ralipermet de régler le régime de ralenti.
Info Si le
Si le régime de ralenti est élevé, que le moteur tourne lentement, que le frein moteur est faible et que l'accelération est agressive, la vis de réglage doit être tournée dans le sens des aiguilles d'une montre.
Si le régime de ralenti est bas, que le moteur tourne rapidement, que le frein moteur est élevé et que l'accelération n'est pas propre, la vis de réglage doit être tournée dans le sens inverse des aiguilles d'une montre.
6.22 Sélecteur

Le sélecteur 1 est installé sur le côte gauche du moteur.

La position des rapportes est indiquée sur la figure.
Le point mort, ou position neutre, se situe entre le 1er et le 2e rapport.
6 ÉLÉMENTS DE COMMANDE
6.23 Pédale de frein arrêté

La pédale de frein arriès se trouve devant le repose-pied de droite.
La pédale de frein arrêté permet d'actionner le frein arrêté.
6.24 Béquille latérale

La béquille latorale se trouve du côte gauche de la moto.

La bequille laterele permet de reposer la moto.

Info
La béquille latorale1 doit être relevée avant le départ et retenue avec le caoutchouc de maini2.
6.25 Antivol de direction (tous les modèles EU)

L'antivol de direction se situe à gauche sur la tête de direction.
L'antivol de direction permet de bloquer la direction. Il empêche de piloter la moto et donc de la conduire.
6.26 Verrouiller la direction (tous les modèles EU)
Remarque
Danger d'endommagement Le vehicule en stationnement est susceptible de rouler accidentellement ou de tomber.
- Stationner le vehicule sur un sol plan et ferme.

- Arreter le vehicule.
- Tourner le guidon complètement à droite.
- Introduire la clé de l'antivol de direction dans l'antivol de direction et la tourner vers la gauche, puis l'enforcer et la tourner vers la droite. Retirer la clé de l'antivol de direction.
L'antivol empêche tout mouvement du guidon.

Info
Ne jamais laisser la clé de l'antivol de direction dans l'antivol de direction.

6.27 Déverrouiller la direction (tous les modèles EU)

- Introduire la clé de l'antivol de direction dans l'antivol de direction et la tourner vers la gauche, puis la retarder et la tourner vers la droite. Retirer la clé de l'antivol de direction.
Il est à nouveau possible de tourner le guidon.

Info
Ne jamais laisser la clé de l'antivol de direction dans l'antivol de direction.
7.1 Vue d'ensemble

1 Aperçu des témoins (p. 20) (tous les modèles EU)
1 Aperçu des témoins (p. 20) (tous les modèles US)
Touche de gauche
3 Ecran
4 Touche de droite
7.2 Activation

Activier le tableau de bord
Le tableau de bord est activé lorsqu'une touche est actionné ou lorsque le capteur de vitesse de rotation de la roue envoie un signal.
7.3 Messages affichés sur le tableau de bord

États possibles
| Tension de la batterie du tableau de bord - La ten-sion de la batterie du tableau de bord est trop bajo.Remplacer la batterie du tableau de bord. | |
| Service - Une révision doit être effectuee. Contactervotre atelier Husqvarna Motorcycles/agrée. |
7.4 Regler le tableau de bord

Condition
La moto est à l'arrêt.
- Maintain les deux touches enforcées pendant 3-5 secondes. Le menu Installation est affchéé. L'affichage UNIT clignote.
- Appuyer sur l'une des touches pour régler l'unité UNIT de vitesse sur kilométres KM/H ou sur miles M/H.

Le tableau de bordonne au point de menu suivant. Le symbole signote.
- Appuyer sur l'une des touches pour selectionner l'affichage de l'heure en mode 24h ou 12h.

Le tableau de bordonne au point de menu suivant. Le symbole signote.
Reculer l'heure
- Appuyer sur la touche de gauche.
La valeur diminue.
Avancer l'heure
- Appuyer sur la touche de droite.
La valeur augmente.

Le tableau de bordonne au point de menu suivant. Le symbole etignote.
Effectuer les réglages du mode Service.
Réduire la périodité des révisions
- Appuyer sur la touche de gauche.
La valeur diminue.
Rallonger la périodicité des révisions
- Appuyer sur la touche de droite.
La valeur augmente.

Désactiver l'affichage de la périodicité des révisions
- Maintainir la touche de gauche enfonnée.
off est affiché à l'écran.
7.5 Regler l'unité kilométres/miles

Info
Lors d'un changement d'unité, la valeur ODO est conservée et convertie en conséquence.
Condition
La moto est à l'arrêt.
7 TABLEAU DE BORD

- Maintainir les deux touches enforcées pendant 3-5 secondes.
Le menu Installation est affiché. L'affichage UNIT clignote. - Appuyer sur l'une des touches pour régler l'unité UNIT de vitesse sur kilométres KM/H ou sur miles M/H.
7.6 Régler l'heure
Condition
La moto est à l'arrêt.

- Maintainir les deux touches enforcées pendant 3-5 secondes.
Le menu Installation est affché. L'affichage UNIT clignote.
- Patienter jusqu'à ce que le menu de l'hepte clignote.
- Appuyer sur l'une des touches pour sélectionner l'affichage de l'heure en mode 24h ou 12h.

- Patient 5 seconds.
Le tableau de bordonne au point de menu suivant. Le symbole signote.
Reculer l'heure
- Appuyer sur la touche de gauche.
La valeur diminue.
Avancer l'heure
- Appuyer sur la touche de droite.
La valeur augmente.
7.7 Régler l'affichage du mode Service
Condition
La moto est à l'arrêt.

- Maintenir les deux touches enfoncées pendant 3 à 5 secondes.
Le menu Installation est affché. L'affichage UNIT clignote. - Patienter jusqu'à ce que le menu du mode Service clignote.
Effectuer les réglages du mode Service.
Réduire les intervalles de maintenance
- Appuyer sur la touche de gauche.
La valeur diminue.
Rallonger les intervalles de maintenance
- Appuyer sur la touche de droite.
La valeur augmente.

Désactiver l'affichage d'intervalles de maintenance
- Maintainir la touche de gauche enfoncée.
off est affché a l'écran.

7.8 Vitesse, heures et DST distance parcoursue 1

- Appuyer sur l'une des touches jusqu'à ce que DST soit affché sur le tableau de bord.
KM/H ou M/H indique la vitesse.
indique I'heure.
DST indique la distance parcourue depuis la dernière réinitialisation, par exemple entre deux pleins de carburant.
Info Si la
Si la valeur 39999,9 est dépasse, alors DST est automatiquement réinitialisé à 0,0.
| Appuyer brièvement sur la touche de gauche. | Mode d'affichage suivant |
| Appuyer sur la touche de gauche pen-dant 3 - 5 secondes. | DST peut être pré régé entre 0,0 et 39999,9 appuyant sur les touches. |
| Appuyer brièvement sur la touche de droite. | Mode d'affichage suivant |
| Appuyer sur la touche de droite pen-dant 3 - 5 secondes. | DST est réinitialisé sur 0,0. |
7.9 Vitesse, heures et DST2 distance parcours 2

- Appuyer sur l'une des touches jusqu'à ce que DST2 soit affché sur le tableau de bord.
KM/H ou M/H indique la vitesse.
indique l'heure.
DST2 indique la distance parcourue 2 depuis la première réinitialisation, par exemple entre deux arrêts à la pompe.

Info
Si la valeur 39999,9 est dépasse, alors DST2 est automatiquement réinitialisé à 0,0.
| Appuyer brièvement sur la touche de gauche. | Mode d'affichage suivant |
| Appuyer sur la touche de gauche pen-dant 3 - 5 secondes. | DST2 peut être pré régisé entre 0,0 et 39999, en appuyant sur les touches. |
| Appuyer brièvement sur la touche de droite. | Mode d'affichage suivant |
| Appuyer sur la touche de droite pen-dant 3 - 5 secondes. | DST2 est réinitialisé sur 0,0. |
7.10 Vitesse moyenne AVG, heures d'utilisation ART et distance totale parcourue ODO

- Appuyer sur l'une des touches jusqu'à ce que AVG, ART et ODO seront affichés sur le tableau de bord.
AVG indique la vitesse moyenne depuis la dernière réinitialisation.
ART indique les heures d'utilisation.
ODO indique la distance totale parcourue.
| Appuyer brièvement sur la touche de gauche. | Mode d'affichage suivant |
| Appuyer sur la touche de gauche pen-dant 3 - 5 secondes. | Le SYMBOLE DE LA CLÉ PLATE indique le nombre d'heures d'utilisation restantes avant la prochaine révision. |
| Appuyer brièvement sur la touche de droite. | Mode d'affichage suivant |
| Appuyer sur la touche de droite pen-dant 3 - 5 secondes. | AVG est réinitialisé sur 0,0. |
8.1 Consignes pour la première mise en service

Danger
Risque d'accident Un conducteur qui n'est pas en état de conduire se met en danger lui-même ainsi que les autres.
- Ne conduisez pas si vous avez consommez de l'alcool, des drogues ou des médicaments influant sur la conduite.
- Ne conduisez pas si vous n'êtes pas en état physiquement ou mentalement.

Avertissement
Risque de blessures Ne pas porter de vêtements de protection ou porter des vêtements de protection abîmes constitue un risque pour la sécurité.
- Toujours porter des vêtements de protection adéquats comme un casque, des bottes, des gants, un pantalon et une veste avec protections.
- N'utiliser que des vêtements de protection en parfait état et qui correspondent aux directives légales.

Avertissement
Risque de chute Une différence de sculpture des pneus avant et arrriere compromet la tenue deroute.
Une différence de sculpture des pneus peut considérerment compliquer le contrôle du vehicule.
Assurez-vous que les roues avant et arriere soient uniquement équipées de pneus de même profil.

Avertissement
Risque d'accident Une conduite inappropriée modifie le comportement sur route.
- Adapter sa vitesse de conduite à l'etat de la chaussée et aux capacités de pilotage.

Avertissement
Risque d'accident Le vehicule n'est pas conscience pour le transport d'un dosseret.
- Ne pas transporter de dosseret.

Avertissement
Risque d'accident En cas de surchauffe, le circuit de freinage n'est plus opérationnel.
Lorsque le pied se trouve sur la pédale de frein arrêté, les plaquettes de frein frottent sans interruption.
- Enlever le pied de la pédale de frein arrirée lors que celle-ci n'est pas utilisé.

Avertissement
Risque d'accident Le poids total et les charges sur essieu modifie le comportement sur route.
- Ne pas dépasser le poids total roulant autorisé et les charges sur essieu.

Avertissement
Risque de vol Les interventions de personnes non autorises mettent la vie d'autrui en danger, en plus de la leur.
- Ne laissez pas le vehicule sans surveillance lorsque le moteur tourne.
- Protégé le vehicule contre tout accès non autorisé.

Info
Noter que l'utilisation de la moto peut génér d'autres personnes en cas de bruit excessif.
- S'assurer que les travaux nécessaires lors du contrôle avant-venture ont ete effectués par un atelier agreé Husqvarna Motorcycles.
Le certificat de livreaison est delivré à la remise du vehicule.
- Avant d'effectuer le premier trajet, dire attentivement et intégralement le manuel d'utilisation.
- Se familiariser avec les éléments de commande.
- Regler la position de base du levier d'embrayage. (p. 89)
- Regler la position de base du levier de frein à main. (p. 93)
- Regler la position de base de la pedale de frein arriere. (p. 99)
- Regler la position de base du sélectet. (p. 136)
- Tester et se familiariser avec la manipulation et la tenue de route de la moto sur une surface appropriée avant d'entreprenevre un trajet plus important.

Info
Il est conseilé de pratiquer le sport tout-terrain enOMPagnie d'une autre personne dans le but de s'entraider en cas de probleme.
- En guise de test et pour se familiariser avec la moto, essayer aussi de rouler à vitesse réduite en se tenantABOUT sur les repose-pieds.
- Ne pas s'aventurer sur des pistes trop difficiles par rapport aux capacités et expériences personnelles.
- Toujours tenir le guidon à deux mains et laisser les pieds sur les repose-pieds.
Si yous transportez des bagages, arrimez-les de maniere fiable et le plus pres possible du centre du vehicule. Veillez a assurer une repartition de poids equilibrée entre la roue avant et la roue arriere.

Info
Les motos réagissant de manière très sensible à toute modification de la répartition des charges.
- Respecter le poids total roulant autorisé ainsi que les charges maximales autorisées sur les essieux. Indications prescrites
| Poids total roulant autorisé 335 kg (739 lb.) | |
| Charge maximale admissible sur l'axe avant 145 | kg (320 lb.) |
| Charge maximale admissible sur l'axe arrêté 190 | kg (419 lb.) |
- Contrôler la tension des rayons. (p. 111)

Info
La tension des rayons doit être contrôle au bout d'une demi-heure de fonctionnement.
- Roder le moteur. (p. 32)
8.2 Roder le moteur
- Pendant la phase de rodage, ne pas dépasser la puissance du moteur indiquée. Indications prescrites
| Puisance moteur maximale | |
| Au cours des 3 premières heures d'utilisation | < 70 % |
| Au cours des 5 premières heures d'utilisation | < 100 % |
- Éviter de rouler à plein régime!
- Contrôle régulierement le régime de ralenti. Indications prescrites
Régime de ralenti 1.400 ... 1.500 tr/min
Info Dura
» Lorsque le régime de ralenti change :
- Regler le régime de ralenti (p. 134)
8.3 Puissance de démarrage des batteries lithium-ion à basses températures

Les batteries lithium-ion sont nettement plus légères que les batteries au plomb, bénéficient d'une autodécharge faible et d'une puissance de démarrage supérieure au dessus de 15^ (60 °F). La puissance de démarrage des batteries lithium-ion diminuée cependant davantage à basses températures que celle des batteries au plomb.
Plusieurs essais de démarrage peuvent être utiles. Appuyer sur le bouton de démarrage pendant 5 secondes, puis patienter 30 secondes avant de recommencer. Les pauses sont nécessaires pour que la chaleur accumulée puisse se répartir dans la batterie lithium-ion et pour ne pas endommager la batterie 12 V. Si, à des températures inférieures à 15^ (60°F), la batterie lithium-ion ne parvient pas ou pas suffisamment à faire tourner le démarreur alors qu'elle est chargée, cela ne signifie pas qu'elle est défectueuse, elle doit simplement être rechauffée à l'intérieur afin d'augmenter la puissance de démarrage (courant délivré). La puissance de démarrage augmente avec le rechauffement.
8.4 Préparer le vehicule pour des conditions d'utilisation difficiles
Info Une
Une utilisation du vehicule dans des conditions extrêmes, telles que dans le sable ou sur un terrain détrempé ou bouex, risque d'entrainer une usure plus importante de composants tels les organes d'entrainment, le système de freinage ou les composants de la suspension. De telles conditions imposant un contrôle ou un remplacement des composants avant que l'intervalle d'entretien suivant n'avait été atteint.
-Nettoyerlefiltraairetbeboitierdufiltrair.(p.74)

Info
Contrôler le filtré à air toutes les 30 minutes environ.
- Vérifier les fiches électriques (humidité, corrosion, fixation).
En presence d'humidité, de corrosion ou de dommages :
- Nettoyer, secher les fiches et les replacer si nécessaire.
Les conditions d'utilisation difficiles sont les suivantes :
Trajets sur sable sec. (p. 34)
- Trajets sur sable humide. (p. 35)
Trajets sur voies humides et boueuses. (p. 36)
- Trajets à températures extérieures élevées ou trajets lents. (p. 36)
- Trajets à faibles températures extérieures ou en cas de neige. (p. 37)
8.5 Préparation du vehicule aux trajets sur sable sec

- Verifier le bouchon de radiateur.
| Valeur au niveau du bou-chon de radiateur | 1,8 bar (26 psi) |
Si la valeur affichée ne correspond pas à la valeur de consigne :

Avertissement
Danger de brûlure Le liquide de refroidissement est brûlant et maintenu sous pression pendant le fonctionnement de la moto.
- Ne jamais ouvrir le radiateur, les durites de radiateur ou tout autre composant du système de refroidissement lorsque le moteur ou le système de refroidissement sont chauds.
- Laissez le système de refroidissement et le moteur refroidir avant d'ouvrir le radiateur, les durites de radiateur ou tout autre composant du système de refroidissement.
-
En cas de brûlure, passez immédiatement la zone ébouillantee sous l'eau tiède.
-
Remplacer le bouchon de radiateur.

- Mettre en place la protection contre les poussieres sur le filtre à air.
Protection contre la poussière sur le filtre à air (79006920000)

Info
Respecter les indications du manuel de montage des accessoires Husqvarna Motorcycles.

- Mettre en place la protection contre le sable sur le filtré à air.
Protection contre le sable sur le filtre à air (79006922000)

Info
Respecter les indications du manuel de montage des accessoires Husqvarna Motorcycles.

Nettoyer la chaine.
- Monter le pignon de chaîne d'acier.
Graisser la chaine.
Lubrifiant universel en aerosol (p. 164)
Nettoyer les ailettes du radiateur.
- Redresser avec précaution les ailettes du radiateur tordues.
Condition
Utilisation régulière dans le sable
- Remplacer les pistons toutes les 10 heures d'utilisation.

8.6 Préparation du vehicule aux trajets sur sable humide

- Vérifier le bouchon de radiateur.
Valeur au niveau du bouchon de radiateur
1,8 bar (26 psi)
Si la valeur affichée ne correspond pas à la valeur de consigne :

Avertissement
Danger de brûlure Le liquide de refroidissement est brûlant et maintenu sous pression pendant le fonctionnement de la moto.
- Ne jamais ouvrir le radiateur, les durites de radiateur ou tout autre composant du système de refroidissement lorsque le moteur ou le système de refroidissement sont chauds.
Laissez le système de refroidissement et le moteur refroidir avant d'ouvrir le radiateur, les durites de radiateur ou tout autre composant du système de refroidissement. -
En cas de brûlure, passez immédiatement la zone ébouillantee sous l'eau tiède.
-
Remplacer le bouchon de radiateur.
-
Mettre en place la protection contre l'eau sur le filtré à air.
Protection contre l'eau sur le filtré à air (79006921000)

Info
Respecter les indications du manuel de montage des accessoires Husqvarna Motorcycles.


Nettoyer la chaîne.
- Monter le pignon de chaîne d'acier.
Graisser la chaine.
Lubrifant universel en aerosol (p. 164)
- Nettoyer les ailettes du radiateur.
- Redresser avec précaution les ailettes du radiateur tordues.
Condition
Utilisation régulière dans le sable
- Remplacer les pistons toutes les 10 heures d'utilisation.
8.7 Préparation du vehicule aux trajets sur voies humides et boueuses

- Mettre en place la protection contre l'eau sur le filtré à air.
Protection contre l'eau sur le filtré à air (79006921000)

Info
Respecter les indications du manuel de montage des accessoires Husqvarna Motorcycles.

- Monter le pignon de chaîne d'acier.
-Nettoyer la moto. (p. 146) - Redresser avec précaution les ailettes du radiateur tordues.
8.8 Préparation du vehicule aux températures extérieures élevées ou aux trajets lents

- Contrôler le bouchon de radiateur.
| Valeur au niveau du bou-chon de radiateur | 1,8 bar (26 psi) |
» Si la valeur indiquée ne correspond pas à la valeur pres-crite :

Avertissement
Danger de brûlure Le liquide de refroidissement est brûlant et maintenu sous pression pendant le fonctionnement de la moto.
- Ne jamais ouvrir le radiateur, les durites de radiateur ou tout autre composant du système de refroidissement lorsque le moteur ou le système de refroidissement sont chauds.
Laissez le système de refroidissement et le moteur refroidir avant d'ouvrir le radiateur, les durites de radiateur ou tout autre composant du système de refroidissement. -
En cas de brûlure, passesz immediatement la zone ébouillantee sous l'eau tiède.
-
Remplacer le bouchon de radiateur.
-
Adapter la démultiplication secondaire au trajet.


Info
L'huile de boite devient rapidement brulante lorsque l'embrayage est manipulé fréquemment en raison d'une démultiplication secondaire trop longue.
Nettoyer la chaine.
- Nettoyer les ailettes du radiateur.
- Redresser avec précaution les ailettes du radiateur tordues.
- Vérifier le niveau de liquide de refroidissement. (p. 128)

8.9 Préparation du vehicule aux faibles températures extérieures ou à la neige

- Mettre en place la protection contre l'eau sur le filtré à air.
Protection contre l'eau sur le filtré à air (79006921000)

Info
Respecter les indications du manuel de montage des accessoires Husqvarna Motorcycles.
9.1 Travaux de contrôle et d'entretien avant chaque mise en service

Info
Contrôler l'etat du vehicule et la sécurité de fonctionnement avant chaque trajet.
Pendant le trajet, le vehicule doit etre en parfait etat technique.

- Vérifier le niveau d'huile de boite. (p. 143)
- Contrôler l'équipement électrique.
- Vérifier le niveau de liquide de frein à l'avant. (p. 94)
- Vérifier le niveau de liquide de frein à l'arrière. (p. 100)
- Contrôler les plaquettes de frein à l'avant. (p. 95)
- Contrôler les plaquettes de frein arrêté. (p. 101)
- Contraler le fonctionnement des freins.
- Vérifier le niveau de liquide de refroidissement. (p. 128)
- Vérifier l'etat d'encrassement de la chaine. (p. 81)
- Vérifier la chaine, la couronne, le pignon et le guide-chaine. (p. 84)
- Contrôler la tension de la chaîne. (p. 82)
- Vérifier l'etat des pneus. (p. 110)
- Vérifier la pression des pneus. (p. 110)
- Contrôler la tension des rayons. (p. 111)

Info
La tension des rayons doit être contrôle régulierèment, car une mauvaise tension peut grandementmettre en danger le conducteur.
-Nettoyer les cache-poussieres des bras de fourche. (p.60)
- Purger les bras de fourche. (p. 59)
- Contrcler le filtrte a air.
- Contrôler le réglage et la souplesse de tous les éléments de commande.
- Vérifier régulierement que toutes les vis, tous les écrous et tous les colliers sont bien serrés.
- Vérifier la réserve de carburant.
- Contrôler le niveau d'huile deux temps. (p. 138)
9.2 Demarrer le vehicule

Danger
Danger d'intoxication Les gaz d'échévement sont toxiques et peuvent faire perdre conscience voire entrainer la mort.
- Veillez donc en permanence à une aération suffisante lorsque le moteur tourne.
- Utilisez un système d'extraction des gaz d'échévement approprié si vous démarrez ou faites tourner le moteur dans une piece fermée.
Remarque
Dommages sur le moteur Lorsque le moteur est froid, les régimes élevés ont une influence négative sur la longévité des composants.
- Faites chauffer le moteur uniquement à bas régime.

- Relever la béquille lésal de la moto et bloquer la béquille avec le caoutchouc de maini.
- Metre la boite de vitesse au point mort.
(tous les modèles EU)
Actionner le bouton d'arrêt d'urgence en position.
Condition
Température ambiente: < 10 °C (< 50 °F)
- Retirer le bouton de démarrage à froid jusqu'en butée et le tourner d'1/4 de tour.

Info
Lorsque le moteur a atteint la température de fonctionnement, désactiver le bouton de démarrage à froid.

- Enconcer le bouton de démarrage.

Info
Ne pas accelérer.
Appuyer au maximum 5 secondes sur le bouton de démarrage. Attendre 30 secondes jusqu'au prochain essai.
Lorsque la température est inférieure à 15^ (60 °F), plusieurs tentatives de démarrage peuvent être requises pour réchauffer la batterie lithium-ion et augmenter ainsi la puissance de démarrage.
Le témoin de dysfonctionnement s'allume pendant le démarrage.
9.3 Demarrer

Info
Allumer l'eclairage avant de demarrer. Cela permit aux autres usagers de la route de mistroux vous voir. La bequille laterale doit etre relevee avant le depart et retenue avec le caoutchouc de maintien.
- Tirer sur le levier d'embrayage, passer la première, relicher lentement le levier d'embrayage tout en accélérant avec précaution.
9.4 Passer les vitesses, conduire

Avertissement
Risque d'accident Rétrograder à régime moteur élevé bloque la roue arrêté et emballe le moteur.
- Ne rétrogradez pas à un régime moteur élevé.

Avertissement
Dommages sur le moteur Si le réservoir d'huile n'est pas rempli d'huile pour moteurs à deux temps, alors le moteur n'est pas lubrifié.
Lorsque la lampe témoin du niveau d'huile s'allume, alors l'huile deux temps suffit pour le reste du replissage du réservoir de carburant.
Lorsque la lampe-témoin du niveau d'huile s'allume, roulez au maximum jusqu'à ce que le réservoir soit vide.
- À la prochaine occasion, faites ensuite l'appoint en huile deux temps avant de faire le plein de carburant.
Synchronisez la pompe à huile lorsque la durite d'huile deux temps a été retiree ou que le réservoir d'huile deux temps a ete compltetement vide.

Info
En cas de bruits anormaux pendant la conduite, il convient de s'arrête immédiatement, d'éteindre le moteur et de contacter un atelier/agree Husqvarna Motorcycles.
La première vitesse sert à démarrer ou à gravir les côtes.
Lorsque les circonstances le permettent (cote, circulation, etc.), passer la vitesse supérieure. Pour cela, relacher la poignee des gaz et tirer simultanement sur le levier d'embrayage, passer à la vitesse suivante, relacher l'embrayage et accelerer.
- Si la fonction de démarrage à froid a été activée, désactiver le bouton de démarrage à froid dés que le moteur est chaud.
- Àpèras avoir atteint la vitesse maximale en tournant à fond la poignée des gaz, ramener cette dernière aux 3/4 . La vitesse diminue à peine, mais la consommation est fortement réduite.
- Ne pas accélérer plus que nécessaire. Faire tourner trop brusquement la poignée des gaz fait augmenter la consommation.
- Pour rétrograder d'une vitesse, freiner la moto en coupant les gaz.
- Tirer sur le levier d'embrayage, engager la vitesse inférieure, relacher doucement le levier d'embrayage et accelerer ou changer à nouveau de vitesse.
Couper le moteur si le vehicule doit tourner au régime de ralenti ou rester à l'arrêt pendant une période prolongée.
- Éviter de faire patiner l'embrayage trop longtemps ou trop souvent. Cela entraine une surchauffe de l'huile de boîte, du moteur et du système de refroidissement.
- Rouler à faible régime只不过 qu'à haut régime en faisant patiner l'embrayage.
9.5 Freiner

Avertissement
Risque d'accident Un freinage excessif entraine le blocage des roues.
- Adapter le freinage à l'état de la chaussée et aux capacités de pilotage.

Avertissement
Risque d'accident Une résistance réduite des freins avant et arrêté indique une efficacité diminuée du freinage.
- Contrôlez les freins et ne conduisiez pas avant que le problème ne soit résolu. (Votre atelier Husqvarna Motorcycles/agree se tient volunteers à votre disposition.)

Avertissement
Risque d'accident L'humidité et la poussière compromettent le système de freinage.
-
Freinez plusieurs fois avec précaution afin de faire secher les plaquettes et les disques de frein et d'enlever la poussière.
-
Sur sol sableux, humide ou glissant, utiliser principalement le frein de roue arrrière.
- Le freinage doit toujours se terminer avant d'entrez dans un virage. Passer le rapport inférieur, en fonction de la vitesse du vehicule.

9.6 Arreter, bequiller

Avertissement
Risque de vol Les interventions de personnes non autorises mettent la vie d'autrui en danger, en plus de la leur.
- Ne laissez pas le vehicule sans surveillance lorsque le moteur tourne.
- Protégé le vehicule contre tout accès non autorisé.

Avertissement
Risque de brûlures Certaines pieces du vehicule deviennent brûlantes pendant la conduite du vehicule.
- Ne pas toucher les composants tels que l'échémpement, le radiateur, le moteur, l'amortisseur ou le système de frein avant que ces composants ne soient refroidis.
- Laisser refroidir les pièces du vehicule avant de commencer les travaux.
Remarque
Détérisation du matériel Un stationnement inadapté endommage le vehicule.
Si le vehicule roule ou tombe, il risque d'être fortement endommagé.
Les composants pour bequiller le vehicule sont concus uniquement pour le poids du vehicule.
- Stationner le vehicule sur un sol plan et ferme.
Assurez-vous que personne ne soit sur le vehicule lorsqu'il est stationné à l'aide de la béquille.
Remarque
Risque d'incendie Les pièces chaudes du vehicule représentent un danger d'incendie et d'explosion.
- Ne laissiez pas le vehicule à proximé de matérielles facilement inflammables ou explosifs.
- Laissez le vehicule refroidir avant de le recouvrir.
Freiner la moto.
- Metre la boite de vitesse au point mort.
9 CONSEILS D'UTILISATION
(tous les modeles EU)
- Actionner le bouton d'arrêtau ralenti moteur jusqu'à l'arrêt du moteur.
(tous les modeles US)
Actionner le bouton d'arrêt au ralenti moteur jusqu'à l'arrêt du moteur.
Garer la moto sur une surface stable.
9.7 Transport
Remarque
Danger d'endommagement Le vehicule en stationnement est susceptible de rouler accidentellement ou de tomber.
- Stationner le vehicule sur un sol plan et ferme.
Remarque
Risque d'incendie Les pièces chaudes du vehicule prsentent un danger d'incendie et d'explosion.
- Ne laissiez pas le vehicule à proximé de matérielux facilement inflammables ou explosives.
- Laissez le vehicule refroidir avant de le recouvrir.

- Arreter le moteur.
- Bloquer la moto avec des tendeurs ou d'autres dispositifs de fixation adaptés pour l'empêcher de tomber ou de rouler accidentellement.
9.8 Faire le plein de carburant

Danger
Risque d'incendie Le carburant est facilement inflammable.
Le carburant contenu dans le réservoir se dilate sous l'effet de la chaleur et peut déborder lorsque le réservoir est trop rempli.
- Ne jamais faire le plein du vehicule à proximé de flammes ou de cigarettestes allumées.
- Arreter le moteur lorsque vous faites le plein.
- S'assurer de ne pas renverser de carburant, notamment sur les parties chaudes du vehicule.
- Essuyer immédiatement tout carburant renversé.
- Respecter les consignes indiquées lorsque vous faites le plein.

Avertissement
Danger d'intoxication Le carburant est toxique et constitue un danger pour la santé.
- Éviter tout contact du carburant avec la peau, les yeux ou les vêtements.
- Consulter immédiatement un médecin en cas d'ingestion de carburant.
- Ne pas respirer les vapeurs d'essence.
- En cas de contact cutané, rincer immédiatement à grande eau la zone touchée.
- En cas de contact du carburant avec les yeux, bien les rincer à l'eau et consulter immediatement un médecin.
- Si les vêtements sont aspergés de carburant, il faut les changer.
Remarque
Deterioration du materiel Un carburant de qualite insuffisante encrasse plus rapidement le filtrte a carburant
Dans certains pays et régions, la qualité et la propre décarburant disponible sont insuffisantes. Cela peut occasionner des défaillances du circuit de carburant.
- Faites uniquement le plein avec du carburant propre qui répond à la norme prescrite. (Votre atelier Husqvarna Motorcycles/agréé se tient volunteers à leur disposition.)

Remarque
Danger pour l'environnement Une manipulation inadéquate du carburant constitue un danger pour l'environnement.
- Le carburant ne doit pas pénétrer dans la nappe phréatique, le sol ou les canalisations.

- Ouvrir le bouchon du réservoir de carburant. (p. 21)
- Remplir le réservoir de carburant au maximum jusqu'au repère A.
| Repère A | 35 mm (1,38 in) | ||
| Capacité totale du réservoir à carburant env. | 8,5 l (2,25 US gal) | Supercarburant sans plomb (ROZ 95/RON 95/PON 91) (p. 163) | |

Info
Ne pas utiliser de carburant pré-mélange.
- Fermer le bouchon du réservoir de carburant. (p. 22)
9.9 Faire l'appoint en huile deux temps

Avertissement
Dommages sur le moteur Si le réservoir d'huile n'est pas rempli d'huile pour moteurs à deux temps, alors le moteur n'est pas lubrifié.
Lorsque la lampe témoin du niveau d'huile s'allume, alors l'huile deux temps suffit pour le reste du remplissage du réservoir de carburant.
Lorsque la lampe-témoin du niveau d'huile s'allume, roulez au maximum jusqu'à ce que le réservoir soit vide.
- À la prochaine occasion, faites ensuite l'appoint en huile deux temps avant de faire le plein de carburant.
Synchronisez la pompe à huile lorsque la durite d'huile deux temps a ete retirée ou que le réservoir d'huile deux temps a ete complètement vide.
- Ouvrir le bouchon du réservoir d'huile deux temps. (p. 22)
9 CONSEILS D'UTILISATION

- Remplir le réservoir d'huile deux temps jusqu'àu bord inférieur A de la tubulure de replissage.
N'employer que de l'huile à deux temps appropriée pour le graissage séparé.
Capacité du réservoir d'huile deux temps d'environ
0,6 | (0,6 qt.)
Huile moteur a deux temps (p. 162)
- Fermer le bouchon du réservoir d'huile deux temps. (p. 22)
10.1 Informations additionnelles
Tous les travaux supplémentaires resultant des opérations obligatoires ou des mesures recommandées doivent faire l'objet d'une procédure séparée et sont facturés séparément.
En fonction des conditions de conduite locales, les intervalles de maintenance peuvent différer dans le pays d'utilisation.
Dans le cadre de l'évolution technique, il est possible que certains intervalles d'entretien et services soient modifiés. Le dernier plan d'entretien en vigueur est toujours disponible sur la plateforme Dealer.net de Husqvarna Motorcycles. Notre distributeur Husqvarna Motorcycles vous conseillera volontiers.
10.2 Travaux obligatoires
| toutes les 10 heures d'utilisation en cas d'utilisation sportive | |
| toutes les 40 heures d'utilisation | |
| toutes les 20 heures d'utilisation | |
| après 5 heures d'utilisation | |
| après une heures d'utilisation | |
| Relever la mémoire d'erreurs avec le boîtier diagnostic Husqvarna Motorcycles. ○ ○ • • • | |
| Contrôler le bon fonctionnement de l'équipement électrique. ○ • • • | |
| Vérifier et charger la batterie 12✓. • • • | |
| Contrôler les plaquettes de frein à l'avant. (p. 95) • • • | |
| Contrôler les plaquettes de frein arrêté. (p. 101) • • • | |
| Vérifier les disques de frein. (p. 93) • • • | |
| Vérifier l'état et l'étanchérique des durites de frein. • • • | |
| Vérifier le niveau de liquide de frein à l'arrête. (p. 100) | |
| Vérifier la course libre de la pédale de frein arrêté. (p. 98) | |
| Contrôler le cadre. (p. 87) | |
| Vérifier le bras oscillant. (p. 87) | |
| Vérifier que le roulement du bras oscillant ne présente pas de jeu. | |
| Vérifier le jeu des paliers de pivot. | |
| Vérifier l'articulation de l'amortisseur. | |
| Vérifier l'état des pneus. (p. 110) | |
| Vérifier la pression des pneus. (p. 110) | |
| Vérifier le jeu éventuel du roulement de roche. | |
| Vérifier les moyeu des roues. | |
| Vérifier que les jantes ne sont pas voilés. ○ • • | |
| Contrôler la tension des rayons. (p. 111) | |
| Vérifier la chaîne, la couronne, le pignon et le guide-châine. (p. 84) | |
| Contrôler la tension de la chaîne. (p. 82) ○ • • • | |
| Graisser toutes les pieces mobiles (par ex. béquille latérale, levier, chaîne...) et vérifier leur liberté de mouvement. | |
| Vérifier/rectifier le niveau de liquide d'embrayage hydraulique. (p. 89) | |
| Vérifier le niveau de liquide de frein à l'avant. (p. 94) | |
| Vérifier la course libre du levier de frein à main. | |
| Vérifier le jeu du palier de la tête de direction. (p. 66) | |
| Remplacer la bougie d'allumage et la fiche de bougie d'allumage. | |
| Vérifier la boîte à clapets, la membrane et l'embout de purgege. | |
| Remplacer l'huile de boîte. (p. 144) | |
| toutes les 10 heures d'utilisation en cas d'utilisation sportive | |
| toutes les 40 heures d'utilisation | |
| toutes les 20 heures d'utilisation | |
| après 5 heures d'utilisation | |
| après une heures d'utilisation | |
| Inspector tous les flexibles (par ex. flexibles de carburant, de liquide de refroidisse • • • | |
| ment, de purge, de vidange...) et les cache-poussière à la recherche de fissures ou de défauts d'étanchéité, et vérifier que leur montage est correct. | |
| Vérifier l'antigel et le niveau de liquide de refroidissement. (p. 127) • • • | |
| Vérifier que les cables ne sont pas endommagés et qu'ils ne sont pas piées. • • • | |
| Vérifier l'état des cables d'accéléateur, l'absence de pliures et le réglage. ○ • • • | |
| Nettoyer le filtré à air et le boîtier du filtré • air. (p. 74) • • • | |
| Remplacer la laine de roche du silencieux arrêté. (p. 76) • • | |
| Effectuer l'entretien de la fourche • | |
| Effectuer l'entretien de l'amortisseur • | |
| Vérifier le serrage des vis et écrous facies d'accès et importants pour la sécurité. ○ • • • • | |
| Remplacer la crépine à essence. (p. 137) ○ • • • | |
| Vérifier la pression de carburan • • • | |
| Vérifier le réglage du phare. (p. 124) ○ • • • | |
| Contrôle le régime de ralent• | |
| Contrôle final : vérifier la sécurité de fonctionnement du vehicule et effectuer une ○ • • • • | |
| marche d'essai• | |
| Consulter la mémoire d'erreurs avec le boîtier diagnostic Husqvarna Motorcycles à ○ • • • • | |
| l'issue de la marche d'essai• | |
| Faire le rapport des interventions sur la plateforme Husqvarna Motorcycles Dea-○ • • • • | |
| ler.net. • |
Intervalle unique
- Intervalle périodique
10.3 Travaux recommends
| toutes les 40 heures d'utilisation en cas d'utilisation sportive | |
| toutes les 10 heures d'utilisation en cas d'utilisation sportive | |
| toutes les 80 heures d'utilisation | |
| toutes les 40 heures d'utilisation | |
| après 20 heures d'utilisation | |
| après 10 heures d'utilisation | |
| tous les 12 mois | |
| Remplacer le liquide de frein à l'avant. | ● |
| Remplacer le liquide de frein à l'arrière. | ● |
| Remplacer le liquide d'embrayage hydraulique | ● |
| Graisser le palier de la tête de direction. (p. 67) | ● |
| Nettoyer le flexible du capteur de pression. | ● |
| Effectuer l'entretien de la fourche | ○ |
| Effectuer l'entretien de l'amortisseur | ○ |
| Vérifier le moteur de démarreur électrique | ● ● |
| Remplacer le filtré à carburant | ● ● |
| après 10 heures d'utilisation | |
| tous les 12 mois | |
| Remplacer les pistons et contrôler les cylindres. • • | |
| Remplacer la pompe à huile, nettoyer la crépine d'huile. • | |
| Nettoyer la crépine dans le réservoir d'huile. • | |
| Nettoyer le capuchon du capteur de pression. • • • • | |
| Effectuer un petit entretien du moteur. (Vérifier le fonctionnement et la souplesse de la valve d'échéappement. Vérifier l'embrayag.) | |
| Effectuer un entretien avancé, y compris un démontage et un montage du moteur. (Remplacer la bielle, les paliers de bielle et les manetons. Nettoyer les raccords de flexible du capteur de pression. Vérifier la boîte de vitesse et l'engagement des rapports. Remplacer tous les paliers du moteur.) | |
Intervalle unique
- Intervalle périodique
11.1 Contrôler le réglage de base de la partie-cycle en fonction du poids du pilote
Info Lors
Lors du réglage de base de la partie-cycle, régler d'abord l'amortisseur et ensuite la fourche.

- Pour obtenir un comportement optimal de la machine et pour ne pas endommager la fourche, l'amortisseur, le bras oscillant ou le cadre, adapter le réglage de base des éléments de suspension au poids du pilote.
- À la livraison, les motos Husqvarna sont prévues pour un poids conducteur standard (y compris l'équipement de protection au complet).
- Si le poids du pilote n'est pas compris dans ces limites, il convient de modifier le réglage de base des suspensions en conséquence.
- Une petite différence de poids peut être compensée par un réglage de la précontrainte des ressorts; une différence plus importante exige la mise en place de ressorts correspondants.

11.2 Amortissement en compression de l'amortisseur
L'amortissement en compression de l'amortisseur est divisé en deux plages, la Grande Vitesse et la petite Vitesse.
La Grande et petite Vitesse sont des paramétres qui se refèrent à la vitesse de compression de l'amortisseur de la roue arrière, et non à la vitesse de la moto.
L'element de réglage de compression Grande Vitesse se ressent par exemple à l'atterissage suite à un saut; la compression de l'amortisseur de la roue arrêté agit alors rapidement.
L'elément de réglage de compression petite Vitesse se dessent par exemple en cas de conduite sur une chaussee comptant de longs dos d'âne ; la compression de l'amortisseur de la roue arrière agit alors lentement.
Ces deux paramètres sont réglibes indépendamment l'un de l'autre, même si la transition entre la Grande et la petite Vitesse reste fluide. C'est pourquoit les modifications des réglages dans la plage petite Vitesse de compression de la fourche agissant également sur la plage Grande Vitesse et inversement.
11.3 Régler l'amortissement en compression de petite Vitesse de l'amortisseur

Attention
Risque de blessures Les pieces de l'amortisseur seront projetees si celui-ci est mal demonted.
L'amortisseur est rempli d'azote haute densité.
- Respectez la description indiquée. (Votre atelier Husqvarna Motorcycles/agree se tient volontiers à leur disposition.)
Info L'élé
L'élement de réglage de compression petite Vitesse se fait sentir lorsque l'enforcement de l'amortisseur est de lent à normal.

- Visser la vis de réglag dans le sens des aiguilles d'une montre, avec un tournevis, jusqu'àau dernier cran perceptible.

Info
Ne pas desserrer le raccord vis !
- Tourner dans le sens inverse des aiguilles d'une montre en effectuant le nombre de crans correspondant au type d'amortisseur.
La rotation dans le sens des aiguilles d'une montre augmente l'amortissement, la rotation dans le sens inverse le réduit.
11.4 Regler l'amortissement en compression de Grande Vitesse de l'amortisseur

Attention
Risque de blessures Les pieces de l'amortisseur seront projetees si celui-ci est mal demonté.
L'amortisseur est rempli d'azote haute densité.
Respectez la description indiquée. (Votre atelier Husqvarna Motorcycles agree se tient volontiers a leur disposition.)

Info
L'élement de réglage de compression Grande Vitesse se fait sentir lorsque l'enforcement de l'amortisseur est rapide.

- Visser la vis de réglag dans le sens des aiguilles d'une montre jusqu'en butée à l'aide d'une clé plate.

Info
Ne pas desserer le raccord vis 2!
- Tourner dans le sens inverse des aiguilles d'une montre du nombre de tours correspondant au type d'amortisseur. Indications prescrites
| Amortissement en compression Highspeed | |
| Confort 2,5 tours | |
| Standard 2 tours | |
| Sport 1,5 tour | |
11 ADAPTER LA PARTIE-CYCLE

Info
La rotation dans le sens des aiguilles d'une montre augmente l'amortissement, la rotation dans le sens inverse le réduit.
11.5 Regler l'amortissement en détente de l'amortisseur

Attention
Risque de blessures Les pièces de l'amortisseur seront projétées si celui-ci est mal démontré. L'amortisseur est rempli d'azote haute densité.
- Respectez la description indiquée. (Votre atelier Husqvarna Motorcycles/agree se tient volontiers à votre disposition.)

- Visser la vis de réglag1 dans le sens des aiguilles d'une montre jusqu'au dernier cran perceptible.
- Tourner dans le sens inverse des aiguilles d'une montre en effectuant le nombre de crans correspondant au type d'amortisseur.
Tourner dans le sens des aiguilles d'une montre augmente l'amortissement, tourner dans le sens inverse réduit l'amortissement lors de la détente.
11.6 Détérminer la valeur d'enforcement à vide de la roue arrière
Preparatifs
- Surelever la moto sur un socle réglablé. (p. 59)

Travail principal
- Placer la jauge de profondeur sur l'essieu arriere et mesurer l'écart avec le repère SAG sur le garde-boue arriere.
| Jauge de profondeur (00029090500) |
| Broche enchancement (00029990010) |
Noter cette mesure en tant que val.
Retouche
- Retirer la moto du socle réglable. (p. 59)
11.7 Vérifier l'enforcement statique de l'amortisseur

Déterminer la valeur d'enforcement à vide de la roue arrrière. (p. 50)
- Demander à une pierce personne de maintainir la moto en position verticale.
- Mesurer à nouveau l'écart entre l'essieu arrêté et le repère SAG sur le garde-boue arrêté, avec la jauge de profondeur.
Noter cette mesure en tant que vale

Info
L'enforcement statique est la différence entre les valeurs A et B.
- Verifier l'enforcement statique.
Enforcement statique 37 min (1,46 in)
Lorsque l'enforcement statique est inférieur ou supérieur à la valeur indiquée :
- Regler la pretension du ressort de l'amortisse. (p. 52)
11.8 Vérifier l'enforcement en charge de l'amortisseur

- Détérminer la valeur d'enforcement à vide de la roue arrêté. (p. 50)
- Avec l'aide d'une personne tenant la moto en équilibre, le pilote entièrement équipé s'assied en position normale (les pieds sur les repose-pieds) et fait journer plusieurs fois la suspension de la roue.
La suspension de la roue arrête prend sa position d'équilibre.
- Une autre personne doit Maintenant mesurer à nouveau l'écart entre l'essieu arrêté et le repère SAG sur le garde-boue arrêté, avec la jauge de profondeur.
Noter cette mesure en tant que value.

Info
L'enforcement en charge est la différence entre les valeurs A et C.
- Vérifier l'enforcement en charge.
» Lorsque l'enforcement en charge ne correspond pas à la valeur spécifique :
- Regler l'enforcement en charge. (p. 53)
11.9 Regler la pretension du ressort de I'amortisseur

Attention
Risque de blessures Les pièces de l'amortisseur seront projétées si celui-ci est mal démontré.
L'amortisseur est rempli d'azote haute densité.
- Respectez la description indiquée. (Votre atelier Husqvarna Motorcycles/agree se tient volontiers à votre disposition.)

Info
Avant de modifier la pretension du ressort, noter le réglage actuel, par ex. mesurer la longueur du ressort.
Preparatifs
- Surelever la moto sur un socle régliable. (p. 59)
- Déposer l'amortisseur. p. 69)
- Une fois qu'il est déposé, nettoyer à fond l'amortisseur.

Travail principal
- Desserer la vis1.
- Desserrer la bague de réglag2 jusqu'à ce que le ressort soit complètement détendu.
Clé à crochet (90129051000)

Info
Si le ressort ne peut pas être complètement détendu, il faut alors le retarder pour mesurer avec précision sa longueur.
- Mesurer la longueur totale du ressort à l'état détendu.
- Tendre le ressort en tournant l'écrou de réglé jusqu'à la valeur A prescrite.
En fonction de l'enforcement statique ou en charge souhaite, une pretension de ressort plus élevée ou plus faible peut être nécessaire.
- Serrer la vis
| Vis écrou de réglage amortisseur | M5 5 Nm (3,7 | Ibf ft) |
Retouche
Monter I'amortisseur. p. 70)
- Retirer la moto du socle réglabl. (p. 59)
11.10 Regler I'enforcement en charge

Preparatifs
- Surelever la moto sur un socle régliable. (p. 59)
- Déposer l'amortisseur. p. 69)
- Une fois qu'il est déposé, nettoyer à fond l'amortisseur.
Travail principal
- Choiser et installer un ressort ajust.
| Taux d'élasticité | |
| Poids du pilote : 65 ... 75 kg (143 ... 165 lb.) | 39 N/mm (223 lb/in) |
| Poids du pilote : 75 ... 85 kg (165 ... 187 lb.) | 42 N/mm (240 lb/in) |
| Poids du pilote : 85 ... 95 kg (187 ... 209 lb.) | 45 N/mm (257 lb/in) |

Info
Le taux d'élasticité est spécifique sur la face extérieure du ressort.
Retouche
Monter I'amortisseur. p. 70)
- Retirer la moto du socle régiable. (p. 59)
- Vérifier l'enforcement statique de l'amortisseur. (p. 51)
- Vérifier l'enforcement en charge de l'amortisseur. (p. 52)
- Regler l'amortissement en détente de l'amortisseur. (p. 50)
11.11 Vérifier le réglage de base de la fourche
i Info Pour
Pour différentes raisons, il est impossible de déterminer avec précision la valeur de l'enforcement en charge de la fourche.

- Si le poids du pilote ne correspond pas tout à fait à la norme, compenser en modifiant la prétension des ressorts, comme indiqué pour l'amortisseur.
- Si toutes la fourche talonne fréquèment (c'est-à-dire vient taper fréquèment en bout de course), monter des ressorts plus durs pour ne pas endommager la fourche et le cadre.
- Si, après un long fonctionnement, la fourche semble plus durable qu'à l'accoutumée, il faut alors purger les bras de fourche.
11.12 Regler l'amortissement en compression de la fourche
Info L'am
L'amortissement hydraulique en compression détermine le comportement lors de l'enforcement de la fourche.

Tournier l'élément de réglage blan ① dans le sens des aiguilles d'une montre jusqu'en butée.

Info
L'élement de réglage se trouve à l'extrémité supérieur du bras de fourche de gauche.
L'amortissement en compression se trouve sur le bras de fourche de gauche COMP (element de réglage blanc). L'amortissement en détente se trouve sur le bras de fourche de croite REB (element de réglage rouge).
- Tourner l'objet de réglage dans le sens inverse des aiguilles d'une montre du nombre de crans correspondant au type de fourche.
Tourner dans le sens des aiguilles d'une montre augmente l'amortissement, tourner dans le sens inverse réduit l'amortissement lors de l'enforcement.
11.13 Regler l'amortissement en détente de la fourche

Info
L'amortissement hydraulique en détente détermine le comportement lors de la détente de la fourche.

Tournier l'élément de réglage rouge dans le sens des aiguilles d'une montre jusqu'en butée.

Info
L'element de réglage se trouve à l'extrémité supérieur du bras de fourche de droite.
L'amortissement en compression se trouve sur le bras de fourche de gauche COMP (element de réglage blanc). L'amortissement en détente se trouve sur le bras de fourche de croite REB (element de réglage rouge).
- Tourner l'élément de réglage dans le sens inverse des aiguilles d'une montre du nombre de crans correspondant au type de fourche.
| Amortissement de détente | |
| Confort 18 clics | |
| Standard 15 clics | |
| Sport 12 clics | |

Info
Tourner dans le sens des aiguilles d'une montre augmente l'amortissement, tourner dans le sens inverse réduit l'amortissement lors de la détente.
11 ADAPTER LA PARTIE-CYCLE
11.14 Regler la pretension du ressort de la fourche
Preparatifs
- Surelever la moto sur un socle régliable. (p. 59)
Travail principal
- Tourner les ailes de réglag dans le sens inverse des aiguilles d'une montre jusqu'en butée.
Le repère +0 doit être aligné avec l'aile de réglage de droite des deux bras de fourche.


Info
Le réglage doit être effectué uniquement à la main. Ne pas utiliser d'outils.
Effectuer un réglage uniforme des deux bras de fourche.
- Tourner les ailes de réglage dans le sens des aiguilles d'une montre.
| Prétension du ressort - Ajusteur de précontrainte | |
| Confort +0 | |
| Standard +0 | |
| Sport +3 | |
Les ailes de réglage s'enclenchent de manière perceptible aux valeurs indiquées.

Info
Régler la prétension du ressort uniquement aux valeurs indiquées (la prétension ne s'encastre pas hors de la plage de valeurs).
La rotation dans le sens des aiguilles d'une montre augmente la pretension du ressort; la rotation dans les sens inverse la réduit.
Le réglage de la pretension du ressort n'a aucun effet sur le réglage de l'amortissement de détente.
Cependant, d'une maniere générale, le réglage d'un amortissement de détente plus élevé est conseilé lors d'une pretension de ressort plus importante.
Retouche
- Retirer la moto du socle réglable. (p. 59)
11.15 Position du guidon

Le té de fourche supérieur comporte 2 alésages situés à une distance A l'un de l'autre.
Distance A 15 mm (0,59 in)
Les alésages de la fixation du guidon sont placés à une distance B par rapport au milieu.
Distance B 3,5 mm (0,138 in)
Le guidon peut être monté dans 4 positions différentes. Il est ainsi possible de monter le guidon dans la position la plus comfortable pour le pilote.
11.16 Régler la position du guidon

Avertissement
Risque d'accident Un guidon réparé représenté un danger.
Si le guidon est pié ou désaxé, cela entraîne une usure plus rapide du matériel. À la longue, le guidon peut se casser.
- Remplacez donc le guidon si celui-ci est endommagé ou plié.

- Retirer les vis. Déposer les brides de serrage du guidon. Demonter le guidon et le poser sur le côté.

Info
Protégier les composants de tout dommage en les recouvrant.
Ne pas plier les cables ni les conduites.
- Retirer les vis2. Déposer les fixations du guidon.
- Amener les fixations du guidon dans la position souhaitée.
Mettre les vis en place et les serrer.
Positionner les fixations du guidon uniformément à gauche et à droite.
Positionner le guidon.

Info
Veiller à la pose correcte des cables et des durites.
- Positionner les brides de serrage du guidon. Monter les vis ① et les serrer uniformément.
L'espace entre les fixations du guidon et les brides de serrage doit être le même vers l'avant et vers l'arrière.
12.1 Surelever la moto sur un socle régliable

Remarque
Danger d'endommagement Le vehicule en stationnement est susceptible de rouler accidentellement ou de tomber. Stationner le vehicule sur un sol plan et ferme.
- Mettre la moto sur cales au niveau du moteur, sous le cadre.
Socle réglable (81329955100)
Les roues ne doivent pas etre en contact avec le sol.
- Arrimer la moto pour l'empêcher de tomber.
12.2 Retirer la moto du socle régliable
Remarque
Danger d'endommagement Le vehicule en stationnement est susceptible de rouler accidentellement ou de tomber.
- Stationner le vehicule sur un sol plan et ferme.

- Retirer la moto du socle régiable.
- Retirer le socle régable.
Pour stationner la moto, descendre la bequille latéj jusqu'au sol à l'aide du pied et poser la moto.

Info
La bequille latorale doit être relevée avant le départ et retenue avec le caoutchouc de maintain.
12.3 Purger les bras de fourche

Preparatifs
- Surelever la moto sur un socle réglablé. (p. 59)
Travail principal
- Desserer les vis de purg.
L'eventuelle surpression s'échappe de l'intérieur de la fourche. - Serrer les vis de purgege.
Retouche
- Retirer la moto du socle régiable. (p. 59)
12 TRAVAUX D'ENTRETIEN SUR LA PARTIE-CYCLE
12.4 Nettoyer les cache-poussières des bras de fourche
Preparatifs
- Surelever la moto sur un socle régliable. (p. 59)
- Demonter la protection de fourche. (p. 62)
Travail principal
- Faire glisser les cache-poussiere des deux bras de fourche vers le bas.


Info
Les cache-poussières ont pour fonction de racler la poussière et la saleté grossière du tube interieur de fourche. À l'issue d'une certaine période, la saleté peut s'incruster derrière les cache-poussières. Si elle n'est pas enlevée, l'étanchéité des joints d'huile situés à l'arrière peut être remise en cause.

Avertissement
Risque d'accident La présence d'huile ou deGRAISE sur les disques de frein reduit l'efficacite defreinage.
- Veillez à ce que les disques de frein soient en permanence exempts deGRAISSÉ et d'huile.
-
Si besoin, nettoyez les disques de frein avec un nettoyant pour freins.
-
Nettoyer et lubrifier les cache-poussieres et les tubes interieurs de fourche des deux bras de fourche.
Lubrifiant universel en aerosol (p. 164)
- Repousser les cache-poussières en position initiale.
Retirer I'huile superflue.
Retouche
- Remonter la protection de fourche. (p. 62)
- Retirer la moto du socle régliable. (p. 59)
12.5 Déposer les bras de fourche
Preparatifs
(tous les modeles EU)
Actionner le bouton d'arrêt au ralenti moteur jusqu'à l'arrêt du moteur.
(tous les modeles US)
Actionner le bouton d'arrêt au ralenti moteur jusqu'à l'arrêt du moteur.
- Déposer la plaque-phare et le phare. (p. 120)
- Surelever la moto sur un socle réglable. (p. 59)
- Déposer la roue avant (p. 105)

Travail principal
Enlever les vis et prisoner la pince.
Retirer le serre-cables.
- Enlever les vis etsteroler l'etrider de frein.
- Laisserpendrelétrierdefreinavecladuritedefrein.

Info
Ne pas actionner le levier de frein a main quand la roue avant est demontee.

- Desserrer les vis. Retirer le bras de fourche gauche.
- Desserrer les vis4. Retirer le bras de fourche de droite.

12.6 Monter les bras de fourche

Travail principal
Positionner les bras de fourche.
Les vis de purg sont positionnées vers l'avant.

Info
L'amortissement en compression se trouve sur le bras de fourche de gauche COMP (élément de réglage blanc). L'amortissement en détente se trouve sur le bras de fourche de croite REB (élément de réglage rouge).
Des gorges sont pratiquées sur le côte, à l'extrémité supérieure des bras de fourche. La deuxième gorge (en partant du haut) doit épouser le bord supérieur du té de fourche supérieur.

- Serrer les vis 2.
Positionner l'etrier de frein,mettre les en place et serrer.
| Vis de l'étier de frein avant | M8 25 Nm (18,4 lbf ft) | Loctite®243TM | |
- Mettre en place le serre-cable.
- Positionner la durite de frein, le faisceau de cables et la pince. Mettre les vis en place et les serrer.
Retouche
Monter la roue avant (p. 106)
- Monter la plaque-phare et le phare. (p. 121)
- Vérifier le réglage du phare. (p. 124)
12.7 Démonter la protection de fourche

- Enlever les vis etzheimer les pince.
- Enlever les vis et déposer la protection de fourche située à gauche.
- Enlever les vis et déposer la protection de fourche située à droite.
12.8 Remonter la protection de fourche

- Positionner la protection gauche sur le bras de fourche correspondant. Mettre les vi en place et les serrer. Indications prescrites
| Vis restantes sur la partie-cycle | M6 10 Nm (7,4 lbf ft) |
- Positionner la durite de frein, le faisceau de cable et la pince.
Mettre les vis en place et les serrer. - Positionner la protection droite sur le bras de fourche correspondant. Mettre les vis en place et les serrer.
12.9 Déposer le té de fourche inférieur
Preparatifs
(tous les modèles EU)
Actionner le bouton d'arrêt au ralenti moteur jusqu'à l'arrêt du moteur.
(tous les modèles US)
Actionner le bouton d'arrêt au ralenti moteur jusqu'à l'arrêt du moteur.
- Déposer la plaque-phare et le phare. (p. 120)
- Surelever la moto sur un socle réglablé. (p. 59)
- Déposer la roue avant (p. 105)
- Déposer les bras de fourche (p. 60)
- Déposer le garde-boue avant. (p. 67)

Travail principal
Retirer la vis1.
Retirer la vis2.
- Défaire le support de cab③ devant le radiateur de gauche et décrocher la durite d'embrayage.
- Retirer le té de fourche supérieur et le guidon, puis les mettre de côté.

Info
Protégé les composants contre tout dommage en les recouvrant.
Ne pas plier les cables ni les conduites.

Retirer le joint toriqu4. Retirer la bague de protecti5.
- Retirer le te inférieur avec le tube de fourche.
- Retirer le palier supérieur de la tête de direction.
12 TRAVAUX D'ENTRETIEN SUR LA PARTIE-CYCLE
12.10 Monter le te de fourche inferieur

Travail principal
- Nettoyer les paliers et les pieces d'étanchéité, vérifier qu'ils ne sont pas endommages et les graisser.
Graisse haute viscosité (p. 164)
- Mettre en place le té de fourche inférieur et le tube de fourche. Monter le palier de la tête de direction supérieur.
- Vérifier que le joint d'étanchéité supérie de la tête de guidage est positionné correctement.
Monter la bague de protectio et le joint toriqu.

Positionner le té de fourche supérieur et le guidon.
- Mettre la vis 4 en place sans la serrer.
Monter la durite d'embrayage avec le support de c5e

Positionner les bras de fourche.
Les vis de purg 6 sont positionnées vers l'avant.

Info
L'amortissement en compression se trouve sur le bras de fourche de gauche COMP (élément de réglage blanc). L'amortissement en détente se trouve sur le bras de fourche de croite REB (élément de réglage rouge).
Des gorges sont pratiquées sur le côte, à l'extrémité supérieure des bras de fourche. La deuxième gorge (en partant du haut) doit épouser le bord supérieur du té de fourche supérieur.

- Serrer les vis7.
| Vis tête de direction en haut | M20x1,5 12 Nm (8,9 lbf ft) |

- Mettre la vis en place et la serrer.
- Au moyen d'un maillet en plastique, frapper légarement sur le te de fourche supérieur afin de supprimer d'eventuelles tensions.
- Serrer les vis.
- Positionner l'étrier de frein,mettre les en place et serrer.
| Vis de l'étrier de frein avant | M8 25 Nm (18,4 lbf ft) | Loctite®243TM | |
- Mettre en place le serre-cable.
- Positionner la durite de frein, le faisceau de cables et la pince. Mettre les vi en place et les serrer.
Retouche
Poser le garde-boue avant. (p. 68)
Monter la roue avant (p. 106)
- Monter la plaque-phare et le phare. (p. 121)
12 TRAVAUX D'ENTRETIEN SUR LA PARTIE-CYCLE
- Vérifier que le faisceau de câbles, les câbles d'accélérateur ainsi que les durites de frein et d'embrayage bougent librement et sont bien en place.
- Vérifier le jeu du palier de la tête de direction. (p. 66)
- Retirer la moto du socle régiable. (p. 59)
- Vérifier le réglage du phare. (p. 124)
12.11 Vérifier le jeu du palier de la tête de direction

Avertissement
Risque d'accident Un jeu incorrect du palier de la tete de direction compromet la tenue de route et endommage les composants.
Corriger sans tarder le jeu du palier de la tete de direction. (Votre atelier Husqvarna Motorcycles agree se tient volontiers à votre disposition.)

Info
Une utilisation prolongée de la moto, alors qu'il y a du jeu dans le palier de la tête de direction, risque d'endommager les paliers et par conséquent les sièges de palier dans le cadre.

Preparatifs
- Surelever la moto sur un socle réglab. (p. 59)
Travail principal
- Mettre le guidon en position droite. Avancer et reculer les bras de fourche dans l'axe de la moto.
Aucun jeu ne doit être perceptible sur le palier de la tête de direction.
» En présence d'un jeu perceptible :
- Regler le palier de la tete de direction. (p. 67)
Tourner le guidon d'un extréme à l'autre.
Le guidon doit pouvoir être facilement bougé sur toute la plaque de rotation. Aucun passage de crans ne doit se faire sentir.
» En cas de passage de crans perceptibles :
- Regler le palier de la tete de direction. (p. 67)
- Contrôler le palier de la tête de direction, au besoin le remplaçer.
Retouche
- Retirer la moto du socle régiable. (p. 59)
12.12 Régler le palier de la tête de direction

Preparatifs
- Surelever la moto sur un socle réglablé. (p. 59)
Travail principal
- Desserer les vis1. Retirer la vis2.
- Desserrer la vis et serrer de nouveau. Indications prescrites
| Vis tête de direction en haut | M20x1,5 12 Nm (8,9 lbf ft) |
- Au moyen d'un maillet en plastique, frapper légèrement sur le te de fourche supérieur afin de supprimer d'eventuelles tensions.
- Serrer les vis. Indications prescrites
| Vis tepopésieur de fourche | M8 17 Nm (12,5 Ibf ft) |
- Mettre la vis en place et la serrer. Indications prescrites
| Vis tube de fourche en haut | M8 17 Nm (12,5 lbf ft) Loctite®243TM |
Retouche
- Vérifier le jeu du palier de la tête de direction. (p. 66)
- Retirer la moto du socle régliable. (p. 59)
12.13 Graisser le palier de la tete de direction

- Déposer le té de fourche inférieurs (p. 63)
Monter le té de fourche inférieurs (p. 64)
12.14 Déposer le garde-boue avant
Preparatifs
(tous les modeles EU)
Actionner le bouton d'arrêt au ralenti moteur jusqu'à l'arrêt du moteur.
(tous les modeles US)
Actionner le bouton d'arrêt au ralenti moteur jusqu'à l'arrêt du moteur.
- Déposer la plaque-phare et le phare. (p. 120)
12 TRAVAUX D'ENTRETIEN SUR LA PARTIE-CYCLE

Travail principal
Retirer les vis1.
Retirer les vis. Retirer le garde-boue avant.
12.15 Poser le garde-boue avant

Travail principal
- Mettre en place le garde-boue avant. Mettre les 1 set 2 en place et les serrer. Indications prescrites
| Vis restantes sur la partie-cycle | M6 10 Nm (7,4 lbf ft) |
Retouche
Monter la plaque-phare et le phare. (p. 121)
- Vérifier le réglage du phare. (p. 124)
12.16 Déposer l'amortisseur
Preparatifs

- Surelever la moto sur un socle réglab. (p. 59)
Travail principal
- Retirer les serre-cables.
- Retirer les vis et les rondelles.
- Decrocher la protection de cadre dans la zoeet I'enlever.

Retirer la vis2.
Retirer le raccord viss

Info
Soulever légèrement le bras oscillant pour pouvoir enlever les vis plus facilement.

- Pousser le levier articul 4 vers l'arrête.
- Abaisser le levier de jonctic

(tous les modèles EU)
- Débrancher le connecteur du contacteur de feu stop.

- Retirer les vis6.
Retirer le cylindre de frein à pied de la tige.
12 TRAVAUX D'ENTRETIEN SUR LA PARTIE-CYCLE

- Retirer le maillon de connexion de la chaîne.

Info
Protégé les composants contre tout dommage en les recouvrant.
- Déposer la chaine.

Retirer I'ecrou 7 et degager I'axe du bras oscillant.
- Pousser le bras oscillant vers l'arrière et le bloquer pour l'empecher de tomber.

- Tenir l'amortisseur et retirer la v.
- Enlever avec précaution l'amortisseur par le bas.
12.17 Monter I'amortisseur

Travail principal
- Placer l'amortisseur avec précaution dans le vehicule en le reentrant par le bas.
- Mettre la vis en place et la serrer. Indications prescrites
| Vis amortisseur en haut | M10 60 Nm (44,3 lbf ft) Loctite®2701™ |

- Positionner le bras oscillant etmettre en place I'axe du bras oscillant.

Info
Faire attention au mépla A.
- Metre l'écrou en place et le serrer. Indications prescrites
| Écrou de l'axe du bras oscillant | M16x1,5 100 Nm (73,8 lbf ft) | |
TRAVAUX D'ENTRETIEN SUR LA PARTIE-CYCLE

Monter la chaine.
- Relier la chaîne au mailon de connexion.
Le côté fermé du verrou d'attache-chaine doit être dirigé dans le sens de marche.

(tous les modèles EU)
- Brancher le connecteur du contacteur de feu stop.

- Positionner le cylindre de frein à pied.
La tige ③ s'engage dans le cylindre de frein à pied.
Le cache-poussiere est bien positionné.
- Mettre les vis 4 en place et les serrer.
- Mettre en place le levier articulé et le levier de jonction.
- Mettre le raccord viss en place et le serrer.
Faire attention au mépla B.
- Mettre la vis en place et la serrer.
Soulever légèrement le bras oscillant pour pouvoirmettre en place la vis plus facilement.
12 TRAVAUX D'ENTRETIEN SUR LA PARTIE-CYCLE

- Accrocher la protection de cadre dans la zoe et la positionner.
- Mettre en place les v7 avec les rondelles et serrer. Indications prescrites
| Vis de la protection de cadre | M5 3 Nm (2,2 | Ibf ft) |
- Mettre les nouveaux serre-câbles en place.
Retouche
- Retirer la moto du socle réglab. (p. 59)
12.18 Déposer la selle
Preparatifs
- Déposer le couvercle du boitier du filtré à air. (p. 73)

Travail principal
Retirer la vis1.

- Soulever la selle à l'arrière, la reculer et l'enlever par le haut.
12.19 Monter la selle

Travail principal
- Fixer l'avant de la selle sur la douille à collet du réservoir et l'arrière dans la fixation.
- Pousser la selle vers l'avant.
- Vérifier que la selle ne rouge pas.

- Mettre la vis en place et la serrer. Indications prescrites
| Vis restantes sur la partie-cycle | M6 10 Nm (7,4 lbf ft) |
Retouche
- Monter le couvercle du boitier du filtré à air. (p. 73)
12.20 Déposer le couvercle du boîtier du filtré à air

- Tirer de côte sur le couvercle du boitier de filtré à air dans les zones A, B et C et le déposer vers l'arrière.
12.21 Monter le couvercle du boitier du filtré à air

- Accrocher l'attache du couvercle du boitier du filtre à air au niveau de la zorA puis le repousser vers l'avant.

- Engager le couvercle du boitier de filtré à air au niveau des zones B, C et D.
12 TRAVAUX D'ENTRETIEN SUR LA PARTIE-CYCLE
12.22 Déposer le filtré à air
Remarque
Dommages sur le moteur Un air d'admission non filtré peut avoir des conséquences néfastes sur la durée de vie du moteur.
S'il n'y a pas de filtré à air, la poussière et les saletés PENETRNT dans le moteur.
- Ne jamais faire fonctionner le vehicule sans filtre à air.

Remarque
Danger pour l'environnement Certaines substances nuisent à l'environnement.
- Éliminer huile, lubricant, filtré, carburant, produits de nettoyage, liquide de frein, etc. de façon reglementaire et conformément aux dispositions en vigueur.
Preparatifs
- Déposer le couvercle du boitier du filtré à air. (p. 73)
Travail principal
- Decrocher l'attache ①. Retirer le filtré à air avec son support.
- Retirer le filtré à air du support.

12.23 Nettoyer le filtré à air et le boitier du filtré à air

Remarque
Danger pour l'environnement Certaines substances nuisent à l'environnement.
- Éliminer huile, lubricant, filtré, carburant, produits de nettoyage, liquide de frein, etc. de façon reglementaire et conformément aux dispositions en vigueur.

Info
Ne pas nettoyer le filtre a air au carburant ou au petrole carucs-ci sont agressifs et alterent le plastique mousse.
Preparatifs
- Déposer le couvercle du boitier du filtré à air. (p. 73)
- Déposer le filtré à air (p. 74)

Travail principal
- Bien laver le filtré à air dans un nettoyant liquide spécial et le laisser sécher.
Nettoyant pour filtré à air (p. 164)

Info
Uniquement presser le filtré à air, sans l'essorer en le tordant.
Lubrifier le filtré à air sec à l'aide d'une huile à filtré de qualité.
Lubrifiant pour filtré à air mousse (p. 164)
- Nettoyer le boitier du filtré à air.
- Nettoyer la pipe d'admission, vérifier qu'elle n'est pas endommagée et qu'elle est bien serree.
Retouche
Monter le filtré à air (p. 75)
- Monter le couvercle du boitier du filtré à air. (p. 73)
12.24 Monter le filtré à air


Travail principal
Monter un filtré à air propre sur le support de filtré à air.
Graisser le filtrer a air dans la zAe
Graisse longue durée (p. 164)
- Mettre le filtré à air en place et positionner le tourillon de maintainen ① dans la bague ⑧.
Le filtré à air est correctement positionné. - Accrocher l'attache 3.
Le tourillon de maintie est fixé avec une attache de maintien ③.

Info
Si le filtré à air est mal monté, de la poussière et de la saleté peuvent pénétrer dans le moteur et occasionner des dégats.
Retouche
- Monter le couvercle du boitier du filtré à air. (p. 73)
12.25 Déposer le silencieux arrêté

Avertissement
Risque de brûlures Pendant le fonctionnement du vehicule, l'échévement devient très brûlant.
- Laissez donc refroidir l'échévement avant de commencer les travaux.
12 TRAVAUX D'ENTRETIEN SUR LA PARTIE-CYCLE

Retirer les vis et les rondelles.
- Retirer le silencieux arrêté du collecteur ainsi que le ressort d'échéppement 2 et les bagues de réglage.
12.26 Monter le silencieux arriffe

- Mettre le silencieux arrirée en place avec le ressort d'éché-pement ① et les bagues de réglage.
- Metre en place les vi2 avec les rondelles et serrer. Indications prescrites
| Vis restantes sur la partie-cycle | M6 10 Nm (7,4 lbf ft) |
12.27 Remplacer la laine de roche du silencieux arrêté

Avertissement
Risque de brûlures Pendant le fonctionnement du vehicule, l'échévement devient très brûlant.
- Laissez donc refroidir l'échévement avant de commencer les travaux.

Info
Au fil du temps, les fibres de la laine de roche se volatilisent en plein air, le silencieux « brule ». Outre un niveau sonore accru, les caractéristiques liées à la puissance changent également.
Preparatifs
- Déposer le silencieux arrêté. (p. 75)

Travail principal
- Retirer les vis. Retirer le tube interieur 2 avec le joint torique 3.
Retirer la laine de roch du tube interieur. - Nettoyer les pieces réutilisables et vérifier leur état.
Monter la nouvelle laine de rocl4 sur le tube interieur. - Poussez le tube extérieur sur le tube interieur avec le nouveau remplissage de fil de fibre de verre et le joint torique.
- Mettre toutes les vi en place et les serrer. Indications prescrites
| Vis du silencieux arrière | M5 7 Nm (5,2 | Ibf ft) |
Retouche
- Monter le silencieux arriere. (p. 76)
12.28 Déposer le cache létal droit

Preparatifs
- Déposer le couvercle du boitier du filtre à air. (p. 73)
- Déposer la selle. (p. 72)
Travail principal
- Décrocher le cache létal au niveau de la zé le retirer latéralement au niveau de la zoB et le déposer vers le bas.
12.29 Monter le cache lateral de droite

Travail principal
- Accrocher par le bas le cache latorial avec les crocts puis le repousser vers le haut.
- Enclencher le cache l'et

Retouche
Monter la salle. (p. 72)
- Monter le couvercle du boitier du filtré à air. (p. 73)
12.30 Déposer le réservoir de carburant

Danger
Risque d'incendie Le carburant est facilement inflammable.
Le carburant contenu dans le réservoir se dilate sous l'effet de la chaleur et peut déborder lorsque le réservoir est trop rempli.
- Ne jamais faire le plein du vehicule à proximé de flammes ou de cigarettestes allumées.
- Arreter le moteur lorsque vous faites le plein.
S'assurer de ne pas renverser de carburant, notamment sur les parties chaudes du vehicule. - Essuyer immédiatement tout carburant renversé.
- Respecter les consignes indiquées lorsque vous faites le plein.

Avertissement
Danger d'intoxication Le carburant est toxique et constitue un danger pour la santé.
- Eviter tout contact du carburant avec la peu, les yeux ou les vêtements.
- Consulter immédiatement un médecin en cas d'ingestion de carburant.
- Ne pas respirer les vapeurs d'essence.
- En cas de contact cutané, rincer immediatement à grande eau la zone touchée.
- En cas de contact du carburant avec les yeux, bien les rincer à l'eau et consulter immediatement un médecin.
- Si les vêtements sont aspergés de carburant, il faut les changer.
- Stocker le carburant dans un jerrycan approprié, conformément aux directives en vigueur et le tenir hors de portée des enfants.




Preparatifs
- Déposer le couvercle du boftier du filtré à air. (p. 73)
- Déposer la selle. (p. 72)
- Déposer le cache létalré droit. (p. 77)
Travail principal
- Debrancher le connecteur de la pompe à essence.
- Nettoyer soigneusement le raccord de fixation rap 2 à l'air compré.

Info
De la saleté ne doit enaucun cas parvenir dans la conduite de carburant. Cela boucherait l'injecteur!
- Debrancher le raccord de fixation rapide.

Info
Un reste de carburant peut s'écouler de la durée.
- Mettre en place le kit d'embout de nettoy
Kit d'embout de nettoyage (81212016100)
- Retirer les vie4.
(tous les modèles EU)
-
Laisser prendel'avertisseur sonore et son support.
-
Enlever la vis⑤ avec la bague en caoutchouc.
- Retirer le flexible de ventilation du réservoir de carburant se trouvant sur le couvercle du réservoir.
12 TRAVAUX D'ENTRETIEN SUR LA PARTIE-CYCLE

- Dégager les deux déflecteurs latéraux du radiateur et-retirer le réservoir de carburant par le haut.

12.31 Monter le réservoir de carburant

Danger
Risque d'incendie Le carburant est facilement inflammable.
Le carburant contenu dans le réservoir se dilate sous l'effet de la chaleur et peut déborder lorsque le réservoir est trop rempli.
- Ne jamais faire le plein du vehicule à proximé de flammes ou de cigarettestes allumées.
- Arrête le moteur lorsque vous faites le plein.
- S'assurer de ne pas renverser de carburant, notamment sur les parties chaudes du vehicule.
- Essuyer immédiatement tout carburant renversé.
- Respecter les consignes indiquées lorsque vous faites le plein.

Avertissement
Danger d'intoxication Le carburant est toxique et constitue un danger pour la santé.
- Éviter tout contact du carburant avec la peau, les yeux ou les vêtements.
- Consulter immédiatement un médecin en cas d'ingestion de carburant.
- Ne pas respirer les vapeurs d'essence.
- En cas de contact cutané, rincer immédiatement à grande eau la zone touchée.
- En cas de contact du carburant avec les yeux, bien les rincer à l'eau et consulter immediatement un médecin.
- Si les vêtements sont aspergés de carburant, il faut les changer.
Travail principal
- Verifier l'emplacement du cable d'accelerateur. (p. 87)
- Positionner le réservoir de carburant et accrocher les deux déflecteurs létairelement devant le radiateur.
- S'assurer qu'aucun cable (accelerateur ou autre) n'est coincide ou endommagé.

TRAVAUX D'ENTRETIEN SUR LA PARTIE-CYCLE

- Installer le tuyau de ventilation du réservoir de carburant.
- Mettre en place la v et la bague en caoutchouc et serrer.
(tous les modèles EU)
Positionner l'avertisseur sonore et son support.

- Mettre les vis en place et les serrer.
- Brancher le connecteur 3 de la pompe à carburant.
Déposer le kit d'embout de nettoyage et nettoyer minutieusement le raccord de fixation rapide à l'air compré.

Info
De la saleté ne doit enaucun cas parvenir dans la conduite de carburant. Cela boucherait l'injecteur!
Graisser le joint torique et brancher le raccord de fixation rapide 4.

Info
Positionner le cable et la conduite de carburant à une distance de sécurité de l'échéppement.
Retouche
- Monter le cache lateral droit. (p. 78)
- Monter la salle. (p. 72)
- Monter le couvercle du boitier du filtré à air. (p. 73)
12.32 Vérifier l'objet d'encrassement de la chaine

- Vérifier si la chaine présente des salissures grossières.
» Lorsque la chaine est fortement encrassée :
-Nettoyer la chaine.(p.82)
12.33 Nettoyer la chaine

Avertissement
Risque d'accident La presence de lubrifiant sur les pneus diminue leur adherence.
- Retirez les lubrifiants présents sur les pneus à l'aide d'un nettoyant approprié.

Avertissement
Risque d'accident La présence d'huile ou deGRAisse sur les disques de frein réduit l'efficacité de freinage.
- Veillez à ce que les disques de frein soient en permanence exempts de graisse et d'huile.
- Si besoin, nettoyez les disques de frein avec un nettoyant pour freins.

Remarque
Danger pour l'environnement Certaines substances nuisent à l'environnement.
- Éliminer huile, lubricant, filtré, carburant, produits de nettoyage, liquide de frein, etc. de façon réglementaire et conformément aux dispositions en vigueur.

Info
La durée de vie de la chaine dépend en grande partie de l'entretien.
Preparatifs
- Surelever la moto sur un socle régliable. (p. 59)
Travail principal
- Rincer les salissures grossières au jet d'eau à faible pression.
- Enlever les restes deGRAISSÉ à l'aide d'un produit nettoyant pour chaine.
Nettoyant pour chaine (p. 164)
- Appliquer de laGRAISSEN pombe une fois la chaîne séchée.
Aerosol pour chaîne Offroad (p. 164)
Retouche
- Retirer la moto du socle régiable. (p. 59)
12.34 Contrôler la tension de la chaine

Avertissement
Risque d'accident Une tension incorrecte de la chaîne endommage les composants et entraîne des accidents.
Si la chaine est trop tendue, la chaine, le pignon de chaine, la couronne, le logement de la roue arriere et de la boite de vitesse s'usent plus rapidement. Certains composants risquent de craquer ou de se rompre en cas de surcharge.
Si la chaine est mal serree, elle-ci peut se detacher du pignon de chaine ou de la couronne. La roue arriere est alors bloquee et le moteur est endommagé.
- Contrôlez régulierement la tension de la chaine.
- Reglez la tension de la chaine comme indiquedans les prescriptions.

Preparatifs
- Surelever la moto sur un socle réglablé. (p. 59)
Travail principal
- Tirer la chaîne vers le haut au niveau de l'extrémité de patin et calculer la tension de la chaît.
I Info La partie inférieure de la chaí doit alors se tendre. Les chaînes ne s'usent pas toujours uniformément, répéter donc cette mesure à divers endroits de la chaîne.
Tension de chaîne 55 ... 58 mm (2,17 ... 2,28 in)
Lorsque la tension de la chaine ne correspond pas aux indications prescrites : - Régler la tension de la chaine. ( p. 83)
Retouche
- Retirer la moto du socle réglable. (p. 59)
12.35 Regler la tension de la chaine

Avertissement
Risque d'accident Une tension incorrecte de la chaine endommage les composants et entraine des accidents.
Si la chaine est trop tendue, la chaine, le pignon de chaine, la couronne, le logement de la roue arriere et de la boite de vitesse s'usent plus rapidement. Certains composants risquent de craquer ou de se rompre en cas de surcharge.
Si la chaine est mal serree, elle-ci peut se detacher du pignon de chaine ou de la couronne. La roue arriere est alors bloquee et le moteur est endommagé.
- Contrôlez régulierement la tension de la chaine.
- Reglez la tension de la chaine comme indiquedans les prescriptions.
Preparatifs
- Surelever la moto sur un socle réglablé. (p. 59)
- Contrôler la tension de la chaîne. (p. 82)
12 TRAVAUX D'ENTRETIEN SUR LA PARTIE-CYCLE

Travail principal
- Desserrer I'ecrou 1.
- Desserrer les écrous 2.
- Régler la tension de la chaine en tournant les vis de réglage ③ de gauche et de droite.
| Tension de chaine 55 ... 58 mm (2,17 ... 2,28 in) |
| Tournier les vis de réglag® de gauche et de droite de façon à ce que les marquages du tendeur de chaine à gauche et à droite soient dans la même position par rapport aux marques de référenc®. La roue arrêté est correctement positionnée. |
- Serrer les écrous 2.
- Vérifier que les tendeurs de chaïts sont plaqués contre les vis de réglag.
- Serrer l'écrou 1. Indications prescr
Écrou axe arrête M20x1,5 80 N m (59 lbf ft)

Info
La large plage de réglage des tendeurs de chaine (32 mm) permet l'introduction de démultiplications secondaires sur une même longueur de chaine. Les tendeurs de chan④ peuvent être pivotés à 180°.
Retouche
- Retirer la moto du socle réglab. (p. 59)
12.36 Vérifier la chaine, la couronne, le pignon et le guide-chaine
Preparatifs
- Surelever la moto sur un socle régliable. (p. 59)
Travail principal
-
Mettre la boite de vitesse au point mort.
-
Vérifier que la chaine, la couronne et le pignon de chaine ne représentent pas d'usure.
» Lorsque la chaine, la couronne ou le pignon sont usés :
- Remplacer le jeu des pièces de l'entrainment.

Info
Le pignon, la couronne et la chaine doivent toujours être replacés ensemble.


- Tirer sur la partie supérieure de la chaine avec le poids indiqué A.
| Poids pour la mesure de l'usure de la chaîne | 10 ... 15 kg (22 ... 33 lb.) |
- Sur la partie inférieure, mesurer alors la longue de 18 rouleaux de chaîne.

Info
Les chaînes ne s'usent pas toujours uniformément, repeter donc cette mesure à divers endroits de la chaine.
Longueur maximale B de 18 rouleaux à l'endetroit le plus long de la chaine
272 mm (10,71 in)
Lorsque cette longueur est supérieure à la valeur indiquée :
- Remplacer le jeu des pieces de l'entrainment.

Info
Lors du remplacement de la chaine, il est
recommende de replacer egalement le
pignon de chaine et la couronne.
En effet, les pignons ou couronnés usages
usent prematurément la nouvelle chaine.

- Vérifier l'absence d'usure sur le patin de chaîne.
Lorsque l'arête inférieure des axes de la chaine se trouve à la hauteur ou sous le patin de chaine :
-
Remplacer le guide-chaine.
-
Vérifier que le patin de chaine est bien serré.
» Lorsque le patin de chaine est mal serré :
- Serrer les vis du patin de chaîne.
Indications prescrites
| Vis du patin de chaîne | M6 6 Nm (4) | 4 lbf ft) Loctite®243TM |
12 TRAVAUX D'ENTRETIEN SUR LA PARTIE-CYCLE

- Vérifier l'absence d'usure sur le patin de chaîne.
Lorsque l'arête inférieure des axes de la chaine se trouve à la hauteur ou sous le patin de chaine :
-
Remplacer le patin de chaîne
-
Vérifier que le patin de chaine est bien en place.
» Si le patin de chaine est mal serré :
- Serrer la vis du patin de chaîne.
Indications prescrites
| Vis du patin (de chaine) | M8 15 Nm | (11,1 lbf ft) |

- Vérifier que le guide-chaine ne présente ni dommages, ni usure.

Info
L'usure est visible sur la face avant du guide-chaine.
» Lorsque la partie claire du guide-chaine est usée :
- Remplacer le guide-chaine.

- Vérifier que le guide-chaine est bien fixé.
» Si le guide-chaine est mal serré :
- Serrer les vis du guide-chaine.
| Vis restantes sur la partie-cycle | M6 10 Nm (7,4 lbf ft) |
| Écrous restants sur la partie-cycle | M6 10 Nm (7,4 lbf ft) |
Retouche
Retirer la moto du socle reglable. (p. 59)
12.37 Contrcler le cadre

- Verifier si le cadre presente des fissures et des déformations.
Si le cadre presente des fissures ou des déformations suite à des forces mécaniques :
- Remplacer le cadre.

Tout cadre endommagé par des forces mécaniques doit imperativement être remplaced. Husqvarna Motorcycles n'autorise aucune réparation sur le cadre.
12.38 Vérifier le bras oscillant

- Contrôler l' état du bras oscillant, l'absence de fissures et de déformation.
Si le bras oscillant presente des fissures, des déformations ou qu'il est en mauvais état :
- Remplacer le bras oscillant.

Toujours remplacer un bras oscillant endommagé. Husqvarna Motorcycles n'autorise aucune réparation sur le bras oscillant.
12.39 Vérifier l'emplacement du cable d'accéléateur
Preparatifs
- Déposer le couvercle du boitier du filtré à air. (p. 73)
- Déposer la selle. (p. 72)
- Déposer le cache létalroidroit. (p. 77)
- Déposer le réservoir de carburant (p. 78)
12 TRAVAUX D'ENTRETIEN SUR LA PARTIE-CYCLE

Travail principal
- Vérifier l'emplacement du cable d'accelérateur.
Les deux cables d'accelérateur doivent etreplaces I'un a cote de I'autre sur la partie arriere du guidon, au-dessus du logement du réservoir a carburant, a droite du cadre et en direction du corps du clapet d'etranglement. Les deux cables d'accelérateur doit etre sécurisés derrière le caoutchouc de mainien du logement du réservoir de carburant.
» Lorsque l'emplacement des cables d'accelérer ne correspond pas aux indications prescrites :
Corriger l'emplacement du cable d'accelerateur.
Retouche
Monter le réservoir de carburant (p. 80)
- Monter le cache lateral droit. (p. 78)
Monter la salle. (p. 72)
- Monter le couvercle du boitier du filtré à air. (p. 73)
12.40 Vérifier le caoutchouc de poignée

- Vérifier les caoutchoucs des poignées au niveau du guidon (dommages, usure et fixation).

Info
Les caoutchoucs des poignées sont posés par vulcanisation, à gauche sur une douille, à droite sur le tube de la poignée des gaz. La douille de gauche est fixée sur le guidon.
Lorsque l'on change la poignée en caoutchouc, il faut changer la douille et le tube de la poignée en même temps.
» Lorsqu'une poignée en caoutchouc est endommagée ou usee :
-
Remplacer le caoutchouc de la poignée.
-
Vérifier le bon positionnement de la 1.
| Vis de la poi-gnée fixe | M4 5 Nm (3,7 | Ibf ft) | Loctite®243TM |
Le losange A doit etre positionné de maniere visible, comme illustré.

12.41 Regler la position de base du levier d'embrayage

- La vis de réglag1 permet de régler la position de base du levier d'embrayage en fonction de la taille de la main du conducteur.

Info
En tournant la vis de réglage dans le sens inverse des aiguilles d'une montre, on éloigne le levier d'embrayage du guidon.
En tournant la vis de réglage dans le sens des aiguilles d'une montre, on rapproche le levier d'embrayage du guidon.
La plage de réglage est limitée.
Ne tourner la vis de réglage qu'a la main et ne pas for-cer.
Ne pas effectuer de travaux de réglage durant le trajet.
12.42 Vérifier/rectifier le niveau de liquide d'embrayage hydraulique

Avertissement
Irritation de la peau Le liquide de frein provoque des irritations de la peau.
- Conserver le liquide de frein hors de portée des enfants.
- Porter des vêtements de protection ajustés et des lunettes de protection.
- Éviter tout contact du liquide de frein avec la peau, les yeux ou les vêtements.
- Consulter immédiatement un médecin en cas d'ingestion du liquide de frein.
- En cas de contact cutané, rincer à grande eau la zone touchée.
En cas de contact avec les yeux, les rincer immediatement et abondamment à l'eau et consulter un medecin. - Si les vêtements sont aspergés de liquide de frein, il faut les changer.

Remarque
Danger pour l'environnement Certaines substances nuisent à l'environnement.
- Éliminer huile, lubricant, filtré, carburant, produits de nettoyage, liquide de frein, etc. de façon réglementaire et conformément aux dispositions en vigueur.

Info
Le niveau de liquide augmente au fur et a mesure de l'usure des lamelles de la garniture d'embrayage.
Ne jamais utiliser de liquide de frein DOT 5. Il est à base d'huile de silicone et sa couleur est pourpre.
Les joints et les durites d'embrayage ne sont pas concus pour le liquide de frein DOT 5.
Ne pas verser de liquide de frein sur la peinture des composants, risque de corrosion de la peinture.
N'utiliser que du liquide de frein propre et provenant d'un bidon hermetiquement fermé.
12 TRAVAUX D'ENTRETIEN SUR LA PARTIE-CYCLE

- Placer le réservoir de l'embrayage hydraulique sur le guidon en position horizontale.
Retirer les vis1.
Retirer le couvercle2 avec la membrane3. - Vérifier le niveau de liquide.
| Niveau de liquide sous le bord supérieur du réservoir | 4 mm (0,16 in) |
Si le niveau de liquide ne correspond pas aux indications prescrites :
- Rectifier le niveau de liquide de l'embrayage hydraulique.
Liquide de frein DOT 4 / DOT 5.1 (p. 162)
- Positionner le couvercle avec la membrane. Mettre les vis en place et les serrer.

Info
Nettoyer aussitot à l'eau le liquide de frein ayant débordé ou ayant été renversé.
12.43 Remplacer le liquide d'embrayage hydraulique

Avertissement
Irritation de la peau Le liquide de frein provoque des irritations de la peau.
- Conserver le liquide de frein hors de portée des enfants.
- Porter des vêtements de protection ajustés et des lunettes de protection.
- Éviter tout contact du liquide de frein avec la peau, les yeux ou les vêtements.
- Consulter immédiatement un médecin en cas d'ingestion du liquide de frein.
- En cas de contact cutané, rincer à grande eau la zone touchee.
- En cas de contact avec les yeux, les rincer immédiatement et abondamment à l'eau et consulter un médecin.
- Si les vêtements sont aspergés de liquide de frein, il faut les changer.

Remarque
Danger pour l'environnement Certaines substances nuisent à l'environnement.
- Éliminer huile, lubricant, filtré, carburant, produits de nettoyage, liquide de frein, etc. de façon réglementaire et conformément aux dispositions en vigueur.

Info
Ne jamais utiliser de liquide de frein DOT 5. Il est à base d'huile de silicone et sa couleur est pourpre. Les joints et les durites d'embrayage ne sont pas concus pour le liquide de frein DOT 5.
Ne pas verser de liquide de frein sur la peinture des composants, risque de corrosion de la peinture. N'utiliser que du liquide de frein propre et provenant d'un bidon hermetiquement fermé.

- Placer le réservoir de l'embrayage hydraulique sur le guidon en position horizontale.
- Retirer les vis1.
- Retirer le couvercle2 avec la membrane3.

- Remplir la seringue de purg4 de liquide approprié.
| Seringue (50329050000) |
| Liquide de frein DOT 4 / DOT 5.1 ( p. 162) |

Sur le cylindre récepteur, enlever le capuchon et la vis de purgege 5 etmettre en place la seringue de puide.
- Verser le liquide dans le circuit jusqu'à ce qu'il desserte sans bulles par l'alésage du mâttre-cylindre.
- Retirer régulierement du liquide du réservoir du maître-cylindre pour éviter un débordement.
- Retirer la seringue de purgege. Mettre la vis de purgege en place et la serrer. Mettre le capuchon en place.
- Rectifier le niveau de liquide de l'embrayage hydraulique. Indications prescrites
| Niveau de liquide sous le bord supérieur du réservoir | 4 mm (0,16 in) |
- Positionner le couvercle avec la membrane. Mettre les vis en place et les serrer.
| i | Info |
| Nettoyer aussitôt à l'eau le liquide de frein ayant débordé ou ayant été renversé. |
12.44 Déposer la protection moteur

Retirer les vis et enlever la protection moteur.
12 TRAVAUX D'ENTRETIEN SUR LA PARTIE-CYCLE
12.45 Monter la protection moteur

- Accrocher la protection moteur à l'arrière du cadre et pivoter l'avant vers le haut.
- Mettre les vis en place et les serrer. Indications prescrites
| Vis restantes sur la partie-cycle | M6 10 Nm (7,4 lbf ft) |
13.1 Regler la position de base du levier de frein à main

- Adapter la position de base du levier de frein à main avec la vis de réglage en fonction de la taille de la main du pilote.

Info
La rotation de la vis de réglage dans le sens des aiguilles d'une montre rapproche le levier de frein à main du guidon.
La rotation de la vis de réglage dans le sens inverse des aiguilles d'une montre éloigne le levier de frein à main du guidon.
La plage de réglage est limitée.
Ne tourner la vis de réglage qu'à la main et ne pas for-cer.
Ne pas effectuer de travaux de réglage durant le trajet.
13.2 Verifier les disques de frein

Avertissement
Risque d'accident Les disques de frein usés réduisent l'efficacité de freinage.
- Veillez à remplacer immédiatement les disques de frein usés. (Votre atelier Husqvarna Motorcycles agree se tient volunteers à votre disposition.)

- Verifier l'épaissur des disques de frein avant et arrêté, à plusieurs endroits, par rapport à la c.

Info
L'usure entraine une diminution de l'épaisseur du disque de frein au niveau de la surface d'appui des plaquettes de frein.
| Usure limite des disques de frein | |
| avant 2,5 mm (0,098 in) | |
| arrière 3,5 mm (0,138 in) | |
Si I'épaissur des disques de frein est inférieure à la valeur prescrite :
- Remplacer le disque de frein avant.
-
Remplacer le disque de frein arriè
-
Vérifier l' état des disques de frein avant et arrêté et l'absence de fissures et de déformation.
Si le disque de frein presente des fissures, des déformations ou qu'il est en mauvais état :
- Remplacer le disque de frein avec
- Remplacer le disque de frein arriè
13.3 Vérifier le niveau de liquide de frein à l'avant

Avertissement
Risque d'accident Les plaquettes peuvent tomber en panne si le niveau de liquide de frein est insufisant.
Si le niveau de liquide de frein est en-dessous du repere ou de la valeur minimale donnée,ILA indique que le systeme de freinage perd du liquide ou que les plaquettes de frein sont usees.
- Contrôlez les freins et ne conduisez pas avant que le problème ne soit résolu. (Votre atelier Husqvarna Motorcycles/agree se tient volunteers à votre disposition.)

Avertissement
Risque d'accident Un liquide de frein use réduit l'efficacité du freinage.
- Veillez à remplacer le liquide de frein du frein avant et arrêté conformément au plan d'entretien. (Votre atelier Husqvarna Motorcycles agree se tient volunteers à votre disposition.)

- Mettre le réservoir de compensation de freinage situé sur le guidon en position horizontale.
Vérifier le niveau de liquide à travers le regid
Si le niveau du liquide de frein est descendu sur le bord inférieur du regard :
- Faire l'appoint de liquide de frein à l'avant. (p. 94)
13.4 Faire l'appoint de liquide de frein à l'avant

Avertissement
Risque d'accident Les plaquettes peuvent tomber en panne si le niveau de liquide de frein est insufisant.
Si le niveau de liquide de frein est en-dessous du repere ou de la valeur minimale donnée,ILA indique que le systeme de freinage perd du liquide ou que les plaquettes de frein sont usées.
- Contrôlez les freins et ne conduisiez pas avant que le problème ne soit résolu. (Votre atelier Husqvarna Motorcycles/agree se tient volunteers à votre disposition.)

Avertissement
Irritation de la peau Le liquide de frein provoque des irritations de la peau.
- Conserver le liquide de frein hors de portée des enfants.
- Porter des vêtements de protection ajustés et des lunettes de protection.
- Eviter tout contact du liquide de frein avec la peau, les yeux ou les vêtements.
- Consulter immédiatement un médecin en cas d'ingestion du liquide de frein.
- En cas de contact cutané, rincer à grande eau la zone touchee.
- En cas de contact avec les yeux, les rincer immédiatement et abondamment à l'eau et consulter un médecin.
- Si les vêtements sont aspergés de liquide de frein, il faut les changer.

Avertissement
Risque d'accident Un liquide de frein use réduit l'efficacité du freinage.
Veillez à remplaner le liquide de frein du frein avant et arriere conformement au plan d'entretien. (Votre atelier Husqvarna Motorcycles agree se tient volontiers à votre disposition.)

Remarque
Danger pour l'environnement Certaines substances nuisent à l'environnement.
- Éliminer huile, lubricant, filtré, carburant, produits de nettoyage, liquide de frein, etc. de façon réglementaire et conformément aux dispositions en vigueur.

Info
Ne jamais utiliser de liquide de frein DOT 5. Il est à base d'huile de silicone et sa couleur est pourpre. Les joints et les durites de frein ne sont pas conçus pour le liquide de frein DOT 5. Ne pas verser de liquide de frein sur la peinture des composants, risque de corrosion de la peinture. N'utiliser que du liquide de frein propre et provenant d'un bidon hermétiquement fermé.

Preparatifs
- Contrôler les plaquettes de frein à l'avant. (p. 95)
Travail principal
- Mettre le réservoir de compensation de freinage situé sur le guidon en position horizontale.
Retirer les vis1.
Retirer le couvercle2 avec la membrane3.
Faire l'appoint en liquide de frein jusqu'au rep. Indications prescrites
Cote A (niveau de liquide) 5 mm (0,2 in)
de frein sous l'arete supérieure du réservoir)
Liquide de frein DOT 4 / DOT 5.1 (p. 162)
- Positionner le couvercle avec la membrane. Mettre les vis en place et les serrer.

Info
Nettoyer aussitot à l'eau le liquide de frein ayant débordé ou ayant été renversé.
13.5 Contrôler les plaquettes de frein à l'avant

Avertissement
Risque d'accident Les plaquettes de frein usées réduisent l'efficacité de freinage.
- Veillez à remplacer immédiatement les plaquettes de frein usées. (Votre atelier Husqvarna Motorcycles agrése se tient volunteers à leur disposition.)

- Vérifier que les plaquettes de frein ont l'épaisseur minimale A.
| Épaisseeur minimale A pour les plaquettes de frein | ≥ 1 mm (≥ 0,04 in) |
Si les plaquettes de frein n'ont plus l'épaisseur minimale :
-
Remplacer les plaquettes de frein avec (p. 96)
-
Vérifier que les plaquettes de frein ne doivent ni dégradation ni fissures.
En presence d'endommagement et de fissures :
- Remplacer les plaquettes de frein avan (p. 96)
13.6 Remplacer les plaquettes de frein avant

Avertissement
Risque d'accident En cas de mauvais entretien, les plaquettes de frein peuvent tomber en panne.
Assurez-vous que les travaux d'entretien et les réparations sont réalisés par des professionnelles. (Votre atelier Husqvarna Motorcycles/agree se tient volunteers à votre disposition.)

Avertissement
Irritation de la peau Le liquide de frein provoque des irritations de la peau.
- Conserver le liquide de frein hors de portée des enfants.
- Porter des vêtements de protection ajustés et des lunettes de protection.
- Eviter tout contact du liquide de frein avec la peau, les yeux ou les vêtements.
- Consulter immédiatement un médecin en cas d'ingestion du liquide de frein.
- En cas de contact cutané, rincer à grande eau la zone touchee.
- En cas de contact avec les yeux, les rincer immédiatement et abondamment à l'eau et consulter un médecin.
- Si les vêtements sont aspergés de liquide de frein, il faut les changer.

Avertissement
Risque d'accident Un liquide de frein use réduit l'efficacité du freinage.
Veillez a remplacer le liquide de frein du frein avant et arrriere conformement au plan d'entretien. (Votre atelier Husqvarna Motorcycles agree se tient volunteers à votre disposition.)

Avertissement
Risque d'accident La présence d'huile ou de graisse sur les disques de frein réduit l'efficacité de freinage.
- Veillez à ce que les disques de frein soient en permanence exempts de graisse et d'huile.
- Si besoin, nettoyez les disques de frein avec un nettoyant pour freins.

Avertissement
Risque d'accident Des plaquettes de frein non homologuees modifient l'efficacite des freins.
Toutes les plaquettes de frein ne sont pas testées et homologues pour les motos Husqvarna. La construction, le coefficient de frottement ainsi l'efficacité de freinage peuvent notamment diverger des plaquettes de frein originales.
Lorsque des plaquettes de frein différentes des originales sont utilisées, elles risquent de ne pas être homologues. Dans ce cas, le vehicule ne correspond plus à l'etat de livreaison et la garantie n'est plus valable.
Pour des raisons de sécurité, n'utiliser que plaquettes de frein homologues et commandees par Husqvarna.

Remarque
Danger pour l'environnement Certaines substances nuisent à l'environnement.
- Éliminer huile, lubricant, filtré, carburant, produits de nettoyage, liquide de frein, etc. de façon reglementaire et conformément aux dispositions en vigueur.

Info
Ne jamais utiliser de liquide de frein DOT 5. Il est à base d'huile de silicone et sa couleur est pourpre. Les joints et les durites de frein ne sont pas concus pour le liquide de frein DOT 5.
Ne pas verser de liquide de frein sur la peinture des composants, risque de corrosion de la peinture. N'utiliser que du liquide de frein propre et provenant d'un bidon hermetiquement fermé.

- Mettre le réserve de compensation de freinage situé sur le guidon en position horizontale.
Retirer les vis1. - Retirer le couvercle 2 avec la membrane 3.

- Pousser l'étrier de frein vers le disque de frein avec la main pour refouler les pistons et s'assurer que le liquide de frein ne déborde pas du réservoir de liquide de frein. Absorber le liquide le cas échéant.

Info
Vérifier que l'étrier de frein n'est pas pousse contre les rayons lors du refoulement des pistons d'étrier de frein.
Retirer la goupille a reesso4.
- Presser la plaque de ressoc vers le haut et extraire l'axe 6.
- Enlever les plaquettes de frein.
- Nettoyer l'etrier de frein et le support de l'etrier de frein.

- S'assurer que la plaque de resso de l'étrier de frein et la plaque de glissement du support de l'étrier de frein sont correctement mises en place.

- Placer les nouvelles plaquettes de frein.
Monter I'axe 6.
La plaque de ressor5 engrête dans la gorge de l'axe.

Info
Toujours remplacer les plaquettes de frein par jeu entier.
Monter la goupille a resso4.
Actionner plusieurs fois le levier de frein à main jusqu'à ce que les plaquettes de frein soient en contact avec le disque de frein et qu'une résistance soit perceptible.
- Faire l'appoint du niveau de liquide de frein jusqu'au repère A.
| Cote A(niveau de liquide de frein sous l'arête supé- rieure du réservoir) | 5 mm (0,2 in) |
Liquide de frein DOT 4 / DOT 5.1 (p. 162)
Positionner le couvercle et la membrane.
- Mettre les vis en place et les serrer.

Info
Nettoyer aussitot à l'eau le liquide de frein ayant débordé ou ayant été renversé.

13.7 Verifier la course libre de la pédale de frein arrêté

Avertissement
Risque d'accident En cas de surchauffe, le circuit de freinage n'est plus opérationnel.
En l'absence de course libre sur la pédale de frein arrêté, la pression augmente dans le système de frein arrêté.
- Regler la course libre sur la pédale de frein arrêté, comme indiqué dans les prescriptions.

- Decrocher le ressor1.
Actionner plusieurs fois la pédale de frein arrêté entre la butée de fin de course et le support du piston dans le maître cylindre et vérifier la course libre.
| Course libre sur la pédale de frein arrière | 3 ... 5 mm (0,12 ... 0,2 in) |
» Si la course libre ne correspond pas aux indications pres-crites :
- Regler la position de base de la pédale de frein arrêté. p. 99)
Fixer le ressor1.
13.8 Regler la position de base de la pedale de frein arrêté

Avertissement
Risque d'accident En cas de surchauffe, le circuit de freinage n'est plus opérationnel.
En l'absence de course libre sur la pédale de frein arrêté, la pression augmente dans le système de frein arrêté.
- Regler la course libre sur la pédale de frein arrêté, comme indiqué dans les prescriptions.

- Decrocher le ressor1.
- Desserrer l'écrou et le faire revenir avec la ti5 jusqu'à ce que la course libre maximale soit disponible.
Pour adapter individuellement le réglage de la position de base de la pédale de frein arrêt, desserrer l'équêut faire tourner la vie en conséquence.

Info
La plage de réglage est limitée.
- Faire tourner la tig5 jusqu'à ce que la course libA soit presente. Au besoin, modifier la position de base de la pedale de frein arrière.
| Course libre sur la pedale de frein arrête | 3 ... 5 mm (0,12 ... 0,2 in) |
- Maintainir la vis ③ et serrer I'ecrou2.
| Écrou de la butée de la pédale de frein | M8 20 Nm (14,8 lbf ft) |
- Maintainir la tige5 et serrer l'écrou4.
| Écrous restants sur la partie-cycle | M6 10 Nm (7,4 lbf ft) |
- Accrocher le ressor1.
13.9 Vérifier le niveau de liquide de frein à l'arrière

Avertissement
Risque d'accident Les plaquettes peuvent tomber en panne si le niveau de liquide de frein est insufisant.
Si le niveau de liquide de frein est en-dessous du repere ou de la valeur minimale donnée,ILA indique que le systeme de freinage perd du liquide ou que les plaquettes de frein sont usées.
- Contrôlez les freins et ne conduisiez pas avant que le problème ne soit résolu. (Votre atelier Husqvarna Motorcycles/agree se tient volunteers à votre disposition.)

Avertissement
Risque d'accident Un liquide de frein use réduit l'efficacité du freinage.
- Veillez à remplacer le liquide de frein du frein avant et arrêté conformément au plan d'entretien. (Votre atelier Husqvarna Motorcycles agree se tient volunteers à votre disposition.)

- Positionner le vehicule perpendicularairement au sol.
- Vérifier le niveau de liquide à travers le regid
Si le niveau du liquide de frein est descendu sur le bord inférieur du regard :
- Faire l'appoint du liquide de frein à l'arrêté. (p. 100)
13.10 Faire l'appoint du liquide de frein à l'arrière

Avertissement
Risque d'accident Les plaquettes peuvent tomber en panne si le niveau de liquide de frein est insufisant.
Si le niveau de liquide de frein est en-dessous du repere ou de la valeur minimale donnée,ILA indique que le systeme de freinage perd du liquide ou que les plaquettes de frein sont usées.
- Contrôlez les freins et ne conduisiez pas avant que le problème ne soit résolu. (Votre atelier Husqvarna Motorcycles/agree se tient volunteers à votre disposition.)

Avertissement
Irritation de la peau Le liquide de frein provoque des irritations de la peau.
- Conserver le liquide de frein hors de portée des enfants.
- Porter des vêtements de protection ajustés et des lunettes de protection.
- Eviter tout contact du liquide de frein avec la peau, les yeux ou les vêtements.
- Consulter immédiatement un médecin en cas d'ingestion du liquide de frein.
- En cas de contact cutané, rincer à grande eau la zone touchée.
- En cas de contact avec les yeux, les rincer immédiatement et abondamment à l'eau et consulter un médecin.
- Si les vêtements sont aspergés de liquide de frein, il faut les changer.

Avertissement
Risque d'accident Un liquide de frein use réduit l'efficacité du freinage.
Veillez à remplaner le liquide de frein du frein avant et arriere conformement au plan d'entretien. (Votre atelier Husqvarna Motorcycles agree se tient volontiers à votre disposition.)

Remarque
Danger pour l'environnement Certaines substances nuisent à l'environnement.
- Éliminer huile, lubricant, filtré, carburant, produits de nettoyage, liquide de frein, etc. de façon réglementaire et conformément aux dispositions en vigueur.

Info
Ne jamais utiliser de liquide de frein DOT 5. Il est à base d'huile de silicone et sa couleur est pourpre. Les joints et les durites de frein ne sont pas concus pour le liquide de frein DOT 5. Ne pas verser de liquide de frein sur la peinture des composants, risque de corrosion de la peinture. N'utiliser que du liquide de frein propre et provenant d'un bidon hermetiquement fermé.

Preparatifs
- Contrôler les plaquettes de frein arrêté. (p. 101)
Travail principal
- Positionner le vehicule perpendicularairement au sol.
- Retirer le serre-cable de la protection de cadre.
- Retirer le couvercle filet 1 avec la membrane 2 et la ronde.
Rajouter du liquide de frein jusqu'au reply.
Liquide de frein DOT 4 / DOT 5.1 (p. 162)
- Monter le couvercle filéte avec la membrane et la rondelle et serrer le tout.

Info
Nettoyer aussitot à l'eau le liquide de frein ayant débordé ou ayant été renversé.
- Mettre en place un nouveau serre-câble sur la protection de cadre.
13.11 Contrcler les plaquettes de frein arriere

Avertissement
Risque d'accident Les plaquettes de frein usées réduisent l'efficacité de freinage.
- Veillez à remplacer immédiatement les plaquettes de frein usées. (Votre atelier Husqvarna Motorcycles agrése se tient volontiers à votre disposition.)

- Vérifier que les plaquettes de frein ont l'épaisseur minimale A.
| Épaisseeur minimale A pour les plaquettes de frein | ≥ 1 mm (≥ 0,04 in) |
Si les plaquettes de frein n'ont plus l'épaisseur minimale :
-
Remplacer les plaquettes de frein arriré (p. 102)
-
Vérifier que les plaquettes de frein ne serontnt ni dégradation ni fissures.
» En présence d'endommagement et de fissures :
- Remplacer les plaquettes de frein arriere (p. 102)
13.12 Remplacer les plaquettes de frein arrirè

Avertissement
Risque d'accident En cas de mauvais entretien, les plaquettes de frein peuvent tomber en panne.
Assurez-vous que les travaux d'entretien et les réparations sont réalisés par des professionnelles. (Votre atelier Husqvarna Motorcycles/agree se tient volunteers à votre disposition.)

Avertissement
Irritation de la peau Le liquide de frein provoque des irritations de la peau.
- Conserver le liquide de frein hors de portée des enfants.
- Porter des vêtements de protection ajustés et des lunettes de protection.
- Eviter tout contact du liquide de frein avec la peau, les yeux ou les vêtements.
- Consulter immédiatement un médecin en cas d'ingestion du liquide de frein.
- En cas de contact cutané, rincer à grande eau la zone touchee.
En cas de contact avec les yeux, les rincer immediatement et abondamment à l'eau et consulter un medecin. - Si les vêtements sont aspergés de liquide de frein, il faut les changer.

Avertissement
Risque d'accident Un liquide de frein use réduit l'efficacité du freinage.
Veillez à remplacer le liquide de frein du frein avant et arrirere conformement au plan d'entretien. (Votre atelier Husqvarna Motorcycles agree se tient volunteers a votre disposition.)

Avertissement
Risque d'accident La présence d'huile ou de graisse sur les disques de frein réduit l'efficacité de freinage.
- Veillez à ce que les disques de frein soient en permanence exempts de graisse et d'huile.
- Si besoin, nettoyez les disques de frein avec un nettoyant pour freins.

Avertissement
Risque d'accident Des plaquettes de frein non homologuees modifient l'efficacite des freins.
Toutes les plaquettes de frein ne sont pas testées et homologuées pour les motos Husqvarna. La construction, le coefficient de frottement ainsi l'efficacité de freinage peuvent notamment diverger des plaquettes de frein originales.
Lorsque des plaquettes de frein différentes des originales sont utilisées, elles risquent de ne pas être homologues. Dans ce cas, le vehicule ne correspond plus à l'etat de livraison et la garantie n'est plus valable.
Pour des raisons de sécurité, n'utiliser que plaquettes de frein homologues et recommandees par Husqvarna.

Remarque
Danger pour l'environnement Certaines substances nuisent à l'environnement.
- Éliminer huile, lubricant, filtré, carburant, produits de nettoyage, liquide de frein, etc. de façon reglementaire et conformément aux dispositions en vigueur.

Info
Ne jamais utiliser de liquide de frein DOT 5. Il est à base d'huile de silicone et sa couleur est pourpre. Les joints et les durites de frein ne sont pas concus pour le liquide de frein DOT 5.
Ne pas verser de liquide de frein sur la peinture des composants, risque de corrosion de la peinture. N'utiliser que du liquide de frein propre et provenant d'un bidon hermetiquement fermé.


Positionner le vehicule perpendicularairement au sol.
- Retirer le serre-cable de la protection de cadre.
- Retirer le couvercle filet 1 avec la membrane 2 et la rondeille.
- Pousser l'étrier de frein vers le disque de frein avec la main pour refouler les pistons et s'assurer que le liquide de frein ne déborde pas du réservoir de liquide de frein. Absorber le liquide le cas échéant.

Info
Vérifier que l'étrier de frein n'est pas pousse contre les rayons lors du refoulement des pistons d'étrier de frein.
Retirer la goupille a reesso3.
- Presser la plaque de recco 4 vers le bas et extraire l'axe 5.
- Enlever les plaquettes de frein.
- Nettoyer l'étrier de frein et le support de l'étrier de frein.
13 SYSTÉME DE FREIN


- S'assurer que la plaque de resso de l'étrier de frein et la plaque de glissement du support de l'étrier de frein sont correctement mises en place.
- Placer les nouvelles plaquettes de frein.
Monter l'axe 5.
La plaque de ressor4 engrene dans la gorge de I'axe.

Info
Toujours remplacer les plaquettes de frein par jeu entier.
Vérifier que la tôle anti-chaleur est bien mise en place sur la plaquette de frein cote piston.
Monter la goupille a reesso
- Actionner plusieurs fois la pédale de frein arrêt jusqu'à ce que les plaquettes de frein soient au contact du disque et qu'une résistance soit perceptible.
- Rectifier le niveau de liquide de frein jusqu'au repertoire
Liquide de frein DOT 4 / DOT 5.1 (p. 162)
Monter le couvercle filet 1 avec la membrane 2 et la rondelle et serrer le tout.

Info
Nettoyer aussitot à l'eau le liquide de frein ayant débordé ou ayant été renversé.
- Mettre en place un nouveau serre-cable sur la protection de cadre.

14.1 Déposer la roue avant




Preparatifs
- Surelever la moto sur un socle régliable. (p. 59)
Travail principal
- Repousser à la main l'étrier de frein contre le disque pour refouler les pistons.

Info
Vérifier que l'étrier de frein n'est pas poussé contre les rayons lors du refoulement des pistons d'étrier de frein.
- Desserrer de quelques tours la 1.
- Desserrer les vis 2.
- Pousser sur la vi①, pour sortir l'axe hors de la fixation de l'essieu de roue avant.
Retirer la vis1.

Avertissement
Risque d'accident Les disques de frein endommas réduisent l'efficacité de freinage.
-
Déposez toujours la roue de manière à ce que le disque de frein ne soit pas endommagé.
-
Tenir la roue avant et-retirer l'axe. Retirer la roue avant de la fourche.

Info
Ne pas actionner le levier de frein à main quand la roue avant est demontée.
(tous les modeles standard TE)
Retirer les douilles-entretoises 3.

(JARVIS EDITION)
- Retirer la douille-entretoise et la protection de disque de frein 4.
14.2 Monter la roue avant

Avertissement
Risque d'accident La présence d'huile ou de graisse sur les disques de frein réduit l'efficacité de freinage.
- Veiliez à ce que les disques de frein soient en permanence exempts de graisse et d'huile.
- Si besoin, nettoyez les disques de frein avec un nettoyant pour freins.

(tous les modeles standard TE)
- Vérifier que le roulement de roue ne présente ni usure ni dommages.
Si le roulement de roue est endommagé ou use :
- Remplacer le roulement de roue avec
Nettoyer et graisser les bagues d'etanchete radia et les surfaces de roulemen des douilles-entretoises.
Graisse longue durée (p. 164)
- Poser les douilles-entretoises.
- Nettoyer et graisser légerement l'axe.
Graisse longue durée (p. 164)

(JARVIS EDITION)
- Vérifier que le roulement de roue ne présente ni usure ni dommages.
» Si le roulement de roue est endommagé ou use :
- Remplacer le roulement de roue avant
Nettoyer et graisser les bagues d'etanchete radia et les surfaces de roulemen des douilles-entretoises.
Graisse longue durée (p. 164)
- Poser les douilles-entretoises.
- Nettoyer et graisser légerement l'axe.
Graisse longue durée (p. 164)


-
Orienter la protection de disque de frein de maniere à ce que l'écart B soit C identiques.
-
Soulever la roue avant dans la fourche, la positionner et installer l'axe.
Les plaquettes de frein sont bien positionnées.
- Mettre la vis en place et la serrer.
| Vis axe de roue avant | M20x1,5 35 Nm (25,8 lbf ft) |
Actionner plusieurs fois le levier de frein à main jusqu'à ce que les plaquettes se plaquent contre le disque de frein.
- Retirer la moto du socle réglablé. (p. 59)
- Actionner le frein avant et enforcer énergiquement plusieurs fois la fourche.
Les bras de fourche se positionnent.
- Serrer les vis3.
| Vis fixation de l'axe de roue avant | M8 15 Nm (11,1 Ibf ft) |
14.3 Déposer la roue arrrière
Preparatifs
- Surelever la moto sur un socle réglablé. (p. 59)

Travail principal
- Repousser l'étrier de frein à la main en direction du disque pour refouler le piston.

Info
Vérifier que l'étrier de frein n'est pas poussé contre les rayons lors du refoulement des pistons d'étrier de frein.
Retirer l'ecrou 1.
- Retirer les tendeurs de chair 2. Retirer l'axe 3 de façon à ce que la roue arrête puisse être poussée vers l'avant.
- Pousser la roue arrête aussi loin que possible vers l'avant. Enlever la chaîne de la couronne.

Info
Protégé les composants contre tout dommage en les recouvrant.

Avertissement
Risque d'accident Les disques de frein endommas réduisent l'efficacité de freinage.
-
Déposez toujours la roue de manière à ce que le disque de frein ne soit pas endommagé.
-
Tenir la roue arrriere et-retirer l'axe. Retirer la roue arriere du bras oscillant.

Info
Ne pas actionner la pedale de frein arriere quand la roue arrriere est demontee.
Retirer les douilles-entretoises 4.


14.4 Monter la roue arrière

Avertissement
Risque d'accident La présence d'huile ou deGRAisse sur les disques de frein réduit l'efficacité de freinage.
- Veillez à ce que les disques de frein soient en permanence exempts de graisse et d'huile.
- Si besoin, nettoyez les disques de frein avec un nettoyant pour freins.



Travail principal
- Verifier que le roulement de roue ne presente ni usure ni dommages.
Si le roulement de roue est endommagé ou use :
-
Remplacer le roulement de roue arriré.
-
Nettoyer et graisser les bagues d'étanchéité radia et les surfaces de roulemer des douilles-entreprises.
Graisse longue durée (p. 164)
Poser les douilles-entretoises.
- Nettoyer et graisser légerement l'axe.
Graisse longue durée (p. 164)
-
Placer la roue arrête et introduire l'a2.
Les plaquettes de frein sont bien positionnées.
Poser la chaine. -
Positionner les tendeurs de chair 3. Mettre l'écrou 4 en place sans le serrer.
- Vérifier que les tendeurs de chai sont plaqués contre les vis de réglag.
- Contrôler la tension de la chaîne. (p. 82)
- Serrer l'écrou4. Indications prescrites
Écrou axe arrière M20x1,5 80 Nm (59 lbf ft)

Info
La large plage de réglage des tendeurs de chaîne (32 mm) permet l'introduction de démultiplications secondaires sur une même longueur de chaîne. Les tendeurs de chain③ peuvent être pivotés à 180^ .
Actionner plusieurs fois la pédale de frein arrêté jusqu'à ce que les plaquettes de frein soient au contact du disque et qu'une résistance soit perceptible.
Retouche
- Retirer la moto du socle régliable. (p. 59)
14.5 Verifier l'etat des pneus

Info
Monter uniquement des pneus autorisés et/ou recommandés par Husqvarna Motorcycles.
D'autres pneus peuvent avoir des répercussions négatives sur la conduite.
Le type de pneus, l'etat des pneus et la pression d'air des pneus influencent la conduite de la moto.
Les roues avant et arrière ne doivent etre équipées que de pneus de meme profil.
Des pneus usages agissant defavorablement sur la conduite, particulierement sur route mouillée.

- Vérifier le dessin des pneus avant et arrêté ainsi que l'absence d'objets incrustés et autres dégradations.
» En présence de coupures sur le dessin des pneus, d'objets incrustés et autres dégradations :
-
Remplacer le pneu.
-
Vérifier la profondeur du profil.

Info
Respecter la profondeur de profil minimale requise par la loi dans le pays correspondant.
| Profondeur de profil mini-male | ≥ 2 mm (≥ 0,08 in) |
» Si la profondeur de profil est inférieure à la valeur minimale requise :
-
Remplacer le pneu.
-
Verifier l'age des pneus.

Info
La date de fabrication des pneus, généralement indiquée avec les inscriptions figurant sur le pneu, est désignée par les quatre derniers chiffres de la dénomination DOT. Les deux premiers chiffres correspondant à la période de fabrication et les deux derniers à l'année de fabrication.
Indépendamment de l'usure réelle des pneus, Husqvarna Motorcycles préconise un changement de pneumatiques au plus tard tous les 5 ans.
» Lorsque le pneu a plus de 5 ans :
- Remplacer le pneu.

14.6 Vérifier la pression des pneus

Info
Une pression de pneu insuffisante cause une usure anormale et une surchauffe du pneu.
Une pression de pneu correcte contribue à un comport de conduite optimal et à une durée de vie maxi-male du pneu.

Retirer le capuchon.
- Vérifier la pression du pneu quand le pneu est froid.
| Pression de pneu sur tout-terrain | |
| avant 1,0 bar (15 psi) | |
| arrière 1,0 bar (15 psi) | |
| Pression de pneu sur route (tous les modèles EU) | |
| Avant 1,5 bar (22 psi) | |
| Arrière 1,8 bar (26 psi) | |
» Lorsque la pression de pneu ne correspond pas aux indications prescrites :
-
Ajuster la pression de pneu.
-
Mettre le capuchon en place.
14.7 Contrôler la tension des rayons

Avertissement
Risque d'accident Des rayons mal tendus modifiert le comportement sur route et peuvent endom-mager le vehicule.
Si les rayons sont trop tendus, ils peuvent se briser en raison de la surcharge. Si les rayons ne sont pas assez tendus, la roue peut se déformer, ce qui entraine à son tour une déformation des autres rayons.
- Contrôlez régulierement la tension des rayons, notamment si le vehicule est neuf. (Votre atelier Husqvarna Motorcycles agrée se tient volontiers à votre disposition.)

- Frapper légèrement chaque rayon avec un tournevis.

Info
La fréquence du son dépend de la longueur des rayons et de leur diamètre.
Des fréquences de son différentes alors que les rayons sont de même longueur et de même diamètre indiquent des tensions de rayon différentes.
Un son aigu doit retentir.
» Si la tension des rayons varie :
-
Rectifier la tension des rayons
-
Contrôler le couple de serrage des rayons.
| Vis de rayon roue avant | M4,5 5 Nm (3) | 7 lbf ft) |
| Vis de rayon de la roue arrière | M4,5 5 Nm (3) | 7 lbf ft) |
Kit de clé dynamométrique (58429094000)
15.1 Déposer la batterie 12 V

Remarque
Danger pour l'environnement Les batteries 12 V contiennent des substances polluantes.
- Ne pas jeter les batteries 12 V dans les ordures menagères.
Rapporter les batteries 12 V à un point de collecte.

Remarque
Danger pour l'environnement Certaines substances nuisent à l'environnement.
- Éliminer huile, lubricant, filtré, carburant, produits de nettoyage, liquide de frein, etc. de façon reglementaire et conformément aux dispositions en vigueur.
Preparatifs
(tous les modèles EU)
Actionner le bouton d'arrêt au ralenti moteur jusqu'à l'arrêt du moteur.
(tous les modèles US)
Actionner le bouton d'arret au ralenti moteur jusqu'à l'arrêt du moteur.
- Déposer le couvercle du boitier du filtré à air. (p. 73)
- Déposer la salle. (p. 72)

Travail principal

Avertissement
Risque de blessures Les batteries 12 V contiennent des substances nocives.
- Conserve les batteries 12 V hors de portée des enfants.
- Evitez toute étincelle et toute flamme neue à proximé des batteries 12 V.
- Rechargez les batteries 12 V uniquement dans des locaux bien ventilés.
- Maintenez une distance de sécurité avec les matériaux inflammables lorsque vous rechargez une batterie 12 V.
- Ne rechargez pas de batteries 12 V déchargees en profondeur si la tension minimale est déjà atteinte.
Tension minimale avant9V chargement -
Éliminez les batteries 12 V ayant atteint la tension minimale conformément aux dispositions en vigueur.
-
Debrancher le cable négatif de la batterie 12 V.
- Retirer la protection du pole pos et débrancher le cable positif de la batterie 12 V.

Retirer le boitier de commande 3 vers le haut et hors des pivots en caoutchou et le metre de cote.

- Retirer le relais de démarrag et la boite à fusible du compartment de la batterie, puis les mettre de côté.

- Decrocher le faisceau de cable, débrancher les reliais et le connecteur, puis lesmettrede cote.

- Retirer la vis et décrocher le compartment de la batterie.
- Enlever la batterie 12 V par le haut.
15.2 Monter la batterie 12 V





Travail principal
- Placer la batterie 12 V dans le compartment de la batterie avec les pôles orientés vers l'avant et la fixer avec l'étrier de fixation ①.
Batterie 12 V (HJTZ5S-FP-C) (p. 157)
- Metre la vis en place et la serrer.
- Placer les relais et le connecteur sur le compartment de la batterie et accrocher le faisceau de cãs
Fixer le relais de demarrag et la boite a fusible au compartment de la batterie.
Fixer le boitier de commande E8 avec les pivots en caoutchouc 9.

- Brancher le cable posit à la batterie 12 V. Indications prescrites
| Vis de pôle de battenie | M5 2,5 Nm (1 | 84 lbf ft) |

Info
Le disque de contact doit être monté sous la vis et la cosse, avec la griffe orientée vers le pôle de la batterie.
- Pousser le cache sur le pôle positif.
- Brancher le cable négat à la batterie 12 V. Indications prescrites
| Vis de pôle de batte rie | M5 2,5 Nm (1.84 lbf ft) |

Info
Le disque de contact doit être monté sous la vis et la cosse, avec la griffe orientée vers le pôle de la batterie.
Retouche
- Monter la salle. (p. 72)
- Monter le couvercle du boitier du filtre a air. (p. 73)
15.3 Charger la batterie 12 V

Avertissement
Risque de blessures Les batteries 12V contiennent des substances nocives.
- Conservez les batteries 12 V hors de portée des enfants.
- Évitez toute étincelle et toute flamme neue à proximé des batteries 12 V.
- Rechargez les batteries 12 V uniquement dans des locaux bien ventilés.
- Maintenez une distance de sécurité avec les matériaux inflammables lorsque vous rechargez une batterie 12 V.
Distance minimale 1 m (3 ft) - Ne rechargez pas de batteries 12 V déchargées en profondeur si la tension minimale est déjà atteinte.
Tension minimale avant chargement 9 V - Éliminez les batteries 12 V ayant atteint la tension minimale conformément aux dispositions en vigueur.

Remarque
Danger pour l'environnement Les batteries 12 V contiennent des substances polluantes.
- Ne pas jeter les batteries 12 V dans les ordures menagères.
Rapporter les batteries 12 V à un point de collecte.

Remarque
Danger pour l'environnement Certaines substances nuisent à l'environnement.
- Éliminer huile, lubricant, filtré, carburant, produits de nettoyage, liquide de frein, etc. de façon réglementaire et conformément aux dispositions en vigueur.

Info
Meme lorsque la batterie 12 V n'est pas sollicitee, elle perd chaque jour de sa charge.
L'etat de charge et la maniere de charger jouent un role très important pour la durée de vie de la batterie 12 V.
Les charges rapides à courant de charge élevé réduisent la durée de vie de la batterie.
En cas de dépassement du courant ou de la tension de charge, la batterie 12 V risque d'être détruite.
Lorsque la batterie 12 V a ete videe par des essais de demarrage, la recharger sans delai.
Lorsque la batterie 12 V reste trop longtemps décharge, elle se décharge spontanément et accuse une perte de capacité, détruisant la batterie.
La batterie 12 V ne nécessite pas d'entretien.
Preparatifs
(tous les modeles EU)
Actionner le bouton d'arret au ralenti moteur jusqu'à l'arrêt du moteur.
(tous les modèles US)
Actionner le bouton d'arrêt au ralenti moteur jusqu'à l'arrêt du moteur.
- Déposer le couvercle du boitier du filtré à air. (p. 73)
- Déposer la salle. (p. 72)
- Déposer la batterie 12 VA (p. 112)

Travail principal
- Verifier la tension de la batterie.
» Tension de la batterie : < 9 V
- Ne pas charger la batterie 12 V.
- Remplacer et éliminer la batterie 12 V usageé conformément aux règlementations en vigueur.
» Lorsque la valeur prescrite est atteinte : Tension de la batterie : ≥ 9 V
- Charger la batterie 12 V.
| Tension de charge maxi-male | 14,4 V |
| Courant de charge maximal | 3,0 A |
| Temps de charge maxi-mal | 24 h |
| Recharger régulièrement la batterie 12 V lorsque la moto n'est pas utilisée. | 6 mois |
Chargeur de batterie (26529974000)
Avec le chargeur, tester la batterie 12 V pour contrôle si elle tient la tension. En outre, une surcharge de la batterie 12 V est impossible avec ce type de chargeur. Le temps de charge peut etre plus long a basses températures.
Ce chargeur convient uniquement pour les batteries au lithium phosphate de fer. Respecter le manuel de montage des accessoires Husqvarna Motorcycles cijoint.

Ne retirer eneldom cas le couver
- Éteindre le chargeur en fin de charge et le déconnecter de la batterie 12 V.
Retouche
Monter la batterie 12 (p. 114)
Monter la salle. (p. 72)
- Monter le couvercle du boitier du filtré à air. (p. 73)
15.4 Remplacer le fusible général

Avertissement
Risque d'incendie Des fusibles incorrectly surcharge n'installation electrique.
- Utilisez uniquement des fusibles avec l'ampérage prescrit.
- Ne jamais pointer ou réparer les fusions.

Info
Le fusible général permet de sécuriser l'ensemble des consommateurs électriques du vehicule.
Preparatifs
(tous les modèles EU)
Actionner le bouton d'arret au ralenti moteur jusqu'à l'arrêt du moteur.
(tous les modèles US)
Actionner le bouton d'arret au ralenti moteur jusqu'à l'arrêt du moteur.
- Déposer le couvercle du boitier du filtré à air. (p. 73)
- Déposer la selle. (p. 72)

Travail principal
Retirer le boitier de commande E1 vers le haut et hors des pivots en caoutchou et le metre de cote.

- Dégager le relais de démarrag du support.

Retirer les capuchons4.
- Enlever le fusible général defectueu 5

Info
Le coupe-circuit d'un fusible defectueux est ouvert.
Le relais de démarriage est également équipé d'un fusible de réserve.
Mettre en place un fusible général neuf.
- Vérifier le bon fonctionnement de l'équipment électrique.

Conseil
Mettre en place un nouveau fusible de réserve pour qu'il soit disponible, le cas échéant.
- Enficher les capuchons4.
- Brancher le relais de démarrag sur la fixation et mesure le cable en place.
- Monter le boitier de commande E1 sur les pivots en caoutchouc 2.


Retouche
- Monter la salle. (p. 72)
- Monter le couvercle du boitier du filtré à air. (p. 73)
15.5 Remplacer les fusibles des divers consommateursurs

Info
La boite à fusibles comportant les fusibles des divers consommateurs se trouve sous la selle.
Preparatifs
(tous les modèles EU)
Actionner le bouton d'arrêt au ralenti moteur jusqu'à l'arrêt du moteur.
(tous les modeles US)
Actionner le bouton d'arret au ralenti moteur jusqu'à l'arrêt du moteur.
- Déposer le couvercle du boftier du filtré à air. (p. 73)
- Déposer la selle. (p. 72)

Travail principal
Ouvrir le couvercle de la boite à fusib
- Retirer le fusible défectueux.
(tous les modèles EU)
| Fusible 1 - 10 A - boîtier de commande EFI, sonde lambda, pompé à huîle, tableau de bord, injection électronique de carburant, connecteur de diagnostic, bobine d'allumage, capteur de niveau d'huîle |
| Fusible 2 - 10 A - avertisseur sonore, feu stop, ventil- teur de refroidissement (en option), clignotant |
| Fusible 3 - 10 A - feu de route, feu de croisement, feu de position, feu arrêté, éclairage de la plaque d'imma- triculation |
| Fusible 4 - 5 A - pompé à carburant |
(tous les modèles US)
| Fusible 1 - 10 A - boitier de commande EFI, pompe à huile, tableau de bord, injection électronique de car-burant, connecteur de diagnostic, bobine d'allumage, capteur de niveau d'huile |
| Fusible 2 - 10 A - ventilateur de refroidissement (en option) |
| Fusible 3 - 10 A - feu de croisement, feu de position, feu arrière |
| Fusible 4 - 5 A - pompe à carburant |
Fusibles res - 10 A - fusibles de rechange

Info
Le coupe-circuit d'un fusible defectueux est ouvert.

Avertissement
Risque d'incendie Des fusibles incorcrtes sur-chargent l'installation electrique.
- Utilisez uniquement des fusibles avec l'ampérage prescrit.
-
Ne jamais pointer ou réparer les fusibles.
-
Utiliser un fusible de rechange de valeur correspondante.
| Fusible (75011088010) (p. 157) |
| Fusible (75011088005) (p. 157) |

Conseil
Mettre un nouveau fusible de rechange dans la boite à fusibles pour qu'il soit disponible, le cas échéant.
- Verifier le bon fonctionnement du consommateur.
- Fermer le couvercle de la boite a fusib.
Retouche
Monter la salle. (p. 72)
Monter le couvercle du boitier du filtre a air. (p. 73)
15.6 Déposer la plaque-phare et le phare
Preparatifs
(tous les modeles EU)
- Actionner le bouton d'arrêt au ralenti moteur jusqu'à l'arrêt du moteur.
(tous les modeles US)
Actionner le bouton d'arrêt au ralenti moteur jusqu'à l'arrêt du moteur.

Travail principal
- Desserrer les caoutchoucs de maintie. Faire glisser la plaque-phare vers le haut et la faire pivoter vers la droite.

Retirer la vis2.
- Decrocher la durite de frein et le faisceau de cables de la plaque-phare.
- Faire pivoter la plaque-phare vers l'avant et la déposer sur le garde-boue.

(tous les modèles EU)
- Débrancher les connecteurs et déposer la plaquèphare avec le phare.

(tous les modèles US)
- Débrancher le connecteur ③, puis déposer la plaquèphare et le phare.
15.7 Monter la plaque-phare et le phare

Travail principal
(tous les modèles EU)
- Brancher les connecteurs1.

(tous les modèles US)
- Brancher le connecteur 1.
15 CIRCUIT ÉLECTRIQUE

- Faire passer la durée de frein et le faisceau de câbles dans le collier de passage de câbles.
- Mettre la vis en place et la serrer.
Positionner la plaque-phare.
Les crochets s'engagent dans le garde-boue.

Fixer la plaque-phare avec des caoutchoucs de main
Retouche
- Vérifier le réglage du phare. (p. 124)
15.8 Remplacer l'ampoule de phare
Remarque
Endommagement du reflecteur De la graisse sur le reflecteur reduit la luminosite.
Les traces de graisse presents sur le verre de l'ampoule s'évaporent à la chaleur et s'incrustent sur le reflecteur.
- Nettoyer et dégraisser le verre de l'ampoule avant le montage.
- Ne pas toucher le verre de l'ampoule a main rue.
Preparatifs
(tous les modeles EU)
Actionner le bouton d'arrêt au ralenti moteur jusqu'à l'arrêt du moteur.
(tous les modèles US)
Actionner le bouton d'arrêt au ralenti moteur jusqu'à l'arrêt du moteur.
- Déposer la plaque-phare et le phare. (p. 120)


Travail principal
- Tourner le capuchor1 avec la douille située en-dessous jusqu'en butée dans le sens inverse des aiguilles d'une montre et le soulever.
- Extraire la douille du feu de position hors du reflecteur.
Extraire l'ampoule de phar 3.
- Mettre en place une nouvelle ampoule de phare.
Phare (HS1 / douille BX43t) (p. 157)
- Mettre en place le capuchon avec la douille dans le reflecteur et tourner jusqu'en butée dans le sens des aiguilles d'une montre.
Le joint torque4 est positionné correctement.
- Placer la douille du feu de position dans le reflecteur.
Retouche
Monter la plaque-phare et le phare. (p. 121)
- Vérifier le réglage du phare. (p. 124)
15.9 Remplacer l'ampoule de clignotant (tous les modèles EU)
Remarque
Endommagement du reflecteur De la graisse sur le reflecteur réduit la luminosité.
Les traces de graisse presents sur le verre de l'ampoule s'évaporent à la chaleur et s'incrustent sur le reflecteur.
-
Nettoyer et dégraisser le verre de l'ampoule avant le montage.
-
Ne pas toucher le verre de l'ampoule a main rue.


Travail principal
- Enlever la vis au dos du boftier de clignotant.
- Déposer le verre du clignot à l'avec précaution.
- Appuyer légarement sur le capuchon orangautour des crochets avant de les déposer.
- Appuyer légèrement sur l'ampoule de clignotant, la faire pivoter de 30^ dans le sens inverse des aiguilles d'une montre et la retarder de la douille.

Info
Éviter de toucher le reflecteur du doigt afin de ne pas le souiller deGRAISE.
- Enconcer l'ampoule de clignotant dans la douille en pressant légèrement, puis la faire pivoter dans le sens des aiguilles d'une montre jusqu'en butée.
Clignotant (R10W / douille BA15s) (p. 157)
- Mettre le capuchon orange en place.
- Mettre en place le verre de clignotant.
- Introduire la vis, puis tourner d'abord dans le sens inverse des aiguilles d'une montre jusqu'à une légère secousse signalant son enclenchement dans le filetage. Serrer légrement la vis.
Retouche
- Contrôler le fonctionnement du clignotant.
15.10 Vérifier le réglage du phare

- Placer le vehicule sur une surface horizontal, devant un mur clair et pratiquer une marque à hauteur du centre du phare.
- Dessiner un deuxième repère à une distar en dessous du premier repère.
| Écart B | 5 cm (2 in) |
Indications prescribes
- Positionner le vehicule bien droit devant le mur en respectant la distance A.
- Le pilote peut à présent s'asseoir sur la moto.
- Allumer le feu de croissement.
- Vérifier le réglage du phare.
| Sur une moto préte à l'emploi, avec pilote installé, la limite clarté/obscurité doit se situer exactement sur le repère inférieur. |
Si la limite entre la pé nombre et la lumière ne correspond pas aux indications prescrites :
- Regler la portee du phare. (p. 125)
15.11 Regler la portée du phare

Preparatifs
- Vérifier le réglage du phare. (p. 124)
Travail principal
- Desserer la vis1.
- Régler la portée en pivotant le phare. Indications prescrites
Sur une moto préte à l'emploi, avec pilote installé, la limite clarté/obscurité doit se situer exactement sur le repère inférieur (défi ni au paragraphe : Vérifier le réglage du phare).

Info
Il est possible que la charge utile nécessite de rectifier la portée du phare.
- Serrer la vis1.
15.12 Remplacer la batterie du tableau de bord

Preparatifs
(tous les modèles EU)
Actionner le bouton d'arrêt au ralenti moteur jusqu'à l'arrêt du moteur.
(tous les modeles US)
Actionner le bouton d'arrêt au ralenti moteur jusqu'à l'arrêt du moteur.
- Déposer la plaque-phare et le phare. (p. 120)
Travail principal
- Retirer les vis 1 et les rondelles.
Sortir le tableau de bord de son support par le haut.

- Tourner le capuchon 2 avec une piece de monnaie, dans le sens inverse des aiguilles d'une montre, jusqu'en butée et le retarder.
Retirer la batterie du tableau de bc3. - Mettre en place la nouvelle batterie du tableau de bord, avec l'inscription vers l'extérieur.
Batterie du tableau de bord (CR 2032) (p. 157)
- Vérifier que le joint torique est bien positionné dans le capuchon.
15 CIRCUIT ÉLECTRIQUE

- Placer le capuchon et le tourner dans le sens des aiguilles d'une montre avec une piece de monnaie.
Actionner une touche quelconque sur le tableau de bord. Le tableau de bord s'active. - Placer le tableau de bord sur son support.
- Mettre en place les vis et les rondelles et serrer.
Retouche
- Monter la plaque-phare et le phare. (p. 121)
- Vérifier le réglage du phare. (p. 124)
- Regler le tableau de bord. (p. 26)
15.13 Connecteur de diagnostic

Le connecteur de diagnosti est situé sous la selle, sous le boitier de commande EFI.
16.1 Systeme de refroidissement

La pompe à ea1 provoque une circulation forcede du liquide de refroidissement dans le moteur.
La pression établie dans le système de refroidissement suite à l'échauffement est régulée par le biais d'une soupape sur le bouchon de radiateur. Ce système permet d'atteindre la température de liquide de refroidissement admissible sans créé de dysfonctionnement.
120°C (248°F)
Le refroidissement s'effectue par vent relatif.
Plus la vitesse est faible, plus l'efficacité du refroidissement est réduite. De la même manière, l'encrassement des ailettes du radiateur diminue l'efficacité du refroidissement.
16.2 Verifier l'antigel et le niveau de liquide de refroidissement

Avertissement
Danger de brûlure Le liquide de refroidissement est brûlant et maintainu sous pression pendant le fonctionnement de la moto.
- Ne jamais ouvrir le radiateur, les durites de radiateur ou tout autre composant du système de refroidissement lorsque le moteur ou le système de refroidissement sont chauds.
Laissez le système de refroidissement et le moteur refroidir avant d'ouvrir le radiateur, les durites de radiateur ou tout autre composant du système de refroidissement. - En cas de brûlure, passez immédiatement la zone ébouillante sous l'eau tiède.

Avertissement
Danger d'intoxication Le liquide de refroidissement est toxique et dangereux pour la santé.
- Conserver le liquide de refroidissement hors de portée des enfants.
- Éviter tout contact du liquide de refroidissement avec la peau, les yeux ou les vêtements.
- Consulter immédiatement un médecin en cas d'ingestion du liquide de refroidissement.
- En cas de contact cutané, rincer immediatement à grande eau la zone touchée.
En cas de contact du liquide de refroidissement avec les yeux, bien les rincer à l'eau et consulter immédiatement un médecin. - Si les vêtements sont aspergés de liquide de refroidissement, il faut les changer.

Condition
Le moteur est froid.
- Placer la moto à la verticale sur une surface horizontale.
- Enlever le bouchon de radiateur.
- Vérifier l'antigel du liquide de refroidissement.
-25…-45°C(-13…-49°F)
» Lorsque l'antigel du liquide de refroidissement ne correspond pas aux indications prescrites :
-
Rectifier l'antigel du liquide de refroidissement.
-
Vérifier le niveau de liquide de refroidissement dans le radiateur.
Niveau de liquide de refroidissement au-dessus des ailettes du radiateur
10 mm (0,39 in)
» Lorsque le niveau de liquide de refroidissement ne correspond pas aux indications prescrites :
- Rectifier le niveau de liquide de refroidissement.
Liquide de refroidissement (p. 163)
- Mettre le bouchon de radiateur en place.
16.3 Vérifier le niveau de liquide de refroidissement

Avertissement
Danger de brûlure Le liquide de refroidissement est brûlant et maintainu sous pression pendant le fonctionnement de la moto.
- Ne jamais ouvrir le radiateur, les durites de radiateur ou tout autre composant du système de refroidissement lorsque le moteur ou le système de refroidissement sont chauds.
- Laissez le système de refroidissement et le moteur refroidir avant d'ouvrir le radiateur, les durites de radiateur ou tout autre composant du système de refroidissement.
- En cas de brûlure, passez immédiatement la zone ébouillantee sous l'eau tiède.

Avertissement
Danger d'intoxication Le liquide de refroidissement est toxique et dangereux pour la santé.
- Conserver le liquide de refroidissement hors de portée des enfants.
- Eviter tout contact du liquide de refroidissement avec la peau, les yeux ou les vêtements.
- Consulter immédiatement un médecin en cas d'ingestion du liquide de refroidissement.
- En cas de contact cutané, rincer immidiatement à grande eau la zone touchee.
- En cas de contact du liquide de refroidissement avec les yeux, bien les rincer à l'eau et consulter immédiatement un médecin.
- Si les vêtements sont aspergés de liquide de refroidissement, il faut les changer.
Condition
Le moteur est froid.
- Placer la moto à la verticale sur une surface horizontal.
- Enlever le bouchon de radiateur.
- Vérifier le niveau de liquide de refroidissement dans le radiateur.

Niveau de liquide de refroidissement A au-dessus des ailettes du radiateur
10 mm (0,39 in)
» Lorsque le niveau de liquide de refroidissement ne correspond pas aux indications prescrites :
- Rectifier le niveau de liquide de refroidissement.
Liquide de refroidissement (p. 163)
- Mettre le bouchon de radiateur en place.
16.4 Vidanger le liquide de refroidissement

Avertissement
Danger de brûlure Le liquide de refroidissement est brûlant et maintainu sous pression pendant le fonctionnement de la moto.
- Ne jamais ouvrir le radiateur, les durites de radiateur ou tout autre composant du système de refroidissement lorsque le moteur ou le système de refroidissement sont chauds.
Laissez le système de refroidissement et le moteur refroidir avant d'ouvrir le radiateur, les durites de radiateur ou tout autre composant du système de refroidissement. - En cas de brûlure, passez immédiatement la zone ébouillantee sous l'eau tiède.

Avertissement
Danger d'intoxication Le liquide de refroidissement est toxique et dangereux pour la santé.
- Conserver le liquide de refroidissement hors de portée des enfants.
- Eviter tout contact du liquide de refroidissement avec la peau, les yeux ou les vêtements.
- Consulter immédiatement un médecin en cas d'ingestion du liquide de refroidissement.
- En cas de contact cutané, rincer immediatement à grande eau la zone touchee.
En cas de contact du liquide de refroidissement avec les yeux, bien les rincer à l'eau et consulter immédiatement un médecin. - Si les vêtements sont aspergés de liquide de refroidissement, il faut les changer.
Condition
Le moteur est froid.
Preparatifs
- Déposer la protection moteur. (p. 91)
Travail principal
- Placer la moto perpendicularrement au sol.
- Placer un réservoir adapté sous le couvercle pompe à eau.
Retirer la vis1. Enlever le bouchon de radiate2. - Vidanger entièrement le liquide de refroidissement.
- Installer et serrer la v① avec la nouvelle bague d'étanchéité.

| Vis couvercle pompe à eau | M6 10 Nm (7,4 lbf ft) |
16.5 Remplir de liquide de refroidissement

Avertissement
Danger d'intoxication Le liquide de refroidissement est toxique et dangereux pour la santé.
- Conserver le liquide de refroidissement hors de portée des enfants.
- Eviter tout contact du liquide de refroidissement avec la peau, les yeux ou les vêtements.
- Consulter immédiatement un médecin en cas d'ingestion du liquide de refroidissement.
- En cas de contact cutané, rincer immédiatement à grande eau la zone touchee.
En cas de contact du liquide de refroidissement avec les yeux, bien les rincer à l'eau et consulter immédiatement un médecin. - Si les vêtements sont aspergés de liquide de refroidissement, il faut les changer.

Travail principal
- S'assurer que la vi est fermement serree.
- Placer la moto perpendicularement au sol.

- Remplir de liquide de refroidissement jusqu'au repertoire au-dessus des ailettes du radiateur.
| Niveau de liquide de refroidissement A au-dessus des ailettes du radiateur | 10 mm (0,39 in) |
Liquide de refroidissement (p. 163)

- Pousser le capuchon ② vers le haut, au-dessus du thermostat.

- Debrancher le connecteur ③.
- Retirer le thermostat 4 avec le joint torque et attendre que le liquide de refroidissement coule sans bulles.
- Mettre en place le thermost 4 avec le joint torique et le serrer.
| Vis du capteur de température culasse | M10x1,25 12 Nm (8,9 lbf ft) |
- Brancher le connecteur ③.
- Mettre le capuchon de protectio en place.
SYSTEME DE REFROIDISSEMENT 16

- Remplir de liquide de refroidissement jusqu'au repAitué au-dessus des ailettes du radiateur. Indications prescrites
| Niveau de liquide de refroidissement A au-dessus des ailettes du radiateur | 10 mm (0,39 in) |
Liquide de refroidissement (p. 163)

Monter le bouchon de radiate

Danger
Danger d'intoxication Les gaz d'échévement sont toxiques et peuvent faire perdre conscience voire entrainer la mort.
- Veillez donc en permanence à une aération suffisante lorsque le moteur tourne.
- Utilisé un système d'extraction des gaz d'éché-pement approprié si vous démarrez ou faites tourner le moteur dans une piece fermée.
Laisser le moteur tourner puis refroidir.
- Vérifier le niveau de liquide de refroidissement. (p. 128)
Retouche
- Monter la protection moteur. (p. 92)
17.1 Verifier le jeu du cable d'accelérateur

- Vérifier que la poignée des gaz tourne sans effort.
- Tourner le guidon complètement à droite. Actionner la poignée des gaz dans les deux sens pour déterminer le jeu du cable d'accéléateur A.
Jeu du cable d'accélérateur 3 ... 5 mm (0,12 ... 0,2 in)
Si le jeu du cable d'accelérateur ne correspond pas aux indications prescrites :
- Regler le jeu du cable d'accelerateur (p. 132)
Danger
Danger d'intoxication Les gaz d'échéppement sont toxiques et peuvent faire perdre conscience voire entrainer la mort.
- Veillez donc en permanence à une aération suffisante lorsque le moteur tourne.
-
Utilisez un système d'extraction des gaz d'éché-pement approprié si vous démarrez ou faites tourner le moteur dans une piece fermée.
-
Demarrer le moteur et le laisser tourner au régime de ralenti. Tourner le guidon d'un extréme à l'autre.
Le régime de ralenti doit rester constant.
» Lorsque le régime de ralenti change :
- Regler le jeu du cable d'accelerateur (p. 132)
17.2 Regler le jeu du cable d'accelérateur

Info
Si les cables d'accelerateur sont correctement positionnés, il n'est pas nécessaire de déposer le réservoir de carburant.

Preparatifs
- Déposer le couvercle du boitier du filtré à air. (p. 73)
- Déposer la salle. (p. 72)
- Déposer le cache l'边际 droit. (p. 77)
- Déposer le réservoir de carburant. (p. 78)
- Verifier l'emplacement du cable d'accelerateur. (p. 87)
Travail principal
- Mettre le guidon en position droite.
- Repousser le cache-poussière1.
- Desserer l'écrou 2.
Visser entierement la vis de regla. - Desserer l'écrou 4.
- Visser entierement la vis de regla
Tourner la vis de reglag de façon à ce que le jeu du cable d'accéléateur soit present sur la poignée des gaz.
Jeu du cable d'accelerateur 3 ... 5 mm (0,12 ... 0,2 in)
- Dévisser la vis de réglag5 jusqu'à ce que le cable d'accélérateur perde de sa souplesse ou de son jeu.
- Revisser la vis de réglag d'environ deux tours.
- Serrer l'écrou4.
- Serrer l'écrou
- Remetre le cache-poussière en place.
- Vérifier que la poignée des gaz tourne sans effort.
Retouche
- Vérifier le jeu du cable d'accelérateur. (p. 132)
17.3 Regler la caractéristique de l'accelération

Info
Sur la poignée des gaz, la caractéristique de l'accelération peut être modifiée en changeant la couisse. Une couisse avec une autre caractéristique est fournie avec le vehicule.


Travail principal
- Repousser le cache-poussiere1.
Enlever les vis et les semi-coussinets. -
Decrocher les cables d'accelération et déposer le tube de la poignée.
-
Dégager la coulisse 4 du tube de la poigné 5.
- Placer la coulisse souhaitée sur le tube de la poignée. Indications prescrites
La désignation OUTSIDE doit être visible. Le repertoire doit être aligné avec le repertoire.
Coulisse grise (79002014000)
Alternative 1
Coulisse noire (79002014100)

Info
La coulsi grise ouvre le clapet d'etranglement plus lentement.
La coulsi noire ouvre le clapet d'etranglement plus rapidement.
A la livraison, c'est la coulisse grise qui est installée.
17 ADAPTER LE MOTEUR

- Nettoyer le guidon à l'extérieur et le tube de la poignée à l'intérieur. Placer le tube de la poignée sur le guidon.
- Accrocher les cables d'accelération à la coulisse et les faire passer de manière ajustée.
- Mettre en place les semi-coussine, monter et serrer les vis.
- Emmancher le cache-poussière et vérifier le bon fonctionnement de la poignée des gaz.
Retouche
- Vérifier le jeu du cable d'accelérateur. (p. 132)
17.4 Regler le régime de ralenti

Avertissement
Risque d'accident A régime de ralenti trop faible, le moteur risque de s'arreter brusquement.
- Faire tourner le moteur à la valeur prescrite de régime de ralenti. (Votre atelier Husqvarna Motorcycles/agree se tient volunteers à leur disposition.)

- Monter le moteur en température.
Bouton de démarriage à froid désactifé - Refaire un 1 / 4 de tour pour faire revenir le bouton de démarriage à froid à sa position de base. (p. 23)

Danger
Danger d'intoxication Les gaz d'échéppement sont toxiques et peuvent faire perdre conscience voire entrainer la mort.
- Veillez donc en permanence à une aération suffisante lorsque le moteur tourne.
-
Utilisez un système d'extraction des gaz d'éché-pement approprié si vous démarrez ou faites tourner le moteur dans une piece fermée.
-
Régler le régime de ralenti en tournant la vis de réglage du régime de ralentit.
Tourner dans le sens des aiguilles d'une montre pour diminuer le régime de ralenti.
Tourner dans le sens inverse des aiguilles d'une montre pour augmenter le régime de ralenti.
Effectuer le réglage par petites étapes.
Un mauvais régime de ralenti influence négativement le fonctionnement complet du moteur.
17.5 Programmation de la pression de l'air ambient

Danger
Danger d'intoxication Les gaz d'échévement sont toxiques et peuvent faire perdre conscience voire entrainer la mort.
- Veillez donc en permanence à une aération suffisante lorsque le moteur tourne.
- Utilisez un système d'extraction des gaz d'échévement approprié si vous démarrez ou faites tournier le moteur dans une piece fermée.

Info
Si le vehicule roule à différents niveaux de la mer, il s'adapte en permanence à la pression de l'air ambient.
Si le vehicule est transporte moteur et subit de grandes variations d'altitude, alors la pression de l'air ambient doit etre reprogrammée.

- Demarrer le vehicule à un nouveau niveau de la mer et étéindre une nouvelle fois le moteur.
- Attendre au moins cinq secondes.
- Demarrer à nouveau le vehicule et contrôle la réponse.
» Si la réponse ne s'est pas améliorée :
- Recommencer la méthode.
17.6 Contrôler la position de base du sélecteur

Info
Le selecteur ne doit pas etre en contact avec le cylindre lors du displacement en position de base.
Si le sélecteur est constamment en contact avec le cylindre, la boîte de vitesses est excessivement solli-cités.
17 ADAPTER LE MOTEUR

S'asseoir sur le vehicule en position de conduite et mesurer I'ecart A entre le haut de la botte et le selecteur.
| Distance entre le sélecteur et le bord supérieur de la botte | 10 ... 20 mm (0,39 ... 0,79 in) |
La distance ne correspond pas à la Specification : - Régler la position de base du sélectet. (p. 136)
17.7 Regler la position de base du selecteur

Retirer la vis1 avec les rondelles et enlever le selec2.

- Nettoyer la dentureA du selecteur et de l'arbre de selec-tion.
- Amener le sélecteur dans la position souhaitatione sur l'arbre de selection et faire s'engreiner la denture.

Info
La plage de réglage est limitée.
Le sélecteur ne doit toucher aucun composant pendant l'opération.
- Mettre la vis en place avec les rondelles et serrer. Indications prescrites
| Vis du sélecteur | M6 14 Nm (10,3 lbf ft) | ||
| Loctite®243TM | |||
18.1 Remplacer la crépine à essence

Danger
Risque d'incendie Le carburant est facilement inflammable.
Le carburant contenu dans le réservoir se dilate sous l'effet de la chaleur et peut déborder lorsque le réservoir est trop rempli.
- Ne jamais faire le plein du vehicule à proximé de flammes ou de cigarettestes allumées.
- Arreter le moteur lorsque vous faites le plein.
S'assurer de ne pas renverser de carburant, notamment sur les parties chaudes du vehicule. - Essuyer immédiatement tout carburant renversé.
- Respecter les consignes indiquées lorsque vous faites le plein.

Avertissement
Danger d'intoxication Le carburant est toxique et constitue un danger pour la santé.
- Éviter tout contact du carburant avec la peau, les yeux ou les vêtements.
- Consulter immédiatement un médecin en cas d'ingestion de carburant.
- Ne pas respirer les vapeurs d'essence.
- En cas de contact cutané, rincer immédiatement à grande eau la zone touche.
En cas de contact du carburant avec les yeux, bien les rincer à l'eau et consulter immediatement un medecin. - Si les vêtements sont aspergés de carburant, il faut les changer.

Remarque
Danger pour l'environnement Une manipulation inadéquate du carburant constitue un danger pour l'environnement.
- Le carburant ne doit pas pénétrer dans la nappe phréatique, le sol ou les canalisations.

- Nettoyer soigneusement le raccord de fixation rap à l'air compré.

Info
De la saleté ne doit enaucun cas parvenir dans la conduite de carburant. Cela bouchererait l'injecteur!
- Debrancher le raccord de fixation rapide.

Info
Un reste de carburant peut s'écouler de la durée.
Sortir la crépine à essenc ^2 du raccord.
- Enconcer une nouvelle crépine à essence jusqu'en butée dans le raccord.
Graisser le joint torique et brancher le raccord de fixation rapide.
18 TRAVAUX D'ENTRETIEN SUR LE MOTEUR

Danger
Danger d'intoxication Les gaz d'échéppement sont toxiques et peuvent faire perdre conscience voire entrainer la mort.
- Veillez donc en permanence à une aération suffisante lorsque le moteur tourne.
-
Utilisez un système d'extraction des gaz d'éché-pement approprié si vous démarrez ou faites tourner le moteur dans une piece fermée.
-
Demarrer le moteur et vérifier sa réponse.
18.2 Contrôler le niveau d'huile deux temps

Avertissement
Dommages sur le moteur Si le réservoir d'huile n'est pas rempli d'huile pour moteurs à deux temps, alors le moteur n'est pas lubrifié.
Lorsque la lampe temoin du niveau d'huile s'allume, alors l'huile deux temps suffit pour le reste du remplissage du réservoir de carburant.
Lorsque la lampe-témoin du niveau d'huile s'allume, roulez au maximum jusqu'à ce que le réservoir soit vide.
- À la prochaine occasion, faites ensuite l'appoint en huile deux temps avant de faire le plein de carburant.
Synchronise la pompe à huile lorsque la durite d'huile deux temps a ete retirée ou que le réservoir d'huile deux temps a ete complètement vide.
Preparatifs
- Placer la moto perpendicular à un sol sur une surface horizontale.
Travail principal
- Contrôler le niveau d'huile deux temps du réservoir d'huile.


Info
Pour le remplissage du réservoir de carburant, le réservoir d'huile deux temps doit être rempli au minimum jusqu'àu bord supérieur A.
Si possible, le réserve d'huile deux temps doit être complètement rempli.
» Si le niveau d'huile deux temps est trop bas:
- Faire l'appoint en huile deux temps. (p. 43)
18.3 Synchroniser la pompe à huile

Avertissement
Dommages sur le moteur Si le réservoir d'huile n'est pas rempli d'huile pour moteurs à deux temps, alors le moteur n'est pas lubrifié.
Lorsque la lampe temoin du niveau d'huile s'allume, alors l'huile deux temps suffit pour le reste du remplissage du réservoir de carburant.
Lorsque la lampe-temoin du niveau d'huile s'allume, roulez au maximum jusqu'à ce que le réservoir soit vide.
- À la prochaine occasion, faites ensuite l'appoint en huile deux temps avant de faire le plein de carburant.
Synchronise la pompe à huile lorsque la durite d'huile deux temps a ete retirée ou que le réservoir d'huile deux temps a ete complètement vide.
Condition
Le moteur est arrêté.
Preparatifs
- Déposer le couvercle du boftier du filtré à air. (p. 73)
- Déposer la selle. (p. 72)
- Placer la moto perpendicular au sol sur une surface horizontal.
- Contrôler le niveau d'huile deux temps. (p. 138)

Travail principal
- Retirer le boitier de commande E1 vers le haut et hors des pivots en caoutchou et le mesure de cote.
- Déposer le capuchon du connecteur de diagnostic.
18 TRAVAUX D'ENTRETIEN SUR LE MOTEUR

- Tourner la poignée des ga4 pour ouvrir complètement les gaz et la fixer.

- Brancher le connecteur Wake-u5 au connecteur de diagnostic pour synchroniser la pompe à huile.
L'éclairage du tableau de bord est activé.

Info
Le connecteur se trouve parmi les pièces jointes de la moto.
- Attendre au moins cinq secondes.
- Desserer la fixation de la poignée des gaz.
La pompe à huile est synchronisée.

Info
La pompe à huile est commandee à différentes vitesses.
Le processus est perceptible audiblement.
- Attendre que la pompe à huile n'émette plus aucun bruit de fonctionnement.
- Débrancher le connecteur Wake-up du connecteur de diagnostic.
- Vérifier la présence éventuelle de bulles d'⑦ dans le flexible.
» Lorsque des bulles d'air apparaiscent :
-
Répéter la procédure jusqu'à ce qu'il n'y ait plus de bulles d'air.
-
Monter le capuchon sur le connecteur de diagnostic.
- Monter le boitier de commande EFI sur les pivots en caoutchouc.
Retouche
Monter la salle. (p. 72)
- Monter le couvercle du boitier du filtre a air. (p. 73)
18.4 Nettoyer la crépine dans le réservoir d'huile

Remarque
Danger pour l'environnement Certaines substances nuisent à l'environnement.
- Éliminer huile, lubricant, filtré, carburant, produits de nettoyage, liquide de frein, etc. de façon réglementaire et conformément aux dispositions en vigueur.
Preparatifs
- Déposer le silencieux arrêt. (p. 75)
- Déposer le couvercle du boitier du filtré à air. (p. 73)
- Déposer la salle. (p. 72)
- Déposer le cache létalré droit. (p. 77)
- Déposer le réservoir de carburant (p. 78)
- Surelever la moto sur un socle réglablé. (p. 59)

Travail principal
Retirer les vis1.
- Desserrer les vis

- Desserrer les colliers du corps du clapet d'étranglement.
- Debrancher le connecteur du contacteur de feu stop.
- Soulever légèrement la flèche et la bloquer.

Info
Veiller à ce que la pipe d'admiss⑤ reste en place.
- Tirer le corps du clapet d'étranglele vers l'arrière pour le sortir de l'embout de purgege et le laisser sur le côte.
18 TRAVAUX D'ENTRETIEN SUR LE MOTEUR

Ouvrir la pince à tuya 7 à l'aide d'un tournevis.
- Retirer la cornière et récapérer l'huile deux temps dans un recipient approprié.

Retirer la crépine et la nettoyer.
- Vérifier que la crépine ne présente pas de dommages.
Si la crépine est endommagée:
- Remplacer la crépine.

- Insérer la crépine et monter la cornière avec une nouvelle pince à tuyau.
Pince pour pince à tuyau (60029057000)

- Metre en place le corps du clapet d'étranglement.
- Enlever la sécurité etmettre en place la flèche.

Info
Veiller à ce que la pipe d'admiss⑤ reste en place.
- Brancher le connecteur du contacteur de feu stop.
Positionner et serrer les collier du corps du clapet d'étranglement.
| Vis d'embout de purge / de boîte à clapets | M6 6 Nm (4,4) | Ibf ft) |


- Mettre les vis en place et les serrer. Indications prescrites
| Vis de la flèche | M8 30 Nm (22) | 1 lbf ft) Loctite®2701TM |
Retirer les vis
- Mettre les vis en place et les serrer. Indications prescrites
| Vis de la flèche | M8 30 Nm (22.1 lbf ft) | |
| Loctite®2701TM | ||
Retouche
- Retirer la moto du socle réglable. (p. 59)
- Monter le réservoir de carburant (p. 80)
- Monter le cache lateral droit. (p. 78)
- Faire l'appoint en huié deux temps. (p. 43)
Synchroniser la pompe a huiie (p. 139)
Monter la salle. (p. 72) - Monter le couvercle du boitier du filtré à air. (p. 73)
- Monter le silencieux arrriere. (p. 76)
18.5 Verifier le niveau d'huile de boite

Info
Le niveau d'huile de boite doit être contrôle lorsque le moteur est froid.

Preparatifs
- Placer la moto perpendicularement au sol sur une surface horizontale.
Travail principal
Retirer la vis de contrôle du niveau d'huile de te
- Vérifier le niveau d'huile de boîte.
Une petite quantité d'huile de boîte doit s'écouler par l'alé-sage.
» Si aucune huile de boite ne s'écoule :
- Faire l'appoint d'huile de boite (p. 145)
- Mettre en place la vis de contrôle du niveau d'huile de boite et la serrer.
| Vis de contrôle du niveau d'huile de boîte | M6 10 Nm (7,4 lbf ft) |
18.6 Remplacer I'huile de boite

Avertissement
Danger de brûlure L'huile moteur et l'huile de boîte sont brûlantes lorsque le moteur de la moto tourne.
- Porter des vêtements de protection et des gants de protection adequats.
- En cas de brûlure, passez immédiatement la zone ébouillantee sous l'eau tiède.

Remarque
Danger pour l'environnement Certaines substances nuisent à l'environnement.
- Éliminer huile, lubricant, filtré, carburant, produits de nettoyage, liquide de frein, etc. de façon reglementaire et conformément aux dispositions en vigueur.

Info
Vidanger l'huile de boîte lorsque le moteur est chaud.

Preparatifs
- Déposer la protection moteur. (p. 91)
- Garer la moto sur une surface plane.
- Placer un réservoir adapté sous le moteur.
Travail principal
Enlever la vis de vidange d'huile de b et l'aimant.
Vidanger entiement I'huile de boite.
- Soigneusement nettoyer la vis de vidange et l'aimant.
- Nettoyer la surface etanche du moteur.
- Mettre la vis de vidange d'huile de bo1 en place avec l'aimant et une nouvelle bague d'étanchéité et la serrer. Indications prescrites
| Vis de vidange de l'huile de boîte avec aimant | M12x1,5 20 Nm (14,8 lbf ft) | |

Enlever le bouchon de replissag et son joint torique et replir d'huile de boite.
| Huile de boîte 0,80 l | (0,85 qt.) | Huile moteur (15W/50) (p. 162) |
- Monter le bouchon de replissage avec son joint torique et le serrer.

Danger
Danger d'intoxication Les gaz d'échéppement sont toxiques et peuvent faire perdre conscience voire entrainer la mort.
- Veillez donc en permanence à une aération suffisante lorsque le moteur tourne.
-
Utilisez un système d'extraction des gaz d'éché-pement approprié si vous démarrez ou faites tourner le moteur dans une piece fermée.
-
Demarrer le moteur et vérifier l'étanchéité.
Retouche
- Vérifier le niveau d'huile de boite. (p. 143)
- Monter la protection moteur. (p. 92)
18.7 Faire l'appoint d'huile de boîte

Info
Une trop faible quantité d'huile de boite ou une huile de basse qualité provoque une usure prematurée de la boite.
L'appoint en huié de boîte doit être fait lorsque le moteur est froid.


Preparatifs
- Garer la moto sur une surface plane.
Travail principal
Retirer la vis de contrôle du niveau d'huile de te
Enlever le bouchon de replissag et le joint torque.
- Remplir d'huile de boite jusqu'à ce qu'elle s'écoule par l'alèsage de la vis de contrôle du niveau d'huile de boite.
Huile moteur (15W/50) (p. 162)
- Mettre en place la vis de contrôle du niveau d'huile de boite et la serrer.
| Vis de contrôle du niveau d'huile de boîte | M6 10 Nm (7,4 lbf ft) |
- Monter le bouchon de replissag avec son joint torique et le serrer.

Danger
Danger d'intoxication Les gaz d'échévement sont toxiques et peuvent faire perdre conscience voire entrainer la mort.
- Veillez donc en permanence à une aération suffisante lorsque le moteur tourne.
-
Utilisé un système d'extraction des gaz d'éché-pement approprié si vous démarrez ou faites tourner le moteur dans une piece fermée.
-
Demarrer le moteur et vérifier l'étanchéité.
4
19.1 Nettoyer la moto
Remarque
Détérioration du matériel Une utilisation inappropriée d'un nettoyeur à haute pression peut endommager ou déterminer les composants.
L'eau sous haute pression pénétre dans les composants électriques, les connecteurs, les cables d'accelérateur, les paliers etc.
Une pression trop elevée entraine des dysfonctionnements et détériore les composants.
- Ne dirigez jamais le jet d'eau directement sur les composants électriques, les connecteurs, les cables d'ac-célérateur ou les paliers.
- Maintenez une distance minimale entre la buse du nettoyeur à haute pression et le composant. Distance minimale 60 cm (23,6 in)

Remarque
Danger pour l'environnement Certaines substances nuisent à l'environnement.
- Éliminer huile, lubricant, filtré, carburant, produits de nettoyage, liquide de frein, etc. de façon réglementaire et conformément aux dispositions en vigueur.

Info
Nettoyer régulierement la machine pour qu'elle conserve sa valeur et son bel aspect pendant longtemps.
Pendant le nettoyage, éviter l'influence du rayonnement solaire direct sur la machine.

-Obturer I'echappement pour empêcher I'eau d'y pénétrer.
- Enlever les plus grosses salissures avec un jet d'eau de puissance moyenne.
- Vaporiser les parties très sales avec un détergent spécial pour mots tel qu'on en trouve dans le commerce, puis les traîter avec un pinceau.
Nettoyant special moto (p. 164)

Info
Utiliser une éponge douce et de l'eau chaude avec un dénergent spécial pour mots tel qu'on en trouve dans le commerce.
Ne pas appliquer de détergent pour moto sur le vehicule sec, toujours le mouiller à l'eau d'abord.
- ÀpRES avoir soigneusement rince la moto avec un jet d'eau de puissance moyenne, la sécher.
- Enlever le bouchon de l'échéppement.

Avertissement
Risque d'accident L'humidité et la poussière prompettent le système de freinage.
-
Freinez plusieurs fois avec précaution afin de faire sécher les plaquettes et les disques de frein et d'enlever la poussière.
-
À l'issue du nettoyage, parcourir une courte distance, jusqu'à ce que le moteur attaigne la température de fonctionnement.

Info
Ainsi, la chaleur permet à l'eau de s'évaporer même dans les endroits les plus inaccessibles du moteur et du système de frein.
- Quand la machine a refroidi, il convient de lubrifier toutes les articulations et les pieces en frotement.
Nettoyer la chaîne. (p. 82) - Traiter les pièces métalliques (sauf les disques de frein et le tuyau d'échévement) avec un produit anticorrosif.
Agent de conservation pour peintures, metaux et caoutchouc (p. 164)
- Traiter toutes les pieces plastique et époxy avec un produit de nettoyage et d'entretien doux.
Produit de nettoyage spécial pour peinture brillante et mate, surfaces metalliques et synthétiques (p. 165)
(tous les modèles EU)
Huiler l'antivol de direction.
Lubrifiant universel en aerosol (p. 164)
19.2 Travaux de contrôle et d'entretien en prévision de l'usure d'hiver

Info
Lors d'une utilisation de la moto en hiver, tener compte de la presence de sel de déneigement. Il convient donc de prendre les mesures qui s'imposent pour la protégger contre ce sel agressif. Si le vehicule est recouvert de sel de déneigement, le nettoyer avec de l'eau froide à l'issue du trajet. L'eau chaude accentue l'action du sel.

-Nettoyer la moto. (p. 146)
Nettoyer les freins.

Info
Après CHAQUE trajet réalisé sur des routes ayant fait l'objet d'un épandage de sel de déneigement, nettoyer à fond les étriers de frein et les plaquettes de frein, à froid et en place sur la moto, à l'eau froide et bien les sécher.
À l'issue de trajets réalisés sur des routes ayant fait l'objet d'un épandage de sel de dénèigement, nettoyer à fond le vehicule à l'eau froide et bien le sécher.
- Le moteur, le bras oscillant et autres pieces dénudées ou zinguées (exception faite des disques de frein) doivent être traités à l'aide d'un produit anticorrosion.

Info
Aucun produit anticorrosif ne doit entre en contact avec les disques de frein, car cela réduirait fortement l'efficacité des freins.
Nettoyer la chaine. (p. 82)

20.1 Stockage

Avertissement
Danger d'intoxication Le carburant est toxique et constitue un danger pour la santé.
- Éviter tout contact du carburant avec la peau, les yeux ou les vêtements.
- Consulter immédiatement un médecin en cas d'ingestion de carburant.
- Ne pas respirer les vapeurs d'essence.
- En cas de contact cutané, rincer immédiatement à grande eau la zone touchée.
- En cas de contact du carburant avec les yeux, bien les rincer à l'eau et consulter immediatement un médecin.
- Si les vêtements sont aspergés de carburant, il faut les changer.
- Stocker le carburant dans un jerrycan approprié, conformément aux directives en vigueur et le tenir hors de portée des enfants.

Info
Si la moto n'est pas utilisée pendant une période prolongée, il est préférible d'effectuer (ou de faire effectuer) les travaux suivants.
Avant de remiser la machine, vérifier l'etat d'usure et le bon fonctionnement de tous les éléments. Il est préféable de faire effectuer les travaux d'entretien, de réparation et les transformations durant la mortesaison car les ateliers sont alors moins charges. L'attente est ainsi moins longue qu'en début de saison.

-Nettoyer la moto. (p.146)
- Remplacer I'huile de boitep (p. 144)
- Vérifier l'antigel et le niveau de liquide de refroidissement. (p. 127)
- Lors du dernier ravitationnement avant l'immobilisation de la moto, ajouter un additif de carburant.
- Faire le plein de carburant. (p. 42)
- Vérifier la pression des pneus. (p. 110)
- Déposer la batterie 12 V (p. 112)
- Charger la batterie 12 (p. 115)
Indications prescribes
| Température de chargement et de stockage idéale pour la batterie lithium-ion | 10 ... 20 °C (50 ... 68 °F) |
- Garer le vehicule dans un endroit sec, à l'abri des variations de température trop importantes.

Info
Husqvarna Motorcycles recommende de surelever la moto.
-Surelever la moto sur un socle reglable. (p.59)
- Recouvrir le vehicule d'une bache respirante ou d'une couverture.

Info
N'utiliser enaucun cas des bachesétanches qui retiennent l'humidité et entrainent la corrosion.
Ne jamais faire tourner le moteur d'une moto remisée pour un court instant. En effet, il n'atteint pas sa température normale de fonctionnement, si bien que la vapeur d'eau issue de la combustion se condense et fait rouiller les pieces du moteur et de l'échéppement.
20.2 Mise en service après le stockage

- Retirer la moto du socle régiable. (p. 59)
Monter la batterie 12 V (p. 114) - Effectuer les travaux de contrôle et d'entretien avant chaque mise en service. (p. 38)
- Effectuer un essai sur route.
| Défaut Cause possible Mesure | ||
| Le moteur n'est pas entrainé(démarrer électric) | Erreur de manipulation - Exécuter les étapes de démarrage.(p. 38) | |
| Batterie 12 V décharge - Carger la batterie 12 V. (p.115)- Vérifier la tension de charge- Vérifier le courant de repos- Vérifier l'enroulement du stator de l'aternateur. | ||
| Fusible général fondu - Remplacer le fusible général.(p. 117) | ||
| Relais de démarrage défectueux - Vérifier le relais de démarrage | ||
| Démarrer électric défectueux - Contrôler le démarre électric | ||
| Le moteur est entrainé mais nédémarré pas | Erreur de manipulation - Exécuter les étapes de démarrage.(p. 38) | |
| Raccord de fixation rapide non branché - Brancher le raccord de fixation rapide | ||
| Régime de relienti mal régle - Régler le régime de relienti.(p. 134) | ||
| Rupture de l'alimentation en carburant - Contrôler la ventilation du réservoir de carburant. | ||
| Bougie encrassée ou humide - Nettoyer la bougie, la laisser sécher. La replacer le cas échéant. | ||
| Distance trop importante entre les electrodes de la bougie d'allumage - Régler la distance entre les electrodes. Indications prescrites Distance des electrodes bougie d'allumage0,6 mm (0,024 in) | ||
| Allumage défectueux - Bobine d'allumage - contrôler l'enroulement du circuit primaire- Contrôler les cosses de bougie d'allumage.- Vérifier l'enroulement du stator de l'atternateur. | ||
| Câble de masse éraflée dans le faisceau de cables, bouton d'arrêt ou bouton d'arrêt d'ur-gence défectueux - Contrôler le faisceau de cables (contrôle visuel).- Contrôler l'équipement électric. | ||
| Connecteur ou bobine d'allumage lâche ou oxydé(e) - Nettoyer les cosses et les traiter avec un aérosol anti-humidité. | ||
| Dysfonctionnement de l'injection électronique de carburant - Relever la mémoire d'erreurs avec le boîtier diagnostic Husqvarna Motor-cycles. | ||
| Le moteur n'a pas de régime de ralenti | Bougie défectueuse - Remplacer la bougie. | |
| Le moteur n'a pas de régime de ralenti | Allumage défectueux - Bobine | d'allumage - contrôle l'enroulement du circuit primaire. - Contrôler les cosses de bougie d'alluage. - Vérifier l'enroulement du stator de l'atternateur. |
| Régime de ralenti mal régle - | Régler le régime de ralenti. (p. 134) | |
| Le moteur ne monte pas en régime | Dysfonctionnement de l'injection électronique de carburant | - Relever la mémoire d'erreurs avec le boîtier diagnostic Husqvarna Motor-cycles. |
| Allumage défectueux - Bobine | d'allumage - contrôle l'enroulement du circuit primaire. - Contrôler les cosses de bougie d'alluage. - Vérifier l'enroulement du stator de l'atternateur. | |
| Pression de l'air ambient mal enregistrée | - Programmation de la pression de l'air ambient. (p. 135) | |
| Le moteur ne tire pas Filtre à air très encrassé - Nettoyer nettre à air et le boîtier du filtre à air. (p. 74) | ||
| Filtre à carburant très encrassé - Remplacer le filtre à carburant. | ||
| Crépine à essence très encrasse (p. 137) | ||
| Dysfonctionnement de l'injection électronique de carburant | - Relever la mémoire d'erreurs avec le boîtier diagnostic Husqvarna Motor-cycles. | - Contrôler la ventilation du réservoir de carburant. |
| Rupture de l'alimentation en carburant | - Vérifier que l'échéancement n'est pas endommagé. - Remplacer la laine de roche du silencieux arrêté. (p. 76) | |
| Échévement non étanché, déformé ou qui ne contient pas assez de laine de roche dans le silencieux arrêté | - Vérifier que l'échéancement n'est pas endommagé. - Remplacer la laine de roche du silencieux arrêté. (p. 76) | |
| Allumage défectueux - Bobine | d'allumage - contrôle l'enroulement du circuit primaire. - Contrôler les cosses de bougie d'alluage. - Vérifier l'enroulement du stator de l'atternateur. | |
| Membrane ou boîte à mem-brane abîmée | - Vérifier l'état de la membrane ou de boîte à membrane. | |
| Pression de l'air ambient mal enregistrée | - Programmation de la pression de l'air ambient. (p. 135) | |
| Le moteur se coupependant conduite | lansuffisance de carburant - faire le plein de carburant. (p. 42) | |
| Le moteur n'aspire pas l'air adéquat | - Vérifier que l'embout de purge est bien en place. | |
| Connecteur ou bobine d'alluage lâche ou oxydé(e) | - Nettoyer les cosses et les traitier avec un aérosol anti-humidité. | |
| Défaut Cause possible Mesure | ||
| Le moteur se coupe pendant conduite | l'pression de l'air ambient mal enregistrée | - Programmation de la pression de l'air ambient. (p. 135) |
| Le moteur chauffe Liquide de | refroidissement insuffisant | - Vérifier que le système de refroidissement ne fuit pas. - Vérifier le niveau de liquide de refroidissement. (p. 128) |
| Pas assez de vent de face - | Arrêté le moteur lorsque la moto est immobilisé. | |
| Ailettes de radiateur largement recouvertes de boue | - Nettoyer le radiateur. | |
| Formation de mousse dans le système de refroidissement | - Vidanger le liquide de refroidissement. (p. 129) - Remplir de liquide de refroidissement. (p. 130) | |
| Culasse ou joint de culasse abîné | - Vérifier l'état de la culasse et du joint de culasse. | |
| Conduite de liquide de refroidissement plée | - Remplacer la conduite de liquide de refroidissement. | |
| Thermostat défectueux - Contrôlet le thermostat. Indications prescrites Température d'ouverture: 70 °C (158 °F) | ||
| Développement d'une fumée blanchâtre (vapeur dans le gaz) | Culasse ou joint de culasse abîné | - Vérifier l'état de la culasse et du joint de culasse. |
| L'huile de boîte de vitesses s'écoule du tuyau de purge | Trop rempli d'huile de boîte - | Vérifier le niveau d'huile de boîte. (p. 143) |
| Présence d'eau dans l'huile de boîte | Bague d'étanchéité radiale ou pompe à eau endommagée | - Vérifier l'état de la bague d'étanchéité radiale et de la pompe à eau. |
| Le tímoin de dysfonctionnement est allumé ou clignote | Dysfonctionnement de l'injection électronique de carburant | - Contrôler l'état du câblage, ainsi que l'état et l'absence de corrosion sur les connecteurs électriques. - Relever la mémoire d'erreurs avec le boîtier diagnostic Husqvarna Motor-cycles. |
| Batterie 12 V décharge La batterie 12 V n'est pas chargee par le générateur | - Vérifier la tension de charge. - Vérifier l'enroulement du stator de l'aternateur. | - Vérifier le courant de repos |
| Consommateur de courant involontaire | - Vérifier le courant de repos | |
| Valeurs dans le tableau de bord supprimées (horloge, chronomètre, temps au tour) | La batterie du tableau de bord est épuisée | - Remplacer la batterie du tableau de bord. (p. 125) |
22.1 Moteur
22.1.1 tous les modèles TE 250i
| Type Moteur à essence à deux temps, monocylindre, refroidi par liquide, avec soupape de membrane, valve d'échéppement et injection de transverts | |
| Cylindrée 249 cm³ (15,19 cu in) | |
| Course 72 mm (2,83 in) | |
| Alésage 66,4 mm (2,614 in) | |
| Valve d'échéppement - dimension de réglage 2,7 | +0,2mm (0,106+0,008in) |
| Roulements de vilebrevin 1 roulement à billes à gorges profondes / 1 roulement à rouleaux | |
| Palier de bielle Roulement à aiguilles | |
| Portée de piston Roulement à aiguilles | |
| Piston Moulé en aluminium | |
| Segments de piston | 2 segments à section trapézoidale |
| Graissage moteur | Graissage séparé |
| Cote X (entre arête supérieure piston et arête supérieure cylindre) | 0 ... 0,10 mm (0 ... 0,0039 in) |
| Cote Z (hauteur du tiroir de distribution) | 49,0 mm (1,929 in) |
| Transmission primaire | 26:73 |
| Embrayage | Embrayage multidisques en bain d'huile/à actionne-ment hydraulique |
| Boîte de vitesses | Boîte 6 vitesses à crabots |
| Réduction boîte de vitesses | |
| 1ère vitesse | 14:32 |
| 2e vitesse | 16:26 |
| 3e vitesse | 20:25 |
| 4e vitesse | 22:23 |
| 5e vitesse | 25:22 |
| 6e vitesse | 26:20 |
| Alternateur | 12 V, 196 W |
| Système d'allumage | À DC-CDI sans rupteur, avance d'allumage numé-rique |
| Bougie d'allumage | NGK BR 7 ES |
| Distance des electrodes bougie d'allumage | 0,6 mm (0,024 in) |
| Refroidissement | Refroidissement liquide, circulation permanente du liquide de refroidissement via une pompé à eau |
| Auxiliaire de démarrage | Système de démarreur électrique |
22.1.2 tous les modèles TE 300i
| Type Moteur à essence à deux temps, monocylindre, refroidi par liquide, avec soupape de membrane, valve d'échéppement et injection de transverts | |
| Cylindrée 293,15 cm³ (17,8892 cu in) | |
| Course 72 mm (2,83 in) | |
22 DONNÉES TECHNIQUES
| Alésage 72 mm (2,83 in) | |
| Valve d'échappement - dimension de réglage 2,3 | +0.2mm (0,091+0.008in) |
| Roulements de vilebrevin 1 roulement à billes à gorges profundes / 1 roulement à rouleaux | |
| Palier de bielle Roulement à aiguilles | |
| Portée de piston Roulement à aiguilles | |
| Piston Moulé en aluminium | |
| Segments de piston 2 segments à section rectangulaire | |
| Graissage moteur Graissage séparé | |
| Cote X (entre arête supérieure piston et arête supé-0 ... 0,10 mm (0 ... 0,0039 in) | |
| Cote Z (hauteur du tiroir de distribution) 49,5 mm | (1,949 in) |
| Transmission primaire 26:73 | |
| Embrayage Embrayage multidisques en bain d'huile/à actionne-ment hydraulique | |
| Boîte de vitesses Boîte 6 vitesses à crabots | |
| Réduction boîte de vitesses | |
| 1ère vitesse | 14:32 |
| 2e vitesse | 16:26 |
| 3e vitesse | 20:25 |
| 4e vitesse | 22:23 |
| 5e vitesse | 25:22 |
| 6e vitesse | 26:20 |
| Alternateur | 12 V, 196 W |
| Système d'allumage | À DC-CDI sans rupteur, avance d'allumage numé-rique |
| Bougie d'allumage | NGK BR 7 ES |
| Distance des electrodes bougie d'allumage | 0,6 mm (0,024 in) |
| Refroidissement | Refroidissement liquide, circulation permanente du liquide de refroidissement via une pompé à eau |
| Auxiliaire de démarrage | Système de démarreur électricque |
22.2 Couples de serrage moteur
| Vis du plateau de support de membrane | EJOTDELTA PT® 30x12 | 1 Nm (0,7 lbf ft) |
| Vis extérieure des lames de membrane | -EJOTDELTA PT® 30x6 | 1 Nm (0,7 lbf ft) |
| Vis interieure des lames de membrane | -EJOTDELTA PT® 35x25 | 1 Nm (0,7 lbf ft) |
| Écrou du renvoi d'angle de la valve d'échéppement | M5 6 Nm (4,4 lbf ft) | Loctite®243TM |
| Vis de capteur de régime du vile brequin | M5 6 Nm (4,4 lbf ft) | Loctite®243TM |
| Vis de la coupelle de ressort d'embrayage | M5 6 Nm (4,4 lbf ft) | |
| Vis de la tôle de fixation de la valve d'échéppement | M5 6 Nm (4,4 lbf ft) | Loctite®2701TM |
| Vis du couvercle de la valve d'échéppement | M5 5 Nm (3,7 lbf ft) | |
| Vis du couvercle de valve d'échéppement | M5 4 Nm (3 lbf ft) | |
| Vis du dispositif de retenue de coussinet | M5 6 Nm (4,4 lbf ft) | Loctite®243TM |
| Vis du levier de verrouillage M5 | 6 Nm (4,4 lbf ft) | Loctite®243TM |
| Vis du plateau de roulement de valve à l'échéppement | aM5 6 Nm (4,4 lbf ft) | Loctite®243TM |
| Vis du stator M5 6 Nm (4,4 lbf ft) | Loctite®243TM | |
| Vis du support de l'injecteur M5 | 5 Nm (3,7 lbf ft) | Loctite®243TM |
| Écrou borgne de la turbine de pompé à eau | M6 5 Nm (3,7 lbf ft) | Loctite®243TM |
| Prise de dépression de l'évacuation d'air du carter | M6 2 Nm (1,5 lbf ft) | Loctite®243TM |
| Raccord de pression du cylindre | M6 8 Nm (5,9 lbf ft) | Loctite®2701TM |
| Vis blocage selectable M6 10 Nm | (7,4 lbf ft) | Loctite®243TM |
| Vis couvercle pompe à eau M6 | 10 Nm (7,4 lbf ft) | |
| Vis de butée de support d'étrier de la valve d'échéppement | M6 8 Nm (5,9 lbf ft) | Loctite®243TM |
| Vis de contrôle du niveau d'huile de boîte | M6 10 Nm (7,4 lbf ft) | |
| Vis de la bague de butée du démarreur électrique | M6 10 Nm (7,4 lbf ft) | Loctite®243TM |
| Vis de la bride d'échéppement M6 | 8 Nm (5,9 lbf ft) | |
| Vis d'embout de purge / de boîte à clapets | M6 6 Nm (4,4 lbf ft) | |
| Vis du capuchon du démarreur électrique | M6 8 Nm (5,9 lbf ft) | |
| Vis du clapet de pilotage de val à l'échéppement | M6 10 Nm (7,4 lbf ft) | Loctite®243TM |
| Vis du couvercle extérieur d'em-brayage | M6 8 Nm (5,9 lbf ft) | |
| Vis du couvercle intermédiaire d'embrayage | M6 10 Nm (7,4 lbf ft) | |
| Vis du couvre-alternateur M6 8 Nm | m (5,9 lbf ft) | |
| Vis du cylindre récepteur d'em-brayage | M6 10 Nm (7,4 lbf ft) | |
| Vis du démarreur électrique M6 | 10 Nm (7,4 lbf ft) | |
| Vis du sélecteur M6 14 Nm (10,3 | lbf ft) | Loctite®243TM |
| Vis du tourillon en acier du pignon intermédiaire de kick | M6 10 Nm (7,4 lbf ft) | Loctite®243TM |
| Vis pour bloc moteur M6 10 Nm | (7,4 lbf ft) |
22 DONNÉES TECHNIQUES
| Vis de la culasse M8 27 Nm (19) | 9 lbf ft) | |
| Vis de l'arbre d'équilibrage M8 30 | Nm (22,1 lbf ft) | Loctite®243TM |
| Écrou du pied de cylindre | M10 35 Nm (25,8 lbf ft) | |
| Goujon du pied de cylindre M10 | 20 Nm (14,8 lbf ft) | |
| Vis de pignon de chaîne de la chaîne de transmission | M10 60 Nm (44,3 lbf ft) | Loctite®2701TM |
| Vis du capteur de température culasse | M10x1,25 12 Nm (8,9 lbf ft) | |
| Écrou du rotor | M12x1 55 Nm (40,6 lbf ft) | |
| Vis de vidange de l'huile de boîte avec aimant | M12x1,5 20 Nm (14,8 lbf ft) | |
| Bougie d'allumage M14x1,25 25 | Nm (18,4 lbf ft) | |
| Écrou de roue dentée d'entraine-ment | M18LHx1,5 150 Nm (110,6 lbf ft) | Loctite®648TM |
| Écrou pour noix d'embrayage | M18x1,5 100 Nm (73,8 lbf ft) | Loctite®648TM |
22.3 Quantités de replissage
22.3.1 Huile de boite
| Huile de boîte | 0,80 l (0,85 qt.) | Huile moteur (15W/50) (p. 162) |
22.3.2 Liquide de refroidissement
| Liquide de refroidissement | 1,2 l (1,3 qt.) | Liquide de refroidissement (p. 163) |
22.3.3 Carburant
| Capacité totale du réservoir à carburant env. | -8,5 l (2,25 US gal) | Supercarburant sans plomb (ROZ 95/RON 95/PON 91) (p. 163) |
| Réserve de carburant env. | 1,5 | (1,6 qt.) |
| Capacité du réservoir d'huile deux 0,6 l (0,6 qt.) temps d'environ | Huile moteur à deux temps (p. 162) |
22.4 Partie-cycle
| Cadre | Cadre tubulaire central en acier au chrome-molybdène |
| Fourche | WP XPLOR 5548 |
| Amortisseurs | WPXACT 5750 |
| Débattement | |
| Avant | 300 mm (11,81 in) |
| Arrière | 300 mm (11,81 in) |
| Déport de fourche | 22 mm (0,87 in) |
| Système de frein | Freins à disques, étriers de frein flottants |
| Diamètre des disques de frein | |
| avant 260 mm (10,24 in) | |
| arrière 220 mm (8,66 in) | |
| Usure limite des disques de frein | |
| avant 2,5 mm (0,098 in) | |
| arrière 3,5 mm (0,138 in) | |
| Pression de pneu sur route (tous les modèles EU) | |
| Avant 1,5 bar (22 psi) | |
| Arrière 1,8 bar (26 psi) | |
| Pression de pneu sur tout-terrain | |
| avant 1,0 bar (15 psi) | |
| arrière 1,0 bar (15 psi) | |
| Démultiplication secondaire (tous les modèles EU) | 14:50 (13:50) |
| Démultiplication secondaire (tous les modèles US) | 13:50 |
| Chaine 5/8 x 1/4" | |
| Couronnes livrables 45, 48, 49, 50, 51, 52 | |
| Angle de chasse 63,5° | |
| Empattement 1.487 ± 10 mm (58,54 ± 0,39 in) | |
| Hauteur du siège à vide 950 mm (37,4 in) | |
| Garde au sol à vide 360 mm (14,17 in) | |
| Poids approx. sans carburant (tous les modèles EU) | 108 kg (238 lb.) |
| Poids approx. sans carburant (TE 250i US) | 105,2 kg (231,9 lb.) |
| Poids approx. sans carburant (TE 300i US) | 105,4 kg (232,4 lb.) |
| Charge maximale admissible sur l'axe avant | 145 kg (320 lb.) |
| Charge maximale admissible sur l'axe arrière | 190 kg (419 lb.) |
| Poids total roulant autorisé | 335 kg (739 lb.) |
22.5 Circuitélectrique
| Batterie 12 V | HJTZ5S-FP-C | Batterie lithium-ion Tension de la batterie : 12 V Capacité nominale : 2,0 Ah Sans entretien |
| Batterie du tableau de bord | CR 2032 | Tension de la batterie : 3 V |
| Phare | HS1 / douille BX43t | 12 V 35/35 W |
| Feu de position | W5W / douille W2,1x9,5d | 12 V 5 W |
| Voyants de contrôle | W2,3W / douille W2x4,6d | 12 V 2,3 W |
| Clignotant (tous les modèles EU) | R10W / douille BA15s | 12 V 10 W |
| Feu stop - feu arrêté | LED | |
| Éclairage de plaque (tous les modèles EU) | LED | |
| Fusible | 75011088005 | 5 A |
| Fusible | 75011088010 | 10 A |
| Fusible | 58011109120 | 20 A |
22.6 Pneus
| Validité Pneumatique avant Pneumatique arrêté | |
| (tous les modèles EU) 90/90 - 21 M/C 54M M+S TT Metzeler MCE 6 DAYS EXTREME | 140/80 - 18 M/C 70M M+S TT Metzeler MCE 6 DAYS EXTREME |
| (tous les modèles US) 80/100 - 21 51M TT Dunlop Geomax AT81F | 110/100 - 18 64M TT Dunlop Geomax AT81 |
| Les pneus indiqués apparitennent à une des séries de production possibles. Pour plus d'informations, consulter la rubrique SAV, à l'adresse : www.husqvarna-motorcycles.com | |
22.7 Fourche
| Référence de la fourche 14.15.8T.63 | ||
| Fourche WP XPLOR 5548 | ||
| Amortissement en compression | ||
| Confort 18 clicks | ||
| Standard 15 clicks | ||
| Sport 12 clicks | ||
| Amortissement de détente | ||
| Confort 18 clicks | ||
| Standard 15 clicks | ||
| Sport 12 clicks | ||
| Prétension du ressort - Ajusteur de précontrainte | ||
| Confort +0 | ||
| Standard +0 | ||
| Sport +3 | ||
| Longueur de ressort avec fourreau(x) de prétension | 474 mm (18,66 in) | |
| Taux d'élasticité | ||
| Poids du pilote : 65 ... 75 kg (143 ... 165 lb.) | 4,0 N/mm (22,8 lb/in) | |
| Poids du pilote : 75 ... 85 kg (165 ... 187 lb.) | 4,2 N/mm (24 lb/in) | |
| Poids du pilote : 85 ... 95 kg (187 ... 209 lb.) | 4,4 N/mm (25,1 lb/in) | |
| Longueur de fourche | 928 mm (36,54 in) | |
| Huile de fourche par bras de fourche | 615 ± 10 ml (20,79 ± 0,34 fl. oz) | Huile de fourche (SAE 4) (48601166S1) (p. 162) |
22.8 Amortisseur
| Référence de l'amortisseur 18.15.7T.69 | |
| Amortisseurs | WPXACT 5750 |
| Amortissement en compression Lowspeed | |
| Confort 17 clicks | |
| Standard 15 clicks | |
| Sport 13 clicks | |
| Amortissement en compression Highspeed | |
| Confort 2,5 tours | |
| Standard 2 tours | |
| Sport 1,5 tour | |
| Amortissement de détente | |
| Confort 17 clicks | |
| Standard 15 clicks | |
| Sport 13 clicks | |
| Prétension du ressort 10 mm (0,39 in) | |
| Taux d'élasticité | |
| Poids du pilote : 65 ... 75 kg (143 ... 165 lb.) | 39 N/mm (223 lb/in) |
| Poids du pilote : 75 ... 85 kg (165 ... 187 lb.) | 42 N/mm (240 lb/in) |
| Poids du pilote : 85 ... 95 kg (187 ... 209 lb.) | 45 N/mm (257 lb/in) |
| Longueur de ressort 260 mm (10,24 in) | |
| Pression gaz 10 bar (145 psi) | |
| Enforcement statique 37 mm (1,46 in) | |
| Enforcement en charge 110 mm (4,33 in) | |
| Longueur de montage 477 mm (18,78 in) | |
| Huile d'amortisseur ( p. 162) SAE 2,5 | |
22.9 Couples de serrage sur la partie-cycle
| Vis de la fixation de la selle | EJOT EJOFORM® RTOx23/18 | 2,5 Nm (1,84 lbf ft) |
| Vis du capteur de niveau d'huile | G 3/4" | 7 Nm (5,2 lbf ft) |
| Vis du capteur de température de l'air d'admission | EJOT PT® K50x18 | 0,7 Nm (0,52 lbf ft) |
| Vis du régulateur de pression | EJOT PK60x25-Z | 2,3 Nm (1,7 lbf ft) |
| Vis du support de la pompe à huile sur le réservoir d'huile | EJOT DELTA P® 45x12-Z | 0,7 Nm (0,52 lbf ft) |
| Vis restantes sur la partie-cycle | EJOT PK60x25-Z | 1 Nm (0,7 lbf ft) |
| Vis de la poignée fixe | M4 5 Nm (3,7 lbf ft) | Loctite®243TM |
| Vis du bouton d'arrêt d'urgence (tous les modèles EU) | M4 0,4 Nm (0,3 lbf ft) | |
| Vis de rayon de la roue arrière | M4,5 | 5 Nm (3,7 lbf ft) |
| Vis de rayon roue avant | M4,5 | 5 Nm (3,7 lbf ft) |
| Écrous restants sur la partie-cycle | M5 5 Nm (3,7 lbf ft) | |
| Vis de la protection de cadre | M5 3 Nm (2,2 lbf ft) | |
| Vis de pôle de batterie | M5 2,5 Nm (1,84 lbf ft) | |
| Vis du silencieux arrêt | M5 7 Nm (5,2 lbf ft) | |
| Vis écrou de réglage amortisseur | M5 5 Nm (3,7 lbf ft) | |
| Vis restantes sur la partie-cycle | M5 5 Nm (3,7 lbf ft) | |
| Ecrou du démarreur électrique | M6 4 Nm (3 lbf ft) | |
| Écrous restants sur la partie-cycle | M6 10 Nm (7,4 lbf ft) | |
| Vis de joint à rotule sur la tige cylindre de frein à pied | M6 10 Nm (7,4 lbf ft) | Loctite®243TM |
| Vis des tampons amortisseurs sur collecteur | M6 6 Nm (4,4 lbf ft) | |
| Vis disque de frein arrière | M6 14 Nm (10,3 lbf ft) | Loctite®243TM |
| Vis disque de frein avant M6 14 | Nm (10,3 lbf ft) | Loctite®243TM |
| Vis du patin de chaîne M6 6 Nm | (4,4 lbf ft) | Loctite®243TM |
| Vis poignée des gaz M6 5 Nm | (3,7 lbf ft) | |
| Vis restantes sur la partie-cycle | M6 10 Nm (7,4 lbf ft) | |
| Vis tampons amortisseurs sur cadre | M6 6 Nm (4,4 lbf ft) | |
| Écrou de la butée de la pédale frein | dM8 20 Nm (14,8 lbf ft) | |
| Écrou porte-pneu | M8 12 Nm (8,9 lbf ft) | |
| Écrou vis de couronne | M8 35 Nm (25,8 lbf ft) | Loctite®2701TM |
| Écrous restants sur la partie-cycle | M8 25 Nm (18,4 lbf ft) | |
| Raccord de carburant sur la pompe à carburant | M8 10 Nm (7,4 lbf ft) | |
| Vis bride de serrage de guidon | M8 20 Nm (14,8 lbf ft) | |
| Vis de l'étrier de frein avant M8 | 25 Nm (18,4 lbf ft) | Loctite®243TM |
| Vis de la fixation moteur M8x15 | 25 Nm (18,4 lbf ft) | Loctite®2701TM |
| Vis de la fixation moteur M8x20 | 25 Nm (18,4 lbf ft) | Loctite®243TM |
| Vis de la flèche M8 30 Nm (22,1 latérale | Ibf ft) | Loctite®2701TM |
| Vis du collecteur M8 15 Nm (11,1 lbf ft) | ||
| Vis du patin (de chaîne) M8 15 | Nm (11,1 lbf ft) | |
| Vis fixation de l'axe de roue avant | M8 15 Nm (11,1 lbf ft) | |
| Vis pour fixation de la béquille latérale | M8 35 Nm (25,8 lbf ft) | Loctite®2701TM |
| Vis restantes sur la partie-cycle | M8 25 Nm (18,4 lbf ft) | |
| Vis fé inférieur de fourche | M8 15 Nm (11,1 lbf ft) | |
| Vis fé supérieur de fourche | M8 17 Nm (12,5 lbf ft) | |
| Vis tube de fourche en haut | M8 17 Nm (12,5 lbf ft) | Loctite®243TM |
| Écrou de l'interrupteur à tirette (tous les modèles US) | M8x1 | 0,4 Nm (0,3 lbf ft) |
| Écrous restants sur la partie-cycle | M10 | 45 Nm (33,2 lbf ft) |
| Vis amortisseur en bas | M10 | 60 Nm (44,3 lbf ft) Loctite®2701TM |
| Vis amortisseur en haut | M10 | 60 Nm (44,3 lbf ft) Loctite®2701TM |
| Vis du support moteur | M10 | 60 Nm (44,3 lbf ft) |
| Vis fixation de guidon | M10 | 40 Nm (29,5 lbf ft) Loctite®243TM |
| Vis restantes sur la partie-cycle | M10 | 45 Nm (33,2 lbf ft) |
| Écrou de fixation de la pompé à carburant | M12 | 15 Nm (11,1 lbf ft) |
| Écrou levier articulé - bras oscil-lant | M14x1,5 60 Nm (44,3 lbf ft) | |
| Écrou levier de jonction - levier articulé | M14x1,5 60 Nm (44,3 lbf ft) | |
| Écrou de l'axe du bras oscillant | M16x1,5 100 Nm (73,8 lbf ft) | |
| Écrou axe arrêté | M20x1,5 80 Nm (59 lbf ft) | |
| Vis axe de roue avant M20x1,5 | 35 Nm (25,8 lbf ft) | |
| Vis tête de direction en haut M20 | x1,5 12 Nm (8,9 lbf ft) | |
| Tubulure filtée du système de refroidissement | M24x1,5 15 Nm (11,1 lbf ft) | Loctite®243TM |
Huile d'amortisseur (SAE 2,5) (50180751S1)
Norme / Classification
SAE (p. 166) (SAE 2,5)
- Utiliser uniquement des huiles conformes aux normes prescrites (voir les indications sur le bidon) et possederant les propriétés adéquates.
Huile de fourche (SAE 4) (48601166S1)
Norme / Classification
SAE (p. 166) (SAE 4)
- Utiliser uniquement des huiles conformes aux normes prescrites (voir les indications sur le recipient) et possedant les propriétés adéquates.
Huile moteur (15W/50)
Norme / Classification
JASOT903MA2(p.166)
SAE (p. 166) (15W/50)
- Utiliser uniquement des huiles moteur repondant aux normes prescrites (voir les indications sur le bidon) et possedant les propriétés adéquates.
Fournisseur recommandé
MOTOREX®
-Top Speed 4T
Huile moteur à deux temps
Norme / Classification
JASOFD(p.166)
- Utiliser uniquement de l'huile moteur 2 temps de bonne qualite et de marque connue.
Entierement synthétique
Fournisseur recommendé
MOTOREX®
Cross Power 2T
Liquide de frein DOT 4 / DOT 5.1
Norme / Classification
- DOT
- Utiliser uniquement un liquide de frein repondant à la norme spécifiée (voir les indications sur le bidon) et possedant les propriétés correspondantes.
Fournisseur recommandé
Castrol
Liquide de refroidissement
- N'utilise qu'un liquide de refroidissement de qualité, exempt de silicate et contenant un additif anti-corrosion pour les moteurs aluminium. Un liquide antigel de mauvaise qualité ou non adapte peut entraîner de la corrosion, des dépôts et une formation de mousse.
- N'utilisiez pas d'eau pure, car seul le liquide de refroidissement protège contre la corrosion et assure la lubrification nécessaire.
- Utilisez uniquement un liquide de refroidissement repondant aux exigences spécifiées (voir les indications sur le bidon) et possédant les propriétés correspondantes.
Protection antigel au moins jusqu'à -25 °C (-13 °F)
Le mélange doit être adapté à la protection antigel nécessaire. Si le liquide de refroidissement doit être dilué, utilisez de l'eau distilled.
Il est recommandé d'utiliser un liquide de refroidissement prémélange.
Respectez les indications du fabricant du liquide de refroidissement concernant la protection antigel, la dilution et le mélange (compatibilité) avec d'autres liquides de refroidissement.
Fournisseur recommende
MOTOREX
COOLANT M3.0
Supercarburant sans plomb (ROZ 95/RON 95/PON 91)
Norme / Classification
DIN EN 228 (ROZ 95/RON 95/PON 91)
- Utiliser uniquement du super sans plomb conforme ou équivalent à la norme indiquée.
- Une proportion d'éthanol inférieure à 10% (carburant E10) est sans risques.

Info
Ne pas utiliser de carburant à base de methanol (par ex. M15, M85, M100) ou représentant une proportion d'ethanol supérieure à 10% (par ex. E15, E25, E85, E100).
Aérosol pour chaine Offroad
Fournisseur recommende
MOTOREX®
-Chainlube Offroad
Agent de conservation pour peintures, métaux et caoutchouc
Fournisseur recommandé
MOTOREX®
- Moto Protect
Graisse haute viscosité
Fournisseur recommende
SKF
- LGHB 2
Graisse longue durée
Fournisseur recommends
MOTOREX
- Bike Grease 2000
Lubrifiant pour filtrer à air mousse
Fournisseur recommende
MOTOREX®
Lubrifiant universal en aerosol
Fournisseur recommendé
MOTOREX®
- Joker 440 Synthetic
Nettoyant pour chaine
Fournisseur recommende
MOTOREX
- Chain Clean
Nettoyant pour filtré à air
Fournisseur recommende
MOTOREX®
Nettoyant spécial moto
Fournisseur recommende
MOTOREX
- Moto Clean
Produit de nettoyage spécial pour peinture brillante et mate, surfaces metalliques et synthétiques
Fournisseur recommendé
MOTOREX
- Quick Cleaner
SAE
Les classes de viscosité SAE ont été définies par la Society of Automotive Engineers et permettent de différencier les huiles d'après leur viscosité. La viscosité ne sert qu'à déscrie la propriété d'uneHuile définitie et ne fournit pas d'informations sur la qualite de cette dernière.
JASOT903MA2
Des développement techniques différents nécessitaient des specifications propres pour les motos - la norme JASO T903 MA2.
Autrefois, des huiles automobiles étaient employées pour les mots, dans la mesure où il n'existait pas de spécifications speciales pour les mots.
Alors que pour les voitures, les huiles doivent permettre de diminuer la fréquence des vidanges, les caractéristiques déterminantes pour les motos sont les régimes élevés avec des puissances au titre importantes.
Sur la plupart des moteurs de moto, la boite de vitesses et l'embrayage sont également graissés avec la même huile.
La norme JASO T903 MA2 tient compte de ces spécificités.
JASO FD
JASO FD désigne une classification se rapportant à une huile pour moteurs à deux temps spécifique développement pour les courses aux conditions extrêmes. Les esters synthétiques de grande qualité et les additives spécialement adaptés permettent une combustion impeccable, même dans des conditions extrêmes.
| OBD Dispositif | de diagnostics matériels Système du vehicule qui contrôle des paramètres de l'électronique du vehicule prédéfinis | véhicule qui contrôle des paramètres de l'électronique du vehicule prédéfinis |
| - Injection dans les transverts Injection de carburant électronique, avec utilisation de deux injecteurs dans les transverts du cylindre | ||
27 LIST DES ABRÉVIATIONS
| cf. voir | |
| env. environ | |
| etc. et cetera | |
| evtl. éventuelle | ment |
| N° Numéro | |
| p. ex. par exemple | |
| Réf. Référence |
28.1 Symboles rouges
Les symboles rouges indiquent un état d'erreur nécessitant une intervention immédiate.
| La lampe-témoin du niveau d'huile s'allume en rouge – Le niveau d'huile a atteint le repère MIN. Conduire la moto au maximum jusqu'à ce que le réservoir de carburant soit vide et faire l'appoint en huile deux temps à la prochaine occasion. |
28.2 Symboles jaunes et oranges
Les symboles jaunes et oranges indiquent un état d'erreur nécessitant une intervention rapide. Les assistances à la conduite actives sont également représentées par des symboles jaunes ou oranges.
| Le témoin de dysfonctionnement est allumé/clignote en jaune - Le dispositif de diagnos-tics matériels (OBD) a déetecté un dysfonctionnement au niveau de l'électronique du vêni-cule. S'arrête à un endroit sur et contacter un atelier Husqvarna Motorcycles/agréé. |
| La lampe-témoin du niveau de carburant s'allume en jaune - Le niveau de carburant a atteint le repère de la réserve. |
28.3 Symboles vertes et bleus
Les symboles verts et bleus correspondant à des informations.
| ←→ | Le témoin des clignotants clignote en vert - Le clignotant est allumé. |
| ©D | Levoyant de contrôle du feu de route s'allume en bleu - Le feu de route est allumé. |
A
Accessoires
Amortissement en compression
Régler sur la fourche
Amortissement en compression de Grande
Vitesse
Régler sur l'amortisseur
Amortissement en compression de petite Vitesse
Régler sur l'amortisseur
Amortissement en détente
Régler sur la fourche
Régler sur l'amortisseur
Amortisseur
Amortissement en compression, généralités. 48
Déposer
Monter
Référence
Régler la pretension du ressort
Vérifier l'enforcement en charge
Vérifier l'enforcement statique
Ampoule de clignotant
Remplacer
Ampoule de phare
Remplacer
Antigel
Controller
Aperçu des témoins
B
Batterie 12 V
Charger
Déposer
Monter
Puisance de demarrage
Béquille latérale
Boitier du filtré à air
Nettoyer
Bouchon du réservoir de carburant
Fermer
Ouvrir ..
Bouchon du réservoir d'huile deux temps
Fermer
Ouvrir
Bouton d'arrêt
Bouton d'arrêt d'urgence
Bouton d'avertisseur sonore
Bouton de clignotants
Bouton de démarrage
Bouton de démarrage à froid 22
Bras de fourche
1Déposer 60
Monter 61
54Nettoyer les cache-poussieres 60
Purger 59
Régler la pretension du ressort 56
Bras oscillant
Vérifier 87
48
Cache latorial de droite
55Déposer 77
50 Monter 78
Cadre
Vérifier 87
69
Caoutchouc de poignée
Verifier 88
Charactéristique de l'accelération
Régler 133
5Carburants, lubricants ou produits aux spécifi-cations de même nature 11
Caine
Nettoyer 82
122Vcrifier 84
Conditions d'utilisation difficiles 33
127 Deplacement a faible vitesse 36
Neige 37
20Routeseoueuses 36
Sable humide 35
Sable sec 34
11températures basses 37
11Temperatures elevées 36
1 1/2pies humides 36
3Connecteur de diagnostic 126
Contacteur de I'éclairage 18
Couronne
Vcrifier 84
Couvercle du boitier du filtré à air
品 coser 73
Menter 73
Crepine
Nebtoyer 141
Crépè à essence
17-Remplacer 137
D9
Definition de l'application 7
Demarrage 38
Diagnostic 150-152
| Direction | Garde-boue avant | |
| Déverrouiller | 25Déposer 67 | |
| Verrouiller | 28Poser 68 | |
| Disques de frein | Guide-chaine | |
| Vérifier | Vérifier 84 | |
| Données techniques | H | |
| Amortisseur | 158 | |
| Circuit électrique | 157 Faire l'appoint 145 | |
| Couples de serrer moteur | 154 Remplacer 144 | |
| Couples de serrer sur la partie-cycle | 159 | |
| Fourche | 158 | |
| Moteur | Illustrations 12 | |
| Partie-cycle | Intéresseur de courbe d'allumage 20 | |
| Pneus | J 158 | |
| Quantités de replissage | 156 Jeu du cable d'accéléateur | |
| E | Régler 132 | |
| Embrayage | Vérifier 132 | |
| Remplacer | Jégo du palier de la tête de direction | |
| Vérifier/rectifier le niveau de liquide | 89 Régler 67 | |
| Emplacement du cable d'accéléateur | Vérifier 66 | |
| Vérifier | L 87 | |
| Enforcement en charge | Levier de frein à main 17 | |
| Régler | Régler la position de base 93 | |
| Environnement | Levier d'embrayage 17 | |
| É | Régler la position de base 89 | |
| État des pneus | Liquide de frein | |
| Vérifier | 1faire l'appoint à arrêté 100 | |
| Faire l'appoint à l'avant 94 | ||
| F | Liquide de refroidissement | |
| Faire le plein | Remplir 130 | |
| Carburant | 42 Vidanger 129 | |
| Huile deux temps | 43 | |
| Filtre à air | M | |
| Déposer | Manuel d'utilisation 10 | |
| Monter | Mauvaise utilisation 7 | |
| Nettoyer | Mise en service | |
| Fonctionnement en toute sécurité | 8Après le stockage 149 | |
| Fourche | Consignes pour la première mise en service 31 | |
| Référence | Travaux de contrôle et d'entretien avant chaque | |
| Vérifier le réglage de base | mise en service 38 | |
| Moteur | ||
| Fusible | Roder 32 | |
| Remplacer le fusible général | 117 | |
| Remplacer sur les divers consommateurs | 119 | |
| Fusible général | Moto 146 | |
| Remplacer | Retirer du socle régiable 59 | |
| Surélever la moto sur un socle régiable 59 | ||
| G | N | |
| Garantie | Nettoyage, entretien 146-147 | |
| Niveau de liquide de frein | Protection du moteur | |
| Vérifier à l'arrière | 100Déposer | 91 |
| Vérifier à l'avant | 9Monter | 92 |
| Niveau de liquide de refroidissement | Puisance de démarrage des batteries lithium- | |
| Vérifier | 127io88à basses températures | 33 |
| Niveau d'huile de boite | Q | |
| Vérifier | 143Qu quantité de replissage | |
| Niveau d'huile deux temps | Carburant | 43, 156 |
| Contrôler | 138Huile de boite | 144, 156 |
| Numéro d'identification du vehicule | 15Liquide de refroidissement | 156 |
| Numéro de clé | R15 | |
| Numéro de moteur | 15Régime de ralenti | 134 |
| P | Régier | |
| Palier de la tête de direction | Réglage de base de la partie-cycle | |
| Graisser | @Contrôr en fonction du poids du pilote | 48 |
| Pédale de frein arrêté | Réglage du phare | |
| Régler la position de base | 99Vérifier | 124 |
| Vérifier la course libre | 98Régles de travail | 9 |
| Phare | Réservoir de carburant | |
| Régler la portée | 125Déposer | 78 |
| Pièces détachées | 11Monter | 80 |
| Pignon de chaîne | Roue arrière | |
| Vérifier | Déposer | 107 |
| Plan d'entretien | 45-Monter | 108 |
| Plaque signalétique | Rdae avant | |
| Plaque-phare avec phare | Déposer | 105 |
| Déposer | 12Monter | 106 |
| Monter | S121 | |
| Plaquettes de frein | Selecteur | 23 |
| Contrôler à l'arrière | 101Contrôr la position de base | 135 |
| Contrôler à l'avant | 95Régler la position de base | 136 |
| Remplacer au niveau du frein arrêté | Selle | |
| Remplacer le frein avant | 96Déposer | 72 |
| Poinnée des gaz | 17Monter | 72 |
| Pompe à huile | Service | 11 |
| Synchroniser | Service après-vente | 12 |
| Position du guidon | 57Silencieux arrêté | |
| Régler | 57Déposer | 75 |
| Pression de l'air ambient | Monter | 76 |
| Programmation | 135Remplacer la laine de roche | 76 |
| Pression des pneus | Stockage | 148 |
| Vérifier | S10Système de refroidissement | 127 |
| Produits auxiliaires | T11 | |
| Protection de fourche | Tableau de bord | |
| Déposer | 62Message | 26 |
| Monter | 62Régler | 26 |
Régler l'affichage du mode Service 28
Régler l'heure 28
Regler l'unité kilometres/miles 27
Remplacer la batterie du tableau de bord . . 125
Vued'ensemble 26
Te de fourche inférieur
Déposer 63
Monter 64
Tension de la chaine
Controller 82
Régler 83
Tension des rayons
Contriler 111
Transport 42
U
Usure d'hiver
Travaux de contrôle et d'entretien 147
Utilisation conforme à l'usage prévu 7
V
Vétements de protection 9
Vis de réglage du régime de ralenti 23
Vue du vehicule
Arriere droite 14
Avant gauche 13

3402407fr
10/2019

Notice Facile