FE 450 (2020) - Moto HUSQVARNA - Notice d'utilisation et mode d'emploi gratuit
Retrouvez gratuitement la notice de l'appareil FE 450 (2020) HUSQVARNA au format PDF.
| Caractéristiques | Détails |
|---|---|
| Moteur | Moteur monocylindre 4 temps, refroidi par liquide, 450 cm³ |
| Puissance | 45 ch (33 kW) |
| Transmission | Boîte de vitesses à 6 rapports |
| Poids | Environ 100 kg (à sec) |
| Suspension avant | Fourche inversée WP XPLOR, diamètre 48 mm |
| Suspension arrière | Amortisseur WP XPLOR |
| Freins | Freins à disque avant et arrière, diamètre 260 mm (avant), 240 mm (arrière) |
| Capacité du réservoir | 9,5 litres |
| Consommation de carburant | Environ 6-7 L/100 km |
| Entretien | Changement d'huile tous les 15 heures d'utilisation, vérification des filtres |
| Sécurité | Équipement de protection recommandé : casque, gants, bottes adaptées |
| Garantie | 2 ans (selon conditions du fabricant) |
| Utilisation recommandée | Enduro, tout-terrain |
FOIRE AUX QUESTIONS - FE 450 (2020) HUSQVARNA
Questions des utilisateurs sur FE 450 (2020) HUSQVARNA
0 question sur cet appareil. Repondez a celles que vous connaissez ou posez la votre.
Poser une nouvelle question sur cet appareil
Téléchargez la notice de votre Moto au format PDF gratuitement ! Retrouvez votre notice FE 450 (2020) - HUSQVARNA et reprennez votre appareil électronique en main. Sur cette page sont publiés tous les documents nécessaires à l'utilisation de votre appareil FE 450 (2020) de la marque HUSQVARNA.
MODE D'EMPLOI FE 450 (2020) HUSQVARNA
Permettez-nous de vous féliciter sincèrement d'avoir porté votre choix sur une moto Husqvarna. Vous êtes désormais propriétaire d'un véhicule moderne et sportif qui vous satisfera longtemps si vous l'entretenez de façon appropriée.
Nous vous souhaitons de toujours rouler en toute sécurité !
Inscrire ci-dessous les numéros de série du véhicule.
| Numéro d’identification du véhicule ( p. 15) Cachet du | concessionnaire |
| Numéro de moteur ( p. 15) | |
| Numéro de clé (tous les modèles EU) ( p. 15) |
Le présent manuel d'utilisation correspond à l'état de la série concernée au moment de la publication. Cependant, des divergences minimes résultant du perfectionnement de la construction de la moto ne sauraient être exclues.
Toutes les informations du présent document sont fournies sans aucun engagement. Sous réserve de modification, de suppression sans substitution ou d'adaptation aux exigences locales des informations techniques, des tarifs, des couleurs, des formes, des matériaux, des prestations de services et de maintenance, des constructions et des équipements ou autres, ainsi que d'un arrêt de fabrication définitif d'un modèle donné sans avis préalable ni indication d'un motif quelconque par la société Husqvarna Motorcycles GmbH. Husqvarna Motorcycles décline toute responsabilité en ce qui concerne les possibilités de livraison, les divergences au niveau des croquis et des descriptions, ainsi que les fautes d'impression ou les erreurs. Les modèles reproduits dans le présent document sont partiellement pourvus d'équipements spéciaux ne faisant pas partie de l'équipement de série.
© 2019 Husqvarna Motorcycles GmbH, Mattighofen Autriche
Tous droits réservés
Toute reproduction, même partielle, est strictement interdite sans autorisation écrite de l'auteur.

ISO 9001(12 100 6061)
Conformément à la norme internationale de qualité ISO 9001, Husqvarna Motorcycles utilise des standards d'assurance qualité permettant d'obtenir une qualité maximale du produit.
Établi par : TÜV-Management Service
REG.NO. 12 100 6061
Husqvarna Motorcycles GmbH
Stallhofnerstraße 3
5230 Mattighofen, Autriche
Ce document est valable pour les modèles suivants :
FE 450 EU (F2303T4)
FE 501 EU (F2403T4)
FE 501 US (F2475T5)
1 SYMBOLIQUE....6
1.1 Symboles utilisés ...... 6
1.2 Conventions typographiques utilisées.... 6
2.1 Définition de l'application - utilisation conforme à l'usage prévu .... 7
2.2 Mauvaise utilisation .... 7
2.3 Consignes de sécurité .... 7
2.4 Niveaux de danger et symboles ..... 8
2.5 Avertissement contre les manipulations.... 8
2.6 Fonctionnement en toute sécurité..... 9
2.7 Vêtements de protection ..... 9
2.8 Règles de travail .... 10
2.9 Environnement.... 10
2.10 Manuel d'utilisation.... 10
3 REMARQUES IMPORTANTES.... 11
3.1 Garantie constructeur, garantie légale.... 11
3.2 Carburants, lubrifiants ou produits aux spécifications de même nature et produits auxiliaires.... 11
3.3 Pièces détachées, accessoires ..... 11
3.4 Service 11
4.1 Vue avant gauche du véhicule (représentation simplifiée).... 13
4.2 Vue arrière droite du véhicule (représentation simplifiée).... 14
5.1 Numéro d'identification du véhicule.... 15
5.2 Plaque signalétique (tous les modèles EU).... 15
5.3 Numéro de clé (tous les modèles EU) 15
5.4 Numéro de moteur.... 15
5.5 Référence de la fourche.... 16
5.6 Référence de l'amortisseur.... 16
6 ÉLÉMENTS DE COMMANDE.... 17
6.1 Levier d'embrayage 17
6.2 Levier de frein à main.... 17
6.3 Poignée des gaz 17
6.4 Bouton d'arrêt.... 17
6.5 Bouton d'avertisseur sonore (tous les modèles EU) 18
6.6 Contacteur de l'éclairage (tous les modèles EU).... 18
6.7 Contacteur de l'éclairage (FE 501 US) ...... 18
6.8 Bouton de clignotants (tous les modèles EU).... 19
6.9 Bouton d'arrêt d'urgence (tous les modèles EU).... 19
6.10 Bouton de démarrage.... 19
6.11 Commodo.... 20
6.12 Aperçu des témoins (tous les modèles EU).... 20
6.13 Aperçu des témoins (FE 501 US)...... 21
6.14 Ouvrir le bouchon du réservoir de carburant.... 21
6.15 Fermer le bouchon du réservoir de carburant.... 22
6.16 Bouton de démarrage à froid.... 22
6.17 Vis de réglage du régime de ralenti .... 23
6.18 Sélecteur.... 23
6.19 Pédale de frein arrière.... 24
6.20 Béquille latérale.... 24
6.21 Antivol de direction (tous les modèles EU).... 24
6.22 Verrouiller la direction (tous les modèles EU).... 25
6.23 Déverrouiller la direction (tous les modèles EU).... 25
7 TABLEAU DE BORD.... 26
7.1 Vue d'ensemble du tableau de bord.... 26
7.2 Activation 26
7.3 Message sur le tableau de bord ..... 26
7.4 Régler le tableau de bord 26
7.5 Régler l'unité kilomètres/miles..... 27
7.6 Régler l'heure.... 28
7.7 Régler l'affichage du mode Service.... 28
7.8 Vitesse, heure et DST distance parcourue 1....29
7.9 Vitesse, heure et DST2 distance parcourue 2.... 29
7.10 Vitesse moyenne AVG, heures d'utilisation ART et distance totale parcourue ODO.... 30
8 MISE EN SERVICE 31
8.1 Consignes pour la première mise en service.... 31
8.2 Roder le moteur ...... 32
8.3 Puissance de démarrage des batteries lithium-ion à basses températures.... 33
8.4 Préparer le véhicule pour des conditions d'utilisation difficiles...... 33
8.5 Préparation du véhicule aux trajets sur sable sec.... 34
8.6 Préparation du véhicule aux trajets sur sable humide.... 34
8.7 Préparation du véhicule aux trajets sur voies humides et boueuses .... 35
8.8 Préparation du véhicule aux températures extérieures élevées ou aux trajets lents.... 36
8.9 Préparation du véhicule aux faibles températures extérieures ou à la neige .... 36
9 CONSEILS D'UTILISATION.... 37
9.1 Travaux de contrôle et d'entretien avant chaque mise en service .... 37
9.2 Démarrer le véhicule 37
9.3 Activer le contrôle de la traction ..... 38
9.4 Démarrer.... 39
9.5 Passer les vitesses, conduire ..... 39
9.6 Freiner.... 39
9.7 S'arrêter et béquiller 40
9.8 Transport.... 41
9.9 Faire le plein de carburant ..... 41
10 PLAN D'ENTRETIEN 43
10.1 Informations additionnelles.... 43
10.2 Travaux obligatoires.... 43
10.3 Travaux recommandés .... 44
11 ADAPTER LA PARTIE-CYCLE.... 46
11.1 Contrôler le réglage de base de la partie-cycle en fonction du poids du pilote 46
11.2 Amortissement en compression de l'amortisseur .... 46
11.3 Régler l'amortissement en compression de Petite Vitesse de l'amortisseur .... 46
11.4 Régler l'amortissement en compression de Grande Vitesse de l'amortisseur .... 47
11.5 Régler l'amortissement en détente de l'amortisseur .... 48
11.6 Déterminer la valeur d'enfoncement à vide de la roue arrière .... 48
11.7 Vérifier l'enfoncement statique de l'amortisseur .... 49
11.8 Vérifier l'enfoncement en charge de l'amortisseur .... 50
11.9 Régler la prétension du ressort de l'amortisseur 50
11.10 Régler l'enfoncement en charge ⚡... 51
11.11 Vérifier le réglage de base de la fourche.... 52
11.12 Régler l'amortissement en compression de la fourche .... 52
11.13 Régler l'amortissement en détente de la fourche 53
11.14 Régler la prétension du ressort de la fourche.... 54
11.15 Position du guidon.... 55
11.16 Régler la position du guidon 55
12 TRAVAUX D'ENTRETIEN SUR LA PARTIE-CYCLE.... 57
12.1 Surélever la moto sur un socle réglable .... 57
12.2 Retirer la moto du socle réglable..... 57
12.3 Purger les bras de fourche .... 57
12.4 Nettoyer les cache-poussières des bras de fourche.... 58
12.5 Déposer la protection de fourche ..... 58
12.6 Remonter la protection de fourche..... 59
12.7 Déposer les bras de fourche ..... 59
12.8 Monter les bras de fourche 60
12.9 Déposer le té de fourche inférieur 60
12.10 Monter le té de fourche inférieur ... 61
12.11 Vérifier le jeu du palier de la tête de direction.... 63
12.12 Régler le palier de la tête de direction 64
12.13 Graisser le palier de la tête de direction 65
12.14 Déposer le garde-boue avant ..... 65
12.15 Monter le garde-boue avant ..... 66
12.16 Déposer l'amortisseur 66
12.17 Monter l'amortisseur 68
12.18 Déposer la selle 69
12.19 Monter la selle.... 70
12.20 Déposer le couvercle du boîtier du filtre à air 71
12.21 Monter le couvercle du boîtier du filtre à air .... 71
12.22 Déposer le filtre à air 71
12.23 Monter le filtre à air 72
12.24 Nettoyer le filtre à air et le boîtier du filtre à air 72
12.25 Déposer le cache latéral droit.... 73
12.26 Monter le cache latéral de droite..... 74
12.27 Déposer le silencieux arrière.... 74
12.28 Monter le silencieux arrière.... 75
12.29 Nettoyer le système « Sparkarrestor » (FE 501 US).... 75
12.30 Remplacer la garniture de laine de roche du silencieux arrière ..... 77
12.31 Déposer le réservoir de carburant 78
12.32 Monter le réservoir de carburant ... 79
12.33 Vérifier l'état d'encrassement de la chaîne 81
12.34 Nettoyer la chaîne.... 81
12.35 Contrôler la tension de la chaîne ..... 82
12.36 Régler la tension de la chaîne.... 83
12.37 Vérifier la chaîne, la couronne, le pignon et le guide-chaîne .... 84
12.38 Contrôler le cadre .... 86
12.39 Vérifier le bras oscillant .... 86
12.40 Vérifier la position du câble d'accélérateur.... 86
12.41 Vérifier le caoutchouc de poignée ..... 87
12.42 Régler la position de base du levier d'embrayage.... 88
12.43 Vérifier/rectifier le niveau de liquide d'embrayage hydraulique 88
12.44 Remplacer le liquide d'embrayage hydraulique 89
12.45 Déposer la protection moteur.... 91
12.46 Monter la protection moteur ..... 91
13 SYSTÈME DE FREIN.... 92
13.1 Régler la position de base du levier de frein à main 92
13.2 Vérifier les disques de frein.... 92
13.3 Vérifier le niveau de liquide de frein à l'avant.... 93
13.4 Faire l'appoint de liquide de frein à l'avant 93
13.5 Contrôler les plaquettes de frein avant 94
13.6 Remplacer les plaquettes de frein avant 95
13.7 Vérifier la course libre de la pédale de frein arrière.... 97
13.8 Régler la position de base de la pédale de frein arrière ..... 98
13.9 Contrôler le niveau de liquide de frein à l'arrière .... 99
13.10 Faire l'appoint du liquide de frein à l'arrière 99
13.11 Contrôler les plaquettes de frein arrière.... 100
13.12 Remplacer les plaquettes de frein arrière ..... 101
14 ROUES, PNEUS 104
14.1 Déposer la roue avant ..... 104
14.2 Monter la roue avant .... 105
14.3 Déposer la roue arrière ..... 105
14.4 Monter la roue arrière ..... 106
14.5 Vérifier l'état des pneus .... 108
14.6 Vérifier la pression des pneus...... 108
14.7 Contrôler la tension des rayons..... 109
15 CIRCUIT ÉLECTRIQUE .... 110
15.1 Déposer la batterie 12 V ..... 110
15.2 Monter la batterie 12 V ..... 112
15.3 Charger la batterie 12 V ..... 113
15.4 Remplacer le fusible général.... 115
15.5 Remplacer les fusibles des divers consommateurs.... 116
15.6 Déposer la plaque-phare et le phare.... 117
15.7 Monter la plaque-phare et le phare.... 118
15.8 Remplacer l'ampoule de phare..... 119
15.9 Remplacer l'ampoule de clignotant (tous les modèles EU) ...... 120
15.10 Vérifier le réglage du phare.... 121
15.11 Régler la portée du phare .... 122
15.12 Remplacer la batterie du tableau de bord 122
15.13 Connecteur de diagnostic.... 123
16 SYSTÈME DE REFROIDISSEMENT...... 124
16.1 Système de refroidissement ..... 124
16.2 Vérifier l'antigel et le niveau de liquide de refroidissement.... 124
16.3 Vérifier le niveau de liquide de refroidissement .... 125
16.4 Vidanger le liquide de refroidissement 126
16.5 Remplir de liquide de refroidissement 126
17 ADAPTER LE MOTEUR.... 128
17.1 Vérifier le jeu du câble d'accélérateur.... 128
17.2 Régler le jeu du câble d'accélérateur 128
17.3 Régler la caractéristique de l'accélération 129
17.4 Modifier le mapping .... 130
17.5 Régler le régime de ralenti ..... 131
17.6 Programmer la position du clapet d'étranglement.... 132
17.7 Contrôler la position de base du sélecteur .... 132
17.8 Régler la position de base du sélecteur 133
18 TRAVAUX D'ENTRETIEN SUR LE MOTEUR 134
18.1 Remplacer la crépine à essence 134
18.2 Vérifier le niveau d'huile moteur...... 135
18.3 Remplacer l'huile moteur et le filtre à huile, nettoyer les crépines d'huile 135
18.4 Faire l'appoint d'huile moteur ...... 138
19 NETTOYAGE, ENTRETIEN.... 140
19.1 Nettoyer la moto 140
19.2 Travaux de contrôle et d'entretien en prévision de l'usure d'hiver..... 141
20 STOCKAGE 142
20.1 Stockage.... 142
20.2 Mise en service après le stockage.... 143
21 DIAGNOSTIC.... 144
22 CODE DE CLIGNOTEMENT.... 147
23 DONNÉES TECHNIQUES.... 149
23.1 Moteur.... 149
23.2 Couples de serrage moteur ..... 150
23.3 Quantités de remplissage 152
23.3.1 Huile moteur.... 152
23.3.2 Liquide de refroidissement...... 152
23.3.3 Carburant 152
23.4 Partie-cycle.... 152
23.5 Circuit électrique.... 153
23.6 Pneus.... 153
23.7 Fourche.... 154
23.8 Amortisseur.... 154
23.9 Couples de serrage sur la partie-cycle .... 155
24 MATIÈRES CONSOMMABLES .... 158
25 PRODUITS AUXILIAIRES 160
26 NORMES 161
27 GLOSSAIRE 162
28 LISTE DES ABRÉVIATIONS .... 163
29 LISTE DES SYMBOLES 164
29.1 Symboles jaunes et oranges...... 164
29.2 Symboles verts et bleus.... 164
INDEX.... 165
1.1 Symboles utilisés
Les symboles utilisés dans le manuel sont décrits ci-dessous.

Indique un résultat prévu (d'une étape ou d'une fonction, par exemple).

Indique un résultat indésirable (d'une étape ou d'une fonction, par exemple).

Tous les travaux accompagnés de ce symbole nécessitent des connaissances approfondies ainsi qu'un certain savoir-faire technique. Pour la sécurité de tous, faire exécuter ces travaux par un atelier Husqvarna Motorcycles ! La moto y sera entretenue de manière optimale par des spécialistes ayant suivi une formation spécifique et disposant de l'outillage spécial nécessaire.

Indique un renvoi à une page (des informations supplémentaires sont disponibles à la page indiquée).

Indique un complément d'information ou des conseils.

Indique le résultat d'une étape de contrôle.

Caractérise une mesure de tension.

Caractérise une mesure de courant.

Indique le fin d'une activité (dont d'éventuels travaux ultérieurs).
1.2 Conventions typographiques utilisées
Ci-dessous sont expliqués certains formats de polices utilisés dans le présent document.
Nom propre Caractérise un nom.
Nom®
Caractérise une marque déposée.
Marque™ Caractérise une marque commerciale.
Termes soulignés Renvoient à des détails techniques du véhicule ou caractérisent des termes techniques expliqués dans le glossaire.
2.1 Définition de l'application - utilisation conforme à l'usage prévu
(tous les modèles EU)
Ce véhicule a été conçu et construit de manière à résister aux sollicitations courantes résultant d'une utilisation normale en course. Ce véhicule est conforme aux règlements actuels en vigueur et aux catégories des fédérations nationales de sports motorisés.
i Info Seule
Seule la version homologuée (bridée) de ce véhicule est autorisée sur les routes ouvertes au public. Débridé, il ne doit être utilisé qu'en circuit fermé sur des routes non ouvertes au public.
Le véhicule a été conçu pour le sport d'endurance tout-terrain de compétition et non pas pour être utilisé principalement pour du moto-cross.
(FE 501 US)
Ce véhicule a été conçu et construit de manière à résister aux sollicitations courantes résultant d'une utilisation normale en course. Ce véhicule est conforme aux règlements actuels en vigueur et aux catégories des fédérations nationales de sports motorisés.
i Info Ce v
Ce véhicule ne doit être utilisé qu'en circuit fermé et sur des routes non ouvertes au public.
Le véhicule a été conçu pour le sport d'endurance tout-terrain de compétition et non pas pour être utilisé principalement pour du moto-cross.
2.2 Mauvaise utilisation
La moto ne doit être utilisée que conformément à l'usage prévu.
Toute utilisation non conforme met en danger les personnes, le matériel et l'environnement.
Tout utilisation non conforme de la moto ou qui dépasse l'utilisation prévue, constitue une mauvaise utilisation. La mauvaise utilisation comprend également l'utilisation de liquides et d'additifs ne remplissant pas les spécifications exigées pour l'utilisation prévue.
2.3 Consignes de sécurité
Afin de garantir une utilisation du produit décrit en toute sécurité, certaines consignes de sécurité doivent être respectées. Lisez par conséquent attentivement ces instructions ainsi que toutes celles contenues dans la livraison. Les consignes de sécurité ressortent visuellement du corps de texte et contiennent des liens quand cela est pertinent.
i Info Diffé
Différents autocollants comportant des consignes et des avertissements ont été apposés à plusieurs endroits bien visibles sur le produit décrit. Les autocollants comportant des consignes et des avertissements ne doivent jamais être retirés. En l'absence de ces autocollants, le conducteur ou les tiers ne sont plus à même de détecter certains dangers. Le risque de blessure est alors accru.
2 CONSIGNES DE SÉCURITÉ
2.4 Niveaux de danger et symboles

Danger
Remarque concernant un danger qui entraîne immédiatement ou avec certitude la mort ou de graves blessures lorsque les mesures correspondantes ne sont pas prises.

Avertissement
Remarque concernant un danger qui peut entraîner la mort ou de graves blessures lorsque les mesures correspondantes ne sont pas prises.

Attention
Remarque concernant un danger qui peut éventuellement entraîner des blessures légères lorsque les mesures correspondantes ne sont pas prises.
Remarque
Remarque concernant un danger qui entraîne de graves dommages sur les machines ou sur le matériel lorsque les mesures correspondantes ne sont pas prises.

Remarque
Remarque concernant un danger constituant un risque pour l'environnement lorsque les mesures correspondantes ne sont pas prises.
2.5 Avertissement contre les manipulations
Il est interdit de procéder à des modifications des composants destinés à atténuer le bruit. Les mesures de débridage suivantes ainsi que l'établissement des circonstances correspondantes sont interdits par la loi :
1 Enlèvement ou mise hors service de tous les équipements ou composants destinés à atténuer les bruits sur un véhicule neuf avant sa vente ou sa livraison à un utilisateur final ou pendant la durée d'utilisation du véhicule, à d'autres fins que l'entretien, la réparation ou le remplacement, ainsi que
2 Utilisation du véhicule après avoir enlevé ou mis hors service un équipement ou composant de ce type.
Exemples de manipulation interdite par la loi :
1 Retrait ou perçage des silencieux arrière, chicanes, collecteurs ou autres composants qui évacuent les gaz d'échappement.
2 Retrait ou perçage d'éléments du système d'admission.
3 Utilisation dans un état de maintenance incorrect.
4 Remplacement d'éléments mobiles du véhicule ou d'éléments de l'échappement ou du système d'admission par des pièces non homologuées par le fabricant.
(FE 501 US)
Les accessoires et les pièces modifiées doivent être conformes aux normes de limitation des émissions par évaporation ARB en vigueur. Toute violation de cette disposition peut entraîner des sanctions civiles et/ou pénales.
2.6 Fonctionnement en toute sécurité

Danger
Risque d'accident Un conducteur qui n'est pas en état de conduire se met en danger lui-même ainsi que les autres.
- Ne conduisez pas si vous avez consommez de l'alcool, des drogues ou des médicaments influant sur la conduite.
- Ne conduisez pas si vous n'êtes pas en état physiquement ou mentalement.

Danger
Danger d'intoxication Les gaz d'échappement sont toxiques et peuvent faire perdre conscience voire entraîner la mort.
- Veillez donc en permanence à une aération suffisante lorsque le moteur tourne.
- Utilisez un système d'extraction des gaz d'échappement approprié si vous démarrez ou faites tourner le moteur dans une pièce fermée.

Avertissement
Risque de brûlures Certaines pièces du véhicule deviennent brûlantes pendant la conduite du véhicule.
- Ne pas toucher les composants tels que l'échappement, le radiateur, le moteur, l'amortisseur ou le système de frein avant que ces composants ne soient refroidis.
- Laisser refroidir les pièces du véhicule avant de commencer les travaux.
N'utiliser le véhicule que lorsqu'il est en parfait état de marche et dans le respect de l'usage prévu, des normes de sécurité et de l'écologie.
Le véhicule ne doit être utilisé que par des personnes instruites en la matière. Un permis de conduire adéquat est requis pour la conduite sur voies publiques.
Les pannes susceptibles de nuire à la sécurité doivent être réparées sans délai par un atelier Husqvarna Motorcycles agréé.
Respecter les consignes et les avertissements des autocollants apposés sur le véhicule.
2.7 Vêtements de protection

Avertissement
Risque de blessures Ne pas porter de vêtements de protection ou porter des vêtements de protection abîmés constitue un risque pour la sécurité.
- Toujours porter des vêtements de protection adéquats comme un casque, des bottes, des gants, un pantalon et une veste avec protections.
- N'utiliser que des vêtements de protection en parfait état et qui correspondent aux directives légales.
Dans votre propre intérêt, Husqvarna Motorcycles recommande vivement de porter un équipement de protection adapté à la conduite du véhicule.
2 CONSIGNES DE SÉCURITÉ
2.8 Règles de travail
Certaines opérations nécessitent des outils spéciaux. Ces outils ne font pas partie intégrante du véhicule, mais peuvent être commandés sous le numéro indiqué entre parenthèses. Exemple : extracteur de roulements (15112017000)
Lors de l'assemblage, les pièces ne pouvant pas être réutilisées (par ex. les vis autobloquantes et les écrous, les joints, les bagues d'étanchéité, les joints toriques, les goupilles, les rondelles frein) doivent être remplacées par de nouvelles pièces.
Dans certains cas, les vis doivent être équipées d'un frein filet (par ex. Loctite®). Les consignes spécifiques du fabricant doivent être respectées lors de l'utilisation.
Si un dispositif de blocage de vis (par ex. Precote®) a déjà été appliqué sur une nouvelle pièce, n'appliquez pas de produit de blocage de vis supplémentaire.
Nettoyer les pièces devant être réutilisées après démontage, contrôler leur état et leur niveau d'usure. Remplacer les pièces usées ou dégradées.
Une fois qu'une réparation ou une opération de maintenance est achevée, veiller à assurer la sécurité de fonctionnement du véhicule.
2.9 Environnement
Un comportement responsable lors de l'utilisation de la moto désamorce d'emblée problèmes et conflits. Afin de garantir la pérennité de la conduite à moto, veiller à rester dans le cadre légal, à faire preuve de respect envers l'environnement et à tenir compte des droits d'autrui.
Lors de la vidange de l'huile usagée ou de tout autre fluide utilisé sur la moto, ainsi que dans le cadre de la mise au rebut des vieux composants, veiller à appliquer la législation et les directives correspondantes en vigueur dans le pays d'utilisation.
En matière de mise à la casse des véhicules anciens, les motos ne tombent pas sous le coup de la directive de l'UE. Il n'y a donc aucune réglementation relative à la mise à la casse d'une moto. Votre concessionnaire Husqvarna Motorcycles agréé est à votre entière disposition.
2.10 Manuel d'utilisation
Veiller impérativement à lire ce manuel d'utilisation avec attention et dans son intégralité avant de prendre la route pour la première fois avec ce véhicule. Le manuel d'utilisation comporte de nombreuses informations et conseils qui faciliteront l'utilisation, le maniement et l'entretien. Il permet d'apprendre comment régler le véhicule pour qu'il réponde au mieux aux besoins de l'utilisateur et comment éviter les blessures.
Conserver le manuel d'utilisation dans un endroit facilement accessible, pour l'avoir à portée de main dès que son utilisation est requise.
Pour de plus amples informations sur le véhicule ou si certains points de ce manuel demandent des éclaircissements, contacter un distributeur Husqvarna Motorcycles agréé.
Le manuel d'utilisation est un élément important faisant partie intégrante du véhicule. Il doit être remis au nouveau propriétaire lors de la vente de ce dernier.
De plus, le manuel d'utilisation est disponible en téléchargement sur le site de votre distributeur Husqvarna Motorcycles agréé et sur le site de Husqvarna Motorcycles.
Site web international de Husqvarna Motorcycles : www.husqvarna-motorcycles.com
3.1 Garantie constructeur, garantie légale
Les travaux d'entretien prescrits dans le plan d'entretien doivent être réalisés exclusivement auprès d'un atelier agréé Husqvarna Motorcycles, puis confirmés sur la plateforme Husqvarna Motorcycles Dealer.net afin de conserver le droit à la garantie. La garantie est nulle et non avenue en cas de dommages et conséquences résultant de manipulations et/ou de modifications sur le véhicule.
3.2 Carburants, lubrifiants ou produits aux spécifications de même nature et produits auxiliaires

Remarque
Danger pour l'environnement Une manipulation inadéquate du carburant constitue un danger pour l'environnement.
- Le carburant ne doit pas pénétrer dans la nappe phréatique, le sol ou les canalisations.
Utiliser les carburants, lubrifiants ou produits aux spécifications de même nature et les produits auxiliaires conformément au manuel d'utilisation et aux spécifications.
3.3 Pièces détachées, accessoires
Pour des raisons de sécurité, utiliser uniquement des pièces détachées et des accessoires autorisés et/ou recommandés par Husqvarna Motorcycles et les faire monter par un atelier agréé Husqvarna Motorcycles. Husqvarna Motorcycles décline toute responsabilité pour les autres produits et les dommages consécutifs à l'utilisation de tels produits.
Dans les descriptifs, les références de certaines pièces détachées et accessoires sont indiquées entre parenthèses. Votre concessionnaire Husqvarna Motorcycles agréé est là pour vous conseiller.
Vous pouvez retrouver les accessoires Husqvarna Motorcycles actuellement disponibles pour le véhicule chez votre concessionnaire Husqvarna Motorcycles agréé ou sur le site web de Husqvarna Motorcycles. Site web international de Husqvarna Motorcycles : www.husqvarna-motorcycles.com
3.4 Service
Le respect des travaux de maintenance, d'entretien et de réglage du moteur et de la partie-cycle figurant dans le présent manuel d'utilisation constitue la condition préalable au parfait fonctionnement de la moto et permet d'éviter l'usure précoce. Un réglage incorrect de la partie-cycle risque d'entraîner des dégâts sur cette dernière ou la rupture de composants.
Une utilisation du véhicule dans des conditions extrêmes, telles que dans le sable ou sur un terrain détrempé ou boueux, risque d'entraîner une usure plus importante de composants tels les organes d'entraînement, le système de freinage ou les composants de la suspension. De telles conditions imposent un contrôle ou un remplacement des composants avant que l'intervalle d'entretien suivant n'ait été atteint.
Respecter impérativement les durées de rodage ainsi que les intervalles de maintenance. Leur respect prolonge de manière notable la durée de vie de la moto.
En cas d'intervalles de kilométrage et de temps, c'est le premier intervalle qui survient qui doit être pris en compte.
3 REMARQUES IMPORTANTES
3.5 Illustrations
Les figures représentées dans ce manuel illustrent parfois des équipements spéciaux.
Pour une meilleure représentation et compréhension, certains composants peuvent être déposés ou ne sont pas illustrés. Une dépose n'est pas toujours impérative pour le descriptif correspondant. Respecter les indications textuelles.
3.6 Service après-vente
Votre distributeur Husqvarna Motorcycles agréé est à votre entière disposition pour toute question relative à votre véhicule et à la société Husqvarna Motorcycles.
La liste des distributeurs Husqvarna Motorcycles agréés est disponible sur le site web de Husqvarna Motorcycles.
Site web international de Husqvarna Motorcycles : www.husqvarna-motorcycles.com
4.1 Vue avant gauche du véhicule (représentation simplifiée)

text_image
① ② ③ ④ ⑦ ⑥ ⑤ F02332-101 Levier de frein à main (p. 17)
② Levier d'embrayage (p. 17)
③ Bouchon du réservoir de carburant
4 Couvercle du boîtier du filtre à air
⑤ Béquille latérale ( p. 24)
6 Numéro de moteur (p. 15)
7 Sélecteur (p. 23)
4.2 Vue arrière droite du véhicule (représentation simplifiée)

text_image
① ② ③ ④ ⑤ ⑩ ⑨ ⑧ ⑦ ⑥ F02333-101 Réglage de la compression de la fourche
② Bouton d'arrêt ( p. 17)
② Bouton d'avertisseur sonore ( p. 18) (tous les modèles EU)
② Contacteur de l'éclairage (p. 18) (tous les modèles EU)
② Bouton de clignotants (p. 19) (tous les modèles EU)
3 Bouton d'arrêt d'urgence ( p. 19) (tous les modèles EU)
③ Bouton de démarrage ( p. 19)
4 Poignée des gaz (p. 17)
5 Réglage de la détente de la fourche
6 Pédale de frein arrière ( p. 24)
7 Regard d'huile moteur
⑧ Réglage de la compression de l'amortisseur
9 Réglage de la détente de l'amortisseur
10 Regard pour le liquide de frein à l'arrière
5.1 Numéro d'identification du véhicule

text_image
① 401945-10Le numéro d'identification du véhicule ① est gravé sur la tête de direction, à droite.
5.2 Plaque signalétique (tous les modèles EU)

text_image
① 401946-10La plaque signalétique ① est placée à l'avant de la tête de direction.
5.3 Numéro de clé (tous les modèles EU)

text_image
1234567 H02475-10Le numéro de la clé ① de l'antivol de direction est gravé sur une plaquette de l'anneau porte-clés.
5.4 Numéro de moteur

Le numéro de moteur 1 est estampé sur le coté gauche du moteur, derrière le sélecteur.
5 NUMÉROS DE SÉRIE
5.5 Référence de la fourche

La référence de la fourche ① est gravée sur la partie interne de la fixation de l'axe de roue avant.
5.6 Référence de l'amortisseur

La référence de l'amortisseur ① est estampée sur la partie supérieure de l'amortisseur, au-dessus de la bague de réglage, orientée vers le côté moteur.
6.1 Levier d'embrayage

Le levier d'embrayage ① est situé sur le côté gauche du guidon. L'embrayage à actionnement hydraulique s'ajuste automatiquement.
6.2 Levier de frein à main

Le levier de frein à main 1 est situé à droite du guidon. Le levier de frein à main permet d'actionner le frein avant.
6.3 Poignée des gaz

La poignée des gaz ① est située à droite du guidon.
6.4 Bouton d'arrêt

(tous les modèles EU)
Le bouton d'arrêt ① se trouve sur le côté gauche du guidon.
6 ÉLÉMENTS DE COMMANDE

Le bouton d'arrêt ① se trouve sur le côté gauche du guidon.
États possibles
- Bouton d'arrêt en position de base – Dans cette position, le circuit d'allumage est fermé et le moteur peut démarrer.
- Bouton d'arrêt enfoncé – Dans cette position, le circuit d'allumage est ouvert, le moteur s'éteint et le moteur à l'arrêt ne démarre pas.
6.5 Bouton d'avertisseur sonore (tous les modèles EU)

Le bouton d'avertisseur sonore ① se trouve sur le côté gauche du guidon.
États possibles
- Bouton d'avertisseur sonore en-position de base
- Bouton d'avertisseur sonore enfoncé – Dans cette position, ce bouton actionne l'avertisseur sonore.
6.6 Contacteur de l'éclairage (tous les modèles EU)

Le contacteur de l'éclairage 1 se trouve sur le côté gauche du guidon.
États possibles
| ≡D | Feu de croisement – Contacteur de l’éclairage en position médiane. Dans cette position, le feu de croisement et le feu arrière sont allumés. |
| ≡D | Feu de route – Contacteur de l’éclairage poussé vers la gauche. Dans cette position, feu de route et le feu arrière sont allumés. |
6.7 Contacteur de l'éclairage (FE 501 US)

Le contacteur de l'éclairage ① est situé à gauche du tableau de bord.
États possibles
- Éclairage éteint – Contacteur de l'éclairage repoussé vers l'intérieur jusqu'en butée. Dans cette position, l'éclairage est éteint.
- Éclairage allumé – Le contacteur de l'éclairage est tiré jusqu'en butée. Dans cette position, le feu de croisement et le feu arrière sont allumés.
6.8 Bouton de clignotants (tous les modèles EU)

Le bouton de clignotants ① se trouve sur le côté gauche du guidon.
États possibles
| Clignotant désactivé – Bouton de clignotants en position médiane. | |
![]() | Clignotant gauche activé – Bouton de clignotants poussé vers la gauche. |
![]() | Clignotant droit activé – Bouton de clignotants poussé vers la droite. |
6.9 Bouton d'arrêt d'urgence (tous les modèles EU)

Le bouton d'arrêt d'urgence 1 est situé à droite sur le guidon.
États possibles
![]() | Allumage désactivé – Dans cette position, le circuit d'allumage est ouvert, le moteur en marche s'éteint et le moteur à l'arrêt ne démarre pas. |
![]() | Allumage activé – Dans cette position, le circuit d'allumage est fermé et le moteur peut démarrer. |
6.10 Bouton de démarrage

(tous les modèles EU)
Le bouton de démarrage 1 est situé à droite sur le guidon.

Le bouton de démarrage ① est situé à droite sur le guidon.
États possibles
- Bouton de démarrage en position de base
- Bouton de démarrage enfoncé – Dans cette position, le démarreur électrique est actionné.
6 ÉLÉMENTS DE COMMANDE
6.11 Commodo

Le commodo est situé à gauche sur le guidon.
États possibles
| 1 | STANDARD – Lorsque la LED 1 est allumée, le Mapping STANDARD est activé. |
| 1TC | STANDARD avec TC – Lorsque les LED 1 et TC sont allumées, le Mapping STANDARD du contrôle de la traction est activé. |
| 2 | ADVANCED – Lorsque la LED 2 est allumée, le Mapping ADVANCED est activé. |
| 2TC | ADVANCED avec TC – Lorsque les LED 2 et TC sont allumées, le Mapping ADVANCED du contrôle de la traction est activé. |

Avertissement
Annulation de l'autorisation de circulation sur routes et de l'assurance Lorsque le commodo est monté, l'éventuelle homologation routière du véhicule est annulée.
- Lorsque le commodo est monté, la moto ne doit être utilisée qu'en circuit fermé et sur des routes non ouvertes au public.
La touche MAP du commodo permet de modifier les caractéristiques moteur.
De plus, le commodo permet d'activer le contrôle de la traction.
6.12 Aperçu des témoins (tous les modèles EU)

![]() | Le voyant de contrôle du feu de route s'allume en bleu – Le feu de route est allumé. |
![]() | Le témoin de dysfonctionnement est allumé/clignote en jaune – Le dispositif de diagnostics matériels (OBD) a détecté une erreur au niveau de l'électronique du véhicule. S'arrêter à un endroit sûr et contacter un atelier Husqvarna Motorcycles agréé. |
![]() | La lampe-témoin du niveau de carburant s'allume en jaune – Le niveau de carburant a atteint le repère de la réserve. |
![]() | Le témoin des clignotants clignote en vert – Le cli-gnotant est allumé. |
6.13 Aperçu des témoins (FE 501 US)

![]() | Le témoin de dysfonctionnement est allumé/clignote en jaune – Le dispositif de diagnostics matériels (OBD) a détecté une erreur au niveau de l'électronique du véhicule. S'arrêter à un endroit sûr et contacter un atelier Husqvarna Motorcycles agréé. |
![]() | Le témoin du niveau de carburant s'allume en orange – Le niveau de carburant a atteint le repère de la réserve. |
6.14 Ouvrir le bouchon du réservoir de carburant

Danger
Risque d'incendie Le carburant est facilement inflammable.
Le carburant contenu dans le réservoir se dilate sous l'effet de la chaleur et peut déborder lorsque le réservoir est trop rempli.
- Ne jamais faire le plein du véhicule à proximité de flammes ou de cigarettes allumées.
- Arrêter le moteur lorsque vous faites le plein.
- S'assurer de ne pas renverser de carburant, notamment sur les parties chaudes du véhicule.
- Essuyer immédiatement tout carburant renversé.
- Respecter les consignes indiquées lorsque vous faites le plein.

Avertissement
Danger d'intoxication Le carburant est toxique et constitue un danger pour la santé.
- Éviter tout contact du carburant avec la peau, les yeux ou les vêtements.
- Consulter immédiatement un médecin en cas d'ingestion de carburant.
- Ne pas respirer les vapeurs d'essence.
- En cas de contact cutané, rincer immédiatement à grande eau la zone touchée.
- En cas de contact du carburant avec les yeux, bien les rincer à l'eau et consulter immédiatement un médecin.
- Si les vêtements sont aspergés de carburant, il faut les changer.
- Stocker le carburant dans un jerrycan approprié, conformément aux directives en vigueur et le tenir hors de portée des enfants.

Remarque
Danger pour l'environnement Une manipulation inadéquate du carburant constitue un danger pour l'environnement.
- Le carburant ne doit pas pénétrer dans la nappe phréatique, le sol ou les canalisations.
6 ÉLÉMENTS DE COMMANDE

- Appuyer sur le bouton de déverrouillage①, tourner le bouchon du réservoir de carburant dans le sens inverse des aiguilles d'une montre et le retirer vers le haut.

6.15 Fermer le bouchon du réservoir de carburant

- Placer le bouchon du réservoir de carburant 1 et tourner dans le sens des aiguilles d'une montre jusqu'à ce que le bouton de déverrouillage s'enclenche.

Info
Poser le flexible de ventilation du réservoir de carburant ② sans le plier.

6.16 Bouton de démarrage à froid

Le bouton de démarrage à froid 1 est situé sur le corps du clapet d'étranglement, en bas.
Lorsque le moteur est froid et que la température ambiante est basse, l'injection électronique de carburant augmente le temps d'injection. Pour permettre au moteur de brûler le volume de carburant additionnel, un apport en oxygène est réalisé en appuyant sur le bouton de démarrage à froid.
Lorsque vous accélérez brièvement et que vous relâchez la poignée des gaz ou que la poignée des gaz est tournée vers l'avant, le bouton de démarrage à froid reprend sa position initiale.

Info
Vérifier si le bouton de démarrage à froid est revenu dans la position de base.
États possibles
- Bouton de démarrage à froid activé – Le bouton de démarrage à froid est enfoncé jusqu'en butée.
- Bouton de démarrage à froid désactivé – Le bouton de démarrage à froid est en position de base.
6.17 Vis de réglage du régime de ralenti

La vis de réglage du régime de ralenti ① permet de régler le régime de ralenti.
La rotation de la vis de réglage du régime de ralenti dans le sens des aiguilles d'une montre augmente le ralenti.
La rotation de la vis de réglage du régime de ralenti dans le sens inverse des aiguilles d'une montre diminue le ralenti.
Le réglage de ralenti du corps du clapet d'étranglement a une forte incidence sur le comportement au démarrage, la stabilité du régime de ralenti et la réponse lors d'accélérations.
Lorsque le régime de ralenti est réglé correctement, le moteur démarre plus facilement que lorsque le régime de ralenti est mal réglé.
6.18 Sélecteur

Le sélecteur 1 est installé sur le côté gauche du moteur.

text_image
2 3 4 5 6 N 1 401950-11La position des vitesses est indiquée sur la figure. Le point mort, ou position neutre, se situe entre la 1ère et la 2ème vitesse.
6 ÉLÉMENTS DE COMMANDE
6.19 Pédale de frein arrière

text_image
1 401956-10La pédale de frein arrière ① se trouve devant le repose-pied de droite.
La pédale de frein arrière permet d'actionner le frein arrière.
6.20 Béquille latérale

La béquille latérale ① est installée du côté gauche de la moto.

text_image
① ② 401944-10La béquille latérale permet de reposer la moto.

Info
La béquille latérale ① doit être relevée avant le départ et retenue avec le caoutchouc de maintien ②.
6.21 Antivol de direction (tous les modèles EU)

L'antivol de direction 1 se situe à gauche sur la tête de direction.
L'antivol de direction permet de bloquer la direction. Il empêche de piloter la moto et donc de la conduire.
6.22 Verrouiller la direction (tous les modèles EU)
Remarque
Danger d'endommagement Le véhicule en stationnement est susceptible de rouler accidentellement ou de tomber.
- Stationner le véhicule sur un sol plan et ferme.

natural_image
Simple black padlock icon on white background (no text or symbols)- Arrêter le véhicule.
- Tourner le guidon complètement à droite.
- Graisser régulièrement l'antivol de direction.
Lubrifiant universel en aérosol (p. 160)
- Introduire la clé de l'antivol de direction dans l'antivol de direction (p. 24) et la tourner vers la gauche, puis l'enfoncer et la tourner vers la droite. Retirer la clé de l'antivol de direction.
√ L'antivol empêche tout mouvement du guidon.

Info
Ne jamais laisser la clé de l'antivol de direction dans l'antivol de direction.

6.23 Déverrouiller la direction (tous les modèles EU)

- Introduire la clé de l'antivol de direction dans l'antivol de direction (p. 24) et la tourner vers la gauche, puis la retirer et la tourner vers la droite. Retirer la clé de l'antivol de direction.
√ Il est à nouveau possible de tourner le guidon.

Info
Ne jamais laisser la clé de l'antivol de direction dans l'antivol de direction.
7.1 Vue d'ensemble du tableau de bord

text_image
1 2 3 4 1257 0.0 0.0 402819-10① Aperçu des témoins (p. 20) (tous les modèles EU)
1 Aperçu des témoins (p. 21) (FE 501 US)
② Touche de gauche
③ Écran
4 Touche de droite
7.2 Activation

text_image
0 1257 0.0 402819-01Activer le tableau de bord
Le tableau de bord est activé lorsqu'une touche est actionnée ou lorsque le capteur de vitesse de rotation de la roue envoie un signal.
7.3 Message sur le tableau de bord

text_image
47° 12:57 DST KM/H 42.7 401901-01États possibles
| Tension de la batterie du tableau de bord – La tension de la batterie du tableau de bord est trop basse. Remplacer la batterie du tableau de bord. | |
| Service – Une révision doit être effectuée. Contacter votre atelier Husqvarna Motorcycles agréé. |
7.4 Régler le tableau de bord

La moto est à l'arrêt.
- Maintenir les deux touches enfoncées pendant 3 à 5 secondes.
√ Le menu Installation est affiché. L'affichage UNIT cli-gnote. - Appuyer sur l'une des touches pour régler l'unité UNIT de vitesse sur kilomètres KM/H ou sur miles M/H.

text_image
24 hr 401911-01- Patienter 5 secondes.
√ Le tableau de bord passe au point de menu suivant. Le symbole dignote.
- Appuyer sur l'une des touches pour sélectionner l'affichage de l'heure en mode 24h ou 12h.

text_image
257 401912-01- Patienter 5 secondes.
√ Le tableau de bord passe au point de menu suivant. Le symbole dignote.
Reculer l'heure
- Appuyer sur la touche de gauche.
√ La valeur diminue.
Avancer l'heure
- Appuyer sur la touche de droite.
√ La valeur augmente.

text_image
15:00 ART 401913-01- Patienter 5 secondes.
√ Le tableau de bord passe au point de menu suivant. Le symbole olignote.
Réduire les intervalles de maintenance
- Appuyer sur la touche de gauche.
√ La valeur diminue.
Rallonger les intervalles de maintenance
- Appuyer sur la touche de droite.
√ La valeur augmente.

text_image
OFF ART 401914-01Désactiver l'affichage d'intervalles de maintenance
- Maintenir la touche de gauche enfoncée.
√ off est affiché à l'écran.
7.5 Régler l'unité kilomètres/miles

Info
Lors d'un changement d'unité, la valeur ODO est conservée et convertie en conséquence.
Condition
La moto est à l'arrêt.
7 TABLEAU DE BORD

- Maintenir les deux touches enfoncées pendant 3 à 5 secondes.
√ Le menu Installation est affiché. L'affichage UNIT cli-gnote. - Appuyer sur l'une des touches pour régler l'unité UNIT de vitesse sur kilomètres KM/H ou sur miles M/H.
7.6 Régler l'heure

text_image
24 hr 401911-01Condition
La moto est à l'arrêt.
- Maintenir les deux touches enfoncées pendant 3 à 5 secondes.
√ Le menu Installation est affiché. L'affichage UNIT cli-gnote. - Patienter jusqu'à ce que le menu de l'heure ©ignote.
- Appuyer sur l'une des touches pour sélectionner l'affichage de l'heure en mode 24h ou 12h.

text_image
257 401912-01- Patienter 5 secondes.
√ Le tableau de bord passe au point de menu suivant. Le symbole clignote.
Reculer l'heure
- Appuyer sur la touche de gauche.
√ La valeur diminue.
Avancer l'heure
- Appuyer sur la touche de droite.
√ La valeur augmente.
7.7 Régler l'affichage du mode Service

text_image
15:00 ART 401913-01Condition
La moto est à l'arrêt.
- Maintenir les deux touches enfoncées pendant 3 à 5 secondes.
√ Le menu Installation est affiché. L'affichage UNIT cli-gnote. - Patienter jusqu'à ce que le menu du mode Service clignote.
Réduire les intervalles de maintenance
- Appuyer sur la touche de gauche.
√ La valeur diminue.
Rallonger les intervalles de maintenance
- Appuyer sur la touche de droite.
√ La valeur augmente.

text_image
OFF ART 401914-01Désactiver l'affichage d'intervalles de maintenance
- Maintenir la touche de gauche enfoncée.
√ off est affiché à l'écran.
7.8 Vitesse, heure et DST distance parcourue 1

text_image
47 KM/H 12:57 DST 42.7 401901-01- Appuyer sur l'une des touches jusqu'à ce que DST soit affiché dans le tableau de bord.
KM/H ou M/H indique la vitesse.
indique l'heure.
DST indique la distance parcourue depuis la dernière réinitialisation, par exemple entre deux pleins de carburant.

Info
Si la valeur 39999,9 est dépassée, alors DST est automatiquement réinitialisé à 0,0.
| Appuyer brièvement sur la touche de gauche. | Mode d'affichage suivant |
| Appuyer sur la touche de gauche pendant 3 - 5 secondes. | DST peut être préréglé entre 0,0 et 39999,9 en appuyant sur les touches. |
| Appuyer brièvement sur la touche de droite. | Mode d'affichage suivant |
| Appuyer sur la touche de droite pendant 3 - 5 secondes. | DST est réinitialisé sur 0,0. |
7.9 Vitesse, heure et DST2 distance parcourue 2

text_image
47° 12:57 DST2 KM/H 360.2 401902-01- Appuyer sur l'une des touches jusqu'à ce que DST2 soit affiché dans le tableau de bord.
KM/H ou M/H indique la vitesse.
indique l'heure.
DST2 indique la distance parcourue 2 depuis la dernière réinitialisation, par exemple entre deux arrêts à la pompe.

Info
Si la valeur 39999,9 est dépassée, alors DST2 est automatiquement réinitialisé à 0,0.
| Appuyer brièvement sur la touche de gauche. | Mode d'affichage suivant |
| Appuyer sur la touche de gauche pendant 3 - 5 secondes. | DST2 peut être préréglé entre 0,0 et 39999,9 en appuyant sur les touches. |
| Appuyer brièvement sur la touche de droite. | Mode d'affichage suivant |
| Appuyer sur la touche de droite pendant 3 - 5 secondes. | DST2 est réinitialisé sur 0,0. |
7.10 Vitesse moyenne AVG, heures d'utilisation ART et distance totale parcourue ODO

text_image
56 AVG KM/H 48:33 ART 2400.6 ODO 401903-01- Appuyer sur l'une des touches jusqu'à ce que AVG, ART et ODO soient affichés sur le tableau de bord.
AVG indique la vitesse moyenne depuis la dernière réinitialisation.
ART indique les heures d'utilisation.
ODO indique la distance totale parcourue.
| Appuyer brièvement sur la touche de gauche. | Mode d'affichage suivant |
| Appuyer sur la touche de gauche pendant 3 - 5 secondes. | Le SYMBOLE DE LA CLÉ PLATE indique le nombre d'heures d'utilisation restantes avant la prochaine révision. |
| Appuyer brièvement sur la touche de droite. | Mode d'affichage suivant |
| Appuyer sur la touche de droite pendant 3 - 5 secondes. | AVG est réinitialisé sur 0,0. |
8.1 Consignes pour la première mise en service

Danger
Risque d'accident Un conducteur qui n'est pas en état de conduire se met en danger lui-même ainsi que les autres.
- Ne conduisez pas si vous avez consommez de l'alcool, des drogues ou des médicaments influant sur la conduite.
- Ne conduisez pas si vous n'êtes pas en état physiquement ou mentalement.

Avertissement
Risque de blessures Ne pas porter de vêtements de protection ou porter des vêtements de protection abîmés constitue un risque pour la sécurité.
- Toujours porter des vêtements de protection adéquats comme un casque, des bottes, des gants, un pantalon et une veste avec protections.
- N'utiliser que des vêtements de protection en parfait état et qui correspondent aux directives légales.

Avertissement
Risque de chute Une différence de sculpture des pneus avant et arrière compromet la tenue de route.
Une différence de sculpture des pneus peut considérablement compliquer le contrôle du véhicule.
– Assurez-vous que les roues avant et arrière soient uniquement équipées de pneus de même profil.

Avertissement
Risque d'accident Une conduite inappropriée modifie le comportement sur route.
- Adapter sa vitesse de conduite à l'état de la chaussée et aux capacités de pilotage.

Avertissement
Risque d'accident Le véhicule n'est pas conçu pour le transport d'un dosseret.
- Ne pas transporter de dosseret.

Avertissement
Risque d'accident En cas de surchauffe, le circuit de freinage n'est plus opérationnel.
Lorsque le pied se trouve sur la pédale de frein arrière, les plaquettes de frein frottent sans interruption.
- Enlever le pied de la pédale de frein arrière dès lors que celle-ci n'est pas utilisée.

Avertissement
Risque d'accident Le poids total et les charges sur essieu modifient le comportement sur route.
- Ne pas dépasser le poids total roulant autorisé et les charges sur essieu.

Avertissement
Risque de vol Les interventions de personnes non autorisées mettent la vie d'autrui en danger, en plus de la leur.
- Ne laissez pas le véhicule sans surveillance lorsque le moteur tourne.
- Protéger le véhicule contre tout accès non autorisé.

Info
Noter que l'utilisation de la moto peut gêner d'autres personnes en cas de bruit excessif.
- S'assurer que les travaux nécessaires lors du contrôle avant-vente ont été effectués par un atelier agréé Husqvarna Motorcycles.
√ Le certificat de livraison est délivré à la remise du véhicule. - Avant d'effectuer le premier trajet, lire attentivement et intégralement le manuel d'utilisation.
- Se familiariser avec les éléments de commande.
- Régler la position de base du levier d'embrayage. (p. 88)
- Régler la position de base du levier de frein à main. (p. 92)
- Régler la position de base de la pédale de frein arrière. ⚡ (p. 98)
- Régler la position de base du sélecteur. (Ap. 133)
- Tester et se familiariser avec la manipulation et la tenue de route de la moto sur une surface appropriée avant d'entreprendre un trajet plus important.

Info
Il est conseillé de pratiquer le sport tout-terrain en compagnie d'une autre personne dans le but de s'entraider en cas de problème.
- En guise de test et pour se familiariser avec la moto, essayer aussi de rouler à vitesse réduite en se tenant debout sur les repose-pieds.
- Ne pas s'aventurer sur des pistes trop difficiles par rapport aux capacités et expériences personnelles.
- Toujours tenir le guidon à deux mains et laisser les pieds sur les repose-pieds.
- En cas de transport de bagages, les arrimer de manière fiable, le plus près possible du centre du véhicule, et répartir les poids harmonieusement sur la roue avant et la roue arrière.

Info
Les motos réagissent de manière très sensible à toute modification de la répartition des charges.
- Respecter le poids total roulant autorisé ainsi que les charges maximales autorisées sur les essieux. Indications prescrites
| Poids total roulant autorisé 335 kg (739 lb.) | |
| Charge maximale admissible sur l'axe avant 145 kg | (320 lb.) |
| Charge maximale admissible sur l'essieu arrière 190 | kg (419 lb.) |

Info
La tension des rayons doit être contrôlée au bout d'une demi-heure de fonctionnement.
- Roder le moteur. (p. 32)
8.2 Roder le moteur
- Pendant la période de rodage, ne pas dépasser le nombre de tours et la puissance spécifiés pour le moteur.
Indications prescrites
| Régime moteur maximal | |
| Pendant la première heure d'utilisation 7.000 tr/min | |
| Puissance moteur maximale | |
| Au cours des 3 premières heures d'utilisation ≤ | 75 % |
- Éviter de rouler à plein régime !
8.3 Puissance de démarrage des batteries lithium-ion à basses températures

Les batteries lithium-ion sont nettement plus légères que les batteries au plomb, bénéficient d'une autodécharge faible et d'une puissance de démarrage supérieure au dessus de 15 °C (60 °F). La puissance de démarrage des batteries lithium-ion diminue cependant davantage à basses températures que celle des batteries au plomb.
Plusieurs essais de démarrage peuvent être utiles. Appuyer sur le bouton de démarrage pendant 5 secondes, puis patienter 30 secondes avant de recommencer. Il est nécessaire de faire des pauses pour que la chaleur accumulée puisse se répartir dans la batterie lithium-ion et pour ne pas endommager celle-ci. Si, à des températures inférieures à 15 °C (60 °F), la batterie lithium-ion ne parvient pas ou pas suffisamment à faire tourner le démarreur alors qu'elle est chargée, cela ne signifie pas qu'elle est défectueuse, mais qu'elle doit simplement être réchauffée à l'intérieur afin d'augmenter la puissance de démarrage (courant délivré).
La puissance de démarrage augmente avec le réchauffement.
8.4 Préparer le véhicule pour des conditions d'utilisation difficiles

Info
Une utilisation du véhicule dans des conditions extrêmes, telles que dans le sable ou sur un terrain détrempé ou boueux, risque d'entraîner une usure plus importante de composants tels les organes d'entraînement, le système de freinage ou les composants de la suspension. De telles conditions imposent un contrôle ou un remplacement des composants avant que l'intervalle d'entretien suivant n'ait été atteint.
- Nettoyer le filtre à air et le boîtier du filtre à air. (p. 72)

Info
Contrôler le filtre à air toutes les 30 minutes environ.
- Vérifier les fiches électriques (humidité, corrosion, fixation).
» En présence d'humidité, de corrosion ou de dommages :
- Nettoyer, sécher les fiches et les remplacer si nécessaire.
Les conditions d'utilisation difficiles sont les suivantes :
– Trajets sur sable sec. (p. 34)
– Trajets sur sable humide. (p. 34)
– Trajets sur voies humides et boueuses. (p. 35)
- Trajets à températures extérieures élevées ou trajets lents. (p. 36)
- Trajets à faibles températures extérieures ou en cas de neige. ( p. 36)
8.5 Préparation du véhicule aux trajets sur sable sec

text_image
TwinAir DUSTCOVER 102136-01- Mettre en place la protection contre les poussières sur le filtre à air.
Protection contre la poussière sur le filtre à air (79006920000)

Info
Respecter le manuel de montage des accessoires Husqvarna Motorcycles.

- Mettre en place la protection contre le sable sur le filtre à air.
Protection contre le sable sur le filtre à air (79006922000)

Info
Respecter le manuel de montage des accessoires Husqvarna Motorcycles.

- Nettoyer la chaîne.
- Monter le pignon de chaîne d'acier.
- Graisser la chaîne.
Lubrifiant universel en aérosol (p. 160)
- Nettoyer les ailettes du radiateur.
- Redresser avec précaution les ailettes du radiateur tordues.

- Remplacer le ressort d'embrayage.
Ressort d'embrayage dur (78932005000)
8.6 Préparation du véhicule aux trajets sur sable humide

text_image
TwinAir RAINCOAT 102137-01- Mettre en place la protection contre l'eau sur le filtre à air.
Protection contre l'eau sur le filtre à air (79006921000)

Info
Respecter le manuel de montage des accessoires Husqvarna Motorcycles.

- Nettoyer la chaîne.
- Monter le pignon de chaîne d'acier.
- Graisser la chaîne.
Lubrifiant universel en aérosol (p. 160)
- Nettoyer les ailettes du radiateur.
- Redresser avec précaution les ailettes du radiateur tordues.

- Remplacer le ressort d'embrayage.
Ressort d'embrayage dur (78932005000)

8.7 Préparation du véhicule aux trajets sur voies humides et boueuses

text_image
TwinAir RAUNCOAT 102137-01- Mettre en place la protection contre l'eau sur le filtre à air.
Protection contre l'eau sur le filtre à air (79006921000)

Info
Respecter le manuel de montage des accessoires Husqvarna Motorcycles.

- Monter le pignon de chaîne d'acier.
- Nettoyer la moto. (p. 140)
- Redresser avec précaution les ailettes du radiateur tordues.

- Remplacer le ressort d'embrayage.
Ressort d'embrayage dur (78932005000)

8.8 Préparation du véhicule aux températures extérieures élevées ou aux trajets lents

- Adapter la démultiplication secondaire au trajet.

Info
L'huile moteur devient rapidement brûlante lorsque l'embrayage est manipulé fréquemment en raison d'une démultiplication secondaire trop longue.
- Nettoyer la chaîne.
Nettoyant pour chaîne ( p. 160)
- Nettoyer les ailettes du radiateur.
- Redresser avec précaution les ailettes du radiateur tordues.
- Vérifier le niveau de liquide de refroidissement. (p. 125)

8.9 Préparation du véhicule aux faibles températures extérieures ou à la neige

text_image
TwinAir RAINCOAT 102137-01- Mettre en place la protection contre l'eau sur le filtre à air.
Protection contre l'eau sur le filtre à air (79006921000)

Info
Respecter le manuel de montage des accessoires Husqvarna Motorcycles.

9.1 Travaux de contrôle et d'entretien avant chaque mise en service

Info
Contrôler l'état du véhicule et la sécurité de fonctionnement avant chaque trajet.
Pendant le trajet, le véhicule doit être en parfait état technique.

text_image
H02217-01- Vérifier le niveau d'huile moteur. (p. 135)
- Contrôler l'équipement électrique.
- Vérifier le niveau de liquide de frein à l'avant. (p. 93)
- Contrôler le niveau de liquide de frein à l'arrière. ( p. 99)
- Contrôler les plaquettes de frein avant. (p. 94)
- Contrôler les plaquettes de frein arrière. (p. 100)
- Vérifier le fonctionnement du système de frein.
- Vérifier le niveau de liquide de refroidissement. (p. 125)
- Vérifier l'état d'encrassement de la chaîne. (p. 81)
- Vérifier la chaîne, la couronne, le pignon et le guide-chaîne. (p. 84)
- Contrôler la tension de la chaîne. ( p. 82)
- Vérifier l'état des pneus. (p. 108)
- Vérifier la pression des pneus. (p. 108)
- Contrôler la tension des rayons. (p. 109)

Info
La tension des rayons doit être contrôlée régulièrement, car une mauvaise tension peut grandement mettre en danger le pilote.
- Nettoyer les cache-poussières des bras de fourche. (p. 58)
– Purger les bras de fourche. (p. 57) - Contrôler le filtre à air.
- Vérifier le réglage et la souplesse de tous les éléments de commande.
- Vérifier régulièrement que toutes les vis, tous les écrous et tous les colliers sont bien serrés.
- Vérifier la réserve de carburant.
9.2 Démarrer le véhicule

Danger
Danger d'intoxication Les gaz d'échappement sont toxiques et peuvent faire perdre conscience voire entraîner la mort.
- Veillez donc en permanence à une aération suffisante lorsque le moteur tourne.
- Utilisez un système d'extraction des gaz d'échappement approprié si vous démarrez ou faites tourner le moteur dans une pièce fermée.
Remarque
Dommages sur le moteur Lorsque le moteur est froid, les régimes élevés ont une influence négative sur la longévité des composants.
- Faites chauffer le moteur uniquement à bas régime.
9 CONSEILS D'UTILISATION

text_image
① ② 401944-10
- Relever la béquille latérale ① de la moto et bloquer la béquille avec le caoutchouc de maintien ②.
- Mettre la boîte de vitesses au point mort.
Condition
Température ambiante : < 20 °C (< 68 °F)
- Enfoncer le bouton de démarrage à froid jusqu'en butée.
- Enfoncer le bouton de démarrage.

Info
Appuyer au maximum 5 secondes sur le bouton de démarrage. Attendre 30 secondes jusqu'au prochain essai.
Lorsque la température est inférieure à 15 °C (60 °F), plusieurs tentatives de démarrage peuvent être requises pour réchauffer la batterie lithium-ion et augmenter ainsi la puissance de démarrage.
Le témoin de dysfonctionnement s'allume pendant le démarrage.
9.3 Activer le contrôle de la traction

Avertissement
Annulation de l'autorisation de circulation sur routes et de l'assurance Lorsque le commodo est monté, l'éventuelle homologation routière du véhicule est annulée.
- Lorsque le commodo est monté, la moto ne doit être utilisée qu'en circuit fermé et sur des routes non ouvertes au public.

Info
Le contrôle de la traction réduit la perte d'adhérence de la roue arrière pour un meilleur contrôle et une meilleure traction, notamment par temps de pluie.
Lorsque le contrôle de la traction est coupé, la roue arrière risque de patiner plus fort lors des fortes accélérations ou sur sols à faible adhérence.
Le contrôle de la traction peut également être activé ou désactivé pendant la conduite.
Le dernier réglage sélectionné reste activé au démarrage suivant.

text_image
TC 1 2 (TC) MAP H02885-01- Appuyer sur la touche TC pour activer ou désactiver le contrôle de la traction.
Indications prescrites
Régime moteur ≤ 4.000 tr/min
√ La LED TC est allumée lorsque le contrôle de la traction est activé.
9.4 Démarrer

Info
La béquille latérale doit être relevée avant le départ et retenue avec le caoutchouc de maintien.
- Tirer sur le levier d'embrayage, passer la première, relâcher lentement le levier d'embrayage tout en accélérant avec précaution.
9.5 Passer les vitesses, conduire

Avertissement
Risque d'accident Rétrograder à régime moteur élevé bloque la roue arrière et emballe le moteur.
- Ne rétrogradez pas à un régime moteur élevé.

Info
En cas de bruits anormaux pendant la conduite, il convient de s'arrêter immédiatement, d'éteindre le moteur et de contacter un atelier agréé Husqvarna Motorcycles. La première vitesse sert à démarrer ou à gravir les côtes.
- Lorsque les circonstances le permettent (côte, circulation, etc.), passer la vitesse supérieure. Pour cela, relâcher la poignée des gaz et tirer simultanément sur le levier d'embrayage, passer à la vitesse suivante, relâcher l'embrayage et accélérer.
- Après avoir atteint la vitesse maximale en tournant à fond la poignée des gaz, ramener cette dernière aux ^34 . La vitesse diminue à peine, mais la consommation est fortement réduite.
- Ne pas accélérer plus que nécessaire. Faire tourner trop brusquement la poignée des gaz fait augmenter la consommation.
- Pour rétrograder d'un rapport, freiner et relâcher simultanément la poignée des gaz.
- Tirer sur le levier d'embrayage, engager la vitesse inférieure, relâcher doucement le levier d'embrayage et accélérer ou changer à nouveau de vitesse.
- Couper le moteur si le véhicule doit tourner au régime de ralenti ou rester à l'arrêt pendant une période prolongée.
Indications prescrites
≥ 2 min - Éviter de faire patiner l'embrayage trop longtemps et trop souvent. Cela entraîne une surchauffe de l'huile moteur, du moteur et du système de refroidissement.
- Rouler à faible régime plutôt qu'à haut régime en faisant patiner l'embrayage.
9.6 Freiner

Avertissement
Risque d'accident Un freinage excessif entraîne le blocage des roues.
- Adapter le freinage à l'état de la chaussée et aux capacités de pilotage.
9 CONSEILS D'UTILISATION

Avertissement
Risque d'accident Une résistance réduite des freins avant et arrière indique une efficacité diminuée du freinage.
- Contrôlez les freins et ne conduisez pas avant que le problème ne soit résolu. (Votre atelier Husqvarna Motorcycles agréé se tient volontiers à votre disposition.)

Avertissement
Risque d'accident L'humidité et la poussière compromettent le système de freinage.
- Freinez plusieurs fois avec précaution afin de faire sécher les plaquettes et les disques de frein et d'enlever la poussière.
– Actionner principalement le frein de roue arrière sur les sols sablonneux, glissants ou par temps de pluie.
- Freiner toujours avant le virage et jamais dans le virage. Rétrograder en fonction de la vitesse du véhicule.
- Dans les longues descentes, utiliser le frein moteur. Pour cela, rétrograder d'un ou deux rapports sans toutefois emballer le moteur. Le freinage requis est ainsi moins important et le système de frein ne surchauffe pas.
9.7 S'arrêter et béquiller

Avertissement
Risque de vol Les interventions de personnes non autorisées mettent la vie d'autrui en danger, en plus de la leur.
- Ne laissez pas le véhicule sans surveillance lorsque le moteur tourne.
- Protéger le véhicule contre tout accès non autorisé.

Avertissement
Risque de brûlures Certaines pièces du véhicule deviennent brûlantes pendant la conduite du véhicule.
- Ne pas toucher les composants tels que l'échappement, le radiateur, le moteur, l'amortisseur ou le système de frein avant que ces composants ne soient refroidis.
- Laisser refroidir les pièces du véhicule avant de commencer les travaux.
Remarque
Détérioration du matériel Un stationnement inadapté endommage le véhicule.
Si le véhicule roule ou tombe, il risque d'être fortement endommagé.
Les composants pour béquiller le véhicule sont conçus uniquement pour le poids du véhicule.
- Stationner le véhicule sur un sol plan et ferme.
- Assurez-vous que personne ne soit sur le véhicule lorsqu'il est stationné à l'aide de la béquille.
Remarque
Risque d'incendie Les pièces chaudes du véhicule présentent un danger d'incendie et d'explosion.
- Ne laissez pas le véhicule à proximité de matériaux facilement inflammables ou explosifs.
- Laissez le véhicule refroidir avant de le recouvrir.
- Freiner la moto.
- Mettre la boîte de vitesses au point mort.
- Actionner le bouton d'arrêt au ralenti moteur jusqu'à l'arrêt du moteur.
- Garer la moto sur une surface stable.
9.8 Transport
Remarque
Danger d'endommagement Le véhicule en stationnement est susceptible de rouler accidentellement ou de tomber.
- Stationner le véhicule sur un sol plan et ferme.
Remarque
Risque d'incendie Les pièces chaudes du véhicule présentent un danger d'incendie et d'explosion.
- Ne laissez pas le véhicule à proximité de matériaux facilement inflammables ou explosifs.
- Laissez le véhicule refroidir avant de le recouvrir.

- Arrêter le moteur.
- Bloquer la moto avec des tendeurs ou d'autres dispositifs de fixation adaptés pour l'empêcher de tomber ou de rouler accidentellement.
9.9 Faire le plein de carburant

Danger
Risque d'incendie Le carburant est facilement inflammable.
Le carburant contenu dans le réservoir se dilate sous l'effet de la chaleur et peut déborder lorsque le réservoir est trop rempli.
- Ne jamais faire le plein du véhicule à proximité de flammes ou de cigarettes allumées.
- Arrêter le moteur lorsque vous faites le plein.
- S'assurer de ne pas renverser de carburant, notamment sur les parties chaudes du véhicule.
- Essuyer immédiatement tout carburant renversé.
- Respecter les consignes indiquées lorsque vous faites le plein.

Avertissement
Danger d'intoxication Le carburant est toxique et constitue un danger pour la santé.
- Éviter tout contact du carburant avec la peau, les yeux ou les vêtements.
- Consulter immédiatement un médecin en cas d'ingestion de carburant.
- Ne pas respirer les vapeurs d'essence.
- En cas de contact cutané, rincer immédiatement à grande eau la zone touchée.
- En cas de contact du carburant avec les yeux, bien les rincer à l'eau et consulter immédiatement un médecin.
- Si les vêtements sont aspergés de carburant, il faut les changer.
Remarque
Détérioration du matériel Un carburant de qualité insuffisante encrasse plus rapidement le filtre à carburant.
Dans certains pays et régions, la qualité et la propreté du carburant disponible sont insuffisantes. Cela peut occasionner des défaillances du circuit de carburant.
- Faites uniquement le plein avec du carburant propre qui répond à la norme prescrite. (Votre atelier Husqvarna Motorcycles agréé se tient volontiers à votre disposition.)
9 CONSEILS D'UTILISATION

Remarque
Danger pour l'environnement Une manipulation inadéquate du carburant constitue un danger pour l'environnement.
- Le carburant ne doit pas pénétrer dans la nappe phréatique, le sol ou les canalisations.

text_image
A 401226-10- Arrêter le moteur.
- Ouvrir le bouchon du réservoir de carburant. (p. 21)
- Remplir le réservoir de carburant au maximum jusqu'au repère A.
Indications prescrites
| Repère A | 35 mm (1,38 in) | |
| Capacité totale du réservoir à carburant env. (tous les modèles EU) | ||
| Supercarburant sans plomb (ROZ 95/RON 95/PON 91) ( p. 159) | 9 l (2,4 US gal) | |
| Capacité totale du réservoir à carburant env. (FE 501 US) | ||
| Supercarburant sans plomb (ROZ 95/RON 95/PON 91) ( p. 159) | 8,2 l (2,17 US gal) | |
- Fermer le bouchon du réservoir de carburant. (p. 22)
10.1 Informations additionnelles
Tous les travaux supplémentaires résultant des opérations obligatoires ou des mesures recommandées doivent faire l'objet d'une procédure séparée et sont facturés séparément.
En fonction des conditions de conduite locales, les intervalles de maintenance peuvent différer dans le pays d'utilisation.
Dans le cadre de l'évolution technique, il est possible que certains intervalles d'entretien et services soient modifiés. Le dernier plan d'entretien en vigueur est toujours disponible sur la plateforme Dealer.net de Husqvarna Motorcycles. Votre concessionnaire Husqvarna Motorcycles agréé est là pour vous conseiller.
10.2 Travaux obligatoires
| toutes les 10 heures d'utilisation en cas d'utilisation sportive toutes les 45 heures d'utilisation toutes les 30 heures d'utilisation toutes les 15 heures d'utilisation après une heure d'utilisation | |||||
| Relever la mémoire d'erreurs avec le boîtier diagnostic Husqvarna Motorcycles. ⚠ ⚠ ⚠ | |||||
| Vérifier le bon fonctionnement de l'équipement électrique. Ⓞ ⚠ ⚠ ⚠ | |||||
| Vérifier et charger la batterie 12 V. ⚠ ⚠ ⚠ | |||||
| Contrôler les plaquettes de frein avant. ( p. 94) ⚠ ⚠ ⚠ | |||||
| Contrôler les plaquettes de frein arrière. ( p. 100) ⚠ ⚠ ⚠ | |||||
| Vérifier les disques de frein. ( p. 92) ⚠ ⚠ ⚠ | |||||
| Vérifier l'état et l'étanchéité des durites de frein. ⚠ ⚠ ⚠ | |||||
| Contrôler le niveau de liquide de frein à l'arrière. ( p. 99) ⚠ ⚠ ⚠ | |||||
| Vérifier la course libre de la pédale de frein arrière. ( p. 97) | ● | ● | ● | ● | |
| Contrôler le cadre. (p. 86) | ● | ● | ● | ● | |
| Vérifier le bras oscillant. (p. 86) | ● | ● | ● | ● | |
| Vérifier le jeu éventuel du roulement du bras oscillant. | ● | ||||
| Vérifier le jeu des paliers de pivot. | ● | ● | ● | ||
| Vérifier l'articulation de l'amortisseur. | ● | ● | ● | ||
| Vérifier l'état des pneus. ( p. 108) | ○ | ● | ● | ● | |
| Vérifier la pression des pneus. ( p. 108) | ○ | ● | ● | ● | |
| Vérifier le jeu éventuel du roulement de roue. | ● | ● | ● | ● | |
| Vérifier les moyeux de roue. | ● | ● | ● | ● | |
| Vérifier que les jantes ne sont pas voilées. | ○ | ● | ● | ● | |
| Contrôler la tension des rayons. ( p. 109) | ○ | ● | ● | ● | |
| Vérifier la chaîne, la couronne, le pignon et le guide-chaîne. ( p. 84) | ● | ● | ● | ● | |
| Contrôler la tension de la chaîne. ( p. 82) | ○ | ● | ● | ● | |
| Graisser toutes les pièces mobiles (par ex. béquille latérale, levier, chaîne...) et vérifier leur liberté de mouvement. | ● | ● | ● | ● | |
| Vérifier/rectifier le niveau de liquide d'embrayage hydraulique. ( p. 88) | ● | ● | ● | ● | |
| Vérifier le niveau de liquide de frein à l'avant. ( p. 93) | ● | ● | ● | ● | |
| Vérifier la course libre du levier de frein à main. | ● | ● | ● | ● | |
| Vérifier le jeu du palier de la tête de direction. ( p. 63) | ○ | ● | ● | ● | |
| Vérifier le jeu aux soupapes. | ○ | ● | |||
| Vérifier l'embrayage. | ● | ● | |||
| Remplacer l'huile moteur et le filtre à huile, nettoyer les crépines d'huile. ⚠ ( p. 135) | ○ | ● | ● | ● | ● |
| toutes les 10 heures d'utilisation en cas d'utilisation sportivetoutes les 45 heures d'utilisationtoutes les 30 heures d'utilisationtoutes les 15 heures d'utilisationaprès une heure d'utilisation | ||||
| Inspector tous les flexibles (par ex. flexibles de carburant, de liquide de refroidissement, de purge, de vidange...) et les cache-poussière à la recherche de fissures ou de défauts d'étanchéité, et vérifier que leur montage est correct. | ○ | ● | ● | ● |
| Vérifier l'antigel et le niveau de liquide de refroidissement. ( p. 124) | ○ | ● | ● | ● |
| Vérifier que les câbles ne sont pas endommagés et qu'ils ne sont pas pliés. | ● | ● | ● | |
| Vérifier l'état des câbles d'accélérateur, l'absence de pliures et le réglage. | ○ | ● | ● | ● |
| Nettoyer le filtre à air et le boîtier du filtre à air. ( p. 72) | ● | ● | ● | |
| Remplacer la garniture de laine de roche du silencieux arrière. ( p. 77) | ● | |||
| Effectuer l'entretien de la fourche. | ||||
| Effectuer l'entretien de l'amortisseur. | ||||
| Vérifier le serrage des vis et écrous faciles d'accès et importants pour la sécurité. | ○ | ● | ● | ● |
| Vérifier le réglage du phare. ( p. 121) | ○ | ● | ● | ● |
| Remplacer la crépine à essence. (p. 134) | ○ | ● | ● | ● |
| Vérifier la pression de carburant. | ● | ● | ● | |
| Contrôler le régime de ralenti. | ○ | ● | ● | ● |
| Vérifier le fonctionnement du ventilateur de radiateur. | ○ | ● | ● | ● |
| Vérifier la pipe d'admission. (FE 501 US) | ● | |||
| Contrôle final : vérifier la sécurité routière du véhicule et effectuer un essai sur route. | ○ | ● | ● | ● |
| Consulter la mémoire d'erreurs avec le boîtier diagnostic Husqvarna Motorcycles à l'issue de la marche d'essai. | ○ | ● | ● | ● |
| Faire le rapport des interventions sur la plateforme Husqvarna Motorcycles Dealer.net. | ○ | ● | ● | ● |
- Intervalle unique
• Intervalle périodique
10.3 Travaux recommandés
| toutes les 135 heures d'utilisation | |||
| toutes les 70 heures d'utilisation en cas d'utilisation sportiveaprès 20 heures d'utilisationaprès 10 heures d'utilisation | |||
| tous les 12 mois | |||
| Remplacer le liquide de frein à l'avant. | ● | ||
| Remplacer le liquide de frein à l'arrière. | ● | ||
| Remplacer le liquide d'embrayage hydraulique. ( p. 89) | ● | ||
| Graisser le palier de la tête de direction. ( p. 65) | ● | ||
| Nettoyer le système « Sparkarrestor ». (FE 501 US) ( p. 75) | ● | ||
| Effectuer l'entretien de la fourche. | ○ | ||
| Effectuer l'entretien de l'amortisseur. | ○ | ||
| Remplacer le filtre à carburant. | ● | ||
| toutes les 135 heures d'utilisation toutes les 70 heures d'utilisation en cas d'utilisation sportive après 20 heures d'utilisation après 10 heures d'utilisation tous les 12 mois | ||
| Effectuer un entretien, y compris un démontage et un montage du moteur (Rempla- cer la bougie et la fiche de bougie d'allumage. Remplacer le piston. Vérifier/mesurer le cylindre. Contrôler la culasse. Remplacer les soupapes, les ressorts de soupape et la rondelle d'appui du ressort de soupape. Vérifier l'arbre à cames, le culbuteur et les axes du culbuteur. Remplacer la bielle, les paliers de bielle et les manetons. Rempla- cer la bague d'étanchéité de la pompe à eau. Vérifier la boîte de vitesses et l'engage- ment des rapports. Vérifier la soupape de régulation de pression de l'huile. Rempla- cer la pompe aspirante. Vérifier la pompe de refoulement et le système de graissage. Contrôler le module de commande. Remplacer la chaîne de distribution. Remplacer tous les paliers du moteur. Remplacer la roue libre.) | • • | |
- Intervalle unique
- Intervalle périodique
11.1 Contrôler le réglage de base de la partie-cycle en fonction du poids du pilote
i Info Lors
Lors du réglage de base de la partie-cycle, régler d'abord l'amortisseur et ensuite la fourche.

- Pour obtenir un comportement optimal de la machine et pour ne pas endommager la fourche, l'amortisseur, le bras oscillant ou le cadre, adapter le réglage de base des éléments de suspension au poids du pilote.
- À la livraison, les motos Husqvarna sont prévues pour un poids conducteur standard (y compris l'équipement de protection au complet).
Indications prescrites
| Poids standard du conduc- teur | 75 ... 85 kg (165 ... 187 lb.) |
- Si le poids du pilote n'est pas compris dans ces limites, il convient de modifier le réglage de base des suspensions en conséquence.
- Une petite différence de poids peut être compensée par un réglage de la précontrainte des ressorts ; une différence plus importante exige la mise en place de ressorts correspondants.
11.2 Amortissement en compression de l'amortisseur
L'amortissement en compression de l'amortisseur est divisé en deux plages, la Grande Vitesse et la Petite Vitesse.
La Grande et Petite Vitesse sont des paramètres qui se réfèrent à la vitesse de compression de l'amortisseur de la roue arrière, et non à la vitesse de la moto.
L'élément de réglage de compression Grande Vitesse se ressent par exemple à l'atterrissage suite à un saut ; la compression de l'amortisseur de la roue arrière agit alors rapidement.
L'élément de réglage de compression Petite Vitesse se ressent par exemple en cas de conduite sur une chaussée comportant de longs dos d'âne ; la compression de l'amortisseur de la roue arrière agit alors lentement.
Ces deux paramètres sont réglables indépendamment l'un de l'autre, même si la transition entre la Grande et la Petite Vitesse reste fluide. C'est pourquoi les modifications des réglages dans la plage Petite Vitesse de compression de la fourche agissent également sur la plage Grande Vitesse et inversement.
11.3 Régler l'amortissement en compression de Petite Vitesse de l'amortisseur

Attention
Risque de blessures Les pièces de l'amortisseur seront projetées si celui-ci est mal démonté.
L'amortisseur est rempli d'azote haute densité.
- Respectez la description indiquée. (Votre atelier Husqvarna Motorcycles agréé se tient volontiers à votre disposition.)
i Info L'élé
Info
L'élément de réglage de compression Petite Vitesse se fait sentir lorsque l'enfoncement de l'amortisseur est de lent à normal.

text_image
① ② S03550-10- Visser la vis de réglage ① dans le sens des aiguilles d'une montre, avec un tournevis, jusqu'au dernier cran perceptible.

Info
Ne pas desserrer le raccord vissé ② !
- Tourner dans le sens inverse des aiguilles d'une montre en effectuant le nombre de crans correspondant au type d'amortisseur.
Indications prescrites
| Amortissement en compression Lowspeed | |
| Confort 17 clics | |
| Standard 15 clics | |
| Sport 13 clics | |

Info
La rotation dans le sens des aiguilles d'une montre augmente l'amortissement, la rotation dans le sens inverse le réduit.

11.4 Régler l'amortissement en compression de Grande Vitesse de l'amortisseur

Attention
Risque de blessures Les pièces de l'amortisseur seront projetées si celui-ci est mal démonté.
L'amortisseur est rempli d'azote haute densité.
- Respectez la description indiquée. (Votre atelier Husqvarna Motorcycles agréé se tient volontiers à votre disposition.)

Info
L'élément de réglage de compression Grande Vitesse se fait sentir lorsque l'enfoncement de l'amortisseur est rapide.

text_image
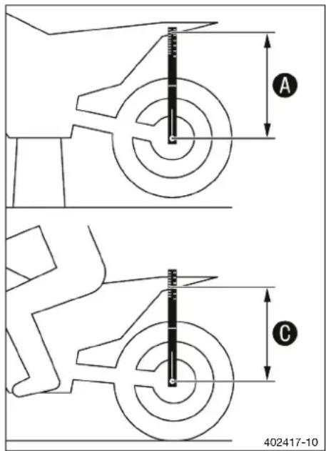
① ② ① S03551-10- Visser la vis de réglage ① dans le sens des aiguilles d'une montre jusqu'en butée à l'aide d'une clé plate.

Info
Ne pas desserrer le raccord vissé ② !
- Tourner dans le sens inverse des aiguilles d'une montre du nombre de tours correspondant au type d'amortisseur. Indications prescrites
| Amortissement en compression Highspeed | |
| Confort 2,5 tours | |
| Standard 2 tours | |
| Sport 1,5 tour | |
11 ADAPTER LA PARTIE-CYCLE

Info
La rotation dans le sens des aiguilles d'une montre augmente l'amortissement, la rotation dans le sens inverse le réduit.
11.5 Régler l'amortissement en détente de l'amortisseur

Attention
Risque de blessures Les pièces de l'amortisseur seront projetées si celui-ci est mal démonté. L'amortisseur est rempli d'azote haute densité.
- Respectez la description indiquée. (Votre atelier Husqvarna Motorcycles agréé se tient volontiers à votre disposition.)

- Visser la vis de réglage ① dans le sens des aiguilles d'une montre jusqu'au dernier cran perceptible.
- Tourner dans le sens inverse des aiguilles d'une montre en effectuant le nombre de crans correspondant au type d'amortisseur.
Indications prescrites
| Amortissement de détente | |
| Confort 17 clics | |
| Standard 15 clics | |
| Sport 13 clics | |

Info
Tourner dans le sens des aiguilles d'une montre augmente l'amortissement, tourner dans le sens inverse réduit l'amortissement lors de la détente.
11.6 Déterminer la valeur d'enfoncement à vide de la roue arrière
Préparatifs
- Surélever la moto sur un socle réglable. ( p. 57)

text_image
SAG A 402415-10Travail principal
- Placer la jauge de profondeur sur l'essieu arrière et mesurer l'écart avec le repère SAG sur le garde-boue arrière.
Jauge de profondeur (00029090500)
Broche enfoncement (00029990010)
- Noter cette mesure en tant que valeur A.
Retouche
- Retirer la moto du socle réglable. (p. 57)
11.7 Vérifier l'enfoncement statique de l'amortisseur

text_image
A B 402416-10- Déterminer la valeur Ⓐ d'enfoncement à vide de la roue arrière. ( p. 48)
- Demander à une tierce personne de maintenir la moto en position verticale.
- Mesurer à nouveau l'écart entre l'essieu arrière et le repère SAG sur le garde-boue arrière, avec la jauge de profondeur.
- Noter cette mesure en tant que valeur B.

Info
L'enfoncement statique est la différence entre les valeurs A et B.
- Vérifier l'enfoncement statique.
Enfoncement statique 37 mm (1,46 in)
» Lorsque l'enfoncement statique est inférieur ou supérieur à la valeur indiquée :
- Régler la prétension du ressort de l'amortisseur. ♣ (p. 50)
11.8 Vérifier l'enfoncement en charge de l'amortisseur

text_image
A C 402417-10- Déterminer la valeur Ⓐ d'enfoncement à vide de la roue arrière. (p. 48)
- Avec l'aide d'une personne tenant la moto en équilibre, le pilote entièrement équipé s'assied en position normale (les pieds sur les repose-pieds) et fait jouer plusieurs fois la suspension de la roue.
√ La suspension de la roue arrière prend sa position d'équilibre. - Une autre personne doit maintenant mesurer à nouveau l'écart entre l'essieu arrière et le repère SAG sur le garde-boue arrière, avec la jauge de profondeur.
- Noter cette mesure en tant que valeur Ⓔ.

Info
L'enfoncement en charge est la différence entre les valeurs A et C.
- Vérifier l'enfoncement en charge.
Enfoncement en charge 110 mm (4,33 in)
» Lorsque l'enfoncement en charge ne correspond pas à la valeur spécifiée :
- Régler l'enfoncement en charge. (p. 51)
11.9 Régler la prétension du ressort de l'amortisseur

Attention
Risque de blessures Les pièces de l'amortisseur seront projetées si celui-ci est mal démonté. L'amortisseur est rempli d'azote haute densité.
- Respectez la description indiquée. (Votre atelier Husqvarna Motorcycles agréé se tient volontiers à votre disposition.)

Info
Avant de modifier la prétension du ressort, noter le réglage actuel, par ex. mesurer la longueur du ressort.
Préparatifs
- Surélever la moto sur un socle réglable. (p. 57)
- Déposer l'amortisseur. (p. 66)
- Une fois qu'il est déposé, nettoyer à fond l'amortisseur.

text_image
① ② A 402659-10Travail principal
- Desserrer la vis 1.
- Desserrer la bague de réglage ② jusqu'à ce que le ressort soit complètement détendu.
Clé à crochet (90129051000)

Info
Si le ressort ne peut pas être complètement détendu, il faut alors le retirer pour mesurer avec précision sa longueur.
- Mesurer la longueur totale du ressort à l'état détendu.
- Tendre le ressort en tournant l'écrou de réglage ② jusqu'à la valeur Ⓐ prescrite.
Indications prescrites
Prétension du ressort 10 mm (0,39 in)

Info
En fonction de l'enfoncement statique ou en charge souhaité, une prétension de ressort plus élevée ou plus faible peut être nécessaire.
- Serrer la vis 1.
Indications prescrites
Vis écrou de réglage amortisseur M5 5 Nm (3,7 lbf ft)
Retouche
- Monter l'amortisseur. (p. 68)
- Retirer la moto du socle réglable. (p. 57)
11.10 Régler l'enfoncement en charge

- Surélever la moto sur un socle réglable. (p. 57)
- Déposer l'amortisseur. (p. 66)
- Une fois qu'il est déposé, nettoyer à fond l'amortisseur.
Travail principal
- Choisir et installer un ressort adéquat.
Indications prescrites
| Taux d'élasticité | |
| Poids du pilote : 65 ...75 kg (143 ... 165 lb.) | 39 N/mm (223 lb/in) |
| Poids du pilote : 75 ...85 kg (165 ... 187 lb.) | 42 N/mm (240 lb/in) |
| Poids du pilote : 85 ...95 kg (187 ... 209 lb.) | 45 N/mm (257 lb/in) |
11 ADAPTER LA PARTIE-CYCLE

Info
Le taux d'élasticité est spécifié sur la face extérieure du ressort.
De faibles écarts de poids peuvent être compensés en modifiant la prétension du ressort.
Retouche
- Monter l'amortisseur. (p. 68)
- Retirer la moto du socle réglable. (p. 57)
- Vérifier l'enfoncement statique de l'amortisseur. (p. 49)
- Vérifier l'enfoncement en charge de l'amortisseur. (p. 50)
- Régler l'amortissement en détente de l'amortisseur. (p. 48)
11.11 Vérifier le réglage de base de la fourche
Info
Pour différentes raisons, il est impossible de déterminer avec précision la valeur de l'enfoncement en charge de la fourche.

- Si le poids du pilote ne correspond pas tout à fait à la norme, compenser en modifiant la prétension des ressorts, comme indiqué pour l'amortisseur.
- Si toutefois la fourche talonne fréquemment (c'est-à-dire vient taper fréquemment en bout de course), monter des ressorts plus durs pour ne pas endommager la fourche et le cadre.
- Si, après un long fonctionnement, la fourche semble plus dure qu'à l'accoutumée, il faut alors purger les bras de fourche.
11.12 Régler l'amortissement en compression de la fourche
Info
L'amortissement hydraulique en compression détermine le comportement lors de l'enfoncement de la fourche.

- Tourner l'élément de réglage blanc ① dans le sens des aiguilles d'une montre jusqu'en butée.

Info
L'élément de réglage ① se trouve à l'extrémité supérieure du bras de fourche de gauche.
L'amortissement en compression se trouve sur le bras de fourche de gauche COMP (élément de réglage blanc). L'amortissement en détente se trouve sur le bras de fourche de droite REB (élément de réglage rouge).
- Tourner l'élément de réglage dans le sens inverse des aiguilles d'une montre du nombre de crans correspondant au type de fourche.
Indications prescrites
| Amortissement en compression | |
| Confort 18 clics | |
| Standard 15 clics | |
| Sport 12 clics | |

Info
Tourner dans le sens des aiguilles d'une montre augmente l'amortissement, tourner dans le sens inverse réduit l'amortissement lors de l'enfoncement.

11.13 Régler l'amortissement en détente de la fourche

Info
L'amortissement hydraulique en détente détermine le comportement lors de la détente de la fourche.

- Tourner l'élément de réglage rouge ① dans le sens des aiguilles d'une montre jusqu'en butée.

Info
L'élément de réglage ① se trouve à l'extrémité supérieure du bras de fourche de droite.
L'amortissement en détente se trouve sur le bras de fourche de droite REB (élément de réglage rouge).
L'amortissement en compression se trouve sur le bras de fourche de gauche COMP (élément de réglage blanc).
- Tourner l'élément de réglage dans le sens inverse des aiguilles d'une montre du nombre de crans correspondant au type de fourche.
Indications prescrites
| Amortissement de détente | |
| Confort 18 clics | |
| Standard 15 clics | |
| Sport 12 clics | |

Info
Tourner dans le sens des aiguilles d'une montre augmente l'amortissement, tourner dans le sens inverse réduit l'amortissement lors de la détente.

11 ADAPTER LA PARTIE-CYCLE
11.14 Régler la prétension du ressort de la fourche
Préparatifs
- Surélever la moto sur un socle réglable. (p. 57)
Travail principal
- Tourner les ailes de réglage ① dans le sens inverse des aiguilles d'une montre jusqu'en butée.
√ Le repère +0 doit être aligné avec l'aile de réglage de droite des deux bras de fourche.

Le réglage doit être effectué uniquement à la main. Ne pas utiliser d'outils.
Effectuer un réglage uniforme des deux bras de fourche.
- Tourner les ailes de réglage dans le sens des aiguilles d'une montre.
Indications prescrites
| Prétension du ressort - Preload Adjuster | |
| Confort +0 | |
| Standard +0 | |
| Sport +3 | |
Les ailes de réglage s'enclenchent de manière perceptible aux valeurs indiquées.

Info
Régler la prétension du ressort uniquement aux valeurs indiquées (la prétension ne s'enclenche pas hors de la plage de valeurs).
La rotation dans le sens des aiguilles d'une montre augmente la prétension du ressort ; la rotation dans le sens inverse la réduit.
Le réglage de la prétension du ressort n'a aucun effet sur le réglage de l'amortissement de détente.
Cependant, d'une manière générale, le réglage d'un amortissement de détente plus élevé est conseillé lors d'une prétension de ressort plus importante.
Retouche
- Retirer la moto du socle réglable. (p. 57)
11.15 Position du guidon

text_image
A B 101859-10Le té de fourche supérieur comporte 2 alésages situés à une distance Ⓐ l'un de l'autre.
| Distance entre les alésages A | 15 mm (0,59 in) |
Les alésages des fixations du guidon sont placés à une distance Ⓑ par rapport au milieu.
| Distance entre les alésages B | 3,5 mm (0,138 in) |
Les fixations du guidon peuvent être montées dans 4 positions différentes.
11.16 Régler la position du guidon

Avertissement
Risque d'accident Un guidon réparé représente un danger.
Si le guidon est plié ou désaxé, cela entraîne une usure plus rapide du matériau. À la longue, le guidon peut se casser.
- Remplacez donc le guidon si celui-ci est endommagé ou plié.

text_image
① ② 101860-10- Enlever les vis ①. Retirer les brides de serrage du guidon. Démonter le guidon et le poser sur le côté.

Info
Protéger les composants de tout dommage en les recouvrant. Ne pas plier les câbles ni les conduites.
- Enlever les vis ②. Déposer les fixations du guidon.
- Placer les fixations du guidon dans la position souhaitée. Mettre les vis ② en place et serrer. Indications prescrites
| Vis fixation de guidon | M10 40 Nm (29,5 lbf ft) | Loctite®243TM |

Info
Positionner les fixations du guidon uniformément à gauche et à droite.
- Positionner le guidon.

Info
Veiller à la pose correcte des câbles et des durites.
- Positionner les brides de serrage du guidon. Monter les vis ① et les serrer uniformément. Indications prescrites
| Vis bride de serrage de guidon | M8 20 Nm (14,8 lbf ft) |
11 ADAPTER LA PARTIE-CYCLE

Info
L'espace entre les fixations du guidon et les brides de serrage doit être le même vers l'avant et vers l'arrière.

12.1 Surélever la moto sur un socle réglable

Danger d'endommagement Le véhicule en stationnement est susceptible de rouler accidentellement ou de tomber.
- Stationner le véhicule sur un sol plan et ferme.
- Mettre la moto sur cales au niveau du moteur, sous le cadre.
Socle réglable (81329955100)
Les roues ne doivent pas être en contact avec le sol.
- Arrimer le motocycle pour l'empêcher de tomber.
12.2 Retirer la moto du socle réglable
Remarque
Danger d'endommagement Le véhicule en stationnement est susceptible de rouler accidentellement ou de tomber.
- Stationner le véhicule sur un sol plan et ferme.

- Retirer la moto du socle réglable.
- Retirer le socle réglable.
- Pour stationner la moto, descendre la béquille latérale ^1 jusqu'au sol à l'aide du pied et poser la moto.

Info
La béquille latérale doit être relevée avant le départ et retenue avec le caoutchouc de maintien.
12.3 Purger les bras de fourche

text_image
1 1 402556-10Préparatifs
- Surélever la moto sur un socle réglable. (p. 57)
Travail principal
- Desserrer les vis de purge 1.
√ L'éventuelle surpression s'échappe de l'intérieur de la fourche.
- Serrer les vis de purge.
Retouche
– Retirer la moto du socle réglable. (p. 57)
12 TRAVAUX D'ENTRETIEN SUR LA PARTIE-CYCLE
12.4 Nettoyer les cache-poussières des bras de fourche
Préparatifs
- Surélever la moto sur un socle réglable. (p. 57)
- Déposer la protection de fourche. (p. 58)
Travail principal
- Faire glisser les cache-poussières ① des deux bras de fourche vers le bas.

Les cache-poussières ont pour fonction de racler la poussière et la saleté grossière du tube intérieur de fourche. À l'issue d'une certaine période, la saleté peut s'incruster derrière les cache-poussières. Si elle n'est pas enlevée, l'étanchéité des joints d'huile situés à l'arrière peut être remise en cause.

Avertissement
Risque d'accident La présence d'huile ou de graisse sur les disques de frein réduit l'efficacité de freinage.
- Veillez à ce que les disques de frein soient en permanence exempts de graisse et d'huile.
- Si besoin, nettoyez les disques de frein avec un nettoyant pour freins.
- Nettoyer et lubrifier les cache-poussières et les tubes intérieurs de fourche des deux bras de fourche.
Lubrifiant universel en aérosol (p. 160)
- Repousser les cache-poussières en position initiale.
- Retirer l'huile superflue.
Retouche
- Remonter la protection de fourche. (p. 59)
- Retirer la moto du socle réglable. (p. 57)
12.5 Déposer la protection de fourche

text_image
① ② ③ H03681-10- Enlever les vis ① et retirer la pince.
- Enlever les vis ② sur le bras de fourche de gauche et déposer la protection de fourche de gauche.
- Enlever les vis ③ sur le bras de fourche de droite et déposer la protection de fourche de droite.

12.6 Remonter la protection de fourche

text_image
① ② ③ H03681-11- Positionner la protection gauche sur le bras de fourche correspondant. Mettre les vis ① en place et les serrer. Indications prescrites
| Vis restantes sur la partie-cycle | M6 10 Nm (7,4 lbf ft) |
- Positionner la durée de frein, le faisceau de câble et la pince. Mettre les vis ② en place et les serrer.
- Positionner la protection droite sur le bras de fourche correspondant. Mettre les vis ③ en place et les serrer. Indications prescrites
| Vis restantes sur la partie-cycle | M6 10 Nm (7,4 | lbf ft) |
12.7 Déposer les bras de fourche
Préparatifs
- Déposer la plaque-phare et le phare. (p. 117)
- Surélever la moto sur un socle réglable. ( p. 57)
- Déposer la roue avant. (p. 104)

text_image
① ② ② H03678-10Travail principal
- Enlever les vis 1 et retirer la pince.
- Retirer le serre-câbles.
- Enlever les vis ② et retirer l'étrier de frein.
- Laisser pendre l'étrier de frein avec la durée de frein.

text_image
③ ④ ③ ④ S03576-11- Desserrer les vis ③. Retirer le bras de fourche gauche.
- Desserrer les vis 4. Retirer le bras de fourche de droite.
12 TRAVAUX D'ENTRETIEN SUR LA PARTIE-CYCLE
12.8 Monter les bras de fourche

text_image
1 1 402556-10Travail principal
- Positionner les bras de fourche.
Les vis de purge ① sont positionnées vers l'avant.

Info
L'amortissement en compression se trouve sur le bras de fourche de gauche COMP (élément de réglage blanc). L'amortissement en détente se trouve sur le bras de fourche de droite REB (élément de réglage rouge).
Des gorges sont pratiquées sur le côté, à l'extrémité supérieure des bras de fourche. La deuxième gorge (en partant du haut) doit épouser le bord supérieur du té de fourche supérieur.

| Vis té supérieur de fourche | M8 17 Nm (12,5 lbf ft) |
- Serrer les vis ③.
Indications prescrites
| Vis té inférieur de fourche | M8 15 Nm (11,1 | lbf ft) |

- Positionner l'étrier de frein, mettre les vis ④ en place et serrer.
Indications prescrites
| Vis de l’étrier de frein avant | M8 25 Nm (18,4 lbf ft) | Loctite®243TM |
- Mettre en place le serre-câble.
- Positionner la durée de frein, le faisceau de câbles et la pince. Mettre les vis ⑤ en place et les serrer.
Retouche
- Monter la roue avant. (p. 105)
- Monter la plaque-phare et le phare. (p. 118)
- Vérifier le réglage du phare. (p. 121)
12.9 Déposer le té de fourche inférieur
Préparatifs
- Déposer la plaque-phare et le phare. (p. 117)
- Surélever la moto sur un socle réglable. ( p. 57)
- Déposer la roue avant. (p. 104)
- Déposer les bras de fourche. (p. 59)
- Déposer le garde-boue avant. (p. 65)

- Retirer la vis 1.
- Retirer la vis ②.
- Défaire le support de câble ③ devant le radiateur de gauche et décrocher la durée d'embrayage.
- Retirer le té de fourche supérieur et le guidon, puis les mettre de côté.

Info
Protéger les composants contre tout endommagement en les recouvrant.
Ne pas plier les câbles ni les conduites.

text_image
④ ⑤ H03683-10- Monter le joint torique ④ et la bague de protection ⑤.
- Retirer le té inférieur avec le tube de fourche.
- Retirer le palier supérieur de la tête de direction.

12.10 Monter le té de fourche inférieur

text_image
① ② ③ B01632-10Travail principal
- Nettoyer les paliers et les pièces d'étanchéité, vérifier qu'ils ne sont pas endommagés et les graisser.
Graisse haute viscosité (p. 160)
- Placer le té inférieur avec le tube de fourche. Monter le palier de la tête de direction supérieur.
- Vérifier que le joint d'étanchéité supérieur 1 de la tête de guidage est positionné correctement.
- Monter la bague de protection ② et le joint torique ③.
12 TRAVAUX D'ENTRETIEN SUR LA PARTIE-CYCLE

text_image
④ ⑤ S03552-11
text_image
6 6 H01672-10- Positionner le té de fourche supérieur et le guidon.
- Mettre la vis ④ en place sans la serrer.
- Monter la durée d'embrayage avec le support de câble⑤.
- Positionner les bras de fourche.
Les vis de purge ⑥ sont positionnées vers l'avant.

Info
L'amortissement en détente se trouve sur le bras de fourche de droite REB (élément de réglage rouge). L'amortissement en compression se trouve sur le bras de fourche de gauche COMP (élément de réglage blanc). Des gorges sont pratiquées sur le côté, à l'extrémité supérieure des bras de fourche. La deuxième gorge (en partant du haut) doit épouser le bord supérieur du té de fourche supérieur.

| Vis té inférieur de fourche | M8 15 Nm (11,1 | lbf ft) |

| Vis tête de direction en haut | M20x1,5 12 Nm | (8,9 lbf ft) |

- Mettre la vis ⑧ en place et la serrer.
Indications prescrites
| Vis tube defourche en haut | M8 17 Nm (12,$ lbf ft) | Loctite®243TM |

| Vis té supérieur de fourche | M8 17 Nm (12,5 lbf ft) |

text_image
10 10 11 H03679-11- Positionner l'étrier de frein, mettre les vis ^10 en place et serrer.
Indications prescrites
| Vis de l’étrier de frein avant | M8 25 Nm (18,4 lbf ft) | Loctite®243TM |
- Mettre en place le serre-câble.
- Positionner la durite de frein, le faisceau de câbles et la pince. Mettre les vis 11 en place et les serrer.
Retouche
- Monter le garde-boue avant. (p. 66)
- Monter la roue avant. (p. 105)
- Monter la plaque-phare et le phare. (p. 118)
- Vérifier que le faisceau de câbles, les câbles d'accélérateur ainsi que les durites de frein et d'embrayage bougent librement et sont bien en place.
- Vérifier le jeu du palier de la tête de direction. (p. 63)
- Retirer la moto du socle réglable. (p. 57)
- Vérifier le réglage du phare. ( p. 121)
12.11 Vérifier le jeu du palier de la tête de direction

Avertissement
Risque d'accident Un jeu incorrect du palier de la tête de direction compromet la tenue de route et endommage les composants.
- Corriger sans tarder le jeu du palier de la tête de direction. (Votre atelier Husqvarna Motorcycles agréé se tient volontiers à votre disposition.)

Info
Une utilisation prolongée de la moto, alors qu'il y a du jeu dans le palier de la tête de direction, risque d'endommager les paliers et par conséquent les sièges de palier dans le cadre.
Préparatifs
- Surélever la moto sur un socle réglable. (p. 57)
12 TRAVAUX D'ENTRETIEN SUR LA PARTIE-CYCLE

- Mettre le guidon en position droite. Avancer et reculer les bras de fourche dans l'axe de la moto.
Aucun jeu ne doit être perceptible sur le palier de la tête de direction.
» En présence d'un jeu perceptible : - Régler le palier de la tête de direction. ♘( p. 64)
- Tourner le guidon d'un extrême à l'autre.
Le guidon doit pouvoir être facilement bougé sur toute la plage de rotation. Aucun passage de crans ne doit se faire sentir.
» En cas de passage de crans perceptibles :
- Régler le palier de la tête de direction. ✗( p. 64) - Vérifier le palier de la tête de direction et le remplacer si nécessaire.
Retouche
- Retirer la moto du socle réglable. (p. 57)
12.12 Régler le palier de la tête de direction
Préparatifs
- Surélever la moto sur un socle réglable. (p. 57)
Travail principal
- Desserrer les vis 1.
- Retirer la vis ②.
- Desserrer la vis ③ et serrer de nouveau. Indications prescrites
| Vis tête de direction en haut | M20x1,5 12 Nm | (8,9 lbf ft) |

text_image
① ② ③ S03554-10- Au moyen d'un maillet en plastique, frapper légèrement sur le té de fourche supérieur afin de supprimer d'éventuelles tensions.
- Serrer les vis ①.
Indications prescrites
| Vis té supérieur de fourche | M8 17 Nm (12,5 lbf ft) |
- Mettre la vis ② en place et la serrer.
Indications prescrites
| Vis tube defourche en haut | M8 17 Nm (12,5 lbf ft) | Loctite®243TM |
Retouche
- Vérifier le jeu du palier de la tête de direction. ( p. 63)
- Retirer la moto du socle réglable. (p. 57)
12.13 Graisser le palier de la tête de direction

text_image
H02387-01- Déposer le té de fourche inférieur. (p. 60)
- Monter le té de fourche inférieur. (Ap. 61)
12.14 Déposer le garde-boue avant
Préparatifs
- Déposer la plaque-phare et le phare. (p. 117)

12.15 Monter le garde-boue avant

- Mettre en place le garde-boue avant. Mettre les vis ^1 en place et les serrer.
Indications prescrites
| Vis restantes sur la partie-cycle | M6 10 Nm (7,4 lbf ft) |
- Mettre les vis ② en place et les serrer.
Indications prescrites
| Vis restantes sur la partie-cycle | M6 10 Nm (7,4 lbf ft) |
Retouche
- Monter la plaque-phare et le phare. (p. 118)
- Vérifier le réglage du phare. (p. 121)
12.16 Déposer l'amortisseur
Préparatifs
- Surélever la moto sur un socle réglable. (p. 57)
Travail principal
- Retirer les serre-câbles.
- Retirer les vis 1 et les rondelles.
- Décrocher la protection de cadre dans la zone A et l'enlever.

text_image
A A 1 1 F02340-10
Soulever légèrement le bras oscillant pour pouvoir enlever les vis plus facilement.
TRAVAUX D'ENTRETIEN SUR LA PARTIE-CYCLE 12

text_image
H03694-10- Pousser le levier articulé 4 vers l'arrière.
- Abaisser le levier de jonction 5.

(tous les modèles EU)
- Débrancher le connecteur du contacteur de feu stop.

- Retirer les vis 6.
- Retirer le cylindre de frein à pied de la tige.

- Retirer le maillon de connexion de la chaîne.

Info
Protéger les composants contre tout dommage en les recouvrant.
- Déposer la chaîne.

- Retirer l'écrou ⑦ et dégager l'axe du bras oscillant.
- Pousser le bras oscillant vers l'arrière et le bloquer pour l'empêcher de tomber.
12 TRAVAUX D'ENTRETIEN SUR LA PARTIE-CYCLE

- Tenir l'amortisseur et retirer la vis ⑧.
- Enlever avec précaution l'amortisseur par le bas.

12.17 Monter l'amortisseur

- Placer l'amortisseur avec précaution dans le véhicule en le rentrant par le bas.
- Mettre la vis ① en place et la serrer. Indications prescrites
| Vis amortisseur en haut | M10 60 Nm (44,3 lbf ft)Loctite®2701TM |

- Positionner le bras oscillant et mettre en place l'axe du bras oscillant.

- Mettre l'écrou ② en place et le serrer. Indications prescrites
| Écrou de l'axe du bras oscillant | M16x1,5 100 N | m (73,8 lbf ft) |

- Monter la chaîne.
- Relier la chaîne au maillon de connexion. Indications prescrites
Le côté fermé du verrou d'attache-chaîne doit être dirigé dans le sens de marche.

(tous les modèles EU)
- Brancher le connecteur du contacteur de feu stop.

- Positionner le cylindre de frein à pied.
√ La tige ③ s'engage dans le cylindre de frein à pied.
√ Le cache-poussière est bien positionné.
- Mettre les vis ④ en place et les serrer.
Indications prescrites
| Vis restantes sur la partie-cycle | M6 10 Nm (7,4 lbf ft) |
- Mettre en place le levier articulé et le levier de jonction.
- Mettre le raccord vissé ⑤ en place et le serrer.
Indications prescrites
| Écrou levier de jonction - levier articulé | M14x1,5 60 Nm (44,3 lbf ft) |

Info
Faire attention au méplat B.
- Mettre la vis ⑥ en place et la serrer.
Indications prescrites
| Vis amortisseur en bas | M10 60 Nm (44,3 lbf ft) | Loctite®2701TM |

Info
Soulever légèrement le bras oscillant pour pouvoir mettre en place la vis plus facilement.

text_image
C 7 C 7 F02340-11- Accrocher la protection de cadre dans la zone C et la positionner.
- Mettre en place les vis ⑦ avec les rondelles et serrer.
Indications prescrites
| Vis de la protectionde cadre | M5 3 Nm (2,2 lbf ft) |
- Mettre les nouveaux serre-câbles en place.
Retouche
- Retirer la moto du socle réglable. (p. 57)
12.18 Déposer la selle
Préparatifs
- Déposer le couvercle du boîtier du filtre à air. ( p. 71)
12 TRAVAUX D'ENTRETIEN SUR LA PARTIE-CYCLE

- Enlever la vis 1 et la bague.
- Reculer la selle et la retirer en la tirant vers le haut.

12.19 Monter la selle

- Fixer l'avant de la selle sur la douille à collet du réservoir et l'arrière dans la fixation.
- Pousser la selle vers l'avant.
- Vérifier que la selle ne bouge pas.
- Mettre la vis ① en place avec la bague et serrer. Indications prescrites
| Vis restantes sur la partie-cycle | M6 10 Nm (7,4 lbf ft) | |
Retouche
- Monter le couvercle du boîtier du filtre à air. (p. 71)
12.20 Déposer le couvercle du boîtier du filtre à air

text_image
A B C F02345-10- Tirer de côté sur le couvercle du boîtier de filtre à air dans les zones A, B et C et le déposer vers l'arrière.

12.21 Monter le couvercle du boîtier du filtre à air

text_image
A 1 B C D F02346-10- Accrocher l'attache 1 du couvercle du boîtier de filtre à air au niveau de la zone A puis la pousser vers l'avant.
- Engager le couvercle du boîtier de filtre à air au niveau des zones B, C et D.

12.22 Déposer le filtre à air
Remarque
Dommages sur le moteur Un air d'admission non filtré peut avoir des conséquences néfastes sur la durée de vie du moteur.
S'il n'y a pas de filtre à air, la poussière et les saletés pénètrent dans le moteur.
- Ne jamais faire fonctionner le véhicule sans filtre à air.

Remarque
Danger pour l'environnement Certaines substances nuisent à l'environnement.
- Éliminer huile, lubrifiant, filtre, carburant, produits de nettoyage, liquide de frein, etc. de façon réglementaire et conformément aux dispositions en vigueur.
Préparatifs
- Déposer le couvercle du boîtier du filtre à air. (p. 71)
12 TRAVAUX D'ENTRETIEN SUR LA PARTIE-CYCLE

- Décrocher l'attache ①. Retirer le filtre à air avec son support.
- Retirer le filtre à air du support.

12.23 Monter le filtre à air

- Monter un filtre à air propre sur le support de filtre à air.
- Graisser le filtre à air dans la zone A.
Graisse longue durée ( p. 160)

- Mettre le filtre à air en place et positionner le tourillon de maintien ① dans la bague B.
√ Le filtre à air est correctement positionné. - Accrocher l'attache ③.
√ Le tourillon de maintien ② est fixé avec une attache de maintien ③.

Info
Si le filtre à air est mal monté, de la poussière et de la saleté peuvent pénétrer dans le moteur et occasionner des dégâts.
Retouche
- Monter le couvercle du boîtier du filtre à air. (p. 71)
12.24 Nettoyer le filtre à air et le boîtier du filtre à air

Remarque
Danger pour l'environnement Certaines substances nuisent à l'environnement.
- Éliminer huile, lubrifiant, filtre, carburant, produits de nettoyage, liquide de frein, etc. de façon réglementaire et conformément aux dispositions en vigueur.
Info
Ne pas nettoyer le filtre à air au carburant ou au pétrole car ceux-ci sont agressifs et altèrent le plastique mousse.
Préparatifs
- Déposer le couvercle du boîtier du filtre à air. (p. 71)
- Déposer le filtre à air. (p. 71)

- Bien laver le filtre à air dans un nettoyant liquide spécial et le laisser sécher.
Nettoyant pour filtre à air ( p. 160)

Info
Uniquement presser le filtre à air, sans l'essorer en le tordant.
- Lubrifier le filtre à air sec à l'aide d'une huile à filtre de qualité.
Lubrifiant pour filtre à air mousse (p. 160) - Nettoyer le boîtier du filtre à air.
- Vérifier que la pipe d'admission n'est pas endommagée et qu'elle est bien serrée.
Retouche
- Monter le filtre à air. (p. 72)
- Monter le couvercle du boîtier du filtre à air. ( p. 71)
12.25 Déposer le cache latéral droit

text_image
A B F02343-10Préparatifs
- Déposer le couvercle du boîtier du filtre à air. ( p. 71)
- Déposer la selle. (p. 69)
Travail principal
- Décrocher le cache latéral au niveau de la zone A, le retirer latéralement au niveau de la zone B et le déposer vers le bas.
12 TRAVAUX D'ENTRETIEN SUR LA PARTIE-CYCLE
12.26 Monter le cache latéral de droite

text_image
A A B C F02344-10Travail principal
- Accrocher par le bas le cache latéral avec les crochets ^A , puis le repousser vers le haut.
- Enclencher le cache latéral dans les zones B et C.
Retouche
- Monter la selle. (p. 70)
- Monter le couvercle du boîtier du filtre à air. (p. 71)
12.27 Déposer le silencieux arrière

Avertissement
Risque de brûlures Pendant le fonctionnement du véhicule, l'échappement devient très brûlant.
- Laissez donc refroidir l'échappement avant de commencer les travaux.

text_image
① ② F02363-10- Décrocher le ressort ①.
Crochet à ressort (50305017000C1)
(tous les modèles EU)
- Enlever les vis ② ainsi que les rondelles et retirer le silencieux arrière et le pot catalytique.
(FE 501 US)
- Enlever les vis ② ainsi que les rondelles et retirer le silencieux arrière.
12.28 Monter le silencieux arrière

(tous les modèles EU)
- Positionner le catalyseur dans le silencieux arrière.

text_image
① ② F02363-11- Positionner le silencieux arrière.
- Mettre en place les vis ① et les rondelles, sans les serrer.
- Accrocher le ressort ②.
Crochet à ressort (50305017000C1)
- Serrer les vis ① (avec rondelles). Indications prescrites
Vis restantes sur la partie-cycle M6 10 Nm (7,4 lbf ft)
12.29 Nettoyer le système « Sparkarrestor » (FE 501 US)

Avertissement
Risque de brûlures Pendant le fonctionnement du véhicule, l'échappement devient très brûlant.
- Laissez donc refroidir l'échappement avant de commencer les travaux.

Info
Au fil du temps, des particules de suie s'accumulent sur le tamis du système « Sparkarrestor ». Ces dépôts altèrent les caractéristiques de puissance.
Préparatifs
- Déposer le silencieux arrière. (p. 74)
12 TRAVAUX D'ENTRETIEN SUR LA PARTIE-CYCLE

- Retirer les vis, l'embout de protection ① et le joint torique ②.

Info
Ne pas retirer la garniture en laine de roche.

Attention
Risque pour la santé Les particules de suie irritent les yeux et les muqueuses.
- Lors du nettoyage du silencieux arrière et du tamis à charbon, porter une protection respiratoire et pour les yeux.
- Nettoyer la gaine du silencieux arrière ③ et le tamis ④ du système « Sparkarrestor » à l'air comprimé.
- Mettre en place l'embout de protection ① avec le joint torique ②.
- Mettre toutes les vis en place et les serrer.
Indications prescrites
Vis du silencieux arrière M5 7 Nm (5,2 lbf ft)
Retouche
- Monter le silencieux arrière. (p. 75)
12.30 Remplacer la garniture de laine de roche du silencieux arrière

Avertissement
Risque de brûlures Pendant le fonctionnement du véhicule, l'échappement devient très brûlant.
- Laissez donc refroidir l'échappement avant de commencer les travaux.

Info
Au fil du temps, les fibres de la laine de roche se volatilisent en plein air, le silencieux « brûle ». Outre un niveau sonore accru, les caractéristiques liées à la puissance changent également.

text_image
① ② ③ ④ S03541-11Préparatifs
- Déposer le silencieux arrière. (p. 74)
Travail principal
(tous les modèles EU)
- Retirer toutes les vis du silencieux arrière.
- Déposer l'embout de protection ① avec le joint torique ②.
- Retirer la garniture de laine de roche ③ du silencieux arrière ④.
- Nettoyer les pièces réutilisables et vérifier leur état.
- Mettre en place la nouvelle garniture de laine de roche entre le tube intérieur et le tube extérieur.
- Placer l'embout de protection avec le joint torique dans le tube extérieur.
- Mettre toutes les vis en place et les serrer. Indications prescrites
| Vis du silencieux arrière | M5 7 Nm (5,2 | bf ft) |

- Retirer toutes les vis du silencieux arrière.
- Déposer l'embout de protection ① avec le tamis et le joint torique ②.
- Retirer la garniture de laine de roche ③ du silencieux arrière ④.
- Nettoyer les pièces réutilisables et vérifier leur état.
- Mettre en place la nouvelle garniture de laine de roche entre le tube intérieur et le tube extérieur.
- Placer l'embout de protection et le tamis ainsi que le joint torique dans le tube extérieur.
- Mettre toutes les vis en place et les serrer. Indications prescrites
| Vis du silencieux arrière | M5 7 Nm (5,2 | bf ft) |
12 TRAVAUX D'ENTRETIEN SUR LA PARTIE-CYCLE
Retouche
- Monter le silencieux arrière. (p. 75)
12.31 Déposer le réservoir de carburant

Danger
Risque d'incendie Le carburant est facilement inflammable.
Le carburant contenu dans le réservoir se dilate sous l'effet de la chaleur et peut déborder lorsque le réservoir est trop rempli.
- Ne jamais faire le plein du véhicule à proximité de flammes ou de cigarettes allumées.
- Arrêter le moteur lorsque vous faites le plein.
- S'assurer de ne pas renverser de carburant, notamment sur les parties chaudes du véhicule.
- Essuyer immédiatement tout carburant renversé.
- Respecter les consignes indiquées lorsque vous faites le plein.

Avertissement
Danger d'intoxication Le carburant est toxique et constitue un danger pour la santé.
- Éviter tout contact du carburant avec la peau, les yeux ou les vêtements.
- Consulter immédiatement un médecin en cas d'ingestion de carburant.
- Ne pas respirer les vapeurs d'essence.
- En cas de contact cutané, rincer immédiatement à grande eau la zone touchée.
- En cas de contact du carburant avec les yeux, bien les rincer à l'eau et consulter immédiatement un médecin.
- Si les vêtements sont aspergés de carburant, il faut les changer.
- Stocker le carburant dans un jerrycan approprié, conformément aux directives en vigueur et le tenir hors de portée des enfants.

text_image
① ② F02347-10Préparatifs
- Déposer le couvercle du boîtier du filtre à air. (p. 71)
- Déposer la selle. (p. 69)
- Déposer le cache latéral droit. (p. 73)
Travail principal
- Débrancher le connecteur 1 de la pompe à essence.
- Nettoyer minutieusement le connecteur ② de la conduite de carburant à l'air comprimé.

Info
De la saleté ne doit en aucun cas parvenir dans la conduite de carburant. Cela boucherait l'injecteur !

- Débrancher le connecteur de la conduite de carburant.

Info
Un reste de carburant peut s'écouler de la durée.
- Mettre en place le kit d'embout de nettoyage ^3 .
Kit d'embout de nettoyage (81212016100)
- Retirer le flexible de ventilation du réservoir de carburant se trouvant sur le couvercle du réservoir.
- Retirer les vis 4.
(tous les modèles EU)
- Laisser pendre l'avertisseur sonore et son support.

- Enlever la vis ⑤ avec la bague en caoutchouc.

text_image
⑤ H03704-10- Dégager les deux déflecteurs latéraux du radiateur et retirer le réservoir de carburant par le haut.

12.32 Monter le réservoir de carburant

Danger
Risque d'incendie Le carburant est facilement inflammable.
Le carburant contenu dans le réservoir se dilate sous l'effet de la chaleur et peut déborder lorsque le réservoir est trop rempli.
- Ne jamais faire le plein du véhicule à proximité de flammes ou de cigarettes allumées.
- Arrêter le moteur lorsque vous faites le plein.
- S'assurer de ne pas renverser de carburant, notamment sur les parties chaudes du véhicule.
- Essuyer immédiatement tout carburant renversé.
- Respecter les consignes indiquées lorsque vous faites le plein.
12 TRAVAUX D'ENTRETIEN SUR LA PARTIE-CYCLE

Avertissement
Danger d'intoxication Le carburant est toxique et constitue un danger pour la santé.
- Éviter tout contact du carburant avec la peau, les yeux ou les vêtements.
- Consulter immédiatement un médecin en cas d'ingestion de carburant.
- Ne pas respirer les vapeurs d'essence.
- En cas de contact cutané, rincer immédiatement à grande eau la zone touchée.
- En cas de contact du carburant avec les yeux, bien les rincer à l'eau et consulter immédiatement un médecin.
- Si les vêtements sont aspergés de carburant, il faut les changer.
Travail principal
- Vérifier la position du câble d'accélérateur. (p. 86)
- Positionner le réservoir de carburant et accrocher les deux déflecteurs latéralement devant le radiateur.
- S'assurer qu'aucun câble (accélérateur ou autre) n'est coincé ou endommagé.

- Installer le tuyau de ventilation du réservoir de carburant.
- Mettre en place la vis ① et la bague en caoutchouc et serrer.
Indications prescrites
| Vis restantes sur la partie-cycle | M6 10 Nm (7,4 lbf ft) |
(tous les modèles EU)
- Positionner l'avertisseur sonore et son support.
- Mettre les vis ② en place et les serrer.
Indications prescrites
| Vis restantes sur la partie-cycle | M6 10 Nm (7,4 lbf ft) |
- Brancher le connecteur ③ de la pompe à carburant.
- Enlever le kit d'embout de nettoyage.
- Nettoyer minutieusement la fiche de connexion de la conduite de carburant à l'air comprimé.

Info
De la saleté ne doit en aucun cas parvenir dans la conduite de carburant. Cela boucherait l'injecteur !
- Graisser le joint torique et brancher le connecteur 4 de la conduite de carburant.

Info
Positionner le câble et la conduite de carburant à une distance de sécurité de l'échappement.
Retouche
– Monter le cache latéral droit. (p. 74)
- Monter la selle. (p. 70)
- Monter le couvercle du boîtier du filtre à air. (p. 71)
12.33 Vérifier l'état d'encrassement de la chaîne

- Vérifier si la chaîne présente des salissures grossières.
» Lorsque la chaîne est fortement encrassée : - Nettoyer la chaîne. (p. 81)
12.34 Nettoyer la chaîne

Avertissement
Risque d'accident La présence de lubrifiant sur les pneus diminue leur adhérence.
- Retirez les lubrifiants présents sur les pneus à l'aide d'un nettoyant approprié.

Avertissement
Risque d'accident La présence d'huile ou de graisse sur les disques de frein réduit l'efficacité de freinage.
- Veillez à ce que les disques de frein soient en permanence exempts de graisse et d'huile.
- Si besoin, nettoyez les disques de frein avec un nettoyant pour freins.

Remarque
Danger pour l'environnement Certaines substances nuisent à l'environnement.
- Éliminer huile, lubrifiant, filtre, carburant, produits de nettoyage, liquide de frein, etc. de façon réglementaire et conformément aux dispositions en vigueur.

Info
La durée de vie de la chaîne dépend en grande partie de l'entretien.
Préparatifs
- Surélever la moto sur un socle réglable. (p. 57)
12 TRAVAUX D'ENTRETIEN SUR LA PARTIE-CYCLE

- Rincer les salissures grossières au jet d'eau à faible pression.
- Enlever les restes de graisse à l'aide d'un produit nettoyant pour chaîne.
Nettoyant pour chaîne ( p. 160)
- Appliquer de la graisse en bombe une fois la chaîne séchée.
Aérosol pour chaîne Offroad (p. 160)
Retouche
- Retirer la moto du socle réglable. (p. 57)
12.35 Contrôler la tension de la chaîne

Avertissement
Risque d'accident Une tension incorrecte de la chaîne endommage les composants et entraîne des accidents.
Si la chaîne est trop tendue, la chaîne, le pignon de chaîne, la couronne, le logement de la roue arrière et de la boîte de vitesse s'usent plus rapidement. Certains composants risquent de craquer ou de se rompre en cas de surcharge.
Si la chaîne est mal serrée, celle-ci peut se détacher du pignon de chaîne ou de la couronne. La roue arrière est alors bloquée et le moteur est endommagé.
- Contrôlez régulièrement la tension de la chaîne.
- Réglez la tension de la chaîne comme indiqué dans les prescriptions.
Préparatifs
- Surélever la moto sur un socle réglable. (p. 57)
Travail principal
- Tirer la chaîne vers le haut au niveau de l'extrémité de patin et calculer la tension de la chaîne A.

text_image
A B 1 A00119-10
Info
La partie inférieure de la chaîne 1 doit alors se tendre.
Lorsque le guide chaîne est monté, la chaîne doit pouvoir être tirée vers le haut au moins jusqu'à la butée sur le guide chaîne B.
Les chaînes ne s'usent pas toujours uniformément, répéter donc cette mesure à divers endroits de la chaîne.
Tension de chaîne 55 ... 58 mm (2,17 ... 2,28 in)
» Lorsque la tension de la chaîne ne correspond pas aux indications prescrites :
- Régler la tension de la chaîne. (p. 83)
Retouche
- Retirer la moto du socle réglable. (p. 57)
12.36 Régler la tension de la chaîne

Avertissement
Risque d'accident Une tension incorrecte de la chaîne endommage les composants et entraîne des accidents.
Si la chaîne est trop tendue, la chaîne, le pignon de chaîne, la couronne, le logement de la roue arrière et de la boîte de vitesse s'usent plus rapidement. Certains composants risquent de craquer ou de se rompre en cas de surcharge.
Si la chaîne est mal serrée, celle-ci peut se détacher du pignon de chaîne ou de la couronne. La roue arrière est alors bloquée et le moteur est endommagé.
- Contrôlez régulièrement la tension de la chaîne.
- Réglez la tension de la chaîne comme indiqué dans les prescriptions.

text_image
A ① ② ③ ④ ② ④ A ③ H03708-10Préparatifs
- Surélever la moto sur un socle réglable. ( p. 57)
- Contrôler la tension de la chaîne. (p. 82)
Travail principal
- Desserrer l'écrou 1.
- Desserrer les écrous ②.
- Régler la tension de la chaîne en tournant les vis de réglage ③ de gauche et de droite.
Indications prescrites
| Tension de chaîne 55 ... 58 mm (2,17 ... 2,28 in) |
| Tourner les vis de réglage3 de gauche et de droite de façon à ce que les marquages du tendeur de chaîne à gauche et à droite soient dans la même position par rapport aux marques de référenceA. La roue arrière est correctement positionnée. |
- Serrer les écrous ②.
- Vérifier que les tendeurs de chaîne ④ sont plaqués contre les vis de réglage ③.
- Serrer l'écrou 1.
Indications prescrites
| Écrou axe arrière | M20x1,5 80 Nm | (59 lbf ft) |

Info
La large plage de réglage des tendeurs de chaîne (32 mm) permet l'introduction de démultiplications secondaires sur une même longueur de chaîne. Les tendeurs de chaîne 4 peuvent être pivotés à 180°.
Retouche
- Retirer la moto du socle réglable. (p. 57)
12 TRAVAUX D'ENTRETIEN SUR LA PARTIE-CYCLE
12.37 Vérifier la chaîne, la couronne, le pignon et le guide-chaîne
Préparatifs
- Surélever la moto sur un socle réglable. (p. 57)
Travail principal
- Mettre la boîte de vitesses au point mort.
- Vérifier que la chaîne, la couronne et le pignon de chaîne ne présentent pas d'usure.
» Lorsque la chaîne, la couronne ou le pignon sont usés :
- Remplacer le jeu des pièces de l'entraînement.

text_image
400227-01i Info Le pignon, la couronne et la chaîne doivent toujours être remplacés ensemble.

text_image
A B 1 2 3 16 17 18 400987-10- Tirer sur la partie supérieure de la chaîne avec le poids indiqué Ⓐ.
Indications prescrites
| Poids de mesure de l'usure de la chaîne | 10 ... 15 kg (22 ... 33 lb.) |
- Sur la partie inférieure, mesurer alors la longueur B de 18 rouleaux de chaîne.
i Info Les chaînes ne s'usent pas toujours uniformément, répéter donc cette mesure à divers endroits de la chaîne.
| Longueur maximale B de 18 rouleaux à l'endroit le plus long de la chaîne | 272 mm (10,71 in) |
» Lorsque cette longueur Ⓑ est supérieure à la valeur indiquée :
- Remplacer le jeu des pièces de l'entraînement.
i Info Lors du remplacement de la chaîne, il est recommandé de remplacer également le pignon de chaîne et la couronne. En effet, les pignons ou couronnes usagés usent prématurément la nouvelle chaîne.

- Vérifier l'absence d'usure sur le patin de chaîne.
» Lorsque l'arête inférieure des axes de la chaîne se trouve à la hauteur ou sous le patin de chaîne :
- Remplacer le guide-chaîne.
- Vérifier que le patin de chaîne est bien serré.
» Lorsque le patin de chaîne est mal serré :
- Serrer les vis du patin de chaîne. Indications prescrites
| Vis du patinde chaîne | M6 6 Nm (4,4 | lbf ft)Loctite ^ 243 ^TM |

- Vérifier l'absence d'usure sur le patin de chaîne.
» Lorsque l'arête inférieure des axes de la chaîne se trouve à la hauteur ou sous le patin de chaîne :
- Remplacer le patin de chaîne.
- Vérifier que le patin de chaîne est bien en place.
» Si le patin de chaîne est mal serré :
- Serrer la vis du patin de chaîne. Indications prescrites
| Vis du patin de chaîne | M8 15 Nm | (11,1 lbf ft) |

- Vérifier que le guide-chaîne ne présente ni dommages, ni usure.
i Info L'usure est visible sur la face avant du guide-chaîne.
» Lorsque la partie claire du guide-chaîne est usée :
- Remplacer le guide-chaîne.
12 TRAVAUX D'ENTRETIEN SUR LA PARTIE-CYCLE

- Vérifier que le guide-chaîne est bien fixé.
» Si le guide-chaîne est mal serré :
- Serrer la boulonnerie du guide-chaine. Indications prescrites
| Vis restantes sur la partie-cycle | M6 10 Nm (7,4 lbf ft) |
| Écrous restants sur la partie-cycle | M6 10 Nm (7,4 lbf ft) |
Retouche
- Retirer la moto du socle réglable. (p. 57)
12.38 Contrôler le cadre ↗

- Vérifier si le cadre présente des fissures et des déformations.
» Si le cadre présente des fissures ou des déformations suite à des forces mécaniques :
- Remplacer le cadre.

Info
Tout cadre endommagé par des forces mécaniques doit impérativement être remplacé. Husqvarna Motorcycles n'autorise aucune réparation sur le cadre.
12.39 Vérifier le bras oscillant

- Contrôler l'état du bras oscillant, l'absence de fissures et de déformation.
» Si le bras oscillant présente des fissures, des déformations ou qu'il est en mauvais état :
- Remplacer le bras oscillant.

Info
Toujours remplacer un bras oscillant endommagé. Husqvarna Motorcycles n'autorise aucune réparation sur le bras oscillant.
12.40 Vérifier la position du câble d'accélérateur
Préparatifs
- Déposer le couvercle du boîtier du filtre à air. (p. 71)
- Déposer la selle. (p. 69)
- Déposer le cache latéral droit. (p. 73)
- Déposer le réservoir de carburant. (p. 78)

- Vérifier la position du câble d'accélérateur.
Les deux câbles d'accélérateur doivent être placés l'un à côté de l'autre sur la partie arrière du guidon, au-dessus du logement du réservoir à carburant et en direction du corps du clapet d'étranglement. Les deux câbles d'accélérateur doivent être sécurisés derrière le caoutchouc de maintien du logement du réservoir de carburant.
» Lorsque la position des câbles d'accélérateur ne correspond pas aux indications prescrites :
- Corriger la position du câble d'accélérateur.
Retouche
- Monter le réservoir de carburant. (p. 79)
- Monter le cache latéral droit. (p. 74)
- Monter la selle. (p. 70)
- Monter le couvercle du boîtier du filtre à air. (p. 71)
12.41 Vérifier le caoutchouc de poignée

- Vérifier les caoutchoucs des poignées au niveau du guidon (dommages, usure et fixation).

Info
Les poignées en caoutchouc sont posées par vulcanisation, à gauche sur une douille, à droite sur le tube de la poignée des gaz. La douille de gauche est fixée sur le guidon.
Lorsque l'on change la poignée en caoutchouc, il faut changer la douille et le tube de la poignée en même temps.
» Si un caoutchouc de poignée est endommagé, usé ou détaché :
- Remplacer le caoutchouc de la poignée.
(tous les modèles EU)
- Vérifier le bon positionnement de la vis①.
Indications prescrites
| Vis de la poignée fixe | M4 5 Nm (3,7 | bf ft) | Loctite ^ 243 ^TM |
Le losange Ⓐ doit être positionné de manière visible, comme illustré.

text_image
5Nm ① A 5Nm F02364-1012 TRAVAUX D'ENTRETIEN SUR LA PARTIE-CYCLE

text_image
5Nm 1 A F02365-10(FE 501 US)
- Vérifier le bon positionnement de la vis①. Indications prescrites
| Vis de la poi-gnée fixe | M4 5 Nm (3,7 lbf ft) | Loctite®243TM |
Le losange Ⓐ doit être positionné de manière visible, comme illustré.
12.42 Régler la position de base du levier d'embrayage

- La vis de réglage ① permet de régler la position de base du levier d'embrayage en fonction de la taille de la main du conducteur.

Info
En tournant la vis de réglage dans le sens des aiguilles d'une montre, on rapproche le levier d'embrayage du guidon.
En tournant la vis de réglage dans le sens inverse des aiguilles d'une montre, on éloigne le levier d'embrayage du guidon.
La plage de réglage est limitée.
Ne tourner la vis de réglage qu'à la main et ne pas for- cer.
Ne pas effectuer de travaux de réglage durant le trajet.
12.43 Vérifier/rectifier le niveau de liquide d'embrayage hydraulique

Avertissement
Irritation de la peau Le liquide de frein provoque des irritations de la peau.
- Conserver le liquide de frein hors de portée des enfants.
- Porter des vêtements de protection adéquats et des lunettes de protection.
- Éviter tout contact du liquide de frein avec la peau, les yeux ou les vêtements.
- Consulter immédiatement un médecin en cas d'ingestion du liquide de frein.
- En cas de contact cutané, rincer à grande eau la zone touchée.
- En cas de contact avec les yeux, les rincer immédiatement et abondamment à l'eau et consulter un médecin.
- Si les vêtements sont aspergés de liquide de frein, il faut les changer.

Remarque
Danger pour l'environnement Certaines substances nuisent à l'environnement.
- Éliminer huile, lubrifiant, filtre, carburant, produits de nettoyage, liquide de frein, etc. de façon réglementaire et conformément aux dispositions en vigueur.

Info
Le niveau de liquide augmente au fur et à mesure de l'usure des lamelles de la garniture d'embrayage.
Ne jamais utiliser de liquide de frein DOT 5. Il est à base d'huile de silicone et sa couleur est pourpre.
Les joints et les durites d'embrayage ne sont pas conçus pour le liquide de frein DOT 5.
Ne pas verser de liquide de frein sur la peinture des composants, risque de corrosion de la peinture.
N'utiliser que du liquide de frein propre et provenant d'un bidon hermétiquement fermé.

text_image
① ② ③ H03713-10- Placer le réservoir de l'embrayage hydraulique sur le guidon en position horizontale.
- Retirer les vis 1.
- Retirer le couvercle ② avec la membrane ③.
- Vérifier le niveau de liquide.
| Niveau de liquide sous le bord supérieur du réservoir | 4 mm (0,16 in) |
» Lorsque le niveau de liquide ne correspond pas aux indications prescrites :
- Rectifier le niveau de liquide de l'embrayage hydraulique.
Liquide de frein DOT 4 / DOT 5.1 (p. 158)
- Positionner le couvercle avec la membrane. Mettre les vis en place et les serrer.

Info
Nettoyer aussitôt à l'eau le liquide de frein ayant débordé ou ayant été renversé.
12.44 Remplacer le liquide d'embrayage hydraulique

Avertissement
Irritation de la peau Le liquide de frein provoque des irritations de la peau.
- Conserver le liquide de frein hors de portée des enfants.
- Porter des vêtements de protection adéquats et des lunettes de protection.
- Éviter tout contact du liquide de frein avec la peau, les yeux ou les vêtements.
- Consulter immédiatement un médecin en cas d'ingestion du liquide de frein.
- En cas de contact cutané, rincer à grande eau la zone touchée.
- En cas de contact avec les yeux, les rincer immédiatement et abondamment à l'eau et consulter un médecin.
- Si les vêtements sont aspergés de liquide de frein, il faut les changer.

Remarque
Danger pour l'environnement Certaines substances nuisent à l'environnement.
- Éliminer huile, lubrifiant, filtre, carburant, produits de nettoyage, liquide de frein, etc. de façon réglementaire et conformément aux dispositions en vigueur.
12 TRAVAUX D'ENTRETIEN SUR LA PARTIE-CYCLE

Info
Ne jamais utiliser de liquide de frein DOT 5. Il est à base d'huile de silicone et sa couleur est pourpre.
Les joints et les durites d'embrayage ne sont pas conçus pour le liquide de frein DOT 5.
Ne pas verser de liquide de frein sur la peinture des composants, risque de corrosion de la peinture.
N'utiliser que du liquide de frein propre et provenant d'un bidon hermétiquement fermé.

text_image
① ② ③ H03713-10
- Placer le réservoir de l'embrayage hydraulique sur le guidon en position horizontale.
- Retirer les vis 1.
- Retirer le couvercle ② avec la membrane ③.
- Remplir la seringue de purge 4 de liquide approprié.
Seringue (50329050000)
Liquide de frein DOT 4 / DOT 5.1 (p. 158)
- Sur le cylindre récepteur, enlever le capuchon et la vis de purge ⑤ et mettre en place la seringue de purge ④.
- Verser le liquide dans le circuit jusqu'à ce qu'il ressorte sans bulles par l'alésage ⑥ du maître-cylindre.
- Retirer régulièrement du liquide du réservoir du maître-cylindre pour éviter un débordement.
- Retirer la seringue de purge. Mettre la vis de purge en place et la serrer. Mettre le capuchon en place.
- Rectifier le niveau de liquide de l'embrayage hydraulique. Indications prescrites
Niveau de liquide sous le bord supérieur du réservoir 4 mm (0,16 in)
- Positionner le couvercle avec la membrane. Mettre les vis en place et les serrer.

Info
Nettoyer aussitôt à l'eau le liquide de frein ayant débordé ou ayant été renversé.
12.45 Déposer la protection moteur

- Retirer les vis 1 et enlever la protection moteur.
12.46 Monter la protection moteur

- Accrocher la protection moteur à l'arrière du cadre et pivoter l'avant vers le haut.
- Mettre les vis ① en place et les serrer. Indications prescrites
| Vis restantes sur la partie-cycle | M6 10 Nm (7,4 lbf ft) |

13 SYSTÈME DE FREIN
13.1 Régler la position de base du levier de frein à main

text_image
MAGURA ① H03716-10- Adapter la position de base du levier de frein à main avec la vis de réglage ① en fonction de la taille de la main du pilote.

Info
La rotation de la vis de réglage dans le sens des aiguilles d'une montre rapproche le levier de frein à main du guidon.
La rotation de la vis de réglage dans le sens inverse des aiguilles d'une montre éloigne le levier de frein à main du guidon.
La plage de réglage est limitée.
Ne tourner la vis de réglage qu'à la main et ne pas for- cer.
Ne pas effectuer de travaux de réglage durant le trajet.
13.2 Vérifier les disques de frein

Avertissement
Risque d'accident Les disques de frein usés réduisent l'efficacité de freinage.
- Veillez à remplacer immédiatement les disques de frein usés. (Votre atelier Husqvarna Motorcycles agréé se tient volontiers à votre disposition.)

text_image
400257-10- Vérifier l'épaisseur des disques de frein avant et arrière, à plusieurs endroits, par rapport à la cote A.

Info
L'usure entraîne une diminution de l'épaisseur du disque de frein au niveau de la surface d'appui des plaquettes de frein.
| Usure limite disques de frein | |
| avant 2,5 mm (0,098 in) | |
| arrière 3,5 mm (0,138 in) | |
» Si l'épaisseur des disques de frein est inférieure à la valeur prescrite :
- Remplacer le disque de frein avant.
- Remplacer le disque de frein arrière.
- Vérifier l'état des disques de frein avant et arrière et l'absence de fissures et de déformation.
» Si le disque de frein présente des fissures, des déformations ou qu'il est en mauvais état :
- Remplacer le disque de frein avant.
- Remplacer le disque de frein arrière.
◀
13.3 Vérifier le niveau de liquide de frein à l'avant

Avertissement
Risque d'accident Les plaquettes peuvent tomber en panne si le niveau de liquide de frein est insuffisant.
Si le niveau de liquide de frein est en-dessous du repère ou de la valeur minimale donnée, cela indique que le système de freinage perd du liquide ou que les plaquettes de frein sont usées.
- Contrôlez les freins et ne conduisez pas avant que le problème ne soit résolu. (Votre atelier Husqvarna Motorcycles agréé se tient volontiers à votre disposition.)

Avertissement
Risque d'accident Un liquide de frein usé réduit l'efficacité du freinage.
- Veillez à remplacer le liquide de frein du frein avant et arrière conformément au plan d'entretien. (Votre atelier Husqvarna Motorcycles agréé se tient volontiers à votre disposition.)

text_image
A 1 H03717-10- Mettre le réservoir de compensation de freinage situé sur le guidon en position horizontale.
- Vérifier le niveau de liquide à travers le regard ^1 .
» Si le niveau de liquide de frein se trouve en dessous du repère Ⓐ :
- Faire l'appoint de liquide de frein à l'avant. ( p. 93)
13.4 Faire l'appoint de liquide de frein à l'avant

Avertissement
Risque d'accident Les plaquettes peuvent tomber en panne si le niveau de liquide de frein est insuffisant.
Si le niveau de liquide de frein est en-dessous du repère ou de la valeur minimale donnée, cela indique que le système de freinage perd du liquide ou que les plaquettes de frein sont usées.
- Contrôlez les freins et ne conduisez pas avant que le problème ne soit résolu. (Votre atelier Husqvarna Motorcycles agréé se tient volontiers à votre disposition.)

Avertissement
Irritation de la peau Le liquide de frein provoque des irritations de la peau.
- Conserver le liquide de frein hors de portée des enfants.
- Porter des vêtements de protection adéquats et des lunettes de protection.
- Éviter tout contact du liquide de frein avec la peau, les yeux ou les vêtements.
- Consulter immédiatement un médecin en cas d'ingestion du liquide de frein.
- En cas de contact cutané, rincer à grande eau la zone touchée.
- En cas de contact avec les yeux, les rincer immédiatement et abondamment à l'eau et consulter un médecin.
- Si les vêtements sont aspergés de liquide de frein, il faut les changer.
13 SYSTÈME DE FREIN

Avertissement
Risque d'accident Un liquide de frein usé réduit l'efficacité du freinage.
- Veillez à remplacer le liquide de frein du frein avant et arrière conformément au plan d'entretien. (Votre atelier Husqvarna Motorcycles agréé se tient volontiers à votre disposition.)

Remarque
Danger pour l'environnement Certaines substances nuisent à l'environnement.
- Éliminer huile, lubrifiant, filtre, carburant, produits de nettoyage, liquide de frein, etc. de façon réglementaire et conformément aux dispositions en vigueur.

Info
Ne jamais utiliser de liquide de frein DOT 5. Il est à base d'huile de silicone et sa couleur est pourpre. Les joints et les durites de frein ne sont pas conçus pour le liquide de frein DOT 5. Ne pas verser de liquide de frein sur la peinture des composants, risque de corrosion de la peinture. N'utiliser que du liquide de frein propre et provenant d'un bidon hermétiquement fermé.

- Contrôler les plaquettes de frein avant. ( p. 94)
Travail principal
- Mettre le réservoir de compensation de freinage situé sur le guidon en position horizontale.
- Retirer les vis 1.
- Retirer le couvercle ② avec la membrane ③.
- Faire l'appoint en liquide de frein jusqu'au repère A. Indications prescrites
| Cote A (niveau de liquide de frein sous l'arête supérieure du réservoir) | 5 mm (0,2 in) |
Liquide de frein DOT 4 / DOT 5.1 (p. 158)
- Positionner le couvercle avec la membrane. Mettre les vis en place et les serrer.

Info
Nettoyer aussitôt à l'eau le liquide de frein ayant débordé ou ayant été renversé.
13.5 Contrôler les plaquettes de frein avant

Avertissement
Risque d'accident Les plaquettes de frein usées réduisent l'efficacité de freinage.
- Veillez à remplacer immédiatement les plaquettes de frein usées. (Votre atelier Husqvarna Motorcycles agréé se tient volontiers à votre disposition.)

- Vérifier que les plaquettes de frein ont l'épaisseur minimale Ⓐ.
| Épaisseur minimale A pourles plaquettes de frein | ≥ 1 mm (≥ 0,04 in) |
» Si les plaquettes de frein n'ont plus l'épaisseur minimale :
- Remplacer les plaquettes de frein avant. (p. 95)
- Vérifier l'état et la formation de fissures sur les plaquettes de frein.
» En présence d'endommagement et de fissures :
- Remplacer les plaquettes de frein avant. (p. 95)
13.6 Remplacer les plaquettes de frein avant

Avertissement
Risque d'accident En cas de mauvais entretien, les plaquettes de frein peuvent tomber en panne.
- Assurez-vous que les travaux d'entretien et les réparations sont réalisés par des professionnels. (Votre atelier Husqvarna Motorcycles agréé se tient volontiers à votre disposition.)

Avertissement
Irritation de la peau Le liquide de frein provoque des irritations de la peau.
- Conserver le liquide de frein hors de portée des enfants.
- Porter des vêtements de protection adéquats et des lunettes de protection.
- Éviter tout contact du liquide de frein avec la peau, les yeux ou les vêtements.
- Consulter immédiatement un médecin en cas d'ingestion du liquide de frein.
- En cas de contact cutané, rincer à grande eau la zone touchée.
- En cas de contact avec les yeux, les rincer immédiatement et abondamment à l'eau et consulter un médecin.
- Si les vêtements sont aspergés de liquide de frein, il faut les changer.

Avertissement
Risque d'accident Un liquide de frein usé réduit l'efficacité du freinage.
- Veillez à remplacer le liquide de frein du frein avant et arrière conformément au plan d'entretien.
(Votre atelier Husqvarna Motorcycles agréé se tient volontiers à votre disposition.)

Avertissement
Risque d'accident La présence d'huile ou de graisse sur les disques de frein réduit l'efficacité de freinage.
- Veillez à ce que les disques de frein soient en permanence exempts de graisse et d'huile.
- Si besoin, nettoyez les disques de frein avec un nettoyant pour freins.
13 SYSTÈME DE FREIN

Avertissement
Risque d'accident Des plaquettes de frein non homologuées modifient l'efficacité des freins.
Toutes les plaquettes de frein ne sont pas testées et homologuées pour les motos Husqvarna. La construction, le coefficient de frottement ainsi l'efficacité de freinage peuvent notablement diverger des plaquettes de frein originales.
Lorsque des plaquettes de frein différentes des originales sont utilisées, elles risquent de ne pas être homologuées. Dans ce cas, le véhicule ne correspond plus à l'état de livraison et la garantie n'est plus valable.
- Pour des raisons de sécurité, n'utiliser que plaquettes de frein homologuées et recommandées par Husqvarna.

Remarque
Danger pour l'environnement Certaines substances nuisent à l'environnement.
- Éliminer huile, lubrifiant, filtre, carburant, produits de nettoyage, liquide de frein, etc. de façon réglementaire et conformément aux dispositions en vigueur.

Info
Ne jamais utiliser de liquide de frein DOT 5. Il est à base d'huile de silicone et sa couleur est pourpre.
Les joints et les durites de frein ne sont pas conçus pour le liquide de frein DOT 5.
Ne pas verser de liquide de frein sur la peinture des composants, risque de corrosion de la peinture.
N'utiliser que du liquide de frein propre et provenant d'un bidon hermétiquement fermé.

text_image
① ② ③ H03720-10- Mettre le réservoir de compensation de freinage situé sur le guidon en position horizontale.
- Retirer les vis 1.
- Retirer le couvercle ② avec la membrane ③.

text_image
H03721-10- Pousser l'étrier de frein vers le disque de frein avec la main pour refouler les pistons et s'assurer que le liquide de frein ne déborde pas du réservoir de liquide de frein. Absorber le liquide le cas échéant.

Info
Vérifier que l'étrier de frein n'est pas poussé contre les rayons lors du refoulement des pistons d'étrier de frein.
- Retirer la goupille à ressort ④.
- Presser la plaque de ressort ⑤ vers le haut et extraire l'axe ⑥.
- Déposer les plaquettes de frein.
- Nettoyer l'étrier de frein et le support de l'étrier de frein.

text_image
H02377-10
text_image
H03721-11
- S'assurer que la plaque de ressort ⑤ de l'étrier de frein et la plaque de glissement ⑦ du support de l'étrier de frein sont correctement mises en place.
- Placer les nouvelles plaquettes de frein.
- Monter l'axe 6.
√ La plaque de ressort ⑤ engrène dans la gorge de l'axe.

Info
Toujours remplacer les plaquettes de frein par jeu entier.
- Monter la goupille à ressort 4.
- Actionner plusieurs fois le levier de frein à main jusqu'à ce que les plaquettes de frein soient en contact avec le disque de frein et qu'une résistance soit perceptible.
- Rectifier le niveau de liquide de frein pour qu'il atteigne le repère Ⓐ.
Indications prescrites
| Cote A (niveau de liquide de frein sous l'arête supérieure du réservoir) | 5 mm (0,2 in) |
Liquide de frein DOT 4 / DOT 5.1 (p. 158)
- Positionner le couvercle ② et la membrane ③.
- Mettre les vis ① en place et les serrer.

Info
Nettoyer aussitôt à l'eau le liquide de frein ayant débordé ou ayant été renversé.
13.7 Vérifier la course libre de la pédale de frein arrière

Avertissement
Risque d'accident En cas de surchauffe, le circuit de freinage n'est plus opérationnel.
En l'absence de course libre sur la pédale de frein arrière, la pression augmente dans le système de frein arrière.
- Régler la course libre sur la pédale de frein arrière, comme indiqué dans les prescriptions.
13 SYSTÈME DE FREIN

text_image
QUIN 1 A 402026-10- Décrocher le ressort 1.
- Actionner plusieurs fois la pédale de frein arrière entre la butée de fin de course et le support du piston dans le maître-cylindre et vérifier la course libre A.
Indications prescrites
| Course libre sur la pédale de frein arrière | 3 ... 5 mm (0,12 ... 0,2 in) |
» Lorsque la course libre ne correspond pas aux indications prescrites :
- Régler la position de base de la pédale de frein arrière. (p. 98)
- Fixer le ressort 1.
13.8 Régler la position de base de la pédale de frein arrière

Avertissement
Risque d'accident En cas de surchauffe, le circuit de freinage n'est plus opérationnel.
En l'absence de course libre sur la pédale de frein arrière, la pression augmente dans le système de frein arrière.
- Régler la course libre sur la pédale de frein arrière, comme indiqué dans les prescriptions.

text_image
1 A
text_image
④ ⑤ ③ ② H03722-10- Décrocher le ressort ①.
- Desserrer l'écrou ④ et le faire revenir avec la tige ⑤ jusqu'à ce que la course libre maximale soit disponible.
- Pour adapter individuellement le réglage de la position de base de la pédale de frein arrière, desserrer l'écrou ^2 et faire tourner la vis ^3 en conséquence.

Info
La plage de réglage est limitée.
- Faire tourner la tige ⑤ jusqu'à ce que la course libre A soit présente. Au besoin, modifier la position de base de la pédale de frein arrière.
Indications prescrites
| Course libre sur la pédale de frein arrière | 3 ... 5 mm (0,12 ... 0,2 in) |
- Maintenir la vis ③ et serrer l'écrou ②.
Indications prescrites
| Écrou de butée de la pédale de frein arrière | M8 20 Nm (14,8 lbf ft) |
- Maintenir la tige ⑤ et serrer l'écrou ④.
Indications prescrites
| Écrous restants sur la partie-cycle | M6 10 Nm (7,4 lbf ft) |
- Accrocher le ressort ①.
13.9 Contrôler le niveau de liquide de frein à l'arrière

Avertissement
Risque d'accident Les plaquettes peuvent tomber en panne si le niveau de liquide de frein est insuffisant.
Si le niveau de liquide de frein est en-dessous du repère ou de la valeur minimale donnée, cela indique que le système de freinage perd du liquide ou que les plaquettes de frein sont usées.
- Contrôlez les freins et ne conduisez pas avant que le problème ne soit résolu. (Votre atelier Husqvarna Motorcycles agréé se tient volontiers à votre disposition.)

Avertissement
Risque d'accident Un liquide de frein usé réduit l'efficacité du freinage.
- Veillez à remplacer le liquide de frein du frein avant et arrière conformément au plan d'entretien. (Votre atelier Husqvarna Motorcycles agréé se tient volontiers à votre disposition.)

text_image
A 1 F02353-10- Positionner le véhicule à la verticale.
- Contrôler le niveau de liquide de frein par le regard ^1 .
» Si le niveau de liquide de frein se trouve en dessous du repère Ⓐ :
- Faire l'appoint du liquide de frein à l'arrière. ( p. 99)
13.10 Faire l'appoint du liquide de frein à l'arrière

Avertissement
Risque d'accident Les plaquettes peuvent tomber en panne si le niveau de liquide de frein est insuffisant.
Si le niveau de liquide de frein est en-dessous du repère ou de la valeur minimale donnée, cela indique que le système de freinage perd du liquide ou que les plaquettes de frein sont usées.
- Contrôlez les freins et ne conduisez pas avant que le problème ne soit résolu. (Votre atelier Husqvarna Motorcycles agréé se tient volontiers à votre disposition.)

Avertissement
Irritation de la peau Le liquide de frein provoque des irritations de la peau.
- Conserver le liquide de frein hors de portée des enfants.
- Porter des vêtements de protection adéquats et des lunettes de protection.
- Éviter tout contact du liquide de frein avec la peau, les yeux ou les vêtements.
- Consulter immédiatement un médecin en cas d'ingestion du liquide de frein.
- En cas de contact cutané, rincer à grande eau la zone touchée.
- En cas de contact avec les yeux, les rincer immédiatement et abondamment à l'eau et consulter un médecin.
- Si les vêtements sont aspergés de liquide de frein, il faut les changer.
13 SYSTÈME DE FREIN

Avertissement
Risque d'accident Un liquide de frein usé réduit l'efficacité du freinage.
- Veillez à remplacer le liquide de frein du frein avant et arrière conformément au plan d'entretien. (Votre atelier Husqvarna Motorcycles agréé se tient volontiers à votre disposition.)

Remarque
Danger pour l'environnement Certaines substances nuisent à l'environnement.
- Éliminer huile, lubrifiant, filtre, carburant, produits de nettoyage, liquide de frein, etc. de façon réglementaire et conformément aux dispositions en vigueur.

Info
Ne jamais utiliser de liquide de frein DOT 5. Il est à base d'huile de silicone et sa couleur est pourpre.
Les joints et les durites de frein ne sont pas conçus pour le liquide de frein DOT 5.
Ne pas verser de liquide de frein sur la peinture des composants, risque de corrosion de la peinture.
N'utiliser que du liquide de frein propre et provenant d'un bidon hermétiquement fermé.

- Contrôler les plaquettes de frein arrière. ( p. 100)
Travail principal
- Positionner le véhicule perpendiculairement au sol.
- Retirer le serre-câble de la protection de cadre.
- Retirer le couvercle fileté ① avec la membrane ② et la rondelle.
- Rajouter du liquide de frein jusqu'au repère Ⓐ.
Liquide de frein DOT 4 / DOT 5.1 (p. 158)
- Monter le couvercle fileté avec la membrane et la rondelle et serrer le tout.

Info
Nettoyer aussitôt à l'eau le liquide de frein ayant débordé ou ayant été renversé.
- Mettre en place un nouveau serre-câble sur la protection de cadre.
13.11 Contrôler les plaquettes de frein arrière

Avertissement
Risque d'accident Les plaquettes de frein usées réduisent l'efficacité de freinage.
- Veillez à remplacer immédiatement les plaquettes de frein usées. (Votre atelier Husqvarna Motorcycles agréé se tient volontiers à votre disposition.)

text_image
A H03725-10- Vérifier que les plaquettes de frein ont l'épaisseur minimale Ⓐ.
| Épaisseur minimale A pour les plaquettes de frein | ≥ 1 mm (≥ 0,04 in) |
» Si les plaquettes de frein n'ont plus l'épaisseur minimale :
- Remplacer les plaquettes de frein arrière.
(p. 101)
- Vérifier l'état et la formation de fissures sur les plaquettes de frein.
» En présence d'endommagement et de fissures :
- Remplacer les plaquettes de frein arrière. ♣ (p. 101)
13.12 Remplacer les plaquettes de frein arrière

Avertissement
Risque d'accident En cas de mauvais entretien, les plaquettes de frein peuvent tomber en panne.
- Assurez-vous que les travaux d'entretien et les réparations sont réalisés par des professionnels. (Votre atelier Husqvarna Motorcycles agréé se tient volontiers à votre disposition.)

Avertissement
Irritation de la peau Le liquide de frein provoque des irritations de la peau.
- Conserver le liquide de frein hors de portée des enfants.
- Porter des vêtements de protection adéquats et des lunettes de protection.
- Éviter tout contact du liquide de frein avec la peau, les yeux ou les vêtements.
- Consulter immédiatement un médecin en cas d'ingestion du liquide de frein.
- En cas de contact cutané, rincer à grande eau la zone touchée.
- En cas de contact avec les yeux, les rincer immédiatement et abondamment à l'eau et consulter un médecin.
- Si les vêtements sont aspergés de liquide de frein, il faut les changer.

Avertissement
Risque d'accident Un liquide de frein usé réduit l'efficacité du freinage.
- Veillez à remplacer le liquide de frein du frein avant et arrière conformément au plan d'entretien. (Votre atelier Husqvarna Motorcycles agréé se tient volontiers à votre disposition.)

Avertissement
Risque d'accident La présence d'huile ou de graisse sur les disques de frein réduit l'efficacité de freinage.
- Veillez à ce que les disques de frein soient en permanence exempts de graisse et d'huile.
- Si besoin, nettoyez les disques de frein avec un nettoyant pour freins.
13 SYSTÈME DE FREIN

Avertissement
Risque d'accident Des plaquettes de frein non homologuées modifient l'efficacité des freins.
Toutes les plaquettes de frein ne sont pas testées et homologuées pour les motos Husqvarna. La construction, le coefficient de frottement ainsi l'efficacité de freinage peuvent notablement diverger des plaquettes de frein originales.
Lorsque des plaquettes de frein différentes des originales sont utilisées, elles risquent de ne pas être homologuées. Dans ce cas, le véhicule ne correspond plus à l'état de livraison et la garantie n'est plus valable.
- Pour des raisons de sécurité, n'utiliser que plaquettes de frein homologuées et recommandées par Husqvarna.

Remarque
Danger pour l'environnement Certaines substances nuisent à l'environnement.
- Éliminer huile, lubrifiant, filtre, carburant, produits de nettoyage, liquide de frein, etc. de façon réglementaire et conformément aux dispositions en vigueur.

Info
Ne jamais utiliser de liquide de frein DOT 5. Il est à base d'huile de silicone et sa couleur est pourpre.
Les joints et les durites de frein ne sont pas conçus pour le liquide de frein DOT 5.
Ne pas verser de liquide de frein sur la peinture des composants, risque de corrosion de la peinture.
N'utiliser que du liquide de frein propre et provenant d'un bidon hermétiquement fermé.

- Positionner le véhicule perpendiculairement au sol.
- Retirer le serre-câble de la protection de cadre.
- Retirer le couvercle fileté ① avec la membrane ② et la rondelle.
- Pousser l'étrier de frein vers le disque de frein avec la main pour refouler les pistons et s'assurer que le liquide de frein ne déborde pas du réservoir de compensation de freinage. Absorber le liquide le cas échéant.

Info
Vérifier que l'étrier de frein n'est pas poussé contre les rayons lors du refoulement des pistons d'étrier de frein.
- Retirer la goupille à ressort ③.
- Presser la plaque de ressort ④ vers le bas et extraire l'axe ⑤.
- Déposer les plaquettes de frein.
- Nettoyer l'étrier de frein et le support de l'étrier de frein.

text_image
④ ⑥ H03728-10
- S'assurer que la plaque de ressort ④ de l'étrier de frein et la plaque de glissement ⑥ du support de l'étrier de frein sont correctement mises en place.
- Placer les nouvelles plaquettes de frein.
- Monter l'axe ⑤.
√ La plaque de ressort 4 engrène dans la gorge de l'axe.

Info
Toujours remplacer les plaquettes de frein par jeu entier.
Vérifier que la tôle anti-chaleur ⑦ est bien mise en place sur la plaquette de frein coté piston.
- Monter la goupille à ressort ③.
- Actionner plusieurs fois la pédale de frein arrière jusqu'à ce que les plaquettes de frein soient au contact du disque et qu'une résistance soit perceptible.
- Rectifier le niveau de liquide de frein jusqu'au repère A.
Liquide de frein DOT 4 / DOT 5.1 (p. 158)
- Monter le couvercle fileté ① avec la membrane ② et la rondelle et serrer le tout.

Info
Nettoyer aussitôt à l'eau le liquide de frein ayant débordé ou ayant été renversé.
- Mettre en place un nouveau serre-câble sur la protection de cadre.
14.1 Déposer la roue avant
Préparatifs
- Surélever la moto sur un socle réglable. (p. 57)
Travail principal
- Repousser à la main l'étrier de frein contre le disque pour refouler les pistons.

Vérifier que l'étrier de frein n'est pas poussé contre les rayons lors du refoulement des pistons d'étrier de frein.

- Desserrer de quelques tours la vis 1.
- Desserrer les vis ②.
- Pousser sur la vis 1, pour sortir l'axe hors de la fixation de l'essieu de roue avant.
- Retirer la vis 1.

Risque d'accident Les disques de frein endommagés réduisent l'efficacité de freinage.
- Déposez toujours la roue de manière à ce que le disque de frein ne soit pas endommagé.
- Tenir la roue avant et retirer l'axe. Retirer la roue avant de la fourche.

Info
Ne pas actionner le levier de frein à main quand la roue avant est démontée.
- Retirer les douilles-entretoises ③.

14.2 Monter la roue avant

Avertissement
Risque d'accident La présence d'huile ou de graisse sur les disques de frein réduit l'efficacité de freinage.
- Veillez à ce que les disques de frein soient en permanence exempts de graisse et d'huile.
- Si besoin, nettoyez les disques de frein avec un nettoyant pour freins.

text_image
1 A 1 A H00935-10- Vérifier l'usure et la dégradation du roulement de roue.
» Si le roulement de roue est endommagé ou usé :
- Remplacer le roulement de roue avant.
- Nettoyer et graisser les bagues d'étanchéité ① ainsi que la surface de roulement Ⓐ des douilles-entretoises.
Graisse longue durée ( p. 160)
- Poser les douilles-entretoises.

text_image
③ ③ ② H03730-11- Nettoyer et graisser légèrement l'axe.
Graisse longue durée ( p. 160)
- Placer la roue avant et introduire l'axe.
Les plaquettes de frein sont bien positionnées.
- Mettre la vis ② en place et la serrer.
Indications prescrites
| Vis axe de roue avant | M20x1,5 35 Nm (25,8 lbf ft) |
- Actionner plusieurs fois le levier de frein à main jusqu'à ce que les plaquettes se plaquent contre le disque de frein.
- Retirer la moto du socle réglable. (p. 57)
- Actionner le frein avant et enfoncer énergiquement plusieurs fois la fourche.
Les bras de fourche se positionnent.
- Serrer les vis ③.
Indications prescrites
| Vis fixation de l'axe de roue avant | M8 15 Nm (11,1 | lbf ft) |
14.3 Déposer la roue arrière
Préparatifs
- Surélever la moto sur un socle réglable. (p. 57)
14 ROUES, PNEUS

- Repousser l'étrier de frein à la main en direction du disque pour refouler le piston.

Info
Vérifier que l'étrier de frein n'est pas poussé contre les rayons lors du refoulement des pistons d'étrier de frein.
- Retirer l'écrou 1.
- Retirer les tendeurs de chaîne ②. Retirer l'axe ③ de façon à ce que la roue arrière puisse être poussée vers l'avant.
- Pousser la roue arrière aussi loin que possible vers l'avant. Enlever la chaîne de la couronne.

Info
Protéger les composants contre tout dommage en les recouvrant.

Avertissement
Risque d'accident Les disques de frein endommagés réduisent l'efficacité de freinage.
- Déposez toujours la roue de manière à ce que le disque de frein ne soit pas endommagé.
- Tenir la roue arrière et retirer l'axe. Retirer la roue arrière du bras oscillant.

Info
Ne pas actionner la pédale de frein arrière quand la roue arrière est démontée.
- Retirer les douilles-entretoises 4.

text_image
H03002-1014.4 Monter la roue arrière

Avertissement
Risque d'accident La présence d'huile ou de graisse sur les disques de frein réduit l'efficacité de freinage.
- Veillez à ce que les disques de frein soient en permanence exempts de graisse et d'huile.
- Si besoin, nettoyez les disques de frein avec un nettoyant pour freins.

text_image
① A ① A H03001-10
- Vérifier l'usure et la dégradation du roulement de roue.
» Si le roulement de roue est endommagé ou usé :
- Remplacer le roulement de roue arrière.
- Nettoyer et graisser les bagues d'étanchéité ① ainsi que la surface de roulement Ⓐ des douilles-entretoises.
Graisse longue durée ( p. 160)
- Poser les douilles-entretoises.
- Nettoyer et graisser légèrement l'axe.
Graisse longue durée ( p. 160)
- Placer la roue arrière et introduire l'axe②.
- Monter la chaîne.
Les plaquettes de frein sont bien positionnées.
- Positionner les tendeurs de chaîne③. Mettre l'écrou ④ en place sans le serrer.
- Vérifier que les tendeurs de chaîne③ sont plaqués contre les vis de réglage⑤.
- Contrôler la tension de la chaîne. ( p. 82)
- Serrer l'écrou 4.
Indications prescrites
Écrou axe arrière | M20x1,5 80 Nm (59 lbf ft)
i Info La la
La large plage de réglage des tendeurs de chaîne (32 mm) permet l'introduction de démultiplications secondaires sur une même longueur de chaîne. Les tendeurs de chaîne ③ peuvent être pivotés à 180°.
- Actionner plusieurs fois la pédale de frein arrière jusqu'à ce que les plaquettes de frein soient au contact du disque et qu'une résistance soit perceptible.
Retouche
- Retirer la moto du socle réglable. (p. 57)
14.5 Vérifier l'état des pneus

Info
Monter uniquement des pneus autorisés et/ou recommandés par Husqvarna Motorcycles.
D'autres pneus peuvent avoir des répercussions négatives sur la conduite.
Le type de pneus, l'état des pneus et la pression d'air des pneus influencent la conduite de la moto.
Les roues avant et arrière ne doivent être équipées que de pneus de même profil.
Des pneus usagés agissent défavorablement sur la conduite, particulièrement sur route mouillée.

- Vérifier le dessin des pneus avant et arrière ainsi que l'absence d'objets incrustés et autres dégradations.
» En présence de coupures sur le dessin des pneus, d'objets incrustés et autres dégradations :
- Remplacer le pneu.
- Vérifier la profondeur du profil.

Info
Respecter la profondeur de profil minimale requise par la loi dans le pays correspondant.
| Profondeur de profil mini-male | ≥ 2 mm (≥ 0,08 in) |
» Si la profondeur de profil est inférieure à la valeur minimale requise :
- Remplacer le pneu.
- Vérifier l'âge des pneus.

text_image
DOT EB 0V 0208 1215 H01144-01
Info
La date de fabrication des pneus, généralement indiquée avec les inscriptions figurant sur le pneu, est désignée par les quatre derniers chiffres de la dénomination DOT. Les deux premiers chiffres correspondent à la semaine de fabrication et les deux derniers à l'année de fabrication.
Indépendamment de l'usure réelle des pneus, Hus-qvarna Motorcycles préconise un changement de pneumatiques au plus tard tous les 5 ans.
» Lorsque le pneu a plus de 5 ans :
- Remplacer le pneu.
14.6 Vérifier la pression des pneus

Info
Une pression de pneu insuffisante cause une usure anormale et une surchauffe du pneu.
Une pression de pneu correcte contribue à un confort de conduite optimal et à une durée de vie maximale du pneu.

- Retirer le capuchon.
- Vérifier la pression du pneu quand le pneu est froid.
| Pression de pneu sur tout-terrain | |
| avant 1,0 bar (15 psi) | |
| arrière 1,0 bar (15 psi) | |
| Pression de pneu sur route (tous les modèles EU) | |
| avant 1,5 bar (22 psi) | |
| arrière 1,8 bar (26 psi) | |
» Lorsque la pression de pneu ne correspond pas aux indications prescrites :
- Ajuster la pression de pneu.
- Mettre le capuchon en place.
14.7 Contrôler la tension des rayons

Avertissement
Risque d'accident Des rayons mal tendus modifient le comportement sur route et peuvent endommager le véhicule.
Si les rayons sont trop tendus, ils peuvent se briser en raison de la surcharge. Si les rayons ne sont pas assez tendus, la roue peut se déformer, ce qui entraîne à son tour une déformation des autres rayons.
- Contrôlez régulièrement la tension des rayons, notamment si le véhicule est neuf. (Votre atelier Husqvarna Motorcycles agréé se tient volontiers à votre disposition.)

- Frapper légèrement chaque rayon avec un tournevis.

Info
La fréquence du son dépend de la longueur des rayons et de leur diamètre.
Des fréquences de son différentes alors que les rayons sont de même longueur et de même diamètre indiquent des tensions de rayon différentes.
Un son aigu doit retentir.
» Si la tension des rayons varie :
- Rectifier la tension des rayons.
- Contrôler le couple de serrage des rayons.
Indications prescrites
| Vis de rayon roue avant | M4,5 5 Nm (3,7 | lbf ft) |
| Vis de rayon de la roue arrière | M4,5 5 Nm (3,7 | lbf ft) |
Kit de clé dynamométrique (58429094000)
15.1 Déposer la batterie 12 V

Remarque
Danger pour l'environnement Les batteries 12 V contiennent des substances polluantes.
- Ne pas jeter les batteries 12 V dans les ordures ménagères.
- Rapporter les batteries 12 V à un point de collecte.

Remarque
Danger pour l'environnement Certaines substances nuisent à l'environnement.
- Éliminer huile, lubrifiant, filtre, carburant, produits de nettoyage, liquide de frein, etc. de façon réglementaire et conformément aux dispositions en vigueur.
Préparatifs
- Actionner le bouton d'arrêt au ralenti moteur jusqu'à l'arrêt du moteur.
- Déposer le couvercle du boîtier du filtre à air. ( p. 71)
- Déposer la selle. (p. 69)

Risque de blessures Les batteries 12 V contiennent des substances nocives.
- Conservez les batteries 12 V hors de portée des enfants.
- Évitez toute étincelle et toute flamme nue à proximité des batteries 12 V.
- Rechargez les batteries 12 V uniquement dans des locaux bien ventilés.
- Maintenez une distance de sécurité avec les matériaux inflammables lorsque vous rechargez une batterie 12 V.
Distance minimale 1 m (3 ft) - Ne rechargez pas de batteries 12 V déchargées en profondeur si la tension minimale est déjà atteinte.
Tension minimale avant 9 V chargement -
Éliminez les batteries 12 V ayant atteint la tension minimale conformément aux dispositions en vigueur.
-
Débrancher le câble négatif 1 de la batterie 12 V.
- Retirer la protection du pôle positif② et débrancher le câble positif de la batterie 12 V.

- Retirer le relais de démarrage ③ et la boîte à fusibles ④ de l'étrier de fixation, puis les mettre de côté.

text_image
S03579-10- Décrocher le faisceau de câbles ⑤, débrancher les relais ⑥ et les mettre de côté.

- Retirer la vis ⑦ et décrocher l'étrier de fixation.
- Enlever la batterie 12 V par le haut.

15 CIRCUIT ÉLECTRIQUE
15.2 Monter la batterie 12 V

- Placer la batterie 12 V dans le compartiment de la batterie avec les pôles orientés vers l'avant et la fixer avec l'étrier de fixation ①.
Batterie 12 V (HJTZ5S-FP-C) (p. 153)
- Mettre la vis ② en place et la serrer.
Indications prescrites
| Vis restantes sur la partie-cycle | M6 10 Nm (7,4 lbf ft) | |

text_image
S03579-11- Placer les relais ③ sur l'étrier de fixation et accrocher le faisceau de câbles ④.

text_image
⑥ ⑤ S03578-11- Accrocher le relais de démarrage ⑤ et la boîte à fusibles ⑥ à l'étrier de fixation.

text_image
10 7 8 9 A S03584-10- Brancher le câble positif ⑦ à la batterie 12 V. Indications prescrites
| Vis de pôle de batterie | M5 2,5 Nm (1,84 lbf ft) | |

Info
Le disque de contact Ⓐ doit être monté sous la vis Ⓤ et la cosse Ⓞ, avec la griffe orientée vers le pôle de la batterie.
- Placer le cache du pôle positif sur le pôle positif.
- Brancher le câble négatif 10 à la batterie 12 V. Indications prescrites
| Vis de pôle de batterie | M5 2,5 Nm (1,84 lbf ft) |

Info
Le disque de contact Ⓐ doit être monté sous la vis ⑧ et la cosse ⑨, avec la griffe orientée vers le pôle de la batterie.
Retouche
- Monter la selle. (p. 70)
- Monter le couvercle du boîtier du filtre à air. ( p. 71)
15.3 Charger la batterie 12 V

Avertissement
Risque de blessures Les batteries 12 V contiennent des substances nocives.
- Conservez les batteries 12 V hors de portée des enfants.
- Évitez toute étincelle et toute flamme nue à proximité des batteries 12 V.
- Rechargez les batteries 12 V uniquement dans des locaux bien ventilés.
- Maintenez une distance de sécurité avec les matériaux inflammables lorsque vous rechargez une batterie 12 V.
Distance minimale 1 m (3 ft) - Ne rechargez pas de batteries 12 V déchargées en profondeur si la tension minimale est déjà atteinte.
Tension minimale avant chargement 9 V - Éliminez les batteries 12 V ayant atteint la tension minimale conformément aux dispositions en vigueur.

Remarque
Danger pour l'environnement Les batteries 12 V contiennent des substances polluantes.
- Ne pas jeter les batteries 12 V dans les ordures ménagères.
- Rapporter les batteries 12 V à un point de collecte.
15 CIRCUIT ÉLECTRIQUE

Remarque
Danger pour l'environnement Certaines substances nuisent à l'environnement.
- Éliminer huile, lubrifiant, filtre, carburant, produits de nettoyage, liquide de frein, etc. de façon réglementaire et conformément aux dispositions en vigueur.
i Info Mêm
Même lorsque la batterie 12 V n'est pas sollicitée, elle perd chaque jour de sa charge.
L'état de charge et la manière de charger jouent un rôle très important pour la durée de vie de la batterie 12 V.
Les charges rapides à courant de charge élevé réduisent la durée de vie de la batterie.
En cas de dépassement du courant ou de la tension de charge, la batterie 12 V risque d'être détruite.
Lorsque la batterie 12 V a été vidée par des essais de démarrage, la recharger sans délai.
Lorsque la batterie 12 V reste trop longtemps déchargée, elle se décharge spontanément et accuse une perte de capacité, détruisant la batterie.
La batterie 12 V ne nécessite pas d'entretien.

- Actionner le bouton d'arrêt au ralenti moteur jusqu'à l'arrêt du moteur.
- Déposer le couvercle du boîtier du filtre à air. ( p. 71)
- Déposer la selle. (p. 69)
- Déposer la batterie 12 V. (p. 110)
Travail principal
- Vérifier la tension de la batterie.
» Tension de la batterie : < 9 V
- Ne pas charger la batterie 12 V.
- Remplacer et éliminer la batterie 12 V usagée conformément aux règlementations en vigueur.
» Lorsque la valeur prescrite est atteinte :
Tension de la batterie : ≥ 9 V
- Connecter le chargeur à la batterie 12 V. Mettre en marche le chargeur de batterie.
Indications prescrites
| Le courant de charge, la tension de charge et le temps de charge ne doivent pas être dépassés. | |
| Tension de charge maxi-male | 14,4 V |
| Courant de charge maximal | 3,0 A |
| Temps de charge maxi-mal | 24 h |
| Recharger régulièrement la batterie 12 V lorsque la moto n'est pas utili-sée. | 6 mois |
| Température de char-gement et de stockage idéale pour la batterie lithium-ion. | 10 ... 20 °C (50 ... 68 °F) |
Chargeur de batterie (26529974000)
Avec le chargeur, tester la batterie 12 V pour contrôler si elle tient la tension. En outre, une surcharge de la batterie 12 V est impossible avec ce type de chargeur. Le temps de charge peut être plus long à basses températures.
Ce chargeur convient uniquement pour les batteries au lithium phosphate de fer. Respecter les instructions jointes concernant les accessoires Husqvarna Motorcycles.

Info
Ne retirer en aucun cas le couvercle①.
- Éteindre le chargeur en fin de charge et le déconnecter de la batterie 12 V.
Retouche
- Monter la batterie 12 V. (p. 112)
- Monter la selle. (p. 70)
- Monter le couvercle du boîtier du filtre à air. (p. 71)
15.4 Remplacer le fusible général

Avertissement
Risque d'incendie Des fusibles incorrects surchargent l'installation électrique.
- Utilisez uniquement des fusibles avec l'ampérage prescrit.
- Ne jamais ponter ou réparer les fusibles.

Info
Le fusible général permet de sécuriser l'ensemble des consommateurs électriques du véhicule.
Préparatifs
- Actionner le bouton d'arrêt au ralenti moteur jusqu'à l'arrêt du moteur.
- Déposer le couvercle du boîtier du filtre à air. ( p. 71)
- Déposer la selle. (p. 69)
Travail principal
- Dégager le relais de démarrage ① du support.

- Retirer les capuchons ②.
- Enlever le fusible général défectueux ③.

Info
Le coupe-circuit A d'un fusible défectueux est ouvert.
Le relais de démarrage est également équipé d'un fusible de réserve ④.
- Mettre en place un fusible général neuf.
- Vérifier le bon fonctionnement de l'équipement électrique.

Conseil
Mettre en place un nouveau fusible de réserve pour qu'il soit disponible, le cas échéant.
- Enficher les capuchons.
- Brancher le relais de démarrage sur le support et mettre le câble en place.
Retouche
- Monter la selle. (p. 70)
- Monter le couvercle du boîtier du filtre à air. (p. 71)
15.5 Remplacer les fusibles des divers consommateurs

Info
La boîte à fusibles comportant les fusibles des divers consommateurs se trouve sous la selle.
Préparatifs
- Actionner le bouton d'arrêt ✉ au ralenti moteur jusqu'à l'arrêt du moteur.
- Déposer le couvercle du boîtier du filtre à air. ( p. 71)
- Déposer la selle. (p. 69)
Travail principal
- Ouvrir le couvercle de la boîte à fusibles 1.
- Retirer le fusible défectueux.
Indications prescrites
(tous les modèles EU)
Fusible 1 - 10 A - boîtier de commande EFI, sonde lambda, tableau de bord, commodo (en option), injection électronique de carburant, connecteur de diagnostic
(FE 501 US)
Fusible 1 - 10 A - boîtier de commande EFI, tableau de bord, commodo (en option), injection électronique de carburant, connecteur de diagnostic, soupape de vaporisation du carburant

text_image
A ① S03587-10| Fusible 2 - 10 A - feu de route, feu de croisement, feu de position, feu arrière, éclairage de la plaque d'immatriculation |
| Fusible 3 - 10 A - ventilateur de refroidissement, avertisseur sonore, feu stop, clignotants |
| Fusible 4 - 5 A - pompe à carburant |
| Fusibles res - 10 A - fusibles de rechange |

Info
Le coupe-circuit A d'un fusible défectueux est ouvert.

Avertissement
Risque d'incendie Des fusibles incorrects sur- chargent l'installation électrique.
- Utilisez uniquement des fusibles avec l'ampérage prescrit.
- Ne jamais ponter ou réparer les fusibles.
- Utiliser un fusible de rechange de valeur correspondante.
| Fusible (75011088010) ( p. 153) |
| Fusible (75011088005) ( p. 153) |

Conseil
Mettre un nouveau fusible de rechange dans la boîte à fusibles pour qu'il soit disponible, le cas échéant.
- Vérifier le bon fonctionnement du consommateur.
- Fermer le couvercle de la boîte à fusibles①.
Retouche
- Monter la selle. (p. 70)
- Monter le couvercle du boîtier du filtre à air. (p. 71)
15.6 Déposer la plaque-phare et le phare

- Actionner le bouton d'arrêt ✉ au ralenti moteur jusqu'à l'arrêt du moteur.
- Desserrer les caoutchoucs de maintien 1. Faire glisser la plaque-phare vers le haut et la faire pivoter vers l'avant.
15 CIRCUIT ÉLECTRIQUE

- Retirer la vis ②.
- Décrocher la durée de frein et le faisceau de câbles de la plaque-phare.
- Faire pivoter la plaque-phare vers l'avant et la déposer sur le garde-boue.

(tous les modèles EU)
- Débrancher les connecteurs ③ et déposer la plaque-phare avec le phare.

- Débrancher le connecteur ③, puis déposer la plaque-phare et le phare.
15.7 Monter la plaque-phare et le phare

(tous les modèles EU)
- Brancher les connecteurs 1.

- Brancher le connecteur 1.

- Faire passer la durée de frein et le faisceau de câbles dans le collier de passage de câbles.
- Mettre la vis ② en place et la serrer.
- Positionner la plaque-phare.
Les crochets s'engagent dans le garde-boue.

- Fixer la plaque-phare avec des caoutchoucs de maintien ^3 .
Retouche
- Vérifier le réglage du phare. (p. 121)
15.8 Remplacer l'ampoule de phare
Remarque
Endommagement du réflecteur De la graisse sur le réflecteur réduit la luminosité.
Les traces de graisse présentes sur le verre de l'ampoule s'évaporent à la chaleur et s'incrustent sur le réflecteur.
- Nettoyer et dégraisser le verre de l'ampoule avant le montage.
- Ne pas toucher le verre de l'ampoule à main nue.
Préparatifs
- Déposer la plaque-phare et le phare. (p. 117)
15 CIRCUIT ÉLECTRIQUE

text_image
TOP ① ② H03753-10
- Tourner le capuchon ① avec la douille située en-dessous jusqu'en butée dans le sens inverse des aiguilles d'une montre et le soulever.
- Extraire la douille ② du feu de position hors du réflecteur.
- Extraire l'ampoule de phare ③.
- Mettre en place une nouvelle ampoule de phare.
Phare (HS1 / Sockel PX43t) (p. 153)
- Mettre en place le capuchon avec la douille dans le réflecteur et tourner jusqu'en butée dans le sens des aiguilles d'une montre.
- Veiller à ce que le joint torique 4 soit bien en place.
- Placer la douille du feu de position dans le réflecteur.
Retouche
- Monter la plaque-phare et le phare. (p. 118)
- Vérifier le réglage du phare. (p. 121)
15.9 Remplacer l'ampoule de clignotant (tous les modèles EU)
Remarque
Endommagement du réflecteur De la graisse sur le réflecteur réduit la luminosité.
Les traces de graisse présentes sur le verre de l'ampoule s'évaporent à la chaleur et s'incrustent sur le réflecteur.
- Nettoyer et dégraisser le verre de l'ampoule avant le montage.
- Ne pas toucher le verre de l'ampoule à main nue.

- Enlever la vis au dos du boîtier de clignotant.
- Déposer le verre du clignotant 1 avec précaution.
- Appuyer légèrement sur le capuchon orange ^2 autour des crochets avant de les déposer.
- Appuyer légèrement sur l'ampoule de clignotant, la faire pivoter de 30° dans le sens inverse des aiguilles d'une montre et la retirer de la douille.

Info
Éviter de toucher le réflecteur du doigt afin de ne pas le souiller de graisse.
- Enfoncer la nouvelle ampoule de clignotant dans la douille en pressant légèrement, puis la faire pivoter dans le sens des aiguilles d'une montre jusqu'en butée.
Clignotant (R10W / douille BA15s) (p. 153)
- Mettre le capuchon orange en place.
- Mettre en place le verre de clignotant.
- Introduire la vis, puis tourner d'abord dans le sens inverse des aiguilles d'une montre jusqu'à une légère secousse signalant son enclenchement dans le filetage. Serrer légèrement la vis.
Retouche
- Contrôler le fonctionnement du clignotant.
15.10 Vérifier le réglage du phare

text_image
A B 400726-10- Placer le véhicule sur une surface horizontale, devant un mur clair et pratiquer une marque à hauteur du centre du phare.
- Dessiner un deuxième repère à une distance B en dessous du premier repère.
Indications prescrites
Distance B
5 cm (2 in)
- Positionner le véhicule à une distance Ⓐ bien droit devant le mur.
Indications prescrites
Distance A
5 m (16 ft)
- Le pilote peut à présent s'asseoir sur la moto.
- Enclencher le feu de croisement.
- Vérifier le réglage du phare.
Sur une moto prête à l'emploi, avec pilote installé, la limite clarté/obscurité doit se situer exactement sur le repère inférieur.
» Si la limite entre la pénombre et la lumière ne correspond pas aux indications prescrites :
- Régler la portée du phare. (p. 122)
15 CIRCUIT ÉLECTRIQUE
15.11 Régler la portée du phare
Préparatifs
- Vérifier le réglage du phare. ( p. 121)
Travail principal
- Desserrer la vis 1.
- Régler la portée en pivotant le phare.
Indications prescrites
Sur une moto prête à l'emploi, avec pilote installé, la limite clarté/obscurité doit se situer exactement sur le repère inférieur (défini au paragraphe : Vérifier le réglage du phare).

Info
Une modification de poids risque d'obliger à rectifier la portée du phare.
- Serrer la vis ①.

15.12 Remplacer la batterie du tableau de bord
Préparatifs
- Déposer la plaque-phare et le phare. (p. 117)
Travail principal
- Retirer les vis 1 et les rondelles.
- Sortir le tableau de bord de son support par le haut.

- Tourner le capuchon ② avec une pièce de monnaie, dans le sens inverse des aiguilles d'une montre, jusqu'en butée et le retirer.
- Retirer la batterie du tableau de bord ③.
- Mettre en place la nouvelle batterie du tableau de bord, avec l'inscription vers l'extérieur.
Batterie du tableau de bord (CR 2032) (p. 153)
- Vérifier que le joint torique est bien positionné dans le capuchon.

- Placer le capuchon ② et le tourner dans le sens des aiguilles d'une montre avec une pièce de monnaie.
- Actionner une touche quelconque sur le tableau de bord.
√ Le tableau de bord s'active. - Placer le tableau de bord sur son support.
- Mettre en place les vis et les rondelles et serrer.
Retouche
- Monter la plaque-phare et le phare. (p. 118)
- Vérifier le réglage du phare. (p. 121)
- Régler le tableau de bord. (p. 26)
15.13 Connecteur de diagnostic

Le connecteur de diagnostic 1 est situé sous la selle, sous le boîtier de commande EFI.
16.1 Système de refroidissement

La pompe à eau ① provoque une circulation forcée du liquide de refroidissement dans le moteur.
La pression établie dans le système de refroidissement suite à l'échauffement est régulée par le biais d'une soupape sur le bouchon de radiateur ②. Ce système permet d'atteindre la température de liquide de refroidissement admissible sans créer de dysfonctionnement.
120 °C (248 °F)
Le refroidissement s'effectue par vent relatif.
Plus la vitesse est faible, plus l'efficacité du refroidissement est réduite. De la même manière, l'encrassement des ailettes du radiateur diminue l'efficacité du refroidissement.
Un refroidissement supplémentaire est assuré par le ventilateur de refroidissement, qui se met en marche en fonction de la température.
16.2 Vérifier l'antigel et le niveau de liquide de refroidissement

Avertissement
Danger de brûlure Le liquide de refroidissement est brûlant et maintenu sous pression pendant le fonctionnement de la moto.
- Ne jamais ouvrir le radiateur, les durites de radiateur ou tout autre composant du système de refroidissement lorsque le moteur ou le système de refroidissement sont chauds.
- Laissez le système de refroidissement et le moteur refroidir avant d'ouvrir le radiateur, les durites de radiateur ou tout autre composant du système de refroidissement.
- En cas de brûlure, passez immédiatement la zone ébouillantée sous l'eau tiède.

Avertissement
Danger d'intoxication Le liquide de refroidissement est toxique et dangereux pour la santé.
- Conserver le liquide de refroidissement hors de portée des enfants.
- Éviter tout contact du liquide de refroidissement avec la peau, les yeux ou les vêtements.
- Consulter immédiatement un médecin en cas d'ingestion du liquide de refroidissement.
- En cas de contact cutané, rincer immédiatement à grande eau la zone touchée.
- En cas de contact du liquide de refroidissement avec les yeux, bien les rincer à l'eau et consulter immédiatement un médecin.
- Si les vêtements sont aspergés de liquide de refroidissement, il faut les changer.

Le moteur est froid.
- Placer la moto à la verticale sur une surface horizontale.
- Enlever le bouchon de radiateur.
- Vérifier l'antigel du liquide de refroidissement.
$$ - 2 5 \dots - 4 5 ^ {\circ} \mathrm{C} (- 1 3 \dots - 4 9 ^ {\circ} \mathrm{F}) $$
» Lorsque l'antigel du liquide de refroidissement ne correspond pas aux indications prescrites :
- Rectifier l'antigel du liquide de refroidissement.
- Vérifier le niveau de liquide de refroidissement dans le radiateur.
| Niveau de liquide de refroidissement A au-dessus des ailettes du radiateur |
10 mm (0,39 in)
» Lorsque le niveau de liquide de refroidissement ne correspond pas aux indications prescrites :
- Rectifier le niveau de liquide de refroidissement.
Liquide de refroidissement (p. 158)
- Mettre le bouchon de radiateur en place.
16.3 Vérifier le niveau de liquide de refroidissement

Avertissement
Danger de brûlure Le liquide de refroidissement est brûlant et maintenu sous pression pendant le fonctionnement de la moto.
- Ne jamais ouvrir le radiateur, les durites de radiateur ou tout autre composant du système de refroidissement lorsque le moteur ou le système de refroidissement sont chauds.
- Laissez le système de refroidissement et le moteur refroidir avant d'ouvrir le radiateur, les durites de radiateur ou tout autre composant du système de refroidissement.
- En cas de brûlure, passez immédiatement la zone ébouillantée sous l'eau tiède.

Avertissement
Danger d'intoxication Le liquide de refroidissement est toxique et dangereux pour la santé.
- Conserver le liquide de refroidissement hors de portée des enfants.
- Éviter tout contact du liquide de refroidissement avec la peau, les yeux ou les vêtements.
- Consulter immédiatement un médecin en cas d'ingestion du liquide de refroidissement.
- En cas de contact cutané, rincer immédiatement à grande eau la zone touchée.
- En cas de contact du liquide de refroidissement avec les yeux, bien les rincer à l'eau et consulter immédiatement un médecin.
- Si les vêtements sont aspergés de liquide de refroidissement, il faut les changer.

Le moteur est froid.
- Placer la moto à la verticale sur une surface horizontale.
- Enlever le bouchon de radiateur.
- Vérifier le niveau de liquide de refroidissement dans le radiateur.
| Niveau de liquide de refroidissement A au-dessus des ailettes du radiateur |
10 mm (0,39 in)
» Lorsque le niveau de liquide de refroidissement ne correspond pas aux indications prescrites :
- Rectifier le niveau de liquide de refroidissement.
Liquide de refroidissement (p. 158)
- Mettre le bouchon de radiateur en place.
16.4 Vidanger le liquide de refroidissement

Avertissement
Danger de brûlure Le liquide de refroidissement est brûlant et maintenu sous pression pendant le fonctionnement de la moto.
- Ne jamais ouvrir le radiateur, les durites de radiateur ou tout autre composant du système de refroidissement lorsque le moteur ou le système de refroidissement sont chauds.
- Laissez le système de refroidissement et le moteur refroidir avant d'ouvrir le radiateur, les durites de radiateur ou tout autre composant du système de refroidissement.
- En cas de brûlure, passez immédiatement la zone ébouillantée sous l'eau tiède.

Avertissement
Danger d'intoxication Le liquide de refroidissement est toxique et dangereux pour la santé.
- Conserver le liquide de refroidissement hors de portée des enfants.
- Éviter tout contact du liquide de refroidissement avec la peau, les yeux ou les vêtements.
- Consulter immédiatement un médecin en cas d'ingestion du liquide de refroidissement.
- En cas de contact cutané, rincer immédiatement à grande eau la zone touchée.
- En cas de contact du liquide de refroidissement avec les yeux, bien les rincer à l'eau et consulter immédiatement un médecin.
- Si les vêtements sont aspergés de liquide de refroidissement, il faut les changer.

Le moteur est froid.
Préparatifs
- Déposer la protection moteur. (p. 91)
Travail principal
- Placer la moto perpendiculairement au sol.
- Placer un réservoir adapté sous le couvercle pompe à eau.
- Retirer la vis ①. Enlever le bouchon de radiateur ②.
- Vidanger entièrement le liquide de refroidissement.
- Installer et serrer la vis ① avec la nouvelle bague d'étanchéité.
Indications prescrites
| Vis couvercle pompe à eau | M6 10 Nm (7,4 lbf ft) |
16.5 Remplir de liquide de refroidissement

Avertissement
Danger d'intoxication Le liquide de refroidissement est toxique et dangereux pour la santé.
- Conserver le liquide de refroidissement hors de portée des enfants.
- Éviter tout contact du liquide de refroidissement avec la peau, les yeux ou les vêtements.
- Consulter immédiatement un médecin en cas d'ingestion du liquide de refroidissement.
- En cas de contact cutané, rincer immédiatement à grande eau la zone touchée.
- En cas de contact du liquide de refroidissement avec les yeux, bien les rincer à l'eau et consulter immédiatement un médecin.
- Si les vêtements sont aspergés de liquide de refroidissement, il faut les changer.
SYSTÈME DE REFROIDISSEMENT 16

text_image
① A F02356-10Travail principal
- S'assurer que la vis 1 est fermement serrée.
- Placer la moto perpendiculairement au sol.
- Remplir de liquide de refroidissement jusqu'au repère A situé au-dessus des ailettes du radiateur.
Indications prescrites
| 10 mm (0,39 in) | ||
| Liquide de refroidissement | 1,2 l (1,3 qt.) | Liquide de refroidissement(p. 158) |
- Mettre le bouchon de radiateur en place.
Retouche
- Faire un bref essai sur route.
- Vérifier le niveau de liquide de refroidissement. (p. 125)
- Monter la protection moteur. (p. 91)
17.1 Vérifier le jeu du câble d'accélérateur

- Vérifier que la poignée des gaz tourne sans effort.
- Mettre le guidon en position droite. Actionner la poignée des gaz dans les deux sens pour déterminer le jeu du câble d'accélérateur A.
Jeu du câble d'accélérateur 3 ... 5 mm (0,12 ... 0,2 in)
» Si le jeu du câble d'accélérateur ne correspond pas aux indications prescrites :
- Régler le jeu du câble d'accélérateur. (p. 128)
- Enfoncer le bouton de démarrage à froid jusqu'en butée.
Si la poignée des gaz est tournée vers l'avant, le bouton de démarrage à froid revient dans sa position initiale.
» Si le bouton de démarrage à froid ne revient pas dans sa position initiale :
- Régler le jeu du câble d'accélérateur. (p. 128)

Danger
Danger d'intoxication Les gaz d'échappement sont toxiques et peuvent faire perdre conscience voire entraîner la mort.
- Veillez donc en permanence à une aération suffisante lorsque le moteur tourne.
- Utilisez un système d'extraction des gaz d'échappement approprié si vous démarrez ou faites tourner le moteur dans une pièce fermée.
- Démarrer le moteur et le laisser tourner au régime de ralenti. Tourner le guidon d'un extrême à l'autre.
Le régime de ralenti doit rester constant.
» Lorsque le régime de ralenti change :
- Régler le jeu du câble d'accélérateur. (p. 128)
17.2 Régler le jeu du câble d'accélérateur

Info
Si les câbles d'accélérateur sont correctement positionnés, il n'est pas nécessaire de déposer le réservoir de carburant.
Préparatifs
- Déposer le couvercle du boîtier du filtre à air. (p. 71)
- Déposer la selle. (p. 69)
- Déposer le cache latéral droit. (p. 73)
- Déposer le réservoir de carburant. (p. 78)
- Vérifier la position du câble d'accélérateur. (p. 86)

- Mettre le guidon en position droite.
- Repousser le cache-poussière 1.
- Desserrer l'écrou ②.
- Visser entièrement la vis de réglage ③.
- Desserrer l'écrou 4.
- Enfoncer le bouton de démarrage à froid⑥ jusqu'en butée.
- Tourner la vis de réglage ^5 de sorte que le bouton de démarrage à froid vienne en position de base, lorsque la poignée des gaz est tournée vers l'avant.
- Serrer l'écrou 4.
- Tourner la vis de réglage ③ de façon à ce que le jeu du câble d'accélérateur soit présent sur la poignée des gaz. Indications prescrites
Jeu du câble d'accélérateur 3 ... 5 mm (0,12 ... 0,2 in) - Serrer l'écrou ②.
- Remettre le cache-poussière 1 en place.
- Vérifier que la poignée des gaz tourne sans effort.
Retouche
- Vérifier le jeu du câble d'accélérateur. ( p. 128)
17.3 Régler la caractéristique de l'accélération

Info
Sur la poignée des gaz, la caractéristique de l'accélération peut être modifiée en changeant la coulisse. Une coulisse avec une autre caractéristique est fournie avec le véhicule.

- Repousser le cache-poussière 1.
- Enlever les vis ② et les semi-coussinets ③.
- Décrocher les câbles d'accélération et déposer le tube de la poignée.
17 ADAPTER LE MOTEUR

text_image
B A 5 4 780.02.014.000 OUTSIDE 5 4 102246-10
- Dégager la coulisse ④ du tube de la poignée ⑤.
- Placer la coulisse souhaitée sur le tube de la poignée.
Indications prescrites
La désignation OUTSIDE doit être visible. Le repère A doit être aligné avec le repère B.
Coulisse grise (79002014000)
Alternative 1
Coulisse noire (79002014100)

Info
La coulisse grise ouvre le clapet d'étranglement plus lentement.
La coulisse noire ouvre le clapet d'étranglement plus rapidement.
A la livraison, c'est la coulisse grise qui est installée.
- Nettoyer le guidon à l'extérieur et le tube de la poignée à l'intérieur. Placer le tube de la poignée sur le guidon.
- Accrocher les câbles d'accélération à la coulisse et les faire passer de manière adéquate.
- Mettre en place les semi-coussinets ③, monter et serrer les vis ②.
Indications prescrites
Vis poignée des gaz M6 5 Nm (3,7 lbf ft) - Emmancher le cache-poussière ① et vérifier le bon fonctionnement de la poignée des gaz.
Retouche
- Vérifier le jeu du câble d'accélérateur. (p. 128)
17.4 Modifier le mapping

Avertissement
Annulation de l'autorisation de circulation sur routes et de l'assurance Lorsque le commodo est monté, l'éventuelle homologation routière du véhicule est annulée.
- Lorsque le commodo est monté, la moto ne doit être utilisée qu'en circuit fermé et sur des routes non ouvertes au public.

La caractéristique moteur souhaitée peut être activée à l'aide de la touche MAP du commodo.
Le dernier réglage sélectionné reste activé au démarrage suivant.
De plus, la touche TC permet d'activer le contrôle de la traction à partir de chaque Mapping.
Le Mapping peut également être modifié pendant la conduite.

- Appuyer sur la touche MAP jusqu'à ce que la LED 1 s'allume.
Indications prescrites
Régime moteur < 4.000 tr/min
√ STANDARD – Réponse équilibrée

text_image
TC 1 2 (TC) MAP TC 1 2 (TC) MAP H02886-01Activer le Mapping ADVANCED :
- Appuyer sur la touche MAP jusqu'à ce que la LED 2 s'allume.
Indications prescrites
Régime moteur < 4.000 tr/min
√ ADVANCED – Réponse directe

17.5 Régler le régime de ralenti

Avertissement
Risque d'accident A régime de ralenti trop faible, le moteur risque de s'arrêter brusquement.
- Faire tourner le moteur à la valeur prescrite de régime de ralenti. (Votre atelier Husqvarna Motorcycles agréé se tient volontiers à votre disposition.)

- Monter le moteur en température.
√ Bouton de démarrage à froid désactivé – Le bouton de démarrage à froid est en position de base. (p. 22)

Danger
Danger d'intoxication Les gaz d'échappement sont toxiques et peuvent faire perdre conscience voire entraîner la mort.
- Veillez donc en permanence à une aération suffisante lorsque le moteur tourne.
- Utilisez un système d'extraction des gaz d'échappement approprié si vous démarrez ou faites tourner le moteur dans une pièce fermée.
- Régler le régime de ralenti en tournant la vis de réglage du régime de ralenti ①.
Indications prescrites
Régime de ralenti 1.800 ... 1.900 tr/min
Compte tours (45129075000)

Info
La rotation dans le sens inverse des aiguilles d'une montre permet d'abaisser le régime de ralenti.
La rotation dans le sens inverse des aiguilles d'une montre permet d'augmenter le régime de ralenti.

17.6 Programmer la position du clapet d'étranglement

Info
Lorsque le boîtier de commande détecte que la position du clapet d'étranglement doit être à nouveau programmée pour le régime de ralenti, alors le témoin de dysfonctionnement clignote 2x par seconde.

text_image
N H02263-10
Danger
Danger d'intoxication Les gaz d'échappement sont toxiques et peuvent faire perdre conscience voire entraîner la mort.
- Veillez donc en permanence à une aération suffisante lorsque le moteur tourne.
- Utilisez un système d'extraction des gaz d'échappement approprié si vous démarrez ou faites tourner le moteur dans une pièce fermée.
- Laisser tourner le véhicule au régime de ralenti.
√ Le témoin de dysfonctionnement cesse de clignoter dès que la programmation est terminée.

Info
Si le moteur chauffe trop, réaliser une course de refroidissement à régime moyen.
Ne pas couper le moteur après cela, mais le laisser tourner au ralenti jusqu'à la fin de la programmation.

17.7 Contrôler la position de base du sélecteur

Info
Le sélecteur ne doit pas être en contact avec le cylindre lors du déplacement en position de base.
Si le sélecteur est constamment en contact avec le cylindre, la boîte de vitesses est excessivement sollicitée.

text_image
A 400692-10- S'asseoir sur le véhicule en position de conduite et mesurer l'écart Ⓐ entre le haut de la botte et le sélecteur.
| Distance entre le sélecteur et le bord supérieur de la botte | 10 ... 20 mm (0,39 ... 0,79 in) |
» La distance ne correspond pas à la spécification : - Régler la position de base du sélecteur. (p. 133)

17.8 Régler la position de base du sélecteur

text_image
2 1 401950-12- Retirer la vis ① avec les rondelles et enlever le sélecteur ②.

- Nettoyer la denture A du sélecteur et de l'arbre de sélection. - Amener le sélecteur dans la position souhaitée sur l'arbre de sélection et faire s'engrener la denture.

Info
La plage de réglage est limitée.
Le sélecteur ne doit toucher aucun composant pendant l'opération.
- Mettre la vis 1 en place avec les rondelles et serrer. Indications prescrites
| Vis sélecteur M6 | 14 Nm (10,3 lbf ft) | Loctite®243TM |
18 TRAVAUX D'ENTRETIEN SUR LE MOTEUR
18.1 Remplacer la crépine à essence

Danger
Risque d'incendie Le carburant est facilement inflammable.
Le carburant contenu dans le réservoir se dilate sous l'effet de la chaleur et peut déborder lorsque le réservoir est trop rempli.
- Ne jamais faire le plein du véhicule à proximité de flammes ou de cigarettes allumées.
- Arrêter le moteur lorsque vous faites le plein.
- S'assurer de ne pas renverser de carburant, notamment sur les parties chaudes du véhicule.
- Essuyer immédiatement tout carburant renversé.
- Respecter les consignes indiquées lorsque vous faites le plein.

Avertissement
Danger d'intoxication Le carburant est toxique et constitue un danger pour la santé.
- Éviter tout contact du carburant avec la peau, les yeux ou les vêtements.
- Consulter immédiatement un médecin en cas d'ingestion de carburant.
- Ne pas respirer les vapeurs d'essence.
- En cas de contact cutané, rincer immédiatement à grande eau la zone touchée.
- En cas de contact du carburant avec les yeux, bien les rincer à l'eau et consulter immédiatement un médecin.
- Si les vêtements sont aspergés de carburant, il faut les changer.

Remarque
Danger pour l'environnement Une manipulation inadéquate du carburant constitue un danger pour l'environnement.
- Le carburant ne doit pas pénétrer dans la nappe phréatique, le sol ou les canalisations.

- Nettoyer minutieusement le connecteur 1 de la conduite de carburant à l'air comprimé.

Info
De la saleté ne doit en aucun cas parvenir dans la conduite de carburant. Cela boucherait l'injecteur !
- Débrancher le connecteur de la conduite de carburant.

Info
Un reste de carburant peut s'écouler de la durite.
- Sortir la crépine à essence ② du raccord.
- Enfoncer une nouvelle crépine à essence jusqu'en butée dans le raccord.
- Graisser le joint torique et brancher le connecteur de la conduite de carburant.

Danger
Danger d'intoxication Les gaz d'échappement sont toxiques et peuvent faire perdre conscience voire entraîner la mort.
- Veillez donc en permanence à une aération suffisante lorsque le moteur tourne.
- Utilisez un système d'extraction des gaz d'échappement approprié si vous démarrez ou faites tourner le moteur dans une pièce fermée.
- Démarrer le moteur et vérifier sa réponse.
18.2 Vérifier le niveau d'huile moteur
Préparatifs
Placer la moto à la verticale sur une surface horizontale.

text_image
B A F02359-10Condition
Le moteur est froid.
- Vérifier le niveau d'huile moteur.
Le niveau d'huile moteur atteint le bord inférieur du regard Ⓐ.
» Si le niveau d'huile moteur n'atteint pas le bord inférieur du regard :
- Faire l'appoint d'huile moteur. (p. 138)
Condition
Le moteur est à la température de fonctionnement.
- Vérifier le niveau d'huile moteur.

Info
Après l'arrêt du moteur, patienter une minute puis vérifier le niveau.
Le niveau d'huile moteur se situe entre le bord inférieur du regard A et le milieu du regard B.
» Si le niveau d'huile moteur n'est pas situé entre le bord inférieur du regard A et le milieu du regard B :
- Faire l'appoint d'huile moteur. (p. 138)
18.3 Remplacer l'huile moteur et le filtre à huile, nettoyer les crépines d'huile

Avertissement
Danger de brûlure L'huile moteur et l'huile de boîte sont brûlantes lorsque le moteur de la moto tourne.
- Porter des vêtements de protection et des gants de protection adéquats.
- En cas de brûlure, passez immédiatement la zone ébouillantée sous l'eau tiède.
18 TRAVAUX D'ENTRETIEN SUR LE MOTEUR

Remarque
Danger pour l'environnement Certaines substances nuisent à l'environnement.
- Éliminer huile, lubrifiant, filtre, carburant, produits de nettoyage, liquide de frein, etc. de façon réglementaire et conformément aux dispositions en vigueur.

Info
Vidanger l'huile moteur alors que le moteur est chaud.
Préparatifs
- Déposer la protection moteur. (p. 91)
- Garer la moto sur une surface plane.
Travail principal
- Placer un réservoir adapté sous le moteur.
- Enlever la vis de vidange d'huile ① ainsi que l'aimant et la bague d'étanchéité.

- Enlever le bouchon ② et la crépine courte ainsi que les joints toriques.

text_image
② X A F00442-10
Info
Ne pas retirer la vis A.

text_image
③ ④ F00443-10- Enlever le bouchon ③ et la crépine longue ④ ainsi que les joints toriques.
- Laisser l'huile moteur s'écouler entièrement.
- Nettoyer les différentes pièces et les surfaces étanches.

- Mettre le bouchon ② en place avec la crépine courte ainsi que les joints toriques, puis serrer.
Indications prescrites
| Bouchon tamis à huile | M20x1,5 15 Nm | (11,1 lbf ft) |
TRAVAUX D'ENTRETIEN SUR LE MOTEUR 18

- Enfiler la crépine longue ④ avec les joints toriques sur un outil à ergot.
- Placer l'outil à ergot, en le faisant passer à travers l'alésage du bouchon, jusque dans le demi-carter moteur opposé.
- Pousser la crépine jusqu'en butée dans le carter moteur.
- Mettre en place le bouchon ③ et le joint torique, puis le serrer.
Indications prescrites
| Bouchon tamis à huile | M20x1,5 15 Nm (11,1 lbf ft) |
- Mettre la vis de vidange d'huile ① en place avec l'aimant et une nouvelle bague d'étanchéité et serrer.
Indications prescrites
| Vis vidange d'huile et aimant | M12x1,5 20 Nm (14,8 lbf ft) |
- Retirer les vis ⑤. Enlever le couvercle de filtre à huile avec son joint torique.
- Retirer le filtre à huile⑥ du carter du filtre à huile.
Pince circlip (51012011000) - Laisser l'huile moteur s'écouler entièrement.
-
Nettoyer soigneusement les pièces et la surface étanche.
-
Coucher la moto sur le côté et remplir le logement dans le carter environ au tiers avec de l'huile moteur.
- Insérer le filtre à huile neuf dans le carter du filtre à huile.
- Huiler le joint torique du couvercle et le monter avec le couvercle de filtre à huile ^7 .
- Mettre les vis en place et les serrer.
Indications prescrites
| Vis couvercle de filtre à huile | M6 10 Nm (7,4 | lbf ft) |
- Redresser la moto.
18 TRAVAUX D'ENTRETIEN SUR LE MOTEUR

text_image
8 401955-12- Enlever le bouchon de remplissage ⑧ et son joint torique et remplir d'huile moteur.
| Huile moteur 1,2 l (1,3 | qt.) Huile moteur | (SAE 10W/50)( p. 158) |

Info
Une trop faible quantité d'huile moteur ou une huile de basse qualité provoquent une usure prématurée du moteur.
- Monter le bouchon de remplissage avec son joint torique et le serrer.

Danger
Danger d'intoxication Les gaz d'échappement sont toxiques et peuvent faire perdre conscience voire entraîner la mort.
- Veillez donc en permanence à une aération suffisante lorsque le moteur tourne.
- Utilisez un système d'extraction des gaz d'échappement approprié si vous démarrez ou faites tourner le moteur dans une pièce fermée.
- Démarrer le moteur et vérifier l'étanchéité.
Retouche
– Monter la protection moteur. (p. 91)
- Vérifier le niveau d'huile moteur. (p. 135)
18.4 Faire l'appoint d'huile moteur

Info
Une trop faible quantité d'huile moteur ou une huile de basse qualité provoquent une usure prématurée du moteur.

- Enlever le bouchon de remplissage ① et le joint torique.
- Verser de l'huile moteur jusqu'au milieu du regard A.
Huile moteur (SAE 10W/50) (p. 158)

Info
Pour que les performances de l'huile moteur soient optimales, il est conseillé de ne pas mélanger des huiles moteur différentes.
Nous recommandons, le cas échéant, de vidanger l'huile moteur.
- Monter le bouchon de remplissage avec son joint torique et le serrer.

Danger
Danger d'intoxication Les gaz d'échappement sont toxiques et peuvent faire perdre conscience voire entraîner la mort.
- Veillez donc en permanence à une aération suffisante lorsque le moteur tourne.
- Utilisez un système d'extraction des gaz d'échappement approprié si vous démarrez ou faites tourner le moteur dans une pièce fermée.
- Démarrer le moteur et vérifier l'étanchéité.
Retouche
- Vérifier le niveau d'huile moteur. (p. 135)
19.1 Nettoyer la moto
Remarque
Détérioration du matériel Une utilisation inappropriée d'un nettoyeur à haute pression peut endommager ou détériorer les composants.
L'eau sous haute pression pénètre dans les composants électriques, les connecteurs, les câbles d'accélérateur, les paliers etc.
Une pression trop élevée entraîne des dysfonctionnements et détériore les composants.
- Ne dirigez jamais le jet d'eau directement sur les composants électriques, les connecteurs, les câbles d'accélérateur ou les paliers.
- Maintenez une distance minimale entre la buse du nettoyeur à haute pression et le composant. Distance minimale 60 cm (23,6 in)

Remarque
Danger pour l'environnement Certaines substances nuisent à l'environnement.
- Éliminer huile, lubrifiant, filtre, carburant, produits de nettoyage, liquide de frein, etc. de façon réglementaire et conformément aux dispositions en vigueur.

Info
Nettoyer régulièrement la machine pour qu'elle conserve sa valeur et son bel aspect pendant longtemps.
Pendant le nettoyage, éviter l'influence du rayonnement solaire direct sur la machine.

- Obturer l'échappement pour empêcher l'eau d'y pénétrer.
- Enlever les plus grosses salissures avec un jet d'eau de puissance moyenne.
- Vaporiser les parties très sales avec un détergent spécial pour motos tel qu'on en trouve dans le commerce, puis les traiter avec un pinceau.

Info
Utiliser une éponge douce et de l'eau chaude avec un détergent spécial pour motos tel qu'on en trouve dans le commerce.
Ne pas appliquer de détergent pour moto sur le véhicule sec, toujours le mouiller à l'eau d'abord.
- Après avoir soigneusement rincé la moto avec un jet d'eau de puissance moyenne, la sécher.
- Enlever le bouchon de l'échappement.

Avertissement
Risque d'accident L'humidité et la poussière compromettent le système de freinage.
- Freinez plusieurs fois avec précaution afin de faire sécher les plaquettes et les disques de frein et d'enlever la poussière.
- À l'issue du nettoyage, parcourir une courte distance, jusqu'à ce que le moteur atteigne la température de fonctionnement.

Info
Ainsi, la chaleur permet à l'eau de s'évaporer même dans les endroits les plus inaccessibles du moteur et du système de frein.
- Quand la machine a refroidi, il convient de lubrifier toutes les articulations et les pièces en frottement.
- Nettoyer la chaîne. (p. 81)
- Traiter les pièces métalliques (sauf les disques de frein et le tuyau d'échappement) avec un produit anticorrosif.
Agent de conservation pour peintures, métaux et caoutchouc (p. 160)
- Traiter toutes les pièces plastique et époxy avec un produit de nettoyage et d'entretien doux.
(tous les modèles EU)
- Graisser l'antivol de direction.
Lubrifiant universel en aérosol (p. 160)
19.2 Travaux de contrôle et d'entretien en prévision de l'usure d'hiver

Info
Lors d'une utilisation du véhicule en hiver, tenir compte de la présence de sel de déneigement. Il convient donc de prendre les mesures qui s'imposent pour la protéger contre ce sel agressif. Si le véhicule est recouvert de sel de déneigement, le nettoyer avec de l'eau froide à l'issue du trajet. L'eau chaude ne ferait qu'accentuer l'action du sel.

- Nettoyer la moto. (p. 140)
- Nettoyer le système de frein.

Info
Après CHAQUE trajet réalisé sur des routes ayant fait l'objet d'un épandage de sel de déneigement, nettoyer à fond les étriers de frein et les plaquettes de frein, à froid et en place sur la moto, à l'eau froide et bien les sécher.
À l'issue de trajets réalisés sur des routes ayant fait l'objet d'un épandage de sel de déneigement, nettoyer à fond le véhicule à l'eau froide et bien le sécher.
- Le moteur, le bras oscillant et autres pièces dénudées ou zinguées (exception faite des disques de frein) doivent être traités à l'aide d'un produit anticorrosion.

Info
Aucun produit anticorrosif ne doit entrer en contact avec les disques de frein, car cela réduirait fortement l'efficacité des freins.
- Nettoyer la chaîne. (p. 81)

20.1 Stockage

Avertissement
Danger d'intoxication Le carburant est toxique et constitue un danger pour la santé.
- Éviter tout contact du carburant avec la peau, les yeux ou les vêtements.
- Consulter immédiatement un médecin en cas d'ingestion de carburant.
- Ne pas respirer les vapeurs d'essence.
- En cas de contact cutané, rincer immédiatement à grande eau la zone touchée.
- En cas de contact du carburant avec les yeux, bien les rincer à l'eau et consulter immédiatement un médecin.
- Si les vêtements sont aspergés de carburant, il faut les changer.
- Stocker le carburant dans un jerrycan approprié, conformément aux directives en vigueur et le tenir hors de portée des enfants.

Info
Si la moto n'est pas utilisée pendant une période prolongée, il est préférable d'effectuer (ou de faire effectuer) les travaux suivants.
Avant de remiser la machine, vérifier l'état d'usure et le bon fonctionnement de tous les éléments. Il est préférable de faire effectuer les travaux d'entretien, de réparation et les transformations durant la morte-saison car les ateliers sont alors moins chargés. L'attente est ainsi moins longue qu'en début de saison.

- Lors du dernier ravitaillement avant l'immobilisation de la moto, ajouter un additif de carburant.
- Faire le plein de carburant. (p. 41)
- Nettoyer la moto. (p. 140)
- Remplacer l'huile moteur et le filtre à huile, nettoyer les cré-pines d'huile. (p. 135)
- Vérifier l'antigel et le niveau de liquide de refroidissement. (p. 124)
- Vérifier la pression des pneus. (p. 108)
- Déposer la batterie 12 V. (p. 110)
- Charger la batterie 12 V. (p. 113)
Indications prescrites
| Température de chargement et de stockage idéale pour la batterie lithium-ion. | 10 ... 20 °C (50 ... 68 °F) |
- Garer le véhicule dans un endroit sec, à l'abri des variations de température trop importantes.

Info
Husqvarna Motorcycles recommande de surélever la moto.
- Surélever la moto sur un socle réglable. (p. 57)
- De préférence, couvrir la moto d'une bâche ou d'une couverture perméables à l'air. N'utiliser en aucun cas des bâches étanches qui retiennent l'humidité et entraînent la corrosion.

Info
Ne jamais faire tourner le moteur d'une moto remisée pour un court instant. En effet, il n'atteint pas sa température normale de fonctionnement, si bien que la vapeur d'eau issue de la combustion se condense et fait rouiller les soupapes et l'échappement.
20.2 Mise en service après le stockage

- Retirer la moto du socle réglable. (p. 57)
- Monter la batterie 12 V. (p. 112)
- Effectuer les travaux de contrôle et d'entretien avant chaque mise en service. (p. 37)
– Effectuer un essai sur route.
| Défaut Cause possible Mesure | ||
| Le moteur n'est pas entraîné (démarreur électrique) | Erreur de maniement – Exécuter les étapes de démarrage. (p. 37) | |
| Batterie 12 V déchargée – Charger la batterie 12 V. (p. 113)– Vérifier la tension de charge. – Vérifier le courant de repos. – Alternateur - vérifier l'enroulement du stator. | ||
| Fusible général fondu – Remplacer le fusible général. (p. 115) | ||
| Relais de démarrage défectueux | – Vérifier le relais de démarrage. | |
| Démarreur électrique défectueux | – Contrôler le démarreur électrique. | |
| Le moteur est entraîné mais ne démarre pas | Erreur de maniement – Exécuter les étapes de démarrage. (p. 37) | |
| Le connecteur à la conduite de carburant non connecté | – Raccorder le connecteur à la conduite de carburant. | |
| Fusible 1 grillé – Remplacer les fusibles des divers consommateurs. (p. 116) | ||
| Fusible 4 grillé – Remplacer les fusibles des divers consommateurs. (p. 116) | ||
| Régime de ralenti mal réglé – Régler le régime de ralenti. (p. 131) | ||
| Bougie encrassée ou humide – | Nettoyer la bougie, la laisser sécher. La remplacer le cas échéant. | |
| Distance trop importante entre les électrodes de la bougie d'allumage | – Régler la distance entre les électrodes. Indications prescrites Distance entre les électrodes des bougies 1,0 mm (0,039 in) | |
| Allumage défectueux – Vérifier le système d'allumage. | ||
| Câble de masse éraflé dans le faisceau de câbles, bouton d'arrêt ou bouton d'arrêt d'urgence défectueux | – Vérifier le faisceau de câbles. (contrôle visuel)– Contrôler l'équipement électrique. | |
| Erreur de l'injection électronique de carburant | – Relever la mémoire d'erreurs avec le boîtier diagnostic Husqvarna Motorcycles. | |
| Le moteur ne monte pas en régime | Erreur de l'injection électronique de carburant | – Relever la mémoire d'erreurs avec le boîtier diagnostic Husqvarna Motorcycles. |
| Allumage défectueux – Bobine d'allumage - contrôler l'enroulement secondaire. – Contrôler la fiche de bougie d'allumage. – Alternateur - vérifier l'enroulement du stator. | ||
| Le moteur ne tire pas | Filtre à air très encrassé | - Nettoyer le filtre à air et le boîtier du filtre à air. (p. 72) |
| Filtre à essence très encrassé – | Remplacer le filtre à carburant. | |
| Crépine à essence très encras- sée | - Remplacer la crépine à essence. (p. 134) | |
| Erreur de l'injection électro- nique de carburant | - Relever la mémoire d'erreurs avec le boîtier diagnostic Husqvarna Motor- cycles. | |
| Fuite ou déformation de l'échappement ou quantité de laine de roche insuffisante dans le silencieux arrière | - Vérifier que l'échappement n'est pas endommagé.- Remplacer la garniture de laine de roche du silencieux arrière. (p. 77) | |
| Jeu aux soupapes insuffisant – | Régler le jeu aux soupapes. | |
| Allumage défectueux – Bobine | d'allumage - contrôler l'enrou- lement secondaire. - Contrôler la fiche de bougie d'allu- mage. - Alternateur - vérifier l'enroulement du stator. | |
| Le moteur se coupe pendant la conduite | Insuffisance de carburant – Faire le plein de carburant. (p. 41) | |
| Fusible 1 grillé – Remplacer les fusibles des divers consommateurs. (p. 116) | ||
| Fusible 4 grillé – Remplacer les fusibles des divers consommateurs. (p. 116) | ||
| Le moteur chauffe Liquide de refroidissement insuffisant | - Vérifier que le système de refroidisse- ment ne fuit pas.- Vérifier le niveau de liquide de refroi- dissement. (p. 125) | |
| Pas assez de vent de face | ||
| Ailettes de radiateur largement recouvertes de boue | ||
| Formation de mousse dans le système de refroidissement | ||
| Conduite de liquide de refroi- dissement pliée | ||
| Thermostat défectueux | ||
| Système de ventilateur de refroidissement défectueux | ||
21 DIAGNOSTIC
| Défaut Cause possible Mesure | ||
| Le témoin de dysfonctionnement est allumé ou clignote | Erreur de l'injection électronique de carburant | - Contrôler l'état du câblage, ainsi que l'état et l'absence de corrosion sur les connecteurs électriques.- Relever la mémoire d'erreurs avec le boîtier diagnostic Husqvarna Motorcycles. ↗ |
| Consommation d'huile élevée La conduite d'aération du moteur est pliée | - Poser la conduite d'aération de telle sorte qu'elle ne soit pas pliée, la remplacer le cas échéant. | |
| Niveau d'huile trop haut - Vérifier le niveau d'huile moteur.( p. 135) | ||
| Huile de moteur trop fluide (viscosité) | ||
| Pistons ou cylindres usés - Déterminer le jeu de montage du piston/cylindre. ↗ | ||
| Batterie 12 V déchargée La batterie 12 V n'est pas chargée par le générateur | - Vérifier la tension de charge. ↗- Alternateur - vérifier l'enroulement du stator. ↗ | |
| Consommateur de courant imprévu | ||
| Valeurs du tableau de bord effacées (heure, chronomètre, temps au tour) | La batterie du tableau de bord est épuisée | |
| Feu de route, feu de croisement, feu arrière, feu de position et éclairage de plaque ne fonctionnent pas | Fusible 2 grillé - Remplacer les fusibles des divers consommateurs. ( p. 116) | |
| Tableau de bord, avertisseur sonore, feu stop, clignotant et ventilateur de refroidissement ne fonctionnent pas | Fusible 3 grillé - Remplacer les fusibles des divers consommateurs. ( p. 116) | |

Info
Seule la version débridée du véhicule affiche les codes de clignotement.
| Code de clignotement du témoin de dysfonctionnement | 02a Le témoin de dysfonctionnement clignote 2x par seconde |
| Condition de définition de l'erreur | Programmation de la position du clapet d'étranglement requise |
| Code de clignotement du témoin de dysfonctionnement | 02 Le témoin de dysfonctionnement clignote 2x brièvement |
| Condition de définition de l'erreur | Capteur de régime du vilebrequin - dysfonctionnement dans le circuit de commutation |
| Code de clignotement du témoin de dysfonctionnement | 06 Le témoin de dysfonctionnement clignote 6x brièvement |
| Condition de définition de l'erreur | Capteur de position du clapet d'étranglement circuit A - signal d'entrée trop faible |
| Capteur de position du clapet d'étranglement circuit A - signal d'entrée trop élevé | |
| Code de clignotement du témoin de dysfonctionnement | 09 Le témoin de dysfonctionnement clignote 9x brièvement |
| Condition de définition de l'erreur | Capteur de pression du collecteur d'admission cylindre 1 - signal d'entrée trop faible |
| Capteur de pression du collecteur d'admission cylindre 1 - signal d'entrée trop élevé | |
| Code de clignotement du témoin de dysfonctionnement | 12 Le témoin de dysfonctionnement clignote 1x longuement, 2x brièvement |
| Condition de définition de l'erreur | Capteur de température du liquide de refroidissement - signal d'entrée trop faible |
| Capteur de température du liquide de refroidissement - signal d'entrée trop élevé | |
| Code de clignotement du témoin de dysfonctionnement | 13 Le témoin de dysfonctionnement clignote 1x longuement, 3x brièvement |
| Condition de définition de l'erreur | Capteur de température de l'air d'admission - signal d'entrée trop faible |
| Capteur de température de l'air d'admission - signal d'entrée trop élevé | |
| Code de clignotement du témoin de dysfonctionnement | 15 Le témoin de dysfonctionnement clignote 1x longuement, 5x brièvement |
| Condition de définition de l'erreur | Capteur d'inclinaison (type A/D) - signal d'entrée trop faible |
| Capteur d'inclinaison (type A/D) - signal d'entrée trop fort | |
22 CODE DE CLIGNOTEMENT
| Code de clignotement du témoin de dysfonctionnement | 21 Le témoin de dysfonctionnement clignote 2x longuement, 1x brièvement |
| Condition de définition de l'erreur | Tension de la batterie - tension d'entrée trop élevée |
| Code de clignotement du témoin de dysfonctionnement | 22 Le témoin de dysfonctionnement clignote 2x longuement, 2x brièvement |
| Condition de définition de l'erreur | Capteur de rapport engagé - tension d'entrée trop élevée |
| Capteur de rapport engagé - tension d'entrée trop faible | |
| Code de clignotement du témoin de dysfonctionnement | 33 Le témoin de dysfonctionnement clignote 3x longuement, 3x brièvement |
| Condition de définition de l'erreur | Injecteur 1er cylindre - dysfonctionnement dans circuit de commutation |
| Code de clignotement du témoin de dysfonctionnement | 37 Le témoin de dysfonctionnement clignote 3x longuement, 7x brièvement |
| Condition de définition de l'erreur | Bobine d'allumage 1, cylindre 1 - dysfonctionnement dans circuit de commutation |
| Code de clignotement du témoin de dysfonctionnement | 41 Le témoin de dysfonctionnement clignote 4x longuement, 1x brièvement |
| Condition de définition de l'erreur | Commande de la pompe à carburant - interruption/court-circuit vers la masse |
| Commande de la pompe à carburant - signal d'entrée trop faible | |
23.1 Moteur
| Type Moteur à essence monocylindre à 4 temps, refroidissement liquide | |
| Cylindrée (FE 450 EU) 449,9 cm3 (27,455 cu in) | |
| Cylindrée (tous les modèles 501) 510,9 cm3 (31,177 cu in) | |
| Course (FE 450 EU) 63,4 mm (2,496 in) | |
| Course (tous les modèles 501) 72 mm (2,83 in) | |
| Alésage 95 mm (3,74 in) | |
| Compression 12,7:1 | |
| Régime de ralenti 1.800 ... 1.900 tr/min | |
| Commande ATC, 4 soupapes commandées par culbuteur | |
| Diamètre des soupapes admission 40 mm (1,57 in) | |
| Diamètre des soupapes échappement 33 mm (1,3 in) | |
| Jeu aux soupapes | |
| Admission à : 20 °C (68 °F) | 0,10 ... 0,15 mm (0,0039 ... 0,0059 in) |
| Échappement à : 20 °C (68 °F) | 0,12 ... 0,17 mm (0,0047 ... 0,0067 in) |
| Roulements de vilebrequin | 2 roulements à rouleaux |
| Palier de bielle | Palier lisse |
| Portée de piston | Pas de bague de butée - axe de piston à revêtement DLC |
| Piston | Alliage léger, forgé |
| Segments de piston | 1 segment de compression, 1 segment racleur |
| Graissage moteur | Graissage sous pression avec deux pompes Eaton |
| Transmission primaire | 31:76 |
| Embrayage | Embrayage multidisques en bain d'huile à actionnement hydraulique |
| Réduction boîte de vitesses | |
| 1ère vitesse | 14:36 |
| 2e vitesse | 17:32 |
| 3e vitesse | 19:28 |
| 4e vitesse | 22:26 |
| 5e vitesse | 23:24 |
| 6e vitesse | 26:21 |
| Générateur | 12 V, 70 W |
| Système d'allumage | À DC-CDI sans rupteur, avance numérique |
| Bougie d'allumage | NGK LZMAR8BI-19 |
| Distance entre les électrodes des bougies | 1,0 mm (0,039 in) |
| Système de refroidissement | Refroidissement liquide, circulation permanente du liquide de refroidissement grâce à une pompe à eau |
| Auxiliaire de démarrage | Démarreur électrique |
23.2 Couples de serrage moteur
| Vis de gicleur de refroidissement du piston | M4 2 Nm (1,5 lbf ft) | Loctite®243TM |
| Gicleur de graissage du culbuteur M | M5 2 Nm (1,5 lbf ft) | Loctite®243TM |
| Gicleur de refroidissement du pis- ton | M5 2 Nm (1,5 lbf ft) | Loctite®243TM |
| Gicleur d'huile de graissage d'em- brayage | M5 2 Nm (1,5 lbf ft) | Loctite®243TM |
| Gicleur d'huile de graissage des chaînes de distribution | M5 2 Nm (1,5 lbf ft) | Loctite®243TM |
| Vis de capteur de régime du vile- brequin et plaque de fixation du câble | M5 6 Nm (4,4 lbf ft) | Loctite®243TM |
| Vis de la coupelle de ressort de l'embrayage | M5 6 Nm (4,4 lbf ft) | |
| Vis du couvercle de pompe d'as- piration | M5 6 Nm (4,4 lbf ft) | Loctite®243TM |
| Vis du stator M5 6 Nm (4,4 lbf ft) | Loctite®243TM | |
| Vis levier de verrouillage M5 6 Nm (4,4 lbf ft) | Loctite®243TM | |
| Vis pour capteur de rapport engagé | M5 5 Nm (3,7 lbf ft) | Loctite®243TM |
| Vis sécurité de palier M5 6 Nm (4,4 lbf ft) | Loctite®243TM | |
| Écrou turbine de pompe à eau | M6 6 Nm (4,4 lbf ft) | Loctite®243TM |
| Vis blocage sélecteur M6 10 Nm (7,4 lbf ft) | Loctite®243TM | |
| Vis bride d'échappement M6 10 Nm (7,4 lbf ft) | Loctite®243TM | |
| Vis carter de moteur M6 10 Nm (7,4 lbf ft) | ||
| Vis carter d'embrayage M6 10 Nm (7,4 lbf ft) | ||
| Vis couvercle de filtre à huile M6 10 Nm (7,4 lbf ft) | ||
| Vis couvercle de soupape | M6 10 Nm (7,4 lbf ft) | |
| Vis couvercle du générateur | M6 10 Nm (7,4 lbf ft) | |
| Vis couvercle pompe à eau | M6 10 Nm (7,4 lbf ft) | |
| Vis cylindre récepteur d'embrayage | M6 10 Nm (7,4 lbf ft) | |
| Vis de guide tendeur de chaîne | M6 10 Nm (7,4 lbf ft) | Loctite®243TM |
| Vis de l'épingle de chaîne de dis- tribution | M6 10 Nm (7,4 lbf ft) | Loctite®243TM |
| Vis démarreur électrique | M6 10 Nm (7,4 lbf ft) | |
| Vis du bouchon EVAP (tous les modèles EU) | M6 10 Nm (7,4 lbf ft) | Loctite®243TM |
| Vis du couvercle de pompe de refoulement | M6 10 Nm (7,4 lbf ft) | Loctite®243TM |
| Vis du pignon intermédiaire M6 10 | Nm (7,4 lbf ft) | Loctite®243TM |
| Vis du raccordement EVAP (FE 501 US) | M6 5 Nm (3,7 lbf ft) | Loctite®2701TM |
| Vis du tendeur de chaîne de distribution | M6 10 Nm (7,4 lbf ft) | |
| Vis limiteur de couple M6 10 Nm (7 | 4 lbf ft) | Loctite®243TM |
| Vis pour culasse M6 10 Nm (7,4 lbf ft) | ||
| Vis sélecteur M6 14 Nm (10,3 lbf ft) | Loctite®243TM | |
| Gicleur d'huile de graissage de la bielle | M6x0,75 2 Nm (1,5 lbf ft) | |
| Bouchon conduite d'huile M7 9 Nm | (6,6 lbf ft) | Loctite®243TM |
| Vis roulements de culbuteur M7 15 | Nm (11,1 lbf ft) | |
| Vis de tôle de fixation des arbres à cames | M7x1 15 Nm (11,1 lbf ft) | |
| Bouchon de la vis de fixation du vilebrequin | M8 10 Nm (7,4 lbf ft) | |
| Vis de fermeture tendeur chaîne de distribution | M8 8 Nm (5,9 lbf ft) | |
| Bouchon conduite d'huile M10 15 Nm (11,1 lbf ft) | Loctite®243TM | |
| Vis pignon M10 60 Nm (44,3 lbf ft) | Loctite®2701TM | |
| Bougie d'allumage M10x1 | 10 ... 12 Nm (7,4 ... 8,9 lbf ft) | |
| Bouchon axe de culbuteur | M10x1,25 | 10 Nm (7,4 lbf ft) |
| Capteur de température du liquide de refroidissement | M10x1,25 | 12 Nm (8,9 lbf ft) |
| Vis de la culasse | M10x1,25 | 1er cran10 Nm (7,4 lbf ft)2ème cran30 Nm (22,1 lbf ft)3ème cran50 Nm (36,9 lbf ft)Épaulement et filetage huilés |
| Écrou rotor | M12x1 | 60 Nm (44,3 lbf ft)Filetage huilé avec de l'huile moteur / cône dégraissé |
| Fermeture à vis de la soupape de régulation de pression de l'huile | M12x1,5 20 Nm (14,8 lbf ft) | |
| Vis vidange d'huile et aimant | M12x1,5 20 Nm (14,8 lbf ft) | |
| Écrou cloche d'embrayage | M18x1,5 80 Nm (59 lbf ft) | |
| Bouchon tamis à huile | M20x1,5 15 Nm (11,1 lbf ft) | |
| Écrou de roue dentée d'entraînement | M20LHx1,5 | 100 Nm (73,8 lbf ft)Loctite®243TM |
23 DONNÉES TECHNIQUES
23.3 Quantités de remplissage
23.3.1 Huile moteur
| Huile moteur 1,2 l (1,3 qt.) Huile moteur (SAE 10W/50) | ( p. 158) |
23.3.2 Liquide de refroidissement
| Liquide de refroidissement 1,2 l (1,3 qt.) Liquide de refroidissement | (p. 158) |
23.3.3 Carburant
| Capacité totale du réservoir à carburant env. (tous les modèles EU) | |
| Supercarburant sans plomb (ROZ 95/RON 95/PON 91) (p. 159) 9 l (2,4 | US gal) |
| Capacité totale du réservoir à carburant env. (FE 501 US) | |
| Supercarburant sans plomb (ROZ 95/RON 95/PON 91) (p. 159) 8,2 l (2,17 US gal) | |
| Réserve de carburant env. 1,5 l (1,6 qt.) | |
23.4 Partie-cycle
| Cadre Cadre tubulaire central en acier au | chrome-molybdène |
| Fourche WP XPLOR 5548 | |
| Débattement | |
| Avant 300 mm (11,81 in) | |
| Arrière | 300 mm (11,81 in) |
| Déport de fourche | 22 mm (0,87 in) |
| Amortisseurs | WP XPLOR 5750 |
| Système de frein | Freins à disques, étriers de frein flottants |
| Diamètre disques de frein | |
| avant | 260 mm (10,24 in) |
| arrière | 220 mm (8,66 in) |
| Usure limite disques de frein | |
| avant | 2,5 mm (0,098 in) |
| arrière | 3,5 mm (0,138 in) |
| Pression de pneu sur tout-terrain | |
| avant | 1,0 bar (15 psi) |
| arrière | 1,0 bar (15 psi) |
| Pression de pneu sur route (tous les modèles EU) | |
| avant | 1,5 bar (22 psi) |
| arrière | 1,8 bar (26 psi) |
| Démultiplication secondaire (FE 450 EU) | 14:52 (13:52) |
| Démultiplication secondaire (FE 501 EU) | 14:50 (13:50) |
| Démultiplication secondaire (FE 501 US) | 14:50 |
| Chaîne | 5/8 x 1/4" |
| Couronnes livrables | 45, 48, 49, 50, 51, 52 |
| Angle de chasse 63,5° | |
| Empattement 1.487 ± 10 mm ( 58,54 ± 0,39 in) | |
| Hauteur du siège à vide 950 mm (37,4 in) | |
| Garde au sol à vide 360 mm (14,17 in) | |
| Poids sans carburant env. (FE 450 EU) 111 kg (245 lb.) | |
| Poids sans carburant env. (FE 501 EU) 111 kg (245 lb.) | |
| Poids sans carburant env. (FE 501 US) 109,4 kg (241,2 lb.) | |
| Charge maximale admissible sur l'axe avant 145 kg (320 lb.) | |
| Charge maximale admissible sur l'essieu arrière 190 kg (419 lb.) | |
| Poids total roulant autorisé 335 kg (739 lb.) | |
23.5 Circuit électrique
| Batterie 12 V HJTZ5S-FP-C | Batterie lithium-ion | Tension de la batterie : 12 VCapacité nominale : 2,0 AhSans entretien |
| Batterie du tableau de bord | CR 2032 | Tension de la batterie : 3 V |
| Fusible | 75011088005 | 5 A |
| Fusible | 75011088010 | 10 A |
| Fusible | 58011109120 | 20 A |
| Phare | HS1 / Sockel PX43t | 12 V35/35 W |
| Feu de position | W5W / douille W2,1x9,5d | 12 V5 W |
| Témoin | W2,3W / douille W2x4,6d | 12 V2,3 W |
| Clignotant (tous les modèles EU) | R10W / douille BA15s | 12 V10 W |
| Feu stop/feu arrière LED | ||
| Éclairage de plaque | LED | |
23.6 Pneus
| Validité | Pneumatique avant | Pneumatique arrière |
| (tous les modèles EU) | 90/90 - 21 M/C 54M M+S TTMetzeler MCE 6 DAYS EXTREME | 140/80 - 18 M/C 70M M+S TTMetzeler MCE 6 DAYS EXTREME |
| (FE 501 US) | 80/100 - 21 51MTTDunlop Geomax AT81F | 110/100 - 18 64MTTDunlop Geomax AT81 |
| Les pneus indiqués appartiennent à une des séries de production possibles. Pour plus d'informations, consulter la rubrique SAV, à l'adresse :www.husqvarna-motorcycles.com | ||
23 DONNÉES TECHNIQUES
23.7 Fourche
| Référence de la fourche 14.15.8T.69 | |||
| Fourche WP XPLOR 5548 | |||
| Amortissement en compression | |||
| Confort 18 clics | |||
| Standard 15 clics | |||
| Sport 12 clics | |||
| Amortissement de détente | |||
| Confort 18 clics | |||
| Standard 15 clics | |||
| Sport 12 clics | |||
| Prétension du ressort - Preload Adjuster | |||
| Confort +0 | |||
| Standard +0 | |||
| Sport +3 | |||
| Longueur de ressort avec fourreau(x) de prétension 474 mm (18,66 in) | |||
| Taux d'élasticité | |||
| Poids du pilote : 65 ... 75 kg (143 ... 165 lb.) | 4,0 N/mm (22,8 lb/in) | ||
| Poids du pilote : 75 ... 85 kg (165 ... 187 lb.) | 4,2 N/mm (24 lb/in) | ||
| Poids du pilote : 85 ... 95 kg (187 ... 209 lb.) | 4,4 N/mm (25,1 lb/in) | ||
| Longueur de fourche 928 mm (36,54 in) | |||
| Huile de fourche par bras de fourche | 615 ± 10 ml (20,79 ± 0,34 fl. oz.) | Huile de fourche (SAE 4)(48601166S1) (p. 158) | |
23.8 Amortisseur
| Référence de l'amortisseur 18.15.7T.69 | ||
| Amortisseurs WP XPLOR 5750 | ||
| Amortissement en compression Lowspeed | ||
| Confort 17 clics | ||
| Standard 15 clics | ||
| Sport 13 clics | ||
| Amortissement en compression Highspeed | ||
| Confort 2,5 tours | ||
| Standard 2 tours | ||
| Sport 1,5 tour | ||
| Amortissement de détente | ||
| Confort 17 clics | ||
| Standard 15 clics | ||
| Sport 13 clics | ||
| Prétension du ressort | 10 mm (0,39 in) | |
| Taux d'élasticité | ||
| Poids du pilote : 65 ... 75 kg (143 ... 165 lb.) | 39 N/mm (223 lb/in) | |
| Poids du pilote : 75 ... 85 kg (165 ... 187 lb.) | 42 N/mm (240 lb/in) | |
| Poids du pilote : 85 ... 95 kg (187 ... 209 lb.) | 45 N/mm (257 lb/in) | |
| Longueur de ressort 260 mm (10,24 in) | ||
| Pression gaz 10 bar (145 psi) | ||
| Enfoncement statique 37 mm (1,46 in) | ||
| Enfoncement en charge 110 mm (4,33 in) | ||
| Longueur de montage 477 mm (18,78 in) | ||
| Huile d'amortisseur Huile d'amortisseur (SAE 2,5) | (50180751S1) (p. 158) | |
23.9 Couples de serrage sur la partie-cycle
| Vis de la fixation de la selle EJOT | EJOFORM PT® K60x23/18 2,5 Nm (1,84 lbf ft) | |
| Vis du capteur de température de l'air d'admission (tous les modèles EU) | EJOT PT® K50x18 | 0,7 Nm (0,52 lbf ft) |
| Vis du commodo | EJOT PT® K50x18 | 2 Nm (1,5 lbf ft) |
| Vis du filtre à charbon actif (FE 501 US) | - | 5 Nm (3,7 lbf ft) |
| Vis du régulateur de pression (tous les modèles EU) | EJOT PT® K60x25-Z | 3,5 Nm (2,58 lbf ft) |
| Vis restantes sur la partie-cycle | EJOT PT® K60x25-Z | 1 Nm (0,7 lbf ft) |
| Vis de la poignée fixe | M4 5 Nm (3,7 lbf ft) | Loctite®243TM |
| Vis du bouton d'arrêt d'urgence (tous les modèles EU) | M4 0,4 Nm (0,3 lbf ft) | |
| Vis de rayon de la roue arrière | M4,5 | 5 Nm (3,7 lbf ft) |
| Vis de rayon roue avant | M4,5 | 5 Nm (3,7 lbf ft) |
| Écrous restants sur la partie-cycle | M5 5 Nm (3,7 lbf ft) | |
| Vis de la protection de cadre | M5 | 3 Nm (2,2 lbf ft) |
| Vis de pôle de batterie | M5 2,5 Nm (1,84 lbf ft) | |
| Vis du capteur de température de l'air d'admission (FE 501 US) | M5 3 Nm (2,2 lbf ft) | |
| Vis du silencieux arrière | M5 | 7 Nm (5,2 lbf ft) |
| Vis écrou de réglage amortisseur | M5 | 5 Nm (3,7 lbf ft) |
| Vis restantes sur la partie-cycle | M5 | 5 Nm (3,7 lbf ft) |
| Écrou du démarreur électrique | M6 | 4 Nm (3 lbf ft) |
| Écrous restants sur la partie-cycle | M6 | 10 Nm (7,4 lbf ft) |
| Vis de disque de frein arrière | M6 | 14 Nm (10,3 lbf ft)Loctite®243TM |
| Vis des tampons amortisseurs sur cadre | M6 | 6 Nm (4,4 lbf ft) |
| Vis des tampons amortisseurs sur collecteur | M6 | 6 Nm (4,4 lbf ft) |
| Vis disque de frein avant | M6 | 14 Nm (10,3 lbf ft)Loctite®243TM |
| Vis du patin de chaîne | M6 | 6 Nm (4,4 lbf ft)Loctite®243TM |
| Vis poignée des gaz | M6 | 5 Nm (3,7 lbf ft) |
| Vis restantes sur la partie-cycle | M6 | 10 Nm (7,4 lbf ft) |
23 DONNÉES TECHNIQUES
| Vis rotule tige sur cylindre de frein à pédale | M6 10 Nm (7,4 lbf ft) | Loctite®243TM |
| Écrou de butée de la pédale de frein arrière | M8 20 Nm (14,8 lbf ft) | |
| Écrou porte-pneu | M8 12 Nm (8,9 lbf ft) | |
| Écrou vis de couronne | M8 35 Nm (25,8 lbf ft) | Loctite®2701TM |
| Écrous restants sur la partie-cycle | M8 25 Nm (18,4 lbf ft) | |
| Raccord de carburant sur la pompe à carburant | M8 10 Nm (7,4 lbf ft) | |
| Vis bride de serrage de guidon M8 | 20 Nm (14,8 lbf ft) | |
| Vis collecteur M8 15 Nm (11,1 lbf ft) | ||
| Vis de l’étrier de frein avant M8 25 | Nm (18,4 lbf ft) | Loctite®243TM |
| Vis de la fixation moteur M8x15 25 | Nm (18,4 lbf ft) | Loctite®2701TM |
| Vis de la fixation moteur M8x20 25 | Nm (18,4 lbf ft) | Loctite®243TM |
| Vis de la flèche M8 30 Nm (22,1 lbf ft) | Loctite®2701TM | |
| Vis du patin de chaîne M8 15 Nm (11,1 lbf ft) | ||
| Vis fixation de l’axe de roue avant M8 15 Nm (11,1 lbf ft) | ||
| Vis pour fixation de la béquille latérale | M8 33 Nm (24,3 lbf ft) | Loctite®2701TM |
| Vis restantes sur la partie-cycle M8 | 25 Nm (18,4 lbf ft) | |
| Vis té inférieur de fourche M8 15 Nm (11,1 lbf ft) | ||
| Vis té supérieur de fourche M8 17 Nm (12,5 lbf ft) | ||
| Vis tube de fourche en haut | M8 17 Nm (12,5 lbf ft) | Loctite®243TM |
| Écrou de l’interrupteur à tirette (FE 501 US) | M8x1 | 0,4 Nm (0,3 lbf ft) |
| Écrous restants sur la partie-cycle | M10 | 45 Nm (33,2 lbf ft) |
| Vis amortisseur en bas | M10 | 60 Nm (44,3 lbf ft)Loctite®2701TM |
| Vis amortisseur en haut | M10 | 60 Nm (44,3 lbf ft)Loctite®2701TM |
| Vis du support moteur | M10 | 60 Nm (44,3 lbf ft) |
| Vis fixation de guidon | M10 | 40 Nm (29,5 lbf ft)Loctite®243TM |
| Vis restantes sur la partie-cycle M10 | 45 Nm (33,2 lbf ft) | |
| Écrou de fixation de la pompe à carburant | M12 | 15 Nm (11,1 lbf ft) |
| Écrou levier articulé - bras oscillant | M14x1,5 | 60 Nm (44,3 lbf ft) |
| Écrou levier de jonction - levier articulé | M14x1,5 | 60 Nm (44,3 lbf ft) |
| Écrou de l’axe du bras oscillant | M16x1,5 | 100 Nm (73,8 lbf ft) |
| Écrou axe arrière | M20x1,5 | 80 Nm (59 lbf ft) |
| Vis axe de roue avant M20x1,5 35 Nm (25,8 lbf ft) | |
| Vis tête de direction en haut M20x1,5 12 Nm (8,9 lbf ft) | |
| Tubulure filetée du système de refroidissement | M24x1,5 15 Nm (11,1 lbf ft)Loctite®243TM |
Huile d'amortisseur (SAE 2,5) (50180751S1)
Norme / Classification
- SAE (p. 161) (SAE 2,5)
Indications prescrites
- Utiliser uniquement des huiles conformes aux normes prescrites (voir les indications sur le bidon) et possédant les propriétés adéquates.
Huile de fourche (SAE 4) (48601166S1)
Norme / Classification
- SAE (p. 161) (SAE 4)
Indications prescrites
- Utiliser uniquement des huiles conformes aux normes prescrites (voir les indications sur le récipient) et possédant les propriétés adéquates.
Huile moteur (SAE 10W/50)
Norme / Classification
- JASO T903 MA2 (p. 161)
- SAE (p. 161) (SAE 10W/50)
Indications prescrites
- Utiliser uniquement des huiles moteur répondant aux normes prescrites (voir les indications sur le bidon) et possédant les propriétés adéquates.
Huile moteur synthétique
Fournisseur recommandé
MOTOREX®
- Cross Power 4T
Liquide de frein DOT 4 / DOT 5.1
Norme / Classification
- DOT
Indications prescrites
- Utiliser uniquement un liquide de frein répondant à la norme spécifiée (voir les indications sur le bidon) et possédant les propriétés correspondantes.
Fournisseur recommandé
Castrol
- REACT PERFORMANCE DOT 4
MOTOREX®
Liquide de refroidissement
Indications prescrites
- N'utilisez qu'un liquide de refroidissement de qualité, exempt de silicate et contenant un additif anti-corrosion pour les moteurs aluminium. Un liquide antigel de mauvaise qualité ou non adapté peut entraîner de la corrosion, des dépôts et une formation de mousse.
- N'utilisez pas d'eau pure, car seul le liquide de refroidissement protège contre la corrosion et assure la lubrification nécessaire.
- Utilisez uniquement un liquide de refroidissement répondant aux exigences spécifiées (voir les indications sur le bidon) et possédant les propriétés correspondantes.
Protection antigel au moins jusqu'à -25 °C (-13 °F)
Le mélange doit être adapté à la protection antigel nécessaire. Si le liquide de refroidissement doit être dilué, utilisez de l'eau distillée.
Il est recommandé d'utiliser un liquide de refroidissement prémélangé.
Respectez les indications du fabricant du liquide de refroidissement concernant la protection antigel, la dilution et le mélange (compatibilité) avec d'autres liquides de refroidissement.
Fournisseur recommandé MOTOREX®
- COOLANT M3.0
Supercarburant sans plomb (ROZ 95/RON 95/PON 91)
Norme / Classification
– DIN EN 228 (ROZ 95/RON 95/PON 91)
Indications prescrites
- Utiliser uniquement du super sans plomb conforme ou équivalent à la norme indiquée.
- Une proportion d'éthanol inférieure à 10 % (carburant E10) est sans risques.

Info
Ne pas utiliser de carburant à base de méthanol (par ex. M15, M85, M100) ou présentant une proportion d'éthanol supérieure à 10 % (par ex. E15, E25, E85, E100).
Aérosol pour chaîne Offroad
Fournisseur recommandé MOTOREX®
- Chainlube Offroad
Agent de conservation pour peintures, métaux et caoutchouc
Fournisseur recommandé MOTOREX®
- Moto Protect
Graisse haute viscosité
Fournisseur recommandé SKF®
- LGHB 2
Graisse longue durée
Fournisseur recommandé MOTOREX®
- Bike Grease 2000
Lubrifiant pour filtre à air mousse
Fournisseur recommandé MOTOREX®
- Racing Bio Liquid Power
Lubrifiant universel en aérosol
Fournisseur recommandé MOTOREX®
- Joker 440 Synthetic
Nettoyant pour chaîne
Fournisseur recommandé MOTOREX®
- Chain Clean
Nettoyant pour filtre à air
Fournisseur recommandé MOTOREX®
- Racing Bio Dirt Remover
SAE
Les classes de viscosité SAE ont été définies par la Society of Automotive Engineers et permettent de différencier les huiles d'après leur viscosité. La viscosité ne sert qu'à décrire la propriété d'une huile définie et ne fournit pas d'informations sur la qualité de cette dernière.
JASO T903 MA2
Des développements techniques différents nécessitaient des spécifications propres pour les motos - la norme JASO T903 MA2.
Autrefois, des huiles automobiles étaient employées pour les motos, dans la mesure où il n'existait pas de spécifications spéciales pour les motos.
Alors que pour les voitures, les huiles doivent permettre de diminuer la fréquence des vidanges, les caractéristiques déterminantes pour les motos sont les régimes élevés avec des puissances au litre importantes.
Sur la plupart des moteurs de moto, la boîte de vitesses et l'embrayage sont également graissés avec la même huile.
La norme JASO T903 MA2 tient compte de ces spécificités.
27 GLOSSAIRE
| OBD Dispositifcf. voir | de diagnostics matériels Système du véhicule qui contrôle des paramètres de l’électronique du véhicule prédéfinis |
| env. environ | |
| etc. et cetera | |
| evtl. éventuellement | |
| N° Numéro | |
| p. ex. par exemple | |
| Réf. Référence | |
29.1 Symboles jaunes et oranges
Les symboles jaunes et oranges indiquent un état d'erreur nécessitant une intervention rapide. Les assistances à la conduite actives sont également représentées par des symboles jaunes ou oranges.
| Le témoin de dysfonctionnement est allumé/clignote en jaune – Le dispositif de diagnostics matériels (OBD) a détecté une erreur au niveau de l'électronique du véhicule. S'arrêter à un endroit sûr et contacter un atelier Husqvarna Motorcycles agréé. | |
| La lampe-témoin du niveau de carburant s'allume en jaune – Le niveau de carburant a atteint le repère de la réserve. |
29.2 Symboles verts et bleus
Les symboles verts et bleus correspondent à des informations.
| Le voyant de contrôle du feu de route s'allume en bleu – Le feu de route est allumé. | |
![]() | Le témoin des clignotants clignote en vert – Le clignotant est allumé. |
A
Accessoires 11
Amortissement en compression
Régler sur la fourche .... 52
Amortissement en compression de Grande Vitesse
Régler sur l'amortisseur .... 47
Amortissement en compression de Petite Vitesse Régler sur l'amortisseur .... 46
Amortissement en détente
Régler sur la fourche 53
Régler sur l'amortisseur .... 48
Amortisseur
Déposer 66
Monter 68
Régler la prétension du ressort ..... 50
Vérifier l'enfoncement en charge ..... 50
Vérifier l'enfoncement statique ..... 49
Ampoule de clignotant
Remplacer 120
Ampoule de phare
Remplacer 119
Antigel
Contrôler 124
Aperçu des témoins ..... 20-21
B
Batterie 12 V
Charger 113
Déposer 110
Monter 112
Puissance de démarrage ..... 33
Béquille latérale 24
Boîtier du filtre à air
Nettoyer 72
Bouchon du réservoir de carburant
Fermer 22
Ouvrir 21
Bouton d'arrêt 17
Bouton d'arrêt d'urgence ..... 19
Bouton d'avertisseur sonore ..... 18
Bouton de clignotants ..... 19
Bouton de démarrage ..... 19
Bouton de démarrage à froid ..... 22
Bras de fourche
Déposer 59
Monter 60
Nettoyer les cache-poussières ..... 58
Purger 57
Régler la prétension du ressort ..... 54
Vérifier le réglage de base ..... 52
Bras oscillant
Vérifier 86
C
Cache latéral de droite
Déposer 73
Monter 74
Cadre
Vérifier 86
Caoutchouc de poignée
Vérifier 87
Caractéristique de l'accélération
Régler 129
Carburants, lubrifiants ou produits aux spécifications de même nature .....11
Chaîne
Nettoyer 81
Vérifier 84
Code de clignotement 147-148
Conditions d'utilisation difficiles ..... 33
Déplacement à faible vitesse ..... 36
Neige 36
Routes boueuses 35
Sable humide 34
Sable sec 34
Températures basses 36
Températures élevées 36
Voies humides 35
Connecteur de diagnostic ..... 123
Contacteur de l'éclairage 18
Contrôle de la traction
Activer 38
Couronne
Vérifier 84
Couvercle du boîtier du filtre à air
Déposer 71
Monter 71
Crépine à essence
Remplacer 134
Crépines d'huile
Nettoyer 135
D
Définition de l'application 7
Démarrage 37
Diagnostic 144-146
Direction
Déverrouiller 25
Verrouiller 25
Disques de frein
Vérifier 92
Données techniques
Amortisseur 154
Circuit électrique ..... 153
Couples de serrage moteur ..... 150
Couples de serrage sur la partie-cycle .... 155
Fourche 154
Moteur 149
Partie-cycle....152
Pneus 153
Quantités de remplissage ..... 152
E
Embrayage
Remplacer 89
Vérifier/rectifier le niveau de liquide ..... 88
Enfoncement en charge
Régler 51
Environnement 10
É
État des pneus
Vérifier 108
F
Faire le plein
Carburant 41
Filtre à air
Déposer 71
Monter 72
Nettoyer 72
Filtre à huile
Remplacer 135
Fonctionnement en toute sécurité .....9
Fusible
Remplacer le fusible général ..... 115
Remplacer sur les divers consommateurs . . 116
Fusible général
Remplacer 115
G
Garantie 11
Garde-boue avant
Déposer 65
Monter 66
Guide-chaine
Vérifier 84
H
Huile moteur
Faire l'appoint .... 138
Remplacer 135
|
Illustrations 12
J
Jeu du câble d'accélérateur
Régler 128
Vérifier 128
Jeu du palier de la tête de direction
Régler 64
Vérifier 63
L
Levier de frein à main 17
Régler la position de base ..... 92
Levier d'embrayage 17
Régler la position de base ..... 88
Liquide de frein
Faire l'appoint à arrière ..... 99
Faire l'appoint à l'avant ..... 93
Liquide de refroidissement
Remplir 126
Vérifier l'antigel et le niveau de liquide . . . . 124
Vérifier le niveau de liquide ..... 125
Vidanger 126
M
Manuel d'utilisation ..... 10
Mapping
Modifier 130
Mauvaise utilisation 7
Mise en service
Après le stockage ..... 143
Consignes pour la première mise en service . 31
Travaux de contrôle et d'entretien avant chaque mise en service 37
Moteur
Roder 32
Moto
Nettoyer 140
Retirer du socle réglable ..... 57
Motocycle
Surélever la moto sur un socle réglable ..... 57
N
Niveau de liquide de frein
Contrôler à l'arrière ..... 99
Vérifier à l'avant....93
Niveau d'huile moteur
Vérifier 135
Numéro d'identification du véhicule ..... 15
Numéro de clé 15
Numéro de moteur .... 15
P
Palier de la tête de direction
Graisser 65
Pédale de frein arrière 24
Régler la position de base ..... 98
Vérifier la course libre ..... 97
Phare
Régler la portée ..... 122
Pièces détachées .... 11
Pignon de chaîne
Vérifier 84
Plan d'entretien 43-45
Plaque signalétique 15
Plaque-phare avec phare
Déposer 117
Monter 118
Plaquettes de frein
à remplacer au niveau du frein arrière ..... 101
à remplacer sur le frein avant ..... 95
Contrôler à l'arrière 100
Contrôler à l'avant ..... 94
Poignée des gaz 17
Position du câble d'accélérateur
Vérifier 86
Position du clapet d'étranglement
Programmer 132
Position du guidon 55
Régler 55
Pression des pneus
Vérifier 108
Produits auxiliaires .... 11
Protection de fourche
Déposer 58
Monter 59
Protection du moteur
Déposer 91
Monter 91
Puissance de démarrage des batteries lithium-ion à basses températures ....33
Q
Quantité de remplissage
Carburant 42,152
Huile moteur 138, 152
Liquide de refroidissement ..... 127, 152
R
Régime de ralenti
Régler 131
Réglage de base de la partie-cycle
Contrôler en fonction du poids du pilote .... 46
Réglage du phare
Vérifier 121
Règles de travail .... 10
Réservoir de carburant
Déposer 78
Monter 79
Roue arrière
Déposer 105
Monter 106
Roue avant
Déposer....104
Monter 105
s
Sélecteur 23
Contrôler la position de base ..... 132
Régler la position de base ..... 133
Selle
Déposer 69
Monter 70
Service 11
Service après-vente 12
Silencieux arrière
Déposer 74
Monter 75
Nettoyer le système « Sparkarrestor » ..... 75
Remplacer la garniture de laine de roche ... 77
Stockage 142-143
Système de frein 92-103
Système de refroidissement 124
T
Tableau de bord
Message 26
Régler 26
Régler l'affichage du mode Service ..... 28
Régler l'heure 28
Régler l'unité kilomètres/miles ..... 27
Remplacer la batterie du tableau de bord .. 122
Vue d'ensemble 26
Té de fourche inférieur
Déposer 60
Monter 61
Tension de la chaîne
Contrôler 82
Régler 83
Tension des rayons
Contrôler 109
Transport 41
U
Usure d'hiver
Travaux de contrôle et d'entretien ..... 141
Utilisation conforme à l'usage prévu .....7
V
Vêtements de protection ..... 9
Vis de réglage du régime de ralenti ..... 23
Vue du véhicule
Arrière droite 14
Avant gauche 13

Notice Facile










02a Le témoin de dysfonctionnement clignote 2x par seconde
02 Le témoin de dysfonctionnement clignote 2x brièvement
06 Le témoin de dysfonctionnement clignote 6x brièvement
09 Le témoin de dysfonctionnement clignote 9x brièvement
12 Le témoin de dysfonctionnement clignote 1x longuement, 2x brièvement
13 Le témoin de dysfonctionnement clignote 1x longuement, 3x brièvement
15 Le témoin de dysfonctionnement clignote 1x longuement, 5x brièvement
21 Le témoin de dysfonctionnement clignote 2x longuement, 1x brièvement
22 Le témoin de dysfonctionnement clignote 2x longuement, 2x brièvement
33 Le témoin de dysfonctionnement clignote 3x longuement, 3x brièvement
37 Le témoin de dysfonctionnement clignote 3x longuement, 7x brièvement
41 Le témoin de dysfonctionnement clignote 4x longuement, 1x brièvement