EXO2 - équipements de mesure YSI - Notice d'utilisation et mode d'emploi gratuit
Retrouvez gratuitement la notice de l'appareil EXO2 YSI au format PDF.
| Caractéristiques techniques | Appareil de mesure multiparamétrique pour l'analyse de l'eau, incluant des capteurs pour la température, la conductivité, le pH, l'oxygène dissous, et d'autres paramètres. |
|---|---|
| Utilisation | Conçu pour des applications en milieu aquatique, idéal pour les laboratoires, les études environnementales et les surveillances de qualité de l'eau. |
| Maintenance et réparation | Vérification régulière des capteurs, nettoyage des sondes, calibration périodique recommandée pour garantir des mesures précises. |
| Sécurité | Utiliser des équipements de protection individuelle lors de la manipulation des échantillons d'eau. Suivre les instructions du fabricant pour éviter les accidents. |
| Informations générales | Produit robuste, conçu pour résister aux conditions de terrain difficiles. Garantie limitée fournie par le fabricant. |
FOIRE AUX QUESTIONS - EXO2 YSI
Téléchargez la notice de votre équipements de mesure au format PDF gratuitement ! Retrouvez votre notice EXO2 - YSI et reprennez votre appareil électronique en main. Sur cette page sont publiés tous les documents nécessaires à l'utilisation de votre appareil EXO2 de la marque YSI.
MODE D'EMPLOI EXO2 YSI
Manuel de l'utilisateur
PLATEFORME AVANCEE DE SURVEILLANCE DE LA QUALITE DES EAUX

Les informations continues dans ce manuel sont sujettes à modification sans préavis.
Tout a été mis en œuvre pour que les informations représentées dans ce manuel soient complètes, précises et actualisées. Le fabricant ne saurait être tenu pour responsable des erreurs ou omissions containues dans ce manuel. Consulter le site www.EXOWater.com pour obtenir la version la plus récente de ce manuel.
Sommaire
1. Introduction
1.1 Vue d'ensemble de la sonde EXO1
1.2 Vue d'ensemble de la sonde EXO2
1.3 Vue d'ensemble du terminal portatif EXO
1.4 Vue d'ensemble et caractéristiques des capteurs EXO
1.5 Conductivite/temperature
1.6 Profondeur et niveau
1.7 Oxygenic dissous
1.8 MODf
1.9 pH et redox
1.10 Algues totales (chlorophylle et cyanobacteries)
1.11 Turbidité
2. Fonctionnement
2.1 Installer les piles
2.2 Installer/demonter les capteurs
2.3 Installer/demonter la protection des capteurs ou la coupelle de calibration
2.4 Indications d'etat des LED de la sonde
2.5 Activer la sonde, lancer le Bluetooth
Connector la sonde au terminal portatif
2.6 Câble de terrain
2.7 Communication sans fil Bluetooth
2.8 Installer le logiciel KOR
Connector la sonde
2.9 USB
2.10 Connexion Bluetooth et PC
2.11 Transmission des données (PCD)
2.12 Cellule de mesure
3. Terminal portatif
3.1 Installer les piles
3.2 Allumer/eteindre le terminal
Connector le terminal portatif à la sonde
3.3 Câble de terrain
3.4 Communication sans fil Bluetooth
Echantillonnage ponctuel
3.5 Visualiser les données en direct
3.6 Enregister les données de l'échantillonnage pontuel
3.7 Telecharger des données
3.8 GPS
4. Logiciel KOR
4.1 Introduction à la navigation
4.2 Menu Executer
4.3 Menu Calibrer
4.4 Menu Enregister
4.5 Menu Sites
4.6 Menu Données
4.7 Menu Options
4.8 Menu Connexions
4.9 Menu Aide
4.10 Fichiers de données & emplacements des fichiers
4.11 SDI-12
5. Calibration
5.1 Introduction au principe de base
5.2 Calibration de la conductivité/temperature
5.3 Calibration de l'oxygène dissous
5.4 Calibration de la profondeur
5.5 Calibration du pH
5.6 Calibration du redox
5.7 Calibration de la turbidité
5.8 Calibration des algues totales (chlorophyll et cyanobacteries)
5.9 Calibration de la MOD par fluorescence
5.10 EtaIons de calibration
5.11 Données d'étalonnage
6. Maintenance
6.1 Stockage de la sonde de courte ou longue durée
6.1 Maintenance de la sonde
6.2 Installer/remplacer les piles de la sonde
6.3 Remplacer les portes-sondes
6.4 Mettre à jour le firmware de la sonde
6.5 Maintenance et stockage du terminal portatif
6.6 Installer/remplacer les piles du terminal portatif
6.7 Mettre à jour le firmware du terminal portatif & le logiciel KOR sur le terminal
6.8 Stockage et maintenance du capteur de profondeur
6.9 Maintenance et stockage des capteurs optiques standard
6.10 Maintenance et stockage du capteur de conductivite/temperature
6.11 Réhydration, maintenance et stockage du capteur d'oxygène dissous
6.12 Remplacement du capuchon du capteur
6.13 Réhydration, maintenance et stockage du capteur pH et redox
6.14 Remplacement du module du capteur
6.15 Maintenance et stockage du racleur
6.16 Maintenance et stockage du cable de terrain
6.17 Maintenance des systèmes antifouling
Anode satisficielle
6.18 Maintenance et stockage des connecteurs
6.19 Maintenance de la cellule de mesure
7. Santé & sécurité, garantie, dépannage
7.1 Prodits chimiques
Solutions de conductivité
Solutions pH
Solution Zobell
Etalon de turbidité
Rayons ultraviolets (capteur de MOD par fluorescence)
7.2 Radiofrequence
7.3 Déclarations de conformité
7.4 Garantie de l'appareil
7.5 Instructions pour le nettoyage & l'emballage de l'appareil
7.6 Recyclage
La sonde EXO1 est un apparéil multi-paramétrés qui collecte des données relatives à la qualité de l'eau. La sonde collecte les données grâce à quatre capteurs (au maximum) replacables par l'utilisateur et à un capteur de pression intégré. Chaque capteur mesure le paramètre concerné selon diverses méthodes de détention (electrochimiques, optiques ou physiques). Chaque port accepte et reconnaît automatiquement n'importe quel type de capteur EXO. Suivant les réglages choisis par l'utilisateur, l'EXO1 va collector les données, les stocker dans la sonde, puis les transférer vers une plateforme de collecte des données (DCP), ou les transmettre directement à un PC de l'utilisateur ou au terminal portatif EXO.

Ports universels des capteurs
Les utilisateurs communiquent avec la sonde via un cable de terrain raccordé au terminal EXO, établissant une connexion sans fil Bluetooth® avec un PC ou le terminal EXO, ou une connexion USB (via un adaptateur) avec un PC.
\section*{Caracteristiques}
| Conditions d'exploitation Profondeur Milieu | 250 mètres Eau |
| Matériau | Xenoy®, Lexan®, bronze, titan, alliage cuivre-nickel, acier inoxydable 316 |
| Capacité de mémoire interne | 512 Mo |
| Logiciel | Logiciel d'interface Kor |
| Communications Sonde Adaptateurs | Bluetooth, cable de terrain, USB, RS-485 ; USB, SDI-12/RS-232 |
| Alimentation Externe Interne | 9-16 VDC 2 piles type D |
| Température Fonctionnement Stockage | -5°C à 50°C -20°C à +80°C |
| Durée de vie des piles | 90 jours environ (cf. page 78) |
| Dimensions Diamètre Longueur Poids | 4,70 cm 64,77 cm 1,65 kg |

1.2
Sonde EXO2
Vue d'ensemble
La sonde EXO2 est un apparéil multi-paramétrés qui collecte des données relatives à la qualité de l'eau. La sonde collecte les données grâce à six capteurs (au maximum) replacables par l'utilisateur et à un capteur de pression intégré. Chaque capteur mesure le paramètre concerné selon diverses méthodes de détction (electrochimiques, optiques ou physiques). Chaque port accepte et reconnaît automatiquement n'importe quel type de capteur EXO. Suivant les réglages choisis par l'utilisateur, l'EXO2 va collector les données, les stocker dans la sonde, puis les transférer vers une plateforme de collecte des données (DCP), ou les transmettre à un PC de l'utilisateur ou au terminal portatif EXO via un cable ou une connexion USB ou Bluetooth.
Outre les six connexions universelles pour capteurs, la sonde EXO2 est également dotée d'un port central pour un racleur (ou un capteur supplémentaire) et d'un port auxiliaire situé en haut de la sonde. Le port auxiliaire permettra à l'utilisateur de raccarder l'EXO2 à d'autres sondes EXO.

Les utilisateurs communiquent avec la sonde via un cable de terrain raccordé au terminal EXO, établient une connexion sans fil Bluetooth® avec un PC ou le terminal EXO, ou une connexion USB (via un adaptateur) avec un PC.
\section*{Caracteristiques}
| Conditions d'exploitation Profondeur Milieu | 250 mètres Eau |
| Matériau | Xenoy, Lexan, bronze, titan, alliage cuivre-nickel, acier inoxydable 316 |
| Capacité de mémoire interne | 512 Mo |
| Logiciel | Logiciel d'interface Kor |
| Communications Sonde Adaptateurs | Bluetooth, cable de terrain, USB, RS-485; USB, SDI-12/RS-232 |
| Alimentation Externe Interne | 9-16 VDC 4 piles type D |
| Température Fonctionnement Stockage | -5°C à 50°C -20°C à +80°C |
| Durée de vie des piles | 90 jours environ (cf. page 80) |
| Dimensions | |
| Diamètre | 7,62 cm |
| Longueur | 71,1 cm |
| Poids | 2,65 kg |

1.3
Terminal portatif EXO
Vue d'ensemble
Le terminal portatif EXO est un apparéil robuste qui fonctionne selon le principe d'un micro-ordinateur. Il permet à l'utilisateur d'afficher les valeurs de la sonde, de configurer les sondes, de stocker et d'extraire les données, ou de transférer les données vers un ordinateur. Dote d'un GPS, d'un baromètre et d'un système d'exploitation personnelisé, le terminal établit une communication via la technologie sans fil Bluetooth, un cable de terrain ou un connecteur USB. L' apparéil bénéficiaie d'un écran à rétro-eclairage régliable pour un comfort de visualisation de jour comme de nuit. Préinstallé, le logiciel KOR facilité les interactions entre tous les utilisateurs et renforce les performances de la collecte de données.


\section*{Caracteristiques}
| Baromètre | Oui |
| GPS | Oui |
| Microphone | Oui |
| Haut-parleur | Oui |
| Système d'exploitation | Windows CE 5.0 |
| Matériau | Polymère, doté de l'indice de protection IP 67 selon des tests en usine |
| Mémoire | 2 Go |
| Logiciel | Logiciel d'interface Kor |
| Communications | Bluetooth, cable de terrain, USB |
| Alimentation Interne | 4 piles alcalines type C |
| Température Fonctionnement Stockage | -5 à +50°C -20 à +80°C |
| DimensionsLargeurLongueurPoids sans les piles | 11,9 cm 22,9 cm 0,91 kg |

La gamme de produits EXO comprend neuf capteurs qui détectent diverses propriétés physiques, chimiques et biologiques des eaux naturelles. Les capteurs EXO sont conçus pour collector des données extrément précises dans des conditions ambiantes en constante évolution.
Filtrage des données
Tous les capteurs EXO ont en commun un logiciel intégré qui se charge du filtrage des données en temps réel. Les capteurs collectent des données à un rythme constant et utilisent ce flux de données en l'intérgrant dans l'algorithm de filtrage qui produit des résultats que l'utilisateur peut visualiser. Les sondes EXO collectent des données provenant des capteurs EXO; le débit des données de sortie peut atteindre 4 Hz. Le processus de filtrage des données comprend quatre éléments:
Filtrage de base par moyenne glissante
Le filtr de base est un filtre à moyenne glissante ou mobile des données collectees anterieurement. Une nouvelle donnee vient s'ajouter, la valeur la plus ancienne est eliminee, et la somme est divisee par le nombre total de données. Il s'agit d'une simple moyenne qui est recalculée de façon continue sur une periode donnnee.
Filtrage adaptatif
L'inconvénient du filtrage par moyenne glissante est que le temps de réponse à une impulsion est différé, et plus la somme des valeurs moyennes est longue, plus il faut du temps au résultat pour converger vers la bonne valeur. Pour corriger cette situation, l'algorithmé de filtrage contrôle l'arrivée des nouvelles données et les compare au résultat moyen en cours d'actualisation, recherchant la présence d'une impulsion. Lorsque les nouvelles données s'écartent de la moyenne avec une valeur supérieure à la tolérance prédéfinie, le nombre des entrées de données se trouvant en-dessous de la moyenne glissante est réduit au minimum et les valeurs restantes sont issées en utilisant les nouvelles données. Le résultat est un alignement sur la nouvelle valeur, ce qui élimine totallement le délié inhabité à la moyenne glissante.
Rejet des valeurs aberrantes
A chaque ajout d'une nouvelle donnée, les entrées qui correspondent à la moyenne mobile sont analysées pour détecter les valeurs aberrantes. Bien que ces données aient déjà été calculées pour qu'elles se situent dans la fourchette de tolérance susmentionnée, les plus récalcitrantes ne sont pas prises en compte dans le calcul de la moyenne glissante. Ce rejet des valeurs aberrantes permet d'obtenir des résultats plus réguliers.
Stabilité de calibration
Comme indiqué ci-dessus, le filtrage est actif durant la calibration, et en plus, une autre caractéristique permet à l'utilisateur de faire le point sur la stabilité de la calibration. Lorsque l'utilisateur tente de calibrer un capteur, les soudaines variations des conditions sont perçues comme des impulsions ou immersions et le filtrage réagit en conséquence. Les résultats montrent instantanément la valeur de la solution, et après un certain temps, le filtrte s'enclenché progressivement jusqu'àu maximum de ses capacités et fournir les données les plus régulières. Cependant, comme le capteur et la solution d'étalonnage recherchent un équilibre, une dérive de la mesure peut apparaitre petit à petit. Le capteur va contrôler les résultats du filtrte et déterminer si la mesure est stable. Il surveille les résultats et calcule la pente de chacun des résultats. Dès que la pente se stabilise et est constamment faible pendant environ 30 secondes, le capteur est considéré comme étant stable. Le logiciel KOR le prend en compte et la calibration peut continuer.
Temps de réponse des capteurs
Les temps de réponse des capteurs EXO s'appuient sur des essais réalisés en laboratoire. Les temps de réponse réellement observés sur le terrain peuvent varier selon l'application.
Spécifications relatives à la précision des capteurs
Pour que la précision des capteurs EXO reste intacte, nous recommendons aux utilisateurs de calibrer les capteurs en laboratoire avec des étalons dont la température est la plus proche possible de celle du milieu à surveiller.
1.5
Conductivité/temperature
Vue d'ensemble du capteur
Le capteur de conductivité et de température EXO est utilisable dans une sonde qui couvre la quasitotalité des applications. Non seulement ce capteur fournit des données extrément précises avec un temps de réponse très court, mais en plus il offre des performances optimales en matière de compensation de température avec les autres capteurs EXO. Les données de conductivité sont utilisées pour calculer la salinité, la conductance spécifique et les matières dissoutes totales, et pour compenser les variations de la densité de l'eau (en fonction de la température et de la salinité) dans les calculs de profondeur si un capteur de profondeur est installé.

Thermistance
Le capteur de température utilise une thermistance à haute stabilité, longue durée de vie et à très faible dérive.
suite à la page suivante)
\section*{Caracteristiques}
Conductivité
| Unités par défaut | microsiemens/centimètre |
| Température | |
| Fonctionnement | -5 à +50°C |
| Stockage | -20 à +80°C |
| Plage | 0 à 200 mS/cm |
| Précision | 0-100 mS/cm : ±0,5% de la lecture ou 0,001 mS/cm, selon la valeur la plus grande ; 100-200 mS/cm : ±1% de la lecture |
| Réponse | T63<2 sec (cf. page 12) |
| Résolution | 0,0001 à 0,01 mS/cm (en fonction de la plage de mesure) |
| Type de capteur | Cellule à 4 electrodes nickel |
Température
| Unités par défaut | °Celsius |
| Température | |
| Fonctionnement | -5 à +50°C |
| Stockage | -20 à +80°C |
| Précision | -5 à 35°C : ±0,01°C |
| 35 à 50°C : ±0,0,5°C | |
| Réponse | T63<1 sec |
| Résolution | 0,001°C |
| Type de capteur | Thermistance |
La résistance de la thermistance varie en fonction de la température. La résistance mesurée est ensuite convertie en unité de température à l'aide d'un algorithme. Le capteur de température tolère un étalonnage humide multipoint conforme aux normes NIST et la spécification de la précision (0,01^) est valable pour toute la durée de vie supposée du détecteur. Le capteur de température ne requiert ni calibration ni entretien, mais il est possible d'effectuer et d'enregistrer des contrôleles de précision via le logiciel d'interface KOR.
Electrodes de conductivité
Le capteur de conductivité utilise quatre electrodes internes de nickel pur pour mesurer la conductance de la solution. Le courant circule entre deux electrodes et les deux autres servent à mesurer la chute de tension. La chute de tension mesurée est ensuite convertie en une valeur de conductance en millisiemens (millimhos). Pour la convertir en une valeur de conductivité en millisiemens par cm (mS/cm), la conductance est multipliee par la constante de la cellule dont l'unité est l'inverse d'un centimetre (cm-1). La constante de la cellule de conductivity équivaut à environ 5,5 / cm ± 10% . Dans la plupart des applications, la constante de la cellule est calculée (ou validée) automatiquement chaque fois que le système est utilisé, à condition que la méthode de calibration soit bien suivie.
Compensation de la température
Les capteurs EXO sont dotés de thermistances pour une garantie de qualité. Cependant, la température interne n'est ni enregistrée ni affichée. Le capteur de turbidité requiert la thermistance interne pour la compensation de température alors que tous les autres capteurs EXO se servent de la sonde de conductivité/temperature pour la compensation de température. Pour visualiser et enregistrer la temperature, une sonde de conductivité/temperature doit être installée dans une sonde EXO.
1.6
Profondeur
Vue d'ensemble du capteur
Un capteur EXO mesure la profondeur de l'eau à l'aide d'une jauge extensométrique sans prise d'air. Un capteur différentiel à jauge extensométrique mesure la pression avec un côté du transmetteur en contact avec l'eau et l'autre côté dans le vide. Nous calculons la profondeur à partir de la pression exercée par la colonne d'eau à laquelle nous soustrayons la pression atmosphérique. Les facteurs ayant une influence sur la mesure de la profondeur sont la pression barométrique, la densité de l'eau et la température. Un étalonnage à l'air ambiant engendre une « mise à zéro » du capteur par rapport à la pression barométrique locale. Une variation de la pression barométrique va provoquer un décalage du zéro à moins que le transmetteur ne soit de nouveau calibre.
Les sondes EXO sont dotées d'orifices d'admission pour permettre à l'eau d'avoir une influence sur la jauge extensométrique. L'admission de l'EXO1 se trouve dans la partie jaune située entre le compartment des piles et la plaquette de la sonde. Les deux petits orifices d'admission de l'EXO2 se trouvent sur l'adaptateur passé-cloison de la sonde.

Admission EXO2

Admission EXO1
Emplacement du capteur de profondeur par rapport à d'autres capteurs servant à mesurer la qualite de l'eau (voir plaquette de la sonde EXO)

Emplacement du capteur de profondeur: 27,2 cm par rapport aux capteurs mesurant la qualite de I'eau
Emplacement du capteur de profondeur Les capteurs de profondeur ne sont pas situés au centre. En cas de déploiement de la sonde en position vertical, il convient de s'assurer que la sonde sera redeployée dans la même position. Souvent, on peut utiliser un pointeur à l'intérieur d'un tuyau PVC. En cas de déploiement horizontal, il faudra veiller à ce que les redéploiements suivant cette même trajectory. Ceci est particulièrement important pour la sonde EXO2 car le capteur de profondeur est désaxé.
suite à la page suivante)
\section*{Caracteristiques}
| Unités | PSI, profondeur (m, bar) |
| Température | |
| Fonctionnement | -5 à +50°C |
| Stockage | -20 à +80°C |
| Plage | Peu profond : 10 m Intermédiaire : 100 m Profond : 250 m |
| Précision | Peu profond : ±0,04% FS (0,004 m) Intermédiaire : ±0,04% FS (0,04 m) Profond : ±0,04% FS (0,10 m) |
| Réponse | T63<2 sec (cf. page 12) |
| Résolution | 0,001 m |
| Type de capteur | Jauge extensométrique en acier inoxydable |

Emplacement du capteur de profondeur (suite) Pour faciliter le choix d'une orientation horizontal, la partie supérieure de la sonde EXO2 comporte une échancrure pour le placement d'un marqueur ou d'un axe de positionnement.
Une fois la sonde installée, les orifices d'admission doivent se situer à 1 cm au moins de la surface de l'eau.
Si un capteur de conductivite est en place, la profondeur sera compensée automatiquement par rapport aux variations de la densité de l'eau en fonction de la température et de la salinité.
Configuration de la profondeur Les sondes EXO doivent etre commandees avec une profondeur specifie:0-10m,0-100m,0-250m ou pas de profondeur. Apre's la selection de la profondeur, il est impossible de modifier le capteur de profondeur de la sonde.
Le principe de fonctionnement du capteur optique d'oxygène dissous EXO se base sur le concept bien documenté selon lequel l'oxygène dissous affaiblit l'intensité et le potentiel de la luminescence associée à un colorant chimique soigneusement choisi. Le capteur d'oxygène dissous EXO émet une lumière bleue à une longueur d'onde appropriée sur un colorant luminescent qui est immobilisé dans une matrice en forme de disque. La lumière bleue provoque la luminescence du colorant et la durée de cette luminescence est mesurée par une photodiode installée dans le capteur. Pour augmenter la précision et la stabilité de la mesure, le colorant est également irradié par une lumière rouge durant une partie du cycle de mesure. La valeur mesurée sert de référence pour le calcul de la durée de la luminescence.



Capteur sans capuchon

599100, 599110
En l'absence d'oxygène, la durée du signal est maximale. Lorsque l'oxygène est introduit dans la membrane du capteur, la durée diminue. Ainsi, la durée de la luminescence est inversement proportionnelle à la quantité d'oxygène present. De plus, la relation entre la pression d'oxygène disponible à l'extérieur du capteur et la durée de la luminescence peut être quantifiée avec l'équation de Stern-Volmer. Pour la plupart des capteurs optiques d'oxygène dissous qui se basent sur la durée de la luminescence, cette relation Stern-Volmer
(Tzero / T) - 1) par opposition a pression O_2
n'est pas tout à fait linéaire (surtout en cas de pression d'oxygène assez élevé) et les données doivent être traitées à l'aide d'une analyse de la régression non linéaire polynomiale.
suite à la page suivante)
\section*{Caracteristiques}
| Unités | % saturation, mg/L |
| Température Fonctionnement Stockage | -5 à +50°C -20 à +80°C |
| Plage | 0 à 500% saturation de l'air 0 à 50 mg/L |
| Précision | 0-200%: ±1% de la lecture ou 1% sat. air, selon la valeur la plus grande; 200-500% : ±5% de la lecture 0-20 mg// : ±1% de la lecture ou 0,1 mg/L; 20-50 mg// : ±5% de la lecture |
| Réponse | T63<5 sec (cf. page 12) |
| Résolution | 0,1% saturation de l'air 0,01 mg/L |
| Type de capteur | Optique, durée de luminescence |
Heureusement, la non-linearité ne varie pas considérablement en fonction du temps. Tant que le capteur est caractérisé par rapport à sa réponse à la modification de la pression d'oxygène, la non-linearité de la relation n'effecte pas l'aptitude du capteur à mesurer l'oxygène avec précision pendant une longue période.
1.8
MODf
Vue d'ensemble du capteur
Le capteur EXO de MODf (Matière Organique Dissoute par fluorescence) est un capteur de fluorescence qui déetecte les composants fluorescentes de la MOD (Matière Organique Dissoute) lorsqu'elle est exposée au proche ultraviolet (UV).
Matière Organique Dissoute Colorée
Il se peut que les utilisateurs veuillent quantifier la matière organique dissoute colorée (CDOM=Colored Dissolved Oxygen Matter) afin de mesurer la quantité de lumière absorbée par l'eau colorée et qui n'est donc pas disponible pour le processus de photosynthèse mis en œuvre par les plantes subaquatiques et les algues. Dans la plupart des cas, la MODf peut se substituer à la CDOM.

Sulfate de quinine
Le sulfate de quinine est un substitut à la MODf. Dans une solution acide, il devient fluorescent comme la matière organique dissoute. Les unités de la MODf correspondent aux unités de sulfate de quinine (QSU) ou 1 QSU= 1 ppb de sulfate de quinine. Ainsi, le sulfate de quinine est réalisément un substitut au paramètre CDOM, et ce à double titre.
Le capteur MODf EXO se caractérisse par une linéarité quasiment parfaite (R^2 = 1,0000) pour une dilution en série d'une solution incolore de sulfate de quinine. Pour une dilution en série d'échantillons d'eau colorée qui ont été prélevés sur le terrain, le capteur montre cependant une certaine sous-linearité. Le point de sous-linearité des échantillons de terrain est variable et est affecté par l'absorption UV de la MOD dans l'eau.
suite à la page suivante)
\section*{Caracteristiques}
| Unités | Equivalents de sulfate de quinine (ESQ), ppb |
| Température Fonctionnement Stockage | -5 à +50°C -20 à +80°C |
| Plage | 0 à 300 ppb ESQ |
| Réponse | T63<2 sec (cf. page 12) |
| Résolution | 0,01 ppb ESQ |
| Type de capteur | Optique, fluorescence |
| Linéarité | R²>0,999 pour une dilution en série de 300 ppb de solution de sulfate de quinine |
| Limite de détention | 0,07 ppb ESQ |
| Optique : excitation | 365±5 nm |
| Emission | 480±40 nm |
Une experimentation a démontré qu'une sous-linearité pouvait apparfaître avec des concentrations MODf aussi basses que 50 QSU. Ce taux signifie qu'un échantillon de terrain avec un relevé MODf de 140 QSU contienda更好 plus du double d'un échantillon qui affiche 70 QSU. Ce résultat - une bonne linéarité dans une solution de sulfate de quinine incolore, mais une sous-linearité dans des échantillons colorés pris sur le terrain - est aussi constaté avec d'autres capteurs MODf disponibles sur le marché. Par conséquent, les performances du capteur EXO sont probablement équivalentes à celles de la concurrence, voir更好地, mais les capteurs EXO ont l'avantage de s'intégrer facilement à un appeareil multi-paramètre et à un système automatique de nettoyage mécanique lorsqu'ils sont utilisés dans le cadre d'un suivi des eaux avec une sonde EXO2.
1.9
pH et redox
Vue d'ensemble du capteur
Les utilisateurs peuvent faire leurchoix entre un simple capteur pH ou un capteur mixte pH/redox afin de mesurer ces parametes. Le pH decrit les propriétés acides et basiques de I'eau. Un pH de 7,0 est neutre ; les valeurs inférieures a 7 sont acides ; les valeurs supérieures a 7 sont alcalines. Le redox désigne le potentiel d'oxydoréduction d'un échantillon d'eau. Il est utile pour I'eau qui contient une forte concentration d'espèces actives en oxydoréduction telles que les sels d'un grand nombre de métaux et les oxydants forts (chlore) et les agents réducteurs (ion sulfite). Cependant, la mesure du redox est non spécifique : le potentiel mesure reflète une combinaison d'effets de toutes les espèces dissoutes dans le milieu. Les utilisateurs doivent veiller à ne pas sur-interpréter les valeurs redox à moins qu'ils ne connaissent des informations spécifiques à un site donné.
suite à la page suivante)

pH
\section*{Caracteristiques}
| Unités | Unités pH |
| Température Fonctionnement Stockage | -5 à +50°C 0 à 60°C |
| Plage | 0 à 14 unités |
| Précision | ±0,1 unité pH sur ±10°C de la température de calibration; ±0,2 unité pH sur toute la plage de température |
| Réponse | T63<3 sec (cf. page 12) |
| Résolution | 0,01 unité |
| Type de capteur | Electrode de verre combinée |
Redox
| Unités | millivolts |
| Température Fonctionnement Stockage | -5 à +50°C 0 à 60°C |
| Plage | -999 à +999 mV |
| Précision | ±20 mV en solution étalon redox |
| Réponse | T63<5 sec (cf. page 12) |
| Résolution | 0,1 mV |
| Type de capteur | Bouton platine |
Module du capteur replacable
Les capteurs pH et pH/redox EXO bénéficient d'un design unique complenant un embout (module) replacable par l'utilisateur et une base réutilisable qui contient les éléments électroniques de traitement, la mémoire et le connecteur enchachieable en immersion. Les utilisateurs peuvent réduire les coûts liés aux capteurs pH et pH/redox en replacant périodiquement le module relativement bon marché, et non pas la base qui est plus couteuse.
Concernant le raccordement du module sur la base du capteur, une seule connexion est possible et elle doit être effectuee a I'abri et au sec. Une fois installe, le module ne peut pas etre demonted jusqu'a son remplacement par un nouveau module. Cf. partie 6.14 pour des instructions plus detaillées.
Les utilisateurs peuvent commander soit un capteur pH, soit un capteur pH/redox. Une fois la commande passée, le capteur est uniquement compatible avec des modules du même modele. Par exemple, si l'utilateur a acheté un capteur pH au départ, alors il doit ensuite commander un module replacable et compatible avec le capteur pH; il ne peut pas etre replacé par un module pH /redox.
Electrodes
Le système EXO mesure le pH avec deux electrodes rasssemblées dans le même capteur: une electrode pour les ions hydrogène et une autre qui sert de référence. Le capteur est une ampoule remplie de solution de pH stable (généralement 7) et sa surface interieure montre une liaison constante des ions H^+ . La partie extérieure de l'ampoule est en contact avec l'échantillon où la concentration des ions hydrogène est fluctuante. Le différentiel qui en résultat create un potentiel relevant par l'appareil de mesure par rapport au potentiel stable de la référence.
Le potentiel redox du milieu représenté la différence de potentiel entre une electrode qui est relativement inerte chimiquement et une electrode de referencia. Le capteur redox comporte un bouton de platine que l'on trouve à l'extrémité de la sonde. Le potentiel associé à ce métal est reliéve par rapport à l'électrode de REFERENCE Ag/AgCl du capteur mixte qui utilise un electrolyte gelifié. Les valeurs redox sont presentses en millivolts et ne sont pas compensées en température.
Amplification
Les conditionneurs de signaux intégrés dans le capteur pH améliorent le temps de réponse et augmentent la stabilité de la mesure. L'amplification dans la tête du capteur sert à éliminer tout problème d'humidité dans le circuit d'entrée et à réduire le bruit. Enfin, le capteur pH EXO est insensible aux interférences durant la calibration car le circuit est proche du capteur et le signal est bien protégé.

Algues totales (chlorophyll et cyanobacteries-phycocyanines)
Vue d'ensemble du capteur
Le capteur algues totales EXO est un capteur de fluorescence double-voie qui génére deux ensembles de données indépendants : un ensemble résultat d'un faisceau bleu qui excite directement la molécule de chlorophylla a, présente dans toutes les cellules photosynthétiques, et un second ensemble provenant d'un faisceau orange qui excite le pigment accessoire (phycocyanines) que l'on retrouve dans les algues bleu-vert (cyanobactéries). Cette excitation orange provoque un transfert d'énergie de la phycocyanine vers la chlorophylla centrale où la photosynthèse se déclenché.
Bien que les cyanobactères contiennent de la chlorophylla a, le signal de fluorescence de chlorophylle detecté par les fluorimétres in situ est plus faible que dans un phytoplanton eucaryote. Cela entraine une sous-estimation de la biomasse algale en cas d'utilisation d'un capteur de chlorophylle monovoie lorsque les cyanobacteries sont presentes. Le capteur d'algues totales EXO donne une estimation plus précise de la biomasse totale de la communauté planctonique autotroph en excitant la chlorophylla a et la phycocyanine.
suite à la page suivante)

\section*{Caracteristiques}
| Unités Chlorophyll Cyanobactéries- phycocyanines | UFR, μg/L Chl UFR, μg/L PC |
| Température Fonctionnement Stockage | -5 à +50°C -20 à +80°C |
| Plage | Chl:~0 à 400 μg/L Chl; 0 à 100 UFR Cyano.-Phy.: 0 à 100 μg/L PC; 0 à 100 UFR |
| Réponse | T63<2 sec (cf. page 12) |
| Résolution | Chl: 0,01 μg/L Chl; 0,01 UFR Cyano.-Phy.: 0,01 μg/L PC; 0,01 UFR |
| Type de capteur | Optique, fluorescence |
| Linéarité | Chl: R²>0,999 pour dilution en série de solution Rhodamine WT entre 0 et 400 μg/l d'équivalents Chl Cyano.: R²>0,999 pour dilution en série de solution Rhodamine WT entre 0 et 100 μg/l d'équivalents PC |
| Limite de détention | Chl: 0,09 μg/L Chl Cyano.: 0,04 μg/L PC |
| Optique: Excitation de Chl | 470±15 nm |
| Excitation de PC | 590±15 nm |
| Emission | 685±20 nm |
Le capteur génére des données sous trois formats : RAW, UFR et une estimation de la concentration de pigments en g / L
La valeur RAW est une valeur qui résiste aux calibrations de l'utilisateur. La plage de mesure s'etend de 0 à 100. Cette valeur représentée le pourcentage de la pleine échelle que le capteur détecte dans un échantillon.
UFR est l'acronyme d'Unité de la Fluorescence Relative qui est utilisée pour régler la sortie du capteur par rapport à un éton secondaire stable, tel qu'un colorant Rhodamine WT. Cela permet aux utilisateurs de calibrer les capteurs de façon identique ; par exemple, en calibrant un réseau de capteurs afin de dire 100 UFR dans une concentration en colorant Rhodamine WT. Les capteurs sont ensuite utilisables et peuvent générer des données qui se rapportent à l'ensemble des capteurs. Àpres l'extraction des données d'un capteur, tous les capteurs peuvent être comparés entre eux avec le même étonafin d'évaluier les performances et la dérive des capteurs, ou encore les effets potentiels du biofouling.
L'estimation de la concentration des pigments est exprimée en g / L . Le rapport entre g / L et le signal RAW du capteur sera développé au travers des méthodes d'échantillonnage du milieu aquatique représentant un intérêt, en collectant les données du capteur à partir d'un échantillon, puis en extrayant le pigment afin d'étabir une corrélation. Plus la résolution temporelle et spatiale de l'échantillonnage est élevée, plus l'estimation est précise.
Chlorophyll
Le capteur de chlorophyll exo fonctionne sur le principe de la fluorescence in vivo, sans désintégration cellulaire qui est nécessaire pour obtenir soit des relevés instantanés, soit des données à longue durée de vie. Le capteur EXO bénéficia d'une excellente limite de détction mesure en laboratoire. Cet atout devrait se maniférer dans un grand nombre d'applications sur le terrain.
Les relevés de chlorophyll exo montrent une excellente linéarite pour la dilution en série d'une solution de substitution, le Rhodamine WT (R^2 >0,9999) . Cela devrait garantir une precision relative des relevés de chlorophyll sur le terrain. Autrement dit, un relevé chlorophyll de 100 unités va représentier le double de la proportion algale de I'eau avec un relevé chlorophyll de 50 unités. Ainsi, les relevés chlorophyll EXO montrent une très faible interfERENCE avec la turbidite et permettent une estimation plus précise de la teneur algale lors des precipitations qui libereNT des sédiments et des algues dans I'eau. Le capteur de chlorophyll EXO se caractérisé également par une très faible interfERENCE avec les matieres organiques dissoutes, ce qui améliore la précision des données.
Cyanobacteries
Les relevés de cyanobactéries EXO montrent une excellente linéarité pour la dilution en série d'une solution de substitution, le Rhodamine WT (R^2 >0,9999) . Cela devrait garantir une précision relative des relevés de cyanobactéries-phycocyanine sur le terrain. Autrement dit, un relevé cyanobactéries-phycocyanine de 100 unités va représentier le double de la proportion algale de l'eau avec un relevé cyanobactéries-phycocyanine de 50 unités. Le capteur de cyanobactéries EXO présente un avantage considérable : ses relevés révèlent que l'interférence avec la turbidité est très faible. Cela permet une estimation beaucoup plus précise de la teneur en cyanobactéries-phycocyanines lors des précapitations qui libèrent des sédiments et des algues dans l'eau.
La turbidité est la mesure indirecte de la concentration des matières en suspension dans l'eau. Elle se détermine généralement en émettant un faisceau lumineux sur la solution échantillon, puis en mesurant la lumière diffusée par les particules générées. La concentration des matières en suspension est un facteur déterminant pour le contrôle de la qualité de l'eau et pour la mesure des variations du milieu. Les matières en suspension peuvent être de natures différentes (vase, argile, sable, algues, matières organiques), mais toutes les particules vont influencer la transmission de la lumière et induire un signal de turbidity.

Le capteur de turbidite EXO utilise un rayonnement proche infrarouge et detecte la diffusion sous un angle de 90 degrés par rapport au faisceau lumineux incident. Conformément à la méthode ASTM D7315, ce type de capteur est appelé turbidimètre néphelométrique dans le proche infrarouge (non ratiométrique?). Les valeurs sont exprimées en FNU (Formazin Nephelometric Units). L'unité par défaut du capteur EXO est FNU, mais les utilisateurs ont la possibilité de la modifier et de désirir l'unité de turbidité néphelométrique (NTU), le signal brut donné par le capteur (RAW), ou le total des solides en suspension (TSS) à condition que la correlation entre les données soit appropriée.
La valeur RAW est une valeur qui résiste aux calibrations de l'utilisateur. La plage de mesure s'etend de 0 à 100. Cette valeur représentée le pourcentage de la pleine échelle que le capteur détecte dans un échantillon. (suite à la page suivante)
\section*{Caracteristiques}
| Unités par défaut | FNU |
| Température Fonctionnement Stockage | -5 à +50°C -20 à +80°C |
| Plage | 0 à 4000 FNU |
| Précision | 0-999 FNU : 0,3 FNU ou ±2% de la lecture, selon la valeur la plus grande; 1000-4000 FNU : ±5% de la lecture |
| Réponse | T63<2 sec (cf. page 12) |
| Résolution | 0-999 NTU : 0,01 FNU 1000-4000 FNU : 0,1 FNU |
| Type de capteur | Optique, diffusion à 90° |
| Optique: excitation | 860± 15 nm |
Meme si la quasi-totalité des capteurs de turbidité sont calibrés avec de la formazine, autres solutions d'étabonnage peuvent donner des résultats différents sur le terrain, suivant les modèles de capteurs de turbidité utilisés. Ces différences sont supposées résultat des différences composants et géométries optiques qui déetect des sédiments en suspension aux caractéristiques variables. Cet effet est inheré à la nature même du capteur de turbidité utilisé. Par conséquent, il est possible que les différents modèles de capteurs de turbidité affichent des valeurs différentes sur le terrain, même après une calibration avec les mêmes étacons.
Pour un suivi in situ de la turbidité sur une longue période, la sonde EXO2 est dotée d'un racleur pour le nettoyage du capteur de turbidité. Ce composant préviendra l'encrassement du capteur et mainiendra la précision des mesures.
2.1
Installer les piles
Il est recommandé d'utiliser deux (2) piles alcalines de type D pour alimenter la sonde EXO1 et quatre (4) piles alcalines de type D pour alimenter la sonde EXO2. Vous pouvez également utiliser des piles rechargeables NiMH de type D, vendues dans le commerce. Cf. partie 6.2 pour des instructions détaillées sur l'installation

- Retirer le couvercle du compartment à piles.
EXO1: faire tourner le couvercle bleu dans le sens inverse des aiguilles d'une montre, tirer et enlever. Si nécessaire, utiliser la clé fournie pour desserrer.

Ne pas enlever les vis du compartmentélectronique de la sonde.
EXO2: dévisser et enlever le couvercle du compartment à piles. Si nécessaire, utiliser la clé fournie pour desserrer.

-
Installer les piles.
Insérer les piles avec les bornes positives (+) orientées vers le haut et les bornes négatives (-) orientées vers le bas. -
Replacer le couvercle du compartment à piles.
Replacer le capot des piles et serrer jusqu'à ce qu'il soit bien en place. Ne pas serrer excessivement.


2.2
Installer/demonter les capteurs
Tous les connecteurs des capteurs EXO sont identiques et s'identifient avec un firmware embarqué. Par conséquent, les utilisateurs peuvent installer n'importe quel type de capteur sur n'importequel port universel de la sonde. Le racleur pour la sonde EXO2 fait figure d'exception, il doit être installé sur le port 7 situé au centre. Des ports individuels sont physiquement identifiables par un numéro grave sur la paroi de la sonde. Bien que les sondes soient raccordables sous l'eau, les utilisateurs doivent nettoyer, lubrifier et secher la sonde et les connecteurs des capteurs avant toute installation ou maintenance, si cela est possible.



1 Retirer le capteur ou le port de connexion.
Retirer la coupelle de calibration et la protection du capteur. Placer la sonde sur une surface propre et plane, et faire en sorte qu'elle ne puisse pas rouler. Retirer les ports de connexion en tirant d'un coup sec et la placer sur une surface propre.
Pour le démontage du capteur, utiliser le contre-écrou et tourner dans le sens inverse des aiguilles d'une montre pour desserrer. Tirer sur le capteur d'un coup sec pour le déconnecter du port et le placer sur une surface propre.
Retirer les capuchons d'hydratation ou les flacons pour solutions tampons sur les capteurs. Essuyer avec un chiffon propre et non pelucheux.
2 Nettoyer le port et installer le capteur.
Effectuer une inspection visuelle du port pour vérifier s'il est encrassé. Si le port est sale ou humide, le nettoyer avec un chiffon propre et non pelucheux ou à l'air comprimé.
Applique une légere couche de graisse Krytox sur les surfaces de contact en caoutchouc du connecteur.
Insérer le capteur dans le port ennant soin d'aligner les connecteurs male avec les connecteurs femelle ; puis appuyer fermement.
3 Serrer le contre-écrou.
Faire en sorte de ne pas endommager le filtage de l'écrou, serrer le contre-écrou à la main, dans le sens des aiguilles d'une montre. Lorsque l'écrou et le joint torique sont positionnés contre la paroi, serrer l'écrou d'un quart de tour pour qu'ils soient bien en place. Dès que les capteurs ou les portes sont installés, remettre la protection en place afin de protégger les capteurs contre d'eventuels dommages dus aux chocs.

Veiller à ne pas tordre le corps du capteur en serrant et desserrant le contre-écrou. Une déformation excessive du capteur peut endommager le connecteur et n'est pas couverte par la garantie.
2.3
Installer/demonter la protection des capteurs ou la coupelle de calibration
Les capots de protection de la sonde protégent les capteurs contre les impacts durant leur utilisation. Les utilisateurs doivent toujours installer ce dispositif de protection avant de commencer la collecte des données. La coupelle de calibration est utilisé pour le stockage et la calibration. Nous vous recommendons d'utiliser deux protections : une première pour les mesures sur le terrain et une seconde utilisé exclusivement pour les calibrations. L'utilisation d'une seconde protection minimisera le risque de contamination de la solution d'étalonnage (surtout pour la turbidité) et les erreurs de calibration. Les coupelles de calibration EXO s'installent sur une protection déjà installée. Cette configuration réduit la quantité d'étaIons requis pour la calibration.

1 Installer/retirer le capot de protection de la sonde. Installer la protection en la faisant tourner sur la paroi dans les sens des aiguilles d'une montre. La tourner dans le sens inverse des aiguilles d'une montre pour la retarder. Toujours utiliser une protection pour l'utilisation/le stockage de la sonde et une autre pour la calibration uniquement.
Faire en sorte que la protection n'endommage pas les capteurs pH ou pH/redox car ceux-ci ne sont pas protégés durant l'installation ou le démontage de la sonde.

2 Installer/retirer la coupelle de calibration.
Avant de proceder à l'installation, desserrer (mais ne pasPTRR) le collier de fixation de la coupelle. Avec la protection de la sonde déjà installée, faire glisser la coupelle sur la protection jusqu'à ce que le fond de la protection touche le fond de la coupelle. Serrer le collier jusqu'à ce qu'il soit bien en place. Pour PTRR la coupelle de calibration, desserrer le collier d'un quart de tour afin de séparer la protection et la coupelle.
2.4
Indications d'etat des LED de la sonde
Etats
Unends EXO se trouve tous dans l'un des trois etats de fonctionnement suivants:Arret, Execution et Veille. Ces statuts déterminant la consommation actuelle de la sonde, ainsi que sa capacité d'enregistrement.En mode Arret,la sonde n'est pas sous tension et ne peut pas collecter de données (pas de piles installes, pas d'alimentation depuis le port de connexion supieur). La source d'alimentation de la sonde peut etre interne avec I'utilisation des piles, ou externe avec un cable de terrain EXO raccordé au terminal portatif EXO,a une plateforme de collecte de données ou a toute autre source d'alimentation homologuee.Des que la sonde est sous tension,elle est soit en mode Execution,soit en mode Veille. En mode Veille,le sonde concenme très pou d'energie
Etats
Arrêt : hors tension, pas de collecte de données.
Veille : consommation faible, en attente de commande.
Exécution: fonctionnement à plein régime, prét à collecter les données.
Voyants à LED
LED blue-Bluetooth
Eteinte: arrêt, fonction non activée.
Allumée: marche, pas de connexion.
Clignote à 2 Hz: marche, connexion réussie.
LED rouge- Etat de la sonde
Eteinte : la sonde est en mode
Arrêt ou en mode Veille, enregistrement désactivé.
Clignote à 0,1 Hz: la sonde est en mode Veille avec enregistrement activé.
Clignote à 1 Hz : la sonde est en mode Execution.
Allumée : la sonde est en mode Execution, avec une anomalie détectee.
En mode Veille, la sonde consomme très peu d'énergie et est dans l'attente d'une commande de l'utilisateur ou de son prochain enregistrement préprogrammé. En mode Exéciution, la sonde fonctionne à plein régime et est préte à collecter des données. Une fois sollicitée, la sonde reste en mode Exéciution pendant cinq minutes à compter de sa dernière communication via Bluetooth ou pendant 30 secondes à compter de sa dernière communication via le port supérieur. De plus, la sonde passé automatiquement au mode Exéciution pendant les 15 secondes qui précédent le prochain enregistrement prévu.
Voyants LED
Chaque sonde est dotée de deux LED qui indiquent le statut de la sonde. La LED bleue indique le statut de la connexion sans fil Bluetooth. La LED rouge indique le statut de la sonde en temps réel.
Levoyant Bluetooth (bleu) est activé par une carte magnétique passant sur la zone d'activation magnétique. Lorsque la LED bleue est eteinte, la fonction Bluetooth est desactivée. Lorsque le voyant est continuellement allumé, la fonction Bluetooth est activée, mais aucune connexion n'a ete établie. Lorsque la LED bleue clignote a 2 Hz, cela signifie que la fonction Bluetooth de la sonde est activée et qu'une connexion a ete établie.
Lorsque la LED rouge de la sonde est eteinte, la sonde est soit en mode Arret, soit en mode Veille sans enregistrement. Lorsqu'elle clignote a 0,1 Hz (une fois toutes les 10 secondes), la sonde est en mode Veille et l'enregistrement est activé. Lorsque levoyant rouge clignote a 1 Hz, cela signifie que la sonde est en mode Execution et qu'aucun defaut n'a ete detecté. Si levoyant rouge est continuellement allumé, la sonde est en mode Execution et a detecté des anomalies (le système est instable par exemple).
Modes
En mode Execution, la sonde peut avoir trois fonctions activées via le logiciel Kor. La fonction « Inactive (Arrêt) » indique que la sonde n'enregistre aucune donnée. La fonction « Temps réel » signale que la sonde collecte des données en continu avec un intervalle d'enregistrement spécifique par l'utilisateur (valeur par défaut : 2 Hz). Le mode « Echantillon/Attente » permet aux utilisateurs de synchroniser les données entre l'enregistreur de la sonde et une plateforme externe de collecte des données.
2.5
Activer la sonde,
Iancer le Bluetooth
Dés la mise sous tension de la sonde (avec une source d'alimentation interne ou externe), les utilisateurs peuvent utiliser plusieurs méthodes pour activer la sonde depuis le mode Veille. Ils peuvent activer la sonde EXO et la connexion Bluetooth à l'aide d'un commutateur magnétique installé dans le compartmentélectronique de la sonde. La sonde va automatiquement désactiver la connexion et passer en mode veille si elle n'a reçu ni un signal Bluetooth pendant 5 minutes, ni un signal du port de connexion pendant 30 secondes. Pour activer la sonde, les utilisateurs doivent avoir un aimant à leur disposition pendant l'installation et l'utilisation de leur sonde. Pour plus d'informations sur les indications d'etat des LED de la sonde, veuillez vous reférer à la partie 2.4.

1 Activer la sonde avec un aimant.
La sonde peut passer au mode Execution en plaçant un aimant sur la zone d'activation magnétique située sur la paroi de la sonde (identifiable par le symbole d'un aimant). Maintenir simplement l'aimant à moins d'un (1) cm du symbole jusqu'à l'activation des LED. Les apparciels EXO sont dotés d'aimants intégrés qui sont identifiables par le même symbole.

2 Activer la sonde sans aimant.
La sonde peut également passer au mode Exécution en utilisant l'une des méthodes suivantes.
- Mise hors tension, puis mise sous tension de la sonde (déinstallation/installation des piles).
- Connexion via le port situé sur la partie supérieure de la sonde.
- Insertion d'un capteur.
En plus de ces méthodes manuelles, la sonde peut aussi s'activer automatiquement afin d'effectuer un enregistrement préprogramme, et ce sans surveillance (logiciel Kor).

3 Activer la fonction Bluetooth de la sonde.
Les utilisateurs peuvent activer le Bluetooth en tenant un aimant après la zone d'activation magnétique comme indiqué dans le paragraphe 1. Outre cette activation magnétique, les utilisateurs peuvent aussi activer le Bluetooth en :
- Mettant la sonde hors tension, puis en la remettant sous tension (déinstallation/installation des piles).
- Activant le Bluetooth via le port de connexion supérieur (Kor).
2.6
Connector la sonde au terminal portatif
Cable de terrain
Tous les cables EXO sont dotés de connecteurs 6 broches qui sont enchachiebles en immersion. Chaque cable compte égarlement un serre-cable afin de réduire les contraintes sur le connecteur. Lire la partie consacrée à la maintenance des cables avant la première utilisation. Etant donné que la connexion sans fil Bluetooth ne traverse pas l'eau, les utilisateurs doivent utiliser un cable pour raccorder la sonde lorsqu'elle est submergé et lorsqu'elle prend des mesures qui sont visualisées par l'utilisateur en temps réel ou lorsque les données sont enregistrées par une centrale d'acquisition des données.

1 Raccorder le cable à la sonde.
Applique une fine couche deGRAISSKrytox sur les broches malés du cable et sur le connecteur femelle de la sonde.Enfoncer le connecteur male à 6 broches,puis serrer le collier de fixation. Relier la décharge de traction et le porte-sonde a l'aide d'un mousqueton.La décharge de traction du cable doit être positionnée de façon a absorber les efforts mécaniques du connecteur et du collier de fixation.

2 Raccorder le cable au terminal portatif. Appliquer une fine couche de graisse Krytox sur les broches mâles du terminal et sur le connecteur femelle du cable. Enconcer le connecteur à 6 broches, puis serrer le collier de fixation. Raccorder la décharge de traction à la dragonne du terminal portatif.

3 Detector la sonde avec KOR.
Dés le démarrage du terminal portatif, le calculiel KORcherche une connexion cablee avec la sonde. Si le calculiel KOR detecte la sonde, il va chercher a se connecter à la sonde.
2.7
Connector la sonde au terminal portatif
Communication sans fil Bluetooth
Les utilisateurs peuvent connecter les sondes EXO (hors de l'eau) avec le terminal portatif EXO à l'aide de la communication sans fil Bluetooth. Grace à la fonction Bluetooth, les utilisateurs peuvent réduire le nombre de cables requis pour faire fonctionner leur sonde. Cette connexion sans fil permet de bénéficier d'une portée de 10 mètres en moyenne, mais elle peut varier suivant les conditions d'utilisation. Il est impossible d'effectuer une connexion sans fil à travers l'eau.
Pour effectuer un raccordement sans fil, les deux apparciels doivent etre sous tension.

1 Activer la fonction Bluetooth de la sonde.
Activer le Bluetooth en passant un aimant sur la zone d'activation magnétique. Les utilisateurs peuvent aussi activer le Bluetooth en mettant la sonde hors tension, puis en la remettant sous tension (déinstaller/reinstaller les piles).

2 Detector la sonde avec KOR.
Chaque fois que le terminal portatif est mis sous tension, ilcherche automatiquement une sonde via une connexion cablee.

3 Analyser de nouveau la sonde.
Si une connexion filaire n'est pas trouvée et si l'utilisateur peut étabir une connexion Bluetooth avec la sonde, il peut le faire manuellement en naviguant dans le menu Connexions du logiciel KOR sur le terminal portatif. Sélectionner Analyser de nouveau. KOR va effectuer une nouvelle analyse et va détecter les sondes avec fonction Bluetooth activée. Sélectionner la sonde dans la liste, puis cliquer sur Connexion.
2.8
Installer le logiciel KOR
Le logiciel KOR est fourni avec toutes les sondes EXO sur une clé USB. Des droits administrateurs sur le PC local sont nécessaires pour l'installation du logiciel. Il est important d'installer le logiciel KOR avant d'utiliser l'adaptateur USB car les pilotes requis pour l'emploi de l'adaptateur sont installés avec le logiciel KOR.
REMARQUE : une version « allégée » du logiciel KOR sur le terminal EXO ne requiert aucune installation.

1 Installer le logiciel KOR et les pilotes.
Insérer la clé USB et installer le logiciel en lançant le fichier exécutable startup.exefile. Redémarrer l'ordinateur après l'installation du logiciel.
Le programme installe divers éléments : le logiciel EXOKOR, le logiciel d'aide National Instruments et les pilotes USB pour l'adaptateur USB EXO.
Une fois l'installation terminée, le programme sera stocké dans le menu Tous les programmes (pas dans un sous-dossier) avec l'icone suivante :

De plus, un dossier nommé « National Instruments » sera créé ; cependant, les données ne seront pas accessibles au cours d'une'utilisation normale.
Configurations minimales requires :
Les configurations minimales requises sur un ordinateur utilisant le logiciel KOR sont les suivantes :
- Windows® XP (service pack 3) ou version Windows plus récente (Windows®7 commande)
- Microsoft.NET (version de 2.0 à 3.5 Service Pack 1)
- 500 Mo d'espace disponible sur le disque dur (1 Go recommendé)
- Ecran avec résolution de 1280 × 800 au moins
- Port USB 2.0isable
- Connexion Internet requise pour les mises à jour du logiciel
- En option : adaptateur Bluetooth intégral ou adaptateur USB Bluetooth
2 Mises à jour du logiciel
Lorsqu'elles seront disponibles, les mises à jour du logiciel KOR seront accessibles sur www.EXOWater.com. Les utilisateurs devront creator un compte gratuite pour acceder au téléchargement des mises à jour du logiciel.
2.9
Connector la sonde USB
L'adaptateur USB (USB-SoA 599810) permet de se connecter à une sonde EXO via une connexion USB standard. Bien que l'adaptateur USB-SoA soit robuste et résistant à l'eau, ses connecteurs doivent être protégés lorsqu'il n'est pas utilisé. Pour cela, un capuchon est fourni avec l'adaptateur. L'adaptateur ne doit jamais être immergé.
Avant la première utilisation, les utilisateurs doivent installer le logiciel KOR et ses pilotes sur le PC raccordé. L'adaptateur USB ne fonctionnera pas sans les pilotes qui accompagnent le logiciel KOR (cf. partie 2.8).

1 Relier l'adaptateur à la sonde.
Débrancher le connecteur 6 broches de la sonde. Appliquer une fine couche deGRAisse Krytox sur les broches males de la sonde et sur le connecteur femelle de I'adaptateur USB.Puis aligner les six broches et le connecteur, et appuyer fermement jusqu'à ce qu'il n'y ait plus de jeu.

2 Relier le cable USB à l'adaptateur et au PC. Enlever le capuchon de protection à l'extrémité de l'adaptateur USB et s'assurer que le connecteur est propre et sec. Puis insérer la petite extrémité du cable USB dans le connecteur de l'adaptateur et l'autre extrémité de taille standard dans l'un des ports USB du PC.

Après le raccordement de l'adaptateur, le PC détecte un nouvel apparéil. Windows installe automatiquement les pilotes et créé un nouveau port. Chaque adaptateur nouvellement raccordé entraine la création d'un nouveau port.
Ports
KOR analyse automatiquement les ports des adaptateurs USB et Bluetooth. Pour afficher l'adaptateur USB et le port de communication qui lui est associé, aller dans le Panneau de configuration de l'ordinateur, cliquer sur Gestionnaire de péripériques, puis sur Ports.
2.10
Connector la sonde
Bluetooth
Avant que les utilisateurs puissent étabir une communication sans fil avec leurs sondes EXO, ils doivent lancer la connexion Bluetooth. Toutes les sondes EXO sont équipées de la fonction sans fil Bluetooth. Cette technologie est un moyen de communication à double sens, sécurisé et fiable. Les utilisateurs peuvent communiquer avec leurs sondes hors de l'eau et sans cables. La plupart des ordinateurs actuels sont équipés de la fonction Bluetooth ; dans le cas contraire, il est possible d'utiliser une clé Bluetooth (non incluse). Suivre les instructions du fabricant pour installer le logiciel et les pilotes de la clé. Des permissions administrateurs et un support technique peuvent être requis suivant l'adaptateur et les réglages du PC.



1 Installer la clé Bluetooth (en option).
Si l'ordinateur n'est pas équipé de la fonction Bluetooth, insérer une clé Bluetooth (non fournie) dans l'un des ports USB de l'ordinateur. Attendre que l'ordinateur installé automatiquement le périphérique et ses pilotes. Une fois l'installation terminée, l'ordinateur doit indiquer que le périphérique est installé et qu'il est pré à être utilisé.
Nous vous recommendons la configuration Bluetooth de Windows 7 avec les pilotes et logiciels Bluetooth provenant de Windows.
2 Activer la fonction Bluetooth de la sonde.
Activer le Bluetooth en tenant un aimant sur la zone d'activation magnétique. En plus d'une activation magnétique, les utilisateurs peuvent aussi activer le Bluetooth en :
- Arrêtant la sonde, puis en la remettant sous tension.
- Activant le Bluetooth via Kor à l'aide d'un cable USB ou d'un cable de terrain branché sur le port supérieur.
Pour plus d'informations sur l'activation de la sonde et I'etat des LED, se reporter aux parties 2.4 et 2.5.
3^a Etabir une connexion Bluetooth. (Win XP)
- Ouvrir le Panneau de configuration>Periphériques Bluetooth.
- Vérifier si le message suivant s'affiche : « Mon périphérique est installé et prét à l'emploi » . Puis cliquer sur « Suivant » .
- Repérer la sonde dans les options. Le nom de la sonde doit commencer par YSI.
- Sélectionner « Entrez le mot de passer qui vous a été communiqué», puis saisir le code 9876. Appuyer sur « Suivant »
- Sélectionner Terminer.
Le périphérique s'affiche désormais dans l'onglet « Périphériques »

3^b Etabir une connexion Bluetooth. (Win 7)
- Ouvrir le Panneau de configuration>Periphériques et Imprimantes.
- Sélectionner « Ajouter un périphérique » en haut de l'écran.
- Repérer le nom de la sonde (qui commence par YSI) dans les options.
- Sélectionner « Entrer le code de couplage du péripérisque », puis saisir le code 9876. Cliquer sur « Suivant »
3^c Alternative: étabir une connexion Bluetooth. (Win 7)
- Lancer le logiciel KOR et ouvrir le menu Connexions.
- Cliquer sur « Analyser de nouveau »
- Cliquer sur « Rechercheur Bluetooth ». Cette opération peut durer jusqu'à 40 secondes, et plusieurs tentatives peuvent être requises (cliquer sur « Actualiser »).
- Sélectionner le périphérique dans la liste et cliquer sur « Connexion »
La sonde apparait désormais dans l'onglet « Périphériques et Imprimantes »
4 Confirmer la réussite de la connexion.
Après l'ajout du périhérique, vérifier si le périhérique apparaît dans :
- Win XP : Onglet Périphériques dans la fenêtre
Periphériques Bluetooth
Win 7:Onglet Peripheriques et Imprimantes
Si le périphérique n'apparait pas dans la liste, recommencer la procédure.
Ce processus permet d'établier une connexion sans fil sécurisée entre la sonde et un PC. Une fois la connexion établie, les utilisateurs n'auront plus besoin de recommencer cette procédure. Les utilisateurs communiqueront avec la sonde via le logiciel KOR. ÀpRES le lancement de la connexion sans fil, utiliser KOR pour couver la sonde et pour exécuter les opérations souhaitées.
Ports
KOR analyse automatiquement les ports disponibles pour les adaptateurs USB et Bluetooth. Pour afficher le port de communication associé au Bluetooth, aller dans le menu Bluetooth sur l'ordinateur, cliquer sur « Afficher les péripériques Bluetooth», puis sur le péripérisque qui a été ajouté, et enfin, cliquer sur « Propriétés »


2.11
Connector la sonde Transmission des données (PCD)
Cet adaptateur de sortie signal (DCP-SoA 599800) permet de raccorder une sonde EXO à une Plateforme de Collecte des Données (PCD) et de se connecter à une source externe de 12 V DC (non incluse). Le cable de la sonde se connecte à l'adaptateur et à une sortie SDI-12 /RS-232 ou à une source d'alimentation par l'intémediaire de fils libres. Installer l'adaptateur dans un boîtier avec un dispositif de régulation de l'humidité. Utiliser le matériel recommendé ci-dessous. L'utilisateur ne doit jamais tenter d'effectuer des travaux électriques dépassant le cadre de ses compétences.

1 Configurer la sonde.
Lancer le logiciel KOR, aller dans le menu « Déplolement » et désir un déplolement en ouvrant un template ou en langant un déplolement personnelisé. Cliquer sur Editor, puis aller dans l'onglet SDI-12, sélectionner les paramètres souhaïtes et l'adresse SDI. L'adresse par défaut de la sonde est zéro (0). Cliquer sur Enregistrer. Se reporter à la partie 5 « Logiciel KOR » pour obtenir des informations plus détaillées.
2 Determiner l'acheminement du cable.
Déterminer l'acheminement du cable de la sonde vers la PCD et protéger le cable contre tout dommage d'u à un chic ou à une usure par frottement.
Acheminer le cable vers la PCD par le biais d'un raccord à vis avec presse-étoupe, et vérifier si l'étanchéité à l'air et à l'eau est garantie.
3 Monter l'adaptateur.
L'adaptateur peut être monté horizontally ou verticalement, soit avec les trous de fixation situés sur le côte de l'adaptateur, soit avec les bandes adhésves 3M incluses. Les trous de fixation sont conçus pour des vis à bois n°4, mais d'autres types et tailles de vis sont également utilisables.
Si l'utilisateur opte pour les bandes adhesives, il devra commencer par nettoyer la surface d'application avec un mélange d'alcool isopropylique et d'eau (50/50). La température du lieu d'installation devra être comprise entre 21^ et 38^ . Si possible, attendre 72 heures avant de raccorder les cables pour que la colle ait le temps de secher.


4 Raccorder le cable volant à la sonde.
Enconcer le connecteur male à 6 broches, puis serrer le collier de fixation. Relier la décharge de traction et le porte-sonde à l'aide d'un mousqueton. La décharge de traction du cable doit être positionnée de façon à absorber les efforts mécaniques du connecteur et du collier de fixation.

5 Préparer les fils électriques.
Toujours respecter les consignes de sécurité pendant les travaux de raccordement électrique.
Denuder correctement les extrémites du cable.
Denuder chaque cable sur 6 mm, puis entrelacer les brins dénudés. Utiliser des cables de type 18-24 AWG (non fournis avec l'adaptateur).

6 Introduire les fils dans l'adaptateur.
Desserrer la vis de blocage à l'aide du tournevis fourni, insérer le fil dans la barrette de connexion en se conformant aux indications, et serrer de nouveau la vis de blocage à l'extrémité du fil. S'assurer que tous les fils sont bien introduits afin d'éviter des courts-circuits. Veiller à ne pas abîmer les fentes des têtes de vis.
- Relier la masse de la PCD à la borne de terre SDI de l'adaptateur (fil noir)
- Relier la borne SDI-12 de la PCD à la borne SDI-12 de l'adaptateur (fil violet)
- Relier la borne de terre de la sortie PCD à la borne de mise à la terre de l'adaptateur (fil noir)
- Relier la sortie 12 VDC de la PCD à la borne d'entrée 9-16 VDC de l'adaptateur (fil rouge).
Tension
La sonde est conçue pour fonctionner avec des piles de 12 volts et supporte des tensions d'alimentation comprises entre 9 et 16 V DC. Ce dispositif doit fonctionner à l'aide d'une batterie scelledée ou faire partie d'un système solaire commandé à distance. Brancher l'adaptateur sur le secteur avec un fusible temporisé d'1 ampère pour la protection du circuit. Retirer le fusible jusqu'à la fin du câblage. En cas de fonctionnement avec une installation solaire, il faut toujours utiliser un régulateur solaire de 12 volts. Ne jamais raccorder la sonde directement à un panneau solaire ; les tensions de plus de 16,5 volts sont couper l'alimentation de la sonde et une suturenion va endommager définitivement la sonde et ne sera pas couverte par la garantie.

2.12
Connector la sonde
Cellule de mesure
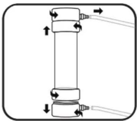
Il existe deux types de cellules de mesure EXO : la cellule de mesure EXO1 (599080) et la cellule de mesure EXO2 (599201). Le débit de la cellule se situe généralement entre 100 mL et 1 L par minute. Le débit maximal dépend du type, de la taille et de la longueur du tubage. La pression maximale est de 25 psi pour chaque cellule.

Inspector la sonde et la cellule de mesure.
Retirer la protection ou la coupelle de calibration de la sonde de façon à faire apparaitre les capteurs.
Vérifier si les joints toriques et le filetage de la sonde et de la cellule de mesure sont propres et exempts de toutes particules (sable, corps étrangers ou impuretés).
Insérer la sonde dans la cellule de mesure. Introduire la sonde dans la partie supérieure de la cellule de mesure. Faire en sorte de ne pas heurter froler les capteurs avec la cellule.
Visser la sonde à la main en la tournant dans le sens des aiguilles d'une montre jusqu'à ce qu'elle soit bien en place; ne pas utiliser d'outil.
Raccorder la tuyauterie sur la cellule.
Installer les raccords de connexion rapide sur la cellule de mesure en les introduisant dans le corps à connexion rapide. Un déclic doit se faire entendre lors de la connexion.
Raccorder la tuyauterie de la pompe (non incluse) aux raccords de connexion rapide. S'assurer que le raccordement est bien exécuté. L'entrée doit se situer en bas de la cellule et la sortie doit être en haut.
Maintenir la cellule de mesure en position verticale pour la purger et pour garantir l'évacuation de l'air provenant du capteur de conductivité/temperature.

Ne pas brancher l'eau sur le système tant que la cellule de mesure n'est pas correctement raccordée.
Cette page est volontairement vierge
3.1
Terminal portatif Installer ou remplacer les piles
Le terminal portatif EXO fonctionne avec quatre (4) piles alcalines de type C. Les utilisateurs peuvent prolonger la durée de vie des piles en mettant le terminal en mode « Veille », si cela est possible, enMAINANT ENFONCE LA TOUCHE marche/arrêt moins de trois secondes. Des piles rechargeables NiMH (Nickel Métal Hydrure) peuvent également être utilisées. La durée de vie des piles dépend de l'utilisation du GPS et de la fonction Bluetooth.

1 Retirer le couvercle du compartment des piles. Le couvercle du compartment des piles se situe à l'arrière du terminal. Pour démonter le couvercle, dévisser (dans le sens antihoraire) les quatre vis à l'aide d'un tournevis à tete plate ou Phillips.
Remarque : les vis de fixation sont intégrées au capot et ne sont pas détachables. Si un remplacement est nécessaire, l'utilisteur doit remplaner l'ensemble.

2 Inséorer/remplacer les piles.
Retirer les piles usagées et les éliminer selon la réglementation locale en vigueur. Installer les piles neuves dans leur logement en respectant la polarité (+/-) indiquée au fond du compartment à piles.
Si des piles rechargeables sont utilisées, elles ne peuvent pas etre recharges à l'intérieur du terminal ; elles doivent etre charges en dehors du terminal.

3 Réinstaller le couvercle du compartment des piles.
Vérifier si le joint en caoutchouc est positionné correctement, puis replacer le capot à l'arrière du terminal. Resserrer les vis d'arrêt dans leurs trous, mais ne pas serrer excessivement.
Les utilisateurs peuvent allumer/éteindre et activer/méttre en veille le terminal EXO suivant l'usage qu'ils veulent en faire. Pour utiliser le terminal, les utilisateurs doivent commencer par l'allumer. Lorsqu'ils ont terminé de l'utiliser, les utilisateurs doivent l'éteindre afin d'augmenter la durée de vie des piles. Si le terminal n'est pas utilisé durant un certain temps, les utilisateurs doivent lemettre en mode veille et le réactiver si besoin. Le mode veille du terminal est un mode à faible consommation d'énergie concu pour augmenter la durée de vie des piles. Si le terminal n'est pas utilisé pendant une longue période, les utilisateurs doivent lemettre hors tension et retarder les piles.

Après avoir installé les piles, appuyer et maintainir la touche marche/arrêt enforcée pendant une seconde. Levoyant Bluetooth s'allume. Ensuite, l'écran de démarriage apparait, puis un écran noir apparait brièvement (environ 5 secondes) tandis que le système se met en route. Ensuite, le terminal va lancer automatiquement Kor.
Si le terminal est en mode veille, une légere pression sur la touche d'alimentation suffit pour le lancer.
2 Mettre le terminal hors tension/en veille.
Pour eteindre le terminal, appuyer et maintainir la touche d'alimentation enfoncée pendant au moins trois secondes. Si la touche est maintainue enfoncée suffisamment longtemps, l'écran est mis hors tension et devient noir.
Pourmettreleterminal enveille,appuyeretmaintenir latouche d'alimentation enfoncée pendant moins de troissecondes,etlarelacher.L'écrandevient noir.

Connector le terminal portatif à la sonde
Cable de terrain
Tous les cables EXO sont dotés de connecteurs 6 broches qui sont enchichables en immersion. Chaque cable compte également un serre-cable afin de réduire les contraintes sur le connecteur pendant l'utilisation de la sonde. Lire la partie consacrée à la maintenance des cables avant la première utilisation. Bien que les cables soient connectables en immersion, les utilisateurs doivent si possible secher les connecteurs avant l'installation. Toujours protégé les connecteurs avec des capuchons, même si le connecteur n'est pas utilisé. Toutjours attacher le mecanisme de décharge de traction au porte-sonde lorsque la sonde est utilisé.

1 Raccorder le cable à la sonde.
Si nécessaire, appliquer une fine couche de graisse Krytox sur la partie en caoutchouc noir du connecteur. Enconcer le connecteur male à 6 broches, puis serrer le collier de fixation. Relier la décharge de traction et le porte-sonde à l'aide d'un mousqueton. La décharge de traction du cable doit être positionnée de façon à absorber les efforts mécaniques du connecteur et du collier de fixation.

2 Raccorder le cable au terminal portatif. Appliquer une fine couche de graisse Krytox sur les broches mâles du terminal et sur le connecteur femelle du cable. Enconcer le connecteur à 6 broches, puis serrer le collier de fixation. Raccorder la décharge de traction à la dragonne du terminal portatif.

3 Detector la sonde avec KOR.
Dés le démarrage du terminal portatif, le logiciel KORcherche une connexion cablee avec la sonde. Si le logiciel KOR detecte la sonde, il va chercher a se connecter à la sonde.
3.4
Connector le terminal portatif à la sonde
Communication sans fil Bluetooth
Les utilisateurs peuvent connecter les sondes EXO (hors de l'eau) avec le terminal portatif EXO à l'aide de la communication sans fil Bluetooth. Grace à la fonction Bluetooth, les utilisateurs peuvent réduire le nombre de cables requis pour faire fonctionner leur sonde. Cette connexion sans fil permet de bénéficier d'une portée de 10 mètres en moyenne, mais elle peut varier suivant les conditions d'utilisation. Il est impossible d'effectuer une connexion sans fil à travers l'eau.
Pour effectuer un raccordement sans fil, les deux apparciels doivent etre sous tension.

1 Activer la fonction Bluetooth de la sonde.
Activer le Bluetooth en passant un aimant sur la zone d'activation magnétique. Les utilisateurs peuvent aussi activer le Bluetooth en coupant, puis en rétablissant l'alimentation de la sonde (déinstaller/reinstaller les piles).

2 Detector la sonde avec KOR.
Dés le démarrage du terminal portatif, le logiciel KORcherche automatiquement une sonde via une connexion cablee.

3 Analyser de nouveau la sonde.
Si une connexion filaire n'est pas trouvée et si l'utilisateur peut établier une connexion Bluetooth avec la sonde, il peut le faire manuellement en naviguant dans le menu Connexions du logiciel KOR sur le terminal portatif. Sélectionner Analyser de nouveau. KOR va effectuer une nouvelle analyse et va détecter les sondes avec fonction Bluetooth activée. Sélectionner la sonde dans la liste, puis cliquer sur Connexion.
Dés la mise sous tension du terminal, le logiciel KOR tente de se connecter automatiquement à une sonde disponible et de commencer à afficher les données en temps réel. Pour acceder manuellement à l'affichage en direct, soit à partir du terminal, soit à partir de l'ordinateur de bureau, aller dans le menu Exécuter et Sélectionner « Tableau de bord ». Les utilisateurs peuvent définir leurs préférences dans le menu « Affichage en direct » afin d'afficher les données numériques (par défaut) ou un graphique en temps réel. Deux paramètres au maximum peuvent être représentés simultanément à l'écran. Pour un aperçu des menus KOR, se reporter à la partie 4 ; pour un aperçu du clavier du terminal avec ses fonctions, se reporter à la partie 1.3

Tableau de bord et graphique
Les utilisateurs peuvent basculer entre deux écrans à l'aide d'une touche programmable. Ils peuvent visualiser le tableau de bord numérique ou le graphique en direct. L'autre touche programmable peut être utilisé pour enregistrer les données affichées à l'écran.
Images: tableau de bord à gauche, graphique en direct au milieu à gauche.

Choix des paramètres
Les utilisateurs peuvent désigner les paramétres qu'ils souhaitent voir afficher sous forme graphique ou numérique en utilisant la touche retardre et la touche tabulation sur le clavier du terminal. Si un paramètre souhaité n'est pas disponible, commencer par désir les unités appropriées dans le menu Options/Unités.

Réglages avances de l'affichage
Effectuer le réglage de l'affichage des données (sous forme numérique et graphique) dans le menu Executer. Sélectionner Réglages pour modifier les réglages du mode d'enregistrement (jusqu'à 100 points), du type de graphique ( série chronologique ou trace vertical), de l'intervalle d'échantillonnage (la valeur par défaut est 1 sec), et des paramètres par défaut.
La sonde peut etre utilise pour proceder à un échantillonnage contin ou ponctuel. Les données d'échantillonnage ponctuel sont actualisées en temps réel sur l'écran du Tableau de bord. Les touches programmables du terminal permettent d'enregistrer ces données. Il existe deux options pour l'enregistrement des données : enregistrer un seul point ou enregistrer en continu. Les utilisateurs peuvent selectionner l'une de ces deux options à partir de l'onglet « réglages de l'affichage en direct ». (Les réglages d'enregistrement en direct ne doivent pas etre utilisés pendant le fonctionnement d'une sonde qui effectue une surveillance continue. Utiliser le menu Enregistrer pour ce type d'applications.)

1 Collector des données.
Pour collector les données d'un fisier
d'échantillonnage ponctuel, aller dans le menu
Exécuter et cliquer sous « Collector des données »
Selectionner un site dans la liste des sites préprogrammés sur le terminal. Si aucun site n'a été transféré sur le terminal, passer cette étape. Les données relatives au site sont ajoutées au fichier de données.
Les données sont collectées dans un fichier au format .cap sur le terminal.
2 Nommer un fichier.
Quelle que soit la nature de l'enregistrement (ponctuel ou continu), les données seront mémorisées dans un fichier spécifique dans le menu Options. Si aucun nom de fichier n'est sélectionné, un fichier par défaut est automatiquement créé.
3.7
Télécharger des données
du terminal vers le PC
Le terminal EXO stocke deux types de fichiers de données: les fichiers télécharges depuis la sonde et les fichiers enregistrres manuellement dans le terminal (mode Données en direct). Ces deux types de fichiers peuvent être envoyés vers un PC via un cable USB. Veuillez notes que le logiciel KOR doit être installé sur l'ordinateur avant de proce deu transert des fichiers du terminal vers le PC.

1 Connecter le terminal à l'ordinateur.
Brancher la fiche micro-USB sur le port situé en haut du terminal EXO. Brancher l'autre extrémité du cable USB sur le port de l'ordinateur. Attendre une minute pour que Windows détecte le terminal comme lecteur amovible et que le terminal soit reconnu par le logiciel KOR.

2 Transférer les fichiers.
Lorsque le terminal est raccordé au PC, aller dans le menu « Options/Synchroniser avec le terminal » dans le logiciel KOR. Sélectionner « Synchroniser tout » et KOR va rechercher tous les dossiers et synchroniser les fichiers automatiquement. Les utilisateurs peuvent également sélectionner les dossiers et synchroniser les fichiers sélectionnés manuellement.

3 Effacer des fichiers.
Maintenance du repertoire : les utilisateurs peuvent parcouir les dossiers et selectionner les fichiers qu'ils veulent supprimer du terminal. La suppression des fichiers est en option.
Dés la mise en route du terminal, la fonction GPS lance automatiquement une géolocalisation. Cela peut prendre un certain temps. Durant ce processus, le terminal doit rester immobile et avoir une vue dégagée sur le ciel. Si le terminal est utilisé pour la première fois, il faut parfois attendre jusqu'à 20 minutes pour obtenir la position GPS.

Activier le GPS.
Pour activer manuellement le GPS, aller dans le menu Options. Sélectionner Terminal / Activer le GPS / On. Cliquer sur Appliquer. Lorsque le GPS a trouve une position, une icône indiquant l'intensité du signal avec des barres vertes va apparaitre. Si les barres sont noires, cela signifie qu'aucun signal GPS n'a été trouvez.

Allumer/eteindre le GPS.
Le GPS consomme de l'énergie, mais peut être désactivé afin de prolonger la durée de vie des piles. Pour gérer le GPS, aller dans le menu Options / Terminal / GPS et selectionner On ou Off.
Pour afficher les unités du GPS, aller dans le menu Options / Unités et selectionner GPS Latitude et GPS Longitude. Avec la sélection des unités, les données GPS s'affichent à l'écran à condition que la fonction GPS soit activée.
Si le terminal est arrêté pendant plus de 10 jours (sans ses piles), l'utilisateur devra saisir de nouveau la date et l'heure. De plus, le terminal mettra un certain temps pour obtenir une nouvelle position GPS.
4.1
Logiciel KOR
Le logiciel KOR permet d'échanger des données entre les sondes EXO et le terminal. Lancer le logiciel KOR dés que le logiciel est installé et qu'un apparéil est connecté à un ordinateur ou à un terminal EXO. (Pour les instructions relatives à l'installation KOR, se reporter à la partie 2.8.)

Navigation
Les deux versions de KOR - Desktop KOR pour les ordinateurs et KOR pour le terminal EXO - ont la même structure de menus. Le menu principal contient les rubriques suivantes :
Éxcuteur : ce menu sert à afficher en direct les données de la sonde EXO, soit sous forme numérique, soit sous forme graphique.
Calibrer: ce menu sert à calibrer les capteurs installés dans la sonde EXO dés que cette dernière est connectée.
Enregistrer : aller dans « Enregistrer » pour programmer les enregistements de la sonde EXO. Ce menu permet d'effectuer divers réglages : intervalle d'enregistrement, configurations SDI -12, lancement et arrêt de l'enregistrement autonome sur la sonde.
Sites : permet de:gérer les sites. Ce menu optionnel aide les utilisateurs à stocker des informations concernant des sites qui peuvent être associés à des fichiers enregistrés dans la sonde. Pas encore disponible ; fonctionnalité future.
Données : ce menu permet de transférer des fichiers à partir de la sonde EXO ou du terminal, et peut aussi être utilisé sans la sonde pour afficher et exporter des fichiers de données qui ont été préalablement transférés vers l'ordinateur de bureau ou le terminal.
Options: ce menu permet d'acceder aux préférences d'application, aux réglages de la sonde et aux mises à jour du logiciel et du firmware. L'utilisateur peut aussi modifier le mode d'affichage.
Connexions: ce menu permet à l'utiliser de se connecter à autres sondes et apparéils, d'identifier les sondes installées et leurs ports de connexion, et demettre à jour les réglages Bluetooth.
Aide : cette page renvoie au support technique pendant l'utilisation de KOR.
Icones d'etat : les icones situées en haut à droite de la fenêtre KOR sont des icones informatives. La boîte blanche montre l'appareil connecté avec son nombre de série et son nom, et les icones indiquent si une sonde EXO est connectée et si elle est actuellement en mode enregistrement. La coche signifie « oui » et la croix « non »
Le menu Exécuter affiche les données relatives à la qualité de l'eau en temps réel, sous forme numérique ou graphique, et compte trois sous-menus.

Tableau de bord
Cet écran, qui s'affiche en temps réel, présente les données des apparèils connectés. Les données apparaissent dans une liste de paramétres par défaut. Dans le menu EXECUTER, les données sont automatiquement mémorées pour tous les paramétres qui sont stockés dans la mémoire (jusqu'à 1000 entrées).
Collector des données : cliquer sur « Collector des données » pour savegarder sur l'ordinateur des données extraites de la mémoire tampon. Les données collectées sont automatiquement sauvégardées dans l'emplacement spécifique dans le sous-menu Réglages.

Nettoyer les capteurs : dans le menu Tableau de bord, il est possible d'activer manuellement le racleur central si la sonde EXO2 en est équipée. Cette caractéristique peut etre utile lors du transfert des capteurs dans un liquide ; le racleur peut aider a éliminer toute bulle pouvant etre piégée au niveau des capteurs.
Remarque: la fonctionnalité du Menu est identique pour les deux versions KOR bien que des différences visuelles apparaissent entre la version du PC (haut) et la version du terminal (bas).

Graphique
Cet affichage en temps réel est une représentation graphique d'un ou deux paramètres de l'appareil EXO connecté. Les paramètres sont choisis dans le menu déroulant, au-dessus du trace. Seuls les paramètres actifs dans l'appareil raccordé seront représentés sous forme graphique.
Il est important d'observer l'échelle pendant l'affichage en temps réel des données en mode Graphique. Gracé à la précision des capteurs EXO, des micro-variations sont visibles dans le graphique.
- Une mise à l'échelle automatique permet à KOR de régler au moins les données dans la fenêtre disponible, même si les valeurs extrêmes de l'axe Y varient de moins d'une unité.
- Pour effectuer une mise à l'échelle manuelle de la courbe, commencer par déslectionner la touche « Mise à l'échelle automatique », puis cliquer sur les données les plus élevées et les plus basses de l'axe Y.
Collector Effacer Outils données mémoire graphiques avances


Effacer la mémoire : comme dans le Tableau de bord, la mémoire tampon peut être sauvégardée manuellement dans un fichier en utilisant la touche Collector des données. La mémoire tampon peut aussi être effacée avec la touche Effacer la mémoire. Une fois effacée, la mémoire ne peut pas être recupérée.
Outils graphiques avances : ils seront à modifier les graphiques. Explorer les fonctionnalités en cliquant sur les petites formes graphiques dans le coin supérieur droit, juste au-dessus du graphique, pour faire apparaitre les sous-menus.
Réglages
Le menu Réglages détermine les préférences du mode EXECUTER. Ce menu permet deCHOISIR LES COULEURS ET LA LARGEUR DES COURBS, ainsi que leurs paramètres par défaut. Alors que tous les paramètres sont disponibles par défaut, l'appareil connecté doit être doté du capteur correspondant pour obtenir une représentation graphique.
Mode Fichier : après avoir cliqué sur Collector des données, les données seront sauvégardées dans un fjchier. Quand le mode fjchier est reglé sur NOUVEAU, un nouveau fjchier de données est créé. Si le mode Fichier est reglé sur Ajouter, les données sont enregistrées dans le même fjchier.
Mode enregistrement : il contrôle la quantité des données sauvégardées dans un fisier. « TOUTES les données » enregistre la totalité de la mémoire tampon en temps réel (jusqu'à 1000 entrées pour chaque paramètre), tandis que « Dernière entrée » enregistre un seul ensemble de données (1 entrée pour chaque paramètre).
Intervalle d'échantillonnage: cette option correspond à la fréquence de rafraîchissement du graphique et du tableau de bord. 1 échantillon par seconde (1 Hz) est souvent l'intervalle choisi pour l'affichage des données en temps réel. Toutes les secondes, de nouvelles valeurs sont envoyées dans la mémoire tampon et mises à jour sur l'écran. Le taux d'échantillonnage de l'affichage en temps réel est limité à 4 échantillons par seconde (4 Hz) en raison de l'effort de traitement nécessaire pour le transfert des données vers le PC.
Préfixe de fichier : le préfixe est le nom de fichier qui apparaftra au début du fichier de données. KOR attribue automatiquement un identifient unique à l'ensemble des fichiers générés. L'utilisateur peut modifier ce réglage, mais le préfixe du fichier lui permettra de donner un nom au fichier collecté.
Type de graphique : permet deCHOISIR entre un graphique d'une « Série chronologique » ou de « Profilage » . Fonctionnalite à partir; pas encore activée.
Affichage par défaut : permet à l'utilisateur de désir entre le Tableau de bord et le Graphique lorsque KOR ouvre automatiquement le menu EXECUTER.
Applique : lorsqu'un champ d'edition apparait dans le menu Reglages, l'utiliseur doit cliquer sur « Appliqueur » pour valider les modifications. Si un nouveau champ d'edition apparait et si l'utiliseur tente de sortir de cet écran, un message d'advertissement apparait pour lui demander de valider ou d'annuler ses modifications.
Ce menu est la principale interface servant à la calibration des capteurs EXO. Les réglages de calibration et de vérification varient suivant le capteur. L'appareil doit être connecté pour acceder au menu Calibrer.
Pour plus de détails sur les méthodes de calibration des capteurs, se reporter à la partie 5 Calibration.

Aperçu du menu Calibration
Dans le menu Calibrer, la liste des capteurs installés s'affiche à gauche de l'écran. Si la sonde est dotée d'un capteur de profondeur, « Port D » apparait également dans la liste.

Menu Calibration du capteur
Selectionner un capteur dans la liste afin de faire apparaitre un menu avec les paramétres spécifique au capteur. Par exemple : en selectionnant ODO (oxygène dissous optique) dans la liste, un menu apparait pour les paramétres ODO % et ODO mg/L. (Pour modifier les paramétres actifs, aller dans le menu Options / Unités).

Cliquer sur un paramètre pour faire apparaitre le menu Calibration spécifique au capteur. Les paramétres de calibration par défaut, recommends par le fabricant, apparaisent en gras.
Généralement, la fenêtre de calibration propose une calibration en 1, 2 ou 3 points, suivant le capteur. Si le capteur supporte seulement une calibration en un seul point, les autres points de calibration ne sont pas activés (fond gris).
Température : affiche la température actuelle si un capteur de conductivité/temperature est installé. Si aucun capteur n'est installé, l'utilisateur peut saisir les données dans ce champ.
Baromètre : s'affiche uniquement pour les calibrations d'OD.
Valeur de l'étalon : champ à replir par l'utilisateur pour le point de réglage de la calibration en se basant sur la valeur de l'étalon utilisé.

Type : champ optionnel indiquant le type d'étalon utilisé. Il est pré-rempli pour certaines calibrations, l'utilisateur doit replir le champ pour d'autres calibrations.
Fabricant : champ optionnel pour inscrite le nom du fabricant de l'étalon utilisé pour la calibration. Ces données sont notées sur la feuille de calibration.
Numero de lot : champ optionnel pour le numero de lot de l'étalon de calibration, utilisé à des fins de traçabilité.
Menu Calibration avancée
Chaque menu Calibration a un onglet « Avancé » pour acceder aux propriétés avances d'un paramètre spécifique (par exemple : TSS pour la turbidité et les coefficients du capuchon du capteur pour l'OD).
Décalibration
La fonction Decalibration rétablit les réglages en usine du capteur. Les utilisateurs peuvent la sélectionner en guise de dépannage si une méthode de calibration ne fonctionne pas correctement.

Calibration de plusieurs capteurs

Pour calibrer simultanément plusieurs capteurs du même type, installer tous les capteurs dans la sonde. Dans le menu Calibration, cliquer sur Capteur. De nouvelles options sont disponibles dans le second menu afin de calibrer « TOUS les capteurs du même type »
Suivre les instructions dans KOR afin de calibrer tous les capteurs. Les calibrations ont lieu les unes après les autres, pas simultanément. Les capteurs s'allument les uns après les autres si bien que l'utilisateur peut valider chaque valeur. Cela evite une eventuelle interférence avec les autres capteurs.

Dés que tous les capteurs ont été calibrés, ils peuvent être retrés de la sonde et être installés dans d'autres sondes EXO. Le capteur va conserver sa calibration.
Remarque: la fonctionnalité du Menu est identique pour les deux versions KOR bien que des différences visuelles apparaissent entre la version du PC (haut) et la version du terminal (bas), cf. page actuelle et page precedente.
Le menu Enregistrer sert principalement à configurer une sonde EXO afin d'effectuer une collecte automatique des données et de gérer le déploiement des templates. Ce menu est dynamique et se base sur le mode de fonctionnement de l'appareil connecté. Deux ou trois sous-menus sont disponibles en option: « Afficher les réglages actuels », « Ouvrir un template » et « Arrêter l'enregistrement » si une sonde connectée est en train d'enregistrer.

Afficher les réglages actuels de la sonde
Ce menu analyse l'appareil connecté et résume sa configuration actuelle. Il indique notamment la durée de vie des piles, le taux d'échantillonnage et la date du prochain prélevement d'échantillon. L'utilisateur peut visualiser et éoperator la configuration, ou appliquer un template enregistré. Tout en affichtant les réglages de la sonde, KOR communique avec EXO et effectue un certain nombre de vérifications du système (contrôle de la date et de l'heure par ex.). Si l'horloge de la sonde et l'horloge de l'ordinateur affichtent des valeurs différentes, KOR avertit l'utilisateur.

Editor: permet d'editor les réglages existants.
Enregistrer : permet d'utiliser la sonde avec les options suivantes :
- Commencer l'enregistrement maintainant : un premier échantillon est prélevé à 11:32:31. Avec un intervalle d'enregistrement de 15 minutes, l'échantillon suivant sera prélevé à 11:47:31.
- Synchroniser l'enregistrement avec un intervalle régulier. Par exemple, un premier échantillon est prélevé à 00:00:00. Avec un intervalle d'enregistrement de 15 minutes, l'échantillon suivant sera prélevé à 00:15:00, puis à 00:30:00, 00:45:00, etc. Cette configuration est assez repandue. Les données enregistrées seront uniformes.
- Régler l'heure de démarriage. Choisir la date et l'heure de démarriage qui peut être exprimée en minutes et en jours, puis cliquer sur Appliquer. Si la date de départ correspond à une date passée, la sonde commence instantanément l'enregistrement.
- Appliquer ou Annuler. Cliquer sur Appliquer pour valider les réglages. Ou cliquer sur Annuler pourmettre à jour les réglages de la sonde pour SDI-12, sans pour autant lancer un enregistrement.

Ouvrir un template
Ce sous-menu ouvre les fichiers template enregistrés sur l'ordinateur afin de paramétre la configuration. Effectuer un déploiement instantané en ouvrant les templates par défaut avec des intérvalles d'enregistrement de 15 minutes et d'une heures. Il sont enregistrés dans le dossier « KOR-EXO / Fichiers de déploiement » qui se situe dans le dossier « Program Files » sur l'ordinateur.
Editor un template : ouvrir, éditer, appliquer et enregistrer un template avec un nouveau nom avant de faire fonctionner la sonde.

Arreter l'enregistrement
L'onglet « Arrêté l'enregistrement » apparaît lorsqu'un apparéil EXO est en train d'effectuer des enregistements. Àpres l'arrêt de l'enregistrement, l'onglet disparaît et l'icone en haut à droite de l'écran change d'état et indique que la sonde n'est pas en train d'enregistrer des données.
Echantillonnage et enregistrement avancés
Acceder aux fonctions suivantes dans le menu Enregistrer / Ouvrir un template / Editor un template et cliquer sur l'onglet Avancé.
Intervalles d'enregistrement
Lorsque la sonde est en cours d'utilisation, les données sont enregistrées et horodatées à intervalles réguliers. L'intervalle d'échantillonnage le plus repandu est de 15 minutes. Si la sonde effectue un enregistrement à 00:15:00, elle va se lancer suffisamment tôt afin d'activer les capteurs et de commencer le traitement des données. Généralement, elle s'active dans les 12-15 secondes qui precedent l'horodatage. Si un intervalle moyen était activé, la sonde s'activerait alors 15 secondes plus tôt, en plus de l'intervalle moyen, et commencerait à faire la moyenne des données.
Nombre d'échantillons pour un nettoyage - Intervalle de nettoyage
Dans la plupart des cas, l'utiliseur va besoin d'utiliser le racleur central EXO2 pour nettoyer les capteurs avant chaque intervalle d'enregistrement. Nous recommendons un intervalle de nettoyage de 1 pour des intevalles d'échantillonnage de 15 et 30 minutes:1 nettoyage aura lieu juste avant un prélevement d'échantillon. Si l'intervalle de nettoyage sur régle sur 2, un nettoyage aura lieu après deux prélevements d'échantillons. Si l'intervalle d'échantillonnage est court (5 minutes par ex.) et si le biofouling n'est pas agressif, alors il n'est peut-être pas nécessaire de nettoyer les capteurs avant chaque intervalle d'échantillonnage. Dans ce cas, l'intervalle de nettoyage peut être régle sur 4, auquel cas le cycle de nettoyage aura lieu tous les 4 prélevements d'échantillons, ou toutes les 20 minutes environ. Ce réglage permet de prolonger la durée de vie des piles.
Si le « Nombre d'échantillons pour un nettoyage » est régèle sur 0, le racleur central est désacté.
Taux d'échantillonnage
Les capteurs envoient des données vers la sonde EXO en temps réel. Le taux de transfert des données varie selon le capteur et les conditions de traitement, mais on peut généralement supposer que le débit de transfert des données du capteur vers la sonde est de 2 Hz (deux fois par seconde). En cas d'échantillonnage automatique à haut débit (profilage vertical par ex.), la sonde peut être utilisée pour enregistrer des données avec un débit de 4 Hz (4 fois par seconde). L'utilisateur peut régler l'intervalle d'échantillonnage, le transfert en temps réel entre les capteurs et la sonde va s'ajuster automatiquement et le débit de sortie sera approprié. L'utilisateur ne peut pas régler lui-même le débit de sortie des capteurs.
Les taux d'échantillonnage peuvent varier considérablement en fonction de l'application. Le taux d'échantillonnage aura une incidence importante sur l'utilisation de la mémoire et la durée de vie des piles. Une sonde EXO2 avec une charge compte a une capacité d'enregistrement de plus de 90 jours avec un intervalle d'échantillonnage de 30 minutes, mais la même sonde dont le débit serait
réglé sur 4 Hz (quatre fois par seconde)aura une autonomie de batterie limitee (un jour seulement). Une estimation de la durée de vie des piles est indiquee sur I'ecran recapitulatif et doitetre prise en compte au moment du reglage des intervalles d'échantillonnage.
Echantillonnage en rafales
L'échéantillonnage en rafales permet à l'utilisateur de collecter un ensemble de données à chaque intervalle d'enregistrement. Activer l'échéantillonnage en rafales en cliquant sur Rafales dans l'onglet Enregistrement du menu Editor un template. Puis selectionner une durée comprise entre 1 et 300 secondes. Les données seront collectées avec un débit de 2Hz pendant une période donnée. Cet ensemble de données va permettre aux utilisateurs de proceder à une analyse approfondie des données et à un post-traitement. Cependant, il est interessant de noter qu'une augmentation du volume des données générées dans le fjichier enregistré peut accélérer le replissage de la mémoire interne de l'enregistreur.
Enregistrement adaptatif
Un Enregistrement adaptatif ou un Enregistrement des événements permet à l'utilisateur de sélectionner un ou deux capteurs qui déclenchent un intervalle d'enregistrement à plus haute résolution. L'utilisateur peut régler un seuil prédéfini au-dessus ou au-dessous duquel un capteur donné est activé. Activer l'Enregistrement adaptatif en cochant la case proche d'Enregistrement adaptatif. Saisir les valeurs dans le champ de l'intervalle d'enregistrement et de la durée. Puis sélectionner un capteur de déclenchement du Paramètre 1 dans la liste déroulante, régler le Mode sur Dessus, Dessous ou Off, et entrer une valeur limite. Recommencer cette opération pour le Paramètre 2, si nécessaire.
Ce menu optionnel sert à gérer les sites et aide les utilisateurs à stocker des informations concernant des sites qui peuvent être associés à des fichiers enregistrés dans la sonde. Cette fonction n'était pas encore mise en œuvre dans les premières versions de KOR.
KOR est une plateforme logicielle d'exécution dynamique qui fait l'objet d'une constante évolution au fil des ans. Les menus et caractéristiques du calcul sont suscept à modifications.
Le menu Données sert à transférer des fichiers à partir de la sonde ou du terminal et àGERER les fichiers de données sur un ordinateur local. La fonction Transférer fonctionnera uniquement si une
sonde est connectee.

Transferrer
Cliqueur sur Transférer dans le sous-menu afin de lancer une analyse de la sonde EXO et d'afficher la liste de tous les fichiers enregistrres sur la sonde. Télécharger/copier des fichiers : sélectionner des fichiers à télécharger en cliquant sur un nom de fichier dans la liste, en cliquant sur Sélectionner tout en maintainant la touche Control enfoncée afin de sélectionner plusieurs fichiers. Les fichiers sélectionnés sont en surbrillance bleue. ÀpRES la selection des fichiers, copier les fichiers vers le PC. Cliquer sur Dernier pour copier le fichier le plus récent. Le(s) fichier(s) télécharge(s) sont au format binaire et sont stockés dans le dossier Program Files/KOR-EXO/Data Files sur l'ordinateur. Cf. partie 4.10 Fichiers de données & emplacements des fichiers pour plus de détails.
Effacer des fichiers : après avoir copied des fichiers sur le PC, les utilisateurs peuvent supprimer les fichiers selectionnés. Sélectionner les fichiers à supprimer et clicker sur Supprimer les fichiers selectionnés pour les supprimer définitivement de la sonde.

Vue d'ensemble : cliquer sur un fichier dans la liste, puis sur Vue d'ensemble afin d'afficher les 50 derniers points de données du fichier.
Espace de stockage : la barre de progression en bas de l'écran indique l'utilisation de la mémoire sur la sonde. Nous recommendons aux utilisateurs de garder une copie de sauvégarde des fichiers binaires sur la sonde, sauf s'il n'y a pas suffisamment d'espace de stockage.
Afficher/exporter
Utiliser ce sous-menu pour revoir les fichiers binaires transférés à partir de la sonde et pour exporter les données binaires sous un format différent.
Afficher : sélectionner et ouvrir un fichier enregistré dans le menu déroulant Fichiers de données. Ou cliquer sur Sélectionner un fichier pour ouvrir un fichier manuellement. Si un fichier est importé dans KOR, vous pouvez le visualiser à l'aide des flèches ou passer à l'affichage graphique en cliquant sur Modifier l'affichage.
Exporter : cliquer sur Exporter les données afin d'exporter des fichiers au format Excel ou sous la forme d'un fisier texte délimité. Pour le format Excel, un tableau Excel s'ouvre automatiquement avec les données.
Enregister les autres fichiers dans Excel en premier lieu, sinon l'exportation ne fonctionnera pas.
Réglages
Ce sous-menu permet à l'utilisateur de spécifique l'emplacement du fichier par défaut, le format d'export et le formatage des données.
Afficher les feuilles de calibration
Ce sous-menu permet à l'utilisateur d'ouvrir et d'afficher les Feuilles de calibration enregistrées dans le dossier Fichiers de calibration de l'ordinateur.

Logiciel KOR
Menu Options
- Un grand nombre de préférences, réglages et mises à jour du logiciel KOR sont accessibles depuis le menu Options. Smart OC: KOR effectue des contrôle de qualité sur charges
Smart QC: KOR effectue des contrôle de qualité sur chaque sonde et capteur connecté(e) et attribue une note globale indiquant le niveau de qualité du réseau.

Coche:OK.


X: signale que l'ensemble ou une partie du système n'est pas conforme aux specifications.

Point d'interrogation : inconnu, pas encore assez de données pour calculer la note QC.
Point d'exclamation : attention ! OK pour l'instant, mais au moins une partie du système ne sera bientôt plus conforme aux specifications.

Sonde : code pin Bluetooth, activer la fonction Bluetooth, ID/nom de la sonde, date et heures de la sonde, type de pile, bit par défaut.
Le logiciel KOR installé sur le terminal EXO est également doté d'un sous-menu pour régler la langue, la date et l'heure, la consommation, le GPS, le volume sonore, le code pin Bluetooth et les préférences hibernation/mise en voille sur le terminal lui-même.
Utilisateur : peut selectionner la Langue, la Durée d'inactivité, le Fuseau hora et le Format de l'heure de son choix.

Unités : personneliser les unités/paramètres d'affichage pour chaque capteur ; ajuster la position du racleur, le cable de la sonde et le niveau de charge des piles. Alors que la sonde et les capteurs enregistrrent des données sous des formats fixes, KOR peut adapter les unités affichées. Par exemple, la température est exprimée en degrès C dans la sonde ; mais il est également possible de l'afficher en degrès F. KOR effectue la conversion. Àpres le réglage des unités, les données du menu Executer seront affichées au format sélectionné.
Firmware : vérifier et partager à jour le firmware des appareils connectés. KOR recherche automatiquement les sondes, capteurs et terminaux connectés et créé une liste compteant les noms de capteurs, les nombres de série et les nouvelles révisions du firmware. PourAILtre a jour le firmware,voir les instructions figurant dans les parties 6.4 et 6.7.
Calibration : pour réduire le temps nécessaire pour la calibration, les utilisateurs peuvent effectuer des réglages par défaut en scélectionnant certains capteurs et paramètres. Cliquer sur Appliquer ; les modifications prennt effet instantanément.
Synchroniser avec le terminal : transférer les fichiers du terminal vers le PC. Cf. partie 3.7.
Ce menu permet à l'utilisateur de se connecter à d'autres sondes et apparéils, d'identifier les sondes installées et leurs ports de connexion, et demettre à jour les réglages Bluetooth.

Analyser de nouveau
Ce sous-menu permet à l'utilisateur d'actualiser et de lancer des connexions câblées, de rechercher des connexions Bluetooth ou de se déconnecter.
Pour se reconnectcer à une sonde, attendre que KOR ait terminé d'analyser les apparèils, puis selectionner un apparéil dans la liste. Cliquer sur Connexion.

Carte
Ce menu permet à l'utiliser de visualiser les numéroes de série et les ports de connexion attribués aux capteurs. Dans le cadre d'une fonctionnalité à partir, ce menu affichera également les autres sondes et capteurs connectés au réseau EXO.

Réglages
Ce sous-menu permet à l'utilisateur de contrôle les réglages Bluetooth (code PIN et autodiagnostic).

Logiciel KOR
Menu Aide
Ce menu permet à l'utilisateur d'avoir accès à une aide technique pendant l'utilisation du logiciel KOR et des produits EXO.

4.10
Logiciel KOR
Fichiers de données & emplacements des fichiers
Le logiciel KOR est installé sur le disque dur par défaut de l'ordinateur (C:\ sur la plupart des PC Windows). Le programme KOR est place dans le dossier Program Files (Windows XP et Windows 7 32 bits). Sur les systèmes d'exploitation 64 bits, KOR est place dans le dossier Program Files (x86). Les deux chemins d'accès les plus repandus sont les suivants:
C:\Program Files\KOR-EXO\ (XP et Windows 7 32 bits)
C:\Program Files (x86)\KOR-EXO\ (Windows 7 64 bits)

Dossiers de données
Fichiers de données : il s'agit des fichiers de données binaires d'EXO qui sont accessibles uniquement avec KOR. Nous vous recommendons vivement de conserver tous les fichiers binaires dans ce dossier et de creer une copie de sauvegarde.
Fichiers de déploiement : les templates utilisés pour les déploements sont enregistrés ici. Ils peuvent être déplacés vers un autre ordinateur afin de rendre les déploiements cohérents au sein de l'entreprise.
Fichiers de sites : ils contiennent des données détaillées sur les sites surveillés par KOR. Ils peuvent être copés vers un autre ordinateur où le logiciel KOR est installé.
Ne pas éditer, déplacer ou renomer d'autres fichiers. Cela pourrait endommager KOR et avoir une incidence sur la fiabilité du système.

Fichiers de données
Les templates, fichiers de données binaires, fichiers de données et paramétres de configuration sont dans le dossier KOR-EXO / Data Files. Vous pouvez naviguer dans le dossier KOR-EXO pour acceder aux fichiers templates et aux fichiers de données (si vous souhaitez les copier vers un autre ordinateur).
Noms de fichiers
Les fichiers de données ont un nom unique pour éviter leur duplication. La structure du nom de fichier est la suivante :
AAAAAAAA AAMBBBBB MMJAA HHMMSS.bin
Exemple:EXODT_12N768062_033012_182618.bin
AAAAAAA : préfixe pouvant contenir 8 caractères, définir par l'utilisateur dans le template de déploiement ou dans le menu Executer / Réglages.
YYMBBBBBB : numéro de série de la sonde EXO. AA correspond à l'année de fabrication de la sonde, M correspond au mois, et BBBBB est un numéro de lot séquentiel et unique. Pour les fichiers de collecte de données en temps réel, le numéro de série est un numéro attribué à la demande de Desktop KOR ou le numéro de série du terminal portatif.
MMJJAA: MM est le mois, JJ le jour et AA l'année où le fichier de données a ete create.
HHMMSS : heures UTC où HH est l'heure, MM la minute, et SS la seconde où le fichier a ete creed.
. bin : extension de fichier binaire. Pour obtenir un fichier au format délimité ou Excel, cf. partie 4.6.
La sonde peut etre connectee a l'interface SDI-12 a I'aide d'un adaptateur de signal (SOA). Cet adaptateur fourit l'interface electrique SDI-12 requise et communique avec la sonde via l'interface RS-485. L'adaptateur detecte automatiquement la sonde et recherche I'adresse SDI-12 et le numero d'identification de la sonde. La listedes parametes SDI-12 peut etre modifie par I'utiliser dans le menu Enregisterr.

Codes des paramètres des capteurs
| Temp. | C | 1 |
| Cond. | μS/cm | 7 |
| Sal. | ppt | 12 |
| pH | mV | 17 |
| pH | 18 | |
| Redox | mV | 19 |
| Pression | psia | 20 |
| Profondeur | mètres | 20 |
| Pile | volts | 28 |
| Turbidité | NTU | 37 |
| Date | J/M/A | 51 |
| Date | M/J/A | 52 |
| Date | A/M/J | 53 |
| Heure | HH:MM:SS | 54 |
| Chlorophyll | μg/L | 193 |
| Fluorescence | % pleine échelle | 194 |
| ODO% | % | 211 |
| ODO Conc+ | mg/L | 212 |
| Cyano.-Phy. | RFU | 216 |
Les capteurs EXO (sauf température) require une calibration régulière afin de garantir un niveau de haute performance. Les méthodes de calibration reposent sur le même principe de base avec de légères variations pour des paramétres spécifique. Effectuer les calibrations dans un laboratoire à température contrôle.

Configuration de la calibration
Pour des résultats précis, rincer soigneusement la coupelle de calibration EXO avec de l'eau, puis rincer le capteur avec une faible proportion de l'étalon de calibration. Jeter l'étalon, puis replir la coupelle de calibration avec une nouvelle solution étalon. Remplir la coupelle jusqu'à la première ligne avec un capteur à pleine charge ou jusqu'à la seconde ligne avec un capteur à faible charge. Les volumes varient, il faut simplement s'assurer que le capteur est immergé. Prévenir tout risque de contamination résultat d'un contact avec d'autres étalons.

Commencer avec un capteur propre et sec, installé dans la sonde EXO. Installer le dispositif de protection sur le(s) capteur(s), puis immerger le(s) capteur(s) dans l'étalon et revisisser la coupelle de calibration sur la sonde EXO. Nous vous recommendons d'utiliser une protection pour la calibration et une autre protection pour les mesures sur le terrain. Cela garantit un haut niveau de propre et de précision durant la calibration.
Calibration basique dans le logiciel KOR
Allez dans le menu Calibrer du logiciel KOR. La structure du menu varie suivant les capteurs installés dans la sonde. Sélectionnez le capteur que vous étés sur le point de calibrer dans la liste. Puis sélectionnez le paramètre correspondant au capteur que vous étés sur le point de calibrer. Certains capteurs ont une seule option tandis que d'autres ont des options multiples. Dans le menu suivant, sélectionnez une calibration en 1, 2 ou 3 points, suivant votre capteur. Entrez la valeur de la solution étalon que vous utilisez. Vérifiez si la valeur saisie est correcte et si ses unités correspondant aux unités apparaissant en haut du menu (par ex. microsiemens contre millisiemens). Vous pouze aussi saisir des données optionnelles concernant le type d'étalon, le fabricant de l'étalon et le nombre de lot.
Cliqueur sur Commencer la calibration pour lancer la calibration du capteur; au depart, les valeurs mesurées seront inconstantes, puis elles seront se stabiliser. Cliqueur sur Données graphiques afin de comparer les valeurs précédant la calibration avec les valeurs suivant la calibration. Les utilisateurs doivent confirmer que la valeur se situe dans la marge d'erreur acceptable. Dés que les relevés sont stables, cliqueur sur Appliquer pour valider ce point de calibration. Répéter cette opération pour chaque point de calibration. Cliqueur sur Terminer lorsque la calibration multipoint est terminée.
Un récapitulatif apparait avec une note QC. Afficher, exporter et/ou imprimer la feuille de calibration. Si une erreur de calibration apparait, recommencer la procédure de calibration.
5.2
Calibration
Conductivité
Nettoyer la cellule de conductivite avec la Brosse douce fournie avant la calibration. Revoir etalement la methode de calibration basique decrite a la page 66.
Cette procédure permet de calibrer la cellule qui mesure la conductivité, la conductance spécifique, la salinité et les matières dissoutes totales.
Placer une solution etalon de conductivite dans une couelle de calibration propre et seche ou preincée, en respectant les proportions. Un certain nombre d'etalons sont disponibles en fonction de la salinite du milieu. SeLECTIONNER I'etalon correspondant au milieu a surveiller; nous recommendons d'utiliser des etalons supérieurs à 1 mS/cm (1000 S/cm) pour une plus grande stabilité.
Plonger avec précaution l'extrémité du capteur dans la solution, s'assurer que l'étalon se trouve au-dessus des orifices d'aération du capteur de conductivité. Faire tournier et/ou secouer légersement le capteur afin d'éliminer les bulles de la cellule de conductivité.
Attendre au moins une minute jusqu'à l'obtention d'un équilibre de température.
Dans le menu Calibrer, selectionner Conductivite. Un second menu va presenter les options de calibration de la conductivite, la conductance specifique ou la salinite. Si une calibration est choisis pour l'un des trois parametes, elle sera automatiquement effectue pour les deux autres parametes. Avres avoir selectionné une option (la conductance spécifique est généralement recommendée), saisir la valeur de la solution etalon utilisée durant la calibration. S'assurer que les unités sont correctes et qu'elles correspondant aux unités affichées dans la deuxième fenêtre en haut du menu.
Cliqueur sur Commencer la calibration. Observer les valeurs Actuelles et En attente et lorsqu'elles sont Stables (ou lorsqu'il n'y a pas de variation significative pendant environ 40 secondes),clinquer sur Appliquer pour valider ce point de calibration.
- Si les données ne se stabilisent pas après 40 secondes, faire tournier légèrement le capteur ou démonter/ réinstaller la coupelle de calibration afin d'écarter toute présence de bulle d'air dans la cellule de conductivité.
Clquier sur Terminer. Afficher le Récapitulatif de calibration et la note QC. Cliquer sur Quitter pour revenir au menu calibration, puis cliquer sur la touche Retour pour revenir au menu principal.
Rincer la sonde et le(s) capteur(s) à l'eau du robinet ou à l'eau purifiée, et sécher.
5.3
Calibration
Oxygen dissous
Commencer par revoir la calibration basique déscribe à la page 66.
ODO% sat. - 1 point
Placer la sonde avec son capteur soit (a) dans une couelle de calibration contenant environ 3 mm d'eau et légèrement dévisée pour assurer une aération, soit (b) dans un réserve d'eau qui est continulement aéré avec une pompé pour aquarium et un diffuseur d'air. Attendre environ 10 minutes afin de permettre à la température et à l'oxygene dissous de s'équilibrer.
Dans le menu Calibrer, selectionner ODO, puis ODO% sat. Une calibration en ODO% sat entraine automatiquement une calibration en ODO mg/L, et inversement.
Saisir la pression barometrique actuelle en mm Hg.
Remarque : les relevés des baromètres de laboratoire sont généralement de « vraies » valeurs (non corrigées) de la pression atmosphérique et peuvent être utilisés comme telles pour la calibration de l'oxygène. Les relevés des services de météorologie sont souvent des valeurs « fausses », c'est-à-dire qu'elle sont corrigées suivant le niveau de la mer, et par conséquent, ne peuvent pas être exploitées tant qu'elle ne sont pas « corrigées ». Une formule approximative pour cette « dé-correction » (ou les relevés BP DOIVENT étant en mm Hg) se trouve ci-après:
BP « vraie » = [BP corrigée] - [2,5* (altitude locale en pieds au-dessus du niveau de la mer/100)]
Cliqueur sur 1 Point pour les Points de calibration. Saisir la valeur de l'étalon (air sature).
Cliqueur sur Commencer la calibration. Observer les valeurs Actuelles et En attente et lorsqu'elles sont Stables (ou lorsqu'il n'y a pas de variation significative pendant environ 40 secondes), cliquer sur Appliquer pour valider ce point de calibration.
Cliqueur Terminer. Afficher le Récapitulatif de calibration et la note QC. Cliqueur Sur Quitter pour revenir au menu calibration, puis cliquer sur la touche Retour pour revenir au menu principal.
mg/L - 1 point
Placer la sonde et son capteur dans un écipient qui contient une concentration définie d'oxygène dissous en mg/L et qui affiche ± 10% de saturation d'air. La calibration peut être effectue grâce à l'une des méthodes suivantes :
-dosage Winkler
-aérer la solution et supposer qu'elle est saturee
-mesurer avec un autre apparéil

Une calibration d'OD en mg/L avec des valeurs dépassant la tolérance de ± 10% de saturation ne peut comprometer la précision des résultats du capteur EXO.
Dans le menu Calibrer, selectionner ODO, puis ODO% mg/L. Une calibration en ODO mg/L entraine automatiquement une calibration en ODO %,et inversement.
Clquier sur 1 Point pour les Points de calibration. Saisir la concentration connue en mg/L pour la valeur de l'éton. Clquier sur Commencer la calibration. Observer les valeurs Actuelles et En attente et lorsqu'elles sont Stables (ou lorsqu'il n'y a pas de variation significative pendant environ 40 secondes), clquier sur Appliquer pour valider ce point de calibration. Clquier sur Terminer.
Rincer la sonde et le(s) capteur(s) à l'eau du robinet ou à l'eau purifiée, et sécher.
ODO% sat. ou mg/L - 2 points (ou point zéro)
Normalement, il n'est pas nécessaire d'effectuer une calibration en 2 points pour le capteur d'oxygène dissous et la procEDURE n'est pas recommandée à moins que (a) vous soyez sur que le capteur ne répond pas à vos critères de précision en cas de faibles valeurs d'OD et (b) que vous utilisiez l'appareil dans des conditions vous permettant d'affirmer que le milieu est totalement exempt d'oxygène.
Pour ODO % sat, calibrer la sonde dans un milieu sans oxygène et en air sature d'eau ou en eau saturée d'air. Pour ODO mg/L, calibrer la sonde dans un milieu sans oxygène et une concentration connue d'oxygène avec ±10% de saturation d'air. La clé de la réussite d'une calibration en 2 points est de s'assurer que le milieu est juste exempt d'oxygène :
-Si vous utilisez de I'azote pour la calibration du point zéro, veuillez vous assurer que le récipient que vous utilisez a un petit orifice de sortie pour empêcher une rétrodiffusion d'air et que vous avez complètement vidé le récipient avant de valider la calibration.
-Si vous utilisez une solution de sulfite de sodium pour la calibration du point zéro, préparez la solution avec une concentration d'environ 2 g/L au moins deux heures avant de l'utiliser et conservez-la dans un glacien hermetique afin d'empêcher une diffusion de l'oxygène en dehors du recipient. Transferez rapidement la solution de sulfite de sodium dans la coupelle de calibration, replissez la coupelle autant que possible afin de minimiser l'espace de tete, et obture la coupelle dans la sonde afin d'empêcher l'air de se repandre dans le recipient.
Placer la sonde avec ses capteurs d'oxygène dissous et de température dans un milieu exempt d'oxygène.
Dans le menu Calibrer, selectionner ODO, puis selectionner soit ODO % sat., soit ODO mg/L.
Cliquer sur 2 Points pour les Points de calibration. Saisir le Point Zéro pour la valeur du premier étalon.
Clquier sur Commencer la calibration. Observer les valeurs Actuelles et En attente et lorsqu'elles sont Stables (ou lorsqu'il n'y a pas de variation significative pendant environ 40 secondes), cliquer sur Appliquer pour valider ce point de calibration.
-Si vous avez utilise une solution de sulfite de sodium pour la calibration du zéro, vous devez éliminer soigneusement toutes les traces de reactif dans les capteurs avant de passer au second point. Nous vous conseillons d'effectuer une calibration en eau saturée d'air pour le second point si vous utilisez une solution de sulfite de sodium.
Placer les capteurs dans le milieu avec un contenu en oxygène dissous connu ou une concentration connue, et attendre au moins 10 minutes jusqu'à ce que la température s'équilibre. Cliquer sur Continuer dans la fenêtre qui apparait à l'écran. Puis saisir soit la valeur du baromètre en mm Hg (pour ODO % sat), soit la concentration réelle en oxygène qui aura certainement été déterminée par un dosage Winkler (pour ODO mg/L). Observer les valeurs Actuelles et En attente et lorsqu'elles sont Stables (ou lorsqu'il n'y a pas de variation significative pendant environ 40 secondes), cliquer sur Appliquer pour valider ce point de calibration.
Clquier sur Terminer. Afficher le Récapitulatif de calibration et la note QC. Cliquer sur Quitter pour revenir au menu calibration, puis cliquer sur la touche Retour pour revenir au menu principal.

- Une calibration d'OD en mg/L avec des valeurs dépassant la tolérance de ± 10% de saturation, ou peut compromètre la précision des résultats du capteur EXO.
Remarque: cette option de calibration est disponible uniquement si la sonde est équipée d'un capteur de profondeur.
Pour la calibration du capteur de profondeur, s'assurer que le module est aéré et non immergé dans une solution. Revoir également la calibration basique décrite à la page 66.
Dans le menu Calibrer, selectionner Port D-Profondeur, puis Profondeur dans le deuxieme menu.
Cliqueur sur 1 Point pour les Points de calibration. Entrer 0 ou un décalage connu du capteur.
Clquier sur Commencer la calibration. Observer les valeurs Actuelles et En attente et lorsqu'elles sont Stables (ou lorsqu'il n'y a pas de variation significative pendant environ 40 secondes),clinquer sur Appliquer pour valider ce point de calibration. Ce proceded regle le zéro du capteur par rapport à la pression barométrique actuelle.
Cliqueur sur Quitter pour revenir au menu calibration du capteur, puis utiliser les flèches arrêté pour revenir au menu principal Calibrer.
Pour des mesures de profondeur optimes, les utilisateurs doivent s'assurer que la sonde a une orientation constante pendant les mesures. La sonde doit rester immobile et garder la même position pendant la calibration.

Utiliser le menu Avancé pour sélectionner le type d'installation de la sonde (mobile/profilage ou fixe). Il est également possible de saisir la latitude et la longitude dans le menu Avancé.

Calibration
pH
2 points
La plupart des eaux ont un pH compris entre 7 et 10. C'est pourquoi nous vous recommendons une calibration en 2 points à l'aide de solutions tampons pH 7 et pH 10, à moins que vous ne prévoyiez un pH 7 pour votre application.
Revoir la méthode de calibration basique déscribe à la page 66.
Verser une quantité appropriée de solution tampon pH7 dans une couelle de calibration propre et sèche ou pré-rincée. Immerger avec précaution l'extrémité du capteur dans la solution, en s'assurant que le verre du capteur soit immergéd au moins 1 cm dans la solution. Patiente au moins 1 minute jusqu'à l'obtention d'un équilibre de la température.
Dans le menu Calibrer, selectionner pH ou pH/redox, puis selectionner pH.
Cliquer sur 2 Points pour les Points de calibration. Saisir la valeur 7 pour le premier étalon et 10 pour le second étalon.
- Respecter la valeur de la température indiquée au-dessus de la valeur de l'étalon. La vraie valeur pH de toutes les solutions tampons varie en fonction de la température. Entrer la valeur correcte figurant sur l'étiquette du flacon pour une précision optimale. Par exemple, le pH d'une solution tampon pH 7 d'un fabricant est 7,00 à 25^ , mais 7,02 à 20^ .
-Si aucun capteur de températe n'est installé, l'utilisateur peut corriger la températe manuellement en entrant une valeur.
Clquier sur Commencer la calibration. Observer les valeurs Actuelles et En attente et lorsqu'elles sont Stables (ou lorsqu'il n'y a pas de variation significative pendant environ 40 secondes),clinquer sur Appliquer pour valider ce point de calibration.
Rincer la sonde à l'eau et la secher. Verser une quantité appropriée de nouvelle solution tampon pH7 dans une couvelle de calibration propre et sèche ou pré-rincée. Immerger avec précaution l'extrémité du capteur dans la solution. Patienter au moins 1 minute jusqu'à l'obtention d'un équilibre de la température.
Cliquer sur Continuer dans la fenêtre qui apparaît sur l'écran. Observer les valeurs Actuelles et En attente et lorsqu'elles sont Stables (ou lorsqu'il n'y a pas de variation significative pendant environ 40 secondes), cliquer sur Appliquer pour valider ce point de calibration. (Il vaut很好地 ne pas toucher la sonde pendant la stabilisation).
Cliqueur Terminer. Afficher le Recessitatif de calibration et la note QC. Cliquer sur Quitter pour revenir au menu calibration, puis cliquer sur la touche Retour pour revenir au menu principal.
Rincer la sonde à l'eau du robinet ou à l'eau purifiée, et la sécher.
3 points
Selectionner l'option 3 points pour calibrer le capteur pH à l'aide de trois solutions. Avec cette méthode, le capteur pH est calibré avec une solution tampon pH 7 et deux autres solutions tampons. La méthode de calibration en 3 points garantit une précision maximale lorsque le pH du milieu à surveiller ne peut pas être anticipé. La procédure est la même que pour la calibration en 2 points, mais le logiciel va vous inviter à utiliser une troisième solution tampon pH pour terminer la calibration en 3 points. Page 71
Revoir la méthode de calibration basique déscribe à la page 66.
Verser la solution en quantite appropriee, avec une valeur connue de potentiel redox (nous recommandons une solution Zobell), dans une couelle de calibration propre et sèche ou pré-rincée. Immerger avec precaution l'extrémité du capteur dans la solution.
Dans le menu Calibrer, selectionner pH/redox, puis Redox mV.
Clquier sur Commencer la calibration. Observer les valeurs Actuelles et En attente et lorsqu'elles sont Stables (ou lorsqu'il n'y a pas de variation significative pendant environ 40 secondes),clinquer sur Appliquer pour valider ce point de calibration.
Ne pas laisser les capteurs dans la solution Zobell pendant une longue période. Une reaction chimique se produit avec le cuivre de la sonde (paroi de la sonde, racleur central, ruban de cuivre). Alors que lareaction n'aura aucune incidence sur la calibration, elle va degrader les materiaux de la sonde au fil du temps. Jeter l'étalon utilise.
Cliqueur Terminer. Afficher le Recessitatif de calibration et la note QC. Cliquer sur Quitter pour revenir au menu calibration, puis cliquer sur la touche Retour pour revenir au menu principal.
Rincer la sonde à l'eau du robinet ou à l'eau purifiée, et la sécher.
5.7
Calibration
Turbidité
Avant de proceder à la calibration, s'assurer que le capteur est propre et exempt de tout résidu. Les particules solides accumulées au cours d'utilisations antérieures vont contaminer les étalons durant la calibration et vont engendrer soit des erreurs de calibration, soit des résultats incorrects sur le terrain. Pour la sonde, utiliser une protection propre et exclusivement réservée à la calibration. Revoir également la méthode de calibration basique décrite à la page 66.
Pour une calibration correcte, vous doivent utiliser des étalons qui ont été préparés conformément aux explications détaillées dans les Standard Methods for the Treatment of Water and Wastewater (Méthodes normalisées pour tester la qualité de l'eau et des eaux usées) (partie 2130 B). Voici quelques étalons acceptables : (a) formazine préparée selon les Méthodes normalisées ; (b) dilutions formazine concentrée à 4000 NTU provenant de Hach ; (c) étalons Hach Stabil™ avec diverses valeurs NTU ; et (d) étalons AMCO-AEPA préparés spécialement pour le capteur de turbidité EXO.
2 points
Verser la quantite correcte d'etalon 0 NTU (eau deionise ou distillée) dans la couelle de calibration. Immerger l'extrémité du capteur dans l'eau.
Dans le menu Calibrer, selectionner Turbidite, puis Turbidite FNU.
Cliqueur sur 2 Points pour les Points de calibration. Entrer 0 FNU pour la première valeur de l'étalon et 124 FNU pour la seconde valeur. (0 doit être régle en premier).
-Si vous savez que I'eau à analyser est à faible turbidite, il est recommandé de désir des étacons entre 0 et 12.4.Cependant, un étalon d'usage général est compris entre 0 et 124.
Clquier sur Commencer la calibration. Observer les valeurs Actuelles et En attente. Pendant la stabilisation,clinquer sur Nettoyer les capteurs pour activer le racleur afin d'éliminer les bulles.Lorsque les valeurs sont Stables (ou lorsqu'il n'y a pas de variation significative pendant environ 40 secondes), clinquer sur Appliquer pour valider ce point de calibration.
-Si la température du site est fondamentalement différente de la température du laboratoire, attendre que le capteur préféve des échantillons pendant 3-5 minutes sur chaque point avant de valider. Cela optimise la compensation de température pendant les mesures.
Puis placer les capteurs dans le second étalon. Cliquer sur Continuer dans la fenêtre qui apparait à l'écran. Observer les valeurs Actuelles et En attente. Pendant la stabilisation, cliquer sur Nettoyer les capteurs pour activer le racleur afin d'éliminer les bulles. Lorsque les valeurs sont Stables (ou lorsqu'il n'y a pas de variation significative pendant environ 40 secondes), cliquer sur Appliquer pour valider ce point de calibration.
Clquier sur Terminer. Afficher le Récapitulatif de calibration et la note QC. Cliquer sur Quitter pour revenir au menu calibration, puis cliquer sur la touche Retour pour revenir au menu principal.
Rincer la sonde à l'eau du robinet ou à l'eau purifiée, et la sécher.
3 points
Selectionner l'option de calibration en 3 points pour une précision optimale sur une très vaste plage. Comme pour la procédure à 2 points, le premier étalon doit être 0 FNU. Au vu de la linéarité des capteurs, nous recommend des valeurs de turbidité de 124 et 1010 FNU pour les deux autres étalons. Cependant, l'utilisateur peut selectionner une autre valeur qu'il juge appropriée. La procédure est la même que pour la calibration en 2 points, mais le logiciel va vous inviter à utiliser une solution supplémentaire pour terminer la calibration en 3 points. Page 73
5.8
Calibration (chlorophylle + cyanobacteries-phycocyanines)
Algues totales
Chlorophylle
Cette méthode permet de calibrer le capteur de Chlorophylle UFR ou Chlorophylle g / L . Si l'utilisateur a sélectionné les deux unités, alors cette procédure doit être effectuee deux fois, une pour chaque unité, pour que le parametre soit totalement ajusté.
Pour des calibrations en 2 points, il faut utiliser de l'eau claire comme étalon (0 g / L) . Cet étalon doit être utilisé en premier. L'autre étalon doit avoir une teneur en chlorophylle connue dans l'eau à surveiller. Deux types d'étalons peuvent être utilisés : (a) suspensions de phytoplantons avec teneur en chlorophylle connue, déterminée grâce la méthode d'analyse extractive décrite dans les Methods for the Examination of Water and Wastewater, ou en analysant la suspension in situ à l'aide d'un fluorimètre de laboratoire, et (b) solutions de colorants dont la fluorescence peut être mise en rapport avec celle de la chlorophylle.
Pour l'option (b), nous vous recommendons d'utiliser une solution de Rhodamine WT 625~ g / L (pour plus de détails, cf. partie 5.10), et de suivre les étapes ci-dessous.
g / L-1 ou 2 points
Cette méthode regle le zéro du capteur de fluorescence et utilise la sensibilité par défaut pour calculer la concentration de chlorophylle en g / L , ceci accélérant et simplifiant les mesures de fluorescence qui sont uniquement semi-quantitatives par rapport à la chlorophylle. Cependant, les valeurs sont révélé des concentrations de chlorophylle variant d'un site à l'autre, ou évoluant constamment sur un même site.
Verser la quantite correcte d'eau deionise ou distillée dans la coupelle de calibration. Immerger l'extremité du capteur dans l'eau.
Dans le menu Calibrer, Sélectionner Cyanobactères/Chlor., puis Chl μg/L. Sélectionner une calibration en 1 ou 2 points. Entrer la valeur 0 pour le premier éton et 66 pour le second.
Cliquer sur Commencer la calibration. Observer les valeurs Actuelles et En attente. Pendant la stabilisation,clinquer sur Nettoyer les capteurs pour activer le racleur afin d'éliminer les bulles.Lorsque les valeurs sont Stables (ou lorsqu'il n'y a pas de variation significative pendant environ 40 secondes), clinquer sur Appliquer pour valider ce point de calibration.
Puis placer les capteurs dans la solution de Rhodamine WT. Cliquer sur Continuer dans la fenêtre qui apparaît à l'écran. Observer les valeurs Actuelles et En attente. Pendant la stabilisation, cliquer sur Nettoyer les capteurs pour activer le racleur afin d'éliminer les bulles. Lorsque les valeurs sont Stables (ou lorsqu'il n'y a pas de variation significative pendant environ 40 secondes), cliquer sur Appliquer pour valider ce point de calibration.
Clquier sur Terminer. Afficher le Récapitulatif de calibration et la note QC. Clquier sur Quitter pour revenir au menu calibration, puis clquier sur la touche Retour pour revenir au menu principal. Rincer la sonde à l'eau du robinet ou à l'eau purifiée, et la sécher.
UFR - 1 ou 2 points
UFR est une valeur pleine échelle exprimée en pourcentage ; la fluorescence relative varie de 0 à 100% . Cette méthode de calibration est recommendée si vous utilisez également des échantillons instantanés pour post-calibrer les capteurs de fluorescence in vivo pour la chlorophyll.
La sonde va rapporter les valeurs de fluorescence relative dans l'échantillon mesuré. Ces valeurs peuvent être converties en vraies concentrations de chlorophylle exprimées en g / L grâce à une méthode de post-calibration. La teneur en chlorophylle provenant d'échantillons prélevés sur le terrain doit d'abord être analysée dans un laboratoire. Il peut être nécessaire de recourir à la méthode d'analyse extractive décrite dans les Methods for the Examination of Water and Wastewater ou d'effectuer des mesures in situ de la chlorophylla à l'aide d'un fluorimètre de laboratoire vendu dans le commerce.
Verser la quantite correcte d'eau déionisée ou distilée dans la coupelle de calibration. Immerger l'extremité du capteur dans l'eau.
Dans le menu Calibrer, Sélectionner Cyanobactéries/Chlor., puis Chl UFR. Sélectionner une calibration en 1 ou 2 points. Entrer la valeur 0 pour le premier étalon et 16,4 pour le second.
Cliquer sur Commencer la calibration. Observer les valeurs Actuelles et En attente. Pendant la stabilisation,clinquer sur Nettoyer les capteurs pour activer le racleur afin d'éliminer les bulles.Lorsque les valeurs sont Stables (ou lorsqu'il n'y a pas de variation significative pendant environ 40 secondes), clinquer sur Appliquer pour valider ce point de calibration.
Puis placer les capteurs dans la solution de Rhodamine WT. Cliquer sur Continuer dans la fenetre qui apparait à l'écran. Observer les valeurs Actuelles et En attente. Pendant la stabilisation, cliquer sur Nettoyer les capteurs pour activer le racleur afin d'éliminer les bulles. Lorsque les valeurs sont Stables (ou lorsqu'il n'y a pas de variation significative pendant environ 40 secondes), cliquer sur Appliquer pour valider ce point de calibration.
Clquier sur Terminer. Afficher le Récapitulatif de calibration et la note QC. Cliquer sur Quitter pour revenir au menu calibration, puis cliquer sur la touche Retour pour revenir au menu principal.
Rincer la sonde à l'eau du robinet ou à l'eau purifiée, et la sécher.
Cyanobacteries
Cette méthode permet de calibrer le capteur de cyanobactéries RFU ou g / L . Si l'utilisateur a sélectionné les deux unités, alors cette procédure doit être effectue deux fois, une pour chaque unité, pour que le paramètre soit totalement ajusté.
Pour des calibrations en 2 points, il faut utiliser de l'eau claire comme étalon (0 μg/L). Cet étalon doit être utilisé en premier. L'autre étalon doit avoir une teneur en cyanobactéries-phycocyanines supposée sur le site. Deux types d'étaIons peuvent être utilisés : (a) suspensions de phytoplantons avec teneur en cyanobactéries-phycocyanines connue, et (b) solutions de colorants dont la fluorescence peut être mise en rapport avec celle des cyanobactéries-phycocyanines. L'utilisateur doit se charger du calcul de la teneur en cyanobactéries-phycocyanines dans les suspensions algales en utilisant des techniques standard de dénombrement des cellules.
Pour l'option (b), nous vous recommendons d'utiliser une solution de Rhodamine WT 625 g/L (pour plus de détails, cf. partie 5.10), et de suivre les étapes ci-dessous.
g / L-1 ou 2 points
Cette méthode regle le zéro du capteur de fluorescence et utilise la sensibilité par défaut pour calculer la concentration de cyanobactéries riches en phycocyanines en g / L , ceci accélérant et simplifier les mesures de fluorescence qui sont uniquement semi-quantitatives par rapport aux cyanobactéries-phycocyanines. Cependant, les valeurs sont révélé des concentrations de cyanobactéries-phycocyanines variant d'un site à l'autre, ou évoluant constamment sur un même site.
Verser la quantité correcte d'eau déionisée ou distillée dans la coupelle de calibration. Immerger l'extremité du capteur dans l'eau.
Dans le menu Calibrer, Sélectionner Cyanobactéries/Chlor., puis Cyanobactéries g / L . Sélectionner une calibration en 1 ou 2 points. Entrer la valeur 0 pour le premier éton et 10,4 pour le second.
Cliquer sur Commencer la calibration. Observer les valeurs Actuelles et En attente. Pendant la stabilisation,clinquer sur Nettoyer les capteurs pour activer le racleur afin d'éliminer les bulles.Lorsque les valeurs sont Stables (ou lorsqu'il n'y a pas de variation significative pendant environ 40 secondes), clinquer sur Appliquer pour valider ce point de calibration.
Puis placer les capteurs dans la solution de Rhodamine WT. Cliquer sur Continuer dans la fenêtre qui apparait à l'écran. Observer les valeurs Actuelles et En attente. Pendant la stabilisation, cliquer sur Nettoyer les capteurs pour activer le racleur afin d'éliminer les bulles. Lorsque les valeurs sont Stables (ou lorsqu'il n'y a pas de variation significative pendant environ 40 secondes), cliquer sur Appliquer pour valider ce point de calibration.
Clquier sur Terminer. Afficher le Récapitulatif de calibration et la note QC. Clquier sur Quitter pour revenir au menu calibration, puis clquier sur la touche Retour pour revenir au menu principal. Rincer la sonde à l'eau du robinet ou à l'eau purifiée, et la sécher.
UFR - 1 ou 2 points
UFR est une valeur pleine échelle exprimée en pourcentage ; la fluorescence relative varie de 0 à 100% . Cette méthode de calibration est recommendée si vous utilisez également des échantillons instantanés pour post-calibrer les capteurs de fluorescence in vivo pour les algues.
Verser la quantite correcte d'eau déionisée ou distillée dans la coupelle de calibration. Immerger l'extremité du capteur dans l'eau.
Dans le menu Calibrer, Sélectionner Cyanobactères/Chlor., puis Cyanobactères UFR. Sélectionner une calibration en 1 ou 2 points. Entrer la valeur 0 pour le premier étalon et 10,4 pour le second.
Cliquer sur Commencer la calibration. Observer les valeurs Actuelles et En attente. Pendant la stabilisation,clinquer sur Nettoyer les capteurs pour activer le racleur afin d'éliminer les bulles.Lorsque les valeurs sont Stables (ou lorsqu'il n'y a pas de variation significative pendant environ 40 secondes), clinquer sur Appliquer pour valider ce point de calibration.
Puis placer les capteurs dans la solution de Rhodamine WT. Cliquer sur Continuer dans la fenetre qui apparait à l'écran. Observer les valeurs Actuelles et En attente. Pendant la stabilisation, cliquer sur Nettoyer les capteurs pour activer le racleur afin d'éliminer les bulles. Lorsque les valeurs sont Stables (ou lorsqu'il n'y a pas de variation significative pendant environ 40 secondes), cliquer sur Appliquer pour valider ce point de calibration.
Clquier sur Terminer. Afficher le Récapitulatif de calibration et la note QC. Clquier sur Quitter pour revenir au menu calibration, puis clquier sur la touche Retour pour revenir au menu principal. Rincer la sonde à l'eau du robinet ou à l'eau purifiée, et la sécher.
Cette méthode permet de régler MODf UFR ou MODf QSU/ppb. Si l'utilisateur a sélectionné les deux unités, alors cette procédure doit être effectue deux fois, une pour chaque unité, pour que le paramètre soit totalement ajusté.
Pour des calibrations en 2 points, il faut utiliser de l'eau claire comme premier étalon (0 g/L). Le second étalon doit être une solution de sulfate de quinine 300 g / L . (Pour le détaill des instructions concernant le mélange de cette solution, cf. partie 5.10).
Ne pas laisser les capteurs dans la solution de sulfate de quinine pendant une longue période. Une réaction chimique se produit avec le cuivre de la sonde (paroi de la sonde, ruban de cuivre). Cela va provoquer la dégradation de la solution.
QSU-1 ou 2 points
Verser la quantite correcte d'eau deionise ou distilée dans la coupelle de calibration. Immerger l'extremité du capteur dans l'eau.
Dans le menu Calibrer, Sélectionner MODf, puis QSU/ppb. Sélectionner une calibration en 1 ou 2 points. Entrer la valeur 0 pour le premier éton et 300 g / L pour le second.
Clquier sur Commencer la calibration. Observer les valeurs Actuelles et En attente, et lorsque les valeurs sont Stables (ou lorsqu'il n'y a pas de variation significative pendant environ 40 secondes),clinquer sur Appliquer pour valider ce point de calibration.
Enlever le racleur central de la sonde EXO2 avant de passer à l'etape suivante.
Puis placer les capteurs dans la solution contenant 300~ g / L de sulfate de quinine dans la coupelle de calibration. Cliquer sur Continuer dans la fenetre qui apparait a I'ecran. Observer les valeurs Actuelles et En attente. Pendant la stabilisation, cliquer sur Nettoyer les capteurs pour activer le racleur afin d'éliminer les bulles. Lorsque les valeurs sont Stables (ou lorsqu'il n'y a pas de variation significative pendant environ 40 secondes), cliquer sur Appliquer pour valider ce point de calibration.
Clquier sur Terminer. Afficher le Récapitulatif de calibration et la note QC. Cliquer sur Quitter pour revenir au menu calibration, puis cliquer sur la touche Retour pour revenir au menu principal.
UFR - 1 ou 2 points
Verser la quantité correcte d'eau déionisée ou distillée dans la coupelle de calibration. Immerger l'extremité du capteur dans l'eau.
Dans le menu Calibrer, selectionner MODf, puis UFR. Selectionner une calibration en 1 ou 2 points.
Entrer la valeur 0 pour le premier étacon et 100 UFR pour le second.
Clquier sur Commencer la calibration. Observer les valeurs Actuelles et En attente, et lorsque les valeurs sont Stables (ou lorsqu'il n'y a pas de variation significative pendant environ 40 secondes),clinquer sur Appliquer pour valider ce point de calibration.
Enlever le racleur central de la sonde EXO2 avant de passer à l'etape suivante.
Puis placer les capteurs dans la solution contenant 300~ g / L de sulfate de quinine dans la coupelle de calibration. Cliquer sur Continuer dans la fenetre qui apparait a I'ecran. Observer les valeurs Actuelles et En attente. Pendant la stabilisation, cliquer sur Nettoyer les capteurs pour activer le racleur afin d'éliminer les bulles. Lorsque les valeurs sont Stables (ou lorsqu'il n'y a pas de variation significative pendant environ 40 secondes), cliquer sur Appliquer pour valider ce point de calibration.
Clquier sur Terminer. Afficher le Récapitulatif de calibration et la note QC. Cliquer sur Quitter pour revenir au menu calibration, puis cliquer sur la touche Retour pour revenir au menu principal.
Rincer la sonde à l'eau du robinet ou à l'eau purifiée, et la secher. Jeter l'étalon utilisé.
5.10
Calibration
Etelons de calibration
Solution de sulfate de quinine pour capteur MODf
Avant d'utiliser du sulfate de quinine (réactif solide ou solution) ou de l'acide sulfurique, lore les consignes de sécurité émises par le fournisseur. Prendre des précautions supplémentaires en cas de dilutions d'acide sulfurique concentré car ce réactif est particulièrement dangereux. Seul un personnel qualifié peut manipuler des produits chimiques.
Preparation
Employer la méthode suivante pour préparer une solution de 300~ g / L de sulfate de quinine (300 QSU) qui peut être utilisée pour calibrer le capteur EXO MODf pour un usage sur le terrain:
- Acheter du sulfate de quinine dihydrate solide de haute pureté (>99%) . (Fournisseur recommandé : Fisher Scientific 6119-70-6.) Acheter de l'acide sulfurique 0,1 N (0,05 M) afin de ne pas prendre le risque de diluer de l'acide sulfurique concentré pour faire ce reactif. (Fournisseur recommandé : Fisher Scientific AA356551K7.)
- Peser 0,100 g de sulfate de quinine dihydrate solide et transférer le solide dans un flacon volumétrique de 100 mL. Dissoudre le solide dans environ 50 mL d'acide sulfurique (H₂SO₄) 0,05 M (0,1 N), diluer la solution jusqu'à la marque du flacon volumétrique en ajoutant de l'acide sulfurique 0,05 M, et bien mélanger par inversions répetées. Cette solution correspond à 1000 ppm de sulfate de quinine (0,1%).
- Transferer 0,3 mL de la solution 1000 ppm dans un glacon volumétrique de 1000 mL, puis replir le glacon jusqu'à la graduation du haut avec de l'acid sulfurique 0,05 M. Bien mélanger pour obtenir une solution qui correspond à 300 μg/L (300 QSU).
- Conserver la solution etalon concentrée dans un glacien en verre teinté, dans un réfrigérateur pour retarder la decomposition. L'éton dilué, préparé dans l'étape précédente, doit être utilisé dans un-delai de 5 jours et doit être jeté immédiatement après avoir été en contact avec les éléments métalliques de l'EXO.
Dégradation de la fluorescence de la quinine par le cuivre
La solution de sulfate de quinine diluée qui enterra en contact avec un composant à base de cuivre de la sonde et des capteurs EXO (l'ensemble du racleur en premier lieu) va commencer à dégrader la solution de façon significative en l'espace de quelques minutes. Par conséquent, il est important d'executer la calibration aussi vite que possible lors de l'immersion des capteurs dans la solution de sulfate de quinine. Jeter l'étonon utilisé. Si des étalons de sulfate de quinine sont nécessaires pour la suite, il faudra préparer une nouvelle dilution de la solution concentrée
Effet de la température sur la fluorescence
L'intensité de la fluorescence de nombreux colorants est inversement proportionnelle à la température. Ceci doit être pris en compte lors de la calibration du capteur MODf EXO avec Rhodamine WT. Saisir la valeur QSU du tableau ci-dessous qui correspond à la température de l'éton.
| Temp (℃) | QSU | Temp (℃) | QSU |
| 30 | 96.4 | 18 | 101.8 |
| 28 | 97.3 | 16 | 102.7 |
| 26 | 98.2 | 14 | 103.6 |
| 24 | 99.1 | 12 | 104.6 |
| 22 | 100 | 10 | 105.5 |
| 20 | 100.9 | 8 | 106.4 |
Colorant Rhodamine WT pour le capteur d'algues totales
Lire et respecter toutes les consignes de sécurité et les fiches de données de sécurité fournies avec le colorant avant de commencer. Seul un personnel qualifié peut manipuler des produits chimiques.
Preparation
Employer la méthode suivante pour préparer une solution Rhodamine WT servant de reactif pour un contrôle de stabilité du capteur d'algues totales EXO (chlorophyll et cyanobactères):
- Acheter un colorant Rhodamine WT sous forme de solution, qui peut varier quelque peu dans sa concentration nominale. Le fournisseur recommendé pour une solution avec environ 2,5% de Rhodamine WT est le suivant :
Colorant fluorescent en rouge FWT (106023)
Kingscote Chemicals
3334 Soutt Tech Blvd.
Miamisburg, OH 45342 USA
1-800-394-0678
- Transférer exactement 5,0mL de solution Rhodamine WT dans un flacon volumétrique de 1000 mL. Remplir le flacon jusqu'à la marque volumétrique avec de l'eau déionisée ou distilled et bien mélanger jusqu'à l'obtention d'une solution d'environ 125 mg/L de Rhodamine WT. Transférer cet étalon dans une bouteille en verre et la conserver pour une utilisation ultérieure.
- Transférer exactement 5,0~mL de la solution préparée dans l' étape précédente dans un flacon volumétrique de 1000~mL , puis replir le flacon jusqu'à la marque volumétrique avec de l'eau déionisée ou distilée. Bien mélanger jusqu'à l'obtention d'une solution de 0,625~mg / L dans l'eau (dilution 200:1 de la solution concentrée).
- Conserver la solution etalon concentree dans un flacon en verre, range dans un refrigerateur pour retarder la decomposition. L'etalon dilue, preparé dans l'etape precedente, doitetre utilise dans les 24 heures qui suivant la préparation.
Jeter l'étalon utilisé. Si des étalons Rhodamine sont nécessaires pour la suite, il faudra préparer une nouvelle dilution de la solution Rhodamine WT concentrée après l'avoir laissée se rechauffer à température ambiente.
Effet de la température sur la fluorescence
L'intensité de la fluorescence de nombreux colorants est inversement proportionnelle à la température. Ceci doit être pris en compte lors de la calibration du capteur d'algues totales EXO avec Rhodamine WT. Saisir la valeur g / L du tableau ci-dessous qui correspond à la température de l'éton.
| Temp (℃) | μg/L Chl | μg/L BGA-PC | Temp (℃) | μg/L Chl | μg/L BGA-PC |
| 30 | 56.5 | 7.4 | 18 | 70.8 | 11.4 |
| 28 | 58.7 | 8.5 | 16 | 73.5 | 12.4 |
| 26 | 61.3 | 9.2 | 14 | 76 | 13.1 |
| 24 | 63.5 | 9.7 | 12 | 78.6 | 13.8 |
| 22 | 66 | 10.4 | 10 | 81.2 | 14.5 |
| 20 | 68.4 | 11.1 | 8 | 83.8 | 14.7 |
5.11
Calibration Feuille de calibration
La feuille de calibration est un compte-rendu des résultats de la calibration d'un capteur EXO. Cette feuille contient des informations garantissant la qualite de la calibration (la date et l'heure de la calibration, la date de la precedente calibration, la version du firmware du capteur, la methode de calibration employee, l'etalon utilise et la note QC).
Les feuilles de calibration sont enregistrées dans le dossier Calibration stocké sur l'ordinateur (pas sur la sonde). Toutes les feuilles sauvégardées sont accessibles et visuelsables via le menu Données du logiciel KOR.
Examples de feuilles de calibration
Calibration en 1 point de la conductance spécifique sur le capteur de conductivité/temperature EXO
Calibration en 1 point de la saturation en pourcentage sur le capteur optique d'oxygène dissous EXO


Gain ODO
Le gain ODO est une valeur diagnostique consignée sur la feuille de calibration et utilisée à des fins de diagnostic avancé. La valeur nominale est 1 ; les calibrations précises ne s'écarteront que légèrement de cette valeur.
Un stockage approprié aide à garantir un bon fonctionnement de la sonde. Pour garder les sondes dans leur meilleur état de marche, les utilisateurs doivent suivre ces instructions. Le stockage peut être de « longue durée » ou de « courte durée ». Un stockage est dit « de longue durée » dans le cas d'une longue période d'inactivité (en hiver, fin de la saison de surveillance, etc.). Un stockage est dit « de courte durée » lorsque la sonde est utilisé à intervalles réguliers (tous les jours, toutes les semaines, tous les quinze jours, etc.).

1 Stockage de courte durée
Dans le cas d'un stockage provisoire, les capteurs doivent rester humides, mais pas submerges; une submersion pourrait provoquer une dérive du capteur. Rechercher un environnement où l'air est saturé d'eau (100% d'humidité) pour le stockage des capteurs.
Laisser environ 1 cm d'eau (déionisée, distillée, du robinet ou milieu aquatique) au fond de la coupelle de calibration. Puis assembler la sonde et l'ensemble de ses capteurs dans la coupelle et la fermer hermetiquement pour empêcher l'évaporation de l'eau. Les utilisateurs peuvent aussi utiliser une éponge humide pour creer un environnement humide. S'assurer que les ports de connexion inutilisés sont correctement protégés. La sonde elle-même doit être stockée dans une atmophère sèche. Pour protéger le connecteur du cable, laisser la fiche connectée au cable ou placer l'embout de protection sur le connecteur.
2 Stockage de longue durée
Stocker tous les capteurs démontés conformément aux instructions figurant dans la partie consacrée au stockage des capteurs. Obturer tous les ports ouverts, et stocker la sonde en respectant les instructions cidesssus (cf. stockage de courte durée).

Toujours retirer les piles de la sonde durant une ue période d'inactivite afin de prévenir toute fuite entiellement nuisible.

Comme tous les matériels de précision, les sondes EXO fonctionnement de façon extrémement fiable si les utilisateurs les entretiennent correctement. Une inspection régulière et un nettoyage approprié peuvent prévenir un certain nombre de problèmes (les fuites notamment). Pendant les travaux de maintenance générale sur la sonde, veuilles également vous reporter aux parties de ce manuel consacrées au capteur de profondeur et aux connexions. Utiliser exclusivement le matériel recommendé pour l'entretien des appareils. Chaque sonde est fournie avec un kit de maintenance complément des lubrifiants adaptés et des joints toriques de rechange. Les utilisateurs peuvent commander des joints toriques de rechange (599680 ou 599681) ou une boîte à outils (599594) auprès du fabricant ou d'un distributeur/agéré.



1 Inspector et entretenir les joints toriques Des joints toriques pouvant etre entretenus par l'utilisateur se trouvent dans les compartments a piles des sondes EXO. Effectuer une inspection visuelle minutieuse des joints toriques chaque fois quils sont visibles. Rechercheer attentivement toutes sortes d'impuretés (cheveux, etc.) sur le joint torque et les surfaces de contact et nettoyer les surfaces contaminées avec un chiffon non peluchex. Sans les retirer de leur logement, graisser tegerement chaque joint torque avec le lubricifant Krytox. Remplacer tout joint torque endommagé.
2 Remplacer les joints toriques.
Si l'inspection ci-dessus révèle la présence d'un joint torique endommagé (déchiré, fissure ou difforme), le retirer. Nettoyer la rainure avec de l'alcool et un chiffon non peluchaux. Graisssez le joint torique en le faisant rouler entre votre pouce légérationGRAISSÉ et votre index. Placer le joint torique dans son logement en faisant attention de ne pas le plier ni de le tordre, et graisser légérationla surface. Inspector le joint torque pour rechercher une contamination évientuelle.
Ne pas graisser excessivement les joints toriques. Cela pourrait occasionner une contamination et rendre le joint inefficace.
3 Inspector, nettoyer et graisser les ports de connexion. Effectuer une inspection visuelle de chaque port afin de détector une éventuelle contamination (impuretés, cheveux, etc.). Si une contamination est décelée, nettoyer avec un jet d'air compré. Si les cautchoucs des ports de connexion paraissent secs, graisser légarement le connecteur du capteur avant de l'insérer.
Ne jamais insérer d'objets solides dans les ports de la sonde. Cela pourrait endommager irremédiablement les connecteurs.

Sonde Installer ou replacer les piles de I'EXO 1
Les sondes EXO1, qui mesurent la qualite de I'eau, requierent deux (2) piles de type D. En utilisant des piles alcalines complètement chargées, les utilisateurs peuvent s'attendre à environ 90 jours d'autonomie avec une sonde qui prélieve des échantillons toutes les 15 minutes. Cependant, l'autonomie des piles peut varier considérablement suivant la températe de I'eau, le taux d'échantillonnage, la charge du capteur et la marque de la pile. *Cf. durée de vie des piles à la page suivante.

1 Retirer le couvercle des piles.
Commencer par nettoyer et secher la sonde. Tenir la sonde avec le porte-sonde orienté vers le haut et tourner le couvercle dans le sens inverse des aiguilles d'une montre jusqu'à ce qu'il se dégage de son logement. Si nécessaire, introduire l'outil de la sonde à l'extrémité du compartment des piles et l'utiliser comme levier pour libérer le compartment. Puis enlever le couvercle des piles en le faisant glisser.

Ne pas-retirer les vis presentses sur la sonde.
Ne pas serrer la sonde dans un etau.

2 Retirer les piles usages.
Mettre les piles à découvert en retardant l'isolant des piles, et extraire les piles de leur compartment. Toujours éliminer les piles alcalines usages selon les exigences et réglementations locales en vigueur.
Nettoyer l'intérieur du compartment des piles avec un chiffon non pelucheux.

3 Installer les piles neues.
Installer les piles neuves avec les bornes positives orientées vers le haut. Repositionner l'isolant sur les piles.

4 Contrôler et entretenir les joints toriques.

Avant de replacer le couvercle des piles, contrôler et tener les quatre joints toriques.
S'assurer que les joints toriques ne sont ni entaillés ni fissures et qu'ils n'ont ni impuretés ni particules sur eux ou sur les surfaces de contact à l'intérieur du compartment des piles. Nettoyer les joints toriques avec un chiffon non pelucheux. Puis appliquer une légere couche de lubriciant Krytox® sur chaque joint torique.

5 Replacer le couvercle des piles.
Tourner le couvercle dans le sens des aiguilles d'une montre jusqu'à ce qu'il s'encastre parfaitement dans le joint en caoutchouc. Ne pas serrer excessivement.
*Durée de vie des piles
En cas d'utilisation de piles alcalines : environ 90 jours à 20^ avec un intervalle d'enregistrement de 15 minutes, avec capteur de température/conductivite, pH/redox, oxygène dissous optique et turbidite. La durée de vie des piles dépend principalement de la configuration des capteurs et est donnée à titre indicatif pour un ensemble de capteurs liéquement utilisés.
En cas d'utilisation de piles rechargeables nickel métal hydrure (NiMH): une estimation de la durée de vie n'est pas possible parce que les piles NiMH varient considérablement en fonction de la capacité et des courbes de décharge fournies par un fabricant. Nous vous recommendons des piles NiMH de type D avec une puissance minimale de 10 000 milliampères-heures (à recharger complètement après chaque utilisation).
Les sondes EXO2, qui mesurent la qualité de l'eau, requirement quatre (4) piles de type D. En utilisant des piles alcalines complètement chargées, les utilisateurs peuvent s'attendre à environ 90 jours d'autonomie avec une sonde qui préleve des échantillons toutes les 15 minutes. Cependant, l'autonomie des piles peut varier considérablement suivant la températe de l'eau, le taux d'échantillonnage, la charge du capteur, la fréquence d'utilisation du racleur et la marque de la pile. *Cf. durée de vie des piles à la page suivante.

1 Desserrer le couvercle des piles.
Commencer par nettoyer et secher la sonde. Glisser la plus petite ouverture de l'outil de la sonde sur le couvercle des piles en haut de l'EXO2. Se servir de l'outil comme levier, tourner l'outil dans le sens inverse des aiguilles d'une montre jusqu'à ce que le couvercle soit dévisse.

2 Retirer le couvercle et les piles usagedes.
Dès que le couvercle est suffisamment desserré, restirer le couvercle et les piles usagées de leur logement. Tout jours éliminer les piles alcalines usagées selon les exigences et réglementations locales en vigueur.
Nettoyer les surfaces d'étanchéité des joints toriques avec un chiffon non pelucheux.
Inspector le tube des piles pour s'assurer qu'il est propre et sec.

3 Installer les piles neuves.
Installer quatre (4) piles neuves de type D dans leur logement avec les bornes positives orientées vers le haut.


4 Contrôler et entretenir les joints toriques.
Avant de REPLACER le couvercle des piles, contrcler et entretenir les quatre joints toriques.
S'assurer que les joints toriques ne sont ni entaillés ni fissures et qu'ils n'ont ni impuretés ni particules sur eux ou sur les surfaces de contact à l'intérieur du compartment des piles. Puis appliquer une légere couche de lubrifiant Krytox® sur chaque joint torque et sur chaque surface de contact.
5 Replacer le couvercle des piles.
Après la révision des joints toriques du couvercle, insérer le couvercle dans son logement. Avec le pouce, appuyer sur la soupape de surpression tout en tournant le couvercle dans le sens des aiguilles d'une montre. Lorsque le vissage du couvercle est bien engagé, utiliser l'outil pour visser à fond. A la fin de la manipulation, le joint torque situé en haut du couvercle doit se trouver en-dessous de l'ouverture du compartment des piles.
Pression dans le compartment des piles La sonde EXO2 est dotée d'une soupape de surpression pour empêcher une defaillance majeure et fonctionnelle des piles. Une fuite d'eau significative dans le compartment des piles nécessite un contrôle de l'appareil par le fabricant ou par un service de maintenance agrée avant toute utilisation ultérieure.
*Durée de vie des piles
En cas d'utilisation de piles alcalines : environ 90 jours à 20^ avec un intervalle d'enregistrement de 15 minutes, avec capteur de température/conductivité, pH/redox, oxygène dissous optique, turbidité et cyanobactéries-phycocyanines, et avec un racleur central qui fonctionne à chaque cycle d'enregistrement. La durée de vie des piles dépend principalement de la configuration des capteurs et est donnée à titre indicatif pour un ensemble de capteurs féquement utilisés.
En cas d'utilisation de piles rechargeables nickel métal hydrure (NiMH): une estimation de la durée de vie n'est pas possible parce que les piles NiMH varient considérablement en fonction de la capacité et des courbes de décharge fournies par un fabricant. Nous vous recommendons des piles NiMH de type D avec une puissance minimale de 10 000 milliampères-heures (à recharger complètement après chaque utilisation).
Les portes-sondes servent de poignée pour faciliter le transport de la sonde et sont utilisés comme points d'attache pour les mécanismes de décharge de traction du cable. Si un porte-sonde EXO1 se brise à la suite d'un impact ou en raison d'une usure normale tout au long de la durée de vie de la sonde, l'utilisateur peut aisément le replacer. Toujours attacher le mécanisme de décharge de traction du cable au porte-sonde. Ne pas tener la sonde par le cable car il ne supporterait pas le poids total de la sonde. Bien que le connecteur du cable et le collier de serrage soient extrémement robustes, il faut toujours utiliser la décharge de traction pour atténuer les contraintes inutiles au niveau du raccordement.

1 Retirer le couvercle des piles.
Tourner le couvercle dans le sens inverse des aiguilles d'une montre jusqu'à ce qu'il se dégage de son logement. Puis enlever le couvercle en le faisant glisser.

2 Retirer le porte-sonde.
Ecarter les parties latérales du porte-sonde pour le dégager du connecteur, le faire passer par-dessus la prise, restirer le joint torique de son logement et le jeter.

3 Installer un nouveau porte-sonde.
Installer un nouveau joint torique à la base du porte-sonde.
Puis écarter le porte-sonde avec précaution pour bien le positionner autour du connecteur.

Sonde Remplacer le portesonde de I'EXO2
Les portes-sondes seront de poignée pour faciliter le transport de la sonde et sont utilisés comme points d'attache pour les mécanismes de décharge de traction du cable. Si un porte-sonde EXO2 se brise à la suite d'un impact ou en raison d'une usure normale tout au long de la durée de vie de la sonde, l'utilisateur peut aisément le replacer. Toutjours attacher le mécanisme de décharge de traction du cable au porte-sonde. Ne pas tener la sonde par le cable car il ne supporterait pas le poids total de la sonde. Bien que le connecteur du cable et le collier de serrage soient extrémement robustes, il faut toujours utiliser la décharge de traction pour atténuer les contraintes inutiles au niveau du raccordement.

1 Retirer le portesonde. Utiliser un petit tournevis pour enlever les deux vis sur les cotes du portesonde.

Après avoir retire des vis, enlever le porte-sonde.

2 Installer un nouveau porte-sonde. Positionner le nouveau porte-sonde en presetant soin d'aligner les troux avec les vis. Utiliser un petit tournevis pour introuuire les deux vis dans les troussitués sur les parties laterales du porte-sonde. Visser à fond.
Les utilisateurs peuvent contrôler etmettre à jour le firmware des capteurs ou de la sonde à l'aide du logiciel d'interface KOR. Chaque apparéil doit être connecté avec l'ordinateur ou la version Desktop KOR est installée, et l'ordinateur doit dispose d'une connexion Internet.

1 Ouvrir le sous-menu du firmware dans KOR. Naviguer dans le menu Options de KOR, puis dans le sous-menu Firmware. Immediatement après le clic sur l'onglet du sous-menu Firmware, KOR commence à rechercher les sondes et capteurs connectés et présente un tableau avec les noms, nombres de série et versions actuelles du firmware.

2 Sélectionner un apparéil etmettre à jour. Pourmettreà jour un apparéil,clinquer sur le nom de l' apparéil dans le tableau,puis clinquer sur Mettre à jour. KOR met à jour le firmware de l' apparéil, cette opération peut prendre quelques minutes.
Remarque: pour une meilleure gestion d'énergie,mettre à jour le firmware avec une connexion USB carcela va fournir de l'énergie à l'appareil. Cependant, si lafonction Bluetooth est activée, nous revarecommendons dinstaller des piles complètementcharges dans la sonde.
Les terminaux EXO sont des apparciels de terrain robustes qui sont testés en usine et qui appartiennent à la classe de protection IP 67. Suivre les instructions ci-dessous pour bénéficier du meilleur niveau de performances du terminal. Le stockage peut être de « longue durée » ou de « courte durée ». Un stockage est dit « de longue durée » dans le cas d'une longue période d'inactivité (en hiver, fin de la saison de surveillance, etc.). Un stockage est dit « de courte durée » lorsque la sonde est utilisé à intervalles réguliers (tous les jours, toutes les semaines, tous les quinze jours, etc.).

1 Nettoyer le terminal.
Si le port USB du terminal est encrassé, le nettoyer à l'eau et le faire sécher.
Pour nettoyer le connecteur du cable, suivre les directives figurant dans la partie 6.18 Maintenance des connecteurs.
Nettoyer le clavier, l'écran et le boîtier polymère du terminal avec un chiffon imbibé d'eau et quelques gouttes de liquide vaisselle dégraissant. Faire en sorte de ne pas rayer le verre.

2 Stockage de courte durée.
Conserver le terminal dans un lieu sur et leMETRE hors tension en maintainant enforcé le bouton d'alimentation pendant plus de trois secondes. Une pression de moins de trois secondes ne met pas I'appareil hors tension (mode veille) et peut provoquer une décharge inutile des piles.

3 Stockage de longue durée.
Conserver le terminal dans un lieu sur et-retirer les piles (réinstaller le couvercle du compartment des piles) pour éviter des fuites potentiellement dangereuses des piles. Remarque: si le terminal est stocké pendant plusieurs jours sans piles, le GPS vaAMLtre plus de temps pour trouver une position fixe.

Terminal
Installer ou remplaçer les piles
Le terminal portatif EXO fonctionne avec quatre (4) piles alcalines de type C. Les utilisateurs peuvent prolonger la durée de vie des piles en mettant le terminal en mode « Veille », si cela est possible, en en Maintenant enforcée la touche marche/arrêt moins de trois secondes. Des piles rechargeables NiMH (Nickel Métal Hydrure) peuvent également être utilisées. La durée de vie des piles dépend de l'utilisation du GPS et de la fonction Bluetooth.

1 Retirer le couvercle du compartment des piles.
Le couvercle du compartment des piles se situe à l'arrière du terminal. Pour démonter le couvercle, dévisser (dans le sens antihoraire) les quatre vis à l'aide d'un tournevis à tête plate ou Phillips.
Remarque : les vis de fixation sont intégrées au capot et ne sont pas détachables. Si un remplacement est nécessaire, l'utilisateur doit replacer l'ensemble.

2 Inséorer/remplacer les piles.
Retirer les piles usagées et les éliminer selon la réglementation locale en vigueur. Installer les piles neuves dans leur logement en respectant la polarité (+/-) indiquée au fond du compartment à piles.
Si des piles rechargeables sont utilisées, elles ne peuvent pas etre recharges à l'intérieur du terminal ; elles doivent etre charges en dehors du terminal.

3 Réinstaller le couvercle du compartment des piles. Vérifier si le joint en caoutchouc est positionné correctement, puis replacer le capot à l'arrête du terminal. Resserrer les vis d'arrêt dans leurs trous, mais ne pas serrer excessivement.
Pourmettrea jour le firmware &le logiciel KOR sur le terminal EXO,utiliser la version Desktop de KOR sur un ordinateur disposant d'une connexion internet.KOR Desktop va se connecter en ligne et telecharger des fichiers pour le terminal, ces fichiers seront ensuite transferrés vers le terminal.

1 Connecter le terminal à l'ordinateur.
Brancher la fiche micro-USB sur le port situé en haut du terminal EXO. Brancher l'autre extrémité du cable USB sur le port de l'ordinateur. Attende une minute pour que Windows détecte le terminal comme lecteur amovible et que le terminal soit reconnu par le logiciel KOR

2 Synchroniser le terminal.
Lorsque le terminal est raccordé au PC, aller dans le menu Options / Firmware du logiciel KOR Desktop. Cliquer sur Mettre à jour le terminal dans le coin inférieur droit du menu. Suivre les instructions pour terminer le processus de mise à jour et redémarrer le terminal.

Capeur de profondeur
Maintenance
Les capteurs de profondeur EXO ont accès à l'eau par de petits orifices (ports) situés dans le corps ou la paroi de la sonde. Bien que les utilisateurs ne puissant pas y acceder directement, une maintenance et un stockage corrects seront les garants d'un fonctionnement fiable. Les capteurs de profondeur peuvent être stockés au sec, en air saturé d'eau ou submergés dans une eau claire. Cependant, il faut s'assurer que l'eau ne contienne pas de solutions corrosives. Cela pourrait endommager la jauge extensométrique des capteurs.

1 Localiser les ports du capteur de profondeur. Les deux ports EXO1 se trouvent dans la partie jaune située entre le tube adaptateur (zone étiquetée) et le cache en plastique bleu des piles. Les ports de l'EXO2 se trouvent sur la paroi métallique de la sonde, au milieu du plus grand espace séparant les ports.

2 Nettoyer les ports du capteur de profondeur. Bien que les utilisateurs n'aiient pas un accès direct aux capteurs de profondeur/de niveau, ils doivent les nettoyer régulièrement avec la seringue incluse dans le kit outils EXO (599594). Remplir la seringue avec de l'eau claire et injector doucement l'eau dans l'un des ports. S'assurer que l'eau s'écoule par l'autre trou. Continuer à laver le port jusqu'à ce que l'eau qui s'échappe devienne propre.

Ne pas introduire d'objets dans les ports duateur de profondeur de l'EXO2 car cela pourrait remmager le capteur qui n'est pas couvert par la société.

Capteur optique standard
Maintenance et stockage
Parmi les capteurs optiques standard, on peut citer les capteurs de turbidité, d'algues totales et de MODf; ces capteurs optiques ne nécessitant pratiquement pas d'entretien. Le stockage peut être de « longue durée » ou de « courte durée ». Un stockage est dit « de longue durée » dans le cas d'une longue période d'inactivité (en hiver, fin de la saison de surveillance, etc.). Un stockage est dit « de courte durée » lorsque la sonde est utilisé à intervalles réguliers (tous les jours, toutes les semaines, tous les quinze jours, etc.). Entretenir les connecteurs selon les directives figurant dans la partie « Connecteurs »

1 Nettoyer I'elément de détction.
Les capteurs de turbidité, d'algues totales et de MODf nécessitant un minimum d'entretien. Les utilisateurs doivent inspecter régulièrement la surface optique à l'extrémité du capteur et la nettoyer avec un chiffon non abrasif et non pelucheux (si nécessaire). Autant que possible, éviter de rayer et d'endommager l'élement de détction.

2 Stockage de longue et de courte durée.
Les capteurs de turbidité, d'algues totales et de MODf requiérènt la prise d'un minimum de précautions. Les utilisateurs peuvent-retirer les capteurs ou les laisser dans la sonde dans le cas d'un stockage de longue ou de courte durée. S'ils restent dans la sonde, il convient de respecter les consignes relatives au stockage de la sonde. Si les utilisateurs les enlevent de la sonde, les capteurs doivent être stockés dans une atmôspère sèche, dans leur capuchon inclus dans la livraison (pour les protégér contre les dégats matériels).

- Ne pas stocker le capteur MODf dans une solution de sulfate de quinine.

Capeur de conductivité/temperature
Maintenance et stockage
Les capteurs de conductivité et de température EXO nécessitent peu de maintenance et nerequirent aucune précaution particulière pour leur stockage. Autant que possible, éviter de heurter la thermistance du capteur. Le stockage peut être de « longue durée » ou de « courte durée ». Un stockage est dit « de longue durée » dans le cas d'une longue période d'inactivité (en hiver, fin de la saison de surveillance, etc.). Un stockage est dit « de courte durée » lorsque la sonde est utilisée à intervalles réguliers (tous les jours, toutes les semaines, tous les quinze jours, etc.). Entretenir les connecteurs selon les directives figurant dans la partie « Connecteurs »

1 Nettoyer les canaux des electrodes.
Les seuls éléments du capteur quirequiren un entretien spécifique sont les canaux menant aux electrodes internes.Tremper la Brosse de nettoyage du capteur (incluse dans le kit de maintenance de la sonde) dans de I'eau claire, l'inserer par le haut des canaux et balayer les canaux entre 15 et 20 fois. Si des depots se sont accumulés sur les electrodes,utiliser une solution d'eau et de détergent doux pour faciliter le nettoyage.Puis rincer les canaux a I'eau claire ou les laisser tremper.

2 Stockage de courte durée
En cas d'utilisation reguliere sur le terrain, le capteur doit rester installé dans la sonde dans un environnement d'air saturé en eau. Laisser environ 1 cm d'eau (déionisée, distillée, du robinet ou milieu aquatique) au fond de la coupelle de calibration. Puis introduire la sonde et le capteur dans la coupelle et la fermer hermetiquement pour empêcher l'évaporation de l'eau. (Pour plus d'informations, se reporter à la partie « Stockage de courte durée de la sonde »).

3 Stockage de longue durée.
Stocker les capteurs dans une atmophère sèche ou humide, qu'ils soient installés dans la sonde ou non. Avant de les stocker, effectuer la maintenance recommende (ci-dessus) pour s'assurer que le capteur sera en état de marche pour la saison suivante. Si le capteur est immerg durant son stockage, s'assurer que le liquide n'est pas corrosif.
Les capteurs d'oxygène dissous EXO requirement des instructions de stockage particulieres par rapport à d'autres capteurs optiques, et ce en raison de leurs membranes sensibles. Le stockage peut etre de « longue durée » ou de « courte durée ». Un stockage est dit « de longue durée » dans le cas d'une longue période d'inactivite (en hiver, fin de laaison de surveillance, etc.). Un stockage est dit « de courte durée » lorsque la sonde est utilisée a intervalles réguliers (tous les jours, toutes les semaines, tous les quinze jours, etc.).

1 Stockage de courte durée
En cas d'utilisation régulière sur le terrain, le capteur d'oxygène dissous doit rester installé dans la sonde. Laisser environ 1 cm d'eau (déionisée, distilée, du robinet ou milieu aquatique) au fond de la coupelle de calibration. Puis introduire la sonde et le capteur dans la coupelle et la fermer hermetiquement pour empêcher l'évaporation de l'eau. (Pour plus d'informations, se reporter à la partie « Stockage de courte durée de la sonde »).

2 Stockage de longue durée.
Laisser le capteur installé dans la sonde et l'immerger dans de l'eau propre dans la coupelle de calibration. Fermer la coupelle de façon hermétique pour éviter une evaporation de l'eau. Le capteur d'OD peut être stocké de deux autres manières. D'une part, vous pouvez immergier l'extrémité sensible du capteur dans un recipient d'eau et vérifier de temps en temps le niveau de l'eau pour s'assurer qu'elle ne s'évapore pas. D'autre part, vous pouvez stocker le capteur dans un environnement d'air saturé d'eau.
Nous ne vous recommendons pas de stocker le capteur avec le connecteur non enché ou à découvert. Le protégger avec un capuchon en plastique.
Les capteurs d'oxygène dissous EXO requisient des instructions de stockage particulieres en raison de leurs membranes sensibles. Les utilisateurs doivent suivre régulièrement ces instructions afin d'atteindre un haut niveau de précision. Les capuchons des capteurs d'oxygène dissous ont une durée de vie moyenne de 12 mois. Àpres ce délambda, les utilisateurs doivent replacer le capuchon de la membrane pour oxygène dissous. Au fil du temps, la précision s'attenue, le rejet de la lumière ambiente se détériore et les temps de réponse peuvent être affectés. Entrenir les connecteurs selon les directives figurant dans la partie « Connecteurs »

1 Maintenance de la membrane pour oxygène dissous Les utilisateurs doivent inspecter régulièrement la surface optique à l'extrémité du capteur et la nettoyer avec un chiffon non abrasif et non pelucheux (si nécessaire). Ne jamais utiliser de solvants organiques pour nettoyer un capteur d'oxygène dissous EXO.
Autant que possible, éviter de rayer et d'endommager le verre en saphir. Eviter les emprentes digitales sur la fenêtre. Si nécessaire, laver à l'eau chaude savonneuse et rincer avec de l'eau déionisé.

2 Réhydration du capteur.
Les utilisateurs doivent toujours stocker les capteurs d'oxygène dissous dans un environnement moite ou humide afin de prévenir la derive du capteur. Cependant, si les capteurs d'OD sont laissés dans une atmophère sechependant plus de huit heures,ilsdoiventetre réhydratés.Pour cela,tremper le capuchon du capteur d'OD dans de I'eau du robinet tiède (température ambiente)pendant environ 24 heures.A la fin de cette période d'imprégnation, calibrer le capteur et le stocker dans un environnement humide.

3 Remplacement du capuchon du capteur Compte tenu des contraintes inherentes à tous les capteurs d'oxygène dissous, les capuchons ont une durée de vie moyenne de 12 mois. Àpres ce délambda, les utilisateurs doivent remplacer le capuchon de la membrane pour oxygène dissous. Pour remplaner ce capuchon, suivre les instructions figurant dans la partie « Remplacement du capuchon du capteur »
Suivre les directives suivantes pour remplacer le capuchon d'un capteur optique d -oxygene dissous EXO dés que la durée de vie utile du capuchon précédement utilisé est épuisée (une année généralement). Le capuchon du capteur d -oxygené dissous (599110) est transporté dans un contueur humidifié et doit être stocké dans un environnement 100% humide. Si le capuchon est totalément sec, suivre les instructions suivantes pour le réhydrater.

1 Retirer le capuchon actuel du capteur.
Faire tourner le capuchon avec les doigs dans le sens inverse des aiguilles d'une montre jusqu'à ce qu'il soit libéré.
Si possible, ne pas utiliser d'outil durant cette opération.
Cependant, si le capuchon est immobile après usage, utiliser une pince avec précaution pour débloquer le capuchon. Ne pas utiliser la pince sur le corps du capteur et veiller à ne pas endommager le filetage du capteur.

2 Remplacer le joint torque.
Retirer le joint torique (le pincer, puis le faire rouler vers le haut du filetage) et le jeter. Effectuer une inspection visuelle du nouveau joint pour rechercher d'eventuelles entailles, déchirures, impuretés ou particules ; jeter les joints toriques endommages. Sans le tordre, faire passer avec précaution le joint torique neuf sur le filetage et le placer dans son logement, puis appliquer une fine couche de lubrifiant Krytox sur le joint uniquement. S'assurer que la cavité du capuchon est complètement seche avant d'insteller le nouveau capuchon.

3 Installer le nouveau capuchon du capteur.
Après l'installation et la lubrification du joint torique, nettoyer le verre situé à l'extrémité du capteur avec un chiffon non peluchex. Puis secher la cavity interieure du capuchon avec un chiffon non peluchex. Visser à la main le nouveau capuchon dans le sens horaire. Le joint torique doit être parfaitement positionné sous le capuchon et ne doit pas être pince. Dans le cas contraire, retarder et jitterer le joint torique, puis recommencer l'opération.
Ne pas visser excessivement le capuchon du capteur. N'utiliser aucun outil durant cette installation.

4 Configurer le capteur avec le nouveau capuchon.
Dans le logiciel KOR, procéder à la configuration requise pour le nouveau capuchon du capteur. Cliquer sur Calibrer, puis cliquer sur ODO/OD. Puis sélectionner ODO% sat, et dans la fenêtre de calibration OD, cliquer sur Avancé.

Dans le menu Avancé, cliquer sur Editor et saisir les coefficients uniques de la membrane qui se trouvent sur la fiche d'instructions expédée avec le capuchon du capteur d'OD.
Remarque: les coefficients de calibration sont associés à des capuchons de capteurs spécifiques. Ils ne peuvent pas été utilisés avec d'autres capteurs d'OD.

5 Stocker le capuchon du capteur.
Le capuchon du capteur est expédié dans un conteneur humidifié et doit être stocké dans un environnement 100% humide. Avant l'installation, s'assurer que le recipient contenant le capuchon est toujours humide. Dés l'installation du capuchon sur le capteur, maintainir ces conditions humides en versant environ 1 cm d'eau (déionisée, distilled, du robinet ou millieu aquatique) au fond de la coupelle de calibration, puis en la fermant hermétiquement pour empêcher l'évaporation de l'eau. Vous pouvez aussi stocker le capteur en immergeant l'extrémité du capuchon dans l'eau.

Si un capteur pH est également installe, ne pas le nerger dans de I'eau distillée.
Les capteurs pH et pH/redox requiérènt deux conditions spécifiques : ils ne doivent pas être stockés dans de l'eau distillée ou déionisée, et l'électrode de referencia ne doit jamais s'assécher. Un stockage est dit « de longue durée » dans le cas d'une longue période d'inactivité (en hiver, fin de la saison de surveillance, etc.). Un stockage est dit « de courte durée » lorsque la sonde est utilisée à intervalles réguliers (tous les jours, toutes les semaines, tous les quinze jours, etc.).

1 Stockage de courte durée
En cas d'utilisation régulière sur le terrain, le capteur doit rester installé dans la sonde dans un environnement d'air saturé d'eau. Laisser environ 1 cm d'eau (déionisée, distillée, du robinet ou milieu aquatique) au fond de la coupelle de calibration. Puis introduire la sonde et le capteur dans la coupelle et la fermer hermetiquement pour empêcher l'évaporation de l'eau. (Pour plus d'informations, se reporter à la partie « Stockage de courte durée de la sonde »).

2 Stockage de longue durée.
Retirer le capteur de la sonde et insérer l'extrémité sensible dans le flacon dans lequel le capteur a été expédé. Installer le joint torque et le bouchon sur le flacon, puis serrer. Ce flacon contient une solution tampon pH 4 à 2 moles. Si cette solution est indisponible, les utilisateurs peuvent stocker le capteur dans de l'eau du robinet.

Ne pas stocker le capteur pH/redox dans une on Zobell.

3 Réhydrater l'electrode de reference.
Si le capteur pH s'est asseché, laisser tremper le capteur pendant quelques heures (de préférence pendant toute la nuit) dans une solution à 2 moles (2 M) de chlorure de potassium (KCl). Pour creer une solution 2 M KCl, dissoudre 74,6 g de KCl dans 500 mL d'eau distilled ou déionisée. Si le KCl est indisponible, l'eau du robinet ou une solution tampon pH 4 peut le replacer. Si le capteur est irrémédiablement endommagé, les utilisateurs doivent replacer le module du capteur.
6.13
Capeurs pH et pH/redox
Maintenance
Les capteurs pH et pH/redox require un entretien régulier afin de désencrasser les éléments sensibles. Les éléments polluants peuvent ralentir le temps de réponse du capteur. Nettoyer les capteurs lorsque des dépôts, le biofouling ou toute autre contamination apparaissent sur le verre, ou lorsque le temps de réponse du capteur diminue de façon perceptible. Retirer le capteur de la sonde avant de suivre les étapes de nettoyage suivantes. Ne pas tenter de récycler ou de frottier les ampôules. Les ampôules sont très fragiles et vont se briser si une pression suffisamment forte est exercée dessus. Entretenir les connecteurs selon les directives figurant dans la partie « Connecteurs »

1 Tremper dans une solution savonneuse. Tremper le capteur pendant 10-15 minutes dans de l'eau claire et quelques gouttes de liquide vaisselle. Àpres l'imprégnation, rincer le capteur à l'eau et inspector. Si des éléments polluants subsistant ou si le temps de réponse ne s'améliore pas, continuer avec la solution HCI.

2 Tremper dans une solution HCI. Tremper le capteur pendant 30-60 minutes dans de l'acid chlorhydrique (HCI) à une mole (1 M). Ce reactif est en vente chez la plupart des distributeurs. Àpres l'imprégnation HCI, rincer le capteur à l'eau du robinet et le laisser tremper pendant une heures dans de l'eau claire. Remuer l'eau de temps en temps. Puis rincer de nouveau le capteur à l'eau du robinet et tester le temps de réponse. Si le temps de réponse ne s'améliore pas ou si vous suspectez un encrassement biologique du diaphragme, passez à l'étape ci-dessous. Si le HCI est indisponible, tremper le capteur dans du vinaigre blanc.

! Suivre attentivement les instructions du fabricant de HCI afin d'eviter tout risque de blessure.
3 Tremper dans de I'eau de javel.
Tremper le capteur pendant environ une heures dans une dilution 1:1 d'eau de javel et d'eau du robinet. Avres l'impregnation, rincer le capteur a l'eau du robinet et le laisser tremper pendant au moins une heures dans de I'eau claire (plus longtemps si possible). Ensuite, rincer de nouveau le capteur à I'eau du robinet et tester le temps de réponse.
Les capteurs pH et pH/redox EXO sont dotés de modules replacables (599795 et 599797) en raison de la réduction electrolytique qui est nécessaire pour effectuer ce type de mesures. Nous recommendons aux utilisateurs de replacer ces modules aussi souvent que nécessaire, en général tous les ans ou tous les deux ans s'ils sont stockés correctement en cas d'inutilisation. Leur durée de fonctionnement va dépendre des conditions d'utilisation. Effectuer cette manipulation dans un laboratoire propre et dans une atmophère sèche.

1 Retirer le vieil autocollant et I'obturateur.
Enlever et jeter l'autocollant qui fait la jonction entre le corps du capteur et le module. Puis, à l'aide d'un petit tournevis à bout plat, enlever le petit obturator en caoutchouc se trouvant dans la bague en plastique dur à la base du module du capteur.

Attention : toujours agir avec précaution en cas
d'utilisation d'outils pointus ou potentiellement dangereux.

2 Retirer et jeter le module usage.
Pour le retirer, vous effectuerez deux mouvements simultanés.
- Avec vos doigs, serrez la bague en plastique dur du module afin de comprimer l'espace laissez par l'obturator caoutchouc.
- Tirer fermement sur le module afin de le séparer du corps du capteur, en effectuant un léger mouvement de bascule si nécessaire.
Remarque: le retrait du peux module rend les joints toriques inutilisables. Pour éviter des fuites majores et fonctionnelles, ne pas tenter de réinstaller un module avec des joints toriques endommages.
Jetez le module selon les directives de votre entreprise, ou returnez-le au fabricant pour son recyclage.

3 Inspector et entretenir la cavité du connecteur Inspector la cavité du corps du capteur pour rechercher d'eventuels résidus ou traces d'humidity. Si nécessaire, nettoyer avec un chiffon non pelucheux ou un petit jet d'air comprimé.




4 Inspector et assurer l'entretien des joints toriques du nouveau module.
S'assurer que les deux joints toriques ne sont ni entaillés ni fissures. Recherche la presence eventuelle d'impuretés ou de particules. Si un dommage est décelé, replacer les joints toriques à l'aide des éléments fournis dans le kit du module. Puis appliquer une fine couche de lubricifant Krytox sur chaque joint torque. Si l'utiliseur enlève un module qui est en bon état de marche, il doit replacer les joints toriques avant utilisation.
5 Insérer un nouveau module.
Aligner les broches situées à la base du module avec les fentes se trouvant dans le corps du capteur. De par sa conception, le module du capteur ne peut être inséré que dans un seul sens. Dès que le module est aligné, exercer une vivé pression jusqu'àu déclic.Nettoyer tout excès deGRAISSSE pouvant apparaitre sur les élémentsassemblés.
6 Poser un nouvel autocollant.
Enrober la jonction du module et du corps du capteur avec l'autocollant neuf qui est fourni dans le kit du module. Cet autocollant maintain la jonction propre et retient l'obturator caoutchouc pendant l'utilisation du capteur.
7 Calibrer de nouveau le capteur.
Calibrer le capteur pH ou pH/redox après avoir remplaced un module. Avres la calibration, le capteur est pret a l'emploi sur le terrain.

Racleur
Maintenance et stockage
Suivre les instructions suivantes pour remplaçer la Brosse du racleur et le dispositif de protection de la brosse qui sont intégrés au module du racleur central sur la sonde EXO2. Nous recommendons de remplaçer le racleur entre chaque utilisation afin d'éviter un transfert de résidus qui pourrait comprometter la calibration et la collecte des données. Le racleur requiert un minimum de précautions pour un stockage de longue et de courte durée. Les utilisateurs peuvent démonter le racleur ou le laisser dans la sonde. S'il reste installé dans la sonde, l'utiliseur devra suivre les consignes relatives au stockage de la sonde. Si l'utiliseur le retire de la sonde, le racleur doit être stocké dans une atmôspère sèche et dans son emballage d'origine pour le protégger contre d'eventuels dégâts matériels.

1 Remplacer larosse du racleur.
Desserer la vis de blocage avec une clé six pans 1,27 mm.
Enlever la Brosse usagée et nettoyer les résidus présents sur l'axe et l'embout du racleur.
Installer une nouvelle brosse en appuyer doucement sur l'axe du racleur.
Serrer la vis de blocage en appliquant un couple de serrage de 4 livres-pouces (0,45 Nm). Tout en serrant, balancer lentement la Brosse pour garantir un parfait positionnement contre l'axe D.
Vérifier l'ajustement du racleur en le balançant légèrement dans les deux sens, sous un angle de 5 degrés.

2 Remplacer le dispositif de protection de la brosse. Desserrer la vis a tete cylindrique (6-32 x 9,52 mm) à l'aide d'une cle six pans 2,77 mm.
Noter la position de la protection, puis enlever la piece usagée et nettoyer tout résidu provenant du carter du moteur.
Enlever la protection de la bande adhesive à l'intérieur du dispositif de protection de la Brosse.
Vérifier si la Brosse est dans sa position normale. Installer avec précaution la nouvelle protection de la Brosse en gardant la même position que l'ancienne (centre entre les ports 1 & 6 et avec la Brosse centree dans son logement (cf. figure ci-contre)). Serrer a fond la vis de blocage.
Remarque : l'adhesif qui facilitite l'installation peut rendre difficile le repositionnement de la protection du racleur.
Penser à bien marquer la position de l'ancienne protection avant de l'enlever et d'instructor la nouvelle au même endroit. S'assurer que la nouvelle protection est alignée avec la fiche femelle 4 broches au fond du capteur, et qu'elle est correctement centrefee entre les ports 1 et 6 après l'installation du racleur dans la sonde.
Les cables de terrain EXO sont robustes et peuvent fonctionner sans problème pendant plusieurs années s'ilts sont correctement entretenus. comme pour tous les cables de terrain, leurs fiches sont particulièrement vulnérables. Faire particulièrement attention aux connecteurs et les protégger contre tout dommage matériel.

1 Inspector et nettoyer les cables.
Inspector les connecteurs et eliminer toutes les impuretés détectées à l'aide d'un jet d'air compré. Les utilisateurs doivent aussi appliquer une fine couche de graisse Krytox sur les broches mâles des connecteurs si cela s'avère nécessaire. Cependant, il vaut mieux faire usage de la graisse avec parcimonie qu'avoc excès. Un excès de graisse peut favoriser une contamination. Pour garantir des performances durables, inspector régulièrement le cable afin de déceler d'eventuelles entailles et traces d'usure.

2 Stockage du cable.
Le cable doit rester installé sur la sonde afin de protégger les connecteurs. Si nécessaire, les utilisateurs peuvent le retarder de la sonde, mais ils doivent prendre des précautions particulières pour protégger les connecteurs. Stocker le cable dans un lieu sur, à l'abri de la lumière directe du soleil. Si le cable est aéré, s'assurer que la protection est placee sur l'entrée du dessiccateur.
Les sondes EXO contiennent beaucoup d' éléments en alliage de cuivre bénéficiant de propriétés antifouling afin d'empecher la croissance d'organismes aquatiques. Des périodes d'utilisation prolongées et des zones d'eauux hautement productives peuvent occasionner un encrassement biologique sur le matériel qui doit être nettoyé régulièrement. Voir également les consignes relatives au nettoyage des différents capteurs.

1 Eliminer les légères incrustations.
Retirer la protection antifouling de la sonde. Si la protection est recouverte d'une fine couche de vase ou de filaments, éliminer le film biologique avec un chiffon imbibé d'eau et quelques gouttes de liquide vaisselle dégraissant. Rincer la protection à l'eau claire et inspector.

2 Tremper pour éliminer les incrustations massives. Retirer la protection antifouling de la sonde. Si la protection est recouverte d'une épaissé couche de filaments ou anatifes, la tremper pendant 10-15 minutes dans de l'eau claire avec quelques gouttes de liquide vaisselle dégraissant. ÀpRES l'imprégnation, rincer la protection à l'eau claire et inspector.

3 Frotter pour éliminer les incrustations massives. Si l'encrassement biologique résiste, utiliser une petite brosse dure ou un grattoir en plastique afin d'éliminer les incrustations sans forcer. Puis nettoyer la protection avec un chiffon humide et savonneux, et rincer.
En cas d'utilisation continue dans une eau salée, une anode sacrificielle est nécessaire. Installer l'anode (599595) dans un port du capteur afin de protégger les métaux de la sonde contre la corrosion. Le kit anode contient une base solide et deux anodes replacables qui vont se dissoudre peu à peu.
Les sondes EXO sont dotées de connecteurs enchichables en immersion qui réduisent considérablement les problèmes auxquels sont confrontés les connecteurs traditionnels. Cependant, ces connecteurs doivent être entretenus correctement afin d'en tirer le meilleur parti. Le respect de ces instructions contribue à minimiser le risque d'apparition de problèmes.
Ne jamais introuille un corps étranger dans un connecteur fénette. Utiliser exclusivement la graisse Krytox pour lubrifier les surfaces de contact des connecteurs.

1 Connecteurs fémilles à 6 broches.
Ces connecteurs se trouvent sur les cables de terrain, la prise auxiliaire EXO2 et le terminal EXO. Inspector régulièrement les connecteurs afin de détecter d'eventuelles traces de contamination. Si vous découvert des impuretés, vous pouvez les eliminer avec un léger jet d'air comprime. Avant la première utilisation, appliquer une légère couche deGRAisse Krytox sur la surface de contact en caoutchouc située en haut du connecteur. La fiche doit toujours être branchée sur la sonde lorsqu'elle n'est pas utilisée.

2 Connecteurs mâles à 6 broches.
Ces connecteurs se trouvent sur les cables de terrain en haut de la sonde. Inspector regulierement les connecteurs afin de détecter d'eventuelles traces de contamination. Si vous découvert des impuretés, vous doivent les eliminer avec précaution. Avant la première utilisation, appliquer une légère couche de graisse Krytox sur la surface de contact en caoutchouc du connecteur (y compris sur les parties caoutchouc des broches). La fiche doit toujours être branchée sur la sonde lorsqu'elle n'est pas utilisé.

3 Connecteurs des capteurs (4 broches)
Ces connecteurs se situent sur les manchons de la sonde et les capteurs. Inspector régulièrement les fiches fémelles de ces connecteurs hermaphrodites ainsi que la prise entière afin de détecter d'eventuelles traces de contamination. Si vous découvert des impuretés, vous pouvez les éliminer avec un léger jet d'air compré. Avant la première utilisation, appliquer une légère couche deGRAISS Krytox sur la surface en caoutchouc du connecteur du capteur.

4 Remplacer I'ecrou de blocage.
Si I'ecrou de blocage situé à proximite du connecteur du capteur est usé, les utilisateurs peuvent le remplacer (599668 pour le capteur ou 599669 pour le racleur central EXO2).
Commencer par-retirer la bague de retenue en insererant l'extrémité d'un petit tournevis à tête plate sous le rebord de la bague et soulever. Sortir la bague de son logement en tirant dessus.
Faire glisser l'écrou de blocage et le remplacer. Installer une nouvelle bague de retenue en soulevant un côte avec un tournevis, et l'ajuster dans son logement. Utiliser le tournevis pour bien positionner la bague.
Porter des lunettes de protection pendant l'installation de la bague de retenue.
Il existe deux types de cellules de mesure EXO : la cellule de mesure EXO1 (599080) et la cellule de mesure EXO2 (599201). Le débit de la cellule se situe généralement entre 100 mL et 1 L par minute. Le débit maximal dépend du type, de la taille et de la longueur du tubage. La pression maximale est de 25 psi pour chaque cellule.

1 Démonter la cellule de mesure.
Pour nettoyer la cellule de mesure après utilisation, dévisser etsterol la sonde de la cellule.
Désassembler la cellule en dévissant la base du collier de serrage. Enlever le tube de la cellule en séparant doucement la base et le tube. Le collier de serrage reste sur le tube grâce à la bague de retenue en acier inoxydable.
Répéter cette opération pour démonter le haut de la cellule.

2 Nettoyer la cellule de mesure.
Utiliser de l'eau et un détermgent doux pour nettoyer les éléments de la cellule.

3 Remonter la cellule de mesure.
Vérifier si les joints toriques et le filtage sont propres et exempts de toutes particules (sable, corps étrangers ou impuretés). Appliquer une fine couche de graisse pour joint torque ou de vaseline sur les deux joints toriques places sur le tube de la cellule.
S'assurer que les joints toriques et les bagues de retenue en acier inoxydable sont bien positionnés sur le tube.
Pousser la base de la cellule sur le tube jusqu'à ce qu'elle soit en place. Cela garantit l'étanchéité. Visser le collier de serrage sur la base en le tournant dans le sens des aiguilles d'une montre; ne pas utiliser d'outil et ne pas serrer excessivement.
Répéter la même opération pour raccorder le haut de la cellule sur le tube.
Cette page est volontairement vierge
REMARQUE: pour plus d'informations sur la santé, la sécurité et l'élimination des reactifs, vous pouze télécharger la FDS valable pour le produit chimique concerné sur les sites internet des fabricants EXO: www.ysi.com ou www.wtw.de.
Premiers secours pour toutes les solutions
| Inhalation | Mettre la victime à l'air libre. En cas de génere respiratoire, donner de l'oxygène. Si les symptômes persistent, consulter un médecin. |
| Contact avec la peau | Enlever les vêtements contaminés et les laver. Laver au savon et à l'eau pendant au moins 15 minutes. Si l'irritation persististe, consulter un médecin. |
| Contact avec les yeux | Rincer immédiatement et abondamment à l'eau, y compris sous les paupières, pendant au moins 15 minutes. Si l'irritation persististe, consulter un médecin. |
| Ingestion | Se rincer la bouche à l'eau et boire de l'eau abondamment. Si les symptômes persistent, consulter un médecin. |
Solutions de conductivité
3161, 3163, 3165, 6167, 3168 et 3169
Ingrédients : eau, chlorure de potassium
Inhalation :
Eviter de respirer les vapeurs ou le brouillard de pulverisation. L'inhalation de poussières peut provoquer une irritation des voies respiratoires. Garantir une bonne circulation de l'air avant toute manipulation.
Peau :
Une exposition prolongée peut provoquer une irritation. Porter des vêtements légers, des gants, des bottes et un tablier de protection.
Yeux:
Peut provoquer une irritation et des léasons oculaires en cas d'exposition prolongée. Porter des lunettes de sécurité avec des protections laterales ou un masque de protection.
Ingestion :
Peut provoquer une irritation de la bouche ou de la gorge et une indigestion. Porter un masque s'il y a un risque d'éclaboussures. Conserver à l'écart des aliments et boissons. Ne pas avaler.
Premiers secours : cf. tableau à gauche.
Solutions tampons pH 4, 7, 10
3821, 3822 et 3823
- Ingrédients pH 4 : eau, biphtalate de potassium, colorant alimentaire rouge
Ingrédients pH 7 : eau, phosphate de potassium monobasique, hydroxyde de sodium, colorant alimentaire jaune
Ingrédients pH 10 : eau, hydroxyde de potassium, EDTA disodique dihydrate, borate de potassium, carbonate de potassium, bleu de bromophénol sel de sodium, vert de bromophénol sel de sodium
Inhalation :
Eviter de respirer les vapeurs ou le brouillard de pulverisation. L'inhalation de poussières peut provoquer une irritation des voies respiratoires. Garantir une bonne circulation de l'air avant toute manipulation.
Peau :
Une exposition prolongée peut provoquer une irritation. Porter des gants en caoutchou ou néoprène.
Yeux:
Peut provoquer une irritation et des lésions oculaires en cas d'exposition prolongée. Porter des lunettes de sécurité avec des protections latérales ou un masque de protection. Ne pas porter de lentilles de contact pendant la manipulation.
Ingestion :
Peut provoquer des nausees, vomissements ou diarrhees. Porter un masque s'il y a un risque d'élaboussures. Ne pas avaler. Ne pas faire vomir.
Premiers secours: cf. tableau à la page 111.
Solution Zobell
3682
Ingrédients : chlorure de potassium, ferrocyanure de potassium trihydrate, ferricyanure de potassium
Inhalation :
L'inhalation de poussières peut provoquer une irritation des voies respiratoires. Garantir une bonne circulation de l'air avant toute manipulation.
Peau :
Une exposition prolongée peut provoquer une irritation. Porter des vêtements légers, des gants, des bottes et un tablier de protection.
Yeux:
Peut provoquer une irritation. Porter des lunettes de sécurité avec des protections laterales ou un masque de protection.
Ingestion :
Peut provoquer une indigestion. Porter un masque s'il y a un risque d'éclaboussures. Conserver à l'écart des aliments et boissons. Ne pas avaler. Si l' individu a ingéré de grosses quantités et est conscient, le faire vomir.
Premiers secours: cf. tableau à la page 111.
Etalonde turbidite
6073
Ingrédients : eau, billes de copolymère styrène divinylbenzène
Cette substance n'est pas volatile et n'a pas d'effets néfastes connus en cas de contact avec la peau ou les yeux, ni en cas d'inhalation ou d'ingestion. C'est pourquoi la manipulation de ces solutions étalons ne requiert aucune précaution particulière. Cependant, il faut prendre les précautions d'utilisation avec la manipulation de telles substances afin de minimiser toute exposition inutile.
Premiers secours: cf. tableau à la page 111.
Rayons ultraviolets
Le capteur MODf diffuse un rayonnement ultraviolet (rayonnement UV) qui peut etre nocif pour les yeux, meme en cas de contact de courte durée. Ne pas regarder directement le faisceau lumineux a I'extrémité du capteur et porter des lunettes de sécurité pendant la manipulation des LED UV.
7.2
Radiofréquence
Xylem certifie que la gamme de produits EXO a ete testee, qu'elle est conforme aux normes sur les interfrences radioelectriques suivantes et qu'elle est homologue pour une utilisation dans les pays suivants :
- Etats-Unis : FCC partie 15
Canada: RSS - Union Européenne (UE) : CE
Australia:CISPR 11 - Nouvelle-Zélande : CISPR 11
La technologie sans fil Bluetooth et des autorisations réglementaires similaires peuvent être spécifiques à certains pays. Consulter la réglementation locale en vigueur pour s'assurer que l'utilisation de produits sans fil provenant de Xylem ou de ses filiales est en parfaitie conformité avec la loi.
Par la presente, le soussigné déclare que les produits numérés ci-dessous satisfont pleinement aux dispositions applicables de la partie 15 des règlements FCC pour les États-Unis et Industrie Canada (IC) NMB-003 pour le Canada, valables pour les émetteurs d'ondes et instruments numériques.
Nom des appareils: Sondes EXO (EXO1 et EXO2) et terminaux portatifs EXO
Numeros des modeles : 599501-xx, 599511-xx, 599502-xx, 599512-xx, 599150
Emetteurs d'ondes et instruments numériques: Les sondes EXO (EXO1 et EXO2) contiennent le module LMX Bluetooth. FCC ID ED9LMX9838; IC 1520A-LMX9838. Boïtier certifié par Nemko ID #CE 2302. Le terminal portatif EXO (599150) contient un module Wi-Fi/Bluetooth : FCC ID U9RW2CBW003; IC 7089A-W2CBW003. Boïtier certifié par Nemko ID #CE 2302.
Règlements : · FCC 47 CFR partie 15-2011, appareils émettant des fréquences radio.
- IC ICES-003-2004, appareils numériques.

Lisa M. Abel, Directeur de la qualité
7 juin 2012
Par la presente, le soussigné déclare que les produits enumerated ci-dessous sont conformes aux principales dispositions applicables dans les directives et normes suivantes et portent le marquage CE.
Nom des appareils: Sondes EXO (EXO1 et EXO2) et terminaux portatifs EXO
Numérodesmodeles:599501-xx,599511-xx,599502-xx,599512-xx,599150
Accessoires/capteurs : 599090-xx, 599100-xx, 599101-xx, 599102-xx, 599104-xx, 599118-xx, 599800, 599810, 599870-xx, 599040-xx, 599008-xx, EXOISE0x
Emetteurs d'ondes et instruments numériques: Les sondes EXO (EXO1 et EXO2) contiennent le module LMX Bluetooth. Le terminal portatif EXO (599150) contient un module Wi-Fi/Bluetooth. Boîtier certifié par Nemko ID #CE 2302.
Directives :
CEM 2004/108/CE
R&TTE 1999/5/CE
ROHS 2002/95/CE
- DEEE 2002/96/CE modifiee par 2003/108/CE et 2008/34/CE
Normes harmonisées :
- EN61326-1:2006, Matériel électrique de mesure, de commande et de laboratoire - Exigences CEM - Partie 1 : Exigences générales.
- EN61326-2-3:2006, Matériel électrique de mesure, de commande et de laboratoire - Exigences CEM - Partie 2-3 : Exigences particulières - Configuration d'essay, conditions de fonctionnement et critères d'aptitude à la fonction des transducteurs avec un système de conditionnement du signal intégré ou à distance.
- EN61000-3-2:2006+A1:2009+A2:2009, Compatibilité electromagnétique (CEM) - Partie 3-2 : Limites - Limites pour les émissions de courant harmonique (courant appelé par les apparciels <16A par phase).
- EN61000-3-3:2008, Compatibilité electromagnétique (CEM) - Partie 3-3 : Limites - Limitation des variations de tension, des fluctuations de tension et du papillotement dans les reseaux publics d'alimentationasse tension, pour les matériels ayant un courant assigné < 16A par phase et non soumis à un raccordement conditionnel.
- EN 300 328, V1.7.1, Compatibleité electromagnétique et spectre radioélectrique (ERM); systèmes de transmission large bande, équipements de transmission de données fonctionnant dans la bande ISM 2,4 GHz et utilisant des techniques de modulation par étatlement du spectre; Norme Européenne harmonisée couvrant les exigences essentielles de l'article 3.2 de la directive R&TTE.
- EN 301 489-1, V1.8.1, Compatibleité electromagnétique et spectre radioélectrique (ERM); Norme de compatibilité electromagnétique (CEM) concernant les équipements et services de communication radio; Partie 1: exigences techniques communes.
- EN 301 489-17, V2.1.1, Compatibleité electromagnétique et spectre radioélectrique (ERM); Norme de compatibilité electromagnétique (CEM) concernant les équipements et services de communication radio; Partie 17: exigences spécifiques pour les systèmes de transmission de données large bande.
- EN 60950-1:2001/ A11:2004, Matériel de traitement de l'information - Sécurité - Partie 1 : Exigences générales.
Par la presente, le soussigné déclare que les produits énumérés ci-dessous sont conformes aux exigences de Compatibility électromagnétique (CEM) applicables en Australie et Nouvelle Zélande pour des produits génériques utilisables dans un environnement résidentiel et commercial ou dans l'industrie légère, et portent le marquage C-Tick.
Nom des appareils: Sondes EXO (EXO1 et EXO2) et terminaux portatifs EXO
Numeros des modeles: 599501-xx, 599511-xx, 599502-xx, 599512-xx, 599150
Accessoires/capteurs : 599090-xx, 599100-xx, 599101-xx, 599102-xx, 599104-xx, 599118-xx, 599800, 599810, 599870-xx, 599040-xx, 599008-xx, EXOISE0x
Emetteurs d'ondes et instruments numériques: Les sondes EXO (EXO1 et EXO2) contiennent le module LMX Bluetooth. Boftier certifié par Nemko ID #CE 2302. C-Tick numéro N136.
Le terminal portatif EXO (599150) contient un module Wi-Fi/Bluetooth. Boitier certifié par Nemko ID #CE 2302. C-Tick numéro N136.
Directives :
CEM 2004/108/CE
- Normes australiennes ACMA pour le marquage C-Tick, Partie 182 de la loi sur la radiocommunication de1992.
- Normes de Nouvelle-Zélande RSM, Loi sur la radiocommunication de 1992.
Normes harmonisées :
- EN61326-1:2006, Matériel électrique de mesure, de commande et de laboratoire - Exigences CEM - Partie 1 : Exigences générales.

Lisa M. Abel, Directeur de la qualité
7 juin 2012

Garantie de l'appareil
Carte de garantie
Enregistrez votre produit avec la carte de garantie en ligne : www.EXOwater.com/warranty
Les sondes et capteurs EXO sont garantis pendant deux ans et le terminal portatif EXO pendant trois ans contre tout défaut matériel et de fabrication, à l'exclusion des piles et
des dommages causés par des piles défectueuses, s'ils
- sont utilisés aux fins prévues et si leur maintenance est
- conforme aux instructions. Tous les cables sont garantis
- pendant un an.
La fréquence de la maintenance des sondes et capteurs
- est déscribe dans la partie Maintenance de ce manuel
- (comme le remplacement des joints toriques endommagés
- par ex.). Les utilisateurs sont tenus de suivre ces directives.
- pour garder leur matériel en bon état de marche et pour
- pouvoir bénéficier de la garantie. Tout dommage d' à des
sinistres, à une utilisation non conforme, à une modification
ou au manquement à l'entretien du produit conformément aux instructions n'est pas couvert.
Cette garantie ne s'applique pas aux piles ni aux dommages causés par des piles défectueuses. Comme indiqué dans la partie Maintenance de ce manuel, les piles doivent être retirees des sondes et du terminal lorsque le produit n'est pas utilisé. Etant donné qu'un grand nombre de fabricants de piles dont réparer ou replacer tout matériel endommagé par leurs piles, il est primordial que les piles nonétanches ou défectueuses soient conservées avec le produit endommagé jusqu'à ce que le fabricant ait évalué les revendications à l'égard du produit.
La période de garantie des produits chimiques et reactifs depend de la date d'expiration inscrite sur leursétiquettes.
Pendant la période de garantie, nous nous engageons à réparer ou à remplacer, gratuitem et à notre seule discrétion, tout produit que nous pouvons déterminer comme étant couvert par cette garantie.
Pour faire valorir cette garantie, écrivez ouappelez votre représentant local, ou contactez le support technique. Envoyez le produit et la preuve d'achat en port-payé au centre de dépannage agreeé et sélectionné par le fabricant. La réparation ou le remplacement seront effectuels et le produit vous sera returné en port payé. Les produits réparés ou replacés sont garantis jusqu'à l'expiration de la période de garantie initiale, ou pour une période d'au moins 90 jours à compter de la date de réparation ou de remplacement.
Limitation de garantie
Cette garantie ne s'applique pas a tout produit EXO endommagé ou Presentsant des dysfonctionnements (i) dus a une installation, exploitation ou utilisation du produit d'une façon non conforme aux instructions écrites, (ii) dus aux abus ou a une mauvaise utilisation du produit, (iii) dus au manquement à l'entretien du produit conformément aux instructions écrites ou aux procédures industrielles normales, (iv) dus a une réparation non conforme du produit, (v) dus a l'utilisation de composants ou éléments défectueux ou non conformes lors de l'entretien ou de la réparation du produit, ou (vi) dus a une modification du produit d'une façon non exprésément autorisé par le fabricant. CETTE GARANTIE REMPLACE TOUTES LES AUTRES GARANTS, EXPRESSES OU INDUITES, Y COMPRIS LES GARANTIES DE COMMERCIABILITE OU D'ADAPTATION A UN USAGE PARTICULIER. LA RESPONSASIBILITE D'YSI SELON LES TERMES DE CETTE GARANTIE SE LIMITE A LA REPARATION OU AU REMPLACEMENT DU PRODUIT, CONSTITUANT VOTRE SEUL ET UNIQUE RECOURS POUR TOUT PRODUIT DEFECTUEUX COUVERT PAR CETTE GARANTIE. YSI NE POURRA EN AUCUN CAS ETRE TENU POUR RESPONSABLE DE DOMMAGES SPECIFIQUES, INDIRECTS, ACCIDENTELS OU CONSECUTIFS RESULTANT DE L'UTILISATION DE TOUT PRODUIT DEFECTUEUX COUVERT PAR CETTE GARANTIE.
Les centres de dépannage agreés EXO se trouvent aux Etats-Unis et partout dans le monde. Veuillez consulter le site internet EXO (EXOWater.com) pour partager le centre le plus proche de votre domicile.
Formulaire de回头 de produits
Téléchargez le formulaire de return de produits: www.EXOWater.com/return
Certificat de nettoyage
Téléchargez le certificat de nettoyageitué au versodu formulaire de retour de produits : www.EXOWater.com/return
Instructions pour le nettoyage
Avant de pouvoir procéder à leur entretien, les équipements en contact avec des matières biologiques, radioactives ou toxiques doivent être nettoyés et désinfectés. Une contamination biologique est supposée concerner tout apparéil, capteur ou autre équipement ayant été utilisé avec des liquides ou tissus organiques, ou avec des eaux usées. Une contamination radioactive est supposée concerner tout apparéil, capteur ou autre équipement ayant été utilisé à proximité d'une source radioactive.
- Si un apparéil, capteur ou autre élément est returné ou
représenté au centre de dépannage sans certificat de
nettoyage, et si nous jugeons qu'il présente un risque
biologique ou radioactif potentiel, notre personnel se
réserve le droit de refuser le dépannage tant que le - matériel n'aura pas ete nettoyed et decontaminede façon
- appropriee et que le certificat ne sera pas rempli. Nous
- contacterons l'expéditeur pour lui donner les instructions
- relatives à l'élimination du matériel. Les frais d'élimination seront à la charge de l'expéditeur.
Si un dépannage est nécessaire, soit dans l'établissement de l'utilisateur, soit dans l'atelier du fabricant, les étapes suivantes doivent être suivies pour garantir la sécurité de notre personnel.
- Décontaminer toutes les surfaces exposées (y compris les conteneurs) en respectant les instructions relatives à l'entretien de l'appareil concerné. L'alcool isopropylique à 70% ou une solution d'eau de javel (60 ml) pour environ 3,5 litres d'eau du robinet convennant dans la plupart des cas. Les-appareils ayant eté en contact avec les eaux usées peuvent etre désinfectés avec 0,5% de Lysol si cela convient mieux a I'utilisateur.
- L'utilisateur doit prendre les précautions habituelles pour empêcher une contamination radioactive et doit utiliser des méthodes de décontamination appropriées si une contamination se produit.
- Si une contamination a eu lieu, le client doit certifier que la décontamination a été effectuee et qu'aucune radioactivite n'est decelable par un appeareil de mesure de radioactivite.
- Le nettoyage doit être terminé et certifié avant tout return d'un produit.
Instructions pour l'emballage
- Nettoyer et décontaminer les produits pour garantir la sécurité du manutentionnaire.
- Compléter et expédier le formulaire de回头 de produits (teléchargeable).
- Placer le produit dans un sac plastique pour le protégger contre les impuretés et empêcher tout contact avec le matériel d'emballage.
- Utiliser un carton de grande taille, de préférence celui d'origine, et emballer le produit dans son intégralité.
Piles
L'utilisateur doitsteroler et jeter les piles alcalines lorsqu'elles n'alimentent plus les sondes EXO1, EXO2 ou le terminal portatif EXO. Les exigences relatives à la mise au rebut varient selon les pays et régions, et les utilisateurs sont tenus de comprendre et de suivre la reglementation locale en vigueur concernant la mise au rebut des piles.
Le circuit imprimé de ces apparèils peut conténir une pile bouton au lithium-dioxyde de manganèse qui doit être en place pour la continuité de l'énergie fournie aux périphériques de stockage. Cette pile ne peut pas être réparée ni remplaçaee par l'utilisateur. Si besoin, un centre de dépannage agréé vaPTRRer cette pile et l'éliminer de façon appropriée, selon la politique d'entretien et de réparation en vigeur.
Fabricant
Nous nous engage ons a reduire l'empreinte environnementale de nos produits. Bien que la reduction des materiaux soit notre but ultime, nous savons aussi qu'un effort concerte doit etre fourni pour gerer de maniere responsable le traitement des materiaux apres un cycle de vie long et productif.Notre programme de recyclage garantit que I'ancien materiel est traité d'une maniere ecologique, en réduisant la quantite de materiaux finissant dans les décharges.
- Les circuits imprimés sont envoyés dans des usines quitraitent et récapèrent le plus grand nombre de matérielles possible en vue de leur recyclage.
- Les matieres plastiques entrent dans un processus de recyclage et ne sont pas incinéres ni envoyées dans des décharges.
- Les piles sont retirees et envoyées chez des recycleurs pour la récapération des métaux.

Notice Facile