TFX 420 - Thermomètre Ebro - Notice d'utilisation et mode d'emploi gratuit
Retrouvez gratuitement la notice de l'appareil TFX 420 Ebro au format PDF.
| Caractéristiques techniques | Thermomètre numérique Ebro TFX 420 avec affichage LCD, précision de mesure de ±0,5°C, plage de mesure de -50°C à +200°C. |
|---|---|
| Utilisation | Idéal pour la mesure de la température dans divers environnements, y compris les laboratoires, l'industrie alimentaire et les applications domestiques. |
| Maintenance et réparation | Nettoyer régulièrement l'appareil avec un chiffon doux. Remplacer les piles lorsque l'affichage devient faible. |
| Sécurité | Éviter l'exposition à des températures extrêmes et à l'humidité excessive. Ne pas plonger l'appareil dans l'eau. |
| Informations générales | Garantie de 2 ans, conforme aux normes CE, livré avec un manuel d'utilisation détaillé. |
FOIRE AUX QUESTIONS - TFX 420 Ebro
Questions des utilisateurs sur TFX 420 Ebro
0 question sur cet appareil. Repondez a celles que vous connaissez ou posez la votre.
Poser une nouvelle question sur cet appareil
Téléchargez la notice de votre Thermomètre au format PDF gratuitement ! Retrouvez votre notice TFX 420 - Ebro et reprennez votre appareil électronique en main. Sur cette page sont publiés tous les documents nécessaires à l'utilisation de votre appareil TFX 420 de la marque Ebro.
MODE D'EMPLOI TFX 420 Ebro
Consignes de sécurité 7
Déballage / pieces livrées 9
Utilisation 11
Activation/désactivation de l'appareil............11
Affichage. 13
Mesurer la temperature. 13
Menu User. 15
Enregistreur de mesures (TFX 420/430) ....23
Changer le sonde 25
Changer la batterie 27
Que faire, quand... 31
Entretien et mise au rebut 33
Nettoyage 33
Elimination 33
Service de calibrage 33
Données techniques 35
Homologations 37
Operation 37

Übersicht
Ce thermomètre de précision est un instrument maniable et étanche alimenté par une pile au lithium échangeable, destinée à de multiples prises de mesures et tâches de contrôle au laboratoire et dans l'industrie.
L'électronique est commandeé par un microprocesseur. Ceci garantit des valeurs exactes et linéaires sur toute la plage de mesures.
Vous pouvez connecter différentes sondes ebro à ce thermomètre TFX 410-1 et TFX 430. Choisissez toujours la sonde la vente adaptée aux conditions techniques de votre prise de mesures. Le TFX 410 est un modele avec une sonde fixe.
Composants de l'appareil TFX 410:
1 Affichage (LCD)
2 Touche ON/OFF
3 La touche est uniquement nécessaire pour le menu User
4 La touche est uniquement nécessaire pour le menu User
5 La touche est uniquement nécessaire pour le menu User
6 Sonde
Composants de l'appareil TFX 420/430:
1 Affi chage (LCD)
2 Touche ON/OFF
3 Touche MIN/MAX / menu User
4 Touche HOLD / menu User
5 Touche CLR / menu User
6 Sonde
Sicherheitshinweise

Consignes de sécurité

N'exposez pas l'instrument à de haute températures (>60^ / 140^)!
N'effectuez jamais de mesures avec l'appareil et les sondes externes sur des éléments sous tension!
N'utilisez pas l'instrument en atmosphere explosive!
Utilisez l'instrument seulement selon les paramètres spécifique dans les Caractéristiques techniques.
Ouvrez l'instrument seulement si expressement décrit dans le mode d'emploi pour but de la maintenance.
Utilisez l'instrument sans le force.
Débarrasssez-vous des piles vides selon les réglementations de l'environnement.
Vous pouvez nous returner l'instrument directement à la fin de sa vie de service. Nous recyclons l'instrument selon les règlements en vigueur.
Précautions
Le thermomètre TFX doit être protégés contre:
- l'électricité statique,
- Les chocs thermiques causés par d'importants ou de brusques changements de température - laissez le thermomètre se stabiliser pendant 30 minutes avant de l'utiliser,
- Ne laïsez pas le thermomètre sur ou à proximé d'objets à température élevée
Déballage / pieces livrées
Veuillez vérifier des réception que l'emballage et son contenu sont complets et intacts. Vérifiez également si le contenu de l'emballage correspond bien à votre commande.
Éléments contenus dans l'emballage
Les éléments suivants sont fournis dans l'emballage:
Thermomètre
- La présente manuel d'utilisation
Le certificat de calibrage
Différents accessoires peuvent en outre être fournis.
Accessoires possibles
| Description | Désignation |
| Etui en similicuir, long | AG120 |
| Coffret | AG130 |
| Enveloppe de protection | AG140 |
| Support plastique | AG150 |
| Support acier inox | AG160 |
| Set de change de pile | AG170 |
| Cable de prolongation silicone 1,0 m | AX110 |
En cas de réclamation, n'hésitez pas à nous contacter. Vous trouvez les renseignements correspondants au dos de ce manuel.
Bedienung
- Pour allumer le thermomètre, la touche ON/OFF (2) doit être pressée pendant environ une seconde.
L'appareil réalise en premier lieu un test du système, pendant lequel tous les segments employés selon le type de thermometer s'affichent pendant environ 1 seconde.
Après ce test automatique, le thermometer s'eteint en mode de mesure et la
première valeur mesurée en °C s'affiche. Le thermomètre est maintainant prét à fonctionner.
Si un message d'erreur s'affiche, consultez la page 31,
«Que faire, quand...».
- Appuyez sur le bouton ON/OFF pour éteindre l'appareil.

TFX410

TFX420/430

TFX430
Anzeige
Les informations utiles s'affichent sur le LCD (Liquid Crystal Display).
Les symboles ont la signification suivante:
1 Affichage des valeurs mesurées actuelles
2 Etat de charge de la pile
3 Indicateur de tendance positif
4 Signe moins (valeur mesurée négative)
5 Indicateur de tendance négatif
6 Affichage des valeurs mesurées et des textes mémorisés
Si l'ajustement spécial est activé «SCAL» sera montré dans l'affichage pour un short tandis que.
Mesurer la temperature
Fixez dans le menu User l'unité de mesure souhaitatione (^ ou ^ F)
- Mettez la sonde en position.
REMARQUE: N'employez la sonde que conformément aux usages prévus.
Vous évitez ainsi tout risque de faisse mesure.
- Attendez que la valeur mesurée soit stabilisée. Les symboles suivants s'affichent pour indiquer la tendance: un triangle avec la pointe vers le bas pour les températures décroissantes (4) et un triangle avec la pointe vers le haut pour les températures croissantes (3).
- Quand la valeur mesurée se stabilise, l'indicateur de la tendance s'eteint.
- À la fin de la mesure, éteignez l'instrument en appuyant sur ON/OFF.
User-MENU
Pour modifier le réglage de l'appareil,
vous doivent acceder au menu utiliser.
Pour ce faire, procédez comme suit:
Condition préalable: L'appareil doit être désactivement
- Appuyez sur la touche ON/OFF (2) et tenez-la pressée. Le test des segments s'affiche environ 1 seconde.
- Dés que le type de l'appareil «TFX» s'affiche sur le display, reliçchez la touche ON/OFF (2).
- Appuyez ensuite sur la touche inférieure et tenez-la appuyée jusqu'à ce que «USER» puis «MENU» s'affichent sur le display.
L'appareil est maintainant en mode de réglage et affiche le menu utiliser. Ce dernier est constitué des options UNIT, SHOWN et RATE, ALARM, AL LO, AL HI et SCAL.
Utilisation du menu
- La touche droite (4) permet de seLECTIONner le prochain point du menu.
- La touche gauche (3) permet de retrouver le point précédent du menu.
- La touche inférieure (5) permet de développer l'option selectionnée du menu, celle-ci sera également mémorisée.
- La touche ON/OFF (2) permet de quitter le menu. L'appareil s'eteint automatiquement.



unite de températe active, commutable de ^ C en ^
SHDWN
Désactivation automatique au bout de 2 heures de fonctionnement
- ON = Désactivation activée
- OFF = Désactivation désactivée
REMARQUE:
Pour prolonger la durée de vie des piles, activez l'arrêt automatique. Si en revanche vous désirez effectuer des mesures sur de longues durées, veuillez désactiver l'arrêt automatique.
RATE
Fréquence de mesure en secondes, régblable de 1...15 secondes. La valeur affichée correspond à la fréquence de mesure en secondes programmée.



ALARM (que pour le TFX 430)
Marche/arrêt de l'alarme
- ON = alarmé allumée
- OFF = alarmé éteinte
- Pression sur le bouton du milieu = marche/arrêt de l'alarme
ALLO (que pour leTFX430)
Seuil inférieur de la plage de mesure souhaitatione
- Pression sur le bouton du milieu = déverrouillage
- Pression sur le bouton gauche/droit = augmentation/diminution du seuil inférieur
- Pression sur le bouton du milieu = sauvegarde de la valeur du seuil inférieur et verrouillage contre toute modification
AL HI (que pour le TFX 430)
Seuil supérieur de la plage de mesure souhaitatione
- Pression sur le bouton du milieu = déverrouillage
- Pression sur le bouton gauche/droit = augmentation/diminution du seuil supérieur
- Pression sur le bouton du milieu = sauvegarde de la valeur du seuil supérieur et verrouillage contre toute modification

SCAL (que pour le TFX 430)
Activation/Deactivation dessus du juste mention spécifique d'annonce
- ON = a activités autre
- OFF = clef mise hors
- Pression sur le bouton du milieu = marche/ arrêt du justment special d'announce
Enregistreur de mesures (TFX 420/430)
Pendant une mesure, les valeurs maximale et minimale sont mémorisées. Effacez le contenu de la mémoire avant de proceder à une nouvelle mesure.
Afficher le contenu de la mémoire
- Appuyez d'abord une fois sur la touche MIN/MAX (3). L'affichage indique «MIN» et la valeur la plus BASSE recueillie pendant la mesure en cours.
- Appuyez une nouvelle fois sur la touche MIN/MAX. L'affichage indique « MAX » et la plus haute valeur recueillie pendant la mesure en cours.
Pour revenir à la mesure de la température, appuyez une nouvelle fois sur la touche MIN/MAX.
Mémoriser la valeur courante
- Appuyez sur la touche HOLD (4).
L'indication «HOLD» s'affiche. La valeur courante est alors的记忆e et reste affichée jusqu'à ce que vous désactiviez la fonction HOLD en appuyant de nouveau sur la touche HOLD.
Effacer la mesure méorisée
- Appuyez sur la touche CLR (5). Le contenu de la mémoire est effacé.



Messfuhler wechseln
HINWEIS:
Le thermomètre a eté calibre en usine. Si vous adaptez une autre sonde, la precision de la mesure peut en etre réduite.
Pour changer le capteur, vous devez proceder comme suit:
- Prenez le capuchon (de TFX430, allez diriger 2 directement) de la sonde aux creux prévus et tournez-le par 60^ contre le sens horaire. Il faut franchir la résistance opposée par le capuchon au début de la rotation.
- Détirez le capuchon en bas. Ne tirez pas par le tuyau de la sonde!
Maintenant, le connecteur de la sonde est visible.
- Saisissez le connecteur et tirez la sonde en bas.
Ne tordez pas le connecteur! - Attachez une nouvelle sonde ou un cable de rallonge au connecteur et vérifie la fermété du contact. Il connecteur doit être encliquèté!
- Faites glisser le capuchon sur le connecteur, et tournez-le par 60^ dans le sens horaire afin de bloquer la connexion (pas avec TFX430). De cette manière la étanchéité de la connexion est maintainue!

Le symbole de la batterie sur l'écran vous montre si elle est chargée.

Pile chargee

Pile chargee

Pile sous peu épuisé

Changement de pile nécessaire
Pour échanger la batterie de lithium, l'appareil doit être ouvert. Veuillez procédé de la manière suivante:

Protégez-vous des décharges electrostatiques pendant le changement de batterie par des mesures de précaution appropriées comme p. ex. par une sangle de poignet relié à la terre! Les décharges electrostatiques peuvent détruire l'appareil!
- Avec le modele TFH610 la protection de sonde doit etre deviseee d'abord!
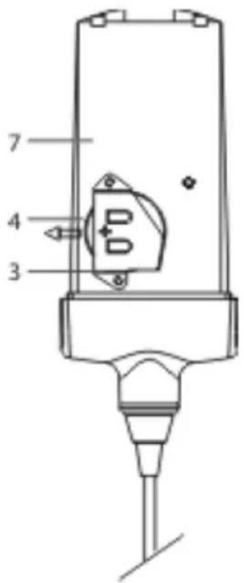
- Retirez d'abord prudemment les deux bouchons engomme (1) sur le dessous de l'appareil, p. ex. avec une pincette.
- Dévissez maintainant complètement les deux vis cruciformes visibles (2) avec un tournevis adaptable (PZ1).
Tenez l'appareil par le bas (3) dans une main et avec l'autre main enlevez prudemment la partie supérieure (4) vers le haut, jusqu'à ce que la platine de l'appareil soit libre.

Deutsch
Vous voyagez maintainant la platine (7) le crochet de la batterie (3) avec la batterie (4).
- Retirez la batterie usagée du crochet dans le sens de la flèche.
- Prenez la nouvelle batterie avec des doigts propres et poussez la dans le crochet. Le plus doit monrer vers le haut donc être visible.
- Remontez le thermomètre en suivant les instructions dans l'ordre inversé et ne dépassez pas le couple de serrage de 0,4 Nm.
- Prenez garde que le joint d'étanchéité repose bien dans la rainure entre les parties supérieure et inférieure du boîtier. C'est la condition sine qua non pour garantir l'étanchéité.
- N'oubliez pas de réinsérer les deux bouchons de plastique dans les perforations prévues à cet effet (la partie légarement biseautée vers le haut).
Was tun, wenn...
Les messages Hi ou LO s'affichent à l'écran
| Cause possible | Dérangement ré-solu |
| Limite de mesure dépassée | Respecter limite de mesure |
| Sonde défectueux | Appeler le service de dépannage |
| Connexion prises mâle / fémelle | Vérifier la connexion: la prise doit s'encliqueter |
| Valeur sous la li-mite e mesure | Respecter limite de mesure |
| Court-circuit dans le capteur | Appeler le service de dépannage |
| Aucune sonde n'est connectée | Connectez la sonde |
| Sonde cassée | Changez la sonde |
Entretien et mise au rebut
Nettoyage
Essuyez l'appareil avec un tissu humide. Vous pouvez utiliser de l'alcool isopropyl pour désinfecter.
N'utilisez pas de solvant (de l'acétone par exemple), car cela attaque le plastique.
Elimination
Si l'appareil ne peut plus fonctionner pour quelques raison que ce soit, veuillez leMETRE au rebut de maniere appropriée.
Ne jeter surtout pas l'appareil dans les déchets menagers.
Jeter les batteries dans les points de ramassage prévus.
Service de calibrage
Pour parfaire la précision de mesure, l'appareil doit etre calibre une fois par an. Vous pouvez dispose de notre service de calibrage.
Nous rappelons vous appeareil tous les ans pour qu'il soit recalibré. Nous vous retard nons en suite le thermomètre calibre sous huit jours.
Technische Daten
Messbereich
Serie 410 -50°C...+300°C (-60°F...+580°F)
Serie 420 -50°C...+400°C (-60°F...+760°F)
Serie 430 -100°C...+500°C (-150°F...+930°F)
Messfuhler
Serie 410/420 Pt 1000
Serie 430 Pt100
Messprinzip
Température de service
Serie 410/420
-25°C...+50°C (-13°F...+122°F)
Serie 430
-20°C...+50°C (-4°F...+122°F)
Température de stockage
-30°C...+70°C (-22°F...+158°F)
Résolution 0,1^ / 0,2^
Résolution TFX430
0.01 °C/0.02 °F de
-100,00°C...+199,99°C (°F),
0,1°C / 0,1°F Reste
Exactitude
Serie 410/420
± 0,3^ / ± 0,5^; I'appareil sans
sonde
± 0,3^ / ± 0,5^; I'appareil avec
sonde et fabrique calibrage
Serie 430
± 0,05^ (± 0,08^) de
± 0,4% de valeur mesurée reste;
I'appareil avec sonde et fabrique
calibrage
Intervalle de mesure 1-15 secondes
Temps de réponse T90 eau en mouvement
Sonde en verre
env. 70 s
autres sondes
env.8s
Temps de réponse T90 eau immobile
Sonde en verre
env. 90 s
autres sondes
env. 10 s
Pile Lithium 3 V/1 Ah, type CR 2477
Durée de vie de la pile
env. 5 ans
Extinction automatique après 2 heures,
désactivés
Dimensions 109 × 54 × 22 mm (Lxlxh)
Boitier A
Indices de protection
IP67
Masse env. 90 g
Maximum altitude
Zulassungen
Selon le certificat de conformité, ce produit est conforme à la directive CEM.
Vous trouvez des informations,des modes d'emploi et des déclarations de conformité sur www.ebro.com
Opération
Opération est soumise aux deux conditions suivantes:
(1) ce dispositif ne doit pas provoquer des interférences nuisibles, et
(2) ce dispositif doit accepter toute interférence reçue, Y compris celles susceptibles de provoquer un fonctionnement.
Les changements ou modifications de l'appareil peut restirer à l'utilisateur de faire fonctionner l'équipement.
Notice Facile