T40 - Tapis de course Duke Fitness - Notice d'utilisation et mode d'emploi gratuit
Retrouvez gratuitement la notice de l'appareil T40 Duke Fitness au format PDF.
| Caractéristiques techniques | Tapis de course Duke Fitness T40, moteur de 2.5 HP, vitesse maximale de 16 km/h, inclinaison électrique jusqu'à 15 niveaux. |
|---|---|
| Dimensions | Dimensions de la surface de course : 130 x 45 cm, dimensions totales : 160 x 75 x 135 cm. |
| Poids maximum utilisateur | 120 kg. |
| Utilisation | Idéal pour un usage domestique, entraînements variés avec programmes préenregistrés. |
| Maintenance | Lubrification de la bande de course tous les 6 mois, vérification régulière des vis et des connexions. |
| Sécurité | Système d'arrêt d'urgence, protection contre les surcharges. |
| Informations générales | Écran LCD affichant la vitesse, la distance, le temps et les calories brûlées, connectivité Bluetooth pour applications de fitness. |
FOIRE AUX QUESTIONS - T40 Duke Fitness
Questions des utilisateurs sur T40 Duke Fitness
0 question sur cet appareil. Repondez a celles que vous connaissez ou posez la votre.
Poser une nouvelle question sur cet appareil
Téléchargez la notice de votre Tapis de course au format PDF gratuitement ! Retrouvez votre notice T40 - Duke Fitness et reprennez votre appareil électronique en main. Sur cette page sont publiés tous les documents nécessaires à l'utilisation de votre appareil T40 de la marque Duke Fitness.
MODE D'EMPLOI T40 Duke Fitness
1.1 Caracteristiques techniques 7
1.2 Sécurité personnelle 8
1.3 Sécurité électrique 9
1.4 Emplacement 10
2 MONTAGE 11
2.1 Instructions generales 11
2.2 Contenu de la livraison 12
2.3 Montage 13
3 MODE D'EMPLOI 15
3.1 Affichage de la console 16
3.2 Fonctions des touches 17
3.3Programmes 18
3.3.1Programme Quick-Start 18
3.3.2 Programmes basés sur des objectifs 18
3.3.3Programmesa profil predefinis 19
3.3.4Programmesdefinisparl'utilisateur 22
3.4 Contrôle du taux de graisse corporelle 23
4.1 Instructions generales 24
4.2 Mecanism de pliage 24
4.2.1 Repliage du tapis de course 25
4.2.2 Dépliage du tapis de course 25
4.3 Roulettes de déplacement 26
5 DÉPANNAGE, ENTRETIEN ET MAINTENANCE 27
5.1 Instructions generales 27
5.2 Defaute s et diagnostic des pannes 27
5.3 Codes de defaults et dépannage 28
5.4 Entretien et maintenance 29
5.4.1 Ajustement du tapis de course 29
5.4.2 Resserrage du tapis de course 30
5.4.3 Lubrification du tapis de course 30
5.5 Calendrier d'entretien et de maintenance 31
6 ELIMINATION 31
7 ACCESSOIREs RECOMMANDES 32
8 COMMANDES DE PIECES DE RECHANGE 33
8.1 Numéro de série et désignation du modele 33
8.2 List des pieces 34
8.3Vue eclatede 37
9 GARANTIE
38
10 CONTACT 40
Nos you remercions d'avoir opté pour un appeareil de fitness Duke Fitness. Duke Fitness you propose des apparcils de fitness qui vous aident à commencer un entrainement régulier, à rester en forme et à réduire votre poids. Nous voulons vous aider à atteindre vos objectifs de fitness rapidement et durablement et nous espérons que votre nouvel équipement de fitness vous y aidera. Cependant, si vous avez d'autres questions concernant votre entrainement ou votre équipement de fitness ou si vous souhaitez compléter votre équipement de fitness existant avec des accessoires supplémentaires, n'hésitez pas à nous contacter. Nous vous souhaitons tout le succès possible!
Votre team fitness de Sport-Tiedje et Duke Fitness
Pour de plus amples informations, veuillez consulter le site www.sport-tiedje.com.
Utilisation conforme
L'appareil doit être utilisé uniquement aux fins auxquelles il est destiné.
L'appareil est destiné exclusivement à une utilisation à domicile. L'appareil n'est pas adapté à un usage semi-professionnel (par ex. hôpitaux, clubs, hotels, établissements scolaires etc.) ni à une application commerciale ou professionnelle (par ex. salle de gym).
MENTIONS LÉGALES
Sport-Tiedje GmbH
N°1 du fitness à domicile en Europe
Tribunal d'instance de Flensburg
N°d'identification de TVA : DE813211547
EXCLUSION DE RESPONSABILITÉ

©2019 Duke est une marque déposée de la société Sport-Tiedje GmbH. Tous droits réservés. Tout utilise de cette marque sans l'autorisation écrite de Sport-Tiedje est interdite.
Le produit et le manuel peuvent faire l'objet de modifications. Les données techniques sont sujettes à changement sans préavis.
À PROPOS DE CE MODE D'EMPLOI
Veuillez tire attentivement leprésent mode d'emploi dans son intégralité avant le montage de l'appareil et sa première utilisation. Le spécifique mode d'emploi est là pour vous aider à monterrapidement l'employé et à le manipuler en toute sécurité. Veillez impérativement à ce que tous lesutilisateurs de l'employé (notamment les enfants et les personnes représentant un handicap physique, sensoriel, mental ou moteur) aient préalablement pris connaissance du besoin mode d'emploi et de son contenu. En cas de doute, l'employé doit être utilisé sous la surveillance d'une personne responsable.

Cet apparéil a été concu conformément aux dernières avances en matière de sécurité. Il est protégé au moins de toute source de danger susceptible de provoquer des blessures. Assurez-vous que l' apparéil a bien été monté conformément aux instructions fournies et que toutes les pieces de l' apparéil sont correctement fixées. Si nécessaire, remédiez aux défauts eventuels en vous reportant au mode d'emploi.
Veuillez respecter scrupuleusement les consignes de sécurité et de maintenance indiquées. Toute autre utilisation peut cause des blessures, endommager l'appareil et provoquer des accidents dont le fabricant et le distributeur ne peuvent assumer aucune responsabilité.
Lors de votre lecture, vous serez améné à rencontres les notes de sécurité suivantes :
ATTENTION
Ce symbole indique des situations dans lesquelles le non-respect des consignes peut entrainer des dommages matériels.
PRUDENCE
Ce symbole indique des situations dans lesquelles le non-respect des consignes peut entrainer des blessures legères!
A VERTISSEMENT
Ce symbole indique des situations dans lesquelles le non-respect des consignes peut entrainer des blessures graves, voir mortelles!
DANGER
Ce symbole indique des situations dans lesquelles le non-respect des consignes peut entrainer des blessures très graves, voir mortelles!
① REMARQUE
Voutrouverez ici d'autres informations utiles.
Conserve soigneusement ce mode d'emploi de sorte qu'il soit accessible pour toute information sur les travaux de maintenance et les commandes de pieces de rechanges.
1.1 Caracteristiques techniques
Affichage LCD de:
+Durée de l'entraînement en min.
+ Vitesse en km/h
+Distance d'entrainement en km
+ Calories en kcal
+Inclinaisonen%
+ Fréquence cardiaque (avec utilisation des capteurs tactiles)
Type de moteur : moteur DC avec puissance continue de1,75 CV
Vitesse :
1 -16 km/h
Touches de mains courantes (vitesse): 2
Touches de seLECTION rapide (vitesse) 3
Inclinaison: 0 - 10%
Touches de mains courantes (inclinaison) : 2
Touches de selection rapide (inclinaison) : 3
Nombre total de programmes: 43
Programme Quick-Start: 1
Programmes basés sur des objectifs : 3
Programmes a profil predefinis: 36
Programmes definis par l'utilisateur: 3
Contrôle du taux deGRAISSÉ corporelle:1
Poids et dimensions :
Poids de l'article (brut, emballage inclus) : 57,5 kg
Poids de l'article (net, sans emballage) : 48,5 kg
Dimensions de l'emballage (L x I x h): 168 cm x 75 cm x 29,5 cm
Dimensions d'installation (L x I x h): 148,9 cm x 67,7 cm x 130,6 cm
Dimensions d'installation (L x l x h): env. 93,5 cm x 67,7 cm x 130,6 cm
Poids utilisateur maximal : 100 kg
1.2 Sécurité personnelle
DANGER
- Avant la première utilisation de l'appareil, nous vous recommendons de demander l'avis d'un médecin afin qu'il juge de la possibilité ou non de vous entraîner avec cet apparéil. Ces dispositions sont particulièrement applicables aux personnes qui ont une prédisposition génétique à l'hypertension ou aux maladies cardiaques, sont âgées de plus de 45 ans, fument,présentent un taux de cholestéine elevé, sont en surpoids et/ou n'ont pas pratique régulièrement de sport au cours de l'année passée. Si vous prenez un traitement médicamentieux susceptible de générer des troubles du rythme cardiaque, l'avis d'un médecin est impératif.
- Nous vous rappelons qu'un entrainment excessif peut sérieusement comprometter votre santé. Veuillez notes également que les systèmes de surveillance de la fréquence cardiaque ne sont pas toujours précis. Dès que vous percevez des sensations de faiblesse, de nausee, de vertiges, de douleurs, d'essoufflement ou d'autres symptômes anormaux, interrompez votre entrainment et consultez votre medecin en cas d'urgence.
A VERTISSEMENT
- Cet apparéil n'est pas conscience pour une utilisation par les enfants de moins de 14 ans.
-
Les enfants ne doivent pas etre laisses sans surveillance a proximite de l'appareil.
-
Les personnes handicapées doivent bénéficier d'une autorisation Médicale et rester sous étroite surveillance lors de l'utilisation de tout apparéil d'entrainment.
-
L'appareil ne doit pas etre utilise simultanement par plusieurs personnes.
-
Si vous appeareil dispose d'une clé de sécurité, attachez le clip sur vos vêtements avant chaque entrainement. La fonction d'arrêt d'urgence de l'appareil peut ainsi se déclencher en cas de chute.
- Maintenez eloignes les mains, les pieds et autres parties du corps ainsi que les cheveux, vêtements, bijoux et autres objets des pièces mobiles.
- Évitez de porter des vêtements amples ou volants pendant l'entrainment. Préférez une tenue de sport adaptée. Portez des chaussures de sport adaptées, de préférence avec des semelles en caoutchou ou autre matériel au antidéraptant. Évitez de porter des chaussures à talon, avec semelles en cuir, à clous ou à crampons. Ne vous entraîné jamais pieds nus.
PRUDENCE
- Si vous doivent brancher toute fois l'acid et la glycine, ne donnant pas le contrôle sur les autres substances.
- Durant l'entrainment, assurez-vous que personne ne se trouve dans la zone de mouvement de l'appareil.
ATTENTION
- Ne placez aucun objet dans les ouvertures de l'appareil.
1.3 Sécurité électrique
DANGER
- Pour limiter les risques de chic electrique, débranchez toujours le cable de l'appareil de la prise de courant des que vous avez terminé l'entrainment, avant d'assembler ou de désassembler l'appareil ainsi qu'avant de proceeder à une maintenance ou à un nettoyage de l'appareil. Ne tirez pas sur le cable.
A VERTISSEMENT
- Ne laisser que pas l'appareil sans surveillance tant que le cordon d'alimentation reste branché dans la prise murale. Debranchez le cordon d'alimentation de la prise murale pendant votre absence afin d'éviter toute utilisation impropre de l'appareil par des tiers ou des enfants.
- Si le cable d'alimentation ou le cordon d'alimentation est endommagé ou défectueux, adressez-vous à votre revendeur. jusqu'à la réparation, l'appareil ne doit pas être utilisé.
ATTENTION
L'appareil doit etre branché sur une prise electrique de 220-230V a une frquence de 50Hz
+ L'appareil doit toujours être branché directement sur une prise de terre avec le cable d'alimentation fourni. Les rallonges doivent être conformes aux directives VDE. Déroulez toujours entièrement le cable d'alimentation.
+ La prise de courant doit etre protegee par un fusible a action retardede 16A au minimum.
+ N'effectuez aucune modification sur le cable d'alimentation ni sur le cordon d'alimentation.
+ Protégez le cable d'alimentation de l'eau, de la chaleur, de l'huile et des arêtes vives. Ne laissez pas le cable d'alimentation passer sous l'appareil ou sous un tapis et ne posez aucun objet dessus.
1.4 Emplacement
A VERTISSEMENT
- Evitez de placer l'appareil dans un passage principal ou sur une échappée.
PRUDENCE
- Assurez-vous que la salle d'entrainment soit correctement aérée pendant l'entrainment et qu'elle ne soit pas exposée aux courants d'air.
- Choisissez l'emplacement de manière à disposer d'un espace libre suffisant (zone de sécurité) à l'avant, à l'arrière et sur les cots de l'appareil.
- L'appareil doit se trouver sur une surface plane, résistante et solide.
ATTENTION
- L'appareil doit être utilisé uniquement dans un local suffisamment aéré et sec (température ambiente entre 10^ et 35^ ). L'utilisation de l'appareil est interdite en plein air ou dans des locaux représentant un taux d'humidité élevé (plus de 70% ) tels que les piscines.
- Utiliser un tapis de protection pour ne pas endommager les sols de qualite supérieure (parquet, stratifie, lieges, tapis) par des marques de pression ou des taches de transpiration et pour compenser les legeres inegalités du sol.

2.1 Instructions generales
DANGER
- Ne laisserEZ pas les outils ainsi que les materiaux d'emballage, comme les films de protection, sans surveillance: ils representent un danger pour les enfants (risque d'etouffement). Tenez les enfants éloignés de l'appareil pendant le montage.
A AVENTISSEMENT
- Le tapis de course dispose d'amortisseurs haute pression qui risquent d'entrainer un dépliage soudain de l'appareil en cas de mauvaise manipulation. Pour éviter tout risque de blessures, ne tirez jamais aux emplacements du tapis de course indiqués sur la figure. N'essayez jamais de soulever ou de déplacer l'appareil aux endroits indiqués.
+Respectez les consignes apposées sur l'appareil pour réduire les risques de blessures.

PRUDENCE
-
N'ouvrez pas l'emballage sur le cote.
-
Pendant l'assemblage, veilles à dispose r d'un espace suffisant pour vous déplacer tout autour de l'appareil.
- L'assemblage de l'appareil doit être effectué par au moins deux adultes. En cas de doute, demandez l'aide supplémentaire d'une pierce personne ayant de bonnes connaissances techniques.
ATTENTION
- Pour éviter tout endommagement de l'appareil et du sol, procédez au montage de l'appareil sur un tapis de sol ou sur le carton d'emballage.
① REMARQUE
- Pour facilitier le montage, des vis et des écrous peuvent être prémontés.
- Assemblez l'appareil si possible sur l'emplacement qui lui est réservé.
2.2 Contenu de la livraison

AVERTISSEMENT
Le tapis de course est entouré d'une bande de cerclage qui empêche l'appareil de se déplier pendant le transport. Cette bande de cerclage doit être retiree avant le montage de l'appareil.
L'emballage comprend les pieces représentées ci-après. Vérifie que l'ensemble des pieces et outils appartenant à l'appareil sont compris dans la livraison et assurez-vous que l'appareil n'a pas été endommaged pendant le transport. En cas de réclamation, veuillez contacter immédiatement votre contractant.

PRUDENCE
Si le contenu de la livraison est incomplet ou si des pieces sont endommagées, ne montez pas l'appareil.

Cadre principal avec unité de console



Clé de sécurité Huile de silicone





Grande vis à six pans creux à tête plate (M83520) 2x
Outil à usage multiple 1x

Vis à six pans creux à tete plate (M8*10) 4x
Clé pour vis à six pans creux 6 mm 1x
2.3 Montage
Avant de proceder à l'assemblage de l'appareil, observez bien attentivement les étapes de montage représentées et effectuez-les dans l'ordre indiqué.
① REMARQUE
Vissez d'abord toutes les pieces sans les serrer et vérifie qu'elles sont correctement ajustées. Vous y serez invite, serrez les vis à l'aide de l'outil correspondant.
Étape 1 : montage des barres de console
ATTENTION
Lors des étapes suivantes, veilles à ne pas coincer les cables.
- Redresse lentement et de maniere uniforme les deux barres de console (3 & 4) et faites coincider les trous de vis.
- Fixez les deux barres de console (3 & 4) sur le cadre principal (1) à l'aide respectivement de une vis (7).
- Serrez les vis à l'aide de l'outil.

Étape 2: montage de l'unité de console
- Redresse l'unité de console (66).
- Fixez l'unité de console (66) sur les deux barres de console (3 & 4) à l'aide de deux vis (7).
- Serrez les vis à l'aide de l'outil.
- Insérez la clé de sécurité dans l'ouverture prévue à cet et sur l'unité de console.

Étape 3: ajustement des pieds
Si le sol presente des inégalités, vous pouvez stabiliser le tapis de course en tournant les deux vis de réglage situées sous le cadre principal.

AVERTISSEMENT
Le tapis de course dispose d'amortisseurs haute pression qui risquent d'entrainer un dépliage soudain de l'appareil en cas de mauvaise manipulation. Vous trouvez des informations plus détaillées au chapitre 2.1 de ce mode d'emploi.
- Soulevez le tapis de course du côte souhaite et tournez la vis de réglage sous le cadre principal.
- Tournez la vis dans le sens des aiguilles d'une montre pour la desserrer et relever la surface de course.
- Tournez la vis dans le sens inverse des aiguilles d'une montre pour abaiser la surface de course.

Étape 4: branchement de l'appareil
ATTENTION
Ne branchez pas l'appareil sur une multiprise; il risque sinon de ne pas etre suisamment alimenté en courant. Cela risque de provoquer des dysfonctionnements.
Branchez le codon d'alimentation dans une prise conforme aux prescriptions indiquées dans le chapitre Sécurité électrique.
① REMARQUE
Avant de commencer l'entraînement, familiarisez-vous avec toutes les fonctions et possibités de réglage de l'appareil. Pour savoir comment utiliser correctement ce produit, demandez les conseils d'un spécialiste.
CLÉ DE SECURITE (SAFETY KEY)
A VERTISSEMENT
- Pour votre sécurité, l'appareil dispose d'une fonction d'arrêt d'urgence. L'appareil ne peut alors fonctionner que si la clé de sécurité est correctement branchée sur le point de contact du cockpit. L'appareil s'arrête automatiquement des que la clé de sécurité est débranchée du point de contact. Attachez par conséquent avant chaque entrainment le cordon de la clé de sécurité sur vos vêtements à l'aide du clip. Retirez la clé de sécurité du cockpit à l'aide du cordon si vous souhaitez arrêterrapidément le tapis de course, si vous ne maitrises plus la vitesse de l'appareil ou dans tout autre cas d'urgence.
- Attachez correctement le clip de la clé de sécurité sur vos vêtements afin que la clé puisse se débrancher du point de contact du cockpit en cas de chute!
- Laissez la clé de sécurité hors de la portée des enfants.
3.1 Affichage de la console

| TIME | + Affichage de la durée d'entrainment en min. + Plage d'affichage : 0:00 - 99:59 + Plage de réglage : 5:00 - 99:00 (par pas de 1 min) |
| DISTANCE (DIS) | + Affichage de la distance d'entrainment en km + Plage d'affichage : 0,0 - 99,9 + Plage de réglage : 1,0 -99,0 watts (par pas de 1,0 km) |
| INCLINE (INC) | + Affichage de l'inclinaison en % + Plage d'affichage : 0 - 10 + Plage de réglage : 0 - 10 (par pas de 1 %) |
| CALORIES (CAL) | + Affichage des calories en kcal + Plage d'affichage : 0 - 999 + Plage de réglage : 20 - 990 watts (par pas de 10 kcal) |
| SPEED | + Affichage de la vitesse en km/h + Plage d'affichage : 1 - 16 km/h + Plage de réglage : 1 - 16 km/h (par pas de 0,1 km/h) |
| PULSE (PUL) | Affichage de la fréquence cardiaque actuelle avec utilisation des capteurs tactiles A VERTISSEMENT Votre appeareil d'entrainment n'est pas un dispositif Médical. La mesure de la fréquence cardiaque n'est pas toujours précise. La précision de la fréquence cardiaque indiquée peut être alterée par différents facteurs. L'affichage de la fréquence cardiaque sert uniquement de référence pour votre entrainment. B REMARQUE Votre fréquence cardiaque s'affiche en même temps que l'inclinaison (INC) dés que vous utilisez les capteurs tactiles. |
3.2 Fonctions des touches

| A | Touches de sélection rapide de l'inclinaison | Touches de sélection directe pour régler l'inclinaison sur 2, 4 ou 8 |
| B | Inclinaison +/- | Touches de réglage de l'inclinaison par pas de 1 % ① REMARQUE Pour modifier l'inclinaison pendant l'entrainment, maintenez appuyée la touche correspondante pendant plus de deux secondes. |
| C | MODE | Touches de sélection parmi trois programmes basés sur des objectifs : + Temps + Distance + Calories ① REMARQUE Vouces pouvez régler les valeurs des programmes basés sur les objectifs à l'aide des touches +/- de réglage de la vitesse. |
| D | STOP Touche d'arrêt du programme | |
| E | START/PAUSE Touche de démarrage ou d'interruption du programme | |
| F | PROGRAM | Touches de sélection parmi 36 programmes à profil prédéfinis |
| G | Vitesse +/- | Touches de réglage de la vitesse par pas de 0,1 pas ① REMARQUE Pour modifier la vitesse pendant l'entrainment, maintenez appuyée la touche correspondante pendant plus de deux secondes. |
| H | Touches de sélection rapide de la vitesse | Touches de sélection directe pour régler la vitesse sur 3, 6 ou 9 km/h |
3.3 Programmes
Les programmes suivants sont disponibles :
+ProgrammesQuick-Start:1
+Programmes basés sur des objectifs:3
+Programmesa profil predefinis:36
+Programmes definis par l'utilisateur:3
3.3.1 Programme Quick-Start
- Pour démarrer le programme Quick-Start, appuyez sur la touche START/PAUSE.
L'écran compte de 5 à 1 avant d'émettre un bip sonore puis le programme démarre.
① REMARQUE
La vitesse réglee par défaut est de 1km / h
- Pour modifier la vitesse ou l'inclinaison, utilisez les touches correspondantes sur la console ou sur les mains courantes.
- Appuyez sur la touche START/PAUSE pourmettre le programme en pause ou sur la touche STOP pour arreter le programme.
3.3.2 Programmes basés sur des objectifs
Les programmes basés sur des objectifs peuvent être utilisés en fonction du temps, de la distance ou des calories.
- Pour selectionner un programme basé sur des objectifs, appuyez sur la touche MODE.
① REMARQUE
Lorsque vous appuyez sur la touche MODE, l'écran affiche les valeurs dans l'ordre Temps Distance Calories.
La valeur correspondant au programme selectionné clignote.
- Pour modifier la valeur, utilisez les touches de vitesse +/- sur la console ou sur la main courante.
- Pour démarrer le programme, appuyez sur la touche START/PAUSE.
L'écran compte de 5 à 1 avant d'émettre un bip sonore puis le programme démarre.
La valeur correspondant au programme fait l'objet d'un compte à rebours jusqu'à zéro tandis que les autres valeurs sont comptées à partir de zéro.
① REMARQUE
Vouss pouvez modifier l'inclinaison et la vitesse pendant l'entraînement à l'aide des touches correspondantes sur la console ou les mains courantes.
- Appuyez sur la touche START/PAUSE pourmettre le programme en pause ou sur la touche STOP pour arreter le programme.
3.3.3 Programmes à profil prédéfinis
36 programmes à profil sont disponibles.
- Pour selectionner un programme a profil predefini, appuyez sur la touche PROGRAM.
① REMARQUE
Lorsque you appuyez sur la touche PROGRAM, I'ecran affiche les programmes dans l'ordre P1-P36:
Dés que vous sélectionnez un programme, la durée clignote.
- Pour modifier la durée, utilisez les touches de vitesse + / - sur la console ou sur la main courante.
- Pour démarrer le programme, appuyez sur la touche START/PAUSE.
L'écran compte de 5 à 1 avant d'émettre un bip sonore puis le programme démarre.
① REMARQUE
Vous pouvez modifier l'inclinaison et la vitesse pendant l'entrainment à l'aide des touches correspondantes sur la console ou les mains courantes.
- Appuyez sur la touche START/PAUSE pourmettre le programme en pause ou sur la touche STOP pour arreter le programme.
| SectionProgramme | 1 2 3 | 45678 | 9 10 | ||||||||
| P1 | SPEED 1.0 | 3.0 5.0 5 | 0 5.0 7.0 | 7.0 5.0 3 | 0 2.0 | ||||||
| INCLINE 2 | 2 8 6 6 4 | 4 6 2 2 | |||||||||
| P2 | SPEED 2.0 | 3.0 5.0 8 | 0 5.0 5.0 | 6.0 8.0 4 | 0 3.0 | ||||||
| INCLINE 3 | 3 2 2 8 8 | 4 4 4 4 | |||||||||
| P3 | SPEED 2.0 | 3.0 7.0 8 | 0 5.0 5.0 | 5.0 8.0 4 | 0 3.0 | ||||||
| INCLINE 1 | 2 5 7 7 4 | 4 6 2 2 | |||||||||
| P4 | SPEED 2.0 | 2.0 5.0 8 | 0 8.0 8.0 | 8.0 5.0 3 | 0 2.0 | ||||||
| INCLINE 3 | 3 9 9 9 9 | 9 6 2 2 | |||||||||
| P5 | SPEED 3.0 | 4.0 8.0 9 | 0 10.0 10 | 0.0 10.0 7 | 0 4.0 3.0 | ||||||
| INCLINE 2 | 2 8 6 6 6 | 6 6 1 1 | |||||||||
| P6 | SPEED 3.0 | 4.0 6.0 7 | 0 7.0 7.0 | 9.0 10.0 | 5.0 3.0 | ||||||
| INCLINE 1 | 8 8 7 7 7 | 7 5 3 1 | |||||||||
| P7 | SPEED 3.0 | 4.0 4.0 1 | 0.0 4.0 9 | 0.4.0 11.0 | 3.0 2.0 | ||||||
| INCLINE | 1 1 6 | 6 6 8 8 1 | 0 6 2 | ||||||||
| P8 | SPEED 3.0 | 5.0 7.0 9 | 0 3.0 5.0 | 7.0 5.0 1 | 1.0 5.0 | ||||||
| INCLINE 3 | 3 3 7 7 3 | 3 3 5 5 | |||||||||
| P9 | SPEED 3.0 | 7.0 10.0 | 4.0 7.0 11 | .0 5.0 4.0 | 12.0 6.0 | ||||||
| INCLINE 3 | 6 7 3 8 8 | 3 8 4 4 | |||||||||
| P10 | SPEED 3.0 | 5.0 9.0 1 | 0.0 6.0 6.0 | 9.0 6.0 | 11.0 3.0 | ||||||
| INCLINE 2 | 7 5 5 8 8 | 8 8 4 4 | |||||||||
| P11 | SPEED 4.0 | 5.0 11.0 | 9.0 6.0 8.0 | 9.0 11.0 | 6.0 5.0 | ||||||
| INCLINE 1 | 6 3 3 7 7 | 4 4 6 6 | |||||||||
| P12 | SPEED 4.0 | 6.0 10.0 | 10.0 10.0 | 7.0 7.0 1 | 0.0 6.0 5.0 | ||||||
| INCLINE 3 | 8 9 5 5 8 | 8 4 4 4 | |||||||||
| P13 | SPEED 2.0 | 4.0 6.0 6 | 0.0 6.0 8.0 | 8.0 6.0 4 | 0 3.0 | ||||||
| INCLINE 3 | 3 9 7 7 5 | 5 7 3 3 | |||||||||
| P14 | SPEED 3.0 | 4.0 6.0 9 | 0.0 6.0 6.0 | 7.0 9.0 5 | 0 4.0 | ||||||
| INCLINE 4 | 4 3 3 9 9 | 5 5 5 5 | |||||||||
| P15 | SPEED 3.0 | 4.0 8.0 9 | 0.0 6.0 6.0 | 6.0 9.0 5 | 0 4.0 | ||||||
| INCLINE 2 | 3 6 8 8 5 | 5 7 3 3 | |||||||||
| P16 | SPEED 3.0 | 3.0 6.0 9 | 0.0 9.0 9.0 | 9.0 6.0 4 | 0 3.0 | ||||||
| INCLINE 4 | 4 10 10 | 0 10 10 | 7 3 3 | ||||||||
| P17 | SPEED 4.0 | 5.0 9.0 1 | 0.0 11.0 | 1.0 11.0 | 8.0 5.0 4.0 | ||||||
| INCLINE 3 | 3 9 7 7 7 | 7 7 2 2 | |||||||||
| P18 | SPEED 4.0 | 5.0 7.0 8 | 0.0 8.0 8.0 | 10.0 11.0 | 6.0 4.0 | ||||||
| INCLINE 2 | 9 9 8 8 8 | 8 6 4 2 | |||||||||
| P19 | SPEED 4.0 | 5.0 5.0 1 | 1.0 5.0 10 | 0.0 5.0 12 | 0 4.0 3.0 | ||||||
| INCLINE 2 | 2 7 7 7 9 | 9 11 7 3 | |||||||||
| P20 | SPEED 4.0 | 6.0 8.0 1 | 0.0 4.0 6.0 | 8.0 6.0 | 12.0 6.0 | ||||||
| INCLINE 4 | 4 4 8 8 4 | 4 4 6 6 | |||||||||
| P21 | SPEED 4.0 | 8.0 11.0 | 5.0 8.0 12 | 0.0 6.0 5.0 | 12.0 7.0 | ||||||
| INCLINE 4 | 7 8 4 9 9 | 4 9 5 5 | |||||||||
| P22 | SPEED 4.0 | 6.0 10.0 | 11.0 7.0 7 | 0.0 10.0 7 | 0 12.0 4.0 | ||||||
| INCLINE 3 | 8 6 6 9 9 | 9 9 5 5 | |||||||||
| P23 | SPEED 5.0 | 6.0 12.0 | 10.0 7.0 | 9.0 10.0 1 | 2.0 7.0 6.0 | ||||||
| INCLINE 2 | 7 4 4 8 8 | 5 5 7 7 | |||||||||
| P24 | SPEED 5.0 | 7.0 11.0 | 11.0 11.0 | 8.0 8.0 1 | 1.0 7.0 6.0 | ||||||
| INCLINE 4 | 9 10 6 6 | 9 9 5 5 5 | |||||||||
| P25 | SPEED 3.0 | 5.0 7.0 7 | 0.0 7.0 9.0 | 9.0 7.0 5 | 0 4.0 | ||||||
| INCLINE 4 | 4 10 8 8 | 6 6 8 4 4 | |||||||||
| P26 | SPEED 4.0 | 5.0 7.0 1 | 0.0 7.0 7.0 | 8.0 10.0 | 6.0 5.0 | ||||||
| INCLINE 5 | 5 4 4 10 | 10 6 6 6 6 | |||||||||
| P27 | SPEED 4.0 | 5.0 9.0 1 | 0.0 7.0 7.0 | 7.0 10.0 | 6.0 5.0 | ||||||
| INCLINE 3 | 4 7 9 9 6 | 6 8 4 4 | |||||||||
| P28 | SPEED 4.0 | 4.0 7.0 1 | 0.0 10.0 | 10.0 10.0 | 7.0 5.0 4.0 | ||||||
| INCLINE 5 | 5 11 11 | 1 11 11 8 | 4 4 | ||||||||
| P29 | SPEED 5.0 | 6.0 10.0 | 11.0 12.0 | 2.0 9.0 | 6.0 5.0 | ||||||
| INCLINE 4 | 4 10 8 | 8 8 8 8 | 3 3 | ||||||||
| P30 | SPEED 5.0 | 6.0 8.0 | 9.0 9.0 | 9.0 11.0 | 12.0 7.0 | 5.0 | |||||
| INCLINE 3 | 10 10 9 | 9 9 9 7 | 5 3 | ||||||||
| P31 | SPEED 5.0 | 6.0 6.0 | 12.0 6.0 | 11.0 6.0 | 12.0 5.0 | 4.0 | |||||
| INCLINE 3 | 3 8 8 8 | 10 10 | 2 8 4 | ||||||||
| P32 | SPEED 5.0 | 7.0 9.0 | 11.0 5.0 | 7.0 9.0 | 7.0 12.0 | 7.0 | |||||
| INCLINE 5 | 5 5 9 9 | 5 5 5 7 | 7 | ||||||||
| P33 | SPEED 5.0 | 9.0 12.0 | 6.0 9.0 | 12.0 7.0 | 6.0 12.0 | 8.0 | |||||
| INCLINE 5 | 8 9 5 1 | 0 10 5 | 10 6 6 | ||||||||
| P34 | SPEED 5.0 | 7.0 11.0 | 12.0 8.0 | 8.0 11.0 | 0 8.0 12 | 0 5.0 | |||||
| INCLINE 4 | 9 7 7 10 | 10 10 10 | 10 6 6 | ||||||||
| P35 | SPEED 6.0 | 7.0 12.0 | 11.0 8.0 | 10.0 1 | 0 12.0 | 8.0 7.0 | |||||
| INCLINE 3 | 8 5 5 9 | 9 6 6 8 | 8 | ||||||||
| P36 | SPEED 6.0 | 8.0 12.0 | 12.0 12.0 | 9.0 9.0 | 0 12.0 8 | 0 7.0 | |||||
| INCLINE 5 | 10 11 7 | 7 10 10 | 6 6 6 | ||||||||
3.3.4 Programmes définis par l'utilisateur
Trois programmes définis par l'utilisateur sont disponibles (U01 - U03) avec chacun dix segments à définitir.
- Pour selectionner un programme defini par l'utilisateur, appuyez sur la touche PROGRAM.
① REMARQUE
Les programmes définis par l'utilisateur sont places dans l'ordre derrière les programmes prédéfinis.
① REMARQUE
Si vous avez déjà créé un programme défini par l'utilisateur, appuyez sur la touche MODE et régler la durée. Appuyez ensuite sur la touche START/PAUSE pour démarrer le programme.
- Appuyez deux fois sur la touche MODE.
La valeur de la vitesse clignote.
- Pour modifier la vitesse, utilisez les touches de vitesse +/- sur la console ou sur la main courante.
- Pour passer à la valeur suivante, appuyez sur la touche MODE.
① REMARQUE
Dés que vous actionnez la touche MODE, la valeur saisie est automatiquement méorisée.
La valeur de l'inclinaison clignote.
- Pour modifier l'inclinaison, utilisez les touches d'inclinaison +/- sur la console ou sur la main courante.
- Pour passer au segment suivant, appuyez sur la touche MODE.
- Répétez les étapes 3 à 6 pour définir les dix segments.
- A pres aovir defini l'inclinaison pour le dernier segment, appuyez de nouveau sur la touche MODE.
La valeur du temps clignote.
- Pour modifier la durée totale du programme, utilisez les touches de vitesse + / - sur la console ou sur la main courante.
- Pour démarrer le programme, appuyez sur la touche START/PAUSE.
L'écran compte de 5 à 1 avant d'émettre un bip sonore puis le programme démarre.
① REMARQUE
Une fois le programme demarré, il est automatiquement mémorisé et peut être démarré immeditatement une prochaine fois après réglage de la durée totale.
- Appuyez sur la touche START/PAUSE pourmettre le programme en pause ou sur la touche STOP pour arreter le programme.
3.4 Contrôle du taux de graisse corporelle
- Pour selectionner le contrôle du taux de graisse corporelle (FAT), appuyez sur la touche PROGRAM.
① REMARQUE
Le contrôle du taux de graisse corporelle est place derrière les programmes prédéfinis.
- Appuyez sur la touche MODE.
L'écran indique F1 et la valeur du sexe à droite de l'écran.
- Pour selectionner le sexes (01 pour masculin, 02 pour féminin), utilisez les touches de vitesse + / - sur la console ou sur la main courante.
- Appuyez sur la touche MODE pour valider votre saisie.
L'écran indique F2 et l'âge à droite de l'écran.
- Pour régler l'âge, utilisez les touches de vitesse +/- sur la console ou sur la main courante.
- Appuyez sur la touche MODE pour valider votre saisie.
L'écran indique F3 et la taille à droite de l'écran.
- Pour régler la taille, utilisez les touches de vitesse +/- sur la console ou sur la main courante.
- Appuyez sur la touche MODE pour valider votre saisie.
L'écran indique F4 et le poids à droite de l'écran.
- Pour régler le poids, utilisez les touches de vitesse +/- sur la console ou sur la main courante.
- Appuyez sur la touche MODE pour valider votre saisie.
L'ecran indique F5.
- Pour démarrer le contrôle, placez vos mains sur les capteurs tactiles.
L'écran affiche le résultat au bout de 8 secondes environ.
| ≤ 18 Insuffisance | pondérale |
| 18 - 24 Poids normal | |
| 25 - 28 Surpoids | |
| ≥ 29 Obésité |
4.1 Instructions generales
ATTENTION
- Veillez à ce que l'appareil soit protégé contre l'humidité, la saleté et la poussière. Le lieu de stockage doit être sec, correctement aéré etprésenter une température ambiente entre 5^ et 45^ .
A VERTISSEMENT
- Stockez l'appareil dans un lieu où il reste hors de portee de tiers ou d'enfants.
- Si vous appeareil ne dispose pas de roulettes de déplacement, il convient de le démonter avant son transport.
4.2 Mécanisme de piage
A VERTISSEMENT
- Le tapis de course dispose d'amortisseurs haute pression qui risquent d'entrainer un dépliage soudain de l'appareil en cas de mauvaise manipulation. Pour plus d'informations, veillez vous reporter aux consignes générales de montage dans le chapitre 2.1 du mode d'emploi.
- Ne soulevez pas la bande de roulement par le tapis de course ou par les roulettes de transport arrêté. Ces pieces ne se bloquent pas et sont difficiles à saisir.
① REMARQUE
Le tapis de course est repliable de sorte qu'il puisse être rangé sans prendre trop de place. Cela facilité également son transport.
4.2.1 Repliage du tapis de course
A VERTISSEMENT
-
Ne branchez pas l'appareil lorsque celui-ci est replié. N'essayez pas demettre en marche l'appareil lorsque celui-ci est replié.
-
Avant d'être relié, le tapis de course doit être complètement arrêté.
PRUDENCE
- Ne vous appuyez pas contre l'appareil lorsqu'il est plie et ne posez pas d'objet susceptible de comprometter la stabilité de l'appareil et de le faire tomber.
ATTENTION
- Avant de replier le tapis de course, retirez tous les objets susceptibles d'être renversés ou d'empêcher le repliage de l'appareil.

- Éteignez l'appareil et débranchez la fiche de la prise de courant.
- Saisissez des deux mains la bequille située directement sous la partie arrêté du tapis de course de manière à avoir un point de levage stable.
- Vérifiez que le frein hydraulique est correctement verrouillé et souveze l'appareil vers l'avant.
- Assurez-vous d'être en position debout stable et vérifie que le mecanisme de verrouillage est correctement enclenché en tirant l'appareil vers l'arrière (l'appareil ne doit alors pas bouger).
4.2.2 Dépliage du tapis de course
ATTENTION
Avant de déplier le tapis de course, retirez tous les objets susceptibles d'être renversés ou d'empêcher le dépliage de l'appareil.
- Placez-vous derrière le tapis de course et poussez l'appareil légarement vers l'avant endirection de l'écran.
- Pour déverrouiller le frein hydraulique, poussez légèrement la partie supérieure du frein hydraulique vers l'avant avec le pied gauche, jusqu'à ce que le tapis de course se déverrouille et puisse être tiré vers l'arrière.
- Continuez de tener le tapis de course.
Le frein hydraulique s'abaisse tout doucement de lui-même.
- Dés que le tapis de course s'est abaisé de 23 , vous pouvez relâcher l'appareil.

4.3 Roublettes de déplacement
ATTENTION
Si vous devez déplacer votre apparéil sur un revêtement de sol particulièrement sensible et souple (parquet, stratifié ou planchers), recouvre le sol de carton ou d'un matériel similaire afin d'éviter tout risque d'endommagement.
- Placez-vous derrière l'appareil et soulevez-le jusqu'à ce que son poids soit reporté sur les roulettes de déplacement. Vous pouvez ensuite déplacer facilement l'appareil vers l'endroit souhaité. Si vous doivent déplacer l'appareil sur une plus longue distance, veuillez démonter l'appareil et l'emballer en toute sécurité.
- Choisissez le nouvel emplacement de l'appareil en respectant les consignes mentionnées dans le chapitre 1.4 du mode d'emploi.

5.1 Instructions generales
A VERTISSEMENT
- Ne procedez à aucune modification non conforme sur l'appareil.
PRUDENCE
- Toute piece endommagée ou usee peut comprometreVote sccurite et affercter la durée de vie de I'appareil. Remplacez par consequent immediatement les composants endommages ou uses.Adressez-vous a cet effet a suaive contractant.Nutilisez pas I'appareil tant qu'il n'est pas remis en etat.Si vous nevez remplacer des pieces,utilisez exclusivement des pieces de rechange d'origine.
ATTENTION
- Outre les instructions et recommandations de maintenance et d'entretien mentionnées dans le present mode d'emploi, des prestation de service et/ou de réparation peuvent être nécessaires; ces opérations ne doivent être effectuées que par des techniciens SAV habilités.
5.2 Défauts et diagnostic des pannes
L'appareil a fait l'objet de contrôle des qualités réguliers tout au long de sa production. Il peut toute fois arriver que l'appareil présente des défauts ou des dysfonctionnements. Les pieces détachées sont souvent à l'origine de ces défaillances, auquel cas un remplacement de ces pieces est suffisant. Vous trouvrez ci-après un aperçu des défauts les plus fréquents ainsi que les solutions de dépannagedéquates. Si l'appareil ne fonctionne toute fois toujours pas correctement, veuillez vous adresser àvoierte contractant.
| Défaut Cause Remède | ||
| La console ne réagit pas. | La clé de sécurité n'est pas insérée ou est mal insérée. | Vérifiez que la clé de sécurité est en place ou insérez-la si nécessaire. |
| Tapis de course oblique | Le tapis de course est mal centré. | Centrez le tapis de course conformément aux instructions. |
| Bruits de frottement | ||
| Le tapis de course dérape/s'arrête | Tension/lubrification du tapis incorrecte | Contrôlez la tension/la lubrification du tapis conformément aux instructions. |
| L'écran est noir/ne fonctionne pas. | + Alimentation électrique coupée + Câbles mal branchés | + Mettez l'interrupteur d'alimentation sur "on" + Vérifiez que la clé de sécurité est en place + Contrôlez les câblages |
| La fréquence cardiaque ne s'affiche pas | + Interférences dans la pièce + Ceinture pectorale incompatible + Ceinture pectorale mal positionné + Ceinture pectorale défectueuse ou pile usée + Affichage du pouls défectueux | + Éliminez les interférences (par ex. téléphone portable, Wi-Fi, tondeuse ou aspirateur, etc....) + Utilisez une ceinture pectorale adaptée (voir ACCESSOIRES RECOMMANDÉS) + Positionnez correctement la ceinture pectorale et/ou humidifiez les électrodes + Changez les piles + Vérifiez que l'affichage de la fréquence cardiaque est possible via les capteurs tactiles |
5.3 Codes de defaults et dépannage
Le système électronique de l'appareil procède à des tests en continu. En cas d'écarts, un code de défaut apparait à l'écran et le fonctionnement normal de l'appareil est arrêté pour votre sécurité.
- E-01: cable de transmission defectueux/non branché ou console, transformateur ou gestion moteur defectueuse.
- E-02: erreur de connexion entre le cable de moteur et la gestion moteur. Cable moteur, moteur et/ou gestion moteur eventuèlement défectueux.
- E-03: erreur de connexion entre le capteur et la gestion moteur. Capteur et/ou gestion moteur éventuellesment defectueux.
- E-05 : moteur ou gestion moteur défectueux
Veuillez vous adresser à votre contractant pour prendre contact avec l'assistance technique.
5.4 Entretien et maintenance
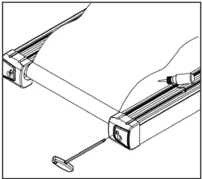
La principale intervention de maintenance est l'entretien du tapis de course. Cette opération prévoit l'ajustement, le réglage de la tension et la lubrification du tapis de course. Les dommages imputables à un entretien insuffisant ou manquant ne sont pas couverts par la garantie. Il est par conséquent recommandé de procéder à des contrôle des maintenance réguliers. L'ajustement et la tension de la bande doivent être effectuels avec le plus grand soin. L'appareil risque en effet d'être endommagé en cas de surtension ou de sous-tension trop importante. Avant la livraison, le tapis de course est régèle en usine conformément aux réglementations en vigueur. Il peut toutefois arriver que le tapis de course glisse pendant le transport.
5.4.1 Ajustement du tapis de course
Pendant l'entrainment, le tapis de course doit rester centré et suivre un mouvement rectiligne. La sollicitation du tapis de course et la charge qu'il supporte peuvent modifier son orientation. De même, le positionnement de l'appareil sur une surface irrégulière peut influencer l'orientation du tapis.

PRUDENCE
Lors de l'opération de maintenance suivante, personne ne doit se couver sur le tapis de course!
-
Faites fonctionner l'appareil à une vitesse de 5km / h
-
Si le tapis de course devie vers la gauche, tournez la vis de réglage gauche située à l'extrémité arrêté de l'appareil d'un quart de tour maxi dans le sens des aiguilles d'une montre et la vis de réglage droite d'un quart de tour maxi dans le sens inverse des aiguilles d'une montre.
-
Si le tapis de course devie vers la droite, tournez la vis de réglage droite située à l'extrémité arrêté de l'appareil d'un quart de tour maxi dans le sens des aiguilles d'une montre et la vis de réglage gauche d'un quart de tour maxi dans le sens inverse des aiguilles d'une montre.
-
Observez ensuite le mouvement du tapis

pendant environ 30 secondes, car les effets du reglage ne sont pas immédiatement perceptibles.
- Répétez l'opération jusqu'à cequeletapisdecoursesuivedenouveauunmouvementrectiligne.S'il n'est pas possible d'ajuster le tapis de course, veuillez contacter votre contractant.
5.4.2 Resserrage du tapis de course
Si le tapis de course dérape par dessus les roulettes pendant l'entrainment (un à-coup est alors perceptible pendant la course), il est nécessaire de tendre davantage le tapis de course.
Dans la plupart des cas, le tapis s'est etiré du fait de son utilisation, le faisant ainsi glisser. Ce phénomène est tout à fait normal.
① REMARQUE
Le desserrage du tapis s'effectue avec les mêmes vis de réglage que celles employées pour l'ajustage.
- Faites fonctionner l'appareil à une vitesse de 5km / h
- Tournez successivement les vis de réglage gauche et droite d'un quart de tour maxi dans le sens des aiguilles d'une montre.
- Vérifiez ensuite si le glissement du tapis de course persiste. Si tel est le cas, repêze l'opération précrite.
5.4.3 Lubrification du tapis de course
Une lubrication insuffisante du tapis de course augmente les frottements, ce qui provoque une usure prematurée de la bande sans fin, de la plaque de base, du moteur de la platine. Si vous percevez des bruits de frottement accrus, le tapis a besoin d'être lubrifié. Nous recommendons toute fois de lubrifier le tapis au moins tous les trois mois ou toutes les 50 heures de fonctionnement, selon la première éventualité.
① REMARQUE
Si vous tapis de course est équipé d'un mécanisme de piage, vous pouvez également le lubrifier lorsqu'il est replié.
- Soulevez légèrement le tapis.
- Appliquez une petite quantité d'huile lubrifiante ou pulverisez du silicone à l'aide d'un spray sur la bande de roulement et répartissez-le uniformément sur toute la surface.
- Continuez de tournier la bande à la main de sorte que toute la surface entre la bande sans fin et la plaque de base soit lubrifiée.
- Essuyez l'excedent d'huile lubricifique ou de silicone.
① REMARQUE
Cette mesure d'entretien est également nécessaire en cas de non-utilisation de l'appareil pendant une période prolongée.

5.5 Calendrier d'entretien et de maintenance
Pour éviter tout endommagement causé par la transpiration, il convient de nettoyer l'appareil avec une serviette humide (sans solvant!) après chaque séance d'entrainment.
Les opérations d'entretien suivantes sont à effectuer dans les intervalles de temps indiqués :
| Pièce | Une fois parSEAINE | Une foispar mois | Tous les troismois | Tous les sixmois | Une foispar an |
| Écran de console N I | |||||
| Tension de la bande I | |||||
| Lubrification de la bande I | |||||
| Revêtements enplastique | N | I | |||
| Vis et câbles I | |||||
| Légende : N = nettoyage ; I = inspection | |||||
6 ELIMINATION
À la fin de sa durée de vie, l'appareil ne doit pas être éliminé avec les déchets menagers. Il doit être confié à un centre de collecte spécialisé dans le recyclage des appareils électriques etlectroniques. Pour de plus amples informations, contactez le centre compétent d'élimination des déchets le plus proche de chez vous.

Les matériaux sont recyclables, conformément à leur marquage. Par le recyclage des matières, la réutilisation ou autres formes de valorisation des anciens apparèils, vous prenez activement part à la protection de notre environnement.
7 ACCESSOIREs RECOMMANDES
Pour rendre votre entrainement encore plus agreable et efficace, nous vous recommendons de compléter votre apparéil de fitness par des accessoires déquats. Un tapis de sol vous permettra de poser votre apparéil de fitness en toute sécurité, tout en protégéant votre sol des taches de transpiration. Vous pouvez également vous procurer des mains courantes supplémentaires pour votre tapis de course ou un spray à base de silicone pour entrenir les pièces mobiles.
Si vous appeareil de fitness propos un entrainement bas sur la fréquence cardiaque, nous vous recommendons vivement l'utilisation d'une ceinture pectorale compatible afin de garantir une transmission optimale de votre fréquence cardiaque. Vous pouvez également compléter votre apparéil de musculation par des poignées de traction ou des poids supplémentaires.

Notre gamme d'accessoires offre une qualite optimale pour rendre vous
entraînement encore plus efficace. Pour toute information sur nos accessoires compatibles, rendez-vous sur notre boutique en ligne et consultez le descriptor détaillé de nos produits. Il suffit à cet effet de saisir le numéro d'article correspondant en haut dans le champ de recherche. Vous serez alors dirigé vers les accessoires recommendés. Vous avez bien sur également la possibilité de contacter notre service clientèle par téléphone, par mail, dans l'un de nos magasins ou via les reseaux sociaux. C'est avec plaisir que nous vous conseillerons!

8.1 Numéro de série et désignation du modele
Afin de vous assurer le meilleur service possible, nous devons connaître la désignation du modele, le numero d'article, le numero de série, la vue éclatée et la liste des pieces. Vous trouvez les données de contact correspondantes au chapitre 10 du mode d'emploi.
① REMARQUE
Le numero de série de votre apparéil est unique. Il se trouve sur un autocollant blanc. La position exacte del'autocollant est indiquée sur la figure ci-après.

Entrez le numéro de série dans le champ correspondant.
Numéro de série :
Marque / catégorie :
Duke / taps de course
Désignation du modele :
T40
Référence article :
DU-T40
8.2 Listes des pieces
Les apparêls d'entrainment de Duke® sont soumis à un contrôle de qualité rigoureux. Si, malgré les soins apportés, votre apparéil de fitness ne fonctionnait pas de manière irréprochable, nous le regrettons vivement et nous vous invitons à prendre contact avec notre service clientèle. Notre ligne d'assistance technique se tient volontiers à votre disposition par téléphone.
Descriptions de défauts
Votre appeareil d'entrainement a ete concu pour vous garantir en permanence un entrainement de haut niveau. Toutefois, en cas de probleme, veuillez d'abord dire le mode d'emploi. Si vous ne parvenez pas a resoudre vous-meme le probleme, adressez-vous a voyage contractant ou a notre ligne d'assistance gratuite. Pour pouvoir resoudre vos problemes dans les meilleurs delais, veuillez decrire le defaut le plus précisément possible.
Outre la garantie legale, nous accordons une garantie sur tous les apparciels de fitness achetés chez nous dans la mesure des dispositions suivantes.
Cela n' affecte en aucune façon vos droits légaux.
Bénémétaire de la garantie
Le bénéficiaire de la garantie est le premier acheteur ou toute personne ayant reçu en cadeau un produit neuf acheté d'un premier acheteur.
Délays de garantie
Dés la livraison de l'appareil, nous vous offrons une garantie dessus, dont la durée est précisé sur notre boutique en ligne. Vous trouvrez la durée de la garantie de votre apparéil sur la page du produit correspond de notre site internet.
Frais de remise en état
L'indemnisation garantie se fait selon notre choix par réparation, par échange des pieces endommagées ou par échange de l'intégrality de l'appareil. Les pieces de rechange à monter soimème lors de l'assemblage de l'appareil doivent être remplacées par le bénéficiaire de la garantie lui-même et ne sont pas prévues dans la remise en état. Àpres expiration de la période de garantie pour les frais de remise en état, une garantie sur les pieces est accordée mais elle n'inclut pas les frais de réparation, de montage et d'expédition.
Les périodes d'utilisation sont définies comme suit :
- Utilisation à domicile : exclusivement usage隱私 à domicile jusqu'à 3 heures par jour
- Usage semi-professionnel : jusqu'à 6 heures par jour (par ex. centres de rééducation, hôtels, clubs, salle de fitness en entreprise)
- Usage professionnel : plus de 6 heures par jour (par ex. en salle de gym)
Service Garantie
Durant la période de garantie, les apparciels presentant des dysfonctionnement dus à des defaults du matériel utilisé ou des defaults de fabrication seront, à notre appréciation, réparés ou replacés. Les pieces ou apparciels échangés deviennent notre propriété. Les prestations de la garantie n'entrainment ni une prolongation ni un renouvellement du dél et de garantie.
Conditions de garantie
Pour pouvoir faire usage de la garantie, il convient de procesder comme suit :
Prenez contact par courriel ou par téléphone avec le service clientèle. Si le produit sous garantie doit être envoyé pour réparation, les frais encourus sont à la charge du vendeur. Àpres expiration de la garantie, les frais de transport et d'assurance sont à la charge de l'acheteur. Si le défaut entre dans le cadre de notre prestation de garantie, un apparéil réparé ou un apparéil neuf vous sera envoyé.
Les droits à la garantie sont exclus dans le cas de dommages causés par :
- une utilisation incorrecte ou non conforme
- les influences environnementales (humidité, chaleur, poussière etc.)
- le non-respect des consignes de sécurité applicables à l'appareil
- le non-respect des consignes figurant dans le mode d'emploi
+desviolences(par ex.chocs,coups,chutes) - des interventions effectuees par un service après-vente autre que ceux agreés
- des tentatives de réparation effectuees par l'acheteur
Justificatif d'achat et numero de série
Assurez-vous d'être en mesure deprésenter la facture correspondante en cas de recours à la garantie. Afin de pouvoir identifier clairément la version de votre modèle et pour notre contrôle de qualité, nous devons connaître, pour toute intervention S.A.V, le numéro de série de votre apparéil. Notez si possible le numéro de série ainsi que votre número client avant d'appeler notre ligne d'assistance. Cela facilititera le traitement de votre demande.
Si vous avez des difficultés à tracer le numéro de série de votre apparéil d'entrainment, demandez de l'aide auprès de nos collaborateurs du service après-vente.
Service hors garantie
En cas de défectuosié de votre apparéil d'entrainement après expiration de la garantie ou si le défaut n'entre pas dans le cadre de la prestation de garantie (par ex. dommages dus à une usure normale), nous nous tenons à votre disposition pour vous proposer une offre personalisée. Veuillez vous adresser à notre service clientèle afin de tracer une solution rapide et économique à votre problème. Dans ce cas, les frais d'envoi seront à votre charge.
Communication
Un entretien avec nos spécialistes suffit dans de nombreux cas à remédier à vos problèmes. Nous savons combien il est important pour vous que les problèmes soient résolusrapidement et simplement afin que vous puissiez profiter des joies de l'entrainment sans subir de longues périodes d'interruption. Il est également dans notre intérêt de追寻 une solution rapide et non budacratique à votre demande. Gardez donc à portée de main votre numéro client ainsi que le numéro de série de l'appareil défectueux.
DEDKFR
TECHNIQUE TECHNIQUE & SERVICE TECHNIQUE & SERVICE

+49 4621 4210-900

+49 4621 4210-698

technik@sport-tiedje.de

Lu-ve 08h00-18h00
Sa 09h00-18h00
SERVICE

0800 20 20 277
(gra
it)

info@sport-tiedje.de

Lu-ve 08h00-21:00
Sa 09h00 - 21:00
Dim
10h00-18h00

80901650
+49 4621 4210-945

info@fitshop.dk

Lu-ve 08h00-18h00
Sa 09h00 - 18h00
PL
TECHNIQUE & SERVICE TECHNIQUE & SERVICE

223074321
+4946214210-948

info@fitshop.pl

Lu-ve 08h00-18h00
Sa
09h00 - 18h00

+33 (0) 172 770033
+49 4621 4210-933

Vous trouvez sur cette page web une liste détaillée de tous les magasins du Groupe Sport-Tiedje en France et à l'étranger, avec leur adresse et leurs horaires d'ouverture.
BOUTIQUE EN LIGNE ET RÉSEaux SOCIAUX
Avec 80 succursales, Fitshop est le plus grand marché spécialised d'appareils de fitness à domicile en Europe et compte parmi les sociétés de vente en ligne les plus renommées dans le domaine de l'équipment de fitness. Plus de 25 boutiques en ligne sont disponibles pour les particuliers dans la langue de leur pays. Des magasins vous accueillent également pour composer l'appareil de votre choix. La société fournit également les salles de gym, hotels, clubs de sports, entreprises et cabinets de kinésithérapie en-appareils d'endurance et de musculation concus pour un usage professionnel.
Fitshop offre une large gamme d'appareils de fitness de fabricants renommés, ainsi que ses propres produits et des prestations de service complètes (service de montage et conseils de professionnels avant et après l'achat de votre apparêils). L'entreprise emploie à cet effet de nombreux spécialistes scientifiques du sport, entraineurs de fitness et athletes de compétition.
N'hésitez pas à nous rendre visite sur les réseaux sociaux ou sur notre blog!

Notes
Notice Facile