Mariager - Canapé JYSK - Notice d'utilisation et mode d'emploi gratuit
Retrouvez gratuitement la notice de l'appareil Mariager JYSK au format PDF.
| Caractéristiques | Détails |
|---|---|
| Type de produit | Non catégorisé |
| Dimensions | Non spécifiées |
| Matériaux | Non spécifiés |
| Utilisation | Non spécifiée |
| Entretien | Non spécifié |
| Consignes de sécurité | Non spécifiées |
| Garantie | Non spécifiée |
| Informations supplémentaires | Non spécifiées |
FOIRE AUX QUESTIONS - Mariager JYSK
Questions des utilisateurs sur Mariager JYSK
0 question sur cet appareil. Repondez a celles que vous connaissez ou posez la votre.
Poser une nouvelle question sur cet appareil
Téléchargez la notice de votre Canapé au format PDF gratuitement ! Retrouvez votre notice Mariager - JYSK et reprennez votre appareil électronique en main. Sur cette page sont publiés tous les documents nécessaires à l'utilisation de votre appareil Mariager de la marque JYSK.
MODE D'EMPLOI Mariager JYSK
Veuillezireattentivementl'ensembledu manuelavantde commencera monter et/ouutiliserceproduit.Suivez rigoureusementle manueletconserve-le pour tout consultation uterieure.


Afin d'eviter les rayures, ce meuble doit etre monte sur une surface souple (un tapis, par exemple).
GB: IMPORTANT!
It is important que tout produit monte a l'aide de vis soit resserré 2 semaines après son montage, puis tous les 3 mois, afin de garantir sa stabilité durant tout son cycle de vie.

GB: GENERAL INSTRUCTION FOR FURNITURE WITH FABRIC!
Nettoyez à l'aide d'un chiffon humide, N'utilise que de I'eau claire.
La poussiere et la saleté peuvent etre aspirées ou essuyees à l'aide d'un chiffon doux et propre.
N'tilisez aucun detergent, solvant ou autre produit chimique sur le tissu, car ceci pourrait le decolorer.
Cependant, certains tissus amovibles peuvent etre lavés, mais dans ce cas le tssu comportera TOUJOURS des Instrutions de lavage.



AX4
M8x45 mm

B×4
08/024 mm

C×4
100x50x7 mm

D×8
M6x20 mm

E×4
M8/13 mm

F×4
60mm

G×8
045x25 mm

H×8
35 mm

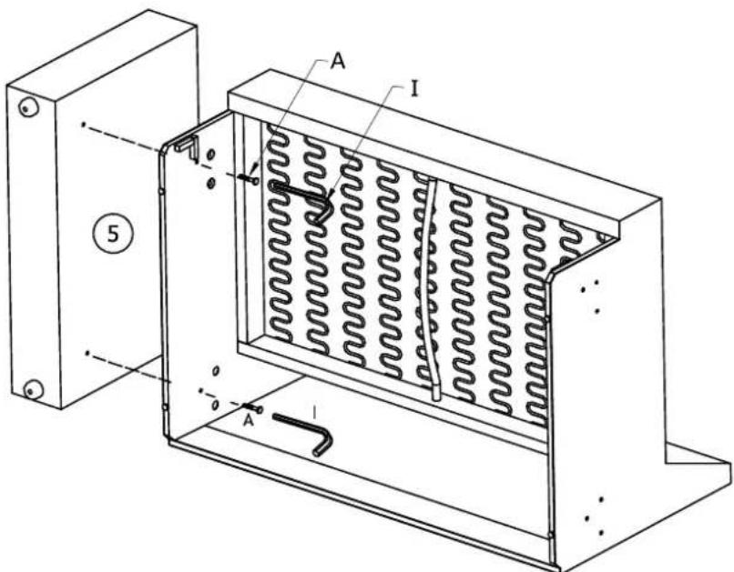
I× 1

1x1
| 6 |
| 3 |
| 1 |
| 2 |
| 1 |

Box 1/3:
1290x890x440mm

220x690x430mm

Box 2/3:
1630x700x425mm

1290x150x350mm

650× 150× 350mm

220x690x430mm


Box 3/3:
160x875x560mm

1

2

60mm


3
Gx4

045x25mm
Hx4

35 mm


4

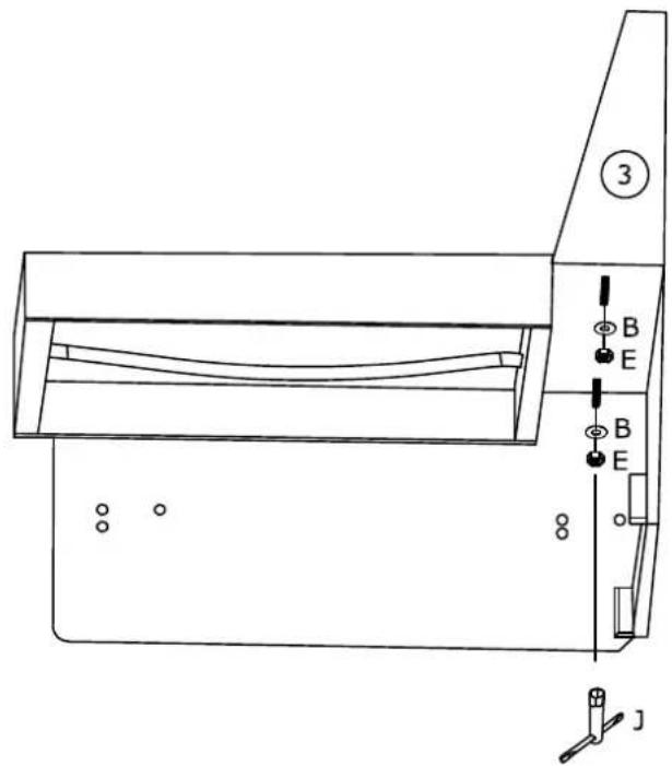
B×2
08/024 mm

Ex2
M8/13 mm

1x1

5

F×2
60mm



6

7
B×2
08/024mm

E×2
M8/13 mm

1x1

8
Gx4

045x25 mm
Hx4

35 mm




| A x 2 M8x45 mm | I x 1 |

A


B


| A x 2 M8x45 mm | I x 1 |

A



B


11

C×4
100x50x7mm

D×8
M6x20 mm


A


B



A


B

13

A




B



14



Notice Facile