MODE D'EMPLOI SC-LX56 PIONEER
Ce symbole de l'éclair, place dans un triangle équilateral, a pour but d'attrir l'attention de l'utiliser au titre, à l'intérieur du coffret de l'appareil, de "tensions dangereuses" non isolées d'une grandeur suffisante pour représentier un risque d'électrocution pour les étres humains.
ATTENTION
DANGER D' ELECTROCUTION NE PAS OUVIRIN
ATTENTION :
POUR EVITER TOUT RISQUE
D'ÉLECTROCUTION, NE PAS ENLEVER LE COUVERCLE (NI LE PANNEAU ARRÈRIÉ).
AUCUNE PIECE RÉPARABLE PAR L'UTILISATEUR NE SE TROUVE À L'INTERIEUR. CONFIER TOUT ENTRETIEN À UN PERSONNEL QUALIFIÉ UNIQUEMENT.

Ce point d'exclamation, placé dans un triangle équilatéral, a pour but d'attirer l'attention de l'utilisateur sur la présence, dans les documents qui accompagnent l'appareil, d'explications importantes du point de vue de l'exploitation ou de l'entretien.
D3-4-2-1-1_A1_Fr
AVERTISSEMENT
Cet apparéil n'est pas étanchè. Pour éviter les risques d'incendie et de décharge électrique, ne place pres de lui un réseau rempliè d'eau, tel qu'un vase ou un pot de fleurs, et ne l'expose pas à des gouttes d'eau, des éclaboussures, de la pluïe ou de l'humidité.
D3-4-2-1-3_A1_Fr
AVERTISSEMENT
Avant de brancher l'appareil pour la première, lisez attentivement la section suivante.
La tension de l'alimentation électriche disponible varie selon le pays ou la région. Assurez-vous que la tension du secteur de la région où l'appareil sera utilisé correspond à la tension requise (par ex. 230 V ou 120 V), indiquée sur le panneau arrêté.
D3-4-2-1-4*A1Fr
AVERTISSEMENT
Pour évditer les risques d'incendie, ne place aucune flamme nue (telle qu'une bougie allumée) sur l'appareil.
D3-4-2-1-7a_A1_Fr
PRECAUTION DE VENTILATION
Lors de l'installation de l'appareil, veillez à laisser un espace suffisant autour de ses parois de manière à améliorer la dissipation de chaleur (au moins 20 cm sur le dessus, 10 cm à l'arrière et 20 cm de chaque côté).
AVERTISSEMENT
Les fentes et ouvertures du coffret sont prévues pour la ventilation, pour assurer un fonctionnement stable de l'appareil et pour éviter sa surchauffe. Pour éviter les risques d'incendie, ne bouchez jamais les ouvertures et ne les recouvre pas d'objets, tels que journaux, nappes ou rideaux, et n'utilise pas l'appareil posé sur un tapis écais ou un lit.

Milieu de fonctionnement
Température et humidité du milieu de fonctionnement : De +5 °C à +35 °C (de +41 °F à +95 °F) ; Humidité relative inférieure à 85 % (orifices de ventilation non obstrués)
N'installez pas l'appareil dans un endroit mal ventilé ou un lieu soumis à une force humidité ou en plein soleil (ou à une force lumière artificielle).
D3-4-2-1-7c*A1Fr
Si la fiche d'alimentation secteur de cet appeareil ne convient pas à la prise secteur à utiliser, la fiche doit être remplacee par une appropriée. Ce remplacement et la fixation d'une fiche secteur sur le cordon d'alimentation de cet appeareil doivent être effectués par un personnel de service qualifié. En cas de branchement sur une prise secteur, la fiche de coupure peut provoquer une sérieuse décharge électrique. Assurez-vous qu'elle est éliminée correctement après sa dépose.
L'appareil doit être déconnecté en débranchant sa fiche secteur au niveau de la prise murale si vous prévoyez une période prolongée de non utilisation (par exemple avant un départ en vacances).
D3-4-2-2-1a_A1_Fr
ATTENTION
L'interrupteur 0 STANDBY/ON de cet apparéil ne coupe pas complètement celui-ci de sa prise secteur. Comme le cordon d'alimentation fait office de dispositif de déconnexion du secteur, il devra être débranché au niveau de la prise secteur pour que l'appareil soit complètement hors tension. Par consécut, voirlez à installer l' apparéil de telle manière que son cordon d'alimentation puisse être facilement débranché de la prise secteur en cas d'accident. Pour éviter tout risque d'incendie, le cordon d'alimentation sera débranché au niveau de la prise secteur si vous prévoyez une période prolongée de non utilisation (par exemple avant un départ en vacances).
D3-4-2-2-2a*A1Fr
(Marquage pour les)
équipements

Ces symboles qui figurent sur les produits, les emballages et/ou les documents d'accompagnement significant que les équipements électriques etlectroniques et batteries usagés ne doivent pas être jetés avec les déchets menagers et font l'objet d'une collecte sélective.
Pour assurer l'enlèvement et le traitement appropriés des produits et batteries usages, merci de les returner dans les points de collecte sélective habitités conformément à la législation locale en vigueur.
(Exemples de marquage pour les batteries)

En respectant les circuits de collecte selective mis en place pour ces produits, vous contribuèrez à economiser des ressources précieuses et à prévenir les impacts négatifs éventuels sur la santé humaine et l'environnement qui pourraités résultats d'une mauvaise gestion des déchets.
Pour plus d'information sur la collecte et le traitement des produits et batteries usages, veuillez contacter votre municipalité, votre service de gestion des déchets ou le point de vente chez qui vous avez acheté ces produits.
Ces symboles ne sont valables que dans les pays de l'Union Européenne. Pour les pays n'appartenant pas à l'Union Européenne :
Si vous souhaitez jeter ces articles, veuillez contacter les autorités ou revendeurs locaux pour connaître les méthodes d'élimination appropriées.
K058a_A1_Fr
Ce produit est destiné à une utilisation domestique générale. Toute panne due à une'utilisation autre qu'à des fins privées ( comme une'utilisation à des fins commerciales dans un restaurant, dans un autocar ou sur un bateau) et qui nécessite une réparation sera aux frais du client, même pendant la période de garantie.
K041_A1_Fr
Nous vous remercions d'avoir acheté ce produit Pioneer. Veuillez lire soigneusement ce mode d'emploi. Vous saurez ainsi comment utiliser votre apparéil correctement.
Table des matières
01 Avant de commencer
Vérification du contenu de la boîte 7
Notre philosophie 7
7
Installation du récepteur 8
Mise en place des piles 8
Portee de la telecommande. 9
Annulation de I'extinction automatique 9
A propos de I'AVNavigator (CD-ROM inclus) 9
02 Commandes et affichages
Télécommande 12
Afficheur 14
Panneau avant 15
03 Raccordement de votre équipement
Raccordement de votre équipement 18
Panneau arriere 18
Determination des enceintes a utiliser 19
Disposition des enceintes 21
Raccordement des enceintes 21
Installation de la système d'enceintes 23
A propos de la liaison audio 26
A propos du convertisseur video 27
A propos de l'HDMI 27
Raccordement d'un téléviseur ou de lecteurs 28
Raccordement d'un enregistratre HDD/DVD, d'un enregistratre BD et d'autres sources video 30
Connexion d'un recepteur satellite/cable ou d'un autre type de decodeur 31
Raccordement d'autres composants audio 32
Connexion d'autres amplificateurs. 33
Raccordement des antennes AM/FM 33
Configuration MULTI-ZONE 34
Raccordement au réseau par l'interface LAN 36
Raccordement d'un ADAPTATEUR Bluetooth en option 37
Raccordement d'un iPod 37
Raccordement d'un dispositif USB 37
Raccordement d'un dispositif compatible avec le MHL 38
Raccordement d'un composant pourvu d'une prise HDMI à l'entrée du panneau avant 38
Raccordement a un réseau LAN sans fil. 38
Raccordement d'un recepteur infrarouge 38
Mise sous/hors tension de composants avec le déclencheur 12 volts 39
Branchement du récepteur 39
04 Configuration de base
Changement de la langue de l'affichage sur écran (OSD Language) 41
Obtention automatique d'un réglage sonore optimal (Full Auto MCACC) 41
Le menu Input Setup 43
Configuration du mode de fonctionnement 44
A propos du menu principal 45
05 Lecture de base
Lecture d'une source 47
Lecture d'un iPod 48
Lecture d'un dispositif USB 49
Lecture sur un dispositif compatible avec le MHL 50
Écoute de la radio 51
ADAPTATEUR Bluetooth pour I'ecoute de musique sans fil 53
06 Écoute par votre système
Écoute de sources variees grâce aux divers modes d'écoute. 56
Sélection des prêrglages MCACC. 58
Choix du signal d'entrée 58
Contrôle de phase pour un son de meilleure qualité 59
Amélioration du son avec le contrôle de phase et le contrôle de phase pleine bande. 59
07 Lecture avec les fonctions NETWORK
Introduction 61
Lecture avec les fonctions Réseau 62
A propos de la lecture en reseau 63
A propos des formats de fichiers lisibles 64
08 Commande par l'HDMI
A propos de la commande par l'HDMI 66
Raccordements pour la Commande par l'HDMI 66
Réglage de l'HDMI 66
Avant la synchronisation 67
A propos des operations synchronisées 67
Réglage de la fonction PQLS 67
A propos du Lien à la Correction du son et du Lien au Flux plus régulier 67
Précautions concernant la fonction Commande par l'HDMI 68
09 Utilisation d'autres fonctions
Réglage des options audio 70
Réglages des options video 72
Commutation du bornes d'enceintes 74
Utilisation des commandes MULTI-ZONE 75
Réalisation d'un enregistrement audio ou video 75
Réglages de réseau depuis un navigateur Web 76
Utilisation de la minuterie sometime 76
Régler la luminosité de l'afficheur 76
Commutation de la sortie HDMI 76
Vérification des réglages de votre système 76
Réinitialisation du système 77
10 Commander le reste de votre système
À propos du menu de configuration de la télécommande 79
Exploitation de plusieurs récepteurs 79
Réglage de la télécommande pour la commande d'autres composants. 79
Sélection directe des codes de préréglage 79
Programmation de signaux depuis d'autres telecommandes 80
Effacement de la programmation d'une touche de la télécommande 80
Effacement de tous les réglages appris pour une fonction d'entrée. 81
Fonction directe 81
Réglage du mode d'éclairage. 81
A propos des fonctions ALL ZONE STBY (Veille toutes zones) et DISCRETE ON (Discret activé) 81
Réinitialisation des réglages de la télécommande 82
Commandes des composants 82
Réglages du récepteur depuis le menu MCACC avancé 86
MCACC automatique (Expert) 86
Configuration MCACC manuelle 88
Vérification des données MCACC 90
Gestion des données 92
Réglages du récepteur depuis le menu de Configuration du système 94
Configuration manuelle des enceintes 94
Menu de configuration du réseau. 97
Vérification des informations concernant le réseau 98
Menu Autre configuration 98
Configuration MHL. 101
13 FAQ
Guide de dépannage 103
Alimentation 103
Pas de son 103
Autres problèmes audio. 104
Prise ADAPTER PORT 105
Video 105
Réglages 106
Graphique de l'égaliser du calibrage professionnel 106
Afficheur 106
Télécommande 107
HDMI 107
AVNavigator 108
Interface USB. 108
iPod 109
Réseau 109
Commande Web. 110
LAN sans fil 111
Formats de son surround 113
A propos de THX 113
A propos de I'iPod 114
A propos de FLAC 114
Windows 7. 115
MHL. 115
Surround automatique, ALC et flux direct avec differents formats de signal d'entree. 115
Réglage des enceintes 116
A propos des messages apparaissant lorsque les fonctions reseau sont utilisées. 117
Informations importantes concernant la liaison HDMI. 117
Nettoyage de I'appareil 117
Précautions à prendre lorsqu'le convertisseur LAN sans fil (AS-WL300) est utilisé. 118
Déclaration de conformité à la Directive R&TTE 1999/5/EC 119
Glossaire 120
Index des fonctions 123
Spcifications 124
125
Organigramme des réglages sur le récepteur
Organigramme pour les raccordements régles du récepteur
Cet apparéil est un récepteur AV à part entière représentant un grand nombre de fonctions et de prises. Il peut être utilisé facilement lorsque les raccordements et les réglages mentionnés ci-dessous ont été effectuels.
Point de réglage nécessaire: 1, 2, 3, 4, 5, 7, 9
Réglage à effectuer si nécessaire: 6, 8, 10, 11, 12, 13

Important
Les réglages initiaux du récepteur peuvent être effectuels sur l'ordinateur à l'aide de Wiring Navi sur le CD-ROM AVNavigator livré avec le récepteur. Dans ce cas, pratiquement les mêmes raccordements et réglages que ceux mentionnés aux étapes 2, 3, 4, 5, 6, 7 et 8 peuvent être effectuels de manière interactive. Pour les instructions concernant l'emploi de l'AVNavigator, consultez la section À propos de l'AVNavigator (CD-ROM inclus) à la page 9.
1 Avant de commencer
- Verificaton du contenu de la boite à la page 7
- Mise en place des piles à la page 8

2 Detemination de l'application des enceintes (page 19)
[A] Raccordement du système surround 9.2 canaux (Avant haut/Avant large)
[B] Système surround 7.2 canaux et raccordement des enceintes B
- [C] Raccordement du système surround 7.2 canaux et à double amplification avant (Surround haute qualité)
- [D] Raccordement du système surround 7.2 canaux (Surround arrêté) et de la ZONE 2 (Multizone)
- [E] Raccordement du système surround 7.2 canaux (Avant haut/Avant large) et de la ZONE 2 (Multizone)
- [F] Raccordement du système surround 5.2 canaux et avant pour la double amplification (Surround haute qualite) et raccordement de la ZONE 2 (Multizone)
- [G] Raccordement du système surround 5.2 canaux et de la ZONE 2/ZONE 3 (Multizone)

3 Raccordement des enceintes
Disposition des enceintes à la page 21
Raccordement des enceintes à la page 21
Installation de votre système d'enceintes à la page 23
Double amplification des enceintes à la page 22

4 Raccordement des composants
- À propos de la liaison audio à la page 26
- À propos du convertisseur video à la page 27
Raccordement d'un télévisuer ou de lecteurs à la page 28
Raccordement des antennes AM/FM à la page 33
- Branchement du récepteur à la page 39

5 Mise sous tension

6 Changement de la langue de l'affichage sur écran (OSD Language) (page 41)

7 Réglages des enceintes MCACC
Obtention automatique d'un réglage sonore optimal (Full Auto MCACC) à la page 41

(Si vous foulez effectuer d'autres liaisons que celles recommandées)

9 Lecture de base (page 46)

10 Commutation de la sortie HDMI (page 76)

11 Réglage de la qualité du son et de l'image selon ses préférences
- Utilisation des divers modes d'écoute (page 55)
- Contrôle de phase pour un son de(Meilleure qualite (page 59)
Amélioration du son avec le contrôle de phase et le contrôle de phase pleine bande (page 59)
- Mesure de toutes les courbes d'égalisation (SYMMETRY/ALL CH ADJ/FRONT ALIGN) (page 86)
- Changement du niveau des canaux pendant l'écoute (page 95)
- Mise en ou hors service de l'égaliser du calibrage acoustique, de la correction automatique du son ou de l'optimisation des dialogues (page 70)
Réglage de la fonction PQLS (page 67)
- Réglage des options audio (page 70)
- Régliages des options video (page 72)

12 Autres ajustements et réglages facultatifs
Commande par l'HDMI (page 65)
- Le menu MCACC avancé (page 85)
- Menu de configuration du système et d'autres configurations (page 93)

13 Utilisation optimale de la télécommande
Exploitation de plusieurs récepteurs (page 79)
- Réglage de la télécommande pour la commande d'autres composants (page 79)
Avant de commencer
Vérification du contenu de la boîte 7
Notre philosophie 7
7
Installation du récepteur 8
Mise en place des piles 8
Portee de la télécommande 9
Annulation de I'extinction automatique 9
À propos de l'AVNavigator (CD-ROM inclus) 9




Vérification du contenu de la boîte
Veuiliez vérifier que vous avez reçu tous les accessoires suivants :
- Microphone de configuration (cable: 5 m)
- Télecommande
- Piles sèches IEC R03 de taille AAA (pour vérifier si le système fonctionné) x 2
Antenne cadre AM
Antenne fil FM
Cable d'iPod
Cable MHL
- Convertisseur LAN sans fil (AS-WL300)
—Guide rapide
—CD-ROM (Mode d'emploi)
Cable de liaison
Cordon d'alimentation
- CD-ROM (AVNavigator)
- Guide rapide
- Instructions de sécurité
- Carte de garantie
Notre philosophie
Pioneer s'engage à vous proposer des systèmes home cinema dont les caractéristiques sonores se rapprochent le plus possible des aspirations des réalisateurs et de l'ingénieur en matricage lorsqu'ils ont élaboré la bande sonore originale. Nous y parvenons en nous concentrant sur trois étapes essentielles:
1 Concevoir avec des composants scélectionnés avec soin un apparéil capable de restituer avec précision la bande sonore originale
2 Permettre un calibrage acoustique personnalise pour n'importe quelle zone d'ecoute
3 Permettre une diffusion radio attachante
\section*{Caracteristiques}
- Amplificateur de classe D
Cet apparéil est un récepteur AV concu à partir d'un amplificateur de classe D, à la pointe en matière de performances, et incluant ce qu'il y a de moins en matière de qualité sonore Pioneer. Ce tout nouveau type d'amplificateur offre des performances exceptionnelles avec un son de haute qualité et produit les tous derniers contenus numériques multicanaux.
Apple AirPlay
Avec AirPlay vous pouvez receivevoir de la musique de iTunes sur le SC-LX56 et I'écouter par votre système de home cinema. Vous pouvez même utiliser le récepteur pour voir les métadonnées, par exemple le titre de la chanson, le nom de l'artiste et l'illustration de l'album sur l'afficheur raccardé. Les récepteurs Pioneer compatibles AirPlay permettent d'écouter facilement de la musique d'iTunes dans n'importe qu'elle piece de la maison.
- Compatible Air Jam App
Pour le SC-LX56, l'adaptateur AS-BT200 Bluetooth en option fonctionne avec l'application exclusive Air Jam de Pioneer. Disponible gratuement sur l'App Store et l'Android Market, Air Jam permet a 4 dispositifs iPhone, iPod touch, iPad ou Android de partager de la musique et de creer une liste de lecture pour un partage de musique unique et social par les reseaux.
- Lecture sur des dispositifs compatibles avec le MHL™ (Mobile High-definition Link)
Un dispositif mobile compatible avec le MHL peut etre raccorded pour beneficier de videoes entierement en haute definition, d'un son multicanaux de haute qualite et de photos, et pour charger la batterie sur le recepteur. De plus, il est possible d'agir sur un dispositif compatible avec le MHL avec la telecommande du recepteur.
AVNavigator
Le CD-ROM (AVNavigator) fourni avec ce produit offre une grande variété de fonctions, comme par exemple Wiring Navi avec un guide de connexion de l'appareil et d'installation depuis l'ordinateur et un Interactive Manual pour opérer sur l'appareil tout en lisant le manuel.
Le Operation Guide décrit aussi le fonctionnement du récepteur lors de la lecture et l'emploi des différentes fonctions à l'aide de videos et d'illustrations.
L'AVNavigator est non seulement fourni en tant que logiciel PC, mais sa version iPad peut aussi être téléchargeé gratuitemement de l'App Store. Pour plus d'informations, consultez le site web : http://pioneer.jp/product/soft/ iapp_avnavi/en.html
HDMI (3D, Canal deeturn audio)
Pour utiliser cette fonction un composant compatible est nécessaire.
Année des signaux video "pass-through" ayant une résolution de 4K sur l'afficheur.
- Flux binaire PQLS
Le raccordement d'un lecteur compatible PQLS par une liaison HDMI permet une lecture de grande qualite et sans fluctuation.
Cette fonctionnalité n'est disponible que lorsque le lecteur Blu-ray Disc Pioneer raccordé prend en charge la fonction PQLS.
- Contrôle de phase Plus automatique
Pour les disques créés avec d'autres normes que le contrôle de phase, le canal LFE est retardé lors de l'enregistrement en premier lieu. Cette fonction corrige automatiquement le décalage de phase sur ces disques et émissions.
Cette fonction agit en particulier pour l'écoute de musique.
32 Hi-bits
Crée une plage dynamique plus grande dans le cas de sources numériques, comme les CD, DVD ou BD. Quant aux sources PCM à 16 bits, 20 bits ou 24 bits et aux sources audio compressées, elles sont requantifiées à 32 bits et leurs haute fréquences interpolées par traitement des données de manière pour atteindre une expression musicale plus douce et subtile.
Lien à la Correction du son
En raccordant un lecteur Pioneer disposant de la fonction Lien à la Correction automatique du son, les fichiers audio compressés lus sur le lecteur peuvent être corrigés automatiquement pour réproduire plus intensément le son.
Cette fonctionnalité n'est disponible que lorsque le lecteur Blu-ray Disc Pioneer raccordé prend en charge la fonction PQLS.
- Enceinte virtuelle large
Si vous n'utilise pas d'enceintes avant en position large, la selection de ce mode permet à vos enceintes avant de restituer le canal avant virtuel large.
Ceci ameliore la continuité du son du canal avant aux canaux surround.
- Lien au Flux plus régulier
En raccordant un lecteur Pioneer disposant de la fonction Lien au Flux plus régulier, les fichiers video ou film compressés lus sur le lecteur peuvent être automatiquement corrigés pour réproduire des images plus naturelles et facies à regarder.
Cette fonctionnalité n'est disponible que lorsque le lecteur Blu-ray Disc Pioneer raccordé prend en charge la fonction PQLS.
Votr iPod, iPhone ou iPad peut etre raccorded a la prise USB du recepteur et a la prise video RCA pour la lecture des fichiers audio/video de l'iPod, iPhone ou iPad.
L'ipod, iPhone ou iPad est également chargé lorsqu'il est raccordé au récepteur.
- Compatible Dolby Pro Logic IIz
L'adjonction d'une paire d'enceintes au-dessus des enceintes avant gauche et droite ajoute de l'expressivité dans le sens vertical au champ sonore antérieur orienté horizontally. Le canal haut renforce la sensation de tridi-mensionnalité et d'espace du champ sonore, résultat en une meilleure présence et spatialisation.
Radio Internet
Raccordé au réseau par la borne LAN, ce récepteur permet d'éçouter les stations radio Internet.
L'emploi de l'ADAPTATEUR Bluetooth (AS-BT100 ou AS-BT200) permet d'éçouter les fichiers de musique enregistrés sur un iPhone ou un autre dispositif sans fil Bluetooth sans cable.
- Correction automatique du son
La correction automatique du son emploi une technologie DSP pour rétablier la pression sonore et égaliser les irrégulatés resultant de la compression.
- Configuration facile grâce à l'Advanced MCACC
La configuration MCACC automatique garantit une configuration rapide et précise du son surround. Celle-ci inclut les fonctions avancées de l'égaliserur calibrage acoustique professionnel.
Installation du récepteur
Veillez a bien installer cet apparéil sur une surface plane et stable.
- Ne l'installez pas aux endroits suivants :
—sur un téléviseur couleur (de la distorsion pourrait apparaitre sur l'image)
—pres d'une platine à cassette (ou pres d'un apparéil générant un champ magnétique). Ceci peut produit des interférences sonores.
—en plein soleil
—à un endroit humide
—à un endroit très chaud ou très froid
—à un endroit exposé à des vibrations ou d'autres mouvements
—à un endroit très poussiéreux
—à un endroit exposé aux fumées ou huiles chaudes (une cuisine, par exemple)
- Ne touchez pas le panneau inférieur du récepteur lorsque celui-ci est allumé ou juste après son extinction. Le panneau inférieur devient très chaud lorsque le récepteur est allumé (ou juste après son extinction) et peut cause des brûlures.
Mise en place des piles
Les piles fournies avec l'appareil sont destinées à vérifier le bon fonctionnement de l'appareil et risquent de ne pas durer longtemps. Nous vous conseillons d'utiliser des piles alcalines dont l'autonomie est plus longue.



AVENTISSEMENT
- N'utilise pas ou ne rangez pas les piles en plein soleil ou à un endroit très chaud, comme dans une voiture ou pres d'un apparéil de chauffage. Les piles pourraient fuir, surchauffer, exploser ou prendre feu. Cela peut aussi réduire leur durée de vie et leurs performances.
ATTENTION
Toute utilisation incorrecte des piles peut cause des accidents, comme une fuite ou une explosion. Prenez les précautions suivantes :
- N'utilisez jamais une pile neuve avec une pile usagée.
- Insérez correctement les pôles positif et négatif des piles en suivant les marques du boîtier.
- Des piles de forme identique peuvent avoir des tensions différentes. Utilisez uniquement des piles de même type.
- Lorsque vous éliminez des piles / batteries usées, veuillez vous conformer aux normes gouvernementales ou aux règes des institutions publiques environnementales en vigueur dans votre pays ou région.




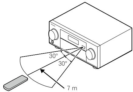
Portée de la télécommande
La télécommande peut ne pas fonctionner correctement si :
- Des obstacles se dressent entre la télécommande et le capteur de la télécommande sur le récepteur.
- Le capteur de la télécommande est exposé au soleil ou à une lumière fluorescente.
- Le récepteur est installé à proximé d'un dispositif émettant des rayons infrarouges.
- La télécommande du récepteur fonctionne en même temps qu'une autre télécommande infrarouge.

Annulation de l'extinction automatique
Si aucune opération n'est effectuée pendant un certain temps alors qu'aucun signal audio ou video n'est reçu, le récepteur s'éteint automatiquement. La minutes d'extinction automatique a été régée sur 30 minutes en usine, mais ce temps peut être changé ou l'extinction automatique peut être désactivée. Pour plus d'informations, consultez la section Extinction automatique à la page 98.
À propos de l'AVNavigator (CD-ROM inclus)
Le CD-ROM AVNavigator inclus contient Wiring Navi, une application permettant de faire facilement les liaisons et les réglages initiaux de manière interactive. Vous obtiendrez facilement des réglages initiaux très précis simplement en suivant les instructions apparaissant à l'écran pour effectuer les raccordements et réglages. Vous trouvez aussi d'autres caractéristiques facilitant l'emploi de diverses fonctions, par exemple un Manuel interactif fonctionnant avec le récepteur, la possibilité de mettre à jour les divers logiciels et une application MCACC qui permet de vérifier les mesures obtenues sur des graphiques en 3 dimensions.
Installation de l'AVNavigator
1 Posez le CD-ROM fourni dans le lecteur CD de votre ordinateur.
La première page du menu du CD-ROM apparait.
2 Cliquez sur 'Install AVNavigator' sur la première page du menu du CD-ROM.
3 Suívez les instructions apparaissant à l'écran pour installer l'application.
Lorsque "Finish" est sélection, l'installation est terminée.
4 Retirez le CD-ROM fourni du lecteur CD de votre ordinateur.
Traitement du CD-ROM
Environnement d'exploitation
L'AVNavigator peut être utilisé avec Microsoft® Windows XP/Vista/7.
- Un navigateur est parfois utilise pour les fonctions de l'AVNavigator. Le navigateur pris en charge est Microsoft Internet Explorer 8 ou 9.
- Adobe® Flash® Player 10 doit être installé pour que certaines fonctions de l'AVNavigator puissant être utilisées.
Pour plus d'informations, consultez la section http://www.adobe.com/downloads/.
Précautions d'utilisation
- Ce CD-ROM est concu pour etre utilisé avec un ordinateur personnel. Il ne peut pas etre utilisé avec un lecteur de DVD ni un lecteur de CD audio. Essayer de dire ce CD-ROM avec un lecteur de DVD ou un lecteur de CD audio peut endommager les enceintes ou cause une alteration auditive a cause du volume sonore elevé qui pourrait etre produit.
Licence
- Veuillez accepter les "Conditions d'utilisation" indiquées ci-dessous avant d'utiliser ce CD-ROM. Ne l'utilise pas si vous ne souhaitez pas accepter les conditions d'utilisation.
Conditions d'utilisation
- Les droits d'auteur des données de ce CD-ROM appartiennent à PIONEER CORPORATION. Un transfert, une copie, une diffusion, une transmission publique, une traduction, une vente, un prét ou toute autre action non autorisée qui sort des limites de "l'utilisation personnelle" ou d'une "citation", comme défini par les lois sur les droits d'auteur, peut être soumise à des actions pénales. L'autorisation d'utiliser ce CD-ROM est donnée sous licence de PIONEER CORPORATION.
Avis de non-responsabilité
- PIONEER CORPORATION ne garantit pas le fonctionnement de ce CD-ROM pour les ordinateurs personnels utilisant n'importe lequel des systèmes d'exploitation applicables. De plus, PIONEER CORPORATION ne peut etre tenu responsable des dommages subis a la suite de l'utilisation de ce CD-ROM et n'est tenu a aucune compensation. Les noms des sociétés privées, des produits ou d'autres entités citées ici sont des marques déposées ou des marques de commerce de leur entreprise respective.
Utilisation de l'AVNavigator
1 Cliquez sur [AVNavigator 2012.III] sur le bureau pour lancer l'AVNavigator.
L'AVNavigator s'ouvre et Wiring Navi démarre. L'écran de sélection de langue apparait. Suivez les instructions apparaissant à l'écran pour effectuer les raccordements et les réglages automatiques.
Wiring Navi démarre automatiquement seulement la première fois que l'AVNavigator est ouvert.
2 Sélectionnez et utilisez la fonction souhaitée.
L'AVNavigator comprend les fonctions suivantes :
- Wiring Navi - Vous indique de manière interactive comment effectuer les raccordements et les réglages initiaux. Des réglages initiaux extrémement précis peuvent facilement être effectués.
- Operation Guide - Décrit le fonctionnement du récepteur lors de la lecture et comment utiliser les différentes fonctions à l'aide de videos et d'illustrations.
- Interactive Manual - Affiche automatiquement les pages dérivant les fonctions mises en service sur le récepteur. Le récepteur peut aussi être actionné depuis le Manuel interactif.
Glossary - Affiche des pages du glossaire.
- MCACC Appli - Affiche les mesures obtenues à la suite de la configuration MCACC avancée de manière vivante sur l'ordinateur. Des instructions spéciales sont presents pour l'application MCACC. Ces instructions se trouvent dans le menus de l'AVNavigator Interactive Manual. Consultez-les lorsque vous utilise l'application MCACC.
- Software Update - Permet la mise à jour de divers types de logiciels.
- Settings - Sert à effectuer divers réglages de l'AVNavigator.
- Detection - Sert à détecter le récepteur.




Suppression de l'AVNavigator
Voupeuces proceder de la facon suivant pour desinstaller (supprimer) I'AVNavigator de I'ordinateur.
- Supprimez-le du panneau de commande de l'ordinateur.
Depuis le menu Demarrer, cliquez sur "Program" "PIONEER CORPORATION" "AVNavigator 2012.III"
"Uninstall AVNavigator 2012.Ill".




Commandes et affichages
Télécommande 12
Afficheur 14
Panneau avant 15




Télécommande
Cette section explique comment utiliser la télécommande du récepteur.

La télécommande présente les deux codes couleurs suivants, selon le composant utilisé :
- Blanc - Commande du récepteur, Commande du télévisuer
- Bleu - Autres commandes (Voir pages 48, 49, 51, 53 et 82.)
1 RECEIVER
Permet de commuter le récepteur entre veille et mise sous tension.
2 ALL ZONE STBY DISCRETE ON
Permet d'effectuer des opérations uniques (page 81).
3 RCU SETUP
Sert à saisir le code de préréglage lors des réglages de la télécommande et à spécifique le mode de commande à distance (page 79).
4 Touches de fonction d'entrée
Servent à selectionner la commande d'autres composants (page 79).
Utilisez INPUT SELECT / pour sélectionner la fonction d'entrée (page 47).
5 Touches de commande du récepteur
Appuyez d'abord sur RECEIVER pour acceder à :
STATUS-Pour vérifier les réglages du recepteur sélectionné (page 76).
- AUTO/ALC/DIRECT - Pour commuter entre les modes de Surround automatique (page 56), Contrôle automatique des niveaux, Surround optimal et Flux direct (page 58).
- STANDARD - Pour acceder au décodage standard et basculer sur les différents modes (Pro Logic, Neo:X, etc.) (page 56).
- ADV SURR - Pour basculer entre les différents modes surround (page 57).
- THX - Pour sélectionnner un mode d'écoute Home THX (page 57).
- SIGNAL SEL - Sert à sélectionner un signal d'entrée (page 58).
- MCACC - Pour commuter entre les préréglages MCACC (page 58).
- CH LEVEL - Appuyez plusieurs fois sur cette touche pour Sélectionner un canal, puis utilisez / pour régler le niveau (page 95).
- AUTO S.RTRV - Pour rétablier la qualité sonore de CD en présence de sources audio compressées (page 70).
- SPEAKERS - Sert à changer la borne d'enceintes (page 74).
- DIMMER-Pour obscurc ir ou eclaircir l'affichage (page 76).
- SLEEP - Pourmettrele récepteur en mode sommeil et sélectionner le temps devant s'écouler avant le sommeil (page 76).
- HDMI OUT - Pour commuter la prise de sortie HDMI (page 76).
6 Touches TV CONTROL
Ces touches peuvent être utilisées pour effectuer des opérations sur le téléviseur auquel la touche TV CONTROL INPUT est affectée. Il est alors possible d'agir sur le téléviseur qu'elle que soit l'entrée spécifique comme mode de fonctionnement de la télécommande (page 79).
7 Touches de réglage du récepteur
Appuyez d'abord sur [RECEIVER] pour acceder à :
- AUDIO PARAMETER - Pour acceder aux options Audio (page 70).
VIDEO PARAMETER-Pour acceder aux options Video (page 72).
- HOME MENU - Pour acceder au menu principal (pages 41, 43, 66, 86 et 94).
- RETURN - Pour valider le réglage et quitter la page actuelle du menu.
8 ↑/↓/←/→/ENTER
Utilisez les flèches lors de la configuration de votre système surround (voir page 86) et des options Audio ou Video (page 70 ou 72).




9 Touches FEATURES
Ces touches permettent d'agir directement sur les fonctionnalités du récepteur.
PHASE - Pour mettre en/hors service le contrôle de phase ou le contrôle de phase pleine bande (page 59).
- PQLS - Pour sélectionner le réglage PQLS (page 67).
- Hi-Bit - Pour activer/désactiver le paramètre Hi-Bit 32 (page 70).
- D.FILT - Pour sélectionner le type de filtrer numérique AUDIO DAC (Convertisseur audio numérique) (page 70).
10 Selecteurs MULTI-ZONE
Permet d'agir sur les apparciels de la zone principale, de la ZONE 2 et de la ZONE 3 (page 75).
11 Témoin de télécommande
S'allume lorsqu'un signal de commande est envoyé par la télécommande.
12 RECEIVER
Sert à basculer la télécommande sur la commande du récepteur (permé de seLECTIONner les commandes blanches).
Cette touche est utilisé pour effectuer des opérations dans la zone principale.
Ellesertegalementaconfigurerlesonsurround.
13 VOLUME + / -
Sert à régler le volume d'écoute.
14 MUTE
Sert à couper le son ou à le rétabir s'il a été coupé (le réglage du volume rétablit également le son).
15 LIGHT
Sert à allumer ou éteindre l'éclairage des touches.
Il y a quatre modes d'éclairage des touches (page 81).

Remarque
- Avec ce récepteur, la touche ZONE 4 ne peut pas être utilisée.
Afficheur

1 Témoins de signaux
S'allument pour indiquer le signal d'entrée actuellément selectionné. AUTO s'allume lorsque le récepteur est régle pour sélectionner automatiquement le signal d'entrée (page 58).
S'allument pour indiquer les canaux auxquels des signaux numériques sont transmis.
L/R - Canal avant gauche/avant droit
C-Canal central
- SL/SR - Canal surround gauche/surround droit
- LFE - Canal des effets basse fréquence (les indicateurs (()) s'allument lors de l'entrée d'un signal LFE)
- XL/XR - Deux canaux différents de ceux mentionnés ci-dessus
- XC – Un canal différent de ceux mentionnés ci-dessus, le canal surround mono ou une insigne du codage matriciel
S'allume lorsqu'un signal code dans le format correspondant est detecté.
- DIGITAL - S'allume pendant le decodage d'un signal Dolby Digital.
DIGITAL PLUS - S'allume pendant le decodage d'un signal Dolby Digital Plus.
- TrueHD - S'allume pendant le décodage d'un signal Dolby TrueHD.
- DTS-S'allume pendant le decodage d'un signal DTS.
- DTS HD - S'allume pendant le décodage d'un signal DTS-HD.
96/24 - S'allume pendant le decodage d'un signal DTS 96/24.
- DSD PCM - S'allume pendant la conversion DSD (Flux direct numérique) en signal PCM de disques SACD.
- PCM - S'allume pendant la lecture de signaux PCM.
- MSTR - S'allume pendant la lecture de signaux DTS-HD Master Audio.
4 MULTI-ZONE
S'allume lorsque la fonction MULTI-ZONE est active (page 75).
5 FULL BAND
S'allume lorsque la fonction de contrôle de phase pleine bande est activée (page 59).
6 Indicateurs de mode d'écoute
- AUTO SURROUND - S'allume lorsque la fonction Auto Surround est en activée (page 56).
- ALC - S'allume lorsque le mode ALC (Contrôle automatique de niveau) est sélectionné (page 56).
- STREAM DIRECT - S'allume lorsque Direct/Direct pur est sélectionné (page 58).
ADV.SURROUND - S'allume lorsque I'un des modes Advanced Surround est selectionné (page 57).
STANDARD - S'allume lorsque I'un des modes Standard Surround est activé (page 56).
- THX - S'allume lorsque l'un des modes Home THX est activé (page 57).
7 (PHASE CONTROL)
S'allume lorsque la fonction de contrôle de phase (page 59) ou de contrôle de phase pleine bande (page 59) est activée.
8 Indicateurs de signal analogique
S'allument pour indiquer le niveau d'un signal analogique (page 70).
9 PQLS
S'allume lorsque la fonction PQLS est active (page 67).
10 Indicateurs du tuner
TUNED-Sallume lros de la reception d'une émission.
- STEREO - S'allume lors de la réception d'une émission FM stéreo en mode stéreo auto.
- MONO - S'allume lorsque le mode mono est activé avec MPX.
- RDS - S'allume lors de la réception d'une émission RDS.
11
S'allume lorsque le son est coupé.
12 SOUND
S'allume lorsque l'options DIALOG E (Optimisation des dialogues) ou TONE (Réglages de tonalité) est sélectionné (page 70).
13 Niveau du volume général
Indique le niveau du volume général.
```
"---" indique le niveau minimum et "+"12dB" indique le niveau maximum.
14 Indicateurs de fonction d'entrée
S'allument pour indiquer la fonction d'entree selectionnee.
15 Indicateurs de défilament
S'allument lorsque d'autres éléments peuvent être seLECTIONNés pendant les différents réglages.
16 Indicateurs d'enceintes
S'allument pour indiquer le système d'enceintes activé avec SPEAKERS (page 74).
17 SLEEP
S'allume lorsque le recepteur est en mode sommeil (page 76).
PROLOGICIIx-Sallume pour indiquer le decodage Pro Logic II/Pro Logic IIx (page 56).
19 S.RTRV
S'allume lorsque la correction automatique du son compressée est active (page 70).
20 Afficheur alphanumericique
Affiche diverses informations sur le système.
21 Indicateur du mode de commande à distance
S'allume pour indiquer le mode de commande à distance spécifique pour le récepteur. (N'apparait pas quand 1 est spécifique.) (page 99)




Panneau avant


1 STANDBY/ON
Permet de commuter le récepteur entre veille et mise sous tension.
Sert à seLECTIONner une fonction d'entrée.
3 Indicateurs
ADVANCED MCACC - S'allume lorsque EQ est regle sur ON dans le menu AUDIO PARAMETER (page 70).
- FL OFF - S'allume lorsque "off" (aucun affichage) est sélectionné comme réglage de luminosité de l'afficheur (page 76).
- HDMI - Clignote lorsqu'un composant HDMI est raccordé; s'allume lorsque ce composant est connecté (page 28).
- iPod iPhone iPad - S'allume pour indiquer qu'un iPod/iPhone/iPad est raccordé (page 37).
4 Afficheur alphanumeric
Consultez la section Afficheur à la page 14.
5 Câteur de télécommande
Reçoit les signaux provenant de la télécommande (page 9).
6 Molette MASTER VOLUME
7 Commandes du panneau avant
Pour acceder aux commandes du panneau avant, saisissez les cotes du volet avec les doigts et tirez vers l'avant.

8 AUDIOPARAMETER
Pour acceder aux options Audio (page 70).
9 ↑/↓/←/→ (TUNE/PRESET) /ENTER
Utilisez les flèches lors de la configuration de votre Home Menu. TUNE ↑/↓ permettent de trouver les fréquences radio et PRESET ←/→ permettent de trouver les stations prérégliées (page 51).
10VIDEOPARAMETER
Pour acceder aux options Video (page 72).
11 Commandes MULTI-ZONE
Si vous avez effectué des liaisons MULTI-ZONE (page 34), utilisez ces commandes pour agir sur l'appareil de la seconde zone depuis la zone principale (page 75).
12 SPEAKERS
Sert à changer la borne d'enceintes (page 74).
13 iPod iPhone iPad DIRECT CONTROL
Sert à régler l'entrée du récepteur sur l'iPod et à activer le fonctionnement de l'iPod par l'iPod (page 48).
14 Touches de mode d'écoute
- AUTO SURR/ALC/STREAM DIRECT - Pour commuter entre les modes de Surround automatique (page 56), Contrôle automatique des niveaux, Surround optimal et Flux direct (page 58).
- HOME THX - Pour sélectionnur un mode d'écoute Home THX (page 57).
STANDARD SURROUND - Pour acceder au decodage standard et basculer sur les différents modes (Pro Logic, Neo:X, Stereo, etc.) (page 56).
ADVANCED SURROUND - Pour basculer entre les différents modes surround (page 57).
Pour acceder au menu principal (pages 41, 43, 66, 86 et 94).
16 RETURN
Permet de confirmer et de quitter la page actuelle du menu.
17 Commandes TUNER
- BAND - Permet de commuter entre les bandes radio AM et FM (page 51).
- TUNER EDIT - Permit, en combinaison avec les touches TUNE ↑/↓, PRESET ←/→ et ENTER de mémoriser et de nommer les stations pour pouvoir les rappeler par la suite (page 51).
18 Prise PHONES
Sert à raccorder un casque. Lorsque le casque est branché, les enceintes ne fournissent aucun son.
Sert à raccorder le microphone fourni (page 41).
20 Prises iPod iPhone iPad USB
Serving à raccarder votre iPod/iPhone/iPad Apple comme source audio et matériel (page 37) ou à raccarder un dispositif USB pour écouter du son ou voir des photos (page 37).
21 Prise d'entrée HDMI/MHL
Sert à relier un apparéil HDMI compatible (Caméscope, etc.) (page 38).
Un dispositif mobile compatible avec le MHL peut aussi être raccordé ici avec le cable MHL fourni (page 38).




Raccordement de votre équipement
Raccordement de votre équipement 18
Panneau arrirée 18
Determination des enceintes à utiliser 19
Disposition des enceintes 21
Raccordement des enceintes 21
Installation de votre système d'enceintes 23
A propos de la liaison audio 26
À propos du convertisseur video 27
A propos de l'HDMI 27
Raccordement d'un téléviseur ou de lecteurs 28
Raccordement d'un enregistrure HDD/DVD, d'un enregistrure BD et d'autres sources video 30
Connexion d'un récepteur satellite/câble ou d'un autre type de décodeur 31
Raccordement d'autres composants audio 32
Connexion d'autres amplificateurs 33
Raccordement des antennes AM/FM 33
Configuration MULTI-ZONE 34
Raccordement au réseau par l'interface LAN 36
Raccordement d'un ADAPTATEUR Bluetooth en option 37
Raccordement d'un iPod 37
Raccordement d'un dispositif USB 37
Raccordement d'un dispositif compatible avec le MHL 38
Raccordement d'un composant pourvu d'une prise HDMI à l'entrée du panneau avant...... 38
Raccordement à un réseau LAN sans fil 38
Raccordement d'un récepteur infrarouge 38
Mise sous/hors tension de composants avec le déclencheur 12 volts 39
Branchement du récepteur 39




Raccordement de votre équipement
Ce récepteur vous offre de nombreuses possibités de liaisons, ce qui ne signifie pas nécessairement que cela soit compliqué. Ce chapitre explique les différents types de composants que vous pouvez raccorder pour réaliser votre système de home cinéma.

ATTENTION
- Avant de réaliser ou de modifier des liaisons, éteignez les appareils et débranchez le cordon d'alimentation de la prise électrique. Le cordon d'alimentation se branche en tout dernier lieu.
- Lorsque vous raccordez des apparèils, laissez les cordons d'alimentation des apparèils à raccarder débranchés des prises murales.
- Selon l'appareil à raccarder (amplificateur, récepteur, etc.), les méthodes de raccardement et les noms des prises peuvent être différents de ce qui est indiqué dans ce manuel. Reportez-vous aussi au mode d'emploi des appareils respectifs.

Panneau arrête

Remarque
- Les fonctions d'entrée suivantes sont affectées par défaut aux différentes prises d'entrée du récepteur. Reportez-vous à Le menu Input Setup à la page 43 pour changer les composants affectés si d'autres liaisons sont effectuées.
| Fonction d'entrée | Prises d'entrée |
| HDMI | Audio | Composantes |
| BD | (BD) | | |
| DVD | IN 1 | COAX-1 | IN 1 |
| SAT/CBL | IN 2 | COAX-2 | |
| DVR/BDR | IN 3 | OPT-2 | IN 2 |
| VIDEO | IN 4 | | |
| HDMI 5/MHL (panneau avant) | IN 5 | | |
| HDMI 6 | IN 6 | | |
| HDMI 7 | IN 7 | | |
| TV | | OPT-1 | |
| CD | | ANALOG-1 | |
- La télécommande omnidirectionnelle CU-RF100 (vendue séparément) peut être raccordée aux prises RS-232C et EXTENSION. La CU-RF100 permet d'afficher sur l'afficheur de la télécommande que vous avez en main les informations apparaissant normalement sur l'afficheur du récepteur et d'effectuer les opérations souhaitées sans vousSOCIER des obstacles ou de la direction dans laquelle pour dirigez la télécommande.





Détermination des enceintes à utiliser
Cet apparéil est pourvu de bornes d'enceintes pour 11 canaux et offre aux utilisateurs par la même un grand besoin de dispositions d'enceintes/usages envisagés selon leurs préférences. Les bornes auxquelles les enceintes doivent être raccordées dépendant des dispositions d'enceintes/usages envisagés. Sélectionnez une disposition d'enceintes/un usage envisagé avant de raccorder les enceintes. Pour les instructions sur les raccordements, consultez la section Installation de votre système d'enceintes à la page 23.
- Des enceintes doivent être raccordées aux canaux avant gauche et droit (L et R).
- Il est également possible de ne raccorder qu'une seule des enceintes surround arrêté (SB), voire aucune.
- Si vous possédez deux caissons de grave, le second caisson de grave peut être raccordé à la prise SUBWOOFER 2. Avec deux caissons de grave vous augmenterez les sons graves et obtiendrez un son plus puissant. Dans ce cas, les deux caissons de grave produitron le même son.

Important
- Vous devrez effectuer le réglage Speaker System si vous utilisez une des liaisons mentionnées ci-dessous, sauf la liaison [A] (consultez Réglage du système d'enceintes à la page 94).
- Les enceintes qui doivent émettre le son peuvent être commutées selon la disposition d'enceintes/l'usage envisagé (le son n'est pasforcément émis par toutes les enceintes raccordées). Utilisez la touche SPEAKERS pour basculer sur les enceintes devant émettre le son. Pour plus d'informations, consultez la section Commutation du bornes d'enceintes à la page 74.
[A] Raccordement du système surround 9.2 canaux (Avant haut/Avant large)
*Réglage par défaut
Réglage du Speaker System : 9.1ch FH/FW
![PIONEER SC-LX56 - [A] Raccordement du système surround 9.2 canaux (Avant haut/Avant large) - 1](/content/2019/10/4628/images/868e078dd70963940e4f522dd738b991867e200233edd1a9d0d32bbaca9b6745.jpg)
Dans un système surround impliquant 9.2 canaux, les enceintes avant gauche et droit (L/R), l'enceinte centrale (C), les enceintes avant gauche et droit en position haute (FHL/FHR), les enceintes avant gauche et droit en position large (FWL/FWR), les enceintes surround gauche et droit (SL/SR), les enceintes surround arrêté gauche et droit (SBL/SBR) et les caissons de grave (SW 1/SW 2) doivent être raccordés.
Il n'est pas possible de restituer simultanément le son des enceintes avant en position haute et des enceintes avant en position large.
Ce système surround produit un son plus fidèle à la réalité, du haut.
Les enceintes émettant le son peuvent être commutées avec la touche SPEAKERS. Pour plus d'informations, consultez la section Commutation du bornes d'enceintes à la page 74.
[B] Système surround 7.2 canaux et raccordement des enceintes B
- Reglage du Speaker System: 7.1ch + Speaker B
![PIONEER SC-LX56 - [B] Système surround 7.2 canaux et raccordement des enceintes B - 1](/content/2019/10/4628/images/4a73573c17e485f6452919cc7fe48a739820be1909a7a68c065b9a973c3e2d8e.jpg)
Ces liaisons permettent de bénéficier d'un son surround 7.2 canaux dans la zone principale et du même son en stéreo restitué par les enceintes B. Lorsque les enceintes B ne sont pas utilisées, les mêmes liaisons permettent de bénéficier d'un son surround 9.2 canaux dans la zone principale.
Les enceintes émettant le son peuvent être commutées avec la touche SPEAKERS. Pour plus d'informations, consultez la section Commutation du bornes d'enceintes à la page 74.
[C] Raccordement du système surround 7.2 canaux et à double amplification avant (Surround haute qualité)
- Réglage du Speaker System : 7.1ch Front Bi-Amp
Liaison à double amplification des enceintes avant pour un son surround 7.2 canaux de grande qualité.
![PIONEER SC-LX56 - [C] Raccordement du système surround 7.2 canaux et à double amplification avant (Surround haute qualité) - 1](/content/2019/10/4628/images/911890d03948b141bcea358b09953119afe89486e6b3d9979971e5d0c2709657.jpg)
[D] Raccordement du système surround 7.2 canaux (Surround arrêté) et de la ZONE 2 (Multizone)
- Réglage du Speaker System : 7.1ch + ZONE 2
Ces liaisons permettent de bénéficiair du son surround 7.2 canaux simultanément dans la zone principale et d'un son en stéreo sur l'appareil de la ZONE 2. (Les dispositifs pouvant être seLECTIONNÉS sont limités.)
Avec ces disposition d'enceintes/usage envisagé, le son est restitué sur 7.2 canaux, avec les canaux surround arrrière dans la zone principale. Pour obtenir le son sur 7.2 canaux en impliquant les canaux avant haut et large avec les liaisons mentionnées pour ZONE 2, reportez-vous à [E].
![PIONEER SC-LX56 - [D] Raccordement du système surround 7.2 canaux (Surround arrêté) et de la ZONE 2 (Multizone) - 1](/content/2019/10/4628/images/d358d109c1d9d31b1f2ed07713366bbb58d5fba1ecdd1cab1543e737bdc891bd.jpg)
![PIONEER SC-LX56 - [D] Raccordement du système surround 7.2 canaux (Surround arrêté) et de la ZONE 2 (Multizone) - 2](/content/2019/10/4628/images/2c40ca813ee7e9de3690a1902db86f1ce66d52229a52146beeb84db98226b055.jpg)
ZONE 2
Zone secondaire
[E] Raccordement du système surround 7.2 canaux (Avant haut/Avant large) et de la ZONE 2 (Multizone)
- Réglage du Speaker System : 7.1ch FH/FW + ZONE 2
Ces liaisons permettent de bénéficiair du son surround 7.2 canaux simultanément dans la zone principale et d'un son en stéreo sur l'appareil de la ZONE 2. (Les dispositifs pouvant être sélectionnés sont limités.)
Avec ces disposition d'enceintes/usage envisagé, le son est restitué sur 7.2 canaux, avec les canaux avant haut et large dans la zone principale. Pour obtenir le son sur 7.2 canaux en impliquant les canaux surround arrêté avec les liaisons mentionnées pour ZONE 2, reportez-vous à [D].
Il n'est pas possible de restituer simultanément le son des enceintes avant en position haute et des enceintes avant en position large.
Les enceintes émettant le son peuvent être commutées avec la touche SPEAKERS. Pour plus d'informations, consultez la section Commutation du bornes d'enceintes à la page 74.
![PIONEER SC-LX56 - [E] Raccordement du système surround 7.2 canaux (Avant haut/Avant large) et de la ZONE 2 (Multizone) - 1](/content/2019/10/4628/images/c15a492902c01147f7917fcd9c15359562fd6cff1572de4f96561f131b4bd28f.jpg)
![PIONEER SC-LX56 - [E] Raccordement du système surround 7.2 canaux (Avant haut/Avant large) et de la ZONE 2 (Multizone) - 2](/content/2019/10/4628/images/8c384dbe84ee03658cf6b39f3ff3332d9849a8b65d5ee9310b78205d00305145.jpg)
ZONE 2
Zone secondaire
[F] Raccordement du système surround 5.2 canaux et avant pour la double amplification (Surround haute qualité) et raccordement de la ZONE 2 (Multizone)
- Réglage du Speaker System: 5.1ch Bi-Amp + ZONE 2
Ces liaisons permettent de bénéficier de la haute qualité sonore grâce à la liaison à double amplification des enceintes avant, avec un son surround 5.2 canaux dans la zone principale et un son en stéreo sur un autre apparériel de la ZONE 2. (Les dispositifs pouvant être sélectionnées sont limités.)
![PIONEER SC-LX56 - [F] Raccordement du système surround 5.2 canaux et avant pour la double amplification (Surround haute qualité) et raccordement de la ZONE 2 (Multizone) - 1](/content/2019/10/4628/images/141495af5cae5c42f218ec7d163fce29eb4fd9a88b36f12d076598bf16e7fb8c.jpg)
ZONE 2
![PIONEER SC-LX56 - [F] Raccordement du système surround 5.2 canaux et avant pour la double amplification (Surround haute qualité) et raccordement de la ZONE 2 (Multizone) - 2](/content/2019/10/4628/images/555b40c8e4aa2c9d5ff3c3ceb353cc457e6de41cdd4976edd7bdb0bfd96c4626.jpg)
Zone secondaire
[G] Raccordement du système surround 5.2 canaux et de la ZONE 2/ZONE 3 (Multizone)
- Réglage du Speaker System : 5.1ch + ZONE 2+3
Ces liaisons permettent à l'appareil de la zone principale de restituer un son surround à 5.2 canaux et à l'appareil des ZONE 2 et ZONE 3 de restituer un son en stéreo. (Les dispositifs pouvant être sélectionnés sont limités.)
![PIONEER SC-LX56 - [G] Raccordement du système surround 5.2 canaux et de la ZONE 2/ZONE 3 (Multizone) - 1](/content/2019/10/4628/images/e44e4d67f594d6aaaa622dcda523e8493975358d05bb29ad159a0d617140f651.jpg)
![PIONEER SC-LX56 - [G] Raccordement du système surround 5.2 canaux et de la ZONE 2/ZONE 3 (Multizone) - 2](/content/2019/10/4628/images/8b11beca5e4a83b46cbd7d8bc55619484ef1530cb1bbf1713f2d31eacc9f4b0d.jpg)
Autres liaisons d'enceintes
- Vous pouvez selectionner vos liaisons préférendes même si vous dispose de moins de 5.2 enceintes (à l'exception des enceintes avant gauche/droite).
- Si vous ne raccordez pas de caisson de grave, raccordez des enceintes capables de reproductive les basses fréquences sur le canal avant. (Sinon, les basses fréquences des graves étant restituées par les enceintes avant, celles-ci pourrait être endommagées.)
- Àprous avoir raccordé les enceintes, effectuez la configuration Full Auto MCACC (réglage de l'environnement des enceintes). Consultez la section Obtention automatique d'un réglage sonore optimal (Full Auto MCACC) à la page 41.
Disposition des enceintes
Référez-vous au schéma ci-dessous pour la disposition des enceintes que vous pouze raccorder.

- Positionnez les enceintes surround à 120^ du centre. Si vous (1) utilisez l'enceinte surround arrriere et (2) n'utilisez pas les enceintes avant en position haute / les enceintes avant en position large, il est conseillede placer l'enceinte surround juste a cotoé de vous.
Si you voulez raccorder seulement une enceinte arriere surround, place-la directement derriere vous.
- Placez les enceintes avant gauche et droite en position haute à au moins un mètre des enceintes avant gauche et droite, et directement au-dessus.
Configuration du système d'enceintes THX
Si vous utilisez un caisson de grave certifié THX, utilisez la prise THX INPUT située sur le caisson de grave (le cas échéant) ou commutez la position du filtre sur THX sur votre caisson de grave.
Consultez également la section Réglage audio THX à la page 96 pour définir les réglages garantissant une expérience sonore optimale à l'aide des modes Home THX (page 57).
Quelques conseils pour améliorer la qualité du son
L'emplacement des enceintes dans la pièce à une grande incidence sur la qualité du son. Voici quelques lignes directrices qui vous aideront à Obtir une qualité sonore optimale de votre système.
- Le caisson de grave peut être posé sur le sol. L'idéal est de placer les autres enceintes à hauteur d'oreilles en position d'écoute. Il est déconseillé de poser les enceintes sur le sol (à l'exception du caisson de grave) ou de les installer très haut en position murale.
- Pour obtenir un effet stéreo optimal, placez les enceintes avant à environ 2m à 3m l'une de l'autre, à égale distance du téléviseur.
- Si vous vedez placer des enceintes autour d'un télévisuer a tube cathodique,utilisez des enceintes blindées ou placez les enceintes a une distance suffisante du télévisuer.
- Si vous utilisez une enceinte centrale, placez les enceintes avant à un angle plus grand. Sinon, placez-les a un angle plus etroit.
- Placez l'enceinte centrale au-dessus ou en dessous du téléviseur de telle sorte que le son du canal central soit situé au niveau de l'écran du téléviseur. Assurez-vous également que l'enceinte centrale est en retrait par rapport à la ligne reliant les façades des enceintes avant gauche et droite.
- Il vaut mistroux orienter les enceintes vers la position d'écoute. L'angle formé par les enceintes dépend de la taille de la pièce. L'angle doit être plus ouvert pour les pièces plus grandes.
- Les enceintes surround et surround arrêté doivent être placées entre 60 cm et 90 cm au-dessus du niveau des oreilles et légrement inclinées vers le bas. Elles ne doivent pas être en face à face. Pour les DVD-Audio, les enceintes doivent être situées derrière la personne qui écoute mais plus pres que pour le visionnage de films.
- N'essayez pas de placer les enceintes surround à une distance plus grande que les enceintes avant et centrale. Sinon l'effet du son surround risque d'être attenué.
Raccordement des enceintes
Pour chaque enceinte le récepteur compte une borne positive (+) et une borne négative (-). Prenez soit de les faire correspondre aux bornes situées sur les enceintes.
Cet apparéil accepte les enceintes ayant une impédance nominale de 4 à 16 .
ATTENTION
- Ces bornes d'enceintes sont soumises à une tension DANGEREUSE. Pour éviter tout risque de décharge électrique lors du branchement ou débranchement des cables d'enceintes, débranchez le cordon d'alimentation avant de toucher les parties non isolées.
- Assurez-vous que toute la partie dénudée du fil d'enceinte est torsadé et inséré entièrement dans la borne d'enceinte. Si l'un des fils d'enceinte dénudés doivent toucher le panneau arrière, l'alimentation pourrait être coupée par mesure de sécurité.
Raccordement des fils dénudés
ATTENTION
Assurez-vous que toutes les enceintes sont installées de manière stable. Cela permet non seulement d'améliorer la qualité sonore, mais aussi de réduire les risques de dommage ou de blessure si l'enceinte venait à tomber en raison de chocs extérieurs, telis qu'un tremblement de terre.
1 Torsadez les fils ensemble.
2 Dévissez la borne et insérez la partie dénudée des fils.
3 Serrez la borne.



Remarque
- Pour plus d'informations sur le branchement de l'autre extrémité des cables d'enceinte à vos enceintes, consultez le mode d'emploi fourni avec vos enceintes.
- Utilisez un cable à fiche RCA pour raccorder le caisson de grave. Il n'est pas possible d'utiliser des cables d'enceintes.
- Si vous possédez deux caissons de grave, le second caisson de grave peut être raccordé à la prise SUBWOOFER 2. Avec deux caissons de grave vous augmenterez les sons graves et obtiendrez un son plus puissant. Dans ce cas, les deux caissons de grave produitron le même son.




Double amplification des enceintes
Il y a double amplification lorsque vous reliez les amplificateurs internes hautes et basses fréquences des enceintes à différents amplificateurs externes pour obtenir une meilleure répartition des fréquences. Pour cela, vos enceintes doivent supporter la double amplification (en disposant de bornes distinctes pour les haute et les basses fréquences) et l'amélioration de la qualité du son dépendra du type d'enceintes utilisé.


ATTENTION
- La plupart des enceintes dotées de bornes High et Low arborent deux plaques métalliques reliant les bornes High et les bornes Low. Il faut-retirer ces plaques lors de la double amplification des enceintes, sans quoi vous pourriez sérieusement endommager l'amplificateur. Consultez le mode d'emploi des enceintes pour de plus amples informations.
- Si vos enceintes disposent d'un circuit d'aiguillage amovible, assurez-vous qu'il n'a pas ete retiré si vous utilise la double amplification. Sans quoi vos enceintes pourraient etre endommagées.
Double câblage de vos enceintes
Vos enceintes peuvent aussi recevoir un double câblage si elles acceptent la double amplification.
- Avec ces liaisons, le réglage Speaker System n'a pas d'importance.

ATTENTION
- Ne raccordez pas de cette façon différentes enceintes à la même borne.
- Lors du double câblage, prenez les mêmes précautions que pour la double amplification, comme indiqué ci-dessus.
- Pour le double câblage d'une enceinte, raccordez deux cordons d'enceinte à la borne d'enceinte sur le récepteur.

Installation de votre système d'enceintes
Les enceintes avant gauche et droite sont les seules obligatoires. Notez que vos enceintes surround principales doivent toujours être raccordées par paire. Cependant, si vous le souhaitez, vous pouvez ne raccorder qu'une seule enceinte surround arrêté (elle doit être raccordée à la borne surround arrêté gauche).
[A] Raccordement du système surround 9.2 canaux (Avant haut/Avant large)
- Si nécessaire, selectionnez '9.1ch FH/FW' dans le menu Speaker System.
Pour ce faire, consultez la section Reglage du système d'enceintes à la page 94.
- Si vous raccordez une seule enceinte surround arrêté, raccordez-la aux bornes SURROUND BACK L (Single).
![PIONEER SC-LX56 - [A] Raccordement du système surround 9.2 canaux (Avant haut/Avant large) - 1](/content/2019/10/4628/images/0fc95ccf3d11504342b080a8b0afa040a92a55e438546bcdf9e98e83945b6b6c.jpg)
[B] Système surround 7.2 canaux et raccordement des enceintes B
- Sélectionnez '7.1ch + Speaker B' sur le menu Speaker System
Pour ce faire, consultez la section Reglage du système d'enceintes à la page 94.
- Si vous raccordez une seule enceinte surround arrêté, raccordez-la aux bornes SURROUND BACK L (Single)
![PIONEER SC-LX56 - [B] Système surround 7.2 canaux et raccordement des enceintes B - 1](/content/2019/10/4628/images/a8f903fcee8ad0cdb72961bec7c9f767f260a4255e1420506e5b45a79ed8c5b6.jpg)
![PIONEER SC-LX56 - [B] Système surround 7.2 canaux et raccordement des enceintes B - 2](/content/2019/10/4628/images/782e1e30748f9a94b8fd4d4874e9dbbf2217581b67544741cc46d8dbfd03a5b0.jpg)
![PIONEER SC-LX56 - [B] Système surround 7.2 canaux et raccordement des enceintes B - 3](/content/2019/10/4628/images/c36ca7e51fe37208ec0dc82d1d4cd6dd1f90fb5e11e75c10241e9d4d0684811e.jpg)
![PIONEER SC-LX56 - [B] Système surround 7.2 canaux et raccordement des enceintes B - 4](/content/2019/10/4628/images/58b3bf83c387b2aebcb8b1cb8da625673b969bf3914f98a832fc2d77deedf11b.jpg)
![PIONEER SC-LX56 - [B] Système surround 7.2 canaux et raccordement des enceintes B - 5](/content/2019/10/4628/images/08b0948050eb769d012291ac5640e110409969ce16621ba7c0ca932fa4c2ef21.jpg)
[C] Raccordement du système surround 7.2 canaux et à double amplification avant (Surround haute qualité)
- Sélectionnez '7.1ch Front Bi-Amp' sur le menu Speaker System.
Pour ce faire, consultez la section Reglage du système d'enceintes à la page 94.
- Si vous raccordez une seule enceinte surround arrêté, raccordez-la aux bornes SURROUND BACK L (Single).
![PIONEER SC-LX56 - [C] Raccordement du système surround 7.2 canaux et à double amplification avant (Surround haute qualité) - 1](/content/2019/10/4628/images/d1c871e8e142a948134fa26430fa6d3edcb81ca8af97aa5e49dc3bba2e5fb612.jpg)
[D] Raccordement du système surround 7.2 canaux (Surround arrêté) et de la ZONE 2 (Multizone)
- Sélectionnez '7.1ch + ZONE 2' sur le menu Speaker System
Pour ce faire, consultez la section Reglage du système d'enceintes à la page 94.
- Si vous raccordez une seule enceinte surround arrêté, raccordez-la aux bornes SURROUND BACK L (Single)
![PIONEER SC-LX56 - [D] Raccordement du système surround 7.2 canaux (Surround arrêté) et de la ZONE 2 (Multizone) - 1](/content/2019/10/4628/images/efe03deafdc2a79885fff71c7286c6a3cc6b03a9ece474ee6dad326b6dbfa788.jpg)
![PIONEER SC-LX56 - [D] Raccordement du système surround 7.2 canaux (Surround arrêté) et de la ZONE 2 (Multizone) - 2](/content/2019/10/4628/images/7e9f581d8b42b265103fa8e9f37ba1e549835cd081cae3835fc4127f55363f97.jpg)
![PIONEER SC-LX56 - [D] Raccordement du système surround 7.2 canaux (Surround arrêté) et de la ZONE 2 (Multizone) - 3](/content/2019/10/4628/images/838d91cf9a8278cca9e8e982640041d6ddc7565f895da7975023134a7e3f52d2.jpg)
![PIONEER SC-LX56 - [D] Raccordement du système surround 7.2 canaux (Surround arrêté) et de la ZONE 2 (Multizone) - 4](/content/2019/10/4628/images/989271b2355f2b271e0bf1cd3e78ca0751a3eebcc85a3e173f32835e3b5d4877.jpg)
![PIONEER SC-LX56 - [D] Raccordement du système surround 7.2 canaux (Surround arrêté) et de la ZONE 2 (Multizone) - 5](/content/2019/10/4628/images/d13be3fbdfa444e11877086cfc6202cfb0d4e5738cf6f63c6c9b95e1d76afd82.jpg)
[E] Raccordement du système surround 7.2 canaux (Avant haut/Avant large) et de la ZONE 2 (Multizone)
- Sélectionneze '7.1ch FH/FW + ZONE 2' sur le menu Speaker System. Pour ce faire, consultez la section Réglage du système d'enceintes à la page 94.
![PIONEER SC-LX56 - [E] Raccordement du système surround 7.2 canaux (Avant haut/Avant large) et de la ZONE 2 (Multizone) - 1](/content/2019/10/4628/images/e51d2f5ab87560c9991d00a44b0187be5b6ce31ffd1546f8741b7ae08f61c8a3.jpg)
[F] Raccordement du système surround 5.2 canaux et avant pour la double amplification (Surround haute qualité) et raccordement de la ZONE 2 (Multizone)
- Sélectionnez '5.1ch Bi-Amp + ZONE 2' sur le menu Speaker System. Pour ce faire, consultez la section Réglage du système d'enceintes à la page 94.
![PIONEER SC-LX56 - [F] Raccordement du système surround 5.2 canaux et avant pour la double amplification (Surround haute qualité) et raccordement de la ZONE 2 (Multizone) - 1](/content/2019/10/4628/images/084c5871c7cef96485484cdbfd5c0878367e27d4580a5ec6e139b663468a9d14.jpg)
![PIONEER SC-LX56 - [F] Raccordement du système surround 5.2 canaux et avant pour la double amplification (Surround haute qualité) et raccordement de la ZONE 2 (Multizone) - 2](/content/2019/10/4628/images/34a0c0f7a9ff83d224a9dca889691a1eb34700fb1c156c22efe753b7c1f6cb79.jpg)
![PIONEER SC-LX56 - [F] Raccordement du système surround 5.2 canaux et avant pour la double amplification (Surround haute qualité) et raccordement de la ZONE 2 (Multizone) - 3](/content/2019/10/4628/images/ff4cf998740fae399b16c056b074e3b26fc968f07a4c35d1370b0b2e19f17e2d.jpg)
![PIONEER SC-LX56 - [F] Raccordement du système surround 5.2 canaux et avant pour la double amplification (Surround haute qualité) et raccordement de la ZONE 2 (Multizone) - 4](/content/2019/10/4628/images/1e85ed8a3f983ec49dfe2f9f0d98558d6cc2f4cf91b16584e76d6318f32d11d5.jpg)
![PIONEER SC-LX56 - [F] Raccordement du système surround 5.2 canaux et avant pour la double amplification (Surround haute qualité) et raccordement de la ZONE 2 (Multizone) - 5](/content/2019/10/4628/images/fe0941c654d401a17d4ce1b8aedc26163ea2a931af388d5e0d3b06111c591970.jpg)
[G] Raccordement du système surround 5.2 canaux et de la ZONE 2/ZONE 3 (Multizone)
- Sélectionnez '5.1ch + ZONE 2+3' sur le menu Speaker System. Pour ce faire, consultez la section Réglage du système d'enceintes à la page 94.
![PIONEER SC-LX56 - [G] Raccordement du système surround 5.2 canaux et de la ZONE 2/ZONE 3 (Multizone) - 1](/content/2019/10/4628/images/69686f6aaa1d5836062633de261c6a2b017906e931eb27637efe979dbe08a04a.jpg)
À propos de la liaison audio

- Avec un cable HDMI les signaux video et audio peuvent être transférés par un seul cable tout en conservant leur grande qualité.

À propos du convertisseur video
Grace au convertisseur video, toutes les sources video seront par la prise HDMI OUT.
Si le téléviseur n'est raccordé qu'aux prises VIDEO MONITOR OUT composites du récepteur, tous les autres apparèils video doivent être reliés par des prises composites.
Si plusieurs composants video sont afferents à la même fonction d'entrée (consultez la section Le menu Input Setup à la page 43), le convertisseur donne la priorité aux sources HDMI, composantes, puis composites (dans cet ordre).


Remarque
- Les sources videoe HDMI font toutefois exception : vu l'impossibilité de sous-echantillonner cette résolution, vous devrez raccorder votre moniteur/televiseur à la sortie HDMI du récepteur pour relier cette source videoe.
- Si le signal video n'apparait sur votre télévisuer, essayez d'ajuster les régliages de la résolution de votre composant ou écran. Notez que pour certains composants ( comme les consoles deiaux video), la conversion des résolutions est impossible. Dans ce cas, essayez demettre la conversion video numérique (dans Reglages des options video à la page 72) hors service OFF.
- Les signaux de l'entrée video à composantes ayant une résolution de 480i/576i, 480p/576p, 720p et 1080i peuvent être convertis pour être restitués par la sortie HDMI. Les signaux 1080p ne peuvent pas être convertis.
- Pour optimiser les performances video, THX commande de désactiver la conversion videoe numérique (OFF) (dans la section Reglages des options video à la page 72).
Ce produit fait appel à des principales technologiques destinés à interdirire la piraterie des oeuvres protégées par des droits d'auteur, principales qui sont eux-memes couverts aux États-Unis par des brevets et d'autres formes de propriété intellectuelle appartenant à Rovi Corporation. La rétro-technique et le désassemblage sont proscrits.
À propos de l'HDMI
La liaison HDMI permet de transmettre des signaux video numériques non compressés de même que la plupart des signaux audio numériques.
Ce récepteur intègre l'Interface Multimédia Haute Définition (HDMI®).
Il prend en charge les fonctions suivantes lorsque les liaisons HDMI sont utilisées.
- Transfert numérique de video non compressée (contenu protégé par l'HDCP (1080p/24, 1080p/60, etc.))
- Transfert de signaux 3D
- Transfert de signaux Deep Color
- Transfert de signaux x.v.Color
- ARC (Canal deeturn audio)
- Transfert de signaux de 4K
—Peut ne pas fonctionner, selon l'appareil raccordé.
—Les signaux en 4K 24p, 4K 25p et 4K 30p ne sont pas pris en charge.
—Pas pris en charge pour les prises HDMI IN 6 et IN 7.
- Entrée de signaux audio numériques PCM linéaires multicanaux (192 kHz ou inférieur) jusqu'à 8 canaux
- Entrée des signaux audio numériques aux formats suivants :
—Dolby Digital, Dolby Digital Plus, DTS, Son à début élevé (Dolby TrueHD, DTS-HD Master Audio, DTS-HD High Resolution Audio), DVD-Audio, CD, SACD (signal DSD), Video CD, Super VCD
- Fonctionnement synchronisé sur d'autres composants via la Control de la fonction HDMI (consultez la section Commande par l'HDMI à la page 65)

Remarque
- Une connexion HDMI ne peut être réalisée qu'avez les composants équipés de prises DVI compatibles avec le DVI et HDCP (High Bandwidth Digital Content Protection). Si vous désissiez un prise DVI, vous doivent disposer d'un adaptateur séparé (DVI HDMI). Toutefois, une liaison DVI ne prend pas les signaux audio en charge. Consultez votre revendeur local de matériel audio pour plus d'informations.
- Si vous raccordez un composant non compatible HDCP, le message HDCP ERROR apparait sur l'afficheur du panneau avant. Avec certains composants compatibles avec le HDCP, ce message s'affiche aussi, mais dans la mesure où l'image est normale, il n'y a pas lieu de s'inquieter.
- Selon le composant raccordé, l'utilisation d'une liaison DVI peut entraîner des transferts de signaux peu friables.
- Ce récepteur prend en charge les SACD, Dolby Digital Plus, Dolby TrueHD et DTS-HD Master Audio. Pour bénéficier de ces formats, il faut toute fois s'assurer que le composant raccardé à ce récepteur prend également en charge le format correspondant.
- Utilisation d'un cable HDMI®/TM haute vitesse. Si le cable HDMI utilisé n'est pas un cable HDMI®/TM haute vitesse, l'interface peut ne pas fonctionner correctement.
- Quand un cable HDMI avec égaliseur intégré est raccordé, l'interface peut ne pas fonctionner correctement.
- Le transfert de ces signaux n'est possible que lorsqu'un apparéil compatible est raccordé.
- Les transmissions de son numérique sous forme HDMI ne sont pas immédiatement reconnues. C'est pour-quoi, une coupure de son peut se produit au moment où l'on change de format audio ou lance la lecture.
- La mise sous/hors tension du dispositif raccordé à la prise HDMI OUT de cet apparéil pendant la lecture, ou le débranchement/branchement du cable HDMI pendant la lecture, peut occasionner du bruit ou des coupures de son.
Les termes HDMI et HDMI High-Definition Multimedia Interface ainsi que le logo HDMI sont des marques commerciales ou des marques déposées de HDMI Licensing, LLC aux États-Unis et dans d'autres pays.
"x.v.Color" et x.v.Color sont des marques commerciales de Sony Corporation.




Raccordement d'un téléviseur ou de lecteurs
Connexion via HDMI
Si vous avez un composant equiped d'une prise HDMI ou DVI (avec HDCP) (Lecteur Blu-ray Disc (BD), etc.), vous pouvez le raccorder a ce recepteur a I'aide d'un cable HDMI en vente dans le commerce.
Si le téléviseur et les lecteurs prenent en charge la fonction Control par l'HDMI, cette commande pratique peut ettre utilisée (consultez Commande par l'HDMI à la page 65).

- Si vous raccordez un moniter compatible HDMI/DVI par la prise HDMI OUT 2, réglez la sortie HDMI sur HDMI OUT 2 ou HDMI OUT ALL. Consultez la section Commutation de la sortie HDMI à la page 76.
-
Les lecteurs peuvent aussi être raccordés à d'autres prises que la prise HDMI (consultez la section Raccordement d'un lecteur DVD sans sortie HDMI à la page 29).
-
Pour que le récepteur puisse restituer le son du téléviseur, il faut raccorder le récepteur et le téléviseur à l'aide de câbles audio.
—Lorsque le téléviseur et le recepteur sont raccordés par des liaisons HDMI, le son du téléviseur est transmis au recepteur par la prise HDMI OUT, et aucun autre cable audio n'est nécessaire, dans la mesure ou le téléviseur presente le ARC (Canal de retour audio) comme fonction HDMI. Dans ce cas, Reglez ARC dans HDMI Setup sur ON (consultez la section Réglage de l'HDMI à la page 66).
—Si you utilisez un cable audio numérique coaxial ou un cable audio RCA (analogique), you devrez indiquer au recepteur l'entrée numérique ou l'entrée audio analogique à laquelle le téléviseur est raccordé (consultez la section Le menu Input Setup à la page 43).




Raccordement d'un lecteur DVD sans sortie HDMI
Le schéma montre comment raccorder un téléviseur (avec entrée HDMI) et un lecteur DVD (ou un autre lecteur sans entrée HDMI) au récepteur.

Moniteur compatible HDMI/DVI
- Pour que le récepteur puisse restituer le son du téléviseur, il faut raccorder le récepteur et le téléviseur à l'aide de câbles audio (page 28).
—Lorsque le téléviseur et le recepteur sont raccordés par des liaisons HDMI, le son du téléviseur est transmis au recepteur par la prise HDMI OUT, et aucun autre cable audio n'est nécessaire, dans la mesure ou le téléviseur presente le ARC (Canal de retour audio) comme fonction HDMI. Dans ce cas, Reglez ARC dans HDMI Setup sur ON (consultez la section Réglage de l'HDMI à la page 66).
- Si vous utilisez un cable audio numérique optique, vous devrez indiquer au recepteur l'entrée numérique à laquelle le lecteur est raccordé (consultez la section Le menu Input Setup à la page 43).
Raccordement d'un téléviseur sans entrée HDMI
Le schéma montre comment raccorder un téléviseur (sans entrée HDMI) et un lecteur DVD (ou un autre lecteur) au récepteur.

Important
- Avec ces liaisons, le signal video n'est pas transmis au téléviseur même si le lecteur DVD est raccardé à l'aide d'un cable HDMI. Relief le récepteur et le téléviseur avec le type de cable video utilisé pour relier le récepteur et le lecteur.
- De plus, lorsque le récepteur et le téléviseur sont reliés par autre chose qu'un cable HDMI, la fonction OSD qui permet d'afficher les réglages, fonctions, etc. du récepteur sur l'écran du téléviseur ne peut pas être utilisée. Dans ce cas, il faut vérifier les diverses opérations sur l'afficheur du panneau avant du récepteur pour effec-tuer les réglages.





- Pour écouter le son HD par ce récepteur, raccordez un cable HDMI et utilisez un cable video analogue pour l'entrée du signal video.
Selon le lecteur, il peut être impossible de transmettre les signaux videoe simultanément à la sortie videoe HDMI et à une autre sortie videoo (composite, etc.) et il peut être nécessaire de régler la sortie videoe. Veuillez vous reporter au mode d'emploi du lecteur pour plus d'informations à ce sujet.
- Pour que le récepteur puisse restituer le son du téléviseur, il faut raccorder le récepteur et le téléviseur à l'aide de câbles audio (page 28).
- Si vous utilisez un cable audio numérique optique, vous devrez indiquer au recepteur l'entrée numérique à laquelle le lecteur est raccordé (consultez la section Le menu Input Setup à la page 43).
Raccordement d'un enregistrateur HDD/DVD, d'un enregistrateur BD et d'autres sources video
Ce récepteur est équipé d'entrées audio/video pour le raccordement d'appareils video analogiques ou numériques, enregistrurs HDD/DVD et enregistrurs BD compris.
Lors de la configuration du récepteur, vous devrez lui indiquer l'entrée à laquelle vous avez raccordé l'enregistreur (consultez la section Le menu Input Setup à la page 43).

- Pour effectuer des enregistements, vous doivent raccorder des cables audio analogiques (la liaison numérique est destinée à la lecture seulement) (page 75).




- Si vous enregistreur HDD/DVD, enregistreur BD, etc., est équipé d'une prise de sortie HDMI, il est conseillé de le raccorder à la prise HDMI DVR/BDR IN du récepteur. Dans ce cas, raccordez aussi le téléviseur par la prise HDMI (consultez la section Connexion via HDMI à la page 28).

Connexion d'un récepteur satellite/câble ou d'un autre type de décodeur
Les récepteurs satellite/cable et les tuners de télévision numérique terrestre (TNT) sont appelés communément 'décodeurs' (STB).
Lors de la configuration du récepteur, vous devrez lui indiquer l'entrée à laquelle vous avez raccordé le décodeur (consultez la section Le menu Input Setup à la page 43).

- Si votre décembre est équipé d'une prise de sortie HDMI, il est conseilé de le raccorder à la prise HDMI SAT/CBL IN du récepteur. Dans ce cas, raccordez aussi le téléviseur par la prise HDMI (consultez la section Connexion via HDMI à la page 28).

- Meme si vous decodeur est équipé d'une prise de sortie HDMI, dans certains cas le son sort par la prise audio numérique (optique ou coaxiale) et l'image seulement sort par la prise de sortie HDMI. Si c'est le cas, effectuez les liaisons HDMI et audio numériques suivantes.

Raccordement d'autres composants audio
Ce récepteur est pourvu d'entrées à la fois numériques et analogiques, ce qui permet de raccorder des composants audio pour la lecture.
Lors de la configuration du récepteur, vous devrez lui indiquer l'entrée à laquelle vous avez raccordé le composant (consultez également la section Le menu Input Setup à la page 43).

- Si vous platin disque possede des sorties de niveau de ligne (pare qu'elle dispose d'un pre-amplificateur intégré), reliez-la plutôt aux entrées ANALOG IN 1 (CD).
- Vous ne pouvez pas écouter le son HDMI par la prise de sortie numérique de ce récepteur.




Connexion d'autres amplificateurs
Ce récepteur offre une puissance plus que suffisante pour une utilisation domestique, mais il est possible d'ajouter d'autres amplificateurs sur chaque canal de votre système en utilisant les bornes de préampli. Effectuez les raccordements ci-dessous pour ajouter des amplificateurs afin d'alimenter vos enceintes.

- Si vous n'utilise pas de caisson de grave, réglez l'enceinte avant sur LARGE (consultez la section Réglage des enceintes à la page 90).
- Vous pouvez également utiliser l'amplificateur supplémentaire sur les bornes de préampli du canal surround arrêté pour une seule enceinte. Dans ce cas, branchez l'amplificateur sur la borne gauche (SURROUND BACK L (Single)) uniquement.
- Le son provenant des bornes surround arrêté dépend de la configuration effectue à la section Réglage du système d'enceintes à la page 94.
- Si vous possédez deux caissons de grave, le second caisson de grave peut être raccordé à la prise SUBWOOFER 2. Avec deux caissons de grave vous augmenterez les sons graves et obtiendrez un son plus puissant. Dans ce cas, les deux caissons de grave produitron le même son.
- Pour écouter le son des sorties préampli seulement, réglez les bornes d'enceintes sur SP: OFF (page 74) ou débranchez simplement toutes les enceintes reliées directement au récepteur. Il est également possible d'écouter le son seulement des sorties préampli en réglient AMP sur OFF et spécifique le mode préampli de manière à désactiver les amplificateurs de toutes les voies (voir Réglage des options audio à la page 70).
Raccordement des antennes AM/FM
Raccordez l'antenne cadre AM et l'antenne fil FM de la façon suivante. Pour améliorer la réception et la qualité sonore, raccordez des antennes externes (consultez la section Raccordement d'antennes extérieures à la page 34).





1 Retirez les protections des deux fils d'antenne AM.
2 Appuyez sur les onglets pour ouvrir les orifices et insérez un fil à fond dans chaqueborne, puis relâchéz les onglets pour fixer les fils d'antennes AM.
3 Fixez l'antenne cadre AM au support rattaché.
Pour fixer le support à l'antenne, pliez-le dans le sens indiqué par la flèche (fig. a), puis insérez le cadre dans le support (fig. b).
- Si vous prévoyez de fixer l'antenne AM à un mur ou une autre surface, fixez le support avec des vis (fig. c) avant d'insérer le cadre sur le support. Assurez-vous que la réception est nette.
4 Placez l'antenne AM sur une surface plane et orientez-la dans la direction qui offre la meilleure réception.
5 Raccordez l'antenne fil FM à la prise d'antenne FM.
Pour obtenir les membres résultats, étendez complètement l'antenne fil FM et fixez-la à un mur ou un encadrement de porte. Ne la laissez pasPENDRE et ne la laissez pas enroulée.
Raccordement d'antennes extérieures
Pour améliorer la qualité de réception FM, raccordez une antenné FM extérieure à FM UNBAL 75 Ω.

Pour améliorer la qualité de la réception AM, raccordez un fil à gaine en vinyle de 5 m à 6 m de long aux bornes AM LOOP sans débrancher l'antenne cadre AM fournie.
Pour obtenir le meilleur son possible, suspendez l'antenne à l'horizontal à l'extérieur.

Configuration MULTI-ZONE
Ce récepteur peut entraîner jusqu'à trois systèmes indépendants, situés dans différentes pièces, lorsque les liaisons MULTI-ZONE dégaçues ont été effectuees.
Différentes sources peuvent être lues simultanément dans les trois zones, ou bien si vous préférez, la même source peut être lue. Les zones principale et secondaires disposent d'alimentations indépendantes (l'alimentation de la zone principale peut être coupée alors que la (les) zone(s) seconde(s) est (sont) alimentée(s)) et les zones secondaires peuvent être commandées par la télécommande ou les commandes du panneau avant.
Raccordement pour une configuration MULTI-ZONE
Voupe ouez effctuer ces liaisons si la premiere zone secondaire (ZONE 2) dispose d'un telleviseur, d'un caisson de grave et d'enceintes distincts et si la deuxieme zone secondaire (ZONE 3) dispose d'un amplificateur (et d'enceintes) distinct. You aurez aussi besoin d'un autre amplificateur si you n'utilise pas les bornes d'enceintes pour la premiere zone secondaire (Pour le deteil, voir Configuration MULTI-ZONE en utilisant les bornes d'enceintes (ZONE 2) à la page 35). Ce système propose deux configurations pour la premiere zone secondaire.
Choisissez celle qui vous convient le mieux.
Options d'écoute MULTI-ZONE
Le tableau suivant montre les signaux pouvant etre transmis aux ZONE 2 et ZONE 3 :
| Zone secondaire | Fonctions d'entrée disponibles |
| ZONE 2 | DVD, SAT/CBL, DVR/BDR, VIDEO, INTERNET RADIO, MEDIA SERVER, FAVORITES, iPod/USB, TV, CD, TUNER, ADAPTER PORT (Transmet des signaux audio analogiques, video composites.) |
| ZONE 3 | DVD, SAT/CBL, DVR/BDR, VIDEO, TV, CD, TUNER, ADAPTER PORT (Transmet des signaux audio analogiques) |
- Il n'est pas possible de convertir à la baisse les signaux d'entrée audio et video provenant des prises d'entrée HDMI, des prises d'entrée numériques (OPTICAL et COAXIAL) et des prises d'entrée COMPONENT VIDEO avant de les transmettre à la ZONE 2.
- Il n'est pas possible de convertir à la baisse les signaux d'entrée audio provenant des prises d'entrée HDMI ou des prises d'entrée numérique (OPTICAL et COAXIAL) avant de les transmettre à la ZONE 3.
- Si une des entrées INTERNET RADIO, MEDIA SERVER, FAVORITES, iPod/USB ou ADAPTER PORT est sélectionnée dans la zone principale, il faut selectionner la même entrée pour la zone secondaire. (Les entrées non mentionnées ici peuvent être sélectionnées.)
Configuration de base MULTI-ZONE (ZONE 2)
1 Raccordez un amplificateur independant aux prises AUDIO ZONE 2 OUT de ce récepteur. Vous doivent disposer de deux enceintes reliées à l' amplificateur de la zone secondaire, comme sur l'illustration suivante.
2 Raccordez un caisson de grave à la prise SUBWOOFER ZONE 2 OUT de ce récepteur. Lorsqu'un caisson de grave est raccardé, il est conseilé de régler HPF (Filtre passé-haut) dans ZONE Setup sur ON (page 100).





3 Raccordez un téléviseur à la prise VIDEO ZONE 2 OUT de ce récepteur.

Pour utiliser les bornes d'enceintes surround arrêt pour la ZONE 2 :




Configuration MULTI-ZONE en utilisant les bornes d'enceintes (ZONE 2)
Les bornes surround arriré ou d'enceintes avant en position large peuvent être utilisées comme bornes d'enceintes pour la ZONE 2. Pour plus d'informations, consultez la section D'étermination des enceintes à utiliser à la page 19.
1 Raccordez une paire d'enceintes aux bornes d'enceintes surround arrêté ou d'enceintes avant en position large.
2 Raccordez un téléviseur à la prise VIDEO ZONE 2 OUT de ce récepteur.
Pour utiliser les bornes d'enceintes avant en position large pour la ZONE 2 :

Configuration de base MULTI-ZONE (ZONE 3)
Raccordez un amplificateur independant aux prises AUDIO ZONE 3 OUT de ce récepteur.
Vou devez disposer de deux enceintes reliées à l'amplificateur de la zone seconde, comme sur l'illustration suivante.

Configuration MULTI-ZONE secondaire avec les bornes d'enceintes (ZONE 3)
Vou devez selectionner 5.1ch + ZONE 2+3 dans Réglage du système d'enceintes à la page 94 pour pouvoir utiliser cette configuration.
Raccordez une paire d'enceintes aux bornes d'enceintes avant en position large.
Vou devez disposer de deux enceintes reliées à l'amplificateur de la zone seconde, comme sur l'illustration suivante.

Raccordement au réseau par l'interface LAN
Raccordé au réseau par la borne LAN, ce récepteur permet d'écouter les stations radio Internet. Pour pouvoir écouter des stations radio Internet, il faut s'abonnner auprès d'un fournisseur de service Internet (FSI). Lorsque cette liaison est effectué, les fichiers audio enregistrés sur les composants en réseau, y compris l'ordi nateur, peuvent être lus.





Raccordez la borne LAN de ce récepteur à la borne LAN de votre routeur (avec ou sans fonction de serveur DHCP) par un cable LAN direct (CAT 5 ou supérieur).
Mettez la fonction de serveur DHCP de votre routeur en service. Si vous routeur ne présente pas cette fonction, il faudra paramétrer le réseau manuellement. Pour plus d'informations, consultez la section Menu de configura-tion du réseau à la page 97.
Spécifications de la borne LAN
- Borne LAN: Prise Ethernet (10BASE-T/100BASE-TX)

Remarque
- Reportez-vous au mode d'emploi de l'appareil utilisé, car les apparèils raccordés et les méthodes de raccordement peuvent être différents selon l'environnement Internet.
- Pour utiliser une connexion Internet à haut débit, il faut être abonné à un fournisseur de service Internet. Pour le détaill, contactez le fournisseur de service Internet le plus-Proche.
Raccordement d'un ADAPTATEUR Bluetooth en option
Lorsque l'ADAPTATEUR Bluetooth® (AS-BT100 ou AS-BT200) est raccordé à ce récepteur, un produit sans fil de type Bluetooth (telephone portable, lecteur de musique numérique, etc.) peut être utilisé pour écouter de la musique sans fil.
- Le dispositif intégrant la technologie sans fil Bluetooth doit prendre en charge les profils A2DP.
- Pioneer ne garantit pas que tous les dispositifs intégrant la technologie sans fil Bluetooth pourront se connecter et fonctionner.
- La fonction Air Jam ne peut pas être utilisée avec l'AS-BT100.


Important
- Ne rougez pas le récepteur lorsque l'ADAPTATEUR Bluetooth est raccardé. Ceci pourrait l'endommager ou entraîner de faux contacts.
- Mettez le récepteur en veille et raccordez l'ADAPTATEUR Bluetooth au ADAPTER PORT.
- Pour les instructions concernant la lecture sur le dispositif sans fil Bluetooth, consultez la section Jumelage de l'ADAPTATEUR Bluetooth et d'un dispositif sans fil Bluetooth à la page 53.
Raccordement d'un iPod
Ce récepteur dispose d'une prise spéciale iPod permettant de dire les contenus audio de votre iPod en utilisant les commandes de ce récepteur.


Astuce
- Un iPod/iPhone/iPad peut être raccordé au récepteur. Pour le détaill sur les modèles et versions des différents produits pris en charge, consultez la section Lecture d'un iPod à la page 48.
- Mettez ce récepteur en veille et utilisez le cable d'iPod fourni pour raccorder votre iPod à la prise iPod iPhone iPad USB sur le panneau avant de ce récepteur.
- Le cable fourni avec votre iPod peut également être utilisé, mais dans ce cas vous ne pourrez pas voir les images via le récepteur.
- Pour le raccordement du cable, reportez-vous au mode d'emploi de votre iPod.
- L'iPod se recharge lorsqu'il est raccordé à cet apparéil. (Le récepteur doit toute fois être allumé pour que l'iPod puisse se charger.)
- Pour les instructions concernant la lecture sur le iPod, consultez la section Lecture d'un iPod à la page 48.
Raccordement d'un dispositif USB
Il est possible de dire des fichiers audio et photo en raccordant des dispositifs USB à ce récepteur.





Raccordement d'un dispositif compatible avec le MHL
Un dispositif mobile compatible avec le MHL peut etre raccorded pour beneficier de videoes entierement en haute definition, d'un son multicanaux de haute qualite et de photos, et pour charger la batterie sur le recepteur. Utilisez le cable MHL fourni avec le recepteur pour raccorder le dispositif.

- Mettez le récepteur en veille puis utilisez le cable MHL fourni pour raccarder votre dispositif compatible avec le MHL à la prise MHL sur le panneau avant de ce récepteur.
- Le dispositif compatible avec le MHL se recharge lorsqu'il est raccordé à cet apparéil. (Le récepteur doit toutes fois être allumé pour que le dispositif puisse se charger.)
- Pour les instructions concernant la lecture sur le dispositif compatible avec le MHL, consultez la section Lecture sur un dispositif compatible avec le MHL à la page 50.
Raccordement d'un composant pourvu d'une prise HDMI à l'entrée du panneau avant

Jeux video, etc.
Raccordement à un réseau LAN sans fil
La connexion sans fil au réseau s'effectue par une connexion LAN sans fil. Utilisez le AS-WL300 pour la connexion.
- N'utilise que le cable de liaison d'accessoire fourni.
- Certains réglages doivent être effectuels pour que le convertisseur LAN sans fils (AS-WL300) puisse être utilisé. Pour le détaill sur ces réglages, reportez-vous au mode d'emploi fourni avec le convertisseur LAN sans fils (AS-WL300).

Convertisseur LAN sans fil (AS-WL300)
Raccordement d'un récepteur infrarouge
Si vos composants stéreo se trouvent dans un placard ou une étagère close, ou si vous voulez utiliser la télécommande de la zone secondaire dans une autre zone, vous pourrez utiliser un récepteur infrarouge en option, ( comme un Niles ou Xantech), pour commander votre système, au lieu du capteur de la télécommande du panneau avant de ce récepteur.
- Si la fenêtre du capteur du récepteur infrarouge est directement exposée à la lumière d'une lampe fluorescente puissant, il se peut que la télécommande ne fonctionne pas.
- Notez que certains fabricants peuvent ne pas utiliser le terme infrarouge pour désigner ce type d'appareil. Consultez le mode d'emploi fourni avec votre composant pour vérifier la compatibilité infrarouge.
- Si vous utilisez deux télécommandes en même temps, le détecteur de télécommande du récepteur infrarouge aura priorité sur le détecteur du panneau avant.




1 Raccordez le détecteur du récepteur infrarouge à la prise IR IN à l'arrière de ce récepteur.

2 Reliez la prise IR IN de l'autre composant à la prise IR OUT à l'arrière de ce récepteur pour étabir une liaison avec le récepteur infrarouge.
Consultez le mode d'emploi fourni avec votre récepteur infrarouge pour connaître le type de cable nécessaire pour la liaison.
Mise sous/hors tension de composants avec le déclencheur 12 volts
Vou puez connecter des composants de vrie syste (un ecran ou un projecteur) a ce recepteur sote quils soient mis sous/hors tension par des dclencheurs 12 volts lorsque you selectionnez une fonction d'entree. Toutefois, you devez indiquer quelles fonctions d'entree seront activees par le dclencheur grace dans la section Le menu Input Setup à la page 43. Note que ce syste ne fonctionne qu'vec des composants disposant d'un mode veile.

Reliez la prise 12 V TRIGGER de ce récepteur au déclencheur 12 volts d'un autre composant.
Utilisez un cable avec une mini-prise mono à chaque extrémité pour le raccordement.
Lorsque you've associe les fonctions d'entree qui seront activees par le declancheur, il you sufit d'appuyer sur l'entree specifiea la page 43 pour mettre l'appareil en ou hors service.

Remarque
- Il est également possible deCHOISIR dactiver/desactiver le composant non pas lorsque la fonction d'entree est selectionnee mais lorsque la sortie HDMI OUT est activee/desactive. Pour plus d'informations, consultez la section Reglage de I'HDMI a la page 66.
Branchement du récepteur
N'effectuez le branchement qu'aupres avoir raccordé tous les composants au recepteur, y compris les enceintes.

ATTENTION
- Saisissez le cordon d'alimentation par la prise. Ne débranchez jamais la fiche en tirant sur le cordon et ne touche jamais le cordon d'alimentation lorsque vous avez les mains mouillées, car cela pourrait cause un court-circuit ou une électrocution. Ne placez pas l'appareil, un meuble ou tout autre object sur le cordon d'alimentation et ne coincez pas le cordon. Ne faites jamais de nœud sur le cordon, et ne leouve pas avec d'autres câbles. Les cordons d'alimentation doivent être placés de telle sorte que l'on ne risque pas de marcher dessus. Un cordon d'alimentation endommagé peut entraîner un incendie ou une électrocution. Vérifiez le cordon d'alimentation de temps en temps. Si vous le trouvez abîmé, demandez à votre service après-vente Pioneer le plus proche de le remplacer.
- Utilisez exclusivement le cordon d'alimentation fourni avec cet apparéil.
- N'utilise pas ce cordon à d'autres fins que celle indiquée ci-dessous.
- Lorsque le récepteur n'est pas utilisé régulièrement (pendant les vacances, par exemple), il doit être débranché de la prise d'alimentation murale.
- Avant de le débrancher, assurez-vous que le témoin bleu © STANDBY/ON est étéeint.
1 Branchez le cordon d'alimentation fourni à la prise AC IN située à l'arrière du récepteur.
2 Branchez l'autre extrémité sur une prise électrique.
- Lorsque ce récepteur est relié à une prise secteur, un processus d'initialisation de l'HDMI de 2 à 10 secondes commence. Durant celui-ci il n'est pas possible d'effectuer d'autres opérations. Le témoin HMI clignote sur l'afficheur du panneau avant pendant l'initialisation, et vous pouvezmettre le récepteur sous tension lorsque le clignotement a cessé. L'initialisation ne sera pas effectué si la fonction Control par leur sous tension lorsque le clignotemeHMI est réglée sur OFF. Pour plus d'informations sur la fonction Control par l'HDMI, consultez la section Commande par l'HDMI à la page 65.

Configuration de base




Changement de la langue de l'affichage sur écran (OSD Language) 41
Obtention automatique d'un réglage sonore optimal (Full Auto MCACC) 41
Le menu Input Setup 43
Configuration du mode de fonctionnement 44
A propos du menu principal 45
Changement de la langue de l'affichage sur écran (OSD Language)
La langue utilisée sur l'écran de l'interface graphique peut être changée.
- Dans ce mode d'emploi, les explications font reférence au menu anglais de l'écran GUI.
L'affichage sur écran n'apparait que si la prise HDMI OUT du récepteur et la prise d'entrée HDMI du télévisuer sont reliées par un cable HDMI. Si le téléviseur est relié par autre chose qu'un cable HDMI, regardez l'afficheur du panneau avant pour effectuer les diverses opérations et réglages.
1 Appuyez sur © RECEIVER pour allumer le récepteur et votre télévisuer.
Assurez-vous que l'entrée video du téléviseur est régée sur ce récepteur (par exemple, si vous avez r'accordé ce récepteur aux prises VIDEO de votre téléviseur, assurez-vous que l'entrée VIDEO est bien sélectionnée).
2 Appuyez sur RECEIVER de la télécommande, puis sur HOME MENU.
Un écran à interface graphique (GUI) apparaît sur votre téléviseur. Utilisez ↑/↓/←/→ et ENTER pour naviguer sur les pages et Sélectionner les éléments de menu. Appuyez sur RETURN pour sortir du menu actuel.
4 Sélectionnez 'OSD Language' sur le menu System Setup.
5 Sélectionnez la langue souhaitée.
6 Sélectionnez 'OK' pour changer la langue.
Ce réglage est terminé et le menu System Setup réapparait automatiquement.
Obtention automatique d'un réglage sonore optimal (Full Auto MCACC)
La configuration MCACC automatique intégrale mesure les caractéristiques acoustiques de votre salle d'écoute, en tenant compte du bruit ambiant, des enceintes raccordées et de leurs tailles, et elle teste à la fois le retard et le niveau des différents canaux. Àpres l'installation du microphone fourni avec votre système, le récepteur utilise les informations obtenues à la suite de l'émission d'une série de tonalités de test pour optimiser les réglages et l'égalisation des enceintes pour votre piece précise.
Lors de la configuration MCACC automatique intégrale, les caractéristiques fréquence-phase des enceintes raccordées sont également calibrées.
Lorsque la configuration MCACC automatique intégrale est terminée, le contrôle de phase pleine bande s'active automatiquement (page 59).

Important
- Veiliez à ne pas déplacer le microphone et les enceintes pendant la configuration MCACC automatique intégrale.
- L'utilisation de la configuration MCACC automatique intégrale efface et remplace tous les régles existants du prérglage MCACC sélectionné.
- Avant d'effectuer la configuration MCACC automatique intégrale, vous doivent débrancher le casque d'écoute.
L'affichage sur ecran n'apparait que si la prise HDMI OUT du recepteur et la prise d'entree HDMI du telleviseur sont reliées par un cable HDMI. Si le telsiviseur est relié par autre chose qu'un cable HDMI, regardez l'afficheur du panneau avant pour effectuer les diverses opérations et réglages.

ATTENTION
- Les tonalités de test utilisées pour la configuration MCACC automatique intégrale sont émises à un volume élevé.
THX®
- THX est une marque commerciale de THX Ltd. qui est déposée sous certaines juridictions. Tous droits réservés.
1 Appuyez sur © RECEIVER pour allumer le recepteur et votre télévisuer.
Assurez-vous que l'entrée video du téléviseur est reglee sur ce recepteur.
2 Raccordez le microphone à la prise MCACC SETUP MIC sur le panneau avant.

Veillez à ce qu'il n'y aitaucun obstacle entre les enceintes et le microphone.
Positionnez le microphone sur un trépied (si vous en avez un) pour qu'il se trouve à hauteur d'oreilles en position d'écoute normale. Sinon, utilisez autre chose pour poser le microphone.
Installez le microphone sur une surface stable. Ne le posez pas sur les surfaces suivantes sinon les mesures risquent de ne pas etre précises :
- Sur un fauteuil ou une surface molle.
- À des endroits élevés, comme sur une étagère ou le haut d'un fauteuil.
L'indication Full Auto MCACC apparait lorsque le microphone est branché.

- Si vous laissez un écran GUI affchépend plus de cinq minutes, l'économiseur d'écran apparaitra.
3 Sélectionnez les paramètres que vous voulez régler.
- Lorsque des mesures sont effectuees, les données des caracteristiques de la reverbération (avant et après le calibrage) enregistrées dans le recepteur sont écrasées.
- Quand la mesure effectuee concerne d'autres données de reverbération que celles de SYMMETRY, les données ne sont pas mesurées après la correction. Si vous doivent prendre une mesure après la correction des données, utilisez le menu EQ Professional de la configuration Manual MCACC (page 88).
Si les enceintes ne sont pas raccordées de la façon indiquée dans 9.1ch FH/FW, voirlez à régler Speaker System avant la configuration MCACC automatique intégrale. Consultez la section Réglage du système d'enceintes à la page 94.
- Speaker System - Indique les réglages actuels. Lorsque cette option est sélectionnée et validez avec ENTER, l'écran de selection du système d'enceintes apparaît. Sélectionné le système d'enceintes approprié, puis appuyez sur RETURN.
Si vous envisagez une double amplification de vos enceintes avant ou l'installation d'un système d'enceintes distinct dans une autre piece, lisez la section Réglage du système d'enceintes à la page 94 et voirlez à connecter correctement vos enceintes avant de passer à l'étape 4.
- EQ Type - Déterminé la façon dont les fréquences sont équilibrées. Sélectionnez normalement SYMMETRY. Pour plus d'informations, consultez la section MCACC automatique (Expert) à la page 86.
- MCACC - Les six prérégliages MCACC sont utilisés pour mémoriser les réglages du son surround pour différentes positions d'écoute. Choisissez un préréglage non utilisé pour le moment (vous pourrez le denomner ultérieurement, à la section Gestion des données à la page 92).
- THX Speaker - Sélectionnez YES si des enceintes THX sont utilisées (toutes les enceintes à part les enceinte avant sont réglées sur SMALL). Dans les autres cas, laissez sur NO.
4 Appuyez sur RECEIVER puis selectionnez START.
5 Suivez les instructions affichées à l'écran.
Assurez-vous que le microphone est connecté et, si vous utilisez un caisson de grave, que celui-ci est allumé et réglé sur un volume agreable.
6 Attende la fin des tonalités de test, puis confirmez la configuration des enceintes sur l'écran GUI.
Un rapport de progression s'affiche à l'écran tandis que le récepteur générale des tonalités de test pour déterminer les enceintes générées dans votre configuration. Essayez d'être aussi silencieux que possible pendant cette opération.
Si aucune opération n'est effectué durant les 10 secondes ou l'écran de vérification de la configuration des enceintes est affché, la configuration MCACC automatique intégrale se poursuit automatiquement. Dans ce cas, il est inutilde selectionner 'OK' et d'appuyer sur ENTER à l'étape 7.
- En cas de messages d'erreur (du type Too much ambient noise! ou Check microphone.), Sélectionnez RETRY après avoir vérifié le bruit ambiant (consultez la section Problèmes lors de l'utilisation de la configuration MCACC automatique à la page 43) et le branchement du microphone. Si vous ne constazez aucin problème, Sélectionnez simplement GO NEXT et continuez.


La configuration affichée à l'écran doit reflérer les enceintes physiques dont vous disposez.
- Si vous VOYZ un message d'erreur ERR (ou si la configuration des enceintes indiquée est incorrecte), il se peut qu'il y ait un probleme au niveau des liaisons des enceintes. Si vous ne parvenez pas a resoudre le probleme en selectionnant RETRY, fouze l'alimentation et vérifie les liaisons des enceintes. Si vous ne consta-tez aucun probleme, utilisez simplement / pour selectionner l'enceinte et / pour modifier le réglage, puis continuez.
- Si l'enceinte n'est pas orientée vers le microphone (position d'écoute) ou lorsque les enceintes sont affectées par la phase (enceintes dipôles, enceintes refléchissantes, etc.), Reverse Phase peut s'afficher même si les enceintes sont bien raccordées.
Si Reverse Phase s'affiche, les fils du cordon d'enceinte (+ et -) ont peut-être eté inversés. Vérifiez les liaisons des enceintes.
— Si les liaisons ne sont pas bonnes, coupez l'alimentation, débranchez le cordon d'alimentation et raccordez les enceintes correctement. Ensuite, effectuez une nouvelle fois toute la configuration MCACC automatique.
Si les liaisons sont bonnes, selectionnez GO NEXT et continuez.
7 Assurez-vous que 'OK' est sélectionné, puis appuyez sur ENTER.
Un rapport de progression s'affiche à l'écran tandis qu'un plus grand nombre de tonalités de test est émis pour permettre de déterminer les réglages optimaux du récepteur.
Une fois encore, essayez d'être aussi silencieux que possible pendant cette opération. Elle peut prendre 3 à 12 minutes.
Lorsque la configuration MCACC automatique intégrale est terminée, n'oubliez pas de débrancher le microphone du récepteur.
Les réglages effectuels dans la configuration MCACC automatique intégrale permettent d'obtenir normalement un excellent son surround de votre système, mais il est également possible d'effectuer manuellement ces réglages avec le Le menu MCACC avancé à la page 85 ou Menu de configuration du système et d'autres configurations à la page 93.
- En fonction des caractéristiques de votre piece, des enceintes semblables dotées d'un côte de 12 cm environ afficheront parfois des réglages de taille différents. Vous pouze corriger ce réglage manuellement grâce à la section Configuration manuelle des enceintes à la page 94.
- La valeur du réglage de la distance du caisson de grave peut être supérieure à la distance réelle de la position d'écoute. Ce réglage doit être précis (en tenant compte des caractéristiques de retard et de la piece) et n'a généralement pas besoin d'être modifié.




- Si une interaction des enceintes et de l'environnement ne vous permit pas d'obtenir des mesures correctes avec la configuration MCACC automatique intégrale, nous vous conseillons de faire vous-même les réglages.
Problèmes lors de l'utilisation de la configuration MCACC automatique
Si I'environnement de la pièce n'est pas idéal pour la configuration MCACC automatique (trop de bruit de fond, écho contre les murs, obstacles entre les enceintes et le microphone), les réglages finaux risquent d'être incor-rects. Vérifiez si certains appareils domestiques (climatiseur, réfrigérateur, ventilateur, etc.) sont susceptibles d'affector l'environnement et éteignez-les si nécessaire. Si I'afficheur du panneau avant affiche des instructions, veillez les suivre.
- Certains téléviseurs assez ancients peuvent troubler le fonctionnement du microphone. Si tel semble etre le cas, eteignez le téléviseur lors de la configuration MCACC automatique.
Vou ne devez effectuer ces réglages sur le menu Input Setup que si vous n'avez pas raccordé votre équipement numérique selon les réglages par défaut (consultez la section Réglages possibles et par défaut de la fonction d'entrée à la page 44). Dans ce cas, vous devez indiquer au récepteur la prise à laquelle l'appareil numérique est raccordé de sorte que les touches de la télécommande correspondant aux apparèils raccordés.
L'affichage sur écran n'apparait que si la prise HDMI OUT du récepteur et la prise d'entrée HDMI du télévisuer sont reliées par un cable HDMI. Si le téléviseur est relié par autre chose qu'un cable HDMI, regardez l'afficheur du panneau avant pour effectuer les diverses opérations et réglages.
1 Appuyez sur RECEIVER de la télécommande, puis sur HOME MENU.
Un écran à interface graphique (GUI) apparait sur votre téléviseur. Utilisez ↑/↓/←/→ et ENTER pour naviguer sur les pages et sélectionner les éléments de menu. Appuyez sur RETURN pour sorting du menu actuel.
2 Sélectionnez 'System Setup' sur le Home Menu.
3 Sélectionnez 'Input Setup' sur le menu System Setup.






4 Sélectionnez la fonction d'entrée que vous souhaitez configurer.
Les noms par défaut correspondant aux noms indiqués à côté des bornes sur le panneau arrière ( comme DVD ou SAT/CBL), qui correspondent quant à eux aux noms indiqués sur la télécommande.
5 Sélectionnez la (les) entrée(s) à laquelle (auxquelles) vous avez connecté votre composant.
Par exemple, si vous lecteur de DVD n'est pourvu que d'une seule sortie optique, vous devrez changer le réglage DVD de l'entrée Audio In et désirir l'entrée optique à laquelle vous l'avez raccordé au lieu de COAX-1 (réglage par défaut). Les numéroes (OPT-1 à OPT-2) correspondent aux nombres indiqués à côté des entrées à l'arrête du récepteur.
6 Lorsque vous avez terminé, procedez au réglage des autres entrées.
Il y a des réglages optionnels en plus de la fonction affectée aux prises d'entrée :
- Input Name - Vous pouvez désirir de renomer la fonction d'entrée pour l'identifier plus facilement. Pour ce faire, Sélectionné Rename ou Default pour revenir aux réglages par défaut du système.
- Input Skip - Lorsque ON est spécifique, cette entrée est ignorée par la sélection de l'entrée à l'aide de INPUT SELECT. (DVD et d'autres entrées peuvent cependant être sélectionnées directement avec les touches de fonction d'entrée.)
- 12V Trigger 1/2 - ÀpRES avoir raccordé un composant à l'un des déclencheurs 12 volts (consultez la section Mise sous/hors tension de composants avec le déclencheur 12 volts à la page 39), sélectionnez MAIN, ZONE 2, ZONE 3 ou OFF comme réglage de déclencheur pour que ce composant s'allume automatiquement en même temps que celui de la zone (principal ou secondaire) spécifiée.
— Les composants raccordés aux déclencheurs 12 volts peuvent être associés à la commutation de HDMI OUT. Pour plus d'informations, consultez la section Réglage de l'HDMI à la page 66.
7 Lorsque vous avez terminé, appuyez sur RETURN.
Vous revenez alors au menu System Setup.
Réglages possibles et par défaut de la fonction d'entrée
Les prises du récepteur correspondant généralement au nom de l'une des fonctions d'entrée. Si vous avez rac-. cordé des composants à ce récepteur différemment (ou en plus) des réglages par défaut ci-dessous, consultez la section Le menu Input Setup à la page 43 pour indiquer au récepteur comment vous I'vez connecté. Les points () indiquent les affectations possibles.
| Fonction d'entrée | Prises d'entrée |
| HDMI | Audio | Composantes |
| BD | (BD) | | |
| DVD | IN 1 | COAX-1 | IN 1 |
| SAT/CBL | IN 2 | COAX-2 | ● |
| DVR/BDR | IN 3 | OPT-2 | IN 2 |
| VIDEO | IN 4 | ● | ● |
| HDMI 5/MHL (panneau avant) | IN 5 | | |
| HDMI 6 | IN 6 | | |
| HDMI 7 | IN 7 | | |
| INTERNET RADIO | | | |
| MEDIA SERVER | | | |
| FAVORITES | | | |
| iPod/USB | | | |
| TV | | OPT-1 | |
| <a> | |
| CD | | ANALOG-1 | |
| <b> | |
| TUNER | | | |
| ADAPTER PORT | | | |
a Lorsque ARC dans HDMI Setup est regle sur ON, il n'est pas possible d'affector des fonctions aux prises Audio In de I'entree TV.
b Seules les entrées TV et CD peuvent être associées à ANALOG-1.
Configuration du mode de fonctionnement
Ce récepteur présente un grand nombre de fonctions et réglages. Le mode de fonctionnement est destiné aux utilisateurs qui ont de la peine à maîtriser toutes ces fonctions et tous ces réglages.
Vouaves lechoix entre les deuxreglages suivants comme Operation Mode : Expert et Basic
L'affichage sur ecran n'apparait que si la prise HDMI OUT du recepteur et la prise d'entree HDMI du telleviseur sont reliées par un cable HDMI. Si le telsiviseur est relié par autre chose qu'un cable HDMI, regardez l'afficheur du panneau avant pour effectuer les diverses opérations et réglages.

Important
- De nombreux réglages et de nombreuses fonctions ne peuvent pas été sélectionnés lorsque Operation Mode est régle sur Basic.
1 Appuyez sur RECEIVER de la télécommande, puis sur HOME MENU.
Un écran à interface graphique (GUI) apparait sur votre téléviseur. Utilisez ↑/↓/←/→ et ENTER pour naviguer sur les pages et sélectionner les éléments de menu. Appuyez sur RETURN pour sortir du menu actuel.
2 Sélectionnez 'Operation Mode Setup' sur le Home Menu.
3 Sélectionnéz le réglage de mode de fonctionnement souhaité.
- Expert (défaut) - Permet aux utilisateurs de régler eux-mêmes toutes les fonctions.
- Basic - Seuls certains paramètres de base peuvent être régés. Les paramètres pouvant être régés sont les suivants. Rétérez-vous au mode d'emploi pour le détail, si nécessaire.
| Paramétres/ éléments régibles | Descriptions | Page |
| HOME MENU |
| Full Auto MCACC | Facilité les réglages précis de champ sonore. | 41 |
| Input Name | Change les noms d'entrées selon les besoin de chacun. | 43 |
| Input Skip | Omet les entrées qui ne sont pas utilisées (pas affichées). | 43 |
| Software Update | Met à jour le logiciel. | 99 |
| Network Information | Vérifie l'adresse IP du récepteur. | 98 |
| Paramètres audio |
| MCACC (Préréglage MCACC) | Sélectionne la mémoire de préréglages MCACC préféERée. | 70 |
| DELAY (Retard du son) | Ajuste le temps de retard du son général. | 70 |
| S.RTRV (Correction automatique du son) | Reproduit du son compressé avec une grande qualité sonore. | 70 |
| DUAL (Double mono) | Réglage audio mono double. | 70 |
| A.ATT (Atténuation de l'entrée analogue) | Abaisse le niveau du signal analogique pour réduire la distorsion. | 70 |
| V.SB (Surround arrêté virtuel) | Crée un son surround arrêté virtuel pour la lecture. | 70 |
| V.HEIGHT (Virtual Haut) | Crée un son virtuel venant du haut pour la lecture. | 70 |
| V.WIDE (Virtual large) | Crée un son virtuel des canaux en position large pour la lecture. | 70 |
| V.DEPTH (Profondeur virtuelle) | Reproduit un champ sonore adapté aux images 3D. | 70 |
| Paramètres/ éléments régibles | Descriptions | Page |
| Autres fonctions |
| INPUT SELECT (INPUT SELECTOR) | Change d'entrée. | 47 |
| VOLUME +/-, MUTE | Sert à régler le volume d'écoute. | 47 |
| LISTENING MODE | Sélectionne le mode d'écoute préféRED. | 55 |
| PQLS | Effectue la lecture avec la fonction PQLS. | 67 |
| PHASE (Contrôle de phase) | Effectue la lecture en corrigeant le décalage de phase dans le grave. | 59 |
| PHASE (Contrôle de phase pleine bande) | Le contrôle de phase pleine bande permet de calibrer les caractéristiques de fréquence-phase des enceintes raccordées. | 59 |
| iPod iPhone iPad DIRECT CONTROL | Bascule sur l'entrée iPod/USB et sélectionne le mode permettant d'opérER depuis l'iPod. | 48 |
4 Lorsque vous avez terminé, appuyez sur RETURN.
VourevenuesalorsauHomeMenu.
Le menu principal (HOME MENU) du récepteur permet d'effectuer divers régles et de vérifier et d'ajuster des paramètres.
Pour afficher l'écran du menu principal, appuyez sur RECEIVER de la télécommande, puis appuyez sur

Un écran à interface graphique (GUI) apparait sur votre téléviseur. Utilisez ↑/↓/←/→ et ENTER pour naviguer sur les pages et Sélectionner les éléments de menu. Appuyez sur RETURN pour sortir du menu actuel.
La première page du menu principal contient les éléments suivants. Reportez-vous aux différentes explications pour les réglages, vérifications et ajustements.
- Advanced MCACC - Permet d'effectuer les réglages automatiques et les réglages manuels détaillés du son surround. Pour plus d'informations, consultez la section Réglages du récepteur depuis le menu MCACC avancé à la page 86.
- MCACC Data Check - Permet de vérifier la mémoire MCACC. Pour plus d'informations, consultez la section Vérification des données MCACC à la page 90.
- Data Management - Permet de gérer les données de la mémoire MCACC. Pour plus d'informations, consul- tez la section Gestion des données à la page 92.
- System Setup - Permet de faire divers réglages en rapport avec ce système. Pour plus d'informations, consul- tez la section Réglages du récepteur depuis le menu de Configuration du système à la page 94.
Network Information - Permet de vérifier l'etat des réglages des éléments en rapport avec le réseau. Pour plus d'informations, consultez la section Vérification des informations concernant le réseau à la page 98.
- Operation Mode Setup - Permet de sélectionner le mode de fonctionnement de ce récepteur. Pour plus d'informations, consultez la section Configuration du mode de fonctionnement à la page 44.
Lecture de base
Lecture d'une source 47
Lecture d'un iPod 48
Lecture d'un dispositif USB 49
Lecture sur un dispositif compatible avec le MHL 50
Écoute de la radio 51
ADAPTATEUR Bluetooth pour I'écoute de musique sans fil 53




Lecture d'une source
Voici les instructions de base pour la lecture d'une source (telle qu'un DVD) avec votre chaîne home cinéma.


1 Allumez les composants de votre chaine et votre récepteur.
Allumez en premier lieu le lecteur (par exemple, un lecteur DVD), votre télévisuer et le caisson de grave (si vous en avez un), puis le recepteur (appuyez sur ° RECEIVER).
Assurez-vous que l'entrée video du télévisuer est reglee sur ce recepteur.
2 Sélectionnez la fonction d'entrée que vous souhaitez dire.
Vousspuvezutiliserles touchesdefonctiond'entree de latelecommande,INPUTSELECTouencorela molette INPUT SELECTOR du panneau avant.
- Si vous doivent modifier manuellement le type de signal d'entrée, appuyez sur SIGNAL SEL (page 58).
3 Appuyez sur RECEIVER pour selectionner le mode de fonctionnement du recepteur.
4 Appuyez sur AUTO/ALC/DIRECT (AUTO SURR/ALC/STREAM DIRECT) pour sélectionner 'AUTO SURROUND', puis lancez la lecture de la source.
Si vous lisez une source audio surround Dolby Digital ou DTS, vous devrez entendre un son surround. Si vous lisez une source stéreo, vous entendrez uniquement du son provenant des enceintes avant gauche/droite en mode d'écoute par défaut.
- Vous devrez peut-être vérifier les régliages de la sortie audio numérique de votre lecteur DVD ou de votre récepteur satellite numérique. Celle-ci doit être réglée pour restituer un son Dolby Digital, DTS et PCM (2 canaux) 88,2 kHz / 96 kHz; s'il existe une option pour le son MPEG, active-la pour convertir le son MPEG en PCM.
- Consultez également la section Écoute par votre système à la page 55 pour plus d'informations sur les diverses écoutes possibles des sources.
Voupez verifieur sur I'afficheur du panneau avant si la lecture s'effectue ou non correctement sur les differents canaux. Pour plus d'informations, consultez la section Surround automatique, ALC et flux direct avec differents formats de signal d'entree a la page 115.
Si vous utilise des enceintes surround, DIGITAL s'affiche lors de la lecture de signaux 5.1 canaux Dolby Digital et DTS s'affiche lors de la lecture de signaux 5.1 canaux DTS.
Si I'affichage ne correspond pas aux signaux prsent s et au mode d'ecoute, verifiez les liaisons et les reglages.
5 Utilisez VOLUME + / - pour regler le volume.
Coupez le volume de votre téléviseur pour que le son provienne intégralement des enceintes raccordées à ce récepteur.

Remarque
- Les commandes de lecture peuvent être activées par l'affichage sur écran pour certaines entrées, mais l'affichage sur écran n'aappait que lorsque le récepteur et le téléviseur sont reliés par un cable HDMI. Si le récepteur et le téléviseur sont reliés par autre chose qu'un cable HDMI, activez les diverses commandes en regardant l'afficheur du panneau avant.
Coupure du son
Sert à couper le son ou à le rétablit s'il a été coupé (le réglage du volume rétablit également le son).
- Appuyez sur MUTE.
Lecture d'une source avec une liaison HDMI
Voussousquittutiliserla moletteINPUTSELECTORsurlepanneauavantouappuyerplusieursfoisduite surHDMi sur la telecommande.
- Réglez le paramètre HDMI dans Réglage des options audio à la page 70 sur THROUGH si le signal audio HDMI doit être retransmis par votre téléviseur (ce récepteur ne retransmettra aucun son).
- Si le signal video n'apparait sur votre téléviseur, essayez d'ajuster les réglages de la résolution de votre composant ou écran. Notez que pour certains composants ( comme les consoles deieux video), la conversion des résolutions est impossible. Dans ce cas, utilisez une liaison video analogue.




Lecture d'un iPod
Ce récepteur dispose d'une prise iPod iPhone iPad USB permettant de dire le contenu audio de votre iPod en utilisant les commandes de ce récepteur.
Ici nous décrivons la lecture sur un iPod. Pour la lecture sur un dispositif USB, consultez la section Lecture d'un dispositif USB à la page 49.

Important
- Ce récepteur accepte les signaux audio et video des iPod nano 3G/4G/5G/6G (audio seulement pour l'iPod nano 6G), iPod touch 1G/2G/3G/4G, iPhone, iPhone 3G, iPhone 3GS, iPhone 4, iPhone 4S, iPad et iPad 2. Toutefois, certaines des fonctions peuvent être restreintes pour certains modèles.
- Ce récepteur a été concu et testé pour la version du logiciel iPod/iPhone/iPad indiquée sur le site Pioneer (http://pioneer.jp/homeav/support/ios/eu/).
- L'installation d'autres versions que celle indiquée sur le site Pioneer sur votre iPod/iPhone/iPad peut entraîner une incompatibleité avec ce récepteur.
- Les iPod, iPhone et iPad ne peuvent être utilisés que pour la reproduction des matérielux non protégés par des droits d'auteur ou des matérieliaux que l'utilisateur peut légalement reproduire.
- Des fonctions comme l'égaliseur ne peuvent être contrôlées avec ce récepteur; nous vous conseillons donc de désactiver l'égaliseur avant le raccordement.
- Pioneer décline toute responsabilité quant aux pertes directes ou indirectes liées à un problème ou aux pertes d'enregistrement résultat d'une panne de l'iPod.
- Lorsque vous écoutez un morceau de l'iPod dans la zone principale, il est possible d'agir sur l'appareil de la seconde zone mais pas d'écouter dans la seconde zone un autre morceau que celui qui est lu dans la zone principale.
1 Appuyez sur 口 RECEIVER pour allumer le recepteur et votre téléviseur.
Consultez la section Raccordement d'un iPod à la page 37.
Environ une minute est nécessaire entre la mise sous tension et la fin de la phase de démarrage.
- Il est également possible d'agir sur l'iPod en utilisant ses propres commandes, sans passer par l'écran de télévision. Pour plus d'informations, consultez la section Commutation des commandes de l'iPod à la page 48.
2 Appuyez sur iPod USB de la télécommande pourmettre le recepteur en mode iPod/USB.
Lorsque les noms de dossiers et de fichiers apparaissent sur le menu, vous pouvez écouter de la musique depuis l'iPod.
- Les commandes de votre iPod ne fonctionnent pas lorsque celui-ci est raccordé à ce récepteur.
Lecture de fichiers audio enregistrés sur un iPod
Pour localiser des morceaux sur votre iPod, vous pouvez utiliser l'écran GUI s'affichant sur le télévisuer raccordé au récepteur. PourGERER toutes les opérations ayant rapport à I'écoute de la musique, vous pouvez aussi utiliser I'affichage du panneau avant du récepteur.
- Notez que les caractères qui ne peuvent pas etre affichés par ce recepteur sont replacés par#.
- Ceci ne s'applique pas aux photos enregistrres sur votre iPod. Pour voir des photos, reglez la commande de l'iPod sur iPod (consultez la section Commutation des commandes de l'iPod à la page 48).
Recherche des éléments que vous souhaitez dire
Lorsque vous iPod est raccordé à ce récepteur, vous pouvez localiser les chansons enregistrées sur votre iPod d'après la liste d'écoute, le nom d'auteur, le nom d'album, le nom de la chanson, le genre ou le compositéur, comme sur l'iPod proprement dit.
1 Utilisez ↑/↓ pour sélectionner une catégorie, puis appuyez sur ENTER pour naviguer dans cette catégorie.
- Pour revenir à tout moment au niveau précédent, appuyez sur RETURN.
2 Utilisez / pour naviguer dans la catégorie selectionnée (par exemple, albums).
Utilisez / pour passer au niveau précédent/suivant.
3 Poursuivez votre navigation jusqu'à atteindre les éléments que vous souhaitez dire, puis appuyez sur pour lancer la lecture.

Remarque
- Vous pouvez dire toutes les chansons d'une catégorie précise en sélectionnant l'objet All, au sommet de chaque liste de catégorie. Vous pouvez par exemple dire toutes les chansons d'un artiste précis.
Commandes de lecture de base
Les touches de la télécommande de ce récepteur peuvent être utilisées pour la lecture de base des fichiers enregistrés sur un iPod.
- Appuyez sur iPod USB pourmettre la télécommande en mode de fonctionnement iPod/USB.

Commutation des commandes de l'iPod
Vou puez changer le role des commandes de l'iPod pour qu'elles agissent sur l'iPod ou sur le recepteur.
1 Appuyez sur iPod CTRL pour passer aux commandes de l'iPod.
Voussoupiezalorsutiliserlescommandeset l'écran devoirtéiPodtandisque la télécommandedurrécepteur et l'écran GUI sont inactifs.
2 Appuyez une nouvelle fois sur iPod CTRL pour revenir aux commandes du récepteur.

Remarque
- Change l'entrée du récepteur et bascule sur l'iPod simplement par une pression sur la touche iPod iPhone iPad DIRECT CONTROL du panneau avant pour permettre la commande de l'iPod depuis l'iPod.
Lecture d'un dispositif USB
Il est possible de dire des fichiers en utilisant l'interface USB située sur le panneau avant de ce récepteur.
- Les dispositifs USB compatibles complènent les disques durs magnétiques externes, les mémoires flash portables (en particulier les clés) et les lecteurs audio numériques (lecteurs MP3) de format FAT16/32.
- Pioneer ne peut pas garantir la compatibilité (fonctionnement et/ou alimentation) de tous les dispositifs de grande capacité USB et décline toute responsabilité quant à la perte de données pouvant survenir lors de la connexion à ce récepteur.
1 Appuyez sur 口 RECEIVER pour allumer le recepteur et votre télévisuer.
Consultez la section Raccordement d'un dispositif USB à la page 37.
Environ une minute est nécessaire entre la mise sous tension et la fin de la phase de démarrage.
Assurez-vous que le recepteur est en mode de voirve avant de débrancher le dispositif USB.
2 Appuyez sur iPod USB de la télécommande pourmettre le recepteur en mode iPod/USB.
Lorsque les noms de dossiers et de fichiers apparaissent sur le menu, vous pouvez écouter de la musique depuis le dispositif USB.

Remarque
Si le message Over Current s'éclaire sur l'afficheur, cela signifie que la consommation du dispositif USB est trop élevé pour ce récepteur. Vérifiéez les points ci-dessous :
- Eteignez le recepteur puis rallumez-le.
- Raccordez une nouvelle fois le dispositif USB lorsque le récepteur est étèint.
- Utilisez l'adaptateur secteur approprié (fourni avec le dispositif) pour alimenter le dispositif USB.
Si ces conseils ne permettent pas de résoudre le problème, c'est que votre dispositif USB n'est pas compatible.
Lecture de fichiers audio enregistrés sur un dispositif USB
Un maximum de 9 niveaux peuvent être seLECTIONNÉS à l' étape 1 (ci-dessous).
- Notez que les caractères non romains des listedes de lecture sont remplacés par #.
1 Utilizez ↑/↓ pour sélectionner un dossier, puis appuyez sur ENTER pour naviguer dans ce dossier.
- Pour revenir à tout moment au niveau précédent, appuyez sur RETURN.
2 Poursuivez votre navigation jusqu'à atteindre les éléments que vous souhaitez dire, puis appuyez sur pour lancer la lecture.
- Les fichiers audio protégés contre la copie ne peuvent pas être lus sur ce récepteur.
- Les fichiers audio protégés par le système DRM ne peuvent pas être lus sur ce récepteur.
Commandes de lecture de base
Les touches de la télécommande de ce récepteur peuvent être utilisées pour la lecture de base des fichiers enregistrés sur des dispositifs USB.
- Appuyez sur iPod USB pourmettre la télécommande en mode de fonctionnement iPod/USB.

Lecture de fichiers photo enregistrés sur un dispositif USB
- Les fichiers photos ne peuvent pas etre lus dans la zone secondaire.
1 Utilisez ↑/↓ pour sélectionner un dossier, puis appuyez sur ENTER pour naviguer dans ce dossier.
- Pour les fichiers haute résolution, la photo met un certain temps à apparaitre.
- Pour revenir à tout moment au niveau précédent, appuyez sur RETURN.
2 Poursuivez votre navigation jusqu'à atteindre les éléments que vous souhaitez dire, puis appuyez sur ENTER pour lancer la lecture.
Le contenu sélectionné s'affiche en grand sur l'écran et le diaporama démarre.
Commandes de lecture de base
| Touche(s) | Action |
| ENTER.▶ | Affiche une photo et lance le diaporama. |
| ■ | Arrête le lecteur et revient au menu précédent. |

Astuce
- En affichant la liste de dossiers/fichiers pendant la lecture d'un fichier de musique sur un dispositif USB et activant la lecture de fichiers photo, il est possible de voir des diaporamas tout en écoutant de la musique.
La fonction USB de ce récepteur prend en charge les formats de fichiers suivants. Notez que certains formats de fichiers ne sont pas disponibles pour la lecture bien qu'ils figurent comme formats de fichiers lisibles.
Fichiers de musique
| Catégorie | Extension | Flux |
| MP3 | .mp3 | MPEG-1 Audio Layer-3 | Fréquence d'échantillonnage | 32 kHz, 44,1 kHz, 48 kHz |
| Débit binaire requis pour la quantification | 16 bits |
| Canal | 2 canaux |
| Débit binaire | 8 kbps à 320 kbps |
| VBR/CBR | Pris en charge/Pris en charge |
| WAV | .wav | LPCM | Fréquence d'échantillonnage | 32 kHz, 44,1 kHz, 48 kHz, 88,2 kHz, 96 kHz, 176,4 kHz, 192 kHz |
| Débit binaire requis pour la quantification | 16 bits, 24 bits |
| Canal | 2 canaux |
| WMA | .wma | WMA2/7/8/9 | Fréquence d'échantillonnage | 32 kHz, 44,1 kHz, 48 kHz |
| Débit binaire requis pour la quantification | 16 bits |
| Canal | 2 canaux |
| Débit binaire | 5 kbps à 320 kbps |
| VBR/CBR | Pris en charge/Pris en charge |
| AAC | .m4a | MPEG-4 AAC LC | Fréquence d'échantillonnage | 32 kHz, 44,1 kHz, 48 kHz |
| .aac | Débit binaire requis pour la quantification | 16 bits |
| .3gp |
| .3g2 | MPEG-4 HE AAC (aacPlus v1/2) | Canal | 2 canaux |
| Débit binaire | 16 kbps à 320 kbps |
| VBR/CBR | Pris en charge/Pris en charge |
| FLAC | .flac | FLAC | Fréquence d'échantillonnage | 32 kHz, 44,1 kHz, 48 kHz, 88,2 kHz, 96 kHz, 176,4 kHz, 192 kHz |
| Débit binaire requis pour la quantification | 16 bits, 24 bits |
| Canal | 2 canaux |
a "Technologie de decodage audio MPEG Layer-3 sous licence de Fraunhofer IIS et Thomson Multimedia."
b Les fichiers codés avec Windows Media Codec 9 peuvent être lus mais certains codecs ne sont pas pris en charge, en particulier Pro, Lossless, Voice.
c Le décodage sans perte d'Apple n'est pas pris en charge.
d Les fichiers FLAC décompressés ne sont pas pris en charge. Pioneer ne garantit pas la lecture.
Fichiers photos
| Catégorie | Extension | Format |
| JPEG | .jpg | Remplissant les conditions suivantes :
• Format JPEG Baseline
• Y:Cb:Cr - 4:2:2 |
Lecture sur un dispositif compatible avec le MHL
MHL (Mobile High-definition Link) est une norme d'interfacage conscience pour le transfert de signaux numériques sur les dispositifs mobiles.
Le MHL permet le transfert de données audio multicanaux de haute qualité et de formats video entièrement en haute définition.
Les signaux video d'un dispositif compatible avec le MHL sont transmis par le téléviseur raccordé au récepteur, les signaux audio par les enceintes raccordées au récepteur ou au téléviseur.
1 Appuyez sur © RECEIVER pour allumer le récepteur et votre télévisuer.
Consultez la section Raccordement d'un dispositif compatible avec le MHL à la page 38.
2 Appuyez sur MHL de la télécommande pourmettre le recepteur en mode MHL.
3 Sélectionnez et lisez le contenu souhaïte sur le dispositif compatible avec le MHL.

Remarque
- Il est possible d'agir sur les dispositifs compatibles avec le MHL avec la télécommande du récepteur après avoir appuyé sur la touche MHL de la télécommande, mais selon le dispositif utilisé, certaines touches peuvent ne pas agir.
Lecture d'un dispositif compatible avec le MHL sur un téléviseur quand le récepteur est étéint
Un dispositif compatible avec le MHL raccordé au récepteur peut être lu sur un téléviseur raccordé au récepteur même quand le récepteur est eteint.
- Le réglage Standby Through dans HDMI Setup sur le récepteur doit être régle sur autre chose que OFF.
Écoute de la radio
Les étapes suivantes vous expliquent comment régler les émissions de radio FM et AM grâce aux fonctions de réglage automatique (recherche) et manuel (pas). Si vous connaissiez déjà la fréquence de la station que vous souhaitez écouter, consultez la section Réglage direct d'une station ci-dessous. ÀpRES avoir trouvez une station, vous pouvez en memoriser la fréquence pour la rappeler ultérieurement ; consultez la section Sauvegarde des stations prêrgées à la page 51 pour plus d'informations sur cette fonction.
1 Appuyez sur TUNER pour selectionner le tuner.
2 Utilisez BAND pour changer la bande (FM ou AM), si nécessaire.
3 Réglez une station.
Yououpouvezlefairedetroisfaçonsdiferentes:
- Réglage automatique - Pour rechercher les stations sur la bande sélectionnée, appuyez sur TUNE +/- et maintenez-la enforcée pendant une seconde environ. Le récepteur commence à chercher la station suivant et s'arrête lorsqu'il en a trové une. Répétez l'opération pour chercher d'autres stations.
- Réglage manuel - Pour changer la fréquence pas à pas, appuyez sur TUNE +/-.
- Réglage rapide - Appuyez sur TUNE +/- et maintenez-la enforcée pour effectuer un réglage rapide. Relâchez la touche lorsque vous atteignez la fréquence souhaitée.
Amélioration du son FM
Si, en raison d'un signal faible, les indicateurs TUNED ou STEREO ne s'allument pas lorsque vous faites l'accord sur une station FM, appuyez sur MPX pour passer au mode de réception en mono. Cela doit améliorer la qualité du son et permettre de profiter davantage de l'émission.
Utilisation du mode de coupure du bruit
Les deux modes de coupure du bruit peuvent être utilisés pendant la réception des émissions AM. Appuyez sur MPX pour sélectionner le mode de coupure du bruit (1 à 2).
Réglage direct d'une station
1 Appuyez sur TUNER pour selectionner le tuner.
2 Utilisez BAND pour changer la bande (FM ou AM), si nécessaire.
3 Appuyez sur D.Access (Direct Access).
4 Utilisez les touches numériques pour saisir la fréquence de la station radio.
Par exemple, pour acceder à la station 106.00 (FM), appuyez sur 1, 0, 6, 0, 0.
Si vous commette une erreur lors de la saisie, appuyez deux fois sur D.Access pour effacer la fréquence et recommencer.
Sauvegarde des stations préregliées
Si vous écoutez souvent une station radio précise, il est interéssant d'en ménoriser la fréquence pour faire l'accord rapidement sur cette station lorsque vous souhaitez l'écouter. Vous évitez ainsi de devoir régler manuellement la station à chaque fois. Ce récepteur peut ménoriser jusqu'à 63 stations, enregistrées dans sept banques ou classes (A à G) de 9 canaux chacune.
1 Réglez une station que vous souhaitez ménoriser.
Pour plus d'informations, consultez la section Ecoute de la radio à la page 51.
2 Appuyez sur TOOLS (TUNER EDIT).
L'écran affiche PRESET MEMORY, puis une classe de mémoire qui clignote.
3 Appuyez sur CLASS pour selectionner l'une des sept classes, puis appuyez sur PRESET +/- pour selectionner la station preréglée souhaitée.
Yououpouzeegalementutiliserles touchesnumériques pourselectionnerune station preréglée.
4 Appuyez sur ENTER.
Après avoir appuyé sur ENTER, la classe et le numéro prérégles cessent de clignoter et le récepteur enregistre la station.
Écouter des stations préregliées
1 Appuyez sur TUNER pour selectionner le tuner.
2 Appuyez sur CLASS pour selectionner la classe ou enregisterr la station.
Appuyez plusieurs fois pour faire défilier les classes A à G.
3 Appuyez sur PRESET + / - pour selectionner la station preréglée souhaitée.
- Vous pouvez également utiliser les touches numériques de la télécommande pour rappeler la station préréglée.
Nommer des stations préréglées
Pour reconnaître plus facilement les stations préréglées, vous pouvez leur donner un nom.
1 Choisissez la station préréglée que vous souhaitez nommer.
Consultez the section Ecouter des stations preregles à la page 51 pour le détaill à ce sujet.
2 Appuyez sur TOOLS (TUNER EDIT).
L'écran affiche PRESET NAME, puis un curseur qui clignote à l'emplacement du premier caractère.
3 Saisissez le nom souhaité.
Utilisez TUNE +/- (ou TUNE ↑/↓ sur le panneau avant) pour selectionner un caractère, PRESET +/- (ou PRESET
/ sur le panneau avant) pour définiter la position et ENTER pour valider votreCHOIX.

Remarque
- Pour effacer un nom de station, repêze simplement les étapes 1 à 3 et introduisez huit espaces au lieu du nom.
- Àprous avoir nommé une station prérgélée, vous pouvez appuyer sur DISP lors de l'écoute d'une station pour altermier l'affichage du nom et de la fréquence.
Introduction au RDS
Le système de données radiophoniques, ou RDS, est un système utilisé par la plupart des stations de radio FM pour fournir aux auditeurs différents types d'informations, comme le nom de la station et le type d'émission en cours de transmission.
L'une des caractéristiques du RDS est la recherche par type de programme. Par exemple, vous pouze rechercher une station qui diffuse une émission dont le type de programme est JAZZ.
Yououpouvezfaireunecherche parmi lestypes deprogrammes suivants:
- Il existe en outre deux autres types de programmes, TEST et NONE. Vous ne pouvez pas les rechercher.





| NEWS - Informations | WEATHER - Bulletins météorologiques |
| AFFAIRS - Analyse de l'actualité | FINANCE - Rapports de bourse, commerce, ventes, etc. |
| INFO - Informations générales | CHILDREN - Programmes pour enfants |
| SPORT - Sport | SOCIAL - Affaires sociales |
| EDUCATE - Matériaux educatifs | RELIGION - Programmes religieux |
| DRAMA - Pièces radiophoniques, etc. | PHONE IN - Opinion publique par téléphone |
| CULTURE - Culture nationale ou régionale, théâtre, etc. | TRAVEL - Voyages et vacances,只想 qu'announces de circulation routière |
| SCIENCE - Science et technologie | LEISURE - Loisirs et hobbies |
| VARIÉD - Habituellesment programmes de discussion, comme des quizzes ou des entretiens. | JAZZ - Jazz |
| POP M - Musique pop | COUNTRY - Musique country |
| ROCK M - Musique rock | NATION M - Musique populaire dans une longue autre que l'Anglais |
| EASY M - Variétés | OLDIES - Musique populaire des années 50 et 60 |
| LIGHT M - Musique classique 'légère' | FOLK M - Musique folk |
| CLASSICS - Musique classique plus 'sérieuse' | DOCUMENT - Documentaires |
| OTHER M - Autres styles de musique ne correspondant à aucune des catégories ci-dessus | |
Recherche de programmes RDS
L'une des fonctions les plus utiles du RDS est sa capacité de recherche par type de programme. Vous pouvez rechercher n'importe lequel des types de programmes repertoriés dans la liste précédente.
1 Appuyez sur TUNER pour selectionner la bande FM.
- La fonction RDS n'est disponible que pour la bande FM.
2 Appuyez sur PTY.
PTY SEARCH apparait sur I'afficheur.
3 Appuyez sur PRESET + / - pour selectionner le type de programme que vous souhaitez écouter.
4 Appuyez sur ENTER pour lancer la recherche du type de programme.
La recherche d'un programme approprié parmi toutes les fréquences commence. Lorsqu'il en trouve un, la recherche s'arrête et la station est audible pendant cinq secondes.
5 Si vous voulez continuer d'écouter cette station, appuyez sur ENTER dans les cinq secondes.
Si vous n'appuyez pas sur ENTER, la recherche reprend.
Si NO PTY est affiché, cela signifie que le tuner n'a pas pu trouver le type de programme que vous cherchiez.
Le RDS s'applique a toutes les fréquences. Si le type de programme recherche n'a pas pu etre trouve parmi toutes les fréquences, NO PTY s'affiche.
Utilisez la touche DISP pour afficher les différents types d'informations RDS disponibles.
- Si des parasites sont captés pendant que RT défile sur l'affichage, certains caractères peuvent s'afficher de façon incorrecte.
- Si vous voyagez NO RT DATA dans l'affichage RT, cela signifie qu'aucune donnée RT n'est transmise par la station.
- Si NO PS DATA apparait dans l'affichage PS cela signifie qu'aucune donnée PS ne peut etre reque.
-
Si NO PTY DATA apparaît dans l'affichage PTY, cela signifie qu'aucune donnée PTY ne peut être reçue.
-
Appuyez sur DISP pour afficher les informations RDS.
Chaque pression fait changer l'affichage dans l'ordre suivant :
- Radio Text (RT) - Messages envoyés par la station de radio. Par exemple, le RT d'une station de radio de discussion peut être un nombre de téléphone.
- Program Service Name (PS) - Nom de la station de radio.
- Program Type (PTY) - Indique le type de programme en cours de diffusion.
- Fréquence actuelle du tuner.

ADAPTATEUR Bluetooth pour l'écoute de musique sans fil

- Environ une minute est nécessaire entre la mise sous tension et la fin de la phase de démarrage.
Écoute de musique sans fil
Lorsque l'ADAPTATEUR Bluetooth (AS-BT100 ou AS-BT200) est raccordé à cet apparéil, un produit sans fil de type Bluetooth (telephone portable, lecteur de musique numérique, etc.) peut être utilisé pour écouter de la musique sans fil. De plus, si vous utilisez un émetteur du commerce prénant en charge la technologie sans fil Bluetooth, vous pourrait écouter de la musique sur un dispositif n'intégrant pas la technologie sans fil Bluetooth. Les modèles AS-BT100 et AS-BT200 comprendnent la méthode de protection de contenus SCMS-T et de la musique peut être écoutee sur les dispositifs intégrant la technologie sans fil Bluetooth de type SCMS-T.
- La fonction Air Jam ne peut pas être utilisée avec l'AS-BT100.
Fonctionnement de la télécommande
La télécommande fournie avec cet apparéil permet de démarrer et d'arrêtier la lecture et d'effectuer certaines opérations.
- Le dispositif sans fil Bluetooth doit prendre en charge le profil AVRCP.
- Le fonctionnement de la télécommande n'est pas garantie pour tous les dispositifs sans fil Bluetooth.
Jumelage de l'ADAPTATEUR Bluetooth et d'un dispositif sans fil Bluetooth
Le "Jumelage" doit être effectué avant la lecture sur le dispositif sans fil Bluetooth via l'ADAPTATEUR Bluetooth. Veillez à effectuer le jumelage la première fois que vous utilisez cette système et chaque fois que les données du jumelage ont été effacées. Le jumelage est nécessaire pour enregistrer le dispositif sans fil Bluetooth et permettre les communications Bluetooth. Pour le détaill à ce sujet, consultez aussi le mode d'emploi de votre dispositif sans fil Bluetooth.
-
Le jumelage est nécessaire la première fois que vous utilisez le dispositif sans fil Bluetooth et l'ADAPTATEUR Bluetooth.
-
Pour permettre la communication Bluetooth, le jumelage doit etre effectue sur voite syste et sur le dispositif sans fil Bluetooth.
- Si le code de sécurité du dispositif sans fil Bluetooth est "0000", il est inutilde spécifique le code de sécurité sur le récepteur. Appuyez sur ADPT pour spécifique l'entrée ADAPTER PORT, puis effectuez le jumelage sur le dispositif sans fil Bluetooth. Si le jumelage réussi, les opérations suivantes seront superflues.
- Si I'AS-BT200 est seulement utilisé : Cet apparéil est conforme aux spécifications Bluetooth Ver. 2.1. Lorsque cet apparéil et un autre dispositif sans fil Bluetooth sont conformes aux spécifications Bluetooth Ver. 2.1, le jumelage des deux sera éventuellesment possible sans mot de passer.
Dans ce cas, un code peut apparaitre sur le recepteur et sur le dispositif sans fil Bluetooth. Dans ce cas, assurez-vous que le même code est affiché sur le recepteur et sur le dispositif sans fil Bluetooth, puis appuyez sur ENTER. Ensuite, connectez-vous sur le dispositif Bluetooth utilisé. Si le code ne correspond pas au code indiqué sur le dispositif Bluetooth sur lequel vous foulez vous connecter, appuyez sur RETURN pour annuler le jumelage, puis remsayez.
Appuyez sur ADPT pour spécifier l'entrée ADAPTER PORT, puis effectuez le jumelage sur le dispositif sans fil Bluetooth. Si le jumelage réussit, les opérations suivantes seront superflues.
- Jumelez un apparéil à la fois.
- Si vous reliez ce récepteur par une connexion Bluetooth à un dispositif compatible Bluetooth pour écouter de la musique, ne connectez que ce récepteur par une connexion Bluetooth à ce dispositif compatible Bluetooth à l'exclusion de tout autre. Si une connexion Bluetooth à un autre dispositif que ce récepteur a déjà été établie, déconnectez l'autre dispositif avant de connecter ce récepteur.
1 Appuyez sur ADPT de la télécommande pour commuter le récepteur sur l'entrée ADAPTER PORT.
2 Appuyez sur TOP MENU pour selectionner Bluetooth Setup.
3 Utilisez ↑/↓ pour sélectionner 'PIN', puis appuyez sur ENTER.
4 Utilisez ↑/↓ pour sélectionner un des codes PIN 0000, 1234 ou 8888, puis appuyez sur ENTER.
Vou puez utiliser un des codes PIN 0000, 1234 ou 8888. Les dispositifs sans fil Bluetooth utilisant autre chose qu'un code PIN ne peuvent pas etre utiliser avec ce recepteur.
5 Appuyez deux fois sur la touche RETURN pour sortir de Bluetooth Setup.
6 Allumez le dispositif sans fil Bluetooth que vous voulez jumeler, place-le à proximé du récepteur et mettez-le en mode de jumelage.
7 Sur la liste des dispositifs sans fil Bluetooth, Sélectionné z'ADAPTATEUR Bluetooth et saisissez le code PIN sélectionné à l'étape 4.
8 Vérifiez si l'ADAPTATEUR Bluetooth est detecté par le dispositif sans fil Bluetooth.
Si le récepteur et le dispositif sans fil Bluetooth ne sont pas jumelés, recommence depuis l' étape 6.

Remarque
- Le code PIN peut être désigné dans certains cas par PASSKEY.
- Pour plus d'informations sur l'activation du jumelage sur le dispositif sans fil Bluetooth, les connexions, etc., reportez-vous au mode d'emploi du dispositif sans fil Bluetooth.




Écoute de la musique enregistrée sur un dispositif sans fil Bluetooth via votre châne
1 Appuyez sur ADPT de la télécommande pour commuter le récepteur sur l'entrée ADAPTER PORT.
2 Sur le dispositif sans fil Bluetooth, effectuez l'opération nécessaire pour vous connecter à l'ADAPTATEUR Bluetooth.
- Si I'ADAPTATEUR Bluetooth n'est pas branché sur ADAPTER PORT, No Adapter s'affichera si l'entrée ADAPTER PORT est sélectionnée.
3 Écoutez la musique enregistrée sur le dispositif sans fil Bluetooth.
Les touches de la télécommande de ce récepteur peuvent être utilisées pour la lecture de base des fichiers enregistrés sur des dispositifs sans fil Bluetooth.
- Le dispositif sans fil Bluetooth doit prendre en charge le profil AVRCP.
- Selon le dispositif sans fil Bluetooth utilisé, une opération peut être différente de ce qui est indiqué sur les touches de la télécommande.

4 Pendant l'écoute d'une source, réglez la télécommande sur le mode de fonctionnement du récepteur, puis appuyez plusieurs fois de suite sur ADV SURR pour sélectionnner SOUND RETRIEVER AIR.
La marque de mot et les logos Bluetooth® sont des marques déposées appartenant à Bluetooth SIG, Inc. et toute utilisation de ces marques par PIONEER CORPORATION est faite sous licence. Les autres marques de commerce ou noms commerciaux sont la propriété de leur propriété respectif.
Air Jam
Air Jam, une application Pioneer est disponible gratuitement.
Air Jam permet de connecter plusieurs dispositifs à cet apparéil par une liaison sans fil Bluetooth. Vous pouvez ainsi creer sur un dispositif compatible une liste de lecture par groupes que vous écouterez par votre home cinéma via cet apparéil. Vous et vos amis peuvent ajouter à cette liste de lecture des morceaux prêents sur vos dispositifs. Air Jam permet aussi d'effacer un morceau avant qu'il ne soit écoute.
1 Appuyez sur ADPT de la télécommande pour commuter le récepteur sur l'entrée ADAPTER PORT.
2 Appuyez sur TOP MENU pour sélectionner Bluetooth Setup.
3 Utilisez ↑/↓ pour sélectionner 'Air Jam', puis appuyez sur ENTER.
4 Utilisez ↑/↓ pour sélectionner 'Air Jam ON', puis appuyez sur ENTER.
5 Appuyez deux fois sur la touche RETURN pour sortir de Bluetooth Setup.
Pour plus d'informations sur Air Jam, accedez à note site.
http://pioneer.jp/product/soft/iapp_airjam/en.html

Écoute par votre système
Écoute de sources variees grâce aux divers modes d'écoute. 56
Sélection des prérégliages MCACC 58
Choix du signal d'entrée 58
Contrôle de phase pour un son de meilleure qualité 59
Amélioration du son avec le contrôle de phase et le contrôle de phase pleine bande 59




Écoute de sources variees grâce aux divers modes d'écoute
Ce récepteur permet d'éçouter n'importe qu'elle source en surround. Toutefois, les options disponibles dépendent de la configuration de vos enceintes et du type de source écoutee.
Pour écouter une source en surround, reportez-vous à "Son surround standard", "Utilisation des modes Home THX" ou "Utilisation des effets Advanced surround" ci-dessus et sélectionnez le mode souhaité.
Pour écouter une source dans le mode optimal, consultez la section "Lecture automatique" ou "Utilisation des modes Stream Direct". (Le son est produit en stéreo en présence de signaux à 2 canaux et en surround en présence de signaux multicanaux.)

Important
- Les modes d'écoute et plusieurs fonctions décrits dans cette partie du manuel ne pourront pas être utilisés avec certaines sources, certains réglages et selon l'état du récepteur.
Lecture automatique
Ce récepteur permet d'écouter des sources de nombreuses manières, mais la fonction Surround automatique est la plus simple et la plus directe. Le récepteur détecte automatiquement le type de source en cours de lecture et seLECTIONne la lecture stéreo ou multicanaux en conséquence.
1 Appuyez sur RECEIVER pour selectionner le mode de fonctionnement du recepteur.
2 Pendant la lecture d'une source, appuyez sur la touche AUTO/ALC/DIRECT (AUTO SURR/ALC/STREAM DIRECT) pour lancer la lecture automatique d'une source.
AUTO SURROUND apparait brièvement à l'écran, puis le format de décodage ou de lecture s'affiche. Vérifiez les indicateurs de format numérique sur l'afficheur du panneau avant pour savoir dequelle manière la source est traitée.
- Si la source est codée en Dolby Digital, DTS ou Dolby Surround, le format de décodage ajustat est automatiquement sélectionné et indiqué à l'écran.
- Pendant l'écoute de la source ADAPTER PORT, la fonction SOUND RETRIEVER AIR est automatiquement sélectionnée.
ALC - Dans le mode de contrôle automatique des niveaux (ALC), le récepteur égalise les niveaux du son lors de la lecture.
En outre, lessons des graves et des aigus,les dialogues,les effets surround,etc.,qui ne sont pas vraiment perceptibles à faible volume, sont réajustés de maniere à être bien perçu à ce niveau sonore. Ce mode est optimal pour l'écoute de nuit.
OPTIMUM SURR - Dans le mode Optimum Surround, l'équilibre sonore de chaque-scène est automatiquement réajusté de manière optimale en fonction du volume spécifique. L'équilibre sonore contrôle trois éléments importants du son, les dialogues, les graves et le surround avec un algorithme original.

Remarque
- Lorsqu'un mode ALC est selectionné, le niveau d'effet peut être ajusté par le paramètre EFFECT, déscrit dans Réglage des options audio à la page 70.
Son surround standard
Les modes suivants offrent un son surround simple pour les sources stéreo et multicanaux.
1 Appuyez sur RECEIVER pour selectionner le mode de fonctionnement du recepteur.
2 Pendant l'écoute d'une source, appuyez sur la touche STANDARD (STANDARD SURROUND).
Si besoin, appuyez plusieurs fois sur cette touche pour selectionner un mode d'écoute.
- Si la source est codée en Dolby Digital, DTS ou Dolby Surround, le format de décodage ajustat est automatiquement sélectionné et indiqué à l'écran.
- Si les enceintes surround arrêtre ne sont pas raccordées, Pro Logic IIx devient Pro Logic II (son à 5,1 canaux).
Pour les sources comptant deux canaux, vous pouvez selectionner au besoin :
- Pro Logic IIx MOVIE - Jusqu'à 7.1 canaux (arrière surround), particulièrement adapté aux sources filmiques
- Pro Logic IIx MUSIC - Jusqu'à 7.1 canaux (arrière surround), particulièrement adapté aux sources musicales
Pro Logic IIx GAME - Jusqu'a 7.1 canaux (arriere surround), particulierement adapte aux yeux video
PRO LOGIC - Son surround 4.1 canaux (son mono pour les enceintes surround)
- Pro Logic IIz HEIGHT - Jusqu'à 9.1 canaux (surround arrêt et avant haut)
WIDE SURROUND MOVIE - Jusqu'a 7.1 canaux (avant large), particulierement adapte aux sources filmiques
- WIDE SURROUND MUSIC - Jusqu'à 7.1 canaux (avant large), particulièrement adapté aux sources musicales
- Neo:X CINEMA - Jusqu'à 9.1 canaux (surround arrêté et avant haut ou surround arrêté et avant large), particulièrement adapté aux sources filmiques
- Neo:X MUSIC - Jusqu'à 9.1 canaux (surround arrêté et avant haut ou surround arrêté et avant large), particulièrement adapté aux sources musicales
-
Neo:X GAME - Jusqu'à 9.1 canaux (surround arrête et avant haut ou surround arrête et avant large), particulièrement adapté aux yeux video
-
STEREO - Vos réglages sonores sont appliqués au son et vous pouvez toujours utiliser les options audio. Avec les sources multicanaux, si vous avez raccordé des enceintes surround arrêté, avant en position haute ou avant en position large, vous pouvez désirir (selon le format):
Pro Logic IIx MOVIE-Voir ci-dessus
Pro Logic IIx MUSIC-Voir ci-dessus
- Dolby Digital EX - Crée un son de canal surround arrêté pour les sources 5.1 canaux et offre un décodage pur des sources 6.1 canaux ( comme le Dolby Digital Surround EX)
Pro Logic IIz HEIGHT - Voir ci-dessus
WIDE SURROUND MOVIE - Voir ci-dessus
WIDE SURROUND MUSIC-Voir ci-dessus
Neo:X CINEMA - Voir ci-dessus
- Neo:X MUSIC-Voir ci-dessus
- Neo:X GAME - Voir ci-dessus
- DTS-ES Matrix ou DTS-ES Discrete - Permet une lecture 6.1 canaux avec des sources codées DTS-ES
STEREO-Voir ci-dessus
- Décodage direct - Lecture sans les effets ci-dessus.

Remarque
- Lors de l'écoute en mode Pro Logic IIz HEIGHT, vous pouvez aussi ajuster l'effect H.GAIN (consultez la section Réglage des options audio à la page 70).
- Lors de l'écoute de sources à 2 canaux en mode Dolby Pro Logic IIx Music, trois autres paramètres peuvent être régés : C.WIDTH, DIMENSION et PANorama. Consultez la section Réglage des options audio à la page 70 pour les régler.
- Pendant l'écoute de sources 2 canaux en mode Cinéma Neo:X, Musique Neo:X ou Jeu Neo:X, vous pouvez également ajuster l'effet C.GAIN (consultez la section Réglage des options audio à la page 70).
- Pour l'écoute au casque, seul le mode STEREO peut être sélectionné.




Utilisation des modes Home THX
THX et Home THX sont des normes techniques créées par THX Ltd. pour le son cinema et home cinema. La norme Home THX a été conçue pour que le son du home cinema se rapproche davantage du son que vous entendez au cinema.
Différentes options THX sont disponibles en fonction de la source et du paramétrage du traitement du canal surround arrêté (consultez la section Réglage audio THX à la page 96 pour plus d'informations).
1 Appuyez sur RECEIVER pour selectionner le mode de fonctionnement du recepteur.
2 Appuyez sur THX (HOME THX) pour selectionner un mode d'écoute.
Pour les sources propont deux canaux, appuyez plusieurs fois sur la touche THX pour selectionner un processus de décodage matériel pour le mode THX CINEMA (consultez la section Réglage audio THX à la page 96 pour obtenir une explication de chaque processus):
- THX CINEMA
- THX MUSIC
- THX GAMES
Pro Logic IIx MOVIE+THX CINEMA
PRO LOGIC+THX CINEMA
Neo:X CINEMA+THX CINEMA
Pro Logic IIx MUSIC+THX MUSIC
Neo:X MUSIC+THX MUSIC
Pro Logic IIx GAME+THX GAMES
- Neo:X GAME+THX GAMES
Pro Logic IIz HEIGHT+THX CINEMA
Pro Logic IIz HEIGHT+THX MUSIC
Pro Logic IIz HEIGHT+THX GAMES
Pour les sources multicanaux, appuyez plusieurs fois sur la touche THX (HOME THX) pour effectuer un besoin :
- THX CINEMA
- THX MUSIC
- THX GAMES
- THX Surround EX - Permit une lecture 6.1 ou 7.1 canaux de sources 5.1 canaux
Neo:X CINEMA+THX CINEMA
Neo:X MUSIC+THX MUSIC
- Neo:X GAME+THX GAMES
Pro Logic IIx MOVIE+THX CINEMA
Pro Logic IIx MUSIC+THX MUSIC
Pro Logic IIz HEIGHT+THX CINEMA
Pro Logic IIz HEIGHT+THX MUSIC
Pro Logic IIz HEIGHT+THX GAMES
Utilisation des effets Advanced surround
Les effets Advanced surround (surround avancé) peuvent être utilisés pour une large gamme d'effets sonores surround supplémentaires. La plupart des modes Advanced surround ont été conçus pour les bandes sonores de films, mais certains modes convennent également aux sources musicales. Essayez différents réglages pour plusieurs bandes sonores afin d'établier vos préférences.
1 Appuyez sur RECEIVER pour selectionner le mode de fonctionnement du recepteur.
2 Appuyez plusieurs fois sur la touche ADV SURR (ADVANCED SURROUND) pour sélectionner un mode d'écoute.
- ACTION - Conçu pour les films d'action dotés de bandes sonores dynamiques
- DRAMA - Conçu pour les films où les dialogues sont différents
- SCI-FI - Conçu pour les films de science-fiction aux innombrables effets spéciaux
- MONO FILM - Crée un son surround à partir de bandes sonores mono
- ENT.SHOW - Adapté aux sources musicales
EXPANDED- Cree un champ stereo très large
TV SURROUND - Fournit un son surround pour les sources TV mono et stéreo
ADVANCED GAME - Adapté aux produits
- SPORTS - Adapté aux programmes sportifs
CLASSICAL - Offre un son digne d'une grande salle de concert
- ROCK/POP - Crée le son d'un concert en direct pour la musique rock et/ou pop
- UNPLUGGED - Adapté aux sources musicales acoustiques
EXT.STEREO - Restitue un son multicanaux a partir d'une source stereo et utilise toutes les enceintes
F.S.SURR FOCUS - Utilisez ce mode pour obtenir un effet sonore surround riche au point central de convergence de la sortie du son des enceintes avant gauche et droite.
F.S.SURR WIDE - Utilisez ce mode pour obtenir un effet surround dans une plus grande zone qu'vec le mode FOCUS.

Position FOCUS (Recommendé)

Position WIDE
- SOUND RETRIEVER AIR - Adapté à l'écoute du son d'un dispositif sans fil Bluetooth. Le mode d'écoute SOUND RETRIEVER AIR ne peut être sélectionné que dans le cas de l'entrée ADAPTER PORT.
- PHONES SURR - Lors d'une écoute avec un casque, vous pouvez obtenir un effet surround global.

Remarque
- Lorsqu'un mode d'écoute Advanced surround est Sélectionné, le niveau d'effet peut être ajusté grâce au paramètre EFFECT, déscrit dans Réglage des options audio à la page 70.
Toutefois avec F.S.SURR FOCUS, F.S.SURR WIDE et SOUND RETRIEVER AIR, le niveau de l'effet ne peut pas etre ajusté.
- La fonction Front Stage Surround Advance (F.S.SURR FOCUS et F.S.SURR WIDE) permet de creer des effets sonores surround naturels même si vous utilisez seulement des enceintes avant et un caisson de grave.
Utilisation des modes Stream Direct
Utilisez les modes Stream Direct (à flux direct) lorsque vous souhaitez écouter une source avec un rendu juste mention fidèle. Aucun traitement de signal inutil n'est effectué. Vous écoutez ainsi la vérable source sonore analogique ou numérique.
Le traitement effectué dépend du signal d'entrée et du raccordement ou non d'enceintes surround arrêt. Pour plus d'informations, consultez la section Surround automatique, ALC et flux direct avec différents formats de signal d'entrée à la page 115.
1 Appuyez sur RECEIVER pour selectionner le mode de fonctionnement du recepteur.
2 Pendant la lecture d'une source, appuyez sur AUTO/ALC/DIRECT
(AUTO SURR/ALC/STREAM DIRECT) pour sélectionner le mode souhaité.
Vérifiez les indicateurs de format numérique sur l'afficheur du panneau avant pour savoir dequelle manière la source est traitée.
- AUTO SURROUND - Consultez la section Lecture automatique à la page 56.
- ALC - Écoute en mode de contrôle automatique des niveaux (page 56).
- DIRECT - Reproduction de la source avec le moins de modifications possible proche de PURE DIRECT. Avec DIRECT, les seules modifications ajoutées à la lecture PURE DIRECT proviennent du calibrage du champ sonore par le système MCACC et du contrôle de la phase.
- PURE DIRECT - Lecture sans modification du son avec un traitement numérique minimal.
- OPTIMUM SURR - Écoute du son surround optimal (page 56).

Remarque
- Pour l'écoute au casque, seul le mode ALC, OPTIMUM SURR ou PURE DIRECT peut être sélectionné.
Sélection des préréglages MCACC
- Réglage par défaut : MEMORY 1
Si vous avez calibre votre système pour différentes positions d'écoute, vous pouvez passer d'un réglage à l'autre en fonction du type de source écoute et de votre position d'écoute (par exemple, pour regarder un film dans un canapé ou pour joguer aux yeux video pres du télévisueur).
Lors de I'ecoute d'une source, appuyez sur la touche MCACC.
Appuyez dessus plusieurs fois de suite pour selectionner un des six préréglages MCACC. Consultez la section Gestion des données à la page 92 pour vérifier et:gérer vos réglages actuels.
- Ces réglages n'ontaucun effet lorsqu'un casque d'écoute est branché.
- Vous pouvez aussi appuyer sur / pour selectionner le préroglage MCACC.
Choix du signal d'entrée
Voussousez electionner les differents signaux d'entree suivants sur ce recepteur.
- Ce récepteur ne lit que les signaux numériques de format Dolby Digital, PCM (32 kHz à 192 kHz) et DTS (y compris le format DTS 96/24). Les signaux pouvant transiter par les prises HDMI sont les suivants : Dolby Digital, DTS, PCM (32 kHz à 192 kHz), Dolby TrueHD, Dolby Digital Plus, DTS-EXPRESS, DTS-HD Master Audio et SACD.
- Il est possible que vous entendiez du bruit numérique pendant la lecture d'un signal analogique sur un lecteur LD, CD, DVD ou BD. Pour éviter le bruit, réalisez les liaisons numériques adéquates (page 26) et réglez l'entrée de signal sur DIGITAL.
- Certains lecteurs DVD ne généré pas de signaux DTS. Pour de plus amples informations, consultez le mode d'emploi fourni avec votre lecteur DVD.
1 Appuyez sur RECEIVER pour selectionner le mode de fonctionnement du recepteur.
2 Appuyez sur SIGNAL SEL pour sélectionner le signal d'entrée correspondant au composant source.
Chaque pression permet de passer d'une option à l'autre, dans l'ordre suivant :
- AUTO - Le récepteur sélection le premier signal disponible dans l'ordre suivant : HDMI; DIGITAL; ANALOG.
ANALOG - Sélectionne un signal analogique.
- DIGITAL - Sélectionne un signal numérique optique ou coaxial.
- HDMI - Sélectionne un signal HDMI.
Lorsque le parametre de sortie audio HDMI est regle sur THROUGH, le son est restitue par le téléviseur et non pas par ce recepteur.
Lorsque DIGITAL, HDMI ou AUTO est spécifique (DIGITAL ou HDMI seulement sélection), les indicateurs s'allument de la façon suivante en fonction du signal décodé (consultez Afficheur à la page 14).




Contrôle de phase pour un son de meilleure qualité
Le contrôle de phase de ce récepteur utilise les mesures de correction de phase pour garantir que votre source sonore arrive en phase en position d'écoute, empêchant ainsi toute déformation et/ou coloration indésirable du son.
La technologie de contrôle de phase permet une restitution sonore uniforme grâce à l'utilisation de la concordance de phase, offrant ainsi une image sonore parfaite. Cette fonction est activée par défaut et nous vous recommendons de conserver ce paramétrage pour toutes les sources sonores.
- Appuyez sur PHASE (PHASE CONTROL) pour activer la correction de phase.
Sur le panneau avant, l'indicateur PHASE CONTROL s'allume.

Remarque
- La concordance de phase est un facteur essentiel à une restitution sonore de qualité. Si deux formes d'onde sont en phase, elles atteignent leurs niveaux minimum et maximum en même temps, ce qui garantit une amplitude, une clarté et une présence accrues du signal sonore. Si la crête d'une onde rejoint un creux, le son n'est plus en phase, résultat en une image sonore de mauvaise qualité.
- Pour les disques créé avec d'autres normes que le contrôle de phase, le canal LFE est retardé lors de l'enregistrement au tout début. La fonction Phase Control Plus corrige le décalage de phase sur ces disques. Pour les instructions concernant la fonction Phase Control Plus, consultez la section Réglage des options audio à la page 70.
- Si le caisson de grave est muni d'un bouton de contrôle de phase, réglez-le sur le signe (+) (ou 0^ ). Toutefois, l'effet obtenu sur ce récepteur lorsque PHASE CONTROL est régle sur ON dépend du type de caisson de grave. Réglez votre caisson de grave pour optimiser l'effet. Il est également conseilé d'essayer de changer l'orientation ou l'emplacement du caisson de grave.
- Mettez le bouton du filtré passé-bas de votre caisson de grave en position hors service. Si ce n'est pas possible sur votre caisson de grave, réglez la fréquence de coupure sur une valeur plus élevé.
- Si la distance des enceintes n'a pas ete reglee correctement, il peut etre impossible d'obtenir un meilleur effet PHASE CONTROL.
- Le mode PHASE CONTROL ne peut pas etre regle sur ON dans les cas suivants :
—Lorsqu'un casque d'écoute est branché.
—Lorsque le mode PURE DIRECT est en service.
—Lorsque le paramètre de sortie audio HDMI est reglé sur THROUGH in Réglage des options audio à la page 70.
Amélioration du son avec le contrôle de phase et le contrôle de phase pleine bande
Ce recepteur présente deux types de fonctions pour corriger la distorsion de phase et le retard de groupe : Le contrôle de phase et le contrôle de phase pleine bande. Il est conseilé demettre en service le contrôle de phase pleine bande partir qu'il inclut aussi les effets du contrôle de phase.
Le contrôle de phase pleine bande permet de calibrer les caractéristiques de fréquence-phase des enceintes raccordées.
Les enceintes classiques conçues exclusivement pour l'usage audio reproduisent en général le son en fonction des différentes bandes de fréquence d'un système d'enceintes intégrant plusieurs haut-parleurs (par exemple, les haut-parleurs d'aigus, de médiums et de graves correspondant respectivement aux hautes, aux moyennes et aux basses fréquences dans le cas d'enceintes à 3 voies). Bien que conçues pour aplanir les caractéristiques de fréquence-amplitude sur de larges plages, dans certains cas ces enceintes ne parviennent pas à aplanir les caractéristiques du retard de groupe efficacement. Cette distorsion de phase des enceintes accroit par la suite le retard de groupe (le retard du son des basses fréquences par rapport au son des hautes fréquences) pendant la lecture du signal audio.
Ce récepteur analyse les caractéristiques de fréquence-phase des enceintes en mesurant les signaux de test émis par les enceintes avec le microphone fourni et aplanit les caractéristiques de fréquence-phase analysées pendant la lecture du signal audio. La même correction est effectue sur les enceintes gauche et droite. Cette correction réduit le retard de groupe entre les plages d'une même enceinte et améliore les caractéristiques de fréquence-phase sur toutes les plages.
En outre, l'amélioration des caractéristiques de fréquence-phase entre les canaux facilitè l'intégration du son surround lors du réglage multicanaux.
- Appuyez sur PHASE (PHASE CONTROL) pour sélectionner FULLBAND PHASE.
Le contrôle de phase et le contrôle de phase pleine bande sont mis en service. Sur le panneau avant, les indicateurs FULL BAND et ±b s'allument.

Remarque
- Pour calibrer et analyser les caractéristiques de fréquence-phase des enceintes, effectuez les opérations mentionnées pour la Full Auto MCACC dans Advanced MCACC (consultez la section Obtention automatique d'un réglage sonore optimal (Full Auto MCACC) à la page 41) ou réglez Auto MCACC dans Auto MCACC dans ADVANCED MCACC sur Full Band Phase Ctrl. Sélectionnez ALL lorsque vous effectuez la Auto MCACC avec le menu Auto MCACC. Lors du calibrage des caractéristiques de fréquence-phase des enceintes, la fonction Full Band Phase Ctrl est automatiquement mise en service.
- Les caractéristiques originales du retard de groupe des enceintes calibrées et les caractéristiques escomptées après la correction peuvent être affichées graphiquement sur l'écran GUI (consultez la section Vérification des données MCACC à la page 90). D'autre part, une fois les mesures transférées sur l'ordinateur à l'aide du CD-ROM (AVNavigator), les caractéristiques originales du retard de groupe des enceintes calibrées et les caractéristiques corrigées du retard de groupe peuvent être affichées en 3 dimensions sur l'ordinateur. Pour le détail, reportez-vous au mode d'emploi du logiciel Advanced MCACC PC Display Application liéven sur le CD-ROM (AVNavigator).
- Selon le signal d'entrée et le mode d'écoute, il peut être impossible de régler le mode Full Band Phase Ctrl sur ON.
- Le mode Full Band Phase Ctrl ne peut pas être régle sur ON dans les cas suivants :
—Lorsqu'un casque d'écoute est branché.
—Lorsque le mode PURE DIRECT est en service.
—Lorsque le parametre de sortie audio HDMI est regle sur THROUGH in Reglage des options audio à la page 70.




Lecture avec les fonctions NETWORK
Introduction 61
Lecture avec les fonctions Réseau 62
A propos de la lecture en reseau 63
A propos des formats de fichiers lisibles 64




Introduction
Ce récepteur est pourvu d'une borne LAN, et en raccordant vos composants à cette borne vous pourrait utiliser les fonctions suivantes.
Ecoute des stations radio Internet
Vou puez selectionner dans laiste des stations radio Internet createe, modifiee et gerée par le service vTuner exclusivement pour les produits Pioneer vos stations préferées pour les écouter.
Consultez la section Lecture avec les fonctions Reseau à la page 62 et Ecoute des stations radio Internet à la page 62.
Lecture de fichiers de musique enregistrés sur un ordinateur
Yououpuez ecouter par l'intermediaire de cet appeareil toutvee musique enregistrree sur ordinateur.
- Vous pouvez écouter des fichiers audio enregistrés non seulement sur un ordinateur mais aussi sur d'autres composants en utilisant le serveur multimédia intégré fonctionnant selon le logiciel et les protocôles DLNA 1.0 ou DLNA 1.5 (disques durs et chaînes audio capables de connexion réseau).
Consultez la section Lecture avec les fonctions Réseau à la page 62 et Lecture de fichiers audio enregistrés sur des composants en réseau à la page 63.

Remarque
- Pour pouvoir écouter des stations radio Internet, il faut s'abonner auprès d'un fournisseur de service Internet (FSI).
- Les fichiers photo ou video ne peuvent pas etre lus.
- Avec Windows Media Player 11 ou Windows Media Player 12, vous pouvez même écouter les fichiers audio protégés sur ce récepteur.
À propos des dispositifs interopérables en réseau DLNA
Cet apparéil permet d'éçouter la musique disponible sur les serveurs multimédia raccordés au même réseau local (LAN) que le récepteur. Cet apparéil permet de dire les fichiers enregistrés sur les dispositifs suivants :
- Les ordinateurs fonctionnant sous Microsoft Windows Vista ou XP poursus de Windows Media Player 11
- Ordinateurs fonctionnant sous Microsoft Windows 7 avec Windows Media Player 12 instalé
- Les serveurs multimédia numériques compatibles avec la norme DLNA (sur les ordinateurs ou d'autres composants)
Les fichiers stockés sur un ordinateur ou un DMS (Digital Media Server), comme indiqué ci-dessus, peuvent être lus via un contrôleur de media numérique externe (DMC). Les dispositifs contrôlés par ce DMC pour la lecture de fichiers sont appelés DMR (Digital Media Renderer). Ce récepteur dispose de cette fonction DMR. En mode DMR certaines opérations comme la lecture et l'arrêt de la lecture de fichiers peuvent être effectuees depuis un contrôleur externe. Le réglage de volume et la mise en sourdine sont également possibles. Le mode DMR est annulé si la télécommande est utilisé en mode DMR (sauf pour certaines touches, comme les touches VOLUME +/-, MUTE et DISP).
- Selon le contrôleur externe utilisé, la lecture peut être interrompue au moment où le volume est réglé sur le contrôleur. Dans ce cas, ajustez le volume sur le recepteur ou la télécommande.
Utilisation d'AirPlay sur un iPod touch, iPhone, iPad et iTunes
AirPlay fonctionne avec les iPhone 4S, iPhone 4, iPhone 3GS, iPod touch (4ème, 3ème et 2ème génération), iPad 2, iPad avec iOS 4.2 ou ultérieur et iTunes 10.1 (Mac et PC) ou ultérieur.
Pour utiliser AirPlay, sélectionnez votre récepteur sur votre iPod touch, iPhone, iPad ou dans iTunes. 1 L'entrée du récepteur bascule automatiquement sur AirPlay lorsque AirPlay est en service. 2
En mode AirPlay les opérations suivantes peuvent être effectuees :
- Réglage du volume du récepteur depuis l'iPod touch, iPhone, iPad ou iTunes.
- Pause/reprise de la lecture, plage precedente/suivante et lecture aléatoire/repétée depuis la télécommande du récepteur.
- Affichage sur le récepteur des informations sur la plage en cours de lecture, en particulier du nom de l'auteur, du morceau et de l'album.
1: Pour plus d'informations, reportez-vous au site Apple (http://www.apple.com)
2: Le récepteur s'allume automatique lorsque Network Standby dans Network Setup est régle sur ON.

Remarque
- Un raccordement au réseau est nécessaire pour pouvoir utiliser AirPlay.
- Le nom du récepteur qui apparaît dans AirPlay UI sur l'iPod touch, iPhone, iPad ou iTunes peut être changé avec Friendly Name dans Network Setup.
- La version AirPlay de ce récepteur a été mise au point et testée à partir des versions iPod, iPhone, iPad et des versions pour iTunes mentionnées sur le site de Pioneer. AirPlay peut ne pas être compatible avec les versions d'iPod, iPhone, iPad ou iTunes non mentionnées sur le site Pioneer.
À propos du serveur DHCP
Pour lire les fichiers audio enregistrres sur des composants en réseau ou pour écouter les stations radio Internet, la fonction de serveur DHCP de votre routeur doit être mise en service. Si vous routeur ne présente pas cette fonction, il faudra paramétre le réseau manuelle. Sinon, vous ne pourrez pas lire les fichiers audio enregistrres sur es composants en réseau ni écouter les stations radio Internet. Pour plus d'informations, consultez la section Menu de configuration du réseau à la page 97.
Autorisation de ce récepteur
Le récepteur doit être autorisé pour la lecture. Cette autorisation est accordée automatiquement lorsque le récepteur se connecte à l'ordinaire par le réseau. Si ce n'est pas le case, autorisez le récepteur manuellement sur l'ordinaire. La méthode d'autorisation (ou de permission) d'accès dépend du type de serveur auquel vous vous connectez. Pour plus d'informations sur l'autorisation de ce récepteur, reportez-vous au mode d'emploi de votre serveur.




Lecture avec les fonctions Réseau

Important
- Environ une minute est nécessaire entre la mise sous tension et la fin de la phase de démarrage.
- Lors de la lecture de fichiers audio, 'Connecting...' s'affiche avant le début de la lecture. Cette indication peut rester quelques secondes affichée, selon le type de fichier.
- Si un domaine est configuré dans un environnement réseau Windows, vous ne pourrez pas acceder à l'ordinaireur en réseau pendant la connexion au domaine. Au lieu de vous connecter au domaine, connectez-vous sur la machine locale.
- Dans certains cas, le temps écoulé peut ne pas s'afficher correctement.
1 Appuyez plusieurs fois de suite sur NET pour selectionner la catégorie que vous pouze lire.
Il faut quelques secondes au récepteur pour acceder au réseau.
Sélectionnez une catégorie dans la liste suivante :
INTERNET RADIO - Radio Internet
- MEDIA SERVER - Composants serveur en réseau
- FAVORITES - Morceaux favors en cours d'enregistrement
Seion la catogore selectionnee, les noms des dossiers, des fichiers et des stations radio Internet sont indiques.
2 Utilizez ↑/↓ pour sélectionner le dossier, les fichiers de musique ou la station radio Internet que vous pouze écouter, puis appuyez sur ENTER.
Appuyez sur ↑/↓ pour monter ou descendre dans la liste et sélectionner l'objet souhaïte. Lorsque vous appuyez sur ENTER, la lecture commence et la page de lecture de l'objet选拔né s'affiche. Pour revenir à la liste, appuyez sur RETURN.
Lorsque vous affichez la liste depuis la page de lecture, la page de lecture réapparait automatiquement si vous n'effectuez aucune opération durant 10 secondes.
Seuls les fichiers audio pourvus du symbole peuvent etre lus. Dans le cas de dossiers pourvus du symbole
utilisez / et ENTER pour selectionner le dossier et les fichiers audio souhaités.
3 Repetez l'etape 2 pour écouter le morceau souhaité.
Pour de plus amples informations, consultez la section indiquée ci-dessous.
Stations radio Internet - Consultez la section Ecoute des stations radio Internet à la page 62.
- Serveur multimédia - Consultez la section Lecture de fichiers audio enregistrés sur des composants en réseau à la page 63.
- Favoris - Consultez la section Lacture de vos morceaux préféres à la page 63.
Commandes de lecture de base
Vousspuvezutiliser la telecommande de ce recepteur pour effectuer les operations suivantes.Notezque, selon la categore en cours de lecture, certaines touches ne seront pas disponibles.
- Appuyez sur NET pourmettre la télécommande en mode de fonctionnement reseau.

Ecoute des stations radio Internet
La radio Internet est un service radio diffusé par Internet. Il existe un grand nombre de stations radio Internet diffusant une grande variété de services dans le monde entier. Certaines sont hébergées, gérées et diffusées par des personnes privées tandis que d'autres le sont par les stations radio hertzennes classiques et les réseaux de radiocommunication. Alors que les stations radio hertzennes, ou OTA (over-the-air), sont géographiquement limitées par la portée des ondes radio transmises par l'émetteur, les stations radio Internet sont accessibles dans chaque partie du monde dans la mesure où une connexion Internet est disponible, car elles transmettent leurs émissions par la toile et non pas par les ondes. Sur ce récepteur vous pouvez selectionner les stations radio Internet en fonction du genre et de la région.
Lors de I'ecoute de la radio par Internet, le son peut etre plus ou moins bon, selon I'etat de la connexion Internet.
À propos de la liste de radio Internet
La liste des stations radio Internet de ce récepteur est créé, modifiée et générée par le service vTuner exclusivement pour ce récepteur. Pour de plus amples informations sur vTuner, consultez la section vTuner à la page 121.
Sauvegarde et réactivation de stations radio Internet
Voupez aient savegarder des stations radio Internet et les reactiver plus tard. Pour plus d'informations, consultez la section Lecture de vos morceaux préférés à la page 63.
- Pour écouter les stations radio Internet, vous doivent avoir un accès haute vitesse à Internet par une large bande. Avec un modem de 56 K ou ISDN, vous ne pourrez pas profiter pleinement de la radio Internet.
- Le numéro de port varie selon la station radio Internet. Vérifiez les réglages de pare-feu.
- Les listes de stations radio Internet fournies par le service vTuner sont susceptibles d'être modifiées ou supprimées sans avis préalable pour différentes raisons.
- Certaines émissions peuvent être arrêtées ou interrompues sur certaines stations radio Internet. Dans ce cas, vous ne pouvez plus les écouter lorsque vous les scélectionnez dans la liste des stations radio Internet.
Consignation de stations ne se trouvant pas dans la liste vTuner du site spécial Pioneer
Les stations n'apparaissant pas dans la liste de stations retransmises par vTuner peuvent etre signees et ecoutees sur ce recepteur. Vérifiez le code d'accès nécessaire à la consignation sur ce recepteur, utiliseze ce code pour acceder au site spécial radio Internet Pioneer et signez les stations souhaitees comme favorites.
L'adresse du site spécial radio Internet Pioneer est la suivante :
http://www-radio-pioneer.com
1 Affichez la liste de la radio Internet.
Pour afficher l'écran de la radio Internet, effectuez les étapes 1 à Lecture avec les fonctions Réseau à la page 62.
2 Utilisez ↑/↓ pour sélectionner 'Help', puis appuyez sur ENTER.
3 Utilisez ↑/↓ pour sélectionner 'Get access code', puis appuyez sur ENTER.
Le code d'accès nécessaire à la consignation sur le site spécial radio Internet Pioneer s'affiche. Notez ce code. Les éléments suivants peuvent être vérifiés sur la page Help :
- Get access code - Permet d'afficher le code d'accès nécessaire à la consignation sur le site spécial radio Internet Pioneer.
Show Your WebID/PW - Apre's la consignation sur le site special radio Internet Pioneer permit d'afficher le code d'identification et le mot de passé enregistrés.
- Reset Your WebID/PW - Permet de réinitialiser toutes les informations concernant le site spécial radio Internet Pioneer. Lorsque les informations sont réinitialisées, toutes les stations consignées sont supprimées. Si vous VOULEZ écouter de nouveau les mêmes stations, vous devrez les consignez à nouveau.




4 Accedez au site spécial radio Internet Pioneer par votre ordinateur et procededez à la consignation.
http://www-radio-pioneer.com
Accedez au site mentionné et utilisez le code d'accès obtenu à l' étape 3 pour procéder à votre enregistrement en suivant les instructions s'affichant à l'écran.
5 Consignez vos stations favorites en suivant les instructions sur l'écran de l'ordinateur.
Voupez consigner aussi bien les stations ne figurant pas dans la liste vTuner que les stations figurant dans la liste vTuner. Elles seront consignées en tant que favorites sur le recepteur et peuvent alors être écoutees.
Lecture de fichiers audio enregistrés sur des composants en réseau
Cet apparéil permet d'éçouter la musique disponible sur les serveurs multimédia raccordés au même réseau local (LAN) que le récepteur. Cet apparéil permet de dire les fichiers enregistrés sur les dispositifs suivants :
- Les ordinateurs fonctionnant sous Microsoft Windows Vista ou XP pourvus de Windows Media Player 11
- Ordinateurs fonctionnant sous Microsoft Windows 7 avec Windows Media Player 12 instalé
- Les serveurs multimédia numériques compatibles avec la norme DLNA (sur les ordinateurs ou d'autres composants)
Lecture de vos morceaux préférentes
En tout 64 morceaux diffusés par votre serveur multimédia et/ou les stations radio Internet peuvent être consignés dans le dossier Favoris. Seuls les fichiers audio enregistrés sur des composants en réseau peuvent être signés dans ce dossier.
Consignation et suppression de fichiers audio et de stations radio Internet dans et du dossier Favorites
1 Appuyez plusieurs fois de suite sur NET pour sélectionner INTERNET RADIO ou MEDIA SERVER.
2 Lorsque le morceau ou la station radio Internet que vous pouze consigner est selectionné, appuyez sur +Favorite.
Le morceau ou la station radio Internet selectionné est consigné dans les Favoris.

Remarque
- Pour supprimer des morceaux ou des stations radio Internet consignés, réglez l'entrée sur FAVORITES, selec-tionnez le morceau ou la station devant être supprimé, puis appuyez sur la touche CLR.
À propos de la lecture en réseau
Cet apparéil utilise les technologies suivantes pour la lecture en réseau :
Pour plus d'informations, consultez la section Windows Media Player 11/Windows Media Player 12 à la page 121.
WMDRM (Microsoft Windows Media Digital Rights Management) est une plateforme protégeant et fournissant en toute sécurité des contenus pouvant être lus sur les ordinateurs, les périhériques portables et les périhériques en réseau. Cet apparéil fonctionné comme plateforme WMDRM 10 pour les périhériques en réseau.
Les contenus protégés par WMDRM ne peuvent être lus que sur les serveurs multimédia prénant en charge WMDRM.
Les propriétaires de contenus emploient la technologie WMDRM pour protéger leur propre intellectuelle et leurs droits d'auteurs. Cet appeareil utilise un logiciel WMDRM pour acceder aux contenus protégés par WMDRM. Si le logiciel WMDRM ne parvient pas à protéger les contenus, les propriétaires de contenus peuvent demander à Microsoft de révoquer la capacité du logiciel d'employer WMDRM pour dire ou copier du contenu protégé. La revocation n' affecte pas les contenus non protégés. Lorsque vous téléchargez des licences pour du contenu protégé, vous acceptez que Microsoft puisse inclure une liste de revocation avec dans les licences. Les propriétaires de contenus peuvent给您 demander demettre à jour le logiciel WMDRM pour acceder à leurs contenus. Si vous refusez une mise à jour, vous ne pourrez plus acceder aux contenus exigeant une mise à jour.
Ce produit est protégé par certains droits de propriété intellectuelle de Microsoft. L'emploi ou la distribution d'une telle technologie hors de ce produit sans licence Microsoft sont interdits.
DLNA

dlna
CERTIFIED
Lecteur audio DLNA CERTIFIEDTM
La DLNA (Digital Living Network Alliance) est une alliance transindustrielle des sociétés de production d'appareils électroniques grand public, d'ordinateurs et de périhériques mobiles. Digital Living permet aux consommateurs de partager aisément les médias numériques par leurs réseaux avec ou sans fil.
Le logo DLNA permet de couver facilement les produits conformes aux Directives d'interopérabilité DLNA. Cet apparéil est conforme aux Directives d'interopérabilité DLNA v1.5.
Lorsqu'un ordinateur intégrant un logiciel serveur DLNA ou un autre pérophérique compatible DLNA est relié à ce lecteur, certains paramètres du logiciel ou du pérophérique devront eventulement être changés. Veuillez vous reporter au mode d'emploi du logiciel ou du pérophérique pour plus d'informations à ce sujet.
DLNA™, le logo DLNA et DLNA CERTIFIED™ sont des marques commerciales, des marques de service ou des marques de certification de Digital Living Network Alliance.
Contenus lisibles via un réseau
- Certains fichiers ne pourront pas etre lus correctement bien qu'ils soient dans un format compatible.
- Les fichiers de films ou de photos ne peuvent pas etre lus.
- Dans certains cas vous ne pourrez pas écouter une station radio Internet bien que vous l'ayez sélectionné dans une liste de stations radio.
- Selon le type de serveur ou la version utilisé, certaines fonctions ne seront pas prises en charge.
- Les formats de fichiers pris en charge varient d'un serveur à l'autre. C'est pourquoit, les fichiers qui ne sont pas pris en charge par touteServeur n'apparaissent pas sur cet apparéil. Pour plus d'informations, contactez le constructeur de toute serveur.
Avis de non responsabilité concernant les contenus diffusés par un tiers
L'accès à du contenu Web requiert un accès internet haut débit et peut aussi nécessiter l'enregistrement de vos coordonnées et le paiement d'un abonnement sur un site.
Le contenu du site peut être changé, suspendu, interrompu sans aucun averissement, Pioneer déclinant toute responsabilité quant à d'eventuels changements.
Pioneer decline tute responsabilitie quant au contenu, a sa disponibilité et quant à la continuité du service.
Anomalies lors de lecture en réseau
- La lecture peut se bloquer si vous éteignez l'ordinateur ou supprimez des fichiers multimédia de l'ordinateur pendant la lecture de contenu.
- En cas de problèmes de réseau (trafic intense, etc.) le contenu risque de ne pas s'afficher ou de ne pas être lu correctement (la lecture peut être interrompue ou bloquée). Pour éviter ce type de problème, il est conseilé de relier le lecteur et l'ordinateur par un cable 100BASE-TX.
Si plusieurs clients lisent les mêmes fichiers simultanément, la lecture peut etre interrompe ou se bloquer.
- Selon le logiciel antivirus installé sur l'ordinateur raccordé et le réglage de ce logiciel, la connexion réseau peut se bloquer.
Pioneer n'est pas responsable du mauvais fonctionnement du lecteur et/ou des fonctions NETWORK d'à une erreur ou à un dysfonctionnement de la communication avec votre connexion réseau et/ou votre ordinateur, ou un autre apparéil raccordé. Veuillez contacter le fabricant de votre ordinateur ou votre fournisseur de service Internet.
"Windows Media™" est une marque commerciale de Microsoft Corporation.
Ce produit intègre une technologie détenue par Microsoft Corporation, qui ne peut être utilisée ou distribuée que sous licence de Microsoft Licensing, Inc.
Microsoft, Windows®7, Windows®Vista, Windows®XP, Windows®2000, Windows®Millenium Edition, Windows®98 et WindowsNT® sont des marques commerciales ou des marques déposées de Microsoft Corporation aux États-Unis et/ou dans d'autres pays.
La fonction NETWORK de ce récepteur prend en charge les formats de fichiers suivants. Notez que certains formats de fichiers ne sont pas disponibles pour la lecture bien qu'ils figurent comme formats de fichiers lisibles. De plus, la compatibilité des formats de fichiers dépend du type de serveur. Assurez-vous auprès de votre serveur de la compatibilité des formats de fichiers pris en charge.
- L'écoute de radio Internet peut être affectée par l'environnement des communications Internet et, dans ce cas, la lecture peut être impossible même les fichiers adoptent les formats suivants.
Fichiers de musique
| Catégorie | Extension | Flux | | |
| MP3 | .mp3 | MPEG-1 Audio Layer-3 | Fréquence d'échantillonnage | 32 kHz, 44,1 kHz, 48 kHz |
| Débit binaire requis pour la quantification | 16 bits |
| Canal | 2 canaux |
| Débit binaire | 8 kbps à 320 kbps |
| VBR/CBR | Pris en charge/Pris en charge |
| WAV | .wav | LPCM | Fréquence d'échantillonnage | 32 kHz, 44,1 kHz, 48 kHz, 88,2 kHz, 96 kHz, 176,4 kHz, 192 kHz |
| Débit binaire requis pour la quantification | 16 bits, 24 bits |
| Canal | 2 canaux |
| WMA | .wma | WMA2/7/8/9 | Fréquence d'échantillonnage | 32 kHz, 44,1 kHz, 48 kHz |
| Débit binaire requis pour la quantification | 16 bits |
| Canal | 2 canaux |
| Débit binaire | 5 kbps à 320 kbps |
| VBR/CBR | Pris en charge/Pris en charge |
| AAC | .m4a | MPEG-4 AAC LC | Fréquence d'échantillonnage | 32 kHz, 44,1 kHz, 48 kHz |
| .aac | Débit binaire requis pour la quantification | 16 bits |
| .3gp | MPEG-4 HE AAC (aacPlus v1/2) |
| .3g2 | Canal | 2 canaux |
| Débit binaire | 16 kbps à 320 kbps |
| VBR/CBR | Pris en charge/Pris en charge |
| FLAC | .flac | FLAC | Fréquence d'échantillonnage | 32 kHz, 44,1 kHz, 48 kHz, 88,2 kHz, 96 kHz, 176,4 kHz, 192 kHz |
| Débit binaire requis pour la quantification | 16 bits, 24 bits |
| Canal | 2 canaux |
a "Technologie de decodage audio MPEG Layer-3 sous licence de Fraunhofer I/S et Thomson Multimedia."
b Les fichiers codés avec Windows Media Codec 9 peuvent être lus mais certains codecs ne sont pas pris en charge, en particulier Pro, Lossless, Voice.
c Les fichiers FLAC décompressés ne sont pas pris en charge. Pioneer ne garantit pas la lecture.




Commande par l'HDMI
A propos de la commande par l'HDMI 66
Raccordements pour la Commande par l'HDMI 66
Réglage de l'HDMI 66
Avant la synchronisation 67
A propos des opérations synchronisées 67
Réglage de la fonction PQLS 67
À propos du Lien à la Correction du son et du Lien au Flux plus régulier 67
Precautions concernant la fonction Commande par l'HDMI 68




À propos de la commande par l'HDMI
La synchronisation des opérations suivantes avec un téléviseur ou un lecteur Blu-ray Disc Pioneer compatible avec un Control par l'HDMI est possible lorsque le composant est raccordé au récepteur par un cable HDMI.
Le volume du récepteur peut être régé ou le son coupé par la télécommande du télévisuer.
- L'entrée du récepteur change automatiquement lorsque l'entrée du téléviseur est changé ou un composant compatible avec la fonction Control par l'HDMI est lu.
- Dans ce cas, le récepteur est mis en voir en même temps que le télévisuer.

Important
- Sur les appareils Pioneer, la fonction Control par l'HDMI est appelée "KURO LINK".
- Vous ne pouvez pas utiliser cette fonction si vos composants ne sont pas compatibles avec la fonction Control par l'HDMI.
- Nous garantissons le fonctionnement du récepteur seulement avec les composants Pioneer compatibles avec la fonction Control par l'HDMI. Toutefois, nous ne pouvons pas garantir que toutes les opérations synchronisées fonctionneront avec les composants compatibles avec la fonction Control par l'HDMI.
- Utilisez un cable HDMI®/TM haute vitesse si vous pouze utiliser la fonction Control par l'HDMI. La fonction Control par l'HDMI peut ne pas agir correctement si un autre type de cable HDMI est utilisé.
- Pour de plus amples informations sur les diverses opérations, les réglages, etc., reportez-vous au mode d'emploi de chaque composant.
Raccordements pour la Commande par l'HDMI
Le téléviseur et les autres composants raccordés peuvent fonctionner de manière synchronisée.
- Veillez à raccorder le cable audio du téléviseur à l'entrée audio de cet apparéil. Lorsque le téléviseur et le récepteur sont raccordés par des liaisons HDMI, le son du téléviseur est transmis au récepteur par la prise HDMI OUT, etaucun autre cable audio n'est nécessaire,dans la mesure ou le téléviseur présente le ARC (Canal de retard audio) comme fonction HDMI.Dans ce cas, Reglez ARC dans HDMI Setup sur ON (consultez la section Réglage de I'HDMI à la page 66).
Pour plus d'informations, consultez la section Raccordement d'un téléviseur ou de lecteurs à la page 28.

Important
- Avant de relier les composants du système ou de changer les liaisons, veillez à couper l'alimentation et à débrancher tous les cordons d'alimentation de la prise murale. Lorsque tous les apparèils sont raccordés, branchez les cordons d'alimentation sur la prise murale.
- Lorsque ce récepteur est relié à une prise secteur, un processus d'initialisation de l'HDMI de 2 à 10 secondes commence. Durant celui-ci il n'est pas possible d'effectuer d'autres opérations. Le témoin HDMI clignote sur l'afficheur du panneau avant pendant l'initialisation, et vous pouvezmettre le récepteur sous tension lorsque le clignotement a cession. L'initialisation ne sera pas effectué si la fonction Control par leur sous tension lorsque le clignotemeHDMI est réglée sur OFF. Pour plus d'informations sur la fonction Control par l'HDMI, consultez la section Commande par l'HDMI à la page 65.
- Pour tirer le meilleur parti de cette fonction, il est conseilé de raccorder le composant HDMI directement à la prise HDMI de ce récepteur et non pas au télévisuer.
- La fonction Control par l'HDMI peut être utilisée avec un téléviseur raccordé par la prise HDMI OUT 1, mais pas avec un téléviseur raccordé par la prise HDMI OUT 2.
Réglage de l'HDMI
Voudevez effectuer desreglages sur ce recepteur de meme que sur les composants compatibles avec la fonction Control par l'HDMI raccordes au recepteur pour pouvoir utiliser la fonction Control par I'HDMI. Pour plus d'informations, consultez le mode d'emploi de chaque composant.
1 Appuyez sur [RECEIVER] de la télécommande, puis sur HOME MENU.
2 Sélectionnez 'System Setup', puis appuyez sur ENTER.
3 Sélectionnez 'HDMI Setup', puis appuyez sur ENTER.
4 Sélectionnez le réglage 'Control' souhaïte.
Precisez si la fonction Control par l'HDMI de cet apparéil doit être régée sur ON ou OFF. Vous doivent la régler sur ON pour pouvoir utiliser la fonction Control par l'HDMI.
Si vous utilisez un composant ne prenant pas en charge la fonction Control par l'HDMI, reglez-la sur OFF.
- ON - Active la fonction Control par l'HDMI. Réglez Control Mode, ARC et PQLS dans les paramètres suivants sur les valeurs souhaitées.
De plus, en réglant cette fonction sur ON, les fonctions Lien à la Correction du son et Lien au Flux plus régulier s'activent automatiquement dans la mesure où un lecteur prénant en charge ces fonctions est raccordé. Consultez la section Réglage des options audio à la page 70 pour plus d'informations sur Lien à la Correction du son et à la section Réglages des options video à la page 72 pour Lien au Flux plus régulier.
- OFF - Désactive la fonction Control par l'HDMI. Les fonctions Control Mode, ARC et PQLS dans les paramétres suivants ne peuvent pas été utilisées.
5 Sélectionnez le réglage 'Control Mode' souhaité.
Precisez si vous voulezrialider le fonctionnement synchronisé.
- ON-Fonctionnement synchronisé validé.
- OFF - Fonctionnement synchronisé invalidé.
6 Sélectionnez le réglage 'ARC' souhaité.
Lorsqu'un téléviseur prenant en charge la fonction ARC (Canal de return audio) de l'HDMI est raccordé au récep-teur, le son du téléviseur peut être transmis par la prise HDMI OUT.
- ON - Le son du téléviseur est transmis via la prise HDMI.
- OFF - Le son du téléviseur provient d'autres prises d'entrée audio que les prises d'entrée HDMI.
7 Sélectionnez le réglage 'PQLS' souhaïte.
Precisez si la fonction PQLS de cet apparéil doit être réglée sur AUTO ou OFF.
Pour le détaill sur la fonction PQLS, consultez la section Réglage de la fonction PQLS à la page 67.
- AUTO - Effet PQLS activé. Ce récepteur intègre un régulateur au quartz, de grande précision, qui élimine la distorsion due aux erreurs de synchronisation (gique) et garantit de ce fait la meilleure conversion possible des signaux numériques des CD audio en signaux analogiques lorsque l'interface HDMI est utilisée. Ceci est une fonction des fonctions HDMI des lecteurs compatibles PQLS.
OFF- Effet PQLS désactivé.
8 Sélectionnez le réglage 'Standby Through' souhaité.
Il est possible de transmettre les signaux provenant d'un lecteur relié par l'HDMI au téléviseur lorsque le récep-teur est en voille.
Selectionnez l'entrée HDMI dont le signal HDMI doit être transmis en mode de veille. Lorsque LAST est selec-tionné, le signal entrant par l'entrée HDMI actuellément selectionnée est transmis. Lorsque OFF est selectionné, aucune entrée HDMI n'est transmise en mode de veille. (Toutefois, lorsque Control est régle sur ON, le signal HDMI est transmis par la fonction Control par l'HDMI même en mode de veille.)
- Lorsqu'autre chose que OFF est spécifique pour ce réglage, l'entrée HDMI du récepteur peut être changée même lorsque le récepteur est en voille. (Pour ce faire, il faut diriger la télécommande vers le récepteur et appuyer sur la touche HDMI, BD, DVD, SAT/CBL ou DVRBDR.)




- Ce réglage peut être utilisé même avec les dispositifs qui ne sont pas compatibles avec la fonction Control par l'HDMI.
- Le réglage de ce paramètre sur autre chose que "OFF" accroit la consommation d'électricité lorsque l'appa-reil est en voille.
9 Sélectionnez le réglage '12V Trigger' souhaité.
Le composant raccordé à la prise 12 V TRIGGER peut être allumé et étéeint en commutant HDMI OUT.
HDMI OUT 1, HDMI OUT 2 ou OFF peut être sélectionné. Sélectionnez OFF si vous poulez que le composant soit commuté en même temps que la fonction d'entrée.
10 Lorsque vous avez terminé, appuyez sur HOME MENU.
Avant la synchronisation
Lorsque tous les composants ont ete raccordes et les reglages efectués, you nevez :
1 Mettre tous les composant en veille.
2 Allumer tous les composants en prénant soin d'allumer le téléviseur en dernier.
3 Choisir l'entrée HDMI par laquelle le télévisueur est relié à ce récepteur et vous assurer que le signal de sortie video des composants raccordés est indiqué correctement à l'écran.
4 Vérifier si les composants raccordés aux entrées HDMI sont correctement indiqués.
À propos des opérations synchronisées

Important
- Le fonctionnement synchronisé est validé lorsque Control Mode est régé sur ON après avoir régé Control dans HDMI Setup sur ON. Pour plus d'informations, consultez la section Réglage de l'HDMI à la page 66. L'appareil compatible avec la fonction Control par l'HDMI raccordé au recepteur fonctionne de manière synchrone de la façon suivante.
- Sur le menu du téléviseur compatible avec la fonction Control par l'HDMI, réglez le son devant être restitué par le récepteur, et le récepteur se mettra en mode d'amp synchronisé.
- Dans ce mode, vous pouvez regler le volume du recepteur ou couper le son par la télécommande du télévisuer.
- Lorsque le mode amp synchronisé est en service, il est annulé lorsque le récepteur est étant. Pour remetre en service le mode amp synchronisé, reglez le son devant être restitué par le récepteur sur le menu du téléviseur, etc. Le récepteur s'allume et se met en mode amp synchronisé.
- Lorsque le mode amp synchronisé est annulé, le récepteur s'eteint si vous regardiez une source HDMI ou une émission de télévision sur le téléviseur.
- En mode amp synchronisé, ce mode est annulé si une opération activant le son du téléviseur est effectue sur le menu du téléviseur, etc.
- Le récepteur est mis en vue en même temps que le téléviseur. (Seulement lorsque l'entrée d'un composant raccordé au récepteur par la liaison HDMI est sélectionnée ou lorsque vous regardez la télévision.)
- L'entrée du récepteur change automatiquement lorsqu'un composant compatible avec la fonction Control par l'HDMI est mis en mode de lecture.
- L'entrée du récepteur change automatiquement lorsque l'entrée du télévisueur est changée.
- Le mode amp synchronisé reste valide même si vous commutez l'entrée de ce récepteur sur un autre composant que celui raccordé par une liaison HDMI.
Les opérations suivantes peuvent aussi être effectuées sur un téléviseur Pioneer compatible avec la fonction Control par l'HDMI.
-
Lorsque le volume du récepteur est régle ou le son coupé, le niveau du volume est indiqué sur l'écran du téléviseur.
-
Lorsque la langue de l'affichage sur écran est changée sur le téléviseur, la langue du menu du récepteur change en conséquence.
Réglage de la fonction PQLS
Le PQLS (Système de verrouillage au quartz de grande précision) est une technologie de régulation du transfert des signaux audio numériques utilisant la fonction Control par l'HDMI. Ce système offre une lecture audio de grande qualité en régulant les signaux audio envoyés par le récepteur à un lecteur compatible PQLS, etc. Ceci permet d'éliminer la distorsion qui se produit au cours de la transmission et a un effet négatif sur la qualité du son.
- Sur les lecteurs compatibles avec le PQLS Bit-stream, le PQLS fonctionne pour toutes les sources.
- Sur les lecteurs compatibles avec le PQLS Multi Surround, le PQLS fonctionne pour toutes les sources. Réglez la sortie audio du lecteur sur le son PCM linéaire.
- Sur les lecteurs compatibles avec le PQLS 2 ch Audio, le PQLS fonctionne seulement pour les CD.
Veuillez you reporter au mode d'emploi du lecteur pour plus d'informations a ce sujet.
Cette fonction est activée lorsque Control est regle sur ON.

Astuce
- Le paramètre PQLS se règle par PQLS dans HDMI Setup sur la page HOME MENU, mais il peut aussi être changé avec la télécommande, comme indiqué ci-dessous.
- Appuyez sur PQLS pour sélectionner le réglage PQLS.
Le réglage apparait sur l'afficheur du panneau avant.
- PQLS AUTO - Effet PQLS activé. Ce récepteur intégre un régulateur au quartz, de grande précision, qui élimine la distorsion due aux erreurs de synchronisation (gique) et garantit de ce fait la(Meilleure conversion possible des signaux numériques des CD audio en signaux analogiques lorsque l'interface HDMI est utilisée. Ceci est une fonction des fonctions HDMI des lecteurs compatibles PQLS.
PQLS OFF - Effet PQLS désacté.
À propos du Lien à la Correction du son et du Lien au Flux plus régulier
Ces fonctions automatiques permettent d'obtenir des signaux audio et video optimaux du récepteur grâce à la fonction Control par l'HDMI. Lorsqu'un lecteur prénant en charge une de ces fonctions est raccordé au récepteur par une liaison HDMI, le son et l'image sont optimisés lors de la lecture de fichiers audio/vidéo compressés sur le lecteur.
- Selon son format, le fichier audio/video compressé peut ne pas s'ouvrir automatiquement.
- Reportez-vous aussi au mode d'emploi du lecteur.
- Consultez le site Pioneer pour les lecteurs prenant en charge les fonctions Lien à la Correction du son et Lien au Flux plus régulier.
Lien à la Correction du son
Lors de la lecture d'un fichier audio compressé sur le lecteur, le débit binaire du fichier est obtenu grâce à la fonction Control par l'HDMI et le son est optimisé sur le récepteur en fonction de l'information reçue.
Pour activer la fonction Lien à la Correction du son, effectuez le réglage suivant.
1 Réglez Control de HDMI Setup sur ON et le paramètre Control Mode sur ON.
Consultez la section Reglage de l'HDMI à la page 66.
2 Reglez le paramètre S.RTRV (Correction automatique du son) sur ON.
Consultez la section Reglage des options audio à la page 70.
Lien au Flux plus régulier
Lorsque la fonction Control par l'HDMI est utilisée, le récepteur détecte automatique si un fichier video compressé est lu sur le lecteur et, le cas échéant, active automatique la fonction Flux plus régulier. Pour activer la fonction Lien au Flux plus régulier, effectuez le réglage suivant.
1 Réglez Control de HDMI Setup sur ON et le paramètre Control Mode sur ON.
Consultez la section Reglage de l'HDMI à la page 66.
2 Réglez le paramètre STREAM (Flux plus régulier) sur AUTO.
Consultez la section Reglages des options video à la page 72.
Précautions concernant la fonction Commande par l'HDMI
- Raccordez le téléviseur directement à ce récepteur. L'interruption d'une liaison directe avec d'autres amplifieurs ou un convertisseur AV (par exemple un commutateur HDMI) peut entraîner des problèmes de fonctionnement.
- Ne raccordez que les composants (lecteur Blu-ray Disc, etc.) que vous pouze utiliser comme source à l'entrée HDMI de ce récepteur. L'interruption d'une liaison directe avec d'autres amplificateurs ou un convertisseur AV (par exemple un commutateur HDMI) peut entraîner des problèmes de fonctionnement.
- Si la fonction Control du récepteur est régée sur ON, les signaux audio et video d'un lecteur peuvent être retransmis par la liaison HDMI au télévisuer, même si le récepteur est en voille, mais le récepteur n'émettra pas le son ; ceci n'est toute fois possible que si un télévisuer et un composant (lecteur Blu-ray Disc, etc.) compatibles avec la fonction Control par l'HDMI sont raccordés. Dans ce cas, le récepteur se met sous tension et les tiemoins d'alimentation et HDMI s'allument.
Utilisation d'autres fonctions
Réglage des options audio 70
Réglages des options video 72
Commutation du bornes d'enceintes 74
Utilisation des commandes MULTI-ZONE 75
Réalisation d'un enregistrement audio ou video 75
Réglages de réseau depuis un navigateur Web 76
Utilisation de la minuterie someday 76
Régler la luminosité de l'afficheur 76
Commutation de la sortie HDMI 76
Vérification des réglages de votre système 76
Réinitialisation du système 77




Réglage des options audio
Vou puez effectuer des réglages supplémentaires pour le son sur le menu des AUDIO PARAMETER. Les réglages par défaut, s'ils ne sont pas précisés, sont indiqués en gras.

Important
- Notez que les réglages qui ne sont pas disponibles en raison de la source sélectionnée, des réglages et de l'etat actuel du récepteur n'apparaissent pas sur le menu AUDIO PARAMETER.
1 Appuyez sur [RECEIVER] pour sélectionner le mode de fonctionnement du récepteur, puis appuyez sur AUDIO PARAMETER.
2 Utilisez / pour selectionner le réglage que vous souhaiter ajuster.
En fonction de l'etat/du mode actuel du récepteur, certaines options peuvent ne pas être sélectionnées. Consultez le tableau ci-dessous pour obtenir des remarques à ce sujeit.
3 Utilizez pour ajuster le réglage si nécessaire.
Consultez le tableau ci-dessous pour connaître les options disponibles pour chaque réglage.
Menu de paramètres audio
| Réglage | Action | Option(s) |
| MCACC
(Préroglage MCACC) | Sélectionne la mémoire de préréglage MCACC souhaitation lorsquésousieurs préréglages ont été sauvégardés. Si vous aviez donné unnom à cette mémoire, le nom est indiqué. | M1. MEMORY 1 à M6.MEMORY 6 Réglage par défaut :M1. MEMORY 1 |
| EQ
(Egaliser du calibrageacoustique) | Met en ou hors service les effets de l'égaliser professionnel. | ONOFF |
| S-WAVE
(Ondes stationnaires) | Met en ou hors service les effets du contrôle des ondes stationnaires. | ONOFF |
| PHASE C+
(Contrôle de phase Plus) | Pour les disques créés avec d'autres normes que le contrôle delphase, le canal LFE est retardé lors de l'enregistrement au tout début.Cette fonction corrigee le décalage de phase sur ces disques.Cette fonction agit en particulier pour l'écoute de musique.Lorsque AUTO est sélectionné, le retard du canal LFE est automatiquement mesuré et le disque lu avec la correction maximale. | AUTO/0 à 16 (ms) Réglage par défaut :AUTO |
| DELAY
(Retard du son) | Certain écrons ont un léger retard lorsqu'ils affichent de la video ;la bande sonore et l'image sont alors légèrement désynchronisées.En ajoutant un peu de retard, vous pouvez ajuster le son pour le faire correspondre à la video. | 0.0 à 10.0 (images) 1 seconde = 25 images(PAL)Réglage par défaut :0.0 |
| TONE
(Réglage de tonalité) | Applique les contrôles de tonalités graves et aiguées à une source oules contourne complètement. | BYPASSON |
| BASS | | -6 à +6 (dB) Réglage par défaut :0 (dB) |
| TREBLE | | -6 à +6 (dB) Réglage par défaut :0 (dB) |
| Réglage | Action | Option(s) |
| S.RTRV(Correction automatique du son)<b> | Lorsque la correction automatique du son est en service, le traitement DSP est utilisé pour compenser la perte de données audio due à la compression de manière à améliorer la sensation de densité et de modulation des sons.De plus, lorsqu'un lecteur disposant de la fonction Lien à la Correction du son est raccordé au récepteur par une liaison HDMI, le débit binaire du fjichier audio compressé en cours de lecture sur le lecteur est obtenu grâce à la fonction Control par l'HDMI en réglant cette option sur ON, et le son est optimisé en fonction de l'information reçue (Lien à la Correction du son). | OFF |
| ON |
| DNR(Réduction numérique du bruit) | Activée, cette fonction permet d'améliorer la qualité du son d'une source bryante ( comme une cassette video內容ant beaucoup de bruits de fond).Il n'agit que sur les signaux à 2 canaux.Ce mode est optimal pour les contenus dont la fréquence d'échan-tillonnage ne dépasse pas 48 kHz. | OFF |
| ON |
| DIALOG E(Optimisation des dialogues)<c> | Localise les dialogues dans le canal central pour le faire ressortir des bruits de fond dans une bande sonore de télévision ou de film. En déplaçant UP1 vers UP2, UP3 et UP4 vous pouvez donner l'impression que le son change de position. | OFF/FLAT/UP1/UP2/UP3/UP4Réglage par défaut: OFF |
| Hi-bit32 | Crée une plage dynamique plus grande dans le cas de sources numériques, comme les CD, DVD ou BD. Quant aux sources PCM à 16 bits, 20 bits ou 24 bits et aux sources audio compressées, elles sont requantifiées à 32 bits et leurs haute fréquences interpolées par traitement des données de manière pour atteindre une expression musicale plus douce et subtile. | ONOFF |
| DFILTER(Filtre numérique) | Change le type de filtré numérique AUDIO DAC (Convertisseur audio numérique). Un des trois réglages peut être sélectionné : SLOW(doux et chaud), SHARP (solide et serré) et SHORT (rapide et avant). | SLOW (Hi-Sampling) |
| SHARP |
| SHORT |
| DUAL(Double mono) | Indique comment les bandes sonores Dolby Digital codées en double mono doivent être lues. Le double mono n'est pas très utilisé, mais il est parfait nécessaire lorsque deux langues doivent être envoyées sur des canaux séparés. | CH1 - Seul le canal 1 est restitué |
| CH2 - Seul le canal 2 est restitué |
| CH1 CH2 - Les deux canaux sont restitués par les enceintes avant |
| Fixed PCM | Cette option est utile si vous constazez un certain retard avant que la fonction OFF ne reconnaissé le signal PCM d'un CD, par exemple.Si vous sélectionnez ON, du bruit peut être émis au cours de la lecture de sources non-PCM. Si cela pose problème, sélectionnez un autre signal d'entrée. | OFF |
| ON |
| DRC(Réglage de la plage dynamique)<d> | Ajuste le niveau de la plage dynamique pour les pistes son de films optimisées pour les Dolby Digital, DTS, Dolby Digital Plus, Dolby TrueHD, DTS-HD et DTS-HD Master Audio (vous pouvez avoir besoin de cette fonction pour l'écoute du son surround à faible volume). | AUTOMAX |
| MID |
| OFF |
| Loud Mgmt(Gestion sans bruit) | Ajuste le niveau de la plage dynamique pour les pistes son de films optimisées pour le Dolby TrueHD (vous pouvez avoir besoin de cette fonction pour l'écoute du son surround à faible volume).Cette option ne peut être sélectionnée que lorsque DRC est régèle sur OFF et le signal d'entrée est un signal Dolby TrueHD. | ONOFF |




| Réglage | Action | Option(s) |
| LFE(Atténuation LFE) | Certaines sources audio contiennent des tonalités basses ultra-graves. Réglez l'attenuateur LFE pour empêcher que les tonalités basses ultra-graves ne déforment le son à la sortie des enceintes. Les signaux LFE ne sont pas limités lorsque 0 dB, la valeur recom-mandée, est spécifique. Lorsque -5 dB, -10 dB, -15 dB ou -20 dB est spécifique, les signaux LFE sont limités au niveau correspondant. Lorsque OFF est sélectionné, aucun son n'est transmis par le canal LFE. | OFF/-20dB/ -15dB/ -10dB/ -5dB/ 0dB Réglage par défaut : 0dB |
| A.ATT(Atténuation de l'entrée analogique) | L'attenuateur d'entrée réduit le niveau d'entrée d'un signal an-alogique si celui-ci est trop puissant. Vous pouze l'utiliser si vous pensez que l'indicateur OVER s'éclaire souvent ou que le son est déformé.L'attenuateur n'est pas disponible pour les sources numériques ou avec les modes à flux direct (ANALOG DIRECT). | OFFON |
| SACD GAIN<e> | Fait reassertir les détails des SACD en optimisant la plage dynamique (pendant le traitement numérique). | 0dB+6dB |
| HDMI(Audio HDMI)<f> | Indique l'acheminement du signal audio HDMI à la sortie de ce récep-tein (amp) ou via un télévisuer. Lorsque THROUGH est sélectionné, aucun son ne sort de ce récepteur. | AMPTHROUGH |
| A.DELAY(Retard automatique)<g> | Cette fonction corrige automatiquement le retard entre le son et l'image des composants raccordés par un cable HDMI. La durée du retard audio est réglée en fonction du mode de fonctionnement de l'écran racordé par un cable HDMI. La durée du retard video s'ajuste automatiquement en fonction de la durée du retard audio. | OFFON |
| C.WIDTH(Largeur centrale)(Applicable uniquement si l'on utilise une enceinte centrale)<h> | Permet une meilleure fusion des enceintes avant en étendant le canal central sur les enceintes avant droite et gauche, ce qui élargit (réglages plus elevés) ou rétrécit (réglages moins elevés) le son. | 0 à 7Réglage par défaut : 3 |
| DIMENSION<h> | Ajustle la profondeur de l'équilibre du son surround de l'avant vers l'arrête, ce qui rend le son plus distant (réglages négatifs) ou plus proche (réglages positifs). | -3 à +3Réglage par défaut : 0 |
| PANorama<h> | Étend l'image stéreo avant pour inclure les enceintes surround afin d'offrir un effet 'enveloppant'. | OFFON |
| C.GAIN(Gain Centre)(Applicable uniquement si l'on utilise une enceinte centrale)<i> | Ajustle le gain du centre pour creer un effet stéreo plus large avec les voix. Ajustez l'effect de 0 (le canal central est intégralement envoyé aux enceintes avant droite et gauche) à 1.0 (le canal central est envoyé à l'enceinte centrale uniquement). | 0 à 1.0Réglage par défaut: Neo:X CINEMA : 1.0Neo:X MUSIC : 0.3Neo:X GAME : 1.0 |
| EFFECT | Définit le niveau d'effet pour le mode Advanced Surround ou le mode ALC actuellément sélectionné (chaque mode peut être régèle séparé-ment). | 10 à 90Réglage par défaut:EXT.STEREO : 90Autres : 50 |
| H.GAIN(Gain Haut) | Ajustle le son de l'enceinte avant en position haute pendant l'écoute en mode D Pro Logic llz HEIGHT. Si le réglage est HIGH, le son venant du haut est plus accentué. | LOWMIDHIGH |
| V.SB(Surround arrêté virtuel)<j> | Si vous n'utilise pas d'enceintes surround arrêté, la sélection de ce mode permet à vos enceintes surround d'émettre un canal surround arrêté virtuel. Vous pouvez désoir d'éçouter des sources sans les informations du canal surround arrêté. | OFFON |
| Réglage | Action | Option(s) |
| V.HEIGHT(Virtual Haut)<k> | Si vous n'utilise pas d'enceintes avant en position haute, la sélection de ce mode permet à vos enceintes avant d'émettre un canal avant virtuel du haut. | OFF |
| ON |
| V.WIDE(Virtual large)<l> | Si vous n'utilise pas d'enceintes avant en position large, la sélection de ce mode permet à vos enceintes avant de restituer le canal avant virtuel large.Ceci améliore la continuité du son du canal avant aux canaux sur-round. | OFF |
| ON |
| V.DEPTH(Profondeur virtuelle)<m> | Lorsque ce mode est sélectionné, le champ sonore s'élargit virtuel-lement jusqu'à l'arrête de l'écran de manière à produit une profon-deur adaptée à l'image 3D et intensifier la sensation de présence. | OFF |
| MIN |
| MID |
| MAX |
| AMP<n> | Sert à désactiver les sections sections amplificateur de puissance pour utiliser les voies exclusivement en mode préampli. Sélectionnez ON pour utilisier les amplificateurs de puissance pour tous les canaux. Sélection-nez Front OFF pour désactiver l' amplificateur de puissance de la voie avant et utiliser la voie avant exclusivement dans le mode préampli,F&C OFF pour désactiver les amplificateurs de puissance des voies avant et centrale et utiliser les voies avant et centrale exclusivement en mode préampli. Pour désactiver les amplificateurs de puissance de toutes les voies et utiliser les voies exclusivement en mode préampli, sélectionnez OFF. | ON |
| Front OFF |
| F&C OFF |
| OFF |
a Ce réglage ne peut être effectué que lorsque TONE est régèle sur ON.
b Lorsque ON est selectionne, la correction du son est optimise en le debit binaire du son transmis a la memoire USB et a INTERNET RADIO, MEDIA SERVER, FAVORITES (entree audio numerie seulement) pour obtenir le meilleur son possible.
- Avec la fonction d'entrée iPod/USB, INTERNET RADIO, MEDIA SERVER, FAVORITES ou ADAPTER PORT, ON est spécifique par défaut pour S.RTRV.
- Lorsque ON est sélectionné, les signaux audio entrant par la prise HDMI OUT sont corrigés de manière optimale grâce à la fonction HDMI ARC (Canal de retour audio) et le son des stations TV est de qualité HD. Ceci est possible lorsque l'entrée est régée sur TV et ARC dans HDMI Setup est régé sur ON. (Consultez la section Réglage de l'HDMI à la page 66.)
- Ceci ne peut être sélectionné que pour les signaux d'entrée Dolby Digital, Dolby Digital Plus, DTS, DTS Express, PCM (48 kHz ou moins) ou analogiques.
c UP1 à UP4 ne peuvent être sélectionnés que lorsque les enceintes avant en position haute sont raccordées. La présence ou l'absence d'effets dépend du mode d'écoute.
d Le réglage AUTO sélectionné par défaut n'est disponible que dans le cas de signaux Dolby TrueHD. Sélectionnez MAX ou MID pour les autres signaux que Dolby TrueHD.
e Vou ne devriez avoir aucun probleme avec ce reglage pour la plupart des disques SACD, mais si le son presente de la distorsion, il sera préféable de revenir à un gain de 0dB.
f - Le réglage HDMI Audio ne peut pas être changé pendant l'emploi du mode amp synchronisé.
- Le mode amp synchronisé doit être en service pour que les signaux audio et video HDMI transmis au récepteur par le téléviseur puisent être lus quand le récepteur est en veille. Consultez la section À propos des opérations synchronisées à la page 67.
g C t i a du HDMI. Si la durée specifiée automatique ne vous parait pas appropriée, reglez A.DELAY sur OFF et reglez la durée du retard manuelle. Pour de plus amples informations sur la fonction lipsync de votre écran, adressez-vous directement au fabricant.
h Seulement pendant I'ecoute de sources à 2 canaux en mode Dolby Pro Logic IIx Music/Dolby Pro Logic II Music.
i Disponble uniquely pour ecouter des sources 2 canaux en mode Neo:X CINEMA/MUSIC/GAME.
j - Vou ne pouvez pas utiliser le mode surround arrêté virtuel lorsqu'un casque est raccordé à ce récepteur ou lorsque le mode stéreo, surround avant évolué, correction sonore Air ou flux direct est sélectionné.
- Vous pouvez utiliser le mode surround arrêté virtuel uniquement lorsque les enceintes surround fonctionnement et lorsque le paramètre SB est réglé sur NO ou si 7.1ch Front Bi-Amp ou 7.1ch + ZONE 2 est sélectionné dans Speaker System. Il peut aussi être utilisé lorsque 7.1ch + Speaker B est sélectionné dans Speaker System et SP:▶A+B ON est sélectionné avec la touche SPEAKERS.
k - Vous ne pouvez pas utiliser le mode virtuel haut lorsqu'un casque est raccordé à ce récepteur ou lorsque le mode stéreo, surround avant évolué, correction sonore Air ou flux direct est sélectionné.
- Vous ne pouvez utiliser le mode Virtuel Haut que si les enceintes surround sont en service et le paramètre FH est régèle sur NO. Il ne peut pas non plus être utilisé pendant la lecture de signaux contenant des informations pour le canal avant haut réel
- Vous ne pouvez pas utiliser le mode virtuel large lorsqu'un casque est raccordé à ce récepteur ou lorsque le mode stéreo, surround avant évolué, correction sonore Air ou flux direct est sélectionné.
- Vous ne pouvez utiliser le mode virtuel haut que si les enceintes surround sont en service et le paramètre FW est régé sur NO. Il ne peut pas non plus être utilisé pendant la lecture de signaux contenant des informations pour le canal avant large ré
m Vous ne pouvez pas utiliser le mode Profondeur virtuelle lorsqu'un casque est raccordé à ce récepteur ou flux direct est selec-tionné.
n Lorsque Speaker System est regle sur 7.1ch Front Bi-Amp ou 5.1ch Bi-Amp + ZONE 2, le reglage AMP se verrouille sur ON et ne peut pas etre changé.
Réglages des options video
Vou puez effectuer des réglages supplémentaires pour l'image sur le menu VIDEO PARAMETER. Les réglages par défaut, s'ilns ne sont pas précisés, sont indiqués en gras.

Important
- Notez que les options qui ne sont pas disponibles en raison de la source, des réglages et de l'état actuels du récepteur n'apparaissent pas sur le menu VIDEO PARAMETER.
- Tous les paramètres peuvent être régés pour chaque fonction d'entrée.
- Les paramètres autres que V.CONV ne peuvent être sélectionnés que si V.CONV a pour réglage ON.
1 Appuyez sur RECEIVER pour selectionner le mode de fonctionnement du récepteur, puis appuyez sur VIDEO PARAMETER.
2 Utilisez / pour selectionner le réglage que vous souhaiter ajuster.
En fonction de l'etat/du mode actuel du récepteur, certaines options peuvent ne pas être seLECTIONNées. Consultez le tableau ci-dessous pour obtenir des remarques à ce sujet.
3 Utilizez pour ajuster le réglage si nécessaire.
Consultez le tableau ci-dessous pour connaître les options disponibles pour chaque réglage.
4 Appuyez sur RETURN pour confirmer et quitter le menu.
Menu de paramètres video
| Réglage | Action | Option(s) |
| V.CONV(Convertisseur videoonumericé)<a> | Convertit les signaux videoe avant de les transmettre à la prise HDMIOUT pour tous les types de videoe (voir page 27). | ONOFF |
| RES(Résolution)<b> | Spécifie la résolution à la sortie du signal videoe (si les signaux d'en-trée videoe proviennent de la prise HDMI OUT, sélectionnez la résolu-tion en fonction de la résolution de votre monitreur et des images que-vous souhaitez voir).(“576p” désigne le réglage de résolution 480p/576p.) | AUTOPURE576p720p1080i1080p1080/24p |
| PCINEMA(PureCinema)<c,e> | Ce réglage optimise le circuit du balayage progressif lors de la lecture de films. Spécifie normalement AUTO. Si l'image ne semble pas naturelle, basculez ce réglage sur ON ou OFF. | AUTOONOFF |
| P.MOTION(Animé progressif)<c,e> | Ajuste la qualité des images animées et fixes lorsque la sortie videoe est réalisée sur le signal progressif. | «-4 à +4»Réglage par défaut : 0 |
| STREAM(Flux plus régulier)<e> | Améliore les parasites qui réduisent la qualité de l'image, suntout perceptibles sur les contenus transient par les réseaux, comme les bruits parasites et mosaïque.Lorsque AUTO est sélectionné, la fonction Flux plus régulier se met automatiquement en service pendant la lecture du contenu du réseau sur un lecteur disposant de la fonction Lien au Flux plus régulier et raccordé à cet appeareil par une liaison HDMI (dans la mesure où la fonction Control par l'HDMI est activée). (Lien au Flux plus régulier) | OFFONAUTO |




| Réglage | Action | Option(s) |
| V.ADJ(Réglage matériel évalué) | Spécífie la meilleure qualité d'image possible pour le type de moni-
teur raccordé. Sélectionnez PDP pour les écans plasma, LCD pour
les moniteurs à cristaux liquides, FPJ pour les projecteurs avant, PRO
pour les moniteurs professionnels. Si vous poulez personnaliser les
réglages de la qualité d'image, sélectionnez MEMORY. | PDP
LCD
FPJ
PRO
MEMORY |
| YNR<d,e> | Réduit le bruit sur le signal de luminance (Y).
(1' image sert seulement d'exemple au contrôle d'effet.) | <0 à +8>
Réglage par défaut: 0 |
| CNR<d,e> | Réduit le bruit sur le signal couleur (C) de l'entrée.
(1' image sert seulement d'exemple au contrôle d'effet.) | <0 à +8>
Réglage par défaut: 0 |
| BNR<d,e> | Réduit le bruit mosaïque (distorsion en forme de mosaïque produit
par la compression MPEG) sur l'image.
(1' image sert seulement d'exemple au contrôle d'effet.) | <0 à +8>
Réglage par défaut: 0 |
| MNR<d,e> | Réduit le bruit moustique (distorsion apparaissant sur les contours
de l'image, produit par la compression en MPEG) sur l'image.
(1' image sert seulement d'exemple au contrôle d'effet.) | <0 à +8>
Réglage par défaut: 0 |
| DETAIL<d,e> | Ajuste le contraste des contours.
(1' image sertONLY d'exemple au contrôle d'effet.) | <0 à +8>
Réglage par défaut: 0 |
| Réglage | Action | Option(s) |
| BRIGHT(Luminosité)<d,e> | Ajusté la luminosité générale. | -6 à +6 Réglage par défaut: 0 |
| 0 |
| (L' image sert seulement d'exemple au contrôle d'effet.) |
| CONTRAST<d,e> | Ajusté le contraste entre clair et foncé. | -6 à +6 Réglage par défaut: 0 |
| 0 |
| (L' image sert seulement d'exemple au contrôle d'effet.) |
| HUE<d,e> | Ajusté l'équilibre rouge/vert. | -6 à +6 Réglage par défaut: 0 |
| 0 |
| (L' image sert seulement d'exemple au contrôle d'effet.) |
| CHROMAN(Niveau de chroma)<d,e> | Ajusté la saturation entre terne et brillant. | -6 à +6 Réglage par défaut: 0 |
| 0 |
| (L' image sert seulement d'exemple au contrôle d'effet.) |
| BLK SETUP(Configuration Noir)<f> | Spécifie le niveau du noir selon le signal d'entrecuédéo.Sélectionnez normalement 0. Si le niveau du noir est trop lumineux avec le moniteur raccordé, sélectionnéz 7.5. | 0 |
| 7.5 |




| Réglage | Action | Option(s) |
| ASP
(Format)
<g> | Spécifie le format des signaux d'entrée restitués par la prise de sortie HDMI. Effectuez les réglages souhaités en vérifier l'image obtenu sur l'écran (si l'image ne correspond pas à votre écran, des parties seront tronquées ou des bandes noires apparaitront). | THROUGH |
| NORMAL |
a - Si I'image video est moins bonne lorsque ce paramètre a pour réglage ON, spécifique OFF.
- Lorsque cet apparéil est raccordé à un apparéil video par l'entrée video à composantes, réglez ce paramètre sur ON et regardez la sortie HDMI.
b - Si la résolution spécifique n'est pas compatible avec le téléviseur (moniteur), aucune image n' apparaitra. L'absence d'image peut etre due dans certains cas aux signaux de protection anticopie. Il faut alors changer de reglage.
- Lorsque AUTO est sélectionné, la résolution se règle automatiquement selon la capacité du téléviseur (moniteur) raccordé par une liaison HDMI. Lorsque PURE est sélectionné, les signaux ont la même résolution en entrée et sortie (consultez À propos du convertisseur video à la page 27).
c - Ce réglage est valide pour la sortie HDMI.
P.MOTION est désacté quand PCINEMA est régèle sur ON.
- Ce réglage n'agit que sur les images enregistrées dans le format de balayage entrelacé (signaux 480i/576i ou 1080i).
d Ce réglage n'est possible que si V.ADJ (Réglage video évolué) est régèle sur MEMORY.
e - Ce réglage n'apparaît que lorsque les signaux videooisuivants sont reçus :
Signaux video analogiques 480i, 576i, 480p, 576p, 720p, 1080i
Signaux video HDMI 480i, 576i, 480p, 576p, 720p, 1080i, 1080p, 1080p24
f Ce réglage n'est possible que si les prises video composites transmettent des signaux 480i.
g - Si I'image n'est pas adaptee a suaive type de moniteur, reglez le format sur I'appareil source ou sur le moniteur.
- Ce réglage n'apparait que lorsque des signaux video 480i/p ou 576i/p sont reçus.
Commutation du bornes d'enceintes
Si 9.1ch FH/FW, 7.1ch + Speaker B ou 7.1ch FH/FW + ZONE 2 est sélectionné dans Réglage du système d'enceintes à la page 94, les enceintes peuvent être commutes à l'aide de la touche SPEAKERS.
Si 7.1ch Front Bi-Amp, 7.1ch + ZONE 2, 5.1ch Bi-Amp + ZONE 2 ou 5.1ch + ZONE 2+3 est sélectionné, la touche met simplement les bornes d'enceintes principales en ou hors service.
1 Appuyez sur RECEIVER pour selectionner le mode de fonctionnement du recepteur.
2 Utilisez SPEAKERS pour selectionner le système d'enceintes.
Comme indiqué plus haut, si 7.1ch Front Bi-Amp, 7.1ch + ZONE 2, 5.1ch Bi-Amp + ZONE 2 ou
5.1ch + ZONE 2+3 a été sélectionné, la touche ne servira qu'àmettre en ou hors service la borne d'enceinte principale (A) (Mode Préampli).
Le mode préampli est un mode qui permet de réduire la consommation d'électricité en mettant hors service les amplificateurs des voies correspondantes quand les amplificateurs de puissance sont raccordés aux prises PRE OUT du récepteur.
Appuyez plusieurs fois sur cette touche pourCHOISIR une option de bornes d'enceintes :
Lorsque vous selectionnez 9.1ch FH/FW, vous avez lechioix entre :
- SP: FH/FW ON - Les canaux avant haut ou avant large sont ajoutés aux canaux avant, centre, surround et surround arrêté (maximum 7 canaux) et un maximum de 9 canaux sont restitués. Les canaux avant haut et avant large sont automatiquement commutés selon le signal d'entrée audio.
- SP: FH ON - Les canaux avant haut sont ajoutés aux canaux avant, centre, surround et surround arrêté (maximum 7 canaux) et un maximum de 9 canaux sont restitués.
- SP: FW ON - Les canaux avant large sont ajustés aux canaux avant, centre, surround et surround arrêté (maximum 7 canaux) et un maximum de 9 canaux sont restitués.
- SP: OFF - Aucun son ne sort des enceintes.
Lorsque vous selectionné 7.1ch + Speaker B, vous avez le choix entre :
- SP: A ON – Le son provient des bornes d'enceintes A (jusqu'à 9 canaux (y compris les canaux avant haut), selon la source).
- SP: B ON - Le son provient des deux enceintes raccordées aux bornes d'enceintes B. Les sources multica-naux ne sont pas restituées.
- SP: A+B ON - Le son provient des bornes d'enceintes A (jusqu'à 7 canaux, selon la source), les deux enceintes raccordées aux bornes d'enceintes B et le caisson de grave. Le son provenant des bornes d'enceintes B est le même que celui provenant des bornes d'enceintes A (les sources multicanaux sont remixées en 2 canaux).
- SP: OFF - Aucun son ne sort des enceintes.
Lorsque you selectionnez 7.1ch FH/FW + ZONE 2, vous avez le choix entre :
- SP: FH/FW ON - Les canaux avant haut ou avant large sont ajoutés aux canaux avant, centre et surround (maximum 5 canaux) et un maximum de 7 canaux sont restitués. Les canaux avant haut et avant large sont automatiquement commutes selon le signal d'entrée audio.
- SP: FH ON – Les canaux avant haut sont ajoutés aux canaux avant, centre et surround (maximum 5 canaux) et un maximum de 7 canaux sont restitués.
- SP: FW ON – Les canaux avant large sont ajoutés aux canaux avant, centre et surround (maximum 5 canaux) et un maximum de 7 canaux sont restitués.
- SP: OFF - Aucun son ne sort des enceintes.

Remarque
- La sortie du caisson de grave dépend des réglages effectuels à la section Configuration manuelle des enceintes à la page 94. Cependant, si SP: B ON est sélectionné ci-dessus, le caisson de grave n'émettra aucun son (le canal LFE n'est pas remixé).
- Tous les systèmes d'enceintes (à l'excection des liaisons 7.1ch + Speaker B) sont désactivés lorsqu'un casque est branché.




Utilisation des commandes MULTI-ZONE
Les commandes du panneau avant du récepteur sont utilisées ci-dessous pour régler le volume de la zone seconde et pour selectionner les sources. Consultez la section Touches de télécommande MULTI-ZONE à la page 75.
1 Appuyez sur MULTI-ZONE ON/OFF du panneau avant.
Chaque pression selectionne une option MULTI-ZONE :
- ZONE 2 ON - Sélectionne votre première zone secondaire (ZONE 2)
- ZONE 2&3 ON - Sélectionne les deux zones secondaires
- ZONE 3 ON - Sélectionne votre seconde zone secondaire (ZONE 3)
- MULTI ZONE OFF - Désactive la fonction MULTI-ZONE
L'indicateur MULTI-ZONE s'allume lorsque la commande MULTI-ZONE a ete activee.
2 Appuyez sur MULTI-ZONE CONTROL sur le panneau avant pour selectionner la (les) zone(s) secondaire(s) souhaitee(s).
Si you avec selectionné ZONE 2&3 ON ci-dessus, vous pourrez basculer entre la ZONE 2 et la ZONE 3.
Lorsque le recepteur est allumé, veiliez à effectuer toutes les opérations destinées à la zone secondaire pendant que ZONE et la(les) zones secondaire(s) sélectionnées sont indiquées. Sinon, les commandes du panneau avant n'agissant que sur la zone principale. Si le recepteur est en veille, l'écran s'obscurcit et ZONE, suivi de la (des) zone(s) secondaire(s) sélectionnée(s), reste affiché.
Par exemple, ZONE 2 DVD transmit la source reliée aux entrées DVD à la première piece seconde (ZONE 2).
- Si vous sélectionnez TUNER, vous pourrez utiliser les commandes du synthétiseur pour sélectionner une station prérogée (consultez la section Sauvegarde des stations prérogées à la page 51 si vous ne savez pas comment procédé). Le tuner ne peut pas être régé sur plus d'une station à la fois. Donc, si vous changez de station dans une zone, elle changera automatiquement dans l'autre zone. Veillez donc à ne pas changer de station lorsque vous enregistrez une émission radio.
4 Utilisez la molette MASTER VOLUME pour regler le volume de la zone secondaire.
Lorsque Speaker System est regle sur autre chose que 7.1ch + ZONE 2, 7.1ch FH/FW + ZONE 2
5.1ch Bi-Amp + ZONE 2 or 5.1ch + ZONE 2+3, le volume du son provenant des prises AUDIO ZONE 2 OUT du récepteur peut être régle sur -40 dB ou 0 dB et ensuite ajusté par l'amplificateur raccordé. Si vous pouze ajuster le volume par l'amplificateur raccordé, consultez la section Configuration ZONE à la page 100.
5 Lorsque vous avez terminé, appuyez une nouvelle fois sur MULTI-ZONE CONTROL pour revenir aux commandes de la zone principale.
Vouss pouvez aussi appuyer sur MULTI-ZONE ON/OFF du panneau avant pour couper tous les signaux en direction de la zone secondaire.
-
Vous ne pouvez éteindre la zone principale qu'après avoir mis hors service la commande MULTI-ZONE.
-
Si vous n'envisagez pas d'utiliser la fonction MULTI-ZONE pendant un certain temps, coupez l'alimentation dans les deux pieces pourmettre le récepteur en veille.
Touches de télécommande MULTI-ZONE
Appuyez sur ZONE 2 ou ZONE 3 de la télécommande pour agir sur la zone correspondante.
Les touches utilisées pour commande à distance MULTI-ZONE sont indiquées dans le tableau suivant :
| Touches(s) | Action |
| ○ | Coupe/rétablit l'alimentation dans la zone secondaire. |
| INPUT SELECT | Utilisez cette touche pour sélectionner la fonction d'entrée dans la zone secondaire. |
| Touches de fonction d'entrée | Utilisez cette touche pour sélectionner directement la fonction d'entrée dans la zone secondaire (peut ne pas agir avec certaines fonctions). |
| Touches(s) | Action |
| VOLUME +/-<a> | Utilisez cette touche pour régler le volume dans la zone secondaire. |
| MUTE<a> | Sert à couper le son ou à le rétablit s'il a été coupé (le réglage du volume rétablit également le son). |
a Le volume ne peut pas etre ajusté sur le recepteur si Volume Level de ZONE 2 Setup sous ZONE Setup est regle sur -40 dB Fixed ou 0 dB Fixed.
Réalisation d'un enregistrement audio ou video
Voupez realiser un enregistrement audio ou video a partir d'un tuner intégre ou d'une source audio ou video raccordée au récepteur ( comme un lecteur CD ou un téléviseur).
Sachez que vous ne pouvez pas faire d'enregistrement numérique à partir d'une source analogue et inversement. Assurez-vous donc que les composants à partir desquels/vers lesquels vous faites un enregistrement sont raccordés de la même manière (consultez la section Raccordement de votre équipement à la page 18 pour plus d'informations sur les raccordements).
- Le volume du récepteur, les paramètres audio (par exemple, les commandes de réglage du son) et les effets surround n'agissant pas sur le signal enregistré.
- Certaines sources numériques sont protégées contre la copie et ne peuvent être enregistrées qu'en analogue.
- Certaines sources video sont protégées contre la copie. Elles ne peuvent pas'être enregistrées.
Comme le convertisseur video n'est pas disponible lors d'enregistrements (des prises video OUT), veillez a utilise le même type de cable video pour relier l'enregistreur que celui que vous avez utilisé pour relier la source video (celle que vous pouze enregistrer) à ce récepteur. Par exemple, vous devrez relier l'enregistreur avec un cable video à composantes si la source est aussi reliée par un cable video à composantes.
1 Sélectionnez la source que vous souhaitez enregistrer.
Utilisez les touches de fonction d'entrée (ou INPUT SELECT).
2 Préparez la source que vous souhaitez enregistrer.
Réglez la station radio, chargez le CD, la video, le DVD, etc.
3 Sélectionnez le signal d'entrée selon le signal qui doit être enregistré.
Utilisez la touche SIGNAL SEL de la télécommande.
4 Préparez l'enregistreur.
Insérez une cassette, un MD, une cassette video vierge, etc. dans l'enregistreur et réglez les niveaux d'enregistrement. Consultez les instructions fournies avec l'enregistreur si vous doutez de la façon de procéder. La plupart des enregistrurs video réglent automatiquement le niveau d'enregistrement audio; consultez le mode d'emploi du composant en cas de doute.
5 Lancez l'enregistrement, puis lancez la lecture de la source.




Réglages de réseau depuis un navigateur Web
Les réglages réseau peuvent être effectuels via un navigateur depuis un ordinateur raccordé au même réseau local que le récepteur.
1 Appuyez sur RECEIVER pour allumer le récepteur.
2 Allumez l'ordinateur et ouvre le navigateur Internet.
3 Saisissez l'adresse IP du récepteur dans le champ de saisie de l'adresse IP du navigateur. Par exemple, si l'adresse IP du récepteur est 192.168.1.2, saisissez "http://192.168.1.2/". Vérifiez l'adresse IP du récepteur dans Vérification des informations concernant le réseau à la page 98. Lorsque la connexion au récepteur est établie, l'écran Web Control apparait dans le navigateur.
4 Lorsque l'écran Web Control apparait, Sélectionnez l'élement que vous voulez régler.
Utilisation de la minuterie sommeil
La minuterie sommeil met le recepteur en veille après un certain temps, de sorte que vous pouvez vous endormir sans vous sourcier que le recepteur reste allumé toute la nuit. Utilisez la télécommande pour régler la minuterie sommeil.
- Appuyez sur RECEIVER pour sélectionner le mode de fonctionnement du récepteur, puis appuyez plusieurs fois de suite sur SLEEP pour spécifique le temps.

- Vous pouvez vérifier le temps restant avant la mise en voille à n'importe quel moment en appuyant une fois sur SLEEP. Vous faites défiler les différents temps en appuyant plusieurs fois sur la touche.
- La minuterie sommeil fonctionne pour toutes les zones. Si une zone est active, la minuterie sommeil continue de fonctionner.
Régler la luminosité de l'afficheur
Voussoupiezchoisirquatre niveaux deluminosite pourl'afficheur du panneau avant.Notez que I'afficheurs eclaircit automatiquement pendant quels secondes lors de la selection de sources.
- Appuyez sur RECEIVER pour sélectionner le mode de fonctionnement du récepteur, puis appuyez plusieurs fois de suite sur DIMMER pour changer la luminosité de l'affichage sur le panneau avant.
- Vous pouvez aussiCHOISER d'eteindre I'afficheur.Dans ce cas, l'indicateur FL OFF s'éclaire.
Commutation de la sortie HDMI
Precisez qu'elle prise doit etre utilise pour transmettre les signaux video et audio provenant des prises de sortie HDMI.
La prise HDMI OUT 1 est compatible avec la fonction Control par l'HDMI.
- Appuyez sur RECEIVER pour sélectionner le mode de fonctionnement du récepteur, puis appuyez sur HDMI OUT.
Veuillez attendre tant que Please wait ... reste affché.
Chaque fois que vous appuyez sur la touche, la sortie change entre HDMI OUT ALL, HDMI OUT 1 et HDMI OUT 2.
- Le mode amp synchronisé est annulé lorsque la sortie HDMI est commutée. Si vous souhaïez utiliser le mode amp synchronisé, Sélectionnez HDMI OUT 1, puis Sélectionnez le mode amp synchronisé sur le téléviseur avec la télécommande de ce téléviseur.
Vérification des réglages de votre système
Utilisez la page d'affichage de l'etat afin de vérifier vos réglages actuels pour des fonctions comme le traitement du canal surround arrêté et le préréglage MCACC actuel.
1 Appuyez sur RECEIVER pour selectionner le mode de fonctionnement du recepteur, puis appuyez sur STATUS pour vérifier les réglages système.
L'afficheur du panneau avant indique chacun des réglages suivants pendant trois secondes : Source d'entrée → Fréquence d'échantillonnage → Préréglage MCACC → Entrée ZONE 2 → Entrée ZONE 3 → HDMI OUT.
2 Lorsque vous avez terminé, appuyez à nouveau sur STATUS pour fermer cette page.
Réinitialisation du système
Procedez de la façon suivante pour réinitialiser tous les réglages du récepteur à leurs valeurs par défaut. Pour ce faire, utilisez les commandes du panneau avant. Réglez MULTI-ZONE sur MULTI ZONE OFF.
- Débranchez d'abord l'iPod et le dispositif USB du récepteur.
- Spécifiez OFF pour le paramètre Control par l'HDMI (consultez la section Réglage de l'HDMI à la page 66).
1 Mettez le récepteur en veille.
2 Tout en tenant ENTER enfoncée sur le panneau avant, appuyez sur STANDBY/ON.
L'écran affiche RESET NO
3 Sélectionnez 'RESET' avec PRESET , puis appuyez sur ENTER sur le panneau avant.
L'écran affiche RESET? OK.
4 Appuyez sur ENTER pour confirmer.
OK apparait dans l'afficheur pour indiquer que le recepteur a eté réinitialisé à ses paramètres d'usine par défaut.
- Notez que tous les réglages sont enregistrés même si le récepteur est débranché.
Paramètres du système par défaut
| Réglage | Réglage par défaut |
| Convertisseur contrôle numérique | ON |
| SPEAKERS | FH/FW ON |
| Système d'enceintes | 9.1ch FH/FW |
| Réglage des enceintes | Avant | SMALL |
| Centrale | SMALL |
| FH/FW | SMALL |
| Surr | SMALL |
| SB | SMALLx2 |
| SW | YES |
| Position surround | IN REAR |
| Transition | 80 Hz |
| Courbe X | OFF |
| DIMMER | Moyennement lumineux |
| Entrées | |
| Consultez la section Régliages possibles et par défaut de la fonction d'entrée à la page 44. |
| HDMI | |
| Audio HDMI | AMP |
| Sortie HDMI | HDMI OUT ALL |
| Commande | OFF |
| Mode de commande | --- (OFF) |
| ARC (Canal de retour audio) | --- (OFF) |
| PQLS | --- (AUTO) |
| Veille Direct | OFF |
| DSP | |
| Niveau du volume à la mise sous tension | LAST |
| Volume limite | OFF |
| Niveau sourdine | FULL |
| Réglage | Réglage par défaut |
| Contrôle de phase | | ON |
| Correction automatique du son | Fonction d'entrée INTERNET RADIO, MEDIA SERVER, FAVORITES, ADAPTER PORT | ON |
| Autres fonctions d'entrée | OFF |
| Retard du son | | 0.0 frame |
| Double mono | | CH1 |
| DRC | | AUTO |
| Gain SACD | | 0 dB |
| Atténuation LFE | | 0 dB |
| Retard automatique | | OFF |
| Sécurité numérique | | OFF |
| Niveau d'effet | ExtendedStereo | 90 |
| Autres modes | 50 |
| Options ☐ PL II Music | Largeur centrale | 3 |
| Dimension | 0 |
| Panorama | OFF |
| Options Neo:X | Gain Centre | Neo:X CINEMA : 1.0
Neo:X MUSIC : 0.3
Neo:X MUSIC : 0.3 |
| Options ☐ PL Ilz | Gain Haut | MID |
| Toutes les entrées | Mode d'écoute (2 canaux/ multicanaux) | AUTO SURROUND |
| Mode d'écoute (Casque) | STEREO |
| Consultez également la section Réglage des options audio à la page 70 pour d'autres régages DSP par défaut. |
| MCACC |
| Mémoire de position MCACC | | M1: MEMORY 1 |
| Niveau de canal (M1 à M6) | | 0.0 dB |
| Distances des enceintes (M1 à M6) | | 3.00 m |
| Ondes stationnaires (M1 à M6) | ATT de tous les canaux/filtres | 0.0 dB |
| Amplitudeur du canal des extrêmes graves | 0.0 dB |
| Données de l'égalisation (M1 à M6) | Tous les canaux/toutes les bandes | 0.0 dB |
| Amplitudeur de l'égalisation | 0.0 dB |
Commander le reste de votre système
À propos du menu de configuration de la télécommande 79
Exploitation de plusieurs récepteurs 79
Réglage de la télécommande pour la commande d'autres composants 79
Sélection directe des codes de préréglage 79
Programmation de signaux depuis d'autres télécommandes 80
Effacement de la programmation d'une touche de la télécommande 80
Effacement de tous les réglages appris pour une fonction d'entrée 81
Fonction directe 81
Réglage du mode d'éclairage 81
À propos des fonctions ALL ZONE STBY (Veille toutes zones) et DISCRETE ON
(Discret activé) 81
Réinitialisation des réglages de la télécommande 82
Commandedescomposants 82




À propos du menu de configuration de la télécommande
Le mode de configuration de la télécommande seLECTIONne en appuyant sur la touche numérique tout en tenant RCU SETUP enconcee. Les différents parametes du menu de configuration de la télécommande sont les suivants. Pour effectuer les réglages, reportez-vous aux explications concernant chaque paramètre.
| Réglage | Action |
| Rappel préréglages | Permet de spécifique des codes de préréglage pour les différentes entrées. Les codes de commande d'un certain nombre d'appareils (y compris les produits d'autres marques) sont préréglés dans la télécommande, ce qui permet d'agir sur ces apparêls. Consultez la section Sélection directe des codes de préréglage à la page 79. |
| Apprentissage de code | Si les opérations souhaitées ne peuvent pas été effectuées sur un apparéil après la sélection des codes de préréglage, les signaux de commande de cet apparéil peuvent être appris directement. Consultez la section Programmation de signaux depuis d'autres télécommandes à la page 80. |
| Fonction directe | Ce paramètre permet de changer l'écran de fonctionnement de la télécommande sans changer l'entrée du récepteur lorsque les touches d'entrée de la télécommande sont pressées. Il est pratique lorsqu'on peut utiliser la télécommande pour des apparêls qui ne sont pas raccordés au récepteur. Consultez la section Fonction directe à la page 81. |
| Effacement des codes appris | Cette fonction permet d'effacer les codes de commande appris. Les codes appris peuvent être effacés individuallément pour chaque entrée. Consultez la section Effacement de la programmation d'une touche de la télécommande à la page 80. |
| Rétroéclairage | Un des quatre modes de rétroéclairage peut être selectionné selon la situation et pour préserver la durée de service de la pile. Consultez la section Réglage du mode d'éclairage à la page 81. |
| Réinitialisation | Cette fonction permet de réinitialiser les codes de préréglage spécifiés. Il est possible de réinitialiser chaque entrée individuellement. Consultez la section Effacement de tous les réglages appris pour une fonction d'entrée à la page 81. |
| Réinitialisation complète | Cette fonction permet de rétablier les valeurs par défaut, c'est-à-dire les réglages usine, de tous les paramètres de la télécommande. Consultez la section Réinitialisation des réglages de la télécommande à la page 82. |
| Changement mode RC | Si vous possédez plusieurs récepteurs, amplifieurs, etc. Pioneer, ce paramètre peut être utilisé pour éviter d'agir sur d'autres apparêls lorsque vous utilisez la télécommande. Consultez la section Exploitation de plusieurs récepteurs à la page 79. |

Remarque
- Vous pouvez annuler ou quitter n'importe celle etape en appuyant sur RCU SETUP.
- Àprous une minute d'inactivité, la télécommande sort automatiquement du mode de réglage.
Exploitation de plusieurs récepteurs
En tout quatre récepteurs de même modèle que celui-ci peuvent être pilotés par la télécommande du récepteur quand plusieurs récepteurs sont utilisés. La télécommande doit être programmée pour l'appareil par un code de prépréglage.
- Spécifiez les modes de télécommande sur les récepteurs avant d'effectuer la programmation (consultez la section Réglage du mode de la télécommande à la page 99).
1 Appuyez sur RCU SETUP et maintenance le doigt, puis appuyez trois secondes sur '4'.
Relâchez la touche lorsque la DEL clignote une fois. La DEL continue de clignoter.
- Pour annuler le mode de programmation, appuyez sur RCU SETUP.
2 Appuyez sur la touche numérique correspondant au récepteur ("Receiver 1" à "Receiver 4") que vous pouze utiliser.
Par exemple, pout utiliser le "Receiver 2", appuyez sur '2'.
Le réglage a été effectué correctement si la DEL reste une seconde allumée puis continue de clignoter.
Si le réglage a échoué, la DEL clignote trois fois lorsque le code de préRéglage est saisi.
Réglage de la télécommande pour la commande d'autres composants
La plupart des composants peuvent etre aeteces a l'une des touches de fonction d'entree ( comme DVD ou CD) enutilisant le code de preréglage du fabricant du composant, enregistrredans la telecommande.
Toutefois, dans certains cas, seules quelques fonctions peuvent etre controlles apres l'afctation du code de preréglage adequat ou bien les codes fabricant enregistrés dans la telecommande ne fonctionnent pas pour le modele utilisé.
Si vous ne trouvez pas le code de prépréglage correspondant au composant que vous souhaitez commander, vous pouvez toujours programmer les différentes commandes depuis une autre télécommande (consultez la section Programmation de signaux depuis d'autres télécommandes à la page 80).
- Avec les touches TV CONTROL il est possible d'agir sur le télévisuer qu'elle que soit l'entrée spécifiée comme mode de fonctionnement de la télécommande. Lorsqu'un télévisuer est utilisée, il est conseilé d'affector les mêmes codes de préréglage de télévisuer à la touche TV CONTROL INPUT et à la touche TV. Lorsque deux téléviseurs sont utilisés, il est plus pratique d'affector le télévisuer raccordé aux prises MONITOR OUT à la touche TV CONTROL INPUT et l'autre télévisuer à la touche TV.
- Les dispositifs peuvent être affectés aux touches de fonction d'entrée suivantes.

Sélection directe des codes de préréglage
1 Appuyez sur RCU SETUP et maintenez le doigt, puis appuyez trois secondes sur '1'.
Relâchez la touche lorsqu'la DEL clignote une fois. La DEL continue de clignoter.
- Pour annuler le mode de programmation, appuyez sur RCU SETUP.
2 Appuyez sur la touche de fonction d'entrée correspondant au composant que vous pouze utiliser.
Pour affecter les codes de préréglage du téléviseur qui sera utilisé avec la fonction TV CONTROL, appuyez sur la touche TV CONTROL INPUT.
La DEL s'écaille une fois puis clignote en continu.
3 Utilisez les touches numériques pour introduire le code de prépréglage à 4 chiffres.
Consultez la section [Iace des codes prereglés a la page 125.
Le réglage a été effectué correctement si la DEL reste une seconde allumée puis continue de clignoter.
Si le réglage a échoué, la DEL clignote trois fois après la saisie du code de préréglage. Dans ce cas, saisissez une nouvelle fois le code de préréglage à 4 chiffres.
4 Répétez les étapes 2 à 3 pour les autres composants que vous pouze utiliser.
Pour essayer la télécommande, mettez le composant sous tension ou hors tension (en veille) en appuyant sur O SOURCE. Si ce code semble ne pas fonctionner, selectionnez le suivant dans la liste (s'il y en a un).
5 Appuyez sur RCU SETUP pour sortir du mode de programmation.
Programmation de signaux depuis d'autres télécommandes
Si le code de préréglage pour votre composant n'est pas disponible ou si les codes de préréglage disponibles ne fonctionnent pas correctement, vous pouvez programmer des signaux depuis la télécommande d'un autre composant. Cette procédure peut également être utilisée pour programmer d'autres opérations (touches non couvertes par les préréglages) après l'aftection d'un code de préréglage.
La télécommande peut stocker environ 120 codes de préréglage (ceci a uniquement été testé avec les codes de format Pioneer).
Certaines touches représentent des opérations ne pouvant être apprises depuis d'autres télécommandes. Les touches suivantes sont disponibles :


1 Appuyez sur RCU SETUP et maintenez le doigt, puis appuyez trois secondes sur '2'.
Relâchez la touche lorsque la DEL clignote une fois. La DEL continue de clignoter.
- Pour "enseigner" des codes aux touches TV CONTROL, passez à l' étape 3.
- Pour annuler le mode de programmation, appuyez sur RCU SETUP.
2 Appuyez sur la touche de fonction d'entrée correspondant au composant que vous pouze utiliser.
La DEL s'éclaire une fois puis clignote en continu.
3 Orientez les deux télécommandes l'une vers l'autre, puis appuyez sur la touche à programmer sur la télécommande du récepteur.
La DEL clignote une fois, puis cesse de clignoter et reste allumée.
- Les télécommandes doivent être à 3 cm l'une de l'autre.

4 Appuyez sur la touche correspondante sur la télécommande qui envoie (enseigne) le signal à la télécommande de ce récepteur.
Le réglage a été effectué correctement si la DEL reste une seconde allumée puis continue de clignoter.
- Si la DEL clignote cinq secondes,ILA signifie que la memoire est pleine.Consultez la section Effacement de tous les reglages appris pour une fonction d'entree a la page 81 pour effacer une touche programmée non utilisée afin de liberer de la memoire (notez que certains signaux peuvent utiliser plus de memoire que d'autres).
- Notez que les téléviseurs et autres apparciels peuvent parfois creer des interférences : la télécommande apprend alors un signal errone.
- Certaines commandes provenant d'autres télécommandes ne peuvent pas etre programmées, mais dans la plupart des cas, il suffit de rapprocher ou d'elogner les telecommandes l'une de I'autre.
5 Pour programme d'autres signaux pour le composant actuel, repétez les étapes 3 et 4.
Pour programme des signaux pour un autre composant, quitterze le menu et repeteze les etapes 2 a 4.
6 Appuyez sur RCU SETUP pour sortir du mode de programmation.
Effacement de la programmation d'une touche de la télécommande
Cette fonction permet d'effacer l'une des touches programmées et de restaurer son paramétrage d'usine par défaut.
1 Appuyez sur RCU SETUP et maintenez le doigt, puis appuyez trois secondes sur '7'.
Relâchez la touche lorsque la DEL clignote une fois. La DEL continue de clignoter.
- Pour supprimer des opérations enregistrées sur les touches TV CONTROL, passez à l' étape 3.
- Pour annuler le mode de programmation, appuyez sur RCU SETUP.
2 Appuyez sur la touche de fonction d'entrée correspondant à la commande à effacer.
La DEL clignote une fois.
3 Appuyez sur la touche à effacer et maintenez-la trois secondes enfoncé.
L'effacement a ete effectue correctement si la DEL reste allumee une seconde.
4 Répétez l' étape 3 pour effacer d'autres touches.
5 Appuyez sur RCU SETUP pour sortir du mode d'effacement.
Effacement de tous les réglages appris pour une fonction d'entrée
Cette opération permet d'effacer tous les réglages fonctionnels d'autres dispositifs programmés sur une seule fonction d'entrée et de rétablier les réglages par défaut.
Cette fonction permet d'effacer rapidement toutes les données programmes pour des dispositifs qui ne sont plus utilisés.
1 Appuyez sur RCU SETUP et maintenance le doigt, puis appuyez trois secondes sur '9'.
Relâchez la touche lorsque la DEL clignote une fois. La DEL continue de clignoter.
- Pour annuler le mode de programmation, appuyez sur RCU SETUP.
2 Appuyez trois secondes sur la touche de fonction d'entrée correspondant à la commande à effacer.
Pour supprimer les opérations enregistrées sur toutes les touches TV CONTROL, appuyez 3 secondes sur la touche TV CONTROL INPUT.
L'effacement a ete effectue correctement si la DEL reste allumee une seconde.
Fonction directe
Vouss pouvez utiliser la fonction source directe pour agir sur un composant par la télécommande tout en utilisant le récepteur pour la lecture sur un autre composant. Vous pouvez par exemple utiliser la télécommande pour configurer et écouter un CD sur le récepteur, puis pour rembobiner une cassette dans votre magnétoscope tout en poursuivant l'écoute de votre CD.
Lorsque la fonction source directe est activée, tout composant sélectionné (à l'aide des touches de fonction d'entrée) le sera à la fois par le récepteur et par la télécommande. Lorsque vous désactivez la fonction source directe, vous pouvez utiliser la télécommande sans affecter le récepteur.
1 Appuyez sur RCU SETUP et maintenance le doigt, puis appuyez trois secondes sur '5'.
Relâchez la touche lorsque la DEL clignote une fois. La DEL continue de clignoter.
- Pour annuler le mode de programmation, appuyez sur RCU SETUP.
2 Appuyez sur la touche de fonction d'entrée correspondant au composant que vous pouze utiliser.
3 Appuyez sur '1' (On) ou '0' (Off) pour activer/désactiver la fonction.
Le réglage a été effectué correctement si la DEL reste une seconde allumée puis continue de clignoter.
Le réglage a échoué si la DEL clignote trois fois.
4 Appuyez sur RCU SETUP pour sortir de la programmation.
Réglage du mode d'éclairage
- Réglage par défaut: 1 (mode normal)
Un des quatre modes de rétroéclairage peut être sélectionné selon la situation et pour préserver la durée de service de la pile.
1 Appuyez sur RCU SETUP et maintenance le doigt, puis appuyez trois secondes sur '6'.
Relâchez la touche lorsque la DEL clignote une fois. La DEL continue de clignoter.
- Pour annuler le mode de programmation, appuyez sur RCU SETUP.
2 Appuyez sur la touche numérique correspondant au mode de rétroéclairage que vous pouze utiliser.
-
'1' (mode normal) - Le rétroéclairage est allumé et éteint par la touche d'éclairage. Lorsqu'il est éclairé, il s'éteint automatiquement si aucune opération n'est effectuée pendant 10 secondes.
-
'2' (mode d'éclairage liéquent) - Le rétroéclairage séClaire lorsqu'une touche quelconque de la télécommande est pressée. Il s'éteint par la touche d'éclairage. Lorsqu'il est éclairé, il s'éteint automatiquement siaucune opération n'est effectuee pendant 10 secondes.
- '3' (mode éco) - Le rétroéclairage est allumé et étant par la touche d'éclairage. Lorsqu'il est éclairé, il s'est automatique si aucune opération n'est effectué pendant 5 secondes.
- '4' (mode désacté) - Le rétroéclairage ne s'éclaire pas même par une pression sur la touche d'éclairage.
Le réglage a été effectué correctement si la DEL reste une seconde allumée puis continue de clignoter.
Le réglage a échoué si la DEL clignote trois fois.
3 Appuyez sur RCU SETUP pour sortir de la programmation.
À propos des fonctions ALL ZONE STBY (Veille toutes zones) et DISCRETE ON (Discret activé)
ALL ZONE STBY (Veille toutes zones)
La veille toutes zones peut etre utilise pour desactiver toutes les zones lorsque le recepteur est mis en veille. De meme, lorsque des amplificateurs/recepteurs Pioneer separés sont utilisés pour les zones secondaires, il s peuvent aussi etre mis en veille simultanement.
- Pourmettre enveille les amplificateurs/recepteurs raccordes aux zones secondaires, ces amplificateurs/recepteursdoiventetreinstallésou raccordesdesortequilspuissantrecevoirlessignauxde la télécommande.
- Les amplificateurs/recepteurs peuvent être mis en voille de cette façon même lorsqu'elles amplificateurs/recepteur Pioneer sont utilisés et leurs Modes de commande à distance (Remote Control Mode) ont été changés.
DISCRETE ON (Discret acté)
La fonction Discret activé permet d'effectuer une série d'opérations : basculer sur l'entrée souhaïée à la mise sous tension du récepteur.
Lorsque le récepteur est installé dans un rack AV, etc. et que vous ne pouvez pas dire s'il est sous tension ou en voir, cette opération est pratique parque qu'elle permet de basculer sur l'entrée seLECTIONnée sans avoir àmettre le récepteur en veille s'il est sous tension au moment où vous effectuez cette opération.
Utilisation de la veille toutes zones
1 Appuyez sur ALL ZONE STBY DISCRETE ON.
La DEL continue de clignoter.
2 Appuyez sur RECEIVER.
Le récepteur se met en vue et toutes les zones sont mises hors tension.
Utilisation de Discret activé
1 Appuyez sur ALL ZONE STBY DISCRETE ON.
La DEL continue de clignoter.
2 Appuyez sur la touche correspondant à l'entrée que vous souhaitez dire.
Le récepteur se met sous tension (s'il l'était deja, il y reste sans s'eteindre) et l'entrée bascule sur celle qui vient d'être sélectionnée.
Réinitialisation des réglages de la télécommande
Cette fonction permet de rétablier tous les réglages par défaut de la télécommande.
- Lorsque les codes de prééglage sont réinitialisés, tous les signaux programmes sur les touches de fonction d'entrée sont effacés. Cette fonction est pratique si vous poulez réinitialiser un certain nombre seulement des touches de fonction d'entrée.
1 Appuyez sur RCU SETUP et maintenance le doigt, puis appuyez trois secondes sur '0'.
Relâchez la touche lorsqu'la DEL clignote une fois. La DEL continue de clignoter.
2 Appuyez sur la touche ENTER et maintenez-la trois secondes enfoncé.
L'effacement a ete effectue correctement si la DEL reste allumee une seconde.
Codes de préréglage par défaut
| Touché de fonction d'entrée | Code de préréglage |
| BD | 2255 |
| DVD | 2256 |
| DVR/BDR | 2257 |
| HDMI | 2034 |
| TV | 0305 |
| CD | 5000 |
| SAT/CBL | 6325 |
| TV CONTROL (INPUT) | 0305 |
Commande des composants
Cette télécommande peut contrôler des composants après saisie des bons codes (consultez la section Réglage de la télécommande pour la commande d'autres composants à la page 79 pour plus d'informations). Utilisez les touches de fonction d'entrée pour sélectionner le composant.

Téléviseur et apparecs audio/vidéo
| Touches(s) | Téléviseur | TV
(Moniteur) | BD/DVD | HDD/BDR/DVR | Magnétoscope | SAT/CATV |
| SOURCE | POWER ON/OFF | POWER ON/OFF | POWER ON/OFF | POWER ON/OFF | POWER ON/OFF | POWER ON/OFF |
| Touches numériques | numériques | numériques | numériques | numériques | numériques | numériques |
| •/CLR | •(point) | KURO LINK | CLEAR | + | — | * |
| ENTER (CLASS) | CH ENTER | CH ENTER | ENTER | ENTER | — | ENTER |
| X | EXIT/INFO | EXIT | TOP MENU | TOP MENU | — | LIST |
| f | TOOLS/Guide/EPG | USER MENU | TOOLS
<a> | GUIDE | — | GUIDE |
| ↑/↓/←/→ | ↑/↓/←/→ | ↑/↓/←/→ | ↑/↓/←/→ | ↑/↓/←/→ | — | ↑/↓/←/→ |
| ENTER | ENTER | ENTER | ENTER | ENTER | — | ENTER |
| @ | HOME MENU | HOME MENU | HOME MENU | HOME MENU | — | HOME MENU |
| ← | RETURN | RETURN | RETURN | RETURN | — | RETURN |
| ▶ | — | — | ▶ | ▶ | ▶ | ▶ |
| II | — | AUTO SETUP | II | II | II | II |
| ■ | — | FREEZE | ■ | ■ | ■ | ■ |
| ▲ | — | — | ▲▲ | ▲▲ | ▲▲ | ▲▲ |
| ▶ | — | — | ▶▶ | ▶▶ | ▶▶ | ▶▶ |
| ▲ | TV/DTV | AV SELECTION | ▲▲ | ▲▲ | — | ▲▲ |
| ▶1 | — | SCREEN SIZE | ▶■ | ▶■ | — | ▶■ |
| AUDIO | AUDIO | AUDIO | AUDIO | AUDIO | AUDIO | AUDIO |
| DISP | DISPLAY | DISPLAY | DISPLAY | DISPLAY | — | DISPLAY/INFO |
| CH +/- | CH +/- | CH +/- | OUTPUT RESO-LUTION +/-<a> | CH +/- | CH +/- | CH +/- |
a Commandes de BD.
Appareils audio/vidente
| Touches(s) | LD | CD/CD-R/SACD | MD/DAT | TAPE |
| ☐ SOURCE | POWER ON/OFF | POWER ON/OFF | POWER ON/OFF | POWER ON/OFF |
| Touches numériques | numériques | numériques | numériques | — |
| ⋅/CLR | +10 | >10/CLEAR | CLEAR
<a> | CLEAR |
| ENTER (CLASS) | ENTER | DISC/ENTER | OPEN/CLOSE
<a> | ENTER |
| × | TOP MENU | — | — | MS← |
| f | — | LEGATO LINK
<b> | — | MS→ |
| ↑/↓/←/→ | ↑/↓/←/→ | — | — | II/■/▲/▲→ |
| ENTER | ENTER | — | — | — |
| — | SACD SETUP
<b> | — | — |
| RETURN | — | — | — |
| | | | |
| II | II | II | II | II |
| | | | |
| | | | |
| | | | |
| | | | |
| | | | |
| AUDIO | AUDIO | PURE AUDIO
<b> | — | — |
| DISP | DISPLAY/INFO | TIME
<b> | — | — |
a Commandes de MD.
b Commandes de SACD.




TV (Projecteur)
| Touches(s) | TV (Projecteur) |
| SOURCE | POWER ON |
| 1 | MOVIE |
| 2 | STANDARD |
| 3 | DYNAMIC |
| 4 | USER1 |
| 5 | USER2 |
| 6 | USER3 |
| 7 | COLOR+ |
| 8 | SHARP+ |
| 9 | GAMMA |
| 0 | COLOR- |
| /CLR | SHARP- |
| ENTER (CLASS) | COLOR TEMP |
| × | EXIT |
| f | INFO |
| ↑/↓/←/→ | ↑/↓/←/→ |
| ENTER | ENTER |
| TEST |
| HIDE |
| × | MENU |
| HDMI1 |
| HDMI2 |
| COMP. |
| VIDEO |
| II | S-VIDEO |
| BRIGHT- |
| BRIGHT+ |
| AUDIO | POWER OFF |
| DISP | ASPECT |
| CH +/- | CONTRAST+/- |




Réglages du récepteur depuis le menu MCACC avancé 86
MCACC automatique (Expert) 86
Configuration MCACC manuelle 88
Vérification des données MCACC 90
Gestion des données 92




Le système MCACC (Calibrage ACoustique Multi-Canaux) avance a eté mis au point par les laboratoires Pioneer pour permettre aux utilisateurs d'effectuer chez eux des réglages de même niveau que dans un studio, de haute précision mais simples à réaliser. Les caractéristiques acoustiques de la salle d'écoute sont mesurées et la réponse en fréquence calibrée en conséquence pour creer un champ sonore se rapprochant le mistroux possible de l'environnement d'un studio grâce à des mesures précises, une analyse automatique et un calibrage optimal. De plus, alors qu'il était difficile d'éliminer les ondes stationnaires sur les anciens modèles, il est désormais possible d'en effectuer une analyse acoustique et de réduire leur influence en une seule opération grâce au contrôle des ondes stationnaires dont est pourvu ce récepteur.
Cette partie vous indique comment effectuer automatiquement un calibrage du champ sonore et comment ajuster manuellement les données du champ sonore de manière encore plus précise.
1 Appuyez sur © RECEIVER pour allumer le récepteur et votre télévisuer.
Assurez-vous que l'entrée video du télévisuer est reglée sur ce récepteur.
2 Appuyez sur RECEIVER de la télécommande, puis sur HOME MENU.
Un écran à interface graphique (GUI) apparait sur votre téléviseur. Utilisez ↑/↓/←/→ et ENTER pour naviguer sur les pages et Sélectionner les éléments de menu. Appuyez sur RETURN pour sortir du menu actuel.
Appuyez sur HOME MENU à n'importe quel moment pour dégager la page Home Menu.
4 Sélectionnez le réglage que vous souhaitez ajuster.
Full Auto MCACC - Consultez la section Obtention automatique d'un réglage sonore optimal (Full Auto MCACC) à la page 41 pour une configuration surround automatique rapide et efficace.
- Auto MCACC - Consultez la section MCACC automatique (Expert) à la page 86 pour une configuration MCACC plus détaillée.
- Manual MCACC - Affine les réglages des enceintes et personnalise l'égaliser du calibrage acoustique (consultez la section Configuration MCACC manuelle à la page 88).
- Demo - Aucun réglage n'est sauvégardié et aucune erreur ne se produit. Lorsque les enceintes sont raccordées à ce récepteur, la tonalité de test est émise à plusieurs reprises. Appuyez sur RETURN pour annuler la tonalité de test.
MCACC automatique (Expert)
Si vous configuration nécessite des réglages plus précis que ceux proposés à la section Obtention automatique d'un réglage sonore optimal (Full Auto MCACC) à la page 41, vous pouvez personnaliser vos options de configuration ci-dessous. Vous pouvez calibrer différemment votre système grâce aux six prérglages MCACC, utiles lorsque plusieurs positions d'écoute peuvent être prises selon la source (par exemple, pour regarder un film dans un canapé ou pour journer aux yeux video pres du téléviseur).

Important
- Assurez-vous que le microphone ou les enceintes ne sont pas déplacés pendant la configuration MCACC automatique.
L'économiseur d'écran s'active automatiquement après cinq minutes d'inactivité.

ATTENTION
- Les tonalités de test utilisées pour la configuration MCACC automatique sont à un volume élevé.
Si la page Advanced MCACC n'apparait pas, consultez la section Reglages du recepteur depuis le menu MCACC avancé à la page 86.
2 Sélectionnez les paramètres que vous pouze régler.
Utilisez / pour selectionner le réglage, puis utilisez / pour le valider.
-
Auto MCACC - Réglage par défaut : ALL (recommende) ; toute fois, vous pouvez si vous le souhaitez limiter le calibrage du système à un seul réglage (pour gagner du temps).
Lorsque des mesures sont effectuees (apres la selection de ALL ou Keep SP System), les données des caractéristiques de la réverbération (avant et après le calibrage) enregistrées dans le récepteur sont écrasées.
Lorsque la mesure est effectue avec autre chose que SYMMETRY (après la selection de ALL ou Keep SP System), les caractéristiques de la réverbération après le calibrage ne peuvent pas été calculées, et la courbe des caractéristiques ("After") ne peut pas s'afficher. Si vous devez afficher la courbe des caractéristiques après le calibrage ("After"), utilisez le menu EQ Professional de la configuration Manual MCACC (page 88) pour effectuer les mesures.
— La mesure EQ Pro & S-Wave est également prise lorsque ALL ou Keep SP System est sélectionné. Pour plus d'informations, consultez la section Égalisation du calibrage acoustique professionnel à la page 89.
L'effet de l'égaliser du calibrage acoustique professionnel et des ondes stationnaires peut être activé ou désactifié dans le préréglage MCACC correspondant. Pour plus d'informations, consultez la section Réglage des options audio à la page 70.
-
EQ Type (disponible uniquement lorsque le menu Auto MCACC ci-dessus est reglé sur EQ Pro & S-Wave) - Détermine le réglage de l'équilibre des fréquences.
Après un simple calibrage, chacune des trois courbes d'égalisation suivantes sont sauvégardées séparément dans la mémoire MCACC.
— SYMMETRY effectue une correction symétrique sur chaque paire d'enceintes gauche et droite visant à égaliser les caractéristiques de l'amplitude des fréquences.
ALL CH ADJ correspond à un réglage 'plat', c'est-à-dire que toutes les enceintes sont réglées individuellement sans pondération spéciale accordée à chaque canal que ce soit.
FRONT ALIGN règle toutes les enceintes en fonction des réglages des enceintes avant (pas d'égalisation appliquée aux canaux avant gauche et droit).
Si vous avez selectionné ALL ou Keep SP System comme menu Auto MCACC, vous pouvez spécifier le pré-réglage MCACC où les réglages SYMMETRY, ALL CH ADJ et FRONT ALIGN doivent être sauvegardés.
- THX Speaker (disponible seulement lorsque le menu Auto MCACC ci-dessus est le menu ALL ou Speaker Setting) - Sélectionné YES lorsque des enceintes THX sont utilisées (toutes les enceintes à part les enceintes avant sont régliées sur SMALL). Dans les autres cas, laisserze sur NO.
- STAND.WAVE Multi-Point (disponible uniquement lorsque le menu Auto MCACC ci-dessus est EQ Pro & S-Wave) - Outre les mesures en position d'écoute, les tonalités de test peuvent être analysées et les ondes stationnaires réduites à deux autres points de reférence. C'est utile si vous souhaïez doivent un calibrage 'plat' équilibré pour différentes positions d'écoute dans votre zone d'écoute. Placez le microphone au point indiqué sur l'écran et notez que la dernière position du microphone représentera votre principale position d'écoute :

3 Raccordez le microphone à la prise MCACC SETUP MIC sur le panneau avant.
Veillez à ce qu'il n'y ait aucun obstacle entre les enceintes et le microphone.

Positionnez le microphone sur un trépied (si vous en avez un) pour qu'il se trouve à hauteur d'oreilles en position d'écoute normale. Sinon, utilisez autre chose pour poser le microphone.
- Il peut être impossible d'effectuer correctement les mesures si le microphone est posé sur une table, un sofa, etc.
4 Lorsque vous avez terminé de régler les options, Sélectionnez START puis appuyez sur ENTER.
5 Suívez les instructions affichées à l'écran.
6 Attendez que la configuration MCACC automatique ait fini d'émettre les tonalités de test.
Un rapport de progression s'affiche à l'écran tandis que le récepteur génére des tonalités de test pour déterminer les enceintes générées dans votre configuration. Essayez d'être aussi silencieux que possible pendant cette opération.
- En cas de messages d'erreur (du type Too much ambient noise! ou Check microphone.), Sélectionnez RETRY après avoir vérifié le bruit ambiant (consultez la section Problèmes lors de l'utilisation de la configuration MCACC automatique à la page 43) et le branchement du microphone. Si vous ne constazez aucin problème, Sélectionnez simplement GO NEXT et continuez.
- Ne réglez pas le volume pendant les tonalités de test. Cela pourrait fausser les réglages des enceintes.
7 Si besoin, vérifie la configuration des enceintes sur l'écran GUI.
La configuration affichée à l'écran doit reflérer les enceintes physiques dont vous disposez.
Si vous n'effectuez aucune opération pendant 10 secondes lorsque l'écran de vérification de la configuration est affché, la configuration MCACC automatique se poursuit automatiquement. Dans ce cas, il est inutilde selec-tionner 'OK' et d'appuyer sur ENTER à l'étape 8.
- Si vous Voyez un message d'erreur ERR (ou si la configuration des enceintes indiquée est incorrecte), il se peut qu'il y ait un problème au niveau des liaisons des enceintes. Si vous ne parvenez pas à résoudre le problème en sélectionnant RETRY, coupez l'alimentation et vérifiez les liaisons des enceintes. Si vous ne consta-tez aucun problème, utilisez simplement ↑/↓ pour sélectionner l'enceinte et ←/→ pour modifier le réglage, puis continuez.
- Si l'enceinte n'est pas orientée vers le microphone (position d'écoute) ou lorsque les enceintes sont affectées par la phase (enceintes dipôles, enceintes réfléchissantes, etc.), Reverse Phase peut s'afficher même si les enceintes sont bien raccordées.
Si Reverse Phase s'affiche, les fils du cordon d'enceinte (+ et -) ont peut-être eté inversés. Vérifiez les liaisons des enceintes.
— Si les liaisons ne sont pas bonnes, coupez l'alimentation, débranchez le cordon d'alimentation et raccordez les enceintes correctement. Ensuite, effectuez une nouvelle fois la configuration MCACC automatique intégrale.
Si les liaisons sont bonnes, selectionnez GO NEXT et continuez.
8 Assurez-vous que 'OK' est selectionné, puis appuyez sur ENTER.
Un rapport de progression s'affiche à l'écran tandis qu'un plus grand nombre de tonalités de test est émis pour permettre de déterminer les réglages optimaux du récepteur.
Une fois encore, essayez d'être aussi silencieux que possible pendant cette opération. Elle peut prendre 3 à 12 minutes.
- Si vous avez selectionné une configuration STAND.WAVE Multi-Point (étape 2), vous étés invite à positionner le microphone aux points de reférence 2 et 3, avant de le positionner dans votre principale position d'écoute.
Les réglages effectuels dans la configuration MCACC automatique permettent d'obtenir en principe un excellent son surround de votre système, mais vous pouvez aussi effectuer vous-même ces réglages sur le menu de configuration Manual MCACC (débutant ci-dessous) ou Manual SP Setup (débutant à la page 94).
- En fonction des caractéristiques de votre piece, des enceintessemblables dotées d'un cône de 12 cm environ afficheront parfois des réglages de taille différents. Vous pouze corriger ce réglage manuellement grâce à la section Configuration manuelle des enceintes à la page 94.
- La valeur du réglage de la distance du caisson de grave peut être supérieure à la distance réelle de la position d'écoute. Ce réglage doit être précis (en tenant compte des caractéristiques de retard et de la piece) et n'a généralement pas besoin d'être modifié.
- Si les mesures obtenues par la configuration MCACC automatique ne sont pas correctes à cause d'une interaction des enceintes et de l'environnement, nous vous conseillons de faire vous-même les réglages.
Voupez egalent choiser de visualiser les reglages en selectionnant les parametes individuels sur la page
MCACC Data Check (consultez la section Vérification des données MCACC à la page 90).
Appuyez sur RETURN après avoir vérifié chaque écran. Lorsque vous avez terminé, sélectionnez RETURN pour revenir au Home Menu.
Lorsque la configuration MCACC automatique est terminée, n'oubliez pas de débrancher le microphone du récepteur.




Configuration MCACC manuelle
VousspuvezutiliserlesreglagesdumenudefcongrurationManualMCACC pourrealiserdesajustementsprecis lorsquvourownaissezmeuveloysteme.Avantd'effectuercesreglages,laprocedureObtention automatiqued'unreglage sonore optimal(FullAutoMCACC)àla page41doitetredéja terminée.
Ces réglages ne doivent être effectuels qu'une seule fois (sauf si vous souhaitez modifier l'emplacement de votre système d'enceintes actuel ou ajouter de nouvelles enceintes).

ATTENTION
- Les tonalités de test utilisées pour la configuration Manual MCACC sont générées à un volume élevé.

Important
- Appuyez sur la touche MCACC lorsque les pages de configuration pertinentes apparaissent pour sélectionner les prérégliages MCACC.
- Pour certains réglages ci-dessous, vous doivent branchier le microphone de configuration sur le panneau avant et le positionner à hauteur d'oreille en position d'écoute normale. Appuyez sur HOME MENU pour afficher le Home Menu avant de branchier le microphone sur le récepteur.
- Lisez les remarques de la section Problèmes lors de l'utilisation de la configuration MCACC automatique à la page 43 concernant les niveaux de bruit de fond elevés et autres interférences possibles.
- Si vous utilisez un caisson de grave, allumez-le et montez le volume jusqu'en position mediane.
Consultez la section Reglages du recepteur depuis le menu MCACC avancé à la page 86 si vous n'avez pas encore atteint cet écran.
2 Sélectionnez le réglage que vous souhaitez ajuster.
Si vous effectuez cette opération pour la première fois, il se peut que vous préfériez effectuer ces réglages dans l'ordre.
- Fine Channel Level - Permet des ajustements précis de l'équilibre général du système d'enceintes (consul- tez la section Réglage précis du niveau de canal à la page 88).
- Fine SP Distance - Permet des réglages de retard précis pour le système d'enceintes (consultez la section Distance précise des enceintes à la page 88).
- Standing Wave - Contrôle les basses fréquences résonnantes dans la piece d'écoute (consultez la section Ondes stationnaires à la page 89).
Les deux derniers réglages ont été spécialement concus pour la personnelisation des paramètres expliqués à la section Réglage de l'égaliseur du calibrage acoustique à la page 89 :
- EQ Adjust - Ajustez manuellement l'équilibre des fréquences de votre système d'enceintes lors de l'écoute des tonalités de test (consultez la section Réglage de l'égaliser du calibrage acoustique à la page 89).
- EQ Professional - Calibrez votre système sur la base du son direct provenant des enceintes et réalisez les réglages détaillés en fonction des caractéristiques de la réverbération de votre pièce (consultez la section égalisation du calibrage acoustique professionnel à la page 89).
Réglage précis du niveau de canal
Réglage par défaut: 0.0dB (tous les canaux)
Voussouvezobtenirunson surroundde meilleure qualite enajustantcorrectementI'equilibre general de vour systeme d'enceintes.Vousoupezajusterle nivau du signalde chaque enceinte par incrémentsde 0,5dB.Le réglage suivantpeuysommettre d'effectuerdesajustementsprecis,impossiblesàobteniren suvantla procédure Configuration manuelle des enceintes à la page 94.
Le volume augmente pour atteindre le niveau de refERENCE 0.0 dB.
2 Ajustez le niveau du canal gauche.
Il représenté le niveau d'enceinte de référence. Mieux vaut donc régler ce niveau à plus ou moins 0.0dB afin d'avoir une marge comfortable pour ajuster le niveau des autres enceintes.
- Àprous avoir appuyé sur ENTER, des tonalités de test sont générées.
3 Sélectionnez tour à tour chaque canal et ajustez les niveaux (+/-12,0 dB) si besoin.
Utilisez / pour régler le volume de l'enceinte sélectionnée pour qu'il corresponde à celui de l'enceinte de réference. Lorsque les deux tonalitéssemblant afficher le même volume, appuyez sur pour confirmer et passer au canal suivant.
- À des fins de comparaison, l'enceinte de référence change en fonction de l'enceinte sélectionnée.
- Si vous souhaitez revenir en arrêtre pour ajuster un canal, utilisez ↑/↓ pour le sélectionner.
4 Lorsque vous avez terminé, appuyez sur RETURN.
Vous revenez alors au menu de configuration Manual MCACC.
Distance précise des enceintes
- Réglage par défaut : 3.00m (toutes les enceintes)
Pour que le son de votre système affiche une belle profondeur et une séparation ideale, il convient d'ajouter un léger retard à certaines enceintes de sorte que tous les sons atteignent la position d'écoute en même temps. Vous pouze ajuster la distance de chaque enceinte par incréments de 1 cm. Le réglage suivant peut vous permettre d'effectuer des ajustements précis, impossibles à obtaining en suivant la procédure Configuration manuelle des enceintes à la page 94.
2 Ajustez la distance du canal gauche à partir de la position d'écoute.
3 Sélectionnez tour à tour chaque canal et ajustez la distance si besoin.
Utilisez / pour régler la distance de l'enceinte sélectionnée pour qu'elle corresponde à celle de l'enceinte de réference.
Écoutez le canal de référence et utilisez-le pour mesurer le canal cible. À partir de la position d'écoute, faites face aux deux enceintes, les bras tendus vers chaque enceinte. Essayez de régler les deux tonalités pour qu'elles atteignent en même temps un point légèrement devant vous, situé entre vos bras.
- Si vous n'y parvenez pas en ajustant le réglage de la distance, essayez de modifier très légèrement l'orientation de vos enceintes.
- La tonalité de test du caisson de grave est différente de celle des autres canaux. Réglez-la de sorte que le son du caisson de grave puisse être entendu distinctement. Il faut savoir que, lorsque vous reglez le caisson de grave, selon la réponse des graves de vos enceintes le changement peut être à peine perceptible, que le son soit augmente ou diminué, et même lorsque la position des enceintes est changée. Notez qu'il peut être difficile de comparer cette tonalité avec les autres enceintes générées dans votre configuration (cela dépend de la réponse en basse fréquence de l'enceinte de référence).

Lorsque les reglages du retard semblent correspondre, appuyez sur ↓ pour confirmer et passer au canal suivant.
- À des fins de comparaison, l'enceinte de référence change en fonction de l'enceinte sélectionnée.
- Si vous souhaitez revenir en arrière pour ajuster un canal, utilisez ↑/↓ pour le sélectionner.
4 Lorsque vous avez terminé, appuyez sur RETURN.
Vous revenez alors au menu de configuration Manual MCACC.




Ondes stationnaires
- Réglage par défaut : ON/ATT 0.0dB (tous les filtres)
Les ondes stationnaires acoustiques apparaissent lorsque, dans certaines situations, les ondes sonores provenant de votre système d'enceintes résonnent avec les ondes sonores se refléchissant contre les murs de votre zone d'écoute. Ceci peut avoir un effet négatif sur le son global, spécialement dans certaines basses fréquences. En fonction de la position de l'enceinte, de votre position d'écoute, et enfin de la forme de votre piece, le son produit est 'explosif' et excessivement résonnant. Le contrôle des ondes stationnaires utilise des filtres pour réduire l'effet dessons tropresonnants dans la zone d'écoute. Au cours de la lecture d'une source, vous pouvez personnaliser les filtres permettant le contrôle des ondes stationnaires pour chacun de vos prérgliages MCACC.
- Les réglages du filtré de contrôle des ondes stationnaires ne peuvent pas été modifiés pendant la lecture de sources avec la connexion HDMI.
1 Sélectionnez 'Standing Wave' sur le menu de configuration Manual MCACC.
2 Ajustez les paramètres de contrôle des ondes stationnaires.
- Filter Channel - Sélectionné le canal auquel vous appliquerez le(s) filtré(s): MAIN (tous sauf le canal central et le caisson de grave), Center ou SW (caisson de grave).
- TRIM (disponible uniquement si le canal du filtre ci-dessus est SW) - Ajustez le niveau du canal du caisson de grave (pour compenser la différence dans le post-filtre de sortie).
- Freq/Q/ATT - Ce sont les paramétres du filtré : Freq représentée la féquence visée et Q, la bande passante (plus Q est élevé, plus la bande passante ou la portée est restreinte) de l'atténuation (ATT représentée la réduction de la féquence visée).
3 Lorsque vous avez terminé, appuyez sur RETURN.
Vourevenuesalouuenu deconfigurationManualMCACC
Réglage de l'égaliseur du calibrage acoustique
- Réglage par défaut: ON/0.0dB (tous les canaux/toutes les bandes)
L'égaliseur du calibrage acoustique est un sort de correcteur visant à adapter les enceintes (sauf le caisson de grave) à la pièce d'écoute. Il fonctionne en mesurant les caractéristiques acoustiques de la pièce et en neutralisant les caractéristiques ambiantes pouvant colorer la source d'origine (en établissant une courbe 'plate'). Si le réglage proposé dans la section Obtention automatique d'un réglage sonore optimal (Full Auto MCACC) à la page 41 ou MCACC automatique (Expert) à la page 86 ne vous satisfait pas, vous pouvez également ajuster manuellement ces paramétres afin d'obtenir un équilibre des fréquences vous convenant.
2 Sélectionnez le(s) canal(canaux) souhaité(s) et ajustez-les à votre convenance.
Utilisez / pour selectionner le canal.
Utilisez / pour selectionner la fréquence et / pour accenter ou couper l'égaliser. Lorsque vous avez terminé, allez au haut de la page et appuyez sur pour revenir à Ch, puis utilisez / pour selectionner le canal.
L'indicateur OVER! s'affiche à l'écran si l'ajustement de la fréquence est trop strict et qu'il risque d'entrainer des déformations. Dans ce cas, baisseze le niveau jusqu'à ce que OVER! disparaisse de l'écran.
3 Lorsque vous avez terminé, appuyez sur RETURN.
Vous revenez alors au menu de configuration Manual MCACC.

Remarque
- Une modification trop stricte de la courbe de fréquence d'un canal affecte l'équilibre général. Si l'équilibre des enceintes ne semble pas régulier, vous pouvez augmenter ou réduire les niveaux de canal en utilisant les tonalités de test, grâce à la fonction TRIM. Utilisez / pour sélectionner TRIM, puis / pour augmenter ou réduire le niveau de canal pour l'enceinte en cours.
Égalisation du calibrage acoustique professionnel
Cette configuration minimise les effets indésirables de la réverbération de la pièce en vous permettant de calibrer toute système sur la base du son direct provenant des enceintes.
L'égalisation du calibrage acoustique professionnel agit efficacement lorsque les graves sont trop réverbérants dans notre salle d'écoute (ils sont 'caverneux'), comme indiqué dans le Type A ci-dessous, ou lorsque différents canaux ont des courbes de réverbération différentes comme dans le Type B.
- Type A: Réverbération des hauteurs par rapport aux basses fréquences

- Type B: Caracteristiques de la réverbération sur les différents canaux

Utilisation de l'égaliseur du calibrage acoustique professionnel
1 Sélectionnez 'EQ Professional', puis appuyez sur ENTER.
2 Sélectionnez une option et appuyez sur ENTER.
- Reverb Measurement - Utilisez cette option pour mesurer les caractéristiques de la réverbération avant et après le calibrage.
- Reverb View - Permet de vérifier les mesures de réverbération réalisées pour des gamas de fréquences spécifiées dans chaque canal.
— Si la procédure Reverb View est effectuee après le Obtention automatique d'un reglage sonore optimal (Full Auto MCACC) à la page 41 ou la Reverb Measurement, des différences peuvent apparaitre sur le graphique de la reverbération, selon le réglage du contrôle des ondes stationnaires. Lors de la configuration Auto MCACC, les réverbérations sont mesurées après le contrôle des ondes stationnaires, de sorte que le graphique des caractéristiques de la reverbération montre les courbes obtenues après l'élimination de l'effect des ondes stationnaires. Par contre, la fonction Reverb Measurement mesure les réverbérations sans agir sur les ondes stationnaires, de sorte que le graphique des caractéristiques de la reverbération montre les courbes obtenues sans réduction des ondes stationnaires. Si vous pouze vérifier les caractéristiques de la pièce proprement dite (avec les ondes stationnaires), nous vous conseillons d'utiliser la fonction Reverb Measurement.
- Advanced EQ Setup - Permet de sélectionner le temps d'ajustement et de calibrage des fréquences, sur la base de la mesure de la réverbération de la zone d'écoute. Notez que l'utilisation de cette configuration pour personneliser le calibrage du système modifie les réglages effectuels à la section Obtention automatique d'un
réglage sonore optimal (Full Auto MCACC) à la page 41 ou MCACC automatique (Expert) à la page 86 et qu'il n'est pas nécessaire de l'appliquer si ces réglages vous convenennent.
3 Si vous avez sélectionné 'Reverb Measurement', Sélectionnez EQ ON ou EQ OFF, puis START.
Les options suivantes déterminant la façon dont les caractéristiques de la réverbération de votre salle d'écoute sont indiquées dans Reverb View :
- EQ OFF - Voues visualisez les caractéristiques de la réverbération de votre salle d'écoute sans l'égalisation réalisée par ce récepteur (avant calibrage).
- EQ ON - Vous visualisiez les caractéristiques de la réverbération votre salle d'écoute avec l'égalisation réalisée par ce récepteur (après calibrage). Notez que la courbe de l'égaliseur peut ne pas être entièrement plate du fait des ajustements nécessaires pour votre salle d'écoute.
— Si vous sélectionné EQ ON, le calibrage correspondant au préréglage MCACC en cours est utilisé. Pour utiliser un autre préréglage MCACC, appuyez sur MCACC pour sélectionner la mémoire MCACC souhaïée.
—Après un calibrage automatique avec EQ Type : SYMMETRY (Full Auto MCACC, etc.) le graphique des caractéristiques de la réverbération présumée peut être affiché en selectionnant Reverb View. Pour afficher les caractéristiques de la réverbération réalément mesurée après le calibrage par l'égaliser, mesurez-les en utilisant le réglage EQ ON.
Lorsque la mesure de la réverbération est terminée, vous pouze selectionner Reverb View pour visualiser les résultats à l'écran. Consultez la section Graphique de l'égaliser du calibrage professionnel à la page 106 pour obtenir des informations de dépannage.
4 Si vous avez sélectionné 'Reverb View', vous pouvez vérifier les caractéristiques de la réverbération de chaque canal. Appuyez sur RETURN lorsque vous avez terminé.
Les caractéristiques de la réverbération apparaissent lorsque des mesures Full Auto MCACC ou Reverb Measurement sont effectuées.
Utilisez / pour selectionner le canal, la frquence et le reglage de calibrage que vous souhaitez vérifier.
Utilisez / pour passer de l'un à l'autre entre les trois. Le graphique des caractéristiques de la réverbération avant et après le calibrage acoustique peut être affché en selectionnant Calibration: Before/After. Note que l'axe vertical représenté les décibels, marqués par incréements de 2 dB.
5 Si 'Advanced EQ Setup' est sélectionné, spécifiez la mémoire MCACC appropriée, puis précisez la durée de calibrage souhaitée, et finalement sélectionnez START.
- Pour spécifique l'endetroit où le contenu de la mémoire MCACC doit être sauvégarde, appuyez sur MCACC pour sélectionner la mémoire MCACC appropriée.
Sur la base de la mesure de la réverbération ci-dessus, vous pouvez désirir le temps dédié à l'ajustement et au calibrage complets des fréquences. Meme si vous pouvez effectuer ce réglage sans mesure de la réverbération, moins vaut utiliser les résultats des mesures comme référence pour le réglage du temps. Pour un calibrage optimal du système sur la base du son direct provenant des enceintes, nous conseillons d'utiliser le réglage 30-50ms.
Utilisez / pour selectionner le reglage. Utilisez / pour passer de l'un a l'autre.
Selectionne le reglage parmi les temps suivants (en milliseconds) : 0-20ms, 10-30ms, 20-40ms, 30-50ms,
40-60ms, 50-70ms et 60-80ms. Ce réglage s'applique à tous les canaux pendant le calibrage.
Lorsque you've aze terminé, selectionnez START. Le calibrage peut prender 2 à 4 minutes environ.
Une fois l'égalisation du calibrage acoustique effectue, vous avez la possibilité de vérifier les réglages à l'écran.
Vérification des données MCACC
Lors de la procEDURE de Obtention automatique d'un réglage sonore optimal (Full Auto MCACC) à la page 41, celle de MCACC automatique (Expert) à la page 86 ou après le réglage fin dans Configuration MCACC manuelle à la page 88, vous pouvez vérifier les réglages obtenus après le calibrage sur l'écran GUI.
1 Appuyez sur RECEIVER de la télécommande, puis sur HOME MENU.
Un écran à interface graphique (GUI) apparaît sur votre téléviseur. Utilisez ↑/↓/←/→ et ENTER pour naviguer sur les pages et sélectionner les éléments de menu. Appuyez sur RETURN pour sortir du menu actuel.
3 Sélectionnéz le réglage que vous pouze vérifier.
- Speaker Setting - Sert à vérifier les réglages des systèmes d'enceintes. Pour plus d'informations, consultez la section Réglage des enceintes à la page 90.
- Channel Level - Sert à vérifier le niveau sonore des différentes enceintes. Pour plus d'informations, consul- tez la section Niveau de canal à la page 90.
- Speaker Distance - Sert à vérifier la distance jusqu'àux différentes enceintes. Pour plus d'informations, consultez la section Distance des enceintes à la page 91.
- Standing Wave - Sert à vérifier les réglages du filtrage des ondes stationnaires. Pour plus d'informations, consultez la section Ondes stationnaires à la page 91.
- Acoustic Cal EQ - Sert à vérifier les valeurs du calibrage de la réponse en fréquence de la salle d'écoute. Pour plus d'informations, consultez la section Égaliseur du calibrage acoustique à la page 91.
- Group Delay - Sert à vérifier le retard de groupe des enceintes (avant et après le calibrage). Pour plus d'informations, consultez la section Retard de groupe à la page 91.
5 Lorsque vous avez terminé, appuyez sur RETURN.
Vos revenez alors au Home Menu.
Réglage des enceintes
Ce paramètre sert à afficher la taille des enceintes et le nombre d'enceintes. Pour plus d'informations, consultez la section Réglage des enceintes à la page 95.
1 Sélectionnez 'Speaker Setting' sur le menu MCACC Data Check.
2 Sélectionnéz le canal que vous voulez vérifier.
Utilisez ↑/↓ pour sélectionner le canal. Le canal correspondant sur le schéma est surligné.
Niveau de canal
Ce paramètre sert à afficher le niveau des différents canaux. Pour plus d'informations, consultez la section Niveau de canal à la page 95.
1 Sélectionnez 'Channel Level' sur le menu MCACC Data Check.
2 Lorsque 'MCACC' est surligné, utilisez / pour selectionner le préréglage MCACC que vous poulez vérifier.
Le niveau des différents canaux spécifique pour le préréglage MCACC sélectionné est indiqué. '---' apparait pour les canaux sans connexion.




Distance des enceintes
Sert à indiquer la distance entre les différents canaux et la position d'écoute. Pour plus d'informations, consultez la section Distance des enceintes à la page 96.
1 Sélectionnez 'Speaker Distance' sur le menu MCACC Data Check.
2 Lorsque 'MCACC' est surligné, utilisez / pour selectionner le préréglage MCACC que vous poulez vérifier.
La distance des différents canaux signés dans le préréglage MCACC sélectionné est indiqué. '---' apparait pour les canaux sans connexion.
Ondes stationnaires
Sert à afficher les valeurs des réglages effectuels sur les ondes stationnaires pour les différentes mémoires MCACC. Pour plus d'informations, consultez la section Ondes stationnaires à la page 89.
1 Sélectionnez 'Standing Wave' sur le menu MCACC Data Check.
2 Lorsque 'Filter Channel' est surligné, utilisez ↑/↓ pour sélectionner le canal pour lequel vous pouze vérifie le contrôle des ondes stationnaires.
La valeur de calibrage affreente aux ondes stationnaires obtene pour le canal selectionné consigné dans le prêrglage MCACC sélectionné et son graphique sont affichés.
3 Appuyez sur pour surligner 'MCACC', puis utilisez / pour selectionner le préroglage MCACC que vous voulez vérifier.
Égaliseur du calibrage acoustique
Sert à afficher les valeurs de calibrage obtenues pour la réponse en fréquence des différents canaux consignés dans les différents prérégliages MCACC. Pour plus d'informations, consultez la section Réglage de l'égaliser du calibrage acoustique à la page 89.
1 Sélectionnez 'Acoustic Cal EQ' sur le menu MCACC Data Check.
2 Lorsque 'Ch' est surligné, utilisez ↑/↓ pour sélectionner le canal.
La valeur de calibrage obtenue pour la reponse en fréquence du canal sélectionné consigné dans le préréglage MCACC sélectionné et son graphique sont affichés.
3 Appuyez sur pour surligner 'MCACC', puis utilisez / pour selectionner le préroglage MCACC que vous voulez vérifier.
Retard de groupe
Sert à afficher les résultats obtenus lors du calibrage des enceintes pour le retard de groupe. Pour plus d'informations, consultez la section Amélioration du son avec le contrôle de phase et le contrôle de phase pleine bande à la page 59.
1 Sélectionnez 'Group Delay' sur le menu MCACC Data Check.
2 Lorsque 'Channel' est surligné, utilisez / pour sélectionner le canal que vous pouze vérifier.
Le résultat du calibrage du retard de groupe est indiqué pour le canal sélectionné.
Lorsque des mesures ont eté effectuées quand Full Auto MCACC est sélectionné dans Advanced MCACC ou quand ALL ou Full Band Phase Ctrl est sélectionné après la sélection de Auto MCACC, le graphique obtenu avant le calibrage du retard de groupe est également affché.
Lorsque After est sélectionné dans Calibration, le retard de groupe obtenu après le calibrage est indiqué. Si l'on compare les résultats obtenus lorsque Before est sélectionné et lorsque After est sélectionné, on s'aperçoit que dans ce dernier cas la différence de retard est inférieure entre les bandes de fréquences et que le retard de groupe entre les différents canaux est uniforme, ce qui permet de vérifier l'effet du contrôle de phase pleine bande.
No Data s'affiche si le retard de groupe selectionné n'a pas eté mesuré.




Gestion des données
Ce système vous permet de stocker jusqu'à six prérégliages MCACC, vous offrant ainsi la possibilité de calibrer votre système pour différentes positions d'écoute (ou différents ajustements de fréquence pour la même position d'écoute). Cela s'avère utile pour changer de réglages en fonction du type de source écoutee et de votre position (par exemple, sur un canapé pour regarder un film ou pres du télévisueur pour jouer des yeux video).
Dans ce menu, vous pouvez copier les données d'un préréglage à l'autre, nommer les préréglages pour les identifiéer plus facilement et supprimer ceux dont vous n'avoz plus besoin.
- Vous pouvezmettre cette fonction en oeuvre à la section Obtention automatique d'un réglage sonore optimal (Full Auto MCACC) à la page 41 ou MCACC automatique (Expert) à la page 86, selon votre progression.
1 Appuyez sur RECEIVER de la télécommande, puis sur HOME MENU.
Un écran à interface graphique (GUI) apparait sur votre téléviseur. Utilisez ↑/↓/←/→ et ENTER pour naviguer sur les pages et Sélectionner les éléments de menu. Appuyez sur RETURN pour sortir du menu actuel.
2 Sélectionnez 'Data Management' sur le Home Menu.
3 Sélectionnez le réglage que vous souhaitez ajuster.
- Memory Rename – Nommez vos préréglages MCACC pour les identifier facilement (consultez la section Renommer les préréglages MCACC à la page 92).
- MCACC Memory Copy - Copiez les réglages d'un préréglage MCACC vers un autre (consultez la section Copie des données de préréglage MCACC à la page 92).
- MCACC Memory Clear - Supprimez les prêrglages MCACC inutiles (consultez la section Suppression des prêrglages MCACC à la page 92).
Renommer les préroglages MCACC
Si vous utilisez plusieurs preréglages MCACC, il se peut que vous souhaitiez les renommer pour les identifier plus facilement.
1 Sélectionnez 'Memory Rename' sur le menu de configuration Data Management.
2 Sélectionnez le préréglage MCACC à renomer, puis désissez un nom de préréglage approprié.
Utilisez / pour selectionner le preréglage, puis / pour selectionner un nom de preréglage.
3 Répétez l'opération pour chaque préréglage MCACC à renomer, puis appuyez sur RETURN lorsque vous avez terminé.
Vous revenez alors au menu de configuration Data Management
Copie des données de préréglage MCACC
Si vous souhaitez ajuster manuelle l'égaliser du calibrage acoustique (consultez la section Configuration MCACC manuelle à la page 88), nous vous conseillons de copier vos réglages actuels vers un préréglage MCACC non utilisé. Vous obtenez alors un point de réference d'ou partir, au lieu d'une courbe d'égalisation plate.
- Réglages effectuels à la section Obtention automatique d'un réglage sonore optimal (Full Auto MCACC) à la page 41 ou MCACC automatique (Expert) à la page 86.
1 Sélectionnez 'MCACC Memory Copy' sur le menu de configuration Data Management.
2 Sélectionnez le réglage que vous souhaitez copier.
- All Data - Copie tous les réglages de la mémoire de préréglage MCACC sélectionnée.
- Level & Distance - Copie seulement les réglages de niveaux des canaux et de distances des enceintes de la mémoire de prépréglage MCACC sélectionnée.
3 Sélectionnez le préréglage MCACC dont vous allez copier les réglages 'From', puis précisez où vous souhaitez les copier ('To').
Assurez-vous de ne pas effacer et remplaner un préréglage MCACC en cours d'utilisation (annulation impossible).
4 Sélectionnez 'OK' pour confirmer la copie des réglages.
Lorsque MCACC Memory Copy? est affiché, Sélectionnez YES. Si NO est sélectionné, les réglages ne sont pas copiés.
Completed! s'affiche sur l'écran GUI pour confirmer la copie du préréglage MCACC. Puis vous revenez automatique au menu de configuration Data Management.
Suppression des prérogliages MCACC
Si vous n'utilisez plus l'un des prérégliages MCACC enregistrés en mémoire, vous pouvez supprimer les réglages de ce préréglage.
1 Sélectionnez 'MCACC Memory Clear' sur le menu de configuration Data Management.
2 Sélectionnez le préréglage MCACC que vous pouze supprimer.
Assurez-vous de ne pas supprimer un prépréglage MCACC en cours d'utilisation (annulation impossible).
3 Sélectionnez 'OK' pour confirmer la suppression du préRéglage.
Lorsque MCACC Memory Clear? est affché, selectionnez YES. Si NO est selectionné, le préroglage n'est pas supprimé.
Completed! s'affiche sur l'écran GUI pour confirmer la suppression du préRéglage MCACC, puis vous revenez automatique au menu de configuration Data Management.









Réglages du récepteur depuis le menu de Configuration du système 94
Configuration manuelle des enceintes 94
Menu de configuration du réseau 97
Vérification des informations concernant le réseau 98
Menu Autre configuration 98
Configuration MHL 101
La section suivante décrit les changements manuels des réglages d'enceintes ainsi que autres réglages (seLECTION de l'entrée, Sélection de la langue de l'affichage sur écran, etc.).
1 Appuyez sur 口 RECEIVER pour allumer le recepteur et votre télévisuer.
Assurez-vous que l'entrée video du téléviseur est reglée sur ce récepteur.
2 Appuyez sur RECEIVER de la télécommande, puis sur HOME MENU.
Un écran à interface graphique (GUI) apparait sur votre téléviseur. Utilisez ↑/↓/←/→ et ENTER pour naviguer sur les pages et Sélectionner les éléments de menu. Appuyez sur RETURN pour sortir du menu actuel.
- Appuyez sur HOME MENU à n'importe quel moment pour dégager la page Home Menu.
3 Sélectionnez 'System Setup' dans le Home Menu, puis appuyez sur ENTER.
4 Sélectionnez le réglage que vous souhaitez ajuster.
- Manual SP Setup - Permet de spécifique le type de liaison appliqué aux bornes surround arrêté ainsi que la talle, le nombre, la distance et l'équilibre général des enceintes raccordées (consultez la section Configuration manuelle des enceintes à la page 94).
- Input Setup - Permet de spécifique les composants raccordés aux entrées numériques, HDMI et video à composantes (consultez la section Le menu Input Setup à la page 43).
- OSD Language - Permet de changer la langue de l'affichage sur l'écran GUI (consultez la section Changement de la langue de l'affichage sur écran (OSD Language) à la page 41).
- Network Setup - Permet d'effectuer la configuration nécessaire pour raccorder cet apparéil au réseau (consultez la section Menu de configuration du réseau à la page 97).
- HDMI Setup - Permet de synchroniser ce récepteur et votre composant Pioneer compatible avec la Control par l'HDMI (page 65).
- Other Setup - Permet de personneliser les réglages selon la façon dont vous pouze utiliser votre récepteur (consultez la section Menu Autre configuration à la page 98).
- MHL Setup - Change les réglages relatifs au MHL (consultez la section Configuration MHL à la page 101).
Configuration manuelle des enceintes
Ce récepteur permet d'effectuer des réglages précis pour optimiser l'impact du son surround. Ces réglages ne doivent être effectuels qu'une seule fois (sauf si vous souhaitez modifier l'emplacement de votre système d'enceintes actuel ou ajouter de nouvelles enceintes).
Ils vous permettent de personneliser votre système, mais vous n'êtes pas obligé de les appliquer si vous âtes satisfait des réglages effectuels à la section Obtention automatique d'un réglage sonore optimal (Full Auto MCACC) à la page 41.

ATTENTION
- Les tonalités de test utilisées pour Manual SP Setup sont générées à un volume élevé.
1 Sélectionnez 'Manual SP Setup', puis appuyez sur ENTER.
Consultez la section Reglages du recepteur depuis le menu de Configuration du système à la page 94 si vous n'avez pas encore atteint cet écran.
2 Sélectionnez le réglage que vous souhaitez ajuster.
Si vous effectue cette opération pour la première fois, il se peut que vous préfériez ajuster ces réglages dans l'ordre :
3 Effectuez les ajustements nécessaires pour chaque réglage, en appuyant sur RETURN pour confirmer après chaque écran.
Réglage du système d'enceintes
- Réglage par défaut: 9.1ch FH/FW
Les bornes d'enceintes de ce récepteur peuvent être utilisées de différentes façon. Outre une configuration home cinema classique, où elles sont utilisées pour les enceintes avant en position haute ou en position large, ces bornes peuvent être utilisées pour la double amplification des enceintes ou pour un système d'enceintes indépendant dans une autre piece.
1 Sélectionnez 'Speaker System' sur le menu Manual SP Setup.
Consultez la section Réglages du récepteur depuis le menu de Configuration du système à la page 94 si vous n'avez pas encore atteint cet écran.
2 Sélectionnez le système d'enceintes.
- 9.1ch FH/FW - Sélectionnez ce réglage pour une'utilisation home cinema classique avec les enceintes avant en position haute et en position large de votre configuration principale (systeme d'enceintes A).
- 7.1ch + Speaker B - Sélectionnez ce réglage pour utiliser les bornes d'enceinte B afin d'éçouter en stéreo dans une autre piece (consultez la section Commutation du bornes d'enceintes à la page 74).
- 7.1ch Front Bi-Amp - Sélectionnez ce réglage si vous réaliserez une double amplification des enceintes avant (consultez la section Double amplification des enceintes à la page 22).
- 7.1ch + ZONE 2 - Sélectionné ce réglage pour utiliser les bornés d'enceintes avant large pour écouter le son dans une autre zone (consultez la section Utilisation des commandes MULTI-ZONE à la page 75).
- 7.1ch FH/FW + ZONE 2 - Sélectionnez ce réglage pour utiliser les bornes d'enceintes surround arrêté pour écouter le son dans une autre zone (consultez la section Utilisation des commandes MULTI-ZONE à la page 75).
- 5.1ch Bi-Amp + ZONE 2 - Sélectionnéz ce réglage pour utiliser les bornes d'enceintes surround arrêté pour écouter le son d'un système indépendant dans une autre zone avec les enceintes avant bi-amplifiées (consultez la section Double amplification des enceintes à la page 22).
- 5.1ch + ZONE 2+3 - Sélectionné ce réglage pour utiliser les bornes d'enceintes surround arrêté (ZONE 2) et avant large (ZONE 3) pour écouter le son de systèmes indépendants dans une autre zone (consultez la section Utilisation des commandes MULTI-ZONE à la page 75).
3 Si vous avez selectionné 9.1ch FH/FW, 7.1ch + Speaker B, 7.1ch Front Bi-Amp ou
7.1ch + ZONE 2 à l' étape 2, Sélectionnez l'emplacement des enceintes surround.
Dans un système surround à 7.1 canaux dont les enceintes surround sont placées directement sur les côts de la position d'écoute, le son surround des sources importante 5.1 canaux sont restituées par les côts. Cette fonction mélange le son des enceintes surround avec le son des enceintes surround arrêté de sorte que le son surround est restitué en diagonale, de l'avant à l'arrête, comme il devrait l'être normalement.
Selon les positions des enceintes et la source sonore, il ne sera pas toujours possible d'obtenir de bons résultats. Si c'est le cas, reglez la fonction sur ON SIDE ou IN REAR.
- ON SIDE - Sélectionnéz ce réglage lorsque les enceintes surround juste à votre gauche et droite.
- IN REAR - Sélectionnéz ce réglage lorsque les enceintes surround sont en diagonale derrière vous.
4 Lorsque 'Setting Change?' est affché, sélectionnez Yes.
Si No est selectionné, le réglage ne change pas.
Vous revenez alors au menu Manual SP Setup.
Réglage des enceintes
Utilisez ce réglage pour préciser la configuration de vos enceintes (taille, nombre d'enceintes et fréquence de transition). Assurez-vous que les réglages effectués à la section Obtention automatique d'un réglage sonore optimal (Full Auto MCACC) à la page 41 sont corrects. Notez que ce réglage s'applique à tous les préréglages MCACC et qu'il ne peut être configuré indépendamment.
- Si vous utilisez une configuration d'enceintes THX, reglez toutes les enceintes sur SMALL.
2 Choisissez le groupe d'enceintes que vous souhaitez régler, puis seLECTIONnez une taille d'enceinte.
Utilizez pour selectionner la taille (et le nombre) des enceintes suivantes:
- Front - Sélectionnez LARGE si vos enceintes avant reproduisent fidèlement les basses fréquences ou si vous n'avez pas raccordé de caisson de grave. Sélectionnez SMALL pour envoyer les basses fréquences au caisson de grave.
- Center - Sélectionnez LARGE si vous enceinte centrale produit fidèlement les basses fréquences ou SMALL pour envoyer les basses fréquences aux autres enceintes ou au caisson de grave. Si vous n'avez pas raccordé d'enceinte centrale, choisissez NO (le canal central est envoyé aux enceintes avant).
- FH – Sélectionnez LARGE si vos enceintes avant en position haute reproduisent bien les basses fréquences, ou SMALL pour envoyer les basses fréquences aux autres enceintes ou au caisson de grave. Si vous n'avez pas raccordé d'enceintes avant en position haute, Sélectionnez NO (le canal avant haut est envoyé aux enceintes avant).
— Vou ne pouvez ajuster ce paramètre que lorsque Speaker System est reglé sur 9.1ch FH/FW, 7.1ch + Speaker B ou 7.1ch FH/FW + ZONE 2.
Si les enceintes surround sont regles sur NO, ce parametre se reglera automatiquement sur NO.
- FW - Sélectionnez LARGE si vos enceintes avant en position large reproduisent bien les basses fréquences, ou SMALL pour envoyer les basses fréquences aux autres enceintes ou au caisson de grave. Si vous n'avez pas raccordé d'enceintes avant en position large, Sélectionnez NO (le canal avant large est envoyé aux enceintes avant).
— Vous ne pouvez ajuster ce paramètre que lorsque Speaker System est régé sur 9.1ch FH/FW ou 7.1ch FH/FW + ZONE 2.
Si les enceintes surround sont reglees sur NO, ce parametre se reglera automatiquement sur NO.
- Surr - Sélectionnez LARGE si vos enceintes surround reproduisent fidèlement les basses fréquences. Sélectionnez SMALL pour envoyer les basses fréquences aux autres enceintes ou au caisson de grave. Si vous n'avez pas raccordé d'enceintes surround, désisissez NO (le son des canaux surround est envoyé aux enceintes avant ou à un caisson de grave).
- SB - Sélectionnéz le nombre d'enceintes surround arrêt dont vous disposez (une, deux ou aucune). Sélectionnéz LARGEx2 ou LARGEx1 si vos enceintes surround arrêt reproduisent bien les basses fréquences. Sélectionnéz SMALLx2 ou SMALLx1 pour envoyer les basses fréquences aux autres enceintes ou au caisson de grave. Si vous n'avez pas raccordé d'enceintes surround arrêt, désisissez NO.
— Vou ne pouvez ajuster ce paramètre que lorsque Speaker System est reglé sur 9.1ch FH/FW, 7.1ch + Speaker B, 7.1ch Front Bi-Amp ou 7.1ch + ZONE 2.
- Si les enceintes surround sont régles sur NO, les enceintes surround arrêt se réglient automatiquement sur NO.
- SW - Les signaux LFE et les basses fréquences des canaux régles sur SMALL sont restitués par le caisson de grave lorsque YES est sélectionné. Choisissez le réglage PLUS si vous souhaitez que le caisson de grave restitue les basses en permanence ou si vous souhaitez des basses plus profundes (les basses fréquences normalement émises par les enceintes avant et centrale sont également acheminées vers le caisson de grave). Si vous n'avez pas raccordé de caisson de grave,Choisissez NO (les basses fréquences sont restituées par d'autres enceintes).
— Si vous avez un caisson de grave et que vous aimez que les basses ressortent, il peutRARtre logique de selectionner LARGE pour vos enceintes avant et PLUS pour le caisson de grave. Toutefois, ce choix peut
ne pas donner des résultats optimaux. En fonction de la position des enceintes dans la pièce, vous pouvez en effet constater une diminution des basses à cause de l'annulation de basses fréquences. Dans ce cas, essayez de modifier la position ou l'orientation des enceintes. Si les résultats ne vous satisfont pas, écoutez la réponse aux basses en réglant sur PLUS et YES ou en réglant alternatively les enceintes avant sur LARGE et SMALL, et laissez-vous guider par votre ouïe. Si vous rencontrez des difficultés, l'option la plus simple consiste à envoyer toutes les basses au caisson de grave en sélectionnant SMALL pour les enceintes avant.
Si vous scélectionnez NO pour le caisson de grave, les enceintes avant se régleront automatiquement sur LARGE. De plus, si les enceintes avant sont régliées sur SMALL, les enceintes centrale, surround, surround arrêté et avant en position haute et en position large ne peuvent pas être régliées sur LARGE. Dans ce cas, toutes les basses fréquences sont envoyées au caisson de grave.
3 Sélectionnez 'X. OVER' et réglez la fréquence de transition.
Les fréquences inférieures au point de transition sont envoyées au caisson de grave (ou aux enceintes LARGE).
- Ce réglage déterminé la fréquence de transition entre les basses restituees par les enceintes régles sur LARGE, ou par le caisson de grave, et les basses restituées par les enceintes régles sur SMALL. Il déterminé également la fréquence de transition pour les basses du canal LFE.
- Avec la configuration Full Auto MCACC ou la configuration Auto MCACC (ALL ou Speaker Setting), ce réglage n'est pas appliqué et la fréquence de transition est spécifique automatiquement. La fréquence de transition est une fréquence qui se règle de manière à offrir un son optimal compte tenu de la capacité des enceintes à restituer les basses et des caractéristiques auditives de l'homme.
- Si vous utilisez une configuration d'enceintes THX, la fréquence de transition doit être régée sur 80Hz.
4 Lorsque vous avez terminé, appuyez sur RETURN.
Voure revenez alors au menu Manual SP Setup.
Niveau de canal
En utilisant les réglages du niveau de canal, vous pouvez ajuster l'équilibre général de votre système d'enceintes, facteur essentiel à la configuration d'un système home cinema.
Les tonalités d'essay sont émises.
2 Ajustez le niveau de chaque canal en utilisant /
Utilizez / pour commuter les enceintes.
Ajustez le niveau de chaque enceinte lorsque la tonalité de test est émise.
- Si vous utilisez un indicateur de pression sonore (SPL), effectuez les mesures depuis votre position d'écoute principale et ajustez le niveau de chaque enceinte à 75 dB SPL (Pondération C/ent).
3 Lorsque vous avez terminé, appuyez sur RETURN.
Vous revenez alors au menu Manual SP Setup.

Remarque
- Vous pouvez changer les niveaux des canaux en appuyant sur [RECEIVER] pour sélectionner le mode de fonctionnement du récepteur, puis sur CH LEVEL, et en utilisant / de la télécommande.
Distance des enceintes
Pour que votre système affiche une belle profondeur et une séparation ideale, vous devez préciser la distance séparant les enceintes et votre position d'écoute. Le récepteur peut alors ajouter le retard nécessaire pour obtenir un son surround correct.
1 Sélectionnez 'Speaker Distance' sur le menu Manual SP Setup.
2 Ajustez la distance de chaque enceinte en utilisant /
Yououpuzeajusterla distance de chaque enceinte par incrementsde0,01m.
3 Lorsque vous avez terminé, appuyez sur RETURN.
Vous revenez alors au menu Manual SP Setup

Remarque
- Pour un son surround de qualité, assurez-vous que les enceintes surround arrêté se trouvent à la même distance de la position d'écoute.
Courbe X
La plupart des bandes sonores mixées pour le cinema sont trop aigués lorsqu'elles sont émises dans de grandes pieces. Le réglage de la courbe X agit comme une nouvelle égalisation pour l'écoute sur un système home cinema : il restaure l'équilibre tonal des bandes sonores de films.
Bien que le principe soit le même, la courbe X ne s'aquique pas lors de l'utilisation des modes surround Home THX, Pure Direct ou Optimum.
1 Sélectionnez 'X-Curve' sur le menu Manual SP Setup.
2 Choisissez le réglage de courbe X souhaité.
Utilisez / pour ajuster le réglage. La courbe X est définie comme une ligne oblique descendante en déci-bels par octave, débutant à 2 kHz. Au fur et à mesure que la ligne oblique monte, le son perd en aigus (jusqu'à-3.0dB/occt au maximum). Utilisez les lignes directrices suivantes pour régler la courbe X en fonction de la taille de votre pièce :
| Taille de la pièce (m2) | ≤36 | ≤48 | ≤60 | ≤72 | ≤300 | ≤1000 |
| Courbe X (dB/oct) | -0.5 | -1.0 | -1.5 | -2.0 | -2.5 | -3.0 |
- Si vous sélectionné OFF, la courbe des fréquences est plate et la courbe X reste sans effet.
3 Lorsque vous avez terminé, appuyez sur RETURN.
Réglage audio THX
Ce menu permet à l'utilisateur d'ajuster diverses caractéristiques du THX, comme Loudness Plus, SBch processing, THX Select2 Subwoofer (marche/arrêt) et Boundary Gain Control. Veuillez vous reporter à page 113 pour de plus amples informations sur ces caractéristiques du THX.
1 Sélectionnez 'THX Audio Setting' sur le menu Manual SP Setup.
2 Sélectionnez soit ON soit OFF pour le paramètre THX Loudness Plus.
3 Precisez si le traitement SBch Processing doit etre AUTO ou MANUAL.
- AUTO - Lorsque des enceintes surround arrêtre sont raccordées, les signaux Dolby Digital EX prênts dans les signaux audio entrant sont automatiquement détectés et le mode surround THX approprié appliqué.
- MANUAL - Que les signaux audio entrant contiennent ou non des signaux pour le canal surround arrêté, le mode surround THX approprié peut être sélectionné.
4 Precisez si votre caisson de grave est certifié Select2 ou non.
Si vous caisson de grave n'est pas certifié THX Select2, mais si vous poulez toujours corriger le gain, Sélectionnez YES ici, mais l'effet risque de ne pas être audible.
5 Sélectionnez soit ON soit OFF pour le paramètre Boundary Gain Compensation.
6 Lorsque vous avez terminé, appuyez sur RETURN.
Vous revenez alors au menu Manual SP Setup.




Effectuez les réglages nécessaires pour connecter le récepteur à Internet et utiliser les fonctions réseau.
1 Appuyez sur RECEIVER de la télécommande, puis sur HOME MENU.
Un écran à interface graphique (GUI) apparait sur votre téléviseur. Utilisez ↑/↓/←/→ et ENTER pour naviguer sur les pages et Sélectionner les éléments de menu. Appuyez sur RETURN pour sortir du menu actuel.
2 Sélectionnez 'System Setup' sur le Home Menu.
3 Sélectionnez 'Network Setup' sur le menu System Setup.
4 Sélectionnez le réglage que vous souhaitez ajuster.
Si vous effectue cette opération pour la première fois, il se peut que vous préfériez ajuster ces réglages dans l'ordre :
- IP Address, Proxy - Permet de préciser l'adresse IP/le Proxy de ce récepteur (page 97).
- Network Standby - Permet d'utiliser la fonction AVNavigator même lorsque le recepteur est en voille (page 97).
- Friendly Name - Le nom du récepteur indiqué sur l'ordinateur ou le dispositif connecté au réseau peut être changé (page 97).
- Parental Lock - Restreint l'emploi des fonctions reseau (page 98).
- Port Number Setting - Precise les numéroes des ports reentrant les signaux de la Commande IP (page 98).
Réglage d'adresse IP/Proxy
Si le routeur relié à la prise LAN de ce récepteur est un routeur à large bande (avec serveur DHCP), mettez simplement la fonction du serveur DHCP en service, et le paramétrage manuel du réseau sera superflu. Vous devez paramétrer le réseau de la façon suivante seulement si le récepteur est connecté à un routeur à large bande sans serveur DHCP. Avant de paramétrer le réseau, besoin de conseilier à votre fournisseur Internet ou à votre gestionnaire de réseau qui vous indiquera les réglages nécessaires. Il est conséilé de se référer aussi au mode d'emploi fourni avec le composant en réseau.
- Si vous changez les réglages réseau sans serveur DHCP, effectuez les changements correspondants dans les réglages réseau de ce récepteur.
IP Address
L'adresse IP saisie doit correspondre aux définitions suivantes. Si l'adresse IP ne correspond à ces définitions, vous ne pourrez pas dire les fichiers audio enregistrés sur les composants du réseau ni écouter les stations radio Internet.
Classe A:10.0.0.1 a 10.255.255.254
Classe B:172.16.0.1 à 172.31.255.254
Classe C:192.168.0.1 à 192.168.255.254
Subnet Mask
Si le modem xDSL ou l'adaptateur de terminal est directement relié à ce récepteur, désignez le masque de sous-reseau fourni par courrier par votre fournisseur Internet. Dans la plupart des cas, il faut saisir 255.255.255.0.
Default Gateway
Si une passerelle (routeur) est reliée à ce récepteur, désignez l'adresse IP correspondante.
Si une seule adresse DNS vous a eté fournie par courrier par votre fournisseur Internet, saisissez-la dans le champ 'Primary DNS Server'. Si plus de deux adresses de serveur DNS sont indiquées, saisissez 'Secondary DNS Server' dans l'autre champ d'adresse de serveur DNS.
Proxy Hostname/Proxy Port
Ce réglage est nécessaire si vous raccordez ce récepteur à Internet par un serveur proxy. Saisissez l'adresse IP de votre serveur proxy dans le champ 'Proxy Hostname'. Saisissez aussi le numéro de port de votre serveur proxy dans le champ 'Proxy Port'.
1 Sélectionnez 'IP Address, Proxy' sur le menu Network Setup.
2 Sélectionnez le réglage DHCP souhaïte.
Lorsque you selectionnez ON, le réseau est automatiquement parametre, et vous n'avez pas besoin d'effectuer l'etape 3. Passez à l'etape 4.
S'il n'y a pas de serveur DHCP sur le réseau et si vous selectionnez ON, ce recepteur utilisera la fonction IP Auto pour déterminer automatiquement l'adresse IP.
- L'adresse IP déterminée par la fonction IP Auto est 169.254.X.X. Vous ne pouvez pas écouter de station radio Internet si l'adresse IP est déterminée par la fonction IP Auto.
3 Saisissez les IP Address, Subnet Mask, Default Gateway, Primary DNS Server et Secondary DNS Server.
Appuyez sur / pour selectionner un numero et sur / pour déplacer le curseur.
4 Sélectionnez 'OFF' ou 'ON' pour le réglage Enable Proxy Server pour désactiver ou activer le serveur proxy.
Si vous sélectionné 'OFF', passez à l'objet 7. Si vous sélectionné 'ON' par contre, passez à l'objet 5.
5 Désignez l'adresse de votre serveur proxy ou le nom de Domaine.
Utilisez ↑/↓ pour sélectionner un caractère, ←/→ pour spécifique la position et ENTER pour valider votre sélection.
6 Désignez le numéro de port de votre serveur proxy.
Utilisez ↑/↓ pour sélectionner un caractère, ←/→ pour spécifique la position et ENTER pour valider votre sélection.
7 Sélectionnez 'OK' pour valider le réglage de l'adresse IP/Proxy.
Veille réseau
Ce réglage permet d'utiliser la fonction AVNavigator pour contrôler le récepteur depuis un ordinateur raccordé au même réseau LAN que le récepteur même lorsque celui-ci est en voil.
1 Sélectionnez 'Network Standby' sur le menu Network Setup.
2 Precisez si le traitement Network Standby doit être ON ou OFF.
- ON - Permet d'utiliser la fonction AVNavigator même lorsque le récepteur est en voille.
- OFF - La fonction AVNavigator ne peut pas etre utiliserisée lorsque le recepteur est en veille (Ceci permet de réduire la consommation en veille).
Surnom
1 Sélectionnez 'Friendly Name' sur le menu Network Setup.
2 Sélectionnez 'Edit Name', puis 'Rename'.
Si, après avoir changé le nom, vous poulez rétablier le nom par défaut, Sélectionnez Default.
3 Saisissez le nom souhaité.
Utilisez ↑/↓ pour sélectionner un caractère, ←/→ pour spécifique la position et ENTER pour valider votre sélection.
Verrouillage parental
Vou puez restreindre l'usage des services Internet. Pour ce faire vous devez spécifier un mot de passer.
- En usine, le mot de passer "0000" a été spécifique.

Important
Lorsque l'entrée INTERNET RADIO ou FAVORITES est sélectionnée, le réglage effectué ici ne peut pas être pris en compte.
1 Sélectionnez 'Parental Lock' sur le menu Network Setup.
2 Saisissez le mot de passer.
Utilisez ↑/↓ pour sélectionner un caractère, ←/→ pour spécifique la position et ENTER pour valider votre sélection.
3 Precisez si Parental Lock doit etre activé ou desactivé.
- OFF - Les services Internet ne sont pas restreints.
- ON - Les services Internet sont restreints.
4 Si vous foulez changer le mot de passer, Sélectionnez Change Password.
Dans ce cas, vous revenez à l'étape 2.
Réglage des numérios de ports
Sur ce récepteur, un maximum de 5 numérios de ports peuvent receivevoir des signaux.
1 Sélectionnez 'Port Number Setting' sur le menu Network Setup.
2 Sélectionnez le numéro de port que vous pouze changer.
3 Saisissez le numero de port.
- Utilisez ↑/↓ pour sélectionner un caractère, ←/→ pour spécifique la position et ENTER pour valider votre sélection.
- Il n'est pas possible de spécifique plusieurs fois le même numero de port.
4 Si vous voulez changer d'autres numéroes de port, repêze les étapes 2 et 3.

Remarque
- Il est conseilé de spécifique le numéro de port sur 00023 ou entre 49152 et 65535.
- Lorsque le numero de port a Change, les communications reseau entre le recepteur et I'AVNavigator ne sont plus possibles. Dans ce cas, cliquez sur Settings sur le menu de fonctions de I'AVNavigator, selectionnez l'onget de I'adresse IP et saisissez un des nombres de ports specifiés sur le recepteur pour activer la communication avec I'AVNavigator.
- N'utilisez pas 0 ou 8102 comme numero de port. Sinon, il peut etre impossible de se connecter correctement.
L'etat des réglages des éléments suivants, liés au réseau, peuvent être vérifiés.
- IP Address - Verification de l'adresse IP de ce récepteur.
- MAC Address - Verification de l'adresse MAC de ce récepteur.
- Friendly Name - Surnom à la page 97.
1 Appuyez sur RECEIVER de la télécommande, puis sur HOME MENU.
Un écran à interface graphique (GUI) apparait sur votre téléviseur. Utilisez ↑/↓/←/→ et ENTER pour naviguer sur les pages et sélectionner les éléments de menu. Appuyez sur RETURN pour sortir du menu actuel.
2 Sélectionnez 'Network Information' sur le Home Menu.
Affichez I'etat des réglages des éléments liés au réseau.
Le menu Other Setup vous permet de réaliser des réglages personnalisés qui reflètent votre utilisation du récepteur.
1 Appuyez sur RECEIVER de la télécommande, puis sur HOME MENU.
Un écran à interface graphique (GUI) apparaît sur votre téléviseur. Utilisez ↑/↓/←/→ et ENTER pour naviguer sur les pages et sélectionner les éléments de menu. Appuyez sur RETURN pour sorting du menu actuel.
2 Sélectionnez 'System Setup' sur le Home Menu.
3 Sélectionnez 'Other Setup', puis appuyez sur ENTER.
4 Sélectionnez le réglage que vous souhaitez ajuster.
Si vous effectuez cette opération pour la première fois, il se peut que vous préfériez ajuster ces réglages dans l'ordre :
- Auto Power Down - Permet l'extinction automatique du récepteur lorsqu'il n'est pas utilisé.
Volume Setup - Permet de régler les fonctions dépendant du volume de ce récepteur (page 99).
- Remote Control Mode Setup - Permet de spécifique le mode de la télécommande du récepteur (page 99).
- Software Update - Permet de mettre à jour le logiciel du récepteur et d'en vérifier la version.
- ZONE Setup - Permet de faire les réglages en rapport avec la zone secondaire (page 100).
- EXTENSION Setup - Permet d'utiliser la CU-RF100 meme lorsque le recepteur est en veille (page 100).
- On Screen Display Setup - Precise si I'etat doit etre indique ou non sur I'afficheur quand le recepteur fonctionne (page 100).
- Maintenance Mode - Cet élément est utilisé pour la maintenance par un technicien ou un installerateur Pioneer (page 100).
5 Effectuez les ajustements nécessaires pour chaque réglage, en appuyant sur RETURN pour confirmer après chaque écran.
Extinction automatique
Le récepteur peut-être régle de manière à s'éteindre automatique si aucune opération n'est effectuépendant un certain laps de temps et en l'absence de tout signal audio ou video. Lorsque la ZONE 2 ou ZONE 3 est utilisée, l'appareil de la ZONE 2 ou ZONE 3 peut aussi être régle de manière à s'éteindre, mais dans ce cas il s'éteindra automatique après écoulement du temps spécifique ici, même si des signaux sont reçus ou des opérations ont été effectuees.
Des temps différents peuvent être spécifiés pour la zone principale, la ZONE 2 et la ZONE 3.
1 Sélectionnez 'Auto Power Down' sur le menu Other Setup.
2 Sélectionnéz la zone que vous poulez spécifique ainsi que le péri d'extinction.
- MAIN - Vous avez le choix entre "15 min", "30 min", "60 min" et "OFF". L'appareil s'est int si aucun signal n'est reçu et aucune opération effectue pendant le temps selectionné.
- ZONE 2 - Vous ave le choix entre "30 min", "1 hour", "3 hours", "6 hours", "9 hours" et "OFF". L'appareil s'éteint après écoulement du temps sélectionné.
- ZONE 3 - Vous ave le choix entre "30 min", "1 hour", "3 hours", "6 hours", "9 hours" et "OFF". L'appareil s'éteint après écoulement du temps sélectionné.

Remarque
- Selon les apparèils raccordés, l'extinction automatique peut ne pas agir correctement à cause de parasites excessifs ou d'autres raisons.
Réglage du volume
Vou puez regler le volume maximale de ce recepteur ou specifier le niveau sonore a sa mise sous tension.
2 Sélectionnez le réglage Power ON Level souhaité.
Le volume peut etre regle pour etre always au meme niveau lorsque le recepteur est mis sous tension.
LAST (defaut) - Lorsque vous mettez le recepteur sous tension, le volume est le même qu'a la derniere mise hors tension.
- "..." - Lorsque vous mettez le récepteur sous tension, le volume est au niveau minimal.
- -80.0dB à +12.0dB – Sécicifiez le volume du récepteur à sa mise sous tension par incréments de 0,5 dB. Il n'est pas possible de désigner un niveau sonore supérieur à la valeur spécifique dans le réglage du volume limite (voir ci-dessous).
3 Sélectionnez le réglage Volume Limit souhaïte.
Utilisez cette fonction pour limiter le volume maximal. Le volume ne peut pas etre augmente au-delà de cette limite, meme avec la touche VOLUME (ou la molette sur le panneau avant).
OFF (défaut) - Le volume maximal n'est pas limite.
- 20.0dB/-10.0dB/0.0dB - Le volume maximal est limite à la valeur specifiée ici.
4 Sélectionnez le réglage Mute Level souhaïte.
Ce réglage précise de combien le volume doit être réduit lorsque vous appuyez sur MUTE.
FULL (défault) - Pas de son.
- -40.0dB/-20.0dB – Le volume est réduit au niveau spécifique.
5 Lorsque vous avez terminé, appuyez sur RETURN.
Vos revenez alors au menu Other Setup.
Réglage du mode de la télécommande
Ce réglage permet d'éviter les opérations erratiques possibles lorsque plusieurs récepteurs sont utilisés.
1 Sélectionnez 'Remote Control Mode Setup' sur le menu Other Setup.
2 Sélectionnez le réglage Remote Control Mode souhaité.
3 Sélectionnez 'OK' pour changer le mode de commande à distance.
4 Suivez les instructions apparaissant à l'écran pour changer les réglages de la télécommande.
Consultez la section Exploitation de plusieurs recepteurs à la page 79.
5 Lorsque vous avez terminé, appuyez sur RETURN.
Vos revenez alors au menu Other Setup.
Mise à jour du logiciel
Procedez de la façon suivante pourmettre a jour le logiciel du recepteur et vérifier sa version. La mise a jour peut s'effectuer de deux manieres:par Internet et par le dispositif USB.
La mise à jour par Internet s'effectue en accédant au serveur du récepteur et en téléchargeant le fichier correspondant. Ceci n'est possible que si le récepteur est connecté à Internet.
La mise à jour par le dispositif USB s'effectue en téléchargeant le fichier de mise à jour d'un ordinateur, sauvégardant ce fichier sur un dispositif USB puis insérant le dispositif USB dans le port USB du panneau avant du récepteur. Dans ce cas, le dispositif USB contenant le fichier de mise à jour doit d'abord être inséré dans le port USB du panneau avant du récepteur.
- Si un fischier de mise à jour est disponible sur le site Pioneer, téléchargez-le sur votre ordinateur. Le fischier de mise à jour télécharge du site Pioneer sur votre ordinateur est compressé dans le format ZIP. Il doit être décompressé avant d'être sauvégarde sur le dispositif USB. Si le dispositif USB contient des fischiers téléchargez anciens ou des fichiers téléchargez pour d'autres modèles, supprimez-les.

Important
- NE débranche PAS le cordon d'alimentation pendant la mise à jour.
- Lorsque vous effectue la mise à jour par Internet, ne débranche pas le cable LAN. Lorsque vous effectue la mise à jour par le dispositif USB, ne débranche pas le dispositif USB.
- Si la mise à jour est interrompue avant la fin, recommencez depuis le début.
- La mise à jour du logiciel peut réinitialiser les réglages du récepteur. Vous trouvez des informations sur les modèles dont les réglages sont réinitialisés sur le site Pioneer. Consultez le site avant de faire la mise à jour.
2 Sélectionné la mise à jour.
- Update via Internet - Le récepteur vérifie si une mise à jour est disponible par Internet.
- Update via USB Memory - Le récepteur vérifie si le dispositif USB inséré dans le port USB du panneau avant du récepteur contient une mise à jour.
"Accessing" s'affiche et le fichier de mise à jour est vérifié. Attendez un instant.
3 Vérifiez sur l'écran si un fichier de mise à jour a été trouve.
Si "New version found." s'affiche, le fichier de mise à jour a été trouve. Le nombre de version et la durée de la mise à jour sont indiqués.
Si "This is the latest version. There is no need to update." s'affiche,�除 fichier de mise a jour n'a ete trovve.
4 Pour faire la mise à jour, Sélectionnez OK.
L'écran de mise à jour apparait et la mise à jour est exécutée.
- L'alimentation est automatiquement coupée lorsque la mise à jour est terminée.
Messages de mise à jour du logiciel
| Mentions d'état | Descriptions |
| FILE ERROR | Essayez de débrancher puis de rebrancher le dispositif USB ou de sauvegarder une nouvelle fois le fichier de mise à jour. Si l'erreur est toujours présente, essayez d'utiliser un autre dispositif USB. |
| Aucun fichier de mise à jour trouvé sur le dispositif USB. Sauvegardez le fichier dans le réseau principal du dispositif USB. |
| UPDATE ERROR 1 à UPDATE ERROR 7 | Éteignez le récepteur puis rallumez-le et essayez de remettre à jour le logiciel. |
| Update via USB | La mise à jour a échoué si ce message clignote. Faites la mise à jour par un dispositif USB. Metteze le fichier de mise à jour sur un dispositif USB et branchez le dispositif sur le port USB. Lorsque le fichier est trouvé, la mise à jour du logiciel commence automatiquement. |
| UE11 | |
| UE22 | La mise à jour a échoué. Refaites la mise à jour de la même façon. |
| UE33 | |




Configuration ZONE
Le volume et la sonorité des zones secondaires disponibles avec ce récepteur se changent et règlent ici.

ATTENTION
- Notez que lorsque Volume Level est régé sur 0 dB Fixed, le son provenant des prises AUDIO ZONE 2 OUT est au niveau maximal. De plus, selon le réglage de volume sur l' amplificateur raccordé, le volume peut être plus fort même lorsque Volume Level est régé sur -40 dB Fixed.
1 Sélectionnez 'ZONE Setup' sur le menu Other Setup.
2 Sélectionnez 'ZONE 2' ou 'ZONE 3', puis appuyez sur ENTER.
3 Sélectionnez le réglage Volume Level souhaité.
Si des raccordements multizone sont faits par les prises AUDIO ZONE 2 OUT ou AUDIO ZONE 3 OUT et si la lecture est effectue dans la Zone 2 ou dans la Zone 3, il est possible de préciser si le volume de la Zone 2 ou de la Zone 3 doit être ajusté sur le récepteur ou si un volume précis doit être défini (-40 dB Fixed ou 0 dB Fixed). Le réglage Variable a été spécifique en usine pour permettre de régler le volume sur le récepteur. Si vous pouze ajus ter le volume depuis l'amplificateur raccordé, effectuez le réglage suivant.
Pour ZONE 2, ce réglage n'est pas possible si des réglages multizone ont été effectuels avec les bornes de d'enceintes et si Speaker System est régèle sur 7.1ch + ZONE 2. Dans ce cas, ajustez le volume pour les zones secondaires sur le récepteur.
- Variable (défaut) - Le volume de la Zone 2/Zone 3 s'ajuste sur le récepteur.
- 40 dB Fixed/0 dB Fixed - Le volume de la Zone 2/Zone 3 à la sortie du récepteur resté à la valeur précisé ici.
4 Sélectionnez le réglage Power ON Level souhaité.
Le volume de la zone secondaire se règle sur le volume sélectionné ici lorsque la zone secondaire est activée par la fonction multizone. Les Zones 2 et 3 peuvent être régles séparément.
Lorsque Volume Level est régé sur -40 dB Fixed ou 0 dB Fixed, le volume reste fixe à ce niveau et ne peut pas être régé ici.
LAST (defaut) - Lorsque MULTI-ZONE est activé, le volume est le même que la dernière fois que vous avez écoute dans cette zone.
- "..." - Lorsque MULTI-ZONE est activé, le volume pour cette zone est au niveau minimal.
- 80.0dB à 0dB - Lorsque MULTI-ZONE est activé, le volume est au niveau spécifique ici. Le volume peut être réglé sur la valeur spécifique dans Volume Limit ci-dessous.
5 Sélectionnez le réglage Volume Limit souhaité.
Le volume maximal pour la zone selectionnée à l'etape 2 peut être spécifique.
OFF (défaut) - Le volume maximal n'est pas limité.
- -20.0dB/-10.0dB - Le volume maximal est limite à la valeur spécifiée ici.
6 Sélectionnez le réglage Mute Level souhaité.
Le niveau de sourdine pour la zone selectionnée à l'etape 2 peut être spécifique.
Ce réglage précise de combien le volume doit être réduit lorsque vous appuyez sur MUTE.
FULL (défault) - Pas de son.
- 40.0dB/-20.0dB - Le volume est réduit au niveau spécifique.
7 Reglez Lch Level et Rch Level.
Le niveau des canaux pour la zone selectionnée à l'etape 2 peut être spécifique.
Le niveau peut être régle entre -12.0dB et +12.0dB, par incréements de 1 dB.
8 Sélectionnez le réglage HPF (Filtre passe-haut) souhaité.
Ce réglage ne peut être spécifique que lorsque ZONE 2 est sélectionné à l' étape 2.
Les composantes basses fréquences provenant des prises AUDIO ZONE 2 OUT sont coupées. Lorsqu'un caisson de grave est racordé dans la Zone 2, il est conseilé de régler ce paramètre sur "ON". Ceci n'est valide que lorsque la Zone 2 est racordé par les prises AUDIO ZONE 2 OUT.
OFF (défaut) - Désactive le filtré passée-haut.
- ON - Active le contrôle passée-haut.
9 Sélectionnez le réglage TONE souhaïte.
Ce réglage ne peut être spécifique que lorsque ZONE 2 est sélectionné à l' étape 2.
Le grave et l'aigu de ZONE 2 peuvent etre regles. Lorsque BYPASS est selectionne, le son original est lu telquel. Lorsque ON est selectionne, BASS et TREBLE peuvent etre regles.
- Lorsque les bornes d'enceintes sont utilisées pour la ZONE 2, l'effet ZONE 2 TONE est valide quand Speaker System est régé sur 7.1ch FH/FW + ZONE 2, 5.1ch Bi-Amp + ZONE 2 ou 5.1ch + ZONE 2+3.
Quand 7.1ch + ZONE 2 est spécifique, l'effect ZONE 2 TONE n'est pas valide.
10 Reglez le grave (BASS) et l'aigu (TREBLE) selon vos préférences.
Ce réglage ne peut être spécifique que lorsque ZONE 2 est sélectionné à l' étape 2 et ON est sélectionné à l' étape 8. Les paramètres BASS et TREBLE peuvent chacun être régliés entre -10.0dB et +10.0dB, par incréments de 1 dB.
11 Lorsque vous avez terminé, appuyez sur RETURN.
Vos revenez alors au menu Other Setup.
Configuration de EXTENSION
La CU-RF100 vendue séparément peut être utilisée pour faire fonctionner le récepteur par les radiofréquences. Pour se faire, réglez le paramètre EXTENSION sur ON. Lorsque ON est régle ici, le récepteur est opérationnel même lorsqu'il est en vue.
1 Sélectionnez 'EXTENSION Setup' sur le menu Other Setup.
2 Sélectionnez le réglage EXTENSION souhaïte.
3 Lorsque vous avez terminé, appuyez sur RETURN.
Vos revenez alors au menu Other Setup.
Réglage de l'affichage sur écran
Lorsque le récepteur fonctionne, son état (le nom de l'entrée, le mode d'écoute, etc.) se surperpose au signal video sur l'afficheur. L'affichage de l'objet peut être mis hors service en réglient cet élément sur OFF.
Réglage par défaut: ON
1 Sélectionnez 'On Screen Display Setup' sur le menu Other Setup.
2 Sélectionnez le réglage On Screen Display souhaité.
3 Lorsque vous avez terminé, appuyez sur RETURN.
Vous revenez alors au menu Other Setup.

Remarque
- L'affichage sur écran n'apparait pas quand les signaux video proviennent des prises HDMI OUT 2 et VIDEO MONITOR OUT.
L'affichage sur écran n'apparait pas quand la résolution des signaux video est en 480i/576i ou 4K.
- La taille des caractères affichés diffère selon la résolution de la sortie.
Mode Maintenance
N'utilisez cet élément que si un technicien ou un installateur Pioneer vous le demande.
Configuration MHL
Sélectionne si l'entrée doit être commutée ou non automatiquement sur l'entrée MHL lorsqu'un dispositif compatible MHM est raccordé.
1 Appuyez sur RECEIVER de la télécommande, puis sur HOME MENU.
Un écran à interface graphique (GUI) apparait sur votre téléviseur. Utilisez ↑/↓/←/→ et ENTER pour naviguer sur les pages et Sélectionner les éléments de menu. Appuyez sur RETURN pour sortir du menu actuel.
- Appuyez sur HOME MENU à n'importe quel moment pour dégager la page Home Menu.
2 Sélectionnez 'System Setup' dans le Home Menu, puis appuyez sur ENTER.
3 Sélectionnez 'MHL Setup' sur le menu System Setup.
4 Sélectionnez le réglage 'Auto input switching' souhaité.

Remarque
- Ce réglage n'est valide que pour les dispositifs MHL prénant en charge cette fonction.




FAQ
Guide de dépannage 103
Alimentation 103
Pas de son 103
Autres problèmes audio 104
Prise ADAPTER PORT 105
Vidéo 105
Réglages 106
Graphique de l'égaliseur du calibrage professionnel 106
Afficheur 106
Télécommande 107
HDMI 107
AVNavigator 108
Interface USB 108
iPod 109
Réseau 109
Commande Web 110
LAN sans fil 111




Guide de dépannage
Souvent, les opérations incorrectes sont interprétées comme des problèmes et des dysfonctionnements. Si vous estimez que cet apparil ne fonctionne pas correctement, vérifie les points ci-dessous. Parfois, le problème peut provenir d'un autre composant. Examinez les autres composants et les apparils électriques utilisés. Si le problème ne peut être résolu malgré les indications ci-dessous, consultez votre service après-ventre Pioneer le plus proche pour faire réparer le composant.
- Si l'appareil ne fonctionne pas normalement en raison d'effets extérieurs comme l'électricité statique, débranche la fiche d'alimentation de la prise de courant et rebranche-la pour revenir aux conditions normales de fonctionnement.
Si les solutions mentionnées ci-dessous ne permettent pas de résoudre le problème, si l'écran se fige subitement ou si les touches de la télécommande ou du panneau avant cesSENT complètement de fonctionner, effectuez les opérations suivantes :
- Appuyez sur Φ STANDBY/ON sur le panneau avant pourmettre le récepteur hors tension, puis le remetre sous tension.
- Si le récepteur ne peut pas être mis hors tension, appuyez 10 secondes sur STANDBY/ON sur le panneau avant. L'alimentation sera coupée. Dans ce cas, les différents régles effectués sur le récepteur seront supprimés. (Toutefois, lors de la mise hors tension normale, les régles ne sont pas supprimés.)
Alimentation
| Symptôme | Solution |
| Impossibhe demettre l'appareil sous tension. | Assurez-vous que le cordon d'alimentation est branché sur une prise électrique. |
| Essayez de débrancher l'appareil, puis de le rebrancher. |
| Impossibhe demettre l'appareil hors tension.(ZONE 2 ON ou ZONE 3 ON est affché.) | Appuyez sur ZONE 2 ou ZONE 3 de la télécommande, puis appuyez sur ° RECEIVER pour désactiver la zone secondaire. |
| Le récepteur s'éteint subitement ou l'indicateur iPod iPhone iPad clignote. | Vérifie qu'aucun brin des fils des enceintes ne touche le panneau arrêté ou un autre groupe de cables. Si c'est le cas, rattachez les fils des enceintes et assurez-vous qu'au-cun brin ne trâne. |
| Le récepteur peut connaître un grave problème. Débranchez-le et contactez le service après-vente Pioneer. |
| Pendant une lecture à un niveau sonorelevé, l'alimentation se coupe subitement. | Baissez le volume. |
| Baissez les niveaux d'égalisation 63 Hz et 125 Hz, comme indiqué à la section Configuration MCACC manuelle à la page 88. |
| Mette la sécurité numérique en service. Tout en tenant ENTER enchocée sur le panneau avant, appuyez sur ° STANDBY/ON pourmettre le récepteur en veille. Utilisez TUNE ↑/↓ pour sélectionner D.SAFETY <OFF>, puisutilise PRESET ←/→ pour sélectionner 1 ou 2 (seLECTIONnez D.SAFETY <OFF> pourmettre la fonction hors service). Si l'alimen-tation se coupe alors que 2 est activé, baissez le volume. Lorsque 1 ou 2 est en service, certaines fonctions peuvent ne pas être disponibles. |
| L'appareil ne répond pas lorsque j'appuie sur les touches. | Éteignez le récepteur, puis rallumeze-le. |
| Essayez de débrancher le cordon d'alimentation, puis de le rebrancher. |
| AMP ERR clignote à l'écran, puis l'appareil s'éteint automatiquement.L'indicateur ADVANCED MCACC clignote et l'appareil ne s'allume pas. | Le récepteur peut connaître un grave problème. N'essayez pas de le méttre sous tension.Débranchez le récepteur et contactez le service après-vente Pioneer. |
| Symptôme | Solution |
| Le récepteur s'éteint subitement ou l'indicateur FL OFF clignote. | Il y a un problème au niveau du bloc d'alimentation du récepteur ou du ventilateur. Essayez de lemettre sous tension. Si le même problème se produit, cela signifie que le récepteur est endommagé. Débranche le récepteur et contactez le service après-vente Pioneer. (D'autres symptômes peuvent apparaitre lorsqu'vas allumez le récepteur.) |
| AMP OVERHEAT clignote sur l'afficheur et le témoin d'FL OFF clignotent et le récepteur s'éteint. | Laissez refroidir l'appareil dans un endroit bien ventilé, puis rallumez-le (consultez la section Installation du récepteur à la page 8).Vérifiez si les câbles utilisés pour relier les enceintes ne sont pas court-circuités.Attenez au moins 1 minute, puis rallumez l'appareil.La température à l'intérieur de l'appareil est supérieure à la valeur autorisée.Baissez le volume. |
| Le récepteur s'éteint subitement ou ADVANCED MCACC clignote. | Le bloc d'alimentation est endommagé. Débranche le récepteur et contactez le service après-vente Pioneer. |
| FAN STOP apparaît, puis l'indicateur iPod iPhone iPad clignote. | Le ventilateur intégré ne fonctionne pas correctement. N'essayez pas demettre le récepteur sous tension. Débranche le récepteur de la prise murale et contactez un service après-vente agréé Pioneer. |
| 12V TRG ERR clignote sur l'afficheur. | Une erreur s'est produit aux prises de déclencheur 12 V. Rebranche correctement les câbles et remettez le récepteur sous tension. |
Pas de son
| Symptôme | Solution |
| Aucun son n'est émis lorsqu'une fonction d'entrée est sélectionnée.
Aucun son ne sort des enceintes avant. | Vérifiez le volume, le réglage de sourdine (appuyez sur MUTE) et le réglage des enceintes (appuyez sur SPEAKERS). |
| Vérifiez si la fonction d'entrée adéquate est sélectionnée. |
| Vérifiez que le microphone de configuration MCACC est débranché. |
| Assurez-vous d'avoir sélectionné le signal d'entrée adéquat (appuyez sur SIGNAL SEL). |
| Notez que lorsque Fixed PCM ON est sélectionné, vous ne pouvez pas entendre les signaux enregistrés dans d'autres formats (consultez la section Réglage des options audio à la page 70). |
| Vérifiez que le composant source est correctement raccordé (consultez la section Rac-cordement de votre équipement à la page 18). |
| Vérifiez que les enceintes sont correctement raccordées (consultez la section Raccordement des enceintes à la page 21). |
| Aucun son ne sort des enceintes surround ou centrale. | Assurez-vous que le mode d'entrée en stéreo ou le mode surround avant évolué n'a pas été sélectionné; sélectionné un des modes d'entrée surround (consultez la section Écoute de sources variées grâce aux divers modes d'entrée à la page 56). |
| Vérifiez que les enceintes surround/centrale ne sont pas régliées sur NO (consultez la section Réglage des enceintes à la page 95). |
| Vérifiez les régliages du niveau de canal (consultez la section Niveau de canal à la page 95). |
| Vérifiez les raccordements des enceintes (consultez la section Raccordement des enceintes à la page 21). |
| Aucun son ne sort des enceintes surround arrêté. | Assurez-vous que les enceintes surround arrêté sont bien régliées sur LARGE ou SMALL et les enceintes surround ne sont pas régliées sur NO (consultez la section Réglage des enceintes à la page 95). |
| Vérifiez les racordements des enceintes (consultez la section Raccordement des enceintes à la page 21). Si une seule enceinte surround arrêté est raccordée, vérifie si elle est reliée à la borne d'enceinte du canal gauche. |
| Aucun son émis par les enceintes avant en position haute ou large. | Assurez-vous que les enceintes avant en position haute ou large sont bien régliées sur LARGE ou SMALL et les enceintes surround ne sont pas régliées sur NO (consultez la section Réglage des enceintes à la page 95). |
| Vérifiez les racordements des enceintes (consultez la section Raccordement des enceintes à la page 21). |
| Aucun son ne sort du caisson de grave. | Vérifiez que le caisson de grave est correctement racordé, qu'il est allumé et que le volume est suffisant. |
| Si le caisson de grave est doté d'une fonction sommeil, assurez-vous qu'elle est désacti-vee. |
| Vérifiez que le caisson de grave est réglé sur YES ou PLUS (consultez la section Réglage des enceintes à la page 95). |
| La fréquence de transition peut être réglée sur un niveau trop bas ; réglez-la sur un niveau plus élevé pour qu'elle corresponde aux caractéristiques des autres enceintes (consultez la section Réglage des enceintes à la page 95). |
| S'il y a très peu d'information sur les basses fréquences dans le matériel source, modi-fiez les régliages de vos enceintes et sélectionnez Avant : SMALL / Caisson de grave : YES ou Avant : LARGE / Caisson de grave : PLUS (consultez la section Réglage des enceintes à la page 95). |
| Vérifiez que le canal LFE n'est pas réglé sur OFF ou sur une valeur très faible (consultez la section Réglage des options audio à la page 70). |
| Vérifiez les régliages du niveau des enceintes (consultez la section Niveau de canal à la page 95). |
| Aucun son ne sort des enceintes. | Vérifiez le réglage AMP. Réglez-le sur ON si vous voulez que le son soit de toutes les enceintes (Réglage des options audio à la page 70). |
| Aucun son ne sort d'une enceinte. | Vérifiez les racordements des enceintes (consultez la section Raccordement des enceintes à la page 21). |
| Vérifiez les régliages du niveau des enceintes (consultez la section Niveau de canal à la page 95). |
| Assurez-vous que l'enceinte n'est pas réglée sur NO (consultez la section Réglage des enceintes à la page 95). |
| Il se peut que le canal ne soit pas enregistré dans la source. En utilisant l'un des modes d'écoute avec effet avancé, vous pouvez créé le canal manquant (consultez la section Écoute de sources variees grâce aux divers modes d'écoute à la page 56). |
| Les composants analogiques produit du son, mais pas les composants numériques (DVD, LD, CD, etc.). | Vérifiez que le type de signal d'entrée est réglé sur DIGITAL (consultez la section Choix du signal d'entrée à la page 58). |
| Assurez-vous que l'entrée numérique est correctement affectée à la prise d'entrée auquel le composant est raccordé (consultez la section Le menu Input Setup à la page 43). |
| Vérifiez les régliages de sortie numérique sur le composant source. |
| Si le composant source possède une commande de volume numérique, assurez-vous qu'elle n'est pas réglé à un niveau trop bas. |
| Symptôme | Solution |
| Aucun son n'est émis ou un bruit est génééré lors de la lecture d'une gravure Dolby Digital/DTS. | Assurez-vous que votre lecteur BD ou DVD est compatible avec les disques Dolby Digital/DTS. |
| Vérifiez les réglages de la sortie numérique ou les réglages de la sortie audio HDMI de votre lecteur BD ou DVD. Assurez-vous que la sortie du signal DTS est réalisée sur On. |
| Si le composant source possède une commande de volume numérique, assurez-vous qu'elle n'est pas réalisée à un niveau trop bas. |
| Aucun son n'est émis lorsque la page Home Menu est utilisé. | Si la fonction d'entrée HDMI est sélectionnée, le son reste coupé jusqu'à ce que vous quittiez la page Home Menu. |
Autres problèmes audio
| Symptôme | Solution |
| Un son de commutation d'enceintes (un clic) est émis par le récepteur pendant la lecture. | Selon le mode d'écoute, les enceintes avant en position haute (ou avant en position large) et arrêtre surround peuvent être commutées automatiquement quand les signaux audio présents en entrée changent. Un son de commutation d'enceintes (un clic) est émis par le récepteur à ce moment. Si ce son vous dérange, vous pouvez spécifique d'autres prises d'enceintes (consultez la section Commutation du bornes d'enceintes à la page 74). |
| Les stations radio ne peuvent être sélectionnées automatiquement ou il y a beaucoup de bruit dans les émissions radio. | Étendez complètement l'antenna fil FM, positionnez-la pour assurer la qualité récep-tion possible et fixez-la à un mur, par exemple.Pour une meilleure réception, utilisez une antenna extérieure (voir page 34).Réglez la position et l'orientation de l'antenne AM.Des interférences provenant d'autres équipement, comme une lampe fluorescente ou un moteur, peuvent provoquer du bruit. Éteignez ou déplacez l'appareil en cause, ou dépla-cez l'antenne AM. |
| Il y a du bruit lors du balayage d'un CD DTS. | Il ne s'agit pas d'un dysfonctionnement du récepteur. La fonction balayage de votre lecteur altère les informations numériques, les rendant illisibles, ce qui génére du bruit.Baissez le volume pendant le balayage. |
| Lors de la lecture d'un LD au format DTS, on entend du bruit sur la bande sonore. | Assurez-vous que le type de signal d'entrée est réglé sur DIGITAL (consultez la section Choix du signal d'entrée à la page 58). |
| Impossible d'enregistrer du son. | Vous ne pouvez effectuer un enregistrement numérique qu'à partir d'une source numé-rique et un enregistrement analogique qu'à partir d'une source analogue.Pour les sources numériques, assurez-vous que les données enregistrées ne sont pas protégées contre la copie. |
| La sortie du caisson de grave est très faible. | Pour envoyer plus de signaux au caisson de grave, réglez-le sur PLUS ou réglez les enceintes avant sur SMALL (consultez la section Réglage des enceintes à la page 95). |
| Tout semble être configuré corre-temment, mais le son est étrange lors de la lecture. | Les enceintes ne sont peut-être pas en phase. Vérifiez que les bornes positives/négatives des enceintes sur le récepteur sont reliées aux bornes correspondantes sur les enceintes (consultez la section Raccordement des enceintes à la page 21). |
| La fonction Phase Control semble n'avoiraucun effet audible. | Le cas échéant, vérifie que le filtré passse-bas de votre caisson de grave est désactivé, ou que le blocage du passse-bas est réglé sur la fréquence la plus élevé. S'il existe un réglage de PHASE sur votre caisson de grave, réglez-le sur 0° (ou, en fonction du caisson de grave, sur le réglage qui vous semble avoir le meilleur effet global sur le son).Assurez-vous que le réglage de la distance est correct pour toutes les enceintes (consul- tez la section Distance des enceintes à la page 96). |




| Symptôme | Solution |
| Le contrôle de phase pleine bande ne peut pas être sélectionné. | Effectuez les mesures avec la configuration MCACC automatique intégrale (consultez la section Obtention automatique d'un réglage sonore optimal (Full Auto MCACC) à la page 41). Le contrôle de phase pleine bande se met en service dés que les mesures sont terminées. |
| Du bruit ou des ronflements sont perceptibles, même lorsqu'il n'y a aucune d'entrée de son. | Vérifiez que les ordinateurs ou autres composants numériques raccordés à la même source d'alimentation ne provoquent pas d'interférences. |
| Impossible de sélectionner certaines fonctions d'entrée par la touche INPUT SELECTOR sur le panneau avant ou la touche INPUT SELECT sur la télécommande. | Vérifiez les réglages de Input Skip dans le menu Input Setup (consultez la section Le menu Input Setup à la page 43).Vérifiez l'affection de HDMI Input dans le menu de Input Setup, puis essayez avec OFF (consultez la section Le menu Input Setup à la page 43). |
| Il semble qu'il y ait un décalage entre les enceintes et la sortie du caisson de grave. | Consultez la section Obtention automatique d'un réglage sonore optimal (Full Auto MCACC) à la page 41 pour reconfigurer votre système en utilisant MCACC (pour compenser automatiquement le retard de la sortie du caisson de grave). |
| Le volume maximum disponible (indiqué sur l'affichage du panneau avant) est inférieur au maximum de +12dB. | Vérifiez si OFF est spécifique pour le Volume Limit (consultez la section Réglage du volume à la page 99).Le réglage de niveau de canal peut être supérieur à 0.0dB. |
| Certain modes d'écoute ou para-mêtres de HOME MENU ne peuvent pas être sélectionnés. | Lorsque Operation Mode est régilé sur Basic, les réglages recommends par Pioneer sont effectuels et certaines fonctions ne peuvent pas être utilisées. Pour utiliser toutes les fonctions sans restriction, règlez Operation Mode sur Expert (consultez la section Configuration du mode de fonctionnement à la page 44). |
Prise ADAPTER PORT
| Symptôme | Solution |
| Le dispositif sans fil Bluetooth ne peut pas se connecter ou fonctionner. Le son du dispositif sans filBluetooth n'est pas émis ou le son est interrompu. | Assurez-vous qu'aucun objet émettant des ondes électromagnétiques sur la bande de 2,4 GHz (four à micro-ondes, dispositif sans fil LAN ou Bluetooth) ne se trouve à proximité de l'objet. Le cas échéant, éloignez-le de cet objetail. Ou bien, n'utilise pas l'objet émettant les ondes électromagnétiques. |
| Assurez-vous que le dispositif sans filBluetooth ne se trouve pas trop éloigné de cet objetail et que rien ne fait obstruction entre le dispositif sans filBluetooth et cet objetail. Installez le dispositif sans filBluetooth et cet objetail à moins de 10 m l'un de l'autre et enlevez tout objet pouvant faire obstruction. |
| Assurez-vous que l'ADAPTATEUR Bluetooth est raccordé correctement à ADAPTER PORT sur cet objetail. |
| Le dispositif sans filBluetooth n'est peut-être pas régèle sur le mode de communication correspondant au système sans filBluetooth. Vérifiez le réglage du dispositif sans filBluetooth. |
| Assurez-vous que le jumelage a été effectué correctement. Le réglage du jumelage a été effacé de cet objetail ou du dispositif sans filBluetooth. Rejumelez les deux objeils. |
| Assurez-vous que le profil est correct. Utilisez un dispositif sans filBluetooth prénant en charge les profils A2DP et AVRCP. |
Vidéo
| Symptôme | Solution |
| Aucune image ne s'affiche lorsqu'une entree est sélectionnée. | Vérifiez les liaisons video du composant source. |
| Pour le HDMI, ou lorsque V.CONV est régé sur OFF et qu'un téléviseur et un autre composant sont raccordés avec des cables différents (dans Régliages des options video à la page 72), vous doivent restier votre téléviseur à ce recepteur avec le même type de cable video que le composant video. Pour l'entrée video à composantes, toutefois, les signaux ne sont transmis que par la sortie HDMI, et si l'entrée video à composantes est utilisée, il faut régler V.CONV sur ON. |
| Assurez-vous que les entrées attribuées correspondant aux composants raccordés par les cables video à composantes ou HDMI (consultez la section Le menu Input Setup à la page 43). |
| Vérifiez les réglages de sortie video du composant source. |
| Vérifiez que l'entrée video sélectionnée sur votre téléviseur est adaptée. |
| Sur certains composants ( comme les consoles deieux video), la conversion des résolutions est impossible. S'il n'est pas possible d'ajuster le réglage résolution de ce recepteur ( dans Régliages des options video à la page 72) et /ou si les réglages de résolution de votre composant ou écran n'agissant pas, essayez de régler V.CONV sur OFF ( dans Régliages des options video à la page 72). |
| Impossible d'enregistrer de la video. | Vérifiez que la source n'est pas protégée contre la copie. |
| Le convertisseur video n'est pas disponible lors de la réalisation d'enregistrentements. Véri-fiez que le même type de cable video est utilisé pour racorder l'enregistreur et la source video (celle que vous souhaitez enregistrer) à ce recepteur. |
| Image parasitée, intermittente ou déformée. | Parfois, une platine video peut produit un signal video bryant (lors du balayage, par exemple) ou la video peut être de qualité moyenne (avec certaines consoles deieux video, par exemple). La qualité de l'image peut également dépendre, entre autres, des réglages de votre écran. Éteignez le convertisseur video et rebranchez la source et l'écran en utilisant le même type de liaison (composantes ou composite), puis repreneze la lecture. |
| Les signaux video ne sont pas resti-tués par la prise à composantes. | Lorsqu'un moniteur compatible seulement avec les résolutions de 480i est raccordé à la prise à composantes et qu'un autre moniteur est raccordé à la prise HDMI, les signaux video peuvent ne pas être restitués par le moniter raccordé à la prise à composantes. Dans ce cas, prenez les mesures suivantes : - Éteignez le moniteur raccordé à la prise HDMI. - Changez le réglage VIDEO PARAMETER du menu RES (consultez la section Régliages des options video à la page 72). - Les signaux video provenant de la prise HDMI ne peuvent pas être transmis aux prises à composantes. Transmettez les signaux video du lecteur ou d'une autre source aux prises à composantes ou composites. Lorsque la prise à composantes est utilisée, affectez celle-ci dans Input Setup (consultez la section Le menu Input Setup à la page 43). |
| Le mouvement de l'image n'est pas naturel. | Lorsque Résolution dans VIDEO PARAMETER est régé sur 1080/24p, l'image peut ne pas s'afficher correctement pour certaines sources. Dans ce cas, réglez la résolution sur une autre valeur que 1080/24p (page 72). |




Réglages
| Symptôme | Solution |
| La configuration MCACC automa-tique présente toujours une erreur. | Le niveau de bruit ambient de la pièce peut être trop élevé. Maintenze le bruit à un niveau aussi bas que possible (consultez également la section Problèmes lors de l'utilisation de la configuration MCACC automatique à la page 43). Si le bruit ne peut être maintainu à un niveau suffisamment bas, vous devrez configurer manuellement le son surround (page 94). |
| Si vous utilisez une seule enceinte surround arrêtre, raccordez-la aux bornes SURROUND BACK L (Single). |
| Pour utiliser un ensemble d'enceintes à 5.1 canaux, utiliser les enceintes surround pour le canal surround, mais pas pour le canal surround arrêtre. |
| Veillez à ce qu'il n'y ait aucun obstacle entre les enceintes et le microphone. |
| Si Reverse Phase s'affiche, essayez ceci :— Les fils du cordon d'enceinte (+ et -) ont peut-être été inversés. Vérifiez les liaisons des enceintes.— Selon le type d'enceintes et les conditions dans lesquelles elles ont été installées, Reverse Phase peut s'afficher même si les enceintes sont bien raccordées. Dans ce cas, sélectionnez GO NEXT et continuez.— Si l'enceinte n'est pas orientée vers le microphone (position d'écoute) ou lorsque les enceintes sont affectées par la phase (enceintes dipôles, enceintes réfléchissantes, etc.), il peut être impossibly d'identifier correctement la polarité. |
| Après l'utilisation de la configura-tion MCACC automatique, la taille d'enceinte est incorrecte. | Des bruits basses fréquences provenant, par exemple, d'un climatiseur ou d'un moteur dans la pièce peuvent avoir été émis. Éteignez tous les apparciels situés dans la pièce et relancez la configuration MCACC automatique. |
| Cela peut se produit dans certains cas, en fonction d'un certain nombre de facteurs (capacité des enceintes à restituer les basses, taille de la pièce, position de l'enceinte, etc.). Si ce problème persisté, modifierEZ manuellement la configuration des enceintes dans Réglage des enceintes à la page 95 et utiliser l'options ALL (Keep SP System) pour le menu Auto MCACC dans MCACC automatique (Expert) à la page 86. |
| Impossible d'ajuster correctement le réglage précis de la distance des enceintes. | Vérifiez que les enceintes sont toutes en phase (assurez-vous que la correspondance des bornes positive (+) et négative (-) est correcte). |
| L'écran affiche KEY LOCK ON lorsque vous essayez d'effectuer des réglages. | Lorsque le récepteur est en veille, appuyez environ 5 secondes sur Ø STANDBY/ON tout en tenant SPEAKERS enforcée pour désactiver le verrouillage des touches. |
| Les derniers réglages ont été effacés. | Le cordon d'alimentation était débranché lorsque vous avez effectué ce réglage. |
| Les réglages ne sont enregistrées que si toutes les zones sont hors service. Mettez toutes les zones secondaires hors service avant de débrancher le cordon d'alimentation. |
| Les divers réglages du système ne sont pas enregistrrés. | Ne débranchez pas le cordon d'alimentation pendant ces réglages. (Les réglages sont sauvégardés lorsque les apparciels de la zone principale et de la zone secondaire sont éteints. Éteignez les apparciels de toutes les zones avant de débrancher le cordon d'alimentation.) |
| Certains modes d'écoute ou para-mètres de HOME MENU ne peuvent pas être sélectionnés. | Lorsque Operation Mode est régèle sur Basic, les réglages recommendés par Pioneer sont effectuels et certaines fonctions ne peuvent pas être utilisées. Pour utiliser toutes les fonctions sans restriction, réglez Operation Mode sur Expert (consultez la section Configuration du mode de fonctionnement à la page 44). |
Graphique de l'égaliser du calibrage professionnel
| Symptôme | Solution |
| La courbe des caractéristiques de la réverbération après le calibrage EQ n'apparaît pas totalement plane. | Dans certains cas, par exemple si des réglages ont été réalisés pour compenser les caractéristiques de la pièce pour obtenir un meilleur son, la courbe n'apparaître pas plate (meme si vous sélectionné ALL CH ADJ dans la configuration MCACC automatique). |
| Certaines parties du graphique peuventPTRautre identiques (avant et après le calibrage) si le réglage à effectuer est faible voir nul. |
| Le graphique peut sembler s'être décalé verticalement si l'on compare les mesures avant et après le calibrage. |
| Les réglages de l'égaliser réalisés avec la Configuration MCACC manuelle ne semble pas modifier la courbe des caractéristiques de la réverbération après le calibrage EQ. | Il se peut que les réglages effectués n'apparaissent pas sur la courbe des caractéristiques de la réverbération après le calibrage EQ parce que les filtres utilisés pour l'analyse ne le permettant pas. Ces réglages sont toutefois pris en compte par les filtres utilisés pour le calibrage global du système. |
| Les courbes de réponses des fréquences les plus bassessemblant ne pas avoir été calibrées pour les enceintes SMALL. | Les basses fréquences utilisées dans le traitement des graves (canal du caisson de grave) ne changéreront pas pour des enceintes configurées sur SMALL, ou bien les enceintes ne rendent pas ces basses fréquences. |
| Le calibrage est réalisé, mais les limites des basses fréquences de vos enceintes ne permettent pas l'affichage d'un son mesureable. |




Afficheur
| Symptôme | Solution |
| L'afficheur estASFOS ouéteint. | Appuyez plusieurs fois de suite sur la touche DIMMER pour sélectionner une luminosité différente. |
| L'afficheur sur écran apparaît. | L'affichage sur écran n'apparait que si le récepteur et le téléviseur sont reliés par un cable HDMI. Si le téléviseur n'intègre pas l'HDMI, effectuez les différentes opérations et les réglages en regardant l'afficheur sur le panneau avant du récepteur. |
| DIGITAL ne s'affiche pas lorsqu'vous appuyez sur SIGNAL SEL. | Vérifiez les liaisons numériques et assurez-vous que les entrées numériques sont correc-tement affectées (consultez la section Le menu Input Setup à la page 43). |
| DIGITAL ou DTS ne s'éclairepas pendant la lecture d'un logiciel Dolby/DTS. | Ces indicateurs ne s'allument pas si la lecture est en pause. |
| Vérifiez les réglages de lecture du composant source, notamment la sortie numérique. |
| Lors de la lecture de sources Dolby Digital ou DTS, les indicateurs deformat du récepteur ne s'allumentpas. | Vérifiez que le lecteur est connecté à l'aide d'une connexion numérique. |
| Assurez-vous que le récepteur est régé sur AUTO ou DIGITAL (consultez la section Choix du signal d'entrée à la page 58). |
| Vérifiez que le lecteur n'est pas configuré pour convertir les sources Dolby Digital et DTS en PCM. |
| Vérifiez que Dolby Digital ou DTS est sélectionné si le disque comporte plusieurs pistes audio. |
| Lors de la lecture de certainsdisques, aucin indicateur de formatne s'allume sur le récepteur. | Le disque ne contient peut-être pas de gravure 5.1/6.1 canaux. Consultez l'emballage du disque pour plus d'informations sur les pistes audio enregistrées sur le disque. |
| Lors de la lecture d'une disque enmode Auto Surround ou ALC, Pro Logic II ou DTS Neo:X apparaîtsur le récepteur. | Assurez-vous que le récepteur est régé sur AUTO ou DIGITAL (consultez la section Choix du signal d'entrée à la page 58). |
| Si une bande sonore deux canaux est en cours de lecture (y compris une source codée Dolby Surround), il ne s'agit pas d'un dysfonctionnement. Consultez l'emballage du disque pour connaître les formats audio disponibles. |
| Lors de la lecture d'un DVD-Audio, l'écran affiche PCM. | Ceci se produit si vous lisez un DVD-Audio avec la connexion HDMI. Il ne s'agit pas d'un dysfonctionnement. |
| Le récepteur s'éteint automatique-ment et un tímein clignote ou un tímein clignote est le récepteur ne s'allume pas. | Consultez la section Alimentation (page 103). |
Télécommande
| Symptôme | Solution |
| Pas de contrôle à distance. | Réglez le mode de commande de la télécommande sur le mode correspondant au réglage effectué sur l'appareil principal (consultez la section Exploitation de plusieurs récepteurs à la page 79). |
| Vérifiez si le mode de commande de la télécommande du récepteur est réglié correctement (consultez la section Réglage du mode de la télécommande à la page 99). |
| Remplacez les piles de la télécommande (consultez la section Mise en place des piles à la page 8). |
| Veillez à vous tracer à moins de 7 m du capteur de la télécommande sur le panneau avant et à former un angle de 30° avec celui-ci (consultez la section Portée de la télécommande à la page 9). |
| Vérifiez l'absence d'obstacle entre le récepteur et la télécommande. |
| Vérifiez que le capteur de la télécommande n'est pas exposé à une lumière fluorescente ou intense. |
| D'autres composants ne fonctionnent pas avec la télécommande du système. | Si les piles sont déchargées, les codes de préréglage ont peut-être été effacés. Entrez une nouvelle fois les codes de préréglage. |
| Les codes de préréglage sont peut-être incorrects. Reprogrammez mes codes de préréglage. |
| Les commandes des télécommandes d'autres appareils enregistrées par apprentice-sage peuvent parfois être mal apprises. Dans ce cas, enregistrez une nouvelle fois les commandes avec la fonction d'apprentissage (consultez la section page 80). Si les commandes n'agissent toujours pas, elles peuvent avoir un format spécifique que cette télécommande est incapable de prendre en compte. Utilisez une autre télécommande pour cet appariel. |
HDMI
| Symptôme | Solution |
| L'indicateur HDMI clignote en permanence. | Vérifiez les points ci-dessous. |
| Symptôme | Solution |
| Pas d'image ou de son. | Ce récepteur est compatible HDCP. Vérifiez si les composants raccordés sont également compatibles HDCP. Si ce n'est pas le cas, raccordez-les par les prises video à compos-santes ou video composites. |
| Selon le composant source raccordé, il peut ne pas fonctionner avec ce récepteur (meme s'il est compatible HDCP). Dans ce cas, raccordez le composant et le récepteur à l'aide des prises video à composantes ou composites. |
| Si le problème persististe lorsque vous raccordez votre composant HDMI directement à votre moniteur, veuillez consulter le manuel du composant ou du moniteur, ou contactez le fabricant pour obtenir de l'aide. |
| Si les images video n'apparaissent pas sur votre télévisuer, essayez d'ajuster le réglage de la résolution, de Deep Color ou d'autres paramètres de votre composant. |
| Si les signaux video analogiques sont transmis par la prise HDMI, utilisez une autre liaison pour la sortie audio. |
| Pour obtenir des signaux Deep Color, utilisez un cable HDMI (cable HDMI®)/TM haute vitesse) pour relier ce récepteur à un composant ou à un télévisuer représentant la fonction Deep Color. |
| Pas d'image. | Essayez de changer le réglage de résolution (dans Réglages des options video à la page 72). |
| Pas de son ou arrêt soudain du son. | Assurez-vous que le paramètre audio HDMI est régle sur AMP (Réglage des options audio à la page 70). |
| Si le composant est un appareil DVI, utilisez une liaison distincte pour le son. |
| Si les signaux video analogiques proviennent de la prise HDMI, utilisez une liaison distincte pour le son. |
| Vérifiez les réglages de sortie audio du composant source. |
| Les transmissions de son numérique sous forme HDMI ne sont pas immédiatement reconnues. C'est pourquoi, une coupure de son peut se produit au moment où l'on change de format audio ou lance la lecture. |
| La mise sous/hors tension du dispositif raccordé à la prise HDMI OUT de cet apparéil pendant la lecture, ou le débranchement/branchement du cable HDMI pendant la lecture, peut occasionner du bruit ou des coupures de son. |
| Image bruyante ou déformée. | Parfois, une platine video peut conduir un signal video bruyant (lors du balayage, par exemple) ou la videoe peut être de qualité moyenne (avec certaines consoles deieux videoe, par exemple). La qualité de l'image peut également dépendre, entre autres, des réglages de votre écran. Éteignez le convertisseur videoe et rebranchez la source et l'écran en utilisant le même type de liaison (composantes ou composite), puis repreneze la lecture. |
| Si le problème persististe lorsque vous raccordez votre composant HDMI directement à votre moniteur, veuillez consulter le manuel du composant ou du moniteur, ou contactez le fabricant pour Broker de l'aide. |
| HDCP ERROR apparait sur l'affi-cheur. | Vérifiez si le composant raccordé estCompatible HDCP. Si ce n'est pas le cas, utilisez un autre type de liaison (composantes ou composite) pour raccorder l'apparéil. Avec certains composants compatibles HDCP, ce message s'affiche aussi, mais dans la mesure où l'image est normale, il n'y a pas lieu de s'inquiétér. |
| Fonctionnement synchrone impos-sible avec la fonction Control par l'HDMI. | Vérifiez les liaisons HDMI. |
| Le cable est peut-être endommagé. |
| Sélectionnez ON pour le paramètre Control Mode par l'HDMI (consultez la section Réglage de l'HDMI à la page 66). |
| Mettez le téléviseur sous tension avant demettre ce récepteur sous tension. |
| Mettez la commande par l'HDMI en service du côté téléviseur (consultez le mode d'em-loi du téléviseur). |
| Raccordez le téléviseur à la prise HDMI OUT 1 et réglez la sortie HDMI sur HDMI OUT 1. Mettez d'abord le téléviseur sous tension puis ce récepteur. |
AVNavigator
| Symptôme | Causes | Solution |
| L'AVNavigator ne peut pas'être installé. | Un message d'erreur peut apparaître si les ressources système sont insuffisantes. | Redémarrez l'ordinateur, puis lancez l'installation après avoir fermé toutes les autres applications. |
| L'installation de l'AVNavigator peut échouer en raison de son incompatibilité avec d'autres applications. | Prénez les mesures suivantes, dans l'ordre indiqué.1. Si certaines applications sont ouvertes, fermez-les et essayez de redémarrer l'installation.2. Si cela ne fonctionne pas, essayez de redémarrer votre ordinateur et démérez l'installation sans aucune application ouverte. |
| L'AVNavigator n'agit pas correctement sur le récep-teur. | Le récepteur n'est pas allumé. | Allumez le récepteur. (Attendez environ 60 secondes après avoir allumé le récepteur pour que les fonctions du réseau s'activent.)Ensuite, appuyez sur Detection dans l'AVNavigator pour redétector le récepteur. |
| Le récepteur ou l'ordinateur n'est pas connecté au réseau LAN. | Raccordez un cable LAN au récepteur ou à l'ordinateur (page 36).Ensuite, appuyez sur Detection dans l'AVNavigator pour redétector le récepteur. |
| Le routeur est étient. | Allumez le routeur.Ensuite, appuyez sur Detection dans l'AVNavigator pour redétector le récepteur. |
| Les réglages de réseau de l'AVNavi-gator ne sont pas corrects. | Si vous routeur ne prend pas en charge le DHCP ou l'UPnP, l'adresse IP du récepteur devra être spécifiée dans l'AVNavigator. Spécifiez d'abord l'adresse IP sur le récep-teur, puis la même adresse dans l'AVNavigator (page 97).Ensuite, appuyez sur Detection dans l'AVNavigator pour redétector le récepteur. |
| Les connexions réseau n ont pas pu être restreintes à cause des réglages réseau, des réglages de sécurité, etc. de l'ordinateur. | Vérifiez les réglages réseau, les réglages de sécurité, etc. de l'ordinateur.Ensuite, appuyez sur Detection dans l'AVNavigator pour redétector le récepteur. |
| Lorsque le mode interactif du mode d'emploi est changé, les réglages peuvent ne pas être transférés au navigator, et dans ce cas l'AVNavi-gator)cesse d'interagir. | Rafraîchissez l'affichage de la page en appuyant sur le bouton de rafraîchissement du navigator ou bien afficher une autre page du lien pour que le réglage soit transféré. |
| Symptôme | Causes | Solution |
| Lorsque le Wiring Navi, Operation Guide, Interactive Manual Glossary ou Software Update est lancé, un averissement au sujet de la sécurité apparaît sur le navigateur. | Il s'agit d'une fonction sécuritaire du navigateur. | Il ne s'agit pas d'un dysfonctionnement. Effectuez l'opération nécessaire pour autoriser le contenu bloqué. |
| Le Operation Guide ne s'affiche pas correctement. | Adobe Flash Player 10 n'est pas insallé ou sa version est trop ancienne. | Téléchargez Adobe Flash Player du site Adobe (http://www.adobe.com/downloads/). Si votre version est ancienne, réactualisez-la. |
| La mise à jour du logiciel ne s'effectue pas très bien. | Le problème vient peut-être du réseau de votre fournisseur de service Internet. | Contactez votre fournisseur. |
Interface USB
| Symptômes | Causes | Solutions |
| Les dossiers/fichiers enregistrés dans un dispositif USB ne peuvent pas être lus. | Les dossiers/fichiers sont actuellément stockés à un autre endroit que la FAT (File Allocation Table). | Stockez les dossiers/fichiers dans la FAT. |
| Il y a plus de 9 niveaux dans un dossier. | Un dossier peut containir un maximum de 9 niveaux (page 49). |
| Les fichiers audio sont protégés. | Les fichiers audio protégés stockés dans un dispositif USB ne peuvent pas être lus (page 49). |
| Un dispositif USB ne peut pas être reconnu. | Le dispositif USB n'est pas compatible avec les spécifications de la classe de stockage de masse. | Essayez d'utiliser un dispositif USB compatible avec les spécifications de la classe de stockage de masse. Il existe des cas où les fichiers audio stockés dans un dispositif USB compatible avec les spécifications de la classe de stockage de masse ne peuvent pas être lus sur ce récepteur (page 49). |
| Raccordez un dispositif USB et mettez ce récepteur sous tension (page 37). |
| Un concentrateur USB est actuellément utilisé. | Ce récepteur ne peut pas être raccordé par un concentrateur USB (page 49). |
| Ce récepteur reconnaît le dispositif USB comme effraction. | Mettez hors puis de nouveau sous tension ce récepteur. |
| Raccordez une nouvelle fois le dispositif USB lorsque le récepteur est étient. |
| Sélectionnez une autre entrée que l'iPod/USB, puis revenez à l'entrée iPod/USB. |
| Un dispositif USB est racordé et indiqué, mais les fichiers audio qu'il contient ne peuvent pas être lus. | Certain formats de dispositifs USB, dont le FAT 12, NTFS et HFS ne peuvent pas être lus par ce récepteur. | Vérifiez si le format de votre dispositif USB est FAT 16 ou FAT 32. Notez bien que les formats FAT 12, NTFS et HFS ne peuvent pas être lus par ce récepteur (page 49). |
| Le format de fichier ne peut pas être lu correctement par ce récepteur. | Reportez-vous à la liste des formats de fichiers pouvant être lus par ce récepteur (page 50). |




iPod
| Symptômes | Causes | Solutions |
| L'iPod n'est pas reconnu. | Ce récepteur reconnaît l'iPod en tant que fraude. | Mettez hors puis de nouveau sous tension ce récepteur. |
| Raccordez l'iPod lorsque le récepteur est étéint. |
| Séléctionnez une autre entrée que l'iPod/USB, puis revenez à l'entrée iPod/USB. |
Réseau
| Symptômes | Causes | Solutions |
| Impossibè d'accéder au réseau. | Le cable LAN n'est pas bien racordé. | Enforcez bien la fiche du cable LAN dans la prise (page 36). |
| Le routeur n'est pas sous tension. | Mettez le routeur sous tension. |
| Un logiciel antivirus est actuellément installé sur le composant raccordé. | Dans certains cas, il n'est pas possible d'accéder à un composant sur lequel un logiciel antivirus a été installé. |
| Le composant audio en réseau qui a été mis hors tension est mis sous tension. | Mettez le composant audio en réseau sous tension avant le récepteur. |
| La lecture ne démarre pas alors que "Connecting..." reste affché. | Le composant est actuellément débranché du récepteur ou de la source d'alimentation. | Vérifiez si le composant est correctement raccordé à ce récepteur ou à la source d'alimentation. |
| L'ordinateur ou la radio Internet ne fonctionne pas correctement. | L'adresse IP n'a pas été désignée correctement. | Mettez en service la fonction de serveur DHCP de votre routeur, ou paramétrrez le réseau manuelle pour votre environnement réseau (page 97). |
| L'adresse IP est désignée automatique. | Le paramétrage automatique prend un certain temps. Veuillez attendre. |
| Symptômes | Causes | Solutions |
| Les fichiers audio enregis-trés sur les composants en réseau, par exemple sur un ordinateur, ne peuvent pas être lus. | Windows Media Player 11 ou Windows Media Player 12 n'est pas actuellement installé sur toute ordinateur. | Installez Windows Media Player 11 ou Windows Media Player 12 sur votre ordinateur (page 61). |
| Les fichiers audio enregistrées en MPEG-4 AAC ou FLAC sont lus avec Windows Media Player 11 ou Windows Media Player 12. | Les fichiers audio enregistrés en MPEG-4 AAC ou FLAC ne peuvent pas être lus avec Windows Media Player 11 ou Windows Media Player 12. Essayez un autre serveur. Reportez-vous au mode d'emploi fourni avec votre serveur. |
| Le composant raccordé au réseau ne fonctionne pas correctement. | Vérifiez si le composant est affecté par quelque chose ou s'il est en voille. Essayez de remettre le composant en marche, si nécess-saire. |
| Le composant raccordé au réseau ne permet pas le partage de fichiers. | Essayez de changer les régles du composant raccordé au réseau. |
| Le dossier enregistré sur le composant raccordé au réseau a été sup-primé ou endommagé. | Vérifiez le dossier enregistré sur le composant raccordé au réseau. |
| Les connexions réseau n'ont pas pu être restreintes à cause des régles réseau, des régles de sécurité, etc. de l'ordinateur. | Vérifiez les régles réseau, les régles de sécurité, etc. de l'ordinateur. |
| Les formats de fichiers pris en charge varient d'un serveur à l'autre. C'est pourquoi, les fichiers qui ne sont pas pris en charge par votre serveur n'apparaissent pas sur cet apparueil. | Pour plus d'informations, contactez le constructeur de votre serveur. |
| Impossible d'acceder au composant raccordé au réseau. | Le composant raccordé au réseau n'est pas réglié correctement. | Si le l'autorisation est automatique, vous nevez saisir de nouveau les informations appropriées. Vérifiez si la connexion n'est pas régliée sur "Do not authorize" (Ne pas autoriser). |
| Il n'y a aucun fichier audio lisible sur le composant raccordé au réseau. | Vérifiez les fichiers audio enregistrés sur le composant raccordé au réseau. |
| La lecture audio s'arrête ou est perturbée. | Le fichier audio actuellément en cours de lecture n'a pas été enregistré dans un format lisible par ce récepteur. | Vérifiez si le fichier audio a été enregistré dans un format pris en charge par ce récepteur.Vérifiez si le dossier a été endommagé ou détruit.II se peut que dans certains cas des fichiers audio ne pouissant pas été lus ou affichés bien qu'ils soient compatibles avec ce récepteur (page 64). |
| Le cable LAN est actuellément débranché. | Raccordez le cable LAN correctement (page 36). |
| Le traffic est très important sur le réseau auquel vous ave accès par Internet. | Utilisez une liaison 100BASE-TX pour acceder aux compo-sants en réseau. |
| En mode DMR, selon le contrôleur externe utilisé, la lecture peut être interrompue au moment où le volume est réglié sur le contrôleur. | Dans ce cas, ajustez le volume sur le récepteur ou la télé-commande. |
| Il y a une connexion passant par un réseau LAN sans fil sur le même réseau. | La disponibilité sur la bande de 2,4 GHz utilisée par le réseau LAN sans fil est peut-être insuffisante. N'effectuez pas les connexions réseau par le réseau LAN sans fil. |
| Installez l'appareil à l'écart des apparciels émettant des ondes électromagnétiques sur la bande de 2,4 GHz (fours à micro-ondes, consoles de jeu, etc.). Si le problème n'est pas pour autant résolu, arrêtez les apparciels émettant des ondes électromagnétiques. |
| Impossible d'acceder à Windows Media Player 11 ou Windows Media Player 12. | Dans le cas de Windows Media Player 11 : Vous étés actuellément connecté au domaine par un ordinateur sur lequel Windows XP ou Windows Vista est installé.Dans le cas de Windows Media Player 12 : Vous étés actuellément connecté au domaine par un ordinateur sur lequel Windows 7 est installé. | Au lieu de vous connecter au domaine, connectez-vous sur la machine locale (page 62). |
| Impossible d'écouter des stations radio Internet. | Les réglages de pare-feu des composants en réseau agissant actuellement. | Vérifiez les réglages de pare-feu des composants en réseau. |
| Vous étés actuellément déconnecté d'Internet. | Vérifiez les réglages de connexion des composants en réseau et adressez-vous à votre fournisseur de réseau, si nécessaire (page 97). |
| Les émissions d'une station radio Internet ont été arrêtées ou inter-rompues. | Il existe des cas où il est impossible d'accoter des stations radio Internet bien qu'elles figurent dans la liste des sta-tions radio Internet pouvant être écoutees avec ce récep-tein (page 62). |
| Les fonctions Réseau ne peuvent pas été activées avec les touches de la télécommande. | La télécommande n'est pas réglée actuellément sur le mode de fonctionnement Réseau. | Appuyez sur NET pourmettre la télécommande en mode de fonctionnement réseau (page 62). |
Commande Web
| Symptômes | Causes | Solutions |
| L'écran Web Control n'aparaît pas sur le navigateur. | L'adresse IP de ce récepteur n'apas été saisie correctement dans le navigateur. | Vérifiez l'adresse IP du récepteur et saisissez-la correcte-ment dans le navigateur (page 97). |
| Les réglages du récepteur ne peuvent pas être faitsdepuis un navigateur. | JavaScript est désactivé sur le navigateur Internet. | Activez JavaScript. |
| Le navigateur n'est pas compatibleavec JavaScript. | Utilisez un navigateur Internet compatible avec JavaScript. |
LAN sans fil
Pas d'accès au réseau par le réseau LAN sans fil.
Le convertisseur LAN sans fil n'est pas allumé. (Les témoins "Power", "WPS" et "Wireless" du convertisseur LAN sans fil ne sont pas allumés.)
- Vérifiez si le cable USB reliant le convertisseur LAN sans fil à la prise DC OUTPUT for WIRELESS LAN du récepteur est branché correctement.
WLAN POW ERR apparait dans I'afficheur du recepteur.
- Il y a un problème au niveau de l'alimentation du convertisseur LAN sans fil. Éteignez le récepteur, puis débranchez le cable USB, rebranchez le cable USB et rallumez le récepteur.
- Si WLAN POW ERR apparait encore après que les opérations precedentes ont ete repétées plusieurs fois, le probleme se situe au niveau du recepteur ou du cable USB. Debranchez le recepteur de la prise murale et contactez un service après-vente agreé Pioneer.
Le cable LAN n'est pas bien raccordé.
- Enoncez bien la fiche du cable LAN dans la prise (page 38).
Le convertisseur LAN sans fil et la base (routeur LAN sans fil, etc.) sont trop eloiignes ou il y a un obstacle entre eux.
Rapproche le convertisseur LAN sans fil et la base, etc. pour améliorer la réception LAN sans fil.
Un four à micro-ondes ou un apparéil produit des ondes électromagnétiques interfère avec le réseau LAN sans fil.
- Utilisez le système à l'écart d'un four à micro-ondes ou d'un apparéil produitant des ondes électromagnétiques.
- Dans la mesure du possible, évitez d'utiliser des dispositifs produitant des ondes electromagnétiques lorsque le système fonctionne avec le réseau LAN sans fil.
Plusieurs convertisseurs LAN sans fil sont connectés au routeur LAN sans fil.
Lorsque plusieurs convertisseurs LAN sans fil sont connectés, leurs adresses IP doivent etre changees.
Des connexions LAN sans fil ne peuvent pas etre établies entre le convertisseur LAN sans fil et la base (routeur LAN sans fil, etc.).
- Le convertisseur LAN sans fil doit etre regle pour que des connexions LAN sans fil puissant etre établies. Pour le détil, consultez le CD-ROM fourni avec le convertisseur LAN sans fil.
Les réglages d'adresse IP du récepteur et du convertisseur LAN sans fil ne correspondant pas aux réglages du routeur LAN sans fil, etc.
- Vérifiez les réglages d'adresse IP du récepteur et du convertisseur LAN sans fil (y compris le réglage DHCP).
Si le réglage DHCP du récepteur est "ON", éteignez le récepteur puis rallumez-le.
Assurez-vous que les adresses IP du récepteur et du convertisseur LAN sans fil correspondent aux réglages du routeur LAN sans fil, etc.
Si le réglage DHCP du récepteur est "OFF", spécifiez l'adresse IP correspondant au réseau de la base (routeur LAN sans fil, etc.).
Par exemple, si l'adresse IP du routeur LAN sans fil est "192.168.1.1", réglez l'adresse IP du récepteur sur "192.168.1.XXX" (*1), le masque de sous-réseau sur "255.255.255.0", la passerelle et le DNS sur "192.168.1.1".
Ensuite, réglez l'adresse IP du convertisseur LAN sans fil sur "192.168.1.249" (*2).
(1) Spécifiez pour "XXX" dans "192.168.1.XXX" un nombre entre 2 et 248, non attribué à d'autres dispositifs.
(2) Sécífiez pour “249” dans “192.168.1.249” un nombre entre 2 et 249, non attribué à d'autres dispositifs.
Essayez de faire les réglages détaillés du convertisseur LAN sans fil.
- Le convertisseur LAN sans fil peut être connecté à un ordinateur pour les réglages détaillés du réseau LAN sans fil. Pour le détail, consultez le CD-ROM fourni avec le convertisseur LAN sans fil. Vérifie les réglages du routeur LAN sans fil, etc., puis changez les réglages du convertisseur LAN sans fil. Notez, toute fois que les réglages détaillés du réseau LAN sans fil n'amélioreront pas nécessairement la réception LAN sans fil. Faites attention lorsque vous changez les réglages.
Le point d'accès est régle de manière à masquer le SSID.
- Dans ce cas, le SSID peut ne pas apparaitre dans la liste des points d'accès. Dans ce cas, réglez le SSID, etc. en effectuant manuellement les réglages du convertisseur LAN sans fil sur le récepteur.
Les réglages de sécurité du point d'accès utilisent une clé WEP de 152 bits ou une authentication par clé partagée.
- Le récepteur n'adopte pas la clé WEP de 152 bits ou l'authentication par clé partagée.
Des connexions reseau ne peuvent pas etre établies meme si les mesures precedentes sont pries.
- Réinitialisez le convertisseur LAN sans fil. Ensuite, refaites les réglages du convertisseur LAN sans fil. À propos de la réinitialisation
- Assurez-vous que le convertisseur LAN sans fil est allumé.
- Appuyez sur le bouton de réinitialisation du convertisseur LAN sans fil au moins 3 secondes.
- Relâchez le bouton de réinitialisation.
Lorsque le convertisseur LAN sans fil redemarre, la réinitialisation est terminée.




Formats de son surround 113
A propos de THX 113
A propos de I'iPod 114
A propos de FLAC 114
Windows 7 115
MHL. 115
Surround automatique, ALC et flux direct avec différents formats de signal d'entrée .... 115
Réglage des enceintes 116
À propos des messages apparaissant lorsqu'les fonctions réseau sont utilisées 117
Informations importantes concernant la liaison HDMI 117
Nettoyage de I'appareil 117
Précautions à prendre lorsqu'le convertisseur LAN sans fil (AS-WL300) est utilisé 118
Déclaration de conformité à la Directive R&TTE 1999/5/EC 119
125




Voutrouvezci-dessousunebrve descriptiondesprinceaux formatdesonsurrounddisponiblespourles BD,DVD,les émissions satellite,cablees ou terrestres et les cassettes video.
Dolby
Les technologies Dolby sont expliquées ci-dessous. Voir http://www.dolby.com pour de plus amples informations.

Fabrique sous licence de Dolby Laboratories. Les termes « Dolby», « Pro Logic » et « Surround EX», ainsi que le sigle double D sont des marques commerciales de Dolby Laboratories.
DTS
Les technologies DTS sont expliquées ci-dessous. Voir http://www.dts.com pour de plus amples informations.




Fabrique sous licence sous couvert des brevets U.S. N°: 5,956,674; 5,974,380; 5,978,762; 6,487,535; 6,226,616; 7,212,872; 7,003,467; 7,272,567; 7,668,723; 7,392,195; 7,930,184; 7,333,929; 7,548,853; 7,283,634 et d'autres brevets U.S. et mondiaux, émis et en cours d'enregistrement. DTS et le symbole sont des marques déposées, et DTS-HD, DTS-HD Master Audio et les logos DTS sont des marques commerciales de DTS, Inc. Logiciel inclus dans ce produit. © DTS, Inc. Tous droits réservés.
À propos de THX
Les technologies THX sont expliquées ci-dessous.
Consultez le site http://www.thx.com pour obtenir des informations plus détaillées.

THX, le logo THX et Select2 Plus sont des marques commerciales de THX Ltd., qui sont déposées sous certaines juridictions. Tous droits réservés. Toutes les marques commerciales appartiennent à leurs détenteurs respectifs.
Le traitement THX Cinema
THX est un ensemble de normes et de technologies mises au point par THX Ltd. THX est né du souhait personnel de George Lucas que les bandes sonores de films, au cinema ou chez vous, reflèdent le plus fidèlement possible l'intention du réalisateur. Les bandes sonores de films sont mixées dans des cinémas spéciaux, appelés plateaux d'enregistrement, et sont conçues pour être projetées dans des cinémas représentant des équipements et des conditions similaires. Cette même bande sonore est ensuite transférée directement sur disque laser, cassette VHS, DVD, etc., sans être modifiée pour la lecture dans un petit environnement home cinema. Les ingénieurs THX ont mis au point des technologies brevetées pour transmettre fidèlement le son des salles de cinema chez vous, en corrigeant les erreurs tonales et spatiales qui apparaissent. Sur ce produit, lorsque l'indicateur THX est allumé, les fonctions THX sont automatiquement ajoutées dans les modes Cinéma (ex.: THX Cinema, THX Surround EX).
Re-Equalization
L'équilibre tonal d'une bande sonore de film semblera trop aigu et dur lorsqu'il est reproduit sur une équipement audio domestique, car les bandes sonores des films sont conçues pour être projétées dans de grands cinémas, en utilisant un équipement professionnel trés différent. La fonction Re-Equalization restaque le bon équilibre tonal pour pouvoir profiter de la bande sonore d'un film chez soi.
Timbre Matching
L'oreille humaine modifie notre perception d'un son en fonction de la direction d'ou provient ce dernier. Dans un cinema se trouve une série d'enceintes surround disposées de sorte que le son surround vous entoure. Dans un home cinéma, vous n'utilise que deux enceintes situées sur les côtes. La fonction Timbre Matching filtreet les informations transmises aux enceintes surround afin qu'elles correspondent le plus précisément possible aux caractéristiques tonales du son venant des enceintes avant. Cela assure une circulation uniforme du son entre les enceintes avant et surround.
Dans un cinema, un grand nombre d'enceintes surround vous permettent de profiter d'un son surround enveloppant, alors qu'un système home cinema ne compte généralement que deux enceintes. Le son des enceintes surround peut alors ressembler au son d'un casque, manquant d'espace et d'enveloppement. Par ailleurs, lessons surround se retrouveront dans l'enceinte la plus proche si vous yougignez de la position d'ecoute centrale. La fonction Adaptive Décorrelation modifie légèrement le rapport temps-phase d'un canal surround par rapport à l'autre canal surround. Cela élargit la position d'écoute et cree, avec deux enceintes seulement, le même son surround dans l'espace que dans un cinema.
THX Select2 Plus
Avant qu'un composant home cinema puisse ettre certifie THX Select2 Plus, il doit integrer toutes les fonctions décrites ci-dessus et passer une série de tests rigoureux tant du point de vue de la qualite que des performances. Ce n'est qu'a cette condition qu'un produit peut arborer le logo THX Select2 Plus, qui vous garantit que vos produits Home Cinema you offriront des performances optimales pendant de nombreuses années. Les exigences THX Select2 Plus couvre tous les aspects du produit, y compris les performances et le fonctionnement du préamplificateur et de I'amplificateur de puissance, et des centaines d'autres parametes relevant des domaines numérique et analogique.
THX Surround EX
THX Surround EX - Dolby Digital Surround EX est le fruit de la collaboration de Dolby Laboratories et THX Ltd. Dans un cinema, les bandes sonores codées avec la technologie Dolby Digital Surround EX peuvent reproduce un canal supplémentaire, ajoute lors du mixage du programme. Ce canal, appelé surround arrêté, ajoute dessons derrière la personne qui écoute aux canaux avant gauche, avant centre, avant droit, surround droit, surround gauche et du caisson de grave. Ce canal supplémentaire permet d'obtenir une imagerie plus détaillée derrière la personne qui écoute et offre ainsi une profondeur, une impression d'espace et une localisation du soninégalées. Les films utilisant la technologie Dolby Digital Surround EX arborent le nom de cette technologie sur leur emballage lorsqu'ils sont diffusés dans le commerce. Vous trouvez une liste des films utilisant cette technologie sur le site Internet de Dolby, à l'adresse http://www.dolby.com.
Seuls les amplificateurs et les contrôleurs arborant le logo THX Surround EX produit fidèlement cette nouvelle technologie dans une installation home cinema, lorsqu'ils fonctionnent en mode THX Surround EX. Ce produit peut également pesenter le mode "THX Surround EX" pendant la lecture de matériel 5.1 canaux qui n'est pas code en Dolby Digital Surround EX. Dans ce cas, les informations transmises au canal surround arrêté dépendront du programme et pourrait être très agréables ou non, en fonction de la bande sonore et des goûts de l'auditeur.
Selon la position de l'auditeur et du caisson de grave, l'effet de basse peut paraitre excessif. Cette fonction minimise l'effet caverneux ressenti par l'auditeur placé trop pres du mur arrêté. Elle fonctionne à condition qu'un subwoofer certifié THX Select2™ soit utilisé.
Description de THX Loudness Plus
THX Loudness Plus est un nouveau type de réglage de volume, utilisé dans les amplificateurs certifiés THX Ultra2 Plus™ et THX Select2 Plus™. Avec THX Loudness Plus, il est possible de percevoir dans un environnement home cinema tous les détails d'une gravure surround à tous les niveaux sonores. En général, lorsqu'on réduit le volume au-dessous du niveau de reférence, certains éléments du son sont perdus ou/perçus différément par l'auditeur. THX Loudness Plus agit de manière à compenser les décalages tonal et spatial, qui se produit lorsque le volume est réduit, en réajustant de manière appropriée les niveaux des canaux surround et de la réponse en fréquence. Ceci permet à l'auditeur de bénéficiair du veritable impact des pistes sonquel que soit le réglage de volume. THX Loudness Plus est automatiquement appliqué lors de l'écoute en mode THX. Les nouveaux modes THX Cinema, THX Music et THX Games sont conçus pour appliquer les réglages THX Loudness Plus convenant à chaque type de contenu.
À propos de l'iPod
Made for

Pod iPhone iPad

AirPlay
"Made for iPod," "Made for iPhone," et "Made for iPad" désignent des accessoires électroniques concus pour être raccordés à un iPod, iPhone ou iPad, respectivement, et que le développement a certifié qu'il replissait les exigences imposées par Apple en matière de performance. Apple n'est pas responsable du fonctionnement de cet appariel ou de sa compatibilité avec les normes réglementaires et de sécurité. Veuillez notes que l'emploi de cet accessoire avec un iPod, iPhone ou iPad peut affecter la connexion sans fil.
Apple, AirPlay, iPad, iPhone, iPod, iPod nano, iPod touch, iTunes et Mac sont des marques commerciales de Apple Inc., enregistrées aux États-Unis et dans d'autres pays.
Le logo AirPlay est une marque commerciale d'Apple Inc.
À propos de FLAC
Décodeur FLAC
La redistribution et l'emploi sous formes source et binaire, avec ou sans modification, sont autorisés à condition que :
- La redistribution du code source retienne l'avis de copyright ci-dessus, la liste des conditions et l'avis de non-responsabilité suivant.
- Les redistributions sous forme binaire reproduisent l'avis de copyright ci-dessus, la liste des conditions et l'avis de non-responsabilité suivant dans la documentation et/ou les matériaux qui accompagnent la distribution.
- Le nom de Xiph.org Foundation et les noms de ses collaborateurs ne doivent en aucun cas être utilisés pour endosser ou promouvoir des produits dérivés de ce logiciel sans permission préalable écrite. THIS SOFTWARE IS PROVIDED BY THE COPYRIGHT HOLDERS AND COLLECTORS "AS IS" AND ANY EXPRESS OR IMPLIED WARRANTYES, INCLUDING, BUT NOT LIMITED TO, THE IMPLIED WARRANTYES OF MERCHANTABILITY AND FITNESS FOR A PARTICULAR PURPOSE ARE DISCLAIMED. IN NO EVENT SHALL THE FOUNDATION OR COLLECTORS BE LIABLE FOR ANY DIRECT, INDIRECT, INCIDENTAL, SPECIAL, EXEMPLIFYING OR CONSEQUENTIAL DAMAGES (INCLUDING, BUT NOT LIMITED TO, PROCUREMENT OF SUBSTITUTE GOODS OR SERVICES; LOSS OF USE, DATA, OR PROFITS; OR BUSINESS INTERRUPTION) HOWEVER CAUSED AND ON ANY THEORY OF LIABILITY, WHETHER IN CONTRACT, STRICT LIABILITY, OR TOR (INCLUDING NEGLIGENCE OR OTHERWISE) ASING IN ANY WAY OUT OF THE USE OF THIS SOFTWARE, EVE IF ADVISED OF THE POSSIBILITY OF SUCH DAMAGE.
Windows 7

Windows et le logo Windows sont des marques commerciales du groupe Microsoft.
MHL

MHL, le logo MHL et Mobile High-Definition Link sont des marques commerciales ou des marques déposées de MHL LLC aux États-Unis et dans d'autres pays.
Les tableaux ci-dessous indiquent ce que vous allez entendre avec différents formats de signal d'entrée, en fonction du mode à flux direct sélectionné (consultez la section Utilisation des modes Stream Direct à la page 58).
Formats de signal stéreo (2 canaux)
| Format du signal d'entrée | Surround automatique / ALC / DIRECT | PURE DIRECT |
| Enceinte(s) surround arrêté : Raccordée(s) |
| Dolby Digital Surround | Pro Logic IIx MOVIE | Pro Logic IIx MOVIE |
| DTS Surround | Neo:X CINEMA | Neo:X CINEMA |
| Autres sources stéréo | Lecture stéréo | Lecture stéréo |
| Sources analogiques | Comme ci-dessus | ANALOG DIRECT (stéréo) |
| Sources PCM | Comme ci-dessus | Lecture stéréo |
| Sources DVD-A | Comme ci-dessus | Comme ci-dessus |
| Sources SACD | Comme ci-dessus | Comme ci-dessus |
| Enceinte(s) surround arrêté : Non raccordée(s) |
| Dolby Digital Surround | Pro Logic II MOVIE | Pro Logic II MOVIE |
| DTS Surround | Neo:X CINEMA | Neo:X CINEMA |
| Autres sources stéréo | Lecture stéréo | Lecture stéréo |
| Sources analogiques | Comme ci-dessus | ANALOG DIRECT (stéréo) |
| Sources PCM | Comme ci-dessus | Lecture stéréo |
| Sources DVD-A | Comme ci-dessus | Comne ci-dessus |
| Sources SACD | Comme ci-dessus | Comme ci-dessus |
Formats de signaux multicanaux
| Format du signal d'entrée | Surround automatique / ALC | PURE DIRECT / DIRECT |
| Enceinte(s) surround arrêté : Raccordée(s) |
| Dolby Digital EX (Canal 6.1 signalé)
Dolby TrueHD EX (6.1 canaux signalés) | Dolby Digital EX
Pro Logic IIx MOVIE
<a> | Dolby Digital EX
Pro Logic IIx MOVIE
<a> |
| DTS-HD Master Audio ES (6.1 canaux signalés) | DTS-ES (Matrice) | DTS-ES (Matrice) |
| DTS-ES (Sources canal 6.1/Canal 6.1 signalé) | DTS-ES (Matrice/Discritête) | DTS-ES (Matrice/Discritête) |
| Sources DTS (Codage canal 5.1) | Décodage linéaire | Décodage linéaire |
| Sources DTS-HD | Comme ci-dessus | Comme ci-dessus |
| Autres sources 5.1/6.1/7.1 canaux | Comme ci-dessus | Comme ci-dessus |
| Enceinte(s) surround arrêté : Non raccordée(s) |
| Sources DVD-A/Multi-ch PCM | Décodage linéaire | Décodage linéaire |
| Sources SACD (Codage canal 5.1) | Comme ci-dessus | Comme ci-dessus |
| Autres sources 5.1/6.1/7.1 canaux | Comme ci-dessus | Comme ci-dessus |
a Non disponible si une seule enceinte arrêté surround est raccordée.
Réglage des enceintes
Pour obtenir un meilleur effet surround, il est important de positionner précisé les enceintes et d'unifier leur volume et caractéristiques sonores de même que d'ajuster finement le son multicanaux.
Les trois points principaux à prendre en considération lors du positionnement des enceintes sont la distance,
l'angle et l'orientation (c'est-à-dire la direction où sont orientées les enceintes).
Distance : La distance de toutes les enceintes doit être identique.
Angle: Les enceintes doivent être horizontally symétriques.
Orientation : L'orientation doit être horizontallyment symétrique.
Dans la plupart des cas, il est toutefois impossible de respecter ces conditions. Sur ce récepteur, la distance des enceintes peut être corrigée automatiquement à 1 cm pres en exécutant la configuration MCACC automatique intégrale (page 41).
Étape 1 : Disposition des enceintes et réglage de la distance
Utilisez par exemple des pieds d'enceintes pour stabiliser les enceintes, et laissez au moins 10 cm entre les murs et les enceintes. Positionnez avec précision les enceintes de sorte que les enceintes gauche et droite soient aux mêmes angles par rapport à la position d'écoute (centre des réglages). (Nous vous conseillons d'utiliser des cordes, etc. pour ajuster les positions.) Toutes les enceintes devraient être à égale distance de la position d'écoute.

Remarque
- Si les enceintes ne peuvent pas etre placees a eigale distance (sur un cercle), corrigez artificiellement leurs distances par la configuration MCACC automatique et l'ajustement fin des enceintes.
Étape 2: Réglage de la hauteur des enceintes
Ajustez les hauteurs (angles) des différentes enceintes.
Ajustez-les de sorte que les enceintes avant reproduisant les moyennes et hautes fréquences soient à peu pris à hauteur d'oreilles.
Si l'enceinte centrale ne peut pas etre installee a la meme hauteur que les enceintes avant, reglez son angle d'élevation de sorte quelle soit dirigée vers la position d'ecoute.
Installez l'enceinte surround 1 de sorte qu'elle soit au moins a hauteur d'oreilles.
Étape 3 : Réglage de l'orientation des enceintes
Si les enceintes gauche et droite ne sont pas orientées dans la même direction, le son ne sera pas le même sur la droite et la gauche, et le champ sonore ne sera pas reproduit correctement. Toutefois, si toutes les enceintes sont orientées vers la position d'écoute, le champ sonore semblera réduit. Les tests effectuels par le groupe de recherche multicanal de Pioneer ont montré qu'il était possible d'atteindre un bon positionnement du son en orientant toutes les enceintes vers une zone située entre 30 cm et 80 cm derrière la position d'écoute (entre les enceintes surround et la position d'écoute).
Toutefois, en fonction de l'etat de la pierce et des enceintes utilisées, la sensation de positionnement du son peut être différente. En particulier, dans les petites salles (lorsque les enceintes avant sont pres de la position d'écoute), les enceintes seront trop orientées vers l'intérieur si elles sont installées selon cette méthode. Utilisez cet exemple à titre de référence, mais essayez aussi d'autres méthodes d'installation.
Étape 4 : Positionnement et réglage du caisson de grave
En plaçant le caisson de grave entre les enceintes centrale et avant, il est possible d'obtenir un son plus naturel même pour les sources musicales (si vous possédez un seul caisson de grave, il pourrait être placé à droite ou à gauche). Le son grave émis par le caisson de grave n'est pas directionnel, il n'est donc pas nécessaire d'ajuster
sa hauteur. Normalement le caisson de grave peut etre place sur le sol. Placez-le a un endroit ou il n'annulera pas lessons graves émis par les autres enceintes. Notez aussi que s'il est place pres d'un mur, des vibrations sympathiques amplifiant le grave peuvent se propagated dans le bateau.
Si le caisson de grave doit être installé près d'un mur, tournez-le un peu de sorte qu'il ne soit pas parallèle à la surface du mur. Les vibrations sympathiques seront réduites, mais selon la configuration de la salle, des ondes stationnaires peuvent se produit. Mais même si des ondes stationnaires se produit, leur incidence sur la qualité du son pourrait être réduite si vous utilisez le contrôle des ondes stationnaires du MCACC automatique (page 89).
Étape 5: Réglages par défaut avec la configuration MCACC automatique (correction automatique de champ sonore)
Il est plus efficace d'effectuer la configuration MCACC automatique intégrale (page 41) lorsque les ajustements precedents sont terminés.

Remarque
- La distance du caisson de grave peut être légèrement supérieure à la distance mesurée avec un mètre, etc. car elle est corrigée par le retard électrique et ne pose pas de problème.
Position des enceintes par rapport au moniteur
Position des enceintes avant et du moniteur
Dans la mesure du possible, les enceintes avant doivent être à égale distance du moniteur.

Position de l'enceinte centrale et du moniteur
Comme la plupart des dialogues sont restitués par l'enceinte centrale, il faut placer l'enceinte centrale le plus pres possible du moniteur pour obtenir un son plus naturel dans son ensemble. Pour les téléviseurs à tubes Braun, toute fois, si l'enceinte centrale est posée sur le sol, réglez son angle d'élevation de sorte qu'elle soit dirigeée vers la position d'écoute.

Installation au sol
(Schema vue latérale)

Si I'enceinte centrale n'est pas de type blindee, eloignez-la du téléviseur.
- Si vous installez l'enceinte centrale sur le moniteur, inclinez-la légèrement vers la position d'écoute.
À propos des messages apparaissant lorsqu'les fonctions réseau sont utilisées
Reportez-vous aux informations suivantes lorsqu'un message d'etat apparait pendant l'utilisation des fonctions Réseau.
| Mentions d'état | Descriptions |
| Connection Down | Impossible d'avoir accès à la catégorie sélectionnée ou à la station radio Internet. |
| File Format Error | Lecture impossibly pour une raison quelconque. |
| Track Not Found | Le morceau sélectionné n'a pas pu être localisé sur le réseau. |
| Server Error | Impossible d'acceder au serveur sélectionné. |
| Server Disconnected | Le serveur a été débranché. |
| Empty | Aucun fichier stocké dans le dossier sélectionné. |
| License Error | La licence du contenu devant être lu est invalide. |
| Item Already exists | Cette mention s'affiche lorsque le fichier que vous essayez de consigner dans le dossier Favorites a déjà été consigné. |
| Favorite List Full | Cette mention s'affiche lorsque vous essayez de consigner un fichier dans le dossier Favorites alors que celui-ci est déjà plein. |
Dans certains cas, il se peut que les signaux HDMI ne puissant pas transiter par ce récepteur (ceci dépend du composant HDMI raccordé-verifyez auprès du fabricant dans qu'elle mesure l'appareil est compatible).
Si vous receivez correctement les signaux HDMI de votre composant par ce récepteur, essayez une des configura-tions suivantes comme liaison.
Configuration A
Reliez la sortie video de votre composant HDMI à l'entrée video à composantes du récepteur avec des cables video à composantes. Le récepteur pourra alors convertir le signal video à composantes analogique en signal numérique HDMI avant de l'afficher. Pour ce faire, utilisez la liaison la plus pratique (une liaison numérique est recommendée) pour envoyer le signal audio au récepteur. Reportez-vous au mode d'emploi pour de plus amples informations sur les liaisons audio.

Remarque
- La qualité de l'image change légèrement à la suite de la conversion.
Configuration B
Raccordez vous composant HDMI directement à l'écran par un cable HDMI. Utilisez ensuite la liaison la plus pratique (une liaison numérique est recommendée) pour envoyer le signal audio au récepteur. Reportez-vous au mode d'emploi pour de plus amples informations sur les liaisons audio. Réglez le volume de l'écran au minimum lorsque vous utilise cette configuration.

Remarque
- Si vous écran ne possède qu'une borne HDMI, vous ne pourrez recevoir le signal video HDMI que du composant raccordé.
- Selon celui-ci, la sortie audio peut être limitée au nombre de canaux disponibles sur l'écran raccordé (par exemple, le signal audio sera réduit à 2 canaux si l'écran ne présente qu'un son stéreo).
- Si vous poulez changer de fonction d'entrée, vous devrez changer de fonction sur le récepteur et sur l'écran.
- Comme le son est coupé sur l'écran lors d'une liaison HDMI, vous devrez régler le volume sur l'écran chaque fois que vous changerez de fonctions d'entrée.
Nettoyage de l'appareil
Utilisez un chiffon doux et sec pour essuyer la poussiere et la saleté.
- Lorsque la surface est sale, essuyez-la avec un chiffon doux bien essore, préalablement trempe dans un détergent neutre dilué dans cinq ou six volumes d'eau, puis essuyez de nouveau avec un chiffon sec. N'utilisez pas de cire ou de produit nettoyant pour meubles.
- N'utilise jamais de diluant, de benzène, d'aerosols insecticides ou d'autres produits chimiques sur ou à proximite de cet apparéil, sous peine d'abîmer sa surface.
Précautions à prendre lorsque le convertisseur LAN sans fil (AS-WL300) est utilisé
Précautions concernant la longueur d'onde
- Ce convertisseur LAN sans fil est conçu pour empêcher d'autres personnes d'écouter les signaux transmis, mais il est toutefois nécessaire de prendre quelques précautions pour que les les signaux transmis ne risquent pas d'être interceptés et écouteés par des personnes étrangères. comme ce convertisseur LAN sans fil effectue les transmissions par les ondes radio, une personne pourrait délibérément utiliser un récepteur pour essayer d'interceptor les transmissions. C'est pourquoit cet apparéil ne devrait pas été utilisé pour la transmission d'informations importantes d'ordre confidentiel.
Ce convertisseur LAN sans fil utilise la bande de fréquences des 2,4 GHz. Cette bande est aussi utilisée par une grande variété d'appareils, comme indiqué ci-dessous. En particulier, les apparèils qui souvent ne sont pas connus sont indiqués dans le point 2.
1 Exemples d'appareils commons utilisant la bande des 2,4 GHz :
- Téléphones sans fil
- Télécopieurs filaires
Fours a micro-ondes
Dispositifs LAN sans fil (IEEE802.11b/g)
Dispositifs AV sans fil
- Contrôleurs deieux sans fil
Dispositifs thérapeutiques à micro-ondes
Dispositifs sans fil Bluetooth
2 Autres dispositifs utilisant la bande des 2,4 GHz :
- Systemes de prévention du vol à l'étalage
- Radio amateurs sans fil
- Systemes de contrôle de la distribution dans les usines et grands magasins
- Systèmes d'identification sans fil des vehicules ferroviaires et de secours
Si ces dispositifs sont utilisés en même temps que ce convertisseur LAN sans fil, des interférences peuvent se produit et entraîner des pertes de signal.
Pour améliorer la qualité de la réception, prenez les mesures suivantes :
- Éteignez l'autre dispositif émettant des ondes radio.
- Éloignez le dispositif causant des interférences (Éloignez le convertisseur LAN sans fil et l'adaptateur RF du dispositif causant des interférences).
N'utilisez pas le convertisseur LAN sans fil dans les lieux suivants, car la transmission pourrait etre interrompue :
- Lieu ou un autre dispositif utilisant la bande de fréquences des 2,4 GHz est en service, par exemple un dispositif sans fil Bluetooth ou en réseau, ou à proximé d'un dispositif pouvant produit un champ magnétique, de l'électricité statique ou des interférences radio (selon l'environnement, la transmission par les ondes radio peut être inefficace).
- Éloignez votre poste radio.
- Si du bruit apparait sur l'écran de votre téléviseur, il se peut que le convertisseur LAN sans fil agisse sur l'entrée d'antenne du téléviseur, d'un appareil video, tuner BS ou tuner CS. Éloignez le convertisseur LAN sans fil de l'entrée d'antenne du dispositif affecté.
Portée
- La télécommande est donc pour les logements privés (la distance de transmission du signal peut etre réduite selon la configuration des pieces ou la situation).
Dans les cas suivants, le convertisseur LAN sans fil ne pourrait pas fonctionner à cause des transmissions erratiques des ondes radio.
Lorsque la transmission du signal est bloquée par un mur ou un sol en béton armé ou métal.
- À proximé de gros meubles métalliques.
- Dans la foule, ou pres de grands batiments faisant obstruction.
- Lieu ou un autre dispositif utilisant la bande de fréquences des 2,4 GHz est en service, par exemple un dispositif sans fil Bluetooth ou en réseau, où à proximé d'un dispositif pouvant produit un champ magnétique, de l'électricité statique ou des interférences radio.
- Si vous vivez dans un grand ensemble (appartement, condominium, etc.) et que vous voisin possede un four a micro-ondes pres du convertisseur LAN sans fil. Sachez toutefois que le four a micro-ondes ne genera pas ce convertisseur LAN sans fil lorsqu'il n'est pas utilise.
- Si vous utilisez plusieurs télécommandes RF omni-directionnelles au même endroit.
Réflexion du signal
- Les signaux atteigner le convertisseur LAN sans fil complnenent les signaux transmis directement par l'appareil principal (ondes directs) et les signaux reçus après réflexion sur les murs, les meubles et d'autresBATIMENTS (ondes réfléchies).
Ainsi, les ondes réfléchies générées par des obstacles et des objets réfléchissants peuvent agir sur la qualité du signal. Dans ces cas, essayez de déplacer légrement le convertisseur LAN sans fil.

ATTENTION
- À l'exception des cas de responsabilité légale fixés par la loi, Pioneer refuse toute responsabilité pour les préjudices causés à l'utiliser ou toute autre personne à la suite de l'utilisation de ce convertisseur LAN sans fil.
Sécurité
- N'utilise pas d'appareils électroniques utilisant des ondes radio de haute précision ou très délicates, car ces apparèils pourrait mal fonctionner et tomber en panne.
Exemples d'appareils exigeant des précautions particulières :
- Appareils auditifs, stimulateurs cardiaques et autres apparéels électroniques Médicaux et thérapeutiques, déteçeurs d'incendie/fumée, système d'ouverture automatique de portes et autres apparéils automatiques.
- Les personnes utilisant un stimulator cardiaque ou des apparciels électroniques thérapeutiques devraient consulter le fabricant ou revendeur de leur apparéillage au sujet des effets potentiels des ondes radio du convertisseur LAN sans fil.
- N'utilisez pas cette télécommande en avion, dans les hopitaux ou à tout autre endroit où l'emploi d'appareils générant des ondes radio est interdit, sous peine d'agir sur les apparciels de transmission de l'avion ou sur les apparciels Médicaux. Suivez toutes les précautions et directives données par les institutions Médicales.




Manufacturer:
PIONEER CORPORATION
1-1, Shin-ogura, Saiwai-ku,
Kawasaki-shi, Kanagawa
212-0031, Japan
Utiliser à l'intérieur seulement
English:
Par la presente Pioneer déclare que l'appareil SC-LX56 est conforme aux exigences essentielles et aux autres dispositions pertinentes de la directive 1999/5/CE
Svenska:
Les technologies Dolby sont expliquées ci-dessous. Voir http://www.dolby.com pour de plus amples informations.
Dolby Digital
Dolby Digital est un format sonore numérique multicanaux couramment utilisé dans les cinémas et chez soi pour la restitution des pistes sonores des DVD et des émissions numériques.
Dolby TrueHD
Dolby TrueHD est un format sonore de nouvelle generation sans perte, développé pour les disques optique haute définition.
Dolby Digital Plus
Dolby Digital Plus est le format sonore utilisé pour la programmation et les medias haute définition. Il associe l'efficacité spécifique exigeée à la puissance et à la flexibilité et permet d'offrir le potentiel sonore que l'on est en droit d'attendre des émissions haute définition futures.
Dolby Digital Surround EX
Dolby Digital Surround EX (EX est l'abréviation d'Extended) est une extension du format Dolby Digital avec un canal surround arrêté inclus dans les canaux surround gauche/droit pour la reproduction de 6.1 canaux. Ceci permet le décodage des signaux Dolby Digital 5.1 canaux ainsi que le décodage dans le format Dolby Digital EX.
Dolby Pro Logic IIx et Dolby Surround
Dolby Pro Logic IIx est une version améliorée du format Dolby Pro Logic II (et Dolby Pro Logic).
Le Dolby Surround est un format qui inclut des informations sonores surround dans une piste stéreo, ce qui permet d'améliorer l'écoute en surround et de nouveaux faire ressortir les détails sonores quand un décodeur Dolby Pro Logic est utilisé.
Dolby Pro Logic IIz
L'adjonction d'une paire d'enceintes au-dessus des enceintes avant gauche et droite ajoute de l'expressivité dans le sens vertical au champ sonore antérieur orienté horizontally. Le canal haut renforce la sensation de tridi-mensionnalité et d'espace du champ sonore, résultat en une meilleure présence et spatialisation.
DTS
Les technologies DTS sont expliquées ci-dessous. Voir http://www.dts.com pour de plus amples informations.
DTS Digital Surround is an-format audio 5.1 canaux de DTS Inc. couramment utilise pour les DVD-Video, DVD-Audio, disques de musique 5.1, émissions numériques etiaux video.
DTS-HD Master Audio
DTS-HD Master Audio est un format qui restitue les sources sonores masterisées dans les studios professionnelnels sans perte de données et préserve par conséquent la qualité du son.
DTS-HD High Resolution Audio
Format sonore haute définition grâce auquel les signaux peuvent transiter par des cables HDMI.
DTS-ES
DTS-ES (ES est l'abréviation d'Extended Surround) est un décodeur capable de décoder les sources enregistrées en DTS-ES Discrete 6.1 et DTS-ES Matrix 6.1.
DTS Neo:X
DTS Neo:X peut reproduce un son surround 11.1 canaux à partir de n'importe qu'elle source stéreo matricée ( comme une video ou la télévision) et de sources 5.1 canaux.
THX
Les technologies THX sont expliquées ci-dessous.
Consultez le site http://www.thx.com pour obtaining des informations plus détaillées.
THX Cinema
Mode permettant de reproductive chez soi les pistes son de films enregistrées et conçues pour les grandes salles comme les cinémas.
THX Music
Mode adapté principalement à l'écoute de musique dont la conception sonore est bien supérieure aux pistes son des films.
THX Games
Mode adapté à l'écoute du son des yeux et rendant fidèlement la sensation d'espace. Le son est mixé en grande partie comme pour les films, mais ce mode est destiné aux petites salles只不过 qu'aux grandes salles de cinéma.
THX Surround EX
Mode utilisant la technologie mise au point par Dolby Laboratories et THX visant à creer un champ sonore à l'arrière des auditeurs.
THX Loudness Plus
Mode créant un champ sonore surround riche et subtile grâce au calibrage optimal du volume et de la réponse en fréquence de chaque canal en fonction du niveau sonore.
Décodage
Technologie permettant de convertir les signaux numériques compressés lors de l'enregistrement par un circuit de traitement numérique du signal numérique, etc. en signaux originaux. Le terme "décodage" (ou "matrique") est également utilisé pour un format qui convertit les sources sonores incluant 2 canaux en plusieurs canaux ou élargissant les signaux incluant 5.1 canaux en signaux de 6.1 ou 7.1 canaux.
Calibrage du champ sonore/Amélioration de la qualité sonore
Contrôle de phase
Le contrôle de phase inclus dans ce récepteur permet une restitution sonore uniforme grâce à l'utilisation de la concordance de phase, offrant ainsi une image sonore parfaite à la position d'écoute.
Contrôle de phase pleine bande
Le contrôle de phase pleine bande permet de calibrer les caractéristiques de fréquence-phase des enceintes raccordées.
Surround arrière virtuel
Si vous n'utilise pas d'enceintes surround arrêté, la scélection de ce mode permet à vos enceintes surround d'émettre un canal surround arrêté virtuel. Vous pouvez désir d'écouter des sources sans les informations du canal surround arrêté.
Virtuel Haut
Si vous n'utilise pas d'enceintes avant en position haute, la selection de ce mode permet à vos enceintes avant d'émettre un canal avant virtuel du haut.
Virtuel large
Si vous n'utilise pas d'enceintes avant en position large, la selection de ce mode permet à vos enceintes avant de restituer le canal avant virtuel large.
Profondeur virtuelle
Lorsque ce mode est selectionné, le champ sonore s'élargit virtuèlement jusqu'à l'arrêt de l'écran de manière à produit une profondeur adaptée à l'image 3D et intensifier la sensation de présence.




Correction automatique du son
La correction automatique du sonemploi une technologie DSP pour rétablier la pression sonore et égaliser les irrégulatés resultant de la compression.
Avec certains signaux audio, la correction du son est optimisée selon le débit binaire du son reçu ce qui permet d'obtenir le meilleur son possible.
Correction sonore Air
La fonction Sound Retriever Air corrige la diminution de qualite sonore due à la compression des signaux lors d'un transfert Bluetooth.
PQLS
Le raccordement d'un lecteur compatible PQLS par une liaison HDMI permet une lecture de grande qualite et sans fluctuation.
ALC (Contrôle automatique des niveaux)
Dans le mode de contrôle automatique des niveaux (ALC), le récepteur égalise les niveaux du son lors de la lecture.
En outre, lessons des graves et des aigus,les dialogues,les effets surround,etc.,qui ne sont pas vraiment perceptibles à faible volume, sont réajustés de manière à être bien perçu à ce niveau sonore. Ce mode est optimal pour l'écoute de nuit.
Surround avant évolué
La fonction Surroundant avant evelue permet de reproduce des effets sonores surround uniformes et naturels seulement a partir des enceintes avant, sans deterieioration de la qualite du son original.
MCACC
La configuration MCACC automatique garantit une configuration rapide et précise du son surround. Celle-ci inclut les fonctions avancées de l'égaliser du calibrage acoustique professionnel.
HDMI
Commande par l'HDMI
La synchronisation des opérations suivantes avec un téléviseur ou un lecteur Blu-ray Disc Pioneer compatible avec un Control par l'HDMI est possible lorsque le composant est raccordé au récepteur par un cable HDMI.
Le volume du récepteur peut être régé ou le son coupé par la télécommande du télévisuer.
- L'entrée du récepteur change automatiquement lorsque l'entrée du téléviseur est changé ou un composant compatible avec la fonction Control par l'HDMI est lu.
- Dans ce cas, le récepteur est mis en veille en même temps que le téléviseur.
ARC (Canal de retour audio)
Lorsqu'un téléviseur prenant en charge la fonction ARC (Canal de return audio) de l'HDMI est raccordé au récep-teur, le son du téléviseur peut être transmis par la prise HDMI OUT.
Le son du téléviseur peut être transmis par la prise HDMI OUT du récepteur, si bien qu'un seul cable HDMI suffit pour le raccordement au téléviseur.
FonctionRéseau
AirPlay
Ce récepteur prend en charge la diffusion en flux audio AirPlay depuis iPod touch 2G/3G/4G, iPhone, iPhone 3G, iPhone 3GS, iPhone 4, iPhone 4S, iPad, iPad 2 iOS 4.2 ou ultérieure, et iTunes 10.1 (Mac et PC) ou ultérieure. Pour plus d'informations, reportez-vous au site Apple (http://www.apple.com).
DLNA
La DLNA (Digital Living Network Alliance) est une alliance transindustrielle des sociétés de production d'appareils électroniques grand public, d'ordinateurs et de périhériques mobiles. Digital Living permet aux consommateurs de partager aisément les médias numériques par leurs réseaux avec ou sans fil.
vTuner
vTuner est un service de base de données en ligne, permettant d'écouter des émissions de radio et de télévision sur Internet. vTuner regroupe des milliers de stations dans plus de 100 pays au monde. Pour plus d'informations sur vTuner, consultez le site web suivant :
http://www-radio-pioneer.com
"Ce produit est protégé par certains droits de propriété intellectuelle de NEMS et BridgeCo. L'emploi ou la distribution d'une telle technologie hors de ce produit sans licence NEMS et BridgeCo, ou d'une filiale autorisée, sont interdits."
aacPlus
Le décodeur AAC emploie le AACPlus mis au point par Coding Technologies. (www.codingtechnologies.com)


FLAC
FLAC (Free Lossless Audio Codec) est un codec de compression audio sans perte. Le son est compré en FLAC sans perte de qualité. Pour plus d'informations sur le FLAC, consultez le site web suivant : http://flac.sourceforge.net/
Windows Media est un logiciel intégré multimédia de Microsoft Windows,çon pour creator et distribuer des média. Windows Media est soit une marque déposée soit une marque commerciale de Microsoft Corporation, enregistrée aux Etats-Unis et/ou dans d'autres pays. Utilisez une application autorisée par Microsoft Corporation pour creator, distribuer ou dire des contenus de format Windows Media. L'emploi d'une application non autorisée par Microsoft Corporation entraînera des erreurs de fonctionnement.
Windows Media Player est un logiciel permettant de transmettre à une chaîne stéreo ou à un téléviseur de la musique, des photos et des films enregistrés sur un ordinateur Microsoft Windows.
Avec ce logiciel, vous pouvez dire des fichiers enregistrés sur ordinateur avec divers périphériques à l'endetroit souhaité de la maison.
Ce logiciel peut être télécharge du site Microsoft.
- Windows Media Player 11 (pour Windows XP ou Windows Vista)
- Windows Media Player 12 (pour Windows 7)
Pour plus d'informations, consultez le site officiel Microsoft.
Windows Media DRM is an un service DRM (Digital Rights Management) de la plateforme Windows Media. Il est destiné à assurer la sécurité de la distribution de contenus audio et/ou video par un réseau IP, à un ordinateur ou un périphérique de lecture, de manière à ce que le distributeur puisse s'assurer de la façon dont ce content est utilisé. Le contenu protégé par WMDRM ne peut être lu que sur un composant compatible avec le service WMDRM.
Routeur
Dispositif permettant de transférer sur un réseau des données circulant sur un autre réseau. En effet, les routes fonctionnent souvent comme serveurs DHCP. Les produits intégrant des points d'accès LAN sans fil sont appelés "routeurs LAN sans fil".
DHCP
Abréviation de Dynamic Host Configuration Protocol. Protocole permettant d'attribuer automatiquement l'adresse IP et d'autres informations de ce type pour les connexions réseau. Ce protocole est pratique parce que, lorsqu'il est activé, il permet d'utiliser les fonctions réseau en connectant simplement les dispositifs au réseau.
LAN/Wi-Fi sans fil
"Wi-Fi" (Wireless Fidelity) est le nom d'une marque commerciale donné par l'association commerciale Wi-Fi Alliance consacree a favoriser la reconnaissance des reseaux LAN sans fil. Vu la croissance recente du nombre de dispositifs connectés à des ordinateurs, le Wi-Fi offre l'avantage d'éliminer les raccordements complexes par câbles. Pour assurer leur compatibilité, les produits qui ont subi des tests d'interpérabilité portent le logo "Wi-Fi Certified", une garantie pour les utilisateurs.
WPS
Abréviation de Wi-Fi Protected Setup. Norme établie par le groupe d'industries Wi-Fi Alliance visant à standardiser une fonction permettant des réglages pour l'interconnexion de dispositifs LAN sans fil compatibles WPS et la simplification du cryptage. Il existe un certain nombre de méthodes, par exemple la configuration par pression d'un bouton et la configuration par code PIN. Le recepteur AV permet la configuration par pression d'un bouton et la configuration par code PIN.
SSID
Abréviation of Service Set IDentifier. Identifiant d'un point d'accès LAN sans fil. Peut comprendre jusqu'à 32 caractères alphanumerices.
Fonction Bluetooth
Technologie Bluetooth sans fil
Norme relatives aux communications sans fil de courte portée entre plusieurs dispositifs numériques. Les informations sont échangées par les ondes radio entre des dispositifs situés à quelques mêtres, voire quelques dizaines de mêtres. Les ondes radio utilisées se situent sur la bande de 2,4 GHz qui n'exige pas d'autorisation ni d'abonnement, car il s'agit en général d'échange d'informations numériques à vitesse relativement lente, comme c'est le cas avec les souris et claviers d'ordinateurs, les téléphones mobiles, les smartphones, les informations texte et audio des assistants numériques personnels, etc.
Jumelage
Le "Jumelage" doit être effectué avant la lecture sur le dispositif sans fil Bluetooth via l'ADAPTATEUR Bluetooth. Veillez à effectuer le jumelage la première fois que vous utilisez yoursysteme et chaque fois que les données du jumelage ont été effacées. Le jumelage est nécessaire pour enregistrer le dispositif sans fil Bluetooth et permettre les communications Bluetooth. Pour le détaill a ce sujet, consultez aussi le mode d'emploi de votre dispositif sans fil Bluetooth.
- Le jumelage est nécessaire la première fois que vous utilisez le dispositif sans fil Bluetooth et l'ADAPTATEUR Bluetooth.
- Pour permettre la communication Bluetooth, le jumelage doit etre effectue sur voite syste et sur le dispositif sans fil Bluetooth.
Fonction du récepteur
Mode de fonctionnement
Ce récepteur présente un grand nombre de fonctions et réglages. Le mode de fonctionnement est destiné aux utilisateurs qui ont de la peine à maîtriser toutes ces fonctions et tous ces réglages.
MHL
MHL (Mobile High-definition Link) est une norme d'interfacage consque pour le transfert de signaux numériques sur les dispositifs mobiles.
Le MHL permet le transfert de données audio multicanaux de haute qualité et de formats video entièrement en haute définition.
"Ce récepteur intégre le MHL 1."
Index des fonctions
Mode de fonctionnement
Consultez la section Configuration du mode de fonctionnement à la page 44.
AVNavigator
Consultez the section A propos de I'AVNavigator (CD-ROM inclus) a la page 9.
MCACC automatique intégrale
Consultez la section Obtention automatique d'un réglage sonore optimal (Full Auto MCACC) à la page 41.
MCACC automatique (Expert)
Consultez the section MCACC automatique (Expert) à la page 86.
Configuration MCACC manuelle
Consultez la section Configuration MCACC manuelle à la page 88.
PQLS
Consultez la section Reglage de la fonction PQLS à la page 67.
Contrôle de phase
Consultez la section Contrôle de phase pour un son de(Meilleure qualite à la page 59.
Contrôle de phase pleine bande
Consultez la section Amelioration du son avec le contrôle de phase et le contrôle de phase pleine bande à la page 59.
Ondes stationnaires
Consultez la section Réglage des options audio à la page 70.
Contrôle de phase Plus
Consultez la section Reglage des options audio à la page 70.
Correction automatique du son
Consultez la section Réglage des options audio à la page 70.
ALC (Contrôle automatique des niveaux)
Consultez la section Lecture automatique à la page 56.
Surround avant évolué
Consultez la section Ecoute de sources variees grace aux divers modes d'ecoute a la page 56.
Correction sonore Air
Consultez the section Ecoute de sources variees grace aux divers modes d'ecoute a la page 56.
Optimisation des dialogues
Consultez la section Réglage des options audio à la page 70.
Internet radio
Consultez la section Ecoute des stations radio Internet à la page 62.
vTuner
Consultez la section Ecoute des stations radio Internet à la page 62.
DLNA
Consultez the section A propos de la lecture en reseau à la page 63.
AirPlay
Consultez la section Utilisation d'AirPlay sur un iPod touch, iPhone, iPad et iTunes à la page 61.
LAN sans fil
Consultez la section Raccordement a un réseau LAN sans fil à la page 38.
Lecture d'un fichier audio en haute définition
Consultez la section A propos des formats de fichiers lisibles à la page 64.
Consultez la section Lecture d'un dispositif USB à la page 49.
Diaporama
Consultez la section Lecture de fichiers photo enregistrres sur un dispositif USB à la page 49.
ADAPTATEUR Bluetooth
Consultez la section ADAPTATEUR Bluetooth pour I'écoute de musique sans fil à la page 53.
ARC (Canal de retour audio)
Consultez la section Reglage de l'HDMI à la page 66.
Gain SACD
Consultez la section Réglage des options audio à la page 70.
Retard automatique
Consultez la section Reglage des options audio à la page 70.
Gain Hauteur (option Hauteur de Dolby Pro Logic IIz)
Consultez la section Reglage des options audio à la page 70.
Surround arrière virtuel
Consultez la section Réglage des options audio à la page 70.
Virtuel Haut
Consultez la section Reglage des options audio à la page 70.
Virtuel large
Consultez la section Réglage des options audio à la page 70.
Profondeur virtuelle
Consultez la section Reglage des options audio à la page 70.
Convertisseur video numérique
Consultez la section Reglages des options video à la page 72.
Cinéma pur
Consultez la section Reglages des options video à la page 72.
Anime progressif
Consultez la section Reglages des options video à la page 72.
Réglage videoévolué
Consultez la section Reglages des options video à la page 72.
Extinction automatique
Consultez la section Menu Autre configuration à la page 98.




Spécifications
Section amplificateur
Puisance de sortie simultanee multicanaux (1 kHz, 1%, 8 Ω)
9 canaux en tout .720 W
Puisance de sortie nominale (1 kHz, 6 1 % Avant. 170 W + 170 W
Centre 170 W
Puissance de sortie nominale (1 kHz, 8 Ω, 0,08 %)
Avant. 130 W + 130 W
Centre 130 W
Puisance de sortie nominale (1 kHz, 4 1 %
Avant. 210 W + 210 W
Centre 210 W
Impedance d'enceintes garantie 4Ω à 16Ω
Section audio
Entree (Sensibilite/Impedance) LINE 380 mV/47 kΩ
Sortie (Niveau/Impédance)
REC. 380 mV/2.2 kΩ
Rapport signal/bruit (IHF, court-circuité, réseau A) LINE 101 dB
Sectiontuner
Gamme de fréquences (FM) 87.5 MHz à 108 MHz
Entrée antenne (FM) 75Ω asymétriques
Gamme de fréquences (AM) 531 kHz à 1602 kHz
Antenne (AM) . Antenne cadre (equilibrée)
Section video
Niveau des signaux
Vidente composite 1 Vc-c (75 Ω)
Video à composantes. Y: 1,0 Vc-c (75 Ω), PB/PR: 0,7 Vc-c (75 Ω)
Résolution maximale correspondante
Vidente à composantes 1080p (1125p) (Conversion video déactivée)
Section Entree/Sortie numériques
Prise HDMI 19 broches (Non DVI) Type de sortie HDMI. 5 V, 55 mA
Entree HDMI/Prise MHL. 5V,1A
Prise USB USB2.0 High Speed (Type A) 5 V, 2,1
Prise d'iPod USB et Video (Composite)
Prise ADAPTER PORT 5V,100mA
Prise WIRELESS LAN ADAPTER 5 V,600 mA
Section de commande intégrée
Prise de commande (IR) Minifiche 3,5 (MONO)
Signal IR . Actif Haut (Niveau Haut : 2,0 V)
Prise de déclencheur 12 V Minifiche 3,5 (MONO)
Type de sortie déclencheur 12 V 12V, Total 150 mA
Type de cable RS-232C 9 broches, type croisé, femme-femme Prise EXTENSION .5V,150mA
Section Réseau
Prise LAN. 10 BASE-T/100 BASE-TX
Divers
Alimentation CA 220 V a 230 V, 50 Hz/60 Hz
Consommation 330 W
En voille 0,1 W (Configuration HDMI - Control : OFF)
0,3 W (Configuration HDMI - Control : ON)
Dimensions externes 435 mm (L) x 185 mm (H) x 441 mm (P)
Poids (sans emballage) 15,3 kg
Nombre d'articles fournis
Microphone de configuration MCACC 1
Télécommande 1
Piles sèches IEC R03 de taille AAA. 2
Cable pour iPod 1
Cable MHL. 1
Convertisseur LAN sans fil (AS-WL300) 1
Antenne cadre AM. 1
Antenne fil FM. 1
Cordon d'alimentation
CD-ROM (AVNavigator)
Guide rapide
Instructions de sécurité
Carte de garantie

Remarque
- Les specifications suivantes sont valables lorsque l'alimentation électrique est de 230 V.
- Les specifications et la conception sont sujettes à de possibles modifications sans préavis, suite à des améliorations.
- Ce produit utilise les polices FontAvenue® sous licence de NEC Corporation. FontAvenue est une marque déposée de NEC Corporation.




Listedes codes preréglés
Voudevriezpuovoirutiliseransproponantsiyoutrouvessonnumedanslaistemais,danslecasdecertainsmodedes,lescodedarmquésindiqués danslaistepeuventnepasétrevalides.Dansdautercas,seulescertainefonctionsagirontbienquelecode deprérglageapropriéaitéte saisi.

Important
- Nous ne pouvons pas garantir le fonctionnement de tous les appareils des différentes marques figurant dans la liste. Un apparéil peut ne pas fonctionner même si son code de prépréglage est valide.
Si vous ne trouvez pas le code de préréglage correspondant au composant que vous souhaitez commander, vous pouze toujours programmer les différentes commandes depuis une autre télécommande (consultez la section Programmation de signaux depuis d'autres télécommandes à la page 80).
Televiseur
Pioneer 0113,0233,0252, 0275,0291,0295,0296,0305
A.R. Systems 0155
Acme 0141
Acura 0142, 0154
ADC 0140
Si la télécommande ne fonctionne pas avec les codes prérigés suivants, elle peut eventuellement fonctionner avec les codes prérigés pour les BD, DVR (BDR, HDR).
Pioneer 2014
AEG 2188
Aiwa 2149
Akai 2096
Akura 2186
Alba 2122, 2133, 2143
Amitech 2188
AMW 218
Awa 2189
Bang & Olufsen 2191
Bellagio 2189
Best Buy 2185
Brainwave 2188
Brandt 2112, 2139
Bush 2122, 2143, 2177, 2184
Cambridge Audio 2180
CAT 2182, 2183
Centrum 2183
CGV 2180, 2188
Cinetec 2189
Clatronic 2184
Coby 2190
Conia 2177
Continental Edison 2189
Crown 2188
C-Tech 2181
CyberHome 2103, 2132
Daenyx 2189
Daewoo 2130, 2154, 2188, 2189
Daewoo International
2189
Dalton 2187
Dansai 2179, 2188
Daytek 2105, 212
Dayton 2189
DEC 2184
Decca 2188
Denon 2161, 2163
Denver 2164, 2184, 2186
2190
Denzel 2178
Diamond 2180, 2181
DK Digitai 2129
Dmtech 2095
Dual 2178
DVX 2181
Easy Home 2185
Eclipse 2180
Electrohome 2188
Elin 2188
Elta 2142, 2188
Enzer 2178
Finlux 2180, 2188
Gericom 2145
Global Solutions 2181
Global Sphere 2181
Goodmans 2122, 2165, 2184
Graetz 2178
Grundig 2148
Grunkel 2188
H&B 2184
Haaz 2180, 2181
HiMAX 2185
Hitachi 2110, 2178, 2185
Innovation 2097
JVC2119,2136,2152
Kansai 2190
Kennex 2188
Kenwood 2146
KeyPlug 2188
Kiiro 2188
Kingavon 2184
Kiss 2178
Koda 2184
KXD 2185
Lawson 2181
Leccson 2179
Lenco 2184, 2188
LG 2111, 2115, 2135, 2138
2160,2171
Life 2097
Lifetec 2097
Limit 2181
Loewe 2151
LogicLab 2181
Magnavox 2184
Majestic 2190
Marantz 2157
Marquant 2188
Matsui 2139
Mecotec 2188
Medion 2097
MiCO 2180
Micromaxx 2097
Microstar 2097
Minoka 2188
Mizuda 2184, 2185
Monyka 2178
Mustek 2101
Mx Onda 2180
Naiko 2188
Neufunk 2178
Nevir 2188
NU-TEC 2177
Onkyo 2167
Optim 2179
Optimus 2099
Orava 2184
Orbit 2189
Orion 2156
P&B 2184
Pacific 218
Panasonic 2113, 2114, 2121,
2127, 2131, 2170
Philips 2100, 2106, 2117, 2118, 2126, 2134, 2157
Pointer 2188
Portland 2188
Powerpoint 2189
Prosonic 2190
Provision 2184
Raite 2178
RedStar 2186, 2188, 2190
Reoc 2181
Roadstar 2116, 2184
Ronin 2189
Rowa 2177
Rownsonic 2183
Saba 2112, 2139
Sabaki 2181
Saivod 2188
Samsung 2110, 2137, 2158
2173,2176
Sansui 2180, 2181, 2188
Sanyo 2140, 2166
ScanMagic 2101
Schaub Lorenz 2188
Schneider 2095
Scientific Labs 2181
Scott 2120, 2187
SEG 2116, 2178, 2181, 2189
Sharp 2097, 2141, 2174
Sigmatek 2185
Silva 2186
Singer 2180, 2181
Skymaster 2153, 2181
Skyworth 2186
Slim Art 2188
SM Electronic 2181
Sony 2104, 2108, 2123, 2124, 2125, 2150, 2175
Soundmaster 2181
Soundmax 2181
Spectra 2189
Standard 2181
Star Cluster 2181
Starmedia 2184
Sunkai 2188
| Supervision 2181 | Telefunken 2183 | Toshiba 2102, 2156, 2168, | Xlogic 2181, 2188 |
| Synn 2181 | Tensai 2188 | 2169, 2172 | XMS 2188 |
| Tatung 2130, 2188 | Tevion 2097, 2181, 2187 | TRANContinents 2189 | Yamada 2189 |
| TCM 2097 | Thomson 2098, 2112, 2155, | Trio 2188 | Yamaha 2106 |
| Teac 2162, 2177, 2181 | 2159 | TruVision 2185 | Yamakawa 2178, 2189 |
| Tec 2186 | Tokai 2178, 2186 | Wharfdale 2180, 2181 | Yukai 2101, 2147 |
| Technika 2188 | | Xbox 2098 | |
BD
Si la télécommande ne fonctionne pas avec les codes prérégés suivants, elle peut eventuellement fonctionner avec les codes prérégés pour les DVD, DVR (BDR, HDR).
| Pioneer 2034, 2192, 2255, 2258, 2259, 2260, 2281 Denon 2310, 2311, 2312 Hitachi 2307, 2308, 2309 | JVC 2290, 2291, 2293, 2294, 2295, 2296 LG 2286, 2287 Marantz 2302, 2303 Mitsubishi 2300, 2301 | Onkyo 2289 Panasonic 2277, 2278, 2279 Philips 2280 Samsung 2282 Sharp 2304, 2305, 2306 | Sony 2283, 2284, 2285, 2292 Toshiba 2288, 2262 Yamaha 2297, 2298, 2299 |
DVR (BDR, HDR)
Si la télécommande ne fonctionne pas avec les codes prêrgés suivants, elle peut eventuellement fonctionner avec les codes prêrgés pour les DVD, BD.
| Pioneer 2078, 2099, 2107, 2109, 2144, 2157, 2193, 2194, 2195, 2196, 2258, 2259, 2260, 2261, 2264, 2265, 2266, 2270 | Panasonic 2263, 2269 Sharp 2267, 2275 Sony 2268, 2271, 2272, 2273, 2276 | |
Magnétoscope
| Pioneer 1053, 1108 | Blaupunkt 1039 | Elsay 1050 | Goldstar 1033, 1048 |
| Adyson 1050 | Bondstec 1037, 1050 | Elta 1040, 1050, 1051 | Goodmans 1033, 1036, |
| Aiwa 1033, 1034, 1035 | Bush 1035, 1036, 1040, 1050, | Emerson 1050 | 1037, 1038, 1040, 1050, 1051 |
| Akai 1034 | 1051 | ESC 1036, 1051 | Graetz 1034 |
| Akiba 1040, 1050 | Cathay 1051 | Etzuko 1040, 1050 | Granada 1039 |
| Akura 1034, 1040, 1050 | Catron 1037 | Ferguson 1034 | Grandin 1033, 1036, 1037, |
| Alba 1035, 1036, 1037, 1040, | CGE 1033, 1034 | Fidelity 1033, 1050 | 1038, 1040, 1050, 1051 |
| 1050, 1051 | Cimline 1035, 1040, 1050 | Finlandia 1039 | Grundig 1039, 1040 |
| Ambassador 1037 | Clatronic 1037, 1050 | Finlux 1033, 1034, 1039 | Hanseatic 1038, 1039, 1051 |
| Amstrad 1033, 1050, 1051 | Condor 1036, 1037, 1051 | Firstline 1035, 1038, 1040, | Harwood 1050 |
| Anitech 1040, 1050 | Crown 1036, 1037, 1040, | 1050 | HCM 1040, 1050 |
| ASA 1038, 1039 | 1050, 1051 | Flint 1035 | Hinari 1035, 1040, 1050, |
| Asuka 1033, 1038, 1039, | Daewoo 1036, 1037, 1051 | Formenti/Phoenix 1039 | 1051 |
| 1040, 1050 | Dansai 1040, 1050, 1051 | Frontech 1037 | Hisawa 1035 |
| Audiosonic 1051 | Dantax 1035 | Fujitsu 1033 | Hitachi 1033, 1034, 1039, |
| Baird 1033, 1034, 1036, 1051 | Daytron 1036, 1051 | Funai 1033 | 1045 |
| Bang & Olufsen 1052 | De Graaf 1039 | Galaxy 1033 | Hypson 1035, 1040, 1050, |
| Basic Line 1035, 1036, 1037, | Decca 1033, 1034, 1039 | GBC 1037, 1040 | 1051 |
| 1040, 1050, 1051 | Denko 1050 | GEC 1039 | Impego 1037 |
| Baur 1039 | Dual 1034, 1051, 1060 | Geloso 1040 | Imperial 1033 |
| Bestar 1036, 1037, 1051 | Dumont 1033, 1039 | General 1037 | Inno Hit 1036, 1037, 1039, |
| Black Panther Line 1036, | Elbe 1051 | General Technic 1035 | 1040, 1050, 1051 |
| 1051 | Elcatech 1050 | GoldHand 1040, 1050 | Innovation 1035 |
| Interbuy 1038, 1050 | Multitech 1033, 1037, 1039, | Roadstar 1036, 1038, 1040, | Suntronic 1033 |
| Interfunk 1039 | 1040, 1050 | 1050, 1051 | Sunwood 1040, 1050 |
| Intervision 1033, 1051 | Murphy 1033 | Royal 1050 | Symphonic 1050 |
| Irradio 1038, 1040, 1050 | NEC 1034 | Saba 1034 | Taisho 1035 |
| ITT 1034 | Neckermann 1034, 1039 | Saisho 1035, 1040 | Tandberg 1051 |
| ITV 1036, 1038, 1051 | NEI 1039 | Samsung 1041 | Tashiko 1033 |
| JVC 1034, 1046 | Nesco 1040, 1050 | Samurai 1037, 1050 | Tatung 1033, 1034, 1039 |
| Kaisui 1040, 1050 | Nikkai 1037, 1050, 1051 | Sansui 1034 | TCM 1035 |
| Karcher 1039 | Nokia 1034, 1051 | Saville 1051 | Teac 1051 |
| Kendo 1035, 1036, 1037, 1050 | Nordmende 1034 | SBR 1039 | Tec 1037, 1050, 1051 |
| Oceanic 1033, 1034 | Schaub Lorenz 1033, 1034 | Teleavia 1034 |
| Korpel 1040, 1050 | Okano 1035, 1050, 1051 | Schneider 1033, 1035, 1036, | Telefunken 1034 |
| Kyoto 1050 | Orion 1035 | 1037, 1038, 1039, 1040, 1050, | Teletech 1050, 1051 |
| Lenco 1036 | Orson 1033 | 1051 | Tenosal 1040, 1050 |
| Leyco 1040, 1050 | Osaki 1033, 1038, 1040, 1050 | SEG 1040, 1050, 1051 | Tensai 1033, 1038, 1040, |
| LG 1033, 1038, 1049 | Otto Versand 1039 | SEI-Sinudyne 1039 | 1050 |
| Lifetec 1035 | Palladium 1034, 1038, 1040, | Seleco 1034 | Tevion 1035 |
| Loewe Opta 1038, 1039 | 1050 | Sentra 1037, 1050 | Thomson 1034, 1048 |
| Logik 1040, 1050 | Panasonic 1043 | Sentron 1040, 1050 | Thorn 1034 |
| Lumatron 1036, 1051 | Pathe Marconi 1034 | Sharp 1042 | Tokai 1038, 1040, 1050 |
| Luxor 1050 | Perdio 1033 | Shintom 1040, 1050 | Tonsai 1040 |
| M Electronic 1033 | Philco 1050 | Shivaki 1038 | Toshiba 1034, 1039, 1047 |
| Manesth 1040, 1050 | Philips 1039, 1045, 1052 | Siemens 1038 | Towada 1040, 1050 |
| Marantz 1039 | Phonola 1039 | Silva 1038 | Towika 1040, 1050 |
| Mark 1051 | Portland 1036, 1037, 1051 | Silver 1051 | TVA 1037 |
| Matsui 1035, 1038 | Prinz 1033 | Sinudyne 1039 | Uher 1038 |
| Matsushita 1033, 1039 | Profex 1040 | Solavox 1037 | Ultravox 1051 |
| Mediator 1039 | Proline 1033 | Sonneclair 1050 | United Quick Star 1036, |
| Medion 1035 | Prosonic 1035, 1051 | Sonoko 1036, 1051 | 1051 |
| Memorex 1033, 1038 | Pye 1039 | Sontec 1038 | Universum 1033, 1038, 1039 |
| Memphis 1040, 1050 | Quelle 1033, 1039 | Sony 1044 | Videoon 1035 |
| Micromaxx 1035 | Radialva 1050 | Standard 1036, 1051 | Weltblick 1038 |
| Microstar 1035 | Radiola 1039 | Stern 1051 | Yamishi 1040, 1050 |
| Migros 1033 | Rex 1034 | Sunkai 1035 | Yokan 1040, 1050 |
| RFT 1037, 1039, 1050 | Sunstar 1033 | Yoko 1037, 1038, 1040, 1050 |
CD
| Pioneer 5000, 5011, 5062, 5063, 5064, 5067, 5068, 5070, 5071, 5072, 5073, 5074, 5075 | Goldstar 5040 Hitachi 5042 Kenwood 5020, 5021, 5031 Luxman 5049 Marantz 5033 Onkyo 5017, 5018, 5030, 5050 | Panasonic 5036 Philips 5022, 5032, 5044 RCA 5013, 5029 Roadstar 5052 Sharp 5051 Sony 5012, 5023, 5026, 5027, 5028, 5039 | TEAC 5015, 5016, 5034, 5035, 5037 Technics 5041 Victor 5014 Yamaha 5024, 5025, 5038, 5046, 5047 |
| AKAI 5043 |
| Asuka 5045 |
| Denon 5019 |
| Fisher 5048 |
Décodeur satellite
Pioneer 6220, 6219, 6204
@sat 6251
@Sky 6238
ABsat 6180
Acoustic Solutions 6217
ADB6174
Akai 6214
Akura 6228
Alba 6176, 6200, 6180, 6217
Allsat 6214
Alltech 6180
Allvision 6252, 6238, 6199
Amitronica 6180
Ampere 6256, 6261
Amstrad 6202,6243,6256, 6261,6236,6180
Anglo 6180
Ankaro 6180
Ansonic 6245
Anttron 6200
Apollo 6176
Apro 6232
Arcon 6192
Arcus 6193
Armstrong 6214
Arnion 6251
ASA 6230
Asat 6214
ASCI 6213, 6238
ASLF 6180
AssCom 6220
Astra 6255, 6180
Astratec 6268, 6269
Astrell 6202
Astro 6177, 6236, 6255
6200, 6246, 6215, 6222, 6243
Atlanta 6245
Atsat 6251
AtSky 6238
Audioline 6232
Audioton 6200
Austar 6174
Avalon 626
Axil 6244, 6186, 6245
Axis 6267
Axitronic 6228
B.net 6232
B@ytronic 6230, 6199
Balmet 6186
Beko 6176
Belson 6245
Big Sat 6186
Black Diamond 6217
Blaupunkt 6177
Blue Sky 6180
Boca 6256, 6180, 6252, 6185
6257,6237,6187,6188
Bodner & Mann 6194
Boshmann 6244, 6247
Boston 6227
Brainwave 6232, 6231
Décodeur cable (Combiné Cable/PVR)
Freebox 6274
Humax 6248, 6224
Nokia 6208
Scientific Atlanta 6225
Telewest 6225
Thomson 6270
UPC 6270
Virgin Media 6225
CD-R
Pioneer 5001, 5053, 5071
Philips 5054
Yamaha 5055
Lecteur de disque laser
Pioneer 5002, 5003, 5004, 5005, 5006, 5007, 5008, 5009, 5010
Platine à cassette
Pioneer 5058, 5059
Platine à cassette numérique
Pioneer 5057
MD
Pioneer 5056
Lecteur réseau audiophile
Pioneer 5063
Console de peux
X-Box 2313
Amplificateur AV
Pioneer 5096 (ID 1), 5097 (ID 2), 5098 (ID 3), 5099 (ID 4),
Décovrez les nombreux avantages offerts en enregistrant votre produit en ligne maintainant sur http://www.pioneer.fr (ou http://www.pioneer.eu).
PIONEER CORPORATION
1-1, Shin-ogura, Saiwai-ku, Kawasaki-shi, Kanagawa 212-0031, Japan
Tous droits de reproduction et de traduction réservés.