3681 - Serrure électronique Master Lock - Notice d'utilisation et mode d'emploi gratuit
Retrouvez gratuitement la notice de l'appareil 3681 Master Lock au format PDF.
| Caractéristiques techniques | Verrou à combinaison, corps en acier, diamètre du câble : 3 mm, longueur du câble : 1,5 m. |
|---|---|
| Utilisation | Idéal pour sécuriser les bagages, les vélos, et autres objets personnels. |
| Maintenance et réparation | Vérifier régulièrement le mécanisme de verrouillage, lubrifier si nécessaire. |
| Sécurité | Résistant aux intempéries, combinaison personnalisable pour une sécurité accrue. |
| Informations générales | Poids : 300 g, dimensions : 15 x 5 x 2 cm, garantie de 1 an. |
FOIRE AUX QUESTIONS - 3681 Master Lock
Questions des utilisateurs sur 3681 Master Lock
0 question sur cet appareil. Repondez a celles que vous connaissez ou posez la votre.
Poser une nouvelle question sur cet appareil
Téléchargez la notice de votre Serrure électronique au format PDF gratuitement ! Retrouvez votre notice 3681 - Master Lock et reprennez votre appareil électronique en main. Sur cette page sont publiés tous les documents nécessaires à l'utilisation de votre appareil 3681 de la marque Master Lock.
MODE D'EMPLOI 3681 Master Lock
Electronic Built-In Lock • Serrure électronique intégrée • Cerradura electrònica integrada
Installation Instructions • Directives d'installation • Instrucciones de Instalación
3681·3685
-
Battery included
-
Lock is configured to work on 1/32in, 1/2in, and 3/4in door depths
-
Lock is configured to work on left and right hinged doors
-
Ouvrez la boîte
-
Pour éviter d'endommager la serrure, N'UTILISEZ PAS un objet pointu pour ouvrir l'emballage
-
Le module du clavier et le module de verrouillage seront dans le même emballage
-
Retirez le module du clavier et le module de verrouillage de l'emballage
-
Ouvrez la porteducasier
-
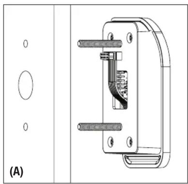
Avec une main, alignez le boftier avant dans deux troughs de montage situés sur l'avant de la porte du casier (A)
Tirez le ruban de connexion à travers le grand trou de montage du milieu
- Remarque : Le diamètre des trous de montage doit mesurer au moins 16 mm (7/32 po) pour assurer une
installation et un ajustement adequats. Si les trous de montage sont trop petits, utilisez une mèche de
16 mm (7/8 po) pour les agrandir
-
Avec votre autre main, alignez le module de verrouillage à l'arrière de la porte et fixez le ruban de connexion (B)
-
Acheminez l'excedent de ruban de return dans le trou de montage du milieu (C)
-
Alignez les vis filetées du module du clavier avec les trous du module de verrouillage (D)
-
Installez des écrous sur les vis filetées et serrez avec un tourne-écrou de 3/8 po (E)
-
Remarque: Serrez les attaches à un couple maximum de 3 N.m (20 à 25 lb-po) afin d'éviter
d'endommager le produit ou de causeur la defaillance de la serrure
-
Fermez la porte du casier
-
Vérifie que la serrure fonctionne correctement (reportez-vous aux directives pour plusieurs utilisateurs ou un seul utilisateur)
Remarques :
-
La pile est comprise
-
La serrure est configurée pour fonctionner avec des profondeurs de porte de 0,8 mm (1/32 po), 12,7 mm (½ po)
et 19,0 mm (% po)
- La serrure est configuerée pour fonctionner sur les portes avec charnière à droite ou à gauche



Display Screen Key Légende de l'écran d'affichage Iconos de la pantalla de visualización
- Low Battery
- Settings Mode
- Locked
- Unlocked
- Single-User Mode
- Bluetooth Mode - ADA Model Only (FOB Required)
- Invalid Code
- Bolt Jam
- Awaiting Code
-
Entered Code
-
Pile faible
- Mode de réglage
- Verrouillée
4.Deverrouillée - Mode Utilisateur unique
- Mode Bluetooth - modele ADA seulement (porte-clés requis)
- Code invalidate
- Pène bloqué
- En attente du code
-
Code saisi
-
Batería baja
- Settings Mode (Modo
configuración) - Bloqueado
- Desbloqueado
- Modo usuario Shedido
- Modo Bluetooth - Solo el Modelo ADA (se require FOB)
- Codigoinvindo
- Perno atascado
- A laesperadecódigo
- Código ingressado

The Bluetooth® word mark and logos Le mot servant de marque Bluetooth
are registered trademarks owned by et les logos sont des marques
Bluetooth SIG, Inc. and used under enregistrées de Bluetooth SIG, Inc.
license by Master Lock Company LLC. et, utilisés sous licence par
Avis : Ce disposif est conforme aux RSS exempts de licence d'Industrie Canada. Son fonctionnement est assujetti aux deux conditions suivantes : (1) ce disposif ne doit pas causer de l'interfere, et (2) ce disposif doit accepter toute interfeere, y compris I'interfere qui peut causer un fonctionnement indesirable du disposif.
Avis : Ce disposif est conforme à la partie 15 des règlements de la FCC. Son fonctionnement est assujetti aux deux conditions suivantes : (1) ce disposif ne doit pas causer de l'interfERENCE nocive et (2) ce disposif doit accepter toute interférence reçue, y compris l'interfERENCE qui peut causeur un fonctionnement indésirable.
Les modifi cations ou les changements apportés à cet équipement qui ne sont pas expr essément approuvés par la partie responsable de la conformite pourraient annuler l'autorite de l'utiliser a faire fonctionner I'equipement.
Notice Facile