Stylistic ST3400 - Tablette FUJITSU - Notice d'utilisation et mode d'emploi gratuit
Retrouvez gratuitement la notice de l'appareil Stylistic ST3400 FUJITSU au format PDF.
| Caractéristiques techniques | Écran 12,1 pouces, résolution 1280 x 800 pixels, processeur Intel Core Solo, 1 Go de RAM, 60 Go de disque dur, Windows XP Tablet PC Edition. |
|---|---|
| Utilisation | Conçue pour une utilisation professionnelle, idéale pour la prise de notes, la lecture de documents et les présentations. |
| Maintenance et réparation | Accès facile aux composants internes pour les réparations, pièces de rechange disponibles sur le marché. |
| Sécurité | Fonctionnalités de sécurité intégrées, notamment un lecteur d'empreintes digitales et des options de chiffrement des données. |
| Informations générales | Poids léger, autonomie de batterie d'environ 4 heures, connectivité Wi-Fi et Bluetooth. |
FOIRE AUX QUESTIONS - Stylistic ST3400 FUJITSU
Questions des utilisateurs sur Stylistic ST3400 FUJITSU
0 question sur cet appareil. Repondez a celles que vous connaissez ou posez la votre.
Poser une nouvelle question sur cet appareil
Téléchargez la notice de votre Tablette au format PDF gratuitement ! Retrouvez votre notice Stylistic ST3400 - FUJITSU et reprennez votre appareil électronique en main. Sur cette page sont publiés tous les documents nécessaires à l'utilisation de votre appareil Stylistic ST3400 de la marque FUJITSU.
MODE D'EMPLOI Stylistic ST3400 FUJITSU
Guide de l'utilisateur
Benutzerhandbuch
Manual del Usuario
Manuale Utente
Fujitsu PC Corp. a fait tout son possible pour s'assurer de l'exactitude et de l'exhaustivité de cette documentation. Néanmoins, dans la mesure où nous travaillons sans cesse à l'amélioration des fonctionnalités de nos produits, nous ne pouvons garantir l'exactitude des informations qu'elle contient. Nous nous déchargeons de toute responsabilité pour les erreurs, les omissions ou les modifications à venir concernant cette documentation.
Fujitsu et le logo Fujitsu sont des marques déposées de Fujitsu Limited.
Stylistic 3400 est une marque de Fujitsu PC Corp.
IBM, IBM PC AT et IBM PS/2 sont des marques déposées d'IBM Corporation.
Kensington et MicroSaver sont des marques déposées du Kensington Technology Group.
PCMCIA et CardBus sont des marques déposées de la Personal Computer Memory Card International Association.
Intel et Pentium sont des marques déposées d'Intel Corporation.
Microsoft est une marque déposée de Microsoft Corporation. Windows 98, Windows NT et Windows 2000 sont des marques de Microsoft Corporation.
Tous les autres produits sont des marques ou des marques déposées de leurs sociétés respectives.
Copyright 2000 - Fujitsu PC Corporation. Tous droits réservés. Aucune partie de cette publication ne peut être copiée, reproduite ou traduite sans l'accord écrit préalable de Fujitsu PC Corp. Aucune partie de cette publication ne peut être stockée ou transmise sous une forme électronique quelconque sans l'accord écrit préalable de Fujitsu PC Corp.
Déclaration de conformité
| Application de la / des directive(s) du Conseil Européen: 89/336/EEC | |
| Normes en fonction desquelles est réalisée cette déclaration de conformité | |
| Norme générique d'émissiongEN50081-1:1992 | |
| Norme(s) de testgEN55022 (Classe B):1995 | |
| Norme générique d'immunitégEN50082-1:1992 | |
| Norme(s) de testgEN61000-4-2:1995, EN61000-4-3:1995, EN61000-4-4:1995 | |
| Norme de sécurité produitgEN60950:1992 | |
| Nom du fabricantgFujitsu PC Corporation | |
| Adresse du fabricantg5200 Patrick Henry Drive | Santa Clara, Californie. 95054 |
| Nom de l'importateurgFujitsu Personal Systems, Inc | |
| Adresse de l'importateurgc/o DHL Express Logistics CtrBuilding 2Brussels National AirportB-1930 Zaventem, Belgique | |
| Type de l'appareil | Ardoise PC |
| Numéro du modèleStylistic 3400, FMW4203TX, FMW4203TS | |
| Année de fabricationg2000 | |
Je, soussigné, déclare que l'appareil mentionné ci-dessus est conforme aux directives et aux normes mentionnées ci-dessus.A: Santa Clara, Californie gSignature: Date: 04-04-00 gNom: T. AmemiyaFonction: Vice President, Engineering - Fujitsu PC Corp. | |
Table des matières
Chapitre 1
Démarrage
Contenu de la boîte de l'ardoise Stylistic 3400 .... 1
Accessoires en option 2
Fonctions de l'ardoise Stylistic 3400 .... 3
Affichage d'état....7
Connecteurs et interfaces périphériques .... 11
Chapitre 2
Utilisation de l'ardoise Stylistic 3400
Etats système.... 17
Mise sous tension de l'ardoise.... 19
Arrêt du système 20
Suspension des opérations ...... 20
Reprise des opérations du système 22
Utilisation des touches rapides 23
Utilisation du stylet.... 24
Etalonnage du stylet.... 25
Remplacement du stylet.... 26
Chargement du bloc batterie 26
Extraction et installation du bloc batterie 27
Conseils de réduction de la consommation de l'énergie de la batterie.... 29
Connexion du modem.... 30
Connecteur de carte PCMCIA 31
Chapitre 3
Entretien et Maintenance
Protection de l'écran.... 33
Stockage de l'ardoise Stylistic 3400 .... 34
Eviter la surchauffe.... 35
Nettoyage de l'écran.... 35
Dépannage 36
L'ardoise est bloquée en mode veille 36
L'écran est vide ou illisible 36
Le curseur ne suit pas le stylet.... 36
Le transfert infrarouge des données ne fonctionne pas.... 37
L'ardoise ne répond pas au stylet 37
Le volume audio est trop bas 37
Configuration des interfaces des périphériques.... 37
Annexe A
Spécifications matériel de Stylistic 3400
Spécifications de Stylistic 3400.... 39
Spécifications physiques.... 39
Spécifications alimentation électrique.... 41
Spécifications environnementales.... 41
Spécifications pour homologation 41
Spécifications supplémentaires.... 42
Annexe B
Notice sur la technologie de numériseur 43
Démarrage
Le Stylistic 3400 ^™ est un ordinateur à stylet à hautes performances conçu pour fonctionner sous Microsoft Windows 98, Windows NT 4.0 Workstation ou Windows 2000. Le présent chapitre comprend une présentation générale de l'ordinateur à stylet Stylistic 3400 et de ses caractéristiques.
Contenu de la boîte de l'ardoise Stylistic 3400
Les éléments suivants sont inclus avec l'ardoise Stylistic 3400 :
- Stylet Stylistic 3400
- Bloc batterie Stylistic 3400 (expédié installé dans l'ardoise Stylistic 3400)
- Adaptateur secteur
- Protège-écrans (quantité : 2)
- Disque dur avec système d'exploitation préinstallé dans l'ardoise
- Combinaison réseau local / module modem interne (V.90) à 56 kb/s * : réception à 53 kb/s ; envoi à 33,6 kb/s ; télécopie à 14,4 kb/s
- Certificat d'authenticité du logiciel du système d'exploitation
- Carte de garantie du Stylistic 3400
* Le débit de 56 kb/s est nominal ; en raison des restrictions imposées par la FCC, le débit réel est limité à 53 kb/s.
Accessoires en option
Les accessoires optionnels suivants peuvent être utilisés avec l'ardoise Stylistic 3400.
Reportez-vous aux instructions fournies avec ces accessoires pour obtenir des informations sur leur utilisation.
| Périphérique/accessoire | Numéro de pièce Fujitsu |
| Duplicateur de port Stylistic 3400 FMW42PR1 | |
| Mini station d'accueil Stylistic 3400 FMW42DS1 | |
| berceau pour utilisation fréquente Stylistic 3400 FMW42CR1 | |
| berceau à montage mural Stylistic 3400 FMW42CR3 | |
| Housse portfolio Stylistic 3400 FMWCC42 | |
| Housse Stylistic 3400 FMWCC43 | |
| Kit couvre-antenne Stylistic 3400 FMW42RC1 | |
| lecteur de disquettes externe FMWFD2 | |
| clavier USB (US) FMWKB5A | (GB) FMWKB5B(FR) FMWKB5F(GR) FMWKB5D(IT) FMWKB5E |
| Clavier infrarouge (US) FMWKB4A | (GB) FMWKB4B(FR) FMWKB4F(GR) FMWKB4D |
| Alimentation allume-cigares FMWCB2 | |
| Attache de stylet FMWST2 | |
| Support bureau pliant | FMWDS3 |
| adaptateur c.c. | FMWAC6 |
| Bloc batterie de rechange Stylistic 3400 | FMW42BP1 |
| Chargeur de batteries externe Stylistic | FMW42BC1 |
| Protège-écran (lot de 12) | FMWSP9 |
| Stylets Stylistic (lot de 5) | FMW42PN1 |
Fonctions de l'ardoise Stylistic 3400
Les fonctions et les commandes que vous allez utiliser pour faire fonctionner l'ardoise Stylistic 3400 sont décrites brièvement et illustrées dans les figures 1-1 et 1-2 ci-dessous. Vous trouverez des détails concernant l'utilisation de ces fonctions et commandes dans la suite de ce manuel.

text_image
Port IrDA/FIR Port modem Events de ventilation Attache de stylet Point de fixation Porte-stylet Système Diodes lumineuses d'état Microphone Prise jack pour casque téléphonique Prise jack pour microphone Bouton Réinit. Bouton Suspend/Resume PCMCIA CardBus/ Connecteur vidéo zoom Lecteur de disquettes Port USB (A) Port vidéo Alimentation en courant continu Pavés de réglage Port slavier infrarouge Duplicateur de port Point de verroumageFigure 1-1 Fonctions de l'ardoise Stylistic 3400 (vue de face)
Fonctions avant / dessus / côté droit :
- Diodes lumineuses d'état du système : elles indiquent l'état opérationnel de l'ardoise et du disque dur, le niveau de charge de la batterie et l'état du mode hovering.
-
Stylet : c'est le principal dispositif de pointage que vous utilisez pour exécuter les programmes et entrer les données. Un porte-stylet est intégré à l'ardoise pour y ranger le stylet quand ce dernier n'est pas utilisé.
-
Bouton Suspend/Resume : permet de suspendre et de reprendre l'utilisation du système afin d'économiser la batterie.
- Prise jack de microphone : permet de connecter un microphone externe.
- Prise jack pour casque téléphonique : permet de connecter un casque téléphonique.
- Connecteur PCMCIA CardBus/vidéo zoom : permet d'installer des cartes PCMCIA dans le système. ^†
- Port IrDA/FIR : fournit une interface infrarouge pour communiquer avec des périphériques conformes à la version révisée 1.1 de la norme IrDA.
- Port clavier infrarouge : le port infrarouge entoure l'avant et le fond de l'affichage et il sert à communiquer avec une souris ou un clavier infrarouge exclusif.†
- Touches rapides : permettent de modifier les caractéristiques de l'affichage et du haut-parleur en tapant avec le stylet.
- Port USB A : permet de brancher des périphériques de type USB (Universal Serial Bus) sur l'ardoise. Le port USB B se trouve sur la mini station optionnelle ou sur le duplicateur de port. ^†
- Port modem : permet de brancher un connecteur standard RJ-11 au modem interne à 56 Kb/s de l'ardoise.
Note : Le port de l'élément réseau local du module interne réseau local/modem est disponible sur la mini station optionnelle et/ou le duplicateur de port. ^
- Connecteur d'entrée d'alimentation en courant continu : permet de connecter l'adaptateur secteur ou l'alimentation allume-cigares. ^†
- Bouton Réinit. : met l'ardoise hors tension en cas de problème système.
- Events de ventilation : assurent le refroidissement secondaire du processeur. (Ne pas obstruer les évents).
- Point de fixation de l'attache du stylet: permet de fixer une attache de stylet. ^†
- Point de verrouillage du duplicateur de port : permet d'attacher le système à un duplicateur de port ou à une mini station. †
- Port de lecteur de disquettes : permet d'attacher un lecteur de disquettes au système. ^
- Port vidéo : permet de connecter un moniteur vidéo externe au Stylistic 3400.
^ Ces périphériques et accessoires sont vendus séparément.

text_image
Guide du couvercle radio Batterie Libération Bouton Couvercle de la mémoire Haut-parleur Couvercle du disque dur Système Interface Connecteur Contacts métalliques (Alimentation et USB) Events de ventilation Loquet de la batterie Bloc batterie Verrou Kensington Point de verrouillage du duplicateur de port Port clavier infrarouge StyletFigure 1-2 Fonctions de l'ardoise Stylistic 3400 (vue arrière)
Caractéristiques arrière / fond / côté gauche :
- Connecteur d'interface système : permet de connecter le duplicateur de port Stylistic, la mini station Stylistic ou un autre dispositif d'accueil approuvé. ^†
- Haut-parleur : permet la lecture des fichiers audio sans matériel externe.
- Contacts métalliques : permettent de placer l'ardoise dans une station d'accueil approuvée pour assurer une connexion haute insertion avec l'alimentation et l'interface USB. ^†
- Bloc batterie amovible : peut être enlevé et chargé dans un chargeur externe optionnel. ^†
- Bouton loquet/libération de la batterie : permet de libérer le bloc batterie amovible.
^ Ces périphériques et accessoires sont vendus séparément.
- Events de ventilation : assurent le refroidissement secondaire du processeur. (Ne pas obstruer les évents).
- Point de verrouillage du duplicateur de port : permet d'attacher le système à un duplicateur de port. ^
- Port clavier infrarouge : le port infrarouge est situé au fond et à l'avant de l'affichage et il sert à communiquer avec un clavier infrarouge. †
- Couvercle de mémoire : couvercle démontable qui recouvre les puces de mémoire vive.
- Guide du couvercle radio : fournit des guides d'alignement et des points de verrouillage pour solution radio de réseau local tiers. ^†
- Couvercle du disque dur : recouvre le module du disque dur amovible.
- Fente de verrouillage Kensington™ : permet d'attacher un câble de sécurité compatible à Kensington MicroSaver™.†
^ Ces périphériques et accessoires sont vendus séparément.
Affichage d'état
Des témoins apparaissent dans l'affichage d'état et renseignent sur l'état des fonctions systèmes telles que l'alimentation ou le niveau de charge de la batterie. L'emplacement de chaque témoin de l'affichage d'état est indiqué à la Figure 1-3.

text_image
Alimentation Charge/entrée c.c. Batterie Disque dur HoveringFigure 1-3 Témoins de l'affichage d'état
Le Tableau 1-1 explique comment sont affichés les divers témoins et décrit ce que signifient les variations de cet affichage (si un témoin n'est pas affiché, la fonction système correspondante est désactivée ou inactive).
Note : Dans le tableau ci-dessous, une diode lumineuse "clignotante" est une diode qui s'allume une fois par seconde, une diode "clignotante lente" est allumée pendant une seconde et éteinte pendant cinq secondes.
Tableau 1-1 Témoins d'état du système
| Témoin Mode/état | Etat diode lumineuse | Remarques | |
Alimentation![]() | • Etat Marche• Mode "Idle" | Vert, continu | |
| • Suspend-to-RAM Vert, c | ignotant | ||
| • état Arrêt• Sauvegarde sur disque | Arrêt | ||
Charge/entrée c.c.![]() | • Etat Marche• Mode "Idle"• Suspend-to-RAM• Sauvegarde sur disque• Etat Arrêt | Orange L'adaptateur secteur et le bloc batterie sont disponibles et le système est en cours de charge. | |
| Vert • L'adaptateur secteur et le bloc batterie sont disponibles et le système n'est pas en cours de charge (la batterie est complètement chargée).• L'adaptateur secteur est disponible mais le bloc batterie n'est pas installé. | |||
| Orange, clignotant L'adaptateur secteur et le bloc batterie sont disponibles et le système attend pour se mettre en charge (le bloc batterie a dépassé ses limites thermiques). | |||
| Arrêt L'adaptateur secteur n'est pas disponible. | |||
Tableau 1-1 Témoins d'état du système
Batterie • Etat Marche![]() | • Mode "Idle"• Suspend-to-RAM avec adaptateur secteur• Save-to-Disk, avec adaptateur secteur• état Arrêt | Vert, continu La charge | du bloc batterie est entre 50 et 100 %. |
| Orange, continu La charge | du bloc batterie est entre 13 et 49 %. | ||
| Rouge, continu La charge | du bloc batterie est entre 0 et 12 %. | ||
| Rouge, clignotant Une | erreur batterie s'est produite. | ||
| Arrêt Le bloc batterie n'est pas installé. | |||
| • Suspend-to-RAM, sans adaptateur secteur | Vert, clignotant lent La | charge du bloc batterie est entre 50 et 100 %. | |
| Orange, clignotant lent | La charge du bloc batterie est entre 13 et 49 %. | ||
| Rouge, clignotant lent | La charge du bloc batterie est entre 0 et 12 %. | ||
| • Save-to-Disk, sans adaptateur secteur• état Arrêt | Arrêt Si la batterie est | insérée lorsque l'appareil est hors tension, la diode lumineuse orange clignote pendant 4 secondes pendant que la batterie est détectée, après quoi l'état de la batterie est affiché pendant 5 secondes. | |
Accès au disque dur![]() | • Etat Marche• Mode "Idle" | Vert Affiché pendant un accès au disque dur. | |
| • Suspend-to-RAM• Sauvegarde sur disque• état Arrêt | Arrêt Il ne se produit pas d'accès au disque dur. | ||
Tableau 1-1 Témoins d'état du système
Hovering•![]() | Etat Marche(Hovering activé) | Vert Le mode hovering est activé. |
| • Etat Marche(Hovering désactivé) | Arrêt Le mode hovering est désactivé. | |
| • Suspend-to-RAM• Sauvegarde sur disque• état Arrêt | Arrêt |
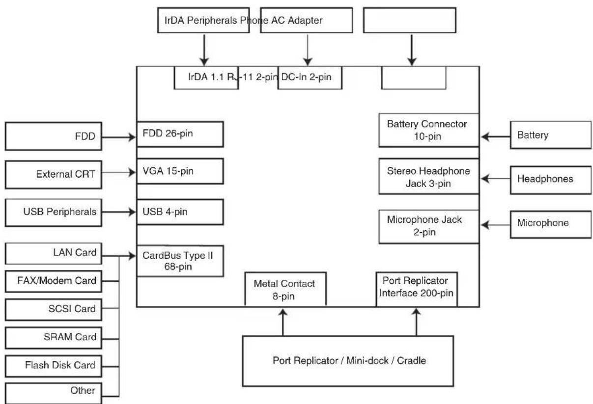
Connecteurs et interfaces périphériques
Les connecteurs et les interfaces périphériques de l'ardoise Stylistic 3400 vous permettent de brancher toute une série de périphériques. La disposition générale des interfaces du système est illustrée à la Figure 1-4. Les emplacements spécifiques des interfaces sont illustrés à la Figure 1-5 et à la Figure 1-6.

flowchart
graph TD
A["IrDA Peripherals Phone AC Adapter"] --> B["IrDA 1.1 RJ-11 2-pin"]
A --> C["DC-In 2-pin"]
A --> D["Battery Connector 10-pin"]
B --> E["FDD 26-pin"]
B --> F["VGA 15-pin"]
B --> G["USB 4-pin"]
B --> H["CardBus Type II 68-pin"]
D --> I["Battery"]
D --> J["Headphones"]
D --> K["Microphone"]
E --> L["FDD"]
F --> M["External CRT"]
G --> N["USB Peripherals"]
H --> O["LAN Card"]
H --> P["FAX/Modem Card"]
H --> Q["SCSI Card"]
H --> R["SRAM Card"]
H --> S["Flash Disk Card"]
H --> T["Other"]
I --> U["Stereo Headphone Jack 3-pin"]
J --> V["Microphone Jack 2-pin"]
K --> W["Port Replicator Interface 200-pin"]
U --> X["Metal Contact 8-pin"]
V --> X
W --> X
X --> Y["Port Replicator / Mini-dock / Cradle"]
Figure 1-4 Connecteurs et interfaces périphériques

text_image
USB (A) port Port de lecteur de disquettes Port vidéo Alimentation en courant continu Connecteur PCMCIA CardBus/vidéo zoom Port modem Port IrDA/FIR Prise jack pour casque téléphonique Prise jack pour microphone Bouton Réinit. Bouton suspend/resumeFigure 1-5 Connecteurs/interfaces périphériques, dessus et côté droit

text_image
Système Interface Connecteur Utilisation fréquente Contacts métalliques Verrou Kensington Port clavier infrarougeFigure 1-6 Connecteurs/interfaces périphériques, fond et côté gauche
Le Tableau 1-2 décrit chaque connecteur périphérique de l'ardoise Stylistic 3400. Chacune des icônes illustrées est reproduite en surimpression sur la housse de l'ardoise.
Tableau 1-2 Connecteurs/interfaces périphériques
| Connecteur/périphérique | Fig. Réf. | Témoin de l'ardoise | Objet |
| Connecteur d'alimentation en courant continu | 1-1 Connexion d'une source ![]() | de courant extérieuretelle que l'adaptateur secteur ou l'alimentation allume-cigares. | |
| Port vidéo† | 1-1 Connexion d'un moniteur ![]() | ur vidéo externe. Pourutiliser le port vidéo, activez le moniteur externe à l'aide de la touche rapide de sélection d'affichage.(LCD --> Affichage externe uniquement --> Simultané) | |
| Port de lecteur de disquettes | 1-1 Le connecteur du lecteur ![]() | ur de disquettes utilise uneinterface spéciale qui ne s'adapte qu'à un lecteur de disquettes Fujitsu FMWFD2. N'essayez pas de relier tout autre type de lecteur à ce connecteur. Contactez votre revendeur pour plus d'informations. | |
| Port USB (A) 1-1 Connexion des périphériques de type USB(Universal Serial Bus) à l'ardoise. Le port USB (B) se trouve sur la mini station d'accueil optionnelle Stylistic 3400. | |||
| Connecteur PCMCIA CardBus/vidéo zoom | 1-1 ![]() | Installation d'une carte PCMCIA de type II ou d'une carte vidéo zoom. | |
| Prise jack pour microphone | 1-1 Connexion d'un microphone ![]() | home externe. Lemicrophone interne est désactivé quand vous branchez un microphone extérieur. | |
| Prise jack pour casque téléphonique | 1-1 Connexion d'un casque ![]() | téléphonique stéréo oudes haut-parleurs extérieurs alimentés. Lehaut-parleur interne est désactivé quand vousbranchez un casque téléphonique ou deshaut-parleurs extérieurs. | |
| † Ouvrez la porte connecteurs pour accéder à ces connecteurs. | |||
Tableau 1-2 Connecteurs/interfaces périphériques
| Connecteur/périphérique | Fig. Réf. | Témoin de l'ardoise | Objet |
| Port IrDA/FIR 1-1 Un émetteur récepteur infrarouge intégré à l'ardoise vous permet de communiquer avec d'autres périphériques conformes à la version 1.1 de la norme IrDA. 1.1. La portée efficace des communications infrarouges est d'environ un mètre dans un éventail de 15 degrés de part et d'autre de l'axe. Aucun obstacle ne doit interrompre le trajet du faisceau infrarouge entre le port IrDA de l'ardoise et l'émetteur récepteur IrDA du périphérique. | |||
| Modem 1-1 Connexion d'une liane téléphonique au modem interne optionnel à l'aide d'une fiche téléphonique RJ-11 standard. | |||
| Contacts métalliques pour utilisation fréquente | 1-2 Installation de l'ardoise dans un dispositif d'accueil approuvé. Les contacts assurent l'alimentation en courant continu et l'interface USB. | ||
| Port d'interface système† | 1-2 Connexion du duplicate d'un dispositif d'accueil approuvé ou d'un autre dispositif d'accueil approuvé. Reportez-vous à la documentation qui accompagne le dispositif d'accueil pour plus d'informations. | ||
| Port clavier infrarouge | 1-1, 1-2 | Un récepteur infrarouge intégré à l'ardoise vous permet de communiquer avec un clavier infrarouge sans fil. Le port infrarouge du clavier fonctionne de manière optimale lorsque le clavier se trouve à une distance comprise entre 10 et 30 cm (environ 4 à 12 pouces) du port infrarouge situé sur le bord inférieur de l'ardoise. Assurez-vous qu'il n'existe aucun obstacle sur le trajet du faisceau infrarouge entre le récepteur infrarouge de l'ardoise et l'émetteur infrarouge du clavier. | |
| † Ouvrez la porte connecteurs pour accéder à ces connecteurs. | |||
Tableau 1-2 Connecteurs/interfaces périphériques
| Connecteur/périphérique | Fig. Réf. | Témoin de l'ardoise | Objet |
| Fente de verrouillageKensingtonTM | 1-2 | ![]() | La fente de sécurité Kensington MicrosaverTMvous permet de verrouiller l'ardoise à l'aide de dispositifs de fixation compatibles avecKensington. |
| † Ouvrez la porte connecteurs pour accéder à ces connecteurs. | |||
Outre les témoins des connecteurs et de l'interface, il existe d'autres témoins qui illustrent l'orientation et les boutons des éléments. Ces témoins sont illustrés au Tableau 1-3..
Tableau 1-3 Autres témoins système
| Description des témoins | Illustration des témoins | Objet |
Batterie Indique l'emplacement du couvercle de la ![]() | batterie amovible. | |
| Bouton de libération de la batterie | ![]() | Indique le bouton de libération de la batterie. |
| Verrou de libération de la batterie, ouvert | ![]() | Indique l'emplacement du verrou qui libère la batterie. |
| Verrou de libération de la batterie, fermé | ![]() | Indique l'emplacement du verrou qui bloque la batterie. |
| Bouton Suspend/Resume Indique | le bouton suspend/resume.![]() | |
| Bouton Réinit. Pas de témoin Met | le système hors tension en cas de problème. | |
Utilisation de l'ardoise Stylistic 3400
Ce chapitre traite des concepts fondamentaux, des principes de base de fonctionnement et d'utilisation et des fonctions système de l'ardoise Stylistic 3400. Vous devez vous familiariser avec toutes ces informations avant d'essayer de faire fonctionner le système.
Etats système
Avant de commencer à utiliser l'ardoise Stylistic 3400, étudiez ses différents états système (ou modes). Le fait de bien les connaître vous permettra de déterminer s'il faut mettre sous tension ou hors tension le système et suspendre ou reprendre les opérations lorsque vous commencez une nouvelle session ou que vous terminez la session en cours. Les sections qui suivent décrivent brièvement le comportement du système pour chaque état, les états étant classés par ordre décroissant de consommation d'énergie:
- Etat Marche
Le système fonctionne et l'écran est allumé.
- Etat "Idle"
Certaines fonctions système sont limitées ou désactivées afin d'économiser l'énergie. L'écran d'affichage peut être éteint. Le système revient à l'état Marche quand il détecte une activité du stylet ou toute autre sollicitation.
Le fonctionnement du système est suspendu. La plupart des fonctions système sont désactivées afin d'économiser l'énergie. La mémoire continue d'être alimentée pour conserver les données des programmes qui étaient en cours d'exécution lorsque les opérations ont été suspendues. Le système ne répond pas au stylet ni à d'autres entrées lorsqu'il se trouve en mode Suspend-to-RAM. Reportez-vous à la section "Reprise des opérations" dans la suite de ce chapitre pour des instructions sur le retour à l'état Marche.
• mode sauvegarde sur disque
Le fonctionnement du système est suspendu. Toutes les fonctions système sont désactivées afin d'économiser l'énergie. Les données actives des programmes en cours d'exécution avant la suspension des opérations du système sont stockées sur le disque dur. Le système ne répond plus au stylet ni aux autres formes d'entrée de données.
Reportez-vous à la section "Reprise des opérations" dans la suite de ce chapitre pour des instructions sur le retour à l'état Marche.
- Etat Arrêt (éteint)
Toutes les fonctions système sont désactivées afin d'économiser l'énergie. Le système ne répond plus au stylet ni aux autres formes d'entrée de données. Le système boot lorsqu'il est remis sous tension.
Note : Le système consomme la même quantité d'électricité qu'il soit en mode Sauvegarder sur disque ou à l'état Arrêt.
Votre système peut être configuré de manière à ce qu'il prenne automatiquement l'un de ces états après une certaine période d'inactivité pour économiser l'énergie de la batterie.
Lorsque vous devez utiliser l'ardoise Stylistic 3400, vous pouvez modifier l'état actuel du système de différentes manières, selon l'état dans lequel il se trouve Pour déterminer l'état actuel du système, regardez le témoin d'alimentation dans l'affichage d'état. Le Tableau 2-1 indique les divers états système représentés par le témoin d'alimentation et il vous indique comment passer de l'un à l'autre.
Tableau 2-1 Modification des états système
| Aspect du témoin d'alimentation | Etat actuel | Pour changer d'état* |
| Témoin d'alimentation affiché en continu | Etat Marche ou Etat "Idle" | Pour passer à l'état Arrêt, mettez le système hors tension à l'aide du menu Démarrage. |
| Pour passer en mode Suspend-to-RAM ou en mode de sauvegarde sur disque†, suspendez les opérations en utilisant la commande suspendre d'un matériel ou d'un logiciel. | ||
| Témoin d'alimentation clignotant | Suspend-to-RAM † | Pour passer à l'état Marche, relancez les opérations en appuyant sur le bouton Suspend/Resume. |
| Pour passer à l'état Arrêt, relancez les opérations en appuyant sur le bouton Suspend/Resume puis arrêtez le système. | ||
| Témoin d'alimentation non affiché | Etat Arrêt ou Sauvegarder sur disque† | Pour passer à l'état Marche, mettez en marche le système ou relancez les opérations en appuyant sur le bouton Suspend/Resume. |
* Les informations contenues dans le Tableau 2-1 sont données pour vous aider à comprendre dans quels états votre système peut passer à partir de son état actuel. Reportez-vous aux procédures de démarrage et d'arrêt du système et aux procédures d'interruption et de reprise de son fonctionnement qui sont données dans la suite de ce chapitre.
^ Votre système peut être configuré pour utiliser soit le mode Suspend-to-RAM, soit le mode de sauvegarde sur disque.
Mise sous tension de l'ardoise
Suivez la procédure décrite ci-dessous pour démarrer l'ardoise Stylistic 3400. Avant de commencer, assurez-vous que le système est à l'état Arrêt. Pour ce faire, observez l'affichage d'état. Si le témoin d'alimentation n'est pas visible dans l'affichage d'état, le système est à l'état Arrêt ou en mode Sauvegarder sur disque et vous pouvez appliquer cette procédure. Si le témoin d'alimentation est visible (soit clignotant, soit allumé en continu), n'exécutez pas cette procédure. Reportez-vous à la section "Etats système" plus haut dans ce chapitre pour obtenir une description détaillée des modes de fonctionnement symbolisés par le témoin d'alimentation.
-
Appuyez sur le bouton Suspend/Resume pour démarrer le système.
-
Assurez-vous que la batterie de votre ardoise est suffisamment chargée ou connectez l'ardoise à une alimentation extérieure à l'aide de l'adaptateur secteur ou de l'adaptateur allume-cigares. Reportez-vous à la section "Affichage d'état" du chapitre 1 pour voir comment déterminer le pourcentage de charge à l'aide du témoin de jauge de la batterie de la barre d'état.
Une fois que vous avez initialisé le système, celui-ci démarre le système d'exploitation qui est installé sur le disque dur. Une fois le système d'exploitation lancé, vous pouvez utiliser l'ardoise.
Arrêt du système
Suivez les étapes ci-dessous pour arrêter et mettre hors tension votre ardoise:
- Si les opérations avaient été suspendues, relancez le système. Reportez-vous à la section "Reprendre les opérations du système" plus bas dans ce chapitre.
- Sauvegardez votre travail et fermez tous les programmes en cours d'utilisation.
- Choisissez Arrêter dans le menu Démarrer de Windows (98, NT Workstation ou 2000) et appliquez la procédure d'arrêt.
Le système est alors à l'état Arrêt.
Suspension des opérations
L'ardoise Stylistic 3400 vous permet de suspendre les opérations système sans fermer les applications ni quitter le système d'exploitation. Servez-vous de cette fonction pour économiser la batterie quand il n'est pas pratique d'arrêter le système ou lorsque vous devez remplacer la batterie.
Pour suspendre les opérations système:
- Appuyez sur le bouton Suspend/Resume ou activez la commande Interrompre de votre système d'exploitation ou d'un programme d'économie d'énergie. (Si votre système est configuré pour suspendre les opérations en passant en mode de sauvegarde sur disque, expliqué plus loin dans la présente procédure, un message s'affiche pendant que vos données sont enregistrées sur votre disque dur).
Attention
Si vous devez remplacer le bloc batterie, attendez que les opérations système soient suspendues et que le témoin d'alimentation clignote avant d'enlever le bloc. Si vous ne le faites pas, vous risquez de perdre les données non enregistrées.
Selon la configuration de votre système, le témoin d'alimentation clignote (Suspend-to-RAM) ou il n'est pas affiché (sauvegarde sur disque) lorsque les opérations système sont suspendues. A ce moment, les programmes en cours d'exécution sont arrêtés, les données actives sont sauvegardées et le système entre dans l'un des deux modes à faible consommation d'énergie, ou modes veille, comme il est expliqué dans les paragraphes qui suivent.
- Observez le témoin d'alimentation de l'affichage d'état pour déterminer le mode veille utilisé par votre système.
- Le témoin d'alimentation clignote: mode Suspend-to-RAM
Dans ce mode, les données actives sont sauvegardées en maintenant la mémoire RAM sous tension tandis que la plupart des autres éléments du système sont mis hors tension. Le témoin de jauge de batterie de l'affichage d'état indique le niveau de charge de la batterie.
- Le témoin d'alimentation n'est pas affiché: mode Sauvegarder sur disque.
Dans ce mode, les données actives sont mémorisées sur le disque dur et la consommation d'énergie est la même qu'à l'état Arrêt. Lorsque le système est en mode Sauvegarde sur disque, le témoin de jauge de batterie n'est pas visible dans l'affichage d'état. Dans ce mode, il n'y a aucun risque de perte de données en cas d'interruption de l'alimentation batterie.
Si vous avez effectué correctement cette procédure, les opérations du système sont maintenant suspendues. Reportez-vous à la section “Reprendre les opérations du système” plus bas dans ce chapitre pour relancer le système. En outre, notez ce qui suit concernant la suspension des opérations du système:
- Pour installer un bloc batterie chargé, vous pouvez enlever le bloc batterie en place lorsque le système est en mode Suspend-to-RAM ou en mode sauvegarde sur disque. Pour éviter la perte de données non sauvegardées, attendez que les opérations système aient été suspendues avant d'enlever le bloc batterie.
- Votre système peut être configuré pour suspendre les opérations automatiquement après une certaine période d'inactivité.
- Votre système peut être configuré pour passer automatiquement en mode de sauvegarde sur disque après une certaine période en mode Suspend-to-RAM.
- Le système utilise une petite quantité d'énergie de la batterie quand il est en mode Suspend-to-RAM. La batterie finira donc par se décharger complètement.
Note : Si vous prévoyez de ne pas utiliser votre ardoise pendant une longue période, mettez-la hors tension plutôt que d'utiliser le mode Suspend-to-RAM.
- Si la charge du bloc batterie atteint le niveau bas d'alerte (batterie) alors que le système fonctionne, ce dernier émet des bips par intermittence. Si ceci se produit, suspendez les opérations, mettez l'ardoise hors tension ou connectez-la à une alimentation extérieure, en utilisant l'adaptateur secteur par exemple.
- Si la batterie atteint le niveau critique de charge alors que le système fonctionne, ce dernier bascule d'office dans un mode présélectionné (Suspend-to-RAM ou sauvegarder sur disque). Si ceci se produit, vous devez installer un bloc batterie chargé ou connectez l'ardoise à une alimentation extérieure appropriée, l'adaptateur secteur par exemple, avant
de pouvoir reprendre les opérations système. (Si la batterie atteint le niveau critique de charge alors que le système est en mode Suspend-to-RAM, le système reste dans ce mode jusqu'à ce que l'alimentation soit restaurée ou que la charge soit totalement dissipée).
- Le fait de suspendre les opérations interrompt les transmissions de données ; néanmoins, certains programmes peuvent empêcher le système de suspendre ses opérations afin de prévenir un tel type d'interruption.
- L'action du bouton Suspend/Resume peut être désactivée pour éviter une interruption accidentelle. Si c'est le cas, le fait d'appuyer sur ce bouton ne suspendra pas les opérations comme décrit ici. (Les opérations ne peuvent alors être suspendues qu'à l'aide du logiciel système). Contactez le service d'assistance client ou votre revendeur si la configuration de votre système ne convient pas.
- Si votre ardoise est équipée d'une carte PCMCIA qui vous permet de vous connecter à un réseau fixe ou hertzien, vous pouvez être déconnecté de ce réseau après une certaine période d'inactivité lorsque les opérations du système sont suspendues. Contactez l'administrateur réseau ou le service d'assistance clients pour obtenir des informations détaillées sur les paramètres de déconnexion de votre réseau.
Reprise des opérations du système
Pour reprendre les opérations, que ce soit à partir du mode Suspend-to-RAM ou du mode de sauvegarde sur disque, appuyez sur le bouton Suspend/Resume.
• A partir du mode Suspend-to-RAM (veille RAM)
Les voyants d'état indiquent que l'état du système se modifie. Vous pouvez devoir attendre jusqu'à une minute avant que le système revienne à l'état Marche et que les opérations système reprennent. Notez que l'écran s'allume un peu avant que le stylet ne s'active en raison des séquences de mise sous tension respectées par le système.
- A partir du mode de sauvegarde sur disque (veille disque)
Les données actives sont lues sur le disque dur et, après quelques secondes, le système repasse à l'état Marche.
Notez que l'alimentation de plusieurs éléments du système doit être restaurée avant la reprise des opérations. Laissez aux opérations le temps de reprendre avant d'essayer d'utiliser l'ardoise. Si votre système est en mode de sauvegarde sur disque, les opérations mettront un peu plus longtemps à reprendre que s'il est en mode Suspend-to-RAM. Ce délai supplémentaire est nécessaire pour lire les données à partir du disque dur.
- Utilisez l'ardoise de la façon habituelle une fois que les opérations du système ont repris.
Tous les programmes reprennent au point où ils en étaient lors de la suspension des opérations.
Utilisation des touches rapides
Les touches rapides sont des zones sensibles au stylet situées en dessous de l'affichage système qui servent à régler les paramètres de l'affichage et du haut-parleur pendant que le système fonctionne. D'autres touches rapides permettent d'utiliser la fonction bouton droit de la souris et le mode hovering du stylet.
Pour utiliser une touche rapide, tapez dessus avec le stylet. Vous pouvez également maintenir appuyée la pointe du stylet contre les touches Volume et Luminosité pour répéter automatiquement la fonction de la touche. L'emplacement de chaque touche rapide est indiqué à la Figure 2-1.

text_image
Programmable Haut-parleur Témoin Marche/Arrêt Affichage Sélectionner Droit Souris Volume Bas Volume Haut Luminosité (8 niveaux) Stylet HoveringFigure 2-1 Touches rapides
Vous trouverez ci-dessous un résumé de la fonction de chaque touche rapide.
- Touche programmable
Cette touche rapide peut être programmée pour des fonctions spécifiques de l'application. Contactez votre service d'assistance clients ou votre revendeur si vous avez besoin d'aide pour utiliser la touche rapide programmable.
- Touches de réglage de volume
Ces touches rapides permettent de régler le volume du haut-parleur ou du casque téléphonique de l'ardoise si vous vous en servez. (Notez que le haut-parleur interne est désactivé lorsqu'un casque téléphonique est branché).
- Touche rapide marche/arrêt du haut-parleur
Cette touche rapide allume ou éteint le haut-parleur ou le casque téléphonique de l'ardoise. Le système émet un bip lorsque vous tapez sur cette touche pour mettre en marche le haut-parleur ou le casque téléphonique.
- Touche de sélection écran
Cette touche rapide vous permet de sélectionner l'affichage par l'écran de l'ardoise, par un moniteur vidéo externe ou par les deux systèmes. L'écran de l'ardoise est vide si vous sélectionnez un moniteur externe seul.
- Touches rapides de luminosité
Ces touches vous permettent de régler la luminosité de l'affichage. La luminosité peut être réglée selon huit niveaux.
- Touche rapide bouton droit de la souris
Cette touche sert à changer la fonction du stylet de l'émulation du bouton gauche de la souris à l'émulation du bouton droit. Pour effectuer un clic unique de bouton droit de la souris, tapez une fois sur la touche puis une fois sur l'affichage. Pour effectuer un double clic de bouton droit de la souris, tapez une fois sur la touche puis deux fois sur l'affichage.
- Touche hovering du stylet
Cette touche active et désactive le mode hovering. Lorsque ce mode est actif, le témoin d'état Hovering est allumé. Le mode hovering du stylet assure un meilleur contrôle du curseur. Lorsque l'option hovering est sélectionnée, le curseur peut être placé sur une icône sans l'activer. Ceci est utile si vous voulez lire un message contextuel associé à une icône, simuler le déplacement de la souris, sélectionner une petite icône ou commencer une session peinture.
Utilisation du stylet
Vous pouvez utiliser le stylet Stylistic 3400 pour générer et capturer de "l'encre" électronique, pour sélectionner des objets et pour naviguer dans les programmes de l'ardoise. Le stylet peut être utilisé comme une souris à deux boutons conjointement avec la touche rapide d'émulation du bouton droit de la souris. Les applications qui comportent des fonctions de reconnaissance de l'écriture vous permettent d'écrire directement sur l'écran avec le stylet. Elles traduisent ensuite ce que vous avez écrit en texte de style clavier.
Attention
- Assurez-vous que l'écran de l'ardoise porte un protège-écran avant d'utiliser le stylet. La garantie ne s'applique pas aux rayures d'un écran dépourvu de protège-écran.
- N'utilisez que le stylet fourni avec l'ardoise. N'utilisez pas d'autres produits qui n'ont pas été conçus pour le Stylistic 3400.
Pour basculer entre l'utilisation du stylet comme instrument d'écriture et comme souris, cliquez sur la petite icône en forme de stylet dans le plateau système en bas à droite de l'écran.
Vous trouverez ci-après quelques conseils pour utiliser le stylet comme la souris à deux boutons d'un ordinateur de bureau.
- Pour sélectionner un objet, tapez une fois avec la pointe du stylet sur l'objet en question. Ceci a le même effet que de cliquez une fois avec le bouton gauche de la souris.
- Pour double-cliquer sur un objet, tapez deux fois rapidement sur l'objet choisi.
- Pour "cliquer une fois avec le bouton droit de la souris", tapez une fois sur la touche, puis une fois sur l'affichage. Pour "double-cliquer avec le bouton droit de la souris", tapez une fois sur la touche, puis deux fois sur l'affichage.
- Pour déplacer ou "faire glisser" un objet sur l'écran, placez la pointe du stylet directement sur l'objet puis déplacez le stylet en maintenant la pointe au contact de l'écran.
Etalonnage du stylet
L'étalonnage du stylet permet de régler la position du curseur sur l'écran par rapport à la position de la pointe du stylet. Cette opération permet de réduire l'erreur de distance entre l'endroit où le stylet touche réellement l'écran et l'endroit où le système "pense" qu'il se trouve. Si l'objet que vous voulez appeler ne s'affiche pas sous la pointe du stylet lorsque vous utilisez ce dernier, vous devez étalonner le stylet.
L'étalonnage du stylet peut être nécessaire dans les situations suivantes:
- Le stylet est utilisé pour la première fois.
- L'utilisateur précédent de la tablette Stylistic 3400 écrit de l'autre main ou tient le stylet sous un angle différent.
- L'ardoise a été utilisée pendant un certain temps sans que le stylet soit ré-étalonné.
- L'image du système d'origine a été restaurée.
Pour étalonner le stylet:
- Ouvrez le panneau de configuration dans le menu Démarrer/Paramètres et double-tapez sur l'icône stylet. Sélectionnez le fichier de propriétés Etalonnage, puis cliquez sur Etalonnage du stylet.
-
Placez l'ardoise Stylistic 3400 comme vous le faites habituellement quand vous l'utilisez. Assurez-vous que vous tenez le stylet avec le même angle que d'habitude. Touchez l'écran uniquement avec la pointe du stylet: l'étalonnage peut être erroné si vous touchez l'écran du doigt ou de la main au cours de cette procédure.
-
Réalisez l'étalonnage en suivant les instructions qui apparaissent à l'écran. L'utilitaire d'étalonnage affiche une cible successivement dans chacun des quatre coins de l'écran. En tenant toujours le stylet comme vous le faites normalement, tapez de manière aussi précise que possible sur le centre de chaque cible qui s'affiche.
Une boîte de dialogue apparaît lorsque vous avez tapé sur la dernière des quatre cibles. Tapez sur l'écran dans les 20 secondes qui suivent si vous voulez enregistrer les nouveaux paramètres d'étalonnage. Si vous ne le faites pas, les paramètres d'étalonnage par défaut seront utilisés.
-
Lorsque la fenêtre Vérification des nouveaux paramètres d'étalonnage du stylet apparaît, sélectionnez l'une des options suivantes.
-
Si vous estimez avoir tapé précisément sur le centre des cibles, tapez sur Oui. L'étalonnage que vous avez effectué à l'étape 3 est accepté.
- Si vous ne voulez pas conserver le nouvel étalonnage, tapez sur Non.
- Si vous voulez refaire l'étalonnage, tapez sur Recalibrate. Les instructions d'étalonnage sont alors affichées de nouveau.
Si vous avez réussi à exécuter la procédure décrite ci-dessus, votre stylet est étalonné et vous pouvez vous en servir de la manière habituelle.
Remplacement du stylet
A l'usage, la pointe du stylet peut s'user ou amasser des particules abrasives qui peuvent rayer l'écran. Une pointe endommagée ou tordue risque de ne pas se déplacer librement et l'utilisation du stylet peut avoir alors des résultats imprévisibles. Si votre stylet exhibe ce genre de problèmes, il faut le remplacer en contactant votre revendeur.
Chargement du bloc batterie
Le bloc batterie du Stylistic 3400 peut être chargé pendant qu'il est installé dans l'ardoise.
Pour ce faire:
- Connectez une source d'alimentation en courant continu, l'adaptateur secteur par exemple, au connecteur d'entrée en courant continu de l'ardoise. Le témoin Entrée c.c. apparaît dans l'affichage d'état. Si le niveau de charge de la batterie est inférieur à 90 %, la batterie se
met en charge et le témoin de chargement apparaît dans l'affichage d'état. Si le niveau de charge est supérieur ou égal à 90 % lorsque vous connectez la source d'alimentation en courant continu, la batterie ne se met pas en charge, ce qui évite les surcharges.
- Observez le témoin de jauge de la batterie dans l'affichage d'état pour connaître le pourcentage de charge approximatif de la batterie. Reportez-vous à la section "Témoins d'état" du chapitre 1 de ce manuel qui décrit le témoin de jauge de la batterie.
Tant que l'alimentation en courant continu reste connectée à l'ardoise, la charge se poursuit jusqu'à ce que le niveau de charge de la batterie atteigne 100 %. Les temps de charge qui sont indiqués au Tableau 2-2 correspondent à la charge d'une batterie complètement vide qui se recharge soit quand l'ardoise fonctionne, soit quand elle ne fonctionne pas.
Tableau 2-2 Temps de charge de la batterie
| Charge du bloc batterie Niveau atteint | Temps de charge approximatif (l'ardoise ne fonctionne pas) | Temps de charge approximatif (l'ardoise fonctionne) |
| 90 % 3 heures 6 heures* | ||
| 100 % 4 heures 8 heures* |
* En fonction des applications utilisées.
Veuillez également faire attention aux points suivants lorsque vous chargez la batterie:
- Vous pouvez utiliser le système, suspendre les opérations ou arrêter et mettre l'ardoise hors tension sans suspendre la charge de la batterie ; cependant, l'utilisation de l'ardoise alors que la batterie est en charge ralentit le rythme de la charge, comme le fait apparaître le Tableau 2-2.
- Comme indiqué dans la procédure ci-dessus, le système ne met pas la batterie en charge si le niveau de charge est supérieur ou égal à 90 % au moment où l'ardoise est connectée à une source d'alimentation externe (ceci afin d'éviter les surcharges).
- Le bloc batterie Stylistic 3400 utilise des éléments au lithium-ion qui n'ont pas “d'effet mémoire”. Vous n'avez donc pas besoin de décharger complètement la batterie avant de la mettre en charge.
Extraction et installation du bloc batterie
Le bloc batterie peut être retiré de l'ardoise et remplacé par une batterie chargée. La batterie vide peut alors être rechargée à l'aide d'un chargeur externe, si vous en avec un. Pour retirer le bloc batterie de l'ardoise:
-
Choisissez l'une des options suivantes:
-
Si vous disposez d'un bloc batterie chargé, vous pouvez suspendre les opérations du système. Une batterie "en pont" intégrée maintient le système en mode Suspend-to-RAM pendant environ 5 minutes lorsque le bloc batterie est enlevé, ce qui permet de le remplacer par un bloc batterie chargé.
- Si vous ne disposez pas de bloc batterie chargé, enregistrez votre travail et fermez tous les programmes actifs, puis arrêtez le système ou passez en mode de sauvegarde sur disque.
-
Connectez une source extérieure d'alimentation en courant continu.
-
Appuyez et maintenez enfoncé le bouton de libération de la batterie. (voir la Figure 2-2).
- Tout en maintenant le bouton, faites glisser le verrou de libération de la batterie dans la direction indiquée à la Figure 2-2. Le bord du bloc batterie se soulève de la surface de l'ardoise.
- Retirez le bloc batterie de l'ardoise.
Si vous utilisez un chargeur de batterie externe, reportez-vous aux instructions d'utilisation fournies avec cet appareil.
Pour installer le bloc batterie:
- Orientez la batterie de manière à ce que son connecteur soit placé sur le connecteur du plateau de batterie vide. Placez le bloc batterie dans le plateau et enfoncez-le fermement jusqu'à ce qu'il s'enclenche. Lorsque le bloc batterie est correctement placé, le verrou de libération doit se déplacer vers le bouton de libération.
- Lorsque la batterie est fermement en place, appuyez sur le verrou de libération de la batterie en direction du bouton de libération jusqu'à ce que ce dernier se soulève jusqu'au niveau de l'ardoise.
Le bloc batterie une fois installé, vous pouvez reprendre les opérations du système et l'utiliser de la manière habituelle.

text_image
Verrou de libération de la batterie Bouton de libération de la batterie Couvercle de batterieFigure 2-2 Enlever le bloc batterie
Conseils de réduction de la consommation de l'énergie de la batterie
Vous pouvez prolonger la durée de vie de votre batterie en réduisant la consommation d'énergie. En utilisation normale, un bloc batterie entièrement chargé peut faire fonctionner le système pendant 2,5 heures environ avec la plupart des applications*. Cette durée peut varier en fonction des applications que vous faites tourner et de la configuration du système. Voici quelques suggestions qui vous permettront d'économiser l'énergie de votre batterie:
- dans la mesure du possible, utilisez une source d'alimentation extérieure telle que l'adaptateur secteur pour alimenter le système,
- suspendez les opérations système si vous envisagez de ne pas utiliser votre système pendant quelques minutes,
- éteignez l'ardoise si vous ne devez pas l'utiliser pendant une période plus longue,
- et utilisez des temporisateurs de gestion d'énergie (disponibles avec la configuration BIOS) qui vous aideront à économiser l'énergie de façon automatique. Contactez votre revendeur avant de modifier le BIOS.
Utilisation de la batterie en pont
Lorsqu'il est installé dans l'ardoise, le bloc batterie alimente certains éléments du système, même lorsque celui-ci est à l'état Arrêt. Lorsque le bloc batterie est enlevé, ces éléments sont alimentés par une batterie "en pont" intégrée à l'ardoise.
La batterie en pont n'est pas conçue pour une utilisation prolongée. Pour l'entretenir convenablement, respectez les mesures suivantes:
Note : L'ardoise est livrée avec une batterie en pont déchargée.
- Pour éviter de décharger la batterie en pont, stockez toujours l'ardoise avec un bloc batterie chargé.
- Si la batterie en pont se décharge complètement, il faut environ 11 heures pour qu'elle se recharge à fond.
- La batterie en pont se charge lorsque l'adaptateur secteur est connecté et que le système est à l'état Marche ou Arrêt ou en mode Suspend. Elle se charge à partir de la batterie seulement lorsque le système est à l'état Marche.
Connexion du modem
Note: • La vitesse de transfert maximale réelle du module interne modem/réseau local de 56 kb/s installé dans l'ardoise Stylistic 3400 est de 53 kb/s (réception), 33,6 kb/s (émission) et 14,4 kb/s (télécopie). La FCC limite la vitesse de téléchargement à 53 kb/s aux Etats-Unis.
- La partie réseau local du module ne peut être utilisée que lorsque l'ardoise est installée dans la mini station d'accueil ou le duplicateur de port. Il n'existe pas de port pour réseau local sur l'ardoise elle-même.
L'ardoise Stylistic 3400 est conçue pour accepter une fiche téléphonique RJ-11 standard. Connectez la fiche à la prise jack du modem située sur l'ardoise, à gauche du port IrDA (voir la Figure 1-1). La fiche téléphonique peut être installée que l'ardoise soit sous tension ou non.
Si vous avez besoin d'aide pour configurer le modem ou le réseau local de l'ardoise Stylistic 3400, contactez votre service d'assistance clients ou votre revendeur.
Connecteur de carte PCMCIA
Le connecteur de carte PCMCIA de l'ardoise Stylistic 3400 vous permet d'installer une carte CardBus PCMCIA de Type II.
Pour installer une carte PCMCIA, placez vers le haut le côté qui porte une flèche (la flèche de la carte doit être visible lorsque vous regardez l'ardoise du côté écran). Faites glisser la carte dans le connecteur de carte PCMCIA et enfoncez-la fermement pour qu'elle s'enclenche bien.
Pour installer une carte PCMCIA radio, reportez-vous à la documentation qui accompagne le kit de couvercle d'antenne (FMW42RC1). Ce kit est conçu pour recouvrir et protéger l'antenne radio.
Si vous avez besoin d'aide pour installer une carte PCMCIA dans votre ardoise Stylistic 3400, contactez votre service d'assistance clients ou le revendeur.
Entretien et Maintenance
Ce chapitre vous donne des conseils sur l'entretien et la maintenance de votre ardoise Stylistic 3400.
Protection de l'écran
L'ardoise Stylistic 3400 est conçue pour vous donner satisfaction pendant de longues années. L'utilisation d'un protège-écran va vous aider à garder un écran aussi clair que possible. Une fois installé, le protège-écran constitue une surface d'écriture durable, remplaçable et antireflet qui protège l'écran de toute rayure.
Pour obtenir des protège-écrans de remplacement, commandez la pièce Fujitsu numéro FMWSP9 (lot de 12 unités). Des informations supplémentaires sur l'installation des protège-écrans se trouvent dans la notice qui les accompagne.
Attention
Au cours de l'utilisation normale de l'ardoise, de petites particules provenant de l'environnement extérieur peuvent se loger dans la pointe du stylet et rayer l'écran. Pour l'éviter, assurez-vous qu'un protège-écran est installé avant d'utiliser votre ardoise. La garantie ne s'applique pas aux rayures d'un écran dépourvu de protège-écran.
Pour installer un nouveau protège-écran sur votre ardoise:
- si un protège-écran était déjà en place, retirez-le avant d'installer le nouveau.
Le protège-écran est maintenu en place sur la surface de l'écran par une mince bande adhésive le long des bords. Une encoche dans l'un des coins du protège-écran vous permet de glisser votre ongle dessous pour le retirer plus facilement.
- Nettoyez l'écran en frottant doucement sa surface avec un chiffon doux en coton imprégné d'alcool isopropylique. Assurez-vous qu'il ne reste pas de film sur l'écran avant d'appliquer le nouveau protège-écran.
Attention
L'ardoise Stylistic 3400 n'est pas étanche. Ne la mouillez pas et ne la nettoyez pas avec un chiffon détrempé.
- Retirez d'abord le film protecteur de la face adhésive du nouveau protège-écran.
- Appliquez le protège-écran sur la surface de l'écran. Ce faisant, orientez-le avec la face adhésive vers l'écran et l'encoche dans le coin inférieur gauche de l'écran.
- Appuyez sur le protège-écran avec vos doigts en faisant des mouvements circulaires le long des bords. L'adhésif prend complètement en 48 heures. Pour assurer un bon contact entre le protège-écran et l'écran, ne soulevez pas le protège-écran une fois qu'il a été appliqué.
- Retirez le film protecteur plastique de l'autre côté du protège-écran.
- Eliminez tous les résidus qui ont pu rester sur le protège-écran en frottant doucement sa surface avec un tissu doux en coton légèrement imprégné d'alcool isopropylique. Essuyez ensuite le protège-écran avec un chiffon doux sec pour retirer toute trace d'adhésif: cette précaution évitera au stylet de grincer.
Votre protège-écran est maintenant installé.
Stockage de l'ardoise Stylistic 3400
Attention
Prenez soin de ne pas stocker votre Stylistic 3400 en le posant sur l'écran, ce qui risquerait de détériorer l'affichage.
Stockez l'ardoise Stylistic 3400 à l'état Arrêt et après avoir vérifié qu'elle comporte un bloc batterie complètement chargé. Le bloc batterie du Stylistic 3400 alimente en électricité certains éléments du système même lorsque celui-ci est à l'état Arrêt. Si le système est stocké sans le bloc batterie, ces éléments sont alimentés par la batterie en pont interne du système. La batterie en pont n'est pas conçue pour une utilisation prolongée et elle se déchargera en très peu de temps, ce qui peut la détériorer. Vous pouvez stocker l'ardoise à l'état Arrêt pendant environ 30 jours avec un bloc batterie complètement chargé. Au bout de cette période, la batterie doit être rechargée ou remplacée par une batterie chargée.
L'ardoise Stylistic 3400 surveille sa température interne. Lorsque cette dernière s'approche de la limite maximale supportable par les éléments sensibles à la chaleur, les fonctions du système sont automatiquement limitées ou désactivées pour éviter toute détérioration.
Pour éviter la surchauffe, n'obstruez pas les évents qui se trouvent sur l'ardoise et le long de ses bords inférieurs.
Nettoyage de l'écran
Pour nettoyer l'écran de l'ardoise, essuyez doucement sa surface avec un chiffon doux en coton légèrement humecté d'eau ou d'alcool isopropylique.
Attention
L'ardoise Stylistic 3400 n'est pas étanche. Ne la mouillez pas et ne la nettoyez pas avec un chiffon détrempé.
Dépannage
Les sections qui suivent décrivent les solutions à certains problèmes courants. Si votre ardoise Stylistic 3400 présente un problème que vous n'arrivez pas à résoudre en exécutant les actions décrites, contacter votre service d'assistance clients ou votre revendeur pour obtenir de l'aide.
L'ardoise est bloquée en mode veille
Si l'ardoise ne reprend pas les opérations après qu'elles ont été suspendues, vérifiez les points suivants:
- Le bloc batterie peut être défectueux ou avoir atteint son niveau bas de charge critique. Quand ce niveau est atteint, l'ardoise se met d'office en mode Suspend-to-RAM pour éviter une perte totale d'alimentation. Pour corriger ce problème, connectez une alimentation externe (l'adaptateur secteur par exemple) ou installez un bloc batterie chargé.
- Le système peut avoir atteint sa température critique. Pour éviter que soient endommagés les éléments sensibles à la chaleur, le système se met en mode Suspend-to-RAM quand la température est trop élevée. Les opérations ne reprendront que lorsque la température sera redescendue dans des limites acceptables. Placez l'ardoise dans un endroit plus frais.
L'écran est vide ou illisible
Si l'écran de votre ardoise Stylistic 3400 est vide ou illisible, assurez-vous que le système fonctionne (le témoin lumineux d'alimentation est affiché en continu dans l'affichage d'état) et vérifiez les points suivants:
- La luminosité peut être réglée à un niveau trop faible, ce qui rend l'écran presque noir. Utilisez la touche de réglage de luminosité pour ajuster ce paramètre.
- Il se peut qu'un moniteur externe ait été sélectionné. Tapez sur la touche Sélection écran pour vérifier si l'écran de l'ardoise est bien sélectionné.
- La temporisation vidéo peut avoir expiré. Tapez sur l'écran pour le réactiver. Notez qu'il s'agit ici d'une fonction normale qui permet d'économiser de l'énergie.
Le curseur ne suit pas le stylet
Si le curseur à l'écran ne suit pas exactement le stylet ou s'il semble ne pas être correctement aligné avec lui, étalonnez le stylet. Reportez-vous à la procédure "Etalonnage du stylet" décrite au chapitre 2.
Le transfert infrarouge des données ne fonctionne pas
Si vous rencontrez des difficultés pour transférer des données par l'intermédiaire de l'interface infrarouge, vérifiez les points suivants:
- Le port IrDA de l'ardoise doit être capable de "voir" le port IrDA de l'autre périphérique. La ligne de vue entre ces deux ports IrDA doit être dégagée de tout obstacle.
- La distance entre les deux appareils ne doit pas dépasser 1 mètre environ.
- L'axe du port IrDA de l'ardoise ne doit pas faire un angle de plus de 15 degrés avec l'axe du port IrDA du périphérique
- Le périphérique que vous utilisez pour essayer de communiquer doit être conforme à la révision 1.1 (ou 1.0) de la norme IrDA.
L'ardoise ne répond pas au stylet
Si votre ardoise ne répond pas au stylet, connectez-la à un clavier extérieur pour voir si elle répond à ses commandes. Si le système ne répond toujours pas, l'application ou le système se sont peut-être plantés et il peut être nécessaire de réinitialiser le système.
Le volume audio est trop bas
Si le volume du haut-parleur de votre ardoise ou celui du casque téléphonique externe est trop bas, vérifiez les points suivants:
- Assurez-vous que le haut-parleur (ou la sortie casque si vous utilisez un casque téléphonique) est activé. Pour ce faire, tapez sur la touche silence: le système émet un bip si le haut-parleur ou la sortie casque est activé.
- Assurez-vous que le niveau de volume choisi grâce aux touches de réglage est suffisant pour permettre l'audition.
- Assurez-vous que la boîte "silence" qui se trouve dans le contrôle du volume système (accessible par le châssis) n'est pas activée.
- Assurez-vous que le niveau du volume configuré dans votre logiciel audio est suffisant pour permettre l'audition.
Configuration des interfaces des périphériques
Certains périphériques peuvent se désactiver au cours de la configuration du BIOS. Si l'interface que vous voulez utiliser ne fonctionne pas avec votre périphérique, assurez-vous que celui-ci est activé dans le BIOS. Contactez votre service d'assistance clients ou votre revendeur si vous avez besoin d'aide pour configurer BIOS.
Spécifications matériel de Stylistic 3400
Le tableau ci-dessous indique les spécifications matériel générales de Stylistic 3400 par catégorie.
| Spécifications de Stylistic 3400 | |
| Spécifications physiques | |
| Dimensions 11" l x 8,5" p x 1,1' | h (280 mm x 215 mm x 27,4 mm) |
| Poids 3,2 lbs. (1,45 kg) | |
| Spécifications de traitement | |
| Unité centrale Intel Pentium III | |
| Ensemble de puces Intel 440MX - 100 | |
| Vitesse de processeur 400 MHz | |
| Spécifications de mémoire vive/disque dur | |
| Mémoire vive principale 64 Mo | sur la carte principale modules d'expansion de 32, 64 et 128 Mo disponibles, avec un maximum de 192 Mo pour le système |
| Cache L1 (unité centrale) 16 Ko | |
| Cache L2 256 Ko | |
| BIOS sur disque | 512 Ko (mémoire morte flash extensible) |
| Disque dur • disque dur 2,5" amovible | • disque dur IDE 6 Go• Ultra AD M |
| Spécifications de Stylistic 3400 (suite) | |
| Spécifications entrée/sortie | |
| Digitaliseur • résistif, sans effet | paume de la main |
| Affichage • Affichage couleur intérieur10,4” TFT XGA (1024 x 768 points)256 K couleursLuminosité : 8 niveaux• Affichage couleur intérieur/extérieur10,4” TFT SVGA (800 x 600 points)256 K couleursLuminosité : 8 niveaux | |
| Mémoire vive vidéo VRAM 2,5 | Mo |
| Spécifications interface | |
| Connecteurs pour cartesPCMCIA | • Un de type II• PCMCIA CardBus version 3.0• Port vidéo zoom |
| Interfaces intégrées • FDD | • R J - 1 1• USB• DC-In• Connecteur vidéo• Connecteur d'extension |
| Infrarouge IrDA version 1.1 (FIR, 4Mb/s) | |
| Audio • Fonction son + codec | AC’97 (codec stéréo à 18 bits)• compatible avec Sound Blaster Pro• Microphone et haut-parleur internes• Prises jacks pour microphone et casque téléphonique |
| Contacts de la stationd'accueil pour utilisationfréquente | • DC-In• Hôte USB |
| Commandes utilisateur | Touches rapides: programmable, volume, affichage, luminosit, bouton droit, hoveringBouton suspend/resumeBouton R init. (interrupteur de mise hors tension) |
| T moins d' tat (diodes lumineuses) | AlimentationCharge/c.c.Niveau de la batterieDisque durHovering |
| Spécifications alimentation électrique | |
| Batterie principale • 6 l ments | Amovible, lithium-ion10,8 V @ 2600 mAHRempla able chaudDur e de charge: Mode suspend/hors tension: 3 heures (90 %), 4 heures (100 %)En fonctionnement: 8 heures (100 %)Dur e de vie: ~2,5 heures (la dur e de vie de la batterie d pend du syst me d'exploitation, des conomies d'nergie et des applications utilis es)Dur e de vie en mode Suspend: 5 jours au minimum Hors tension: environ 30 jours |
| Spécifications environnementales | |
| Temp rature | En fonctionnement: 5^ - 35^ C ( 41^ - 95^ F)Hors fonctionnement: -20^ - 60^ C ( -4^ - 140^ F) |
| Humidit | En fonctionnement: 20 80 % sans condensationHors fonctionnement: 20 80 % sans condensation |
| Spécifications pour homologation | |
| Emissions | EN55022, Classe BFCC Partie 15, Classe B |
| Immunit | EN61000-4-2EN61000-4-3EN61000-4-4 |
| S curit | UL1950CSA950IEC950 |
| Spécifications supplémentaires | |
| Syst mes d'exploitation | Windows 98, Windows NT 4.0 Workstation, Windows 2000 |
| Certification CE | EN55022 (y compris CISPR22 missions de classe B)EN60950 (label de s curit TuV) |
Notice sur la technologie de numériseur
L'affichage de votre ardoise à stylet utilise une technologie innovante de numérisur à gel réducteur d'indice de réfraction qui améliore de façon spectaculaire la visibilité à l'extérieur. Le nouvel affichage surpasses les affichages extérieurs conventionnels en assurant une meilleure visibilité à la lumière solaire directe ainsi qu'une image claire et lumineuse à l'intérieur, dans des conditions d'éclairage faible ou la nuit.
Cette nouvelle technologie repose sur l'utilisation d'un liquide entre les couches du numérisur pour réduire au minimum la réfraction de la lumière et l'éblouissement. En raison de cette technique, les utilisateurs peuvent remarquer l'apparition de petites bulles d'air qui sont produites par les changements de pression (tels ceux que l'on subit dans un avion). Ces bulles microscopiques sont temporaires et elles n'affectent pas les performances ou l'utilisation de l'ardoise. Le numérisur fonctionne normalement en leur présence.
Les bulles d'air se forment lorsque le liquide se vaporise sous l'effet du changement de pression. Lorsque l'ardoise retrouve des conditions d'utilisation normales, les petites bulles ne tardent pas à être réabsorbées dans le liquide.
Dans certains cas, les bulles d'air peuvent se combiner en une bulle plus grosse. Il est possible de disperser de telles bulles et de les faire réabsorber par le liquide à l'aide d'un tissu en coton doux en frottant doucement l'écran d'un mouvement circulaire, semblable à celui qui permet de le débarrasser des empreintes digitales.
Index
A
accessoires en option, 2
adaptateur c.c., 2
affichage
écran, nettoyage, 35
l'écran est vide, 36
luminosité, réglage, 24
affichage d'état, 7
témoin batterie, 9
Témoin charge/entrée c.c., 8
témoin d'accès au disque dur, 9
témoin d'alimentation, clignotant, 18
témoin d'alimentation, états système indiqués par le, 8, 18
témoin mode hovering, 10
alimentation allume-cigares, 2
arrêt du système, 20
B
batterie en pont, 30
berceau à montage mural, 2
berceau pour utilisation fréquente, 2
Bloc batterie
niveau bas d'alerte (batterie), 21
niveau critique de charge, 22
bloc batterie, 2
chargement, 26
niveau critique de charge, 22
pas d'effet mémoire, 27
protection contre les surcharges, 27
stockage en unité système, 34
temps de charge, 27
bloc batterie amovible, 5
bouton de libération de la batterie, 15
Bouton Réinit., 4
bouton suspend/resume, 15
C
Carte PCMCIA, 13
connecteur, 4, 31
casque téléphonique, 4
chargement du bloc batterie, 26
chargeur de batteries externe, 2
clavier infrarouge, 2
clavier USB, 2
configuration de l'interface des périphériques, 37
Connecteur d'alimentation en courant continu, 13
connecteur d'alimentation en courant continu, 4
connecteur de lecteur de disquettes, 13
connecteur vidéo zoom, 13
connecteurs et interfaces périphériques, 11
connecteurs périphériques, 13
consommation d'énergie, 17
contacts métalliques, 5
contacts métalliques pour utilisation fréquente, 14
couvercle de mémoire, 6
couvercle du disque dur, 6
curseur
ne suit pas le stylet, 36
D
dépannage, 36
détermination du mode veille, 21
diodes lumineuses d'état du système, 3
duplicate de port, 2
connecteur, 14
E
énergie de la batterie
réduction de la consommation, 29
utilisée en mode Suspend-to-RAM, 21
entretien et maintenance, 33
étalonnage du stylet, 25
état "Idle", 17
Etat Arrêt, 17
état Arrêt, 20
états système, 17, 18
Etat "Idle", 17
état Arrêt, 17
Etat Marche, 17
Sauvegarde sur disque, 17
Suspend-to-RAM, 17
évents de ventilation, 4, 6
H
haut-parleur, 5
housse, 2
housse portfolio, 2
|
interfaces
connecteurs et périphériques, 11
J
jauge de batterie, 27
K
kit couvre-antenne, 2
L
le système ne reprend pas les opérations, 36
le transfert infrarouge des données ne fonctionne pas, 37
lecteur de disquettes externe, 2
loquet de la batterie, 5
luminosité, 23
réglage, 24
M
microphone, 4
mini station d'accueil, 2
mise hors tension du système, 20
mode de sauvegarde sur disque, 17, 20, 21, 22
Modem
port, 4
modem, 14
Index-2
connexion, 30 moniteur vidéo externe, 13, 24
N
nettoyage de l'écran, 35
niveau bas d'alerte (batterie), 21
niveau critique de charge de la batterie, 22
P
point de verrouillage du duplicateur de port, 4
port clavier infrarouge, 4, 14
port d'interface système, 5, 14
port de lecteur de disquettes, 4, 13
port infrarouge, 6
Port IrDA, 14
port IrDA, 4, 14
Port USB, 4, 13
port vidéo, 4, 13
prise jack pour casque téléphonique, 13
prise jack pour microphone, 13
problèmes, résolution, 36
protection de l'écran, 33
protège-écrans, 2
pupitre pliant, 2
R
réduction de la consommation de l'énergie de la batterie, 29
reprendre les opérations, 22, 36
réseau local / modem interne, 1
résolution des problèmes, 36
s
Specifications de Stylistic 3400
Alimentation, 41
environmentales, 41
homologation, 41
interface, 40
supplémentaires, 42
Spécifications de Stylistic 3400
entrée/sortie, 39
mémoire vive/disque dur, 39
physiques, 39
traitement, 39
stockage de l'unité système, 34
stylet, 3
attache, 2
ne répond pas, 37
points de fixation de l'attache, 4
remplacement, 26
utilisation, 24
Stylet Stylistic, 2
Stylistic 3400
accessoires, 2
éléments inclus avec, 1
entretien et maintenance, 33
fonctions, 3, 5
stockage, 34
utilisation, 17
surchauffe, éviter, 35
Suspend/Resume
bouton, 4
désactivé, 22
Suspend-to-RAM, 17
mode, 21, 22
suspension des opérations du système, 20
T
témoin batterie, 9, 15
Témoin charge/entrée c.c., 8
témoin d'accès au disque dur, 9
témoin d'alimentation, 8, 18
clignotant, 18, 21
non affiché, 18
témoin de jauge de batterie, 21
témoin mode hovering, 10
témoins, 8
touche de sélection écran, 24
touche programmable, 23
touche silence, 23
touches de réglage de volume, 23
touches rapides, 4, 23
bouton droit de la souris, 24
hovering du stylet, 24
luminosité, 24
Programmable, 23
sélection de l'affichage, 24
silence du haut-parleur, 23
volume, 23
touches rapides d'hovering du stylet, 24
touches rapides de luminosité, 24
U
Universal Serial Bus (bus série universel), 4
utilisation de Stylistic 3400, 17
utilisation du stylet, 24
V
verrou de libération de la batterie, 15
Verrou Kensington, 15
verrou Kensington, 6
volume audio trop bas, 37
W
Windows 2000, 1
Windows 98, 1
Notice Facile
Date: 04-04-00 gNom: T. AmemiyaFonction: Vice President, Engineering - Fujitsu PC Corp.















