PLT9606G - Tablette Proscan - Notice d'utilisation et mode d'emploi gratuit
Retrouvez gratuitement la notice de l'appareil PLT9606G Proscan au format PDF.
| Caractéristiques techniques | Écran 9,6 pouces, résolution 1280 x 800 pixels, processeur Quad-Core, 1 Go de RAM, 16 Go de stockage interne, extensible via microSD. |
|---|---|
| Utilisation | Idéale pour la navigation Internet, le streaming vidéo, la lecture d'e-books et l'utilisation d'applications légères. |
| Maintenance et réparation | Nettoyer l'écran avec un chiffon doux, éviter les produits chimiques agressifs. En cas de problème matériel, contacter un service après-vente agréé. |
| Sécurité | Utiliser un mot de passe pour protéger l'accès à la tablette, installer des mises à jour de sécurité régulièrement. |
| Informations générales | Compatible avec Android, poids léger, autonomie de batterie d'environ 6 heures, connectivité Wi-Fi. |
FOIRE AUX QUESTIONS - PLT9606G Proscan
Questions des utilisateurs sur PLT9606G Proscan
0 question sur cet appareil. Repondez a celles que vous connaissez ou posez la votre.
Poser une nouvelle question sur cet appareil
Téléchargez la notice de votre Tablette au format PDF gratuitement ! Retrouvez votre notice PLT9606G - Proscan et reprennez votre appareil électronique en main. Sur cette page sont publiés tous les documents nécessaires à l'utilisation de votre appareil PLT9606G de la marque Proscan.
MODE D'EMPLOI PLT9606G Proscan
Manuel de l'utilisateur

PLT9606G
Information importante
Ce manuel comprend des mesures de sécurité et des méthodes d'exploitation appropriées. Pour votre sécurité personnelle, s'il vous plaît lisez ce manuel avant d'utiliser cet apparéil. Je vous remercie!
L'appareil a un écran tactile capacitif, il vous suffit de toucher avec le doigt ou cliquez avec le stylo capacitif pour faire les opérations. (Ne jamais utiliser les objets pointus pour cliquer sur l'écran, ou l'écran tactile peut être endommagé).
N't utilisez pas I'appareil dans un milieu atempereature et humidite elevée, ou endroit poussiereux.
Ne laissez pas tomber ou écraser l'appareil, éviter de violents contact entre l'écran et l'écran tactile capacitif.
S'il vous plaît choisissez le volume ajustat et éviter d'utiliser un volume élevé. Si vous给您 sentez mal à l'aise, s'il vous plaît baissez le volume ou arrêtez d'utiliser l'appareil le plus tout possible.
S'il vous plaift mettez l'appareil au chargeur dans les cas suivant:
A、L'icone de la batterie s'affiche. B、Le système s'eteint automatiquement.
C、Les touches ne fonctionnent pas.
【Remarque】:ll ne faut pas utiliser le chargeur de type différent car il peut brûler l'appareil. Nous n'assumons aucune responsabilité pour ces dommages. S'il vous plaît contacter un agent local si vous avez besoin d'un adaptateur original.
" la batterie est en charge. Lors de la mise en charge, l'appareil peut chauffe un peu (pas trop),ce qui est normal, et il n'affectora pas les bons fonctionnements.
Ilne faut pas debrancher l'appareil pendant le formatage, ou le teléchargement, ou il peut donner des erreurs.
Notre entreprise n'assume aucune responsabilité quand vous perdez l'efficacité des mémoires dues aux dommages, réparation ou toute autre raison. S'il vous plaît utiliser l'appareil conformément au manuel d'utilisation et sauvégarder les données importantes à temps.
Il ne faut pas démonter cet appeareil vous-même, et ne pas le nettoyer avec l'alcool, la dilution, ou le benzène.
Il ne faut pas utiliser cet apparéil où les équipements l'électronique sont interdits, comme dans l'avion.
Il ne faut pas utiliser cet apparéil en marchant ou dans la voiture, pour éviter les accidents.
La clé USB est utilisée pour le transfert des données mais PAS pour charger l'appareil.
Le virus peut endommager cet apparéil. Alors s'il vous plaît utilisez un antivirus approprié et faire la mise à jour
Le Système Android occupera l'espace de mémoire flash NAND, il occupe un espace dans «Total espace / espace disponible », l'installation Apps par défaut est stocké ici. En cas d'absence de l'espace, il est recommendé à l'utilisateur d'instructor les
applications dans le Mini SD (Exclus).
Si plusieurs programmes sont en cours d'exécution simultanément, le système devient lent, donc, s'il vous plaît fermer quelques une des applications, dans les Paramétres -Apps.
Pour toute autre aide nécessaire pour le fonctionnement de cet apparéil s'il vous plaît contacter la société ou le distributeur agréé. Tout démontage non autorisé de l' apparéil annulera la garantie.
Nous nous réservs le droit de changer les produits, la specification et la conception sont sujettes a modification sans preavis!
Packing List
S'il vous plaît case à cocher pour les éléments suivants
- Device
- Manuel de l'utilisateur,
- Product guarantee
- Adaptateur,
- Cable USB
D'autres accessoires peuvent etre achetés au niveau local détaillants.
Les accessoires peuvent ne pas etre compatibles avec d'autres apparéils
Spécification Adaptateur:
-000V.6Hz 0.6A MAX SORTIE:5.0V=2A
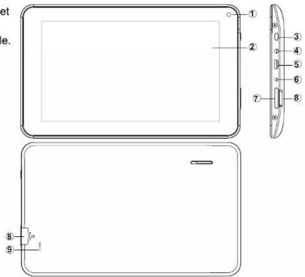
Description de l'appareil
① Appareil photo: 0.3 mèga pixels, vous pouvez prendre des photos et desVIDEOS, etc
L'écran tactile: Vous pouvez cliquer et faire glisser sur l'écran tactile.
③ 1limmentation:
Appuyer sur le bouton pendant 2 secondes pour allumer ou eteindre,appuyer une fois le bouton pour activer I'ecran de mode veille.
4 Prise ecouteurs: prise d'ecouteur standard 3,5 mm
5 Micro USB, connecteur Micro-5PIN.
DC jack: Branchez le cable d'alimentation pour recharger l'appareil.
Volume: + augmenter le volume - baissez le volume
MicroSD Micro SD card : MicroSD card slot.
9 Reinitialiser: Reinitialise l'appareil.

【CONSEILS】:
- Quand la batterie est faible, l'appareil s'eteind automatiquement.
- Arreter illegalement, lssque you redemarrez, I'appareil va scanner et reparer le disque. L'ecran restera a la barre de progression pendant une longue periode.
- Définition de "prése":
Appui court: Appuyez sur le bouton pendant moins de 2 secondes.
Appui long: Appuyez sur le bouton pendant plus de 3 secondes.
Si il n'y a aucune mention particuliere, "Presse" signifie Appui court.
【Remarque】: Les images dans le manuel d'utilisation sont seulement pour votre reférence, pour les éléments qui ont le signe"★", s'il vous plaît se référer au produit réel.
Configuration pour la première fois
Mise en charge de votre apparéil:
Pour la première fois de l'utilisation, vous doivent charger l'appareil pendant dix heures.
Après cela, vous pouvez recharger l'apparéil en fonction des besoins.
Reliez la prise DC-in à votre apparéil et branchez l'adaptateur dans une prise secteur 【Conseils】:

-
Cet apparéil utilise la batterie polymère intégrée. Seul le chargeur approprié doit être utilisé.
-
Il est normal que la surface de l'appareil devient chaud pendant la mise en charge ou quand vous l'utilise pendant longtemps. Tous les apparciels sont testés dans l'usine avant d'être mise au marché.
-
Si vous n'utilise pas cet apparéil pendant une longue période, s'il vous plaît charger/ décharger une fois par mois pour éviter une décharge profonde. Les damages causes par la surconsommation de la batterie n'est pas incluse dans la garantie.
Economiser les batteries
Afin d'économiser les batteries, vous pourriez vous reinseigner les suggestions ci-dessous. Avec ces suggestions ci-dessous, les batteries peuvent durer plus longtemps après avoir été complètement chargé.
- Quand l'appareil est hors d'utilisation, appuyez le bouton Power une fois pour entrer le mode de veille.
- Éteindre l'appeil quand vous ne l'utilisez pas.
- Arrête la fonction WLAN lors de non-utilisation.
- Fermer la selection de synchronisation
- Définir un temps plus court pour rétroéclairage de l'écran
- Réduire la luminosité de l'affichage
Allumer
Appuyez sur le bouton Power pendant 2 secondes, l'appareil est allumé avec l'écran de OPENING, le système Androit est activé et entre le menu principal.
Mode de veille
Après avoir allumé l'appareil, appuyez sur le bouton OFF une fois et il entre le mode de veille. L'écran est maintainante en attente et en mode de sous-consommation de batterie. Pour réveiller l'appareil, appuyez encore une fois le bouton Power.
Eteinte et fermeture forcee
Quand you n'utilisez pas l'appareil, appuyez sur le bouton Power pendant 2 secondes, I'écran affiche "Éteindre", Sélectionnez "ok" pour être complètement l'appareil. Si l'appareil est suspendu, appuyez sur le trou de réinitialisation par une petite épingle, l'appareil va forcer l'arrêt et se mettra en marche à nouveau. éteignez l'appareil. Appuyez sur la touche marche, touches de volume + et - dans le même temps environ 6 secondes. Puis appuyez sur les touches de volume pour Sélectionner « Effacer les données / factory reset ''et appuyez sur la touche power pour confirmer votre sélection. Appuyez sur les touches de volume pour Sélectionner « Oui-supprimer toutes les données utilisateur » et appuyez sur la touche power pour confirmer votre sélection. Enfin, que l'écran affiche « système de redémarrer maintainant », appuyez sur la touche power pour confirmer. L'appareil va redémarrer puis et entraîn dans la page d'accueil.
Fonctionnement de I'ecran tactile
Cliquez - Utilisez doit ou le stylet de capacité à toucher l'écran une fois, en vue de selectionner ou activer une fonction ou selectionner le menu ou activer des applications.

Appuyer et maintainir - Appuyez plus de 2 secondes, il affiche la liste des options

Glisser - Faites glisser en haut, en bas, à la gauche ou à la droite pour faire défilier rapidement la page de navigation et l'écran d'affichage

Trainer-deplacez une icone et changez la position

Double Click - Double cliquez pour agrandir ou réduire la taille d'affichage de l'image ou la page Web au cours de navigation.

Shut - Utilisez deux doigts en même temps sur l'écran tactile, d'agrandir ou de rétrécir l'échelle d'affichage


① Google Recherche
② Cliquez pour activer la recherche vocale, il cherchera en fonction de saisie vocale (Assurez-vous que le wifi est activé)
3 Lieste des dernières applications en cours d'execution
4 Retour à l'écran d'accueil
⑤ Revenir à l'écran précédent
⑥ Affichage des icones et des état de l'appareil, cliquer pour allumer l'écran de notification
⑦ Raccourci de l'application
Entrez page des applications
Ecran d'accueil avec un ensemble de 5 écrans, glissez vers la gauche / droite pour afficher l'écran individuel
>Changement du fond d'écran
- Sur l'écran d'accueil, faitez afficher la sélection de fond d'écran
- Sélectionnez les papiers de fond précharges ou une image comme fond d'écran
- Cliquez sur "Définition" pour confirmer
> Ajouter les icones de raccourci sur l'écran d'accueil
- appuyez sur l'écran Accueil environ 2 seconds, and il affichera l'icone du Widget. Cliquez dessus pour acceder à la page Widget
- Faites glisser vers la gauche / droite pour selectionner widget
- Trainéz le widget désigné et le situez dans l'écran d'accueil
Remarque : Certains widgets sont liés au service internet, attention qu'il se produit le coût des données
Cerains widgets peuvent être utilisés que dans certains pays ou dans les fournisseurs de services attribués
> Relocaliser le raccourci sur l'écran d'accueil
- Trainéz l'icone de l'application et la corbeille s'affiche sur l'écran supérieur
- Faites glisser l'icone vers la corbeille
- Quand I'icone se transforme en rouge, relachez
> Parametre de rotation écran
1, diapositive inconvenient dans le coin supérieur droit de l'écran
2, cliquez sur l'icone de rotation automatique des images pour ouvrir/fermer, fonction autorotation.
> Notification de l'écran
Dans l'écran d'accueil ou sous l'application, Sélectionnez à la côte droite la notification de l'écran, vous pouvez consulter l'état du dispositif etmettre en place des options ci-dessous
Naviguer sur Internet et mettre en+Favoris le site
Remarque: le navigateur Web et le favors peut etre differenfelon les pays ou les fournisseurs de services different
> Page de navigation
- Entrez la page de l'application, selectionnez Iicone "Navigateur"
- Pour naviguer sur un certain webpage, selectionnez URL et tapped le site Web, puis selectionnez "confirmer"
- Ci-dessous les options de navigation:

① Ouvrir une nouvelle fenetre
② Arrêter la page Web en cours
③ Aller à la page Web suivante ou précédente
④ Accès à la page Web, l'icone devient "X" lorsque la page Web s'affiche
Détaill de message de la page Web
⑥ Entrer l'adresse Web ou mots liés
⑦ Lieste des options du navigateur
Ouvr le favors et la page web en cours
9 Message de chercher
10 Mettre en favors la page en cours
Configuration de navigateur
Lors de la navigation, cliquez sur le coin supérieur droit ", ajustez la configuration dans le menu d'options
La webpage en cours de visite
- Entrez la page de l'application, clique "Navigateur"
- Selectionnez le favors [3] histoire de visite en cours
- Sélectionnez la webpage
Paramétrage du compte émail
- Entrez la page de l'application et cliquez sur "Envoyer"
- Entrez l'adresse e-mail et mot de passer
- Sélectionnez l' étape suivante (pour le compte émail personnel) ou paramétrage manuelle (pour le compte émail commercial)
- Suívez et entrez la paramétrage souhaïée
> Envoi du message-sortant
- Entrez la page de l'application et selectionnez "E-mail"→
- Tappez le destinaire;ajoutez manuellement l'adresse émail, utilisez :ou, pour séparer plusieurs destinataires
- Tappez le sujet
- Tappez le message dans le contenu
- Sélectionnez pour les pieces jointes
- Sélectionnez et envoyez un message
Remarque: Si I'utilisateur est déconnecté, le message ne peut pas être envoyé
> Verifiez l'email
Dans le compte e-mail, l'utilisateur peut vérifier le message télécharge, connectez-vous en ligne pour vérifier les nouveaux messages.
> Envoi du message sortant enregistrured sons
1, cliquez sur « Magnétophone » en page d'application
2, cliquez sur pour commencer I'enregistrement
3, cliquer pour arreter l'enregistrement
4, Et l'enregistreur peut etre trouver dans expoer.
Lecteur Audio
Cliquez sur "Musique" dans la page de l'application
Les musiques seront classés par à éouter, ma bibliothèque, et liste de lecture. Il permet d'afficher toutes les musiques à l'intérieur de "Songs". Cliquez sur la chanson et il va journ automatiquement.

Lecteur Video
Cliquez sur "Vidéo" dans la page de l'application.
Le lecteur video va rechercher tous les fichiers video dans l'appareil, cliquez sur le fichier video désigné pour jouer.
Caméra
Laamera integree a l'avant pouvant prendre des photos et de fichiers video.
Prendre les photos
- Cliquez sur "Camera" dans la page de l'application, l'appareil est par defaut à la prise de photo, l'icone est

- Pour prendre une photo, cliquez sur

Filmage de video
- Cliquez", selectionnez l'enregistrement dans le filchier video, cliquez sur "
- Cliquez sur " pour enregistrer le fichier video.
- Cliquez encore sur " pour arreter l'enregistrement
Paramétrage de camera
En mode d'appareil photo, cliquez sur " pour la configuration.
Fichier Explorateur
Allez à la page de l'application et cliquez sur Explorer
Vérifier le fichier
Dans "Explorer", l'utiliseur peut vérifier et gérer les fichiers de la carte SD, de la mémoire interne et dans la clé USB. Connectez le port USB avec la cable OTG, il doit détecter un périhérique USB comme une clé USB, cliquez sur "Explorer" pour vérifier les fichiers
Opération de fichier
- Allez à la page de l'application et cliquez sur "Explorer".
- Sélectionnez le fichier ou le chemin du fichier
- Appuyez sur un fisier ou un dossier pendant plus de 2 secondes, l'utiliseur peut le faire fonctionner par les options
- Sélectionnez Multi, Sélectionnez un fjichier ou un dossier, Sélectionnez Editeur, effectuez la fonction dans la liste des options, il peut gérer les fjichiers dans la liste des options.
Management des fichiers d'application
Installation des applications
Dans le système Android, tous les fichiers de l'application et les fichiers de jeu sont au format APK. Les fichiers APK peut etre installés par la carte TF, la memoire interne ou telecharges a partir de SlideMe et les autres fournisseurs tiers similaires. I'installation APK de I'appareil: telechargez le fjchier APK a partir de I'ordinateur, enregistrez dans la carte TF ou dans I'appareil par la cable OTG. Cliquez sur le fjchier APK sous la rubrique «ApkInstall'' dans la page de l'application, I'installation complete. L'icone de I'application sera affiche dans la page de I'application.
Désinstaller le fichier APK
-
Allez à la page de l'application et cliquez sur "apkInstaller".
-
Sélectionnez "Gérer"
-
Cliquez sur le fichier APK à désinstaller.
Arreter l'application en cours d'execution
- Passez à la mise en page du menu
- Cliquez sur « Applications », faites glisser vers la droite et trouver les applications en cours d'execution
- Arretez l'application ou arreter toutes les applications en cours d'execution.
Connexion à un PC:
- Vous pouvez vous connecter au PC en utilisant le cable USB attaché à l'appareil.
Vouspouvez transférer vosdonnéespersonnelles surle PC.
- Connectez le PC et le périphérique, il va semettre en mode USB, dans cet état, réaliser la fonction de transfert des fichiers entre le PC et le périphérique.

Connexion d'un périphérique USB:
-
Les périphériques USB sont pris en charge, comme clavier, via le port USB.
-
Voir les fichiers multimédias sur le stockage USB avec des applications photo, audio ou video installés.
【Attention】: Avant desteroler ce stockage USB, assurez-vous que voire appareil n'accede pas aux données se trouvant sur le périhérique USB.

Insertion de la carte micro SD (exclu):
Vou puevez installer une carte micro SD pour etendre l'espace de stockage de votre(APpeuil.
- Cet appareil support une carte Micro SD jusqu'à 32 Go de capacité...
- Insérez la carte micro SD comme indiqué.
【Remarque】: Assurez-vous que la carte micro SD est insérée au fond dans la fente de carte.
【Attention】: Avant de retirer cette carte, assurez-vous que vous appareil n'accede pas aux données se trouvant sur la carte.

Réinitialisation de l'appareil:
Voudevez faire une réinitialisation si voire appareil ne repond pas lorsque les touches sont pressées ou l'écran est touché ou ne repond pas aux entrées de I'écran.
Pour réinitialiser votre apparéil, utilisez un petit objet mince ( comme un trombone ) pour appuyer sur le bouton de réinitialisation encastré.

Connexion au reseau:
- Configuration Wi-Fi sans fil:
Entrez l'interface réglage, et activer la connexion Wi-Fi.
L'appareil va automatiquement rechercher les reseaux sans fil à proximité accessibles .

Paramètres courament utilisés
Appuyez sur l'icone d'installation pour entrer le réglage.
Wi-Fi: Cliquez sur ON ou OFF pour ouvrir ou fermer la connexion Wi-Fi. Lorsque Wi-Fi est ouvert, le système va scanner le signal wifi automatiquement. Pendant ce temps, les utilisateurs peuvent ajouter manuellement le réseau.

Manuel de l'utilisateur
Langue & entrée:
- Langue: Les utilisateurs peuvent désir les langues OSD.
- METHODES DE CLAVIER & ENTREE: Sélectionner la méthode de la langue d'entrée.
【Remarque】: Dans cet état, les utilisateurs peuvent commuter entre les méthodes.
Date &昼夜: quand l'internet est connecté, mettez sur "date &I'heure automatique", l'appareil peut Brokerir la date et I'heure reelle de I'Internet


Options de développement
Entrer dans le menu de réglage : environ tablet—Build nombre, cliquez sur numéro de build environ 8 fois, les options développpeur seront affiche dans le menu de réglage
UTILISATEURS sont uniquement responsables pour les apps qu'ils telecharger et afin que les applications soient d'une sources visées par une stipulation avant de telecharger. Curtis International Ltd décline toute responsabilité pour toute forme si la tablette est endommagé à cause de quelque chose que vous avez telecharger.
Dépannage
- Impossible de s'allumer:
- Branchez le cable d' pour recharger l'appareil, vérifier encore après un certain temps.
- Si l'alimentation échoués après la mise en charge, s'il vous plaît télécharger le firmware et améliorer le dispositif sur www.curtisint.com en utilisant un PC.
- Si elle ne peut pas toujours s'allume, s'il vous plaît contactez votre distributeur local ou centre de service.
- le bruit grave:
- Vérifiez si le fichier de musique est endommagé.
- Si les fichiers de musique sont endommages, il peut provoquer du bruit grave et son interrompu.
- Impossible de télécharger ou copier:
- Vérifier si la connexion est correctement entre l'appareil et le PC.
- Verifiez l'espace libre de la mémoire.
- Vérifiez le cable USB.
La Connexion USB échouée. - Assurez-vous que le périphérique USB est correctement connecté à la prise USB.
- Vérifiez si le périphérique USB ou le cable est endommagé.
- Si le pérophérique USB est connecté via un hub USB, connectez le pérophérique USB directement sur le pérophérique.
- Impossible de se connecter au routeur LAN sans fil
- Vérifiez si le routeur LAN sans fil est activée.
- En se basant sur le milieu environnant, tels que le matériel du mur, des ondes radio, les conditions de reception, ou des obstacles entre l'appareil et le routeur LAN sans fil, la distance de communication peut etre court. Mettez I'appareil et le routeur sans fil plus proche I'un de I'autre.
- Les apparêils qui utilisent une bande de fréquence de 2,4 GHz, par exemple un micro-ondes, Bluetooth ou un dispositif numérique de fil, peuvent interrompè la communication. Eloignez l' apparéil de ces dispositifs, ou de désactiver ces dispositifs.
Spécifications du produit
| OS Google Android | 4.4 |
| CPU | CPU Type: Rockchip 3026, Cortex-A9 1.0GHz / GPU: Mali-400 MP |
| RAM du Système | 512MB DDRIII |
| Mémoire 8GB NAND Flash | |
| LCD | 9 LCD 800 x 480 |
| Écran tactile Écran | tactile capacitif |
| WIFI | 802.11 b/g/n |
| Appareil photo | 0.3 méga pixels |
| Gravité 3D capteur de gravité | |
| Format de musique | MP3,WMA,FLAC,AAC,OGG,WAV,APE |
| Format video | AVI, WMV, MP4, MKV, RM, RMVB, FLV, MOV, 3GP...etc |
| Format de l'image | JPEG, JPG, BMP, GIF,PNG |
| Batterie | 4000mAh / 3.7V |
Les specifications sont à titre de referencia seulement
Note : Le fabricant n'est pas responsable de toute interfe rence, d'interfere Radio ou TV exemple, causée par modifications non autorises à cet équipement. Ces modifications pourraient annuler l'utiliser ' autorisation d'exploiter le matériel.
Mise en garde : Les modifications de cette unité, non expressément approuvés par la partie responsable de la conformité pourrait annuler l'autorité de l'utilisateur à utiliser cet apparéil.
Remarque : Cet équipement a ete teste et declare conforme aux limites d'un appeareil numerie de classe B, conformement a l'article 15 du reglement FCC. Ces limites sont conues pour fournir une protection raisonnable contre les interfrences nuisibles dans une installation residentielle. Cetieurment generne, utilise et peut emetre de I'energie radiofrequence et, si pas installé et utilisé conformément aux instructions, peut causer des interfrences nuisibles aux communications radio.
Cependant, il n'y a aucune garantie que l'interfERENCE ne se produit pas dans une installation particuliere. Si cet équipement provoque des interfrences nuisibles à la radio ou la reception de la télévision, qui peut etre déterminée en eteignant et rallumant I'equipement, l'utiliseur est encouraged a essayer de corriger l'interfERENCE par une ou plusieurs des mesures suivantes :
- Réorienter ou déplacer l'antenne réceptrice.
- Augmenter la distance séparant l'équipement et le récepteur.
- Branchez l'appareil dans une prise sur un circuit différent de celui à qui le récepteur est connecté.
- Consultez le revendeur ou un technicien radio/TV.
FCC Statement Cet appeareil est conforme à la partie 15 des régles FCC. Opération est soumis à deux conditions suivantes :
(1) Cet apparéil peut cause pas de brouillage préjudiciable, et (2) Cet apparéil doit accepter toute interférence reçue, y compris les interférences pouvant cause l'opération indésirable.
Cables blindés doivent être utilisés avec cet apparéil pour s'assurer du respect de la classe Limites de la FCC B.
Notice Facile