NMD135DSILVER - Moniteur Newstar - Notice d'utilisation et mode d'emploi gratuit
Retrouvez gratuitement la notice de l'appareil NMD135DSILVER Newstar au format PDF.
| Caractéristique | Détails |
|---|---|
| Type de produit | Moniteur |
| Taille de l'écran | 13,3 pouces |
| Résolution | 1920 x 1080 pixels (Full HD) |
| Technologie d'affichage | LED |
| Connectivité | HDMI, USB-C |
| Utilisation | Idéal pour le travail, les présentations et le divertissement |
| Poids | 1,2 kg |
| Dimensions | 30,5 x 20,5 x 1,5 cm |
| Consommation énergétique | 20 W |
| Maintenance | Nettoyer l'écran avec un chiffon doux, éviter les produits chimiques agressifs |
| Sécurité | Ne pas exposer à l'humidité, utiliser sur une surface stable |
| Garantie | 2 ans |
FOIRE AUX QUESTIONS - NMD135DSILVER Newstar
Questions des utilisateurs sur NMD135DSILVER Newstar
0 question sur cet appareil. Repondez a celles que vous connaissez ou posez la votre.
Poser une nouvelle question sur cet appareil
Téléchargez la notice de votre Moniteur au format PDF gratuitement ! Retrouvez votre notice NMD135DSILVER - Newstar et reprennez votre appareil électronique en main. Sur cette page sont publiés tous les documents nécessaires à l'utilisation de votre appareil NMD135DSILVER de la marque Newstar.
MODE D'EMPLOI NMD135DSILVER Newstar
Support de bureau écrans plat
Support de bureau écrans plat
Supp
Bordbeslag til fl adskarm
Tauli
NEWSTAR
products


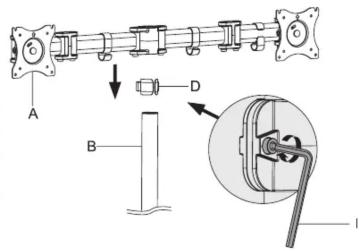
Parts
Step 2
NL Bevestiging van arm aan paal
EN Attaching arm to pole
DE Anbringen Arm zu Pol
IT Fissaggio del braccio al palo
FR Fixation du bras a
ES Colocacion del brazo a polo

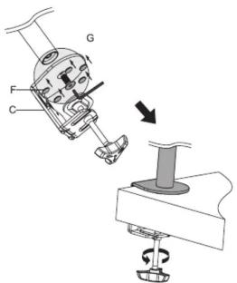
Step 1a
NL Montage van de bureauklem
EN Assembling the deskmount
DE Montage der Tischhalterung
IT Montaggio del supporto da scrivania
FR Montage de la support de bureau
ES Montaje del soporte de escritorio


Notice Facile