CAP412 - Recepteur Audac - Notice d'utilisation et mode d'emploi gratuit
Retrouvez gratuitement la notice de l'appareil CAP412 Audac au format PDF.
| Caractéristiques techniques | Récepteur audio professionnel, compatible avec divers systèmes de sonorisation. |
|---|---|
| Fréquence de fonctionnement | UHF, avec plusieurs canaux sélectionnables pour éviter les interférences. |
| Connectivité | Sortie XLR et jack 6,35 mm pour une connexion facile aux équipements audio. |
| Utilisation | Idéal pour les concerts, les conférences et les événements en direct. |
| Alimentation | Fonctionne avec un adaptateur secteur inclus, consommation électrique optimisée. |
| Maintenance | Vérifier régulièrement les connexions et nettoyer les contacts pour un fonctionnement optimal. |
| Sécurité | Utiliser uniquement avec des accessoires compatibles pour éviter les dommages. |
| Informations générales | Produit léger et portable, conçu pour une utilisation professionnelle. |
FOIRE AUX QUESTIONS - CAP412 Audac
Questions des utilisateurs sur CAP412 Audac
0 question sur cet appareil. Repondez a celles que vous connaissez ou posez la votre.
Poser une nouvelle question sur cet appareil
Téléchargez la notice de votre Recepteur au format PDF gratuitement ! Retrouvez votre notice CAP412 - Audac et reprennez votre appareil électronique en main. Sur cette page sont publiés tous les documents nécessaires à l'utilisation de votre appareil CAP412 de la marque Audac.
MODE D'EMPLOI CAP412 Audac
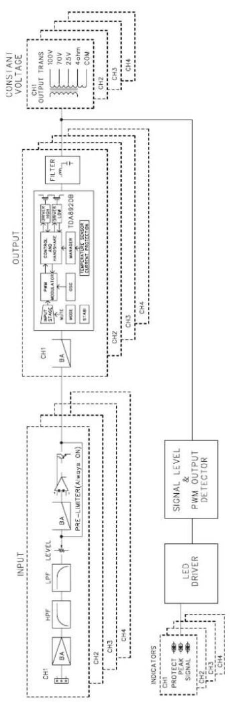
Scheme synoptique du CAP412 6
Précautions 7
Consignes de sécurité 7
Attention - Réparations 8
Déclaration de conformité CE 8
Déchets d'équipements électriques et électroniques (DEEE) 8
Avertissement 8
Chapitre 1: Brochages et connecteurs 9
Normes de connexion 9
Câblage du système 9
Chapitre 2 : Faces avant et arrêté 10
Présentation de la face avant 10
Description de la face avant 10
Presentsation de la face arriere 11
Description de la face arrête 11
Chapitre 3: Raccordement de l'amplificateur 12
Connexions d'entree 12
Connexions de sortie 12
Chapitre 4: Informations supplémentaires 15
15
Notes 16
Introduction
Amplificateur de puissance 100 V à quatre canaux
Le CAP412 est un amplificateur de puissance 100V professionnel à quatre canaux pouvant fournir 120 watts à chacun des quatre canaux de sortie indépendants. Cela offre une grande flexibilité et de nouvelles possibités pour les systèmes de distribution audio multizones fixes. Il est concu comme un amplificateur pratique n'ayant que les commandes et connexions nécessaires, d'ou une grande simplicité d'utilisation et d'installation.
Chaque canal de sortie offre différents régages de puissance pour l'emploi sur des lignes 100 volts, 70 volts et même dans des applications basse impédance en 4 ohms, et les entrées de signal se font sur des connecteurs XLR symétriques permettant le renvoi du signal à d'autres amplificateurs. En plus de toutes les possibités de connexion souhaitées, le CAP412 offre également un potentiamètre de contrôle de gain et un commutateur de filtrer passé-haut (400 Hz) à l'arrière de l'appareil. Un circuit de protection polyvalent intégré protège contre le courant continu, les court-circuits, la surchauffe, la surcharge et il limite le signal si nécessaire. Tout cela est logé dans un boîtier en acier occuptant deux unités (2U) d'espace rack 19".

Scheme synoptique du CAP412


Précautions
LISEZ LES INSTRUCTIONS SUIVANTES POUR VOTURE PROPRE SECURITE
CONSERVEZ TOUJOURS CES INSTRUCTIONS. NE LES JETEZ JAMAIS.
MANIPULEZ TOUJOURS CETTE UNITE AVEC SOIN.
TENEZ COMPTE DE TOUS LES AVERTISSEMENTS.
SUIVEZ TOUTES LES INSTRUCTIONS.
N'EXPOSEZ JAMAIS CET APPAREIL À LA PLUIE, À L'HUMIDITE, À TOUT RUISSELLEMENT OU ECLABOUSSURE DE LIQUIDE. NE PLACEZ JAMAIS D'OBJET REMPLI DE LIQUIDE SUR CET APPAREIL.
AUCUNE SOURCE DE FLAMME NUE, TELLE QU'UNE BOUGIE ALLUMEE, NE DOIT ETRE PLACEE SUR L'APPAREIL.
NE PLACEZ PAS CETTE UNITE DANS UN ENVIRONNEMENT CLOS, TEL QU'UNE ETAGERE OU UN PLACARD. VEILLEZ À CE QUE L'UNITE SOIT REFROIDIE PAR UNE VENTILATION ADEQUATE.
N'OBSTRUEZ PAS LES OUVERTURES DE VENTILATION AVEC DES JOURNAUX, NAPPES, RIDEAUX, RIDEAUX, ETC. NE LAISSEZ AUCUN OBJECT ENTRER DANS LES OUVERTURES DE VENTILATION.
LAISSEZ TOUJOURS 10 CM DE LIBRE À L'AVANT ET À L'ARRÊRE DE L'APPAREIL POUR ASSURER UNE CIRCULATION D'AIR SUFFISANTE.
N'INSTALLALLEZ PAS CETTE UNITE À PROXIMATE D'UNE QUELCONQUE SOURCE DE CHALEUR TELLE QUE DES RADIATEURS OU AUTRES APPAREILS DÉGAGEANT DE LA CHALEUR.
NE PLACEZ PAS CETTE UNITE DANS DES ENVIRONNEMENTS SOUMIS À DE HAUTS NIVEAUX DE POUSSIÈRE, CHALEUR, HUMIDITÉ OU VIBRATIONS.
CETTE UNITE N'EST CONÇUE QUE POUR UNE UTILISATION EN INTÉRIEUR. NE L'UTILISEZ PAS EN EXTÉRIER.
PLACEZ L'UNITÉ SUR UNE BASE STABLE OU MONTEZ-LA DANS UN RACK STABLE.
N'UTILISEZ QUE LES OPTIONS ET ACCESSOIRES SPECIFIÉS PAR LE FABRICANT.
DEBRANCHÉZ CETTE UNITE PENDANT LES ORAGES OU SI ELLE DOIT RESTER INUTILISÉE DE FAÇON PROLONGÉE.
NE BRANCHES CETTE UNITE QU'A UNE PRISE SECTEUR AVEC MISE A LA TERRE.
LA FICHE SECTEUR OU DE L'APPAREIL SERT DE DISPOSITIF DE DÉCONNEXION, ET DOIT DONC RESTER FACILEMENT ACCESSIBLE
N'UTILISEZ L'APPAREIL QUE DANS DES CLIMATS TEMPERÉS

ATTENTION - RÉPARATIONS
Ce produit ne contient aucune piece réparable par l'utilisateur. Confiez toute réparation à un service après-vente qualifié. N'effectuez aucune réparation (à moins d'être qualifié pour cela).

DECLARATION DE CONFORMITE CE
Ce produit se conforme à toutes les exigences essentielles et autres caractéristiques pertinentes décrites dans les directives suivantes : 2014/30/UE (EMC) et 2014/35/UE (LVD)

DÉCHETS D'ÉQUIPMENTS ÉLECTRIQUES ET ÉLECTRONIQUES (DEEE)
Le marquage DEEE indique que ce produit ne doit pas etre jetec avec les dechets domestiques ordinaires au terme de son cycle de vie. Cette reglementation a pour but de prevenir les prejudices eventuellement causés à l'environnement ou à la santé humaine.
Ce produit est développé et fabriqué avec des matériaux et composants de haute qualité qui peuvent être recyclés et/ou réutilisés. Veuillez rapporter ce produit à votre point de collecte ou au centre de recyclage local pour déchets electriques et electroniques. Cela assurera son recyclage de matière respectue pour l'environnement et contribuera à protéger l'environnement dans lequel nous vivons tous.
AVERTISSEMENT
Les symboles affichés sont des symboles internationalement reconnus avertissant des risques potentiels des produits électriques. L'éclair à tête de flèche dans un triangle équilatéral indique que l'unité contient des tensions dangereuses. Le point d'exclamation dans un triangle équilatéral indique que l'utilisateur doit se référer au mode d'emploi.

CAUTION
RISK OF ELECTRIC SHOCK DO NOT OPEN

Ces symboles indiquent qu'il n'y a aucune piece réparable par l'utilisateur dans l'unité. N'ouvre pas l'unité. N'essayez pas de réparer l'unité vous-même. Confiez toute réparation à du personnel qualifié. L'ouverture du chassin,quelle qu'en soit la raison, invalidera la garantie du fabricant. Ne laissez pas l'unité à l'humidité. Si du liquide est renversé sur l'unité, éteignez-la immidiatement et ramenez-la au revendeur pour révision. Debranchez l'unité durant les orages pour lui éviter des dommages.
Chapitre 1
Brochages et connecteurs
NORMES DE ConnexION
Les connexions d'entrée et de sortie des équipements audio AUDAC sont faites conformément aux normes de câblage internationales des équipements audio professionnels.
XLR:
Pour les connexions symétriques d'entrée ligne

Broche 1: Masse
Broche 2: Signal +
Broche 3: Signal -
Pour les connexions symétriques de renvoi de signal

Broche 1: Masse
Broche 2: Signal +
Broche 3: Signal -
Câblage du système
Le câblage du système doit être effectué en respectant les règles suivantes pour garantir son bon fonctionnement en toutes circonstances.
- Câble d'enceinte pour sorties amplifiées :
Minimum 2× 1,5mm^2
Si la distance est supérieure à 15 m : 2 x 2,5 mm²
- Sources musicales et sorties de zone :
Doivent etre raccordees au moyen de cables audio et de connecteurs de haute qualite.
Chapitre 2 Faces avant et arrêté
Présentation de la face avant

Description de la face avant
Interrupteur d'alimentation
Un interrupteur d'alimentation permet d'allumer et d'eteindre l'amplificateur, la LED témoin bleue située pres de l'interrupteur s'allumant quand l'appareil est sous tension.
LED temoins
Pour chaque canal, quatre LED temoignent du fonctionnement de l'amplificateur. La LED Sig verte s'allume si un signal est present, tandis que la LED -20dB s'allume quand le niveau du signal entrant dépasse -20dBu . La LED Clip s'allume quand le canal fonctionne au niveau maximal. Pour s'assurer du meilleur rapport signal/bruit, la LED Clip ne doit s'allumer que sur les pics de signal.
Une LED Clip qui s'allume fréquèment indique que l'amplificateur va saturer, et qu'un son « échéité » (avec distorsion) sera produit en sortie. La LED Prot (Protection) s'allume en cas de surchauffe ou de détéction d'une défaillance. Quand la LED Prot est allumée, aucun signal n'est envoyé aux sorties. Les LED Prot s'allument également pendant quelques secondes lors de la mise sous tension de l'amplificateur, et elles s'éteignent progressivement lorsqu'on étèint l'amplificateur.
Présentation de la face arrière

Description de la face arrière
La face arrière du CAP412 comprend un connecteur XLR d'entrée avec un connecteur XLR de sortie de renvoi (LINK), un commutateur de filtré passée-haut, un potentiamètre de contrôle de gain et un connecteur de sortie à barrette pour chaque canal.
Entrée d'alimentation secteur avec fusible
L'alimentation secteur (CA 230 V/50 Hz) doit enter par cette prise. La connexion se fait au moyen d'un cable d'alimentation IEC et bénéficia d'un fusible. Lors du remplacement du fusible, assurez-vous que la valeur du fusible de rechange correspond à celle du fusible d'origine (T6,3 AH/250 V).
Commutateur de filtré passé-haut (HPF)
Ce commutateur permet d'activer et de désactiver le filtrte passé-haut (HPF pour High Pass Filter) intégré. Lorsque le filtrte est activé, les fréquences inférieures à 400 Hz sont éliminées.
Cela peut être utile pour éliminer les ronflements et bruits de basse fréquence causés par des équipements externes et pour protéger les enceintes de dommages causés par des transitoires de basse fréquence excessifs.
Potentiomètre de contrôle de gain (Input adj.)
Chaque canal est équipé d'un bouton de contrôle de gain permettant de régler individuellement son niveau.
Connexions pour enceintes (Speaker Output)
Les connexions de sortie pour enceintes se font sur des barrettes Euroblock et offrent la possibilité de brancher des enceintes à basse impédance (4 ohms) ou à haute impédance (100 V / 70 V).
Connexions d'entrée (Input et Link)
Les entrées de l'amplificateur sont des connecteurs XLR symétriques. Chaque canal possède un connecteur XLR d'entrée (Input) et un connecteur XLR de sortie de renvoi (Link). Le signal de la source, du préamplificateur ou du mélangeur doit être adressé aux connecteurs d'entrée (Input). Et avec les connecteurs de sortie de renvoi (Link), le signal peut être transféré à plusieurs amplificateurs.
Chapitre 3
Raccordement de l'amplificateur
REMARQUE
Assurez-vous que l'alimentation est coupée avant d'apporter une quelconque modification aux connexions de l'amplificateur.
Connexions d'entrée
Les connexions d'entrée de l'amplificateur se font au moyen de connecteurs XLR symétriques. Chaque canal possède un connecteur d'entrée XLR (Input) et un connecteur de sortie de renvoi XLR (Link).
Le signal de la source, du préamplificateur ou du melangeur doit être adressé aux connecteurs d'entrée XLR (Input). Et avec les connecteurs de sortie de renvoi (Link), le signal peut être transféré à plusieurs amplificateurs.

Connexions de sortie
Les connexions de sortie pour enceintes se font sur des barrettes à 4 broches, ce qui permet de connecter des enceintes à haute impédance (100 V) aux sorties de l'amplificateur.

Le tableau ci-dessous donne l'impédance et la tension de sortie pour chaque réglage.
Lors du branchement des enceintes, respectez toujours la polarité des connecteurs de sortie.
Branchez le fil d'enceinte négatif (-) à la borne COM et le fil d'enceinte positif (+) à la borne souhaitation en fonction de l'installation.
Applications à basse impédance :
Quand l'amplificateur CAP412 est utilisé dans des applications à basse impédance, les enceintes doivent être connectées entre les bornes de connexion « COM » et « 4 Ohm »

Applications à tension constante :
Quand l'amplificateur CAP412 est utilisé dans des applications à tension constante, les enceintes doivent être connectées entre les bornes de connexion « COM » et
100Vou70V

Attention
Veillez à ce que les enceintes soient toujours connectées aux sorties pour basse impédance OU pour tension constante, mais n'utilise JAMAIS les sorties BASSE impédance et tension constante du même canal en même temps.

Chapitre 4
Informations supplémentaires
Caracteristiques techniques
Puisance de sortie 4x120 watts sous 100 V
(1 kHz, DHT 1 %) 4 x 120 watts sous 4 ohms
4 x 75 watts sous 8 ohms
Réponse en fréquence 50 Hz - 18 kHz
Rapport signal/bruit >90 dB
Distorsion harmonique totale ^+ bruit < 0,3%
Réjection de mode commun 70 dB
Diaphonie >70 dB
Entrées Type Ligne symétrique
Connecteur Entree XLR femelle
Sortie de renvoi XLR maje
Impedance 10 kohms
Sensibilité 1 V RMS
Sortie Type Sortie pour enceintes 100 V
Connecteur Barrette a 4 broches 5,08 mm
Impedance 70 V 41 ohms
100V 83ohms
22V 4ohms
Commandes Gain
Commutateur de filtré passage-haut (400 Hz)
Voyants Alimentation (ON)
Prot (protection)
Clip (échéantage)
-20 dB
Sig (signal)
Protection Court-circuit CC
Surchauffe
Surcharge
Limineur
Système de refroidissement Ventilateur contrôle par la température
Technologie d'amplification Classe D
Alimentation electrique Type A decoupage
Plage CA 100-240 V/50-60 Hz
Consommation electrique Au repos 30 watts
1/8 de la puissance nominale 95 watts
1/3 de la puissance nominale 210 watts
Poids 14,8 kg
Notice Facile