VC 155 E - Aspirateur TROTEC - Notice d'utilisation et mode d'emploi gratuit
Retrouvez gratuitement la notice de l'appareil VC 155 E TROTEC au format PDF.
| Type d'appareil | Aspirateur |
| Puissance | 1550 W |
| Capacité du réservoir | 15 L |
| Poids | 8 kg |
| Dimensions | 380 x 380 x 600 mm |
| Filtration | Filtre HEPA |
| Niveau sonore | 70 dB |
| Accessoires inclus | Tube d'aspiration, brosse pour sols durs, brosse pour tapis |
| Utilisation | Convient pour les surfaces sèches et humides |
| Maintenance | Nettoyage régulier du filtre, vidage du réservoir après utilisation |
| Sécurité | Protection contre la surchauffe, câble d'alimentation avec protection |
| Garantie | 2 ans |
FOIRE AUX QUESTIONS - VC 155 E TROTEC
Questions des utilisateurs sur VC 155 E TROTEC
0 question sur cet appareil. Repondez a celles que vous connaissez ou posez la votre.
Poser une nouvelle question sur cet appareil
Téléchargez la notice de votre Aspirateur au format PDF gratuitement ! Retrouvez votre notice VC 155 E - TROTEC et reprennez votre appareil électronique en main. Sur cette page sont publiés tous les documents nécessaires à l'utilisation de votre appareil VC 155 E de la marque TROTEC.
MODE D'EMPLOI VC 155 E TROTEC
Indications sur le manuel d'utilisation.... 2
Sécurité.... 2
Informations sur l'appareil .... 5
Transport et stockage 6
Mise en service....7
Utilisation....9
Défauts et pannes.... 10
Entretien.... 11
Démontage.... 14
Annexe technique.... 15
Élimination des déchets.... 17
Indications sur le manuel d'utilisation
Symboles

Avertissement relatif à la tension électrique
Ce symbole indique que la tension électrique cause des risques pour la vie et la santé des personnes.

Avertissement relatif aux matières explosives
Ce symbole indique que les matières explosives causent des risques pour la vie et la santé des personnes.

Avertissement
Cette mention d'avertissement indique un risque moyen qui peut entraîner des blessures graves ou mortelles s'il n'est pas évité.

Attention
Cette mention d'avertissement indique un risque faible qui peut entraîner des blessures bénignes ou moyennes s'il n'est pas évité.
Remarque
Cette mention d'avertissement indique des informations importantes (par ex. dommages matériels), mais aucun danger.

Info
Les indications présentant ce symbole vous aident à exécuter vos tâches rapidement et en toute sécurité.

Observer le mode d'emploi
Les indications présentant ce symbole vous indiquent qu'il est nécessaire de respecter le manuel d'utilisation.
Vous pouvez télécharger la dernière version du manuel d'utilisation et la déclaration de conformité UE sur le lien suivant :

VC 150 E
VC 155 E

Veuillez lire attentivement le présent manuel avant la mise en service ou l'utilisation de l'appareil et conservez-le à proximité immédiate du site d'installation ou de l'appareil même.

Avertissement
Lisez toutes les consignes de sécurité et toutes les instructions.
Le non-respect des consignes de sécurité risque de causer une électrocution, de provoquer un incendie ou de causer des blessures graves.
Conservez toutes les consignes de sécurité et toutes les instructions pour pouvoir vous y reporter ultérieurement.
Les enfants de plus de 8 ans et toute personne ayant des capacités physiques, sensorielles ou mentales réduites ou ne possédant pas l'expérience et/ou les connaissances nécessaires peuvent utiliser l'appareil pour autant qu'ils bénéficient d'une supervision ou ont reçu une instruction adéquate relative à une utilisation sure de l'appareil et qu'ils ont compris les dangers liés à cette utilisation.
Les enfants ne sont pas autorisés à jouer avec l'appareil. Il est interdit aux enfants d'effectuer le nettoyage et l'entretien de l'appareil sans surveillance.
- N'ouvrez jamais le boîtier de l'appareil ni le bloc d'alimentation. Cela peut provoquer un court-circuit.
- Ne tenez pas, ne stockez pas et n'utilisez pas l'appareil et son bloc d'alimentation à proximité de flammes nues ou de surfaces chaudes.
- Ne débranchez pas l'appareil en tirant sur le cordon, mais en saisissant le bloc d'alimentation.
-
N'utilisez pas l'appareil sans surveillance.
-
Raccordez la fiche de l'appareil à une prise de courant protégée selon les règles de l'art.
- Laissez refroidir l'appareil avant le transport ou la maintenance.
- N'utilisez pas l'appareil dans des atmosphères agressives.
- N'utilisez pas et ne placez pas l'appareil dans les pièces ou les zones présentant un risque d'explosion.
- Ne touchez ou n'utilisez pas l'appareil les mains humides ou mouillées.
- N'utilisez pas l'appareil à proximité de baignoires, de douches, de piscines ni d'autres récipients contenant de l'eau. Risque d'électrocution !
- Ne pas exposer l'appareil à un jet d'eau direct.
- N'introduisez pas de corps étrangers ni de membres du corps à l'intérieur de l'appareil.
- N'utilisez pas l'appareil à proximité des yeux ni des oreilles. Les buses et les extrémités de tuyaux doivent être tenus éloignés des yeux et des oreilles.
- Faites sécher l'appareil après un nettoyage humide. Ne le faites pas fonctionner s'il est mouillé.
- N'utilisez jamais l'appareil si vous remarquez des défauts sur la prise ou sur le câble de raccordement secteur. Si le cordon secteur de cet appareil est endommagé, il doit être remplacé par le fabricant, son service après-vente ou par une personne qualifiée afin d'éviter tout risque. Les câbles électriques défectueux représentent un sérieux danger pour la santé.
- Ne pas s'asseoir sur l'appareil.
- Retirez le câble électrique de l'appareil de la prise en tirant sur la fiche avant l'entretien, la maintenance ou les réparations.
- La prise d'alimentation électrique doit correspondre aux indications données au chapitre Caractéristiques techniques.
- Avant chaque utilisation, vérifiez le bon état de l'appareil, des accessoires et des pièces de raccordement. N'utilisez pas l'appareil si celui-ci ou une des pièces qui le composent présente un défaut.
- Assurez-vous que le côté aspiration soit toujours exempt de saleté et de corps étrangers.
- Assurez-vous que l'ouverture d'aspiration et les sorties d'air sont libres. Un blocage du circuit d'air peut causer une surchauffe et endommager l'appareil.
- N'utilisez pas l'appareil lorsqu'il est raccordé au bloc d'alimentation.
- Nettoyez régulièrement le filtre à poussières, le sac filtrant et le bac collecteur afin d'éviter une surcharge du moteur.
- Ne changez jamais d'accessoire pendant que l'appareil fonctionne.
- N'utilisez jamais l'aspirateur à main sans le filtre à poussières.
Avertissements de sécurité généraux pour les chargeurs et les batteries
- N'utilisez les produits qu'avec les batteries prévues à cet effet. L'utilisation d'autres batteries peut entraîner un risque de blessures et d'incendie.
- Ne rechargez le bloc de batteries qu'avec le chargeur spécifié par le fabricant. Un chargeur adapté à un certain type de bloc de batteries peut créer un risque d'incendie lorsqu'il est utilisé avec un autre type de bloc de batteries.
- Ne chargez pas de batterie d'une autre marque. Le chargeur ne peut être utilisé que pour la recharge de la batterie fournie et la tension indiquée dans les données techniques. Toute autre utilisation peut provoquer un risque d'incendie ou d'explosion.
- Dans de mauvaises conditions, du liquide peut être éjecté de la batterie. Évitez alors tout contact. En cas de contact accidentel, nettoyez à l'eau. Si le liquide entre en contact avec les yeux, recherchez en plus une aide médicale. Le liquide provenant des batteries peut causer des irritations ou des brûlures.
- Des vapeurs peuvent être dégagées en cas de détérioration ou d'utilisation non conforme de la batterie. Alimentez la pièce en air frais et prenez contact avec un médecin en cas de problèmes de santé. Les vapeurs peuvent irriter les voies respiratoires.
- N'ouvrez pas la batterie. Cela peut provoquer un court-circuit.
- Ne provoquez pas de court-circuit avec la batterie. Cela peut provoquer une explosion.
- Les batteries ne doivent pas être soumises à des chocs mécaniques.
- Protégez les pièces électriques contre l'humidité. Pendant le nettoyage ou le fonctionnement, ne les plongez jamais dans de l'eau ou d'autres liquides afin d'éviter une électrocution. Ne tenez jamais le chargeur sous l'eau courante. Veuillez respecter les indications pour le nettoyage et l'entretien.
- Le chargeur est uniquement approprié au fonctionnement en intérieur.
- Le chargeur doit toujours être propre. Un encrassement peut provoquer une électrocution.
- N'utilisez pas le chargeur sur un support facilement inflammable (par ex. papier, tissu, etc.) ou dans un environnement inflammable. L'échauffement du chargeur provoqué par la charge peut causer un incendie.
- N'utilisez le chargeur que pour recharger la batterie.
Le chargeur ne doit pas être utilisé pour l'alimentation électrique de l'outil.
Utilisation conforme
Utilisez l'appareil VC 150 E / VC 155 E pour aspirer des sols au revêtement dur, des tapis ou moquettes, des tables, des meubles rembourrés, des claviers ainsi que toute surface ou matière sèche dans le domaine domestique privé ou dans une voiture particulière tout en respectant les caractéristiques techniques.
Nous vous recommandons d'utiliser l'appareil avec les accessoires d'origine de Trotec.
Utilisations non conformes prévisibles
L'appareil doit uniquement être utilisé conformément à sa destination. Toute autre utilisation ou une utilisation plus étendue n'est pas autorisée. L'utilisateur, et non le fabricant, est responsable des dommages ou des blessures qui pourraient en résulter, et ce, quelle qu'en soit la nature. Veuillez noter que cet appareil n'a pas été conçu pour être utilisé à des fins commerciales, artisanales ou industrielles. Nous déclinons toute garantie dans le cas où l'appareil serait mis en œuvre dans un contexte commercial, artisanal, industriel ou équivalent.
L'appareil ne doit en aucun cas servir pour aspirer des personnes ou des animaux.
Ne pas utiliser l'appareil sans l'unité cyclonique ou si celle-ci est endommagée.
L'appareil n'est pas conçu pour aspirer les matériaux suivants :
- Allumettes en feu
• Cendres incandescentes - Mégots de cigarette
- Toute chose humide ou mouillée (liquides).
- Objets volumineux ou pointus, morceaux de verre
- Poussière de pierre
- Plâtre
• Ciment ou autres particules similaires - Matières ou liquides inflammables et/ou corrosifs
- Substances nocives
L'appareil ne doit pas être utilisé dans des zones explosives, en contact avec de l'eau ou en cas de forte hygrométrie.
Toute utilisation autre que celle qui est décrite au chapitre
« Utilisation conforme » est considérée comme une utilisation non conforme raisonnablement prévisible.
Qualification du personnel
Toute personne utilisant le présent appareil doit :
- être consciente des risques associés aux appareils électriques en environnement humide.
- avoir lu et compris le manuel d'utilisation, et notamment le chapitre Normes de sécurité.
Risques résiduels

Avertissement relatif à la tension électrique
Électrocution provoquée par une isolation insuffisante.
Contrôlez l'appareil avant chaque utilisation pour détecter d'éventuels endommagements et pour en assurer le bon fonctionnement.
N'utilisez plus l'appareil si vous détectez des endommagements.
N'utilisez pas l'appareil lorsque celui-ci ou vos mains sont humides ou mouillés !

Avertissement relatif à la tension électrique
Toute intervention au niveau des composants électriques est à réaliser exclusivement par une entreprise spécialisée !

Avertissement relatif à la tension électrique
Risque d'électrocution provoquée par la pénétration de liquide dans le boîtier !
Ne plongez pas l'appareil et les accessoires dans l'eau. Veillez à éviter la pénétration d'eau ou d'autres liquides dans le boîtier.

Avertissement relatif aux matières explosives
N'exposez jamais l'accumulateur à une température supérieure à 45 °C ! Ne mettez jamais l'accumulateur en contact avec de l'eau ou du feu ! Évitez les rayons directs du soleil et l'humidité. Cela peut provoquer une explosion !

Avertissement
L'utilisation de l'appareil peut comporter un risque s'il est utilisé par des personnes non compétentes, en cas d'utilisation non conforme ou non conventionnelle !
Veuillez respecter les exigences relatives à la qualification du personnel !

Avertissement
L'appareil n'étant pas un jouet, il n'est pas adapté aux enfants.

Avertissement
Danger de suffocation !
Veuillez ne pas laisser traîner les emballages vides. Ils pourraient être dangereux pour les enfants.

Attention
Tenez l'appareil à l'écart de sources de chaleur.
Remarque
L'appareil peut s'endommager si vous le transportez ou l'entreposer de manière inappropriée.
Observez les informations relatives au transport et à l'entreposage de l'appareil.
Informations sur l'appareil
Description de l'appareil
L'appareil VC 150 E / VC 155 E est idéal pour aspirer toute surface sèche dans le domaine domestique privé ou dans une voiture particulière.
Cet appareil peut être utilisé sans fil comme aspirateur à main avec le suceur à fentes ou la brosse pour meubles et coussins.
En montant le tube prolongateur en combinaison avec la buse de sol motorisée, l'appareil peut être utilisé comme aspirateur balai sans fil. La buse de sol motorisée est équipée d'un phare LED pour l'éclairage des recoins sombres, p. ex. sous un canapé.
L'appareil est équipé d'un système de filtration à technologie cyclonique avec deux vitesses d'aspiration.
Les appareils VC 150 E et VC 155 E sont identiques du point de vue technique, la seule différence étant la couleur extérieure.
Représentation de l'appareil

| N° Désignation |
| 1 Touche de déverrouillage du réservoir collecteur |
| 2 Voyant témoin de fonctionnement/de charge de la batterie |
| 3 Commutateur Degré d'aspiration MAX |
| 4 Interrupteur marche/arrêt |
| 5 Poignée |
| 6 Boîtier du moteur |
| 7 Sortie d'air avec filtre |
| 8 Station de rangement |
| 9 Suceur à fentes |
| 10 Buse de sol |
| 11 Brosse pour meubles et coussins |
| 12 Tube de prolongation |
| 13 Alimentation secteur |
| 14 Orifice de fixation des buses d'aspiration |
| 15 Réservoir collecteur avec filtre HEPA |
| 16 Touche de déverrouillage du couvercle du réservoir collecteur |
Fourniture
• 1 aspirateur à main
• 1 bloc d'alimentation secteur
• 1 brosse pour meubles et coussins
- 1 suceur à fentes
• 1 buse de sol motorisée
• 1 tube de prolongation
• 1 station de rangement
- 1 mode d'emploi
Caractéristiques techniques
| Paramètres Valeur | |
| Modèle VC 150 E / VC 155 E | |
| Puissance absorbée 150 W | |
| Capacité max. bac à poussières : 650 ml | |
| Durée de fonctionnement max. 40 minutes | |
| Poids 1,5 kg | |
| Longueur du tube de prolongation 64 cm | |
| Dimensions (longueur x largeur x hauteur) | 23 x 25 x 111 cm |
| Batterie (intégrée) | |
| Type Li-ion | |
| Tension nominale 25,2 V | |
| Capacité 2 Ah | |
| Nombre de cellules 7 | |
| Chargeur | |
| Entrée | |
| Tension nominale 100 – 240 V / | 50 – 60 Hz |
| Puissance absorbée 2,2 W | |
| Sortie | |
| Tension nominale 29,5 V | --- ◆-●-◇ |
| Courant de charge 500 mA | |
| Durée de recharge de 4 à 6 heures | |
| Classe de protection | II / □ |
Transport et stockage
Remarque
L'appareil peut s'endommager si vous le transportez ou l'entreposer de manière inappropriée.
Observez les informations relatives au transport et à l'entreposage de l'appareil.
Transport
Veuillez observer les consignes suivantes avant chaque transport :
- Arrêtez l'appareil.
- Débranchez le cordon d'alimentation du chargeur de la prise murale en tirant sur la fiche secteur.
• Laissez refroidir l'appareil.
La batterie Li-ion fournie est soumise aux exigences du droit des marchandises dangereuses.
Observez les instructions suivantes relatives au transport ou à l'expédition de batteries Li-ion :
- Les batteries peuvent être transportées sur la route par l'utilisateur sans autres conditions.
-
Il est nécessaire de respecter les exigences et les marquages spécifiques lors de l'expédition par des tiers (par ex. transport aérien ou entreprises de transport). Ici, un expert des matières dangereuses doit être consulté pour la préparation des colis.
-
N'utilisez les batteries que si le boîtier est intact.
- Veuillez également respecter les prescriptions nationales éventuelles.
Stockage
Veuillez respecter les consignes suivantes avant chaque entreposage :
- Arrêtez l'appareil.
- Débranchez le cordon d'alimentation du chargeur de la prise murale en tirant sur la fiche secteur.
• Laissez refroidir l'appareil. - Ne rangez jamais l'appareil de telle manière qu'il pourrait tomber dans une baignoire ou un lavabo.
- Nettoyez l'appareil conformément aux indications figurant au chapitre Maintenance.
- Ne stockez pas de batterie Li-ion entièrement déchargée. Le stockage d'une batterie déchargée peut provoquer une décharge profonde et causer ainsi la détérioration de la batterie.
Observez les conditions de stockage suivantes lorsque vous n'utilisez pas l'appareil :
- au sec et protégé du gel et de la chaleur
- à une température ambiante inférieure à 45 °C
- dans un endroit protégé de la poussière et de l'exposition directe du soleil
Mise en service
Déballage de l'appareil
- Sortez l'appareil et les accessoires de leur emballage.
- Contrôlez l'intégrité du contenu livré et la présence éventuelle de détériorations.

Avertissement relatif à la tension électrique
Électrocution provoquée par une isolation insuffisante.
Contrôlez l'appareil avant chaque utilisation pour détecter d'éventuels endommagements et pour en assurer le bon fonctionnement.
N'utilisez plus l'appareil si vous détectez des endommagements.
N'utilisez pas l'appareil lorsque celui-ci ou vos mains sont humides ou mouillés !

Avertissement
Danger de suffocation !
Veuillez ne pas laisser traîner les emballages vides. Ils pourraient être dangereux pour les enfants.
- Éliminez l'emballage conformément à la législation nationale en vigueur.
Charge de la batterie
Remarque
L'accumulateur peut être endommagé en cas d'utilisation incorrecte.
Ne chargez jamais l'accumulateur à des températures ambiantes inférieures à 10 °C ou supérieures à 40 °C.
À la livraison, la batterie est partiellement chargée afin d'éviter toute détérioration causée par une décharge profonde.
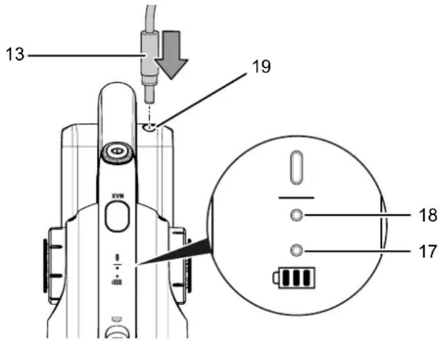
La batterie doit être rechargée avant la première mise en service ou si la batterie est faible (seul le voyant LED (17) du bas du témoin de fonctionnement/de charge de la batterie (2) clignote. Pour ce faire, procédez de la manière suivante :
- Assurez-vous que l'appareil est éteint.
- Placez l'appareil dans sa station de rangement (8).
- Insérez la fiche femelle de l'adaptateur secteur fourni (13) dans la prise (19) située en dessous du boîtier du moteur.

text_image
13 19 18 17- Raccordez la fiche de l'appareil à une prise de courant protégée conformément aux normes.
→ Le voyant LED 1 (17) du témoin de fonctionnement/de charge de la batterie (2) clignote et le processus de charge commence.
→ La charge dure entre 4 et 6 heures.
- Attendez que les voyants LED 1 et 2 (17, 18) du témoin de charge de la batterie (2) soient complètement éteints.
→ La batterie est complètement chargée.
- Débranchez le bloc d'alimentation (13) de la prise (19).
Il est possible que l'appareil et le chargeur aient chauffé pendant le processus de charge.

Info
L'appareil ne peut pas démarrer si le chargeur est branché.
Contrôle de l'état de charge de la batterie
L'état de charge de la batterie est indiqué par le témoin de fonctionnement/de charge de la batterie (2) de la manière suivante :
| LED 1 (17) | LED 2 (18) | Signification |
| est éteinte est éteinte | La batterie est | complètement chargée. |
| est allumé en permanence | clignote La batterie | est rechargée, la capacité de la batterie est d'au min. 50 % |
| clignote est éteinte | La batterie est en cours de charge. | |
Changer de buse
Procédez comme suit pour changer de suceur ou de brosse : √ L'appareil est éteint.
- Appuyez sur la touche de déverrouillage (20) du suceur ou de la brosse et, le cas échéant, retirez celui-ci/celle-ci.

text_image
20 14- Mettez la buse souhaitée en place en enfonçant son embout sur l'embout de l'aspirateur prévu pour recevoir les buses (14) jusqu'à ce qu'il s'encliquette de façon perceptible.

text_image
14 9L'appareil peut désormais être utilisé avec la buse enfichée.
Réglage de la brosse pour meubles et coussins
-
Appuyer sur la touche de déverrouillage (22) sur la tête de brosse (21).
-
Amenez la tête de brosse (21) dans la position souhaitée jusqu'à ce qu'elle s'encliquette de façon perceptible.

text_image
22 11 21⇒ Mettez la tête de brosse dans la position avant pour aspirer des surfaces de meubles.
→ Mettez la tête de brosse dans la position arrière pour aspirer des coins difficiles d'accès, des angles, des meubles rembourrés et des coussins.
Utiliser le tube de prolongation
Cet appareil peut être équipé d'un tube de prolongation (12). Procédez comme suit pour mettre le tube de prolongation (12) en place :
√ L'appareil est éteint.
-
Appuyez sur la touche de déverrouillage (20) de la buse actuellement montée pour retirer celle-ci.
-
Enfichez l'embout du tube de prolongation (12) sur l'embout de l'aspirateur prévu pour recevoir les buses (14) jusqu'à ce que le tube de prolongation (12) s'encliquette de façon perceptible.
-
Enfichez la buse souhaitée sur le tube de prolongation (12).
Utiliser la buse de sol motorisée
√ L'appareil est éteint.
√ Le tube de prolongation (12) est en place.
-
Appuyez sur la touche de déverrouillage (20) de la buse actuellement montée pour retirer celle-ci.
-
Enfichez l'embout de la buse de sol motorisée (10) sur l'embout du tube de prolongation (12) jusqu'à ce qu'il s'encliquette de façon perceptible.

text_image
10 12L'appareil peut désormais être utilisé avec la buse de sol motorisée (10).
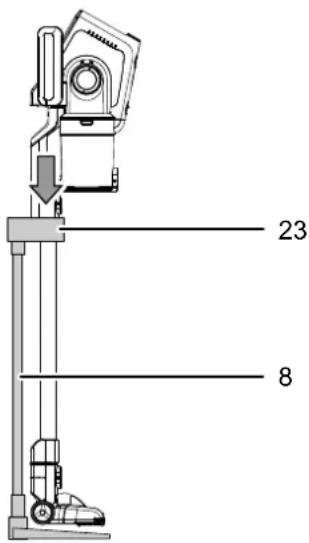
Mettre l'appareil dans sa station de rangement
Procédez comme suit pour enficher l'appareil dans sa station de rangement (8).
√ L'appareil est éteint.
√ Le tube de prolongation (12) et la buse de sol motorisée (10) sont montés.
-
Enfichez l'appareil verticalement dans le logement prévu pour recevoir l'appareil (23) de la station de rangement (8).
-
Assurez-vous que le tube de prolongation (12) repose correctement dans le logement prévu pour recevoir l'appareil (23).

text_image
23 8Utilisation
Conseils et recommandations pour la manipulation de l'aspirateur balai sans fil
Généralités :
- Avant de commencer à aspirer les surfaces à nettoyer, consultez les conseils d'entretien du fabricant correspondant des revêtements de sol.
- N'utilisez jamais l'appareil sans unité cyclonique ni sans filtres HEPA !
- N'aspirez pas d'objets coupants, ils pourraient endommager l'appareil ou se coincer à l'intérieur de l'appareil et causer des obstructions.
Utilisation de la buse de sol motorisée :
- N'aspirez pas avec la buse de sol motorisée longtemps au même endroit. En cas de sols fragiles ou cirés, vous risquez un brillant irrégulier.
- Avant d'utiliser la buse de sol motorisée, assurez-vous qu'aucun corps étranger coupant ne se trouve sur la face inférieure de la buse ni dans le rouleau brosse. Ceux-ci risquent d'érafler les surfaces fragiles, comme p. ex. les planchers en bois poli.
Utilisation de la brosse pour meubles et coussins
- N'exercez pas trop de pression sur la brosse. Une pression exagérée peut déformer durablement les poils de la brosse.
Mise en marche de l'appareil
- Appuyez sur l'interrupteur Marche/Arrêt (4) afin de mettre l'appareil en marche.

text_image
1 4⇒ Le témoin de fonctionnement/de charge de la batterie (2) s'allume.
→ L'appareil se met en marche.
Activer le degré d'aspiration MAX
- Appuyez une fois sur la touche Degré d'aspiration MAX (3).

text_image
24 3→ La puissance d'aspiration augmente et le voyant LED (24) s'allume.
- Pour désactiver le degré d'aspiration MAX (3), appuyez de nouveau sur le bouton Degré d'aspiration MAX (3).
→ La désactivation du degré d'aspiration MAX (3) est signalée par le voyant LED (24) qui s'éteint.
Éteindre l'appareil
- Appuyez sur l'interrupteur Marche/Arrêt (4) afin d'éteindre l'appareil.
⇒ Le témoin de fonctionnement/de charge de la batterie (2) s'éteint.
L'appareil est éteint.
Mise hors service
- Arrêtez l'appareil.
- Débranchez le cordon d'alimentation du chargeur de la prise murale en tirant sur la fiche secteur.
- Nettoyez l'appareil conformément aux indications figurant au chapitre « Maintenance ».
- Stockez l'appareil conformément aux indications figurant dans le chapitre « Stockage ».
Défauts et pannes
Dans le cadre de sa production, le bon fonctionnement de l'appareil a été contrôlé à plusieurs reprises. Malgré tout, si l'appareil devait présenter des dysfonctionnements, contrôlez-le en vous conformant à la liste suivante.
Toutes les tâches de dépannage nécessitant l'ouverture du boîtier sont à réaliser par une entreprise d'électricité spécialisée ou par la société Trotec.
Une légère fumée ou une odeur apparaît lors de la première utilisation :
- Il ne s'agit ni d'un défaut ni d'une panne. Ce phénomène disparaît rapidement après un certain temps de fonctionnement.
L'accumulateur ne se charge pas :
- Vérifiez si l'appareil est raccordé correctement au chargeur et si le chargeur est branché au réseau d'électricité.
• Vérifiez le raccordement au réseau. - Vérifiez le bon état du câble électrique et de la fiche d'alimentation.
• Vérifiez la protection du réseau. - Vérifiez les détériorations éventuelles du chargeur. N'utilisez pas de chargeur endommagé. Contactez le service après-vente de Trotec.
- Vérifiez l'encrassement éventuel du connecteur du chargeur. Le cas échéant, nettoyez-le.
- L'accumulateur peut être défectueux. Contactez le service après-vente de Trotec.
L'appareil devient brûlant :
- Les fentes d'aération doivent être libres afin d'éviter une surchauffe du moteur.
- Contrôlez régulièrement le filtre de sortie d'air et nettoyez-le pour éviter son encrassement, les filtres bouchés peuvent provoquer une surchauffe du moteur.
- Contrôlez que l'appareil n'est pas obstrué par des objets trop gros pour le suceur ou le réservoir collecteur qu'ils risquent de bloquer. Un flux d'air perturbé peut provoquer la surchauffe du moteur. Retirez les objets pouvant causer des blocages et n'aspirez pas d'objets trop gros.

Info
Attendez au moins 10 minutes avant de remettre l'appareil en marche.
L'appareil ne se met pas en marche :
- Il est possible que la charge de la batterie soit trop faible. Rechargez la batterie.
- Vérifiez si le chargeur et la prise du chargeur sont encrassés. Le cas échéant, nettoyez-les.
- Vérifiez le branchement du chargeur. L'appareil ne démarre pas si le chargeur est branché.
La puissance d'aspiration est faible :
- Contrôlez que l'appareil n'est pas obstrué par des objets trop gros pour le suceur ou le réservoir collecteur qu'ils risquent de bloquer. Retirez les objets pouvant causer des blocages. Faites attention aux objets coupants, ils peuvent provoquer des blessures.
- Vérifiez si l'unité cyclonique et le filtre HEPA sont encrassés. Nettoyez l'unité cyclonique et le filtre HEPA comme décrit au chapitre « Nettoyage ».
- Vérifiez si le rouleau brosse de la buse de sol est encrassé, le cas échéant, des cheveux ou autres salissures peuvent s'être enroulés autour du rouleau brosse et bloquer le mouvement de celui-ci. Démontez et nettoyez le rouleau brosse comme décrit au chapitre « Nettoyage ».

Info
Attendez au moins 10 minutes avant de remettre l'appareil en marche.
Remarque
Attendez au moins 3 minutes après avoir terminé les travaux de maintenance et de réparation. Puis, remettez l'appareil en marche.
Même après vérification, l'appareil ne fonctionne toujours pas parfaitement ?
Contactez le service après-vente. Le cas échéant, faites réparer l'appareil par une entreprise d'électricité autorisée ou par la société Trotec.
Entretien
À respecter avant tous travaux de maintenance

Avertissement relatif à la tension électrique
Ne touchez jamais la fiche d'alimentation du chargeur avec des mains humides ou mouillées.
- Éteignez l'appareil.
- Débranchez le cordon d'alimentation du chargeur de la prise murale en tirant sur la fiche secteur.
- Laissez l'appareil refroidir complètement.

Avertissement relatif à la tension électrique
Tout travail de maintenance nécessitant l'ouverture du boîtier doit être réalisé par une entreprise spécialisée homologuée ou par la société Trotec.
Indications de maintenance
Nettoyage
L'appareil doit être nettoyé avant et après chaque utilisation.
Remarque
L'appareil ne doit pas être lubrifié après le nettoyage.

Avertissement relatif à la tension électrique
Risque d'électrocution provoquée par la pénétration de liquide dans le boîtier !
Ne plongez pas l'appareil et les accessoires dans l'eau. Veillez à éviter la pénétration d'eau ou d'autres liquides dans le boîtier.
- Nettoyez l'appareil avec un chiffon humide, doux et non pelucheux. Veillez à ce qu'aucune humidité ne pénètre dans le boîtier. Veillez à ce qu'aucune humidité ne puisse entrer en contact avec les composants électriques.
N'utilisez pas de détergents agressifs, comme les aérosols de nettoyage, les solvants, les nettoyants à base d'alcool ou les produits abrasifs pour humidifier le chiffon.
- Séchez l'appareil avec un chiffon doux et non pelucheux.
- Maintenez propres les contacts de raccord de l'appareil et du chargeur.
- Les dépôts de poussière sont à retirer des orifices d'aération afin d'éviter une surchauffe du moteur.
Vidage du réservoir collecteur
Videz le réservoir collecteur dès que les particules de poussière collectées ont atteint le marquage MAX (26). Démontez la buse en place ou le tube de prolongation pour faciliter le vidage du réservoir.
Procédez comme suit pour vider le réservoir collecteur :
√ L'appareil est éteint.
-
Tenez l'appareil en orientant le réservoir collecteur (15) vers le bas.
-
Pour ouvrir le fond ouvrant du réservoir collecteur (25), appuyez sur la touche de déverrouillage du fond ouvrant du réservoir collecteur (16).

text_image
16 MAX 26 25- Videz le réservoir collecteur (15) et refermez le fond ouvrant avec la main jusqu'à ce que celui-ci s'enclenche et tienne bien.

Info
Afin de ne pas entraver le fonctionnement de l'appareil et éviter toute surcharge du moteur, videz le réservoir collecteur (15) et nettoyez l'unité cyclonique (27) et le filtre HEPA (28) après chaque utilisation.
Nettoyage du réservoir collecteur et de l'unité cyclonique
Procédez comme suit pour nettoyer l'unité cyclonique (27) et le réservoir collecteur (15) :
√ L'appareil est éteint.
- Retirez l'unité cyclonique (27) du réservoir collecteur (15).

text_image
27 15- Sortez le filtre HEPA (28) de l'unité cyclonique (27).

text_image
27 28- Démontez la partie inférieure de l'unité cyclonique (27) en la tournant dans le sens « UNLOCK ».

- Enlevez les plus grosses saletés de tous les éléments et rincez le réservoir collecteur (15) et toutes les parties de l'unité cyclonique (27) à l'eau froide. Laissez sécher le tout à l'air libre. Veillez à ne pas mouiller le filtre HEPA (28) qui ne doit en aucun cas être au contact de l'eau, il ne doit être nettoyé qu'exclusivement à sec.
Avant de remettre l'appareil en service, l'unité cyclonique (27) doit être réassemblée et remise à l'intérieur du réservoir collecteur (15). Pour ce faire, procédez de la manière suivante :
-
Réassemblez l'unité cyclonique (27) en enfichant ses deux parties ensemble et en tournant la partie inférieure de l'unité cyclonique dans le sens « LOCK ».
-
Insérez le filtre HEPA (28) dans l'unité cyclonique (27) bien sèche.
-
Mettez l'unité cyclonique en place dans le réservoir collecteur (15).
-
Montez le réservoir collecteur (15) sur l'appareil en insérant d'abord le bec d'accouplement (29) du réservoir collecteur (15) dans la rainure du boîtier, puis en faisant s'enclencher le réservoir collecteur (15) dans sa position.

Nettoyage des filtres de sortie d'air
Contrôlez régulièrement les deux filtres de sortie d'air (7) et nettoyez-les des dépôts grossiers de poussière et de salissures.
√ L'appareil est éteint.
- Démontez sur les deux côtés les couvercles (30) des filtres de sortie d'air (7) en les tournant dans le sens contraire des aiguilles d'une montre, puis retirez-les.

text_image
30 30- Sortez les filtres de sortie d'air (7) des couvercles.

text_image
30 7-
Enlevez les dépôts grossiers de poussière et de salissures des filtres de sortie d'air (7) puis rincez-les à l'eau claire. Veuillez noter que les filtres de sortie d'air doivent ensuite sécher pendant 24 heures.
-
Remettez les filtres de sortie d'air (7) nettoyés et séchés dans les deux couvercles.
-
Remettez les couvercles (30) des deux filtres de sortie d'air en place en les insérant dans le boîtier du moteur (6) et en les tournant dans le sens des aiguilles d'une montre jusqu'à ce qu'ils s'encliquettent de façon perceptible.
Contrôlez régulièrement les deux filtres de sortie d'air (7) et nettoyez-les des dépôts grossiers de poussière et de salissures.
Nettoyer la buse de sol motorisée
Pour faciliter le nettoyage, le rouleau brosse (33) peut être sorti de la buse de sol motorisée (10). Pour ce faire, procédez de la manière suivante :
√ La buse de sol ne doit pas se trouver montée sur l'aspirateur.
-
Sur la face inférieure de la buse de sol motorisée (10), ouvrez le verrou (31) en appuyant légèrement sur la languette du verrou (32).
-
Ouvrez le verrou (31) en le relevant et ôtez-le.

- Sortez le rouleau brosse (33) et enlevez les salissures à la main. Veuillez noter que le rouleau brosse (33) ne doit être nettoyé qu'à sec.

-
Remettez le rouleau brosse (33) nettoyé en place. Commencez en l'insérant d'abord du côté en face du verrou.
-
Remettez le verrou (31) en place et refermez-le jusqu'à ce qu'il s'encliquette de façon perceptible.
Démontage
Dépose et élimination de la batterie
-
Déchargez entièrement la batterie en faisant tourner l'appareil jusqu'à l'arrêt du moteur.
-
Dévissez les 3 vis du boîtier de la batterie (34).
-
Ouvrez le boîtier de la batterie (34).
-
Variante A (sans connecteur) : Tenez la batterie (35) fermement et coupez les fils au moyen d'une pince coupante. Isolez les extrémités des fils de la batterie au moyen d'une bande isolante afin d'éviter tout court-circuit. Variante B (avec connecteur) : Tenez la batterie (35) fermement et débranchez les connecteurs enfichables des bornes.

- Éliminez la batterie ainsi que l'appareil conformément aux indications du chapitre Élimination.
Annexe technique
Vue d'ensemble des pièces détachées
Remarque : Les numéros de repérage des pièces de rechange sont différents des numéros de repérage des composants utilisés dans la notice d'instructions.

Liste des pièces détachées
Élimination des déchets

Le pictogramme représentant une poubelle barrée, apposé sur un appareil électrique ou électronique, signifie que celui-ci ne doit pas être éliminé en fin de vie avec les ordures ménagères. Des points de collecte gratuits pour les appareils électriques ou électroniques usagés sont à votre disposition à proximité de chez vous. Les autorités de votre ville ou de votre commune peuvent vous en fournir les adresses. Notre site Internet https://de.trotec.com/shop/ vous informe également sur les autres possibilités de retour que nous avons aménagées.
La collecte séparée des appareils électriques et électroniques usagés permet leur réutilisation éventuelle, le recyclage des matériaux constitutifs et les autres formes de recyclage tout en évitant les conséquences négatives pour l'environnement et la santé des produits dangereux qu'ils sont susceptibles de contenir.

Li-Ion
Les piles usagées et les batteries ne doivent pas être jetées avec les ordures ménagères, mais être éliminées conformément à la directive européenne 2006/66/CE DU PARLEMENT ET DU CONSEIL EUROPEEN du 6 septembre 2006 relative aux piles, aux piles rechargeables, aux accumulateurs et aux batteries. Veuillez éliminer les piles et les batteries conformément aux dispositions légales en vigueur.
Trotec GmbH
Grebener Str. 7
D-52525 Heinsberg
)+49 2452 962-400
+49 2452 962-200
info@trotec.com
www.trotec.com
Notice Facile