FLASH6S - Lave-vaisselle BRANDY BEST - Notice d'utilisation et mode d'emploi gratuit
Retrouvez gratuitement la notice de l'appareil FLASH6S BRANDY BEST au format PDF.
| Caractéristique | Détails |
|---|---|
| Type de produit | Lave-vaisselle |
| Capacité | Nombre de couverts |
| Consommation d'eau | Litres par cycle |
| Consommation énergétique | Classe énergétique |
| Niveaux de lavage | Nombre de programmes de lavage |
| Niveau sonore | Décibels (dB) |
| Dimensions | Hauteur, largeur, profondeur |
| Poids | Poids net |
| Fonctionnalités supplémentaires | Options de lavage, séchage, etc. |
| Entretien | Fréquence de nettoyage des filtres |
| Sécurité | Système de sécurité anti-débordement |
| Garantie | Durée de la garantie |
| Informations d'achat | Disponibilité, prix moyen |
FOIRE AUX QUESTIONS - FLASH6S BRANDY BEST
Questions des utilisateurs sur FLASH6S BRANDY BEST
0 question sur cet appareil. Repondez a celles que vous connaissez ou posez la votre.
Poser une nouvelle question sur cet appareil
Téléchargez la notice de votre Lave-vaisselle au format PDF gratuitement ! Retrouvez votre notice FLASH6S - BRANDY BEST et reprennez votre appareil électronique en main. Sur cette page sont publiés tous les documents nécessaires à l'utilisation de votre appareil FLASH6S de la marque BRANDY BEST.
MODE D'EMPLOI FLASH6S BRANDY BEST
Avant l'installation ou la première utilisation de cet apparéil, dire attentivement cette notice. La conserver soigneusement par la suite.

Lisez ce Manuel
Cher Client,
Lisez attentivement ce manuel avant d'utiliser le lavevaisselle afin de vous en facilititer l'utilisation et la maintenance.
Gardez-le à votre portée, pour référence ultérieure, si besoin.
Transfrez-le à tout utiliser ou nouveau propriétaire. Ce manuel contient des paragraphs sur les Instructions de Sécurité, les Conditions d'Utilisation, les Instructions d'Installation, le Diagnostic, les Conseils, etc.

Avant de contacter un Réparateur
Lire le paragraphe sur le diagnostic rapide devrait vous aider à résoudre les problèmes commun par vous-même.
Si vous n'etes pas en mesure de résoudre vous-meme un problème, veuillez demander l'avis d'un dépanneur professionnel.
NOTES:
Le fabricant, en accord avec sa politique d'amélioration constante de ses produits, peut, à tout moment, faire des modifications sans notice préalable.
Ce manuel d'utilisateur doit etre obtenu apres d'un fabricant ou un revendeur agre.
1) Notice de Sécurité Importante 2
2) Prise en Main Rapide 5
3) Mode d'Emploi 6.
Panneau de Contrôle 6.
Fonctionnalités 6
4) Avant la première Utilisation 7. A. Ajout de Sel dans l'Adoucisseur 7. B. Remplir le Distributeur d'Additif de Rinage 8. C. Fonction du Detergent 9.
5) Charger le Bac du Lave-vaiselle 11 Avant et Apres le Chargement des Paniers.12 Remplir le Bac.12 Panier a Couverts 13
6) Demarrer un Programme de Lavage 14
Tableau des Cycles de Lavage 14
Allumer l'Appareil 14
Changer de Programme 15
A la Fin du Cycle de Lavage 15
7) Maintenance et Nettoyage 16
Système de Filtration 16
Entretien du Lave-vaisse 17
8) Instructions d'Installation 18
Positionnement de l'Appareil 19
Connexion à l'Arrivée d'Eau 19
Au Sujet de la Connexion au Secteur 19
Connexion des Tuyaux de Vidange 20
Demarrer le Lave-Vaisselle 21
9) Conseils pour le Diagnostic 22
Avant d'Appeler un Réparateur 22
Codes d'Erreur 23
Informations Techniques 24
1.NOTICE DE SÉCURITÉ IMPORTANTE

ATTENTION! Suivre les précautions d'emploi suivantes lors de toute utilisation
Cet apparéil est concu pour l'utilisation au sein d'un foyer ou équivalente :
-
employés de cuisine dans un lieu de vente, un bureau ou autre environnement de travail ;
-
fermes ;
- par les clients d'unhotel, motel ou autre lieu de résidence ;
- gites de vacances.
Cet apparéil peut être utilisé par les enfants âgés de plus de 8 ans et par les personnes souffrant d'un handicap physique, sensoriel ou mental ainsi que les personnes sans experience préalable du moment qu'ils sont sous supervision ou ont reçu une formation sur le mode d'emploi de l' apparéil y-comprises les règles de sécurité et les risques d'utilisation. Cet apparéil n'est pas un jouet pour les enfants. Le nettoyage et la maintenance ne doivent pas été réalisés par des enfants sans surveillance. Conformé à la norme EN60335-1.
Cet apparéil n'est pas destiné aux personnes (enfants inclus) souffrant d'un handicap physique, sensoriel ou mental, ou sans expérience préalable, sauf s'ils sont sous supervision ou ont reçu une formation sur l'utilisation de l' apparéil par une personne responsable. Conformé à la norme IEC60335-1.
Cet apparéil ne doit pas être utilisé à l'extérieur ou en-dehors du foyer. Afin d'éviter les risques d'électrocution, ne pas immer gler l' apparéil, le cordon électrique ou la prise de secteur dans l'eau ou autre liquide.
Veillez à débrancher l'appareil avant nettoyage ou maintenance. Utilisez un chiffon deux humidifié avec du savon, puis essuyez avec le chiffon.

INSTRUCTIONS POUR LA MISE A LA TERRE
Cet apparéil doit être mis à la terre. En cas de mauvais fonctionnement ou de panne, la mise à la terre réduit le risque d'électrocution en fournissant un chemin de moindre résistance au courant électrique. Cet apparéil est équipé d'un cordon électrique triphasé avec une prise de terre.
Le cordon doit être introduit dans une prise murale ajusté équipée d'une prise de terre et installée en accord avec les normes et lois locales.
- Une mauvaise connexion à la terre peut cause une électrocution. Faites vérifier l'installation par un électricien qualifié ou un représentant technique en cas de doute.
■ Ne pas modifier la prise électrique fournie avec votre apparéil. Si elle ne correspond pas à votre prise murale, faites installer une prise ajustée par un électricien qualifié.
Ne pas abimer, s'asseoir ou monter sur la porte ou le bac a vaisselle.
Ne pas demarrer le lave-vaisse sans fermer toutes les ouvertures.
Ouvrir la portedoucement lorsquelave-vaisse est en marche.
Ne pas placer d'objets lourds ou s'appuyer sur la porte lorsqu'elle est ouverte pour éviter de faire basculer l'appareil vers l'avant.
Lors du chargement de la vaisse à laver :
1) Placez les objets pointus afin qu'ils n'abiment pas le joint de la porte ;
2) Attention : les couteaux et autres ustensiles pointus doivent être placés dans le panier prévu à cet effet avec la partie pointue tournée vers le bas ou dans une position horizontale.
Vérifier que toute la poudre à laver ait été utiliser à la fin du cycle.
■ Ne pas laver les objets en plastique s'ils ne sont pas certifiés lavables à la machine. Vérifiez les recommendations du fabricant.
N'utilisez que du détergent et des additifs de rinceage approvés.
■ Ne jamais utiliser de savon, de lessive ou du liquide vaisse dans votre lavevaisselle.
■ Les enfants doivent être supervisés pour s'assurer qu'ils ne jouent pas avec l'appareil.
La porte ne doit pas etre maintainue ouverte pour reduire les risques de basculement.
Si la prise électrique est endommagée, elle doit être remplacée par le fabricant ou un agent de service qualifie pour éviter un risque d'électrocution.
Lors de l'installation, l'unité d'alimentation ne doit pas être excessivement pliee ou aplatie.
Ne pas ALTERER les contrôles.
L'appareil doit être connecté à la canalisation d'eau avec des tuyaux neufs et les ancients tuyaux ne peuvent être réutilisés.
Le nombre maximal de couverts est de 6.
La pression d'eau maximale à l'entrée est de 1 MPa.
La pression d'eau minimale à l'entrée est de 0.04 MPa.
Recyclage
DIRECTIVE 2012/19/EU
Dispossez du matériel d'emballage correctement. La totalité du matériel utilisé est recyclable. Les éléments en plastique sont marqués avec les abréviations internationales standardisées :
PE -polyethylene comme le plastique d'emballage
■ PS—polystyrene comme le rembourse
■ POM —polyoxymethylène comme les clips en plastique
PP polypropylene comme le Filtre a Sel
■ ABS ——Acrylonitrile Butadiène Styrene comme le Panneau de Contrôle


ATTENTION!
■ Le matériel d'emballage peut être dangereux pour les enfants !
Rendez-vous dans un centre de recyclage pour-disposer de l'emballage et de toute apparéil. Pour cet effet, couper la prise d'alimentation et détruire le dispositif d'actionnement de la porte.
L'emballage en carton est fabriqué à partir de matérielaux recyclés et doit être jeté dans la collecte pour déchets en papier pour être recyclé.
■ En vous assurant du recyclage ajustat de ce produit, vous diminuerez les risques de conséquences néfastes sur l'environnement et la santé qui pourrait advenir suite au mauvais recyclage de ce produit.
Pour plus de détails sur le recyclage de ce produit contactez votre agence générale locale et l'entreprise de recyclage de votre localité.
■ DESTRUCTION: Ne pas disposer de ce produit dans votre déchetterie locale.
Certsains matérielux nécessitant un traitement spécial.
2.Prise en main rapide
Pour plus de détails, dire les paragraphs correspondants dans le mode d'emploi.
Allumer l'appareil. Presser le bouton « Power » pour allumer l'appareil. Ouvrir la porte.
Ajouter du détergent dans le distributeur.
Compartment A:
Pour chaque cycle de lavage.
Compartment B:
En cas de prélavage seulement. (Suire les instructions!)

Vérifier le niveau des additifs de rincege.
Indicateur C. Voyant électrique sur le panneau de contrôle (si inclus).
Vérifier le niveau du sel de régénération
(Seulement pour les modèles avec système pour adoucisseur) Indicateur électriche sur le panneau de contrôle (si inclus).
S'il n'y a pas d'alarme pour le Sel sur le panneau de contrôle (certains modeles), faites une estimation lorsque vous ajouter le Sel à l'adoucisseur vu le nombre de cycles complétés par le lave-vaisselle.

Charger les paniers
Enlever les restes importants de nourriture. Detremper les restes de nourriture brulée dans les, casseroles, puis charger les paniers. Se reférer aux instructions de chargement du lave-vaiselle.
Selectionner un programme
Fermer la porte. Appuyer sur le bouton Programme jusqu'à ce que la selection s'illumine (Voir le paragraphe appelé Mode Opérateore).
Demarrer le lave-vaiselle Ouvrir la vanne a eau et presser le bouton Demarrage/Pause. L'appareil demarre son cycle.
-
Changer le programme
-
Un cycle en cours ne peut etre modifie que tot dans le cycle. Sinon, le détergent aura déjà ete introduit et I'eau de rincage déjà drainée. Si tel est le cas, replir a nouveau le distributeur de détergent.
-
Presser le bouton Demarrage/Pause, puis presser le bouton Programme pendant plus de
3 secondes pour annuler le programme en cours.
-
Sélectionner un nouveau programme.
-
Redemarrer le lave-vaiselle.
-
Presser Demarrage/Pause pour arreter la machine.
-
Ouvrir la porte.
- Ajuter la vaisselle.
-
Fermer la porte, puis presser Demarrage/Pause pour reprendre le programme.
-
Ajouter de la vaiselle en cours de cycle.
Si I'appareil est eteint en cours de cycle.
- Si l'appareil est eteint en cours de cycle, veuillez rallumer la machine et re-selectionner le cycle de lavage, puis reprendre le fonctionnement au moment de l'arrêt.
Eteindre l'appareil.
Quand le cycle de lavage se termine, l'alarme sonore retentit 8 fois, puis s'arrête.
Eteindre l'appareil avec le bouton Power
Vu que l'appareil est en stand-by, il s'eteindra automatiquement après 30 minutes si aucune commande n'est reçue.
Fermer I'arrivee d'eau. Vider les bacs.
Attention: attende environ 15 minutes avant de vider le lave-vaisselle afin d'eviter de manipuler la vaisselle lorsqu'elle est encore chaude et peut plus facilement casser.
Cela leur permettra également de secher davantage.
Vider l'appareil en commençant par les bacs inferieurs.
3.Mode D'Emploi

IMPORTANT
Pour un niveau de performance optimal, dire le mode d'emploi avant la première utilisation
Panneau de Contrôle

1 Allumage: Pour allumer/eteindre l'appareil
5 Retardement: Pour ajouter un-delai.
2 Alarme lumineuse pour I'Aide au Rincage : S'allume lorsque le distributeur d'additif de rincage doit etre rempli.
6 Indicateur lumineux de Programme
3 Alarme lumineuse pour le Sel : S'allume lorsque I'adouciissant doit etre ajoute.
7 Programme: Pour selectionner les cycles de lavage
4 Retardement option pour 2/4/6/8 heures. (Pour 6h, les voyants 2h et 4h s'allument en même temps)
8 Demarrage/Pause: Pressez ce bouton pour demarrer ou pauser le lave-vaiselle.
Fonctionnalités


1 Récipient pour le Sel
Panier a Couverts
Additives de Rincage
Etagere à tasses
Connecteur d'Entrée
2 Distributeur de Detergent
Filtres
Bras d'Arrosage
Panier
Connecteur de Vidange
4.Avant la Première Utilisation

NOTE: Si vous modèle ne dispose pas d'adoucisseur d'eau, vous pouvez passer ce paragraphe.
A. Ajout de Sel dans l'Adoucisseur
N'utiliser que du sel pour lave-vaisselle.
Le récipient à Sel est situé sous le panier est doit être rempli comme suit:
Attention!
N'utiliser que du sel spécifiquement concu pour l'utilisation dans un lave-vaisselle! Tout autre type de sel, en particulier le sel de table, endommagera l'adoucisseur d'eau. En cas de dommages causés par une mauvaise utilisation du sel, le fabricant ne fournit pas de garantie et n'est pas responsable pour les dommages causés.
■ Remplir le sel uniquement au début d'un cycle de lavage complet. Cela empêchera la formation de dépôt de sels au fond de la machine et la corrosion.


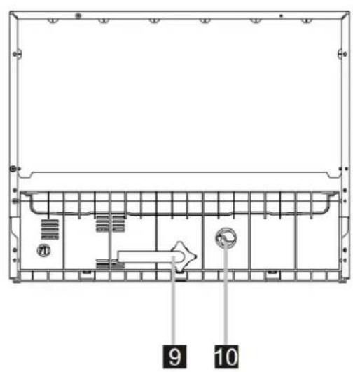
A Enlever le panier, puis dévisser et enlever le couvercle du récipient à sel. 1
B Avant le lavage, ajoutez 1 L d'eau dans le écipient à Sel de votre machine.
C Placer l'entonnoir (fourni) dans l'ouverture et introduire environ 1kg de sel. Il est normal de voir un peu d'eau s'échapper du réseau. 2
Aperes avoir remplie le recipient, revisser le couvercle fermement dans le sens des aiguilles d'une montre.
En general, le voyant d'alarme du sel s'eteint 2-6 jours après avoir rempli le填补ant avec du sel.
F Il est conseilé de demarrer un programme de lavage (suggestion : programme rapide) immédiatement après le remplissage. Sinon, le système de remplissage, la pompe, ou d'autres éléments importants de la machine peuvent être endommages par le sel résiduel. Ceci n'est pas couvert par la garantie.

NOTE:
- Ne replir le recipient à sel que lorsque levoyant d'alarme s'allume. Suivant le degré de dissolution du sel, le voyant peut rester allumé même après replissage. Si vous machine ne dispose pas d'un voyage d'alarme (sur certains modèles), vous pouvez estimer quand il est temps d'ajouter du sel d'après le nombre de cycle complétés par le lave-vaisse.
- En cas de débordements du sel, une trempe ou un programme rapide devrait être en mesure de re-dissoudre le sel en excès.
Ajuster la Consommation de Sel
Etape 1: Entrez le statut du l'ajustement du sel
Fermer la porte. 60 secondes après avoir allumé la machine, presser le bouton Demarrer/ Réinitialiser pendant 5 secondes. La machine entre en mode d'ajustement.

Etape 2: selectionner un niveau de consommation de sel
Presser le bouton Demarrer/Pause pour selectionner le niveau désire selon votre environnement. Les可以选择 defilent selon la sequence suivante : H1->H2->H3->H4->H5->H6;
Etape 3: Sortir du menu d'ajustement du sel
Après 5 secondes d'inactivité, la machine sort du mode d'ajustement et passée en stand-by.
Il y a 6 niveaux de consommation de sel. Il est conseilé de selectionner le niveau de consommation en accord avec le tableau suivant :
| Dureté de l'eau | Sélection sur l'adoucisseur d'eau | Affichage digital | |
| °dH 1) | mmol/l 2) | ||
| 0-5 0-0.9 1 H1(Rapide) | |||
| 6-11 1.0-2.0 2 | H2(90min) | ||
| 12-17 2.1-3.0 3 | H3(90min,Rapide) | ||
| 18-22 3.1-4.0 4* | H4(Verre) | ||
| 23-34 4.1-6.1 5 | H5(Verre,Rapide) | ||
| 35-45 6.2-8.0 6 | H6(Verre,90min) | ||
Note:
1) Degre allemand de mesure de la durete de I'eau
2) millimoles par litre, unité internationale de durété de l'eau
*) défaut usine
Contactez vos agence locale pour plus d'informations sur la durée de I'eau utilisée.
B. Remplir le Distributeur d'Additif de Rinçage
Distributeur d'Additif de Rincage
L'additif de rinceage est introduit durant la derniere etape de rinceage pour empêcher la formation de gouttelettes sur votre vaisselle qui peuvent laisser des marques. Il aide également le sechage en laissant l'eau glisser sur la surface de votre vaisselle. Notre lave-vaisselle a ete concu pour accepter les additifs de rinceage. Le distributeur est situé à l'intérieur de la porte a coté du recipient a detergent. Pour replir le distributeur, ouvrez e couvercle et versez l'additif jusqu'à ce que I'indicateur de niveau soit totalement noir. La capacite du distributeur est d'environ 110 ml.
Fonction de l'Additif de Rincage
L'additif de rincage est automatiquement ajouté lors du dernier rincage pour garantir un rincage efficace et un séchage sans marques résiduelles.
Attention!
N'utilise que des additifs de rinceage de marque et concus pour lave-vaiselles. Ne jamais replir le distributeur d'additifs de rinceage avec d'autres produits (par exemple, du liquide de nettoyage, du détergent liquide). Ceci endommagera l'appareil.
Quand Remplir le Distributeur d'Additif de Rinçage
Si vous appeareil ne dispose pas d'indicateur sur le panneau de contrôle, vous pouvez estimer la quantite d'additif de rinceage restante par la couleur du voyant lumineux C situé pres du couvercle. Lorsque le container est plein, il est complètement noirci. Au fur et a mesure que le niveau diminue, la taille de la zone noircie diminue. Ne jamais laisser le niveau tomber sous 1/4 plein.
Lorsque le niveau diminue, la taille du point noir sur l'indicateur de niveau diminue comme illustré ci-dessous:
Plein
3/4plein
1/2plein
1/4 plein - remplir pour éviter les traces
Vide




Pour ouvrir le distributeur, tournez le couvercle vers la gauche sur la position « open » indiqué par une flèche et soulever.
2 Verser l'additif dans le distributeur en faisant attention à ne pas replir excessivement.
3 Remetre le couvercle en place en alignant la flèche avec la position « ouvert » et en tournant vers la droite.

NOTE: Nettoyer tout débordement d'additif de rinceage lors du remplissage avec un chiffon absorbant pour éviter la
formation excessive de mousse durant le lavage. N'oubliez pas de remetre le couvercle en place avant de refermer la porte
Ajuster le Distributeur d'Additif de Rinçage

Poignée d'Adjustement (Rincage)

Le distributeur possède six ou quatre graduations. Toujours commencer avec la position "4". Si vous notez des résidus ou un mauvais séchage, augmentez la quantité d'additif de rincage en boulevant le couvercle et en tournant la poignée du/selecteur sur "5". Si la vaisse n'est always pas sèche or possède encore des résidus, ajustez le/selecteur sur la position suivante jusqu'à satisfaction complète. La position recommandaee est "4" (Valeur d'usine).
NOTE:
Augmentez la dose si vous notez des gouttelettes d'eau ou des races de chaux après le lavage. Réduisez-la si vous notez des taches blanchâtres collantes sur votre vaisselle ou un film bleu sur les verres et couverts.
C. Fonction du Detergent
Les détagents avec leurs constituents chimiques sont indispensablees pour-retirer la saleté,la dissoudre et la transporter en-dehors du lave-vaiselle. La plupart des détagents de qualité commerciale satisfont cette fonction.
Normalement, les nouveaux détergents en poudre ne contiennent pas de phosphates. C'est pourquoit le role d'adou-cissant de l'eau par le phosphate n'est pas réalisé. Dans ce cas, nous recommendons l'utilisation de sels même si la durée de l'eau n'excède pas 6 dH. Si des détergents sans phosphates sont utilisés avec des eaux dures, on peut souvent remarquer des résidus blancs sur la vaisselle et les verres. Si tel est le case, veuillez ajouter plus de détergent pour obtenir de更好地 résultats. Les détergents sans chlore ne blanchissant que très peu. Les grosses taches colorées sont donc difficiles à enlever. Si tel est le case, veuillez désirir un programme avec une température plus élevé.
Detergent Concentré
Les détergents peuvent être classés en deux catégories d'après leur composition chimique :
detergents alcalins conventionnels avec des composants caustiques.
detergents concentrés alcalins faibles aux enzymes naturels.
L'utilisation d'un cycle de lavage Normal en combinaison avec des détergents concentrés réduit l'impact sur l'environnement et bénéficia à la vaisselle.
Détergents en Tablettes
Des détergents en tablettes de marque différente se dissolvent à différentes vitesses. Pour cette raison, certains d'entre eux ne peuvent se dissoudre complètement et ne peuvent pas entièrement délivrer leur effet nettoyant durant les programmes courts. Veuillezdoncutiliserdesprogrammeslongsavecdesdétergentsentabletes pour garantir l'absence de résidus.
Distribution du Detergent
Le distributeur doit être rempli avant le début de chaque cycle de lavage en suivant les instructions fournies par le Tableau des Cycles de Lavage. Notre lave-vaisselle utilise moins de détermagent et d'additifs de rincage que les apparciels conventionnels. En général, une seul cuillerée à soupe suffit pour une capacité normale. Les articles plus sales nécessiteront plus de détermagent. Veillez à tous jours ajouter le détermagent avant de démarrer le lave-vaisselle afin d'éviter qu'il ne s'humidifie et ne se dissolve pas proprement.
Utilisation Correcte du Detergent
N'utilise que des détergents concus pour lave-vaisse. Gardez votre détergent au frais et au sec. N'ajoutez pas de poudre détergente dans le distributeur avant d'être totally prêt à laver libre vaisselle.


Remplir le Distributeur de Detergent
Remplir le distributeur avec votre dédTangent.
Les repères indiquent les doses, comme illustré à droite :
A Detergent du cycle principal.
B Detergent pour le prélavage
Veuillez respecter les doses et conditions de stockage recommendées par le fabricant comme indiqué sur l'emballage.
Fermez le couvercle et appuyez jusqu'à ce qu'il se verrouille.
Si vous vaisselle est particulièrement sale, mettez une dose de détergent supplémentaire dans le compartment de prélavage. Cette dose servira lors de la phase de prélavage.

ATTENTION!
Le dénergent pour lave-vaisselle est corrosif!
Ne pas laisser à la portée des enfants!

NOTE:
Plus d'informations sur la quantité de dédTergent pour un programme en page 9.
Veuillez gard en mémoire que le résultat dépend des débordements et de la durée de l'eau utilisée.
Veuillez respecter les recommandations du fabricant sur la forme du dédTergent.
Si le couvercle est fermé, poursuez sur la trappe pour l'ouvrir.
Ajoutez toujours le détergent avant chaque cycle de lavage.
N'tilisez que du détergent de marque et concu pour lave-vaisse.
5. Charger le Bac du Lave-vaisse
Recommendation
■ Pensez à acheter des ustensiles marqués «pour lave-vaisselle»
■ Utilisez un détergent doux qui «preserve la vaiselle». Si nécessaire, demandez des informations supplémentaires au fabricant.
Pour les articles spéciaux, Sélectionnez un programme avec une température aussi BASSE que possible.
Pour éviter de les abimer, ne sortez pas les verres et les couverts du lave-vaiselle juste après la fin du programme.
Convient au lave-vaisselle
Ne convient pas
Couverts avec manches en bois, corne, porcelain ou nacre.
■ Articles en plastique non conformes
- Couverts anciers avec colle d'assemblage qui ne sont pas résistants à la température.
Couverts ou vaisselle avec parties assemblées.
■ Articles en cuivre ou en étain.
Verres en cristal.
■ Articles en acier qui peuvent rouiller. Assiettes en bois.
■ Articles en fibre synthétiques.
Convient avec limitations
Cercaits types de verres qui peuvent ternir après un grand nombre de lavages.
■ Les composants en argent ou en aluminium ont tendance à se décolorer durant le lavage.
- Les motifs vitrés peuvent perdre leur éclat si les lavages sont fréquents.
Attention avant ou après chargement des bacs
(Pour un niveau de performance optimal, suivez ces règles de chargement. Les fonctionnalités et l'apparance de votre bac et paniers à couverts peuvent varier légarement suivant votre modèle.)
Grattez les résidus importants de nourriture. Detremper les restes de nourriture brulée dans les casseroles. Il n'est pas nécessaire de rincer les plats à l'eau courante. Placez les objets dans le lave-vaisselle dans l'ordre suivant:
- Tasses, verres, pots/casseroles, etc. orientés vers le bas.
- Les articles incuvés, ou avec des niches, doivent être placés de biais de façon à ce que l'eau puisse s'écouler.
- Empiler tous les ustensiles de façon a ce quils ne puissant pas basculer.
- Les ustensiles doivent etre places sans interferer avec les bras d'arrosage rotatifs durant le lavage.

NOTE: Les objets trop petits ne peuvent etre lavés au lave-vaisselle en raison du risque de chute du panier.
- Placer les objets creux comme les tasses, les verres, les casseroles, etc. face en bas de façon à ce que l'eau ne stationne pas dans leur cavité ou leur base.
■ Les plats et les couverts de doivent pas etre placees les uns dans les autres ou se couvir.
Pour éviter de casser, les verres ne doivent pas se toucher.
■ Les couteux à lame longue placés à la verticale peuvent être dangereux! - Les couverts longs et/ou pointus comme les couteaux à découvert doivent être placés à l'horizontal dans le panier.
■ Merci de ne pas surcharger le lave-vaiselle. Ceci est important pour un bon fonctionnement et une consommation d'énergie raisonnable.
Remplir le Bac
Placez la vaisselle de façon à ce que le jet d'eau ne puisse pas les déplacer.

| 1 Tasses | 2 Bol moyen |
| 3 Verres | 4 Soucoupes |
| 5 Plats | 6 Plateau Ölale |
| 7 Assiettes | 8 Assiettes à soupe |
| 9 | 10 Assiettes à Dessert Panier pour ustensiles |

Panier à Couverts
Placer les plats et le nécessaire de cuisson de façon à ce qu'ils ne soient pas déplacés par le jet d'eau.

| 1 Fourchettes | 3 |
| 2 Cuillères à Soupe | 4 |
| 3 Cuillères | 5 |
| 4 Cuillères à Café | 6 |
| 5 Couteaux | 7 |
| 6 Louches | 8 |
| 7 Cuillères à Sauce | 9 |
| 8 Fourchettes de Service | 10 |


ATTENTION!
Ne laisses aucun article dépasser du bas.
Placez toujours les objets pointus vers le bas!
Pour votre sécurité et une performance optimale, veillez à placer l'argenterie dans le bac en respectant les règles suivantes:
Ne pas les reposer les uns contre les autres.
Placez l'argenterie avec les poignées vers le bas.
Mais placez les couteaux et autres ustensiles potentiellement dangereux avec le manche vers le haut.
6.Démarrer un programme de lavage
Tableau des Cycles de Lavage
| Programme | Information sur le Cycle Sélectionné | Description du Cycle | Détergent pré/ principal | Durée (min) | Énergie (Kwh) | Eau (l) | Additif de dde Rinchage |
| Intensif | Pour la vaisse l très sale et les pots, casseroles et plats normalement sales avec des taches séchéées. | Prélavage (50°C) Lavage (70°C) Rincage Rincage Rincage (70°C) Séchage | 3/15g (ou 3 en1) | 140 0.9 10 | ★ | ||
| Normal | Pour les articles normalement sales comme les pots, assiéttes, verres et casseroles légèrement sales. | Prélavage Lavage (60°C) Rincage Rincage (70°C) Séchage | 3/15g (ou 3 en1) | 120 0.7 8 | ★ | ||
| ECO (*EN5 0242) | Ceci est un programme standard. Il est adaptable pour nettoyer les articles normalement sales, il est le plus efficace en termes de consommation d'énergie et d'eau. | Prélavage Lavage (50°C) Rincage Rincage (70°C) Séchage | 3/15g (ou 3 en1) | 180 0.61 6.5 | ★ | ||
| Verre | Pour les articles légèrement sales comme le verre, le cristal et la porcelainine fine. | Lavage (45°C) Rincage Rincage (60°C) Séchage | 18g (ou 3 en1) | 75 0.5 7.0 | ★ | ||
| 90' 90 min | Pour la vaisse l et les verres légèrement sales. | Lavage(65°C) Rincage(70°C) Séchage | 18g (ou 3 en1) | 90 0.65 7.0 | ★ | ||
| Rapide | Un lavage court pour les articles légèrement sales et un lavage rapide. | Lavage (40°C) Rincage Rincage (40 ) | 15g 30 0.23 6 |

NOTE:
*EN 5 0242: Ce programme est le cycle de test. L'information, pour la comparabilité des tests d'après la norme EN 50242, est comme suit:
Capacité : 6 couverts
Réglage pour l'additif de rinceage: 6
Consommation eteinte:0.45W
en veille:0.49W
Allumer l'Appareil
Pour demarrer un cycle de lavage...
Tirer le Bac vers l'extérieur (voir le paragraphe intitulé Chargement du Lave-vaisse).
Verser le dédTergent (voir le paragraphe intitulé Sel, Detergent et Additif de Rincage).
Insérer le cordon d'alimentation dans la prise-secateur. L'Alimentation fonctionne avec 220-240 V AC, 50 Hz.
La prise de courant a pour specifications 10 A, 250 V AC.
S'assurer que I'avriée d'eau est complètement ouverte.
Presser le bouton Programme et le programme de lavage peut etre changé dans la sequence suivante:
ECO->Verre->90 min->Rapide->Intensif->Normal;
Lorsqu'un programme est selectionné, le voyant correspondant s'allume. Appuyer ensuite sur le bouton
Demarrage/Pause pour initiaiser le lave-vaiselle.

NOTE:
Lorsque le bouton Demarrage/Pause est pressé en cours de lavage, le voyant du programme s'arrête de clignoter et le lave-vaiselle émet un son toutes les minutes jusqu'à ce que le bouton Demarrage/Pause soit pressé à son tour.
Changer le Programme...
Préambule : Vous pouvez modifier le programme de lavage dans les premiers instants de fonctionnement du lave-vaisselle. Sinon, le détergent peut déjà avoir été introduit et l'appareil peut déjà avoirégouté l'eau. Dans ce cas, il faut à nouveau replir le distributeur (voir le paragraphe intitulé Detergent).
Presse le bouton Demarrage/Pause pourmettre la machine en pause lorsquela portestfermée.Si vous appuyez sur le bouton plus de trois secondes,la machine se met en stand-by et vous pourrez changer le programme pour celui de votrechoix (voir le paragraphe intituléDemarrer un Programme de Lavage).
L'indicateur lumineux de Programme renseigne sur le statut du lave-vaisselle :
a) Un des voyants est allumé----- stand-by ou pause.
b) Un des voyants clignote---- en marche.

NOTE: Si vous ouvrez la porte en cours de lavage, la machine se met en pause. Lorsque vous fermez la porte, la machine continue pendant 10 seconds.
Si vous modèle est équipé de la fonction mémoire, la machine finira le programme en cours malgré la coupure.
You've aublié un article?
Yououpuvezajouturenarticleaninimportequelmomentavantl'introductiondu détergent.
1 Appuyez sur le bouton Demarrer/Pause.
4 Ajoutez vos articles.
2 Ouvrez légèrement la portepour interrompre le lavage.
5Fermez la porte.
3 Àpres l'arrêt des bras d'arrosage, vous pouvez ouvrir la portecompletement.
6 Pressez le bouton Demarrage/Pause et le lavevaisselle demarrera après 10 secondes.
A la fin du Cycle de Lavage
Lorsque le cycle se termine, l'alarme sonore du lave-vaisselle retentit pendant 8 secondes, puis s'eteint. Eteignez l'appareil avec le bouton ON/OFF, fermez l'arrivée d'eau et ouvre la porte du lave-vaisselle. Patientez quelques minutes avant de décharger le lave-vaisselle afin d'éviter de vous ébouillanter. De plus, les articles encore chauds sont plus susceptibles de casser. Laisser le lave-vaisselle se refroidir lentement aide également au bon séchage.
Eteindre le Lave-vaisselle
- Eteindre le lave-vaisselle en appuyant sur ON/OFF.
- Fermer l'arrivée d'eau!
Ouvrir la portedoucement.
Les articles chauds sont sensibles aux chocs. Laissez refroidir la vaisse pendant 15 minutes avant de lesayarir de l'appareil.
Ouvrir la porte du lave-vaiselle, la laisser entrouverte et attendre quelques minutes avant de sortir les articles. De cette façon, ils seront moins chauds et le séchage sera amélioré.
Décharger le lave-vaisselle
Il est parfaitement normal que l'intérieur du lave-vaisselle soit humide.

ATTENTION!
Il est dangereux d'ouvrir la porte en cours de lavage en raison du risque de brulure par les vapeurs d'eau chaudes.
7.Maintenance et Nettoyage
Système de Filtration
Le filtré empêche les gros restes de nourriture ou autres objets d'atteindre la pompe.
Le système de filtrés consiste en un filtré grossier, un filtré plat (Filtre Principal) et un microfiltré (Filtre Fin).

Filtre principal A
La nourriture et les particules bloquées par ce filtré sont pulverisées par un jet spécial sur le bras d'arrosage et evacuées.
Filtre fin
Ce filtrte garde les résidus de nourriture et de saleté dans le faisard et empêche leur redéposition sur la vaisse durant le cycle.
Filtre grossier C
Les objets les plus grands comme les morceaux d'os or de verre qui peuvent bloquer le drainage sont capturés par le filtre grossier. Pour enlever les morceaux collectés par ce filtre, pincer doucement le pivot sur le dessus du filtre et le soulever.
Ensemble de filtré
Le filtré enève efficacement les particules de nourriture de l'eau de lavage, ce qui lui permet d'être recyclé durant un lavage. Pour une performance optimale, l'assemblage de filtres doit être nettoyé régulièrement. Il est donc conseilé d'oter les plus gros résidus du filtré après chaque cycle de lavage en rincant le filtré et la coupelle de collection à l'eau courante. Pour sorting l'assemblage de filtres, tirer sur la poignée vers le haut.

ATTENTION!
Ne jamais lancer le lave-vaisse sans repositionner les filtres.
Le lave-vaisselle ne doit jamais être utilisé sans filtrés.
Un mauvais replacement des filtres peut affecter la performance et endommager la vaisse.

Etape 1: Contre-tourner l'assemblage de filtres (A,B et C), puis soulever le tout.

Etape 2: Soulever B et C de A;

Etape 3: Séparer B et C.

NOTE: Suivre les étapes 1 à 3 pour enlever les filtres et 3 à 1 pour installer les filtres.
Notes:
- Inspectez les filtres contre toute obstruction après chaque utilisation.
- Vous pouvez enlever les system de filtration en devissant le filtrtre grossier. Oter les restes de nourriture et laver les filtres à l'eau courante.

NOTE: Nettoyer l'assemblage de filtres une fois parSEAIRE
Nettoyer le Filtre
Utilisez une Brosse pour nettoyer le filtré grossier. Réassembler les éléments comme illustré dans la figure en dernierie page et réinsérer l'assemblage dans le lave-vaisselle en le positionnant dans son emplacement et en appuyant vers le bas.

ATTENTION!
Ne pas cogner les filtres lors du nettoyage. Sinon, ils peuvent se tordre et la performance du lave-vaisse sera affectée.
Entretien du Lave-vaisselle
Le panneau de contrôle peut etre nettoyed en utilisant un chiffon tegerement humide. Ares nettoyage, secher minutieusement. Pour nettoyer l'extérieur, utilise une cire pour appareils domestiques deonne qualite. Ne jamais employer d'objets pointus, de tampons a recurer ou de detergents agressifs pour nettoyer le lavevaisselle.
Nettoyer la porte

Pour nettoyer les contours de la porte, utilisez un chiffon doux légèrement humidifie à l'eau tiège. Ne pas utiliser de nettoyant en spray pour éviter d'insérer de l'eau dans la serrure et les composants électriques.
ATTENTION!
Ne jamais utiliser de nettoyant en spray sur la porte pour ne pas endommager le verrou et les composants électriques.
Ne pas utiliser d'agents abrasifs ou de papier essuie-tout pour ne pas laisser de marque ou de rayure sur les surfaces en acier traité.
Protection Contre le Gel
Veuillez prendre des précautions contre le gel en hiver. Avres chaque cycle de lavage, respecter les etapes suivantes:
- Couper l'alimentation électrique du lave-vaissette.
- Couper l'arrivée d'eau et déconnecter le tuyau d'arrivée d'eau de la valve d'entrée.
- Egoutter l'eau du tuyau et de la valve d'entrée. (Utiliser un écipient pour recueillir l'eau)
- Reconnecter le tuyau d'arrivée d'eau à la valve.
- Enlever le filtré au fond de la bassine et utiliser une éponge pour aspirer l'eau dans leuisard.

NOTE: Veuillez contacter un agent de service agréé si vous ne pouvez utiliser votre lave-vaisselle en raison de la présence de givre ou de gel.
Nettoyer les bras d'Arrosage
Les bras d'arrosage s'escamotent facilement pour périodiquement nettoyer les becs et éviter qu'ils ne se bouchent. Lavezles à l'eau courante et remettez soigneusement les bras d'arrosage en place en vérifier que leur rotation n'est pas génée.
Agrippez le centre du bras d'arrosage, tirez vers le haut et otez-le. Lavez les bras d'arrosage à l'eau courante et remettez les soignement en place. Verifié qu'ils tournent librement. Sinon, réverifiéez leur installation.

Comment Maintenir votre Lave-Vaisselle en Bon Etat?
■AprèschaqueLavage
Après chaque lavage, coupe l'arrivée d'eau de l'appareil et laissez la portegèrement entrouverte pour éviter les moisissures et les mauvaises odeurs.
Debrancher l'appareil
Débrancher l'appareil de la prise murale avant tout nettoyage ou réparation.
Aucun solvant ou abrasif
N'utilisez jamais de solvants ou de produits abrasifs pour nettoyer l'extérieur et les parties en caoutchouc. N'utilisez qu'un chiffon imbibé d'eau tiède savonneuse. Pour enlever les marques ou les taches des surfaces internes, utilisez un chiffon humidifié avec de l'eau contenant un peu de vinaigre ou un produit de nettoyage spécifique concu pour les lave-vaiselles.
Longue période d'inactivité
Nous vous recommendons d'effectuer un programme de lavage à vide puis de débrancher l'appareil du secteur, couper l'arrivée d'eau et laisser la porte de l'appareil légèrement entrouverte. Ceci prolongera grandement la durée de vie des joints de la porte et empêchera la formation de mauvaises odeurs à l'intérieur de votre apparéil.
Déplacer l'appareil
Si l'appareil doit être démunaged, essayez de le maintainir en position verticale. En cas d'absolué nécessité, il peut être place sur sa face arrière.
Joint
Une des sources de formation de mauvaises odeurs dans le lave-vaiselle provient de la nourriture qui reste logée dans les joints, Nettoyez-les périodiquement avec une éponge humide pour empêcher les odeurs.
8.Instructions d'Installation

Mise en Garde

Risque d'Electrocution. Déconnectez le lave-vaisse du secteur avant installation.
Risque d'électrocution et de mort dans le cas contraire.

Attention:
L'installation des tuyaux et des éléments électriques doit être faite pas un professionnel.
Préparation pour l'Installation
Lors de l'installation, positionner le lava-vaissele pres d'une vanne d'eau, une sortie de vidange et une prise murale déjà présents.
Choisir un coté du cabinet de l'évier pour facilititer la connexion des tuyaux de vidange du lave-vaisse.
Placement de l'Appareil
Cet apparéil est normalement utilisé sur une table ou un support similaire.. L'arrête doit être en contact avec le mur et les côts alignés avec les cabinets ou murs adjacents. Le lave-vaisselle est équipé de tuyaux d'arrivée et de vidange d'eau qui peuvent être placé à droite ou à gauche pour faciliter l'installation.
A propos de la Connexion au Secteur

ATTENTION!
Pour votre sécurité :
Ne pas utiliser de rallonge ou un adaptorateur avec cet apparéil.
Ne couper la connexion à la terre sousaucun prétexte.
Utilisez le cordon électrique fourni.
Caracteristiques Electriques
Veuillez consultier l'étiquette pour connaître la tension d'alimentation requise et connectez le lave-vaiselle sur une prise convenable. Utilisez le fusible 10 ampères, le fusible de retard et le disjoncteur recommendés et dédie un coupe-circuit exclusivement à cet apparéil.

Assurez-vous de l'existence d'une connexion à la terre avant utilisation
Connexion Electrique
Assurez-vous que les caractéristiques de tension et de fréquence d'alimentation correspondant à celles sur l'étriquette de l'appareil. N'insérez le cordon d'alimentation que dans une prise correctement reliée à la terre. Si la prise ou l'appareil doit être connecté n'est pas correcte, remplacez-la juste que d'utiliser des adaptateurs car ils peuvent surchauffer et bruler.
Connexion de l'Eau
Connexion à l'Eau Froide

Connectez le tuyau d'arrivée d'eau froide à un connecteur 3/4 pouces et assurez-vous qu'il soit solidement visse en place. Si la tuyauterie n'a pas ete utilisée durant une longue période, laissez couler l'eau jusqu'à ce qu'elle soit claire et sans impuretés. Si vous ne prenez pas cette precaution, il y a un risque de bloquer l'entrée d'eau et endommager l'appareil.
Note: Si les tuyaux fournis ne s'adaptent pas sur votre robinet d'eau, contacter vous quincaillerie pour accérir des adaptateurs.

ATTENTION!
Veuillez fermer le robinet après usage.
Connexion des tuyaux de vidange
Insérez le tuyau de vidange dans un conduit de vidange avec un diamètre minimum de 4 cm ou laissez-le pendre dans l'évier sans le plier ou le pincer excessivement. L'extrémité libre du tuyau doit être à une hauteur de moins de 60 cm et ne doit pas être immergés dans l'eau pour éviter les retours.

VEUILLEZ ATTACHER LE TUYAU COMME EN A OU EN B


Comment Egoutter l'Excès d'Eau des Tuyaux
Si l'évier est à plus de 1000 mm au-dessus du sol, l'excès d'eau dans les tuyaux ne peut pas s'écouler directement dans l'évier. Il faudra laisser les tuyaux s'égoutter dans unseau ou autre container externe plus bas que l'évier.
Sortie d'Eau
Connectez le tuyau de vidange d'eau. Le tuyau doit être correctement attaché pour éviter les fuites d'eau. Assurez-vous que le tuyau de vidange d'eau ne soit pas tordu ou écrasé.
Extension des Tuyaux
Si vous avez besoin d'extensions pour les tuyaux de vidange, faites attention a utiliser un tuyau similaire. Le tuyau ne doit pas faire plus de 4 metres de long ou la performance du lave-vaisselle peut en etre affectee.
Démarrage du Lave-vaisse
Les étapes suivantes doivent être vérifiées avant de démarrer le lave-vaisselle.
1 Le lave-vaisselle est a niveau et correctement attaché.
2 La valve d'entrée d'eau est ouverte.
3 Les connexions des tuyaux d'entrée sont serrées et ne fuient pas.
4 Les câbles sont solidement connectés.
5 L'appareil est alimenté.
6 Les tuyaux d'arrivée et de vidange d'eau ne sont pas pliers.
Tous les matériaux d'emballage et les notices imprimées ont ete sortis du lave-vaiselle.

Attention ÀpRES installation, veuillez garder ce manuel. Son contenu pourra être utile aux autres utilisateurs.
9.Conseils pour le Diagnostic
Avant d'appeler le service après-vente
Consulter le tableau suivant peut vous éviter d'avoir à appeler le service après-vente.
| Problèmes Techniques | Le lave-vaiselle ne démarre pas | Fusible rompu, ou disjoncteur déclenché. | Remplacez le fusible ou réinitialiser le disjoncteur. Débranchez tout autre apparéil partageant le circuit avec le lave-vaiselle. |
| Alimentation coupée. Assurez-vous que le lave-vaiselle est allumé et que sa porte est correctement fermée. Assurez-vous que la prise est branchée. | |||
| La porte du lave-vaiselle n'est pas fermée. | Assurez-vous que la porte est bien fermée. | ||
| L'eau n'est pas pompée dans le lave-vaiselle | Noèud dans le tuyau Vérifiez le tuyau | ||
| Filtre bloqué. Vérifiez le filtre grossier. (Voir « Nettoyer le Filtre ») | |||
| Evier bouché. Vérifiez que l'évier s'écoule correctement. Faites appel à un plombier plutôt qu'à un technicien pour lave-vaiselle si nécessaire. | |||
| Problèmes Généaux | Mousse | Mauvais détergent N'utilisé que du détergent pour lave-vaiselle. Pour enlever la mousse, ouvrir le lave-vaiselle et laisser évaporer, ajouter 3l d'eau froide, fermer la porte, puis lancer un cycle de lavage. Rêpétér si nécessaire. | |
| Additif renversé Toujects essuyer les débordements d'additif. | |||
| Bassin taché | Détergent avec colorant Utilisé un détergent sans coloration | ||
| Film blanc sur les surfaces internes | Les couverts ne résistant pas à la corrosion. | Eau trop dure. Pour nettoyer l'intérieur, utilisez une éponge humide avec du détergent et mettez des gants en caoutchouc. Ne pas utiliser un autre produit que pour éviter la formation de mousse. | |
| Taches de rouille sur les couverts | Le programme n'a pas commencé après l'ajout de sel | ||
| Des traces de sel sont entrés dans le cycle de lavage. | Tous jours lancer le programme rapide sans vaisselle dans le lave-vaiselle et sans la fonction Turbo (si présente) après avoir ajouté le sel. | ||
| Le couvercle de Vérifiez le couvercle. l'adoucissant est dévisse | Vérifiez le couvercle. | ||
| Bruit | Cognements dans le cabinet de lavage | Le bras d'arrosage cogne contre la vaisselle. | Interrompré le programme et réarranger les articles sans bloquer le bras d'arrosage. |
| Claquements dans le cabinet de lavage | Un article est libre de mouvement. | Interrompré le programme et réarranger la vaisselle. | |
| Bruit dans les conduits d'eau | Peut être causé par l'installation ou la taille des tuyaux. | Ceci n'a aucune influence sur le fonctionnement. En cas de doute, contacter un plombier. | |
| ? | Problèmes Causes Possibles Que Faire | ||
| La vaisselle n'est pas propre | La vaisselle n'a pas eté propremment chargée. | Voir « Charger le Bac du Lave-vaisselle » . | |
| Le programme de lavage était trop faible. | Sélectionner un programme plus intensif. Voir « Tableau des Cycles de Lavage » . | ||
| Trop peu de détergent a été introduit. | Utiliser plus de détergent, ou changer de détergent. | ||
| Certains articles bloquent les bras d'arrosage. | Réarranger les articles pour que les bras puissant tourner librement. | ||
| Lavage insis-saisant | Les filtres dans la base du cabinet de lavage ne sont pas propres ou ne sont pas correctement insta-lés. Ceci peut bloquer les bras d'arrosage. | Nettoyer et/ou replacer les filtres. Nettoyer les buses du bras d'arrosage. Voir « Nettoyer les bras d'Arrosage » . | |
| Verres opaques | Combinaison d'une eau peu dure et trop de détergent. | Utilisez moins de détergent si vous eau est peu dure et sélectionner un cycle court pour laver le verre. | |
| Traces noires ou grises | Des ustensiles en-aluminium ont frotte la vaisselle. | Utilisez un produit de nettoyage légèrement abrasif pour vous débarrasser des traces. | |
| Restes de détergent dans le distributeur. | La vaisselle bloque le distributeur. | Recharger la vaisselle correctement. | |
| Séchage insis-saisant. | La vaisselle n'est pas sèche. | Charge inadéquate Remplir le lave-vaisselle comme indique dans le mode d'emploi. | |
| Trop peu d'additif de rinceage. Augmentez la quantité d'additif/Remplissez le distributeur | |||
| Vaiselle sortie trop tôt. Ne videz pas votre lave-vaisselle immédiatement après la fin du lavage. Ouvrir légersement la porte pour laisser la vapeur s'échapper. Commencer à décharger le lave-vaisselle lorsque la vaisselle est à peine chaude au toucher. Vider d'abord le panier inférieur pour éviter de faire tomber la vaisselle du bac supérieur. | |||
| Mauvais programme. La température des programmes courts est plus faible. Ceci affecte aussi la performance. Choisissez un programme plus long. | |||
| Couverts avec un revêtement de faible qualité. | L'eau s'égoutte plus difficilement avec ces articles. Les couverts ou la vaisselle de ce type ne sont pas adaptés au lave-vaisselle. | ||
Codes d'Erreur
Lorsque certains mauvais fonctionnements surviennent, l'appareil affiche des codes d'erreur pour vous avertir :
| Codes Signification Causes Possibles | |
| Levoyant «Rapid» clignote Arrivée d'eau ralentie. | La vanne n'est pas ouverte, ou le flux d'eau est obstrué, ou la pression d'eau est trop faible. |
| Les voyants «Rapid» et «90min» clignotent | Ta température requise n'est pas atteinte. |
| Levoyant «Glass» clignote. Trop-plein | Fuite d'un des éléments. |

ATTENTION!
En cas de débordement, couper l'arrivée d'eau avant d'appeler le service après-vente ou un réparateur. Si la base de l'appareil contient de l'eau en raison d'un trop-plein ou d'uneuite, il faut l'enlever avant de redémarrer le lave-vaisselle.
Informations Techniques

| FLASH6 | |
| Nombre de couverts | 6 |
| Classe énergétique (1) | A+ |
| Consommation d'énergie annuelle (2) | 174 kWh |
| Consommation d'énergie par cycle | 0,61 kWh |
| Consommation mode off | 0,45 kWh |
| Consommation en veille | 0,49 kWh |
| Consommation d'eau annuelle (3) | 1820 l |
| Qualité de séchage (4) | A |
| Cycle de nettoyage standard (5) | ECO 50°C |
| Durée du cycle de nettoyage standard | 180 min |
| Niveau sonore | 49dB(A) re 1pW |
| Index consommation énergétique | <63 |
| Index qualité de nettoyage | >1,12 |
| Index qualité de séchage | >1,08 |
| Durée du mode veille | 30' |
| Consommation d'eau/cycle | 6,5 l |
| Puissance | 1282 W |
| Voltage (V) / Frequency (Hz) | 230 V ~ 50 Hz |
| Pression d'eau | 0,4-10 bar = 0,04-1 mPa |
NOTE
(1) A+++(meilleure performance) à D (moinsonne performance)
(2) Consommation energetique 174 kWh par an, basée sur 280 utilisations en cycle standard, en utilisant de l'eau froide et programmes basse consommation. La consommation energetique reelle dépend de l'usage du produit.
(3) Consommation d'eau 1820 litres par an, basée sur 280 utilisations en cycle standard. La consommation d'eau réelle dépend de l'usage du produit.
(4) A (meilleure performance) à G (moinsonne performance)
(5) Ce programme peut nettoyer une vaiselle normalement propre. Il s'agit du programme le plus efficace en termes de consommation combinée d'eau et d'énergie pour ce type de vaiselle.
Le matériel répond aux standards et directives Européens:
LVD 2014/35/EU
-EMC2014/30/EU
ErP 2009/125/EC
Les valeurs ci dessus ont ete mesurées dans le respect des standards, sous conditions spécifiques
d'utilisation. Les résultats peuvent varier en fonction de la quantité et du degré de propre de la vaiselle, de la durée de l'eau, de la quantité de détergent...
La notice est basée sur les directives et standards Européens.
HORUS sarl
P.A. Ravennes-les-Francs
1 rue de Haarlem
59200 Tourcoing - France
relation@brandybest.com
www.brandybest.com
Fabrique en R.P.C





Notice Facile