IRRW04B - Rameur Casino - Notice d'utilisation et mode d'emploi gratuit
Retrouvez gratuitement la notice de l'appareil IRRW04B Casino au format PDF.
| Caractéristiques | Détails |
|---|---|
| Type de produit | Rameur |
| Dimensions | À préciser |
| Poids maximal utilisateur | À préciser |
| Résistance | À préciser |
| Matériaux de construction | À préciser |
| Affichage | À préciser |
| Fonctionnalités supplémentaires | À préciser |
| Utilisation | Pour l'entraînement cardiovasculaire et le renforcement musculaire. |
| Maintenance | Vérifier régulièrement les pièces mobiles et lubrifier si nécessaire. |
| Sécurité | Utiliser sur une surface plane, vérifier les fixations avant chaque utilisation. |
| Informations générales | Consulter le manuel d'utilisation pour des conseils d'installation et d'utilisation. |
FOIRE AUX QUESTIONS - IRRW04B Casino
Questions des utilisateurs sur IRRW04B Casino
0 question sur cet appareil. Repondez a celles que vous connaissez ou posez la votre.
Poser une nouvelle question sur cet appareil
Téléchargez la notice de votre Rameur au format PDF gratuitement ! Retrouvez votre notice IRRW04B - Casino et reprennez votre appareil électronique en main. Sur cette page sont publiés tous les documents nécessaires à l'utilisation de votre appareil IRRW04B de la marque Casino.
MODE D'EMPLOI IRRW04B Casino
Manuel d'utilisation
RAMEUR D'APPARTEMENT
IRRW04B

Conserver ce manuel afin de pouvoir le consulter à tout moment
- Liste des pièces 2-3
- Instructions d'assemblage 4 à 7
- Compteur 8
- Instructions générales d'utilisation 9
- Entretien – Maintenance 9
- Service Après Vente 10
- Garantie 10
1. LISTE DES PIECES

| No. | Description | Caractéristiques | Qté |
| 1 P | ed gauche 1 | ||
| 2 | Bouchon | diam 38mm | 4 |
| 3 | Bague de réglage de hauteur | 2 | |
| 4 R | ame de gauche 1 | ||
| 5 | Boulon TRCC | M8x45 | 2 |
| 6 | Rondelle ressort | diam 8mm | 6 |
| 7 | Ecrou à tête ronde | M8 | 6 |
| 8 | Siège | 1 | |
| 9 | Support du siège | 1 | |
| 10 | Roulette | 6 | |
| 11 | Entretoise | 3 | |
| 12 | Boulon hexagonal | M10x110 | 3 |
| 14 | Rondelle | diam 10mm | 9 |
| 15 | Ecrou freiné | M10 | 3 |
| 16 | Vis | M6x15 | 4 |
| 17 | Grosse rondelle | diam 6mm | 4 |
| 18 | Structure principale | 1 | |
| 19 | Bouchon | 26x76mm | 2 |
| 20 | Cylindre d'exercice | 2 | |
| 21 | Boulon TRCC | M8x40 | 4 |
| 22 | Aimant | 1 | |
| 23 | Protection de câble | 1 | |
| 24 | Mousse | diam 23mm x110mm | 2 |
| 25 | Prise ronde | diam 25mm | 2 |
| 26 | Rondelle arc | diam 8mm | 4 |
| 27 | Boulon TRCC | M8x55 | 4 |
| 28 | Rondelle | diam 8mm | 8 |
| 29 | Ecrou freiné M8 | 6 | |
| 30 | Boulon TRCC | M8x50 | 2 |
| 31 | Plaquette en forme de U | 2 | |
| 32 | Ecrou en étoile | M8 | 2 |
| 33 | Pied droit | 1 | |
| 34 | Rame de droite | 1 | |
| 35 | Compteur | 1 | |
| 36 | Support du capteur | 1 | |
| 37 | Vis | M5x12 | 1 |
| 38 | Vis | ST3.5x13 | 4 |
| 39 | Boulon hexagonal | M8x110 | 2 |
| 40 | Bouchon | 4 | |
| 41 | Boulon | M8x15 | 1 |
| 42 | Axe des repose-pied | 1 | |
| 43 | Repose-pied | 2 | |
| 45 | Rondelle | diam 12mm | 2 |
| 46 | Grosse rondelle | diam 8mm | 2 |
| 47 | Câble du capteur | 1 | |
| 48 | Câble du compteur | 1 | |
| 49 | Capteur | 1 |
2. INSTRUCTIONS D'ASSEMBLAGE
Sortir du carton toutes les pièces en les regroupant par ordre d'assemblage.
L'assemblage de l'appareil requiert plusieurs longueurs de boulons fournis. Assurez-vous d'utiliser la longueur de boulon appropriée à chaque étape de l'assemblage.
Les écrous et les vis ont été huilés pour les protéger contre la corrosion.
Etape 1 :

Sur une surface plane, attachez le pied gauche (#1) et le pied droit (#33) à la structure principale (#18) et alignez les trous. Fixez les pieds dans la bonne position à l'aide des 4 boulons (#27), des 8 rondelles (#28) et de 4 écrous freinés (#29). Utilisez les 2 boulons (#30) et 2 rondelles arc (#26) pour serrer le tout.
Etape 2 :

Insérez l'axe des repose-pieds (#42) dans la structure principale (#18) et verrouillez à l'aide du boulon (#41).
Insérez les 2 rondelles (#45) et les 2 repose-pieds (#43) de chaque côté de l'axe et fixez-les à l'aide des 2 grosses rondelles (#46) et des 2 écrous (#29).
Attachez la rame de droite (#34) au pied droit (#33) à l'aide d'un boulon (#5), d'une rondelle ressort (#6) et d'un écrou (#7).
Attachez une extrémité du cylindre d'exercice (#20) au pied droit (#33) à l'aide d'un boulon (#21), d'une rondelle ressort (#6) et d'un écrou (#7). Attachez l'autre extrémité du cylindre d'exercice (#20) à une plaquette en forme de U (#31) à l'aide d'un boulon (#21), d'une rondelle ressort (#6) et d'un écrou (#7).
Répétez la démarche ci-dessus pour assembler la rame de gauche (#4) et à l'autre cylindre d'exercice (#20) au pied gauche (#1).
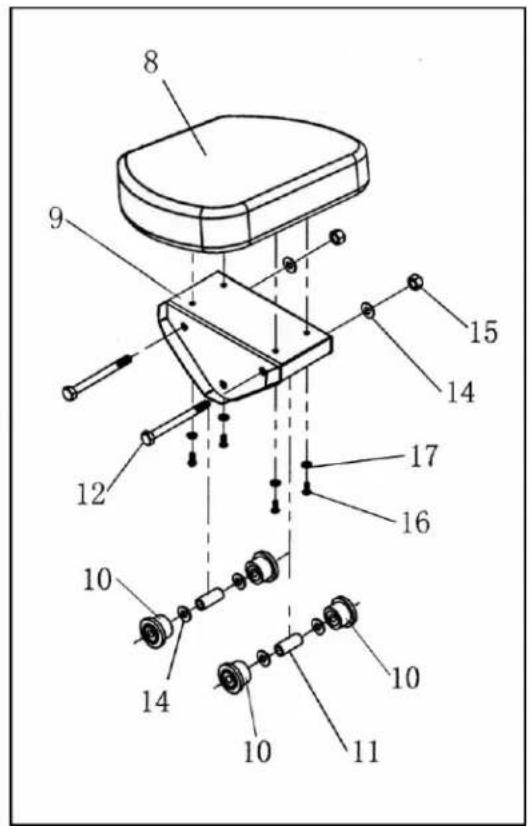
Etape 3 :

text_image
8 9 12 10 14 10 11 10 16 17 15 14Attachez le siège (#8) au support du siège (#9) à l'aide des 4 vis (#16) et des 4 grosses rondelles (#17), et serrez.
Placez 4 rondelles (#14), 4 roulettes (#10) et 2 entretoises (#11) ensemble dans le support du siège (#9) et fixez-les à l'aide des 2 boulons (#12), de 2 rondelles (#14) et de 2 écrous freinés (#15).
Etape 4 :

text_image
computer stand sliding orbit 35 48 47 18 9 12 10 14 11 15 14Posez le support du siège (#9) à la structure principale (#18) et maintenez-le à l'aide du boulon (#12), d'une rondelle (#14) et d'un écrou freiné (#15), en prenant soin de placer les 2 roulettes (#10), 2 rondelles (#14) et l'entretoise (#11) sur le boulon (#12) avant de serrer.
Fixez les bouchons (#40) sur la structure principale (#18).
Note : La partie coulissante de la structure principale (#18) doit être placée entre les roulettes alignées. Le support du siège (#9) doit être placé entre les bouchons.
Branchez le câble du capteur (#47) au câble du compteur (#48), puis insérez le compteur (#35) dans le support "computer stand" prévu à cet effet sur la structure principale (#18).
S'assurer que toutes les vis et tous les boulons sont bien serrés avant de commencer à utiliser l'appareil.
3. COMPTEUR
Caractéristiques
| Alimentation | 1 pile 1,5V type LR6 | non fournie |
| Fonctions | Temps | en min:sec |
| Distance parcourue | en km | |
| Compte | de 0 à 999 | |
| Comptage total | de 0 à 999 | |
| Calories théoriques en Kcal |
Installation des piles
1) Retirer le couvercle du compartiment de pile à l'arrière du compteur.
2) Insérer la pile dans le boîtier en respectant les polarités inscrites sur la pile et à l'intérieur du boîtier.
3) Refermer le couvercle du compartiment de piles.
Remarque :
- La mémoire du compteur est effacée lorsque les piles sont retirées.
Utilisation du compteur
| Marche / arrêt automatique | Le compteur entre automatiquement en activité lorsque le rameur est utilisé. Le compteur s'arrête automatiquement après environ 4 minutes d'inactivité. |
| Sélection des fonctions (MODE) | Appuyer sur le bouton MODE pour sélectionner la fonction à afficher. |
| Remise à zéro (RESET) | Appuyer sur le bouton RESET pendant 3 secondes pour remettre à zéro toutes les données enregistrées / mémorisées pendant l'exercice. |
| Temps d'exercice (TIME) | Appuyer sur le bouton MODE jusqu'à ce que l'écran affiche la fonction TIME : le compteur affiche alors le temps passé en exercice. Appuyer sur RESET pour remettre cette donnée à zéro. |
| Distance parcourue (DISTANCE) | Appuyer sur le bouton MODE jusqu'à ce que l'écran affiche la fonction DISTANCE : le compteur affiche alors la distance parcourue en exercice (ou la dernière remise à zéro). Appuyer sur RESET pour remettre cette donnée à zéro. |
| Compte (COUNT) | Appuyer sur le bouton MODE jusqu'à ce que l'écran affiche la fonction COUNT : le compteur affiche alors le nombre de coups de rames depuis le début de l'exercice (ou la dernière remise à zéro). Appuyer sur RESET pour remettre cette donnée à zéro. |
| Compte total (TOTALCOUNT) | Appuyer sur le bouton MODE jusqu'à ce que l'écran affiche la fonction TOTALCOUNT : le compteur affiche alors le nombre total de coups de rames. |
| Calories théoriques (CALORIE) | Appuyer sur le bouton MODE jusqu'à ce que l'écran affiche la fonction CALORIE : le compteur affiche alors le nombre théorique de kilo calories théoriques brûlées. Appuyer sur RESET pour remettre cette donnée à zéro. |
4. INSTRUCTIONS GENERALES D'UTILISATION - SECURITE
- L'appareil ne doit supporter plus de 100kg de charge.
- Installez l'appareil sur une surface plane et propre, avec au moins 1 mètre d'espace dégagé autour de celui-ci. Ne pas l'utiliser pas à proximité d'eau ou à l'extérieur.
- Ne laissez pas les enfants sans surveillance à proximité de l'appareil.
- Réglez l'appareil selon votre morphologie.
- L'appareil ne convient pas pour une utilisation à des fins thérapeutiques. Il est conçu pour une utilisation domestique.
- Si vous souffrez ou si vous avez souffert de problèmes physiques, ne démarrez pas un programme d'exercice sans avoir consulté un médecin.
- En cas de nausée, d'étourdissement ou d'autres symptômes anormaux, cessez l'utilisation immédiatement. Consultez un médecin.
- Portez des vêtements et des chaussures de sports appropriés.
- Le freinage dépend de la vitesse.
Important : Avant de commencer votre entraînement, il est indispensable de tenir compte de votre âge ainsi que de votre condition physique. Si vous avez un mode de vie sédentaire sans activité physique régulière, il est primordial de consulter votre médecin et de passer une visite médicale pour déterminer le niveau d'intensité de votre entraînement.
Votre entraînement devra comporter une phase d'échauffement de 3 à 5 min, plus au-delà de 50 ans. Commencez par un échauffement progressif et terminez-le par un retour au calme. Si vous commencez trop rapidement votre entraînement, vous risquez de perdre votre énergie trop vite et d'augmenter les risques de blessures.
Ne retenez jamais votre souffle pendant l'exercice.
Ne faites pas d'exercices 30-60 minutes avant ou après un repas.
5. ENTRETIEN - MAINTENANCE
Pour conserver le niveau de sécurité de l'appareil :
- Examinez régulièrement l'appareil pour détecter tout endommagement ou toute usure.
- Remplacez immédiatement tout élément défectueux et évitez d'utiliser l'appareil jusqu'à remise en état.
- Prêtez une attention particulière aux pièces les plus sujettes à usure.
- Vérifiez régulièrement le serrage des vis et écrous.
Lubrifiez légèrement les pièces en mouvement de temps à autre afin d'éviter une usure prématurée.
La sueur étant corrosive, nous vous recommandons de ne pas la laisser entrer en contact avec l'appareil. Nettoyez l'appareil à l'aide d'une éponge imprégnée d'eau avant de le sécher.
6. SERVICE APRES VENTE
Contactez le magasin où vous avez acheté l'appareil, avec votre justificatif d'achat.
7. GARANTIE
a) Durée de la garantie
24 mois à partir de la date d'achat, le ticket de caisse faisant foi.
b) Garantie
La garantie s'applique à condition que l'appareil soit utilisé conformément à l'usage pour lequel il a été vendu :
- Contre tout vice de fabrication.
- Contre toute panne d'origine interne entraînant un défaut de jouissance.
- Contre toute défectuosité technique imputable à la fabrication.
Les pièces défectueuses seront remplacées ou remises en état.
c) Sont exclus :
- Les dommages ayant pour origine une cause externe à l'appareil (choc, chute, mauvaise utilisation, erreur de manipulation, etc...)
- Les pièces qui se détériorent par suite de leur usure normale et qui par nature, nécessitent un remplacement fréquent, telles que courroies, élastiques, pistons, etc....
- Les pannes résultant d'un mauvais montage, d'une mauvaise utilisation, ainsi qu'un manque d'entretien.
d) Justificatifs obligatoires
- Le ticket de caisse justifiant la date d'achat.
- Le nom et la référence du modèle.

Les équipements électriques et électroniques font l'objet d'une collecte sélective. Ne pas se débarrasser des déchets d'équipements électriques et électroniques avec les déchets municipaux non triés, mais procéder à leur collecte sélective.
Importé par :
EMC Distribution
77316 Marne-La-Vallée Cedex 2
Notice Facile