FKT1 - Panneau solaire Junkers - Notice d'utilisation et mode d'emploi gratuit
Retrouvez gratuitement la notice de l'appareil FKT1 Junkers au format PDF.
| Caractéristiques | Détails |
|---|---|
| Type d'appareil | Chauffe-eau à gaz |
| Capacité | Non spécifiée |
| Puissance | Non spécifiée |
| Dimensions | Non spécifiées |
| Poids | Non spécifié |
| Utilisation | Chauffage de l'eau pour les besoins domestiques |
| Entretien | Vérification annuelle recommandée par un professionnel |
| Réparation | Faire appel à un technicien agréé pour les réparations |
| Sécurité | Équipé de dispositifs de sécurité standards |
| Informations générales | Consulter le manuel d'utilisation pour les spécificités |
FOIRE AUX QUESTIONS - FKT1 Junkers
Questions des utilisateurs sur FKT1 Junkers
0 question sur cet appareil. Repondez a celles que vous connaissez ou posez la votre.
Poser une nouvelle question sur cet appareil
Téléchargez la notice de votre Panneau solaire au format PDF gratuitement ! Retrouvez votre notice FKT1 - Junkers et reprennez votre appareil électronique en main. Sur cette page sont publiés tous les documents nécessaires à l'utilisation de votre appareil FKT1 de la marque Junkers.
MODE D'EMPLOI FKT1 Junkers
Deze panelen dragen het keurmerk: Ces capteurs sont agreés:

Un fonctionnement impeccable ne peut etre garanti que.
lorsque les prescriptions sont strictement observees.
Sous reserve de modifications.
Nous vous prions de bien pouvoir lire attentivement ces prescriptions, de les remetre à l'utilisateur et de lui conseiller de les conserver soigneusement.
L'INSTALLATION, LA MISE EN SERVICE, L'ENTRE TIEN ET LE SERVICE APRES-VENTE DOIVENT ETRE EFFECTUES PAR UN INSTALLATEUR AGREE.
| blz. / page |
| ALGEMEEN 3GENERALITE |
| TECHNISCHE GEGEVENS 3 DONNEES TECHNIQUES |
| VEILIGHEID 3SECURITE |
| - gebruk volgens de voorschriften 4 - utilisation appropriée |
| - verklaring van de richtlijnen 4 - explication des instructions |
| - neem de veiligheidsrichtlijnen in acht 4 - respectez ces instructions de sécurité |
| VOOR DE MONTAGE 5 AVANT LE MONTAGE |
| - algemene rechtlijnen 5 - instructions générales |
| - beschrijving van de onderdelen 6 - description des pieces |
| - montageset voor de panelen 6 - kit de montage des capteurs |
| - hydraulische aansluiting 8 - raccordement hydraulique |
| - bijkomende benodigde hulpmiddelen 9 - matériel supplémentaire nécessaire |
| - transport en opslag 9 - transport et stockage |
| - technische handledingen 10 - documents techniques |
| - benodigde plaat op het dak berekenen 10 - calcul de la place nécessité sur le toit |
| VOORBEREIDENDE WERKEN OP HET DAK 11 TRAVAUX PREPARATIRES SUR LE TOIT |
| - uitgangsposities voor de montage vastleggen 11 - déterminer les points de départ pour le montage |
| - horizontale uitgangspositie 11 - point de départ horizontal |
| - verticale uitgangspositie 11 - point de départ vertical |
| - bijkomende panlatten monteren 12 - monter les lattis supplémentaires |
| - afschufbeveiligingen op de eerste bijkomende panlat monteren 13 - monter les sécurités anti-gliissement sur le premier lattis supplémentaire |
| PANELEN MONTEREN 15 MONTAGE DES CAPTEURS |
| - paneelmontage voorbereiden 16 - préparation des capteurs |
| - hydraulische aansluiting 17 - raccordement hydraulique |
| - blindstoppen monteren 17 - montage des bouchons |
| - zichnepaneel monteren 18 - monter la bande d'étanchéité dans le cadre du capteur solaire |
| - panelen bevestigen 18 - fixation des capteurs |
| - eerste paneel bevestigen 18 - montage du premier capteur |
| - monteer het geribd verbindingsstuk op het eerste paneel 20 - monter le connecteur de tube ondulé sur le premier capteur |
| - tweede paneel plaatsen 20 - pose du deuxième capteur |
| - LaTeX paneel plaatsen 21 - pose du dernier capteur |
| PANELLEVOELER AANSLUITEN 22 RACCORDEMENT DE LA SONDE DE CAPTEUR |
| VERZAMELLEIDINGEN AANSLUITEN 23 RACCORDEMENT DES TUYAUX COLLECTEURS |
| - ontluchting door drukvulling 23 - purge par replissage sous pression |
| - ontluchting door ontluchter op het dak 24 - purge par le purgeur sur le toit |
| - ontluchter onder het dak monteren 25 - montage du purgeur sous le toit |
| AFDEKPLATEN MONTEREN 26 MONTAGE DES PLAQUES DE FINITION |
| - onderste afdekplaten 27 - plaques de finition inférieures |
| - zijdelingse afdekplaten 28 - plaques de finition latérales |
| - middelse afdekplaatussen twee panelen 29 - plaque de finition centrale entre deux capteurs |
| - bovenste afdekplaten 29 - plaques de finition supérieures |
| - dak行动计划en 31 - fermer le toit |
| - bovenste pannen 31 - tuiles supérieures |
| - zijdelingse pannen 31 - tuiles latérales |
| AFWERKING 31 FIN DES TRAVAUX |
| - contrôle van de installmentie 31 - contrôle de l'installation |
| - isolatie van de aansluitings- en 32 - isolation des conduites de raccordement et des tuyaux collecteurs |
| BEKNOPTE HANDLEIDING VOOR PANNENDAK 32 BREF MODE D'EMPLOI POUR TOITURE EN TUILES ET REMPLISSAGE SOUS PRESSION |
| EN DRUKVULLING 34 SURVEILLANCE ET ENTRETIEN |
| BELANGRIJKE NOTA'S 34 NOTICES IMPORTANTES |
| WAARBORG 34 GARANTIE |
| DIENST NA VERKOOP 36 SERVICE APRES-VENTE (avec techniciens de notre région) |
| (met techniekers uit Uw regio) |
1. ALGEMEEN
1. RACCORDEMENTS ET DIMENSIONS
Ce chapitre vous déscrit les régles techniques à respecter lors du montage.
Ces capteurs solaires doivent etre place s par
un installerateur compétent. Il doit se conformer aux normes et prescriptions nationales et locales en la matière. En cas de doute il doit se renseigner auprès des instances officielles ou auprès de SERVICO sa.
Protection contre la foudre
Si la hauteur du bathtub (hauteur ou a lieu le montage) depasse les 20 mètres et qu'aucun dispositif de para-foudre n'existe, le spécialiste doit relier les parties conductrices d'électricité du toit avec une mise à la terre d'au moins 16mm^2 et la raccorder à une compensation de potentiel.
Si la hauteur du bathtub (hauteur où a lieu le montage) est inférieure à 20 metres, aucune mesure particulière contre la foudre n'est nécessaire.
Si un dispositif de parafoudre existe, l'électricien doit contrôler le raccordement de l'installation solaire à l'in-stationnement parafoudre.
2. DONNEES TECHNIQUES
| Afmetingen: vertical FKT-1 S - hoogte x bredte x diepte | mm | 2070 | X 1145 X 90 | Dimensions: vertical FKT-1 S - hauteur x largeur x profondeur |
| Afstand:tussen de panelen mm 25 D | stance entre les capteurs | |||
| Absorptie-inhoud, verticale type Vf | 1,43 Capacité d'absorption, type vertical | ||||
| Buitenoppervlak (bruto oppervlak) A | G | m² | 2,37 Surface extérieure (surface brute) | |
| Absorptieoppervlak (netto oppervlak) | m² | 2,23 | Surface d'absorption (surface nette) | |
| Nettogewicht, verticale type m kg 44 | Poids net, type vertical | |||
| Toelaatbare bedrijfsverdruk van het paneel | Pmax | bar | 10 | Surpression de fonctionnement autorisé du capteur |
3. VEILIGHEID
3. SECURITE
Ce chapitre vous explique comment les instructions de ce manuel de montage sont conçues et vous indique les instructions de sécurité générales pour un fonctionnement sur et sans panne.
Vous trouvrez les instructions de sécurité et d'utilisation spécifiques au montage dans le manuel de montage, directement pres des opérations de montage correspondantes.
Lisez attentivement les instructions de sécurité, avant d'entamer le montage.
Le non-respect des instructions de sécurité peut entraîner de graves dommages personnels - pouvant entraîner la mort - ainsi que des dommages matériels et à l'environnement.
Over dele handleiding
Concernant ces instructions de montage
Ces instructions de montage contiennent d'importantes informations concernant le montage sur et professionnel du kit de montage de toiture et du raccordement hydraulique.
- Remettez ces instructions de montage à votre client.
Expliquez au client les effets et la commande de l'appareil.
3.1 Utilisation appropriée
Ce kit de montage sert de support aux capteurs solaires thermiques (version verticale), montés dans des toits en pente d'une inclinaison de 25 à 65 degrés.
Conditions d'installation
N'installez le kit de montage que dans des toits suffisamment résistant. Consultez eventuellesment un-staticien ou un couvreur.
Le kit de montage convient pour une charge maximale de neige de 38kg / m^2 et une hauteur de montage de 20 m maximum.
3.2 Explication des instructions
On désigne deux niveaux, qui sont signalés par des signaux d'ajretissement:

AVERTISSEMENT! DANGER DE MORT
Caracterise un danger émanant d'un produit, qui, sans précautions suffisantes, peut entraîner des lésions corporelles graves, voir la mort.

ATTENTION!
RISQUE DE BLESSURE / RISQUE DE DOMMAGE A L'INSTALLATION / RISQUE DE DOMMAGE AU BÂTIMENT
Indique une situation potentiellement dangereuse, qui peut entraîner des léasons corporelles légères ou moyennes ou des dommages matériels.
Autre symbole caractérisant les instructions aux utilisateurs:

CONSEIL D'INSTALLATION
Pour un usage et un réglage optimal de l'appareil et d'autres informations utiles.
3.3 Respectez ces instructions de sécurité

AVERTISSEMENT! DANGER DE MORT
par chutes et chute de pieces
- Prenez les mesures appropriées pour éviter les accidents lors de tous les travaux sur les toits.
Veillez à ne pas tomber lors des travaux sur le toit. - Portez toujours vos vêtements et équipements de sécurité personnels.
Contrôlez au terme du montage que le kit demontage et les capteurs sont bien fixés.

VOORZICHTIG! VERWONDINGSGEVAAR
Si vous effectue des modifications à la construction, cela peut cause des blessures et des troubles de fonctionnement.
N'effectuez aucune modification à la construction.

ATTENTION! RISQUE DE BLESSURE
Si le capteur et le matériel de montage sont exposés pendant longtemps aux rayons du soleil, il y a risque de brûture à ces pieces.
- Portez toujours vos vêtements et équipements de protection personnels.
Couvre le capteur(par exemple avec une bache) et le matériel de montage pendant le montage pour les protégger des températures elevées dues aux rayons du soleil.
4. VOOR DE MONTAGE
4. AVANT LE MONTAGE
4.1 Algemene richtljenne

INSTALLATIETIP
Comme les entreprises de couverture ont l'expérience des travaux et de toiture et des risques de chute, nous vous recommendons de coopérer avec ces entreprises.
Informez-vous avant le montage des conditions qui vous incombe et des dispositions locales.

ATTENTION! RISQUE DE BLESSURE
Si le capteur et le matériel de montage sont exposés pendant longtemps aux rayons du soleil, il y a risque de brûlure à ces pieces.
- Portez toujours des vêtements de protection.
Couvrez le capteur(par exemple avec une bache) et le matériel de montage pendant le montage pour les protégger des températures elevées dues aux rayons du soleil.
Vérifiez
que la livraison est complète et intacte,
la disposition optimale des capteurs solaires. Tenez compte des rayonnements solaires (angle d'inclinaison, exposition sud). Evitez l'ombre causé par des arbres élevés ou autres et adaptez le champ de capteurs à la forme du batiment (par exemple alignement avec les fenêtres, les portes, etc.).

CONSEIL D'INSTALLATION
N'utilisez que des pieces originales du fabricant et échangez directement les pieces défectueuses.

CONSEIL D'INSTALLATION
Enlevez les tuiles, bardeaux ou plaques fêls proches des capteurs et remplacez-les.

Fig. 1 Volledig zich op het panelenpaar, montage in het dak
Vue générale d'une paire de capteurs, montage dans la toiture
4.2.1 Kit de montage des capteurs
Les kits de montage servent à receivevoir et à fixer les capteurs et pour l'étanchéité du toit. Pour les toits en ardoises, les plaques de finition inferieures (fig. 2, pos. 6, 9 et 10) sont sans bavette de plomb. Pour les installations avec plus que 2 capteurs, un set d'extension est disponible.

Fig. 2 Basismontageset voor de 2 buitenste panelen en, 1 uitbreidingsset voor het middelste paneel Kit de montage de base pour les 2 capteurs extérieurs et 1 kit d'extension pour le capteur du milieu
Kit de montage de base pour les capteurs extérieurs (fig. 2):
1 plaque de finition supérieure gauche 1X
3 plaque de finition supérieure droite 1X
4 support X 12
5 plaque de finition laterale droite 1X
6 plaque de finition inférieure droite 1X
7 moulure pour sécurité anti-glissement 2X
8 sécurité anti-glissement 4X
10 plaque de finition inférieure gauche 1X
11 rouleau de bande d'etanchéité 1X
12 plaque de finition laterale gauche 1X
13 plaquette de montage gauche 3X
14 butoir double du capteur 3X
15 baguette 1X
16 vis 6 X 40 avec rondelle 6X
17 butoir d'extrémité du capteur 6X
18 plaquette de montage droite 3X
19 support pour les tuiles 2X
Kit d'extension, un par capteur suivant (fig. 2):
2 plaque de finition supérieure centrale 1X
4 support (4 pieces comme remplacement) 6X
7 baguette pour sécurité anti-gissement 1X
8 sécurité anti-gissement 2X
9 plaque de finition inférieure centrale 1X
1 rouleau de bande d'étanchéité 1X
4 butoir double du capteur 3X
5 baguette 1X
9 support pour les tuiles 2X
Vouavesbecoind'unkitderaccordement pour chaquechamp decapteurs.Lescapteurs sont reliés entre euxaI'aide de connecteurs de tube ondulés.

Fig. 3 Aansluitingsset en verbindingsset (afbeelding met 2 verticale panelen) Kit de raccordement et kit de liaison (reprsentation pour 2 capteurs verticaux)
Aansluitingsset, per panelenset (fig. 3)
Kit de raccordement, un par champ de capteurs (fig. 3)
2 clips X 2
3 tuyau flexible 2×
4 isolation pour connecteurs de tube ondulés 1 X
5 presse-étoupe pour sonde de capteur 1X
6 cle SW 5 1X
7 bouchon X 2X
8 bouchon à passage de la sonde, non 1 X illustrated
Verbindingsset tessen de panelen, per paneel (verpakt in twee transporthoeken, fig. 4)
1 geribd verbindingsstuk 2X
2 clips 4
Kit de liaison entre les capteurs, un par capteur (emballe dans deux coins de transport, fig. 4)
1 connecteur de tube ondulé 2X
2 clips 4
4.3 Matériel supplémentaire nécessaire
- Niveau d'eau
- Ficelle de macon
-Metre a ruban - Meuleuse
- Gilet à corde de sécurité
- Echafaudage
-Echelle de couvreur ou équipement de ramoneur - Grue ou lève-charge
- Perceuse/visseuse (Ø 4 mm)
- Clé plate SW 10 (avec rallonge 80~mm )
- Clé SW 8
4.4 Transport et stockage
Toutes les pieces sont protégées par des emballages de transport.

CONSEIL D'INSTALLATION
Débarrasssez-vous des emballages de transport par le système de recyclage respectieux de l'environnement.
Protection de transport des raccords de capteur
Les raccords des capteurs sont protégés contre les dommages par des capuchons en plastique.

ATTENTION! DEGATS DE STOCKAGE
dus à des surfaces d'étanchéité endommagées.
N'enlevez les capuchons en plastique (fig. 5, pos.1) que directement avant le montage.
Fig. 5 Doppenuit kunststof op paneelaansluitingen

Capuchons en plastique sur les raccords du capteur
Opslag
Les capteurs sont uniquement prevus pour etre entreposes a sec.

CONSEIL D'INSTALLATION
Les capteurs ne peuvent etre entreprises en plein air sans protection contre la pluie.
L'installation solaire comprend différents composants (fig. 6), qui contiennent les documents nécessaires au montage, à la commande et à l'entretien.
1 Cette instruction pour le montage dans le toit du capteur solaire.
2 Instruction pour le montage de la station solaire AGS 3.
3 Instruction pour le montage des boilers SK 300, 400 & 500-1 Solar et pour la régulation TDS 10.
4.6 Place nécessite sur le toit
Les dimensions minimales suivantes doivent etre a.
votre disposition.
Dimensions A et B
Superficie nécessitée pour le champ de capteurs.
Dimension C
Au moins deux rangées de tuiles jusqu'àu faîte ou à la cheminée. Pour les tuiles maçonnées surtout, il y a risque d'endommager la toiture.
Dimension D
Auvent de toiture, y compris l'épaisseur du mur de pignon.
Dimension E
Au moins 30 cm pour le montage des conduites de raccordement inférieures dans les combles.
Dimension F
Au moins 40 cm pour le montage des conduites de raccordement supérieures dans les combles (en cas de montage d'un purgeur, il faut prévoir suffisamment de place à la sortie).
Tabel/Tableau 1
| Benodigde plaats voor verticale panelen (incl. afdekplaten rondom)Place nécessaire pour capteurs verticaux (incl. plaques de finition tout autour) | ||
| Aantal panelen Maat A Maat BNombre de capteurs Dimension A Dimension B | ||
| 2 2,67 m 2,80 m | ||
| 3 3,84 m 2,80 m | ||
| 4 5,01 m 2,80 m | ||
| 5 6,18 m 2,80 m | ||
| 6 7,41 m 2,80 m | ||
| 7 8,52 m 2,80 m | ||
| 8 9,69 m 2,80 m | ||
| 9 10,86 m 2,80 m | ||
| 10 12,03 m 2,80 m | ||
| 5. VOORBEREIDENDE WERKEN OP HET DAK | 5. TRAVAUX PREPARATOIRS SUR LE TOIT |

Veillez à ne pas tomber lors des travaux sur le toit.

AVERTISSEMENT!
RISQUE DE BLESSURE
par chute et chute de pieces.
- Prenez les mesures appropriées pour éviter les accidents lors de tous les travaux sur les toits.
- Portez toujours vos vêtements et équipements de sécurité personnels.

CONSEIL D'INSTALLATION
5.1 Désterminer les points de départ pour le montage
Avant le montage, les points de départ doivent etre déterminés soigneusement.
Determiner la mesure X (distance entre les tuiles qui represent sur les plaques de finition laterales - fig. 8, pos. 1) sur le toit.

CONSEIL D'INSTALLATION
Planifier de façon que les tuiles (si nécessaire) doivent être coupées au côte droit et bien dans le creux. Au minimum la moitié de la tuile doit rester.
Tenant compte avec la mesure B (fig. 8) poser la rangée de tuiles inférieure (fig. 8, pos. 2).

CONSEIL D'INSTALLATION
Quand on doit raccourcir des tuiles, ici ne peut etre fait qu'avec les tuiles supérieures (d'abord monter les plaques de finition avant de raccourcir les tuiles).
| aantal panelen nome de capteurs | maat A dimension A | maat X dimension X | maat B dimension B | |
| 2 2,67 m | 2,49 m 2,80 m | |||
| 3 3,84 m | 3,66 m 2,80 m | |||
| 4 5,01 m | 4,83 m 2,80 m | |||
| 5 6,18 m | 6,00 m 2,80 m | |||
| 6 7,41 m | 7,23 m 2,80 m | |||
| 7 8,52 m | 8,34 m 2,80 m | |||
| 8 9,69 m | 9,51 m 2,80 m | |||
| 9 10,86 m | 10,68 m 2,80 m | |||
| 10 12,03 m | 11,85 m 2,80 m |
Tabel 2
Breedte van de panelenrij, incl. afdeklijsten (maat A), afstandussen de pannen (maat X) en hoogte de panelenrij incl. afdeklijsten (maat B)
Tableau 2 Largeur de la rangée, incl. baguettes (dimension A), distance entre les capteurs (dimension X) et hauteur de la rangée incl. baguettes (dimension B)
5.2 Monter les lattis supplémentaires
Pour le montage des plaques de finition et des capteurs, des lattis supplémentaires sont nécessaires. Ceux-ci doivent avoir la meme hauteur que les lattis deja presents.

CONSEIL D'INSTALLATION
Comme alternatif pour les lattis supplémentaires, les lattis déjà presents dans le champ des capteurs peuvent etre déplacés vers I'endetroit des lattis supplémentaires. Dans ce manuel le montage avec lattis supplémentaires est decrit.
Longueur des lattis supplémentaires
La longueur minimale des lattis supplémentaires (fig. 9, pos. 2) est égale à la largeur de la rangée de capteurs (tableau 2, mesure A) majorée d'environ 10 cm pour les supports lateraux (fig. 9, pos. 1).

ATTENTION! RISQUE DE DOMMAGE AU BÂTIMENT par manque d'étanchéité.
Lier solidement les extrémites des lattis à l'aide d'un contre-lattis en-dessous (fig. 9, pos 3 en fig. 13, pos. 2).

Fig. 9 Lengte van de bijkomende panlatten (hier: eerste panlat onderaan met aftschuifbeveiliging) Longueur des lattis supplémentaires (ici: avec lattis inférieur avec sécurité anti-glissement)
1 support
2 lattis supplémentaires
3 liaison des lattis supplémentaires
5.2.1 Monter les sécurités anti-gissement sur le premier lattis supplémentaire
Quand le montage sur le toit des securités antiglissement n'est pas possible par manque de place, elles doivent etre pre montees au sol et montees au premier lattis supplémentaire.
Monter une sécurité anti-glissement (fig. 10, pos. 1) aux deux extrémites de la latte en bois avec la vis 4 × 10 (fig. 10, pos. 2).
Monter la sécurité anti-glissement pré montée au premier lattis supplémentaire (fig. 11, pos. 2) avec 2 vis 4 × 40 (fig. 11, pos. 1).


VOORZICTIG! SCHADE AAN HET GEBOUW
ATTENTION! RISQUE DE DOMMAGE AU BÂTIMENT par manque d'étanchéité.
- Les différences de niveau entre les lattis doivent etre eliminées (fig. 12).

Fig. 12 Niveauverschillen tessen de panlatten wegwerken Eliminer les différences de niveau entre les lattis
CONSEIL D'INSTALLATION
Utiliser un niveau d'eau afin de monter les lattis parfaitement horizontal.

CONSEIL D'INSTALLATION
Si un lattis supplémentaire (fig. 13, pos. 1) est monté à proximé d'un lattis existant, le lattis existant à proximé des capteurs (fig. 13, pos. 3) doit être déplaced et fixé solidement (fig. 13, pos. 2).
La couverture des tuiles sur les plaques de finition laterales doit etre garantie.
Fig. 13 Déplacement des lattis dans le champ de capteurs
1 lattis déplace
2 fixation de l'extrémité du lattis (contré-lattis)
3 champ de capteurs (côté extérieure)
4 chevrons
Monter le premier lattis avec les sécurités antiglissement (fig. 14, pos. 1).
Monter le deuxième lattis pour les supports lateraux inférieurs (fig. 14, pos. 2).
Monter le troisième lattis pour les supports lateraux supérieurs (fig. 14, pos. 3).
Monter le quatrième lattis comme appui de l'isolation de la plaque de finition supérieure (fig. 14, pos. 4).
Monter le cinquième lattis comme appui de la plaque de finition supérieure (fig. 14, pos. 5).
Monter le sixieme lattis comme appui et fixation de la plaque de finition supérieure (fig. 14, pos. 6).
Lorsque vous entamez le montage des capteurs, vous doivent respecter les instructions de sécurité et d'utilisation suivantes.

Fig. 15 2 gemonteerde panelen 2 capteurs installés
AVERTISSEMENT! DANGER DE MORT par chutes et chute de pieces.
- Prenez les mesures appropriées pour éviter les accidents lors de tous les travaux sur les toits.
Veillez à ne pas tomber lors des travaux sur le toit. - Portez toujours vos vêtements et équipements de sécurité personnels.
Contrôlez au terme du montage que le kit de montage et les capteurs sont bien fixés.


Fig. 16 Raccordement hydraulique droit avec 5 capteurs au maximum
1 geribd verbindingsstuk Raccordement hydraulique gauche avec 5
2 vertkreiding capteurs au maximum
3 terugvoerleiding
4 blindstop
1 connecteur de tube ondulé
2 conduite de depart
3 conduite de return
4 bouchon
4 bouchon

ATTENTION! RISQUE DE DOMMAGE A L'INSTALLATION par des surfaces d'étanchéité endommagées.
- N'enlevez les capuchons en plastique que directement avant le montage.

CONSEIL D'INSTALLATION
Pour le montage, utilisez un élevateur de couvreur, des poignées ventoues à trois points suffisamment résistantes ou des poignées spéciales disponibles dans le commerce (pour facilitier le levage).

CONSEIL D'INSTALLATION
Lors du transport ou du montage, les capteurs non fixés risquent de tomber.
6.1 Préparation des capteurs
Avant le montage proprement dit sur le toit, vous pouvez monter en bas les bouchons afin de vous faciliter le travail sur le toit.
Pour fixer les bouchons (de même que les connecteurs des tubes ondulés et les tubes de raccordement dans une phase ultérieure), les raccordements doivent être équipés de clips.

ATTENTION! RISQUE DE DOMMAGE A L'INSTALLATION par manque d'étanchéité des raccordements.
- Les connecteurs des tubes ondulés, les tubes de raccordement et les raccordements des capteurs ne doivent être ni endommages ni encrassés. Pour faciliter le montage, les raccordement des capteurs sont recouverts d'uneGRAisse spéciale en usine. Aucune autreGRAisse ne peut être utilisée.
Les capteurs doivent être montés de façon que la douille de la sonde soit en haut (fig. 17, pos. 1).

CONSEIL D'INSTALLATION
Les conduites de raccordement hydrauliques peuvent etre raccordees a droite (fig.16) ou a gauche (fig.17).Plus loin dans cette notice, les schemas illustrrent des exemples de raccordements a droite.
Le circuit des conduites dans le capteur forme un méandre double permettant d'effectuer deux raccordements hydrauliques différents:
Raccordement simple jusqu'à maxi. 5 capteurs
Vou pouvez effectuer le raccordement simple pour un champ de 5 capteurs au maximum (fig. 16 et 17).
Raccordement alterné jusqu'à maxi. 10 capteurs
Si plus de 5 capteurs sont montés dans une rangée, le raccordement hydraulique doit être effectué diagonalement (fig. 18).
Le raccordement alterné peut également être utilisé pour moins de 6 capteurs (fig. 18).
6.1.2 Montage des bouchons
Tous les raccords n'étant pas nécessaires pour le raccordement d'un champ de capteurs, il est nécessaire de les fermer.
Démontez les capuchons en caoutchouc (protection de transport) des raccords du capteur en question.
Glisser le bouchon avec les joints toriques (fig. 19, pos. 3) sur le raccordement du capteur.
Pour sécuriser le raccord, glisser le clips (fig. 19, pos. 2) sur le bouchon et le raccordement du capteur.

ATTENTION!
RISQUE DE DOMMAGE A L'INSTALLATION
par des bouchons non-securisés.
Securiser chaque bouchon par un clips.

6.1.3 Monter la bande d'étanchéité dans le cadre du capteur solaire
Les raccordements des plaques de finition laterales avec les capteurs (fig. 20, pos. 1) doivent etre etanches avec la bande d'etanchete.
Nettoyer la rainure d'etanchéité du capteur.
Retirer la feuille de protection de la bande d'étanchéité.
Coller la bande d'etanchéité (fig. 20, pos. 2) dans la rainure d'etanchéité des côtes extérieurs des capteurs extérieurs et en bas avec chaque capteur (fig. 20, pos. 1) incl. les angles (fig. 20, pos. 3).
La bande d'étanchéité se gonfle lentement après le montage.
6.2 Fixation des capteurs
Commencer le capteur croit.
6.2.1 Montage du premier capteur
Faire glisser le premier capteur (fig. 21, pos. 1) dans la sécurité anti-glissement et positionner à 80 mm des tuiles extérieures (éventuelles raccourcies) (fig. 21, pos. 2).

Fig. 21 Eerste paneel leggen en vastschroeven Fig. 22 Eerste paneel leggen en vastschroeven Poser le premier capteur et le visser Poser le premier capteur et le visser
Légèrement soulever le capteur et glisser les plaquettes de montage droites (fig. 22, pos. 3) sur les lattes supplémentaires 2 et 3 (fig. 14, pos. 2 et 3) et dans le centre du capteur sur un lattis, de façon que l'élevation se trouve au bord du capteur.
Forer un trou ( 4mm) pour la vis (fig.22, pos.1).
Fixer le butoir d'extrémité (fig. 22, pos. 2) avec la vis 6 × 40 (fig. 22, pos. 1) et la plaquette de montage. Utiliser la clé SW 10.
Le butoir du capteur est a present accroché au bord inférieur du capteur.
Butoir double du premier capteur
Légèrement soulever le capteur et glisser les plaquettes de montage centrales (fig. 23, pos. 2) sur les lattes supplémentaires 2 et 3 (fig. 14, pos. 2 et 3) et dans le centre du capteur sur un lattis, de façon que l'élevation se trouve au bord du capteur.
Forer un trou (Ø 4 mm) pour la vis (fig. 23, pos. 1). Utiliser les marquages dans les plaquettes de montage.
Ne serrez la vis que lorsque le deuxième capteur aura eté glissé jusqu'au butoir double de capteur.

Fig. 25 Tweede paneel gegen het eerste schuiven Glissement du deuxieme capteur contre le premier
6.2.2 Monter le connecteur de tube ondulé sur le premier capteur
Retirer les capuchons en caoutchouc des raccordements.
Glisser le connecteur (fig. 24, pos. 1) sur les rac-cords gauches du premier capteur.
Glisser le clips (fig. 24, pos. 2) servant à sécuriser le raccordement, sur le connecteur du tube ondulé et le raccordement du panneau.
6.2.3 Pose du deuxième capteur
- Faites glisser le deuxième capteur dans les crochets anti-glissement.

Fig. 24 Geribd verbindingsstuk op het eerste paneel monteren Monter le connecteur ondulé sur le premier capteur
ATTENTION! RISQUE DE DOMMAGE A L'INSTALLATION du des connecteurs endommages.
N'utilisiez pas d'auxiliaires comme les pinces (fig. 25, pos. 2). Ils risqueraient de rendre les connecteurs inutilisables.
- Placer le deuxième capteur contre le premier de maniere à ce que les raccordements s'inserent dans les connecteurs pré montés des tubes ondu-lés (fig. 25, pos. 1) du premier capteur.
Insérer le deuxième clips (fig. 25, pos. 3) sur le connecteur du tube ondulé et le raccordement du capteur.

Fig. 26 Geribd verbindingsstuk beveiligid met clipsen Connecteur de tube ondulé sécurisé à l'aide de clips

VOORZICHTIG! SCHADE AAN DE INSTALLATIE

63043975.08-1.SD
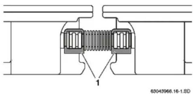
Fig. 27 Fig. 28b enjatigepaneeespanner litkssen twee panelen Butoir double de capteur entre deux capteurs
du à des connecteurs de tubes ondulés et des bouchons non sécurisés.
Fixez chaque bouchon avec un clips et chaque connecteur avec deux clips (fig. 26, pos. 1).
Serrez la vis du butoir double (fig. 27, pos. 1) à l'aide d'une clé SW 10 d'une longueur de minimum 80 mm.
Le support du butoir du capteur est à présent accroché au bord inférieur du capteur.
Procedez de même avec tous les autres capteurs.

Capteur unilateral a gauche
6.2.3 Pose du dernier capteur
Légèrement soulever le capteur et glisser les plaquettes de montage gauches (fig. 28, pos. 3) sur les lattes supplémentaires 2 et 3 (fig. 14, pos. 2 et 3) et dans le centre du capteur sur un lattis, de façon que l'élevation se trouve au bord du capteur.
Forer un trou ( 4mm) pour la vis (fig.28, pos.1).
Fixer le butoir d'extrémité (fig. 28, pos. 2) avec la vis 6 × 40 (fig. 28, pos. 1) et la plaquette de montage. Utiliser la clé SW 10.
Le butoir du capteur est a present accroché au bord inférieur du capteur.

Fig. 29 Endroit de montage de la sonde de capteur (réprésentation schématique)
1 conduite de retard
2 conduite de depart
Montageplaats
La sonde de capteur est jointe à la regulation.

ATTENTION!
RISQUE DE DOMMAGE A L'INSTALLATION
par un cable de sonde defectueux.
Protégéz le cable des dommages possibles.

Fig. 30 Pose de la sonde de capteur dans le capteur
1 sonde de capteur
2 presse-étoupe
3 douille de la sonde
Endroit de montage
La sonde de capteur doit être montée lorsque la conduite de départ est raccordée (fig. 29, pos. 2).
Endroit de montage: voir fig. 29, pos. A.
Montage de la sonde de capteur
Pour un fonctionnement impeccable de l'installation solaire, il est nécessaire que la sonde du capteur (fig. 30, pos. 1) soit introduite dans la douille jusqu'à la butée (soit env. 250mm ).
Percez à l'aide de la sonde de capteur ou d'un tournevis la couche d'étanchéité de la douille de la sonde (fig. 30, pos. 3).
Vissez le presse-étoupe (fig. 30, pos. 2) dans l'orifice de la sonde.
Introduisez la sonde de capteur d'env. 250 mm dans la douille de la sonde (jusqu'à la butée).
Serrez le presse-étoupe (fig. 30, pos. 2) et maintenez-le.

CONSEIL D'INSTALLATION
Si vous avez percé la douille (fig. 30, pos. 3) d'un mauvais capteur, il faut le reboucher avec le bouchon du kit de raccordement. Il faut toutefois enlever au préalable l'écrou qui se trouve dans la douille de la sonde à l'aide du presseétoupe (fig. 30, pos. 2).
8. VERZAMELLEIDINGEN AANSLUITE 8. RACCORDEMENT DES TUYAUX COLLECTEURS
Fig. 31 Guidage des canalisations sous le toit
1 conduite de depart
2 conduite de retard
Le raccordement hydraulique aux tuyaux collecteurs s'effectue à l'aide de longs tuyaux flexibles. Le raccordement direct d'une canalisation rigide au capteur n'est pas permitted.

CONSEIL D'INSTALLATION
Guidez le cable de la sonde avec la conduite de départ sous le toit.

CONSEIL D'INSTALLATION
Si vous souhaitez purger l'installation solaire avec un purgeur automatique (accessoire) au point le plus élevé de l'installation, la conduite de départ doit être posée en pente ascendante vers le purgeur et la conduite de retard en pente ascendante vers le champ de capteurs.
8.1 Purge par remplissage sous pression
Si la purge de l'installation solaire s'effectue avec une pompe de replissage sous pression, une aération au toit n'est pas nécessaire.
Glisser le tuyau flexible (1000 mm, fig. 32, pos. 2) au raccord de départ du champ de capteurs à l'aide du clips (fig. 32, pos. 1).
Faire passer le tuyau flexible et le cable de la sonde à travers le toit.
Raccorder le tuyau collecteur au raccord-union par serrage (fig. 32, pos. 3).
Procedez de même pour le raccordement du return.
8.2 Purge par le purgeur (accessoire) sur le toit
Si vous souhaitez purger l'installation solaire avec un purgeur automatique (accessoire) au point supérieur de l'installation, vous doivent poser la conduite de départ avec un tuyau de décharge vers le purgeur (fig. 33, pos. 2) et la conduite de return avec un tuyau de décharge vers le champ de capteurs (fig. 33).
Evitez les changements de direction fréquents.
Pour chaque changement de direction vers le bas et ensuite vers le haut, vous doivent prévoir un pot de purgege supplémentaire avec purgeeur.
S'il n'est pas possible d'installer un purgeur automatique, par manque de place, vous doivent installer un purgeur manuel.
1 sonde du capteur
2 purgeur automatique sur le toit

Fig. 33 Vue du pot de purgege avec purgeeur pour la conduite de départ
CONSEIL D'INSTALLATION
Pour les installations solaires, toujours d'utiliser des purgeurs entierement en métal, car ils résistant aux températures. La vanne à bille en dessous du purgeur automatique doit être fermée après la purgege et lors de la mise en service de l'installation solaire.
Fonction de la vis sans tete et de la coiffe de protection du purgeur automatique
L'installation solaire est purgé par l'ouverture de la vis sans tête. Afin d'éviter que de l'humidité ne penètre dans l'installation solaire par l'ouverture de la vis sans tête, la coiffe de protection (fig. 34, pos. 1) doit toujours être en fonctionnement sur la vis sans tête.
Ouvrez le purgeur, en tournant la vis d'un tour.

Leveringspakket ontluchtingsset universeel ELT 6 (fig.34):
Vue du pot de purgege avec purgeeur pour la conduite de depart
Livraison du kit de purgege universal ELT 6 (fig. 34):
1 coiffe de protection 1X
2 purgeur automatique 1X
3 robinet X 1
4 joint X 1
5 pot de purge X 1X
6 raccord double avec joint torque 1X
7 niple R 3/4" 2X
8 écrou 2X
9 joint X 1
10rondelle 1X
11 anneau de serrage X 1X

CONSEIL D'INSTALLATION
Avec montage encastre, le set de purge ne peut pas etre montedirectement au capteur pour raison de manque de place. De ce fait, le montage sous le toit est decrit ci-apres.
8.2.1 Montage du purgeur sous le toit
Insérer le tuyau flexible (fig. 35, pos. 3) au raccord de départ du champ de capteurs à l'aide du clips (fig. 35, pos. 4).
Faire passer le tuyau flexible et le cable de la sonde à travers le toit.
Demonter I'ecrou-raccord du tuyau flexible.
Vissez à fond le tuyau flexible (fig. 35, pos. 3) et le niple double avec joint (fig. 35, pos. 1) dans le pot de purgege (fig. 35, pos. 2).
Raccorder le tuyau collecteur (fig. 35, pos. 5) au raccorde de serrage (fig. 35, pos. 1).
Pour le raccordement du return.
Glisser le tuyau flexible sur le raccordement de retard du champ de capteurs et fixer avec le clips.
Guider le tuyau flexible à travers le toit et raccorder au tuyau collecteur.

Fig. 35 Montage du purgeur sous le toit
1 niple double avec joint torque et raccord deserrage
2 pot de purge
3 tuyau flexible
4 clips
5 tuyau collecteur
9. AFDEKPLATEN MONTEREN
9. MONTAGE DES PLAQUES DE FINITION

INSTALLATIETIP
Ne monter les plaques de finition que lorsque vous aurez effectué les contrôles suivants.
Contrôles
1 Connecteurs de tubes ondulés, bouchons et tuyaux flexibles fixés avec des clips?
2 Est-ce que chaque capteurs est sécurisé avec des butoirs à droite et à gauche?
3 La sonde est-elle introduite jusqu'à la butée et fixé à l'aide du presse-étoupe?
4 Avez-vous effectué un test sous pression et tous les raccords sont-ils étanches?
Autour et entre les capteurs des plaques de finition doivent être montées comme colmatage du champ de capteurs.

ATTENTION!
RISQUE DE DOMMAGE AU BÂTIMENT
par manque d'étanchéité.
Monter soigneusement les plaques de finition pour que les capteurs ne puissant pas causer des fuites.

Fig.36 Rondom gemonteerde afdekplaten Plaques de finition montees tout autour
ATTENTION! RISQUE DE BLESSURE
Le colmatage entre les capteurs et les tuiles se fait par des plaques métalliques coupantes pouvant cause des blessures.
- Portez toujours des gants appropriés lors du montage.
9.1 Plaques de finition inférieures
- Plier les bavettes de plomb de toutes les plaques de finition vers l'avant (fig. 37, pos. 2).
- Plier les extrémités des plaques de finition extérieures également vers l'avant (fig. 37, pos. 1).

Fig. 37 Loodslabben omplooien Fig. 38 Afdekplaat rechts onder Replisser les bavettes de plomb Plaque de finition inférieure droite

VOORZICTHIG!
par des fuites. La distance entre le dessus du capteur et le dessus du lattis supplémentaire doit etre de 90 a 92 mm.
Introduire la plaque de finition droite avec son bord dans la rainure d'étanchéité du capteur (fig. 38, pos. 3).
Glisser la plaque de finition dans le capteur de façon que le cote croit court (fig. 38, pos. 1) est également introduit dans la rainure d'étanchéité.

Fig. 39 Positionering van de middelste afdekplaat Positionnement de la plaque de finition centrale
CONSEILS D'INSTALLATION
La plaque de finition doit déborder de minimum 10 mm des tuiles (fig. 38, pos. 2).
En cas de plus que 2 capteurs, des plaques de finition au centre sont nécessaires (fig. 39, pos. 1). Elles doivent etre montees a gauche a la meme hauteur du capteur (voir flche).
Poser la plaque de finition gauche (fig. 40, pos. 2) sur les precedentes et fixer comme la plaque droite (fig. 38).

INSTALLATIETIP

Fig. 40 Montage van de linkse afdekplaat onderaan Fig. 41 Montage de la plaque de finition inférieure gauche
Ne pas enlever la feuille de protection (fig. 40, pos. 1) qu'aupres avoir visse toutes les plaques.

41 Bevestiging van de onderste afdekplaten Fixation des plaques de finition inférieures
Fixer les plaques avec des vis 12mm (fig. 41, pos. 1).
Enlever la feuille de protection.
Pousser la plaque supérieure sur la plaque se trouvant en dessous (fig. 41, pos. 3).
Enlever la feuille de protection des bavettes de plomb.
Adapter prudemment les bavettes de plomb à la forme des tuiles (fig. 41, pos. 2).
9.2 Plaques de finition laterales

ATTENTION!
RISQUE DE DOMMAGE AU BÂTIMENT
par des fuites.
- Les supports (fig. 42, pos. 2) doivent être montés dans les côtes latéraux des capteurs.
Introduire les plaques de finition laterales droite et gauche (fig. 42, pos. 1) avec les bords au dessus dans la rainure d'étanchéité du capteur et les glisser sur la plaque de finition inférieure.
Serrer le pi recouvrant les deux plaques comme fixation (fig. 42, pos. 3).
Les plaques de finition laterales doivent etre fixees adroite et a gauche aux lattis avec trois supports.
Poser les supports (fig. 43, pos. 1) dans le bord de la plaque de finition latérale.
- Serrez les supports avec la plaque de finition contre le capteur.
Fixer les supports avec des clous.
9.3 Plaque de finition centrale entre deux capteurs
Celle-ci recouvre la fente entre deux capteurs.
Poussez la plaque de finition (fig. 44, pos. 1) avec les bords vers le bas dans l'intervalle et centrer.
Visser (fig. 44, pos. 2) avec une clé SW 8. Commencer par le bas.
Le rail profilé est serré au cadre des capteurs.

Fig. 44 Middelste afdekplaat Fig. 45 Bovenste afdekplaat rechts Plaque de finition centrale Plaque de finition supérieure droite

9.4 Bovenste afdekplaten
9.4 Plaques de finition supérieures
Commencer le montage des plaques de finition supérieures par la droite.
Glisser la plaque de finition supérieure droite (fig. 45, pos. 1) dans la plaque de finition laterale droite.
En pouissant la plaque de finition, la plaque se clique en dessous de la rainure d'etanchéité du cadre du capteur (fig. 45, pos. 3).
Poser la languette en caoutchouc (fig. 45, pos. 2) sur le capteur et la tirer vers l'avant.
Introduire les plaques de finition supérieures suivantes (fig. 46, pos. 2) avec la plie dans la plaque de finition deja montée et les glisser contre le capteur.
Glisser la plaque de finition supérieure gauche (fig. 46, pos. 1) dans la plaque de finition laterale gauche.
En pouissant la plaque de finition, la plaque se clique en dessous de la rainure d'étanchéité du cadre du capteur (fig. 45, pos. 3).


Fig. 46 Bovenste afdekplaat links Fig. 47 Rubberen lip op maat snijden Plaque de finition supérieure gauche Couper la languette en caoutchouc sur mesure
Raccourcir la languette en caoutchouc (fig. 47, pos. 2) de façon qu'elle se pose contre la languette de la plaque de finition droite.
Fixer la languette en caoutchouc de la plaque de finition gauche sur la plie de la plaque de finition droite (fig. 47, pos. 1).


Fig. 48 Bovenste afdekplaat vastschroeven Fig. 49 Bovenste afdekplaat met houders bevestigen Visser la plaque de finition supérieure Fixer la plaque de finition supérieure avec des supports
Fixer les recouvrements des plaques de finition avec des vis 25mm (fig. 48, pos. 1).
Les plaques de finition supérieures doivent etre fixees aux lattis par deux supports. En outre, les plaques de finition exterieures doivent etre fixees par un support.
Poser les supports (fig. 49, pos. 1) dans le bord de la plaque de finition.
- Serrez les supports avec la plaque de finition contre le capteur.
Fixer les supports avec des clous.
9.5 Dak dichtmaken

INSTALLATIETIP
Ingekorte pannen vastmaken.

9.5.1 Bovenste pannen 9.5.1 Tuiles supérieures
par des fuites quand les tuiles ne sont pas mises suffisamment loin sur les plaques de finition.
Fig. 50 Pannen leggen en bevestigen
Fig. 50 Poser et fixer les tuiles
1 support pour les tuiles
2 plaque de finition supérieure
3 tuiles raccourcies
Poser une tuile complète sur la plaque de finition.
Adapter la tuile pour:
- qu'elle couvre la plaque de finition le plus que possible (fig. 50, pos. 2) mais sans la toucher,
- que la tuile adaptée soit dans le même angle d'inclinaison que les tuiles non-adaptées (ainsi on obtient que les tuiles adaptées soient dans la même ligne que l'entière couverture en tuiles). L'angle d'inclinaison exact est obtenu par réglage du support des tuiles.
Poser le support des tuiles (fig. 50, pos. 1) selon la position calculée et fixer aux lattis.
Poser les tuiles adaptées (fig. 50, pos. 3).
Adapter les tuiles selon mesure X (tableau 2) et les poser sur le toit.
10. AFWERKING 10. FIN DES TRAVAUX
10.1 Controle van de installmentie
11.1 Contrôle de l'installation
Complémentairement aux contrôles de la page 26, vous nevez seulement contrôler l'étanchéité contre la pluie et la neige des passages des capteurs vers la couverture du toit.

CONSEILS D'INSTALLATION
N'effectuez les travaux d'iso1ation finaux que lorsque vous aurez effectue les contrôles nécessaires. Si vous effectuez la purgege de l'installation solaire à l'aide d'un purgeeur automatique (accessoire), vous devez fermer le robinet après le processus de purgege.
10.2 Isolation des conduites de raccordement et des tuyaux collecteurs
Pour l'iso1ation des conduites interieures, utilisez du matériel résistant aux temperatures elevées.
11. BEKNOPTE HANDLEIDING VOOR PANNENDAK EN DRUKVULLING
Ce mode d'emploi ne sert qu'a donner un aperçu des travaux à effectuer. Veuillez absolument respecter les descriptions détaillées des travaux données aux pages indiquées et toutes les instructions de sécurité et d'utilisation.
Travaux de préparation sur le toit
1 Determiner la mesure X sur le toit. page 11
2 Monter des lattis supplémentaires. page 12
3 Montez les sécurités anti-glissement. page 13
Préparation du montage des capteurs
4 Posez les bouchons pré montés sur les page 17 raccords non utilisés et fixez-les avec des clips.
5 Introduire la bande d'étanchéité dans la page 18.
rainure de fixation du cadre du capteur.
Fixation des capteurs
6 Faire glisser le capteur droit à une distance de 80 mm des tuiles dans la sécurité
7 Glisser les plaquettes de montage sous page 19 le capteur et forer.
8 Visser les butoirs d'extrémité page 19
9 Forer des trous pour les butoirs doubles page 19 au côte gauche du capteur (entre 2 capteurs).
10 Glisser les plaquettes de montage sous page 19 le capteur et légèrement serrer les bu-toirs doubles.
11 Glisser les connecteurs du tube ondulés page 20 sur les raccordements du premier capteur et le fixer à l'aide des clips.
12 Poser le deuxième capteur contre le page 20 premier capteur et fixer avec les clips.
13 Serrer les vis du butoir double du cap- page 21 teur.
14 Monter les butoirs d'extrémité de gau- page 21 che du capteur.
Raccordement des tuyaux collecteurs
15 Introduire la sonde de capteur jusqu'à la page 22 butée dans le capteur avec la conduite de départ à raccorder et vissez-le.
16 Insérer les tuyaux flexibles de raccordement dans les raccordements de départ et de return et fixer avec des clips.
17 Faire passer le tuyau flexible de départ page 23 avec le cable de sonde par le toit et par l'iso1ation du toit.
18 Procedez au contrôle de I'installation. page 26
Montage des plaque de finition
19 Monter les plaques de finition page 27 inférieures de droite a gauche et les visser.
20 Monter les plaques de finition laterales page 28 et les fixer avec des supports.
21 Placer les plaques de finition entre les page 29 capteurs et légarement visser.
22 Monter les plaques de finition supérieures de droite à gauche, couper les languettes en caoutchouc et fixez-les sur la plaque de finition droite.
23 Fixer les plaques de finition supérieures page 30 avec des supports et fixez-les aux re-couvrents.
24 Poser le recouvrement en tuiles et cou- page 31 per les tuiles sur mesure.

Fig. 53 Bevestiging en afdekking van 2 zonnepanelen Fixation et couverture de 2 capteurs
12. CONTROLE EN ONDERHOUD 10. SURVEILLANCE ET ENTRETIEN
Les capteurs solaires themselves n'ont pas besoin d'entretien. Le liquide de transmission et le vase d'expansion doivent cependant être contrôlés régulièrement.
Ce travail peut être effectué uniquement par un installateur, un homme de métier/agree ou par le service technique de l'usine.
13. BELANGRIJKE NOTA'S 13. NOTICE IMPORTANTES
Voutrouvez l'indication du type, la date de fabrication et le numero de série sur la plaque signalétique du capteur solaire. Veuillez mentionner ces données sur la carte de garantie et lors de chaque contact avec votre l'installateur ou avec notre service technique.

14. WAARBORG 14. GARANTIE
La garantie accordée n'est valable que si l'installation est rigoureusement conforme aux prementes prescriptions et si l'installation entiere est correctement effectuee.
La garantie est applicable suivant les conditions reprises sur la carte de garantie. Celle-ci doit être complétée du type et du numéro de série, indiqué sur la plaque d'immatriculation de l'appareil et returnée à SERVICO saès la mise en service (voir fig. ci-dessus).
TIP: après la mise en service. Ceci facilititera les contacts.
| DIENST NA VERKOOP (met techniekers uit Uw regio) | SERVICE APRES-VENTE (avec techniciens de votre région) | |
| SERVICO nv heeft een Dienst na verkoop ter beschikking van de installerateur en de gebruiker. | SERVICO sa tient un service après-vente à la disposition de l'installateur et de l'usager. | |
| In geval van moeilijkheden, wendt U tot SERVICO nv (officièle Dienst na verkoop van de fabrikant). | En cas de difficulté, adressez-vous à SERVICO sa (service après-vente officiel du fabricant). | |
| JUNKERSERVICE | nv SERVICO sa Kontischseleenweg 60 2630 Aartselaar | |
| ALGEMEEN NUMMER NUMERO GENERAL | 03 887 20 60 | |
| FAX ALGEMEEN NUMMER NUMERO GENERAL | 03 877 01 29 | |
| DIENST NA VERKOOP onderhoud & herstellingen SERVICE APRES-VENTE entretien & réparations | 03 880 71 00 | |
| TECHNISCH ADVIES CONSEIL TECHNIQUE | 03 880 71 02 | |
| FAX DIENST NA VERKOOP SERVICE APRES-VENTE | 03 888 91 56 | |
| COMMERCIELE DIENST verkoop, documentatie & scholingen SERVICE COMMERCIAL vente, documentations & écolages | 03 880 71 03 | |
| FAX COMMERCIELE DIENST SERVICE COMMERCIAL | 03 877 01 29 | |
| LOGISTIEK bestellingen & wisselstukken LOGISTIQUE commandes & pièces de rechange | 03 880 71 01 | |
| FAX LOGISTIEK LOGISTIQUE | 03 887 01 03 | |
| WEB www.junkers-servico.be | ||
BELANGRIJKE OPMERKING REMARQUE IMPORTANTE
Mème un JUNKERS a besoin d'une surveillance et d'un entretien régulier.
Un entretien préventif évite une usure prematurée et/ou une consommation anormale.
Ce travail peut être effectué uniquement par un installateur, un homme de métier/agréé ou par le service technique de JUNKERS.

JUNKERS
nv SERVICEO sa
Kontichsesteenweg 60
2630 AARTSELAAR
038872060
Fax 03 877 01 29
Toute reproduction interdite sans accord préalable de l'éditeur.
Sous réserve de modifications.
PVM 1/2007
Notice Facile