PFICVU26908.0 - Plaque vibrante Pro-form - Notice d'utilisation et mode d'emploi gratuit
Retrouvez gratuitement la notice de l'appareil PFICVU26908.0 Pro-form au format PDF.
| Caractéristiques techniques | Plaque vibrante Pro-form PFICVU26908.0, puissance moteur : 3,5 kW, fréquence de vibration : 50 Hz, amplitude : 0,5 mm, poids : 120 kg. |
|---|---|
| Utilisation | Idéale pour le compactage de sols, de gravier et d'asphalte, convient pour les chantiers de construction et les travaux de terrassement. |
| Maintenance et réparation | Vérifier régulièrement le niveau d'huile, nettoyer le filtre à air, contrôler les boulons et vis pour éviter les vibrations excessives. |
| Sécurité | Porter des équipements de protection individuelle (EPI) tels que des gants, des lunettes de sécurité et des protections auditives lors de l'utilisation. |
| Informations générales | Garantie constructeur de 2 ans, service après-vente disponible, poids transportable, dimensions compactes pour un rangement facile. |
FOIRE AUX QUESTIONS - PFICVU26908.0 Pro-form
Questions des utilisateurs sur PFICVU26908.0 Pro-form
0 question sur cet appareil. Repondez a celles que vous connaissez ou posez la votre.
Poser une nouvelle question sur cet appareil
Téléchargez la notice de votre Plaque vibrante au format PDF gratuitement ! Retrouvez votre notice PFICVU26908.0 - Pro-form et reprennez votre appareil électronique en main. Sur cette page sont publiés tous les documents nécessaires à l'utilisation de votre appareil PFICVU26908.0 de la marque Pro-form.
MODE D'EMPLOI PFICVU26908.0 Pro-form
Sticker du numero de série
QUESTIONS?
En tant que fabricant nous nous engageons à satisfaire notre clientèle entièrement. Si vous ave des questions ou si des pieces sont manquantes, veuillez nous contacter au :
0810 121 140
du lundi au jeu de 9h00 à 13h00 et de 14h00 à 18h00, le vendredi de 14h00 à 17h00 (à l'exception des jours fériés).
email: sav.fr@iconeurope.com

ATTENTION
Lisez toutes les précautions et les instructions containes dans ce manuel avant d'utiliser cet appeareil. Gardez ce manuel pour vous y reférer ultérieurement
MANUEL DE L'UTILISATEUR

Visitez notre site Internet
www iconsupport.eu
TABLE DES MATIÈRES
PRECAUTIONS IMPORTANTES 2
AVANT DE COMMENCER 3
ASSEMBLAGE 4
INSTRUCTIONS D'USAGE 5
POSTER D'EXERCICES. 6
EXERCICES EN DETAILS 7
SCHEMA DETAILLLE 9
LISTEDESPIECES 11
NOTES. 12
POUR COMMANDER DES PIECES DE RECHANGE Page de garde

AVENTISSEMENT:
Afin de réduire les risques de brûlures, d'incendie, de chocs électriques ou de blessures, lisez les précautions importantes ci-dessous ainsi que les instructions avant d'utiliser la plateforme vibrante.
- Il est de la responsabilité de l'utilisateur que l'appareil soit utilisé correctement après avoir pris connaissance des averissements et précautions d'utilisations.
- Utilisez la plateforme vibrante uniquement comme décrit dans ce manuel.
- Ne pas utiliser la plateforme vibrante avant qu'elle soit complètement assemblée.
- Gardez la plateforme vibrante à l'intérieur, loin de l'humidité et de la poussière. Ne mettez pas la plateforme vibrante dans un garage ou sur une terrasse couverte, ou pres d'une source d'eau.
- Placez la plateforme vibrante sur une surface plane.
- Vérifiez et serrez correctement toutes les pieces de la plateforme vibrante régulièrement.
- Gardez les enfants de moins de 12 ans et les animaux domestiques éloignés de la plateforme vibrante à tout moment.
- La plateforme vibrante ne doit pas etre utilise par des personnes de plus de 130 Kg.
- N'autorisez jamais plus d'une personne à la fois sur la plateforme vibrante.
- Portez des vêtements de sport appropriés quand vous utilisez la plateforme vibrante. Ne portez pas de vêtements trop amples qui pouraient se coincer dans la plateforme vibrante. Les vêtements de support sont recommendés pour les hommes et les femmes.
- Garder vous dos droits durant l'utilisation de la plateforme vibrante. Ne pas courber votre dos. Quand vous étés sur la plateforme vibrante, pliez vos genoux légarement et équilibrer votre poids sur la pointe de vos pieds.
- Si vous vous sentez pas bien ou avez des vertiges, stoppez immédiatement.
- Ci dessous une liste de facteurs et de condi
tions qui peuvent rendre l'utilisation de la plateforme de vibration dangereuse ( cette liste n'est pas exhaustive et n'est ici seulement pour reference). Si un ou plusieurs facteurs ou conditions s'appliquent, consulter votre medecin avant d'utiliser la plateforme de vibration.
- Implant de genou ou de hanche
- Pacemaker
- Hernie, discopathie, ou spondylite...
- Problème cardique ou vasculaire
- Acute thrombosis
Thumeur
Migraine - Epilepsie
diabetes - Recente blessure due à des opérations
Inflammation -
Enceinte
-
Il est recommendé de ne pas utiliser la plate-forme vibrante plus de 15 minutes par jour et pas plus de 3 fois par semaine.
- Prenez garde quand vous descendez de la plateforme vibrante, les sensations de vos muscles risquent d'être différentes après l'exercice.
- Veuillez brancher le cordon d'alimentation directement sur une prise capable de soutenir au moins 8 ampères. Aucun autre appeareil ne devrait être branché sur le même circuit.
- Si vous avez besoin d'une rallonge, n'utilise qu'une rallonge tout usage d'une longueur de 1,5 m maximum.
- Ne jamais partir de la plateforme vibrante quand elle est en cours de fonctionnement.
- N'insérez et ne laïsez jamais tomber d'objet dans les ouvertures.
- DANGER: Veuillez toujours débrancher l'appareil quand vous nettoyer la plateforme vibante et avant chaque mainentance. Les ajustements autres que ceux décrits dans ce manuel ne doivent être effectuels que par un représentant de service autorisé.
ATTENTION: consultez votre médecin avant d'entrepreneure un programme d'exercice. Tout particulièrement les personnes âgées de plus de 35 ans ou les personnes qui ont déjà eu des problèmes de santé. Lisez toutes les instructions avant d'utiliser ce produit. ICON ne se tient aucunement responsable des les suures ou dégats matériels resultant de l'utilisation de ce produit.
CONSERVEZ CES INSTRUCTIONS
AVANT DE COMMENCER
Merci d'avoir besoin la nouvelle plateforme vibrante PROFORM® WELLNESS. La plateforme vibrante PROFORM® WELLNESS est équipé d'un eventail complet de fonctionnalités conçues pour rendre vos exercices chez vous plus agreables et plus efficaces.
Veuillez lore attentivement ce manuel avant d'utiliser la plateforme vibrante. Si vous ave des questions concernant cet apparéil, voir la
page de couverture de ce manuel. Pour mistroux nous assister, notez le numero du modele et le numero de série de l'appareil avant de nous appeler. Le numero du modele de la plateforme vibrante est le PFICVU26907.1. Vous trouvez le numero de série sur l'autocollant qui est collé sur la plateforme vibrante (voir la page de couverture de ce manuel pour son emplacement).
ASSEMBLAGE
- Sortez l'ensemble des pieces des cartons puis inserez le cable ABN à l'intérieur du montant. Attachez la console au montant puis connectez le cable ABN au cable ABN de la base.

- Assemblez le montant sur la base puis assemblez les bras sur le montant.

- Branchez le cordon à l'appareil, vous pouvezCOMMENCEZ à vous entrainez avec la plaque vibrante ProForm Wellness.
INSTRUCTIONS D'USAGE

DETAILS DE LA CONSOLE :
- Start / stop : Démarre et arrêté les programmes sélectionnés, et remet à zéro les programmes.
- Select Program : Permit de selectionner entre le programme manuel ou les 4 programmes pre enregistrres
: Total body (tout le corps), abdominal (ceinture abdominale), Upper body (haut du corps), lower body (bas du corps). - Time : régale du temps d'entrainment (uniquement dans le programme manuel)
- Etalonnage : 30-120 secondes
- Pré-régalge : 30 secondes
- Incrémentation : 15 secondes
- Select Frequency : Réglage manuel de la fréquence (uniquement dans le programme manuel)
- Etapes de chaque programme
- Temps : Uniquement pour les programmes manuels
- Fréquence : Indique la fréquence de vibration durant l'exercice
UTILISATION DE LA CONSOLE
Selectionnez un programme (Total body, Upper Body, Lower Body , Abdominal) or Manual (Programme manuel)
- Appuyez sur le bouton "Start/Off"
- Adoptez une position en fonction de l'entrainment souhaité comme décrits et montré sur le manuel (Un DVD montrant les bonnes positions à adopter sur une plaque vibrante et disponible, veuillez vous renseigner auprès de votre revendeur sur sa disponibilité et son tarif).
- Appuyez sur le bouton Start / Off pour arrêter le programme durant l'exercice ou remettre à zéro le programme. (Notez que l'appareil s'arrête automatiquement à la fin des 7 étapes (ou Step) de chaque programme. De plus, vous ne pouvez pas intervenir sur la fréquence et le temps durant les programmes).
POSTER D'EXERCISE




- Position: installez-vous de coté, jambe droite ou gauche comme montré dans le diagramme, plée à 90 degrés ou plus, pieds bien positionné à plat sur la plate forme et tenez la barre de maintainien arrêté. Maintenez l'équilibre, mention légèrement incliné vers le haut. Faites le même exercice avec l'autre jambe.
* Muscles sollicites: quadriceps.
CALF RAISE
- Position: placez-vous au centre de la plate forme, les jambes écartées de 10 à 15 cm genoux légèrement fléchis, le dos est droit, l'abdomen tendu, soulevez les talons et maintenez une position « droit devant ».
- Groupes musculaires sollicités: tibias et mollets.
SQUAT (HORSEBACK RIDING POSITION)
- Position: placez-vous au centre de la plate forme, maintenez la poignée, épaulé distante de manière à êtrecomfortablement installé. Les genoux sont pliers approximativement de 80 degrés (vous devrez pouvoir voir les orteils et vos pieds). Pieds bien à plat, maintenez l'équilibre. Poids de subsistance la plupart du temps sur le pied antérieur et dos toujours bien droit.
- Groupes musculaires sollicités: quadriceps, tibias et mollets.
STEP UP STEP DOWN
- Position: Placez la jambe droite ou gauche sur la plate forme, le pied bien au centre. Dans cette position, cherchez à pousser la machine vers le sol. Garder le genoux dans l'axe du pied et le dos bien droit. Faites des flexions de la jambe d'appui. Faites la même chose avec l'autre jambe.
* Groupes musculaires sollicités: Cuiisses, fessiers.
CRUNCH SIT
- Position: Asseyez you sur le plateau, sur un petit tapis de sol ou serviette. Soulevez les jambes (ensemble et légèrement plie), déplacez le corps membres supérieurs vers les genoux comme indiqué sur le schéma. (Peut être praticé également en vous mettant les pieds sur le plateau à la largeur des hanches).
* Muscles sollicités: abdominaux
CRUNCH WITH TWIST
- Position: Asseyez-vous sur le plateau, sur un petit tapis de sol ou une seviette. Mains derriere la tête, soulevez et pliez une jambe en contractant les abdominaux et tendez l'autre jambe à l'horizontal. Dans le même temps, faites pivoter vos épaules afin que le coude opposé vienne en direction de votre genoux plie. Veuillez à garder le dos droit.
* Muscles sollicites: abdominaux.
LEG LIFT
※ Position: Asseyez-vous dos à la console en basculant le dos vers l'arrière. Saisissez les poignées, soulevez les jambes, pointes de pieds et jambes tendues. Veuillez à garder le dos droit.
* Groupes musculaires sollicités: abdominaux, cuisses.
SCISSORS KICKS
- Position: Asseyez-vous dos à la console en basculant le dos vers l'arrière. Saisissez les poignées, soulevez les jambes, pointes de pieds et jambes tendues. Alterner la flexion des genoux droit et gauche.
* Groupes musculaires sollicités: abdominaux, cisse
CALF STRETCH
- Position: Placez-vous pointes des pieds sur la plateforme face à la console, agrippez les poignées avec les mains. Contractez les fesses et les quadriceps, rétractor les épaules. Effectuez une pression lente et régulière des talons vers le sol.
- Groupes musculaires sollicités: Mollets, cuisses.
HAMSTRING STRETCH
- Position: Placez-vous pieds joints au centre de la plateforme et perpendicular à la console. Tout en souflant, Jambe et bras tendu, fléchissez le buste lentement et sans à coup jusqu'à ce que vos mains atteignent la pointe de vos pieds.
- Groupes musculaires sollicités: Dos, cuisses, mollets, épaules.
GROIN STRETCH
※ Position: Asseyez-vous dos à la console. Ramenez les 2 pieds sur la plateforme, plante de pied en face en face. Positionnez vos mains sur les chevilles et les coudes sur les genoux. Exercer une pression lente et régulière vers le bas.
* Groupes musculaires sollicités: adducteurs.
EXERCISES DETAILS
SHOULDER STRETCH
- Position: Positionnez les genoux pliers devant la plateforme, vos bras pliers sur la plateforme et les bras dans l'alignment du dos. La tête détendu en avant. Detendez progressivement l'ensemble en baissant vos fesses vers l'arrêt progressivement durant l'exercice.
- Groupes musculaires sollicités: épaules, biceps, deltoides, trapeze.
CALF MASSAGE
- Position: Positionnez-vous couche derrière l'appareil, les mollets sur la pateforme. Les mollets ne doivent pas etre en contraction (utilisez eventuèlement un step afin que les mollets et cuisses soient alignés).
- Groupes musculaires sollicités: Mollets.
HAMSTRING MASSAGE
※ Position: Placez l'arriere de vos cuisses sur la plateforme, vos fesses à l'extérieur de l'appareil vos cuisses doivent être détenues. (utilisez évientuelles un step afin que dos et cuisses soient alignés).
* Groupes musculaires sollicités: Grand fessier.
QUAD MASSAGE
※ Position: Utilisez un step et couchez vous sur le step. placez vos cuisses sur la plaque et detendeze l'ensemble des muscles des jambes, les pieds peuvent touchés le sol.
* Groupes musculaires sollicités: Quadiceps.
IT BAND MASSAGE
※ Position: Positionnez le muscle Illiotibial (sur le cote de la cisse entre le genoux et la hanche) sur la plateforme, vos mains peuvent vous soutenir sur la machine ou au sol (adopter une position la plus détendu possible du reste du corps).
Faites le même exercice avec l'autre jambe.
- Zone travaillée: Muscles des cuisses et illiotibial.
BENT KNEE PRESS UP
※ Position: Les genoux au sol, placez vos mains au milieu de plateforme, vos epaules sont contractés en arrières et les coudes légèrement plies.
Zone travaillée: Trapèzes, biceps, deltoides, triceps et pectoraux.
PRESS UP
- Position: Placez vos mains au milieu de la plateforme, vos épaules dans l'alignement de vos mains. Gardez, dos et jambes tendus et alignés. Fléchissez les coudes et descendez le buste puis contractez vos msucles afin de revenir à votre position de départ.
- Zone travaillée: deltoid, pectorals, forearms, and triceps.
TRICEPS DIPS
- Position: placez les mains au milieu du plateau en respectant la largeur d'epaule. Les bras assez eloignes sur chaque coté. Tenez les pieds pres de la machine, soulevez les talons, soulevez Youre corps légerement et seulement à l'aide des pieds et des bras.
※ Muscles sollicités: trapèzes, deltoïdes, dorsaux, triceps, et pectoraux.
BICEPS CURL
※ Position: jambes écarts et pieds au sol, bien à plats, utilisez la sangle d'exercice et maintenez la tension sur les bras. Pliez les genoux et la hanche légèrement, le dos toujours bien droit. Maintenez cette position en ayant la tête en ligné du dos et en regardant droit devant soi.
* Muscles sollicites: trapezes, biceps, dorsaux, quadriceps, tibias, mollets et fessiers.
FRONT RAISE
- Position: Maintenez votre dos bien droit et exercez une pression dessus. Placez un pieds au milieu du plateau, tenez vous aux barres de maintien et pliez légrement les genoux entre 60 et 90 degrés. Maintenez le dos droit et garder l'équilibre de cette position, le mention légrement relevé vers le haut.
- Zone travaillée: Muscles latéraux.
LATERAL SIDE RAISE
- Position: maintenez la sangle par les deux extrémités, et soulevez les bras légèrement. Les genoux sont fléchis à 20~30 degré. La tension est placee sur la hanche et l'abdomen.
* Muscles sollicites: trapées, deltoïdes, tibias, et mollets.
PROGRAMMES EN DETAILS
| PROGRAMME 1 - TOTAL BODY (totl le corps) | ||||
| STEP ou étape | Exercice Temps | d'exercice Fréquence | Temps avant le | prochain exercice |
| 1 Calves 45 secondes 35 Hz 20 Secondes | ||||
| 2 Single Leg Squat (L) 30 secondes 40 Hz 20 Secondes | ||||
| 3 Single Leg Squat (R) 30 secondes 40 Hz 20 Secondes | ||||
| 4 Lateral Side Raise 45 secondes 45 Hz 20 Secondes | ||||
| 5 Biceps Curl 45 secondes 45 Hz 20 Secondes | ||||
| 6 Crunch Sit 30 secondes 35 Hz 20 Secondes | ||||
| 7 Massage Calf 45 secondes 40 Hz | ||||
| PROGRAMME 2 - UPPER BODY (HAUT DU CORPS) | ||||
| STEP ou étape | Exercice Temps | d'exercice Fréquence | Temps avant le | prochain exercice |
| 1 Front Raise 30 secondes 40 Hz 20 Secondes | ||||
| 2 Biceps Curl 30 secondes 40 Hz 20 Secondes | ||||
| 3 Lateral Side Raise 45 secondes 40 Hz 20 Secondes | ||||
| 4 Press Up 30 secondes 45 Hz 20 Secondes | ||||
| 5 Triceps Dips 30 secondes 45 Hz 20 Secondes | ||||
| 6 Bent Knee press up 60 secondes 35 Hz 20 Secondes | ||||
| 7 Stretch Schoulder 30 secondes 40 Hz | ||||
| PROGRAMME 3 - LOWER BODY (BAS DU CORPS) | ||||
| STEP ou étape | Exercice Temps | d'exercice Fréquence | Temps avant le | prochain exercice |
| 1 Leg Calf Raise 60 secondes 35 Hz 20 Secondes | ||||
| 2 Step-up Step-down (L) 30 secondes 40 Hz 20 Secondes | ||||
| 3 Step-up Step-down (R) 30 secondes 40 Hz 20 Secondes | ||||
| 4 Single leg Squat (L) 30 secondes 40 Hz 20 Secondes | ||||
| 5 Single leg Squat (R) 30 secondes 40 Hz 20 Secondes | ||||
| 6 Press Up 60 secondes 45 Hz 20 Secondes | ||||
| 7 Groin Stretch 45 secondes 40 Hz | ||||
| PROGRAMME 4 - ABDOMINALS (CEINTURE ABDOMINALES) | ||||
| STEP ou étape | Exercice Temps | d'exercice Fréquence | Temps avant le | prochain exercice |
| 1 Calf Raise 45 secondes 35 Hz 20 Secondes | ||||
| 2 Scissors Kiks 30 secondes 35 Hz 20 Secondes | ||||
| 3 Leg Lift 20 secondes 45 Hz 20 Secondes | ||||
| 4 Crunch with twist (L) 15 secondes 40 Hz 20 Secondes | ||||
| 5 Crunch with twist (R) 15 secondes 40 Hz 20 Secondes | ||||
| 6 Crunch Sit 30 secondes 35 Hz 20 Secondes | ||||
| 7 Massage Calf 45 secondes 45 Hz | ||||
Veuillez vous reférer au poster et détails des exercices en page 6, 7 et 8 pour les différentes positions à adopter pour les exercices des programmes.
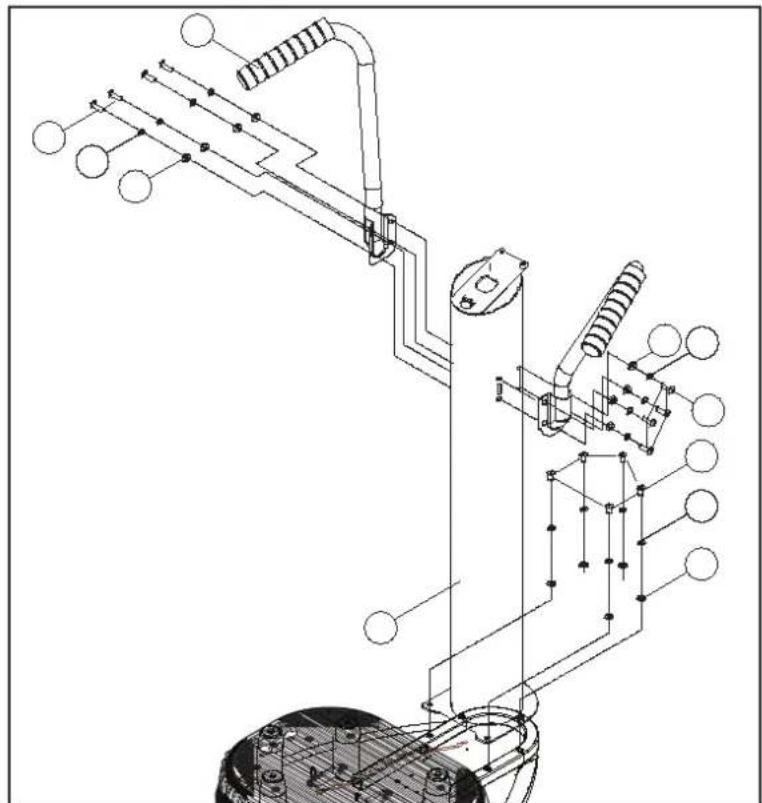
SCHÉMA DÉTAILLÉ du Modèle N° PFICVU26907.0

| Key N° | Qty | Description | Key N° | Qty | Description |
| A1 | 1 | Mat | D | 1 | Base Assembly |
| A2 | 1 | Switching Bracket | D1 | 6 | Rubber Shock Absorber |
| A3 | 3 | Screw Mount Zip Tie | D2 | 4 | Hexagonal Threaded Spacer |
| A4 | 13 | Round Head Screw M4 | D3 | 1 | Base |
| A5 | 1 | Lower Control Cover | D4 | 3 | Shock Abosorber Foot Pad |
| A6 | 4 | Screw M4 | D5 | 12 | Flat Washer M5 |
| A7 | 1 | Controller | D6 | 12 | Spring Washer SW5 |
| A9 | 1 | Upper Cable | D7 | 12 | Allen bolt M5 |
| A10 | 13 | Allen bolt M8 | D8 | 1 | Damper |
| A11 | 13 | Spring Washer SW8 | D9 | 1 | Damper |
| A12 | 13 | Flat Washer | D10 | 2 | Damper |
| A13 | 1 | Stem Assy | E | 1 | Standing Platform Assembly |
| A14 | 2 | Flat Head Screw | E1 | 4 | Round Head Screw M8 |
| A15 | 2 | Spring Washer SW6 | E2 | 2 | U-Hookhand |
| A16 | 2 | Flat Washer M6 | E3 | 8 | U-Hook Cover |
| A17 | 1 | Damper | E4 | 4 | Nylon Washer |
| A18 | 3 | Grommet Nylon | E5 | 4 | Hook Spring |
| A19 | 1 | Lower Wire Harness | E6 | 4 | Nylon Nut M8 |
| A21 | 2 | Damper | E7 | 1 | Standing Platform |
| A22 | 1 | Logo Sticker | E8 | 1 | Standing Plate |
| A23 | 1 | Power Cord | E9 | 4 | Flat Washer |
| A24 | 6 | Round Head Screw M8 | E10 | 4 | Spring Washer SW8 |
| A25 | 6 | Rubber Spacer | E11 | 4 | Hex Nut M8 |
| B | 1 | Console | E12 | 1 | DC Motor |
| B1 | 1 | Overlay | E13 | 4 | Flat Washer |
| B2 | 1 | Console upper cover | E14 | 4 | Hex Nut |
| B3 | 1 | PCB | E15 | 4 | Nylon Nut |
| B4 | 7 | Self-Tapping Screw M3 | E16 | 2 | Bracket |
| B5 | 1 | Console Base | E17 | 4 | Carriage Bolt |
| B6 | 5 | Self-Tapping Screw M4 | F | 1 | Power Switch Assembly |
| B7 | 1 | Screw Mount Zip Tie M3 | F1 | 1 | Power Switch |
| Ca | 1 | Left Handlebar Assembly | F2 | 1 | Wire (1) |
| C1 | 1 | Left Handlebar | F3 | 2 | Wire (2) |
| Cb | 1 | Right Handlebar Assembly | F4 | 1 | Ground Wire AWG |
| C2 | 1 | Right Handlebar | F5 | 2 | Fuse |
| C3 | 2 | Handlebar Grip M6 | G | 2 | Strap |
NOTES
POUR COMMANDER DES PIEÇES DE RECHANGE
Pour commander des pieces de rechange, veuillez contacter le service à la clientèle au numéro suivant :
0810 121 140
Fax:+330130562730
du lundi au jour de 9h00 à 13h00 et de 14h00 à 18h00 et le vendredi de 14h00 à 17h00 (à l'exception des jours fériés) et préparez l'information suivante :
- le NUMERO DU MODELE DU PRODUIT (PFICVU26908.0)
- le NOM DU PRODUIT (Plateforme vibrante PROFORM® WELLNESS)
- le NUMERO DE SÉRIE DU PRODUIT (voir la page de couverture de ce manuel)
- le NUMERO DE RÉFERENCE et la DESCRIPTION de la pièce ou des pièces (voir la LISTE DES PIEÇES et le SCHEMA DÉTAILLÉ).
email: sav.fr@iconeurope.com www iconsupport.eu
INFORMATIONS IMPORTANTES RELATIVES AU RECYCLAGE DESTINÉES AUX CLIENTS BASES DANS L'UE
Ce produit électronique ne doit pas être éliminé avec les déchets Municipaux. Afin de préserver l'environnement, ce produit doit être recyclé au terme de sa durée de vie utile comme l'excige la loi. Veuillez utiliser des installations de recyclage autorisées à collecter ce type de déchets dans votre région. En agissant ainsi, vous aiderez à préserver les ressources naturelles et à améliorer les normes européennes en matière de protection de l'environnement. Si vous avez besoin de plus d'informations concernant les méthodes correctes et sûres d'élimination des déchets électroniques, contactez les services Municipaux de votre localité ou l'établissement où vous avez acheté ce produit.

Notice Facile