GW195 - Volet roulant électrique Superrollo - Notice d'utilisation et mode d'emploi gratuit
Retrouvez gratuitement la notice de l'appareil GW195 Superrollo au format PDF.
| Caractéristiques techniques | Modèle : Superrollo GW195 |
|---|---|
| Type d'appareil | Non catégorisé |
| Utilisation | Conçu pour un usage domestique, idéal pour les fenêtres et portes. |
| Maintenance | Vérifier régulièrement le fonctionnement, nettoyer les composants externes. |
| Sécurité | Respecter les consignes d'installation et d'utilisation pour éviter les accidents. |
| Informations générales | Vérifier la compatibilité avec les dimensions de vos fenêtres avant achat. |
FOIRE AUX QUESTIONS - GW195 Superrollo
Questions des utilisateurs sur GW195 Superrollo
0 question sur cet appareil. Repondez a celles que vous connaissez ou posez la votre.
Poser une nouvelle question sur cet appareil
Téléchargez la notice de votre Volet roulant électrique au format PDF gratuitement ! Retrouvez votre notice GW195 - Superrollo et reprennez votre appareil électronique en main. Sur cette page sont publiés tous les documents nécessaires à l'utilisation de votre appareil GW195 de la marque Superrollo.
MODE D'EMPLOI GW195 Superrollo
Enrouleur de sangle électrique pour volets roulants superrollo GW190/GW195 Traduction du Mode d'emploi et d'installation original


Référence :
superrollo GW190* SR10190
- pour sangles standards (23 mm)
** pour grands évidements d'encastrement
BA10190-4 (02.16)
Chers clients ...

...en achetant cet enrouleur de sangle pour volets roulants superrollo GW190 / GW195, vous avez opté pour un produit de qualité de la société superrollo. Merci de votre confiance.
Sommaire

i Chers clients 2
1. Ce mode d'emploi 4
1.1 Utilisation de ce mode d'emploi 4
2. Symboles de danger 4
2.1 Niveau de dangers et termes signalétiques .5
2.2 Representations et symboles utilisés .5
2.3 Terminologie - explication des termes employés....6
3.Contenu de la livraison 7
4.Vue generale - superrollo GW190 / GW195.8 4.1 Touches de commande et voyant de contrôle .9
5. Description des fonctions 10
5.1 Description des fonctions de sécurité 11
6. Caracteristiques techniques.. 12
6.1 Dimensions. 13
6.2 Sangles de volets roulants autorisées. 14
7. Consignes de sécurité 15
7.1 Utilisation conforme à la destination 16
7.2 Utilisation non conforme 17
7.3 Connaissances techniques requises de l'installateur 17
8. Consignes de sécurité pour le montage 18
8.1 Outilage nécessaire 18
8.2 Préparations du montage 19
- Consignes de sécurité relatives au raccordement électrique 21
9.1 Raccordement du cordon de raccordement au superrollo GW190 / GW195 21 - Mise en place et fixation de la sangle. 23
- Monter le superrollo GW190 / GW195 25
- Reglages des fins de course 26
- Commande manuelle 28
- Regler l'heure d'ete/d'hiver 29
- Programmateur; description sommaire.. 30
15.1Programmer l'heure d'ouverture et I'heure de fermeture 30
15.2 Activation/desactivation du programmateur..31 - Effacer tous les paramétrages, réinitialiser le calcul. 32
- Demonter le superrollo GW190 / GW195 (par ex. pour un déménagement) 33
- Extraire la sangle en cas de panne 35
- Que faire si...? 37
- Consignes de maintenance et d'entretien 39
- Diagramme des contraintes de traction 40
- Marquage CE et conformité CE. 41
- Clauses de garantie 42
1. Ce mode d'emploi ...

...vous décrit la pose, le raccordement électrique et l'utilisation de votre enrouleur de sangle pour volets roulants superrollo GW190 / GW195.

1.1 Utilisation de ce mode d'emploi
Veuillez dire l'intégralité de ce mode d'emploi et respecter les consignes de sécurité qu'il contient avant de commencer les travaux.
Ce mode d'emploi fait partie intégrante du produit.
Conservez-le soigneusement dans un endroit bien accessible.
En cas de transmission du superrollo GW190/GW195 à un tiers, nous vous prions de joindre le mode d'emploi.
La garantie prend fin en cas de dommages engendres par le non-respect de ces instructions et des consignes de sécurité. Nous n'assumons aucune responsabilité pour les dommages indirects et directs qui pourrait en résultat.

2. Symboles de danger
Les symboles de danger suivants sont utilisés dans ce mode d'emploi :

Danger de mort par électrocution
Source du danger / situation dangereuse
2.1 Niveau de dangers et termes signalétiques


DANGER!
Cette mise en garde indique une situation potentiellement dangereuse pouvant entrainer des blessures graves ou mortelles si elle n'est pas evitee.

AVERTISSEMENT!
Cette mise en garde indique une situation potentielle dangereuse pouvant entrainer des blessures graves ou mortelles si elle n'est pas evitee.

ATTENTION!
Cette mise en garde indique une situation potentiellement dangereuse pouvant entrainer des blessures legères ou de gravité moyenne si elle n'est pas évitée.

PRUDENCE!
Cette mise en garde indique une situation potentiellement dangereuse pouvant entrainer des dégats matériels si elle n'est pas évitée.

2.2 Representations et symboles utilisés
- Actions/étapes individuelles
2.

Énumération
(1) ou a)
Liste

Lisez les instructions correspondantes code d'emploi.

Autres informations importantes
2.3 Terminologie - explication des termes employés

DIN EN 13659
« Fermétures pour baies équipées de fenêtes - Exigences de performance y compris la sécurité. »
Cette norme définit les exigences de performance que doivent replir les fermétures extérieures équipant les batiments. Elle traite également des risques significatifs liés aux machines relatifs aux opérations de fabrication, transport, installation, utilisation et maintenance des fermétures.
Tablier
Volet roulant
Détéction d'obstacle
Si le voit rencontres un obstacle lors de la descente () , le superrollo GW190 / GW195 est désacté, v. page 11.
Si le mouvement est bloqué en MONTÉE (▲) (par exemple à cause du gel), le superrollo GW190 / GW195 est désacté, v. page 11.
Fins de course
Chaque sens de déplacement du volet roulant doit être limité par une fin de course qui, lorsqu'elle est atteinte, déclenché l'arrêt du superrollo GW190 / GW195.
Limpite du temps de marche - service intermittent (KB)
L'enrouleur de sangle pour volets roulants superrollo GW190/GW195 n'est pas concu pour un fonctionnement permanent. Le service intermittent definit le temps de marche maximal admissible, v. page 12/15.
3. Contenu de la livraison


Contenu de la livraison
a) 1 superrollo GW190 ou 1 superrollo GW195
b) 2 vis de montage (4× 55mm)
c) 1 étrier de déverrouillage (dans le boitier)
d) 1 cordon d'alimentation avec fiche Euro
e) 1 protection du compartment de galet
f) 1 cache
g) 1 dispositif anti-arrachement avec vis de montage pour superrollo GW190
h) 1 dispositif anti-arrachement avec vis de montage pour superrollo GW195
i) 1 mode d'emploi (sans illustration)
Suite au déballage, comparez ...
le contenu de l'emballage avec ces indications.
Vérifiez les données sur la plaque signalétique
Comparez les mentions relatives à la tension/fréquence sur la plaque signalétique avec celles du réseau local.
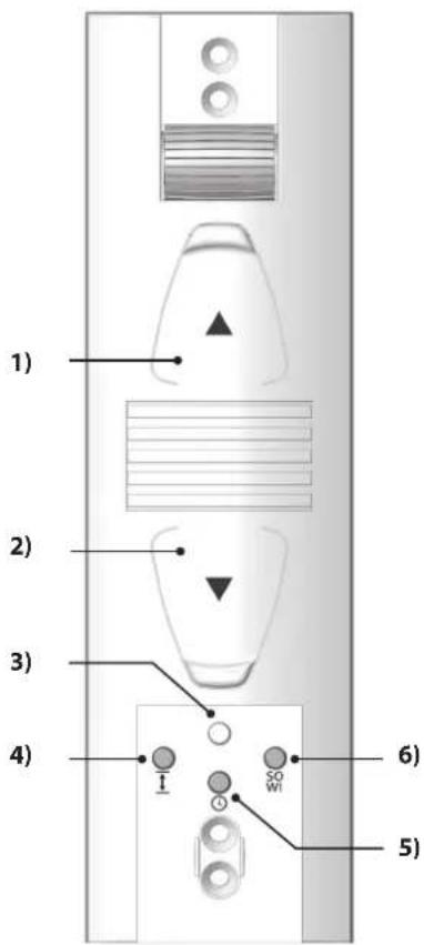
4. Vue générale - superrollo GW190 / GW195



4.1 Touches de commande etvoyant de contrôle


Pos. Symbole Description
1) Touche Montée/Stop
Le volet se déplace vers le haut.
2) Touche Descente/Stop
Le volet se déplace vers le bas.
3) Vayant de contrôle-indication d'etat
| rouge allumage | Confirmation lors de l'appui |
| bref | sur la touche Horloge ou la |
| touche ETÉ/HIVER. | |
| allumage | Indication d'etat pour la fon-c |
| constant | tion respective (10 secondes) |
| clignotement | •Pendant les paramétrages |
| bref | ou lors d'une réinitialisation |
| •Après une coupure de courant |
4) Touche SET
Réglage des deux fins de course
5) Touthe Horloge
Reglage des deux horaires
Activation/désactivation duprogrammateur.
6)

Touché ETÉ / HIVER
Passage de l'heure d'hiver à l'heure d'été et inversement.
5. Description des fonctions
Le superrollo GW190/GW195 est un enrouleur de sangle électricque pour volets roulants destiné à un montage à l'intérieur. L'appareil doit être encastré. Son alimentation électricque se fait au moyen du cordon d'alimentation avec fiche fourni à la livraison ou avec une ligne d'alimentation fixe.

Fonctionnalités et possibités de commande :
Commande manuelle
Fonctionnement automatique avec un hora pour la MONTÉE (▲) et un pour la DESCENTE (▼)
Activation / déactivation du mode automatique
Passage à l'heure d'été/d'hiver
Réglage des fins de course
Mémorisation permanente des paramétrages
Détction d'obstacle
Protection de surcharge
Rétabillisement de la configuration usine (Reset)
5.1 Description des fonctions de sécurité

Detection d'obstacle
Le mouvement de la sangle est place sous surveillance. Si le voit rencontres un obstacle lors de la descente () , la sangle s'immobilise et le superrollo GW190 / GW195 est désactisé.

Dans ce cas, le déplacement ne peut pas se poursuivre directement dans le même sens.
Vous doivent d'abord faire fonctionner l'enrouleur de sangle dans le sens opposé et ensuite eliminer l'obstacle en cause.
Le déplacement du volet peut alors reprendre dans le sens youlu.

Une defaillance de la détction d'obstacle implique un risque de blessure.
Pour que la détction d'obstacle fonctionne de maniere fiable, il faut que la sangle soit enroulée uniformément.
En cas de déclenchement de la détction d'obstacle, assurez-vous impératifement que la sangle s'enroule correctement et uniformément lors du déplacement suivant.
Le superrollo GW190 / GW195 dispose d'une protection contre les surcharges.
Si le mouvement est bloqué en MONTÉE (▲) (par exemple à cause du gel), le superrollo GW190 / GW195 est désactisé.
Eliminez d'abord la cause de la surcharge.
Le superrollo GW190 / GW195 est alors a nouveau opérationnel dans les deux sens de déplacement.
6. Caracteristiques techniques

Alimentation électrique
| Tension d'alimentation : 230 V ~ / 50 Hz | |
| Puisance nominale : 70 W | |
| Puisance absorbée : en veille : < 0,5 W | |
Caracteristiques mécaniques
| Couple nominal : | |
| - superrollo GW 190 10 Nm | |
| - superrollo GW 195 14 Nm | |
| Vitesse de rotation maximale : | |
| - superrollo GW 190 30 tr/min | |
| - superrollo GW 195 24 tr/min | |
| Traction maximale : | v. page 40 / diagramme des forces de traction |
Conditions de service
| Service intermittent (KB) : | 4 minutes (temps de marche maximal) |
| Classe de protection : II | |
| Indice de protection : | IP20 (pour locaux secs uniquement) |
Conditions de service
| Nombre d'horaires : 2 (montée et descente) | |
| Câble d'alimentation réseau : | 2 x 0,75 mm² (H03VVH2-F) |
| Température ambiente admissible : | 0 °C à +40 °C |
| Niveau de pression acous-tique (LpA) : | ≤ 70 dB(A) |
Comportement lors d'une panne de courant
Après une coupure de courant, le voyant de contrôle clignote.
Le clignotement s'arrête lorsqu'on appuie sur les touches MONTÉE (▲) ou DESCENTE (▼).
Sauvegarde des données en cas de coupure de courant
Les heures paramétrés sont conservés lors d'une coupure de courant. Dès que l'alimentation électrique est rétable, les heures d'ouverture et de fermeture sont de nouveau exécutés, mais avec un retard équivalent à la durée de la coupure.
Example:
Panne de courant de 19 h 30 à 19 h 45.
L'horaire de fermeture a ete parametre sur 19 h 30.
Le volet fermera alors avec un retard équivalent à la durée de la panne, c'est-à-dire à 19 h 45.
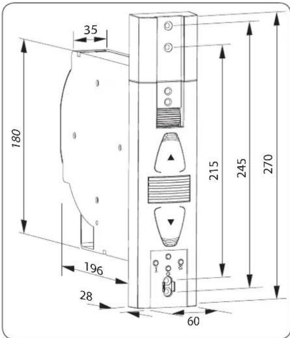
6.1 Dimensions

Toutes les mesures sont indiquées en mm

superrollo GW190
Référence: SR10190
Toutes les mesures sont indiquées en mm

superrollo GW195
Référence: SR10195
6.2 Sangles de volets roulants autorisées

PRUDENCE!
L'utilisation de sangles trop longues peut endommager le superrollo GW190 / GW195.
N'utilisez que des sangles ayant la longueur autorisée.

Ces données sont indicatives et ne sont valables qu'en situation de montage ideale.
Les valeurs peuvent varier en fonction des conditions in situ.
Tableau 1: Sangles de volets roulants autorisées
| superrollo :Résidence : | GW190SR10190 | GW195SR10195 | |
| Largeur de sangle : | Épaisleurde sangle | Longueur de sangle maximale | |
| 23 mm (sangle standard) | 1,0 mm 7,6 | m 15 m | |
| 1,3 mm 6,2 | m 12 m | ||
| 1,5 mm 5,2 | m 11 m | ||
Tableau 2: Surface de volet autorisée (en m²)
| Type de volet roulant : Poids/m | 2 | Surface de volet autorisée (en \( {\mathrm{m}}^{2} \) ) | |
| Volets roulants en matière plastique (4,5 kg/m | 2) 6 m | \( {}^{2} \) env. \( {10}\mathrm{\;m} \) | \( {}^{2} \) env. |
| Volets roulants en aluminium et en bois (10,0 kg/m | 2) 3 m | \( {}^{2} \) env. \( 6\mathrm{\;m} \) | \( {}^{2} \) env. |

7. Consignes de sécurité


L'utilisation d'appareils défectueux peut désenter des risques pour les personnes et entrainer des déteriorations matérielles (electrocution, court-circuit).
N'utilisez jamais un apparéil s'il est défectueux ou endommagé.
Contrôlez le bon etat du superrollo GW190/GW195 et du cordon d'alimentation fourni.
Veuillez vous adresser à notre service après-vente (voir page 44) si vous constatiez des dommages sur l'appareil.

Toute utilisation incorrecte implique un risque accru de blessures.
Apprenez a utiliser le superrollo GW190/GW195 en toute sécurité à toutes les personnes aménées à s'en servir.
Cet apparéil peut être utilisé par des enfants à partir de 8 ans et plus ainsi que par les personnes à capacités physiques, sensorielles ou mentales réduites ouprésentant un manque d'expérience et de connaissances, si ces personnes sont guidées et surveillées ou si elles ont été instruées en termes d'utilisation sure de l' apparéil et qu'elles comprennent les dangers qui en résultat.
Les enfants n'ont pas le droit de jourer avec cet apparéil. Le nettoyage et l'entretien à la charge de l'utilisateur ne doit enaucun cas être exécutés par des enfants sans surveillance.
Surveiliez toujours le volet roulant lors des réglages et en cas de service normal et éloignez toute personne risquant d'être blessée par un déplacement subit du volet.
RÉaliséz tous les travaux de nettoyage sur le volet roulant lorsqu'ell'installation est hors tension.
L'accès à la prise de courant et à la fiche secteur doit toujours être libre.

Le dépassement du temps de marche maximal admissible (KB) peut entraîner une surcharge et endommager le superrollo GW190 / GW195.
Le temps de marche maximal admissible pour une course ne doit enaucun cas etre depasse pendant le fonctionnement. Le superrollo GW190 / GW195 est equipé a cet effet d'une limite du temps de marche (KB) de quatre minutes.
Si la limite du temps de marche a ete declenchee, le superrollo GW190/GW195 doit refroidir pendant au moins 12 minutes.
7. Consignes de sécurité


Pendant le temps de refroidissement, le superrollo GW190 / GW195 ne peut pas etre commande et levoyant de contrôle clignote rapidement.
La disponibilité opérationnelle complète est rétablie après environ une heures.
Selon la norme DIN EN 13659, il est important de veiller à ce que les conditions de déplacement déterminées pour les tabliers selon la norme EN 12045 seront respectées.
En position déroulée, le déplacement doit être d'au moins 40~mm lorsqu'une force de poussée de 150N est appliquée vers le haut sur le bord inférieur du tablier.
Dans ce contexte, il faut impérativement veiller à ce que la vitesse du volet ne dépasse pas 0,15m / s sur les derniers 0,4m de son déplacement.

7.1 Utilisation conforme à la destination
Utilizez uniquement le superrollo GW190 / GW195 pour l'ouverture et la fermeture de volets roulants équipés de sangles conformes.

Les verrouillages mécaniques de n'importe quels genres sont inappropriés pour le fonctionnement automatique avec le present apparéil.
Utilisez exclusivement les pieces de rechange d'origine du fabricant.
Voues eviterez ainsi des dysfonctionnements ou des endommagements du superrollo GW190 / GW195.
Notre garantie fabricant perd son effet si des pieces détaches d'autres fabricants sont utilisées et causent des déteriorations.
Les réparations du superrollo GW190 / GW195 doivent uniquement être effectuees par le service après-vente agreé.
7.1 Utilisation conforme à la destination

Conditions d'utilisation
Utilisez le superrollo GW190 / GW195 exclusivement dans des locaux secs.
Pour le raccordement électrique, il est impératif qu'un moyen de branchement au réseau électrique de 230V / 50Hz avec un dispositif de protection (fusible) soit disponible sur le lieu de l'installation.
Une prise secteur de 230V / 50Hz libre d'accès doit être disponible sur le site à proximé de l'appareil en cas d'utilisation du cordon de raccordement avec fiche Euro joint à la livraison.
Le volet roulant doit pouvoir monter et descendre facilement sans se bloquer et sans frictions.
La surface de montage prévue pour le superrollo GW190 / GW195 doit être parfaitement plane.
7.2 Utilisation non conforme
Toute utilisation du superrollo GW190 / GW195 pour d'autres domaines d'application que ceux suscités est interdite.

L'utilisation du superrollo GW190 / GW195 à l'extérieur entraine un danger mortel par court-circuit et electrocution.
N'installez et n'utilisez jamais le superrollo GW190 / GW195 en extérieur.
7.3 Connaissances techniques requises de l'installateur
Le raccordement électrique, le montage et la mise en service du superrollo GW190 / GW195 doivent uniquement et impérativement être réalisés par un électricien confirmé selon les instructions de ce mode d'emploi.

8. Consignes de sécurité pour le montage


Un mauvais guidage de sangle peut endommager celle-ciet solliciter inutillement l'enrouleur superrollo GW190 / GW195.
Posez l'enrouleur de sangle de façon à ce que la sangle s'y introduise le plus verticalément possible, ce qui permettra de réduire les frottements et l'usure.

Un montage incorrect peut provoquer une déteriouration du matériel.
Le fonctionnement met en œuvre des forces importantes qui doivent etre absorbees par une pose sure sur un support solide et fiable.

8.1 Outillage nécessaire
Tournevis
Ciseaux
Metre pliant ou ruban de mesure
Crayon

8.2 Préparations du montage

- Prendre les mesures. Verifier que l'évidement d'encastrement est suffisamment grand pour le superrollo GW190 / GW195.
- Si vous désirez remplacer une installation existante, commencez par démonter l'ancien enrouleur.
2.1 A cet effet, faites descendre le volet jusqu'en bas de façon a ce que les lames soient totalement fermées.
2.2 Demontez l'ancien enrouleur de sangle et déroulez complètement la sangle.

ATTENTION!
Le ressort précontraint de l'ancien enrouleur de sangle peut partager un risque de blessure.
La boîte à ressort de l'ancien enrouleur peut se rétracter subitement et de manière incontrélée.
Maintenez-la fermement pour enlever la sangle et laissez-la se rembobiner lentement jusqu'à ce que le dessort soit intégralement détendu.

8.2 Préparations du montage
FR
- Préparation de la sangle.
3.1 Coupe la sangle à 20 cm env. en-dessous de l'évidement d'encastrement de l'enrouleur.
3.2 Rabattez l'extrémité de la sangle sur 2 cm env. et coupez une courte fente en son milieu. Cette fente permettra d'accrocher ultérieurement la sangle sur le galet.
Recommendation
La sangle doit se déplacer avec une course aussi rectiligne que possible et avec une grande souplesse de défillement. Si les volets roulants sont trop résistants au mouvement, nous vous conseillons de monter un rouleau de renvoi sur l'évidement d'encastrement afin d'éviter les frottements et donc l'usure inutiles de la sangle.


9. Consignes de sécurité relatives au raccordement électrique


DANGER!

Le contact avec des composants électriques représenté un danger mortel par electrocution.
Realizez tous les travaux de montage et de raccordement lorsque l'installation est hors tension.
Debranchez complètement l'alimentation secteur et mettez un dispositif en place interdisant la remise sous tension.
Contrôlez l'installation afin de vous assurer qu'elle est bien hors tension.

Le raccordement électrique peut etre réalisé au moyen du cordon de raccordement joint a la livraison ou par une installation fixe.

9.1 Raccordement du cordon de raccordement au superrollo GW190 / GW195
- Raccordez le cable de raccordement joint à la livraison aux bornes de connexion du superrollo GW190/GW195. L'affection des couleurs n'est pas importante pour ce type de raccordement.

Bornes de connexion
superrollo GW190
9.1 Raccordement du cordon de raccordement au superrollo GW190 / GW195


AVERTISSEMENT!
Un cordon de raccordement endommagé peut provoquer un court-circuit.
Veuillez à ce que la pose du cable de raccordement soit sure et effectuee selon les regles de l'art.
Lors de la fixation de I'enrouleur superrollo GW190/ GW195, le cable de raccordement ne doit en aucun cas etre coince ou endommagé.
- Posez le cable de raccordement dans la rainure du superrollo GW190 / GW195.
- Fixez finally le dispositif anti-arrachement au moyen des vis fournies.

superrollo GW195
10. Mise en place et fixation de la sangle

- Branchez la fiche dans la prise secteur.
ATTENTION!
Attention de ne pas vous blesser avec le galet.
Ne mettez pas les mains dans le compartment du galet lorsque le moteur tourne.
- Appuyez sur la touche Montée jusqu'à ce que le plot d'accrochage soit facilement accessible dans le compartment.

Etantdonnedeqlesfinsdecoursene sont pasencoreparametrés,l'entrainement s'arrete desqueyourelachezla touche.
- Retirez à nouveau la fiche de la prise secteur.



10. Mise en place et fixation de la sangle

- Introduisez ensuite la sangle par le haut dans l'enrouleur super rollo GW190 / GW195.
Continuez d'introduire la sangle dans l'appareil selon la représentation en coupe et passez-la ensuite au-dessus du galet jusqu'à ce que sa fente puisse être accrochée au plot. - Rebranche la fiche dans la prise secteur.
- Appuyez sur la touche Montée jusqu'à ce que la sangle se soit enroulée une fois entière-ment sur le galet.
- Tendez la sangle pendant qu'elle s'enroule de manière à ce que le rouleau de renvoi tourne pendant l'opération.
- Retirez à nouveau la fiche de la prise secteur.
- Fermez ensuite le compartment à l'aide de la protection correspondante.




11. Monter le superrollo GW190 / GW195

Prenez soit d'installer le superrollo GW190/GW195 bien droit de manière à ce que la sangle puisse s'enrouler correctement.
Veillez à ce que le superrollo GW190 / GW195 ne touche pas les bords de l'évidement d'encastrement pour éviter les bruits dus au contact avec la maconnerie.
- Insérez le superrollo GW190 / GW195 dans l'évidement d'encastrement et fixez-le à l'aide des vis fournies.

AVERTISSEMENT!
Un cordon de raccordement endommagé peut provoquer un court-circuit.
Veillez à ce que le cable d'alimentation soit correctement positionné dans la rainure afin d'éviter qu'il se coince et soit abîme lors de la fixation.
- Rebranche la fiche dans la prise secteur de 230V / 50Hz

Attendez que tous les paramétrages soient achievés pour monter le cache inférieur.


12. Réglages des fins de course

Consignes importantes pour le paramétrage des fins de course
Les fins de course doivent etre reglees de maniere a arreter le volet aux positions haute et basse desirées. Le réglage des deux fins de course doit imperativement etre réalisé pour eviter les dysfonctionnements.

Sans reglage des fins de course, le superrollo GW190/GW195 ne se déplace que lorsqu'une des touches de commande est appuyée.
En l'absence de réglage des fins de course, les fonctions automatiques sont désactivées.
Réglage de la fin de course supérieure
- Appuyez simultanément sur les deux touches et maintenez-les appuyées. Le volet se déplace vers le haut.
1.1 Tendez légerement la sangle jusqu'à ce qu'elle se raidisse sous le poids du volet.
- Relâchez les touches,ès que le volet a
atteint la position de fin de course
supérieure désirée.
Le volet roulant s'arrête et la fin de course supérieure est mémorisée.

PRUDENCE!
Un réglage incorrect de la fin de course supérieure peut entrainer une surcharge ou la dépréciation du superrollo GW190 / GW195 ou de son entrainment.
La position de la fin de course supérieure doit etre reglee de maniere a ce qu'elle soit située un peu en dessous du butoir.
Lâchéz les touches suffisamment tôt et ne laïsez pas le volet se déplacer plus loin que la fin de course correcte respectie.

12. Régages des fins de course

Réglage de la fin de course inférieure
- Appuyez simultanément sur les deux touches et maintenez-les appuyées. Le volet descend.
- Relâchez les touches,ès que le volet a
atteint la position de fin de course
inférieure désirée. Le volet roulant s'arrête et la fin de
course inférieure est mémorisé.
Lors de ce réglage, faites attention à ce que la sangle ne soit pas trop lâche lorsque le volet a atteint la fin de course inférieure.
Modification ou correction des fins de course
- Amenez le volet en position mediane et effectuez un nouveau réglage de la fin de course à modifier.
Il est possible que vous ayez à effectuer un nouveau réglage des fins de course au bout d'un certain temps à cause du rallongement de la sangle.

13. Commande manuelle

L'appareil peut être commandé manuellement dans chaque mode de fonctionnement avec priorité sur les fonctions automatiques programmes.
- ouvrir le volet roulant.
Un appui bref sur cette touche ouvre le volet jusqu'à la fin de course supérieure. - 0 Arreter le volet roulant en position intermediaire.
- Fermer le volet roulant.
Un appui bref sur cette touche ferme le volet jusqu'à la fin de course inférieure.

SO WI
14. Régler l'heure d'été/d'hiver

Le superrollo GW190 / GW195 dispose une fonction de passage de l'heure d'etre à l'heure d'hiver et inversement. Celle-ci vous permet de regler l'horloge interne de l'enrouleur de sangle sur l'heure d'etre ou d'hiver.
Interrogier I'etat hora actuel
- W
Appuyer brièvement sur la touche ETÉ/HIVER.
- Observe levoyant de contrôle. Levoyant de contrôle s'allume brievement pour confirmer l'appui sur la touche ETÉ/HIVER. L'état de paramétrage de l'heure d'éte / dhiver est ensuite signalé.
ACTIVÉ (10 secondes) = heures d'été
DESACTIVE = heure d'hiver

Le superrollo GW190 / GW195 est livre depuis usine avec le paramétrage de l'heure d'été.
Regler l'heure d'été/d'hiver
-
Appuyer sur la touche ETÉ/HIVER pendant environ une seconde.
-
L'etat hora actuel est alors commute sur l'autre hora.

15. Programmateur; description sommaire

Horaires identiques pour tous les jours
Voussoupiezprogrammerun hora d'ouverture et un hora defermetureau superrolloGW190/GW195,qui sontvalablespour tousles jours.Votreetoletroulant s'ouvriraousefermeraslasherachquajour automatiquement auxheuresprogrammées.
Modification des horaires
Les heures peuvent être modifiés à tout moment. Notez que chaque nouvelle的记忆isation efface la programmation précédente.

Effectuez la programmation des horaires au moment même ou votre volet roulant doit s'ouvrir ou se fermer.
A 8 h du matin, par exemple, si c'est l'heure à laquelle le volet doit s'ouvrir tous les matins.
Vou desvezprogrammer au moins un hora pour que la fonction du programmateur soit activée.

15.1 Programmer l'heure d'ouverture et l'heure de fermeture
Programmer l'heure d'ouverture (▲) (par ex. le matin à 8 h)
-
- Appuyez brievement sur ces deux touches en même temps.
- levoyant de contrôle clignote et le volet roulant se déplace vers le haut. La fonction programmateur est ainsi activée.
Votre volet roulant s'ouvrira automatiquement chaque matin à 8 h.

15.1 Programmer l'heure d'ouverture et l'heure de fermeture

Programmation de l'heure de fermeture () (p.ex.le soit a 20 h 30)
-
- Appuyez brièvement sur ces deux touches en même temps.
- Royant de contrôle clignote et le volet roulant se déplace vers le bas. La fonction programmateur est ainsi activée.
Votre volet roulant se fermera automatiquement chaque soit a 20h30.

15.2 Activation / déactivation duprogrammateur
Le programmeur peut être activé ou désactiver à tout moment si nécessaire.
- A puyez sur la touche Horloge pendant environ une seconde.
- Observe levoyant de contrôle. Levoyant de contrôle s'allume brievement pour confirmer l'appui sur la touche Horloge.L'etat duprogrammateur est ensuite signale.

ETEINT
Programmateur DÉSACTIVÉ
Les horaires programmés auparavant restent en mémoire.

ALLUMÉ (10 secondes)
Programmateur ACTIVÉ

Clignotant
Après une coupure de courant si au moins un hora a étéprogramméAAParavant.

Après une coupure de courant, les heures programmes sont retardés de la durée de cette coupure et doivent eventuelsment être reprogrammés.
16. Effacer tous les paramétrages, réinitialiser le logiciel

Vous pouvez au besoin effacer tous vos paramétrages et restaurer la configuration d'usine du superrollo GW190 / GW195.
- Retirez le cache des trous de montage inférieurs et des touches de réglage.

-
- F SO Appuyez simultanement sur ces touches pendant 4 secondes.
- Levoyant de contrôle clignote rapidement.
- Lâchez les touches. Tous les paramétrages sont maintenant effacés.
Fins de course
Horaires
- Levoyant de contrôle s'eteint lorsqu'vous avez laches touches.
17. Démoner le superrollo GW190 / GW195 (par ex. pour un déménagement)

- Retirez le cache des troux de montage inférieurs et des touches de réglage.
-
- H Supprimer tous les paramétrages. Appuyez simultanément sur ces touches pendant 4 secondes.
- Feimer complètement le volet roulant.
4.Continuer a appuyer sur la touche Descente sans la relacher. - Tirez sur la sangle vers le haut autant que possible pour la sortir de l'enrouleur superrollo GW190 / GW195.
- Retirez la fiche de la prise secteur.

- Desserrez ensuite les vis de fixation et retirez entiere-ment l'enrouleur superrollo GW190 / GW195 de I'évidement d'encastrement.


17. Démonter le superrollo GW190 / GW195 (par ex. pour un déménagement)

- Enlevez la protection du compartment de galet.
- Contrôlez la position du plot d'accrochage.
- Amenez celui-ci si nécessaire à une position facilement accessible.

ATTENTION!
Attention de ne pas vous blesser avec le galet.
Ne mettez pas les mains dans le compartment du galet lorsqu'le moteur tourne.
Debranchez toujours la fiche secteur avant demettre la main à l'intérieur du compartment de galet.
- Retirez à nouveau la fiche de la prise secteur.
- Decroche la sangle du plot d'accrochage et sortez-la entiement devant de l'enrouleur superrollo GW190 / GW195.


18. Extraire la sangle en cas de panne

Si l'enrouleur superrollo GW190 / GW195 tombe en panne et que le moteur ne fonctionne plus, vous pouvez extraire l'intégrality de la sangle sans la découvert grâce au dispositif de déverrouillage de l'engrenage.
1.
Retirez la fiche de la prise secteur.

- Demontez l'enrouleur superrollo GW190 / GW195 comme décrit précédement à la page 33.

AVERTISSEMENT!
Risque de blessure, car le volet risque de tomber brusquement.
Securisez le volet roulant contre la chute.
Maintenez fermement la sangle pour que le volet ne puisse pas tomber brusquement.
Appelez une seconde personne pour vous aider lors du déverrouillage.
- Déverrouillez l'engrenage au moyen de l'étrier joint.
Vous devrez surmonter une légère résistance en appuyant sur le déverrouillage.

superrollo GW190
18. Extraire la sangle en cas de panne


superrollo GW195
- Maintenez l'appui sur I'etrier de déverrouillage et tirez ensuite sur la sangle pour la sorting le plus possible de l'enrouleur superrollo GW190 / GW195.
- Decroche la sangle du plot d'accrochage et sortez-la entierement devant de l'enrouleur superrollo GW190 / GW195.
- Remettez l'étrier de déverrouillage en place dans son logement.
19. Que faire si...?
FR
| Erreur Cause / solution possible | |
| ... l'enrouleur superrollo GW190 / GW195 ne fonctionne pas? | Vérifiéz l'alimentation électrique, y compris le cordon d'alimentation, la fiche et la prise. |
| ... l'enrouleur superrollo GW190 / GW195 ne réagit pas à l'horaire paramétré? | a) Il y probablement eu une coupure de courant, paramétrez à nouveau les horaires, v. page 30. |
| b) Les fins de course ne sont probablement pas encore régliées. Réglez les fin de course, v. page 26. | |
| ... le voyant de contrôle (DEL) clignote? | Il y probablement eu une coupure de courant, paramétrez à nouveau les horaires, v. page 30. |
| ... le volet roulant ne s'arrête pas aux fins de course paramétrées? | Il est possible que les fins de course se soient déréglées parce que la sangle s'est détendue. Effectuez un nouveau réglage des fins de course, v. page 26. |
| ... le volet roulant s'arrête dès que l'on relâche la touche de commande? | Les fins de course ne sont pas encore régliées, réglez-les, v. page 26. |
| ... le superrollo GW190 / GW195 marche en sens inverse? | La sangle est probablement enfilée à l'envers sur le galet, v. page 23. |
| ... le volet s'arrête subitement pendant l'ouverture? | a) La motorisation est éventuellesment bloquée par exemple par le gel ou par un autre obstacle. |
| b) Le couilissement du volet roulant est éventuellesment entravé. Effectuez un contrôle du volet roulant et des glissières de guidage. | |
| c) Le volet roulant est peut-être trop lourd. La traction maximale de l'enrouleur de sangle a été dépassée, v. page 40. |
19. Que faire si...?
FR
| Erreur Cause / solution possible | |
| ... le volet roulant s'arrête pendant la descente? | a) Le volet roulant a évientuèlement rencontres un obstacle.Remontez le volet et éliminez l'obstacle. |
| b) Les lames se sont décalées.Remontez si possible le volet roulant et alignez les lames. | |
| c) Le volet roulant frotte au niveau du caisson ou au dormant de la fenêtre parce qu'il manque des rouleaux de pression ou parce qu'un morceau de matériel ou solant s'est détaché et coincide le volet.Ouvrez le caisson et éliminez le problème.Lubrifiez les endroits qui résistant au mouvement avec un agent de glissement. | |
| d) Le volet est peut-être trop léger.Lestez le volet roulant en glissant par exemple un fer plat dans la lame inférieure. | |
| ... levoyant de contrôle clignote et que le superrollo GW190 / GW195 ne se déplace plus ni vers le haut ni vers le bas ? | Le temps de marche maximal de la motorisation a été dépasse, v. page 12/15.Lé moteur a surchauffé, l'enrouleur de sangle sera à nouveau opérationnel après environ 1 heures de repos. |
| ... le superrollo GW190 / GW195 ne réagit plus correctement aux commandes automatiques et manuelles ? | Le superrollo GW190 / GW195 n'est plus opérationnel. Réinitialisez le calculiel comme décrit à la page 32 et testez le superrollo GW190 / GW195 avec sa configuration d'usine. |
20. Consignes de maintenance et d'entretien

Maintenance
ATTENTION!
Une maintenance insuffisante ou incorrecte peut provoquer un danger pour les personnes suite à l'endommagement de votre superrollo GW190 / GW195 et de l'installation du volet roulant.
Verifiez regulierement le bon etat de votre superrollo GW190 / GW195 et de tous ses composants.
- Verifiez régulierement le fonctionnement correct du superrollo GW190 / GW195.
Le tablier ne doit pasprésenter de dommages.
La sangle ne doit pas etre effilochee.
Le rouleau de renvoi du caisson doit tourner facilement.
- Le plateau d'enroulement situé dans le caisson doit être robuste et fixé correctement. Sa robustesse et sa fixation peuvent s'affaibrir après une longue'utilisation.
Faites remplacer les composants defectueux par un revendeur spécialise.
Entretien
Vous pouvez nettoyer le superrollo GW190 / GW195 avec un chiffon légèrement humide. N'utilise jamais de détergents agressifs ou abrasifs.
21. Diagramme des contraintes de traction

1

1 Poids de traction [kg]
② Épaisseur de sangle 1,0 mm
3 Epaisseur de sangle 1,3 mm
4 Epaisseur de sangle 1,5 mm
5 Longueur de sangle [m] pour superrollo GW190
6 Longueur de sangle [m] pour superrollo GW195
22. Marquage CE et conformité CE

L'enrouleur de sangle électric pour volets roulants superrollo GW190 / GW195 (Réf: SR10190/SR10195) satisfait aux exigences des directives européennes et nationales en vigueur:

2006/42/CE
Directive machines
2014/30/CE
Directive CEM
Cette conformité a ete attested par un justificatif; les déclarations et les documents correspondants sont déposés chez le fabricant.
D-01156 Dresden (Allemagne)
23. Clauses de garantie

La société superrollo Hausautomatisierung GmbH accorde 24 mois de garantie pour les appeareils neufs posés conformément au manuel d'installation. Cette garantie couvre tous les defauts de construction, de materiaux et de fabrication.
Vos droits de garantie legaux ne sont pas affectés par cette garantie.
Les dommages resultant des causes suivantes sont exclus de la garantie :
Montage ou installation incorrectly
Non-respect des instructions du mode d'emploi et d'installation
Utilisation ou sollicitations non conformes
Influences extérieures telles que les chocs, les coup s ou les intempéries
Réparations et modifications effectues par des tiers non agreés
Utilisation d'accessoires inappropriés
Tout dommage resultant de surtensions (foudre par exemple)
Dysfonctionnements resultant d'interférences de fréquences radio et d'autres parasites radio
L'acquisition du nouvel apparéil chez un de nos re-vereurs spécialisés est une condition préalable pour la validité de la garantie. Ceci doit être juste par une copie de la facture.
La société superrollo Haussomatisierung GmbH remedie gratuitement aux defaults et aux vices apparaisant pendant la durée de la garantie soit par réparation, par remplacement des pieces concernées ou par livraison d'un appeareil de remplacement neuf ou de valeur équivalente. Une livraison de remplacement ou une réparation dans le cadre de la garantie n'implique pas une prolongation générale de la durée de la garantie d'origine.


D-01156 Dresden (Allemagne)
- 30 secondes gratuites, puis 14 ct / minute depuis le réseau filaire allemand ou téléphone mobile 42 ct / minute maxi (en Allemagne).
Notice Facile