WLV2147 - Lave-vaisselle Wellington - Notice d'utilisation et mode d'emploi gratuit
Retrouvez gratuitement la notice de l'appareil WLV2147 Wellington au format PDF.
| Caractéristiques techniques | Lave-vaisselle encastrable, capacité de 12 couverts, classe énergétique A++ |
|---|---|
| Dimensions | Largeur : 60 cm, Hauteur : 85 cm, Profondeur : 60 cm |
| Programmes de lavage | 6 programmes : Eco, Intensif, Rapide, Prélavage, Auto, Verres |
| Consommation d'eau | 9 litres par cycle |
| Utilisation | Panneau de contrôle intuitif avec affichage LED, départ différé jusqu'à 24 heures |
| Maintenance | Filtres lavables, entretien régulier recommandé tous les 3 mois |
| Sécurité | Système de sécurité anti-débordement, verrouillage de porte |
| Informations générales | Garantie de 2 ans, notice d'utilisation incluse, service après-vente disponible |
FOIRE AUX QUESTIONS - WLV2147 Wellington
Questions des utilisateurs sur WLV2147 Wellington
0 question sur cet appareil. Repondez a celles que vous connaissez ou posez la votre.
Poser une nouvelle question sur cet appareil
Téléchargez la notice de votre Lave-vaisselle au format PDF gratuitement ! Retrouvez votre notice WLV2147 - Wellington et reprennez votre appareil électronique en main. Sur cette page sont publiés tous les documents nécessaires à l'utilisation de votre appareil WLV2147 de la marque Wellington.
MODE D'EMPLOI WLV2147 Wellington
Instructions pour Instruct l'installation et l'emploiil'inste
WLV-2147

WELLINGTON
TABLE DES MATIERES
- Caracteristiques techniques 6
Conformité aux normes et données d'essay 6
Informations et recommendations de sécurité 6
Recyclage 6
- Informations de sécurité 6
- Recommendations 8
- Ne pas laver en machine. 8
Installation de la machine 8
- Positionnement de la machine 8
Raccordement d'eau 9
Tuyau d'arrivée d'eau 9
Tuyau de vidange. 9
Raccordement electrique. 10
Installation de la machine sous un plan de travail 11
Avant la première utilisation de la machine 13
Avant la première utilisation 13
- Importance de la quantité de calcaire dans l'eau. 13
- Chargement du sel dans le réservoir de l'adoucisseur d'eau. 13
Bande test de contrôle de la durée de l'eau 14
Réglage de la durée de l'eau. 15
Detergent. 16 - Remplissage du compartment à détergent. 16
Detergents combinés 17 - Remplissage du compartment à produit de rincege et réglage du doseur. 18
Chargement du lave-vaiselle 24
-Chargement des paniers 25
Autres chargements des paniers 26
Description des programmes 28
- Contenu des programmes 28
Apprenez a connaître votre machine 29
Mise sous tension et besoin d'un programme 31
- Mise de la machine sous tension 31
- Contrôle du déroulement du programme 31
- Modifier un programme 31
- Modifier un programme avec remise à zéro 32
- Mise de la machine hors tension 32
Entretien et nettoyage 33
Filtres. 33
- Bras de lavage 34
Filtredutuyadarriveedeau 34
Codes de dysfonctionnement et que faire en cas de panne 35
Informations pratiques et utiles 37

-
Plan de travail
-
Plaque signalétique
-
Panier supérieur avec grilles mobiles
-
Panneau de commande
-
Bras de lavage supérieur
-
Distributeur de produits de lavage et de rincage
-
Panier inférieur
-
Panier a couverts
-
Bras de lavage inférieur
-
Bac à sel
-
Filtres
-
Verrou de sécurité du panier supérieur

Système de séchage actif : Ce système permet un meilleur séchage de votre vaissele
Caracteristiques techniques
| Capacité 12 couverts | |
| Hauteur | 845 mm |
| Hauteur (sans plan de travail) | 815 mm |
| Largeur 596 mm | |
| Profondeur 598 mm | |
| Poids net 46 kg | |
| Alimentation électrique 220-240 V-50 Hz | |
| Puisance totale | 2200 W |
| Puisance de chauffage | 2000 W |
| Puisance de la pompe | 100 W |
| Puisance de la pompe de vidange | 30 W |
| Pression au robinet d'acciviée d'eau | 0,03 MPa (0,3 bar)-1 MPa (10 bar) |
| Intensité 10 A | |
Le fabricant se réserve le droit de modifier la conception et les caractéristiques techniques.La durée de vie de la machine est de 10 ans (durée nécessaire pour maintainir les pieces de rechange afin d'utiliser la machine de manière optimale)
Conformité aux normes et données d'essay / Déclaration de conformité CE
Toutes les étapes de fabrication du lave-vaisselle sont conformes aux règles de sécurité exprimées dans toutes les directives applicables de la Communauté européen. 2004/108/CE, 2006/95/EC, IEC 436/DIN 44990, EN 50242
Note importante à l'attention de l'utilisateur :Pour obtenir une version électronique de ce manuel, veuilles envoyer un courriel à l'adresse suivante :
"dishwasher@standardtest.info".Dans cet e-mail, vous indiquerez le nom du modele et le numero de série (20 chiffres) qui se trouve sur la porte de l'appareil.
INFORMATIONS ET RECOMMANDATIONS DE SECURITE
Recyclage
- Certains composants et l'emballage de votre lave-vaisse sont fabriqués à partir de matérielaux recyclables.
- Les éléments en matière plastique portent les inscriptions internationales : (>PE< , >PS< , >POM<, >PP<, ....)
- Les éléments en carton sont fabriqués à partir de papier recyclé et doivent être déposés dans les bacs de tri sélectif prévus à cet effet.
- Ne pas placer ces matériaux dans les bacs à déchets. Les déposer dans un centre de recyclage.
- Contacter les centres concernés pour obtenir des informations sur les méthodes et points de mise au rebut.
Informations de sécurité
Dès réception de votre apparéil
- Vérifiez que le lave-vaisselle ou son emballage est exempt de tout dommage. Ne démarrez jamais un apparéil lorsqu'il est endommagé de chaque manière ; veuillez contactez le service après-vente/agréé.
- Déballez les matériaux d'emballage comme indiqué et mettez-les au rebut conformément aux règles applicables.
Points importants pendant l'installation du lave-vaisse
- Installez votre lave-vaisselle dans un endroit ajustat, ne posant pas de risque pour la sécurité et de niveau.
- Procedez à l'installation et au raccordement de votre lavevaisselle en suivant les instructions.
-
Celave-vaisselle ne doit être installé et réparé que par un service après vente/agréé.
-
N'utilisez que les pieces détachées d'origine. - Avant l'installation, vérifie que le lava-vaisselle est débranché.
-
Vérifiez que votre prise électrique est conforme aux normes en vigueur.
-
Tous les branchements électriques doivent correspond aux valeurs individues sur la plaque signalétique.
-
Très important : vérifie que le lave-vaisselle n'est pas posé sur le cable d'alimentation.
-
Ne branchez jamais le lave-vaisselle au moyen d'une rallonge électrique ou d'une prise multiple. La prise doit être facilement accessible une fois le lave-vaisselle installé.
- Àprous avoir installé le lave-vaisselle sur un emplacement ajustat, faites -le fonctionner à vide lors de la première utilisation.
Usage quotidien
- Ce lave-vaisselle est exclusivement destiné à un usage domestique. Ne l'utilisez à aucune autre fin. Toute utilisation du lave-vaisselle à des fins commerciales annule la garantie.
- Ne montez pas, ne vous asseyez pas ou ne placez pas de charge sur la porte ouverte du lave-vaiselle : il pourrait se renverser.
- Ne placez jamais dans le distributeur de détergent et de produit de lavage de votre lave-vaisselle d'autres produits que ceux spécialement conçus pour le lave vaisse. À défaut, notre société ne saurait être tenue responsable de tout dommage que pourrait subir votre lave-vaisselle.
-
L'eau contenue dans la cuve de lavage du lave-vaisse n'est pas potable. Ne la buvez pas.
-
Du fait du danger d'explosion, ne placezaucun dissolvant chimique ou solvant dans le lave-vaisselle.
- Vérifiez que les objets de plastique résistant à la chaleur avant de les laver en lave-vaisse.
Cet apparéil peut être utilisé par des enfants âgés d'au moins 8 ans et des personnes avec des capacities physiques, sensorielles ou mentales réduites ou sans expérience ni connaissances, s'ilts sont supervisés, ont reçu des instructions relatives à l'utilisation sécurisée de l' apparéil et comprendnent les dangers y associés Ne permettez pas à de jeunes enfants de jouer avec l' apparéil. Le nettoyage et l'entretien par l'utilisateur ne doit être effectués par des enfants que lorsqu'ils bénéficient d'une supervision. - Seuls les objets adaptés au lavage en lave-vaisselle doivent être introduits dans la machine. En outre, ne dépassez pas la capacité de chargement des paniers.À défaut, notre société ne saurait être tenue responsable de toute rayure ou de toute formation de rouille sur la paroi interne de votre lave-vaisselle causée par des mouvements du panier.
- A cause, notamment, d'un débordement d'eau chaude possible, n'ouvre jamais la porte du lave-vaisselle en aucune circonstance pendant le fonctionnement. Un dispositif de sécurité met le lave-vaisselle à l'arrêt en cas d'ouverture de la porte.
- Pour éviter de possibles accidents, ne laissez pas la porte de votre lave-vaisse ouverte à l'arrêt.
- Installez les couteaux et autres objets pointus dans le panier à couvert, pointe en bas.
Si le cordon d'alimentation est endommagé, il doit être remplace par le
fabricant, son agent de service ou un technicien qualifié afin d'éviter tout danger.
Cet apparéil n'est pas destiné, à être utilisé par des personnes (notamment des enfants) dont les capacities physiques, sensorielles ou intellectuelles sont réduites, ou par des personnes manquant d'expérience ou de connaissances, à moins que celles-ci ne soient sous surveillance ou qu'elles aient reçu des instructions quant à l'utilisation de l'appareil par une personne responsable de leur sécurité.
- Si l'option EnergySave est selectionnée sur « Oui », la portes s'ouvrira
à la fin du programme. Ne forcez pas sur la porte lors de la fermetre pour éviter d'endommager le mécanisme de la porte automatique pendant 1 minute Pour un séchage optimal, laissez la porte ouverte pendant 20 minutes.(pour les modèles avec système automatique d'ouverture de porte Avertissement : Évitez de vous tener devant la porte lorsque que le signal sonore d'ouverture automatique rétentit.
Pour la sécurité des enfants
- Àprous le déballage du lave-vaisselle, veillez à tener les matériaux d'emballage hors de portée des enfants.
- Ne laissez pas les enfants jouer avec oumettre en marche le lave-vaisselle.
- Rangez les détergents et produits de rinçage hors de portée des enfants.
- Tenir les enfants à l'écart du lave-vaisselle lorsqu'il est qu'elle est ouvert : il peut contenir des résidus de substances de nettoyage.
- Veiliez à ce que votre ancien lave-vaisselle ne poseaucun risque à vos enfants. Il est arrivé que des enfants s'enferment
à l'intérieur de lave-vaisselles usages. Pour prévenir cette situation, brisez le système de verrouillage du lave-vaisselle et arrachez les cables électriques avant sa mise au rebut.
En cas de dysfonctionnement
- Tout défaut de fonctionnement du lave-vaisselle doit imperativement être réparé par une personne qualifiée. Toute réparation réalisée par une personne autre qu'un technicien de service après vente agrée entrainera l'annulation de la garantie.
- Avant d'effectuer toute réparation sur le lave-vaisselle, prenez soin de la débrancher du réseau électrique. Coupez les fusibles ou débranchez le lave-vaisselle. Ne pas tirer sur le cable pour débrancher le lave-vaisselle. Prenez soin de fermer l'accuee d'eau.
Recommendations
- Pour ne pas gaspiller l'eau et l'énergie, enlevez les gros résidus d'aliments avant demettre la vaisselle dans la lave vaisselle. Mettez le lave-vaisselle en marche après l'avoir entièrement chargée
- N'utilisez le programme de trempage que si nécessaire.
- Installé les objets creux tels que les bois, verres et pots de manière à ce qu'ils soient tournés vers le bas.
- Il est conseillé de ne pas surcharger le lave-vaisselle et de ne pas y installer de la vaisselle de nature différente de cette indiquée.
Ne pas laver en lave-vaisse :
-
Cendres de cigarettes, restes de bougie, cirage, substances chimiques, matériaux à base d'alliages ferreux.
-
Fourchettes, cuillères et couteaux à manche de bois, de corne ou d'ivoire ou incrusté de nacre; objets collés, peinture, articles maculés de produits chimiques abrasifs, acides ou basiques.
- Objects de plastique ne résistant pas à la chaleur, écipients de cuivre ou étamés.
- Objects d'aluminium et d'argent (ils peuvent se décolorer ou se ternir).
- Certains verres fragiles, les porcelainines ornées de motifs décoratifs imprimés, qui s'estompent même après le premier lavage, certains articles de cristal, qui perdent leur transparence avec le temps, les couverts collés ne résistant pas à la chaleur, les verres de cristal au plomb 25-30 %, les planches à découvert, les articles fabriqués avec de la fibre synthétique.
- Les articles absorbants tels que les éponges ou les torchons ne sont pas lavables en lave-vaisse.
Attention :Prenez soit d'acheter des articles lavables en lave-vaisselle à partir d'aujourd'hui.
INSTALLATION DU LAVE-VAISSELL
Positionnement du lave-vaisse
Pour installer votre lave-vaisselle, prenez soit de désirir un endroit où vous pourrez facilement charger et décharger votre vaisselle.
N'installez pas votre lave-vaisse dans un lieu où la température ambiente peut descendre sous 0^ .
Avant de le positionner, sortie le lave-vaisselle de son emballage en respectant les averissements apposés sur celui-ci.
Positionnez le lave-vaisselle à proximé d'une arrivée et évacuation d'eau. Vous doivent installer votre lave-vaisselle de manière à ne pas modifier les raccords une fois ceux-ci effectués.
Ne saisissez pas le lave-vaisselle par la porte ou par le panneau de commande pour la déplacer.
Prenez soit de laisser un espace autour du lave-vaisselle de manière à pouvoir le déplacer facilement d'avant en arrêté pendant le nettoyage.
Prenez soit de ne pas coincer les tuyaux d'arrivée d'eau et de vidange en positionnant le lave-vaisselle. En outre, prenez soit de ne pas coincer le cable électrique sous le lave-vaisselle.
Réglez les pieds réglables du lave-vaisselle manière à ce qu'il soit à niveau et bien stable. Le bon positionnement du lave-vaisselle est essentiel pour une bonne ouverture et fermeture de la porte.
Si la porte de votre lave-vaisselle ne se ferme pas correctement vérifie que le lave-vaisselle est à niveau et stable sur le sol ; dans le cas contraire, positionnez le lave-vaisselle de manière stable en agissant sur les pieds régiables.
Raccordement d'eau
Vérifiez que l'installan de plomberie interieure convient à l'installation d'un lave-vaisselle. Nous vous recommendons
en outre d'installer un filtré à l'entrée de votre domicile, de manière à éviter qu'une contamination (sable, argile, rouille, etc.) évientuèlement transportée dans le réseau d'eau ou dans l'installation de plomberie interieure cause tout dommage au lave-vaisselle et à prévenir tous désagrémentes tels que le jaunissement de la vaisselle ou la formation de dépôts après le lavage.

Tuyau d'arrivée d'eau
N'utilisez jamais le tuyau d'arrivée d'eau de votre ancien lave-vaisselle Utilisez le tuyau neuf fourni avec votre lave-vaisselle. Avant de raccorder le tuyau d'arrivée d'eau neuf ou longtemps inutilisé à votre lave-vaisselle, faites couler de l'eau dans celui-cipendant un moment. Raccorder à la main le tuyau d'arrivée d'eau directement au robinet d'arrivée. La pression au robinet doit être au minimum de 0,03 Mpa et au maximum de 1 Mpa. Si la pression d'eau est supérieure à 1 Mpa, installez un dispositif réducteur de pression entre le robinet et le tuyau.
Une fois les raccords effectués, ouvrez le robinet à fond et vérifie l'étanchéité. Pour la sécurité de votre lave-vaisselle, prenez soin de plusieurs fermes le robinet d'arrivée après la fin de chaque programme.

NB :Certains modèles utilisent un système Aquastop. Si votre lavevaisselle est équipé de ce système, il y a du courant avec une tension dangereuse. Ne coupez jamais l'embout Aquastop et veillez à ce qu'il ne soit pas pié ou tordu.

Tuyau de vidange
On peut raccorder le tuyau de vidange, soit directement à une vidange fixe, soit au raccord spécial sous l'évier. Au moyen d'un tuyau coude spécial (si disponible), on peut vidanger la lavevaisselle directement dans l'évier en accrochant le tuyau coude au bord de l'évier. Ce raccordement doit se trouver à au moins 50 cm et au plus 110 cm du niveau du sol.
Avertissement : Lorsqu'un tuyau de vidange de plus de 4 m est utilisé, les ustensiles peuvent rester sales. Dans ce cas, notre société déclinera toute responsabilité.



Raccordement électrique
La prise avec terre de votre lave-vaisselle doit être raccordée à une prise avec mise à la terre dont la tension et l'intensité correspondant aux valeurs prévues (suivant les normes en vigueur). Si votre logement ne compte pas d'installation avec mise à la terre, faites réaliser ce type d'installation par un électricien qualifié. En cas d'utilisation sans mise à la terre, notre société dégagera toute responsabilité pour toute perte d'utilisation qui pourrait se produit.
Intensité du fusible interieur : 10-16 A.
Votre lave-vaisselle est configurée pour fonctionner en 220-240 V. Si votre domicile est en 110 V, intercalez un transformateur 110/220 V - 3 000 W. Le lave-vaisselle doit être débranché pendant le positionnement.
Utiliser en permanence la prise enduite fournie avec l'appareil. À basse tension, l'efficacité de votre lave-vaisselle est inférieure.
Si le cable d'alimentation est endommagé, il doit être remplace par le fabricant, son service après-vente ou une personne de qualification similaire, afin d'éviter un danger. Dans le cas contraire, des accidents peuvent se produit.
Pour des raisons de sécurité, assurez-vous de tousjours débrancher la prise à la fin du programme.
Afin d'eviter uneelectrocution, eviter de débrancher l'appareil lorsqu'vos mains sont mouillées
Débranchez toujours vous lave-vaisselle par la prise. Ne jamais tirer le cable électrique lui-même.
Installation sous un plan de travail
Si vous souhaitez installer votre lave-vaisselle sous un plan de travail, vérifie que vous disposez d'un espace suffisant sous le plan de travail et que l'installation électrique et la plomberie vous le permettent.1 Si vous jugez que l'espace sous le plan de travail de votre cuisine est suffisant pour installer votre lave-vaisselle, retirez le plan de travail du lave-vaisselle comme le montre l'illustration.2

Avertissement : Le support vertical sous lequel nous installerons notre lave-vaisselle ensorting son plan de travail doit être stable afin d'éviter tout déséquilibre.
Pour-retirer le plan de travail du lave-vaisselle, déposez les vis qui maintainnent le plan de travail situées à l'arrière du lave-vaisselle. Poussez ensuite le panneau 1 cm de l'avant vers l'arrière et soulevez-le.
Réglez les pieds du lave-vaisselle en fonction de la pente du
sol et du niveau.3 Installez votre lave-vaisselle en la poussant sous le plan de travail en prénant soin de ne pas plier ou écraser les tuyaux.

Avertissement : Une fois le plan de travail retire, le lavevaisselle doit être place dans un endroit fermé dont les dimensions sont indiquées (Voir fig. 4)
AVANT LA PREMIERE UTILISATION
- Vérifiez que les caractéristiques techniques du réseau électrique et d'alimentation en eau correspondant aux valeurs indiquées dans les instructions d'installation de la machine.
- Retirez tous les matériaux d'emballage de l'intérieur de la machine.
- Reglez l'adoucisseur d'eau.
- Ajoutez 2 kg de sel dans le compartment à Sel et replisssez-le d'eau à ras bord.
- Remplissez le compartment à produit de rincage.
Importance de la quantité de calcaire dans l'eau
Pour un bon résultat, le lava-vaisselle doit fonctionner avec de l'eau adoucie, moins calcaire. A défaut, des résidus de calcaire blancs se déposeront sur la vaisselle et à l'intérieur de la machine, ce qui affectera négativement la performance de lavage et de rincege de la machine et le brillant de la vaisselle. Quand l'eau traverse l'adoucisseur, elle est débarrassée des ions responsables de sa durée et atteint le degré de douceur désiré pour obtenir le meilleur résultat de lavage. Selon le degré de durété de l'eau, ces ions s'accumulent rapidement à l'intérieur de l'adoucisseur. Il faut donc régénérer le système adoucisseur avec du sel pour lavage-vaisselle de manière à ce qu'il fonctionne aussi bien au cours du lavage suivant.
Chargement du sel dans le réservoir de I'adoucisseur d'eau
Utilisez du sel spécifique pour adoucisseur de lave-vaisselle. Pour metre le sel dans le réservoir de

l'adoucisseur, enlevez d'abord le panier inférieur, puis devissez le bouchon en le tournant dans lesens inverse des aiguilles d'une montre.1 et 2
A la première utilisation du lave vaisselle, remplissez le réservoir avec 2 kg de sel et completer avec de l'eau jusqu'àau niveau haut du réservoir.
Si l'entonnoir 4 est livre avec le
lave vaisse, il facilitera le
reemplissage du sel.
Nettoyer le filetage et revissez le
bouchon. Enlevez
impératifement le sel ayant pu tomber à coté du réservoir, sur le fond inox. Si vous ne faites pas de lavage immédiatement après avoir mis du sel, mettez en marche un programme court de lavage avec une machine vide afin d'éviter d'endommager l'intérieur du lave



vaisselle (corrosion) en raison du débordement de sel dans l'appareil lors du remplissage du réservoir. Ainsi, le surplus de sel sera immédiatement enlevé au moment de l'opération de lavage.
Lorsque vous commencez à faire fonctionner votre lave-vaisselle, le réservoir du sel se remplit d'eau. Pour cette raison, mettez le sel dans le réservoir avant de commencer à utiliser votre apparéil ( comme indiqué ci-dessus)
Si vous mettez du sel en tablette dans le réservoir, ne le remplissez pas entierement. Nous vous recommendons d'utiliser du sel en grains ou en poudre.
Ne mettez jamais du sel de tableans yours leave vaiselle. Dans le cas contraire, la fonction de l'adoucisseur peut diminuer au fil du temps.
Quand le témoin indicateur de sel qui se trouve sur le panneau de commande s'allumera, replisssez à nouveau le réservoir de sel.
Bande test de contrôle de la durée de l'eau
L'efficacité de lavage de votre lave vaisselle dépend du degré de duréte de l'eau de robinet. Pour cette raison, votre lave vaisselle est équipée d'un système qui réduit la durée de l'eau d'alimentation. L'efficacité du lavage augmentera avec un bon réglage du système. Pour en connaître le niveau de duréte de l'eau dans votre région, contactez votre fournisseur d'eau. Vous pouvez aussi faire le test avec la bande test de contrôle (si livre avec votre lave vaisselle). Ce contrôle vous permettra modifier la réglage de l'adoucisseur.
| Ouvrez la bandelette de contrôle | Faites couler l'eau du robinet pendant 1 min. | Plongez la bandelette de contrôle dans l'eau pendant 1 sec. | Retirez la bandelette de contrôle et secouez-la. | Attendez 1 min. | Réglez votre machine en fonction du degré de durété de l'eau constaté. |

Réglage de l'adoucisseur
Réglez l'adoucisseur d'eau en fonction du degré de durée de l'eau du robinet.





Placez la manette du sélecteur de programme sur 0 (Reset) pendant que vous machine n'est pas en service.

Appuyez sur la touche Départ/Pause et maintenez-la appuyée. 2

Tout en maintainant la touche Départ/Pause appuyée, mettez la machine sous tension en appuyant sur le bouton Marche/Arrêt 4

Maintenez la touche Départ/Pause appuyée jusqu'à ce que les témoins lumineux de déroulement du cycle s'allument et s'éteignent.2

Une fois que les témoins lumineux « 3h-6h-9h-12h » ont clignoté, relâchéz le bouton Départ/Pause.
Votre machine affiche le dernier réglage de durété sélectionné.

Voussoupiezmodifierlesreglagesenappuyant surla toucheDepart/Pause.2

Après avoir ajusté le niveau de durée de l'eau, appuyez sur le bouton Marche/Arrêt pour garder en mémoire le réglage.4
Voupe zier le reglage selectionne en observant les indicateurs lumineux 3h-6h-9h-12h.

niveau 1 : témoin lumineux 3h.
niveau 2 : témoin lumineux 6h.
niveau 3 : témoin lumineux 9h.
niveau 4 : témoin lumineux 12h.
niveau 6 : témoins lumineux 6h-12h s'allument.
Tableau des réglages en fonction de la durée de l'eau
| Dégré de durété de l'eau | Dureté allemandedH | Dureté français dF | Dureté britannique dE | Indicateur de réglage |
| 1 | 0-5 | 0-9 | 0-6 | fémin lumineux Lavage allumé. |
| 2 | 6-11 | 10-20 | 7-14 | fémin lumineux Rince age allumé |
| 3 | 12-17 | 21-30 | 15-21 | fémin lumineux Sèchage allumé. |
| 4 | 18-22 | 31-40 | 22-28 | fémin lumineux Fin allumé. |
| 5 | 23-31 | 41-55 | 29-39 | fémin lumineux Lavage allumé.fémin lumineux Fin allumé. |
| 6 | 32-50 | 56-90 | 40-63 | fémin lumineux Rince age allumé.fémin lumineux Fin allumé. |
Si le degré de durete est supérieur à 90 dF (durete française) ou si vous utilisez de l'eau du puit, nous préconisons d'utiliser un filtre et un dispositif de traitement de l'eau.
NB: le degré de durée de l'eau est réglé au niveau 3 en Usine.
Detergent
Utilisez un détermagent spécifique concu pour lave-vaisse domestique.
Des produits de nettoyage contenant des phosphates et du chlore sont proposés sur le marché.
Placez le détergent dans le compartment avant de démarrer la machine. Conservez les détergents dans des endroits frais et secs, hors de portée des enfants.
Mettez les quantités appropriées afin de préserver l'environnement. Ne pas replir le compartment à détergent plus que nécessaire, faute de quoi vos verres pourraient se rayer et le détergent pourrait mal se dissoudre.
Pour de plus amples informations sur le détermgent que vous utilisez, adressez-vous directement au fabricant du détermgent.
Remplissage du compartment à dédTangent

Pousser le loquet pour ouvrir le compartment à détergent comme indiqué sur l'illustration. On peut mesurer la bonne quantité de détergent au moyen des lignes inscrites dans le bac à détergent. Le bac à détergent peutContainir

jusqu'à 40 cm³ de détergent. Ouvrir l'emballage de détergent pour lave-vaisselle et verser dans le grand compartment prélavage! 25 cm³ de détergent si vous vaisselle est très sale ou 15 cm³ si elle peu sale. Si vous vaisselle est restée seche pendant
très longtemps, si elle contient des résidus d'aliments secs et si vous avez surcharge le lave-vaiselle, versez à 5 cm³ de détergent dans le compartment de prélavage et démarrez votre machine.
Selon le dege de salet de vaisselle et la durete de I'eau dans voire region you devrez moduler la quantite de detergent dans voire machine.
Detergents combinés
Les fabricants de détergent proposent également des détergents combinés dénommés 2 en 1, 3 en 1, 5 en 1 ...
Les déterments 2 en 1 contiennent du déterment + du sel ou du produit de rincege. En utilisant les déterments 2 en 1, il faut tener compte des fonctions de la tablette.
Les autres détergents en tablettes comportent du détermgent + du produit de rinçage + du sel + diverses autres fonctions.
De manière générale, les détergents combinés donnent des résultats suffisants dans certaines conditions d'utilisation uniquement. Ces détergents contiennent du produit de rinçage et/ ou du sel dans des quantités prédéfinies.
Enutilisant ce type de produits :
- Toujours veiller à vérifier les caractéristiques du produit que vous allez utiliser et s'il s'agit d'un produit combiné.
- Vérifiez que le détergent utilisé convient à la durée de l'eau du réseau auquel la machine est raccordée.
- Suívez les instructions figurant sur l'emballage de ces produits.
- Si ces détergents seprésentent en tablettes, ne les placez jamais dans la cuve du lave-vaisselle ou dans le panier à couverts. Placez toujours les tablettes dans le compartment du distributeur de détergent.
- Ces détergents ne donnent de bons résultats que pour certains types d'utilisation. Si vous utilisez ce type de détergents, vous doivent contacter le fabricant et vous renseigner sur les bonnes conditions d'utilisation.
- Contactez le fabricant du détergent si vous n'obtenez pas de bons résultats de lavage (si vous vaisselle présente des dépôts de calcaire ou si elle reste humide) après avoir utilisé des détergents 2 en 1 ou 3 en 1. La garantie de votre machine exclut toutes réclamations dues à l'utilisation de ces types de détergents.
Usage conseilé : Pour de meilleurs résultats en utilisant des détergents combinés, mettez quand même du sel et du produit de rinceage dans votre machine et reglez la dureté de l'eau et le doseur de produit de rinceage à la position la plus BASSE.

Pour les programmes courts, il est préférible d'utiliser des détergents en poudre plutôt que des tablettes. En effet, selon les fabricants, les tablettes se dissolvent différemment en fonction de la température et la durée du cycle de lavage.
Attention: Si en utilisant ce type de dédTangent vous rencontres un problème quelconque que vous n'avez pas rencontres auprèsavant, contactez directement le fabricant du dédTangent.
Quand vous arrêtez d'utiliser des détergents combinés
- Remplissez les compartments à Sel et à produit de rincege.
- Reglez la durée de l'eau à la position la plus élevé et faites un lavage à vide.
- Reglez la durée de l'eau.
- Procedez au réglage voulu du doseur de produit de rinceage.
Remplissage du compartment à produit de rincege et réglage du doseur
On utilise du produit de rincege pour empêcher le dépôt de gouttes d'eau blanchâtres, de traces de calcaire et d'une pellicule blanche et pour un meilleur rincege. Contrairement à une opinion repandue, I ne sert pas uniquement à obtenir une vaisselle plus brillante mais également une vaisselle plus seche. C'est pourquoi il faut veiller à maintainir une quantité suffisante de produit de rincege dans le compartment et à n'utiliser que des produits spécifique concus pour lave-vaisselle.


Pour verser le produit de rinceage, devissez le bouchon du compartment. Remplissez le compartment jusqu'à ce que l'indicateur de niveau de produit de rinceage noircisse(2b). Revissez le couvercle de manière à ce que les picots correspondent. Vous pouvez vérifier si vous doivent ajouter ou non du produit de rinceage dans votre machine au moyen de l'indicateur de niveau de
produit de rinceage situé sur le distributeur de détergent. Si l'indicateur est noir le compartment contient suffisamment de produit de rinceage, tandis que si l'indicateur est clair « vous neces ajouter du produit de rinceage. On peut régler le doseur de produit de rinceage de 1 à 6. Le doseur est régèle à la position 3 en usine.

Vous doivent utiliser un réglage plus élevé si des taches d'eau se forment sur votre vaisselle après un lavage et un réglage plus faible s'il reste une tache bleue quand vous l'essuyez avec la main.
Attention: N'utilisez que des produits de rinceage adaptés à l'usage en machine. En cas de débordement, les résidus de produit de rinceage créé une grande quantité de mousse et les résultats de lavage s'en trouvent affectés : nettoyez l'excedent de produit de rinceage avec un chiffon.
CHARGEMENT DU L AVE-VAISSELL
Si vous mettez correctement votre vaisselle dans la machine, vous l'utiliserez de la(Meilleure façon en termes de consommation d'énergie et de performance de lavage et de séchage.
Votre machine contient deux paniers de chargement. Vous pouvez utiliser le panier inférieur pour installer les ustensiles ronds et profonds tels que les pots à poignées longues, les couvercles, les assiettes, les casseroles, les couverts.
Le panier supérieur est destiné au chargement des soucoupes, des assiettes à dessert, des bols, des tasses et des verres. Inclinez les verres à pied contre le bord du panier, les grilles mobiles, ou le grillage de maintainen des verres et non pas contre les autres ustensiles. Ne pas incliner les verres hauts les uns contre les autres; il ne seront pas stables et pourrait être endommages.
Il est préférable d'installer les objets fins et étroits dans les parties médianes des paniers.
Vous pouvez placer les cuillères parmi les autres couverts pour les empêcher de se coller les unees aux autres. Pour un meilleur résultat, nous vous conseillons d'utiliser la grille a couverts.
Pour éviter toutes blessures éventuelles, placez toujours les objets pointus et à long manche tels que les fourchettes de service, couteaux à pain, etc. la pointe en bas ou horizontally dans les paniers.
Attention : Placez vos couverts dans la machine de maniere à ce quils n'empêchent pas la rotation des bras de lavage inférieur et supérieur.
Grilles mobiles
Ces grilles sont conçues pour augmenter la capacité du panier du haut. Vous pouvez utiliser ces grilles en position ouverte ou fermée (a/b). Vous pouvez placer vos verres et vos tasses au dessus des grilles amovibles lorsqu'elles sont baissees. Cela vous permettra de placer des verres de différentes tailles en dessous. Vous pouvez aussi placer des couverts de grandes tailles horizontallyment sur ces supports au lieu de lesmettre dans le panier de couverts,afin de ne pas bloquer les bras de lavage.

Autres chargements des paniers
Panier inférieur


Panier supérieur

Mauvais chargements




Remarque importante pour les laboratoires de test
Pour de plus amples informations relatives aux tests de performance, veuillez vous renseigner à l'adresse ci-après : dishwasher@standardtest.info . Dans votre courrier électronique, veuillez indiquer le nom du modulo et le numéro de série (20 chiffres) disponibles sur la porte de l'appareil.
DESCRIPTION DES PROGRAMMES
Contenu des programmes
| Numéro de programme | Référence | |||||
| Nom du programme et température | Trempage (Prélavage) Rapide 30 min. 40°C | Eco 50°C | Rapide 50 min. 65°C | Intensif 65°C | Extra Intensif (Trempage+ Intensif 70°C) | |
| Type de résidus alimentaires | Trempage pour rincer la vaisselle et detacher les résidus en attendant un chargement complet. Choisissez ensuite un programme. | Café, lait, thé,viande froide ou légumes qui n'ont pas attendu longtemps. | Café, lait, thé,viande froide ou légumes qui n'ont pas attendu longtemps | Soupe, sauce, pâtés, oeuf, riz, pommes de terre et plats cuisinés au four, alimentés frits. | Soupe, sauce, pâtés, oeuf, riz, pommes de terre et plats cuisinés au four, alimentés frits. | Soupe, sauce, pâtés, oeuf, riz, pommes de terre et plats cuisinés au four, alimentés frits. |
| Degré de saleté | - | Peu sale | Moyennement sale | Moyennement sale | Très sale | Très sale |
| Quantité de détergent B: 25 cm3/15 cm3A: 5 cm3 | -B A+B A+B A+B A+B | |||||
| trampoline fin | Lavage 40 °C | trampoline lavage 50 °C | lavage 65 °C | Lavage 45 °C | Trempage 50 °C | |
| rinçage froid | Rinçage tiège | Lavage 65 °C | Lavage 70 °C | |||
| rinçage chaud | Rinçage chaud | Rinçage froid | Rinçage froid | |||
| fin | Sechage Fin | Fin | Rinçage chaud | Rinçage tiège | ||
| Sechage fin | Rinçage chaud | |||||
| Sechage fin | Sechage fin |
| Durée du programme (min.) | 15 | 30 | 155 | 50 | 110 | 124 |
| Consommation d'électricité (kW hours) | 0,02 | 0,90 | 1,00 | 1,35 | 1,55 | 2,0 |
| Consommation d'eau (litres) | 4,5 | 12.4 | 12,0 | 12,7 | 17.2 | 21,2 |
Attention Les programmes courts n' incluent pas de cycle de séchage.
Les valeurs ci-dessus sont les valeurs obtenues en conditions de laboratoire conformément aux normes applicables. Ces valeurs peuvent changer en fonction des conditions d'utilisation du produit et de l'environnement (tension du réseau, pression d'eau, température d'arrivée d'eau et température ambiente).
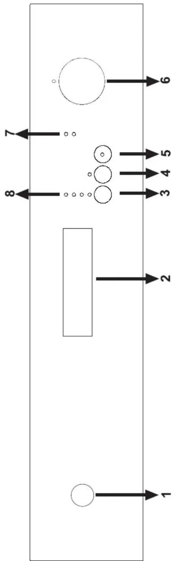
APPRENEZ A CONNAITRE VOTRE MACHINE

1.) Touche Marche/Arrêt
2.) Poignée de la porte
Quand on appuie sur la touche Marche/Arrêt, le témoin lumineux situé sur la touche Départ/ Pause s'allume.
La poignée de la porte sert à ouvrir/fermer la porte de la machine.
3) Touche Ropert différent
Grace à cette option, vous pouvez différer le départ de votre lave.
vaisselle de 3-6-9-12 heures.
Quand on appuie sur la touche"Départ différé", le témoin
lumineux 3h s'allume. Pour obtaining l'indication 6h, 9h ou 12h,
nouveau sur la touche Départ/Pause, le témoin lu resté allumé, et le témoin Départ/Pause clignote.
- Si vous appuyer sur la touche "Départ différé" quand
l'indicateur 12h est allumé, l'indicateur "Départ différé"
s'eteint. Si vous appuyez alors sur "Départ/Pause", le
programme démarre sans aucun-delai. - Si vous avez choisi de différer le début du programme, vous
I could see that he was still in the room, but I could not tell him why.
Par exemple, si vous selectionnez 12h, l'indicateur lumine 12h s'allume. Quand il ne reste plus que 9h, le现代农业
s'allumant. De cette façon, vous pouvez suivre le temps
restant avant le départ du cycle.
4.) Touche Préavage (Trempage)
Si vous sélectionné un programme avec trempage, vous pouvez
améliorer la qualité de lavage de votre vaisselle. Si vous
sLECTIONnez cette option, la température et le temps de certains
programmes seront ajustés.
Note 1: Si vous souhaitez ne faire qu'un cycle tremp
appuyez sur le bouton Trempage, placez le curseur du
programmateur sur "annulation" et appuyez sur "Départ
Pensez à rappuyer sur le bouton Trempage une fois le cycle
Note 2: Si vous avons activé une option dans votre précédente
utilisation et que vous ne souhaitez plus l'utiliser, pensez à la
désactiver. Pour cela, rappuy
l'indicateur lumineux s'estint.
5.) Touche Départ/Pause
Quand on appuie sur la touche Départ/Pause, le programme
choisi au moyen de la manette de selection des programmes
démarre et le témoin lumineux Lavage s'allume. Si on appuie à
6.) Manette de selection des programmes
Vou puez selectionner un programme adapte a votre vaiselle
au moyen de la manette de selection des programmes.
7.) Temoin lumineux du niveau de sel regénérant
Quand le témoin du sel s'allume, veillez à replir le c
du sel.
Témoin lumineux du niveau de liquide de rincege
Quand le témoin du liquide de rincege s'allume, veillez à replir
le compartment du liquide de rinceage.
Note 3: Pendant le lavage, quand le détergent 3 en 1 est utilisé, les tiempoires de sel et le liquide de rinceau sont s'óteindre, même
les temoins de ser et le liquide de rinceage dont s'estimate, memeisil n'a pas sufisfication de selou ou deliquide da rinceage dans la
S irry a pas surnisament de ser ou de liquide de finiage dans la machine.
8.) Témoin lumineux de déroulement des programmes Vare monn en couillie le déroulement du programme en coude.
vous pouvez surveilier le déroulement du programme au moyen des périques.
des temoins
Lavage
Rinçage
- Sechage
- Fin
Option Sécurité infant
Pour activer l'option sécu
Départ/Pause et Départ différé simultanément pendant 4
seconds. Une fois cette option activée, levoyant "3h" clignote 2
fois. Pour désactiver l'option, refaire cette opération. Levoyant
"3h" se remet à clignoter 2 fois pour confirmer que l'option est
désactivée.
MISE SOUS TENSION ET CHOIX D'UN PROGRAMME

Mise de la machine sous tension
Contrôle du déroulement du programme
Vouss pouvez contrcler le déroulement du programme au moyen des indicateurs lumineux de déroulement du cycle situés sur le panneau de commande.

Modifier un programme
Si vous voulez modifier un programmependant qu'un programme de lavage est commencé.

Modifier un programme avec remise à zéro
Si vous désirez annuler un programme et démarrer un autre programme de lavage.





Mise de la machine hors tension
NB : Vous pouze entrouvir légèrement la portepour accélérer le séchage une fois le programme de lavage terminé.
NB: En cas d'ouverture de la porte de la machine pendant le lavage ou de coupure de courant, la machine reprendra le programme une fois la porte fermée ou le courant rétabli.
ENTRETIEN ET NETTOYAGE
Le nettoyage régulier de la machine prolonge sa durée de vie.
De laGRAisse et du calcaire peuvent s'accumuler dans la cuve. Dans ce cas :
-Remplissez le compartment à détergent sansmettre de vaisselle dans la machine, Sélectionnez un programme qui fonctionne à haute température et mettez la machine en route. Si cette procédure se révèle insuffisante, utilisez des produits de nettoyage spéciaux disponibles sur le marché. (Produits de nettoyage spécial lave-vaiselle).
Nettoyage des joints de porte
-Pour nettoyer tous résidus accumulés dans les joints de porte, essuyez les joints régulierement avec un chiffon humide.
Nettoyage de la machine
Nettoyez les filtres après chaque lavage et les bras de lavage au moins une fois par semaine.
Débranchez votre machine et fermez le robinet d'arrivée d'eau avant de commencer le nettoyage.
N'utilise pas de produit abrasif. Essuyez avec un produit doux et un chiffon humide.
Filtres
Vérifiez si des résidus d'aliments se sont accumulés dans le filtré et le microfiltre.
En cas de présence de tous résidus, retirez les filtres et nettoyez-les soigneusement à l'eau courante.
a. Microfiltretre extérieur
b. Filtre à déchets interieur
c. Filtre tamis métal ou plastique


Pour extraire et nettoyer le groupe filtrant, tournez-le dans le sens des aiguilles d'une montre et retirez-le en le soulevant.
Tirez et retirez le filtrre métal ou plastique. 3 Séparez ensuite le filtrre à déchets et le microfiltre.2 Rincez-le abondamment à l'eau courante. Réinstallé le filtrre à déchet dans le microfiltre en faisant attention de bien faire correspondre les repères. Fixez le microfiltre sous le filtrre métal ou plastique et tournez-le dans le sens de la flèche ; l'ensemble est verrouillé quand on peut voir la flèche sur le microfiltre. 4
- N'utilisez jamais votre lave-vaissselle sans filtré.
- Une installation incorrecte du filtré diminuera l'efficacité de la machine.
- La propriété des filtres est essentielle au bon fonctionnement de la machine.


Bras de lavage
Vérifiez que les giclleurs des bras de lavage supérieur et inférieur ne sont pas bouchés. En cas d'obstruction, retirez les bras de lavage et nettoyez-les à l'eau courante.
Le bras de lavage inférieur se retire en le tirant vers le haut. Pour le bras de lavage supérieur, retirez l'écrou en le tournant vers la gauche. Veillez à parfaitement serrer l'écrou en réinstallant le bras de lavage supérieur.
Filtres du tuyau d'arrivée d'eau
Le filtr de tuyau d'arrivee d'eau empoeche que voite machine soit endommagee par toute contamination (sable, argile, rouille, etc.) eventuallment transportee dans le reseau ou l installation de plomberie interieure et previent tous desagrements tels que le jaunissement ou la formation de depots apres le lavage. Verifiez regulierement les filtres et le tuyau d'arrivalde eau et nettoyz-les si necessaire. Pour nettoyer les filtres, fermez le robinet et retirez le tuyau. Retirez le filtr du tuyau alsio que le filtr du cot de I'entree du lave vaisselle et nettoyz-les a I'eau courante. Reinstallez les filtres propres dans leurs logements et reinstalle z the tuyau.
QUE FAIRE EN CAS DE PANNE
| CODES DE DySFONCTIONNEMENT | DESCRIPTION | CONTROL | ||||
| Lavage | Rinçage | Séchage | Fin | Départ/pause | ||
| Absence d'arrivée d'eau | Vérifiez l'ouverture complète du robinet et l'absence de coupure d'eau.Fermez le robinet, retirez le tuyau et nettoyez les filtres à l'extrémité de raccordement de celui-ci.Redémarrez votre machine et contactez le service après vente si le problème se produit. | |||||
| Arrivée d'eau intermittente | Fermez le robinet.Contactdez le service après vente | |||||
| Impossible de vidanger l'eau usée dans la machine. | Le tuyau de vidange est bouché.Les filtres intéérients de votre machine sont peut-être bouchés.Eteignez puis rallumez votre machine et activez la commande d'annulation de programme.Si le problème persististe, contactez le service après vente | |||||
| Impossible d'atteindre la température d'eau désirée | Contactez le service après vente. | |||||
| securité anti-débordement déclanchée | Eteignez votre machine. Fermez le robinet.Contactdez le service après vente. | |||||
| Carte électronique défectueuse | Contactez le service après vente | |||||
| Température de l'eau trop élevé | Contactez le service après vente | |||||
| Erreur diverter | Contactez le service après vente | |||||
| Sensor déflectieux | Contactez le service après vente | |||||
L'un des témoins lumineux de déroulement du cycle s'allume et le témoin lumineux Départ/Pause s'allume et s'éteint
La porte est ouverte. Fermez la porte.
Le programme ne démarre pas
- Vérifiez que la prise de courant est branchée.
- Vérifiez les fusions de votre installation.
- Vérifiez que le robinet d'arrivée d'eau est ouvert.
- Vérifiez que vous avez fermé la porte de la machine.
- Vérifiez que vous avez étéint la machine en appuyant sur le bouton Marche/Arret.
- Vérifiez que les filtres d'arrivée d'eau et les filtres de la machine ne sont pas bouchés.
Les témoins lumineux Lavage et Fin clignotent sans interruption
- L'alarme antidébordement est active.
- Fermez le robinet et contactez le Service après vente.
Les témoins lumineux de déroulement du cycle ne s'eteignent pas après une opération de lavage
Appuyez sur la touche Marche Arrêt pourmettre l'appareil hors tension
Il reste des résidus de détermgent dans le compartmenté à détermagent :
Vouaves introduit le detergent alors que le compartmentetait humide.Bienverifier que le compartment est sec avant demettre la lessive.
Il reste de l'eau à l'intérieur de la machine à la fin du programme
- Le tuyau de vidange est bouché ou plié.
- Les filtres interieurs sont bouchés.
- Le programme n'est pas encore terminé.
La machine s'arrête pendant une opération de lavage
- Panne de courant.
Coupure d'arrivée d'eau.
Programme en mode suspendu.
Des bruits de vaisselle remuée et des coups se font entendrependant une opération de lavage
- La vaisse n'est pas installée correctement.
Lebras delavage heurte la vaiselle.
Il reste des résidus d'aliments sur la vaisselle
La vaisselle est mal installée dans la machine ; l'eau aspergée par les bras de lavage n'atteint pas les endroits mal lavés.
Le panier est trop charge.
La vaisse se touche.
- Quantité de détérgent insuffisante.
- Programme sélectionné inadapté, température pas assez haute.
- Bras de lavage bouché par des résidus d'aliments.
- Filtres interieurs bouchés.
- Filtres mal positionnés.
Pompe de vidange bouchée.
Présence de taches blanches sur la vaissele
- Quantité de détergent insuffisante.
- Réglage du doseur de produit de rincege trop faible.
- Absence de sel régénérant malgré le fort degré de durée de l'eau.
- Réglage de l'adoucisseur trop faible.
- Couvercle du compartment à Sel mal fermé.
La vaisse ne seche pas
Programme sans séchage sélectionné.
- Réglage du doseur de produit de rincege trop faible.
Vaisseletireeavantla fin du cycle de sechage.Atendre que le témoin lumineux fin soit allumé avant d'ouvrir la portedlave-vaisselle.
Présence de taches de rouille sur la vaisse
- Vaisselle en acier inoxydable de mauvaise qualité.
Teneur en sel de I'eau de lavage elevée. - Couvercle du compartment à Sel mal fermé.
- Trop de sel introduit dans la machine au moment du replissage. Du sel a débordé dans la cuve.
- Mise à la terre défectueuse.
Appelez le service après vente si le problème persiste après les contrôle ou en cas de tout dysfonctionnement non décrit ci-dessus.
INFORMATIONS PRATIQUES ET UTILES
-
Chaque fois que vous n'utilisez pas votre machine :
-
Debranchez la machine et coupe l'eau.
- Laissez la porte légèrement entrouverte pour empêcher la formation d'odeurs désagréables.
-
Maintenez l'intérieur de la machine propre.
-
Elimination des gouttes d'eau sur la vaisselle:
- Lavez la vaisselle avec le programme intensif.
-
Retirez tous les recipients métalliques de la machine.
N'ajoutez pas de détergent. -
Si vous positionnez correctement votre vaisse dans la machine, vous l'utiliserez au mieux en termes de consommation d'énergie et de performance de lavage et de séchage.
- Retirez les gros résidus avant d'installer la vaisselle sale dans la machine.
- Faites fonctionner la machine une fois qu'elle est entièrement pleine.
- N'utilisez le programme de Trempage que si nécessaire.
- Consultez les informations sur les programmes et le tableau des valeurs de consommation moyennes quand vous choisissez un programme.
- La machine pouvant atteindre des températures élevées, il est déconseilé de l'inşter à côté d'un réfrigérateur.
- Si l'appareil se trouve dans un endroit où le risque de gel existe, vous nevez complètement vider l'eau restée dans la machine. Fermez le robinet d'arrivée d'eau, débranchez le tuyau d'arrivée d'eau etMETRE les 2 tuyaux par terre (arrivee d'eau et vidange) afin d'évacuer le maximum d'eau.Ensuite, enlever le filtretre interieur, et eliminer I'eau restant d'eau a I'aide d'une éponge.
FICHE PRODUIT
| Marque déposée du fournisseur | WELLINGTON |
| Modèle du fournisseur | WLV-2147 |
| Capacité du lave-vaiselle (name de couverts) 12 | |
| Classe d'efficacité énergétique A+ | |
| Consommation d'énergie annuelle en kWh (cEA) (cycle 280) * 285 | |
| Consommation d'énergie (Et) (kWh par cycle) 1,00 | |
| Consommation d'électricité en mode Arrêt (W) (Po) 0,05 | |
| Consommation d'électricité en mode Laisse sur Marche (W) (Po) 1,00 | |
| Consommation d'eau annuelle en litres (cEA) (cycle 280)** 3360 | |
| Classe d'efficacité de séchage *** A | |
| Nom du programme standard**** Eco 50°C | |
| Durée du programme pour le cycle standard (min) 155 | |
| Emission acoustique dans l'air dB(A) 47 |
- Consommation d'énergie de 285 kWh par an, sur la base de 280 cycles de lavage standard, en utilisant un remplissage d'eau froide et la consommation en mode faible.
La consommation energetique reelle depend des conditions d'utilisation de I'appareil.
** Consommation d'eau de 3360 litres par an sur la base de 280 cycles de lavage standard.
La consommation réelle d'eau dépend des conditions d'utilisation de l'appareil.
*** Classe d'efficacité de séchage A sur une échelle graduée de G (moins efficace) à A (plus efficace).
**** Le programme "Eco 50^ " est le programme standard.
Le programme standard correspond au cycle de lavage standard auquel se rapportent les informations qui figurent sur l'étiquette et sur la fiche.
Ce programme convient au lavage d'une vaisselle normalement sale et constitue le programme le plus efficace en termes de consommation combinées d'énergie et d'eau.

- Cet apparéil est marqué du symbole du tri sélectif relatif aux déchets d'équipements électriques et électroniques.
- Cela signifie que ce produit doit être pris en charge par un système de collecte sélectif conformément à la directive française 2002/96/CE afin de pouvoir soit être recyclé soit démantelé afin de réduire tout impact sur l'environnement.
- Pour plus de renseignements, vous pouvez contacter notre administration locale ou régionale.
- Les produits électroniques n'ayant pas fait l'objet d'un tri sélectif sont potentiellement dangereux pour l'environnement et la santé humaine en raison de la présence de substances dangereuses.
- Poids net 46 kg
Notice Facile