Neo Blue - Chauffe-bouteille TERRAILLON - Notice d'utilisation et mode d'emploi gratuit
Retrouvez gratuitement la notice de l'appareil Neo Blue TERRAILLON au format PDF.
| Caractéristiques | Détails |
|---|---|
| Type de produit | Chauffe-bouteille |
| Compatibilité | Bouteilles de différentes tailles et formes |
| Température de chauffe | Jusqu'à 37°C |
| Temps de chauffe | Environ 3 à 5 minutes selon le volume |
| Alimentation | Secteur 220-240V |
| Utilisation | Idéal pour réchauffer le lait et les aliments pour bébés |
| Facilité de nettoyage | Compatible avec un nettoyage à l'eau |
| Sécurité | Arrêt automatique en fin de cycle |
| Dimensions | Compact, facile à ranger |
| Poids | Léger, facile à transporter |
| Accessoires inclus | Notice d'utilisation |
FOIRE AUX QUESTIONS - Neo Blue TERRAILLON
Questions des utilisateurs sur Neo Blue TERRAILLON
0 question sur cet appareil. Repondez a celles que vous connaissez ou posez la votre.
Poser une nouvelle question sur cet appareil
Téléchargez la notice de votre Chauffe-bouteille au format PDF gratuitement ! Retrouvez votre notice Neo Blue - TERRAILLON et reprennez votre appareil électronique en main. Sur cette page sont publiés tous les documents nécessaires à l'utilisation de votre appareil Neo Blue de la marque TERRAILLON.
MODE D'EMPLOI Neo Blue TERRAILLON
Service Consommateurs : 0 826 88 1789
serviceconsommateurs@terraillon.fr
Service Après Vente :
SAV TERRAILLON chez GEFCO
ZA La Porte des Champs
Bâtiment A
95470 SURVILLIERS
Terraillon UK Ltd
2 The Waterhouse
Waterhouse Street - Hemel Hempstead
Herts HP1 1ES - UK
Tel: +44 (01442 270444 - sales@terraillon.co.uk
Terraillon SRL
Vous venez d'acquérir ce produit et nous vous en remercions.
Nous vous en souhaitons un excellent usage et afin d'en obtenir entière satisfaction
nous vous recommandons de lire attentivement cette notice d'utilisation.
À LIRE AVANT UTILISATION
ENTRETIEN
- Ne pas plonger l'appareil, le cordon ni la prise dans l'eau ou tout autre liquide.
- Avant tout nettoyage, débrancher les prises et laisser l'appareil refroidir.
- Essuyer les prises et les composants électriques avec un chiffon sec.
- Pour éliminer les éventuels dépôts de calcaire, verser du vinaigre blanc dans le produit et laisser agir. Rincer abondamment et essuyer avec un chiffon humide doux. (A réaliser après une quinzaine d'utilisations environ).
- Nettoyer l'appareil avec une éponge savonneuse, rincer avec un linge humide.
- Ne jamais utiliser d'abrasifs ou de solvants au risque d'abimer l'appareil.
SÉCURITE
- Ne jamais utiliser l'appareil pour un usage autre que celui auquel il est destiné.
- Appareil réservé à un usage domestique uniquement.
- Tenir l'appareil hors de portée des enfants.
- L'utilisation de cet appareil par des personnes dont les capacités physiques, sensorielles ou mentales sont réduites doit être faite sous surveillance.
- Afin d'éviter d'endommager l'appareil, vérifier que le voltage indiqué sur l'appareil corresponde bien au voltage de l'endroit où on l'utilise.
- Afin d'éviter tout risque d'électrocution, d'incendie ou autre endommagement, ne jamais utiliser d'accessoire ou d'éléments provenant d'autres fabricants ou n'ayant pas été recommandés par Terraillon.
- Débrancher l'appareil avant de le nettoyer ou de le ranger et après chaque utilisation.
- Ne pas utiliser l'appareil si le câble d'alimentation, la prise ou d'autres éléments sont endommagés : ne jamais tenter de démonter l'appareil. Toutes les réparations doivent être effectuées par le fabricant, le service après vente du fournisseur ou un professionnel agréé.
- Penser à retirer le couvercle du petit-pot avant de le chauffer.
FONCTIONNEMENT
- Toujours utiliser l'appareil sur une surface plane et stable.
- Ne jamais placer l'appareil à proximité d'une source de chaleur telle qu'un four, une cuisinière ou un appareil de chauffage.
UTILISATION
- Ne jamais utiliser l'appareil s'il ne contient pas d'ingrédients.
• Vider l'eau après chaque utilisation. - Après chaque utilisation, certains éléments peuvent être encore chauds.
* Ne jamais utiliser l'appareil sans mettre deau dans la cuve.
* Ne pas utiliser l'appareil dehors.
* Ne pas déplacer l'apradeiht qu'il chauffe, ni quand il contient de l'eau chaude.
* Pour réchauffer les petits-pots, retirer le doseur et le remplir d'eau jusqu'au trait correspondant au petit-pot ■ Puis tourner le bouton de réglage sur la position correspondant au volume du petit-pot à chauffer. Ce chauffe biberon réchauffe des petit-pots de 130g à 200g.
* Attn: La graduation du doseur est applicable pour des biberons à température ambiante.
Conserver soigneusement ces instructions pour toute consultation ultérieure.
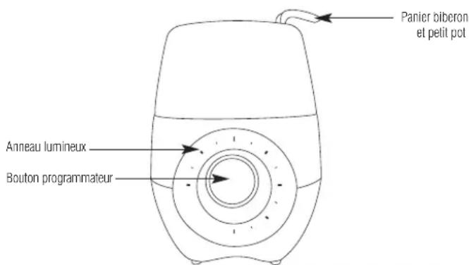
DESCRIPTION DU PRODUIT

text_image
Panier biberon et petit pot Anneau lumineux Bouton programmateurUTILISATION DU PRODUIT
1 - brancher l'appareil sur une prise de courant murale.
2 - retirer le doseur, le remplir d'eau jusqu'au trait correspondant au volumedà dibaften.
3 - le préchauffage n'est pas nécessaire.
4 - respecter les consignes de remplissage pour garantir une bonne température du biberon.
5 - tourner le bouton de réglage sur la position correspondant au volume d'ubbitéfer
6 - attention à la vapeur d'eau : ne pas mettre les mains au-dessus de la cuve ou dans la cuve au risque de brûlures.
7 - quand le cycle est termine, l'appareil s'éteint automatiquement. Attention en sortant le biberon ou le petit pot, ils sont chauds donc utiliser le panier fourni.
8 - débrancher l'appareil.
9 - l'appareil refroidi, vider l'eau restant dans la cuve, et essuyer-la, afin d'éviter le dépôt de calcaire.
10 - attendre au moins 15 minutes avant de remettre l'appareil en marche.

ATTENTION : bien remuer le biberon ou l'aliment avant de le donner à l'enfant et assurez-vous que la température n'est pas trop élevée. Pour un biberon, bien agiter ce dernier pour mélanger le lait. Verser quelques gouttes sur l'intérieur du poignet pour vérifier sa température. Pour un petit pot, mélanger son contenu et vérifier qu'il n'est pas trop chaud en le goûtant.
CARACTÉRISTIQUES TECHNIQUES
Puissance : 360 W
Voltage : 220-240 V \~ 50/60Hz
Made in China
PROTECTION DE L'ENVIRONNEMENT

En fin de vie, confier ce produit à un point de collecte pour le recyclage des déchets d'équipements électriques et électroniques.
GARANTIE
Ce produit est garanti contre les défauts de matériaux et de fabrication. Pendant la période de garantie, de tels défauts seront réparés gratuitement (la preuve d'achat devra être présentée en cas de réclamation sous garantie). Cette garantie ne couvre pas les dommages résultant d'accident, de mauvaise utilisation ou de négligence. En cas de réclamation, contacter en premier lieu le magasin où vous avez effectué votre achat.

Bottle warmer
Dear customer,
Notice Facile