PPE L3 - Balance de cuisine LISTO - Notice d'utilisation et mode d'emploi gratuit
Retrouvez gratuitement la notice de l'appareil PPE L3 LISTO au format PDF.
| Caractéristiques techniques | Balance LISTO PPE L3, capacité maximale de 300 kg, précision de 0,1 kg, affichage LCD rétroéclairé. |
|---|---|
| Utilisation | Conçue pour des pesées précises dans des environnements industriels et commerciaux, facile à utiliser avec des commandes intuitives. |
| Maintenance et réparation | Vérifier régulièrement l'étalonnage, nettoyer la surface de la balance avec un chiffon doux, éviter l'exposition à des conditions extrêmes. |
| Sécurité | Utiliser sur une surface plane et stable, ne pas dépasser la capacité maximale, éviter l'humidité excessive. |
| Informations générales | Garantie de 2 ans, conformité aux normes CE, support technique disponible en cas de besoin. |
FOIRE AUX QUESTIONS - PPE L3 LISTO
Questions des utilisateurs sur PPE L3 LISTO
0 question sur cet appareil. Repondez a celles que vous connaissez ou posez la votre.
Poser une nouvelle question sur cet appareil
Téléchargez la notice de votre Balance de cuisine au format PDF gratuitement ! Retrouvez votre notice PPE L3 - LISTO et reprennez votre appareil électronique en main. Sur cette page sont publiés tous les documents nécessaires à l'utilisation de votre appareil PPE L3 de la marque LISTO.
MODE D'EMPLOI PPE L3 LISTO
Notice d'utilisation
Pèse-personne électronique
PPE L3
CONSIGNES DE SECURITE
VEUILLEZ LIRE ATTENTIVEMENT LES INSTRUCTIONS AVANT D'UTILISER L'APPAREIL ET CONSERVEZ-LESPOUR POUVOIR LES CONSULTER LORSQUE VOUS EN AUREZ BESOIN.
- Cet apparéil est exclusivement destiné à un usage domestique. Tout autre usage (médical, professionnel, commercial, etc.) est exclu.
Il convient de surveiller les enfants pour s'assurer qu'ils ne jouent pas avec l'appareil. - Gardez cet apparéil à l'intérieur et dans un endroit sec.
N'immergez pas l'appareil dans I'eau ou tout autre liquide.
N'entreposez pas d'objets sur le pese-personne.
Pour éviter tout risque de blessure, ne montez pas sur les bords du plateau.
Pour éviter de glisser, assurez-vous que vos pieds ainsi que le plateau soit secs avant de monter sur le pèse-personne. - Ne démontez pas le pèse-personne.
- Evitez les vibrations ou chocs importants, tels que laisser tomber l'appareil sur le sol.
- Placez toujours votre pèse-personne sur une surface dure et plane. Evitez tapis et moquettes.
N'utilisez pas le pese-personne sur une surface glissante ou sur un sol humide. - Gardez l'appareil à l'écart des sources de chaleur (radiateurs, etc.) afin d'eviter la déformation des parties en plastique.
- N'exposez pas l'appareil à la lumière directe du soleil. Tenez-le éloigné de toute source de chaleur, de l'humidité, ou d'un changement radical de température.
- Ne stockez pas l'appareil en position verticale.
- Nettoyez le plateau en verre avec un nettoyant pour vitres. N'immergez pas le pèse-personne dans l'eau ou tout autre liquide.
RECYCLAGE DE LA PIL

Ne jetez pas la pile avec les ordures menagères. Afin de préserver l'environnement, débarrassez-vous de la pile conformément aux réglementations en vigueur.
Déposez-la dans votre contèur à piles le plus proche ou rapportez-les dans votre magasin.
- Ne recherche pas la pile, ne la demontez pas, ne la jetez pas dans un feu.
- Ne l'exposez pas à des températures élevées ou à la lumière directe du soleil.
- Ne l'incinérez pas.
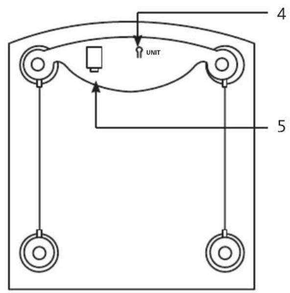
DESCRIPTION DE L'APPAREIL


- Ecran LCD
- Capteurs
- Plateau en verre
- Bouton de selection de l'unité de mesure (kg/lb/st)
- Compartiment de la pile
CHARACTERISTIQUES TECHNIQUES
Pese-personne électronique
Plateau en verre trempe
Ecran LCD:75x30mm
Affichage LCD
Unité de mesure: kg/lb/st
Capacité maximale : 150 kg
Capacité minimale: 6 kg
Precislon:100g
Fonctionne avec 1 pile au lithium CR2032 de 3V
Mise en marche automatique par pression du pied sur le plateau
Arrêt automatique
4 pieds anti-dérapants
Indicateur desurcharge
Indicateur de batterie faible
Dimensions: 290 × 280 × 22 ~mm
AVANT LA PREMIERE UTILISATION
SELECTION DE L'UNITE DE MESURE




Vous ave la possibilité de changer l'unité de mesure de votre poids. Ainsi, vous pouvezCHOISIR entre le kilogramme (kg) ou la livre (lb ou st-lb) en utilisant le bouton au dos de I'appareil (Cf. schema ci-contre).
INSERTION / REMPLACEMENT DE LA PILE

- Otez le couvercle du compartment à pile situé sous le pèse-personne.
- Retirez la pile usagée.
- Remplacez-la par une pile neue CR2032 au lithium.
- Placez la pile avec le pôle + vers le haut.
Notes :
Utilisez uniquement le type de pile indiqué ci-dessus.
- Retirez la pile si vous prévoyez de ne pas utiliser le pèse-personne pendant une longue période.
UTILISATION
PESEEE
- Posez le pèse-personne sur une surface plane et stable pour des raisons de sécurité et d'exactitude.
- Montez doucement sur le plateau et restez immobile jusqu'à ce que les chiffres se stabilisent. Voitre poids s'affiche.
- Descendez du pèse-personne.
INDICATEUR DE SURCHARGE

Si le pèse-personne est en surcharge, l'indication suivante apparaitra sur l'écran.
Retirez le poids immédiatement pour ne pas endommager votre pèsepersonne.
INDICATEUR DE PILE USAGEE

L'indication ci contre apparaitra sur l'écran lorsque la pile est usagée et doit être remplaçaée.
Toutes les informations, dessins, croquis et images dans ce document relevant de la propriété exclusive de SOURCING & CREATION. SOURCING & CREATION se reserve tous les droits relatifs à ses marques, créations et informations. Tout copie ou reproduction, parquelque moyen que ce soit, sera jugé et considéré comme une contrefaison.
Ce logo apposse sur le produit signifie qu'il s'agit d'un apparéil dont le traitement en tant que déchet rentre dans le cadre de la directive 2002/96/CE du 27 janvier 2003, relative aux déchets d'équipements electriques etlectroniques (DEEE).
La présence de substances dangereuses dans les équipements électriques et électroniques peut avoir des effets potentiels sur l'environnement et la santé humaine dans le cycle de retraitement de ce produit.
Ainsi, lors de la fin de vie de cet apparil, celui-ci ne doit pas etre débarrassé avec les déchets municipaux non triés.
En tant que consommateur final, votre role est primordial dans le cycle de réutilisation, de recyclage et les autres formes de valorisation de cet équipement électrique et électronique. Des systèmes de reprise et de collecte sont mis à votre disposition par les collectivités locales (décheteries) et les distributeurs.
Vouaves l'obligation d'utiliser les systèmes de collecte selective mis a votre disposition.
Conditions de garantie :
Ce produit est garantie contre toute defaillance resultant d'un vice de fabrication ou de matériel. Cette garantie ne couvre pas les vices ou les dommages resultant d'une mauvaise installation, d'une utilisation incorrecte, ou de l'usure normale du produit. La durée de garantie est specifiée sur la facture d'achat.
Notice Facile