B100ITBL - Four BAUMATIC - Notice d'utilisation et mode d'emploi gratuit
Retrouvez gratuitement la notice de l'appareil B100ITBL BAUMATIC au format PDF.
| Caractéristiques | Détails |
|---|---|
| Type de four | Four encastrable |
| Capacité | 70 litres |
| Type de cuisson | Chaleur tournante, grill, convection naturelle |
| Classe énergétique | A |
| Dimensions (L x P x H) | 60 x 55 x 60 cm |
| Poids | 35 kg |
| Matériau de la porte | Verre trempé |
| Fonctionnalités supplémentaires | Minuterie, éclairage intérieur, nettoyage par catalyse |
| Consommation d'énergie | 0,99 kWh (cycle conventionnel) |
| Sécurité | Porte froide, verrouillage de sécurité |
| Accessoires inclus | Grille, plat à rôtir |
| Garantie | 2 ans |
FOIRE AUX QUESTIONS - B100ITBL BAUMATIC
Téléchargez la notice de votre Four au format PDF gratuitement ! Retrouvez votre notice B100ITBL - BAUMATIC et reprennez votre appareil électronique en main. Sur cette page sont publiés tous les documents nécessaires à l'utilisation de votre appareil B100ITBL de la marque BAUMATIC.
MODE D'EMPLOI B100ITBL BAUMATIC
Cet appareil porte le symbole du recyclage conformément à la Directive Européenne 2002/96/CE concernant les Déchets d'Equipements Électriques et Électroniques (DEEE ou WEEE). En procédant correctement à la mise au rebut de cet appareil, contribuerez à empêcher toute conséquence nuisible pour l'environnement et la santé de l'homme.

Le symbole présent sur l'appareil ou sur la documentation qui l'accompagne indique que ce produit ne peut en aucun cas être traité comme déchet ménager. Il doit par conséquent être remis à un centre de collecte des déchets chargé du recyclage des équipements électriques et électroniques.
Pour la mise au rebut, respectez les normes relatives à l'élimination des déchets en vigueur dans le pays d'installation.
Pour obtenir de plus amples détails au sujet du traitement, de la récupération et du recyclage de cet article, veuillez vous adresser au bureau compétent de votre commune, à la société de collecte des déchets ou directement à votre revendeur.

Données techniques 69
Instructions d'installation 69-71
Bandeau 72
Éléments et opérations commandés par le sélecteur 73-74
Table de cuisson 75
Comment utiliser le grill 76
Comment utiliser le tournebroche 76
Minuterie à alarme sonore 77
Minuterie de fin de cuisson 120 minutes 77
Programmateur analogique 78
Horloge analogique 78
Programmateur électronique 79-85
Remplacement de la lampe à l'intérieur du four 86
Démontage de la porte 86
Accessoires à option 87
Nettoyage et entretien du four 88
Nous vous remercions de la confiance que vous nous avez témoignée en choisissant un de nos produits de qualité. Notre société souhaite vivement que vous puissiez profiter au mieux des prestations de cet appareil, prestations qui ont orienté votre choix.
C'est pour cette raison que nous vous invitons à suivre attentivement les instructions de ce manuel, en ne prenant en compte que les paragraphes concernant les accessoires et les instruments livrés avec votre appareil.
Données techniques
Appareil conforme aux normes pour la suppression des perturbations radioélectriques.
Tension d'alimentation
230 V a.c. - 50 Hz / 220 V a.c. - 60 Hz
Dimensions utiles du four
Hauteur : 340 mm
Largeur:440mm
Profondeur : 390 mm
Volume : 59 litres
Puissance des éléments chauffants
Pour le four Statique 1:
- Résistance du plateau: 1,3 kW
- Résistance du plateau: 0,9 kW
- Puissance maximale absorbée: 2,65 kW
Pour le four Statique 2:
- Résistance du plateau: 1,3 kW
- Résistance du plafond: 0,9kW
- Résistance du grill : 1,35 kW
- Puissance maximale absorbée : 2,25 kW
Pour le four Ventile :
- Résistance du ventilateur: 2,3kW
- Résistance du grill: 1,35 kW
- Puissance maximale absorbée : 2,38 kW
Pour le four Multifonction-Ventilé :
- Résistance du plateau: 1,3 kW
- Résistance du plafond: 0,9kW
- Résistance du grill : 1,35 kW
- Puissance maximale absorbée : 2,28 kW
Pour le four Multifonction :
- Résistance du plateau: 1,3 kW
- Résistance du plafond: 0,9kW
- Résistance du ventilateur: 2,3kW
- Résistance du grill : 1,35 kW
- Puissance maximale absorbée : 2,38 kW
Raccordement et encastrement
ATTENTION: l'appareil doit être installé par un technicien spécialisé, selon les normes en vigueur. L'appareil doit être débranché avant de procéder à toute intervention de réglage, entretien, etc.
Raccordement électrique
Vérifier que le voltage et la capacité de la ligne d'alimentation de l'habitation correspondent au voltage et à la puissance indiqués sur la plaquette fixée dans le socle du four et visible en démontant la porte.
Le four doit être branché au moyen d'un cable de section minimum de 1,5mm à l'arrête, en prévoyant un interrupteur omnipolaire conforme aux normes en vigueur, ayant une distance d'ouverture entre les contacts d'au moins 3mm.
Avertissement : cet appareil doit être branché à la terre.
Notre société décline toute responsabilité pour les accidents éventuels survenant aux personnes et aux objets provoqués par l'absence de raccordement à la terre ou par un raccordement à la terre défectueus.
Préparation du four et pré-utilisation
Avant d'utiliser le four, nettoyer soigneusement l'intérieur avec du savon non abrasif et de l'eau tiède. Insérer la grille et la léchefrite dans les guides correspondantes. Quand l'opération est terminée, placer le four à la température maximum pendant 20 minutes environ, pour éliminer les éventuels résidus de graisse, huile, résine de fabrication qui peuvent causer des odeurs désagréables pendant la cuisson et aérer le local.
Après avoir effectué cette simple opération, le four est prêt pour procéder à la première cuisson. IMPORTANT: Chaque fois que vous VOULEZ nettoyer le four, assurez-vous que le voyant lumineux soit éteint et que l'appareil soit parfaitement débranché.
Remarques importantes pour le montage
Pour l'encastrement respecter les dimensions indiquées à la fig. 1. Le four peut être placés sous le plan de travail ou en colonne, dans ce cas le meuble devra être prévu avec un jour de 80 / 90cm à l'arrière et au-dessus (fig. 1).
Attention: eloigner les enfants du FOUR pendant son fonctionnement.
La fixation du four sur le meuble s'effectue avec 4 vis "A" placées aux angles de l'encadrement de la porte du four. Ne pas saisir de la porte comme levier pour entrer le four dans le meuble. Ne pas exercer des pressions excessives sur la porte ouverte.
Encastrement pour le four ventilé et multifonction
Fig. 1
Encastrement pour le four statique

Fig. 1a
Bandeau



- Thermostat
- Commutateur
- Programmateur électronique
- Minuterie fin de cuisson
- Lampe verte
- Lampe jaune
- Minuterie à alarme sonore
- Programmateur analogique et Horloge analogique

Decongelation
La lumière du four et le voyant vert s'allument comme pour toutes les autres fonctions du four.
Le ventilateur se met en route, mais sans propagation de chaleur (le thermostat n'est pas en fonction). La porte du four doit être fermée. Ce type de fonction permet la décongélation des aliments en utilisant environ 1/3 du temps normalement employé.

Cuisson traditionnelle
Sélectionner la température désirée entre 50°C et 250°C.
Le voyant jaune s'allumera jusqu'à ce que la température programmée soit atteinte. On recommande de préchauffer le four avant d'introduire les aliments.

Cuisson ventilee
Le ventilateur et la résistance circulaire se mettent en route et la chaleur sélectionnée, au moyen du thermostat sur une température comprise entre 50°C et 250°C, est diffusée de façon régulière et homogène dans toutes les parties du four.
Il n'est pas nécessaire de préchauffer le four avant d'introduire les aliments. On peut cuire deux types de plats différents (ex. viande et poisson), en respectant évidemment les différents temps de cuisson.

GRILL central
Sélectionner au moyen du thermostat la température choisie, comprise entre 50°C et 250°C, en maintenant la porte du four fermée. Ce type de cuisson est spécialement indiqué pour les petites quantités d'aliments.

DOUBLE GRILL
Sélectionner au moyen du thermostat la température, comprise entre 50°C et 250°C, en maintenant la porte du four fermée ou semi-ouverte. Dans ce dernier cas, il faut utiliser le déflecteur. Ce type de cuisson est spécialement indiqué pour des plats consistants qui nécessitent l'action du grill sur toute la surface.

Ventilateur + GRILL
Régler le thermostat sur la température désirée comprise entre 50°C et 250°C. L'action du ventilateur, associée à l'action du grill, permet une cuisson rapide et en profondeur des plats particuliers.
On conseille de réchauffer le four pendant quelques minutes avant d'introduire les aliments.

Ventilateur + SOLE
Sélectionner la température désirée pour ce type de cuisson particulièrement délicate et lente.
On déconseille de préchauffer le four.

Cuisson traditionnelle + ventilateur
Sélectionner la température désirée comprise entre 50°C et 250°C, en maintenant la porte du four fermée. Ce type de cuisson est l'intégration entre cuisson conventionnelle et ventilée. Cuisson indiquée pour cuire (pain, pizza, lasagne).
On conseille de préchauffer le four.


Resistance SOLE
Sélectionner la température ajustée comprise entre 50°C et 250°C. Ce type de cuisson est particulièrement indiqué pour réchauffer les aliments.

Placer le thermostat entre 50°C et 250°C. Type de cuisson pour aliments particulièrement délicats et pour conserver la chaleur après la cuisson.

GRILL + Tournebroche
Sélectionner au moyen du thermostat la température, comprise entre 50°C et 250°C, en maintenant la porte du four fermée. L'insertion automatique du tournebroche s'effectue simultanément à l'allumage du grill.

Ventilation semi-forcee avec serpentin inférieur.
L'hélice démarre avec le serpentin inférieur. Le thermostat doit être pré-réglé à la température désirée. Il n'est pas nécessaire de préchauffer le four. Conçu pour chauffer ou cuire très lentement.

Cette fonction est conseillée pour cuire des pizzas et des plats avec légumes. Les résistances de sole et circulaires ainsi que le ventilateur s'allument en même temps.
| Table de cuisson | ||||
| Plat | Temp. en °C | Niveau *Grille | Temps en min. | |
| Gâteaux dans moule à pâté battue | Conseilè | Personelle | ||
| Galette, fouace | 175 2 55 | - 65 | ||
| Fouace | 175 3 60 | - 70 | ||
| Tarte | 175 3 60 | - 70 | ||
| Gâteaux dans moule de pâté brisée | ||||
| Fond de Tarte | 200 3 8 | - 10 | ||
| Tarte au fromage, cheesecake | 200 3 25 | - 35 | ||
| Tarte aux fruits | 200 3 25 | - 35 | ||
| Gâteaux dans moule à pâté levée | 180 3 30 | - 45 | ||
| Fond de Tarte | ||||
| Pain blanc 1 kg de farine | 200 3 25 | - 35 | ||
| Petites pâtisseries | ||||
| Pâte brisée | 200 3 10 | - 15 | ||
| Pâte à choux à la crème | 200 2 35 | - 45 | ||
| Pâte biscuit | 200 3 15 | - 20 | ||
| Lasagnes | 225 2 40 | - 50 | ||
| Viandes (temps de cuisson pour chaque cm d'épaisseur) | ||||
| Viandes rôties à cuisson longue (ex. veau rôti) | 200 2 120 | - 150 | ||
| Viandes rôties à cuisson brève (ex. Roast beef) | 200 2 60 | - 90 | ||
| Pain de viande | 200 2 30 | - 40 | ||
| Volailles | ||||
| Canard 1½ - 2 kg | 200 2 120 | - 180 | ||
| Oie 3 kg | 200 2 150 | - 210 | ||
| Poulet rôti | 200 2 60 | - 90 | ||
| Dinde 5 kg | 175 2 àpeu près 240 | |||
| Gibier | ||||
| Lévre | 200 2 60 | - 90 | ||
| Cuisot de chevreuil | 200 2 90 | - 150 | ||
| Cuisot de cerf | 175 2 90 | - 180 | ||
| Légumes | ||||
| Pommes de terre ou four | 220 2 30 | - 40 | ||
| Tourde de légumes | 220 2 30 | - 40 | ||
| Poisson | ||||
| Truite | 200 2 40 | - 50 | ||
| Mulet | 200 2 40 | - 50 | ||
| Pizza | 240 3 10 | - 20 | ||
| Grillades | ||||
| Côtes de porc | 4 | 8 | - | |
| Saucisses | 4 10 - 12 | |||
| Poulet à la grillade | 2 | 25 - 35 | ||
| Rôti de veau à la broche 0,6 kg | 50 - 60 | |||
| Poulet à la broche | 60 - 70 | |||
| * Le niveau de la grille est compté à partir du bas (exclus le dépôt sur le fond, le plat de récapération du jus ne pouvant alors être utilisé) | ||||
| LES INFORMA TIONS DESSUS DONNÉES SONT INDICATIVES PUISQUE LE MODE ET LE TEMPS DE CUISSON SONT V A RIA BLES CONFORMÉMENT À LA QUALITÉ ET QUANTITÉ DES A LIMENTS EMPLOY ÉS POUR LA CUISSON | ||||
Comment utiliser le grill
Placer les aliments à griller sur la grille ou dans un plat aux bords très bas. Introduire la grille dans le four au niveau le plus élevé possible.
Introduire le plat de récupération des graisses au niveau immédiatement sous la grille.
Mettre en marche la résistance du grill:
A. Pour le four Statique: Pos. sélecteur

B. Pour le four Ventilé : Pos. sélecteur

C. Pour le four Multifonction-Ventilé : Pos. du sélecteur. D. Pour le four Multifonction : Pos. du sélecteur.
Selon le type d'aliment (viandes, poissons, volailles...) ne pas oublier de le retourner afin d'exposer les deux faces aux rayons infrarouges du grill
Voici quelques temps de cuisson à titre purement indicatif :
| Aliment à griller | Temps de cuisson en minutes | ||
| 1° face 2° | face | ||
| Viandes basses ou fines | 6 | 4 | |
| Viandes modérément épaisses | 8 | 5 | |
| Poissons fins et sans écaille | 10 | 8 | |
| Poissons modérément volumineux (ex. truite, saumon) | 15 12 | ||
| Saucisses | 12 10 | ||
| Toast | 5 | 2 | |
Comment utiliser le tournebroche (ou prun) - fig. 2
Il est possible d'utiliser le tournebroche qui fonctionne avec le grill. Après avoir embroché sur la longueur les aliments, le bloquer avec les deux petites fourchettes. Ensuite procéder de la manière suivante:
A) Introduire la pointe de la broche dans le trou de l'arbre du moteur placé sur l'arrière du four. B) Placer le support pour la broche. C) Dévisser la poignée de la broche.
D) Placer le plateau de récapération des graisses au niveau le plus bas. E) Placer le bouton de commande sur la pos. pour permettre en marche le petit moteur. F) À la fin de la cuisson, visser la poignée sur le broche et retirer le tout du four. (Fig.2).

Minuterie à alarme sonore - fig. 3
Elle peut être réglée pour une période maximale d'une heure.
Le retentissement du signal sonore n'interrompt pas le fonctionnement du four. Pour régler la minuterie, tourner le bouton (Fig. 3) à droite jusqu'à 60 minutes. Ramener le bouton en le tournant à gauche sur le temps désiré.
Le signal sonore retentira une fois la durée écoulée.
Fig. 3
Minuterie de fin de cuisson 120 minutes - fig. 4
La fonction de ce programmeur est d'interrompre le fonctionnement du four une fois la durée de cuisson écoulée.
1) Fonctionnement
Tourner le bouton du thermostat sur la température désirée. Tourner le bouton du programmateur sur la durée de cuisson désirée (max 120 minutes). Une fois la durée écoulée, le programmateur émettra un signal sonore, et interrompra le fonctionnement du four.
2) Position manuelle
Pour faire fonctionner le four manuellement sans fixer le temps de cuisson, tournez le bouton (Fig. 4) sur la position
Fig. 4
Programmateur analogue - fig. 5
Régler l'heure en appuyant sur le bouton de commande "A" et en le tournant dans le sens contraire des aiguilles d'une montre.
Sélectionner l'heure de début de cuisson en tirant vers l'extérie jusqu'à faire coïncider l'index "B" avec l'heure de début de cuisson désirée.
Sélectionner l'heure de fin de cuisson en tournant le bouton de commande "A" dans le sens contraire des aiguilles d'une montre jusqu'à faire coïncider le temps désiré (max 180) avec l'index de référence fixe (en correspondance du XII).
À la fin de la cuisson, le four s'éteint automatiquement et la sonnerie d'avertissement se met en fonction, on peut l'arrêter en tournant le bouton "A" jusqu'au symbole
Si on peut utiliser le four en excluant l'horloge de programmation (fonctionnement manuel), il faut tourner le bouton "A" jusqu'à faire coïncider le symbole avec l'index de référence fixe.

Horloge analogue - fig. 6
Réglage de l'horloge : pour la mise au point de l'heure exacte, appuyer et tourner dans le sens des aiguilles d'une montre ou dans le sens contraire le bouton "A".

Programmateur électronique - fig. 7
Le programmateur électronique regroupe les fonctions suivantes:
- Horloge de 24 h. avec affichage lumineux
- Timer, avertisseur sonore jusqu'à maximum 23 h et 59 min. - Programme en mode automatique de début ou fin cuisson
- Programme en mode semi-automatique (soit seul début cuisson, soit seul fin cuisson).
Description des fonctions des boutons

TIMER Avertisseur sonore

Description des symboles lumineux
« AUTO » - (clignotant) - Programmateur en mode automatique mais non programme.
«AUTO» - (allumé en permanence) - Programmateur en mode automatique et programme.

Cuisson en mode programme en cours

Avertisseur sonore programme

et «AUTO» (tous les deux clignotants) - erreur de programmation. Aucun symbole lumineux sauf les nombres de l'horloge : programmateur en mode manuel.
Fig. 7
Horloge digitale
Les chiffres de l'horloge montrent les heures (0-24) et les minutes.
À la première mise sous tension ou après une interruption du courant, trois chiffres clignotent sur le panneau.
Pour la mise à l'heure exacte, il faut enfoncer simultanément les boutons et EN MEME TEMPS enfoncer ou le bouton [+] ou le bouton [-] jusqu'à fixer l'heure exacte. La vitesse de réglage dépend de la pression exercée sur les boutons [+] et [-].
Cuisson manuelle (sans utilisation du programmeur)
Pour utiliser le four en mode manuel, donc sans utilisation du programmeur, il faut annuler le clignotement de «AUTO» en, enfantant le bouton
Si "AUTO" ne s'éteint pas (cela veut dire qu'il y a encore un programme de cuisson en mémoire) il faut annuler le programme en, appuyant jusqu'à la mise à zéro de l'horloge.
Cuisson en mode automatique (début et fin cuisson)
1) Programmer la durée de cuisson en enfonçant le bouton 2) Programmer l'heure de fin cuisson en enfonçant le bouton 3) Déterminer la température et le programme de cuisson désirés en utilisant les boutons du thermostat et du commutateur.
Après ces opérations, le symbole «AUTO» s'allumera en permanence. Cela signifie que le four a été programmé.
Voilà un exemple pratique : l'utilisateur souhaite une cuisson de 45 minutes, qui doit terminer à 14 h.
- Enconcer jusqu'à fixer 0.45.
- Enforcer jusqu'à fixer 14.00.
Après ces opérations, l'heure de l'horloge réapparaîtra et le symbole «AUTO» s'allumera, cela signifie que le programme a été accepté et mémorisé.
A 13.15 h. (14.00 h moins 15 minutes) le four s'allumera automatiquement. Pendant la cuisson les symboles et «AUTO» s'allumeront.
A 14.00 h. le four s'éteindra automatiquement, un signal sonore retentira jusqu'à ce que l'on appuie sur la touche
B. programmation de l'heure de fin cuisson
A) Définir le temps de cuisson désiré en appuyant sur le bouton
Le four s'allumera immédiatement.
Les symboles «AUTO» et s'allumeront.
Écoulé le temps de cuisson, le four s'eteindra, un signal sonore intermittent retentira. Arrêter le signal sonore comme décrit ci-dessus.
B) Fixer l'heure de fin de cuisson en enfonçant le bouton
Le four s'allumera immédiatement. Les symboles «AUTO» et «s'allumeront.
À l'heure fixée de fin cuisson, le four s'éteindra et un signal sonore intermittent retentira. Arrêter le signal sonore comme décrit ci-dessus. Le programme de cuisson peut être visualisé à tout moment en enfantant le bouton correspondant.
La programmation peut être annulée à tout moment en enfonçant le bouton
et en mettant à zéro l'horloge. Ensuite en enfonçant le bouton le four peut être utilisé en mode manuel.
Timer = signal sonore
Le «timer» est uniquement un avertisseur sonore qui peut être réglé pour une période maximale de 23 heures et 59 min. Régler le timer en enfonçant le bouton et en même temps [+ ou [-] jusqu'à atteindre le temps choisi.
Après avoir fixé le temps, l'heure de l'horloge réapparaît et le symbole s'allume.
Le compte à rebours commencera immédiatement et peut être visualisé à tout moment en, enfantant le symbole
À la fin de ce temps, le symbole s'éteindra et un signal sonore intermittent retentira jusqu'à ce que l'on l'arrête en, enfonçant le bouton
ATTENTION! L'interruption de l'alimentation électrique entraîne la mise à zéro de l'horloge et l'annulation de tous les programmes.
Lorsque l'alimentation électrique est rétablie, trois zéros clignants apparaissent et on peut programmer de nouveau la cuisson.
Utilisation du programmateur électronique

A Température B Programme automatique C Durée et mode manuel D Indicateur minutes

Réglage de l'horloge
Quand on allume le four, l'écran de visualisation affiche les caractères 00.00 de manière intermittente. Pour régler l'horloge, appuyer en même temps sur les touches et. A l'aide des touches +/- à la droite, régler l'heure. La touche "+" permet d'augmenter la valeur et la touche "-" de la diminuer à une vitesse directement proportionnelle à la durée de la pression des touches. Après avoir réglé l'heure, le point entre les heures et les minutes continue à clignoter pendant 7 secondes.
Pour modifier l'heure, répéter l'opération.
Mode de fonctionnement manuel
Appuyer en même temps sur les touches et
Si un programme de cuisson a été auparavant réglé, le symbole "AUTO" (B) s'éteint et le symbole (C) s'allume.
Tout programme réglé précédemment est annulé.
Fonctionnement semi-automatique avec temps de cuisson
Sélectionner la fonction Temps de cuisson et programmer le temps désiré en utilisant les touches +/- à la droite. Les symboles "AUTO" (B) et casserole (C) s'allument sur l'écran de visualisation. Quand l'heure courante est égale au temps de fin de cuisson, la cuisson se termine et le symbole de la casserole (C) s'éteint. Le four émet un signal acoustique ; le symbole "AUTO" (B) clignote. La cuisson est terminée.
Fonctionnement semi-automatique avec fin de cuisson
Sélectionner la fonction Fin temps de cuisson et programmer le temps de fin de cuisson désiré en utilisant les touches +/- à la droite. Les symboles "AUTO" (B) et casserole (C) s'allument sur l'écran de visualisation. Tourner la manette du commutateur sur la fonction désirée et celle du thermostat sur la température désirée.
Quand l'heure courante est égale au temps de fin de cuisson, le four arrête la cuisson et le symbole de la casserole (C) s'éteint. Le four émet un signal acoustique et le symbole "AUTO" (B) clignote.
Fonctionnement automatique
1) Régler la durée de la cuisson en appuyant sur la touche + / - à la droite. 2) Régler le temps de fin de cuisson en appuyant sur la touche + / - à la droite. 3) Régler la température et le programme de cuisson avec les manettes du thermostat et du commutateur.
Après cette programmation, le symbole "AUTO" (B) s'allume : cela signifie que le four a été programmé. Quand l'heure courante correspond au temps de début de cuisson, le symbole de la casserole (C) s'allume et le four se met en fonction.
Temps de début de cuisson = Temps final de cuisson - Durée de la cuisson. Exemple : la cuisson dure 45 minutes et doit se terminer à 14.00 heures.
- Appuyer sur et sur “+” jusqu'à atteindre 0.45.
- Appuyer sur et sur “+” jusqu'à atteindre 14.00.
Une fois que la programmation est terminée, l'heure s'affiche sur l'écran et le symbole "AUTO" (B) clignote continuellement. Cela signifie que le programme de cuisson a été mémorisé.
À 13.15 (14.00 moins 45 minutes), le four s'allume automatiquement. Durant la cuisson, le symbole de la casserole (C) et le symbole "AUTO" (B) restent allumés.
A 14.00, le four s'éteint automatiquement tandis que le symbole "AUTO" (B) clignote. Le symbole de la casserole (C) s'éteint et le four émet un signal acoustique qui continue à sonner tant qu'on ne l'arrête pas.
Timer
Sélectionner la fonction Timer. Le temps est pré-réglé à 5 minutes. Pour le modifier, utiliser les touches +/- à la droite.
Quand le point entre les heures et les minutes de même que le symbole commencent à clignoter, cela peut dire que le compte à rebours a démarré. L'écran affiche l'heure et les minutes du compte à rebours mais en appuyant sur le symbole 0, il est possible de choisir si on désire afficher le compte à rebours ou l'heure courante.
Signal acoustique
Le signal acoustique donne à la fin du temps réglé ou bien à la fin d'un programme de cuisson pour une durée de 7 minutes. Pour l'éteindre, appuyer sur une touche quelconque de saisie d'un programme (les trois premières à la gauche).
Il est également possible de régler le volume du signal acoustique : pour cela, garder la pression sur la touche “-” à droite pendant 2 secondes lorsque l'heure s'affiche.
Début du programme et commandes
Appuyer sur la touche du temps de cuisson ou bien de fin de cuisson pour connaître le temps restant.
Signal d'erreur dans la saisie des données
Quand on saisit une mauvaise donnée, on entend le signal acoustique et le symbole "AUTO" (B) clignote.
Effacement d'un programme
Il est possible d'effacer un programme en appuyant simultanément sur les touches et.
Choix des fonctions
Pour désigner l'une des fonctions ci-dessous, tourner la manette du sélecteur.
On verra s'afficher les fonctions suivantes:

Eclairage


50°C

190°C

250°C


165°C

165°C

Décongélation
Il est possible de modifier la température affichée en utilisant les touches +/- à la gauche, en allant d'un minimum de 40°C à un maximum de 250°C avec une variation de 5°C à la fois. Le symbole °C clignotera jusqu'à ce que l'on atteigne la température souhaitée.
Remplacement de la lampe à l'intérieur du four - fig. 8
Le four est équipé d'une lampe avec les caractéristiques suivantes:
25W
Fixation à vis E-14
T 300°C
ATTENTION: Couper le courant du four en débranchant la fiche de l'installation électrique.
Dévisser le couvercle de protection « A » en sens contraire aux aiguilles d'une montre.
Dévisser la lampe et la remplacer par une autre lampe.
Remonter le couvercle de protection « A » (Fig. 8).

Démontage de la porte - fig. 9
Pour faciliter le nettoyage du four, il est possible de démonter la porte en opérant sur les charnières comme il suit:
Charnières à cavaliers mobiles
Les charnières A sont munies de deux cavaliers mobiles B.
En soulevant le cavalier B, la charnière se déboit de son logement.
Après cette opération il faut soulever la porte vers le haut et l'extraire vers l'extérieur, pour effectuer ces opérations prendre la porte sur les côtés à proximité des charnières.
Pour remonter la porte, enfiler avant tout les charnières dans leur coulisse.
Enfin, avant de fermer la porte, ne pas oublier désternoler les deux petits cavaliers mobiles B qui ont servi pour accrocher les deux charnières.

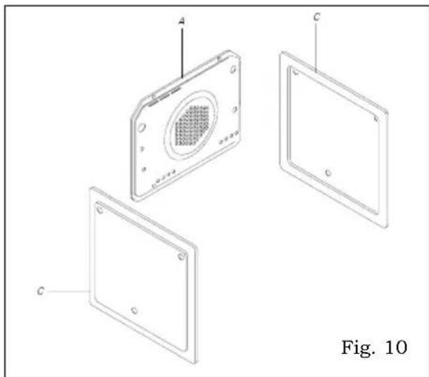
Installation des panneaux autonettoyants (optionnel) - fig. 10
1) Fixer avec les vis la paroi arrêté (A). 2) Les côtes (C) se fixent en détachant les grilles latérales. 3) Ensuite remettre le tout en place.

Accessoires en dotation - fig. 11
L'appareil peut être équipé de guides latérales qui doivent être accrochées aux parois du four. Faire glisser les grilles et la léchefrite sur les guides latérales en dotation.
Les guides latérales peuvent être enlevées en exerçant une légère pression en bas sur le détail A.

Nettoyage et entretien du four
Attention: Avant de procéder à l'entretien du four, il faut toujours débrancher la fiche de la prise de courant ou couper l'alimentation au moyen de l'interrupteur général de l'installation électrique.
Nettoyage du four: Le nettoyage du four non équipé de panneaux auto-nettoyants doit s'effectuer après usage, four éteint mais encore tiède, afin que la pellicule de graisse produite par les vapeurs de la cuisson sur les parois soit encore facile à éliminer. De plus, les taches et les éclaboussures de graisse n'ont pas encore une croûte dure et constante.
Retirer les supports latéraux en fil chromé : tirer vers le haut la partie avant pour les décrocher des parois. Nettoyer le four avec un tissu imbibé de produit lessiviel, rincer et sécher.
S'il reste encore des tâches ou des coulées, placer sur le fond du four un chiffon humide imbibé d'ammoniac, fermer la porte et après quelques heures, laver le four avec de l'eau chaude et un détergent liquide, rincer et essuyer avec soin, utiliser un chiffon doux avec de l'eau et du savon; n'utiliser jamais de produits en poudre contenant des abrasifs.
Le fabricant décline toute responsabilité pour les accidents causés par une mauvaise installation ou une mauvaise utilisation de l'appareil.
Afin de produire des appareils toujours alignés sur les techniques modernes, et/ou afin d'obtenir des améliorations constantes de la qualité des produits, la société se réserve le droit d'apporter des modifications sans préavis.
Notice Facile