FM610 - Téléphone mobile Fysic - Notice d'utilisation et mode d'emploi gratuit
Retrouvez gratuitement la notice de l'appareil FM610 Fysic au format PDF.
| Caractéristiques | Détails |
|---|---|
| Type de produit | Téléphone mobile |
| Dimensions | Non spécifiées |
| Poids | Non spécifié |
| Écran | Non spécifié |
| Capacité de la batterie | Non spécifiée |
| Système d'exploitation | Non spécifié |
| Connectivité | Non spécifiée |
| Utilisation | Conçu pour les utilisateurs recherchant un téléphone simple et fonctionnel |
| Maintenance | Nettoyer régulièrement avec un chiffon doux, éviter l'humidité |
| Sécurité | Ne pas exposer à des températures extrêmes, utiliser des accessoires d'origine |
| Informations générales | Vérifier la compatibilité avec les réseaux locaux avant l'achat |
FOIRE AUX QUESTIONS - FM610 Fysic
Questions des utilisateurs sur FM610 Fysic
0 question sur cet appareil. Repondez a celles que vous connaissez ou posez la votre.
Poser une nouvelle question sur cet appareil
Téléchargez la notice de votre Téléphone mobile au format PDF gratuitement ! Retrouvez votre notice FM610 - Fysic et reprennez votre appareil électronique en main. Sur cette page sont publiés tous les documents nécessaires à l'utilisation de votre appareil FM610 de la marque Fysic.
MODE D'EMPLOI FM610 Fysic
La plus part des fonctions de ce téléphone ne fonctionnent pas ou les paramètres ne sont pas sauvégardés sans cette carte SIM. Ce mode d'emploi est basé sur le fait que vous avez déjà place la carte SIM selon le guide d'installation.
- Dans le chapitre 1 il y a de diverses des notions qui sont expliquées qui concernne (raient) votre téléphone mobile.
- Chapitre 2 données des indications de sécurité pour ce téléphone.
- Chapitre 3donnes une description de votre téléphone,les différentes touches et le chargeur de bureau.
- Comment se servir et installer les différentes fonctions sont décrits dans le chapitre 4 jusqu'à 15.
- Les spécifi cations sont décrites dans le chapitre 17.
1 NOTIONS
Provider :
'Provider' est une autre dénomination pour 'la société de téléphone'. Sur les papiers livrés avec la carte SIM et/ou sur la carte SIM même vous trouverez via quel provider vous téléphonez.
Carte SIM :
Une carte SIM ('subscriber Identity Module') est une petite carte avec une puce dedans. Le nombre de téléphone avec lequel vous téléphone se trouve dans cette puce ainsi vous pouvez saugevarder les nombres des téléphones et les messages SMS afin que vous puissiez prendre cet information avec quand vous mettez la carte SIM dans un autre téléphone.
Les cartes SIM peuvent être livrées avec le téléphone ou vous pouvez les acheter à part. La carte SIM et le provider sont liés.
Libre de SIM-Lock :
Le téléphone est libre de SIM-LOCK. Ceci implique que le téléphone n'est pas lie à la carte SIM d'un certain provider, mais que vous étés libre dans votrechoixde société de téléphone.
Code PIN / Code PUK :
Chaque carte SIM peut être sécurisée avec un code PIN. Avec ce code PIN vous pouvez éviter que d'autres personnes non permises téléphonenumber avec votre téléphone. Le code PIN est mentionné sur les documents livrés avec la carte SIM si celui-ci a déjà été activé par le provider.
Vous pouvez modifier le code PIN. La carte SIM se bloquera si vous avons encodé 3 fois un mauvais code PIN. Maintenant vous devez introduire le code PUK de la carte SIM pour à nouveau libérer la carte. Le code PUK est également mentionné sur les documents de votre provider livrés avec la carte SIM.
Pre-paid ou abonnement :
Pre-paid ou abonnement a un rapport avec
lequel vous payer给您 facture. En bref: avec pré-paid给您 payez d'avance, avec un abonnement给您 payez par après.
Cette forme de paiement est liée à votre carte SIM. Consultez le helpdesk de votre provider concernant les possibités.
VoiceMail :
VoiceMail est une fonction de répondeur qui vous est offert par votre provider. Si vous ne pouvez pas ou ne foulez pas prendre l'appoint, les personnes qui vous téléphonent peuvent ainsi vous laisser un message.
Consultez le helpdesk de votre provider concernant les possibités.
Bluetooth :
Bluetooth est un standard pour des liaisons entre des appareils sans fi ls sur à une petite distance. Avec ceci il est possible d'échanger des données entre deux téléphones ou le téléphone peut être muni d'un écouteur sans fi I.
Carkit :
Avec un carkit vous pouvez passer des Communications téléphonique tout en ayant les mains libres pour conduire. Le téléphone est aussi apte à fonctionner avec des carkits qui fonctionnent via Bluetooth. Vous pouvez évidemment aussi utiliser un écouteur dans la voiture.
Ecouteur :
Un écouteur est une oreillette avec un étrier ou un microphone dans le fi l. Cela vous permet de passer des Communications téléphoniques sans devoir tener votre téléphone à vous. Le raccordement de l'écouteur (3,5 mm, 4 broches) se trouve sur le côte croite du téléphone.
Dès que vous raccordez un écouteur ici, le microphone et l' Haut-parleur s'éteint.

Avertissement: A pleine puissance, l'écoute prolongée du baladeur peut endommager l'oreille de l'utilisateur.
Pour protégger votre audition faire le suivi:
- Réglez le volume jusqu'à un niveau agreable.
- Nécoutez pas longtemps à un volume très fort.
- Ne règlez pas le volume pour ignorer ou dépasser le bruit de l'endroit.
- Réglez le volume plus bas si vous n'entendez pas les personnes au tour de vous.
WAP:
WAP (Wireless Application Protocol) est une manière d'utiliser internet via le téléphone mobile. Ceci ce passse souvent via GPRS (General Packet Radio Service). Avec WAP il est possible de visionner des pages Web avec des photos, de la musique et des petits fi Ims.
Si cette fonction ne se regle pas automatique, demandez à votre provider d'utiliser les paramétres pour le WAP.
AGPS:
Avec cette fonction il est possible de détermini
ner la localisation du téléphone. La position du téléphone peut etre detectee avec une précision jusqu'à 1300 metres grâce à la liaison des antennes avec votre reseau. Ceci peut, entre autre, etre utiliser pour aider la navigation lorsqu'aucun satellite ne peut etre trouve ( comme à l'intérieur des batiments) ou pour avoir une estimation de votre localisation pour les services d'aide.
STK:
Les STK (SIM Tool Kit) sont des fonctions qui sont offertes par votre provider. Celles-ci sont programmées standard dans votre carte SIM, mais font souvent la liaison avec votre réseau pour offrir un service. Les fonctions sont dépendantes de votre provider et du type d'abonnement, ici vous pouvez souvent retrouver la possibilité de pouvoir demander votre crédit d'appel ou pour voir les minutes d'appels. Demandez les possibilités et les tarifs de ces fonctions à votre provider.
2 INDICATIONS DE SECURITÉ IMPORTANTES
2.1 Important
Le non-respect de ce mode d'emploi peut mener à des lésions ou des endommagements de l'appareil. Lisez attentivement le mode d'emploi, surtout les indications de sécurité, avant que vous utilisez l'appareil et gardez le soigneusement pour le cas où vous l'auriez encore besoin. Si vous prétez l'appareil à une fierce personne donnez-lui aussi le mode d'emploi avec.
Placez d'abords la carte de votre provider dans le téléphone, voir le manuel démarriage rapide. Il n'est pas possible de régler ou d'utiliser le téléphone sans une carte SIM.
2.2 Avertissements
Les averissements suivants doivent être pris en compte pour éviter de possibles lésions de l'utilisateur ou de pierces personnes.
- Dans différents pays peuvent valor des règlements divergents pour l'utilisation des téléphones mobiles (par expl. lors de la conduite en voiture, dans les hôpitaux, aux stations service ou dans les avions). Prenez en compte la législation d'utilisation du téléphone mobile en vigueur dans votre pays. Éteignez l'appareil si l'utilisation n'est pas permise ou s'il y a des situations dangereuses ou si des perturbations peuvent surgir.
Utilisez l'appareil uniquement selon sa destination.
Utilisez l'appareil seulement à des endroits où vous pouvez téléphoner sans danger. - N'utilisez pas le téléphone à des endroits où se n'est pas permit ou interdit. (Hôpitaux, avions, stations service, etc.)
- N'utilisez de préférence pas le téléphone à des endroits où d'autres poursuient être dérangés. (Théâtre, cinéma, etc.)
Utilisez uniquement l'adaptateur et la batterie original du fabriquant. Lors de l'utilisation d'une batterie inadéquate ou mauvaise il existe un danger d'explosion. - La batterie ne peut pas etre ouverte ni expo
see a un feu.
- Des appareils médicaux peuvent être infuencés lors de leur utilisation. Les fabriquant de pacemakers conseilent une distance de 20cm entre les appareils si le téléphone mobile est allumé. Ne portez pas le téléphone dans votre poche interieure.
- Consultez un métédecin avant de continuer d'utiliser le téléphone mobile si vous soupçonnerez qu'une perturbation est survenue entre le téléphone et un apparéil Médical.
- Prenez garde que de petits enfants ne jouent pas avec l'appareil ou l'emballage (danger d'asphyxie).
- Ne laissez jamais l'appareil sans surveillance quand il est raccordé au courant.
- Le téléphone n'est pas en jouet; tenez le donc hors de portée de (petits) enfants.
- L'accu contient des produits toxiques. Faites attention que des enfants n'enlevent pas l'accu du téléphone et le mettent dans leurs bouche.
- Une carte SIM est un petit objet. Faites attention que des enfants ne la retirent pas du téléphone et l'avent.
- Voiture téléphone mobile est prévu pour
des appareils auditifs. Des perturbations peuvent intervenir lors de l'utilisation de votre téléphone avec des appareils auditifs plus anciens. Rendez vous à votre magasin d'appareil auditif si vous entendez un bruit sourd avec certains appareils auditifs.
- Le téléphone est un apparéil de précision. Ne laissez jamais tomber le téléphone et rangez-le sur une place sure quand vous ne l'utilisez pas.
- Le téléphone n'est pas étanche. Faites attention que le téléphone ne soit pas en contact avec de l'eau.
- Evitez des températures extrémement hautes ou basses. Ne laissez jamais le téléphone dans par expl une voiture qui n'est pas protégée du soleil.
- L'appareil peut uniquement être ouvert pour changer la batterie ou la carte SIM. Il n'est pas permitted de modifier l'appareil. Ceci mène à une expiration de la licence d'utilisation et de la garantie.
-
L'appareil peut cause des perturbations à proximité de télévisions, radios et autres appar兼ilslectroniques.
-
Il est conseillé dePTRer l'accu du téléphone si celui-ci n'est pas utilisé pendant un long moment.
- Vous ne pouvez jamais déposer l'accu sur une surface métallique api n d'éviter des courts circuits.
- Nettoyez le téléphone uniquement avec une linguette douce et légèrement humide. N'utilisez enaucun cas des produits récurrent ou chimiques.
2.3 Contenu de la livraison
• Téléphone mobile
- Batterie
Adaptateur d'alimentation
Écouteur
• Chargeur / Téléphone résidentiel - chargeur
Mode d'emploi
- Manuel démarrage rapide
2.4 Indications pour l'écoulement
- Les emballages peuvent être réutilisés ou être conduit vers le cycle de mati

ère première. Jetez le matériel d'emballage dont vous n'avez plus usage selon la manière prescrite. Nous vous conseillons quand même de le conserver a fi n qu'il peut etre transporte dans en emballage adequate. Contactez immediatement le commercant si vous constatez des endommagements de transport lors du déballage.
- Cet apparéil ne peut être jeté avec les déchets menages. Chaque utiliser est obligé de remmettre tous les apparéils électriques ou électroniques dans un point de ramassage de sa ville ou dans un magasin. Ceci a fi n qu'ils peuvent être écoulés d'une façon écologique, indépendamment si ceux-ci comprendtent des substances nocives.
- Retirez la batterie avant découvert l'appareil (voir paragraphe 4.3). Ne jetez pas les batteries usagées avec les déchets menages, mais livrez-les comme petits déchets menages ou apportez-les dans un point de ramassage pour batteries dans un magasin.
- Prenez contact avec le service public communal ou votre commercant pour l'écoulement.
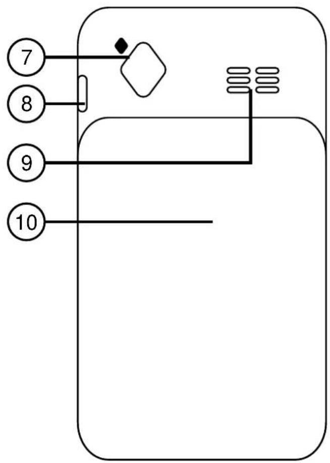
3 DESCRIPTION DES FONCTIONS
3.1 Téléphone

- Haut-parleur pour parler
- Display (voir paragraphe 3.3)
- Raccord du charge-ment pour l'adaptateur d'alimentation (Micro USB).
- Raccord du chargement pour chargeur
- Attache pour brace
let (excl.)
- Touche volume
- Touche SOS
- Raccordement
Écouteur (4-polaire, 2.5mm)
Haut-parleur signal de sonnerie / mains
libres
10.Cache arrêté


3.2 Touches
Touches gauche/droite douce

En menu: Ceux-ci effectuent la fonction qui d'affi chent sur le display au-dessus de ces touches.
Touché de liaison :

Pour répondre aux appeals ou pour désir des numérios.
En veille : l'histoire des appel s'ouvre
Touché droite douce / Touché allumé/éteint/fi n :

Pour clôturer des appeals.
En veille : désactiver le téléphone (tener la touche enfonnée pendant 3 secondes), tener à nouveau la touche enfonnée pendant 3 secondes pour activer le téléphone.
Lors des appel entrants : refuser l'appoint.
Pendant SOS: Pour clôturer SOS
Touche SOS :

Démarrer le mode alarmé à tous moments tener la touche enfonnée pendant 3 secondes. Voir aussi le chapitre 11.3.

Touchenavigation:
Pour feuilleter dans les paramètres lors de la programmation.
En veille : ouvrir le menu rapide programmee. Voir aussi le chapitre 14.2
Touché * (petite étoile) :

Pendant une conversation: touche 'petite étoile' pour les télé services
Lors la composition des nombres: appuyez deux fois pour le code international (+) pour téléphone à un nombre à l'étranger.
Touché # (petit carré) :

Pendant une conversation: touche 'petit carré' pour les télé services
En vue (tenir pendant 2 sec.): activer ou désactiver toutes les sons
Lors de la composition de message
SMS: touche de changement entre majuscules, minuscules et chiffres.
Clavier :

Pour introduire le numéro, le nom ou un message SMS.
3.3 Symboles du display

Indication de la force du signal.

Problème de réseau

Indication que le téléphone utilise un autre réseau que celui de votre provider.

Indication de la batterie.

Batterie vide.

Batterie est chargée.

La fonction alarme (réveil) est activée.

Indication que la mélodie lors d'un appel est activée.

Indication que le vibreur lors d'un appel est activé.

Indication que la mélodie et le vibreur est activé.

Indication que I'ecouteur est raccorder.

Vous avez reçu un nouveau message SMS.

La fonction Bluetooth est activée.

Vous avez des appeals en absences encore non lus.
Clavier bloqué. Ouvrir le téléphone pour débloquer le clavier.
4 BATTERIE
4.1 Charger l'accu
Attention! Utilisez uniquement l'accu et l'adaptateur d'alimentation qui est livré avec. L'utilisation d'autres modèles peut cause des endommagements au téléphone qui ne sont pas couverts par les conditions de garantie. Ne jamais charger le téléphone quand la cache arrière est enlevé.
Mettez la petite fi che de l'adaptateur directement à l'arrête du téléphone. Maintenant mettre l'adaptateur dans la prise de courant 230V; l'accu se charge.
Dès que l'écran affi che que la batterie est complètement chargée, vous pouvez-retirer l'adaptateur des la prise de courant et le retirer du téléphone. Vous pouvez désir de charger l'accu quand le téléphone est allumé ou éteint. Le chargement d'une batterie vide peut prendre environ 4 heures.
4.2 La durée de l'accu
Une batterie chargée complètement à une durée jusqu'à 120 heures en stand by ou une durée d'essay jusqu'à 2,5 heures. Si cette durée à une diminution signifiance, cela peut dire que l'accu doit être remplace.
La durée du fabriquant est dépendant du provider (si vous est loin d'un mat d'émission, cela coupte plus d'énergie d'émission) et de l'utilisation et des paramètres du téléphone (volume de la sonnerie, fonction vibrante activée ou désactivée, combien de temps que le display est allumé, etc.)
Si la durée de l'accu diminue fortement, alors l'accu devrait être remplaced.
4.3 Remplacer l'accu
Éteignez votre téléphone et retirez la cache arriéré si votre accu doit être remplace.
Yououpouvezretirer l'accu dutelephone en letirant avec par expl.voitrangle.
Écoulez vous vieil accu écologiquement en l'important dans un centre de ramassage pour petits Déchets Chimiques (PDC).
Les nouveaux accus sont livrables en tant qu'une partie de service via le numéro de service de Fysic +32(0)32 385 666.
N'endommagez ou démontez jamais l'accu. Un accu défectueux ou use doit être directement déposé à votre dépôt local pour déchet chimique.
5 FONCTIONNEMENT
5.1 Allumé et éteindre l'appareil
Allumé :
Tenez la touche 'allumer/éteindre/fi n' enforcée pendant 3 secondes pour allumer le téléphone. Introduisez le code PIN de votre carte SIM si ceci est demandé et appuyez sur la touche douce (✔).
Eteindre :
Tenez la touche 'allumer/éteindre/fi n' enforcée pendant 3 secondes pour éteindre le téléphone.
Introduisez le numéro que vous poulez désir via le clavier.
Appuyez brièvement sur la touche 'petite étoile' pour le code d'accès international, sur le display apparait en signe+.
Vous pouvez effacer une introduction fautive
avec la touche droite douce.
Si vous foulez voyagez l'options, appuyez sur la touche gauche douce.
ou
Utilisez la touche de liaison pour désir ce numéro.
5.3 Choisir dans les mémoires
En veille appuyez sur la touche droite douce. Sélectionnez la mémoire souhaïée avec la touche navigation.
Appuyez sur la touche de liaison pourCHOISIR cenumber.
5.4 Prendre l'essay
Appuyez sur la touche de liaison pour prendre l'expérience entrant.
Appuyez sur la touche allumé/éteint/fi n pour annuler l'expérience sans le prendre.
5.6 Choisir dans la liste de contacts
Appuyez sur la touche de liaison quand le téléphone est en veille.
Avec la touche navigation, chercher le numéro souhaité.
Appuyez sur la touche de liaison pour désir ce numéro.
5.7 Volume de réception
Vous pouvez utiliser la touche volume sur la côte gauche du téléphone pour le régler pendant un appel téléphonique. Le niveau régle est affiché sur l'écran.
5.8 Fonctions en téléphonant
Avec les touches douces vous dispose des fonctions suivantes en téléphonant:
Touché droite: Mains libres :
Appuyez sur la touche droite douce pendant la
conversation [M-libres] pour entendre la conversation par l' Haut-parleur, afi n que vous puissiez téléphoner sans devoir tener le téléphone à votre oreille. Appuyez à nouveau sur cette touche pour désactiver les mains libres.
Touché gauche: Options :
Mettre en attente / Reprendre :
Choisissez cette option pourmettre la conversation en attente. Vous pouvez reprendre la conversation via le même menu.
Nouvel appel :
Choisissez cette option pour commencer une nouvelle conversation (changement de conversation).
Réertoire :
Ouvrir le menu Répertoire pendant la conversation.
Messages :
Ouvrir le menu SMS pendant la conversation.
Enregistreur de son :
Pour enregistrer la conversation et la sauvégarder comme enregistrement dans la mémoire.
Sourdine :
Désactiver le microphone avec ceci, affin que votre correspondant n'entende rien. Ici vous voirz le statut actuel, utilisez la touche douce (activer) ou (désactiver) pour modifier le statut.
Tonalité :
Activez ou désactivez le DTMF avec ceci.
DTMF veut dire que vous entendez un son à chaque fois que vous appuyez sur un chiffre, et est souvent utilisé chez les téléopérateurs.
Cette fonction est activée standard.
Interrompre la conversation :
Vous pouvez terminer la conversation et returner à l'écran principal avec la touche 'allumer/éteindre/fi n'.
5.9 Ouvrir le menu
En appuyant sur la touche douce [Menu] pendant que le téléphone est en veille vous pouze ouvrir le menu. Vous pouze désirsir un menu en appuyant sur la touche navigation, avec la touche douce [OK] vous pouze ouvrir le menu sélectionné. Les différents menus et fonctions ici sont décrits dans le chapitre 6 jusqu'à 14.
6 RÉPERTOIRE TÉLÉPHONIQUE
Vous pouvez sauvegarder des noms et des numérores de téléphone dans la mémoire interne du téléphone ou sur votre carte SIM. Vous pouvez restre jusqu'à 500 noms et numéroros dans la mémoire de l'annuaire téléphonique. La capacité de votre carte dépend de la carte SIM même.
6.1 Structure du menu du repertoire téléphonique

6.2 Nouveau contact
Vous pouvez创建工作 un nouveau contact avec l'option (Ajouter nouveau contact). Ci-après vous pouvez introduire un nombre et un nom avec le clavier.
En introduisant le nom vous pouvez appuyez sur la touche # pour changer entre majuscules, minuscules ou chiffres. Avec la touche * vous pouvez désir des caractères spéciaux et des points de ponctuation et pour un vide vous nevez appuyer sur la touche 0.
Il est possible delier une sonnerie, une groupe ou une image ( comme une Photo) au contact lorsqu'vous le sauvegardez dans le téléphone.
Programmer des numérios pour des situations d'urgences :
In Case of Emergency (abrévié: ICE) est une abréviation internationale créée en 2005.
Elle est destinée à indiquer la personne de contacte principale lorsqu'il s'est passé quelque chose
avec quelqu'un. Les services d'aide peuvent utiliser ceci pour identifi er une victime et pour avoir d'eventuelles informations medicales.
Il est important que ces numérios soient facile à retrouver, et devraient donc ce trouvés au début de l'annuaire téléphonique. Pour ceci les accords suivants ont été convenus pour les noms de contacts aux numérios :
0 + X + Description
Ici X est un chiffre entre 1 et 9.
Les contacts ICE doivent donc être introduits et affi chés de la façon suivante dans l'annuaire téléphonique :
01Annie 02Epoux 03Mère
Malgré que cette introduction peut être très facile il n'a jamais été decide que le service d'ambulance téléphonera. A ce moment là il n'y a pas d'obligation pour ceci et c'est à cause de cela que dans la plus part des cas c'est seulement à l'hopital
que les personnes de contacts introduits selon cette méthode seront appelés.
6.3 Envoyer texte
Créez un nouveau SMS, dans lequel le contact est automatiquement rempli en tant que destinataire.
6.4 Envoyez multimédia
Créez un nouveau MMS, dans lequel le contact est automatiquement rempli en tant que destinataire.
6.5 Éditer
Ici, vous pouvez modifier le nom ou le nombre.
6.6 Copier / Déplacer
Avec cette option vous pouvez copier ou déplacer un contact de la mémoire du téléphone dans la mémoire de la carte et vice versa.
6.7 Envoyer vCard
Avec cette option vous pouvez placer les données du contact choisi directement dans un SMS ou MMS ou l'envoyer via Bluetooth.
Ceci se passse par une vCard. Faites attention que le téléphone du destinataire puisse récep tionner cette vCard.
6.8 Groupe d'aggellant
Avec cette option vous pouvez diviser vos contacts dans des groupes – ici vous pouze facilement faire la distinction entre amis, famille ou travail. Par groupe vous pouvez également programmer une image ou une sonnerie.
6.9 Options
- Stockage préferé : Choisissez entre le stockage des contacts dans la mémoire du téléphone ou de la carte SIM.
- Choisisr raccourci : lui vous pouvez programmer des numérors raccourcis pour les
touches 2-9. Ce numero sera directement appelé si la touche est enfoncée pendant plus de trois secondes et si cette fonction est activée.
- Mon numéro / Numéro supplémentaire : lui vous pouvez programmer des numérios supplémentaires - comme votre propre numéro - comme aide mémoire.
- État : lui vous pouvez voir combien de mémoire est utilisé et combien est encore libre.
- Copier / Déplacer les contacts : Avec cette option vous pouvez copier ou déplace tous les contacts vers le téléphone/carte SIM.
- Effacer tous : Avec cette option vous pouvez effacer tous les contacts vers le téléphone/ carte SIM.
7 JOURNAL
Le téléphone retient les données des derniers appeals (aussi bien les messages reçus, les messages composés que les messages en absence).
7.1 Menu de structure journal des appeals
| Journal | Effectués Recus En absence | Affi cher Composer Envoyer Enregistrer Modifi er avant appel Effacer |
| Ajouter à laiste noire | ||
| Effacer les joūnaux En absence | Effectués Recus Effacer tout | |
| Régliages d'appel Identité de l'expérience | ||
| Appel en Renvoi d'appoint Appel restreint Durées des Compteur data Régliages avancé |
7.2 Voir l'histoire des appeals
A appeals en absences vous pouvez voir tous les appeals en absences. Quand vous avez des ap
pels en absences que vous n'avez pas encore regardées dans ce sommaire, vous le voyagez sur l'écran de voir. Avec la touche [Options] vous pouvez effectuer divers opérations:
- Affi cher : Regardez les détails de l'appoint
- Composer : Appelez au contact de cet appel
- Envoyer texte : Créez un nouveau SMS, dans lequel le contact de cet appel est automatiquement rempli en tant que destinataire.
- Envoyez multimédia: Créez un nouveau MMS, dans lequel le contact de cet appel est automatiquement rempli en tant que destinataire.
- Enregistrer dans Répertoire : Pour sauvégarder le contact dans la mémoire. (Apparait uniquement si le contact ne se trouve pas encore dans l'annuaire téléphonique.)
- Ajouter à la liste noire : Avec ceci vous pouvez bloquer les appeals suivant de ce numéro.
- Modifier avant appel : Modifier le numéro et puisappelez le numéro modifié.
- Effacer : Effacez cet appel de l'histoire des appeals.
7.3 Réglages d'essay
- Identité de l'aggellant : Défi nissez si vous numéro de téléphone soit affiché chez le destinatàtre à qui vous envoyez un message ou à qui vous téléphonez.
- Appel en attente : Défi nissez si vous le permette qu'un deuxième appel puisse entrerpendant que vous étés en communication. En changeant de conversation vous pouvezpréindre cet appel et évientuèlement l'ajouterà votre conversation actuelle (conference).
- Renvoi d'appoint : lui vous défici nissez dans quelles situations les appeals entrants doivent être automatiquement transmis vers votre voicemail ou vers un autre numéro.
- Appel restreint : lui vous définisse dans quelles situations aussi bien les appeals entrants que sortants peuvent être permis.
- Durées d'appoint SIM : A [Durées d'appoint SIM] vous avons un sommaire de toutes les durées des appeals. Ici vous trouvez la durée de votre dernier appel, tous les appeals sortants depuis l'effaçage ou tous les appeals entrants depuis le dernier effaçage.
Avec l'option [Réinitialiser toute les durées] vous pouvez remettre toutes les durées des appeals à zéro.
- Compteur data : Dans ce menu vous trouvez un sommaire des messages SMS reçus et envoyés dans les données GPRS (Internet, MMS). Dans ce menu vous pouze également remetre les compteurs à zéro
- Réglages avancés : lui vous pouvez bloquer des numérios, allumer ou éteindre l'affi chage de la durée d'appoint, programmer un maximum de durée d'appoint et programmer receivevoir un son d'avertissement ou pour terminer une conversation après un certain temps.
8 MESSAGES
SMS veut dire Short Message Service (Service Messages Courts). Le téléphone a une mémoire standard pour 100 messages SMS.
8.1 Structure du menu du messages
| Écrire message | Envoyer à Méthode d'entre Insérer modèle | Insérer insérer nom insérer marque | num |
| Enregistrer dans Brouillons | |||
| Boîte de Répondréception Appreception Apprecher l'expéditeurSuviantEffacerEffacer toutAvancé | |||
| Boîte de sortieUtiliser service | SuivantEffacereffacer toutAvancé | Insérer insérer nom insérer marque | num |
| Suivant Effacer tout Avancé | Utiliser Utiliser | num | |
| Devoyer Éditer Effacer Effacer toutAvancé | Utiliser Utiliser | site | |
| Brouillons | Envoyer Éditer Effacer Effacer tout | Utiliser Utiliser | site |
| Utiliser service | Devoyer Éditer Effacer Effacer tout | Utiliser Utiliser | site |
| MMS Boîte de réception Boîte de sortie | Écrire message Ion Voir | Répondre Effacer Effacer tout Propriété Utiliser les |
| Voir | Envoyer Effacer Effacer tout Propriété Utiliser les | |
| Brouillons | Voir Envoyer Éditer Effacer Effacer tout Propriété Utiliser les | |
| Réglages MMS | Réglages commun | |
| Message de Modiffusion Lire | de réception le message Langues Canaux | |
| Modèles | Utiliser Éditer Effacer | |
| Régliages SMS | Configuration du profils | Activer Éditer |
| Serveur de message vicaux Appeler message vocaux Éditer | ||
| Régliages communs Rapport de livreaison | État | Chemin de Enregistrer messag |
8.2 Créer un message SMS (Écrite)
Créer un message avec le clavier.
A l'introduction du message vous pouvez changer entre des majuscules, minuscules, premières lettres majuscules ou des chiffres avec la touche # avec la touche * vous pouvez désir des caractères spéciaux ou des points de ponctuation pour un blanc appuyez sur la touche '0'. Utilisez la touche navigation pour déplacer le curseur pour par expl. faire des corrections ou pour insérer du texte. Utilisez la touche douce [Effacer] pour effacer des caractères.
Le nombre de caractères dans le SMS est affiché en haut à droite, ici vous voirz le nombre de caractères utilisés pour ce message. Vous pouvez envoyer un long message SMS existant en maximum trois messages SMS.
Utilisez la touche gauche douce pour envoyer votre message, pour modifier l'introduction,
pour utiliser un signet ou pour sauvegarder le message dans les brouillons.
8.3 Avancé (Écire)
Avec les options avancées vous pouvez modifier les nouveaux messages SMS de la manière suivante :
- Insérer numéro : Avec ceci vous pouvezCHOISIR un numéro de téléphone dans l'annuaire téléphonique et l'insérer dans le message.
- Insérer nom : Avec ceci vous pouvezCHOISIR un nom dans l'annulaire téléphonique et I'insérer dans le message.
- Insérer marque-pages : Avec ceci vous pouvezCHOISIR une page (page d'internet) et l'insérer dans le message.
8.4 Lire des messages (Boîte de réception)
Dès qu'un nouveau message SMS est reçu, il y aura une sonnerie d'SMS qui retentira et un symbole de SMS sera affiché.
Appuyez sur la touche gauche douce pour dire directement le nouveau message SMS, ou sur la touche droite douche pour returner au menu principal.
Dans le boîte de réception vous pouvez trouver tous les messages entrants. Utilisez la touche vers le haut/vers le bas pour dire le message et monter ou descendre dans le texte.
8.5 Messages composés (Boîte de sortie, Broullions)
Dans le boîte de sortie vous retrouvez les messages qui ont été envoyé.
Dans les brouillons vous retrouvrez tous les messages que vous avez sauvégardés avec l'option [Enregistrer dans Brouillons].
8.6 Options lors de la lecture du message
Quand vous avez lu le message vous pouze effectuer les fonctions suivantes avec la touche douce [Options] :
- Répondre : Avec ceci vous renvoyez un message écrit. (Uniquement disponible pour les messages reçus)
- Appeler l'expéditeur : Avec ceci vous pou- vez appeler le destinataire du message. (Uniquement disponible pour les messages reçus)
- Suivant : Avec ceci vous pouvezmettre le message reçu dans un nouveau message SMS. (Uniquement disponible pour les messages reçus et pour les messages envoyés)
- Éditer : Avec ceci vous pouvez retravailler un message SMS avant de l'envoyer (Uniquement disponible pour les brouillon et pour les messages envoyés)
- Envoyer : Pour envoyer le message (Uniquement disponible pour les messages dans le dossier des brouillons)
- Effacer : Pour effacer le message SMS.
- Effacer tout : Pour effacer tous les messages SMS qui se trouvent dans le dossier à effacer.
- Avancé : lui vous trouvez des options pour appeler ou sauvegarder les numérios qui se
trouvent dans le message ou pour ouvrir ou sauvegarder une page d'internet.
8.7 MMS
MMS (Multimedia Messaging Service) est le successeur multimédia du SMS. L'envoie d'un MMS passée par le réseau GPRS.
Vous doivent programmer une compte de données (voir : Services) et un profi le du serveur (voir : Réglages MMS) avant de pouvoir envoyer ou receivevoir un. Beaucoup de provider de réseau envoyant un message texte qui programmement automatiquement ce profi le. Si ceci ne réussi pas vous pouvez obtenir les données pour inscrite le téléphone sur le réseau GPRS via le site web ou le service clientèle de votre provider.
Un MMS peut être un texte, un son, une image ou une petite matériel, ou une combinaison detout. Un MMS peut être envoyé à un numero mobile ou à une adresse e-mail.
8.8 Créer un message MMS (Écrite)
Programmez d'abord le destinataire du message MMS. Ceci peut être une adresse e-mail ou un numéro de téléphone. Vous pouvez utiliser l'option (Rechercheer) pour désirir un numéro dans l'annulaire téléphonique lors de l'introduction d'un numéro.
- A Cc vous pouvez eventuellement introduire une adresse e-mail supplémentaire ou des numérios.
- A Bcc vous pouvez également introduire des adresses e-mail supplémentaires ou des numérios, mais ceux-ci ne seront pas montrés aux destinataires du message.
- A sujet vous pouvez introduire le titre du message, ceci est montré au destinataire avant qu'il ouvre le message.
- A éoperator le content vous pouvez introduire le message. Un message MMS comporte différents dia qui sont montré une à une.
Composez un message sur le clavier.
Lors de l'introduction du message vous pouvez
changer entre des majuscules, des minuscules, un majuscule comme première lecture ou des chiffres avec la #; avec la touche * vous pouvez désirir des caractères spécieux et des points de ponctuation, pour un blanc vousdezvez appuyer sur la touche '0'.Utilisez la touche navigation pour déplacer le curseur pour par expl. apporter des corrections ou pour insérer du texte. Utilisez la touche droite douce pour effacer des caractères.
Le nombre de caractères restants pour la dia sont affi chés en haut à droite.
Utilisez la touche gauche douce pour sauvégarder le message, pour effectuer des modifiations, insérer une photo, un son ou une dette, pour changer de dia, pour placer une nouvelledia avant ou après l'actuelle, pour effacer unedia, pour ajouter un page d'internet, pour affi -cher un exemple de comment le message MMS sera affiché ou modifier le temps que la sera montré.
Une fois qu'un message est sauvégardé, vous pouvez l'envoyer. Vous pouvez encore déterminer si le message doit seulement être envoyé, être envoyé et sauvégardé ou sauvégarder comme brouillon.
Aux options d'envoie vous pouvez activer si vous foulez receivevoir un message de réception (Rapport de remise)combien de temps il faut essayer l'envoi du message (Période de validité)), ou si vous foulez receivevoir un message quand le destinataire à lu le message (lire le rapport) et la priorité du message envoyé (ceci est affi ché chez le destinataire).
8.9 Lire un message MMS (Boîte de réception, Boîte d'envoi et Brouillons)
Dans le boîte de réception vous pouvez trouver tous les messages reçu. A la lecture vous pouvez utiliser la touche navigation pour feuilleté vers la dia précédente ou suivante.
Dans le boîte d'envoi vous pouvez才知道 tous les messages que vous avez envoyés.
Dans les brouillons vous pouvez trouver tous les messages que vous ave sauvégardés en utilisant l'option (Enregistrer message).
8.10 Options à la lecture d'un MMS
Après avoir lu le message vous pouvez sau-vegarder un morceau du message MMS, entre autre du texte, une photo ou des images de video en utilisant la touche gauche douce.
En appuyant sur la touche gauche douce dans le sommaire des messages vous pouvez effectuer les actions suivantes:
- Download : Créer un connexion de data pourRECU le contenu un message de MMS REÇU dans le mémoire.
- Voir : Regardez le message MMS
- Répondre : Avec ceci vous pouvez écrire un MMS en retour. (Uniquement disponible pour les messages reçus)
- Suivant : Avec ceci vous pouvezmettre le texte du message reçu dans un nouveau MMS.
- Envoyer : Pour envoyez un message (Uni
quement disponible pour les brouillons)
- Éditer : Pour à nouveau envoyer le message (Uniquement disponible pour les messages envoyés).
Effacer : Pour effacer le message MMS.
Effacer tout : effacer tous les messages MMS dans le dossier des messages. - Propriétés : Pour affi cher des détails du message ( comme la taille, la date de la création, les adresses dans Cc etc.).
Utiliser les détails : lci vous avez l'option pour téléphoner aux numéroros qui se trouvent dans le message ou les sauvegarder ou ouvrir une page d'internet ou la sauvegarder.
8.11 Réglages MMS
Il y a divers paramètres possible pour programme à souhait l'envoi des textes des messages :
- Profi I du serveur: Ici vous pouvez programmer divers profi les. Sauf le nom de profi le vous pouvez également programmer l'adresse MMSC (page d'accueil du service MMS), désirir avec quel liaison de profi le
(voir [Services]) la fonction MMS doit se lier,CHOISIR le type de liaison (dépendant de votre provider) et programmer un nom et un mot de passer.
-
Réglages communs : Avec les paramétres généraux vous pouvez faire ce qui suit :
-
Détérminer les régles pour la création de nouveaux messages ( comme la taille maximale, la dimension des photos ou standard placer une signature).
- Détérminer les programmes standard pour l'envoi (Validité, accuse de réception, accuse de lecture, priorité, durée de la dia et la durée de livraison).
- Programme la réception du MMS ou bloquer au réseau de la maison ou roaming et activer l'envoie automatique d'un'accusé de lecture.
- Filtrer la réception d'un MMS en utilisant un numéro anonyme ou desANNONCEURS.
- La vision de la place restante.
8.12 Message de diffusion
CB veut dire 'Cell Broadcast' et est un avertissement et système d'aise locale. Pour plus d'information voir le site web du gouvernement.
Via l'option 'état' vous pouvez allumer ou éteindre la réception de message CB avec ce téléphone.
Vous pouvez également programmermer différents sujets et différentes langues de réception.
8.13 Modèles
Un modele est un morceau de texte à utiliser dans les messages SMS. Ceci est facile pour placer des phrases qui sont souvent utilisé dans un message SMS sans devoir l'introduire à chaque fois avec le clavier. Dans le menu des modèles vous pouvez utiliser, retravailler ou effacer des modèles qui sont déjà sauvégardé, pour un nouveau message SMS.
8.14 Réglages de messagerie
Il y a divers paramètres possible pour programme à souhait l'envoi des textes des messages
- Configuration du profile : lui vous pouvez programmer divers profi les. Sauf le nom de profi le vous pouvez également programmer l'adresse SMSC (le numéro du service SMS), la durée de validité d'un SMS (le temps après lequel le message texte expire s'il n'est pas commandé) ou le type de message.
L'adresse SMSC et le type de message sont souvent, standard, correctement programmé dans la carte SIM et ne doit généralement pas être changé.
-
Serveur de message vocaux : lui vous pouvez programmer ou appeler le numéro de votre voicemail. Avec avoir programmé votre número de voicemail 1, vous pouvez appeler le voicemail en gardant touche 1 enforcé pendant quelques secondes.
-
Réglages commun : Avec les paramètres générales vous pouvez déterminer d'activer ou désactiver qu'un avis vous soit donné quand un message envoyé est reçu (Lire le rapport), qu'une ↔reference vers le message d'origine soit envoyé avec lors d'une ↔response ou lors de la sauvegarde des messages envoyés avec succès.
- État : lui vous peuvent voir combien de pourcent de la mémoire est encore disponible pour la sauvégarde des messages.
Stockage préfééré : Avec ceci vous pouvez déterminer où les messages doivent être sauvégardé standard; dans le téléphone ou la mémoire de la carte SIM. Lorsque la mémoire désisie est pleine, l'autre mémoire sera automatiquement utilisée. - Connexion préfééré : Avec ceci vous pouvez déterminer où les messages doivent être envoyé standard.
9 SONNERIE
Via les profi les vous peuvent reconvertir, dépendant de la situation, le volume de la sonnerie, l'etat de vibration, touche d'appl et.
Il y a toujours divers profi les de prét pour les situations les plus utilisées (Général, Réunion, Extérieur et Bluetooth).
9.1 Menu de structure de sonnerie
| Profi les de son | Général Activier Exterieur Silence Bluetooth | Personalliser | Paragemétrique d'ouen supplémentaire |
| Volume Type | |||
| Type | |||
| Son |
9.2 Personalliser
Ce menu vous permet de selectionner :
- Son : Vous pouvezCHOISIR entre sonneries differentes qui retentissent lors d'un appel entrant, alarme, messages entrants etc..
Volume : La touche vers le haut / vers le bas, vous permettent de régler le volume de la sonnerie, du signal messages etc.
Type d'alerte : Vous pouvez préciser si le téléphone vibre lors de la réception d'un appel ou d'un SMS.
- Son supplémentaire : Activer ou désactiversons de système.
10 TEMPS
Ici vous pouvez introduire l'heure et la date actuelle, déterminez si celles-ci doivent être affi chées quand le téléphone est en veille ou si l'heure doit être modifiée quand une autre zone hora est programmée.
10.1 Structure du menu du temps
| Temps | Alarme |
| Régler T'heure | e/la date |
| Régler le format | |
| Mettre à jour | avec fuseau horsaire |
| Régler fuseau | horsaire |
| Mise à jour automatique |
10.2 Alarme
Avec cette fonction vous pouvez programmermer jusqu'à 5 différentes heures de réveille.
Vous pouvez allumer ou eteindre chaque reveil à part, déterminer si l'alarme doit sonner qu'une fois, programmer l'etat de sommeille et déterminer le type d'announce (allumer la vibration, eteindre uniquement la vibration, sans son).
10.3 Mise à jour automatique
Dans ce menu vous pouvez programmer que la date et l'heure soit automatiquement modifiée par internet.
11 AIDE
Dans ce menu la touche SOS peut être programmée pour utilise. La recherche de la localisation peut également être utilisée, lorsque internet estprogrammé- ceci affi chera votre localisation jusqu'à environ 1 Km de précision.
11.1 Structure du menu d'aide
| Aide Touche SOS | Emplacement | Mon emplacement | |
| Â distance | Mode | ||
| Pense-bête | |||
| Liste de numéroes | Ros Retardateur | ||
| Service | STK WAP | Page Marque-pages Pages Entrez Boîte Réglages | |
11.2 Emplacement
Ici vous pouvez utiliser la recherche localisation avec l'option 'Mon emplacement', la localisation est affi chée sur l'écran après une petite période de chargement.
Vouspouvezenregisterun numero de télé
phone avec l'option 'A distance'.
Le numéro qui est enregistré ici peut également demander la localisation de ce téléphone via SMS. En envoyant un SMS vers le téléphone avec le texte '94373' ce téléphone enverra automatiquement un lien vers un site web, où la localisation estimée du téléphone est visible.
Avec l'option 'Pense-bête' vous pouvez déterminer que vous souhaitez receivevoir uneANNONCE lorsquè le numéro enregistré demande une localisation.
11.3 Touche SOS
liste de nombres : Programmez ici jusqu'à 3 numéros auxquelles un message SMS sera envoyé et lequels seront appelés tener la touche enfoncée pendant 3 secondes en cas d'une situation d'urgence.
Retardateur : Avant d'appler le premier numéro ou pour désactiver la fonction ralentissement il faut d'abord programmer l'heure ici.
11.4 Fonctionnement
Les choses suivantes arrivent quand vous activez le mode:
- Un son d'ambulance retenti pour alarmer les personnes dans votre entourage.
- Le premier número est appelé.
A Siquelqu'un décroche:
- Conversation directement en mains libres via l'haut-parleur.
B. Si personne ne décroche :
- La liaison est interrompue après le message du réseau ou après le voicemail.
- Le deuxième (jusqu'au cinquième) numéro est appelé s'ils sont programmes.
- Un message (SMS) avec un lien vers un site web, où la localisation estimée du téléphone est visible est envoyé
- Tout le processus est répété trois fois à partir de l' étape 2.
11.5 Service
Service de SIM : Dans le menu STK vous trouvez des fonctions supplémentaires qui setrouvent sur votre carte SIM. Les disponibilités et les possibilités sont dépendantes de votrecarte SIM et provider.
Internet : Avant de pouvoir utiliser internet, vous devez d'abords programmeur [GPRS], voir le chapitre 14.4. Vous devez également programmeur tout les paramètres corrects exigés par votre provider dans [Réglages] d'internet.
La plus part des abonnements avec la possibilité d'internet receiveva un SMS du provider, qui programme cet information lui-même lors la première fois que le téléphone est utiliser pour téléphoner.
Dans les applications internet vous pouze regarder la page avec les touches de navigation habituelles,pendant que vous effectuez diverses actions (est différent par page / article sélectionné) avec les touches douces.
Vous pouvez创建工作 des feuilletts pour naviguez
facilitement vers vous sites favoris, vous pouvez également effacer les cookies et les caches dans les paramètres pendant que vous naviguez, programmer si vous foulez receivevoir des messages d'entretiens de votre provider ou modifier le profile avec lequel vous faites des liaisons.
12 RADIO FM
Avec cette option vous pouvez écouter des émetteurs radio FM. Raccordez un écouteur avant que vous utilisez le radio FM.
Youou pouvez allumer ou eteindre la radio avec la touche vers le bas. Youou pouvez chercher une station radio suivante avec les touche vers le gauche et le touche vers le droit.
Si vous avez programmé des canaux vous pouvez directement y passer en appuyant sur la touche du chiffre correspondant.
Vous pouvez allumer ou eteindre la fonction de recherche avec la touche vers le haut.
Pour plus de possibilité appuyez sur la touche douce [Options] :
-
Liste des canaux : Pourmettrevoitrystation radio préféérée dans la liste. Les stations radios qui sont ajoutées sur les places de 1-9 peuvent être immédiatement écoutees en appuyant sur les touches à chiffres correspondants.
-
Entrée manuelle : Pour programmer une fréquence avec le clavier.
- Recherche auto de préétabli : Avec ceci le téléphone introduira automatiquement toutes les fréquences d'ou il trouve un signal radio, dans la liste des canaux.
- Haut-parleur: lui vous pouvez définir que l' Haut-parleur doit rester allumé quand l'écouteur est raccordé.
- Lire en fond : lui vous pouvez programmermer que la radio doit restée allumée quand vous sortez de la radio avec la touche [Retour]: si celui-ci est allumé, vous pouvez utiliser toutes les autres fonctions du téléphone en écouteant la radio. Si vous appelez ou si vous étés appelé la radio s'arrêtera.
13 OUTILS
Ici vous trouvez diverses fonctions utiles, comme une calculatrice, un calendrier, une liste tâches, lecteur texte, un enregistrateur de son et un visueliseur d'image.
13.1 Menu de structure de organisateur
| Organisateur | Calculatrice | ||||
| Calendrier | Affi cher | ||||
| A f | fi | ||||
| Aller à la date | Ajouter | evène | mei | ||
| Liste des tâc | Effacer | evène | mer | ||
| Aller à la date | Ajouter | en | tout | ||
| Effacer | ent | Le | |||
| Envoyer | vCalendrie | ||||
| Enregistrer | le | ||||
| globaux | Lecteur | texte | Nettoyer | l'étagère | bau |
| Réglages | glo | aux | |||
| Info | de | ||||
| Effacer | tous | ||||
| Trier | par | ||||
| Appliquer | les | ||||
| Aide | |||||

13.2 Calculatrice
Avec cette fonction vous avez toujours une calculatrice à la main. Utilisez le clavier pour introduire un chiffre, et utilisez la touche vers le haut/bas pourCHOISIR entre décompter, additionner, diviser ou multiplier. Avec la touche # vous pouvezmettre une décimale, appuyez sur la touche gauche douce pour le résultat.
13.3 Calendar
Avec cette fonction vous avez toujours un calendrier à la main. Vous pouvez feuilleter dans les semaines avec le touche vers le haut et
vers le bas, avec la touche # et * vous pouvez feuilleter dans les jours.
Avec la touche douce [Options] vous pouvez voir et ajouter plus de données :
- Affi cher : Regarder le jour sélectionné et les éventuelles tâches programmes.
- Affi cher tout : Regardez toutes les tâches programmes. (Voir également le chapitre 13.4)
- Ajouter événement : Ajouter une tâche au jour sélectionné.
- Effacer événement : Effacez une tâche qui est programmée au jour sélectionné.
- Aller à la date : Pour indiquer, avec le clavier, qu'elle date doit être montré.
13.4 Listétâches
Ici vous pouvez programmer des tâches comme des rendez-vous ou des anniversaires. Ceux-ci sont également montrés dans le calendrier. La liste des tâches est vide à la première utilisation. Vous pouvez ajouter la première tâche
avec la touche gauche douce.
Vous pouvez ajouter la date avec le clavier – avec les touches # et * vous pouvez aller vers la gauche et vers la droite pour changer de jour, mois ou année.
Avec la touche vers le haut et vers le bas vous pouvez changer entre les cases de l'heure, le sujet, le réveil (allumé ou éteint), répétition (une fois, tous les jours, toutes les semaines, tous les mois, tous les ans), la priorité qui est montré avec la tâche, détails (texte montré quand la tâche est montré) et l'état de la tâche.
Après la programmation de la première tâche, vous avez les possibilités suivantes via la touche gauche douce :
- Affi cher : Regarder la tâche sélectionnée.
- Ajouter : Ajoutez une nouvelle tâche à la liste.
- Éditer : Modifi er la tâche sélectionnée.
- Chercher : Pour trouver une tâche selon
I'heure ou le sujet.
- Supprimer : Pour effacer la tâche sélectionnée.
- Effacer ancien : Pour effacer toutes les tâches dont la date et l'heure sont expires.
- Effacer tout : Pour effacer toutes les tâches.
- Aller à la date: Pour annunciçer, avec le clavier, qu'elle date doit être montrée.
- Affi chage incomplet : Pour monrer toutes les tâches qui ont l'etat 'Inacheve'.
- Envoyer vCalendrier : Pour transmettre les tâches dans votre calendrier vers un autre téléphone via bluetooth, comme message texte (SMS) ou comme MMS.
- Enregistrer le fi chier : Pour sauvégarden la liste de toutes vos tâches comme fi cher texte.
13.5 Lecteur E-Book
Avec cette fonction vous pouvez dire des textes (.txt of .pdb) et des fi chiers.
S'il y a des fi chiers textes dans votre téléphone,
vous disposez des options suivantes :
-
Ouvrir texte : Lisez le fi chier texte sélecti-onné. Avec avoir ouvert le texte vous pou- vez continuer avec [Options] et aussi arrêté avec les conversions (arrêté de dire les plus grand fichiers), chercher un mot, sauter vers une page, créé des feuilletts, aller vers ceux-ci ou effacer le feuillet, voir des fi chier d'information, modifi er les paramètres de ce fi chier texte, returner aux paramètre standard pour les fi chiers/textes ou montrer les abréviations lors de la lecture d'un fi - chier.
-
Nettoyer l'étagère : Rechargez la liste et effacez les fi chiers qui n'existent plus.
- Réglages globaux : Programmez les paramètres standards pour la lecture du texte. Vous pouze également programmer ces paramètres par fi cher texte. Vous pouze programmer la taille des lettres, ou vous foulez descendre par page ou règles complètes, ou si le texte doit automatiquement descendre et àquelles vitesse, affi chage sur l'écran complet, modifi er le codage du
fichier texte et définir l'alignment.
- Info de livre : Avec ceci vous montrez plus d'information de ce qui chier.
- Effacer : Avec ceci vous effacez le fi chier sélectionné.
- Effacer tous les fi chiers : Avec ceci vous effacez tous les fi chiers existants.
- Trier par : Avec ceci vous déterminer l'ordre des fi chiers dans la liste.
- Appliquer les réglages globaux : Avec ceci vous allez aux paramètres standards pour les fi chiers texte.
- Aide : Montrez différentes abréviations faciles pour les fonctions à la lecture des fi chiers texte.
13.6 Enregistreur de son
Ici vous pouvez commencer un enregistrement de son en appuyant sur la touche vers le haut. Au paramètres du menu [Options] vous déterminez le type du fi chier et la qualité du son -- aussi vous pouvez désoir d'enregistrer derrière ou avant un fichier existant en ouvrant un fichier existant via [Liste], ou créé un nouveau fi chier.
13.7 Visualisier d'image
Ici vous trouvez toutes les images que vous avez sauvégardées d'internet ou des messages MMS.
Les options suivantes peuvent être effectuées sur toutes les images:
- Affi cher : Montre les images
- Style du navigation : Déterminez l'affi chage de la liste des images.
- Envoyer : Envoyez cette image avec MMS ou bluetooth.
Utiliser comme : Pour utiliser l'image comme fond d'écran, écran de voir, écran de début ou fermeture ou comme photo pour un contact ou un groupe. - Renommer : pour donner un autre nom à l'image.
- Effacer : pour effacer l'image.
- Trier par : pour déterminer l'ordre des images dans la liste.
- Effacer tous les fi chiers : pour effacer toutes les images.
Stockage: Pour déterminer dans quel mémoire (mémoire du téléphone ou d'une carte SD) doit être lu.
13.8 Gestionnaire de fi chiers
Avec cette fonction vous peuvent voir toutes les données dans le téléphone ou sur la carte SD.
Vous peuvent immédiatement ouvrir les fi chiers, et dans la plupart des cas ceux-ci sont immédiatement ouverts avec les applications correctes (donc musique dans le lecteur musique, une photo dans les images). Ici vous pouvez également effacer des fi chiers, ou même la mémoire du téléphone ou formater la carte SD. En formantant vous effacer toutes les données comme les fi chiers audio.
14 RÉGLAGES
Dans ce menu vous pouvez programmer letelephone complètement selon vos souhaits :
14.1 Menu de structure des réglages
| Téléphone Mode réponse N'importe qu'elle ne c的力量 | |
| Marché/Arret Planifi cation de l'énergie Langue Orites de saisie | |
| Méthodes fav Affi cher Image de fond d'écran Clé spécialisée Vers le haut Affi cher Image de fond d'écran Economiseur A f d'éc fi | |
| Mise à jour a automatique de la date et de l'heure DROITE | |
| Rétroéclairage de l'écran Alimentation Visibilité Mon appareil Recherche appareil audio Changer le nom de l'appareil Avancé 78 | |
| Chemin Stockage Permission de Mon adresse al |

14.2 Téléphone
Ici vous pouvez programmer un schéma pour allumer et éteindre la téléphone, modifi er la manière d'appoint, défini nir la langue su menu et le texte de l'écran, l'affichage du téléphone, définir le menu et l'éclairage de l'écran et programmer que la date et l'heure soit automatiquement modifiée par internet.
Vous pouvez aussi modifier quel option menu vous foulez immédiatement ouvrir après que
vous aillez appuyé sur la touche navigation, quand le téléphone est en veille.
14.3 Bluetooth
Avec Bluetooth vous pouvez raccarder d'autres apparueilles sans fi ls qui supportent Bluetooth. Pensez à un carkit, un écouteur ou un autre téléphone. Dans différents pays il y a également de divers monuments qui utilisent le pour envoyer des messages ou des textes parlés avec des informations supplémentaires pour les touristes.
Pour pouvoir utiliser le Bluetooth, vous devez d'abords allumer la fonction (état). Grâce à ceci l'appareil sera ouvert pour toutes les liaisons Bluetooth disponibles. Pour une liaison de l'extérieure il faudra toujours donner une confi r-mation. Faites attention que l'activation de veille de la fonction Bluetooth diminue considérable-ment la durée de la batterie.
Tous les apparèils avec lequel il y a une liaison
de faite doit d'abords être annuncié. Ceci est souvent appeler 'Pairen'. Pour s'identifi er il faut souvent donner un mot de passé, qui doit être le même pour les deux appareils.
14.4 Connectivité
Avant de pouvoir utiliser les fonctions WAP ou internet, vous doivent d'abords programmermer un profi le de liaison expigé par votre provider.
La plus part des abonnements avec les possibilités de WAP ou d'internet receiveva un SMS du provider, qui programme cette information lui-même lors la première fois que le téléphone est utilisé pour téléphoner.
Si ceci n'est pas le cas, il est recommandé de prendre contact avec le service clientèle du provider, ou d'aller voir les données sur internet pourannoncer le téléphone au réseau GPRS. Àpres créez un nouveau profi le ou retravailliez un profi le existant et replisssez les informations que vous avez reçu de votre provider.
Répêtez l'introduction des informations des votre MMS et profi le internet.
14.5 Confi guration Réseau
lci vous défi nissez si le réseau doit être recherche automatiquement, ou vous choisissez manuellement àquel réseau vous foulez vous annunciçer.
14.6 Paramétrage sécurité
Ici vous défini nissez si le téléphone doit demander des codes pour limiter l'utilisation, vous pouvez également programmer les codes.
- SIM-lock / PIN :
Le SIM-lock - ou PIN - est un code qui protège votre carte SIM contre l'utilisation illégitime.
Si le code PIN est demandé alors que vous ne l'avez pasprogrammé, il est possible de le trouver dans la documentation de votre carte.
PIN2
PIN2 est un code qui ferme les fonctions avances ( comme internet). Avec ceci vous pouvez donner accès à quelqu'un pour téléphone mais pas pour par empl. Aller sur internet ou WAP.
- PUK:
Si vous avez introduit trois fois un mauvais code PIN, vous doivent introduire le code PUK. Ce code se trouve généralement aussi dans la documentation de votre SIM.
- Verrouillage téléphone / mot de passer :
Vous pouvez non seulement sécuriser votre carte SIM, mais vous pouvez également bloquer vous-même votre téléphone avec un code, afi n que personne ne puisse voir les données du téléphone en mettant utiliser une autre carte SIM.
Standard ce code de téléphone est '1122'
14.7 Restaurer paramètres d'usine
Après avoir introduit le code du téléphone, avec ceci vous pouvez rétablier la config guration originaire (standard). Les contacts, les messages et le reste des fi chiers sauvégardés sont conservés.
14.8 Menu rapide
Avec cette fonction vous pouvez-cache le menu option avancé, grâce à quoi les menus des paramètres seront plus courts et donc plus facile à l'utilisation.
15 LAMPE DE POCHE
Vous pouvez allumer ou eteindre la lampe de poche tener la touche navigation vers le bas enfoncée pendant 3 secondes.
16 DECLARATION DE CONFORMITE
Cet apparéil répond aux conditions et les dispositions essentiels comme décrit des les directives Européennes 1999/5/EC.
La déclaration de conformité est disponible sur notre site web (Voir le site Internet à la dernière page de ce mode d'emploi).
17 SPECIFICATIONS
Réseau: 850/900 / 1800/1900
SAR: <1,0W/kg
Dimensions : 108 x 57 x 14 mm
Accu : Li-lon, 3.7V
Stand-by Durée: jusqu'à 120 heures (Dépendant du réseau)
Durée d'appoint: jusqu'à 2,5 heures (dépendant de comment le téléphone estprogrammé et comment il est utilisé)
Poids: 81 gr (accu incl.)
Bluetooth : V2.0 - A2DP, HSP, HFP
GPRS : Class B
Internet : WAP2.0, WML script 1.3
Lecteur SD : Max. 16GB SDHC carte
18 TABLE DES MATIÈRES
1 Notions 4
2 Indications de sécurité importantes ....10
2.1 Important 10
2.2 Avertissements 10
2.3 Contenu de la livraison 14
2.4 Indications pour l'écoulement 14
3 Description des fonctions 16
3.1 Telephone 16
3.2 Touches 18
3.3 Symboles du display 21
4 Battery 23
4.1 Charger l'accu 23
4.2 La durée de l'accu 24
4.3 Remplacer l'accu 25
5 Fonctionnement 26
5.1 Allumé et éteindre l'appareil 26
5.2 Choiser un numero 26
5.3 Choisisr dans les mémoires 27
5.4 Prendre l'essay 27
5.6 Choisisr dans la liste de contacts 28
5.7 Volume de réception 28
5.8 Fonctions en téléphonant 28
5.9 Ouvrir le menu 31
6 Répertoire téléphonique 32
6.1 Structure du menu du repertoire............32
6.2 Nouveau contact 33
6.3 Envoyer texte 35
6.4 Envoyez multimédia 35
6.5 Editor 35
6.6 Copier / Déplacer 35
6.7 Envoyer vCard 36
6.8 Groupe d'aggellant 36
6.9 Options 36
7 Journal. 38
7.1 Menu de structure journal des appeals ....38
7.2 Voir l'histoire des appeals 38
7.3 Reglages d'essay 40
8 messages 42
8.1 Structure du menu du messages 42
8.2 Créer un message SMS (Écrite) 44
8.3 Avancé (Écire) 45
8.4 Lire des messages (Boîte de réception) ... 45
8.5 Messages composés 46
8.6 Options lors de la lecture du message ....46
8.7 MMS 48
8.8 Créer un message MMS (Écrite) 49
8.9 Lire un message MMS. 51
8.10 Options à la lecture d'un MMS 52
8.11 Réglages MMS 53
8.12 Message de diffusion 55
8.13 Modèles 55
8.14 Reglages de messagerie 56
9 Sonnerie 58
9.1 Menu de structure de sonnerie 58
9.2 Personalliser 58
10 Temps 60
10.1 Structure du menu du temps 60
10.2 Alarme 60
10.3 Mise à jour automatique 61
11 Aide 62
11.1 Structure du menu d'aide 62
11.2 Locatie 62
11.3 Touche SOS 63
11.4 Fonctionnement 64
11.5 Service 65
12 Radio FM 67
13 Outils 69
13.1 Menu de structure de organisateur......69
13.2 Calculatrice 70
13.3 Calendrier 70
13.4 Listetaches 71
13.5 Lecteur E-Book 73
13.6 Enregistreur de son 75
13.7 Visualiseur d'image 76
13.8 Gestionnaire de fichiers 77
14 Reglages. 78
14.1 Menu de structure des réglages 78
14.2 Telephone 79
14.3 Bluetooth 80
14.4 Connectivité 81
14.5 Configuration Réseau 82
14.6 Paramétrage sécurité 82
14.7 Restaurer paramètres d'usine 84
14.8 Menu rapide. 84
15 Lampe de poche 84
16 Declaration de conformite 85
17 Specifications 85
18 Table des matieres 86
19 Garantie 90
19 GARANTIE
Vous avez une garantie de 24 MOIS après la date d'achat sur le téléphone. Durant cette période nous vous garantissons une réparation sans frais sur les défaillances du matériel et les défauts de fabrication. Ce après l'appréciation définitive de l'importateur.
COMMENT AGIR :
Si vous remarquez une défaillance, consultez d'abords le mode d'emploi. Si celle-ci ne vous donne pas de réponses définitives, consultez alors le fournisseur de ce téléphone ou le département service de Fysic ou numéro de téléphone +32(0)32 385 666.

LA GARANTIE EXPIRE :
Lors d'une utilisation incompetente, mauvais branchement, placement de mauvais accus ou d'accus qui fuit, l'utilisation de pieces de rechanges ou d'accessoires non originaux, la néligences pour des défaillances causées par l'humidité, le feu, une inondation, coup de la foudre et catastrophes naturelles. Lors de la réparation ou changement faite par une tiance personne. Lors d'un mauvais transport de l'appareil sans un emballage approprié et si l'appareil n'est plus complagné de la preuve de garantie et du bon ticket d'achat. Toutes autres responsabilités, comme suite d'eventuels dommages, sont exclues
Nosusoudingsle droittdeffectuerdesmodifi cationstechniquesetformellespouramélioreretprogresser avecle produit.
Service Help

FYSIC
Aziëlaan 12
s-Hertogenbosch

Notice Facile