SMA350 - Recepteur Audac - Notice d'utilisation et mode d'emploi gratuit
Retrouvez gratuitement la notice de l'appareil SMA350 Audac au format PDF.
| Type d'appareil | Amplificateur audio |
| Puissance de sortie | Non précisé |
| Impédance de sortie | Non précisé |
| Réponse en fréquence | Non précisé |
| Rapport signal/bruit | Non précisé |
| Entrées | Non précisé |
| Sorties | Non précisé |
| Alimentation | Non précisé |
| Dimensions (LxHxP) | Non précisé |
| Poids | Non précisé |
| Protection | Non précisé |
| Utilisation recommandée | Audio professionnel |
| Marque | Non précisé |
| Modèle | Non précisé |
| Garantie | Non précisé |
FOIRE AUX QUESTIONS - SMA350 Audac
Questions des utilisateurs sur SMA350 Audac
0 question sur cet appareil. Repondez a celles que vous connaissez ou posez la votre.
Poser une nouvelle question sur cet appareil
Téléchargez la notice de votre Recepteur au format PDF gratuitement ! Retrouvez votre notice SMA350 - Audac et reprennez votre appareil électronique en main. Sur cette page sont publiés tous les documents nécessaires à l'utilisation de votre appareil SMA350 de la marque Audac.
MODE D'EMPLOI SMA350 Audac
Consignes de sécurité 7
Déclaration de conformité CE 7
Déchets d'équipements électriques et électroniques (DEEE) 8
Avertissement
8
Chapitre 1 : Brochages et connecteurs 9
Normes de connexion 9
Chapitre 2 : Faces avant et arrière 11
Présentation de la face avant 11
Description de la face avant 11
Présentation de la face arrière 12
Description de la face arrière 13
Chapitre 3 : Guide de prise en main rapide 14
Branchement de l'amplificateur 14
Configuration de l'amplificateur 14
Prêt 15
Chapitre 4 : Raccordement de l'amplificateur 16
Connexions d'entrée 16
Connexions de sortie 17
Câblage du système 19
Chapitre 5 : Configuration de l'amplificateur 20
Vue d'ensemble de la structure des menus 20
Écran principal 21
Menu des paramètres 21
Level (Niveau) 21
Input (Entrée) 22
Mute (Coupure du son) 22
Output setup (Configuration de sortie) 22
EQ settings (Égalisation) 23
Delay (Retard) 23
Max Level (Niveau maximal) 24
Standby (Veille) 24
Limiter (Limiteur) 24
Dynamic bass (Basses dynamiques) 24
Bridge (Pontage) 25
Clear presets (Effacer les préréglages) 25
General setup (Configuration générale) 25
Input gain (Gain d'entrée) 26
Password (Mot de passe) 26
LCD 26
USB 26
Info 28
Temperature (Température) 28
Factory reset (Réinitialisation d'usine) 28
Save (Sauvegarder) 28
Lock (Verrouillage) 28
Chapitre 6 : Informations supplémentaires 29
Caractéristiques techniques 29
Notes 31
Introduction
Amplificateurs de puissance WaveDynamics™ de classe D

Les séries SMA & SMQ se composent d'amplificateurs de puissance de classe D disposant de la technologie de traitement audio WaveDynamics™. Ils existent en différentes configurations de sortie avec deux ou quatre canaux et sont disponibles avec des puissances de sortie de 350 watts, 500 watts et 750 watts. Leur grande flexibilité et les différentes configurations possibles en font une solution pour quasiment tous les systèmes, qu'il s'agisse d'une installation fixe ou d'une application mobile.
WaveDynamics™

Presets d'enceintes
Une bibliothèque complète de préréglages (presets) d'ensembles et d'enceintes AUDAC est disponible pour vos projets, vous n'avez donc plus qu'à choisir le bon fichier, à le charger et tout est prêt ! Outre les configurations acoustiques optimales, cette bibliothèque comprend également les paramètres de performance des enceintes afin de leur assurer une protection parfaite.

Égaliseur 7 bandes
L'égaliseur 7 bandes entièrement paramétrique avec fréquence et facteur de qualité Q réglables ainsi que des filtres Butterworth, Bessel et Linkwitz-Riley à pente réglable vous permettent de créer des configurations personnalisées, d'affiner votre configuration dans les moindres détails et de l'adapter à l'acoustique du lieu. Une fonction de retard permet d'aligner dans le temps les différentes enceintes de votre installation.

Filtres audio numériques
Les configurations vous permettent également de ponter les sorties, pour doubler la puissance d'un canal mono obtenu par réunion de deux canaux stéréo ou pour créer ainsi un amplificateur à trois canaux pilotant seul une configuration complète composée d'enceintes stéréo pour les médiums/aigus et d'un caisson de basses.
Facilité de contrôle

Alignment temporel
L'appareil s'utilise et se configure de plusieurs façons. Le moyen le plus évident consiste à utiliser les commandes de la face avant, qui comprennent une molette rotative de sélection et des boutons de sélection de canal avec une interface utilisateur claire et intuitive sur un écran graphique LCD 2,5".
Des configurations complètes pour des systèmes prédéfinis peuvent être chargées dans l'amplificateur au moyen du port USB.

Basses dynamiques
L'intégration du système audio dans des dispositifs d'automatisation domestiques et industriels est facilitée par le port de connexion et de contrôle RS-232 au travers duquel peuvent être pilotées des fonctions telles que la commutation d'entrée, le réglage de volume, etc.
Flexibilité
Chaque système a des exigences différentes et chaque client ses propres préférences. Pour cette raison, la structure a été prévue pour être aussi flexible que possible.

Matrice d'entrée
La matrice de sélection d'entrée apporte cette souplesse. Chacune des connexions d'entrée peut être raccordée à n'importe quel canal d'amplificateur et dispose d'un gain contrôlable par logiciel. Les différentes utilisations des connecteurs d'entrée et de sortie assurent la plus grande simplicité de connexion qu'elle que soit l'application, tout en permettant le renvoi du signal à d'autres amplificateurs.
Protection

Protection
des enceintes
Une protection optimale est nécessaire non seulement pour la satisfaction des auditeurs, mais également pour le respect des réglementations en vigueur et la garantie d'une longue durée de vie de l'équipement. Pour cette raison, différentes mesures de précaution sont prévues.

Tout d'abord, il existe différents niveaux d'accès pour les utilisateurs. L'appareil peut être verrouillé ou accessible avec les privilèges d'un utilisateur ou d'un administrateur. Ces niveaux accèdent à différentes fonctions de configuration et de contrôle, d'un accès limité aux commandes (par exemple uniquement au volume) pour les utilisateurs ordinaires jusqu'à un contrôle complet de la configuration pour les administrateurs. La restriction appliquée aux utilisateurs peut être activée et désactivée et dépendre d'un mot de passe et/ou d'une clé USB.

Limiteur
Deuxièmement, la protection de l'équipement est assurée par un limiteur de sortie qui surveille la puissance de sortie de chaque canal et entre en service lorsque la sortie dépasse un certain niveau. Ce niveau peut être configuré par logiciel et est indiqué en watts. Lorsque le limiteur de sortie est réglé sur la puissance maximale de l'enceinte, vous pouvez être sûr que les haut-parleurs ne seront pas détruits pendant votre absence.
Enfin, le volume maximal peut être réglé indépendamment pour chaque canal. Cela empêche les utilisateurs (ayant accès au volume) de dépasser la limite. Ainsi, vous pourrez maintenir le système en conformité avec les réglementations en vigueur et conserver de bonnes relations avec les voisins.
Rendement

Efficacité énergétique
L'alimentation à découpage et la technologie d'amplification de classe D combinées avec le mode de mise en veille automatique indépendant pour chaque canal mettent un terme à l'ère des amplificateurs gourmands en énergie. De plus, ces caractéristiques se traduisent par un amplificateur léger que le client appréciera dans les applications mobiles.

flowchart
graph TD
A["CANAL 1"] -->|OFF| B["SÉLECTION D'ENTRÉE"]
B --> C["Filtrex audio numériques"]
C --> D["Egaliseur 7 bandes"]
D --> E["Prenets d'uncountes"]
E --> F["Alignement temporel"]
F --> G["Protection des encaintues"]
G --> H["Limitiser"]
H --> I["Bancus dynamiques"]
I --> J["DSP"]
J --> K["Indicateurs de niveau"]
K --> L["AMPLI"]
L --> M["Niveau"]
N["RS232"] --> O["CPU"]
P["Avant"] --> O
Q["USB"] --> O
O --> L
R["CANAL 2"] --> S["Ampli"]
S --> T["Température"]
T --> U["Speaker"]
EXIGENCES RELATIVES À L'ALIMENTATION ÉLECTRIQUE ET À SON CORDON
Exigences de mise à la terre d'une alimentation électrique de classe I :
Pour la protection contre les courants de défaut, l'appareil doit être connecté à une borne de mise à la terre. Branchez le cordon d'alimentation du système à une prise secteur dotée de la terre. Tous les cordons d'alimentation de rechange ne fournissent pas une protection adéquate contre les courants de défaut. Utilisez uniquement le cordon d'alimentation fourni avec ce produit ou un cordon équivalent/agréé.
ATTENTION
Le fusible (T500 mAL/250 V) assure la protection de l'appareil. Lors du remplacement du fusible, veillez à ce que la valeur du fusible de rechange corresponde à celle du modèle d'origine. L'identification d'un composant de remplacement ou d'un substitut approprié doit être confiée à des techniciens qualifiés.
EXIGENCES RELATIVES À L'ALIMENTATION ÉLECTRIQUE ET À SON CORDON
Exigences de mise à la terre d'une alimentation électrique de classe I :
Pour la protection contre les courants de défaut, l'appareil doit être connecté à une borne de mise à la terre. Branchez le cordon d'alimentation du système à une prise secteur dotée de la terre. Tous les cordons d'alimentation de rechange ne fournissent pas une protection adéquate contre les courants de défaut. Utilisez uniquement le cordon d'alimentation fourni avec ce produit ou un cordon équivalent/agréé.
Safety notices:
Denmark:
Ce produit ne contient aucune pièce réparable par l'utilisateur. Confiez toute réparation à un service après-vente qualifié. N'effectuez aucune réparation (à moins d'être qualifié pour cela).

Ce produit se conforme à toutes les exigences essentielles et autres caractéristiques pertinentes décrites dans les directives suivantes : 2014/35/EU (EMC) et 2014/35/EU (LVD)

DÉCHETS D'ÉQUIPEMENTS ÉLECTRIQUES ET ÉLECTRONIQUES (DEEE)
Le marquage DEEE indique que ce produit ne doit pas être jeté avec les déchets domestiques ordinaires au terme de son cycle de vie. Cette réglementation a pour but de prévenir les préjudices éventuellement causés à l'environnement ou à la santé humaine.
Ce produit est développé et fabriqué avec des matériaux et composants de haute qualité qui peuvent être recyclés et/ou réutilisés. Veuillez rapporter ce produit à votre point de collecte ou au centre de recyclage local pour déchets électriques et électroniques. Cela assurera son recyclage de matière respectueuse pour l'environnement et contribuera à protéger l'environnement dans lequel nous vivons tous.
AVERTISSEMENT
Les symboles affichés sont des symboles internationalement reconnus avertissant des risques potentiels des produits électriques. L'éclair à tête de flèche dans un triangle équilatéral indique que l'unité contient des tensions dangereuses. Le point d'exclamation dans un triangle équilatéral indique que l'utilisateur doit se référer au mode d'emploi.

CAUTION RISK OF ELECTRIC SHOCK DO NOT OPEN

Ces symboles indiquent qu'il n'y a aucune pièce réparable par l'utilisateur dans l'unité. N'ouvrez pas l'unité. N'essayez pas de réparer l'unité vous-même. Confiez toute réparation à du personnel qualifié. L'ouverture du châssis, quelle qu'en soit la raison, invalidera la garantie du fabricant. Ne laissez pas l'unité à l'humidité. Si du liquide est renversé sur l'unité, éteignez-la immédiatement et ramenez-la au revendeur pour révision. Débranchez l'unité durant les orages pour lui éviter des dommages.
Chapitre 1
Brochages et connecteurs
NORMES DE CONNEXION
Les connexions d'entrée et de sortie des équipements audio AUDAC sont faites conformément aux normes de câblage internationales des équipements audio professionnels.
XLR :
Pour les connexions symétriques d'entrée microphone. L'image représente une prise femelle (embase).

Broche 1: Masse
Broche 2 : Signal +
Broche 3: Signal -
Barrette Euroblock à 3 broches :
Pour les connexions symétriques d'entrée et de sortie.

Pour les connexions asymétriques d'entrée ligne:

text_image
Masse Rouge BlancPour les connexions symétriques de sortie ligne:

text_image
Masse Rouge BlancPour les connexions asymétriques prioritaires, d'entrée et de sortie ligne :

text_image
MasseManchon Rouge PointeRS-232 (interface de connexion en série) :
Pour la connexion des systèmes d'automatisation domestiques ou d'autres équipements de télécommande.

text_image
Connexion RS232 standard BROCHE 2 TRANSMISSION M2 BROCHE 3 RÉCEPTION M2 BROCHE 5 MASSERéglages 19 200 bauds
8 bits
1 bit d'arrêt
Pas de parité
Pas de protocole de communication bi
Chapitre 2
Faces avant et arrière
Présentation de la face avant
Série SMA

text_image
SMA750 AUDAC PWM1200 PWM1200 PWM1200 PWM1200 PWM1200 PWM1200 PWM1200 PWM1200 PWM1200 PWM1200 PWM1200 PWM1200 PWM1200 PWM1200 PWM1200 PWM1200 PWM1200 PWM1400 PWM1400 PWM1400 PWM1400 PWM1400 PWM1400 PWM1400 PWM1400 PWM1600 PWM1600 PWM1600 PWM1600 PWM1600 PWM1800 PWM1800 PWM1800 PWM1800 PWM1800 PWM1800 PWM1800 PWM1800 PWM1800 PWM1800 PWM1800 PWM1800 PWM1800 PWM1800 PWM1800 PWM1800 PWM1800 PW-Série SMQ

text_image
SMQ750 AUDAC FUNCTION OFF OFF OFF OFF OFF OFF OFF OFF OFF OFF OFF OFF OFF OFF OFF OFF OFF OFF OFF OFF OFF OFF OFF OFF OFF OFF OFF OFF OFF OFF OFF OFF OFF OFF OFF OFF OFF OFF OFF OFF OFF OFF OFF OFF OFF OFF OFF OFF OFF OFF FF FF FF FF FF FF FF FF FF FF FF FF FF FF FF FF FF FF FF FF FF FF FF FF FF FF FF FF FF FF FF FF FF FF FF FF FF FF FF FF FF FF FF FF FF FF FF FF FF FF FOUTDOXDescription de la face avant
La face avant est quasiment la même sur tous les amplificateurs SMA/SMQ, les différents modèles n'ayant que quelques différences mineures. Les amplificateurs de la série SMA (à 2 canaux) ont deux boutons de sélection de sortie, tandis que les amplificateurs de la série SMQ (à 4 canaux) en ont quatre. Les autres caractéristiques telles que le port USB, l'écran LCD et la molette de sélection sont identiques sur tous les modèles.
Port USB
Un port USB est présent sur le côté gauche de la face avant. Il sert à insérer des clés USB contenant des fichiers de configuration à charger dans l'amplificateur ou à dupliquer les fichiers de configuration du système sur le support inséré. La clé insérée doit utiliser un système de fichiers FAT32.
Écran graphique LCD
L'écran graphique LCD de 2,5" (6,3 cm) fournit un aperçu clair du système et une interface utilisateur intuitive. Cet écran couleur offre une bonne vue d'ensemble du mode de fonctionnement des amplificateurs, ce qui garantit une expérience utilisateur conviviale lors de la navigation dans les menus.
Molette de sélection
La navigation dans les menus et le réglage des paramètres sont simplifiés par l'emploi de la molette de sélection. Cette molette multifonctionnelle permet un contrôle facile d'une seule main dans tous les menus. La tourner permet de naviguer et la presser déclenche des actions.
Boutons de sélection de canal avec LED témoins
La sélection et la surveillance des canaux sont facilitées par un bouton de sélection associé à quatre LED témoins pour chaque canal. Quand on presse un bouton, les paramètres du canal correspondant s'affichent pour pouvoir être réglés.
Les LED donnent en permanence une indication du fonctionnement du canal correspondant. La LED Sig verte s'allume si un signal est présent, tandis que la LED -20dB s'allume quand le niveau du signal entrant dépasse -20 dBu. La LED Clip s'allume quand le canal fonctionne au niveau maximal. Pour s'assurer du meilleur rapport signal/bruit, la LED Clip ne doit s'allumer que sur les pics de signal.
Quand la LED Clip s'allume, le limiteur de sortie de l'amplificateur intervient pour éviter l'écrêtage du son en sortie. La LED Prot (Protection) s'allume en cas de surchauffe ou de détection d'une défaillance. Quand la LED Prot est allumée, aucun signal n'est envoyé aux sorties.
Lorsqu'il faut changer le volume simultanément pour plusieurs sorties, pressez et maintenez les boutons de sélection des canaux voulus durant environ 3 secondes. Les canaux désirés seront simultanément sélectionnés et le changement de volume s'appliquera à tous les canaux sélectionnés.
Interrupteur d'alimentation
Un interrupteur d'alimentation permet d'allumer et d'éteindre l'amplificateur, la LED témoin bleue située près de l'interrupteur s'allumant quand l'appareil est sous tension.
Présentation de la face arrière
Série SMA

text_image
SMA750 AUDAC A/D Input 100V-DAVER 800MHz mask/UX Power mini OUTPUT CAUTION MINI OF ELECTRIC SWITCH DO NOT OPEN Condition: only one fuse of the power type Warning: die and express this equipment to rake or moisture MAX MAX EXPANSION INPUT MAX MAXSérie SMQ

text_image
SMQ750 AUDAC Condition only uses hours of the time on Working on hand or support the operation in be set or outside OUTPUT ADD INPUT 124-840V 6000Hz Power input GND4 GND3 GND2 GND1 GND4 GND3 GND2 GND1 GND4 GND3 GND2 GND1 GND4 GND3 GND2 GND1 GND4 GND3 GND2 GND1 GND4 GND3 GND2 GND1 GND4 GND3 GND2 GND1 GND3 GND2 GND1 GND4 GND3 GND2 GND1 GND4 GND3 GND2 GND1 GND4 GND3 GND2 GND1 GND4 GND3 GND2 GND1 GND4 GND3 GND2 GND1 GND4 GND³ GND3 GND2 GND1 GND4 GND3 GND2 GND1 GND4 GND3 GND2 GND1 GND4 GND3 GND2 GND1 GND4 GND3 GND2 GND1 GND4 GND3 GND2 GND1 GND4 GND₃ GND₃ GND₂ GND₁ GND₄ GND₃ GND₂ GND₁ GND₄ GND₃ GND₂ GND₁Description de la face arrière
La face arrière est quasiment la même sur tous les amplificateurs SMA/SMQ, les différents modèles n'ayant que quelques différences mineures. Les amplificateurs de la série SMA (versions à 2 canaux) ont deux entrées et deux sorties, tandis que les amplificateurs de la série SMQ (versions à 4 canaux) en ont quatre. Les autres possibilités de connexion telles que le port RS-232 et l'entrée d'alimentation sont identiques sur tous les modèles.
Entrée d'alimentation secteur avec fusible
L'alimentation secteur (CA 230\~240 V/50 Hz) doit entrer par cette prise. La connexion se fait au moyen d'un câble d'alimentation IEC et bénéficie d'un fusible. Lors du remplacement du fusible, assurez-vous que la valeur du fusible de rechange correspond à celle du fusible d'origine (SMA350 : T6,3 AH/250 V - SMA500 : T8, AH/250 V - SMA750 : T12, AH/250 V - SMQ350 : T8, AH/250 V - SMA500 : T12, AH/250 V - SMQ750 : T16, AH/250 V)
Connexions de sortie pour enceintes
Les connexions de sortie pour enceintes sont de deux types, sur connecteurs de sortie pour enceintes et barrettes à broches. Ainsi, les connexions peuvent toujours se faire de la manière la plus simple pour chaque application.
Vous trouverez une explication détaillée du branchement le plus approprié des enceintes pour chaque application dans le chapitre suivant « Raccordement de l'amplificateur ».
Connexions d'entrée de signal
Les connecteurs d'entrée de signal sont de deux types, XLR symétriques et barrettes à 3 broches. Ainsi, le raccordement d'une source de signal telle qu'un préamplificateur, un mélangeur ou un système matriciel peut toujours se faire de la manière la plus simple et la plus appropriée tout en permettant le renvoi de signal vers d'autres amplificateurs.
Connexion RS-232
L'amplificateur peut être piloté depuis du matériel externe tel que des systèmes d'automatisation domestiques et industriels en le reliant par la connexion RS-232. Le brochage et les réglages de communication sont décrits dans un chapitre précédent de ce mode d'emploi.
Le jeu complet d'instructions de commande RS-232 et des informations de configuration peuvent être téléchargés depuis le site web AUDAC.
Port d'extension par option
Le port d'extension permet l'installation de modules optionnels. En configuration standard, cet orifice de taille D est occulté par une plaque qui doit être retirée avant d'installer le module. Vous trouverez des informations sur les modules disponibles et sur la façon de les installer sur le site web AUDAC.
Chapitre 3
Guide de prise en main
Raccordement de l'amplificateur
ATTENTION
Assurez-vous que l'appareil n'est pas sous tension avant d'effectuer toute connexion ou tout changement de câblage. Ne pas respecter cette règle peut causer des dommages permanents à votre équipement.
1) Connexion de sources audio
Branchez toutes les sources audio aux connecteurs d'entrée de la face arrière de l'amplificateur. En fonction de l'installation et des sources utilisées (préamplificateurs, mélangeurs, systèmes matriciels, ...), il est possible de sélectionner les connecteurs d'entrée appropriés entre XLR et barrettes à broches.
2) Connexion des enceintes
Branchez des enceintes aux sorties de l'amplificateur. En fonction de l'application et des enceintes connectées, il est possible de choisir les connexions appropriées aux enceintes entre borniers d'enceinte et barrettes. Dans la plupart des applications standard, les enceintes seront connectées aux borniers +1/-1 (ou aux broches +/- de la barrette). Si des canaux doivent être pontés, les connexions correspondantes doivent être effectuées comme indiqué en face arrière.
3) Autres connexions
Une fois les connexions d'entrée et de sortie effectuées, les autres connexions telles que l'alimentation secteur (et éventuellement RS-232) peuvent être faites. Après cela, l'amplificateur est prêt à être mis sous tension et configuré.
Configuration de l'amplificateur
1) Configuration à l'aide de préréglages (presets)
Si vous avez une solution prédéfinie par AUDAC, un fichier de configuration (*.SOL) adapté est disponible pour régler tous les paramètres de configuration par simple téléchargement de ce fichier dans l'amplificateur. Pour cela, le fichier doit être enregistré sur un périphérique de stockage USB et celui-ci doit être inséré dans le port USB à l'avant de l'amplificateur. Après avoir inséré le périphérique de stockage USB, accédez à « Settings » > « General setup » > « USB » > « Load », naviguez jusqu'au fichier en question et pressez la molette. Cela chargera d'un coup tous les réglages nécessaires à votre ensemble et toutes les autres étapes de configuration peuvent être ignorées. Si une configuration personnalisée est requise, passez à l'étape suivante.
2) Configuration des sorties
La première étape si une configuration personnalisée est requise est de configurer les canaux de sortie. En configuration standard, chaque canal de sortie fonctionne indépendamment. Si cette configuration convient bien à votre installation, cette étape peut être ignorée. Si votre configuration nécessite de ponter un ou plusieurs canaux de sortie, des réglages de pontage de canaux peuvent être faits en sélectionnant la sortie désirée et en accédant au menu « Settings » > Output setup » > « Bridge ». Lorsque la fonction de pontage (« Bridge ») est activée, deux canaux sont fusionnés en un seul canal de sortie, ce qui double la puissance de sortie. Dans l'écran principal, un seul fader s'affiche pour un canal ainsi ponté.
REMARQUE : pour plus d'informations sur la connexion des sorties en mode ponté, voir page 17 de ce mode d'emploi.
3) Configuration des entrées
Une fois la configuration des sorties effectuée, l'étape suivante est la configuration des entrées. En configuration standard, chaque canal de sortie est associé au canal d'entrée lui correspondant (entrée 1 vers sortie 1, ...). Si cette configuration convient bien à votre installation, cette étape peut être ignorée. Si des entrées spécifiques doivent être assignées aux sorties, la sélection d'entrée peut se faire dans le menu des paramètres (Settings) qui s'ouvre avec « Settings » > « Input ». Il est possible de choisir parmi toutes les entrées en service, y compris des entrées avec sommation (conversion d'entrées stéréo en mono).
Une fois les entrées assignées aux sorties, il faut régler le gain pour chaque entrée utilisée. Le gain d'entrée peut être réglé avec « Settings » > « General setup » > « Input gain ». Sur le côté droit de cet écran, des indicateurs de couleur affichent pour chaque entrée le gain actuellement réglé. Un réglage correct du gain d'entrée fait clignoter fréquemment le voyant vert, le voyant orange ne s'allumant que sur les crêtes (-6 dB) et le voyant rouge ne clignotant que rarement, voire pas du tout. Si le voyant rouge clignote fréquemment, c'est que l'entrée est saturée et que le gain doit être réduit. Si le voyant vert ne clignote que rarement voire pas du tout, c'est qu'aucun signal d'entrée n'est détecté et que le gain doit être augmenté.
3) Configuration acoustique
Une fois les configurations d'entrée et de sortie effectuées, l'étape suivante consiste à faire les réglages acoustiques et à les optimiser. Lorsque l'installation utilise des caissons de basses, il peut être nécessaire d'ajouter un filtre passe-bas au canal affecté à ces caissons, et un filtre passe-haut aux canaux affectés aux enceintes de médiums/aigus. Le paramétrage des filtres peut se faire dans le menu « Setup » > « Output configuration » > « Filters ». La qualité sonore peut être optimisée en fonction de l'acoustique spécifique du lieu à l'aide d'un égaliseur à 7 bandes qui se trouve dans le même menu. Par ailleurs, d'autres paramétrages spécifiques tels que l'intervention d'un limiteur peuvent être effectués dans le même menu.
Prêt
Après avoir fait toutes les connexions et configurations ci-dessus, le système est prêt à fonctionner. Des fonctions plus spécifiques telles que la protection par mot de passe, le mode de veille et bien d'autres peuvent être configurées. Pour savoir comment procéder, consultez les chapitres suivants de ce mode d'emploi.
Chapitre 4
Raccordement de l'amplificateur
REMARQUE
Assurez-vous que l'alimentation est coupée avant d'apporter une quelconque modification aux connexions de l'amplificateur.
Connexions d'entrée
Les entrées de signal se font sur des connecteurs XLR symétriques et des barrettes à 3 broches (à écartement de 3,81 mm) pour chaque entrée. Les deux connecteurs sont reliés en parallèle, ce qui permet de choisir librement celui par lequel passera le signal. Si nécessaire, le deuxième connecteur peut servir au renvoi du signal reçu vers d'autres amplificateurs.

text_image
INPUT - + ↑ - + ↑ - + ↑ - + ↑ CH4 CH3 CH2 CH1La structure d'entrée de l'amplificateur est rendue flexible par la matrice de sélection d'entrée, ce qui signifie que tout signal reçu par l'amplificateur peut être envoyé à n'importe quel canal. Lorsque le même signal est envoyé à plusieurs canaux ou en cas de sommation de signaux stéréo avec conversion en mono (par ex. quand l'amplificateur est utilisé en mode ponté), la matrice d'entrée rend les liaisons externes redondantes.
La sélection des signaux d'entrée et leur affectation aux canaux de l'amplificateur sont facilitées par l'interface utilisateur configurable par logiciel et contrôlable par les commandes de la face avant.
Connexions de sortie
Les sorties pour enceinte se font sur des connecteurs d'enceinte et des barrettes à 2 broches (à écartement de 5,08 mm) pour chaque sortie. Les deux types de connecteur sont reliés en parallèle, ce qui permet de sélectionner librement la connexion la mieux adaptée à chaque application.

text_image
OUTPUT Bridge Bridge CH4 CH3 CH2 CH1Les connecteurs d'enceinte utilisés sont de type à 4 pôles, le signal de sortie du canal correspondant passant par les bornes +1/-1. Le connecteur d'enceinte du premier canal (et du troisième pour le SMQ) contient également le signal de sortie du canal sur les bornes +2/-2. Cela permet de transférer deux canaux d'amplificateur sur un seul câble d'enceinte à quatre conducteurs dans un connecteur. La connexion en mode ponté peut également s'effectuer à l'aide d'un seul connecteur

text_image
OUTPUT 1 CH 1: 1+ 1- Bridge: 1+ 2+ CH 2: 2+ 2- CH 2: 1+ 1- 1- 1+ 2+ 2-Mode de fonctionnement normal :
C'est le mode le plus courant dans lequel chaque canal reçoit son propre signal et est connecté à une enceinte. Les enceintes sont raccordées aux bornes correspondantes (+1/−1 pour les connecteurs d'enceinte et +/− pour les barrettes à broches) au moyen d'un câble d'enceinte à deux conducteurs (ou à quatre conducteurs pour les deux canaux suivants).

En mode mono ponté, une seule charge est connectée entre deux sorties d'amplificateur, fusionnant les deux, ce qui permet de doubler la puissance de sortie vers une même charge. Dans cette configuration, la charge est connectée par un câble d'enceinte à deux conducteurs entre les bornes + des deux canaux. Si on utilise les connecteurs d'enceinte, les connexions se font entre les bornes +1 et +2 du canal 1 (ou du canal 3 pour les SMQ). Si on utilise les barrettes à broches, les connexions se font entre les bornes +.
La sélection des canaux de sortie pontés s'effectue par logiciel avec l'interface utilisateur, qui peut être gérée depuis les commandes de la face avant.

Configuration à trois canaux (SMQ uniquement) :
Dans une configuration à trois canaux, deux sorties sont utilisées en mode de fonctionnement normal et les deux autres sorties sont pontées tandis que l'amplificateur reçoit un signal d'entrée stéréo. Cette configuration est couramment utilisée lorsque deux enceintes pour moyennes et hautes fréquences sont complétées par un caisson de basses supplémentaire (mono) pour les basses fréquences. Les enceintes de moyennes et hautes fréquences sont connectées comme décrit pour le mode de fonctionnement normal, tandis que le caisson de basses est connecté comme décrit pour le mode mono ponté.
Outre la sélection du canal d'amplificateur ponté, d'autres paramètres avancés tels que le filtrage doivent généralement être réglés pour ce type de configuration. Tous ces réglages peuvent être effectués dans l'interface utilisateur depuis les commandes de face avant.

Ne connectez aucun transformateur de ligne 100 volts conventionnel directement aux sorties pour enceinte, un réseau de découplage intégré doit être prévu en cas d'utilisation en combinaison avec des transformateurs de ligne.
Câblage du système
Le câblage du système doit être effectué en respectant les règles suivantes, pour garantir son bon fonctionnement en toutes circonstances.
- Câble d'enceinte pour sorties amplifiées :
Minimum 2 x 1,5 mm²
Si la distance est supérieure à 15 m : 2 x 2,5 mm²
- Sources musicales et sorties de zone :
Doivent être raccordées au moyen de câbles audio et de connecteurs de haute qualité.
Chapitre 5
Configuration de l'amplificateur
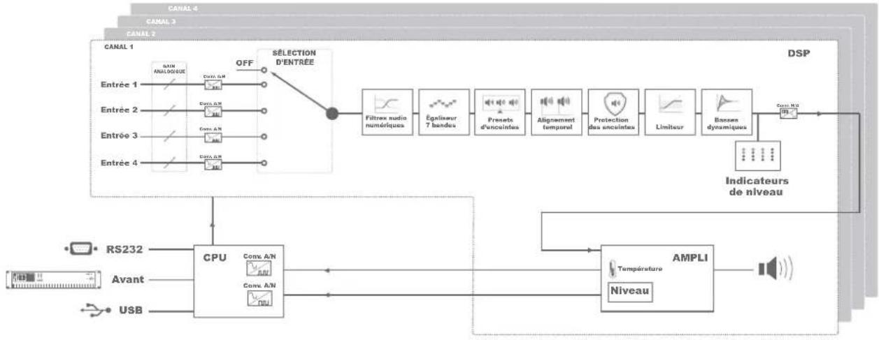
La configuration de l'amplificateur s'effectue au moyen des commandes présentes sur sa face avant. Une interface utilisateur graphique s'affiche sur l'écran LCD de la face avant, ce qui garantit une expérience à la fois intuitive et conviviale. La structure des menus est représentée dans le schéma ci-dessous, donnant un aperçu des possibilités de configuration. Les pages suivantes donnent une explication détaillée de chaque fonction configurable.

L'écran principal donne une vue d'ensemble des faders des canaux de sortie de l'amplificateur. Le niveau de sortie de chaque canal (deux pour les SMA ou quatre pour les SMQ) peut être réglé.
En haut de l'écran, les noms des canaux de sortie sont affichés (OUT 1, OUT 2, ...). Juste en dessous, les noms des entrées (INPUT 1, INPUT 2, ...) associées à ces sorties sont indiqués. Et sous l'entrée, c'est le niveau du canal de sortie qui est affiché.
La sélection du canal voulu s'effectue à l'aide des « boutons de sélection de canal » situés sous les indicateurs de niveau de chaque canal en face avant de l'amplificateur. Le niveau de sortie du canal actuellement sélectionné est indiqué en vert et peut être changé en tournant la molette de fonction dans le sens horaire (augmentation) ou antihoraire (diminution). Le fader montera ou descendra lors du réglage du niveau de sortie. Le niveau de sortie peut être réglé dans une plage allant de 0 dB à -70 dB.

Au bas de cet écran, un témoin de coupure du son (Mute) s'affiche pour chaque canal. Ce bouton est allumé en vert si le canal est fonctionnel et en rouge si le son est coupé.
Menu des paramètres
Presser une fois la molette de fonction (quand l'écran principal est affiché) ouvre le menu des paramètres de sortie. Ce menu n'est accessible qu'en mode administrateur (qui sera décrit en détail dans une section ultérieure de ce mode d'emploi) et il permet de faire des réglages de configuration des canaux et de configuration générale.
Tourner la molette de fonction permet de parcourir ce menu. L'option actuellement sélectionnée est surlignée et les possibilités qu'elle offre sont affichées sur la droite de l'écran. Les paramètres peuvent être appelés en pressant la molette de fonction. Selon l'option sélectionnée, le côté droit de l'écran affichera un menu de sélection, le réglage alternera entre deux possibilités ou un autre écran de sélection s'affichera.

Cette première option est le réglage du niveau de sortie du canal correspondant. Le niveau de sortie réglé ici est le même que le niveau de sortie réglé en écran principal de l'amplificateur décrit ci-dessus. Le niveau peut être réglé dans une plage allant de 0 dB à -70 dB. Une fois le réglage effectué, il est possible de revenir au menu des paramètres en validant le réglage par pression de la molette de fonction.
Input (Entrée)
Cet écran permet de sélectionner l'entrée associée à chaque canal. Chaque signal d'entrée peut être envoyé à n'importe quel canal de sortie à l'aide de la matrice de sélection d'entrée. Les entrées issues de la sommation de deux canaux d'entrée adjacents peuvent également être sélectionnées (par exemple, entrées 1+2). Cela peut être utile lorsque des canaux d'entrée stéréo doivent être raccordés à une sortie mono, ou lorsque l'amplificateur est utilisé en mode ponté.
Mute (Coupure du son)
La coupure du son supprime tout signal de sortie dans le canal correspondant. Le témoin de coupure du son est allumé en vert quand le canal est fonctionnel et en rouge quand le son est coupé. Pour alterner entre les deux états, pressez la molette de fonction.
Output setup (Configuration de sortie)
La configuration de sortie vous amène à un menu séparé dans lequel peut être effectué le paramétrage fin de la sortie correspondante. Le menu de configuration de sortie est paramétrable séparément pour chacune des sorties et comprend des réglages qui ne doivent généralement être faits qu'une fois pour chaque configuration/installation et non pas fréquemment.
Pour sortir du menu de configuration de sortie et revenir au menu principal, utilisez l'option « Back » (Retour) en bas de l'écran.

Les filtres sont fréquemment utilisés à des fins différentes dans les systèmes audio. Parmi les applications typiques, on note le filtrage du bruit ou d'autres signaux indésirables dans un signal audio, et la séparation de signaux audio en différentes plages de fréquences (répartition ou crossover) quand un système à 2 voies (ou plus) est utilisé.
Comme les caractéristiques du filtre requis dépendent fortement de l'application, les paramètres de filtrage sont flexibles et configurables par l'utilisateur.
Les filtres sont regroupés dans ce menu sous les intitulés « Low pass » (passe-bas) et « High pass » (passe-haut), correspondant aux types de filtre pouvant être configurés. Lorsqu'un filtre « passe-bande » est désiré, il est possible de l'obtenir en combinant un filtre passe-bas et un filtre passe-haut.
Les paramètres configurables pour les filtres sont :
Type de filtre : Au choix entre Butterworth, Bessel et Linkwitz-Riley
Roll-off (Pente) : Au choix entre 12 dB/oct. et 24 dB/oct.
Freq (Fréquence de coupure) : Réglable en continu de 1 Hz à 22 kHz
La configuration du filtre désiré se fait en sélectionnant le type de filtre requis dans la colonne de gauche (Low pass pour passe-bas ou High pass pour passe-haut). Ensuite, les caractéristiques du filtre ainsi choisi peuvent être réglées sur le côté droit de l'écran. Le paramètre actuellement sélectionné est affiché en vert et le changement de valeur peut se faire en pressant la molette de fonction. Si le paramètre est réglé sur la valeur désirée, tourner la molette de fonction permet de passer au champ suivant. Lors du réglage de la fréquence, une valeur à cinq
chiffres est affichée et le chiffre à changer peut être sélectionné (il deviendra alors rouge) en tournant la molette de sélection et validé en la pressant. Quand une valeur maximale a été atteinte, ce sont les chiffres suivants qui augmentent. Une fois la fréquence désirée sélectionnée, elle peut être validée en pressant la molette (pour un affichage en orange) et en la tournant à fond dans le sens horaire jusqu'à ce que le mot « OK » apparaisse. Après une nouvelle pression, la fréquence est validée et le paramètre suivant peut être réglé. Si tous les paramètres ont été réglés sur la valeur voulue, utilisez l'option « Back » et vous reviendrez au menu de configuration de sortie.
RECOMMANDATION
Pour séparer les fréquences en plusieurs bandes dans des systèmes à deux voies ou plus, il est recommandé d'utiliser un filtre Linkwitz-Riley d'une pente de 24 dB/oct. entre les différentes plages de fréquences. Un filtre Butterworth passe-haut d'une pente de 24 dB/oct. est suggéré pour éliminer les basses fréquences situées en dehors de la bande passante de l'enceinte afin d'éviter une surcharge subsonique.
Un égaliseur paramétrique à 7 bandes permet d'atténuer ou d'accentuer des plages de fréquences spécifiques, ce qui aide à améliorer le son et à l'adapter à l'acoustique du lieu d'utilisation.
Une configuration standard est préchargée, avec des fréquences centrales réglées sur 60 Hz, 150 Hz, 400 Hz, 1 kHz, 2,6 kHz, 6,8 kHz et 15 kHz et un facteur de qualité Q de 0,7. La fréquence centrale de chaque bande peut être réglée en continu dans une plage de 1 Hz à 22 kHz, tandis que le facteur Q peut être réglé dans une plage de 0,1 à 15, le niveau de chaque bande pouvant varier de +15 dB à -15 dB.
Une vue d'ensemble des curseurs de l'égaliseur 7 bandes apparaît après avoir sélectionné l'option de menu « EQ settings ». En haut de l'écran, la fréquence centrale de chaque bande est affichée juste au-dessus du niveau de correction actuellement sélectionné.
La sélection de la bande voulue peut se faire en tournant la molette jusqu'à ce que la bande s'affiche en vert puis en pressant la molette. Le réglage du niveau s'effectue en tournant la molette et sa confirmation en la pressant. Après cette confirmation, une autre bande peut être sélectionnée et réglée de la même manière.

text_image
EQ OUTPUT 1 50Hz 150Hz 400Hz 1.0kHz 2.6kHz 6.8kHz 15.0kHz 0dB 0dB 0dB 0dB 0dB 0dB 0dB 0dB EQ-frequency EQ Q-factor BACKLe réglage des fréquences centrales et des facteurs Q peut s'effectuer en sélectionnant le bouton correspondant (« EQ-frequency » pour la fréquence ou « EQ Q-factor » pour le facteur Q) en bas de l'écran. Après sélection, des fenêtres contextuelles apparaissent dans lesquelles les paramétrages peuvent être faits pour chaque bande. Le réglage des fréquences centrales se fait de la même manière que pour les filtres ci-dessus et les facteurs Q peuvent être changés après sélection en tournant la molette dans le sens horaire (augmentation) ou antihoraire (diminution). La valeur choisie est confirmée après nouvelle pression de la molette. Une fois la valeur requise réglée pour chaque bande, utiliser le bouton « Back » permet de revenir à l'écran de l'égaliseur.
Appuyer sur le bouton « Back » dans le coin inférieur gauche de l'écran de l'égaliseur ramène au menu de configuration de sortie.
Cette fonction permet d'instaurer un retard spécifique entre le signal d'entrée et le signal de sortie. Ce retard peut servir à aligner dans le temps différentes enceintes d'une même configuration. Il est réglable en mètres dans une plage de 0 à 12 mètres avec une résolution de 0,1 mètre/pas. Les réglages se font en sélectionnant le paramètre voulu et en tournant la molette. Une fois le retard voulu sélectionné, la valeur peut être validée en pressant la molette.
Output setup >> Max Level (Niveau maximal)
Cette fonction garantit que le niveau de sortie réglable au moyen du fader de l'écran principal (auquel peut accéder tout utilisateur) ne dépassera pas la valeur configurée ici. Cela protège d'une augmentation de volume indue par des utilisateurs non autorisés. Le réglage peut se faire dans une plage allant de 0 dB (aucune restriction) à -70 dB.
L'écran affiche un fader surmonté du niveau de sortie maximal choisi. Après sélection, le fader et le niveau de sortie maximal actuellement configuré deviennent verts et le niveau peut être réglé en tournant la molette. Le fader montera et descendra et, une fois la valeur voulue sélectionnée, celle-ci peut être validée en pressant la molette.
Output setup >> Standby (Veille)
Si aucun signal n'est détecté sur le canal en question, celui-ci bascule automatiquement en mode de veille. Le temps qui doit s'écouler entre la disparition du signal et le passage en mode de veille peut être sélectionné dans cet écran. Le passage au mode de veille peut être désactivé (never) ou réglé avec une temporisation de 1 à 10 minutes. La consommation électrique diminuera si un ou plusieurs canaux passent en veille.
Output setup >> Limiter (Limiteur)
Le niveau de sortie de chaque canal peut être limité à une certaine puissance. C'est très utile lorsque la puissance de sortie de l'amplificateur est supérieure à la puissance admissible maximale de l'enceinte connectée. Quelle que soit l'amplification de signal d'entrée demandée, la puissance de sortie sera toujours limitée à la valeur réglée. De cette façon et si ce réglage est effectué correctement, il est possible d'éviter que l'enceinte ne soit endommagée par une surcharge de courant.
Le niveau de sortie maximal est indiqué en watts et se règle par pas de 25 watts (sous une charge de 8 ohms) jusqu'à la puissance de sortie maximale de l'amplificateur. Le réglage de la puissance de sortie maximale se fait en tournant la molette de fonction.
Les basses dynamiques apportent une correction en fonction du niveau (volume) des basses fréquences.
Cette correction rendra le son chaud et détaillé (avec une reproduction fidèle des basses fréquences) à faible volume, mais atténuera les basses fréquences si on augmente le niveau (volume). Il en résultera moins de distorsion grâce à la réduction des basses fréquences à des volumes élevés, ce qui permettra à l'enceinte de supporter des niveaux de pression acoustique plus élevés avec moins de distorsion.

Ce paramètre peut être réglé sur ON ou OFF, OFF signifiant que les basses dynamiques sont désactivées et ON qu'une correction des basses fréquences est effectuée en fonction du niveau.
Les paires de canaux adjacents peuvent être pontées avec fusion de la puissance des deux canaux pour obtenir un seul canal à double puissance de sortie. Les paires pontées concernent toujours des canaux adjacents (OUT 1+OUT2 et OUT3+OUT4 pour les SMQ). Lorsque vous pontez deux canaux, un seul fader s'affiche dans l'écran principal pour le canal ponté.
Le pontage peut être activé ou désactivé, OFF signifiant que tous les canaux fonctionnent séparément et ON que deux canaux sont pontés.
Pour les amplificateurs SMQ (à quatre canaux), trois configurations de canaux peuvent être réalisées avec deux canaux fonctionnant séparément et deux canaux pontés. Ces configurations sont typiques des applications dans lesquelles des enceintes stéréo sont utilisées en combinaison avec un seul caisson de basses.
Output setup >> Clear presets (Effacer les préréglages)
Des configurations d'enceintes et de systèmes complets peuvent être téléchargées dans l'amplificateur. Chaque preset (préréglage) est conçu et optimisé pour un système ou des enceintes spécifiques. Cette fenêtre vous indiquera si un preset est déjà chargé. Utiliser des presets destinés à d'autres enceintes que celles employées peut affecter négativement les performances et la qualité sonore, sans pour autant offrir une protection optimale.
Il est possible d'effacer les presets actuellement chargés en sélectionnant cette option et en pressant « Clear ». Veuillez noter que les autres configurations qui sont faites séparément du preset pour le canal en question (par exemple filtres, égalisation, ...) restent

inchangées. Par contre, lorsqu'une configuration pour la totalité d'un système (solution système *.SOL) chargée est effacée, les configurations de canaux faisant partie de ce preset sont également effacées.
General setup (Configuration générale)
La configuration générale est un menu séparé dans lequel peuvent être effectués les réglages de configuration globale pour l'amplificateur. La configuration générale comprend en autres les réglages de mot de passe.
Pour sortir du menu de configuration de sortie et revenir au menu principal, utilisez l'option « Back » (Retour) en bas de l'écran.
General setup >> Input gain (Gain d'entrée)
Le gain individuel de chaque entrée peut se régler dans cet écran, de -16,5 dB à +30,75 dB. Après avoir fait défiler les entrées et sélectionné celle désirée, le gain peut être réglé en tournant la molette de sélection. Les indicateurs de niveau affichés sur la droite de l'écran affichent le niveau de gain réglé. Trois voyants (vert, orange et rouge) s'allument à différents niveaux pour donner un retour visuel sur le gain actuellement réglé. Un réglage correct du gain d'entrée fait clignoter fréquemment le voyant vert, le voyant orange ne s'allumant que sur les crêtes (-6 dB) et le voyant rouge ne clignotant que rarement, voire pas du tout. Si le voyant rouge clignote fréquemment, c'est que l'entrée est saturée et que le gain

doit être réduit. Si le voyant vert ne clignote que rarement voire pas du tout, c'est qu'aucun signal d'entrée n'est détecté et que le gain doit être augmenté.
General setup >> Password (Mot de passe)
La protection par mot de passe est assurée à deux niveaux différents, le niveau administrateur et le niveau utilisateur. Le niveau administrateur donne accès à toutes les fonctions disponibles de l'amplificateur tandis que le niveau utilisateur ne donne accès qu'au volume de l'amplificateur. Les deux mots de passe sont des codes à 4 chiffres prévus pour être différents.
En configuration standard, les deux sont réglés sur « 0000 ». Dans ce cas, un accès complet est permis sans nécessiter aucun mot de passe. Si le mot de passe utilisateur ou administrateur choisi est différent de « 0000 », il sera demandé avant de pouvoir accéder aux fonctions correspondantes.
Le choix du mot de passe peut se faire en sélectionnant « Admin pass » (mot de passe administrateur) ou « User pass » (mot de passe utilisateur) dans la colonne de gauche. Le mot de passe actuellement en vigueur s'affichera et le chiffre à changer pourra être sélectionné (il deviendra alors rouge) en tournant la molette de sélection et validé en la pressant. Quand une valeur maximale a été atteinte, ce sont les chiffres suivants qui augmentent. Une fois le mot de passe désiré sélectionné, il peut être validé en pressant la molette (pour un affichage en rouge) et en la tournant à fond dans le sens horaire jusqu'à ce que le mot « OK » apparaisse. Après l'avoir pressée une nouvelle fois, le mot de passe est validé.
Les paramètres de l'écran LCD se règlent ici. La luminosité (Brightness) de l'écran LCD peut se régler dans une plage de 10 % à 100 % (80 % en standard). Régler la luminosité de l'écran LCD peut être pratique si l'appareil est placé dans un environnement très peu ou au contraire très fortement éclairé. Ainsi, la clarté de l'écran LCD peut être réglée pour que ce dernier soit lisible mais discret.
Le temps avant extinction du rétroéclairage (Backlight) peut se régler dans une plage de 5 à 120 minutes par paliers de 5 minutes, après quoi le rétroéclairage de l'écran LCD s'éteint automatiquement, sauf s'il a été réglé pour rester allumé constamment.
USB vous ouvrira un sous-menu séparé dans lequel se trouvent tous les paramètres et options en rapport avec les fonctions USB. Une clé USB doit être insérée dans le port USB à l'avant de l'amplificateur et avoir un formatage utilisant le système de fichiers FAT32.
General setup >> USB >> Save (Sauvegarder)
La configuration complète de l'amplificateur peut être sauvegardée dans un fichier au moyen du bouton « Save ». Ainsi, une sauvegarde complète peut être faite pour une restauration ultérieure du système. C'est très pratique pour recharger une configuration antérieure ainsi que pour dupliquer une configuration dans d'autres amplificateurs. Une fenêtre apparaîtra dans laquelle il est possible de sélectionner le nom désiré pour le fichier de configuration et la sauvegarde du système sera enregistrée dans un fichier ...\AUDAC\SETTINGS\NOMDEFICHIER.SET.
Différents types de fichiers de configuration peuvent être chargés dans l'amplificateur, comme des presets d'enceintes (*.SPF), des configurations de solutions complètes (*.SOL) et des sauvegardes de système (*.SET). Chacun des fichiers de configuration ci-dessus a son propre type et sera chargé de façon différente. Presser le bouton « Load » (Charger) ouvre une fenêtre dans laquelle il est possible de parcourir les fichiers présents sur le support inséré. La navigation dans les dossiers est possible en tournant la molette, les dossiers de niveau inférieur sont facilement accessibles après avoir été sélectionnés, tandis que les deux options du haut permettent de remonter d'un niveau ou d'accéder à la racine du support inséré. Une fois le fichier désiré trouvé, le sélectionner permet de le charger.
Les presets d'enceinte sont des fichiers au format *.SPF qui sont préparés et fournis par AUDAC et contiennent tous les paramètres assurant des performances et une protection optimales des enceintes correspondantes. Quand un fichier *.SPF est chargé, l'amplificateur détecte son type et affiche une fenêtre locale dans laquelle peuvent être sélectionnés tous les canaux auxquels ce fichier doit être appliqué (auxquels l'enceinte correspondante est connectée). Après sélection des canaux, le bouton « Load settings » (Charger les paramètres) doit être pressé et les presets seront alors chargés dans les canaux sélectionnés. Tous les réglages d'égaliseur faits auparavant sont remplacés lors du chargement d'un fichier *.SPF.
Les configurations pour système complet (solutions prédéfinies) sont des fichiers au format *.SOL qui sont préparés et fournis par AUDAC. Ces fichiers contiennent des paramètres destinés à un système complet composé de plusieurs enceintes (de différents types), comme une combinaison d'enceintes satellites avec caisson de basses. Ces fichiers de configuration contiennent, en plus des paramètres de protection et de performance, des informations sur les canaux connectés, le pontage, le filtrage, etc. Des commentaires supplémentaires sur les configurations de système sont affichés sur le côté droit de la fenêtre de navigation. Quand un fichier *.SOL est sélectionné, il est immédiatement chargé sans avoir à sélectionner de canaux auxquels l'appliquer. Tous les réglages

d'égaliseur et de filtre faits auparavant sont remplacés lors du chargement d'un fichier *.SOL.
Les sauvegardes de système sont des fichiers au format *.SET qui peuvent être créés par l'utilisateur. Lorsqu'une sauvegarde de système est effectuée en suivant la procédure « Save » décrite ci-dessus, la sauvegarde prend la forme d'un fichier *.SET qui pourra rechargé comme un fichier *.SOL. Il sera immédiatement chargé sans avoir à sélectionner de canaux auxquels l'appliquer.
General setup >> USB >> Key (Clé USB)
Une clé USB donnant un accès de niveau administrateur ou de niveau utilisateur peut être créée en sélectionnant les boutons correspondants. Un fichier contenant le mot de passe configuré sera conservé sur le support inséré. Par la suite, insérer ce support donnera un accès instantané et facile en toute circonstance et éliminera également le risque que quelqu'un arrive à apercevoir le mot de passe.
Cet écran d'informations affiche le modèle de l'amplificateur et la version du logiciel qu'il utilise actuellement.
L'écran Temperature affiche la température de fonctionnement actuelle de chaque canal individuel de l'amplificateur.
L'option Factory reset (Réinitialisation d'usine) rappelle tous les réglages d'usine par défaut et entraîne par conséquent la perte de tous vos réglages et configurations effectués jusque-là.
Après avoir pressé le bouton de réinitialisation d'usine, il vous sera demandé de confirmer que tous les réglages doivent retrouver les valeurs d'usine par défaut. Après confirmation, tous vos réglages seront perdus.
Save (Sauvegarder)
Tous les réglages actuels pour les niveaux de sortie, sélections d'entrée et coupures de son de canal seront sauvegardés si cette option est sélectionnée. Après la mise hors tension et le redémarrage de l'amplificateur, les valeurs ainsi sauvegardées seront automatiquement rechargées. Les autres paramètres de configuration (à l'exception des niveaux de sortie, des sélections d'entrée et des coupures du son de canal) sont automatiquement sauvegardés quand on les modifie et seront donc automatiquement rappelés après extinction et redémarrage.
Lock (Verrouillage)
Une fois cette option sélectionnée, l'amplificateur sera verrouillé et un mot de passe (s'il y en a un de configuré) sera demandé pour obtenir l'accès à l'interface utilisateur de l'amplificateur.
Chapitre 6
Informations supplémentaires
Caractéristiques techniques
Puissance de sortie RMS
(1 kHz, DHT 1 %)
SMA350 Stéréo 4 ohms 2 x 350 watts
Stéréo 8 ohms 2 x 220 watts
Ponté 8 ohms 700 watts
SMA500 Stéréo 4 ohms 2 x 500 watts
Stéréo 8 ohms 2 x 300 watts
Ponté 8 ohms 1000 watts
SMA750 Stéréo 4 ohms 2 x 750 watts
Stéréo 8 ohms 2 x 380 watts
Ponté 8 ohms 1500 watts
SMQ350 Stéréo 4 ohms 4 x 350 watts
Stéréo 8 ohms 4 x 220 watts
Ponté 8 ohms 2 x 700 watts
SMQ500 Stéréo 4 ohms 4 x 500 watts
Stéréo 8 ohms 4 x 300 watts
Ponté 8 ohms 2 x 1000 watts
SMA750 Stéréo 4 ohms 4 x 750 watts
Stéréo 8 ohms 4 x 380 watts
Ponté 8 ohms 2 x 1500 watts
Réponse en fréquence 20 Hz - 20 kHz
Rapport signal/bruit > 95 dB
Distorsion harmonique totale + bruit < 0,05%
Réjection de mode commun 70 dB
Diaphonie > 70 dB
Entrées Type Ligne symétrique
Connecteurs XLR femelle
Barrette à 3 broches \~ 3,81 mm
Impédance 10 kohms, symétrique
Sensibilité -30 dB \~ +5 dB
Sortie
Type Sortie pour enceinte
Connecteurs Enceinte
Barrette à 2 broches \~ 5,08 mm
Configuration du DSP par la face avant
RS-232
Commandes
Voyants Alimentation électrique
Protection
Crête
-20 dB
Signal
Protection Courant continu, court-circuit
Surchauffe
Surcharge
Limiteur
Système de refroidissement Ventilateur contrôlé par la température
Technologie de l'amplificateur Classe D
Alimentation électrique Type À découpage
Plage CA 230 \~ 240 V/50 Hz
Consommation électrique En veille SMA350/500/750 25 watts
SMA350/500/750 35 watts
Au repos SMA350 37 watts
SMA500 38 watts
SMA750 40 watts
SMQ350 56 watts
SMQ500 57 watts
SMQ750 60 watts
1/8 de la puissance
nominale SMA350 145 watts
SMA500 182 watts
SMA750 262 watts
SMQ350 272 watts
SMQ500 345 watts
SMQ750 503 watts
SMA350 305 watts
SMA500 416 watts
SMA750 624 watts
SMQ350 592 watts
SMQ500 813 watts
SMQ750 1227 watts
Notice Facile