PBD35100X - Four PROGRESS - Notice d'utilisation et mode d'emploi gratuit
Retrouvez gratuitement la notice de l'appareil PBD35100X PROGRESS au format PDF.
| Caractéristiques techniques | Four électrique, capacité de 35 litres, puissance de 2100 W, température réglable jusqu'à 250°C. |
|---|---|
| Modes de cuisson | Chaleur tournante, grill, cuisson traditionnelle. |
| Utilisation | Idéal pour la cuisson, le rôtissage et le gratinage des aliments. |
| Entretien | Nettoyage facile grâce à un revêtement intérieur antiadhésif. |
| Sécurité | Protection contre la surchauffe, pieds antidérapants, porte avec double vitrage. |
| Informations générales | Dimensions compactes, design moderne, idéal pour les petites cuisines. |
FOIRE AUX QUESTIONS - PBD35100X PROGRESS
Questions des utilisateurs sur PBD35100X PROGRESS
0 question sur cet appareil. Repondez a celles que vous connaissez ou posez la votre.
Poser une nouvelle question sur cet appareil
Téléchargez la notice de votre Four au format PDF gratuitement ! Retrouvez votre notice PBD35100X - PROGRESS et reprennez votre appareil électronique en main. Sur cette page sont publiés tous les documents nécessaires à l'utilisation de votre appareil PBD35100X de la marque PROGRESS.
MODE D'EMPLOI PBD35100X PROGRESS
Consignes de sécurité 2
Instructions de sécurité 3
Description de l'appareil 6
Avant la première utilisation 7
Utilisation quotidienne 7
Fonctions de l'horloge 10
Utilisation des accessoires 11
Fonctions supplémentaires 15
Conseils 15
Entretien et nettoyage 30
En cas d'anomalie de fonctionnement 34
Installation 35
Rendement énergétique 37
Sous réserve de modifications.
CONSIGNES DE SECURITÉ
Avant d'instructor et d'utiliser cet apparéil, lisez soigneusement les instructions fournies. Le fabricant ne peut être tenu pour responsable des dommages et blessures liés à une mauvaise installation ou utilisation. Conservez toujours cette notice avec votre apparéil pour vous y référer ultérieurement.
Sécurité des enfants et des personnes vulnérables
- Cet apparéil peut être utilisé par des enfants âgés d'au moins 8 ans et par des personnes ayant des capacité physiques, sensorielles ou mentales réduites ou dénuées d'expérience ou de connaissance, s'ils (si elles) sont correctement surveillé(e)s ou si des instructions relatives à l'utilisation de l' apparéil en toute sécurité leur ont été données et si les risques encourus ont été appréhendées.
- Les enfants ne doivent pas jouer avec l'appareil.
- Ne laissez pas les emballages à la portée des enfants.
- Tenez les enfants et les animaux éloignés de l'appareil lorsqu'il est en cours de fonctionnement ou lorsqu'il refroidit. Les parties accessibles sont chaudes.
- Si l'appareil est équipé d'un dispositif de sécurité enfants, nous vous recommendons de l'activer.
- Le nettoyage et l'entretien par l'usage ne doit pas etre effectués par des enfants sans surveillance.
- Les enfants de moins de 3 ans, sans surveillance, doivent être tenus à l'écart de l'appareil.
Sécurité générale
- L'appareil doit être installé et le cable remplace uniquement par un professionnel qualifié.
- L'intérieur de l'appareil devient chaud lorsqu'il est en fonctionnement. Ne touche pas les éléments chauffants se trouvant dans l'appareil. Utilisez toujours des gants de cuisine pour-retirer ou enfournier des accessoires ou des plats allant au four.
- Avant toute opération de maintenance, déconnectez l'alimentation électrique.
Assurez-vous que l'appareil est eteint et debranché avant deremplacer l'éclairage afin d'eviter tout risque de chic électrique. - N'utilisez pas de nettoyeur vapeur pour nettoyer l'appareil.
- N'utilisez pas de produits abrasifs ni de racloirs pointus en métal pour nettoyer la porte en verre car ils peuvent rayer sa surface, ce qui peut briser le verre.
- Si le cable d'alimentation est endommagé, il doit être remplace par le fabricant, son service après-vente ou des personnes de qualification similaire afin d'éviter un danger.
- Pour-retirer les supports de grille, tirez d'abord sur l'avant de ceux-ci, puis sur l'arrière, pour les écarter des parois laterales. Réinstallez les supports de grille en repétant cette procédure dans l'ordre inverse.
INSTRUCTIONS DE SECURITE
AVERTISSEMENT! L'appareil doit être installé uniquement par un professionnel qualifié.
- Retirez l'intégrality de l'emballage.
- N'installez pas et ne branchez pas un apparéil endommagé.
- Suívez scrupuleusement les instructions d'installation fournies avec l'appareil.
- L'appareil est lourd, prenez toujours des précautions lorsque vous le déplacez. Portez toujours des gants de sécurité.
-
Ne tirez jamais l'appareil par la poignée.
-
Respectez l'espacement minimal requis par rapport aux autres apparéils et éléments.
- Vérifiez que l'appareil est installé sous et à proximate de structures sûres.
- Les côtés de l'appareil doivent rester à côté d'appareils ou d'éléments ayant la même hauteur.
Branchement électrique

AVERTISSEMENT! Risque d'incendie ou d'électrocution.
L'ensemble des branchements électriques doit être effectué par un technicien qualifié.
- L'appareil doit être relié à la terre.
- Vérifiez que les données électriques figurant sur la plaque signalétique correspondant à celles de votre réseau. Si ce n'est pas le cas, contactez un electricien.
- Utilisez toujours une prise de courant de sécurité correctement installée.
- N'utilisez pas d'adaptateurs multiprises ni de rallonges.
Veillez à ne pas endommager la fiche secteur ni le cable d'alimentation. Le remplacement du cordon d'alimentation de l'appareil doit être effectué par notre service après-vente.
- Ne laissez pas les cables d'alimentation secteur entre en contact avec la porte de l'appareil ou passer à proximite de cette-ci, particulièrement lorsque la porte est chaude.
- La protection contre les chocs des parties sous tension et isolées doit être fixée de telle manière qu'elle ne puisse pas'être enlevée sans outils.
- Ne connectez la fiche d'alimentation secteur à la prise de courant secteur qu'à la fin de l'installation. Assurez-vous que la fiche d'alimentation est accessible une fois l'appareil installé.
- Si la prise de courant est l'âche, ne branchez pas la fiche d'alimentation secteur.
- Ne tirez jamais sur le cable d'alimentation électrique pour débrancher l'appareil. Tirez toujours sur la fiche.
- N'utilisez que des systèmes d'iso1ation appropriés : des coupe-circuits, des fusibles (les fusibles à visser doivent être rétrés du support), des disjoncteurs différentiels et des contacteurs.
- L'installation électrique doit être équipée d'un dispositif d'isolement à coupure omnipolaire. Le dispositif d'isolement doit partager une distance d'ouverture des contacts d'au moins 3 mm.
- Cet apparéil est conforme aux directives CEE.
Utilisation

AVERTISSEMENT! Risque de blessures, de brûlures, d'électrocution ou d'explosion.
Utilisez cet apparéil uniquement dans un environnement domestique.
- Ne modifies pas les caractéristiques de cet apparéil.
Assurez-vous que les orifices de ventilation ne sont pas bouchés.
- Ne laissez jamais l'appareil sans surveillance pendant son fonctionnement.
- Éteignez l'appareil après chaque utilisation.
- Soyez prudent lors de l'ouverture de la porte de l'appareil lorsque celui-ci est en fonctionnement. De l'air brûlant peut s'en échapper.
- N'utilisez jamais cet apparéil avec les mains mouillées ou lorsqu'il est en contact avec de l'eau.
- N'exercez jamais de pression sur la porte ouverte.
- N'utilisez jamais l'appareil comme plan de travail ou comme plan de stockage.
- Ouvrez prudemment la porte de l'appareil. Si vous utilisez des ingrédients contenant de l'alcool, un mélange d'alcool et d'air facilement inflammable peut eventuèlement se former.
- Ne laissez pas des étincelles ou des flammes nues entre en contact avec l'appareil lorsque vous ouvrez la porte.
- Ne placez pas de produits inflammables ou d' éléments imbibés de produits inflammables à l'intérieur ou à proximité de l'appareil, ni sur celui-ci.

AVERTISSEMENT! Risque d'endommagement de l'appareil.
-
Pour éviter tout endommagement ou décoloration de l'email :
-
ne posez pas de plats allant au four ni aucun autre objet directement sur le fond de l'appareil.
-
ne placez jamais de feuilles d'aluminium directement sur le fond de l'appareil.
-
ne versez jamais d'eau directement dans l'appareil lorsqu'il est chaud.
- une fois la cuisson terminée, ne laissez jamais d'aliments ou de plats humides à l'intérieur de l'appareil.
-
faites attention lorsque vous retirez ou remettez en place les accessoires.
-
La décoloration de l'émail est sans effet sur les performances de l'appareil. Il ne s'agit pas d'un début dans le cadre de la garantie.
- Utilisez un plat à rôtir pour obtenir des gâteaux moelleux. Les jus de fruits causent des taches qui peuvent être permanentes.
- Cet apparéil est exclusivement destiné à un usage culinaire. Ne l'utilisez pas pour des usages autres que celui pour lequel il a été créé, à des fins de chauffage par exemple.
- La porte du four doit toujours être fermée pendant la cuisson.
- Si l'appareil est installé derrière la paroi d'un meuble (par ex. une porte), veuilles à ce que la porte ne soit jamais fermée lorsque l'appareil est en marche. La chaleur et l'humidité peuvent s'accumuler derrière la porte fermée du meuble et provoquer d'importants dégats sur l'appareil, le meuble ou le sol. Ne fermez pas la paroi du meuble tant que l'appareil n'a pas complètement refroidi.
Cuisson à la vapeur

AVERTISSEMENT! Risque de brûlures et de dommages matériels à l'appareil.
- La vapeur qui s'échappe peut provoquer des brûlures :
-Au cours de la cuisson a la vapeur, n'ouvrez pas la porte de I'appareil.
- Soyez prudent en ouvrant la porte de l'appareil après une cuisson à la vapeur.
Entretien et nettoyage

AVERTISSEMENT! Risque de blessure corporelle, d'incendie ou de dommage matériel à l'appareil.
- Avant toute opération d'entretien, éteignez l'appareil et débranchez la fiche de la prise secteur.
- Vérifiez que l'appareil est froid. Les panneaux de verre risquent de se briser.
- Remplacez immédiatement les vitres de la porte si elles sont endommagées. Contactez le service après-vente/agréé.
- Soyez prudent lorsque vous démontez la porte de l'appareil. La porte est lourde!
- Nettoyez régulièrement l'appareil afin de maintainir le revêtement en bon état.
- Des graisses ou de la nourriture restant dans l'appareil peuvent provoquer un incendie.
- Nettoyez l'appareil avec un chiffon doux humide. Utilisez uniquement des produits de lavage neutres. N'utilise pas de produits abrasifs, de tampons à recycler, de solvants ni d'objets metalliques.
- Si vous utilisez un spray pour four, suivez les consignes de sécurité figurant sur l'emballage.
- N'utilisez:aucun produit détergent pour nettoyer l'émail catalytique (le cas échéant).
Éclairage interieur
- Les ampoules classiques ou halogènes utilisées dans cet apparéil sont destinées uniquement à un usage avec des apparéils menagers. Ne les utilisez pas pour éclairer votre logement.

AVERTISSEMENT! Risque d'électrocution.
- Avant de changer l'ampoule, débranchez l'appareil de la prise secteur.
- N'utilisez que des ampoules ayant les mêmes specifications.
Mise au rebut

AVERTISSEMENT! Risque de blessure ou d'asphyxie.
- Debranche l'appareil de l'alimentation électrique.
- Coupe le cable d'alimentation et mettez-le au rebut.
- Retirez le dispositif de verrouillage de la porte pour empêcher les enfants et les animaux de s'enfermer dans l'appareil.
DESCRIPTION DE L'APPAREIL
Vue d'ensemble

Accessoires
Grille métallique
Permet de poser des plats (rotis, gratins) et des moules à gâteau/pâtisserie.
- Plat multi-uses
Maintenance
- Pour réparer l'appareil, contactez un service après-venture agreé.
Utilisez exclusivement des pieces d'origine.
1 Bandeau de commande
2 Manette de selection des fonctions du four
3 Voyant/symbole/indicateur de puissance
4Programmateur électronique
5 Manette du thermostat
6 Voyant/symbole/indicateur de température
7 Affichage de la réserve d'eau
8 Bac a eau
9 Résistance
10 Eclairage
Ventilateur
12 Support de grille amovible
13 Tuyau de vidange
14 Vanne de vidange de I'eau
15 Position des grilles
16 Tuyau d'arrivée de la vapeur
Pour la cuisson de gâteaux et de biscuits/gâteaux secs. Pour cuire et griller ou à utiliser comme plat pour recueillir laGRAisse.
AVANT LA PREMIÈRE UTILISATION

AVERTISSEMENT! Reportez-vous aux chapitres concernant la sécurité.
Premier nettoyage
Retirez les supports de grille amovibles et tous les accessoires de l'appareil.

Reportez-vous au chapitre « Entretien et nettoyage »
Nettoyez l'appareil avant de l'utiliser pour la première fois.
Remettez les accessoires et les supports de grille en place.
Réglage de l'heure
Vous devez régler l'heure avant demettre le four en marche.
Levoyant de la fonction Heure du jour clignote lorsque vous branchez l'appareil à l'alimentation electrique, lorsqu'il y a eu une coupure de courant ou que le minuteur n'est pas reglé.
Appuyez sur la touche + ou pour régler l'heure.
Au bout d'environ 5 secondes, le clignotement s'arrête et l'hourre régée s'affiche.
Modification de l'heure

Vous ne pouvez pas changer l'heure du jour si la fonction
Durée à l'ou Fin est activée.
UTILISATION QUOTIDIENNE

AVERTISSEMENT! Reportez-
you aux chapités concernant la sécurité.
Manettes rétractables
Pour utiliser l'appareil, appuyez sur la manette de commande. La manette de commande sort de son logement.
Appuyez sur à plusieurs reprises jusqu'à ce que levoyant de l'heure du jour clignote. Pour régler l'heure, reportez-vous au chapitre «Réglage de l'heure »
Prechauffage
Préchauffez le four à vide afin de faire brûler les résidus deGRAISSSE.
- Sélectionnez la fonction et a température maximale.
- Laissez l'appareil en fonctionnement pendant 1 heures.
- Sélectionnez la fonction et la température maximale.
- Laissez l'appareil en fonctionnement pendant 15 minutes.
- Sélectionnez la fonction et la température maxime.
- Laissez l'appareil en fonctionnement pendant 15 minutes.
Les accessoires peuvent chauffer plus que d'habitude. Une odeur et de la fumée peuvent s'échapper de l'appareil. C'est normal. Assurez-vous que la ventilation dans la pièce est suffisante.
Activation et désactivation de l'appareil

Selon le modele de votre apparéil, s'il dispose des symboles, d'indicateurs ou de voyants de manette :
L'indicateur s'allume lorsque le four monte en température.
Levoyant s'allume lorsqu' l'appareil est en marche.
- Le symbole indique si la manette contrôle les fonctions du four ou la température.
- Tournez la manette des fonctions du four pour selectionner une fonction.
- Tournez la manette du thermostat pour selectionner la température souhaitee.
- Pour éteindre l'appareil, tournez les manettes des fonctions du four et celle de température en position ARRET.
Fonctions du four
| Fonction du four Utilisation | ||
| 0 | Position Arrêt L'appareil est étant. | |
| - | Eclairage four Pour allumer l'éclairage même si aucune fonction de cuisson n'est sélectionnée. | |
| - | Convection naturelle | |
| - | Voute Pour faire dorer du pain, des gâteaux et des petites pâtisseries. Pour terminer la cuisson des plats. | |
| - | Sole Pour cuire des gâteaux à fond croustillant et pour stérisier des aliments. | |
| - | Gril fort Pour griller des alimentés peu écais en grandes quantités et pour griller du pain. | |
| - | Turbo grill Pour rôtir de grosses pieces de viande ou de la volaille sur un seul niveau. Également pour gratiner et faire dorer. | |
| (2) | Chaleur tour-nante / Décon-gélation | |
| Fonction du four Utilisation | ||
| Sole pulsée Pour cuire des aliments sur un seul niveau et leur donner un brunissement plus intense et une pâte bien croustil-lante. Diminuez les températures de 20 à 40 °C par rapport à la Convection naturelle. | ||
| Chaleur tour-nante+Vapeur | Pour cuire des plats à la vapeur. Utilisez cette fonction pour diminuer la durée de cuisson et préserver les vita-mines et nutriments des aliments. Pour l'utiliser, sélection-nez cette fonction et réglez la température entre 130 °C et 230 °C. | |
Affichage

A) Indicateurs des fonctions
B) Affichage du temps
C) Indicateur de fonction
Touches
| Touché Fonction Description | |
| - | MOINS Pour régler l'heure. |
| ◎ | HORLOGE Pour régler une fonction de l'horloge. |
| + | PLUS Pour régler l'heure. |
Cuisson vapeur
- Réglez la fonction

- Appuyez sur le couvercle du bac à eau pour l'ouvrir. Versez de l'eau dans le bac à eau jusqu'à ce que le voyant Réservoir plein s'allume. Le réservoir a une contenance maximale de 900 ml. Cette quantité est suffisante pour environ 55 à 60 minutes de cuisson.

N'utilisez que de I'eau.
N'utilisez pas d'eau filtrée (déminéralisée) ou distillée.
N'utilisez pas d'autres liquides.
Ne versez pas de liquides inflammbles ni d'alcool (eau de vie, whisky, cognac, etc.) dans le bac a eau.
- Replacez le bac à eau dans sa position initiale.
- Préparez les alimentés dans un recipient adaptable.
- Sélectionnez une température entre 130^ et 230^ .
Au-delà de 230 °C, les résultats de la cuisson à la vapeur ne sont pas satisfaisants.

AVERTISSEMENT! Attendez au moins 60 minutes après chaque utilisation de la fonction vapeur afin d'eviter que de l'eau chaude ne s'écoule de la vanne de vidange de l'eau.
Videz le réservoir à la fin de la cuisson à la vapeur.

ATTENTION! L'appareil est chaud. Risque de brûlure! Soyez prudent lorsque vous videz le bac à eau.
Voyant Réservoir vide
LevoyantLdique quele réservoir est vide et qu'il est nécessaire de le replir.
Pour plus d'informations, reportez-vous au chapitre « Cuisson à la vapeur »
Voyant « Réservoir plein »
Levoyantindique que le four est pret pour une ciisson à la vapeur.

Si you versez trop d'eau dans le réservoir, le dispositif de sécurité deversera l'excedent d'eau dans le fond du four. Epongez I'excedent d'eau.
Vidange du réservoir d'eau

ATTENTION! Assurez-vous que l'appareil a refroidi avant de vider le réservoir d'eau.
FONCTIONS DE L'HORLOGE
Tableau des fonctions de l'horloge
Fonction de l'horloge Utilisation

Heure du jour Pour régler, modifier ou vérifier l'heure.
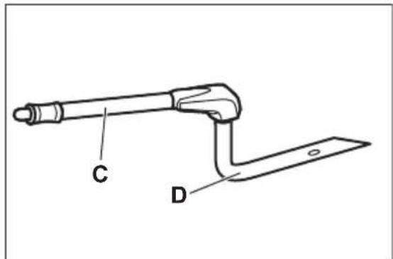
- Préparez le tuyau de vidange (C) fourni dans le même sachet que le mode d'emploi. Placez l'embout (B) sur l'une des extrémités du tuyau de vidange.
- Placez l'autre extrémité du tuyau de vidange (C) dans un recipient. Placez-le plus bas que la vanne de vidange (A).

- Ouvrez la porte du four puis insérez l'embout (B) dans la vanne de vidange (A).
- Appuyez à plusieurs reprises sur l'embout lorsque vous videz le réservoir d'eau.

Il peut rester un peu d'eau dans le réservoir lorsque le voyant s'allume.
Attendez que I'eau cesse de s'écouler de la vanne de vidange de I'eau.
- Retirez l'embout de la vanne lorsque I'eau cesse de s'écouler.

N'utilisez pas I'eau de vidange pour replir de nouveau le réservoir d'eau.
| Fonction de l'horloge Utilisation | |
| Δ | Minuteur Pour régler un décompte. Cette fonction est sans effet sur le fonctionnement de l'appareil. |
| |→| | Durée Pour régler la durée de cuisson du four. |
| →| | Fin Pour régler l'heure à laquelle le four doit s'éteindre. |

Vous pouvez utiliser simultanément les fonctions
Durée et Fin pour définir la durée pendant laquelle l'appareil doit fonctionner, et I'heure à laquelle l'appareil doit se s'éteindre. Cela vous permet d'activer l'appareil en différé. Reglez d'abord la fonction Durée plus la fonction Fin
Réglage des fonctions de l'horloge
Pour les fonctions Durée et Fin, réglez une fonction du four et une température de cuisson. Ce n'est pas nécessaire pour le minuteur
- Appuyez sur à plusieurs reprises jusqu'à ce que le voyant de la fonction de l'horloge souhaitation commence à clignoter.
- Appuyez sur la touche du pour régler la fonction de l'horloge souhaitatione.
La fonction de l'horloge est activée. Le voyant de la fonction de l'horloge que vous avez sélectionnée s'affiche.

Pour la fonction Minuteur, I'affichage indique le temps restant.
- Dés que la durée est écoulée, le voyant de la fonction de l'horloge clignote et un signal sonore retentit. Appuyez sur une touche pour arrêter le signal sonore.
- Toumez la manette des fonctions du four et la manette du thermostat sur la position Arrêt.

Avec les fonctions Durée et Fin lappareil s'eteint automatiquement.
Annulation des fonctions de l'horloge
- Appuyez sur à plusieurs reprises jusqu'à ce que le voyant de la fonction souhaitation clignote.
- Maintenez la touche enfoncée. La fonction de l'horloge s'estint au bout de quelques secondes.
UTILISATION DES ACCESSOIRES

AVERTISSEMENT! Reportez-vous aux chapitres concernant la sécurité.
Installation des accessoires
Grille métallique :
Poussez la grille entre les barres de guidage des supports de grille et assurez-vous que les pieds sont orientés vers le bas.

Plat a rotir :
Poussez le plat à rôtir entre les rails du support de grille choisi.

Grille métallique et plat à rotir ensemble : Poussez le plat à rotir entre les rails du support de grille et glissez la grille métallique entre les rails se trouvant juste au-dessus.


- Tous les accessoires sont dotés de petites indentations en haut, à droite et à gauche, afin d'augmenter la sécurité. Les indentations sont également des disposits anti-bascule.
Le rebord elevé de la grille est un dispositif complémentaire pour empêcher les ustensiles de cuisine de glisser.
Accessoires pour la cuisson à la vapeur

Le kit d'accessoires pour la cuisson à la vapeur n'est pas fourni avec l'appareil. Pour plus d'informations, veuilles contacter vous revendeur local.
Le plat de cuisson diététique pour les fonctions de cuisson à la vapeur.
Le plat est composé d'un récipient en verre, d'un couvercle doté d'un orifice pour le tube de l'injecteur (C) et d'une grille en acier à placer au fond du plat de cuisson.
Récipient en verre (A)

Couvercle (B)

Injecteur pour une cuisson directe à la vapeur (D)

L'injecteur et le tube de l'injecteur

Grille en acier (E)

« C » est le tube de l'injecteur pour la cuisson à la vapeur, « D » est l'injecteur pour la cuisson à la vapeur directe.
Tube de I'injecteur (C)

- Ne posez pas de plat de cuisson chaud sur une surface froide ou mouillée.

- Ne versez pas de liquides froids dans le plat de cuisson lorsqu'il est chaud.

- N'utilisez pas le plat de cuisson sur une table de cuisson chaude.

- Ne nettoyez pas le plat de cuisson avec des produits ou poudres abrasifs, ni avec une éponge métallique.

Cuisson à la vapeur dans un plat de cuisson diététique
Placez les alimentes sur la grille en acier dans le plat de cuisson puis couvrez-le.
- Insérez le tube de l'injecteur dans l'orifice spécifique du couvercle du plat de cuisson diététique.

-
Placez le plat de cuisson sur le 2e niveau en partant du bas.
-
Insérez l'autre extrémité du tube de l'injecteur dans le tuyau d'arrivée de la vapeur.

Assurez-vous de ne pas écraser le tube de l'injecteur et de ne pas le laisser toucher la voûte du four.
- Reglez le four sur la fonction de cuisson à la vapeur.
Cuisson à la vapeur directe
Placez les alimentes sur la grille en acier dans le plat de cuisson. Ajoutez de l'eau.

ATTENTION! N'utilisez pas le couvercle du plat.

AVERTISSEMENT! Soyez prudent lorsque vous utilisez l'injecteur tandis que le four est en fonctionnement. Utilisez toujours des gants de cuisine pour manipuler l'injecteur lorsque le four est chaud. Demontez toujours l'injecteur du four lorsque vous n'utilise pas la fonction vapeur.

Le tube de l'injecteur est spécialement conçu pour la cuisson d'aliments et ne contient pas de substances nocives.
- Insérez l'injecteur (D) dans le tube de l'injecteur (C). Insérez l'autre extrémité dans le tuyau d'arrivée de la vapeur.

- Placez le plat de cuisson sur le 1er ou le 2e niveau en partant du bas.
Assurez-vous de ne pas écraser le tube de l'injecteur et de ne pas le laisser toucher la voûte du four.
- Reglez le four sur la fonction de cuisson à la vapeur.
Pour cuire des alimentents tels que du poulet, du canard, de la dinde, du chevreau ou de
gros poissons, inserez l'injecteur (D) directement dans la partie vide de la viande. Veillez a ne pas boucher les trouss.

Pour plus d'informations sur la cuisson à la vapeur, reportez-vous aux tableaux de cuisson à la vapeur dans le chapitre « Conseils »
FONCTIONS SUPPLEMENTAIRES
Ventilateur de refroidissement
Lorsque le four fonctionne, le ventilateur de refroidissement se met automatiquement en marche pour refroidir les surfaces de l'appareil. Si vous eteignez l'appareil, le ventilateur de refroidissement continue a fonctionner jusqu'à ce que l'appareil refroidisse.
causer une surchauffe dangereuse. Pour éviter cela, le four dispose d'un thermostat de sécurité interrompant l'alimentation électrique. Le four se remet automatiquement en fonctionnement lorsque la température baisse.
Thermostat de sécurité
Un mauvais fonctionnement de l'appareil ou des composants défectueux peuvent
CONSEILS

AVERTISSEMENT! Reportez-vous aux chapitres concernant la sécurité.

La température et les temps de cuisson indiqués sont fournis uniquement à titre indicatif. Ils variant en fonction des recettes ainsi que de la qualité et de la quantité des ingrédents utilisés.
Informations generales
- L'appareil dispose de cinq niveaux de grille. Comptez les niveaux de grille à partir du bas de l'appareil.
- L'appareil est doté d'un système spécial qui permet à l'air de circuler et qui recycle/perpetuèlement la vapeur. Dans cet environnement, ce système permet de cuisiner des plats tout en maintainant ceux-ci tendres à l'intérieur et croquants à l'estérieur. Le temps de cuisson et la consommation énergétique sont donc réduits au minimum.
- De l'humidité peut se déposer dans l'enceinte du four ou sur les vitres de la porte. C'est normal. Veillez à recycler un peu lorsque vous ouvrez la porte de l'appareil en fonctionnement. Pour diminuer la condensation, faites fonctionner l'appareil 10 minutes avant d'enfourner vos alimentés.
- Essuyez la vapeur après chaque utilisation de l'appareil.
-
Ne placez jamais d'aluminium ou tout autre ustensile, plat et accessoire directement en contact avec la sole de votre four. Cela entrainerait une dépréciation de l'émail et modifierait les résultats de cuisson.
-
Si vous utilisez deux plateaux de cuisson en même temps, laissez un niveau libre entre les deux.
Cuisson de vande et de poisson
- Pour les alimentés très gras, utilisez un plat à rôtir pour éviter de salir le four de manière irréversible.
- Avant de couper la vienne, laissez-la reposer pendant environ 15 minutes afin d'eviter que le jus ne s'écoule.
Pour éviter qu'une trop grande quantité de fumée ne se forme dans le four, ajoutez de l'eau dans le plat à rôtir. Pour éviter que la fumée ne se condense, ajoutez à nouveau au d'eau dans le plat à rôtir à chaque fois qu'il n'en contient plus.
Temps de cuisson
Le temps de cuisson varie selon le type d'aliment, sa consistance et son volume.
Au départ, surveillez la cuisson lorsque vous cuissez. Ainsi, vous trouvez les mêleurs réglages (fonction, temps de cuisson, etc.) pour vos ustensiles, vos recettes et les quantités lorsque vous utiliserez l'appareil.
Cuisson de gâteaux
- N'ouvre la porte du four qu'aux 3/4 du temps de cuisson.
Tableau de rôtissage et de cuisson des gâteaux
Gâteaux
| Plat Convection naturelle Chaleur tournante Durée | (min) | Commen-taires | ||||
| Tempér- ature (°C) | Posi- tions des grillés | Tempér- ature (°C) | Posi- tions des grillés | |||
| Pâtes à gâteaux | 170 2 160 3 (2 et 4) 45 - 60 Dans un | moule à gâteau | ||||
| Plat Convection naturelle Chaleur tournante Durée | (min) | Com-men-taires | ||||
| Tempér- ature (°C) | Posi- tions des grilles | Tempér- ature (°C) | Posi- tions des grilles | |||
| Pâté sa- blée | 170 2 160 3 (2 et 4) 20 - 30 Dans un | moule à gâteau | ||||
| Gâteau au from- age | 170 1 165 2 60 - 80 Dans un | moule à gâteau de 26 cm | ||||
| Tarte aux pomme s1) | 170 2 160 2 (gau- | che et droit) | 80 - 100 Dans deux moules à gâteau de 20 cm sur une grille metallique | |||
| Strudel 175 3 150 2 60 - 80 Sur un | plateau de cuisson | |||||
| Tarte à la confiture | 170 2 165 2 (gau- | che et droit) | 30 - 40 Dans un moule à gâteau de 26 cm | |||
| Généoise/ Gâteau Savoie | 170 2 160 2 50 - 60 Dans un | moule à gâteau de 26 cm | ||||
| Gâteau de Noël/ Cake aux fruits1) | 160 2 150 2 90 - 120 Dans un | moule à gâteau de 20 cm | ||||
| Gâteau aux prunes1) | 175 1 160 2 50 - 60 Dans un | moule à pain | ||||
| Petits gâ- teaux - sur un seul ni- veau | 170 3 140 - 150 3 20 - 30 Sur un | plateau de cuisson | ||||
| Petits gâ- teaux - sur deux niveaux | - - 140 - 150 2 et 4 25 - 35 Sur un | plateau de cuisson | ||||
| Petits gâ- teaux - sur trois niveaux | - - 140 - 150 1, 3 et 5 30 - 45 Sur un | plateau de cuisson | ||||
| Biscuits/ Gâteaux secs/ Tresses feuilletées - sur un seul ni- veau | 140 3 140 - 150 3 30 - 35 Sur un | plateau de cuisson | ||||
| Biscuits/ Gâteaux secs/ Tresses feuilletées - sur deux ni- veaux | - - 140 - 150 2 et 4 35 - 40 Sur un | plateau de cuisson | ||||
| Biscuits/ Gâteaux secs/ Tresses feuilletées - sur trois niveaux | - - 140 - 150 1, 3 et 5 35 - 45 Sur un | plateau de cuisson | ||||
| Merin- gues - sur un seul ni- veau | 120 3 120 3 80 - 100 Sur un | plateau de cuisson | ||||
| Plat Convection naturelle Chaleur tournante Durée | (min) | Commen-taires | ||||
| Tempér- ature (°C) | Posi- tions des grilles | Tempér- ature (°C) | Posi- tions des grilles | |||
| Merin- gues - sur deux niveaux1) | -- 120 2 et 4 80 - 100 Sur un | plateau de cuisson | ||||
| Petits pains1) | 190 3 190 3 12 - 20 Sur un | plateau de cuisson | ||||
| Éclairs - sur un seul ni- veau | 190 3 170 3 25 - 35 Sur un | plateau de cuisson | ||||
| Éclairs - sur deux niveaux | -- 170 2 et 4 35 - 45 Sur un | plateau de cuisson | ||||
| Tourtes 180 2 170 2 45 - 70 Dans un | moule à gâteau de 20 cm | |||||
| Cake aux fruits | 160 1 150 2 110 - 120 Dans un | moule à gâteau de 24 cm | ||||
| Gâteau à étages | 170 1 160 2 (gau- | che et droit) | 50 - 60 Dans un moule à gâteau de 20 cm | |||
1) Prechauffez le four pendant 10 minutes.
Pain et pizza
| Plat | Convection naturelle Chaleur tournante Durée | (min) | Com-men-taires | |||
| Tempér-ature(°C) | Posi-tions des grilles | Tempér-ature(°C) | Posi-tions des grilles | |||
| Pain blanc1) | 190 1 190 | 160 - 70 1 à | 2 pieces,500 g parpiece | |||
| Plat Convection naturelle Chaleur tournante Durée | (min) | Com-men-taires | ||||
| Tempér- ature (°C) | Posi- tions des grilles | Tempér- ature (°C) | Posi- tions des grilles | |||
| Pain de seigle | 190 1 180 | 1 30 - 45 Dans un | moule à pain | |||
| Petits pains1) | 190 2 180 | 2 (2 et 4) 25 - 40 6 à 8 pe- | tits pains sur un plateau de cis-son | |||
| Pizza1) | 230 - 250 | 1 230 - 250 1 | 10 - 20 Sur un | plateau de cis-son ou un plat à rôtir | ||
| Scones1) | 200 3 190 | 3 10 - 20 Sur un | plateau de cis-son | |||
1) Prechauffez le four pendant 10 minutes.
Préparations à base d'œufs
| Plat | Convection naturelle Chaleur tournante Durée | (min) | Commen-taires | |||
| Température (°C) | Posi-tions des grilles | Température (°C) | Posi-tions des grilles | |||
| Gratin de pâtes | 200 2 180 | 2 40 - 50 Dans un | moule | |||
| Gratin aux légumes | 200 2 175 | 2 45 - 60 Dans un | moule | |||
| Quiches1) | 180 1 180 | 1 50 - 60 Dans un | moule | |||
| La-sagnes1) | 180 - 190 | 2 180 - 190 2 25 - 40 Dans un | moule | |||
| Cannello-ni1) | 180 - 190 | 2 180 - 190 2 25 - 40 Dans un | moule | |||
1) Prechauffez le four pendant 10 minutes.
Vande
| Plat Convection naturelle Chaleur tournante Durée | (min) | Com-men-taires | ||||
| Tempér- ature (°C) | Posi- tions des grilles | Tempér- ature (°C) | Posi- tions des grilles | |||
| Boeuf 200 2 190 2 50 - 70 Sur une | grille mét-allique | |||||
| Porc 180 2 | 180 2 90 - 120 Sur une | grille mét-allique | ||||
| Veau 190 2 | 175 2 90 - 120 Sur une | grille mét-allique | ||||
| Rôti de boeuf, saignant | 210 2 200 2 50 - 60 Sur une | grille mét-allique | ||||
| Rôti de boeuf, cuit à point | 210 2 200 2 60 - 70 Sur une | grille mét-allique | ||||
| Rôti de boeuf, bi- en cuit | 210 2 200 2 70 - 75 Sur une | grille mét-allique | ||||
| Épaule de porc | 180 2 170 2 120 - 150 Avec | couenne | ||||
| Jarret de porc | 180 2 160 2 100 - 120 2 mor- | ceaux | ||||
| Agneau 190 2 175 2 110 - 130 Gigot | ||||||
| Poulet 220 2 200 2 70 - 85 Entier | ||||||
| Dinde 180 2 160 2 210 - 240 Entière | ||||||
| Canard 175 2 220 2 120 - 150 Entier | ||||||
| Oie 175 2 160 1 150 - 200 Entière | ||||||
| Lapin 190 2 175 2 60 - 80 En mor- | ceaux | |||||
| Lïvre | 190 2 175 2 150 - 200 En mor- | ceaux | ||||
| Faisan | 190 2 175 2 90 - 120 Entier | |||||
Poisson
| Plat Convection naturelle Chaleur tournante Durée | (min) | Commen-taires | ||||
| Tempér- ature (°C) | Posi- tions des grilles | Tempér- ature (°C) | Posi- tions des grilles | |||
| Truite/ daurade | 190 2 175 | 2 40 - 55 3 - | 4 poised- sons | |||
| Thon/ saumon | 190 2 175 | 2 35 - 60 4 - 6 | filets | |||
Grill

Préchauffez vous four à vidependant 3 minutes avant lacuisson.
| Plat Quantité Tempér- Mor- ceaux | (g) 1re face | a ture 2e face | Durée (min) | Posi- | tions des grilles |
| Filet de bœuf | 4 800 max. | 12 - 15 12 - 14 4 | |||
| Steaks de bœuf | 4 600 max. | 10 - 12 6 - 8 4 | |||
| Saucisses | 8 - max. | 12 - 15 10 - 12 4 | |||
| Côtelettes de porc | 4 600 max. | 12 - 16 12 - 14 4 | |||
| Poulet (coupé en deux) | 2 1000 max. | 30 - 35 25 - 30 4 | |||
| Broch- ettes | 4 - max. | 10 - 15 10 - 12 4 | |||
| Escalope de poulet | 4 400 max. | 12 - 15 12 - 14 4 | |||
| Steak haché | 6 600 max. | 20 - 30 - 4 | |||
| Filet de poisson | 4 400 max. | 12 - 14 10 - 12 4 |
Sand- 4-6-max.5-7-4
wiches
toastés
Toasts 4 - 6 - max. 2 - 4 2 - 3 4
Turbo grill
Viande de boeuf
| Rôti ou filet de bœuf saignant1) | Par cm d'épaissur | 190 - 200 5 - 6 1 ou 2 |
| Rôti ou filet de bœuf à point1) | Par cm d'épaissur | 180 - 190 6 - 8 1 ou 2 |
| Rôti ou filet de bœuf bien cuit1) | Par cm d'épaissur | 170 - 180 8 - 10 1 ou 2 |
1) Prechauffer le four.
Filet mignon de porc
Épaule, collier, 1 - 1.5 160 - 180 90 - 120 1 ou 2 jambon à l'os
Cotelette, cote lev- 1 - 1.5 170 - 180 60 - 90 1 ou 2 ee
Pâté à la viande 0.75 - 1 160 - 170 50 - 60 1 ou 2
Jarret de porc (pré-cuit) 0.75 - 1 150 - 170 90 - 120 1 ou 2
Veau
| Rôti de veau | 1 | 160 - 180 | 90 - 120 | 1 ou 2 |
| Jarret de veau | 1.5 - 2 | 160 - 180 | 120 - 150 | 1 ou 2 |
Agneau
| Plat Quantité (kg) Température | (°C) | Durée (min) Positions des grilles |
| Gigot d'agneau, rôti d'agneau | 1 - 1.5 150 - 170 | 100 - 120 1 ou 2 |
| Selle d'agneau 1 | - 1.5 160 - 180 40 - | 60 1 ou 2 |
Volaille
| Plat Quantité (kg) Température | (°C) | Durée (min) Positions des grilles | |
| Morceaux de volaille | 0,2 - 0,25 cha-cun | 200 - 220 30 - 50 1 ou 2 | |
| Demi-poulet 0.4 | 0.5 cha-cun | 190 - 210 35 - 50 1 ou 2 | |
| Volaille, pou-larde | 1 - 1.5 190 - 210 | 50 - 70 1 ou 2 | |
| Canard 1.5 - 2 180 | - 200 80 - 100 1 ou 2 | ||
| Oie 3.5 - 5 160 | - 180 120 - 180 1 ou 2 | ||
| Dinde 2.5 - 3.5 160 | - 180 120 - 150 1 ou 2 | ||
| Dinde 4 - 6 140 | - 160 150 - 240 1 ou 2 | ||
Poisson (à l'étuvée)
| Plat | Quantité (kg) Température (°C) | Durée (min) Positions des grilles |
| Poisson entier 1 - 1.5 210 - 220 40 - 60 1 ou 2 | ||
Décongélation
| Plat Quantité | (g) | Durée de décongénation (min) | Décongénation complémentaire (min) | Commentaires |
| Poulet 1000 | 100 - 140 | 20 - 30 | Placez le poulet sur une sous-tasse returnée, posée sur une grande as-siete Retournez à la moitié du temps. | |
| Vande | 1000 | 100 - 140 | 20 - 30 | Retournez à la moitié du temps. |
| Vande | 500 | 90 - 120 20 - | 30 Retournez à la moitié du temps. | |
| Plat Quantité | (g) | Durée de décongénation (min) | Décongélation complémentaire (min) | Commentaires |
| Truite 150 25 - | 35 10 - 15 - | |||
| Fraisées 300 30 | - 40 10 - 20 - | |||
| Beurre 250 30 | - 40 10 - 15 - | |||
| Crème 2 x 200 | 80 - 100 10 - | 15 La crème fraîche peut | 'être battue même si elle n'est pas complètement décongelée. | |
| Gâteau 1400 60 60 - |
Déshydration - Chaleur tournante
Utilisez des plaques recouvertes de papier sulfurisé.
Pour obtenir un meilleur résultat, arrêtez le four à la moitié de la durée de
déshydration, ouvre la porte et laissez refroidir pendant une nuit pour terminer le séchage.
Légumes
| Plat Température | (°C) | Durée (h) Positions des grilles | |
| 1 position 2 positions | |||
| Haricots | 60 - 70 6 - 8 | 3 | 1 / 4 |
| Poivrons | 60 - 70 5 - 6 | 3 | 1 / 4 |
| Légumes pour potage | 60 - 70 5 - 6 | 3 | 1 / 4 |
| Champignons | 50 - 60 6 - 8 | 3 | 1 / 4 |
| Fines herbes | 40 - 50 2 - 3 | 3 | 1 / 4 |
Fruits
| Plat Température | (°C) | Durée (h) Positions des grilles | |
| 1 position 2 positions | |||
| Prunes | 60 - 70 8 - 10 3 | 1 / 4 | |
| Abricots | 60 - 70 8 - 10 3 | 1 / 4 | |
| Pommes, la-melles | 60 - 70 6 - 8 | 3 | 1 / 4 |
| Poires 60 - 70 6 - 9 | 3 | 1 / 4 | |
Chaleur tournante+Vapeur
Gâteaux et pâtisseries
| Plat Tempéra-ture (°C) | Durée (min) | Posi- tions des grilles | Commentaires |
| Gâteau aux pômes1) | 160 60 - 80 2 Dans un moule à gâteau | de 20 cm | |
| Tartes 175 30 - 40 | 2 Dans un moule à gâteau | de 26 cm | |
| Cake aux fruits 160 | 80 - 90 2 Dans un moule à gâteau | de 26 cm | |
| Généoise/Gâteau Savoie | 160 35 - 45 2 Dans un moule à gâteau | de 26 cm | |
| Panettone1) | 150 - 160 70 - 100 2 Dans un moule à gâteau | de 20 cm | |
| Gâteau aux prunes1) | 160 40 - 50 2 Dans un moule à pain | ||
| Petits gâteaux 150 | - 160 25 - 30 3 (2 et 4) Sur un plateau de cuisson | ||
| Biscuits/Gâteaux secs | 150 20 - 35 3 (2 et 4) Sur un plateau de cuisson | ||
| Petits pains su- crés1) | 180 - 200 12 - 20 2 Sur un plateau de cuisson | ||
| Brioches1) | 180 15 - 20 3 (2 et 4) Sur un plateau de cuisson |
1) Prechauffez le four pendant 10 minutes.
Pain et pizza
| Plat | Quantité (g) | Tempéra-ture (°C) | Durée (min) | Positions des grilles | Commen-taires |
| Pain blanc1) | 1000 180 - 190 45 - 60 2 1 à | 2 pièces, 500 g par piece | |||
| Petits pains 1) | 500 190 - 210 20 - 30 2 (2 et 4) 6 à 8 petits | pains sur un plateau de cuisson | |||
| Plat Quantité | (g) | Tempéra-ture (°C) | Durée(min) | Positionsdes grilles | Commen-taires |
| Pizza1) | -200 - 220 20 - 30 2 Sur un pla- | teau decuisson | |||
1) Prechauffez le four pendant 10 minutes.
Préparations à base d'œufs
| Plat Tempéra-ture (°C) | Durée(min) | Positionsdesgrilles | Commentaires |
| Légumes farcis 170 - 180 30 - 40 1 | Dans un moule | ||
| Lasagnes 170 - 180 40 - 50 2 | Dans un moule | ||
| Gratin depommes de terre | 160 - 170 50 - 60 1 (2 et 4) | Dans un moule |
Vianne
| Plat Quantité (g) | Tem- | péra-ture (°C) | Durée(min) | Positionsdesgrilles | Commentaires |
| Rôti de porc 1000 | 180 90 - 110 2 | Sur une grille | métallique | ||
| Veau | 1000 180 90 - | 110 2 | Sur une grille | métallique | |
| Rôti de boeuf,saignant | 1000 210 45 - | 50 2 | Sur une grille | métallique | |
| Rôti de boeuf,à point | 1000 200 55 - | 65 2 | Sur une grille | métallique | |
| Rôti de boeuf,bien cuit | 1000 190 65 - | 75 2 | Sur une grille | métallique | |
| Agneau | 1000 175 110 - | 130 | 2 | Gigot | |
| Poulet | 1000 200 | 55 - 65 2 | Entier | ||
| Dinde | 4000 170 | 180 - | 240 | 2 | Entier |
| Canard 2000 - 2500 | 170 - | 180 | 120 -150 | 2 | Entier |
| Oie | 3000 160 - | 170 | 150 -200 | 1 | Entier |
| Plat Quantité (g) Tem- | péra-ture (°C) | Durée (min) | Positions des grilles | Commentaires |
| Lapin - 170 - | 180 | 60 - 90 2 | En morceaux |
Poisson
| Plat Quant | ité (g) | Tempéra-ture (°C) | Durée (min) | Positions des grilles | Commentaires |
| Truite 1500 180 25 - 35 2 3 - 4 poissons | |||||
| Thon 1200 175 35 - 50 2 4 - 6 files | |||||
| Colin - 200 20 - 30 2 - | |||||
Réchauffer à la vapeur
| Plat Tempéra-ture (°C) | Durée(min) | Positionsdesgrilles | Commentaires |
| Ragoûts/Gratins1) | 140 15 - 25 2 Réchauffez sur une assim-ette | ||
| Pâtes avecsauece1) | 140 10 - 15 2 Réchauffez sur une assim-ette | ||
| Garnitures (par ex.riz, pommes de terre, pâtes)1) | 140 10 - 15 2 Réchauffez sur une assim-ette | ||
| Plats uniques1) | 140 10 - 15 2 Réchauffez sur une assim-ette | ||
| Viande1) | 140 10 - 15 2 Réchauffez sur une assim-ette | ||
| Légumes1) | 140 10 - 15 2 Réchauffez sur une assim-ette |
1) Prechauffez le four pendant 10 minutes.
Cuisson dans le plat de cuisson diététique
Utilisez la fonction Chaleur tournante + Vapeur.
Légumes
| Plat Température (°C) Durée (min) Positions des | grilles | |
| Bouquets de broccoli 150 20 - 25 2 | ||
| Aubergines 150 15 - 20 2 | ||
| Bouquets de chou-fleur | 150 25 - 30 2 | |
| Tomates 150 15 2 | ||
| Asperges blanches 150 35 - 45 2 | ||
| Asperges vertes 150 25 - 35 2 | ||
| Courgettes en la-melles | 150 20 - 25 2 | |
| Carottes 150 35 - 40 2 | ||
| Fenouil 150 30 - 35 2 | ||
| Chou-rave 150 25 - 30 2 | ||
| Poivrons coupés en lamelles | 150 20 - 25 2 | |
| Rondelles de célé 150 30 - 35 2 | ||
Vande
| Plat | Température (°C) Durée (min) Positions des | grilles |
| Jambon cuit 150 55 - 65 2 | ||
| Blanc de poulet po-ché | 150 25 - 35 2 | |
| Kasseler (filet mignon de porc fumé) | 150 80 - 100 2 |
Poisson
| Plat | Température (°C) | Durée (min) | Positions des grilles |
| Truite 150 25 - 30 2 | |||
| Filet de saumon | 150 25 - 30 2 |
Garnitures
| Plat | Température (°C) | Durée (min) | Positions des grilles |
| Riz | 150 35 - 40 2 | ||
| Plat Température (°C) | Durée (min) | Positions des | grilles |
| Pommes de terre en robe des champs, tallée moyenne | 150 50 - 60 2 | ||
| Pommes de terre va-peur en quartiers | 150 35 - 45 2 | ||
| Polenta 150 40 - 45 2 |
ENTRETIEN ET NETTOYAGE

AVERTISSEMENT! Reportez-vous aux chapités concernant la sécurité.
Remarques concernant l'entretien
- Nettoyez la façade du four à l'aide d'une éponge humide additionnelle d'eau savonneuse tiège.
- Utilisez un produit courant destiné au nettoyage des surfaces en métal.
- Nettoyez l'intérieur de l'appareil après chaque utilisation. L'accumulation de graisses ou d'autres résidus alimentaires peut provoquer un incendie. Ce risque est élevé pour la l'échéfte.
- En cas de salissures importantes, nettoyez à l'aide d'un nettoyant pour four.
- Àprous chaqueutilisation, lavez tous les accessoires et séchez-les. Utilisez un chiffon doux additionné d'eau savonneuse tiède.
- Si vous avez des accessoires anti-adhérents, ne les nettoyez pas avec des produits agressifs, des objets pointus ni au lave-vaisse. Cela risque d'endommager le revêtement anti-adhésif.
Appareils en acier inoxydable ou en aluminium

Nettoyez la porte uniquement avec une éponge humidifiée. Séchez-la avec un chiffon doux. N'utilise jamais de produits abrasifs ou acides ni d'éponges métalliques car ils peuvent endommager la surface du four. Nettoyez le bandeau de commande du four en observant ces mêmes recommendations.
Nettoyage du joint d'étanchéité de la porte
- Vérifiez régulierement le joint d'étanchéité de la porte. Le joint d'étanchéité de la porte est posé sur l'encadrement de la cavité du four. N'utilise pas l'appareil si le joint d'étanchéité de la porte est endommagé. Faites appel à un service après vente agrée.
- Pour le nettoyage du joint d'étanchéité de la porte, consultez les informations générales concernant le nettoyage.
Retrait des supports de grille
Pour nettoyer le four, retirez les supports de grille
- Écartez l'avant du support de grille de la paroi latérale.


2. Écartez l'arrête du support de grille de la paroi latérale et retirez le support.
Installez les supports de grille selon la même procedure, mais dans l'ordre inverse.
Nettoyage du réservoir d'eau

AVERTISSEMENT! Ne versez pas d'eau dans le réservoir d'eau durant le processus de nettoyage.

Durant le processus de nettoyage, de I'eau peut s'égoutter du tuyau d'arrivée de la vapeur dans la cavity du four. Placez une l'échefrite sur le niveau situé juste en dessous du tuyau d'arrivée de la vapeur pour éviter que l'eau ne coule jusqu'àu fond de la cavity du four.
Au bout d'un certain temps, des dépôts calcaires peuvent apparaitre dans le four. Pour éviter cela, nettoyez tous les éléments du four produitant de la vapeur. Videz le réservoir après chaque cuisson à la vapeur.
Types d'eau
-
Eau douce à faible teneur en calcaire : elle est recommendée par le fabricant, car elle réduit le nombre de nettoyages nécessaires.
-
Eau du robinet : vous pouvez l'utiliser à condition que votre alimentation domestique soit dotée d'un purificateur ou d'un adoucisseur d'eau.
-
Eau dure à haute teneur en calcaire : ce type d'eau n'entrave aucunement le bon fonctionnement de l'appareil, mais il augmente la fréquence des procédures de nettoyage.
TABLEAU DES QUANTITÉS DE CALCIUM RECOMMANDÉES PAR L'OMS (Organisation mondiale de la santé)
| Dépôt de cal-cium | Dureté de l'eau Classification | de l'eau | Fréquence de détartrage | |
| (degrés français) | (degrés alle-mands) | |||
| 0 - 60 mg/l 0 - 6 | 0 - 3 Douce ou claire | 75 cycles - | 2.5 mois | |
| 60 - 120 mg/l 6 - | 12 3 - 7 Moyennement | dure | 50 cycles -2 mois | |
| 120 - 180 mg/l 12 - 18 8 - 10 Dure ou calc- | aire | 40 cycles -1.5 mois | ||
| plus de180 mg/l | plus de 18 plus de 10 Eau très dure | 30 cycles - | 1 mois | |
- Remplissez le réservoir avec 850 ml d'eau en y ajoutant 50 g (soit cinq cuilleres à café) d'acide citrique. Éteignez le four et attendez 60 minutes environ.
- Allumez le four et reglez la fonction Chaleur tournante+Vapeur. Reglez la températe à 230 °C. Éteignez le four au bout de 25 minutes et laissez-le refroidir pendant 15 minutes.
- Allumez le four et réglez la fonction Chaleur tournante+Vapeur. Reglez la température entre 130 et 230^ Eteignez le four au bout de 10 minutes. Laissez-le refroidir et procededez a la vidange du réservoir. Reportez-vous au chapitre « Vidange du réservoir d'eau »
- Rincez le réservoir d'eau et nettoyez les résidus de calcaire Presents dans le four avec un chiffon.
- Nettoyez le tuyau de vidange à la main avec de l'eau chaude savonneuse. Pour éviter tout endommagement, n'utilise pas d'agents nettoyants acides, de sprays ni de produits similaires.
Nettoyage de la porte du four
La portedu four est dotede de deux panneaux de verre. You pouvez retirer la portedu four et le panneau de verre interieur pour le nettoyer.

Si vous tentez d'extraire le panneau de verre interieur sans avoir au préalable retire la portedu four, celle-ci peut se refermer brusquement.

ATTENTION! N'utilise pas l'appareil sans le panneau de verre interieur.
- Ouvrez complètement la porte et saisissez les 2 chamières de porte.

- Soulevez et faites tourner les leviers sur les 2 charnières.

- Fermez la porte du four à la première position d'ouverture (mi-parcours). Tirez la porte vers l'avant et retirez-la de son logement.

- Déposez la porte sur une surface stable recouverte d'un tissu doux.

- Désengagez le système de verrouillage pour retarder le panneau de verre interieur.

- Faites pivoter les deux fixations de 90^ et retirez-les de leurs logements.

- Soulevez doucement puis sortez le panneau de verre.

- Nettoyez le panneau de verre à l'eau savonneuse. Séchez soigneusement le panneau de verre.
Une fois le nettoyage terminé, remettez le panneau de verre et la porte du four en place. Suivez les étapes ci-dessus dans l'ordre inverse.
La zone imprimée doit faire face à l'intérieur de la porte. Àpres l'installation, vérifie que la surface du panneau de verre ou se trouve la zone imprimée est lisse au toucher (le relief doit être de l'autre côté).
Veillez à installer correctement le panneau de verre interieur dans son logement.

Remplacement de l'éclairage
Placez un chiffon au fond de la cavity de l'appareil. Cela évitera d'endommager le diffuseur en verre et la cavity.

AVERTISSEMENT! Risque
d'électrocution! Déconnectez le fusible avant de replacer l'ampoule.
L'éclairage et le diffuseur en verre peuvent être très chauds.

ATTENTION! Tenez toujours
I'ampoule halogène avec un chiffon afin d'éviter que des résidus de graisse ne brûlent sur l'ampoule.
- Éteignez l'appareil
- Retirez les fusibles de la boite à fusibles ou coupe le disjoncteur.
Éclairage arrière
- Retirez le diffuseur en verre de l'ampoule en le tournant vers la gauche.
2.Nettoyez-le. - Remplacez l'ampoule par une ampoule adequate résistant à une température de 300^ .
- Replacez le diffuseur en verre.
EN CAS D'ANOMALIE DE FONCTIONNEMENT

AVERTISSEMENT! Reportez-
vous aux chapitres concernant
la sécurité.
En cas d'anomalie de fonctionnement
| Problème Cause probable Solution | ||
| Le four ne chauffe pas. Le four est étéint. Mettez le four en marche. | ||
| Le four ne chauffe pas. L'horloge n'est pas régée. Réglez l'horloge. | ||
| Le four ne chauffe pas. Les régliages nécessaires n'ont pas été effectuels. | Vérifiez que les régliages sont corrects. | |
| Le four ne chauffe pas. Le fusible a disjoncté. Vérifiez que le fusible est bien la cause de l'anomalie. Si les fusibles disjonctent de manière repétée, faites appel à un électricien qualifié. | ||
| « 12.00 » s'affiche. Il y a eu une coupure de courant. | Réglez de nouveau l'horloge. | |
| L'éclairage ne fonctionne pas. | L'éclairage est défectueux. Remplacez l'ampoule. | |
| De la vapeur et de la condensation se forment sur les aliements et dans la cavité du four. | Le plat est resté trop long-temps dans le four. | Ne laissez pas les plats dans le four pendant plus de 15 à 20 minutes après la fin de la cuisson. |
| Il y a de l'eau à l'intérieur du four. | Le réservoir d'eau est trop rempli. | Éteignez le four et essuyez l'eau avec un chiffon ou une éponge. |
| Le voyant « Réservoir plein » est éteint. | Le réservoir d'eau n'est pas assez rempli. | Remplissez le réservoir d'eau jusqu'à ce que le voyant s'al-lume. Si de l'eau commence à s'écouler à l'intérieur du four et que le voyage est tou-jours éteint, contactez le service après-vente. |
| Le voyant « Réservoir vide » est allumé. | Le réservoir d'eau est vide. Remplissez le réservoir. Si levoyant reste allumé, prenez contact avec le service après-vente. | |
| La cuisson à la vapeur ne fonctionne pas. | Le réservoir d'eau est vide. Remplissez le réservoir d'eau. | |
| La cuisson à la vapeur ne fonctionne pas. | Des dépôts de calcaire ob-struent l'orifice. | Vérifiez l'orifice du tuyau d'ar-rivée de la vapeur. Éliminez le calcaire. |
| Il faut plus de 3 minutes pour vider le réservoir d'eau ou de l'eau s'écoule par l'orifice du tuyau d'arrivée de la vapeur. | Il y a des dépôts calcaires dans le four. | Nettoyez le réservoir d'eau. Reportez-vous au chapitre « Nettoyage du réservoir d'eau ». |
Informations de maintenance
Si vous ne trouvez pas de solution au problème, veillez contacter votre revendeur ou le service après-vente.
Les informations à fournir au service après-venture figurent sur la plaque signalétique. La
plaque signalétique se trouve sur le cadre avant de la cavité de l'appareil. Ne retirez pas la plaque signalétique de l'appareil.
| Nos您可以 recommends de noter ces informations ici : | |
| Modèle (MOD.) | |
| Référence du produit (PNC) | |
| Numéro de série (S.N.) | |
INSTALLATION

AVERTISSEMENT! Reportez-vous aux chapitres concernant la sécurité.

Encastrement

Fixation de l'appareil au meuble

Installation électrique

Le fabricant ne pourrait être tenu pour responsable si vous ne respectez pas les précautions de sécurité du chapitre « Consignes de sécurité »
Cet apparéil est fourni avec une fiche d'alimentation et un cable d'alimentation.
Cable
Types de cables compatibles pourl'installation ou le remplacement :
H07 RN-F, H05 RN-F, H05 RRF, H05 VV-F, H05 V2V2-F (T90), H05 BB-F
Pour la section du cable, consultez la puissance totale sur la plaque signalétique. Vous pouvez également consulter le tableau :
| Puisance totale (W) | Section du cable (mm2) |
| maximum 1 380 3 x 0.75 | |
| maximum 2 300 3 x 1 | |
| maximum 3 680 3 x 1.5 | |
Le fil de masse (fil jaune/vert) doit faire 2 cm de plus que les fils de phase et neutre (fils bleu et marron).
RENDEMENT ÉNERGÉTIQUE
Fiche du produit et informations conformément à la norme EU 65-66/2014
| Nom du fournisseur Progress | |
| Identification du modele PBD35100X | |
| Index d'efficacité énergétique 100.0 | |
| Classe d'efficacité énergétique A | |
| Consommation d'énergie avec charge standard et mode traditionnel | 0.93 kWh/cycle |
| Consommation d'énergie avec charge standard et mode air pulsé | 0.85 kWh/cycle |
| Nombre de cavités 1 | |
| Source de chaleur Électricité | |
| Volume 72 l | |
| Type de four Four encasable | |
| Masse 32.1 kg |
EN 60350-1 - Appareils de cuisson domestiques électriques - Partie 1: Plages, fours, fours à vapeur et grils - Méthodes de mesure des performances.
Économie d'énergie
Cet apparéil est doté de caractéristiques qui vous permettent d'économiser de l'énergie lors de votre cuisine au quotidien.
- Conseils généraux
Assurez-vous que la porte du four est correctement fermée quand l'appareil est en marche et maintenez-la fermée autant que possible pendant la cuisson.
- Utilisez des plats en métal pour améliorer l'économie d'énergie.
- Si possible, placez les alimentes à l'intérieur du four sans les rechauffer.
-
Quand la durée de cuisson est supérieure à 30 minutes, diminuez la température du four à 3-10 minutes minimum, selon la durée de la cuisson, avant que le temps de cuisson ne s'écoule. La chaleur résiduelle à l'intérieur du four continuaera à cuire.
-
Utilisez la chaleur résiduelle pour réchauffer les autres alimentés.
-
Cuisson avec ventilateur - si possible, utilisez les fonctions de cuisson avec le ventilateur pour economiser de l'énergie.
- Maintien des aliments au chaud - si vous souhaitez utiliser la chaleur résiduelle pour garder le plat chaud, sélectionnez la température la plus BASSE possible.
EN MATIÈRE DE PROTECTION DE L'ENVIRONNEMENT
Recyclez les matériaux portant le symbole
Déposez les emballages dans les conteneurs prévus à cet effet. Contribuez à
la protection de l'environnement et à votre sécurité, recyclez vos produits électriques et électroniques. Ne jetez pas les apparèils
portant le symbole avec les ordures menagères. Emmenez un tel produit dans
votre centre local de recyclage ou contactez vos services municipaux.
Notice Facile