TM1200 FP - Support écran plat VISION - Notice d'utilisation et mode d'emploi gratuit
Retrouvez gratuitement la notice de l'appareil TM1200 FP VISION au format PDF.
| Caractéristiques techniques | Support mural pour écran plat, compatible avec les écrans de 32 à 65 pouces, capacité de charge jusqu'à 50 kg. |
|---|---|
| Type de montage | Montage mural avec système de fixation VESA standard (400x400 mm maximum). |
| Inclinaison | Inclinaison réglable jusqu'à 15 degrés pour un meilleur angle de vision. |
| Rotation | Rotation à 180 degrés pour ajuster l'orientation de l'écran. |
| Matériaux | Acier robuste avec finition en peinture époxy pour une durabilité accrue. |
| Utilisation | Idéal pour les salons, bureaux, ou espaces publics, permettant un gain de place et une meilleure ergonomie. |
| Maintenance | Vérifier régulièrement les fixations et l'état général du support pour assurer une sécurité optimale. |
| Sécurité | Installation recommandée par un professionnel pour garantir la sécurité et la stabilité du montage. |
| Informations générales | Inclus tous les accessoires de montage nécessaires et un manuel d'installation détaillé. |
FOIRE AUX QUESTIONS - TM1200 FP VISION
Questions des utilisateurs sur TM1200 FP VISION
0 question sur cet appareil. Repondez a celles que vous connaissez ou posez la votre.
Poser une nouvelle question sur cet appareil
Téléchargez la notice de votre Support écran plat au format PDF gratuitement ! Retrouvez votre notice TM1200 FP - VISION et reprennez votre appareil électronique en main. Sur cette page sont publiés tous les documents nécessaires à l'utilisation de votre appareil TM1200 FP de la marque VISION.
MODE D'EMPLOI TM1200 FP VISION
Les produits Vision sont certifiés conformes à toutes les réglementations locales connues pour une certification OC. Vision s'engage à assurer que tous ses produits sont totalement compatibles avec l'ensemble des normes de certification applicables pour la vente dans la Communauté européenne et les autres pays participants.
Le produit décrit dans le présent manuel est conforme aux normes RoHS (directive UE 2002/95/CE) et DEEE (directive UE 2002/96/CE). À la fin de sa durée de vie, ce produit doit être renvoyé à son lieu d'achat en vue de son recyclage.
AVERTISSEMENTS
Lors de l'installation, ayez soin de respecter les lois sur la santé et la sécurité au travail :
- Fixez le crochet à une structure certifiée apte à supporter des charges.

NE MONTEZ JAMAIS LE SUPPORT DIRECTEMENT SUR UN FAUX PLAFOND !
- N'effectuez pas de coupes ou de perçages au-dessus du niveau de la tête. Ces opérations doivent être effectuées au niveau du sol à l'aide d'un équipement de sécurité adapté.
- Ne cherchez pas à atteindre des points trop distants pour ne pas faire basculer l'échelle.
• CPS (charge pratique de sécurité) : 20 kg
- Ce support est conçu pour être fixé à une structure certifiée apte à supporter des charges.
- Assurez-vous que l'emplacement d'installation est adéquat et n'obstrue pas une issue de secours par exemple.
- Installez à 2 m du sol au minimum pour prévenir les blessures accidentelles.
- Contrôlez la stabilité après installation.
- L'installation doit être effectuée par un spécialiste du matériel audiovisuel
- Maintenez autour du support un espace libre de 50 cm x 50 cm.
- Évitez d'installer en milieu humide, directement exposé aux rayons du soleil ou comportant des liquides ou des gaz corrosifs.
- Le passage des câbles à travers le support doit être réalisé en conformité avec les réglementations locales.

VÉRIFI EZ QUE LE CÂBLE D'ALIMENTATION N'EST PAS TORDU, ÉCRASÉ OU CI SAI LLÉ !
Tous les produits sont conçus et importés au sein de l'UE par « Vision », une entreprise intégralement détenue par Azlan Logistics Ltd, société enregistrée en Angleterre sous le numéro 04625566 et sise à Lion House, 4 Pioneer Business Park, Clifton Moor, York, YO30 4GH. N° d'enregistrement DEEE : GD0046SY

text_image
TÜV SUD GS geprifte SicherheitDÉCLARATION D'ORIGINE
Tous les produits Vision sont fabriqués en République populaire de Chine (PRC).
ACCESSOI RES
- FACULTATIF : FIXEZ LES SUPPORTS D'INCLINAISON Pour les grands écrans, les supports ci-dessous doivent être fixés.

- FACULTATIF : FIXEZ LES PATTES D'EXTENSION Requis pour les écrans dont les points de montage sont distants de plus de 200 x 200 mm.

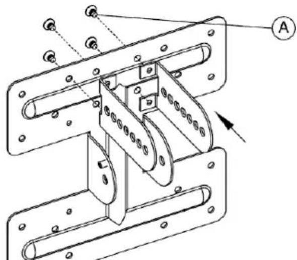
- FIXEZ L'ASSEMBLAGE SUPPORT AU PANNEAU LCD Assurez-vous pour la sécurité d'utiliser 4 vis.

text_image
3 B C D E-
FIXEZ AU PLAFOND LE SUPPORT DE PROJECTEUR Assurez-vous que le TM-1200/TM-TELE/TM-CC a été fixé au plafond en suivant les instructions sur une structure apte à supporter les charges, puis enlevez l'assemblage « araignée » du support de projecteur.
-
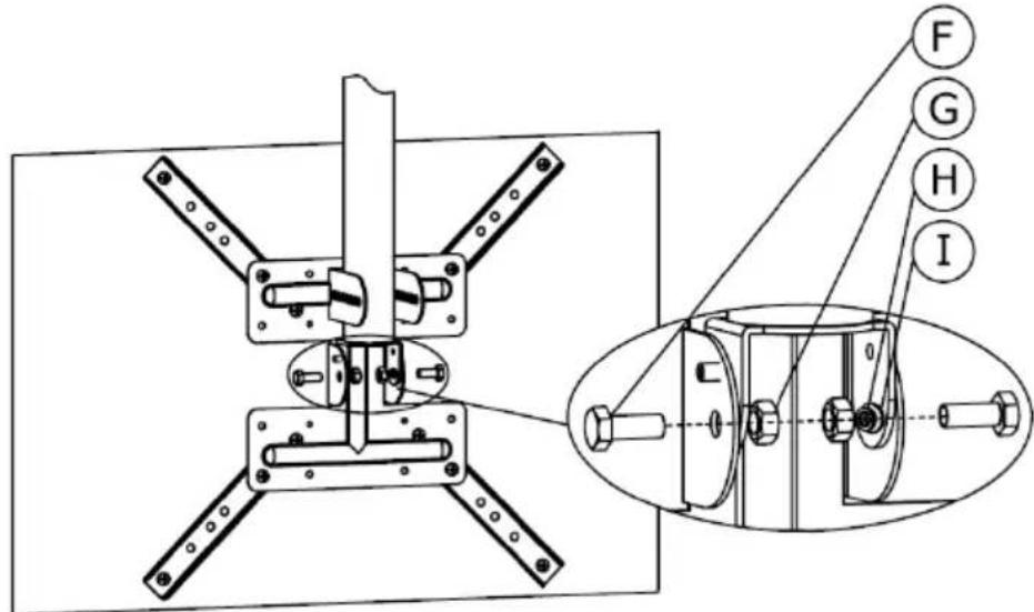
FIXEZ L'ASSEMBLAGE DU PANNEAU LCD AU SUPPORT DE PLAFOND

REMARQUE : Cette opération peut nécessiter deux personnes.
- FACULTATIF : FIXEZ LE BLOCAGE D'INCLINAISON Placez cette pièce si vous avez installé les supports d'inclinaison à l'étape 1. Cela limitera l'angle maximum d'orientation du panneau LCD. Il devrait être adossé à la tige une fois en place.

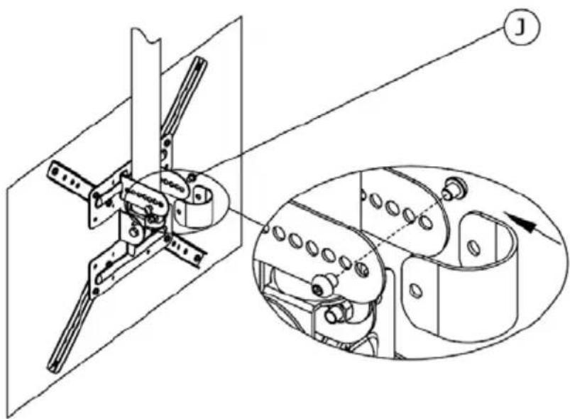
- ATTACHEZ LA LONGE DE SÉCURITÉ Les supports de projecteur Vision comportent une longe de sécurité qui sert à attacher le panneau LCD à la base de la tige de montage.
CARACTÉRI STI QUES
TAILLES VESA : toutes jusqu'à 400 mm x 400 mm inclus
CHARGE PRATIQUE DE SÉCURITÉ : 20 kg
COULEUR : blanc satin
ACCESSOI RES
4 pattes d'extension VESA
1 support d'inclinaison
GARANTIE
Ce produit est couvert par une garantie de retour atelier de 2 ans, valide à partir de la date d'achat. Cette garantie est uniquement accordée à l'acheteur originel et ne peut être transmise. Pour prévenir tout doute, la garantie est basée sur les informations détenues par le distributeur national désigné pour le point de vente. La responsabilité du fabricant et de sa société de services désignée est limitée au coût de la réparation et/ou du remplacement de l'unité défectueuse sous garantie, sauf en cas de mort ou de blessure (EU85/374/CEE). Cette garantie vous protège dans les cas suivants :
- Manipulations incorrectes entraînant l'impossibilité d'utiliser le produit de manière sûre dans la CPS (charge pratique de sécurité) recommandée.
- Mauvaise finition entraînant l'impossibilité d'assembler le produit.
- Corrosion externe si identifiée dans les 24 heures suivant l'achat. L'intérieur du tube n'est pas recouvert d'un revêtement par poudre, et il est donc possible qu'une légère corrosion se forme avec le temps. Cette corrosion étant normale et n'affectant pas la capacité de charge du produit, elle n'est pas couverte par cette garantie.
Si vous rencontrez un problème avec ce produit, contactez le revendeur AV auquel vous l'avez acheté. L'acheteur originel est responsable de l'envoi du produit pour réparation dans le centre de service désigné par le fabricant. Nous ferons tout notre possible pour renvoyer les unités réparées dans les 5 jours. Toutefois, cela n'est pas toujours possible, auquel cas nous les renverrons dès que possible. Cette garantie ne protège pas le produit des défauts entrainés par un abus, une utilisation non conforme ou une installation incorrecte pouvant survenir en cas de non-respect des instructions fournies dans ce manuel. Si le défaut n'est pas couvert par cette garantie, le propriétaire aura la possibilité de payer pour la main-d'œuvre et les pièces nécessaires à la réparation de l'unité au tarif standard de l'entreprise.
REMARQUE : En raison de notre engagement à améliorer nos produits, les informations ci-dessus peuvent être modifiées sans préavis. Ce manuel d'utilisation est publié sans garantie. Des améliorations ou modifications peuvent y être apportées à tout moment sans préavis, que ce soit pour corriger des erreurs typographiques et des inexactitudes ou suite à l'évolution des programmes ou des équipements. Les éditions ultérieures de ce manuel d'utilisation reflèteront ces mises à jours.
Notice Facile