WAVS341 - Support écran plat Bell'O - Notice d'utilisation et mode d'emploi gratuit
Retrouvez gratuitement la notice de l'appareil WAVS341 Bell'O au format PDF.
| Caractéristiques techniques | Support mural pour écran plat jusqu'à 50 pouces, capacité de charge maximale de 45 kg, inclinaison de 15 degrés, rotation à 180 degrés. |
|---|---|
| Utilisation | Installation facile sur mur, compatible avec les normes VESA, idéal pour les salons, bureaux ou espaces de divertissement. |
| Maintenance et réparation | Vérifier régulièrement la solidité des fixations, nettoyer avec un chiffon doux, éviter les produits abrasifs. |
| Sécurité | Assurez-vous que le support est monté sur un mur solide, utiliser des vis et chevilles adaptées au type de mur. |
| Informations générales | Garantie de 5 ans, instructions d'installation incluses, poids du produit : 3,5 kg. |
FOIRE AUX QUESTIONS - WAVS341 Bell'O
Questions des utilisateurs sur WAVS341 Bell'O
0 question sur cet appareil. Repondez a celles que vous connaissez ou posez la votre.
Poser une nouvelle question sur cet appareil
Téléchargez la notice de votre Support écran plat au format PDF gratuitement ! Retrouvez votre notice WAVS341 - Bell'O et reprennez votre appareil électronique en main. Sur cette page sont publiés tous les documents nécessaires à l'utilisation de votre appareil WAVS341 de la marque Bell'O.
MODE D'EMPLOI WAVS341 Bell'O
Bell'O International Corps décline toute responsabilité en cas d'assemblage non conforme aux instructions ou pour l'assemblage, l'utilisation ou la manutention incorrents de ce meuble.
PORSUSEGURIDADTENGALASSIGUIENTESPRECAUCIONES:


! NO COLOQUE SOBRE LOS ESTANTES ARTICULOS QUE EXCEDAN LOS LIMITES MÁXIMOS DE PESO: 125 LBS PARA EL ESTANTE SUPERIOR, 50 LBS PARA EL ESTANTE MEDIO, Y 75 LBS PARA EL ESTANTE INFERIOR.
I SIEMPRE QUITE EL TELEVISOR Y CUALQUIER OTRO EQUIPO DEL MUEBLE ANTES DE MOVER LA UNIDAD ARMADA.
! TENGAL CUIDADO AL MOVER EL MUEBLE ENSAMBLADO UNA VEZ QUE LOS ESTANTES HAYAN SIDO INSTALADOS YA QUE ESTO PODRIA DESESTABILizar Y HACER CAER LOS ESTANTES Y OTROS ELEMENTOS.
! EL MUEBLE DEBE ESTAR UBICADO EN UNA SUPERFICIE PLANA, SOLIDA Y NIVELADA CUANDO SE LO ESTÉ UTILIZANDO.
! NO INCLINE EL TELEVISOR CUANDO ESTÉ EN EL SOPORTE PARA TV.
I NO SE SUBA NI SE PARE SOBRE EL SOPORTE.
! NO GOLPEE EL ESTANTE DE VIDRIO NI SE APOYE CON SU PESO SOBRE EL MISMO.
! SIempre COLOQUE LOS COMPONENTES MÁS PESADOS EN EL ESTANTE INFERIOR.
- POSER trois broches de verrouillage (I) par le dessous dans l'arrête du dessus de meuble (1).
- AVEC PRECAUTION, avec l'aide d'une autre personne, INCLINEZ l'unité prémontée dans une position verticale.
-
AVEC PRECAUTION, FIXER le dessus de meuble (1) au bas du meuble, poser huit vis de 15 mm (F) munies de rondelles (C) à travers l'intérieur du bas de meuble (3). NE PAS ENCORE SERRER LES VIS À FOND.
-
COLOQUE tres tarugos con tornillo (I) en el lado de atras de la parte inferior de la sobremesa (1).
- Con latips de other persona, INCLINE CUIDADOSAMENTE la unidad premontada en una posicjion vertical.
- FIJE CUIDADOSAMENTE la sobremesa (1) al Conjunto de la base, using ocho tornillos de 15mm (F) con arandelas (C) hasta el interior de la base de la mesa (3). NO AJUSTE LOS TORNILLOS COMPLETAMENTE TODAVIA.

Fig. 6

-
TURN the preassembled stand forward with the help of another person.
-
PLACE three cam locks (H) into the holes on the top of the rear of the CMS* panel (5).
-
ATTACH the rear capable Management System) panel (5) as shown using three 25mm screws (G), making sure the three cam pins (I) are properly inserted into the cam locks (the CMS DO NOT FULY TIGHTEN THE SCREWS AT THIS POINT.
-
REMETTRE le meuble préassemblé vers l'avant avec l'aide d'une autre personne.
-
POSER trois verrous (H) dans les trous du haut à l'arrière du peupleneau CMS
-
FIXER le panneau passé-fil CMère (5) comme sur l'illustration, avec trois vis de 25 mm (G), en neillant à enfiler correctement les trois broches de verrouillage (I) dans les verrous (H) du panneau CMS (5). NE PAS ENCORE SERRR LES VIS À FOND.
-
DE VUELTA el soporte sobre su frente con lapellda de othera persona.
-
COLOQUE tres tuercas de fijacion (H) bajo de los orificios que se encuentran en el borde superior trasero del panel del CMS).
-
FIJE el panel trasero del® Sistema de administración de cables) (5), tal como se muestra, using tres tornillos de 25mm (G), asegurándose de que las tres clavijas se inserten correctamente en las tuercas de fijación (H) del panel del GMS NO AJUSTE LOS TORNILLOS COMPLETAMENTE TODAVIA.

- TURN the preassembled stand upright with the help of another person.
- GO BACK AND TIGHTEN ALL SCREWS AND CAM LOCKS (H) COMPLETELY.
- ATTACH two CMsips (J) to the back of the pMB (5) using a wood screw (K) for each as shown.
-
ADJUST the adjustable feet in the underside of the oval legs (Parahd(5)M8 ensure the stand is level and properly supported on a flat, solid surface. MAKE SURE THE STAND IS LEVEL BEFORE ADDING THE TV OR COMPONENTS.
-
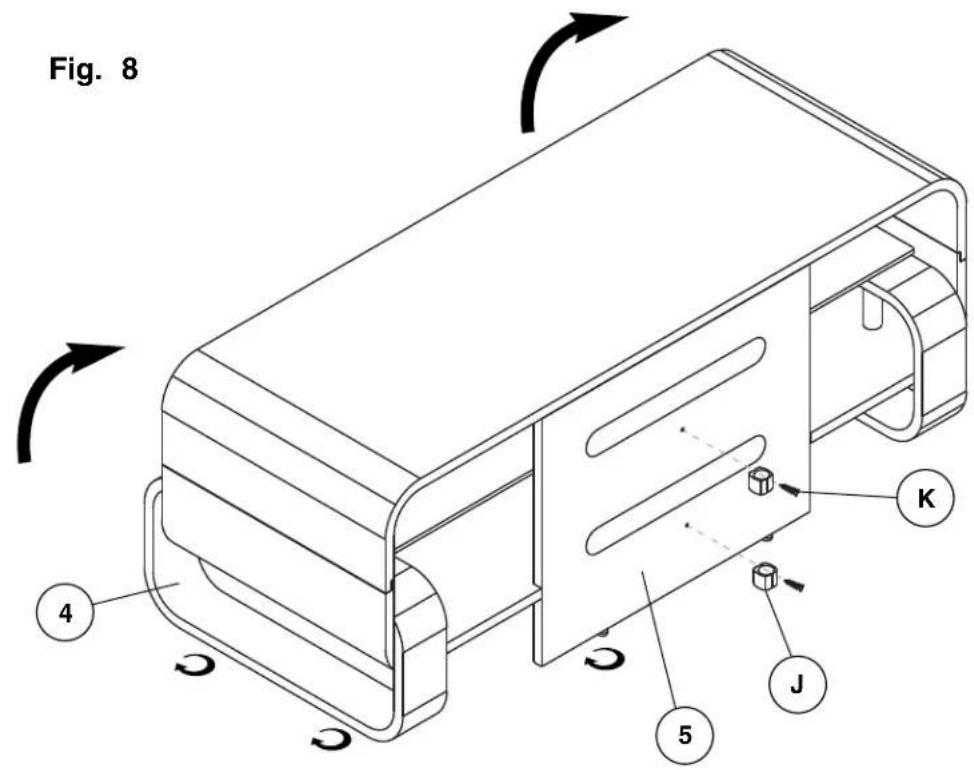
REMETTRE le meuble préassemblé à l'endetroit avec l'aide d'une autre personne.
- REVENIR EN ARRÈRE ET SERRR TOUTES LES VIS ET LES VERROUS (H) COMPLÉTEMENT.
- FIXER deux attaches CM8 au dos du panneau 品 Savec une vis a bois (K) chacune, comme sur l'illustration.
- AJUSTER les pieds réglibres dans le dessous du les pieds ovales (4) et panneau CMS* (5) de telle façon que le meuble soit de niveau et correctement soutenu sur une surface plane et solide. VÉRIFIER QUE LE MEUBLE EST DE NÈVEAU AVANT DE POSER LE TÉLEVISEUR OU AUTRES APPAREILS.
- DE VUELTA la base prearmada con la ayud de otra persona.
- AHORA AJUSTETODOS LOS TORNILLOS Y TUERCAS DE FIJACION (H) COMPLETAMENTE.
- FIJE dos sujetadores del QMSa la parte posterior del panel de5)CMsando un tornillo para madera (K) para cada uno, tal como se muestra.
- AJUSTE las patas ajustables en la parte inferior de las patas ovaladas (4) y del panel del CMS (5) para asegurar de que la base se encuesta nivelada y adecuadamente sostendra sobre una superficie plana y solida. ASEGURESE DE QUE LA BASE SE ENCUESTRE NIVELADA ANTES DE COLOCAR EL TV O LAS PIEZAS.

WARRANTY
Ce produit Bell'O International Corporation est garanti, à l'excection du verre, à l'acheteur initial au moment de l'achat et pour une durée d'un (1) an à compter de cette date. Le verre est garanti à l'acheteur initial au moment de l'achat et pour une durée de trente (30) jours à compter de cette date. Cette garantie se limite expressement aux produits neufs achetés dans des cartons scellés à l'usine. Cette garantie est valable uniquement aux États-Unis d'Amerique et au Canada.
Pour nous permettre d'offrir une assistance dans les meilleurs delais, veiller a verifier avec soin si toutes les pieces du meuble TV sont presents et en bon etat des l'ouverture de I'emballage. Pour obtenir des pieces de rechange ou manquantes dans le cadre de cette garantie, appeler le Service apres-vente au 1-888-235-7646. Veiller a avoir le numero de modele et les references des pieces a disposition. Le reçu de la vente ou autre justificatif d'achat est éqlement requis. Les pieces de rechange sont expediées sans frais pour le destinatore.
Nous garantissons à l'acheteur initiaque notre meuble TV et l'ensemble de ses pioces et composants sont exempts de defaults de materiaiu et de fabrication. Le terme « défaut », au sens de cette garantie, fait reference à toute imperfection qui entrale l'utilisation du meuble ou du produit.
Cette garantie se limite exprésément au remplacement de pieces et composants du meuble TV. Pendant une durée d'un (1) an a compter de la date d'achat, Bell'O International Corporation remplaça toute piece figurant dans la nomenclature jointe qui presente un defaut de matériel ou de fabrication.
Cetie gantie sappie dns cions dutilisation normale. Nre meble TV n'est pas destine a une utilisation en plein air. Cte garantie ne couve pas 1) les defaults causes par un assemblage ou un demontage incorrict ; 2) les defaits causes par le transport, les reclamations en cas de dommages dans le transport devant etre soumises par I'acheteur directement a la societe de transport ; 3) les defauts se produisant apres I'achat suite a une modification du produit, des dommages intentionnels, un emploi abusif ou detourné, une négligence ou I'exposition aux intemperies ; 4) les dommages cosmetiques et 5) les coûts de main-d'oeuvre ou d'assemblage.
Il n'est offert aucune garantie, expresses ou implicite, notamment de qualite marchande ou d'adaptation a un emploi particulier, a l'exception de (i) celle contentue dans les presentes ou (ii) ce qui est prevu par la reglementation en vigueur dans I'etat ou la province dont les lois s'appliquent (I'etat du New Jersey en I'absence d'une reglementation imposant I'application des lois d'un autre etat ou province). Toutes les garanties eventuellement derivees sont limitees aux termes ci-dessus, sauf dispositions contraires de la reglementation en vigueur.
Les déclarations orales ou écrites autres de la part d'employés ou représentants du fabricant ne constituent pas des garanties, ne peuvent pas été invoquées par l'acheteur et ne font pas partie du contrat de vente ni de la presente garantie.
Sous rere de ples disio, Bell O Intemal Corporation cline tute ooligou resabite envers lachteur ou toute autre personou entite cangant de queconques obligatons pertes ou dommages causeds directement ou indirectement par l'utilisation du produit, notamment, mais sans s'y limiter, de qualconques dommages accessoires ou conscutifs. Certains etats ou provinces n'autorisant pas la limitation de la durée d'une garantie implicite ou l'exclusion ou la limitation des dommages accessoires ou conscutifs, il est possible que les limites ou exclusions ci-dessus ne s'applique pas au present cas particulier.
Cetie gantie confere a lacheteur des droits juridiques particuliers. Il est possible qu'il ait d'autres droits, susceptible de varier d'une juridiction a l'autre.
Notice Facile