Sentra 2024 - Automobile NISSAN - Notice d'utilisation et mode d'emploi gratuit
Retrouvez gratuitement la notice de l'appareil Sentra 2024 NISSAN au format PDF.
| Caractéristiques techniques | Détails |
|---|---|
| Moteur | Moteur 2.0L 4 cylindres, puissance de 149 ch |
| Transmission | CVT (Transmission à variation continue) |
| Consommation de carburant | Environ 8,4 L/100 km en ville et 6,3 L/100 km sur autoroute |
| Dimensions | Longueur : 4 634 mm, Largeur : 1 810 mm, Hauteur : 1 445 mm |
| Capacité du coffre | 405 litres |
| Technologie embarquée | Système d'infodivertissement avec écran tactile de 8 pouces, compatibilité Apple CarPlay et Android Auto |
| Sécurité | Équipements de sécurité avancés, y compris le freinage d'urgence automatique, l'alerte de franchissement de ligne et le régulateur de vitesse adaptatif |
| Utilisation | Conduite confortable pour les trajets quotidiens et les longs voyages, avec une bonne visibilité et une ergonomie soignée |
| Maintenance | Entretien régulier recommandé tous les 10 000 km, vérification des niveaux d'huile et de liquide de refroidissement |
| Garantie | Garantie limitée de 3 ans ou 60 000 km |
| Informations générales | Modèle 2024 avec design modernisé, disponible en plusieurs finitions et couleurs |
FOIRE AUX QUESTIONS - Sentra 2024 NISSAN
Téléchargez la notice de votre Automobile au format PDF gratuitement ! Retrouvez votre notice Sentra 2024 - NISSAN et reprennez votre appareil électronique en main. Sur cette page sont publiés tous les documents nécessaires à l'utilisation de votre appareil Sentra 2024 de la marque NISSAN.
MODE D'EMPLOI Sentra 2024 NISSAN
L'utilisation, l'entretien et la maintenance d'un vehicule de tourisme ou d'un vehicule tout terrain peuvent vous exposer à des substances chimiques telles que les gaz d'échéppement, les oxydes de carbone, les phtalates, et le plomb, que l'État de la Californie reconnaît comme pouvant causer le cancer et des malformations congenitales ou autres lésions de l'appareil reproducteur. Pour réduire l'exposition à ces substances, évitez d'inhaler les gaz d'échéppement, ne faites pas tournier le moteur au régime de ralenti sauf en cas de nécessité, faites l'entretien de votre vehicule dans un endroit bien ventilé et portez des gants ou lavez vos mains fréquemment lors de l'entretien du vehicule. Pour plus d'informations, visitez la page www.P65Warnings.ca.gov/passenger-vehicle.
AVANT-PROPOS
Le present manuel a pour objet de vous aider à comprendre le fonctionnement et l'entretien de votre vehicule afin que vous puissiez profiter longtemps d'une conduite/agréable. Veuillez tire attentivement ce manuel avant de conduire votre vehicule pour la première fois.
Les détails relatifs aux garanties de votre vehicule sont stipulés dans un livre explicatif sur la garantie distinct. Le chapitre « Entretien et calendriers » duprésent manuel explique en détaill les programmes d'entretien et de réparation de votre vehicule. Aux États-Unis, un livre explicatif distinct, intitulé « Customer Care/Lemon Law», explique la manière de résoudre tout problème pouvant se produit avec le vehicule et informé le propriétaire de ses droits en vertu de la loi sur les vehicules défectueux en vigueur dans son État.
En plus des options installées à l'usine, votre vehicule peut aussi être équipé d'accessoires supplémentaires installés avant la livraison. Nous vous recommendons de consulter un concessionnaire NISSAN pour obtenir de plus amples renseignements relatifs aux accessoires particuliers dont votre vehicule est équipé. Il est important que vous vous familiarisiez avec toutes
les communications, les avertissements, les mises en garde et les instructions concernant l'utilisation adequate de tels accessoires avant d'utiliser le vehicule ou l'accessoire. Nous vous recommendons de consulter un concessionnaire NISSAN pour obtenir de plus amples renseignements relatifs aux accessoires particuliers dont votre vehicule est équipé.
Le concessionnaire NISSAN est celui qui connait le mistroux votre vehicule. Il se fera un prise de répondre à toutes vos questions et à tous vos besoin d'entretien en mettant à votre service les ressources considérables dont il dispose.
À LIRE EN PREMIER, POUR CONDUIRE EN TOUTE SECURITÉ
Veuillez lore attentivement le present manuel du conducteur avant de prendre la route pour la première fois au volant de votre vehicule. Cette lecture vous permettra de vous familiariser avec les commandes et exigences d'entretien de votre vehicule et vous aidera à profiter de ce dernier en toute sécurité.
AVERAGEMENT
RENSEIGNEMENTS ET RAPPELS IMPOR TANTS EN MATIÈRE DE SECURITÉ!
Respectez ces règles élémentaires de conduite afin d'assurer la sécurité et le comport de tous!
- Ne conduizez JAMAIS lorsque vous estes sous I'influence de I'alcool ou de la drogue.
- Respectez TOUJOURS les limites de vitesse indiquées et ne roulez jamais plusrapidementque ne le permettent les conditions de conduite.
- Concentrez-vous TOUJOURS entièrement sur la conduite et évitez d'utiliser des fonctions du vehicule ou d'accmplir d'autres tâches qui pourrait vous distraire.
À NE PAS OUBLIER PENDANT LA LECTURE DU PRÉSENT MANUEL
Utilisez TOUJOURS les ceintures de sécurité et les ensembles appropriés de retenue d'enfant. Les enfants de moins de 12 ans devraient prendre place sur le siège arrière.
- Indiquez TOUJOURS aux occupants du vehicule la façon correcte d'utiliser les différents dispositifs de sécurité.
- Lisez TOUJOURS les mesures de sécurité données dans le present manuel du conducteur.
MODIFICATION DE VOTRE VÉHICULE
Ce vehicule ne doit pas etre modifie. Toute modification peut comprometteres performances, sa securite, ses émissions ou sa durabilité, voire enfreindre les reglementations governentales.De plus,les dommages et les problemes de rendement resultant de telles modifications risquent de ne pas etre couverts par les garanties NISSAN.
A AVENTISSEMENT
La pose d'un apparéil enchachieble de diagnostic embarqué provenant du marché des pieces de rechange qui utilise le port durant la conduite normale, par exemple, la surveillance à distance de la compétie d'assurances, les diagnostics à distance du vehicule, les systèmes télématiques ou la reprogrammation du moteur, peuvent nuir au fonctionnement des systèmes du vehicule ou les endommager. Nous ne recommendons pas et ne cautionnons pas l'utilisation d'appareils enchachiebles de diagnostic embarqué (OBD) provenant du marché des pieces de rechange, à moins qu'ils soient spécialement approvés par NiSSAN. La garantie du vehicule peut ne pas couvir les dommages causés par les apparéils enchachiebles provenant du marché des pieces de rechange.
Ce manuel contient des renseignements relatifs à toutes les fonctions et à tous les équipements disponibles pour ce modele. Les fonctions et les équipements de votre vehicule peuvent varier selon le modele, la version, les options selectionnées, la commande, la date de production, la région ou la disponibilité. Par conséquent, ce manuel pourrait containir des renseignements concernant des fonctions ou des équipements qui ne sont pas compris ou installés sur votre vehicule.
Toute l'information, toutes les caractéristiques et toutes les illustrations données dans le présente manuel étaient exactes au moment de l'impression. NISSAN se réserves le droit de modifier les spécifications, les performances ou la conception ainsi que de change der fournisseurs de composants, sans préavis ni obligation de sa part. De temps à autre, NISSAN peutmettre a jour ou apporter des révisions a ce manuel afin de fournir aux propriétaires les renseignements les plus précis en vigueur. Lisez attentivement toutes les mises a jour de révision qui vous sont envoyées par NISSAN et conserveze-les avec ce manuel pour vous assurer que
tous les renseignements concernant voiture vehicule sont exacts et recents. Les versions courantes des manuels du conducteur et toutes les mises a jour sont également disponibles dans la section Proprietaire du site Web de NISSAN à l'adresse https://owners.nissanusa.com/nowners/ navigation/manualsGuide. Pour toute question concernant les renseignements contentus dans votre manuel du conducteur, communiquez avec le Service de la protection du consommateur de NISSAN.Consultez la page PROGRAMME D'ASSISTANCE A LA CLIENTELE NISSAN dans ce manuel du conducteur pour obtenir les coordonnées.
Ce manuel contient divers symboles. Ces symboles ont les significations suivantes :

AVERTISSEMENT
Ce symbole indique un risque de mort ou de blessures graves. Pour éviter ou diminuer ce risque, vous devez suivir à la lecture les instructions fournies.

MISE EN GARDE
Ce symbole indique un risque de blessures légères ou moyennes, ou de dommages au vehicule. Pour éviter ou diminuer ce risque, vous doivent suivre attentivement les instructions fournies.

Ce symbole signifie « Ne faites pas ceci » ou « Ne laissez pas ceci se produit »


Si une illustration présente l'une de ces flèches, cette flèche indique l'avant du vehicule.




Dans une illustration, des flèches similaires à celles-ci indiquent la direction d'un mouvement ou d'une action.




Dans une illustration, des flèches similaires à celles-ci servent à attirer votre attention sur un élément de l'illustration.
AVIS DE L'ETAT DE LA CALIFORNIE: PRÉSENCE DE PERCHLORATE
Certsains composants du vehicule, tels que les batteries au lithium, pourraient contir du perchlorate. L'avis se lit comme suit: « Présence de perchlorate - La manipulation pourrait exiger des précautions particulières. Pour obtenir de plus amples renseignements, consultez le site Web www.dtsc.ca.gov/hazardouswaste/perchlorate/ »
BLUETOOTHMD est
une marquee de
commerce de
Bluetooth SIG, Inc. et
utilisée sous licence
par Panasonic.

Bluetooth
Code QR
Le terme « code QR » est une marque déposée de DENSO WAVE INCORPORATED au Japon et dans d'autres pays.
© Nissan Mexicana, S. A. de C. V.
Tous droits réservés. Aucune partie de ce manuel du conducteur ne peut être reproduite ou mise en mémoire dans un système de saisie de données, ou transmise sous chaque forme ou par quelque moyen que ce soit, électronique, mécanique, photocopie, enregistrement ou autre, sans l'autorisation écrite préalable de Nissan Mexicana, S. A. de C. V.
PROGRAMME D'ASSISTANCE À LA CLIENTÉLE NISSAN
NISSAN S'EN SOUCIE...
NISSAN et votre concessionnaire NISSAN se sont engagés à vous servir et à vous assister, quels que soient vos besoin en matière d'automobile. Notre principale préoccupation est la satisfaction que vous tirerez de votre vehicule et de leur concessionnaire NISSAN. Notre concessionnaire NISSAN est toujours disponible pour vous aider, aussi bien pendant la vente que lors des services d'entretien.
Toutefois, si votre concessionnaire NISSAN ne peut répondre à vos questions ou si vous souhaitez adresser vos commentaires ou vos questions directement à NISSAN, n'hésitez pas à appeler, sans frais, notre Service de la protection du consommateur (NISSAN) aux numérios de téléphone suivants :
Pour les clients américain
1-800-NISSAN-1
(1-800-647-7261)
Pour les clients canadiens 1-800-387-0122
Le Service de la protection du consommateur vous demandera les renseignements suivants :
- Vos noms, adresse et numéro de téléphone
- Le numéro d'identification du vehicule (indiqué sur le dessus du tableau de bord, côté conducteur)
- La date d'achat
- Le relevé du compteur kilométrique
- Le nom de votre concessionnaire NISSAN
- Vos commentaires ou questions OU
Vou puez écrire à NiSSAN en incluant ces renseignements à :
Pour les clients américain
Pour les clients canadiens
Nissan Canada Inc.
5290 Orbitor Drive
Mississauga, Ontario L4W 4Z5
ou par courriel à
informationcentre@nissanca Canada.com
Si vous préférez, visitez notre site Web à l'adresse suivante:
www.nissanusa.com (pour les clients américain) ou
www.nissan.ca (pour les clients canadiens).
LICENCE LOGICIELLE NISSAN
- Votre vehicule comprend des pioces physiques ou des composants physiques de ces pioces sur lesquels un logiciel ou un micrologiciel (le « logiciel ») est intégre ou installe. De plus, NISSAN peutmettre à la disposition des propriétaires des mises à jour du logiciel à des fins de tellechargement et d'installation, de temps à autre, selon ce que détermine NISSAN à sa seule discrétion. Ces logiciels, ainsi que toutes les mises à jour qui s'y rapportent, y compris les mises à jour livrées par NISSAN à votre vehicule par liaison radio (collectivement, les « mises à jour »), vous sont concedés sous licence et ne vous sont pas vendus. Une partie des logiciels peut contenir ou être constituée de logiciels libres, qui peuvent être utilisés selon des conditions de la licence particulière en vertu desquelles les logiciels libres sont distribués. Pour les autres logiciels, y compris les logiciens pour lesquels il n'existe pas de contrat de licence distinct entre vous et le fabricant ou le propriététaire des logiciens, les conditions générales régissant votre droit d'utilisation et l'utilisation des logiciens installés, y compris les mises à jour, les applications, les services, et le contenu fourni pour ou par l'intémédiaire des logiciens, sont décrites dans le contrat de licence d'utilisateur final disponible à l'adresse suivante:
Pour les clients américains - https://www.nissanusa.com/owners/ownership
Votre utilisation des logiciels, y compris de toutes les mises à jour, constituevre notre consentement aux modalités et conditions du contrat de licence d'utiliser final.
REMARQUE : le contrat de licence d'utilisateur final contient une clause d'arbitrage. Vous pouvez vous retirer de cette clause d'arbitrage dans les 30 jours suivant la date d'achat de votre vehicule en envoyant un avis écrit signé à NISSAN à l'adresse suivante :
Pour les clients américain
Pour les clients canadiens,
Nissan Canada Inc.
- Voir « mise à jour du logiciel système » à la section 5. Information ou « Mise à jour logicielle » à la section 2. Pour commencer du manuel du conducteur de NissanConnect™ pour obtenir des renseignements sur l'installation des mises à jour par liaison radio. Pour toute question ou pour atteir de l'aide concernant l'installation de toute mise à jour par liaison radio, vous pouvez communiquer avec le service aux propriétaires NISSAN au 1 800 333-0207, pour les clients américain ou avec le service à la clientèle de NISSAN à l'adresse consumera'affairs@nissancanada.com pour les clients canadiens. Vous pouvez également désirir de vous rendre chez un concessionnaire NISSAN pour atteir de l'aide. Des frais peuvent s'appliquer.
Table des matières
Table des matières illustrée
Sécurité – Sièges, ceintures de sécurité et système de retenue supplémentaire
Commands et instruments
Vérifications et réglages avant le démarrage
Systèmes de surveillance, de climatisation, audio, téléphonique et de reconnaissance vocale
Démarrage et conduite
En cas d'urgence
Aspect et entretien
Faites-le vous-meme
Entretien et calendriers
Données techniques et information au consommateur
Index
0 Table des matières illustrée
Sacs gonflables, ceintures de sécurité et
ensembles de retenue d'enfant 0-2
Extérieur avant 0-3
Exterieur arriere 0-4
Habitacle 0-5
Tableau de bord. 0-6
Points de vérification dans le compartment
mateur. 0-8
Témoins 0-9
SACS GONFLABLES, CEINTURES DE SÉCURITÉ ET ENSEMBLES DE RETENUE D'ENFANT

LI12723
- Ancrages de courroie d'attache supérieure (p. 1-29, 1-37, 1-42)
-
Ceintures de sécurité arrêté (p. 1-11)
-
Rideaux gonflables latéraux et sacs gonflables en cas de renversement montés dans le toit (p. 1-66)
-
Appuie-tete (p. 1-7)
- Ceinture de sécurité avant avec préten-deur(s) et dispositif de réglage de hauteur du baudrier (p. 1-70, 1-18)
- Sachs gonflables avant (p. 1-66)
- Sac gonflable de protection pour les genoux du côté passager avant (p. 1-68)
Sac gonflable pour les genoux côté conducteur (p. 1-68) - Sièges avant (p. 1-2)
- Capteur de classification du passager (capteur de poids) (p. 1-59)
- Sachs gonflables lateraux montés dans les sièges avant (p. 1-66)
- Sièges arrêté (p. 1-6)
- Système LATCH (points d'ancrage inférieurs et sangles d'ancrage pour siège d'enfant) (p. 1-25)
- Ceintures de sécurité des sièges extérieurs arrêté avec prétendeurs (p. 1-70)
- Sac gonflable létal monté dans le siège extérieur arrêté (p. 1-66)
Reportez-vous à la page indiquée entre parenthèses pour obtenir les détails de fonctionnement.

- Capot-moteur (p. 3-24)
-
Commande de lave-glace et d'essuie-glace (p. 2-65)
-
Pare-brise (p. 8-20)
-
Glaces à commande électrique (p. 2-87)
-
Portières (p. 3-4)
Clé intelligente NISSAN Intelligent Key ^MD (p. 3-7)
Clés (p. 3-2) - Rétroviseurs (p. 3-32)
Caméra latérale (selon l'équipement) (p. 4-17) - Pression des pneus (p. 8-32) Pneu creve (p. 6-3) Chaines antidérapantes (p. 8-42)
- Interrupteur des phares et des clignotants (p. 2-67)
Remplacement des ampoules (p. 8-28)
Phares de jour à DEL (selon l'équipe-ment) (p. 2-72) - Caméra avant (selon l'équipment) (p. 4-17)
Reportez-vous à la page indiquée entre parentheses pour obtenir les détails de fonctionnement.

- Caméra de marche arrêté (p. 4-8)
-
Couvercle du coffre (p. 3-25)
Déverrouillage du couvercle du coffre (p. 3-26) -
Feu d'arrêt central (p. 8-28)
- Remplacement des ampoules (p. 8-28)
-
Interrupteur du dégivre de lunette arrête (p. 2-66)
-
Antennesatellite (p.3-7)
- Dispositif de sécurité de portière arrêtepour enfant (p. 3-7)
- Trappe du réservoir de carburant (p. 3-27)
Bouchon du réservoir de carburant (p. 3-27)
Recommendations concernant le carburant (p. 10-5) - Capteurs de sonar arrêté (p. 5-146)
Reportez-vous à la page indiquée entre parentheses pour obtenir les détails de fonctionnement.

- Éclairage interieur (p. 2-93)
- Toit ouvrant transparent (selon l'équipement) (p. 2-90)
-
Éclairage interieur (p. 2-93)
-
Pare-soleil (p. 3-31)
- Rétroviseur (p. 3-32)
- Boite à gants (p. 2-84)
-
Portetasses (p. 2-86)
-
Frein de stationnement (p. 5-26)
- Compartiment de rangement de la console (p. 2-85)
- Accouvoir arrête (selon l'équipement)
(p. 1-7)
Porte-tasses (selon l'équipement)
(p. 2-86)
Reportez-vous à la page indiquée entre parenthèses pour obtenir les détails de fonctionnement.

LI12879
-
Commutateur des phares et des clignotants (p. 2-67, 2-73)
-
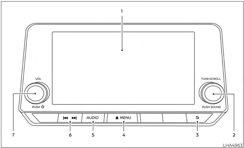
Commutateur du volant de direction (p. 2-20, 2-40) Commandes audio (p. 4-70)
-
Sac gonflable du conducteur (p. 1-66)
Avertisseur sonore (p. 2-74) - Instruments et jauges (p. 2-3)
Avertissements et témoins (p. 2-8)
Écran multifonction (p. 2-19, 2-40) - Commutateurs du régulateur de vitesse (p. 5-63)
Commutateurs du régulateur de vitesse adaptatif (ICC) (selon l'equipe-ment) (p. 5-65)
Système téléphonique mains libres Bluetooth ^MD (p. 4-2, 4-75) - Commande de lave-glace et d'essuieglace (p. 2-65)
- Bouches d'air (p. 4-35)
- Commutateur Arrêt au ralenti OFF (hors fonction) (selon l'équipement) (p. 5-157)
- Interrupteur de feuix de détresse (p. 6-2)
- Témoin de neutralisation du sac gonflable du passager avant (p. 1-59)
- Systeme audio (p. 4-2, 4-50)
- Sac gonflable avant du côté passager (p. 1-66)
- Boîte à gants (p. 2-84)
-
Sac gonfable de protection pour les genoux du cotoé passager avant (p. 1-68)
-
Levier sélecteur (p. 5-20)
- Bouton-poussoir d'allumage (p. 5-12)
- Commandes de climatisation (p. 4-36, 4-44)
- Sac gonflable pour les genoux côté conducteur (p. 1-68)
- Volant inclinable et téléscopique (p. 3-30)
- Commande d'ouverture du capot (p. 3-24)
- Ouverture de la trappe de carburant (p. 3-27)
- Commutateur de mode ECO (p. 5-27)
Commande de luminosité du tableau de bord (p. 2-73)
Déverrouillage du coffre (p. 3-25)
Commutateur de réinitialisation du voyage (p. 2-5)
Pour obtenir des renseignements supplémentaires, consultez le manuel du conducteur NissanConnect ^MD .
Reportez-vous à la page indiquée entre parentheses pour obtenir les détails de fonctionnement.
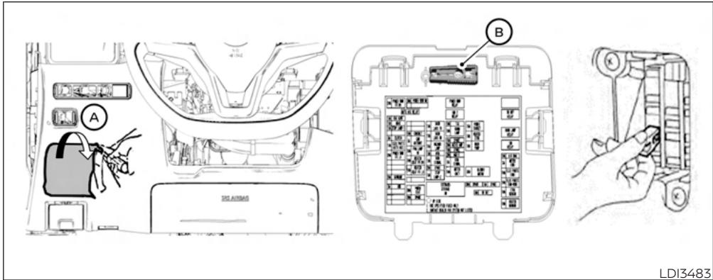
POINTS DE VERIFICATION DANS LE COMPARTIMENT MOTEUR

2.0L 4 cylindres (modèle de moteur MR20DD)
- Bouchon de remplissage d'huile à moteur (p. 8-7)
- Réservoir de liquide de frein et d'em-brayage (selon l'equipement) (p. 8-12)
- Boitier de fusibles et relais (p. 8-22)
- Batterie (p. 8-15)
- Filtre a air (p. 8-19)
- Jauge d'huile à moteur (p. 8-7)
- Emplacement de la courroie d'entraine-ment (p. 8-18)
- Réservoir de liquide lave-glace (p. 8-14)
- Réservoir du liquide de refroidissement (p. 8-6)
Reportez-vous à la page indiquée entre parentheses pour obtenir les détails de fonctionnement.
REMARQUE:
Il est possible que votre vehicule ne soit pas équipé d'un couvercle de moteur.
| Témoin d'advertissement/indicateur(rouge) | Nom | Page |
| BRAKEou | Témoin de frein | 2-9 |
| -+ | Témoin de charge | 2-10 |
| Témoin de pres-sion d'huile moteur | 2-10 | |
| Témoin d'anomalie | 2-10 | |
| Témoin d'aver-tissementprincipal | 2-11 |
| Témoin d'advertissement/indicateur(rouge) | Nom | Page |
| Témoin et carillon des ceintures de sécurité | 2-12 | |
| Témoin du sac gonflable | 2-12 |
| Témoin d'avoirtissement/ témoin (jaune) | Nom | Page |
| ABS ou (ABS) | Témoin d'avoirtissement du circuit de frei-nage antiblo-cage (ABS) | 2-13 |
| Témoin d'advertissement/ témoin (jaune) | Nom | Page |
| Témoin d'ver-tissement du système de frei-nage d'urgence automatique avec dispositif de détction de piétons | 2-13 | |
| Témoin de neu-tralisation du sac gonflable du passager avant | 2-13 | |
| Témoin d'ever-tissement de basse pression des pneus | 2-13 | |
| Témoin d'ever-tissement principal | 2-15 | |
| Témoin de la direction assistée | 2-16 | |
| Témoin d'avertissement du système de frei-nage automatique arrêté | 2-17 | |
| Témoin de dérapage | 2-17 | |
| Témoin OFF (hors fonction) du système de contrôle dynamique du vehicule | 2-17 |
| Témoin d'advertissement/émoin (autre) | Nom | Page |
| ECO | Témoin de mode ECO (vert) | 2-18 |
| A | Témoin d'assistance des yeux de route (vert) (selon l'équipe-ment) | 2-18 |
| O | Témoin des yeux de route (bleu) | 2-18 |
| 005 | Témoin des yeux de position latéraux et des phares (vert) | 2-18 |
| Témoin d'advertissement/témoin (autre) | Nom | Page |
| Témoins des clignotants et des frais de détresse (vert) | 2-18 |
1 Sécurité – Sièges, ceintures de sécurité et système de retenue supplémentaire
Sièges 1-2
Réglage des sièges avant à commande
manuelle (siège du passager et, selon
l'équipement, siège du conducteur) 1-3
Commandé électrique de siège avant
(selon l'equipement). 1-5
Siège arrière rabattable 1-6
Accoudoir (selon l'equipement) 1-7
Appuie-tete 1-7
Composants d'appuie-tete régable 1-8
Composants d'appuie-tete non
réglable 1-9
Retrait. 1-9
Pose 1-9
Réglage 1-10
Ceintures de sécurité 1-11
Précautions concernant l'utilisation des
ceintures de sécurité 1-11
Témoin et carillon des ceintures de
sécurité 1-14
Femmes enceintes 1-15
Personnes blessées 1-15
Ceinture de sécurité à trois points
d'ancrage avec enrouleur 1-15
Rallonges de ceinture de sécurité 1-19
Entretien des ceintures de sécurité 1-19
Sécurité des enfants 1-20
Bébés 1-21
Jeunes enfants. 1-21
Enfants plus âgés 1-21
Ensembles de retenue d'enfant 1-23
Précautions concernant les ensembles
de retenue d'enfant 1-23
Système LATCH (points d'ancrage
inférieurs et sangle d'ancrage pour
siège d'enfant) 1-25
Installation d'un ensemble de retenue
d'enfant orienté vers l'arrière au moyen
du système LATCH 1-29
Installation d'un ensemble de retenue
d'enfant orienté vers l'arrière à l'aide
des ceintures de sécurité 1-32
Installation d'un ensemble de retenue
d'enfant orienté vers l'avant au moyen
du système LATCH 1-35
Installation d'un ensemble de retenue
d'enfant orienté vers l'avant à l'aide des
ceintures de sécurité 1-38
Sièges d'appoint 1-43
Système de retenue supplémentaire (SRS) 1-47
Précautions relatives au système de
retenue supplémentaire (SRS) 1-47
Étiquettes d'avertissement concernant
les sacs gonflables 1-71
Témoin du sac gonflable 1-72


ARS1152

AVERTISSEMENT
- N'inclinez pas le dossier de votre siège lorsque le vehicule est en mouvement. Ceci peut se révêler très dangereux. Dans cette position, le baudrier de la ceinture de sécurité n'est pas appuyé contre votre corps. En cas d'accident, vous pourriez être projeté contre le baudrier et subir des blessures graves au cou ou à d'autres parties de votre corps. Vous pourriez également glisser sous la ceinture sous-abdominale et subir des blessures internes graves.
Pour bénéficier de la miseure protection possible lorsque le vehicule est en mouvement, le dossier de votre siege devrait etre en position verticale. Asseyez-vous toujours bien au fond de cette siege et a la verticale, les deux pieds sur le plancher, et reglez le siege correctement. Pour obtaining des renseignements supplémentaires, consultez la section « Précautions concernant l'utilisation des ceintures de sécurité » (p. 1-11).
- Àprous le réglage, assurez-vous du bon verrouillage de votre siège en faisant balancer ce dernier douce-ment vers l'avant et vers l'arrière.
-
Ne laïsez pas d'enfants sans surveillance dans le vehicule. Ils pourraient activer par mégarde les commuteurs ou les commandes ou déplacer le vehicule. Des enfants liassés sans surveillance dans un vehicule pourraient être victimes d'accidents graves.
Pour éviter le risque de blessures ou de décès associé à un fonctionnement accidentel du vehicule ou de ses systèmes, ne laissez pas les enfants, les personnes qui ont besoin de l'aide d'autres personnes ou les animaux sans surveillance dans votre vehicule. De plus, la température à l'intérieur d'un vehicule fermé lors d'une journée chaude peut s'éleverrapidement au point de provoquer un risque important de blessures graves ou mortelles à des personnes ou à des animaux domestiques. -
Ne règlez pas la position de votre siège pendant que vous conduisez car la conduite d'un vehicule exige toute votre attention. Le siège pourrait se déplacer brusquement et vous pourriez perdre la maitrise du vehicule.
Le dossier ne devrait pas etre incline plus qu'il n'est necessarily pour assurer le comfort. La ceinture de sécurité est plus efficace lorsque le passager est asiss au fond du siège et qu'il se tient bien droit. Si le dossier est incline,le risque de glisser sous la ceinture sous-abdominale et de subir des blessures est accru.

MISE EN GARDE
Lorsque vous reglez la position d'un siège, assurez-vous de ne pas toucher aux pieces mobiles pour prévenir les blessures et les dommages.
RéGLAGE DES SIÉGES AVANT À COMMANDE MANUELLE (siège du passager et, selon l'équipement, siège du conducteur)
Les sièges de votre vehicule peuvent être régés manuelle. Pour obtenir de plus amples renseignements sur le réglage des sièges, veuillez vous reférer aux étapes décrites dans cette section.

Réglage longitudinal
Tirez le centre de la barre vers le haut et maintenez-le ainsi tout en faisant glisser le siège vers l'avant ou vers l'arrière jusqu'à la position voulue. Relâchéz la barre pour verruiller le siège.

obtenir des renseignements supplémentaires, consultez la section « Précautions concernant l'utilisation des ceintures de sécurité » (p. 1-11). De plus, l'inclinaison du dossier permet aux occupants de seposer lorsque le vehicule est stationné.

Inclinaison du dossier vers l'arrière
Pour incliner le dossier du siège vers l'arrière, soulevez le levier, puis adossez-vous contre le dossier. Pour redresser le dossier du siège, soulevez le levier, puis penchez-vous vers l'avant. Relâchéze le levier pour verrouiller le dossier du siège.
La fonction d'inclinaison permet le réglage de la position du dossier de façon à améliorer le comport des occupants de tailles différentes et l'obtention d'une meilleure position de la ceinture de sécurité. Pour
Commande de réglage de la hauteur du siège (siège du conducteur)
Tirez le levier de réglage vers le haut ou poussez-le vers le bas pour régler la hauteur du siège jusqu'à ce que la position voulue soit atteinte.
COMMANDE ÉLECTRIQUE DE SIÉGE AVANT (selon l'équipement)
Conseils d'utilisation
- Le moteur du siècle à réglage électrique est équipé d'un circuit de protection contre les surcharges à réinitialisation automatique. Si le moteur s'arrêté durant le fonctionnement, attendez 30 secondes, puis activez l'interrupteur de nouveau.
- N'actionnez pas le commutateur de siège à réglage électrique pendant une longue période lorsque le moteur ne tourne pas. Cela déchargerait la batterie.

Réglage longitudinal
Déplacez la commande comme illustré pour glisser le siège vers l'avant ou vers l'arrière à la position voulue.

Inclinaison du dossier vers l'arrière
Déplacez la commande d'inclinaison comme illustré jusqu'à l'angle youlu.
La fonction d'inclinaison permet le réglage de la position du dossier de façon à améliorer le comport des occupants de tailles différentes et l'obtention d'une meilleure position de la ceinture de sécurité. Pour obtenir des renseignements supplémentaires, consultez la section « Précautions concernant l'utilisation des ceintures de sécurité » (p. 1-11). De plus, l'inclinaison du dossier permet aux occupants de se reposer lorsque le vehicule est stationné.

Commande de réglage de la hauteur du siège
Déplacez le commutateur, comme indiqué, pour régler la hauteur du coussin de siege.

Support lombaire
Le siège du conducteur est muni d'un support lombaire régliable. Enforcez le commutateur comme indiqué pour régler le support lombaire du dossier du siège.

SIÉGE ARRIÈRE RABATTABLE
Tirez sur le bouton A pour rabattre chaque dossier.
A AVENTISSEMENT
- Nelaissiez personne prendre place dans l'aire de chargement ou sur le siège arrrière lorsque ce siège est rabattu. Les personnes se trouvant dans ces espaces dépourvus d'ensembles de retenue adequats risquent de subir des blessures graves ou la mort en cas d'accident ou d'arrêt brusque.
Fixez solidement tous les bagages à l'aide de cordes ou de sangles afin d'eviter qu'ils ne glissent ou se déplacent. N'empirez pas les bagages plus hauts que les dossiers de sièges. En cas d'arrêt brusque ou de collision, les bagages non retenus pourraient entraîner des blessures.
Lorsque you redressez les dossiers des sièges en position verticale, assurez-vous qu'ils sont bien verruillés. S'ils ne sont pas correctement verruillés, les passagers pourraient être blessés en cas d'accident ou d'arrêt brusque.
- Surveillez attentivement les enfants lorsqu'ils jouent à proximé d'un vehicule afin d'éviter qu'ils ne s'enferment par mégarde dans le coffre où ils poursaient subir de graves blessures. Gardez le vehicule verrouillé, en vous assurant que le dossier de siege arrêté et le couvercle du coffre sont bien verrouillés lorsqu'ils ne sont pas utilisés, et rangez les clés de la voiture hors de la portée des enfants.

ACCOUDOIR (selon l'équipment)
Tirez l'accouoir vers le bas, comme illustré.
AVERAGEMENT
Les appuie-tête sont des dispositifs de sécurité complémentaires aux autres systèmes de sécurité du vehicule. Ils peuvent procurer une protection supplémentaire contre les blessures dans certains types de collision arrière. Les appuie-tête doivent être régles correctement, selon les instructions prescrites dans leprésent chapitre. Vérifiez la position de votre appuie-tête si une autre personne a utilisé le siège avant vous. Ne fixez aucune article aux tiges d'appuie-tête et ne retirez pas l'appuietête. Ne permettez à personne de s'asseoir dans un siège dont l'appuie-tête a été retireé. Si vous avez retirel l'appuietête, réinstallez-le et reglez-le correctement avant qu'un passager s'assoie à cette place. Le non-respect de ces instructions peut réduire l'efficacité des appuie-tête, ce qui accroit les risques de blessures graves ou mortelles en cas de collision.

L'illustration montre les places assises dotées d'un appuie-tête.
Indique que la place assise est dotée d'un appuie-tête.
■ Indique que la place assise est dotée d'un appuie-tête.
+ Indique que la place assise n'est pas dotée d'un appuietête (le cas échéant).
- Voiture vehicule est muni d'un appuie-tete qui peut etre integré,reglable ou non reglable.
- Les appuiè-tête réglables sont dotés de plusieurs encoches le long des tiges pour les verrouiller dans la position de réglage désirée.
- Les appuie-tête non régibles sont munis d'une seule encoche de verrouillage pour les fixer au cadre du siège.
- Réglage correct :
-Pour le type régliable, alignez l'appuiétête de façon à ce que le milieu de votre oreille se trouve approximativement au même niveau que le centre de l'appuie-tête.
-Si la position de votre oreille est tous plus élevée que l'alignement recommendé, placez l'appuie-tête à la plus haute position.
- Si l'appuie-tête a eté rétièrè, assurez-vous qu'il est réinstallé et verrouillé en place avant de voyager assis à cette place.

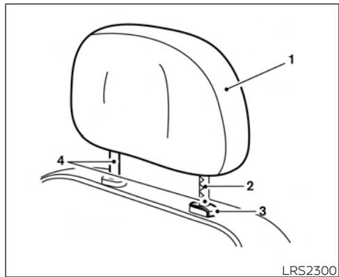
COMPOSANTS D'APPUIE-TÊTE RÉGLABLE
- Appuie-tête amovable
- Encoches multiples
- Bouton de verrouillage
- Tiges



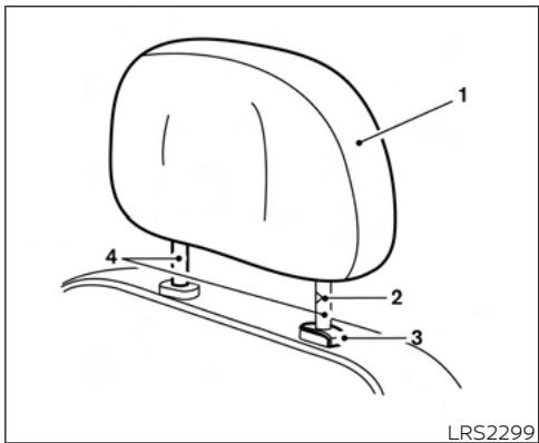
COMPOSANTS D'APPUIE-TÉTE NON RÉGLABLE
- Appuie-tête amovable
- Encoche unique
- Bouton de verrouillage
- Tiges
RETRAIT
Utilisez la procédure suivante pour retirer l'appuie-tête :
- Tirez l'appuie-tête jusqu'à la plus haute position.
- Maintenez le bouton de verrouillage enforcé.
- Retirez l'appuie-tete du dossier de siège.
- Rangez l'appuie-tete correctement dans un endroit adequat pour qu'il ne se déplace pas dans le vehicule.
- Remettez l'appuie-tête en place et reglez-le correctement avant qu'un occupant ne prenne place sur le siège.
POSE
- Alignez les tiges de l'appuie-tête avec les trous du dossier du siège. Assurez-vous que l'appuie-tête est dans le bon sens. La tige dotée d'encoches ① doit être installée dans le trou pourvu du bouton de verrouillage ②.
- Appuyez sur le bouton de verrouillage et maintenez-le enforcé, puis abaissez l'appuie-tête.
- Reglez correctement l'appuie-tête avant qu'un occupant prenne place dans le siège.

RéGLAGE
Pour l'appuie-tête régable
Réglez la hauteur de l'appuie-tête de telle façon que son centre se trouve au même niveau que le milieu de vos oreilles. Si la position de votre oreille est toujours plus élevée que l'alignement recommendé, placez l'appuie-tête à la plus haute position.

Pour l'appuie-tête non régable
Assurez-vous que l'appuie-tête est placé de façon à ce que le bouton de verrouillage soit engagé dans l'encoche avant de voyage. ger assis à cette place.

Relevance
Pour relever l'appuie-tête, tirez-le vers le haut. Assurez-vous que l'appuie-tête est placé de façon à ce que le bouton de verrouillage soit engagé dans l'encoche avant de voyage-ger assis à cette place.
CEINTURES DE SECURITE

Abaisissement
Pour l'abaisser, maintenez le bouton de verrouillage enforcé, puis poussez l'appuie-tête vers le bas.
Assurez-vous que l'appuie-tête est placé de façon à ce que le bouton de verrouillage soit engagé dans l'encoche avant de voyage. ger assis à cette place.

PRECAUTIONS CONCERNANT L'UTILISATION DES CEINTURES DE SECURITE
En cas de collision, les probabilités de blessures graves, voire mortelles peuvent être considérablement réduites si vous étés assist bien au fond de votre siège, les deux pieds sur le plancher, et que vous bouclez correctement给你们 ceinture de sécurité. NiSSAN conseille vivement à tous les occupants du vehicule de boucler leur ceinture de sécurité en tout temps pendant la conduite, même si la place qu'ils occupent est munie d'un sac gonflable.

Le port de la ceinture de sécurité pendant la conduite est obligatoire presque partout au Canada et aux États-Unis.


AVERTISSEMENT
- Tous les occupants du vehicule doivent toujours boucler leur ceinture de sécurité. Les enfants doivent être aussi dans les sièges arrêté, installés dans un ensemble de retenue approprié.


AVERTISSEMENT
- La ceinture de sécurité doit être serrée correctement. En cas d'accident, le non-respect de cette consigne peut réduire l'efficacité de tout le système de retenue et accroître les risques de blessures ainsi que la gravité de cellesci. Le port incorrect d'une ceinture de sécurité peut entraîner des blessures graves, voire mortelles.


AVERTISSEMENT
-
Faites toujours passer le baudrier sur votre épaulé et en travers de votre poitrine. Ne faites jamais passer le baudrier derrière votre dos, sous votre bras ou sur votre cou. La ceinture de sécurité ne doit reposer ni sur votre visage ni sur votre cou, et elle ne doit pas tomber de leur épaulé.
-
Placez la ceinture sous-abdominale aussi basse et aussi serrée que possible AU NIVEAU DES HANCHES, ET NON AU NIVEAU DE LA TAILLE. En cas d'accident, une ceinture sous-abdominale placée trop haut peut augmenter les risques de blessures internes.
Assurez-vous que la languette de la ceinture de sécurité est solidement attachée à la boucle appropriée. - Ne portez pas une ceinture de sécurité bouclée à l'envers ou dont la sangle estvrillée. Elle ne pourrait plus vous protégger aussi efficacement.
- Ne permette pas à plus d'une personne de s'attacher avec la même ceinture de sécurité.
Le nombre de passagers à bord du vehicule ne doit jamais dépasser le nombre de ceintures de sécurité. - Si le témoin d'ajretissement de ceinture de sécurité reste allumé ou que le carillon continue de détentir alors que le contact est ETABLI, que toutes les portières sont fermées et que toutes les ceintures de sécurité sont
bouclées, il est possible que le circuit soit défectueux. Faites vérifier le système. Nous vous recommendons de vous rendre chez un concessionnaire NISSAN pour cet entretien.
-
Aucune modification ne doit être apportée aux ceintures de sécurité. Par exemple, ne modifies pas la ceinture de sécurité et n'ajoute pas de garnitures ou de dispositifs qui pourraient modifier le cheminement ou la tension de la ceinture. Ces opérations poursuient comprométtre le fonctionnement des ceintures de sécurité. Toute modification des ceintures de sécurité peut entraîner des blessures graves.
Lorsque les pretendeurs de ceinture de sécurité sont déclenchés,ils ne peuvent pas etre réutilisés et il faut les remplacer en meme temps que I'enrouleur. Nous you recommandons de vous rendre chez un concessionnaire NISSAN pour cet entretien. -
Toutes les ceintures de sécurité, y compris les enrouleurs et le matériel de fixation, doivent être inspectées après une collision. Nous vous recommendons de vous rendre chez un concessionnaire NISSAN pour cet entretien. NISSAN recommends le remplacement de toutes les ceintures de sécurité activées pendant une collision, à moins que cette collision n'ait été sans gravité, que les ceintures n'aiient subi吁 uncommon dommage apparent et qu'elles fonctionnent encore correctement. Les ceintures de sécurité inutilisées à la suite d'une collision doivent aussi être inspectées. Elles doivent être replacées si un mauvais fonctionnement ou des dom-mages ont eté décelés.
- Tous les ensembles de retenue d'enfant et le matériel de fixation doivent être inspectés après une collision. Respectez toujours les instructions d'inspection et de remplacement fournies par le fabricant de l'ensemble de retenue d'enfant que vous utilisez dans votre vehicule. L'ensemble de retenue d'enfant doit être remplaced s'il est endommaged.

LRS0786
TEMOIN ET CARILLON DES CEINTURES DE SECURITE
Le siège du conducteur et du passager avant est équipé d'une fonction améliorée de rappel des ceintures de sécurité. Si votre vehicule est équipé d'une fonction améliorée de rappel des ceintures de sécurité, une alerte visuelle et sonore s'active si la ceinture de sécurité du conducteur ou du passager avant est débouclée lorsque le vehicule roule à une vitesse supérieure ou égale à 15 km/h (9 mi/h) dans les conditions suivantes:
-
La ceinture de sécurité du conducteur n'est pas bouclée.
-
La ceinture de sécurité du passager avant n'est pas bouclée et le siège est occupé par un passager pendant 7 secondes après l'ETABLISSEMENT du contact.
- La ceinture de sécurité du passager avant n'est pas bouclée et des objets ou une force extérieure sur le siege du passager font passer la classification du rappel des ceintures de sécurité sur Occupy (Occupy).
Le témoin de ceinture de sécurité clignote dans les conditions illustrées ci-dessus jusqu'à ce que la ceinture de sécurité requise soit bouclée correctement.
Un carillon d'advertissement retentit pendant environ 90 secondes ou jusqu'à ce que l'une des conditions suivantes soit remplie :
- la ceinture de sécurité débouclée de l'occupant avant est correctement bouclée.
- La fonction de rappel des ceintures de sécurité dans le siège du passager avant ne détecte plus si le siège du passager avant est occupé.
- Le contact est coupé ou le vehicule est placé en position P (stationnement).
Les situations ci-dessous peuvent entrairner l'allumage du témoin de rappel desceintures de sécurité et le retentissement du carillon, même lorsque le siège du passager n'est pas occupé.
- Des objets lourds se trouvent sur le siège.
- Une personne pousse ou tire le siège du passager avant.
- Un objet placé sous le siège du passager avant.
- Un objet place entre le coussin de siège et la console centrale ou entre le coussin de siège et la portière.
- Un objet suspendu sur le siège ou placé dans la pochette du dossier de siège.
- Un ensemble de retenue d'enfant ou un autre objet s'appuyant contre l'arrière du dossier de siège.
REMARQUE:
Les sièges arrêtère sont munis d'un message d'ajretissement de ceinture de sécurité à l'écran multifonction du vehicule.
Pour obtenir des renseignements supplémentaires, consultez la section « Écran multifonction de 11 cm (4,2 po) de TYPE A du vehicule » (p. 2-19) ou « Écran multifonction de 18 cm (7 po) de TYPE B du vehicule » (p. 2-40).
FEMMES ENCEINTES
NISSAN recommende aux femmes enceintes de porter leur ceinture de sécurité. Serez bien la ceinture de sécurité et voirlez à ce que la portion sous-abdominale repose aussi bas que possible au niveau des hanches, et non au niveau de la taille. Placez le baudrier sur votre épaulé et en travers de votre poitrine. Ne faites jamais passer la ceinture à trois points d'ancrage sur votre abdomen. Consultez vous Médecin pour有關 des renseignements spécifiées à cette situation.
PERSONNES BLESSEES
NISSAN recommende aux personnes blesses de porter leur ceinture de sécurité. Consultez notre médecin pour obtenir des renseignements spécifique à votre situation.
CEINTURE DE SECURITE A TROIS POINTS D'ANCRAGE AVEC ENROULEUR

AVERTISSEMENT
Tous les occupants du vehicule doit toujours boucler leur ceinture de sécurité.
- N'inclinez pas le dossier de votre siège lorsque le vehicule est en mouvement. Ceci peut se révêler très dangereux. Dans cette position, le baudrier de la ceinture de sécurité n'est pas appuyé contre votre corps. En cas d'accident, vous pourriez être projeté contre le baudrier et subir des blessures graves au cou ou à d'autres parties de votre corps. Vous pourriez également glisser sous la ceinture sous-abdominale et subir des blessures internes graves.
Pour bénéficier de la meilleure protection possible lorsque le vehicule est en mouvement, le dossier de votre siège devrait être en position verticale. Asseyez-vous toujours à la verticale et bien au fond de chaque siège, les deux pieds sur le plancher, et règlez la ceinture de sécurité correctement.
- Ne laïsez pas les enfants jouer avec les ceintures de sécurité. La plupart des places assises sont munies de ceintures de sécurité avec enrouleur à blocage automatique. Si la ceinture de sécurité s'enroule autour du cou d'un enfant lorsque le mode de blocage automatique est activé, l'enfant peut être gravesment blessé ou même tué si la ceinture de sécurité se rétracte et se tend. Cela peut arriver même si le vehicule est stationné. Detachez la ceinture de sécurité pour libérer l'enfant. Si la ceinture de sécurité ne peut pas être détachée ou l'est déjà, librez l'enfant en coupant la ceinture de sécurité à l'aide d'un outil convenable ( comme un couteau ou des ciseaux) pour libérer la ceinture de sécurité.
Bouclage des ceintures de sécurité
- Reglez la position du siège. Pour obtenir des renseignements supplémentaires, consultez la section « Sièges » (p. 1-2).

- Tirez lentement la ceinture de sécurité hors de l'enrouleur, puis insérez la languette dans la boucle A jusqu'à ce que vous entendiez un déclic et que vous sentiez la languette se verrouiller.
L'enrouleur est conçu pour se bloquer en cas de freinage brusque ou de collision. Si elle est tirée lente-ment, la ceinture de sécurité peut être déroulée et offrir une certaine liberté de mouvement lorsque vous étes assis sur le siège.
- Si vous ne pouvez pas sortir la ceinture de sécurité de l'enrouleur, tirez un coup sec sur la ceinture, puis relâchéz-la immédiatement. Tirez ensuite doucement pour l'extraire de l'enrouleur.

- Placez la ceinture sous-abdominale bas sur les hanches et bien serree 6, tel qu'illustrer.
- Tirez le baudrier vers l'enrouleur pour éliminer le jeu de la ceinture ©. Assurez-vous que le baudrier passée sur votre épaulé et en travers de votre poitrine.
Les ceintures de sécurité à trois points d'ancrage du siècle du passager avant et desplaces arrêté fonctionnent en deux modes :
- Blocage d'urgence de l'enrouleur
- Blocage automatique de l'enrouleur
Le mode de blocage d'urgence de l'enrouleur permet de dérouler et d'enrouler la ceinture de sécurité pour assurer une certaine liberté de mouvement aux occu-pants. Le mode de blocage d'urgence bloque la ceinture en cas de décélération soudaine du vehicule ou de collision.
Le mode de blocage automatique de l'enroulleur ou mode de l'ensemble de retenue d'enfant bloque la ceinture de façon a maintainir un ensemble de retenue d'enfant sur le siège.
Lorsque le mode de blocage automatique est activé, la ceinture de sécurité ne peut plus être déroulée, à moins que la languette de ceinture soit détachée de la boucle et que la ceinture soit complètement rétractée. Une fois complètement rétractée, la ceinture de sécurité revient automatiquement au mode de blocage d'urgence. Pour obtenir des renseignements supplémentaires, consultez la section « Ensembles de retenue d'enfant » (p. 1-23).
Le mode de blocage automatique de l'enrouleur ne doit etreutilise qu'aux fins d'installation d'un ensemble de retenue d'enfant. Le mode de blocage automatique ne doit pas etreactivelorsqu'un passager utilise normalement la ceinture de sécurité. Si ce mode est activé, la tension dans la ceinture de sécurité pourrait etre incomfortable pour le passager qui la porte. L'utilisation de ce mode modifie aussi le fonctionnement du sac gonflable du passager avant. Pour obtenir des renseignements supplémentaires, consultez la section « Sac gonfable du passager avant et témoin de neutralisation » (p. 1-59).
AVERAGEMENT
Lorsque vous bouclez les ceintures de sécurité, assurez-vous que les dossiers de siège sont bien verrouillés. S'ils ne sont pas correctement verrouillés, les passagers pourrait être blessés en cas d'accident ou d'arrêt brusque.

Débouclage des ceintures de sécurité
Pour déboucler la ceinture de sécurité, appuyez sur le bouton de la boucle ①. La ceinture de sécurité se rétracte automatiquement.
Vérification du fonctionnement des ceintures de sécurité
Les enrouleurs des ceintures de sécurité sont concus pour bloquer la ceinture de sécurité dans les deux cas suivants :
- lorsque la ceinture de sécurité est tirée, soudainement hors de l'enrouleur;
- lorsque le vehicule ralentit brusquement.
Pour vous assurer du bon fonctionnement des ceintures de sécurité, vérifiez-les de la façon suivante :
- Saisissez le baudrier et tirez-le brusquement vers l'avant. L'enrouleur doit se verrouiller et bloquer la ceinture de sécurité.
Si l'enrouleur ne se verrouille pas durant la verification, faites vérifier le système. Il est recommendé de visiter un concessionnaire NiSSAN pour cet entretien ou pour en apprende davantage sur le fonctionnement de la ceinture de sécurité.

Réglage de la hauteur du baudrier (sièges avant)
La hauteur de l'ancrage du baudrier doit être régée à la position convenant le mistré à la taille de l'occupant du siècle. Pour obtenir des renseignements supplémentaires, consultez la section « Précautions concernant l'utilisation des ceintures de sécurité » (p. 1-11). Pour ajuster, tirez sur le bouton de réglage ① et déplacez l'ancrage du baudrier à la position désirée ② de sorte que la sangle passée au centre de l'épaule. La ceinteure de sécurité ne doit reposer ni sur votre visage ni sur votre cou, et elle ne doit pas
tomber de votre épaule. Relâchéz le bouton de réglage pour verrouiller l'ancrage du baudrier.

AVERTISSEMENT
- Une fois le réglage terminé, reliâchez le bouton de réglage et essayez de déplacer l'ancrage du baudrier vers le haut et vers le bas pour vous assurer qu'il est bien verrouillé.
La hauteur de l'ancrage du baudrier doit être régée à la position convenant le moyen à la talle de l'occupant du siège. En cas d'accident, le non-respect de cette consigne peut réduire l'efficacité de tout le système de retenue et accroître les risques de blessures ainsi que la gravité de celles-ci.
RALLONGES DE CEINTURE DE SECURITE
Si la corpulence de la personne ou sa position de conduite rendent impossible le port normal de la ceinture à trois points d'ancrage, une rallonge de ceinture de sécurité peut être achetée séparément. La rallonge de ceinture de sécurité allonge la ceinture
d'environ 200 mm (8 po) et peut être utilisée pour les sièges du conducteur et du passager avant. Si vous souhaitez acheter une rallonge de ceinture de sécurité, nous vous recommendons de vous rendre chez un concessionnaire NISSAN.

AVERTISSEMENT
- Seules les rallonges de ceintures de sécurité NISSAN, fabriquées par la même entreprise qui a conscience les ceintures de sécurité d'origine, doivent être utilisées sur les ceintures de sécurité NISSAN.
- Les adults et les enfants qui peuvent utiliser la ceinture de sécurité d'origine ne doivent pas utiliser la rallonge. L'utilisation inutile d'une rallonge pourrait entraîner des blessures graves en cas d'accident.
N'utilisez jamais de rallonge de ceinture de sécurité pour l'installation d'un ensemble de retenue d'enfant. Si I'ensemble de retenue d'enfant n'est pas fixé correctement, I'enfant pourrait être tué ou gravement blessé en cas de collision ou d'arrêt brusque.
ENTRETIEN DES CEINTURES DE SECURITE
Pour nettoyer les sangles des ceintures de sécurité, utilisez une solution de savon doux ou toute solution recommandee pour le nettoyage des revêtements de siege ou des tapis. Essuyez-les ensuite avec un chiffon et laisserze-les secher à l'ombre. Ne laisserz pas les ceintures de sécurité se retractor avant qu'elles soient complètement sèches.
- Si de la saleté s'accumule dans le guide du baudrier des ancrages de ceinture de sécurité, les ceintures de sécurité pourraient se rétractor plus lentement. Essuyez le guide du baudrier avec un chiffon propre et sec.
- Vérifiez régulièrement le bon fonctionnement des ceintures de sécurité et des pièces métalliques, telles que les bouches, les languettes, les enrouleurs, les cables flexibles et les ancrages. Si vous constatze la présence de pièces desserrées ou de sangles usées, entailées ou autrement endommagées, vous nevez procéder au remplacement complet de la ceinture de sécurité.
A AVENTISSEMENT
Ne laïsez pas les enfants jouer avec les ceintures de sécurité. La plupart des places assises sont munies de ceintures de sécurité avec enrouleur à blocage automatique. Si la ceinture de sécurité s'enroule autour du cou d'un infant lorsque le mode de blocage automatique est activé, l'enfant peut être gravement blessé ou même tué si la ceinture de sécurité se rétracte et se tend. Cela peut arriver même si le vehicule est stationné. Détached la ceinture de sécurité pour libérer l'enfant. Si la ceinture de sécurité ne peut pas être détachée ou l'est déjà, librez l'enfant en coupant la ceinture de sécurité à l'aide d'un outil convenable ( comme un couteau ou des ciseaux) pour libérer la ceinture de sécurité.
Les enfants ont besoin de l'aide des adults pour être bien protégés. Ils doivent être retenus ajustement.
En plus des renseignements généraux du présent manuel, des renseignements de sécurité au sujet des enfants sont disponibles auprès de nombreuses sources, notamment les medecins, les professeurs,
les agences gouvernementales de sécurité routière et les organismes communautaires. Chaque enfant est différent. Assurez-vous donc de transporter votre enfant de la façon la plus appropriée pour lui.
Il existe trois types élémentaires d'ensembres de retenue d'enfant :
- Ensembles de retenue d'enfant orientés vers l'arrière
- Ensembles de retenue d'enfant orientés vers l'avant
Sièges d'appoint
L'ensemble de retenue doit être choisi en fonction de la taille de l'enfant. En général, les bébés âgés d'un an et moins et pesant moins de 9 kg (20 lb) doivent être placés dans un ensemble de retenue d'enfant orienté vers l'arrière. Des ensembles de retenue d'enfant orientés vers l'avant sont disponibles pour les enfants âgés d'au moins un an qui sont trop grands pour les ensembles de retenue d'enfant orientés vers l'arrière. Les sièges d'appoint servent à favoriser le positionnement de la ceinture à trois points d'ancrage sur un enfant qui ne peut plus utiliser un ensemble de retenue d'enfant orienté vers l'avant.
A AVENTISSEMENT
Les bébés et les enfants exigent une protection particulière. Les ceintures de sécurité du vehicule peuvent ne pas s'adapter correctement à leur petite taille. Le baudrier peut passer trop pres de leur visage ou de leur cou. La ceinture sous-abdominale peut ne pas s'adapter à leurs hanches. En cas d'accident, une ceinture de sécurité mal place risque de cause des blessures graves ou mortelles. Utilisez toutes des ensembles de retenue d'enfant appropriés.
Au Canada et aux États-Unis, l'utilisation d'ensembles de retenue homologues est obligatoire pour les bébés et les jeunes enfants. Pour obtenir des renseignements supplémentaires, consultez la section « Ensembles de retenue d'enfant » (p. 1-23).
Un ensemble de retenue d'enfant peut être fixé dans le vehicule au moyen du système LATCH (points d'ancrage inférieurs et sangle d'ancrage pour siège d'enfant) ou de la ceinture de sécurité de vehicule. Pour obtenir des renseignements supplémentaires, consultez la section « Ensembles de retenue d'enfant » (p. 1-23).
NISSAN you recommend de faire asseoir les preadolescents et les enfants à l'arrière et de veiller à ce qu'ils soient bien retenus. Les études montrent que les enfants sont plus en sécurité s'ils sont correctement retenus sur un siège arrière只不过 que sur un siège avant.
Cette statistique est particulièrement importante si l'on considère que votre vehicule est muni d'un système de retenue supplémentaire (dispositif de sacs gonflables) pour le siège du passager avant. Pour obtenir des renseignements supplémentaires, consultez la section « Système de retenue supplémentaire » (p. 1-47).
BÉBÉS
Assoyez les bébés d'un an et moins dans un ensemble de retenue d'enfant orienté vers l'arrière. NiSSAN recommende d'asseoir les bébés dans un ensemble de retenue d'enfant conforme aux normes de sécurité des vehicules automobiles du Canada ou aux normes des Federal Motor Vehicle Safety Standards des États-Unis. Choisissez un ensemble de retenue d'enfant adapté à votre vehicule et suivez toutes les instructions d'installation et d'utilisation données par le fabricant.
JEUNES ENFANTS
Les enfants âgés de plus d'un an et pesant au moins 9 kg (20 lb) doivent être assist dans un ensemble de retenue d'enfant orienté vers l'arrière aussi longtemps que le permet la limite de hauteur ou de poids de l'ensemble de retenue d'enfant. Les enfants dont la taille ou le poids n'est plus conforme à la limite prescrite de l'ensemble de retenue d'enfant orienté vers l'arrière, et qui sont âgés d'au moins un an, doivent être attachés dans un ensemble de retenue d'enfant orienté vers l'avant au moyen d'un hnarnis. Consultez les instructions du fabricant relatives à la taille et au poids minimaux et maximaux recommandés. NISSAN recommende d'asseoir les jeunes enfants dans un ensemble de retenue d'enfant conforme aux normes de sécurité des vehicules automobiles du Canada ou aux normes des Federal Motor Vehicle Safety Standards des États-Unis. Choisissez un ensemble de retenue d'enfant ajusté à votre vehicule et suivez toutes les instructions du fabricant concernant l'installation et l'utilisation.
ENFANTS PLUS AGÉS
Les enfants doivent être attachés dans un ensemble de retenue d'enfant au moyen d'un harnais jusqu'à ce qu'ils atteignent la
limite de taille ou de poids maximale pres-crite par le fabricant de l'ensemble de retenue d'enfant.
Lorsque la taille ou le poids d'un enfant n'est plus conforme à la limite prescrite de l'ensemble de retenue d'enfant orienté vers l'avant muni d'un harnais, NISSAN recommande de placer l'enfant dans un siège d'appoint disponible sur le marché afin de permettre le réglage ajustat de la ceinture de sécurité. Pour permettre le réglage ajustat de la ceinture de sécurité, le siège d'appoint doit élever l'enfant de sorte que le baudrier passse sur la poitrine et la partie centrale supérieure de l'épaule. Le baudrier ne doit pas passer sur le cou ou le visage et ne doit pas tomber de l'épaule. La ceinture sous-abdominale doit être bien positionnée sur la partie inférieure des hanches ou la partie supérieure des cuisses et ne doit pas reposer sur l'abdomen.
Utilisez un siège d'appoint seulement aux places munies d'une ceinture de sécurité à trois points d'ancrage. Le siège d'appoint doit être adapté au siège du vehicule et pourvu d'une étiquette certifiant son homologation aux normes de sécurité des vehicules automobiles du Canada ou aux normes de Federal Motor Vehicle Safety Standards (États-Unis). Une fois que
l'enfant peut utiliser le baudrier sans que la ceinture passée sur son visage ou son cou ou pres de ceux-ci et que la ceinture sous-abdominale peut être positionné correctement sur la partie inférieure des hanches ou la partie supérieure des cuisses, utiliserz la ceinture de sécurité sans le siège d'appoint.
Vous devez utiliser un siège d'appoint jusqu'à ce que vous puissiez installer correctement la ceinture de sécurité en respectant les points de vérification décrits cédessous:
Le dos et les hanches de l'enfant s'appuient-ils contre le dossier du siège?
- L'enfant est-il en mesure de s'asseoir s'affaisser?
- Les genoux de l'enfant se plient-ils aisément sur le bord avant du siège, les pieds à plat sur le plancher?
L'enfant peut-il porter la ceinture de sécurité en toute sécurité (ceinture sous-abdominale basse et ferme contre les hanches et sangle de baudrier sur le milieu de l'épaule et la poitrine)?
L'enfant est-il en mesure d'utiliser l'appuie-tete correctement ajusté?
- L'enfant est-il en mesure de rester en positionpendant tout le déplacement?

Si vous avez repondu non à une de ces questions, l'enfant doit rester attaché dans un siège d'appoint à l'aide d'une ceinture de sécurité à trois points d'ancrage.
REMARQUE :
Dans certaines régions, la législation peut imposer des instructions différentes. Avant le départ, vérifie les lois et les règlements de l'état ou de la province pour vous assurer que votre enfant utilise l'ensemble de retenue ajustat.

AVENTISSEMENT
Ne laissez jamais les enfants voyager debout ou à genoux sur un siège, et ne leur permettez jamais l'accès à l'aire de chargement. En cas d'accident ou d'arret brusque, les enfants pouraient subir des blessures graves et même mortelles.

PRECAUTIONS CONCERNANT LES ENSEMBLES DE RETENUE D'ENFANT

AVERTISSEMENT
Le non-respect des avertissements et des instructions relatives à l'utilisation et à l'installation correctes des ensembles de retenue d'enfant pourrait entraîner des blessures graves, voir mortelles, aux enfants ou autres passagers, en cas d'accident ou d'arrêt brusque.

L'ensemble de retenue d'enfant doit être utilisé et installé correctement. Suivez toujours toutes les instructions d'installation et d'utilisation fournies par le fabricant de l'ensemble de retenue d'enfant.
- Ne voyagez jamais avec un bébé ou un jeune enfant assis sur vos genoux. Meme l'adulte le plus fort n'est pas en mesure de lutter contre les forces en jeu au cours d'une collision.
- N'utilisez jamais la même ceinture de sécurité pour un enfant et une autre personne.
NISSAN recommende que tous les ensembles de retenue d'enfant soient installés sur le siège arrière. Les études montrent que les enfants sont plus en sécurité s'ils sont correctement retenus sur un siège arrière只不过 que sur un siège avant. Si vousdezvezinstaller un ensemble de retenue pour enfants orienté vers l'avant sur le siège avant, consultez la section « Installation d'un ensemble de retenue pour enfants à l'aide des ceintures de sécurité » (p. 1-38). - Bien que ce vehicule soit muni du dispositif de sac gonfable perfectionné NISSAN, n'installez jamais sur le siège passager avant un ensemble de retenue d'enfant orienté vers l'arrière. Un sac gonfable qui se déploie peut inflier des blessures graves, voir mortelles, à un enfant. Un ensemble de retenue d'enfant orienté vers l'arrière doit être installé seulement sur le siège arrière.
Au moment d'acheter un tel ensemble, assurez-vous qu'il est adaptable à l'enfant et au vehicule. Certains ensembles de retenue d'enfant peuvent ne pas s'adapter correctement dans votre vehicule.
- Les points d'ancrage des ensembles de retenue d'enfant sont conçus pour résister uniquement aux charges imposées par des ensembles de retenue d'enfant correctement installés. Les points d'ancrage ne doivent enaucun cas être utilisés pour fixer les ceintures de sécurité pour adultes ou d'autres éléments ou équipements sur le vehicule. Vous pourriez endommager les points d'ancrage des ensembles de retenue d'enfant. Les ensembles de retenue d'enfant ne seront pas correctement installés si vous utilisez des points d'ancrage endommages et un enfant pourrait subir des blessures graves, voire mortelles en cas de collision.
- N'utilisez jamais les points d'ancrage pour les ceintures de sécurité ou autres éléments.
- Un ensemble de retenue d'enfant muni d'une courroie d'attache supérieure ne doit pas etre installé sur le siège du passager avant.
- Gardez le dossier aussi à la verticale que possible après l'installation de l'ensemble de retenue d'enfant.
- Pendant les trajets en voiture, les bébéss et les jeunes enfants doivent toujours être assis dans un ensemble de retenue approprié.
Lorsque l'ensemble de retenue d'enfant est inutilisé, laissez-le assujetti à l'aide du système LATCH ou d'une ceinture de sécurité. Lors d'un arrêt brusque ou d'une collision, les objets non retenus peuvent blesser les occupants ou endommager le vehicule.
AMISE EN GARDE
Un ensemble de retenue d'enfant laissé dans un vehicule fermé peut devenir très chaud. Vérifiez la température des surfaces et des boucles du siège avant d'y déposer un infant.
Ce vehicule est muni d'un système univers- sel d'ancrages dédié aux ensembles de retenue d'enfant appelé système LATCH (points d'ancrage inférieurs et sangle d'ancrage pour siège d'enfant).Certains ensembles de retenue d'enfant sont munis de fixations rigides ou montées sur une sangle qui peuvent être fixées à ces points d'ancrage. Pour obtaining des renseignements supplémentaires, reportez-vous à la section « Système LATCH (points d'ancrage inférieurs et sangle d'ancrage pour siège d'enfant) » (p. 1-25).
Si vous ne détenez pas un ensemble de retenue d'enfant compatible avec le système LATCH, vous pouvez utiliser les ceintures de sécurité du vehicule.
Plusieurs fabricants offrent des ensembles de retenue de bébés et de jeunes enfants de différentes tailles. Lorsque vous choisissez un ensemble de retenue d'enfant, il est essentiel de tener compte des points suivants:
- Ne désisisse qu'un ensemble de retenue d'enfant portant une étiquette certifiant son homologation à la norme de sécurité 213 des vehicules automobiles du Canada ou à la norme de sécurité 213 de Federal Motor Vehicle Safety Standard (États-Unis).
Assurez-vous que l'ensemble de retenue d'enfant s'adapte correctement à votre vehicule et qu'il est compatible avec le siège et la ceinture de sécurité.
- Si l'ensemble de retenue d'enfant est compatible avec votre vehicule, placez votre enfant dans l'ensemble et vérifie-en les divers réglages pour vous assurer qu'il convient à la taille de votre enfant. Choisissez un ensemble de retenue d'enfant adaptable à la grandeur et au poids de votre enfant. Respectez toujours toutes les instructions fournies.
- Si le poids total de l'enfant et de l'ensemble de retenue d'enfant est de moins de 29,5 kg (65 lb), vous pouvez utiliser les ancrages LATCH ou la ceinture de sécurité pour installer l'ensemble de retenue d'enfant (non pas les deux en même temps).
- Si le poids total de l'enfant et de l'ensemble de retenue d'enfant est supérieur à 29,5 kg (65 lb), utilisez la ceinture de sécurité du vehicule (et non les ancrages inférieurs) pour installer l'ensemble de retenue d'enfant.
- Respectez les instructions d'installation de l'ensemble de retenue d'enfant fournies par le fabricant.
Au Canada et aux États-Unis, l'utilisation d'ensembres de retenue homologués est obligatoire pour les bébés et les jeunes enfants. La reglementation canadienne exige que la courroie d'attache supérieure d'un ensemble de retenue d'enfant orienté vers l'avant soit fixée au point d'ancrage désigné du vehicule.

Emplacement des points d'ancrage inférieurs du système LATCH
SYSTÉME LATCH (points d'ancrage inférieurs et sangle d'ancrage pour siège d'enfant)
Votre vehicule est muni de points d'ancrage speciaux destinés aux ensembles de retenue d'enfant compatibles avec le système LATCH. Il est aussi désigné sous les noms d'ISOFIX ou de système conforme à la norme ISOFIX. Grace à ce système, il n'est pas nécessaire d'utiliser une ceinture de sécurité du vehicule pour fixer l'ensemble de retenue d'enfant à moins que le poids
total de l'enfant et de l'ensemble de retenue d'enfant dépasse 29,5 kg (65 lb). Si le poids total de l'enfant et de l'ensemble de retenue d'enfant est supérieur à 29,5 kg (65 lb), utilisez la ceinture de sécurité du vehicule (et non les ancrages inférieurs) pour installer l'ensemble de retenue d'enfant. Respectez les instructions d'installation de l'ensemble de retenue d'enfant fournies par le fabricant.
Les points d'ancrage du système LATCH peuvent être utilisés pour installer des ensembles de retenue d'enfant sur l'une des places extérieures arrêté ou à la place centrale arrêté. Veuillez vous reférer à la section suivante duprésent manuel du conducteur pour obtenir des renseignements particuliers sur l'installation d'un ensemble de retenue d'enfant à la place centrale arrêté en utilisant les points d'ancrage du système LATCH.
Point d'ancrage inférieur du système LATCH
A AVENTISSEMENT
Le non-respect des averissements et des instructions relatives à l'utilisation et à l'installation correctes des ensembles de retenue d'enfant pourrait entrainer des blessures graves, voir mortelles, aux enfants ou autres passagers, en cas d'accident ou d'arrêt brusque.
- Ne fixez que des dispositifs de retenue pour enfant compatibles avec le système LATCH aux ancrages inférieurs illustrés. Pour obtenir de plus amples renseignements sur l'installation, se reporter aux sections suivantes du précédent manuel du conducteur.
Glissez vos doigs dans les ancrages inférieurs. Assurez-vous qu'ils ne sont pas entravés par une sangle de ceinture de sécurité ou par le tissu du coussin de siège. L'ensemble de retenue d'enfant ne pourrait pas etre fixe solidement si les ancrages inférieurs sont entravés.
Les points d'ancrage des ensembles de retenue d'enfant sont conçus pour résister uniquement aux charges imposées par des ensembles de retenue d'enfant correctement installés. Les points d'ancrage ne doivent enaucun cas être utilisés pour fixer les ceintures de sécurité pour adultes ou d'autres éléments ou équipements sur le vehicule. Vous pourriez endommager les points d'ancrage des ensembles de retenue d'enfant. Les ensembles de retenue d'enfant ne seront pas correctement installés si vous utilisez des points d'ancrage endomagés et un infant pourrait subir des blessures graves, voire mortelles en cas de collision.

Emplacement des points d'ancrage inférieurs du système LATCH
Emplacement des points d'ancrage inférieurs du système LATCH
Les ancrages inférieurs du système LATCH sont situés aux emplacements illustrés. Une étiquette indiquant la position des ancrages inférieurs du système LATCH est apposée sur le dossier du siège.

Système LATCH dans la place centrale arrête
Il n'y a pas de points d'ancrage du système LATCH réservés pour la place centrale arrêté. Cependant, les ancrages LATCH intégrés appartenant aux deux places extérieures (indiqués par les flèches) peuvent être utilisés ensemble pour fixer un système de retenue pour infant à la place centrale arrêté. Ces ancrages sont séparés d'une distance © de 404 mm (16 po). Avant de tenter de fixer un système de retenue pour infant à cette place, assurez-vous que les directives du fabricant du sys
tème permettant l'utilisation d'ancrages LATCH avec l'espacement indiqué cïddessus. (Ils sont parfois appelés « ancrages partages » ou « ancrages empruntés »).
Les systèmes de retenue pour enfant munis d'attaches inférieures rigides ne peuvent pas etre installés dans le siege central. Ce type de systèmes de retenue pour enfant ne doit etre instalé qu'aux places extérieures.

AVERTISSEMENT
Ne fixez jamais deux fixations de système de retenue pour enfant au même d'ancrage du système LATCH. Cela peut provoquer une surcharge de l'ancrage lors d'une collision, ce qui pourrait accroître les risques de blessures graves ou mortelles pour l'occupant.
Lors de l'installation du système de retenue pour enfant à la place centrale arrrière avec les ancrages LATCH intégrés, assurez-vous que tout occupant ou système de retenue pour enfant dans les sièges extérieurs est correctement retenu au moyen de la ceinture de sécurité du vehicule et qu'il n'y a aucune interférence avec l'installation du
système de retenue pour enfant au centre. Si les occupants des places extérieures ne peuvent pas être correctement retenus, envisagez l'utilisation des ceintures de sécurité du vehicule pour fixer le système de retenue pour enfant à la place centrale, ou déplacez le système de retenue pour enfant à une autre position.

Fixation montée sur sangle du système LATCH
Installation des fixations des ancrages inférieurs du système LATCH pour ensemble de retenue d'enfant
Les ensembles de retenue d'enfant compatibles avec le système LATCH comptent deux fixations rigides ou montées sur une sangle qui peuvent être fixées à deux points d'ancrage situés à certaines places dans le vehicule. Grace à ce système, il n'est pas nécessaire d'utiliser une ceinture de sécurité du vehicule pour fixer l'ensemble

Fixation rigide du système LATCH
de retenue d'enfant. Vérifiez si vous ensemble de retenue d'enfant compte une étiquette mentionnant la compatibilité avec le système LATCH. Ces renseignements peuvent aussi se trouver dans les directives fournies par le fabricant de l'ensemble de retenue d'enfant.
Lorsque you installez un ensemble de retenue d'enfant, suivez rigoureusement les directives données dans ce manuel ainsi que celles fournies avec l'ensemble de retenue d'enfant.

Emplacement des points d'ancrage de la courroie d'attache supérieure

AVERTISSEMENT
Les points d'ancrage des ensembles de retenue d'enfant sont conçus pour résister uniquement aux charges imposées par des ensembles de retenue d'enfant correctement installés. Les points d'ancrage ne doivent enaucun cas être utilisés pour fixer les ceintures de sécurité pouradultes ou d'autres éléments ou
équipements sur le vehicule. Vous pourriez endommager les points d'ancrage des ensembles de retenue d'enfant. Les ensembles de retenue d'enfant ne seront pas correctement installés si vous utilisez des points d'ancrage endommages et un enfant pourrait subir des blessures graves, voir mortelles en cas de collision.
Voudevezyouservirde lacourroied'attache supérieured'unensemble de retenue d'enfantlorsqueyouinstallez unensemble de retenue au moyen des fixationsdesancragesinférieursdu systemelATCHoudesceinturesdesecurite.Pourobtenirdes renseignements supplémentaires,consultezla section «Installationde lacourroied'attache supérieure»(p.1-37).
Si vous avez des questions au sujet de l'installation de l'ensemble de retenue d'enfant avec courroie d'attache supérieur, nous vous recommendons de vous rendre chez un concessionnaire NISSAN pour cet entretien.
Les points d'ancrage ① se trouvent sur la plaque arrière.
INSTALLATION D'UN ENSEMBLE DE RETENUE D'ENFANT ORIENTÉ VERS L'ARRÊRE AU MOYEN DU SYSTème LATCH
Pour obtenir des renseignements supplémentaires, consultez tous les avertissements et mises en garde dans les sections « Sécurité des enfants » (p. 1-20) et « Ensembles de retenue d'enfant » (p. 1-23) avant d'installer un ensemble de retenue d'enfant.
N'utilisez pas les ancrages inférieurs si le poids total de l'enfant et de l'ensemble de retenue d'enfant dépasse 29,5 kg (65 lb). Si le poids total de l'enfant et de l'ensemble de retenue d'enfant est supérieur à 29,5 kg (65 lb), utilisez la ceinture de sécurité du vehicule (et non les ancrages inférieurs) pour installer l'ensemble de retenue d'enfant. Respectez les instructions d'installation de l'ensemble de retenue d'enfant fournies par le fabricant.
Suivez les étapes ci-dessous pour installer un ensemble de retenue d'enfant orienté vers l'arrière à l'aide du système LATCH :
- Placez l'ensemble de retenue d'enfant sur le siège. Respectez toujours toutes les instructions fournies par le fabricant de l'ensemble de retenue d'enfant.

Ensemble de retenue d'enfant orienté vers l'arrière, monté sur sangle, étape 2
- Fixez les fixations de l'ensemble de retenue d'enfant aux points d'ancrage inférieurs du système LATCH. Assurez-vous que la fixation du système LATCH est bien fixée aux ancrages inférieurs.

Ensemble de retenue orienté vers l'arrière, fixations rigides, étape 2

Ensemble de retenue orienté vers l'arrière, étape 3
- Dans le cas des ensembles de retenue d'enfant dotés de fixations montées sur une sangle, éliminez le jeu additionnel à partir des points d'ancrage. Poussez fermement vers le bas et vers l'arrière au centre de l'ensemble de retenue d'enfant avec la main pour comprimer le coussin et le dossier du siège du vehicule tout en serrant les sangles des points d'ancrage.

Ensemble de retenue orienté vers l'arrête, étape 4
- Vérifiez la solidité de la fixation de l'ensemble de retenue avant d'y asseoir un enfant. Poussez-le latéralement en tenant l'ensemble de retenue d'enfant pres du point d'ancrage du système LATCH. L'ensemble de retenue d'enfant ne doit pas bouger de plus de 25 mm (1 po) latéralement. Essayez de le tirer vers l'avant et assurez-vous que la fixation du système LATCH le maintain en place correctement. Si l'ensemble de retenue est mal fixé, desserrez davan-
tage la fixation du système LATCH, ou installez l'ensemble sur un autre siège, puis vérifie de nouveau la solidité de la fixation. Vous devrez peut-être essayer un ensemble de retenue d'enfant différent ou essayer de l'installer au moyen de la ceinture de sécurité du vehicule (le cas échéant). Les ensembles de retenue d'enfant ne convennent pas à tous les vehicules.
- Assurez-vous que l'ensemble de retenue est bien fixé avant chaque utilisation. Si l'ensemble de retenue d'enfant est l'âche, repêze les étapes 1 à 4.
INSTALLATION D'UN ENSEMBLE DE RETENUE D'ENFANT ORIENTÉ VERS L'ARRÊRE À L'AIDE DES CEINTURES DE SECURITÉ

AVERTISSEMENT
Vou devez utiliser la ceinture de sécurité à trois points munie d'un enrouleur à blocage automatique pour l'installation d'un ensemble de retenue d'enfant. L'ensemble de retenue d'enfant ne peut pas'être fixé solidement si vous n'utilise pas le mode de blocage automatique de l'enrouleur. L'ensemble de retenue risque de se renverser ou de se détacher en cas d'accret brusque ou d'accident, et l'enfant pourrait alors être blessé.
Si vous installez un ensemble de retenue d'enfant à la place centrale arrière, la languette du connecteur et la languette de la boucle de la ceinture de sécurité centrale arrêté doivent être correctement bouclées.
Pour obtenir des renseignements supplémentaires, consultez tous les avertissements et mises en garde dans les sections « Sécurité des enfants » (p. 1-20) et « Ensembles de retenue d'enfant » (p. 1-23) avant d'installer un ensemble de retenue d'enfant.
N'utilissez pas les ancrages inférieurs si le poids total de l'enfant et de l'ensemble de retenue d'enfant dépasse 29,5 kg (65 lb). Si le poids total de l'enfant et de l'ensemble de retenue d'enfant est supérieur à 29,5 kg (65 lb), utilisez la ceinture de sécurité du vehicule (et non les ancrages inférieurs) pour installer l'ensemble de retenue d'enfant. Respectez les instructions d'installation de l'ensemble de retenue d'enfant fournies par le fabricant.
Executez les étapes suivantes pour installer un ensemble de retenue d'enfant orienté vers l'arrière à l'aide des ceintures de sécurité des sièges arrière :

Ensemble de retenue orienté vers l'arrière, étape 1
- Les ensembles de retenue d'enfant doivent être orientés vers l'arrière; par conséquent, ils ne doivent jamais être installés à l'avant du vehicule. Placez l'ensemble de retenue d'enfant sur le siège. Respectez toujours les instructions du fabricant de l'ensemble de retenue d'enfant.

Ensemble de retenue orienté vers l'arrière, étape 2
- Faites passer la languette de la ceinture de sécurité en travers de l'ensemble de retenue d'enfant, puis insérez-la dans la boucle jusqu'à ce que vous entendiez un déclic et que vous sentiez la languette se verrouiller. Respectez les instructions d'acheminement de la ceinture de sécurité du fabricant de l'ensemble de retenue d'enfant.

Ensemble de retenue orienté vers l'arrête, étape 3
- Tirez sur le baudrier jusqu'à ce que la ceinture soit complètement déployée. L'enrouleur de la ceinture de sécurité passée alors en mode de blocage automatique (mode d'ensemble de retenue d'enfant). Une fois la ceinture de sécurité complètement rétractée, elle revient en mode de blocage d'urgence.

Ensemble de retenue orienté vers l'arrière, étape 4
- Laissez la ceinture de sécurité se rétracter. Tirez sur le baudrier pour éliminer tout jeu de la courroie.

Ensemble de retenue orienté vers l'arrière, étape 5
- Éliminez tout jeu additionnel de la ceinture de sécurité; poussez fermement vers le bas, puis vers l'arrière au centre de l'ensemble de retenue d'enfant pour comprimer le coussin et le dossier du siège du vehicule tout en serrant la ceinture de sécurité.

Ensemble de retenue orienté vers l'arrête, étape 6
- Vérifiez la solidité de la fixation de l'ensemble de retenue avant d'y asseoir un enfant. Pousseze-le latérallement en tenant l'ensemble de retenue d'enfant pres du trajet de la ceinture de sécurité. L'ensemble de retenue d'enfant ne doit pas bouger de plus de 25 mm (1 po) latéralment. Essayez de le tirer vers l'avant et assurez-vous que la ceinture de sécurité le maintient en place correctement. Si l'ensemble de retenue est mal fixé, desserrez davantage la ceinture
de sécurité, ou installez l'ensemble sur un autre siège, puis vérifie de nouveau la solidité de la fixation. Vous devrez peut-être essayer un ensemble de retenue d'enfant différent. Les ensembles de retenue d'enfant ne convennent pas à tous les vehicules.
- Assurez-vous que l'ensemble est fixé solidement avant chaque utilisation. Si la ceinture de sécurité n'est pas verrouillée, repêze les étapes 3 à 6.
Une fois l'ensemble de retenue enlevé et la ceinture de sécurité entière rétractée, le mode de blocage automatique (mode d'ensemble de retenue d'enfant) est désactivé.
INSTALLATION D'UN ENSEMBLE DE RETENUE D'ENFANT ORIENTÉ VERS L'AVANT AU MOYEN DU SYSTEMÉ LATCH
Pour obtenir des renseignements supplémentaires, consultez tous les avertissements et mises en garde dans les sections « Sécurité des enfants » (p. 1-20) et « Ensembles de retenue d'enfant » (p. 1-23) avant d'installer un ensemble de retenue d'enfant.
N'utilissez pas les ancrages inférieurs si le poids total de l'enfant et de l'ensemble de retenue d'enfant dépasse 29,5 kg (65 lb). Si le poids combiné de l'enfant et de l'ensemble de retenue d'enfant est supérieur à 29,5 kg (65 lb), utilisez la ceinture de sécurité du vehicule (et non les ancrages inférieurs) pour installer l'ensemble de retenue d'enfant. Respectez les instructions d'installation de l'ensemble de retenue d'enfant fournies par le fabricant.
Suivez les étapes ci-dessous pour installer un ensemble de retenue d'enfant orienté vers l'avant à l'aide du système LATCH :
- Placez l'ensemble de retenue d'enfant sur le siège. Respectez toujours toutes les instructions fournies par le fabricant de l'ensemble de retenue d'enfant.

Ensemble de retenue orienté vers l'avant, fixations montées sur sangle - étape 2
- Fixez les fixations de l'ensemble de retenue d'enfant aux points d'ancrage inférieurs du système LATCH. Assurez-vous que la fixation du système LATCH est bien fixée aux ancrages inférieurs.
Si l'ensemble de retenue d'enfant est doté d'une courroie d'attache supérieurie, acheminez la courroie d'attache supérieurie, puis fixez la courroie au point

Ensemble de retenue orienté vers l'avant, fixations rigides - étape 2
d'attache. Pour obtenir des renseignements supplémentaires, consultez la section « Installation de la courroie d'attache supérieure » (p. 1-37).
N'installez pas d'ensembres de retenue d'enfant qui exigent l'utilisation d'une courroie d'attache supérieure à une place qui n'est pas dotée d'un point d'attache de courroie supérieure.
- L'arrière de l'ensemble de retenue d'enfant doit être fixé au dossier du siège.
S'il y a lieu, reglez l'appuie-tete ou retirez-le de façon à pouvoir bien installer l'ensemble de retenue d'enfant. Si vous avez retiré l'appuie-tete, rangeze-le en lieu sûr. N'oubliez pas de réinstaller l'appuie-tete lorsque vous retirez l'ensemble de retenue d'enfant. Pour obtenir des renseignements supplémentaires, consultez la section « Appuie-tete » (p. 1-7).
Si l'appuie-tête de la place assise n'est pas réglable ou s'il nuit à l'installation de l'ensemble de retenue d'enfant, essayez une autre place assise ou un autre ensemble de retenue d'enfant.

Ensemble de retenue orienté vers l'avant, étape 4
-
Dans le cas des ensembles de retenue d'enfant dotés de fixations montées sur une sangle, éliminez le jeu additionnel à partir des points d'ancrage. Poussez fermement vers le bas et vers l'arrière au centre de l'ensemble de retenue d'enfant avec votre genou pour comprimer le coussin et le dossier du siège du vehicule tout en serrant les sangles des points d'ancrage.
-
Pour-retirer tout jeu de la sangle, serrez celle-ci conformément aux instructions du fabricant.

Ensemble de retenue orienté vers l'avant, étape 6
- Vérifiez la solidité de la fixation de l'ensemble de retenue avant d'y asseoir un enfant. Poussez-le latéralement en tenant l'ensemble de retenue d'enfant pres du point d'ancrage du système LATCH. L'ensemble de retenue d'enfant ne doit pas bouger de plus de 25 mm (1 po) latéralement. Essayez de le tirer vers l'avant et assurez-vous que la fixation du système LATCH le maintain en place correctement. Si l'ensemble de retenue est mal fixé, resserrez davantage la fixation du système LATCH, ou
installez l'ensemble sur un autre siège, puis vérifie de nouveau la solidité de la fixation. Vous devrez peut-être essayer un ensemble de retenue d'enfant différent. Les ensembles de retenue d'enfant ne convennent pas à tous les vehicules.
- Assurez-vous que l'ensemble de retenue est bien fixé avant chaque utilisation. Si l'ensemble de retenue d'enfant est l'âche, repêtez les étapes 1 à 6.

Sièges arrêté
① Courroie d'attache supérieure
② Point d'ancrage
Installation de la courroie d'attache supérieure
Voudevezyouservirde lacourroied'attache supérieured'unensemble de retenue d'enfant lorsque youinsallez un ensemble de retenue au moyen des fixationsdesancragesinférieursdu systemelATCH.
Fixez d'abord l'ensemble de retenue d'enfant au moyen des ancrages inférieurs du système LATCH.
Banquette arrête
PLACES EXTÉRIÉURES ET CENTRALE
- Placez la courroie d'attache supérieure ① par-dessus le dossier de siège.
- Fixez la courroie d'attache au point d'ancrage ② comme illustré.
- Pour-retirer toutjeu de la courroie,serrez
celle-ci conformement aux instructions
du fabricant.
Si vous avez des questions au sujet de l'installation d'une courroie d'attache supérieure, il est recommendé de vous rendre chez un concessionnaire NISSAN pour ce service.

AVERTISSEMENT
Les points d'ancrage des ensembles de retenue d'enfant sont conçus pour résister uniquement aux charges imposées par des ensembles de retenue d'enfant correctement installés. Les points d'ancrage ne doivent enaucun cas être utilisés pour fixer les ceintures de sécurité pour adultes ou d'autres éléments ou équipements sur le vehicule. Vous pourriez endommager les points d'ancrage des ensembles de retenue d'enfant. Les ensembles de retenue d'enfant ne seront pas correctement installés si vous utilisez des points d'ancrage endommégés et un enfant pourrait subir des blessures graves, voire mortelles en cas de collision.
INSTALLATION D'UN ENSEMBLE DE RETENUE D'ENFANT ORIENTÉ VERS L'AVANT À L'AIDE DES CEINTURES DE SECURITÉ

AVERTISSEMENT
Vou des ensembles de retenue d'enfant. L'ensemble de retenue d'enfant ne peut pas etre fixe solidement si vous n'utilise pas le mode de blocage automatique de I'enrouleur. L'ensemble de retenue risque de se renverser ou de se detacher en cas d'arrêt brusque ou d'accident, et l'enfant pourrait alors etre blessé. Il a également une incidence sur le fonctionnement du sac gonflable du passagager avant. Pour obtenir des renseignements supplémentaires, consultez la section « Sac gonflable du passager avant et témoin de neutralisation » (p. 1-59).

Orienté vers l'avant (siège du passager avant), étape 1
Pour obtenir des renseignements supplémentaires, consultez tous les avertissements et mises en garde dans les sections « Sécurité des enfants » (p. 1-20) et « Ensembles de retenue d'enfant » (p. 1-23) avant d'installer un ensemble de retenue d'enfant.
N'utilisez pas les ancrages inférieurs si le poids total de l'enfant et de l'ensemble de retenue d'enfant dépasse 29,5 kg (65 lb).
Si le poids combiné de l'enfant et de l'ensemble de retenue d'enfant est supérieur à 29,5 kg (65 lb), utilisez la ceinture de sécurité du vehicule (et non les ancrages inférieurs) pour installer l'ensemble de retenue d'enfant. Respectez les instructions d'installation de l'ensemble de retenue d'enfant fournies par le fabricant.
Respectez les étapes suivantes pour installer un ensemble de retenue d'enfant orienté vers l'avant à l'aide de la ceinture de sécurité du vehicule des places arrêtée ou du siège du passager avant :
- Si vous doivent installer un ensemble de retenue d'enfant sur le siège avant, orientez-le vers l'avant seulement. Reculesz le siège au maximum. Les ensembles de retenue de bébés doivent être orientés vers l'arrière; par conséquent, ils ne doivent jamais être installés à l'avant du vehicule.
- Placez l'ensemble de retenue d'enfant sur le siège. Respectez toujours les instructions du fabricant de l'ensemble de retenue d'enfant.
L'arrière de l'ensemble de retenue d'enfant doit être fixé au dossier du siège.
S'il y a lieu, réglez l'appuie-tête ou retirez-le de façon à pouvoir bien installer l'ensemble de retenue d'enfant. Si vous ave réteré l'appuie-tête, rangez-le en lieu sûr. N'oubliez pas de réinstaller l'appuie-tête lorsque vous retirez l'ensemble de retenue d'enfant. Pour obtenir des renseignements supplémentaires, consultez la section « Appuie-tête » (p. 1-7).
Si l'appuietete de la place assise n'est pas reglable ou s'il nuit à l'in installation de I'ensemble de retenue d'enfant, essayez une autre place assise ou un autre ensemble de retenue d'enfant.

Ensemble de retenue orienté vers l'avant, étape 3
- Faites passer la languette de la ceinture de sécurité en travers de l'ensemble de retenue d'enfant, puis insérez-la dans la boucle jusqu'à ce que vous entendiez un déclic et que vous sentiez la langueette se verrouiller. Respectez les instructions d'acheminement de la ceinture de sécurité du fabricant de l'ensemble de retenue d'enfant.
Si l'ensemble de retenue d'enfant est doté d'une courroie d'attache supérieure, achemieze la courroie d'attache supérieure, puis fixez la courroie au point d'attache. Pour obtenir des renseignements supplémentaires, consultez la section « Installation de la courroie d'attache supérieure » (p. 1-42).
N'installez pas d'ensembres de retenue d'enfant qui exigent l'utilisation d'une courroie d'attache supérieure à une place qui n'est pas dotée d'un point d'attache de courroie supérieure.

Ensemble de retenue orienté vers l'avant, étape 4
- Tirez sur le baudrier jusqu'à ce que la ceinture soit complètement déployée. L'enrouleur de la ceinture de sécurité passée alors en mode de blocage automatique (mode d'ensemble de retenue d'enfant). Une fois la ceinture de sécurité complètement rétractée, elle revient en mode de blocage d'urgence.

Ensemble de retenue d'enfant orienté vers l'avant, étape 5
- Laissez la ceinture de sécurité se rétracter. Tirez sur le baudrier pour éliminer tout jeu de la courroie.

Ensemble de retenue orienté vers l'avant, étape 6
- Éliminez tout jeu additionnel de la ceinture de sécurité; poussez fermement vers le bas et vers l'arrière au centre de l'ensemble de retenue d'enfant avec votre genou pour comprimer le coussin et le dossier du siège du vehicule tout en serrerla ceinture de sécurité.
- Pour-retirer tout jeu de la sangle, serrez celle-ci conformément aux instructions du fabricant.

Orienté vers l'avant, étape 8
- Vérifiez la solidité de la fixation de l'ensemble de retenue avant d'y asseoir un enfant. Poussez-le latéralent en tenant l'ensemble de retenue d'enfant pres du trajet de la ceinture de sécurité. L'ensemble de retenue d'enfant ne doit pas bouger de plus de 25 mm (1 po) latéralent. Essayez de le tirer vers l'avant et assurez-vous que la ceinture de sécurité le maintient en place correctement. Si l'ensemble de retenue est mal fixé, resserrez davantage la ceinture de sécurité, ou installez l'ensemble sur
un autre siège, puis vérifie de nouveau la solidité de la fixation. Vous devrez peut-être essayer un ensemble de retenue d'enfant différent. Les ensembles de retenue d'enfant ne convennent pas à tous les vehicules.
- Assurez-vous que l'ensemble de retenue est bien fixé avant chaque utilisation. Si la ceinture de sécurité n'est pas verrouillée, repêze les étapes 2 à 8.

LRS0865
Ensemble de retenue d'enfant orienté vers l'avant - étape 10
- Si l'ensemble de retenue d'enfant est installé sur le siège du passager avant, placez le commutateur d'allumage à la position ON (marche). Le témoin de neutralisation du sac gonflable du passager avant devrait s'allumer. Si ce témoin est eteint, consultez la section « Sac gonflable du passager avant et témoin de neutralisation » (p. 1-59). Placez l'ensemble de retenue d'enfant sur un autre siège. Rendez-vous chez un concessionnaire NISSAN pour faire vérifier le dispositif.
Lorsque la ceinture de sécurité se rétracte complètement dans l'enrouleur après le retrait de l'ensemble de retenue d'enfant, le mode de blocage automatique (mode pour ensemble de retenue d'enfant) est désactivé.

Sièges arrrière
① Courroie d'attache supérieure
② Point d'ancrage
Installation de la courroie d'attache supérieure
Voudevezyouservirde lacourroied'attache supérieure del'ensemble de retenue d'enfant lorsquevousinstituez un ensemble de retenued'enfant au moyen de la ceinture de sécurité.
Fixez d'abord l'ensemble de retenue d'enfant au moyen de la ceinture de sécurité du siège.
Banquette arrête
PLACES EXTERIEURES ET CENTRALE
- Placez la courroie d'attache supérieure ① par-dessus le dossier de siege.
- Fixez la courroie d'attache au point d'ancrage ② comme illustré.
- Pour-retirer toutjeu de la courroie,serrez
elle-ci conformement aux instructions
du fabricant.
Si vous avez des questions au sujet de l'installation d'une courroie d'attache supérieure, il est recommendé de vous rendre chez un concessionnaire NISSAN pour ce service.
AVERAGEMENT
Les points d'ancrage des ensembles de retenue d'enfant sont conçus pour résister uniquement aux charges imposées par des ensembles de retenue d'enfant correctement installés. Les points d'ancrage ne doivent enaucun cas être utilisés pour fixer les ceintures de sécurité pouradultes ou d'autres éléments ou équipements sur le vehicule. Vous pourriez endommager les points d'ancrage des ensembles de retenue d'enfant. Les ensembles de retenue d'enfant ne seront pas correctement installés si vous utilisez des points d'ancrage endommégés et un infant pourrait subir des blessures graves,voire mortelles en cas de collision.
SIÉGES D'APPOINT
Pour obtenir des renseignements supplémentaires sur l'installation d'un siège d'appoint dans votre vehicule, suivez les instructions décrites dans cette section.
Précautions concernant les sièges d'appoint
A AVENTISSEMENT
Si le siège d'appoint et la ceinture de sécurité ne sont pas installés correctement, le risque de blessures et de mort de l'enfant augmente grandement en cas de collision ou d'arrêt brusque :
Assurez-vous que le baudrier n'approche pas le visage ou le cou de l'enfant, et que la partie sous-abdominale ne s'appuie pas contre l'abdomen.
Assurez-vous que le baudrier n'est pas place derrière l'enfant ou sous son bras.
- Installez un siège d'appoint seulement à une place munie d'une ceinture à trois points d'ancrage.

A. Siège d'appoint à dossier bas
B. Siège d'appoint à dossier haut
Plusieurs fabricants offrent des sièges d'appoint de diverses tailles. Tenez compte des considérations suivantes au moment de désir un siège d'appoint :
- Ne choisissez qu'un siège d'appoint portant une étiquette certifiant son homologation à la norme 213 de sécurité des vehicules automobiles du Canada ou à la norme 213 de Federal Motor Vehicle Safety Standard (États-Unis).

- Placez le siège d'appoint dans votre vehicule et assurez-vous qu'il est compatible avec le siège et la ceinture de sécurité de votre vehicule.
Assurez-vous que la tete de l'enfant est correctement soutenue par le siège d'appoint ou le siège du vehicule. Le dossier doit se trouver au moins au niveau du centre des oreilles de l'enfant. Par exemple, si vous désissez un siège d'appoint à dossier bas, le dossier du siège du vehicule doit se trouver au moins au niveau du centre des oreilles de

l'enfant. Si le dossier se trouve sous le centre des oreilles de l'enfant, utilisez un siège d'appoint à dossier haut.
- Si le siège d'appoint est compatible avec votre vehicule, assoyez l'enfant dans le siège d'appoint et vérifie les divers réglages pour vous assurer que le siège d'appoint convient à l'enfant. Respectez toujours toutes les instructions fournies.
Au Canada et aux États-Unis, l'utilisation d'ensembres de retenue homologués est obligatoire pour les bébés et les jeunes enfants.
Les instructions de la presente section s'appliquent à l'installation d'un siège d'appoint aux places arrêté ou sur le siège du passager avant.
Installation d'un siège d'appoint

AVERTISSEMENT
Pour éviter des blessures à l'enfant, ne vous servez pas du mode de blocage automatique de l'enrouleur de la ceinture à trois points d'ancrage lorsqu'you utilisez un siège d'appoint avec les ceintures de sécurité.
Pour obtenir des renseignements supplémentaires, consultez les avertissements et mises en garde dans les sections « Sécurité des enfants » (p. 1-20), « Ensembles de retenue d'enfant » (p. 1-23) et « Sièges d'appoint » (p. 1-43) avant d'instructor un ensemble de retenue d'enfant.

Suivez les étapes suivantes pour installer un siège d'appoint à une place arrière ou sur le siège du passager avant :
- Si vous doivent installer un siège d'appoint sur le siège avant, déplacez le siège aussi loin que possible vers l'arrière.
- Placez le siège d'appoint sur le siège. Orientez-le toujours vers l'avant. Suivez toujours les instructions du fabricant du siège d'appoint.

Siège du passager avant

Place centrale arriere

Place latérale arrière
- Placez le siège d'appoint sur le siège du vehicule pour qu'il soit stable.
S'il y a lieu, reglez la hauteur de l'appuiétête ou retirez-le de façon à bien installer le siège d'appoint. Si vous avez retirel'appuie-tête, rangez-le en lieu sûr. N'oubliez pas de réinstaller l'appuie-tête lorsque vous retirez le siège d'appoint. Pour obtenir des renseignements supplémentaires, consultez la section « Appuie-tête » (p. 1-7).
Si I'appuie-tete de la place assise n'est pas reglable et s'il nuit a l'installation du siège d'appoint, essayez une autre place assise ou un autre siège d'appoint.
- Serrez bien la sangle sous-abdominale de la ceinture de sécurité sur la partie inférieure des hanches de l'enfant. Respectez les instructions d'acheminement de la ceinture de sécurité du fabri-cant du siège d'appoint.
- Tirez le baudrier de la ceinture vers l'enrouleur pour éliminer le jeu. Assurez-vous de placer le baudrier sur la partie centrale supérieure de l'épaule de l'enfant. Respectez les instructions d'acheminement de la ceinture de sécurité du fabricant du siège d'appoint.
- Respectez les avertissements, les mises en garde et les directives d'installation d'une ceinture de sécurité indiqués precedemment dans la section « Ceinture de sécurité à trois points d'ancrage avec enrouleur » (p. 1-15).
SYTÉME DE RETENUE SUPPLEMENTaire (SRS)

LRS0865
- Si le siège d'appoint est installé sur le siège du passager avant, placez le commutateur d'allumage à la position ON (marche). Le témoin de neutralisation du sac gonflable du passager avant pourrait être allumé, en fonction du poids de l'enfant et du type de siège d'appoint utilisé. Pour Obtir des renseignements supplémentaires, consultez la section « Sac gonflable du passager avant et témoin de neutralisation » (p. 1-59).
PRECAUTIONS RELATIVES AU SYSTÉME DE RETENUE SUPPLEMENTaire (SRS)
Ce chapitre sur le système de retenue supplémentaire (SRS) contient des renseignements importants au sujet des systèmes suivants :
- Sacs gonflables avant des côtés conduc- teur et passager avant (dispositif de sac gonfable perfectionné NISSAN)
- Sacs gonflables latéraux montés dans les sièges avant
- Système de sac gonflable lésal monté dans le siège extérieur arrêté
- Rideaux lateraux et sacs gonflables en cas de renversement montés dans le toit
- Sac gonflable de protection pour les genoux du conducteur et du passager avant
- Ceinture de sécurité avec prétendeur(s) (sièges avant et sièges extérieurs arrêté)
Dispositif de sacs gonflables avant
Le dispositif de sac gonflable perfectionné NiSSAN contribue à amortir le choc transmis à la tête et au thorax du conducteur et du passager avant lors de certaines collisions frontales.
Dispositif de sac gonflable latorial montedans le siege avant
Ce dispositif contribue à amortir le choc transmis au thorax du conducteur et du passager avant dans certains types de collisions laterales. Les sacs gonflables latéraux sont concus pour se déployer du côte où le vehicule subit la collision.
Système de sac gonflable létal monté dans le siège extérieur arrêté
Ce système contribue à amortir le choc transmis au thorax des passagers arrrière dans certains types de collisions laterales. Les sacs gonflables lateraux sont conçus pour se déployer du côté ou le vehicule subit la collision.
Sac gonflable de protection pour les genoux du conducteur et du passager avant
Ce système contribue à amortir le choc transmis aux genoux du conducteur et du passager avant dans certains types de collisions.
Système de rideaux gonflables latéraux et sacs gonflables en cas de rensevement montés dans le toit
Ce système aide à amortir la puissance du chic transmis à la tete des occupants des sièges latéraux avant et arrrière dans certains types de collisions laterales. Les rideaux gonflables latéraux sont concus pour se déployer du côté ou le vehicule subit la collision. En cas de renversements, les rideaux gonflables latéraux sont concus pour se déployer et rester gonflés pendant un court moment.
Le système de retenue supplémentaire (SRS) est conçu pour offrir, lors d'une collision, une protection supplémentaire à celle fournie par les ceintures de sécurité du conducteur et du passager avant; il n'est cependant pas destiné à les remplacer. Les ceintures de sécurité doivent toujours être portées correctement. De plus, le conducteur doit être assis à une distance appropriée du volant, et lui et le passager doivent se tenir suffisamment éloignés du tableau de bord et des moulires des portières. Pour obtenir des renseignements supplémentaires, consultez la section « Ceintures de sécurité » (p. 1-11).
Les sacs gonflables ne peuvent se déployer que lorsque le commutateur d'allumage est à la position ON (marche).
Le témoin de sac gonflable s'allume une fois que le commutateur d'allumage est tourné à la position ON (marche). Si le dispositif est fonctionnel, le témoin du sac gonflable s'éteint après environ sept secondes.

S'asseoir droit et bien au fond du siege.

WRS0031

AVERTISSEMENT
- En général, les sacs gonflables avant ne se déploient pas en cas de collision latérale ou arrière, de renversement ou de collision frontale mineure. Bouclez toujours vous ceinture de sécurité afin de réduire les risques de blessures et la gravité de celles-ci en cas d'accident.
Le sac gonflable et le sac gonflable additionnel de protection pour les genoux du passager avant ne se déploient pas si le témoin de neutralisation du sac gonflable du passager est allumé. Pour obtenir des renseignements supplémentaires, consultez la section « Sac gonflable du passager avant et témoin de neutralisation » (p. 1-59).
-
Les ceintures de sécurité et les sacs gonflables avant sont plus efficaces lorsque les occupants du vehicule sont assis bien droit au fond de leur siège. Les sacs gonflables avant se déploient avec beaucoup de force. Malgré le dispositif de sac gonflable perfectionné NISSAN, les risques de blessures graves ou mortelles en cas de collision sont plus grands si vous n'esses pas attaché, étes penché en avant, assis de côté ou, de façon générale, mal assis. Le sac gonflable avant peut également vous infilger des blessures graves, voire mortelles, si vous étes appuyé contre le module lorsqu'il se déploie. Assurez-vous d'avoir le dos bien appuyé contre le dossier de votre siège et de régler ce dernier aussi loin que possible du volant ou du tableau de bord, sans que cela ne nausea à votre comport ou à la conduite. Bouclez toujours de façon appropriée votre ceinture de sécurité.
-
Les boucles des ceintures de sécurité du conducteur et du passager avant sont munies de capteurs qui déetectent le bouclage des ceintures de sécurité. En cas de collision, le dispositif de sac gonflable perfectionné de NiSSAN contrôle la force de la collision ainsi que l'utilisation des ceintures de sécurité et gonfle les sacs en conséquence. En cas d'accident, le port de la ceinture de sécurité peut réduire les risques de blessures ou la gravité de celles-ci.
Le siège du passager avant est muni d'un capteur de classification du passager (capteur de poids) qui permet la DÉSACTIVATION du sac gonflable et du sac gonflable additionnel de protection pour les genoux du passager avant dans certaines circonstances. Seul ce siège est muni d'un tel capteur. En cas d'accident, une bonne posture assise et le port de la ceinture de sécurité peuvent réduire les risques de blessures ou
la gravité de celles-ci. Pour obtenir des renseignements supplémentaires, consultez la section « Sac gonflable du passager avant et témoin de neutralisation » (p. 1-59).
Tenez le volant par son pourtour extérieur. Si vous placez vos mains à l'intérieur du cercle du volant, vous courez un plus grand risque de vous bleisser en cas de déploiemment de votre sac gonifiable.


AVERAGEMENT
Assurez-vous que les enfants sont toujours correctement retenus pendant que le vehicule roule et ne les laissez jamais sorting les mains ou la tete par l'ouverture de la glace. Ne voyagez jamais en tenant un enfant sur vos genoux ou dans vos bras. Les illustrations donnent des exemples de positions dangereuses à ne pas adopter dans un vehicule en mouvement.




AVERTISSEMENT
- S'ils ne sont pas correctement retenus, les enfants peuvent subir des blessures graves ou mortelles au moment du déploiement des sacs gonflables avant, des sacs gonflables latraux ou des rideaux gonflables latraux. Dans la mesure du possible, les enfants de moins de 12 ans doivent être assist et correctement retenus sur le siège arrière.



AVERAGEMENT
- Bien que ce vehicule soit muni du dispositif de sac gonflable perfectionné NISSAN, n'installez jamais sur le siège passager avant un ensemble de retenue d'enfant orienté vers l'arrière. Un sac gonflable avant qui se déploie peut infilger des blessures graves, voiré mortelles à votre enfant. Pour obtenir des renseignements supplémentaires, consultez la section « Ensembles de retenue d'enfant » (p. 1-23).
AVERAGEMENT
Sacs gonflables latéraux montés dans les sièges avant et rideaux gonflables latéraux et sacs gonflables en cas de renversement montés dans le toit :
- Les sacs gonflables latéraux et les rideaux gonflables latéraux ne se déploient généralement pas lors d'un choc frontal, arrêté ou d'une collision latérale de faible intense. Bouclez toujours votre ceinture de sécurité afin de réduire les risques de blessures et la gravité de celles-ci en cas d'accident.

du siège avant ou pres des glissières laterales du toit. Ne permettez àaucun occupant assis à l'avant ouauxplaceslateralesarriere du vehicule de sortir la main par l'ouverture de la glace ni de s'appuyer contre les portieres. Les illustrations precedentesdonnent des exemples de positions dangereuses à éviter dans un vehicule en mouvement.

AVERTISSEMENT
- Les ceintures de sécurité, les sacs gonflables latéraux et les rideaux gonflables latéraux sont plus efficaces lorsque les occupants du vehicule sont asss bien droit au fond de leur siege, les deux pieds reposant sur le plancher. Les sacs gonflables latéraux et les rideaux gonflables latéraux se déploient avec beaucoup de force. Ne laissez personne placer ses mains, ses jambes ou son visage à proximé d'un sac gonflable latéral, c'est-à-dire sur le côte du dossier


AVERTISSEMENT
-
Ne tenez pas le dossier du siège avant lorsque vous étés assis sur le siège arrière. Vous pourriez être bisségravement en cas de déploie-ment du sac gonfable latorial. Soyez particulièrement prudent lorsque vos passagers sont des enfants. Ceux-ci doivent'être retenus correctement en tout temps. Les illustrations donnent des exemplede positions dangerreuses à ne pas adopter dans un vehicule en mouvement.
-
N'installez pas de housses sur les dossiers des sièges avant. Elles pourraient entraver le déploiement des sacs gonflables latéraux.



LRS3248
Dispositif de sac gonflable perfectionné NISSAN (sièges avant)
- Ancrage de la courroie supérieure
-
Ceintures de sécurité arrêté
-
Rideaux lateraux et sacs gonflables en cas de renversement montés dans le toit
- Appuie-tête
- Ceintures de sécurité avant
- Capteurs de poids dans la portière (côté conducteur illustré; côté passager avant similaire)
- Sachs gonflables avant
- Capterur avant de zone de collision
- Sachs gonflables de protection pour les genoux du conducteur et du passager avant
- Sièges avant
- Capteur de classification du passager (capteur de poids)
- Capteur péripérisque (côté passager illustré; côté conducteur similaire)
- Ceinture de sécurité avec pretendeurs (sièges avant illustrés; sièges extérieurs arrêtées similaires)
- Sachs gonflables latraux montés dans les sièges avant
-
Sièges arrêté
-
Système LATCH (points d'ancrage inférieurs et sangle d'ancrage pour siège d'enfant)
- Sac gonflable latorial montedans le siegeextérieurarriere
- Capteur péripérisque (côté passager illustrré; côté conducteur similaire)

AVERTISSEMENT
Respectez les mesures suivantes pour assurer le bon fonctionnement du système de sac gonflable perfectionné NiSSAN du passager.
Assurez-vous que les passagers arrriere ne poussent ni ne tirent sur la pochette du dossier de siege (selon l'equipement).
- Ne soumettez pas le dossier de siège, l'appuie-tête ou la pochette du dossier de siège à une charge dépassant 4 kg (9,1 lb).
Assurez-vous qu'aucune pression n'est exercée contre l'arrière du dossier de siège, comme par un ensemble de retenue d'enfant installé sur le siège arrêté ou un objet placé sur le plancher.
Assurez-vous qu'aucun objet ne soit placé sous le siège du passager avant.
Assurez-vous qu'aucun objet n'est place entre le coussin de siège et la console centrale ou entre le coussin de siège et la portière.
Si un ensemble de retenue d'enfant orienté vers l'avant est installé dans le siège du passager avant, ne placez pas le siège du passager avant de sorte que l'ensemble de retenue d'enfant entre en contact avec le tableau de bord. Si le dispositif de retenue pour infant entre en contact avec le tableau de bord, le système pourrait déterminer que le siège est occupé et le sac gonflable et le sac gonflable additionnel de protection pour les genoux du passager avant poursaient se déployer lors d'une collision. En outre, le témoin de neutralisation du sac gonflable du passager avant pourrait ne pas s'allumer. Pour obtenir des renseignements supplémentaires, consultez la section « Ensembles de retenue d'enfant » (p. 1-23).
- Vérifiez le bon fonctionnement du témoin de neutralisation du sac gonflable du passager avant.
Si vous remarquez que le témoin de neutralisation du sac gonflable du passager avant ne fonctionne pas tel que décrit dans le present chapitre, faites vérifier le système de classification des occupants. Nous vous recommendons de vous rendre chez un concessionnaire NISSAN pour cet entretien. - Entre-temps, jusqu'à ce qu'un concessionnaire vous confirme que le système du capteur de classification du passager (capteur de poids) fonctionne correctement, faites asseoir les occupants à l'arrière.
- Ne placez pas le siège du passager avant de sorte qu'il entre en contact avec le siège arrêté. Si le siège avant entre en contact avec le siège arrêté, il est possible que le dispositif de sacs gonflables déterminque'une anomalie liée au capteur s'est produit et le témoin de neutralisation du sac gonflable du passager avant pourrait s'allumer et le témoin du sac gonflable clignoter.
Ce vehicule est équipé d'un dispositif de sac gonflable perfectionné NiSSAN pour les sièges du conducteur et du passager avant. Ce dispositif est unconçu pour respecter les exigences d'homologation fixées par la réglementation américain. Il est également autorisé au Canada. Les renseignements, les mises en garde et les avertissements stipulés dans ce manuel doivent être respectés.
Le sac gonflable avant du conducteur est situé au centre du volant. Le sac gonflable avant du passager avant est monté dans le tableau de bord, au-dessus de la boîte à gants. Les sacs gonflables avant sont concus pour se déployer en cas de collision frontale de forte intensité. Ils peuvent aussi se déployer si les forces provoquées par un autre type de collision s'assimilent à celles d'un chic frontal plus grave. Il est possible qu'ils ne se déploient pas pendant certains types de collisions frontales. Les dommages au vehicule (ou l'absence de dommages) ne constituent pas nécessairement un indice du bon fonctionnement du dispositif de sacs gonflables avant.
Le dispositif de sac gonflable perfectionné NISSAN contrôle l'information du capteur de zone de collision et le module de commande de sac gonflable (ACU). Du côte du
conducteur, l'activation du générateur de gaz dépend de la gravité de la collision et de l'utilisation de la ceinture de sécurité. Du côté passager avant, le capteur de classification du passager est également contrôle. Selon l'information reçue par le capteur, il est possible qu'un seul sac gonflable avant se déploie en cas de collision, selon la gravité de la collision et des occupants avant qui portent leur ceinture de sécurité. De plus, il est possible que le sac gonflable et le sac gonflable de protection pour les genoux du passager avant soient désactifs automatiquement dans certaines conditions, selon le poids déetecté sur le siège du passager avant et la façon dont la ceinture de sécurité est utilisée. Le témoin de neutralisation du sac gonflable du passager s'allume si le sac gonflable et le sac gonflable de protection pour les genoux du passager avant sont DÉSAC-TIVÉS. Pour obtenir des renseignements supplémentaires, consultez la section « Sac gonflable du passager avant et témoin de neutralisation » (p. 1-59). Le déploiement d'un seul sac gonflable avant n'indique pas un mauvais fonctionnement du dispositif.
Si vous avez des questions concernant le système de sacs gonflables, nous vous recommendons de vous rendre chez un
concessionnaire NiSSAN pour obtenir de plus amples renseignements sur le système. Si, en raison d'un handicap physique, vous souhaitez faire modifier votre vehicule, veuillez communiquer avec NiSSAN. Les informations de contact sont fournies au début de ce manuel du conducteur.
Le déploiement d'un sac gonfable avant est accompagné d'un bruit fort, suivi d'une émission de fumée. Cette fumée n'est pas nocive et n'indique pas la présence d'un incendie. Il est cependant recommandé d'éviter de l'inhaler, car elle peut causeur une irration de la gorge ainsi qu'une sensation d'étouffement. Les personnes qui souffrent de problèmes respiratoires doivent respirer de l'air frais dés que possible.
Les sacs gonflables avant, lorsqu'ils sont combinés au port des ceintures de sécurité, aident à amortir le choc transmis au visage et au thorax des occupants des sièges avant. Ils peuvent contributor à sauvier des vies et à réduire les risques de blessures graves. Cependant, le déploiemment d'un sac gonfable avant peut cause des éraflures au visage ou d'autres blessures. Les sacs gonflables avant, autres que les sacs gonflables de protection supplémentaires pour les genoux du conducteur et du passager avant, n'offrent aucune protection à la partie inférieure du corps.
Meme si votre vehicule est équipé du dispositif de sacs gonflables perfectionnés NISSAN, les ceintures de sécurité doivent toujours être portées correctement. Le conducteur et le passager avant doit être assis le dos bien droit et aussi loin que possible du volant et du tableau de bord. Les sacs gonflables avant se déploientrapidement pour protégger les occupants des sièges avant. L'occupant qui se trouve trop pres du module du sac gonflable avant ou encore, qui est appuyé contre ce module court de plus grands risques de blessures en raison de la force du déploiement.
Une fois déployés, les sacs gonflables avant se dégonfrent rapidement.
Les sacs gonflables ne peuvent se déployer que lorsque le commutateur d'allumage se trouve à la position ON (marche).
Le témoin de sac gonflable s'allume une fois que le commutateur d'allumage est tourné à la position ON (marche). Si le dispositif est fonctionnel, le témoin du sac gonflable s'éteint après environ sept secondes.

LRS0865
Sac gonflable du passager avant et témoin de neutralisation

AVERTISSEMENT
Le sac gonflable et le sac gonflable additionnel de protection pour les genoux du passager avant sont conçus pour se DÉSACTIVER automatiquement dans certaines circonstances. Lize attentivement le present chapitre pour comprendre le fonctionnement de ce dispositif. L'utilisation adequate du siège, de la ceinture de sécurité et des ensembles de
retenue d'enfant assure une protection plus efficace. En cas d'accident, le non-respect des consignes d'utilisation des sièges, des ceintures de sécurité et des ensembles de retenue d'enfant données dans ce manuel fait augmenter les risques de blessures ou la gravité de celles-ci.
Témoin de neutralisation
Le siège du passager avant est muni d'un capteur de classification du passager (capteur de poids) qui active ou désactive le sac gonflable et le sac gonflable additionnel de protection pour les genoux du passager avant en fonction du poids détecté sur le siège du passager avant. L'etat du sac gonflable du passager avant et du sac gonflable de protection pour les genoux du passager avant (ACTIVÉ ou DÉSACTIVÉ) est indiqué par un témoin de neutralisation du sac gonflable du passager avant qui est situé sur le tableau de bord.
Après L'ETABLISSEMENT du contact, le témoin de neutralisation du sac gonflable du passager avant s'allume au tableau de bord pendant sept secondes environ, puis
s'éteint ou reste allumé selon l'état occupé du siège du passager avant. Le témoin fonctionne comme suit :
| CONDITION | DESCRIPTION | TÉMOIN DE NEUTRALISATION DU SAC GONFLABLE DU PASSAGER ( ) | SAC GONFLABLE POUR LE PASSAGER AVANT ET SAC GONFLABLE POUR LES GENOUX CÔTE PASSAGER AVANT |
| Vide | Siège du passager avant vide | ON (marche) (allumé) | NEUTRALISÉ |
| Aucune personne / une personne | Sac ou enfant ou ensemble de retenue d'enfant ou adulte de petite taille dans le siège du passager avant | ON (marche) (allumé) | NEUTRALISÉ |
| Adulte | Adulte dans le siège du passager avant | OFF (hors fonction) (étéint) | ACTIVÉ |
En plus des cas ci-dessus, certains objets placés sur le siege du passager avant peuvent également provoquer le fonctionnement du témoin, comme déscrit ci-dessus, selon leur poids.
Pour obtenir des renseignements supplémentaires, consultez les sections « Fonctionnement normal » (p. 1-62) et « Dépannage » (p. 1-63).
Sac gonflable du passager avant
Le sac gonflable et le sac gonflable de protection pour les genoux du passager avant sont conçus pour se désactiver automatiquement lorsque le vehicule est utilisé
Dans les conditions décrites ci-après, conformément à la réglementation en vigueur aux États-Unis. Si le sac gonflable et le sac gonflable de protection pour les genoux du passager avant sont désactivés, ils ne se déploieront pas en cas d'accident. Le sac gonflable du conducteur et les autres sacs gonflables du vehicule ne font pas partie de ce dispositif.
La réglementation sur la DÉSACTIVATION du sac gonflable a pour objet la réduction des blessures et des décès associés au déploiement de ces sacs lorsqu'un type de passager particulier occupe ce siège, par
exemple un enfant. Certains capteurs sont concus spécifique en response à cette réglementation.
Le capteur de classification du passager dans ce vehicule est un capteur de poids. Il permet de détecter la présence d'un occupant ou d'un objectuel quelsconque selon le signal de poids reçu. Par exemple, si un enfant est assis sur le siège passager avant, le dispositif de sac gonflable perfectionné NiSSAN est concu pour désactiver le sac gonflable et le sac gonflable de protection pour les genoux du passager avant, conformément à la réglementation
en vigueur. De plus, si le siège du passager accueille un ensemble de retenue d'enfant conforme à la réglementation, le capteur détecte le poids de cet ensemble ainsi que celui de l'enfant, ce qui provoque la DÉS-ACTIVATION du sac gonflable.
Les adultes qui s'assoient sur le siège du passager avant et qui utilisent leur ceinture de la façon indiquée dans ce manuel ne devraient pas provoquer la NEUTRALISATION automatique du sac gonflable et du sac gonflable additionnel de protection pour les genoux du passager avant. Il peut être mis à la position OFF (hors fonction) pour les adultes de petite taille; toutefois, si l'occupant réussit à soustraire son poids du coussin de siège, en adoptant par exemple une position deviant de la verticale, en s'assoyant sur le rebord du siège ou dans une autre position inadéquate, le capteur peutmettre le sac gonflable de passager avant et le sac gonflable de protection pour les genoux du passager avant à la position OFF (hors fonction). Assurez-vous toujours d'être bien assis et de porter la ceinture de sécurité de façon adéquate afin de bénéficier de toute la protection offerte par la ceinture de sécurité et le sac gonflable.
NISSAN you recommend de faire asseoir les enfants de moins de 12 ans à l'arrière et de veiller à ce qu'ils soient bien retenus. NISSAN recommende également l'utilisation d'un ensemble de retenue d'enfant ou d'un siège d'appoint adéquats et correctement installés sur un siège arrière. Sinon, le capteur de classification du passager DÉSACTIVERA le sac gonflable et le sac gonflable additionnel de protection pour les genoux du passager avant, comme il est indiqué précédemment, pour certains ensembles de retenue d'enfant conformément aux réglementations. Si des ensembles de retenue d'enfant sont incorrectement fixés ou si le mode de blocage automatique de l'enrouleur n'est pas utilisé, l'ensemble de retenue d'enfant pourrait se renverser ou se déplacer en cas de collision ou d'arrêt brusque. Une telle'utilisation pourrait également provoquer le déploiement NON PROGRAMME du sac gonflable et du sac gonflable de protection pour les genoux du passager avant. Pour obtenir des renseignements supplémentaires, consultez la section « Ensembles de retenue d'enfant » (p. 1-23).
Si le siège du passager avant est inoccupé, le sac gonflable et le sac gonflable additionnel de protection pour les genoux du passager avant sont conçus pour ne pas se déployer en cas de collision. Toutefois, si des objets assez lourds se trouvent sur le siège, le sac gonflable peut se déployer en cas de collision, puisque le capteur de classification du passager (capteur de poids) détecte le poids des objets. D'autres éléments pourraient également déclencher le déploiement du sac gonflable, tels qu'un enfant se tenantABOUT sur le siège, ou deux enfants occupte ce même siège, ce qui serait contraire aux instructions figurant dans ce manuel. Assurez-vous que tous les occupants du vehicule sont correctement assis et que leurs ceintures de sécurité sont bien bouclées.
Le témoin de neutralisation du sac gonflable du passager avant vous permet de vérifier si le sac gonflable et le sac gonflable de protection pour les genoux du passager avant sont DÉSACTIVÉS automatiquement.
Si un adulte occupe le siège du passager avant et que le témoin de neutralisation du sac gonflable du passager avant est allumé (ce qui indique que le sac gonflable et le sac
gonfable additionnel de protection pour les genoux du passager avant sont DÉSAC-TIVÉS), il s'agit probabilité d'unadulte de petite taille, ou d'unadulte n'était pas correctement assis ou ne portant pas ajustement sa ceinture de sécurité.
Si un ensemble de retenue d'enfant doit être utilisé sur le siège avant, le témoin de neutralisation du sac gonflable du passagier avant peut s'allumer ou non en fonction de la taille de l'enfant et du type d'ensemble de retenue d'enfant utilisé. Si le témoin de neutralisation du sac gonflable est étant (ce qui indique que le sac gonflable de passager avant et le sac gonflable de protection pour les genoux du passager avant peuvent se déployer en cas de collision), l'ensemble de retenue d'enfant ou la ceinture de sécurité est peut-être incorcorrectement utilisé. Assurez-vous que l'ensemble de retenue d'enfant est bien installé, que la ceinture de sécurité est correctement placee et que l'enfant est bien assis. Si le témoin de neutralisation du sac gonflable du passager est toujours étéint, installez l'enfant ou l'ensemble de retenue d'enfant sur le siège arrière.
Si le témoin de neutralisation du sac gonflable du passager avant ne s'allume pas alors que l'ensemble de retenue d'enfant, la ceinture de sécurité et l'occupant semble correctement positionnés, il est recommandé de confier votre vehicule à un concessionnaire NISSAN. Un concessionnaire NISSAN peut vérifier l'état du système au moyen d'un outil spécial. Toutefois, jusqu'à ce qu'un concessionnaire vous confirme que le sac gonflable fonctionne correctement, installez l'enfant ou l'ensemble de retenue d'enfant sur le siège arrrière.
Le dispositif de sac gonflable perfectionné NiSSAN et le témoin de neutralisation du sac gonflable du passager avant exigent quelques secondes pour enregistrer un changement de l'état du siège du passager avant. Il s'agit d'une situation normale qui ne révèle pas une anomalie.
Si le dispositif de sacs gonflables du passager avant presente une anomalie, le témoin de sac gonflable , situé dans le groupe d'instruments et de jauges du tableau du bord, s'allume (clignotement ou lumière ferme). Faites vérifier le système. Nous vous recommendons de vous rendre chez un concessionnaire NISSAN pour cet entretien.
Fonctionnement normal
Afin que le capteur de classification du passager puisse évaluer le passager avant en fonction du poids, veuillez suivre les précautions et les étapes décrites ci-dessous:
Précautions
Assurez-vous qu'aucun object pesant plus de 4kg (9,1 lb) n'est suspendu au siège ou placé dans la pochette du dossier de siège (selon l'équipement).
Assurez-vous qu'aucun ensemble de retenue d'enfant ou qu'aucun autre objet ne soit appuyé contre l'arrière du dossier.
Assurez-vous qu'un passager arrirere ne pousse pas ou ne tire pas l'arriere du siège du passager avant.
Assurez-vous que le siège ou le dossier de siège du passager avant n'est pas appuyé contre un object sur le siège ou le plancher derrière celui-ci.
Assurez-vous qu'aucun objet ne soit placé sous le siège du passager avant.
Étapes
- Reglez la position du siège comme indiquedans la section « Sièges » (p. 1-2). Assoyez-vous bien droit, appuyé contre le dossier et centré sur le coussin de siège, avec les pieds reposants comfortablen sur le plancher.
- Assurez-vous qu'aucun objet ne se trouve sur vos cuisses.
- Bouclez la ceinture de sécurité comme indiqué dans la section « Ceintures de sécurité » (p. 1-11). L'état de la boucle de ceinture de sécurité du passager avant est surveilé par le système de classification du passager et est utilisé comme donnée pour déterminer l'occupation du siège. Il est donc fortement recommandé que le passager avant boucle sa ceinture de sécurité.
- Restez dans cette position pendant 30 secondes afin de permettre au système d'effectuer la classification du passager avant que le vehicule ne se déplace.
- Vérifiez le témoin de neutralisation du sac gonflable du passager avant pour vous assurer que la classification est appropriée.
REMARQUE:
Le capteur du système de capteur de classification du passager de ce vehicule bloque la classification durant la conduite; il est donc important de vous assurer que la classification du passager avant est appropriée avant la conduite. Le capteur de classification du passager peut cependant recalculator le poids du passager sous certaines conditions (pendant la conduite ou à l'arrêt). Le passager avant doit donc rester assis comme décrit ci-dessus.
Dépannage
Si vous croyez que le témoin de neutralisation du sac gonflable du passager avant présente un état incorrect :
- Si le témoin est ALLUMÉ en présence d'un adulte assis sur le siège du passagger avant:
- Le passager est un adulte de petite taille - le témoin de sac gonflable fonctionne comme prévu. Le sac gonflable et le sac gonflable additionnel de protection pour les genoux du passager avant sont supprimés.
Toutefois, si le passager n'est pas un adulte de petite taille, cet état peut être dû aux conditions suivantes qui peuvent perturber les capteurs de poids :
- Le passager n'est pas assis bien droit, appuyé contre le dossier et centré sur le coussin de siège, avec les pieds reposant comfortsablement sur le plancher.
- Un ensemble de retenue d'enfant ou un autre objet s'appuyant contre l'arrière du dossier de siège.
- Un passager arrêté poussant ou tirant sur l'arrêté du siège du passager avant.
- Le siège ou le dossier de siège du passagger avant appuyé contre un objet sur le siège ou le plancher derrière celui-ci.
- Un objet placé sous le siège du passager avant.
- Un objet placé entre le coussin de siège et la console centrale ou entre le coussin de siège et la portière.
Si le vehicule est en mouvement, arrêtez le vehicule lorsqu'il est prudent de le faire. Vérifiez et corrigez les conditions décrites ci-dessus. Redémarrez le moteur et attendez une minute.
REMARQUE:
Une vérification du système sera effectue pendant laquelle le témoin de neutralisation du sac gonflable du passager avant reste allumé pendant environ sept secondes initialement.
Si le témoin reste ALLUMÉ après ce décai, il est conseilé que cette personne ne prenne pas place dans le siège du passager avant. Le vehicule doit également être vérifié des que possible. Nous vous recommendons de vous rendre chez un concessionnaire NISSAN pour cet entretien.
- Si le témoin est ÉTEINT en présence d'un adulte de petite taille, d'un enfant ou d'un ensemble de retenue d'enfant installé dans le siège du passager avant.
Cetariat peut etre duaux conditions suivantes qui peuvent perturber les capteurs de poids:
-
Un adulte de petite taille, ou un enfant n'est pas assis bien droit, appuyé contre le dossier et centré sur le coussin de siège, avec les pieds reposant comportablement sur le plancher.
L'ensemble de retenue d'enfant n'est pas correctement installé, comme il est décrit dans la section « Ensembles de retenue d'enfant » (p. 1-23). -
Un objet pesant plus de 4 kg (9,1 lb) suspendu sur le siège ou place dans la pochette du dossier de siège (selon l'equipement).
- Un ensemble de retenue d'enfant ou un autre objet s'appuyant contre l'arrière du dossier de siege.
- Un passager arrêté poussant ou tirant sur l'arrière du siècle du passager avant.
- Le siège ou le dossier de siège du passagger avant appuyé contre un objet sur le siège ou le plancher derrière celui-ci.
- Un objet placé sous le siège du passager avant.
- Un objet place entre le coussin de siège et la console centrale.
Si le vehicule est en mouvement, arrêtez le vehicule lorsqu'il est prudent de le faire. Verifiez et corrigez les conditions décrites ci-dessus. Redémarrez le moteur et attendez une minute.
REMARQUE:
Une vérification du système sera effectue pendant laquelle le témoin de neutralisation du sac gonflable du passager avant reste allumé pendant environ sept secondes initialement.
Si le témoin resté ÉTEINT après ce décai, l'adulte de petite taille, l'enfant ou l'ensemble de retenue d'enfant doit être repositionné dans le siège arrêté et le vehicule doit être vérifié des que possible. Nous vous recommendons de vous rendre chez un concessionnaire NISSAN pour cet entretien.
- Si le témoin est ÉTEINT avecaucun passager etaucun objet surle siège du passager avant,le vehicule doit être vérifié. Nousyou'recommendands deyou rendrechez un concessionnaireNISSANdésque possible.
Autres précautions concernant les sacs gonflables avant
A VERTISSEMENT
-
Ne déposez pas d'objets sur le rembourse du volant ou sur le tableau de bord. Ne placez pas également d'objets entre les occupants et le volant ou le tableau de bord. De tels objets pourrait se transformer en dangereux projectiles et provoquer des blessures en cas de déploiation des sacs gonflables avant.
-
Plusieurs éléments du dispositif de sac gonflable avant seront chauds tout de suite après le déploiement des sacs. N'y touche pas; vous pourriez vous infilger des brûlures graves.
- Aucune modification non approuvée ne doit être apportée aux composants ou au câblage du dispositif de sacs gonflables. Cela vise à empêcher le déploiement accidentel des sacs gonflables ou l'endommagement du système de sacs gonflables.
- N'apportez aucune modification non autorisée au circuit électrique, à la suspension ou à la structure avant de votre vehicule. Vous pourriez promètre le fonctionnement du dispositif de sacs gonflables avant.
- Toute modification du dispositif de sacs gonflables avant peut entrainer de graves blessures. Ces alterations comprehennent les modifications apportées au volant et à l'ensemble de tableau de bord, notamment l'installation d'équipement ou d'accessoires sur le rembourse du volant et sur le tableau de bord, ou encore l'ajout de garnitures supplémentaires autour du dispositif de sacs gonflables.
Le retrait ou la modification du siège du passager avant pourrait nuire au fonctionnement du dispositif de sacs gonflables et entraîner des blessures graves.
La modification ou l'alteration du siège du passager avant peut entraîner des blessures graves. Par exemple, ne modifies pas les sièges avant en ajoutant du tissu ou des garnitures sur le coussin, telles des housses, si ces éléments n'ont pas été conçus spécifique pour permettre le fonctionnement du sac gonflable. De plus, ne place aucun objet sous le siège du passager avant ou entre le coussin de siège et le dossier. Ces objets pouraient nuire au bon fonctionnement du capteur de classification du passager (capteur de poids).
- Aucune modification non approuvée ne doit être apportée aux composants ou au câblage des ceintures de sécurité. De telles modifications pourraient nuire au fonctionnement du dispositif de sacs gonflables avant. L'alteration des ceintures de sécurité peut entraîner des blessures graves.
-
Nous vous recommendons de vous rendre chez un concessionnaire NiSSAN pour une réparation des sacs gonflables avant ou à proximité de ceux-ci. Nous vous recommendons également de vous rendre chez un concessionnaire NiSSAN pour la pose d'appareils électriques. Le câblage du système de retenue supplémentaire* (SRS) ne doit être ni modifié, ni débranché. Le dispositif de sacs gonflables ne doit pas être examé au moyen de sondes ou d'équipement d'essayélectricquen autorisés.
-
Un pare-brise fissuré doit être remplace dans les plus brefs déliés dans un atelier de réparation qualifié. Un pare-brise fissuré peut nuire au fonctionnement du dispositif de sacs gonflables.
-
Les connecteurs de faisceau du SRS sont facilement identifiables par leurs couleurs jaune et orange.
Si vous revendez votre vehicule, nous vous demandons d'informer l'acheteur de la presence du dispositif de sacs gonflables avant et de lui indiquer les sections appropriées dans ce manuel du conducteur.

Systèmes de sacs gonflables
latéraux montés dans les sièges
avant et extérieurs arrêté, et
rideaux gonflables latéraux et
sacs gonflables en cas de
renversement montés dans le toit
Les sacs gonflables latéraux sont situés
dans la partie laterale externe du dossier
des sièges avant et extérieurs arrêté. Les
rideaux gonflables sont situés dans les longerons de toit. Les renseignements, les
mises en garde et les avertissements stipulés dans ce manuel doivent être respectés. Les sacs gonflables latéraux et les
rideaux gonflables latéraux sont concus pour se déployer en cas de collision latérale de forte intensité; ils peuvent aussi se déployer si les forces provoquées par un autre type de collision s'assimilant à celles d'une collision plus grave. Ils sont concus pour se déployer du côte ou le vehicule subit la collision. Il est possible qu'ils ne se déploient pas dans certains types de collisions latérales.
Les rideaux gonflables latéraux sont également concus pour se déployer lors de certains types de collisions avec capotage ou de capotage imminent. À cet effet, certains mouvements du vehicule (par exemple, en conduite tout-terrain extrême), poursaient entraîner le déploiemment des rideaux gonflables latéraux.
Les dommages au vehicule (ou l'absence de dommages) ne constituent pas nécessairement un indice du bon fonctionnement des sacs et des rideaux gonflables lateraux.
Le déploiement des sacs gonflables latéraux et des rideaux gonflables peut être accompagné d'un bruit assez fort, suivi d'une émission de fumée. Cette fumée n'est pas nocive et n'indique pas la présence d'un incendie. Il est cependant
recommandé d'éviter de l'inhaler, car elle peut causeur une irritation de la gorge ainsi qu'une sensation détouffement. Les personnes qui souffrent de problèmes respiratoires doivent respirer de l'air frais des que possible.
Les sacs gonflables latéraux, combinés au port des ceintures de sécurité, aident à amortir la puissance du chic transmis au thorax et à la région pelvienne des occupants des sièges avant et des places latérales arrrière. Les rideaux gonflables latéraux aident à amortir la puissance du chic transmis à la tête des occupants des sièges latéraux avant et arrrière. Ils peuvent contribuer à sauver des vies et à réduire les risques de blessures graves. Cependant, le déploiement d'un sac gonflable létal ou d'un rideau gonflable létal peut cause des éraflures ou d'autres types de blessures. Les sacs gonflables latéraux et les rideaux gonflables ne protégent pas la partie inférieure du corps.
Les ceintures de sécurité doivent être portées correctement. De plus, le conducteur, le passager et les occupants des places laterales arrêtent doivent être assistés bien croit et aussi loin que possible des sacs gonflables lateraux. Les passagers des
sièges arrrière doivent être assis aussi loin que possible des moulures des portières et des longerons de toit. Les sacs gonflables latéraux et les rideaux gonflables se déploientrapidement pour protéger les occupants. De ce fait, le risque de blessures occasionnées par la force du déploiement des sacs gonflables latéraux et des rideaux gonflables latéraux peut être accru si l'occupant du siege se trouve trop pres de ces modules ou encore s'il est appuyé contre ces modules au moment du déploiement. Les sacs gonflables latéraux se dégonflect rapidement après la collision.
Le rideau gonflable latorial demeure gonflé pendant un court moment.
Les sacs gonflables lateraux et les rideaux gonflables ne peuvent se déployer que si le commutateur d'allumage est à la position ON (marche).
Le témoin de sac gonflable s'allume une fois que le commutateur d'allumage est tourné à la position ON (marche). Si le dispositif est fonctionnel, le témoin du sac gonflable s'éteint après environ sept secondes.
A AVERTISSEMENT
- Ne déposez aucun objet pris des dossiers des sièges avant et arrière. Ne placez pas également d'objets (parapluié, sac, etc.) entre les garnitures des portières avant et arrière et les sièges avant et arrière. De tels objets poursaient devenir de dangereux projectiles et causer des blessures en cas de déploiement du sac gonflable lésral.
- Plusieurs éléments des sacs gonflables lateraux et des systèmes de rideaux gonflables lateraux sont très chauds tout de suite après le déploiement. N'y touche pas; vous pourriez vous infliger des brûlures graves.
-
Aucune modification non approuvée ne doit être apportée aux composants ou au câblage des systèmes de sacs gonflables latéraux et de rideaux gonflables latéraux. Ceci vise à empêcher le déploiement accidentel des sacs gonflables latéraux et des rideaux gonflables latéraux, ou l'endommagement des systèmes de sacs gonflables latéraux et des rideaux gonflables latéraux.
-
N'apportez aucune modification non autorisée au circuit électrique, à la suspension ou aux panneaux lateraux de votre vehicule. Cela pourrait nuire au bon fonctionnement du système de sacs gonflables lateraux et de rideaux gonflables.
- Toute altilation du dispositif de sacs gonflables lateraux peut entrainer des blessures graves. Par exemple, n'installez pas d'accessoires à proximate du dossier des sièges avant et arrrière ou des garnitures supplémentaires, telles que des housses de sièges, autour des sacs gonflables lateraux.
- Nous vous recommendons de vous rendre chez un concessionnaire NISSAN pour une réparation des sacs gonflables latéraux et des rideaux gonflables latéraux ainsi que sur la zone à proximé. Nous vous recom-mandons également de vous rendre chez un concessionnaire NISSAN pour la pose d'appareils électriques. Les faisceaux du SRS* ne doivent être ni modifiés, ni débranchés. Les sacs gonflables latéraux et les rideaux
gonflables lateraux ne devraient pas etre exposés à des sondes ou à des équipements d'essayélectrique non approvés.
*Les connecteurs de faisceau du SRS sont facilement identifiables par leurs couleurs jaune et orange.
Si vous revendez votre vehicule, nous vous demandons d'informer l'acheteur de la presence des sacs gonflables lateraux et des systèmes de rideaux gonflables lateraux, et de lui indiquer les chapitres s'y rapportant dans ce manuel du conducteur.

Côté conducteur
Sacs gonflables de protection pour les genoux du conducteur et du passager avant
Le sac gonflable de protection pour les genoux se trouve dans le protège-genoux du côte conducteur et du côte passager avant. Tous les renseignements, les mises en garde et les avertissements stipulés dans ce manuel s'appliquent et doivent être respectés. Le sac gonflable de protection pour les genoux est concu pour se déployer en cas de collision frontale de forte intensité; leur déploiement est

Côté passager avant
toutefois possible si les forces provoquées par un autre type de collision s'assimilant à celles d'un chic frontal grave. Il est possible qu'ils ne se déploient pas dans certains cas de collisions.
Les dommages au vehicule (ou l'absence de dommages) ne constituent pas nécessairement un indice de bon fonctionnement du sac gonflable de protection pour les genoux.
Le déploiement du sac gonflable de protection pour les genoux est accompagné d'un bruit puissant, suivi d'une émission
de fumée. Cette fumée n'est pas nocive et n'indique pas la présence d'un incendie. Il est cependant recommendé d'éviter de l'inhaler, car elle peut causeur une irritation de la gorge ainsi qu'une sensation détouffement. Les personnes qui souffrent de problèmes respiratoires doivent respirer de l'air frais dus que possible.
Le sac gonflable de protection pour les genoux aide à amortir le chic transmis aux genoux du conducteur et du passager. Il peut contribuer à réduire les risques de blessures graves. Cependant, le déploie-ment d'un sac gonflable de protection pour les genoux peut cause des éraflures ou d'autres types de blessures. Le sac gonflable de protection pour les genoux fournit une protection à la partie inférieure du corps.
Le sac gonflable de protection pour les genoux se déploie rapidement pour protégger les occupants des sièges. L'occupant qui se trouve trop pres du module du sac gonflable, ou encore qui est appuyé contre ce module, court de plus grands risques de blessures en raison de la force de déploiement du sac gonflable de protection pour les genoux. Le sac gonflable de protection pour les genoux se dégonfle rapidement
apres la collision OU le sac gonflable de protection pour les genoux demeure gonfle pendant un court moment.
Les sacs gonflables de protection pour les genoux ne peuvent se déployer que lorsque le commutateur d'allumage est à la position ON (marche).
Le témoin de sac gonflable s'allume une fois que le commutateur d'allumage est tourné à la position ON (marche). Si le dispositif est fonctionnel, le témoin du sac gonflable s'éteint après environ sept secondes.
A VERTISSEMENT
- Ne placez aucun objet entre le protège-genoux et le siège du conducteur ou du passager. De tels objets pouraient devenir de dangereux projectiles et causeur des blessures en cas de déploiemment du sac gonfable de protection pour les genoux.
-
Plusieurs éléments du système de sacs gonflables de protection pour les genoux seront chauds tout de suite après le déploiement du sac. N'y touche pas; vous pourriez vous infli-ger des brûlures graves.
-
Aucune modification non approuvée ne doit être apportée aux composants ou au câblage du système de sacs gonflables de protection pour les genoux. Cette précaution a pour but de prévenir les dommages ou le déplolement accidentel du système de sacs gonflables de protection pour les genoux.
- N'apportez aucune modification non autorisée au circuit électrique ou au système de suspension de votre vehicule. Vous pourriez promèttre le fonctionnement du système de sacs gonflables de protection pour les genoux.
-
Toute altilation du système de sacs gonflables de protection pour les genoux peut entraîner des blessures graves. Par exemple, ne modifies pas les protège-genoux du conducteur et du passager ou n'installez pas des garnitures supplémentaires autour du sac gonfable de protection pour les genoux.
-
Nous vous recommendons de vous rendre chez un concessionnaire NiSSAN pour une réparation des sacs gonflables de protection pour les genoux ou à proximé de ceux-ci. Nous vous recommendons également de vous rendre chez un concessionnaire NiSSAN pour la pose d'appareils électriques. Les faisceaux du SRS* ne doivent être ni modifiés, ni débranchés. N'utilise pas de sondes ni d'équipment d'essai électriques non autorisés pour vérifier le système de sacs gonflables de protection pour les genoux.
-
Les connecteurs ou le faisceau du SRS sont facilement identifiables par leurs couleurs jaune et orange.
Si vous revendez votre vehicule, nous vous demandons d'informer l'acheteur de la presence du système de sacs gonflables de protection pour les genoux et de lui indiquer les chapitres ajustats dans ce manuel.
Ceinture de sécurité avec pretendeurs (sièges extérieurs avant et arrière)
A VERTISSEMENT
- Les pretendeurs ne peuvent être réutilisés après leur déclenchement. La ceinture doit être remplaçaee au complet, y compris l'enrouleur et la boucle.
Si le vehicule est implique dans une collision et les pretendeurs ne se sont pas actifs, faites vérifier le système de pretendeurs et, au besoin, faites-le replacer. Nous vous recommendons de vous rendre chez un concessionnaire NISSAN pour cet entretien. -
Aucune modification non approuvée ne doit être apportée aux composants ou au câblage du système de prétendeurs. Cela visse à prévenir les dommages aux prétendeurs ou un déclenchement accidentel. La modification du système de prétendeurs peut entraîner des blessures graves.
-
Nous vous recommendons de vous rendre chez un concessionnaire NISSAN pour une réparation du système de prétendeurs ou à proximité de celui-ci. Nous vous recommançons également de vous rendre chez un concessionnaire NISSAN pour la pose d'appareils électriques. N'utilise pas de sondes ni d'équipment d'essayé lectrique non autorisés sur le système de prétendeurs.
- Sivous devez mettre au rebut un pretendeur ou envoyer le vehicule à la ferraille, nous vous recommendons de vous rendre chez un concessionnaire NiSSAN pour cet entretien. L'application d'une méthode incorre cate de mise au rebut peut causer des blessures.
Le système de préteneder peut s'activer avec le dispositif de sacs gonflables dans certains types de collisions. Utilisés conjointement avec l'enrouleur de la ceinture de sécurité, les prétenateurs aident à serrer la ceinture de sécurité lorsque le vehicule subit certains types de collisions et permet ainsi de retenir les occupants des sièges extérieurs avant et arrrière.
Les pretendeurs sont logés dans l'enrouleur de la ceinture de sécurité et sur l'ancrage de la ceinture de sécurité qui se trouve sur le plancher du vehicule. Cesceintures de sécurité s'utilisent de la même façon que les ceintures classiques.
Lorsque des pretendeurs se déclenchent, de la fumée se dégage et un bruit puissant peut se faire entendre. Cette fumée n'est pas nocive et n'indique pas la présence d'un incendie. Il est cependant recommandé d'éviter de l'inhaler, car elle peut causeur une irritation de la gorge ainsi qu'une sensation détouffement. Les personnes qui souffrent de problèmes respiratoires doivent respirer de l'air frais dés que possible.
À la suite du déclenchement des pretendeurs, les limiteurs de force libérènt la sangle de ceinture de sécurité, s'il y a lieu, afin de réduire la pression exercée sur le thorax.
Le témoin d'advertissement de sac gonflable indique la présence d'anomalies dans le système de prétendeur. Pourobtenir des renseignements supplémentaires, consultez la section « Témoin du sac
gonflable » (p. 1-72). Si le témoin d'ajretissement de sac gonflable indique une anomalie, faites vérifier le système. Nous vous recommendons de vous rendre chez un concessionnaire NISSAN pour cet entretien.
Si vous revendez votre vehicule, nous vous demandons d'informer l'acheteur de la presence du système de pretendeurs et de lui indiquer les sections s'y rapportant dans ce manuel du conducteur.

- Étiquettes d'ajretissement concernant les sacs gonflables SRS
Les étiquettes d'advertisement sont situées sur les pare-soileil.
ÉTIQUETTES D'AVERTISSEMENT CONCERNANT LES SACS GONFLABLES
Les étiquettes d'ajretissement au sujet du dispositif de sacs gonflables avant sont apposées dans le vehicule aux endroits illustrés.

AVERTISSEMENT
N'utilise pas un ensemble de retenue d'enfant orienté vers l'arrière sur une place protégée par un sac gonflable frontal. Si le sac gonflable se déploie, il peut provoquer des blessures graves ou mortelles.

LRS0100
TÉMOIN DU SAC GONFLABLE
Le témoin d'advertissement de sac gonflable , qui s'affiche au tableau de bord, contrôle les circuits des systèmes de sacs gonflables, des prétendeurs et tout le câblage connexe.
Lorsque le commutateur d'allumage est placé à la position ON (marche), le témoin du sac gonflable s'allume pendant environ sept secondes, puis s'éteint. Ceci indique que le dispositif est fonctionnel.
Si une des conditions suivantes survient, les systèmes de sacs gonflables avant, de sacs gonflables lateraux, de rideaux gonflables, de sacs gonflables de protection pour les genoux et de prétendeurs doivent faire l'objet d'un entretien:
- Le témoin du sac gonflable reste allumé après la période initiale d'environ sept secondes.
- Le témoin du sac gonflable clignote par intermittence.
- Le témoin du sac gonflable ne s'allume pas du tout.
Dans ces conditions, les systèmes de sacs gonflables avant, de sacs gonflables latéraux, de rideaux gonflables latéraux et de pretendeurs des ceintures de sécurité pourraient ne pas fonctionner correctement. Les ceintures doivent être vérifiées et réparées. Nous vous recommendons de vous rendre chez un concessionnaire NISSAN pour cet entretien.

AVERTISSEMENT
Si le témoin du sac gonflable est allumé, il se peut que les systèmes de sacs gonflables avant, de sacs gonflables latéraux, de rideaux gonflables,
de sacs gonflables de protection pour les genoux ou de pretendeurs ne fonctionnent pas en cas d'accident. Pour prévenir les blessures potentielles aux occupants, faites vérifier votre vehicule dés que possible. Nous vous recommendons de vous rendre chez un concessionaire NISSAN pour cet entretien.
Méthode de réparation et de remplacement
Les sacs gonflables avant, les sacs gonflables lateraux, les rideaux gonflables, les sacs gonflables de protection pour les genoux et les pretendeurs sont concus pour se déployer une seule fois. En guise de rappel, à moins qu'il ne soit endommagé, le témoin de sac gonflable reste allumé après l'activation de l'un ou l'autre de ces dispositifs. En cas de panne, ces systèmes doivent être réparés ou replacés aussitôt que possible. Nous vous recommendons de vous rendre chez un concessionnaire NISSAN pour cet entretien.
Assurez-vous que la personne chargee d'effectuer un entretien sur le vehicule est informee de la presence de sacs gonflables avant, de sacs gonflables lateraux, de rideaux gonflables, de sacs gonflables
de protection pour les genoux, de pretendeurs et de pieces connexes. Le commutateur d'allumage doit toujours se trouver à la position LOCK (antivol-verrouillé) lors d'une intervention sous le capot ou dans l'habitacle.
A AVENTISSEMENT
Lorsqu'un sac gonflable avant, un sac gonflable latorial, un rideau gonflable ou un sac gonflable de protection pour les genoux s'est déployé, le module du sac gonflable ne fonctionne plus et il doit être remplaced. De plus, les pretendeurs déclenchés doivent aussi être remplacés. Le module du sac gonflable et les pretendeurs doivent être remplacés. Nous vous recommendons de vous rendre chez un concessionnaire NISSAN pour cet entretien. Toutefois, le module du sac gonflable et les pretendeurs ne sont pas répárables.
- En cas de dommages à la partie avant ou latérale du vehicule, les dispositifs de sacs gonflables avant, de sacs gonflables latéraux, de rideaux gonflables latéraux, de sacs gonflables de protection pour les genoux et le système de
pretendeurs doivent faire l'objet d'une inspection. Nous vous recommendons de vous rendre chez un concessionnaire NiSSAN pour cet entretien.
-
Si vous doivent acceder un sac gonfable ou un prétendeur ou envoyer le vehicule à la ferraille, nous vous recommendons de communiquer avec un concessionnaire NiSSAN pour ce service. L'application d'une méthode incorrecte de mise au rebut peut cause des blessures.
-
Si vous vécicule subit un impact, qu'elle que soit la provenance del'impact sur le vehicule, faites contrôleur vos OCS (capteur de classification du passager) pour vous assurer qu'il fonctionne toujours correctement. Nous vous recommendans de vous rendre chez un concessionnaire NiSSAN pour cet entretien. Faites contrôleur l'OCS même si aucun sac gonflable ne s'est déployé sous le choc del'impact. Si vous ne faites pas contrôleur l'OCS, le sac pourrait mal se déployer en cas d'accident, ce qui pourrait entrainer des blessures ou la mort.
2 Commandes et instruments
Tableau de bord 2-2
Instruments et jauges 2-3
Indicateur de vitesse et compteur
kilométrique 2-4
Comptes-tours 2-5
Indicateur de températe du liquide
de refroidissement du moteur 2-6
Jauge de carburant 2-6
Autonomie de carburant (DTE) 2-7
Témoins d'advertisement, indicateurs et
rappels sonores 2-8
Vérification des feu . 2-9
Témoins d'avertissement/indicateurs
(rouge) 2-9
Témoins d'advertissement/voyants
lumineux (jaune) 2-13
Témoins et tímoins d'advertissement
(autre) 2-18
Rappels sonores 2-18
Écran multifonction de 11 cm (4,2 po) de
TYPE A (selon l'équipement) 2-19
Utilisation de l'écran multifonction 2-20
Affichage au démarrage 2-20
Ordinateur de bord. 2-21
Réglages 2-23
Avertissements et témoins de l'écran
multifonction 2-32
Écran multifonction de 18 cm (7 po) de type B
(selon l'équipment) 2-40
Utilisation de l'écran multifonction 2-40
Affichage au démarrage 2-41
Ordinateur de bord. 2-42
Remise à zéro de l'ordinateur de trajet 2-45
Réglages 2-45
Avertissements et témoins de l'écran
multifonction 2-54
Systèmes de sécurité 2-62
Système de sécurité du vehicule (selon
l'equipement) 2-62
Système antidémarrage du vehicule
NISSAN 2-64
Commutateur d'essuie-glace et de
lave-glace 2-65
Fonctionnement de la commande 2-65
Interrupteur du dégivre de lunette arrière et
de rétroviseur extérieur (selon l'equipement) 2-66
Interrupteur des phares et des clignotants . 2-67
Interrupteur de commande des phares . . . 2-67
Phares de jour à DEL (selon
l'equipement) 2-72
Commande de luminosité du tableau
de bord 2-73
Commandedeclignotant 2-73
Avertisseur sonore 2-74
Contacteurs de siege chauffant (selon
l'equipement) 2-74
Interrupteur de volant de direction chauffant
(selon l'equipement) 2-75
Bouton d'applé d'urgence (SOS)
(selon l'equipement) 2-76
Aide d'urgence 2-76
Rear Door Alert (alerte de portiere arrriere) 2-78
Prise d'alimentation 2-79
Ports de chargement USB/iPod MD
(selon l'equipement). 2-80
Commutateur d'entreposage prolongé 2-82
Rangement 2-83
Vide-poche de portiere avant 2-83
Pochettes des dossiers de siege
(selon l'equipement). 2-83
Bacs de rangement 2-84
Boite a gants. 2-84
Compartment de rangement de la
console 2-85
Range-lunettes de soleil au pavillon 2-85
Porte-tasse 2-86
Glaces 2-87
Glaces à commande électrice 2-87
Toit ouvrant transparent (selon l'equipement) . . . 2-90
Toit ouvrant electrique 2-90
Éclairage interieur 2-93
Lampes de lecture 2-93
Lampes individuelles 2-94
Eclairage du coffre 2-94

LI12879
-
Commutateur des phares et des cli-gnotants (p. 2-67, 2-73)
-
Commutateur du volant de direction (p. 2-20, 2-40) Commandes audio (p. 4-70)
-
Sac gonflable du conducteur (p. 1-66)
Avertisseur sonore (p. 2-74) - Instruments et jauges (p. 2-3)
Avertissements et témoins (p. 2-8)
Écran multifonction (p. 2-19, 2-40) - Commutateurs du régulateur de vitesse (p. 5-63)
Commutateurs du régulateur de vitesse adaptatif (ICC) (selon l'equipe-ment) (p. 5-65)
Système téléphonique mains libres Bluetooth ^MD (p. 4-2, 4-75) - Commande de lave-glace et d'essuie-glace (p. 2-65)
- Bouches d'air (p. 4-35)
- Commutateur Arrêt au ralenti OFF (hors fonction) (selon l'équipement) (p. 5-157)
- Interrupteur de feuix de détresse (p. 6-2)
- Témoin de neutralisation du sac gonflable du passager avant (p. 1-59)
- Systeme audio (p. 4-2, 4-50)
- Sac gonflable avant du côté passager (p. 1-66)
- Boite à gants (p. 2-84)
- Sac gonflable de protection pour les genoux du côté passager avant (p. 1-68)
- Levier sélecteur (p. 5-20)
INSTRUMENTS ET JAUGES
- Bouton-poussoir d'allumage (p. 5-12)
- Commandes de climatisation (p. 4-36, 4-44)
- Sac gonflable pour les genoux côté conducteur (p. 1-68)
- Volant inclinable et téléscopique (p. 3-30)
- Commande d'ouverture du capot (p. 3-24)
- Ouverture de la trappe de carburant (p. 3-27)
- Commutateur de mode ECO (p. 5-27)
Commande de luminosité du tableau de bord (p. 2-73)
Déverrouillage du coffre (p. 3-25)
Commutateur de réinitialisation du voyage (p. 2-5)
Pour obtenir des renseignements supplémentaires, consultez le manuel du conducteur NissanConnect ^MD .
Reportez-vous à la page indiquée entre parentheses pour obtenir les détails de fonctionnement.

- Compte-tours
- Témoins
- Écran multifonction
-
Indicateur de vitesse
-
Jauge de carburant
- Indicateur de température du liquide de refroidissement du moteur
Ce vehicule est muni d'un indicateur de vitesse et d'un compteur kilométrique. L'indicateur de vitesse se trouve sur le côte droit du compteur kilométrique. Le compteur kilométrique se trouve dans l'écran multifonction.

Indicateur de vitesse
L'indicateur de vitesse indique la vitesse du vehicule.

11 cm (4,2 po) de type A (selon l'equipement)
Compteur kilométrique et compteur journalier double
Le compteur kilométrique ② et le compteur journalier double ① s'affichent lorsque le commutateur d'allumage est sur ON (marche).
Le compteur kilométrique indique la distance totale parcoursque par le vehicule.
Le compteur journalier double indique la distance parcours au cours de trajets!.
dontes.

18 cm (7 po) de type B (selon l'équipement)
Modification de l'affichage
Appuyez sur le commutateur TRIP/RESET (trajet/reinitialisation) du tableau de bord pour modifier l'affichage comme suit :
TRIP A (trajet A) TRIP B (trajet B) ODO (compteur kilométrique) TRIP A (trajet A)
Remise à zéro du compteur journalier
Appuyez sur le bouton OK du volant pendant plus d'une seconde pour remettre à zéro le compteur journalier affché actuellement.

11 cm (4,2 po) de type A (selon l'equipement)
COMPTE-TOURS
Le compte-tours indique le régime du moteur en tours par minute (tr/min).

18 cm (7 po) de type B (selon l'équipement)
Ne laissez pas le régime du moteur passer dans la zone rouge ①.
AMISE EN GARDE
Lorsque le régime du moteur s'approche de la zone rouge, passez à un rapport supérieur ou diminuez le régime du moteur. Vous pouvez causer de graves dommages au moteur si vous persistez à le faire tourner lorsque l'aiguille se trouve dans la zone rouge.

INDICATEUR DE TEMPERATURE DU LIQUIDE DE REFROIDISSEMENT DU MOTEUR
REMARQUE:
Pour que l'indicateur fonctionne, le contact doit être ÉTABLI.
Cet indicateur affiche la température du liquide de refroidissement du moteur. La température du liquide de refroidissement est dans la plage normale lorsque la lecture se trouve dans la zone @ illustrée.
La température du liquide de refroidissement est fonction de la température extérieure et des conditions de conduite.
AMISE EN GARDE
Si I'aiguille de I'indicateur de température du liquide de refroidissement se rapproche de la zone chaude (H) au bout de la plage normale, ralentissez afin de permettre au liquide de refroidir. Si I'aiguille de I'indicateur dépasse la plage normale, arrêtez le vehicule dés qu'il est possible et sécurité de le faire. Si vous continuez de rouler alors que le moteur surchauffe, vous risquez d'endommager gravement le moteur. Pour obtenir des renseignements supplémentaires, consultez la section « Si le moteur surchauffe » (p. 6-12).

JAUGE DE CARBURANT
REMARQUE :
Pour que l'indicateur fonctionne, le contact doit etre ETabLI.
L'indicateur de carburant indique le niveau approximatif de carburant dans le réservoir.
Les freinages, les virages, les accélérations ainsi que la conduite dans une pente peuvent faire bouger légèrement l'aiguille de l'indicateur.
Le témoin d'advertissement de bas niveau de carburant s'allume lorsque le réservoir ne contient plus qu'une faible quantité de carburant.
Remplissez le réservoir de carburant avant que l'aiguille de l'indicateur n'atteigne le repere 0 (vide).
La flèche sur le pictogramme de pompe d'alimentation indique l'emplacement de la trappe de carburant.

MISE EN GARDE
- En cas de panne sèche, le témoin d'anomalie peut s'allumer. Faites le plein dés que possible. Àpres quelques cycles de conduite, le témoin devrait s'éteindre. Si le témoin reste allumé après quelques déplacements, faites inspecter votre vehicule. Nous vous recommendons de vous rendre chez un concessionnaire NISSAN pour cet entretien.
Pour obtenir des renseignements supplémentaires, consultez la section « Témoin d'anomalie » (p. 2-10).
AUTONOMIE DE CARBURANT (DTE)
Affiche une estimation de la distance pouvant etre parcourue avant le ravaitillage. L'autonomie est calculée en fonction de I'ecconomie de carburant, de la quantite de carburant presente dans le reservoir et de la consommation de carburant en cours.
Les changements de cycles de conduite ou de conditions peuvent faire varier l'autonomie de carburant. Par conséquent, la valeur affichée peut ne pas représenté exactement la distance pouvant être parcourue.
L'autonomie de carburant affiche la mention « --- » lorsque le niveau de carburant dans le réservoir baisse et que laJAuge de carburantatteignele0(vide).
REMARQUE:
- L'autonomie de carburant après ravitaillement est estimée en fonction de l'économie de carburant récente et de la quantité de carburant ajoutée.
-
Si une petite quantité de carburant est ajoutée ou le si le contact est mis au moment du ravitallement, il est possible que la valeur affichée ne soit pas mise à jour.
-
Les conditions qui font varier l'économie de carburant font aussi varier l'autonomie de carburant estimée (conduite en ville ou sur autoroute, durée de fonctionnement au ralenti, durée de fonctionnement après démarrage à distance, terrain, météo, poids ajoute au vehicule, déflecteurs ajoutés, galerie de toit, etc.).
TÉMOINS D'AVERTISSEMENT, INDICATEURS ET RAPPELS SONORES
| Témoin d'advertissement/indicateur(rouge) | Témoin d'advertissement/indicateur(jaune) | Témoin d'advertissement/indicateur(autre) |
| BRAKE ou Témoin du système de freinage | ABS ou ABS Témoin d'advertissement du système de freinage antiblo-cage | ECO Témoin de mode ECO (vert) |
| Témoin de charge | OFF Témoin d'advertissement du système de freinage d'urgence automatique avec dispositif de détction de piétons | A Témoin d'assistance des faux de route (vert) (selon l'équipement) |
| Témoin de pression d'huile moteur | OFF Témoin de neutralisation du sac gonflable du passager avant | Témoin des faux de route (bleu) |
| Témoin d'anomalie | OFF Témoin d'advertissement de basse pres-sion des pneus | TÉOC Témoin des faux de position latéraux et des phares (vert) |
| Témoin d'advertissement principal | OFF Témoin d'advertissement principal | Témoins des clignotants et des faux de détresse (vert) |
| Témoin et carillon des ceintures de sécurité | OFF Témoin de la direction assistée | |
| Témoin du sac gonfable | OFF Témoin d'advertissement du système de freinage automatique arrêté | |
| OFF Témoin de dérapage | ||
| OFF Témoin OFF (hors fonction) du système de contrôle dynamique du vehicule |
VÉRIFICATION DES FEUX
Lorsque toutes les portières sont fermées, serrez le frein de stationnement, bouclez les ceintures de sécurité et poussez le commutateur d'allumage à la position ON (marche) sans démarrer le moteur. Les témoins suivants (selon l'équipement) s'allument:
,,0!, , BRAKE OU !
Les témoins suivants (selon l'équipement) s'allument brièvement, puis s'éteignent :
OU ABS, , , , , (1)
Si un témoin quelconque ne s'allume pas ou fonctionne d'une maniere autre que celle décrite, il se peut qu'une ampoule soit grillée ou que le système présente une anomalie. Faites vérifier le système. Nous vous recommandons de vous rendre chez un concessionnaire NISSAN pour cet entretien.
Certains témoins et avertissements s'affi- chent également sur l'écran multifonction entre l'indicateur de vitesse et le comptetours. Pour obtenir des renseignements supplémentaires, consultez la section « Écran multifonction de 11 cm (4,2 po) de type A du vehicule » (p. 2-19) ou « Écran multifonction de 18 cm (7 po) de type B du vehicule » (p. 2-40).
TEMOINS D'AVERTISSEMENT/ INDICATEURS (rouge)
Pour obtenir des renseignements supplémentaires sur les indicateurs et les témoin d'advertissements, consultez la section « Écran multifonction de 11 cm (4,2 po) de type A » (p. 2-19) ou « Écran multifonction de 18 cm (7 po) de type B » (p. 2-40).
BRAKE ou Témoin du système de freinage
Les circuits du frein de stationnement et des freins sont reliés à ce témoin.
Témoin de frein de stationnement
Lorsque le commutateur d'allumage est à la position ON (marche), le témoin s'allume lorsque le frein de stationnement est serré.
Témoin de bas niveau de liquide de frein
Lorsque le commutateur d'allumage est à la position ON (marche), le témoin signale que le niveau de liquide de frein est bas. S'il s'allume alors que le moteur tourne et que
le frein de stationnement n'est pas serré, immobilisez votre vehicule et prenez les mesures suivantes :
- Vérifiez le niveau de liquide de frein. Ajoutez la quantité de liquide de frein requise. Pour obtenir des renseignements supplémentaires, consultez la section « Liquide de frein » (p. 8-13).
- Si le niveau du liquide de frein est ajustat, faites vérifier le système d'advertisement. Nous vous recommendons de vous rendre chez un concessionnaire NiSSAN pour cet entretien.
A VERTISSEMENT
-
Si le témoin du circuit de freinage est allumé, cela peut indiquer une défaillance du circuit de freinage. La conduite du vehicule peut alors être dangereuse. Si vous jugez que vous pouvez poursuivre votre route sans danger, conduisez prudemment jusqu'à la station-service la plus proche pour y faire effectuer les réparations nécessaires. Sinon, faites remarquer votre vehicule.
-
Le fait d'enforcer la pédale de frein lorsque le moteur est à l'arrêt ou que le niveau de liquide de frein est bas peut prolonger la distance d'arrêt et la course de la pédale ainsi que l'effort requis pour freiner.
- Sile niveau du liquide de frein se situe sous le repère MINIMUM ou MIN du réservoir de liquide de frein, ne conduisez pas le vehicule tant que le circuit de freinage n'a pas été vérifié. Nous vous recommendons de vousAMDRECHEZUNCONcessionnaireNISSAN pour cet entretien.

Témoin de charge
L'activation de ce témoin pendant que le moteur tourne peut indiquer une anomalie du système de charge de votre vehicule. Coupe le contact et vérifie la courroie d'alternateur de votre vehicule. Si la courroie est détendue, rompue ou absence, ou si le témoin reste allumé, faites réparer votre vehicule immidiatement. Nous vous recommendons de vous rendre chez un concessionnaire NiSSAN pour cet entretien.
AMISE EN GARDE
Ne conduisiez pas votre vehicule si la courroie d'alternateur est desserrée, rompue ou manquante.

Témoin de pression d'huile moteur
Ce témoin s'allume lorsque la pression d'huile moteur est basse. Si ce témoin clignote ou s'allume en présence de conditions de conduite normales, immobilisez votre vehicule dans un endroit sur en bordure de la route, coupez le contact immédiatement et appelezez un concessionnaire NiSSAN ou un autre atelier de réparation/agréé.
Le témoin de pression d'huile moteur n'est pas créé pour indiquer un bas niveau d'huile. Utilisez la jauge pour vérifier le niveau d'huile. Pour obtenir des renseignements supplémentaires, consultez la section « Huile à moteur » (p. 8-7).
AMISE EN GARDE
Le fait de laisser le moteur tourner alors que le témoin de pression d'huile moteur est allumé peut très rapidement provoquer de graves dommages au moteur.
De tels dommages ne sont pas couverts par la garantie. Mettez le moteur à l'arrêt des qu'il vous est possible de le faire en toute sécurité.

Témoin d'anomalie
Un témoin d'anomalie qui s'allume en continu ou qui clignote pendant que le moteur tourne peut indiquer une anomalie du dispositif antipollution.
Le témoin d'anomalie peut également s'al-lumer en continu si le bouchon du réservoir de carburant est desserré ou manquant, ou en cas de panne seche. Assurez-vous que le bouchon du réservoir de carburant de votre vehicule a bien ete revisse et que le réservoir contient au moins 11,4 litres (3 gallons) de carburant.
Le témoin devrait s'éteindre après quelques cycles de conduite s'il n'existe aucune autre anomalie du dispositif antipollution.
Si ce témoin demeure allumé pendant 20 secondes, puis clignote pendant 10 se-
condes alors que le moteur ne tourne pas,le
vehicule n'est pas pret à subir un contrôle
d'inspection et d'entretien du dispositif anti
pollution. Pour obtenir des renseignements
supplémentaires, reportez-vous à la section "Préparation pour les contrôles d'inspection et d'entretien » (p. 10-26).
Fonctionnement
Le témoin d'anomalie s'allume lorsquel'une des situations suivantes se produit :
- Le témoin d'anomalie s'allume en continu - Une anomalie du dispositif antipollution a été décelée. Vérifiez le bouchon du réservoir de carburant si l'avertissement Bouchon carb. dévisse apparaît à l'écran multifonction. Si le bouchon du réservoir de carburant est desserré ou manuant, serrez-le ou installez-le et poursuivez votre route. Le témoin doit s'eteindre après quelques cycles de conduite. Si le témoin reste allumé après quelques cycles de conduite, faites inspectorer votre vehicule. Nous vous recommendons de vous rendre chez un concessionnaire NISSAN pour cet entretien. Il n'est pas nécessaire de faire remorquer votre vehicule pour vous rendre chez le concessionnaire.
Le témoin d'anomalie clignote - Un raté d'allumage du moteur susceptible d'endommager le dispositif antipollution de votre vehicule a été détecté. Pour éviter
les dommages au dispositif antipollution de votre vehicule ou pour réduire la gravité de ceux-ci :
- ne conduisez pas à une vitesse supérieure à 72 km/h (45 mi/h);
- évitez les accelérations et les décalérations brusques;
- évitez les pentes ascendantes raides;
- autant que possible, réduisez la charge transportée ou remorquée par votre vehicule.
Il est possible que le témoin d'anomalie cesse de clignoter et demeure allumé. Faites inspectorer votre vehicule. Nous vous recommendons de vous rendre chez un concessionnaire NiSSAN pour cet entretien. Il n'est pas nécessaire de faire remorquer votre vehicule pour vous rendre chez le concessionnaire.

MISE EN GARDE
Le fait de continuer de conduire le vehicule en omettant de faire inspector ou réparer (s'il y a lieu) le dispositif antipollution peut promprometre la maniability du vehicule, augmenter la consommation de carburant, et accroître les risques de dommages au dispositif antipollution.

Témoin d'advertissement principal
Lorsque le commutateur d'allumage est à la position ON (marche), le tímoin d'avertissement principal s'allume si l'un des messages suivants apparait à l'écran multifonction:
- Avertissement Parking brake release (Déblocage du frein de stationnement)
- Avertissement Door open (Portière ouverte lorsque le vehicule est en mouvement)
- Avertissement Service CVT Stop safely (Entretien de la transmission à variation continue Arrêtez-vous)
- Avertissement Shift to P (Passez à la position P [stationnement])
Pour obtenir des renseignements supplémentaires, consultez la section « Écran multifonction de 11 cm (4,2 po) de type A » (p. 2-19) ou « Écran multifonction de 18 cm (7 po) de type B » (p. 2-40)

Témoin et carillon des ceintures de sécurité
- Ce témoin et ce carillon s'activent pour rappeler de boucler les ceintures de sécurité.
- Le témoin d'advertissement de la ceinture de sécurité s'allume lorsque le commutateur d'allumage est poussé en position ON (marche) si la ceinture de sécurité du conducteur n'est pas attachée ou si la ceinture de sécurité du siège du passager avant n'est pas attachée alors qu'il est occupé.
- Le témoin d'advertissement des ceintures de sécurité s'allume également si la ceinture de sécurité d'un passager arrêt devient détachée.
- Si la ceinture de sécurité du conducteur n'est pas attachée lorsque le commutateur d'illumage est mis en commutateur est en position ON (marche), le carillon retentit sous peu.
- Si le vehicule roule à plus de 15 km/h (9 mi/h) dans des conditions qui illuminent le témoin d'advertissement de ceinture de sécurité, le témoin commence à clignoter et le carillon, à retentir pendant plus d'une minute, ou jusqu'à ce que la ceinture de sécurité soit de nouveau attachée.
REMARQUE:
- Le témoin d'advertissement ou le carillon peuvent s'activer si un objet est placé sur le siège inoccupé du passagier avant. Dans ce cas, veuillez retarder l'objet du siège du passager avant.
Le témoin d'advertisement ou le carillon peuvent s'activer si une ceinture de sécurité est détachée avant que le vehicule s'immobilise complètement. Veuillez les conserver bouclées jusqu'à ce que le vehicule soit complètement immobilisé.

Témoin du sac gonfable
Lorsque le commutateur d'allumage est placé à la position ON (marche), le témoin du sac gonflable s'allume pendant environ sept secondes, puis s'éteint. Ceci indique que le dispositif est fonctionnel.
Si une des conditions suivantes survient, les sacs gonflables avant, les sacs gonflables lateraux, les rideaux gonflables lateraux et les systèmes de pretendeurs doivent faire l'objet d'un entretien.
-
Le tímoin du sac gonflable reste allumé après la période initiale d'environ sept secondes.
-
Le témoin du sac gonflable clignote par intermittence.
- Le témoin du sac gonflable ne s'allume pas du tout.
Nous vous recommendons de visiter un concessionnaire NISSAN pour ces services. Le système de retenue supplémentaire (sacs gonflables) et les pretendeurs risquent de mal fonctionner s'ils n'ont pas eté vérifiés. Pour obtenir des renseignements supplémentaires, consultez la section « Système de retenue supplémentaire (SRS) » (p. 1-47).

AVERTISSEMENT
L'allumage du témoin des sacs gonflables peut indiquer que les systèmes de sacs gonflables avant, de sacs gonflables latéraux, de rideaux gonflables latéraux et de pretendeurs des ceintures de sécurité ne fonctionneront pas en cas d'accident. Pour prévenir les blessures potentielles aux occupants, faites vérifier votre vehicule dés que possible. Nous vous recommendons de vous rendre chez un concessionnaire NISSAN pour cet entretien.
TÉMOINS D'AVERTISSEMENT/ VOYANTS LUMINEUX (jaune)
Pour obtenir des renseignements supplémentaires sur les indicateurs et les témoin d'avertissements, consultez la section « Écran multifonction de 11 cm (4,2 po) de type A » (p. 2-19) ou « Écran multifonction de 18 cm (7 po) de type B » (p. 2-40).


Témoin
d'avertissement
du système
de freinage
antiblocage
Lorsque le commutateur d'allumage est à la position ON (marche), le témoin d'avertissement du système de freinage antiblocage (ABS) s'allume, puis s'éteint. Cela indique que le système de freinage antiblocage (ABS) est fonctionnel.
Si le témoin d'avertissement du système de freinage antiblocage (ABS) s'allume lorsque le moteur est en marche, ou durant la conduite, il est possible que le système de freinage antiblocage (ABS) soit défectueux. Faites vérifier le système. Nous vous recommendons de vous rendre chez un concessionnaire NISSAN pour cet entretien.
Lorsqu'une anomalie se produit dans le circuit de freinage antiblocage (ABS), la fonction antiblocage est désactivée. Le fonctionnement du dispositif antiblocage est alors neutralisé et votre vehicule utilise le circuit de freinage standard. Pour obtenir des renseignements supplémentaires, consultez la section « Circuit de freinage » (p. 5-138).

Système de freinage d'urgence automatique (AEB) avec tepoin d'avertissement de détéction de piétons
Ce témoin s'allume lorsque vous tournez le commutateur d'allumage à la position ON (marche). Il s'eteint après que le moteur a démarré.
Ce témoin s'allume lorsque le système de freinage d'urgence automatique avec détéction de piétons est DÉSACTIVÉ à l'écran multifonction.
Si le témoin s'allume ou clignote lorsque le système de freinage d'urgence automatique avec détction de piétons est allumé, cela peut indiquer que le système n'est pas disponible. Pour obtenir des rensei
gnements supplémentaires, consultez les sections « Système de freinage d'urgence automatique (AEB) avec dispositif de détction de piétons » (p. 5-99) et « Système de détction de collision frontale intelligent (I-FCW) » (p. 5-114).

Témoin de neutralisation du sac gonflable du passager avant
Le témoin de neutralisation du sac gonflable du passager avant s'allume et le sac gonflable du passager avant est désactivé en fonction de l'utilisation faite du siège passager avant.
Pour obtenir des renseignements supplémentaires, consultez la section « Sac gonflable du passager avant et témoin de neutralisation » (p. 1-59).

Témoin d'avertissement de basse pression des pneus
Votre vehicule est doté d'un système de surveillance de la pression des pneus qui surveille la pression de tous les pneus, sauf le pneu de secours.
Le témoin d'ajretissement de basse pression des pneus signale une basse pression des pneus ou indique que le système de surveillance de la pression des pneus ne fonctionne pas correctement.
Après l'ETABLISSEMENT du contact, ce témoin s'allume pendant environ une seconde puis s'éteint.
Avertissement Low tire pressure (Basse pression des pneus)
Le témoin s'allume pendant la conduite si une basse pression des pneus est détectée. Le message « Tire Pressure Low - Add Air » (basse pression des pneus - gonfler les pneus) s'affiche à l'écran multifonction.
Lorsque le témoin d'advertissement de basse pression des pneus s'allume, vous devriez vous arrêté et régler la pression des quatre pneus à la pression À FROID recommende indiquée sur l'étiquette de renseignements relatifs aux pneus et à la charge, apposée dans l'ouverture de la portière du conducteur. même si vous avez régle la pression des pneus, le témoin d'advertissement de basse pression des pneus ne s'éteint pas automatique. Une fois la pression des pneus réglee à la pression recomman
dee, il faudra rouler à plus de 25~km / h (16mi / h) pour activer le système de surveillance de la pression des pneus et désactiver le témoin d'advertissement de bassé pression des pneus. Utilisez un manomètre pour pneus pour vérifier la pression des pneus.
Le message d'advertissement « Pression de pneu. Ajouter air » s'affiche chaque fois que le commutateur d'allumage se trouve à la position ON (marche) tant que le témoin d'advertissement de basse pression des pneus demeure allumé.
Pour obtenir des renseignements supplémentaires, consultez la section « Écran multifonction de 11 cm (4,2 po) de type A du vehicule » (p. 2-19), « Écran multifonction de 18 cm (7 po) de type B du vehicule » (p. 2-40) et « Système de surveillance de la pression des pneus (TPMS) » (p. 5-5).
Anomalie du système de surveillance de la pression des pneus
Si le système de surveillance de la pression des pneus ne fonctionne pas correctement, le témoin d'advertissement de basse pression des pneus clignote pendant environ une minute lorsque le contact est ÉTABLI. Le témoin demeure allumé après une minute. Faites vérifier le système. Nous
you recommendons de vous rendre chez un concessionnaire NISSAN pour cet entretien. L'advertissement « Tire Pressure Low-Add Air » (basse pression des pneus - gonfler les pneus) ne s'affiche pas si le témoin d'advertissement de basse pression des pneus s'allume pour indiquer une anomalie du système de surveillance de la pression des pneus.
Pour obtenir des renseignements supplémentaires, consultez les sections « Système de surveillance de la pression des pneus (TPMS) » (p. 5-5) et « Pression des pneus » (p. 8-32).
A AVENTISSEMENT
- Les ondes radioélectriques peuvent nuir au fonctionnement des apparêls Médicaux électriques. Les personnes qui portent un stimulator cardiaque doivent communiquer avec le fabricant de l'appareil Médical électric pour connaître les interférences possibles avant l'utilisation.
Si le témoin ne s'allume pas lorsque le commutateur d'allumage est ÉTABL, faites vérifier votre vehicule dés que possible. Nous vous recommandons de vous rendre chez un concessionnaire NiSSAN pour cet entretien.
Si le témoin s'allume pendant la conduite, évitez les manoeuvres de braquage et les freinages brusques, ralentissez, rangez-vous en un endroit sécuritaire, puis immobilisez le vehicule des que possible. La conduite avec un pneu insuffisamment gonflé peut causeurs des dommages permanents au pneu et augmente la probabilité de défaillance du pneu. Your vehicule pourrait subir des dommages importants et vous pourriez avoir un accident entrainant des blessures graves, voire la mort. Vérifiez la pression de tous les pneus. Reglez la pression des pneus à la pression À FROID recommandée indiquée sur l'étiquette de renseignements relatifs aux pneus et à la charge apposée dans l'ouverture de la portière du conducteur, pour éteindre le témoin d'avertissement de basse pression des pneus. Si le témoin s'allume encore pendant la conduite après le réglage de pression des pneus, il se peut qu'un des pneus soit creve ou que le système de surveillance de la pression des pneus soit défectueux. Si vous avez un pneu creve, montez la
roue de secours dés que possible. Si aucun pneu n'est à plat et tous les pneus sont correctement gonflés, faites vérifier le vehicule. Nous vous recommendons de vous rendre chez un concessionnaire NISSAN pour cet entretien.
Lors de l'utilisation d'une roue qui n'est pas equipée d'un système de surveillance de la pression des pneus, comme la roue de secours, le système de surveillance de la pression des pneus ne sera plus fonctionnel et le témoin d'advertissement de basse pression des pneus clignoterapendant environ une minute. Le témoin demeure allumé après une minute.Faites replacer vos pneus ou réinitialiser le système de surveillance de la pression des pneus dés que possible. Nous vous recommandons de visiter un concessionnaire NISSAN pour ces services.
L'utilisation de pneus de remplacement autres que ceux précisés par NiSSAN peut nuire au fonctionnement du système de surveillance de la pression des pneus.

MISE EN GARDE
Le système de surveillance de la pression des pneus ne remplace aucunement la vérification régulière de la pression des pneus. Vérifiez régulièrement la pression des pneus de votre vehicule.
- Si le vehicule roule à moins de 25km / h (16 mi/h), le système de surveillance de la pression des pneus peut ne pas fonctionner correctement.
Assurez-vous que des pneus de la taille spécifiée sont installés correctement aux quatre roues de votre vehicule.

Témoin d'advertissement principal
Lorsque le commutateur d'allumage est à la position ON (marche), le tímoin d'avertissement principal s'allume si l'un des messages suivants apparait à l'écran multifonction:
- Avertissement Low washer fluid (Bas niveau de liquide de lave-glace)
-
Avertissement de bouchon de réservoir de carburant mal visse
-
Avertissement Low tire pressure (Basse pression des pneus)
- Avertissement de freinage d'urgence
- Avertissement Lock (verrouillage)
- Avertissement lié au mode d'expédition
- Avertissement Portière/coffre ouverts (lorsque le vehicule est en mouvement)
- Avertissement du système de phares à DEL (selon l'équipement)
- Avertissement d'anomalie du système de contrôle du chassis (selon l'équipement)
- Avertissements d'entretien de la transmission à variation continue
- Avertissements d'entretien du moteur
- Avertissement de frein d'urgence arrêté (selon l'équipement)
- Avertissement d'anomalie du capteur de stationnement
- Avertissement d'alerte d'attention du conducteur (selon l'équipement)
- Avertissement d'anomalie du système STI
- Avertissements de reconnaissance de signalisation routière (selon l'équipement)
- Avertissements liés au système de clé intelligente
Pour obtenir des renseignements supplémentaires, consultez la section « Écran multifonction de 11 cm (4,2 po) de type A » (p. 2-19) ou « Écran multifonction de 18 cm (7 po) de type B » (p. 2-40)

Témoin de la direction assistée
A VERTISSEMENT
- Si le moteur ne tourne pas ou s'il est coupé pendant la conduite, l'assistance à la direction ne fonctionnera pas. Le volant est donc beaucoup plus difficile à manoeuvrer.
Lorsque le témoin de la direction assistée s'allume et que le moteur tourne, il n'y a plus aucune assistance à la direction. Vous conservez toujours la maitrise de votre vehicule, mais le volant est plus difficile à manoeuvrer. Faites vérifier la direction assistée. Nous vous recommendons de vous rendre chez un concessionnaire NISSAN pour cet entretien.
Lorsque le commutateur d'allumage est à la position ON (marche), le témoin de la direction assistée s'allume. Le témoin de la direction assistée électrique s'éteint après le démarrage du moteur. Cela indique que le système de direction assistée électrique est fonctionnel.
Si le témoin de la direction assistée électrique s'allume lorsque le moteur tourne, cela peut indiquer que la direction assistée électrique ne fonctionne pas correctement et qu'elle doit peut-être être réparée. Faites vérifier la direction assistée. Nous vous recommendons de vous rendre chez un concessionnaire NiSSAN pour cet entretien.
Lorsque le témoin de la direction assistée s'allume et que le moteur tourne, la direction n'est plus assistée, mais vous conservelezous deux la maitrise du vehicule.À ce moment, un effort de direction supérieur est nécessaire pour manœuvrer le volant, sur tout dans les virages brusques et à bassé vitesse.
Pour obtenir des renseignements supplémentaires, consultez la section « Direction assistée » (p. 5-138).

Témoin d'avertissement du système de freinage automatique arrêté (RAB)
Ce témoin s'allume lorsque vous tournez le commutateur d'allumage à la position ON (marche). Il s'éteint après que le moteur a démarré.
Ce témoin s'allume lorsque le système de freinage automatique arrêté est désactivé à l'écran multifonction.
Si le témoin s'allume ou clignote lorsque le système de freinage automatique arrêté est allumé, cela peut indiquer que le système n'est pas disponible. Pour obtenir des renseignements supplémentaires, consultez la section « Freinage automatique arriéré (RAB) » (p. 5-91).

Témoin de dérapage
Cet indicateur clignote quand le système de contrôle dynamique du vehicule fonctionne, pour indiquer au conducteur que les roues du vehicule perdron bientôt leur adhérence. La route peut être glissante.
Il est possible que le fonctionnement du système entraine une légere vibration ou des bruits, mais ceci est normal.
Le témoin clignote pendant quelques secondes après que le dispositif de contrôle dynamique du vehicule cette de limiter le patinage des roues.
Le témoin S'allume également lorsque vous tournez le commutateur d'allumage à la position ON (marche). Il s'éteint après 2 secondes environ si le système est fonctionnel. Si le témoin ne s'allume pas, faites vérifier le système. Nous vous recommandons de visiter un concessionnaire NISSAN pour cet entretien.

Témoin OFF (hors fonction) du système de contrôle dynamique du vehicule
Ce témoin s'allume lorsque le système de contrôle dynamique du vehicule est désactivé à l'écran multifonction. Cela indique que le système de contrôle dynamique du vehicule a été désactivé.
Activez le contrôle dynamique du vehicule à l'aide de l'écran multifonction du vehicule ou en redémarrant le moteur. Pour obtenir des renseignements supplémentaires, consultez la section « Système de contrôle dynamique du vehicule (VDC) » (p. 5-141).
Le témoin du système de contrôle dynamique du vehicule s'allume également lorsque vous tournez le commutateur d'allumage à la position ON (marche). Il s'éteint après un certain temps si le système est fonctionnel. Si le témoin reste allumé ou s'il s'allume en même temps que le témoin pendant la conduite, faites vérifier le SYTÉME DE CONTROLLE DYNAMIQUE DU VÉHICULE. Nous vous recommandons de vous rendre chez un concessionnaire NISSAN pour cet entretien.

AVERTISSEMENT
Le système de contrôle dynamique du vehicule doit rester en fonction sauf si vous doivent sortir le vehicule de la boue ou de la neige.
Il est possible que le fonctionnement du SYSTème DE CONTRÔLÉ DYNAMIQUE DU VÉHICULE entraîne une légère vibration ou des bruits lorsque vous démarrez ou que vous accélèrez, mais ceci est normal.
TÉMOINS ET TÉMOINS D'AVERTISSEMENT (autre)
Pour obtenir des renseignements supplémentaires sur les indicateurs et les témoins d'advertissements, consultez la section « Écran multifonction de 11 cm (4,2 po) de type A » (p. 2-19) ou « Écran multifonction de 18 cm (7 po) de type B » (p. 2-40).

Témoin de mode ECO (vert)
Ce témoin s'allume à la sélection du mode ECO. Pour obtenir des renseignements supplémentaires, consultez la section « Commutateur de mode ECO » (p. 5-27).

Témoin d'assistance des yeux de route (vert) (selon l'équipement)
Le témoin s'allume lorsque les phares s'allument alors que l'interrupteur des phares se trouve à la position AUTO (automatique) avec l'options feu de route selectionnée. Cela indique que le système d'assistance du feu de route est fonctionnel.
Pour obtenir des renseignements supplémentaires, consultez la section « Commutateur des phares et des clignotants » (p. 2-67).

Témoin des feu de route (bleu)
Ce témoin bleu s'allume lorsque les faisceaux route sont allumés et s'éteint lorsque les feu de croissement sont sélectionnés.
Le témoin des feués de route s'allume égalément lorsque le signal de dépassement est activé.

Témoin des feu des positions latéraux et des phares (vert)
Le témoin des feués de position latéraux et des phares s'allume lorsqu'une des deux positions est sélectionnée. Pour obtenir des renseignements supplémentaires, consultez la section « Commutateur des phares et des clignotants » (p. 2-67).

Clignotants et feu de détresse (verts)
Le témoin gauche ou droit (selon le cas) clignote lorsqu'la commande de clignotant est activée.
Les deux tímoins clignotent lorsque le commutateur des feuels de détresse est enforcé.
RAPPELS SONORES
Signal d'avertissement des indicateurs d'usure de plaquettes de frein
Les indicateurs d'usure de plaquettes de frein à disque peuvent émettre un signal d'avertissement. Lorsqu'une plaquette de frein doit être remplacee, l'indicateur d'usure correspondant émet un bruit de grattement strident pendant la conduite, et ce, que la pédale de frein soit enforcée ou non. Faites vérifier les freins de votre vehicule dés que possible si les indicateurs d'usure des freins émettent un tel bruit.
Carillon de rappel des phares allumés
Si les phares ou les yeux de stationnement du vehicule sont allumés et que le commutateur d'allumage est tourné à la position OFF (hors fonction), un carillon retentit lorsque vous ouvrez la portière du conducteur.
Éteignez les phares avant de quitter votre vehicule.
Avertisseur de portiere de la clé intelligente NISSAN Intelligent Key
L'avertisseur de portiere de la clé intelligente clignote si une des opérations inadéquates suivantes est effectue.
- La clé intelligente demeure dans le vehicule lorsque vous verrouillez les portières et le coffre.
- La clé intelligente se trouve hors du vehicule lorsque vous conduisez le vehicule.
- Une portière n'est pas bien fermée lorsqu'vous verrouillez les portières.
Lorsque I'avertisseur retentit, assurez-vous de vérifier le vehicule et la clé intelligente.
Pour obtenir des renseignements supplémentaires, consultez la section « NiSSAN Intelligent KeyMD » (p. 3-7).
Carillon de rappel de frein de stationnement
Un carillon retentit si le frein de stationnement est serré et que le vehicule roule. Le carillon s'interrompt si le frein de stationnement est desserré ou si le vehicule s'immobilise.
ÉCRAN MULTIFONCTION DE 11 CM (4,2 po) DE TYPE A (selon I'équipement)

L'écran multifonction se trouve à la gauche de l'indicateur de vitesse. Il affiche ce qui suit:
- Régages de vehicule
- Renseignements sur l'ordinateur de bord
- Avertissements et réglages des systèmes de conduite
- Renseignements sur le régulateur devitesse
- Renseignement sur l'utilisation de la clé intelligente NISSAN Intelligent Key ^MD
Témoins et averissements

UTILISATION DE L'ÉCRAN MULTIFONCTION
L'écran multifonction peut être modifié à l'aide des boutons , et OK situés sur le volant.
1 - Utilisez ces boutons pour naviguer dans l'écran multifonction.
OK - modifier ou selectionner une option à l'écran multifonction.
(3) -Le menu précedent est réaffiché.
Les boutons OK, « » et « commandent également les fonctions audio et du bloc de commande dans certains cas. La plupart des écrons et menus offrent des messages-guides d'instructions sur les boutons des commandes au volant pour indiquer comment contrôler l'écran multifonction. Le bouton OK change la source audio et les boutons « • commandent également le mode manuel du système de reconnaissance vocale. Le bouton OK peut être utilisé pour changer la source audio lorsque l'écran audio est affché. Les boutons « et « peuvent être utilisés lors de la commande manuelle de la reconnaissance vocale. Pour obtenir des renseignements supplémentaires, consultez le manuel du conducteur NissanConnect™.
AFFICHAGE AU DEMARRAGE
Lorsque le commutateur d'allumage est à la position ON (marche), les écrans qui s'afficient à l'écran multifonction compren- nent :
- État des systèmes actifs (selon l'équipement)
- Ordinateur de bord
- Fuel Economy (Consommation de carburant)
- Avertissements
- Température extérieure
- Compteur kilométrique et compteur journalier double
Les averissements s'affichent uniquement s'ils sont presents. Pour obtenir des renseignements supplémentaires, consultez la section « Avertissements et témoinde l'écran multifonction » (p. 2-32).








LIC5507
ORDINATEUR DE BORD
1. Vitesse du vehicule
Le mode vitesse du vehicule indique la vitesse actuelle du vehicule et la vitesse moyenne du vehicule depuis la dernière réinitialisation.
Vitesse moyenne du vehicule :
Appuyez sur le bouton OK sur le volant pour afficher le menu de réinitialisation de l'ordinateur de conduite, puis suivez les instructions pour réinitialiser.
Pour obtenir des renseignements supplémentaires, consultez la section « Réinitialisation de l'ordinateur de trajet » (p. 2-45).
L'affichage de la vitesse moyenne est mis a jour toutes les 30 secondes. Les 30 premières secondes après une pause, l'écran affiche « - - - »
2. Temps écoulé et compteur journalier
Temps école :
Le temps écoué indique le temps écoué depuis la dernière réinitialisation. Appuyez sur le bouton OK pour afficher le menu Reset (réinitialisation) de l'ordinateur de conduite, puis suivez les instructions pour réinitialiser.
Pour obtenir des renseignements supplémentaires, consultez la section « Réinitialisation de l'ordinateur de trajet » (p. 2-45).
Compteurjournalier:
Le compteur journalier indique la distance totale que le vehicule a parcourue depuis la derniere réinitialisation. Appuyez sur le bouton OK sur le volant pour afficher le menu de réinitialisation de l'ordinateur de conduite, puis suivez les instructions pour réinitialiser.
Pour obtenir des renseignements supplémentaires, consultez la section « Réinitialisation de l'ordinateur de trajet » (p. 2-45).
3. Affichage d'économie de carburant
Consommation réelle de carburant :
Le mode de consommation réelle de carburant indique la consommation de carburant actuelle.
Consommation moyenne de carburant :
Le mode de consommation moyenne de carburant indique la consommation moyenne depuis la derniere réinitialisation. Appuyez sur le bouton OK sur le volant pour afficher le menu de réinitialisation de
l'ordinaire de conduite, puis suivez les instructions pour réinitialiser.
Pour obtenir des renseignements supplémentaires, consultez la section « Réinitialisation de l'ordinaireur trajet » (p. 2-45).
L'affichage est mis à jour toutes les 30 secondes. Pour le premier tiers de mille (500 m) après la réinitialisation, l'écran affiche « - - »
4. Audio
Le mode Audio indique l'etat des informations audio.
5. Aides à la conduite
Le mode d'aide à la conduite indique le mode de fonctionnement des systèmes suivants (selon l'equipement):
Avant
- Système de freinage d'urgence automatique avec dispositif de détention de piétons
- Système de détention de collision frontale intelligent
Voie:
-Avertissement du déport de voie (LDW)
Angle mort:
-Avertisseur d'angle mort (BSW)
Pour obtenir de plus amples renseignements, consultez la section « Systeme d'avertissement sur angle mort (BSW) » (p. 5-40), « Avertisseur de déport de voie (LDW) » (p. 5-33), « Freinage d'urgence automatique (AEB) avec détction de piétons » (p. 5-99), ou « Systeme de détction de collision frontale intelligent (I-FCW) » (p. 5-114).
6. Pressions des pneus
Le mode de pression des pneus indique la pression des quatre pneus pendant que vous conduisez le vehicule.
Lorsque l'advertissement « Tire Pressure Low - Add Air » (basse pression des pneus - gonfier les pneus) s'affiche, l'affichage peut etre activé en mode pression de pneu en appuyant sur le bouton OK pour afficher d'autres détails sur l'advertissement affché.
Pour en savoir plus, consultez les sections « Témoin d'advertisement de basse pression des pneus » (p. 2-13), « Système de surveillance de la pression des pneus » (p. 5-5), « Pneu à plat » (p. 6-3) et « Types de pneus » (p. 8-41).
7. Avertissements
Le mode averissements permet au conducteur de voir les averissements prsents.
REMARQUE:
Le mode avertissements s'affiche uniquement s'il y en a.
8. Réglages
Le mode de réglages permet au conducteur d'afficher ou de modifier les réglages.
RéGLAGES
Le mode de réglage vous permet de modifier les renseignements affichés à l'écran multifonction :
- Réglage du système de contrôle dynamique du vehicule
- Assist. au conduct.
- Réglage du mode ECO
- TPMS Settings (Réglages du système de surveillance de la pression des pneus TPMS)
Horloge - Réglages de vehicule
-
Maintenance (Entretien)
-
Customize Display (affichage personnelé)
Unit (unité)
Language (langue)
Factory Reset (Réinitialisation Usine)
Réglage du système de contrôle dynamique du vehicule
Le menu de réglage du système de contrôle dynamique du vehicule permet à l'utiliser d'activer ou de désactiver le système de contrôle dynamique du vehicule.
| Option de menu | Explication |
| System (Système) | Permet à l'utilisateur d'activer ou de désactiver le système de contrôle dynamique du vehicule. Pour obtenir des renseignements supplémentaires, consultez la section « Système de Contrôle dynamique du vehicule » (p. 5-141). |
Assist. au conduct.
Le menu Assist. au conduct. permet à l'utilisateur de modifier les réglages relatifs à l'aide à la conduite, au stationnement et au freinage. Notre vehicule n'est peut-être pas équipé de certains éléments de menu illustrés ci-dessous.
| Option de menu | Explication | |
| Frein d'urg. | Affiche les options disponibles de freinage d'urgence. | |
| Avant | Permet à l'usager d'activer ou de désactiver le système de freinage d'urgence avant. Pour obtenir des renseignements supplémentaires, consultez les sections « Système de freinage d'urgence automatique avec dispositif de détction de piétons » (p. 5-99) et « Système de détction de collision frontale intelligent » (p. 5-114). | |
| Arrière | Permet à l'usager d'activer ou de désactiver le système de freinage d'urgence arrière. Pour obtenir des renseignements supplémentaires, consultez la section « Freinage automatique arrière (RAB) » (p. 5-91). | |
| Voie | Affiche les options offertes pour les voies. | |
| DétSortieVoie | Permet à l'utiliser d'activer ou de désactiver le système d'advertissement du déport de voie (LDW). Pour obtenir des renseignements supplémentaires, consultez la section « Avertissement du déport de voie » (p. 5-33). | |
| Angle mort | Affiche les options disponibles pour les angles morts. | |
| Blind Spot (BSW) (système d'avertissement sur angle mort) | Permet à l'utiliser d'activer ou de désactiver le système d'advertissement sur angle mort. Pour obtenir des ren-seignements supplémentaires, consultez la section « Système d'advertissement sur angle mort (BSW) » (p. 5-40). | |
| Info. vitesse limite | Permet à l'utiliser d'activer et de désactiver le système de reconnaissance de signalisation routière (TSR). Pour obtenir des renseignements supplémentaires, consultez la section « Reconnaissance de signalisation routière » (p. 5-29). | |
| Aides stationnement | Affiche les aides au stationnement disponibles. | |
| Affichage | Permet l'affichage automatique du système de sonar. Pour obtenir des renseignements supplémentaires, consul- tuez « Système de sonar arrêté (RSS) » (p. 5-146). | |
| Capteur arrêté | Permet à l'utiliser d'activer ou de désactiver le sonar. | |
| Distance | Permet à l'utiliser de régler la portée du sonar sur Long/Medium/Short (longue, moyenne ou courte). | |
| Volume | Permet à l'utiliser de définir le volume du capteur de stationnement sur High/Medium/Low (élevé, moyen, bas). | |
| Al. Traf. trans | Permet à l'utiliser d'activer ou de désactiver le système d'alerte de circulation transversale arrêté. Pour obtenir des renseignements supplémentaires, consultez la section « Alerte de circulation transversale arrêté (RCTA) » (p. 5-53). | |
| Attention du conducteur | Permet à l'utiliser d'activer ou de désactiver le système d'alerte vigilance conducteur intelligent. Pour obtenir des renseignements supplémentaires, consultez la section « Système d'alerte vigilance conducteur intelligent » (p. 5-129). | |
| Chassis Control (Contrôle dynamique) | Affiche les options disponibles pour la commande du chàssis. | |
Réglage du mode ECO
Le menu des réglages du mode ECO permet à l'utiliser de modifier les réglages du mode ECO.
Votre vehicule n'est peut-etre pas equipope de certains éléments de menu illustrés ci-dessous.
| Option de menu | Explication | |
| ECO Customize (personnaliser le mode ECO) | Affiche les régles disponibles pour le mode ECO. | |
| Cruise Control (régulator de vitesse) | Permet à l'usager de régler le régulateur de vitesse au mode Normal ou au mode ECO. Pour obtenir des renseignements supplémentaires, consultez la section « Régulateur de vitesse » (p. 5-63). | |
| Air Conditioning (Climatisation) | Permet à l'usager de régler la climatisation au mode Normal ou au mode ECO. Pour obtenir des renseignements supplémentaires, reportez-vous à la section « Chauffage et climatisationur » (p. 4-36, 4-44). | |
| ECO Info Settings (Réglages des données de consommation de carburant) | Affiche les régles disponibles pour l'information ECO. | |
| ECO Indicator (indicateur ECO [économie]) | Permet à l'usager d'activer ou de désactiver l'indicateur ECO. | |
| ECO Drive Report (Rapport de conduite écoénergétique) | Permet à l'usager d'activer ou de désactiver l'option ECO Drive Report (rapport de conduite écoénergétique). | |
| View History (Afficher l'historique) | Affiche le rapport d'historique pour le vehicule. | |
TPMS Settings (Réglages du système de surveillance de la pression des pneus TPMS)
Le menu de réglage du système de surveillance de la pression des pneus (TPMS) permet à l'utilisateur de modifier les unités de pression de gonflage des pneus à l'écran multifonction.
| Option de menu | Explication | |
| Réglage du système de surveillance de la pression des pneus | Affiche les réglages du système de surveillance de la pression des pneus disponibles. | |
| Tire Pressure Unit (unité de pression des pneus) | Permet à l'utiliser de selectionner les unités de pression de gonflage des pneus qui s'affichent à l'écran multifonction. | |
Horloge
| Option de menu | Explication |
| Horloge | Permet à l'utilier de régler les paramètres de l'horloge et l'heure sur l'écran multifonction. Vous pouze automatiquement régler l'heure, le format 12 h/24 h et régler manuellement l'heure. Si ces options n'apparaissent pas, l'horloge doit être réglée à l'écran central. Pour obtenir des renseignements supplémentaires, consultez le manuel du conducteur du dispositif NissanConnect™ (salon l'équipement). |
Réglages de vehicule
Les réglages du vehicule permettent à l'usager de modifier l'éclairage et les paramètres de verrouillage.
Votre vehicule n'est peut-etre pas equipope de certains éléments de menu illustrés ci-dessous.
| Option de menu | Explication | ||
| Lumière | Affiche l'option offerte pour l'éclairage. | ||
| Auto Headlight (phares automatiques) | Affiche les options de phares automatiques. | ||
| Turn on earliest (Allumer au plus+tôt) | Permet à l'utiliser d'activer l'allumage le plus+tôt possible. | ||
| Turn on earlier (Allumer plus+tôt) | Permet à l'utiliser d'activer l'allumage plus+tôt. | ||
| Turn on standard (Allumer à l'heure standard) | Permet à l'utiliser d'activer l'allumage au réglage standard. | ||
| Turn on later (Allumer plus tard) | Permet à l'utiliser d'activer l'allumage plus tard. | ||
| Verrouillage | Affiche les options de verrouillage offertes. | ||
| Selective Unlock (déverrouillage sélectif) | Permet à l'utilisateur d'activer ou de désactiver le déverrouillage sélectif. Lorsque le commutateur de demande de la poignée de portière de la portière est enforcé pour être déverrouillé, seule la portière correspondante est déverrouillée en premier. Pour déverrouiller toutes les portières, appuyez de nouveau sur le commutateur en moins d'une minute. Lorsque le commutateur de demande de la poignée de portière de la portière du passager avant est enforcé pour être déverrouillé, toutes les portières seront déverrouillées. Lorsque cette option est désactivée, toutes les portières se déverrouillent en appuyant une seule fois sur le commutateur. | ||
| Auto Door Unlock (déverrouillage automatique de portière) | Affiche les options de déverrouillage automatique de portière. | ||
| Passer en position P | Les portières se déverrouillent lorsque le levier déslecteur est mis à la position P (stationnement). | ||
| IGN OFF (contact coupé) | Les portières se déverrouillent lorsque le contact est coupé. | ||
| OFF (hors fonction) | Les portières doivent être verrouillées manuellement. | ||
| Horn beeps on lock (l'avertisseur sonore détentit au verrouillage) | Permet à l'utilisateur d'activer ou de désactiver la confirmation de l'avertisseur sonore. Lorsque cette option est activée, l'avertisseur sonore détentit et les yeux de détresse clignotent une fois lors du verrouillage du vêhicule à l'aide de la clé intelligente. | ||
| Essuie-glaces | Affiche les différents réglages des essuie-glaces. Pour obtenir des renseignements supplémentaires, reportez-vous à la section « Commutateur d'essuie-glace et de lave-glace » (p. 2-65) | ||
| Speed Dependent (assersissement à la vitesse) | Permet à l'usager d'activer ou de désactiver la fonction d'assersissement à la vitesse. | ||
| Rear Door Alert (alerte de portière arrière) | Affiche les options d'alerte de portière arrière disponibles. Pour obtenir des renseignements supplémentaires, consultez la section « Alerte de portière arrière » (p. 2-78). | ||
| Horn & Alert (avertisseur sonore et alerte) | Lorsque cette fonction est sélectionnée, l'alerte s'affiche et l'avertisseur sonore retentit. | ||
| Alert Only (alerte seulement) | Lorsque cette option est sélectionnée, seule l'alerte s'affiche. | ||
| OFF (hors fonction) | Lorsque cette option est sélectionnée, aucune alerte ne sonne ou ne s'active. | ||
Maintenance (Entretien)
Le menu d'entretien permet à l'usager de programme des rappels pour divers éléments d'entretien du vehicule.
A AVENTISSEMENT
L'indicateur de remplacement des pneus ne remplace pas la vérification régulière des pneus, y compris la vérification de la pression des pneus. Pour obtenir des renseignements supplémentaires, consultez la section « Remplacement des roues et des pneus » (p. 8-43). De nombreux facteurs y compris le gonflage des pneus, le réglage de la géométrie des roues, les habitudes de conduite et les conditions routières ont une incidence sur l'usure des pneus ainsi que sur les intervalles de remplacement des pneus. Le réglage de l'indicateur de remplacement des pneus programmé pour une certaine distance ne détermine pas la durée de vie utile des pneus. Utilisez l'indicateur de remplacement des pneus à titre de guide uniquement et vérifie toujours régulièrement vos pneus. Une défaillance des pneus pourrait se produit si vous n'effectuez pas la vérification régulière des pneus, y compris celle de la pression des pneus. Voitre vehicule pourrait subir des dommages importants et vous pourriiez avoir un accident entrainant des blessures graves ou mortelles.
| Option de menu | Explication | |
| Maintenance (Entretien) | Affiche diverses options de rappel d'entretien. | |
| Oil Control System (système de commande d'huile) | Permet à l'utilisateur de réinitialiser l'intervalle actuel. Cette opération ne doit être effectué qu'après avoir terminé l'entretien de vidange d'huile. | |
| Huile et Filtre | Permet à l'usager de régler un rappel à un intervalle spécifique ou de réinitialiser le rappel existant. | |
| Tire (Pneus) | Permet à l'usager de régler un rappel à un intervalle spécifique ou de réinitialiser le rappel existant. | |
| Other (Autre) | Permet à l'usager de régler un rappel à un intervalle spécifique ou de réinitialiser le rappel existant. | |
Customize Display (affichage personnelé)
Le menu Customize Display (affichage personnelé) permet à l'utiliser de personneliser l'information qui s'affiche à l'écran multifonction. Notre vehicule n'est peut-être pas équipé de certains éléments de menu illustrés ci-dessous.
| Option de menu | Explication | |
| Main Menu Selection (selection du menu principal) | Affiche les écrans disponibles dans lesquelles l'écran multifonction s'affiche. | |
| Vitesse | Permet à l'utiliser d'activer ou de désactiver l'écran d'indicateur de vitesse à l'écran multifonction. | |
| Vide | Permet à l'utiliser d'activer ou de désactiver l'options d'écran vide à l'écran multifonction. | |
| Fuel Economy (Consommation de carburant) | Permet à l'utiliser d'activer ou de désactiver l'écran Fuel Economy (economie de carburant) à l'écran multi- fonction. | |
| ECO Pedal Guide (guide de pédale pour conduite écoénergétique) | Permet à l'utiliser d'activer ou de désactiver le guide de pédale pour conduite écoénergétique à l'écran multi- fonction. | |
| Ordinateur de trajet | Permet à l'utiliser d'activer ou de désactiver l'écran Drive Computer (ordinateur de trajet) à l'écran multi- fonction. | |
| Système de surveillance de la pression des pneus | Permet à l'utiliser d'activer ou de désactiver l'écran du système de surveillance de la pression des pneus à l'écran multifonction. | |
| TSR | Permet à l'utiliser d'activer ou de désactiver l'écran de reconnaissance de signalisation routière à l'écran multi- fonction. | |
| Audio | Permet à l'usager d'activer ou de désactiver l'écran Audio à l'écran multifonction. | |
| Driving Aids (Aides à la conduite) | Permet à l'utiliser d'activer ou de désactiver l'écran d'aides à la conduite à l'écran multifonction. | |
| Welcome Effect (Effet de l'écran d'accueil) | Affiche les réglages disponibles liés à l'effet de l'écran d'accueil. | |
| Gauges (indicateurs) | Permet à l'utiliser d'activer ou de désactiver les effets des indicateurs. | |
| Animation | Permet à l'utiliser d'activer ou de désactiver les effets d'animation. | |
| Light/Wiper (phares et essuie-glaces) | Affiche les paramètres disponibles de guidage pour l'éclairage et les essuie-glaces. | |
| Headlights mode guidance (guidage pour mode déclairage) | Permet à l'usager d'activer ou de désactiver le guidage pour le mode d'éclairage. | |
| Wiper mode guidance (guidage pour mode essuie-glace) | Permet à l'usager d'activer ou de désactiver le guidage pour le mode d'essuie-glaces. | |
Unit (unité)
Le menu Units (unités) permet à l'usage de modifier les unités affichées à l'écran multifonction.
| Option de menu | Explication |
| Mileage/Fuel (kilométrage et carburant) | Affiche les unités offertes pour l'affichage du kilométrage. |
| Tire Pressure (pression des pneus) | Affiche les unités offertes pour l'affichage du kilométrage. |
| Temperature (température) | Affiche les unités offertes pour l'affichage de la température. |
Language (langue)
Le menu Language (langue) permet à l'usager de modifier les langues affichées à l'écran multifonction.
| Option de menu | Explication |
| Language (langue) | Affiche les options de langue disponibles pour l'écran multifonction. |
Factory Reset (Réinitialisation Usine)
Le menu Factory Reset (Réinitialisation Usine) permet à l'usager de restaurer les réglages de l'écran multifonction pourmaintenir les paramètres d'usine.
| Option de menu | Explication |
| Factory Reset (Réinitialisation Usine) | Le menu Factory Reset (Réinitialisation usine) permet à l'utiliser de faire passer les réglages de l'écran multifonction aux valeurs d'usine. Une fois les valeurs sélectionnées, l'utiler peut confirmer ou annuler la réinitialisation. |
AVERTISSEMENTS ET TÉMOINS DE L'ÉCRAN MULTIFONCTION
Les messages suivants peuvent s'afficher à l'écran multifonction.

Démarrage du moteur pour système de clé intelligente (si le niveau de batterie de la clé intelligente est bas)
Ce témoin s'affiche lorsque la pile de la clé intelligente est faible et que le système de clé intelligente et le vehicule ne communique pas normalement.
Si ce témoin s'affiche, touchez le commutateur d'allumage à l'aide de la clé intelligente tout en,enfantant la pédale de frein. Pour obtenir des renseignements supplémentaires, consultez la section « Décharge de la pile de la clé intelligente NISSAN Intelligent KeyMD » (p. 5-15)

Batterie de la clé faible
Ce témoin s'affiche lorsque la pile de la clé intelligente est presque épuisée.
Si ce témoin s'affiche, remplacez la pile de la clé intelligente. Pour obtenir des renseignements supplémentaires, consultez la section « Remplacement de la pile » (p. 8-26).

ID de la clé incorrect
Cet averissement s'affiche lorsque le commutateur d'allumage est déplaced de la position OFF (hors fonction) et que la clé intelligente n'est pas détectée par le système. Vous ne pouvez pas faire demarrer le moteur à l'aide d'une clé non enregistrée.
Pour obtenir des renseignements supplémentaires, consultez la section « NiSSAN Intelligent KeyMD » (p. 3-7).

Erreur syst. clé Voir manuel cond.
Lorsque le commutateur d'allumage est placé à la position ON (marche), cet averissement apparait pendant un certain temps puis s'éteint.
Le message « Erreur syst. clé » avertit le conducteur de la présence d'une anomalie dans le système de clé intelligente. Si l'avertissement apparait lorsque le moteur ne tourne pas, il pourrait être impossible de démarrer le moteur.
Si l'advertissement apparait pendant que le moteur tourne, vous pouvez conduire le vehicule. Dans ces cas, faites vérifier le système. Nous vous recommendons de vous rendre chez un concessionnaire NISSAN pour cet entretien.

Pas de clé détectée
Cet averissement s'affiche lorsque la clé intelligente est à l'extérieur du vehicule et que le commutateur d'allumage est à la position ON (marche).Asssurez-vous que la clé intelligente se trouve à l'intérieur du vehicule.
Pour obtenir des renseignements supplémentaires, consultez la section « NiSSAN Intelligent KeyMD » (p. 3-7).

Pas de clé appuyez et maintenez moteur d'arrêt
Ce message s'affiche lorsque la clé intelligente n'est pas détectée et que le moteur doit être éteint.

Tournez le volant et app sur le demarr.
Ce témoin s'affiche lorsque le mecanisme de blocage de la direction ne peut être dégagé.
Lorsque ce témoin s'affiche, enforcez le contacteur d'allumage tout en tournant légèrement le volant vers la droite et vers la gauche.
Alerte de portière arrêté est activée
Lorsque le système est activé, ce message s'affiche lorsque le système d'alerte de la portière arrêté est actif et peut rappeler au conducteur de vérifier le siège arrêté.
- Au moyen du bouton du volant, un conducteur peut selectionner l'option « Rejerter le message » pour effacer l'affichage pendant un laps de temps. Si aucune selection n'est effectuée, ce message s'éteint automatiquement après un certain-delai. Si ce message ne s'éteint pas automatiquement, il ne s'agit pas d'une anomalie.
- Au moyen du bouton du volant, un conducteur peut selectionner « Disable Alert » (déspectiver l'alerte) pour désactiver l'alerte selectionnée pour le reste du trajet en cours.

AVERTISSEMENT
Le fait de sélectionner l'option « Rejeter le message » pendant un arrêt au cours d'un voyage rejette temporairement le message d'arrêt sansmettre le système hors fonction. Les alertes peuvent etre fournies pour d'autres arrêts au cours du voyage. Le fait de sélectionner l'option
« Désactiver Alerte » désactive le système d'alerte de la portière arrêté pour le reste d'un trajet et aucune alarmé sonore ne s'active.
REMARQUE:
Ce système se désactive jusqu'à ce que le conducteur l'ait activé au moyen de l'écran multifonction. Pour obtenir des renseignements supplémentaires, consultez la section « Utilisation de l'écran multifonction du vehicule » (p. 2-20).
Pour obtenir des renseignements supplémentaires, consultez la section « Alerte de portière arrêté » (p. 2-78).
Vérifiez sur le siège arrêté pour tous articles
Lorsque le système est activé, ce message s'affiche lorsque le vehicule s'immobilise, lorsque le conducteur déplace le levier de vitesse de la position D (marche avant) à la position P (stationnement) et lorsqu'il quitte le vehicule. Ce message demande au conducteur, après un certain temps, de vérifier les éléments du siege arrêté des que l'alarme sonore s'active.
REMARQUE:
Ce système se désactive jusqu'à ce que le conducteur l'ait activé au moyen de l'écran multifonction. Pour obtenir des renseignements supplémentaires, consultez la section « Utilisation de l'écran multifonction du vehicule » (p. 2-20).
Pour obtenir des renseignements supplémentaires, consultez la section « Alerte de portière arrêté » (p. 2-78).

Portière ou coffre ouvert
Cet averissement s'affiche lorsqu'une portière est ouverte.

Témoin du mode de conduite sport
Un petit « S » s'affiche à la droite de l'indicateur de position du levier sélecteur de transmission à l'écran multifonction lorsqu'le mode de conduite sport est engagé.
Activez le mode de conduite sport en appuyant sur le commutateur du levier sélecteur pendant qu'il est à la position D (marche avant).
Pour obtenir des renseignements supplémentaires, consultez la section « Commutateur du mode de conduite sport » (p. 5-23).
Erreur syst. phares : voir manuel cond.
Cet averissement s'affiche lorsque les phares à DEL ne fonctionnent pas correctement.
Si cet avertissement s'affiche, faites vérifierVote système. Nous vous recommendons de vous rendre chez un concessionnaire NISSAN pour cet entretien.

Illumination
Ce témoin s'affiche lorsque la luminosité de l'écran multifonction est en cours de réglage.

Bouchon carb mal vissé
Cet averissement s'affiche lorsque le bouchon du réservoir de carburant n'est pas serré correctement après le ravitationnement. Pour obtenir des renseignements supplémentaires, consultez la section « Bouchon du réservoir de carburant » (p. 3-27)

Carburant bas
Cet averissement apparait lorsque le niveau de carburant est bas. Faites le plein des que possible et, de préférence, avant que l'aiguille de la jauge de carburant n'at
teigne le repère 0 (vide). Lorsque l'aiguille de la jauge de carburant atteint le repère 0 (vide), le réservoir de carburant de votre vehicule ne contient qu'une petite réserve de carburant.

Prs huiile basse. Voir Manuel cond.
Cet averissement s'affiche dans la zone de messages de l'écran multifonction lorsqu'uneasseprecessiond'huileestdetectede. Cetindicateur n'est pas concu pour indiquer que le niveau d'huile est bas.L'avertissementdebassepressiond'huile n'est pas concu pour indiquer que le niveau d'huile est bas. Utilisez la jauge pour vérifier le niveau d'huile. Pour obtenir des renseignements supplémentaires, consultez « Huile moteur » (p. 8-7).

Température extérieure basse
Cet averissement s'affiche si la température extérieure est inférieure à 3^ (37 °F). Vous pouvez modifier l'affichage de la température en degrés Celsius ou Fahrenheit. Pour obtenir des renseignements supplémentaires, consultez la section « Régliages » (p. 2-23).

Liqu. lave-glace bas
Cet averissement s'affiche lorsque le niveau de liquide lave-glace est bas. Ajoutez la quantité de liquide lave-glace requise. Pour obtenir des renseignements supplémentaires, consultez la section « Liquide lave-glace » (p. 8-14).
72° F Affichage de la température extérieure
La température extérieure s'affiche au centre de l'écran multifonction.
Aliment. coupée pour prolonger batterie
Ce message s'affiche à l'écran multifonction du vehicule après un certain temps si le commutateur d'allumage est à la position ON (marche) et si le vehicule est en position P (stationnement). Pour obtenir des renseignements supplémentaires, consultez la section « Positions du commutateur d'allumage par bouton-poussoir » (p. 5-14).
Aliment. coupée pour prolonger batterie
Ce message s'affiche après que le commutateur d'allumage soit automatiquement eteint. Pour obtenir des renseignements sup
plémentaires, consultez la section « Positions du commutateur d'allumage par boutonpoucevoir » (p. 5-14).

FREIN

Appuyer sur frein et bouton démarrage
Ce témoin s'allume quand le levier sélecteur est dans la position P (stationnement).
Ce témoin indique que le moteur peut être démarré en appuyant sur le commutateur d'allumage alors que la pédale de frein est enforcée. Vous pouvez démarrer le moteur dans n'importe qu'elle position du commutateur d'allumage.

Embryo

Enconcer l'embrayage et appuyer sur le commutateur de demarrage pour demarrer
Ce témoin s'allume quand le levier sélecteur est dans la position N (point mort).
Ce témoin indique que le moteur peut être démarré en appuyant sur le commutateur d'allumage alors que les pédales de frein et d'embrayage sont enforcées. Vous pouvez démarrer le moteur dans n'importe qu'elle position du commutateur d'allumage.

Rappel de ceinture de sécurité arrêté
Cet averissement s'affiche pendant 35 se
condes après que l'allumage est place à la
position ON (marche) et que le moteur est
demarré.
Ce message d'advertissement indique l'état des trois ceintures de sécurité arrêté. Lorsque l'une des ceintures de sécurité arrêté est bouclée, le témoin de ceinture de sécurité arrêté correspondant est affché en gris. Lorsque l'une des ceintures de sécurité arrêté n'est pas bouclée, le témoin de ceinture de sécurité arrêté correspondant est affché en rouge.
Après un changement d'etat de boucle, un carillon retentit et le témoin s'affichependant 35 secondes de plus.
Desserrer frein à main
Cet averissement s'affiche lorsque le frein de stationnement est serré et que le vehicule roule.

Rappel ÉTEINDRE phares
Cet avertissement s'affiche lorsque les phares NE SONT PAS ETEINTS à la sortie du vehicule. Placez l'interrupteur des phares à la position OFF (hors fonction) ou AUTO
automatique). Pour obtenir des renseignements supplémentaires, consultez « Commutateur des phares et des clignotants » (p. 2-67).

Passer en position P
Cet averissement s'affiche lorsque le commutateur d'allumage est à la position AUTO ACC (accessoires-automatique) ou OFF (hors fonction) et que le levier sélecteur n'est pas à la position P (stationnement). De plus, un carillon retentit lorsque le commutateur d'allumage est à la position AUTO ACC (accessoires-automatique) ou OFF (hors fonction).
Si cet averissement s'affiche, déplacez le levier sélecteur à la position P (stationnement) et démarrez le moteur.
Sur mode de transport Pousser pin c-circuit
Cet averissement peut s'afficher si le commutateur d'entreposage prolongé n'est pas enforcé. Lorsque cet averissement s'affiche, appuyez sur le commutateur d'entreposage prolongé pour désactiver l'avertissement. Pour obtenir des renseignements supplémentaires, consultez « Commutateur d'entreposage prolongé » (p. 2-82) ou « Fusibles » (p. 8-22).

Pression de pneu basse.
Ajouter air
Cet averissement s'affiche lorsque le témoin d'ajvertissement de basse pression des pneus s'allume sur le tableau de bord et qu'une basse pression des pneus est détectée. Le message d'ajvertissement s'affiche chaque fois que le commutateur d'allumage se trouve sur ON (marche) tant que le témoin d'ajvertissement de basse pression des pneus demeure allumé. Si cet averissement s'affiche, arrêtez le vehicule et réglez la pression des quatre pneus à la pression À FROID recommandaee indiquée sur l'étiquette d'information sur les pneus et la charge. Pour obtenir des renseignements supplémentaires, consultez « Témoin d'ajvertissement de basse pression des pneus » (p. 2-13) et « Système de surveillance de la pression des pneus » (p. 5-5).
« TPMS Error : See Owner's Manual » (erreur TPMS : voir manuel conducteur)
Cet averissement s'affiche dans le cas d'une anomalie du système de surveillance de la pression des pneus. Si cet averissement s'affiche, faites vérifier le système. Nous vous recommendons de vous rendre chez un concessionnaire NISSAN pour cet entretien.

Indicateur de position du levier selecteur de transmission
Ce témoin indique la position du levier sélecteur de la boîte de vitesses.

Surchauffe de la transmission à variation continue - Puissance réduite
Cette transmission à variation continue dispose d'un mode de protection de surchauffe du liquide de transmission. Si la température du liquide devient trop élevé (par exemple, en gravissant une pente abrupte à pleine charge, par temps chaud, en tractant une remorque), le couple du moteur et, dans certaines conditions, la vitesse du vehicule pourrait être diminués automatiquement afin d'éviter d'endommager la boîte de vitesse. La vitesse du vehicule peut être contrôle par la pédale d'accéléateur, mais le couple du moteur et la vitesse du vehicule pourrait être réduits.

AVERTISSEMENT
Lorsque le mode de protection de surchauffe du liquide s'active, la vitesse du vehicule peut etre graduallement réduite. Une vitesse inférieure à celle de la circulation fait augmenter les risques de collision. Soyez particulièrement prudent pendant la conduite. Au besoin, rangez le vehicule sur I'accotement de façon sécurité et laissez la boite de vittesses revenir à un fonctionnement normal ou faites-la réparer au besoin.

Déf. CVT (BVA) Faire entretien
Cet averissement s'affiche dans le cas d'une anomalie du système de transmission à variation continue. Si cet averissement s'affiche, faites vérifier le système. Nous vous recommendons de vous rendre chez un concessionnaire NISSAN pour cet entretien.

Vidange d'huile à moteurrequise dans - - - milles
Cette distance à parcourir avant la prochaine vidange d'huile s'affiche si la distance à parcourir avant la prochaine vidange d'huile est inférieure à 100 km (62 milles).

Témoin d'ajretissement du système de freinage d'urgence automatique avec dispositif de détction de piétons
Ce témoin s'affiche et un signal sonore retentit lorsque le système détecte la possibilité d'une collision frontale.
Pour obtenir des renseignements supplémentaires, consultez les sections « Système de freinage d'urgence automatique avec dispositif de détction de piétons » (p. 5-99) et « Système de détction de collision frontale intelligente » (p. 5-114).

Indicateur du système d'avertissement d'angle mort et du système d'alerte de circulation transversale arriere
Ce témoin apparait lorsque le système d'advertissement sur angle mort est engagé.
Pour obtenir des renseignements supplémentaires, consultez la section « Systeme d'advertissement sur angle mort (BSW) » (p. 5-40).

Défaut du système Voir Manuel cond.
Cet averissement s'affiche quand les systèmes d'ajretissement d'angle mort et d'alerte de circulation transversale arrêté ne fonctionnent pas correctement. Pour obtenir des renseignements supplémentaires, consultez les sections « Système d'ajretissement sur angle mort (BSW) » (p. 5-40) et « Alerte de circulation transversale arrêté (RCTA) » (p. 5-53).

Témoin du régulateur de vitesse
Ce témoin indique l' état du système du régulateur de vitesse.
Lorsque le régulateur de vitesse est activé, un cercle vert apparait pour indiquer que le système est réglé. L'écran multifonction affiche également la vitesse à laquelle a été réglé le régulateur de vitesse. Si vous accélèrez au-delà de la vitesse programmée, la vitesse clignote jusqu'à ce que vous annuliez le régulateur de vitesse ou returniez à la vitesse programmée. Si le régulateur de vitesse est en fonction et annulé, la vitesse s'affiche pour indiquer la vitesse à laquelle le vehicule retourne si le bouton Resume (Reprise) est activé.

Attention du conducteur Défaut du système
Cet averissement s'affiche lorsque le système d'alerte vigilance conducteur intelligent est defectueux. Pour obtenir des renseignements supplémentaires, consultez la section « Système d'alerte vigilance conducteur intelligent » (p. 5-129).

Faire une pause?
Cette alerte s'affiche lorsque le système a détesté que le conducteur montre des signes de fatigue ou un manque d'attention.
Système d'aide à la conduitetemporairement désactivé - capteuravant bloqué : voir le manuel
Ce message s'affiche lorsqu'le capteur de radar avant peut'être obstrué en raison de:
- boue, saleté, neige, glace, etc.
- mauvais temps (pluie, brouillard, neige, etc.)
Toutes les aides à la conduite en marche avant sont temporairement désactivées jusqu'à ce que le système détecte que le capteur de radar avant n'est plus obstrué.
Pour obtenir des renseignements supplémentaires, consultez la section :
- Système de freinage d'urgence automatique avec dispositif de détction de piétons (p. 5-99)
- Système de détéction de collision frontale intelligent (p. 5-114)

Témoin de mode ECO
Ce témoin apparait lorsque le mode ECO est activé.
Pour obtenir des renseignements supplémentaires, consultez la section « Commutateur de mode ECO » (p. 5-27).

Système d'arrêt du ralentti
Cetémoin indique l'etat du système d'arrêt au ralenti.
Pour obtenir des renseignements supplémentaires, consultez la section « Système d'arrêt du ralenti » (p. 5-152).

Témoin du système d'avertissement du déport de voie
Ce témoin apparait lorsque système d'advertissement du déport de voie (LDW) est engagé.
Pour obtenir des renseignements supplémentaires, consultez la section « Avertissement du déport de voie » (p. 5-33).
Défaillance du syst.
Cet averissement s'affiche lorsqu'un ou plusieurs des systèmes suivants (selon l'équipement) ne fonctionnent pas correctement:
- Système de freinage d'urgence automatique avec dispositif de détction de piétons
- Système de détéction de collision frontale intelligent
Si un ou plusieurs de ces avertissements s'affichent, faites vérifier le système. Nous vous recommendons de vous rendre chez un concessionnaire NISSAN pour cet entretien.
Pour obtenir des renseignements supplémentaires, consultez la section « Système de freinage d'urgence automatique avec dispositif de détction de piétons » (p. 5-99) ou « Système de détction de collision frontale intelligent (p. 5-114).
Non disponible Défaillance du système
Cet avertissement s'affiche lorsqu'un ou plusieurs des systèmes suivants (selon l'equipement) ne fonctionnent pas correctement.
- Avertisseur d'angle mort (BSW)
- Avertissement du déport de voie (LDW)
- Freinage automatique arrêté (RAB)
Si un ou plusieurs de ces averissements s'affichent, faites vérifier le système. Nous vous recommendons de vous rendre chez un concessionnaire NISSAN pour cet entretien.
Pour obtenir des renseignements supplémentaires, consultez « Systeme d'advertisement sur angle mort » (p. 5-40), « Avertissement du deport de voie » (p. 5-33) ou « Systeme de freinage automatique arriere » (p. 5-91).

Erreur captr station. Voir manuel cond.
Cet averissement apparait dans le cas d'une anomalie du système. Pour obtenir des renseignements supplémentaires, consultez « Système de sonar arrêté (RSS) » (p. 5-146).

Témoin d'ajretissement du système de freinage automatique arrêté
Ce témoin apparait pour indiquer l'état du système de freinage automatique arrêté. Pour obtenir des renseignements supplémentaires, consultez la section « Freinage automatique arrêté (RAB) » (p. 5-91).
Obstruction radar latérale
Ce message s'affiche lorsque le système d'advertissement sur angle mort (BSW) ou le système d'alerte de circulation transversale arrêté (RCTA) n'est pas disponible en raison d'une détction d'obstruction. Pour obtenir des renseignements supplémentaires, consultez les sections « Système d'advertissement sur angle mort (BSW) » (p. 5-40) et « Alerte de circulation transversale arrêté (RCTA) » (p. 5-53).

Témoin de signe de limite de vitesse
Ce message peut s'afficher lorsque le système de reconnaissance de signalisation routière est engagé.
Pour obtenir des renseignements supplémentaires, consultez la section « Reconnaissance de signalisation routière » (p. 5-29).
Non disponible haute temp. habitacle
Ce message s'affiche lorsque laamera détecte une température interieure supérieure à environ 40^ (104°F). Pour obtenir des renseignements supplémentaires, consultez la section « Reconnaissance de signalisation routière » (p. 5-29).
Non disponible : température élevée de laamera
Ce message s'affiche lorsque laamera détecte une température interieure supérieure à 40^ (104^) . Pour obtenir des renseignements supplémentaires, consultez la section « Reconnaissance de signalisation routière » (p. 5-29).

Témoin de détction du vehicule suivi
Ce témoin apparait lorsque les systèmes suivants sont activés et ont déetecté un vehicule:
- Système de freinage d'urgence automatique avec dispositif de détction de piétons
- Système de détéction de collision frontale intelligent
Pour obtenir des renseignements supplémentaires, consultez les sections « Système de freinage d'urgence automatique avec dispositif de détction de piétons » (p. 5-99) et « Système de détction de collision frontale intelligent » (p. 5-114).
ÉCRAN MULTIFONCTION DE 18 CM (7 po) DE TYPE B (selon l'équipement)

L'écran multifonction se trouve à la gauche de l'indicateur de vitesse. Il affiche ce qui suit :
- Régages de vehicule
- Renseignements sur l'ordinateur de trajet
- Avertissements et réglages des systèmes de conduite
- Renseignements sur le régulateur devitesse
-
Renseignement sur l'utilisation de la clé intelligente NISSAN Intelligent Key ^MD
Témoins et averissements -
Informations sur la pression des pneus
Information audio - Information téléphonique mains libres Bluetooth ^MD
- Driving Aids (Aides à la conduite)
- Compteur kilométrique et compteur journalier double
- Autonomie de carburant
Horloge et température extérieure

UTILISATION DE L'ÉCRAN MULTIFONCTION
L'écran multifonction peut être modifié à l'aide des boutons , et OK situés sur le volant.
1 -Utilisez ces boutons pour naviguer dans I'ecran multifonction.
OK - Modifiez ou selectionnéz une option à l'écran multifonction.
(3) -Le menu precedent est réaffiché.
Les boutons OK, et commandement également les fonctions audio et du bloc de commande dans certains cas. La plupart des écrans et menus offrent des messages-guides d'instructions sur les boutons des commandes au volant pour indiquer comment contrôler l'écran multifonction. Des points peuvent s'afficher sur le côté droit de l'écran multifonction s'il y a plus d'une page d'options du menu ou des messages d'advertissement, selon le type de compteur. Le bouton OK change la source audio et les boutons commandent également le mode manuel du système de reconnaissance vocale. Le bouton OK peut être utilisé pour changer la source audio lorsque l'écran audio est affchéé. Les boutons et peuvent être utilisés lors de la commande manuelle de la reconnaissance vocale. Pour obtenir des renseignements supplémentaires, consultez le manuel du conducteur NissanConnect ^MD .
AFFICHAGE AU DEMARRAGE
Lorsque le vehicule est à la position ON (marche), l'écran multifonction peut afficher les écrans suivants (salon l'equipement):
Home (Accueil)
- Ordinateur de trajet : vitesse, économie de carburant, trajet (distance et temps)
- Convenience (Commodité)
Vitesse numérique et vitesse moyenne
- Consommation instantanée de carburant/consommation moyenne de carburant
- Tire Pressure (pression des pneus)
Audio/telephone
- Régulateur de vitesse adaptatif (ICC)
- Info. vitesse limite
- Driving Aids (Aides à la conduite)
Réglages
- Avertissements*
*Les averissements s'affichent uniquement s'ils sont présents. Pour obtenir des renseignements supplémentaires, consultez la section « Avertissements et témoinde l'écran multifonction du vehicule » (p. 2-54).
Pour contrôler les éléments affichés à l'écran multifonction du vehicule, consultez la section « Utilisation de l'écran multifonction du vehicule » (p. 2-40).













LIC5508
ORDINATEUR DE BORD
1.Accueil
Cet affichage indique l'écran d'accueil.
2. Vitesse du vehicule
Le mode vitesse du vehicule indique la vitesse actuelle du vehicule et la vitesse moyenne du vehicule depuis la dernière réinitialisation.
Vitesse moyenne du vehicule :
Appuyez sur le bouton OK sur le volant pour afficher le menu de réinitialisation de l'ordinateur de conduite, puis suivez les instructions pour réinitialiser.
L'affichage de la vitesse moyenne est mis a jour toutes les 30 secondes. Les 30 premières secondes après une pause, l'écran affiche « - - - »
3. Affichage d'économie de carburant
Consommation réelle de carburant :
Le mode de consommation réelle de carburant indique la consommation de carburant actuelle.
Consommation moyenne de carburant :
Le mode de consommation moyenne de carburant indique la consommation moyenne depuis la dernière réinitialisation. Appuyez sur le bouton OK sur le volant pour afficher le menu de réinitialisation de l'ordinateur de conduite, puis suivez les instructions pour réinitialiser.
L'affichage est mis à jour toutes les 30 secondes. Pendant à peu après 500 m (1/3 de mille) après la réinitialisation, l'écran affiche « -- »
4. Temps écoulé et compteur journalier
Temps écoué :
Le temps écoué indique le temps écoué depuis laforthère réinitialisation. Appuyez sur le bouton OK pour afficher le menu Reset (réinitialisation) de l'ordinateur de conduite, puis suivez les instructions pour réinitialiser.
Compteurjournalier:
Le compteur journalier indique la distance totale que le vehicule a parcourue depuis la dernière réinitialisation. Appuyez sur le bouton OK sur le volant pour afficher le menu de réinitialisation de l'ordinateur de conduite, puis suivez les instructions pour réinitialiser.
5. Pressions des pneus
Le mode de pression des pneus indique la pression des quatre pneus pendant que vous conduisez le vehicule.
Lorsque l'ajretissement « Tire Pressure Low - Add Air » (basse pression des pneus - gonfler les pneus) s'affiche, l'affichage peut etre activé en mode pression de pneu en appuyant sur le bouton ou pour afficher d'autres détails sur I'avertissement affché.
Pour en savoir plus, consultez les sections « Témoin d'advertissement de basse pression des pneus » (p. 2-13), « Système de surveillance de la pression des pneus » (p. 5-5), « Pneu à plat » (p. 6-3) et « Types de pneus » (p. 8-41).
- Reconnaissance de signalisation routière (selon l'équipement)
Le système de reconnaissance de signalisation routière fournit au conducteur des renseignements relatifs à la limite de vitesse détectée le plus récemment.
Pour obtenir des renseignements supplémentaires, consultez la section « Reconnaissance de signalisation routière » (p. 5-29).
- Boussole
L'affichage indique le cap du vehicule.
- Navigation (selon l'équipement)
Quand le guidage d'itinétaire est défini dans le système de navigation, ce mode indique l'information relative à l'itinétaire.
- Audio
Le mode Audio indique l'etat des informations audio.
- Aides à la conduite
Le mode d'aide à la conduite indique le mode de fonctionnement des systèmes suivants (selon l'equipement):
Avant
- Système de freinage d'urgence automatique avec dispositif de détction de piétons
- Système de détention de collision frontale intelligent
Voie :
-Avertissement du déport de voie (LDW)
Angle mort :
-Avertisseur d'angle mort (BSW)
Pour obtenir de plus amples renseignements, consultez les sections « Systeme d'ajvertissement sur angle mort (BSW) » (p. 5-40), « Avertisseur du déport de voie (LDW) » (p. 5-33), « Freinage d'urgence automatique (AEB) avec détention des piétons » (p. 5-99), ou « Systeme de détention de collision frontale intelligent (I-FCW) » (p. 5-114).
- Régulateur de vitesse adaptatif (selon l'équipement)
Le mode du régulateur de vitesse adaptatif affiche sa condition de fonctionnement.
Pour obtenir des renseignements supplémentaires, consultez la section « Régulator de vitesse adaptatif (ICC) » (p. 5-65).
- Avertissements
Le mode averissements permet au conducteur de voir les averissements présents.
REMARQUE:
Le mode avertissements s'affiche uniquement s'il y en a.
- Réglages
Le mode de réglages permet au conducteur d'afficher ou de modifier les réglages.
REMISE À ZÉRO DE L'ORDINATEUR DE TRAJET
L'ordinateur de trajet est divisé en trois écrans:
Average Speed (vitesse moyenne)
- Average Fuel Economy (Consommation moyenne de carburant)
- Trip Distance & Time (distance et temps de trajet)
- Appuyez sur les boutons
jusqu'à ce que vous atteigniez le mode de l'ordinateur de trajet.
- Maintenez le bouton OK enforcé pendant environ une seconde pour réinitialiser les renseignements affichés sur l'écran.
REMARQUE:
Si vous souhaitez réinitialiser toutes les valeurs de l'ordinateur de trajet en même temps, maintenez le bouton OK,enforcé pendant environ 3 secondes jusqu'à ce qu'un menu de réinitialisation s'affiche; suivez les directives.
RéGLAGES
Le mode de réglage vous permet de modifier les renseignements affichés à l'écran multifonction. Il vous permit aussi de modifier les fonctions du vehicule :
- Réglage du système de contrôle dynamique du vehicule
-
Assist. au conduct.
-
Réglage du mode ECO
- Réglage du système de surveillance de la pression des pneus
Horloge - Régages de vehicule
- Maintenance (Entretien)
- Customize Display (affichage personnelé)
Unit/Language (Unité/Langue)
Factory Reset (Réinitialisation Usine)
Réglage du système de contrôle dynamique du vehicule
Le menu de réglage du système de contrôle dynamique du vehicule permet à l'utilisateur d'activer ou de désactiver le système de contrôle dynamique du vehicule.
| Option de menu | Explication |
| Système | Permet à l'utiliser d'activer ou de désactiver le système de contrôle dynamique du vehicule. Pour obtenir des renseignements supplémentaires, consultez la section « Système de contrôle dynamique du vehicule (VDC) » (p. 5-141). |
Assist. au conduct.
Le menu Assist. au conduct. permet a l'utilisateur de modifier les réglages relatifs à la conduite, au stationnement et au freinage.
Votre vehicule n'est peut-etre pas équipé de certains éléments de menu illustrés ci-dessous.
| Option de menu | Explication | |
| Voie | Affiche les options offertes pour les voies. | |
| DétSortieVoie | Permet à l'utilisateur d'activer ou de désactiver le système d'advertissement du déport de voie (LDW). Pour obtenir des renseignements supplémentaires, consultez la section « Avertissement du déport de voie » (p. 5-33). | |
| Angle mort | Affiche les options disponibles pour les angles mort. | |
| Blind Spot Warning (système d'avertissement sur angle mort) | Permet à l'utilisateur d'activer ou de désactiver le système d'advertissement sur angle mort. Pour obtenir des renseignements supplémentaires, consultez la section « Système d'advertissement sur angle mort (BSW) » (p. 5-40). | |
| Frein d'urg. | Affiche les options disponibles de freinage d'urgence. | |
| Avant | Permet à l'utiler d'activer ou de désactiver le système de freinage d'urgence avant. Pour obtenir des renseignements supplémentaires, consultez les sections « Système de freinage d'urgence automatique (AEB) avec dispos-tif de détction de piétons » (p. 5-99) et « Système de détction de collision frontale intelligent (I-FCW) » (p. 5-114). | |
| Arrière | Permet à l'utiler d'activer ou de désactiver le système de freinage d'urgence arrière. Pour obtenir des renseignements supplémentaires, consultez la section « Freinage automatique arrière (RAB) » (p. 5-91). | |
| Info. vitesse limite | Permet à l'utiliser d'activer et de désactiver le système de reconnaissance de signalisation routière (TSR). Pour obtenir des renseignements supplémentaires, consultez la section « Reconnaissance de signalisation routière » (p. 5-29). | |
| Aides stationnement | Affiche les aides au stationnement disponibles. | |
| Affichage auto Sonar | Permet l'affichage automatique du système de sonar. Pour obtenir des renseignements supplémentaires, consul- tuez « Système de sonar arrêté (RSS) » (p. 5-146). | |
| Arrière | Permet à l'utiler d'activer ou de désactiver le sonar. | |
| Distance | Permet à l'utiliser de régler la portée du sonar sur Long/Medium/Short (longue, moyenne ou courte). | |
| Volume | Permet à l'utiliser de définir le volume du capteur de stationnement sur High/Medium/Low (élevé, moyen, bas). | |
| Option de menu | Explication | |
| Rear Cross Traffic Alert (Al. Traf. trans) | Permet à l'utiliser d'activer ou de désactiver le système d'alerte de circulation transversale arrêté. Pour obtenir des renseignements supplémentaires, consultez la section « Alerte de circulation transversale arrêté (RCTA) » (p. 5-53). | |
| Attention du conducteur | Permet à l'utiliser d'activer ou de désactiver le système d'alerte vigilance conducteur intelligent. Pour obtenir des renseignements supplémentaires, consultez la section « Système d'alerte vigilance conducteur intelligent (I-DA) » (p. 5-129). | |
| Timer Alert (Chrono Alerte) | Permet à l'utiliser de régler l'alerte de minutesie. | |
| Low Temperature Alert (Alerte glace) | Permet à l'utiliser d'activer ou de désactiver le système d'alerte de température basse. | |
| Chassis Control (Contrôle dynamique) | Affiche les options disponibles pour la commande du châssis. | |
Réglage du mode ECO
Le menu des réglages du mode ECO permet à l'usager de modifier les réglages du mode ECO.
| Option de menu | Explication | |
| ECO Mode Customize (personnaliser le mode ECO) | Affiche les régles disponibles pour le mode ECO. | |
| Cruise Control (régulateur de vitesse) | Permet à l'usager d'activer ou de désactiver le mode de régulateur de vitesse. Pour obtenir des renseignements supplémentaires, consultez la section « Régulateur de vitesse » (p. 5-63). | |
| Air Conditioning (Climatisation) | Permet à l'usager d'activer ou de désactiver le mode de climatisation. Pour obtenir des renseignements supplémentaires, reportez-vous à la section « Chauffage et climatiseur » (p. 4-36, 4-44). | |
| ECO Drive Assist (aide à la conduite écoénergétique) | Affiche les régles disponibles pour l'information ECO. | |
| ECO Indicator (indicateur ECO [economie]) | Permet à l'usager d'activer ou de désactiver l'indicateur ECO. | |
| ECO Drive Report (Rapport de conduite écoénergétique) | Permet à l'usager d'activer ou de désactiver l'option ECO Drive Report (rapport de conduite écoénergétique). | |
| View History (Afficher l'historique) | Affiche le rapport d'historique pour le vehicule. | |
Réglage du système de surveillance de la pression des pneus
Le menu de réglage du système de surveillance de la pression des pneus (TPMS) permet à l'utilisateur d'afficher ou de modifier les unités de pression de gonflage des pneus à l'écran multifonction.
| Option de menu | Explication | |
| Réglage du système de surveillance de la pression des pneus | Affiche les réglages disponibles pour la pression des pneus. | |
| Tire Pressure Unit (unité de pression des pneus) | Permet à l'utiliser de selectionner les unités de pression de gonflage des pneus qui s'affichent à l'écran multifonction. | |
Horloge
| Option de menu | Explication |
| Horloge | Permet à l'usager de régler les paramètres de l'horloge et l'houre sur l'écran multifonction. Les régles possibles complènent le réglage manuel de l'houre, du format 12 h ou 24 h et du fuseau hora (selon l'équipe-ment).L'horloge peut également être réglée à partir de l'affichage central. Pour obtenir des renseignements supplémentaires, consultez le manuel du conducteur NissanConnect™. |
Réglages de vehicule
Les réglages de vehicule permettent au client de modifier les réglages de l'éclairage, les réglages des essuie-glaces, les réglages de verrouillage, les réglages des clés et d'autres réglages du vehicule.
Votre vehicule n'est peut-etre pas equipope de certains éléments de menu illustrés ci-dessous.
| Option de menu | Explication | ||
| Lumière | Affiche les options d'éclairage offertes. | ||
| Welcome Headlight (éclairage d'accueil) | Permet à l'utiliser d'allumer ou d'éteindre l'éclairage d'accueil. | ||
| Auto Room Lamp (éclairage interieur automatique) | Permet à l'utiliser d'allumer ou d'éteindre l'éclairage interieur automatique. | ||
| Auto Headlight (phares automatiques) | Affiche les options de phares automatiques. | ||
| Turn on earliest (Allumer au plus+tôt) | Permet à l'utiliser d'activer l'allumage le plus+tôt possible. | ||
| Turn on earlier (Allumer plus+tôt) | Permet à l'utiliser d'activer l'allumage plus+tôt. | ||
| Turn on standard (Allumer à l'heure standard) | Permet à l'utiliser d'activer l'allumage au réglage standard. | ||
| Turn on later (Allumer plus tard) | Permet à l'utiliser d'activer l'allumage plus tard. | ||
| Turn indicator (indicateur de virage) | Affiche les options disponibles de l'indicateur de virage. | ||
| 3 Flashes (trois appeals de phare) | Permet à l'utiliser d'activer ou de désactiver la fonction « 3 flash pass » (dépassement avec trois appeals de phare). | ||
| Continuous (continu) | Permet à l'utiliser de régler le mode Continuous (continu). | ||
| Verrouillage | Affiche les options de verrouillage offertes. | ||
| Ext. Door Switch (commutateur extérieur de portière) | Permet à l'utiliser d'activer ou de désactiver le commutateur extérieur de portière. Lorsque cette option est activée, le commutateur de demande sur la portière est activé. | ||
| Selective Unlock (déverrouillage sélectif) | Permet à l'utiliser d'activer ou de désactiver le déverrouillage sélectif. Lorsque le commutateur de demande de la poignée de portière de la portière du conducteur est,enforcé pour être déverrouillé,seule la portière correspondante est déverrouillée en premier. Pour déverrouiller toutes les portières,appuyez de nouveau sur le commutateur dans les cinq secondes. Lorsque le commutateur de demande de la poignée de portière de la portière du passager avant est,enforcé pour être déverrouillé,toutes les portières seront déverrouillées.Lorsque cette option est désactivée,toutes les portières se déverrouillent en appuyant une seule fois sur le commutateur. | ||
| Auto Door Unlock (déverrouillage automatique de portière) | Affiche les options de déverrouillage automatique de portière. | ||
| Shift to P (Passer en position P) | Les portières se déverrouillent lorsque le levier déslecteur est mis à la position P (stationnement). | ||
| IGN OFF (contact coupé) | Les portières se déverrouillent lorsque le contact est coupé. | ||
| OFF (hors fonction) | Les portières doivent être verrouillées manuellement. | ||
| Horn beeps on lock (l'avertisseur sonoretentit au verrouillage) | Permet à l'utiliser d'activer ou de désactiver la confirmation de l'avertisseur sonore. Lorsque cette option est activée,l'avertisseur sonore retentit et les feux de détresse clignotent une fois lors du verrouillage du vehicule à l'aide de la clé intelligente. | ||
| Essuie-glaces | Affiche les options d'essue-glace offertes. | ||
| Speed Dependent (assersissement à la vitesse) | Permet à l'utiliser d'activer ou de désactiver les essue-glaces asservis à la vitesse. | ||
| Rear Door Alert (alerte de portière arrêté) | Affiche les options d'alerte de portière arrêté disponibles. | ||
| Horn & Alert (avertisseur sonore etalerte) | Lorsque cette fonction est sélectionnée, l'alerte s'affiche et l'avertisseur sonore retentit. | ||
| Alert Only (alerte seulement) | Lorsque cette option est sélectionnée, seule l'alerte s'affiche. | ||
| OFF (hors fonction) | Lorsque cette option est sélectionnée, aucune alerte ne sonne ou ne s'active. | ||
Maintenance (Entretien)
Le menu d'entretien permet à l'usager de programme des rappels pour divers éléments d'entretien du vehicule.
A AVENTISSEMENT
L'indicateur de remplacement des pneus ne remplace pas la vérification régulière des pneus, y compris la vérification de la pression des pneus. Pour obtenir des renseignements supplémentaires, consultez la section « Remplacement des roues et des pneus » (p. 8-43). De nombreux facteurs y compris le gonflage des pneus, le réglage de la géométrie des roues, les habitudes de conduite et les conditions routières ont une incidence sur l'usure des pneus ainsi que sur les intervalles de remplacement des pneus. Le réglage de l'indicateur de remplacement des pneus programmé pour une certaine distance ne détermine pas la durée de vie utile des pneus. Utilisez l'indicateur de remplacement des pneus à titre de guide uniquement et vérifie toujours régulièrement vos pneus. Une défaillance des pneus pourrait se produit si vous n'effectuez pas la vérification régulière des pneus, y compris celle de la pression des pneus. Voitre vehicule pourrait subir des dommages importants et vous pourriiez avoir un accident entrainant des blessures graves ou mortelles.
| Option de menu | Explication | |
| Maintenance (Entretien) | Affiche diverses options de rappel d'entretien. | |
| Oil Control System (système de commande d'huile) | Permet à l'utiliser de réinitialiser l'intervalle actuel. Cette opération ne doit être effectue qu'après avoir terminé l'entretien de vidange d'huile. | |
| Huile et Filtre | Permet à l'utiliser de régler un rappel à un intervalle spécifique ou de réinitialiser le rappel existant. | |
| Tire (Pneus) | Permet à l'utiliser de régler un rappel à un intervalle spécifique ou de réinitialiser le rappel existant. | |
| Other (Autre) | Permet à l'utiliser de régler un rappel à un intervalle spécifique ou de réinitialiser le rappel existant. | |
Customize Display (affichage personnelé)
Le menu Customize Display (affichage personnelé) permet à l'utiliser de personneliser l'information qui s'affiche à l'écran multifonction. Notre vehicule n'est peut-être pas équipé de certains éléments de menu illustrés ci-dessous.
| Option de menu | Explication | |
| Main Menu Selection (séléction du menu principal) | Affiche les écrans disponibles dans lesquelles l'écran multifonction s'affiche. | |
| Accueil | Permet à l'usager d'activer ou de désactiver l'écran Home (accueil) à l'écran multifonction. | |
| Vitesse | Permet à l'utiliser d'activer ou de désactiver l'écran d'indicateur de vitesse à l'écran multifonction. | |
| Vide | Permet à l'utiliser d'activer ou de désactiver l'options d'écran vide à l'écran multifonction. | |
| Fuel Economy (Consommation de carburant) | Permet à l'utiliser d'activer ou de désactiver l'écran Fuel Economy (economie de carburant) à l'écran multi- fonction. | |
| ECO Pedal Guide (guide de pédale pour conduite écoénergétique) | Permet à l'utiliser d'activer ou de désactiver le guide de pédale pour conduite écoénergétique à l'écran multifonction. | |
| Ordinateur de trajet | Permet à l'utiliser d'activer ou de désactiver l'écran Drive Computer (ordinateur de trajet) à l'écran multi- fonction. | |
| Système de surveillance de la pres- sion des pneus | Permet à l'utiliser d'activer ou de désactiver l'écran du système de surveillance de la pression des pneus à l'écran multifonction. | |
| Info. vitesse limite | Permet à l'utiliser d'activer ou de désactiver l'écran de reconnaissance de signalisation routière à l'écran multifonction. | |
| Audio | Permet à l'utiliser d'activer ou de désactiver l'écran de commandes audio à l'écran multifonction. | |
| Driving Aids (Aides à la conduite) | Permet à l'utiliser d'activer ou de désactiver l'écran d'aides à la conduite à l'écran multifonction. | |
| Cruise (régulateur) | Permet à l'utiliser d'activer ou de désactiver l'écran du régulateur de vitesse à l'écran multifonction. | |
| Chassis Control (Contrôle dynamique) | Permet à l'utiliser d'activer ou de désactiver l'écran Contrôle dynamique à l'écran multifonction. | |
| Cruise Screen Transition (passage à l'écran du régulateur) | Permet à l'utiliser d'activer ou de désactiver le passage à l'écran du régulateur de vitesse. | |
| Welcome Effect (Effet de l'écran d'accueil) | Affiche les réglages disponibles liés à l'effet de l'écran d'accueil. | |
| Gauges (indicateurs) | Permet à l'utiliser d'activer ou de désactiver les effets des indicateurs. | |
| Animation | Permet à l'utiliser d'activer ou de désactiver les effets d'animation. | |
| Light/Wiper Guidance (directives relatives aux phares et aux essuie-glaces) | Affiche les paramètres disponibles de guidage pour l'éclairage et les essuie-glaces. | |
| Lights mode guidance (guidage pour mode éclairage) | Permet à l'usager d'activer ou de désactiver le guidage pour le mode d'éclairage. | |
| Wiper mode guidance (guidage pour mode essuie-glace) | Permet à l'usager d'activer ou de désactiver le guidage pour le mode d'essuie-glaces. | |
Unit/Language (Unité/Langue)
Le menu Unités/langues permet à l'utilisateur de modifier les unités affichées à l'écran multifonction.
| Option de menu | Explication |
| Mileage/Fuel (kilométrage et carburant) | Affiche les unités offertes pour l'affichage du kilométrage et du niveau de carburant et permet à l'utilisateur de sélectionner l'unité voulue à des fins d'affichage. |
| Tire Pressure (pression des pneus) | Permet à l'utilisateur de sélectionner les unités d'affichage de pression des pneus. |
| Temperature (température) | Permet à l'utilisateur de sélectionner les unités d'affichage de température. |
| Language (langue) | Affiche les options de langue offertes et permit à l'utilisateur de sélectionner la langue voulue à des fins d'affichage. |
Factory Reset (Réinitialisation Usine)
Le menu Factory Reset (Réinitialisation Usine) permet à l'usager de restaurer les réglages de l'écran multifonction pourmaintenir les paramètres d'usine.
| Option de menu | Explication |
| Factory Reset (Réinitialisation Usine) | Le menu Factory Reset (Réinitialisation usine) permet à l'usage de faire passer les régliages de l'écran multifonction aux valeurs d'usine. Une fois les valeurs sélectionnées, l'usage peut confirmer ou annuler la réinitialisation. |
AVERTISSEMENTS ET TÉMOINS DE L'ÉCRAN MULTIFONCTION
Les messages suivants peuvent s'afficher à l'écran multifonction.

Démarrage du moteur pour système de clé intelligente (si le niveau de batterie de la clé intelligente est bas)
Ce témoin s'affiche lorsque la pile de la clé intelligente est faible et que le système de clé intelligente et le vehicule ne communique pas normalement.
Si ce témoin s'affiche, touchez le commutateur d'allumage à l'aide de la clé intelligente tout en,enfantant la pédale de frein. Pour obtenir des renseignements supplémentaires, consultez la section « Décharge de la pile de la clé intelligente NISSAN Intelligent KeyMD » (p. 5-15)

Batterie de la clé faible
Ce témoin s'affiche lorsque la pile de la clé intelligente est presque épuisée.
Si ce témoin s'affiche, remplacez la pile de la clé intelligente. Pour obtenir des renseignements supplémentaires, consultez la section « Remplacement de la pile » (p. 8-26).

ID de la clé incorrect
Cet averissement s'affiche lorsque le commutateur d'allumage est déplaced de la position OFF (hors fonction) et que la clé intelligente n'est pas détectée par le système. Vous ne pouvez pas faire demarrer le moteur à l'aide d'une clé non enregistrée.
Pour obtenir des renseignements supplémentaires, consultez la section « NiSSAN Intelligent KeyMD » (p. 3-7).

Erreur syst. clé Voir manuel cond.
Lorsque le commutateur d'allumage est placé à la position ON (marche), cet averissement apparait pendant un certain temps puis s'éteint.
Le message « Erreur syst. clé » avertit le conducteur de la présence d'une anomalie dans le système de clé intelligente. Si l'avertissement apparait lorsque le moteur ne tourne pas, il pourrait être impossible de démarrer le moteur.
Si l'advertissement apparait pendant que le moteur tourne, vous pouvez conduire le vehicule. Dans ces cas, faites vérifier le système. Nous vous recommendons de vous rendre chez un concessionnaire NISSAN pour cet entretien.

Pas de clé détectée
Cet averissement s'affiche lorsque la clé intelligente est à l'extérieur du vehicule et que le commutateur d'allumage est à la position ON (marche). Assurez-vous que la clé intelligente se trouve à l'intérieur du vehicule.
Pour obtenir des renseignements supplémentaires, consultez la section « NiSSAN Intelligent KeyMD » (p. 3-7).


Pas de clé appuyez et maintenez moteur d'arrêt
Ce message s'affiche lorsque la clé intelligente n'est pas détectée et que le moteur doit être éteint.

Luminosite
Ce témoin s'affiche lorsque la luminosité de l'écran multifonction est en cours de réglage.
Contrôle dynamique Contrôle de chàssis Voir manuel cond.
Cet averissement s'affiche s'il y a une erreur dans le système de contrôle du châssis. Faites vérifier le système. Nous vous recommendons de vous rendre chez
un concessionnaire NISSAN pour cet entretien. Pour obtenir des renseignements supplémentaires, reportez-vous à la section « Contrôle du châssis » (p. 5-144).
Alerte de portière arrêté est activée
Lorsque le système est activé, ce message s'affiche lorsque le système d'alerte de la portière arrêté est actif et peut rappeler au conducteur de vérifier le siège arrière.
- Au moyen du bouton du volant, un conducteur peut selectionner l'option « Rejerter le message » pour effacer l'affichage pendant un laps de temps. Si aucune selection n'est effectuée, ce message s'éteint automatiquement après un certain-delai. Si ce message ne s'éteint pas automatiquement, il ne s'agit pas d'une anomalie.
- Au moyen du bouton du volant, un conducteur peut seLECTIONner « Disable Alert » (déspectiver l'alerte) pour déspectiver l'alerte seLECTIONnée pour le reste du trajet en cours.

AVERTISSEMENT
Le fait de selectionner l'option « Rejeter le message » pendant un arrêt au cours d'un voyage rejette temporairement le message d'arrêt sansmettre le système
hors fonction. Les alertes peuvent etre fournies pour d'autres arrets au cours du voyage. Le fait de selectionner l'option « Désactiver Alerte » désactive le système d'alerte de la portiere arriere pour le reste d'un trajet et aucune alarmesonore ne s'active.
REMARQUE:
Ce système se désactive jusqu'à ce que le conducteur l'ait activé au moyen de l'écran multifonction. Pour obtenir des renseignements supplémentaires, consultez la section « Utilisation de l'écran multifonction du vehicule » (p. 2-20).
Pour obtenir des renseignements supplémentaires, consultez la section « Alerte de portière arrêté » (p. 2-78).
Vérifiez sur le siège arrêté pour tous articles
Lorsque le système est activé, ce message s'affiche lorsque le vehicule s'immobilise, lorsque le conducteur déplace le levier de vitesse de la position D (marche avant) à la position P (stationnement) et lorsqu'il quitte le vehicule. Ce message demande au conducteur, après un certain temps, de vérifier les éléments du siege arrêté dés que l'alarme sonore s'active.
REMARQUE:
Ce système se désactive jusqu'à ce que le conducteur l'ait activé au moyen de l'écran multifonction. Pour obtenir des renseignements supplémentaires, consultez la section « Utilisation de l'écran multifonction du vehicule » (p. 2-20).
Pour obtenir des renseignements supplémentaires, consultez la section « Alerte de portière arrêté » (p. 2-78).

Portière ou coffre ouvert
Cet averissement s'affiche lorsqu'une portière est ouverte.

Témoin du mode de conduite sport
Un petit « S » s'affiche à la droite de l'indicateur de position du levier sélecteur de transmission à l'écran multifonction lorsque le mode de conduite sport est engagé.
Activez le mode de conduite sport en appuyant sur le commutateur du levier sélecteur pendant qu'il est à la position D (marche avant).
Pour obtenir des renseignements supplémentaires, consultez la section « Commutateur du mode de conduite sport » (p. 5-23).
Headlight System Error See Owner's Manual (erreur du système de phares : voir le manuel du conducteur)
Cet averissement apparait dans le cas d'une anomalie du système. Pour obtenir des renseignements supplémentaires, consultez « Commutateur des phares et des clignotants » (p. 2-67).

Bouchon carb mal vissé
Cet avertissement s'affiche lorsque le bouchon du réservoir de carburant n'est pas serré correctement après le ravitationnement. Pour obtaining des renseignements supplémentaires, consultez la section « Bouchon du réservoir de carburant » (p. 3-27)

Carburant bas
Cet avertissement apparait lorsque le niveau de carburant est bas. Faites le plein des que possible et, de préférence, avant que l'aiguille de la jauge de carburant n'atteigne le repère 0 (vide). Lorsque l'aiguille de la jauge de carburant atteint le repère 0 (vide), le réservoir de carburant de votre vehicule ne contient qu'une petite réserve de carburant.

Température extérieure basse
Cet averissement s'affiche si la tempéra-ture extérieure est inférieure à 3^ (37^) . Vous pouvez modifier l'affichage de la tempéra-ture en degrés Celsius ou Fahrenheit. Pour obtenir des renseignements supplémentaires, consultez la section « Réglages » (p. 2-45)

Liqu. lave-glace bas
Cet averissement s'affiche lorsque le niveau de liquide lave-glace est bas. Ajoutez la quantité de liquide lave-glace requise. Pour obtenir des renseignements supplémentaires, consultez la section « Liquide lave-glace » (p. 8-14).
Coupure aliment. pour prolonger batterie
Ce message s'affiche à l'écran multifonction du vehicule après un certain temps si le commutateur d'allumage est à la position AUTO ACC (accessoires-automatique) ou ON (marche) et si le vehicule est en position P (stationnement). Pour obtenir des renseignements supplémentaires, consultez la section « Positions du commutateur d'allumage par bouton-poussoir » (p. 5-14).
Aliment. coupée pour prolonger batterie
Ce message s'affiche après que le commutateur d'allumage soit automatiquement eteint. Pour obtenir des renseignements supplémentaires, consultez la section « Positions du commutateur d'allumage par bouton-poussoir » (p. 5-14).

FREIN

Appuyer sur frein et bouton démarrage
Ce témoin s'allume quand le levier sélecteur est dans la position P (stationnement).
Ce témoin s'affiche également lorsque le vehicule est démarré à l'aide de la fonction de démarrage à distance du moteur (selon l'équipement).
Ce témoin indique que le moteur peut être démarré en appuyant sur le commutateur d'allumage alors que la pedale de frein est enforcée. Vous pouvez démarrer le moteur dans n'importe qu'elle position du commutateur d'allumage.

Mettre allumage sur ARRET
Lorsque l'advertisement « Push Ignition to OFF » (mettre l'allumage sur arrêt) apparait, il reste actif si le commutateur d'allumage est placé à la position AUTO ACC (accessoires
automatiques) et que le levier sélecteur est déplaced à la position P (stationnement).
Pour éteindre l'advertissement « Push Ignition to OFF » (Mettre l'allumage sur HORS FONCTION), placez le commutateur d'allumage à la position ON (marche), puis à la position LOCK (antivol-verrouillé).

Rappel de ceinture de sécurité arrête
Cet avertissement s'affiche pendant 35 se-
condes après que l'allumage est placé à la
position ON (marche) et que le moteur est
démarré.
Ce message d'avertissement indique l'état des trois ceintures de sécurité arrêté. Lorsque l'une des ceintures de sécurité arrêté est bouclée, le témoin de ceinture de sécurité arrêté correspondant est affché en gris. Lorsque l'une des ceintures de sécurité arrêté n'est pas bouclée, le témoin de ceinture de sécurité arrêté correspondant est affché en rouge.
Après un changement d'etat de boucle, un carillon retentit et le témoin s'affiche pendant 35 secondes de plus.
Desserrer frein à main
Cet averissement s'affiche lorsque le frein de stationnement est serré et que le vehicule roule.


Rappel ÉTEINDRE phares
Cet averissement s'affiche lorsque les phares NE SONT PAS ETEINTS à la sortie du vehicule. Placez l'interrupteur des phares à la position OFF (hors fonction) ou AUTO (automatique). Pour obtenir des renseignements supplémentaires, consultez « Commutateur des phares et des clignotants » (p. 2-67).


Tournez le volant et app sur le demarr.
Ce témoin s'affiche lorsque le mecanisme de blocage de la direction ne peut être dégagé.
Lorsque ce témoin s'affiche, enforcez le contacteur d'allumage tout en tournant légèrement le volant vers la droite et vers la gauche.

Passer en position P
Cet averissement s'affiche lorsque le commutateur d'allumage est à la position AUTO ACC (accessoires-automatique) ou OFF (hors fonction) et que le levier selecteur n'est pas à la position P (stationnement). De plus, un carillon retentit lorsque le commutateur d'allumage est à la position AUTO ACC (accessoires-automatique) ou OFF (hors fonction).
Si cet averissement s'affiche, déplacez le levier sélecteur à la position P (stationnement) et démarrez le moteur.
Sur mode de transport Pousser pin c-circuit
Cet averissement peut s'afficher si le commutateur d'entreposage prolongé n'est pas enforcé. Lorsque cet averissement s'affiche, appuyez sur le commutateur d'entreposage prolongé pour désactiver l'ajretissement. Pour obtenir des renseignements supplémentaires, consultez « Commutateur d'entreposage prolongé » (p. 2-82) ou « Fusibles » (p. 8-22).

Timer Alert -Time for a break? (alerte de minuterie - prendre une pause?)
Ce témoin s'affiche lorsque le minuteur atteint le délambda programme. Le minuteur peut êtreprogramme pour un délambda maximal de six heures. Pour obtenir des renseignements supplémentaires, consultez la section « Réglages » (p. 2-45).
Pression de pneuasse. Ajouter air
Cet averissement s'affiche lorsque le témoin d'ajretissement de basse pression des pneus s'allume sur le tableau de bord et qu'une basse pression des pneus est détectée. Le message d'ajretissement s'affiche chaque fois que le commutateur d'allumage se trouve sur ON (marche) tant que le témoin d'ajretissement de basse pression des pneus demeure allumé. Si cet averissement s'affiche, arrêtez le vehicule et réglez la pression des quatre pneus à la pression À FROID recommandaee indiquée sur l'étiquette d'information sur les pneus et la charge. Pour obtenir des renseignements supplémentaires, consultez « Témoin d'ajretissement de basse pression des pneus » (p. 2-13) et « Système de surveillance de la pression des pneus (TPMS) » (p. 5-5).

Indicateur de position du levier selecteur de transmission
Ce témoin indique la position du levier sélecteur de la boîte de vitesses.

Surchauffe de la transmission à variation continue - Puissance réduite
Cette transmission à variation continue dispose d'un mode de protection de surchauffe du liquide de transmission. Si la température du liquide devient trop élevé (par exemple, en gravissant une pente abrupte à pleine charge, par temps chaud, en tractant une remorque), le couple du moteur et, dans certaines conditions, la vitesse du vehicule pourrait être diminués automatiquement afin d'éviter d'endommager la boîte de vitesse. La vitesse du vehicule peut être contrôle par la pédale d'accéléateur, mais le couple du moteur et la vitesse du vehicule pourrait être réduits.

AVERTISSEMENT
Lorsque le mode de protection de surchauffe du liquide s'active, la vitesse du vehicule peut etre graduelflement
réduite. Une vitesse inférieure à celle de la circulation fait augmenter les risques de collision. Soyez particulièrement prudent pendant la conduite. Au besoin, rangez le vehicule sur l'accotement de façon sécuritaire et laissez la boîte de vitesse revenir à un fonctionnement normal ou faites-la réparer au besoin.
CVT
Déf. CVT (BVA) Faire entretien
Cet averissement s'affiche dans le cas d'une anomalie du système de transmission à variation continue. Si cet averissement s'affiche, faites vérifier le système. Nous vous recommendons de vous rendre chez un concessionnaire NiSSAN pour cet entretien.
Moteur chaud Puissance -
Ce moteur dispose d'un mode de protection de surchauffe du liquide. Si la température du liquide devient trop élevé (par exemple, en gravissant une pente abrupte à pleine charge, par temps chaud, en tractant une remorque), la puissance du moteur et, dans certaines conditions, la vitesse du vehicule pourrait être diminués automatiquement afin d'éviter d'endommager le moteur. La vitesse du vehicule peut être
contrôlée par la pédale d'accélérateur, mais le couple du moteur et la vitesse du vehicule pourrait être réduits.

AVERTISSEMENT
Lorsque le mode de protection de surchauffe du liquide s'active, la vitesse du vehicule peut etre graduelflement réduite. Une vitesse inférieure à celle de la circulation fait augmenter les risques de collision. Soyez particulièrement prudent pendant la conduite. Au besoin, rangez le vehicule sur l'accotement de façon sécurité et laissez le moteur revenir à un fonctionnement normal ou faites-le réparer au besoin.
Engine Malfunction: Power Reduced Service now (anomalie du moteur : puissance réduite, entretien immédiat requis
Ce message s'affiche lorsque le moteur ne fonctionne pas dans les conditions normales. Si cet avertissement s'affiche, faites vérifier le système. Nous vous recommandons de vous rendre chez un concessionnaire NiSSAN pour cet entretien.
Def. Moteur Faire entretien
Cet averissement s'affiche dans le cas d'une anomalie du moteur. Si cet averissement s'affiche, faites vérifier le système. Nous vous recommendons de vous rendre chez un concessionnaire NISSAN pour cet entretien.

Vidange d'huile à moteur requise dans - - - milles
Cette distance à parcourir avant la prochaine vidange d'huile s'affiche si la distance à parcourir avant la prochaine vidange d'huile est inférieure à 100 km (62 milles).
Calage moteur: Arrêtez-vous
Ce message s'affiche 30 secondes avant que le vehicule soit arrêté en raison d'une température des gaz d'échéppement supérieur à la valeur normale de fonctionnement. Le témoin d'anomalie (MIL) et l'avertissement d'anomalie (rouge) s'allument. Faites vérifier le système. Nous vous recommendés de vous rendre immediatement chez un concessionnaire NISSAN pour cet entretien.

Témoin d'rapidissement du système de freinage d'urgence automatique avec dispositif de détction de piétons
Ce témoin s'affiche et un signal sonore retentit lorsque le système déetecte la possibilité d'une collision frontale.
Pour obtenir des renseignements supplémentaires, consultez les sections « Système de freinage d'urgence automatique avec dispositif de détction de piétons » (p. 5-99) et « Système de détction de collision frontale intelligent » (p. 5-114).

Indicateur du système d'avertissement d'angle mort et du système d'alerte de circulation transversale arriere
Ce témoin apparait lorsque le système d'advertissement sur angle mort est engagé.
Pour obtenir des renseignements supplémentaires, consultez la section « Systeme d'avertissement sur angle mort (BSW) » (p. 5-40).
Pas disponible à présent
Ce message peut s'afficher lorsque le système de régulateur de vitesse adaptatif (ICC) est en fonction.
Dans les conditions suivantes, le régulateur de vitesse adaptatif est automatiquement annulé:
Lorsque le SYSTÉME DE CONTROôle DYNAMIQUE DU VEHICULE est désacté.
Le système ci-dessus ne peut pas etre utilise dans certaines situations (lorsque le système de contrôle dynamique du vehicule est en fonction, lorsqu'une roue patine et lorsque le système de contrôle dynamique du vehicule est désactiver).

Attention du conducteur Défaut du système
Cet averissement s'affiche lorsque le système d'alerte vigilance conducteur intelligent est défectieux. Pour obtenir des renseignements supplémentaires, consultez la section « Système d'alerte vigilance conducteur intelligent » (p. 5-129).

Attention du conducteur Une pause?
Cette alerte s'affiche lorsqu'le système a détesté que le conducteur montre des signes de fatigue ou un manque d'attention.
Aides à la conduite temporésactivées Capteur avant bloqué Voir manuel
Ce message s'affiche lorsqu'le capteur de radar avant peut'être obstrué en raison de:
- boue, saleté, neige, glace, etc.
- mauvais temps (pluie, brouillard, neige, etc.)
Toutes les aides à la conduite en marche avant sont temporairement désactivées jusqu'à ce que le système détecte que le capteur de radar avant n'est plus obstrué.
Pour obtenir de plus amples renseignements, consultez les sections suivantes (selon l'équipement):
- Système de freinage d'urgence automatique avec dispositif de détction de piétons (p. 5-99)
- Régulateur de vitesse adaptatif (ICC) (p. 5-65)
- Système de détéction de collision frontale intelligent (p. 5-114)

Système d'arrêt du ralentti
Cetémoin indique l'etat du système d'arrêt au ralenti.
Pour obtenir des renseignements supplémentaires, consultez la section « Système d'arrêt du ralenti » (p. 5-152).

Témoins du régulateur de vitesse adaptatif (ICC)
Ces tímeoins indiquent l'etat du régulateur de vitesse adaptatif (ICC). L'etat est affché par la couleur. Pour obtenir des renseignements supplémentaires, consultez la section « Régulateur de vitesse adaptatif (ICC) » (p. 5-65).

Témoin du système d'rapidissement du déport de voie
Ce témoin apparait lorsque système d'rapidissement du déport de voie (LDW) estengage.
Pour obtenir des renseignements supplémentaires, consultez la section « Avertissement du déport de voie » (p. 5-33).
Défaillance du syst.
Cet averissement s'affiche lorsque le système de freinage d'urgence automatique avec dispositif de détction de piétons ou le système de détction de collision frontale intelligent (I-FCW) ne fonctionnent pas correctement.
Si l'un ou plusieurs de ces avertissements s'affichent, faites vérifier le système. Nous vous recommandons de vous rendre chez un concessionnaire NISSAN pour cet entretien.
Pour obtenir des renseignements supplémentaires, consultez la section « Système de freinage d'urgence automatique (AEB) avec dispositif de détction de piétons » (p. 5-99) ou « Système de détction de collision frontale intelligent (I-FCW) » (p. 5-114).
Défaut du système Voir manuel cond.
Cet averissement s'affiche lorsqu'un ou plusieurs des systèmes suivants ne fonctionnent pas correctement :
- Avertisseur d'angle mort (BSW)
- Alerte de circulation transversale arriere (RCTA)
Si un ou plusieurs de ces averissements s'affichent, faites vérifier le système. Nous vous recommendons de vous rendre chez un concessionnaire NISSAN pour cet entretien.
Indispo. Mauvaises conditions de route
Ce message peut s'afficher lorsque le système de régulateur de vitesse adaptatif (ICC) est en fonction.
Dans les conditions suivantes, le régulateur de vitesse adaptatif est automatiquement annulé :
Lorsque le SYSTÉME DE CONTROLE DYNAMIQUE DU VEHICULE est en fonction.
Lorsqu'une roue patine.
Le système ci-dessus ne peut pas etre utilise dans certaines situations (lorsque le systeme de contrôle dynamique du vehicule est en fonction et lorsqu'une roue patine).
Non disponible Défaillance du système
Cet averissement s'affiche lorsqu'un ou plusieurs des systèmes suivants (selon l'équipe-ment) ne fonctionnent pas correctement.
- Régulateur de vitesse adaptatif (ICC)
- Avertisseur d'angle mort (BSW)
- Avertissement du déport de voie (LDW)
- Freinage automatique arrêté (RAB)
Si un ou plusieurs de ces averissements s'affichent, faites vérifier le système. Nous vous recommandons de vous rendre chez un concessionnaire NiSSAN pour cet entretien.
Pour obtenir des renseignements supplémentaires, consultez « Régulateur de vitesse adaptatif » (p. 5-65), « Système d'avertissement sur angle mort » (p. 5-40), « Avertissement du déport de voie » (p. 5-33) ou « Système de freinage automatique arrière » (p. 5-91).
Erreur captr station. Voir manuel cond.
Cet averissement apparait dans le cas d'une anomalie du système. Pour obtenir des renseignements supplémentaires, consultez « Système de sonar arrêté (RSS) » (p. 5-146).

Témoin d'ajretissement du système de freinage automatique arrêté
Ce témoin apparait pour indiquer l'état du système de freinage automatique arrêté. Pour obtenir des renseignements supplémentaires, consultez la section « Freinage automatique arrêté (RAB) » (p. 5-91).

Témoin de signe de limite de vitesse
Ce message peut s'afficher lorsque le système de reconnaissance de signalisation routière est engagé.
Pour obtenir des renseignements supplémentaires, consultez la section « Reconnaissance de signalisation routière » (p. 5-29).
Non disponible haute temp. habitacle
Ce message s'affiche lorsque laamera détecte une température interieure supérieur à environ 40^ (104°F). Pour obtenir des renseignements supplémentaires, consultez la section « Reconnaissance de signalisation routière » (p. 5-29).
Non disponible : température élevée de laamera
Ce message s'affiche lorsque laamera détecte une température interieure supérieure à 40^ (104°F). Pour obtenir des renseignements supplémentaires, consultez la section « Reconnaissance de signalisation routière » (p. 5-29).
Non disposable Obstruction radar latérale
Ce message s'affiche lorsque le système d'avertissement sur angle mort (BSW) ou le système d'alerte de circulation transversale arrêté (RCTA) n'est pas disponible en raison d'une détction d'obstruction. Pour obtenir des renseignements supplémentaires, consultez la section « Système d'avertissement sur angle mort (BSW) » (p. 5-40) ou « Alerte de circulation transversale arrêté (RCTA) » (p. 5-53).

Témoin de détction du vehicule suivi
Ce témoin apparait lorsque les systèmes suivants sont activés et ont détecté un vehicule:
- Système de freinage d'urgence automatique avec dispositif de détéction de piétons
- Système de détéction de collision frontale intelligent
Pour obtenir des renseignements supplémentaires, consultez les sections « Système de freinage d'urgence automatique avec dispositif de détction de piétons » (p. 5-99) et « Système de détction de collision frontale intelligent » (p. 5-114).

Votre vehicule peut composer des types de systèmes de sécurité :
- Système de sécurité du vehicule (selon l'équipement)
- Système antidémarrage du vehicule NISSAN
SYSTÉME DE SECURITÉ DU VEHICULE (selon l'équipement)
Des signaux d'alarme visuels et sonores retentissent si quelqu'un ouvre les portières lorsque le système de sécurité du vehicule est armé. Il ne s'agit toute fois pas d'un dispositif à détction de mouvement s'activant en cas de déplacement du vehicule ou en présence de vibration.
Le dispositif sert à détecter les vols, mais il ne saurait empêcher le vol du vehicule ni empêcher dans tous les cas le vol d'éléments interieurs ou extérieurs. Verrouillez toujours yours une vehicule, même si vous le garez pour un instant. Ne laissez jamais vos clés dans le vehicule et verrouillez toujours le vehicule si vous le laissez sans surveillance. Pour toute sécurité, gerez-vous dans des zones aussi sûres et bien éclairées que possible.
De nombreux dispositifs proposés dans les boutiques d'accessoires automobiles et magasins spécialisés offrent une protection supplémentaire, comme des verrous d'accessoire, des éléments d'identification ou des dispositifs de reperte. Notre concessionnaire NISSAN peut également vous offrir ce type de dispositif. Vérifiez auprès de votre société d'assurance si vous pouvez bénéficier de réductions liées à l'installation de ces différents dispositifs antivol.
Méthode d'activation du système de sécurité du vehicule
-
Fermez toutes les glaces et le toit ouvrant transparent (selon l'équipement). Le dispositif peut être activé même si les glaces et le toit ouvrant transparent sont ouverts.
-
Retirez la clé intelligente du vehicule.
- Fermez toutes les portières, le capot et le coffre. Verrouillez toutes les portières. Les portières peuvent etre verrouillées au moyen de la clé intelligente, du commutateur de demande de la poignée de portiere (selon l'équipement) ou de l'interrupteur de verrouillage électrique des portières.
- Patientez 30 secondes pendant que le système termine la phase de préarmament.
Le système reste désarmé si une des situations suivantes se produit durant la phase de pré-armament: - Une portière se déverrouille à l'aide de la clé intelligente ou d'un commutateur de demande de portière (salon l'equipement).
- Le commutateur d'allumage est placé à la position AUTO ACC (accessoires-automatique) ou ON (marche).
- Mème si le conducteur et des passagiers se trouvent dans le vehicule, le système s'activera lorsque toutes les portières, le capot et le coffre sont fermés et verrouillés et que le commuta
teur d'allumage est à la position LOCK (antivol-verrouillé). Le système se dé-sactive lorsque vous placez le commutateur d'allumage à la position ON (marche).
Activation du système de sécurité du vehicule
L'alarme déclenchée par le système de sécurité du vehicule implique les éléments suivants :
- Les phares clignotent et l'avertisseur sonore retentit par intermittence.
L'alarme se désactive automatiquement après un certain déliai. Par contre, en cas d'une nouvelle effraction, elle s'active de nouveau. Pour arrêté l'alarme, appuyez sur le bouton de la clé intelligente.
L'alarme s'active si :
- la portière ou le couvercle du coffre est ouvert sans la clé ou la clé intelligente (meme si la portiere est déverrouillée à l'aide de la commande de verrouillage interieure).
Neutralisation de l'alarme
L'alarme s'arrête uniquement en déverrouillant une portière, en appuyant sur le bouton de la clé intelligente ou en appuyant sur le commutateur de demande (selon l'équipement) situé sur la portière du conducteur ou du passager avec la clé intelligente à portée de la poignée de portière.
SYTÉME ANTIDÉMARRAGE DU VÉHICULE NISSAN
Le Systeme antidémarrage du vehicule NISSAN empêche le démarrage du moteur sans clé programmée.
Si on se sert d'une clé programmée et que le moteur refuse quand même de démarrer (par exemple, en présence d'interférences causées par une autre clé programmée, par un dispositif pour poste de péage automatisé ou par un dispositif de paiement automatique se trouvant sur votre porte-clés), procédez comme suit :
- Laissez le commutateur d'allumage à la position ON (marche) pendant environ cinq secondes.
-
Tournez-le ensuite à la position OFF (hors fonction) ou LOCK (antivol-verrouillé) et attendez environ 10 secondes.
-
Repetez les étapes 1 et 2.
- Tentez de nouveau de faire démarrer le moteur au moyen de votre clé programme NVIS tout en tenant le dispositif (ayant causé des interférences) à l'écart.
Si le moteur refuse toujours de démarrer, NISSAN vous recommende de placer votre clé programmée sur un autre porte-clés afin d'éviter les interférences causées par les autres dispositifs.
Ne laissez jamais ces clés dans le vehicule.
Avertissement de la FCC :
Aux États-Unis :
Ce dispositif est conforme à l'article 15 des règlements de la FCC. Son utilisation est soumise aux deux conditions suivantes : (1) ce dispositif ne doit causeur aucune interférence nuisible, et (2) ce dispositif doit accepter toutes les interférences, y compris celles qui pouraient l'activer de façon inopinée.
REMARQUE:
Toute modification non approuvée par la partie responsable de la conformité peut annuler le droit d'utiliser ce dispositif.
Au Canada :
Cet apparéil contient des émetteurs/ récepteurs exempls de licence qui sont conformes aux normes RSS d'Innovation, Sciences et Développement économique Canada. Son utilisation est soumise aux deux conditions suivantes : (1) ce dispositif ne doit causeure aucune interférence. (2) Ce dispositif doit pouvoir accepter toutes les interférences, y compris celles qui pourrait l'activer de façon inopinée.
COMMUTATEUR D'ESSUIE-GLACE ET DE LAVE-GLACE

FONCTIONNEMENT DE LA COMMANDE

AVERTISSEMENT
Lorsque la température est inférieure au point de congélation, le liquide de lave-glace risque de geler sur le pare-brise et de vous obstruer la vue, ce qui peut entraîner un accident. Faites fonctionner le dégivreur pour réchauffer le pare-brise avant de le nettoyer.

MISE EN GARDE
- N'actionnez pas le lave-glacependant plus de 30 secondes.
- N'actionnez pas le lava-glace si le réseauoir de liquide lava-glace est vide.
- Ne replissez pas le réservoir de liquide lave-glace avec des concentrates non dilués. Les éclaboussures de certains concentrés de liquide lave-glace au methanol peuvent tacher la calandre de façon permanente pendant le replissage du réservoir de liquide lave-glace.
- Mélangez le concentré de liquide lave-glace avec de l'eau conformément aux recommendations du fabricant avant de verser le mélange dans le réservoir de liquide lave-glace. N'effectuez pas ce mélange dans le réservoir même.
REMARQUE:
Si la neige ou la glace interrupt le balayage des essuie-glaces de pare-brise, l'essuie-glace peut s'arreter afin de protégger son moteur. Dans un tel cas, tournez la commande d'essuie-glace à la position OFF (hors fonction), puis enlevez la neige ou la glace qui se trouve sur les
bras d'essuie-glace ou autour de ceux-ci. Dans une minute environ, replacez la commande en position ON (marche) pour actionner l'essuie-glace.
Les essuie-glaces et le lava-glace de pare-brise fonctionnent lorsque le commutateur d'allumage est à la position ON (marche).
Poussez le levier vers le bas pour actionnerles essuie-glaces aux réglages suivants :
1 Intermittent - Le fonctionnement intermittent se règle en tournant le bouton vers A (cycles plus courts) ou B (cycles plus longs). Les cycles d'interrmittence sont également fonction de la vitesse du vehicule. (Par exemple, si la vitesse du vehicule est élevée, les cycles d'interrmittence seront plus courts.)
(2) Faible vitesse - Fonctionnement continu des essuie-glaces à faible vitesse
3 Grandevitesse - Fonctionnement continu des essuie-glaces à grande vitesse
Poussez le levier vers le haut ④ pour obtenir un seul cycle de balayage (MIST [brume]).
Tirez le levier vers vous ⑤ pour activer le lave-glace. Les essuie-glaces exécuteront également plusieurs cycles de balayage.
REMARQUE:
L'asservissement des essuie-glaces à la vitesse peut être désactivé. Pour obtenir des renseignements supplémentaires, consultez la section « Écran multifonction de 11 cm (4,2 po) de type A du vehicule » (p. 2-19) ou « Écran multifonction de 18 cm (7 po) de type B du vehicule » (p. 2-40).
INTERRUPTEUR DU DÉGIVREUR DE LUNETTE ARRIÈRE ET DE RÉTROVISEUR EXTÉRIEUR (selon l'opération)

Pour dégivrer la lunette arrière et les rétroviseurs extérieurs (selon l'équipement), faites démarrer le moteur et appuyez sur l'interrupteur du dégivreur de lunette arrière. Le témoin de dégivreur de lunette arrière qui se trouve sur l'interrupteur s'allume. Appuyez de nouveau sur l'interrupteur pourmettre le dégivreur hors fonction.
Le dégivre de lunette arrête s'arrête automatiquement environ 15 minutes après son activation.

MISE EN GARDE
Pour éviter de décharger la batterie, n'utilise le dégivre que lorsque le moteur tourne.
Au moment du nettoyage de la paroi interieure de la lunette, prenez soit de ne pas égratigner ou d'endommager le dégivreur de lunette arriere.
INTERRUPTEUR DES PHARES ET DES CLIGNOTANTS

Type A (selon l'équipement)
INTERRUPTEUR DE COMMANDE DES PHARES

Type B (selon l'équipement)
Lumière
1 Placez l'interrupteur à la position 00e pour que les feuels de stationnement avant, les feuels arrriere, l'éclairage de la plaque d'immatriculation et l'éclairage du tableau de bord s'allument. Le témoin 00e s'allume sur le tableau de bord.
2 Placez linterrupteur à la position pour que les phares s'allument et que tous les autres deux demeurent allumés.

MISE EN GARDE
Pour éviter de décharger la batterie, allumez les phares seulement lorsque le moteur tourne.

Système de phares automatiques
Le système de phares automatiques permet l'activation et la désactivation automatiques des phares. Ce système peut :
- allumer les phares, les yeux de stationnement avant, les yeux arrirée et l'éclairage de la plaque d'immatriculation et du tableau de bord lorsqu'il fait nombre;
- éteindre tous les feuels lorsqu'il fait jour;
- laisser tous les feuels allumés pendant un certain-delai après la COUPURE du contact alors que toutes les portières sont fermées.
Pour activer le système de phares automatiques:
- Aux États-Unis : Tournez l'interrupteur des phares à la position AUTO (automatique) ①.
Au Canada : Tournez l'interrupteur des phares à la position AUTO (automatique) ① ou à la position épaé .
- Placez le commutateur d'allumage en position ON (marche).
- Le système de phares automatiques allume et eteint automatiquement les phares.
Si le commutateur d'allumage est place à la position OFF (hors fonction) et si une portière est ouverte et demeure ouverte, les phares restent allumés pendant un certain décai. Si une autre portière est ouverte alors que les phares sont allumés, la minuteurie continue.
Pour désactiver le système de phares automatiques:
Aux États-Unis: Tournez l'interrupteur à la position OFF (selon l'équipement) éda, ou à la position D.
Au Canada: Tournez l'interrupteur à la ou à la position ①.
Les phares s'allument automatiquement lorsque la luminosité baisse ou par temps plouvieux (lorsque les essuie-glaces de pare-brise fonctionnent en continu).
Si le commutateur d'allumage est place à la position OFF (hors fonction) et qu'une des portières reste ouverte, les phares restent allumés pendant 1 minute.

Assurez-vous qu'aucun objet n'est déposé sur le capteur du système de phares automatiques, situé à l'extrémité supérieure ① du tableau de bord. Le capteur commande le système de phares automatiques. Si un objet le recouvre, il assimilé l'absence de lumière ainsi provoquée à une condition nocturne et réagit en activist les phares. La batterie de votre vehicule peut se décharger si cela se produit lorsque le vehicule est stationné, que le moteur est arrêté et que le commutateur d'allumage est à la position ON (marche).

Sélection des feuix
1 Pour selectionner les frais de route, poussez le levier vers l'avant. Les frais de route et le témoin D s'allument sur le tableau de bord.
② Tirez le levier vers l'arrière pour selectionner les yeux de croissement.
3 Les feu des route sont activés et désactivés lorsque vous tirez puis relâchez le levier.
Assistance du faisceau de route (selon l'équipement)
Le système d'assistance des feuels de route ne fonctionne que lorsque la vitesse du vehicule est supérieure à 40 km/h (25 mi/h) environ. Si un vehicule circulant en sens inverse ou à l'avant de votre vehicule est détecté lorsque le faisceau de route est allumé, l'éclairage passera automatiquement aux feuels de croissement.

AVERTISSEMENT
Le système d'assistance des feu des route est pratique, mais ne remplace aucunement une conduite sure. Le conducteur doit rester vigilant en tout temps, s'assurer de respecter les pratiques de conduite securitaires et activer manuellement les feu des route et les feu de croissement lorsque nécessaire.
- Les faux de route ne passent pas automatiquement aux faux de croissement, et vice-versa, dans les conditions individues ci-dessous. Vous devez passer manuellement des faux de route aux faux de croissement, et vice-versa.
- Par mauvais temps (pluie, brouil-lard, neige, vent, etc.).
Lorsqu'une source d'éclairage similaire à des phares ou aux deux arrêté se trouve à proximité du vehicule.
Lorsque les phares d'un vehicule circulant en sens inverse ou le flanc antérieur vehicule sont mis hors fonction, lorsque la couleur de l'éclairage est affectée en raison de la présence de matières étrangères sur les feuels et les phares, ou lorsque le faisceau lumineux se trouve hors de sa position.
Lorsqu'un changement brusque et continu de luminosité se produit.
- Lorsque vous conduisiez sur une route qui passe par-dessus un terrain valonné, ou sur une route qui présente des écarts de niveau.
- Lorsque vous conduisiez sur une route qui présente plusieurs virages.
Lorsqu'une affiche ou autre surface refléchit une lumière intense vers I'avant du vehicule.
Lorsqu'un conteneur, etc., cours de remorquage par un vehicule situé à l'avant, refléchit une lumière intense.
Lorsqu'un des phares de votre vehicule est endommagé ou sale.
Lorsque le vehicule est incline en raison d'un pneu creve, d'un remorquage en cours, etc.
L'action des feu de croissement et des feu de route peut changer suivant les situations suivantes.
La luminosité des phares d'un vehicule circulant en sens inverse ou circulant à l'avant de votre vehicule.
Le mouvement et le sens de circulation du vehicule circulant en sens inverse ou circulant à l'avant de votre vehicule.
- Un seul phare est allumé sur le vehicule circulant en sens inverse ou circulant à l'avant de votre vehicule.
- Le vehicule circulant en sens inverse ou circulant à l'avant de votre vehicule est un vehicule à deux roues.
- L'etat de la route (pente, virage, surface de la route, etc.).
- Le nombre de passagers et la quantité de bagages.

Fonctionnement du système d'assistance du faisceau de route
Pour activer le système d'assistance des feux de route, tournez l'interrupteur des phares sur la position AUTO ① et+poussez le levier vers l'avant ② (position feuces deroute).Le témoin d'assistance des feuces deroute du compteur s'allume pendant que les phares sont allumés.
Si le témoin d'assistance des feu de route ne s'allume pas dans la condition mentionnée ci-dessus, cela peut indiquer que le système ne fonctionne pas correctement.
Nous vous recommendons de consulter un concessionnaire NISSAN pour cet entretien si un remplacement est nécessaire.
Lorsque la vitesse du vehicule est inférieure à 25 km/h (16 mi/h), l'éclairage passae automatiquement aux yeux de croissement.
Pour désactiver le système d'assistance des feu des route, tournez l'interrupteur des phares à la position ou selectionnez la position de feu de croisement en plaçant le levier à la position neutre.

Entretien du capteur d'image ambiente
Le capteur d'image ambiente du système d'assistance des yeux de route est situé à l'avant du rétroviseur interieur. Pour le bon fonctionnement système d'assistance des yeux de route et la prévention d'une anomalie de système, assurez-vous d'observer les consignes suivantes:
- Gardez toujours le pare-brise propre.
-
Ne posez pas d'autocollant (opaque ou transparent) sur le capteur d'image ambiente et n'installez pas d'accessoire à proximité.
-
Évitez de frapper ou d'endommager les zones autour du capteur d'image ambiente. Ne touche pas la lentille du capteur, située sur le capteur d'image ambiente.
Si le capteur d'image ambiente est endommagé en raison d'un accident, nous vous recommendons de consulter un concessionnaire NiSSAN.
Système de protection antidécharge de la batterie (selon l'équipement)
Le carillon de rappel des phares allumés retentit lorsque le commutateur des phares est à la position éqq ou et que la portière du conducteur est ouverte alors que le commutateur d'allumage est à la position OFF (hors fonction) ou LOCK (verrouillage).
Si le commutateur d'allumage est place à la position OFF (hors fonction) ou LOCK (verrouillage) alors que l'interrupteur des phares est à la position équé ou , la protection antidécharge éteindra les phares au bout d'un certain temps pour éviter la décharge de la batterie.
Assurez-vous de tournier l'interrupteur des phares à la position OFF (hors fonction) ou AUTO (automatique) lorsque vous quitterez le vehicule.
AMISE EN GARDE
- Ne laisses pas les phares allumés pendant de longues périodes lorsque le moteur n'est pas en marche, afin d'éviter que la batterie ne se décharge.
Lorsque you remettez l'interrupteur des phares à la position d'activation après l'extinction automatique des phares, ces derniers ne s'éteignent pas automatiquement. Assurez-vous de placer le commutateur des phares à la position OFF (déactivés) ou à la position AUTO (selon l'équipment) lorsque vous quittez le vehicule pour une période prolongée, sinon la batterie se déchargera.
PHARES DE JOUR À DEL (selon l'équipement)
Les DEL des phares de jour s'allument automatiquement à 100 % de l'intensité lorsque le frein de stationnement est desserré après le démarrage du moteur. Les DEL des phares de jour fonctionnent lorsque l'interrupteur des phares est à la position OFF (selon l'équipement) ou en position AUTO pendant la journée. Au Canada : Les DEL des phares de jour peuvent s'allumer lorsque l'interrupteur des phares est à la positionpendant la journée (les faux de position arrêté s'allument aussi).Sivous tournez l'interrupteur des phares à la position pour obtenir une intensité d'éclairage maximale, les témoins DEL passent des phares de jour à la fonction de stationnement.
Les DEL des phares de jour ne s'allument pas au démarrage du moteur si le frein de stationnement est serré. Les DEL des feu des jour s'allument une fois que vous desserrez le frein de stationnement. Les DEL des phares de jour restent allumés jusqu'à ce que le commutateur d'allumage soit placé à la position OFF (hors fonction).
À la brunante, vous doivent allumer les phares de votre vehicule (position ON - marche) pour que les commandes et boutons interieurs s'illuminent, car ils restent désactivés lorsqu'il interrupteur des phares est en position OFF (hors fonction) ou AUTO (automatique).
A AVENTISSEMENT
Les feuux arrirée de votre vehicule sont éteints lorsque les DEL des phares de jour sont allumés. Vous devez allumer les phares de votre vehicule à la brunante. Le non-respect de cette directive risque de causeur un accident et des blessures à vous-même et à autreui.

COMMANDE DE LUMINOSITE DU TABLEAU DE BORD
Appuyez sur le bouton « + » pour augmenter l'intensité d'éclairage du tableau de bord.
Appuyez sur le bouton « - » pour réduire l'intensité d'éclairage du tableau de bord.

COMMANDE DE CLIGNOTANT
Clignotants
① Déplacez le levier des clignotants vers le haut ou vers le bas pour indiquer la direction du virage. Les clignotants s'arrêtent automatiquement lorsque le virage est terminé.
Signal de changement de voie
② Déplacez le levier vers le haut ou vers le bas jusqu'à ce que le clignotant commence à clignoter, mais sans enclencher le levier, pour signaler un change-
ment de voie. Maintenez le levier jusqu'à ce que le changement de voie soit terminé.
Déplacez le levier vers le haut ou vers le bas jusqu'à ce que le clignotant commence à clignoter, mais sans enclencher le levier, puis relâchéz le levier. Le clignotant clignotera automatiquement trois fois.
Choisissez la méthode appropriée pour signaler un changement de voie en vous basant sur l'etat de la route et les conditions de circulation.
REMARQUE:
En cas de mauvais fonctionnement des ampoules des clignotants, le tímoin de clignotant clignote à une fréquence plus élevée lorsque le clignotant est activée.
REMARQUE :
Vouspouvezdésactiverla fonction 3Flash Pass(depassement3appels de phare).Pourobtenirdes renseignements supplémentaires,consultezla section «Ecran multifonctionde11cm(4,2po)detypeAduvehicule»(p.2-19)ou«Ecran multifonctionde18cm(7po)detypeBdu vehicule»(p.2-40).
AVERTISSEUR SONORE
CONTACTEURS DE SIÈGE CHAUFFANT (selon l'équipement)


A AVENTISSEMENT
Ne tentez pas de démonter l'avertisseur sonore. Une telle action pourrait promètre le fonctionnement du dispositif de sacs gonflables avant. Toute étatation des sacs gonflables avant peut entrainer des blessures graves.
Pour actionner l'avertisseur sonore, appuyez sur la partie à proximé de l'icône d'avertisseur sonore du volant.
A AVENTISSEMENT
Le dispositif de chauffage du siège ne doit pas etre utiliser si les occupants ne peuvent pas controler la température elevée du siège ou si, en raison d'une incapacité physique,ils ne peuvent pas dessentir la douleur dans les parties du corps qui entrent en contact avec le siège.L'utilisation du dispositif de chauffage du siège par ces personnes peut provoquer de graves blessures.
AMISE EN GARDE
- La batterie peut se décharger si le dispositif de chauffage des sièges est activé lorsque le moteur ne tourne pas.
- N'utilisez pas le dispositif de chauffage du siège pendant de longues périodes ou lorsque personne n'y a pris place.
- Ne posez rien sur le siège qui puisse isoler la chaleur (couverture, coussin, housse de siège, etc.) et causer la surchauffe du siège.
- Ne déposez pas d'objets durs ou lourds sur le siège et ne perforez pas celui-ci avec une broche ou un autre objet similaire. Ceci pourrait endommager le dispositif de chauffage du siège.
- Tout liquide renversé sur le siège chauffant doit être nettoyé immédiatement avec un chiffon sec.
N'tutilisez jamais d'essence, de benzene, de solvant ou de produit similaire pour nettoyer les sièges.
INTERRUPTEUR DE VOLANT DE DIRECTION CHAUFFANT (selon I'equipement)
- En cas d'anomalie ou si le siège chauffant ne fonctionne pas, mettez le commutateur en position hors fonction et faites vérifier le système. Nous vous recommendons de vous rendre chez un concessionnaire NISSAN pour cet entretien.
Les sièges avant sont chauffés par des dispositifs de chauffage intégrés.
- Placez le commutateur d'allumage en position ON (marche).
- Appuyez sur le commutateur jusqu'à ce que deux tímoins s'allument (température plus élevé) ou un seul tímoin est allumé (basse température).
Le dispositif de chauffage est commande par un thermostat qui active ou déactive automatiquement le dispositif de chauffage. Le témoin reste allumé tant que le commutateur se trouve à la position en fonction.
- Assurez-vous de placer le commutateur à la position hors fonction lorsque le siège est suffisamment chaud ou lorsque vous quittez le vehicule.

Le système de chauffage du volant ne peut être actionné que lorsque la température superficielle de ce dernier est inférieure à 20^ (68°F) environ.
Appuyez sur le commutateur du volant de direction chauffant pour rechauffer le volant une fois le moteur demarré. Le témoin s'allumera.
Si la température de la surface du volant est inférieure à 20^ (68°F), le système rechauffe le volant jusqu'à environ 20^ (68°F), puis s'allume et s'éteint pour le maintainir à cette température. Le tímoin reste allumé tant que le système de chauffage du volant est en fonction.
Appuyez de nouveau sur le commutateur pour eteindre manuellement le systeme de chauffage du volant de direction. Le témoin s'eteindra.
REMARQUE:
Si la température de surface du volant est supérieure à environ 20^ (68°F) lorsque le commutateur est enforcé, le système de rechauffement du volant ne s'activera pas. Cette condition est normale.
BOUTON D'APPEL D'URGENCE (SOS) (selon I'équipement)
AIDE D'URGENCE
Les services NissanConnect ^MD offrent divers services d'aide d'urgence à destination du vehicule enregistré et du conducteur.
Par exemple, en cas de malaise ou de blessures graves, vous pouvez obtenir de l'aide en appuyant sur le bouton d'appoint d'urgence (SOS) à l'intérieur du vehicule, ce qui vous mettra en relation avec les services NissanConnect™. Les services NissanConnect™ peuvent déterminer l'emplacement du vehicule au moyen du GPS et transmettre ces renseignements à la police ou à d'autres organismes au besoin.
Pour obtenir des renseignements sur d'autres services de soutien d'urgence des Services NissanConnect ^MD , communiquez avec la ligne de soutien à la clientèle de NissanConnect ^MD au 1-855-426-6628 ou consultez le site Web des Services NissanConnect ^MD www.nissanusa.com/connect (pour les États-Unis) ou www.nissan.ca/nissanconnect (anglais) / www.nissan.ca/nissanconnect/fr (français) (pour le Canada).
AVERAGEMENT
- Notez que vous ne pouvez pas utiliser le service d'avis automatique de collision et la fonction d'emploi d'urgence dans les conditions suivantes:
- Les fonctions et les services d'ur-gence ne seront pas disponibles sans un abonnement à Nissan-Connect™ Services.
Le système de réseau de la fonction NissanConnect™ Services est désactivé.
Le vehicule se déplace à l'extérieur de la zone de service où le TCU (module de commande de la télématique) est relié au système.
Le vehicule se trouve hors de la zone ou le service de réseau cellulaire est receivable.
Le vehicule est dans un endroit où la réception des signaux est mauvaise, comme des tunnels, des stationnements souterrains, derrière des immeubles ou dans des régions montagneuses.
La ligne est occupée.
Le TCU (module de commande de la télématique) ou d'autres systèmes de votre vehicule ne fonctionnent pas correctement.
Il ne sera peut-être pas possible de passer un appel d'urgence selon la gravité de la collision ou de l'urgence.
- Stationnez le vehicule dans un endroit sécuritaire et serrez le frein de stationnement avant d'actionner le bouton SOS (appeil d'urgence).
Utilisez uniquement ce service en cas d'urgence. Des pénalités peuvent s'appliquer en cas d'utilisation inappropriée du service. - Les ondes radioélectriques peuvent nuire au fonctionnement des apparreils Médicaux électriques. Les personnes qui portent un stimulator cardiaque doivent communiquer avec le fabricant de l'appareil pour connaître tous les effets possibles avant d'utiliser le système.
L'antenne du TCU (module de commande de la télématique) est installed dans la partie centrale supérieure du tableau de bord. Les occupants ne doivent pas s'approcher de l'antenne à une distance inférieure à cette spécifiée par le fabricant du stimulator cardiaque. Les ondes radio provenant de l'antenne du module de commande de la télématique peuvent nuire au bon fonctionnement du stimulator cardiaque lors que vous utilisez la fonction Nissan-Connect ^MD Services.

Passer un appel d'urgence
Le bouton d'appoint d'urgence (SOS) est situé pres de la lampe de lecture sous un couvercle.
- Appuyez sur le couvercle une fois ①. Le couvercle s'abaisse pour exposer le bouton Emergency call (SOS) (appel d'urgence).
- Appuyez sur le bouton d'applé d'urgence (SOS) ② pour passer un appel d'urgence.
- Lorsque la ligne est connectee, parlez au spécialiste des interventions.
Si vous voulez annuler l'emploi d'urgence, maintenez le bouton d'emploi d'urgence (SOS) enforcé pendant quelques secondes.
REMARQUE:
- Àprousequenepressionsurleboutond'appel d'urgence(SOS),le systeme peutmettreuncertaintempstàdébuterlaconnexion,enfonctiondeI'environnementtechnique et deI'utilisation duTCU (module de commande de la télématique)pard'autresservices.
REAR DOOR ALERT (alerte de portière arrête)
- Un témoin sur le bouton d'appoint d'urgence (SOS) indique si le système d'aide d'urgence est prét. Si le témoin n'est pas allumé, le fait d'appuyer sur le bouton d'appoint d'urgence (SOS) ne connecte pas votre vehicule à un spécialiste en intervention. Le témoin clignote lorsque le vehicule est connecté au Centre d'intervention des services NissanConnect™.
- Mème lorsque le témoin est allumé, la connexion au Centre d'intervention des services NissanConnectMD peut ne pas être possible. Si cela se produit en cas d'urgence, communiquez avec les autorités par d'autres moyens.
Pour éviter de débrancher la ligne, maintenez le moteur en marche pendant un appel d'urgence, s'il est sécuritaire de le faire.
Le système d'alerte de portiere arriré fonctionne sous certaines conditions pour indiquer qu'il peut y avoir un objet ou des passagers sur les sièges arriré. Vérifiéz les sièges avant de quitter le vehicule.
Le système d'alerte de portière arrêté est initialement désactivé. Le conducteur peut désactiver le système au moyen de l'écran multifonction. Pour obtenir des renseignements supplémentaires, consultez la section « Écran multifonction de 11 cm (4,2 po) de type A du vehicule » (p. 2-19) ou « Écran multifonction de 18 cm (7 po) de type B du vehicule » (p. 2-40).
Lorsque le système est activé :
-
Le système est activé lorsqu'une portière arrêté est ouverte et fermée dans les 10 minutes de la conduite du vehicule. Lorsque la portière du conducteur est fermée et que le système s'active, un message visuel s'affiche à l'écran multifonction. Pour obtenir des renseignements supplémentaires, consultez la section « Alerte de portière arrêté est activée » (p. 2-33) ou « Alerte de portière arrêté est activée » (p. 2-55)
-
Si une portière arrêté est ouverte et fermée, mais la conduite du vehicule n'a pas lieu dans les 10 minutes environ, le système ne s'active pas. Une portière arrêté doit être ouverte et fermée, et le moteur du vehicule en marche dans les 10 minutes pour que le système s'active.
Lorsque le système d'alerte de portiere arrêté est activé :
- Lorsque le conducteur met le vehicule en position P (stationnement), un message de notification s'affiche à l'écran multifonction qui permet de seLECTIONner l'options « Rejeter le message » ou « Désactiver Alerte », au besoin.
- Sélectionnez « Désactiver Alerte » pour désactiver temporairement l'alertependant l'arrêt en cours.
- Ne faites aucune sélection ouCHOisissez « Rejeter le message » pour maintainir l'alerte activée pendant l'arrêt en cours.
- Si l'alerte est activée lorsque le conducteur quitte le vehicule, le message suivant s'affiche à l'écran multifonction: « Vérifier sur le siège arrière pour tous articles »
Si l'options « Horn & Alert » (avertisseursonore et alerte) est selectionnée :
L'avertisseur sonore retentit après une courte période à moins qu'une portiere arrriere soit ouverte ou fermée pendant un bref moment pour désactiver l'alerte.
- Si les portières sont verrouillées avant la désactivation de l'alerte par l'ouverture d'une portière arrêté, l'avertisseur sonore détentit.
- Si le coffre est ouvert avant l'ouverture d'une portière arrière, l'avertisseur sonore est retardé jusqu'àpres la fermetre du coffre.
REMARQUE:
Si le paramètre « Alert Only » (alerte seulement) est sélectionné, le message d'alertes affiche toujours à l'écran multifonction, mais l'vertisseur sonore ne retentit pas.

AVERTISSEMENT
Si le conducteur seLECTIONne l'option « Désactiver Alerte», aucune alarmé sonore ne s'active, peu importel l'état ouvert/fermé de la portière arrêté.
- Un objet ou des passagers peuvent se couver sur les sièges arrêté, mais l'alarme sonore ne retentit pas. Par exemple, ceci peut se produit si des passagers du siècle arrêté entrent ou sortent du vehicule pendant un trajet.
Le système ne détecte pas directement des objets ou des passagers sur les sièges arrêté. Au lieu de cela, il peut détector quand une portière arrêté est ouverte ou fermée, ce qui indique qu'il y a peut-être quelles chose sur les sièges arrêté.
REMARQUE:
Il peut arriver que l'avertisseur sonore retentisse alors qu'aucun object ou passager ne se trouve sur les sièges arrière.
Pour obtenir des renseignements supplémentaires, consultez la section « Alerte de portière arrêté est activée » (p. 2-33) ou « Alerte de portière arrêté est activée » (p. 2-55)

La prise d'alimentation de votre vehicule permet de brancher des accessoires électriques tels que des téléphones cellulaires. Sa valeur nominale maximale est de 12 volts, 120 W (10 A).
La prise de courant est alimentee seulement lorsque le commutateur d'allumage est a la position ON (marche).

MISE EN GARDE
- La prise et la fiche peuvent devenir chaudes pendant ou immédiatement après l'utilisation.
- Seules certaines prises d'alimentation sont conçues pour receivevoir un allume-cigare. N'utilise aucune autre prise d'alimentation pour cet accessoire. Nous vous recommendons de visitor un concessionnaire NISSAN pour obtenir de plus amples renseignements.
- N'utilisez pas d'accessoires consommant plus de 12 V, 120 W (10 A).
- N'utilisez pas d'adaptateurs doubles et ne branchez pas plus d'un accessoire électrique dans la même prise.
Utilisez les prises d'alimentation seulment lorsque le moteur tourne afin d'éviter de décharger la batterie du vehicule. -
Évitez d'utiliser les prises d'alimentation lorsque le climatiseur, le dégivreur de lunette arrêté ou les phares sont en fonction.
-
Avant de brancher ou de débrancher un accessoire électrique, assurez-vous que l'accessoire est étéint.
- Enforcez la fiche le plus loin possible. Si le contact n'est pas établi ajustement, la fiche peut surchauffer ou le fusible de température interne peut griller.
Assurez-vous que le capuchon est fermé lorsque vous n'utilise pas la prise. Ne laissiez pas la prise entre en contact avec de l'eau ou d'autres liquides.

LIC5329
Avant - Type A (selon l'équipement)

Avant - Type B (selon l'équipement)

Avant - Type C (selon l'équipement)

Arrière (selon l'équipement)
- USB de type C
- USB de type A
Des ports de charge USB se trouvent à l'arrière de la console centrale, dans la zone des sièges arrêté. Ces ports charge les appareils compatibles.
COMMUTATEUR D'ENTREPOSAGE PROLONGÉ
REMARQUE:
- Les ports de recharge USB ne fonctionnent pas tous avec l'écran d'affchage. Seuls les ports de connexion USB situés sous les commandes de chauffage-climatisation permettent la lecture des appareils USB au moyen de la chaine stéropheonomique.
- Pour deailleurs résultats, il est recommandé d'utiliser les cables du fabricant, vendus séparément. Un adaptateur USB de type C à USB de type A (ou vice versa) peut également être acheté séparément; toute fois, les résultats peuvent varier.

MISE EN GARDE
- N'exerce aucune pression sur le dispositif USB pour l'insérer dans le port USB. Si vous insérez le dispositif USB de travers ou à l'envers dans le connecteur, vous risquez d'endommager le connecteur. Assurez-vous que le dispositif USB est branché correctement dans le connecteur USB.
- N'utilisez pas de cable USB réversible. L'utilisation d'un cable USB réversible peut endommager le connecteur.

Le commutateur d'entreposage prolongé est utilisé lorsque le vehicule quitte l'usine. Il se trouve dans le porte-fusibles à gauche du volant sur le tableau de bord. Lorsqu'un des accessoires électriques de votre vehicule ne fonctionne pas, assurez-vous que le commutateur d'entreposage prolongé est poussé à fond en place, tel qu'illustré.

Position tirée
RANGEMENT

Position enfoncée

Vide-poche de portière avant VIDE-POCHE DE PORTIÈRE AVANT

POCHETTES DES DOSSIERS DE SIÈGE (selon l'équipement)
Les vide-poches se trouvent derrière le dossier du siège du passager. Vous pouvez y ranger des cartes routières.

AVENTISSEMENT
Respectez les mesures suivantes pour assurer le bon fonctionnement du dispositif de sac gonflable perfectionné NISSAN du conducteur ou du passager avant (selon l'équipement):
Assurez-vous que les passagers arrriere ne poussent ni ne tirent sur la pochette du dossier de siege ou de l'appuie-tete.
- Ne soumettez pas le dossier de siège, l'appuie-tête ou le vide-poche du dossier de siège à une charge dépassant 4 kg (9,1 lb).

Bacs de rangement (selon l'equipement) BACS DE RANGEMENT

AVERTISSEMENT
Afin de prévenir les blessures en cas d'accident ou d'arrêt brusque, ne dépossez pas d'objets acérés dans les plateaux.

BOITEÀ GANTS
Pour ouvrir la boite à gants, tirez sur la poignée.

AVERTISSEMENT
Pour prévenir les blessures en cas d'accident ou d'arrêt brusque, la boite à gants devrait toujours être fermée lorsque le vehicule est en mouvement.

COMPARTIMENT DE RANGEMENT DE LA CONSOLE
Pour ouvrir le compartment de rangement de la console, appuyez sur le levier ① et souvevez le couvercle ②.
Pour le fermer, poussez sur le couvercle jusqu'à ce que le verrou s'enclenche.

RANGE-LUNETTES DE SOLEIL AU PAVILLON
Pour ouvrir le range-lunettes de soleil, appuyez brievement sur son couvercle.
Le range-lunettes de soleil est concu pour ranger une seule paire de lunettes.

AVERTISSEMENT
Laissez le range-lunettes de soleil fermé pendant la conduite pour éviter d'obstruer la vision du conducteur et contribuer à prévenir un accident.

MISE EN GARDE
- N'y déposez rien d'autre que des lunettes de soleil.
- Ne laïsez pas de lunettes de soleil dans le range-lunettes de soleil si vous stationnez votre vehicule au soleil. La chaleur pourrait endomgar les lunettes.

Porte-tasses avant
PORTE-TASSE

Porte-tasses arrête (selon l'equipement)

MISE EN GARDE
- Évitez de démarrer ou de freiner brusquement lorsque le porte-tasse est utilisé, car le liquide pourrait se renverser. Si le liquide est chaud, votre passagier et vous pourriez être brûlés.
- Ne déposez que des tasses faites de matérieliaux couples dans le portetasse. Des objets durs pourraient vous infliger des blessures en cas d'accident.

Porte-bouteilles avant
Support à bouteilleouple
GLACES

Porte-bouteilles arrêté

MISE EN GARDE
- N'utilisez pas le porte-bouteilles pour retenir d'autres types d'objets qui pourrait être projetés dans le vehicule et infilger des blessures aux occupants en cas de freinage brusque ou d'accident.
- N'utilise pas le porte-bouteilles pour retenir des bouteilles de liquide ouvertes.
GLACES À COMMANDE ÉLECTRIQUE

AVERTISSEMENT
Assurez-vous que tous vos passagers ont les mains, les bras, etc. à l'intérieur du vehicule lorsque ce dernier est en mouvement et avant de relever les glaces. Servez-vous du commutateur de verrouillage des glaces pour empêcher l'utilisation imprévue des glaces à commande électrique.
Pour éviter le risque de blessures ou de décès associé à un fonctionnement accidentel du vehicule ou de ses systèmes, par exemple le coincement par les glaces ou l'activation accidentelle du verrouillage des portières, ne laissez pas les enfants, les personnes qui ont besoin de l'aide d'autres personnes ou les animaux sans surveillance dans votre vehicule. De plus, la température à l'intérieur d'un vehicule fermé lors d'une journée chaude peut s'éleverrapidement au point de provoquer un risque important de blessures graves ou mortelles à des personnes ou à des animaux domestiques.
Les glaces à commande électrique peuvent être activées lorsque le commutateur d'allumage est place à la position ON (marche) ou pendant un certain délai après la COUPURE du contact. L'alimentation des glaces à commande électrique est toute fois neutralisée si la portière du conducteur est ouverte pendant ce délai.

- Bouton de verrouillage des glaces
- Interrupteur de verrouillage électrique des portières
- Interrupteur du côté passager avant
- Côté passager arrêté droit
- Côté passager arrêté gauche
- Interrupteur automatique du côté conducteur
Contacteur de glace à commande électrique du côté conducteur
Le bloc de commande du côte conducteur est muni de commandes qui permettent d'ouvrir ou de fermer toutes les glaces du vehicule.
Pour ouvrir une glace, appuyez sur la commande et maintenez-la ainsi jusqu'à ce que la glace attaigne la position désirée. Pour fermer une glace, tirez la commande et maintenez-la ainsi jusqu'à ce que la glace attaigne la position désirée.
Verrouillage des glaces des passagers
Seule la glace du côte conducteur peut être ouverte ou fermée lorsque le commutateur de verrouillage des glaces est enforcé. Pour déverrouiller les glaces, enforcez de nouveau l'interrupteur.

Contacteur de glace à commande électrique du côté passager avant
La commande de glace électric du côté passager avant permet seulement l'activation de la glace électric du passager avant. Pour ouvrir la glace, appuyez sur le commutateur et maintainez-le enforcé jusqu'à ce que la position de glace voulue soit atteinte ①. Pour fermer la glace, relevez le commutateur et maintenez-le jusqu'à ce que la position de glace voulue soit atteinte ②.

Contacteur de glace à commande électrique arrête
Les contacteurs de glaces à commande électricque arrêté permettent d'ouvrir ou de fermer la glace électricque du passager correspondante. Pour ouvrir la glace, appuyez sur le commutateur et maintenez-le enforcé ①. Tirez sur le commutateur pour reférer la glace ②.

Fonctionnement automatique
Pour ouvrir complètement une glace dotée du fonctionnement automatique, appuyez sur l'interrupteur de glace jusqu'àu deux(xième cran et relâchéz-le. Il est inutilde le maintainir enforcé. La glace s'ouvre complètement. Pour interrompre l'ouverture de la glace, tirez la commande vers le haut.
Pour fermer complètement une glace automatique, tirez brièvement la commande correspondante vers le haut jusqu'au deuxième cran. Vous n'avez pas besoin de la maintainir en position. La glace se ferme automatiquement et complètement. Pour
interrompre la course de la glace, appuyez sur la commande vers le bas pendant la fermeture.
Fonction d'inversion automatique
La fonction d'inversion automatique peut etre activée lorsqu'une glace se ferme en mode de fonctionnement automatique.
La fonction d'inversion automatique peut également être activée par un impact ou une charge ayant le même effet qu'un object coïncé dans l'ouverture de la glace, selon l'environnement ou les conditions de conduite.

AVERTISSEMENT
Certaines zones très limitées et très rapprochées de la position de fermeture complète ne bénéficient pas de la fonction de détction. Assurez-vous donc que rien ne se trouve dans l'ouverture des glaces (par exemple, les mains des passagers, etc.) avant de les fermer.
Il se peut que la fonction d'inversion automatique des glaces à commande électrique ne s'active pas si la batterie est débranchée, remplaçée ou fait l'objet d'un démarrage à
l'aide d'une batterie de secours. Faites réinitialiser le système d'inversion automatique des glaces à commande électrique. Nous vous recommendons de vous rendre chez un concessionnaire NiSSAN pour cet entretien.
Si le module de commande detecte la presence d'un object coince dans l'ouverture d'une glace à commande automatique pendant que celle-ci remonte, la glace s'abaisse immEDIatement.
Si le contacteur de glace à commande électrique ne fonctionne pas
Si la fonction automatique de glace à commande électrique (sens fermeture seulement) ne fonctionne pas correctement, procédez comme suit pour réinitialiser le système des glaces électriques:
- Placez le commutateur d'allumage en position ON (marche).
-
Ouvrez la glace au trois quarts au moyen du contacteur de glace à commande électrique.
-
Tirez sur la commande électrique pour fermer la glace et maintenez la commande ainsi pendant plus de trois secondes après la fermeture de la glace.
- Relâchéz le contacteur de glace à commande électricité. Utilisez le fonctionnement automatique de la glace pour confirmer le résultat de la procédure d'initialisation. La glace à commandé électricque s'ouvre ou se ferme automatiquement sous réserve que la fonction d'ouverture ou de fermeture automatique ait été sélectionnée.
- Repétez les étapes 2 à 4 pour les autres glaces.
Si elles ne fonctionnent pas correctement après avoir suivi les étapes ci-dessus, faites vérifier et réparer le système. Nous vous recommendons de vous rendre chez un concessionnaire NiSSAN pour cet entretien.
TOIT OUVRANT TRANSPARENT (selon I'equipement)

TOIT OUVRANT ÉLECTRIQUE
Le toit ouvrant transparent ne fonctionne que lorsque le commutateur d'allumage est à la position ON (marche). Le toit ouvrant électrique peut fonctionner pendant un certain temps, même si le commutateur d'allumage est placé à la position AUTO ACC (accessoires-automatique) ou OFF (hors fonction). L'alimentation du toit ouvrant transparent est toutefois neutralisée si la portière du conducteur est ouverte pendant ce délié.
Ouverture et fermetre du toit ouvrant transparent
Pour ouvrir ou fermer complètement le toit ouvrant, appuyez brièvement sur le commutateur à la position d'ouverture ① ou de fermeture ②; il n'est pas nécessaire deMAINTER le commutateur dans cette position. Le toit s'ouvrira ou se fermera complètement. Pour arrêter le déplacement du toit, appuyez de nouveau sur le commutateur pendant l'ouverture ou la fermeture.
Inclinaison du toit ouvrant transparent
Pour incliner le toit ouvrant transparent vers le haut, fermez-le d'abord, puis appuyez brievement sur le commutateur ③ jusqu'à la position d'inclinaison vers le haut; il n'est pas nécessaire de maintainir le commutateur dans cette position. Pour incliner le toit ouvrant vers le bas, appuyez sur le commutateur jusqu'à la position d'inclinaison vers le bas ②.
Réinitialisation du commutateur du toit ouvrant transparent
Si le toit ouvrant transparent ne fonctionne pas correctement, executez la procEDURE suivante pour initiaiser le système de fonctionnement de toit ouvrant.
- Si le toit ouvrant transparent est ouvert, fermez-le complètement en appuyant à maintes reprises sur le commutateur du toit ouvrant transparent jusqu'à la position de fermetre ②.
- Maintenez le commutateur enforcé à la position de fermeture ② pendant environ 15 secondes.
- Relâchéz le commutateur après que le toit ouvrant transparent se soit déplace vers le haut, vers le bas, puis qu'il soit revenu en position d'inclinaison complète vers le haut.
- Maintenez le commutateur enforcé à la position de fermeture ②.
-
Relâchéz le commutateur après que le toit ouvrant transparent ait effectué un cycle complet de la position d'inclinaison vers le haut à la position de fermeture, puis à la position d'ouverture, puis de nouveau à la position de fermeture complète.
-
Vérifiez si le commutateur du toit ouvrant transparent fonctionne normalement.
Si le toit ouvrant transparent ne fonctionne pas correctement après la procEDURE décrite ci-dessus, faites vérifier votre vehicule. Nous vous recommendons de vous rendre chez un concessionnaire NISSAN pour cet entretien.
Fonction d'inversion automatique (lors de la fermetre ou de l'inclinaison vers le bas du toit ouvrant transparent)
La fonction d'inversion automatique peut etre activée si la commande automatique defermeture ou d'inclinaison vers le bas du toit ouvrant transparent est activée lorsque le commutateur d'allumage est placé en position ON (marche) ou pendant un certain déliai après la COUPURE du contact.
En fonction de l'environnement ou des conditions de conduite, la fonction d'inversion automatique peut également etre activée par un impact ou une charge ayant le même effet qu'un objet qui se trouve dans la course du toit ouvrant transparent.

AVERTISSEMENT
Certaines zones très limitées et très rapprochées de la position de fermeture complète ne bénéficient pas de la fonction de détction. Assurez-vous que les mains des passagers, etc. se trouvent à l'intérieur du vehicule avant de fermer le toit ouvrant transparent.
Pendant la fermeture
Si le module de commande detecte la presence d'un object dans la course vers l'avant du toit ouvrant transparent, elle inverse immédiatement la course du toit.
Pendant l'inclinaison vers le bas
Si le module de commande detecte la presence d'un objet dans la course d'inclinaison vers le bas du toit ouvrant transparent, elle incline immédiatement le toit transparent vers le haut.
Si la fonction d'inversion automatique manifeste une anomalie et ouvre ou incline vers le haut le toit ouvrant transparent de façon repétitive, maintenez le commutateur d'inclinaison vers le bas enforcé dans les cinq secondes suivantes; le toit ouvrant transparent se fermera graduèlement.
Assurez-vous qu'aucun objet n'est piégé dans le toit ouvrant transparent.

AVERTISSEMENT
- En cas d'accident, vous pourriez être éjecté du vehicule par le toit ouvrant transparent s'il est ouvert. Bouclez toujours les ceintures de sécurité et utilisez des ensembles de retenue d'enfant.
- Ne laïsez personne se tenirABOUT ou passer une partie de son corps par l'ouverture du toit ouvrant transpa-rent pendant que le vehicule roule oupendant la fermeture du toit ouvrant.

MISE EN GARDE
Enlevez les gouttes d'eau, la neige, la glace ou le sable du toit ouvrant transparent avant de l'ouvrir.
- Ne déposez pas d'objets lourds sur le toit ouvrant transparent ou à proximé du toit ouvrant.
Pare-soleil
Faites glisser le pare-soleil vers l'avant ou vers l'arrière pour l'ouvrir ou le fermer.
Si le toit ouvrant transparent ne se ferme pas
Faites vérifier et réparer votre toit ouvrant transparent. Nous vous recommendons de vous rendre chez un concessionnaire NISSAN pour cet entretien.

L'éclairage interieur peut être activé sans égard à la position de la portière. Les lampes s'eteindront après un certain temps à moins que le commutateur d'allumage ne soit tourné en position ON (marche) quand une portière est ouverte.
(2) Les lampes interieures peuvent etre regliees pour fonctionner quand les portieres sont ouvertes. Pour eteindre les lampes interieures quand une portiere est ouverte, enforcez le commutateur; les lampes interieures demeureront eteintes, peu importe la position des portieres.
Ces lampes s'eteignent lorsque le commutateur d'allumage est à la position ON (marche), ou que la portière du conducteur est fermée et verrouillée.
REMARQUE:
L'éclairage du seuil (selon l'équipement) s'allume à l'ouverture des portières du conducteur et du passager, peu importe la position du commutateur d'éclairage interieur. Lorsque les portières sont ouvertes, cet éclairage s'éteint automatiquement après un certainIELAI pour éviter la décharge de la batterie.
AMISE EN GARDE
Ne les utilisez pas pendant de longues périodes lorsque le moteur est arrêté, car la batterie pourrait se décharger.

LAMPES DE LECTURE
Pour allumer les lampes de lecture, enforcez les interrupteurs correspondants. Appuyez de nouveau sur les interrupteurs pour eteindre les lampes.
AMISE EN GARDE
Ne les utiliserez pas pendant de longues périodes lorsque le moteur est arrêté, car la batterie pourrait se décharger.

ÉCLAIRAGE DU COFFRE
L'éclairage du coffre s'allume lorsque le couvercle du coffre est ouvert. L'éclairage s'éteint une fois le couvercle du coffre reférmé.
L'éclairage s'éteint après un certain si le couvercle du coffre demeure ouvert, à moins que le commutateur d'allumage ne soit tourné à la position ON (marche).
Pour obtenir des renseignements supplémentaires, consultez la section « Éclairage extérieur et interieur » (p. 8-30).
LAMPES INDIVIDUELLLES
Pour allumer les lampes individuelles arriere, appuyez sur l'interrupteur. Appuyez de nouveau sur l'interrupteur pour eteindre les lampes.

MISE EN GARDE
Ne les utilisez pas pendant de longues périodes lorsque le moteur est arrêté, car la batterie pourrait se décharger.
3 Vérifications et réglages avant le démarrage
Clés 3-2
Clé intelligente NISSAN Intelligent Key ^MD 3-2
Clés du Système antidémarrage du vehicule NISSAN 3-3
Portieres 3-4
Verrouillage au moyen d'une clé. 3-5
Verrouillage au moyen de la commande de verrouillage interieure 3-5
Verrouillage au moyen de l'interrupteur de verrouillage électrique des portières 3-6
Verrouillage automatique des portières 3-6
Verrouillage des portières arrêté au moyen du dispositif de sécurité pour enfant 3-7
Clé intelligente NISSAN Intelligent Key ^MD 3-7
Portee 3-9
Précautions au sujet du verrouillage et du déverrouillage des portières 3-10
Fonctionnement de la clé intelligente
NISSAN Intelligent KeyMD 3-11
Comment utiliser le dispositif deverrouillage et déverrouillage sans clé àtelecommande 3-15
Signaux d'avertissement 3-17
Guide de dépannage (transmission à variation continue seulement) 3-18
Guide de dépannage (boîte de vitesses manuelle seulement) 3-20
Démarriage à distance du moteur (selon l'équipement) 3-21
Portée du démarrage à distance du moteur 3-21
Demarrageàdistance du vehicule 3-22
Augmentation du décai de fonctionnement du moteur 3-22
Annulation d'un démarriage à distance du moteur 3-23
Conditions dans lesquelles le démarrage à distance du moteur ne fonctionne pas 3-23
Capot 3-24
Couercle du coffre 3-25
Commandedouverture du couverceducoffre 3-25
Déverrouillage interieur du couvercle du coffre 3-26
Accès au coffre par l'intérieur. 3-26
Trappe du réservoir de carburant 3-27
Fonctionnement du levier d'ouverture. 3-27
Bouchon du réservoir de carburant 3-27
Volant. 3-30
Fonctionnement du volant inclinable 3-31
Fonctionnement téléscopique 3-31
Pare-soleil 3-31
Miroirs de courtoisie 3-32
Portecartes 3-32
Rétroviseurs 3-32
Rétroviseur interieur manuel
antiéblouissement (selon l'équipement)......3-32
Rétroviseur interieur automatique
antiéblouissement (selon l'équipement)...... 3-33
Rétroviseurs extérieurs 3-33

Type A (selon l'équipement)
- Clés intelligentes (deux ensembles)
- Clémécanique
- Plaque du numero de clé (une plaque)
CLÉ INTELLIGENTE NISSAN INTELLIGENT KEYMD
Seules les clés intelligentes programmes dans la mémoire des composants du système de clé intelligente de votre vehicule et des composants du système antidémarrage de vehicule NISSAN permettent d'utiliser votre vehicule.

Type B (selon l'équipement) Ne laissez jamais les clés dans le vehicule.
Vouss pouvez programmerer et utiliser jusqu'à quatre clés intelligentes sur un vehicule. Les nouvelles clés doivent être programmées avant de les utiliser avec la clé intelligente et le système antidémarrage NiSSAN de votre vehicule. Nous vous recommendons de vous rendre chez un concessionnaire NiSSAN pour cet entretien. Puisqu'il faut effacer la mémoire des composants des clés intelligentes pendant la programmation, apportez toutes les clés intelligentes que vous possédez chez votre concessionnaire NiSSAN.
Une plaque du numéro de clé est fournie avec les clés de votre vehicule. Prenez en note ce numéro de clé et conservez-le dans un endroit sur ( comme votre portefeuille), mais pas dans votre vehicule. Si vous perdez vos clés, nous vous recommandons de visiter un concessionnaire NISSAN avec le numéro de clé pour obtenir des copies. Il est très important que vous préziez en note le numéro de clé qui apparait sur la plaque puisque NISSAN ne conserve pas de registres de ces nombres de clés.
Vous n'aurez besoin de ce numero que si vous perdez toutes les clés du vehicule et qu'il n'est pas possible d'utiliser une autre clé pour en tirer des copies. Si vous ave tous deux une clé, celle-ci peut être dupliquée sans connaître le numero de la clé.

MISE EN GARDE
Pour éviter d'endommager la clé intellecte, suivez les directives suivantes :
-
Ne laïsez pas la clé intelligente, qui contient des composants électriques, entre en contact avec de l'eau ou de l'eau salée, car cela pourrait nuir au fonctionnement du système.
N'échappez pas la clé intelligente. -
Ne frappez pas la clé intelligente brusquement contre un autre objet.
- Ne modifies pas la clé intelligente.
Toute exposition à un liquide peut endommager la clé intelligente. Si la clé intelligente est exposée à un liquide, essuyez-la immédiatement jusqu'à ce qu'elle soit complètement sèche. - Ne laïsez pas la clé intelligente pendant une période prolongée dans un endroit où la température est supérieure à 60^ (140 °F).
- Ne placez pas la clé intelligente sur un porte-clés muni d'un aimant.
- Ne placez pas la clé intelligente pres des apparèils qui produit un champ magnétique, tels qu'une télévision, du matériel audio et des ordinateurs personnels.
En cas de perte ou de vol d'une clé intelligente, NISSAN vous recommende d'effacer le code d'identification de cette clé intelligente du vehicule. Cela pourrait prévenir l'utilisation non autorisé de la clé intelligente pour manqueevrer le vehicule. Pour obtenir des renseignements supplémentaires sur la Procedure d'effacement, nous vous recommendons de visitor un concessionnaire NISSAN.

Clémécanique
La clé intelligente comprend la clé mécanique.
Pour-retirer la clé mécanique, dégagez le bouton de verrouillage à l'arrière de la clé intelligente.
Pour installer la clé mécanique, insérez-la fermement dans la clé intelligente jusqu'à ce que le bouton de verrouillage revienne en position de verrouillage.
Utilisez la clé mécanique pour verrouiller ou déverrouiller la portière du conducteur.
Pour obtenir des renseignements supplémentaires, consultez la section « Portières » (p. 3-4).

MISE EN GARDE
Ayez toujours en votre possession la clé mécanique insérée dans la fente de la clé intelligente.
CLÉS DU SYSTÉME ANTIDÉMARRAGE DU VÉHICULE NISSAN
Clés supplémentaires ou de remplacement:
Si vous avez encore une clé en votre possession, le numéro de clé n'est pas nécessaire si vous désirez vous procurer une autre clé associée au Systeme antidémarrage du vehicule NISSAN. Voitre clé peut être reproductive sans connaître le numéro de clé. Vous pouvez utiliser jusqu'à quatre clés associées au Systeme antidémarrage du vehicule NISSAN. Voiture devriez apporter toutes les clés du Systeme antidémarrage du vehicule NISSAN lorsque vous给您présentez chez le concessionnaire NISSAN pour les faire programmer. En effet, le procédé d'enregistrement efface tous les codes de clés enregistrrés antérieurement dans la mémoire du Systeme antidémarrage du vehicule NISSAN de votre vehicule.
PORTIÈRES
Une fois la programmation achevée, les composants du système ne reconnaissent que les clés mises en mémoire du Système antidémarrage du vehicule NiSSAN au cours de la procédure de programmation. Tous les accessoires de clé virtuelle (selon l'équipement) devront également être enregistrées de nouveau. Les clés que vous n'auré pas remises au concessionnaire aux fins d'enregistrement ne pourrait plus faire démarrer votre vehicule.
AMISE EN GARDE
Ne laïsez pas de l'eau ou de l'eau salée entre en contact avec une clé d'anti-démarrage, qui contient un transpondeur électrique. Cela pourrait nuir au fonctionnement du dispositif.
Lorsque les portières sont verrouillées à l'aide d'une des méthodes suivantes, elles ne peuvent pas être ouvertes au moyen des poignées intérieures ou extérieures de portière. Les portières doivent être déverrouillées avant de pouvoir être ouvertes.
A AVENTISSEMENT
- Conduisez toujours avec les portières verrouillées. Utilisé en combinaison avec les ceintures de sécurité, le verrouillage des portières offre une plus grande sécurité en cas d'accident puisqu'il empêche l'éjection des passagers du vehicule. Cette précaution empêche aussi l'ouverture accidentelle des portières par des enfants ou d'autres personnes et toute intrusion dans le vehicule.
- Avant d'ouvrir une portière, assurez-vous de pouvoir éviter les vehicules venant en sens inverse.
Pour éviter le risque de blessures ou de décès associé à un fonctionnement accidentel du vehicule ou de ses systèmes, par exemple le coincement par les glaces ou l'activation accidentelle du verrouillage des portières, ne laissez pas les enfants, les personnes qui ont besoin de l'aide d'autres personnes ou les animaux sans surveillance dans votre vehicule. De plus, la température à l'intérieur d'un vehicule fermé lors d'une journée chaude peut s'éleverrapidement au point de provoquer un risque important de blessures graves ou mortelles à des personnes ou à des animaux domestiques.

Côté conducteur
VERROUILAGE AU MOYEN D'UNE CLÉ
Pour verrouiller les portieres à l'aide de la clé mécanique, tournez la clé vers l'arrière du vehicule ①. Cela permet de verrouiller seulement la portière correspondante et n'active pas le système de sécurité. Pour activer le système de sécurité, appuyez sur le bouton ① de la clé intelligente.
Pour déverrouiller la portière correspondante à l'aide de la clé mécanique, tournez la clé vers l'avant du vehicule ②. Cela permet de déverrouiller seulement la portière correspondante, mais ne désactive pas le système de sécurité.
Pour obtenir des renseignements supplémentaires, consultez la section « Systèmes de sécurité » (p. 2-62).

Verrouillage de l'intérieur
VERROUILLAGE AU MOYEN DE LA COMMANDE DE VERROUILLAGE INTÉRIÉURE
Pour verrouiller la portiere sans utiliser la clé, déplacez le bouton de verrouillage interieur à la position de verrouillage ① puis fermez la portiere.
Pour déverrouiller la portière sans utiliser la clé, déplacez le bouton de verrouillage interieur à la position de déverrouillage ②.

Côté conducteur et côté passager
VERROUILAGE AU MOYEN DE L'INTERRUPTEUR DE VERROUILAGE ÉLECTRIQUE DES PORTIÈRES
Pour verrouiller toutes les portières sans la clé, appuyez sur l'interrupteur de serrure de portière (côté conducteur ou passager avant), en position de verrouillage ①. Assurez-vous de ne pas laisser vos clés dans le vehicule si vous utilise cette méthode pour verrouiller les portières.
Pour déverrouiller toutes les portières sans la clé, appuyez sur l'interrupteur de serrure de portière (côté conducteur ou passager avant), en position de déverrouillage ②.
Protection de verrouillage
Lorsqu'une portiere est ouverte et que l'interrupteur de verrouillage électrique des portières est déplace en position de verrouillage, toutes les portières se verrouillent. Si la clé intelligente est laissée dans le vehicule après la fermeture de toutes les portières, elles se déverrouilleront automatiquement et un carillon retentira.
Ces fonctions permettent d'éviter de laisser involontairement la clé intelligente dans un vehicule verrouillé.
VERROUILLAGE AUTOMATIQUE DES PORTIERES
-
Toutes les portières se verrouillent automatiquement lorsque la vitesse du vehicule atteint 25km / h (15 mi/h).
-
Transmission à variation continue (selon l'équipement)
-Toutes les portières se déverrouillent automatiquement lorsque la transmission est placée en position P (stationnement) ou OFF (hors fonction). - Boîte de vitesses manuelle (selon l'équipe-ment)
-Toutes les portières se déverrouillent automatiquement lorsque le commutateur d'allumage est à la position OFF (hors fonction).
REMARQUE:
La fonction de déverrouillage automatique des portières peut être modifiée à l'aide des réglages du vehicule à l'écran multifonction.
Pour obtenir des renseignements supplémentaires, consultez la section « Écran multifonction de 11 cm (4,2 po) de type A du vehicule » (p. 2-19) ou « Écran multifonction de 18 cm (7 po) de type B du vehicule » (p. 2-40).
CLÉ INTELLIGENTE NISSAN INTELLIGENT KEYMD

VERROUILLAGE DES PORTIÈRES
ARRIÈRE AU MOYEN DU DISPOSITIF
DE SECURITÉ POUR ENFANT
Le dispositif de sécurité pour enfant empêche l'ouverture accidentelle des portières arrêté, plus particulièrement lorsque de jeunes enfants ont pris place dans le vehicule.
Les leviers de verrouillage du dispositif de sécurité pour enfant sont situés sur le rebord des portières arrêté.
Lorsque le levier est en position de déverrouillage ② , la portière peut être ouverte de l'extérieur ou de l'intérieur.
Les portières arrirè ne peuvent être ouvertes que de l'extérieur lorsque le levier est en position LOCK (antivol-verrouillé) ①.
A AVENTISSEMENT
- Les ondes radioélectriques peuvent nuir au fonctionnement des appar兼s Médicaux électriques. Les personnes qui portent un stimulator cardiaque doivent communiquer avec le fabricant de l'appareil Médicale électrique pour connaître les interférences possibles avant l'utilisation.
- La clé intelligente émet des ondes radioélectriques lorsque les boutons sont enforcés. La FAA (Federal Aviation Administration des États-Unis) signale que les ondes radioélectriques peuvent nuir à la navigation aérienne et aux systèmes de communication. N'utilise pas la clé intelligente à bord d'un avion. Assurez-vous que les boutons ne sont pas accidentellement enforcés lorsque la télécommande est rangée en vue d'un vol.
Assurez-vous d'engager la position P (stationnement) et de serrer le frein de stationnement lorsque vous stationnez votre vehicule, vous entrez dans le vehicule ou en sortez, ou vous chargez des bagages. Sinon, le vehicule risque de se déplacer ou de rouler inopinement et d'entrainer de graves blessures ou des dommages matériels importants.
Le système de clé intelligente permet de manoeuvrer toutes les serrures de portière au moyen de la fonction de télécommande ou en appuyant sur le commutateur de demande (salon l'équipment) du vehicule sans retarder la clé de sa poche ou de son sac à main. L'environnement et les conditions d'utilisation peuvent nuir au fonctionnement du système de clé intelligente.
Assurez-vous de dire ce qui suit avant d'utiliser le système de clé intelligente.

MISE EN GARDE
Assurez-vous d'avoir en votre possession la clé intelligente lorsque vous conduisez le vehicule.
- Ne laisses jamais la clé intelligente dans le vehicule lorsque vous quitterez le vehicule.
La clé intelligente communique toujours avec le vehicule en recevant des ondes radio. Le système de clé intelligente transmet des ondes radioélectriques faibles. Les conditions environnementales peuvent nuir au fonctionnement du système de clé intelligente dans les conditions d'utilisation suivantes:
- Lors de l'utilisation à proximé de puissantes ondes radioélectriques, telles qu'une tour de transmission télévisuelle, une centrale électrique et une station de radiodiffusion.
- Lorsque vous âtes en possession d'appareils sans fil, tels qu'un téléphone cellulaire, un émetteur-recepteur ou un poste de bande publique.
- Lorsque la clé intelligente entre en contact avec des matériaux métalliques ou est recouverte par ces matériaux.
- Lorsqu'une télécommande à ondes radioelectriques est utilisé à proximé.
- Lorsque la clé intelligente est placee pres d'un appeareil électrique tel qu'un ordinaireur personnel.
Lorsque le vehicule est stationné pres d'un parcomètre.
Dans ces cas, corrigez les conditions de fonctionnement avant d'utiliser la clé intelligente ou utilisez la clé mécanique.
La durée de vie utile de la pile est d'environ deux ans, bien qu'elle puisse varier selon les conditions de fonctionnement. Si la pile est déchargée, remplacez-la par une nouvelle.
Puisque la clé intelligente recoit continulement des ondes radioélectriques, la durée de vie utile de la pile peut être réduite si vous laissez la clé pres des appareils qui transmettent de puissantes ondes radioélectriques, telles que les signaux provenant d'une télévision ou d'un ordinateur personnel.
Pour obtenir des renseignements sur le remplacement de la pile, consultez la section « Remplacement de la pile » (p. 8-26).
Voussouspoucezprogrammeretutiliserjusqu'aquatreclésintelligentesurunvehicule.Pourobtenirdes renseignementsrelatifstachatetl'utilisationdesclésintelligentes supplémentaires,nouvourexpondands devisiter un concessionnaireNISSAN.

MISE EN GARDE
Pour éviter d'endommager la clé intellecte, suivez les directives suivantes :
- Ne laïsez pas la clé intelligente, qui contient des composants électriques, entra en contact avec de l'eau ou de l'eau salée, car cela pourrait nuir au fonctionnement du système.
N'échappez pas la clé intelligente. - Ne frappez pas la clé intelligente brusquement contre un autre objet.
- Ne modifiez pas la clé intelligente.
Toute exposition à un liquide peut endommager la clé intelligente. Si la clé intelligente est exposée à un liquide, essuyez-la immédiatement jusqu'à ce qu'elle soit complètement sèche. - Ne laisseriez pas la clé intelligente pendant une période prolongée dans un endroit où la température est supérieure à 60^ (140 °F).
- Ne placez pas la clé intelligente sur un porte-clés muni d'un aimant.
- Ne placez pas la clé intelligente pres des apparêls qui produit un champ magnétique, tels qu'une télévision, du matériel audio et des ordinateurs personnels.
En cas de perte ou de vol d'une clé intelligente, NiSSAN vous recommende d'effacer le code d'identification de cette clé intelligente du vehicule. Cela pourrait prévenir l'utilisation non autorisé de la clé intelligente pour manoeuvrer le vehicule. Pour obtaining des renseignements supplémentaires sur la procédure d'effacement, nous vous recommendons de visiter un concessionnaire NiSSAN.

PORTEE
La clé intelligente est fonctionnelle seulement lorsqu'elle se trouve à la portée du commutateur de demande (salon l'équipement) ①.
Lorsque la pile de la clé intelligente est déchargée ou que de puissantes ondes radioélectriques sont transmises à proximité, la portée du système de clé intelligente est réduite et la clé intelligente peut ne pas fonctionner correctement.
La portée est de 80 cm (31,50 po) à partir de chaque commutateur de demande (1) (selon l'équipement).
Si la clé intelligente est trop pres de la glace de portière, de la poignée ou du pare-chocs arrêté, les commutateurs de demande (selon l'équipement) peuvent ne pas fonctionner.
Lorsque la clé intelligente se trouve à la portée appropriée, même une personne qui n'a pas en sa possession la clé peut appuyer sur le commutateur de demande (selon l'équipement) pour verrouiller ou déverrouiller les portières.

PRECAUTIONS AU SUJET DU VERROUILAGE ET DU DEVERROUILAGE DES PORTIERES
- N'appuyez pas sur le commutateur de commande (selon l'équipement) de poignée de portière en tenant la clé intelligente dans votre main comme il est illustré. En raison de la faible distance avec la poignée de la portière, le système de clé intelligente éprouvera des difficultés à déterminer que la clé intelligente se trouve à l'extérieur du vehicule.
Assurez-vous que les portières sont bien verrouillées après les avoir verrouillées au moyen du commutateur de demande (selon l'équipement) de poignée de portière.
- Pour éviter de laisser la clé intelligente à l'intérieur du vehicule, assurez-vous d'avoir la clé en votre possession, puis verrouille les portières.
- Ne tirez pas sur la poignée de la portière avant d'enfincer le commutateur de demande (selon l'équipement) de poignée de portière. La portière est déverrouillée, mais elle ne s'ouvre pas. Relâchéez une fois la poignée de la portière, puis tirez-la de nouveau pour ouvrir la portière.



FONCTIONNEMENT DE LA CLÉ INTELLIGENTE NISSAN INTELLIGENT KEYMD
Vous pouvez verrouiller ou déverrouiller les portières et le couvercle du coffre sans retarder la clé intelligente de votre poche ou de votre sac à main.
Lorsque vous transportez la clé intelligente et que la clé se trouve à la portée appropriée, vous pouvez verrouiller ou déverrouiller toutes les portières et le couvercle du coffre en,enfantant le commutateur de demande de poignée de portiere (selon l'équipement).
Verrouillage des portières
-
Déplacez le levier sélecteur à la position P (stationnement) (transmission à variation continue seulement) ou N (point mort) et serrez le frein de stationnement (boîte de vitesses manuelle seulement), placez le commutateur d'allumage à la position LOCK (verrouillage) et assurez-vous de transporter la clé intellecte avec vous.
-
Fermez toutes les portieres.
-
Appuyez sur un commutateur de commande de poignée de portière (selon l'équipement) lorsque vous détenez la clé intelligente avec vous.
-
Toutes les portières et le coffre se verrouillent.
- Les feuels de détresse clignotent deux fois et le carillon extérieur retentit deux fois.
REMARQUE:
- Les portières et le couvercle du coffre se verrouillent au moyen du commutateur de demande de poignée de portière (selon l'équipement) lorsque le commutateur d'allumage ne se trouve pas à la position LOCK (verrouillé).
- Les portières et le couvercle du coffre se verrouillent si vous appuyez sur le commutateur de besoin de poignée de portière ( selon l'équipement) lorsqu'une portière est ouverte. Seule la portière du conducteur se verrouille avec la clé mécanique même si une portière est ouverte.
- Les portières ne se verrouillent pas au moyen du commutateur de demande de poignée de portière ( selon l'équipment) lorsque la clé intelligente se trouve à l'intérieur du vehicule; un bip renetit pour vous en avertir. Toutefois, lorsqu'une clé intelligente se trouve à l'intérieur du vehicule, les portières peuvent être verrouillées avec une autre clé intelligente.
AVERAGEMENT
Après avoir verrouillé les portières au moyen du commutateur de demande (selon l'équipment), assurez-vous qu'elles ont été correctement verrouillées en manoeuvrant les poignées de portière. Le non-respect des这条 directives peut entrainer par inadvertance le déverrouillage des portières, qui peut diminuer la sécurité de votre vehicule.
AMISE EN GARDE
Lorsque you verrouillez les portieres au moyen du commutateur de demande (selon l'equipement), assurez-vous d'avoir la clé intelligente en votre possession avant de manœuvrer le commutateur de demande (selon l'equipement) pour éviter de laisser la clé dans le vehicule.
Le commutateur de demande (selon l'équipement) n'est fonctionnel que lorsque la clé intelligente a été détectée par le système de clé intelligente.
Protection de verrouillage
Pour éviter de laisser involontairement la clé intelligente dans un vehicule verrouillé, le système de clé intelligente est doté d'une protection de verrouillage.
Lorsque la portiere du cotoé du conducteur est ouverte, que les portieres sont verrouillées et que la clé intelligente est placée dans le vehicule, puis que toutes les portières sont fermées, le verrou se déverrouille automatiquement. Un carillon retentit pour vous avertir. Toutefois, si une clé intelligente se trouve à l'intérieur du vehicule alors que toutes les portières sont fermées, elles peuvent être verrouillées avec une autre clé intelligente.
REMARQUE:
Les portières peuvent ne pas se verrouiller lorsque la clé intelligente se trouve dans la même main qui actionne le commutateur de demande (selon l'équipement) pour verrouiller la portière. Placez la clé intelligente dans votre sac à main, une poche ou votre autre main.

MISE EN GARDE
La protection de verrouillage peut ne pas fonctionner dans les conditions suivantes:
- Lorsque la clé intelligente est placée sur le tableau de bord.
- Lorsque la clé intelligente est placée sur la plage arrête.
Lorsque la clé intelligente est placé dans la boîte à gants ou dans un bac de rangement.
Lorsque la clé intelligente est placée dans un vide-poche de portière.
Lorsque la clé intelligente est placée sur ou sous la roue de secours.
Lorsque la clé intelligente est placée à l'intérieur de matérielux métalliques ou pres de tels matérieliaux.
Lorsque la pile de la clé intelligente est déchargée.

Déverrouillage des portières
Portiere du conducteur
- Ayez en votre possession la clé intelligente.
- Appuyez sur le commutateur de commande de poignée de portière (selon l'équipement).
- Les témoins des feu de détresse clignotent une fois et le carillon extérieur retentit une fois.

- Appuyez de nouveau sur le commutateur de demande de la poignée de portière (selon l'équipement) en moins d'une minute pour déverrouiller toutes les portières et le couvercle du coffre.
Sauf la portiere du conducteur
- Ayez en votre possession la clé intelligente.
-
Appuyez sur le commutateur de commande de poignée de portière (selon l'équipement) pour déverrouiller toutes les portes.
-
Les témoins des feu de détresse clignotent une fois et le carillon extérieur retentit une fois.
Si une poignée de portière est tirée pendant le déverrouillage des portières, cette portière peut ne pas se déverrouiller. Remettez la poignée de portière à sa position d'origine pour déverrouiller la portière. Si la portière ne se déverrouille pas lorsque la poignée de portière revient à sa position d'origine, enforcez le commutateur de demande de poignée de portière ( selon l'équipement) pour déverrouiller la portière.
Toutes les portières et le couvercle du coffre se verrouillent automatiquement à moins qu'une des actions suivantes ne soit effectue dans les 30 secondes après avoir enforcé le commutateur de demande (selon l'équipement):
L'ouverture d'une des portières ou du couvercle du coffre.
- Enforcement du commutateur d'allumage.
Utilisation de l'éclairage interieur
L'éclairage interieur s'allume pendant un certain temps lorsqu'une portière est déverrouillée et que le commutateur d'éclairage interieur n'est pas à la position OFF.
Vou puevez eteindre I'eclairage interieur sans attendre le delai en efectuant une des operations suivantes:
- Placer le commutateur d'allumage à la position ON (marche).
- Verrouillage des portières à l'aide du commutateur de demande (selon l'équipement) ou de la clé intelligente.
- Lorsque le commutateur d'éclairage interieur est mis sur la position OFF (hors fonction).
Pour obtenir des renseignements supplémentaires, consultez la section « Éclairage interieur » (p. 2-93).

Ouverture du couvercle du coffre
- Appuyez sur le commutateur de demande d'ouverture du coffre (selon l'équipment) A tout en ayant la clé intelligente avec vous.
- Le couvercle du coffre se déverrouille. Un carillon retentit trois fois.
- Soulevez le couvercle du coffre pour ouvrir le coffre.

AVERTISSEMENT
Après avoir verrouillé le coffre, assurez-vous qu'il le soit de manière sécuritaire en actionnant le commutateur de demande d'ouverture dans les trois secondes suivant le verrouillage. Le non-respect de ces directives peut entrainer par inadvertance le déverrouillage du coffre, ce qui peut réduire la sécurité de votre vehicule.
COMMENT UTILISER LE DISPOSITIF DE VERROUILAGE ET DEVERROUILAGE SANS CLÉ À TÉLECOMMANDE
Le dispositif de verrouillage et déverrouillage sans clé à télécommande permet de manoeuvrer toutes les serrures de portière au moyen de la fonction de verrouillage et déverrouillage sans clé de la clé intelligente. La fonction d'entrée sans clé fonctionnement jusqu'à 10 m (33 pi) du vehicule. La portée peut toute fois varier en fonction des conditions environnantes du vehicule.
Le dispositif de verrouillage et déverrouillage sans clé à télécommande ne fonctionne pas dans les conditions suivantes :
- Lorsque la clé intelligente est hors de la portée.
- Lorsque les portières ou le coffre sont ouverts ou incorrectly fermés.
- Lorsque la pile de la clé intelligente est déchargée.

MISE EN GARDE
Lorsque les portières sont verrouillées au moyen de la clé intelligente, assurez-vous de ne pas laisser la clé dans le vehicule.

LDI3700
Type A (selon l'équipement)
- Bouton de verrouillage
- Bouton de déverrouillage
- HOLD bouton (coffre)
- Bouton d'alarme d'urgence

Verrouillage des portières
- Placez le commutateur d'allumage en position LOCK (antivol-verrouillé).
- Fermez toutes les portières.
- Appuyez sur le bouton intelligente.
de la clé - Les feu de détresse clignotent deux fois et l'avertisseur sonore retentit une fois.
- Toutes les portières et le coffre severrouillent.
AVERAGEMENT
Après avoir verrouillé les portières au moyen de la clé intelligente, assurez-vous que les portières sont bien verrouillées en manoeuvrant les poignées de portière. Le non-respect de ces directives peut entrainer par inadvertance le déverrouillage des portières, qui peut diminuer la sécurité de votre vehicule.
Déverrouillage des portières
- Appuyez sur le bouton de la clé intelligente pour déverrouiller la portière du conducteur.
- Les yeux de détresse clignotent une fois.
- Appuyez de nouveau sur le bouton dans les 60 secondes pour déverrouiller toutes les portières et le coffre.
Toutes les portières et le couvercle ducoffre se verrouillent automatiquement a moins qu'une des actions suivantes ne soiteffectue dans un delays de 60 secondesapres avoir appuyé sur le bouton
L'ouverture d'une des portières ou du couvercle du coffre.
- Enforcement du commutateur d'allumage.
Utilisation de l'éclairage interieur
L'éclairage interieur s'allume pendant un certain temps lorsqu'une portière est déverrouillée et que le commutateur d'éclairage interieur n'est pas à la position OFF.
Vou puevez eteindre l'éclairage interieur sans attendre le délambda en effectuant une des opérations suivantes :
- Placer le commutateur d'allumage à la position ON (marche).
Type B (selon l'équipement)
- Bouton de démarrage à distance du moteur
- Bouton de verrouillage
- Bouton de déverrouillage
- bouton (coffre)
-
Bouton d'alarme d'urgence
-
Verrouillage des portières à l'aide du commutateur de demande (selon l'équipe) ou de la clé intelligente.
- Lorsque le commutateur d'éclairage interieur est mis sur la position OFF (hors fonction).
Pour obtenir des renseignements supplémentaires, consultez la section « Éclairage interieur » (p. 2-93).
Ouverture du couvercle du coffre
Enoncez le bouton pendant plus d'une demi-seconde pour ouvrir le couvercle du coffre. Le bouton d'ouverture du coffre ne fonctionne pas lorsque le commutateur d'allumage se trouve à la position ON (marche).
Utilisation de l'alarme de détresse
Si vous étés à proximé de votre vehicule et que vous croyz étre en danger, vous pouvez activer l'alarme de détresse en enforcant le bouton de la clé intelligentependant plus d'une demi-seconde.
L'alarme de détresse et les phares resteront activés pendant un certainIELAI.
L'alarme de détresse est neutralisée :
- Lorsqu'elle a ete activee pendant un certain delai.
Le bouton « unlock » (déverrouillage) de la clé intelligente est enforcé.
Mise au silence de l'avertisseur sonore
Si vous le désirez, vous pouvez neutraliser la fonction de l'avertisseur sonore au moyen de la clé intelligente.
Pour désactiver cette fonction: Appuyez sur les boutons et pendant au moins 4 secondes.
Les feu de détresse clignotent alors trois fois pour confirmer la neutralisation de la fonction de signal sonore.
Pour activer cette fonction: Appuyez sur les boutons et à nouveau pendant au moins 4 secondes.
Les feu des détresse clignotent une fois et l'avertisseur sonore retentit une fois pour confirmer le rétablissement de la fonction.
La neutralisation de la fonction de signal sonore n'entraine pas la mise au silence de l'avertisseur en cas de déclenchement de l'alarme.
SIGNAUX D'AVERTISSEMENT
Pour contributor à prévenir le déplacement inopiné du vehicule découulant d'une opération erronée de la clé intelligente ou pour prévenir le vol du vehicule, un carillon ou une alarmé sonore retentit à l'intérieur et à l'extérieur du vehicule et un message s'affiche sur le tableau de bord.
Lorsqu'un carillon ou un bip retentit, ou qu'un message s'affiche sur le tableau de bord, assurez-vous de vérifier le vehicule et la clé intelligente.
Pour obtenir des renseignements supplémentaires, consultez la section « Guide de dépannage » (p. 3-18) et « Écran multifonction de 11 cm (4,2 po) de type A du vehicule » (p. 2-19) ou « Écran multifonction de 18 cm (7 po) de type B du vehicule » (p. 2-40)
GUIDE DE DÉPANNAGE (transmission à variation continue seulement)
Vérifiez où se trouvent toutes les clés intelligentes programmes pour votre vehicule. Si une autre clé intelligente se trouve dans la portée du vehicule ou dans l'habitacle, le système risque de fonctionner différemment que prévu.
| Symptôme | Cause possible | Solution | |
| Lorsque vous enforcez le commuta- teur d'allumage pour arrêté le moteur | Le message d'advertissement « Shift to Park » (passer en position P [stationne- ment]) du tableau de bord s'allume et le carillon interne se fait entendre en permanence. | Le levier sélecteur n'est pas à la posi- tion P (stationnement). | Assurez-vous que le levier sélecteur est à la position P (stationnement). |
| Lorsque vous enforcez le commuta- teur de demande de poignée de portière (selon l'équipment) pour verrouiller la portière | Le carillon extérieur retentit pendant quelques secondes environ. | La clé intelligente se trouve dans l'habi- tacle ou dans le coffre. | Assurez-vous d'avoir en votre posses- sion la clé intelligente. |
| À la fermeture des portières | Le signal sonore extérieur retentit trois fois. | Le commutateur d'allumage est à la position ACC (accessoires). | Placez le commutateur d'allumage à la position OFF (hors fonction). |
| Le message d'advertissement « Shift to Park » (passer en position P [stationne- ment]) du tableau de bord s'allume et le carillon externe se fait entendre en permanence. | Le commutateur d'allumage est à la position OFF (hors fonction) et le levier selecteur n'est pas à la position P (sta- tienne). | Assurez-vous que le levier sélecteur est à la position P (stationnement), puis placez le commutateur d'allu- mage sur OFF (hors fonction). | |
| Quelques secondes après la fermeture de la portière, le message d'vertisse- ment d'alerte de portière arrrière s'affiche à l'écran, l'avaitseur sonore retentit six fois ou le message d'vertisse- sement « Check Rear Seat For All Articles » (verifier le siège arrrière pour la présence d'objets) s'affiche à l'écran. | L'alerte de portière arrrière est activée. | Vérifiez tous les éléments pour le siège arrière, appuyez sur le bouton OK (entrer) pour effacer le message d'advertissement Alerte de portière arrière. | |
| Le carillon extérieur retentit pendant environ trois secondes et toutes les portières se déverrouillent. | La clé intelligente se trouve dans l'habi- tacle ou dans le coffre. | Assurez-vous d'avoir en votre posses- sion la clé intelligente. | |
| Lorsque vous fermez le couvercle du coffre | Le carillon extérieur retentit pendant quelques secondes et le couvercle du coffre s'ouvre. | La clé intelligente se trouve dans le coffre. | Assurez-vous d'avoir en votre posses-sion la clé intelligente. |
| Lorsque vous appuyez sur la touche de la clé intelligente pour verrouiller la portière | Le carillon extérieur retentit pendant quelques secondes et toutes les portières se déverrouillent. | La clé intelligente se trouve dans l'habi-tacle ou dans le coffre. | Assurez-vous d'avoir en votre posses-sion la clé intelligente. |
| Une des portières n'est pas complète-ment fermée. | Fermez bien les portières. | ||
GUIDE DE DÉPANNAGE (boîte de vitesses manuelle seulement)
Vérifiez où se trouvent toutes les clés intelligentes programmes pour votre vehicule. Si une autre clé intelligente se trouve dans la portée du vehicule ou dans l'habitacle, le système risque de fonctionner différemment que prévu.
| Symptôme | Cause possible | Solution | |
| Lorsque le frein de stationnement est serrer à fond | Le carillon d'advertissement interieur retentit sans cesse. | Le commutateur d'allumage est à la position ACC (accessoires) ou ON (marche). | Placez le commutateur d'allumage à la position OFF (hors fonction). |
| Lorsque vous enforcez le commuta-teur de besoin de poignée de portière (selon l'équipement) pour verrouiller la portière | Le carillon extérieur retentit pendant quelques secondes environ. | La clé intelligente se trouve dans l'habi-tacle ou dans le coffre. | Assurez-vous d'avoir la clé intelligente avec |
| À la fermeture des portières | Le carillon extérieur retentit pendant environ trois secondes et toutes les portières se déverrouillent. | La clé intelligente se trouve dans l'habi-tacle ou dans le coffre. | Assurez-vous d'avoir la clé intelligente avec |
| Quelques secondes après la fermeture de la portière, le message d'advertissement d'alertie de portière arrêté s'affiche à l'écran, l'advertisseur sonore retentit six fois ou le message d'advertissement « Check Rear Seat For All Articles » (verifier le siège arrêté pour la présence d'objects) s'affiche à l'écran. | L'alerte de portière arrêté est activée. | Vérifiez tous les éléments pour le siège arrêté, appuyez sur le bouton OK (entrer) pour effacer le message d'advertissement Alerte de portière arrêté. | |
| Le message d'advertissement « Key Sys-tem Error » (erreur du système de clé) s'affiche à l'écran multifonction du véri-cule, le carillon extérieur retentit trois fois et le carillon interieur retentit pen-dant environ trois secondes. | Le commutateur d'allumage est à la position ACC (accessoires). | Placez le commutateur d'allumage à la position OFF (hors fonction). | |
DÉMARRAGE À DISTANCE DU MOTEUR (selon l'équipement)

La clé intelligente NISSAN Intelligent KeyMD comporte le bouton si le vehicule est muni du système de démarrage à distance du moteur. Cette fonction permet le démarriage du moteur de l'extérieur du vehicule.
Les fonctions suivantes peuvent être compromisesés lorsqu'la fonction de démarriage à distance du moteur est utilisé:
-
Les vehicules munis du système de chauffage-climatisation manuel passeront par défaut au dernier mode de chauffage ou de refroidissement utilisé.
-
Les vehicules munis du système de chauffage-climatisation automatique peuvent passer par défaut au mode de chauffage ou de refroidissement en fonction des températures extérieure et de l'habitacle. Pour obtenir des renseignements supplémentaires, consultez la section « Démarrage à distance du moteur avec régulateur de chauffage-climatisation » (p. 4-46).
Les lois en vigueur dans certaines régions peuvent restreindre ou interdire l'utilisation du démarrage à distance du moteur, ou la durée pendant laquelle un vehicule peut être stationné avec le moteur en marche. Par exemple, certaines législations exigent que le vehicule soit visible par l'utilisateur lorsqu'il utilise la fonction de démarrage à distance du moteur ou limitent le temps de ralenti sauf dans des températures extrêmtement froides. Consultez les règlements en vigueur pour connaître les exigencies.
D'autres conditions peuvent nuire au fonctionnement de la fonction de démarrage à distance du moteur. Pour obtenir des renseignements supplémentaires, consultez la section « Conditions dans lesquelles la fonction de démarrage à distance du moteur ne fonctionne pas » (p. 3-23).
D'autres conditions peuvent modifier le rendement de l'émetteur de la clé intelligente Intelligent Key Pour obtenir des renseignements supplémentaires, consulçez la section « NiSSAN intelligent KeyMD » (p. 3-7).
PORTÉE DU DEMARRAGE À DISTANCE DU MOTEUR

AVERTISSEMENT
Pour éviter le risque de blessures ou de décès associé à un fonctionnement accidentel du vehicule ou de ses systèmes, par exemple le coincement par les glaces ou l'activation accidentelle du verrouillage des portières, ne laissez pas les enfants, les personnes qui ont besoin de l'aide d'autres personnes ou les animaux sans surveillance dans votre vehicule. De plus, la température à l'intérieur d'un vehicule fermé lors d'une journée chaude peut s'éleverrapidement au point de provoquer un risque important de blessures graves ou mortelles à des personnes ou à des animaux domestiques.
- N'utilise pas le démarrage à distance du moteur dans un endroit fermé tel qu'un garage. Évitez d'inhaler les gaz d'échéppement, car ils contiennent du monoxyde de carbone, une substance incolore et inodore. Le monoxyde de carbone est un produit dangereux qui peut cause des évanouissements, voire entrainer la mort.
AMISE EN GARDE
Lorsque la pile de la clé intelligente est déchargée ou que d'autres sources de puissantes ondes radioélectriques sont à proximité, la portée du système de clé intelligente est réduite et la clé intelligente peut ne pas fonctionner correctement.
La fonction de démarrage à distance du moteur ne peut être utilisée que lorsque la clé intelligente se trouve dans une portée précisé du vehicule.
La portée du démarrage à distance du moteur du moteur est de 60 m (197 pi) environ du vehicule.
DÉMARRAGE À DISTANCE DU VÉHICULE
Pour utiliser la fonction de démarrage à distance du moteur pour faire démarrer le moteur, procédez comme suit :
- Orientez la clé intelligente vers le vehicule.
- Appuyez sur le bouton pour verrouiller toutes les portières.
- Dans un déali de cinq secondes, mainte nez le bouton enforcé jusqu'à ce que les clignotants clignotent et que les feux arrriere s'allument. Si le vehicule n'est pas visible, maintenez le bouton enforcé pendant au moins deux secondes.
Les situations suivantes se produit au démarrage du moteur :
- Les feu de stationnement s'allument et restent allumés aussi longtemps que le moteur est en marche.
- Les portières se verrouillent et le système de chauffage-climatisation peut semettre en marche.
- Le moteur continue de fonctionner pendant 10 minutes. Répétez les étapes pour augmenter le début de fonctionnement de 10 minutes supplémentaires. Pour
obtenir des renseignements supplémentaires, consultez la section « Augmentation du début de fonctionnement du moteur » (p. 3-22).
Enoncez la pédale de frein et maintenez-la dans cette position, puis appuyez sur le commutateur d'allumage à boutonpoucevoir en position ON (marche) avant de prendre la route. Pour obtenir des renseignements supplémentaires, consultez la section « Conduite du vehicule » (p. 5-18).
AUGMENTATION DU DÉLAI DE FONCTIONNEMENT DU MOTEUR
Le fonctionnement du démarrage à distance du moteur peut être prolongé une fois en suivant les étapes indiquées dans la section « Démarrage à distance du vehicule » (p. 3-22). Le délambda de fonctionnement est calculé comme suit:
- Le premier délambda de fonctionnement de 10 minutes commence au moment de l'exécution de la fonction de démarrage à distance du moteur.
Le deuxieme délambda de fonctionnement de 10 minutes commence après que la première demande de démarrage à distance du moteur se termine. Par exemple, si le
mateur tourne depuis 5 minutes et que 10 minutes supplémentaires sont ajoutées, le moteur tournera pendant 20 minutes au total.
- Vous atteindrez la limite de deux démarrages à distance du moteur en augmentant le périé de fonctionnement du moteur.
Deux démarrages du moteur à distance maximaux ou un démarrage simple avec un ajust de retard sont permis entre les cycles d'allumage.
Le vehicule doit etre conduit a des vitesses de l'ordre de 7 km/h (4 mi/h) avant que la procedure de demarrage a distance puisse etre utilisée de nouveau.
ANNULATION D'UN DEMARRAGE À DISTANCE DU MOTEUR
Pour annuler un démarrage à distance du moteur, effectuez une des opérations suivantes:
- Orientez la clé intelligente vers le vehicule et appuyez sur le bouton où jusqu'à ce que les feuels de stationnement s'éteignent.
-
Allumez les yeux de détresse de votre vehicule.
-
Placez le commutateur d'allumage à la position on (marche), puis à la position off (hors fonction).
- Le délambda prolongé de fonctionnement du moteur a expiré.
- La minuterie des 10 premières minutes a expiré.
- Le capot moteur a ete ouvert.
- Le levier sélecteur est déplace hors de la position P (stationnement).
- L'alarme retentit en raison d'une entrée non autorisée dans le vehicule.
- Le commutateur d'allumage est enforcé sans qu'une clé intelligente ne se trouve dans le vehicule.
- Le commutateur d'allumage est enforcé lorsqu'une clé intelligente se trouve dans le vehicule, mais la pédale de frein n'est pas enforcée.
- La pédale d'accélérateur est enforcée.
Le vehicule se déplace après le démarriage à distance. (Les feu de détresse clignotent une fois et le moteur est arrêté.)
CONDITIONS DANS LESQUELLES LE DEMARRAGE À DISTANCE DU MOTEUR NE FONCTIONNE PAS
Le démarrage à distance du moteur ne fonctionne pas si une des conditions suivantes est présente :
- le commutateur d'allumage est tourné à ON (marche).
Le capot n'est pas bien fermé. - Les témoins des yeux de détresse sont allumés.
- Le moteur tourne encore. Le moteur doit être complètement arrêté. Attendez au moins six secondes si le moteur tourne, puis s'arrêté. Ceci ne s'applique pas lors de l'augmentation du début de fonctionnement du moteur.
Le bouton n'est pas maintainu enfoncé pendant au moins 2 secondes.
Le bouton n'est pas maintainu enforcé dans un prolong de 5 secondes après l'enforcement du bouton de verrouillage. - Le frein est serré.
- Les portières ne sont pas fermées et verrouillées.
Le coffre est ouvert.
CAPOT
L'advertissement « I-Key System Error » (erreur du système de clé intelligente) ou tout autre avertissement lié au moteur est affché à l'écran multifonction du vehicule.
- L'alarme retentit en raison d'une entrée non autorisée dans le vehicule.
- Deux démarrages à distance du moteur ou un démarrage à distance simple du moteur avec un-delai ajouté ont déjà été effectuels. (Le vehicule doit être conduit à des vitesses de l'ordre de 7 km/h [4 mi/h] avant que le démarreur à distance puisse être utilisé de nouveau.)
- Le vehicule n'est pas à la position P (stationnement).
- Une clé programmée est détectée à l'intérieur du vehicule.
Le démarrage à distance du moteur peut afficher un avertissement ou un témoin à l'écran multifonction. Pour obtenir des renseignements supplémentaires, consultez la section « Écran multifonction de 11 cm (4,2 po) de type A du vehicule » (p. 2-19) ou « Écran multifonction de 18 cm (7 po) de type B du vehicule » (p. 2-40).



LPD3084
- Tirez la poignée de déverrouillage de la serrure du capot ① sous la partie inférieure du montant de portière jusqu'à ce que le capot se soulève légèrement.
- Repérez le levier ② entre le capot et la calandre, puis poussez-le latéralement du bout des doigts.
- Soulevez le capot ③.
- Retirez la bequille ④ et insérez-la dans la fente marquee par une flèche.
REMARQUE :
Ne placez pas la béquille dans un emplacement autre que la fente désignée.
Tenez les parties enrobées lorsque vous retirez ou replacez la béquille. Évitez de toucher directement aux pieces métalliques, car elles pourraient être chaudes immédiatement après l'arrêt du moteur.
Lorsque you fermez le capot, remettez la bequille en place, abaissez le capot jusqu'à environ 30 cm (12 po) au-dessus du loquet et relâchéz-le. Vous youssurez ainsi que le loquet du capot est bien engagé.

AVERTISSEMENT
Assurez-vous que le capot de votre vehicule est bien fermé et correctement verrouillé avant de prendre la route. Si cette vérification n'est pas faite, le capot pourrait s'ouvrir et causer un accident.
- Si vous voyagez de la vapeur ou de la fumée s'échapper du compartment moteur, n'ouvre pas le capot, car vous pourriez subir des blessures.

LPD2868
Tableau de bord
COMMANDE D'OUVERTURE DU COUVERCLE DU COFFRE

AVERTISSEMENT
-
Ne conduisez pas lorsque le couvercle du coffre est ouvert. Des gaz d'échéppement nocifs pourraient s'infiltrer dans l'habitacle. Pour obtenir des renseignements supplémentaires, consultez la section « Gaz d'échéppement (monoxyde de carbonate) » (p. 5-4).
-
Surveiliez attentivement les enfants lorsqu'ils jouent à proximé d'un vehicule afin d'éviter qu'ils ne s'enferment par mégarde dans le coffre où ils poursaient subir de graves blessures. Gardez le vehicule verrouillé, en vous assurant que le dossier de siege arrêté et le couvercle du coffre sont bien verrouillés lorsqu'ils ne sont pas utilisés, et rangez les clés de la voiture hors de la portée des enfants.
Pour ouvrir le couvercle du coffre, poussez la commande d'ouverture.
Pour refermer le couvercle du coffre, abaissez-le et poussez-le fermement vers le bas.
REMARQUE:
Vou pousseutiliservoirecléintelligente pour ouvrircouvercle ducoffre.Pourobtenirdes renseignements supplémentaires,consultezla section « Ouverture du couvercle decoffre»(p.3-17).

DEVERROUILLAGE INTÉRIEUR DU COUVERCLE DU COFFRE

AVENTISSEMENT
Surveillez attentivement les enfants lorsqu'ils jouent à proximé d'un vehicule afin d'éviter qu'ils ne s'enferment par mégarde dans le coffre où ils pourraient subir de graves blessures. Gardez le vehicule verrouillé, en vous assu-rant que le dossier de siège arrière et le couvercle du coffre sont bien ver-
rouillés lorsqu'ils ne sont pas utilisés, et rangez les clés de la voiture hors de la portée des enfants.
Le mecanisme de déverrouillage interieur du couvercle du coffre permet à une personne enfermée par mégarde dans le coffre de déverrouiller le coffre.
Pour ouvrir le coffre de l'intérieur, tirez sur la poignée de déverrouillage lumineuse jusqu'à ce que le loquet se déverrouille, puis poussez sur le couvercle du coffre. La poignée de déverrouillage est fabriquée avec un matériel phosphorescent qui brille dans l'obscurité après une brève exposition à la lumière ambiente.
La poignée se trouve dans le coffre, sur la paroi interieure du couvercle du coffre.
ACCÉS AU COFFRE PAR L'INTÉRIEUR
Il est possible d'acceder au coffre à partir du siège arrêté du côté conducteur ou du côté passager.
- Déplacez le siège avant dans sa position la plus avancée.
- Tirez vers le haut sur le bouton sur le dossier de siège arrêté.
- Rabatte le dossier du siège du côté du conducteur ou passager.
Pour obtenir des renseignements supplémentaires, consultez la section « Siège arrière rabatable» (p. 1-6).

AVERTISSEMENT
- Ne laïsez personne prendre place dans l'aire de chargement ou sur le siège arrrière lorsque ce siège est rabattu. Les personnes se trouvant dans ces espaces dépourvus d'ensembles de retenue ajustats risquent de subir des blessures graves ou la mort en cas d'accident ou d'arrêt brusque.
Fixez solidement tous les bagages à l'aide de cordes ou de sangles afin d'eviter qu'ils ne glissant ou se déplacent. N'empirez pas les bagages plus hauts que les dossiers de sièges. En cas d'arrêt brusque ou de collision, les bagages non retenus pourraient entraîner des blessures.
Lorsque you redressez les dossiers des sièges en position verticale, assurez-vous qu'ils sont bien verruillés. S'ils ne sont pas correctement verruillés, les passagers pourraient être blessés en cas d'accident ou d'arrêt brusque.
TRAPPE DU RÉSERVOIR DE CARBURANT
- Surveiliez attentivement les enfants lorsqu'ils jouent à proximé d'un vehicule afin d'éviter qu'ils ne s'enferment par mégarde dans le coffre où ils poursaient subir de graves blessures. Gardez le vehicule verrouillé, en vous assurant que le dossier de siege arrêté et le couvercle du coffre sont bien verrouillés lorsqu'ils ne sont pas utilisés, et rangez les clés de la voiture hors de la portée des enfants.

FONCTIONNEMENT DU LEVIER D'OUVERTURE
Le levier d'ouverture de la trappe du réservoir de carburant est situé sous le tableau de bord. Tirez sur le levier pour ouvrir la trappe du réservoir de carburant. Pour verruiller la trappe, fermez-la en la poussant fermement.
BOUCHON DU RÉSERVOIR DE CARBURANT

AVERTISSEMENT
L'essence est une substance extrémenment inflammable qui peut aussi devenir hautement explosive dans certaines conditions. Vous pourriez subir des brûlures ou des lésions graves en cas d'utilisation ou de manipulation incorrecte. Lorsque vous faites le plein d'essence, coupez toujours le moteur, ne fumez pas et tenez toute flamme ou étincelle loin du vehicule.
- Ne tentez pas de continuer de remplir le réservoir de carburant lorsque le giclure de pompe d'alimentation se déclenché automatiquement. Le surremplissage pourrait faire déborder le réservoir, faire giclre le carburant et provoquer un incendie.
- Ne remplacez un bouchon de réservoir de carburant que par un bouchon d'origine. En effet, celui-ci est muni d'une soupape de sureté intégrée nécessaire au fonctionnement adéquat du circuit d'alimentation et du dispositif antipollution. L'utilisation d'un bouchon non adéquat peut entrainer une anomalie importante ainsi que des blessures. Une telle utilisation peut également provoquer l'activation du tamoin d'anomalie l
- Ne tentez jamais de faire démarrer votre vehicule en versant du carburant dans le corps de papillon.
- Ne replisssez pas un contenant portatif de carburant dans votre vehicule ou votre remorque. L'électricité statique pourrait provoquer une explosion en raison de la présence de liquides, vapeurs ou gaz inflammables au niveau du vehicule ou de la remorque. Pour réduire les risques de blessures graves ou mortelles lors
du replissage de carburant d'un contenant portatif, assurez-vous de suivre les conseils suivants:
- Placez toujours le contenant sur le sol pour le replir.
- N'utiliseaucundispositifélectroniquependantleremplissage.
- Gardez le giclueur de la pompe d'alimentation en contact avec le contenant pendant le replissage.
Utilisez uniquement un contenant portatif approuve pour liquide inflammable.

MISE EN GARDE
- N'utilise pas le carburant E-15 ou E-85 dans votre vehicule. Pour obtenir des renseignements supplémentaires, consultez la section « Recommandations concernant le carburant » (p. 10-5).
Le message d'ajretissement LOOSE FUEL CAP (bouchon de réserve de carburant desseré) s'affiche si le bouchon du réserve de carburant n'est pas serré correctement. Il peut être nécessaire d'effectuer quelques trajets avant que le message s'affiche. Le témoin d'anomalie (MIL) peut s'allumer si vous ne serrez pas correctement le bouchon du réserve de carburant après l'affchage de l'avertissement LOOSE FUEL CAP (bouchon de réserve de carburant desseré).
Le témoin d'anomalie peut s'allumer si le bouchon du réservoir de carburant est mal serré. Si le témoin s'allume parce que le bouchon n'a pas été replaced ou parce qu'il est mal visse, replacez-le ou vissez-le et poursuivez votre route. Le témoin doit s'eteindre après quelques cycles de conduite. Si le témoin reste allumé après quelques cycles de conduite, faites inspectorer votre vehicule. Nous vous recommendons de vous rendre chez un concessionnaire NISSAN pour cet entretien.
Pour obtenir des renseignements supplémentaires, consultez la section « Témoin d'anomalie » (p. 2-10).
Si du carburant a ete renversé sur la carrosserie du vehicule, rincez-le immediatement avec de I'eau pour eviter des dommages à la peinture.

Pour retarder le bouchon du réservoir de carburant:
- Tournez le bouchon du réservoir de carburant dans le sens contraire des aiguilles d'une montre pour le retarder.
- Lorsque vous faites le plein, faites passer la courroie d'attache sur le crochet ①.
Pour poser le bouchon du réservoir de carburant:
- Insérez le bouchon du réservoir de carburant bien droit dans le tube de remplissage de carburant.
- Tournez le bouchon du réservoir de carburant dans le sens des aiguilles d'une montre jusqu'à ce que vous entendiez un déclic.

Avertissement LOOSE FUEL CAP (bouchon de réservoir de carburant desseré)
L'advertissement LOOSE FUEL CAP (bouchon de réserveir de carburant desserré) s'affiche à l'écran multifonction lorsque le bouchon du réserveir de carburant n'est pas serré correctement après le ravaitillage. Il peut être nécessaire d'effectuer
quelles trajets avant que le message s'affiche. Pour eteindre l'advertisement, procedez comme suit :
- Retirez et installez le bouchon du réservoir de carburant comme il a été décrit précédemment aussitôt que possible.
- Resserrez le bouchon du réservoir de carburant jusqu'au déclic.
- Appuyez sur le bouton OK du volant pour effacer l'advertissement de bouchon de réserveir de carburant desserré après le resserrage du bouchon.
AVERAGEMENT
- Ne règlez pas le volant pendant que vous conduisez. Vous pourriez perdre la maitrise de votre vehicule et causer un accident.
- Ne reglez pas le volant trop après du corps car ceci pourrait nuire au fonctionnement de la direction et à votre comfort. Le sac gonflable du conducteur se déploie avec beaucoup de puissance. Si vous n'êtes pas correctement retenu, si vous seront penché vers l'avant, tourné de côté ou assis dans toute autre position inadéquate, vous faites augmenter les risques de blessures graves ou mortelles en cas d'accident. Le sac gonflable peut également给您 cause des blessures graves ou mortelles si vous seront appuyé contre le module au moment de son déploiement. Assurez-vous d'avoir le dos bien appuyé contre le dossier de votre siege et d'être aussi loin que possible du volant sans que cela neNUise à votre comfort. Bouclez tous jours libre ceinture de sécurité.
PARE-SOLEIL

FONCTIONNEMENT DU VOLANT INCLINABLE
Abaissez le levier de verrouillage ① et montez ou descendez le volant ② pour le régler à la position désirée.
Poussez fermement le levier vers le haut ① pour verrouiller le volant de direction en position.
FONCTIONNEMENT TÉLESCOPIQUE
Tirez le levier de verrouillage vers le bas ① et reglez le volant vers l'avant ou vers l'arriere ③ jusqu'à la position désirée.
Poussez fermement le levier vers le haut ① pour verrouiller le volant en position.

-
Pour éliminer l'éblouissement frontal, abaissez le pare-soleil principal ①.
-
Pour éliminer l'éblouissement lésral, dégagez le pare-soleil principal de son support central et faites-le pivoter sur le côté ②.
-
Pour rallonger le pare-soileil, glissez la rallonge de pare-soileil vers l'intérieur ou vers l'extérieur au besoin ③.

MISE EN GARDE
- Ne tentez pas de ranger le pare-soileil principal avant d'avoir d'abord range la rallonge du pare-soileil.
- Ne tirez pas la rallonge de pare-soleil avec force vers le bas.

MIROIRS DE COURTOISIE
Pour utiliser le miroir de courtoisie, abaissez le pare-soleil et levez le volet du miroir. Certains miroirs de courtoisie possedent un éclairage qui s'active à l'ouverture du couvercle.

Côté conducteur et côté passager PORTE-CARTES
Pour utiliser le portecartes, glissez la carte dans l'attache. Ne consultez pas ces articles pendant la conduite.

RÉTROVISEUR INTÉRIEUR MANUEL ANTIÉBLOUISSEMENT (selon l'équipement)
Utilisez la position de nuit ① pour réduire l'éblouissement provoqué par les phares des vehicules qui vous suivent lorsqu'vous conduisez la nuit.
Pour la conduite de jour, utilisez la position de jour ②.

AVERTISSEMENT
N'utilise la position nuit qu'en cas de besoin, car elle reduit la visibilité arrière.

REMARQUE:
Ne suspendez pas d'objets sur les capteurs ① et ne les nettoyez pas avec un nettoie-vitres. Cela réduit la sensibilité des capteurs et nuit à leur fonctionnement.

RÉTROVISEURS EXTERIEURS
La commande à distance des rétroviseurs extérieurs fonctionne seulement lorsque le commutateur d'allumage se trouve à la position ON (marche).
Déplacez le petit commutateur ① pour sélectionner le rétroviseur de gauche ou de droite. Reglez la position du rétroviseur sélectionné à l'aide du gros commutateur ②. Déplacez le commutateur à la position centrale (position neutre) afin d'éviter de déplacer accidentellement le rétroviseur.
RÉTROVISEUR INTÉRIEUR AUTOMATIQUE ANTIÉBLOUISSEMENT (selon l'équipement)
Le rétroviseur interieur est concu pour se teinter automatiquement le soit ou la nuit et en fonction de la réflexion des phares des vehicules qui vous suivent. La fonction antiéblouissement automatique est activée lorsque le commutateur d'allumage est à la position ON (marche).

AVENTISSEMENT
- Les objets refléchis par le rétroviseur extérieur du côte passager sont plus pres qu'ils ne semblel l'être. Soyez prudent lorsque vous vous déplacez vers la droite. L'utilisation exclusive de ce rétroviseur pourrait cause un accident. Servez-vous du rétroviseur interieur ou jetez un coup d'œil pardessus votre épaule afin d'évaluer correctement la distance qui vous sépare des objets.
- Ne règlez pas la position des miroirs pendant que vous conduisez. Vous pourriez perdre la maitrise de votre vehicule et causer un accident.

Réroviseurs repliables à commande manuelle
Pour rabattre le rétroviseur extérieur, poussez-le vers la portière.
Rétroviseurs chauffants (selon l'équipement)
Certains rétroviseurs extérieurs sont munis d'un dispositif de chauffage qui permet de supprimer le givre ou la glace qui s'y trouve et ainsi d'améliorer la visibilité pour le conducteur. Pour obtenir des renseignements supplémentaires, consultez la section « Interrupteur du dégivreur de lunette ou de rétroviseurs extérieurs (selon l'équipement) » (p. 2-66).
4 Systèmes de surveillance, de climatisation, audio, téléphonique et de reconnaissance vocale
Manuel du conducteur de NissanConnect ^MD 4-2
Boutons du panneau de commande 4-3
Consignes d'utilisation de l'écran tactile 4-4
Utilisation du bouton MENU 4-5
Bouton deluminosité 4-7
Comment utiliser le bouton VOL
volume) et PUSH (alimentation) 4-7
Sélection de menu à partir de la barre
de lancement 4-7
Caméra de marche arrêté (selon
l'equipement) 4-8
Fonctionnement du système de
camera arriere 4-9
Interprétation des lignes affichées à
l'ecran 4-10
Différence entre la distance prévue et la
distance réelle 4-10
Comment se stationner en utilisant les
lignes de trajectorie prévue (selon
l'equipement) 4-13
Réglage de l'écran 4-14
Comment activer et désactiver les
lignes de trajectorie prévue (selon
l'equipement) 4-15
Limites du système deamera de
marche arriere 4-15
Entretien du système 4-16
Écran intelligent Around ViewMD
(selon l'equipement) 4-17
Fonctionnement de l'écran de
surveillance intelligent Around View ^MD 4-19
Différence entre la distance prévue et la
distance réelle 4-22
Comment se stationner en utilisant les
lignes de trajectorie prevue 4-24
Modification de l'affichage 4-26
Réglage de l'écran 4-26
Limites de l'écran de surveillance
Entretien du système 4-29
Système de DETECTION D'OBJECTS MOBILES
(selon l'equipement). 4-30
Fonctionnement du système de
DETECTION D'OBJECTS MOBILES 4-31
Activation et désactivation de la
DETECTION D'OBJECTS MOBILES
(selon l'equipement) 4-33
Limites du système de DETECTION
D'OBJECTS MOBILES 4-33
Entretien du système 4-34
Bouches d'air 4-35
Chauffage et climatisationur (à commande
manuelle) (selon l'equipement) 4-36
Commands 4-37
Fonctionnement du chauffage 4-38
Utilisation du climatiseur 4-39
Tableaux de direction de l'air 4-40
Appareil de chauffage et climatiseur (à
commande automatique) (selon l'équipment) .4-44
Fonctionnement automatique 4-45
Fonctionnement manuel 4-46
Conseils d'utilisation 4-48
Entretien du climatiseur 4-49
Chaine stéreophonique 4-50
Radio 4-50
Réception radio FM. 4-50
Réception radio AM 4-51
Antenne radio satellite (selon
l'equipement) 4-51
Précautions concernant l'utilisation de
la chaine stéreo 4-51
Radio FM/AM 4-55
Port de connexion USB (bus série
universal) 4-60
Fonctionnement du lecteur iPod ^MD* 4-63
Diffusion audio Bluetooth MD 4-66
Commandes du système audio du
volant de direction 4-70
Antenne radio 4-71
Système SiriMD Eyes Free 4-72
Exigences 4-72
Fonctionnement du système
Guide de dépannage 4-74
Telephone de voiture ou radio BP. 4-75
Système téléphonique mains libres
Bluetooth MD 4-75
Information sur la réglementation 4-77
Utilisation du dispositif 4-78
Témoins 4-79
Boutons de commande 4-80
Procedure de connexion Bluetooth MD 4-81
Commandes vocales 4-82
Écran d'affichage du téléphone 4-85
Effectuer un appel 4-85
Pendant un appel 4-86
Recevoir un appel et y mettre fin 4-86
Messagerie texte (selon l'équipment) 4-87
Écran des connexions BluetoothMD 4-90
Paramètres du téléphone et des
messages texte 4-91
iPodMD/iPhoneMD 4-93
MANUEL DU CONDUCTEUR DE NISSANCONNECT
Reportez-vous au manuel du conducteur de NissanConnect™ qui comprend les renseignements suivants.
- Services NissanConnect ^MD (selon l'équipement)
- Chaine stéréophonique
Apple CarPlayMD
Android AutoMC - Système téléphonique mains libres BluetoothMD
- Affichage de l'information
- Autres paramètres
- Reconnaissance vocale
- Renseignements généraux sur le dispositif
AVERAGEMENT
La conduite du vehicule exige toute voire attention: ne tentez donc pas de regler les commandes de chauffage et de climatisation pendant la conduite.
- Ne démontré ni ne modifiez ce système. Cela pourrait provoquer un accident, un incendie ou un choc électrique.
- N'utilise pas ce dispositif si vous remarquez une anomalie telle que le gel de l'écran ou l'absence de son. L'utilisation du dispositif dans une telle situation pourrait provoquer un accident, un incendie ou un chocolélectrique.
Si vous remarquez la presence d'un corps étranger dans le matériel du dispositif d'aide à la navigation, si vous renversez du liquide dans le dispositif ou si de la fumée ou une odeur inhabituelle se dégage du dispositif, éteignez-le immédiatement. Sinon, il y a risque d'accident, d'incendie ou de chic électrique. Nous vous recommendons de vous rendre chez un concessionnaire NISSAN pour cet entretien.
BOUTONS DU PANNEAU DE COMMANDE

- Écran d'affichage
- Bouton TUNE SCROLL (syntonisationdéfilament) / bouton PUSH SOUND (son)
- Bouton BACK (retour)
-
Bouton DISP (affichage)
-
Bouton*
- Bouton MENU
- Bouton de luminosité
-
Bouton VOL (volume) et PUSH (alimentation)
-
Pour obtenir des renseignements supplémentaires sur le bouton de commande du système de téléphonie mains libres Bluetooth™, consultez le paragraphe « Système téléphonique mains libres Bluetooth™ » (p. 4-75).
Assurez-vous que le moteur tourne lorsque vous utilise ce système.
Si vous utilisez le système sans que le moteur tourne pendant une longue période, vous déchargerez complètement la batterie et le moteur ne pourrait plus demarrer.
Symboles de reférence :
« Exemple » - les mots entre guillemets servent à dénoter une touche qui n'est affichée qu'à l'écran. Ces touches peuvent être sélectionnées en touchant l'écran.
CONSIGNES D'UTILISATION DE L'ECRAN TACTILE

MISE EN GARDE
L'écran de verre de l'affichage peut se briser s'il est frappé par un objet dur ou tranchant. Si l'écran de verre se brise, ne le touche pas. Si tel est le cas, vous risquez de vous blesser.
- Ne nettoyez jamais l'écran à l'aide d'un chiffon rugueux, d'alcool, de benzine, de diluants, de solvants, ou d'une serviette de papier imbibée d'un agent de nettoyage chimique. Ces produits peuvent rayer ou abimer l'écran.
N'éclaboussez pas l'écran et n'y pulvérisez aucun liquide (eau ou produit
parfumé pour automobile). Toute presence de liquide entrainera une défaillance du dispositif.
À des fins de sécurité, certaines fonctions ne sont pas accessibles pendant la conduite.
Les fonctions à l'écran qui ne sont pas accessibles pendant la conduite sont ombragées ou en sourdine.

AVERTISSEMENT
- Concentrez-vous TOUJOURS entière-ment sur la conduite.
- Évitez d'utiliser des fonctions du vehicule qui pourrait vous distraire. Si vous étés distrustait, vous pourriez perdre la maîtrise de votre vehicule et causer un accident.

Utilisation de l'écran tactile
| Option de menu | Résultat | |
| Sélection d'une option à l'écran | Pour sélectionner une option, il suffit de l'effleurer. Pour sélectionner la touche « Téléphone», appuyez sur la touche « Téléphone » à l'écran. Appuyez sur la touche « ⋅ » pour returner à l'écran préceptant. | |
| Réglage des options à l'écran | Appuyez sur la touche « + » ou sur la touche « - » pour effectuer les régliages voulus. Effleurez la fièche vers le haut pour faire défilier la page vers le haut une option à la fois. Effleurez la fièche vers le bas pour faire défilier la page vers le bas une option à la fois. | |
| Entrée de caractères | Appuyez sur la touche numérique. Le système propose certaines options d'entrée de caractères. | |
| 123 | Appuyez pour entrer manuellement les numéroros. | |
| OK | Complète l'entrée de caractères. | |
Entretien de I'écran tactile
Utilisez un chiffon doux et sec pour nettoyer l'écran. Si un nettoyage supplémentaire s'impose, utilisez un chiffon doux improugné d'un peu de détergent neutre. Ne vaporisez jamais l'écran avec de l'eau ou un détergent. Humectez d'abord le chiffon, puis essuyez l'écran.

UTILISATION DU BOUTON
MENU


Vou pouvez sélectionner ou régler divers modes, fonctions et caractéristiques qui sont offerts sur votre vehicule :
- Appuyez sur le bouton MENU.
- Appuyez sur la touche « Régliages »
- Appuyez sur l'option souhaitatione.
| Option de menu | Résultat | ||
| Réglages | Appuyez sur cette touche pour modifier les réglages suivants. | ||
| Connexions | Appuyez sur cette touche pour sélectionner un téléphone Bluetooth™, un système audio Bluetooth™ ou des options audio USB. Pour obtaining des renseignements supplémentaires, consultez les paragraphs « Écran des connexions USB » (p. 4-61) et « Écran des connexionsBluetooth™ » (p. 4-90). | ||
| Téléphone | Pour obtaining des renseignements supplémentaires, consultez le paragraphe « Système téléphonique mains libresBluetooth™ » (p. 4-75). | ||
| Option de menu | Résultat | ||
| Son | Pour obtenir des renseignements supplémentaires, consultez la section « Chaîne stéréophonique » (p. 4-50). | ||
| Volume et Bips | Pour obtenir des renseignements supplémentaires, consultez la section « Volume et bips » (p. 4-93). | ||
| Horloge | Appuyez sur cette touche pour régler les paramètres de l'horloge. | ||
| On-screen Clock (Horloge à l'écran) | Appuyez sur cette touche pour ACTIVER ou DÉSACTIVER l'affichage de l'horloge dans le coin supérieur droit de l'écran d'affichage. | ||
| Clock Format (Format de l'horloge) | Appuyez sur cette touche pour régler l'horloge au format 12 heures ou 24 heures. | ||
| Daylight Savings Time (Heure avancée) | Appuyez sur cette touche pour activer ou désactiver la fonction d'heure avancée. | ||
| Set Clock Manually (Régler l'horloge manuellement) | Appuyez sur cette touche pour régler l'horloge manuellement; appuyez ensuite sur cette touche pourCHOISIR entre les modes AM et PM, l'heure et les minutes. | ||
| Système vocal | Pour obtenir des renseignements supplémentaires, consultez la section « Réglages » (p. 4-84). | ||
| Caméra | Appuyez sur cette touche pour changer les régliages de laamera. | ||
| Autres | Appuyez sur cette touche pourCHOISIR ou régler les diverses fonctions de ce système. Un écran compor-tant des options supplémentaires s'affichera. | ||
| Display (Affichage) | Appuyez sur cette touche pour régler l'affichage. Pour obtenir des renseignements supplémentaires, cons-luitez la section « Réglage de l'écran » (p. 4-14). | ||
| Language (langue) | Appuyez sur cette touche pour changer la langue d'affichage. | ||
| OSS Licences (Licences de logiciels ouverts (OSS)) | Appuyez sur cette touche pour afficher les informations sur les licences du logiciel. | ||
| Return All Settings to Default (Retour aux paramètres par défaut) | Appuyez sur cette touche pour revenir aux régliages par défaut et effacer la mémoire. | ||
BOUTON DE LUMINOSITE
Appuyez sur le bouton 念 / 念 pour modifier la luminosité de l'écran. Appuyez de nouveau sur ce bouton pour désir entre l'affichage de jour ou l'affichage de nuit.
Appuyez sur le bouton 且 /日 pendant plus de 2 secondes pourmettre l'écran hors fonction.Maintenez de nouveau le bouton enforcé pourmettre l'écran en fonction.
COMMENT UTILISER LE BOUTON VOL (volume) ET PUSH (alimentation)
Appuyez sur le bouton PUSH (alimentation) pour activer et désactiver la fonction audio. Tournez le bouton VOL (volume) pour régler le volume audio.

SELECTION DE MENU À PARTIR DE LA BARRE DE LANCEMENT
Voussouspoucez accederàdiversedes fonctions du système en appuyant sur les options de la barre delancement ① qui s'affiche sur la plupart des écrans principaux (la barre delancement n'apparait pas sur certains écrans tels que les écrans de paramètres, de camera,etc.).
Appuyez sur les touches de la barre de lancement pour afficher les écrons de menu correspondants.
Les options de menu suivantes sont disponibles sur la barre de lancement :
- Telefone
AM
·FM - USB/iPod
- Bluetooth
AUX (auxiliaire)
Réglages
CAMÉRA DE MARCHE ARRIÈRE (selon l'équipement)

1. Bouton CAMERA (caméra) ou DISP (affichage)
A AVENTISSEMENT
Le non-respect des avertissements et des instructions relatives à l'utilisation du système deamera de marche arrêté pourrait entrainer des blessures graves, voir mortelles.
- Bien que pratique, laamera de marche arrête ne remplace pas la façon appropriée et sécurité de faire marche arrête. Regardez toujours par les glaces et vérifie dans les rétroviseurs que vous pouvez vous déplacer sans danger avant de le faire réalisement. Reculez toujours lentement.
- Ce système aide le conducteur à détecter la présence d'objets immobiliés de grande taille derrière le vehicule pour éviter tout dommage sur ce dernier.
- Servez-vous des lignes guides de distance et des lignes de largeur du vehicule comme referrer uniquement lorsque le vehicule se trouve sur une surface plane et pavée. La distance affichée à l'écran n'est qu'à titre de reférence et peut différer de la distance réelle entre le vehicule et les objets affichés.
AMISE EN GARDE
Évitez de rayer la lentille deamera lorsque vous enlevez la saleté ou la neige qui se trouve sur l'avant de laamera.
Laamera de marche arrriere affiche ensuite automatiquement une vue de l'arriere du vehicule lorsque le levier selecteur est placé à la position R (marche arrrière). La radio peut encore être écoute,pendant que laamera est active.

Pour afficher la vue arrière, le système de camera arrière utilise une camera située juste au-dessus de la plaque d'immatriculation du vehicule ①.
FONCTIONNEMENT DU SYSTEMÉ DE CAMÉRA ARRIÈRE
Lorsque le commutateur d'allumage est à la position ON (marche), déplacez le levier sélecteur à la position R (marche arrière) pour utiliser laamera de marche arrière.

Lignes guides de largeur du vehicule ④
Indiquent la largeur du vehicule pendant que vous reculez.
Lignes de trajectory prévue ⑤ (selon l'équipement)
Indiquent la trajectorie prévue pendant que vous recULEZ. Les lignes de trajectorie prévue s'affichent à l'écran lorsque le levier sélecteur est à la position R (marche arrière) et que vous tournez le volant. Les lignes de trajectorie prévue se déplacent en fonction du degré de braquage du volant et ne s'affichent pas lorsque le volant est en position droit devant.
Les lignes guides de largeur du vehicule et la largeur des lignes de trajectorire prevue sont plus larges que la largeur et la trajectorire réelles.
DIFFÉRENCE ENTRE LA DISTANCE PRÉVUE ET LA DISTANCE RÉELLE
Les lignes de guidage affichées et leurs emplacements au sol sont fournis pour réference approximative seulement. Les objets situés sur une pente ascendante ou descendante et les objets saillant se trouvent en réalisité à des distances différentes de celles affichées à l'écran des lignes de guidage (consulter les illustrations). En cas de doute, faire demi-tour et regarder les objets pendant que vous faites marche arrêté, ou stationnez et quitterze le vehicule pour voir la position des objets derrière le vehicule.
INTERPRETATION DES LIGNES AFFICHEES À L'ÉCRAN
L'écran affiche des lignes guides qui indiquent la largeur du vehicule et la distance aux obstacles par rapport à la ligne de la carrosserie du vehicule A.
Lignes guides de distance
Indique les distances à partir de la carrosserie de votre vehicule.
Ligne rouge 1:viron 0,5 m (1,5 pi)
Ligne jaune ② : environ 1 m (3 pi)
- Ligne verte ③ : environ 2 m (7 pi)

Reculer en montant dans une pente abrupte
Lorsque le vehicule recule en montant dans une pente, les lignes guides de distance et de largeur du vehicule paraissant plus proches qu'en réalité. Notez que les
objets qui apparaissent à l'écran sont en réalité plus éloignés sur la pente.

Reculer en descendant dans une pente abrupte
Lorsque le vehicule recule en descendant dans une pente, les lignes guides de distance et de largeur du vehicule paraissent plus eloignees quelles le sont en realite.
Notez que les objets qui apparaissent à l'écran sont en réalité plusprés sur la pente.

Reculer après d'un objet saillant
Les lignes de trajectorie prevue A (selon l'équipement) ne touchent pas I'objet à I'écran. Cependant, le vehicule peut frapper I'objet si celui-ci fait saillie au-dessus de la trajectorie réelle de recul.

Reculer derrière un objet saillant
La position © parait plus éloignée que la position B à l'affichage. La position © est toutefois à la même distance que la position A. Le vehicule peut frapper l'objet
lorsque you reculez à la position A si l'objet fait saillie au-dessus de la trajectorie réelle de recul.
COMMENT SE STATIONNER EN UTILISANT LES LIGNES DE TRAJECTOIRE PRÉVUE (selon l'équipement)

AVERTISSEMENT
- Si vous remplacez les pneus par des pneus de taille différente, les lignes de trajectorie prévue pourraient ne pas s'afficher correctement.
- Sur une route enneigée ou très glissante, il peut y avoir une différence entre la ligne de trajectorie prévue et la ligne de la trajectorie réelle.
- Sila batterie de la voiture est débranchée ou décharge, les lignes de trajectorytre prévue pourraient ne pas s'afficher correctement. Dans une telle situation, procédez comme suit :
Tournez le volant d'une butée à l'autre alors que le moteur tourne.
- Conduisez le vehicule sur une route droite pendant plus de 5 minutes.
- Si vous tournez le volant alors que le commutateur d'allumage est à la position ACC (accessoires), les lignes de trajectorie prévue pourraient ne pas s'afficher correctement.

- Assurez-vous visuèlement que l'espace de stationnement est sécuritaire avant de stationner votre vehicule.
- La vue de l'arrière du vehicule est affichaee a I'ecran A lorsque le levier selecteur est placé à la position R (marche arrriere).

-
Reculez lentement en tournant le volant de façon à ce que les lignes de trajectorie prévue © pénétrent dans l'espace de stationnement ©
-
Tout en vous servant des lignes de projectione prevue comme reference, tournez le volant pour que les lignes guides de largeur du vehicule ① soient parallles à l'espace de stationnement ②
- Une fois que le vehicule est complètement stationné dans l'espace, placez le levier selecteur à la position P (stationnement) et serrez le frein de stationnement.

RéGLAGE DE L'ÉCRAN
- Lorsque vous vous trouvez à l'écran de menu principal, appuyez sur la touche «Réglages »
- Appuyez sur la touche « Caméra »
- Appuyez sur la touche « Luminosité », « Contraste», « Teinte», « Couleur » ou « Niveau de noir».
- Réglez la fonction en appuyant sur la touche « + » ou « - » sur l'affichage à écran tactile.
REMARQUE:
Ne faitesaucunajustementdesreglages deI'affichagedeI'écranRearViewMonitor quandlevehiculeroule.
COMMENT ACTIVER ET DÉSACTIVER LES LIGNES DE TRAJECTOIRE PRÉVUE (selon l'équipement)
Pour basculer entre l'ACTIVATION et la DÉS- ACTIVATION des lignes de trajectorie pré-vue lorsque le vehicule est à la position P (stationnement):
- Appuyez sur la touche « Paramètres »
- Appuyez sur la touche « Caméra »
- Appuyez sur la touche « Lignes de trajectory prévue » pour ACTIVER ou DÉS-ACTIVER la fonction.
LIMITES DU SYSTEME DE CAMERA DE MARCHE ARRIÈRE

AVERTISSEMENT
Les limites du système deamera de marche arrière sont repertoriées cédssous. Le fait de ne pas conduire le
vécuule conformément à ces limites du système peut entraîner des blessures graves ou mortelles.
- Ce système est soumis à des angles morts et peut ne pas montré tous les objets prênts.
- En raison des limites de la portée de laamera de marche arrrière, les zones du dessous et des coins extérieurs du pare-chocs ne peuvent pas être affichée à l'écran de laamera. Le système n'affichera pas les petits objets qui se trouvent sous le pare-chocs et des objets qui se trouvent très pres du pare-chocs ou au sol.
- La distance des objets qui s'affichent à l'écran ne reflète pas la réalité, car laamera utilise une lentille grand angle.
- La position des objets dans une camera de marche arrêté apparait inversée par rapport à leur position dans les rétroviseurs intérieurs et extérieurs.
- Servez-vous des lignes affichées comme réference. Des facteurs tels que le nombre d'occupants, le niveau de carburant, la position du vehicule, les conditions routières et l'inclinaison de la route influent sur les lignes.
Avant de faire marche arrriere, vérifie que le coffre est bien fermé.
- Ne placez rien sur laamera. Laamera de marche arrête est installée au-dessus de la plaque d'immatriculation.
Lorsque you lavez le vehicule avec un jet d'eau à haute pression, évitez d'arroser laamera. L'eau peut pénétr dans le boîtier de laamera et provoquer de la condensation sur la lentille, une anomalie, un feu ou un choc électrique.
- Évitez de frapper laamera. Il s'agit d'un instrument de précision. Le frapper peut cause une anomalie ou des dommages pouvant résultat en un feu ou un choc électrique.
Les données suivantes sont des limites fonctionnelles et n'indiquent pas un dysfonctionnement du système:
- Si la température ambiente est très élevée ou très BASSE, l'affichage des objets pourrait sembler flou.
-
Lorsqu'une lumière intense frappe directement laamera, il se peut que les objets ne s'affichent pas clairment.
-
Des lignes verticales pouraient se superposer aux objets affichés à l'écran. Ces lignes sont causées par une lumière trop intense réfléchie par le pare-chocs.
L'écran pourrait papilloter s'il est soumis à un éclairage fluorescent. - La couleur des objets affichés par laamera de marche arrêté peut différer quelque peu de la couleur réelle.
- Les objets peuvent s'afficher à l'écran de manière imprecise lorsqu'ils se trouvent dans une zone obscure.
- Il peut y avoir un-delai lorsque vous passsez entre les vues.
- Si laamera est obstruée par des souillures, de la pluie ou de la neige, il se peut que laamera de marche arrrière n'affiche pas les objets clairement. Nettoyez laamera.
- N'applique pas de cire sur la lentille de laamera. Éliminez toute trace de cire à l'aide d'un chiffon propre humecté d'une solution d'eau et de produit de nettoyage doux, puis essuyez à l'aide d'un chiffon sec.

ENTRETIEN DU SYSTÉME

MISE EN GARDE
N'utilisez pas d'alcool, de benzène ou de diluant pour nettoyer laamera.
Vous pourriez decolorer la lentille.
- N'endommagez pas laamera, car l'affichage pourrait etre alteré.
Si laamera ① est obstruée par des souillures, de la pluie ou de la neige, il se peut que laamera de marche arrrière n'affiche pas les objets clairment. Nettoyez laamera à l'aide d'un chiffon humecté d'une solution d'eau et de produit de nettoyage doux, puis essuyez à l'aide d'un chiffon sec.
ÉCRAN INTELLIGENT AROUND VIEW MD (selon l'équipement)

1. Bouton CAMERA (caméra)
A AVENTISSEMENT
Le non-respect des avertissements et des directives relatifs à l'utilisation de l'écran de surveillance intelligent Around ViewMD pourrait entrainer des blessures graves, voir mortelles.
L'écran de surveillance intelligent Around View'est une caractéristique pratique, mais il ne remplace pas la façon adéquate de conduire le vehicule, car il comporte des zones dans lesquelles les objets ne peuvent s'afficher. Les quatre coins du vehicule en particulier sont des zones ou les objets n'apparaissent pas dans des plans plongeants, avant ou arrière. Avant de conduire le vehicule, vérifie toujours les environnés immédiats pour vous assurer qu'il est prudent de vous déplacer. Faites toujours fonctionner le vehicule lentement.
Le conducteur est always responsible de la sécurité pendant le stationnement ou d'autres manoeuvres.
AMISE EN GARDE
Évitez de rayer la lentille deamera lorsque vous enlevez la saleté ou la neige qui se trouve sur l'avant de laamera.
L'écran de surveillance intelligent Around ViewMD est concu pour aider le conducteur lors de manoeuvres comme le stationnement dans un espace restreint ou le stationnement en parallèle.
Le monieur affiche diverses images de la position du vehicule dans un format d'écran partagé. Les vues ne sont pastoutes disponibles en tout temps.
Vues disponibles :
- Vue avant
Une vue d'environ 150 degrés de l'avant du vehicule.
- Vue arrêté
Une vue d'environ 150 degrés de l'arrière du vehicule.
- Vue plongeante
Vue environnante du vehicule à vol d'oiseau.
- Vue périale avant
Vue autour et au-devant de la roue du côté passager avant.
- Vue arrêté plein écran
Vue de l'arrière du vehicule (qui est un peu plus large que la vue arrière standard).

Pour afficher plusieurs vues, l'écran de surveillance intelligent Around View™ utilise les caméras situées dans la calandre avant, sur les rétroviseurs extérieurs du vehicule, en plus d'une camera située juste au-dessus de la plaque d'immatriculation du vehicule ①.
FONCTIONNEMENT DE L'ÉCRAN DE SURVEILLANCE INTELLIGENT AROUND VIEW
Lorsque le commutateur d'allumage est à la position ON (marche), déplacez le levier sélecteur à la position R (marche arrière) ou appuyez sur le bouton CAMERA (caméra) pour utiliser l'écran de surveillance intelligent Around View ^MD .
La vue affichée à l'écran de surveillance intelligent Around View ^MD returne automatiquement à la vue précédente 3 minutes après que le bouton CAMERA (caméra) a été enforcé, si le levier sélecteur ne se trouve pas à la position R (marche arrière).
Vues disponibles

AVERTISSEMENT
- Servez-vous des lignes guides de distance et des lignes de largeur du vehicule comme reférence uniquement lorsque le vehicule se trouve sur une surface pavée et plane. La distance apparente affichée à l'écran peut être différente de la distance réelle entre le vehicule et les objets affichés.
Utilisez les lignes affichées et la vue plongeante comme reférence. Des facteurs tels que le nombre d'occupants, le chargement, le niveau de carburant, la position du vehicule, les conditions routières et l'inclinaison de la route influent grandement sur les lignes et la vue plongeante.
Si vous remplacez les pneus par des pneus de taille différente, les lignes de trajectorie prevue et la vue plongeante pourraient ne pas s'afficher correctement.
Lors de la conduite sur une pente ascendante, les objets affichés à l'écran sont plus éloignés qu'ils ne paraisent. Lors de la conduite sur une pente descendante, les objets affichés à l'écran sont plus rapprochés qu'ils ne paraisent.
- La position des objets à l'écran de vue arrêté apparait inversée par rapport à leur position à l'écran et dans les rétroviseurs extérieurs.
Utilisez les rétroviseurs ou regardez en fait afin d'évaluer correctement la distance qui vous sépare des objets.
- Sur une route enneigée ou glissante, il peut y avoir une différence entre les lignes de trajectorie prévue et la ligne de trajectorie réelle.
- Les lignes de largeur du vehicule et de trajectorie prevue sont plus larges que la largeur et la trajectorie réelles.
- Les lignes affichées apparaissent légèrement orientées vers la droite, car laamera de marche arrêtè n'est pas installée dans la partie centrale arrêtè du vehicule.

Vue avant
Vue avant et arrêté
L'écran affiche des lignes guides approximatives qui indiquent la largeur du vehicule et la distance des obstacles par rapport à la ligne de la carrosserie du vehicule A.
Lignes guides de distance :
Indiquent les distances à partir de la carrosserie du vehicule :
Ligne rouge ① : environ 0,5 m (1,5 pi)
Ligne jaune ② : environ 1 m (3 pi)

Vue arrière
- Ligne verte ③ : environ 2 m (7 pi)
- Ligne verte ④ : environ 3 m (10 pi) (selon l'équipement)
Lignes guides de largeur du vehicule ⑤
Indiquent la largeur approximative du vehicule pendant que vous reculez.
Lignes de trajectory prévue ⑥ :
Indiquent la轨道交通 prévue lorsque vous conduisiez le vehicule. Les lignes de轨道交通 prévue s'affichent à l'écran lorsque vous tournez le volant. Les lignes de
trajectoire prévue se déplacent en fonction du degré de braquage du volant et ne s'affichent pas lorsque le volant est en position droit devant.
La vue avant ne s'affiche pas quand la vitesse du vehicule est supérieure à 10 km/h (6 mi/h).
REMARQUE:
Lorsque l'écran affiche la vue avant et que le volant tourne d'environ 90 degrés ou moins de la position croit devant, les lignes de trajectorie prévue droite et gauche ⑥ s'affichent. Lorsque le volant tourne d'environ 90 degrés ou plus, une ligne s'affiche uniquement sur le côte opposé du virage.

Vue plongeante
La vue plongeante affiche la vue du pavillon du vehicule, qui permet de confirmer la position du vehicule et la trajectory prévue vers un espace de stationnement.
L'icone de vehicule ① indique la position du vehicule.Ànoter que la distance appara-nte entre les objets observés en vue plongeante peut différer quelque peu de cette du vehicule lui-même.
Les zones qui ne sont pas couvertes par les cameras ② sont indiquées en noir.
Après que le commutateur d'allumage est à la position ON (marche), la zone non visible ② est mise en évidence en jaune pendant 3 secondes après l'affichage en vue plongeante.
Par ailleurs, les coins non visibles sont affichés en rouge et clignotent pendant les 3 premières secondes ⑨ pour rappeler le chauffeur à la prudence.
A AVENTISSEMENT
- Les objets dans la vue plongeante apparaisent plus éloignés que la distance réelle.
- Les objets de dimension élevé, tels qu'un trottoir ou un vehicule, peuvent être désalignés ou ne pas s'afficher sur le bord des affichages.
- Les objets qui se trouvent au-dessus de laamera ne peuvent etre affichés.
- La vue de la vue plongeante peut être désalignée lorsque la position de laamera est modifiée.
- Une ligne au sol peut être désalignée et sembler ne pas être droite sur le bord des affichages. Le désalignement augmente à mesure que la ligne s'éloigne du vehicule.

DIFFÉRENCE ENTRE LA DISTANCE PRÉVUE ET LA DISTANCE RÉELLE
Les lignes de guidage affichées et leurs emplacements au sol sont fournis pour référence approximative seulement. Les objets situés sur une pente ascendante ou descendante et les objets saillant se trouvent en réalisité à des distances différentes de celles affichées à l'écran des lignes de guidage (consulter les illustrations). En cas de doute, faire demi-tour et regarder les objets pendant que vous faites marche arrière, ou stationnez et quitterze le vehicule pour voir la position des objets derrière le vehicule.
Vue latérale avant
Lignes guides
Des lignes guides indiquant la largeur approximative et l'avant du vehicule s'affichent à l'écran.
La ligne de l'avant du vehicule ① indique la partie avant du vehicule.
La ligne du cote du vehicule ② indique la largeur approximative du vehicule, incluant les rétroviseurs extérieurs.
Les rallonges ③ des lignes avant ① et du côté ② sont indiquées avec une ligne pointillée verte.

Reculer en montant dans une pente abrupte
Lorsque le vehicule recule en montant dans une pente, les lignes guides de distance et de largeur du vehicule paraissant plus proches qu'en réalité. Notez que les
objets qui apparaissent à l'écran sont en réalité plus éloignés sur la pente.

Reculer en descendant dans une pente abrupte
Lorsque le vehicule recule en descendant dans une pente, les lignes guides de distance et de largeur du vehicule paraissent plus éloignées qu'elles le sont en réalité.
Notez que les objets qui apparaissent à l'écran sont en réalité plus pres sur la pente.

Reculer après d'un objet saillant
Les lignes de trajectoire prévue A ne touchent pas l'objet à l'affichage. Cependant, le vehicule peut frapper l'objet si celui-ci fait saillie au-dessus de la trajectoire réelle de recul.

Reculer derrière un objet saillant
La position © parait plus éloignée que la position B à l'affichage. La position © est toutefois à la même distance que la position A. Le vehicule peut frapper l'objet
lorsque you reculez à la position A si l'objet fait saillie au-dessus de la trajectory réelle de recul.
COMMENT SE STATIONNER EN UTILISANT LES LIGNES DE TRAJECTOIRE PRÉVUE

AVERTISSEMENT
- Si vous remplacez les pneus par des pneus de taille différente, les lignes de trajectorie prevue pourraient ne pas s'afficher correctement.
- Sur une route enneigée ou très glissante, il peut y avoir une différence entre la ligne de trajectorie prévue et la ligne de la trajectorie réelle.
-
Sila batterie de la voiture est débranchée ou décharge, les lignes de trajectorytre prévue pourraient ne pas s'afficher correctement. Dans une telle situation,procédez comme suit :
-
Tournez le volant d'une butée à l'autre alors que le moteur tourne.
-
Conduisez le vehicule sur une route droite pendant plus de 5 minutes.
-
Si vous tournez le volant alors que le commutateur d'allumage est à la position ACC (accessoires), les lignes de trajectorie prévue pourraient ne pas s'afficher correctement.

- Assurez-vous visuellement que l'espace de stationnement est sécurité avant de stationner votre vehicule.
- La vue de l'arrière du vehicule est affi- chée à I'écran A lorsque le levier selec- theur est placé à la position R (marche arrière).

-
Reculez lentement en tournant le volant de façon à ce que les lignes de trajectorie prévue © pénétrent dans l'espace de stationnement ©
-
Tout en vous servant des lignes de trajectorytre prevue comme referece, tournez le volant pour que les lignes guides de largeur du vehicule ⑥ soient parallles à l'espace de stationnement ⑨.
- Une fois que le vehicule est complètement stationné dans l'espace, placez le levier selecteur à la position P (stationnement) et serrez le frein de stationnement.
MODIFICATION DE L'AFFICHAGE
Lorsque le commutateur d'allumage est à la position ON (marche), appuyez sur le bouton CAMERA (caméra) ou déplacez le levier sélecteur à la position R (marche arrière) pour utiliser le système de surveillance Around View ^MD .
L'écran de surveillance Around View ^MD affiche des vues d'écran divisées différentes selon la position du levier sélecteur. Appuyez sur le bouton CAMERA (caméra) pour commuter entre les vues disponibles.
Si le levier sélecteur est à la position R (marche arrrière), les vues disponibles sont les suivantes:
- Écran divisé de vue arrêté/vue plongeante
- Écran divisé de vue arrêtée/vue latérale avant
- Vue arrêté plein écran
Si le levier sélecteur est à la position P (stationnement) ou D (marche avant), les vues disponibles sont :
- Écran divisé de vue avant/vue plongeante
- Écran divisé de vue avant et de vue latérale avant
L'affichage bascule de l'écran de surveillance Around ViewMD lorsque :
Le levier selecteur est à la position D (marche avant) et la vitesse du vehicule augmente au-delà de 10 km/h (6 mi/h) environ.
- Un écran différent est besoin.

RéGLAGE DE L'ÉCRAN
- Lorsque vous vous trouvez à l'écran de menu principal, appuyez sur la touche «Réglages »
- Utilisez la flèche pour passer à l'écran suivant et appuyez sur la touche « Caméra »
- Appuyez sur la touche « Display Settings » (Réglage de l'affichage).
-
Appuyez sur la touche « Luminosité », « Contraste », « Teinte », « Couleur » ou « Niveau de noir».
-
Réglez la fonction en appuyant sur la touche « + » ou « - » sur l'affichage à écran tactile.
REMARQUE:
Ne faites aucun ajustement des réglages de l'affichage de l'écran de surveillance intelligent Around ViewMD quand le vehicule roule. Assurez-vous que le frein de stationnement est serré fermement.

LIMITES DE L'ÉCRAN DE SURVEILLANCE INTELLIGENT AROUND VIEW

AVERTISSEMENT
Les limites du système de I'écran de surveillance intelligent Round View MD sont répertoriées ci-dessous. Le fait de ne pas conduire le vehicule conformément à ces limites du système peut entrainer des blessures graves ou mortelles.
- N'utilisez pas l'écran de surveillance intelligentAroundViewMD lorsque les rétroviseurs extérieurs sont en position de rangement et assurez-vous que le hayon est bien fermé lorsque vous conduisez et utilisez l'écran de surveillance intelligent Around ViewMD.
- La distance apparente entre les objets affichés à l'écran de surveillance intelligent Round View ne correspond pas à la distance réelle.
- Les camères sont installées sur la calandre avant, sur les rétroviseurs extérieurs et au-dessus de la plaque d'immatriculation arrière. Ne place aucun objet sur le vehicule, comme un cadre de plaque d'immatriculation, qui couvre ou bloque la vue des camères.
Lorsque you lavez le vehicule avec un jet d'eau à haute pression, évitez d'arroser les caméras. L'eau peut pénétrer dans le boîtier de laamera et provoquer de la condensation sur la lentille, une anomalie, un feu ou un choc électrique.
- Les caméras sont des instruments de précision. Évitez donc de les frapper pour ne pas provoquer une anomalie ou cause des dommages entrainant un incendie ou un choc électrique.
Dans certaines zones, le système n'affiche pas les objets et ne previent pas de la presence d'objets en mouvement. En mode d'affichage de vue avant ou arrrière, un objet sous le pare-chocs ou sur le sol peut ne pas s'afficher ①. En mode de vue plongeante, un objet de grande taille situé pres du bord ② des zones d'affichage de la camera ne s'affiche pas à l'écran.
Les données suivantes sont des limites fonctionnelles et n'indiquent pas un dysfonctionnement du système:
- Il peut y avoir un-delai lorsque vous passsez entre les vues.
-
Lorsque la température ambiente est très élevé ou très BASSE, les objets peuvent ne pas s'afficher clairément.
-
Lorsqu'une lumière intense frappe directement laamera, il se peut que les objets ne s'affichent pas clairment.
L'écran pourrait papilloter s'il est soumis à un éclairage fluorescent. - La couleur des objets sur l'écran de surveillance intelligent Round ViewMD peut être différente de la couleur réelle des objets.
- Les objets à l'écran de surveillance intelligent Round View™ peuvent ne pas s'afficher clairément et la couleur de l'objet peut être différente dans une zone obscure.
- Il peut y avoir des différences dans la définition entre chaque vue deamera de la vue plongeante.
- N'applique pas de cire sur la lentille de laamera. Éliminez toute trace de cire à l'aide d'un chiffon propre humecté d'une solution d'eau et de produit de nettoyage doux, puis essuyez à l'aide d'un chiffon sec.

Système temporairement indisponible
Si I'icone « ! » s'affiche à l'écran, des anomalies sont générées dans le système d'écran de surveillance intelligent Around ViewMD. Cecine compromet pas la conduite normale du vehicule mais le système doit être vérifié. Nous vous recommendons de vous rendre chez un concessionnaire NISSAN pour cet entretien.

Lorsque l'icone « [X] » s'affiche à l'écran, il est possible que des perturbations électroniques temporaires soient transmises à l'image de laamera provenant d'appareils à proximité. Ceci ne compromet pas la conduite normale du vehicule mais le système doit être vérifié si cela se produit frequentlyment. Nous vous recommendons de vous rendre chez un concessionnaire NISSAN pour cet entretien.

ENTRETIEN DU SYSTÉME

MISE EN GARDE
- N'utilisez pas d'alcool, de benzène ou de diluant pour nettoyer laamera. Vous pourriez decolorer la lentille.
- N'endommage pas les caméras, car l'affichage pourrait être alteré.
Si uneamera ① est obstruée par la saleté, la pluie ou la neige, il se peut que l'écran de surveillance intelligent Around ViewMD n'affiche pas les objets clairment. Nettoyez laamera à l'aide d'un chiffon humecté d'une solution d'eau et de produit de nettoyage doux, puis essuyez à l'aide d'un chiffon sec.
SYSTEME DE DETECTION D'OBJECTS MOBILES (selon I'équipement)

1. Bouton CAMERA (caméra)

AVERTISSEMENT
Le non-respect des avertissements et des directives relatives à l'utilisation du système de DETECTION D'OBJECTS MOBILES pourrait entraîner des blessures graves, voir mortelles.
Le système de DETECTION D'OBJECTS MOBILES ne remplace pas la façon appropriée de conduire le vehicule et n'est pas concu pour empêcher le contact avec les objets qui se trouvent autour du vehicule. Lors des manoeuvres de conduite, utilisez toujours les rétroviseurs extérieurs ainsi que le rétroviseur interieur, puis tournez-vous pour vérifier la zone autour du vehicule pour vous assurer qu'il est prudent de vous déplacer.
Le système est désactivé si la vitesse est supérieure à 8 km/h (5 mi/h). Il est réactivé si la vitesse est inférieure.
Le système de DETECTION D'OBJECTS MOBILES n'est pas conscience pour détector les objets immobiles à proximite du vehicule.
Le système de DETECTION D'OBJECTS MOBILES peut avertir le conducteur de la presence d'objets mobiles prés du vehicule à la sortie d'un garage en marche arrière, lors de manoeuvres dans les parcs de stationnement et dans d'autres cas de ce genre.
Le système de DETECTION D'OBJECTS MOBILES detecte les objets mobiles au moyen d'une technologie de traitement d'images sur l'image à l'affichage.
FONCTIONNEMENT DU SYSTEME DE DETECTION D'OBJECTS MOBILES
Le système de DETECTION D'OBJECTS MOBILES s'active automatiquement dans les conditions suivantes :
- Lorsque le levier sélecteur est à la position R (marche arrière).
- Lorsque vous appuyez sur le bouton CAMERA (caméra) pour activer l'affichage de laamera.
- Lorsque la vitesse du vehicule est inférieure à 10 km/h (6 mi/h) et l'écran de la camera s'affiche.

LHA4190
Vue avant et vue plongeante
Le système de DETECTION D'OBJECTS MOBILES fonctionne dans les conditions suivantes lorsque la vue deamera est affichée:
- Lorsque le levier sélecteur est à la position P (stationnement) ou N (point mort) et que le vehicule est arrêté, le système de DETECTION D'OBJECTS MOBILES détecte les objets mobiles dans la vue plongeante. Le système de DETECTION D'OBJETS MOBILES ne fonctionne pas si les rétrovisurs extérieurs sont déployés ou repliés, en position rangée ou si une portière avant est ouverte.

Vue arrriere et vue plongeante
- Lorsque le levier sélecteur est à la position D (marche avant) et que la vitesse du vehicule est inférieure à 10 km/h (6 mi/h) environ, le système de DETECTION D'OBJETS MOBILES détecte les objets mobiles dans la vue avant.
- Lorsque le levier sélecteur est à la position R (marche arrière) et que la vitesse du vehicule est inférieure à 10 km/h (6 mi/h) environ, le système de DETECTION D'OBJETS MOBILES détecte les objets mobiles dans la vue arrière. Le système de détéction d'objets mobiles ne fonctionne pas si le coffre est ouvert.

Vue arrêté et vue latérale avant
Le système de DETECTION D'OBJECTS MOBILES ne detecte pas les objets mobiles dans la vue laterale avant. L'icone du système de DETECTION D'OBJECTS MOBILES ne s'affiche pas à l'écran lorsque cette vue est sélectionnée.
Lorsque le système de DETECTION D'OBJETS MOBILES détecte des objets mobiles à proximé du vehicule, un carillon se fait entendre en vue avant ou arrière et un cadre jaune s'affiche sur la vue dans laquelle les objets sont détectés. Pendant que le système de DETECTION D'OBJETS MOBILES

Vue arrrière plein écran
continue la détction des objets mobiles, le cadre jaune continue de s'afficher.
REMARQUE:
Pendant que le carillon du système d'alerte de circulation transversale arrriere (RCTA) retentit, le système de détction d'objects mobiles (MOD) n'émet aucun son.
Dans la vue plongeante, le cadre jaune ① s'affiche sur chaque image de laamera (avant, arrière, droite et gauche) en fonction de l'emplacement de détction des objets mobiles.
Le cadre jaune ② s'affiche sur chaque vue en mode vue avant et vue arrière.
Une icône bleue ③ du système de DETECTION D'OBJECTS MOBILES s'affiche dans la vue dans laquelle le système de DETECTION D'OBJECTS MOBILES est activé. Une icône grise du système de DETECTION D'OBJECTS MOBILES s'affiche dans la vue dans laquelle le système de détction d'objets mobiles n'est pas activé.
Si le système de DETECTION D'OBJECTS MOBILES est désacté, l'icone MOD (système de détction d'objects mobiles) ③ ne s'affiche pas.
ACTIVATION ET DÉSACTIVATION DE LA DETECTION D'OBJECTS MOBILES (salon l'équipement)
Certains vehicules comprennent l'options qui permet d'activer ou de désactiver le système de DETECTION D'OBJETS MOBILES.
Pour activer ou désactiver le système de DETECTION D'OBJECTS MOBILES:
- Appuyez sur la touche « Réglage »
-
Appuyez sur la touche « Caméra »
-
Appuyez sur la touche « Moving Object Detection » (détection d'objects mobiles) pour ACTIVER ou DÉSACTIVER cette fonction.
LIMITES DU SYSTEME DE DETECTION D'OBJECTS MOBILES
A VERTISSEMENT
Les limites du système de DETECTION D'OBJECTS MOBILES sont repertoriées ci-dessous. Le fait de ne pas conduire le vehicule conformément à ces limites du système peut entrainer des blessures graves ou mortelles.
- N'utilisez pas le système de DETECTION D'OBJETS MOBILES lors de la traction d'une remorque. Le système pourrait ne pas fonctionner correctement.
Le bruit excessif (par exemple, le volume de la chaine stéreo ou une glace de vehicule ouverte) a une incidence sur le timbre du carillon et il se peut qu'il ne soit pas entendu.
Le rendement du système de DETECTION D'OBJECTS MOBILES est réduit par les objets à proximité et les conditions environnementales, notamment :
- lorsque le contraste entre l'arrière-plan et les objets mobiles est bas;
- lorsqu'une lumière clignotante est presente;
- lorsqu'une lumière éblouissante est présente, par exemple les phares d'un autre vehicule ou les rayons du soleil;
- lorsque l'orientation de laamera n'est pas dans sa position habituelle, par exemple lorsqu'un rétroviseur est replié;
- lorsqu'il y a de la saleté, des gouttes d'eau ou de la neige sur la lentille de laamera;
- lorsque la position des objets mobiles à l'affichage n'est pas modifiée.
Le système de DETECTION D'OBJECTS MOBILES peut détector des gouttes d'eau en mouvement sur la lentille de laamera, de la fumée blanche provenant du silencieux, des ombres en mouvement, etc.
Le système de DETECTION D'OBJECTS MOBILES peut ne pas fonctionner correctement selon la vitesse, la direction, la distance ou la forme des objets mobiles.
Si les pieces ou laamera est instal-. lée sont endommagées,toute déformation ou gauchissement peut modifier la zone de détction et le système de DETECTION D'OBJETS MOBILES peut ne pas fonctionner correctement.
- Lorsque la température ambiente est très élevé ou très BASSE, les objets peuvent ne pas s'afficher clairément. Cette condition est normale.
REMARQUE:
L'icone bleue du systeme de DETECTION D'OBJECTS MOBILES passa à la couleur orange si l'une des situations suivantes s'estroduite :
- Le système ne fonctionne pas correctement.
- La température du composant atteint un niveau élevé (l'icone clignotera).
- Laamera de marche arrrière a detecté une obstruction (l'icône clignotera).
Si le témoin de l'icone continue de s'allumer en orange, faites vérifier le système de DETECTION D'OBJECTS MOBILES. Nous vous recommendons de vous rendre chez un concessionnaire NISSAN pour cet entretien.

ENTRETIEN DU SYSTEME
AMISE EN GARDE
N'utilisez pas d'alcool, de benzene ou de diluant pour nettoyer laamera. Vous pourriez decolorer la lentille.
- N'endommagez pas laamera, car l'affichage pourrait être alteré.
Le système de DETECTION D'OBJECTS MOBILES peut ne pas fonctionner correctement si l'une des cameras ① est obstruée par la saleté, la pluie ou la neige. Nettoyez laamera à l'aide d'un chiffon humecté d'une solution d'eau et de produit de nettoyage doux, puis essuyez à l'aide d'un chiffon sec.

Bouches d'air laterales

Bouches d'air centrales
Déplacez les boutons ou les grilles orientables des bouches d'air pour régler la direction de l'air.
Pour les bouches d'air laterales : déplacez le curseur vers ☑ pour fermer la bouche d'air et éloignez-le de ☑ pour l'ouvrir.
Pour les bouches d'air centrales : tournez le bouton dans le sens horsaire pour fermer la bouche d'air et dans le sens antihoraire pour l'ouvrir.
CHAUFFAGE ET CLIMATISEUR (à commande manuelle) (selon l'équipement)

- 88 Commande de vitesse du ventilateur
- Contacteurs de siège chauffant (selon l'équipement)
-
Bouton de dégivrage avant
-
Interrupteur du dégivreur de lunette arrête et de rétroviseur extérieur (selon l'équipement)
- Bouton de recirculation d'air
-
Bouton MAX A/C (climatisation maximale)/commande de température
-
Boutons de commande de direction de l'air
- Bouton A/C (climatiseur)

AVERTISSEMENT
- La fonction de refroidissement du climatiseur ne peut etre activée que lorsque le moteur tourne.
- Ne laïsez pas seuls dans votre vehicule des enfants ou des personnes qui ont habituèlement besoin de l'aide d'autres personnes. Ne laïsez pas non plus les animaux de compagnie sans surveillance. Ils pourraient se blesser ou blesser quelqu'un accidentellement en mettant le vehicule en marche par inadvertance. De plus, par temps chaud et ensoleillé, la température de l'habitacle peut rapidement s'élever au point de provoquer des léssions graves, voir mortelles, à une personne ou à un animal enfermé dans le vehicule.
- N'utilisez pas le mode de recirculation d'air pendant de longues périodes puisque l'air de l'habitacle pourrait devenir vicié et les glaces pourraient s'embuer.
REMARQUE:
- Les odeurs de l'intérieur et de l'extérieur du vehicule peuvent s'accumuler dans l'unité de climatisationur. L'odeur peut s'infiltrer dans l'habitacle par le biais des bouches d'air.
- Lorsque vous stationnez votre vehicule, reglez les commandes de chauffage et du climatiseur pour arreter la recirculation de l'air et permettre à l'air frais de pénétrer dans l'habitacle. Ceci doit aider à réduire les odeurs dans le vehicule.
COMMANDES
Commande de vitesse du ventilateur
La commande de vitesse du ventilateur sert à allumer et êtreindre le ventilateur et à en régler la vitesse.
Boutons de commande de direction de l'air
Les boutons de commande de ventilation permettent de selectionner des bouches d'aération.





L'air circule par les bouches d'air centrales et laterales.
L'air circule par les bouches d'air centrales et laterales ainsi que par les bouches d'air du plancher.
L'air circule principalement par les bouches d'air du plancher.
L'air circule par les bouches de dégivrage et du plancher.
L'air circule principalement par les bouches de dégivrage.
Commande de température
La commande de température vous permet de régler la température de l'air qui circule par les bouches d'air. Pour diminuer la température, tournez la commande vers la gauche. Pour augmenter la température, tournez la commande vers la droite.
Tournez la commande à la position MAX A/C (climatisation maxime) pour obtenir un refroidissement maximal. L'air circule par les bouches d'air centrales et laterales.
La position MAX A/C (climatisation maxi- malé) est un changement automatique pour faire recirculer l'air, pour activer la climatisation et le mode de ventilation pour améliorer le rendement de la climatisation.
Bouton de recirculation d'air
Recirculation de l'air en fonction (démoin allumé):
L'air recircule dans l'habitacle.
Appuyez sur le bouton « pourmettre la recirculation d'air EN MARCHE :
Lorsque you condusiez sur une route poussiereuse.
- Pour empêcher l'infiltration de gaz d'échémpement (lorsque vous conduisez dans la circulation dense) dans l'habitacle.
- Pour obtenir un refroidissement maximal de l'habitacle lorsque le climatiseur fonctionne.
Recirculation de l'air hors fonction (déterminéint):
L'air extérieur pénétre dans l'habitacle et circule par la bouche d'air sélectionnée.
Désactivez la recirculation d'air lorsque vous utilisez le chauffage ou le climatisation en conditions normales.
Bouton A/C (climatiseur)
Faites démarrer le moteur, réglez le bouton de commande de vitesse du ventilateur à la position désirée et appuyez sur le bouton A/C pourmettreleclimatisationuren fonction. Pour éteindre le climatisationur, appuyez de nouveau sur le bouton A/C
La fonction de refroidissement du climatiseur ne peut etre activee que lorsque le moteur tourne.
Interrupteur du dégivre de lunette arrête et de rétroviseur extérieur (selon l'équipement)
Pour obtenir des renseignements supplémentaires, consultez la section « Interrupteur du dégivre de lunette ou de rétroviseurs extérieurs (salon l'équipement) » (p. 2-66).
Contacteurs de siège chauffant (selon l'équipement)
Pour obtenir des renseignements supplémentaires, consultez « Commutateurs de siege chauffant » (p. 2-74).
FONCTIONNEMENT DU CHAUFFAGE Chauffage
Dans ce mode, l'air rechauffé sort par les bouches d'air du plancher. Une petite quantité d'air sort également par les bouches de dégivrage et les bouches d'air laterales.
- Appuyez sur le bouton pour désactiver cette fonction et passer en mode de chauffage normal.
- Appuyez sur le bouton de commande de ventilation
- Tournez la commande de vitesse du ventilateur à la position désirée.
- Tournez la commande de température à la position désirée entre les positions de chauffage modéré et maximal.
Ventilation
Dans ce mode, l'air extérieur circule par les bouches d'air laterales et centrales.
- Appuyez sur le bouton pour désactiver cette fonction.
- Appuyez sur le bouton de commande de ventilation
-
Tournez la commande de vitesse du ventilateur à la position désirée.
-
Tournez la commande de température à la position désirée.
Dégivrage ou désembuage
Dans ce mode, l'air sort par les bouches de dégivrage afin de dégivrer ou de désem-buer les glaces.
- Appuyez sur la touche de dégivrage et de désembUAGE
- Tournez la commande de vitesse du ventilateur à la position désirée.
- Tournez la commande de température à la position désirée entre les positions de chauffage modéré et maximal.
- Pour éliminerrapidementla glaceou labuee des vitres,réglez la commande devitesse du ventilateur au maximum et la commande de température à la position de CHAUFFAGE maximale.
Lorsque la commande est reglee sur Front, le climatiseur se met en marche automatiquement si la tempereut exterieure est superieure a 2^ 36F).L'air est alors deshumidifié pour empêcher la formation de buée sur le pare-brise. La recirculation de l'air ( 一 ) est automatiquement désactivée, ce qui permet a I'air
extérieur de pénétrer dans l'habitacle pour accélérer le désembUAGE. Le mode de recirculation de l'air ne peut pas être activé dans la position FRONT
Chauffage à deux niveaux
Le mode de chauffage à deux niveaux dirige l'air chaud vers les bouches d'air laterales et centrales et vers les sorties d'air de plancher avant et arrêté.
- Appuyez sur le bouton pour désactiver cette fonction.
- Appuyez sur le bouton de commande de ventilation
- Tournez la commande de vitesse du ventilateur à la position désirée.
- Tournez la commande de température à la position désirée.
Chauffage et désembUAGE
Ce mode est utilisé pour rechauffer l'habitaté et désembuer le pare-brise.
- Appuyez sur le bouton de commande de ventilation
-
Tournez la commande de vitesse du ventilateur à la position désirée.
-
Tournez la commande de température à la position désirée entre les positions de chauffage modéré et maximal.
Lorsque la commande est reglee sur, le climatiseur se met en marche automatiquement si la temperature exterieure est supérieure a 2^ (36^) . L'air est alors deshumidifie pour empêcher la formation de buée sur le pare-brise. La recirculation de l'air ( ) est automatiquement desactivee, ce qui permet a l'air extérieur de pénétrer dans l'habitacle pour accelerer le desembuage.
Conseils d'utilisation
Retirez la neige et la glace des balais d'essuie-glace et des entrées d'air situées à l'avant du pare-brise. Le fonctionnement du chauffage s'en trouvera amélioré.
UTILISATION DU CLIMATISEUR
Démarrez le moteur, tournez la commande de vitesse du ventilateur à la position souhaitié, puis appuyez sur le bouton A/C pour activer le climatiseur. Lorsque le climatiseur est activé, le dispositif de chauffage dispose également des fonctions de refroidissement et de déshumidification.
La fonction de refroidissement du climatiseur ne peut etre activee que lorsque le moteur tourne.
Refroidissement
Dans ce mode, l'air est refroidi et déshumi-difié.
- Appuyez sur le bouton pour désactiver cette fonction.
- Appuyez sur le bouton de commande de ventilation
- Tournez la commande de vitesse du ventilateur à la position désirée.
- Appuyez sur la touche A/C (climatisation). Le témoin s'allume.
- Tournez la commande de température à la position désirée.
- Par temps très chaud, vous pouvez refroidir l'habitacle rapidement en appuyant sur le bouton en position ON (marche). Replacez de nouveau en position de désactivation pour returner au mode de refroidissement normal. Le mode MAX A/C (climatisation maxima) peut servir à refroidir l'habitacle rapidement.
Chauffage déshumidifié
Dans ce mode, l'air est rechauffé et déshumidifié.
- Appuyez sur le bouton pour désactiver cette fonction.
- Appuyez sur le bouton de commande de ventilation
- Tournez la commande de vitesse du ventilateur à la position désirée.
- Appuyez sur le bouton A/C (climatisationur).
Le témoin s'allume. - Tournez la commande de température à la position désirée.
Désembuage déshumidifié
Ce mode est utilisé pour désembuer les glaces et déshumidifier l'air.
- Appuyez sur le bouton de commande de ventilation
- Tournez la commande de vitesse du ventilateur à la position désirée.
Lorsque la commande est reglee sur ou , le climatiseur se met en marche automatiquement si la tempera
ture extérieure est supérieure à 2^ (36^) . L'air est alors déshumidifié pour empêcher la formation de buée sur le pare-brise. La recirculation de l'air ( ) est automatiquement désactivée, ce qui permet à l'air extérieur de pénétrer dans l'habitacle pour accélérer le désembuage.
- Tournez la commande de température à la position désirée.
Conseils d'utilisation
Lorsque le climatiseur est en fonction, gardez les glaces fermées.
- Si le vehicule a eté stationné au soleil, roulez pendant deux ou trois minutes avec toutes les glaces ouvertes pour éva-cuer l'air chaud de l'habitacle. Remontez ensuite les glaces. Le climatiseur pourrait alors refroidir l'habitacle plus rapidement.
- Le système de climatisation doit fonctionner pendant environ 10 minutes consécu-tives au moins une fois par mois. Le dispos-itif reste ainsi lubrifié pour prévenir une éventuelle défaillance du climatiseur.
- Une brume visible peut s'échapper des bouches d'air par temps chaud et humide, car l'air est très rapidement refroidi. Il ne s'agit pas d'une anomalie.
- Si l'indicateur de température du liquide de refroidissement se trouve au-dessus de la plage de température normale, éteignez le climatiseur. Pour obtenir des renseignements supplémentaires, consulbez la section « Si le moteur surchauffe » (p. 6-12).
Lorsque Systeme de demarrage à distance du moteur (selon l'équipement) est activé, le système manuel de commande de chauffage-climatisation se règle par défaut sur le dernier mode de chauffage ou de refroidissement utilisé.
TABLEAUX DE DIRECTION DE L'AIR
Les tableaux suivants indiquent les positions des boutons et des commandes pour rechauffer ou pour refroidir l'habitatcle, ou encore pour dégivrer les glaces de façon OPTIMALE ET RAPIDE. Le bouton de recirculation d'air doit toujours être à la position d'arrêt pour le chauffage et le dégivrage.

LHA6464

LHA6465

Chauffage

| Commande du ventilateur | Commande de recirculation de l'air | Bouton A/C (climatisation) | Commande de la température | Commande de direction de l'air |
| HI (haute vitesse) | OFF (hors fonction) | OFF (hors fonction) | CHAUD (DROITE) |
LHA6466

| Commande du ventilateur | Commande de recirculation de l'air | Bouton A/C (climatisation) | Commande de la température | Commande de direction de l'air |
| HI (haute vitesse) | OFF (hors fonction) | S Active automatiquement (il est possible que l'indicateur ne s'accume pas) | CHAUD (DROITE) |
LHA6467

Refroidissement
Air circulant dans
l'evaporateur

| Commande du ventilateur | Commande de recirculation de l'air | Bouton A/C (climatisation) | Commande de la température | Commande de direction de l'air |
| HI (haute vitesse) | ON (activé) | ON (activé) | MAX A/C (climatisation maximale) |
LHA6468

- Bouton AUTO (automatique) du système de chauffage-climatisation/commande de température (côté conducteur)
- Écran d'affichage
-
Contacteurs de siège chauffant (selon l'équipement)
-
Bouton SYNC (synchronisation)/bouton de commande de température (côté passager)
- Bouton A/C (climatiseur)
-
Bouton de recirculation d'air
-
Bouton de commande de ventilation
- Boutons de commande de vitesse du ventilateur
- Interrupteur de volant de direction chauffant (selon l'equipement)
- Interrupteur du dégivre de
lunette arrête et de rétroviseur extérieur (selon l'équipement)
- Bouton de dégivrage avant
- Touche ON-OFF (marche-hors fonction)

AVERTISSEMENT
- La fonction de refroidissement du climatiseur ne peut etre activee que lorsque le moteur tourne.
- Ne laïsez pas seuls dans votre vehicule des enfants ou des personnes qui ont habituèlement besoin de l'aide d'autres personnes. Ne laïsez pas non plus les animaux de compagnie sans surveillance. Ils pourraient se blesser ou blesser quelqu'un accidentellement en mettant le vehicule en marche par inadvertance. De plus, par temps chaud et ensoleillé, la
température de l'habitacle peut rapidement s'élever au point de provoquer des léasons graves, voire mortelles, à une personne ou à un animal enfermé dans le vehicule.
- N'utilisez pas le mode de recirculation d'air pendant de longues périodes puisque l'air de l'habitacle pourrait devenir vicié et les glaces pourraient s'embuer.
Pourmettreleclimatiseur en marche, démarrezle moteur devoitrévicule et activezlescommandes appropriées.
REMARQUE:
- Les odeurs de l'intérieur et de l'extérieur du vehicule peuvent s'accumuler dans l'unité de climatisation. L'odeur peut s'infiltrer dans l'habitacle par le biais des bouches d'air.
- Lorsque vous stationnez vos vécu-cule, réglez les commandes de chauffage et du climatiseur pour arrêté la recirculation de l'air et permettre à l'air frais de pénétrer dans l'habitacle. Ceci doit aider à réduire les odeurs dans le vehicule.
FONCTIONNEMENT AUTOMATIQUE Refroidissement ou chauffagedeshumidifié (AUTOMATIQUE)
Ce mode, qui sert à maintainir une tempé rature constante, peut être utilisé tout au long de l'année. Un contrôle automatique est également exercé sur la répartition de l'air, la commande d'entrée d'air et la vitesse du ventilateur.
- Appuyez sur le bouton AUTO (automatique).
- Pour régler la température au niveau désiré, tournez la commande de température vers la gauche ou vers la droite.
- Reglez la commande de température à environ 24^ ( 75^ ) pour obtenir un fonctionnement normal.
- La température ambiente de l'habitacle sera maintainue automatiquement. Un contrôle automatique est également exercé sur la répartition de l'air, la commande d'entrée d'air et la vitesse du ventilateur.
-
Une brume visible peut s'échapper des bouches par temps chaud et humide, car l'air est très rapidement refroidi. Il ne s'agit pas d'une anomalie.
-
Vous pouvez régler séparément la température du côté conducteur et celle du côté passager avant au moyen de leur commande respective. Afin de synchroniser les réglages de température du conducteur et du passager avant, appuyez sur le bouton SYNC (synchronisation).
Chauffage (CLIMATISATION HORS FONCTION)
Le climatiseur ne se mettra pas en fonction. Utilisez ce mode si vous n'avez besoin que du chauffage.
- Appuyez sur le bouton AUTO (automatique).
- Tournez le bouton de commande de température à la position voulue.
- La température ambiente de l'habitacle sera maintainue automatiquement. Un contrôle automatique est également exercé sur la répartition de l'air et la visse du ventilateur.
- La température régée ne doit pas être inférieure à la température extérieure. Le système pourrait alors fonctionner de façon inappropriée.
- Si les glaces s'embuent, l'utilisation de ce mode n'est pas recommandée.
Dégivrage ou désembUAGE déshumidifié
- Appuyez sur le bouton de dégivrage avant
- Tournez le bouton de commande de température à la position voulue.
- Pour éliminerrapidementla glace de l'extérieur des glaces,utilisez les boutons decommandede vitesse duventilateur8 pourregler la vitessea la positionmaximale.
- Appuyez sur le bouton AUTO (automatique) pour revenir au mode automatique dés que le givre a disparu du pare-brise.
Lorsque you appuyez sur le bouton de dégivrage avant FOINT, le climatiseur se met automatiquement en fonction si la température extérieure dépasse 2 °C (36 °F). Le mode de recirculation d'air est automatiquement désactifé, ce qui permet à l'air extérieur de pénétrer dans l'habitacle pour accélérer le désembavage.
Démarrage à distance du moteur au moyen de la commande intelligente de chauffage-climatisation (salon l'équipement)
Les vehicules munis du système de chauffage-climatisation automatique et de la fonction de démarrage à distance du moteur peuvent passer au mode de chauffage ou de refroidissement automatique lorsque la fonction de démarrage à distance du moteur est activée selon les températures extérieure et de l'habitacle. Pendant cette période, l'écran de commande de la temperature et les boutons ne fonctionnent pas tant que le commutateur d'allumage n'est pas à la position ON (marche). Lors du démarrage à distance en mode de dégivrage, vous pouvez activer automatiquement le dégivreur de lunette arrière, les sièges chauffants (selon l'équipement) et le volantchauffant (selon l'équipement).
Boutons de commande de vitesse du ventilateur
Appuyez sur les boutons de commande de vitesse du ventilateur pour commandeur manuellement la vitesse de ventilateur.
Pour revenir à la commande automatique de vitesse du ventilateur, appuyez sur le bouton AUTO (automatique).
Commande de température
La commande de température vous permét de régler la température de l'air qui circule par les bouches d'air. Pour diminuer la température, tournez la commande vers la gauche. Pour augmenter la température, tournez la commande vers la croite. Vous pouvez régler la température sur les côtés conducteur et passager.
Recirculation de l'air
Pour faire recirculer l'air dans l'habitacle, appuyez sur le bouton de recirculation d'air. Le témoin présente sur le bouton s'allume.
La recirculation de l'air ne peut etre activeree lorsque le climatiseur est en mode de degivrage avant
Lorsque la température extérieure dépasse 21 C (70 F), le système de climatisation peut passer par défaut en mode de recirculation de l'air automatiquement pour réduire la consommation électrique globale. Pour quitter le mode de recirculation d'air, annulez la sélection de la commande de recirculation de l'air (le témoin s'éteint) pour acceder au mode air frais.
Commanded'entree d'air automatique
L'entrée d'air est contrôle automatique en mode AUTO. Pour contrôle manuelle l'entrée d'air, appuyez sur le bouton de recirculation d'air 一 _ 一 Pour revenir au mode automatique de commande, maintenez le 一 _ 一 bouton de recirculation de l'air enforcé pendant environ de 2 secondes. Le témoin clignote deux fois, puis l'entrée d'air est sous contrôle automatique.
Bouton A/C (climatiseur)
Faites démarrer le moteur, réglez la commande de vitesse du ventilateur sur la position souhaïée et appuyez sur le bouton A/C pourmettreleclimatisationuren fonction. Pour éteindre le climatisationur, appuyez de nouveau sur le bouton A/C
La fonction de refroidissement du climatiseur ne peut etre activee que lorsque le moteur tourne.
Commande de direction de l'air
Le bouton permet de contrôle manuellement la sortie d'air en seLECTIONnant les sorties d'air suivantes :

L'air circule par les bouches d'air centrales et laterales.

L'air circule par les bouches d'air centrales et laterales ainsi que par les bouches d'air du plancher.

L'air circule principalement par les bouches d'air du plancher.

L'air circule par les bouches d'air du dégivre ainsi que par les bouches d'air du plancher.
Synchronisation des réglages de chauffage-climatisation
Appuyez sur le bouton SYNC (synchronisation) pour synchroniser les réglages de chauffage-climatisation. L'indicateur de synchronisation s'allume.
Si vous appuyez sur SYNC (synchronisation), les réglages de chauffage-climatisation du conducteur et du passager avant seront synchronisés.
Pour modifier réglages de chauffage-climatisation lorsque SYNC (synchronisation) est actif (l'indicateur de synchronisation est à la position de marche):
- La commande de température du côté conducteur contrôle la température du conducteur et du passager avant.
- La commande de vitesse du ventilateur contrôle les vitesse du ventilateur.
Pour quitter le mode SYNC (synchronisation):
- Pour désactiver le mode SYNC (synchronisation) pour le passager avant, tournez la commande de température du côté passager.
- Appuyez sur SYNC (synchronisation) plusieurs fois pour réactiver la synchronisation.
Désactivation du système
Appuyez sur le bouton ON-OFF (marche-hors fonction).
Interrupteur du dégivre de lunette arrière et de rétroviseur extérieur (selon l'équipement)
Pour obtenir des renseignements supplémentaires, consultez la section « Interrupeur du dégivre de lunette ou de rétroviseurs extérieurs (selon l'équipement) » (p. 2-66).
Contacteurs de siège chauffant (selon l'équipement)
Pour obtenir des renseignements supplémentaires, consultez « Commutateurs de siege chauffant » (p. 2-74).
Interrupteur de volant de direction chauffant (selon l'équipement)
Pour obtenir des renseignements supplémentaires, consultez la section « Interrupteur de volant de direction chauffant » (p. 2-75).

CONSEILS D'UTILISATION
Les capteurs d'ensoillement, situés dans la partie supérieure droite et supérieure gauche du tableau de bord, permettent de maintainir une température constante. Ne déposez rien sur le capteur ou à proximité de celui-ci.
Lorsque le système de chauffage-climatisation est en mode de fonctionnement automatique et que la tempéra-ture du liquide de refroidissement et la températe extérieure sont basses, la bouche d'aération peut passer par défaut en mode de dégivrage pendant un maximum de 2 minutes 30 secondes. Cette condition est normale. ÀpRES que la tempéra-ture du liquide de refroidissement s'est réchauffée, la bouche d'aération revient au mode pied et le fonctionnement se poursuit normalement.
ENTRETIEN DU CLIMATISEUR
- Lorsque les températures extérieure et interieure de l'habitacle sont comprises entre la valeur modérée et la valeur élevée, le réglage d'admission peut passer par défaut à l'arrêt de la recirculation de l'air pour permettre que l'air frais pénétre dans l'habitacle. Vous pouvez remarquer la présence d'un débit d'air au niveau des bouches d'air du mode pied, du mode de chauffage à deux niveaux ou de désembuage laterales pendant un maximum de 15 secondes. Ceci peut se produit lorsque le précédent réglage de chauffage-climatisation est désactivié. Cette condition est normale. Àpres la sortie de l'air chaud initial, l'admission revient à la commande automatique, la bouche d'aération revient aux réglages precedents et la boîte de vitesses continue de fonctionner normalement. Pour quitter, appuyez sur n'importequel bouton de commande de chauffage-climatisation.
- Lorsque le climatiseur est en fonction, gardez le toit ouvrant transparent (selon l'équipement) fermé.
-
Si le mode de ventilation et les bouches d'air choisis ne répondent pas à vos attentes, activez le mode FRONT.
-
Quand vous changez de mode de ventilation, vous pourriez sentir l'air des bouches d'aération circuler au niveau de vos pieds pendant un instant. Cette condition est normale.
Le climatiseur de votre vehicule NISSAN est rempli d'un frigorigène ecologique.
Ce type de frigorigène n'est pas nocif pour la couche d' ozone.
L'entretien du climatiseur de votre vehicule NISSAN nécessite l'utilisation d'équipment de replissage et de lubrifants spéciaux. L'utilisation de fluides frigorigènes ou de lubrifants non ajustats endommagera gravement votre climatiseur. Pour de plus amples renseignements, consultez la section « Recommendations concernant le fluide frigorigène et le lubrifiant du climatiseur » (p. 10-9).
Nous vous recommendons de visiter un concessionnaire NISSAN pour effectuer l'entretien du système de climatisation «écologique » de votre vehicule.

AVERTISSEMENT
Le climatiseur contient du frigorigène haute pression. Afin d'eviter les blessures, il est essentiel que toute intervention faite sur le climatiseur soit effectue par un technician qualifié qui dispose de l'équipement ajustat.
CHAINE STÉRÉOPHONIQUE
RADIO
Tournez le commutateur d'allumage en position ACC (accessoires) ou ON (marche), puis appuyez sur le bouton PUSH (alimentation) pourmettre la radio en fonction. Si vous ecoutez la radio et que le moteur est eteint, mettez le commutateur d'allumage à la position ACC (accessoires).
La qualité de la réception radio varie selon la force du signal émis, la distance de l'émetteur radio, la présence d'immeubles, de points, de montagnes ou de tout autre facteur externe. Les variations occasionnelles de la qualité de réception sont en général causées par de tels facteurs.
L'utilisation d'un téléphone cellulaire dans ou à proximé d'un vehicule peut comprometter la qualité de la réception radio.
Réception radio
La radio de votre vehicule NISSAN com- porte de circuits electroniques d'avant-garde qui ameliorent la qualite de la reception radio. Ces circuits sont concus pour accroitre la plaque de reception de meme que la qualite de celle-ci.
Cependant, certaines caractéristiques générales propres aux fréquences radio AM et FM peuvent compromètre la qualité de la réception radio dans un vehicule qui roule, et ce, peu importe la qualité de l'équipment utilisé. Ces caractéristiques sont normales dans une zone de réception donnée et n'indiquent pas une anomalie de la radio de votre vehicule NISSAN.
Les conditions de réception radio changent constamment du fait que votre vehicule se déplace. Les immeubles, les montagnes, la distance de la source du signal et l'interfERENCE Causee par les autres vehicules peuvent comprometer la qualite de la reception. Vous trouvez ci-apres une description des facteurs qui peuvent comprometer la reception radio dans votre vehicule.
Certains téléphones cellulaires ou d'autres dispositifs peuvent cause de l'interfERENCE ou produit un bourdonnement dans les haut-parleurs de la chaîne stéreo. Rangez le dispositif en un autre endroit pour tenter de réduire ou d'éliminer le bruit.
RECEPTION RADIO FM
Portée: En mode FM mono (un seul canal), la portée de la bande FM se situe généralement entre 40 et 48 kilomètres (25 et 30 milles) et est légèrement supérieure à la portée offerte par le mode FM stéreo. Des facteurs externes peuvent parfois nuir à la réception du signal émis par une station FM même si cette station se trouve à moins de 40 kilomètres (25 milles). La puissance du signal FM est inversement proportionnelle à la distance entre l'émetteur et le récepteur. Les signaux FM voyagent en ligne droite etprésentent des caractéristiquessemblables à celles de la lumière. Par exemple,ils sont réfléchis par les objets.
Affaiblissement et dérive : Lorsque la distance qui sépare votre vehicule de l'émetteur de la station s'accroit, les signaux ont tendance à s'affa bilir ou à dériver.
Parasites et fluctuations : Lorsqu'il y a interference du signal causée par des immeubles,des montagnes ou par la position de l'antenne (cette situation se produit généralement à une plus grande distance de I'émetteur de la station), des parasites ou des fluctuations peuvent se produit. Vous pouvez atténuer ces bruits en réduisant l'intensité des tonalités aiguës.
Réception par trajets multiples : en raison des caractéristiques de réflexion des signaux FM, des signaux directs et réfléchis atteignent le récepteur en même temps. Les signaux peuvent se neutraliser mutuellement et cause un battement ou une perte momentanée du son.
RéCEPTION RADIO AM
Les signaux AM, du fait de leurasse fréquence, peuvent contourner des objets et rebondir sur le sol. De plus, les signaux rebondissent sur l'ionosphere et reviennent vers la terre. Ces caractéristiques font que les signaux AM sont aussi sujets à des interférences au cours de leur trajet de l'émetteur au récepteur.
Baisse d'intensité: Ce phénomène se produit lorsque le vehicule passée sous un viaduc ou dans des zones responsant beaucoup d'immeubles élevés. Il peut également se produit pendant plusieurs secondes en cas de turbulences ionosphériques, et ce, même dans des endroits dépourvus d'obstacles.
Parasites : ils sont causés par les orages, les lignes d'alimentation électrique, les enseignes électriques et même les fais de circulation.
ANTENNE RADIO SATELLITE (selon l'équipement)
La radio satellite peut ne pas fonctionner adequately lorsqu'elle est installée pour la première fois ou si la batterie a ete remplaee. Cette condition est normale. Assurez-vous que voitre vehicule est a I'ecart de tout edifice metallique ou de grande taillie et attendez au moins 10 minutes, avec la radio satellite activee, pour recevoir toutes les données nécessaires.
Le mode de radio satellite nécessite un abonnement à SiriusXM ^MD Satellite Radio en vigueur. La radio satellite n'est pas offerte en Alaska, à Hawai et à Guam.
Le rendement de la radio satellite peut être compromis si vous transportez des bagages qui bloquent le signal de la radio sur le porte-bagages de toit.
Évitez autant que possible de déposer des charges près de l'antenne de réception satellite.
Une accumulation de glace sur l'antenne de la radio par satellite peut nuire au rendement de la radio par satellite. Enlevez la glace pour rétablier la réception de la radio par satellite.
PRECAUTIONS CONCERNANT L'UTILISATION DE LA CHÂINE STÉRÉO
Terminologie liée aux formats MP3 et WMA
-
MP3 - MP3 est la forme abrégée de Moving Pictures Experts Group Audio Layer 3. MP3 est le format de fichier audionumérique compré le plus connu. Ce format offre une qualité près de cette du CD, mais à une fraction du volume des fichiers audio normaux. La conversion MP3 d'une piste audio à partir d'un CD-ROM peut réduire le volume du fichier d'un rapport d'environ 10:1 sans perte perceptible de la qualité. La compression MP3 supprime les segments redondants et inutiles d'un signal sonore que l'humain ne peut entendre.
-
WMA - Windows Media Audio (WMA)* est un format audio compré créé par Microsoft comme solution de rechange au format MP3. Le codec WMA offre uneCOMMUE compression de fichiers que le codec MP3,permettant de stocker plus de pistes audionumeriques dans un volume identique aux MP3 à la même qualité.
-
Débit binaire - le débit binaire dénote le nombre de bits par seconde utilisé par un fichier musical numérique. Le volume et la qualité d'un fichier audionumérique comprime sont déterminés par le débit binaire de codage du fichier.
- Fréquence d'échantillonnage - la fréquence d'échantillonnage est la fréquence de conversion des échantillons d'un signal de l'analygique au numérique (conversion A-N) par seconde.
- Multisession - C'est l'une des méthodes utilisées pour enregistrer des données sur un support. Un disque simple session est écrit en une seule fois, tandis qu'un disque multisession est écrit en plusieurs fois.
- Étiquette ID3 ou WMA - l'étiquette ID3 ou WMA fait partie du fichier MP3 ou WMA code qui contient des données au sujeet du fichier musical numérique, comme le titre de la piece musicale, le nom de l'artiste, le débit binaire de codage, la durée des pistes, etc. Les données de l'étiquette ID3 sont affichées dans la ligne Nom de l'artiste et titre de la piece musicale de l'écran.
*Windows MD et Windows Media MD sont des marques déposées ou des marques de commerce de Microsoft Corporation aux États-Unis et dans d'autres pays.
Port de connexion USB (bus série universal)
A AVENTISSEMENT
- Ne branchez pas le dispositif USB, ne le débranchez pas ou ne l'utilisez pas pendant que vous conduisez. Une telle manoeuvre peut être une source de distraction. Si vous étés distrustait, vous pourriez perdre la maitrise de votre vehicule et cause un accident ou des blessures graves.
AMISE EN GARDE
- N'exerce aucune pression sur le dispositif USB pour l'insérer dans le port USB. Si vous insérez le dispositif USB de travers ou à l'envers dans le port, vous risquez d'endommager le port. Assurez-vous que le dispositif USB est branché correctement dans le port USB.
-
N'empoignez pas le couvercle du port USB (selon l'équipement) lorsque vous tirez le dispositif USB hors du port. Vous pourriez endommager le port et le couvercle.
-
Ne laïsez pas le cable USB dans un endroit où il pourrait être tiré par inadvertance. Si vous tirez sur le cable, vous risquez d'endommager le port.
Le vehicule n'est pas muni d'un dispositif USB. Les dispositifs USB doivent etre achetés séparément au besoin.
Ce système ne peut pas etre utiliser pour formater les dispositifs USB. Pour formater un dispositif USB,utilizez un ordinateur personnel.
Pour des raisons reglementaires, dans certaines juridictions, le dispositif USB pour les sièges avant n'effectue la lecture que du son sans afficher les images, même lorsqu'que le vehicule est stationné.
Ce système est compatible avec différents dispositifs de mémoire USB, de disques durs USB et de lecteurs iPodMD. Certains dispositifs USB pourrait ne pas être pris en charge par ce système.
-
Les dispositifs USB comportant plusieurs partitions pourraient ne pas etre lus correctement.
-
Certains caractères utilisés dans d'autres langues (le chinois ou le japonais, par exemple) pouraient ne pas s'afficher correctement sur l'écran. Il est recommancé d'utiliser les caractères de l'anglais avec les dispositifs USB.
Notes générales concernant l'utilisation de dispositifs USB :
- Pour obtenir des renseignements supplémentaires, consultez le guide du propretaire du fabricant de l'appareil quant à l'usage et à l'entretien appropriés de l'appareil.
Notes concernant l'utilisation du iPodMD :
iPod MD est une marque de commerce d'Apple Inc., déposée aux États-Unis et dans d'autres pays.
- Si vous branchez incorrectly le iPodMD, une coche se met à clignoter. Assurez-vous toujours que le iPodMD est branché correctement.
- Les livres audio peuvent ne pas etre lus dans le même ordre que celui qui est afficché sur le iPodMD.
-
Les gros fichiers video ralentissent le iPodMD. Par conséquent, l'écran d'affichage central du vehicule peut s'obscürir momentarilyément, mais cela est de courte durée.
-
Si un iPodMD sélectionne automatiquement de gros fichiers video alors qu'il est en mode de lecture aléatoire, l'écran d'affichage central du vehicule peut s'obscürcir momentarilyément, mais cela est de courte durée.
Lecteur iPod*
- Certains caractères utilisés dans d'autres langues (le chinois ou le japonais, par exemple) ne s'affichent pas correctement sur l'écran central du vehicule. Nous recommendons d'utiliser des caractères anglais ou espagnols avec un iPodMD.
- Les gros fichiers video de baladodiffusion ralentissent le iPodMD. Par conséquent, l'écran d'affichage central du vehicule peut s'obscürcir momentanément, mais cela est de courte durée.
- Si le iPodMD sélectionne automatiquement de gros fichiers video de baladodiffusion alors qu'il est en mode de lecture aléatoire, l'écran d'affichage central du vehicule peut s'obscürir momentanément, mais cela est de courte durée.
-
Si vous branchez incorrectly le iPodMD, une coche se met à clignoter. Assurez-vous toujours que le iPodMD est branché correctement.
-
Les livres audio peuvent ne pas etre lus dans le même ordre que celui qui est affché sur le iPodMD.
-
Suivez les consignes suivantes pour ne pas endommager le cable, ce qui entraînerait une perte de fonction de l'appareil :
-
Ne pliez pas le cable de façon excessive (rayon maximum de 40 mm [1,6 po]).
- Ne tordez pas le cable de façon excessive (plus de 180 degrés).
- Ne tirez pas le cable ou ne l'échappez pas.
- Ne forcez pas le connecteur de cable d'iPod ^MD dans le port de l'appareil.
- Ne refermez pas le couvercle de la console centrale sur le cable ou les connecteurs.
- Ne rangez pas des objets aux bords tranchants dans le même endroit où est rangé le cable.
-
Ne renversez pas des liquides sur le cable ou les connecteurs.
-
Ne branchez pas le cable au iPod ^MD si le cable ou les connecteurs sont mouillés. Cela pourrait endommager le iPod ^MD .
-
Si le cable et les connecteurs sont exposés à de l'eau, laissez-les sécher complètement (attendez 24 heures pour qu'ils sechent) avant de brancher le cable au iPodMD.
-
Si le connecteur est exposé à des fluides autres que de l'eau, des résidus volatils peuvent produit un court-circuit entre les broches des connecteurs. Dans ce cas, remplacez le cable; sinon, le iPodMD pourrait être endommagé et une perte de fonction pourrait se produit.
- Si le cable est endommagé (isolant coupé, connecteurs fissures, contamination comme les liquides, la poussière, la saleté, etc. dans les connecteurs), n'utilise pas le cable. Il est recommendé de visiter un concessionnaire NISSAN pour replacer le cable par un cable neuf.
- Si le cable n'est pas utilisé pendant de longues périodes, rangez-le dans un environnement propre, sans poussière, à la température de la pierce, en évitant de l'exposer directement au soleil.
- Évitez d'utiliser le cable pour tout usage autre que celui pour lequel il est prévu dans le vehicule.
- iPod MD est une marque de commerce de Apple Inc. et est déposée aux États-Unis et dans d'autres pays.
Diffusion audio Bluetooth ^MD
- Certains appareils audio Bluetooth™ pourraient ne pas être reconnus par le système audio du vehicule.
- Il est nécessaire de configurer la connexion sans fil entre l'appareil audio Bluetooth™ compatible et le module Bluetooth™ du vehicule avant d'utiliser la fonction audio Bluetooth™.
-
Le fonctionnement de l'appareil audio Bluetooth™ varie selon les modèles d'appareil. Assurez-vous de connaître le fonctionnement de votre appareil audio avant de l'utiliser avec ce système.
L'appareil audio BluetoothMD peut s'arrêter dans les conditions suivantes : -
Réception d'un appel au moyen du système téléphonique mains libres Bluetooth ^MD .
- Vérification de la connexion au téléphone mains libres.
-
Ne placez pas l'appareil audio Bluetooth™ dans un endroit entouré de métal ou loin du module Bluetooth™ du vehicule pour préserver la qualité de la tonality et prévenir les interruptions de la connexion sans fil.
-
Lorsqu'un apparéil audio est connecté au moyen de la technologie sans fil Bluetooth ^MD , l'alimentation de batterie de l' apparéil peut se décharger plusrapidement que d'habitude.
- Ce système prend en charge le profil Bluetooth de diffusion audio avancée (A2DP, AVRCP).

Bluetooth
BLUETOOTH est une marque de commerce de Bluetooth SIG, Inc. et utilisée sous licence par Panasonic.

RADIO FM/AM
- Écran d'affichage
- Bouton PUSH SOUND (son) / bouton TUNE SCROLL (syntonisation-)défilement)
-
Bouton BACK (retour)
-
Bouton MENU
- Bouton AUDIO
- / Boutons SEEK/TRACK (recherche/piste)
- Bouton VOL (volume) / Bouton PUSH (alimentation)
Pour obtenir des renseignements supplémentaires, consultez la section « Précautions concernant l'utilisation de la chaîne stéréo » (p. 4-51).
Fonctionnement principal de la chaine stéréo
Bouton VOL (volume) et PUSH (alimentation)
Pour revenir au dernier mode audio utilisé (radio, AUX [auxiliaire], audio Bluetooth MD, USB ou iPod MD) avant que le système audio ne soit mis hors tension, placez le commutateur d'allumage à la position ON (marche), puis appuyez sur le bouton PUSH (alimentation) 0 alors que le système audio est hors tension.
Appuyez sur le bouton PUSH (alimentation) pour eteindre le système.
Tournez le bouton VOL (volume) pour régler le volume.
Votre vehicule peut etre doted'un système audio a commande de volume asservi à la vitesse.Lorsque cette caractéristique est active,le volume audio change en même temps que la vitesse de conduite.
Appuyez sur le bouton MENU pour afficher l'écran Menu. Appuyez sur la touche « Réglages » à l'écran, puis sur la touche « Son »
| Réglages du son | ||
| Graves | Règle les graves au niveau désiré. | |
| Aigus | Règle les aigus au niveau désiré. | |
| Équilibre | Règle l'équilibre gauche-droit au niveau désiré. La fonction Équilibre règle le niveau sonore entre les haut-parleurs.gauche et droit. | |
| Fondu | Règle l'équilibre avant/arrière au niveau désiré. La fonction Fondu règle le niveau sonore entre les haut-parleurs avant et arrrière. | |
| Volume asservi à la vitesse | Règle la fonction de volume asservi à la vitesse, qui augmente le volume du système audio lorsque la vitesse du vehicule augmente. Règlez à « OFF » (hors fonction) pour désactiver la fonction. Plus le réglage est élevé, plus le volume augmente par rapport à la vitesse du vehicule. | |
Les graves, les aigus, l'équilibre gauche-droit, l'équilibre avant-arrête et le volume asservi à la vitesse peuvent être régliés en appuyant sur les touches « - » et « +», « L » et « R » ou « R » et « F »
Bouton Audio
Appuyez sur ce bouton pour afficher l'écran audio. Si ce bouton est enforcé pendant que l'écran audio n'est pas affché, la dernière source audio écoutee sera diffusée.

Écran de la radio AM/FM
- Touche « Menu AM » / « Menu FM » Appuyez sur cette touche pour afficher l'écran de menu de la radio.
- « Direct Tune » (syntonisation directe) (selon l'équipement) Appuyez sur cette touche pour entrer manuellement une station.
-
Indicateur de source audio Indique la source audio selectionnee.
-
Écran de renseignements sur la réception
Affiche les renseignements actuellément disponibles sur la réception, tels que la fréquence, le nom de la station, etc. - List des stations prérogliées Pour écouter une station préroglee, appuyez sur la station correspondante dans la liste de préselection. Si elles sont affichées, appuyez sur les touches « < » ou « > » pour faire défiler la liste des stations prérogliées.
Fonctionnement de la radio AM
Appuyez sur le bouton MENU et sur la touche « AM » ou appuyez sur le bouton AUDIO et selectionnez AM au bas de la barre de lancement pour afficher l'écran AM.
Si une autre source audio est en cours de lecture lorsque vous appuyez sur la touche « AM», la source audio en cours de lecture est automatiquement désactivée, la lecture de la dernière station de radio diffusée commence.
Menu AM
Appuyez sur la touche « Menu AM » pourafficher les options de l'écran du menu AM:
- SCAN (balayage): Pour symponiser des stations, appuyez sur la touche « AM Menu » (menu AM) de l'écran de la radio, puis sur la touche « SCAN » (balayage). Le balayage des stations se fera des basses aux haute fréquences et s'arrête à chaque station de radiodiffusion pendant quelques secondes. Si vous appuyez de nouveau sur la touche « SCAN » (balayage) pendant cette période de plusieurs secondes, le balayage est interrompu et la radio demeure synthonisée à cette station.
- Refresh (actualiser) : appuyez sur la touche « Refresh » (actualiser) pour effectuer le balayage etmettre à jour la liste de stations affichées sur le côté droit de l'écran du menu AM.

Boutons SEEK/TRACK (recherche-piste)
Appuyez sur le bouton « ou « pour symponiser des fréquences de bas en haut ou de haut en bas et pour arrêté à la station de radiodiffusion suivante.
Fonctionnement des opérations de mise en mémoire des stations (1 à 6)
Jusqu'à six stations peuvent être enregistrées dans la liste de préselection.
- Sélectionnez la bande de radio AM.
- Syntonise la station que vous souhai-tez enregistrer.
- Maintenez enforcé un des chiffres dans la liste des chaînes préréglées.
Des renseignements tels que la fréquence s'affichent sur la liste de préselection.
Pour sélectionner et écouter les stations prérogliées, appuyez brievement sur ou sur sur le volant ou Sélectionnez une station préféree dans la liste des stations prérogliées à l'écran de la radio.
Fonctionnement de la radio FM
Appuyez sur le bouton MENU et sur la touche « Menu FM » ou appuyez sur le bouton AUDIO et selectionnez FM au bas de la barre de lancement pour afficher l'écran FM.
Si une autre source audio est en cours de lecture lorsque vous appuyez sur la touche « FM», la source audio en cours de lecture
est automatiquement désactivée, la lecture de la dernière station de radio diffusée commence.
L'indicateur FM stéreo (STEREO) s'affiche à l'écran pendant la réception FM stéreo. Lorsque le signal d'émission stéreo faiblit, la radio passée automatiquement d'une réception stéreo à une réception monaurale.
Menu FM
Appuyez sur la touche de menu « FM » pour afficher les options de l'écran du menu FM:
-
SCAN (balayage): Pour symponiser des stations, appuyez sur la touche « FM Menu » (menu FM) de l'écran de la radio, puis sur la touche « SCAN » (balayage). Le balayage des stations se fera des basses aux hautes fréquences et s'arrête à chaque station de radiodiffusion pendant quelques secondes. Si vous appuyez de nouveau sur la touche « SCAN » (balayage) pendant cette période de plusieurs secondes, le balayage est interrompu et la radio demeure synthonisée à cette station.
-
Refresh (Actualisation) : Appuyez sur la touche « Refresh » (Actualisation) pourmettre à jour la liste de stations affichée sur le côté droit de l'écran du menu FM.
-
RDS Info (information RDS): L'écran d'affchage FM peut afficher des renseignements sur la station de radio et la pièce musicale.

Boutons SEEK/TRACK (recherche-piste)
Appuyez sur le bouton ou pour symponiser des fréquences de bas en haut ou de haut en bas et pour arrêté à la station de radiodiffusion suivante.
Fonctionnement des opérations de mise en mémoire des stations (1 à 12)
Jusqu'à 12 stations peuvent être enregistrées dans la liste de préselection.
- Sélectionnez la bande de radio FM.
- Syntonisez la station que vous souhai- tez enregistrer.
- Maintenez enfoncé un des chiffres dans la liste des chaînes prépréglées.
Des renseignements tels que la fréquence s'affichent sur la liste de préselection.
Pour selectionner et écouter les stations prérgéliees, appuyez brievement sur ou sur sur le volant ou selectionnez une station préféree dans la liste des stations prérgéliees à l'écran de la radio.
Fonctionnement des appareils auxiliaires (AUX)
Connexion de dispositifs auxiliaires
Branchez un apparéil auxiliaire dans la prise d'entrée AUX (auxiliaire) situé sur la console centrale, sous les commandes de chauffage et du climatisationur.
La prise d'entrée AUX (auxiliaire) accepte toute entrée audio analogique standard comme un lecteur de cassettes, un lecteur de CD, un lecteur MP3 ou un téléphone portatifs.
Insérez une fiche miniature stéreo de 3,5 mm (1/8 po) dans la prise d'entrée audio. Si vous utilisez un cable avec une prise mono, la sortie audio peut ne pas fonctionner normalement.
Activation et lecture
Activez le dispositif auxiliaire. Branchez un cable AUX (auxiliaire) entre l'appareil auxiliaire et la prise d'entrée AUX (auxiliaire). Sélectionnez le mode AUX (auxiliaire) à l'écran du menu de la source audio ou en appuyant sur le bouton Source sur le volant.

Écran AUX
- Indicateur de source audio Indique que la source AUX (auxiliaire) est en cours de lecture.
- Touches « Volume Setting » (réglage du volume) Appuyez sur l'une de ces touches afin de sélectionner le volume de la sortie audio parmi les options Low (bas), Medium (moyen) et High (haut).
- AUX (auxiliaire) à partir de la barre de lancement Appuyez sur cette touche pour changer d'une autre source à la source AUX.
Caracteristiques supplémentaires
Pour obtenir des renseignements supplémentaires, consultez la section « Fonctionnement du lecteur iPodMD » (p. 4-63) concernant le lecteur iPodMD disponible avec ce système.
Pour obtenir des renseignements supplémentaires, consultez la section « Port de connexion USB (bus série universal) » (p. 4-60) concernant le port de connexion USB disponible avec ce système.
Pour obtenir des renseignements supplémentaires, consultez la section « Diffusion audio Bluetooth MD » (p. 4-66) à propos de l'interface audio Bluetooth MD disponible avec ce système.
Obligation relative à l'étiquetagede Microsoft (WMA)
Obligation supplémentaire relative à l'étiquetage
Ce produit est protégé par certains droits de propriété intellectuelle de Microsoft Corporation et des tierces parties. L'utilisation ou la distribution d'une telle technologie en dehors de ce produit est interdite sans une licence de Microsoft ou d'une société affiliée autorisée de Microsoft et des tierces parties.

PORT DE CONNEXION USB (bus série universal)
- Type A.
Branchement d'un apparéil dans le port de connexion USB

AVERTISSEMENT
Ne branchez pas le dispositif USB, ne le débranchez pas ou ne l'utilisez pas pendant que vous conduisez. Une telle manoeuvre peut être une source de distraction. Si vous étés distrustait, vous
pourriez perdre la maitrise de votre vehicule et causer un accident ou des blessures graves.

MISE EN GARDE
Pour éviter des dommages et la perte de fonctionnement pendant l'utilisation d'un dispositif USB, sui-vez les consignes ci-dessous.
- N'exerce aucune pression sur le dispositif USB pour l'insérer dans le port USB. Si vous insérez le dispositif USB de travers ou à l'envers dans le port, vous risquez d'endommager le port. Assurez-vous que le dispositif USB est branché correctement dans le port USB.
- N'empoignez pas le couvercle du port USB (selon l'équipement) lorsque vous tirez le dispositif USB hors du port. Vous pourriez endommager le port et le couvercle.
- Ne laïsez pas le cable USB dans un endroit où il pourrait être tiré par inadvertance. Si vous tirez sur le cable, vous risquez d'endommager le port.
REMARQUE :
Pour deromeilleurs résultats, il est recommaned'utiliser les cables du fabricant, vendus séparément. Un adaptateur USB de type C vers USB de type A (ou vice versa) peut etre disponible; cependant, les résultats peuvent varier.
Pour obtenir des renseignements supplémentaires, consultez le guide du contrôle du fabricant de l'appareil quant à l'usage et à l'entretien appropriés de l'appareil.
Le port USB se trouve sous les commandes de chauffage et de climatisation. Insérez le dispositif USB dans le port de connexion.
Lorsqu'un dispositif de stockage compatible est branché dans le port de connexion, les fichiers audio compatibles y étant stockés peuvent etre lus par l'intémédiaire du système audio du vehicule.

Écran des connexions USB
Appuyez sur le bouton MENU et sur la touche « Connexions » ou appuyez sur la touche « Réglages » et sur la touche « Connexions » pour modifier les réglages USB.
- Auto Change Source (modification automatique de la source)
Appuyez sur ON (marche) ou OFF (arrêt) pour modifier les réglages de la source audio pour les dispositifs de mémoire USB ou un iPodMD branché à l'aide d'un cable USB.

Écran USB
- Touche « USB Menu » (menu USB) Appuyez sur cette touche pour passer à l'écran du menu USB.
- Renseignements sur la piste Des renseignements sur la piste tels que le nom de la pieceusicale, le nom de l'artiste et le nom de l'album sont affichés.
- Indicateur de source audio Indique la source audio sélectionnée.
-
Touches d'utilisation USB Appuyez sur ces touches pour actionner les fonctions de lecture USB.
-
Temps de lecture et barre de progression
Le temps de lecture de la piste est indiqué. La barre indique la progression de la lecture d'une piste.
Touches d'utilisation USB
Appuyez sur ces touches pour actionner les fonctions de lecture USB.
| Clés | Description |
| ΦΦ | Chaque fois que vous appuyez sur la touche « ΦΦ», le mode de répétition change. |
| ΦΦ | Appuyez sur cette touche pour revenir au début de la piste en cours. Appuyez de nouveau sur cette touche pour sélectionner la piste précédente. Appuyez longuemement sur cette touche pour faire reculer la piste en cours. |
| Φ | Appuyez sur cette touche pour lire la piste. |
| Π | Appuyez sur cette touche pour suspendre la lecture de la piste. |
| ΦΦ | Appuyez sur cette touche pour selec-tionner la piste suivante. Appuyez longuemement sur cette touche pour avancer rapidement dans la piste. |
| ΦΦ | Chaque fois que vous appuyez sur la touche « ΦΦ», le mode de lecture aléatoire change. |
Fonctionnement du lecteur de dispositif de mémoire USB
Activation et lecture
Branchez le dispositif de mémoire USB dans le port pour faire démarre la lecture de la mémoire USB.
Le dispositif de mémoire USB peut aussi être mis en lecture en appuyant sur la touche « USB » à l'écran de menu, ou en appuyant sur « USB » dans la barre de lancement.
Pour interrompre temporairement la lecture du dispositif de mémoire USB, appuyez sur la touche « II ». Pour reprendre la lecture, appuyez sur la touche « ▲ »
Saut de pistes
Pour sauter des pistes, appuyez sur les boutons ou du panneau de commande ou appuyez plusieurs fois sur les touches « ou « de l'écran jusqu'à ce que la piste préféree soit seLECTIONnée.
REMARQUE:
Selon les conditions, vous devrez peut être appuyer sur le bouton ou la touche deux fois pour sauter à la piste précédente. Une seule pression sur le bouton ou la touche peut seulement redémarrer la piste en coursès le début.
Avance rapide/Recul rapide
Pour faire reculer la piste ou avancer rapidement, appuyez longuement sur les boutons ou du panneau de commande ou les touches « » ou « » de l'écran.
Changement du mode de lecture Mode de répétition
Appuyez sur la touche « © » de l'écran USB pour changer le mode de répétition.
Les modes suivants sont disponibles :
All (tout): tout répéter
1 Folder (un dossier) : répéter le dossier/ sous-dossier
1 Track (une piste): répéter la piste
Mode de lecture aléatoire
Appuyez sur la touche « 品 » de l'écran pour modifier le mode de lecture aléatoire comme suit :
« « » n'est pas en surbrillance : lecture aléatoire désactivée
« « est en surbrillance : lecture aléatoire activée
Menu USB
Appuyez sur la touche « Menu USB » à l'écran USB pour afficher l'écran du menu USB.
| Touché « Now Playing » (Lecture en cours) | Appuyez sur cette touche pour afficher l'écran USB. |
| Touché « Folder List » (Liste de dossiers) | Appuyez sur cette touche pour afficher la liste des dos-siers. Appuyez sur un article de la liste pour sélectionner le dossier. La liste des sous-dossiers ou des pistes s'affiche. Sélectionné un sous-dossier ou une piste dans la liste. |
| « Album Artwork » (Pochette d'album) | Appuyez sur cette touche pour activer ou désactiver l'affichage de laPOCHETED'album sur l'écran USB. |

FONCTIONNEMENT DU LECTEUR iPod*
- Type A.
Raccordement de l'iPod MD

AVENTISSEMENT
Ne branchez pas le dispositif USB, ne le débranchez pas ou ne l'utilisez pas pendant que vous conduisez. Une telle manoeuvre peut être une source de distraction. Si vous âtes distrustait, vous
pourriez perdre la maitrise de votre vehicule et causer un accident ou des blessures graves.

MISE EN GARDE
- N'exerce aucune pression sur le dispositif USB pour l'insérer dans le port USB. Si vous insérez le dispositif USB de travers ou à l'envers dans le port, vous risquez d'endommager le port. Assurez-vous que le dispositif USB est branché correctement dans le port USB.
- N'empoignez pas le couvercle du port USB (selon l'équipement) lorsque vous tirez le dispositif USB hors du port. Vous pourriez endommager le port et le couvercle.
- Ne laïsez pas le cable USB dans un endroit où il pourrait être tiré par inadvertance. Si vous tirez sur le cable, vous risquez d'endommager le port.
REMARQUE :
Pour deromeilleurs résultats, il est recommaned'utiliser les cables du fabricant, vendus séparément. Un adaptateur USB de type C vers USB de type A (ou vice versa) peut etre disponible; cependant, les résultats peuvent varier.
Pour obtenir des renseignements supplémentaires, consultez le guide du propriétaire du fabricant de l'appareil quant à l'utilisation et à l'entretien appropriés de l'appareil.
Pour connecter un iPodMD au vehicule afin que vous puissiez le contrôle à l'aide des commandes de la chaîne audio et de l'écran de visualisation, utilisez le port de connexion USB situé sous les commandes de chauffage et du climatiseur. Branchez l'extrémité spécifique du cable du iPodMD sur ce dernier et l'autre extrémité USB du cable sur le port de connexion USB du vehicule. Si vous iPodMD peut être recharge par connexion USB, sa batterie se charge pendant que l'appareil est connecté au vehicule avec le commutateur d'allumage à la position ON (marche).
Lorsqu'il est connecté au vehicule, l'appareil iPodMD peut seulement fonctionner à l'aide des commandes audio du vehicule.
Pour débrancher le iPodMD du vehicule, retirez l'extrémité USB du cable du port de connexion USB du vehicule, puis retirez le cable du iPodMD.
- iPodMD est une marque de commerce d'Apple Inc. et est déposée aux États-Unis et dans d'autres pays.
Compatibilité
Les modèles suivants sont compatibles :
iPhoneMD 11 Pro Max
iPhoneMD 11 Pro
iPhoneMD 11
iPhoneMD XR
iPhoneMDXS Max
iPhoneMDXS
iPhoneMDX
- iPhoneMD 8 Plus
iPhoneMD 8
iPhoneMD 7 Plus
iPhoneMD7
iPhoneMD SE
- iPhone ^MD 6s Plus
iPhoneMD 6s
iPhoneMD 6 Plus
iPhoneMD 6
iPhoneMD 5s
iPhoneMD 5c
iPhoneMD 5
- iPod touch ^MD (6 ^e génération)
* Certains caractéristiques de ce modèle de iPodMD peuvent ne pas être entièrement fonctionnelles.
Verifie que le micrologiciel de votre iPod MD est à jour à la version indiquée ci-dessus. Le connecteur Lightning MC fonctionne avec les apparèils iPhone MD (5 à 11) et iPod touch MD (6e génération). USB fonctionne avec les apparèils iPhone MD (5 à 11) et iPod touch MD (6e génération).
Tous les apparueils Android dotés du système d'exploitation Android OS 5.0 ou plus récent sont compatibles.

Écran iPod
- Touche « iPod Menu » (menu iPod)
Appuyez sur cette touche pour passer à l'écran du menu iPod. - Renseignements sur la piste Des renseignements sur la piste tels que le nom de la pieceusicale, le nom de l'artiste et le nom de l'album sont affichés.
- Indicateur de source audio Indique la source audio selectionnée.
-
Pochette d'album Une image de la pochette d'album s'affiche si elle est disponible lorsque ce paramètre est activé.
-
Touches d'utilisation iPodMD
Appuyez sur ces touches pour actionner les fonctions de lecture iPodMD. - Temps de lecture et barre de progression
Le temps de lecture de la piste est indiqué. La barre indique la progression de la lecture d'une piste.
Touches d'utilisation d'un iPod ^MD
Appuyez sur ces touches pour actionner les fonctions de lecture iPodMD.
| Clés | Description |
| ♂ | Chaque fois que vous appuyez sur la touche « Ⓞ », le mode de répétition change. |
| « | Appuyez sur cette touche pour revenir au début de la piste en cours. Appuyez de nouveau sur cette touche pour sélectionner la piste précédente. Appuyez longuement sur cette touche pour faire recycler la piste en cours. |
| ► | Appuyez sur cette touche pour dire la piste. |
| II | Appuyez sur cette touche pour suspendre la lecture de la piste. |
| Clés | Description |
| ►► | Appuyez sur cette touche pour sélec-tionner la piste suivante. Appuyez longuement sur cette touche pour avancer rapidement dans la piste. |
| ×× | Chaque fois que vous appuyez sur la touche « ××», le mode de lecture aléatoire change. |
Fonctionnement du lecteur de dispositif de mémoire iPod
Activation et lecture
Branchez l'iPod ^MD au vehicule par un cable USB pour activer le mode iPod ^MD .
L'ipod MD peut aussi être mis en lecture en appuyant sur la touche « iPod » de l'écran de menu, ou en appuyant sur « iPod » dans la barre de lancement.
Saut de pistes
Pour sauter des pistes, appuyez sur les boutons ou du panneau de commande ou appuyez plusieurs fois sur les touches « ou « de l'écran jusqu'à ce que la piste préféree soit sélectionnée.
REMARQUE :
Selon les conditions, vous devrez peut être appuyer sur le bouton ou la touche deux fois pour sauter à la piste précédente. Une seule pression sur le bouton ou la touche peut seulement redémarrer la piste en coursès le début.
Avance rapide/Recul rapide
Pour faire reculer la piste ou avancer rapidement, appuyez longuement sur les boutons ou du panneau de commande ou les touches « « » ou « « » de l'écran.
Changement du mode de lecture Mode de répétition
Appuyez sur la touche « G > sur l'écran iPodMD pour changer le mode de répétition. Les modes suivants sont disponibles :
Aucun texte affiché: répétition désactivée
All (tout): tout répéter
One (Une): répéter la piste
Mode de lecture aléatoire
Appuyez sur la touche « 品 » de l'écran pour modifier le mode de lecture aléatoire comme suit :
« » n'est pas en surbrillance : lecture aléatoire désactivée
« » est en surbrillance : lecture aléatoire activée
Menu iPodMD
Appuyez sur la touche « iPod Menu » (menu iPod) à l'écran iPodMD pour afficher l'écran du menu iPodMD.
| Touché « Now Playing » (Lecture en cours) | Appuyez sur cette touche pour afficher l'écran USB. |
| Touché «liste des dossiers » (selon l'équipe-ment) | Appuyez sur cette touche pour afficher la liste des dos-siers. Appuyez sur un article de la liste pour sélectionner le dossier. La liste des sous-dossiers ou des pistes s'af-fiche. Sélectionnez un sous-dossier ou une piste dans la liste. |
| Touché « Album Artwork » (Pochette d'album) | Appuyez sur cette touche pour activer ou désactiver l'af-fichage de la pochette d'album sur l'écran USB. |
| Touché « Lists de lecture » | Appuyez sur cette touche pour afficher la liste en fonction de l'article sélectionné. |
| Touché « Artistes » | |
| Touché « Albums » | |
| Touché « Chansons » | |
| Touché « Podcasts » | |
| Touché « Genres » | |
| Touché « Compositeurs » | |
| Touché « Livres audio » | |
| Touché « iTunes Radio » |
DIFFUSION AUDIO BLUETOOTHMD
Si vous possédez un dispositif Bluetooth compatible avec diffusion audio, (profil A2DP), vous pouvez étabir une connexion sans fil entre votre dispositif Bluetooth et le système audio de votre vehicule.
Cette connexion vous permet d'écouter le système audio à partir de votre dispositif Bluetooth en utilisant les haut-parleurs du vehicule.
Pour utiliser la diffusion audio Bluetooth ^MD , appuyez sur l'icone × Bluetooth ^MD de la barre de lancement, puis appuyez sur la touche « BT Audio » (audio Bluetooth).
REMARQUE:
N'utilisez pas un téléphone cellulaire pendant que vous conduisez, car la conduite d'un vehicule exige toute votre attention. Si l'appareil doit être connecté, consultez la section « Procédure de jumelage » (p. 4-67).

REMARQUE:
Effectuez le jumelage lorsque le vehicule est immobile. Le processus est annulé si le vehicule commence à se déplacer pendant le processus.
Pour connecter un système téléphonique mains libres Bluetooth ^MD :
Procedure de connexion manuelle
- Sélectionnez la touche « Settings » (Réglages) de la barre de lancement.
-
Appuyez sur la touche « Connections » (Connexions).
-
Appuyez sur l'onglet Bluetooth et sur la touche « Add New » (Ajouter nouveau).
- Suivez les instructions à l'écran.
Si un NIP s'affiche à l'écran, activez le dispositif BluetoothMD pour entrer/confirmer le NIP.
Procedure de jumelage
| Option de menu | Résultat | |
| Bluetooth | Permet à l'utilisateur de partager le système Bluetooth® en fonction ou hors fonction. Le système Bluetooth® doit être en fonction pour connecter un appareil. | |
| Activé | Active la fonction Bluetooth®. Pour la désactiver, appuyez de nouveau sur la touche « ON » (marche). Le tímein s'éteindra. | |
| Favori (connexion d'abord) | Permet à l'usager d'activer et de désactiver les réglages « Téléphone » et « Audio » préférés. | |
| PIN (NIP) | Permet à l'usager de personneliser le NIP à quatre chiffres. | |
Procedure de connexion automatique
Sieldom, enonceze le bouton au volant pendant moins d'une seconde et demie.
Aprés l'invite, dites « Add Phone » (ajouter
un téléphone) et le système annunciera le passage au menu de réglages permettant d'ajouter un téléphone. Le système demarrera le processus de jumelage. Lorsqu'un téléphone compatible est trouvez, un message arrivapné d'un code NIP
s'affiche à l'écran. Activez le téléphone Bluetooth pour terminer le processus de connexion. Pour obtenir des renseignements supplémentaires, consultez la section « Écran des connexions Bluetooth » (p. 4-90).

Écran Bluetooth ^MD
- Touche « BT Menu » (menu Bluetooth) En fonction de la version Bluetooth™ prise en charge par l'appareil connecté, la touche « BT Menu » (menu Bluetooth) ou « Connections » (connexions) est affichée.
- Renseignements sur la piste Des renseignements sur la piste tels que le nom de la pieceusicale, le nom de l'artiste et le nom de l'album sont affichés.
-
Indicateur de source audio Indique la source audio selectionnée.
-
Touches d'utilisation du système audio Bluetooth
Appuyez sur ces touches pour actionner les fonctions de lecture audioBluetooth ^MD .
- Temps de lecture et barre de progression
Le temps de lecture de la piste est indiqué. La barre indique la progression de la lecture d'une piste.
Touches d'utilisation Bluetooth
Appuyez sur ces touches pour actionner les fonctions de lecture Bluetooth ^MD .
| Clés | Description |
| ♂ | Chaque fois que vous appuyez sur la touche « Ⓞ », le mode de répétition change. |
| « | Appuyez sur cette touche pour revenir au début de la piste en cours. Appuyez de nouveau sur cette touche pour sélectionner la piste précédente. Appuyez longuem sur cette touche pour faire recycler la piste en cours. |
| ► | Appuyez sur cette touche pour dire la piste. |
| II | Appuyez sur cette touche pour suspendre la lecture de la piste. |
| Clés | Description |
| ►► | Appuyez sur cette touche pour sélec-tionner la piste suivante. Appuyez longuement sur cette touche pour avancer rapidement dans la piste. |
| ×← | Chaque fois que vous appuyez sur la touche « ×←», le mode de lecture aléatoire change. |
Fonctionnement du système audio Bluetooth MD
Les fonctions de pause, de changement de pistes, d'avance et de retard rapide, de lecture aléatoire et de répétition peuvent être différentes selon le dispositif. Certains de ces options ou leur ensemble peuvent ne pas été prisent en charge par tous les dispositifs.
REMARQUE:
En fonction du dispositif audio Bluetooth MD connecté, il peut être impossible d'effectuer des opérations audio ou un début peut survenir avant la lecture de la musique.
Activation et lecture
Un appeareil audio BluetoothMD peut être mis en lecture en appuyant sur la touche « Bluetooth » de l'écran de menu ou en appuyant sur « Bluetooth » dans la barre de lancement.
Pour interrompre temporairement la lecture du système audio Bluetooth ^MD , appuyez sur la touche « Il ». Appuyez sur la touche « » pour reprendre la lecture.
Modification des dossiers
Pour changer de dossiers, appuyez sur la touche « Menu BT »
Avance rapide/Recul rapide
Pour faire reculer la piste ou avancer rapi-dement, appuyez longuement sur les boutons ou du panneau de commande ou appuyez sur les touches « ou « » de l'écran.
Changement du mode de lecture Mode de répétition
Appuyez sur la touche « G » de l'écran pour changer le mode de répétition.
Mode de lecture aléatoire
Appuyez sur la touche « 品 » de l'écran pour changer le mode de lecture aléatoire.
REMARQUE:
Les modes de répétition et de lecture aléatoire disponibles changent selon l'appareil connecté.
Menu BT
Appuyez sur la touche « BT Menu » (menu Bluetooth) à l'écran audio BluetoothMD pour afficher l'écran du menu du système audio BluetoothMD.
Les articles suivants sont disponibles.
| Touché « Now Playing » (Lecture en cours) | Appuyez sur cette touche pour afficher l'écran du système audio Bluetooth™. |
| Touché « Current List » (liste actuelle) (selon l'équipement)* | La liste des pistes dans le dossier sélectionné est affichée. |
| Touché « Connec-tions » (Connexions) | Appuyez sur cette touche pour afficher l'écran des connexions. |
| Touché « Folder List » (liste de dossiers) | Appuyez sur cette touche pour afficher la liste des dossiers. Appuyez sur un article de la liste pour sélectionner le dossier. |
- S'affiche uniquement si l'option est disponible.
REMARQUE:
Selon l'appareil connecté, la touche « Menu BT » peut ne pas etre affichée.

COMMANDES DU SYSTÉME AUDIO DU VOLANT DE DIRECTION
- Bouton de commande du menu/OK
- Commutateur de return
- Boutons SEEK/TRACK (recherche-piste)
- Interrupteur de commande du volume
Boutons SEEK/TRACK (recherche-piste)
Pour la plupart des sources audio, le fait d'appuyer sur les commutateurs de syntonisation pendant plus d'une seconde et demie donne accès à une fonction différente que le fait de les enforcer plus brièvement.
AM et FM :
Appuyer sur les boutons ou pendant moins d'une seconde et demie pour avoir un numero de station preselectionnee supérieur ou inférieur.
- Appuyez sur les boutons « ou « pendant plus d'une seconde et demie pour rechercher la station suivante vers le haut ou le bas de la bande.
iPodMD:
- Appuyez sur les boutons « ou « pendant moins d'une seconde et demie pour augmenter ou diminuer le nombre de la piste.
USB:
-
Appuyez sur les boutons « ou « pendant moins d'une seconde et demie pour augmenter ou diminuer le nombre de la piste.
-
Appuyez sur les boutons ou pendant plus d'une seconde et demie pour faire reculer ou avancer rapidement la chanson en cours de lecture.
Diffusion audio BluetoothMD :
- Appuyez sur les boutons ou pendant moins d'une seconde et demie pour passer à la piste suivante ou à la piste précédente.
- Appuyez sur les boutons ou pendant plus d'une seconde et demie pour faire reculer ou avancer rapidement la chanson en cours de lecture.
Bouton de commande du menu/OK
À l'écran multifonction, naviguez jusqu'à « Customize Display » (affichage personnelisé), « Main Menu Selection » (seLECTION du menu principal), puis « Audio ». Utilisez le bouton OK pour changer le mode selon la série suivante :
AM FM USB/iPod ^MD audio Bluetooth ^MD AUX (auxiliaire) ^* AM.
- Ces modes sont disponibles uniquement quand un dispositif de stockage média compatible est inséré dans l'appareil ou raccordé au système.
Interrupteur de commande du volume
Appuyez sur la commande vers le haut ou vers le bas pour augmenter ou pour réduire le volume.
Commutateur de回头
Appuyez sur le commutateur (retour) pour returner à l'écran précédent ou annuler la sélection actuelle.
ANTENNE RADIO
Antenne de lunette arrête
Le circuit de l'antenne est imprimé dans la lunette arrière.

MISE EN GARDE
-
Ne placez pas de pellicule métallisée après de la lunette arrêté et n'y attachez pas de pieces métalliques. Ces articles pourraient nuir à la réception radio ou être une source de bruit.
-
Pendant le nettoyage de la paroi interieure de la lunette arrière, prenez soit de ne pas égratigner ni endommager l'antenne. Essuyez légarrement avec un chiffon doux et humide le long de l'antenne.
- N'endommagez pas le circuit de l'antenne avec les bagages

Antenne de radio par satellite
L'antenne est située sur la partie arrière du toit du vehicule.

MISE EN GARDE
- Une accumulation de glace sur l'antenne peut nuire au rendement de la radio. Enlevez la glace pour rétabrir la réception de la radio.
Lorsque you enlevez la neige du toit, n'appliquez pas une trop grande force sur l'antenne. Cela peut endommager I'antenne et le panneau de toit.
Lorsque you faites nettoyer voire vehicule dans un lave-auto a haute pression, gardez la buse à l'ecart de l'antenne. Sinon, le joint pourrait etre déformé ou endommagé.
- Le rendement de la radio peut être compromis si vous transportez des bagages qui bloquent le signal de la radio sur le porte-bagages de toit. Evitez autant que possible de déposer des charges près de l'antenne de réception satellite.
Vous pouvez acceder au système d'assistance personnelle Apple Siri ^MD Eyes Free à partir du vehicule. Vous pouvez acceder au système Siri Eyes Free en mode Siri Eyes Free pour réduire la distraction de l'usager. Dans ce mode, vous pouvez interagir avec le système Siri Eyes Free par commande vocale. ÀpRES avoir connecté un apparéil Apple compatible par Bluetooth ^MD , vous pouvez activer le système Siri Eyes Free à partir du bouton du volant de direction.
SiriMD est une marque de commerce d'Apple Inc., déposée aux États-Unis et dans d'autres pays.
- Certaines fonctions Siri Eyes Free, telles que l'affichage des images ou l'ouverture des applications peuvent ne pas etre disponibles pendant la conduite.
- Pour obtenir de plusieurs résultats, mettez toujours votre apparéil à jour avec la version logicielle la plus récente.
-
Maintenez autant que possible le silence dans l'habitacle. Fermez les glaces pour éliminer les bruits ambiants (bruits de circulation, vibrations, etc.) qui peuvent empêcher le système de reconnaître correctement les commandes vocales.
-
Pour les fonctions qui peuvent être utilisées dans le système Siri Eyes Free, consultez le site Web d'Apple.
EXIGENCES
Siri™ n'est disponible que sur iPhone™ 4S ou versions plus récentes. Les appareils mis sur le marché avant iPhone™ 4S ne sont pas compatibles avec le système Siri™ Eyes Free. Visitez le site www.apple.com/ios/siri pour obtenir des renseignements supplémentaires à propos de la compatibilité de l'appareil.
Le système Siri doit être activé sur le téléphone. Vérifiez les réglages du téléphone.
Si l'appareil est doté d'un écran de verrouillage, le système Siri doit être accessible à partir de cet écran. Vérifiez les réglages du téléphone.
Pour obtenir de plusieurs résultats, mettez toujours vous regardier à jour avec la version logicielle la plus récente.

FONCTIONNEMENT DU SYSTEME SIRIMD EYES FREE
- Appuyez sur le bouton pendant plus d'une seconde et demie.
- Énonce chez la commande, puis écoutez la réponse du système SiriMD Eyes Free.
Après le démarriage du système Siri Eyes Free, appuyez de nouveau sur le bouton dans les 5 secondes après la fin du message-guide émis par le système Siri Eyes Free pour prolonger la session.
Exemple 1-Lire de la musique
- Appuyez sur le bouton pendant plus d'une seconde et demie.
- Dites « Play (artist name, song name, etc.) » (lire [nom de l'artiste, nom de la chanson, etc.]).
-
Le vehicule passe automatiquement au mode* audio Bluetooth™ ou iPod™ lorsque la musique commence. Le choix du mode est déterminé au moyen du téléphone.
-
Si l'appareil iPhoneMD est également relié au cable USB.
Si la piste audio ne commence pas à dire automatiquement dés que le système Siri Eyes Free s'arrête, essayez de changer la piste ou la source audio pour reprendre la lecture.
REMARQUE :
Pour obtenir de plusieurs résultats, utilise l'application Music (musique) d'origine. La performance de la fonction de commande de musique peut varier et est commandée par iPhone™ lorsque vous utilise za baladodiffusion, le livre audio ou d'autres applications musicales hierces.
Exemple 2 - Répondre au message-texte
- Si un iPhone ^MD compatible est connecté et l'option « Show Notifications » (Afficher les avis) du menu de réglage de iPhone ^MD est activée, le vehicule affiche un avis pour les nouveaux messages/texte entrants.
- ÀpRES avoir lu le message, appuyez brie-vement ou longuement sur le bouton pour répondre au moyen du système Siri Eyes Free.
- ÀpRES le bip, dites « Text message » (message texte) ou une commande similaire pour répondre au moyen du système Siri Eyes Free.
GUIDE DE DÉPANNAGE
| Symptôme | Cause et mesure corrective |
| Vous ne pouvez pas acceder au système Siri Eyes Free à partir du commutateur du volant | Vérifiez si une connexion Bluetooth® est établie entre l'appareil iPhone® et le système. |
| Vérifiez si le système Siri est activé sur l'appareil. Sur votre téléphone, allez sur le menu de réglages Siri. | |
| Confirmez que vous pouvez acceder au système Siri à partir de l'écran de verrouillage de l'appareil. Ceci peut être régli dans le menu de réglages de votre téléphone. | |
| La source audio ne passe pas automatiquement en mode iPod® ou audio Bluetooth® | Pour obtenir deaillesleurs résultats, utilisez l'application Music (musique) d'origine. La performance de la fonction de commande de musique peut varier lorsque vous utilisez la baladodiffusion, le livre audio ou d'autres applications musicales hierces. |
| Pour Broker deaillesleurs résultats, lisez le support multimédia déjà enregistré sur votre appleil. La diffusion de la musique en continu ou la lecture à partir du stockage en nuage peut dégrader la performance. | |
| Changez manuellement la source en appuyant sur le bouton AUX (auxiliaire) ou MEDIA (multimédia) du système audio du vehicule ou sur le bouton SOURCE du volant. | |
| Les options suivantes : lecture, pause, piste suivante, piste précédente ou minutes de lecture ne fonctionnement pas | Pour Broker deaillesleurs résultats, utilisez l'application Music (musique) d'origine. La performance de la fonction de commande de musique peut varier et est commandée par l'application lui que vous utilisez la baladodiffusion, le livre audio ou d'autres applications musicales hierces. |
| Vous ne pouvez écouter aucune piece musicale ou source audio en cours de lecture à partir de iPhone® connecté | Confirmez que la source audio est régliée sur le mode audio Bluetooth® ou iPod®. Une connexion USB est nécessaire pour le mode iPod®. |
| Vous ne pouvez pas receivevoir les avis de message texte sur le système audio du vehicule | Vérifiez si l'option « Send Notifications » (envoyer les avis) est activée sur votre téléphone. Sur le téléphone, allez sur le menu de réglages Bluetooth® Trouvez le nom de l'application, tel que « My Car » (ma voiture). Appuyez sur le bouton INFO (information). Activez l'option « Send Notifications » (envoyer les avis). |
| Vous ne pouvez pas répondre auxAVIS de message texte au moyen du système Siri Eyes Free | Après la réception d'un message texte entrant, suivez le guidage à l'écran. Appuyez sur le bouton « du volant pendant plus d'une seconde et demie pour le système Siri Eyes Free. Dés que le système Siri Eyes Free démarre, dites « Text Message » (message texte). |
TELEPHONE DE VOITURE OU RADIO BP
Si vous installez un poste de bande publique, un radio-amateur ou un téléphone de voiture dans votre vehicule, respectez les précautions suivantes pour prévenir toute interférence avec le circuit de commande du moteur et les autres composants électroniques.

AVERTISSEMENT
La conduite d'un vehicule exige toute l'attention du conducteur. Ce dernier ne devrait donc pas utiliser son téléphone cellulaire lorsqu'il est au volant. Les bois de certaines régions interdisent l'utilisation d'un téléphone cellulaire en conduisant.
Si vous nevez téléphoner en conduisant, il est vivement recommanedeutiliser le mode « mains libres » devoiture tellephone cellulaire (selon I'equipement).Faites preuve d'une grande prudence en tout temps et concentrez-vous sur la conduite du vehicule.
- Si vous ne pouvez pas consacrer toute votre attention à la conduite du vehicule en parlant au téléphone, rangez le vehicule en lieu s ur et immobilisez-le.

MISE EN GARDE
- L'antenne doit être placee aussi loin que possible des modules de commande du moteur.
Assurez-vous qu'il y a au moins 20 cm (8 po) entre le fil de l'antenne et les faisceaux du dispositif de commande électronique. Faites passer le fil de l'antenne loin de tout faisceau. - Procedez au réglage du rapport d'onde stationnaire de l'antenne conformément aux instructions du fabricant.
- Branchez le fil de masse du chassin de radio BP à la carrosserie.
Pour obtenir de plus amples renseignements, nous vous recommandons de visitor un concessionnaire NISSAN pour cet entretien.
SYSTEME TÉLÉPHONIQUE MAINS LIBRES BLUETOOTH

AVERTISSEMENT
- Immobilisez votre vehicule en un endroit sur avant d'utiliser un téléphone. Si vous utilisez un téléphone en conduisant, exercez en tout temps une grande prudence pour consacrer toute votre attention à la conduite du vehicule.
Si vous ne pouvez pas consacrer toute votre attention à la conduite du vehicule en parlant au téléphone, rangez le vehicule en lieu sur et immobilisez-le.

MISE EN GARDE
Démarrez le moteur avant d'utiliser un téléphone pour éviter de décharger la batterie.

Votre vehicule NISSAN est doté du système téléphonique mains libres Bluetooth™. Si vous possédez un téléphone cellulaire compatible avec Bluetooth™, vous pouvez étabrir une connexion sans fil entre votre téléphone cellulaire et le module téléphonique du vehicule. Grace à la technologie
sans fil Bluetooth ^MD , vous pouvez établier ou receivevoir des appel téléphoniques mains libres dans le vehicule au moyen de votre téléphone cellulaire.
Une fois que vous téléphone cellulaire est connecté au module téléphonique du vehicule, aucune autre connexion n'est
necessaire. Voiture tellephone est automatiquement connecté au module tellephonique du vehicule lorsque le commutateur d'allumage est place a la position ACC (accessoires) ou ON (marche) alors que le tellephone cellulaire qui etait déjà connecté est sous tension et qu'il se trouve dans le vehicule.
REMARQUE:
Certain appareils exigent que l'utilisateur accepte les connexions à d'autres dispositifs BluetoothMD. Si vous téléphone ne se connecte pas automatiquement au système, consultez le manuel d'utilisation du téléphone pour obtenir tous les détails sur le fonctionnement de l'appareil.
Vou puez connecter jusqu'a six teléphones cellulaires compatibles Bluetooth MD differents au module téléphonique du vehicule. Vous ne pouez toutefois parler que sur un seul téléphone cellulaire à la fois.
Avant d'utiliser le système téléphonique mains libres Bluetooth ^MD , lisez les notes ci-après.
- Configurez la connexion sans fil entre un téléphone cellulaire compatible et le module téléphonique du vehicule avant d'utiliser le système téléphonique mains libres.
- Certains téléphones cellulaires Bluetooth® peuvent ne pas être reconnus ou fonctionner correctement. Consultez le site www.nissanusa.com/bluetooth ou www.nissan.ca/bluetooth pour obtenir la liste des téléphones commandés et les instructions de connexion.
- Vous ne pourrez pas utiliser un téléphone mains libres dans les conditions suivantes :
-Votre vehicule se trouve hors de la zone de service de votre téléphone cellulaire.
-Votre vehicule se trouve dans une région où la réception des signaux du réseau cellulaire est difficile, telle qu'un tunnel, un stationnement souterrain, pres d'un grand immeuble ou dans une région montagneuse.
-Votre téléphone cellulaire est verrouillé pour en prévenir l'utilisation non autorisé.
-
Lorsque l'etat des ondes radioélectriques n'est pas idéal ou lorsque le bruit ambiant est trop élevé, il peut être difficile d'entendre la voix de l'autre personne pendant un appel.
-
Ne placez pas le téléphone cellulaire dans une région entourée de métal ou loin du module téléphonique du vehicule pour préserver la qualité de la tonalité et prévenir les interruptions de la connexion sans fil.
- Lorsqu'un téléphone cellulaire est relié au moyen de la connexion sans fil Bluetooth ^MD , l'alimentation de la batterie du téléphone cellulaire peut se décharger plusrapidement que d'habitude.Le système téléphonique mains libres Bluetooth ^MD de votre vehicule n'est pas concu pour recharger les Telefones cellulaires.
- Certains téléphones cellulaires ou autres dispositifs peuvent cause de l'interfERENCE ou produit un bourdonnement dans les haut-parleurs de la chaîne sté réo. Rangez le dispositif en un autre endroit pour tenter de réduire ou d'éliminer le bruit.
- Pour obtenir de plus amples renseignements, consultez le manuel d'utilisation du téléphone cellulaire au sujet des frais, de l'antenne et du boîtier du téléphone cellulaire, etc.
INFORMATION SUR LA RÉGLEMENTATION
Information sur la réglementation de la FCC
- MISE EN GARDE : Afin de respecter la conformité relative à l'exposition aux radiofréquences de la FCC, utilisez uniquement l'antenne fournie avec le dispositif. Une antennon non autorisé, modifiée, ou l'ajout d'accessoires pourraient endommager l'émetteur et enfreindre les règlements de la FCC.
- Son utilisation est soumise aux deux conditions suivantes :
Ce dispositif ne doit cause aucune interference nuisible.
Ce dispositif doit pouvoir accepter toutes les interférences, y compris celles qui pourrait l'activer de façon inopinée.
Information sur la réglementation IC
- Son'utilisation est soumise aux deux conditions suivantes : (1) ce dispositif ne doit causer aucune interférence nuisible et (2) ce dispositif doit pouvoir accepter toutes les interférences, y compris celles qui pourrait l'activer de façon inopinée.
- Ce dispositif numérique de classe B est conforme à toutes les exigences de la réglementation canadienne sur le matériel brouilleur visant les apparèils numériques.

BLUETOOTHMD est une marque de
commerce deBluetooth SIG, Inc. etutilisée sous licencepar Panasonic.
UTILISATION DU DISPOSITIF
Le système permet d'utiliser le module téléphonique mains libres BluetoothMD en gardant les mains libres.
Si le vehicule se déplace, certaines commandes ne sont pas accessibles pour que le conducteur se concentre sur la conduite du vehicule.
Initialisation
Lorsque le commutateur d'allumage est enforcé à la position ON (marche), le système de reconnaissance vocale NISSAN est initiaisé en quelques secondes. Si vous appuyez sur le bouton « avant la fin de l'initialisation, le systèmeannounce qu'aucun téléphone n'est connecté et ne réagit pas aux commandes vocales.
Conseils d'utilisation
Respectez les mesures suivantes pour optimiser le rendement du système de reconnaissance vocale NISSAN :
- Maintenez autant que possible le silence dans l'habitacle. Maintenez à l'écart du microphone toutes les bouches d'air et fermez les glaces pour éliminer les bruits ambiants (bruits de traffic, vibrations, etc.) qui peuvent empêcher le système de reconnaître correctement les commandes vocales.
- Attende que la tonalité retentisse avant d'énoncer une commande. Autrement, la commande ne sera pas correctement reçue.
- Commencez à énoncer une commande dans les cinq secondes après la tonalité.
- Parlez naturellement sans marquer une pause entre les mots.
Pour appeler les contacts par leur nom, énonze le prénom et le nom de famille du contact pour améliorer la reconnaissance.
Émission de commandes vocales
Pour utiliser le système de reconnaissance vocale NISSAN, appuyez pendant moins d'une seconde et demie sur le bouton 2 situé sur le volant. Énonze une commande après la tonalité.
La commande énoncée est captée par le microphone et une réponse vocale est émise lorsqu'la commande est acceptée.
- Si une commande n'est pas reconnaue, le système vous demande d'énoncer une commande ou d'en sélectionner une à partir de la liste affichée. Assurez-vous que la commande est exactement telle qu'elle est demandée par le système et repétez clairment la commande.
- Pour revenir à la commande précédente, vous pouvez dire « Go back » (précedent) ou « Correction » en tout temps lorsque le système attend une réponse.
- Vous pouvez annuler une commande lorsqu'le système attend une réponse en disant « Annuler » ou « Sortir». Le système_annonce « Sortie » et termine la session de reconnaissance vocale. Vous pouvez aussi appuyer en tout temps sur le bouton à du volant et le maintainir
enforcé pendant une seconde et demie pourmettre fin à la session de reconnaissance vocale.Lorsque la session de reconnaissance vocale est annulée, un double bip retentit pour indiquer que vous avez quitté le système.
Pour régler le volume des messages du système, enforcez le bouton de commande de volume (+ ou -) situé sur le volant de direction lorsque le système émet un commentaire. Vous pouze aussi utiliser le bouton de commande de volume de la radio.
Interruption des messages vocaux
Dans la plupart des cas, vous pouvez interrompre le guidage vocal pour énoncer la commande suivante en appuyant sur le bouton du volant. ÀpRES avoir interrompu le système, attendez un signal sonore avant d'énoncer votre commande.
Appel direct (selon l'équipement)
Vous pouvez acceder au système plus rapidement en utilisant les commandes de deuxieme niveau au moyen de la commande de menu principal du menu principal. Par exemple, appuyez sur le bouton et après la tonalité, dites « Call Redial » (recomposition d'appe).

TEMOINS
Lorsqu'un téléphone cellulaire est connecté au moyen de la connexion sans fil Bluetooth ^MD , les indicateurs ① pour le téléphone et la messagerie texte sont affichés en haut de l'écran.
| Témoin | Description |
| × | Indique qu'il y a des messages reçus non lus. |
| § 1 | Indique le dispositif Bluetooth® actuellesment connecté. |
| Y | Indique la puissance du signal que le dispositif Bluetooth® recoit. |
| ® | Indique le niveau restant de la batterie de l'appareil Bluetooth®. |

BOUTONS DE COMMANDE
Les boutons de commande du système téléphonique mains libres Bluetooth se trouvent sur le volant.
BOUTON DE COMMANDE VOCALE Appuyez sur le bouton et maintenez-le enforcé pendant plus d'une seconde et demie pour débuter la session de reconnaissance vocale. Pour quitter la session de reconnaissance vocale, appuyez sur le bouton et maintenez-le enforcé pendant plus d'une seconde et demie. Pour obtaining des renseignements supplémentaires, consultez la section « Interruption des messages vocaux » (p. 4-79).
Voupsouspoucezutiliserlebouton 6 pour interrompre la retroaction du systeme et donner immediatement des commandes.
Si un iPhone MD est connecté, vous pouvez acceder à Siri MD en appuyant sur le bouton pendant moins d'une seconde et demie. Pour obtenir des renseignements supplémentaires, consultez la section « Siri MD Eyes Free » (p. 4-72).
BOUTON DE TÉLÉPHONE Pour répondre à un appel entrant oumettre fin à un appel, appuyez sur le bouton
Pour refuser un appel, appuyez longuement sur le bouton

REMARQUE:
Effectuez le jumelage lorsque le vehicule est immobile. Le processus est annulé si le vehicule commence à se déplacer pendant le processus.
Pour connecter un système téléphonique mains libres Bluetooth ^MD :
Procedure de connexion Bluetooth MD
- Sélectionnez la touche « Settings » (Réglages) de la barre de lancement.
-
Appuyez sur la touche « Connections » (Connexions).
-
Appuyez sur l'onglet Bluetooth et sur la touche « Add New » (Ajouter nouveau).
- Suivez les instructions à l'écran.
Si un code NIP s'affiche à l'écran, activez le dispositif BluetoothMD pour entrer/confirmer le code NIP.
PROCEDURE DE ConnEXION BLUETOOTH
| Option de menu | Résultat | |
| Bluetooth | Permet à l'utilisateur de mettre le système Bluetooth™ en fonction ou hors fonction. Le système Bluetooth™ doit être en fonction pour connecter un appareil. | |
| ON (marche) | Active la fonction Bluetooth™. Pour la désactiver, appuyez de nouveau sur la touche « ON » (marche). Le tímoin s'étein-dra. | |
| Favori (connexion d'abord) | Permet à l'utilisation d'activer et de désactiver les réglages « Téléphone » et « Audio » préférés. | |
| PIN (NIP) | Permet à l'utiliser de personnelir le NIP à quatre chiffres. | |
REMARQUE:
Dans le cas de certains téléphones cellulaires, vous aurez peut-être à accepter certaines permissions pour activer des fonctions sur toute système BluetoothMD. Durant la procédure de jumelage BluetoothMD, veuillez vérifier si une fenêtre contextuelle s'affiche à l'écran de votre téléphone cellulaire pour vous demander l'accès au repertoire téléphonique.
Permettez l'accès au repertoire téléphonique pour que vos contacts soient télé-chargés dans le système BluetoothMD du vehicule. Une fenêtre contextuelle peut s'afficher sur votre téléphone cellulaire indiquant que le système BluetoothMD vous drait acceder à vos contacts et à votre historique d'appels. Veuillez selectionner « Allow » (permétre) ou « Yes » (oui) pour accorder cette autorisation.
Procedure de connexion automatique
Si,aucuntelephone n'est connecté au systeme,enforcez le bouton au volant pendant moins d'une seconde et demie. Apre'sl'invite,dites « Add Phone » (ajouter untelephone) et le systemeannoncera le passage au menu de réglages permettant
d'ajouter un téléphone. Le système démarra le processus de jumelage. Lorsqu'un téléphone compatible est trouve, un message accompagné d'un code NIP s'affiche à l'écran. Activez le téléphone BluetoothMD pour terminer le processus de connexion. Pour obtenir des renseignements supplémentaires, consultez la section « Écran des connexionsBluetoothMD » (p. 4-90).
COMMANDES VOCALES
Les commandes vocales peuvent être utilisées pour faire fonctionner le système téléphonique mains libres Bluetooth ^MD . Appuyez sur le bouton et maintenez-le,enforcépendant moins d'une seconde et demie pour afficher le menu de commande du téléphone. Les commandes suivantes sont disponibles:
- Call
(appeler ) - Dial
(composer ) - Recent Calls (appels récents)
- Read/Send Text (lire/envoyer message texte) (selon l'equipement)
- Siri ^MD (selon l'équipement)
- Voice Assistant (assistant voix) (selon l'équipement)
-
Répertoire
-
Composition rapide
- Redial (recomposer)
- Select Phone (seLECTIONner téléphone)
- Add Phone (ajouter téléphone)
- Call
Mobile (appeler cellulaire ) - Call
Home (appeler domicile ) - Call
Office (appeler bureau ) - Call
Main (appeler n° principal ) - Call
Other (appeler autre n° ) - Réglages
« Call » (appeler )
Dites cette commande pour acheminer un appel vers un contact enregistré dans le repertoire téléphonique. Dites « Call » (appeler) et un nom du réseau pour effectuer un appel. Si le système ne reconnait pas le nom, il affiche une liste de noms similaires. ÀpRES l'invite, énoncez ou touchez un nombre d'article dans la liste qui s'affiche pour effectuer l'appeL.
« Dial <numéro» (composer
Dites cette commande pour effectuer un appel vers un numéro de téléphone énoncé. Àpres l'invite, dites « Dial » (composer) et un numéro de téléphone de 7 à 10 chiffres. Le système repétera le numéro. Dites « Dial » (composer) pour établier la communication ou « Correction » pour entra r'à nouveau le numéro de téléphone.
« Recent Calls » (Appels récents)
Les commandes suivantes sont disponibles sous « Recent Calls » (appels récents):
-
Incoming Calls (appels entrants)
Énonce cette commande pour obtenir la liste des 20 derniers appels entrants effectués vers le vehicule. Si l'appel provient d'une entrée du réseau, le nom sera affchéé. Sinon, le numéro de téléphone de l'appointer sera affchéé. À l'invite, énonze ou touche le numéro d'article à l'écran pour effectuer l'appoint. Appuyez sur la touche « Suivant » pour vous déplacer dans la liste des appels entrants. -
Outgoing Calls (appels sortants)
Énonce cette commande pour obtenir la liste des 20 derniers appels sortants effectuels à partir du vehicule. Si l'appel était destiné à une entrée du repertoire, le nom sera affchéé. Sinon, le numéro de téléphone de l'appel sortant sera affchéé. À l'invite, énonze ou touche le numéro d'article à l'écran pour effectuer l'appel. Appuyez sur la touche « Suivant » pour vous déplacer dans la liste des appels sortants. -
Missed Calls (appels manqués)
Énonce cette commande pour obtenir la liste des 20 derniers appels manqués dans le vehicule. Si l'appel provient d'une entrée du repertoire, le nom sera affchéé.
Sinon, le nombre de téléphone de l'appoint manqué sera affchéé.
À l'invite, énonze ou touche le numéro d'article à l'écran pour effectuer l'appel. Appuyez sur la touche « Suivant » pour vous déplacer dans la liste des appels manqués.
« Read Text/Send Text » (lire/envoyer message texte) (selon l'équipement)
Énoncez cette commande pour acceder aux fonctions de messagerie texte.
Pour obtenir des renseignements supplémentaires, consultez la section « Message-rie texte » (p. 4-87).
« Phonebook through voice command » (répertoire au moyen de la commande vocale)
Dites « Phonebook » (répertoire) pour afficher une liste d'étapes rapides permettant d'acceder aux entrées stockées dans le réseau téléphonique. Les commandes sont organises par le type de numéro de téléphone selectionné dans l'appareil cellulaire. Pour obtenir des renseignements supplémentaires, consultez le manuel d'utilisation du téléphone cellulaire.
Les commandes suivantes sont disponibles:
-
-
Main (n° principal) -
Home (domicile) Mobile (cellulaire) Office (bureau) Other (autre n°)
Pour obtenir des renseignements supplémentaires sur la sélection manuelle des entrées du réseau, consultez la section « Effectuer un appel » (p. 4-85).
« Quick dial » (composition rapide)
Dites cette commande pour acceder au menu de composition rapide. Àpès l'invite, énonce ou touchez un numéro d'article dans la liste qui s'affiche pour effectuer l'appel. Pour obtenir des renseignements supplémentaires, consultez la section « Effectuer un appel » (p. 4-85).
《Redial》(recomposer)
Dites cette commande pour appeler le dernier numero composé. Àpès l'invite, dites « Redial » (recomposer) pour composer le numero du dernier appelSORTANT. Le
système affichera « Recomposition
« Select Phone » (seLECTIONner un téléphone)
Dites cette commande pour acceder au menu des connexions. Pour obtenir des renseignements supplémentaires, consultez la section « Écran des connexions Bluetooth™ » (p. 4-90).
« Add Phone » (ajouter un téléphone)
Dites cette commande pour acceder au menu des connexions. Pour obtenir des renseignements supplémentaires, consultez la section « Écran des connexions Bluetooth™ » (p. 4-90).
« Settings » (réglages)
Dites cette commande pour acceder au menu des paramétres Systeme vocal. Le système quittera le mode de reconnaissance vocale. Appuyez sur l'une des options suivantes à l'écran pour modifier les réglages.
- Beep Only for Opening Prompt (bip seulement au message-guide d'ouverture) Si vous appuyez sur la touche « ON » (marche), le témoin s'allume, le système vocal s'éteint et seulement une tonalité retentit lorsque le système téléphonique mains libres Bluetooth™ est activé. Pour remettre le système vocal en fonction, appuyez de nouveau sur la touche « ON » (marche). Le témoin s'éteint.
- Best Match List (liste des salariés correspondances)
Lorsque le système ne reconnait pas un nom ou un numero à composer dans le repertoire, il fournit une liste de résultats similaires. Pour désactiver cette fonction, appuyez sur la touche « ON » (marche). Le témoin s'éteint. Pour l'activer, selectionnez de nouveau la touche « ON » (marche). Le témoin s'allume.

ÉCRAN D'AFFICHAGE DU TÉLÉPHONE
Vous pouvez afficher I'ecran du téléphone en appuyant sur le bouton sur le panneau de commande.
Les options suivantes s'affichent à l'écran :
-
Composition rapide Affiche l'écran de composition rapide. Pour obtenir des renseignements supplémentaires, consultez la section « Composition rapide » (p. 4-84)
-
Répertoir Affiche l'écran du réseau téléphonique. Pour obtenir des renseignements supplémentaires, consultez la section « Effectuer un appel » (p. 4-85).
- Historique des appels Affiche l'écran de l'historique des appels. Pour obtenir des renseignements supplémentaires, consultez la section « Effectuer un appel » (p. 4-85).
- Pavé Affiche l'écran de composition de numériros. Pour obtenir des renseignements supplémentaires, consultez la section « Effectuer un appel » (p. 4-85).
- Message texte Affiche l'écran de messages reçus. Pour obtenir des renseignements supplémentaires, consultez la section « Messagerie texte » (p. 4-87).
- Connexions
Affiche l'écran des connexions. Pour obtenir des renseignements supplémentaires, consultez la section « Écran des connexions Bluetooth® » (p. 4-90).
Volume Affiche I'ecran de réglage du volume. Pour obtenir des renseignements supplémentaires, consultez la section « Volume et bips » (p. 4-93).
EFFECTUER UN APPEL
- Appuyez sur le bouton dans a barre de lancement. L'écran du téléphone s'affiche.
- Sélectionnez l'une des options pour faire un appel:
Répertoire
Pour acceder à l'annulaire :
- Appuyez sur le bouton du volant ou sélectionné la touche « de l'écran pour accepter l'expérience.
- Sélectionnéz la touche « Répertoire »
- Sélectionnez l'entrée souhaitation dans la liste affichée.
Historique des appels
- Sélectionnez un nom ou un numéro de téléphone du réseau à partir des onglets des appeals entrants, sortants ou manqués récents.
- Appuyez sur un nom ou un numéro de téléphone du réseau affché pour effectuer l'objet.
Pavé
- Entrez manuellement le numero de téléphone au moyen du clavier affiché à l'écran.
- Appuyez sur la touche « OK » à l'écran pour établier l'objet.
Pour d'autres options pour effectuer un appel, consultez le paragraphe « Commandes vocales » (p. 4-82).
PENDANT UN APPEL
Pendant un appel, les options suivantes s'afficheet à l'écran du panneau de commande:
- Mute (sourdine)
Appuyez sur cette touche pour activer ou désactiver la sourdine.
Appuyez sur cette touche pour composer des chiffres durant l'appoint téléphonique.
Passer au combiné
Appuyez sur la touche « Use Handset » (utiliser le combiné) à l'écran pour transférer l'appel au combiné (telephone cellulaire). Pour transférer l'appel du combiné vers le système téléphonique mains libres Bluetooth™, appuyez sur bouton
du panneau de commande puis selectionnez la touche « Transfer Handsfree » (transférer mains libres) de l'écran.
REMARQUE :
Les lois de certaines régions interdisent l'utilisation d'un téléphone cellulaire en conduitant.
- Changer d'appel
Cette option ne sera disponible que lorsqu'un deuxième appel est en cours.
S'il est pris en charge par le téléphone, le système téléphonique mains libres Bluetooth offre la capacité de mise en attente des appel. Si un appel est reçu pendant qu'un autre appel est déjà en cours, un message sera affiché à l'écran.
Appuyez sur le bouton du volant ou sélectionné la touche « Answer » (décrocher) de l'écran pour accepter l'appeel entrant. Appuyez sur la touche «
Decline (refuser) de l'écran pour refuser le deuxième appel.
Pendant un appel en cours, appuyez sur le bouton 念 situé sur le volant pour acceder à des options supplémentaires. Dites une des commandes suivantes:
-
« Send Digits » (envoyer des chiffres) Énonze cette commande, accompagnée de chiffres, pour saisir des chiffres durant l'appeil téléphonique.
-
« Switch Call » (commuter l'appoint)
Dites cette commande pourmettre le deuxieme appel en attente et revenir à l'appoint initial.
Quand un appel est reçu par le téléphone connecté au système téléphonique mains libres Bluetooth du vehicule, l'information sur l'appeel est affichée sur l'écran du panneau de commande.
Pour accepter l'appoint entrant :
- appuyez sur le bouton du volant, ou
- Appuyez sur la touche « Answer » (répondre) à l'écran.
Pourmettre finà un appel ou pour refuser un appel entrant,vous pouvez:
Appuyer longuement sur le bouton sur le volant, ou
- Appuyez sur la touche « Decline » (refuser) à l'écran.
Si I'utilier ne peut pas répondre à l'appoint, appuyez sur la touche « Mettre l'appoint en attente » affichée à l'écran. Un message est émis pour l'applant : « I'm not able to take a call right now. » (je ne suis pas en mesure
de prendre un appel pour l'instant). L'utilisateur peut alors accepter l'appeil lorsqu'il est disponible ou refuser l'appeil.
MESSAGE TEXTE (selon l'équipement)

AVENTISSEMENT
- Les lois dans certaines juridictions peuvent limiter l'utilisation de la fonction « synthèse de la parole à partir du texte ». Consultez les règlements en vigueur avant d'utiliser cette fonction.
-
Les lois dans certaines juridictions peuvent limiter l'utilisation de certaines applications et fonctions, telles que le reseauutage social et les messages/texte. Consultez les règlements en vigueur pour connaître les exigences.
Utilisez la fonction de messagerie texte après avoir arrêté votre vehicule dans un endroit sécuritaire. Si vous nevez utiliser cette fonction en conduisant, faites preuve d'une extrème prudence en tout temps afin de consacrer toute votre attention à la conduite du vehicule. -
Si vous étes incapable de consacrer toute votre attention à la conduite du vehicule en utilisant la fonction de messagerie texte, quitterz la route à un endroit sécuritaire et arrêtez votre vehicule.
REMARQUE:
Cette fonction est automatiquement dés-activée si l'appareil connecté ne prend pas en charge le protocole MAP (profil d'accès aux messages). Pour obtenir de plus amples renseignements et instructions, consultez le manuel du contrôle du téléphone.
REMARQUE:
Certain types de téléphones peuvent exiger une autorisation spéciale pour l'activation de la messagerie texte. Vérifiez l'écran du téléphone lors de l'apparlement du BluetoothMD. Pour certains téléphones, vous devrez peut-être activer l'options « Notifications » (Notifications) dans le menu BluetoothMD du téléphone pour que les messages/textes s'affichent sur le module principal. Pour obtenir des renseignements supplémentaires, consultez le manuel d'utilisation du téléphone. L'intégration des messages
texte exige que le téléphone prenne en charge le protocole MAP (profil d'accès aux messages) pour la réception et l'envoi de messages texte. Certains types de téléphones peuvent ne pas être compatible avec toutes les des fonctions de messagerie texte. Consultez le site www.nissanusa.com/bluetooth ou www.nissan.ca/bluetooth, ainsi que votre guide de l'utilisateur de l'appareil, pour obtenir des indications sur la compatibilité.
Le système permet l'envoi et la réception de messages texte par l'interface du vehicule.
La disponibilité de la fonction de message-rie texte peut varier selon sur le téléphonecellulaire.
Lorsque le téléphone cellulaire connecté au vehicule recoit un message texte, un avis s'affiche sur le l'écran du panneau de commande. Pour vérifier le message, appuyez sur la touche « Lire ». Appuyez sur la touche « Ignorer » pour enregistrer le message et le vérifier plus tard.
Accedez à la messagerie texte à l'aide du système téléphonique mains libres BluetoothMD du vehicule ou au moyen du panneau de commande.
Messagerie texte à l'aide du système téléphonique mains libres Bluetooth MD (selon l'equipement)
Envoi d'un message texte (selon l'équipment)
- Maintenez enforcé le bouton du volant pendant moins d'une seconde et demie.
- Dites « Send text » (envoyer un message texte) après la tonalité.
-
Le système vous presenta sera une liste des commandes valides pour déterminer le destinataire du message texte. Choisissez un des éléments suivants :
-
Répertoire
Composition rapide
Appels entrants - Appels sortants
-
Appels manqués
-Composer -
Une fois le destinataireChoisi,le système vous demande quel est le message à envoyer. Neuf messages prédéfinis sont disponibles. Pour selectionner un des messages prédéfinis,dites une des phrases suivantes après la tonalité :
-
« Driving, can't text » (au volant, impossible de communiquer)
- « Call me » (appelez-moi)
- « On my way » (en route)
- « Running late » (en retard)
·《Ok》
·《Yes》(oui) - « No » (non)
· « Where are you? » (ou étes-vous?) - « When? » (quand?)
Lecture d'un message texte reçu
- Maintenez enforcé le bouton du volant pendant moins d'une seconde et demie.
- Dites « Read Text » (lire le message texte) après la tonalité.
L'affichage presente une liste de 20 messages accompagnés du nom de l'expéditeur et de l'heure d'envoi. Appuyez sur la touche « Suivant » à l'écran pour afficher tous les messages. Pour afficher un message texte, appuyez sur le boutonSitué sur le volant et dites le numéro d'article dans la liste à l'écran. Les options suivantes sont disponibles :
- Play (lecture)
Énonze cette commande pour que le système lise le message. - Reply (réponse)
Dites cette commande pour envoyer une réponse par message texte à l'expéditeur du message texte. - Call (appeal)
Dites cette commande pour appeler l'expéditeur. - Previous (précedent)
Dites cette commande pour passer au message texte précedent (le cas échéant). - Next (suivant)
Dites cette commande pour passer au message texte suivant (le cas échéant).
Système SiriMD Eyes Free
Si un téléphone connecté est équipé du système SiriMD, vous pouvez également l'utiliser pour creer des messages personalisés qui sont envoyés au moyen du téléphone. Pour obtenir des renseignements supplémentaires, consultez « SiriMD Eyes Free » (p. 4-72).
REMARQUE:
Les messages texte ne s'affichent que si la vitesse du vehicule est inférieure à 8 km/h (5 mi/h).
REMARQUE:
Pour les iPhoneMD d'Apple, vous ne pouvez envoyer les messages texte qu'au moyen du système Siri.
Messagerie texte au moyen du panneau de commande
Afficher la liste des messages reçus
- Appuyez sur le bouton du panneau de commande.
- Appuyez sur la touche « Message texte » à l'écran.
- Appuyez sur un article de la liste pour生存 ou pour répondre au message.
Jusqu'à 100 messages peuvent être enregistrés dans la liste de messages.
Écran de messages reçus
Appuyer sur la touche « Lire » à l'écran de notification de message entrant ou selectionner un message de la liste affichera les détails du message reçu sur l'écran.
Actions possibles :
- Prev. (préçédent)
Appuyez sur cette touche pour dire le message précédent.
- Next (suivant)
Appuyez sur cette touche pour dire le message suivant.
- Play/Stop (lecture/arrêt)
Appuyez sur la touche « Play » (lecture) pour que le système téléphonique mains libres lise le message reçu. Appuyez sur la touche « Stop » (arrêt) pour arrêté la lecture.
- Call (appeal)
Si l'expéditeur du message est enregistré dans le repertoire téléphonique, appuyez sur la touche « Call » (appeil) pour effectuer un appel à l'expéditeur. - Reply (réponse)
Un message de réponse peut être sélectionné à partir de la liste de messages prédéfinis.
Envoi d'un message texte (selon l'équipement)
Cette fonction peut ne pas etre prise en charge selon le téléphone cellulaire.
- Appuyez sur le bouton du panneau de commande.
- Appuyez sur la touche « Message texte » à l'écran.
- Appuyez sur la touche « Créer un message » à l'écran.
Les articles suivants sont disponibles :
| Articles disponibles | Action | |
| À | Entreuses avec clavier | Entrez le nombre de téléphone du destinataire à l'aide du clavier. Appuyez sur la touche « OK » pour confirmer. |
| Composition rapide | Sélectionnez un destinataire dans la liste de composition rapide. | |
| Répertoire | Sélectionnez un destinataire dans le réseau téléphonique. | |
| Historique desAAPels | Sélectionnez un destinataire ou un nombre de téléphone à partir de l'histoire desAAPels. | |
| Sélectionner messagetexte | Appuyez sur cette touche pour afficher une liste de messages texte prédéfinis. | |
| Envoyer | Appuyez sur cette touche pour envoyer le message. | |

- Touche « » (retour)
- Onglet Bluetooth
- Écran Connexions
- Touche « Ajouter »
- Touche « (réglages)
- Touche « (information)
- Touche « 🌪 » (connexion audio Bluetooth MD)
- Touche « © » (connexion au système téléphonique mains libres Bluetooth®)
Accédez à l'écran Connections (connexions) pour modifier les paramètres et afficher les renseignements sur BluetoothMD. Pour accéder à l'écran Connections (connexions), appuyez sur le bouton MENU du panneau de commande. Appuyez sur la touche « Connexions » à l'écran, puis sélectionnez l'onglet Bluetooth.
Le téléphone jumelé sera ajoute à la liste à l'écran des connexions Bluetooth ^MD .
Appuyer sur le nom d'un autre dispositif dans la liste pour passer au dispositif branché.
Touches 四 (retour)
Appuyez sur la touche « » pour revenir à l'écran précédent.
Connexion Bluetooth
Pour obtenir des renseignements supplémentaires sur la connexion d'un téléphone cellulaire ou d'un apparéil au système de téléphonie mains libres Bluetooth™, consultez le paragraphe « Procédure de jume-lage Bluetooth™ » (p. 4-81).
REMARQUE:
Certaines téléphones cellulaires ou d'autres dispositifs peuvent cause de l'interférence ou produit un bourdonnement dans les haut-parleurs de la chaine stéreo. Rangez le dispositif en un autre endroit pour tenter de réduire ou d'éliminer le bruit.
Onglet Bluetooth
Cet onglet affiche jusqu'à six apparéils BluetoothMD. Si les six dispositifs sont déjà connectés, vous devez supprimer un des dispositifs avant de pouvoir en connecter un autre.
Touche « Ajouter »
Appuyez sur la touche à l'écran pour connecter un nouvel apparéil BluetoothMD. Pour obtenir des renseignements supplémentaires, consultez la section « Procédure de connexion BluetoothMD » (p. 4-81).
Touches «BluetoothMD)
Appuyez sur la touche « © » de l'écran pour afficher la liste des options.
- Bluetooth
Appuyez sur cette touche pour activer ou désactiver la connexion Bluetooth ^MD .
- Favori (connexion d'abord)
Appuyez sur cette touche pour spécifique quel apparéil sera branché en premier lorsque plusieurs apparéils sont connectés au vehicule.
Activez ou désactivez la touche « © » pour privilégier ou non la connexion de cet apparéil.
Activez ou désactivez la touche « 园 » pour privilégier ou non la connexion de cet apparéil.
PIN (NIP)
Appuyez sur cette touche pour personnaliser le code NIP. Entrez un numero à quatre chiffres puis appuyez sur la touche « OK ». Le nouveau NIP sera définir.
Touches « ② » (information)
Appuyez sur la touche « ③ » de l'écran pour afficher des renseignements sur le téléphone cellulaire ou pour supprimer l'appareil.
Appuyez sur la touche « Supprimer » pour supprimer un apparéil jumelé puis sélectionnez l'option « Oui » lorsqu'un message s'affiche.
Touché « © » (connexion au système téléphonique mains libres Bluetooth™)
Une liste d'appareils connectés s'affiche à l'écran. Sélectionnez la touche « © » à côté du nom pour connecter un apparéil au système téléphonique mains libres. Si le téléphone est enregistré en tant que favorsi, une étoile s'affiche sur l'icone. Appuyez sur la touche de nouveau pour déconnecter le dispositif. L' apparéil ne sera pas supprimé de la liste. Pour obtenir des renseignements supplémentaires sur la dépose d'un dispositif, consultez la section « Touche (info) » (p. 4-91).
Touches « 📁 » (connexion audio Bluetooth MD)
Une liste d'appareils connectés s'affiche à l'écran. Sélectionnez la touche « @ » à côté du nom pour connecter un apparéil au système audio Bluetooth™. Si l' apparéil est enregistré en tant que favorsi, une étoile s'affiche sur l'icone. Appuyez sur la touche de nouveau pour déconnecter le dispositif. L' apparéil ne sera pas supprimé de la liste. Pour obtenir des renseignements supplémentaires sur la dépose d'un dispositif, consultez la section « Touche (info) » (p. 4-91).

PARAMÉTRES DU TÉLÉPHONE ET DES MESSAGES TEXTES
Les réglages du système téléphonique mains libres Bluetooth™ peuvent être modifiés selon la préférence de l'utilisateur. Pour acceder au menu de réglages « Téléphone», appuyez sur le bouton MENU du panneau de commande. Appuyez sur la touche « Réglages » puis sur « Téléphone »
Les options suivantes sont disponibles :
| Option de menu | Résultat | |
| Composition rapide | Modifier | Les entrées dans la liste de composition rapide peuvent être modifiées. Pour obtenir des renseignements supplémentaires, consultez la section « Composition rapide » (p. 4-84). |
| Supprimer tout | Supprime tous les numérores enregistrrés dans la liste de composition rapide. | |
| Répertoire | Télécharger tout le réseau | Tous les numérores de téléphone mémorisés dans le réseau d'un téléphone cellulaire connecté au vehicule sont téléchargés d'un seul coup. Pour obtenir des renseignements supplémentaires, consultez le manuel d'utilisation du téléphone cellulaire. |
| Télécharge automatique-ment | Active/désactive le téléchargement automatique du réseauTELphonique lorsqu'un nouveau téléphone est connecté. | |
| Message texte | Message texte | Active/désactive la fonction de messagerie texte. |
| Sonnerie pour messages/textes | Active/désactive la sonnerie pour les messages/textes entrants. | |
| Signature | Active/désactive la fonction de signature pour les messages/textes sortants. | |
| Réponse automatique | Active/désactive la fonction de réponse automatique aux messages/textes. | |
| Message texte pour la réponse automatique | Sélectionnez le message texte à utiliser pour la réponse automatique. Choisissez parmi une liste de messages prédéfinis. | |
| Notifications | Conducteur seulement | Lorsque cette option est activée, les avis d'appels entrants s'affichent seulement sur le combiné. |
| Sonnerie vécicule | Active/désactive la sonnerie du vehicule. | |
| Mise en attente auto. | Lorsque cette option est activée, un appel entrant sera automatiquement mis en attente. | |
Volume et Bips
Plusieurs méthodes permettent de personnaliser les réglages du volume.
Volume et bips
Pour acceder à l'écran « Volume & Beeps » (volume et bips), appuyez sur le bouton MENU du panneau de commande, puis sur la touche « Settings » (réglages) de l'écran pour sélectionner « Volume & Beeps ». Pour régler le volume des options suivantes, appuyez sur les touches « - » et « + » à l'écran.
Les réglages disponibles sont les suivants :
- Ringtone (sonnerie)
Réglez le niveau de volume de la sonnerie des appel entrants. - Outgoing Call (appel sortant)
Réglez le niveau de volume des appels sortants. -
Voice Prompt Vol. (vol. des messages-guides vocaux)
Réglez le niveau de volume du système vocal. -
Text-to-speech Vol. (vol. de la synthèse de la parole)
Réglez le volume de la relecture vocale pour la messagerie texte. - Button Beeps (bips à l'enforcement des boutons) Active/désactive les bips à l'enforcement des boutons et l'alarme pour les opérations interdites.
Réglages du volume
Pour acceder à l'écran Volume Settings (réglages du volume), appuyez sur le bouton du panneau de commande puis sur la touche « Volume » de l'écran. Pour régler le volume des options suivantes, appuyez sur les touches « - » et « + » à l'écran.
Les réglages disponibles sont les suivants :
- Ringtone (sonnerie)
Réglez le niveau de volume de la sonnerie des appeals entrants. - Outgoing Call (appel sortant)
Réglez le niveau de volume des appels sortants.
Les expressions « Conçu pour iPod», « Conçu pour iPhone » et « Conçu pour iPad » indiquent qu'un accessoirelectronique a été conçu pour être branché spécifique à un iPod, un iPhone ou un iPad respectivement, et a été certifié par le développement comme répondant aux normes de performance de Apple. Apple n'est pas responsable du fonctionnement de cet accessoire ou de sa conformité aux normes de sureté et de réglementation. Veuillez notes que l'utilisation de cet accessoire avec un iPod, un iPhone ou un iPad peut nuir aux performances de la liaison sans fil.
iPad, iPhone, iPod classic, iPod nano, iPod shuffle et iPod touch sont des marques de commerce de Apple inc. déposées aux États-Unis et dans d'autres pays. Lightning est une marque de commerce de Apple Inc.
5 Demarrage et conduite
Précautions pour le démarrage et la conduite . . . 5-4
Gaz d'échéppement (monoxyde de
carbone) 5-4
Catalyseur trifonctionnel 5-5
Système de surveillance de la pression
des pneus. 5-5
Pour éviter les collisions et les
renversements 5-10
Récupération d'un vehicule hors route
Perte rapide de pression d'air
Conduite et consommation d'alcool ou
de drogues 5-12
Commutateur d'allumage à bouton-poussoir . . . 5-12
Portee 5-13
Positions du commutateur d'allumage
par bouton-poussoir 5-14
Coupure du moteur en cas d'urgence
Décharge de la pile de la clé intelligente
NISSAN Intelligent Key ^MD 5-15
Système antidémarrage du vehicule
NISSAN 5-15
Avant de démarrer le moteur 5-16
Demarrage du moteur 5-16
Démarrage à distance du moteur
(selon l'equipement) 5-18
Conduite du vehicule 5-18
Transmission à variation continue
(selon l'équipement) 5-18
Boîte de vitesses manuelle
(selon l'équipement) 5-24
Frein de stationnement 5-26
Type manuel (selon l'équipement)
Type de pédale (selon l'équipement) 5-27
Commutateur de mode ECO 5-27
Témoin de levier sélecteur (moteur
4 cylindres de 2.0L (modèle MR20DD)
modèles de boîte de vitesses manuelle
seulement) (selon l'equipement). 5-28
Rapport de conduite écoénergétique
(selon l'equipement) 5-29
Reconnaisance de signalisation routiere
(selon l'équipement) 5-29
Fonctionnement du système 5-30
Activation et désactivation du système
de reconnaissance de signalisation
routiere 5-32
Système temporairement indisponible......5-32
Defaut du système 5-32
Entretien du système 5-33
Avertissement du déport de voie 5-33
Fonctionnement du système
d'avertissement du déport de voie 5-34
Activation et désactivation du système
d'avertissement du déport de voie 5-36
Limitations du système
d'advertissement du déport de voie 5-37
Système temporairement indisponible......5-39
Anomaliedusystème 5-39
Entretien du système 5-39
Avertisseur d'angle mort (BSW) 5-40
Fonctionnement du système
d'avertissement sur angle mort 5-42
Activation et désactivation du système
d'avertissement sur angle mort 5-43
Limites du système d'advertissement
sur angle mort 5-45
Situations de conduite du système
d'avertissement sur angle mort 5-46
Système temporairement indisponible . . . . . . 5-49
Entretien du système 5-51
Alerte de circulation transversale arriere
(RCTA) 5-53
Fonctionnement du système d'alerte
de circulation transversale arriere 5-53
Activation et désactivation du système
d'alerte de circulation transversale
arrière 5-56
Limites du système d'alerte de
circulation transversale arriere 5-58
Système temporairement indisponible . . . . . . 5-60
Entretien du système 5-62
Régulateur de vitesse (selon l'équipement) .5-63
Précautions relatives à l'utilisation du
régulateur de vitesse 5-63
Fonctionnement du régulateur de
vitesse 5-64
Régulateur de vitesse adaptatif (selon
l'equipement) 5-65
Comment sélectionner le mode de
régulateur de vitesse 5-67
Mode de contrôle d'intervalle entre les
vehicules 5-68
Utilisation du mode de contrôle
d'intervalle entre les vehicules 5-69
Contacteurs du mode de contrôle
d'intervalle entre les vehicules 5-71
Limites du mode de contrôle
d'intervalle entre les vehicules 5-77
Système temporairement indisponible .5-82
Entretien du système 5-84
Mode de régulateur de vitesse classique (vitesse stable) 5-86
Freinage automatique arrive (RAB) 5-91
Fonctionnement du système de freinage automatique arrêté 5-92
Activation ou déactivation du système de freinage automatique arrêté 5-94
Limites du système de freinage automatique arrête 5-95
Defaut du système 5-98
Entretien du système 5-98
Système de freinage d'urgence automatique avec dispositif de détction de piétons 5-99
Fonctionnement du système de freinage d'urgence automatique avec dispositif de détéction de piétons 5-100
ACTIVATION et DÉSACTIVATION du système de freinage d'urgence automatique avec dispositif de
detection de piétons 5-103
Limitations du système de freinage d'urgence automatique avec dispositif de détction de piétons 5-105
Système temporairement indisponible . . . . . 5-109
Anomalie du système 5-112
Entretien du système 5-112
Système de détéction de collision frontale intelligent 5-114
Fonctionnement du système de détéction de collision frontale intelligent 5-115
Activation ou déactivation du système de détction de collision frontale intelligent 5-118
Limites du système de détention de collision frontale intelligent 5-120
Système temporairement indisponible 5-125
Anomalie du système 5-128
Entretien du système 5-128
Système d'alerte vigilance conducteur intelligent (I-DA) 5-129
Fonctionnement du système d'alerte vigilance conducteur intelligent 5-130
Comment activer/désactiver le système d'alerte vigilance conducteur intelligent 5-131
Limites du système d'alerte vigilance
conducteur intelligent 5-132
Programme de rodage 5-134
Conseils pour une conduite économique en
carburant 5-134
Réduction de la consommation de carburant... 5-136
Techniques de stationnement dans les côtes 5-136
Direction assistée 5-138
Circuit de freinage 5-138
Précautions relatives au freinage 5-138
Système de freinage antiblocage (ABS) 5-139
Assistance au freinage 5-141
Système de Contrôle dynamique du vehicule . . .5-141
Montée en hauteur et accumulation 5-143
Distribution de force de freinage 5-143
Chassis Control (Contrôle dynamique) 5-144
Système de contrôle en virage
intelligent 5-144
Contrôle de caisse actif 5-144
Frein moteur intelligent (selon
(l'équipement) 5-145
Système d'assistance au départ en pente....5-146
Système de sonar arrêté (RSS) 5-146
Fonctionnement du système 5-147
Activation et désactivation du système
de sonar 5-149
Limitations du système de sonar 5-151
Système temporairement indisponible......5-151
Entretien du système 5-152
Système d'arrêt au ralenti
(selon l'equipement) 5-152
Fonction de contrôle du mouvement
rétrograde 5-155
Affichage du système d'arrêt au ralenti . . . 5-155
Commutateur Arrêt au ralenti OFF
(hors fonction) 5-157
Conduite par temps froid 5-158
Déblocage d'une serrure de portière
gelée 5-158
Antigel 5-158
Batterie 5-158
Vidange du circuit de refroidissement . . . . . . 5-158
Pneus 5-158
Équipment hivernal 5-158
Conduite sur la neige ou sur la glace 5-159
Chauffe-moteur (selon l'equipement) 5-159
A AVENTISSEMENT
- Ne laïsez pas seuls dans votre vehicule des enfants ou des personnes qui ont habituèlement besoin de l'aide d'autres personnes. Ne laïsez pas non plus les animaux de compagnie sans surveillance. Ils pouraient se blesser ou blesser quelqu'un accidentellement en mettant le vehicule en marche par inadvertance. De plus, par temps chaud et ensolesillé, la température de l'habitacle peut rapidement s'élever au point de provoquer des lésions graves, voir mortelles, à une personne ou à un animal enfermé dans le vehicule.
- Surveiliez attentivement les enfants lorsqu'ils jouent à proximé d'un vehicule afin d'éviter qu'ils ne s'enferment par mégarde dans le coffre où ils poursaient subir de graves blessures. Gardez le vehicule verrouillé, en vous assurant que le dossier de siege arrêté et le couvercle du coffre sont bien verrouillés lorsqu'ils ne sont pas utilisés, et rangez les clés de la voiture hors de la portée des enfants.
GAZ D'ÉCHAPPEMENT (monoxyde de carbone)
A AVENTISSEMENT
- Evitez d'inhaler les gaz d'échémpement, car ils contiennent du monoxyde de carbone, une substance incolore et inodore. Le monoxyde de carbone est un produit dangereux qui peut cause des évanouvissements, voiré entrainer la mort.
- Si vous pensez que des vapeurs d'échépement pénétrent dans le vehicule, conduisez avec toutes les glaces complètement ouvertes et faites vérifier le vehicule dans les plus brefs délais.
- Ne faites pas tournier le moteur dans un endroit fermé tel qu'un garage.
- Ne stationnez pas votre vehicule en laissant le moteur en marche, peu importe la durée de votre absence.
- Maintenez les déflecteurs arrêté, les portières et les couvercles de coffre (selon l'équipement) fermés lorsqu'elles youn condusiez afin de prévenir l'infiltration des gaz d'échéppement
dans l'habitacle. Si vous nevez conduire en laissant un de ces éléments ouverts, prenez les précautions suivantes:
- Ouvrez toutes les glaces.
-
Tournez le bouton de recirculation d'air à la position hors fonction et la commande du ventilateur à la position de vitesse élevée, pour faire circuler l'air.
-
Si vous devez acheminer des cables électriques ou d'autres connexions de la remorque par le joint du couvercle du coffre ou par la carrosserie, suivez les recommandations du fabricant pour prévenir la pénétration de monoxyde de carbone dans le vehicule.
- Une vérification du système d'éché-pement et de la carrosserie doit être effectuee par un mecanicien qualifié lorsque:
a. le vehicule est soulevé pour l'entretien;
b. vous croyez que des vapeurs d'échéappement s'infiltrent dans l'habitacle;
c. vous avez noté un changement au niveau du bruit émis par le système d'échéppement;
d. le système d'échéppement, le soubassement ou l'arrière du vehicule ont subi des dommages à la suite d'un accident.
CATALYSEUR TRIFONCTIONNEL
Le système d'échévement de votre vehicule contient un dispositif antipollution appelé catalyseur trifonctionnel. Afin de favoriser la réduction des émissions polluantes, les gaz d'échévement sont brûlés à des températures très élevées dans le catalyseur trifonctionnel.

AVERTISSEMENT
- Les gaz d'échéppement et le système d'échéppement sont très chauds. Éloiignez les personnes, les animaux et les matières inflammables des composants du système d'échéppement.
- N'immobilisiez pas et ne stationnez pas votre vehicule sur une surface recouverte de matieres inflammables comme du gazon sec, de nouveaux papiers ou des chiffons. Ces matieres pourraient s'enflammer et provoquer un incendie.

MISE EN GARDE
- N'utilise pas d'essence au plomb. Les dépôts généres par l'essence au plomb compromettent considérablement la capacité du catalyseur trifonctionnel à réduire les polluants d'échéappement.
- Faites régulièrement effectuer des mises au point de votre moteur. Des anomalies au niveau de l'allumage, de l'injection de carburant ou des circuits électriques peuvent laisser pénétrer du carburant trop riche dans le catalyseur trifonctionnel et faire surchauffer celui-ci. Il ne faut pas continuer de conduire votre vehicule en cas de ratés d'allumage du moteur ou si vous remarquez une nette perte de rendement ou d'autres anomalies de fonctionnement. Faites inspectorer votre vehicule immédiatement. Nous vous recom-mandons de vous rendre chez un concessionnaire NISSAN pour cet entretien.
-
Évitez de conduire le vehicule lorsque le niveau de carburant est très bas. Une panne sèche peut provoquer des ratios d'allumage du moteur et endommager le catalyseur trifonctionnel.
-
Ne faites pas tournier le moteur de votre vehicule à un régime trop élevé pendant qu'il se rechauffe.
- Ne tentez pas de faire démarrer le moteur de votre vehicule en poussant ce dernier ou en le remorquant.
SYTÉME DE SURVEILLANCE DE LA PRESSION DES PNEUS
Vérifiez la pression de tous les pneus, y compris le pneu de secours (selon l'équipement) une fois par mois, à froid, puis gonflez-les à la pression recommendée par le constructeur du vehicule sur l'étiquette du vehicule ou l'étiquette de pression de gonflage des pneus. (Si votre vehicule est doté de pneus de taille différente que celle indiquée sur l'étiquette du vehicule ou l'étiquette de pression de gonflage des pneus, vous devriez déterminer la pression de gonflage appropriée pour ces pneus.)
Par mesure de sécurité additionnelle, votre vehicule est doté d'un système de surveillance de la pression des pneus qui allume un témoin d'advertissement de basse pression des pneus lorsqu'un ou plusieurs pneus sont considérablement sous-gonflés. Par conséquent, si le témoin d'advertissement de
basse pression des pneus s'allume, vous devriez immobiliser le vehicule et vérifier vos quatre pneus dus que possible, puis les gonfier à la pression appropriée. La conduite sur un pneu considérablement degonflé fait surchauffer le pneu, ce qui peut entraîner une défaillance du pneu. De plus, un pneus sous-gonflé augmente la consommation de carburant, réduit la durée de vie utile de la bande de roulement et peut comprométtre le comportement routier et la capacité de freinage du vehicule.
Veuillez noter que le système de surveillance de la pression des pneus ne remplace pas l'entretien ajustat des pneus, et qu'il incombe toujours au conducteur de maintainir les pneus correctement gonflés, même si I'etat de sous-gonflage n'allume pas le témoin de basse pression du système de surveillance de la pression des pneus.
Votre vehicule est aussi doté d'un témoin d'anomalie du système de surveillance de la pression des pneus pour indiquer que le système ne fonctionne pas normalement. Le témoin d'anomalie du système de surveillance de la pression des pneus est combiné au témoin d'advertissement de basse pression des pneus. Lorsque le système détecte une anomalie, le témoin cli
gnote pendant environ une minute, puis il demeure allumé. Cette séquence se poursuit lors des démarrages subséquents du vehicule tant que l'anomalie persiste. Lorsque le témoin d'anomalie est allumé, le système peut ne pas détecter ni signaler de basses pressions. Les anomalies du système de surveillance de la pression des pneus surviennent pour diverses raisons, y compris l'installation de pneus ou de roues de remplacement ou de rechange qui empêchent le système de surveillance de la pression des pneus de fonctionner correctement. Vérifiez toujours le témoin d'anomalie du système de surveillance de la pression des pneus après avoir remplaced un pneu ou une roue pour vous assurer que les pneus de remplacement ou de rechange permettent au système de surveillance de la pression des pneus de fonctionner correctement.
Renseignements additionnels :
-
Lors de l'utilisation d'une roue qui n'est pas équipée d'un système de surveillance de la pression des pneus, comme la roue de secours, le système de surveillance de la pression des pneus ne surville pas la pression de la roue de secours.
-
Le système de surveillance de la pression des pneus n'est actif que lorsque le vehicule roule à plus de 25km / h (16 mi/h). De plus, ce système peut ne pas détecter la chute soudaine de la pression d'un pneu (par exemple, la crevaison d'un pneu pendant la conduite).
- Mème si vous avons régé la pression de gonflage des quatre pneus, le témoin d'ajretissement de basse pression des pneus ne s'éteint pas automatiquement. Une fois la pression des pneus reglee à la pression recommandaee, il faudra rouler à plus de 25 km/h (16 mi/h) pour activer le système de surveillance de la pression des pneus et éteindre le témoin d'ajretissement de basse pression des pneus. Utilisez un manomètre pour pneus pour vérifier la pression des pneus.
- Le message d'advertissement « Tire Pressure Low - Add Air » (basse pression des pneus - gonfler les pneus) s'affiche dans le compteur kilométrique lorsque le témoin d'advertissement de basse pression des pneus est allumé et qu'uneasse pression des pneus est détectée. L'advertissement « Tire Pressure Low - Add Air » (basse pression des pneus - gonfier les pneus) disparaît lorsque le témoin d'advertissement de basse pression des
pneus s'eteint. Le témoin d'avertissement de basse pression des pneus demeure allumé jusqu'à ce que les pneus soient bien gonflés à la pression À FROID recommandaee. Le message d'avertissement « Tire Pressure Low - Add Air » (basse pression des pneus - gonfler les pneus) s'affiche chaque fois que le commutateur d'allumage se trouve à la position ON (marche) tant que le témoin d'avertissement de basse pression des pneus demeure allumé.
L'advertissement « Tire Pressure Low-Add Air » (basse pression des pneus - gonfler les pneus) ne s'affiche pas si le témoin d'avertissement de basse pression des pneus s'allume pour indiquer une anomalie du système de surveillance de la pression des pneus.
- La pression des pneus augmente et diminuè en fonction de la chaleur engendrie par les conditions de fonctionnement du vehicule et la température extérieure. Ne réduisez pas la pression des pneus après avoir conduit le vehicule, car la pression des pneus augmente après la conduite. Une température extérieureasse peut refroidir l'air à l'intérieur du pneu, ce qui peut cause une diminution
de la pression de gonflage du pneu. Celapeut causeur l'activation du témoind'avertissement de basse pression despneus.Si le témoin s'allume,verifiez lapression de tous les pneus.
L'étiquette d'information sur les pneus et la charge est apposée dans l'ouverture de la portière du conducteur.
Pour obtenir de plus amples renseignements, consultez la section « Pression de pneu basse. Ajouter de l'air » (p. 2-36) ou (p. 2-58), « Témoin d'advertissement de basse pression des pneus » (p. 2-13) ou « Système de surveillance de la pression des pneus (TPMS) » (p. 6-3).
A AVERTISSEMENT
- Les ondes radioélectriques peuvent nuir au fonctionnement des apparreils médicaux électriques. Les personnes qui portent un stimulator cardiaque doivent communiquer avec le fabricant de l'appareil Médicale électrique pour connaître les interférences possibles avant l'utilisation.
Si le témoin d'advertisement de basse pression des pneus s'allume pendant la conduite, évitez de braquer le volant ou de freiner brusquement, ralentissez, dirigez-vous vers un endroit sécuritaire et immobilisez le vehiculeès que possible. La conduite avec un pneu insuffisamment gonflé peut causeurs des dommages permanents au pneu et augmente la probabilité de défaillance du pneu. Notre vehicule pourrait subir des dommages importants et vous pourriez avoir un accident entrainant des blessures graves. Vérifiez la pression de tous les pneus. Effectuez un réglage de pression À FROID, tel que spécifique sur l'étiquette de renseignements relatifs aux pneus et à la charge, pour ainsi désactiver le témoin d'advertisement de basse pression des pneus. Si vous ave un pneu creve, montez la roue de secoursès que possible. Pour obtenir des renseignements supplémentaires sur le remplacement d'un pneu creve, consultez la section « Pneu creve » (p. 6-3).
Lors de l'utilisation d'une roue qui n'est pas equipée d'un système de surveillance de la pression des pneus, lorsque la roue de secours ou une roue est changée, le système de surveillance de la pression des pneus ne sera plus fonctionnel et le témoin d'advertissement de basse pression des pneus clignotera pendant environ une minute. Le témoin demeure allumé après une minute. Faites vérifier les pneus replacés ou réinitialisez le système de surveillance de la pression des pneus dés que possible. Nous vous recommendons de vous rendre chez un concessionnaire NISSAN pour cet entretien.
L'utilisation de pneus de remplacement autres que ceux précises par NiSSAN peut nuire au fonctionnement du système de surveillance de la pression des pneus.
- N'injectezaucnProuddetanchéité pourpneu,liquideouenáerosol,dans lespneus.Lefonctionnementdes capteurs de pression despneus poursrait s'entrouvercompromis.
AMISE EN GARDE
N'installez pas de pellicule métallisée ou d'autre piece en métal (antenne, etc.) sur les glaces. Cela peut nuir à la réception des signaux des capteurs de pression des pneus, et le système de surveillance de la pression des pneus ne fonctionnera pas correctement.
Certains dispositifs et émetteurs pourraient entraver temporairement le fonctionnement du système de surveillance de la pression des pneus et provoquer l'allumage du témoin d'avertissement de bassé pression des pneus.
Examples :
- Des équipements ou des dispositifs électriques situés à proximé du vehicule qui utilisent des fréquences radio proches de celles du système.
- Un émetteur utilisant des fréquences radio proches de celles du système qui se trouve dans l'habitacle ou à proximité du vehicule.
- Un ordinateur (ou un autre équipement similaire) ou un convertisseur continu-alternatif est utilisé dans l'habitacle ou à proximé du vehicule.
Le témoin d'ajretissement de basse pression des pneus peut s'allumer dans les cas suivants :
- Si le vehicule est équipé d'une roue ou d'un pneu dépourvu du système de surveillance de la pression des pneus.
- Si le système de surveillance de la pression des pneus a ete remplace et le code d'identification n'a pas ete enregistré.
- Si la roue n'est pas recommandee par NiSSAN.
REMARQUE:
Ce dispositif est conforme à l'article 15 des règlements de la FCC. Son utilisation est soumise aux deux conditions suivantes : (1) ce dispositif ne doit cause aucune interférence nuisible, et (2) ce dispositif doit accepter toutes les interférences, y compris celles qui pourrait l'activer de façon inopinée.
REMARQUE:
L'émetteur/recepteur exempt de licence contenu dans leprésent apparéil est conforme aux CNR d'Innovation, Sciences et Développement économique Canada applicables aux apparéils radio exempls de licence. L'exploitation est autorisée aux deux conditions suivantes:
- L'appareil ne doit pas produit de brouillage;
- L'appareil doit accepter tout brouillage radioélectrique subi, même si le brouillage est susceptible d'en promètement le fonctionnement.
AVERTISSEMENT DE LA FCC
Toute modification non approuvée par la partie responsable de la conformité peut annuler le droit d'utiliser ce dispositif.
Système de surveillance de la pression des pneus avec fonction d'alerte de gonflage facilité
Lorsque vous gonflez un pneu insuffisamment gonflé, le système de surveillance de la pression des pneus avec fonction d'alerte de gonflage facilité fournit des signaux visuels et sonores à l'extérieur du vehicule pour vous aider à gonfler les pneus à la pression À FROID recommandaee.
Configuration du vehicule :
- Stationnez le vehicule dans un endroit sur et de niveau.
- Serrez le frein de stationnement et place le levier selecteur à la position P (stationnement) (selon l'équipement).
- Placez le commutateur d'allumage en position ON (marche). Ne faites pas démarrer le moteur.
Fonctionnement :
- Gonflez le pneu.
- ÀpRESquelques secondes,les feu de détrresse commencent à clignoter.
- Lorsque la pression désignée est atteinte, l'avertisseur sonore retentit une fois et les yeux de détresse cessions de clignoter.
- Effectuez les étapes ci-dessus pour chaque pneu.
Si le pneu est trop gonfle d'environ 30 kPa (4 lb/po²), l'avertisseur sonore retentit et les feuels de détresse clignotent trois fois. Pour corriger la pression, appuyez brièvement sur le pointeau de la tige de soupape du pneu pour relâcher la pression. Lors-
que la pression atteint la pression désignée, l'avertisseur sonore retentit une fois.
- Si les feuels de détresse ne clignotent pas dans les 15 secondes environ après le début du gonflage, la fonction d'alerte de gonflage facilité n'est pas fonctionnelle.
-
Le système de surveillance de la pression des pneus n'active pas la fonction d'alerte de gonflage facilité dans les conditions suivantes :
-
Dans le cas d'interférences provenant d'un dispositif externe ou d'un émetteur.
- La pression d'air de l'appareil de gonflage n'est pas suffisante pour permettre le gonflage du pneu.
- Une anomalie est présente dans le système de surveillance de la pression des pneus.
- L'avertisseur sonore ou les yeux de détresse sont défectueux.
- Le code d'identification du capteur de pression du pau n'est pas enregistré dans le système.
-
La pile du capteur de pression du pneu est faible.
-
Si la fonction d'alerte de gonflage facilité n'est pas fonctionnelle en raison d'interférences au système de surveillance de la pression des pneus, avancez ou reculez le vehicule d'environ 1 m (3 pi) et essayez de nouveau.
Si la fonction d'alerte de gonflage facilité n'est toujours pas fonctionnelle, utilisez alors un manomètre pour pneus.
POUR ÉVITER LES COLLISIONS ET LES RENVERSEMENTS

AVENTISSEMENT
Si ce vehicule n'est pas conduit de façon prudente et sécurité, une perte de maitrise du vehicule ou un accident peut survenir.
Faites preuve de vigilance et conduisez prudemment en tout temps. Respectez le code de la sécurité routière. Evitez la vitesse excessive, les virages à haute vitesse et les coups de volant parce que ces comportements peuvent vous faire perdre la maîtrise du vehicule.
Comme c'est le cas pour tout autre vehicule, une perte de maitrise peut vous faire entrer en collision avec d'autres vehicules ou des objets. Le vehicule peut également se renverser, particulièrement si la perte de maitrise entraîne un dérapage létal.
Évitez de conduire lorsqu vous étés fatigué et restez attentif en tout temps. Ne conduisez jamais si vous étés sous l'influence de l'alcool ou de la drogue (y compris les médicaments avec ou sans ordnance qui causent de la somnolence). Bouclez toujours votre ceinture de sécurité, conformément aux instructions du chapitre « Sécurité - Sièges, ceintures de sécurité et système de retenue supplémentaire » duprésent manuel, et exigez que les autres passagers de leur vehicule fassent de même.
Les ceintures de sécurité contribuent à réduire les risques de blessures en cas de collision ou de renversement.
En cas de renversement, les risques de blessures mortelles sont accrus pour les personnes qui n'ont pas bouclé leur ceinture.
RECUPÉRATION D'UN VÉHICULE HORS ROUTE
Pendant la conduite, les roues du cote croit ou du cote gauche peuvent involontairement quitter la chaussée. En pareil cas, conservez la maîtrise du vehicule conformément à la procédure ci-dessous. Notez que cette procédure ne sert que de guide général. Le vehicule doit être conduit en fonction de l'etat du vehicule, de la route et de la circulation.
- Demeurez calme et ne réagissez pas de façon excessive.
- Ne serrez pas les freins.
- Tenez fermement le volant des deux mains et tentez de maintainir une trajec-toire directe.
- Au moment opportun, relâchéz lente-ment la pedale d'accélérateur pour graduallement ralentir le vehicule.
-
Si,aucun obstacle ne croise suaive trajectoire,dirigez le vehicule pour qu'il suive la route pendant que le vehicule ralentit. Net tentez pas de revenir sur la chaussee avant que la vitesse du vehicule soit réduite.
-
Lorsque you pouvez le faire en toute sécurité, tournez graduèlement le volant jusqu'à ce que les deux pneus reviennent sur la chaussée. Lorsque tous les pneus se trouvent sur la chaussée, dirigez le vehicule pour qu'il demeure dans la voie appropriée..
- Si vous decidez qu'il est impossible de revenir sur la chaussée en toute sécurité en raison de l'état du vehicule, de la route ou de la circulation, ralentissez graduèlement le vehicule pour l'im-mobiliser en lieu sur hors route.
PERTE RAPIDE DE PRESSION D'AIR
Une perte rapide de pression d'air ou un éclatement peut survenir si le pneu est creve ou s'il a été endommagé en heurtant un troitoir ou un nid de poule. Une perte rapide de pression d'air peut aussi être provoquée par la conduite sur des pneus insuffisamment gonflés.
Une perte rapide de pression d'air peut nuire à la tenue de route et à la stabilité du vehicule, particulièrement à des vitesses élevées.
Contribuez a prévenir toute perte rapide de pression d'air en conservant la pression d'air appropriée et en faisant un examen visuel des pneus pour vous assurer de l'absence d'usure et de dommages. Pour obtaining des renseignements supplémentaires, consultez la section « Roues et pneus » (p. 8-32). Si un pneu perd rapidement de l'air ou éclate pendant la conduite, conservez la maîtrise du vehicule en suivant la procédure ci-dessous. Notez que cette procédure ne sert que de guide général. Le vehicule doit être conduit en fonction de l'état du vehicule, de la route et de la circulation.
A VERTISSEMENT
S'il y a perte soudaine de pression d'air d'un pneu, le vehicule se déplace ou tire généralement dans la direction du pneu creve. Dans ce cas, la perte de maîtrise du vehicule peut provoquer une collision et cause des blessures. Pour aider à éviter de perdre la maîtrise du vehicule :
- Ne serrez pas rapidement les freins.
- Ne relâchéz pasrapidement la pedale d'accélérateur.
-
Ne tournez pas rapidement le volant.
-
Demeurez calme et ne réagissez pas de façon excessive.
- Tenez fermement le volant des deux mains et tentez de maintainir une trajetoire directe.
- Au moment opportun, relâchéz lente-ment la pedale d'accélérateur pour graduèlement ralentir le vehicule.
- Dirigez graduèlement le vehicule en lieu sur hors de la route et à l'écart de la circulation dans la mesure du possible.
- Serrez légèrement la pédale de frein pour graduèlement immobiliser le vehicule.
- Allumez les yeux de détresse et communique avec un service d'assistance routiere pour faire changer le pau. Pour obtenir des renseignements supplémentaires, consultez la section « Remplacement d'un pau creve » (p. 6-4).
CONDUITE ET CONSOMMATION D'ALCOOL OU DE DROGUES

AVERTISSEMENT
Ne conduisez jamais lorsque vous estes sous l'influence de l'alcool ou de la drogue. La presence d'alcool dans le sang reduit la coordination des mouvements, augmente le temps de reaction et fausse le jugement. Si vous conduisez après avoir consommé de l'alcool, vous augmentez vos risques d'être impliqué dans un accident avec blessures. De plus, l'alcool pourrait accroître la gravité de vos blessures en cas d'accident.
NISSAN s'engage à construire des vehicules sécuritaires. Toutefois, même le vehicule le plus sécuritaire peut représentier un danger si son conducteur a consommé de l'alcool avant de prendre la route. Chaque année, des milliers de personnes sont blessées ou tuées dans des collisions impliquant des conducteurs qui ont consommé de l'alcool. Meme si les lois relatives aux quantités d'alcool pouvant être consommées different selon les territoires, il est évident que l'alcool a des effets différents d'une personne à l'autre, effets sous-estimés par la plupart desgens.
N'oubliez pas que l'alcool et la conduite ne font pas bon menage! Cela s'applique également aux drogues (médicaments avec ou sans ordonnance) et drogues illégales. Ne prenez jamais le volant si vos capacités de conduite sont compromises par l'alcool, les drogues ou par toute condition physique susceptible de modifier votre comportement au volant.
COMMUTATEUR D'ALLUMAGE À BOUTON-POUSSOIR


AVERTISSEMENT
N'enforcez pas le commutateur d'allumage par bouton-poussoir lorsque vous roulez, sauf en cas d'urgence. (Le moteur s'arrête lorsque le commutateur d'allumage est enforcérapidement trois fois ou lorsque le commutateur d'allumage est maintainu enforcépendant deux secondes.) Si le moteur s'arrête pendant la conduite, il peut en résultat une collision et des blessures graves.
Lorsque you appuyez sur le boutonpoussoir d'allumage sans enforcer lapedale de frein, le bouton-poussoir d'allumage s'allume comme suit :
Appuyez au centre du bouton :
- Une fois pour passer à la position ON.
- Deux fois pour passer à la position OFF.
Le commutateur d'allumage revient automatiquement à la position LOCK (antivolverrouillé) lorsqu'une portière est ouverte ou fermée et que le commutateur d'allumage est à la position OFF (hors fonction).
Le verrouillage du commutateur d'allumage est concu pour que le commutateur d'allumage ne puisse etre tourné à la position OFF (hors fonction) tant que le levier selecteur n'est pas à la position P (stationnement).
S'il n'est pas possible d'enconcer le commutateur d'allumage à la position OFF (hors fonction), observerz les étapes suivantes:
- Déplacez le levier sélecteur à la position P (stationnement).
-
Enforcez le commutateur d'allumage. La position du commutateur d'allumage passera à ON (marche).
-
Enforcez de nouveau le commutateur d'allumage à la position OFF (hors fonction).
Voussoupiezdéplacerelevier sélecteur hors de la position P (stationnement) lorsquele commutateur d'allumage se trouvé à la position ON (marche) et que la pédale de frein est enfonnée.
Si la batterie du vehicule est decharge, le commutateur d'allumage ne peut pas etre deplacede la position LOCK (antivol-verrouille).
Certains témoins et avertissements de fonctionnement s'affichent au compteur. Pour obtenir des renseignements supplémentaires, consultez la section « Témoins d'avertissement, témoins et rappels sonores » (p. 2-8).

PORTEE
La clé intelligente est fonctionnelle seulement lorsqu'elle se trouve au sein de la portée précisé.
Lorsque la pile de la clé intelligente est presque déchargée ou que de puissantes ondes radioélectriques sont transmises à proximé, la portée du système de clé intelligente est réduite et la clé intelligente peut ne pas fonctionner correctement.
Sous réserve que la clé intelligente se trouve à la portée appropriée, même une personne qui n'a pas en la possession peut pousser le commutateur d'allumage pour démarrer le moteur.
La portée de la fonction de démarriage du moteur englobe l'intérieur du vehicule seulment ①.
L'aire de chargement n'est pas comprise dans la portée, mais la clé intelligente peut tout de même fonctionner.
- La clé intelligente peut ne pas fonctionner si vous la placez sur le tableau de bord, dans la boîte à gants, dans le bac de rangement ou dans un vide-poche de portière.
- La clé intelligente peut fonctionner si elle est placée pres de la portière ou de la glace à l'extérieur du vehicule.
POSITIONS DU COMMUTATEUR D'ALLUMAGE PAR BOUTON-POUSSOIR
LOCK (antivol-verrouillé) (position de stationnement normale)
Le commutateur d'allumage ne peut etre verrouillé qu'en position d'antivol-verrouillé.
Le commutateur d'allumage se déverrouille s'il est pounsé à la position ON (marche) lorsque vous étés en possession de la clé intelligente.
Le commutateur d'allumage se verrouille lorsqu'une des portieres est ouverte ou fermée alors qu'il se trouve hors fonction.
ON (position normale de fonctionnement)
Le système d'allumage et l'alimentation des accessoires électriques s'activent à cette position sans que le moteur soit mis en marche.
La position ON (marche) comporte une protection antidécharge qui met le commutateur d'allumage à la position OFF (hors fonction), si le vehicule ne roule pas, après une certaine période.
AMISE EN GARDE
Ne laissez pas le commutateur d'allumage à la position AUTO ACC (accessoires-automatique) ou ON (marche) pendant une période prolongée lorsque le moteur ne tourne pas. La batterie pourrait se décharger.
OFF (hors fonction)
Le commutateur d'allumage passe à la position OFF (hors fonction) lorsque vous coupez le moteur à l'aide du commutateur. Aucune partie du commutateur d'allumage ne s'allume.
AUTO ACC (accessoires-automatique) :
Lorsque you placez le vehicule à la position P (stationnement), COUPEZ le contact et retirez la clé intelligente, vous pouvez
encore écouter la radio pendant un certain temps ou jusqu'à ce que la portière du conducteur s'ouvre.
Après un certain temps, les fonctions comme la radio, la navigation et le système téléphonique mains libres Bluetooth™ peuvent être reliçées en appuyant sur le bouton POWER (alimentation) et de commande de VOLUME ou sur le bouton de déverrouillage de la télécommande. Pour obtaining de plus amples renseignements, consultez le chapitre « Systèmes de surveillance, de climatisation, audio, téléphonique et de reconnaissance vocale » duprésent manuel.
COUPURE DU MOTEUR EN CAS D'URGENCE
Pour couper le moteur en cas d'urgence pendant la conduite, effectuez les étapes suivantes:
- Appuyez rapidement sur le commutateur d'allumage trois fois consécutives en moins d'une seconde et demie; ou
- Maintenez le commutateur d'allumage enforcé pendant plus de deux secondes.

DéCHARGE DE LA PILÉ DE LA CLE INTELLIGENTE NISSAN INTELLIGENT KEYMD
Si la pile de la clé intelligente NISSAN Intelligent Key ^MD est décharge, ou si les conditions environnementales nuisent au fonctionnement de la clé intelligente, faites demarrer le moteur en suivant la procédure suivante:
- Déplacez le levier sélecteur à la position P (stationnement).
-
Appuyez fermement sur la pédale de frein.
-
Touchez le commutateur d'allumage avec la clé intelligente comme illustré. (Un carillon retentit.)
Après exécution de l'étape 3, lorsque vous appuyez sur le commutateur d'allumage sans enforcer la pédale de frein, la position du commutateur d'allumage passée à ON (marche). - Appuyez sur le commutateur d'allumage tout en,enfantant la pedale de frein dans les dix secondes suivant le retentissement du carillon. Le moteur se met en marche.
REMARQUE:
-
Lorsque le commutateur d'allumage est enforcé à la position ON (marche) ou lorsque le moteur est démarré au moyen de la procédure indiquée ciddessus, le témoin de décharge de la pile de la clé intelligente s'affiche à l'écran multifonction quand la clé se trouve à l'intérieur du vehicule. Cette condition est normale. Pour éteindre le témoin de décharge de la pile de la clé intelligente, touchez de nouveau le commutateur d'allumage avec la clé intelligente.
-
Si le témoin de décharge de la pile de la clé intelligente s'affiche, remplacez la pile aussitôt que possible. Pour obtenir des renseignements supplémentaires, consultez la section « Remplacement de la pile » (p. 8-26).
SYTÉME ANTIDÉMARRAGE DU VÉHICULE NISSAN
Le système antidémarrage du vehicule NISSAN empêche le démarrage du moteur si une clé non programmée dans ce dispositif est utilisé.
Si on se sert d'une clé programmée et que le moteur refuse quand même de démarrer (par exemple, en présence d'interférences causées par une autre clé programmée, par un dispositif pour poste de péage automatisé ou par un dispositif de paiement automatique se trouvant sur votre portec-clés), procédez comme suit :
- Laissez le commutateur d'allumage à la position ON (marche) pendant environ cinq secondes.
- Tournez-le ensuite à la position OFF (hors fonction) ou LOCK (antivol-verrouillé) et attendez environ 10 secondes.
- Repétez les étapes 1 et 2.
AVANT DE DEMARRER LE MOTEUR
DÉMARRAGE DU MOTEUR
- Tentez de nouveau de faire démarrer le moteur au moyen de votre clé programme NVIS tout en tenant le dispositif (ayant causé des interférences) à l'écart.
Si le moteur refuse toujours de démarrer, NISSAN vous recommende de placer votre clé programme sur un autre porte-clés afin d'éviter les interférences causées par les autres dispositifs.
Assurez-vous que rien ni personne ne se trouve à proximé de votre vehicule.
- Vérifiez les niveaux de l'huile à moteur, du liquide de refroidissement, des liquides de frein et d'embrayage (selon l'équipement) ainsi que du liquide lave-glace aussi féquements que possible ou, au moins, à chaque ravitationnement.
- Vérifiez la propriété de toutes les glaces et de tous les phares.
- Vérifiez l'aspect et la condition des pneus en procédant à une inspection visuelle. Assurez-vous également que la pression de gonflage est ajustée.
- Verrouillez toutes les portières.
- Placez les sièges et réglez les appuïe-tête.
- Réglez les rétroviseurs interieurs et extérieurs.
- Bouclez votre ceinture de sécurité et demandez à tous les autres occupants du vehicule de faire de même.
- Vérifiez le fonctionnement des témoins lorsque vous tournez le commutateur d'allumage à la position ON (marche). Pour obtenir des renseignements supplémentaires, consultez la section « Témoins d'avertissement, témoins et rappels sonores » (p. 2-8).
- Serrez le frein de stationnement.
- Modèle à transmission à variation continue:
Déplacez le levier sélecteur à la position P (stationnement) ou N (point mort). La position P (stationnement) est recommandaee.
Le démarreur peut être actionné seulement si le levier sélecteur est au point mort ou à la position de stationnement.
Modèles équipés d'une boîte de vittesses manuelle :
Déplacez le levier sélecteur au point mort (N). Appuyez à fond sur la pédale d'embrayage.
Le démarreur est donc pour fonctionner seulement lorsquela pedale d'embrayage est complètement enforcée.
- Enforcez le commutateur d'allumage à bouton-poussoir à la position ON (marche). Enforcez la pédale de frein et la pédale d'embrayage (selon l'équipement), et appuyez sur le commutateur d'allumage pour faire démarrer le moteur.
Pour faire démarrer le moteur immédiatement, appuyez brievement sur le commutateur d'allumage tout en,enfant
la pédale de frein, peu imports la position du commutateur d'allumage.
- Lorsque le démarrage de votre moteur est très difficile, par temps très froid ou au redémarrage, enforcez légarement la pedale d'accelérateur (environ au tiers de sa course) et tout en la maintainant dans cette position, lancez le moteur. Relâchez la pedale d'accelérateur lorsque le moteur démarre.
- S'il est très difficile de démarrer le moteur parce que vous l'avez noyé, appuyez sur la pédale d'accélérateur à fond et maintenez-la enforcée. Enforcé le commutateur d'allumage par bouton-poussoir à la position ON (marche) pour faire démarrer le moteur. ÀpRES 5 à 6 secondes, enforcé le commutateur d'allumage par bouton-poussoir à la position LOCK (antivol-verrouillé) pour interrompré le démarrage. Relâchez la pédale d'accélérateur. Avec la pédale d'accélérateur relâchée et la pédale de frein enforcée, lancez de nouveau le moteur en appuyant sur le commutateur d'allumage. Si le moteur tourne, mais refuse de démarrer, repêtez la procédure décrite ci-dessus.
AMISE EN GARDE
N'actionnez pas le démarreur pendant plus de 15 secondes à la fois. Si le moteur refuse de démarrer, enforcez le commutateur d'allumage par boutonpouvoir à la position OFF (hors fonction) et attendez 10 secondes avant la prochaine tentative, sous peine d'endommager le démarreur.
4. Réchauffement
Après le démarrage, laissez le moteur fonctionner au ralenti pendant au moins 30 secondes. Ne faites pas tourner le moteur de votre vehicule à un régime trop élevé pendant qu'il se réchauffe. Conduisez d'abord à vitesse modérée sur une courte distance, plus particulièrement s'il fait froid. Par temps froid, laissez le moteur tourner de deux à trois minutes au moins avant de l'arrêt. Le démarrage et l'arrêt du moteur sur une courte période peuvent rendre le vehicule plus difficile à démarrer.
- Pour arrêté le moteur, avec la clé intelligente à l'intérieur du vehicule, déplacez le levier sélecteur à la position P (stationnement) ou à la position N (point mort), serrez le frein de stationnement et poussez le commutateur d'allumage à la position OFF (hors fonction).
REMARQUE:
Évitez le plus possible les situations qui risquent de provoquer la décharge potentielle de la batterie et les conditions de non-demarrage telles que:
- L'installation ou l'utilisation prolongée d'accessoires électroniques qui déchargent la batterie lorsque le moteur est arrêté (chargeurs de téléphone, GPS, lecteurs de DVD, etc.).
- Le vehicule n'est pas utilisé régulièrement ou il est utilisé lors de courtes distances seulement.
Dans ces cas, la batterie doit possiblement etre rechargée afin de preserver sa durée de vie utile.
CONDUITE DU VÉHICULE
DÉMARRAGE À DISTANCE DU MOTEUR (selon l'équipement)
Si le vehicule est demarré au moyen du démarrage à distance du moteur du moteur, le commutateur d'allumage doit être placé à la position ON (marche) avant de pouvoir déplacer le levier sélecteur de la position P (stationnement). Pourmettre le commutateur d'allumage à la position ON (marche),suivez les étapes suivantes:
- Assurez-vous que la clé intelligente est en votre possession.
- Serrez le frein.
- Enforcez le commutateur d'allumage une fois à la position ON (marche).
Pour obtenir des renseignements supplémentaires, consultez la section « NISSAN Intelligent KeyMD » (p. 3-7).
TRANSMISSION À VARIATION CONTINUE (selon l'équipement)
A VERTISSEMENT
- N'appuyez pas sur la pédale d'accéléateur lorsque vous passez de P (stationnement) ou N (point mort) à R (marche arrrière), D (marche avant) ou L (gamme basse) (selon l'équipment). Ne relâchez la pédale de frein qu'une fois le levier sélecteur en position. Le fait de ne pas respecter ces instructions peut entraîner une perte de maïtrise du vehicule et cause un accident.
Le régime de ralenti d'un moteur froid est élevé. Faites preuve de prudence lorsque vous engagez une vitesse en marche avant ou en marche arrrière avant que le moteur se soit rechauffé. -
Ne rétrogradez pas brusquement sur une chaussée glissante. Vous pourriez alors perdre la maîtrise de votre vehicule.
-
Ne déplacez jamais le levier en position P (stationnement) ou R (marche arrrière) lorsque le vehicule se déplace en marche avant et en position P (stationnement) ou D (marche avant) lorsqu'il se déplace en marche arrrière. Ceci pourrait cause un accident ou endommager la boîte de vitesses.
AMISE EN GARDE
- Sauf en cas d'urgence, ne déplacez pas le levier de vitesses à la position N (point mort) lorsque vous conduisez. La conduite en mode de roue libre lorsque la boîte de vitesses est à la position N (point mort) risque d'endommager gravement la boîte de vitesses.
Pour éviter un dommage évientuel à votre vehicule, lorsque vous arrêtez le vehicule dans une côte ascendante, ne retenez pas le vehicule en position en,enfantant la pedale d'accéléateur. Utilisez只不过 la pedale de frein.
La transmission à variation continue de votre vehicule estlectroniquement commande pour produces un rendement optimal et un fonctionnement regulier.
Vous trouvrez aux pages suivantes les procédures de fonctionnement recom-mandées pour ce type de boîte de vitesses. Pour obtenir un rendement maximal de votre vehicule et profiter au maximum de sa conduite, suivez ces procédures.
REMARQUE:
Afin de protégger la transmission à variation continue, le couple du moteur pourrait être automatiquement réduit si son régime augmente brusquement lors de la conduite sur des chaussées glissantes ou lors d'un contrôle du vehicule sur dynamomètre.
Démarrage du vehicule

AVERTISSEMENT
- N'appuyez pas sur la pédale d'accéléateur lorsque vous passez de P (stationnement) ou N (point mort) à R (marche arrière), D (marche avant) ou L (gamme basse) (selon l'équipment). Ne relâchéz la pédale de frein qu'une fois le levier sélecteur en position. Le fait de ne pas respecter ces instructions peut entraîner une perte de maîtrise du vehicule et cause un accident.
Le régime de ralenti d'un moteur froid est élevé. Faites preuve de prudence lorsque vous engagez une vitesse en marche avant ou en marche arrêté avant que le moteur se soit rechauffé.
- Ne rétrogradez pas brusquement sur une chaussée glissante. Vous pourriez alors perdre la maitrise de votre vehicule.
- Ne déplacez jamais le levier en position P (stationnement) ou R (marche arrrière) lorsque le vehicule se déplace en marche avant et en position P (stationnement) ou D (marche avant) lorsqu'il se déplace en marche arrrière. Ceci pourrait cause un accident ou endommager la boîte de vitesses.

MISE EN GARDE
- Sauf en cas d'urgence, ne déplacez pas le levier de vitesses à la position N (point mort) lorsque vous conduisez. La conduite en mode de roue libre lorsque la boîte de vitesses est à la position N (point mort) risque d'endommager gravement la boîte de vitesses.
Pour éviter un dommage évientuel à votre vehicule, lorsque vous arrêtez le vehicule dans une côte ascendante, ne retenez pas le vehicule en position en,enfantant la pédale d'accéléateur. Utilisez只不过 la pédale de frein.
- ÀpRES avoir démarré le moteur, enoncez complètement la pédale de frein avant de déplacer le levier sélecteur hors de la position P (stationnement).
- En gardant la pedale de frein enforcée, déplacez le levier sélecteur dans une position de conduite.
- Relâchéz la pédale de frein, puis laissez le vehicule entamer graduèlement son déplacement.
- Immobilisez complètement le vehicule avant de déplacer le levier sélecteur à la position P (stationnement).
La conception de la boîte de vitesses avec transmission à variation continue de votre vehicule exige que la pédale de frein SOIT enforcée avant de permettre le déplacement du levier de la position P (stationnement) vers un rapport de conduite lorsque le commutateur d'allumage se trouve à la position ON (marche).
Vous ne pouvez pas déplacer le levier sélecteur hors de la position P (stationnement) vers l'une des autres positions lorsque le commutateur d'allumage est à la position LOCK (verrouillé), OFF (arrêt) ou AUTO ACC (accessoires-automatique).

Pour déplacer le levier sélecteur :

Appuyez sur le bouton et enforcez la pédale de frein.

Enoncez le bouton A pour déplacer le levier sélecteur.

Déplacez le levier sélecteur sans appuyer sur le bouton A.
Changement des vitesses
Une fois le moteur en marche, enforcez complètement la pédale de frein et déplacez le levier sélecteur de la position P (stationnement) vers toute autre position voulue.

AVERTISSEMENT
Serrez le frein de stationnement si le levier sélecteur est en prise alors que le moteur ne tourne pas. Sinon, le vehicule risque de se déplacer ou de rouler inopinément et d'entrainer de graves blessures ou des dommages matériels importants.
Si le commutateur d'allumage est placé à la position OFF (hors fonction) ou AUTO ACC (accessoires-automatique) pour chaque raison que ce soit alors que le levier sélecteur est en position N (point mort) ou dans toute position de marche avant, le commutateur d'allumage ne peut pas être placé à la position LOCK (verrouillé). Dans une telle situation, procédez comme suit:
-
Serrez le frein de stationnement lorsque le vehicule est arrêté.
-
Déplacez le levier de vitesses à la position P (stationnement) pour stationner le vehicule et placez le commutateur d'allumage à la position LOCK (verrouillé).
P (stationnement)

MISE EN GARDE
Pour éviter d'endommager la boîte de vitesses, sélectionnez la position P (stationnement) uniquement lorsque le vehicule est complètement immobilisé.
Utilise la position P (stationnement) du levier selecteur une fois le vehicule stationné ou au démarrage du moteur. Assurez-vous que le vehicule est complètement immobilisé. La pédale de frein et le bouton du levier selecteur doivent être enforcés pour qu'il soit possible de déplacer le levier à la position P (stationnement) à partir de la position N (point mort) ou de toute autre position. Serrez le frein de stationnement. Serrez d'abord le frein de stationnement avant de déplacer le levier selecteur à la position P (stationnement) si vous nevez vous stationner dans une pente.
R (marche arrière)

MISE EN GARDE
Pour éviter d'endommager la boîte de vitesses, sélectionnez la position R (marche arrrière) uniquement lorsque le vehicule est complètement immobilisé.
Cette position s'utilise pour reculer. Assurez-vous que votre vehicule est totallement immobilisé avant de déplacer le levier selecteur en position R (marche arrière). La pedale de frein et le bouton du levier selecteur doivent être enforcés pour déplacer ce dernier de la position P (stationnement), N (point mort) ou toute autre position de conduite à la position R (marche arrière).
N (point mort)
Il ne s'agit pas d'une position de marche avant ou de marche arrière. Vous pouze toutefois demarrer le moteur de votre vehicule dans cette position. Si le moteur de votre vehicule cale pendant que vous roulez, vous pouze déplacer le levier de vitesse de ce dernier à la position N (point mort), puis redémarrer.
D (marche avant)
Cette position est utilisé pour la conduite normale en marche avant.
L (gamme basse) (selon l'equipement)
Utilisez cette position pour produit un freinage moteur maximal dans des pentes descendantes abruptes, gravir des pentes raides et à l'approche de virages serrés. N'utilisez pas la position L (gamme basse) dans toutes autres circonstances.

Déverrouillage du levier de vitesse
Vous ne pourrez peut-etre pas déplacer le levier sélecteur de la position P (stationnement) vers une autre position si la charge de la batterie est BASSE ou déchargee, même si la pédale de frein et le bouton du levier sélecteur sont enforcés.
Vous devrez proceder à un démarrage à l'aide d'une batterie de secours ou faire recharger la batterie. Pour obtenir des renseignements supplémentaires, consultez la section « Démarrage à l'aide d'une batterie de secours » (p. 6-9). Nous vous
recommandons de communiquer avec un concessionnaire NISSAN ou un service de remorquage professionnel.
Pour déverrouiller le levier sélecteur, procédez comme suit:
- Enforcez le commutateur d'allumage à la position LOCK (antivol-verrouillé).
- Serrez le frein de stationnement.
- ÀpRES en avoir enveloppè la pointe avec un linge protecteur, utilisez un tournevis de 3 mm pour enlever le couvercle du déverrouillage du levier de vitesse.
- Si vous en avez un, vous pouvez utiliser un outil en plastique pour panneaux de finition.
- Introduisez le petit tournevis dans le trou du déverrouillage du levier de vitesse et appuyez.
- Déplacez le levier sélecteur à la position N (point mort), tout en maintainant le dispositif de déverrouillage du levier de vitesse vers le bas.
- Enforcez le commutateur d'allumage à la position ON (marche) pour déverrouiller le volant. Le vehicule peutmaintenant être conduit normalement.
Si le levier sélecteur ne peut pas être déplace hors de la position P (stationnement), faites vérifierès que possible la boîte de vitesses. Nous vous recommandons de vous rendre chez un concessionnaire NiSSAN pour cet entretien.

AVERTISSEMENT
Si le levier selector ne peut etre déplace hors de la position P (stationnement) lorsque le moteur tourne et si la pedale de frein est enforcée, il est possible que les feuqs d'arrêt ne fonctionnent pas. Des feuqs d'arrêt defec-tueux peuvent causer un accident avec blessures à vous-même et à d'autres personnes.

Commutateur de mode de conduite sport
Pour selectionner le mode de conduite sport, appuyez sur le commutateur de mode Sport pendant que le levier selecteur est à la position D (marche avant).
Le témoin de mode de conduite sport s'alume à l'écran multifonction à côté de l'indicateur de position du levier sélecteur de transmission. Pour désactiver le mode de conduite sport, appuyez de nouveau sur
le commutateur de mode de conduite sport. Le témoin de mode de conduite sport s'éteint. Lorsque le levier sélecteur est déplaced à une position autre que D (marche avant), le mode de conduite sport se désactive automatiquement.
Position OFF (hors fonction):
Pour la conduite normale et l'économie de carburant, utilisez la position OFF (hors fonction).
Position ON (marche) :
Lorsque vous devez parcourir de longues pentes en montée ou en descente dans lesquelles l'utilisation du frein moteur est nécessaire, ou lorsque vous devez accelerer rapidement, utilisez la position ON (marche). La transmission selectionne automatiquement un autre rapport de démultiplication pour permettre au moteur d'offrir une puissance élevée.
N'oubliez pas que vous ne devez pas conduire à des vitesses élevées pendant de longues périodes si le mode de conduite sport est ACTIVÉ. Cela augmente la consommation de carburant.
Rétrogradation de l'accelérateur - En position D (marche avant) -
Enoncez la pedale d'accéléateur au plancher si vous devez effectuer un dépassement ou gravir une pente raide. La boîte de vitesses rétrogradera dans un rapport inférieur correspondant à la vitesse du vehicule.
Mode de protection de surchauffedu liquide de transmission
Cette transmission à variation continue dispose d'un mode de protection de surchauffe du liquide de transmission. Si la température du liquide devient trop élevé (par exemple, en gravissant une pente abrupte à pleine charge, par temps chaud, en tractant une remorque), le couple du moteur et, dans certaines conditions, la vitesse du vehicule pourraient être diminués automatiquement afin d'éviter d'endommager la boîte de vitesse. La vitesse du vehicule peut être contrôleé par la pedale d'accéléateur, mais le couple du moteur et la vitesse du vehicule pourraient être limités.
Protection totale
Il est possible que le dispositif de protection totale s'active en présence de conditions de conduite extrêmes, telles qu'un patinage excessif des roues suivi d'un freinage brusque. Le témoin d'anomalie pourrait s'allumer pour indiquer que le mode de protection totale est activé. Pour obtenir des renseignements supplémentaires, consultez la section « Témoin d'anomalie » (p. 2-10). Le dispositif peut s'activer même si tous les circuits électriques fonctionnent ajustement. En pareil cas, placez le commutateur d'allumage à la position OFF (hors fonction) et attendez 10 secondes. Enforcez de nouveau le commutateur d'allumage à la position ON (marche). Le fonctionnement normal du vehicule devrait se rétabir. Si ce n'est pas le cas, faites vérifier la boîte de vitesses et procédéez aux réparations, au besoin. Nous vous recommendons de vous rendre chez un concessionnaire NISSAN pour cet entretien.
AVERAGEMENT
Lorsque le mode de protection de température élevé du liquide de refroidissement ou le mode de protection totale s'active, la vitesse du vehicule peut être graduallement réduite. Une vitesse inférieure à celle de la circulation fait augmenter les risques de collision. Soyez particulièrement prudent pendant la conduite. Au besoin, rangez le vehicule sur l'accotement de façon sécuritaire et laissez la boîte de vices-ses revenir à un fonctionnement normal ou faites-la réparer au besoin.
BOÎTE DE VITESSES MANUELLE (selon l'equipement)
A VERTISSEMENT
- Ne rétrogradez pas brusquement sur une chaussée glissante. Vous pourriez alors perdre la maîtrise de votre vehicule.
-
Ne faites pas tourner le moteur en survvitesse lorsque vous rétrogradez. Vous pourriez perdre la maitrise de votre vehicule ou endommager le moteur.
-
Ne passes pas à la position N (point mort) en cours de route. Vous pourriez ainsi perdre la maîtrise du vehicule et provoquer un accident.
AMISE EN GARDE
- Ne laïsez pas votre pied reposer sur la pédale d'embrayage pendant que vous conduisez, car vous pourriez endommager l'embrayage.
- Enforcez complètement la pédale d'embrayage avant de changer de vitesse pour éviter d'endommager la boîte de vittesses.
- Immobilisez complètement votre vehicule avant de passer en marche arrière (R).
Lorsque le vehicule est immobilisé et que le moteur tourne (par exemple, à un feu de circulation), déplacez le levier de vitesse au point mort et relâchez la pédale d'embrayage en vous assurant d'appuyer sur la pédale de frein. - Ne passes pas à la position N (point mort) en cours de route. Vous pourriez ainsi perdre la maitrise du vehicule et provoquer un accident.

Changement des vitesses
Pour changer de rapport, au moment d'un passage en vitesse supérieure ou d'une rétrogradation, enforcez complètement la pedale d'embrayage, engagez le rapport adéquat et relâchez la pedale d'embrayage lentement et en douceur.
Pour changer les rapportss en douceur, assurez-vous de bien enforcer la pedale d'embrayage avant de déplacer le levier sélecteur. Si vous n'avez pas bien enforcé la pedale d'embrayage avant de passer les rapportss, vous risque d'entendre un bruit
provenant des pignons. Cela pourrait endommager la boîte de vitesses.
Mettez le vehicule en mouvement en 1^re vitesse, puis passez en 2^e , en 3^e , en 4^e , en 5^e et en 6^e vitesse dans l'ordre, selon la vitesse du vehicule.
Pour passer en marche arriré, soulevez la bague du levier sélecteur ① et déplacez le levier à la position R (marche arrrière) lorsque le vehicule est immobile.
La bague du levier sélecteur ① reprend automatiquement sa position initiale lorsque vous sélectionnez la position N (point mort).
S'il est difficile de passer à la position R (marche arrière) du levier selecteur ou à la position 1 (première), passes à la position N (point mort), puis relâchez la pedale d'embrayage. Enforcez la pedale d'embrayage de nouveau et passes à la position R (marche arrière) ou à la position 1 (première).
Vitesses suggérées pour le passage des rapports supérieur
Youtourevez ci-apresdes suggestions de vitesses pour les passages vers des rapportes supérieurs.Ces suggestions sont
établies en fonction de la consommation de carburant et du rendement de votre vehicule. Les vitesses de passage vers des rapports supérieurs varient selon l'etat de la route, la température et les habitudes de conduite individuelles.
2.0L 4 cylindres (modèle de moteur MR20DD) (6 M/T)
| Changement de RAPPORT | km/h (mi/h) |
| 1er à 2e | 14 (9) |
| 2e à 3e | 14 (22) |
| 3e à 4e | 19 (31) |
| 4e à 5e | 26 (42) |
| 5e à 6e | 48 (30) |
Vitesse maximale sugérée pour chaque rapport
Si le moteur net tourne pas en douceur ou si une accelération est requise, passez à un rapport inférieur.
Ne dépassez pas la vitesse maximale sugérée (mentionnée ci-après) dans quelles rapport que ce soit. Utilisez le rapport le plus élevé suggéré pour cette vitesse si vous conduissez sur une route plane. Afin d'assurer votre sécurité, respectez les limites de vitesse et tenez compte de l'état
de la route lorsque vous condusiez. Au passage à un rapport inférieur, ne faites pastourner votre moteur en survitesse au risque d'endommager votre moteur et de perdre la maitrise de votre vehicule.
2.0L 4 cylindres (modèle de moteur MR20DD) (6 M/T)
Assurez-vous que le frein de stationnement est complètement desserré avant demettre le vehicule en mouvement. Sinon, cela risque de causeur une défaillance des freins et d'entraîner un accident.
- Ne desserrez pas le frein de stationnement de l'extérieur du vehicule.
- N'utilise pas le levier sélection comme frein de stationnement. Lorsque vous stationnez votre vehicule, assurez-vous que le frein de stationnement est bien serré.
Pour éviter le risque de blessures ou de décès associé à un fonctionnement accidentel du vehicule ou de ses systèmes, ne laissez pas les enfants, les personnes qui ont besoin de l'aide d'autres personnes ou les animaux sans surveillance dans votre vehicule. De plus, la température à l'intérieur d'un vehicule fermé lors d'une journée chaude peut s'éleverrapidement au point de provoquer un risque important de blessures graves ou mortelles à des personnes ou à des animaux domestiques.

TYPE MANUEL (selon l'équipement)
Pour le serrer: Tirez le levier vers le haut A.
Pour le relâcher :
- Appuyez fermement sur la pédale de frein.
- Modèles de boîte de vitesses manuelle :
Déplacez le levier sélecteur à la position N (point mort).
Modèle à transmission à variation continue:
Déplacez le levier sélecteur à la position P (stationnement).
- Tout en tirant légèrement le levier du frein de stationnement vers le haut, poussez le bouton du levier, avant d'abaisser celui-ci complètement ⑧.
- Assurez-vous que le témoin des freins est étéeint avant de prendre la route.

TYPE DE PÉDALE (selon l'équipement)
Pour le serrer : enforcez fermement le frein de stationnement.
Pour le relâcher :
- Appuyez fermement sur la pédale de frein.
- Déplacez le levier sélecteur à la position P (stationnement).
- Appuyez fermement sur la pédale du frein de stationnement pour le desserrer.
- Assurez-vous que le témoin des freins est étéeint avant de prendre la route.

Le mode ECO permet d'améliorer l'économie de carburant en contrôle la sensibilité de l'accéléateur et les changements de vitesse programmes.
Pour activer le mode ECO, appuyez sur l'interrupteur de mode ECO. Le témoin de mode ECO (sur le compteur ou l'écran multifonction) reste allumé pendant que le mode est actif.
Pour désactiver le mode ECO, appuyez de nouveau sur l'interrupteur de mode ECO. Le témoin de mode ECO (sur le compteur ou l'écran multifonction) s'éteint.
Il est impossible de désactiver le mode ECO tant que vous appuyez sur la pedale d'accéléateur, même si le commutateur de mode ECO est hors fonction. Relâchez la pedale d'accéléateur pour désactiver le mode ECO.
Le mode ECO se désactive automatiquement s'il se produit une anomalie dans le système.
Désactivez le mode ECO, ou maintenez la pedale d'accéléateur complètement enforcée lorsque:
- vous transportez dans le vehicule un chargement lourd composé de passagiers ou de fret;
- vous conduissez sur une pente ascendante escarpée;
- le mode d'économie de carburant (ECO) peut affecter l'opération de climatisationur.
REMARQUE:
La selection de ce mode de conduite n'améliore pas nécessairement la consommation de carburant, car plusieurs facteurs de conduite influencent son efficacité.

TÉMOIN DE LEVIER SELECTIONEUR (moteur 4 cylindres de 2.0L (modèle MR20DD) MODELES DE BOîTE DE VITÉSSES MANUELLE SEULEMENT) (selon l'équipement)
Le témoin du levier sélecteur indique quand il faut changer de rapport de vitesse. Il fonctionne uniquement quand le mode ECO est en fonction.
L'icône du témoin de sélection des rapportés et la position de rapport de marche recommandée s'affichent.
L'icône de témoin de sélection de rapportes indique quand changer de rapport, ascendant ou descendant, pour économiser le carburant.
REMARQUE:
- Le témoin de sélection de rapportés fait office de guide pour économiser le carburant. Faites toujours attention à l'état de la route et à la circulation.
- Faites passer l'icone d'indicateur de rétrogradation à la position 1 (1re) si le témoin ne s'affiche pas.
- S'il s'affiche lorsque vous réduisez la vitesse de votre vehicule, c'est que le régime du moteur est faible comparé au rapport de marche engagé.

Le résultat de l'évaluation ECO s'affiche 30 secondes après L'ETABLISSEMENT du contact et après que le vehicule est conduit sur une distance d'au moins 1/3 milles (500 metres).
① L'économie moyenne de carburant des 5 fois précédentes s'affiche.
L'économie moyenne de carburant depuis la dernière réinitialisation s'affiche.
3 Laffectiveeconomie de carburant delhistorique precedent s'affiche.
Le rapport de conduite écoénergétique peut être réglée aux modes ON (marche) ou OFF (hors fonction).
RAPPORT DE CONDUITE ÉCOÉNERGÉTIQUE (selon l'équipement)
Lorsque le commutateur d'allumage est à la position OFF (hors fonction), l'affichage de gestion du mode ECO (economie) s'affiche.
① 5 fois précédentes (historique)
② Économie réelle de carburant
3 Meilleure economie de carburant
RECONNAISSANCE DE SIGNALISATION ROUTIÈRE (selon l'équipement)

Le système de reconnaissance de signalisation routière fournit au conducteur des renseignements relatifs à la limite de vitesse détectée le plus récemment. Le système capture les informations relatives aux panneaux routiers à l'aide de l'unité deamera avant à détction multiple A située sur le pare-brise à l'avant du rétrovisueur interieur et affiche les signes détectés à l'écran multifonction. Pour les vehicules équipés d'un dispositif d'aide à la navigation, la limite de vitesse affichée dépend d'une combinaison de données du dispositif d'aide à la navigation et de reconnaissance en direct de laamera. L'information
du système de reconnaissance de signalisation routière est toujours affichée en haut de l'écran multifonction et optionnellement dans le centre de l'écran d'affichage.

AVERTISSEMENT
Le système de reconnaissance de signalisation routière est uniquement destiné à être un dispositif de soutien qui aide à fournir des informations au conducteur. Il ne remplace pas la vigilance du conducteur relative aux conditions de circulation ou à la responsabilité de conduire prudiment. Il ne peut pas éviter des accidents décaulant d'une imprudence. Le conducteur doit en tout temps se montré vigilant et conduire prudiment.

Pour les vehicules équipés du compteur de 7 pouces
FONCTIONNEMENT DU SYSTEME
Le système de reconnaissance de signalisation routière affiche les types suivants de signalisation routière :

Pour les vehicules équipés du compteur de 4,2 pouces
MAXIMUM
60
km/h

Speed
Limit
60
Speed
Limit

DO
NOT
PASS

LSD3378
A Panneau de vitesse detecté (au Canada)
B Panneau de vitesse detecté (aux États-Unis)
C Panneau de vitesse detecté (aucune limite de vitesse detectée)
D Panneau d'interdiction de passage détecté
AMISE EN GARDE
Le système de reconnaissance de signalisation routière est unconc comme une aide pour une conduite sécuritaire. Il incombe au conducteur de rester vigilant, de conduire prudiment et de respecter tous les règlements routiers en vigueur, y compris de vérifier la signalisation routière.
Le système de reconnaissance de signalisation routière peut ne pas fonctionner correctement dans les conditions suivantes:
Lorsque le panneau routier n'est pas clairement visible, par exemple, à cause des dommages ou des conditions météorologiques.
Lorsque la pluie, la neige ou la saleté adhére au pare-brise à l'avant de laamera à détction multiple.
Lorsque les phares sont ternes, par exemple à cause d'une accumulation de saletés sur la lentille ou du réglage incorrect de l'orientation.
- Lorsqu'une lumière intense pénétre dans laamera. (Par exemple, la luzière est réfléchie directement devant le vehicule à l'avant du vehicule au lever ou au coucher du soleil.)
Lorsqu'un changement soudain d'intensité survient. (Par exemple, lorsqu'un vehicule pénétre dans un tunnel ou en sort, ou en passant sous un pont.)
S'il existe des déviations par rapport à la navigation, par exemple en raison des changements d'itinétaire.
Lors du dépassement d'autobus ou de camions avec des signes de vitesse.

Pour les vehicules équipés du compteur de 7 pouces
ACTIVATION ET DÉSACTIVATION DU SYSTEME DE RECONNAISSANCE DE SIGNALISATION ROUTIQUE

Pour les vehicules équipés du compteur de 4,2 pouces
Effectuez les étapes suivantes pour activer ou désactiver le système de reconnaissance de signalisation routière.
- Appuyez sur le bouton ↓ jusqu'à ce que l'option « Réglages » s'affiche à l'écran multifonction. Utilisez le bouton ↓ pour sélectionner l'option « Assist. au conduct. », puis appuyez sur le bouton OK.
- Sélectionnez « Info. vitesse limite » et appuyez sur le bouton OK pour activer ou désactiver le système.
SYSTEME TEMPORAIREMENT INAVAILABLE
Si le vehicule est stationné au soleil partemps très chaud (la température est supérieure à 40 °C [104 °F] environ), puis démarré, le système de reconnaissance de signalisation routière (TSR) pourrait se désactiver automatiquement. Le message d'advertissement « Unavailable: High Camera Temperature » (non disponible : température élevée de laamera) s'affiche à l'écran multifonction.
Mesures à prendre :
Lorsque la température interieure est réduite, le système de reconnaissance de signalisation routière reprend automatiquement le fonctionnement.
DEFAUT DU SYSTÉME
Lorsque le système de reconnaissance de signalisation routière ne fonctionne pas correctement, il se désactive automatiquement et le message d'advertissement d'anomalie du système s'affiche à l'écran multifonction.
AVERTISSEMENT DU DÉPORT DE VOIE
Mesures à prendre :
Si le message d'advertissement d'anomalie du système de reconnaissance de signalisation routière s'affiche à l'écran, quitterze la route et immobilisez votre vehicule dans un endroit sécuritéaire. Coupe le moteur et redémarrez-le. Si le message d'advertissement d'anomalie du système de reconnaissance de signalisation routière continue de s'afficher, faites vérifier le système. Nous vous recommendons de vous rendre chez un concessionnaire NISSAN pour cet entretien.
ENTRETIEN DU SYSTEME
Le système de reconnaissance de signalisation routière utilise la mêmeamera avant à détction multiple qui est utilisée par le système d'advertissement du déport de voie situé à l'avant du rétroviseur interieur. Pour obtenir des renseignements supplémentaires, consultez le paragraphe « Entretien du système » (p. 5-39).

A AVENTISSEMENT
Le non-respect des avertissements et des instructions relatives à l'utilisation appropriée du système d'advertissement du déport de voie pourrait entraîner des blessures graves, voir mortelles.
- Ce système n'est qu'un dispositif d'avertissement pour avertir le conducteur d'un départ de voie involontaire potentiel. Il n'assure pas la direction du vehicule et ne prévient pas la perte de maîtrise du vehicule.
Il incombe au conducteur de rester vigilant, de conduire prudemment, de maintainir son vehicule dans la voie empruntee et de maitriser son vehicule en tout temps.
Le système d'advertissement du déport de voie fonctionne lorsque le vehicule est conduit à une vitesse d'environ 60 km/h (37 mi/h) et plus, et seulement lorsque les marquages au sol sont clairment visibles sur la route.
Le système d'rapidissement du déport de voie contrôle les marquages au sol de la voie empruntée à l'aide d'uneamera © située au-dessus du rétroviseur interieur.
Le système d'advertissement du déport de voie avertit le conducteur que le vehicule est sur le point de quitter entiement la voie de conduite à l'aide d'un indicateur et d'une vibration du volant. Pour obtenir des renseignements supplémentaires, consultez la section « Fonctionnement du système d'advertissement du déport de voie » (p. 5-34).

LSD3291
Le système d'advertissement du déport de voie fournit une fonction d'advertissement du déport de voie, lorsque le vehicule est conduit à une vitesse d'environ 60 km/h (37 mi/h) et que les marquages au sol sont bien visibles. Lorsque le vehicule s'approche de la gauche ou la droite de la voie empruntée, le volant vibre et le témoin du système d'advertissement du déport de voie clignote sur le tableau de bord pour alerter le conducteur.
Pour les vehicules équipés du compteur de 7 pouces
FONCTIONNEMENT DU SYSTEME
D'AVERTISSEMENT DU DÉPORT
DE VOIE

LSD3782
Pour les vehicules équipés du compteur de 4,2 pouces
La fonction d'advertissement se désactive lorsque le vehicule returne à l'intérieur des marquages au sol.



LSD3486
Pour les vehicules équipés du compteur de 7 pouces
ACTIVATION ET DÉCAVATION
DU SYSTEME D'AVERTISSEMENT
DU DEPORT DE VOIE
Effectuez les étapes suivantes pour activer ou désactiver le système d'advertissement du déport de voie.
- Appuyez sur le bouton « jusqu'à ce que l'option « Régliages » s'affiche à l'écran multifonction. Utilisez le bouton
pour selectionner l'option « Assist. au conduct. », puis appuyez sur le bouton OK. - Sélectionnez « Voie», puis appuyez sur le bouton OK.
- Sélectionnez l'options « DétSortieVoie » et appuyez sur le bouton OK pour activer ou désactiver le système.
REMARQUE:
Lors de l'activation/désactivation du système, le système retient les réglages actuels même si le moteur est redémarré.



LSD3779
Pour les vehicules équipés du compteur de 4,2 pouces
LIMITATIONS DU SYSTÉME D'AVERTISSEMENT DU DÉPORT DE VOIE

AVERTISSEMENT
Les limites du système d'ajretissement du déport de voie sont répertoriées cédssous. Le non-respect des avertissements et des instructions relatives à l'utilisation appropriée du système d'ajretissement du déport de voie pourrait entrainer des blessures graves, voire mortelles.
Le système ne fonctionne pas à des vitesses inférieures à 60 km/h (37 mi/h) ou s'il ne peut détecter les marquages au sol.
- N'utilise pas le système d'avoitissement du déport de voir dans les conditions suivantes, car il pourrait fonctionner de manière incorrecte :
-
Par mauvais temps (pluie, brouillard, neige, etc.).
Lors de la conduite sur des routes glissantes, comme sur la glace ou la neige. -
Lors de la conduite sur des routes sinueuses ou irrégulières.
- Lors d'une fermeture de voie en raison de réparations de route.
- Lors de la conduite sur une route de fortune ou sur une voie-temporaire.
-
Lors de la conduite sur des routes dont la largeur de voie est trop etroite.
Lors de la conduite dans des conditions anormales des pneus (par exemple, usure des pneus,asse pression des pneus,installation d'une roue de secours,de chains antidérapantes, de roues différentes de celles de série).
Lorsque le vehicule est doté de pièces de frein ou de suspension qui ne sont pas d'origine.
Lorsque yous tractez une remorquou un autre vehicule. -
Le système peut ne pas fonctionner correctement dans les conditions suivantes:
-
Sur les routes où se trouvent de multiples marquages au sol de voie parallèle, de marquages décolorés ou points de façon imprecise, de marquages points en jaune, de marquages irréguliers ou de marquages recouverts d'eau, de saleté, de neige, etc.
- Sur les routes où les marquages au sol discontinus sont encore décelables.
- Sur les routes sinueuses.
- Sur les routes comptant des objets de contraste important, tels que les ombres, la neige, l'eau, les ornières de roue, les traces ou les lignes qui restent après les réparations sur la route. (Le système d'advertissement du déport de voie pourrait détecter ces éléments comme des marquages au sol).
- Sur les routes où la voie empruntée fusionne ou se sépare.
Lorsque la direction emprunté du vehicule ne s'aligne pas avec le marquage.
Lorsque le vehicule s'approche de celui qui le precede, ce qui obstrue la portée de détction deamera de voie.
- Quand la pluie, la neige, la saleté ou un objet adhérent au pare-brise devant laamera de voie.
Lorsque les phares sont ternes en raison d'une accumulation de saletés sur la lentille ou si l'orientation n'est pas reglee correctement.
Lorsqu'une lumière intense pénétre dans laamera de voie. (Par exemple, la lumière est réfléchie di directement devant le vehicule à l'avant du vehicule au lever ou au coucher du soleil.)
Lorsqu'un changement soudain d'intensité survient. (Par exemple, lorsqu'un vehicule penètre dans un tunnel ou en sort, ou en passant sous un pont.)
Si le vehicule est stationné au soleil lorsquela température est très élevé (au-dessus de 40^ [104 F]), puis qu'il est ensuite démarré, le système d'advertissement du déport de voie (LDW) peut être désactivé automatiquement et le message suivant s'affiche alors à l'écran multifonction: « Unavailable: High Cabin Temperature » (non disponible: température élevé de l'habitacle).
Lorsque la température interieure est réduite, le système d'rapidissement du déport de voie reprend automatiquement le fonctionnement.
Le système d'ajretissement du deport de voie n'est pas conçu pour alerter dans les conditions ci-dessous:
- Lorsque vous actionnez le signal de changement de voie et changez la voie empruntée dans la direction du signal. (Le système d'advertissement du déport de voie est de nouveau fonctionnel environ deux secondes après la désactivation du signal de changement de voie.)
- Lorsque la vitesse du vehicule est inférieure à 60 km/h (37 mi/h).
Lorsque les conditions mentionnées ci-dessus ne sont plus presents et que les conditions de fonctionnement nécessaires sont remplies, les fonctions du système d'ajretissement du deport de voie sont reactivées.
ANOMALIE DU SYSTEME
Si le système d'advertissement du déport de voie ne fonctionne pas correctement, il s'annule automatiquement et le message « Non dispo défectuosité système » s'affiche à l'écran multifonction. Si le message « Non dispo défectuosité système » s'affiche à l'écran multifonction, quitterze la route et immobilisez votre vehicule dans un endroit sécuritétaire. Placez le levier sélecteur à la position P (stationnement) et le commutateur d'allumage à la position OFF (hors fonction), puis redémarrez le moteur. Si le message « Non dispo défectuosité système » continue de s'afficher à l'écran multifonction, faites vérifier le système. Nous vous recommendons de vous rendre chez un concessionnaire NISSAN pour cet entretien.

ENTRETIEN DU SYSTEME
Laamera de voie du système d'avoitissement du déport de voie se trouve au-dessus du rétroviseur interieur. Afin d'assurer le fonctionnement approprié du système d'avoitissement du déport de voie et de prévenir une anomalie de système, observez les consignes suivantes:
- Gardez toujours le pare-brise propre.
- N'apposez pas un autocollant (opaque ou transparent) sur le capteur et n'installez pas d'accessoire à proximité.
AVERTISSEUR D'ANGLE MORT (BSW)
- Ne placez pas de matériel au reflechissant, comme du papier blanc ou un miroir, sur le tableau de bord. Le reflet des rayons du soleil peut nuire à la capacité de détction de laamera et l'empêcher de détecter les marquages au sol.
- Évitez de frapper ou d'endommager les zones autour de laamera. Ne touche pas à la lentille de laamera et ne retirez pas la vis située sur laamera. Si laamera est endommagée à la suite d'un accident, nous vous recommendons de visitor un concessionnaire NISSAN.
AVERAGEMENT
Le non-respect des avertissements et des directives relatives à l'utilisation du système d'ajretissement sur angle mort pourrait entrainer des blessures graves, voire mortelles.
Le système d'advertissement sur angle mort ne remplace pas la façon appropriée de conduire le vehicule et n'est pas conscience pour empêcher le contact avec les vehicules ou les objets. Lors d'un changement de voie, utilisez toujours les rétroviseurs extérieurs et interieurs et tournez-vous en regardant dans la direction où vous déplacez le vehicule pour vous assurer qu'il est prudent de changer de voie. Ne vous fiez pas uniquement au système d'advertissement sur angle mort.
Le système d'avertissement sur angle mort permet d'alerter le conducteur de la presence d'autres vehicules dans les voies adjacentes lors d'un changement de voie.

Le système d'advertissement sur angle mort utilise des capteurs de radar ① installés pres du pare-chocs arrêté pour détecter d'autres vehicules qui se trouvent dans une voie adjacente.

Zone de détention
Les capteurs de radar peuvent détecter des vehicules sur les deux côtés de votre vehicule dans la zone de détction comme illustré. Cette zone de détction commence à partir du rétroviseur extérieur de votre vehicule et s'étend jusqu'à environ 3,0 m (10 pi) derrière le pare-chocs arrière, et à environ 3,0 m (10 pi) lateralement.

Pour les vehicules équipés du compteur de 7 pouces

LSD3804
Pour les vehicules équipés du compteur de 4,2 pouces
- Témoin du système d'advertissement sur angle mort et du système d'alerte de circulation transversale arrière
- Indicateur du système d'advertissement sur angle mort et du système d'alerte de circulation transversale arrête
FONCTIONNEMENT DU SYSTÉME D'AVERTISSEMENT SUR ANGLE MORT
Le système d'advertissement sur angle mort fonctionné lorsque la vitesse est supérieure à 32 km/h (20 mi/h) environ.
Si les capteurs de radar déetectent des vehicules dans la zone de détction, le tímoin du système d'avertissement sur angle mort et du système d'alerte de circulation transversale arrêté (1) s'allume. Si le clignotant est ensuite activé, le système émet un carillon (à deux reprises) et le tímoin du système d'avertissement sur angle mort et du système d'alerte de circulation transversale arrrière clignote. Le tímoin du système d'avertissement d'angle mort continue de clignoter jusqu'à ce que les vehicules déetectés quittent la zone de détction.
Le témoin du système d'alertissement sur angle mort et du système d'alerte de circulation transversale arrêté s'allume pendant quelques secondes lorsque le contact est éTABLI.
La luminosité du témoin du système d'avertissement sur angle mort et du système d'alerte de circulation transversale arrêté est réglée automatiquement en fonction de la luminosité de l'éclairage ambient.
Si un vehicule pénétre dans la zone de détction après l'activation du clignotant par le conducteur, seul le témoin du système d'advertissement sur angle mort ou du système d'alerte de circulation transversale arrêté clignote et aucun carillon ne retentit. Pour obtenir des renseignements supplémentaires, consultez la section « Situations de conduite du système d'advertissement d'angle mort » (p. 5-46).



LSD3742
Pour les vehicules équipés du compteur de 7 pouces
ACTIVATION ET DÉCACTIVATION
DU SYSTEME D'AVERTISSEMENT
SUR ANGLE MORT



LSD3805
Pour les vehicules équipés du compteur de 4,2 pouces
Effectuez les étapes suivantes pour activer ou désactiver le système d'advertissement sur angle mort.
- Appuyez sur le bouton ↓▶ jusqu'à ce que l'options « Régliages » s'affiche à l'écran multifonction. Utilisez le bouton ↓▶ pour sélectionner l'options « Assist au conduct. », puis appuyez sur le bouton OK.
- Sélectionnez « Angle mort » et appuyez sur le bouton OK.
- Sélectionnez « Angle mort Alerte » (selon l'équipement) ou « Angle mort » (selon l'équipement) et appuyez sur le bouton OK.
REMARQUE:
- Lors de l'activation/désactivation du système, le système retient les réglages actuels même si le moteur est redémarré.
- Lorsque le système d'advertissement sur angle mort est activé, le témoin du système d'advertissement sur angle mort et du système d'alerte de circulation transversale arrêté (blanc) s'allume à l'écran multifonction.
LIMITES DU SYSTÉME
D'AVERTISSEMENT SUR ANGLE
MORT

AVERTISSEMENT
Les limites du système d'avoitissement sur angle mort sont répertoriées ci-dessous. Le fait de ne pas conduire le vehicule conformément à ces limites du système peut entraîner des blessures graves ou mortelles.
- Le système d'advertissement sur angle mort ne peut détecter tous les vehicules dans toutes les conditions.
-
Les capteurs de radar peuvent ne pas détaquer les objets et activer le système d'advertissement sur angle mort lorsque certains objets sont présents tels que:
-
Les piétons, les vélos, les animaux.
- Les vehicules tels que les motocyclettes, les vehicules de hauteur basse ou les vehicules dotés de grande garde au sol.
- Les vehicules venant en sens inverse.
-
Les vehicules qui restent dans la zone de détention lorsque vous accélèrez à partir d'un arrêt.
-
Un vehicule qui pénétre dans la voie adjacente à une vitesse approximative à celle de votre vehicule.
- Les vehicules qui s'approchant rapidement depuis l'arrière.
- Les vehicules que vous voiture dépasse rapidement.
- Un vehicule qui traverse rapidement la zone de détention.
Lorsque vous dépassez plusieurs vehicules dans une rangée, les vehicules après le premier vehicule peuvent ne pas être détectés s'ils se déplacent proches l'un de l'autre.
La zone de détction des capteurs de radar est concise en fonction d'une largeur de voie standard. Lorsque vous conduisez dans une voie plus large, les capteurs de radar peuvent ne pas detecter les vehicules qui se trouvent dans une voie adjoininge. Lorsque vous conduisez dans une voie etroite, les capteurs de radar peuvent detecter les vehicules qui se trouvent de deux voies eolignées.
- Les capteurs de radar sont conçus pour ignorer la plupart des objets fixes; toutefois, les objets tels que les barrières de sécurité, les murs, le feuillage et les vehicules stationnés pourraient parfois être détectés. Il s'agit d'un fonctionnement normal.
- Les conditions suivantes peuvent réduire la capacité du radar à détector d'autres vehicules:
Temps violent
Projections de la route
- Glace, gel ou accumulation de neige ou de saleté sur le vehicule
- N'apposez pas des autocollants (y compris le matériel transparent), n'installez pas des accessoires ou appliquez une peinture additionnelle à proximate des capteurs de radar. Ces conditions peuvent réduire la capacité du radar à détecter d'autres vehicules.
Le bruit excessif (par exemple, le volume de la chaine stéreo ou une glace de vehicule ouverte) a une incidence sur le timbre du carillon et il se peut qu'il ne soit pas entendu.

Un autre vehicule qui s'approche de derrière
Illustration 1: le témoin du système d'avertissement sur angle mort (BSW) ou du système d'alerte de circulation transversale arrière (RCTA) s'allume si un vehicule pénétre dans la zone de détention de derrière dans une voie adjacente.
REMARQUE:
- Les capteurs de radar peuvent ne pas détecter les vehicules qui s'approchantrapidement par l'arrière.

Illustration 2 - approche de derrière
Illustration 2: Si le conducteur active le clignotant lorsqu'un autre vehicule se trouve dans la zone de détction, un carillon retentit alors (à deux reprises) et le témoin létral du système d'alertissement sur angle mort (BSW) / d'alerte de circulation transversale arrêté (RCTA) clignote.
Illustration 1 - approche de derrière SITUATIONS DE CONDUITE DU SYSTème D'AVERTISSEMENT SUR ANGLE MORT
Témoin activé

Témoin désactivement

Témoin clignotant

REMARQUE:
- Les capteurs de radar peuvent ne pas détaquer les vehicules qui s'approchantrapidement par l'arrière.
- Si le conducteur active le clignotant avant qu'un vehicule penètre dans la zone de détction, le témoin lésral du système d'avertissement sur angle mort (BSW) / d'alerte de circulation transversale arrrière (RCTA) clignote, maisaucun carillon ne retentit lorsque l'autre vehicule est détecté.

Illustration 3 - dépassement d'un autre vehicule
Dépassement d'un autre vehicule
Illustration 3: Le témoin lésral du système d'ajtissement sur angle mort (BSW) / d'alerte de circulation transversale arrrière (RCTA) s'allume si vous dépassez un vehicule et que ce vehicule reste dans la zone de détction pendant environ 2 secondes.

Illustration 4 - dépassement d'un autre vehicule
Illustration 4: Si le conducteur active le clignotant lorsqu'un autre vehicule se trouve dans la zone de détention, un carillon retentit alors (à deux reprises) et le témoin létalé du système d'advertissement sur angle mort (BSW) / d'alerte de circulation transversale arrêté (RCTA) clignote.
REMARQUE:
- Lorsque vous dépassez plusieurs vehicules dans une rangée, les vehicules après le premier vehicule peuvent ne pas être détectés s'illes se déplacent proches l'un de l'autre.
- Les capteurs de radar peuvent ne pas détaquer les vehicules qui se déplacent lentement si vous désfacultés les dépasse rapidement.
- Si le conducteur active le clignotant avant qu'un vehicule pénétre dans la zone de détction, le témoin lésral du système d'advertissement sur angle mort (BSW) / d'alerte de circulation transversale arrrière (RCTA) clignote, maisaucun carillon ne retentit lorsque l'autre vehicule est détecté.

Illustration 5 - entrée du côté
Entrée du côté
Illustration 5: Le témoin lésral du système d'avertissement sur angle mort (BSW) et d'alerte de circulation transversale arrière (RCTA) s'allume si un vehicule pénétre dans la zone de détction d'un côté ou de l'autre.

Illustration 6 - entrée du côté
Illustration 6: Si le conducteur active le clignotant lorsqu'un autre vehicule se trouve dans la zone de détction, un carillon retentit alors (à deux reprises) et le témoin létral du système d'alertissement sur angle mort (BSW) / d'alerte de circulation transversale arrêté (RCTA) clignote.
REMARQUE:
- Si le conducteur active le clignotant avant qu'un vehicule pénétre dans la zone de détction, le témoin lésral du système d'avertissement sur angle mort (BSW) / d'alerte de circulation transversale arrrière (RCTA) clignote, maisaucun carillon ne retentit lorsque l'autre vehicule est détecté.
- Les capteurs de radar peuvent ne pas détecter un vehicule qui se déplace à environ la même vitesse que votre vehicule lorsqu'il entre dans la zone de détction.
Pour les vehicules équipés du compteur de 7 pouces

LSD3743
SYSTEME TEMPORAIREMENT
INDISPONIBLE

LSD3806
Pour les vehicules équipés du compteur de 4,2 pouces
Lorsqu'une obstruction du radar est détectée, le système est automatiquement désactivé. Le message d'avertissement « Side Radar Obstruction » (radar latorial obstrué) ou « Unavailable: Side Radar Obstruction » (non disponible: radar latorial obstrué) s'affiche et le tímeoin du système d'avertissement sur angle mort (BSW) et du système d'alerte de circulation transversale arrière (RCTA) (blanc) clignote à l'écran multifonction.
Le système n'est pas disponible jusqu'à ce que les conditions ne soient plus générées.
Les capteurs de radar pourraient etre bloqués par les conditions ambiantes temporaires comme la projection d'eau, la buée ou le brouillard. Le blocage pourrait aussi etre causé par les objets comme la glace, le gel ou la saleté qui obstruent les capteurs de radar.
REMARQUE:
Si le système d'AVERTISSEMENT SUR ANGLE MORT est defectueux, le système d'ALERTE DE CIRCULATION TRANSVERSALE ARRÊRÉ sera également defectueux.
Mesures à prendre :
Lorsque les conditions indiquées ci-dessus ne sont plus générées, le système se réactive automatiquement.
Défaillance du syst.
Lorsque le système ne fonctionne pas correctement, il se désactive automatiquement. Le message d'avertissement de défaillance du système avec le témoin du système d'avertissement sur angle mort et du système d'alerte de circulation transversale arrêté (orange) (selon l'équipement) s'affiche à l'écran multifonction.
REMARQUE:
Si le système d'AVERTISSEMENT SUR ANGLE MORT est defectieux, le système d'ALERTE DE CIRCULATION TRANSVERSALE ARRIÈRE sera également defectieux.
Mesures à prendre :
Arrétez le vehicule dans un endroit sécuritaire, coupez le moteur, puis redémarrez-le. Si le message continue de s'afficher, faites vérifier le système. Nous vous recommendons de vous rendre chez un concessionnaire NiSSAN pour cet entretien.

ENTRETIEN DU SYSTEME
Les deux capteurs de radar du système d'AVERTISSEMENT SUR ANGLE MORT et du système d'ALERTE DE CIRCULATION TRANSAVERSALE ARRIÈRE sont situés près du parechocs arrêté. Gardez toujours la zone à proximé des capteurs de radar propre.
Les capteurs de radar pourraient etre bloqués par les conditions ambantes temporaires comme la projection d'eau, la buée ou le brouillard.
Le blocage pourrait aussi être causé par les objets comme la glace, le gel ou la saleté qui obstruient les capteurs de radar.
Vérifiez la présence d'objets qui obstruient la zone autour des capteurs de radar et retirez-les.
N'apposez pas des autocollants (y compris le matériel transparent), n'installez pas des accessoires ou appliquez une peinture additionnelle à proximé des capteurs de radar.
Évitez de frapper ou d'endommager la zone à proximé des capteurs de radar. Nous vous recommendons de visiter un concessionnaire NiSSAN si la zone autour des capteurs de radar est endommagée en raison d'une collision.
Déclaration relative aux fréquences radio (type A) (selon l'équipement)
Aux États-Unis
Ce dispositif est conforme à l'article 15 des règlements de la FCC. Son utilisation est soumise aux deux conditions suivantes :
(1) Ce dispositif ne doit causeur aucune interference nuisible et (2) il doit accepter toutes les interférences, y compris celles qui peuvent l'activer de façon inopinée.
Avertissement de la FCC
Toute modification non approuvée par la partie responsable de la conformité peut annuler le droit d'utiliser ce dispositif.
Au Canada
Ce dispositif est conforme aux normes d'Industrie Canada applicables aux apparreils RSS exempts de licence. Son utilisation est soumise aux deux conditions suivantes : (1) ce dispositif ne doit causer aucune interférence nuisible et (2) ce dispositif doit pouvoir accepter toutes les interférences, y compris celles qui pouraient l'activer de façon inopinée.
Bandes de fréquences : 24,05 GHz à 24,25 GHz
Puissance de sortie : moins de 20 milliwatts
Déclaration relative aux fréquences radio (type B) (selon l'équipement)
Aux États-Unis
Ce dispositif est conforme à l'article 15 des règlements de la FCC. Son utilisation est soumise aux deux conditions suivantes :
(1) Ce dispositif ne doit causeur aucune interference nuisible et (2) il doit accepter toutes les interférences, y compris celles qui peuvent l'activer de façon inopinée.
Avertissement de la FCC
Toute modification non approuvée par la partie responsable de la conformité peut annuler le droit d'utiliser ce dispositif.
Au Canada
Cet apparéil contient des émetteurs/ récepteurs exempls de licence qui sont conformes aux normes RSS d'Innovation, Sciences et Développement économique Canada. Son utilisation est soumise aux deux conditions suivantes:
- Ce dispositif ne doit causeur aucune interference nuisible.
- Ce dispositif doit pouvoir accepter toutes les interférences, y compris celles qui pouraient l'activer de façon inopinée.
Renseignements sur l'exposition aux émissions de fréquences radio : cet apparéil est conforme aux limites d'exposition au rayonnement énoncées pour un environnement non contrôle. Ce dispositif doit être installé et utilisé en maintainant une distance minimale de 20 cm entre la source d'émission et votre corps.

AVENTISSEMENT
Le non-respect des avertissements et des directives relatives à l'utilisation du système d'alerte de circulation transversale arrêté pourrait entraîner des blessures graves, voire mortelles.
Le système d'alerte de circulation transversale arrirée (RCTA) ne remplace pas la façon appropriée de conduire le vehicule et n'est pas conscience pour empêcher le contact avec les vehicules ou les objets. Lorsque vous reculez d'un espace de stationnement, utilisez toujours les retroviseurs extérieurs et interieur et tournez-vous en regardant dans la direction où vous aliez déplacer le vehicule. Ne vous fiez pas uniquement au système d'alerte de circulation transversale arrirée.
Le système d'alerte de circulation transversale arrêté vous aide à recycler pour sortir d'un espace de stationnement. Lorsque le vehicule est en marche arrêté, le système est conçu pour détecter les vehicules qui s'approchant de la droite ou de la gauche du vehicule. Si le système détecte une circulation transversale, il vous alerte.

LSD4641
Pour les vehicules équipés du compteur de 7 pouces
FONCTIONNEMENT DU SYSTÉME
D'ALERTE DE CIRCULATION
TRANSVERSALE ARRIERE

LSD3804
Pour les vehicules équipés du compteur de 4,2 pouces
- Témoin du système d'advertissement sur angle mort et du système d'alerte de circulation transversale arrière
- Témoin du système d'advertissement sur angle mort et du système d'alerte de circulation transversale arrêté (selon l'équipement)
Le système d'alerte de circulation transversale arrêté peut aider à alerter le conducteur lorsqu'il s'approche d'un vehicule quand il effectue une marche arrêté en sortant d'un espace de stationnement.
Le système d'alerte de circulation transversale arrêté fonctionne lorsque le levier sélecteur est à la position R (marche arrêté) et que la vitesse du vehicule est inférieure à 8 km/h (5 mi/h) environ.
Si le radar détece un vehicule qui s'approche par le côté, le carillon du système retentit (un seul bip), le témoin du système d'avertissement sur angle mort et du système d'alerte de circulation transversale arrêté du côté vers lequel le vehicule s'approche clignote.


Le système d'alerte de circulation transversale arrêté utilise des capteurs de radar ① installés sur les deux côtés près du pare-chocs arrêté pour détecter un vehicule qui s'approche.
Les capteurs de radar ① peuvent détecter un vehicule qui s'approche jusqu'à une distance maximale de 20 m (66 pi) environ.



LSD3744
Pour les vehicules équipés du compteur de 7 pouces
ACTIVATION ET DÉSACTIVATION DU SYSTEME D'ALERTE DE CIRCULATION TRANVERSALE ARRIÈRE
Effectuez les étapes suivantes pour activer ou désactiver le système d'alerte de circulation transversale arrière.
- Appuyez sur le bouton ↓▶ jusqu'à ce que l'options « Régliages » s'affiche à l'écran multifonction. Utilisez le bouton ↓▶ pour sélectionner l'options « Assist. au conduct. », puis appuyez sur le bouton OK.
- Sélectionnez « Rear Cross Traffic Alert » (alerte de circulation transversale arrêté) et appuyez sur le bouton OK.



LSD3781
Pour les vehicules équipés du compteur de 4,2 pouces
Lorsque le système d'alerte de circulation transversale arrêté, le témoin du système d'avertissement sur angle mort et du système d'alerte de circulation transversale arrêté (blanc) (selon l'équipement) s'allume à l'écran multifonction.
REMARQUE :
Lors del'activation/desactivation du systeme, le systeme retient les reglages actuels même sile moteur est redemarré.

LIMITES DU SYSTEME D'ALERTE DE CIRCULATION TRANSVERSALE ARRÈRE
conduire le vehicule conformement a ces limites du systeme peut entrainer des blessures graves ou mortelles.
-
Vérifiez votre environnement et returnez-vous toujours pour vérifier ce qui est derrière vous avant d'effectuer la marche arrière. Les capteurs de radar détectent les vehicules (en mouvement) qui s'approchant. Les capteurs de radar ne peuvent pas détector les objets tels que:
-
Les piétons, les vélos, les motocyclettes, les animaux ou les enfants manipulant les vehicules-jouets
- Un vehicule qui vous dépasse à une vitesse supérieure à environ 30 km/h (19 mi/h)
-
Un vehicule qui vous dépasse à une vitesse inférieure à environ 8 km/h (5 mi/h)
-
Les capteurs de radar peuvent ne pas détecter les vehicules qui s'approchent dans certaines situations:
Illustration A : lorsqu'un vehicule stationné à côté de vous obstrue le faisceau du capteur de radar.
Illustration ⑥ : lorsque le vehicule est stationné à un angle dans un espace de stationnement.
Illustration : lorsque le vehicule est stationné sur un sol incliné.
Illustration © : lorsqu'un vehicule qui s'approche tourne dans l'allée de l'aire de stationnement de votre vehicule.
- Illustration E : lorsque l'angle formé par votre vehicule et le vehicule qui s'approche est petit.
- Les conditions suivantes peuvent réduire la capacité du radar à détector d'autres vehicules :
Temps violent
- Projections de la route
- Glace, gel ou accumulation de neige ou de saleté sur le vehicule
- N'apposez pas des autocollants (y compris le matériel transparent), n'installez pas des accessoires ou appliquez une peinture additionnelle à proximate des capteurs de radar. Ces conditions peuvent réduire la capacité du radar à détecter d'autres vehicules.
Le bruit excessif (par exemple, le volume de la chaine stéreo ou une glace de vehicule ouverte) a une incidence sur le timbre du carillon et il se peut qu'il ne soit pas entendu.

Illustration 1
REMARQUE:
Dans le cas de plusieurs vehicules qui approached en rangée (illustration 1) ou dans le sens contraire (illustration 2), le carillon émis par le système d'ALERTE DE CIRCULATION TRANVERSALE ARRIÈRE pourrait ne pas retentir après le passage du premier vehicule devant les capteurs.

Illustration 2
LSD3745
Pour les vehicules équipés du compteur de 7 pouces

SYSTEME TEMPORAIREMENT INDISPONIBLE
Lorsqu'une obstruction du radar est détectée, le système est automatiquement désactivé. Le message d'advertissement « Side Radar Obstruction » (radar lésal obstru) ou « Unavailable: Side Radar Obstruction » (non disponible : radar lésal obstru) s'affiche et le témoin du système d'advertissement sur angle mort (BSW) et du système d'alerte de circulation transversale arrrière (RCTA) (blanc) (selon l'équipement) clignote à l'écran multifonction.
Les systèmes ne sont pas disponibles jusqu'à ce que les conditions ne soient plus données.
Les capteurs de radar pourraient etre bloqués par les conditions ambantes temporaires comme la projection d'eau, la buée ou le brouillard.
Le blocage pourrait aussi être causé par les éléments comme la glace, le gel ou la saleté qui obstruient les capteurs de radar.
REMARQUE :
Si le système d'AVERTISSEMENT SUR ANGLE MORT est defectueux, le système d'ALERTE DE CIRCULATION TRANSVERSALE ARRÊRÉ sera également defectueux.

LSD3787
Pour les vehicules équipés du compteur de 4,2 pouces
Mesures à prendre :
Lorsque les conditions indiquées ci-dessus ne sont plus générées, le système se réactive automatiquement.
Défaillance du syst.
Lorsque le système d'ALERTE DE CIRCULATION TRANSVERSALE ARRIERE ne fonctionne pas correctement, il se désactive automatiquement. Le message d'avertissement de défaillance du système avec le témoin du système d'avertissement sur angle mort et du système d'alerte de circulation transversale arrêté (orange) (selon l'équipement) s'affiche à l'écran multifonction.
REMARQUE:
Si le système d'advertisement sur angle mort est defectueux, le système d'alerte de circulation transversale arriere (selon I'equipement) sera également defectueux.
Mesure à prendre :
Arrêtez le vehicule dans un endroit sécuritaire, coupez le moteur et redémarrez-le. Si le message continue de s'afficher, faites vérifier le système. Nous vous recommendons de vous rendre chez un concessionnaire NiSSAN pour cet entretien.

ENTRETIEN DU SYSTEME
Les deux capteurs de radar du système d'AVERTISSEMENT SUR ANGLE MORT et du système d'ALERTE DE CIRCULATION TRANVERSALE ARRIÈRE sont situés près du parechocs arrêté. Gardez toujours la zone à proximé des capteurs de radar propre.
Les capteurs de radar pourraient etre bloqués par les conditions ambiantes temporaires comme la projection d'eau, la buée ou le brouillard.
Le blocage pourrait aussi être causé par les objets comme la glace, le gel ou la saleté qui obstruient les capteurs de radar.
Vérifiez la présence d'objects qui obstruient la zone autour des capteurs de radar et retirez-les.
N'apposez pas des autocollants (y compris le matériel transparent), n'installez pas des accessoires ou appliquez une peinture additionnelle à proximé des capteurs de radar.
Évitez de frapper ou d'endommager la zone à proximé des capteurs de radar. Nous vous recommendons de visiter un concessionnaire NiSSAN si la zone autour des capteurs de radar est endommagée en raison d'une collision.
Déclaration relative aux fréquences radio (type A) (selon l'équipement)
Aux États-Unis
Ce dispositif est conforme à l'article 15 des règlements de la FCC. Son utilisation est soumise aux deux conditions suivantes: (1) Ce dispositif ne doit causeer aucune interférence nuisible et (2) il doit accepter toutes les interférences, y compris celles qui peuvent l'activer de façon inopinée.
Avertissement de la FCC
Toute modification non approuvée par la partie responsable de la conformité peut annuler le droit d'utiliser ce dispositif.
Au Canada
Ce dispositif est conforme aux normes d'Industrie Canada applicables aux apparreils RSS exempts de licence. Son utilisation est soumise aux deux conditions suivantes : (1) ce dispositif ne doit causeur aucune interference nuisible et (2) ce dispositif doit pouvoir accepter toutes les interférences, y compris celles qui pourraient l'activer de façon inopinée.
Bandes de fréquences: 24,05 GHz à 24,25 GHz
Puisance de sortie : moins de 20 milliwatts
Déclaration relative aux fréquences radio (type B) (selon l'équipement)
Aux États-Unis
Ce dispositif est conforme à l'article 15 des règlements de la FCC. Son utilisation est soumise aux deux conditions suivantes :
(1) Ce dispositif ne doit causeur aucune interfERENCE nuisible et (2) il doit accepter toutes les interférences, y compris celles qui peuvent l'activer de façon inopinée.
RÉGULATEUR DE VITESSE (selon I'équipement)
Avertissement de la FCC
Toute modification non approuvée par la partie responsable de la conformité peut annuler le droit d'utiliser ce dispositif.
Au Canada
Cet apparéil contient des émetteurs/ récepteurs exempits de licence qui sont conformes aux normes RSS d'Innovation, Sciences et Développement économique Canada. Son utilisation est soumise aux deux conditions suivantes:
- Ce dispositif ne doit causeur aucune interference nuisible.
- Ce dispositif doit pouvoir accepter toutes les interférences, y compris celles qui pouraient l'activer de façon inopinée.
Renseignements sur l'exposition aux émissions de fréquences radio : cet apparéil est conforme aux limites d'exposition au rayonnement énoncées pour un environnement non contrôle. Ce dispositif doit être installé et utilisé en maintainant une distance minimale de 20 cm entre la source d'émission et votre corps.

LSD3251
PRECAUTIONS RELATIVES À L'UTILISATION DU RÉGULATEUR DE VITESSE
① Commutateur RES+ (reprise/+)
② Commutateur CANCEL (annulation)
③ Commutateur SET- (réglage-)
④ Commutateur du régulateur de vitesse
Le système du régulateur de vitesse cesse de fonctionner automatiquement s'il est defectueux. Le témoin du tableau de bord clignote pour signaler l'anomalie au conducteur. Pour obtenir
des renseignements supplémentaires, consultez la section « Écran multifonction de 11 cm (4,2 po) de type A » (p. 2-19) ou « Écran multifonction de 18 cm (7 po) de type B » (p. 2-40)
- Si le témoin clignote, mettez le commutateur du régulateur de vitesse hors fonction et faites vérifier le système. Nous vous recommendons de vous rendre chez un concessionnaire NISSAN pour cet entretien.
- Le témoin peut clignoter lorsque vous appuyez sur le commutateur du régulateur de vitesse tout en appuyant sur les commutateurs RES+ (reprise/+) SET-(réglage/-) ou CANCEL (annuler). Sui-vez les procédures décrites ci-après pour régler le système du régulateur de vitesse ajustement.
AVERAGEMENT
N'utilise pas le régulateur de vitesse dans les conditions suivantes :
- Lorsqu'il est impossible de maintainir la vitesse programmée.
Lorsque la circulation est dense ou que la vitesse varie. -
Sur les routes montagneuses ou sinueuses.
-
Sur les routes glissantes (pluie, neige, glace, etc.).
- Dans des endroits très venteux.
Vous pourriez ainsi perdre la maitrise de votre vehicule et avoir un accident.
FONCTIONNEMENT DU RÉGULATEUR DE VITESSE
Le régulateur de vitesse vous permet de rouler à des vitesse situées entre 40 km/h et 144 km/h (25 mi/h et 89 mi/h) sans avoir à garder votre pied sur la pedale d'accéléateur.
Pourmettrelerégulaturedvitesseen fonction,appuyez surle commutateur durégulateurdvitesse.Le témoin s'allume au tableau de bord.
Pour définir une vitesse de croisière, accélérez à la vitesse voulue, puis appuyez brièvement sur le commutateur SET(réglage/). Relâchez la pedale d'accélérateur. Le vehicule continue à rouler à la vitesse programmée.
-
Si vous doivent appuyez sur la pedale d'accélérateur. Le vehicule revient à la vitesse programmee des que vous relâchez la pedale.
-
Lorsque vous montez ou descendez une pente raide, il est possible que le vehicule ne puisse pas maintainir la vitesse programmée. Ne mettez pas le régulateur en fonction si vous doivent conduire dans une telle situation.
Pour annuler le réglage d'une vitesse, utilisez l'une des trois méthodes suivantes:
- Appuyez sur le commutateur CANCEL (annulation).
- Appuyez légèrement sur la pédale de frein.
- Appuyez sur le commutateur du régulator de vitesse pour le désactiver. Le témoin s'éteint au tableau de bord.
Le régulateur de vitesse cesse de fonctionner automatiquement si:
- Vous enforcez la pédale de frein ou d'embrayage (pour les modèles à boîte de vitesse manuelle) tout en appuyant sur les commutateursurs RES+ (reprise/+ ) ou SET-(réglage/-). La vitesse programmée est supprimée de la mémoire.
-
La vitesse du vehicule est réduite de plus de 13 km/h (8 mi/h) par rapport à la vitesse programmée.
-
Vous enforcez la pédale d'embrayage (modèles de boîte de vitesses manuelle) ou déplacez le levier sélecteur à la position N (point mort) (pour les modèles à transmission à variation continue).
Pour étabrir une vitesse de croisière plus rapide, utilisez l'une des trois méthodes suivantes:
- Appuyez sur la pédale d'accélérateur. Appuyez brièvement sur le commutateur SET-(réglage/--) une fois que le vehicule a atteint la vitesse désirée.
- Maintenez enforcé le commutateur RES+ (reprise+). Relâchéz-le lorsque le vehicule atteint la vitesse désirée.
- Appuyez brièvement sur le commutateur RES+ (reprise+). La vitesse programmée de votre vehicule augmente d'environ 1,6 km/h (1 mi/h) chaque fois que vous appuyez sur le commutateur.
Pour étabrir une vitesse de croisière plus lente, utilisez l'une des trois méthodes suivantes:
- Appuyez légèrement sur la pédale de frein. Appuyez brievement sur le commutateur SET-(réglage/-) une fois que le vehicule a atteint la vitesse désirée.
RÉGULATEUR DE VITESSE ADAPTATIF (selon l'équipement)
- Appuyez longuement sur le commutateur SET-(réglage/-). Relâchez le commutateur une fois que le vehicule a ralenti jusqu'à la vitesse désirée.
- Appuyez brièvement sur le commutateur SET-(réglage/-). La vitesse programmée de votre vehicule diminue d'environ 1,6 km/h (1 mi/h) chaque fois que vous appuyez sur le commutateur.
Pour reprendre la vitesse antérieurementprogrammée, appuyez brièvement sur le commutateur RES+ (reprise+).Dés que la vitesse du vehicule dépasse 40~km / h 25 mi/h),la dernière vitesse de croisière réglée est rétablie.

Commutateur du régulateur de vitesse adaptatif A

AVERTISSEMENT
Le non-respect des avertissements et des directives relatives à l'utilisation du régulateur de vitesse adaptatif pourrait entrainer des blessures graves, voire mortelles.
Le régulateur de vitesse adaptatif est destiné uniquement à aider le conducteur. Il ne s'agit pas d'un dispositif de prévention des collisions. Le conducteur doit en tout temps se montré vigilant, conduire prudiment et maitriser son vehicule.
- Respectez toujours les limites de vitesse indiquées sur les panneaux routiers et ne dépassez pas ces limites lorsque vous programmesz la vitesse.
- Conduisez toujours prudemment et soyez vigilant lorsque vous utilisez le régulateur de vitesse adaptatif. Vous doivent le manuel du conducteur et bien le comprendre avant d'utiliser le régulateur de vitesse adaptatif. Pour prévenir les blessures graves ou
mortelles, ne vous fiez pas uniquement au régulateur de vitesse pour éviter les accidents ou pour régler la vitesse du vehicule en situation d'urgence. Le régulateur de vitesse adap-tatif doit être utilisé uniquement lorsque les conditions de la route et de la circulation le permettent.
Lorsque le mode de régulateur de vitesse classique (vitesse stable) est sélectionné, le carillon ne retentit pas pour vous aviser que la distance entre votre vehicule et celui qui vous precedé est insuffisante. Vous évitezrez les accidents en portant une attention particulière à la distance qui sépare votre vehicule de celui qui se trouve devant vous.
Le régulateur de vitesse adaptatif maintain la distance programmée entre votre vehicule qui vous précéde, dans la plage de 0 à 144 km/h (0 à 90 mi/h) jusqu'à la vitesse programmée. La vitesse programmée peut être selectionnée par le conducteur entre 32 à 144 km/h (20 à 90 mi/h).
Le vehicule se déplace à une vitesse programmée lorsque la route est dégagée.
Le régulateur de vitesse adaptatif peut êtreprogrammé pour un de deux modes defonctionnement :
Mode de contrôle d'intervalle entre les vehicules: pour maintainir une distance selectionnee entre votre vehicule et le vehicule qui vous precede jusqu'à la vitesse programmée
- Mode classique (vitesse stable) du régulateur de vitesse : pourmaintenir votre vitesse de croisière programmee
Appuyez sur le commutateur du régulator de vitesse adaptatif (A pour sélectionner le mode de contrôle d'intervalle entre les vehicules et le mode de régulateur de vitesse classique (vitesse stable).
Lorsqu'un mode de régulateur de vitesse est activé, il est impossible de passer à l'autre mode. Pour modifier le mode, appuyez une fois sur le commutateur du régulateur de vitesse adaptatif A afin de désactiver le régulateur. Appuyez ensuite de nouveau sur le commutateur du régulateur de vitesse adaptatif A pour réactiver le régulateur et sélectionnez le mode de régulateur de vitesse souhaïte.
Confirmez toujours le réglage à l'écran du régulateur de vitesse adaptatif.
Pour le mode de contrôle d'intervalle entre les vehicules, consultez la section « Mode de contrôle d'intervalle entre les vehicules » (p. 5-68).
Pour le mode classique du régulateur de vitesse classique (vitesse stable), consultez la section « Mode classique du régulateur de vitesse (vitesse stable) » (p. 5-86).

COMMENT SELECTIONNER LE MODE DE RÉGULATEUR DE VITESSE
Selection du mode de contrôle d'intervalle entre les vehicules : pour désir le mode de contrôle d'intervalle entre les vehicules ① appuyez brièvement sur le commutateur de régulateur de vitesse adaptatif A.
Selection du mode classique (vitesse constante) du régulateur de vitesse : pour désir le mode classique (vitesse constante) du régulateur de vitesse ② appuyez sur le commutateur du régulateur de vitesse adaptatif A pendant plus de 1,5 seconde environ. Pour obtenir des renseignements supplémentaires, consultez la section « Mode de régulateur de vitesse classique (vitesse stable) » (p. 5-86).

Ce système permet d'optimiser votre conduite lorsque vous suivez un autre vehicule qui circule dans la même voie et dans la même direction que vous.
Si le capteur de radar A detecte un vehicule en mouvement plus lent en avant, le système réduira la vitesse du vehicule pour que votre vehicule suive le vehicule devant à la distance可以选择.
Le système commande automatiquement l'accéléateur et applique les freins (jusqu'à environ 40 % de la puissance de freinage) s'il y a lieu.
La portée avant du capteur est d'environ 200 m (650 pi).
MODE DE CONTROLDEINTERVALLE ENTRE LESVEHICULES
En mode de contrôle d'intervalle entre les vehicules, le régulateur de vitesse adaptatif maintient automatiquement la distance programmée entre votre vehicule et celui qui vous précède en fonction de sa vitesse (jusqu'à yours vitesse programmée), ou maintient vos vitesse programmées lorsque la route est dégagée.

LSD4253
UTILISATION DU MODE DE CONTRÔLÉ D'INTERVALLE ENTRE LES VEHICULES
Le mode de contrôle d'intervalle entre les vehicules est unconc pour maintainir une distance programmée par rapport au le
vécuicide qui vous précisé et peut réduire la vitesse par rapport à un vehicule plus lent qui vous précisé. Le système ralentit le vehicule, au besoin, et si le vehicule qui le précisé s'arrête, le vehicule décelètre jusqu'à l'immobilisation complète. Touteois, le régulateur de vitesse adaptatif ne peut appliquer que 40 % de la puissance totale de freinage du vehicule.
Le régulateur de vitesse adaptatif ne doit être utilisé que lorsque les conditions de la circulation permettent de conserver une vitesse à peuopsis constante, ou qu'elles nécessiter des corrections de vitesse progressives. Lorsqu'un vehicule se déplace soudainement dans votre voie, ou s'il freine brusquement, la distance entre les vehicules pourrait diminuer, car le système ne pourrait pas vous ralentir assezrapidement. Dans ce cas, le régulateur de vitesse adap-tatif fait retentir un carillon d'advertisement et clignoter l'affichage pour signaler au conducteur de prendre les mesures nécessaires.
Le système se désactive et un carillon retentit si la vitesse est inférieure à 24 km/h (15 mi/h) environ et qu'un vehicule n'est pas détecté à l'avant. Le système se désactive également lorsque la vitesse du vehicule dépasse la vitesse programmée maximale.
Pour obtenir des renseignements supplémentaires, consultez la section « Avertissement d'approche » (p. 5-76).
Les articles suivants sont contrôlés dans le mode de contrôle d'intervalle entre les vehicules :
- Si vous ne suivezaucun vehicule,le mode de contrôle d'intervalle entre les vehicules maintient la vitesse programmée par le conducteur. Le conducteur peut programmermer une vitesse comprise entre 32km / h et 144 km/h (20 mi/h et 90 mi/h).
- Si vous suivez un vehicule, le mode de contrôle d'intervalle entre les vehicules adapte votre vitesse à celle du vehicule qui vous précède afin de conserver l'intervalle programme entre les vehicules. Si le vehicule s'arrête, il décelère jusqu'à l'immobilisation complète dans les limites du régulateur. Le système se désactive une fois qu'il déterminée une immobilisation avec un carillon d'avertissement.
- Lorsque le vehicule suivi quitte votre voie, le mode de contrôle d'intervalle entre les vehicules laissevantrez vehicule accelerer pour ensuite maintainir sa vitesse programmée.
Le régulateur de vitesse adaptatif ne gère pas la vitesse du vehicule et ne vous avise pas à l'approche d'un vehicule immobile ou qui roule lentement. Vous doivent préter toute l'attention nécessaire à la conduite de votre vehicule afin de conserver une distance de sécurité lorsqu vous approchEZ d'un poste de péage ou d'une zone d'embouteillage.

Si vous roulez à vitesse programmée sur l'autoroute et si vousapprochez d'un vehicule plus lent,le régulateur de vitesse adaptatif tentera de régler votre vitesse par rapport à l'autre vehicule et de maintenir la distance programmée. Si le vehicule suivi change de voie ou quitte l'autoroute, le régulateur de vitesse adaptatif fera accélérer vosy vehicule jusqu'à ce qu'il attaigne sa vitesse programmée.Concentrez-vous sur la conduite pour conserver la maîtrise du vehicule pendant l'accélération jusqu'à la vitesse programmée.
Le vehicule peut ne pas maintainir la vitesse programmée sur des routes sinueuses ou montagneuses. Si ceci se produit, vous devrez contrôler manuellement la vitesse du vehicule.
En règle générale, le système règle la distance qui vous sépare du vehicule devant vous en accélérant ou en décélérant automatiquement, en fonction de la vitesse à laquelle roule ce vehicule. Appuyez sur l'accéléateur pour fournir la puissance nécessaire lorsque vous emprunte une autre voie. Appuyez sur la pédale de frein lorsque vous doivent conserver une distance sécuritaire en cas de ralentissement soudain ou de changement de voie d'un vehicule qui précède. Soyez toujours vigilant lorsque vous utilisez le régulateur de vitesse adaptatif.

CONTACTEURS DU MODE DE CONTROLE D'INTERVALLE ENTRE LES VEHICULES
Le commutateur du régulateur de vitesse adaptatif et quatre contacteurs regroupés sur le volant seront à commander le système.
1. Commutateur CANCEL (annulation):
ce commutateur permet de désactiver le système sans effacer la vitesse programmée.
2. Commutateur RES+ (reprise+):
ce commutateur permet de rappeler la vitesse programmée ou d'augmenter progressivement la vitesse.
3. Commutateur DISTANCE:
ce commutateur regle la distance :
- Longue
Moyenne
Courte
4. Commutateur du régulateur de vitesse adaptatif:
ce commutateur principal permet d'activer le régulateur de vitesse.
5. Commutateur SET-(réglage-):
ce commutateur programme la vitesse de croisière souhaitation ou réduit la vitesse progressivement.

Affichage et témoins du mode de contrôle d'intervalle entre les vehicules
L'affichage se trouve entre l'indicateur de vitesse et le compte-tours.
- Ce témoin indique l'etat du régulateur de vitesse adaptatif en fonction d'une couleur:
-
Témoin d'ACTIVATION du régulateur de vitesse adaptatif (gris) : indique que le régulateur de vitesse est activé.
-
Témoin SET (réglage) du régulateur de vitesse adaptatif (vert): indique que la vitesse de croisière est régliée.
-
Témoin d'ajretissement (orange) de l'ICC: indique une anomalie dans l'ICC.
-
Témoin de vitesse programmée: Indique la vitesse programmée du vehicule. Pour les modèles canadiens, la vitesse est affichée en km/h.
- Témoin de détention du vehicule suivi: Indique si le système détecte un vehicule qui vous précède.
- Témoin de distance programmée: Affiche la distance sélectionnée entre les vehicules, programmée au moyen de l'interrupteur de distance.

Utilisation du mode de contrôle d'intervalle entre les vehicules
Pourmetreleregulateurdvitesseen fonction,appuyezbrièvement surle commutateur durégulateurd vitesse adaptatif A.Le témoin D'ACTIVATION du régulator du vitesse adaptatif(gris),le témoin de distanceprogrammée et le témoin de vitesseprogrammée B s'allument et sont en mode d'attente de réglage.

Pour régler la vitesse de croisière : faites accélérer votre vehicule jusqu'à la vitesse souhaïette, appuyez sur le commutateur SET- (réglage-) ©, puis relâchéz-le. Le témoin de réglage du régulateur de vitesse adaptatif (vert), le témoin de détction du vehicule suivi et les témoins de distance et de vitesse programmesées ® s'allument. Relâchéz la pédale d'accéléateur.Votre vehicule roulera à la vitesse programmée.

Lorsque l'interrupteur SET- (réglage-) est enforcé dans les conditions suivantes, le système ne peut pas être régèle et les indicateurs du régulateur de vitesse adaptatif clignotent pendant environ 2 secondes :
Lorsque la vitesse du vehicule est inférieure à 32 km/h (20 mi/h) et qu'un vehicule qui vous precede ne peut être détecté.
- Lorsque le levier sélecteur n'est pas à la position D (marche avant) ou en mode manuel.
Lorsque le frein de stationnement est serré.
- Lorsque les freins sont actionnés par le conducteur.
Lorsque you appuyez sur le commutateur SET (réglage) dans les conditions suivantes, le système ne peut etre regle.
Un carillon d'advertissement retentit et un message s'affiche :
Lorsque le SYSTEME DE CONTROLLE DYNAMIQUE DU VEHICULE est désactivé. (Pour utiliser le régulateur de vitesse adaptatif, activez le SYSTEME DE CONTROLLE DYNAMIQUE DU VEHICULE. Appuyez sur le commutateur du régulateur de vitesse adap-tatif pourmettrele régulateurde vitesse adaptatif hors fonction et réinitialisez le commutateur du régulateur de vitesse adaptatif en appuyant de nouveau sur le commutateur du régulateur de vitesse adaptatif.)
Pour obtenir des renseignements supplémentaires sur le système de contrôle dynamique du vehicule, consultez la section « Système de Contrôle dynamique du vehicule » (p. 5-141).
Lorsque le système de contrôle dynamique du vehicule fonctionne.
- Lorsqu'une roue patine. (Pour utiliser le régulateur de vitesse adaptatif, assurez-vous que les roues ne patinent plus.)

① Affichage du système lorsqu'un vehicule vous precedé
② Affichage du système lorsqu'aucun vehicule ne vous precedé
Le conducteur programme la vitesse souhaïée en fonction des conditions de la route. Le régulateur de vitesse adaptatif maintain la vitesse programmée, comme un régulateur de vitesse standard, tant qu'il ne détecte pas d'autres vehicules dans la même voie. Le régulateur de vitesse adaptatif affiche la vitesse programmée par le conducteur.
Détection d'un vehicule à l'avant
Lorsqu'un vehicule est detecté dans votre voie de circulation, le régulateur de vitesse adaptatif ralentit vous vehicule en agissant sur la commande d'accélérateur et sur les freins, pour régler votre vitesse à celle du vehicule qui circule devant vous à une vitesse inférieure à la yourselves. Le système adapte ensuite la vitesse de votre vehicule à celle du vehicule qui vous précéde de manière à conserver la distance programmée entre les vehicules.
REMARQUE:
- Les feu d'arrêt du vehicule s'allument lorsque le régulateur de vitesse adaptatif actionne les freins.
- Lorsque les freins sont actionnés, un bruit peut se faire entendre. Cette condition est normale.
Lorsque le système détecte un vehicule devant le vêtre, le témoin de détction de vehicule s'allume. Le régulateur de vitesse adaptatif affiche également la vitesse programmée et la distance sélectionnée.
Véhicule précédent non détecté
Lorsqu'aucun vehicule n'est detecté à l'avant, le régulateur de vitesse adaptatif fait graduèlement accélérer votre vehicule pour repreneure la vitesse programmée précédément. Le régulateur de vitesse adaptatif maintain en-suite la vitesse programmée.
Lorsqu'aucun vehicule n'est detecté à l'avant, l'indicateur de vehicule precedent s'éteint.
Si un vehicule se presente à l'avant pendant l'accelération jusqu'à la vitesse programmée ou en tout temps pendant le fonctionnement du régulateur de vitesse adaptatif, ce dernier contrôle la distance qui vous sépare de ce vehicule.
Lorsqu'un vehicule n'est plus détecté en dessous d'environ 24 km/h (15 mi/h), le système est désactivé.

Si vous doublez un vehicule, l'indicateur de vitesse programmée clignote lorsque le vehicule depasse la vitesse programmée. L'indicateur de détction de vehicule s'estint lorsque la zone se trouvant devant votre vehicule est libre. Lorsque la pedale est relachée, le vehicule returne à la vitesse déjà programmée.
Bien que la vitesse du vehicule soit programmée dans le régulateur de vitesse adaptatif, vous pouvez enforcer la pédale d'accéléateur s'il est nécessaire d'augmenterrapidementla vitessedevotre vehicule.
Changement de la vitesse programmée
Pour annuler la vitesse programmée, utilisez l'une des méthodes suivantes:
- Appuyez sur le commutateur CANCEL (annulation). Le tímoin de vitesse programme s'éteint.
- Appuyez légèrement sur la pedale de frein. Le témoin de vitesse programme s'éteint.
- Mettez le commutateur du régulateur de vitesse adaptatif en position d'arrêt. Les témoins du régulateur de vitesse adaptatif s'éteignent.
Pour programmer une vitesse de croisière plus élevé, utilisez une des méthodes suivantes :
- Appuyez sur la pedale d'accélérateur. Enforcez le commutateur SET-(réglage-) et relâchez-le une fois que le vehicule a atteint la vitesse désirée.
-
Maintenez enforcé le commutateur RES+ (reprise+). La vitesse programmée augmente d'environ 5 km/h (5 mi/h aux États-Unis).
-
Appuyez sur l'interrupteur RES+ (reprise+), puis relâchéz-le rapidement. La vitesse programmée du vehicule augmente d'environ 1 km/h (1 mi/h aux États-Unis) chaque fois que vous appuyez sur cet interrupteur.
Pour programmer une vitesse de croisière plus lente, utilisez une des méthodes suivantes:
- Appuyez légèrement sur la pédale de frein. Enforcez le commutateur SET(réglage-) et relâchéz-le une fois que le vehicule a atteint la vitesse désirée.
- Appuyez longuement sur l'interrupteur SET- (réglage-). La vitesse programmée diminue d'environ 5 km/h (5 mi/h aux États-Unis).
- Appuyez sur l'interrupteur SET-(réglage-) , puis relâchéz-le rapidement. La vitesse programmee diminue d'environ 1 km/h (1 mi/h aux États-Unis) chaque fois que vous appuyez sur cet interrupteur.
Pour reprendre la vitesse antérieurement programmée, appuyez brièvement sur le commutateur RES+ (reprise+). Dès que la vitesse du vehicule dépasse 32 km/h (20 mi/h), la dernière vitesse de croisière programmée est rétable.

Comment changer la distance programmea a maintainir avec le vehicule qui precede
La distance par rapport au vehicule qui precede peut etre changee en tout temps lorsque les conditions de circulation le permettent.
Chaque fais que vous appuyez sur l'interru
rupteur de distance A, la distance
programmée est modifiée en boucle :
longue, moyenne et courte.

Distance Distance approximative à 100 km/h (60 mi/h) - m (pi)
- Longue 60 (200)
- Moyenne 45 (150)
-
Courte 30 (90)
-
La distance de suivi change selon la vitesse du vehicule. Plus la vitesse du vehicule est élevé, plus la distance de suivi est longue.
- Le réglage de distance est mémorisé même si le moteur est redémarré.
Avertissement d'approche
Si vous Vehicle s'approche de celui qui vous precede parce qu'il decelere rapidement, ou qu'un autre vehicule surgit en face du votre, le systeme met en garde le conducteur à l'aide du carillon et de l'affichage du régulateur de vitesse adaptatif. Ralentissez en appuyant sur la pédale de frein pour maintainir une distance sécuritaire entre les vehicules si:
Le carillon retentit.
- Le témoin de détction du vehicule suivé clignote.
Le carillon d'advertissement peut ne pas retentir dans certains cas ou les vehicules se trouvent à une courte distance l'un de l'autre. Exemples :
- Lorsque les vehicules se déplacent à la même vitesse et que la distance qui les sépare resté la même.
- Lorsque le vehicule qui precede se déplace à une vitesse supérieure et que la distance qui sépare les vehicules augmente.
Lorsqu'un vehicule surgit devant le votre.
Le carillon d'avertissement ne retentit pas lorsque:
- Le vehicule approche d'autres vehicules qui sont stationnés ou se déplacent lentement.
- La pédale d'accéléateur est enforcée, ce qui neutralise le système.
REMARQUE:
Le carillon d'ajretissement d'approche peut retentir et l'affichage du système peut clignoter lorsque le capteur du régulateur de vitesse adaptatif détecte des objets sur le côté du vehicule ou sur le côté de la route. Le régulateur de vitesse adaptatif peut alors faire ralentir ou accélérer le vehicule. Le capteur du régulateur de vitesse adaptatif peut détector ces objets lorsque le vehicule roule sur des routes sinueuses, étroites ou montagneuses, ou à l'entrée et à la sortie d'une courbe. Le cas échéant, vous devrez contröler manuellement la distance appropriée devant votre vehicule.
De plus, la sensibilité du capteur peut être modifiée par l'utilisation du vehicule (manoeuvre de direction ou position dans la voie) ou par les conditions routières ou l'état du vehicule (par exemple, lors de l'utilisation d'un vehicule ayant subi des dommages).
Annulation automatique
Le carillon retentit dans les conditions suivantes et lorsque le régulateur de vitesse fait l'objet d'une annulation automatique :
Lorsque le vehicule qui vous precede n'est pas detecté et que la vitesse de votre vehicule est inférieure à 24 km/h (15 mi/h).
- Lorsque le système déterminé que le vehicule est immobilisé.
- Lorsque le levier sélecteur n'est pas à la position D (marche avant) ou en mode L (gamme basse).
Lorsque le frein de stationnement est serré.
Lorsque le SYSTÉME DE CONTROLE DYNAMIQUE DU VÉHICULE est désactivé.
Lorsque le SYSTÉME DE CONTROLE DYNAMIQUE DU VÉHICULE est en fonction.
- Lorsque la distance mesurée est imprecise en raison de l'adhésion de saleté ou d'obstruction sur le capteur.
Lorsqu'une roue patine.
- Lorsque le signal du radar est interrompu temporairement.
LIMITES DU MODE DE CONTROLLE D'INTERVALLE ENTRE LES VEHICULES

AVERTISSEMENT
Les limites du régulateur de vitesse adaptatif sont repertoriées ci-dessous. Le fait de ne pas conduire le vehicule conformément à ces limites du système peut entraîner des blessures graves ou mortelles.
- Ce système est destiné principalement à une'utilisation sur des routes droites, sèches, à circulation libre et faible. L'utilisation de ce système n'est pas recommendée pour la conduite urbaine ou dans les zones de traffic intense.
-
Ce système ne s'adapte pas automatiquement aux conditions de la route. Il doit être utilisé quand la circulation est fluide. N'utilisez pas le système si les routes sont sinueuses, si la chaussee est glacée, sous une pluie intense ou dans le brouillard.
-
Comme une limite est imposée au rendement de la fonction de contrôle de la distance, vous ne devez jamais vous fier uniquement au régulateur de vitesse adaptatif. Ce système ne peut pallier une conduite imprudente, le manque de vigilance ou d'attention, pas plus qu'il ne peut atténuer les inconvenients causés par la pluie, le brouillard et le mauvais temps. Appuyez sur la pédale de frein pour réduire la vitesse de votre vehicule de manière à conserver une distance sécuritaire, en tenant compte de la distance entre votre vehicule et celui qui vous précède, et des conditions environnantes.
Si le vehicule s'arrête, il decelere jusqu'à l'immobilisation complète dans les limites du régulateur. Le système se désactive lorsqu'il détermine qu'un vehicule est complètement immobilisé et il fait retentir un carillon d'advertissement. Pour empêcher le vehicule de se déplacer, le conducteur doit enforcer la pédale de frein. -
Soyez toujours attentif à la conduite de votre vehicule et préts à intervenir afin de conserver une distance de sécurité appropriée. Dans certains cas, le régulateur de vitesse adaptatif peut ne pas être en mesure de maintainir la distance programmée entre les vehicules (distance de suivi) ou la vitesse de croisière可以选择.
-
Certaines conditions de route ou climatiques poursaient empêcher le système de détecter un vehicule devant vous. Pour éviter les accidents, n'utilise jamais le régulateur de vitesse adaptatif dans les conditions suivantes:
-
Sur des routes à circulation dense ou sur les routes sinueuses
- Sur des chaussées glissantes comme sur la glace, la neige, etc.
- Par mauvais temps (pluie, brouillard, neige, etc.)
-
Quand la pluie, la neige ou le gravier adhere au pare-chocs autour du capteur de distance
-
Dans les pentes descendantes abruptes (le vehicule pourrait dépasser la vitesse établie et un freinage fréquent pourrait faire surchauffer les freins)
- Sur les routes en terrain valonné
Lorsque les conditions de circulation forcent des accelérations et des decélations fréquentes qui nuisent au maintain d'une distance appropriée entre les vehicules -
Interférences par d'autres sources de radar
-
N'utilisez pas le régulateur de vitesse adaptatif si vous tractez une remorque. Le système pourrait ne pas détecter un vehicule qui roule devant vous.
- Dans certaines conditions de route ou de circulation, un vehicule ou un objet peut enterinopinement dans la zone de détction du capteur et cause l'activation automatique des freins. Soyez toujours attentif et évitez d'utiliser le régulateur de vitesse adaptatif dans des situations non recommandées dans la presente section d'ajretissement.
Le capteur du radar ne détecte pas les objets suivants:
- Les vehicules immobilisés ou qui se déplacent très lentement
- Les piétons et les obstacles sur la route
- Les vehicules venant en sens inverse dans la même voie
- Les motocyclettes circulant à l'écart sur la même voie
Le capteur détecte généralement les signaux réfléchis du vehicule suivi. À cet effet, si le capteur ne peut détecter le vehicule suivi, le régulateur de vitesse adaptatif pourrait ne pas maintainir la distance programmée entre les vehicules.
Le capteur ne peut pas détecter un vehicule qui roule devant vous et le système peut ne pas fonctionner correctement dans les conditions suivantes :
- Lorsque de la neige ou des projections de la route provenant des vehicules en déplacement nuisent à la détction du capteur.
- Lorsque votre vehicule tracte une remorque, etc.
Lorsque des bagages trop lourds se trouvent sur la banquette arrête ou dans l'aire de chargement de votre vehicule
Le régulateur de vitesse adaptatif contrôle automatiquement le bon fonctionnement du capteur dans les limites du système.
Lorsque la zone du capteur est sale ou obstruée, le fonctionnement du système se désactive automatiquement. Le régulator de vitesse peut ne pas détecter un capteur recouvert de glace, d'un sac en vinyle transparent, etc. Dans ce cas, le mode de contrôle d'intervalle entre les vehicules pourrait ne pas se désactiver et le système ne serait pas en mesure de maintainir la distance programmée. Assurez-vous de vérifier et de nettoyer le capteur régulierement.
La zone de détention du capteur du radar est limitée. Le vehicule suivi doit se couver dans la zone de détention du régulateur de vitesse adaptatif afin que ce dernier puisse maintainir la distance programmée et régler la vitesse en fonction de cette du vehicule suivi.
Le vehicule suivi pourrait se couver hors de la zone de détction en raison de sa position dans votre propre voie. Les motocyclettes pourraient ne pas etre détectees dans cette meme voie sils circulent trop loin du centre de la voie. Le vehicule qui
préciède et qui emprunte votre voie pourraït se trouver hors de la zone de détéction jusqu'à ce qu'ilatteigne le milieu de la voie.
Dans ce cas, le régulateur de vitesse adaptatif peut vous averrir en faisant clignoter le témoin du système et retentir le carillon. Le conducteur devra peut être intervenir afin de conserver la distance appropriée.


Lorsque vous empruntez certains types de routes, par exemple un parcours sinueux ou montagneux, à l'entrée ou à la sortie d'un virage, sur une route étroite ou dans une zone de travaux, le capteur du radar pourrait détecter un vehicule sur une voie adjacente, ou ne pas détecter temporairement un vehicule qui vous précède sur la même voie. Ceci peut alors faire ralentir ou accélérer le vehicule.
La détction des vehicules peut être également modifiée par la conduite (changements de direction ou emplacement dans la voie) ou l'état du vehicule.
Dans ce cas, le régulateur de vitesse adaptatif peut vous averrir en faisant clignoter le témoin du système et retentir le carillon. Le conducteur devra peut être intervenir afin de conserver la distance appropriée.
Le régulateur de vitesse adaptatif peut ne pas être disponible temporairement dans les conditions citées ci-après. Dans ce cas,
le régulateur de vitesse adaptatif pourrait ne pas se désactiver et le système ne serait pas en mesure de soutenir la distance programmée.
Condition A
Dans les conditions suivantes, le régulateur de vitesse adaptatif est automatiquement annulé. Un carillon retentit et le régulateur ne pourrait être programmé:
Lorsque le SYSTÉME DE CONTROLE DYNAMIQUE DU VÉHICULE est désactivé.
- Lorsque le système de contrôle dynamique du vehicule ou le système de freinage antiblocage fonctionne.
- Lorsqu'un vehicule qui vous precede n'est pas détecté et que la vitesse de votre vehicule est inférieure à 24 km/h (15 mi/h).
- Lorsque le système déterminé que le vehicule est immobilisé.
- Lorsque le levier sélecteur n'est pas à la position D (marche avant) ou L (gamme basse) (selon l'équipement).
Lorsque le frein de stationnement est serré.
Lorsqu'une roue patine.
- Lorsque le signal du radar est interrompu temporairement.
Mesures à prendre
Lorsque les conditions décrites ci-dessus ne sont plus générées, désactive le système au moyen du commutateur du régulateur de vitesse adaptatif. Réactive le régulateur de vitesse adaptatif si vous souhaitez de nouveau utiliser le système.
Condition B
Lorsque le mauvais temps (pluie, brouillard, neige, etc.) bloque le capteur de radar avant, le système du régulateur de vitesse adaptatif s'annule automatiquement, le carillon retentit et le message d'advertisement « Aides à la conduite tempor. désactivées Capteur avant bloqué Voir Manuel cond. » s'affiche à l'écran multifonction du vehicule.
Mesures à prendre
Lorsque les conditions décrites ci-dessus ne sont plus générées, le message d'advertissement n'est plus affché à l'écran multifonction et le système fonctionne normalement. Si le message d'advertissement « Aides à la conduite tempor. désactivées Capteur avant bloqué Voir Manuel cond. » continue d'être affché, faites vérifier le système. Nous vous recommendons de vous rendre chez un concessionnaire NISSAN pour cet entretien.
Condition C
Lorsque la zone du capteur de radar du pare-chocs avant est couverte ou obstruée par de la boue, de la saleté, de la neige, de la glace, etc., le régulateur de vitesse adaptatif est automatiquement désactivé.
Le carillon retentit et le message d'advertisement « Aides à la conduite tempor. désactivées Capteur avant bloqué Voir Manuel cond. » s'affiche à l'écran multifonction du vehicule.
Mesures à prendre
Si le message d'advertissement s'affiche, arrêtez le vehicule dans un endroit sur, placez le levier selecteur à la position P (stationnement) et coupez le moteur. Lorsque le signal du radar est interrompu temporairement, nettoyez la zone du capteur du pare-chocs avant et redémarrez le moteur. Si le message d'advertissement « Aides à la conduite tempor. désactivées Capteur avant bloqué Voir Manuel cond. » continue d'être affché, faites vérifier le système. Nous vous recommendons de vous rendre chez un concessionnaire NISSAN pour cet entretien.
Condition D
Lorsque vous conduisiez sur des routes avec des structures routières limitées (par exemple, Ponts longs, déserts, champs de neige, conduite près de longs murs), le système peut allumer le témoin d'advertissement et afficher le message « Aides à la conduite temporal. désactivées Capteur avant bloqué Voir Manuel cond. »
Mesures à prendre
Lorsque les conditions de conduite mentionnées ci-dessus ne sont plusopsis, reactivez le système.
Condition E
Si le régulateur de vitesse adaptatif ne fonctionne pas correctement, le carillon retentit et le témoin d'anomalie du régateur (orange) s'allume.
Aides à la conduite tempor désactivées
Capteur avant bloqué
Voir Manuel cond.
LSD3916
Mesures à prendre
Si le témoin d'advertissement s'allume, garez-vous à un endroit sécuritaire. Coupe le moteur, redémarrez-le, repreneze la conduite, puis réglez de nouveau le régulator de vitesse adaptatif.
S'il est impossible de régler le système ou si l'indicateur reste allumé, cela peut indiquer une anomalie du système. Bien que vous puissiez toujours conduire le vehicule dans des conditions normales, faites-le vérifier. Nous vous recommandons de vous rendre chez un concessionnaire NISSAN pour cet entretien.
REMARQUE:
Si le régulateur de vitesse adaptatif est temporairement non disponible, le mode de régulateur de vitesse classique peut encore être utilisé. Pour obtenir des renseignements supplémentaires, consultez la section « Mode de régulateur de vitesse classique (vitesse stable) » (p. 5-86).

ENTRETIEN DU SYSTEME
Le capteur du régulateur de vitesse adap-tatif A se trouve à l'avant du vehicule.
Pour que le régulateur de vitesse adaptatif fonctionne correctement, veillez à :
- Gardez toujours propre la zone du capteur de l'emblème et du pare-chocs avant.
- Évitez de frapper ou d'endommager les zones entourant le capteur.
-
Ne posez pas d'autocollant (opaque ou transparent) sur le capteur ou installer d'accessoire à proximé. Ceci pourrait entraîner la panne ou une défectuosité du capteur.
-
Ne fixez pas des objets métalliques à proximé de la zone du capteur (grille de protection, etc.). Ceci pourrait entraîner la panne ou une défectuosité du capteur.
- Ne tentez de modifier, de retarder ou de peindre le pare-chocs avant. Avant de personneliser ou de restaurer le parechocs avant, nous vous recommendons de visiter un concessionnaire NISSAN.
Déclaration de fréquence radio
Avertissement de la FCC
Aux États-Unis
Ce dispositif est conforme à l'article 15 des règlements de la FCC.
Son utilisation est soumise aux deux conditions suivantes :
- Ce dispositif ne doit cause aucune interference nuisible, et
- Ce dispositif doit pouvoir accepter toutes les interférences, y compris celles qui peuvent l'activer de façon inopinée.
Avertissement de la FCC
Toute modification non approuvée par la partie responsable de la conformité peut annuler le droit d'utiliser ce dispositif.
Cet apparéil a été vérifié et s'est révélé conforme aux normes applicables aux apparéils numériques de catégorie A, en vertu de la section 15 des règlements de la FCC. Ces normes sont définies pour fournir une protection raisonnable contre les interférences nuisibles lorsque l'équipment est utilisé dans un environnement commercial. Cet apparéil générale, utilise et peut émettre des ondes radioélectriques et, s'il n'est pas installé et utilisé conformément au manuel de directives, peut causeur un brouillage radioélectrique nuisible aux communications radio. Le fonctionnement de cet équipement dans une zone résidentielle est susceptible de causeurs des interférences nuisibles; dans ce cas, l'usager doit corriger les interférences à ses propres frais.
Renseignements sur l'exposition aux émissions de radioféquences :
Ce dispositif est conforme aux limites d'exposition au rayonnement de la FCC enconsees pour un environnement non contrôle.
Ce dispositif doit être installé et utilisé en maintainant une distance minimale de 20 cm entre la source d'émission et votre corps.
L'émetteur ne doit pas être place au même endroit qu'une autre antennée ou un autre émetteur ni fonctionner de concert avec ces apparèils.
Au Canada
Ce dispositif est conforme aux normes d'Industrie Canada applicables aux apparéils RSS exempts de licence. Son utilisation est soumise aux deux conditions suivantes :
- Ce dispositif ne doit causeur aucune interference nuisible.
- Ce dispositif doit pouvoir accepter toutes les interférences, y compris celles qui pourrait l'activer de façon inopinée.
MODE DE RÉGULATEUR DE VITESSE CLASSIQUE (vitesse stable)
Le régulateur de vitesse de votre vehicule vous permet de conduire à des vittesses se situant entre 40 et 144km / h (25 et 90 mi/h) sans devoir garder le pied sur la pédale d'accéléateur.

AVERTISSEMENT
Lorsque le mode de régulateur de vitesse classique (vitesse stable) est sélectionné, le carillon ne retentit pas pour vous aviser que la distance entre votre vehicule et celui qui vous precedé est insuffisante. Ce mode ne détecte pas la présence d'un vehicule à l'avant et ne peut donc détector la distance entre les deux vehicules.
- Vous éviterez les accidents en portant une attention particulière à la distance qui sépare votre vehicule de celui qui se trouve devant vous.
-
Confirmez toujours le réglage à l'écran du régulateur de vitesse adaptatif.
-
N'utilise pas le mode de régulateur de vitesse classique (vitesse stable) si vous conduisiez en présence des conditions suivantes:
-
lorsqu'il est impossible de maintainir la vitesse programmée;
- lorsque la circulation est dense ou que la vitesse varie;
- sur les routes montagneuses ou sinueuses;
- sur les routes glissantes (pluie, neige, glace, etc.);
- dans des endroits très venteux.
- Vous pourriez ainsi perdre la maitrise de votre vehicule et avoir un accident.

Contacteurs du mode classique (vitesse stable) du régulateur de vitesse
- Commutateur CANCEL (annulation): Désactive le système tout en gardant en mémoire la vitesse programmee
-
Commutateur RES+ (reprise-accelération): Reprend la vitesse programmée ou augmente progressivement la vitesse
-
Commutateur du régulateur de vitesse adaptatif: Commutateur principal pour activer le système
- Commutateur SET- (réglage-) : Programme la vitesse de croisière souhai-tée ou réduit progressivement la vitesse

Affichage et témoins du mode de régulateur de vitesse classique (vitesse stable)
Cet affichage se trouve dans l'écran multifonction.
- Témoin de régulateur de vitesse : ce témoin indique l'etat du régulateur de vitesse adaptatif (ICC) au moyen de sa couleur.
Témoin d'ACTIVATION du régulateur de vitesse (gris) : indique que le commutateur du régulateur de vitesse adaptatif est activé
Témoin SET (réglage) du régulateur de vitesse (vert): indique que la vitesse de croisière est régée.
Témoin d'rapidissement du régulateur de vitesse (jaune): indique une anomalie dans le régulateur de vitesse adaptatif.
2. Témoin de vitesse programmée: ce témoin indique la vitesse programmée du vehicule. Pour les modèles canadiens, la vitesse est affichée en km/h.

Conduite en mode de régulateur de vitesse classique (vitesse stable)
Pourmettre enfonctionle mode deregulateurdevitesseclassique(vitessestable),maintenezenforcéle commutateur durégulateurdevitesseadaptatifApendantplusde1,5seconde.
Lorsque le commutateur du régulateur de vitesse adaptatif est régèle en position de marche, l'affichage et les témoins du mode de régulateur de vitesse classique (vitesse stable) s'affichent à l'écran multifonction.
Après que vous avez maintainu enforcé le commutateur du régulateur de vitesse adaptatif pendant plus de 1,5 seconde, l'affchage du régulateur de vitesse adaptatif s'eteint. Le témoin de régulateur de vitesse s'affiche. Vous pouze maintainant régler la vitesse de croisière. En appuyant de nouveau sur le commutateur du régulateur de vitesse adaptatif, vous mettez hors fonction le système. Lorsque le contact est COUPE, le régulateur de vitesse est également mis hors fonction automatiquement.
Pour recommencer à utiliser le régulateur de vitesse adaptatif, appuyez sur le commutateur du régulateur de vitesse adaptatif (mode de contrôle d'intervalle entre les vehicules) ou maintenez-le enforcé (mode de régulateur de vitesse classique) pourmettre le système en fonction.

MISE EN GARDE
Pour éviter que le système ne s'enclènche par inadvertance, place tous jours à l'arrêt le commutateur du régulateur de vitesse adaptatif lorsque vous n'utilise pas le régulateur.

Pour régler la vitesse de croisière, faites accélérer votre vehicule jusqu'à la vitesse souhaitée, appuyez sur l'interrupteur SET( réglage-) , puis relâchéz-le. (La couleur du témoin de régulateur de vitesse passe au vert et le témoin de vitesse programme s'allume); relâchéz la pédale de l'accélérateur. Notre vehicule roulera à la vitesse programmée.
-
Sivous devez dépasser un autre vehicule, appuyez sur la pedale d'accelérateur. Lorsque la pedale est reliachée, le vehicule returne à la vitesse programmée.
-
Lorsque vous montez ou descendez une pente raide, il est possible que le vehicule ne puisse pas maintainir la vitesse programmée. Dans un tel cas, maintenez manuellement la vitesse du vehicule.
Pour annuler la vitesse programmée, utilisez une des méthodes suivantes :
- Appuyez sur le commutateur CANCEL (annulation). Le témoin de vitesse s'éteint.
- Appuyez légèrement sur la pédale de frein. Le témoin de vitesse s'éteint.
- Mettez le commutateur du régulateur de vitesse adaptatif en position d'arrêt. Le témoin de régulateur de vitesse et le témoin de vitesse du vehicule s'éteignent.
Pour étabir une vitesse de croisière plus rapide, utilisez l'une des trois méthodes suivantes:
- Appuyez sur la pédale d'accélérateur. Enforcez le commutateur SET- (réglage-) et relâchez-le une fois que le vehicule a atteint la vitesse désirée.
-
Maintenez enforcé le commutateur RES+ (reprise+). Relâchéz le commuta- teur lorsque le vehicule atteint la vitesse voulue.
-
Appuyez sur l'interrupteur RES+ (reprise+), puis relâchéz-le rapidement. La vitesse programmée de votre vehicule augmente d'environ 1 km/h (1 mi/h) chaque fois que vous appuyez sur ce commutateur.
Pour étabir une vitesse de croisière plus lente, utilisez l'une des trois méthodes suivantes:
- Appuyez légèrement sur la pedale de frein. Enforcez le commutateur SET-(réglage-) et relâchez-le une fois que le vehicule a atteint la vitesse désirée.
- Appuyez longuement sur l'interrupteur SET- (réglage-). Relâchez le commutateur lorsqu'elle vehicule ralentit jusqu'à la vitesse désirée.
- Appuyez brièvement sur le commutateur SET-(réglage-). La vitesse programmée de votre vehicule diminue d'environ 1 km/h (1 mi/h) chaque fois que vous appuyez sur ce commutateur.
Pour reprendre la vitesse antérieurement programmée, appuyez brièvement sur le commutateur RES+ (reprise+). Dès que la vitesse du vehicule dépasse 40 km/h (25 mi/h), la dernière vitesse de croisière programmée est rétable.

LSD3305
Système temporairement indisponible
Le carillon retentit dans les conditions suivantes et lorsque le régulateur de vitesse fait l'objet d'une annulation automatique :
- Lorsque la vitesse du vehicule est réduite de plus de 13 km/h (8 mi/h) par rapport à la vitesse programmée.
- Lorsque le levier sélecteur n'est pas à la position D (marche avant).
- Lorsque le frein de stationnement est serré.
Lorsque le SYSTÉME DE CONTROLE DYNAMIQUE DU VÉHICULE est en fonction (systeme d'antipatinage à l'accélération inclus).
Lorsqu'une roue patine.
Lorsque le système ne fonctionne pas correctement, le carillon retentit et le témoin de régulateur de vitesse passé à la couleur orange.
Mesures à prendre
Si la couleur du témoin de régulateur de vitesse passé à la couleur orange, immobilisez le vehicule dans un endroit sur et déplacez le levier sélecteur à la position P (stationnement). Coupez le moteur, redémarrez-le, repreneze la conduite, puis effectuez de nouveau le réglage.
FREINAGE AUTOMATIQUE ARRÊIRE (RAB)
S'il est impossible de régler le système ou si l'indicateur reste allumé, cela peut indiquer une anomalie du système. Bien que vous puissiez toujours conduire le vehicule dans des conditions normales, faites-le vérifier. Nous vous recommendons de vous rendre chez un concessionnaire NISSAN pour cet entretien.
AVERAGEMENT
Le non-respect des avertissements et des directives relatives à l'utilisation du système de freinage automatique arrêté pourrait entraîner des blessures graves, voire mortelles.
Le système de freinage automatique arrêté représentée une aide supplémentaire pour le conducteur. Il ne remplace pas une conduite appropriée. Utilisez toujours les rétroviseurs extérieurs et interieurs et tournez-vous en regardant dans la direction où vous allez avant et pendant la manœuvre de recul. Ne vous fiez jamais seulement au système de freinage automatique arrêté. Le conducteur doit en tout temps se montré vigilante, conduire prudiment et maitriser son vehicule.
- Les capacités du système de freinage automatique arrêtè sont limitées. Le système de freinage automatique arrêtè n'est pas efficace dans toutes les situations.
Le mauvais temps ou les sources ultrasoniques telles qu'un lave-auto automatique, les freins à air compré d'un camion ou une perforatrice pneumatique peuvent nuir au fonctionnement du système, en comprométtre le rendement ou l'activin opinémen.
Le système de freinage automatique arri
riere peut aider le conducteur lorsque le
vehicule recule et approche des objets dir
rectement derrière le vehicule.

Le système de freinage automatique arrêté détecte les obstacles se trouvant derrière le vehicule à l'aide des capteurs de stationnement ① situés sur le pare-chocs arrêté.
REMARQUE :
Vous pouvez annuler temporairement la fonction de sonar dans le vehicule, mais le système de freinage automatique arriere continue de fonctionner. Pour obtenir des renseignements supplémentaires, consultez « Système de sonar arrêté (RSS) » (p. 5-146).
Pour les vehicules équipés du compteur de 7 pouces

LSD5956
FONCTIONNEMENT DU SYSTEME DE FREINAGE AUTOMATIQUE ARRIÈRE
① Témoin d'advertissement du système de freinage automatique arrêté

LSD5957
Pour les vehicules équipés du compteur de 4,2 pouces
② Indicateur d'advertissement du système de freinage automatique arrêté
③ Affichage central
4 Commandes montées sur le volant (côté gauche)
Le système de freinage automatique arrriere fonctionne lorsque le levier selecteur est à la position R (marche arrière) et que la vitesse du vehicule est inférieure à 15 km/h (9 mi/h) environ.
Si un risque de collision avec un obstacle est detecté lorsqu'vous recules, le témoin d'avertissement du système de freinage automatique arrrière clignote à l'écran multifonction, un cadre rouge s'affiche à l'affichage central (dans le cas des vehicules équipés de l'écran intelligent Around ViewMD) et le système fait retentir un carillon trois fois. Le système applique automatique les freins. Àpres le freinage automatique, le chauffeur doit enforcer la pédale de frein pour maintainir la pression de freinage.
REMARQUE:
- Les feu d'arrêt du vehicule s'allument lorsque le système de freinage automatique arrêté actionné les freins.
- Lorsque les freins sont actionnés, un bruit peut se faire entendre. Cette condition est normale.

LSD3979
Pour les vehicules équipés du compteur de 7 pouces
ACTIVATION OU DESACTIVATION
DU SYSTÉME DE FREINAGE
AUTOMATIQUE ARRIÈRE
Effectuez les étapes suivantes pour ACTIVER ou DÉSACTIVER le système de freinage automatique arrêté.
- Appuyez sur le bouton « jusqu'à ce que l'option « Régliages » s'affiche à l'écran multifonction. Utilisez le bouton
pour selectionner l'option « Assist. au conduct.», puis appuyez sur le bouton OK. - Sélectionnez « Frein. d'urg. » puis appuyez sur le bouton OK.
- Sélectionnez l'option « Arrière » et appuyez sur le bouton OK pour activer ou désactiver le système.
Lorsque you desactivez le systeme de freinage automatique arriere, le témoin d'advertissement du systeme de freinage automatique arriere s'allume.
REMARQUE:
Le système de freinage automatique arrête s'active automatiquement lorsque le moteur redémarre.



LSD3788
Pour les vehicules équipés du compteur de 4,2 pouces
LIMITES DU SYSTÉME DE FREINAGE AUTOMATIQUE ARRIÈRE

AVERTISSEMENT
Les limites du système de freinage automatique arrière sont répertoriées cédssous. Le non-respect des avertissements et des directives relatives à l'utilisation du système de freinage automatique arrière pourrait entraîner des blessures graves, voire mortelles.
Lorsque le vehicule approche un obstacle et que la pedale de frein ou l'accelerateur est enforcé, la fonction peut ne pas fonctionner ou le début du fonctionnement peut être retardé. Le système de freinage automatique arrêté peut ne pas fonctionner ou peut fonctionner insuffisamment en raison de l'état du vehicule, des conditions de conduite, de l'environnement routier, de la météo, des conditions de la route, etc. N'attendez pas que le système puisse fonctionner. Actionnez la pedale de frein par vous-même des que nécessaire.
S'il est nécessaire de neutraliser le fonctionnement du système de freinage automatique arriere, appuyez fortement sur la pédale d'accéléateur.
- Vérifiez votre environnement et returnez-vous toujours pour vérifier ce qui est derrière vous avant et pendant la manoeuvre de recul. Le système de freinage automatique arrêté detecte les objets immobiles derrière le vehicule. Le système de freinage automatique arrêté ne detecte pas les objets suivants:
- Objects mobiles
- Objects bas
- Objets étroits
- Objets en forme de coin
- Objets près du pare-chocs (moins de 30 cm [1 pi] environ)
- Objets qui apparaisent souda-nement
- Objets minces tels qu'une corde, un cable, une chaine etc.
Le système de freinage automatique arrêté peut ne pas fonctionner dans le cas des obstacles suivants:
- Obstacles situés bien au-dessus du sol
- Obstacles à l'écart de votrevehicule
- Obstacles comme les matéiaux spongieux ou la neige, dont la surface extérieure molle peut facilement absorber une onde sonore
Le système de freinage automatique arrêté peut ne pas fonctionner dans les conditions suivantes :
- La pluie, la glace, la neige, la saleté, etc. adhère aux capteurs de sonar.
- Un fort bruit est entendu dans la zone autour du vehicule.
- La surface del l'obstacle est en diagonale par rapport à l'arrière du vehicule.
Le système de freinage automatique arrêté peut fonctionner par inadvertance dans les conditions suivantes :
- La zone autour du vehicule est recouverte d'herbe.
- Il existe une structure (p. ex., un mur, un équipement de péage, un tunnel étroit, une porte de stationnement) pres du côté du vehicule.
- Il existe des bosses, des protubérances ou des plaques d'égout sur la chaussée.
Le vehicule passe par drapeau ou un rideau. - Il existe une accumulation de neige ou de glace derrière le vehicule.
-
Une source d'ondes ultrasoniques, comme le sonar d'un autre vehicule, se trouve pres du vehicule.
-
Une fois que la commande de freinage automatique se met en fonction, elle ne fonctionne plus si le vehicule approche le même obstacle.
La commande de freinage automatique ne peut fonctionner que pendant une courte période. Par conséquent, le conducteur doit enforcer la pedale de frein.
- Dans les situations suivantes, le système de freinage automatique arrêté peut ne pas fonctionner correctement ou suffisamment :
Le vehicule est conduit par mauvais temps (pluie, brouillard, neige, etc.).
- Le vehicule roule sur une pente abrupte.
- La position du vehicule est modifiée (p. ex., lorsque vous conduisez sur une bosse).
Le vehicule roule sur une chaussée glissante.
Le vehicule prend un virage serré lorsquè le volant est tourné complètement.
- Des chaînes antidérapantes sont utilisées.
- Des roues ou des pneus autres que ceux recommendés par NISSAN sont utilisés.
- Les freins sont froids à basse température ambiante ou immediatement après le début de la conduite.
- La force de freinage est affaiblie en raison des freins mouillés après avoir roulé dans une flaque d'eau ou lavé le vehicule.
-
Désactive le système de freinage automatique arrêté dans les conditions suivantes pour éviter un accident resultant du fonctionnement soudain du système:
Le vehicule est remorqué.
Le vehicule est transporte sur un camion-plateau.
Le vehicule se trouve sur un dynamomètre de chassis. -
Le vehicule roule sur une route déformée.
Des pièces de suspension autres que celles désignées comme pièces NISSAN d'origine sont utilisées. (Si la hauteur du vehicule ou l'inclinaison de la carrosserie du vehicule est modifiée, le système peut ne pas détaquer un obstacle correctement.)
Si le vehicule est munid'un accessoire comme un support a velos ou un porte-bagages qui bloque les capteurs.
Le bruit excessif (par exemple, le volume de la chaîne stéréophonique ou une glace de vehicule ouverte) a une incidence sur le timbre du carillon et il se peut qu'il ne soit pas entendu.
DEFAUT DU SYSTÉME
Lorsque le système de freinage automatique arrêté ne fonctionne pas correctement, il se désactiver automatiquement, le témoin d'advertissement du système de freinage automatique arrêté s'allume et le message d'advertissement « Not Available System Malfunction » (non disponible, anomalie du système) s'affiche à l'écran multifonction.
Mesures à prendre
Si le témoin d'advertissement s'allume, stationnez le vehicule dans un endroit sur, coupez le moteur et redémarrez-le. Si le témoin d'advertissement continue de s'allumer, faites vérifier le système de freinage automatique arrière. Nous vous recom-mandons de vous rendre chez un concessionnaire NISSAN pour cet entretien.
REMARQUE:
Si le système de freinage automatique arrêté ne peut pas être actionnétemporairement, le témoin d'advertissement du système de freinage automatique arrêté clignote.

ENTRETIEN DU SYSTEME
Respectez les conseils suivants pour assu-rer le bon fonctionnement du système :
- Conservez toujours les capteurs de stationnement ① propres.
-
Si les capteurs de stationnement sont sales, essuyez-les avec un chiffon doux en faisant attention à ne pas les endommager.
-
Ne soumettez pas la zone autour des capteurs de stationnement ① à de forts impacts. De plus, n'enlevez pas et ne démontez pas les capteurs de stationnement. Si les capteurs de stationnement et les zones périphériques sont déformés en cas d'accident, etc., faites vérifier les capteurs. Nous vous recommendons de vous rendre chez un concessionnaire NISSAN pour cet entretien.
- N'apposez pas des autocollants (y compris des autocollants transparents) ou des accessoires sur les capteurs de stationnement ① et les zones environnantes. Cela pourrait cause une anomalie ou nuire à son fonctionnement.
SYSTEME DE FREINAGE D'URGENCE AUTOMATIQUE AVEC DISPOSITIF DE DETECTION DE PIÉTONS

AVENTISSEMENT
Le non-respect des avertissements et des directives relatives à l'utilisation appropriée du système de freinage d'urgence automatique avec dispositif de détction de piétons pourrait entraîner des blessures graves, voir mortelles.
Le système de freinage d'urgence automatique avec dispositif de détction de piétons représentée une aide supplémentaire pour le conducteur. Il ne remplace pas la vigilance du conducteur relative aux conditions de circulation ou à la responsabilité de conduire prudemment. Il ne peut pas éviter des accidents découlant d'une conduite imprudente ou dangereuse.
Le système de freinage d'urgence automatique avec dispositif de détction de piétons ne fonctionne pas dans toutes les conditions de conduite, de circulation, de température et de la route.
Le système de freinage d'urgence automatique avec dispositif de détction de piétons peut aider le conducteur lorsqu'il y a un risque de collision frontale avec le vehicule ou le piéton qui leprecede dans la voie empruntée.

Le système de freinage d'urgence automatique avec dispositif de détction de piétons utilise un capteur de radar situé à l'avant du vehicule B pour mesurer la distance par rapport au vehicule qui le précède dans la même voie. Pour les piétons, le système de freinage d'urgence automatique avec dispositif de détction de piétons utilise une camera installée derrière le pare-brise A en plus du capteur de radar.
FONCTIONNEMENT DU SYSTEME DE FREINAGE D'URGENCE AUTOMATIQUE AVEC DISPOSITIF DE DETECTION DE PIETONS
- Témoin de détction du vehicule suivi
- Témoin d'advertisement d'urgence du système de freinage d'urgence automatique avec dispositif de détction de piétons
- Témoin d'avertissement du système de freinage d'urgence automatique avec dispositif de détction de piétons
Le système de freinage d'urgence automatique fonctionne à une vitesse supérieure à environ 5 km/h (3 mi/h). Pour la fonction de détction de piétons, le système fonctionne lorsque le vehicule roule entre 10 à 60 km/h (6 à 37 mi/h).
Pour les vehicules équipés du compteur de 7 pouces

LSD4532

LSD4533
Pour les vehicules équipés du compteur de 4,2 pouces
Si un risque de collision frontale est detecté, le système de freinage d'urgence automatique avec dispositif de détction de piétons avertit d'abord le conducteur en faisant clignoter le témoin de détction du vehicule suivi (jaune) à l'écran multifonction et en émettant une alerte sonore. Si le conducteur freine rapidement et avec force après l'avertissement, et si le système de freinage d'urgence automatique avec dispositif de détction de piétons détecte qu'une collision frontale peut toutes se produit, le système augmente automatiquement la force de freinage.
Si le conducteur ne réagit pas, le système de freinage d'urgence automatique avec dispositif de détction de piétons émet un deuxième averissement visuel (clignotant) (rouge et blanc) et sonore. Si le conducteur relâche la pédale d'accélérateur, le système applique alors un freinage partiel. Si le risque de collision devient imminent, le système de freinage d'urgence automatique avec dispositif de détction de piétons s'applique plus difficilement de façon automatique.
Pendant que le système de freinage d'urgence automatique avec dispositif de détction de piétons est en fonction, vous pourriez entendre un bruit provenant du fonctionnement des freins. Ceci est normal et indique que le système fonctionne correctement.
REMARQUE:
Les feu d'arrêt du vehicule s'allument lorsque le freinage est effectué au moyen du système de freinage d'urgence automatique avec dispositif de détction de piétons.
En fonction de la vitesse du vehicule et de la distance par rapport au vehicule ou au piéton qui précède, ainsi que des conditions de conduite et de la route, le système peut aider le conducteur à éviter une collision frontale ou à en atténuer les conséquences si une collision ne peut être évitée. Si le conducteur manoeuvre le volant, accélère ou freine, le système de freinage d'urgence automatique avec dispositif de détction de piétons fonctionne ultérieurement ou ne fonctionne pas.
Le freinage automatique est interrompu dans les conditions suivantes :
- lorsque vous tournez le volant pour éviter une collision;
- lorsque vous appuyez sur la pédale d'accéléateur,
- lorsqu'il n'y a aucun vehicule qui precede ou piéton.
Si le système de freinage d'urgence automatique avec dispositif de détction de piétons a immobilisé le vehicule, il demeure à l'arrêt pendant environ 2 secondes avant que les freins soient reliçés.
ACTIVATION ET DÉSACTIVATION
DU SYSTEMÉ DE FREINAGE
D'URGENCE AUTOMATIQUE AVEC
DISPOSITIF DE DETECTION DE
PIÉTONS
Effectuez les étapes suivantes pour activer ou désactiver le système de freinage d'urgence automatique avec dispositif de détction de piétons.
- Appuyez sur le bouton ↓ jusqu'à ce que l'options « Régliages » s'affiche à l'écran multifonction. Utilisez le bouton ↓ pour sélectionner l'options « Assist au conduct.», puis appuyez sur le bouton OK.
- Sélectionnez « Frein. d'urg. » puis appuyez sur le bouton OK.
- Sélectionnez l'option « Avant » et appuyez sur le bouton OK pour activer ou désactiver le système.
Lorsque you désactivez le système de freinage d'urgence automatique avec dispositif de détction de piétons, le témoin d'avertissement du système de freinage d'urgence automatique avec dispositif de détction de piétons s'allume.
Pour les vehicules équipés du compteur de 7 pouces

LSD3979



LSD3788
Pour les vehicules équipés du compteur de 4,2 pouces
REMARQUE :
Le système de freinage d'urgence automatique avec dispositif de détction de piétons est activé automatiquement lorsque le moteur redémarre.
Le système de détction de collision frontale intelligent est intégré dans le système de freinage d'urgence automatique avec dispositif de détction de piétons. Il n'y a pas de sélection séparée à l'écran multifonction du vehicule pour le système de détction de collision frontale intelligent. Lorsque le système de freinage d'urgence automatique est coupé, le système de détction de collision frontale intelligent est automatiquement mis hors fonction.
Lorsque le système de contrôle dynamique du vehicule est désacté, le système de freinage d'urgence automatique avec détction de piétons ne sera pas disponible sauf pour le système de détction de collision frontale intelligent.
LIMITATIONS DU SYSTÉME DE FREINAGE D'URGENCE AUTOMATIQUE AVEC DISPOSITIF DE DETECTION DE PIÉTONS

AVERTISSEMENT
Les limites du système de freinage d'urgence automatique avec dispositif de détction de piétons sont répertorées ci-dessous. Le fait de ne pas conduire le vehicule conformément à ces limites du système peut entraîner des blessures graves ou mortelles.
Le système de freinage d'urgence automatique avec dispositif de détction de piétons ne peut pas détecter tous les vehicules et piétons dans toutes les conditions.
Le système de freinage d'urgence automatique avec dispositif de détction de piétons ne détecte pas les éléments suivants:
- Piétons de petite taille (par exemple, un enfant), en position asse, qui utilisen un vehiculejouet ou une planche a roulettes, en scooter ou en fauteuil roulant, ou qui ne sont pas debout ou en position de marche.
- Animaux de toutes tailles.
- Obstacles (par exemple, des objets ou des débris) sur la route ou sur le bord de la route.
Véhicules venant en sens inverse ou traversant une intersection.
Véhicules dont les pneus sont difficiles à voir ou dont la forme à l'arrière est difficile à désigner ou obstruée.
Véhicules stationnés.
Le système de freinage d'urgence automatique avec dispositif de détction de piétons presente quelques limites de rendement.
Si un vehicule immobile se trouve dans la trayejoireYOUR vehicule, le systeme ne fonctionne pas lorsquevoitrvehicule s'en approchea une vitesse supérieurea environ 80km / h 50 mi/h).
La détction de piétons ne fonctionne pas lorsque le vehicule se déplace à des vitesses supérieures à environ 60km / h (37 mi/h) ou inférieures à environ 10km / h (6 mi/h).
Pour les piétons, le système de freinage d'urgence automatique avec détction de piétons n'émettra pas le premier averissement.
Le système de système de freinage d'urgence automatique avec dispositif de détction de piétons peut ne pas fonctionner correctement ou détecter un vehicule ou un piéton qui le précède dans les conditions suivantes:
Dans des conditions de faible visibilité ( comme en temps de pluie, de neige, de brouillard, de tempête de poussière, de tempête de sable et lorsque des projections de la route proviennent d'autres vehicules).
Si de la saleté, de la glace, de la neige, du brouillard ou d'autres matériaux recouvre la zone du capteur du radar ou la zone de laamera du pare-brise.
Si une lumière éblouissante (provenant par exemple du soleil ou de deux de route) entre dans laamera avant ou s'il se produit un changement soudain de luminosité (par exemple, en entrant dans un tunnel ou en conduisant sous la foudre).
- Dans des conditions de faible luminosité, par exemple dans des tunnels ou pendant la nuit, y compris lorsque les phares de votre vehicule sont éteints ou tamisés, ou lorsque les feuux arrêté du vehicule devant sont éteints.
Lorsque la direction de laamera est mal alignée.
Lorsque you conduisez sur une pente descendante abrupte, sur une route sinueuse ou sur une route cahoteuse comme une route de terre. - En cas d'interférence par d'autres sources radar.
Lorsque la position ou le mouvement de votre vehicule change rapidement ou de manière significative (par exemple, changement de voie, virage, manœuvre brusque, accélération ou décelération soudaine).
Si vous vécicule ou le vehicule ou piéton devant vous se déplace rapidement ou de manière significative, ne permettant pas au système de détecter et de réagir dans le temps (par exemple, un piéton après du vehicule qui se déplace
rapidement vers ce dernier, un vehicule qui vous coupe la voie, un changement de voie, un virage soudain, une accelération ou une décelération soudaine).
Lorsque le vehicule ou le pieton est à l'ecart de la trajectory à l'avant du vehicule.
- Si la différence de vitesse entre les deux vehicules est faible.
Le profil du piéton est partiellement masqué ou non identifiable; par exemple, en raison de bagages, d'une pousette, du port de vêtements ou d'accessoires encombrants ou amples, ou d'une posture unique (mains levées, etc.).
Il y a peu de contraste entre une personne et l'arrière-plan, par exemple si la couleur ou le type de vêtements qu'elle perte se fond à l'arrière-plan.
- Pendant environ les 15 secondes après le démarrage du moteur.
Si le vehicule devant a une forme unique ou inhabituelle, est extreme mement bas ou haut, transporte une cargaison speciale ou est etroit (par exemple, une motocyclette).
Lorsque le vehicule ou le pieton se trouve pres d'un panneau de signalisation, d'une zone refléchissante (par exemple, de l'eau sur la route) ou dans l'ombre.
Lorsque plusieurs piétons sont regroupés.
Lorsque la vue du pieton est mas-quée par un vehicule ou un autre objet.
Le rendement du système peut se dégrader dans les conditions suivantes:
Le vehicule roule sur une chaussee glissante.
Le vehicule roule sur une pente.
- Des bagages trop lourds se trouvent sur la banquette arrête ou dans l'aire de chargement de votre vehicule.
Le système contrôle automatiquement le fonctionnement du capteur (radar etamera), dans certaines limites. Le système peut ne pas détecter certaines formes d'obstruction de la zone du capteur, telles que de la glace, de la neige ou des autocollants, par exemple. Dans ces cas,
le système peut etre dans l'impossibilite d'avertir le conducteur de façon adequate.Assurez-vous de vérifier, nettoyer et dégager régulierement les zones des capteurs.
-
Dans certaines conditions de route et de circulation, le système de freinage d'urgence automatique avec dispositif de détction de piétons peut inopinément appliquer un freinage partiel. Lorsqu'une accelération est nécessaire, enforcez la pedale d'accéléateur pour neutraliser le système.
Le système de freinage d'urgence automatique (AEB) avec dispositif de détction de piétons pourrait s'activer s'il détecte un motif, un objet, une ombre ou des lumières qui sontsemblables à la silhouette de vehicules ou de piétons, ou qui sont de la même taille et dans la même position que les deux arrière d'un vehicule ou d'une moto.
Le système pourrait continuer à fonctionner si le vehicule devant effectue un virage vers la droite ou vers la gauche. -
Le système pourrait s'activer lorsqu'une vente vécicule s'approche d'un vehicule devant et que vous effectuez un dépassement.
- Selon la forme de la route (route sinueuse, entrée et sortie de la courbe, réglementation de la voie, construction en cours, etc.), le système pourrait s'activer temporairement pour le vehicule circulant en sens inverse devant le vêtre.


LSD4248

AVERTISSEMENT
Les limites du système de freinage d'urgence automatique avec dispositif de détction de piétons sont répertorées ci-dessous. Le fait de ne pas conduire le vehicule conformément à ces limites du système peut entraîner des blessures graves ou mortelles.
Le système de freinage d'urgence automatique (AEB) avec dispositif de détction de piétons peut réagir aux éléments suivants:
- objets sur le côté de la route (signalisation routière, barrières de sécurité, piéton, motocyclette, vehicule, etc.)
-
piétons lors de la conduite sur les allées étroites, etc.
-
piétons qui entrent temporairement dans la voie de circulation ou qui s'approchent de celle-ci pour éviter les obstacles sur l'accotement de la route
- objets au-dessus de la route (pont bas, signalisation routière, etc.)
- objets sur la surface de la route (voie ferrée, grille, plaque d'acier, etc.)
- objets dans le garage de stationnement (poutre, montant, etc.)
- piétons ou motocyclettes s'approchant de la voie empruntée
- vehicules, piétons, motocyclettes ou objets dans les voies adjacentes ou pres du vehicule
- piétons venant en sens inverse
- objets sur la route (como des arbres)
- Les distances de freinage augmentent sur des surfaces glissantes.
Le bruit excessif a une incidence sur le timbre du carillon d'advertissement et il se peut qu'il ne soit pas entendu.
LSD3795
Pour les vehicules équipés du compteur de 7 pouces

SYSTEME TEMPORAIREMENT INDISPONIBLE
Condition A:
Dans les conditions suivantes, le témoin d'rapidissement du système de freinage d'urgence automatique avec dispositif de détction de piétons clignote et le système se désactiver de façon automatique :
- Le capteur du radar capte les interférences provenant d'une autre source radar.
- La zone de laamera du pare-brise est embuée ou gelée.
- Une lumière intense est réfléchie à l'avant.
- La température de l'habitacle est supérieur à environ 40^ C [104 °F] sous la lumière directe du soleil.
- La zone de laamera du pare-brise est recouverte en permanence de saleté, etc.
Mesures à prendre
Lorsque les conditions indiquées ci-dessus ne sont plus générées, le système de freinage d'urgence automatique avec dispos-itif de détction de piétons se réactive de façon automatique.

LSD3796
Pour les vehicules équipés du compteur de 4,2 pouces
REMARQUE :
Lorsque l'intérieur du pare-brise sur la zone de laamera est embué ou gelé, un certain délambda est nécessaire pour le nettoyer ou le dégeler après l'activation de la climatisation. Si de la saleté se trouve sur cette zone, il vous est recommendé de vous rendre un concessionnaire NISSAN.
Condition B:
Lorsque le mauvais temps (pluie, brouillard, neige, etc.) bloque le capteur de radar avant, le système de freinage d'urgence automatique avec détction de piétons est automatiquement désactivé, le carillon retentit et le message d'advertissement « Aides à la conduite temporal. désactivées Capteur avant bloqué Voir Manuel cond. »ou « Aides à la conduite Indispensable Radar de face Bloqué Voir Manuel cond. » s'affiche à l'écran multifonction du vehicule.
Mesures à prendre :
Lorsque les conditions décrites ci-dessus ne sont plus générées, le message d'avertissement disparait de l'écran multifonction. Si le message d'avertissement « Aides à la conduite tempor. désactivées Capteur avant bloqué Voir Manuel cond. »
ou « Aides à la conduite Indispensible Radar de face Bloqué Voir Manuel cond. » reste affché, faites vérifier le système. Nous vous recommendons de vous rendre chez un concessionnaire NiSSAN pour cet entretien.
Condition C:
Lorsque le capteur de radar du pare-chocs avant est couvert ou obstrué par de la boue, de la saleté, de la neige, de la glace, etc., le système de freinage d'urgence automatique avec détction de piétons est automatiquement désactivé. Le carillon retentit, le message d'advertissement « Aides à la conduite temporal. désactivées Capteur avant bloqué Voir Manuel cond. » ou « Aides à la conduite Indispensable Radar de face Bloqué Voir Manuel cond. » s'affiche à l'écran multifonction et le témoin d'advertissement du système de freinage d'urgence automatique avec détction de piétons clignote.
Mesures à prendre :
Si le message d'advertisement s'affiche, arrêtez le vehicule dans un endroit sur, placez le levier selecteur à la position P (stationnement) et coupez le moteur. Lorsque le signal du radar est interrompu temporairement, nettoyez la zone du capteur du pare-chocs avant et redémarrez le moteur.
Si le message d'advertissement « Aides à la conduite tempor. désactivées Capteur avant bloqué Voir Manuel cond. » ou « Aides à la conduite Indisponible Radar de face Bloqué Voir Manuel cond. » reste affché, faites vérifier le système. Nous vous recom-mandons de vous rendre chez un concessionnaire NISSAN pour cet entretien.
Condition D :
Lorsque vous conduisiez sur des routes avec des structures routières ou des bâtiements limités (p. ex., de longs Ponts, des déserts, des champs de neige, la conduite à proximé de longs murs), le système peut allumer le témoin d'advertissement et afficher le message d'advertissement « Aides à la conduite tempor. désactivées Capteur avant bloqué Voir Manuel cond. » ou « Aides à la conduite Indispensable Radar de face Bloqué Voir Manuel cond. » s'affiche à l'écran multifonction et le témoin d'advertissement du système de freinage d'urgence automatique avec détction de piétons clignote.
Mesures à prendre :
Lorsque les conditions de conduite mentionnées ci-dessus ne sont plus générées, réactive le système.
Condition E:
Lorsque le système de contrôle dynamique du vehicule est à OFF (désacté), le système de freinage d'urgence automatique ne fonctionne pas. Dans ce cas, seulement les avertissements visuels et sonores fonctionnent. Le tímoin d'advertissement (orange) du système de freinage d'urgence automatique avec dispositif de détction de piétons s'allume.
Mesures à prendre :
Lorsque système de contrôle dynamique du vehicule est à ON (acté), le système de freinage d'urgence automatique avec détction de piétons se réactive automatiquement.
REMARQUE:
Si le système de freinage d'urgence automatique avec dispositif de détction de piétons cesse de fonctionner, le système de détction de collision frontale intelligent cesse également de fonctionner.

Mesures à prendre
Si le témoin d'advertisement (orange) s'allume, stationnez le vehicule dans un endroit sur, coupez le moteur et redémarrez-le. Si le témoin d'advertisement continue de s'allumer, faites vérifier le système de freinage d'urgence automatique avec dispositif de détction de piétons. Nous vous recom-mandons de vous rendre chez un concessionnaire NiSSAN pour cet entretien.

ANOMALIE DU SYSTEME
Lorsque le système de freinage d'urgence automatique avec dispositif de détction de piétons ne fonctionne pas correctement, il se désactive automatiquement, un carillon retentit, le tímoin d'avertissement du système de freinage d'urgence automatique avec dispositif de détction de piétons (orange) s'allume et le message d'avertissement [Défaut du système] s'affiche à l'écran multifonction.
ENTRETIEN DU SYSTEME
Le capteur de radar se trouve à l'avant du vehicule B. Laamera se trouve sur la partie supérieure du pare-brise A.
Pour que le système de freinage d'urgence automatique avec dispositif de détction de piétons fonctionne correctement, observez les précautions suivantes:
-
Gardez toujours propres les zones du capteur de l'emblème, du pare-chocs avant et du pare-brise.
-
Évitez de frapper ou d'endommager les zones autour des capteurs (p. ex., parechocs, pare-brise).
- Ne couvrez pas, n'apposez pas d'autocollants et n'installez pas d'accessoires à proximé des capteurs. Cela pourrait bloquer les signaux du capteur ou entraîner une panne ou une défectuosité du capteur.
- Ne fixez pas d'objets métalliques à proximé du capteur du radar (grille de protection, etc.). Ceci pourrait entraîner la panne ou une défectuosité du capteur.
- Ne placez pas de matériel réfléchissant, comme du papier blanc ou un miroir, sur le tableau de bord. Le reflet des rayons du soleil peut nuire à la capacité de détction de laamera.
- Ne tentez de modifier, de retarder ou de peindre le pare-chocs avant. Avant de personneliser ou de restaurer le parechocs avant, nous vous recommendons de visitor un concessionnaire NISSAN.
Déclaration de fréquence radio
Aux États-Unis
Ce dispositif est conforme à l'article 15 des règlements de la FCC. Son utilisation est soumise aux deux conditions suivantes :
- Ce dispositif ne doit causeur aucune interference nuisible, et
- Ce dispositif doit pouvoir accepter toutes les interférences, y compris celles qui peuvent l'activer de façon inopinée.
Avertissement de la FCC
Toute modification non approuvée par la partie responsable de la conformité peut annuler le droit d'utiliser ce dispositif.
Au Canada
Ce dispositif est conforme aux normes de la section 15 des règles de la FCC des États-Unis et aux normes d'Industrie Canada applicables aux apparciels RSS exempts de licence. Son utilisation est soumise aux deux conditions suivantes :
-
Ce dispositif ne doit causeur aucune interference nuisible; et
-
Ce dispositif doit pouvoir accepter toutes les interférences, y compris celles qui pouraient l'activer de façon inopinée.
Le present apparéil est conforme aux CNR d'Industrie Canada applicables aux apparéils radio exempts de licence. L'exploitation est autorisée aux deux conditions suivantes:
- L'appareil ne doit pas produit de brouillage, et
- L'utilisateur de l'appareil doit accepter tout brouillage radioélectrique subi, même si le brouillage est susceptible d'en compromètre le fonctionnement.
Renseignements sur l'exposition aux émissions de radiofréquences :
Ce dispositif est conforme aux limites d'exposition au rayonnement de la FCC et d'Industrie Canada énoncées pour un environnement non contrôle.
Ce dispositif doit être installé et utilisé en maintainant une distance minimale de 30 cm entre la source d'émission et votre corps.
SYTÉME DE DETECTION DE COLLISION FRONTALE INTELLIGENT
Cet émetteur ne doit pas être place au même endroit qu'une autre antennée ou un autre émetteur ni fonctionner de concert avec ces apparéils.
Cet équipement est conforme aux limites d'exposition aux rayonnements IC établies pour un environnement non contrôle.
Cet équipement doit être installé et utilisé avec un minimum de 30 cm de distance entre la source de rayonnement et votre corps.
Avertissement de la FCC
Toute modification non approuvée par la partie responsable de la conformité peut annuler le droit d'utiliser ce dispositif.
AVERAGEMENT
Le non-respect des avertissements et des directives relatives à l'utilisation du système de détction de collision frontale intelligent pourrait entraîner des blessures graves, voire mortelles.
Le système de détction de collision frontale intelligente contribue à avertir le conducteur avant une collision, mais n'empêche pas une collision. Le conducteur doit en tout temps se montré vigilant, conduire prudement et maitriser son vehicule.
Le système de détction de collision frontale intelligent peut aider à alerter le conducteur lorsqu'il y a un freinage brusque d'un deuxieme vehicule se déplaçant devant celui qui vous précédde dans la même voie.

Le système de détction de collision frontale intelligent utilise un capteur de radar situé à l'avant du vehicule pour mesurer la distance par rapport au vehicule qui le précède dans la même voie.

LSD4534
Pour les vehicules équipés du compteur de 7 pouces
FONCTIONNEMENT DU SYSTEME
DE DETECTION DE COLLISION
FRONTALE INTELLIGENT
- Témoin de détction du vehicule suivi
- Témoin d'avertissement du système de freinage d'urgence automatique avec dispositif de détention de piétons

LSD4535
Pour les vehicules équipés du compteur de 4,2 pouces

Le système de détction de collision frontale intelligent fonctionne à une vitesse supérieur à environ 5 km/h (3 mi/h).
S'il y a un risque potentiel de collision frontale, le système de détction de collision frontale intelligent averit le conducteur en faisant clignoter le témoin de détction à l'avant du vehicule et en émettant une tonalité d'ajretissement.
LSD2263

LSD3979
Pour les vehicules équipés du compteur de 7 pouces
ACTIVATION OU DÉSACTIVATION
DU SYSTEME DE DETECTION DE
COLLISION FRONTALE INTELLIGENT
Effectuez les étapes suivantes pour ACTIVER ou DÉSACTIVER le système de détéction de collision frontale intelligent.
- Appuyez sur le bouton « jusqu'à ce que l'option « Régliages » s'affiche à l'écran multifonction. Utilisez le bouton
pour selectionner l'option « Assist. au conduct. «, puis appuyez sur le bouton OK. - Sélectionnez « Frein. d'urg. » puis appuyez sur le bouton OK.
- Sélectionnez l'option « Avant » et appuyez sur le bouton OK pour activer ou désactiver le système.
Lorsque you désactivez le système de détction de collision frontale intelligent (I-FCW), le témoin d'advertissement du système de freinage d'urgence automatique (AEB) avec dispositif de détction de piétons s'allume.



LSD3788
Pour les vehicules équipés du compteur de 4,2 pouces
REMARQUE :
- Le système de détction de collision frontale intelligent s'active automatiquement lorsque le moteur redémarre.
- Le système de détction de collision frontale intelligent est intégré dans le système de freinage d'urgence automatique avec dispositif de détction de piétons. Il n'y a pas de sélection séparée à l'écran multifonction du vehicule pour le système de détction de collision frontale intelligent. Lorsque le système de freinage d'urgence automatique (AEB) avec dispositif de détction de piétons est coupé, le système de détction de collision frontale intelligent (I-FCW) est également mis hors fonction.

Illustration A
LIMITES DU SYSTEME DE
DÉTECTION DE COLLISION
FRONTALE INTELLIGENT

Illustration B

AVERTISSEMENT
Les limites du système de détction de collision frontale intelligent sont répertoriées ci-dessous. Le fait de ne pas conduire le vehicule conformément à ces limites du système peut entraîner des blessures graves ou mortelles.
Le système de détction de collision frontale intelligent ne peut détector tous les vehicules dans toutes les conditions.
- Le capteur du radar ne détecte pas les objets suivants:
- Les piétons, les animaux ou les obstacles se trouvant sur la chaussée
- Les vehicules qui viennent en sens inverse
- Les vehicules qui traversent une intersection
-
(Illustration A) Le système de détction de collision frontale intelligent ne fonctionne pas lorsque le vehicule qui vous précéde est un petit vehicule tel qu'une motocyclette.
-
Le capteur du radar peut ne pas détaquer un vehicule qui le précède dans les conditions suivantes :
-
Neige ou pluie abondante
- Saleté, glace, neige ou autres matériaux qui recouvent le capteur du radar
- Interférences par d'autres sources de radar.
-
Projections de neige ou de la route provenant des autres vehicules
Conduite dans un tunnel. -
(Illustration B) lorsque le vehicule qui precede est remorqué.
- (Illustration C) lorsque le vehicule qui precede est trop proche, le faisceau du capteur du radar est obstrué.
- (Illustration D) lorsque vous conduisiez sur une pente descendante abrupte ou sur des routes sinueuses.
Le système contrôle automatiquement le fonctionnement du capteur, dans certaines limites. Le système peut ne pas détecter certaines formes d'obstruction de la zone du capteur, telles que de la glace, de la neige, des autocollants, par exemple. Dans ces cas, le système peut etre dans l'impossibilite d'avertir le conducteur de façon adequate.Assurez-vous de vérifier, de nettoyer et de dégager régulierement la zone du capteur.
Le bruit excessif a une incidence sur le timbre du carillon d'advertissement et il se peut qu'il ne soit pas entendu.

Illustration C

LSD2313
Illustration D
LSD3795
Pour les vehicules équipés du compteur de 7 pouces

SYSTEME TEMPORAIREMENT INDISPONIBLE
Condition A
Lorsque le capteur du radar capte les interférences provenant d'une autre source radar, rendant impossible la détéction du vehicule qui précède, le système de détéction de collision frontale intelligent se dé-sactive automatiquement.
Le témoin d'advertissement (orange) du système de freinage d'urgence automatique avec dispositif de détction de piétons s'allume.
Mesures à prendre :
Lorsque les conditions indiquées ci-dessus ne sont plus générées, le système de détction de collision frontale intelligent se réactive automatiquement.

LSD3796
Pour les vehicules équipés du compteur de 4,2 pouces
Condition B
Lorsque le capteur de radar avant est obstrué à cause du mauvais temps (plue, brouillard, neige, etc.), le système de détction de collision frontale intelligent est automatiquement désactivé. Le signal sonore retentit et le message d'advertissement « Forward Driving Aids Temporarily Disabled Front Sensor Blocked: See Owner's Manual » (Aides à la conduite en marche avant temporairement désactivées - capteur avant obstrué : voir le manuel du propriétaire) ou « Driving Aids Temporarily Disabled Front Sensor Blocked: See Manual » (Aides à la conduite temporairement désactivées - capteur avant obstrué : voir le manuel du propriétaire) s'affiche à l'écran multifonction.
Mesures à prendre :
Lorsque les conditions décrites ci-dessus ne sont plus générées, le message d'advertissement disparait de l'écran multifonction. Si le message d'advertissement « Forward Driving Aids Temporarily Disabled Front Sensor Blocked: See Owner's Manual » (Aides à la conduite en marche avant temporairement désactivées - capteur avant obstrué : voir le manuel du propriétaire) ou « Driving
Aids Temporarily Disabled Front Sensor Blocked: See Manual » (Aides à la conduite temporairement désactivées - capteur avant obstrué : voir le manuel du propretaire) reste affché, faire vérifier le système. Nous vous recommendons de vous rendre chez un concessionnaire NISSAN pour cet entretien.
Condition C
Lorsque le capteur de radar du pare-chocs avant est couvert de boue, de saleté, de neige, de la glace, etc., ou qu'il est obstrué, le système de détction de collision frontale intelligent est automatiquement désactivé, le carillon retentit et le message d'advertissement « Forward Driving Aids Temporarily Disabled Front Sensor Blocked: See Owner's Manual » (Aides à la conduite en marche avant temporairement désactivées - capteur avant obstrué : voir le manuel du propriétaire) ou « Driving Aids Temporarily Disabled Front Sensor Blocked: See Manual » (Aides à la conduite temporairement désactivées - capteur avant obstrué : voir le manuel du propriétaire) s'affiche à l'écran multifonction.
Mesures à prendre :
Si le message d'advertissement (orange) s'affiche, arrêtez le vehicule dans un endroit sur, placez le levier sélecteur à la position P (stationnement) et coupez le moteur. Lorsque le signal du radar est interrompu temporairement, nettoyez la zone du capteur du pare-chocs avant et redémarrez le moteur. Si le message d'advertissement « Forward Driving Aids Temporarily Disabled Front Sensor Blocked: See Owner's Manual » (Aides à la conduite en marche avant temporairement désactivées - capteur avant obstrué: voir le manuel du propriétaire) ou « Driving Aids Temporarily Disabled Front Sensor Blocked: See Manual » (Aides à la conduite temporairement désactivées - capteur avant obstrué: voir le manuel du propriétaire) reste affché, faire vérifier le système. Nous vous recommendons de vous rendre chez un concessionnaire NISSAN pour cet entretien.
Condition D
Lorsque you conducisez sur des routes avec des structures routieres ou batiments limités (p. ex., de longs Ponts, des déserts, des champs de neige, la conduite
à proximité de longs murs), le système peut allumer le témoin d'advertisement et afficher le message « Forward Driving Aids Temporarily Disabled Front Sensor Blocked: See Owner's Manual » (Aides à la conduite en marche avant temporairement désactivées - capteur avant obstrué: voir le manuel du contrôle) ou « Driving Aids Temporarily Disabled Front Sensor Blocked: See Manual » (Aides à la conduite temporairement désactivées - capteur avant obstrué: voir le manuel du contrôle).
Mesures à prendre :
Lorsque les conditions de conduite mentionnées ci-dessus ne sont plus présentes, réactivez le système.
REMARQUE:
Si le système de freinage d'urgence automatique avec dispositif de détction de piétons cesse de fonctionner, le système de détction de collision frontale intelligente cesse également de fonctionner.

Mesures à prendre
Si le témoin d'advertisement (orange) s'allume, stationnez le vehicule dans un endroit sur, coupez le moteur et redémarrez-le. Si le témoin d'advertisement continue de s'allumer, faites vérifier le système de détction de collision frontale intelligent. Nous vous recommendons de vous rendre chez un concessionnaire NISSAN pour cet entretien.

ANOMALIE DU SYSTEME
Lorsque le système de détction de collision frontale intelligent ne fonctionne pas correctement, il se désactive automatique, un carillon retentit, le témoin d'avertissement (orange) du système de freinage d'urgence automatique avec détction de piétons s'allume et le message d'avertissement [Malfunction] (anomalie) s'affiche à l'écran multifonction.
ENTRETIEN DU SYSTEME
Le capteur A se trouve à l'avant du vehicule.
Pour que le système fonctionne correctement, faites ce qui suit:
- Gardez toujours propre la zone du capteur de l'emblème et du pare-chocs avant.
- Évitez de frapper ou d'endommager les zones entourant le capteur.
- Ne couvrez pas et n'apposez pas des autocollants ou des objets similaires sur le pare-chocs avant à proximé de la zone du capteur. Ceci pourrait entraîner la panne ou une défectuosity du capteur.
SYSTEME D'ALERTE VIGILANCE CONDUCTEUR INTELLIGENT (I-DA)
- Ne fixez pas des objets métalliques à proximé de la zone du capteur (grille de protection, etc.). Ceci pourrait entraîner la panne ou une défectuosité du capteur.
- Ne tentez de modifier, de retarder ou de peindre le pare-chocs avant. Avant de personneliser ou de restaurer le parechocs avant, nous vous recommendons de visitor un concessionnaire NISSAN.
AVERAGEMENT
Le non-respect des avertissements et des directives relatives à l'utilisation du système d'alerte vigilance conducteur intelligent pourrait entrainer des blessures graves, voir mortelles.
Le système d'alerte vigilance conducteur intelligent n'est qu'un dispositif d'avertissement pour alerter le conducteur sur son manque potentiel d'attention ou sa somnolence. Il n'assure pas la direction du vehicule et ne prévient pas la perte de maîtrise du vehicule.
Le système d'alerte vigilance conducteur intelligent ne détecte pas et n'alerte pas le conducteur en cas de manque d'attention ou de fatigue dans toutes les situations.
Il incombe au conducteur de:
- rester vigilant;
- conduire prudemment;
- maintainir son vehicule dans la voie empruntée;
-
maitriser son vehicule en tout temps;
-
ne pas conduire lorsqu'il est fatigué;
Réduire au minimum les distractions (messages/texte, etc.).
Le système d'alerte vigilance conducteur intelligent permet d'alerter le conducteur si le système détecte un manque d'attention ou une fatigue liée à la conduite.
Le système surveille le style de conduite et le comportement de la direction après une certaine période de temps et detecte des différences par rapport au modele normal. Si le système detecte que l'attention du conducteur diminue, le système utilise des averisations sonores et visuels pour suggérer au conducteur de prendre une pause.

Pour les vehicules équipés du compteur de 7 pouces
FONCTIONNEMENT DU SYSTEME D'ALERTE VIGILANCE CONDUCTEUR INTELLIGENT

Pour les vehicules équipés du compteur de 4,2 pouces
Si le système detecte que le conducteur est fatigué ou que son attention diminue, le message « Une pause? » s'affiche à l'écran multifonction et un carillon retentit lorsque la vitesse du vehicule est supérieure à 60 km/h (37 mi/h).
Le système surveille en permanence l'attention du conducteur et peut fournir plusieurs averisations par trajet.
Le système se réinitialise et commence à réévaluer le style de conduite et le comportement de la direction lorsque vous COUPEZ et REMETTEZ le contact.



LSD3980
Pour les vehicules équipés du compteur de 7 pouces
COMMENT ACTIVER/DESACTIVER
LE SYSTEME D'ALERTE VIGILANCE
CONDUCTEUR INTELLIGENT
Effectuez les étapes suivantes pour activer ou désactiver le système d'alerte vigilance conducteur intelligent.
- Appuyez sur le bouton ↓▶ jusqu'à ce que l'option « Réglages » s'affiche à l'écran multifonction. Utilisez le bouton
pour selectionner l'option « Assist. au conduct.», puis appuyez sur le bouton OK.
- Sélectionnez l'option « Attention du Conducteur » et utilisez le bouton OK pour activer ou désactiver le système.
REMARQUE:
Le réglage reste en mémoire même si vous redémarrez le moteur.



LSD3801
Pour les vehicules équipés du compteur de 4,2 pouces
LIMITES DU SYSTÉME D'ALERTE VIGILANCE CONDUCTEUR INTELLIGENT

AVERTISSEMENT
Les limites du système d'alerte vigilance conducteur intelligent sont répertoriées ci-dessous. Le fait de ne pas conduire le vehicule conformément à ces limites du système peut entrainer des blessures graves ou mortelles.
Le système d'alerte vigilance conducteur intelligent peut ne pas fonctionner correctement et peut ne pas fournir une alerte dans les conditions suivantes:
- Mauvaises conditions routières telles qu'une route irrégulière ou des nids de poule.
Fort vent de travers.
- Si vous avez adopté un style de conduite sportif avec des virages à haute vitesse ou des fortes accelerations.
- Changements fréquents de voie ou changements de la vitesse du vehicule.
Le système d'alerte vigilance conducteur intelligent peut ne pas fournir une alerte dans les conditions suivantes:
- vitesses du vehicule inférieures à 60 km/h (37 mi/h);
- bref manque d'attention;
distractions spontanées telles que le fait de laisser tomber un objet.
Avert.

Attention du Conducteur Défaut du système
LSD3802
Défaut du système
Si le système d'alerte vigilance conducteur intelligent ne fonctionne pas correctement, le message d'advertissement du système s'affiche à l'écran multifonction du vehicule et la fonction s'arrête automatiquement.
Mesures à prendre
Arrêtez le vehicule dans un endroit sécuritaire, placez le vehicule en position P (stationnement), coupez le moteur, puis redémarrez-le. Si le message d'advertissement du système continue de s'afficher, faites vérifier le système. Nous vous recommandons de vous rendre chez un concessionnaire NISSAN pour cet entretien.

MISE EN GARDE
Afin d'obtenir un rendement maximal de votre moteur, d'en assurer la fiabilité et de lui permettre la meilleure consommation d'essence possible, suivez les recommendations ci-après pendant les 2000 premiers kilométres (1 200 milles). Si vous ne suivez pas ces recommandations, vous risquez de diminuer la vie utile de votre moteur ainsi que son rendement.
- Évitez de conduire à des vitesses constantes (rapides ou lentes) sur une période prolongée et ne faites pas tournier le moteur de votre vehicule à plus de 4000 tr/min.
N'effectuez pas d'accelération à plein régime dans quelque rapport que ce soit. - Évitez les démarrages rapides.
- Évitez les freinages brusques dans la mesure du possible.
CONSEILS POUR UNE CONDUITE ECONOME EN CARBURANT
Suivez ces conseils simples qui vous aidront à réaliser la(Meilleure économie de carburant de votre vehicule.
1. Appuyez doucement sur la pedale d'accelération et la pedale de frein.
- Évitez les démarrages et les arrêts inutillement brusques.
- Prenez l'habitude d'accélérer et de freiner doucement.
- Maintenez une vitesse constante pendant vos déplacements et laissez le vehicule avancer sur sa lancée autant que possible.
2. Maintenez une vitesse constante
- Regardez loin devant et essayez d'anticiper les arrêts afin de réduire le freinage au minimum.
- Synchronisez votre vitesse avec les yeux de signalisation afin de réduire le nombre d'arrêts.
- En maintainant une vitesse constante, vous rencontres moins de feuroids et améliorez votre consommation de carburant.
3. Utilise la climatisation (A/C) lorsque vous conduisez à des vitesses plus élevées.
- En-dessous de 64km / h (40 mi/h), il est plus efficace d'ouvrir les glaces pour refroidir l'habitacle en raison de la charge réduite du moteur.
- Par contre, au-dessus de 64 km/h (40 mi/h), il est plus efficace d'utiliser la climatisation pour refroidir l'habitatcle en raison de la résistance aérodynamique accrue.
- Faire recirculer l'air frais dans la cabine lorsque la climatisation est en fonction permet de réduire la charge de refroidissement.
4. Pour economiser sur le carburant, conduisez modérément et gardez vos distances.
- En respectant la limite de vitesse et en ne dépassant pas 97 km/h (60 mi/h) (à où la loi le permet), vous améliorez le rendement énergétique en raison de résistance aérodynamique réduite.
-
En maintainant une distance sécuritaire derrière les autres vehicules, vous n'étés pas obligé de freiner aussi souvent.
-
En observant ce qui se passé devant vous, vous pourrez anticiper les changements brusques de vitesse et ainsi freiner moins souvent et accélérer ou décelérer plus en douceur.
- Sélectionnez une gamme de rapporte adaptée aux conditions de route.
5. Utilisez le régulateur de vitesse
- L'utilisation du régulateur de vitessependant la conduite sur l'autoroutevous permet de maintainir une vitesseconstante.
- Le régulateur de vitesse est particulièrement efficace pour réduire la consommation de carburant pendant la conduite sur route plane.
6. Planifiez l'itinéraire le plus court.
- Utilisez une carte ou un dispositif d'aide à la navigation pour déterminer l'itinéraire qui vous fera gagner le plus de temps.
7. Évitez le laisser tourner le moteur au ralenti
- Lorsque vous étes arrêté pendant plus de 30 ou 60 secondes, éteignez votre moteur si vous pouvez le faire en toute sécurité afin d'économiser sur le carburant et réduire les émissions.
8. Achetez une passée automatisée pour route à péage
- Les conducteurs détenteurs d'une passée automatisée peuvent circuler sur des voies spéciales et ainsi conserver leur vitesse de croisière en s'engageant sur la route à péage et en la quittant.
9. Pour rechauffer votre vehicule pendant l'hiver
- Limitez le temps de ralenti afin de réduire au minimum l'impact sur la consommation de carburant.
- En règle générale, il est inutile de faire tournier le moteur au ralenti pendant plus de trente secondes pour assurer la circulation de l'huile avant prendre la route.
- Voiture vehicule atteindre sa température de fonctionnement ideale plus rapidement lorsque vous roulez que si vous laissez le moteur tourner au ralenti.
10. Pour refroidir l'habitacle
-
Dans la mesure du possible, stationnez votre vehicule dans un endroit couvert ou à l'ombre.
-
Si l'habitacle est chaud, ouvre les glaces du vehicule pour réduire la température interieure plus rapidement et diminuer la charge sur le circuit de chauffage/climatisation.
11. Mode ECO (economie)
- Le mode ECO permet d'améliorer l'économie de carburant en contrôle automatique le moteur et la transmission à variation continue (selon l'equipement) pour éviter une accélération rapide.
RéDUCTION DE LA CONSOMMATION DE CARBURANT
TECHNIQUES DE STATIONNEMENT DANS LES CÔTES
- Faites régulièrement effectuer des mises au point de votre moteur.
- Suivez le programme d'entretien périodique.
Assurez-vous que les pneus sont gonflés à la pression appropriée. Des pneus dont la pression est insuffisante s'utilent plusrapidement et augmentent la consommation de carburant.
Assurez-vous que le réglage de la géométrie des roues est ajustat. Un mauvais réglage de la géométrie des roues entraine une réduction de la durée de vie des pneus et une augmentation de la consommation de carburant. - Utilisez une huile dont l'indice de viscosité est recommendé pour votre moteur. Pour obtenir de plus amples renseignements, reportez-vous à la section « Recommendations concernant l'huile à moteur et le filtré à huile » (p. 10-8).

(1)
②

(3)
□

SSD0488

AVERTISSEMENT
- N'immobilisiez pas et ne stationnez pas votre vehicule sur une surface recouverte de matieres inflammables comme du gazon sec, deieux papiers ou des chiffons. Ces matieres pourraient s'enflammer et provoquer un incendie.
Pour stationner votre vehicule en toute sécurité, serrez le frein de stationnement et placez la transmission en position P (stationnement) (modules à transmission à variation continue) ou à un rapport approprié (modules à boite de vitesses manuelle). Le fait de ne pas respecter ces instructions peut causeur un déplacement inopiné du vehicule et entraîner un accident. Assurez-vous que le levier sélecteur a été pousse aussi loin que possible vers l'avant et qu'il ne peut pas être déplace, à moins d'enforcer la pédale de frein.
- Ne laïsez jamais votre vehicule sans surveillance lorsqu'le moteur tourne.
-
Ne laissiez pas d'enfants sans surveillance dans le vehicule. Ils pourraient activer par mégarde les commuteurs ou les commandes ou déplacer le vehicule. Des enfants laissés sans surveillance dans un vehicule pourraient être victimes d'accidents graves.
Pour éviter le risque de blessures ou de décès associé à un fonctionnement accidentel du vehicule ou de ses systèmes, ne laissez pas les enfants, les personnes qui ont besoin de l'aide d'autres personnes ou les animaux sans surveillance dans votre vehicule. De plus, la température à l'intérieur d'un vehicule fermé lors d'une journee chaude peut s'élever rapidement au point de provoquer un risque important de blessures graves ou mortelles à des personnes ou à des animaux domestiques. -
Serrez fermement le frein de stationnement.
2. Modèles de boîte de vitesses manuelle
Déplacez le levier sélecteur à la position R (marche arrrière). Placez le levier sélecteur en 1^re vitesse si vous stationnez dans une pente ascendante.
Modèles à transmission à variation continue
Déplacez le levier sélecteur à la position P (stationnement).
-
En cas de stationnement en pente, les suggestions de positionnement des roues illustrées ci contre peuvent se révêler très utiles pour éviter que votre vehicule ne se déplace dans une voie de circulation.
-
PENTE DESCENDANTE AVEC TROTTOIR ①
Tournez les roues vers le trottoir et déplacez le vehicule vers l'avant jusqu'à ce que la roue se trouvant du côté du trottooi effleure celui-ci.
- PENTE ASCENDANTE AVEC TROTTOIR
② :
Tournez les roues dans le sens contraire du trottoir et déplacez le vehicule vers l'arrière jusqu'à ce que la roue se trouvant du côté du trottoir effleure celui-ci. - PENTE ASCENDANTE OU DESCENDANTE SANS TROTTOIR ③:
Tournez les roues vers le bord de la route de manière à ce que le vehicule s'éloigne du centre de la route s'il se déplace.
- Placez le commutateur d'allumage en position LOCK (antivol-verrouillé).

AVERTISSEMENT
- Si le moteur ne tourne pas ou s'il est coupé pendant la conduite, l'assistance à la direction ne fonctionnera pas. Le volant est donc beaucoup plus difficile à manœuvrer.
Lorsque le témoin de la direction assistée s'allume et que le moteur tourne, il n'y a plus aucune assistance à la direction. Vous conservez toujours la maïtrise de votre vehicule, mais le volant est plus difficile à manoeuvrer. Faites vérifier la direction assistée. Nous vous recomman-dons de vous rendre chez un concessionnaire NISSAN pour cet entretien.
La direction assistée est donc pour assurer une assistance pendant la conduite et manœuvrer le volant en exerçant une force moindre.
L'assistance est réduite lorsque le volant est féquement ou continuèlement utilisé pour des manoeuvres de stationnement ou de conduite à basse vitesse. Cela visse à prévenir la surchauffe du système de direction assistée et à en prévenir les dommages. Lorsque l'assistance est réduite, il est beaucoup plus difficile de manoeuvrer
le volant. Lorsque la température du système de direction assistée diminue, l'assistance revient à la normale. Évitez de répéter des manoeuvres de direction qui pouraient faire surchauffer le système de direction assistée.
Un bruit peut se faire entendre lorsque vous manoeuvrez rapidement le volant. Cela ne constitue pas une anomalie.
Si le témoin de la direction assistée électrique s'allume lorsque le moteur tourne, cela peut indiquer que la direction assistée électrique ne fonctionne pas correctement et qu'elle doit peut-être être réparée. Faites vérifier la direction assistée. Nous vous recommendons de vous rendre chez un concessionnaire NISSAN pour cet entretien.
Lorsque le témoin de la direction assistée s'allume et que le moteur tourne, la direction n'est plus assistée, mais vous conservelez toujours la maîtrise du vehicule. À ce moment, un effort de direction supérieur est nécessaire pour manœuvrer le volant, sur tout dans les virages brusques et à basse vitesse.
Pour obtenir des renseignements supplémentaires, consultez la section « Témoin de la direction assistée » (p. 2-16).
CIRCUIT DE FREINAGE
Le circuit de freinage de votre vehicule comporte deux circuits hydrauliques séparés. En cas de défaillance d'un des circuits, deux des roues conservent leur capacité de freinage.
Freins assistés par dépression
La dépression du moteur est utilisé par le servifrein pour faciliter le freinage. Vous pouvez immobiliser le vehicule à l'aide de la pedale de frein en cas d'arrêt du moteur. Toutefois, la distance d'arrêt sera plus longue et vous devrez exercer une pression plus importante sur la pedale de frein.
Utilisation des freins
Ne laissiez pas votre pied reposer sur la pédale de frein en conduisant. Cette situation pourrait entraîner la surchauffe des freins, l'usure prématuree des plaquettes de frein ainsi qu'une augmentation de la consommation d'essence.
Réduisez votre vitesse et rétrogradez avant de descendre une pente raide ou longue pour éviter l'usure prématuree et la surchauffe des freins. Le rendement des freins
pourtrait être compromis s'ils surchauffent et vous pourriez ainsi perdre la maitrise de votre vehicule.

AVERTISSEMENT
- Soyez prudent en freinant, en accélérant ou en retrogradant sur chaussée glissante. Les freinages ou accélérations brusques pourraient faire patiner les roues et entrainer un accident.
- Si le moteur ne tourne pas ou s'il est coupé pendant la conduite, l'assistance au freinage ne fonctionnera pas. Il sera donc plus difficile de freiner.
Freins mouilles
Les freins peuvent etre mouillés lorsque le vehicule est lavé ou lorsque vous roulez dans l'eau. La distance de freinage sera plus longue et il est possible que votre vehicule tire d'un côté de la route au moment du serrage des freins.
ConduisezVotevehiculeaune vitesse
securitaire tout en enforcant legerement la
pedale de frein pour faire secher les freins.
Continuez jusqu'à ce que les freins fonctionnentnormally.Evitez de conduire
votre vehicule à des vitesses élevées si le fonctionnement des freins n'est pas satisfaisant.
Rodage du frein destationnement
Les segments du frein de stationnement doivent être « rodes » lorsqu'èfficacité du freinage diminué ou lors de leur remplacement ou de celui du tambour ou des disques, et ce, afin d'assurer un rendement des freins optimal.
Cette procédure est décrite dans le manuel de réparation du vehicule. Nous vous recom-mandons de vous rendre chez un concessionnaire NISSAN pour cet entretien.
SYSTÉME DE FREINAGE ANTIBLOCAGE (ABS)

AVERTISSEMENT
Le système de freinage antiblocage (ABS) est un dispositif perfectionné, mais il ne peut pas prévenir les accidents découlant d'une conduite imprudente ou dangereuse. Il peut vous aider à conserver la maïtrise du
vécuicide lors d'un freinage sur une chaussée glissante. Vous ne devez pas oublier que la distance d'arrêt est plus longue sur une chaussée glissante que sur une chaussée normale, même avec un circuit de freinage antiblocage (ABS). Les distances d'arrêt peuvent également être plus longues sur des routes cahoteuses, recouvertes de gravier ou enneigées, ou encore, lorsque vous utilisez des chaines antidérapantes. Conservez toujours une distance sécuritaire entre votre vehicule et celui qui leprecede. Avec ou sans circuit de freinage antiblocage, le conducteur demeure responsable de la sécurité de conduite de son vehicule.
Le type et I'etat des pneus de votre vehicule peuvent également nuire à l'efficacité du freinage.
Lorsque you remplacez vos pneus, installez des pneus de la taille spécifiée aux quatre roues.
Assurez-vous d'installer une roude de secours qui correspond aux specifications de taille et de type figurant sur l'étiquette de renseignements relatifs aux pneus et à la charge. Pour obtenir des renseignements supplémentaires, consultez la section « Étiquette de renseignements relatifs aux pneus et à la charge » (p. 8-35).
Pour obtenir des renseignements supplémentaires, consultez la section « Roues et pneus » (p. 8-32).
Le système de freinage antiblocage (ABS) commande les freins pour prévenir le blocage des roues en cas de freinage brusque ou sur une chaussée glissante. Le dispositif fait varier la pression du liquide de frein selon la vitesse de rotation de chaque roue décelée afin d'eviter leur blocage et leur dérapage. En empêchant chaque roue de se bloquer, le dispositif aide le conducteur à conserver la maitrise de son vehicule et contribue à réduire au minimum les risques de dérapage et de patinage sur chaussée glissante.
Utilisation du dispositif
Enoncez la pédale de frein et maintenez-la enforcée. Appuyez fermement sur la pédale de frein en gardant une pression constante, sans Pomper les freins. Le système de freinage antiblocage (ABS) entraera en action pour éviter le blocage des roues. Dirigez le vehicule de manière à éviter les obstacles.
A AVENTISSEMENT
Ne pompez pas la pédale de frein. Cette manoeuvre pourrait avoir pour résultat d'accroître les distances d'arrêt.
Fonction d'autodiagnostic
Le système de freinage antiblocage (ABS) comporte des capteurs électroniques, des pompes électriques, des electrovannes hydrauliques et un ordinateur. Une fonction de diagnostic intégrée à cet ordinateur met le dispositif à l'essayir chaque fois que vous démarrez le moteur et que vous roulez à basse vitesse en marche avant ou en marche arrière. Lorsque l'autodiagnostic est en cours d'exécution, un bruit sourd peut être entendu ou une pulsation peut être dessentie dans la pédale de frein. Il s'agit d'une situation normale qui ne revèle
pas une anomalie. L'ordinateur met le système antiblocage hors fonction et allume le témoin d'avertissement du système de freinage antiblocage sur le tableau de bord lorsqu'il détecte une anomalie. Le fonctionnement du dispositif antiblocage est alors neutralisé et votre vehicule utilise le circuit de freinage standard.
Si le témoin d'advertissement du système de freinage antiblocage s'allume pendant l'autodiagnostic ou la conduite, faites vérifier le vehicule. Nous vous recommendons de vous rendre chez un concessionnaire NISSAN pour cet entretien.
Fonctionnement normal
Le système de freinage antiblocage (ABS) fonctionne lorsque vous roulez à plus de 5 à 10 km/h (3 à 6 mi/h). La vitesse varie selon l'état de la route.
Lorsque le système de freinage antiblocage detecte que le blocage d'une ou de plusieurs roues est imminent, l'actionneur applique et relâche la pression hydraulique. Cette action s'apparente à un pompage très rapide des freins. Lorsque le dispositif antiblocage entre en action, une pulsation peut être dessentie dans la pédale de frein et le fonctionnement de l'actionneur peut être perçu comme une vibration ou un
SYTÉME DE CONTRÔLDE NAMIQUE DU VÉHICULE
bruit provenant du compartmentement moteur. Tout ceci est normal et indique que le dispositif antiblocage travaille comme il se doit. Toutefois, une sensation de pulsation peut indiquer que les conditions routieres sont dangereuses et que la conduite exige une attention particuliere.
Lorsque la pression sur la pédale de frein dépasse un certain niveau, l'assistance au freinage est activée. Vous bénéficiaz ainsi d'une puissance de freinage supérieure à cette fournie par un servofrein conventionnel, même si la pression sur la pédale est légère.

AVERTISSEMENT
Le dispositif d'aide au freinage n'est destiné qu'a faciliter l'activation des freins. Il ne s'agit pas d'un système de prévention des collisions. Le conducteur doit en tout temps se montré vigilant, conduire prudèment et maitriser son vehicule.
Le SYSTÉME DE CONTRÔLÉ DYNAMIQUE DU VÉHICULE surveille au moyen de divers capteurs les manoeuvres du conducteur et les mouvements du vehicule. Dans certaines conditions de conduite, le SYSTÉME DE CONTRÔLÉ DYNAMIQUE DU VÉHICULE facilité l'exécution des fonctions suivantes :
Commande la pression de freinage pour réduire le patinage d'une roue en transférant la puissance à l'autre roue de l'essieu.
Commande la pression de freinage et la puissance du moteur pour réduire le patinage des roues en fonction de la vitesse du vehicule (antipatinage).
Commande la pression de freinage sur chacune des roues et la puissance du moteur pour aider le conducteur a conserver la maitrise de son vehicule dans les conditions suivantes:
-Sous-virage (le vehicule ne tourne pas autant qu'il ne le devrait)
- Survirage (le vehicule tourne trop dans certaines conditions routières)
Le SYSTÉME DE CONTRÔRÉ DYNAMIQUE DU VÉHICULE peut aider le conducteur à garder la maitrise de son vehicule, mais il ne peut pas empêcher la perte de contrôle du vehicule dans toutes les situations de conduite.
Lorsque le système de contrôle dynamique du vehicule est en fonction, le témoin clignote sur le tableau de bord. Vous doivent tener compte des points suivants:
- Il se peut que la route soit glissante ou que le système a déterminé qu'une intervention est nécessaire pour permettre au vehicule de garder la trajectory pouvue.
- Il se peut que vous dessentiez une pulsation au niveau de la pédale de frein et que vous entendiez un bruit ou une vibration venant du compartment moteur. Ceci est normal et indique que le SYSTÉME DE CONTROLE DYNAMIQUE DU VEHICULE fonctionne correctement.
- Adaptez votre vitesse et votre conduite aux conditions de la route.
Pour obtenir des renseignements supplémentaires, reportez-vous à la section « Témoin de patinage" (p. 2-17) et « Témoin OFF (hors fonction) du système de contrôle dynamique du vehicule » (p. 2-17).
Le témoin s'allume au tableau de bord en cas de défaillance du système. Le système de contrôle dynamique du vehicule se désactive automatiquement quand le témoin est étéint.
L'affichage multifonction est utilise pour désactiver le système de contrôle dynamique du vehicule. Le témoin et le témoin d'rapidissement du système de freinage d'urgence automatique s'allument pour indiquer que le système de contrôle dynamique du vehicule est désactivé.
Lorsqu'on utilise l'écran multifonction pour désactiver le système de contrôle dynamique du vehicule, ce dernier continue tout de même à empêcher le patinage d'une roue individuelle en transférant la puissance du moteur à une roue motrice qui ne patine pas. Le témoin clignote si cela se produit. Toutes les autres fonctions du SYSTEME DE CONTROLLE DYNAMIQUE DU VEHICULE sont désactivées et le témoin ne clignote pas.
Le SYSTÉME DE CONTRÔLÉ DYNAMIQUE DU VÉHICULE est réactivement automatiquement lorsque le commutateur d'allumage est placé en position OFF (hors fonction) et replaces aussitôt en position ON (marche).
Une fonction de diagnostic intégrée à l'ordinaire met le système à l'essayaire chaque fois que vous démarrez le moteur et que vous roulez à basse vitesse en marche avant ou en marche arrêté. Lorsque l'autodiagnostic est en cours d'exécution, un
bruit sourd peut etre entendu ou une pulsation peut etre ressentie dans la pedale de frein. Ceci est normal et n'est pas un signe d'anomalie.
A AVENTISSEMENT
Le SYSTÉME DE CONTROLE DYNAMIQUE DU VÉHICULE aide le conducteur à garder la maitrise du vehicule, mais ne peut pas empêcher les accidents causés par des manoeuvres brusques du volant à haute vitesse ou par un style de conduite inattentif ou dangereux. Réduisez votre vitesse et soyez particulièrement prudent lorsque vous conduise ou virez sur chaussée glissante. Conduisez prudiment en tout temps.
- Ne modifies pas la suspension du vehicule. Si des éléments de la suspension tels que les amortisseurs, les jambes de force, les ressorts, les barres stabilisatrices, les coussinets ou les roues ne sont pas recommendés par NiSSAN pour votre vehicule, ou s'ils sont extrèment détiériores, il se peut que le SYSTème DE CONTROLLE DYNAMIQUE DU VEHICULE
ne fonctionne pas de façon adequate. La tenue de route du vehicule risque d'être compromise et le témoin ? ? ? pourrait clignoter ou le témoin ? ? ? pourrait s'allumer.
Si les pièces associées aux freins, telles que les plaquettes de frein, les rotors et les étriers, ne sont pas des modèles recommendés par NiSSAN ou si elles sont extrémement déterières, le système de contrôle dynamique du vehicule pourrait ne pas fonctionner de façon ajustée et le témoin ? ? pourrait s'allumer.
- Si les pièces de commande du moteur connexes ne sont pas des pièces recommandées par NiSSAN ou si elles sont extrémement déteriorées, le témoin peut s'allumer.
Lorsque yous conducisez sur une surface tres inclinee, comme dans un virage relevé, le systeme de controle dynamique du vehicule peut ne pas fonctionner correctement et le temoin peut clignoter ou le temoin peut s'allumer. Ne conducisez pas sur ce type de route.
Lorsque you conduisez sur une surface instable, telle qu'une plaque tournante, le pont d'un traversier, un monte-charge ou une rampe, le témoin peut clignoter ou le témoin peut s'allumer. Cette condition est normale. Faites redé-marrer le moteur après avoir roulé sur une surface stable.
Si you montez des roues ou des pneus autres que ceux recommandés par NiSSAN, il se peut que le système de contrôle dynamique du vehicule ne fonctionne pas correctement et le témoin peut clignoter ou le témoin peut s'allumer.
Le SYSTème DE CONTROLE DYNAMIQUE DU VÉHICULE ne remplace pas l'utilisation de pneus d'hiver ou de chaînes antidérapantes sur des routes enneigées.
MONTÉE EN HAUTEUR ET ACCUMULATION
En freinage normal, le système ajuste progressivement le freinage de manière a avoir une meilleure sensation.
DISTRIBUTION DE FORCE DE FREINAGE
Pendant le freinage dans les virages, le système optimise la distribution de force à chacune des roues avant et arrêté en fonction du rayon du virage.
A VERTISSEMENT
Le SYSTÉME DE CONTROLE DYNAMIQUE DU VÉHICULE aide le conducteur à garder la maitrise du vehicule, mais ne peut pas empêcher les accidents causés par des manoeuvres brusques du volant à haute vitesse ou par un style de conduite inattentif ou dangereux. Réduisez votre vitesse et soyez particulièrement prudent lorsque vous conduisez ou virez sur chaussée glissante. Conduisez prudèment en tout temps.
- Ne modifies pas la suspension du vehicule. Si des éléments de la suspension tels que les amortisseurs, les jambes de force, les ressorts, les barres stabilisatrices, les coussinets ou les roues ne sont pas recommendés par NiSSAN pour votre vehicule, ou s'ils sont extrèment déteriorés, il se peut que le SYSTÉME DE
CONTRÔLE DYNAMIQUE DU VÉHICULE ne fonctionne pas de façon adéquate. La tenue de route du vehicule risque d'êtreompromise et le témoin ? pourrait clignoter ou le témoin ? poursait s'allumer.
Si les pieces associées aux freins, telles que les plaquettes de frein, les rotors et les étriers, ne sont pas des modèles recommends par NiSSAN ou si elles sont extrémement déteriées, le système de contrôle dynamique du vehicule pourrait ne pas fonctionner de façon ajustée et le témoin ? ? ? poursuit s'allumer.
- Si les pièces de commande du moteur connexes ne sont pas des pièces recommandées par NiSSAN ou si elles sont extrémement déteriorées, le témoin peut s'allumer.
Lorsque you conduisez sur une surface très inclinee, comme dans un virage relevant, le système de contrôle dynamique du vehicule peut ne pas fonctionner correctement et le témoin peut clignoter ou le témoin peut s'allumer. Ne conduisez pas sur ce type de route.
CHASSIS CONTROL (Contrôle dynamique)
Lorsque you conduisez sur une surface instable, telle qu'une plaque tournante, le pont d'un traversier, un monte-charge ou une rampe, le témoin peut clignoter ou le témoin peut s'allumer. Cette condition est normale. Faites redé-marrer le moteur après avoir roulé sur une surface stable.
Si you montez des roues ou des pneus autres que ceux recommandés par NiSSAN, il se peut que le système de contrôle dynamique du vehicule ne fonctionne pas correctement et le témoin peut clignoter ou le témoin peut s'allumer.
Le SYSTème DE CONTROLE DYNAMIQUE DU VÉHICULE ne remplace pas l'utilisation de pneus d'hiver ou de chaînes antidérapantes sur des routes enneigées.
Le contrôle dynamique est un module de commande électrique qui inclut les fonctions suivantes :
- Système de contrôle en virage intelligent
- Contrôle de caisse actif
- Frein moteur intelligent (selon l'équipe-ment)
SYSTITÉME DE CONTROLE EN VIRAGE INTELLIGENT
Le système de contrôle en virage intelligent déetecte la conduite en fonction des schémas de direction, d'accelération et de freinage du conducteur, et contrôle la pression de freinage à chaque roue pour soutenir la projection dans les virages et favoriser une réaction en douceur du vehicule.
Lorsque le système de contrôle dynamique du vehicule (VDC) est désactisé, le système de contrôle en virage intelligent (I-TC) est également désactisé.
Si le message d'avertissement de contrôle du chassin s'affiche à l'écran multifonction, le système de contrôle en virage intelligent ne fonctionne peut-être pas correctement. Faites inspector le système de votre vehicule dés que possible. Nous vous recommendons de vous rendre chez un
concessionnaire NiSSAN pour cet entretien. Consultez la section « Avertissements et témoins de l'écran multifonction du vehicule » (p. 2-32) ou (p. 2-54).
A AVENTISSEMENT
L'efficacité du système de contrôle en virage intelligent dépend de la condition de conduite. Conduise toujours prudèment et avec toute l'attention possible.
Lorsque le système de contrôle en virage intelligent fonctionne, il se peut que vous dessentiez une pulsation au niveau de la pédale de frein et que vous entendiez un bruit. Tout cela est normal et indique que le système de contrôle en virage intelligent fonctionne comme il se doit.
Vous pourriez également dessentir une décelération lorsque le système de contrôle en virage intelligent est en marche. Cela ne constitue pas une anomalie.
CONTROLE DE CAISSE ACTIF
Ce système déetecte le mouvement de la partie supérieure du corps (en fonction des renseignements sur la de vitesse des roues) et contrôle la pression de freinage
sur les quatre roues. Cela permet d'améliorer le comport pendant la conduite en limitant les mouvements inconfortables de la partie supérieure du corps lorsque le vehicule doit rouler sur des surfaces ondulées.
Lorsque le système de contrôle dynamique du vehicule est désacté, le système de contrôle de caisse actif est également désacté.
Lorsque le contrôle de caisse actif fonctionne, vous pouvez entendre un bruit et sentir une légere décelération. Tout ceci est normal et indique que le système de contrôle fonctionne comme il se doit.
Si le message d'advertissement de contrôle du châssis s'affiche à l'écran multifonction, le contrôle de caisse actif ne fonctionne peut-être pas correctement. Faites inspector le système de votre vehicule dés que possible. Nous vous recommendons de vous rendre chez un concessionnaire NISSAN pour cet entretien. Consultez la section « Avertissements et témoins de l'écran multifonction du vehicule » (p. 2-32) ou (p. 2-54).
FREIN MOTEUR INTELLIGENT (selon l'équipement)
Le système de frein moteur intelligent ajoute une légère décelération du moteur en contrôle le rapport de démultiplication de la transmission à variation continue, en fonction de la condition de virage calculée à partir des données de direction du volant et de plusieurs capteurs. Ce contrôle permet de maintainir plus facilement la trajectory et d'ajuster rapidement la vitesse avec le freinage dans un virage.
Le système de frein moteur intelligent ajoute également une décalération subtile au contrôle du rapport de démultiplication selon l'utilisation de la pédale de frein du conducteur.
Lorsque le système de contrôle dynamique du vehicule (VDC) est désactivé, le système de frein moteur intelligent est également désactivé.
Si le message d'advertissement de contrôle du chassis s'affiche à l'écran multifonction du vehicule, le système de frein moteur intelligent ne fonctionne peut-être pas correctement. Faites inspecter le système de votre vehicule dés que possible. Nous vous
recommandons de vous rendre chez un concessionnaire NISSAN pour cet entretien. Consultez la section « Avertissements et témoins de l'écran multifonction du vehicule » (p. 2-32) ou (p. 2-54).
A AVENTISSEMENT
L'efficacité du système de frein moteur intelligent dépend de la condition de conduite. Conduisetz toujours prudement et avec toute l'attention possible.
Quand le système de frein moteur intelligent fonctionne, laiguille du compte-tours indique une valeur elevée, et vous pouvez entendre un bruit du moteur. Tout cela est normal et indique que le système de frein moteur intelligent fonctionne comme il se doit.
Vous pourriez également ressentir une décelération lorsque le système de frein moteur intelligent est en fonction. Cela ne constitue pas une anomalie.
SYSTEME D'ASSISTANCE AU DÉPART EN PENTE

AVERTISSEMENT
- Ne vous fiez jamais uniquement au dispositif d'assistance au départ en pente pour empêcher le vehicule de reculer dans une pente. Conduisez toujours prudèment et avec toute l'attention possible. Appuyez sur la pédale de frein lorsque vous immobilisez le vehicule sur une forte pente. Soyez particulièrement vigilant lorsque le terrain en pente est gelé et boueux. Si vous ne pouvez plus empêcher votre vehicule de reculer, vous pourriez en perdre la maitrise et risquer des blessures sérieues, voire mortelles.
- Le dispositif d'assistance au départ en pente n'est pas consq pour immobiliser le vehicule dans une pente. Appuyez sur la pedale de frein lorsque vous immobilisez le vehicule sur une forte pente. Sinon, le vehicule pourrait reculer et vous risqueriez une collision ou de graves blessures.
Le système d'assistance au départ en pente pourrait ne pas empêcher le vehicule de reculer dans certaines conditions de charge ou d'etat du terrain. Gardez toujours le pied pres
de la pédale de frein pour éviter de reculer. Sinon, vous risqueries une collision ou de graves blessures.
Lorsque le vehicule est arrêté sur une pente, le dispositif d'assistance au départ en pente utilise automatiquement les freins pour éviter que le vehicule ne se mette à recycler au moment où le conducteur relâche la pédale de frein et appuie sur l'accéléateur.
Le système d'assistance au départ en pente fonctionne automatiquement dans les conditions suivantes :
- La boîte de vitesses est placée dans une position de gamme de marche avant ou de marche arrêté.
- Le vehicule est immobilisé dans une pente en appliquant les freins. Le temps de fonctionnement maximal du dispositif est de deux secondes. Àpres deux secondes, le vehicule se met à reculer et le système d'assistance au départ en pente cesse complètement de fonctionner.
Le dispositif d'assistance au départ en pente ne fonctionne pas si le levier selecteur est placé à la position N (point mort) ou P (stationnement) ou si le terrain n'est pas en pente.
SYSTEME DE SONAR ARRIÈRE (RSS)

LSD3247
Le système de sonar arrêté fait retentir un carillon pour indiquer au conducteur la présence d'obstacles pres du pare-chocs.
Lorsque la touche « AFFICHAGE » est activée, la vue de sonar apparait automatiquement à l'affichage à écran tactile. Une autre vue d'etat de sonar s'affiche à l'écran multifonction à titre de referencia.

AVERTISSEMENT
- Bien que pratique, le système de sonar arrêté ne remplace pas la façon appropriée et sécuritaire de stationner.
Le conducteur est toujours responsable de la sécurité pendant le stationnement ou d'autres manœuvres. Avant de stationner, regardez toujours autour du vehicule et vérifie s'il est prudent de vous stationner.
- Lisez et assurez-vous de bien comprendre les limitations relatives au système de sonar arrêté du present chapitre. Les couleurs de l'indicateur de sonar d'angle et les lignes de guidage de la vue arrêté indiquent les différentes distances à l'objet.
Le mauvais temps ou les sources ultrasoniques telles qu'un lave-auto automatique, les freins à air compré d'un camion ou une perforatrice pneumatique peuvent nuire au fonctionnement du système, en comprométtre le rendement ou l'activer inopinément.
- Cette fonction aide le conducteur à détecter la présence d'objets immobiliés de grande taille pour prévenir les dommages au vehicule.
- Ce système n'est pas conscience pour prévenir le contact avec des objets de petite taille ou amovibles. Reculez toujours lentement. Le système ne détectera pas les petits objets qui se trouvent sous le pare-chocs et il peut ne pas détecter les objets qui se trouvent très pres du pare-chocs ou au sol.
Le système peut ne pas détecter les objets suivants : objets pelucheux tels que la neige, le tissu, le coton, le verre, la laine, etc., les objets minces tels qu'une corde, un fil, une chaine etc., ou les objets en forme de coin.
Un mauvais alignement ou une déformation du pare-chocs ou du carénage resultant d'un accident peut causeur une déformation de la zone de détction, ce qui se manifesterait par le déclenchement de fausses alarmes ou par l'incapacité du système d'évalué correctement la distance qui sépare le vehicule des obstacles.

MISE EN GARDE
Le bruit excessif (tel que le volume de la chaîne stéreo ou une glace de vehicule ouverte) a une incidence sur le timbre du carillon et il se peut qu'il ne soit pas entendu.
- Gardez les capteurs de sonar (situés sur le carénage de pare-chocs) exempts d'obstruction par de la neige, de la glace ou des accumulations importantes de saleté. Ne nettoyez pas les capteurs au moyen d'objets tranchants. Si les capteurs sont couverts, la précision de la fonction de sonar sera diminuée.
FONCTIONNEMENT DU SYSTEME
Le système vous informe sur les obstacles arrirée avec une alerte visuelle et sonore lorsque le levier sélecteur se trouve à la position R (marche arrière).
Le système est désactivé si la vitesse est supérieure à 10 km/h (6 mi/h). Il est reactivement si la vitesse est inférieure.
Le retentissement par intermittence du carillon cette après trois secondes lorsqu'un obstacle est détecté uniquement
par le capteur d'angle et que la distance n'est pas modifiée. Le carillon s'arrête si l'obstacle s'éloigne du vehicule ou si le vehicule s'éloigne de l'obstacle.
Lorsque l'objet est detecté, le témoin (vert) s'affiche et clignote, et le carillon retentit par intermittence. Lorsque le vehicule s'approche de l'objet, la couleur du témoin passée au jaune et la vitesse de clignotence augmente. Lorsque le vehicule est très proche de l'objet, le témoin cesse de clignoter et passée au rouge, et le carillon retentit continuellement.

Lorsque l'angle du vehicule s'approche d'un objet, le témoin du sonar d'angle A s'affiche. Lorsque le centre du vehicule s'approche d'un objet, l'indicateur de sonar de centre B s'affiche.

Les indicateurs du système A s'affichent lorsque le vehicule se rapproche d'un objet.



LSD3981
Pour les vehicules équipés du compteur de 7 pouces
ACTIVATION ET DÉCAVATION DU SYSTEME DE SONAR
Le système est activé automatiquement lorsque le contact est ETABLI et le levier sélecteur en position R (marche arrêté).
Effectuez les étapes suivantes pour activer ou désactiver le système de sonar :
Pour les vehicules équipés du compteur de 7 pouces:
- Appuyez sur le bouton ↓ jusqu'à ce que l'option « Régliages » s'affiche à l'écran multifonction. Utilisez le bouton ↓ pour sélectionner l'option « Assist au conduct.», puis appuyez sur le bouton OK.
- Sélectionnez l'option « Aides stationnement » puis appuyez sur le bouton OK.
-
Sélectionnez l'option « Arrière » et appuyez sur le bouton OK pour activer ou désactiver le système.
-
Sélectionnez « Affichage auto Sonar » pour afficher le capteur de stationnement à l'écran multifonction lorsque le système de sonar est activé.
- Sélectionnez « Distance » pour modifier la portée du système de sonar sur « Long » (éloigné), « Moy » ou « Short » (à proximité).
- Sélectionnez « Volume » pour régler le volume à « High » (élevé), « Medium » (moyen) ou « Low » (faible)



LSD3799
Pour les vehicules équipés du compteur de 4,2 pouces
Pour les vehicules équipés du compteur de 4,2 pouces:
- Appuyez sur le bouton ↓ jusqu'à ce que l'option « Régliages » s'affiche à l'écran multifonction. Utilisez le bouton ↓ pour sélectionner l'option « Assist au conduct.», puis appuyez sur le bouton OK.
- Sélectionnez l'option « Aides stationnement » puis appuyez sur le bouton OK.
-
Sélectionnez « Capteur arrêté » et appuyez sur le bouton OK pour activer ou désactiver le système.
-
Sélectionnez « Affichage » pour afficher le capteur de stationnement à l'écran multifonction lorsque le système de sonar est activé.
- Sélectionnez « Distance » pour modifier la portée du système de sonar sur « Long » (éloigné), « Moy » ou « Short » (à proximité).
- Sélectionnez « Volume » pour régler le volume à « High » (élevé), « Medium » (moyen) ou « Low » (faible)
LIMITATIONS DU SYSTEME DE SONAR

AVERTISSEMENT
Les limites du système de sonar sont répertoriées ci-dessous. Le fait de ne pas conduire le vehicule conformément à ces limites du système peut entrainer des blessures graves ou mortelles.
Le système est désactivé si la vitesse est supérieure à 10 km/h (6 mi/h). Il est réactivé si la vitesse est inférieure.
Le mauvais temps ou les sources ultrasoniques telles qu'un lave-auto automatique, les freins à air compré d'un camion ou une perforatrice pneumatique peuvent nuir au fonctionnement du système, en comprométtre le rendement ou l'activin opinémentation.
- Ce système n'est pas conscience pour prévenir le contact avec des objets de petite taille ou amovibles. Reculez toujours lentement. Le système ne détecte pas les petits objets sous le pare-chocs ou au sol.
Le système peut ne pas détecter les objets suivants : objets pelucheux tels que la neige, le tissu, le coton, le verre, la laine, etc., les objets minces tels qu'une corde, un fil, une chaine etc., ou les objets en forme de coin.
- Ce dispositif peut être inopérant lorsque le vehicule se déplace à une vitesse supérieure à 5 km/h (3 mi/h) et il peut ne pas détecter certains obstacles angulaires ou mobiles.
- N'apposez pas d'autocollants (meme transparents), n'installez pas d'accessoires ou n'appliquez rien qui puisse bloquer les capteurs. Ces conditions peuvent réduire les capacités du système.
Lorsqu'une obstruction du sonar est détectée, le système est automatiquement désactisé.
Le système n'est pas disponible jusqu'à ce que les conditions ne soient plus générées.
Les capteurs de sonar pourraient etre bloqués par les conditions ambiantes temporaires comme la projection d'eau, la buée ou le brouillard. Le blocage pourrait aussi etre causé par les objets comme la glace,le gel ou la saleté qui obstruient les capteurs de sonar.
Mesures à prendre :
Lorsque les conditions indiquées ci-dessus ne sont plus générées, le système se réactive automatiquement.

ENTRETIEN DU SYSTEME
Les capteurs de sonar ① se trouvent sur le pare-chocs arrêté. Gardez toujours la zone à proximé des capteurs de sonar propre.
Les capteurs de sonar pourrait être bloqués par les conditions ambiantes temporaires comme la projection d'eau, la buee ou le brouillard.
Le blocage pourrait aussi être causé par les objets comme la glace, le gel ou la saleté qui obstruient les capteurs de sonar.
Vérifiez la présence d'objects qui obstruient la zone autour des capteurs de sonar et retirez-les.
N'apposez pas des autocollants (y compris le matériel transparent), n'installez pas des accessoires ou appliquez une peinture additionnelle à proximé des capteurs de sonar.
Évitez de frapper ou d'endommager la zone à proximé des capteurs de sonar. Nous vous recommendons de visiter un concessionnaire NiSSAN si la zone autour des capteurs de sonar est endommagée en raison d'une collision.
SYSTÉME D'ARRÊT AU RALENTI (selon l'équipement)
Le système d'arrêt au ralenti s'active pour éviter la consommation de carburant, les émissions d'échéppement et le bruit inutiles.
- Lorsque you immobilisez le vehicule, le moteur est coupé automatiquement.
- Lorsque vous relâchéz la pédale de frein pour recommencer à avancer, le moteur redémarre automatiquement.
A AVENTISSEMENT
Le moteur redémarre si le vehicule roule à environ 2 km/h (1 mi/h) ou plus (en descente, etc.) alors que le moteur est coupé par le système d'arrêt au ralenti. Appuyez immédiatement sur la pedale de frein pour arrêter le vehicule et éviter un accident.

MISE EN GARDE
- À la fin du trajet, le moteur doit être arrêté et le commutateur d'allumage doit être mis hors tension. Verrouillez le vehicule comme d'habitude. Le fait demettre le commutateur d'allumage hors tension coupe tous les systèmes électriques. Le non-respect de cette consigne peut entrainer la décharge de la batterie.
- Placez le commutateur d'allumage à la position OFF (hors fonction) avant d'ouvrir le capot pour effectuer tout entretien. Le non-respect de cette consigne peut entrainer des blessures graves en raison du redémarrage automatique du moteur.
REMARQUE:
Le système d'arrêt au ralenti ne s'active pas dans les conditions suivantes :
Lorsque le moteur tourne au ralenti sans que le vehicule soit conduit juste après la mise en marche du moteur.
Lorsque la température du liquide de refroidissement du moteur est BASSE.
- Lorsque la capacité de la batterie est faible.
- Lorsque la température de la batterie est BASSE.
Lorsque le vehicule se déplace.
Lorsque la dépression dans le servo-frein diminue. - Lorsque le capot du moteur est ouvert alors que le moteur tourne.
Lorsque le moteur est demarré et alors le capot moteur est ouvert.
Lorsque la ceinture de sécurité du conducteur n'est pas bouclée.
Lorsque la portiere du conducteur est ouverte.
Lorsque le volant est manoeuvre ou lorsque I'angle du volant est supérieur à 45^ dans les deux sens.
Lorsque le témoin du système d'arrêt au ralenti clignote à une faible vitesse.
(Lorsque le témoin du système d'arrêt au ralenti clignote à cadence élevée, soit environ deux fois chaque seconde, vérifie si le capot du moteur est ouvert. Lorsque le capot moteur est ouvert, le moteur est à l'état d'arrêt normal. Dans ce cas, redémarrez le moteur à l'aide du commutateur d'allumage).
(Lorsque le témoin du système d'arrêt au ralenti clignote à cadence lente, soit une fois toutes les deux secondes
environ, faites vérifier le système et, au besoin, faites-le réparer rapidement par un concessionnaire NISSAN).
Lorsque la commande de vitesse du ventilateur est à une position autre que « OFF » (arrêt), (0) alors que la commande de débit d'air est en position de désembueur avant.
Lorsque le commutateur du dés-embumeur avant est activé.
Lorsque le commutateur du dégivre de lunette est activé.
Lorsque la température à l'intérieur du vehicule est inférieure à environ 20^ (68^)
Lorsque la température à l'intérieur du vehicule est supérieure à environ 30 °C (86 °F). (Lorsque le climatiseur est coupé, le système d'arrêt au ralenti fonctionne.)
Lorsque la vitesse du ventilateur du climatiseur est reglee a la vitesse maximale.
Lorsque le commutateur Arrêt au ralenti OFF (hors fonction) est activé.
Lorsque la consommation d'énergie est importante.
Lorsque l'altitude est elevée.
- lorsque vous appuyez sur la pedale d'accélérateur;
Lorsque le levier de vitesse est placé à une position autre que D (conduite);
Lorsque la pédale de frein n'est pas fermement enforcée.
- Lorsque vous arrêtez le vehicule sur des routes fortement inclinées.
REMARQUE:
Meme si la pédale de frein est reliçée pendant que le système d'arrêt au ralenti est activé, le moteur ne redémarre pas dans les conditions suivantes:
Le capot du moteur est ouvert.
REMARQUE:
Le système d'arrêt au ralenti peut prendre un certain temps dans les conditions suivantes:
Lorsque la batterie est décharge.
Lorsque la température extérieure estasse ou elevée.
Lorsque la batterie est remplaced ou que la borne de la batterie est débranchée pendant des périodes prolongées, puis rebranchée.
REMARQUE:
Lorsque le témoin du système d'arrêt au ralentis s'allume, le moteur démarre automatiquement dans au moins l'une des conditions suivantes :
- La ceinture de sécurité du conducteur est détachée ou la portière du conducteur est ouverte.
- La tension de la batterie devient faible (en raison de la charge électrique provenant d'autres systèmes du vehicule, comme les phares, les chauffages, etc., ou des apparciels auxiliaires connectés à la prise de courant de 12 volts à l'intérieur du vehicule).
Le vehicule roule a plus de 2 km/h (1 mi/h).
Lorsque le dégivreur de lunette arrière est activé. - Lorsque la température à l'intérieur du vehicule est inférieure à environ 20^ (68^) .
- Lorsque la température à l'intérieur du vehicule est supérieure à environ 30^ (86 °F). (Lorsque le climatiseur est coupé, le système d'arrêt au ralenti fonctionne.)
Lorsque le désembueur avant est activé.
Lorsque plus de 3 minutes se sont écouées depuis l'activation du système d'arrêt au ralenti.
- lorsque vous appuyez sur la pedale d'accéléateur;
Lorsque le volant est manqueevre. (Le fonctionnement du volant peut devenir lourd, mais ce n'est pas une anomalie.)
- Lorsque la capacité de la batterie est faible.
Lorsque la consommation d'énergie est élevée.
Lorsque le levier de vitesse est placé à une position autre que D (conduite);
Lorsque you appuyez sur le commutateur Arrêt au ralenti OFF (hors fonction).
REMARQUE:
La condition suivante empêche le système d'arrêt au ralent de redémarrer automatiquement le moteur. Il est alors nécessaire de faire démarrer le moteur au moyen du commutateur d'allumage :
Le capot est ouvert.
Utilisez ce système en attendant à un feu d'arrêt, etc. Lorsque le vehicule est immobilisé pendant de longues périodes, coupez le contact.
Lorsque le moteur est arrêté par le système d'arrêt au ralenti, les fonctions de chauffage, de refroidissement et de déshumidification sont désactivées. Pour éviter que les fonctions de climatisation ne soient désactivées, éteignez le système d'arrêt au ralenti en appuyant sur le commutateur d'Arrêt au ralenti OFF (hors fonction).
FONCTION DE CONTROLE DU MOUVEMENT RÉTROGRADE
Ce système est donc pour réduire le mouvement de rattrapage qui se produit lorsque le pied du conducteur passée de la pression de la pédale de frein à la pédale d'accéléateur lors du déplacement du vehicule sur une route accidentée alors que le système d'arrêt au ralenti est activé.
AFFICHAGE DU SYSTEME D'ARRÉT AU RALENTI
L'etat du système d'arrêt au ralentti peut être vérifié sur l'écran multifonction.

Témoin du système d'arrêt au ralenti
Ce témoin s'affiche quand le système d'arret au ralenti présente une défaillance.

État ON (marche) ou OFF (hors fonction) du système d'arrêt au ralenti
Si le système d'arrêt au ralenti est activé ou désacté à l'aide de l'interrupteur OFF (hors fonction) du système d'arrêt au ralenti, ce message s'affiche.

Stop/Start
Temps Total

00:00:09
Compléconcarb
9 ml
LSD4796
Économie de carburant et temps d'arrêt du moteur
Le carburant économique et le mode de temps d'arrêt du moteur indiquent les éléments suivants:
Le carburant economisé indique la quantité estimée de carburant qui a été économisée par le système d'arrêt au ralenti chaque fois que le moteur est arrêté automatiquement.
- Le temps d'arrêt du moteur indique la durée pendant laquelle le moteur a été arrêté par le système d'arrêt au ralenti.
Le carburant économique au total et le temps d'arrêt du moteur peuvent également être vérifiés à l'écran multifonction. Pour obtenir des renseignements supplémentaires, consultez la section « Écran multifonction » (p. 2-40).

Stop/Start
Non disposable
LSD4279
Désactivation du démarrage automatique
Si le moteur s'arrête lorsqu'le système d'arrêt au ralenti est activé et ne démarre pas automatiquement, ce message s'affiche.

Stop/Start
Défaillance du syst.
LSD4280
Anomalie du système
Ce message s'affiche quand le système d'arrêt au ralenti présente une défaillance.
Nous vous recommendons de faire inspector le système. Nous vous recomman-dons de vous rendre chez un concessionnaire NISSAN pour cet entretien.

COMMUTATEUR ARRET AU RALENTI OFF (hors fonction)
Voussouspèze désactivertemporairement le système en appuyant sur le commutateur Arrét au ralenti OFF (hors fonction).Le système d'arrêt au ralenti se réactive lorsque vous appuyez de nouveau sur le commutateur ou redémarrez le moteur à l'aide du commutateur d'allumage.
-
Lorsque le système d'arrêt au ralenti est désactivé pendant que le moteur tourne, le moteur est empêché de s'arreter automatiquement.
-
Lorsque le système d'arrêt au ralenti est désactivé après que le moteur a été automatiquement arrêté par le système d'arrêt au ralenti, le moteur redémarre immidiatement si les conditions appropriées sont presents. Le moteur ne s'arrête pas automatiquement pendant le même trajet.
REMARQUE :
- Le message Systeme d'arrêt au ralenti ON (marche) ou OFF (hors fonction) s'affiche pendant quelques secondes à l'écran multifonction lorsque vous appuyez sur le Commutateur Arrêt au ralenti OFF (hors fonction). Pour obtenir des renseignements supplémentaires, consultez la section « Affichage du système d'arrêt au ralenti » (p. 5-155).
Le système d'arrêt au ralenti se dé-sactive chaque fois que le commutateur d'allumage passé de la position OFF (hors fonction) à la position ON (marche). - Il est préférible de désactiver le système d'arrêt au ralenti lorsque vous tractez une remorque. Vous pouvez le faire en appuyant sur le commutateur Arrêt au ralenti OFF (hors fonction).
DÉBLOCAGE D'UNE SERRURE DE PORTIÈRE GELEEE
Appliquez un produit dégivrant dans les trous de serrure des portières pour éviter le gel des serrures. Si la serrure se gripe, chauffez la clé avant de l'insérer dans le trou de la serrure ou utilisez la télécommande de verrouillage et déverrouillage sans clé de la clé intelligente NISSAN Intelligent Key ^MD .
ANTIGEL
En hiver,procededezaune Verification de I'antigel devoire vehicule lorsquedestempératures inférieures a 0^ (32^) sont prevues,etce,afin d'assurer une protection adequate. Pour obtenir des renseignements supplémentaires, consultez la section « Circuit de refroidissement du moteur » (p. 8-5).
BATTERIE
Si la batterie n'est pas complètement chargée, le liquide qu'elle contient peut geler par temps extrémement froid et endommager la batterie. La batterie doit faire l'objet de vérifications régulières pour que son rendement soit maintainu au niveau maximal. ce vehicule est équipé d'une batterie sans entretien scelledée. Nous vous recommendans de visiter un concessionnaire NISSAN à des fins d'entretien.
VIDANGE DU CIRCUIT DE REFROIDISSEMENT
Si le vehicule doit demeurer à l'extérieur sans antigel, vidangez le circuit de refroidissement, incluant le bloc-moteur. Remplissez le vase d'expansion avant de reprendre la route. Pour obtenir des renseignements supplémentaires, consultez la section « Vidange du liquide de refroidissement » (p. 8-6).
PNEUS
-
Les bandes de roulement des pneus d'ETÉ sont conçues pour offrir un rendement supérieur sur les chaussées sèches. La neige et la glace nuisent donc considérablement à leur rendement. Si vous possédez un vehicule à quatre roues motrices, NISSAN vous recommend d'utiliser des pneus MUD & SNOW (boue et neige) ou des pneus ALL SEASON (toutes saisons) si vous devez conduire sur des chaussées enneigées ou glacées. Vous pouvez obtenir des renseignements relatifs aux types, aux tailles, aux cotes de vitesse et à la disponibilité des pneus auprès d'un concessionnaire NISSAN.
-
Des pneus cloutés peuvent être utilisés pour bénéficier d'uneadhérence accrue sur chaussée glacée. Toutefois, l'utilisation de tels pneus est prohibée dans certains États américain de même que dans certaines provinces du Canada. Consultez les règlements en vigueur dans votre localité, dans l'Etat ou la province où vous résiduez avant d'installer ce type de pneu sur votre vehicule.
Sur chaussée sèche ou mouillée, les capacités de patinage et d'adhérence d'un pau d'hiver à clous peuvent être inférieures à celles d'un pau d'hiver sans clous.
- Vous pouvez également utiliser des chaînes antidérapantes. Pour obtenir des renseignements supplémentaires, consultez « Chaînes antidérapantes » (p. 8-42).
ÉQUIPEMENT HIVERNAL
Nous vous recommendons de placer les articles suivants dans votre vehicule en hiver :
-
Un grattoir et une Brosse à poils raides pour-retirer la glace et la neige se trouvant sur les glaces et les balais d'essuie-glace de votre vehicule.
-
Un panneau plat et robuste que vous pouvez déposer sous le cric de votre vehicule pour lui donner un soutien ferme.
- Une pelle pour dégager votre vehicule d'un banc de neige.
- Un contenant de liquide lave-glace supplémentaire pour replir le réservoir de liquide lave-glace.
CONDUITE SUR LA NEIGE OU SUR LA GLACE

AVERTISSEMENT
- La glace mouillée (0 °C [32 °F] et pluie verglaçante), la neige très froide ou la glace peut rendre la route glissante et la conduite difficile. Dans ces conditions, l'adhérence des pneus du vehicule est considérablement réduite. Évitez de rouler sur une route verglacée avant que du sable ou du sel d'épandage ait été repandu.
-
Peu imports the conditions, conduises prudemment. Accélère et ralentissez en douceur. Les accélérations et décelérations brusques n'auront pour effet que de réduire davantage l'adherence des roues motrices.
-
Dans ces conditions, prévoyez une distance d'arrêt plus longue, commencerz à freiner plus tout que sur une chaussée sèche.
- Sur des chaussées glissantes, maintenez une plus grande distance entre votre vehicule et celui qui le précède.
- Faites preuve de vigilance lorsqu'youe conduisez sur une route couverte de plaques de glace. Meme les routes quisemblent degagees peuvent etre parsemées de plaques de glace aux endroits ombragés. Si tel est le cas, freinez avant de rouler sur la plaque. Ne freinez pas sur la glace et evitez les coupes de volant.
- N'utilisez pas le régulateur de vitesse (selon l'équipement) sur les chaus-sees glissantes.
- La neige peut emprisonner des gaz d'échéppement nocifs sous votre vehicule. Dégagez la neige accumulée autour du tuyau d'échéppement et autour du vehicule.
CHAUFFE-MOTEUR (selon l'équipement)
Les chauffe-moteurs sont concus pour faciliter le démarrage par temps froid.
L'utilisation d'un chauffe-moteur est recommandée lorsque la température extérieure est égale ou inférieure à -7°C (20°F).

AVERTISSEMENT
- Ne branchez jamais votre chauffeur à un circuit électrique qui n'est pas mis à la terre ou à l'aide d'un adaptateur bipolaire. Vous pourriez subir un choc électrique et être blessé gravement si vous utilisez une connexion qui n'est pas mise à la terre.
- Débranchez le cordon d'alimentation du chauffe-moteur et rangez-le correctement avant de démarrer le moteur. Vous risquez un choc électrique et des blessures graves si vous utilisez un cordon d'alimentation endommagé.
Utilisez une rallonge tripolaire à trois fils de type robuste conçue pour une charge d'au moins 10 A. Branchez la rallonge à une prise avec disjoncteur de fuite à la terre à la terre (GFI) (110 V.c.a.). Vous risquez un choc électrique et de graves blessures si vous utilisez une rallonge électrique inappropriée ou une prise non munie d'un circuit de protection de mise à la terre.
Utilisation du chauffe-moteur :
- Coupez le contact.
- Ouvrez le capot moteur et déliez le cordon du chauffe-moteur.
- Branchez la prise du cordon d'alimentation du chauffe-moteur à une rallonge tripolaire à trois fils (avec mise à la terre).
-
Branchez la rallonge electrique à une prise avec disjoncteur de fuite à la terre (GFI) secteur (110 V c.a.).
-
En fonction de la température extérieure, il convient de brancher le chauffeur pendant deux à quatre heures au moins afin d'assurer un rechauffement adequat du liquide de refroidissement du moteur. Vous pouvez utiliser une minuterie pour activer le chauffeur à l'heure appropriée.
- Avant le démarrage du moteur, débranchez le cordon d'alimentation et rangez-le correctement, à l'écart des pièces mobiles du moteur.
6 En cas d'urgence
Interrupteur deieux de détresse 6-2
Coupure du moteur en cas d'urgence 6-2
Pneu creve 6-3
Système de surveillance de la pression
des pneus. 6-3
Remplacement d'un pneu creve
Démarriage à l'aide d'une batterie de secours . . . . 6-9
Demarrage en poussant 6-11
Si le moteur surchauffe 6-12
Remorquage de votre vehicule 6-13
Méthodes de remorquage
recommendees par NISSAN 6-13
Dégagement d'un vehicule immobilisé
(dégagement d'un vehicule enlisé) 6-16
INTERRUPTEUR DE FEUX DE DÉTRESSE

LIC0394
Appuyez sur cet interrupteur pour signaler aux conducteurs des autres vehicules votre intention d'immobiliser ou de stationner d'urgence libre la vehicule. Tous les clignotants de leur vehicule seront ainsi activés.
AVERAGEMENT
- Si vous doivent arrêter en cas d'urgence, stationnez le vehicule aussi loin que possible de la route.
- N'actionnez pas les frais de détresse lorsqu'vous roulez sur l'autoroute, à moins que des circonstances inhabituelles ne vous forcent à conduire votre vehicule à une vitesse très BASSE qui pourrait se révêler dangereuse pour les autres automobilistes.
- Les clignotants ne fonctionnent pas lorsque les frais de détresse sont actifs.
Les feu de détresse de votre vehicule fonctionnent, peu importe la position du commutateur d'allumage.
Les bois de certaines régions interdisent l'utilisation des最好的 détresse lorsque le vehicule est en mouvement.
COUPURE DU MOTEUR EN CAS D'URGENCE
Pour couper le moteur en cas d'urgence pendant la conduite, effectuez les étapes suivantes:
- Enforcez rapidement le commutateur d'allumage à bouton-poussoir trois fois consécutives en moins d'une seconde et demie, ou
- Maintenez le commutateur d'allumage à bouton-poussoir enforcé pendant plus de 2 secondes.
SYTÉME DE SURVEILLANCE DE LA PRESSION DES PNEUS
Ce vehicule est muni du système de surveillance de la pression des pneus. Il surveille la pression de tous les pneus, à l'excection du pneu de la roue de secours. Lorsque le témoin d'advertissement de basse pression des pneus est allumé et l'advertissement « Pression de pneu Ajouter air » s'affiche à l'écran multifonction, un ou plusieurs de vos pneus sont insuffisamment gonflés. Si la pression d'un pneu est basse lorsque le vehicule roule, le système de surveillance de la pression des pneus entre en fonction et vous signale cet état au moyen du témoin d'advertissement de basse pression des pneus. Ce système ne s'active que si la vitesse du vehicule dépasse 25 km/h (16 mi/h). Pour obtenir des renseignements supplémentaires, consultez les sections « Témoins d'advertissement, témoins et rappels sonores » (p. 2-8), et « Système de surveillance de la pression des pneus (TPMS) » (p. 5-5).
AVERAGEMENT
- Les ondes radioélectriques peuvent nuire au fonctionnement des apparreils médicaux électriques. Les personnes qui portent un stimulateur cardiaque doivent communiquer avec le fabricant de l'appareil Médical électric pour connaître les interférences possibles avant l'utilisation.
- Si le témoin d'advertissement de basse pression des pneus s'allume pendant la conduite, évitez de braquer le volant ou de freiner brusquement, ralentissez, dirigez-vous vers un endroit sécuritaire et immobilisez le vehicule dés que possible. La conduite avec un pneu insuffisamment gonflé peut causer des dommages permanents au pneu et augmente la probabilité de défaillance du pneu. Your vehicule pourrait subir des dommages importants et vous pourriez avoir un accident entrainant des blessures graves. Vérifiez la pression de tous les pneus. Effectuez un réglage de pression À FROID, tel que spécifique sur l'étiquette de renseignements relatifs aux pneus et à la charge, pour ainsi DÉSACTIVER le témoin d'advertissement de basse
pression des pneus. Si le témoin s'allume encore pendant la conduite après le réglage de pression des pneus, il se peut qu'un des pneus soit creve ou que le système de surveillance de la pression des pneus soit défectueux. Si vous avez un pneu creve, montez la roue de secours des que possible. Si aucun pneu n'est à plat et tous les pneus sont correctement gonflés, faites vérifier le vehicule. Nous vous recommendons de vous rendre chez un concessionnaire NISSAN pour cet entretien.
Lors de l'utilisation d'une roue qui n'est pas équipée d'un émetteur du système de surveillance de la pression des pneus, comme la roue de secours, ce système ne sera plus fonctionnel et le témoin d'advertissement de basse pression des pneus clignotera pendant environ une minute. Le témoin demeure allumé après une minute. Faites replacer vos pneus ou réinitialiser le système de surveillance de la pression des pneus dés que possible. Nous vous recommendons de visiter un concessionaire NISSAN pour ces services.
L'utilisation de pneus de remplacement autres que ceux précisés par NiSSAN peut nuire au fonctionnement du système de surveillance de la pression des pneus.
- N'injectezaucnProuddetanchéité pourpneu,liquideouenáerosol,dans lespneus.Lefonctionnementdes capteurs de pression despneus poursrait s'entrouvercompromis.
Si l'un de vos pneus est creve, suivez les instructions ci-après:
Immobilisation du vehicule
- Déplacez votre vehicule en cordure de la route lorsqu'il est prudent de le faire et immobilisez-le aussi loin que possible de la circulation.
- Allumez les yeux de détresse de votre vehicule.
-
Stationneze your vehicule sur une surface plane et serrez le frein de stationnement. Placez la boite de vitesses manuelle en position R (marche arriere) ou la transmission a variation continue en position (P) (stationnement).
-
Coupez le contact.
- Ouvrez le capot pour signaler votre présence aux autres conducteurs et indiquer au service de dépannage que vous avez besoin d'aide.
- Demandez à tous les occupants de descendre du vehicule et de se tener dans un endroit sur, à l'écart de la circulation et du vehicule.
A VERTISSEMENT
Assurez-vous que le frein de stationnement est fermement serré et que la boîte de vitesses manuelle est en position R (marche arrêté) ou que la transmission à variation continue est en position P (stationnement).
- Ne tentez jamais de changer un pneu si votre vehicule est stationné dans une pente ou sur une surface glacée ou glissante. Ceci est dangereux.
- Ne tentez jamais de changer un pneu si votre vehicule se trouve à proximate de la circulation. Attendez qu'on viennent vous dépanner.

A. Cales
B. Pneu creve
Blocage des roues
Placez des cales de taille appropriée à l'avant et à l'arrière de la roue diagonalement opposée à la roue dont le pneu est creve pour empêcher le vehicule de se déplacer lorsqu'il est levé au cric.
A AVENTISSEMENT
Assurez-vous de bloquer la roue, car le vehicule peut se déplacer et cause des blessures.

Retrait de la roue de secours et des outils du coffre
- Ouvrez le coffre et soulevez le tapis du plancher du coffre.
- Le cric est situé à côté de la roue de secours. Pour le prisoner, enlevez la courroie en caoutchouc et tirez-le vers le haut.
- Soulevez l'entretoise pour acceder à la bride.

- Tournez la bride dans le sens contraire des aiguilles d'une montre et retirez-la pour libérer la roue de secours.

MISE EN GARDE
Évitez de toucher la tôle aujourd'hui la roue de secours. Vous pourriez vous blesser.

Retrait d'un,enjoliveur de roue (selon l'equipement)

MISE EN GARDE
N'écartez pas les chapeaux ou les enjoliveurs de roues avec vos mains. Vous pourriez vous blesser.
Pour-retirer l'enjolivre,utilisez la tige du cric ① tel qu'illustré.
Placez un chiffon ② entre la roue et la tige du cric pour prévenir les dommages à la roue et à l'enjolieur.
Assurez-vous de ne pas égratigner l'enjoliveur ou la surface de la roue.

Mise sur cric du vehicule et retrait du pneu endommagé

AVERTISSEMENT
- Ne vous glissez jamais sous un vehicule si ce dernier n'est soutenu que par un cric. Si une intervention sous le vehicule est nécessaire, utilisez des tréaux pour le soutenir.
Utilisez seulement le cric fourni avec votre vehicule pour soulever ce dernier. Ne l'utilisez pas pour soulever un autre vehicule. Ce cric a eté concu exclusivement pour soulever votre vehicule lorsque vous devez replacer une roue.
- N'utilise que les points de levage identifiés. N'utilise aucune autre partie de votre vehicule comme point de levage.
- Ne soulevez jamais le vehicule plus que nécessaire.
- N'installez jamais de bloc sur ou sous le cric.
- Ne faites pas démarrer ou tournier le moteur alors que le vehicule est sur le cric. Le vehicule pourrait se déplacer. Cette consigne s'applique particulièrement aux vehicules équipés d'un différentiel à glissement limité.
- Ne soulevez jamais un vehicule avec le cric si des passagers se trouvent encore à l'intérieur.
- Ne démarrez jamais le moteur d'un vehicule dont une ou plusieurs roues ne touchent pas le sol. Le vehicule pourrait se déplacer.

Prenoz soit de tousjours vous referrer aux illustrations pour les points de mise en place et de levage correspondant à votre modele de vehicule et au type de cric utilisé.
Lisez attentivement l'étiquette d'avertissement apposée sur le cric, ainsi que les instructions suivantes.
-
Au moyen du démonte-roue, desserrez chaque écrou de roue d'un tour ou deux dans le sens contraire des aiguilles d'une montre. Attendez que le pneu ne touche plus le sol pour retarder les écrous de roue.
-
Placez le cric directement sous le point de levage, tel qu'illustré, de manière à ce que le contact entre le dessus du cric et le vehicule se fasse au point de levage. Alignez la tête du cric entre les deux encoches, à l'avant ou à l'arrière, tel qu'ilustré. Placez également la rainure de la tête du cric entre les encoches, tel qu'illustré.
Le cric devrait reposer sur une surface ferme et plane.
- Tenez fermement le levier et la tige du cric avec vos deux mains pour soulever le vehicule. Soulevez prudemment le vehicule jusqu'à ce que le pneu endomagé ne touche plus le sol. Retirez les écrous de roue, puis la roue.

WCE0056
Installation de la roue de secours La roue de secours ne doit etre utilisée qu'en cas d'urgence. Pour obtenir des renseignements supplémentaires, consultez la section « Roues et pneus » (p. 8-32).
- Nettoyez toute trace de boue ou de saleté de la surface se trouvant entre la roue et le moyeu.
-
Installez soigneusement la roue de secours et serrez les écrous de la roue à la main.
-
Au moyen du démonte-roue, serrez les écrous de la roue en alternance et uniformément, dans la séquence illustrée, (A, B, C, D, E) jusqu'à ce qu'ils soient solidement fixés en place.
- Abaissez lentement le vehicule jusqu'à ce que le pneu touche le sol. Serrez ensuite les écrous de roue fermement au moyen du démonte-roue, selon la série illustrée (A, B, C, D, E). Abaissez le vehicule complètement.

AVENTISSEMENT
- Si des écrous de roue inappropriés sont utilisés ou si les écrous sont mal serrés, la roue pourrait se desserrer ou se détacher. Ceci pourrait cause un accident.
- N'appliquez pas d'huile ni deGRAISSESur les goujons ou les ecrous deroues,car ils pourraient se desserrer.
- Resserrez les écrous des roues du vehicule après avoir parcours une distance de 1000 km (600 mi), ou après un pneu creve, etc.
Au moyen d'une clé dynamométrique, serrez les écrous de roue au couple spécifique dés que possible.
Couple de serrage des écrous de roue: 113 N m (83 Ib-pi)
Les écrous de roue doivent être serrés au couple spécifique en tout temps. Il est conseilé de serrer les écrous de roue au couple spécifique chaque fois qu'une lubri-fication est requise.
Réglez la pression de vos pneus À FROID.
À FROID: Si votre vehicule est stationné depuis trois heures ou plus ou s'il a parcouru une distance de moins de 1,6 km (1 mi).
Les pressions des pneus À FROID sont indiquées sur l'étiquette des pneus et d'information sur la charge.
Si vous roulez plus de 1,6 km (1 mi) après avoir gonflé vos pneus à la pression à FROID, la valeur réellement affichée peut être supérieure à cette dernière.
En effet, la pression d'un neue augmente avec l'élévation de sa température. Ce phénomène ne revèle pas une défaillence du système.
- Rangez le pneu creve dans notre vehicule.

- Rangez le cric dans son logement et serrez la sangle en caoutchouc.
- Placez le tapis du plancher de coffre sur le pneu endommagé.
- Fermez le coffre.

AVENTISSEMENT
Assurez-vous que la roue de secours et l'équipement de levage sont toujours correctement rangiés après leur utilisation. Ces articles peuvent se transformer en projectiles dangereux en cas d'accident ou au moment d'un freinage brusque.
- La roue de secours ne doit être utilisée qu'en cas d'urgence. Consultez les instructions particulières dans la section « Roues et pneus » (p. 8-32).
DÉMARRAGE À L'AIDE D'UNE BATTERIE DE SECOURS
Les instructions et précautions ci-après doivent être lues attentivement lorsqu'elles vous utilisez une batterie de secours pour faire demarrer le moteur de votre vehicule.

AVERTISSEMENT
- Un démarrage à l'aide d'une batterie de secours mal effectué peut faire exposer la batterie et cause des blessures graves ou la mort. Voitre vehicule pourrait également être endommagé.
- La batterie dégage en permanence de l'hydrogène, qui est un gaz explosif. N'approche pas d'étincelles ni de flamme de la batterie.
- Évitez tout contact d'électrolyte avec les yeux, la peau, les vêtements ou les surfaces peintes. L'électrolyte est une solution d'acide sulfurique corrosive qui peut cause de graves brûlures. Si de l'électrolyte entre en contact avec un des éléments mentionnés précédemment, rincez immeditement à l'eau la zone touchée.
-
Gardez la batterie hors de la portée des enfants.
-
La batterie de secours doit être de 12 V. L'utilisation d'une batterie de voltage différent peut endommager votre vehicule.
- Portez toujours des lunettes de sécurité (par exemple, des lunettes étanches ou des lunettes de protection industrielles) et enlevez vos bagues, bracelets métalliques et autres bijoux lorsque vous effectuez une intervention sur la batterie ou à proximé de cette-ci. Ne vous penchez pas au-dessus de la batterie au moment d'un démarrage à l'aide d'une batterie de secours.
- Ne tentez pas d'effectuer un démarriage-secours lorsque votre batterie est gelée. Cette dernière pourrait explodeer et causer des blessures graves.
- Voiture vehicule est équipé d'un ventilateur de refroidissement du moteur automatique. qui peut entraer en fonction en tout temps. Éloignez-en vos mains ainsi que tout autre object.

A

LEVAGE

Véhicule faisant l'objet d'un démarrage d'appoint
LCE2223

AVERTISSEMENT
Suivez toujours les instructions cédssous. Autrement, le circuit de charge pourrait être endommagé et vous pourriez subir des blessures.
- Si la batterie de secours se trouve dans un autre vehicule, placez les deux vehicules de maniere a ce que leurs batteries respectives soient a proximite l'une de l'autre.
Veillez toutefois à ce que les vehicules ne se touchent pas.
- Serrez le frein de stationnement. Déplacez le levier selecteur à la position N (point mort) (boîte de vitesses manuelle) ou à la position P (stationnement) (transmission à variation continue). Éteignez tous les circuits électriques non essentiels (éclairage, chauffage, climatisationur, etc.).
- Placez le commutateur d'allumage à la position LOCK (verrouillé) ou OFF (hors fonction).
- Branchez les câbles volants dans l'ordre indiqué sur l'illustration (A, B, C, D).
AMISE EN GARDE
Assurez-vous de toujours branchier la borne positive (+) à la borne positive (+), et la borne négative (-) à un point de masse de la carrosserie (par exemple, à un boulon de fixation de jambe, à un support de levage du moteur, etc.) et non pas à la borne négative de la batterie.
Assurez-vous que les câbles volants n'entrent pas en contact avec des pièces mobiles du compartment moteur et que les cosses des câbles ne touchent aucune autre pièce métallique.
- Faites démarrer le moteur du vehicule d'appoint et laissez-le tourner pendant quelques minutes.
- Maintenez le régime du moteur du vehicule d'appoint à environ 2000 tr/min et faites demarrer le moteur du vehicule en panne.
AMISE EN GARDE
N'actionnez pas le démarreur pendant plus de 10 secondes. Si le moteur ne démarre pas au premier essai, COUPEZ le contact et attendez de 3 à 4 secondes avant de réessayer.
- Une fois le moteur en marche, débranchez prudèment le cable négatif, puis le cable positif de la batterie.
AMISE EN GARDE
- Ne démarrez pas ce vehicule en le poussant. Vous risquez d'endomma-ger le catalyseur trifonctionnel.
- Les modèles à transmission à variation continue et à boîte de vitesses manuelle ne peuvent être démarrés en les poussant ou en les remorquant. Cela pourrait endommager la boîte de vitesses.
- Dans le cas des modèles équipés de la boîte de vitesses manuelle, ne tentative jamais de démarrer le vehicule en le remorquant. Le déplacement vers l'avant cause par le démarrage du moteur pourrait provoquer une collision entre votre vehicule et le vehicule de remorquage.
SI LE MOTEUR SURCHAUFFE
En cas de surchauffe du vehicule (la lecture de l'indicateur de temperture est extrémentelevee) ou si vous notez une perte de puissance du moteur ou des bruits inhabituels, etc., observe les recommendations suivantes.

AVERTISSEMENT
- Arrêtez votre vehicule si le moteur surchauffe. En effet, une surchauffe prolongée pourrait endommager le moteur ou provoquer un incendie.
- Ne retirez jamais le bouchon du réseau de liquide de refroidissement de votre vehicule lorsque le moteur est chaud, car vous pourriez vous brûler. En effet, dans une telle situation, du liquide de refroidissement bouillant sous pression peut jaillir et causer de graves blessures.
-
N'ouvrez pas le capot si de la vapeur s'en échappe.
-
Rangez le vehicule sur l'accotement en toute sécurité, serrez le frein de stationnement et déplacez le levier selecteur en position N (point mort) (boîte de vitesses manuelle) ou en position P (stationnement) (transmission à variation continue).
Ne coupez pas le contact.
- Mettez le climatiseur hors fonction (selon l'équipement). Ouvrez toutes les glaces, déplacez la commande de température du chauffage ou du climatiseur à la chaleur maximale et la commande du ventilateur à la vitesse maximale.
-
Sortez du vehicule. Avant d'ouvrir le capot, vérifiez, visuèlement et en cherchant à déceler des bruits, si de la vapeur ou du liquide de refroidissement s'échappe du radiateur. (Si de la vapeur ou du liquide de refroidissement s'échappe du radiateur, coupez le moteur.) N'ouvre pas le capot davantage tant que de la vapeur ou du liquide de refroidissement est visible.
-
Ouvrez le capot.

AVERTISSEMENT
Si de la vapeur ou de l'eau s'échépe du moteur, tenez-vous à l'écart pour évi-ter tout risque de brûture.
- Procedez à une inspection visuelle des courroies d'entrainment pour vérifier si elles sont endommagées ou desserrées. Assurez-vous également que le ventilateur de refroidissement fonctionne. Il ne doit y avoir aucune fuite d'eau provenant des durites de radiateur et du radiateur.
Coupez le contact si vous remarquez une fuite de liquide de refroidissement, l'absence ou le relâchément de la courroie de la pompe à eau ou si le ventilateur de refroidissement n'est pas en marche.

AVERTISSEMENT
Faites preuve de prudence lorsqu'vous vous penchez sur un moteur en marche pour éviter que vos mains, cheveux, bijoux ou vêtements ne soient happés par les courroies ou les pales du ventilateur de refroidissement du moteur. Le ventilateur de refroidissement du moteur peut entraire en fonction en tout temps.
- Une fois le moteur refroidi, mais toujours en marche, vérifie le niveau de liquide de refroidissement du réservoir. Au besoin, ajoutez du liquide de refroidissement dans le réservoir. Faites réparer votre vehicule. Nous vous recommendons de vous rendre chez un concessionnaire NISSAN pour cet entretien.
REMORQUAGE DE VOTRE VEHICULE
Lors du remorquage de votre vehicule, veil-ze a ce que toutes les reglementations en vigueur dans la province (ou I'Etat, aux États-Unis) soient respectées. L'utilisation d'équipement de remorquage inadéquat pourrait endommager votre vehicule. Vous pouvez obtenir des instructions relatives au remorquage auprès de toute concessionnaire NiSSAN. Généralement, le personnel des services de remorquage locaux connait bien les lois et les procédures relatives au remorquage. NiSSAN vous recommenddonc de faire appel à un service de remorquage pour vous assurer que le remorquage est effectuéADFQUATMENT et pour éviter d'endommager votre vehicule. Il peut se révêler utile de demander au responsable du service de remorquage de dire attentivement les précautions suivantes:

AVERTISSEMENT
- Ne voyagez jamais dans un vehicule qui est remorqué.
- Ne vous glissez jamais sous un vehicule soulevé par une dépanneuse.

MISE EN GARDE
Au moment du remorquage, assurez-vous que la boite de vitesses, les essieux, la direction et le groupe motopropulser Fonctionnent bien. Si l'une de ces situations se produit, il faudra effectuer le remorquage au moyen d'un chariot de remorquage ou d'un camion plateau.
- Installez toujours des chaînes de sécurité avant le remorquage.
Pour obtenir des renseignements supplémentaires sur le remorquage de votre vehicule derrière un vehicule récréatif (VR), consultez la section « Remorquage à plat » (p. 10-23).
MÉTHODES DE REMORQUAGE RECOMMANDÉES PAR NISSAN
NISSAN recommende de remorquer votre vehicule en fonction du type de transmission. Pour obtenir des renseignements supplémentaires, consultez les schémas dans ce chapitre pour vous assurer que votre vehicule est correctement remorqué.

Modèles à deux roues motrices avec une transmission à variation continue
NISSAN recommende deux méthodes de remorquage pour votre vehicule : avec les roues motrices (avant) soulevées ou sur un camion-plateau, comme illustré.
LCE2345
AMISE EN GARDE
- Ne remorque jamais un vehicule équipé d'une transmission à variation continue avec les roues avant ou les quatre roues au sol (que le vehicule soit remorqué par l'avant ou par l'arrière), car il y a risque de dommages importants à la transmission à variation continue qui nécessiteraient des réparations couteuses. Si un remorquage du vehicule avec les roues arrêté soulevées est nécess
saire, prenez toujours soin d'installer des chariots de remorquage sous les roues avant.
Lors du remorquage d'un vehicule equipope d'une transmission a variation continue dont les roues arriere touchent le sol ou reposent sur des chariots de remorquage:
- Placez le commutateur d'allumage à la position OFF (hors fonction) et bloquez le volant en position droit devant au moyen d'une corde ou d'un accessoire similaire. Ne bloquez jamais le volant en tournant le commutateur d'allumage à la position LOCK (antivolverrouillé). Cela peut endomgar le mecanisme de blocage de la direction (pour les modèles dotés d'un mecanisme de blocage de la direction).

Modèles à deux roues motrices avec boîte de vitesses manuelle
NISSAN recommende de faire remorquer voiture vehicule à l'aide de chariots porteroues ou sur un camion à plateau, tel qu'illustré.
Si vous doivent utiliser un tirage derrière une dépanneuse place la boîte de vitesses manuelle à la position N (point mort).
La vitesse du vehicule doit ne jamais dépasser 97 km/h (60 mi/h) lors du remorquage de votre vehicule. ÀpRES avoir remorqué le vehicule sur une distance de 500 milles,
démarrez le moteur en laissant la boîte de vitesses à la position N (point mort) et laissez-le tourner au ralenti pendant deux minutes. Si vous ne faites pas tourner le moteur au ralenti tous les 500 milles, les organes internes de la boîte de vitesses pourraient être endommages.

MISE EN GARDE
Si vous ne respectez pas ces instructions, la boîte de vitesses pourrait être gravement endommagée.
-
Si vous devez remorquer un modele de boite de vitesses manuelle avec les roues arrriere au sol (si vous n'utilise pas de chariot de remorquage) ou avec les quatre roues au sol:
-
Desserrez toujours le frein de stationnement.
- Déplacez le levier sélecteur de la boîte de vitesses à la position N (point mort).
- Respectez les vitesses et distances de remorquage suivantes (ces consignes s'appliquent aux modèles de boîte de vitesses manuelle seulement):
Vitesse : inférieure à 97 km/h (60 mi/h)
Distance : inférieure à 805 km (500 mi)
Lorsque you remorquez sur de longues distances ou a des vitesses qui depassent 97~km / h (60 mi/h), retirez l'arbre de transmission avant le remorquage pour ne pas endommager la boite de vitesses. Nous vous recommendons de visiter un concessionnaire NISSAN pourutenir des renseignements supplémentaires.
DEGAGEMENT D'UN VEHICULE
IMMOBILISE (dégagement d'un
vehicule enlisé)

AVENTISSEMENT
Pour éviter d'endommager le vehicule et de provoquer des blessures graves ou mortelles en dégageant un vehicule enlisé:
- Adressez-vous à un service de dépannage professionnel pour dégager le vehicule si vous avez le moindre doute quant à la marche à suivre.
- Vous pouvez installer des chaînes ou des cables de remorquage seulement sur les éléments de la structure principale de votre vehicule.
- N'utilise pas les crochets d'arrimage du vehicule pour le dégager ou le remorquer.
Utilisez uniquement des dispositifs spécifique conçus pour le dégagement d'un vehicule immobilisé et suivez les instructions du fabricant. -
Tirez toujours sur le dispositif de dégagement droit vers l'extérieur à l'avant du vehicule. Ne le tirez jamais en diagonale.
-
Dispossez le dispositif de dégagement de manière à ce qu'il ne touche aucune partie du vehicule autre que le point de fixation.
Si vous véchicule est enlisé dans le sable, la neige, la boue, etc., utilisez une sangle de remorquage ou un autre dispositif précisément concu pour le dégagement d'un vignicule immobilisé. Suivez toujours les instructions du constructeur du dispositif de dégagement.
Manoeuvre de va-et-vient pour dégager un vehicule enlisé

AVERTISSEMENT
Lorsque yous degagez un vehicule enlisé, tenez-vous à l'ecart de ce dernier.
- Ne faites pas patiner vos pneus à vitesse élevée. Ils pourraient exploser et causer des blessures graves. Des pieces de votre vehicule pourraient également surchauffer et être endommagées.
Si vous véchicule est enlisé dans le sable, la boue, la neige ou la glace, utiliserz la procédure suivante:
- Désactivez le système de contrôle dynamique du vehicule.
- Assurez-vous qu'en ni personne ne se trouve devant ou derrière votre vehicule.
- Tournez le volant de gauche à droite pour dégager la zone entourant les roues avant.
-
Procedez à une manoeuvre de va-ét-vient avec votre vehicule.
-
Passez plusieurs fois de la position R (marche arrrière) à la position D (marche avant) (modèles avec transmission à variation continue) ou de la 1re vitesse (basse) à la position R (marche arrrière) (modèles avec boîte manuelle).
-
Appuyez sur l'accéléateur juste assez pour maintenir le mouvement de va-et-vient.
-
Relâchéz la pédale d'accélérateur avant de passer de la position R (marche arrêté) à la position D (marche avant) (modèles à transmission à variation continue) ou de la 1re vitesse (bas) à la position R (marche arrêté) (modèles à boîte de vitesse manuelle).
-
Ne faites pas patiner les roues à plus de 55 km/h (35 mi/h).
-
Si, après quelques tentatives, vous n'arrivez pas à dégager votre vehicule, faites appel à un service de dépannage professionnel.
7 Aspect et entretien
Nettoyage des surfaces extérieures du
vehicule 7-2
Lavage 7-2
Cirage. 7-3
Pour faire disparaitre les taches 7-3
Soubassement 7-3
Vitre. 7-4
Roues en alliage d'aluminium
(selon l'equipement) 7-4
Pièces chromées 7-4
Lubrifants pour pneus 7-4
Nettoyage des surfaces interieures du
vehicule 7-5
Désodorisants (assainisseur d'air) 7-6
Toit ouvrant électrique
(selon l'equipement) 7-6
Carpettes (selon l'equipement) 7-7
Ceintures de sécurité 7-9
Protection anticorrosion 7-9
Facteurs les plus courants contribuant
à la corrosion d'un vehicule 7-9
Facteurs environnementaux
influençant la corrosion 7-9
Pour protégéurVote vécicule contre la
corrosion 7-9
NETTOYAGE DES SURFACESEXTÉRIÉURES DU VEHICULE
Pour conserver l'aspect neuf de votre vehicule, vous devez en assurer l'entretien de façon appropriée.
Pour protéger les surfaces peintes, lavez voitré vehicule dés que possible :
- après une averse, pour éviter des dommages potentiels causés par les pluies acides;
- après avoir conduit le long de la mer;
- lorsque des substances comme de la suie, des fuentes d'oiseau, de la sève d'arbre, des particules métalliques ou des insectes se déposent sur les surfaces peintes;
- lorsque de la poussière ou de la boue s'accumulent sur la carrosserie.
Dans la mesure du possible, stationnez votre vehicule dans un garage ou un endroit couvert.
Si le vehicule doit etre stationné à l'extérieur, laissez-le à l'ombre ou recouvre-les d'une housse pour le protégger.
Prenez soit de ne pas rayer les surfaces peintes en installerant ou en retardant la housse.
LAVAGE
Lavez le vehicule à grande eau avec une éponge humide. Lavez le vehicule soigneusement avec une solution d'eau propre et tiège (ja mais chaude) et de savon doux, de savon spécial pour automobile ou de détergent liquide pour la vaisse à usage domestique.
AMISE EN GARDE
-
Ne concentrez pas de jet d'eau directement sur les capteurs de sonar (selon l'équipement) sur le parechocs, car cela peut endommager les capteurs. N'utilise pas de nettoyeur haute pression capable d'asperger de l'eau à plus de 8 274 kPa (1 200 lb/ po^2 ) pour laver votre vehicule. L'utilisation d'un nettoyeur haute pression à plus de 8 274 kPa (1 200 lb/ po^2 ) peut endommager ou arracher la peinture ou les symboles graphiques. Évitez d'utiliser un nettoyeur haute pression à moins de 30 cm (12 po) du vehicule. Utilisez toujours un giclur grand-angle seulement, gardez la buse en mouvement et ne concentrez pas le jet d'eau sur une même zone.
-
Ne désisissez pas un lave-auto qui utilise un dénergent contenant de l'acide. Certains lave-autos, surtout ceux qui sont dépourvus de brosses (sans contact), utilisent un dénergent contenant de l'acide. Les acides peuvent réagir au contact de certains composants en plastique du vehicule et provoquer des fissures. Ces fissures peuvent alterer l'aspect des composants et entraver leur fonctionnement. Demandez toujours au responsable du lave-auto si un dénergent contenant de l'acide est utilisé.
- Ne lavez pas votre vehicule avec des produits d'entretien menager puisants, des détergents chimiques forts, de l'essence ou des solvants.
- Ne lavez pas votre vehicule en plein soleil ou lorsque la carrosserie est chaude, car en sechant, l'eau pourrait en tacher la surface.
- Évitez d'utiliser des chiffons doux ou rugueux, tels que les gants de lavage. Enlevez avec soin les plaques de boue ou autres corps étrangers pour éviter de rayer ou d'abimer les surfaces peintes du vehicule.
Rincez abondament le vehicule avec de l'eau propre.
Le sel d'épandage affecte particulièrement les rebords interieurs, les joints et les replis des portières, les charnières et le capot. Par conséquent, ces endroits doivent être lavés régulièrement. Assurez-vous que les orifices d'écoulement du bord inférieur des portières ne sont pas obstrués. Lavez au jet d'eau le dessous de la carrosserie et les passages de roue pour détacher les accumulations de boue et eliminer toute trace de sel d'épandage.
Une peu de chamois humide peut etre utilise pour essuyer la carrosserie et eviter la formation de taches d'eau.
CIRAGE
Un cirage régulier protège les surfaces peintes et conserve l'aspect neuf du vehicule. Avant de réappliquer une cire, il est recommendé de polir les surfaces afin d'éliminer toute accumulation résiduelle de cire et pour donner un aspect lustré à la carrosserie.
Il est recommandé de visiter un concessionnaire NiSSAN pour vous aider àCHOISIR le produit approprié.
- Ne cirez votre vehicule qu'après l'avoir bien lavé. Suivez les instructions fournies sur le contenant de cire.
- N'utilise pas de cire contenant des substances et composés abrasifs ou des agents nettoyants qui risquent d'endommager le fini de votre vehicule.
Un polissage à la machine ou un polissage trop prolongé sur un fini de peinture transparent peut ternir le fini ou y laisser des marques spiralées.
POUR FAIRE DISPARAÎTRE LES TACHES
Les taches de goudron et d'huile, la pous-siere industrielle, les insectes et la sève d'arbre peuvent provoquer des dommages irréversibles sur les surfaces peintes ou y laisser des traces indélébiles. Veillez à les nettoyerès que possible. Des produits de nettoyage spéciaux sont disponibles chez votre concessionnaire NiSSAN ou dans tout magasin d'accessoires automobiles. Nous vous recommendons de visiter un concessionaire NiSSAN pour ces produits.
SOUBASSEMENT
Dans les régions où du sel d'épandage est utilisé pendant l'hiver, il est nécessaire de laver le soubassement régulierement. Les accumulations de saletés et de sel qui s'y forment peuvent cause sa corrosion ainsi que celle de la suspension. Avant le début de l'hiver et au printemps, vérifie la couche de protection inférieure et, au besoin, appliquez-en de nouveau.

VITRE
Il est plus facile de nettoyer la lunette arriere si vous retirez d'abord le feu d'arrêt central interieur.
Veillez à ne pas endommager les fils du feu d'arrêt central lorsque vous enlevez le feu d'arrêt central.
Pour-retirer le feu d'arrêt central :
① Poussez-le vers l'arrière du vehicule.
② Soulevez-le pour le retarder.
Le feu d'arrêt central doit être réinstallé correctement avant de reprendre la route.
Utilisez du nettoie-vitres pour enlever la pellicule de saleté et de poussière qui s'est formée sur les vitres. Il est normal qu'une pellicule se forme lorsque le vehicule est stationné directement au soleil. L'utilisation de nettoie-vitres avec un chiffon doux éliminera rapidement cette pellicule.
ROUES EN ALLIAGE D'ALUMINIUM (selon l'équipement)
Lavez les roues régulierrement à l'aide d'une éponge humectée dans une solution de savon doux, particulièrement en hiver, si vous habitez dans une région où du sel d'epandage est utilisé. Les dépôts de sel d'épandage peuvent décolorer les roues si vous ne les enlevez pas.

MISE EN GARDE
Respectez les consignes suivantes pour éviter de tacher ou de décolorer les roues:
- Ne nettoyez pas les roues avec un produit de nettoyage à base d'acide fort ou d'alcali.
-
N'appliquez pas de produit nettoyant sur les roues lorsqu'elles sont chaudes. Les roues doivent etre à la température ambiente.
-
Rincez les roues à fond pour éliminer le produit nettoyant dans les 15 minutes suivant son application.
PIÉCES CHROMÉES
Nettoyez régulierement toutes les pièces chromées avec un produit pour chrome non abrasif pour préserver leur fini lustré.

MISE EN GARDE
Respectez les consignes suivantes pour éviter de tacher ou de décolorer les pièces chromées :
- Ne nettoyez pas les pieces chromées avec un produit de nettoyage à base d'acide fort ou d'alcali.
LUBRIFIANTS POUR PNEUS
NISSAN ne vous recommende pas d'utiliser des lubrifiants pour pneus. Les fabricants de pneus appliquent un enduit sur les pneus qui permet de réduire la décoloration du caoutchouc. Au cas où les pneus seraient lubrifiés, le lubricant pourrait réagir au contact de l'enduit et former un composé chimique. Ce composé pourrait se décoller des pneus en cours de route et tacher le vehicule.
NETTOYAGE DES SURFACES INTÉRIÉURES DU VÉHICULE
Si vous decide de lubrifier les pneus, prenez les précautions suivantes:
- Utilisez un lubrifiant pour pneus à base d'eau. L'endetuit des pneus se dissout plus facilement au contact d'un lubrifiant pour pneus à base d'eau qu'un à base d'huile.
- Appliquez une légère couche de lubrifiant pour pneus de façon à l'empêcher de penetrer dans la bande de roulement et les rainures des pneus (ou il serait difficile à enlever).
- Essuyez l'excès de lubrifiant à l'aide d'une serviette sèche. Assurez-vous d'enlever complètement le lubrifant de la bande de roulement et des rainures des pneus.
- Laissez le lubrifiant sécher tel qu'indiqué par son fabricant.
Utilisez occasionnellement un aspirateur ou une Brosse à soies douces pour dépoussierer les garnitures interieures, les pièces en plastique et les sièges. Essuyez les surfaces en vinyle et en cuir (selon l'équipement) avec un chiffon propre et préalablement humecté dans une solution de savon doux, puis essuyez-les avec un chiffon doux et sec.
Un entretien et un nettoyage réguliers pré-servent l'apparence du cuir (selon l'équipement).
Avant d'utiliser unquelconque produit protecteur pour tissus, lisez les commandations du fabricant. Certains protecteurs pour tissus contiennent des produits chimiques qui peuvent tacher ou decolorer le tissu des sièges.
Utilisez un chiffon humecté uniquement d'eau pour nettoyer la vitre de protection des indicateurs de bord.

AVERTISSEMENT
-
N'utilise pas de produits à base de cire ou de silicone à l'intérieur du vehicule. Cela pourrait endommager les pieces à l'intérieur, les disposits électriques ou les composants électroniques.
-
N'utilise pas d'eau ou de produits acides (nettoyeurs à vapeur) sur le siège. Vous pourriez endommager le siège ou le capteur de classification du passager (capteur de poids). Ceci pourrait également nuire au fonctionnement du dispositif de sacs gonflables et entraîner des blessures graves.

MISE EN GARDE
- N'utilisez jamais de benzène, de solvant ni aucun produit semblable.
- Les petites particules de saleté peuvent être abrasives et endomgar les surfaces en cuir. Elles doivent donc être retireesrapidement.N'utilise pas de savon pour le cuir, de ciere pour automobile, de produit a polir, d'huile, de nettoyant liquide, de solvant, de détergent ou de nettoyant a base d'ammoniaque, car ils peuvent endomgar le fini naturel du cuir.
-
N'utilisez jamais de produits destinés à protégger les tissus, à moins que leur utilisation ne soit recommandée par le fabricant.
-
N'utilise pas de produits nettoyants pour le verre ou le plastique sur le couvre-vitre de protection des indicateurs de bord et des instruments. Ces produits pouraient endomgar le verre protecteur.
- N'utilisez jamais de solutions au chlorure pour nettoyer les décorations en aluminium (selon l'équipement), elles pourraient en être endommagées.
-
Ne pas renverser ou entraire en contact avec les surfaces interieures lors de la manipulation de désodorisants, d'assainisseurs d'air, d'agents d'arome, de cosmétiques, d'écans solaires, etc. Ils peuvent cause une décoloration permanente, des taches, des fissures, l'écaillage de la peinture, etc., selon les ingrédients. S'ils entrent en contact avec la surface interieure, essuyez-les immédiatement à l'aide d'un chiffon doux.
-
N'utilisez pas de liquide de nettoyage à base de chlore comme le dioxyde de chlore et l'acide hypochloreux, qui peut causeur l'écaillage de la peinture, de la corrosion, etc. S'il est inévitable de nettoyer ou de steriliser les surfaces interieures, utilisez moins de 75% d'éthanol. Essuyez complètement l'éthanol. Si vous ne l'éliminez pas, cela peut causeur l'écaillage de la peinture, la décoloration, etc. Puisque l'éthanol est inflammable, faites attention au feu.
DÉSODORISANTS (assainisseur d'air)
La plupart des désodorisants utilisent un dissolvant qui pourrait affecter l'intérieur de vehicule. Si vous utilisez un désodorisant, prenez les précautions suivantes :
-
Les désodorisants suspendus peuvent causeer une décoloration permanente s'ilts entrent en contact avec les tissus ou autres surfaces du vehicule. Placez le désodorisant suspendu dans un endroit libre et sans contact avec les surfaces interieures.
-
Les désodorisants liquides adhérent d'habitude aux bouches d'aération. Ces produits peuvent endommager les surfaces et causer une décoloration immédiate en cas de déversement.
Suivez rigoureusement les instructions du fabricant avant d'utiliser des désodorisants.
TOIT OUVRANT ÉLECTRIQUE (selon l'équipement)
Le pare-soleil est fabriqué d'un matériel en tricot.

MISE EN GARDE
Pour éviter d'endommager le toit ouvrant transparent lorsqu vous le nettoyez :
- Ne frotte pas le matériel avec un chiffon, vous risqueriez d'endommager la surface du matériel ou de repandre la tache.
-
N'utilisez jamais de benzine, de diluant ou de produit chimique similaire pour nettoyer le pare-soileil. Ces produits peuvent décolorer le toit ouvrant transparent et endommager la surface.
-
Nettoyez les taches à base d'eau en tapotant la surface avec un chiffon doux et propre humecté dans de l'eau chaude. Utilisez un chiffon sec et propre sur la surface pour enlever l'excess d'humidité, puis séchez-la à l'air.
- Nettoyez les taches à base d'huile en tapotant la surface avec un chiffon doux et propre humecté dans de l'eau chaude. Utilisez un chiffon sec et propre sur la surface pour enlever l'excess d'humidité, puis séchez-la à l'air.

CARPETTES (selon l'équipement)

AVERTISSEMENT
Pour éviter d'obstruer le mouvement de la pédale qui pourrait provoquer une collision et des blessures graves ou mortelles:
- Ne placez JAMAIS une carbette pardessus une autre carbette dans la position avant du conducteur ou ne les installez JAMAIS à l'envers ou du mauvais côté.
Utilisez seulement des carpettes NiSSAN d'origine ou des carpettes équivalentes, conçues en particulier pour votre modele de vehicule et son année modele.
- Placez correctement les carpettes dans l'espace pour les jambes à l'aide du crochet de positionnement de carpette. Pour obtenir des renseignements supplémentaires, consulbez la section « Installation des carpettes » (p. 7-8).
Assurez-vous que la carbette n'entrave pas le fonctionnement de la pédale.
- Vérifiez régulièrement les carpettes pour vous assurer qu'elles sont correctement posées.
- Àprous le nettoyage de l'intérieur du vehicule, vérifie les carpettes pour vous assurer qu'elles sont correctement posées.
L'utilisation de carpettes NISSAN d'origine peut contribuer àmaintenir la moquette de votre vehicule en bon etat et a facilititer le nettoyage de l'habitacle. Les carpettes doivent etre nettoyees regulierement et remplacées en cas d'usure excessive.
Installation des carpettes
Votre vehicule est équipé de crochets de positionnement de carbette. Le nombre et la forme des crochets de positionnement de carbette pour chaque place varient selon le vehicule.
Lorsque you posez les carpettes NISSAN d'origine, suivez les instructions d'installation fournies avec la carbette et les éléments suivants:
- Lorsque l'allumage est à la position OFF (hors fonction), que le levier sélecteur est à la position P (stationnement) (modèles avec transmission à variation continue) ou que le levier sélecteur est à la position N (point mort) (modèles à boîte de vitesses manuelle) et que le frein de stationnement est serré à fond, placez la carbette dans l'espace pour les jambes de sorte que les trous d'eelit de la carbette soient alignés avec les crochets.
-
Fixez les trous de l'oeillet dans les crochets et assurez-vous que la carbette est bien placée.
-
Assurez-vous que la carbette n'entrave pas le fonctionnement de la pédale. Lorsque l'allumage est encore à la position OFF (hors fonction), que le levier sélecteur est à la position P (stationnement) (modèles à transmission à variation continue) ou que le levier de vittesses est à la position N (point mort) (modèles à boîte de vittesses manuelle) et que le frein de stationnement est serré, enforce les pédales à fond puis relâché-zes. La carbette ne doit pas entraver le fonctionnement de la pédale ou empêcher que celle-ci revienne à sa position normale.
Nous vous recommendons de consulter un concessionnaire NISSAN pour obtenir des détails relatifs à la pose des carpettes dans votre vehicule.

Crochets de positionnement
L'illustration montre l'emplacement des crochets de positionnement de carpette.
PROTECTION ANTICORROSION
CEINTURES DE SECURITE
Les ceintures de sécurité peuvent être nettoyées en les essuyant avec une éponge préalablement humectée dans une solution de savon doux. Laissez les ceintures de sécurité secher complètement à l'ombre avant de les utiliser. Pour obtenir des renseignements supplémentaires, consultez la section « Entretien des ceintures de sécurité » (p. 1-19).

AVERTISSEMENT
Ne laïsez pas les ceintures de sécurité se rétractor dans l'enrouleur si elles sont mouillées. N'applique JAMAIS d'agent de blanchiment, de teinture ou de solvant chimique en guise de nettoyant sur les ceintures de sécurité puisque ces produits pourraient affaiblir considérablement les sangles.
FACTEURS LES PLUS COURANTS CONTRIBUANT À LA CORROSION D'UN VÉHICULE
Voici les facteurs les plus courants causant la corrosion d'un vehicule :
Accumulation de boue et de débris humides sur des sections du panneau de carrosserie, dans des cavités ainsi qu'à autres endroits du vehicule.
- Dommages à la peinture et aux autres enduits protecteurs causés par du gravier et des éclats de caillou ou des dommages consécutifs à des accrochages mineurs.
FACTEURS ENVIRONNEMENTAUX INFLUENÇANT LA CORROSION
Humidité
L'accumulation de sable, de boue et d'eau sur le soubassement du vehicule peut accelerer le processus de corrosion. Les revêtements de plancher humides ne secheront pas complètement s'ils sont laissés dans le vehicule. Ils doivent donc être retirés pour facilitier leur séchage et éviter la formation de corrosion sur le plancher.
Humidité relative
La corrosion est accélérée dans les régions où l'humidité relative est élevée, surtout lorsque la température demeure au-dessus du point de congestion, en présence de pollution atmosphérique et où du sel d'épandage est utilisé.
Temperature (Température)
Les températures élevées accélèrent la corrosion des pieces qui ne sont pas bien aérées.
Pollution atmosphérique
La pollution industrielle, la presence de sel dans l'air dans des régions côtières et l'utilisation massive de sel d'épandage accéléré le processus de corrosion. Le sel d'épandage accélère aussi la désagregation des surfaces peintes.
POUR PROTÉGER VÔTURE VÉHICULE CONTRE LA CORROSION
- Lavez et cirez féquèment votre vehî-cule pour le garder propre.
-
Examinez toujours le vehicule pour déceler tout dommage mineur à la peinture et effectuez les réparations nécessaires dés que possible.
-
Évitez toute accumulation d'eau dans les portières en vous assurant que les trouss d'écolement du bord inférieur des portières ne sont pas obstrués.
- Vérifiez le soubassement du vehicule pour y déceler toute accumulation de sable, de boue ou de sel. Le cas échéant, lavez-le à l'eau dés que possible.
AMISE EN GARDE
- Ne vous servez JAMAIS d'un boyau d'arrosage pour enlever la poussière, le sable ou d'autres résidus de l'habitacle. Utilisez plutôt un aspirateur ou un balai.
- Ne laïsez pas les composants électroniques situés à l'intérieur du vehicule entraîr en contact avec de l'eau ou d'autres liquides risquant de les endommager.
Les produits chimiques utilisés pour déglacer les routes sont extrémement corrosifs. Ils accélèrent la corrosion et la déterioration des composants du soubassement, comme le système d'échévement, les canalisations de carburant et de frein, les câbles de frein, le plancher et les ailes.
En hiver, le soubassement doit être lavé régulièrement.
Pour obtenir une protection supplémentaire contre la rouille et la corrosion, qui peut être nécessaire dans certaines régions, nous vous recommendons de visiter un concessionnaire NISSAN.
8 Faites-le vous-meme
Précautions d'entretien 8-2
Points de vérification dans le compartment
mateur. 8-4
Circuit de refroidissement du moteur 8-5
Vérification du niveau de liquide de
refroidissement 8-6
Vidange du liquide de refroidissement
Huile à moteur 8-7
Vérification du niveau d'huile à moteur
Changement de l'huile à moteur et du
filtre à huile 8-8
Huile pour transmission à variation continue
(selon l'equipement). 8-12
Liquides de freins et d'embrayage
(selon l'équipment) 8-12
Liquide de frein 8-13
Liquide d'embrayage (selon l'equipement) .8-13
Réservoir de liquide lave-glace de
pare-brise. 8-14
Batterie 8-15
Démarrage à l'aide d'une batterie de
secours 8-17
Dispositif de commande à variation de
tension 8-17
Courroied'entrainement 8-18
Bougies d'allumage 8-19
Remplacement des bougies
d'allumage 8-19
Filtre à air 8-19
Microfiltrde l'habitacle
(selon l'equipement) 8-20
Balais d'essuie-glace 8-20
Nettoyage.
Remplacement 8-21
Freins 8-22
Fusibles 8-22
Compartment moteur
Habitacle 8-25
Remplacement de la pile 8-26
Clé intelligente NISSAN Intelligent KeyMD
......8-26
Lights (Éclairage) 8-28
Phares 8-28
Ampoule de clignotant
8-29
Éclairage extérieur et interieur
8-30
Roues et pneus 8-32
Pression des pneus
8-32
Marquage des pneus
8-37
Types de pneus
8-41
Châines antidérapantes
8-42
Remplacement des roues et des pneus
8-43
PRECAUTIONS D'ENTRETIEN
Faites toujours preuve de prudence lorsque vous procédez à une inspection ou à un entretien de votre vehicule afin d'éviter de subir de graves blessures ou d'endommager votre vehicule. Les précautions générales suivantes doivent être respectées à la dette.

AVERTISSEMENT
-
Stationnez le vehicule sur une surface plane, serrez le frein de stationnement et bloquez les roues pour empêcher le vehicule de se déplacer. Dans le cas des modèles de boite de vitesses manuelle, déplacez le levier sélecteur au point mort (N). Dans le cas des modèles équipés d'une transmission à variation continue (CVT), déplacez le levier sélecteur en position P (stationnement).
Assurez-vous que le commutateur d'allumage est à la position OFF (hors fonction) ou LOCK (antivolverrouillé) avant de proceder à tout remplacement de pieces ou à toute réparation. -
Sivous devez travailler sur un moteur en marche, n'approche pas vos mains, vos vêtements, vos cheveux ni vos outils des ventilateurs, courroies et autres pièces mobiles.
Il est recommendé d'enlever ou de fixer en place tout vêtement ample avant de travailler sur votre vehicule. Retirez aussi votre montre, vos bagues et vos autres bijoux.
Lorsque you travailliez sur voitre vehicule, portez toujours des lunettes de protection. - Si vous devez faire tournier le moteur dans un espace clos, comme un garage, assurez-vous que l'endetroit est correctement aéré et que les gaz d'échéppement peuvent s'évacuer.
-
Ne vous glissez jamais sous un vehicule si ce dernier n'est soutenu que par un cric. Si une intervention sous le vehicule est nécessaire, utilisez des trétaux pour le soutenir.
Tenez loin du réservoir de carburant et de la batterie les cigarettes ou cigares allumés, de même que toute flamme ou source d'étincelles. -
Les conduites de carburant sur les modèles à moteur à essence sont sous haute pression, même lorsque le moteur est coupé. C'est pourquoi nous vous recommendons de visiter un concessionnaire NISSAN pour l'entretien du filtré à carburant et des canalisations de carburant.
- Voiture vehicule est équipé d'un ventilateur automatique de refroidissement du moteur, qui peut s'activer à n'importe quel moment sans averissement, même si le commutateur d'allumage est à la position HORS FONCTION et si le moteur ne tourne pas. Pour éviter des blessures, débranchez toujours le cable négatif de la batterie avant d'effectuer une intervention pres du ventilateur.

MISE EN GARDE
-
Ne procédez à aucune intervention sous le capot lorsque le moteur est chaud. Arrêtez le moteur et attendez qu'il refroidisse.
-
Évitez tout contact avec de l'huile moteur ou du liquide de refroidissement usés. La mise au rebut inadéquate d'huile moteur, de liquide de refroidissement du moteur ou de tout autre liquide utilisé dans un vehicule peut nuire à l'environnement. Respectez toujours la réglementation municipale en ce qui concerne la mise au rebut de liquides utilisés dans un vehicule.
- Ne laïsez jamais le connecteur de faisceau de câblage des composants associés au moteur ou à la Transmissi on à Variation Continue débranché lorsque le commutateur d'allumage se trouve à la position ON (marche).
- Ne branchez ou ne débranchez jamais la batterie ni:aucun autre composant transistorisé lorsqu'el commutateur d'allumage est à la position ON (marche).
Vou puez égarlement you procurer un manuel de réparation NiSSAN d'origine. Pour obtenir des renseignements supplémentaires, consultez la section « Pour commander le manuel du conducteur ou le manuel de réparation » (p. 10-28).
N'oubliez pas que des interventions incomplètes ou inadéquates peuvent engendrer des problèmes de fonctionnement ou des émissions d'échéancement excessives et compromētre la couverture de garantie de votre vehicule. En cas deoute concernant toute procédure d'entretien, il est recommendé de vous rendre chez un concessionnaire NISSAN.
Le present chapitre fournit des instructions relatives à l'entretien qui peut être aisément effectué par le propriétaire.
POINTS DE VERIFICATION DANS LE COMPARTIMENT MOTEUR

2.0L 4 cylindres (modèle de moteur MR20DD)
- Bouchon de replissage d'huile moteur
- Réservoir de liquide de frein et d'em-brayage (selon l'équipement)
- Boitier de fusibles et relais
- Batterie
- Filtre à air
- Jauge d'huile moteur
- Emplacement de la courroie d'entraine-ment
- Réservoir de liquide lave-glace de pare-brise
- Réservoir du liquide de refroidissement
REMARQUE:
Il est possible que votre vehicule ne soit pas équipé d'un couvercle de moteur.
CIRCUIT DE REFROIDISSEMENT DU MOTEUR
Le circuit de refroidissement du moteur a eté rempli à l'usine d'un mélange prédilué de 50 % de liquide de refroidissement longue durée NiSSAN d'origine (de couleur bleue) et de 50 % d'eau pour assurer une protection contre le gel tout au long de l'année. La solution d'antigel contient des inhibiteurs de rouille et de corrosion. Il n'est pas nécessaire d'ajouter d'additifs dans le circuit de refroidissement du moteur.

AVERTISSEMENT
- Ne retirez jamais le bouchon du réservoir de liquide de refroidissement lorsque le moteur est chaud. Attendeze que le moteur et le radiateur refroid dissent. Du liquide de refroidissement bouillant à haute pression pourrait s'échapper du radiateur et provoquer des brûlures graves. Pour obtenir des renseignements supplémentaires sur les précautions, reportez-vous à la section « Si le moteur surchauffe" (p. 6-12).
Le réservoir de liquide de refroidissement est muni d'un bouchon de réservoir de liquide de refroidissement de type sous pression. Pour éviter d'endommager le moteur, utilisez uniquement un bouchon de réservoir de liquide de refroidissement NISSAN d'origine.

MISE EN GARDE
- N'utilisez jamais d'additifs pour circuit de refroidissement tels que du liquide d'étanchéité pour radiateur. Les additifs peuvent obstruer le circuit de refroidissement et cause des dommages au moteur, la boîte de vitesses ou le circuit de refroidissement.
Lorsque vous ajoutez du liquide de refroidissement ou que vous le remplacez, assurez-vous d'utiliser uniquement le liquide de refroidissement longue durée NISSAN d'origine (de couleur bleue) ou un produit équivalent. L'antigel/liquide de refroidissement longue durée NISSAN
d'origine (de couleur bleue) est pré-dilué pour assurer une protection contre le gel à -37 °C (-34 °F). Si une protection supplémentaire contre le gel est requise en raison des températures extrêmes ou le vehicule est utilisé, ajoutez du liquide de refroidissement longue durée NiSSAN d'origine (de couleur bleue) en suivant les instructions indiquées sur le contenant. Si vous utilisez un produit équivalent à l'antigel/liquide de refroidissement longue durée NiSSAN d'origine (de couleur bleue), suivez les instructions du constructeur de l'antigel pour maintainir une protection antigel minimale à -37 °C (-34 °F). L'utilisation de types de liquide de refroidissement autres que le liquide de refroidissement longue durée NiSSAN d'origine (de couleur bleue) ou un produit équivalent peut endommager le circuit de refroidissement du moteur.
La durée de vie du liquide de refroidissement d'origine est de 168 000 km (105 000 mi) ou sept ans. Si vous mélangez un type de liquide de refroidissement autre que le liquide de refroidissement longue durée NiSSAN d'origine (de couleur bleue) ou un produit équivalent, y compris le liquide de refroidissement longue durée NiSSAN d'origine (de couleur verte), ou si vous utilisez de l'eau non distillée, la durée de vie utile du liquide de refroidissement d'origine peut être réduite. Pour obtenir des renseignements supplémentaires, consultez la section « Entretien et calendriers » de ce manuel.

VÉRIFICATION DU NIVEAU DE LIQUIDE DE REFROIDISSEMENT
Attendez que le moteur soit froid pour vérifier le niveau de liquide de refroidissement dans le réservoir. Si le niveau est inférieur au repere MIN ⑥, ajoutez du liquide jusqu'à ce qu'il atteigne le repere MAX ⑧.
Ce vehicule contient de l'antigel / liquide de refroidissement longue durée NiSSAN d'origine (de couleur bleue). La durée de vie du liquide de refroidissement d'origine est de 168 000 km (105 000 mi) ou sept ans. Si vous mélangez un另一种 type de liquide de refroidissement ou si vous utilisez de l'eau
non distillée, la durée de vie du liquide de refroidissement d'origine sera réduite. Pour obtenir des renseignements supplémentaires, consultez la section « Entretien et calendriers » de ce manuel.
Si le système de refroidissement nécessite fréquèment l'ajout de liquide, faites vérifier celui-ci. Nous vous recom-mandons de vous rendre chez un concessionnaire NiSSAN pour cet entretien.
Pour obtenir des renseignements supplémentaires sur l'emplacement du réservoir de liquide de refroidissement du moteur, consultez le paragraphe « Points de verification dans le compartmente moteur » (p. 8-4).
VIDANGE DU LIQUIDE DE REFROIDISSEMENT
Vous pouvez faire appel à un concessionnaire NISSAN pour procéder à la vidange du liquide de refroidissement du moteur de votre vehicule. Cette méthode d'entretien est décrite dans le manuel de réparation NISSAN.
Des procédures d'entretien inadéquates peuvent compromètre le rendement du dispositif de chauffage et entraîner une surchauffe du moteur.

AVENTISSEMENT
- Ne remplacez jamais le liquide de refroidissement de votre vehicule lorsque le moteur est chaud, car vous pourriez vous brûler.
- Ne retirez jamais le bouchon du réseau de liquide de refroidissement du moteur lorsque le moteur est chaud. Du liquide de refroidissement bouillant à haute pression pourrait s'échapper du système et provoquer des brûlures graves.
- Évitez tout contact direct du liquide de refroidissement usé sur la peau. Le cas échéant, lavez soigneusement la zone touchée avec du savon ou avec un dédTangent pour les mains aussitôt que possible.
- Gardez le liquide de refroidissement hors de la portée des enfants et des animaux.
Le liquide de refroidissement doit'être mis au rebut de façon ajuste.Consultez les reglements en vigueur dans notre municipalite.

VÉRIFICATION DU NIVEAU D'HUILÉ À MOTEUR
- Stationnez votre vehicule sur une surface plane et serrez le frein de stationnement.
- Démarrez le moteur et laissez-le fonctionner au ralenti jusqu'à ce qu'ilatteigne sa température de fonctionnement.
- Coupe le contact. Attendez que l'huile se dépose dans le carter d'huile (plus de 10 minutes).
- Retirez laJAuge et essuyez-la. Inserez-la ensuite dans son tube jusqu'au fond.

- Retirez-la de nouveau et vérifie le niveau d'huile. Celui-ci doit se couver entre les repères H (élevé) et L (bas) B. Il s'agit du niveau d'huile normal. Si le niveau d'huile est inférieur au repère L (bas) A, retirez le bouchon de replissage d'huile et versez de l'huile dans l'orifice. Ne remplissez pas le réservoir au-delà de sa capacité C.
- Vérifiez de nouveau le niveau d'huile au moyen de la jauge.

MISE EN GARDE
Le niveau d'huile doit être vérifié périodiquement. Le fait de laisser le moteur tourner lorsque la quantité d'huile est insuffisante peut entraîner des dommages au moteur qui ne seraient pas couverts par la garantie.
L'ajout d'huile entre les opérations d'entretien périodique ou pendant la période de rodage est normal si vous conduisiez votre vehicule dans des conditions difficiles.
Assurez-vous de respecter les intervalles de vidange d'huile moteur dans le livre d'entretien. Si vous utilisez votre vehicule dans les conditions suivantes, vous devrez vidanger l'huile moteur et remplancer le filtré plus fraisment:
Conduite repétée sur de courtes distances;
- Conduite sur des routes poussièresuses
- Conduite urbaine (arrêts et démarrages féquents).
CHANGEMENT DE L'HUILÉ À MOTEUR ET DU FILTRÉ À HUILÉ
Pour obtenir des renseignements supplémentaires sur le changement de l'huile à moteur et du filtré à huile, se reporter aux instructions décrites dans ce chapitre.

① Bouchon de replissage d'huile Configuration du vehicule

② Bouchon de vidange d'huile

③ Filtre a huiie

④ Protecteur sous le moteur
- Stationnez votre vehicule sur une surface plane et serrez le frein de stationnement.
- Laissez le moteur tourner jusqu'à ce qu'il atteigne sa température de fonctionnement.
- Éteignez le moteur et attendez plus de 15 minutes.
- Levez et soutenez le vehicule à l'aide d'un cric et d'une chandelierde sécurité appropriés.
-
Placez la chandelier sous les points de levage du vehicule.
-
Un adaptateur approprié doit être fixé sur la semelle de la chandelier.

MISE EN GARDE
Assurez-vous de positionner la chandeliere aux points de levage et de soutien appropriés pour éviter de causeurs des dommages au vehicule.

Protecteur sous le moteur
Retrait des protecteurs sous le moteur
- Retirez les attaches et le protecteur du moteur.
Huile moteur et filtre
- Placez un grand bac de vidange sous le bouchon de vidange et le filtre à huile.
-
Retirez le bouchon de replissage d'huile.
-
Retirez le bouchon de vidange à l'aide d'une clé en le tournant dans le sens contraire des aiguilles d'une montre et vidangez complètement l'huile.

MISE EN GARDE
Prenez soit de ne pas vous brûler, car l'huile à moteur est chaude.

AVERTISSEMENT
- Des contacts prolongés et répétés avec de l'huile à moteur usée peuvent entrainer le cancer de la peau.
- Évitez tout contact direct de la peau avec de l'huile usée. Le cas échéant, lavez soigneusement la zone touchee avec du savon ou avec un détergent pour les mains aussitot que possible.
-
Gardez l'huile à moteur usée hors de la portée des enfants.
-
Desserrez le filtrre à huile au moyen d'une clé pour filtrre à huile en la tournant dans le sens contraire des aiguilles d'une montre. Retirez le filtrre à huile en le tournant à la main.
-
Essuyez la surface de montage du filtre à huile avec un chiffon propre.
AMISE EN GARDE
Assurez-vous d'enlever toute trace résiduelle de l'ancien joint d'étanchéité de la surface de montage du moteur. Autrement, cela pourrait entrainer une fuite d'huile et des dommages au moteur.
-
La jauge d'huile doit être insérée en place pour empêcher le renversement de l'huile de l'orifice de la jauge d'huile lors du remplissage d'huile à moteur.
-
Enduisez d'huile à moteur propre le joint du nouveau filtré.
- Serrez le filtré à huile dans le sens des aiguilles d'une montre jusqu'à ce qu'une faible résistance soit perché, puis serrez-le de plus de deux tiers de tour.
Couple de serrage du filtré à huile : 14,7 à 20,6 N m (11 à 15 lb-pi)
- Nettoyez et réinstallé le bouchon de vidange avec une nouvelle rondelle. Au moyen d'une clé, vissez fermement le bouchon de vidange. N'utilise pas une force excessive.
Couple de serrage du bouchon de vidange: 29,4 à 39,2 N m (22 à 29 lb-pi)
- Ajoutez l'huile à moteur recommende dans l'ouverture de replissage d'huile, puis replacez le bouchon de replissage d'huile en le serrant fermement.
Pour obtenir des renseignements supplémentaires sur la capacité de vidange et de replissage, consultez le paragraphe « Contenances, liquides et lubricants recommandés » (p. 10-2). Ces contenances varient selon la température de l'huile et la durée de vidange. Utilisez ces specifications à titre de referencia seulement. Utilisez toujours laJAuge pour déterminer le bon niveau d'huile dans le réservoir.
- Démarrez le moteur et assurez-vous qu'il n'y a aucune fuite autour du bouchon de vidange et du filtré à huile. Dans le cas contraire, réparez la fuite. Coupe le contact et attendez plus de 15 minutes. Vérifie le niveau d'huile au moyen de la jauge. Ajoutez de l'huile à moteur au besoin.
Une fois l'opération terminée :
- Remettez en place le protecteur du moteur en suivant l'ordre inverse.
- Abaissez le vehicule jusqu'au sol avec précaution.
- Réinitialisez le rappel d'entretien de l'huile et du filtré à huile ainsi que le système de commande d'huile. Pour obtenir des renseignements supplémentaires, consultez la section « Écran multifonction de 11 cm (4,2 po) de type A » (p. 2-19) ou « Écran multifonction de 18 cm (7 po) de type B » (p. 2-40)
- Mettez l'huile usée et le filtré au rebut de manière appropriée.
- Consultez les règlements en vigueur dans votre municipalité.
HUILE POUR TRANSMISSION À VARIATION CONTINUE (selon I'équipement)

MISE EN GARDE
- NISSAN recommende d'utiliser UNIQUEMENT le liquide pour transmission à variation continue NS-3 NISSAN d'origine (ou un produit équivalent) dans les transmissions à variation continue NISSAN. N'y mélangez pas d'autres liquides.
-
N'utilisez pas de l'huile pour boîte de vitesses automatique (ATF) ou de liquide de boîte de vitesses manuelle dans une transmission à variation continue NISSAN, car elle peut endomager la transmission à variation continue. Les dommages causés par l'utilisation de liquides autres que ceux recommends ne sont pas couverts par la garantie limitee de vehicule neuf NISSAN presentee dans votre livre explicatif sur la garantie.
-
L'utilisation de liquides qui ne sont pas équivalents au liquide pour transmission à variation continue NS-3 NISSAN d'origine peut également endommager la transmission à variation continue. Les dommages causés par l'utilisation de liquides autres que ceux recommends ne sont pas couverts par la garantie limitée de vehicule neuf NISSAN représentée dans votre livre explicatif sur la garantie.
Nous vous recommendons de vous rendre chez un concessionnaire NISSAN pour obtenir de l'aide si une vérification ou un remplacement du liquide pour transmission à variation continue doit être effectué.
LIQUIDES DE FREINS ET D'EMBRAYAGE (selon l'équipement)
Pour obtenir des renseignements supplémentaires sur les specifications de liquides de frein et d'embrayage, consultez la section « Contenances, liquides et lubrifiants recommandés » (p. 10-2).

AVERTISSEMENT
- N'utilise que du liquide frais provenant d'un contenant scelled. L'utilisation de liquide use, contamine ou de pietre qualite peut endommager les systèmes de freins et d'embrayage (selon l'equipement). L'utilisation de liquides inadéquats peut endommager le système de freinage et le système d'embrayage et promètement la capacité de freinage du vehicule.
- Nettoyez le bouchon de remplissage avant de le retirer.
- Les liquides de frein et d'embrayage sont toxiques et ils doivent donc être soigneusement conservés dans un contenant bien identifié, hors de la portée des enfants.

MISE EN GARDE
Ne renversez pas ce liquide sur les surfaces peintes. Il endommagera la peinture. Si du liquide est renversé, nettoyez immidiatement la surface avec de l'eau.

LIQUIDE DE FREIN
Vérifiez le niveau du liquide dans le réservoir. Si le niveau est inférieur au repère MIN ① ou si le témoin du système de freinage s'allume, ajoutez du liquide de frein NISSAN d'origine ou du liquide DOT 3 ou DOT 4 équivalent jusqu'àu repère MAX ②. Si vous nevez ajouter féquèment du liquide, le système doit être vérifié. Nous vous recom-mandons de vous rendre chez un concessionnaire NISSAN pour cet entretien.

LIQUIDE D'EMBRAYAGE (selon l'équipement)
Vérifiez le niveau du liquide dans le réservoir. Si le liquide est inférieur à la ligne MIN de CL (embrayage) ②, ajoutez du liquide de frein NiSSAN d'origine ou du liquide DOT 3 ou DOT 4 équivalent jusqu'à la ligne MAX ①. Si vous nevez ajouter féquement du liquide, le système doit être vérifié. Nous vous recommendons de vous rendre chez un concessionnaire NiSSAN pour cet entretien.

RÉSERVOIR DE LIQUIDE LAVE-GLACE DE PARE-BRISE
Remplissez le réservoir de liquide lave-glace périodiquement. Ajoutez du liquide lave-glace lorsque le message d'avertissement « Bas niveau de liquide lave-glace » (selon l'équipement) s'affiche à l'écran multifonction.
Pour vérifier le niveau de liquide, bouchez le trou central ① de l'ensemble bouchon et tube avec un doigt, puis retirez l'ensemble du réservoir. Ajoutez du liquide s'il n'y a pas de liquide dans le tube.
Ajoutez un solvant pour lave-glace pour obtenir de valeurs résultats de nettoyage. En hiver, ajoutez un antigel pour lave-glace. Suivez les instructions du constructeur concernant les proportions du mélange.
Remplissez le réservoir plus souvent lorsque les conditions de conduite exigent d'utiliser une grande quantité de liquide de lave-glace.
Du liquide lave-glace concentré nettoyant NiSSAN d'origine avec antigel ou l'équivalent est recommendé.

MISE EN GARDE
- N'utilise pas de liquide de refroidissement du moteur dans le réservoir de liquide lave-glace. Ceci pourrait endommager les surfaces peintes du vehicule.
-
Ne replissez pas le réservoir de lique lave-glace avec des concentrates de lique de lave-glace non dilués. Les éclaboussures de certains concentrates de lique de lave-glace au methanol peuvent tacher la calandre de façon permanente pendant le replissage du réservoir de lique lave-glace.
-
Mélangez le concentré de liquide de lave-glace avec de l'eau conformément aux recommandations du fabricant avant de verser le mélange dans le réservoir de liquide lave-glace. N'effectuez pas ce mélange dans le réservoir même.
| Symboles de mise en garde pour la batterie | △ AVERTISSEMENT | ||
| ① | Pas de cigarette, pas de flammes nues et pas d'étin celles | N'exposez pas la batterie à une flamme, à des étincelles ou à une cigarette allumée. L'hydrogène qui se dégage de la batterie est un gaz explosif. Les batteries dégagent des gaz explosifs qui peuvent cause des blessures ou la cécité. | |
| ② | Protégéz les yeux | Manipulez la batterie avec précaution. Portez toujours des lunettes de protection pour vous protégérer contre une explosion ou l'acid de batterie. | |
| ③ | Gardez la batterie hors de portée des enfants | Ne laissez jamais les enfants manipuler la batterie. Gardez la pile hors de la portée des enfants. | |
| ④ | Électrolyte | Évitez tout contact de l'électrolyte avec vos yeux, votre peau, vos vêtements ou les surfaces peintes du vehicule. L'acid sulfurique peut causer la cécité ou de graves brûlures. Évitez de vous froter les yeux si vous avez manipulé une batterie ou un bouchon de batterie. Lavez-vous soigneusement les mains. En cas de contact de l'électrolyte avec vos yeux, votre peau ou vos vêtements, rincez immédiatement à l'eau la zone touchée pendant au moins 15 minutes et consultez un mèdecin. L'électrolyte est un acide. Si l'électrolyte pénétre dans les yeux ou entre en contact avec la peau, il pourrait provoquer une détérioration de la vue ou des brûlures. | |
| ⑤ | Notez les directives d'utilisation | Avant de manipuler la batterie, lisze soigneusement cette directive pour assurer une manipulation appropriée et sécuritéaire. | |
| ⑥ | Gaz explosif | L'hydrogène qui se dégage de l'électrolyte est un gaz explosif. Les batteries dégagent des gaz explosifs qui peuvent cause des blessures ou la cécité. | |
- Si la batterie est étiquetée « ne pas ouvrir», elle ne nécessite pas d'entretien et vous ne doivent pas vérifier l'électrolyte. Il vous est recommendé de vous rendre chez un concessionnaire NISSAN ou dans un atelier spécialisé pour vérifier le fonctionnement de la batterie.
Assurez-vous que la surface de la batterie est propre et sèche en tout temps. Nettoyez la batterie avec une solution de bicarbonate de sodium et d'eau.
Assurez-vous que les raccordements des bornes sont propres et bien serrés. - Si vous prévoyez ne pas utiliser votre vehicule pendant une période de 30 jours ou plus, débranchez le cable négatif de laborne de la batterie pour empêcher cette dernière de se décharger.
REMARQUE:
Évitez le plus possible les situations qui risquent de provoquer la décharge potentielle de la batterie et les conditions de non-demarrage telles que:
-
L'installation ou l'utilisation prolongée d'accessoires électroniques qui consomment l'alimentation de batterie lorsque le moteur est arrêté (chargeurs de téléphone, GPS, lecteurs de DVD, etc.).
-
Le vehicule n'est pas utilisé régulièrement ou il est utilisé lors de courtes distances seulement.
Dans ces cas, la batterie doit possiblement etre rechargée afin de preserver sa durée de vie utile.
A AVENTISSEMENT
-
N'exposez pas la batterie aux flammes, à des étincelles, ni à une cigarette allumée. L'hydrogène qui se dégage de la batterie est un gaz explosif. Les batteries dégagent des gaz explosifs qui peuvent cause des blessures ou la cécité. Évitez tout contact de l'électrolyte avec vos yeux, votre peau, vos vêtements ou les surfaces peintes du vehicule. L'acide sulfurique peut cause la cécité ou de graves blessures. Évitez de vous froter les yeux si vous avez manipulé une batterie ou un bouchon de batterie. Lavez-vous soignement les mains. En cas de contact de l'électrolyte avec vos yeux, votre peau ou vos vêtements, rincez immidiatement à l'eau la zone touchée pendant au moins 15 minutes et consultez un meDECIN.
-
Portez toujours des lunettes de sécurité et enlevez tous vos bijoux lorsque vous effectuez une intervention sur la batterie ou à proximé de cette-ci.
- Les cosses et bornes de la batterie ainsi que les accessoires connexes contiennent du plomb et des composés de plomb. Lavez-vous les mains après les avoir manipulés.
- Gardez la batterie hors de la portée des enfants.
- Faites attention de ne pas renverser la batterie.
DISPOSITIF DE COMMANDE À VARIATION DE TENSION

DÉMARRAGE À L'AIDE D'UNE BATTERIE DE SECOURS
Si un démarrage de secours est nécessaire, consultez le paragraphe « Démarriage à l'aide d'une batterie de secours » (p. 6-9). Si le moteur refuse de démarrer après avoir utilisé cette méthode, il est peut-être nécessaire de replacer la batterie. Nous vous recommendons de vous rendre chez un concessionnaire NISSAN pour cet entretien.

REMARQUE :
N'essayez pas d'ouvrir le dessus de la batterie.
Cette batterie est n'est pas équipée de bouchons d'aération amovibles.
AMISE EN GARDE
- Ne mettez pas les accessoires à la masse en les branchant directement à la borne de la batterie. Vous court-circuiteriez ainsi le dispositif de commande à variation de tension et la batterie pourrait ne pas se charger complètement.
Pour ne pas décharger la batterie, utilisez les accessoires lorsque le moteur tourne.
COURROIE D'ENTRAJINEMENT
Votre vehicule est muni d'un dispositif de commande à variation de tension. Ce dispositif regule la tension généree par l'alternateur à partir de la décharge electrique produit par la batterie.
Le détector de courant A se trouve pres de la batterie, le long du cable négatif de la batterie. Si vous ajoutez des accessoires électriques additionnels sur votre vehicule, assurez-vous de les raccorder à un point de masse ajustat de la carrosserie, par exemple, le chassin ou le bloc-cylindres du moteur.

- Poulie de tendeur automatique
- Poulie de l'alternateur
- Poulie de pompe à eau
- Poulie du compresseur de climatisation
- Poulie de vilebreguin

AVERTISSEMENT
Assurez-vous que le commutateur d'allumage est à la position OFF (hors fonction) ou LOCK (antivol-verrouillé) avant de procéder au réglage ou au remplacement de la courroie d'entrainment. Sinon, le moteur peut semettre inopinément en marche.
- Faites un examen visuel des courroies pour vous assurer qu'elles ne sont pasuses, coupées et effilochées. Si une courroie est en mauvais état, remplacez-la ouajustez-la. Nous vous recommendons de vous rendre chez un concessionnaire NISSAN pour cet entretien.
- Faites régulièrement vérifier l'etat des courroies.

Assurez-vous que le moteur est arrêté, que le contact est coupé et que le frein de stationnement est bien serré.

MISE EN GARDE
Assurez-vous d'utiliser la bonne douille pour retarder les bougies d'allumage. Une douille inadéquate peut endomager les bougies d'allumage.
Bougies à electrodes à l'iridium
Comme les bougies d'allumage à électrodes à l'iridium A durent beaucoup plus longtemps que les bougies conventionnelles, il n'est pas nécessaire de les replacer aussi féquèment. Suivez le programme d'entretien indiqué dans le chapitre « Entretien et calendriers » du pré-sent manuel. Ne réutilise jamais des bougies d'allumage à électrodes au platine usées en les nettoyant ou en les réglient de nouveau.
- Remplacez toujours les bougies de votre vehicule par des bougies recommandées ou équivalentes.
Si le remplacement est nécessaire, nous vous recommendons de vous rendre chez un concessionnaire NISSAN pour cet entretien.

L'élément filtrant en papier visqueux ne doit pas être nettoyé en vue de le réutiliser. Remplacez-le conformément au programme d'entretien indiqué dans le chapitre « Entretien et calendriers » du précédent manuel.
Pour-retirerlefiltrareair:
- Dégrafez les attaches A.
- Tirez vers le haut l'élement du filtré aux points et retirez-le.
-
Tirez vers le haut le boîtier du filtré à air et retirez-le.
-
Retirez le filtrre à air. Essuyez l'intérieur du boitantier de filtrre à air et son couvercle avec un chiffon humide, puis remplacez le filtrre à air.
REMARQUE:
Après avoir installé le nouveau filtré à air, assurez-vous que le couvercle est en place et reférer les attaches.

AVERTISSEMENT
- En faisant fonctionner le moteur lorsque le filtrte à air est retire, vous risquez de vous brûler ou de brûler d'autres personnes. Le filtrte à air ne nettoie pas seulement l'air, il permet également d'arrêter les flammes en cas de ratés du moteur. Si le filtrte à air est retire et si le moteur a des ratés, vous risquez des brûlures. Ne conduise pas votre vehicule lorsque le filtrte à air est retire et soyz prudent lorsque vous doivent effectuer des interventions sur le moteur dépourvu de filtrte à air.
Il ne faut jamais verser de carburant dans le corps de papillon ni tenter de faire demarrer le moteur lorsque le filtré à air est retire. Vous pourriez vous infliger des blessures graves.
MICROFILTRE DE L'HABITACLE (selon l'équipement)
Votre vehicule peut etre equipe d'un microfiltre à l'intérieur de I'habitacle qui recueille la saleté, le pollen, la poussière, etc. et qui réduit certaines odeurs extérieures désagréables.
Le microfiltre de l'habitacle estitué dans le tableau de bord. Remplacez le filtré conformément aux intervalles d'entretien indiqués dans la section « Entretien et calendriers » de ce manuel.
Si le remplacement est nécessaire, nous vous recommendons de vous rendre chez un concessionnaire NISSAN pour cet entretien.
Voudevez remplacer le filtren en cas de diminution considérable du débit d'air ou si les glaces s'embuent facilement lors du fonctionnement du système de chauffage ou de climatisation.
NETTOYAGE
Si le lave-glace ne réussit pas à nettoyer le pare-brise de votre vehicule ou si un des balais d'essuie-glace fonctionne mal, des dépôts de cire ou d'autres matières se sont peut-être accumulés sur le balai ou sur le pare-brise.
Nettoyez l'extérieur du pare-brise avec du liquide de lave-glace ou du détergent doux.
Le pare-brise est propre si l'eau n'y-perle pas lorsque vous le rincez à l'eau claire.
Nettoyez chaque balai d'essuie-glace avec un chiffon trempe dans du liquide de lave-glace ou dans du détergent doux. Rincez ensuite les balais d'essuie-glace avec de l'eau propre. Si la propriété de votre pare-brise n'est toujours pas satisfaisante après avoir nettoyé les balais et utilisé les essuie-glaces, remplacez les balais.

MISE EN GARDE
Des balais d'essuie-glace usés peuvent endommager le pare-brise et nuire à la visibilité du conducteur.

REEMPLACEMENT
Remplacez les balais d'essuie-glace lorsqu'ils sont usés.
Pour remplacer les balais d'essuie-glace, procedede comme suit:
- Écartez du pare-brise le bras d'un des essuie-glaces.
- Poussez la patte de déverrouillage ⑥
-
Déplacez le balai d'essuie-glace vers le bas A et retirez-le.
-
Insérez le nouveau balai d'essuie-glace sur le bras jusqu'à ce qu'il s'enclenché.
- Poussez l'essuie-glace sur le pare-brise.
AMISE EN GARDE
- Àprous avoir remplace les balais, remetez les bras d'essuie-glace à leur position d'origine. Sinon, vous pourriez les endommager en ouvrant le capot.
Assurez-vous que les balais d'essuie-glace sont en contact avec la glace. Si ce n'était pas le cas, les bras d'essuie-glace risqueraient d'être endommagés par la pression du vent.

Si vous cirez la surface du capot, assurez-vous que la cire ne penètre pas dans les gicleurs de lave-glace D. Un colmatage ou un mauvais fonctionnement du lave-glace de pare-brise pourrait en résultat. Si de la cire penètre dans le giclure, retirez-la a l'aide d'une aiguille ou d'une petite broche C.
Si les freins ne fonctionnent pas correctement, faites-les vérifier. Nous vous recommendons de vous rendre chez un concessionnaire NiSSAN pour cet entretien.
Freins auto-regables
Votre vehicule est muni de freins autoreglables.
Les freins à disque avant et arrêté (selon l'équipement) se reglent automatiquement chaque fois que vous enforcez la pédale de frein. Les freins à tambour arrêté (selon l'équipement) se reglent automatiquement chaque fois que vous utilisez le frein de stationnement.

AVERTISSEMENT
Faites vérifier votre circuit de freinage si la pédale de frein ne revient pas à sa hauteur normale. Nous vous recommandons de vous rendre chez un concessionnaire NiSSAN pour cet entretien.
Indicateurs d'usure de plaquettes de frein
Les plaquettes de frein à disque de votre vehicule sont munies d'indicateurs d'usure sonores. Si une plaquette de frein doit être
reemplacée, l'indicateur d'usure émet un bruit de grattement ou un crissement aigu lorsque le vehicule roule. Le bruit se fait entendre, que la pédale de frein soit enforcée ou non. Si les indicateurs d'usure des freins émettent un son, faites vérifier les freins de votre vehicule le plus tout possible.
Des crissements, des sifflements ou d'autres bruits occasionnels provenant des freins peuvent se faire entendre dans certaines conditions de conduite ou climatiques. Il est normal d'entendre à l'occasion des bruits de frein au cours de freinages légers ou modérés et cette condition ne compromet en rien le fonctionnement ou le rendement du circuit de freinage de votre vehicule.
Une inspection adequate des freins doit etre effectuee aux intervalles prescrits.
Pour obtenir de plus amples renseignements sur les intervalles d'inspection des freins, consultez l'information qui s'y rapporte dans la section « Entretien et calendriers » du précédent manuel.




LDI3480
Quatre types de fusibles sont utilisés. Le type A est utilisé exclusivement dans la boîte à fusibles de l'habitacle.
Les types ⑥ et ⑨ sont utilisés dans la boîte à fusibles du compartmentement moteur.
Le type est utilisé dans l'habitacle et le compartmentement moteur.
REMARQUE:
Votre vehicule peut ne pas etre équipé de tous les fusibles indiqués sur I'étiquette defuseble.


COMPARTIMENT MOTEUR
AVENTISSEMENT
N'utilise jamais un fusible d'une intensité nominale supérieure ou inférieure à cette spécifiée sur le couvercle de la boîte à fusibles. Ceci pourrait endommager le circuit électrique ou les commandes électroniques ou encore causer un incendie.
Lorsqu'un des accessoires électriques de votre vehicule ne fonctionne pas, vérifie si le fusible correspondant est grillé.
- Assurez-vous que le commutateur d'allumage et l'interrupteur des phares sont à la position OFF (hors fonction).
- Ouvrez le capot.
- Retirez le couvercle de la boîte à fusibles en poussant les languettes , puis en soulevant le couvercle.
- Retirez le fusible à l'aide de l'extracteur de fusible, situé au centre du couvercle de boîtier à fusibles dans l'habitacle. Pour obtenir des renseignements supplémentaires, consultez la section « Habitacle » (p. 8-25).

LDI2746
- Si le fusible est grillé 已 , remplacez-le par un fusible équivalent en bon état 已
- Appuyez sur le couvercle de la boite à fusibles pour le réinstaller.
Si un fusible neuf grille également, faites vérifier et réparer le circuit électrique. Nous vous recommendons de vous rendre chez un concessionnaire NISSAN pour cet entretien.
REMARQUE:
Votre vehicule peut ne pas etre équipé de tous les fusibles indiqués sur l'étiquette defuseble.
Fils fusibles
Si des accessoires électriques de votre vehicule ne fonctionnent pas alors que les fusibles correspondants sont en bon état, vérifie les fils fusibles. Si un des fils fusibles a fondu, remplacez-le par un filFuseble NISSAN d'origine.

HABITACLE

AVERTISSEMENT
N'utilise jamais un fusible d'une intensité nominale supérieure ou inférieure à cette spécifiée sur le couvercle de la boîte à fusibles. Ceci pourrait endommager le circuit électrique ou les commandes électroniques ou encore causer un incendie.
Lorsqu'un des accessoires électriques de votre vehicule ne fonctionne pas, vérifie si le fusible correspondant est grillé.
REMARQUE:
La boîte à fusibles est située dans le tableau de bord, du côté conducteur.
- Assurez-vous que le commutateur d'allumage et l'interrupteur des phares sont à la position OFF (hors fonction).
- Retirez le cache de la boîte à fusibles à l'aide d'un outil approprié. Utilisez un chiffon pour éviter d'endommager la garniture.
-
Localisez le fusible à remplacer.
-
Retirez le fusible à l'aide de l'extracteur de fusible B, situé au centre du couvercle de boitier à fusibles dans l'habitacle.
REEMPLACEMENT DE LA PILE

LDI3481
- Si le fusible est grillé ©, remplacez-le par un fusible équivalent en bon état ©.
- Appuyez sur le couvercle de la boite à fusibles pour le réinstaller.
Si un fusible neuf grille également, faites vérifier et réparer le circuit électrique. Nous vous recommendons de vous rendre chez un concessionnaire NISSAN pour cet entretien.
REMARQUE:
Votre vehicule peut ne pas etre équipé de tous les fusibles indiqués sur l'étiquette defuseble.
AMISE EN GARDE
Prenez garde à ce que les enfants n'avent pas la pile ou les pièces retirees.

CLÉ INTELLIGENTE NISSAN INTELLIGENT KEYMD
Pour remplaçer la pile de la clé intelligente, procédez comme suit :
- Retirez la clé mécanique de la clé intelligente.
- Insérez un petit tournevis à tête plate A dans la fente du coin et tournez-le pour séparer la partie supérieure de la partie inférieure. Placez un chiffon sur le tournevis pour protéger le boîtier.

-
Remplacez la pile par une pile neue.
Pile commandeee: CR2032 ou l'équivalent. -
Ne touchez pas aux circuits internes et aux bornes électriques pour ne pas l'endommager.
- Tenez la pile par les rebords. Ne tenez pas la pile par les points de contact, car la puissance de la pile diminuera grandement.
-
Orientez l'extrémité + vers le bas de la partie inférieure.
-
Fermez fermement le couvercle tel qu'ilustré avec © et ⑥
- Enforcez les boutons pour vérifier le fonctionnement.
Si vous avez besoin d'aide en vue du remplacement, nous vous recommendons de visiter un concessionnaire NISSAN pour cet entretien.
LIGHTS (Éclairage)
Avertissement de la FCC :
Aux États-Unis :
Ce dispositif est conforme à l'article 15 des règlements de la FCC. Son utilisation est soumise aux deux conditions suivantes : (1) ce dispositif ne doit cause aucune interférence nuisible, et (2) ce dispositif doit accepter toutes les interférences, y compris celles qui pourrait l'activer de façon inopinée.
Remarque :
Toute modification non approuvée par la partie responsable de la conformité peut annuler le droit d'utiliser ce dispositif.
Au Canada :
Cet apparéil contient des émetteurs/ récepteurs exempls de licence qui sont conformes aux normes RSS d'Innovation, Sciences et Développement économique Canada. Son utilisation est soumise aux deux conditions suivantes : (1) ce dispositif ne doit causeur aucune interférence. (2) Ce dispositif doit pouvoir accepter toutes les interférences, y compris celles qui pouraient l'activer de façon inopinée.
PHARES
Pour obtenir des renseignements supplémentaires sur le remplacement d'ampoule du phare, veuillez vous reférer aux instructions décrites dans cette section.

Type A (selon l'équipement)
Remplacement d'une ampoule de phare à halogène (selon l'équipement)

MISE EN GARDE
-
Il n'est pas nécessaire de régler la convergence des phares après avoir remplaced l'ampoule. Lorsque le réglage de la convergence des phares est nécessaire, nous vous recommendons de vous rendre chez un concessionnaire NiSSAN pour cet entretien.
-
Ne laisses pas un phare sans ampoule sur une période prolongée. La poussière, l'humidité, la fumée pourrait pénétrer dans le bloc optique et ALTERER le rendement du phare. Retirez l'ampoule du phare seulement lorsque vous étés préts à y poser une ampoule neuve.
- Ne touchez qu'à la base lorsque vous manipuez l'ampoule. Ne touchez jamais l'enveloppe de verre. En touchant le verre, vous pourriez promètement de façon importante la durée de vie de l'ampoule ou le rendement du phare.
L'ampoule à halogène contient un gaz halogène sous haute pression. L'ampoule risque de se briser si vous la laissez tomber par terre ou si vous rayez son enveloppe de verre.
Utilisez les mêmes numéro et puissance que ceux indiqués sur le tableau. - Débranche le cable négatif de la batterie.
- Retirez le connecteur électrique.
-
Faites pivoter l'ampoule de faisceau route A dans le sens contraire des aiguilles d'une montre et retirez-la.
-
Faites tourner l'ampoule de feu de croisement dans le sens contraire des aiguilles d'une montre et retirez-la.
Inversez les instructions pour installer les ampôules.
A AVENTISSEMENT
Ne touchez pas l'ampoule à la main pendant qu'elle est allumée ou quand vous venez juste de l'eteindre. Vous pourriez vous brûler.
AMISE EN GARDE
- Ne touche pas la surface en verre de l'ampoule à mains nues et ne la laissez pas entre en contact avec de l'huile ou de la graisse, afin d'eviter d'endommager l'ampoule.
- Ne laissez pas le reflecteur de phare sans ampoule pendant une longue période, car la poussière, l'humidité, la fumée, etc. peuvent nuire au rendement du phare.
- De la buée pourrait se former provisoirement à l'intérieur de la lentille des deux extérieurs par temps de pluie ou après un passage au laveauto. La buée est causée par l'écart
de température qui se produit entre les faces interieure et extérieure de la lentille. Cette condition est normale. Si vous constatEZ une accumulation d'eau à l'intérieur de la lentille, il est recommendé de vous rendre chez un concessionnaire NISSAN.
Remplacement d'une ampoule de phare à DEL (selon l'équipement)
Si le remplacement de l'ampoule du phare à DEL est nécessaire, nous vous recommandons de visiter un concessionnaire NISSAN pour ce service.
AMPOULE DE CLIGNOTANT
Pour remplaçer l'ampoule du clignotant, suivez les instructions énoncées dans le paragraphe « Remplacement d'ampoule de phare à halogène » (p. 8-28).
ÉCLAIRAGE EXTERIEUR ET INTÉRIEUR
| Éléments | Puisance (W) | No d'ampoule |
| Phares (type A) (selon l'équipement) | ||
| Feu de croissement | 55 | H11 |
| Phares de jour (Canada seulement) | 65 | H9 |
| Feu de stationnement, clignotant | 27/7 | 3457NAK |
| Feu de position latéral* | - | - |
| Phares (type B) (selon l'équipement)* | ||
| Feu de croissement | - | - |
| Feu de route | - | - |
| Phares de jour | - | - |
| Clignotant | 27/7 | 3457NAK |
| Feu de stationnement | - | - |
| Feu de position latéral | - | - |
| Clignotants des rétroviseurs de portière (selon l'équipement)* | - | - |
| Éclairages des miroirs de courtoisie (selon l'équipement)* | 5 | W5W |
| Lampes de lecture* | 8 | W8W |
| Éclairages ambiant* | 8 | W8W |
| Éclairage du coffre* | 34 | 158 |
| Lampes individuelles (selon l'équipement)* | 8 | - |
| Feu d'arrêt central* | - | - |
| Feux arrêt combinés* | ||
| Feu arrêt/d'arrêt/de position latéral | 21/5 | W21/5W |
| Clignotant | 21 | WY21W |
| Lampe du couvercle du coffre* | ||
| Feux arrêt | 5 | W5W |
| Marche arrêt | 16 | W16W |
| Éclairage de la plaque dimmatriculation* | - | - |
- Nous vous recommendons de visiter un concessionnaire NISSAN pour le remplacement.
Consultez toujours le service des pieces d'un concessionnaire NISSAN pour obtenir l'information la plus recente concernant les pieces de rechange.

1. Lampe de lecture
2. Éclairage ambient
- Clignotant du rétroviseur de portière (selon l'équipement)
- Phare
- Feu d'arrêt central
- Éclairage du coffre
- Éclairage de la plaque d'immatriculation
- Éclairage du couvercle du coffre
- Feux arrêté combinés

Procedures de remplacement
Tous les autres feuux ou phares sont de type A, B, C ou D. Lorsque vous devez replacer l'ampoule d'un de ces feuels, retirez d'abord la lentille ou le couvercle.
Indique le retrait de l'ampoule
Indique l'installation de I'ampoule

Éclairage du miroir de courtoisie (selon l'équipement)
Utilisez un chiffon pour protégé le boîtier, tel qu'illustré.

Eclairage du coffre
ROUES ET PNEUS
En cas de crevaison, consultez la section « Pneu creve » (p. 6-3).
PRESSION DES PNEUS
Système de surveillance de la pression des pneus

AVERTISSEMENT
Les ondes radioélectriques peuvent nuire au fonctionnement des apparêils Médicaux électriques. Les personnes qui portent un stimulateur cardiaque doivent communiquer avec le fabricant de l'appareil Médical électrique pour connaître les interférences possibles avant l'utilisation.
Ce vehicule est doté d'un système de surveillance de la pression des pneus. Il surveille la pression de tous les pneus, à l'exception du pneu de la roue de secours. Lorsque le témoin d'avertissement de basse pression
des pneus est allumé et que l'avertissement est affché dans le compteur kilométrique, ou que l'avertissement « Tire Pressure Low - Add Air » (basse pression des pneus - gonfler les pneus) s'affiche à l'écran multifonction, un ou plusieurs de vos pneus sont insuffisamment gonflés.
Le système de surveillance de la pression des pneus n'est actif que lorsque le vehicule roule à plus de 25 km/h (16 mi/h). De plus, ce dispositif peut ne pas détaquer la chute soudaine de la pression d'un pneu (par exemple, un pneu crevependant la conduite).
Pour obtenir des renseignements supplémentaires, consultez les sections « Témoin d'advertisement de basse pression des pneus » (p. 2-13), « Système de surveillance de la pression des pneus » (p. 5-5), et « Pneu creve » (p. 6-3).
Pression de gonflage des pneus
Vérifiez souvent la pression des pneus de votre vehicule (sans oublier celle de la roue de secours) et vérifiez-la toujours avant un long trajet. La pression des pneus recommendée est indiquée sur l'étiquette FMVSS/NSVAC ou sur l'étiquette des pneus et d'information sur la charge sous « Pression des pneus à froid » L'étiquette de renseignements relatifs aux pneus et à la charge est appossee sur le pied milieu du côté conducteur. Les pressions de gonflage des pneus doivent être vérifiées régulièrement, car :
- la plupart des pneus perdent naturellement un peu d'air avec le temps;
- les pneus peuvent perdre de l'air soudainement s'ils passent sur des nid-de-poule ou d'autres objets, ou si le vehicule heurte une cordure de trottoir pendant le stationnement.
Les pressions de gonflage des pneus doivent etre vérifiees quand les pneus sont froids. Les pneus sont considérés comme FROIDS si vous vehicule est stationné depuis trois heures ou plus ou s'il a parcouru moins de 1,6 kilomètre (1 mille) à vitesse moderée.
Le « système de surveillance de la pression des pneus avec fonction d'alerte de gonflage facilité » fournit des signaux visuels et audibles à l'extérieur du vehicule pour le gonflage des pneus à la pression À FROID recommandaee. Pour obtenir des renseignements supplémentaires, consultez la section « Système de surveillance de la pression des pneus avec fonction d'alerte de gonflage facilité » (p. 5-9).
Une pression inadéquate des pneus, incluant un sous-gonflage, peut réduire leur durée de vie et nuir à la tenue de route de votre vehicule.
A VERTISSEMENT
- Des pneus mal gonflés peuvent éclater et causer un accident.
Le Poids Nominal Brut du Vehicule (PNBV) est indiqué sur l'étiquette FMVSS/NSVAC. d'homologation NSVAC. L'indice de charge du vehicule est indiqué sur l'étiquette de renseignements relatifs aux pneus et à la charge. Ne chargez pas votre vehicule au-delà de sa capacité. La surcharge de votre vehicule peut réduire la durée
de vie des pneus, promètement le fonctionnement sur du vehicule par une défaillance prématurée des pneus ou par un comportement routier défavorable et provoquer des accidents graves. Une charge dépassant la capacité spécifiée peut également entraîner la défaillance d'autres composants du vehicule.
- Avant d'entrepreneure un long trajet ou chaque fois que le vehicule est lourdement charge, vérifie la pression des pneus au moyen d'un manomètre pour vous assurer qu'elle correspond à la pression préconisée.
Pour obtenir des renseignements supplémentaires au sujet des pneus, consultez la section « Renseignements importants concernant la sécurité des pneus (E.-U.) » ou « Renseignements concernant la sécurité des pneus (Canada) » du livre explicatif sur la garantie.

Étiquette de renseignements relatifs aux pneus et à la charge
1 Nombre de places : nombre maximal d'occupants qui peuvent prendre place dans le vehicule.
② Taille des pneus d'origine : La taille des pneus installés à l'origine sur le vehicule, à l'usine.
3 Pression de gonflage à froid : gonflez les pneus à cette pression lorsqu'ils sont froids. Les pneus sont considérés comme FROIDS si votre vehicule est stationné depuis trois heures ou plus ou s'il a parcouru moins de 1,6 kilomètre (1 mille) à vitesse moderée. Le gonflage à froid recommendé des pneus est
établi par le fabricant de façon à fournir le meilleur équilibre sur les plans de l'usure des pneus, de la maitrise du vehicule, de la qualité de conduite, du bruit de roulement, etc. selon le PNBV.
4 Dimensions des pneus - reportez-vous à la section « Marquage des pneus » (p. 8-37).
⑤ Dimensions de la roue de secours.
6 Limité de capacité de charge du vehicule : reportez-vous à la section « Information concernant le chargement du vehicule » (p. 10-18).

Vérification de la pression des pneus
- Retirez le capuchon de la tige de soupape du pneu.
- Appuyez le manomètre directement sur la tige de soupape. N'appuyez pas trop fort et ne poussez pas le corps de valve vers le côté, sinon de l'air s'échappera. Si vous entendez un sifflement d'air qui
s'échappe lorsque vous vérifie la pression, replaces le manometre de façon à eliminer la fuite.
- Retirez le manomètre.
- Lisez la pression du pneu sur la tige du manomètre et comparez-la à la spécification indiquée sur l'eti-quette de renseignements relatifs aux pneus et à la charge.
- Gonflez le pneu s'il y a lieu. Si le pneu est trop gonflé, appuyez brievement sur le pointeau du corps de valve à l'aide de l'extrémité de la tige du manomètre pour relâcher la pression. Vérifiez de nouveau la pression et ajoutez ou relâchez de l'air au besoin.
- Installez le capuchon de la tige de soupape.
- Vérifiez la pression de tous les autres pneus, incluant celle de la roue de secours.
| Catégories : S, SV, SR | ||
| Taille | Pression de gonflage à froid | |
| kPa | lb/por2 | |
| Pneu avant et arrêté d'origine : 205/60R16 | 230 | 33 |
| Pneu avant et arrêté d'origine : 215/45R18 | 230 | 33 |
| Pneu avant et arrêté d'origine : 215/50R17 | 230 | 33 |
| Pneu de secours : T125/70D16 | 420 | 60 |

Example
MARQUAGE DES PNEUS
La loi federale aux États-Unis exige que les fabricants de pneus affichent des renseignements normalisés sur le flanc de tous les pneus. Ces renseignements identifient et décrivent les caractéristiques principales du pneu et fournissant également le numéro d'identification du pneu (TIN)
pour l'homologation des normes de sécurité. Le numéro d'identification du pneu peut être utilisé pour identifier le pneu en cas de rappel.

-
Numéro à deux ou à trois chiffres (95): Ce numéro représenté l'indice de charge du pneu. Ceci est une indication du poids que chaque pneu peut supporter.
-
H : cote de vitesse nominale du pau. Vous ne devriez pas conduire le vehicule à une vitesse supérieure à la cote de vitesse du pau.
Example
1 Dimensions du pneu (exemple : P215/65R15 95H)
- P: Le « P » indique que le pneu est concu pour les vehicules de tourisme (ces renseignements ne figurent pas sur tous les pneus).
-
Numéro à trois chiffres (215): Ce numéro indique la largeur du pneau en millimètres à partir du bord des flancs.
-
Numéro à deux chiffres (65): Ce numéro, connu sous le nom de rapport d'aspect, indique le rapport entre la hauteur et la largeur du pneu.
- R: le « R » identifie un pneu radial.
- Numéro à deux chiffres (15): Ce nombre est le diamètre de la roue ou de la jante en pouces.

LDI2786
Exemple (Type A) (selon l'équipement)
② Numéro d'identification du pneu (TIN) pour un pneu neuf (exemple : DOT XX XX XXX XXXX)
1. DOT : « Département Of Transportation » (Ministère du transport des États-Unis). Le symbole peut être placé au-dessus, au-dessous ou à la gauche ou à la droite du numéro d'identification du pineu.
2. Code à deux chiffres : Identification du fabricant.
- Code à deux chiffres: Taille du pineu.
- Code à trois chiffres : Code du type de pneu (optionnel).
- Quatre chiffres représentant la période et l'année de fabrication du pau. Par exemple, les chiffres 3103 représentent la 31^e période de l'année 2003. Si vous ne VOYZ pas ces chiffres, recherche-les sur l'autre flanc du pau.
DOT XXX XXXXX XXXX
DOT
XXX
XXXXXX
XXXX




1
2
3
4
LDI3639
Exemple (Type B) (selon l'équipement)
② Numéro d'identification du pau (TIN) pour un pau neuf (exemple : DOT XXX XXXXXX XXXX)
-
DOT : « Département Of Transportation » (Ministère du transport des États-Unis). Le symbole peut être placé au-dessus, au-dessous ou à la gauche du nombre d'identification du pneu.
-
Code à trois chiffres : Identification du fabricant.
- Code à six chiffres : Code descrip-tif utilisé pour identifier les caractéristiques importantes du pineu.
- Quatre chiffres représentant la période et l'année de fabrication du pneu. Par exemple, les chiffres 3103 représentent la 31^e périè de l'année 2003.
Composition et matériel du la carcasse du pneu
Le nombre de plis ou de couches de tissu enduit de caoutchouc dans le pneu. Les fabricants de pneus doivent aussi indiquer les matériaux du pneu, notamment l'acidier, le nylon, le polyester, etc.
④ Pression de gonflage maximale admissible
Ce chiffre indique la pression d'air maximale pouvant etre appliquee au pneu. Ne dépassez jamais la pression de gonflage maximale permise.
Charge nominale maximale
Ce chiffre indique la charge maxi-male en kilogrammes et en livres pouvant etre transporteee par le pneu. Lorsque vous remplacez les pneus du vehicule, utilisez toujours un pneu ayant la meme charge nominale maximale que les pneus installés à l'usine.
(6) Termes « tubeless » (sans,chambre àair) et «tube type» (avec chambre àair)
Indique si le pneu exige une chambre à air (« tube type ») ou non (« tubeless »).
⑦ Terme « radial »
Le terme « radial » estprésent si la structure du pneu est radiale.
⑧ Nom du fabricant ou de la marque
Le nom de fabricant ou la marque est indiqué(e).
Autre terminologie concernant les pneus
En plus des nombreux termes définis dans leprésent chapitre,le « flancextérieur prévu » est (1) le blanc blanc,quel qui porte un lettrage blanc ouqui indique le fabricant,la marque oule nom du modele moulé en reliepar rapport à la même indication sur
l'autre flanc du pneau, ou (2) le flanc extérieur d'un pneau asymétrique dont un côté en particulier doit toutes faire face vers l'extérieur lorsque monté sur un vehicule.
TYPES DE PNEUS
A AVENTISSEMENT
Lorsque you remplacez ou changez les pneus de votre vehicule, assurez-vous que les quatre pneus sont du même type (par exemple, pneus d'été, pneus toutes saisons ou pneus d'hiver) et de la même construction. Un concessionnaire NISSAN pourra vous donner des renseignements relatifs au type, à la taille, à la cote de vitesse et à la disponibilité des différents pneus.
- Les pneus de rechange peuvent avoir une cote de vitesse inférieure à celui des pneus installés en usine et, par conséquent, ne pas pouvoir s'adapter à la vitesse maximale de votre vehicule. Ne dépassez jamais la vitesse de la cote de vitesse maximale d'un pneu.
L'utilisation de pneus de remplacement autres que ceux recommendés par NiSSAN peut nuire au fonctionnement du système d'advertissement de basse pression des pneus.
Utilisez toujours des pneus des mêmes type, taille, marque, construction et dessin de bande de roulement sur les quatre roues. Le non-respect de cette directive peut entraîner une différence de circonference entre les pneus aux essieux avant et arrière, ce qui peut causer une anomalie du système de contrôle dynamique du vehicule entrainant des blessures graves, voiré mortelles, une usure excessive des pneus et endommager la boite de vitesses et les engrenages pour différentiel.
Pour obtenir des renseignements supplémentaires au sujet des pneus, consultez la section « Renseignements importants concernant la sécurité des pneus (É.-U.) » ou « Renseignements concernant la sécurité des pneus (Canada) » du livre explicatif sur la garantie.
Pneus toutes saisons
Certains modèles de vehicules NISSAN sont munis de pneus toutes saisons. Ces pneus offrent un bon rendement tout au long de l'année, même sur une chausse enneigeée ou glacée. Les mots ALL SEASON (toutes saisons) ou les lettres « MS » que l'on trouve sur le flanc des pneus identifient ce type de pneu. Les pneus d'hiver offrent une meilleure adherence dans la neige que les pneus toutes saisons et ils peuvent être mistroux adaptés au climat de certaines régions.
Pneus d'été
Certains modèles de vehicules NISSAN sont munis de pneus d'été. Ceux-ci offrent un rendement supérieur sur chaussée sèche. La neige et la glace nuisent considérablement au rendement des pneus d'été. L'indice d'adhérence identifié par les lettres « MS » n'apparaît pas sur le flanc des pneus d'été.
Si vous possédez un vehicule à quatre roues motrices, NISSAN vous recommend d'utiliser des pneus d'HIVER ou des pneus identifiés ALL SEASON (toutes saisons) si vous nevez conduire sur une chaussée enneigée ou glacée.
Pneus d'hiver
Si vous installez des pneus d'hiver sur votre vehicule, assurez-vous que leur dimension et la charge maximale qu'ils peuvent porter sont les mêmes que celles des pneus d'origine. Sinon, les caractéristiques de sécurité et la tenue de route de votre vehicule pourrait être compromises.
Les pneus d'hiver ont généralement une cote de vitesse inférieure à celle des pneus installés en usine et ils risquent de ne pas s'adapter à la vitesse maximale que peut atteindre votre vehicule. Ne dépassez jamais la vitesse de la cote de vitesse maxi-male d'un pneu.
Si vous installez des pneus d'hiver sur votre vehicule, la dimension, la marque, la construction et la sculpture de la bande de roulement doivent etre identiques sur les quatre pneus.
Des pneus cloutés peuvent être utilisés pour bénéficier d'une adherence accrue sur chaussée glacée. Toutefois, l'utilisation de tels pneus est prohibée dans certains États américain de même que dans certaines provinces du Canada. Consultez les règlements en vigueur dans votre localité, dans l'État ou la province où vous résiduez avant d'instructor ce type de pneu sur votre
vécicule. Sur chaussée sèche ou mouillée, les capacités de patinage et d'adhérence d'un pneu d'hiver à clous peuvent être inférieures à celles d'un pneu d'hiver sans clous.
CHÂINES ANTIDÉRAPANTES
AMISE EN GARDE
Les chaînes et les câbles antidérapants ne doivent pas être installés sur les pneus 215/50R17 ou 215/45R18. L'installation de chaînes ou de câbles antidérapants sur des pneus 215/50R17 et 215/45R18 causea des dommages au vehicule. Si vous prévoyez installer des chaînes ou des câbles antidérapants, vous devriez installer des pneus 205/60R16 sur votre vehicule.
L'utilisation de chaînes antidérapantes peut être prohibée dans certaines localités. Consultez les règlements en vigueur dans votre localité avant d'installer des chaînes antidérapantes sur les pneus de votre vehicule. Si vous installez des chaînes antidérapantes, assurez-vous qu'elles sont de la bonne dimension pour les pneus de votre vehicule et suivez les instructions d'installation fournies par le fabricant des chaînes. N'utilise que des chaînes SAE de catégorie « S ». Les chaînes de catégorie « S »
dont sont destinées aux vehicules dont l'espace des passages de roue est limité. Les vehicules sur lesquels les chaînes de type « S » peuvent être installées répondant au débutment minimal requis (entre le pneu et l'élement de suspension ou de caisse du vehicule le plus proche) pour permettre l'installation d'un dispositif antidérapant pour l'hiver (chaînes antidérapantes ou cables). L'espace minimal requis est déterminé en fonction des pneus d'origine posés à l'usine. L'utilisation de chaînes d'une autre catégorie peut endommager votre vehicule. Lorsque recommendé par le fabricant, utilisez des tendeurs de chaînes pour vous assurer que les chaînes tiennent bien en place. Les maillons inutilisés de la châne antidérapante doivent être solidement fixés ou retires afin d'éviter qu'ils ne heurtent les ailes ou le soubassement et ne les endommagent. Si possible, évitez de charger votre vehicule à sa capacité maximale lorsque vous utilisez des chaînes antidérapantes et conduisez plus lentement. Sinon, les chaînes peuvent endommager leur vehicule et compromètre sa tenue de route et son rendèment.
N'installez des chaînes antidérapantes que sur les roues avant; de telles chaînes ne doivent jamais être installées sur les roues arrêté.
N'installez jamais une chaîne antidérapante sur une roue de secours À USAGE TEMPORAIRE SEULEMENT.
Les chaînes antidérapantes ne doivent pas être utilisées sur une chaussée sèche. Les contraintes excessives engendrées par la conduite d'un vehicule dans de telles conditions peuvent cause des dommages aux divers mécanismes du vehicule.

REEMPLACEMENT DES ROUES ET DES PNEUS
Permutation des pneus
NISSAN recommende de permuter les pneus tous les 8 000 km (5 000 mi).
Pour obtenir des renseignements supplémentaires sur les procédures de remplacement des pneus, reportez-vous à la section « Pneu creve » (p. 6-3).
Au moyen d'une clé dynamométrique, serrez les écrous de roue au couple spécifiqueès que possible.
Couple de serrage des écrous de roue:
113 N m (83 Ib-pi)
Les écrous de roue doivent toutes être serrer au couple précisé. Il est recommendé de serrer les écrous de roue au couple spécifique à chaque permutation des pneus.
A VERTISSEMENT
- Àprous avoir procédé à la permutation des pneus, vérifiez et réglez la pression des pneus.
- Resserrez les écrous des roues du vehicule après avoir parcouru une distance de 1000 km (600 mi), ou après un pneu creve, etc.
La roue de secours ne fait pas partie des pneus à permuter.
Pour obtenir des renseignements supplémentaires au sujeet des pneus, consultez la section « Rensignements importants concernant la sécurité des pneus (E.-U.) » ou « Rensignements concernant la sécurité des pneus (Canada) » du livre explicatif sur la garantie.

Usure et endommagement des pneus
- Indicateur d'usure
- Repère
A VERTISSEMENT
- Les pneus de votre vehicule doivent être vérifiés périodiquement pour y déceler la présence d'usure, de fissures, de gonflement ou d'objets coincés entre les bandes de roulement. En présence d'une usure importante, de fissures, de gonflement ou de coupures profundes, le ou les pneus doivent être replacés.
- Les pneus d'origine sont munis d'indicateurs d'usage de la bande de roulement incorporens. Lorsque ces indicateurs deviennent visibles, les pneus doivent etre remplacés.
- Les pneus se détiennent au fil du temps. Faites vérifier les pneus, y compris la roue de secours, de plus de six ans par un technicien qualifié car cer
tains dommages peuvent ne pas etre evidents. Remplacez les pneus au besoin pour prevenir les defaillances du pneu et les blessures qui peuvent en decouler.
- Une réparation incorrecte de la roue de secours peut entraîner des blessures graves. Si la roue de secours doit être réparée, nous vous recommendons de vous rendre chez un concessionnaire NiSSAN pour que cet entretien soit effectué.
Pour obtenir des renseignements supplémentaires au sujet des pneus, consultez la section « Rensignements importants concernant la sécurité des pneus (E.-U.) » ou « Rensignements concernant la sécurité des pneus (Canada) » du livre explicatif sur la garantie.
Remplacement des roues et des pneus
Lorsque you remplacez un pneu, utilisez un pneu dont la dimension, la sculpture de bande de roulement, la cote de vitesse et la capacité de charge sont similaires à ceux du pneu d'origine. Les types et les dimensions de pneus recommendés sont indiqués dans la section « Roues et pneus » (p. 10-11).
A AVENTISSEMENT
L'utilisation de pneus autres que ceux qui sont commandés ou l'utilisation mixte de pneus de marque ou de construction (diagonale, ceinturée, radiale) diverses, ou dont les sculptures de bandes de roulement différent, peut nuir à la conduite, au freinage, à la tenue de route, au système de contrôle dynamique du vehicule (VDC), à la garde au sol, au jeu entre la carrosserie et les pneus, au jeu des chaînes antidérapantes, à l'étalonnage de l'indicateur de vitesse, à la convergence des phares ainsi qu'à la hauteur du pare-chocs. Certains de ces effets peuvent cause des accidents et entraîner des blessures graves.
- Si votre vehicule était initialement équipé de quatre pneus qui étaient de la même taille et si vous remplacecz seulement deux des quatre pneus, posez les pneus neufs sur l'essieu arrière. Le fait de placer les pneus neufs sur l'essieu avant peut causer la perte de la maitrise du vehicule dans certaines conditions de conduite et entraîner un accident et de graves blessures.
Si les roues doivent etre changées pour quelque raison que ce soit, remplacez-les toujours par des roues au deport identique.Des roues au deport different peuvent entrainer une usure prematurée des pneus, promprometre les caractéristiques du comportement routier, nuire au fonctionnement du SYSTEMDE CONTROLLE DYNAMIQUE DU VEHICULE ou entraver le fonctionnement des disques et des tambours de frein. Cette interference peut réduire l'efficacité du freinage ou entrainer une usure prematurée des plaquettes et segments de frein. Pour obtenir des renseignements supplémentaires sur les dimensions de deport des roues, reportez-vous à la section « Roues et pneus » (p. 10-11).
Lors de l'utilisation d'une roue qui n'est pas équipée d'un système de surveillance de la pression des pneus, comme la roue de secours, le système de surveillance de la pression des pneus ne sera plus fonctionnel et le témoin d'advertissement de basse pression des pneus clignoterapendant environ une minute. Le témoin demeure allumé après une minute.Faites replacer vos pneus ou réinitialiser le système de surveillance de la pression des pneus dés que possible.Nous vous recomman-dons de vous rendre chez un concessionnaire NISSAN pour cet entretien.
L'utilisation de pneus de remplacement autres que ceux précisés par NiSSAN peut nuire au fonctionnement du système de surveillance de la pression des pneus.
- Vous pouvez endommager le capteur du système de surveillance de la pression des pneus si vous ne le manipulez pas correctement. Soyez prudent lorsqu vous manipulez le capteur du système de surveillance de la pression des pneus.
Lorsque you remplacez le capteur du systeme de surveillance de la pression des pneus, I'ID d'enregistrement peut etre nécessaire. Communiquez avec un concessionnaire NiSSAN pour obtenir un I'ID d'enregistrement.
- N'utilisez pas un capuchon de tige de soupape qui n'est pas recommendé par NISSAN. Le capuchon de corps de valve peut s'obstruer.
Assurez-vous que les capuchons corps de valve sont correctement installés. Sinon, la soupape peut être obstruée par de la saleté, ce qui provoque une anomalie ou une baisse de pression.
- N'installez pas de roues ou de pneus endommages ou déformés sur votre vehicule, même s'ils ont été réparés. Ceux-ci peuvent partager des dommages structurels et entraîner une défaillance soudaine.
L'utilisation de pneus rechapés est déconseillée.
Pour obtenir des renseignements supplémentaires au sujet des pneus, consultez la section « Renseignements importants concernant la sécurité des pneus (É.-U.) » ou « Renseignements concernant la sécurité des pneus (Canada) » du livre explicatif sur la garantie.
Équilibrage des roues
Des roues déséquilibrées peuvent nuir à la tenue de route du vehicule et réduire la durée de vie des pneus. Mème si le vehicule est utilisé régulièrement, les roues peuvent devenir déséquilibrées. C'est pourquoit les roues doivent être équilibrées tel que recommendé.
Les roues doivent être retirees du vehicule pour effectuer I'equilibrage. Sinon, le vehicule pourrait subir des dommages mécaniques.
Pour obtenir des renseignements supplémentaires au sujet des pneus, consultez la section « Renseignements importants concernant la sécurité des pneus (E.-U.) » ou « Renseignements concernant la sécurité des pneus (Canada) » du livre explicatif sur la garantie.
Soin des roues
- Pour que les roues conservent un bel aspect, lavez-les lorsque vous lavez votre vehicule.
- Nettoyez la face interieure des roues lorsqu'elles sont retirees ou lorsque vous nettoyez le soubassement du vehicule.
- Ne lavez pas les roues avec des nettoyants abrasifs.
- Inspectez régulierement les jantes des roues à la recherche de bosses ou de traces de corrosion. De telles conditions pourraient entraîner une perte de pression ou une mauvaise étanchéité au niveau des talons de pneu.
- Si vous conduisiez dans des régions où du sel est repandu sur les routes durant l'îver, NISSAN vous recommende de cirer les roues de votre vehicule.
Roue de secours (À USAGE TEMPORAIRE SEULEMENT)
Lors de l'utilisation d'une roue qui n'est pas équipée d'un système de surveillance de la pression des pneus, comme la roue de secours, le système de surveillance de la pression des pneus ne fonctionne pas.
Les précautions suivantes doivent être prises lorsqu'la roue de secours À USAGE TEMPORAIRE SEULEMENT est utilisé. Sinon, votre vehicule pourrait être endommagé ou subir un accident.

AVERTISSEMENT
- La roue de secours ne doit être utilisée qu'en cas d'urgence. Elle doit être replacée des que possible par une roue de série pour éviter des dommages à la roue ou au différentiel.
Conduisez prudemment lorsqu'une roue de secours à USAGE TEMPO-RAIRE SEULEMENT est installée sur votre vehicule. Evitez les virages serrés et les freinages brusques. - Vérifiez régulièrement la pression de gonflage du pneu de la roue de secours. Assurez-vous que la pression du pneu de la roue de secours À USAGE TEMPORAIRE SEULEMENT est toujours de 420 kPa, 4,2 bars (60 lb/po²).
- Ne conduisez pas à une vitesse supérieure à 80 km/h (50 mi/h) lorsqu'une roue de secours À USAGE TEMPORAIRE SEULEMENT est installée sur votre vehicule.
Lorsque you conducisez sur des routes enneigées ou glacées, la roue de secours À USAGE TEMPORAIRE SEULEMENT doit être installée à l'arrière et les roues avant doivent être des roues d'origine (roues motrices).
La bande de roulement du pau et la roue de secours A USAGE TEMPO-RAIRE SEULEMENT s'use plus rapidement que celle d'un pau et seie. Remplacez la roue de secours des que les indicateurs d'usure de la bande de roulement apparaissent.
- N'installez pas votre roue de secours sur d'autres vehicules.
- N'installez pas plus d'une roue de secours sur le vehicule.
- Ne tractez pas de remorque si une roue de secours À USAGE TEMPO-RAIRE SEULEMENT est installée sur votre vehicule.
AMISE EN GARDE
- N'installez pas de chaînes antidérapantes sur une roue de secours À USAGE TEMPORAIRE SEULEMENT. Les chaînes antidérapantes ne sont pas compatibles avec ce type de roue et elles pourraient endommager leur vehicule.
- Étant donné que la roue de secours À USAGE TEMPORAIRE SEULEMENT est plus petite que la roue d'origine, la garde au sol s'en trouve réduite. Pour éviter d'endommager le vehicule, ne passez pas sur des obstacles. De plus, n'allez pas dans un lave-auto automatique avec votre vehicule, car celui-ci risque de rester coince.
9 Entretien et calendriers
Exigences d'entretien 9-2
Entretien général 9-2
Entretien periodique 9-2
Où aller lorsque des réparations sont nécessaires 9-2
Entretien général 9-3
Explication des points d'intervention relatifs à l'entretien général. 9-3
Composants faisant partie de l'entretien périodique 9-6
Entretien du système antipollution: 9-6
Entretien du châssis et de la carrosserie 9-7
Programmes d'entretien 9-8
Éléments d'entretien supplémentaires en cas de conditions de
fonctionnement dificiles 9-8
Système de commande d'huile 9-9
2.0L 4 cylindres (modèle de moteur MR20DD) 9-10
EXIGENCES D'ENTRETIEN
Certains entretiens réguliers et quotidiens sont nécessaires pourmaintenirvotrecvhicule en bon état mécanique et assurer un rendement optimal du dispositif anti-pollution et du moteur.
Vous ave la responsabilité, à titre de propriété du vehicule, de vous assurer que l'entretien général et l'entretien périodique de votre vehicule sont effectués.
En tant que propriété, vous étes la seule personne en mesure de vous assurer qu'un entretien approprié de votre vehicule est effectué. Vous jouez donc un role crucial dans le processus d'entretien.
ENTRETIEN GÉNÉRAL
L'entretien général comprend les points d'intervention relatifs à l'utilisation courante. Ils sont essentiels au bon fonctionnement du vehicule. Vous devez effectuer ces procédures d'entretien régulierement, tel que prescrit.
Des connaissances sommaires en mecanique et l'utilisation de quelques outils de mecanique automobile suffisent pour effectuer les vérifications d'entretien général.
Voussouvezeffectuercesverificationsou inspectionsyou-meme;lespeuventegalelementetrefaitesparuntechnicienqualié ou siyousevoulez,par un concessionnaireNISSAN.
ENTRETIEN PÉRIODIQUE
Les éléments d'entretien enumerated dans le present chapitre doivent être entretenus à des intervalles réguliers. Touteois si vous conduisez votre vehicule dans des conditions extrêmes, un entretien supplémentaire ou plus fréquent est requis.
OU ALLER LORSQUE DES RÉPARATIONS SONT NÉCESSAIRES
Si vous vehicule requiert un entretien ou s'il fonctionne mal, faites vérifier et réparer les systèmes concernés. Nous vous recom-mandons de vous rendre chez un concessionnaire NISSAN pour cet entretien.
Les techniciens NiSSAN sont des spécialistes qui recoivent une formation solide. Ils bénéficient en outre d'une formation continue au moyen de bulletins techniques, de conseils et de programmes de perfectionnement. Ils sont pleinement formés pour procéder à des interventions sur les vehicules NiSSAN avant de commencer les travaux.
Si vous vécicule est impliqué dans une collision, il est recommandé de demander à votre concessionnaire NiSSAN où se trouve le centre de collision certifié le plus proche ou de visiter le site http://collision.nissanusa.com.
Vous pouvez faire appel au personnel du service après-vente des concessionnaires NISSAN en toute confiance. Ils travailleront de façon à respecter les exigences d'entretien de votre vehicule.
Tel que prescrit dans le present chapitre, un entretien général de votre vehicule doit être effectué régulièrement dans le cadre d'une utilisation courante. Si vous décelez des odeurs, des vibrations ou des bruits inhabituels, recherchez la source du problème ou faites vérifier votre vehicule dans les plus brefs délais. En outre, nous vous recommendans de visitor un concessionnaire NiSSAN si vous croyez qu'une réparation est nécessaire.
Lorsque you nevez effectuer des vérifications ou des travaux d'entretien, consultez la section « Précautions relatives à l'entretien » (p. 8-2).
EXPLICATION DES POINTS D'INTERVENTION RELATIFS À L'ENTRETIEN GÉNÉRAL

AVERTISSEMENT
Le non-respect des procédures énoncées dans cette section peut entraîner des blessures.
Des détails supplémentaires sur les points d'intervention marqués d'un astérisque sont fournis dans le chapitre « Entretien et interventions du propriétaire » duprésent manuel.
À l'extérieur du vehicule
Les points d'entretien enumeratedés ici doivent être vérifiés de temps à autre, à moins d'indication contraire.
Portières et capot moteur: Assurez-vous qu'ils fonctionnent bien. Assurez-vous également que toutes les serrures se verrouillent correctement. Lubrifiez les charnières, les loquets, les goupilles de verrouillage, les rouleaux et les biellettes au besoin. Assurez-vous que le loquet secondaire maintain le capot fermé lorsque le loquet principal est dégagé.
Vérifiez frequentlyment la lubrication de ces éléments si vous conduisez sur des routes sur lesquelles du sel et d'autres matières corrosives ont eté repandus.
Vérifiez que les vérins à gaz ou les jambes retiennent correctement et maintiennent solidement le capot, le coffre ou le hayon en position ouverte. Si le capot, le coffre ou le hayon n'est pas maintainu ouvert, faites replacer les vérins à gaz ou les jambes.
Phares*: Nettoyez régulierement les phares. Assurez-vous que les phares, feuels d'arrêt, feuels arrrière, clignotants et autres feuels fonctionnent correctement et qu'ils sont fixés solidement. Vérifiez également le réglage des phares.
Écrous de roue*: Assurez-vous que tous les écrous sont en place et qu'ils sont bien serrés lors de la verification des pneus. Serrez-les au besoin.
Permutation des pneus*: permutez les pneus à l'intervalle indiqué dans le calendrier d'entretien.
Pneus*: Vérifiez souvent la pression des pneus de votre vehicule au moyen d'un manomètre et vérifie-la toujours avant tout long trajet. Au besoin, réglez la pression des pneus, y compris celle de la roue de secours, au niveau spécifique. Vérifiez les pneus avec soin pour y déceler toute trace de dommages, de coupures ou d'usure excessive.
Système de contrôle de la pression des pneus (TPMS) - capteur de pression des pneus : on recommende de replacer l'ensemble de capteur de pression des pneus lors du remplacement des pneus en raison de l'usage ou de l'âge.
Réglage de la géométrie et équilibrage des roues: Si vous avec l'impression que votre vehicule tire d'un côté lorsque vous conduissez sur une route droite et sans relief, ou si vous notez une usure inégale ou anormale des pneus de votre vehicule, un réglage de la géométrie des roues peut
s'avérer nécessaire. Si vous sentez des vibrations au niveau du volant ou du siège de votre vehicule lorsque vous conduissez à vitesse normale sur l'autoroute, un équilibrage des roues peut se révêler nécessaire.
Pour obtenir des renseignements supplémentaires au sujet des pneus, consultez la section « Renseignements importants concernant la sécurité des pneus (É.-U.) » ou « Renseignements concernant la sécurité des pneus (Canada) » du livre explicitif sur la garantie.
Pare-brise : Nettoyez régulièrement le pare-brise. Vérifiez au moins tous les six mois s'il y a des fissures ou d'autres dommages. Si le pare-brise est endommaged, faites-le réparer dans un atelier de réparation qualifié. Il est recommendé de faire réparer un pare-brise endommaged par un concessionnaire NiSSAN ou un centre de collision certifié. Pour trouver un centre de collision dans votre secteur, visitez le site http://collision.nissanusa.com.
Balais d'essuie-glace*: Si vous constaté que les balais d'essuie-glace fonctionnent mal, vérifie s'ils sont fissures ou usés.
À l'intérieur du vehicule
Les points d'intervention énumérés ci-après doivent faire l'objet de vérifications régulières, par exemple, au moment des opérations d'entretien périodique, du nettoyage du vehicule, etc.
Pédale d'accélérateur : Assurez-vous que la pédale d'accélérateur s'enforce en douceur, librement et sans effort inégal. Gardez la carbette loin de la pédale.
Pédale de frein : Assurez-vous que la pédale de frein s'enforce en douceur. Si la pédale de frein s'abaisse soudainement plus loin que la normale, si la pédale semble spongieuse ou si la distance de freinage semble plus longue, faites vérifier votre vehicule immédiatement. Nous vous recommendans de vous rendre chez un concessionnaire NISSAN pour cet entretien. Gardez la carbette loin de la pédale.
Freins : Assurez-vous que le vehicule ne dérivé pas lorsque vous serrez les freins.
Mécanisme de la position P (stationnement) de la transmission à variation continua (CVT) (selon l'équipement): Dans une pente plottot raide, assurez-vous que le vehicule reste immobilisé sans que les freins soient serrés lorsque le levier sélecteur est à la position P (stationnement).
Frein de stationnement : Vérifiez régulierement le fonctionnement du frein de stationnement. Le vehicule devrait demeurer immobile sur une pente assez abrupte lorsque seul le frein de stationnement est serré. Si le frein de stationnement doit être régèle. Nous vous recommendons de vous rendre chez un concessionnaire NISSAN pour cet entretien.
Sièges : Vérifiez les commandes de position des sièges, comme les dispositifs de réglage des sièges et d'inclinaison des dossiers, etc. pour vous assurer qu'ils fonctionnent bien et qu'ils se verrouillent correctement dans toutes les positions. Assurez-vous que les appuie-tête se déplacent librement vers le haut et vers le bas et que les verrous (selon l'équipement) se bloquent solidement dans toutes les positions de verrouillage.
Ceintures de sécurité : Assurez-vous que toutes les pieces des ceintures de sécurité (par exemple, les bouches, les ancrages, les dispositifs de réglage et les enrouleurs) fonctionnement correctement et librement et qu'elles sont bien installées. Vérifiez les sangles des ceintures de sécurité pour vous assurer qu'elles ne sont pas coupées, effilochees, usées ou endommagées.
Volant de direction: Prenez note de tout changement dans le fonctionnement du système de direction, par exemple, une course libre excessive du volant, une direction rigide ou des bruits inusités.
Témoins d'advertisement et carillons : Assurez-vous que tous les témoins d'advertisement et carillons fonctionnent bien.
Dégivre de pare-brise : Assurez-vous que l'air circule librement par les bouches de dégivrage et que le début d'air est ajustat lorsque le chauffage ou le climatisation est en fonction.
Essuie-glaces et lave-glace* : Assurez-vous que les essuie-glaces et le lave-glace fonctionnent bien et que les essuie-glaces ne laissent pas de traces sur le pare-brise.
Sous le capot et sous le vehicule
Les points d'entretien enumeratedés ci-après doivent être vérifiés régulièrement (p. ex., chaque fois que vous vérifie l'huile à moteur ou que vous faites le plein de carburant).
Batterie*: Ce vehicule est équipé d'une batterie sans entretien scellede. Nous vous recommendons de visiter un concessionnaire NISSAN à des fins d'entretien.
REMARQUE:
Évitez le plus possible les situations qui risquent de provoquer la décharge potentielle de la batterie et les conditions de non-demarrage telles que:
- L'installation ou l'utilisation prolongée d'accessoires électroniques qui déchargent la batterie lorsque le moteur est arrêté (chargeurs de téléphone, GPS, lecteurs de DVD, etc.).
- Le vehicule n'est pas utilisé régulièrement ou il est utilisé lors de courtes distances seulement.
Dans ces cas, la batterie doit possiblement etre rechargée afin de preserver sa durée de vie utile.
Niveau des liquides de frein et d'embrayage (selon l'équipement)*: Assurez-vous que le niveau des liquides de frein et d'embrayage se trouve entre les repères MIN et MAX de leur réservoir respectif.
Niveau de liquide de refroidissement*: Attendez que le moteur soit froid pour vérifier le niveau de liquide de refroidissement.
Courroie d'entrainment du moteur* : Assurez-vous que la courroie d'entrainment du moteur n'est pas éraillée, usee, fendillée ou huiteuse.
Niveau d'huile à moteur*: Vérifiez le niveau d'huile à moteur lorsque vous vehicule est immobilisé sur une surface plane et que le moteur est à l'arrêt. Attendeze que l'huile se dépose dans le carter d'huile (plus de 15 minutes).
Système d'échéppement : Assurez-vous que les supports du système d'échéppement ne sont pas desserrés et que le système n'est pas fissure ou perforé. S'il y a un son inhabituel ou une odeur de vapeurs en provenance du système d'échéppement, faites vérifier le système immédiatement. Nous vous recommendons de vous rendre chez un concessionnaire NiSSAN pour cet entretien. Pour obtenir des renseignements supplémentaires, consultez la section « Gaz d'échéppement (monoxyde de carbone) » (p. 5-4).
Fuites de liquide : Immobilisez votre vehicule et, après un certain temps, vérifie la presence de fuites de carburant, d'huile, d'eau ou d'autres liquides. Il est normal que de l'eau s'égoutte du climatiseur après son utilisation. Si vous décelez des fuites ou des vapeurs de carburant, recherchez la source du problème et faites réparer votre vehicule immédiatement.
COMPOSANTS FAISANT PARTIE DE L'ENTRETIEN PÉRIODIQUE
Radiateur et flexibles : Vérifiez l'avant du radiateur et enlevez les accumulations eventuelles de saleté, d'insectes, de feuilles, etc. Assurez-vous que les durites du radiateur ne sont pas fissurerés, déformées, pourries ou desserrées.
Soubassement: Le soubassement entre féquèment en contact avec des substances corrosives comme celles qui sont répandues sur une chaussée recouverte de glace ou utilisées pour contrôrler la poussière. Il est très important de retarder ces substances du soubassement. Sinon, le plancher, le chàssis, les canalisations de carburant et le système d'échéappent pourraient rouiller. À la fin de l'hiver, rincez le soubassement soigneusement avec de l'eau pour décoller les plaques de boue et de saleté accumulées. Pour obtenir des renseignements supplémentaires, consul-tes la section « Nettoyage des surfaces extérieures du vehicule » (p. 7-2).
Liquide lave-glace*: Assurez-vous qu'il y a suffisamment de liquide lave-glace dans le réservoir.
Les descriptions suivantes vous sont données de façon que vous puissiez mieux comprendre les composants faisant partie des entretiens périodiques et devant être régulièrement vérifiés ou replacés. Le programme d'entretien indique à quels intervalles et àquel kilométrage chaque composant doit être vérifié.
En plus d'un entretien périodique, certains composants de votre vehicule doivent être vérifiés dans le cadre d'une utilisation courante. Pour obtenir des renseignements supplémentaires, consultez « Entretien général » (p. 9-3).
NISSAN recommende la vérification des composants suivis d'un astérisque « * » pour que votre vehicule fonctionne en toute fiabilité.
Il n'est pas nécessaire que vous procédiez à l'entretien de ces composants pour que la garantie NISSAN dont bénéficiaire votre vehicule reste en vigueur. Vous devez toutes procéder à l'entretien périodique des autres composants.
Vous trouvrez des renseignements plus détaillés sous le chapitre « Entretien et interventions du propriétaire » duprésent manuel.
REMARQUE :
NISSAN n'encourage aucunement l'utilisation de systèmes de rincege du marché des pièces de rechange nonapprovés par NiSSAN et recommende fortement de ne pas utiliser ces équipements sur un produit NiSSAN. Un bon nombre des systèmes de rincege du marché des pièces de rechange utilise des produits chimiques ou des solvents non approvés par NiSSAN; l'utilisation de ces produits n'a pas été validée par NiSSAN.
Pour connaître le carburant, les lubri-fiants, les liquides, laGRAisse et le frigori-gene recommandés, consultez la section « Contenances, liquides et lubrifiants recommandés » (p. 10-2)
ENTRETIEN DU SYSTEME ANTIPOLLUTION :
Filtre à air: Remplacez-le aux périodicités prescrites. Si vous conduisez longtemps dans des conditions poussièresuses, vérifie et/ou remplacez votre filtre à air plus souvent.
Courroies d'entrainment du moteur*:
Vérifie la courroie d'entrainment du moteur à la recherche d'usure, d'effiloche-
ment ou de fissures et pour vous assurer qu'elle est bien tendue. Remplacez toute courroie d'entrainment endommagée.
Liquide de refroidissement*: Remplacez-le aux intervalles prescrits. Au moment d'ajouter ou de remplacer le liquide de refroidissement, assurez-vous d'utiliser uniquement du liquide de refroidissement longue durée NISSAN d'origine (de couleur bleue) ou tout produit équivalent avec le mélange approprié. (Pour obtenir des renseignements supplémentaires sur le mélange approprié à votre région, consultez le paragraphe « Circuit de refroidissement du moteur » (p. 8-5).
REMARQUE: Le fait de mélanger tout autre type de liquide de refroidissement ou l'utilisation d'eau non distilled peut réduire l'intervalle de service prescrit pour le liquide de refroidissement.
Huile à moteur et filtré à huile: Remplacez l'huile à moteur et le filtré à huile aux périodicités prescrites. Pour connaître la qualité d'huile et la viscosité recommandées, consultez le paragraphe « Contenances, liquides et lubrifiants recommandés » (p. 10-2).
Jeu de soupape du moteur*: Ne le vérifie que si le bruit de soupape augmente. Au besoin, réglez le jeu de soupapes.
Filtre à carburant : L'entretien périodique n'est pas requis. (filtre à l'intérieur du réservoir)
Conduites de carburant et raccords*: Vérifiez les flexibles, les conduites et les raccords de carburant à la recherche de fuites, de déteriorations et pour vous assurer qu'ils ne sont pas desserrés. Resserrez tous les raccords desserrés. Au besoin, remplacez les pièces.
Système de récapération des vapeurs du réservoir de carburant*: Vérifiez les conduites du système de recyclage des vapeurs de carburant à la recherche de fuites ou desserrages. Resserrez tous les raccords desserrés. Au besoin, remplacez les pièces.
Bougies d'allumage: Remplacez-les aux périodicités prescrites. Posez des bougies neuves du même type que celles d'origine.
ENTRETIEN DU CHÂSSIS ET DE LA CARROSSERIE :
Cables et conduites de frein : Ils doivent être visuellement inspectés pour s'assurer qu'ils sont bien posés. Recherche tout signe d'effilochements, de fissures, de déteriorations et de fuites. Remplacez im
mediatement toutes les pieces déteriorees ou endommagées.
Plaquettes de freins, disques, tambours et garnitures de frein : Verifiez-les à la recherche d'usure, de déteriorations et de fuites de liquide. Remplacez immédiatement toutes les pieces déteriorées ou endommagées.
Système d'échévement : Visuellement, inspectez les tuyaux d'échévement, le silencieux et les supports à la recherche de fissures, de déteriorations et de dommages. Resserrez tous les raccords desserrés. Au besoin, remplacez les pieces.
Microfiltre de l'habitaté : Remplacez-le aux périodécités prescrites. Si vous conduisez longtemps dans des conditions poussièuses, vérifie, et au besoin, remplacez ce filtre plus souvent.
Tringlerie et boitier de direction, pièces des essieux et suspensions, soufflets des arbres de transmission : Vérifiez-les à la recherche de dommages, de desserrages et de fuites d'huile ou de graisse. Si vous conduisez votre vehicule dans des conditions extrêmes, inspectez ces composants plus fréquemment.
PROGRAMMES D'ENTRETIEN
Permutation des pneus : permutez les pneus à l'intervalle indiqué dans le calendrier d'entretien. Au cours de l'opération de permutation, les pneus doivent être vérifiés à la recherche de dommages et d'usure inégale. Au besoin, remplacez-les.
Huile pour boîte de vitesses : Inspectez visuèlement pour déceler des fuites aux intervalles prescrits. Si le vehicule est utilisé avec un porte-bagages de toit ou s'il est conduit sur des routes cahoteuses ou boueuses :
- Remplacez l'huile de la boîte-pont tous les 20 000 milles ou 24 mois.
- Remplacez le liquide pour transmission à variation continue tous les 96 000 km (60 000 mi) ou demandez au concessionnaire de vérifier les données sur la dépréciation du liquide à l'aide de l'outil CONSULT. Si les données sur la dépréciation sont supérieures à 210000, remplacez le liquide pour transmission à variation continue.
Pour assurer une conduite en douceur, sécuritaire et économique, NISSAN offre deux programmes d'entretien qui peuvent être utilisés, selon vos conditions habituelles de conduite. Ces programmes contiennent des intervalles de distance et de temps, jusqu'à 192 000 km (120 000 milles) ou 144 mois. Pour la plupart desgens, l'indication du compteur kilométrique indique quand l'entretien est nécessaire. Toutefois, si vous conduisez très peu, vous nevez entretenir votre vehicule à des intervalles de temps réguliers indiqués dans le programme d'entretien.
Après 192000 km (120000 mi.) ou 144 mois, continuez l'entretien aux mêmes intervalles de kilométrage ou de temps.
ÉLÉMENTS D'ENTRETIEN
SUPPLEMENTaires EN CAS DE
CONDITIONS DE FONCTIONNEMENT
DIFFICILES
Les éléments d'entretien supplémentaires en cas de conditions de fonctionnement difficiles doivent être executés pour les vehicules utilisés dans des conditions spécialement rigoureuses. Les éléments d'entretien supplémentaires doivent
etre executés si vous utilisez votre vehicule principalement dans les conditions suivantes :
- Courts trajets répétés de moins de 8 km (5 milles).
- Courts trajets répétés de moins de 16 km (10 milles) avec des températures extérieures qui demeurent sous le point de congélation.
- Conduite par temps très chaud, pendant les « heures de pointe », lorsque le traffic nécessite des arrêts et des démarrages féquents.
- Périodes de ralenti prolongées ou conduite à basse vitesse pendant de longues distances, tels que les vehicules de police, les taxis ou le service de livreaison à domicile.
Conduite sur des routes poussiéreuses. - Conduite sur des chaussées déformées, boueuses ou sur lesquelles du sel a été épandu.
- Utilisation d'un porte-bagages de toit.
Si vous vécique est principalement utilisé dans des conditions difficiles, suivez les périodicités d'entretien pour'utilisation en conditions difficiles indiquées dans le programme d'entretien.
SYTÉME DE COMMANDE D'HUIL
Votre vehicule est equiped'un système de commande d'huile. Il calcule les intervalles de vidange d'huile moteur et de remplacement du filtr sur la base des conditions de conduite. La conduite dans les conditions difficiles suivantes réduit l'intervalle de vidange d'huile moteur et de remplacement du filtr.
Comment les conditions de conduite nuisent à l'affichage du calage de l'OCS
| Conditions | Scène de conduite | Affichage du calage |
| Éclairage | • Conduite sur autoroute • Conduite en ville (route plate/collines) • Pas de remorquage ou de charges lourdes • Pas de moteur qui tourne au ralenti sur une longue période | Normal |
| Extrêmes | • Courts trajets répétés de moins de 8 km (5 milles). • Courts trajets répétés de moins de 16 km (10 milles) avec des températures extérieures qui demeurent sous le point de conglération. • Conduite par temps très chaud, pendant les « heures de pointe », lorsque le traffic nécessite des arrêts et des démarrages féuents. • Périodes de ralenti prolongées ou conduite à basse vitessependant de longues distances, tels que les vehicules de police, les taxis ou le service de livraison à domicile. • Utilisation d'un porte-bagages de toit. • Conduite avec usage liéquent du frein ou en terrain montagneux. • Conduite à grande vitesse prolongée. | En avance |
AMISE EN GARDE
- Si l'indicateur de changement d'huile est affiché, vous devez replacer l'huile moteur dans les deux semaines ou moins de 800 km (500 mi).
La conduite de votre vehicule à l'huile déteriorée peut endommager le moteur.
Si vous indicateur de changement d'huile se réinitialise prematurément ou cette de fonctionner, vous devez replacer l'huile dans les six mois ou 8 000 km (5 000 miles) après votre dernière vidange d'huile.
2.0L 4 CYLINDRES (modèle de moteur MR20DD)
Les tableaux suivants indiquent le programme d'entretien.
Choisissez le calendrier d'entretien requis en fonction des conditions de conduite de votre vehicule.
Après 192 000 km (120 000 mi.) ou 144 mois, continuez l'entretien aux mêmes intervalles de kilométrage ou de temps.
8 000 km/(5 000 mi)/6 mois
Effectuez l'entretien au nombre de milles, kilomètres ou mois, selon la première éventualité.
Entretien standard :
Inspections :
- Avertisseur sonore, phares, clignotants, essuie-glaces, hayon arrriere et supports de levage du capot
- Tous les liquides inspectés (moteur, essuie-glace, frein, direction assistée, liquide de refroidissement)
- Composants de la suspension (amortisseurs, sous-chassis, biellettes de direction)
- Bornes et câbles de batterie, vérification de la batterie
- Pression des pneus, usure et profondeur de la bande de roulement
Éléments essentiels :
- Permutation des pneus
Entretien pour utilisation en conditions difficiles :
Inspections :
- Plaquettes et disques de frein
- Système d'échéppement
- Timonerie et boitier de direction
- Pièces d'essieu et de suspension
- Soufflets des arbres de transmission
16000 km/(10 000 mi)/12 mois
Effectuez l'entretien au nombre de milles, kilomètres ou mois, selon la première éventualité.
Entretien standard :
Inspections :
- Conduites et câbles de frein
- Plaquettes et disques de frein
- Liquide pour transmission à variation continue
- Soufflets des arbres de transmission
- Huile pour boîte de vitesses manuelle
- Avertisseur sonore, phares, clignotants, essuie-glaces, hayon arrriere et supports de levage du capot
- Tous les liquides inspectés (moteur, essuie-glace, frein, direction assistée, liquide de refroidissement)
- Composants de la suspension (amortisseurs, sous-chassis, biellettes de direction)
- Bornes et câbles de batterie, vérification de la batterie
- Pression des pneus, usure et profondeur de la bande de roulement
Éléments essentiels :
- Remplacement de l'huile moteur et du filtré à huile (1)
Permutation des pneus
Entretien pour utilisation en conditions difficiles :
Inspections :
- Plaquettes et disques de frein
- Soufflets des arbres de transmission
- Systeme d'échéppement
- Timonerie et boîtier de direction
- Pièces d'essieu et de suspension
Éléments essentiels :
- Remplacement du liquide de freins
(1) Si l'indicateur de changement d'huile est affché, vous devez replacer l'huile moteur et le filtré dans les deux semaines ou moins de 800 km (500 mi).
24 000 km/(15 000 mi)/18 mois
Effectuez l'entretien au nombre de milles, kilomètres ou mois, selon la première éventualité.
Entretien standard :
Inspection :
- Pile de la clé intelligente
- Avertisseur sonore, phares, clignotants, essuie-glaces, hayon arrriere et supports de levage du capot
- Tous les liquides inspectés (moteur, essuie-glace, frein, direction assistée, liquide de refroidissement)
- Composants de la suspension (amortisseurs, sous-chassis, biellettes de direction)
- Bornes et câbles de batterie, vérification de la batterie
- Pression des pneus, usure et profondeur de la bande de roulement
Éléments essentiels :
- Remplacement du microfiltre de l'habitacle
Permutation des pneus
Entretien pour utilisation en conditions difficiles :
Inspections :
- Plaquettes et disques de frein
- Systeme déchéappement
- Timonerie et boîttier de direction
- Pièces d'essieu et de suspension
- Soufflets des arbres de transmission
32000 km/(20 000 mi)/24 mois
Effectuez l'entretien au nombre de milles, kilomètres ou mois, selon la première éventualité.
Entretien standard :
Inspections :
- Conduites et câbles de frein
- Plaquettes et disques de frein
- Liquide pour transmission à variation continue
- Systeme de récapération des vapeurs du réservoir de carburant
Conduites de carburant et raccords - Système d'échéppement
- Timonerie et boîtier de direction
- Pièces d'essieu et de suspension
- Soufflets des arbres de transmission
- Huile pour boîte de vitesses manuelle
- Avertisseur sonore, phares, clignotants, essuie-glaces, hayon arrriere et supports de levage du capot
- Tous les liquides inspectés (moteur, essuie-glace, frein, direction assistée, liquide de refroidissement)
-
Composants de la suspension (amortisseurs, sous-châssis, biellettes de direction)
-
Bornes et cables de batterie, vérification de la batterie
- Pression des pneus, usure et profondeur de la bande de roulement
Éléments essentiels :
- Remplacement du liquide de freins
- Remplacement de l'huile moteur et du filtré à huile (1)
Permutation des pneus
Entretien pour utilisation en conditions difficiles :
Inspections :
- Plaquettes et disques de frein
- Système d'échéppement
- Soufflets des arbres de transmission
- Timonerie et boîtier de direction
- Pièces d'essieu et de suspension
Éléments essentiels :
- Remplacement de l'huile pour boîte de vitesses manuelle
- Remplacement du liquide de freins
(1) Si l'indicateur de changement d'huile est affché, vous devez remplacer l'huile moteur et le filtré dans les deux semaines ou moins de 800 km (500 mi).
- NISSAN recommende que les éléments et les intervalles d'entretien avec un astérisque « * » seront vérifiés pour que votre vehicule fonctionne en toute fiabilité. Le propriétaire n'a pas besoin de procédé à l'entretien de ces composants pour que la garantie du dispositif antipollution dont bénéficia le vehicule ou la responsabilité de rappel du constructeur reste en vigueur. Vous doivent toutes procéder à l'entretien périodique des autres composants.
40 000 km/(25 000 mi)/30 mois
Effectuez l'entretien au nombre de milles, kilomètres ou mois, selon la première éventualité.
Entretien standard :
Inspections :
- Avertisseur sonore, phares, clignotants, essuie-glaces, hayon arrriere et supports de levage du capot
- Tous les liquides inspectés (moteur, essuie-glace, frein, direction assistée, liquide de refroidissement)
- Composants de la suspension (amortisseurs, sous-chassis, biellettes de direction)
- Bornes et câbles de batterie, vérification de la batterie
- Pression des pneus, usure et profondeur de la bande de roulement
Éléments essentiels :
Permutation des pneus
Entretien pour utilisation en conditions difficiles :
Inspections :
- Plaquettes et disques de frein
- Système d'échéppement
- Timonerie et boftier de direction
- Pièces d'essieu et de suspension
- Soufflets des arbres de transmission
48000 km/(30 000 mi)/36 mois
Effectuez l'entretien au nombre de milles, kilomètres ou mois, selon la première éventualité.
Entretien standard :
Inspections :
- Conduites et câbles de frein
- Plaquettes et disques de frein
- Liquide pour transmission à variation continue
- Soufflets des arbres de transmission
- Huile pour boîte de vitesses manuelle
- Avertisseur sonore, phares, clignotants, essuie-glaces, hayon arrriere et supports de levage du capot
- Tous les liquides inspectés (moteur, essuie-glace, frein, direction assistée, liquide de refroidissement)
- Composants de la suspension (amortisseurs, sous-chassis, biellettes de direction)
- Bornes et câbles de batterie, vérification de la batterie
- Pression des pneus, usure et profondeur de la bande de roulement
Éléments essentiels :
- Remplacement du filtré à air (1)
- Remplacement de l'huile moteur et du filtré à huile (2)
- Remplacement du microfiltre de l'habitacle
- Remplacement de la pile de la clé intelligente
Permutation des pneus
Entretien pour utilisation en conditions difficiles :
Inspections :
- Plaquettes et disques de frein
- Soufflets des arbres de transmission
- Systemé d'échéppement
- Timonerie et boitier de direction
- Pièces d'essieu et de suspension Éléments essentiels :
- Remplacement du liquide de freins
(1) Si vous utilise le vehicule principalement dans des conditions poussières, des entretiens plus fréquents peuvent être nécessaires.
(2) Si l'indicateur de changement d'huile est affché, vous doivent remplaner l'huile moteur et le filtré dans les deux semaines ou moins de 800 km (500 mi).
56 000 km/(35 000 mi)/42 mois
Effectuez l'entretien au nombre de milles, kilomètres ou mois, selon la première éventualité.
Entretien standard :
Inspections :
- Avertisseur sonore, phares, clignotants, essuie-glaces, hayon arrriere et supports de levage du capot
- Tous les liquides inspectés (moteur, essuie-glace, frein, direction assistée, liquide de refroidissement)
- Composants de la suspension (amortisseurs, sous-chassis, biellettes de direction)
- Bornes et câbles de batterie, vérification de la batterie
- Pression des pneus, usure et profondeur de la bande de roulement
Éléments essentiels :
Permutation des pneus
Entretien pour utilisation en conditions difficiles :
Inspections :
- Plaquettes et disques de frein
- Systeme d'échéppement
- Timonerie et boîttier de direction
- Pièces d'essieu et de suspension
- Soufflets des arbres de transmission
64000 km/(40 000 mi)/48 mois
Effectuez l'entretien au nombre de milles, kilomètres ou mois, selon la première éventualité.
Entretien standard :
Inspections :
- Conduites et câbles de frein
- Plaquettes et disques de frein
- Liquide pour transmission à variation continue
Courroies d'entrainment du moteur* - Système de récapération des vapeurs du réservoir de carburant
Conduites de carburant et raccords - Systeme déchévement
- Timonerie et boîttier de direction
- Pièce d'essieu et de suspension
- Soufflets des arbres de transmission
- Huile pour boîte de vitesses manuelle
- Avertisseur sonore, phares, clignotants, essuie-glaces, hayon arrriere et supports de levage du capot
-
Tous les liquides inspectés (moteur, essuie-glace, frein, direction assistée, liquide de refroidissement)
-
Inspection des tuyaux
- Composants de la suspension (amortisseurs, sous-chassis, biellettes de direction)
- Bornes et câbles de batterie, vérification de la batterie
- Pression des pneus, usure et profondeur de la bande de roulement
Éléments essentiels :
- Remplacement du liquide de freins
- Remplacement de l'huile moteur et du filtré à huile (1)
Permutation des pneus
Entretien pour utilisation en conditions difficiles :
Inspections :
- Plaquettes et disques de frein
- Système d'échéppement
- Soufflets des arbres de transmission
- Timonerie et boîtier de direction
- Pièces d'essieu et de suspension
Éléments essentiels :
- Remplacement de l'huile pour boîte de vitesses manuelle
- Remplacement du liquide de freins
(1) Si l'indicateur de changement d'huile est affché, vous doivent remplaner l'huile moteur et le filtré dans les deux semaines ou moins de 800 km (500 mi).
- NISSAN recommende que les éléments et les intervalles d'entretien avec un astérisque « * » seront vérifiés pour que votre vehicule fonctionne en toute fiabilité. Le propriétaire n'a pas besoin de procéder à l'entretien de ces composants pour que la garantie du dispositif antipollution dont bénéficia le vehicule ou la responsabilité de rappel du constructeur reste en vigueur. Vous doivent toutes procéder à l'entretien périodique des autres composants.
72 000 km/(45 000 mi)/54 mois
Effectuez l'entretien au nombre de milles, kilomètres ou mois, selon la première éventualité.
Entretien standard :
Inspections :
- Avertisseur sonore, phares, clignotants, essuie-glaces, hayon arrriere et supports de levage du capot
- Tous les liquides inspectés (moteur, essuie-glace, frein, direction assistée, liquide de refroidissement)
- Composants de la suspension (amortisseurs, sous-chassis, biellettes de direction)
- Bornes et câbles de batterie, vérification de la batterie
- Pression des pneus, usure et profondeur de la bande de roulement
Éléments essentiels :
- Remplacement du microfiltre de l'habitatacle
- Remplacement de la pile de la clé intelligente
Permutation des pneus
Entretien pour utilisation en conditions difficiles :
Inspections :
- Plaquettes et disques de frein
- Système d'échéppement
- Timonerie et boitier de direction
- Pièces d'essieu et de suspension
- Soufflets des arbres de transmission
80000 km/(50 000 mi)/60 mois
Effectuez l'entretien au nombre de milles, kilomètres ou mois, selon la première éventualité.
Entretien standard :
Inspections :
- Conduites et câbles de frein
- Plaquettes et disques de frein
- Liquide pour transmission à variation continue
Courroies d'entrainment du moteur* - Soufflets des arbres de transmission
- Huile pour boîte de vitesses manuelle
- Avertisseur sonore, phares, clignotants, essuie-glaces, hayon arrriere et supports de levage du capot
- Tous les liquides inspectés (moteur, essuie-glace, frein, direction assistée, liquide de refroidissement)
Inspections des tuyaux - Composants de la suspension (amortisseurs, sous-chassis, biellettes de direction)
- Bornes et câbles de batterie, vérification de la batterie
- Pression des pneus, usure et profondeur de la bande de roulement
Éléments essentiels :
- Remplacement de l'huile moteur et du filtré à huile (1)
Permutation des pneus
Entretien pour utilisation en conditions difficiles :
Inspections :
- Plaquettes et disques de frein
- Soufflets des arbres de transmission
- Systemé d'échéppement
- Timonerie et boîtier de direction
- Pièces d'essieu et de suspension
Éléments essentiels :
- Remplacement du liquide de freins
(1) Si l'indicateur de changement d'huile est affché, vous devez replacer l'huile moteur et le filtrtre dans les deux semaines ou moins de 800 km (500 mi).
- NISSAN recommende que les éléments et les intervalles d'entretien avec un astérisque « * » soient vérifiés pour que votre vehicule fonctionne en toute fiabilité. Le propriétaire n'a pas besoin de procédé à l'entretien de ces composants pour que la garantie du dispositif antipollution dont bénéficia le vehicule ou la responsabilité de rappel du constructeur reste en vigueur. Vous doivent procéder à l'entretien périodique des autres composants.
88 000 km/(55 000 mi)/66 mois
Effectuez l'entretien au nombre de milles, kilomètres ou mois, selon la première éventualité.
Entretien standard :
Inspections :
- Avertisseur sonore, phares, clignotants, essuie-glaces, hayon arrriere et supports de levage du capot
- Tous les liquides inspectés (moteur, essuie-glace, frein, direction assistée, liquide de refroidissement)
- Composants de la suspension (amortisseurs, sous-chassis, biellettes de direction)
- Bornes et câbles de batterie, vérification de la batterie
- Pression des pneus, usure et profondeur de la bande de roulement
Éléments essentiels :
Permutation des pneus
Entretien pour utilisation en conditions difficiles :
Inspections :
- Plaquettes et disques de frein
- Système d'échéppement
- Timonerie et boftier de direction
- Pièces d'essieu et de suspension
- Soufflets des arbres de transmission
96000 km/(60 000 mi)/72 mois
Effectuez l'entretien au nombre de milles, kilomètres ou mois, selon la première éventualité.
Entretien standard :
Inspections :
- Conduites et câbles de frein
- Plaquettes et disques de frein
- Liquide pour transmission à variation continue
Courroies d'entrainment du moteur* - Systeme de récapération des vapeurs du réservoir de carburant
Conduites de carburant et raccords - Système d'échéppement
- Timonerie et boitier de direction
- Pièce d'essieu et de suspension
- Soufflets des arbres de transmission
- Huile pour boîte de vitesses manuelle
- Avertisseur sonore, phares, clignotants, essuie-glaces, hayon arrriere et supports de levage du capot
- Tous les liquides inspectés (moteur, essuie-glace, frein, direction assistée, liquide de refroidissement)
-
Inspection des tuyaux
-
Composants de la suspension (amortisseurs, sous-chassis, biellettes de direction)
- Bornes et câbles de batterie, vérification de la batterie
- Pression des pneus, usure et profondeur de la bande de roulement
Éléments essentiels :
- Remplacement du filtré à air (1)
- Remplacement du liquide de freins
- Remplacement de l'huile moteur et du filtré à huile (2)
- Remplacement du microfiltre de l'habitatacle
- Remplacement de la pile de la clé intelli-gente
- Permutation des pneus
Entretien pour utilisation en conditions difficiles :
Inspections :
- Plaquettes et disques de frein
- Système d'échéppement
- Soufflets des arbres de transmission
- Timonerie et boîtier de direction
- Pièces d'essieu et de suspension
Éléments essentiels :
- Remplacement du liquide pour transmission à variation continue
- Remplacement de l'huile pour boîte de vitesses manuelle
- Remplacement du liquide de freins
(1) Si vous utilise le vehicule principalement dans des conditions poussières, des entretiens plus fréquents peuvent être nécessaires.
(2) Si l'indicateur de changement d'huile est affché, vous devez remplacer l'huile moteur et le filtré dans les deux semaines ou moins de 800 km (500 mi).
- NISSAN recommende que les éléments et les intervalles d'entretien avec un astérisque « * » soient vérifiés pour que votre vehicule fonctionne en toute fiabilité. Le propriétaire n'a pas besoin de procédé à l'entretien de ces composants pour que la garantie du dispositif antipollution dont bénéficia le vehicule ou la responsabilité de rappel du constructeur reste en vigueur. Vous doivent touteos procédé à l'entretien périodique des autres composants.
104 000 km/(65 000 mi)/78 mois
Effectuez l'entretien au nombre de milles, kilomètres ou mois, selon la première éventualité.
Entretien standard :
Inspections :
- Avertisseur sonore, phares, clignotants, essuie-glaces, hayon arrriere et supports de levage du capot
- Tous les liquides inspectés (moteur, essuie-glace, frein, direction assistée, liquide de refroidissement)
- Composants de la suspension (amortisseurs, sous-chàssis, biellettes de direction)
- Bornes et câbles de batterie, vérification de la batterie
- Pression des pneus, usure et profondeur de la bande de roulement
Éléments essentiels :
Permutation des pneus
Entretien pour utilisation en conditions difficiles :
Inspections :
- Plaquettes et disques de frein
- Systeme déchéappement
- Timonerie et boîttier de direction
- Pièces d'essieu et de suspension
- Soufflets des arbres de transmission
112000 km/(70 000 mi)/84 mois
Effectuez l'entretien au nombre de milles, kilomètres ou mois, selon la première éventualité.
Entretien standard :
Inspections :
- Conduites et câbles de frein
- Plaquettes et disques de frein
- Liquide pour transmission à variation continue
- Courroies d'entrainment du moteur*
- Soufflets des arbres de transmission
- Huile pour boîte de vitesses manuelle
- Avertisseur sonore, phares, clignotants, essuie-glaces, hayon arrriere et supports de levage du capot
- Tous les liquides inspectés (moteur, essuie-glace, frein, direction assistée, liquide de refroidissement)
Inspections des tuyaux - Composants de la suspension (amortisseurs, sous-châssis, biellettes de direction)
- Bornes et cables de batterie, vérification de la batterie
- Pression des pneus, usure et profondeur de la bande de roulement
Éléments essentiels :
- Remplacement de l'huile moteur et du filtré à huile (1)
- Permutation des pneus
Entretien pour utilisation en conditions difficiles :
Inspections :
- Plaquettes et disques de frein
- Soufflets des arbres de transmission
- Système d'échéppement
- Timonerie et boîtier de direction
- Pièces d'essieu et de suspension
Éléments essentiels :
- Remplacement du liquide de freins
(1) Si l'indicateur de changement d'huile est affché, vous nevez remplacer l'huile moteur et le filtré dans les deux semaines ou moins de 800 km (500 mi).
- NISSAN recommende que les éléments et les intervalles d'entretien avec un astérisque « * » seront vérifiés pour que votre vehicule fonctionne en toute fiabilité. Le propriétaire n'a pas besoin de procédé à l'entretien de ces composants pour que la garantie du dispositif antipollution dont bénéficia le vehicule ou la responsabilité de rappel du constructeur reste en vigueur. Vous doivent toutes procéder à l'entretien périodique des autres composants.
120 000 km/(75 000 mi)/90 mois
Effectuez l'entretien au nombre de milles, kilomètres ou mois, selon la première éventualité.
Entretien standard :
Inspections :
- Avertisseur sonore, phares, clignotants, essuie-glaces, hayon arrriere et supports de levage du capot
- Tous les liquides inspectés (moteur, essuie-glace, frein, direction assistée, liquide de refroidissement)
- Composants de la suspension (amortisseurs, sous-chassis, biellettes de direction)
- Bornes et câbles de batterie, vérification de la batterie
- Pression des pneus, usure et profondeur de la bande de roulement
Éléments essentiels :
- Remplacement du microfiltre de l'habitacle
- Remplacement de la pile de la clé intelligente
Permutation des pneus
Entretien pour utilisation en conditions difficiles :
Inspections :
- Plaquettes et disques de frein
- Système d'échéppement
- Timonerie et boftier de direction
- Pièces d'essieu et de suspension
- Soufflets des arbres de transmission
128000 km/(80000 mi)/96 mois
Effectuez l'entretien au nombre de milles, kilomètres ou mois, selon la première éventualité.
Entretien standard :
Inspections :
- Conduites et câbles de frein
- Plaquettes et disques de frein
- Liquide pour transmission à variation continue
Courroies d'entrainement du moteur* - Système de récapération des vapeurs du réservoir de carburant
Conduites de carburant et raccords - Système d'échéppement
- Timonerie et boftier de direction
- Pièce d'essieu et de suspension
- Soufflets des arbres de transmission
- Huile pour boîte de vitesses manuelle
- Avertisseur sonore, phares, clignotants, essuie-glaces, hayon arrriere et supports de levage du capot
-
Tous les liquides inspectés (moteur, essuie-glace, frein, direction assistée, liquide de refroidissement)
Inspections des tuyaux -
Composants de la suspension (amortisseurs, sous-chassis, biellettes de direction)
- Bornes et câbles de batterie, vérification de la batterie
- Pression des pneus, usure et profondeur de la bande de roulement
Éléments essentiels :
- Remplacement du liquide de freins
- Remplacement de l'huile moteur et du filtré à huile (1)
Permutation des pneus
Entretien pour utilisation en conditions difficiles :
Inspections :
- Plaquettes et disques de frein
- Systemé d'échéppement
- Soufflets des arbres de transmission
- Timonerie et boîtier de direction
- Pièces d'essieu et de suspension
Éléments essentiels :
- Remplacement de l'huile pour boîte de vitesses manuelle
- Remplacement du liquide de freins
(1) Si l'indicateur de changement d'huile est affché, vous devez replacer l'huile moteur et le filtré dans les deux semaines ou moins de 800 km (500 mi).
- NISSAN recommende que les éléments et les intervalles d'entretien avec un astérisque « * » seront vérifiés pour que votre vehicule fonctionne en toute fiabilité. Le propriétaire n'a pas besoin de procédé à l'entretien de ces composants pour que la garantie du dispositif antipollution dont bénéficia le vehicule ou la responsabilité de rappel du constructeur reste en vigueur. Vous doivent touteos procédé à l'entretien périodique des autres composants.
136 000 km/(85 000 mi)/102 mois
Effectuez l'entretien au nombre de milles, kilomètres ou mois, selon la première éventualité.
Entretien standard :
Inspections :
- Avertisseur sonore, phares, clignotants, essuie-glaces, hayon arrriere et supports de levage du capot
- Tous les liquides inspectés (moteur, essuie-glace, frein, direction assistée, liquide de refroidissement)
- Composants de la suspension (amortisseurs, sous-chassis, biellettes de direction)
- Bornes et câbles de batterie, vérification de la batterie
- Pression des pneus, usure et profondeur de la bande de roulement
Éléments essentiels :
Permutation des pneus
Entretien pour utilisation en conditions difficiles :
Inspections :
- Plaquettes et disques de frein
- Système d'échéppement
- Timonerie et boftier de direction
- Pièces d'essieu et de suspension
- Soufflets des arbres de transmission
144000 km/(90 000 mi)/108 mois
Effectuez l'entretien au nombre de milles, kilomètres ou mois, selon la première éventualité.
Entretien standard :
Inspections :
- Conduites et câbles de frein
- Plaquettes et disques de frein
- Liquide pour transmission à variation continue
Courroies d'entrainment du moteur* - Soufflets des arbres de transmission
- Huile pour boîte de vitesses manuelle
- Avertisseur sonore, phares, clignotants, essuie-glaces, hayon arrriere et supports de levage du capot
- Tous les liquides inspectés (moteur, essuie-glace, frein, direction assistée, liquide de refroidissement)
Inspections des tuyaux - Composants de la suspension (amortisseurs, sous-chassis, biellettes de direction)
- Bornes et câbles de batterie, vérification de la batterie
- Pression des pneus, usure et profondeur de la bande de roulement
Éléments essentiels :
- Remplacement du filtré à air (1)
- Remplacement de l'huile moteur et du filtré à huile (2)
- Remplacement du microfiltre de l'habitacle
- Remplacement de la pile de la clé intelligente
Permutation des pneus
Entretien pour utilisation en conditions difficiles :
Inspections :
- Plaquettes et disques de frein
- Soufflets des arbres de transmission
- Système d'échéppement
- Timonerie et boitier de direction
- Pièces d'essieu et de suspension
Éléments essentiels :
- Remplacement du liquide de freins
(1) Si vous utilisez le vehicule principalement dans des conditions poussiereuses, des entretiens plus frquents peuvent etre nécessaires.
(2) Si l'indicateur de changement d'huile est affché, vous devez replacer l'huile moteur et le filtré dans les deux semaines ou moins de 800 km (500 mi).
- NISSAN recommende que les éléments et les intervalles d'entretien avec un astérisque « * » soit vérifiés pour que votre vehicule fonctionne en toute fiabilité. Le propriétaire n'a pas besoin de procédé à l'entretien de ces composants pour que la garantie du dispositif antipollution dont bénéficia le vehicule ou la responsabilité de rappel du constructeur reste en vigueur. Vous doivent touteos procédé à l'entretien périodique des autres composants.
152 000 km/(95 000 mi)/114 mois
Effectuez l'entretien au nombre de milles, kilomètres ou mois, selon la première éventualité.
Entretien standard :
Inspections :
- Avertisseur sonore, phares, clignotants, essuie-glaces, hayon arrriere et supports de levage du capot
- Tous les liquides inspectés (moteur, essuie-glace, frein, direction assistée, liquide de refroidissement)
- Composants de la suspension (amortisseurs, sous-chassis, biellettes de direction)
- Bornes et câbles de batterie, vérification de la batterie
- Pression des pneus, usure et profondeur de la bande de roulement
Éléments essentiels :
Permutation des pneus
Entretien pour utilisation en conditions difficiles :
Inspections :
- Plaquettes et disques de frein
- Système d'échéppement
- Timonerie et boitier de direction
- Pièces d'essieu et de suspension
- Soufflets des arbres de transmission
160000 km/(100 000 mi)/120 mois
Effectuez l'entretien au nombre de milles, kilomètres ou mois, selon la première éventualité.
Entretien standard :
Inspections :
- Conduites et câbles de frein
- Plaquettes et disques de frein
- Liquide pour transmission à variation continue
Courroies d'entrainement du moteur* - Systeme de récapération des vapeurs du réservoir de carburant
Conduites de carburant et raccords - Système d'échéppement
- Timonerie et boftier de direction
- Pièce d'essieu et de suspension
- Soufflets des arbres de transmission
- Huile pour boîte de vitesses manuelle
- Avertisseur sonore, phares, clignotants, essuie-glaces, hayon arrriere et supports de levage du capot
-
Tous les liquides inspectés (moteur, essuie-glace, frein, direction assistée, liquide de refroidissement)
Inspections des tuyaux -
Composants de la suspension (amortisseurs, sous-chassis, biellettes de direction)
- Bornes et câbles de batterie, vérification de la batterie
- Pression des pneus, usure et profondeur de la bande de roulement
Éléments essentiels :
- Remplacement du liquide de freins
- Remplacement de l'huile moteur et du filtré à huile (1)
- Permutation des pneus
Entretien pour utilisation en conditions difficiles :
Inspections :
- Plaquettes et disques de frein
- Système d'échéppement
- Soufflets des arbres de transmission
- Timonerie et boîtier de direction
- Pièces d'essieu et de suspension
Éléments essentiels :
- Remplacement de l'huile pour boîte de vitesses manuelle
- Remplacement du liquide de freins
(1) Si l'indicateur de changement d'huile est affché, vous devez replacer l'huile moteur et le filtrtre dans les deux semaines ou moins de 800 km (500 mi).
- NISSAN recommende que les éléments et les intervalles d'entretien avec un astérisque « * » seront vérifiés pour que votre vehicule fonctionne en toute fiabilité. Le propriétaire n'a pas besoin de procédé à l'entretien de ces composants pour que la garantie du dispositif antipollution dont bénéficia le vehicule ou la responsabilité de rappel du constructeur reste en vigueur. Vous doivent procéder à l'entretien périodique des autres composants.
168 000 km/(105 000 mi)/126 mois
Effectuez l'entretien au nombre de milles, kilomètres ou mois, selon la première éventualité.
Entretien standard :
Inspections :
- Avertisseur sonore, phares, clignotants, essuie-glaces, hayon arrriere et supports de levage du capot
- Tous les liquides inspectés (moteur, essuie-glace, frein, direction assistée, liquide de refroidissement)
- Composants de la suspension (amortisseurs, sous-chassis, biellettes de direction)
- Bornes et câbles de batterie, vérification de la batterie
- Pression des pneus, usure et profondeur de la bande de roulement
Éléments essentiels :
- Remplacement du microfiltre de l'habitacle
- Remplacement de la pile de la clé intelligente
Permutation des pneus - Remplacement des bougies d'allumage
- Remplacement du liquide de refroidissement * (1)
Entretien pour utilisation en conditions difficiles :
Inspections :
- Plaquettes et disques de frein
- Système d'échéppement
- Timonerie et boitier de direction
- Pièces d'essieu et de suspension
- Soufflets des arbres de transmission
(1) Le premier intervalle de remplacement est de 168 000 km (105 000 mi) ou 84 mois. ÀpRES le premier remplacement, remplacez tous les 120 000 km (75 000 milles) ou 60 mois.
- NISSAN recommende que les éléments et les intervalles d'entretien avec un astérisque « * » seront vérifiés pour que votre vehicule fonctionne en toute fiabilité. Le propriétaire n'a pas besoin de procédé à l'entretien de ces composants pour que la garantie du dispositif antipollution dont bénéficia le vehicule ou la responsabilité de rappel du constructeur reste en vigueur. Vous doivent procéder à l'entretien périodique des autres composants.
176000 km/(110 000 mi)/132 mois
Effectuez l'entretien au nombre de milles, kilomètres ou mois, selon la première éventualité.
Entretien standard :
Inspections :
- Conduites et câbles de frein
- Plaquettes et disques de frein
- Liquide pour transmission à variation continue
Courroies d'entrainment du moteur* - Soufflets des arbres de transmission
- Huile pour boîte de vitesses manuelle
- Avertisseur sonore, phares, clignotants, essuie-glaces, hayon arrriere et supports de levage du capot
- Tous les liquides inspectés (moteur, essuie-glace, frein, direction assistée, liquide de refroidissement)
Inspections des tuyaux - Composants de la suspension (amortisseurs, sous-chassis, biellettes de direction)
- Bornes et câbles de batterie, vérification de la batterie
- Pression des pneus, usure et profondeur de la bande de roulement
Éléments essentiels :
- Remplacement de l'huile moteur et du filtré à huile (1)
Permutation des pneus
Entretien pour utilisation en conditions difficiles :
Inspections :
- Plaquettes et disques de frein
- Soufflets des arbres de transmission
- Systeme déchéappement
- Timonerie et boitier de direction
- Pièces d'essieu et de suspension
Éléments essentiels :
- Remplacement du liquide de freins
(1) Si l'indicateur de changement d'huile est affché, vous devez replacer l'huile moteur et le filtré dans les deux semaines ou moins de 800 km (500 mi).
- NISSAN recommende que les éléments et les intervalles d'entretien avec un astérisque « * » soient vérifiés pour que votre vehicule fonctionne en toute fiabilité. Le propriétaire n'a pas besoin de procédé à l'entretien de ces composants pour que la garantie du dispositif antipollution dont bénéficia le vehicule ou la responsabilité de rappel du constructeur reste en vigueur. Vous doivent touteos procédé à l'entretien périodique des autres composants.
184 000 km/(115 000 mi)/138 mois
Effectuez l'entretien au nombre de milles, kilomètres ou mois, selon la première éventualité.
Entretien standard :
Inspections :
- Avertisseur sonore, phares, clignotants, essuie-glaces, hayon arrriere et supports de levage du capot
- Tous les liquides inspectés (moteur, essuie-glace, frein, direction assistée, liquide de refroidissement)
- Composants de la suspension (amortisseurs, sous-chassis, biellettes de direction)
- Bornes et câbles de batterie, vérification de la batterie
- Pression des pneus, usure et profondeur de la bande de roulement
Éléments essentiels :
- Permutation des pneus
Entretien pour utilisation en conditions difficiles :
Inspections :
- Plaquettes et disques de frein
- Système d'échéppement
- Timonerie et boftier de direction
- Pièces d'essieu et de suspension
- Soufflets des arbres de transmission
192000 km/(120 000 mi)/144 mois
Effectuez l'entretien au nombre de milles, kilomètres ou mois, selon la première éventualité.
Entretien standard :
Inspections :
- Conduites et câbles de frein
- Plaquettes et disques de frein
- Liquide pour transmission à variation continue
Courroies d'entrainment du moteur* - Systeme de récapération des vapeurs du réservoir de carburant
Conduites de carburant et raccords - Système d'échéppement
- Timonerie et boitier de direction
- Pièce d'essieu et de suspension
- Soufflets des arbres de transmission
- Huile pour boîte de vitesses manuelle
- Avertisseur sonore, phares, clignotants, essuie-glaces, hayon arrriere et supports de levage du capot
-
Tous les liquides inspectés (moteur, essuie-glace, frein, direction assistée, liquide de refroidissement)
Inspections des tuyaux -
Composants de la suspension (amortisseurs, sous-chassis, biellettes de direction)
- Bornes et câbles de batterie, vérification de la batterie
- Pression des pneus, usure et profondeur de la bande de roulement
Éléments essentiels :
- Remplacement du filtré à air (1)
- Remplacement du liquide de freins
- Remplacement de l'huile moteur et du filtré à huile (2)
- Remplacement du microfiltre de l'habitatacle
- Remplacement de la pile de la clé intelli-gente
- Permutation des pneus
Entretien pour utilisation en conditions difficiles :
Inspections :
- Plaquettes et disques de frein
- Système d'échéppement
- Soufflets des arbres de transmission
- Timonerie et boîtier de direction
- Pièces d'essieu et de suspension
Éléments essentiels :
- Remplacement du liquide pour transmission à variation continue
- Remplacement de l'huile pour boîte de vitesses manuelle
- Remplacement du liquide de freins
(1) Si vous utilise le vehicule principalement dans des conditions poussièresuses, des entretiens plus fréquents peuvent être nécessaires.
(2) Si l'indicateur de changement d'huile est affché, vous devez remplacer l'huile moteur et le filtré dans les deux semaines ou moins de 800 km (500 mi).
- NISSAN recommende que les éléments et les intervalles d'entretien avec un astérisque « * » soient vérifiés pour que votre vehicule fonctionne en toute fiabilité. Le propriétaire n'a pas besoin de procédé à l'entretien de ces composants pour que la garantie du dispositif antipollution dont bénéficia le vehicule ou la responsabilité de rappel du constructeur reste en vigueur. Vous doivent touteos procédé à l'entretien périodique des autres composants.
10 Données techniques et information au consommateur
Contenances, liquides et lubricants
recommendés 10-2
Recommendations concernant le
carburant 10-5
Recommendations relatives à l'huile à
mateur et au filtré à huile 10-8
Recommendations concernant le fluide
frigorigène et le lubrifiant du climatiseur 10-9
Roues et pneus 10-11
Dimensions et poids 10-12
Voyages ou immatriculation du vehicule à
I'etranger 10-14
Identification du vehicule 10-14
Plaque de numero d'identification du
vécicule (NIV) 10-14
Numéro d'identification du vehicule
(numéro du chàssis) 10-14
Numéro de série du moteur 10-15
Étiquette d'homologation
FMVSS/NSVAC 10-15
Étiquette d'information du dispositif
antipollution 10-15
Étiquette de renseignements relatifs
aux pneus et à la charge 10-16
Étiquette des caractéristiques du
climatiseur 10-16
Installation de la plaque d'immatriculation
avant 10-17
Information concernant le chargement du
vehicule 10-18
Terminologie 10-18
Capacité de charge du vehicule 10-19
Conseils pour le chargement 10-21
Mesure des poids 10-22
Traction d'une remorque 10-23
Remorquage à plat 10-23
Classification uniforme de qualite des pneus.... 10-24
Défauts prompressant la sécurité 10-25
Préparation pour les contrôles d'inspection
et d'entretien. 10-26
Garantie du dispositif antipollution 10-26
Enregistreurs de données routières 10-27
Pour commander le manuel du conducteur
ou le manuel de réparation. 10-28
CONTENANCES, LIQUIDES ET LUBRIFIANTS RECOMMANDÉS
Les contenances indiquées ci-après sont approximatives. Les contenances de replissage réelles peuvent varier légèrement. Au moment du replissage, suivez la méthode décrite dans le chapitre « Interventions du propriétaire » afin de déterminer les contenances adéquates.
| Type de liquide | Contenances (approximatives) | Liquides/Lubrifiants recommandés | |||
| Mesures métriques | Mesures américaines | Mesures impériaries | |||
| Carburant | 47 L | 12 3/8 gal | 10 3/8 gal | Pour obtenir des renseignements supplémentaires, conseutez la section « Recommendations concernant le carburant » (p. 10-5). | |
| Huile à moteur*1 Vidange et replissage *1 Pour obtenir des renseignements supplémentaires, reportez-vous à la section « Huile à moteur »(p. 8-7). | Avec change-ment de filtré à huile | 4,1 L | 4 3/8 pte | 3 5/8 pte | Huile à moteur authenticate NiSSAN « 0W-20 SP » (ou équivalente) recommandée.Si l'huile à moteur ci-dessus n'est pas disponible, il est possible d'utiliser une huile à moteur synthétique 0W-20 GF-6 SP. Les dommages causés par l'utilisation d'huiles à moteur autres que celles recommandées ne sont pas couverts par la garantie limitée de vehicule neuf NiSSAN. Pourptions de plus amples renseignements, reportez-vous à la section « Recommendations concernant l'huile à moteur et le filtré à huile » (p. 10-8). |
| Sans change-ment de filtré à huile | 3,8 L | 4 pte | 3 3/8 pte | ||
| Liquide de refroidissement avec réservoir | Avec boîte de vitesses manuelle | 6,9 L | 17/8 gal | 11/2 gal | Liquide de refroidissement longue durée NiSSAN d'origine (de couleur bleue) prédilué ou un produit équivalent. |
| Avec transmis-sion à variation continue | 7,1 L | 17/8 gal | 11/2 gal | ||
| Type de liquide | Contenances (approximatives) | Liquides/Lubrifiants recommandés | ||
| Mesures métriques | Mesures américaines | Mesures impériaries | ||
| Huile pour boîte de vitesses manuelle | - | - | - | • Liquide de boîte de vitesses manuelle NISSAN TL/JR type 75W-75 d'origine ou un produit équivalent.• Si du liquide de boîte de vitesses manuelle NISSAN TL/JR d'origine n'est pas disponible, utilisez de l'huile API GL-4+, à degré de viscosité SAE 75W-75 comme remplacement temporaire.• Utilisez)dès que possible l'huile NISSAN d'origine pour boîte de vitesses manuelle TL/JR. |
| Huile pour transmission à variation continue | - | - | - | • Liquide pour transmission à variation continue NISSAN NS-3 d'origine.• NISSAN recommends d'utiliser UNIQUÉMENT le liquide pour transmission à variationconti-nue NISSAN NS-3 d'origine (ou un produit équi-valent) dans les transmissions à variationconti-nue NISSAN. N'y mélangez pas d'autres liquides.L'utilisation de liquides qui ne sont pas équivalents au liquide pour transmission à variationcontinue NS-3 NISSAN d'origine peut endom-mager la transmission à variation continu.Les dommages causés par l'utilisation de liqui-des autres que ceux recommendés ne sontpas couverts par la garantie limitée de vehicule neuf NISSAN représentée dans votre livre expliquatif sur la garantie. |
| Type de liquide | Contenances (approximatives) | Liquides/Lubrifiants recommandés | |||
| Mesures métriques | Mesures américaines | Mesures impériaries | |||
| Liquides de freins et d'embrayage (selon l'équipment) | — | — | — | • Liquide de frein NISSAN d'origine ou liquide DOT 3 ou DOT 4 équivalent | |
| Graisse universelle | — | — | — | • NLGI n° 2 (à base de savon de lithium) | |
| Frigorigène du système de climatisation | — | — | — | • HFO-1234yf (R-1234yf) • Pour obtaining des renseignements supplémentaires, consultez la section « Recommendations concernant le fluide frigorigène et le lubrifiant du climatiseur » (p. 10-9). | |
| Lubrifiant de système de climatisation | — | — | — | • Lubrifiant de climatiseur NISSAN d'origine de type PAG ou l'équivalent • Pour obtaining des renseignements supplémentaires, consultez la section « Recommendations concernant le frigorigène et le lubrifiant du climatiseur » (p. 10-9). | |
| Liqueide lave-glace | ÉTATS-UNIS | 2,5 L | 5/8 gal | 1/2 gal | • Liquide lave-glace concentré nettoyant NISSAN d'origine avec antigel ou un produit équivalent |
| Canada | 4,2 L | 11/8 gal | 7/8 gal | ||
RECOMMANDATIONS
CONCERNANT LE CARBURANT
Utilisez une essence ordinaire sans plomb à indice d'octane AKI de 87 ou plus (indice d'octane recherche de 91).

MISE EN GARDE
- Seuls les vehicules comportant une étiquette « E-85 » à l'intérieur de la trappe de carburant peuvent fonctionner avec du carburant à base d'ethanol E-85. Des dommages au circuit d'alimentation ou à autres éléments pourrait se produit en cas d'utilisation de carburant E-85 sur des vehicules non concus pour ce type de carburant.
L'utilisation de carburant autre que celui qui est prescrit pourrait nuir au fonctionnement du dispositif anti-pollution et avoir une incidence sur la couverture de garantie. -
N'utilise en aucune circonstance de l'essence au plomb dans votre vehicule, car vous pourriez endommager le catalyseur trifonctionnel.
-
N'utilisez pas le carburant E-15 ou E-85 dans votre vehicule. Le carburant E-15 ou E-85 ne convient pas à votre vehicule. L'utilisation du carburant E-15 ou E-85 dans un vehicule non conçu pour être alimenté par ce type de carburant peut nuire aux dispositifs antipollution et aux systèmes du vehicule. Les dommages causés par l'utilisation de ces carburants ne sont pas couverts par la garantie limitée de vehicule neuf NiSSAN.
- N'utilisez pas de carburant qui contient un renforcéateur d'octane méthylcyclopentadiényle manganés tricarbonyle (MMT). L'utilisation d'un carburant contenant du méthylcyclopentadiényle manganés tricarbonyle (MMT) peut nuire au rendement du vehicule et au bon fonctionnement du dispositif antipollution. Tous les distributeurs de carburant ne sont pasétiquetés pour indiquer la teneur en MMT, vous doivent communiquer avec le détaillant d'essence pour obtenir de plus amples renseignements. Notez que bois féderées et californiennes interdisent l'utilisation du MMT dans l'essence nouvelle.
La réglementation des É.-U. impose l'identification des pompes de carburant à base d'éthanol à l'aide d'une petite étiquette carrée orange et noire indiquant l'abréviation commune ou le pourcentage autorisé dans cette région.
Spécifications pour l'essence
NISSAN recommende d'utiliser un carburant qui satisfait aux specifications de la Charte mondiale des essences. Nombre de constructeurs de vehicules automobiles ont mis ces specifications au point pour améliorer le rendement du dispositif antipollution et du vehicule. Demandez au gérant de la station-service si le carburant satisfait aux specifications de la charte mondiale des essences.
Essence nouvelle
Certains fournisseurs de carburant produit des essences nouvelles. Celles-ci sont spécialement conçues pour réduire l'émission de gaz d'échéappement polluants par les vehicules. NISSAN encourage les initiatives visant à réduire la pollution et vous recommendé l'utilisation de ces essences, si celles-ci sont disponibles dans votre région.
Essence contenant des substances oxygénées
Certains fournisseurs de carburant vendent de l'essence contenant des composés oxygens tels que l'éthanol, le méthyle tert-butyle éther (MTBE) et le methanol, avec ou sans publicité de leur présence. NiSSAN déconseille l'utilisation de carburants dont la teneur en substances oxygénées et la compatibilité avec votre vehicule NiSSAN ne peuvent pas être facilement déterminées. En cas de doute, adressez-vous au gérant de la station-service.
Si vous utilisez une essence contenant des substances oxygénées, veuillez prendre les précautions énoncées ci-après, car l'utilisation de ce type de carburant peut compromètre le rendement du vehicule ou causer des dommages au circuit d'alimentation.
L'essence doit etre du carburant sans plomb avec un indice d'octane egal ou supérieur a celui recommande pour l'essence sans plomb.
Si une essence oxygénée est utilisée, sa teneur en substances oxygénées ne doit pas dépasser 10% sauf les mélanges de methanol. (Le MTBE [methyl-tert-butyléther] peut cependant atteindre une teneur de 15% .)
Le carburant E-15 contient plus de 10% de substances oxygénées. Le carburant E-15 nuira aux dispositifs antipollution et aux systèmes du vehicule et ne doit donc pas etre utilisé. Les dommages causés par l'utilisation de ces carburants ne sont pas couverts par la garantie limite de vehicule neuf NISSAN.
- Si un mélange de methanol est utilisé, sa teneur ne doit pas dépasser 5 % de methanol (alcool méthylique, alcohol de bois). Ce mélange doit aussi contenir une quantité suffisante de cosolvants et d'inhibiteurs de corrosion adéquats. Une mauvaise concentration de ces ingré-dients peut entraîner des dommages au circuit d'alimentation ou compromèttre le rendement du vehicule. Pour l'instant, nous ne disposons pas de suffisamment de données pour nous assurer que tous les mélanges de methanol convennent aux vehicules NISSAN.
Si des problèmes surgissant (calage du moteur ou démarrage difficile lorsque le moteur est chaud) après avoir utilisé des mélanges oxygénés, utilisez alors une essence ne contenant pas de substances oxygénées ou à faible teneur en MTBE (méthyl-tert-butyléther).
Prenez soit de ne pas renverser d'essence lorsque vous faites le plein. L'essence contenant des substances oxygénées peut endommager la peinture.
Carburant E-15
Le carburant E-15 est un mélange d'environ 15 % d'éthanol et de 85 % d'essence sans plomb. Le carburant E-15 ne doit être utilisé que dans les vehicules conçus pour être alimentés par le carburant E-15. N'utilise pas de carburant E-15 dans votre vehicule. La reglementation des États-Unis impose l'identification des pompes de carburant à base d'éthanol à l'aide d'une petite éti-quette carrée orange et noire indiquant l'abréviation courante ou le pourcentage autorisé dans cette région.
Carburant E-85
Le carburant E-85 est un mélange d'environ 85 % d'éthanol et de 15 % d'essence sans plomb. Le carburant E-85 ne peut être utilisé que pour les vehicules polycarburant. N'utilisez pas de carburant E-85 dans votre vehicule. La réglementation des É.-U. impose l'identification des pompes de carburant à base d'éthanol à l'aide d'une
petite étiquette carree orange et noire indi-quant l'abréviation commune ou le pourcentage autorisé dans cette région.
Carburant contenant du MMT
Le MMT ou métylvyclopentadiényle manganèse tricarbonyle est un additif qui accroît l'indice d'octane de l'essence. NiSSAN ne vous recommende pas d'utiliser du carburant contenant du MMT. L'utilisation d'un tel carburant peut nuir au rendement du vehicule et au bon fonctionnement du système antipollution. Notez que même si certaines pompes d'alimentation sont étiquétées pour indiquer la teneur en MMT, d'autres ne le sont pas, vousdezvez communiquer avec le détaillant d'essence pour obtenir de plus amples renseignements.
Additives de carburant du marché des pieces de rechange
NISSAN déconseille l'utilisation de tout additifs de carburant (p.ex, nettoyant d'injecteur de carburant, renforçateur d'octane, suppresseur de dépôt de soupape d'admission, etc.) du marché des pieces de rechange.
La majorité de ces additifs concus pour éliminer les dépôts degomme, de vernis ou autres peuvent contenir des solvants actifs ou des ingrédients similaires qui peuvent nuir au circuit d'alimentation et au moteur.
À propos de l'indice d'octane
L'utilisation d'une essence sans plomb à l'indice d'octane inférieur à l'indice préconisé peut entraîner des « cognements » forts et persistants (le « cognement » est un bruit de cliquetis métallique). S'il est de force intense, ce cognement pourrait endommager le moteur. Si un cognement persistent est audible, et ce, en dépôt de l'utilisation d'essence à l'indice d'octane indiqué, ou si un cognement régulier est perçu à vitesse constante sur une route plane, faites corriger le problème par un concessionnaire NISSAN. Le fait de ne pas corriger cette condition constitue un usage abusif du vehicule pour lequel NISSAN se dégage de toute responsabilité.
Un calage incorrect de l'allumage peut causer un cognement, l'auto-allumage ou une surchauffe du moteur qui, à leur tour, peuvent accroître la consommation de
carburant ou endommager le moteur. Si vous notez la présence de l'un de ces symptômes, faites vérifier votre vehicule. Nous vous recommendons de vous rendre chez un concessionnaire NISSAN pour cet entretien.
Cependant, un léger cognement peut être brièvement perçu à l'accelération ou dans les montées. Cette situation est normale, car sous condition de charge élevée du moteur, vous obtenez un meilleur rendement du carburant lorsqu'il y a brièvement un léger cognement.

Marque d'homologation API

Symbole API
LT12587
RECOMMANDATIONS RELATIVES À L'HUILÉ À MOTEUR ET AU FILTRE À HUILÉ
Sélection de l'huile à moteur appropriée
Le choix d'une huile moteur de catégorie, de qualité et de viscosité correctes est essentiel pour préserver la vie utile et le rendement du moteur. Pour obtenir des renseignements supplémentaires, consultez la section « Contenances, liquides et lubrifiants recommends » (p. 10-2). NISSAN recommende d'utiliser une huile à
économie d'énergie pour améliorer la consommation de carburant.
Ne sélectionnez que des huiles moteur homologuées par l'American Petroleum Institute (API) ou par l'International Lubricant Standardization and Approval Committee (ILSAC) et conformes à la norme de viscosité de la SAE. Ces huiles portent la marque d'homologation API (American Petroleum Institute) à l'avant du contenant. N'utilise qu'une huile identifiée par le label de qualité spécifique. L'utilisation d'une huile non homologuée pourrait endommager le moteur.
Additifs d'huile
NISSAN déconseille l'utilisation d'additifs d'huile. L'utilisation d'un additif d'huile est superflue lorsque le bon type d'huile est utilisé et que la périodicité d'entretien est respectée.
N'utilisez jamais une huile usee ou susceptible decontainirdes corps etrangers.
Viscosité de l'huile
L'épaisseur ou la viscosité de l'huile moteur varie selon la température. Il est donc important de selectionner la viscosité de l'huile moteur en fonction des températures auxquelles le vehicule sera utilisé, et ce, jusqu'à la prochaine vidange d'huile. Le choix d'une huile à moteur de viscosité autre que celle recommandée peut cause deraves dommages au moteur.
Choix du bon filtré à huile
Votre vehicule NISSAN neuf est muni d'un filtrer à huile NISSAN d'origine de qualité supérieure. Remplacez-le par un filtrer NISSAN d'origine ou l'équivalent pour les motifs stipulés dans « Intervalles de changement »
Intervalles de changement
Les intervalles de changement d'huile à moteur et de filtré à huile pour votre moteur sont déterminés en fonction de l'utilisation d'huiles et de filtrres de la qualité spécifiée. L'utilisation d'une huile à moteur et d'un filtré de moindre qualité ou le dépassement des intervalles de changement peuvent réduire la vie utile du moteur. Tout dommage au moteur cause par un entretien incorrect ou par l'utilisation d'une huile de viscosité inadéquate, ou d'un filtré de mauvaise qualité, n'est pas couvert par la garantie limitée de vehicule neuf NISSAN.
Votre moteur a eté rempli à l'usine d'une huile moteur de qualité supérieure. Il n'est pas nécessaire de vidanger l'huile à moteur avant le premier intervalle de changement recommandé. Les intervalles de vidange d'huile à moteur et de Replacement du filtré varient selon l'utilisation que vous faites du vehicule.
Si vous utilisez votre vehicule dans les conditions suivantes, vous devrez vidanger l'huile à moteur et replacer le filtre plus fréquemment:
- Trajets répertés sur de courtes distances par temps froid
-
Conduite sur des routes poussièresuses
-
Périodes de ralenti prolongées
Conduite en ville
Pour obtenir des renseignements supplémentaires, consultez le chapitre « Entretien et calendriers » de ce manuel.
RECOMMANDATIONS
CONCERNANT LE FLUIDE
FRIGORIGÉNE ET LE LUBRIFIANT
DU CLIMATISEUR
Le climatiseur de votre vehicule NISSAN utilise du frigorigène HFO-1234yf (R-1234yf) et du lubricifant pour climatiseur NISSAN de type PAG ou des produits strictement équivalents.

MISE EN GARDE
L'utilisation de tout autre frigorigène ou lubricant peut cause des dommages graves au système de climatisation. Tous les composants de ce dernier devront alors être replacés.
Le fluide frigorigène HFO-1234yf (R-1234yf) de votre vehicule NISSAN ne nuit pas à la couche d'ozzone. Bien que ce fluide frigorigène n'ait pas d'impact sur l'atmosphère, la recupération et le recyclage du fluide frigorigène au moment de l'entretien d'un
climatiseur automobile sont obligatoires en vertu de certains règlements gouvernementsaux. Le climatiseur ne doit être réparé que par des techniciens formés et certifications pour assurer le bon fonctionnement sécuritaire (SAE J2845). Un concessionnaire NISSAN dispose des techniciens qualifiés et de l'équipment nécessaire pour récapérer et recycler le fluide frigorigène de votre climatiseur. N'utilise que des évaporateurs neufs certifiés SAEJ2842 comme pieces de rechange.
Un evaporateur de climatisation endommagé ou qui présente des fuites ne doit jamais être réparé ou remplace par un evaporateur provenant d'un vehicule d'occasion ou recupéré. Pour replacer un evaporateur endommagé ou qui présente des fuites, n'utilise que des evaporateurs neufs certifiés SAE J2842. Nous vous recommendans de visiter un concessionnaire NiSSAN pour procéder à l'entretien de votre climatisationur.
MOTEUR
| Modèle | 2.0L 4 cylindres (modèle de moteur MR20DD) | |
| Type | Essence, 4-temps, double arbre à cames en tête | |
| Disposition des cylindres | 4 cylindres en ligne | |
| Alésage x course | ||
| Mesure métrique | 84,0 mm x 90,1 mm | |
| Mesure américain | 3,307 po x 3,547 po | |
| Cylindrée | ||
| Mesure métrique | 1 997 cm³ | |
| Mesure américain | 121,86 po3 | |
| Séquence d'allumage | 1-3-4-2 | |
| Régime de ralenti | ||
| Boîte de vitesses manuelle | ||
| Transmission à variation continue en position N (point mort) | Aucun réglage n'est nécessaire. | |
| Calage de l'allumage (degré avant le PMH au régime de ralenti) | ||
| % de CO au ralenti | ||
| Bougie d'allumage | DXE22H11C | |
| Écartement de bougie d'allumage (nominal) | Mesure métrique | 1,1 mm |
| Mesure américain | 0,043 po | |
| Commande de l'arbre à cames | Chaîne de distribution |
Ce système d'allumage par étincelle de vehicule est conforme à la norme NMB-002 du Canada.
ROUES ET PNEUS
| Type de roue | Mesures métriques décalées | Mesures américaines décalées | Taille |
| Acier | 40 mm | 1,57 po | 16 x 6,5JJ |
| Aluminium | 40 mm | 1,57 po | 16 x 6,5J |
| Aluminium | 48 mm | 1,89 po | 17 x 7J |
| Aluminium | 43 mm | 1,69 po | 18 x 7,5J |
| Type T (secours en acier) | 30 mm | 1,18 po | 16 x 4T |
| Dimension du pneu | 205/60R16 | ||
| 215/50R17 | |||
| 215/45R18 | |||
| Roue de secours | T125/70D16 |
DIMENSIONS ET POIDS
| Mesure métrique | Mesure française | |||
| Longueur hors tout | 4 646 mm | 182,9 po | ||
| Largeur hors tout | 1 816 mm | 71,5 po | ||
| Hauteur hors tout | ||||
| ÉTATS-UNIS | S, SV | Roue de 16 pouces | 1 447 mm | |
| SV | Roue de 17 pouces | 1 447 mm | ||
| SR | Roue de 18 pouces | 1 449 mm | ||
| Canada | S, SV | M/T, transmission à variation continue | Roue de 16 pouces | 1 448 mm |
| SV | Transmission à Variation Continue | Roue de 17 pouces | 1 448 mm | |
| SR | M/T, transmission à variation continue | Roue de 18 pouces | 1 450 mm | |
| Voie avant | ||||
| S, SV | Roue de 16 pouces | 1 588 mm | ||
| SV | Roue de 17 pouces | 1 572 mm | ||
| SR | Roue de 18 pouces | 1 582 mm | ||
| Voie arrête | ||||
| S, SV | Roue de 16 pôues | 1 585 mm | 62,4 po | |
| SV | Roue de 17 pôues | 1 570 mm | 61,8 po | |
| SR | Roue de 18 pôues | 1 580 mm | 62,2 po | |
| Empattement | 2 707 mm | 106,6 po | ||
| Poids nominal brut du vehicule (PNBV) | Consultez l'étiquette d'homologation FMVSS/NSVAC sur le pied milieu, entre les portières avant et arrière du côte conducteur. | |||
| Poids technique maximal sous essieu | ||||
| Avant | ||||
| Arrière | ||||
VOYAGES OU IMMATICULATION DU VEHICULE À L'ETRANGER
IDENTIFICATION DU VEHICULE
Si vous prévoyez conduire votre vehicule NISSAN dans un autre pays, assurez-vous d'abord que vous y trouvrez du carburant convenant au moteur de votre vehicule.
L'utilisation d'un carburant à l'indice d'octane trop bas peut endommager le moteur. Tous les vehicules à essence doivent utiliser de l'essence sans plomb. Évitez donc de conduire votre vehicule dans des régions ou des pays où le carburant ajustat n'est pas disponible.
Il peut être nécessaire de modifier votre vehicule afin de le rendre conforme aux lois et réglementations locales s'il doit être immatriculé dans un autre pays, province, État ou district.
Les lois et reglementations régissant le contrôle des émissions du vehicule et les normes de sécurité des vehicules varient selon le pays, la province, l'Etat ou le district. Par conséquent, les specifications du vehicule peuvent être différentes.
Lorsqu'un vehicule doit'être immatriculé dans un autre pays, province, État ou district, les frais de modification, de transport et d'immatriculation sont à la charge du propriétaire. NISSAN décline toute responsabilité à cet égard.

PLAQUE DE NUMERO D'IDENTIFICATION DU VEHICULE (NIV)
La plaque du numero d'identification du vehicule (NIV) est fixe a l'endroit illustré. Ce numero identifie votre vehicule et il est requis au moment de l'immatriculation du vehicule.

NUMÉRO D'IDENTIFICATION DU VÉHICULE (numéro du châtssis)
Le numero d'identification du vehicule est situé à l'endroit illustré.

NUMERO DE SÉRIE DU MOTEUR
Le numero est grave sur le moteur à l'endroit illustré.

ÉTIQUETTE D'HOMOLOGATION FMVSS/NSVAC
L'étiquette d'homologation des Normes Fédérales de Sécurité des Véhicules Automobiles du Canada (FMVSS/NSVAC) est apposée tel qu'indiqué. Cette étiquette présente des renseignements importants relatifs au vehicule, tels que: le poids nominal brut du vehicule (PNBV), le poids technique maximal sous essieu (PTME), le mois et l'année de fabrication, (le numéro d'identification du vehicule [NIV]), etc. Lisez attentivement cette étiquette.

ÉTIQUETTE D'INFORMATION DU DISPOSITIONIF ANTIPOLLUTION
L'étiquette d'information du dispositif anti-pollution est apposée sous le capot, à l'endetroit illustré.

ÉTIQUETTE DE RENSEIGNEMENTS RELATIFS AUX PNEUS ET À LA CHARGE
La pression de gonflage à froid des pneus est indiquée sur l'étiquette de renseignements relatifs aux pneus et à la charge. L'étiquette est apposée à l'endroit illustré.

ÉTIQUETTE DES CARACTERISTIQUES DU CLIMATISEUR
L'étiquette des caractéristiques du climatiseur est apposée sous le capot, à l'endetroit illustré.
INSTALLATION DE LA PLAQUE D'IMMATICULATION AVANT
| Nom du symbole | Référence | Graphique |
| Mise en garde | ISO 7000 0434 | |
| Système de climatisation (MAC) | ISO 2575 D01 | |
| Lubrifiant du système MAC (PAG-POE) | ||
| Exige un technician agréé pour effectuer l'entretien du système MAC | ||
| Frigorigène inflammable |
Symboles des étiquettes des caractéristiques du climatiseur

Pour monter la plaque d'immatriculation avant, fixez le support de plaque d'immatriculation à l'ensemble de grille aux marques indiquées (petites cavités) à l'aide des deux vis fournies à cet effet .
REMARQUE:
La longueur de la vis pour fixer la plaque d'immatriculation sur le support ne doit pas dépasser 16 mm (0,63 po).
AVENTISSEMENT
Il est extrémement dangereux de prendre place dans l'aire de chargement d'un vehicule lorsque le vehicule est en marche. Les personnes s'y trouvant sont beaucoup plus susceptibles de subir des blessures graves, voire mortelles, en cas de collision.
- Ne permette jamais à un passager de s'asseoir ailleurs que dans un siège muni d'une ceinture de sécurité.
Assurez-vous que tous les passagers de votre vehicule ont pris place sur un siège et qu'ils ont bien bouclé leur ceinture de sécurité.
TERMINOLOGIE
Avant de charger votre vehicule, il est important de vous familiariser avec la terminologie suivante :
- Poids à vide (poids réel du vehicule) - Poids du vehicule comprenant les pieces de série, les liquides, les outils de secours et la roue de secours. Ce poids ne comprend pas les passagers et les bagages.
- PTAC (poids total autorisé en charge) - poids à vide du vehicule plus le poids total des passagers et des bagages.
-
PNBV (poids nominal brut du vehicule) - poids total maximal du vehicule non charge, des passagers, des bagages, de l'attelage, de la charge sur la languette de remorque et de tout autre équipement offert en option. Ces renseignements sont inscrits sur l'étiquette d'homologation FMVSS/NSVAC d'homologation NSVAC.
-
PTME (poids technique maximal sous essieu) - poids maximal (vehicule charge) spécifique pour l'essieu avant ou arrière. Ces renseignements sont inscrits sur l'étiquette d'homologation FMVSS/NSVAC d'homologation NSVAC.
- PTMC (poids technique maximal combiné) - Poids nominal total maximal du vehicule, des passagers, de la charge et de la remorque.
- Capacité du vehicule, limite de charge, capacité de charge totale - poids total maximal spécifique pour la charge (passagers et charge) du vehicule. Il s'agit du poids total maximal des occupants et de la charge que le vehicule peut accueillir. Si le vehicule est utilisé pour tirer une remorque, le poids au timon de la remorque doit être compris dans le calcul du poids de la charge. Cette information se
trouve sur l'étiquette à propos des pneus et de la charge du vehicule.
- Capacité de charge - poids admissible de la charge résultat de la soustraction du poids des occupants de la limite de charge.
CAPACITE DE CHARGE DU VEHICULE
Avant de démarrer avec un vehicule charge, assurez-vous que votre vehicule ne dépasse pas le Poids Nominal Brut du Vehicule (PNBV) ou le Poids Technique Maximal sous Essieu (PTME) spécifiés. Les specifications relatives au PNBV et au PTME sont indiquées sur l'étiquette FMVSS/NSVAC. d'homologation NSVAC. Pour obtenir des renseignements supplémentaires, consultez la section « Mesure des poids » (p. 10-22).
Ne dépassez pas la limite de capacité de charge de votre vehicule, identifiée par le « Poids total des passagers et des bagages » sur l'étiquette d'information sur les pneus et la charge. Ne dépassez pas le nombre d'occupants précisé à la mention « Nombre de passagers » sur l'étiquette des pneus et d'information sur la charge.
Pour obtenir le « poids combiné des passagers et des bagages », additionnez le poids de tous les occu-pants, puis ajoutez le poids total des bagages. L'illustration suivante présente des exemples.


LT12335
- Recherche la mention « Le poids total des occupants et de la charge ne doit jamais dépasser XXX kg ou XXX Ib » sur l'étiquette du vehicule.
- Déterminez le poids total du conducteur et des passagers qui prendront place dans leur vehicule.
- Faites la soustraction du poids combiné du conducteur et des passagers de XXX kg ou XXX lb.
- Le résultat est égal à la capacité de charge disponible pour la charge et les bagages. Par exemple, si « XXX » est égal à 1400 lb et si 5 passagers de 150 lb prenant place dans le vehicule, le chargement maximal sera de 650 lb (1400 - 750 [5 X 150] = 650 lb).
Example
Étapes pour déterminer la limite de charge correcte
- Déterminez le poids total de la charge et des bagages chargés dans le vehicule. Ce poids ne peut dépasser la capacité de charge disponible (chargement et bagages) calculée à l'objet 4.
- Si votre vehicule doit être utilisé pour tracter une remorque, une certaine charge de la remorque sera transférée à votre vehicule. Consultez ce manuel pour déterminer comment ceci réduit la capacité de charge disponible pour la charge et les bagages de votre vehicule.
Tracter une remorque à l'aide d'un vehicule qui n'est pas destiné au remorquage peut entrainer des blessures graves ou mortelles.
AVENTISSEMENT
Ne tractez pas une remorque avec votre vehicule. Tracter une remorque peut entrainer des blessures graves ou mortelles.
Avant de conduire un vehicule charge, assurez-vous que votre vehicule ne dépasse pas le poids nominal brut du vehicule (PNBV) ou le poids technique maximal sous essieu (PTME) spécifiés. Pour obtaining des renseignements supplémentaires, consultez la section « Mesure des poids » (p. 10-22).
Assurez-vous également que la pression de gonflage des pneus est ajustée. Pour obtenir des renseignements supplémentaires, consultez la section « Étiquette de renseignements relatifs aux pneus et à la charge » (p. 8-35).
CONSEILS POUR LE CHARGEMENT
Le PTAC ne doit pas dépasser le PNBV ou le PTME précisés sur l'étiquette d'homologation FMVSS/NSVAC. d'homologation NSVAC.
- Ne chargez pas l'essieu avant et arrêté jusqu'à la limite du PTME. Le PNBV serait alors dépasse.
AVENTISSEMENT
Fixez solidement tous les bagages à l'aide de cordes ou de sangles afin d'eviter qu'ils ne glissant ou se déplacent. N'empirez pas les bagages plus hauts que les dossiers de sièges. En cas d'arrêt brusque ou de collision, les bagages non retenus pourraient entraîner des blessures.
Veillez à ne pas dépasser le PNBV (Poids Nominal Brut du Vehicule) ou le PTME (Poids Technique Maximal sous Essieu) avant et arrêté lorsque vous chargez votre vehicule. Si vous dépassez ces spécifications, des pieces peuvent se briser, les pneus peuvent s'utilisant rémunération et la tenue de route peut être compromise au point de vous faire perdre la maitrise de votre vehicule et de causeur des blessures.
La surcharge peut non seulement diminuer la durée de vie du vehicule et des pneus, mais elle peut aussi rendre le vehicule dangereux et demander de plus longues distances de freinage. Cela peut occasionner une défaillance prématu
rée des pneus pouvant entrainer un accident grave et des blessures. Les défaillances causées par les surcharges ne sont pas couvertes par la garantie de votre vehicule.
MESURE DES POIDS
Fixez solidement les articles susceptibles de se déplacer afin d'eviter des changements de poids qui pourraient nuire à l'équilibre de votre vehicule. Arrêtez-vous dans un endroit qui possède une balance lorsque votre vehicule est charge et faites-y peser les roues avant et arrière séparément afin de déterminer la charge sur les essieux. La charge sur les essieux avant ou arrière ne doit pas dépasser le poids technique maximal sous essieu (PTME). La charge totale sur les essieux ne doit pas dépasser le poids nominal
brut du vehicule (PNBV). Ces mesures de poids sont indiquées sur l'éti-quette d'homologation de votre vehicule. Si les charges de votre vehicule dépassent ces mesures, déplacez ou retirez des bagages pour que leur poids se situe en dette des limites de charge préconisées.
TRACTION D'UNE REMORQUE
Ne tractez pas une remorque avec votre vehicule.
REMORQUAGEÀPLAT
Le remorquage de votre vehicule avec les quatre roues au sol est parfois appelé « remorquage à plat ». Cette méthode est parfois utilisé pour remorquer un vehicule derrière un vehicule récréatif, comme une autocaravane.

MISE EN GARDE
- Si vous ne respectez pas ces instructions, la boîte de vitesses pourrait être gravement endommagée.
Lorsque you remorquez Your vehicule a plat, tirez-le vers I'avant, jamais vers l'arrière. -
Ne remorquez jamais votre vehicule à traction avant avec les pneus avant au sol. Vous risqueriez en effet d'endommager gravement le groupe motopropulseur, ce qui occasionnerait des réparations couteuses.
-
NE remorquez JAMAIS un vehicule doté d'une transmission à variation continue en laissant les quatre roues au sol (remorquage à plat). Une telle action ENDOMMAGERAIT les organes de la boîte de vitesses, car celle-ci ne serait pas lubrifiée ajustement.
Pour les procédures de remorquage d'urgence, consultez la section « Méthodes de remorquage recommandées par NiSSAN » (p. 6-13).
Boîte de vitesses manuelle (selon l'équipement)
- Les vehicules équipés d'une boîte de visées manuelle doivent toujours être remorqués avec le levier sélecteur au point mort.
- Àprous avoir remorqué le vehicule sur une distance de 805 km (500 mi), faites tournier le moteur au ralenti pendant deux minutes en laissant la boîte de vitesses au point mort. Si vous ne faites pas tournier le moteur au ralenti tous les 805 km (500 mi), les organes internes de la boîte de vitesses pourraient être endommages.
Transmission à variation continue (selon l'équipement)
Pour remorquer un vehicule doté d'une transmission à variation continue, vous DEVEZposer les roues motrices sur un chariot de remorquage approprié. Suivez toujours les recommendations du fabri-cant du diablo utilisé.
CLASSIFICATION UNIFORME DE QUALITÉ DES PNEUS
Indices de qualité du DOT (Department of Transportation (Ministère du transport des États-Unis)): en plus des classifications enumeratedes ci-après, tous les pneus des voitures de tourisme doivent se conformer aux exigences fédérales en matière de sécurité.
Selon le cas, l'indice de qualité est indiquésur le flanc du pneu, entre l'épaulement dela bande de roulement et la largeur de section maximale du pneu. Par exemple :
Usure de la bande de roulement
L'indice d'usure de la bande de roulement est une estimation comparative basée sur le taux d'usure du pneu testé dans des conditions contrôlées sur une piste d'essay conforme aux normes gouvernementsales. Par exemple, sur la piste d'essay gouvernementsale, un pneu d'indice 150 aura une résistance à l'usure équivalente à une fois et demie (11/2) celle d'un pneu d'indice 100. La performance relative des pneus dépend toute fois des conditions réelles d'utilisation et peut dévier grandement de la norme à cause des différentes habitues de conduite, des pratiques d'entretien et des différences de la chaussée et du climat.
TractionssAA,ABetC
Les indices d'adherence, du plus élevé au plus bas, sont AA, A, B et C. Ces indices représentent la capacité du pneu à freiner le vehicule sur une chaussée mouillée dans des conditions contrôlées sur des surfaces d'essay d'asphalte et de béton. Un peu important l'indice C peut avoir une mauvaise adhérence.
A AVENTISSEMENT
L'indice d'adhérence de ce pneu a été établi à partir d'essais d'adhérence durant un freinage en ligne droite; il ne prend pas en compte les caractéristiques d'accélération, de virage, d'aquaplanage ou d'adhérence de pointe.
Temperature A, B et C
Les indices de température sont A (le plus élevé), B et C. Ils représentent la résistance d'un pau à la chaleur et sa capacité à dissiper la chaleur lorsqu'ils sont testés dans des conditions précises en laboratoire. Des températures élevées constantes peuvent causer une dégradation du matériel du pau et réduire la durée utile du pau; une température excessive peut causer une
défaillance soudaine du pneu. L'indice C correspond au rendement exigé pour les pneus de voiture de tourisme conformément à la norme 109 de la Federal Motor Safety Standard. Les indices B et A représentent un rendement plus élevé que le minimum exigé par la loi lors d'essais réalisés en laboratoire.
A AVENTISSEMENT
L'indice de température pour ce type de pneus est établi en fonction d'un pneu correctement gonfle et sans surcharge. Des conditions extrêmes telles que des vitesses excessives du vehicule, un sous-gonflage des pneus ou une charge excessive, prises séparément ou combinées, peuvent provoquer l'échauffement et la défaillance des pneus.
Défauts COMPROMETTANT LA SÉCURITÉ
Aux États-Unis
Sivous craignez qu'une défectuosité de votre vehicule puisse entrainer un accident, des blessures ou la mort, informez-en immédiatement la National Highway Traffic Safety Administration (NHTSA) et NISSAN.
Si la NHTSA recoit des plaintes similaires, elle peut ouvrir une enquête, au terme de laquelle elle peut ordonnner le lancement d'une campagne de rappel et de service, si elle détermine qu'un défaut compromettant la sécurité touche un groupe de vehicules. Toutefois, la NHTSA ne peut pas intervenir dans le cas d'un différend entre le client et son concessionnaire ou NiSSAN.
Pour communiquer avec la NHTSA, composez sans frais le numéro de la ligne directe au 1-888-327-4236 (ATS: 1-800-424-9153), visitez le site Web http://www.safercar.gov ou écrivez
à : Administrator, NHTSA, 1200 New Jersey Avenue SE, Washington, D.C. 20590. Le site Web http:// www.safercar.gov permet également d'obtenir d'autres renseignements relatifs à la sécurité automobile.
Vous pouvez avertir NiSSAN de tout problème concernant votre vehicule en communiquant avec le Service de la protection du consommateur, sans frais, au 1-800-NISSAN-1.
Au Canada
Si vous croyez que votre vehicule presente une défectuosité qui pourrait causer un accident, des blessures graves ou mortelles, informez immédiatement Transports Canada et NISSAN.
Si Transports Canada reçoit des plaintes, il peut ouvrir une enquête, au terme de laquelle il peut ordonnier le lancement d'une campagne de rappel par NiSSAN, s'il déterminé
qu'un défaut compromettant la sécurité touche un groupe de vehicules. Toutefois, Transports Canada ne peut pas intervenir dans le cas d'un différend entre le client et son concessionnaire ou NISSAN.
Pour communiquer avec Transports Canada, Enquêtes sur les défauts et rappels des vehicules, composez sans frais le numéro 1-800-333-0510. Vous pouvez également faire rapport sur un défaut lié à la sécurité sur un vehicule, en ligne à l'adresse suivante : http://www.tc.gc.ca/eng/motorvehiclesafety/menu.htm (anglais) ou http://www.tc.gc.ca/fra/securiteautomobile/menu.htm (français)
Ou communique avec Transports Canada par la poste :
Vous pouvez obtenir d'autres renseignements relatifs à la sécurité automobile en communiquant avec Transports Canada, Sécurité des routes et des vehicules automobiles, au nombre 1-800-333-0371 ou en ligne à l'adresse www.tc.gc.ca/roadsafety (anglais) ou à l'adresse www.tc.gc.ca/securiteroutiere (français).
Si vous souhaitez informer NISSAN d'un problème lié à la sécurité du vehicule, veuilles communiquer avec notre Centre d'information aux consommateurs en composant le numéro sans frais 1-800-387-0122.
PREPARATION POUR LES CONTROLES D'INSPECTION ET D'ENTRETIEN
La réglementation de certaines provinces canadiennes et de certains États américain exige que vous vehicule soit en condition « pré » pour les contrôles d'inspection et d'entretien du dispositif antipollution.
Le vehicule est en condition « prét » après certains types de cycles de conduite. En général, la condition « prét » est obtenue pendant l'utilisation normale du vehicule.
Si un composant du groupe motopropul-seur est réparé ou si la batterie est débranchée, le vehicule peut être réinitialisé à une condition « non prét ». Avant de subir le contrôle d'inspection et d'entretien, vérifie que le vehicule est en condition « prét ». Tournez le commutateur d'allumage à la position ON (marche) sans démarrer le moteur. Si le tímoin d'anomalie s'allume en continu pendant 20 secondes, puis clignote pendant 10 secondes, le contrôle d'inspection et d'entretien est à une condition « non prét ». Si le tímoin d'anomalie ne clignote pas après 20 secondes, la condition pour le contrôle d'inspection et d'entretien est « prét ». Il est recommendé de vous rendre chez un concessionnaire NISSAN pour réinitialiser le vehicule à la condition « prét » ou pour préparer le vehicule en vue d'un nouveau contrôle.
GARANTIE DU DISPOSITIF ANTIPOLLUTION
Votre vehicule NISSAN est couvert par les garanties du dispositif antipollution suivantes:
Aux États-Unis
- Garantie contre les défauts du dispositif antipollution
- Garantie de fonctionnement du dispositif antipollution
Les détails de cette garantie, ainsi que les autres garanties applicables au vehicule, sont fournis dans le livre explicatif sur la garantie livre avec votre vehicule NISSAN. Si vous n'avez pas reçu ce livre ou si vous l'avez perdu, écrivez à l'adresse suivante pour en obtenir un :
ENREGISTREURS DE DONNÉES ROUTIÈRES
Au Canada
Garantie du dispositif antipollution
Les détails de cette garantie, ainsi que les autres garanties applicables au vehicule, sont fournis dans le livre explicatif sur la garantie livre avec votre vehicule NISSAN. Si vous n'avez pas reçu ce livre ou si vous l'avez perdu, écrivez à l'adresse suivante pour en obtenir un :
- Nissan Canada inc. 5290 Orbitor Drive Mississauga (ON) L4W 4Z5
Ce vehicule est équipé d'un enregistrur de données d'évenement L'objectif principal d'un enregistrur de données d'évenement consiste à enregistrer, lors de certaines collisions ou de quasi-collisions, telles que le déploement d'un sac gonfable ou de contact avec des obstacles sur la route, des données qui contribuent à comprendre le rendement des systèmes d'un vehicule. L'enregistrure de données routières est concu pour enregistrer des données sur la dynamique et les systèmes de sécurité du vehicule pendant une brève période, généralement 30 secondes ou moins. L'enregistrure de données routières de ce vehicule est concu pour enregistrer des données telles que:
- le fonctionnement des divers systèmes de votre vehicule;
- le bouclage des ceintures de sécurité du conducteur et des passagers;
- le niveau d'enforcement de l'accelérateur ou de la pédale de frein;
- la vitesse du vehicule;
- lessonsne sontpasenregistrés.
Ces données permettent de mistrux comprehètre les circonstances dans lesquelles les collisions et les blessures se produit.
REMARQUE: Les données sont mémorisées dans l'enregistreur de données routrières de votre vehicule seulement en cas de situation de collision non négligeable; l'enregistreur ne conserve aucune donnée en conditions normales de conduite; et aucune donnée personnelle (p. ex., nom, sexe, âge, lieu de la collision) n'est mémorisée. Toutefois des tiers, tels que les corps policiiers, peuvent combiner les données de l'enregistreur aux données d'identification personnelles généralement recueillies lors d'une enquête sur une collision.
Pour lire les données mémorisées par l'enregistreur de données routières, de l'équipement spécial est nécessaire et il faut avoir accès au vehicule ou à l'enregistreur. En plus du constructeur du vehicule et du concessionnaire NiSSAN, des tiers, tells que les corps policiers, qui possèdent l'équipement spécial, peuvent lire les données s'ils ont accès au vehicule ou à l'enregistreur de données routières.
Les données mémorisées par l'enregistreur de données routières seront uniquement consultées avec le consentement du propriété ou du locataire, ou dans la mesure où l'excige ou l'autorise la loi.
POUR COMMANDER LE MANUEL DU CONDUCTEUR OU LE MANUEL DE RÉPARATION
Les manuels de réparation NISSAN d'origine pour cette année modèle et les années antérieures peuvent être achetés. Un manuel de réparation NISSAN d'origine est la meilleure source d'information pour l'entretien et la réparation de votre vehicule. Ce manuel est également utilisé par les techniciens formés à l'usine qui travaillant chez votre concessionnaire NISSAN. Les manuels du conducteur NISSAN d'origine peuvent également être achetés.
Aux États-Unis
Pour connaître les prix courants et la disponibilité des manuels de réparation NISSAN d'origine, visitez :
www.nissan-techninfo.com
Pour connaître les prix courants et la disponibilité des manuels du conducteur NISSAN d'origine, composez le numéro :
1-800-247-5321
Au Canada
Pour acheter une copie d'un manuel de réparation ou d'un manuel du conducteur NiSSAN d'origine pour cette année-modele et les années antérieures, rendez-vous chez le concessionnaire NISSAN le plus proche. Pour connaître le nombre de téléphone et l'adresse d'un concessionaire NISSAN dans votre région, veuillez appeler le Centre d'information NISSAN au 1-800-387-0122. Un représentant NISSAN bilingue pourra vous renseigner.
11 Index
A
Accès au coffre à partir du siège
arrière 3-26
Accoudoirs. 1-7
Alerte de circulation transversale
arrière (RCTA) 5-53
Alimentation
Glaces à commande électrique. 2-87
Glaces arrriere à commande
electrique 2-89
Prise d'alimentation 2-79
Antenne 4-71
Antigel. 5-158
Appuie-tete 1-7
Assistance au freinage. 5-141
Automatique
Commutateur de glace électriche
automatique 2-89
Autonomie de carburant. 2-7
Avant de démarrer le moteur . . . . . . .5-16
Avertissement
Avertissement de bouchon de réservoir
de carburant desserre. 2-34, 2-56
Étiquettes d'avertissement
(pour SRS) 1-71
Interrupteur de feuels de détresse . . . .6-2
Système de sécurité du vehicule . . .2-62
Témoin d'advertissement de basse
pression des pneus. 2-13
Témoin d'avertissement de niveau
de carburant bas 2-34,2-56
Témoin d'advertisement de niveau
bas de liquide lave-glace. 2-34, 2-56
Témoin de charge de batterie . . . . .2-10
Témoin de frein. 2-9
Témoin de pression d'huile moteur . .2-10
Témoin des ceintures de
Témoin du sac gonflable 1-72, 2-12
Avertissement de bouchon de
réservoir de carburant desseré . .2-34, 2-56
Avertissement du déport de
voie (LDW) .5-33
B
Bac derangement 2-84
Bagages (voir Information concernant
lechargement du vehicule).10-18
Balais d'essuie-glace de pare-brise . . .8-20
Batterie . 5-158, 8-15
Témoin de charge 2-10
Boite à gants 2-84
Boîte de vitesses
Conduite avec boîte de vitesses
manuelle .5-24
Conduite avec transmission à
variation continue (CVT).5-18
Transmission à variation
continue (CVT). 8-12
Bon de commande de manuel de
réparation 10-28
Bon de commande du manuel du
conducteur 10-28
Bouches d'air 4-35
Bouchon du réservoir de carburant . . .3-27
Bougies d'allumage 8-19
Bouton d'ouverture du coffre 3-25
(Appel d'urgence). 2-76
Bouton Menu. 4-5
Boutons du panneau de commande . . .4- 3
Avertissement de bouchon de réservoir
de carburant desserre. 2-34, 2-56
Bouchon de replissage de
carburant. 3-27
Contenances et carburant/lubrifiants
recommendés. 10-2
Indice d'octane du carburant 10-7
Jauge de carburant. 2-6
Levier de déverrouillage de la trappe du réservoir de carburant . . . . . . .3-27
Recommendations concernant le carburant 10-5
Réduction de la consommation de carburant. .5-136
Trappe du réservoir de carburant 3-27
Catalyseur trifonctionnel 5-5
Ceinture de sécurité à trois points d'ancrage avec enrouleur. 1-15
Bébés et enfants en bas âge. 1-21
Ceintures de sécurité. 7-9
Enfants plus agés. 1-21
Femmes enceintes. 1-15
Personnes bleeSES .1-15
Précautions concernant l'utilisation des ceintures de sécurité . 1-11
Rallonges de ceinture de sécurité. . . .1-19
Réglage de la hauteur de baudrier . . .1-18
Sécurité des enfants. 1-20
Ceintures de sécurité
Entretien des ceintures de sécurité. .1-19
Chaine stéreophonique 4-50 Connexions USB .4-61
Dispositif audio BluetoothMD 4-66
Fonctionnement de la radio AM . . . .4-57
Fonctionnement de la radio FM 4-58
Fonctionnement des appareils auxiliaires (AUX) 4-59
Fonctionnement du lecteur iPodMD . 4-63
Interface USB. 4-60
Lecteur iPodMD 4-63
Port de connexion USB
(Universal Serial Bus) 4-60
Radio. 4-50
Réception radio AM 4-51
Réception radio FM 4-50
Chargement (voir Information
concernant le chargement du vehicule)
Chauffage
Fonctionnement du
chauffage 4-38,4-46
Chauffe-moteur .5-159
Cirage. 7-3
Circuit de freinage. .5-138
Classification uniforme de qualité
des pneus. 10-24
Clé 3-2
Clés
Clé intelligente NISSAN Intelligent
KeyMD .3-2,3-7
Clés du système antidémarrage
du vehicule NISSAN .3-3
Climatisationur
Commandes du dispositif de
chauffage et du climatiseur . . .4-36, 4-45
Entretien du climatiseur 4-49
Étiquette des caractéristiques du
climatiseur 10-16
Fonctionnement du
climatiseur. 4-39, 4-45
Recommendations relatives au
fluide frigorigène du climatiseur . . . .10-9
Recommendations relatives au
fluide frigorigène et au lubriciant
du climatiseur 10-9
Commandedeclignotant. 2-73
Commande de luminosité
Tableau de bord .2-73
Commande de luminosité du tableau
de bord 2-73
Commandedestabilité. .5-141
Commandes rétroviseurs
extérieurs. 3-33
Commandé électrique
Glaces arrêté à commande
electrique. 2-89
Système de direction assistée. . . . .5-138
Verrouillage electrique des portieres . .3-6
Commandes
Commandes audio (au volant) 4-70
Commandes du dispositif de
chauffage et du climatiseur . . .4-36, 4-45
Commandes d'affichage (voir Boutons
du panneau de commande). 4-3
Commutateur
Commandedeclignotant.2-73
Commande de luminosité du
tableau de bord 2-73
Commutateur de commande des
phares 2-67
Commutateur de glace électriche
automatique. 2-89
Commutateur de phares
automatiques 2-68
Interrupteur de feuels de détresse. . . . .6-2
Interrupteur des phares et des clignotants 2-67
Commutateur d'allumage Bouton-poussoir d'allumage 5-12
Commutateur d'entreposage prolongé 2-82
Commutateur d'essuie-glace et de lave-glace 2-65
Commutateur de commande des phares. 2-67
Commutateur de mode ECO. .5-27
Commutateur de phares automatiques. 2-68
Compartment de rangement de la console 2-85
Composants faisant partie de l'entretien périodique 9-6
Comptes-tours. 2-5
Compteurjournalier. 2-4
Compteurs et indicateurs Commande de luminosité du tableau de bord 2-73
Conduite Conduite avec boite de vitesses manuelle .5-24
Conduite avec transmission à variation continue (CVT) 5-18
Conduite par temps froid. .5-158
Précautions lors du démarrage et de la conduite .5-4
Conduite du vehicule. .5-18
Conduite par temps. 5-158
Conseils pour une conduite economen en carburant 5-134
Consommation-carburant.5-136
Contacteur du volant de direction chauffant 2-75
Contacteurs de siège chauffant 2-74
Contenances et carburant/lubrifiants recommends .10-2
Contrôle de caisse actif. .5-144
Contrôle du chãssis. .5-144
Coupure du moteur en cas d'urgence 5-14,6-2
Courroie (voir Courroied'entrainement).8-18
Courroied'entrainement .8-18
Couvercle du coffre. 3-25
Crochets de positionnement de carpette. .7-8
D
Dégagement d'un vehicule immobilisé. .6-16
Démarrage
Avant de démarrer le moteur . . . . . .5-16
Demarrage du moteur .5-16
Demarrage en poussant .6-11
Demarrage-secours. .6-9,8-17
Précautions lors du démarrage et de la conduite 5-4
Demarrage du moteur. 5-16
Démarrage du moteur (modèles avec système de clé intelligente NISSAN
Intelligent KeyMD). 5-16
Demarrage en poussant. .6-11
Demarrage-secours. .6-9,8-17
Détresse (voir Interrupteur de feu des détresse) 6-2
Déverrouillage du levier de vitesse 5-22
Déverrouillage interieur du couvercle du coffre. 3-26
Dimensions et poids. 10-12
Dimensions et poids du vehicule . . . . .10-12
Direction Système de direction assistée. . . . .5-138
Direction assistée .5-138
Dispositif de chauffage Commandes du dispositif de chauffage et du climatiseur . .4-36,4-45
Dispositif de commande à variation de tension. .8-17
Dispositif de sécurité de portiere arrriere pour enfant 3-7
E
Éclairage 8-28
Ampoules. 8-28
Commutateur de commande des phares .2-67
Eclairage du coffre. 2-94
Eclairageextérieur et interieur.8-30
Eclairage interieur. 2-93
Interrupteur des phares et des clignotants 2-67
Lampes individuelles 2-94
Phares. 8-28
Projecteurs (voir Lampe de lecture) .2-93
Remplacement d'ampoule . . . . . .8-30
Témoin d'avertissement de basse pression des pneus .2-13
Témoin d'ajretissement de niveau bas de liquide lave-glace . . . . .2-34, 2-56
Témoin de charge 2-10
Vérification d'ampoule / tableau de bord 2-9
Eclairage du coffre 2-94
Eclairage interieur. 2-93
Écran multifonction 2-19, 2-40
Embrayage Liquide d'embrayage .8-13
Emplacements des points d'ancrage. .1-29
Enregistreurs Données routières 10-27
Enregistreurs de données routières . . .10-27
Ensembles de retenue d'enfant. 1-20, 1-21, 1-23, 1-25
Précautions sur les ensembles de retenue d'enfant 1-32, 1-38, 1-43
Système LATCH (points d'ancrage inférieurs et sangle d'ancrage pour siège d'enfant) 1-25
Ensembles de retenue d'enfant ISOFIX . .1-25
Ensembles de retenue d'enfant Emplacements des points d'ancrage de la couroie d'attache supérieure. .1-29
Entretien À l'extérieur du vehicule .9-3
A l'intérieur du vehicule 9-4
Entretien des ceintures de sécurité. .1-19
Entretien général 9-3
Précautions d'entretien 8-2
Sous le capot et sous le vehicule . . .9-5
Entretien du climatiseur. 4-49
Entretien general. 9-3
Entretien standard 9-10
Essuie-glace Balais d'essuie-glace. .8-20
Étiquette d'avertissement de SRS 1-71
Étiquette d'homologation NSVAC. 10-15
Étiquette d'information du dispositif antipollution. 10-15
Étiquette d'homologation FMVSS. 10-15
Étiquette de renseignements importants sur le vehicule . . . . . . . . . . . . . . . . . . . . . . . . . . . . . . . . . . . . . . . . . . . . . . . . . . . . . . . . . . . . . . . . . . 10-15
Étiquettes Étiquette d'homologation NSVAC . . .10-15
Étiquette d'information du dispositif antipollution 10-15
Étiquette de renseignements relatives aux pneus et à la charge. . . .10-16
Étiquette des caractéristiques du climatiseur 10-16
Étiquettes d'ajretissement (pour SRS). 1-71
Numéro de série du moteur 10-15
Plaque de numero d'identification du vehicule (NIV). 10-14
Étiquettes d'ajretissement concernant les sacs gonflables. 1-71
Étui pour lunettes. 2-85
Étui pour lunettes de soleil . 2-85
Exigences d'entretien 9-2
Explication des points d'intervention relatifs à l'entretien 9-3
F
Feu Feu de freinage (voir Feu d'arrêt) . . . .8-30
Feud'arrêt 8-30
Feux de jour 2-72
Fils fusibles. .8-24
Filtre à air .8-19
Filtreduboitierdufittreaair.8-19
Frein Feu de freinage (voir Feu d'arrêt) . . .8-30
Freins auto-réglables 8-22
Indicateurs d'usure de frein. 2-18, 8-22
Liquide de frein .8-12
Système de freinage antiblocage (ABS). .5-139
Témoin de frein 2-9
Frein de stationnement . . . . . . . . . . . . . . . . . . . . . . . . . . . . . . . . . . . . . . . . . . . . . . . . . . . . . . . . . . . . . . . . . . . . . . . . . . .
Freinage Circuit de freinage .5-138
Freinage automatique arriere (RAB). 2-17, 5-91
Freins .8-22
Freins auto-reglables. .8-22
Fusibles .8-22
G
Garantie du dispositif antipollution. . . .10-26
Gaz d'échévement (monoxyde de carbone) 5-4
Glaces 2-87
Glaces à commande électrique 2-87
Glaces arrêté à commande
electrique. 2-89
Verrouillage des glaces des
passagers. 2-88
Glaces arrêté à commande électrique . .2-89
H
Horn (avertisseur sonore) 2-74
Huile
Contenances et carburant/lubrifiants
recommendés .10-2
Huile à moteur 8-7
Recommendations concernant I'huile
à moteur et le filtré à huile. 10-8
Remplacement du filtrdhuile a
moteur. 8-8
Vérification du niveau d'huile à moteur . .8-7
Vidange d'huile à moteur . . . . . . . . . . . . . . . . . . . . . . . . . . . . . . . . . . . . . . . . . . . . . . . . . . . . . . . . . . . . . . . . . . . . . . . . . . . . . . . . . . . . 8-8
Viscosité de l'huile moteur. 10-8
1
Identification du vehicule. .10-14
Immatriculation du vehicule à
letranger. 10-14
Inclinaison
Volant telescopique 3-31
Indicateur
Compte-tours 2-5
Compteurjournalier. 2-4
Indicateur de décharge de la pile de la clé
intelligente NiSSAN Intelligent KeyMD. . . .5-15
Indicateur de températe du liquide
de refroidissement 2-6
Indicateur de vitesse 2-4
Indicateur de décharge de la pile de la clé
intelligente NISSAN Intelligent Key ^MD . . .5-15
Indicateur de températe
Indicateur de températe du
liquide de refroidissement. 2-6
Indicateur de température du liquide
de refroidissement. 2-6
Indicateur de vitesse. 2-4
Indice d'octane (voir Indice d'octane
du carburant). 10-7
Information concernant le chargement
du vehicule 10-18
Instruments et jauges. 2-3
Interface USB 4-60
Interrupteur
Interrupteur de verrouillage
electrique des portieres 3-6
Interrupteur du dégivreur de lunette
arrière et de rétroviseurs extérieurs . .2- 66
Interrupteur deieux de détresse.6-2
Interrupteur des phares et des
clignotants. 2-67
Interrupteur du dégivre
Interrupteur du dégivre de lunette
arrière et de rétroviseurs extérieurs . .2-66
Interrupteur du dégivre de lunette
arrière et de rétroviseurs extérieurs. 2-66
Interruption des messages
vocaux. 4-78, 4-79
iPodMD/iPhoneMD 4-93
J
Jauge
Jauge de carburant. 2-6
Jauge de carburant 2-6
L
Lampes
Lampes de lecture 2-93
Lampes de lecture 2-93
Lampes individuelles. 2-94
Lavage 7-2
Lecteur iPodMD 4-63
Liquide
Contenances et carburant/lubrifiants
recommendés 10-2
Huile à moteur 8-7
Huile pour transmission à variation
continue (CVT) 8-12
Liquide d'embrayage 8-13
Liquide de frein .8-12
Liquide de refroidissement 8-5
Liquide de frein et d'embrayage 8-12
Liquide de refroidissement
Contenances et carburant/lubrifiants
recommendés 10-2
Indicateur de température du liquide
de refroidissement 2-6
Vérification du niveau de liquide de
refroidissement 8-6
Vidange du liquide de refroidissement .8-6
Lubrifiants recommendés. 10-2
M
Manuel du conducteur de
Menu de la barre de lancement 4-7
Microfiltre de l'habitacle .8-20
Miroir
Miroir de courtoisie 3-32
Miroir de courtoisie 3-32
Moteur
Avant de démarrer le moteur . . . . . .5-16
Circuit de refroidissement du moteur . .8-5
Contenances et carburant/lubrifiants
recommendés 10-2
Demarrage du moteur .5-16
Huile à moteur 8-7
Indicateur de température du liquide
de refroidissement 2-6
Numéro de série du moteur 10-15
Points de vérification dans le
lhuile à moteur et le filtré à huile . . . .10-8
Remplacement du filtré d'huile à
moteur .8-8
Spécifications du moteur 10-10
Témoin de pression d'huile moteur . .2-10
Vérification du niveau d'huile à
moteur. 8-7
Vérification du niveau de liquide de
refroidissement 8-6
Vidange d'huile à moteur . . . . . . . . . . . . . . . . . . . . . . . . . . . . . . . . . . . . . . . . . . . . . . . . . . . . . . . . . . . . . . . . . . . . . . . . . . . . . . . . .
Vidange du liquide de
refroidissement . 8-6
Viscosité de l'huile moteur 10-8
N
Nettoyage des roues en alliage
d'aluminium. 7-4
Nettoyage des surfaces extérieures et
intérieures. 7-2, 7-5
Nettoyage du soubassement 7-3
NISSAN Intelligent Key ^MD 3-2, 3-7
Numéro d'identification du vehicule
(NIV) (numéro du châtessis) 10-14
P
Pare-soleil. 3-31
Passage des rapport
Boite de vitesses manuelle .5-25
Transmission à variation
continue (CVT) 5-20
Phares. 8-28
Plaque d'immatriculation
Installation de la plaque
d'immatriculation. 10-17
Plaque de numero d'identification
du vehicule (NIV) 10-14
Pneu
Chaînes antidérapantes 8-42
Classification uniforme de qualité
des pneus 10-24
Étiquette de renseignements
relatifsexpneus eta la charge.10-16
Lubrifiant pour pneus. 7-4
Permutation des pneus .8-43
Pneu creve .6-3,6-4
Pression des pneus . 8-32
Roude secours. 6-5,8-47
Roues et pneus .8-32
Taille des roues et des pneus. 10-11
Types de pneus. 8-41
Pneu creve. 6-3, 6-4
Pochettes du dossier de siege. 2-83
Poids (voir Dimensions et poids) 10-12
Portetasse 2-86
Portieres 3-4
Ports de chargement USB/iPod ^MD 2-80
Pour commander le Manuel du conducteur
ou le Manuel de réparation 10-28
Precautions
Précautions concernant l'utilisation
des ceintures de sécurité 1-11
Précautions concernant le système
deretenuesupplémentaire.1-47
Précautions d'entretien 8-2
Précautions lors du démarrage et
de la conduite 5-4
Précautions relatives aux freins . . . .5-138
Précautions sur les ensembles
deretenued'enfant 1-32,1-38,1-43
Précautions sur les sièges
d'appoint 1-32, 1-38, 1-43
Préparation aux contrôle d'inspection et d'entretien. 10-26
Pression des pneus Témoin d'avertissement de basse pression des pneus .2-13
Prise d'alimentation. 2-79
Programme derodage. 5-134
Programmes d'entretien 9-8, 9-9
Projecteurs (voir Lampe de lecture). 2-93
Protection anticorrosion 7-9
R
Radio Radio FM/AM. .4-55
Telephone de voiture ou radio BP . . .4-75
Rallonges de ceinture de sécurité 1-19
Range-lunettes 2-85
Range-lunettes de soleil au pavillon . . .2-85
Rangement 2-83
Rapport de conduite écoénergétique . .5- 29
Rear Door Alert (alerte de portiere arrriere). 2-33, 2-55, 2-78
Recommendations concerning le fluide frigorigène 10-9
Reconnaisance de signalisation routiere (TSR). 5-29
Récupération d'un vehicule hors route... .5-10
Réduction de la consommation de carburant 5-136
Réglage de la hauteur de baudrier. 1-18
Réglage du siège
Réglage du siège arrêté 1-6
Réglage du siècle avant à commande électrique 1-5
Réglage manuel du siège avant 1-3
Réglage du siècle avant à commande électric. 1-5
Réglage manuel du siège avant . 1-3
Réglage/ajustement de l'horloge. 4-5
Régulateur de vitesse 5-63
Régulateur de vitesse adaptatif . . . . . .5-65
Remorquage Modèles à 2 roues motrices . . . . . . .6-14
Remorquage à plat. 10-23
Tractage d'une remorque. 10-23
Remorquage de votre vehicule. . . . . . .6-13
Remote Engine Start (démarrage à distance du moteur) 3-21, 5-18
Remplacement d'ampoule . . . . . . . . . . . . . . . . . . . . . . . . . . . . . . . . . . . . . . . . . . . . . . . . . . . . . . . . . . . . . . . . . . . . . . . . . . . . . . . . . . . . . . . 8-30
Remplacement de la pile .8-26
Clé intelligente NISSAN Intelligent KeyMD .8-26
Télécommande 8-26
Remplacement de la pile de la télécommande .8-26
Remplacement des bougies d'allumage 8-19
Rétroviseur 3-32
Commande des rétroviseurs
extérieurs 3-33
Rétroviseur 3-32
Rétroviseur antiéblouissement
intérieur automatique 3-33
Rétroviseurs extérieurs 3-33
Rétroviseur antiéblouissement
intérieur automatique 3-33
Rétroviseur interieur antiéblouissement automatique. 3-33
Retroviseurs 3-32
Rétroviseurs extérieurs. 3-33
Rheostat de luminosité du tableau de bord 2-73
Roues et pneus .8-32
Nettoyage des roues en alliaged'aluminium 7-4
s
Sac gonflable (voir Système de retenuesupplémentaire) 1-47
Sacs gonflables
Avant (voir Système de sac gonflable avant). 1-56
Sécurité
Ceintures de sécurité pour enfants. 1-23, 1-32, 1-38, 1-43
Dispositif de sécurité de portière arrêté pour enfant 3-7
Signalement de defaults
compromettant la sécurité
(Etats-Unis uniquement) 10-25
Siège arrière 1-6
Sièges Accoudoirs 1-7
Réglage 1-2
Réglage manuel du siège avant 1-3
Siège arrière 1-6
Sièges avant 1-2
Sièges avant 1-2
Sièges d'appoint. 1-43
Signalement de defaults compromettant
la sécurité (États-Unis uniquement) . . .10-25
Sonar
Système arrêté. 5-146
Stationnement / stationnement
dans les cotes. .5-136
Surchauffe
Si le moteur surchauffe. .6-12
Système antidémarrage 2-64,5-15
Système antidémarrage du
vécicule 2-64, 5-15
Système antidémarrage du
vécicule NISSAN 2-64, 5-15
Système audio Bluetooth4-66
Système d'alarme (voir Système de
sécurities du vehicule) 2-62
Système d'alerte vigilance conducteur
intelligent (I-DA). 5-129
Système d'assistance au département en
pente. 5-146
Système d'ajretissement sur angle
mort (BSW) 5-40
Système d'arrêt du ralenti
Système de clé intelligente
Clé mécanique. 3-3
Fonctionnement de la clé. 3-11
Fonctionnement du verrouillage et
déverrouillage sans clé à distance . . .3-15
Guide de dépannage. 3-18, 3-20
Portée de fonctionnement de la clé. .3-9
Système de contrôle dynamique du
vécicule (VDC). 5-141
Système de contrôle en virage
intelligent 5-144
Système de détention d'objets
mobiles 4-30
Système de détéction de collision
frontale intelligent 5-114
Système de frein moteur intelligent
Système de freinage antiblocage
(ABS) 5-139
Système de freinage d'urgence
automatique avec dispositif de
detection de piétons 2-13, 5-99
Système de retenue supplémentaire
Étiquettes d'information et
d'avertissement. 1-71
Précautions concernant le système
deretuuesupplémentaire.1-47
Système de retenue supplémentaire
(système de sacs gonflables) 1-47
Système de sac gonflable avant. 1-56
Système de sac gonflable avant
(voir Système de retenue
supplémentaire). 1-56
Système de sécurité (système
antidémarrage du vehicule NISSAN),
démarragedu moteur.2-64,5-15
Système de sécurité du vehicule 2-62
Système de sécurité du vehicule
(système antidémarrage du vehicule
NISSAN), démarrage du moteur. .2-64, 5-15
Système de sonar arrêté (RSS) 5-146
Système de surveillance Around ViewMD .4-17
Système de surveillance de la
pression des pneus .5-5
Système LATCH (points d'ancrage
inferieurs et sangle d'ancrage pour
siège d'enfant) 1-25
Système SiriMD Eyes-Free 4-72
Système téléphonique mains libres
Bluetooth MD 4-75
Commandes vocales. 4-82
Connexions BluetoothMD. . . . . . . . . . . . . . . . . . . . . . . . . . . . . . . . . . . . . . . . . . . . . . . . . . . . . . . . . . . . . . . . . . . . . . . . . . . . . . . . . . . . . . . . . . . . . . . 4-90
Indicateurs du téléphone 4-79
Messagerie texte 4-87
Procedure de connexion 4-81
Système téléphonique mains libres,
Bluetooth MD 4-75
Systèmes de sécurité
Système de sécurité du vehicule. . . .2-62
T
Tableau de bord. .0-6, 2-2
Tableaux de direction de l'air. 4-40
Taille des roues et des pneus. 10-11
Telephone de voiture ou radio BP . . . . .4-75
Telephone, système mains libres
BluetoothMD 4-75
Témoin
Témoin du sac gonflable. 1-72, 2-12
Témoin d'avertissement de basse
pression des pneus. 2-13
Témoin d'advertissement de niveau
de carburant bas 2-34,2-56
Témoin d'anomalie 2-10
Témoin d'ajretissement de niveau bas de liquide lave-glace. .2-34, 2-56
Témoin des ceintures de sécurité .1-14, 2-12
Témoin du sac gonfable .1-72, 2-12
Témoin, sac gonfable .1-72, 2-12
Témoins d'avertissement, indicateurs et rappels sonores .2-8
Toit ouvrant .2-90
Toit ouvrant transparent .2-90, 7-6
Tractage d'une remorque .10-23
Transmission à variation continue (CVT). .5-18 Conduite avec transmission à variation continue (CVT) .5-18 Huile pour transmission à variation continue (CVT) .8-12
Trappe du réservoir de carburant .3-27
V
Vérification d'ampoule / tableau de bord. .2-9
Vérifier la pression des pneus. .2-36, 2-58
Verrouillage Bouton d'ouverture du coffre .3-25 Dispositif de sécurité de portiere arrière pour enfant .3-7
Levier de déverrouillage de la trappe du réservoir de carburant .3-27
Verrouillage de portières. .3-4
Verrouillage électrique des portières .3-6
Verrouillage automatique des portières .3-6
Verrouillage de portières .3-4
Verrouillage et déverrouillage sans clé
Avec système de clé intelligente
(voir système de clé intelligente) .3-15
Vide-poche de portière avant .2-83
Vol (sytème antidémarrage du vehicule
NISSAN), démarrage du moteur .2-64, 5-15
Volant .3-30
Voyages (voir Immatriculation du
vehicule à l'étranger). .10-14
Voyages ou immatriculation du
vehicule à l'étranger .10-14
RECOMMANDATIONS
CONCERNANT LE CARBURANT :
Utilisez une essence ordinaire sans plomb à indice d'octane AKI de 87 ou plus (indice d'octane recherche de 91).

MISE EN GARDE
Seuls les vehicules comportant une étiquette « E-85 » à l'intérieur de la trappe de carburant peuvent fonctionner avec du carburant à base d'éthanol E-85. Des dommages au circuit d'alimentation ou à d'autres éléments pourrait se produit en cas d'utilisation de carburant E-85 sur des vehicules non concus pour ce type de carburant.
L'utilisation de carburant autre que celui qui est prescrit pourrait nuir au fonctionnement du dispositif anti-pollution et avoir une incidence sur la couverture de garantie.
- N'utilise en aucune circumstance de l'essence au plomb dans votre vehicule, car vous pourriez endommager le catalyseur trifonctionnel.
- N'utilisez pas le carburant E-15 ou E-85 dans votre vehicule. Le carburant E-15 ou E-85 ne convient pas à votre vehicule. L'utilisation du carburant E-15 ou E-85 dans un vehicule non conçu pour être alimenté par ce type de carburant peut nuire aux dispositifs antipollution et aux systèmes du vehicule. Les dommages causés par l'utilisation de ces carburants ne sont pas couverts par la garantie limitée de vehicule neuf NiSSAN.
- N'utilisez pas de carburant qui contient un renforcéateur d'octane méthylcyclopentadiényle manganèse tricarbonyle (MMT). L'utilisation d'un carburant contenant du méthylcyclopentadiényle manganèse tricarbonyle (MMT) peut nuir au rendement du vehicule et au bon fonctionnement du dispositif antipollution. Tous les distributeurs de carburant ne sont pasétiquêtes pour indiquer la teneur en MMT, vous doivent communiquer avec le détaillant d'essence pour obtenir de plus amples renseignements. Notez que lois féderales et californiennes interdisent l'utilisation du MMT dans l'essence nouvelle.
La reglementation des E.-U. impose l'identification des pompes de carburant à base d'ethanol à l'aide d'une petite étiquette carrée orange et noire indiquant l'abréviation commune ou le pourcentage autorisé dans cette région.
Pour obtenir des renseignements supplémentaires, consultez la section « Contenances, liquides et lubrifiants recomman-dés » (p. 10-2).
RECOMMANDATIONS RELATIVES À L'HUILÉ MOTEUR :
Consultez la section « Contenances, liquides et lubrifiants recommends » (p. 10-2).
PRESSION DES PNEUS À FROID :
Pour obtenir des renseignements supplémentaires, consultez la section « Étiquette de renseignements relatifs aux pneus et à la charge » (p. 10-16).
L'étiquette est généralement apposée sur le pied millieu du côte conducteur ou sur la portière du conducteur. Pour obtenir des renseignements supplémentaires, consultez la section « Roues et pneus » (p. 8-32).
MÉTHODE DE RODAGE RECOMMANDÉE POUR UN VÉHICULE NEUF :
Pendant les premiers 2000 km (1 200 mi) d'utilisation du vehicule, suivez les recommendations relatives à la procédure de rocade pour assurer la fiabilité et l'économie d'utilisation de votre vehicule neuf. Pour obtenir des renseignements supplémentaires, consultez « Programme de rocade » (p. 5-134). Si vous ne suivez pas ces recommandations, vous pourriez provoquer des dommages à votre vehicule ou réduire la vie utile de votre moteur.

Imprimé en : Octobre 2023
Publication no.: OM24FM 0B18C1
Imprimé aux États-Unis
Notice Facile