SMART 2 - Machine à coudre SINGER - Notice d'utilisation et mode d'emploi gratuit
Retrouvez gratuitement la notice de l'appareil SMART 2 SINGER au format PDF.
| Intitulé | Description |
|---|---|
| Type de produit | Machine à coudre électronique |
| Caractéristiques techniques principales | 60 points de couture, 6 boutonnières automatiques, 2 alphabets, écran LCD |
| Alimentation électrique | Adaptateur secteur inclus |
| Dimensions approximatives | 38 x 17 x 30 cm |
| Poids | 5,5 kg |
| Compatibilités | Tissus légers à moyens, cuir léger |
| Type de batterie | Non applicable (fonctionne sur secteur) |
| Tension | 220-240 V |
| Puissance | 70 W |
| Fonctions principales | Couture, broderie, quilting, couture de boutonnières |
| Entretien et nettoyage | Nettoyage régulier de la machine, lubrification des pièces mobiles |
| Pièces détachées et réparabilité | Disponibilité de pièces détachées, manuel d'utilisation inclus pour la réparation |
| Sécurité | Protection contre les surcharges, couvercle de sécurité pour l'aiguille |
| Informations générales utiles | Garantie de 2 ans, support client disponible |
FOIRE AUX QUESTIONS - SMART 2 SINGER
Téléchargez la notice de votre Machine à coudre au format PDF gratuitement ! Retrouvez votre notice SMART 2 - SINGER et reprennez votre appareil électronique en main. Sur cette page sont publiés tous les documents nécessaires à l'utilisation de votre appareil SMART 2 de la marque SINGER.
MODE D'EMPLOI SMART 2 SINGER
Guide utilisation SINGER SMART II (8280)




F Composants principaux de la machine à coude
- Molette de réglage de la tension
- Reglage de la pression du pied presseur
- Releveur de fil
- Coupe-fil
- Pied presseur
- Plaque à aiguille
- Tablette amovible/ logement des accessoires
- Levier de marche arrête
- Arrêt du dévidoir
- Molette de réglage de la longueur de point
- Molette de selection des points
- Enfilur automatique (optionnel)
F Composants principaux de la machine à coudre
- Porte-bobine horizontal
- Axe du dévidoir
- Volant
- Interrupteur d'alimentation et d'éclairage
- Prise de branchement du fil d'alimentation
- Tension du dévidoir
- Guide-fil supérieur
- Couvercle latéral
- Poignée
- Releveur du pied presseur
- Pedale de commande de la machine et fil d'alimentation
- Fil électriche

a
006806008

b
006905008

c
006909008

d
006914008

e

f

!

h

i
j


k

1

2
m
006916008

n
006803008

0
006800008

p
006812008

q
006804008

r
006016008



Accessoires
a. Pied tout-usage
b. Pied pour fermétures à glissière
c. Pied pour boutonnière
d. Pied pour pose de bouton
e. Tournevis L
f. Brosse/ Outil à découvert
g. Etui a aiguilles
h. Canette (3x)
i. Guide couture/ matelassage
j. Plaquette de reprisage
k. Etriers de bobine
I. Housse de protectionouple
Accessoires optionnels (2)
(Ces 6 accessoires ne sont pas fournis avec la machine.
cependant, ils sont disponibles chez votre dépositaire Singer)
m.Pied pour courtepointe
n. Pied pour surfil
o. Pied ourleur à semelle étroite
p. Pied pour ourlet invisible
q. Pied pour pose de cordon
r. Pied pour raccommodage

Installation de la tablette de couture amovible
Maintenez la tablette en position horizontal et poussez-la dans la direction de la flèche. (1)
L'intérieur de la tablette amovible peut être utilisé comme boîte de rangement des accessoires.
Pour ouvrir, levez vers vous dans le sens de la flèche. (2)




F Branchement de la machine à une source d'alimentation
Brancher la machine tel qu'illustré en (1).
Attention:
Débrancher le fil d'alimentation lorsque la machine n'est pas utilisé.
Pédale de commande
A l'aide du rhéostat, vous contrôlez la vitesse de couture de la machine. (2)
Attention:
Consultez un électricien qualifié si vous doutez du branchement de la machine.
Débranche la machine quand celle-ci n'est pas en service. Les rhéostats qui doivent être utilisés obligatoirement avec l'appareil: KD-1902 (région 110-120V)/KD-2902 (région 220-240V) fabriqués par ZHEJIANG FOUNDER MOTOR CORPORATION LTD. (Chine)
4C-316B (région 110-125V)/ 4C-326G (région 230V) fabriqués par Wakaho Electric Ind. Co., Ltd. (Vietnam)
Eclairage
Appuyez sur l'interrupteur d'alimentation (A): l'ampoule s'allume et la machine est prete à l'emploi.
F Changement de I'ampoule
Débranche la machine de la prise de courant avant de changer l'ampoule.
Remplacez cette dernière par une ampoule de 15 watts (220-240V area) du même type.
- Desserrez la vis (A) comme indiqué. (1)
- Enlevez le couvercle l'etal (B).
- Devissez l'ampoule et installez une nouvelle (C).(2)
- Replacez le couvercle et serrez la vis.
En cas de problèmes, adressez-vous à votre revendeur Singer local.



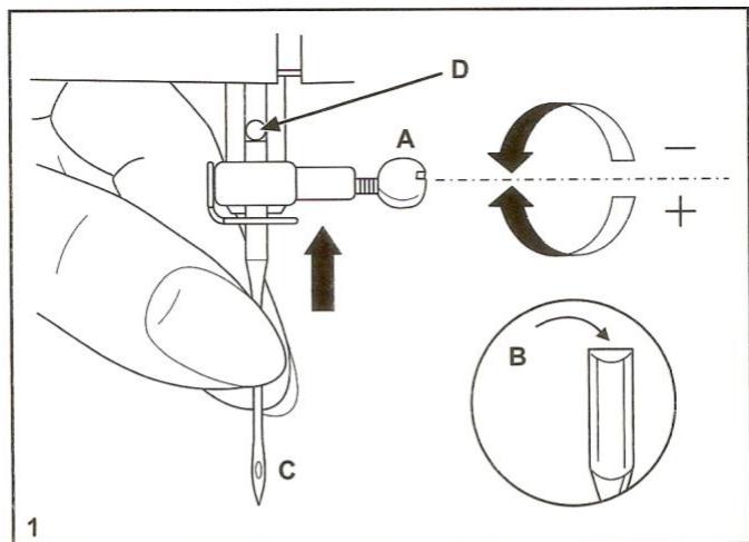
Releveur du pied presseur (à deux niveaux)
Lorsque vous cousez plusieurs épaisleurs de tissus épais, le pied presseur peut etre souleve a une position plus elevée afin de faciliter le positionnement du tissu. Faites attention lorsque vous cousez plusieurs épaisleurs et travailliez lentement. (A)
Réglage de la pression du pied-preseur
La pression du pied presseur a ete ajustee a une valeur maximale et ne demande pas d'autres reglages pour la plupart des travaux de couture. (poids legers a lourds).
Cependant, si vous désirez ajuster la pression du pied presseur, tournez le bouton de réglage.
Pour la couture de tissus fins, diminuez la pression en tournant le bouton dans le sens anti-horaire.
Pour la couture de tissus très écais, augmentez la pression en tournant le bouton dans le sens horsaire.





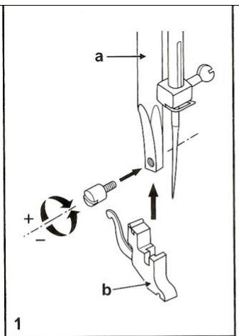
Fixation du support de pied presseur
Soulevez la tige du pied presseur (a) à l'aide du releveur du pied presseur et fixez le support du pied presseur comme illustré. (1)
Fixation du pied presseur
Abaissez le support du pied presseur (a) jusqu'à ce que l'encochrome (c) soit directement au dessus de la broche (d).
Levez le levier (e).
Abaissez le support du pied presseur (b) et ce dernier (f) s'engagera automatiquement. (2)
Démontage du pied presseur
Levez le pied presseur.
Appuyez sur le levier (e) pour dégager le pied presseur (3).
Fixation du guide de couture
Placer le guide de couture dans l'encôche (g) tel qu'illustré ci-contre.
Régler en fonction du résultat souhaité pour les ouletts, pris, etc. (4)
Attention:
Placez l'interrupteur d'alimentation sur arrêt ("O") si vous effectuez une des opérations suivantes!











F Remplissage de la canette
- Placez une bobine de fil sur le porte-bobine et bloquez-la à l'aide de l'étrier. (1)
- Si la bobine est plus petite, bloquez-la en mettant le cotoe incline de I'etrier contre la bobine. (2)
- Enroulez le fil dans le sens anti-horaire autour des disques de tension du dévidoir (3)
- Glissez le fil dans la canette tel qu'illustré et placez celle-ci sur l'axe. (4)
- Poussez la canette vers la droite. (5)
- Tenez l'extrémité du fil. (6)
- Appuyez sur la pédale de commande de la machine. (7)
- Coupez le fil (8).
- Repoussez l'axe du dévidoir vers la gauche (9) et retirez la canette.
Veuilleznoter:
Si I'axe du dévidoir se trouve en position de replissage de la canette (=à droite), la machine ne could pas et le volant ne tourne pas. Pour reprendre la couture, repoussez I'axe du dévidoir vers la gauche (position de couture).






F Insertion de la canette
Attention:
Assurez-vous de placer l'interrupteur principal en position ("O") avant d'insérer ou de-retirer la canette.
Lors de la mise en place et du retrait de la canette, veillez à ce que l'aiguille se trouve à sa plus haute position.
- Ouvrez le couvercle à charnière du bras libre. (1)
- Retirez le boitier à canette en tirant sur le loquet du boitier (a). (2)
- Tenez le boitier à canette d'une main. Introduisez la canette de façon à que le fil s'enroule dans le sens des aiguilles d'une montre (flèche) (3).
- Engagez le fil dans la fente et tirez-le vers la gauche et sous le ressort jusqu'à ce que le fil apparaisse dans l'ouverture rectangulaire (4). Laissez dépasser le fil environ 15cm (6").
- Maintenez le loquet du boitier à canette entre le pouce et l'index. (5)
- Glissez le boitant à canette dans la coursière du crochet, en vous assurant que le doigt du boitant s'insere complètement dans la fente de la coursière. (6)











Insertion et remplacement de l'aiguille
Remplacez l'aiguille régulierement, plus particulièrement si elle indique des signes d'usure et cause des problèmes. Pour obtenir les mêleurs résultats, il faut toujours utiliser des aiguilles fabriquées par Singer.
Insérez l'aiguille tel qu'illustré ci-dessous:
A. Desserrez la vis du pince-aiguille et resserrez-la après avoir inséré une nouvelle aiguille. (1)
B. Insérez la nouvelle aiguille avec le côté plat de la tige vers l'arrière.
C/D. Insérez l'aiguille jusqu'au maximum de sa course.
Attention:
Mettez l'interrupteur d'alimentation sur arrêt ("O") avant d'insérer ou de-retirer I'aiguille.
Les aiguilles doivent etre en parfait etat. (2)
Des problèmes peuvent survenir si:
A. L'aiguille est tardue
B. L'extrémité de l'aiguille est endommagée
C. L'aiguille est époinée

Enfilage supérieur
Cette opération est simple.
Néanmoins, il est important de l'exécuter correctement sous peine de faire eventuellesment face à plusieurs problèmes de couture.
- Tournez le volant pour lever l'aiguille dans sa position la plus haute (1) et relevez le pied presseur pour libérer les disques de tension.
Note: Pour des raisons de sécurité, il est fortement recommendé de couper l'alimentation électrique avant l'enfilage. - Levez le porte-bobine horizontal. Placez une bobine de fil sur le porte-bobine, le fil sortant de la bobine tel qu'illustré en (2).
- Pour les petites bobines, placez le côté incliné de l'étrier contre la bobine ou utilisez le plus petit étrier.
- Passez le fil de la bobine à travers du guide-fil supérieur. (3) Guider le fil autour du guide en le tirant à travers du ressort de pré-tension tel qu'illustré.
- Enfilez le module de tension en guidant le fil vers le bas via la rainure droite et vers le haut via la rainure gauche (4). Au cours de cette opération, il est utile de tener le fil entre la bobine et le guide-fil (3) et de le tirer doucement vers le haut.
- Enfilez maintenant l'oeillet du releveur de fil en y passant le fil de croite à gauche et guidez le fil à nouveau vers le bas (5).
- Passez le fil dans le guide-fil horizontal qui se trouve sur le pince-aiguille. (6)
- Enfilez ensuite le chas de l'aiguille de l'avant vers l'arrière et tirez à peu pres 10 cm de fil vers l'arrière de la machine. Coupe le fil à la longueur désirée à l'aide du coupe-fil incorpore. (7)
Note:
Si vous machine à coudre est équipée d'un enfilleur automatique déjà installé en sortie d'usine, tournez à la page 27 pour des instructions d'usage.

1


2






Enfileur automatique (optionnel)
- L'enfilleur automatique est une option qui est installée à l'usine. Si votre machine est équipée de cette option, suivez les instructions ci-dessous:
- Relevez l'aiguille à sa position la plus élevé.
- Descendez le levier (A) autant que possible.
- L'enfilleur tournera automatiquement à la position d'enfilage (B).
- Passez le fil au tour du guide-fil (C) comme illustré.
- Passez le fil devant l'aiguille et sous le crochet du bas en haut.
- L'chez le levier (A).
- Le chas de l'aiguille sera enfilé automatiquement.
Attention:
Mettez l'interrupteur à ("O")avant d'enfilier l'aiguille!

Tension du fil
Tension du fil supérieur
Réglage de base pour la tension du fil: "4"
Pour augmenter la tension, tournez la molette vers une valeur plus élevé.
Pour réduire la tension, tournez la molette vers la valeur immédiatement inférieure.
A. Tension de fil normale pour une couture en point droit.
B. Tension tropasse en point droit, tournez la molette vers un chiffre plus élevé.
C. Tension trop elevée en point droit, tournez la molette vers un chiffre plus bas.
D. Tension de fil normale pour une couture en point zigzag. (normal = le fil de l'aiguille apparait légèrement à l'envers du tissu)
Tension du fil inférieur
Pour tester la tension du fil de canette, vous tenez le boitier à canette par un bout de fil d'environ 10 cm et vous faites sauter le boitier en tirant doucement sur le bout de fil.
A peu pres 5 cm de fil peut se dérouler. Si trop de fil se déroule, vous pouze corriger la tension en tournant la vis de tension à droite.
Il est important de refaire le test. Si trop peu de fil se déroule, vous pouvez corriger la tension en tournant la vis de tension à gauche. Il est important de refaire le test.
Veuillez noter :
- Un réglage de tension correct est important pour obtenir de beaux résultats.
- Il n'existe pas de réglage de tension standard pour tous les points, fils et tissus.
- Une tension équilibrée (points identiques à l'endetroit et à l'envers du tissu) n'est habituellement souhaitable que pour la couture en point droit.
- 90% de tous les travaux de couture requisent un réglage de tension compris entre "3" et "5".
- Pour les points zigzag et décoratifs, la tension du fil devrait généralement être inférieure à cette utilisée pour la couture en point droit.
- Pour tous les travaux de couture décoratifs, vous obtiennent toujours des points deOADme finition et moins de plis dans le tissu lorsque le fil supérieur apparait a I'envers de sua tissu.






Pour remonter le fil de canette
Tenez le fil supérieur de la main gauche. Tournez le volant (1) vers vous (sens anti-horaire) pour abaisser et lever l'aiguille.
Note:
Sil y est difficile de remonter le fil de la canette, vérifier que le fil n'est pas pris dans le couvercle du boitier ou dans la fermeture du bras amovible.
Tirez doucement sur le fil supérieur pour faire remonter le fil de canette à travers le trou dans la plaque à aiguille. (2)
Passez les deux fils en dessous du pied presseur et placez-les vers l'arriere de la machine. (3)
F Couture en marche arriere
Afin de renforcer le début et la fin d'une couture, appuyez sur le levier de marche arrière et faites quelques points en marche arrière (A). Lâchez le levier et la machine coudra à nouveau en avant. (1)
Pour-retirer le travail en cours
Tournier le volant dans le sens anti-horaire afin d'amener le releveur de fil à sa position la plus élevé, lever le pied presseur etzheimer le travail se trouvant en arriere du pied presseur et de l'aiguille. (2)
Pour couper le fil
Tirez les deux fils vers l'arrière du pied presseur. Guidez-les le long de la plaque frontale et placez-les dans le coupe-fil (B). Tirez les fils vers le bas pour les couper. (3)
F Tableau de correspondance de l'aiguille, du tissu et du fil
GUIDE DE SELECTION DE L'AIGUILLE, DU TISSU ET DU FIL
| DIMENSIONS DE L'AIGUILLE | TISSUS | FIL |
| 9-11 (70-80) | Tissus légers, cotons légers, voile, serge, soie, mousseline, Qiana, tissu interlock, tricots de cotton, tricots,jerseys, crépes, polyester tissé, tissus pour chemises et blouses. | File de coton léger, nylon, polyester ou de cotton enrobé de polyester. |
| 11-14 (80-90) | Tissus d'épaissur moyenne, coton, satin, kettlecloth, tissu de marine, jersey double, lainages légers. | La plupart des types de fil vendus sont de calibre moyen et convennent pour ces tissus et dimensions d'aiguille. Utiliser le fil en polyester pour les tissus synthétiques et en cotton pour les tissus naturels tissés afin d'avoir lesILA. |
| 14 (90) | Tissus d'épaissur moyenne, cié en cotton, lainages,jerseys plus épais, tissus éponges, jeans. | |
| 16 (100) | Tissus épais, canevas, lainages, tente et tissus pour courtepointe, jeans, tissus pour rembourse (légers à moyens). | Tous jours utiliser le même fil pour le fil supérieur et inférieur. |
| 18 (110) | Lainages épais, tissus pour pardessus, tissus pour rembourse, certains cuirs et vinyles. | Fil résistant, fil pour tapis. (Appliquer une forte pression sur le pied-valeurs élevées) |
IMPORTANT: Adaptez la grosseur de l'aiguille à celle du fil et au poids du tissu.
SÉLECTION DE L'AIGUILLE ET DU TISSU
| AIGUILLES | EXPLICATIONS | TYPE DE TISSU |
| SINGER® 2020 | Aiguille pointue réglementaire. La dimension varie de fine à grande. 9 (70) à 18 (110). | Tissus naturels tissés-laine, coton, soie, etc. Qiana. N'est pas recommendé pour les jeansures doubles. |
| SINGER® 2045 | Aiguille à pointe Ronde. 9 (70) à 18 (110). | Tissus naturels et synthétiques tissés, mélanges polyester, tricots en polyester, tissus interlock,jerseys simples et doubles. Également, tissus en lycra, tissus pour costumes de bain, tissus élastiques. |
| SINGER® 2032 | Aiguilles pour cuir 12 (80) à 18 (110). | Cuir, vinyle, tissus pour rembourse (Fait de plus petits trouss que les grandes aiguilles standard). |
NOTE:
- Pour de plusieurs résultats, n'utilise que des aiguilles authentiques SINGER
- Remplacez regulierement laiguille (chaque fois que you commences un nouveau vetement) et/ou quand le fil casse ou les points sautent.


F Comment désir vos points
Pour les points droits, désirir le type " " avec le sélecteur règle-point.
Régler la longueur du point.
Yououpouvezchoisisrla positiondaiguillea gauche en prenant lemodele"
Pour les points zigzag, désirir le type "..." avec le sélecteur règle-point.
Régler la longueur en fonction du tissu utilisé.
Pour obtenir tout autre type de point indiqué sur le panneau de selection des points, désirir le point à l'aide du/selecteur règlepoint. Régler la longueur du point.
a. Manette d'inversion
b. Molette de commande de longueur de point
c. Sélecteur règle-point


Couture au point droit et position d'aiguille
Tournez le sélection règle-point jusqu'à ce que l'écran montre la position du point droit.
Choisissez votre position d'aiguille, soit la position d'aiguille centre, soit la position de droite.
En général, plus écais seront le tissu, le fil et l'aiguille, plus long sera le point. Pour point fin régler la longueur de point entre "1" et "2".
Pour froncer, régler au point droit, longueur de point à "4".
Cousez 2 rangs paralleles et ensuite tirez sur le fil de canette pour froncer le tissu.

Surpiquire
Vou puez embellir vos vêtements et autres projets avec les surpiques.
Piquer 7 mm du bord de votre couture ou vêtement.
Régler le cadran de point au point droit. Sélectionner la position d'aiguille au milieu.
Pour les surpêtres désisseze la longueur de point désiré.

1


Point zigzag
Régler lesélecteur ringle-pointa"."." (1)
Fonction de la molette de commande de longueur de point pour points zigzag
La densité des points zigzag augmente au fur et à mesure que le réglage de longueur de point se rapproche de la valeur "0". Les points zigzag nets sont habituellément obtenus avec une valeur égale ou inférieure à "2.5".
Les points zigzag rapproché (ensemble), sont attribués au point bourdon. (2)
2









3

4
Ourlet invisible et point de lingerie
Pour ourlet, rideaux, pantalons, jupes, etc.
Ourlets invisible pour tissu elastique.
Ourlets invisible/lingerie pour tissu ferme.
V En sens inverse ourlets invisible/ lingerie pour tissu ferme.
Note:
Il vous faut plusieurs pratiques pour coudre les ourlets invisible. Faire toujours quelques essaies avant la couture.
Plier l'ourlet à la largeur désirée et presser.
Replier l'ourlet contre l'endetroit de l'ouvrage de sorte que la lisiere supérieure de l'ourletDépasse d'environ 5mm (1/5") sur le côte droit de l'ouvrage. (fig. 1)
Placer l'ouvrage sous le pied-de-biche. Tourner le volant vers l'avant jusqu'à la position extréme gauche de l'aiguille. Celle-ci ne doit piquer que sur le bord du pli. Si ce n'est pas le cas, rectifier la position de l'ouvrage. Piquer lentement et guider soigneusement l'ouvrage afin que la position ne se trouve àaucun moment modifiée.(fig.2)
Déplier le tissu à la fin de la couture et presser.
F Pose des boutons
Placer la plaquette de reprisage sur la plaque aiguille. (1)
Pied pour la pose de boutons. (2)
Placer le tissu sous le pied.
Poser le bouton à la position désirée et baisser le pied.
Régler le sélection de modèles sur on " " et coudre quelques points de sécurité. Choisir un des 2 modèles zigzag étroits selon la distance entre les 2 boutonnières. Tourner le volant pour voir si l'aiguille passée dans les côtes croit et gauche du bouton sans heurter le bouton.
Coudre doucement sur le bouton avec environ 10 points.
Choisir le modele"" et coudre quelques points de sécurité. (3)
Si une tige de maintien est requise, placer une aiguille de reprisage sur la partie supérieure et coudre (4). Pour les boutons à 4 trous, coudre d'abord au travers des deux trous avant (3), pousser le tissu puis coudre au travers des deux autres trous. (4)






F Comment faire des boutonnières (Boutonnières 4 étapes)
Preparation
1.Enlevez le pied universel et installez le pied boutonniere.
2.Mesurez le diamètre et l'épaissur du bouton et ajoutez-y 0.3cm (1/8") pour les extrémités; marquez la taille de la boutonnière sur le tissu.
3.Mettez le tissu sous le pied presseur de façon à ce que le repère sur le pied boutonnière coïncide avec la marque du début de la boutonnière sur le tissu. Abaissez le pied presseur de façon à ce que la ligne centrale de la boutonnière marquee sur le tissu coïncide avec la ligne centrale du pied boutonnière.
Mettez le bouton de réglage de la longueur du point sur " pour régler la densité du point.
Remarque: La densité varie suivant le tissu. Faites donc toujours un échantillon.
Suivez les 4 étapes de réalisation de la boutonniere en passant d'une étappe à l'autre à l'aide du bouton de seLECTION des points. Veillez à ne pas faire trop de points aux étapes 2 et 4. Ouvrez la boutonniere à l'aide de votre découvert: commencez toujours aux extrémités de la boutonniere et allez vers le centre.
Conseils :
- Diminuez légarement la tension du fil supérieur pour obtenir de plusieurs résultats.
- Renforcez les tissus fins ou extensibles.
- Il est conseilé d'utiliser un fil écais ou un cordonnet pour les tissus stretch ou le tricot.
- Le zigzag de la boutonniere devrait recouvrir ce fil épais ou ce cordonnet. (5)
F Fermetre et ganse
Régler lesélecteurdepointsa"."
Changer le pied de fermeture. (1)
Le pied pour fermeture à glissière peut être fixé soit à droite, soit à gauche (2) en fonction du côte du pied/fermeture à glissière que vous allez coudre.
Pour coudre au dela de la tirette de la fermeture a glissiere, abaisser l'aiguille sur le tissu, lever le pied presseur et pousser la tirette de la fermeture a glissiere derriere le pied presseur. Abaisser le pied et continuer a coudre.
Il est aussi possible de coudre une longueur de cordon dans un biais afin de former une cordure (3) ou pour fixer un passepoiil ou tout autre finition decorative en utilisant cette méthode.









F Point zigzag multipoints
Pour la couture de dentelle et des élastiques, le reprisage, le raccommodage, la pose de pieces, le renforcement de cordures.
Régler le sélecteur de point à " >".
Positionner la pierce. La longueur du point peut être réduite afin de produit des points très rapprochés. (1)
Pour des raccommodages de déchirures, il est recommendé d'utiliser un morceau de tissu de renfort. Il est possible de varier la densité du point en réglant la longueur du point. Coudre d'abord au centre puis chevaucher sur les deux côtes. En fonction du type de tissu et du dommage, coudre de 3 à 5 rangiées. (2)
Bride d'arrêt
Régler le sélecteur de modèles à " 0 " ou " .
Régler les électorur longueur de point à "1" - "1.5".
Cette fonction s'applique au pris et à l'ouverture de poches pour renforcer le début de la couture. Avec le point droit, faites une couture de 2.5 a 5 mm a travers le haut du pris ou de la poche, Reglez le point au zigzag et repeter la couture cette fois ci avec le point zigzag. Faites le point arrêté au début et la fin de la couture.
F Raccommodage
- Le pied de raccommodage est un accessoire d'options dont votre machine n'est pas équipée. (1)
Régler la machine comme indiqué.
- Placer la plaquette de reprisage sur la plaque aiguille. (2)
Retirer le pied presseur et l'attache. (3)
Fixer le pied pour raccommodage à la tige du pied presseur. Le levier (a) doit se couver derrière, audessus de la vis de fixation de l'aiguille (b). Avec l'index, appuyer fermement par l'arrière sur le pied a reprimer, puis serrer la vis (c). (4)
Pour raccommodage
D'abord, coudre autour des bords du trou.
Commencer à gauche pour la première rangée.
Faire des points sur une rangée puis faire faire un quart de tour de rotation à votre travail et recommencer à coudre. (5)
Note:
Le raccommodage avec mouvement libre se fait sans utiliser le système d'alimentation interne de la machine à coudre. L'opérateur contrôle le mouvement du tissu. Il est nécessaire de coordonnner la vitesse d'exécution de la couture et le mouvement du tissu.





F Points décoratifs
Utiliser le pied tout usage pour tous ces points.
Voir les schéma pour un exemple de point.
Point de coquillage (A)
Pour cotes decoratifs.
Convenables pour les bords de tissus fins, élastiques. Les points plus large doivent passer par le bord du tissu pour créé l'effet de coquillage.
Point de croissant (B)
Pour un bord délicat au long du tissu.
Ce type de point peut etre utilise avec les tissus solides et epais.
F Appliqué et appliqué invisible
Placer l'appliqué sur le tissu de fond.
Aligner l'aiguille et abaiser-la dans le tissu au bord de l'applique.
Abaisser le pied presseur.
Si vous utilisez le pied invisible, placer le guide pour qu'il soit positionné sous le bord de l'appliqué.
Il sera peut-être nécessaire d'ajuster (rapprocher ou éloigner) le guidéu bord en utilisant la vis à la droite du pied.
Piquer en suivant le bord de l'appliqué. Pour pivoter autour des courbes et aux coins, abaiser l'aiguille dans le tissu au bord et à l'extérieur de l'appliqué, lever le pied presseur et pivoter.









F Fonctions de courtepointe
- Le pied pour courtepointe est un accessoire optionnel qui n'est pas livré avec votre machine.
Pour pique libre, placez le tissu dans un cerceau et pique à main levée dans la direction que vous désirez.
Pour le matelassage, transférez le motif choisi sur votre tissu à l'aide d'un moule et piquez en suivant le motif.
Si vous travailliez sans pied, n'oubliez pas d'abaisser la barre du pied presseur. Pour un meilleur contrôle placez le tissu dans un cerceau et utilisez un pied pour broderie et reprisage.
F Raccommodage
Preparation de la machine:
- Point: Multi Zigzag
Largeur de point: 4.5 - Longueur de point: 0.5 - 1.0
Mode D'emploi:
Positionner un morceau de tissu directement sous l'accroc Aligner le milieu du pied presseur avec le milieu de l'accroc Cousez en sécurisant le début et la fin de la couture.






F Couture de Soutien
Preparation de la Machine:
- Point: Droit
- Largeur de Point: Droit
- Longueur de Point: 1.5 mm (Fin)
Mode D'emploi :
La couture de soutien sert à renforcer les coutures courbées et les coutures dans les tissus extensibles pour les empêcher de s'étirrer. Piquer 6 mm du bord de la couture ou du tissu.
F Nervure traditionnelle
Preparation de la machine :
- Point: Droit
- Largeur de Point: Droit
- Longueur de Point: 2 - 3
Mode D'emploi :
Pour le placement des nervures, tirez un fil de trame ou marquez la ligne avec de la craie ou un crayon.
Pliez le tissu envers contre envers en suivant cette ligne. Piquez à 3mm de la ligne de piuire.
Répéter, en coursant dans la même direction pour chaque nervure. Presser à plat.









F Froncer
Preparation de la Machine :
- Point: Droit
- Largeur de Point: Droit
- Longueur de Point: Le plus long
Mode D'emploi :
Utilisez cette technique pour froncer la taille, la tete de manche et cetera. A partir de 6 mm du bord de la couture, debuter avec un point arrière et continuer à coudre la longueur de couture demander.
La couture terminer, élevez l'aiguille au plus haut et lever le pied presseur, ensuite tirer les fils vers l'arrière du pied.
Coupez le fil à 15cm. Répétez cette procédure encore une fois à 6 mm de la couture initiale.
Les deux rangs terminer, diminuier le tissu en tirant sur les fils de la canette. Sécuriser les bouts des fils.
F Soutache
Preparation de la Machine:
- Point: Zigzag
- Largeur de Point: Variable (Réglez à la largeur du cordonnet)
- Longueur de point: Variable
- Pied: Pied zigzag ou pied bourdon facultatif
Mode D'emploi:
Le point Soutache est tous simplement la technique de coudre avec un point zigzag par-dessus d'un cordonnet ou d'une ganse. Avec un crayon marqueeur, tracer un motif sur l'endroit de votre tissu.
Alignez le cordonnet sous le milieu du pied, et faites le point zigzag par-dessus du cordonnet pour que l'aiguille passe au coté du cordonnet. En coussant suivez le motif que vous avez trace.



F Entretien de la machine
Enlever la plaque a aiguille :
Pour-retirer la plaque a aiguille,mettez l'aiguille dans sa positionla plus haute en tournant le volant.
Ouvrez le couvercle d'accès. Avec le tournevis, desserrez les 2 vis (1) et enlevez la plaque à aiguille.
Nettoyage des griffes d'entrainement:
Retirez la boite à canette. Nettoyez à fond à l'aide du pinceau. (2)
Nettoyage et huilage du crochet:
Retirez la boîte à canette. Tournez les deux fixations du crochet (3) vers l'extérieur (voir dessin).
Enlevez l'anneau de fixation du crochet (4) et le crochet (5) et nettoyez-les avec un chiffon doux. Mettez 1 à 2 gouttes d'huile pour machines à coudre à la coursière du crochet (6).
Tournez le volant jusqu'à ce que la coursière du crochet (7) soit à gauche.
Remettez le crochet et l'anneau de fixation du crochet et repousseze les deux fixations vers l'intérieur. Remettez la boite à canette et la plaque à aiguille.
Remarque importante:
Enlevez régulierement la poussière et les déchets de fil susceptibles d'encrasser la machine.
Pour maintenir votre machine en parfait etat de marche,
faites-la reviser régulierement par notre service après-vente.
Attention:
Débranche la machine avant toute opération de nettoyage.
F Guide de dépannage
| Problème | Cause | Solution |
| Le fil supérieur casse | 1. La machine n'est pas correctement enfilée.2. La tension du fil est trop élevé.3. Le fil est trop gros pour l'iguille.4. L'aiguille n'est pas bien insérée.5. Le fil est,enrouleautour du portobobine6. L'aiguille est endommagée. | 1. Réenfiler la machine.2.Réduire la tension.(valeur inférieure)3. Choisir une aiguille plus grosse.4. La retirer et la réinsérer.(côté plat vers l'arrière)5. Retirer la canette et enrouler le fil.6. Remplacer. |
| Le fil inférieur casse | 1. Le boîtier n'est pas bien inséré2. Le boîtier n'est pas bien enfilé3. La tension inférieure est trop élevé | 1. Réinsérer le boîtier de façon correcte2. Contrôler la canette et le boîtier3. Réduire la tension du fil de canette |
| Points manqués | 1. L'aiguille n'est pas bien insérée.2. L'aiguille est endommagée.3. Une aiguille de dimensions incorrectes a été utilisée.4. Le mauvais pied a été utilisé. | 1. La retirer et la réinsérer.(côté plat vers l'arrière)2. Remplacer.3. Choiser une aiguille convenant au fil et au tissu.4. Vérifiez et fixez le bon pied de biche. |
| L'aiguille casse | 1. L'aiguille est endommagée.2. L'aiguille n'est pas bien insérée.3. Aiguille de mauvaises dimensions pour le tissu.4. Le mauvais pied a été fixé. | 1. Insérer une nouvelle aiguille.2. Insérer l'aiguille correctement.(côté plat vers l'arrière)3. Choiser une aiguille convenant au fil et au tissu.4. Choiser le bon pied. |
| Points lâches | 1. La machine n'est pas correctement enfilée.2. Le boîtier n'est pas bien enfilé3. La combinaison aiguille/tissu/ fil n'est pas la bonne.4. La tension du fil est mauvaise. | 1. Vérifier l'enfilage.2. Enfiler le logement tel qu'illustré.3. La dimension de l'aiguille doit convenir au tissu et au fil.4. Corriger la tension du fil. |
| La couture fronce | 1. L'aiguille est "up grosse pour le tissu2. La longueur de point n'a pas été bien ajustée.3. La tension du fil est trop élevé. | 1. Choisir une aiguille plus fine.2. Réajuster la longueur de point.3. Réduire la tension. |
| Points irréguliers,Entraînementirrégulier | 1. Le fil est de qualité inférieure.2. Le boîtier n'est pas bien enfilé.3. Le tissu a été tiré. | 1. Choisir un fil de qualité qualité.2. Retirer la canette réenfiler et insérer correctement.3. Ne pas tirer sur le tissu en coupant. Laisser la machine entraîner le tissu. |
| La machine est bruyante | 1. La machine doit être lubriifiée.2. De la charpie ou de l'huile s'est accumulée sur le. crochet ou la barre d'aiguille.3. De l'huile de qualité inférieure a été utilisée.4. L'aiguille est endommagée. | 1. Emporter la machine au détaillant pour l'entretien.2. Nettoyer le crochet et les griffes d'entrainment comme décrit.3. Utilisez de l'huile SINGER'.4. Remplacer. |
| La machine sebloque | 1. Le fil est coincé dans le crochet. | 1. Retirer le fil supérieur et la bobine, tourner manually le volant vers l'avant et vers l'arrière puis retarder les restes de fil. |
Notice Facile