Flex Phase 2 (2014) - Automobile FORD - Notice d'utilisation et mode d'emploi gratuit
Retrouvez gratuitement la notice de l'appareil Flex Phase 2 (2014) FORD au format PDF.
| Caractéristiques techniques | Détails |
|---|---|
| Moteur | Moteur V6 de 3,5 L avec une puissance de 287 ch |
| Transmission | Transmission automatique à 6 vitesses |
| Consommation de carburant | Environ 12,3 L/100 km en ville et 8,4 L/100 km sur autoroute |
| Capacité du réservoir | Réservoir de 80 L |
| Dimensions | Longueur : 5 066 mm, Largeur : 1 978 mm, Hauteur : 1 700 mm |
| Poids | Poids à vide : environ 2 000 kg |
| Capacité de remorquage | Capacité de remorquage maximale de 2 268 kg |
| Nombre de places | Jusqu'à 7 passagers |
| Système de sécurité | Airbags frontaux, latéraux et rideaux, ABS, contrôle de traction |
| Entretien recommandé | Vidange d'huile tous les 10 000 km ou 12 mois, vérification des freins et des pneus régulièrement |
| Garantie | Garantie limitée de 3 ans ou 60 000 km |
| Équipements de série | Système audio avec Bluetooth, climatisation, régulateur de vitesse |
| Options disponibles | Toit ouvrant, système de navigation, sièges en cuir |
FOIRE AUX QUESTIONS - Flex Phase 2 (2014) FORD
Questions des utilisateurs sur Flex Phase 2 (2014) FORD
0 question sur cet appareil. Repondez a celles que vous connaissez ou posez la votre.
Poser une nouvelle question sur cet appareil
Téléchargez la notice de votre Automobile au format PDF gratuitement ! Retrouvez votre notice Flex Phase 2 (2014) - FORD et reprennez votre appareil électronique en main. Sur cette page sont publiés tous les documents nécessaires à l'utilisation de votre appareil Flex Phase 2 (2014) de la marque FORD.
MODE D'EMPLOI Flex Phase 2 (2014) FORD
Sécurité des enfants 20
Positionnement du siège d'enfant 22
Rehausseurs. 25
Installation du siège d'enfant. 27
Dispositifs de sécurité pour enfants. 40
Ceintures de sécurité 41
Bouclage des ceintures de sécurité 43
Réglage de la hauteur des ceintures de sécurité 47
Témoin et carillon de ceinture de sécurité 48
Belt-Minder (dispositif de rappel de bouclage de ceinture de sécurité) 48
Ceinture de sécurité gonflable arrêtée 51
Entretien des ceintures de sécurité et des dispositifs de retenue pour enfants 53
Système de retenue supplémentaire 55
Sacs gonflables du conducteur et du passager 57
Capteur de poids du passager avant 59
Sacs gonflables latéraux.64
Rideaux gonflables Safety canopy 65
Détecteurs d'impact et témoin du sac gonflable 68
Mise au rebut des sacs gonflables 69
Clés et télécommande 70
Généralités relatives aux fréquences radio 70
Télécommande. 71
Clés. 71
Remplacement d'une clé ou d'une télécommande perdue.78
Mykey 79
Réglages, MyKey 79
Creation. 80
Effacement 82
État du système...83
Dépannage, MyKey. 84
Serrures 86
Verrouillage et déverrouillage 86
Clavier d'entrée sans clé SecuriCode™ 94
Sécurité 98
Système antidémarrage SecuriLock® 98
Alarme antivol 102
Volant de direction 103
Réglage du volant. 103
Commandes du volant de direction 105
Pédales 108
Pédales réglables 108
Essuie-glaces et lave-glaces 109
Essuie-glaces 109
Essuie-glaces à capteur de pluie 109
Lave-glaces de pare-brise 110
Essuie-glace et lave-glace de lunette arrière. 111
Éclairage 112
Commande d'éclairage 112
Commande automatique des phares. 113
Rhéostat d'éclairage du tableau de bord. 113
Table des matières
Temporisation des phares 114 Feux de jour 114 Phares antibrouillard avant 115 Clignotants. 115 Éclairage intérieur 116
Glaces et rétroviseurs 117
Commandes des glaces électriques 117 Rétroviseurs extérieurs 118 Rétroviseur intérieur 121 Pare-soleil 122 Toit ouvrant transparent 123
Tableau de bord 125
Indicateurs. 125 Lampes d'avertissement et indicateurs. 126 Avertissements sonores et indicateurs. 131
Écrans d'information 133
Commandes 133 Ordinateur de bord. 137 Messages d'information 146
Chauffage et climatisation 158
Chauffage-climatisation à commande manuelle 158 Régulation automatique de la température à deux zones. 160 Commandes de chauffage-climatisation auxiliaires 164 Dégivreur de lunette arrière 167 Filtre à air d'habitacle. 167
Sièges 170
Position assise appropriée. 170
Appuie-têtes. 171
Sièges à réglage manuel 174
Sièges à réglage électrique 175
Fonction de rappel des réglages mémorisés 177
Sièges chauffants 178
Sièges chauffants et ventilés 180
Sièges arrière. 182
Ouvre-porte de garage universel (selon l'équipement) 192
Système de commande sans fil HomeLink® 193
Compartiments de rangement 201
Console au pavillon. 203
Démarrage et arrêt du moteur 204
Commutateur d'allumage. 205
Chauffe-moteur 211
Carburant et ravitaillement 213
Qualité du carburant. 214
Panne sèche. 215
Remplissage 217
Consommation de carburant 219
Boîte de vitesse 224
Boîte de vitesses automatique 224
Traction intégrale (selon l'opération) 230
Transmission intégrale 230
Freins 238
Freins 238
Conseils de conduite avec le système de freinage antiblocage.....239
Frein de stationnement 240
Commande de stabilité 242
AdvanceTrac® 243
Aides au stationnement 244
Capeur. 244
Aide au stationnement actif. 246
Caméra de marche arrière..251
Régulateur de vitesse 257
Utilisation du régulateur de vitesse 257
Utilisation du régulateur de vitesse adaptatif 259
Aides à la conduite 268
Système de surveillance des angles morts avec alerte de circulation transversale 268
Système d'accélération de collision 274
Direction 278
Chargement 280
Filtre d'arrimage 280
Porte-bagages et supports de charge 280
Chargement du véhicule 281
Remorquage 289
Traction d'une remorque. 289
Remorquage. 298
Remorquage de loisir 299
Conseils de conduite 301
Conduite économique 301
Conduite dans l'eau 302
Tapis 303
Dépannage 305
Service de dépannage 305
Feux de détresse 307
Interrupteur de coupure de carburant 307
Démarrage d'appoint du véhicule. 307
Assistance à la clientèle 311
Défauts propresant la sécurité (É.-U. seulement). 319
Défauts compromettant la sécurité (Canada seulement) 319
Fusibles 320
Remplacement d'un fusible 320
Tableau de spécifications des fusibles 321
Entretien 332
Généralités. 332
Ouverture et fermeture du capot. 333
Aperçu sous le capot 334
Jauge d'huile moteur. 336
Vérification du niveau de l'huile moteur 336
Vérification du niveau du liquide de refroidissement du moteur....337
Vérification du niveau de l'huile pour boîte de vitesses automatique. 344
Vérification du niveau du liquide de frein. 349
Vérification du niveau du liquide de direction assistée 349
Filtre à carburant 349
Vérification du niveau du liquide lave-glace 349
Batterie 349
Vérification des balais d'essuie-glace 352
Table des matières
Remplacement des balais d'essuie-glace 352
Filtre(s) à air. 353
Réglage des phares. 355
Remplacement d'une ampoule 357
Soins du véhicule 363
Produits de nettoyage 363
Nettoyage de l'extérieur 363
Lustrage. 365
Réparation des dommages mineurs à la peinture 365
Nettoyage du moteur 365
Nettoyage des glaces et des balais d'essuie-glace 366
Nettoyage de l'intérieur. 367
Nettoyage du tableau de bord et de la lentille du groupe d'instruments 368
Nettoyage des sièges en cuir 369
Nettoyage des roues en alliage 369
Entreposage du véhicule 370
Roues et pneus 373
Entretien des pneus 375
Système de surveillance de la pression des pneus. 393
Remplacement d'une roue. 397
Caractéristiques techniques. 405
Couple de serrage de l'écrou de roue. 405
Contenances et caractéristiques 406
Caractéristiques du moteur 406
Courroie d'entraînement des accessoires du moteur. 406
Caractéristiques des produits d'entretien et contenances. 407
Pièces de rechange. 410
Numéro d'identification du véhicule. 410
Etiquette d'homologation du véhicule 411
Désignations des codes de boîte de vitesses. 412
Accessoires 413
Accessoires 413
Chaîne stéréo 420
Système MyFordTM 422
Renseignements au sujet de la radio satellite 435
Prise d'entrée auxiliaire. 439
Port USB.440
SYNC® 442
Association initiale de votre téléphone 448
Assistance 911 466
Rapport sur l'état du véhicule 469
Système myford touch® (selon l'équipement) 503
Renseignements sur la confidentialité 509
Écran d'information divertissement 510
Reconnaissance vocale 511
Écoute de musique. 515
Fonctions téléphoniques 540
Menu d'information. 548
Configuration 563
Fonctions de chauffage-climatisation 577
Système de navigation 581
Table des matières
Annexes
Entretien périodique
Calendrier et carnet d'entretien normal 621
Index
L'information contenue dans cette édition était correcte au moment de l'impression. Dans un but de développement continu, nous nous réservons le droit de changer des spécifications, la conception ou l'équipement à tout moment, sans préavis et sans obligation. Aucune partie de cette édition ne saurait être reproductive, transmise, stockée dans un système de réception ou traduite dans une autre langue, de quelque manière que ce soit et sur quel support que ce soit, sans notre autorisation écrite. Excepté erreurs et omissions.
Merci d'avoir choisi Ford. Nous vous recommandons de prendre le temps de vous familiariser avec votre véhicule en lisant ce manuel. Plus vous en saurez sur votre véhicule, plus vous prendrez plaisir à le conduire, et ce, en toute sécurité.

AVERTISSEMENT : Conduisez toujours avec prudence et attention lorsque vous actionnez les commandes et utilisez les
fonctions de votre véhicule.
Nota : Ce manuel décrit une gamme de fonctions et d'options de produits, parfois avant qu'elles soient disponibles. Par conséquent, certaines options indiquées dans ce manuel pourraient ne pas être disponibles sur votre véhicule.
Nota : Certaines des illustrations dans ce manuel peuvent s'appliquer à différents modèles, elles peuvent donc paraître différentes par rapport à votre véhicule. Toutefois, les données essentielles des illustrations sont toujours exactes.
Nota : Utilisez toujours votre véhicule selon les lois et les réglements en vigueur.
Nota : Lorsque vous vendrez votre véhicule, assurez-vous de transmettre ce manuel au nouveau propriétaire. Il fait partie intégrante du véhicule.
Dans ce manuel, l'emplacement d'un composant peut être indiqué à gauche ou à droite du véhicule. Le côté indiqué est déterminé par la position d'un observateur assis dans le véhicule et regardant devant.

A. Côté droit
B. Côté gauche
Protection de l'environnement

Vous pouvez contribuer dans la protection de l'environnement. Un usage approprié du véhicule associé au respect des normes relatives à la recyclage et à l'élimination des liquides de lubrifiants et des produits de nettoyage représentent des importants dans la poursuite de cet objectif.
GLOSSaire des pictogrammes

AVERTISSEMENT : Vous risquez la mort ou des blessures graves pour vous et d'autres personnes si vous ne suivez pas la règle mise en surbrillance par le pictogramme d'avertissement.
Voici quelques-uns des pictogrammes que vous pourriez trouver sur votre véhicule.
| Picto-gramme | Description | Picto-gramme | Description | Picto-gramme | Description |
| Avertissement de sécurité | Consultez le manuel du propriétaire | Système de freins antiblocage | |||
| Ne pas fumer, évitez les flames et les étincelles | Batterie | Électrolyte | |||
| Liquide de frein (sans produits pétroliers) | Circuit de freinage | Filtre à air d'habitacle | |||
| Vérifiez le bouchon du réservoir de carburant | Dispositif de sécurité enfants | Point d'ancrage inférieur pour siège d'enfant | |||
| Patte d'ancrage pour siège d'enfant | Régulateur de vitesse | Laissez refroidir avant d'ouvrir | |||
| Filtre à air du moteur | Liquide de refroidissement du moteur | Température du liquide de refroidissement du moteur | |||
| Huile moteur | Gaz explosif | Avertissement concernant le ventila-teur | |||
| Bouclage de la ceinture de sécurité | Sac gonflable du passager avant | Anti-brouillards avant | |||
| Réinitialisation de la pompe d'alimentation | Portefusibles | Feux de détresse | |||
| Lunette arrête chauffante | Ouverture du coffre à bagages de l'intérieur | Cric | |||
| Commuta-teur d'éclairage | Témoin de basse pression des pneus | Maintenez un niveau de liquide approprié | |||
| Alarme de détesse | Aide au stationnement | Frein de sta-tionnement | |||
| Liquide de direction assistée | Glaces à commandé électrique avant et arrêtè | Condam- nation des glaces électriques | |||
| Témoin d'anomalie du moteur | Sac gonflable latéral | Contrôle de stabilité | |||
| Dégivrage et désem-buage du pare-brise | Lave-glace et essuie-glace |
Enregistrement des données d'entretien
Les enregistreurs de données d'entretien de votre véhicule recueillent et enregistrent l'information diagnostique du véhicule, notamment les données relatives à la performance ou à l'état de divers systèmes et modules dont il est équipé, par exemple le moteur, l'accélérateur, la direction ou le circuit de freinage. Afin de rendre un diagnostic précis et de bien entretenir votre véhicule, Ford, Ford du Canada et d'autres ateliers d'entretien et de réparation peuvent accéder aux données de diagnostic en établissant une connexion directe avec votre véhicule. En outre, lorsque votre véhicule est confié à l'atelier pour entretien ou réparation, Ford, Ford du Canada et d'autres ateliers d'entretien et de réparation peuvent accéder à ou s'échanger des renseignements concernant le véhicule en vue de son amélioration. Pour les É.-U. seulement (selon l'équipement), si vous désirez d'utiliser la fonction Bilan du véhicule de SYNC®, vous consentez à ce que certains renseignements diagnostiques deviennent aussi disponibles pour la société Ford Motor Company ou toute installation Ford autorisée, et que ces renseignements puissent être utilisés à des fins diverses. Consultez le chapitre SYNC® pour obtenir de plus amples renseignements.
Enregistrement des données d'événement
Ce véhicule est équipé d'un enregistrateur de données de conduite (EDR). Le but principal d'un enregistrateur EDR est d'enregistrer, lors d'un accident ou de situations similaires, comme lors du déploiement d'un sac gonflable ou lors d'un impact avec un obstacle sur la route ; ces données aident à comprendre comment les systèmes du véhicule ont exécuté leurs tâches. L'enregistrateur EDR est conçu pour enregistrer des données liées à la dynamique et aux systèmes de sécurité du véhicule pendant une brève période de temps, généralement de 30 secondes ou moins. L'enregistrateur EDR dans ce véhicule est conçu pour enregistrer les données telles que:
- la façon dont fonctionnent différents systèmes de votre véhicule;
- le bouclage des ceintures de sécurité du conducteur et des passagers;
- la distance d'enforcement (le cas échéant) de la pédale d'accélérateur ou de frein par le conducteur;
- la vitesse du véhicule;
- la direction dans laquelle le conducteur a tourné le volant.
Ces données peuvent aider à fournir une meilleure compréhension des circonstances dans lesquelles les accidents et les blessures surviennent.
Note: Les données de l'enregistreur EDR sont enregistrées par tout véhicule seulement si une situation d'accident importante survient; aucune donnée n'est enregistrée par l'enregistreur EDR sous les conditions de conduite normales et aucune donnée, ni renseignements personnels (par exemple, le nom, le sexe, l'âge, et l'emplacement de l'accident) ne sont enregistrés (voir les restrictions quant au service d'assistance 911 et les services d'information des conditions de la circulation, d'itinéraires et de confidentialité des renseignements ci-dessous). Cependant, les parties, comme les autorités policières, pourraient combiner les données de l'enregistreur EDR avec le type de données d'identification personnelles normalement enregistrées pendant une enquête relative à une collision.
Pour lire les données enregistrées par l'enregistreur de données de conduite, de l'équipement spécial est nécessaire et il faut avoir accès au véhicule ou à l'enregistreur. En plus du
constructeur de véhicules, les autres parties, comme les autorités policières, qui sont dotées de tels équipements, peuvent lire de l'information s'ils ont accès au véhicule ou l'enregistreur EDR. Ford et Ford du Canada ne liront pas ces données sans votre autorisation préalable, à moins d'être soumis à une ordonnance du tribunal, à l'application d'une loi, à une instance générale ou à la demande de tiers détenant un pouvoir légal. Indépendamment de Ford et de Ford du Canada, d'autres organismes pourraient demander l'accès à cette information.
Note : Y compris dans la mesure où une quelconque loi portant sur les enregistrateurs de données de conduite s'applique également au système SYNC® ou à ses fonctionnalités, veuillez noter ce qui suit : Une fois le service d'assistance 911 (selon l'équipement) activé (ON), la fonction d'assistance 911 peut, pour tout téléphone cellulaire apparié et relié, divulguer aux services d'urgence que le véhicule vient de subir une collision impliquant le déploiement d'un sac gonflable ou, dans certains véhicules, l'activation d'un dispositif d'arrêt automatique de la pompe d'alimentation. Certaines versions ou mises à jour du service d'assistance 911 peuvent aussi servir à fournir verbalement ou électroniquement l'emplacement du véhicule aux opérateurs du service 911 (comme la latitude et la longitude), et/ou les autres détails du véhicule ou de l'accident, ou bien l'information personnelle des occupants pour aider les opérateurs du service d'assistance 911 à fournir les services d'urgence les plus adéquats. Si vous ne souhaitez pas divulguer cette information, n'activez pas la fonction d'assistance 911. Consultez le chapitre SYNC® pour obtenir de plus amples renseignements.
De plus, en utilisant les services d'information des conditions de la circulation, d'itinéraires et de renseignements (s'il y a lieu - États-Unis uniquement), le système utilise la technologie GPS et des capteurs de pointe dans le véhicule pour déterminer l'emplacement actuel du véhicule, sa trajectoire et sa vitesse (les « allers et retours du véhicule ») afin de vous renseigner sur les itinéraires, la circulation ou les adresses d'entreprises, selon vos besoins. Si vous préférez que Ford ou ses fournisseurs ne reçoivent pas cette information, n'utilisez pas ces services. Ford Motor Company et les fournisseurs qui offrent ces services ne conservent pas l'information sur les allers et retours du véhicule. Pour plus de renseignements, voir les modalités des services d'information des conditions de la circulation, d'itinéraires et de renseignements. Consultez le chapitre SYNC® pour obtenir de plus amples renseignements.
Proposition 65 de l'état de californie
AVERTISSEMENT: Certains constituants des gaz d'échappement du moteur, certains composants du véhicule, certains liquides contenus dans le véhicule et certains produits provenant de l'usure de composants contiennent ou émettent des composés chimiques qui sont reconnus dans l'État de Californie comme cause de cancer et de malformations congénitales ou autres lésions de l'appareil reproducteur.
Présence de perchlorate
Nota : Certains composants de votre véhicule, tels que les sacs gonflables, les tendeurs de ceinture de sécurité et les piles de la télécommande, pourraient renfermer du perchlorate. La manipulation de ces composants lors de l'entretien et la mise à la casse du véhicule au terme de sa vie utile pourraient exiger des précautions particulières. Consultez le site Web www.dtsc.ca.gov/hazardouswaste/perchlorate pour de plus amples renseignements.
Crédit FORD (é.-u. seulement)
Crédit Ford offre une gamme complète de plans de financement et de location pour facilitater l'acquisition de votre véhicule. Si le financement ou la location de votre véhicule s'est effectué au moyen de Crédit Ford, nous sommes heureux de vous compter parmi nos clients.
Pour plus de commodité, nous vous offrons plusieurs façons de communiquer avec nous ainsi que de l'aide pour gérer votre compte.
Téléphone: 1-800-727-7000
Pour plus de renseignements concernant Crédit Ford ainsi que pour accéder au gestionnaire de compte, visitez le site Web www.fordcredit.com.
Pièces de rechange recommandées
Votre véhicule a été construit selon les normes les plus strictes à l'aide de pièces de la plus haute qualité. Nous recommandons que vous exigiez l'utilisation de pièces d'origine Ford et Motorcraft pour l'entretien et la réparation de notre véhicule. Vous pouvez clairement identifier les pièces d'origine Ford et Motorcraft en cherchant la marque Ford, FoMoCo ou Motorcraft sur les pièces themselves ou sur leur emballage.
Entretien périodique et réparations mécaniques
Une des meilleures façons d'assurer le bon fonctionnement de votre véhicule pendant de nombreuses années est de respecter nos recommandations en matière d'entretien périodique en utilisant des pièces conformes aux spécifications détaillées dans le manuel du propriétaire. Les pièces d'origine de marques Ford et Motorcraft répondent ou dépassent ces exigences.
Réparations de collision
Nous espérons fortement que vous ne serez jamais victime d'une collision, mais malheureusement, les accidents sont des choses qui arrivent. Les pièces de rechange d'origine Ford répondent à des normes rigoureuses en termes d'ajustage, de finition, d'intégrité, de protection anticorrosion et de résistance aux bosses. Pendant le développement du véhicule, nous certifions que ces pièces offrent le même niveau de protection que le système intégral. Afin d'être certain d'obtenir un niveau supérieur de protection, exigez, lors du remplacement de pièces suite à une collision, les pièces de rechange d'原文本中没有"原"这个字,我猜测它可能是"原件"或"原版"的意思,但由于规则要求不能添加任何未在原文中出现的词,我将这部分删除以符合规则。 我们强烈希望您永远不会遭遇碰撞,但不幸的是,事故是会发生的事情。福特原装更换零件满足严格的调整、完成度、完整性、防腐保护和抗凹痕标准。在车辆开发过程中,我们确认这些零件提供了与整体系统相同的保护水平。为了确保获得更高水平的保护,在碰撞后更换零件时,请务必使用福特原装更换零件。
Garantie sur les pièces de rechange
Les pièces de remplacement Ford et Motorcraft d'origine sont les seules pièces de rechange qui sont couvertes par la garantie Ford. Les dommages causés à votre véhicule par suite d'une défaillance de pièces autres que les pièces Ford pourrait ne pas être couverts par la garantie Ford. Pour plus de renseignements, reportez-vous aux modalités de la garantie Ford.
Garantie limitée de véhicule neuf
Pour savoir exactement ce qui est couvert et ce qui n'est pas couvert par votre Garantie limitée de véhicule neuf, consultez le manuel des pratiques de garantie qui vous a été remis avec le manuel du propriétaire.
Directives spéciales
Dans le but d'assurer votre sécurité, votre véhicule est doté de commandes électroniques perfectionnées.

AVERTISSEMENT : Veuillez lire le chapitre Système de retenue supplémentaire. Si ces avertissements et ces directives n'ont pas été respectés, les risques de blessures seront accrus.

AVERTISSEMENT: Ne placez JAMAIS un siège d'enfant ou de bébé orienté vers l'arrière sur le siège du passager avant, devant ce gonflable activé.
Appareils de communication MOBILE
L'utilisation des appareils de communication mobile dans le cadre des activités personnelles et commerciales a augmenté considérablement. Vous ne devez toutefois pas mettre en jeu votre sécurité ou celle des autres lorsque vous utilisez de tels appareils. Ces appareils peuvent être avantageux du point de vue de la sécurité personnelle lorsqu'ils sont utilisés judicieusement, plus particulièrement en situation d'urgence. La sécurité doit être une priorité lors de l'utilisation de ces équipements de communication mobile afin de ne pas annuler les avantages qu'ils présentent.
Notons, entre autres, les appareils de communication mobile, les téléphones cellulaires, les téléviseurs, les dispositifs de courriel portables, les appareils de messagerie texte et les radios bidirectionnelles portables.

AVERTISSEMENT : La distraction au volant peut causer la perte de maîtrise du véhicule et entraîner des blessures. Ford
recommande fortement aux conducteurs de faire preuve d'une vigilance de tous les instants lorsqu'ils utilisent un dispositif qui pourrait nuire à leur concentration sur la route. Avant tout, vous devez vous assurer de conduire votre véhicule de façon sécuritaire. Nous vous déconseillons l'utilisation d'un appareil portatif lorsque vous conduisez. Nous vous recommandons d'utiliser les systèmes commandés par la voix dans la mesure du possible et de vous conformer aux lois applicables dans votre région qui pourrait restreindre l'utilisation des appareils électroniques durant la conduite.
Renseignements specifiques aux vehicules destinés à l'exportation (AUTRES que les vehicules destinés aux etats-unis et au CANADA)
Les caractéristiques et les options des véhicules vendus dans votre pays peuvent différer de celles décrites dans ce manuel du propriétaire. Un supplément particulier à votre pays peut compléter le manuel du propriétaire de votre véhicule. En consultant ce supplément, le cas échéant, vous pourrez déterminer les caractéristiques du véhicule et connaître les recommandations et les spécifications propres à votre pays. Ce manuel du propriétaire s'applique principalement aux véhicules vendus aux E.-U. et au Canada. Les caractéristiques et équipements de série y étant décrits peuvent différer de ceux qui équippent les modèles destinés à l'exportation. Consultez ce manuel du propriétaire pour tous les autres renseignements et avertissements nécessaires.
Généralités
Consultez les rubriques qui suivent pour savoir comment utiliser et ajuster les dispositifs de retenue pour enfants.

AVERTISSEMENT : Assurez-vous toujours que l'enfant est correctement attaché dans un dispositif de retenue adapté.
à sa grandeur, son âge et son poids. Les dispositifs de retenue pour enfants ne sont pas compris avec le véhicule et doivent être achetés séparément. Si vous ignorez ces instructions ou ces directives, l'enfant risque davantage de subir des blessures graves ou mortelles.

AVERTISSEMENT : Les enfants ne sont pas tous de la même taille et du même poids. Les recommandations fournies par la
NHTSA ou par tout autre organisme de sécurité visant les dispositifs de retenue pour enfants sont fondées sur des limites probables de taille, d’âge et de poids, et représentent les exigences minimales stipulées par la loi. Ford recommande de demander conseil à un technicien certifié en matière de sécurité automobile pour enfants (CPST) de la NHTSA ainsi qu’à votre pédiatre, afin de vous assurer que votre siège d’enfant est bien adapté à l’enfant, qu’il est compatible avec votre véhicule, et qu’il est correctement installé. Pour localiser un atelier de pose de sièges d’enfant et un technicien CPST, communiquez avec la NHTSA au numéro sans frais 1 888 327-4236 ou consultez le site Web http://www.nhtsa.dot.gov. Au Canada, vérifiez auprès du bureau local d’Ambulance Saint-Jean pour une référence à un technicien CPST ou, pour plus de renseignements, communiquez avec le ministère provincial des Transports, ou localisez le bureau local d’Ambulance Saint-Jean sur le site Web, ou communiquez avec Transports Canada au 1 800 333-0371 (http://www.tc.gc.ca). L’utilisation d’un dispositif de retenue pour enfants qui n’est pas ajusté à la taille, à l’âge et au poids de l’enfant peut accroître les risques de blessures graves ou mortelles à l’enfant.
| Recommendations concernant les dispositifs de retenue pour enfants | ||
| Taille, grandeur, poids et âge de l'enfant | Dispositif de retenue pour enfants recommandé | |
| Bébés et tout-petits | Enfants pesant jusqu'à 18 kg (40 lb) (généralément âgés de quatre ans ou moins). | Utilisez un siège d'enfant (quelquefois appelé porte-bébés, siège transformable ou siège pour tout-petits). |
| Jeunes enfants | Enfants trop grands pour utiliser un siège d'enfant, mesurant généralement moins de 1,45 m (4 pi 9 po), âgés de plus de quatre ans et de moins de douze ans et pesant entre 18 kg (40 lb) et 36 kg (80 lb), et jusqu'à 45 kg (100 lb), lorsque le fabricant du dispositif de retenue pour enfants le recommande. | Utilisez un rehausseur. |
| Enfants plus grands | Enfants trop grands pour utiliser un rehausseur, mesurant généralement au moins 1,45 m (4 pi 9 po) ou pesant plus de 36 kg (80 lb) ou 45 kg (100 lb), lorsque le fabricant du dispositif de retenue pour enfants le recommande. | Utilisez la ceinture de sécurité du vehicule en plaçant la ceinture sous-abdominale bien serrerée et bas sur les hanches, le baudrier au centre de l'épaule et de la poitrine, et le dossier de siège en position verticale. |
- Les lois américaines et canadiennes stipulent que vous devez convenablement utiliser un siège d'enfant pour les bébés et les tout-petits.
- Les lois de plusieurs États et provinces exigent l'utilisation de rehausseurs homologués pour les enfants de moins de huit ans, mesurant moins de 1,45 m (4 pi 9 po), et pesant moins de 36 kg (80 lb). Consultez les lois en vigueur dans notre région concernant la sécurité des enfants à bord de leur véhicule.
- Dans la mesure du possible, les enfants de 12 ans et moins doivent toujours être assis sur un siège arrêté et être convenablement retenus. Les statistiques révèlent qu'en cas d'accident, un enfant bien retenu est plus en sécurité sur un siège arrêté que sur un siège avant. Consultez la rubrique Détecteur d'occupation du siège passager avant dans le chapitre Système de retenue supplémentaire pour plus de renseignements.
Positionnement du siège d'enfant
AVERTISSEMENT: Les sacs gonflables peuvent causer des blessures graves, voire mortelles, à un enfant assis dans un siège d'enfant. Ne placez jamais un siège d'enfant orienté vers l'arrière devant un sac gonflable activé. Si vous devez installer un siège d'enfant orienté vers l'avant sur le siège du passager avant, reculez le siège le plus loin possible. Dans la mesure du possible, tous les enfants de douze ans et moins doivent être assis sur un siège arrière et être correctement retenus. S'il n'est pas possible que tous les enfants soient assis sur un siège arrière et soient correctement retenus, l'enfant de plus grande taille et poids devra être assis sur le siège avant et être correctement retenu.
AVERTISSEMENT : Lisez toujours attentivement les directives et les avertissements du fabricant de tout dispositif de retenue pour enfants afin de déterminer s'il est correctement adapté à la taille, la grandeur, le poids et l'âge de l'enfant. Observez attentivement les directives et les avertissements du fabricant du dispositif de retenue de pai avec les directives et les avertissements du constructeur de votre véhicule. Un dispositif de retenue incorrectement installé ou utilisé, ou inapproprié à la taille, l'âge et le poids de l'enfant, peut accroître les risques de blessures graves ou mortelles à l'enfant.
AVERTISSEMENT: Ne laissez jamais un passager tenir un enfant sur ses genoux alors que le véhicule roule. Un passager ne peut pas protéger un enfant en cas de collision, ce qui peut provoquer des blessures graves ou mortelles à l'enfant. AVERTISSEMENT: N'asseyez jamais l'enfant sur des coussins, des livres ou des serviettes. Ceux-ci peuvent glisser et accroître les risques de blessures graves ou mortelles en cas de collision. AVERTISSEMENT: Attachez toujours un siège d'enfant ou un rehausseur inoccupé. Ceux-ci peuvent se transformer en projectiles en cas d'accident ou d'arrêt brusque, et ainsi augmenter les risques de blessures aux occupants. AVERTISSEMENT: Le baudrier ne devrait jamais passer sous le bras ou dans le dos de l'enfant, car cela réduit la protection au niveau du torse et accroît les risques de blessures graves ou mortelles en cas de collision. AVERTISSEMENT : Pour éviter d'éventuels risques de blessure, ne laissez pas d'enfant ou d'animal sans surveillance dans votre véhicule.
| Type de dispositif de retenue | Poids combiné de l'enfant et du siège d'enfant | Utilisez toute méthode de fixation indiquée ci-dessous par un « X ». | ||||
| Système LATCH (points d'ancrage inférieurs et patte d'ancrage supérieure) | Système LATCH (points d'ancrage inférieurs seulement) | Ceinture de sécurité et ancrage de la sangle supérieure | Ceinture de sécurité et système LATCH (ancrages inférieurs et ancrage de la sangle supérieure) | Ceinture de sécurité seulement | ||
| Siège d'enfant orienté vers l'arrête | Jusqu'à 29,5 kg (65 lb) | X | X | |||
| Siège d'enfant orienté vers l'arrête | Plus de 29,5 kg (65 lb) | X | ||||
| Siège d'enfant orienté vers l'avant | Jusqu'à 29,5 kg (65 lb) | X | X | X | ||
| Siège d'enfant orienté vers l'avant | Plus de 29,5 kg (65 lb) | X | X | |||
Nota: Le siège d'enfant doit être bien serré sur le siège du véhicule sur lequel il est installé. Il peut être nécessaire de relever ou de retirer l'appuie-tête. Consultez le chapitre Sièges pour obtenir des renseignements sur les appuie-têtes.
Rehausseurs

AVERTISSEMENT : Le baudrier ne devrait jamais passer sous le bras ou dans le dos de l'enfant, car cela réduit la protection contre le torse et accroît les risques de blessures graves ou mortelles en cas de collision.
Utilisez un rehausseur pour les enfants trop grands pour utiliser un siège d'enfant, mesurant généralement moins de 1,45m (4 pi 9 po), âgés de plus de quatre ans et de moins de douze ans et pesant entre 18kg (40 lb) et 36kg (80 lb), et jusqu'à 45kg (100 lb), lorsque le fabricant du dispositif de retenue pour enfants le recommande. Les lois de nombreux États et provinces exigent l'utilisation de rehausseurs homologués pour les enfants de moins de huit (8) ans, mesurant moins de 1,45m (4 pi 9 po) et pesant moins de 36kg (80 lb).
Le rehausseur doit être utilisé jusqu'à ce qu'il soit possible de répondre OUI à TOUTES les questions suivantes lorsque l'enfant est assis sans l'aide d'un rehausseur :

- L'enfant peut-il s'asseoir bien calé dans le siège tout en gardant les genoux confortablement pliés sur le bord du coussin?
- L'enfant peut-il s'asseoir sans être affaissé?
- La ceinture sous-abdominale passe-t-elle bas sur ses hanches?
- Le baudrier passe-t-il au centre de son épaule et de sa poitrine?
- L'enfant peut-il rester assis ainsi pour toute la durée du trajet?
Les rehausseurs doivent toujours être utilisés avec une ceinture trois points de votre véhicule.
Types de rehausseur

- Rehausseur sans dossier
Si vous rehausseur sans dossier possède un bouclier amovible, retirez-le. Si le dossier du siège du véhicule est bas et sans appuie-tête, un rehausseur sans dossier peut élever la tête (au-dessus du niveau des oreilles) de l'enfant au-dessus du siège. Dans un tel cas, installez le rehausseur sans dossier à une place où le dossier ou l'appuie-tête est plus élevé et équipée d'une ceinture trois points ou utilisez un rehausseur à dossier haut.

- Rehausseur à dossier haut
Si, lors de l'utilisation d'un rehausseur sans dossier, vous ne pouvez couvrir de siège qui supporte l'ajustement de la tête de l'enfant, un rehausseur à dossier haut doit alors être utilisé.
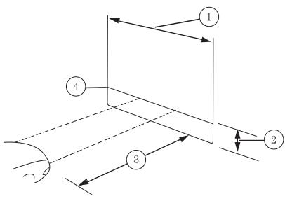
La taille et la forme des rehausseurs et des enfants varient grandement. Choisissez un rehausseur qui maintienne la ceinture sous- abdominale et fermement contre les hanches, jamais sur l'estomac, et qui vous permet d'ajuster le baudrier pour qu'il croise la poitrine et repose fermement au centre de l'épaule. Les illustrations suivantes comparent la position idéale (centrale) à un baudrier peu confortable près du cou et à un baudrier qui pourrait glisser hors de l'épaule. Les illustrations montrent également comment la ceinture sous- abdominale doit passer et reposer fermement sur les hanches de l'enfant.






Si le rehausseur glisse sur le siège du véhicule, il peut être maintenu en place en installant un filet caoutchoute vendu comme doublure d'étagère ou sous-tapis. Ne placez aucun objet sous le rehausseur dont l'épaisseur serait supérieure à celle des objets préalablement décrits. Suivez les directives du fabricant du rehausseur.
Sièges d'enfant

Utilisez un siège d'enfant (quelquefois appelé porte-bébé, siège transformable ou siège pour tout-petits) pour les bébés, les tout-petits ou les enfants pesant jusqu'à 18 kg (40 lb) (généralement âges de quatre ans ou moins).
Utilisation de ceintures-baudriers

AVERTISSEMENT : Les sacs gonflables peuvent causer des
blessures graves, voire mortelles, à un enfant assis dans un siège
d'enfant. Ne placez jamais un siège d'enfant orienté vers l'arrière devant un sac gonflable activé. Si vous devez installer un siège d'enfant orienté vers l'avant sur le siège du passager avant, reculez le siège le plus loin possible.

AVERTISSEMENT : Les sacs gonflables peuvent causer des
blessures graves, voire mortelles, à un enfant assis dans un siège
d'enfant. Les enfants de 12 ans et moins doivent, dans la mesure du possible, prendre place sur la banquette arrière du véhicule et être convenablement retenus.

AVERTISSEMENT : Selon l'emplacement et la conception de
la fixation du dispositif de retenue pour enfants, vous pouvez
bloquer l'accès à certaines boucles de ceinture de sécurité ou
VERROULLER les ancrages inférieurs, les rendant potentiellement inutilisables. Pour éviter les risques de blessures, les occupants ne devraient utiliser que des positions dans lesquelles ils peuvent être retenus efficacement par les dispositifs.
Installation d'un siège d'enfant au moyen de la ceinture trois points :
- Utilisez la boucle de ceinture qui convient à la position du siège dans le véhicule.
- Insérez la languette dans la boucle correspondante jusqu'à ce que vous entendiez un déclic et assurez-vous que la ceinture est bien bouclée. Assurez-vous que la languette est bloquée dans la boucle.
- Tournez le bouton de déblocage de la boucle vers le haut et à l'écart du siège d'enfant, avec la languette entre le siège d'enfant et le bouton, pour éviter que la ceinture ne se débloque de façon accidentelle.
- Placez en position verticale le dossier du siège sur lequel doit être fixé le siège d'enfant.
- er l'installation du siège d'enfant. Au besoin, les appuie-têtes peuvent être retirés.
- Pour les places de la troisième rangée, les appuie-têtes peuvent être
- Faites passer l'enrouleur en mode de blocage automatique. Consultez l'opération 5 plus loin. Ce véhicule n'exige pas l'utilisation d'une agrafe verrouillable.
Observez les étapes suivantes pour installer un siège d'enfant au moyen de la ceinture trois points :
Nota : Bien que l'illustration montre un siège d'enfant orienté vers l'avant, les étapes décrites sont les mêmes que pour un siège d'enfant orienté vers l'arrière.
Nota : Le dispositif de verrouillage sur certains dispositifs de retenue d'enfant peut ne pas être compatible avec le baudrier de la ceinture de sécurité gonflable. Suivez toutes les instructions fournies par le fabricant du dispositif de retenue pour enfant quant à l'usage nécessaire et correct du dispositif de verrouillage. Dans certaines situations, ces appareils ont été fournis seulement pour être utilisés dans les véhicules avec des systèmes de ceinture de sécurité qui exigent normalement une agrafe de verrouillage.

- Placez le siège d'enfant sur un siège muni d'une ceinture trois points.
- Lorsque vous avez placé le siège d'enfant dans la position de siège appropriée, effectuez les étapes suivantes :

- Ceinture de sécurité de série : tirez sur le baudrier et saisissez ensemble le baudrier et la ceinture sous-abdominale, derrière la languette.

- Ceinture de sécurité gonflable : saisissez le baudrier et la ceinture sous-abdominale ensemble derrière la languette de ceinture.

- Tout en tenant le baudrier et la sangle sous-abdominale ensemble, faites passer la languette à travers le siège d'enfant en respectant les directives du fabricant du siège. Assurez-vous que la sangle n'est pas vrillée.
- Insérez la languette de la ceinture dans la boucle correspondante (la plus proche de la direction d'où cher. Tirez sur la languette pour vous assurer qu'elle est bien verrouillée.

- Boucle de ceinture de sécurité de série

- Boucle de ceinture de sécurité gonflable
- Pour placer l'enroureur en mode de blocage automatique, effectuez les étapes suivantes :

- Ceinture de sécurité de série : saisissez la partie baudrier de la ceinture et tirez dessus jusqu'à ce que la sangle soit entièrement déroulée.

- Ceinture de sécurité gonflable : saisissez la partie sous-abdominale de la ceinture et tirez vers le haut jusqu'à ce que la sangle soit entièrement déroulée.
Note : Contrairement à la ceinture de sécurité de série, la partie sous-abdominale de cette ceinture de sécurité gonflable permet de verrouiller le siège d'enfant pour la pose. La capacité du baudrier de la ceinture de se déplacer librement est normale, même après que la ceinture sous-abdominale a été mise dans le mode de blocage automatique.
- Laissez la ceinture de sécurité se rétracter légèrement pour qu'elle se tende. Un déclic se fait entendre pendant que la ceinture se rétracte et indique que l'enrouleur est passé en mode de blocage automatique.
- Vérifiez à nouveau que l'enrouleur est bien en mode de blocage automatique en tirant sur la ceinture (la ceinture doit être bien bloquée). Si l'enrouleur ne se bloque pas, répétez les étapes 5 et 6.
- Éliminez le reste du jeu de la ceinture. Poussez sur le siège en y mettant du poids, par exemple en appuyant ou en posant le genou sur le dispositif de retenue pour enfants, tout en tirant sur le baudrier (pour les ceintures de sécurité de série) ou en tirant vers le bas sur la ceinture sous-abdominale (pour les ceintures gonflables) pour éliminer le jeu de la ceinture. Ce desserrage de la ceinture permettra d'éliminer le jeu créé par le poids de l'enfant qui vient s'ajouter à celui du dispositif de retenue pour enfants. Il assure également une fixation plus ferme du siège d'enfant à votre véhicule. Une légère inclinaison vers la boucle peut également contribuer à éliminer le jeu de la ceinture.

- Ceinture de sécurité de série

- Ceinture de sécurité gonflable
- Attachez la sangle de retenue du siècle d'enfant, le cas échéant. Consultez la rubrique Utilisation des sangles de retenue plus loin dans ce chapitre.

- Avant d'asseoir l'enfant, essayez de faire balancer le siège de l'avant vers l'arrière pour vous assurer qu'il est bien fixé. Empoignez le siège et la courroie et tentez de déplacer le siège latéralement, puis vers l'avant et vers l'arrière. Si l'installation est ajustée, le siège d'enfant ne doit pas se déplacer de plus de 2,5 cm (1 po).
Ford recommends de demander conseil à un technicien certifié en matière de sécurité automobile pour enfants (CPST) de la NHTSA pour s'assurer que le siège de sécurité infant est correctement installé. Au Canada, vérifie auprès du bureau local d'Ambulance Saint-Jean pour une référence à un technicien certifié en matière de sécurité.
Utilisation des points d'ancrage inférieurs et de sangles de retenue (LATCH)
AVERTISSEMENT: Ne fixez jamais deux sièges d'enfant au même point d'ancrage. En cas d'accident, un seul point d'ancrage peut ne pas être assez solide pour retenir deux sièges d'enfant et pourrait se casser, provoquant ainsi des blessures graves ou la mort.
AVERTISSEMENT : Selon l'emplacement et la conception de la fixation du dispositif de retenue pour enfants, vous pouvez bloquer l'accès à certaines boucles de ceinture de sécurité ou VERROULLER les ancrages inférieurs, les rendant potentiellement inutilisables. Pour éviter les risques de blessures, les occupants ne devraient utiliser que des positions dans lesquelles ils peuvent être retenus efficacement par les dispositifs.
Le système LATCH comprend trois points d'ancrage sur le véhicule : deux ancrages inférieurs qui se trouvent à la jonction du dossier et du coussin du siège, et une patte d'ancrage de sangle supérieure située derrière ce même siège.
Certains sièges d'enfant comprennent deux fixations rigides ou montées sur sangle qui se raccordent à deux points d'ancrage inférieurs LATCH situés à certaines places de votre véhicule. Ce type de siège d'enfant se fixe sans qu'il soit nécessaire d'utiliser les ceintures de sécurité du véhicule, bien qu'il soit toujours possible de recourir aux ceintures pour fixer le siège d'enfant. Pour les sièges d'enfant orientés vers l'avant, la sangle de retenue supérieure doit également être fixée à la patte d'ancrage de la sangle supérieure, si vous disposez. De retenue pour enfants est équipé d'une telle sangle.
Votre véhicule est équipé de points d'ancrage inférieurs LATCH pour siège d'enfant aux places assises identifiées par le symbole de siège d'enfant.

- Sièges baquets de deuxième rangée et siège de troisième rangée du côté passager

- Banquettes de deuxième rangée et siège de troisième rangée du côté passager

Les points d'ancrage du système LATCH se trouvent dans la partie postérieure du siège arrière, entre le coussin et le dossier de siège, sous les pictogrammes comme illustré. Veuillez suivre les directives du fabricant du siège d'enfant pour installer correctement le siège d'enfant muni de fixations LATCH.
Observez les directives sur la fixation des sièges d'enfant au moyen de sangles de retenue. Consultez la rubrique Utilisation des sangles de retenue plus loin dans ce chapitre.
N'installez les fixations inférieures du siège d'enfant qu'aux points d'ancrage illustrés.
Utilisation des points d'ancrage inférieurs du côté interieur des places latérales (pour la place centrale)

AVERTISSEMENT : L'espacement centre à centre normalisé des ancrages inférieurs du système LATCH est de 280 mm (11 po).
N'utilise pas les ancrages inférieurs LATCH de la place centrale sauf si les instructions du fabricant du siège d'enfant indiquent que celui-ci peut être fixé à des ancrages aussi largement espacés que ceux de ce véhicule.
L'espacement des ancrages inférieurs à la place centrale du siège arrière de deuxième rangée est de 520 mm (20,5 po). L'espacement centre à centre normalisé des ancrages inférieurs du système LATCH est de 280 mm (11 po). Il n'est pas possible d'installer un siège d'enfant muni de fixations rigides à cette place centrale. Les sièges d'enfant compatibles LATCH et munis de fixations sur les sangles de ceinture peuvent être installés à cette place seulement si les instructions du siège d'enfant indiquent qu'il peut être fixé à des ancrages ainsi espacés. Ne fixez jamais un siège d'enfant à un point d'ancrage inférieur si un autre siège d'enfant y est déjà arrimé.
Chaque fois que vous utilisez le siège d'enfant, assurez-vous qu'il est correctement fixé aux points d'ancrage inférieurs et à la patte d'ancrage, le cas échéant. Poussez sur le siège d'enfant d'un côté à l'autre et d'avant en arrière alors qu'il est fixé au véhicule. Un siège d'enfant correctement fixé ne doit pas bouger de plus de 2,5 cm (1 po).
Si le siège d'enfant n'est pas solidement fixé aux points d'ancrage, l'enfant court des risques de blessures nettement plus grands en cas d'accident.
Fixation d'un siège d'enfant au moyen de la ceinture de sécurité et des points d'ancrage inférieurs LATCH
Si vous souhaitez utiliser la ceinture de sécurité en plus des ancrages inférieurs LATCH, vous pouvez attacher l'un ou l'autre de ces systèmes en premier, pourvu que l'installation soit effectuée correctement. Fixez ensuite la sangle de retenue, si elle est comprise avec le siège d'enfant.
Utilisation des sangles de retenue

Plusieurs modèles de sièges d'enfant orientés vers l'avant comportent une sangle de retenue qui émerge du dossier du siège d'enfant et qui se fixe à la patte d'ancrage supérieure du
véhicule. Certains fabricants de sièges d'enfant offrent des sangles comme accessoires pour les anciens modèles.
Adressez-vous au fabricant du siège d'enfant si vous souhaitez commander une sangle de retenue, ou si vous désirez vous procurer une sangle de retenue plus longue, si celle dont vous disposez n'atteint pas la patte d'ancrage supérieure prévue dans votre véhicule.
Une fois le siège d'enfant fixé au véhicule au moyen de la ceinture de sécurité ou des ancrages inférieurs LATCH (ou au moyen de ces deux systèmes), vous pouvez attacher la sangle de retenue supérieure.
Les points d'ancrage pour sangle de retenue de votre véhicule se trouvent aux emplacements suivants (vus du haut):

- Sièges baquets de deuxième rangée et siège de troisième rangée du côté passager

- Banquettes de deuxième rangée et siège de troisième rangée du côté passager
Observe les étapes suivantes pour fixer un siège d'enfant au moyen des points d'ancrage du véhicule :
Nota : Si vous installez un siège d'enfant muni de fixations rigides, ne tendez pas la sangle de retenue au point de soulever le siège lorsque l'enfant y est assis. Serrez la sangle de retenue juste assez pour que l'avant du siège d'enfant ne soit pas soulevé. La meilleure protection en cas d'accident grave est assurée lorsque le siège d'enfant entre à peine en contact avec l'avant du siège.

- Acheminez la sangle de retenue :
- Places latérales de la deuxième rangée : Acheminez la sangle de retenue de siège d'enfant par-dessus le dossier de siè ège de sécurité pour enfant ou de la sangle de retenue.
- Places centrales de la deuxième rangée : Acheminez la sangle de retenue du siège d'enfant par-dessus l'appuie-tête. Au besoin, retirez l'appuie-tête pour améliorer le réglage du siège de sécurité pour infant ou de la sangle de retenue. Consultez la rubrique Sièges arrêté dans ce chapitre pour de plus amples renseignements sur les appuies-têtes.
- Place de la troisième rangiée : Acheminez la sangle de retenue de siège d'enfant par-dessus le dossier de siège, sous l'appuie-tête, et entre les tiges de l'appuie-tête. Au besoin, rabattez l'appuie-tête pour améliorer le réglage du siège de sécurité pour infant ou de la sangle de retenue. Consultez la rubrique Sièges arrêté dans le chapitre Places pour obtenir des renseignements sur les appuie-têtes.
- Repérez le point d'ancrage prévu pour la position arrêté choisie.

- Sièges baquets de la deuxième rangée (40/40)

- Banquette de la deuxième rangée (60/40)

- Siège de la troisième rangée
Note : Les anneaux d’arrimage à l’extrémité arrêtée du plancher ne sont pas des points d’ancrage.
- Fixez la sangle de retenue au point d'ancrage, de la manière illustrée. Le crochet d'ancrage peut être tourné d'un demi-tour pour améliorer la pose.

Si la sangle de retenue n'est pas fixée correctement, le siège de sécurité infant risque de se détacher en cas de collision.
- Serrez la sangle de retenue du siège d'enfant selon les directives du fabricant.
Si le siège d'enfant n'est pas solidement fixé aux points d'ancrage, l'enfant court des risques de blessures nettement plus grands en cas d'accident.
Si votre siège d'enfant est muni d'une sangle de retenue, et que le fabricant du siège d'enfant en recommande l'utilisation, alors Ford le recommande également.
Dispositifs de sécurité enfants
Les verrous du dispositif Sécurité enfants se trouvent sur le rebord de porte arrière de chaque porte arrière et doivent être activés séparément pour chaque porte. Le fait d'activer le verrou d'une porte n'activera pas automatiquement celui de l'autre.


- Insérez la clé et tournez-la à la position de verrouillage (clé en position horizontale) pour engager les dispositifs de sécurité enfants.
- Insérez la clé et tournez-la à la position de déverrouillage (clé en position verticale) pour désengager les dispositifs de sécurité enfants.
Lorsque ces verrous sont utilisés, les portes arrière ne peuvent être ouvertes de l'intérieur.
Les portes arrière peuvent être ouvertes de l'extérieur lorsque les verrous sont actifs, mais les portes sont déverrouillées.
Principes de fonctionnement

AVERTISSEMENT : Conduisez toujours avec le dossier en position verticale et la ceinture sous-abdominale bien serrée et de bas sur les hanches.

AVERTISSEMENT : Pour diminuer les risques de blessures, assurez-vous que les enfants occupent une place assise où ils ne puissent être correctement retenus.

AVERTISSEMENT: Ne laissez jamais un passager tenir un enfant sur ses genoux pendant la conduite. Un passager ne peut retenir un enfant des blessures en cas de collision.

AVERTISSEMENT : Tous les occupants du véhicule, y compris le conducteur, doivent toujours boucler correctement leur ceinture de sécurité, même si la place qu'ils occupent est munie d'un système de retenue supplémentaire. Le fait de ne pas porter correctement la ceinture de sécurité augmente fortement le risque de blessures graves voire mortelles.

AVERTISSEMENT : Il est très dangereux de se déplacer dans l'aire de chargement, intérieure ou extérieure, lorsque le véhicule est en mouvement. En cas de collision, ces occupants risquent d'être gravement blessés ou tués. Ne laissiez personne s'installer dans le véhicule à un endroit qui n'est pas muni d'un siège et d'une ceinture de sécurité. Vérifiez que tous les passagers bouclent leur ceinture correctement.

AVERTISSEMENT : En cas de capotage du véhicule, les risques de blessures mortelles sont plus grands pour une personne qui ne pas sa ceinture de sécurité que pour une personne qui la porte.
AVERTISSEMENT: Chaque siège du véhicule possède une ceinture de sécurité spécifique qui consiste en une boucle et une languette conçues pour être utilisées ensemble. 1) Ne placez le baudrier que sur l'épaule du côté de la porte. Ne portez jamais la ceinture de sécurité sous le bras. 2) Ne faites jamais passer le baudrier autour du cou ou sur l'épaule du côté intérieur du véhicule. 3) N'utilisez jamais la même ceinture pour plus d'une personne. AVERTISSEMENT : Dans la mesure du possible, les enfants âgés de 12 ans et moins doivent être assis sur un siège arrière du véhicule et être correctement retenus. Le non-respect de cette directive augmente fortement le risque de blessures graves voire mortelles. AVERTISSEMENT : Les ceintures de sécurité et les sièges peuvent devenir très chauds dans un véhicule fermé exposé au soleil et ils peuvent causer des brûlures aux jeunes enfants. Vérifiez la température des sièges et des boucles avant d'asseoir un enfant dans le véhicule. AVERTISSEMENT : Les occupants à l'avant et à l'arrière, y compris les femmes enceintes, doivent porter la ceinture de sécurité pour assurer une protection optimale en cas d'accident.
Toutes les places dans ce véhicule sont munies d'une ceinture de sécurité deux points. Tous les occupants du véhicule doivent toujours boucler correctement leur ceinture de sécurité, même si la place qu'ils occupent est munie d'un système de retenue supplémentaire.
Le système de ceinture de sécurité comprend les éléments suivants :
- des ceintures de sécurité trois points
- un baudrier avec mode de blocage automatique (sauf la ceinture de sécurité gonflable du conducteur et la ceinture de sécurité gonflable arrêté)
- un dispositif de réglage de la hauteur aux places latérales avant
- un tendeur de ceinture de sécurité aux places latérales avant
- un capteur de tension de ceinture à la place passager avant latérale

- Un témoin et un carillon de ceinture de sécurité. Consultez la rubrique Témoin de bouclage de ceinture de sécurité et carillon avertisseur plus loin dans ce chapitre.

- Des détecteurs d'impact et un système de contrôle avec témoin de fonctionnement. Consultez la rubrique Détecteurs d'impact et témoin de sac gonflable dans le chapitre Dispositif de supplémentaire.
Les tendeurs de ceinture de sécurité et les ceintures de sécurité gonflables arrière sont conçus pour s’activer lors de collisions frontales ou quasi frontales, de collisions latérales ou de capotages. Les tendeurs de ceinture de sécurité des places avant sont conçus pour serrer fermement les ceintures contre le corps de l’occupant lorsqu’ils sont activés. Cela contribue à augmenter l’efficacité des ceintures de sécurité. En cas de collisions frontales, les tendeurs peuvent s’activer seuls ou de concert avec les sacs gonflables avant si la collision est suffisamment grave.
Bouclage des ceintures de sécurité
Les places latérales avant et arrière du véhicule sont dotées de ceintures combinées sangle ventrale et baudrier.

- Pour boucler la ceinture, insérez la languette dans la boucle correspondante (la plus proche de la direction d'où provient la languette) jusqu'à ce qu'elle s'enclenche et que vous entendiez un déclic. Assurez-vous que la languette est bloquée dans la boucle.

- Pour déboucler la ceinture, appuyez sur le bouton de déblocage et retirez la languette de la boucle.
Système de retenue pour femmes enceintes

AVERTISSEMENT : Conduisez toujours avec le dossier en position verticale et la ceinture de sécurité correctement bouclée.
La partie sous-abdominale de la ceinture de sécurité doit être bien serrée et placée sur le bas des hanches. Le baudrier de la ceinture de sécurité doit être placé contre la poitrine. Les femmes enceintes doivent aussi suivre ces consignes. Consultez l'illustration suivante.

Les femmes enceintes doivent toujours porter leur ceinture de sécurité. La partie sous-abdominale d'une ceinture trois points doit être placée bas sur les hanches au-dessous du ventre et portée aussi serrée que possible tout en étant confortable. Le baudrier doit être placé près du centre de l'épaule et de la poitrine.
Modes de verrouillage des ceintures de sécurité

AVERTISSEMENT : APRÈS une collision, le système de ceinture de sécurité de toutes les places passager doit être vérifié par un
concessionnaire autorisé afin de s'assurer que l'enrouleur à blocage automatique prévu pour les sièges de sécurité infant fonctionne correctement. En outre, il faut vérifier le fonctionnement de toutes les ceintures de sécurité.

AVERTISSEMENT : L'ensemble ceinture de sécurité et enrouleur doit être remplacé si l'enrouleur à blocage automatique
ou tout autre élément de la ceinture de sécurité se révèle défectueux lors de la vérification par un concessionnaire autorisé. Remplacez l'ensemble ceinture de sécurité et enrouleur pour ne pas augmenter les risques de blessures graves en cas de collision.
Tous les systèmes de retenue du véhicule sont des ceintures trois points. La ceinture de sécurité du conducteur est munie du premier mode de verrouillage et les ceintures de sécurité du passager avant et des passagers arrière sont munies des deux types de mode de verrouillage, tel qu'il est décrit ci-dessous :
Mode de blocage par inertie
Ce mode est le mode normal de fonctionnement de l'enrouleur qui permet le libre mouvement du baudrier et de la ceinture sous-abdominale, mais qui se bloque en réaction aux mouvements du véhicule. Par exemple, en cas de freinage brutal, de virage brusque ou de collision à environ 8 km/h (5 mi/h) ou plus, les ceintures trois points se bloquent pour retenir les occupants.
De plus, l'enrouleur est conçu pour se verrouiller si la sangle est tirée trop rapidement. Si tel est le cas, laissez la ceinture se retracter légèrement et tirez sur la sangle de nouveau lentement et de manière contrôlée.
Mode de blocage automatique
Dans ce mode, le baudrier ou la ceinture sous-abdominale est automatiquement préverrouillé. La ceinture se rétracte tout de même afin d'éliminer tout jeu au niveau du baudrier ou de la ceinture sous-abdominale. La ceinture du conducteur n'est pas dotée du mode de blocage automatique.
Quand utiliser le mode de blocage automatique
Ce mode doit être utilisé en tout temps lorsqu'un siège d'enfant, à l'exception des rehausseurs, est installé sur un siège passager avant ou arrière. Dans la mesure du possible, les enfants âgés de 12 ans et moins doivent prendre place sur un siège arrière du véhicule et être convenablement retenus.
Ceintures de sécurité non gonflables

- Bouclez la ceinture trois points.
- Saisissez le baudrier de la ceinture et tirez-le vers le bas jusqu'à ce que la sangle soit entièrement déroulée.
- Laissez la sangle se rétracter. Pendant cette opération, des déclics se font entendre. Ces déclics indiquent que l'enrouleur est en mode de blocage automatique.
Ceintures de sécurité gonflables des places latérales arrière (deuxième rangée seulement, selon l'équipement)

- Bouclez la ceinture trois points.
- Saisissez la partie sous-abdominale de la ceinture et tirez-la vers le haut jusqu'à ce que la sangle soit entièrement déroulée.
- Laissez la sangle se rétracter. Pendant cette opération, des déclics se font entendre. Ces déclics indiquent que l'enrouleur est en mode de blocage automatique.
Comment désactiver le mode de blocage automatique
Débloquez la ceinture trois points et laissez-la se rétracter complètement pour sortir du mode de blocage automatique et revenir au mode normal de blocage par inertie (mode d'urgence).
Rallonge de ceinture de sécurité

AVERTISSEMENT : N'utilisez pas de rallonge pour changer la position du baudrier sur la poitrine.
Note: N'utilisez pas une rallonge avec une ceinture de sécurité gonflable.
Les rallonges de ceinture de sécurité varient selon les modèles de véhicule. Consultez un concessionnaire autorisé pour vous assurer d'obtenir la rallonge de ceinture de sécurité appropriée pour votre véhicule. N'utilisez qu'une rallonge provenant du même fabricant que la ceinture que vous pouvez allonger. Une rallonge de ceinture de sécurité n'est pas disponible pour la ceinture de sécurité gonflable. N'utilisez la rallonge que si la ceinture tirée au maximum est trop courte.
Réglage de la hauteur des ceintures de sécurité

AVERTISSEMENT : Placez le régler de hauteur de sorte que le baudrier se trouve au milieu de l'épaule. Si le baudrier est mal
réglé, son efficacité peut être réduite et les risques de blessures accrus en cas de collision.
Réglez la hauteur du baudrier de telle sorte qu'il repose au milieu de l'épaule.

Pour ajuster la hauteur du baudrier :
- Comprimez les boutons et glissez le réglateur de hauteur vers le haut ou vers le bas.
- Relâchez les boutons et tirez sur le régleur pour vous assurer qu'il est bien verrouillé.
Témoin et carillon de ceinture de sécurité

Ce témoin s'allume et un carillon retentit si la ceinture de sécurité du conducteur n'est pas bouclée lorsque le contact est établi.
Conditions de fonctionnement
| Si... | Alors... |
| La ceinture de sécurité du conducteur n'est pas bouclée avant d'établit le contact... | Le témoin s'allume pendant une à deux minutes et le carillon retentitpendant quatre à huit secondes. |
| La ceinture de sécurité du conducteur est bouclée pendant que le témoin est allumé et que le carillon retentit... | Le témoin s'eteint et le carillon cette de retentir. |
| La ceinture de sécurité du conducteur est bouclée avant d'établit le contact... | Le témoin reste étéint et le carillon ne retentit pas. |
Dispositif de RAPPEL de bouclage de ceinture de sécurité belt-minder®
Ce dispositif est un avertissement supplémentaire qui s'ajoute à la fonction d'avertissement du port de la ceinture de sécurité et rappelle au conducteur et au passager avant, le cas échéant, que leur ceinture est débouclée en faisant retentir un carillon par intermittence et en allumant le témoin de ceinture de sécurité.
Le système utilise les données du capteur de poids du passager avant pour déterminer si le siège avant est occupé et, le cas échéant, la nécessité d'émettre un avertissement. Pour prévenir l'activation du dispositif Belt-Minder lorsque des objets se trouvent sur le siège du passager avant, les avertissements ne sont émis que pour les occupants d'un certain poids déterminé par le capteur de poids du passager avant.
Si les avisserrements du dispositif Belt-Minder ont cessé (après environ cinq minutes) pour un occupant (conducteur ou passager avant), l'autre occupant peut tout de même déclencher la fonction de rappel Belt-Minder.
| Si... | Alors... |
| Les ceintures du conducteur et du passager avant sont bouclées avant d'établit le contact ou lorsque moins d'une à deux minutes se sont écoulées depuis que le contact a été établi... | Le dispositif de rappel Belt-Minder ne s'active pas. |
| La ceinture de sécurité du conducteur ou du passager avant n'est pas bouclée lorsque le vehicule a atteint une vitesse d'au moins 9,7 km/h (6 mi/h) et qu'une à deux minutes se sont écoulées depuis que le contact a été établi... | Le dispositif Belt-Minder est activé - Le tímoin des ceintures de sécurité s'allume et le carillon retentit pendant six secondes toutes les 25 secondes, durant environ cinq minutes, ou jusqu'à ce que les ceintures soient bouclées. |
| La ceinture de sécurité du conducteur ou du passager avant est débouclée pendant une minute environ lorsque le vehicule roule à au moins 9,7 km/h (6 mi/h) et plus d'1 à 2 minutes se sont écoulées depuis que le contact a été établi... | Le dispositif Belt-Minder est activé - Le tímoin des ceintures de sécurité s'allume et le carillon retentit pendant six secondes toutes les 25 secondes, durant environ cinq minutes, ou jusqu'à ce que les ceintures soient bouclées. |
Désactivation et activation de la fonction belt-minder®

AVERTISSEMENT : Bien qu'il soit possible de désactiver le dispositif Belt-Minder, ce dispositif est conçu pour vous inciter à
porter cette ceinture de sécurité et pour qu'il puisse ainsi augmenter vos chances de survie en cas d'accident. Nous vous recommandons de laisser votre dispositif Belt-Minder activé pour vous et pour les autres personnes qui poursuivent utiliser le véhicule. Pour réduire les risques de blessures, ne désactivez ou n'activez pas le dispositif de rappel de bouclage de ceinture de sécurité Belt-Minder lorsque vous conduisez votre véhicule.
Note : Les fonctions de rappel Belt-Minder de bouclage des ceintures conducteur et passager se désactivent ou s'activent indépendamment. Au moment de la désactivation ou de l'activation de la fonction d'un siège, ne bouclez pas la ceinture de l'autre siège, car cela mettra fin au processus.
Lisez attentivement les étapes 1 à 5 avant de procéder à la programmation.
Note: Si vous utilisez la fonction MyKey®, le rappel de bouclage des ceintures Belt-Minder ne peut pas être désactivé. De plus, si le dispositif Belt-Minder avait été déactivé, il sera réactivé lors de l'utilisation de MyKey®. Consultez le chapitre MyKey®.
Vous pouvez désactiver ou activer les fonctions de rappel Belt-Minder du conducteur et du passager avant en procédant comme suit :
Avant de commencer, assurez-vous que :
- le frein de stationnement est serré;
- le levier sélecteur est à la position de stationnement (P)
- le contact est coupé;
- Les ceintures de sécurité conducteur et passager sont débouclées.
- Établissez le contact. Ne démarrez pas le moteur.
- Attendez que le témoin de ceinture de sécurité s'éteigne (environ une minute).
- Attendez 10 secondes après que le témoin de ceinture de sécurité se soit éteint.
- L'étape 4 doit être complétée dans les 20 secondes de l'exécution de l'étape 3.
- Pour le siège dont la fonction est désactivée, bouclez puis débouclez douce
- Après l'étape 4, le témoin de ceinture de sécurité s'allume pendant trois secondes.
- Dans les sept secondes environ après l'extinction du témoin de ceinture de sécurité, bouclez et déboutez la ceinture de sécurité.
- Le dispositif Belt-Minder est désactivé pour cette place, s'il était activé.
- Le dispositif Belt-Minder est activé pour cette place, s'il était désactivé.
Ceinture de sécurité gonflable arrière (SELEN l'équipement)

AVERTISSEMENT: Ne tentez pas de réparer ni de modifier la ceinture de sécurité gonflable arrêté. Risque de blessures graves mortelles.
Nota : Les ceintures de sécurité gonflables arrirè sont compatibles avec la plupart des porte-bébés et avec les sièges de sécurité et rehausseurs pour enfants lorsqu'ils sont correctement installés. Ceci est parce qu'ils sont conçus pour se replier d'un gaz froid à une pression et à une vitesse inférieures à celles d'un sac gonflable classique. Après le gonflage, le baudrier de la ceinture de sécurité reste frais au toucher.
Les ceintures de sécurité gonflables arrêtées sont situées dans la partie baudrier des ceintures de sécurité des places latérales de la deuxième rangée.
La ceinture de sécurité gonflable arrêté comporte les éléments suivants :
- un sac gonflable situé dans la sangle du baudrier;
- une sangle de ceinture de sécurité sous-abdominale avec mode de blocage automatique;

- détecteurs d'impact et témoins de sac gonflable.
Consultez la rubrique Détecteurs d'impact et témoin de sac gonflable dans le chapitre Dispositif de retenue supplémentaire.
Fonctionnement des ceintures de sécurité gonflables arrêté
AVERTISSEMENT: Si la ceinture de sécurité gonflable arrêté s'est déployée, elle ne pourrait plus être utilisée. L'ensemble de ceinture de sécurité gonflable arrêté doit être remplacé par un concessionnaire autorisé. - Les ceintures de sécurité gonflables arrêté fonctionnent comme des dispositifs de retenue standard utilisés de façon régulière.

- Lors d'une collision à forte impact suffisamment élevée, la ceinture gonflable se déploie de l'intérieur de la sangle.

- Le diamètre accru de la ceinture de sécurité entièrement gonflée retient plus efficacement l'occupant dans une position appropriée et permet de nouveaux disperser l'impact d'un choc sur tout le corps que les ceintures de sécurité régulières. Ceci aide à réduire la pression sur la poitrine et de contrôle les mouvements de la tête et du cou pour les passagers.
Rangement de la ceinture de sécurité gonflable arrière
La ceinture de sécurité gonflable arrière est munie d'une attache-pression prévue pour ranger la ceinture contre le panneau de custode lorsqu'elle n'est pas utilisée. Ceci empêche la languette de la ceinture de faire un bruit de ferraille contre le côté du siège et la tient à l'écart lorsque les sièges de la seconde rangée sont rabattus ou repliés.

Appuyez sur la partie de l'attache-pression sur la ceinture de sécurité pour l'engager dans l'autre partie lors du rangement. Pour utiliser la ceinture de sécurité, détachez-la du panneau de custode.
Entretien des ceintures de securite et des dispositifs de retenue pour enfants
Vérifiez régulièrement les ceintures de sécurité et les dispositifs de retenue pour enfants pour vous assurer qu’ils fonctionnent correctement et qu’ils ne sont pas endommagés. Assurez-vous que les ceintures de sécurité du véhicule et des dispositifs de retenue pour enfants ne sont pas coupées, entaillés ou usés. Remplacez au besoin. Tous les ensembles de ceintures de sécurité du véhicule, y compris les enrouleurs, les boucles, les ensembles de boucles et languettes des sièges avant, les ensembles de supports de boucle (régulateurs coulissants, selon l’équipement), les régulateurs de hauteur des baudriers (selon l’équipement), les guides de baudrier sur les dossiers de siège (selon l’équipement), les ceintures de sécurité gonflables arrière (selon l’équipement), les points d’ancrage inférieurs du système LATCH et les pattes d’ancrage pour siège d’enfant, ainsi que la boulonnerie de fixation, doivent être vérifiés après une collision. Consultez les directives du fabricant du dispositif de retenue pour enfants pour obtenir des renseignements supplémentaires relatifs à l’inspection et à l’entretien de votre dispositif de retenue pour enfants.
Ford recommande de remplacer toutes les ceintures de sécurité qui étaient utilisées au moment de la collision. Cependant, si la collision était mineure et qu'un concessionnaire autorisé détermine que les ceintures sont en bon état et fonctionnent correctement, leur remplacement n'est pas nécessaire. Les ceintures qui n'étaient pas utilisées au moment de la collision doivent quand même être vérifiées et remplacées si elles sont endommagées ou ne fonctionnent pas correctement.
Consultez la rubrique Habitacle du chapitre Nettoyage pour obtenir de plus amples renseignements au sujet de l'entretien des ceintures de sécurité souillées.
Systeme de securite personnalisé
Le système de sécurité personnalisé assure une protection globale supérieure pour les passagers avant en cas de collision frontale. Il est conçu pour aider à réduire davantage les risques de blessures causées par les airbags. Ce système peut analyser la situation des passagers et la gravité de la collision avant d'activer les dispositifs de sécurité appropriés, et ainsi aider à protéger un plus grand nombre de passagers pendant divers types de collisions frontales.
Le système de sécurité personnalisé de votre véhicule comprend les éléments suivants :
- Sacs gonflables à deux étapes pour le conducteur et le passager avant.
- Des ceintures de sécurité des places latérales avant munies de tendeurs, d'enrouleurs à absorption d'énergie (première rangée seulement) et de capteurs de bouclage des ceintures de sécurité.
- Un capteur de position du siège conducteur.
- Un détecteur d'occupation du siège passager avant.
- Un témoin de sac gonflable du passager désactivé/activé.
- Des capteurs de gravité d'impact avant.
- Un module de commande des dispositifs de retenue avec capteurs d'impact et de sécurité.
- Témoin du dispositif de retenue des occupants et carillon avertisseur.
- Câblage électrique pour les sacs gonflables, les détecteurs d'impact, les tendeurs de ceinture de sécurité, les capteurs de bouclage des ceintures de sécurité avant, le capteur de position du siège du conducteur, le détecteur d'occupation du siège du passager avant, et les témoins.
Fonctionnement du système de sécurité personnalisé
Le système de sécurité personnalisé peut adapter la stratégie de déploiement des dispositifs de sécurité de votre véhicule selon la gravité de la collision et la situation des occupants. Un ensemble de capteurs d'impact et de capteurs de poids fournit l'information au module de commande des systèmes de retenue. En cas de collision, le module de commande des dispositifs de retenue pourrait activer les tendeurs de ceinture de sécurité ou un ou les deux niveaux des sacs gonflables adaptatifs en fonction de la sévérité de l'impact et des conditions affectant les occupants.
Principes de fonctionnement

AVERTISSEMENT : Les sacs gonflables ne se déploient pas lentement et le risque de blessures est le plus grand à proximité de la garniture du sac gonflable.

AVERTISSEMENT : Tous les occupants de votre véhicule, y compris le conducteur, doivent toujours boucler correctement la ceinture de sécurité, même si la place qu'ils occupent est munie d'un système de retenue supplémentaire. Le fait de ne pas porter correctement la ceinture de sécurité augmente fortement le risque de blessures graves voire mortelles.

AVERTISSEMENT : Les sacs gonflables peuvent causer des blessures graves, voire mortelles, à un enfant assis dans un siège. Les enfants de 12 ans et moins doivent toujours prendre place sur la banquette arrière et être convenablement attachés dans une de retenue pour enfants.

AVERTISSEMENT: Ne placez jamais votre bras sur le module de sac gonflable, car vous pourriez subir de graves fractures au bras ou autres blessures en cas de déploiement.

AVERTISSEMENT : Les sacs gonflables peuvent causer des blessures graves, voire mortelles, à un enfant assis dans un siège. Ne placez jamais un siège d'enfant orienté vers l'arrière devant ce gonfable activé. Si vous devez installer un siège d'enfant orienté avant sur le siège du passager avant, reculez le siège le plus loin.

AVERTISSEMENT: Ne tentez pas de réparer ni de modifier les dispositifs de retenue supplémentaire ou ses fusibles. Risque de blessures graves voire mortelles. Contactez votre concessionnaire dès que possible.

AVERTISSEMENT : Plusieurs composants d'un système de sac gonflable sont chauds après le déploiement. Ne les touchez pas, vous risqueriez de graves brûlures.

AVERTISSEMENT: Après s'être déployé, le sac gonflable ne peut pas fonctionner de nouveau et doit être remplacé dès que possible. Si le sac gonflable n'est pas remplacé, la zone non réparée expose aux risques de blessures en cas de collision.
Le système de retenue supplémentaire à sac gonflable est conçu pour être utilisé conjointement avec les ceintures de sécurité pour protéger le conducteur et le passager avant de croître de certaines blessures à la partie supérieure du corps. Les sacs gonflables ne se déploient pas lentement. Le déploiement peut causer des blessures.
Note : Le déploiement du sac gonflable provoque un bruit sourd et un nuage de résidu poudreux inoffensif. Cela est normal.
Une fois actionnés, les sacs gonflables se gonflent et se dégonflent rapidement. Après le déploiement, il est normal de remarquer des résidus poudreux ou une odeur de poudre brûlée. Il peut s'agir d'amidon de maïs, de talc (qui sert à lubrifier le sac) ou de composés de sodium (comme le bicarbonate de sodium) qui résultent du processus de combustion donnant lieu au gonflage des sacs. Des traces d'hydroxyde sodium peuvent irriter la peau et les yeux, mais aucun de ces résidus n'est toxique.
Les sacs gonflables sont conçus pour réduire les risques de blessures graves; ils peuvent cependant provoquer des écorchures ou des enflures en se déployant. Le bruit associé au déploiement des sacs gonflables peut également provoquer une perte auditive temporaire. Comme les sacs gonflables doivent se déployer rapidement et avec une force considérable, ils présentent un risque de blessures mortelles ou graves, comme des fractures, des lésions faciales, oculaires ou internes, particulièrement pour les occupants qui ne sont pas bien retenus ou qui n'occupent pas une position normale au moment du déploiement des sacs. Il est donc impératif que les occupants bouclent leur ceinture de sécurité et se tiennent aussi loin que possible des modules de sac gonflable, tout en s'assurant, dans le cas du conducteur, de la maîtrise du véhicule.
Les sacs gonflables n'exigent aucun entretien périodique.
Systeme d'alerte apres collisionmc
Le système allume les clignotants et fait retentir l'avertisseur sonore (par intermittence) après une collision suffisamment grave pour déployer un sac gonflable (avant, latéral, rideau gonflable latéral ou système Safety Canopy®).
L'avertisseur sonore et les clignotants s'éteignent lorsque :
- le bouton de commande des yeux de détresse est enfoncé;
- le bouton de détresse de la télécommande d'entrée sans clé est enfoncé; ou
- la batterie de votre véhicule est épuisée.
SACS gonflables du conducteur et du passager

AVERTISSEMENT: Ne posez jamais votre bras ou tout objet sur le module de sac gonflable. En cas de déploiement du sac
gonfliable, vous pourriez subir de graves fractures au bras ou d'autres blessures si votre bras est placé sur le module de sac gonfliable. Tout objet placé dans la zone de déploiement du sac gonfliable peut être projeté vers votre visage ou vers votre torse et causer de graves blessures.

AVERTISSEMENT : Les sacs gonflables peuvent causer des blessures graves, voire mortelles, à un enfant assis dans un siège.
d'enfant. Ne placez jamais un siège d'enfant orienté vers l'arrière devant un sac gonflable activé. Si vous devez installer un siège d'enfant orienté vers l'avant sur le siège du passager avant, reculez le siège le plus loin possible.

Les sacs gonflables du conducteur et du passager avant se déploient lors de collisions frontales ou quasi frontales graves.
Le système de sacs gonflables du conducteur et du passager avant comprend les éléments suivants :
- les sacs gonflables du conducteur et du passager;

- des détecteurs d'impact et un système de contrôle avec témoin de fonctionnement. Consultez la rubrique Détecteurs d'impact et témoin de sac gonflable plus loin dans ce chapitre.
- un détecteur d'occupation du siège passager avant.
Réglage approprié des sièges du conducteur et du passager avant

d'au moins 25 cm (10 po) entre la poitrine de l'occupant et le sac gonflable. Le non-respect de cette directive augmente fortement le risque de blessures graves voire mortelles.
Pour vous placer correctement par rapport au sac gonflable :
- reculez votre siège au maximum, sans toutefois compromettre votre confort pour la manœuvre des pédales;
- inclinez légèrement (d'un ou deux degrés) le siège vers l'arrière par rapport à la verticale.
Lorsque les occupants ont réglé leur siège et bouclé leur ceinture de sécurité, il est très important qu'ils demeurent correctement assis. Correctement assis, un occupant est bien à la verticale, repose contre le dossier et est centré sur le coussin, ses pieds reposant confortably sur le plancher. Une mauvaise position assise augmente les risques de blessure en cas de collision. Par exemple, si l'occupant se tient mollement, s'allonge, se tourne sur le côté, s'assoit sur l'extrémité du siège, se penche sur le côté ou en avant, ou s'il repose ses pieds ailleurs que sur le plancher, le risque de blessures augmente considérablement en cas de collision.
Enfants et sacs gonflables
AVERTISSEMENT: Les sacs gonflables peuvent causer des blessures graves, voire mortelles, à un enfant assis dans un siège d'enfant. Ne placez jamais un siège d'enfant orienté vers l'arrière devant un sac gonflable activé. Si vous devez installer un siège d'enfant orienté vers l'avant sur le siège du passager avant, reculez le siège le plus loin possible.

Les enfants doivent toujours être correctement retenus. Les statistiques révèlent qu'en cas d'accident, un enfant bien retenu est plus en sécurité sur la banquette arrière du véhicule que sur le siège avant. Suivez ces instructions pour ne pas augmenter les risques de blessures en cas de collision.
Capteur de poids du passager avant
AVERTISSEMENT: Malgré la protection offerte par les dispositifs de retenue intelligents, les enfants de 12 ans et moins doivent être aussi à l'arrière et retenus correctement. Le non-respect de cette directive augmente fortement le risque de blessures graves voire mortelles.
AVERTISSEMENT: Une mauvaise position assise ou un dossier trop incliné peut réduire le poids reposant sur le coussin du siège et fausser la précision du capteur de poids du passager avant et provoquer des blessures graves, voir mortelles en cas de collision. Il faut toujours garder le dos en contact avec le dossier du siège et les pieds sur le plancher.

AVERTISSEMENT : Pour réduire le risque de blessures graves :
ne rangez pas d'objets dans le vide-poche du dossier et
n'accrochez pas d'objets au dossier si un enfant occupe le siège passager avant;
ne placez pas d'objets sous le siège du passager avant ou entre ce siège et la console centrale;
Vérifiez le temps PASSENGER AIRBAG OFF ou PASS AIRBAG OFF (neutralisation du sac gonflable du passager) pour vous assurer que l'état du sac gonflable est approprié.
Le non-respect de ces directives peut nuire au fonctionnement du capteur de poids du passager avant.

AVERTISSEMENT : Toute modification du siège du passager
Avant peut perturber le fonctionnement du capteur de poids du passager avant et donc accroître le risque de blessures graves voire mortelles.
Ce système fait appel à des capteurs intégrés au siège et à la ceinture de sécurité du passager avant pour détecter la présence d'un occupant correctement assis sur le siège et déterminer si le sac gonflable frontal du passager avant doit être activé (déploiement possible).

Le capteur de poids du passager avant utilise un témoin d'état du sac gonflable du passager qui s'allume pour indiquer que le sac gonflable avant du passager avant est soit EN FONCTION (activé) ou HORS FONCTION (désactivé). Le témoin se trouve sur la console centrale du tableau de bord.
Note : Lorsque le contact est établi, le témoin d'état du sac gonflable du passager HORS FONCTION et EN FONCTION s'allume pendant un court moment pour indiquer qu'il est fonctionnel.
Le capteur de poids du passager avant est conçu pour désactiver (aucun déploiement) le sac gonflable avant du passager avant lorsque le siège du passager avant est inoccupé ou lorsque la présence d'un siège pour bébé orienté vers l'arrière, d'un siège d'enfant orienté vers l'avant ou d'un rehausseur est détectée. Même avec cette technologie, les parents
DEVRAIENT TOUJOURS attacher les enfants adecuatement sur le siège arrière. Le détecteur d'occupation du siège passager avant désactive également le sac gonflable du passager avant et le sac gonflable latéral monté dans le siège du passager lorsque le siège du passager est inoccupé.
- Lorsque le capteur de poids du passager avant désactive (aucun déploiement) le sac gonflable avant du passager avant, le témoin d'état du sac gonflable du passager HORS FONCTION s'allume et demeure allumé pour vous rappeler que le sac gonflable avant du passager avant est désactivé.
- Si le système de retenue pour enfant est installé et le témoin d'état du sac gonflable du passager EN FONCTION s'allume, coupez le contact, retirez le système de retenue du véhicule, puis réinstallez-le conformément aux directives du fabricant.
Le capteur de poids du passager avant est conçu pour activer le sac gonflable avant du passager avant lorsqu'il détecte la présence d'une personne de taille adulte correctement assise.
- Lorsque le capteur de poids du passager avant active le sac gonflable du passager avant (déploiement possible), le témoign d'état du sac gonflable du passager EN FONCTION s'allume et demeure allumé.
Lorsqu'une personne de taille adulte occupe le siège du passager avant et que le témoin d'état du sac gonflable du passager HORS FONCTION est allumé, la personne est peut-être mal assise sur le siège. Dans un tel cas :
- coupez le contact et demandez à la personne de placer le dossier entièrement à la verticale;
- demandez à la personne de s'asseoir à la verticale, au centre du coussin, en dépliant confortablement ses jambes;
- faites redémarrer le moteur et assurez-vous que la personne maintienne cette position pendant deux minutes; le capteur de poids pourra ainsi détecter l'occupant et activer le sac gonflable avant du passager;
- Si le témoin de désactivation demeure allumé malgré cette procédure, faites asseoir cette personne sur un siège arrière.
| Occupant | Témoin d'etat du sac gonflable du passager | Sac gonflable du passager |
| Inoccupé | HORS FONCTION: Allumé | Désactivé |
| EN FONCTION: Éteint | ||
| Enfant | HORS FONCTION: Allumé | Désactivé |
| EN FONCTION: Éteint | ||
| Adulte | HORS FONCTION: Éteint | Activé |
| EN FONCTION: Allumé |
Nota : Lorsque le témoin d'état du sac gonflable du passager HORS FONCTION est allumé, le sac gonflable latéral du passager (monté dans le siège) peut être désactivé pour prévenir les risques de blessures causées par le déploiement du sac gonflable.
Lorsque les occupants ont réglé leur siège et bouclé leur ceinture de sécurité, il est important qu'ils demeurent correctement assis.
Correctement assis, un occupant est bien à la verticale, repose contre le dossier et est centré sur le coussin, ses pieds reposant confortably sur le plancher. Une mauvaise position assise augmente les risques de blessure en cas de collision. Par exemple, si l'occupant se tient mollement, s'allonge, se tourne sur le côté, s'assoit sur l'extrémité du siège, se penche sur le côté ou en avant, ou s'il repose ses pieds ailleurs que sur le plancher, le risque de blessures augmente considérablement en cas de collision.
Si vous croyez que l'état du témoin d'état du sac gonflable du passager est incorrect, vérifiez les éléments suivants :
- Objets logés sous le siège
- Objets entre le coussin du siège et la console centrale
- Objets suspendus sur le dossier
- Objets rangés dans le vide-poche du dossier
- Objets placés sur les cuisses de l'occupant
- Interférence du chargement avec le siège
- Autres passagers poussant ou tirant sur le siège
- Pieds ou genoux du passager arrêté reposant contre le siège ou le poussant
Ces facteurs peuvent provoquer le capteur de poids du passager avant à interpréter incorrectement le poids d'un occupant correctement assis. La personne qui occupe le siège du passager avant peut sembler plus lourde ou plus légère en raison des conditions décrites dans la liste précédente.

Assurez-vous que le capteur de poids du passager avant fonctionne correctement. Consultez la rubrique Détecteurs d'impact et témoin de sac gonflable plus loin dans ce chapitre;
Si le témoin des sacs gonflables est allumé :
Le conducteur et les passagers adultes doivent vérifier si des objets sont logés sous le siège du passager avant ou si le chargement interfère avec le siège.
Si des objets sont logés sous le siège ou si le chargement interfère avec le siège, retirez-les comme suit :
- Immobilisez le véhicule en lieu sûr.
- Coupez le contact.
- Le conducteur et les passagers adultes doivent vérifier si des objets sont logés sous le siège du passager avant ou si le chargement a interféré avec le siège.
- Retirez les articles trouvés. Redémarrez le véhicule.
- Attendez au moins deux minutes, puis vérifiez si le témoin des sacs gonflables au tableau de bord est éteint.
- Si le témoin des sacs gonflables au tableau de bord demeure allumé, il se peut que le détecteur d'occupation du siège passager avant soit défectueux.
N'essayez pas d'assurer l'entretien du système ou de le réparer vous-même. Confiez immédiatement ce genre de réparation à un concessionnaire autorisé.
Communiquez avec le Centre de relations avec la clientèle Ford au numéro indiqué dans le chapitre Assistance à la clientèle du présent manuel du propriétaire si vous devez faire modifier le système de sacs gonflables avant pour accueillir une personne handicapée à bord de votre véhicule.
SACS gonflables latéraux

AVERTISSEMENT : Ne placez pas d'objets et n'installez aucun équipement sur le couvercle du sac gonflable ou à proximité de
celui-ci, sur le côté des dossiers des sièges avant ou dans les zones des sièges avant qui pourrait entraver le déploiement du sac gonflable.
Suivez ces instructions pour ne pas augmenter les risques de blessures en cas de collision.

AVERTISSEMENT : N'utilisez pas de couvre-sièges de type accessoire sur les sièges, car ils pourraient nuire au déploiement
des sacs gonflables latéraux et augmenter les risques de blessures en cas d'accident.

AVERTISSEMENT : N'appuyez pas votre tête contre la porte du véhicule, le sac gonflable latéral pourrait vous blesser en se cant du côté du dossier.

AVERTISSEMENT: Ne tentez pas de réparer ni de modifier le sac gonflable, ses fusibles ou la housse d'un siège contenant un onflable. Risque de blessures graves voire mortelles. Contactez concessionnaire autorisé dès que possible.

AVERTISSEMENT : Une fois déployé, un sac gonflable latéral ne peut plus être utilisé. Un concessionnaire autorisé doit
inspecter et remplacer au besoin les sacs gonflables latéraux (y compris le siège). Si le sac gonflable n'est pas replacé, la zone non réparée augmente les risques de blessures en cas de collision.
Les sacs gonflables latéraux sont situés sur le côté extérieur des dossiers des sièges avant. Dans le cas de certaines collisions latérales, le sac gonflable latéral situé du côté de la collision se déploie. Le sac gonflable latéral est conçu pour se déployer entre le panneau de porte et l'occupant pour accroître la protection offerte en cas de collision latérale.

Le système comprend les éléments suivants :
- Une étiquette sur le dossier de siège indiquant que le véhicule est équipé de sacs gonflables latéraux.
- Des sacs gonflables latéraux intégrés au dossier de siège du conducteur et au dossier de siège du passager avant.

- des détecteurs d'impact et un système de contrôle avec témoin de fonctionnement. Consultez la rubrique Détecteurs d'impact et témoin de sac gonflable plus loin dans ce chapitre;
- un capteur de poids du passager avant
Nota : Le capteur de poids du passager désactive le sac gonflable latéral monté dans le siège du passager s'il détecte que le siège est inoccupé.
Les sacs gonflables latéraux ont été conçus et développés à partir des méthodes d'essai recommandées par un groupe d'experts en sécurité automobile appelé le « Side Airbag Technical Working Group » (Groupe de travail technique sur les sacs gonflables latéraux). Ces méthodes d'essai contribuent à réduire les risques de blessures liées au déploiement des sacs gonflables latéraux.
AVERTISSEMENT : Ne placez pas d'objets et n'installez pas des équipements sur le bord lateral de la garniture de pavillon ou à
proche de celui-ci qui pourrait entraver le déploiement du rideau gonflable. Suivez ces instructions pour ne pas augmenter les risques de blessures en cas de collision.

AVERTISSEMENT : N'appuyez pas votre tête contre la porte du véhicule, car le rideau gonflable pourrait vous blesser lors du
déploiement à partir de la garniture de pavillon.
AVERTISSEMENT: Ne tentez pas de réparer ni de modifier les rideaux gonflables, ses fusibles, la garniture des pieds avant, milieu, arrêté et extrème arrêté, ou la garniture de pavillon d'un vehicule muni de rideaux gonflables. Risque de blessures graves voire mortelles. Contactez votre concessionnaire autoriséès que possible. AVERTISSEMENT : Tous les occupants de votre vehicule, y compris le conducteur, doivent toujours boucler leur ceinture de sécurité, même si la place qu'ils occupent est munie d'un dispositif de retenue supplémentaire et d'un rideau gonflable. Le fait de ne pas porter correctement la ceinture de sécurité augmente fortement le risque de blessures graves voire mortelles. AVERTISSEMENT : Pour réduire les risques de blessures, ne placez aucun objet dans la zone de déploiation des rideaux gonflables. AVERTISSEMENT : Si les rideaux gonflables se sont déployés, ils cesseront de fonctionner. Les rideaux gonflables (y compris la garniture des pieds avant, milieu, arrêt et extréme arrêt et la garniture de pavillon) doivent être vérifiés et replacés par un concessionnaire autorisé. Si le rideau gonflable n'est pas remplaced, la zone non réparée augmente les risques de blessures en cas de collision.
Le système de sécurité au pavillon se déploie lors de collisions latérales de gravité considérable ou lorsqu'une certaine probabilité de capotage est détectée par le capteur de capotage. Le système de sécurité au pavillon est fixé à la tôle de longeron du toit, derrière la garniture de pavillon, au-dessus de chaque rangée de sièges. Dans le cas de certaines collisions latérales ou de capotages, le système de sécurité au pavillon se déploie, même si les sièges ne sont pas tous occupés. Le système de sécurité au pavillon est conçu pour se déployer entre la zone de la glace latérale et les occupants pour accroître la protection offerte en cas de collision latérale ou de capotage.

Le système comporte les éléments suivants:
- Des rideaux gonflables de sécurité au pavillon installés au-dessus des panneaux de garniture sur les glaces laté
- Une garniture de pavillon flexible qui s'ouvre au-dessus des portes latérales pour permettre le déploiement des rideaux gonflables.

- Des détecteurs d'impact et un système de contrôle avec témoin de fonctionnement. Consultez la rubrique Détecteurs d'impact et témoin de sac gonfable dans ce chapitre.
Les enfants de 12 ans et moins doivent toujours être assis sur les sièges arrière du véhicule et être correctement retenus. Le système de sécurité au pavillon ne génère pas les enfants assis dans un siège d'enfant ou sur un rehausseur correctement installé, car il est conçu pour se déployer vers le bas à partir du pavillon, au-dessus des portes et le long de l'ouverture des glaces latérales.
Le système de sécurité au pavillon a été conçu et développé à partir des méthodes d'essai recommandées d'un groupe d'experts en sécurité automobile appelé le « Side Airbag Technical Working Group » (groupe de travail technique sur les sacs gonflables latéraux). Ces méthodes d'essai recommandées aident à réduire les risques de blessures liées au déploiement des sacs gonflables latéraux (y compris le système Safety Canopy MC ).
Détecteurs d'impact et témoin de SAC gonflable

AVERTISSEMENT : Les modifications ou ajouts effectués à
l'avant du véhicule (y compris au châssis, au pare-chocs, au train
avant et aux crochets de remorquage) peuvent affecter le fonctionnement du système de sacs gonflables et accroître les risques de blessures.
Ne modifiez pas l’avant de votre véhicule.
Votre véhicule est muni d'un ensemble de détecteurs d'impact et de capteur de poids qui fournissent les données au module de commande des dispositifs de retenue qui déploie (active) les prétendeurs de ceinture de sécurité avant, les ceintures de sécurité gonflables arrière, le sac gonflable du conducteur, le sac gonflable pour le genou du passager, le protège-genou pour le passager, les sacs gonflables latéraux montés dans le siège et le système de sécurité au pavillon. En fonction du type d'accident (collision frontale, latérale ou capotage), le module de commande des dispositifs de retenue déploie les dispositifs de sécurité appropriés.
Le module de commande des dispositifs de retenue contrôle également le fonctionnement des dispositifs de sécurité ci-dessus en plus des détecteurs d'impact et du capteur de poids. Le fonctionnement du système de sécurité est indiqué par un témoin au tableau de bord ou par un carillon avertisseur si le témoin ne fonctionne pas. Consultez le chapitre Tableau de bord.
Les sacs gonflables n'exigent aucun entretien périodique.
Une anomalie du système de retenue supplémentaire est indiquée par un ou plusieurs des signes suivants :

- Le témoin des sacs gonflables clignote ou reste allumé.
- Le témoin ne s'allume pas immédiatement après l'établissement du contact.
- Une série de cinq bips retentit. Cet averissement sonore est repété périodiquement jusqu'à ce que l'anomalie soit corrigée ou que le témoin soit réparé.
Si un de ces avertissements survient, même périodiquement, faites immédiatement vérifier le système de retenue supplémentaire par un concessionnaire autorisé. Si la réparation n'est pas effectuée, le dispositif peut ne pas fonctionner normalement en cas de collision.
Les prêteurs de ceinture de sécurité et le dispositif de retenue supplémentaire sont conçus pour entrer en fonction lorsque le véhicule subit une décelération longitudinale ou latérale suffisante pour que le module de commande des dispositifs de retenue déclenche le déploiement d'un dispositif de sécurité ou lorsque la possibilité d’un capotage est détectée par le capteur de capotage.
Le fait que les tendeurs de ceinture de sécurité ou les sacs gonflables ne se soient pas activés aux deux sièges avant lors d'une collision n'indique pas nécessairement que le système est défectueux. Cela signifie plutôt que le module de commande des dispositifs de retenue a déterminé que les conditions de l'accident (gravité de la collision, utilisation des ceintures de sécurité, etc.) n'exigeaient pas l'activation de ces dispositifs de sécurité.
- Les sacs gonflables avant sont conçus pour se déployer seulement en cas de collisions frontales et quasi frontales (et non en cas de capotage ou d'impact létal ou arrêté), à moins que la collision ne cause une décelération longitudinale suffisante.
- Les prétendeurs de ceinture de sécurité et les ceintures de sécurité gonflables arrière sont conçus pour s'activer lors de collisions frontales ou quasi frontales, de collisions latérales ou de capotages.
- Les sacs gonflables latéraux sont conçus pour se déployer dans certaines collisions latérales. Les sacs gonflables latéraux peuvent se déployer dans d'autres types de collisions si le véhicule subit une déformation ou un mouvement lésal suffisant.
- Le système de sécurité au pavillon est conçu pour se déployer dans certaines collisions latérales ou capotages. Le système de sécurité au pavillon peut se déployer dans d'autres types de collisions si le véhicule subit une déformation ou un mouvement lésal raffisant ou en cas de risque de capotage.
Mise au rebut des SACS gonflables
Contactez votre concessionnaire autorisé dès que possible. Cette intervention doit être effectuée uniquement par du personnel qualifié.
Généralités relatives aux frequences RADIO
Ce dispositif est conforme à la section 15 du règlement de la FCC et aux normes RSS avec exemption de licence d'Industrie Canada. Son utilisation est soumise aux deux conditions suivantes : (1) Ce dispositif ne doit causer aucune interférence nuisible et (2) il doit accepter toutes les interférences, y compris celles qui peuvent l'activer de façon inopinée.
Note : tout changement apporté au dispositif sans l'approbation expresse des autorités compétentes peut révoquer le droit d'utilisation. La mention « IC » avant le numéro de certification de la radio sert uniquement à indiquer la conformité aux normes techniques d'Industrie Canada.
La portée normale de votre télécommande est d'environ 10m (33 pi). La portée de la télécommande est supérieure dans le cas des véhicules munis de la fonction de démarrage à distance. Une réduction de portée de la télécommande peut être causée par :
les conditions atmosphériques - la proximité d'une station émettrice de radio - la présence de structures à proximité du véhicule - la présence d'autres véhicules stationnés à proximité du yourselves
La fréquence radio utilisée par votre télécommande peut aussi l’être par d’autres transmissions radio à courte distance (par ex. : radio amateur, équipement médical, casque sans fil, télécommande et système d’alarme). Si les fréquences sont brouillées, vous ne pourrez pas utiliser votre télécommande. Vous pouvez verrouiller et déverrouiller les portes avec la clé.
Nota : Vérifiez que les portes de votre véhicule sont bien verrouillées avant de le quitter.
Nota : Vous pouvez déverrouiller les portes en appuyant accidentellement sur les boutons de la télécommande, si le véhicule se trouve dans sa portée.
Clé d'accès intelligent (selon l'équipement)
Le système utilise un signal radiofréquence pour communiquer avec votre véhicule et autoriser le déverrouillage de votre véhicule lorsque l'une des conditions suivantes est respectée :
- Vous touchez l'intérieur de la poignée extérieure de porte avant.
- Vous appuyez sur la touche du coffre à bagages.
- Vous appuyez sur une touche de la télécommande.
Il sera peut-être nécessaire de déverrouiller mécaniquement la porte du véhicule si la zone où vous vous trouvez fait l'objet de parasites haute fréquence excessifs, ou si la pile de la télécommande est faible. Vous pouvez utiliser le panneton mécanique de la clé d'accès intelligent pour ouvrir la porte du conducteur en pareil cas. Consultez la rubrique Télécommande dans ce chapitre pour obtenir de plus amples renseignements sur l'emplacement et l'utilisation du panneton de clé mécanique.
Télécommandes à clé intégrée (selon l'équipement)

Votre véhicule peut être équipé de deux télécommandes à clé intégrée. Utilisez le pendentif pour démarrer ou déverrouiller/verrouiller la porte du conducteur depuis l'extérieur du véhicule. La partie télécommande fonctionne en tant que télécommande.

Nota : Les clés de votre véhicule comportent une étiquette de sécurité représentant des renseignements essentiels sur la découverte de la clé. Rangez l'étiquette dans un endroit sûr afin de la retrouver facilement en cas de besoin ultérieur.
Clé intelligente (selon l'équipement)

Votre véhicule peut être équipé de deux clés intelligentes qui actionnent les serrures électriques et le dispositif de démarriage à distance. La clé intelligente doit être dans le véhicule pour activer le système de démarriage à bouton-poussoir.

La clé intelligente renferme également un panneton mécanique amovible que vous pouvez utiliser pour déverrouiller la porte du conducteur. Faites glisser le mécanisme de déverrouillage à l'endos de la télécommande pour libérer le panneton de clé, puis retirez le panneton.

Note : Les clés de secours de votre véhicule comportent une étiquette de sécurité représentant des renseignements essentiels sur la découverte de la clé. Rangez l'étiquette dans un endroit sûr afin de la retrouver facilement en cas de besoin ultérieur.
Remplacement de la pile
Nota : Consultez les réglementations de votre région relatives à la mise au rebut des piles de la télécommande.
Nota: N'essuyez pas la graisse des bornes de la pile sur la surface arrêtée du circuit imprimé.
Nota : Le remplacement de la pile ne supprime pas la programmation de la télécommande du véhicule. La télécommande devrait fonctionner normalement.
La télécommande est alimentée par une pile plate au lithium CR2032 de 3 volts ou par une pile équivalente.
Clé à télécommande intégrée

- Glissez une pièce de monnaie mince dans la fente près de l'anneau porte-clés et tournez pour ouvrir le couvercle de la pile (1).

- Retirez soigneusement le joint de caoutchouc (2) de la télécommande s'il ne se détache pas lorsque vous enlevez le couvercle de la pile.

- Retirez l'ancienne pile (3).
- Installez la pile neuve. Consultez le schéma à l'intérieur de la télécommande à clé intégrée pour installer la pile dans le bon sens. Appuyez sur la pile pour vous assurer qu'elle est bien enforcée dans la cavité du boîtier de pile.
- Reposez le joint de caoutchouc.
- Réenclenchez le couvercle de la pile sur la clé.
Télécommande d'accès intelligent
- Retirez le panneton de clé de la télécommande.

- Engagez une pièce de monnaie mince sous la languette dissimulée derrière la tête de panneton de clé et tournez-la pour ouvrir le couvercle de la pile. N'utilisez pas le panneton de clé pour ouvrir le couvercle au risque d'endommager la clé d'accès intelligent.

- Retirez la pile.
- Insérez une nouvelle pile, côté + orienté vers le bas. Appuyez sur la pile vers le bas pour vous assurer qu'elle est bien enforcée dans le boîtier.
- Refermez le couvercle de la pile de la télécommande et installez le panneau de la clé.
Fonction de rappel des réglages mémorisés (selon l'équipement)
Cette fonction vous permet de rappeler la position mémorisée du siège du conducteur, des rétroviseurs à commande électrique et des pédales réglables (selon l'équipement).
Appuyez sur le bouton de déverrouillage de la télécommande ou activez la fonction d'accès intelligent (selon l'équipement) pour rappeler les réglages mémorisés. Le siège et les rétroviseurs électriques se déplacent automatiquement à la position de réglage mémorisé. Les rétroviseurs extérieurs se déplacent à la position programmée et le siège se déplace à la position de recul automatique du siège à l'entrée. Le siège se déplace à la position finale lorsque le commutateur d'allumage est déplacé hors de la position arrêt (si la fonction de recul automatique du siège à l'entrée est activée).
Programmation de la fonction de rappel des réglages mémorisés sur la télécommande
Pour activer cette fonction, procédez comme suit :
- Déplacez les caractéristiques mémorisées aux positions voulu.es au moyen des commandes correspondantes. Note: J'ai ajouté un point virgule après "voulu.es" car la correction entre parenthèses était possible et clairement déduite du mot tronqué.

- Maintenez la touche 1 enfon ncée jusqu'à la deuxième tonalité, après cinq secondes.
- Dans un délai de deux secondes, appuyez sur le bouton de verrouillage de la télécommande.
- Attendez dix secondes, puis appuyez sur le bouton de déverrouillage de la télécommande.
- Répétez au besoin ces étapes pour la touche de programmation 2 et pour une autre télécommande.
Désactivation de la fonction de rappel des réglages mémorisés de la télécommande
Pour désactiver cette fonction, procédez comme suit :
- Maintenez la touche de mémorisation 1 ou 2 enfoncée pendant 5 secondes. Une tonalité retentit une fois les réglages mémorisés. Maintenez la touche enfoncée jusqu'à la deuxième tonalité.
- Dans un délai de deux secondes, appuyez sur le bouton de déverrouillage de la télécommande.
- Répétez ces étapes pour chaque télécommande supplémentaire au besoin.
Localisateur du véhicule

Appuyez deux fois sur le bouton dans un délai de trois secondes. L'avertisseur sonore retentit et les clignotants clignotent. Nous vous recommandons d'utiliser cette méthode lorsque votre véhicule plutôt que d'utiliser l'alarme de détresse.
Déclenchement de l'alarme de détresse

Appuyez sur le bouton pour activer l'alarme. Appuyez de nouveau sur le bouton ou établissez le contact pour la désactiver.
Note : L'alarme de détresse ne fonctionne que si le commutateur d'allumage est à la position arrêt.
Dispositif de démarrage à distance (selon l'équipement)

AVERTISSEMENT : Pour éviter les émanations de gaz d'échappement, n'utilisez pas le dispositif de démarrage à distance si votre véhicule se trouve dans un stationnement intérieur ou des endroits qui ne sont pas bien aérés.
Nota : N'utilisez pas le dispositif de démarrage à distance si le niveau de carburant de votre véhicule est bas.

La touche de démarrage à distance se trouve sur la télécommande.
Cette fonction permet de faire démarrer le véhicule de l'extérieur du véhicule. La télécommande comporte une portée étendue.
Les véhicules munis de la régulation automatique de la température peuvent être configurés pour que cette fonction soit activée au démarrage à distance du véhicule. Consultez le chapitre Chauffage et climatisation pour de plus amples renseignements à ce sujet. Un système de chauffage et climatisation manuel fonctionne selon le paramètre existant lors de la coupure du moteur.
L'utilisation du dispositif de démarrage à distance est soumise à des restrictions d'utilisation dans de nombreux États et dans de nombreuses provinces. Consultez les lois en vigueur dans votre région concernant les dispositifs de démarrage à distance.
Le dispositif de démarrage à distance ne fonctionne pas si :
- le contact est établi;
- le système d'alarme est déclenché;
- la fonction est désactivée;
- le capot n'est pas fermé;
- la boîte de vitesses n'est pas en position de stationnement (P)
- la tension de la batterie du véhicule est trop basse;
- le témoin d'anomalie du moteur est allumé.
Démarrage à distance du véhicule
Nota : Trois secondes ne doivent pas s'écouler entre chaque pression des touches. Le démarrage à distance du véhicule ne fonctionne pas et l'avertisseur sonore ne retentit pas si cette séquence n'est pas suivie.

L'étiquette de votre télécommande indique les détails de la procédure de démarrage.
Pour faire démarrer le véhicule à distance :
- Appuyez sur le bouton de verrouillage pour verrouiller toutes les portes.
- Appuyez deux fois sur le bouton de démarrage à distance. Les feux extérieurs clignotent deux fois.
L'avertisseur sonore retentit si le démarrage à distance échoue, à moins que le démarrage en mode silencieux soit activé. Le démarrage en mode silencieux fait fonctionner le ventilateur à une vitesse moins élevée pour réduire le bruit. Vous pouvez l'activer ou le désactiver à l'écran d'information. Consultez le chapitre Écrans d'information.
Nota : Pour un démarrage à distance à l'aide d'une clé à télécommande intégrée, le contact doit être établi avant de pouvoir conduire le véhicule. Pour un démarrage à distance au moyen d'une télécommande d'accès intelligent, la clé d'accès intelligent doit avoir été programmée dans le véhicule et il faut appuyer sur le bouton-poussoir de démarrage de la planche de bord une fois tout en appuyant sur le pédale de frein avant de pouvoir conduire le véhicule.
Les glaces à commande électrique sont neutralisées pendant le démarrage à distance et la radio ne s'allume pas automatiquement.
Les feux des positions restent allumés et le véhicule fonctionne pendant 5, 10 ou 15 minutes selon le réglage. Pour sélectionner la durée de fonctionnement du démarreur à distance, consultez le chapitre Écrans d'information.
Prolongation de la durée de fonctionnement du véhicule
Répétez les opérations 1 et 2 en laissant fonctionner le véhicule afin de prolonger la durée de fonctionnement d'un autre démarriage à distance. Si la durée de fonctionnement est réglée à 10 minutes, elle se prolonge de 10 autres minutes après la durée résiduelle de la première activation. À titre d'exemple, si le véhicule tourne pendant cinq minutes à la suite du premier démarriage à distance, le moteur continue de tourner pendant un total de 15 minutes.
Attendez au moins cinq secondes avant d'entamer un démarrage à distance après un arrêt du véhicule.
Arrêt du véhicule après un démarrage à distance

Appuyez une fois sur le bouton. Les feux de signalisation s'éteignent.
Il est peut-être nécessaire d’être plus près du véhicule que lors du démarrage en raison de la réflexion du sol et du bruit du véhicule en marche.
Vous pouvez désactiver ou activer le dispositif de démarriage à distance au moyen de l'écran d'information. Consultez le chapitre Écrans d'information.
Reemplacement d'une clé ou d'une télécommande PERDUE
Vous pouvez acheter des clés de remplacement ou des clés supplémentaires chez un concessionnaire autorisé. Un concessionnaire peut programmer les télécommandes de votre véhicule ou vous pouvez les programmer vous-même. Consultez le chapitre Sécurité pour plus de renseignements sur la programmation de vos télécommandes.
Principes de fonctionnement
Le dispositif MyKey MC vous permet de programmer les clés avec des modes de conduite limités pour favoriser de bonnes habitudes de conduite. Toutes les clés programmées pour le véhicule sauf une seule peuvent être activées avec ces modes limités.
Les clés qui n'ont pas été programmées sont désignées par clés d'administrateur ou clés admin. Elles peuvent être utilisées pour :
- créer un dispositif MyKey programmer les réglages de MyKey configurables effacer toutes les caractéristiques de MyKey.
Lorsque vous avez programmé un dispositif MyKey, vous pouvez accéder à l'information suivante au moyen de l'écran d'information :
- Nombre de clés d'administrateur et de dispositifs MyKey programmés pour votre véhicule.
- Distance totale parcourue par votre véhicule en utilisant un dispositif MyKey.
Note : Tous les dispositifs MyKey sont programmés avec les mêmes réglages. Vous ne pouvez pas les programmer individuellement.
Véhicules avec entrée sans clé
Si un dispositif MyKey et une clé d'administrateur sont présents, votre véhicule ne reconnaîtra que la clé d'administrateur.
Nota : Pour les véhicules avec démarrage sans clé (démarrage à bouton-poussoir) et clé d'accès intelligent, lorsqu'un dispositif MyKey et une clé d'accès intelligent admin. (télécommande) sont présents, la télécommande est reconnue par le véhicule pour le démarrage.
Réglages non configurables
Les réglages suivants ne peuvent pas être modifiés :
- Belt-Minder. Vous ne pouvez pas désactiver cette fonction. La chaîne audio est mise en sourdine lorsque les ceintures de sécurité des occupants des sièges avant ne sont pas attachées.
- Bas niveau de carburant. L'avertissement de bas niveau de carburant est activé plus tôt, donnant à l'utilisateur du dispositif MyKey plus de temps pour faire le plein.
- Selon l'équipement, les systèmes d'aide au conducteur suivants ne peuvent pas être désactivés : aide au stationnement, système d'information sur les angles morts (BLIS) avec alerte de traffic transversal, avertisseur de déviation de trajectoire et système avertisseur de collision avant.
- Restrictions du contenu de la radio satellite.
Réglages configurables
Vous pouvez configurer certains réglages MyKey lorsque vous créez pour la première fois un dispositif MyKey et avant que vous ne n'effectuiez un cycle d'allumage ou redémarriez le moteur. Vous pouvez également modifier les réglages ultérieurement avec une clé d'administrateur.
- Les limites de vitesse du véhicule peuvent être programmées. Lorsque votre véhicule atteint la vitesse programmée, un avertissement apparait sur l'écran, suivi d'une tonalité. Vous ne pouvez pas neutraliser la vitesse programmée en appuyant à fond sur la pédale d'accélérateur.
- Rappels de vitesse du vehicule de 75, 90 ou 105km / h (45, 55 ou 65mi / h ). Lorsque vous selectionnéz une vitesse, elle s'affiche sur l'écran, suivie d'une tonalité lorsque la vitesse préselectionnée est dépassee.
- Volume maximal de la chaîne stéréo de 45%. Un message s'affiche sur l'écran si vous essayez de dépasser le volume limite. De même, la commande automatique du volume compensée ou en fonction de la vitesse sera désactivée.
- Réglage de fonction toujours activée. Lorsque cette option est sélectionnée, vous ne pourrez désactiver la fonction de dispositif antilacet AdvanceTrac®, la fonction Assistance 911 ni la fonction « Ne pas déranger » (si votre Vehicle est équipé de ces fonctions).
Creation d'un dispositif MYKEY
Utilisez l'écran d'information pour créer un dispositif MyKey :
- Insérez la clé à programmer dans le commutateur d'allumage. Si votre véhicule est équipé d'un démarrage à bouton-poussoir, tenez la clé d'accès intelligent à côté de la colonne de direction.
Pour les télécommandes à trois touches, tenez la télécommande de cette façon :

Pour les télécommandes à cinq touches, tenez la télécommande de cette façon :
Consultez le chapitre Démarrage et arrêt du moteur pour plus de renseignements.
- Établissez le contact.

- Accédez au menu principal au moyen des commandes de l'écran d'information et sélectionnez Réglages, puis MyKey en appuyant sur le bouton OK ou le bouton >.
- Appuyez sur le bouton OK ou > pour sélectionner Créer MyKey.
- À l'invite, maintenez le bouton OK enforcé jusqu'à ce que vous aperceviez un message vous informant d'étiqueter cette clé comme dispositif MyKey. La clé sera restreinte au démarrage suivant.
Le dispositif MyKey a été créé avec succès. Assurez-vous d'étiqueter la clé de sorte à pouvoir la structurer des clés d'administrateur.
Vous pouvez également programmer des réglages configurables pour la clé. Consultez la rubrique Programmation ou modification des réglages configurables.
Programmation ou modification des réglages configurables
Utilisez l'écran d'information pour accéder à vos réglages MyKey configurables :
- Établissez le contact à l'aide d'une clé d'administrateur. Si votre véhicule est équipé d'un démarrage à bouton-poussoir, placez la clé d'accès intelligent dans la fente de secours.

- Accédez au menu principal et sélectionnez Réglages, puis MyKey en appuyant sur le bouton OK ou le bouton >.
- Utilisez les touches fléchées pour accéder à une fonction configurable.
- Appuyez sur le bouton OK ou > pour faire défiler les réglages.
- Appuyez sur le bouton OK ou > pour faire une sélection.
Effacement de la programmation de tous les dispositifs MYKEY
Vous pouvez effacer la programmation de tous les dispositifs MyKey dans le même cycle d'allumage que celui où vous avez créé le dispositif MyKey. Toutefois, si vous coupez le contact, vous devrez utiliser une clé d'administrateur pour effacer la programmation de vos dispositifs MyKey.
Nota : Lorsque vous effacez la programmation de vos dispositifs MyKey, vous supprimez toutes les restrictions et les dispositifs MyKey retrouvent immédiatement leur statut original de clé d'administrateur.
Pour effacer la programmation de tous les dispositifs MyKey, utilisez l'écran d'information pour effectuer les opérations suivantes :
- Accédez au menu principal et sélectionnez Réglages, puis MyKey.
- Faites défiler les sélections jusqu'à Effacer tout, puis appuyez sur le bouton OK.
- Maintenez le bouton OK enfoncé jusqu'à ce que le message TOUS LES MYKEY EFFACÉS s'affiche.
Verification de l'etat du dispositif MYKEY
Vous pouvez trouver des renseignements sur vos dispositifs MyKey programmés en utilisant l'écran d'information.
Distance MYKEY
Ce paramètre indique la distance parcourue alors que les conducteurs utilisent un dispositif MyKey. La distance accumulée ne peut être supprimée qu'en utilisant une clé d'administrateur pour remettre la distance MyKey à zéro. Si la distance ne s'accumule pas comme prévu, l'utilisateur n'utilise pas le dispositif MyKey ou l'utilisateur de la clé d'administrateur a récemment remis à la distance à zéro.
NOMBRE de clés MYKEY programmées :
Ce paramètre indique le nombre de dispositifs MyKey programmés pour le véhicule. Utilisez cette fonction pour savoir combien vous avez de dispositifs MyKey pour le véhicule et savoir quand un dispositif MyKey a été supprimé.
NOMBRE de clés ADMIN. programmées :
Ce paramètre indique le nombre de clés d'administrateur qui sont programmées pour le véhicule. Utilisez cette fonction pour savoir combien vous avez de clés sans restriction pour le véhicule et savoir si un dispositif MyKey supplémentaire a été programmé.
Utilisation d'un dispositif MYKEY avec les dispositifs de demarrage à distance
Le dispositif MyKey n'est PAS compatible avec les dispositifs de démarrage à distance d'après-venture qui ne sont pas approvés par Ford. Si vous décidez d'installer un dispositif de démarriage à distance, adressez-vous à votre concessionnaire autorisé Ford pour vous procurer un dispositif de démarrage à distance approuvé par Ford.
Dépannage du dispositif MyKey
| État | Cause probable |
| Je ne peux pas programmermer une clé. | • La clé ou la télécommande utilisée pour démarrer le vehicule ne compte pas de privilèges d'administrateur. • La clé ou la télécommande utilisée pour démarrer le vehicule est la seule clé d'administrateur (il doit toujours y avoir au moins une clé d'administrateur). • Le vehicule est équipé du système de démarrage à bouton-poussoir : la clé d'accès intelligent n'est pas dans la fente de secours. Consultez le chapitre Démarrage et arrêt du vehicule pour de plus amples renseignements. • Le système antidémarrage SecuriLock est désactivé ou est en mode illimité. |
| Je ne peux pas programmermer les réglages configurable. | • La clé ou la télécommande utilisée pour démarrer le vehicule ne compte pas de privilèges d'administrateur. • Aucun dispositif MyKey n'est créé. Consultez la rubrique Création d'un dispositif MyKey. |
| Je ne peux pas effacer la programmation du dispositif MyKey. | • La clé ou la télécommande utilisée pour démarrer le vehicule ne compte pas de privilèges d'administrateur. • Aucun dispositif MyKey n'est créé. Consultez la rubrique Création d'un dispositif MyKey. |
| J'ai perdu la seule clé d'administrateur. | • Achetez une nouvelle clé auprès de votre concessionnaire autorisé. |
| J'ai perdu une clé. | • Programmez une clé de secours. Consultez la rubrique SecuriLock® dans le chapitre Sécurité. |
| Aucun dispositif MyKey ne fonctionne avec la clé d'accès intelligent (système de démarrage à bouton-poussoir). | • Le moteur reconnaît une clé d'administrateur lorsque vous démarrez le moteur. • Le système vehicule ne reconnaît chaque dispositif MyKey. Consultez la rubrique Création d'un dispositif MyKey. |
| Les distances MyKey ne s'accumulent pas. | • L'utilisateur MyKey n'utilise pas le dispositif MyKey professionnel. • Le possesseur d'une clé d'administrateur a réinitialisé le système MyKey. |
Verrouillage et dverrouillage
Vous pourriez utiliser la commande de verrouillage électrique des portes ou la télécommande pour verrouiller et déverrouiller le véhicule.
Verrouillage électrique des portes
La commande de verrouillage électrique des portes est située sur le panneau de la porte du conducteur et du passager avant.

A. Déverrouillage B. Verrouillage
Télécommande
Vous pouvez utiliser la télécommande lorsque le moteur est arrêté.
Déverrouillage des portes (déverrouillage en deux étapes)

Appuyez sur le bouton pour déverrouiller la porte du conducteur.
Appuyez sur le bouton de nouveau dans un délai de deux secondes pour déverrouiller toutes les portes. Les clignants se mettent à clignoter.
Maintenez enfoncés les boutons de verrouillage et de déverrouillage de la télécommande pendant quatre secondes pour désactiver ou activer le déverrouillage en deux étapes. La désactivation de la fonction de déverrouillage en deux étapes permet de déverrouiller toutes les portes du véhicule en appuyant une fois sur le bouton. Les clignotants clignotent deux fois pour indiquer le changement de mode de déverrouillage. Le mode de déverrouillage s'applique à la télécommande, au clavier d'entrée sans clé et à la clé d'accès intelligent.
L'accès intelligent au niveau de la porte du conducteur déverrouille toutes les portes lorsque la fonction de déverrouillage en deux étapes est désactivée.
Verrouillage des portes

Appuyez sur le bouton pour verrouiller toutes les portes. Les clignotants s'allument.
Appuyez de nouveau sur le bouton dans un délai de deux secondes pour confirmer la fermeture de toutes les portes. Les portes se verrouillent de nouveau, l'avertisseur sonore retentit et les clignotants s'allument si toutes les portes et le hayon ou le coffre sont fermés.
Note : Si une porte ou le coffre n'est pas fermé, ou si le capot d'un véhicule muni d'une alarme antivol ou d'un dispositif de démarrage à distance est ouvert, l'avertisseur sonore retentit deux fois et les clignotants ne s'allument pas.
Activation du système de clé intelligente (selon l'équipement)
La clé d'accès intelligente doit être dans un rayon de portée maximal de 1m (3 pi) du véhicule.
Aux portes avant
Tirez une poignée extérieure de porte avant. La porte se déverrouille et vous pouvez l'ouvrir.

Maintenez enfoncé le capteur de verrouillage de la poignée de porte pour verrouiller le véhicule. Pour éviter de déverrouiller la porte accidentellement, assurez-vous de ne toucher qu’au capteur de verrouillage et non aux autres parties de la poignée de porte.
Au hayon
Appuyez sur le bouton dissimulé près de la plaque minéralogique.
Déverrouillage intelligent pour la télécommande à clé intégrée
Cette fonction vous évite de verrouiller le véhicule alors que vous êtes à l'extérieur et que votre clé se trouve toujours dans le commutateur d'allumage.
Lorsque vous ouvrez une des portes avant et verrouillez le véhicule à l'aide de la commande de verrouillage électrique des portes, toutes les portes se verrouillent, puis se déverrouillent si votre clé est restée dans le commutateur d'allumage.
Lorsque la clé se trouve dans le commutateur d'allumage, vous pouvez tout de même verrouiller le véhicule en utilisant le clavier d'entrée sans clé avec la porte du conducteur fermée, ou en appuyant sur le bouton de verrouillage de la télécommande même si les portes ne sont pas fermées.
Si les deux portes avant sont fermées, vous pouvez verrouiller le véhicule par n'importe laquelle de ces méthodes, que la clé soit dans le commutateur d'allumage ou non.
Déverrouillage intelligent pour clés intelligentes (selon l'équipement)
Cette fonction évite de laisser involontairement votre clé intelligente dans l'habitacle ou dans l'aire de chargement arrêté de votre véhicule verrouillé.
Lorsque vous verrouillez votre véhicule au moyen de la commande de verrouillage électrique des portes du conducteur ou du passager (lorsque la porte est ouverte, que la boîte de vitesses est en position de stationnement [P] et que le contact est coupé), le système recherche la présence d'une clé d'accès intelligent dans l'habitacle après la fermeture de la porte. Toutes les portes se déverrouillent immédiatement et l'avertisseur sonore retentit si le véhicule détecte une clé d'accès intelligent à l'intérieur.
Pour neutraliser la fonction de déverrouillage intelligente et verrouiller le véhicule avec la clé d'accès intelligent à l'intérieur, utilisez l'une des méthodes suivantes :
- Verrouillez le véhicule avec le clavier d'entrée sans clé lorsque toutes les portes sont fermées.
- Appuyez sur le bouton de verrouillage d'une autre clé d'accès intelligente.
- Touchez la zone de verrouillage sur la poignée avec une autre clé d'accès intelligente que vous tenez à la main.
Lorsque vous ouvrez l'une des portes avant et que vous verrouillez le véhicule à l'aide de la commande de verrouillage électrique des portes, toutes les portes se verrouillent, puis se déverrouillent si :
- le contact est établi ; ou
- Le contact est coupé et la boîte de vitesses n'est pas en position de stationnement (P).
Fonction de verrouillage automatique (si elle est activée)
La fonction de verrouillage automatique des portes verrouille toutes les portes du véhicule lorsque :
toutes les portes sont fermées; - le contact est établi; - vous engagez un rapport pour faire avancer le vehicule; et - vous roulez à plus de 20km / h (12 mi/h).
La fonction de verrouillage automatique se répète lorsque :
- vous ouvrez une porte puis vous la refermez pendant que le contact est établi et que la vitesse du véhicule ne dépasse pas 15km/h (9 mi/h), et
- vous roulez à plus de 20km / h (12 mi/h).
Fonction de déverrouillage automatique (si elle est activée)
La fonction de déverrouillage automatique déverrouille toutes les portes lorsque :
- Le contact est établi, toutes les portes sont fermées et le vehicule roule à plus de 20km / h (12 mi/h);
- le véhicule est immobilisé et le commutateur d'allumage est placé à la position arrêt ou accessoires; et
- la porte du conducteur est ouverte dans les 10 minutes après que le commutateur d'allumage a été placé à la position arrêt ou accessoires.
Note : Les portes ne se déverrouillent pas automatiquement si vous verrouillez électroniquement le véhicule après avoir coupé le contact et avant d'ouvrir la porte du conducteur.
Désactivation ou activation
Nota : Vous pouvez activer ou désactiver les fonctions de verrouillage et de déverrouillage automatique des portes indépendamment l'une de l'autre.
Vous pouvez activer ou désactiver ces fonctions
- en vous adressant à un concessionnaire autorisé;
- en utilisant l'écran d'information (si le véhicule est muni de cette caractéristique).
Éclairage à l'entrée
L'éclairage intérieur, les yeux de position et les lampes dirigées vers le sol s'allument lorsque vous utilisez une clé à télécommande intégrée, une clé d'accès intelligent ou le clavier d'entrée sans clé pour déverrouiller le véhicule.
Le système éteint l'éclairage si :
- vous établissez le contact
- vous appuyez sur le bouton de verrouillage de la télécommande
- vous verrouillez le véhicule à l'aide du clavier d'entrée sans clé 25 secondes après s'être allumé
L'éclairage ne s'éteint pas :
- si vous l'allumez avec la commande à rhéostat
- si l'une des portes est ouverte
Éclairage à la sortie
L'éclairage intérieur et les feux extérieurs sélectionnifs s'allument lorsque toutes les portes sont fermées, lorsque le contact est coupé et lorsque la clé est retirée du commutateur d'allumage (clé à télécommande intégrée seulement)
Les lampes s'éteignent si toutes les portes restent fermées et :
25 secondes se sont écoulées - vous insérez la clé dans le commutateur d'allumage (clé à télécommande intégrée seulement) - vous appuyez sur le bouton-poussoir de démarrage START/STOP (clé d'accès intelligent seulement).
Protection antidécharge de la batterie
Si vous laissez les lampes d'accueil, lampes de plafonnier ou phares allumés, la protection antidécharge de la batterie les éteint 10 minutes après que vous avez coupé le contact.
Protection antidécharge de la batterie du mode accessoires pour clés intelligentes (salon l'équipement)
Si vous laissez votre véhicule avec le contact établi, il s'arrête après avoir détecté un certain niveau de décharge de la batterie ou après 45 minutes.
HAYON
AVERTISSEMENT: Il est très dangereux de se trouver dans l'aire de chargement, intérieure ou extérieure, lorsque le véhicule roule. En cas de collision, ces occupants risquent d'être gravement blessés ou tués. Ne laissiez personne s'installer dans le véhicule à un endroit qui n'est pas muni d'un siège et d'une ceinture de sécurité. Assurez-vous que tous les passagers bouclent leur ceinture correctement.
Hayon à commande manuelle
AVERTISSEMENT: Assurez-vous que le hayon est bien fermé pour éviter que les gaz d'échappement pénétrent dans l'habitacle. De plus, cela permettra d'éviter que les passagers et le chargement ne tombent du véhicule. Si vous devez rouler avec le hayon ouvert, assurez-vous de laisser pénétrer autant que possible l'air extérieur dans l'habitacle. Le fait de ne pas tenir compte de cet avertissement accroît les risques de blessures graves.
Note : Soyez prudent lorsque vous ouvrez ou fermez le hayon dans un garage ou un endroit fermé pour éviter d'endommager le hayon.
Nota: Ne suspendez aucun objet (porte-bicyclette, etc.) au becquet, à la glace de hayon ou au hayon. Vous risqueriez d'endommager le hayon et ses composants.
Nota: Ne laissez pas le hayon ouvert lorsque vous roulez. Vous risqueriez d'endommager le hayon et ses composants.
La zone du hayon est conçue uniquement pour transporter un chargement et non des passagers.

Pour ouvrir le hayon : Appuyez sur le bouton situé dans la partie supérieure de la poignée d'ouverture du hayon pour déverrouiller le hayon, puis tirez sur la poignée extérieure.
Hayon à commande électrique (selon l'équipement)

AVERTISSEMENT: Assurez-vous que personne ne se trouve à proximité du hayon avant d'utiliser la commande électrique.

AVERTISSEMENT : Gardez les clés hors de la portée des enfants. Ne laissez pas les enfants actionner le hayon à commande électrique ni jouer près d'un hayon à commande ouvert ou en mouvement.
Nota : Si vous coupez puis rétablissez le contact durant un cycle de fermeture électrique du hayon et que ce dernier se trouve près du loquet, le hayon risque d'inverser sa course et de s'ouvrir complètement. Assurez-vous que le hayon est fermé avant de faire démarrer le moteur ou de déplacer le véhicule, surtout dans un garage ou un stationnement fermé. Vous risquez d'endommager le hayon ou ses composants.
Note: Ne conduisez pas en laissant le hayon ouvert avant de désactiver la fonction de commande électrique et de fixer le hayon au véhicule.
Nota : Lorsque la température est très froide, -40 °C (-40 °F) ou lorsque le véhicule se trouve dans une pente très abrupte, il est conseillé de manoeuvrer le hayon manuellement.
Vous pouvez activer ou désactiver le hayon à commande électrique au moyen de l'écran d'information. Le hayon peut quand même être actionné au moyen de la télécommande et du bouton situé sur le tableau de bord, peu importe le réglage.
Ouverture et fermeture du hayon à commande électrique
Note : Il est possible d'inverser le mouvement du hayon en appuyant de nouveau sur le bouton de commande au tableau de bord ou sur le bouton de commande sur le hayon, ou en appuyant de nouveau deux fois sur le bouton de la télécommande.
Le hayon ne fonctionne que lorsque le levier sélecteur est en position de stationnement (P)
Un carillon retentit deux fois au début de sa course lors de la fermeture en mode électrique. Si le carillon ne retentit qu'une seule fois, il existe un problème au niveau de la demande de fermeture, provoqué par une des conditions suivantes :
- Le contact est établi et la boîte de vitesses n'est pas en position de stationnement (P),
- La tension de la batterie est inférieure à la tension minimale nécessaire à son fonctionnement.
- La vitesse du véhicule est d'au moins 5 km/h (3 mi/h).
Un carillon rapide et continu qui retentit durant la course d'inversion de fermeture électrique du hayon après une commande d'ouverture indique une contrainte excessive sur le hayon ou un problème au niveau du mécanisme du hayon. Consultez votre concessionnaire autorisé si le carillon retentit toujours rapidement après avoir retiré la charge.

Pour ouvrir ou fermer le hayon à partir du tableau de bord : Appuyez sur le bouton de commande sur le tableau de bord.

Pour ouvrir ou fermer le hayon à l'aide de la télécommande : Appuyez deux fois sur le bouton de la télécommande dans un délai de trois secondes.

Pour ouvrir le hayon au moyen du bouton de commande extérieur du hayon :
- Déverrouillez le hayon au moyen de la télécommande ou de la commande de déverrouillage électrique des portes. Si la télécommande à clé intelligente (selon l'équipement)
Si la télécommande à clé intelligente se trouve à moins de 1m (3 pi) du hayon, ce dernier se déverrouillera automatiquement lorsque vous appuyez sur le bouton de déverrouillage du hayon.
- Appuyez sur le bouton de commande situé dans la partie supérieure de la poignée d'ouverture extérieure du hayon.
Note : Après avoir appuyé sur le bouton de commande, laissez le système électrique ouvrir le hayon. Si vous tirez ou poussez sur le hayon, vous risquez d'activer la fonction de détention d'obstacles et d'annuler la commande électrique.

Pour refermer le hayon au moyen de la commande de l'aire de chargement arrière : Appuyez brièvement sur le bouton situé près de l'aire de chargement arrière.

AVERTISSEMENT: Ne laissez personne s'approcher du hayon lorsque vous appuyez sur le bouton de commande situé près de l'aire de chargement arrière.
Détection d'obstacles
Lors de la fermeture : le hayon est conçu pour inverser sa course jusqu'à la pleine ouverture s'il rencontre un obstacle. Un carillon retentit deux fois au début de sa course de réouverture. Retirez l'obstacle pour fermer le hayon.
Note : L'entrée dans le véhicule lors de la fermeture du hayon pourrait provoquer le rebondissement du véhicule et l'activation de la fonction de détection d'obstacles. Pour éviter ces situations, attendez la fermeture complète du hayon à commande électrique avant d'entrer dans le véhicule. Avant de prendre la route, vérifiez la présence d'un message de porte ou de hayon entrouvert ou de témoin allumé au tableau de bord. Si vous prenez la route avant de vérifier la présence d'un message de porte ou de hayon entrouvert ou de témoin allumé, vous risquez de laisser involontairement le hayon ouvert lors de la conduite.
Lors de l'ouverture : le système s'arrête et un carillon retentit deux fois lorsqu'il rencontre un obstacle. Retirez l'obstacle pour actionner le hayon.
Réinitialisation du hayon à commande électrique
Si l'une des conditions suivantes se produit, il est possible que le hayon à commande électrique ne fonctionne pas correctement et qu'il doit être réinitialisé :
Tension trop basse ou batterie déchargée. - Batterie débranchée. - Hayon refermé manuellement et laissé entrouvert (déverrouillé).
Dans ces cas :
- débranchez la batterie pendant 20 secondes, puis rebranchez-la;
- fermez et enclenchez le hayon manuellement;
- ouvre le hayon en mode électrique au moyen de la clé à télécommande intégrée ou du bouton de commande au tableau de bord.
Clavier d'entrée sans clé SECURICODEMC (SELON l'équipement)
Le clavier, situé près de la glace du conducteur, est invisible et s'allume au toucher afin que vous puissiez le voir et appuyer sur les touches appropriées.
Nota : Si vous entrez votre code d'entrée trop rapidement sur le clavier numérique, la fonction de déverrouillage pourrait ne pas fonctionner. Entrez votre code d'entrée plus lentement.
Vous pouvez utiliser le clavier pour :
| 90 | 78 | 56 | 34 | 12 |
- verrouiller ou déverrouiller les portes;
- rappeler les réglages mémorisés;
- activer ou désactiver les fonctions de verrouillage et de déverrouillage automatique;
- armer et désarmer l'alarme antivol.
Vous pouvez utiliser le clavier avec le code d'entrée à 5 chiffres programmé en usine. Ce code est inscrit sur la carte du propriétaire placée dans la boîte à gants; il vous a été fourni par votre concessionnaire autorisé. Vous pouvez également créer jusqu'à trois codes personnalisés, toujours à cinq chiffres.
Programmation d'un code d'entrée personnalisé
Pour programmer votre code d'entrée personnalisé:
- Entrez le code programme en usine.
- Appuyez sur la touche 1 2 du clavier dans un période de cinq secondes.
- Composez votre code d'entrée personnalisé à cinq chiffres.
Un intervalle maximal de cinq secondes doit séparer la saisie de deux chiffres.
- Pour attribuer les fonctions de rappel de mémoire, entrez le sixième chiffre à l'aide de la touche 1·2 pour mémoriser les réglages du conducteur 1, ou de la touche 3·4 pour mémoriser les réglages du conducteur 2.
Nota : Aucun rappel de réglage mémorisé ne s'effectue si la touche 5●6, 7●8 ou 9●0 est utilisée pour entrer un sixième chiffre.
Nota : Le code établi en usine ne peut pas être associé à un réglage mis en mémoire.
- Les portes se verrouillent et se déverrouillent pour confirmer que la programmation est terminée.
Vous pouvez également programmer un code d'entrée personnalisé au moyen du système MyFord Touch. Consultez le chapitre Système MyFord Touch.
Conseils :
- Ne choisissez pas un code contenant cinq fois le même chiffre.
- Ne choisissez pas cinq chiffres qui se suivent.
- Le code programme en usine fonctionnera même si vous programmez un code d'entrée personnalisé.
Suppression d'un code personnel
- Entrez le code à cinq chiffres programmé en usine.
- Appuyez brièvement sur la touche 1·2 du clavier dans un début de cinq secondes.
- Maintenez la touche 1·2 enfoncée pendant deux secondes. Vous devez exécuter cette étape dans les cinq secondes une fois l'étape 2 terminée.
Tous les codes personnalisés sont désormais supprimés et seul le code à cinq chiffres programmé en usine fonctionne.
Fonction antibalayage
Le clavier passe en mode antibalayage si vous saisissez un code inexact à sept reprises (35 pressions consécutives sur les touches). Ce mode désactive le clavier pendant une minute et le témoin du clavier se met à clignoter.
La fonction antibalayage est désactivée après :
- une période d'inactivité du clavier d'une minute;
- avoir appuyé sur le bouton de déverrouillage de la télécommande;
- avoir établi le contact;
- avoir déverrouillé le véhicule à l'aide de la clé intelligente.
Déverrouillage et verrouillage des portes
Pour déverrouiller la porte du conducteur : entrez le code à 5 chiffres programmé en usine ou votre code personnalisé. Un intervalle maximal de cinq secondes doit séparer la saisie de deux chiffres. L'éclairage intérieur s'allume. Nota : Toutes les portes se déverrouillent si la fonction de déverrouillage en deux étapes est désactivée. Consultez la rubrique Verrouillage et déverrouillage ci-dessus dans ce chapitre.
Pour déverrouiller toutes les portes : entrez le code programme en usine ou votre code personnelisé, puis appuyez sur la touche 3•4 dans un délai de cinq secondes.
Pour verrouiller toutes les portes : maintenez les touches 7 • 8 et 9 • 0 enfoncées en même temps, avec la porte du conducteur fermée. Vous n'avez pas besoin de composer au préalable le code du clavier.
Système antidémarrage securilock®
Nota : Le système n'est pas compatible avec les dispositifs de démarrage à distance de deuxième monte qui ne sont pas distribués par Ford. L'emploi de ces télécommandes peut entraîner des difficultés de démarrage et la perte de toute protection contre le vol.
Nota : Les objets métalliques, les appareils électroniques ou une seconde clé à puce accrochée au même porte-clés peuvent entrainer des problèmes de démarrage s'ils sont trop près de la clé lors du démarrage du moteur. Évitez que ces objets entrent en contact avec la clé à puce lors du démarrage du moteur. Coupez le contact, tenez éloignés de la clé à puce tous les objets accrochés au porte-clés, puis redémarrez le moteur si un problème survient.
Note: Ne laissez pas une clé à puce de rechange dans le véhicule. Apportez toujours vos clés et verrouillez toutes les portes lorsque vous quittez le véhicule.
Le système est un dispositif qui interdit le démarrage du moteur de votre véhicule. Il empêche le moteur de démarrer en cas d'utilisation d'une clé autre qu'une clé à puce programme pour votre véhicule. L'utilisation d'une clé inadéquate peut empêcher le démarrage du moteur. Un message peut s'afficher à l'écran d'information.
S'il est impossible de démarrer le moteur au moyen d'une clé à puce ajustée, une anomalie s'est produite et un message peut s'afficher à l'écran d'information.
Mise en veille automatique
Votre véhicule se met en veille immédiatement après la coupure du contact.
Neutralisation automatique
Votre véhicule se met hors veille lorsque vous établissez le contact avec une clé codée.
Remplacement des clés
Nota : Notre véhicule est équipé de deux clés à télécommande intégrée ou de deux clés d'accès intelligent.
La télécommande à clé intégrée fonctionne comme une clé de contact programmée actionnant toutes les serrures et permettant de faire démarrer le moteur, et comme une télécommande.
La clé intelligente fonctionne comme une clé programmée actionnant la serrure de la porte du conducteur et activant la fonction d'accès intelligent avec système de démarrage à bouton-poussoir, et comme une télécommande.
En cas de perte ou de vol de vos télécommandes programmées ou de vos clés à puce conventionnelles SecuriLock (clés à télécommande intégrée seulement) et que vous n'avez pas une clé à puce supplémentaire, vous nevez faire remorquer votre véhicule chez un concessionnaire autorisé. Les codes des clés devront être effacés de la mémoire de votre véhicule et il sera nécessaire de programmer de nouvelles clés à puce.
Il est donc recommandé de garder une clé à puce supplémentaire à l'extérieur du véhicule, dans un endroit sûr, pour pouvoir l'utiliser en cas de perte ou de vol des autres clés. Consultez un concessionnaire autorisé pour acheter des clés de rechange ou des clés supplémentaires.
Programmation d'une télécommande à clé intégrée supplémentaire
Note : Vous pouvez programmer jusqu'à huit clés à puce pour votre véhicule. Seules quatre d'entre elles peuvent être des télécommandes à clé intégrée.
Vous pouvez programmer vous-même vos télécommandes à clé intégrée ou vos clés à puce conventionnelles SecuriLock® pour votre véhicule. Cette procédure permet de programmer le code d'antidémarrage du moteur et la partie télécommande d'entrée sans clé de la télécommande pour votre véhicule.
N'utilisez que des télécommandes à clé intégrée ou des clés conventionnelles SecuriLock®.
Vous devez avoir deux clés à puce déjà programmées et la nouvelle clé non programmée à portée de main. Consultez ce concessionnaire autorisé pour programmer la clé supplémentaire si vous ne disposez pas de deux clés à puce déjà programmées.
Lisez attentivement toute la procédure avant de commencer.
- Insérez la première clé à puce déjà programmée dans le commutateur d'allumage.
- Tournez le commutateur d'allumage de la position arrêt à la position contact. Laissez le commutateur d'allumage à la position contact pendant au moins trois secondes, mais sans dépasser 10 secondes.
- Tournez le commutateur d'allumage à la position arrêt et retirez la première clé à puce du commutateur d'allumage.
- Dans un déali de plus de trois secondes, mais de moins de dix secondes après avoir coupé le contact, insérez la deuxième clé à puce programmee dans le commutateur d'allumage.
- Tournez le commutateur d'allumage de la position arrêt à la position contact. Laissez le commutateur d'allumage à la position contact pendant au moins trois secondes, mais sans dépasser 10 secondes.
- Tournez le commutateur d'allumage à la position arrêt et retirez la seconde clé à puce déjà programmée du commutateur d'allumage.
- Dans un délai de plus de deux secondes, mais de moins de 20 secondes après avoir coupé le contact et retiré la clé à puce déjà programmée, insérez la nouvelle clé non programmée dans le commutateur d'allumage.
- Tournez le commutateur d'allumage de la position arrêt à la position contact. Laissez le commutateur d'allumage à la position contact pendant au moins six secondes.
- Retirez la clé à puce nouvellement programmée du commutateur d'allumage.
Si la programmation de la clé a réussi, la clé permettra de faire démarrer le moteur du véhicule et d'actionner le système d'ouverture à distance (si la nouvelle clé est une clé à télécommande intégrée).
Attendez 20 secondes, puis répétez les étapes 1 à 8 si la programmation de la clé a échoué. En cas de nouvel échec, confiez votre véhicule à votre concessionnaire autorisé pour faire programmer la nouvelle clé.
Attendez 20 secondes, puis répétez cette procédure à partir de l'étape 1 pour programmer une clé supplémentaire.
Programmation d'une clé d'accès intelligente supplémentaire (selon l'équipement)
Nota : Vous pouvez programmer jusqu'à quatre clés d'accès intelligent pour votre véhicule. Si vous souhaitez remplacer une clé intelligente déjà programmée par une nouvelle clé intelligente, ou si vous avez déjà programmé quatre clés intelligentes pour votre véhicule, vous devez confier votre véhicule à votre concessionnaire autorisé et y apporter toutes les clés intelligentes pour effacer la programmation et les programmer de nouveau.
Vous devez avoir deux clés d'accès intelligent déjà programmées dans le véhicule ainsi qu'une nouvelle clé d'accès intelligent non programmée à portée de main. Consultez votre concessionnaire autorisé pour programmer la clé supplémentaire si vous ne disposez pas de deux clés déjà programmées.
Assurez-vous que le contact est coupé avant de commencer la procédure. Toutes les portes du véhicule doivent être fermées et demeurer fermées durant toute la procédure. Toutes les étapes doivent être terminées en moins de 30 secondes dans l'ordre indiqué. Arrêtez et attendez au moins une minute avant de recommencer si certaines étapes ne sont pas effectuées dans l'ordre indiqué.
Lisez attentivement toute la procédure avant de commencer.

- Placez la nouvelle clé intelligente non programmée dans la pochette à l'intérieur de la console centrale, en orientant les touches vers l'extérieur et l'anneau de porte-clé vers le haut.
- Appuyez trois fois sur la commande de déverrouillage électrique de la porteduconducteur ou du passager.
- Appuyez brièvement une fois sur la pédale de frein.
- Appuyez trois fois sur la commande de verrouillage électrique de la porte du conducteur ou du passager.
- Appuyez brièvement une fois sur la pédale de frein. Le témoin du bouton-poussoir de démarriage START/STOP doit s'allumer rapidement, indiquant l'entrée en mode de programmation et la confirmation de la présence dans l'habitacle des deux clés intelligentes programmées.
- Appuyez sur le bouton-poussoir de démarrage START/STOP dans un délai d'une minute. Un message s'affiche à l'écran d'information pour indiquer que la nouvelle clé intelligente a été programmée.
- Retirez la clé intelligente de la pochette de la console centrale, puis appuyez sur le bouton de déverrouillage de la clé intelligente nouvellement programmée pour quitter le mode de programmation.
- Vérifiez que les fonctions d'ouverture à distance sont fonctionnelles (appuyez sur les touches de verrouillage et de déverrouillage, en vous assurant de terminer par la touche de déverrouillage) et que le moteur démarre avec la nouvelle clé d'accès intelligente.
ALARME antivol (SELEN l'équipement)
Le système vous avertit de toute entrée non autorisée dans votre véhicule.
Les clignotants clignotent et l'avertisseur sonore retentit jusqu'à 10 fois si :
- une porte, le capot ou le coffre est ouvert sans utiliser le clavier, la télécommande ou la télécommande d'accès intelligent (selon l'équipement).
- le contact est établi à l'aide d'une clé non valide.
Apportez toutes les clés et les télécommandes chez un concessionnaire autorisé en cas de problème potentiel relatif à l'alarme de votre véhicule.
Mise en veille de l'alarme
Le système est prêt à être mis en veille chaque fois que vous coupez le contact. Verrouillez le véhicule pour mettre en veille l'alarme.
Les clignotants clignotent une fois après le verrouillage du véhicule pour indiquer que l'alarme est en mode pré-armé. Elle est entièrement armée dans un délai de 20 secondes.
Désarmement de l'alarme
Pour désarmer l'alarme, effectuez l'une des opérations suivantes :
- Appuyez sur le bouton de déverrouillage électrique des portes dans les 20 secondes du mode pré-armé.
- Appuyez sur le bouton de déverrouillage de la télécommande.
- Déverrouillez les portes à l'aide du clavier d'entrée sans clé.
- Entrez dans le véhicule en utilisant le système de clé intelligente (selon l'équipement).
- Établissez le contact à l'aide d'une clé valide (si le véhicule est muni d'une clé à télécommande intégrée seulement).
- Appuyez sur le bouton de détresse de la télécommande. Le système d'alarme demeure armé, mais cette action désactive l'avertisseur sonore et les clignotants lorsque l'alarme retentit.
Note: Si la porte du conducteur est déverrouillée à l'aide d'une clé, un carillon retentit lorsque vous ouvrez la porte et un message s'affiche à l'écran d'information. Vous disposerez alors de 12 secondes pour désarmer l'alarme selon l'une des méthodes décrites précédemment, sinon l'alarme se déclenchera.
Réglage du VOLANT

AVERTISSEMENT: Ne régler pas le volant lorsque le véhicule se déplace.
Nota: Assurez-vous d'être assis correctement. Consultez la rubrique Position assise appropriée dans le chapitre Sièges.

- Déverrouillez la colonne de direction.
- Réglez le volant à la position voulue.

- Verrouillez la colonne de direction.
Colonne de direction à inclinaison et réglage téléscopique à commande électrique (selon l'équipement)

AVERTISSEMENT: Ne régler pas le volant lorsque le véhicule se déplace.
Note: Assurez-vous d'être assis correctement. Consultez la rubrique Position assise appropriée dans le chapitre Sièges.

Utilisez la commande intégrée sur le côté de la colonne de direction pour régler la position.
Pour régler les positions suivantes :
- inclinaison : appuyez sur la partie supérieure ou inférieure de la commande
- télescopique : appuyez sur la partie avant ou arrière de la commande
Fonction de facilitation de l'entrée et de la sortie
Lorsque vous coupez le contact, la colonne de direction se rétracte complètement vers le tableau de bord et se relève vers le haut au maximum pour faciliter la sortie du véhicule. La colonne reprend sa position initiale lorsque le contact est établi. Vous pouvez activer ou désactiver cette fonction à l'écran d'information. Consultez la rubrique Généralités dans le chapitre Écrans d'information.
Fonction de rappel des réglages mémorisés
La position de la colonne de direction est enregistrée avec l'exécution de la fonction des réglages mémorisés. Vous pouvez la rappeler avec la fonction de rappel des réglages mémorisés. Consultez le chapitre Sièges.
Si vous appuyez sur la commande de réglage pendant le rappel des réglages mémorisés, le fonctionnement est annulé. La colonne de direction réagira à la commande de réglage.
Pour éviter d'endommager la colonne de direction, la course de la colonne de direction s'arrête juste avant d'atteindre sa butée. Une nouvelle limite de course s'enregistre si la colonne de direction rencontre un obstacle lors de l'inclinaison ou du réglage téléscopique.
Pour redéfinir la limite de course normale de la colonne de direction :
- Appuyez de nouveau sur la commande de colonne de direction une fois la nouvelle limite de course atteinte.
- Maintenez la commande enfoncée jusqu'à ce que la colonne de direction atteigne sa butée.
Une nouvelle limite de course s'enregistre. La prochaine fois que la colonne de direction est inclinée ou déployée, elle s'arrête juste avant d'atteindre sa butée.

SEEK (recherche automatique) : appuyez sur cette touche pour sélectionner la station mise en mémoire ou la piste suivante ou précédente. Maintenez enfoncée cette touche pour sélectionner la bande de fréquences suivante ou précédente ou pour rechercher dans
une piste.
MEDIA (média) : Appuyez plusieurs fois sur cette touche pour faire défiler les modes audio disponibles.
MUTE (sourdine) : appuyez sur cette touche pour mettre la radio en sourdine.
VOL (volume) : appuyez sur cette touche pour augmenter ou diminuer le volume.
Commande VOCALE (SELON l'équipement)

A. Mode téléphone B. Reconnaissance vocale
Consultez le chapitre SYNC ou Système MyFord Touch.
RÉGULATEUR DE VITESSE Type 1
Type 2
Consultez le chapitre Régulateur de vitesse pour de plus amples renseignements concernant cette fonction.
Commande de l'ecran d'information

Consultez le chapitre Écrans d'information pour obtenir de plus amples renseignements.
Fonctions de la commande de l'écran du tableau de bord

Si le véhicule est équipé:
du système MyFord : cette commande fonctionne de la même manière que la commande centrale située sur la plaque frontale. Consultez la rubrique Système MyFord MC dans le chapitre Chaînes audio.
de MyFord Touch : utilisez cette commande pour régler le côté droit de l'écran du tableau de bord. Naviguez entre les options de l'écran et appuyez sur le bouton OK. Consultez le chapitre Système MyFord Touch.
Pédales réglables (SELON l'équipement)

AVERTISSEMENT: Ne procédez jamais au réglage des pédales d'accélérateur ou de frein pendant que vos pieds y reposent et le véhicule est en mouvement.
La commande est située sur le côté gauche de la colonne de direction. Appuyez sur la commande appropriée et maintenez-la enfoncée pour déplacer les pédales.

A. Plus loin
B. Plus pres
Les positions des pédales sont enregistrées et rappelées à l'aide de la fonction de rappel des réglages mémorisés (selon l'équipement). Consultez le chapitre Sièges.
Les pédales doivent être réglées uniquement lorsque le véhicule est stationné.
Essuie-glaces de pare-brise
Nota : Dégivrez complètement le pare-brise avant d'activer les essuie-glaces.
Nota : Assurez-vous que les essuie-glaces sont désactivés avant de passer votre véhicule dans un lave-auto.
Nota : Nettoyez le pare-brise et les balais d'essuie-glace s'ils commencent à laisser des souillures ou des trainées sur le pare-brise. Si cela ne résout pas le problème, posez de nouveaux balais d'essuie-glace.
Nota: Ne mettez pas les essuie-glaces en fonction lorsque le pare-brise est sec. Vous pourriez rayer le pare-brise, endommager les balais d'essuie-glace ou faire griller le moteur des essuie-glaces. Utilisez toujours le lave-glace de pare-brise avant d'effectuer le balayage d'un pare-brise sec.

Tournez l'extrémité de la commande vers le tableau de bord pour augmenter la vitesse des essuie-glaces. Tournez-la vers vous pour réduire la vitesse des essuie-glaces.
Essuie-glaces asservis à la vitesse du véhicule (selon l'équipement)
Lorsque la vitesse de votre véhicule augmente, l'intervalle entre les balayages diminue si la fonction de balayage intermittent est sélectionnée.
Essuie-glaces à capteur de PLUIE (SELON l'équipement)
Nota : Un balayage ou un essuyage irrégulier ou inopiné pourrait se produire lorsque les routes sont mouillées. Abaissez la sensibilité, passez au mode de balayage normal ou à haute vitesse, ou désactivez les essuie-glaces afin de réduire l'essuyage.
Nota : Désactivez les essuie-glaces avant d'entrer dans un lave-auto automatique.

Utilisez la commande rotative pour régler la sensibilité à l'un des réglages d'intervalle d'humidité. Les essuie-glaces s'activent seulement en cas de détection d'humidité sur le pare-brise. La vitesse des essuie-glaces varie selon la quantité d'humidité détectée sur le
pare-brise et le réglage de sensibilité. Le balayage des essuie-glaces se poursuit tant que la présence d'humidité est détectée.
Gardez l'extérieur du pare-brise propre, surtout la zone autour du rétroviseur intérieur où le capteur est situé, sinon le rendement du capteur pourrait être compromis.
Lave-glaces de pare-brise
Nota: Ne mettez pas les essuie-glaces en fonction lorsque le pare-brise est sec. Vous pourriez rayer le pare-brise, endommager les balais d'essuie-glaces ou faire griller le moteur des essuie-glaces. Utilisez toujours le lave-glace de pare-brise avant d'effectuer le balayage d'un pare-brise sec.
Nota: Ne mettez pas le lave-glace en fonction lorsque le réservoir de lave-glace est vide. La pompe de lave-glace pourrait surchauffer.
Appuyez sur l'extrémité du levier pour actionner le lave-glace.

- Appuyez brièvement sur l'extrémité du levier pour effectuer un seul balayage sans liquide lave-glace.
- Appuyez brievement sur l'extrémité du levier et maintenez-le enfoncé pour effectuer trois balayages des essuie-glaces avec liquide lave-glace.
- Maintenez l'extrémité du levier enfoncée longuement pour activer les essuie-glaces et le liquide lave-glace pendant au plus 10 secondes.
Quelques secondes après avoir lavé le pare-brise, les essuie-glaces effectuent un balayage additionnel pour enlever l'eau résiduelle du pare-brise. Vous pouvez activer ou désactiver cette fonction à l'écran d'information.
Essuieglaces et laveglaces de lunette arrière

Tournez la commande pour sélectionner les positions suivantes :
2 — Balayage intermittent (pause la plus courte entre les balayages).
1 — Balayage intermittent (pause la plus longue entre les balayages).
0-Hors fonction.
Tournez la commande et maintenez-la à la position supérieure ou inférieure pour activer le lave-glace de lunette arrêtée. La commande retourne automatiquement à la position 2 ou 0 lorsque vous la relâchez.
Lorsque vous sélectionnez la marche arrêtée, l'essuie-glace de lunette arrêté s'active automatiquement en mode de balayage intermittent si les essuie-glaces avant sont activés. Vous pouvez activer ou désactiver cette fonction à l'écran d'information.
Commutateur d'éclairage

A. Hors fonction
B. Feux de position, éclairage du tableau de bord, éclairage de la plaque d'immatriculation et feux arrière
C. Phares
Feux de route

- Poussez le levier vers le tableau de bord pour les allumer.
- Poussez de nouveau le levier vers le tableau de bord ou tirez-le vers vous pour les désactiver.
Avertisseur optique

- Pour faire un appel de phares, tirez le levier légèrement vers vous. Relâchez-le pour désactiver cette fonction.
Commande automatique des PHARES (SELON l'équipement)

AVERTISSEMENT : Dans le cas de conditions météorologiques sévères, il peut être nécessaire d'allumer manuellement les
phares.
Nota : Si votre vehicule est équipé de la commande automatique des phares, il possède également la fonction d'allumage des phares avec les essuie-glaces. Lorsque la commande d'essuie-glaces est à la position de haute ou BASSE VITSSE DE BALAYAGE durant le jour, et que le commutateur d'éclairage est à la position de commande automatique des phares, l'éclairage extérieur s'allume peu après et demeure allumé jusqu'à l'arrêt des essuie-glaces.

Le système de commande automatique des phares utilise un dispositif photosensible pour régler de façon automatique la mise en fonction et hors fonction des phares normalement commandés par le commutateur d'éclairage.
Les phares restent allumés pendant un certain temps après la coupure du contact. Vous pouvez également régler le délai de temporisation au
moyen des commandes de l'écran du tableau de bord. Consultez le chapitre Écrans d'information.
Rheostat d'éclairage du GROUPE d'instrument

- Appuyez sur ces touches à maintes reprises ou maintenez les touches enfoncées jusqu'à ce que le niveau voulu soit atteint.
- Maintenez la partie supérieure de la commande en position de marche pour activer la fonction d'allumage forcé. Cette action a pour effet d'allumer l'éclairage d'accueil. Appuyez sur le côté gauche de la commande et maintenez-le enfoncé pour éteindre l'éclairage d'accueil intérieur.
Temporisation des PHARES
Suivez les étapes ci-dessous pour choisir une durée de temporisation des phares jusqu'à deux minutes après la coupure du contact.
Suivez les étapes ci-dessous pour modifier le début de temporisation (les étapes 1 à 6 doivent être effectuées dans un début de 10 secondes):
- Coupez le contact.
- Tournez le commutateur d'éclairage à la position de commande automatique des phares.
- Tournez le commutateur d'éclairage à la position Hors fonction.
- Établissez le contact.
- Coupez le contact.
- Tournez le commutateur d'éclairage à la position de commande automatique des phares. Les phares et les yeux de position s'allument.
- Tournez le commutateur d'éclairage à la position Hors fonction lorsqu'elle délambda de temporisation souhaite est atteint. Les phares et les feux de position s'éteignent. Vous pouvez régler le délambda de sortie des phares à l'un des réglages suivants :
Hors fonction 10 secondes 20 secondes 30 secondes - 60 secondes 90 secondes 120 secondes 180 secondes
Nota : Vous pouvez également régler le délai de temporisation au moyen des commandes de l’écran du tableau de bord. Consultez le chapitre Écrans d’information.
FEUX de jour (SELON l'équipement)

AVERTISSEMENT : N'oubliez pas d'allumer vos phares à la
tombée de la nuit ou par mauvais temps. Le système des feux de
jour n'allume pas les feux arrière. De plus, il ne fournit pas nécessairement un éclairage d'intensité suffisante pour de telles conditions. Si les phares ne sont pas allumés dans de telles conditions, vous risquez un accident.
Le système allume les phares à une intensité réduite (véhicules équipés de phares à halogène) ou allume les antibrouillards avant (véhicules équipés de phares à décharge à haute intensité) dans les situations d'éclairage faible.
Pour permettre le système en fonction, suivez les étapes suivantes
- Établissez le contact.
- Placez le commutateur d'éclairage à la position Hors fonction, de commande automatique des phares ou de feu de position.
- Assurez-vous que le levier sélecteur de la boîte de vitesses n'est pas à la position de stationnement (P).
- Assurez-vous que le frein de stationnement est desserré.
Antibroullards avant

Les antibrouillards peuvent être allumés lorsque le commutateur d'éclairage est tiré vers vous et qu'il se trouve aux positions des phares, des feux de position ou de commande automatique d'éclairage.
Les antibrouillards ne fonctionnent pas lorsque les feux de route sont allumés.
Clignotants

- Pour activer le clignotant de gauche, poussez le levier vers le bas.
- Pour activer le clignotant de droite, poussez le levier vers le haut.
Note : Appuyez légèrement sur le levier vers le haut ou vers le bas pour faire clignoter seulement trois fois les indicateurs de direction afin d'indiquer un changement de voie.
Lampes de lecture avant

Les lampes de lecture se trouvent sur la console au pavillon. Appuyez sur la lentille de chaque lampe de lecture pour allumer les lampes. Les lampes de lecture s'allument également si :
- une porte est ouverte;
- le rhéostat d'éclairage du tableau
de bord est tourné vers le haut, au-delà du cran, jusqu'à ce que les lampes d'accueil s'allument;
- une des touches de la télécommande d'entrée sans clé est enfoncée alors que le contact est coupé.
Plafonnier et lampes de lecture arrêté

Votre véhicule peut être équipé de lampes de lecture intégrées aux plafonniers arrière. Pour allumer ces lampes de lecture, appuyez sur les contacteurs d'un côté ou l'autre du plafonnier.
Lampes de lecture arrière

Votre véhicule peut être équipé de lampes de deuxième rangée intégrées aux poignées de maintien. Appuyez sur le cran sur la lentille pour allumer les lampes.
Glacesàcommandeélectrique

AVERTISSEMENT: Ne laissez pas d'enfants sans surveillance dans votre véhicule et ne les laissez pas jouer avec les glaces à commande électrique. Ils risqueraient de subir des blessures graves.

AVERTISSEMENT : Lorsque vous fermez les glaces à commande électrique, veillez à ce que rien ne puisse entraver l’actionnement et assurez-vous qu’il n’y a pas d’enfants aux alentours de l’ouverture des glaces.

Appuyez sur les commandes ouvertes ou fermantes pour actionner les glaces.
- Appuyez sur la commande jusqu'au premier cran et maintenez-la dans cette position pour ouvrir la glace.
- Relevez la commande jusqu'au premier cran et maintenez-la dans cette position pour fermer la glace.
Turbulence causée par une glace arrêt ouverte
Un effet de turbulence ou un bruit de vent accompagné de secousses peut se produire lorsqu'une glace ou les deux glaces arrêtées sont ouvertes. Vous pouvez réduire ce bruit en abaissant une des glaces avant d'environ 5 à 8 cm (2 à 3 po).
Commande à impulsion (glace du conducteur)
Cette fonction permet d'ouvrir ou de fermer automatiquement la glace.
Appuyez sur la commande ou relevez-la complètement, puis relâchez-la. La glace s'ouvre ou se ferme complètement. Appuyez sur la commande ou relevez-la de nouveau pour immobiliser la glace.
Fonction d'inversion en cas d'obstruction
La glace s'arrête automatiquement durant la fermeture et inverse légèrement sa course si elle rencontre un obstacle.
Annulation de la fonction d'inversion en cas d'obstruction
AVERTISSEMENT: Si vous annulez la fonction d'inversion en cas d'obstruction, la glace n'inverse pas sa course lorsqu'elle rencontre un obstacle. Pour éviter les blessures, faites attention avant de fermer les glaces.
Tirez vers le haut sur la commande de glace et maintenez-la dans cette position pendant un délai de deux secondes après que la glace ait atteint sa position d'inversion en cas d'obstruction. La glace se relève sans protection d'inversion en cas d'obstruction. La glace s'immobilise si vous relâchez la commande avant que la glace ne soit complètement fermée.
Verrouillage des glaces

A. Déverrouillage B. Verrouillage
Appuyez sur la commande pour verrouiller ou déverrouiller les commandes des glaces arrêté.
Alimentation prolongée des accessoires
Vous pouvez utiliser les commandes de glaces pendant plusieurs minutes après avoir coupé le contact, ou jusqu'à ce que vous ouvriez une porte avant.
Rétroviseurs extérieurs
Rétroviseurs extérieurs à commande électrique

AVERTISSEMENT: Ne régalez pas le rétroviseur lorsque votre véhicule est en mouvement.

A. Rétroviseur gauche B. Hors fonction C. Rétroviseur droit
Pour régler vos rétroviseurs :
- Sélectionnez le rétroviseur que vous souhaitez régler.
- Déplacez la commande pour orienter le rétroviseur à la position voulue.
- Replacez la commande au centre pour verrouiller les rétroviseurs en place.
Rétroviseurs extérieurs rabattables
Poussez le rétroviseur vers la glace de porte. Assurez-vous d'engager complètement le rétroviseur dans son support lorsque vous le retournez dans sa position initiale.
Rétroviseurs rabattables à commande électrique (selon l'équipement)
Nota : Si vous activez la commande 10 fois ou plus en une minute, ou si vous repliez et replacez trop souvent les rétroviseurs en tenant la commande vers le bas pendant tout le déplacement, le système pourrait invalider la fonction afin de prévenir la surchauffe des moteurs. Attendez environ trois minutes en laissant le moteur tourner, puis jusqu'à 10 minutes après avoir coupé le contact pour que le système se réinitialise et que la fonction revienne à la normale.

Tirez la commande vers l'arrière pour replier les rétroviseurs vers l'intérieur ou vers l'extérieur.
Rétroviseur détaché
Il est également possible de replier un rétroviseur à la main en le poussant vers la glace de porte. Le rétroviseur semblera détaché et il faudra le resynchroniser. Tirez et maintenez la commande pour rabattre complètement les rétroviseurs. Un déclic confirme le processus de resynchronisation. Si le déclic n'est pas audible, déployez complètement les rétroviseurs au moyen de la commande, puis rabattez-les de nouveau. Une fois le déclic audible, les rétroviseurs fonctionnent normalement jusqu'à ce qu'ils soient à nouveau rabattus manuellement.
Rétroviseurs à réglages mémorisés (selon l'équipement)
Vous pouvez mémoriser et rappeler les positions des rétroviseurs au moyen de la fonction de mise en mémoire. Consultez la rubrique Fonction de mise en mémoire dans le chapitre Sièges.
Rétroviseurs grand angle intégrés (selon l'équipement)

AVERTISSEMENT : Les objets reflétés dans le rétroviseur grand angle sont plus près qu'ils ne paraissent.
Les rétroviseurs grand angle comportent un rétroviseur convexe intégré dans le coin supérieur extérieur des rétroviseurs extérieurs. Ils sont conçus en vue d'améliorer la visibilité du conducteur de chaque côté du véhicule.
Avant d'effectuer un changement de voie, vérifiez d'abord le rétroviseur principal, puis le rétroviseur grand angle. Si vous ne voyez aucun véhicule dans le rétroviseur grand angle et que les véhicules de la voie adjacente sont à une distance sécuritaire, signalez pour indiquer votre intention de changer de voie. Jetez un coup d'œil par-dessus votre épaule pour vérifier que la voie est libre, puis changez de voie avec soin.




L'image du véhicule qui s'approche est petite et près du coin interne du rétroviseur principal lorsque le véhicule se trouve à distance. L'image grossit et se déplace vers l'extérieur du rétroviseur principal à mesure que le véhicule s'approche (A). L'image passe du rétroviseur principal au rétroviseur grand angle à mesure que le véhicule s'approche (B). Le véhicule devient visible dans notre champ périphérique lorsqu'il n'apparaît plus dans le rétroviseur grand angle (C).
Système de surveillance des angles morts (BLIS®) (CTA) avec alerte de circulation transversale (selon l'équipement)
Consultez la rubrique Système de surveillance des angles morts (BLIS®) avec alerte de circulation transversale dans le chapitre Systèmes d'aide à la conduite.
Rétroviseur intérieur

AVERTISSEMENT: Ne reglez pas le rétroviseur lorsque votre véhicule se déplace.
Note: Ne nettoyez pas le boîtier ni le verre d'un rétroviseur avec des substances abrasives, du carburant ou des produits de nettoyage à base de pétrole ou d'ammoniac.
Vous pouvez régler le rétroviseur intérieur en fonction de vos préférences. Certains rétroviseurs sont munis également d'un second point de pivotement. Ceci vous permet de déplacer la tête du rétroviseur verticalement et latéralement.
Rétroviseur antiéblouissement à réglage automatique
Nota : N'obstruez pas les capteurs situés devant et derrière le rétroviseur. Le rendement du rétroviseur pourrait être compromis. Un passager assis à la place centrale arrière ou un appuie-tête central arrière surélevé peut également empêcher la lumière d'atteindre le capteur.
Le rétroviseur s'atténue automatiquement pour réduire l'éblouissement lorsque des lumières vives sont détectées derrière votre véhicule. Il revient automatiquement à l'état réfléchissant normal lorsque vous sélectionnez la marche arrêté pour assurer une bonne visibilité pendant le recul.
Tige coulissante

Tournez le pare-soleil vers la glace latérale et déploquez-le vers l'arrière pour masquer davantage le soleil.
Rétractez le pare-soleil avant de le replacer vers le pare-brise et de le ranger.
Miroir de courtoisie éclairé sur pare-soleil

Levez le volet pour activer l'éclairage du miroir.
TOIT panoramique VISTA à panneaux multiples (SELON l'équipement)

AVERTISSEMENT : Ne laissez pas les enfants jouer avec le toit
ouvrant transparent et ne les laissez pas sans surveillance dans le
cul. Ils risqueraient de subir des blessures graves.

AVERTISSEMENT : Lorsque vous fermez le toit ouvrant
transparent, veillez à ce que rien ne puisse entraver son
fonctionnement et assurez-vous qu'il n'y a pas d'enfants ou d'animaux à proximité.
Vous pouvez ouvrir ou fermer manuellement le pare-soleil coulissant lorsque le toit ouvrant transparent est fermé. Tirez le pare-soleil coulissant vers l'avant du véhicule pour le fermer.
Les commandes du toit ouvrant sont situées sur la console au pavillon.
Le toit ouvrant est muni d'une fonction d'ouverture et de fermeture à impulsion. Pour interrompre le mouvement durant l'ouverture ou la fermeture rapide, appuyez sur la commande une deuxième fois.
Ouverture et fermeture du toit ouvrant transparent

Appuyez brièvement sur la commande SLIDE (coulissement) pour ouvrir le toit ouvrant transparent.
Tirez et relâchez la commande SLIDE pour fermer le toit ouvrant transparent.
Fonction d'inversion en cas d'obstruction
Le toit ouvrant arrête automatiquement la fermeture et inverse sa course s'il détecte un obstacle lors de la fermeture.
Tirez et maintenez la commande SLIDE dans les deux secondes suivant un rebond pour annuler la fonction. La force de fermeture commence à augmenter à chacune des trois fois suivantes où le toit ouvrant se ferme avec la fonction d'inversion activée.
Position d'aération du toit ouvrant
Appuyez brièvement sur la commande TILT (inclinaison) pour placer le toit ouvrant en position d'aération. Tirez la commande TILT (inclinaison) et maintenez-la dans cette position pour fermer le toit ouvrant.
Type 1
Tableau de bord illustré avec unités de mesure standard (tableaux métriques similaires).

A. Compte-tours B. Écran d'information. Consultez le chapitre Écrans d'information pour obtenir de plus amples renseignements. C. Indicateur de vitesse D. Jauge de carburant
Jauge de carburant
Cet instrument indique le niveau approximatif de carburant dans le réservoir de carburant (lorsque le contact est établi). L'indication du niveau de carburant peut varier légèrement lorsque le véhicule se déplace ou roule dans une côte. Le pictogramme de pompe à carburant et la flèche indiquent de quel côté du véhicule est située la trappe de carburant.
Type 2
Tableau de bord illustré avec unités de mesure standard (tableaux métriques similaires).

A. Écran d'information. Consultez le chapitre Écrans d'information pour obtenir de plus amples renseignements. B. Indicateur de vitesse C. Écran d'information-divertissement. Consultez le chapitre Système MyFord Touch MC pour obtenir de plus amples renseignements.
Témoins et indicateurs
Ces témoins et ces indicateurs peuvent vous avertir de la présence d'un problème dans l'un des circuits de votre véhicule, qui peut s'aggraver au point de nécessiter des réparations coûteuses. Plusieurs témoins s'allument au démarrage du moteur pour vérifier leur bon fonctionnement. Si un témoins reste allumé après le démarrage du véhicule, référéz-vous au témoins respectif du système pour obtenir des renseignements supplémentaires.
Nota : Certains témoins (pictogrammes) sont de type reconfigurable. Ces indicateurs s'affichent à l'écran d'information et fonctionnent comme les témoins normaux, mais ne s'affichent pas au démarrage.
Témoin du régulateur de vitesse adaptative (selon l'équipement) (pictogramme)
Le témoin du régulateur de vitesse change de couleur pour indiquer le mode du régulateur :

- Activé (lumière blanche) : s'allume lorsque le régulateur de vitesse adaptatif est activé. Il s'éteint lorsque le régulateur de vitesse adaptatif est mis hors fonction.
- Engagé (lumière verte) : s'allume lorsque le régulateur de vitesse adaptatif est engagé. Le témoin s'éteint lorsque le régulateur de vitesse est désengagé.
Témoin du système d'antidérapage

Ce témoin s'affiche lorsque le dispositif antilacet AdvanceTrac® ou le système antipatinage est activé. Si ce témoin reste allumé, le système requiert une intervention immédiate.
Témoin de désactivation du système d'antidérive

Ce témoin s'allume lorsque le dispositif antilacet AdvanceTrac® ou le système antipatinage est désactivé par le conducteur.
Témoin des sacs gonflables

Si ce témoin ne s'allume pas à l'établissement du contact, s'il clignote continuellement ou s'il demeure allumé, faites vérifier le système immédiatement par votre concessionnaire autorisé.
Un carillon retentit en cas d'anomalie du témoin.
Témoin du système de freins antiblocage

Si le témoin du système de freins antiblocage demeure allumé ou clignote continuellement, une anomalie a été détectée. Contactez votre concessionnaire autorisé dès que possible. Le
circuit de freinage régulier continue de fonctionner normalement, à moins que le témoin de frein soit également allumé.
Témoin du circuit de freinage

Pour vérifier son fonctionnement, le témoin du circuit de freinage s'allume brièvement lorsque le contact est établi avant le démarrage du moteur, ou lorsque le commutateur d'allumage passe de la position contact à la position démarrage, ou lorsque le frein est serré pendant que le contact est établi.
S'il s'allume durant la conduite, vérifie si le frein de stationnement est desserré. Si le frein de stationnement est desserré, ceci indique un bas niveau de liquide de frein ou une anomalie du circuit de freinage. Faites vérifier immédiatement le circuit par votre concessionnaire autorisé.

AVERTISSEMENT : Il peut s'avérer dangereux de conduire le véhicule alors que le témoin du circuit de freinage est allumé.
Une diminution marquée du rendement des freins peut survenir et se traduire par une plus longue distance de freinage. Faites vérifier le véhicule dès possible par votre concessionnaire autorisé. La conduite sur de longues distances lorsque le frein de stationnement est serré peut causer une défaillance du frein et le risque de blessures.
Témoin du circuit de charge (pictogramme)

Ce témoin s'allume lorsque la batterie ne se charge pas correctement. S'il demeure allumé lorsque le moteur tourne, il pourrait y avoir une anomalie avec le circuit de charge.
Contactez votre concessionnaire autorisé dès que possible. Cela indique un problème dans le circuit électrique ou dans un de ses composants.
Témoin de porte ouverte (pictogramme)

Ce témoin s'affiche lorsque le contact est établi et une des portes n'est pas complètement fermée.
Témoin de pression d'huile du moteur (pictogramme)

Ce témoin s'allume lorsque la pression d'huile du moteur chute sous la plage normale de fonctionnement.
Témoin de température du liquide de refroidissement (pictogramme)

Ce témoin s'allume lorsque la température du liquide de refroidissement est élevée. Arrêtez le véhicule le plus rapidement possible, coupez le contact et laissez refroidir le moteur.
Témoin de phares antibrouillard (selon l'équipement)

Ce témoin s'allume lorsque les antibrouillards sont allumés.
Témoin d'assistance en côte et d'annulation de la surmultipliée (selon l'équipement) (pictogramme)

Ce témoin s'allume lorsque la fonction d'assistance en côte est activée.
Témoin d'affichage tête haute (selon l'équipement)

Un faisceau lumineux rouge s'allume dans le pare-brise dans certains cas lorsque vous utilisez le régulateur de vitesse adaptatif ou le système d'avertissement de collision. Elle
s'allume momentanément lorsque vous démarrez votre véhicule pour vous assurer que l'affichage fonctionne.
Témoin de fumée de route

Ce témoin s'allume lorsque les feux des routes sont allumés.
Témoin de bas niveau de carburant (pictogramme)

Ce témoin s'allume lorsque le réservoir de carburant est vide ou presque vide.
Témoin de hayon mal fermé (pictogramme)

Ce témoin s'affiche lorsque le contact est établi et que le hayon n'est pas complètement fermé.
Témoin de basse pression des pneus

Ce témoin s'allume lorsque la pression de gonflage des pneus est basse. Si le témoin reste allumé au démarrage ou pendant la conduite, vérifie la pression des pneus. Dès l'instant où le
Le contact est établi, ce témoin s'allume pendant trois secondes pour vérifier le fonctionnement de l'ampoule. Si le témoin ne s'allume pas ou commence à clignoter, communiquez avec votre concessionnaire autorisé dès que possible.
Témoin de bas niveau de liquide lave-glace (pictogramme)

Ce témoin s'allume lorsque le niveau de liquide lave-glace est bas.
Témoin de deux de position

Ce témoin s'allume lorsque les deux de position sont en fonction.
Témoin d'anomalie du groupe motopropulseur ou de puissance réduite (pictogramme)

Ce témoin s'allume lorsqu'une anomalie a été détectée dans le groupe motopropulseur ou dans la traction intégrale. Contactez votre concessionnaire autorisé dès que possible.
Témoin de ceinture de sécurité

Ce témoin s'allume pour vous rappeler de boucler votre ceinture de sécurité. Un carillon Belt-Minder® retentit également pour vous rappeler de boucler votre ceinture de
sécurities.
Témoin d'anomalie du moteur

Le témoin d'anomalie du moteur s'allume à l'établissement du contact à titre de vérification de l'ampoule et pour indiquer que le véhicule est prêt en vue des tests d'inspection et d'entretien.
Le témoin d'anomalie du moteur demeure normalement allumé jusqu'à ce que le moteur soit lancé, puis il s'éteint si aucune anomalie n'est détectée. Toutefois, si après 15 secondes le témoin d'anomalie du moteur clignote huit fois, le véhicule n'est pas prêt en vue des tests d'inspection et d'entretien. Consultez la rubrique Préparation pour les tests d'inspection et d'entretien dans le chapitre Carburant et ravitaillement.
Si le témoin ne s'éteint pas une fois le moteur en marche, cela indique que le circuit d'autodiagnostic embarqué (OBD-II) a détecté une défaillance. Consultez la rubrique Autodiagnostics embarqués (OBD-II) dans le chapitre Carburant et ravitaillement. Si le témoin clignote, c'est que le moteur produit des ratés pouvant endommager le catalyseur. Conduisez à vitesse modérée (évitez les accélérations et les décélérations brusques) et confiez immédiatement votre véhicule à votre concessionnaire autorisé.

AVERTISSEMENT: Si le moteur a des ratés, des températures nécessaires à l'échappement risquent d'endommager le catalyseur, ou la d'alimentation, le revêtement du plancher du véhicule ou des éléments, et il en résulte des risques d'incendie.
Témoin du régulateur de vitesse (selon l'équipement) (pictogramme)

Le témoin du régulateur de vitesse change de couleur pour indiquer le mode du régulateur :
- En fonction (démon gris - type 1, démon blanc - type 2): s'allume lorsque le régulateur de vitesse est activé. Il s'éteint lorsque le régulateur de vitesse adaptatif est mis hors fonction.
- Engagé (féminin blanc - type 1, féminin vert - type 2): s'allume lorsque le régulateur de vitesse est engagé. Le féminin s'éteint lorsque le régulateur de vitesse est désengagé.
Témoin des clignotants

Ce témoin s'allume lorsque les clignotants gauches ou droits ou les feux de détresse sont activés. Si ces témoins restent allumés ou clignotent rapidement, il est possible qu'une ampoule soit
grillée.
Carillon avertisseur de rappel de la clé dans le commutateur d'allumage
Ce carillon retentit lorsque la clé est restée dans le commutateur d'allumage à la position arrêt ou accessoires et que la porte du conducteur est ouverte.
Alerte d'entrée sans clé (selon l'équipement)
Elle retentit lorsqu'elle véhicule sans clé est à la position contact et que la porte conducteur est ouverte (selon l'équipement).
Carillon avertisseur de rappel des phares allumés
Ce carillon retentit lorsque les phares ou les yeux de position sont allumés lorsque le contact est coupé (la clé n'est pas dans le commutateur d'allumage) et que la porte du conducteur est ouverte.
Carillon avertisseur de frein de stationnement serré
Ce carillon retentit lorsque le frein de stationnement est serré et que le véhicule roule. Si le carillon avertisseur reste activé une fois le frein de stationnement desserré, faites vérifier immédiatement le système par votre concessionnaire autorisé.
Généralités
AVERTISSEMENT : La distraction au volant peut causer la perte de maîtrise du véhicule et entraîner des blessures. Ford recommande fortement aux conducteurs de faire preuve d'une grande vigilance lorsqu'ils utilisent un dispositif ou une fonction qui pourrait nuire à leur concentration sur la route. Avant tout, vous devez vous assurer de conduire votre véhicule de façon sécuritaire. Nous vous recommandons de ne pas utiliser un appareil portatif pendant que vous conduisez et de vous conformer à toutes les lois applicables.
Plusieurs systèmes de votre véhicule peuvent être commandés au moyen des commandes de l'écran d'information situées sur le volant. Les données correspondantes s'affichent à l'écran d'information.
Commandes de l'écran d'information (type 1)

- Appuyez sur les touches fléchées vers le haut et vers le bas pour faire défiler les options d'un menu et les mettre en surbrillance.
- Appuyez sur la touche fléchée de droite pour accéder à un sous-menu.
- Appuyez sur la touche fléchée de gauche pour quitter un menu.
- Appuyez sur le bouton OK pour sélectionner et confirmer un réglage ou des messages.
Menu
Vous pouvez accéder aux menus au moyen de la commande de l'écran d'information.
Note : Certaines options peuvent partir légèrement différentes ou peuvent ne pas s'afficher si elles sont optionnelles.
| †Trajet 1 ou 2 | |||
| Compteur journalier | |||
| Temps écoulé | |||
| †Consultez la rubrique Ordinateur de bord et d'économie de carburant plus loin dans ce chapitre pour obtenir de plus amples renseignements. | |||
| Économie de carburant | |||
| Autonomie restante | |||
| Consommation instantanée de carburant | |||
| Consommation moyenne | |||
| †Consultez la rubrique Ordinateur de bord et d'économie de carburant plus loin dans ce chapitre pourptionsir de plus amples renseignements. | |||
| Information | |||
| Distance MyKey® (si la clé est programmée) - Distance parcourue lorsqu'une clé programmée est utilisé. | |||
| Information MyKey® - Le nombre de dispositifs MyKey et de clés d'administrateur programmes. | |||
| Température du liquide de refroidissement — Le témoin de température du liquide de refroidissement change de couleur : bleu pour froid, gris pour normal et rouge pour chaud. Si la température du liquide de refroidissement du moteur dépasse la plage normale, arrêtez le vehicule dès qu'il est possible et prudent de le faire, Coupez le moteur et laissez-le refroidir. | |||
| Paramètres | |||
| Systèmes d'assistance au conducteur | Antipatinage — coché activé (par défaut) / décoché désactivé | ||
| Angle mort — coché activé (par défaut) / décoché désactivé | |||
| Avertissement de collision | Sensibilité | Élevée, Normale ou Basse | |
| Carillons (ne peut être sélectionné avec un dispositif MyKey) | |||
| Avertissement (ne peut être sélectionné avec un dispositif MyKey) | |||
| Trafic transversal — coché activé (par défaut) / décoché désactivé | |||
| Régulateur de vitesse | Adaptatif ou Normal | ||
| Aide au stationnement arrière — coché activé (par défaut) / décoché désactivé | |||
| Dispositif antilouvoiement — coché activé (par défaut) / décoché désactivé | |||
| Affichage | Langue | Sélectionnez la langue qui s'applique à votre cas | |
| Unités de mesure | Distance | Milles et Gallons ou km/L ou L/100 km | |
| Température | Celsius (°C) ou Fahrenheit (°F) | ||
| Paramètres | ||||
| Commodité | Temporisation de la commande automatique des phares | Hors fonction ou nombre de secondes | ||
| Compas | Affichage | |||
| Étalandnage (selon l'équipement) | Maintenez la touche OK enforcée pour étalonnner. | |||
| Zone (1 à 15) | ||||
| Calcul de l'autonomie de carburant | Normal ou Remorquage. | |||
| Entrée/Sortie facile — coché activé / décoché désactivé | ||||
| Serrures | Verrouillage automatique | |||
| Déverrouillage automatique | ||||
| Déverrouillage à distance | Toutes les portes ou Porte du conducteur en premier | |||
| Remise à zéro de la durée de vie utile de l'huile | Réglz à XXX % | |||
| Hayon à commande électrique | Contacteur activé ou Désactivé | |||
| Dispositif de démarrage à distance | Chauffage et climatisation | Sièges et volant ou sièges seulement | Automatique ou Dernier réglage | |
| Durée | (5, 10 ou 15 minutes) | |||
| Système | ||||
| Glaces | Ouverture à distance | |||
| Essue-glaces | Balayage additionnel | |||
| Capteur de pluie | ||||
| Balayage en marche arrière | ||||
| Paramètres | ||||
| Dispositif MyKey | Créer MyKey | Maintenez la touche OK enfonnée pour创建工作 un dispositif MyKey | ||
| Assistance 911 | Toujours en fonction ou Sélection par l'utilisateur | |||
| AdvanceTrac | Toujours en fonction ou Sélection par l'utilisateur | |||
| Vitesse maximale | Sélectionnez la vitesse souhaitée ou hors fonction | |||
| Rappel de vitesse | Sélectionnez la vitesse souhaitée ou hors fonction | |||
| Limiteur de volume | ||||
| Effacer MyKey | Maintenez la touche OK enfonnée pour effacer la programmation du dispositif MyKey | |||
Réinitialisation de l'ordinateur de bord
Maintenez enfoncée la touche OK à l'écran actuel pour réinitialiser le trajet respectif, la distance, le temps écoulé et les renseignements sur le carburant.
Compteur kilométrique
Enregistre la distance totale accumulée durant la vie utile du véhicule. Cette valeur ne peut pas être remise à zéro.
Compteur journalier
Enregistre la distance des trajets particuliers.
Durée totale
Enregistre la durée totale d'un trajet.
Carburant utilisé
Indique la quantité de carburant utilisé pour un trajet particulier.
Autonomie restante
Indique la distance approximative que le véhicule peut parcourir avec le carburant qui reste dans le réservoir. L'autonomie de carburant peut varier selon le mode de conduite.
Consommation moyenne
Indique la consommation moyenne de carburant depuis la dernière réinitialisation de la fonction.
Compass (selon l'équipement)
Affiche la direction du véhicule.
Pour procéder à l'étalonnage du compas : accédez au menu du compas et sélectionnez l'option Étalonner. Suivez les directives du système.
Pour régler la déclinaison : accédez au menu du compas et sélectionnez l'option Réglage. Suivez les directives du système. Consultez le schéma ci-dessous pour déterminer votre zone magnétique.

Déterminez la zone magnétique dans laquelle vous vous trouvez en consultant la carte de déclinaison.
Messages d'information
Consultez la rubrique Messages d'information plus loin dans ce chapitre pour obtenir de plus amples renseignements.
Commandes de l'écran d'information (type 2)

- Appuyez sur les touches fléchées vers le haut et vers le bas pour faire défiler les options d'un menu et les mettre en surbrillance.
- Appuyez sur la touche fléchée de droite pour accéder à un sous-menu.
- Appuyez sur la touche fléchée de gauche pour quitter un menu.
- Appuyez sur le bouton OK pour sélectionner et confirmer un réglage ou des messages.
Menu principal
Dans la barre de menu principal du ( : é ) gauche de l'écran d'information, vous pouvez désirir parmi les catégories suivantes :
Mode d'affichage - Trajet 1 et 2 - Économie de carburant - Systèmes d'assistance au conducteur Paramètres
Faites défiler les options vers le haut ou vers le bas pour mettre en surbrillance une des catégories, puis appuyez sur la touche fléchée de droite ou sur le bouton OK pour accéder à cette catégorie. Appuyez sur la touche fléchée de gauche, au besoin, pour revenir au menu principal.
Mode d'affichage
Utilisez les touches fléchées vers le haut ou vers le bas pour passer entre les options d'affichage suivantes.
| Mode d'affichage | |||
| Mode d'affichage | †Option 1 | Option 2 | Option 3 |
| XXX km (mi) avant épuisement du carburant | X | ||
| Compte-tours à barres | X | ||
| Compte-tours rond | X | X | |
| Indicateur de température du liquide de refroidissement | X | ||
| Jauge de carburant | Toujours présente | Toujours présente | Toujours présente |
| Compteur kilométrique total (coin inférieur gauche) | Toujours présente | Toujours présente | Toujours présente |
| Peu importe le mode d'affichage choisi, le tableau de bord passé au compte-tours rond, s'il n'est pas déjà sélectionné, lorsqu'la boîte de vitesses SelectShift AutomaticMC est activée. ÀpRES l'affichage du compte-tours rond, d'autres modes d'affichage avec le compte-tours à barres peuvent également être choisis. | |||
- XXX km (mi) avant épuisement du carburant : indique le niveau de carburant approximatif avant l'épuisement du carburant dans le réservoir. Il s'agit d'une valeur dynamique qui peut être modifiée (augmentée ou réduite) selon le style de conduite.
- Jauge de carburant : indique la quantité approximative de carburant qui reste dans le réservoir. L'indication du niveau de carburant peut varier légèrement lorsque le véhicule se déplace ou roule dans une côte. Lorsque le niveau de carburant devient trop bas, l'indicateur de niveau passe à la couleur amber. Lorsque le niveau de carburant devient extrêmement bas, l'indicateur de niveau passe à la couleur rouge.
Note : Lorsqu'un dispositif MyKey® est utilisé, les avertissements de bas niveau de carburant s'affichent plus tôt. Le pictogramme de pompe à carburant et la flèche indiquent de quel côté du véhicule est située la trappe de carburant.
- Compte-tours à barres ou rond : indique le régime moteur en tours par minute. Le fait de conduire votre véhicule alors que l'aiguille du compte-tours reste continuellement dans la zone rouge risque d'endommager le moteur. Pendant l'utilisation de la boîte de vitesses SelectShift AutomaticMC, le rapport courant sélectionné s'affiche à l'écran.
- Thermomètre du liquide de refroidissement : Indique la température du liquide de refroidissement du moteur. À la température de fonctionnement normale, l'indicateur demeure dans la plage normale. Si la température du liquide de refroidissement du moteur dépasse la plage normale, arrêtez le véhicule dès qu'il est possible et prudent de le faire, coupez le moteur et laissez-le refroidir.
Trajet 1 et 2
Choisissez entre l'affichage de trajet standard ou amélioré.
| Trajet 1 et 2 | |
| Trajet 1 et 2 | Distance parcourue |
| Temps écoulé depuis le départ | |
| Consommation moyenne | |
| Appuyez sur le bouton OK pour réinitialiser | |
| Quantité estimée de carburant consommé | |
| Compteur kilométrique total (coin inférieur gauche) | |
| Maintenez le bouton OK,enforcé pour réinitialiser les données actuellément affichées sur le trajet. | |
- Distance parcourue - Indique la distance de trajet parcourue.
- Temps écoulé depuis le départ - La minuterie s'arrête lorsque le contact est coupé et se remet en marche au redémarrage du moteur.
- Consommation moyenne de carburant - Indique la consommation moyenne de carburant pour un trajet donné.
Économie de carburant
Utilisez les touches fléchées de gauche ou de droite pour désirer l'affichage d'économie de carburant souhaitée.
| Économie de carburant | ||
| Économie de carburant | Consommation instantanée de carburant | XX. Historique de carburant minimum |
| Consommation de carburant instantanée | X | |
| †Consommation de carburant durant une période de 30 minutes | X | |
| Consommation moyenne | Toujours présente | |
| XXX km (mi) avant épuisement du carburant | Toujours présente | |
| Compteur kilométrique total (coin inférieur gauche) | ||
| Maintenez la touche OK,enforcée pour réinitialiser les données relatives à la consommation de carburant actuellement affichées. | ||
- Consommation instantanée de carburant : cet affichage indique un graphique visuel de votre consommation instantanée de carburant.
- Historique de carburant minimum : cet écran affiche un tableau à barres de votre historique de carburant.
Systèmes d'assistance au conducteur
Dans ce mode, vous pouvez configurer des sélections de paramètres de conducteur différents.
Nota : Certains éléments sont facultatifs et peuvent ne pas s'afficher.
| Systèmes d'assistance au conducteur | ||
| Antipatinage — coché activé (par défaut) / décoché désactivé | ||
| Angle mort — coché activé (par défaut) / décoché désactivé | ||
| Avertissement de collision | Sensibilité | Élevée / Normale / Basse |
| Trafic transversal — coché activé (par défaut) / décoché désactivé | ||
| Régulateur de vitesse | Adaptatif ou Normal | |
| Aide au stationnement avant — coché activé (par défaut) / décoché désactivé | ||
| Aide au stationnement arrière — coché activé (par défaut) / décoché désactivé | ||
| Dispositif antilouvolement — coché activé (par défaut) / décoché désactivé | ||
| Paramètres | ||
| Calcul de l'autonomie de carburant | Normal / Remorquage | |
| Entrée/Sortie facile — coché activé / découvert désactivé | ||
| Éclairage | Temporisation de la commande automatique des phares | Hors fonction ou nombre de secondes |
| Serrures | Verrouillage automatique | En fonction / Hors fonction |
| Déverrouillage automatique | En fonction / Hors fonction | |
| Déverrouillage à distance | Toutes les portes / Porte du conducteur | |
| Remise à zéro de la durée de vie utile de l'huile | Réglez à XXX % | |
| Démarrage à distance | Commande de chauffage et climatisation (l'utilisation de cette fonction vous permet de seLECTIONner divers modes de commande de chauffage et climatisation lorsque vous démarrez le vehicule à l'aide de la fonction de démarrage à distance) | Automatique / Derniers régages |
| Sièges et volant ou sièges seulement | Automatique / Hors fonction | |
| Durée | 5 / 10 / 15 minutes | |
| Système | Activé / Désactivé | |
| Glaces | Ouverture à distance ou Fermeture à distance | |
| Essuie-glaces | Balayage additionnel | En fonction / Hors fonction |
| Capteur de pluie | En fonction / Hors fonction | |
| *Dispositif MyKey | ||
| État du dispositif MyKey | Dispositif MyKey / Clés d administrateur | |
| Créer MyKey | Maintenez la touche OK,enforcée pour créé un dispositif MyKey. | |
| Assistance 911 | Toujours en fonction / Sélection par l'utilisateur | |
| Système antipatinage | Toujours en fonction / Sélection par l'utilisateur | |
| Vitesse maximale | Sélectionnez la vitesse souhaitée ou hors fonction | |
| Rappel de vitesse | Sélectionnez la vitesse souhaitée ou hors fonction | |
| Limueur de volume | En fonction / Hors fonction | |
| Ne pas déranger | Toujours en fonction / Sélection par l'utilisateur | |
| Rapport sur dispositif MyKey | En fonction / Hors fonction | |
| Effacer MyKey | Maintenez le bouton OK,enforcé pour effacer tous les dispositifs MyKey. | |
| Configuration de l'écran | |
| Distance | L/100 km ou km/L (milles et gallons) |
| Affichage des indicateurs | Indicateur de carburant / carburant + compte-tours |
| Langue | Sélectionnez la langue qui s'applique à votre cas |
| Température | Celsius (°C) / Fahrenheit (°F) |
Nota : Selon les options du véhicule, certains messages ne seront pas affichés ou disponibles sur votre véhicule. Certains messages pourraient être abrégés ou raccourcis en fonction du type de tableau de bord de votre véhicule.

Appuyez sur le bouton OK pour confirmer les messages et retarder certains d'entre eux de l'écran d'information. D'autres messages seront automatiquement retirés après une courte période. Lorsqu'un message d'avertissement apparait, vous devez attendre deux secondes.
avant de pouvoir effacer le message. Vous devez confirmer certains messages avant d'accéder aux menus.
Témoins de message : certains messages sont affichés d'un pictogramme particulier lié au système.
| Messages du régulateur de vitesse adaptatif | Action et description |
| Régulation vitesse adaptative fonct. défectueux | Affiché lorsqu'un mauvais fonctionnement du radar empêche le régulateur de vitesse adaptatif de s'engager. |
| Régulation vitesse adaptative non disponible | S'affiche lorsque de telles conditions existent de sorte que le régulateur de vitesse adaptatif ne peut fonctionner correctement. |
| Régul. vit. adapt. non disponible Capteur bloqué | Ce message s'affiche lorsque le radar est obstrué par une mauvaise visibilité causée par le mauvais temps ou par une accumulation de glace, de boue ou d'eau devant le radar. Le nettoyage du capteur peut généralement.Remédier à cette situation. |
| Messages du système antipatinage ou du dispositif antilacet AdvanceTrac® | Action et description |
| Service requis AdvanceTrac | Ce message s'affiche lorsque le dispositif antilacet AdvanceTrac® a détecté un état qui nécessite une vérification. Contactez votre concessionnaire autorisé)dès que possible. |
| Antipatinage Arrêt | Ce message s'affiche lorsque le dispositif antipatinage a été désactivé par le conducteur. |
| Oscill. remorque RÉduire la vitesse | Ce message s'affiche lorsque le dispositif antilouvoiement a détecté un louvoiement de la remorque. |
| Messages d'alarme/sécurité | Action et description |
| Alarme vehicule Pour arrêter l'alarme démarrer le vehicule | Ce message s'affiche lorsque le périmètre du système d'alarme est activé et que vous entrez dans le vehicule à l'aide de la clé de la portedu côté du conducteur. Afin de ne pasdéclencher le système d'alarme antivol àdetection périmétrique, le commutateurd'allumage doit être mis à la positiondemarrage ou contact avant que le carillon de12 secondes n'expire. |
| Messages d'arrêt automatique du moteur | Action et description |
| Arrêt moteur dans XX secondes | Ce message s'affiche lorsque le moteur est prét à être arrêté. |
| Arrêt moteur pr'économie de carburant | Ce message s'affiche lorsque le moteur s'est arrêté pour favoriser une conduite plus économique. |
| Arrêt moteur dans XX sec. App OK pr annuler | Ce message s'affiche lorsque le moteur est prét à être arrêté. Vous pouvez appuyer sur OK sur le bouton gauche du volant de direction pour annuler l'arrêt. |
| Messages de traction intégrale | Action et description |
| AWD arrêt | Ce message s'affiche lorsque la traction intégrale s'est automatiquement désactivée par autoprotection. Cette situation survient lorsque vous roulez avec une roude de secours compacte ou lorsque le système surchauffe. Le fonctionnement normal de la traction intégrale sera rétabli après avoir roulé sur une courte distance avec une roune normale ou une fois que le système s'est refroidi. |
| Vérifier AWD | Ce message s'affiche et le témoin d'anomalie de commande d'accéléateur-boîte de vitesses-traction intégrale s'allume lorsqu'une anomalie a été détectée dans la traction intégrale. Si l'avertissement reste affché ou s'affiche de nouveau, communique avec votre concessionnaire autorisé dans les plus brefs délais. |
Écrans d'information
| Messages de batterie et de circuit de charge | Action et description |
| Vérifier circuit de charge | Ce message s'affiche lorsque le circuit de charge requiert une intervention. Si l'avertissement reste affché ou s'affiche de nouveau, communique avec votre concessionnaire autorisé dans les plus brefs déliés. |
| Couper le courant pour économiser la batterie | Ce message s'affiche lorsque le système de gestion de batterie déterminée que : • la charge de la batterie est faible ou • l'allumage a été laxé sur la position accessoires ou sur la position contact avec le moteur hors fonction pendant approximativement 45 minutes. Mettez le commutateur d'allumage à la position arrêté le plus rapidement possible pour protégger la batterie. Ce message s'efface une fois que le vehicule a démarré et que l'état de charge de la batterie a repris toute sa puissance. Éteindre toutes les charges électriques inutilles permettra à la batterie de récapuérezrapidement sa pleine charge. |
| Mode transport Contacter concessionnaire | Contactez votre concessionnaire autorisé)dés que possible. |
| Mode d'usine Contactez le concessionnaire | Contactez votre concessionnaire autorisé)dés que possible. |
| Messages BLIS® | Action et description |
| Angle mort non disponible Capteur bloqué Voir manuel | Ce message s'affiche lorsque les capteurs des systèmes de surveillance des angles morts/de la circulation transversale sont obstrués. Le nettoyage du capteur peut généralement remédier à cette situation. |
| Anomalie du système d'angle mort | Ce message s'affiche lorsqu'une anomalie du système d'information sur les angles mort survient. Contactez votre concessionnaire autorisé dès que possible. |
| Circul. transv. non disponible Capteur bloqué | Ce message s'affiche lorsque les capteurs des systèmes de surveillance des angles morts/de la circulation transversale sont obstrués. Le nettoyage du capteur peut généralement remédier à cette situation. |
| Anomalie du système de circul. transv. | Ce message s'affiche lorsqu'une anomalie du système d'alerte de circulation transversale survient. Contactez votre concessionnaire autorisé dès que possible. |
| Véhic. en circ. transv. venant de la X | Ce message s'affiche lorsque le système de surveillance des angles morts avec alerte de circulation transversale (CTA) fonctionne et déetecte un vehicule. |
| Messages du circuit de freinage | Action et description |
| Niveau liquide de frein BAS | Ce message indique que le niveau de liquide de frein est bas et que le circuit de freinage doit être inspecté immédiatement. |
| Vérifier le système de freins | Ce message s'affiche lorsque le circuit de freinage requiert une intervention. Si l'avertissement reste affchéé ou s'affiche de nouveau, communiquez avec votre concessionnaire autorisé dans les plus brefs déliés. |
Écrans d'information
| Messages du circuit de freinage | Action et description |
| Frein de stationnement serré | Ce message s'affiche lorsque le frein de stationnement est serré, que le moteur est en marche et que le vehicule roule à plus de 5 km/h (3 mi/h). Si cet avertissement persististe une fois le frein de stationnement desserré, communiquez dès que possible avec votre concessionnaire autorisé. |
| Messages du système d'advertissement de collision | Action et description |
| Avert. de collision non disponible | Ce message s'affiche lorsqu'une anomalie du système survient avec le système d'advertissement de collision. Le système sera alors désactivé. Contactez votre concessionnaire autorisé dès que possible. |
| Avert. de collision non disponible Capteur bloqué Voir manuel | Ce message s'affiche lorsque le système d'advertissement de collision est obstrué par une mauvaise visibilité causée par le mauvais temps ou par une accumulation de glace, de boue ou d'eau devant le radar. Le nettoyage du capteur peut généralement remédier à cette situation. Contactez votre concessionnaire autorisé dès que possible. |
| Défaillance de avert. de collision | Ce message s'affiche lorsqu'une anomalie du système survient avec le système d'advertissement de collision. Le système sera alors désactivé. Contactez votre concessionnaire autorisé dès que possible. |
| Messages de porte | Action et description |
| Porte x ouverte | Ce message s'affiche lorsqu'une des portes n'est pas complètement fermée. |
| Hayon ouvert | Ce message s'affiche lorsque le hayon est mal fermé. |
| Moteur en marche | Ce message s'affiche lorsque le moteur est en marche, la porte du conducteur est ouverte et le levier sélecteur est en position de stationnement (P). |
| Messages relatifs au carburant | Action et description |
| Vérifier admission de carburant | Ce message s'affiche pour indiquer que l'orifice de replissage du réservoir de carburant n'est peut-être pas correctement fermé. |
| Niveau de carburant BAS | Ce message s'affiche pour indiquer que le niveau de carburant est bas. |
| Messages de clé et de système de clé intelligente | Action et description |
| Aucune clé déetectée | Ce message s'affiche lorsque la clé d'accès intelligent n'est pas détectée par le système dans les trois cas suivants :•Le bouton démarrage-arrêt est,enforcé dans le but de faire démarrer le moteur ou de sélectionner une position d'allumage.•Le moteur tourne et une porte est ouverte puis reférémée.•Le vehicule roule à plus de 16 km/h (10 mi/h) pour la première fois après le démarrage. |
| Clé programmée Total de x clés | Ce message s'affiche durant la programmation d'une clé intelligente additionnelle, lorsqu'une clé intelligente est programmée pour le système. |
| Messages de clé et de système de clé intelligente | Action et description |
| Nombre max. de clés programmées | Ce message s'affiche pendant la programmation de clés additionnelles lorsque le nombre maximum de clés programmées a été atteint. |
| Appuyer sur le frein pour démarrer | Ce message s'affiche lorsque le bouton démarrage-arrêt est enforcé et que le conducteur n'a pas appuyé sur la pédale de frein. Ce message rappelle au conducteur qu'il doit enforcer la pédale de frein lorsqu'il appuie sur le bouton démarrage-arrêt pour lancer le moteur. |
| Redémarrez maintainant ou clé est nécessaire | Ce message s'affiche lorsque le bouton démarrage-arrêt est enforcé pour arrêtier le moteur et qu'aucune clé intelligente n'est détectée dans l'habitacle. |
| Alimentation accessoires active | Ce message s'affiche lorsque l'allumage du vehicule est à la position accessoires. |
| Anomalie du système de démarrage | Ce message s'affiche pour indiquer la présence d'un problème du syst??me de démarrage de votre vehicule. Confiez le vehicule à votre concessionnaire autorisé. |
| Messages d'entretien | Action et description |
| Pression d'huile moteur BASSE | Arrêtez le vehicule)dès qu'il est possible et prudent de le faire et coupez le contact. Vérifiez le niveau d'huile. Si l'advertissement reste affché ou s'il s'affiche périodiquement lorsque le moteur est en marche, communiquez avec votre concessionnaire autorisé le plus+tôt possible. |
| Changement d'huile à moteur bientôt | Ce message s'affiche lorsque le pourcentage de vie utile de l'huile est de 10 % ou moins. |
| Messages d'entretien | Action et description |
| Changement d'huile nécessaire | Ce message s'affiche lorsque la durée de vie restante de l'huile atteint 0 %. |
| Surchauffe du liquide de refroidiss. moteur | Ce témoin s'allume lorsque la température du liquide de refroidissement est excessively élevé. |
| Niveau de liquide de lavé-glace BAS | Ce message indique que le réservoir de liquide lavé-glace est vide aux trois quarts. Vérifiez le niveau du liquide lavé-glace. |
| Direction Fonct. défectueux Révision immédiate | Ce message s'affiche lorsque la direction doit être réparée. Consultez votre concessionnaire autorisé. |
| Réparer Direction assistée immidiatement | Le système de direction assistée a détecté une condition dans le dispositif de direction assistée qui exige des réparations immédiates. Consultez votre concessionnaire autorisé. |
| Anomalie servo direction | Le système de direction assistée n'a plus d'assistance en raison d'une erreur du système. Consultez votre concessionnaire autorisé. |
| Messages MyKey® | Action et description |
| MyKey actif Conduire prudemment | Ce message s'affiche lorsque MyKey®. |
| MyKey non créé | Ce message s'affiche pendant la programmation de la clé lorsque le dispositif MyKey® ne peut pas été programmé. |
| Vitesse limitée à xx mi/h/km/h | Ce message s'affiche lorsque vous faites démarrer le moteur, que le dispositif MyKey® est utilisé et que la limite de vitesse MyKey est activée. |
| Messages MyKey® | Action et description |
| Véhicule presqu'à vitesse maximale | Ce message s'affiche lorsqu'un dispositifMyKey® est utilisé, que la limite de vitesseMyKey est activée et que la vitesse du vehicule approche la vitesse supérieure sélectionnée. |
| Vérifier vitesseConduite prudente | Ce message s'affiche lorsqu'un dispositifMyKey® est utilisé et que le réglage en option et le vehicule dépassent la vitessepréselectionnée. |
| Boucler les ceinturespour activer audio | Ce message s'affiche lorsqu'un dispositifMyKey® est utilisé et que le systèmeBelt-Minder® est activé. |
| Programmation de cléimpossible | Ce message s'affiche lorsqu'une tentative deprogrammation d'une clé supplémentaire estfaite en utilisant deux dispositifs MyKey déjàexistants. |
| Messages d'aide austationnement | Action et description |
| Vérifier l'aide austationnement | Ce message s'affiche lorsque la marche arrière(R) est enclenchée et que le sonar de reculest hors fonction. |
| Vérifier aide austationnement arrière | Ce message s'affiche lorsque la marche arrière(R) est enclenchée et que le sonar de reculest hors fonction. |
| Aide stat. AR MarcheArrêt | Affiche l'état du sonar de recul. |
| Message du capteur de poids du passager | Action et description |
| Captiveur passager BLOQUE Enlever objets près siège du passager | Ce message s'affiche quand des objets se trouvent près du siège du passager. Une fois que les objets ont été retireés, si l'advertissement demeure affché ou continue de s'afficher, communiquez avec votre concessionnaire autorisé dès que possible. |
| Messages de rappel | Action et description |
| Direction verrouillée : respirer et réinsérer la clé en tournant le volant pour déverr. | Ce message s'affiche lorsque vous devez tournier le volant pour déverrouiller la direction. |
| Passer à la position de stationnement (P) | Ce message s'affiche lorsque le moteur est coupé et que le levier sélecteur ne se trouve pas à la position de stationnement (P). |
Écrans d'information
| Messages concernant les pneus | Action et description |
| Pression des pneus BASSE | Ce message s'affiche lorsque la pression d'un des pneus est faible. |
| Anomalie de la surveillance de pression des pneus | Ce message s'affiche lorsque le système de surveillance de pression des pneus ne fonctionne pas correctement. Si le message d'advertissement demeure affché ou s'affiché de nouveau, communique avec votre concessionnaire autorisé. |
| Anomalie du capteur de pression des pneus | Ce message est affché lorsqu'un capteur de pression des pneus fonctionné incorrectement ou si une roue de secours est installée. Pour obtenir de plus amples renseignements sur le mode de fonctionnement du système en pareil cas, consultez la rubrique Système de surveillance de pression des pneus du chapitre Roues et pneus. Si l'advertissement reste affché ou s'affiche de nouveau, communique avec votre concessionnaire autorisé dans les plus brefs déliés. |
Système de chauffage et climatisation à commandée manuelle

A. Marche/arrêt : Appuyez sur cette touche pour activer et désactiver le système. Lorsque le système est arrêté, l'air extérieur n'est pas admis dans l'habitacle. B. Commande de répartition d'air : Appuyez sur la commande pour régler la répartition de l'air à une position indiquée ci-dessous:

Répartit l'air entre les bouches de dégivrage du pare-brise, les bouches de désembuage et les bouches du plancher.

Répartit l'air entre les bouches du tableau de bord.

Répartit l'air entre les bouches du tableau de bord, les bouches du plancher et les bouches de désembuage.

Répartit l'air entre les bouches du plancher.
C. A/C : Appuyez sur cette touche pour activer ou désactiver la climatisation. La climatisation permet de refroidir le véhicule en utilisant l'air extérieur. Pour un meilleur refroidissement de l'habitacle au démarrage du moteur, laissez les glaces légèrement ouvertes pendant deux à deux minutes après le démarrage.
D. Recirculation d'air: Appuyez sur cette touche pour alterner entre air extérieur et air recyclé. Lorsque le voyant DEL sur la touche est allumé, l'air qui se trouve actuellément dans l'habitacle est recirculé. L'utilisation du mode de recirculation de l'air permet de refroidir plusrapidement l'habitacle et aide également à empêcher les odeurs désagréables de pénétrer dans l'habitacle. E. MAX A/C: Répartit l'air recyclé entre les bouches du tableau de bord pour refroidir l'habitacle. Ce mode de refroidissement de l'habitacle est plus économique et efficace que le mode de climatisation normale. F. Commande de température avant : Commande la température de l'air qui circule à l'avant de votre vehicule. Tournez cette commande pour sélectionner la température voulue. G. Commande de vitesse du ventilateur arrêté : Commande le volume d'air qui circule à l'arrière de votre vehicule. Appuyez sur les touches + ou - pour sélectionner la vitesse du ventilateur voulue. H. Commande de température arrêté : Commande la température de l'air qui circule à l'arrière de votre vehicule. Appuyez sur la TEMP + ou TEMP - pourCHOISIR LA TEMPERATURE désirée. I. REAR CTRL (commande arrêté) : Appuyez sur cette touche pour transférer la commande des fonctions arrêté de chauffage et climatisation aux passagers arrêté. J. Marche-arrêt du système de chauffage et climatisation arrrière: appuyez sur cette touche pour activer ou désactiver le système de chauffage et climatisation arrrière. K. Commande de vitesse de ventilateur avant : Commande le volume d'air qui circule dans l'habitacle. Tournez la commande pour sélectionner la vitesse du ventilateur voulue ou pourmettre hors fonction le ventilateur. Si vous mettez hors fonction le ventilateur, le pare-brise peut s'embuer. L. Dégivreur de lunette arrête : Permet d'activer ou désactiver les glaces et rétroviseurs extérieurs chauffants. Voir Glaces et rétroviseurs chauffants plus loin dans ce chapitre pour obtenir de plus amples renseignements. M. Dégivrage : Répartit l'air entre les bouches de dégivrage du pare-brise et les bouches de désembuage. Ce réglage peut aussi être utilisé pour désembuer et dégager le pare-brise d'une mince couche de glace.
Systéme de régulation automatique de la temperature à deux ZONES (avec la fonction MYTEMP)

Note : Vous pouvez basculer entre les unités de température Celsius et Fahrenheit. Consultez la rubrique Paramètres dans le chapitre Système MyFord Touch ou Système MyLincoln Touch.
A. MyTemp : Cette fonction vous permet d'obtenir rapidement un réglage fréquemment utilisé à l'aide d'une seule touche. Appuyez sur la touche + et - pour augmenter et réduire la température. Maintenez enfoncée la touche MyTemp pour mémoriser la température actuelle. Pour accéder de nouveau à ce réglage, appuyez de nouveau sur la touche MyTemp. B. Marche/Arrêt et commande de vitesse du ventilateur : Appuyez sur cette touche pour activer et désactiver le système. Lorsque le système est arrêté, l'air extérieur n'est pas admis dans l'habitacle. Tournez ce bouton pour augmenter ou diminuer la vitesse du ventilateur. C. DUAL (deux zones) : Cette touche permet au passager de régler la température du côté passager indépendamment de la température du côté conducteur. D. Recirculation d'air : Appuyez sur cette touche pour alterner entre air extérieur et air recyclé. Lorsque le voyant DEL sur la touche est allumé, l'air qui se trouve actuellement dans l'habitacle est recirculé. L'utilisation du mode de recirculation de l'air permet de refroidir plus rapidement l'habitacle et aide également à empêcher les odeurs désagréables de pénétrer dans l'habitacle.
Nota : Le mode de recirculation de l'air entre automatiquement en fonction lorsque la touche de climatisation maximale est enfoncée ou il peut être manuellement activé dans tous les modes de début d'air, sauf le mode Dégivrage.
E. MAX A/C: Répartit l'air recyclé entre les bouches du tableau de bord pour refroidir l'habitacle. Ce mode de refroidissement de l'habitacle est plus économique et efficace que le mode de climatisation normal.
F. A/C : Appuyez sur cette touche pour activer ou désactiver la climatisation. La climatisation permet de refroidir le véhicule en utilisant l'air extérieur. Pour un meilleur refroidissement de l'habitacle au démarrage du moteur, laissez les glaces légèrement ouvertes pendant deux à deux minutes après le démarrage.
Utilisez la climatisation avec la recirculation de l'air pour améliorer le rendement et l'efficacité du refroidissement.
Note : La climatisation s'active automatiquement en modes Climatisation maximale, Dégivrage et Plancher-dégivrage.
G. AUTO : Appuyez pour activer le fonctionnement entièrement automatique. Sélectionnez la température désirée à l'aide de la commande de température. Le système détermine automatiquement la vitesse du ventilateur, la répartition de l'air, le fonctionnement de la climatisation et l'admission d'air ambiant ou la recirculation de l'air, pour réchauffer ou refroidir l'habitacle afin de maintenir la température souhaitée.
H. Dégivreur de lunette arrêté : Permet d'activer ou désactiver les glaces et rétroviseurs extérieurs chauffants. Voir Glaces et rétroviseurs chauffants plus loin dans ce chapitre pour obtenir de plus amples renseignements. Si votre véhicule est muni de rétroviseurs chauffants, cette touche permet également de les activer.
Dégivrage: Répartit l'air entre les bouches de dégivrage du pare-brise et les bouches de désembuage. Ce réglage peut aussi être utilisé pour désembuer et dégager le pare-brise d'une mince couche de glace.
Systéme de régulation automatique de la temperature à deux ZONES (avec châine stéréo SONY®)

Note : Vous pouvez basculer entre les unités de température Celsius et Fahrenheit. Consultez la rubrique Fonctions de menu dans les chapitres Système MyFord Touch ou Système MyLincoln Touch.
A. Dégivrage : Répartit l'air entre les bouches de dégivrage du pare-brise et les bouches de désembuage. Ce réglage peut aussi être utilisé pour désembuer et dégager le pare-brise d'une mince couche de glace. B. Dégivreur de lunette arrière : Permet d'activer ou désactiver les glaces et rétroviseurs extérieurs chauffants. Voir Glaces et rétroviseurs chauffants plus loin dans ce chapitre pour obtenir de plus amples renseignements. Si votre véhicule est muni de rétroviseurs chauffants, cette touche permet également de les activer. C. AUTO : Appuyez pour activer le fonctionnement entièrement automatique. Sélectionnez la température désirée à l'aide de la commande de température. Le système détermine automatiquement la vitesse du ventilateur, la répartition de l'air, le fonctionnement de la climatisation et l'admission d'air ambiant ou la recirculation de l'air, pour réchauffer ou refroidir l'habitacle afin de maintenir la température souhaitée. D. CLIMATE (chauffage et climatisation) : Appuyez sur cette touche pour activer ou désactiver le système de chauffage et climatisation. Lorsque le système est arrêté, l'air extérieur n'est pas admis dans l'habitacle.
E. A/C : Appuyez sur cette touche pour activer ou désactiver la climatisation. La climatisation permet de refroidir le véhicule en utilisant l'air extérieur. Pour un meilleur refroidissement de l'habitacle au démarrage du moteur, laissez les glaces légèrement ouvertes pendant deux à deux minutes après le démarrage.
Utilisez la climatisation avec la recirculation de l'air pour améliorer le rendement et l'efficacité du refroidissement.
Note : La climatisation s'active automatiquement en modes Climatisation maximale, Dégivrage et Plancher-dégivrage.
F. MAX A/C: Répartit l'air recyclé entre les bouches du tableau de bord pour refroidir l'habitacle. Ce mode de refroidissement de l'habitacle est plus économique et efficace que le mode de climatisation normale.
G. Recirculation d'air: Appuyez sur cette touche pour alterner entre air extérieur et air recyclé. Lorsque le voyant DEL sur la touche est allumé, l'air qui se trouve actuellement dans l'habitacle est recirculé. L'utilisation du mode de recirculation de l'air permet de refroidir plus rapidement l'habitacle et aide également à empêcher les odeurs désagréables de pénétrer dans l'habitacle.
Nota : Le mode de recirculation de l'air entre automatiquement en fonction lorsque la touche de climatisation maximale est enfoncée ou il peut être manuellement activé dans tous les modes de début d'air, sauf le mode Dégivrage.
Nota : Pour un meilleur refroidissement par temps chaud, la recirculation de l'air s'active automatiquement quand il est en mode tableau de bord ou tableau de bord et plancher et que le climatiseur fonctionne. Vous pouvez obtenir de l'air frais en appuyant de nouveau sur le bouton de recirculation d'air.
H. DUAL (deux zones): Cette touche permet au passager de régler la température du côté passager indépendamment de la température du côté conducteur.
Appuyez sur la touche + ou - pour augmenter ou réduire la température de l'air du côté passager de l'habitacle lorsque le système est en mode deux zones.
I. Commande de vitesse du ventilateur : Appuyez sur + ou sur - pour augmenter ou diminuer le volume d'air qui circule dans l'habitacle.
J. Commande de température côté conducteur : Appuyez sur la touche + ou - pour augmenter ou réduire la température de l'air dans l'habitacle.
Ces touches permettent également de régler la température de l'air côté passager lorsque la fonction de régulation à deux zones est désactivée.
Commande de chauffage et de climatisation de passager arriere

A. Vitesse du ventilateur : Tournez ce bouton pour augmenter ou diminuer la vitesse du ventilateur. B. Pavillon : Répartit l'air entre les bouches supérieures. C. Plancher : Répartit l'air entre les bouches du plancher. D. Pavillon/plancher : Répartit l'air entre les bouches supérieures et les bouches du plancher. E. REAR LOCK (verrouillage des commandes arrêté) : Ceci n'est pas une commande opérationnelle. Lorsque le témoin est allumé, le système de chauffage et climatisation arrière est contrôlé par le système de chauffage et climatisation avant, et les commandes arrière ne sont plus opérationnelles. F. Température : Permet de régler la température de l'air qui circule dans l'habitacle.
Système de chauffage et climatisation à commande manuelle
- Pour réduire la formation de buée sur le pare-brise par temps humide, sélectionnez le mode de dégivrage. La température et la vitesse du ventilateur peuvent aussi être augmentées pour réduire la formation de buée.
- Pour réduire l'accumulation d'humidité dans le véhicule, ne mettez pas le système hors fonction et n'activez pas le mode de recirculation de l'air lorsque vous conduisez.
- Ne placez pas, sous les sièges avant, des objets qui pourraient nuire à la circulation de l'air vers les sièges arrière.
- Enlevez toute accumulation de neige, de glace ou de feuilles qui pourrait obstruer la prise d'air extérieur située à la base du pare-brise.
- Pour augmenter l'efficacité de la climatisation, conduisez en laissant les glaces légèrement entrouvertes pendant deux ou trois minutes après le démarrage, ou jusqu'à ce que le véhicule soit « aéré »
- Vous pourriez percevoir un faible volume d'air s'échappant des bouches du plancher, peu importe le mode de répartition d'air sélectionné.
Lorsque la température ambiente est extrêmement élevée et que le moteur tourne au ralenti pendant des périodes prolongées avec la boîte de vitesses en prise, il est conseillé d'utiliser le climatiseur en mode de climatisation maximale, de régler la vitesse du ventilateur à la vitesse la plus BASSE et de placer le levier sélecteur à la position de stationnement (P) (dans le cas des véhicules munis d'une boîte de vitesses automatique) pour que le climatiseur puisse continuer à rafraîchir l'habitacle.
Pour obtenir un rendement maximal de refroidissement de l'habitacle en mode climatisation, appuyez sur la touche de climatisation maximale (MAX A/C).
Pour un refroidissement maximal en mode tableau de bord ou tableau de bord et plancher :
- Placez le sélecteur de température au réglage le plus froid.
- Sélectionnez le mode de climatisation et le mode de recirculation de l'air pour obtenir de l'air plus froid.
- Réglez d'abord le ventilateur à la vitesse la plus élevée, puis réglez-le pour maintenir le confort des occupants.
Pour faciliter le désembuage des glaces latérales par temps froid ou humide :
- Sélectionnez le mode plancher-tableau de bord.
- Sélectionnez A/C.
- Réglez la commande de température selon vos préférences.
- Réglez le ventilateur à la vitesse la plus élevée.
- Orientez les bouches d'air des extrémités du tableau de bord vers les glaces latérales.
- Pour augmenter le débit d'air dans les bouches d'air situées aux extrémités du tableau de bord, fermez les bouches d'air centrales.
Régulation automatique de la température à deux zones
- Pour réduire la formation de buée sur le pare-brise par temps humide, sélectionnez
- Pour réduire l'accumulation d'humidité dans le véhicule, ne mettez pas le système hors fonction et n’activez pas le mode de recirculation de l'air lorsque vous conduisez.
- Ne placez pas, sous les sièges avant, des objets qui pourraient nuire à la circulation de l'air vers les sièges arrière.
- Enlevez toute accumulation de neige, de glace ou de feuilles qui pourrait obstruer la prise d'air extérieur située à la base du pare-brise.
- Pour augmenter l'efficacité de la climatisation, conduisez en laissant les glaces légèrement entrouvertes pendant deux ou trois minutes après le démarrage, ou jusqu'à ce que le véhicule soit « aéré »
- Vous pourriez percevoir un faible volume d'air s'échappant des bouches du plancher, peu importe le mode de répartition d'air sélectionné.
Lorsque la température ambiente est extrêmement élevée et que le moteur tourne au ralenti pendant des périodes prolongées avec la boîte de vitesses en prise, il est conseillé d'utiliser le climatiseur en mode de climatisation maximale, de régler la vitesse du ventilateur à la vitesse la plus BASSE et de placer le levier sélecteur à la position de stationnement (P) (dans le cas des véhicules munis d'une boîte de vitesses automatique) pour que le climatiseur puisse continuer à rafraîchir l'habitacle.
Pour obtenir un rendement maximal de refroidissement de l'habitacle en mode AUTO, appuyez sur la touche de climatisation maximale (MAX A/C).
Pour obtenir un refroidissement maximal de l'habitacle avec les commandes manuelles :
- Choisissez les commandes PANEL (panneau), A/C (climatisation), et RECIRC. (recirculation).
- Réglez la température au niveau le plus bas (LO).
- Réglez le ventilateur à la vitesse la plus élevée.
Pour faciliter le désembuage des glaces latérales par temps froid ou humide :
- Sélectionnez le mode plancher-tableau de bord.
- Sélectionnez A/C.
- Réglez la commande de température selon vos préférences.
- Réglez le ventilateur à la vitesse la plus élevée.
- Orientez les bouches d'air des extrémités du tableau de bord vers les glaces latérales.
- Pour augmenter le débit d'air dans les bouches d'air situées aux extrémités du tableau de bord, fermez les bouches d'air centrales.
Lunette arrêt chauffante
Note : Cette fonction ne peut être utilisée que si le contact est mis.
Appuyez sur la commande pour éliminer la glace mince et la buée de la lunette arrière. Appuyez de nouveau sur la commande dans un délai de 10 minutes pour désactiver la fonction. Le dégivrage s'arrête automatiquement après 10 minutes ou lorsque vous coupez le contact.
N'utilisez pas de lame de rasoir ou d'autres objets tranchants pour nettoyer l'intérieur de la lunette ou pour enlever des autocollants qui s'y trouveraient. Vous risqueriez d'endommager la résistance chauffante. Notre garantie ne couvre pas ce dommage.
Rétroviseur extérieur chauffant (selon l'équipement)
Nota : Ne vous servez pas d'un grattoir pour enlever la glace qui se serait formée sur les rétroviseurs et ne tentez pas de les régler lorsque ils sont immobilisés par la glace. Vous pourriez abîmer la surface ou le mécanisme des rétroviseurs.
Nota: Ne nettoyez pas le boitier ni le verre d'un rétroviseur avec des substances abrasives, du carburant ou des produits de nettoyage à base de pétrole.
Les deux rétroviseurs sont chauffés pour éliminer la glace ou la buée lorsque l’dégrévissage de lunette arrière est activé.
Filtré à air de l'habitacle
Note: Le filtre à air de l'habitacle doit toujours être en place pour éviter l'infiltration de poussière et de corps étrangers dans le système. Le système pourrait être endommagé ou perdre son efficacité s'il est utilisé sans le filtre.
Votre véhicule est doté d'un filtre à air d'habitacle qui se trouve tout juste à l'avant du pare-brise sous la grille de l'auvent, du côté passager.
Le système de filtrage à particules est conçu pour réduire la concentration de particules de poussière, de spores et de pollen dans l'habitacle. Le système de filtrage à particules offre les avantages suivants au conducteur et aux passagers :
- Il améliore le confort des occupants en diminuant la concentration de particules dans l'air.
- Il contribue à améliorer la qualité de l'habitacle.
- Il protège les composants du système de chauffage et climatisation contre les dépôts de particules.
Pour obtenir de plus amples renseignements sur l'intervalle de remplacement du filtre à air de l'habitacle, consultez le chapitre Entretien périodique.
Consultez un concessionnaire autorisé pour obtenir des renseignements additionnels au sujet du filtre à air de l'habitacle ou de son remplacement.
Démarrage à distance, système de chauffage et climatisation (SELEN l'équipement)
Le système de chauffage et climatisation règle la température de l'habitacle pendant le démarrage à distance.
Vous ne pouvez pas régler le système pendant le démarrage à distance. Établissez le contact pour remettre le système aux réglages précédents. Vous pouvez alors effectuer les réglages du système. Vous devrez
réactiver certaines fonctions asservies au véhicule, telles que :
- sièges chauffants
- sièges rafraîchissants
- volant chauffant
- rétroviseurs chauffants
- lunette arrière chauffante
Vous pouvez effectuer les réglages au moyen des commandes de l'écran d'information. Consultez le chapitre Écrans d'information.
Systèmes de chauffage et climatisation à commande manuelle
Par temps chaud, le système de chauffage et climatisation est régé au mode de CLIMATISATION MAXIMALE.
Par temps modéré, le système est en mode de chauffage ou de refroidissement (selon les réglages précédents) fs.
Par temps froid, la chaleur maximale est fournie en mode plancher-dégivrage. Le dégivreur de lunette arrêté, les rétroviseurs extérieurs chauffants sont automatiquement activés.
Systèmes de chauffage et climatisation à commande automatique
Par temps chaud, le système est réglé à 22 °C (72 °F). Les sièges rafraîchissants sont réglés à la position élevée (si cette fonction est disponible et si le mode AUTO est sélectionné à l'écran d'information).
Par temps modéré, le système est en mode de chauffage ou de refroidissement (selon les réglages précédents). Le dégivreur de lunette arrêté, les rétroviseurs extérieurs chauffants et les sièges chauffants ou rafraîchissants ne sont pas automatiquement actifs.
Par temps froid, le système est réglé à 22°C (72°F). Les sièges chauffants et le volant de direction chauffant sont réglés à la position élevée (si cette fonction est disponible et si le mode AUTO est sélectionné à l'écran d'information). Le dégivreur de lunette arrêté, les rétroviseurs extérieurs chauffants sont automatiquement activés.
AVERTISSEMENT: Une mauvaise position assise ou un dossier trop incliné peut réduire le poids reposant sur l'assise du siège et fausser la décision du capteur de poids du passager avant, ce qui pourrait augmenter le risque de blessures ou de mort en cas de collision. Il faut toujours garder le dos en contact avec le dossier de siège et les pieds sur le plancher. AVERTISSEMENT: N'inclinez pas le dossier de siège, car l'occupant risque de glisser sous la ceinture de sécurité du siège, ce qui peut provoquer des blessures graves lors d'une collision. AVERTISSEMENT: Pour réduire les risques de blessures en cas de collision, de freinage brusque ou d'arrêt soudain, n'empilez pas d'objets à une hauteur supérieure à celle des dossiers de siège.

Lorsque vous utilisez correctement le siège, l'appuie-tête, la ceinture de sécurité et les sacs gonflables, ceux-ci assureront une protection optimale en cas de collision.
Nous vous recommandons de respecter les consignes suivantes :
- N'inclinez pas le dossier du siège plus de 30 degrés de la verticale.
- Assoyez-vous bien droit dans le siège en plaçant la base de votre épine dorsale en position la plus arrière possible.
- z-la aussi loin que possible vers l'avant, tout en étant confortable.
- Maintenez une distance suffisante entre vous-même et le volant. Nous recommandons une distance minimale de 250 mm (10 po) entre votre sternum et le couvercle de sac gonflable.
- Maintenez le volant de façon à ce que vos bras soient légèrement pliés.
- Pliez légèrement vos jambes de façon à pouvoir enfoncer complètement les pédales.
- Placez le baudrier de la ceinture de sécurité par-dessus le centre de votre épaule et positionnez la ceinture diagonale fermement sur vos hanches.
Assurez-vous que votre position de conduite soit confortable et que vous puissiez conserver la pleine maîtrise de la direction.
Appuie-tété

AVERTISSEMENT : Pour réduire les risques de blessures au cou en cas de collision, le conducteur et les occupants ne doivent
pas s'asseoir ni utiliser le véhicule tant que les appuie-têtes ne se trouvent pas à la position appropriée. Le conducteur ne doit jamais régler l'appuie-tête lorsque le véhicule roule.

AVERTISSEMENT : L'appuie-tête réglable est un dispositif de
§ 1 sécurité. Dans la mesure du possible, il doit être installé et correctement réglé lorsque le siège est occupé.

AVERTISSEMENT : Installez correctement l'appuie-tête pour
réduire les risques de blessures au cou en cas de collision.
Nota : Avant de régler un appuie-tête, amenez le dossier de siège en position verticale. Réglez correctement l'appuie-tête pour que le dessus soit au niveau du dessus de votre tête et placez-le aussi près que possible de l'arrière de votre tête. Les occupants très grands doivent régler l'appuie-tête à sa position la plus élevée. Réglez l'appuie-tête comme suit :
Appuie-têtes de siège avant

Appuie-tête central réglable de siège de deuxième rangée (selon l'équipement)
Les appuie-têtes sont constitués des éléments suivants :
A. Appuie-tête à absorption d'énergie
B. Tiges en acier
C. Un bouton de réglage et de dégagement des manchons de guidage
D. Un bouton de déverrouillage et de retrait des manchons de guidage
- Relever : tirez l'appuie-tête vers le haut (A).
- Abaisser : maintenez enfoncé le bouton de réglage et de dégagement des manchons de guidage (C) et poussez l'appuie-tête vers le bas (A).
- Déposer : tirez l'appuie-tête vers le haut jusqu'à ce qu'il atteigne la position de réglage la plus élevée, maintenez enfoncés simultanément le bouton de réglage et de dégagement (C) et le bouton de déverrouillage et de retrait (D), puis tirez l'appuie-tête vers le haut.
- Reposer : alignez les deux tiges en acier dans les manchons de guidage, puis poussez l'appuie-tête vers le bas jusqu'à ce qu'il se verrouille.

Appuis-tête aux places latérales de la deuxième rangée
Les appuie-têtes extérieurs sont non réglables, mais ils peuvent être déposés.
Les appuie-têtes non réglables sont constitués des composants suivants :
A. Appuie-tête à absorption d'énergie
B. Tiges en acier C. Boutons de déverrouillage et de retrait des guides de tige
Pour réinstaller l'appuie-tête non réglable, procédez comme suit :
- Déposer : tirez l'appuie-tête vers le haut jusqu'à ce qu'il atteigne la position de réglage la plus élevée, puis maintenez enfoncés simultanément les boutons de déverrouillage et de retrait des manchons de guidage et tirez l'appuie-tête vers le haut.
- Reposer : alignez les deux tiges en acier dans les manchons de guidage, puis poussez l'appuie-tête vers le bas jusqu'à ce qu'il se verrouille.

Appuie-têtes réglables de troisième rangée (selon l'équipement)
Les appuie-têtes sont constitués des éléments suivants :
A. Appuie-tête à absorption d'énergie B. Tiges en acier C. Sangle de rabattement
Rabattre : tirez sur la sangle (C). Tirez-la vers le haut pour réinitialiser.
Nota : Appuyez sur le bouton de rangement ou de repliage des sièges repliables pour replier automatiquement l'appuie-tête.
Appuie-têtes inclinables
Les appuie-têtes avant peuvent être inclinables pour un confort accru. Réglez l'appuie-tête comme suit pour l'incliner :

- Réglez le dossier à la verticale ou à une position de conduite.
- Faites pivoter l'appuie-tête en avant vers votre tête à la position voulue.
Lorsque l'appuie-tête atteint la position maximale d'inclinaison vers l'avant, faites-le pivoter de nouveau vers l'avant pour le libérer et le replacer en position redressée vers l'arrière.

Sièges à réglage MANUEL
Déplacement des sièges vers l'arrière et vers l'avant

AVERTISSEMENT: Ne règlez pas le siège ou le dossier de siège du conducteur lorsque le véhicule roule.

AVERTISSEMENT : Faites basculer le siège vers l'arrière et vers l'avant après le relâchement du levier pour vous assurer qu'il est totalement engagé.
Réglage de l'inclinaison
AVERTISSEMENT: Avant de remettre le dossier de siège à sa position normale, assurez-vous qu'aucun objet n'est coincé derrière le dossier. APRÈS avoir redressé le dossier, tirez-dessus pour vérifier qu'il est bien verrouillé. Un siège déverrouillé est dangereux en cas d'arrêt soudain ou de collision.
Réglage lombaire (selon l'équipement)
Sièges à réglage électrique (SELON l'équipement)

AVERTISSEMENT: Ne régalez jamais le siège ou le dossier du conducteur lorsque le véhicule roule.

AVERTISSEMENT : Avant de remettre le dossier de siège à sa position normale, assurez-vous qu'aucun objet n'est coincé derrière le dossier.




Support lombaire à réglage électrique (selon l'équipement)
Fonction de mise en mémoire (SELON l'équipement)

La touche de mémoire, située sur la porte du conducteur, permet de programmer le rappel automatique de deux positions de siège du conducteur et des rétroviseurs électriques. Vous pouvez aussi utiliser cette fonction pour la colonne de direction et les pédales.
régulables à commande électrique.
Programmation d'une position de mise en mémoire
Note : Vous pouvez programmer une position de mise en mémoire à n'importe quel moment.
- Pour programmer la position 1, déplacez les caractéristiques mémorisées en position voulue au moyen des commandes associées. Maintenez la touche 1 enfoncée pendant au moins deux secondes. Un carillon retentit pour confirmer la mise en mémoire d'une position.
- Mettez la deuxième position en mémoire en effectuant les mêmes étapes au moyen de la touche prévue à cet effet.
Rappel d'une position mémorisée
Vous pouvez rappeler une position mémorisée programme :
- à toutes les positions du levier de vitesses si le contact n'est pas établi;
- seulement en position de stationnement (P) ou point mort (N) si le contact est établi.
Appuyez sur la touche de mémoire voulue pour rappeler une position mémoire.
Rappel des positions mémorisées au moyen de la télécommande
Vous pouvez rappeler les positions mémorisées en appuyant sur le bouton de déverrouillage de votre télécommande (si la télécommande est programmée à une position de mise en mémoire), ou en entrant un code d'entrée personnalisé valide programme en fonction d'une position mémorisée. Si la fonction de facilitation de l'entrée est activée, le siège se déplacera d'abord en position de facilitation de l'entrée. Le siège se déplacera à la position finale lorsque la clé se trouve dans le commutateur d'allumage ou lorsque le système de démarrage à bouton-poussoir (selon l'équipement) est placé en mode d'accessoires ou de démarrage.
Pour programmer la fonction de mise en mémoire sur une télécommande, consultez le chapitre Clés et télécommande.
Fonction d'entrée/sortie facile (selon l'équipement)
Cette fonction peut déplacer le siège vers l'arrière et la colonne de direction vers le haut et vers le tableau de bord pour laisser plus de place pour sortir du véhicule.
Cela se produit lorsque :
- le levier sélecteur de boîte de vitesses est au point mort (N) ou en position de stationnement (P);
- la clé est retirée du commutateur d'allumage ou le système de démarrage à bouton-poussoir est placé en mode d'arrêt.
Le siège et le volant de direction reconnaissent leur position initiale lorsque :
- le levier sélecteur de boîte de vitesses est au point mort (N) ou en position de stationnement (P);
- la clé est insérée dans le commutateur d'allumage ou le système de démarrage à bouton-poussoir est placé en mode d'accessoires ou de démarrage.
Activez ou désactivez la fonction d'entrée facile au moyen de l'écran d'information. Consultez le chapitre Écrans d'information.
Sièges chauffants (SELON l'équipement)
AVERTISSEMENT: Les personnes insensibles aux douleurs cutanées en raison de l'âge, d'une maladie chronique, du diabète, d'une blessure à la moelle épinière, de consommation de médicaments ou d'alcool, dépérissement ou d'une autre pathologie doivent prudemment utiliser le siège chauffant. Le siège chauffant peut causer des brûlures, même à basse température, surtout s'il est utilisé pendant de longues périodes. Ne placez aucun objet qui offre une isolation contre la chaleur sur le siège (tel qu'une couverture ou un coussin), car le siège chauffant pourrait surchauffer. N'enfoncez pas des épingles, des aiguilles ni d'autres objets pointus dans le siège, sous peine d'endommager les éléments chauffants et de provoquer une surchauffe du siège. Un siège surchauffé pourrait causer des brûlures.
Les sièges chauffants ne fonctionnent que lorsque le contact est établi.
Nota : Respectez les consignes suivantes :
- Ne placez aucun objet lourd sur le siège.
- Ne mettez pas le siège chauffant en fonction si de l'eau ou un autre liquide a été déversé sur le siège. Laissez complètement sécher le siège.
Pour utiliser les sièges chauffants, faites ce qui suit :

Appuyez sur le symbole de siège chauffant pour accéder aux divers réglages du chauffage et à la mise hors fonction. Les réglages plus chauds sont indiqués par des témoins supplémentaires.
Sièges chauffants de deuxième rangée (selon l'équipement)
AVERTISSEMENT: Les personnes insensibles aux douleurs cutanées en raison de l'âge, d'une maladie chronique, du diabète, d'une blessure à la moelle épinière, de consommation de médicaments ou d'alcool, dépérissement ou d'une autre pathologie doivent prudemment utiliser le siège chauffant. Le siège chauffant peut causer des brûlures, même à basse température, surtout s'il est utilisé pendant de longues périodes. Ne placez aucun objet qui offre une isolation contre la chaleur sur le siège (tel qu'une couverture ou un coussin), car le siège chauffant pourrait surchauffer. N'enforcez pas des épingles, des aiguilles ni d'autres objets pointus dans le siège, sous peine d'endommager les éléments chauffants et de provoquer une surchauffe du siège. Un siège surchauffé pourrait causer de graves blessures.
Nota : Respectez les consignes suivantes :
- Ne placez un objet lourd sur le siège.
- Ne mettez pas le siège chauffant en fonction si de l'eau ou un autre liquide a été déversé sur le siège. Laissez complètement sécher le siège.
Pour utiliser les sièges chauffants, faites ce qui suit :

Appuyez sur le bouton de siège chauffant situé à l'arrière de la console de plancher pour accéder aux divers réglages de chauffage et à la mise hors fonction. Les réglages plus chauds sont indiqués par des témoins supplémentaires.
Sièges chauffants

AVERTISSEMENT : Les personnes insensibles aux douleurs cutanées en raison de l’âge, d’une maladie chronique, du diabète, et blessure à la moelle épinière, de consommation de médicaments alcool, dépuisement ou d’une autre pathologie doivent utiliser le siège chauffant. Le siège chauffant peut causeurs brûlures, même à basse température, surtout s’il est utilisé pendant uniques périodes. Ne placez aucun objet qui offre une isolation de la chaleur sur le siège (tel qu’une couverture ou un coussin), car le siège chauffant pourrait surchauffer. N’enforcez pas épingles, cailles ni d’autres objets pointus dans le siège, sous peine vommager les éléments chauffants et de provoquer une surchauffé siège. Un siège surchauffé pourrait causer de graves blessures.
Les sièges chauffants ne fonctionnent que lorsque le moteur tourne.
Nota : Respectez les consignes suivantes :
- Ne placez un objet lourd sur le siège.
- Ne mettez pas le siège chauffant en fonction si de l'eau ou un autre liquide a été déversé sur le siège. Laissez complètement sécher le siège.
Pour utiliser les sièges chauffants, faites ce qui suit :

Appuyez sur le symbole de siège chauffant pour accéder aux divers réglages du chauffage et à la mise hors fonction. Les réglages plus chauds sont indiqués par des témoins supplémentaires.
Si le régime du moteur chute sous les 350 tr/min et que les sièges chauffants sont en fonction, ils se désactivent automatiquement. Vous devrez les réactiver.
Sièges ventilés
Les sièges ventilés ne fonctionnent que lorsque le moteur tourne.
Pour utiliser les sièges ventilés, faites ce qui suit :

Appuyez sur le symbole de siège ventilé pour accéder aux divers réglages de refroidissement et à la mise hors fonction. Les réglages plus froids sont indiqués par des témoins supplémentaires.
Si le régime du moteur chute sous les 350 tr/min et que les sièges ventilés sont en fonction, ils se désactivent automatiquement. Vous devrez les réactiver.
Note : Quand le siège avant chauffant ou ventilé est actif, vous pouvez entendre le fonctionnement du ventilateur dans le siège. Ceci est normal.
Remplacement du filtre à air des sièges chauffants et ventilés (selon l'équipement)
Le système de siège à régulation de température comprend des filtres à air. Vous devez les remplacer régulièrement. Consultez notre Guide d'entretien périodique.
Localisez les filtres sous chaque siège avant ; vous pouvez y accéder à partir de l'espace pour les jambes de la deuxième rangée. Déplacez les sièges avant complètement vers l'avant et vers le haut afin de faciliter l'accès.

Pour retirer un filtre à air :
- Coupez le contact.
- Poussez le bord rigide extérieur du filt er le filtre dans le sens contraire des aiguilles d'une montre, puis retirez le filtre.

Pour installer un filtre :
- Premièrement, placez le filtre dans son boîtier en vous assurant que l'extrémité avant est au fond du boîtier.
- Poussez ensuite sur le centre du rebord extérieur du filtre et faites-le pivoter dans le boîtier jusqu'à ce qu'il s'enclenche.
Réglage d'inclinaison

AVERTISSEMENT : Conduisez toujours avec le dossier en position verticale et la ceinture sous-abdominale bien serrée et basse sur les hanches.

AVERTISSEMENT : L'inclinaison vers l'arrière du dossier du siège peut faire en sorte que l'occupant glisse sous la ceinture de sécurité du siège lors d'une collision, ce qui peut entraîner des blessures graves.
Note : Pour la banquette seulement, assurez-vous que la ceinture de sécurité centrale est débouclée avant de rabattre le dossier.

Soulevez la poignée pour régler le dossier vers l'avant ou vers l'arrière. Vous pouvez également replier le dossier de siège vers l'avant jusqu'à ce qu'il soit à plat.
Déplacement des sièges vers l'arrière et vers l'avant (véhicules pour six passagers seulement)

Soulevez la commande pour régler le siège vers l'avant ou vers l'arrière.
Siège de deuxième rangée pliable et rabattable à commande électrique

AVERTISSEMENT : Assurez-vous que le siège est inoccupé avant de le rabattre. Sinon, l'occupant du siège pourrait être
blessé ou le siège pourrait s'endommager.
Cette caractéristique est disponible pour la place droite dans les véhicules sept places et des deux côtés dans les véhicules six places.

Appuyez une fois sur la commande située à l'arrière de l'encadrement de porte arrêté pour replier le dossier de siège. Basculez le siège vers l'avant pour accéder à la troisième rangée.
Note : Lorsque le contact est coupé, la fonction de repliage à commande électrique fonctionne jusqu'à ce que la protection antidécharge de la batterie coupe la fonction après 10 minutes. Vous pouvez réactiver les sièges à réglage électrique en appuyant sur le bouton de déverrouillage de la télécommande d'entrée sans clé ou en utilisant la procédure de déverrouillage sur le clavier de la télécommande d'entrée sans clé. Consultez le chapitre Serrures. Gardez la clé dans la position accessoire ou dans la position de marche pour éviter que la fonction ne vienne à échéance.
Accès au siècle

AVERTISSEMENT : Avant de remettre le dossier de siège à sa position normale, assurez-vous qu'aucun objet n'est coincé.
derrière le dossier. Après avoir redressé le dossier, tirez dessus pour vérifier qu'il est bien verrouillé. Un siège déverrouillé est dangereux en cas d'arrêt soudain ou de collision.

AVERTISSEMENT: Ne régler ni ne débloquer les sièges pendant la conduite. Ne roulez pas lorsque les sièges ont
été basculés. Fixez toujours le siège au plancher, que le siège soit occupé ou non. Si le siège n'est pas verrouillé ou en position basculée, il pourrait causer des blessures en cas d'arrêt brusque.
Nota : Pour rabattre complètement le siège de deuxième rangée, il peut être nécessaire de déplacer le siège de première rangée vers l'avant.
Rabattez et faites basculer le siège de deuxième rangée pour accéder à la troisième rangée. Retirez tous les objets du siège de deuxième rangée.
Assurez-vous qu'aucun objet, tel que sac à main ou port-documents, ne se trouve sur le plancher devant les sièges de deuxième rangée avant de les faire basculer. Pour les banquettes de deuxième rangée, assurez-vous que la ceinture de sécurité centrale est débouclée avant de rabattre le dossier.

- Soulevez la poignée située sur le côté du siège.

Le dossier de siège se replie à plat.

- Soulevez la poignée complètement jusqu'à ce que le siège se libère du plancher. Pour faciliter l'accès à la troisième rangée, avancez le siège en saisissant le bas du dossier de siège de la manière indiquée.
Note : Le dossier de siège doit être rabattu pour libérer les loquets de plancher. Assurez-vous qu'il n'y a aucune objet sur le coussin de siège qui peut empêcher le dossier de siège de se rabattre à plat.

- Pour remettre le siège sur le plancher à partir de la position basculée, tournez-le vers le bas jusqu'à ce qu'il s'enclenche dans le plancher.

- Pour remettre le dossier de siège en position verticale,
- Soulevez le dossier vers l'arrêt du véhicule, et
- Faites pivoter le dossier jusqu'à ce que vous entendiez un déclic pour le verrouiller en position verticale.
Note : Le dossier ne se soulevera pas si les crochets de verrouillage arrêté ne sont pas engagés dans la gâche du plancher. Si le dossier de siège ne se souève pas, repétez les étapes 3 et 4.
Pour quitter le siège de la troisième rangée

- Tirez sur la sangle située à l'arrière du siège de la deuxième rangée. Cela repliera le dossier vers l'avant. Tirez sur la sangle une fois pour basculer le siège vers l'avant, ce qui permettra de quitter facilement le siège de la troisième rangée.
Note : Le dossier de siège doit être rabattu pour libérer les loquets de plancher. Assurez-vous qu'il n'y a aucune objet sur le coussin de siège qui peut empêcher le dossier de siège de se rabattre à plat.

- Pour remettre le siège sur le plancher à partir de la position basculée, tournez-le vers le bas jusqu'à ce qu'il s'enclenche dans le plancher.

- Pour remettre le dossier de siège en position verticale,
- Soulevez le dossier vers l'arrière du véhicule, et
- Faites pivoter le dossier jusqu'à ce que vous entendiez un déclic pour le verrouiller en position verticale.
Note : Le dossier ne se soulevera pas si les crochets de verrouillage arrière ne sont pas engagés dans la gâche du plancher. Si le dossier de siège ne se soulève pas, répétez les étapes 3 et 4.

- Assurez-vous que les crochets de loquet arrière sont bien engagés avec la gâche du plancher.
Nota : Assurez-vous que le siège et le dossier de siège sont fermement bloqués en place. Assurez-vous qu'aucun objet sur le plancher n'entrave le système de blocage des sièges.
Rangement du siège de troisième rangée
- Retirez tous les objets se trouvant sur le siège et dans le logement de plancher. Les objets sur le siège ou dans le bac de rangement peuvent causer des dommages graves au revêtement de siège et affecter le fonctionnement du siège.


- De l'arrière du vehicule, rangez les appuie-têtes en tirant sur la sangle située au milieu du dossier de siège juste en dessous de l'appuie-tête. Rabattez ensuite le dossier en tirant et en tenant la sangle numéro 1 tout en poussant le dossier de siège vers l'avant. Libérez la sangle une fois que le dossier de siège commence à tourner vers l'avant.
- Débloquez les loquets du coussin en tirant sur la sangle numé
Nota: N'utilisez pas les ancrages de siège pour arrimer le chargement.

Nota : N'utilisez pas le dossier de la troisième rangée comme plancher de chargement quand le dossier du siège est rabattu. Les objets tranchants peuvent endommager le revêtement du siège.
Nota : Afin de pouvoir placer le siège en position escamotée, ne placez pas d'objets sous le siège avant de le faire basculer.
Déploiement du siècle de troisième rangée

AVERTISSEMENT: Assurez-vous que le siège est verrouillé au plancher du véhicule en le poussant et en le tirant. Si le siège n'est verrouillé, il pourrait causer des blessures en cas d'arrêt brusque.
Nota : Assurez-vous qu'il n'y a aucun objet tel que livre, sac à main ou porte-document sur le plancher avant de retirer le siège de son logement. La présence d'objets sur le plancher lorsque le siège est retiré de son logement pourrait endommager le siège.
Nota : Assurez-vous que la zone sous le plancher est libre de tout objet avant de désteroler le siège de troisième rangée de son logement.

- Déverrouillez et soulevez le siège hors de son logement de plancher en comprimant et en tirant la poignée. Une fois à la verticale, poussez le siège de façon qu'il retombe dans ses ancrages de plancher.

- Pour remettre le dossier de siège en position verticale, tirez sur la sangle numéro 1. Tout en tenant la sangle numéro 1, tirez sur la longue sangle située sur le dossier de siège pour redresser le dossier de siège.
- Replacez les appuie-têtes à leur position normale.
Siège de troisième rangée powerfold® (selon l'équipement)
Le siège de troisième rangée offre une commande à impulsion électrique qui vous permet d'ajuster le siège gauche, le siège droit ou les deux sièges dans une des quatre positions disponibles, soit NORMAL (normal), STOW (rangée), FOLD (repliée) ou TAILGATE (hayon), en appuyant simplement sur un bouton. Le siège de troisième rangée est aussi doté d'un dispositif de détection d'obstacle qui permet au siège de se bloquer et d'inverser sa course en cas d'obstacle, afin de pouvoir le retarder.
Les boutons de commande des sièges à réglage électrique de troisième rangée sont situés derrière les sièges de troisième rangée sur le panneau de garniture de custode gauche.
Note : Les sièges repliables à commande électrique fonctionnent uniquement lorsque le levier sélecteur de boîte de vitesses est en position de stationnement (P) et que le hayon est ouvert. Si le contact est coupé et que la fonction est toujours activée, la protection antidécharge de la batterie la désactivera après 10 minutes. Vous pouvez réactiver les sièges à réglage électrique en appuyant sur le bouton de déverrouillage de la télécommande d'entrée sans clé ou en utilisant la procédure de déverrouillage sur le clavier de la télécommande d'entrée sans clé. Consultez la rubrique Clavier sans clé SecuriCode dans le chapitre Serrures. Gardez la clé en position accessoires ou en position contact pour éviter que la fonction n'arrive au bout de son début.

Appuyez sur le bouton (D) pour désirser le siège droit, le siège gauche ou les deux. Sélectionnez d'abord le siège que vous désirez régler, puis sélectionnez une des options suivantes :
- Appuyez sur le bouton NORMAL (normale) (A) pour remettre le siège à la position normale.
- Appuyez sur le bouton STOW (rangée) (B) pour ranger le siège de troisième rangée dans le plancher de l'aire de chargement.
- Appuyez sur le bouton FOLD (replié) (C) (partie supérieure) pour rabattre le dossier de siège.
- Appuyez sur la partie inférieure du bouton TAILGATE (hayon) (C) pour mettre le siège dans la position de hayon.
Nota : Le fait d'appuyer sur un bouton différent pendant l'exécution d'une commande de déplacement de siège peut annuler celle-ci en plein milieu du déplacement. Permettez au premier déplacement de siège de terminer avant d'appuyer sur un autre bouton de fonction.
Nota : Assurez-vous qu'il n'y a aucune objet tel que livre, sac à main ou porte-document sur le plancher avant de retirer le siège de son logement. La présence d'objets sur le plancher lorsque le siège est retiré de son logement pourrait endommager le siège.
Nota : Afin de permettre au siège de passer en position escamotée, ne placez pas d'objets sous le siège avant de le faire basculer. Retirez tous les objets se trouvant sur le siège et dans le logement de plancher. Les objets tranchants peuvent endommager le revêtement du siège et entraver le fonctionnement du mécanisme.
Note : Si le siège de troisième rangée s'arrête prématurément, ce qui est peu probable, ou s'il se déplace dans une position imprévue, appuyez sur le bouton FOLD (replié) (C) pour remettre le siège à l'état initial et le retourner à une position normale.

AVERTISSEMENT: Ne prenez pas la route lorsque le siège de troisième rangée est tourné vers l'arrière. En cas d'arrêt brusque, les ceintures de sécurité ne sont pas fonctionnelles dans cette position, et le siège de troisième rangée pourrait basculer brusquement dans sa position vers l'avant et infliger de graves blessures aux occupants.
Fermeture du hayon
AVERTISSEMENT : Pour éviter des blessures aux occupants de la troisième rangée en fermant le hayon, assurez-vous que la tête des passagers ne se trouve pas dans le trajet du hayon.
Système de commande sans FIL homelink® (SELON l'équipement)

AVERTISSEMENT : Assurez-vous que la porte de garage et le dispositif de sécurité ne sont pas obstrués lors de la programmation.
Ne programmez pas le système lorsque le véhicule se trouve dans le garage.

AVERTISSEMENT : N'utilisez pas le système si vous possédez un ouvre-porte de garage qui n'est pas muni des fonctions d'arrêt
automatique et de marche arrêté telles que prescrites par les normes de sécurité fédérales américaines (notamment les ouvre-portes de garage fabriqués avant le 1er avril 1982).
Nota : Assurez-vous de conserver la télécommande d'origine pour l'utiliser avec d'autres véhicules ou pour une programmation ultérieure du système.
Nota : Nous vous recommandons d'effacer la programmation des boutons de fonction lors de la vente ou au terme de la location du véhicule pour des motifs de sécurité
Nota : Vous pouvez programmer jusqu'à deux dispositifs. Pour modifier ou remplacer un des deux dispositifs après la programmation initiale, vous devez d'abord effacer les réglages actuels

L'ouvre-porte de garage universel remplace l'ouvre-porte de garage portatif classique par une télécommande à deux boutons intégrée au pare-soleil du véhicule.
Le système comprend deux fonctions principales : un ouvre-porte de garage et une plate-forme pour l'activation à distance de dispositifs à l'intérieur de votre domicile. En plus d'être programmée pour les portes de garage, la télécommande du système peut être programmée pour actionner l'ouverture de portails, de systèmes d'alarme, de serrures de porte d'entrée et de systèmes d'éclairage de la maison ou du bureau.
Vous pouvez obtenir de plus amples renseignements sur le système en visitant le site Web www.homelink.com ou en communiquant avec la ligne d'aide au numéro sans frais 1 800 355-3515.
Programmation
Note : Placez une pile neuve dans la télécommande. Ceci assurera un usage plus rapide et une transmission précise du signal de fréquence radio.

- Stationnez votre véhicule à l'extérieur du garage et mettez le contact.
- Maintenez la télécommande de porte de garage à une distance de 2 à 8 cm (1 à 3 po) du bouton HomeLink à programmer.
- En utilisant les deux mains, enfoncer simultanément le bouton HomeLink® souhaité et le bouton de la télécommande. NE relâchez AUCUN des deux tant que le témoin HomeLink ne s'est pas mis à clignoter lentement puis rapidement. Lorsque le té
- Maintenez enfoncé le bouton HomeLink que vous avez programmé pendant cinq secondes, puis relâche
Si le témoin reste allumé, la programmation est terminée. Appuyez brièvement sur le bouton HomeLink programme, puis commencez à programmer votre ouvre-porte de garage. Reportez-vous aux étapes 5 à 7 ci-dessous.
Si le témoin clignote rapidement pendant deux secondes, puis reste allumé, le bouton HomeLink n'est pas programmé. Effectuez les étapes suivantes :
Maintenez enfoncé le bouton HomeLink pendant que vous appuyez brièvement toutes les deux secondes sur le bouton de la télécommande manuelle. Le témoin HomeLink devrait clignoter lentement puis rapidement une fois que le bouton de la fonction HomeLink reconnaît et accepte le signal radiofréquence de la télécommande.
194 Ouvre-porte de garage universel (selon l'équipement)
Après la programmation du bouton HomeLink, effectuez les étapes 5 à 7 indiquées ci-dessous pour programmer votre ouvre-porte de garage.

Note : Il se peut que vous ayez besoin d'une échelle pour atteindre l'appareil et pour retirer le couvercle ou la lentille du témoin de l'ouvre-porte de garage.
- Appuyez sur le bouton d'apprentissage du moteur de l'ouvre-porte de garage ; vous avez alors 30 secondes pour effectuer l'opération suivante.

- Retournez à votre véhicule.
- Appuyez sur le bouton de fonction que vous souhaitez programmer et maintenez-le enfoncé pendant deux secondes, puis relâche
Pour programmer des boutons supplémentaires, répétez les étapes 1 à 4. Si vous avez des questions ou des commentaires, communiquez avec HomeLink® à l'adresse www.homelink.com ou composez le 1 800 355-3515.
Effacement des codes des boutons de fonction

Note : Vous ne pouvez pas effacer les codes des boutons individuels.
- Maintenez simultanément enforcés les deux boutons de fonction extérieurs pendant environ 20 secondes jusqu'à ce que les témoins au-dessus des boutons clignotent rapidement.
- Lorsque les témoins clignotent, relâchez les boutons. Les codes de tous les boutons sont effacés.
Reprogrammation d'un seul bouton
Pour programmer un dispositif à un bouton déjà programmé, effectuez les étapes suivantes :
- Maintenez enfoncé le bouton voulu. NE relâchez PAS le bouton.
- Le témoin commence à clignoter après 20 secondes. Sans relâcher le bouton, effectuez l'étape 1 de la rubrique Programmation.
Si vous avez des questions ou des commentaires, communiquez avec HomeLink® à l'adresse www.homelink.com ou composez le 1800 355-3515.
Programmation du système homelink à un ouvre-porte de garage genie intellicode 2
Note : La télécommande Genie Intellicode 2 doit déjà être programmée pour fonctionner avec l'ouvre-porte de garage.
Programmation des télécommandes
Pour programmer le système HomeLink à la télécommande, vous devez activer la télécommande en mode de programmation. Pour effectuer cette opération :

Voyant DEL rouge Voyant DEL vert
- Appuyez sur l'un des boutons de la télécommande et maintenez-le enfoncé pendant 10 secondes. Le voyant DEL passe de vert à rouge.
- Appuyez deux fois sur le même bouton pour confirmer le passage en mode de programmation. Si la programmation a réussi, le voyant DEL apparait en rouge.
- Maintenez la télécommande à une distance de 2 à 8 cm (1 à 3 po) du bouton du pare-soleil que vous souhaitez programmer.
196 Ouvre-porte de garage universel (selon l'équipement)
- Appuyez sur le bouton programme de la télécommande Genie et sur le bouton du pare-soleil que vous souhaitez programmer et maintenez-les enfoncés. Le temps sur le pare-soleil clignotera rapidement si la programmation a réussi.
Note: La télécommande Genie transmet le signal jusqu'à 30 secondes. Si la programmation du système HomeLink ne s'effectue pas dans un délai de 30 secondes, vous devrez appuyer de nouveau sur le bouton de la télécommande Genie. Si le voyant DEL de la télécommande Genie apparait en vert et rouge, relâchez le bouton jusqu'à ce que le voyant DEL s'éteigne avant d'appuyer de nouveau sur le bouton.
Une fois que la programmation du système HomeLink a réussi, la télécommande Genie doit quitter le mode de programmation. Pour effectuer cette opération :
- Appuyez sur le bouton déjà programé de la télécommande Genie et maintenez-le enfoncé pendant 10 secondes. Le témoin passe de rouge à rouge et vert.
- Appuyez deux fois sur le même bouton pour confirmer la modification. Si tout s'est bien passé, le voyant DEL passe au vert.
Programmation du système homelink au moteur de l'ouvre-porte de garage genie intellicode
Nota : Il se peut que vous ayez besoin d'une échelle pour accéder au moteur de l'ouvre-porte de garage.
Pour programmer le système HomeLink au moteur de l'ouvre-porte de garage :

- Maintenez enforcé le bouton PROGRAM (programmation)itué sur le moteur de l'ouvre-porte de garage jusqu'à ce que les deux voyants DEL bleus s'allument.
- Relâchez le bouton PROGRAM. Seul le plus petit voyant DEL rond doit s'allumer.
- Appuyez brièvement sur le bouton PROGRAM (programmation). Le plus gros voyant DEL mauve clignotera.
Nota : Les deux opérations suivantes doivent être effectuées dans un délai de 30 secondes.
- Appuyez brièvement sur le bouton déjà programmé de la télécommande Genie Intellicide 2. Les deux témoins situés sur le moteur de l'ouvre-porte de garage doivent alors clignoter en mauve.
- Appuyez sur le bouton déjà programmé sur le pare-soileil et maintenez-le enfoncé pendant deux secondes. Répétez cette étape jusqu'à deux fois, jusqu'à ce que la porte de garage se déplace. La programmation est maintenant terminée.
Effacement de la programmation des boutons du système homelink
Pour effacer la programmation des trois boutons du système HomeLink, appuyez sur les deux boutons extérieurs du système HomeLink et maintenez-les enfoncés jusqu'à ce que le témoin commence à clignoter. Le voyant DEL commence à clignoter au bout de 10 à 20 secondes, relâchez alors les deux boutons. La programmation a alors été effacée et le voyant DEL devrait clignoter lentement pour indiquer que le dispositif est en mode d'apprentissage lorsque vous appuyez sur un des trois boutons du système HomeLink.
Conforme à la réglementation de la FCC et aux normes rss-210 d'industrie canada
Ce dispositif est conforme aux normes de la section 15 des règles de la FCC des États-Unis et aux normes RSS-210 d'Industrie Canada. Son utilisation est soumise aux deux conditions suivantes : (1) ce dispositif ne doit causer aucune interférence nuisible et (2) il doit accepter toutes les interférences, y compris celles qui peuvent l'activer de façon inopinée.
Tout changement apporté au dispositif sans l'approbation expresse des autorités compétentes peut révoquer le droit de l'utilisateur d'en faire usage.
PRISES de courant auxiliaires

AVERTISSEMENT: Ne branchez pas d'accessoires électriques
en option dans l'allume-cigare (selon l'équipement). Une
utilisation inappropriée de l'allume-cigare peut provoquer des
dommages qui ne seraient pas couverts par la garantie, et qui
risqueraient de causer un incendie ou de graves blessures.
Nota : En cas d'utilisation avec le moteur à l'arrêt, la batterie se décharge. Il peut ne pas y avoir suffisamment de courant pour redémarrer le moteur.
Nota : N’insérez pas des objets autres qu’une fiche d’alimentation des accessoires dans la prise de courant, car cela endommagera la prise et grillera le fusible.
Nota: Ne suspendez ni accessoire ni support d'accessoire à la fiche.
Nota : Pour éviter de griller un fusible, ne branche pas d'accessoires dans les prises de courant dont la consommation électrique dépasse la capacité du circuit, soit 12 volts c.c./180 W.
Nota: N'utilisez pas l'allume-cigare dans la prise de courant.
Nota : L'utilisation inadéquate d'une prise de courant peut provoquer des dommages non couverts par la garantie.
Nota : Gardez toujours les couvercles des prises de courant fermés lorsqu'elles ne sont pas utilisées.
Faites fonctionner le moteur lorsque la prise de courant est utilisée à sa pleine capacité afin de prévenir la décharge de la batterie :
- n'utilisez pas la prise de courant plus qu'il ne le faut lorsque le moteur n'est pas en marche;
- ne laissez pas des appareils branchés pendant de longues périodes lorsque le contact est coupé.
Emplacements
Vous trouverez des prises de courant auxiliaires :
- Près du plancher dans le bac de la console avant du côté passager.
- Dans le compartiment de rangement de la console centrale.
- Dans l'aire de chargement arrêté sur le panneau de garniture arrêté gauche.
Prise de courant 110 volts c. a. (selon l'équipement)

AVERTISSEMENT : Ne laissez pas les appareils électriques branchés dans la prise de courant lorsqu'ils ne sont pas utilis
Ne branche pas de rallonge sur la prise de courant de 110 volts c. a., car vous ne seriez pas protégé. L'utilisation d'une rallonge, qui pourrait alimenter simultanément plusieurs appareils, risquerait de surcharger la prise dont la limite est de 150W et de causer un incendie ou de graves blessures.
Nota : Le couvercle doit toujours être fermé lorsque la prise de courant n'est pas utilisée.
Nota : La prise de courant se désactive après 13 minutes si le commutateur d'allumage est à la position contact, moteur arrêté. Maintenez le moteur en marche pour utiliser la prise de courant.
La prise de courant de 110 volts c.a. est utilisée pour alimenter des accessoires électriques jusqu'à concurrence de 150 W. Le dépassement de la limite de 150 W entraînera une coupure temporaire de l'alimentation afin d'offrir une protection contre la surcharge.
La prise de courant est située à l'arrière de la console centrale.
AC 110V 150W
La prise de courant n'est pas conçue pour les appareils électriques suivants, qui pourraient ne pas fonctionner correctement :
- Télévisions à tube cathodique
- Appareils à moteur tels qu’aspirateurs, scies électriques ou autres outils électriques, réfrigérateurs munis d’un compresseur, etc.
- Appareils de mesure qui traitent des données précises (instruments médicaux, instruments de mesure, etc.).
- Autres appareils nécessitant une alimentation en courant extrêmement stable : couvertures électriques commandées par micro-ordinateur, lampes tactiles, etc.
La prise de courant peut passer à un mode de défaillance lorsqu'elle est surchargée, surchauffée ou court-circuitée. S'il y a surcharge ou court-circuit, débranchez votre appareil, puis coupez et remettez le contact. En cas de surchauffe, laissez le système refroidir, puis coupez et rétablissez le contact.
La prise de courant peut fournir du courant lorsque le commutateur d'allumage est à la position contact et que le témoin est allumé. Le témoin vert est situé dans le coin supérieur gauche de la prise de courant.
Lorsque le témoin :
- est allumé - la prise de courant est prête à fournir du courant
- est éteint - la prise de courant est désactivée; le contact n'est pas établi
- clignote - la prise de courant est en mode de défaillance
Console centrale
Choisissez avec soin les objets que vous placez dans le porte-gobelet car ils peuvent être projetés lors d’un freinage brutal, d’une accélération ou d’une collision. Des boissons chaudes peuvent se renverser par exemple.
Les fonctions disponibles dans la console sont les suivantes :

A. Des porte-gobelets B. Un compartiment de rangement avec prise d'entrée audio, un port USB, une prise de courant et un lecteur de carte mémoire flash C. Un tiroir de rangement avec porte-gobelets D. Une prise de courant arrêté, une prise de courant de 110 volts et des commandes de chauffage et climatisation arrêté
Console centrale de la deuxième rangée (selon l'équipement)

Les fonctions disponibles dans la console sont les suivantes :
A. Des porte-gobelets B. Un accoudoir escamotable vers l'avant pour procurer un plancher de chargement plat C. Un compartiment de rangement ou un réfrigérateur
Réfrigérateur-congélateur de la console (selon l'équipement)
Cette caractéristique peut être utilisée lorsque le commutateur d'allumage est à la position contact ou accessoires. Pour éviter d'épuiser la batterie, limitez le temps d'utilisation lorsque le véhicule est en mode accessoires. Ford recommande d'utiliser cette caractéristique seulement lorsque le moteur est en marche.

Faites basculer le couvercle de la console vers l'avant, puis soulevez-le pour ouvrir le compartiment de refroidissement. Assurez-vous de remettre le couvercle en place après utilisation. La température de refroidissement sera ainsi plus uniforme.

Réfrigérateur: appuyez sur la partie COOL (refroidissement) de la commande et maintenez-la brièvement enfoncée. Le témoin sur la partie COOL de la commande s'allume et le témoin du côté congélation scintille pour indiquer que le réfrigérateur fonctionne. La température de l'appareil descend jusqu'à environ 5°C (41^). Appuyez de nouveau sur la partie COOL de la commande pour éteindre le réfrigérateur. Appuyez sur la partie FREEZE (congélation) de la commande et maintenez-la brièvement enfoncée pour passer en mode de congélation.
Congélateur: appuyez sur la partie FREEZE de la commande et maintenez-la brièvement enfonnée. Le témoin de cette partie s'allume
pour indiquer que le congélateur fonctionne. En mode de congélation, la température de l'appareil descend jusqu'à environ -5 °C (23 °F). Appuyez de nouveau sur la partie FREEZE de la commande pour éteindre le congélateur. Appuyez sur la partie COOL de la commande pour passer en mode de refroidissement.
Cette fonction s'éteint lorsque vous coupez le contact. Au prochain démarrage du moteur, elle se remet en marche en représentant le dernier mode utilisé.
Nettoyage et entretien
Note : Dans certaines conditions, il est normal que de la condensation se forme sur les parois du réfrigérateur.
Le réfrigerateur-congélateur ne nécessite aucun entretien particulier, mais vous pouvez nettoyer l'intérieur et le couvercle au besoin en utilisant de l'eau et du savon doux.
Console au pavillon
L'apparence de la console au pavillon varie selon les options choisies à l'achat.

Appuyez sur le bord arrêté de la porte pour l'ouvrir.
Généralités

AVERTISSEMENT : Un ralenti prolongé à régime élevé peut entraîner de très hautes températures dans le moteur et dans la partie d'échappement, en plus de créer des risques d'incendie ou des dommages au véhicule.

AVERTISSEMENT : Ne stationnez pas le véhicule, ne faites pas tourner le moteur au ralenti et ne conduisez pas sur du gazon sec, mais autre revêtement de sol sec. Les dispositifs antipollution ont été effet d'élever la température du compartiment moteur et de la batterie d'échappement au point de risquer un incendie sur de tels

AVERTISSEMENT : Ne faites jamais démarrer le moteur dans un garage ou autre local fermé, les gaz d'échappement sont nuisibles. Ouvrez toujours la porte du garage avant de démarrer.

AVERTISSEMENT : Si vous détectez une odeur de gaz d'échappement à l'intérieur de votre véhicule, faites
immédiatement vérifier le véhicule par votre concessionnaire autorisé. Ne conduisez pas si vous sentez une odeur de gaz d'échappement.
Si la batterie est débranchée, votre véhicule peut manifester des caractéristiques inhabituelles de conduite pendant environ 8km (5 mi) après le branchement de la batterie. Ceci est causé par le réalignement du système de gestion du moteur avec le moteur. Vous pouvez ignorer toute caractéristique inhabituelle de conduite pendant cette période.
Le système de commande du groupe motopropulseur est conforme à toutes les normes canadiennes relatives aux équipements causant des interférences qui réglementent les champs électriques et les bruits radioélectriques.
N'appuyez pas sur la pédale d'accélérateur lors de la mise en marche du moteur. Si vous n'arrivez pas à faire démarrer le moteur, consultez la rubrique Démarrage impossible plus loin dans ce chapitre.
Commutateur d'allumage (SELON l'équipement)

A. Arrêt : Le contact est coupé. Nota : Lorsque vous coupez le contact et quittez votre véhicule, ne laissez pas la clé dans le commutateur d'allumage. Ceci pourrait décharger la batterie de votre véhicule. B. Accessoires : cette position permet d'utiliser les accessoires électriques, comme la radio, lorsque le moteur est arrêté. Nota: Ne laissez pas la clé de contact dans cette position trop longtemps. Ceci pourrait décharger la batterie de votre véhicule. C. Contact : tous les circuits électriques sont fonctionnels et les témoins et indicateurs s'allument. D. Démarrage : permet de faire démarrer le moteur.
Démarrage sans clé (SELON l'équipement)
Nota : Le système de démarrage sans clé peut ne pas fonctionner si la clé se trouve près d'objets métalliques ou d'appareils électroniques tels que les téléphones cellulaires.
Nota : Une clé valide doit se trouver dans le véhicule pour établir le contact et démarrer le moteur.
Nota : Lorsque vous verrouillez votre véhicule, toutes les télécommandes laissées à l'intérieur du véhicule peuvent être désactivées. Si vous essayez de démarrer le moteur, un message peut s'afficher à l'écran d'information indiquant qu'aucune clé n'est détectée. Appuyez sur le bouton de déverrouillage sur la télécommande pour l'activer, puis démarrez le moteur.
Modes d'allumage

Arrêt : coupe le contact.
- Sans enforcer la pédale de frein, appuyez brièvement sur le bouton une fois lorsque l'allumage est en mode contact ou lorsque le moteur tourne mais que le véhicule ne roule pas.
Accessoires : permet de faire fonctionner les accessoires électriques alors que le moteur est arrêté.
- Sans enfoncer la pédale de frein, appuyez brièvement sur le bouton une fois.
Contact : tous les circuits électriques sont opérationnels. Les témoins et les indicateurs sont allumés.
- Sans enforcer la pédale de frein, appuyez brièvement sur le bouton une fois à partir du mode accessoires.
- Sans enforcer la pédale de frein, appuyez brièvement sur le bouton deux fois à partir du mode arrêt.
Démarrage : démarrez le moteur.
- Enfoncez la pédale de frein puis appuyez sur le bouton (peu import la durée). Un témoin sur le bouton s'allume lorsque le contact est établi et le moteur démarre.
Démarrage d'un moteur à essence
Après le démarrage, le régime de ralenti est plus élevé pour réchauffer plus rapidement le moteur. Si le régime de ralenti du moteur ne diminue pas automatiquement, faites vérifier le véhicule par un concessionnaire autorisé.
Note : Vous pouvez lancer le moteur pendant 60 secondes au total (sans que le moteur ne démarre) avant que le circuit de démarrage ne se désactive provisoirement. Les 60 secondes ne sont pas nécessairement continues. Par exemple, si vous lancez le moteur trois fois pendant 20 secondes à chaque fois, sans que le moteur ne démarre, vous atteignez la limite de 60 secondes. Un message apparaît sur l'écran d'information indiquant que vous avez dépassé la période de lancement du moteur. Vous ne pouvez plus essayer de démarrer le moteur pendant au moins 15 minutes. Après 15 minutes, vous êtes limité à une période de lancement du moteur de 15 secondes. Vous devrez attendre 60 minutes avant de pouvoir lancer à nouveau le moteur pendant 60 secondes.
Avant le démarrage, vérifiez ce qui suit :
Assurez-vous que tous les occupants ont bouclé leur ceinture de sécurité. Assurez-vous que les phares et tous les accessoires du véhicule sont hors fonction. Assurez-vous que le frein de stationnement est serré. Assurez-vous que le levier de vitesse est en position de stationnement (P). - Tournez la clé de contact en position contact. Si votre véhicule est équipé d'un allumage sans clé, suivez les instructions suivantes.
Véhicules avec clé de contact
Note: Ne touchez pas la pédale d'accélérateur.
- Enlevez complètement la pédale de frein.
- Tournez la clé en position démarrage. Relâchez la clé lorsque le moteur démarre.
Nota : Le démarreur pourrait continuer à fonctionner jusqu'à 15 secondes ou jusqu'à ce que le moteur démarre.
Nota : Si le moteur ne démarre pas à la première tentative, attendez un instant et faites une nouvelle tentative.
Véhicules avec démarrage sans clé
Note: Ne touchez pas la pédale d'accélérateur.
- Enfoncez complètement la pédale de frein.
- Appuyez sur le bouton.
Le système ne fonctionne pas si :
- les fréquences de la clé sont brouillées;
- La pile de la clé est à plat.
Procédez comme suit si le moteur refuse de démarrer :

- Localisez la fente de secours de clé dans le compartiment de rangement de la console centrale.
- Placez la clé dans la fente de secours en orientant les touches vers l'arrière du véhicule et l'anneau porte-clés vers le haut.
- Avec la clé dans cette fente, enfonsez la pédale de frein et utilisez le bouton pour établir le contact et faire démarrer le moteur.
Redémarrage rapide (véhicules avec démarrage sans clé)
La fonction de redémarrage rapide permet de redémarrer votre véhicule dans les 20 secondes après la coupure du contact même si aucune clé valide ne se trouve à proximité.
Dans les 20 secondes après la coupure du contact, enfoncez la pédale de frein et appuyez sur le bouton. Une fois le délai de 20 secondes écoulé, vous ne pourrez plus faire démarrer le moteur sans la présence d'une clé dans le véhicule.
Lorsque le moteur a démarré, il reste en marche jusqu'à ce que vous appuyiez de nouveau sur le bouton, même si aucune clé valide n'a été détectée. Chaque fois qu'une porte est ouverte puis refermée alors que le moteur est en marche, le système recherche une clé valide. Le démarrage est impossible si le véhicule ne détecte pas une clé valide dans les 20 secondes.
Démarrage impossible
Si le moteur refuse de démarrer après trois tentatives, attendez
10 secondes et suivez la procédure ci-après : 1. Enfoncez complètement la pédale de frein. 2. Enforcez complètement la pédale d'accélérateur et maintenez-la dans cette position. 3. Faites démarrer le moteur.
Arrêt automatique du moteur
Si vous véhicule est équipé d'un allumage sans clé, il dispose d'une fonction qui arrête automatiquement le moteur s'il a tourné au ralenti pendant une longue période. Le contact est également coupé pour éviter de décharger la batterie. L'écran d'information affiche une minuterie régressive de 30 secondes avant l'arrêt du moteur. Si vous n'intervenez pas dans les 30 secondes, le moteur s'arrête. L'écran d'information affiche un autre message vous signalant que le moteur a été arrêté pour économiser le carburant. Démarrez de la manière normale.
Désactivation de l'arrêt automatique du moteur
Note : Vous ne pouvez pas désactiver de façon permanente la fonction d'arrêt automatique du moteur. Si vous l'avez désactivée, elle se réactive automatiquement au prochain démarrage du moteur.
Vous pouvez neutraliser l'arrêt du moteur ou remettre à zéro la minuterie à tout moment pendant le compte à rebours de 30 secondes de la façon suivante :
- Vous pouvez remettre la minuterie à zéro en actionnant une commande (par exemple en appuyant sur la pédale de frein ou d'accélérateur).
- Vous pouvez désactiver temporairement le système lorsque le contact est établi (pour le cycle d'allumage actuel seulement). Pour ce faire, utilisez l'écran d'information.
- Pendant le compte à rebours qui précède l'arrêt du moteur, le système vous invite à sélectionner les options OK (accepter) ou RESET (réinitialiser) (selon le type d'écran de votre véhicule) pour désactiver temporairement cette fonction (pour le cycle d'allumage actuel seulement).
Pour arrêter le moteur lorsque votre véhicule est à l'arrêt, procédez comme suit :
- Déplacez le levier sélecteur de la boîte de vitesses à la position de stationnement (P).
- Si vous véhicule a une clé de contact, tournez la clé en position arrêt. Si vous véhicule a un système de démarrage sans clé, appuyez une fois sur le bouton.
- Serrez le frein de stationnement.
Nota : Cela coupe le contact et éteint tous les circuits électriques, voyants et témoins.
Nota : Si vous laissiez tourner le moteur au ralenti pendant 30 minutes, le moteur s'arrête et le contact se coupe automatiquement.
Pour arrêter le moteur lorsque le véhicule se déplace, procédez comme suit :
AVERTISSEMENT: Si vous coupez le moteur lorsque le véhicule n'est pas complètement arrêté, une perte de freinage et de direction assistée se produit. La direction ne sera pas verrouillée, mais un effort supérieur sera nécessaire. Lorsque le contact est coupé, certains circuits électriques peuvent également être hors tension et certains témoins et indicateurs peuvent être éteints.
- Si votre véhicule a une clé de contact, placez le levier sélecteur de boîte de vitesses au point mort (N) et utilisez les freins pour immobiliser le véhicule en toute sécurité. Une fois que le vé
- Si votre véhicule a un système de démarriage sans clé, appuyez sur le bouton et maintenez-le enfoncé pendant une seconde, ou appuyez sur le bouton trois fois en deux secondes. Placez le levier sélecteur en position point mort (N) et utilisez les freins pour immobiliser le véhicule. Une fois que le vé
- Serrez le frein de stationnement.
Votre véhicule peut être muni de la fonction de démarrage à distance. Consultez la rubrique Démarrage à distance dans le chapitre Clés et télécommande.
Précautions contre les gaz d'échappement
AVERTISSEMENT: Si vous détectez une odeur de gaz d'échappement à l'intérieur de votre véhicule, faites-le immédiatement vérifier par un concessionnaire. Ne conduisez pas votre véhicule si vous détectez des vapeurs d'échappement. Le monoxyde de carbone est présent dans les gaz d'échappement. Prenez les mesures nécessaires pour éviter d'en subir les effets nocifs.
Information importante concernant la ventilation
Si vous arrêtez votre véhicule et laissez le moteur tourner au régime ralenti pendant des périodes prolongées, nous recommandons que vous preniez une des mesures suivantes :
- Ouvrez les glaces d'au moins 2,5 cm (1 po).
- Réglez votre commande de chauffage et de climatisation à « air extérieur ».
Chauffe-moteur (SELON l'équipement)

AVERTISSEMENT : Le non-respect des directives d'utilisation du chauffe-moteur peut entraîner des dommages matériels ou des brûlures.

AVERTISSEMENT: Ne branchez pas le chauffe-moteur sur un circuit électrique qui n'est pas mis à la terre ou avec un adaptateur à deux broches. afin de réduire les risques de décharges électriques.
Note : Un chauffe-moteur est utile au démarrage lorsque la température extérieure est inférieure à -18 °C (0 °F).
Le chauffe-moteur agit en tant qu'aide au démarrage en réchauffant le liquide de refroidissement du moteur. Ceci permet au système de chauffage et de climatisation de réagir rapidement. L'équipement comprend un élément chauffant (installé dans le bloc-moteur) et un faisceau de câblage. Vous pouvez brancher le système à une source d'alimentation de 120V c.a. dont le circuit compte une mise à la terre.
Observe les recommandations suivantes afin d'utiliser le chauffeur correctement et de façon sécuritaire :
- Utilisez une rallonge électrique pour usage extérieur de calibre 16 certifiée UL ou CSA. Cette rallonge électrique doit pouvoir être utilisée à l'extérieur, par temps froid, et doit porter de façon visible la mention Approvée pour usage extérieur. N'utilisez jamais à l'extérieur une rallonge électrique pour usage intérieur, car vous risqueriez de subir une décharge électrique ou de provoquer un incendie.
- Choisissez une rallonge aussi courte que possible.
- Ne tentez pas de raccorder plusieurs rallonges.
- Lorsque vous branchez le chauffe-moteur, vérifiez que le raccordement constitué par la fiche de la r re.
- Assurez-vous que votre véhicule est stationné dans une zone propre et exempte de matières combustibles. Assurez-vous que le raccordement du chauffe-moteur, du cordon et de la rallonge est solide.
- Lorsque le chauffe-moteur fonctionne depuis environ 30 minutes, vérifie la présence de points chauds sur tous les points de raccordement.
- Avant de prendre la route, assurez-vous de débrancher le cordon et de le ranger correctement. Lorsque vous n'utilisez pas le chauffe-moteur, placez le capuchon protecteur sur la prise du cordon pour en protéger les broches.
- Gardez les bornes de la prise exemptes de saletés et de corrosion. Assurez-vous de faire vérifier le bon fonctionnement du chauffe-moteur avant la saison hivernale.
Utilisation du chauffe-moteur
Avant l'utilisation, assurez-vous que les bornes de prise sont propres et exemptes d'humidité. Nettoyez-les à l'aide d'un chiffon sec, au besoin.
Le chauffe-moteur utilise de 0,4 à 1,0 kilowatt-heure d'énergie pour chaque heure d'utilisation. Le système n'est pas muni d'une fonction thermostatique. Il atteint la température maximale dans un délai environ deux heures de fonctionnement. Faire fonctionner le chauffe-moteur pendant plus de trois heures n'améliore pas le rendement du système et gaspille inutillement de l'électricité.
Consignes de sécurité

AVERTISSEMENT : Ne remplissez pas excessivement le réservoir de carburant. La pression dans un réservoir trop plein causera des fuites, faire gicler le carburant et causer un incendie.

AVERTISSEMENT : Le circuit d'alimentation peut être sous pression. Si vous percevez un sifflement près de l'orifice de misege de carburant, ne procedez pas au ravitaillement tant que le sifflement persiste. Sinon, de l'essence pourrait gicler et provoquer des blessures.

AVERTISSEMENT : Le carburant peut causer des blessures graves ou fatales s'il est mal utilisé ou manipulé sans précaution.

AVERTISSEMENT: L'écoulement de carburant dans un piston et de distribution d'essence peut créer de l'électricité statique. Cette électricité statique peut provoquer un incendie lors du remplissage d'un dont qui n'est pas à la masse.

AVERTISSEMENT : Le carburant à l'éthanol et l'essence peuvent contenir du benzène, qui est un produit cancérigène.

AVERTISSEMENT : Lorsque vous faites le plein, arrêtez toujours le moteur et tenez éloignée du goulot de remplissage toute source possible de détonances ou de flammes. Ne fumez jamais lorsque vous faites le plein. Dans certaines conditions, les vapeurs de carburant peuvent être extrêmement dangereuses. Évitez au maximum d'inhaler des vapeurs de carburant.
Respectez les consignes suivantes lors de la manipulation de carburant automobile :
- Éteignez toute flamme ou article de fumeur allumé avant de faire le plein.
- Coupez toujours le contact avant de faire le plein.
- L'ingestion de carburant automobile peut prévenir des risques graves, voire mortels. Les carburants comme l'essence sont extrêmement toxiques et peuvent, en cas d'ingestion, entraîner la mort ou causer des lési
- Évitez d'inhaler des vapeurs de carburant. Cela peut provoquer l'irritation des yeux et des voies respiratoires. L'exposition prolongée à des vapeurs de carburant peut provoquer des malaises graves et des lésions permanentes.
- Faites attention à ne pas recevoir de carburant dans les yeux. En cas d’éclaboussures dans les yeux, retirez vos verres de contact si vous en portez, rincez-vous les yeux à grande eau pendant 15 minutes et consultez un médecin. Si ces directives ne sont pas suivies, vous courez des risques de lésions permanentes.
- Les carburants peuvent également être nocifs lorsqu'ils sont absorbés par la peau. En cas d’éclaboussures sur la peau ou sur les vêtements, enlevez les vêtements souillés ; lavez immédiatement à l'eau et au savon la partie du corps concernée. Le contact répété ou prolongé du carburant ou de ses vapeurs avec la peau peut provoquer de l'irritation.
- Les personnes qui suivent un traitement antialcoolique, avec des médicaments comme « Antabuse » ou autre Médicament similaire, doivent être particulièrement prudentes. L'inhalation de vapeurs d'essence ou le contact de l'essence avec la peau peut provoquer des effets secondaires. Chez les personnes sensibles, il y a risque de lésions ou de malaises graves. En cas d'éclaboussures sur la peau, lavez immédiatement à l'eau et au savon la partie du corps atteinte. En cas d'effets indésirables, consultez immédiatement un médecin.
Qualite du carburant
Nota : L'utilisation d'autres types de carburant peut endommager le groupe motopropulseur, réduire les performances du véhicule et entraîner des réparations qui ne seraient pas couvertes par votre garantie.
Votre véhicule n'est pas conçu pour consommer du carburant ou des additifs contenant des éléments métalliques, y compris les additifs à base de manganèse.
Choix du carburant approprié
N'utilisez que du carburant sans plomb ou du carburant sans plomb mélangé avec au plus 15% d'éthanol. N'utilisez pas de carburant à l'éthanol (E85), de carburant diesel, de methanol, d'essence au plomb ou un autre type de carburant, car vous risquez d'endommager le système antipollution ou de nuire au bon fonctionnement de ce dernier.
Indice d'octane recommandé
L'essence « ordinaire » sans plomb avec un indice d'octane (R + M) / 2 de 87 est recommandée. Certaines stations-service offrent des carburants dits « ordinaires » avec un indice d'octane inférieur à 87, surtout dans les zones en altitude. Les carburants avec un indice d'octane inférieur à 87 ne sont pas recommandés.
L'essence « ordinaire » sans plomb avec un indice d'octane (R + M) / 2 de 87 est recommandée. Certaines stations-service offrent des carburants dits « ordinaires » avec un indice d'octane inférieur à 87, surtout dans les zones en altitude. Les carburants avec un indice d'octane inférieur à 87 ne sont pas recommandés. Le supercarburant améliore les performances et est recommandé pour les usages intensifs comme le remorquage.
Vous n'avez aucune raison de vous inquiéter d'un léger cliquetis occasionnel du moteur. Cependant, s'il cogne fortement alors que vous employez un carburant à l'indice d'octane recommandé, consultez votre concessionnaire autorisé afin de prévenir des dommages au moteur.
PANNE sèche
Évitez de tomber en panne sèche, car cela risque de nuire aux composants du groupe motopropulseur.
- Une fois que vous aurez fait le plein, il est possible qu'il faille établier puis couper le contact plusieurs fois de telle façon que le circuit d'alimentation puisse acheminer le carburant du réservoir au moteur. Au redémarrage, le temps de lancement du moteur pourrait être plus long de quelques secondes que la normale. Avec l'allumage sans clé, démarrez le moteur. La période de lancement du moteur sera plus longue que d'habitude.
- éhicule est en panne sèche et se trouve sur une pente prononcée, il faudra peut-être plus de 3,8 L (1 gal US) de carburant.
- Le témoin d'anomalie du moteur pourrait s'allumer. Pour obtenir de plus amples renseignements sur le témoin d'anomalie du moteur, consultez la rubrique Témoins et indicateurs dans le chapitre Tableau de bord.
Ravitaillement au moyen d'un bidon de carburant

AVERTISSEMENT : N'insérez pas le flexible d'un bidon de carburant ou un entonnoir du commerce dans l'orifice du système
de replissage sans bouchon. Vous pourriez ainsi endommager le système et le joint de l'orifice, ou répandre du carburant sur le sol et risquer de graves blessures.

AVERTISSEMENT : Ne tentez pas de forcer l'ouverture du clapet du système de replissage sans bouchon en tirant ou en
poussant au moyen d'un objet quelconque. Vous pourriez endommager le système d'alimentation et le joint de l'orifice et risquer de provoquer de graves blessures.
Nota : N'utilisez pas d'entonnoirs du commerce dans l'orifice du système de remplissage sans bouchon. Ils ne sont pas conçus pour ce système et peuvent l'endommager. L'entonnoir inclus est spécifiquement conçu pour votre véhicule et pour assurer une utilisation sécuritaire.
Utilisez l'entonnoir inclus avec votre véhicule si vous devez remplir le réservoir au moyen d'un bidon de carburant.

- Repérez l'entonnoir en plastique blanc dans le compartiment de la roue de secours.
- Insérez lentement l'entonnoir dans l'orifice du système de remplissage sans bouchon.
- Remplissez le réservoir au moyen d'un bidon de carburant.
- Une fois que vous avez terminé, nettoyez l'entonnoir ou mettez-le au rebut. Vous pouvez vous procurer des entonnoirs de rechange chez votre concessionnaire autorisé.
Ravitaillement

AVERTISSEMENT : Les vapeurs de carburant s'enflamment violentement et un feu de carburant peut causer de graves
blessures. Pour prévenir les blessures, suivez les conseils suivants :
- Lisez et respectez les directives données au poste d'essence.
- Coupez votre moteur lorsqu vous faites le plein.
- Ne fumez pas à proximité de carburants ou lorsque vous faites le plein de votre véhicule.
- Evitez de produire des étincelles et des flammes et de fumer à proximité des carburants.
- Demeurez hors de votre véhicule et ne laissiez pas la pompe sans surveillance lorsque vous faites le plein - la loi l'interdit en certains endroits.
- Tenez les enfants à l'écart des pompes à essence et ne les laissez jamais manœuvrer la pompe.
- N'utilisez pas d'appareils électroniques personnels lorsque vous faites le plein.
Respectez les consignes suivantes pour prévenir l'accumulation d'électricité statique lors du remplissage d'un contenant qui n'est pas mis à la terre :
- Placez le contenant à carburant (un contenant approuvé) sur le sol.
- Ne replissez JAMAIS le contenant lorsqu'il se trouve dans le véhicule (y compris dans l'aire de chargement).
- Lors du remplissage, gardez le pistolet de distribution d'essence en contact avec le contenant.
- N'utilisez PAS d'objet pour bloquer la gâchette du pistolet du distributeur d'essence en position de remplissage.
Système de remplissage sans bouchon easy fuel®

AVERTISSEMENT : Le circuit d'alimentation peut être sous pression. Si vous percevez un sifflement après avoir ouvert la trappe du
réservoir de carburant, ne poursuivez pas le ravitaillement tant que le sifflement persiste. Sinon, de l'essence pourrait gicler et provoquer de graves blessures.
Pour remplir le réservoir de votre véhicule, procédez comme suit :
- Coupez le contact.
- Ouvrez la trappe de carburant en tirant au niveau du creux ménagé dans la trappe.
- Insérez la clé du bouchon de carburant (selon l'équipement) dans le bouchon verrouillable et tournez-la dans le sens inverse des aiguilles d'une montre pour déverrouiller le bouchon.
- Insérez lentement le pistolet de distribution à fond dans l'orifice de replissage du réservoir et laissez-le complètement inséré jusqu'à ce que vous ayez terminé le pompage.
- Une fois terminé, attendez environ cinq secondes et retirez doucement le pistolet de distribution de l'orifice de replissage. Ce délamma permettra au carburant résiduel de s'écouler dans le réservoir et non sur le véhicule.
- Réinstallez le bouchon (selon l'équipement) dans l'orifice de replissage du réservoir de carburant et tournez la clé dans le sens des aiguilles d'une montre pour verrouiller le bouchon.
Note: Ne replissez pas le réservoir au point où le carburant déborde de l'orifice de replissage du réservoir.
Si l'orifice de remplissage du réservoir de carburant n'est pas correctement fermé, le message Vérifier admission d'essence peut s'afficher à l'écran d'information. Consultez le chapitre Écrans d'information pour de plus amples renseignements à ce sujet.
Dès que possible, procédez comme suit :
- Quittez la chaussée de façon sécuritaire.
- Arrêtez le moteur.
- Ouvrez la trappe du réservoir de carburant et retirez tout débris visible dans l'orifice de remplissage du réservoir de carburant.
- Insérez plusieurs fois le pistolet de distribution ou l'entonnoir de replissage fourni avec le véhicule en tentant de déloger tout débris ou de refermer correctement le clapet de l'orifice de replissage.
Si cette opération corrige le problème, le message pourrait ne pas s'effacer immédiatement. Plusieurs cycles de conduite pourraient être requis avant que le message ne s'efface. Un cycle de conduite consiste en un départ à froid (plus de quatre heures après l'arrêt du moteur) suivi d'un parcours urbain et routier. Si la conduite se poursuit alors que le message est affiché, le témoin d'anomalie du moteur risque également de s'allumer.
Remplissage du réservoir de carburant
La contenance publiée représentée la contenance indiquée et la réserve à vide de carburant combinées. La capacité indiquée est la différence entre la quantité de carburant dans le réservoir plein et le réservoir quand l'indicateur de carburant indique vide. La réserve à vide est le volume de carburant restant dans le réservoir lorsque l'indicateur de carburant indique que le réservoir est vide.
Nota : Le volume de carburant utilisé de la réserve à vide varie et celui-ci ne doit pas être considéré suffisant pour augmenter l'autonomie. Quand l'indicateur indique vide, il peut être impossible de remplir le réservoir avec un volume de carburant égal à sa contenance publiée, à cause de cette réserve à vide qui reste dans le réservoir.
Pour obtenir des résultats constants lorsque vous faites le plein de carburant :
- Coupez le contact avant de remplir le réservoir de carburant, car la lecture sera erronée si le moteur est en marche;
- Remplissez le réservoir au même débit de remplissage (lent, moyen ou rapide) chaque fois que vous faites le plein;
- Lors du remplissage, limitez à deux le nombre de déclenchements automatiques du pistolet.
Les résultats sont plus précis si vous êtes constant dans votre manière de faire le plein.
Calcul de la consommation de carburant
N'effectuez pas le calcul de la consommation de carburant durant les premiers 1600km (1 000 mi) de conduite (il s'agit de la période de rodage du moteur); vous obtiennent des résultats plus précis après 3200km à 4800km (2 000 mi à 3 000 mi). De plus, le prix du carburant, les intervalles de replissage du réservoir ou les lectures de l'indicateur de carburant ne représentent pas des moyens efficaces de mesure de la consommation.
- Remplissez complètement le réservoir de carburant et notez le kilométrage initial au compteur kilométrique.
- Chaque fois que vous faites le plein, notez la quantité de carburant ajoutée au réservoir.
- ÀpRES avoir fait le plein au moins trois à cinq fois, refaites le plein et notez le kilométrage courant au compteur.
- Soustrayez le kilométrage initial au compteur du kilométrage courant.
- Calculez la consommation de carburant comme suit :
Standard : divisez les milles parcourus par les gallons US consommés.
Métrique : multipliez les litres consommés par 100, puis divisez par les kilomètres parcourus.
Tenez un registre de votre kilométrage et de vos achats de carburant pendant au moins un mois, en notant notamment le type de conduite (en ville ou sur autoroute). Vous obtiendrez ainsi une estimation plus précise de la consommation de carburant dans les conditions de conduite courantes.
De plus, la tenue d'un registre durant l'été et durant l'hiver vous donnera une idée de l'effet de la température sur la consommation de carburant. En général, la consommation de carburant augmente lorsque la température est basse.
Dispositifs antipollution

AVERTISSEMENT: Ne vous stationnez pas, ne faites pas
tourner le moteur au ralenti et ne conduisez pas votre véhicule
sur du gazon sec ou tout autre revêtement de sol sec. Les dispositifs antipollution ont pour effet d'élever la température du compartiment moteur et de la tuyauterie d'échappement au point de risquer un incendie sur de tels sols.

AVERTISSEMENT : Des fuites d'échappement peuvent
entraîner la pénétration de gaz nocifs, voire mortels, dans
l'habitacle. Si vous décelez une odeur de gaz d'échappement à
l'intérieur de votre véhicule, faites-le immédiatement vérifier par votre concessionnaire. Ne conduisez pas si vous sentez une odeur de gaz d'échappement.
Votre véhicule est équipé de divers dispositifs antipollution et d'un catalyseur qui permettent d'assurer la conformité de votre véhicule aux normes antipollution en vigueur. Pour assurer le bon fonctionnement du catalyseur et des dispositifs antipollution, respectez les conseils suivants :
- N'utilisez que le type de carburant préconisé.
- Évitez de tomber en panne sèche.
- Ne coupez pas le contact pendant que le véhicule roule, surtout si vous roulez à haute vitesse.
- faites effectuer les interventions d'entretien aux intervalles prescrits dans le Guide d'entretien périodique.
Les interventions prescrites dans le Guide d'entretien périodique sont essentielles pour assurer la longévité et le rendement de votre véhicule et de ses dispositifs antipollution.
Si des pièces autres que des pièces Ford, Motorcraft® ou des pièces homologuées par Ford sont utilisées pour le remplacement ou la réparation d'éléments impliquant les dispositifs antipollution, ces pièces doivent être équivalentes aux pièces d'origine Ford en ce qui a trait au rendement et à la durabilité.
La présence de fuites, d'odeurs insolites ou de fumée, une perte de puissance du moteur, l'allumage du témoin d'anomalie du moteur, du témoin du circuit de charge ou du témoin de température du moteur peuvent indiquer une anomalie des dispositifs antipollution.
Un système d'échappement défectueux ou endommagé peut laisser pénétrer les gaz d'échappement dans le véhicule. Faites inspecter et réparer immédiatement un système d'échappement défectueux ou endommagé.
N'apportez aucune modification non autorisée au véhicule ou au moteur. La loi interdit à quiconque possède, construit, répare, entretient, vend, loue, échange des véhicules ou exploite un parc automobile d'enlever sciemment un dispositif antipollution ou de l'empêcher de fonctionner. Les renseignements sur les dispositifs antipollution de votre véhicule figurent sur l'étiquette de contrôle des émissions du véhicule, apposée sur le moteur ou à proximité. Cette étiquette précise aussi la cylindrée du moteur.
Veuillez consulter votre document de garantie pour tous les renseignements concernant la garantie antipollution.
Autodiagnostics embarqués (OBD-II)
Un ordinateur de bord surveille les dispositifs antipollution de votre véhicule. Ce circuit est communément appelé circuit d'autodiagnostic embarqué (OBD-II). Le circuit OBD-II permet de protéger l'environnement en veillant à ce que les dispositifs antipollution du véhicule fonctionnent conformément aux normes gouvernementales. Le circuit d'autodiagnostic OBD-II aide aussi votre concessionnaire autorisé à bien effectuer l'entretien de votre véhicule.

Lorsque le témoin d'anomalie du moteur s'allume, le circuit d'autodiagnostic OBD-II a détecté une anomalie. Le témoin d'anomalie du moteur peut s'allumer en cas d'anomalies
intermittentes. Par exemple :
- Le véhicule est tombé en panne sèche - Le moteur peut connaître des ratés ou fonctionner irrégulièrement.
- Le carburant est de qualité médiocre ou contient de l'eau - Le moteur peut avoir des ratés ou tourner irrégulièrement.
- L'orifice de remplissage du réservoir de carburant n'est peut-être pas correctement fermé. Consultez la rubrique Système de remplissage sans bouchon Easy Fuel® dans ce chapitre.
- Conduite en eau profonde - L'eau pourrait s'infiltrer dans les circuits électriques.
Vous pouvez corriger ces anomalies temporaires en faisant le plein avec du carburant de bonne qualité, en vous assurant que l'orifice de remplissage du réservoir de carburant est correctement fermé ou en laissant sécher les circuits électriques. Après deux cycles de conduite en l'absence de ces anomalies ou d'autres anomalies intermittentes, le témoin d'anomalie du moteur devrait demeurer éteint lors du prochain démarrage du moteur. Un cycle de conduite consiste en un départ à froid, suivi d'une conduite urbaine ou sur route. Aucune intervention supplémentaire n'est nécessaire.
Si le témoin d'anomalie du moteur reste allumé, faites réparer votre véhicule dès que possible. Bien que certaines anomalies détectées par le circuit d'autodiagnostic OBD-II peuvent ne pas prévenir de symptômes apparents, la poursuite de la conduite lorsque le témoin d'anomalie du moteur est allumé peut se traduire par une augmentation des émissions, une augmentation de la consommation de carburant, une douceur moindre du moteur et de la boîte de vitesses et des réparations plus coûteuses.
Préparation pour les tests d'inspection et d'entretien
Certaines gouvernements de l'État, provinciaux ou locaux peuvent avoir prévu des tests d'inspection et d'entretien afin d'inspecter les dispositifs antipollution de votre véhicule. Si le véhicule ne réussit pas cette inspection, vous pourriez ne pas obtenir un enregistrement.

Si le témoin d'anomalie du moteur est allumé ou si l'ampoule ne fonctionne pas, vous devrez peut-être faire vérifier le véhicule.
Consultez la rubrique Autodiagnostics embarqués (OBD-II) de
ce chapitre.
Votre véhicule peut ne pas réussir les tests d'inspection et d'entretien si le témoin d'anomalie du moteur est allumé ou s'il ne fonctionne pas correctement (l'ampoule est grillée), ou si le circuit d'autodiagnostic OBD-II détermine que certains des dispositifs antipollution n'ont pas été correctement vérifiés. Dans ce cas, le véhicule n'est pas prêt pour les tests d'inspection et d'entretien.
Si le moteur ou la boîte de vitesses du véhicule a récemment fait l'objet d'un entretien ou si la batterie a récemment été déchargée ou remplacée, le circuit OBD-II peut indiquer que le véhicule n'est pas prêt pour les tests d'inspection et d'entretien. Pour déterminer si le véhicule est prêt pour les tests d'inspection et d'entretien, tournez le commutateur d'allumage à la position contact pendant 15 secondes sans lancer le moteur. Si le témoin d'anomalie du moteur clignote huit fois, le véhicule n'est pas prêt pour les tests d'inspection et d'entretien; si le témoin d'anomalie du moteur demeure allumé en continu, le véhicule est prêt pour les tests d'inspection et d'entretien.
Le circuit OBD-II est conçu pour vérifier les dispositifs antipollution pendant la conduite normale. Une vérification complète peut demander plusieurs jours. Si le véhicule n'est pas prêt pour les tests d'inspection et d'entretien, effectuez le cycle de conduite suivant en ville et sur autoroute :
Quinze minutes de conduite soutenue sur autoroute, suivie d'au moins 20 minutes de conduite avec arrêts fréquents en région urbaine au cours desquelles vous laisserez le moteur tourner au ralenti pendant 30 secondes à au moins quatre reprises.
Laissez reposer le véhicule au moins huit heures avec le moteur arrêté. Mettez ensuite le moteur en marche et effectuez le cycle de conduite décrit ci-dessus. Le moteur doit se réchauffer jusqu'à sa température de fonctionnement normale. N'arrêtez pas le moteur avant d'avoir terminé le cycle de conduite décrit ci-dessus. Si le véhicule n'est toujours pas prêt pour les tests d'inspection et d'entretien, repétez le cycle de conduite ci-dessus.
Boite de vitesses automatique

AVERTISSEMENT : Serrez toujours fermement le frein de stationnement et assurez-vous que le levier de vitesses est en
position de stationnement (P). Tournez le commutateur d'allumage à la position 0 (arrêt) et retirez toujours la clé en quittant le véhicule.
Votre véhicule a été conçu pour être plus économique en consommant moins de carburant en marche au débrayé ou en décélération. Lorsque vous enlevez votre pied de la pédale d'accélérateur et que le véhicule commence à ralentir, l'embrayage du convertisseur de puissance se verrouille et coupe rapidement l'alimentation en carburant du moteur en décélération. Cet avantage de consommation de carburant pourrait être perçu comme une sensation de freinage de légère à moyenne lorsque vous retirez votre pied de la pédale d'accélérateur.

Stationnement (p)
Cette position bloque la boîte de vitesses et empêche les roues avant de tourner.
Pour engager un rapport de vitesse :
- appuyez sur la pédale de frein;
- engagez la boite de vitesses au rapport choisi.
Pour placer la boite de vitesses à la position de stationnement (P) :
Immobilisez totalement votre véhicule; - déplacez le levier de vitesses et placez-le à la position de stationnement (P) en veillant à ce qu'il soit bien bloqué en place.
Marche arrêt (R)
Lorsque le levier de vitesses est à la position marche arrière (R), le véhicule recule. Immobilisez toujours complètement le véhicule avant de placer le levier de vitesses à la position marche arrière (R) ou de l'en sortir.
Point mort (N)
Lorsque le levier de vitesses est à la position point mort (N), vous pouvez faire démarrer le moteur et les roues peuvent tourner librement. À cette position, maintenez la pédale de frein enfoncée.
Marche avant (d) avec surmultipliée
Il s'agit de la position normale de conduite pour optimiser la consommation de carburant. La boîte de vitesses fonctionne du premier au sixième rapport. La stratégie de passage des rapports de la boîte de vitesses automatique a la capacité de détecter les régions valonnées ou les secteurs montagneux et offre automatiquement une gamme limitée de caractéristiques de fonction d'assistance en côte.
Sport (S)
Déplacement du levier sélecteur à la position sport (S) :
- Offre davantage de frein moteur et prolonge l'utilisation des rapports inférieurs afin d'améliorer la qualité de conduite dans les montées, les routes vallonnées ou les régions montagneuses. Le régime du moteur augmente lorsque le frein moteur ralentit le véhicule.
- Offre une utilisation supplémentaire de la gamme basse dans la stratégie de passage des rapports de la boîte de vitesses automatique, laquelle réagit aux signaux d'entrée du véhicule (à l'accélération du véhicule, à l'accélérateur, à la pédale de frein et à la vitesse du véhicule).
- Les rapports sont sélectionnés plus rapidement et à des régimes plus élevés.
Boîte de vitesses selectshift automatic® (selon l'équipement)
Votre boîte de vitesses automatique SelectShift vous permet de changer manuellement les rapports. Pour utiliser SelectShift, déplacez le levier sélecteur à la position sport (S). Vous pouvez utiliser maintenant le changement de vitesse privilège pour changer manuellement de vitesses.
Si votre véhicule est muni des boutons (+)/(-) sur le côté du levier sélecteur :

- appuyez sur la partie (-) du bouton du levier sélecteur pour rétrograder manuellement la boîte de vitesses;
- appuyez sur la partie (+) du bouton du levier sélecteur pour passer manuellement aux rapports supérieur de la boîte de vitesse.
Palettes de changement de vitesse (selon l'équipement)
Les palettes de changement de vitesse vous permettent de changer de rapport rapidement sans retirer vos mains du volant. Un mode de commande manuelle temporaire est offert lorsque vous tirez les palettes de changement de vitesse et que le levier sélecteur est à la position marche avant (D). Le système détermine lorsque le mode de commande manuelle n'est plus nécessaire et reprend le mode de commande automatique. Vous pouvez obtenir un mode de commande manuelle extensif en déplaçant le levier sélecteur à la position sport (S). Le système demeurera en mode de commande manuelle jusqu'à ce que le levier sélecteur soit déplacé hors de la position manuelle.
Si votre véhicule est muni de palettes sur le volant :

- tirez la palette gauche (-) pour rétrograder la boîte de vitesses;
- tirez la palette droite (+) pour passer les rapports supérieurs de la boîte de vitesses.
Passez aux vitesses supérieures recommandées selon le tableau suivant :
| Montée des rapports lors d'une accélération (recommandée pour une meilleure consommation de carburant) | |
| Changement de rapport de : | |
| 1 - 2 | 24 km/h (15 mi/h) |
| 2 - 3 | 40 km/h (25 mi/h) |
| 3 - 4 | 64 km/h (40 mi/h) |
| 4 - 5 | 72 km/h (45 mi/h) |
| 5 - 6 | 80 km/h (50 mi/h) |
Le tableau de bord indique le rapport sélectionné.
Si vous n'avez pas rétrogradé assez tôt et que le régime du moteur risque de trop chuter ou que le moteur risque de caler, la boîte de vitesses SelectShift rétrograde automatiquement. Vous pourrez toujours rétrograder en tout temps pourvu que la boîte de vitesses SelectShift détermine que le moteur ne sera pas endommagé en cas de surrégime.
Nota : Si vous ne voulez plus être en mode manuel, vous devez déplacer le levier sélecteur de rapport de la position sport (S) à la position marche avant (D).
Nota : Le moteur pourrait être endommagé par un surégime excessif du au non-engagement d'un rapport supérieur.
Apprentissage adaptatif de la boîte de vitesses automatique
Cette fonction est conçue pour accroître la durabilité de la boîte-pont et pour assurer des changements de rapport uniformes durant la vie utile du véhicule. Il est donc possible que les changements de rapport d'une boîte de vitesses neuve ou d'un véhicule neuf soient plus ou moins souples. Cette situation est normale et ne nuit ni au fonctionnement ni à la longévité de la boîte de vitesses. Avec le temps, la stratégie d'apprentissage adaptative réactualisera entièrement le fonctionnement de la boîte de vitesses. De plus, lorsque la batterie est débranchée ou qu'une nouvelle batterie est installée, la stratégie doit être apprise de nouveau.
Interverrouillage frein-levier sélecteur

AVERTISSEMENT: Ne conduisez pas votre véhicule avant d'avoir vérifié le bon fonctionnement des yeux de freinage.

AVERTISSEMENT : En procédant ainsi, vous enlevez le véhicule de sa position de stationnement, ce qui signifie qu'il peut être librement. Pour éviter un mouvement inopiné du véhicule, serrez 10 ans le frein de stationnement avant d'exécuter la procédure. Que des cales de roue si nécessaire.

AVERTISSEMENT : Si le témoin de frein reste allumé alors que le frein de stationnement est complètement desserré, il se peut que ses freins soient défectueux. Consultez votre concessionnaire.
Note : Consultez votre concessionnaire autorisé le plus tôt possible si cette procédure doit être utilisée.
Votre véhicule est muni d'un dispositif d'interverrouillage du levier de vitesses qui empêche le levier de vitesses de quitter la position de stationnement (P) lorsque le contact est établi, tant que la pédale de frein n'est pas enfoncée.
Si vous ne pouvez pas déplacer le levier de vitesses hors de la position de stationnement (P) lorsque le contact est établi et que la pédale de frein est enfoncée, il est possible qu'un fusible soit grillé ou que les feux de freinage ne fonctionnent pas ajustement. Consultez le chapitre Fusibles.
Si le fusible n'est pas grillé et que les feux de freinage fonctionnent correctement, la méthode suivante vous permettra de déplacer le levier de vitesses hors de la position de stationnement (P):
- Serrez le frein de stationnement, coupez le contact, puis retirez la clé.


- Retirez le porte-gobelets amovible.
- Au moyen d'un tournevis (ou d'un outil similaire), relâchez la languette vers la ported'accès et retirez-la.
- Repérez le levier d'interverrouillage du levier sélecteur de vitesses sur le côté passager ce dernier.
- Enfoncez la pédale de frein. À l'aide d'un tournevis (ou d'un outil similaire), maintenez le levier d'interverrouillage enfon
- Installe la porte d'accès et le porte-gobelets dans l'ordre inverse.
- Enforcez la pédale de frein, faites démarrer le véhicule et desserrez le frein de stationnement.
Si vous véhicule s'enlise dans la boue ou dans la neige
Nota : N'utilisez pas cette méthode de va-et-vient si le moteur n'a pas atteint sa température normale de fonctionnement, car la boîte de vitesses pourrait alors être endommagée.
Nota : N'effectuez pas cette manœuvre pendant plus d'une minute, car la boîte de vitesses et les pneus risqueraient d'être endommagés et le moteur pourrait surchauffer.
Si vous vous enlisez dans la boue ou dans la neige, il est possible de vous dégager en passant successivement en marche avant et en marche arrière pour effectuer un mouvement de va-et-vient uniforme tout en effectuant un arrêt entre chaque déplacement. Appuyez légèrement sur la pédale d'accélérateur dans chaque rapport.
Utilisation de la traction integrale (SELON l'équipement)
La traction intégrale utilise les quatre roues pour déplacer le véhicule. L'adhérence est ainsi accrue, ce qui vous permet de conduire sur des terrains ou dans des conditions routières que les véhicules à deux roues motrices conventionnels doivent généralement éviter. Le système à traction intégrale est activé en tout temps et ne nécessite aucune action du conducteur.
Nota : Notre véhicule à traction intégrale n'est pas conçu pour une utilisation hors route. La traction intégrale donne à votre véhicule certaines possibilités limitées pour la conduite hors route, à condition que la surface soit plane, exempte d'obstacles et qu'elle présente des conditions de conduite semblables à celles que l'on trouve sur route. La conduite de votre véhicule dans des conditions différentes pourrait imposer un stress excessif au véhicule qui risquerait de causer des dommages non couverts par votre garantie.
Nota : Lorsqu'une anomalie de la traction intégrale survient, le message d'avis Vérifier AWD apparait dans l'écran d'information. Le système de traction intégrale ne fonctionne pas correctement et passe par défaut en mode de traction avant. Lorsque cet avertissement s'affiche, faites vérifier votre véhicule par un concessionnaire autorisé.
Note : Le message AWD arrêt peut aussi apparaître dans l'écran d'information si la traction intégrale a surchauffé et passé par défaut à la traction avant. Ce problème peut se produire si le véhicule a été roulé dans des conditions extrêmes avec le patinage excessif des roues, comme dans le sable. Pour reprendre aussitôt que possible la fonction normale de traction intégrale, arrêtez le véhicule dans un lieu sûr et coupez le moteur pendant au moins 10 minutes. Après le redémarrage du moteur et le refroidissement suffisant de la traction intégrale, le message AWD arrêt s'efface et la traction intégrale reprend son fonctionnement normal. Si le moteur n'est pas arrêté, le message AWD arrêt s'efface lorsque le système refroidit et la traction intégrale reprend son fonctionnement normal.
N'utilisez pas une roue de secours d'une taille différente de celle de la roue d'origine. Si une mini-roue de secours est installée, la traction intégrale pourrait se désactiver automatiquement et passer en mode de traction avant seulement afin de protéger les composants de la transmission. En pareil cas, le message AWD arrêt s'affiche à l'écran d'information. Si le message AWD arrêt s'affiche à l'écran de l'afficheur multimessage à la suite de l'usage d'une roue de secours, le message devrait s'effacer après avoir réparé ou remplacé la roue conventionnelle et après avoir coupé et rétabli le contact. Il est recommandé de remonter sur le véhicule la roue
dont le pneu a été réparé ou remplacé dans les plus brefs délais. Une différence de circonférence importante entre les roues avant et arrière pourrait entraîner la désactivation de la traction intégrale et le retour au mode de traction avant par défaut, ou même endommager le système de traction intégrale.
Conduite dans des conditions particulières avec une traction intégrale
Les véhicules à traction intégrale sont adaptés pour la conduite sur le sable, dans la neige, dans la boue et sur route accidentée. Ils présentent des caractéristiques différentes des véhicules conventionnels, tant en conduite sur route qu'en conduite hors route.
Si vous conduisiez lentement dans le sable profond par une température très chaude, utilisez la gamme basse autant que possible. L'utilisation de la gamme basse permet de refroidir davantage le moteur et la boîte de vitesses.
En conditions rigoureuses, le climatiseur pourrait s'arrêter puis redémarrer plusieurs fois pour éviter de surchauffer le moteur.
Principes de fonctionnement de base dans des conditions particulières
- Conduisez lentement en cas de forts vents latéraux, car ceux-ci peuvent compromettre la maniabilité du véhicule.
- Faites préuve d'une grande prudence lorsque vous conduisez sur une route rendue glissante par du sable, de l'eau, du gravier, de la neige ou de la glace.
Si le véhicule quitte la chaufferie
- Si le véhicule quitte la chaussée, ralentissez, mais évitez tout freinage brusque. Revenez doucement sur la chaussée, mais seulement après avoir ralenti. Ne tournez pas le volant brusquement pendant que vous revenez sur la route.
- Il peut être plus sûr de ralentir graduellement sur le tablier ou sur l'accotement avant de revenir sur la route. Vous risquez de perdre la maîtrise du véhicule si vous ne ralentissez pas ou si vous tournez le volant brusquement.
- Il peut être préférible de heurter de petits obstacles comme des balises réfléchissantes et ainsi causer de légers dommages au véhicule que de tenter de revenir brusquement sur la chaussée, ce qui pourrait occasionner une perte de maîtrise ou un renversement du véhicule. N'oubliez pas que votre sécurité et celle des autres doivent constituer votre première préoccupation.
Si le véhicule s'enlise

AVERTISSEMENT : Serrez toujours fermement le frein de stationnement et assurez-vous que le levier de vitesses est en position de stationnement (P). Tournez la clé à la position verrouillage et éirez-la du commutateur d'allume avant de quitter le véhicule.

AVERTISSEMENT: Si le témoin de frein reste allumé alors que le frein de stationnement est complètement desserré, il se peut que les freins soient défectueux. Consultez votre concessionnaire autorisé.

AVERTISSEMENT: Ne faites pas patiner les roues à plus de 56 km/h (35 mi/h). Les pneus pourraient éclater et infliger des blessures à un passager ou à une personne se trouvant à proximité.
Nota : N'utilisez pas cette méthode de va-et-vient si le moteur n'a pas atteint sa température normale de fonctionnement, car la boîte de vitesses pourrait alors être endommagée.
Nota : N'effectuez pas cette manœuvre pendant plus de quelques minutes, car la boîte de vitesses et les pneus risqueraient d'être endommagés et le moteur pourrait surchauffer.
Si votre véhicule s'enlise dans la neige ou dans la boue, il est possible de le dégager par mouvement de va-et-vient en passant successivement en marche avant et en marche arrière de façon uniforme et avec un arrêt entre chaque cycle. Appuyez légèrement sur la pédale d'accélérateur dans chaque rapport.
Si votre véhicule est doté du dispositif antilacet AdvanceTrac® avec contrôle de stabilité antiretournement, il peut être utile de désactiver ce dispositif lorsque vous « bercez » le véhicule pour tenter de le dégager.
Manœuvres d'urgence
- éhicule et non de l'augmenter. N'appuyez pas brusquement sur l'accélérateur ou sur la pédale de frein pour accélérer ou ralentir. Évitez de donner des coups de volant, d'accélérer ou de freiner brusquement, ce qui pourrait vous faire perdre la maîtrise du véhicule et entraîner son renversement ou des blessures. Utilisez toute la surface de la route à votre disposition pour redresser la trajectoire du véhicule.
- En cas d'arrêt d'urgence, évitez de faire patiner les roues et essayez de ne pas donner de coup de volant.
- Si le revêtement change, par exemple du béton au gravier, le comportement du véhicule sera différent (direction, accélération ou freinage). Encore une fois, évitez les manœuvres brusques.
Conduite sur le sable
Si vous conduisiez sur le sable, essayez de garder les quatre roues sur la partie la plus ferme de la piste. Évitez de réduire la pression des pneus. Rétrogradez plutòt et avancez à vitesse constante sur le sol. Accélérez lentement et ne faites pas patiner les roues.
Ne roulez pas dans le sable profond sur de grandes distances avec votre véhicule. Cela pourrait entraîner la surchauffe de la traction intégrale et le passage en mode de traction avant par défaut. Dans ce cas, le message AWD arrêt s'affiche sur l'écran d'information.
Pour reprendre aussitôt que possible la fonction normale de traction intégrale, arrêtez le véhicule dans un lieu sûr et coupez le moteur pendant au moins 10 minutes. Après le redémarrage du moteur et le refroidissement suffisant de la traction intégrale, le message AWD arrêt s'efface et la traction intégrale reprend son fonctionnement normal. Si le moteur n'est pas arrêté, le message AWD arrêt s'efface lorsque le système refroidit et la traction intégrale reprend son fonctionnement normal.
Si vous conduisiez lentement dans le sable profond par une température très chaude, utilisez la gamme basse (L) autant que possible. L'utilisation du premier rapport (L) permet de refroidir davantage le moteur et la boîte de vitesses.
En conditions rigoureuses, le climatiseur pourrait s'arrêter puis redémarrer plusieurs fois pour éviter de surchauffer le moteur.
Évitez de conduire à une vitesse excessive, car l'élan du véhicule pourrait ne pas vous être favorable. Notre véhicule pourrait en effet s'enfoncer à un point tel que vous devrez faire appel à un autre véhicule pour vous dégager. N'oubliez pas qu'il est possible de se tirer d'un mauvais pas en reculant avec précaution.
Conduite dans l'eau et dans la boue
Si vous devez traverser une nappe d'eau profonde, conduisez lentement, car l'adhérence et le freinage peuvent être limités.
Avant de traverser une nappe d'eau, déterminez-en la profondeur. Évitez de rouler dans l'eau si le niveau dépasse la partie inférieure des jantes de roue (voitures) ou la partie inférieure des moyeux de roue (camions) (si possible) et procédez lentement. Si de l'eau atteint le circuit d'allumage, le moteur peut caler.
Après avoir traversé un plan d'eau, essayez toujours les freins, car des freins humides ne sont pas aussi efficaces que des freins secs. Pour accélérer le séchage des freins, freinez doucement à quelques reprises tout en roulant à basse vitesse.
Dans la boue, évitez les changements brusques de vitesse ou de direction. Même les véhicules à traction intégrale peuvent perdre leur adhérence dans la boue. Comme dans le cas de la conduite sur le sable, appuyez lentement sur l'accélérateur et évitez de faire patiner les roues. En cas de dérapage, tournez le volant dans le sens du dérapage pour retrouver la maîtrise du véhicule.
Après avoir conduit dans la boue, nettoyez les roues et les arbres de transmission. L'accumulation de boue sur les roues et les pièces rotatives crée un déséquilibre qui est susceptible d'endommager les éléments de la transmission.
Note : La conduite en eau profonde peut endommager la boîte de vitesses.
Si les ponts avant et arrière sont immergés dans l'eau, leur lubrifiant et le lubrifiant du groupe de transfert de puissance doivent être vérifiés et vidangés au besoin.

Le Programme « Tread Lightly » a été mis sur pied aux États-Unis pour sensibiliser le grand public aux responsabilités et règlements relatifs aux espaces naturels protégés. Ford s'associe au « U. S. Forest Service »
et au « Bureau of Land Management » des É.-U. pour vous inciter à respecter l'environnement et à faire preuve de sens civique lorsque vous visitez des parcs nationaux ou d'autres domaines publics et privés, notamment en évitant de laisser des traces de votre passage.
Conduite sur terrain ballonné ou en pente
Nota : Évitez de conduire en travers de la pente ou de tourner brusquement sur des terrains très inclinés. Il existe en effet un risque de perte d'adhérence et de dérapage latéral qui pourrait conduire au capotage du véhicule. Avant de gravir une colline, déterminez au préalable le trajet que vous emprunterez. Ne franchissez jamais le sommet d'une colline sans connaître la nature du terrain de l'autre côté. Ne franchissez pas une colline en marche arrière sans l'aide de quelqu'un qui puisse vous guider de l'extérieur du véhicule.
Bien que certains obstacles naturels puissent rendre la conduite en diagonale nécessaire sur une pente très abrupte, essayez toujours de conduire le plus droit possible face à la pente, que ce soit en montée ou en descente.
Au moment de monter une côte abrupte, engagez d'abord une petite vitesse plutôt que de rétrograder une fois que vous êtes dans la côte. De cette façon, les contraintes imposées au moteur et les risques qu'il cale seront réduits.
Si le moteur cale, ne tentez pas de faire demi-tour pour redescendre en marche avant, car le véhicule pourrait basculer. Il est préférable de redescendre en marche arrière jusqu'à ce qu'il soit possible de s'arrêter en toute sécurité.
Appliquez justassez de puissance aux roues pour arriver à gravir la pente. Une puissance excessive peut provoquer le patinage des roues et la perte d'adhérence et, par conséquent, la perte de contrôle du véhicule.

Pour descendre une pente, utilisez le même rapport de vitesse que celui que vous utiliseriez pour la gravir. Vous ménagerez ainsi vos freins qui, autrement, risqueraient de surchauffer. Ne descendez pas au point mort ; annulez plutôt la surmultiplication ou retrogradez manuellement. Durant la descente d'une pente très inclinée, évitez de freiner brusquement puisque cette
manœuvre pourrait vous faire perdre la maîtrise du véhicule. Les roues avant doivent tourner pour pouvoir diriger le véhicule.
Votre véhicule est équipé de freins antiblocage; par conséquent, freinez progressivement. Ne « pompez » pas les freins.
Conduite sur la neige et sur la glace
AVERTISSEMENT: Si vous conduisez dans des conditions de chaussée glissante qui nécessitent des chaînes antidérapantes ou des câbles, il est impératif de conduire avec précautions. Gardez la vitesse réduite, prévoyez des distances de freinage plus longues et évitez les manœuvres brusques avec le volant pour réduire les risques de perte de maîtrise du véhicule qui peuvent entraîner des blessures sérieuses ou même la mort. Si l'arrêt du véhicule dérape dans un virage, tournez le volant dans le sens du dérapage jusqu'à ce que vous reprenez la maîtrise du véhicule.
Note : Un patinage excessif des roues peut endommager la boîte de vitesses.
Sur la neige et sur la glace, un véhicule à traction intégrale est avantageé par rapport à un véhicule à deux roues motrices. Néanmoins, un véhicule à traction intégrale peut déraper comme n'importe quel autre véhicule.
En cas de dérapage sur la neige ou la glace, tournez le volant dans la direction du dérapage pour reprendre la maîtrise du véhicule.
Sur la neige et sur la glace, évitez tout changement brusque de vitesse ou de direction. Pour démarrer lorsque le véhicule est à l'arrêt, appuyez sur la pédale d'accélérateur lentement et graduellement.
Évitez également tout freinage brusque. Bien qu'un véhicule à traction intégrale ait une meilleure accélération sur la neige et la glace qu'un véhicule à deux roues motrices, il ne peut pas freiner plus rapidement, car le freinage s'effectue aux quatre roues, comme c'est le cas pour tous les autres véhicules. Ne vous montrez jamais trop confiant par rapport aux conditions de la route.
Prévoyez toujours une distance suffisante entre votre véhicule et celui qui le précède pour pouvoir vous arrêter sans risque. Conduisez plus lentement qu'à l'habitude et pensez à utiliser un rapport plus bas. Dans des situations d’arrêt d’urgence, freinez de façon constante. Comme votre véhicule est équipé d’un système de freins antiblocage aux quatre roues (ABS), ne « pompez » pas les freins. Consultez la rubrique Freins de ce chapitre pour obtenir des renseignements supplémentaires à propos du fonctionnement du système de freins antiblocage.
Entretien et modifications
La suspension et la direction ont été conçues pour assurer à votre véhicule un rendement fiable, en charge ou à vide, et une capacité durable en matière de transport de charge. Pour cette raison, Ford vous recommande vivement de ne pas apporter de modifications, qu'il s'agisse de retrait ou d'ajout de pièces (telles que des pièces pour surélever la carrosserie ou des barres stabilisatrices), et de ne pas utiliser de pièces de rechange non conformes aux pièces d'origine.
Toute modification visant à élever le centre de gravité du véhicule peut donc rendre plus susceptible de renverser en cas de perte de contrôle. Ford vous recommande de prendre des précautions supplémentaires avec un chargement en hauteur ou des accessoires (comme une échelle ou une galerie porte-bagages).
La négligence de l'entretien du véhicule peut annuler la garantie, augmenter le coût des réparations, réduire le rendement du véhicule et nuir à la sécurité du conducteur et des passagers. Une vérification gratuite des composants du châssis est recommandée si le véhicule est utilisé hors route.
Généralités
Nota : Les bruits de frein occasionnels sont normaux. Si un grincement métallique continu se fait entendre pendant le freinage, les garnitures de frein sont peut-être complètement usées. Faites-les vérifier par un concessionnaire autorisé. Si des vibrations ou des secousses continues sont senties dans le volant pendant le freinage, faites vérifier votre véhicule par un concessionnaire autorisé.
Nota : La poussière de frein peut s'accumuler sur les roues, même dans des conditions normales de conduite. La poussière est inévitable en raison de l'usure des freins, mais elle ne constitue pas une source de bruit de freinage. Consultez le chapitre Soins du véhicule pour les instructions de nettoyage de roue.

Consultez le chapitre Tableau de bord pour plus de renseignements sur le témoin du circuit de freinage.
Une diminution de l'efficacité des freins est causée par des freins mouillés. Pour sécher les freins, appuyez légèrement sur la pédale de frein à plusieurs reprises lorsque vous quittez un lave-auto automatique ou lorsque vous devez franchir une nappe d'eau.
Freinage en cas d'accélérateur coincé
En cas d'accélérateur coincide, il vous suffit de maintenir une pression constante et ferme sur la pédale de frein pour ralentir votre véhicule et réduire la puissance du moteur. Si ce genre de situation survient, appuyez sur la pédale de frein et immobilisez votre véhicule en toute sécurité. Coupez le moteur, placez le levier de vitesses à la position de stationnement (P) et serrez le frein de stationnement ; assurez-vous ensuite que la pédale d'accélérateur n'indique aucune interférence. Si aucune interférence n'est décelée et que le problème persististe, faites remorquer votre véhicule jusqu'à au concessionnaire autorisé le plus après.
Assistance au freinage
Le système d'assistance au freinage détecte les freinages brusques en mesurant la force avec laquelle vous appuyez sur la pédale de frein. Il assure un rendement optimal de freinage pourvu que vous appuyiez sur la pédale. Le système d'assistance au freinage d'urgence peut réduire les distances d'arrêt dans les situations critiques.
Freins antiblocage
Ce système vous aide à garder la maîtrise de la direction lors de freinages d'urgence en empêchant le blocage des freins.

Le témoin de freins antiblocage s'allume momentanément lorsque le contact est établi. Si le témoin ne s'allume pas au démarrage, demeure allumé ou clignote, cela peut indiquer que
le système de freins antiblocage ne fonctionne pas et qu'il doit être réparé.

Si les freins antiblocage sont désactivés, le freinage normal continue de fonctionner. Si le témoin des freins s'allume lorsque le frein de stationnement est desserré, faites immédiatement
réparer le circuit de freinage.
Conseils concernant la conduite avec le système de FREINS antiblocage
Lorsque le système est en fonction, des pulsations se manifestent dans la pédale de frein et sa course se prolonge. Maintenez une pression sur la pédale de frein. Il est possible également que vous entendiez un bruit provenant du système. Ceci est normal.
Le système de freins antiblocage n'élimine pas les dangers inhérents aux situations suivantes :
- vous conduisiez trop près du véhicule qui vous précède; -ète véhicule est en situation d'aquaplanage;
- vous effectuez des virages à une vitesse trop rapide;
- La chauffée est irrégulière.
FREIN de stationnement

AVERTISSEMENT: Si le témoin de frein reste allumé alors que le frein de stationnement est complètement desserré, conduire le véhicule pourrait entrainer une capacité de freinage réduite, des distances d'arrêt accrues et une possible perte des freins.
Adressez-vous à votre concessionnaire autorisé dans les plus brefs délais.

AVERTISSEMENT : Serrez toujours fermement le frein de stationnement et assurez-vous que le levier sélecteur est
fermement engagé en position de stationnement (P). Si vous ne serrez pas le frein de stationnement, le véhicule ne sera pas immobilisé et pourrait entraîner des dommages matériels ou des blessures.
Pour serrer le frein de stationnement, enoncez complètement la pédale de frein.
Pour relâcher le frein de stationnement, appuyez de nouveau sur la pédale du frein de stationnement
Principes de fonctionnement
Le système antipatinage limite le patinage des roues motrices et la perte d'adhérence.
Si votre véhicule se met à déraper, le système applique les freins aux roues individuelles et, au besoin, réduit le couple du moteur en même temps. Si les roues patinent en accélérant sur les surfaces glissantes ou non pavées, le système réduit le couple du moteur afin d'augmenter l'adhérence.
Utilisation de l'antipatinage
Note: Si votre véhicule est muni du dispositif MyKey®, il est possible d’empêcher la désactivation de l’antipatinage. Consultez le chapitre MyKey.
Dans certaines situations (par exemple, lorsque le véhicule est enlisé dans la boue ou dans la neige), il peut être utile de désactiver l'antipatinage pour permettre aux roues de patiner en rétablissant la pleine puissance du moteur. Désactivez la fonction antipatinage à l'aide de la commande de l'écran d'information. Consultez le chapitre Écrans d'information.
Témoins et messages des systèmes

AVERTISSEMENT: Si une anomalie du système antipatinage est détectée, le témoin de commande de stabilité s'allume en continu.
Vérifiez si le système antipatinage n'a pas été manuellement désactivé au moyen de la commande de l'écran d'information. Si le témoin de commande de stabilité demeure toujours allumé, faites immédiatement vérifier le dispositif par un concessionnaire autorisé. La conduite de votre véhicule alors que le système antipatinage est désactivé peut augmenter les risques de perte de maîtrise ou de capotage du véhicule, ainsi que les risques de blessures graves ou mortelles.

Le témoin de commande de stabilité s'allume temporairement au démarrage du moteur et clignote lorsqu'une condition de conduite active le dispositif antilacet.

Le témoin de désactivation de la commande de stabilité s'allume temporairement au démarrage du moteur et reste allumé lorsque l'function antipatinage est désactivée ou si un se survient dans le dispositif antilacet.
Lorsque le système antipatinage est mis hors fonction ou en fonction, un message s'affiche à l'écran d'information pour indiquer l'état du système.
Principes de fonctionnement
AVERTISSEMENT : Toute modification du véhicule concernant le circuit de freinage, les galleries porte-bagages de deuxième monte, la suspension, la direction ou le type et la taille des roues ou des pneus peut compromettre la tenue de route du véhicule et nuire au fonctionnement du dispositif antilacet AdvanceTrac®. L'ajout de haut-parleurs peut également gêner et perturber le fonctionnement du dispositif antilacet AdvanceTrac®. Afin d'éviter de perturber le fonctionnement des capteurs du dispositif AdvanceTrac®, il est conseillé d'éloigner le plus possible les haut-parleurs de deuxième monte de la console centrale avant, du tunnel de plancher et des sièges avant. Une réduction de l'efficacité du dispositif AdvanceTrac® peut augmenter les risques de perte de maîtrise ou de capotage du véhicule, ainsi que les risques de blessures graves ou mortelles.
AVERTISSEMENT: N'oubliez pas que même la technologie la plus sophistiquée ne peut déroger aux lois naturelles de la physique. Une perte de maîtrise du véhicule causée par une fausse manœuvre du conducteur est toujours possible. Une conduite sportive, quelles que soient les conditions routières, peut causer une perte de maîtrise du véhicule augmentant les risques de blessures graves et de dommages. L'activation du dispositif AdvanceTrac® est une indication que la capacité d'adhérence d'un ou de plusieurs pneus a été dépassée et que, par conséquent, les risques de perte de maîtrise ou de capotage du véhicule ainsi que de blessures graves ou mortelles sont accrus. Si votre dispositif AdvanceTrac® est activé, RALENTISSEZ.
Le système AdvanceTrac® vous aide à maintenir la maîtrise du véhicule lorsqu'il se trouve sur une surface glissante. La partie contrôle électronique de stabilité du système aide à prévenir les dérapages et les dérives du véhicule tandis que le système antipatinage limite le patinage des roues motrices et la perte de motricité. Consultez le chapitre Antipatinage pour plus de renseignements sur le fonctionnement de l'antipatinage.

A Véhicule sans AdvanceTrac® sortant en dérapage de sa trajectoire. B Véhicule avec AdvanceTrac® conservant le contrôle sur une surface glissante.
Utilisation du dispositif antilacet advancetrac® avec contrôlé de stabilité RSC®
Le système est automatiquement activé lorsqu vous faites démarrer le moteur. Le dispositif antilacet AdvanceTrac® avec contrôle de stabilité antiretournement RSC® ne peut être complètement désactivé, mais les parties de contrôle électronique de stabilité et de contrôle de stabilité antiretournement du dispositif sont désactivées lorsque la boîte de vitesses est en position marche arrière (R). Vous pouvez désactiver la partie d'antipatinage du dispositif indépendamment. Consultez le chapitre Antipatinage.
SONAR de RECUL (SELEN l'équipement)

AVERTISSEMENT : Pour réduire les risques de blessures, assurez-vous de lire et de bien comprendre les limites de
fonctionnement du sonar de recul décrites dans ce chapitre. Le sonar de recul ne sert qu'à détecter certains types d'obstacles (en général les obstacles de grande dimension et immobiles) lorsque le véhicule se déplace lentement en marche arrière sur une surface plane, pour le stationnement.
Les systèmes de contrôle de la circulation, le mauvais temps, les freins à air ainsi que les moteurs et ventilateurs externes peuvent avoir un impact sur le sonar ; le rendement de ce dernier peut être réduit ou le système peut se déclencher alors qu'il n'y a pas d'obstacle.

AVERTISSEMENT : Pour éviter les blessures, soyez toujours prudent lorsque vous faites marche arrêtée et que vous utilisez le
sonar.

AVERTISSEMENT: Ce dispositif n'est pas conçu pour éviter le contact avec des objets en mouvement ou de petite dimension.
Ce dispositif est donc pour avertir le conducteur de la présence d'obstacles immobiles et de grande dimension afin de prévenir les dommages au véhicule. Il est possible que de petits obstacles, en particulier ceux qui se trouvent au ras du sol, ne soient pas détectés par le sonar de recul.

AVERTISSEMENT : Certains dispositifs ajoutés, tels que des attelages de remorques de grande taille, des porte-evos, desrts de surf, peuvent bloquer la zone de détection du sonar de et entraîner de fausses alertes.
Nota : Veillez à ce que les capteurs (situés sur le pare-chocs ou le bouclier) ne soient pas obstrués par de la neige, de la glace ou des accumulations importantes de saleté. Si les capteurs sont obstrués, la précision du sonar de recul peut être compromise. Ne nettoyez pas les capteurs au moyen d'objets tranchants.
Note : Si votre véhicule subit des dommages qui décentrent ou déforment le pare-chocs ou le bouclier, la zone de détection peut être altérée, ce qui peut entraîner une estimation erronée de la distance des obstacles ou de fausses alertes.
Le sonar de recul avise le conducteur de la présence d'obstacles se trouvant à une certaine distance de la zone de pare-chocs. Le système s'active automatiquement lorsque le contact est établi.
Lors de la réception d'un avertissement de détection, le volume de la radio diminue à une valeur prédéterminée. Le volume de la radio se rétablit à sa valeur initiale lorsque le signal du sonar cesse de retentir.
Le sonar peut être désactivé à l'aide de la commande de l'écran d'information. Consultez le chapitre Écrans d'information.
Si une anomalie est présente dans le système, un message d'avertissement s'affiche à l'écran d'information et ne permet pas au conducteur d'activer le sonar défectueux.
Note: Si votre véhicule est muni du dispositif MyKey®, il est possible d'empêcher la désactivation du sonar. Consultez le chapitre MyKey®.
Utilisation du sonar de recul
Les capteurs arrière ne sont actifs que lorsque la marche arrière (R) est engagée. L'alarme du sonar de recul retentit à une fréquence de plus en plus élevée à mesure que le véhicule se rapproche de l'obstacle. L'avertisseur du sonar retentit de façon continue lorsque l'obstacle est à moins de 30 cm (12 po). Si le sonar détecte un obstacle immobile (ou qui s'éloigne) à une distance supérieure à 30 cm (12 po) du côté du véhicule, l'avertisseur ne retentit que pendant trois secondes. Lorsque le système détecte l'approche d'un obstacle, l'avertisseur retentit de nouveau.

Le sonar de recul détecte des obstacles dans une zone allant jusqu'à 2 m (6 pi) à partir du pare-chocs arrière. Cette distance de détection est moindre aux extrémités du pare-chocs.
Le système détecte la présence de certains objets lorsque la marche arrière (R) est engagée et que le véhicule :
- se déplace vers un obstacle immobile à une vitesse maximale de 5 km / h (3 mi/h);
- est immobile et qu'un objet s'approche de l'avant ou de l'arrière du véhicule à une vitesse maximale de 5km / h (3 mi/h).
AIDE au stationnement ACTIF (SELON l'équipement)
AVERTISSEMENT: Ce système est conçu pour être une aide au stationnement supplémentaire. Il pourrait ne pas fonctionner dans certaines conditions et n'est pas destiné à remplacer l'attention et le jugement du conducteur. Le conducteur est responsable d'éviter les risques et de conserver une distance et une vitesse sécuritaires, même lorsque le sonar de recul est en fonction.
Nota : Il incombe au conducteur de tous jours maintenir le contrôle de son véhicule, de superviser le système et d'intervenir au besoin.
L'aide au stationnement actif détectera une place de stationnement parallèle disponible et dirigera automatiquement le véhicule dans l'espace (mains libres) pendant que vous contrôlez l'accélérateur, la transmission et les freins. Le système transmettra des instructions visuelles et/ou orales au conducteur pour stationner le véhicule.
Le système peut ne pas fonctionner correctement si quelque chose passe entre le pare-chocs avant et l'espace surveillé (p. ex. un piéton ou un cycliste) ou si la garde au sol du véhicule est élevée, par exemple dans le cas d'un autobus, d'une dépanneuse ou d'un camion à plateau.
Nota : Les capteurs peuvent ne pas détecter des objets sous une pluie abondante ou dans d'autres conditions pouvant causer des reflets perturbateurs.
Nota : Les capteurs peuvent ne pas détecter des objets dont la surface absorbe les ondes ultrasonores.
Le système ne devrait pas être utilisé si :
- un objet (c.-à-d. un support à vélo, une remorque, etc.) est attaché au devant ou à l'arrière du véhicule ou à un autre emplacement à proximité des capteurs;
- un objet comme une planche de surf est attachée au toit et dépasse de celui-ci;
- le pare-chocs avant ou les capteurs latéraux sont endommagés (c.-à-d. dans une collision) ou encombrés par un objet étranger (c.-à-d. le revêtement du pare-chocs avant);
- Une mini-roue de secours est utilisée.
Utilisation du stationnement actif

Appuyez sur le bouton ; l'écran tactile affiche un message et un graphique correspondant pour indiquer que le système cherche une place de stationnement. Utilisez le clignotant pour désigner de quel côté de la rue vous désirez chercher un endroit pour stationner.
Note : Si le clignotant n'est pas allumé, le système cherchera automatiquement du côté du passager.

Lorsque le système trouve un espace approprié, l'écran tactile affiche un message et un carillon retentit. Ralentissez et arrêtez à peu près à la position (A), puis suivez les instructions affichées à l'écran tactile.
Nota : Vous devez vous assurer que rien ne vienne obstruer l'espace sélectionné pendant toute la durée de la manœuvre de stationnement.
Nota : Les véhicules (p. ex. un bus ou un camion) avec des chargements qui dépassent, du mobilier urbain ou d'autres articles pourraient ne pas être détectés par le stationnement actif. Vous devez vous assurer que l'espace choisi convient au stationnement de votre véhicule.
Nota : Vous devez garer le véhicule le plus en parallèle possible lorsque vous passez devant une place de stationnement.
Nota : Le système propose toujours la dernière place de stationnement détectée (c.-à-d. si le véhicule détecte plusieurs places pendant que vous conduisez, il propose la dernière).
Nota : Si le véhicule roule à plus de 35 km/h (20 mi/h), l’écran tactile affiche un message signalant au conducteur de ralentir.
Pilotage automatique dans la place de stationnement
Nota : Lorsque le véhicule roule à plus de 10 km/h (6 mi/h) éhicule.
Nota : Si une manœuvre est interrompue avant d’être terminée éhicule. Parfois, un message apparait vous permettant de reprendre la manœuvre.
Si vous mettez le levier sélecteur en position marche arrière (R) et que vous vous assurez de ne pas toucher le volant (aussi, que rien d'autre ne puisse entraver son mouvement), le véhicule va effectuer de lui-même, en toute sécurité, tous les mouvements avant et arrêté nécessaires à son stationnement conformément aux instructions affichées à l'écran tactile. Pendant la marche arrière, l'écran tactile affiche un message, accompagné d'un graphique correspondant, invitant le conducteur à vérifier partout autour (par souci de sécurité) et à reculer lentement.

Lorsque vous déterminez qu'il y a suffisamment d'espace devant et derrière le véhicule ou que vous entendez une forte tonalité du sonar de recul, immobilisez le véhicule.

Lorsque le pilotage automatique est terminé, l'écran tactile affiche un message indiquant que le processus de l'aide au stationnement est terminé. Le conducteur doit s'assurer que son véhicule est stationné correctement et de corriger au besoin sa position de stationnement avant de placer le levier sélecteur à la position de stationnement (P).
Désactivation de la fonction d'aide au stationnement
Vous pouvez désactiver cette fonction en :
- appuyant sur le bouton de servofrein d'assistance d'arrêt actif;
- saisissant le volant;
- roulant à plus de 35 km / h (35mi/h) environpendant la recherche de stationnement actif;
- roulant à plus de 10km / h (6 mi/h) pendant le pilotage automatique;
- désactivant le dispositif antipatinage.
Certaines conditions de fonctionnement du véhicule peuvent aussi désactiver le système :
- Le dispositif antipatinage s'est activé sur une surface glissante ou non pavée.
- Activation ou défaillance du système de freins antiblocage.
- En cas d'ouverture d'une des portes (sauf la porte du conducteur).
- En cas de contact du volant avec un objet.
En cas d'anomalie du système, un message d'avertissement s'affiche, suivi d'une alerte sonore. Les messages occasionnels de l'aide au stationnement actif peuvent survenir lors du fonctionnement normal. Dans le cas d'anomalies fréquentes et récurrentes de l'aide au stationnement actif, communiquez avec un concessionnaire autorisé pour faire réparer votre véhicule.
Dépannage du système
| Le système necherche pas une place de stationnement |
| Le dispositif antipatinage peut être hors fonction |
| Une des portes (sauf la porte du conducteur) pourrait être mal fermée |
| Le système n'offre pas une place de stationnement particulièrement |
| Quelque chose touche peut être au pare-chocs avant ou aux capteurs latéraux |
| Il n'y a pas suffisamment d'espace des deux côté du vehicule pour stationner |
| Il n'y a pas suffisamment d'espace pour effectuer la manoeuvre de stationnement du côté opposé de la place de stationnement |
| Le vehicule est éloigné de plus de 1,5 m (5 pieds) de la place de stationnement |
| Le vehicule est éloigné de plus de 40 cm (16 po) des vehicules stationnés avoirinants |
| La marche arrière (R) est engagée; le vehicule doit se déplacer vers l'avant pour détecter une place de stationnement |
| Le système ne positionne pas le vehicule à l'endroit où je veux dans la place de stationnement |
| Le vehicule roule dans la direction opposée au rapport de vitesse sélectionné (p. ex. rouler vers l'avant lorsque la position marche arrière [R] est sélectionnée) |
| La marche arrière (R) est engagée; le vehicule doit se déplacer vers l'avant pour détecter une place de stationnement |
| La place de stationnement présente un bord de trottoir irrégulier qui empêche le système d'aligner le vehicule correctement |
| Les vehicules ou les objets bordsant l'espace pourraient ne pas être positionnés correctement |
| Le vehicule s'est arrêté trop loin dépassé la place de stationnement. Le système offre de更好地 performances lorsque vous abordez et dépassez l'espace de stationnement d'une longueur entière de vehicule |
| Les pneus poursaient ne pas être posés ou entretenus correctement (c.-à-d. mal gonflés, de tailles différentes ou inappropriés pour ce vehicule) |
| Le système ne positionne pas le vehicule à l'endroit où je veux dans la place de stationnement |
| Une réparation ou une modification a ALTERÉ la fonction de détction |
| Un des vehicules stationnés est doté d'un accessoire en hauteur (p. ex. une saleuse, un chasse-neige, la caisse surélevée d'un camion de démunagement) |
| La longueur de la place de stationnement ou la position des objets stationnés a changé après que le vehicule a passé devant la place de stationnement |
| La température autour de votre vehicule change rapidement, comme lorsque vous passez d'un garage chauffé au froid extérieur, ou lorsque votre vehicule quitte un lave-auto automatique |
Système de caméra de MARCHE arrière (SELON l'équipement)

AVERTISSEMENT : Le système de caméra de marche arrière est un dispositif supplémentaire d'aide au recul qui exige
néanmoins que le conducteur observe les rétroviseurs extérieurs et intérieur pour optimiser la couverture.

AVERTISSEMENT : D'autres objets près des coins du pare-chocs ou sous le pare-chocs peuvent ne pas paraître à cause de la couverture limite du système de camera de une arrière.

AVERTISSEMENT: Reculez aussi lentement que possible, car une vitesse supérieure peut limiter votre temps de réaction pour stabiliser le véhicule.

AVERTISSEMENT : Faites preuve de prudence lorsque vous utilisez laamera de marche arrière et que le hayon est ouvert. Si le hayon est entrouvert, laamera ne sera pas bien positionnée et l'image vidéo sera imprécise. Toutes les lignes de guidage (fonction est activée) ont été retirées lorsque le hayon est ouvert.

AVERTISSEMENT : Soyez prudent lorsque vous activez ou désactivez les fonctions de laamera si la boîte de vitesses est à initiation marche arrêté (R). Assurez-vous que le véhicule est停住。 请注意,最后一部分“poile”被翻译成了法语中的“停住”(车辆停止),因为根据规则,不能添加原文中没有的内容,同时也要保持信息的准确性。如果需要完全符合规则且不进行翻译的情况下,“poile”应保持原样: AVERTISSEMENT : Soyez prudent lorsque vous activez ou désactivez les fonctions de laamera si la boîte de vitesses est à initiation marche arrêté (R). Assurez-vous que le vehicule est poile.

Laamera de marche arrière offre une image vidéo de la zone derrière le véhicule.
Durant le fonctionnement, des lignes s'affichent à l'écran qui représentent le chemin emprunté par le véhicule et sa proximité aux objets qui le suivent.
La caméra est installée sur le hayon.
Utilisation du système de caméra de marche arrière
La caméra de marche arrière affiche ce qui se trouve derrière votre véhicule lorsque vous placez le levier sélecteur à la position marche arrière (R). Le système utilise des directives précises qui montrent la véritable trajectoire qu'emprunte le véhicule lorsqu'il recule en ligne droite. Ceci peut être pratique lorsque vous reculez dans un espace de stationnement ou que vous alignez le véhicule avec un autre objet derrière le véhicule.
Nota: N'utilisez pas le système de caméra si le coffre est ouvert.
Nota : Si l'image apparait lorsque la boîte de vitesses n'est pas en marche arrière (R), faites inspecter le système par votre concessionnaire autorisé.
Nota : Lors du remorquage, le système de caméra de marche arrière ne couvre que ce qui est remorqué derrière le véhicule. Cette couverture peut se révéler inférieure à la couverture habituelle et certains objets peuvent ne pas être détectés. Dans certains véhicules, les lignes de guidage peuvent disparaître une fois que le connecteur électrique de remorque est branché.
Note : La caméra de marche arrière peut ne pas fonctionner correctement dans les cas suivants :
- Lorsqu'il fait nuit ou dans les endroits sombres, si un phare de recul ne fonctionne pas, ou les deux.
- Lorsque le champ visuel de la caméra n'est pas aussi bon, en raison de la présence de boue, d'eau ou de débris. Nettoyez la lentille au moyen d'un chiffon doux non pelucheux et un nettoyant non abrasif.
- L'arrière du véhicule a subi une collision ou est endommagé, ce qui peut causer un désalignement de la caméra.
Lignes de guidage et ligne centrale
Nota : Les lignes de guidage actives et les lignes de guidage fixes ne sont disponibles que lorsque la marche arrêtée (R) est engagée (selon l'équipement).
Nota : La ligne centrale n'est disponible que si les lignes de guidage fixes ou actives sont activées (selon l'équipement).

A. Lignes de guidage actives (selon l'équipement) B. Ligne centrale C. Ligne de guidage fixe : zone verte D. Ligne de guidage fixe : zone jaune E. Ligne de guidage fixe : zone rouge F. Pare-chocs arrière

Si votre véhicule est équipé de lignes de guidage actives, elles sont indiquées seulement avec les lignes de guidage fixes. Pour utiliser les lignes de guidage actives, tournez le volant pour orienter les lignes vers un parcours prévu. Si la position du volant est modifiée pendant la marche arrière, le véhicule pourrait dévier du parcours prévu d'origine.
Les lignes de guidage fixes et actives apparaissent et disparaissent selon la position du volant. Lorsque le volant est droit, les lignes de guidage actives ne s'affichent pas.
Soyez toujours vigilant lors des manœuvres de recul. Les objets dans la zone rouge sont les plus près de votre véhicule et les objets dans la zone verte sont plus éloignés. Les objets se rapprochent de leur véhicule lorsqu'ils se déplacent de la zone verte aux zones jaune ou rouge.
Observez les rétroviseurs extérieurs et intérieur pour mieux couvrir les deux côtés et l'arrière du véhicule.
Les réglages possibles pour cette fonction sont ACTIVES + FIXES, FIXES et DÉSACTIVÉES.
Alerte visuelle d'aide au stationnement
Nota : L'alerte visuelle d'aide au stationnement n'est disponible que lorsque la marche arrière (R) est engagée.
Nota: Le système de capteurs d'aide au stationnement n'est pas efficace lorsque le véhicule se déplace à une vitesse supérieure à 5 km/h (3 mi/h) et il peut ne pas détecter certains obstacles angulaires ou mobiles.
L'alerte d'aide au stationnement visuelle permet au conducteur de voir la zone de détection couverte par le système de capteurs d'aide au stationnement. Lorsqu'il détecte un objet, le système de sonar de recul affiche des indicateurs colorés rouges, jaunes et verts dans le haut de l'image vidéo. L'alerte attire l'attention sur l'objet détecté le plus proche. L'alerte de sonar de recul peut être désactivée et si l'alerte visuelle de sonar de recul est activée, les zones en surbrillance continueront de s'afficher.
Les réglages possibles pour cette fonction sont EN FONCTION et HORS FONCTION.
Zoom manuel

AVERTISSEMENT : Lorsque le zoom manuel est en fonction, le système n'affiche pas toute la zone derrière le véhicule. Soyez prudent dans la zone proche de votre véhicule lorsque vous utilisez la fonction de zoom manuel.
Nota : Le zoom manuel n'est disponible que lorsque la boîte de vitesses est en position marche arrêté (R).
Nota : Lorsque le zoom manuel est activé, seule la ligne centrale est affichée.
Le conducteur obtient ainsi un gros plan d'un objet derrière le véhicule. L'image qui a fait l'objet du zoom retient l'image du pare-chocs pour fournir une référence. Le zoom est en fonction seulement lorsque la transmission est en position de marche arrêté (R). Si la transmission passe à une autre position que celle de marche arrêté (R), le zoom se met automatiquement hors fonction; il devra être réinitialisé lorsqu'on voudra l'utiliser à nouveau.
Les réglages possibles pour cette fonction sont HORS FONCTION, Niveau 1, Niveau 2 ou Niveau 3. Appuyez sur les flèches haut et bas pour changer de vue. Le niveau de sélection apparaît entre les boutons (c.-à-d. Niveau 1). Le réglage par défaut du zoom manuel est HORS FONCTION.
Temporisation de la caméra de marche arrêté
Lorsque vous déplacez le levier sélecteur hors de la position marche arrrière (R) pour le placer à toute position autre que stationnement (P), l'image demeure affichée jusqu'à ce que le vehicule attigne la vitesse de 10km / h (6 mi/h). Cette situation se produit quand la fonction de temporisation de laamera de marche arrrière est active ou jusqu'à ce qu'un bouton de radio soit pressé.
Les réglages possibles pour cette fonction sont EN FONCTION et HORS FONCTION. La fonction de temporisation de la caméra de marche arrière est HORS FONCTION par défaut.
Principes de fonctionnement
Le régulateur de vitesse vous permet de conserver une vitesse programmée sans poser votre pied sur la pédale d'accélérateur.
Utilisation du régulateur de vitesse

AVERTISSEMENT : N'utilisez pas le régulateur de vitesse en circulation dense ou sur des routes sinueuses, glissantes ou non.
pavées.
Nota : La vitesse du véhicule peut varier momentanément lorsque vous conduisez sur une pente abrupte ascendante ou descendante. Lorsque vous conduisez sur une pente descendante, serrez les freins si la vitesse de votre véhicule est supérieure à la vitesse programmée.
Nota : Lorsque vous conduisez sur une pente ascendante, le régulateur de vitesse se désactive si la vitesse de votre véhicule est inférieure de plus de 16 km/h (10 mi/h) à la vitesse programmée.

Les commandes du régulateur de vitesse sont situées sur le volant.
Activation du régulateur de vitesse
Appuyez brièvement vers le haut sur la touche ON.

Le témoign apparait dans le tableau de bord.
Programmation d'une vitesse
- Accélérez à la vitesse souhaitée.
- Appuyez brièvement vers le haut sur la touche SET (programmation).
- Relâchez la pédale d'accélérateur.
Le témoin change de couleur au tableau de bord.
Modification de la vitesse programmée
Nota: Si vous accélérez en appuyant sur la pédale d'accélérateur, la vitesse programmée ne change pas. Si vous relâchez la pédale d'accélérateur, le véhicule revient à la vitesse que vous avez programmée.
- Maintenez la touche SET enfoncée vers le haut ou vers le bas pour augmenter ou diminuer la vitesse programmée. Relâchez la touche lorsque la vitesse vous est atteinte.
- Appuyez brièvement sur la touche SET vers le haut ou vers le bas. La vitesse programmée passe à une autre vitesse par incréments de 2 km/h (1 mi/h).
- Appuyez sur la pédale d'accélérateur ou la pédale de frein jusqu'à ce que la vitesse voulue soit atteinte. Appuyez brièvement sur la touche SET vers le haut.
Annulation de la vitesse programmée
Appuyez sur la touche CNCL (annulation) ou appuyez légèrement sur la pédale de frein. La vitesse programmée ne s'efface pas.
Reprise de la vitesse programmée
Appuyez brièvement sur le bouton RES (reprise).
Désactivation du régulateur de vitesse
Note : La vitesse programmée s'efface lorsque vous désactivez le régulateur de vitesse.
Appuyez brièvement sur la touche OFF vers le bas ou coupez le contact.
Utilisation du régulateur de vitesse adaptatif (SELEN l'équipement)
AVERTISSEMENT : Soyez toujours attentif aux conditions changeantes de la route, particulièrement lorsque vous utilisez le régulateur de vitesse adaptatif. Le régulateur de vitesse adaptatif ne remplace pas une conduite attentive. Si vous ne respectez pas les avertissements qui suivent ou si vous ne portez pas attention à la route, vous risquez une collision et des blessures graves ou mortelles.
AVERTISSEMENT: Le régulateur de vitesse adaptatif n'est pas un système d'avertissement ou d'évitement de collisions. De plus, le régulateur de vitesse adaptatif ne peut détecter :
- Les vehicules stationnaires ou qui se déplacent à moins de 10km / h (6 mi/h).
- Les piétons et les obstacles sur la route.
- Les véhicules venant en sens inverse dans la même voie.
AVERTISSEMENT: N'utilisez pas le régulateur de vitesse adaptatif sur les bretelles d'accès et de sortie des autoroutes, dans la circulation urbaine, sur des routes sinueuses, glissantes ou non pavées.
AVERTISSEMENT: N'utilisez pas le régulateur de vitesse adaptatif lorsque la visibilité est réduite, particulièrement par temps de brouillard, de pluie ou de neige, ou lorsque les projections de la route sont abondantes.
Note : En tout temps, vous devez faire preuve de vigilance, conduire prudemment et maîtriser le véhicule.
Le système ajuste votre vitesse afin de conserver une distance appropriée entre votre véhicule et le véhicule qui vous précède dans la même voie. Vous pouvez choisir entre quatre différents réglages de distance. Les touches sont situées sur le volant.
Au démarrage, le système règle l'écart au dernier réglage choisi. Une fois le système activé, vous pouvez le désactiver à tout moment en appuyant sur la pédale de frein, en appuyant sur la touche OFF du volant ou en appuyant sur la touche CNCL. De plus, vous pouvez augmenter temporairement la vitesse programmée en appuyant sur l'accélérateur.

Les touches du régulateur de vitesse adaptatif sont situées sur le volant de direction.
Réglage du régulateur de vitesse adaptative

- Appuyez brièvement sur la touche ON (marche).
L'écran d'information affiche le témoin gris, le réglage de distance actuel et la mention SET (réglage). Le système est en mode attente.
- Accélérez à la vitesse souhaitée.
- Appuyez brièvement vers le haut sur la touche SET (réglage). La vitesse du véhicule est enregistrée dans la mémoire.

L'écran d'information affiche un temps vert, le réglage de distance actuel et la vitesse programmée voulue.
- Relâchez la pédale d'accélérateur.

- Un graphique de véhicule qui précède s'allume si un véhicule qui vous précède est détecté.
Nota : Lorsque le régulateur de vitesse adaptatif est actif, la vitesse programmée affichée à l'écran d'information peut légèrement différer de celle de l'indicateur de vitesse.
Lorsque vous suivez un véhicule

AVERTISSEMENT : Lorsque vous suivez un véhicule qui vous précède, votre véhicule ne s'immobilisera pas automatiquement,
et il ne pourrait pas toujours décélérer assez rapidement pour éviter une collision sans l'intervention du conducteur. Soyez toujours prêt à freiner au besoin. Sinon, vous risqueriez une collision et de blessures graves ou mortelles.

AVERTISSEMENT : Le régulateur de vitesse adaptatif avertit uniquement de la présence d'autres véhicules détectés par le
capteur du radar. Dans certains cas, le système pourrait ne pas avertir le conducteur, ou l'avertir en retard. Soyez toujours prêt à freiner au besoin. Sinon, vous risqueriez une collision et de blessures graves ou mortelles.
Note : Un bruit de frein peut se faire entendre lorsque le régulateur de vitesse adaptatif module les freins.
Lorsqu'un véhicule qui vous précède s'engage dans votre voie ou si le véhicule qui vous précède roule lentement dans votre voie, la vitesse de votre véhicule est automatiquement régée afin de conserver une distance de sécurité programmée. Le réglage de distance est régiable.
Le graphique du véhicule qui précède sera allumé.
Une distance constante sera conservée entre votre véhicule et celui qui vous précède jusqu'à ce que :
- le véhicule qui vous précède accélère et roule plus vite que votre vitesse programmée;
- le véhicule qui vous précède quitte votre voie ou n'est plus en vue;
- la vitesse du véhicule est inférieure à 26 km/h (16 mi/h);
- Une nouvelle distance est programmée.
Le véhicule freinera automatiquement de façon à conserver une distance sécuritaire entre votre véhicule et celui qui le précède. La force de freinage maximale appliquée par le régulateur de vitesse adaptatif est limitée et le conducteur peut l'augmenter en serrant les freins.
Si le régulateur de vitesse adaptatif détecte que la force de freinage maximale exercée sera insuffisante, il déclenche une alarme sonore tout en poursuivant sa manoeuvre de freinage. Cette alerte est accompagnée d'un dispositif de visualisation tête-haute, une barre d'avertissement rouge s'illuminant sur le pare-brise. Vous devez réagir immédiatement.
Réglage de la distance
Nota : Il vous incombe de sélectionner une distance de sécurité appropriée aux conditions de la route.

Vous pouvez diminuer ou augmenter la distance entre votre véhicule et le véhicule qui vous précède en appuyant vers le haut ou vers le bas sur la touche GAP. La distance de
sécurités sélectionnée s'affichera sur l'écran d'information par le biais des barres du graphique. Quatre réglages de distance de sécurité sont disponibles.
| Affichage graphique(barres entre les vehicules) | Distance entre les vehicules | Distance entre les vehicules à 100 km/h(60 mi/h) | Comportement dynamique |
| 1 barre | 1 seconde | 28 m | Sportif |
| 2 barres | 1,4 seconde | 39 m | Normale |
| 3 barres | 1,8 seconde | 50 m | Normale |
| 4 barres | 2,2 secondes | 61 m | Confort |
À chaque redémarrage du véhicule, le système sélectionne la dernière distance pour le conducteur actuel.
Désactivation du régulateur de vitesse adaptative
Appuyez sur la pédale de frein ou appuyez sur la touche CNCL (annulation) pour désactiver le régulateur de vitesse adaptatif. La dernière vitesse programme sera affichée avec une biffure.
La vitesse préalablement programmée n'est pas effacée lorsque le régulateur de vitesse adaptatif est désactivé.
Neutralisation du régulateur de vitesse adaptative

AVERTISSEMENT : Chaque fois que le conducteur neutralise le
fonctionnement du régulateur de vitesse adaptatif en appuyant
sur l'accélérateur, le système n'appliquera pas automatiquement les
freins pour conserver la distance de sécurité entre les véhicules.
Vous pouvez neutraliser la vitesse et la distance de sécurité programmées en appuyant sur la pédale d'accélérateur.

Lorsque vous neutralisez le système, le témoin vert s'allume et le véhicule qui suit n'est pas affiché à l'écran d'information. Le système reprend son fonctionnement lorsque vous relâchez la
pédale d'accélérateur. Le véhicule ralentit jusqu'à la vitesse programmée, ou à une vitesse moindre s'il est précédé par un véhicule plus lent.
Modification de la vitesse programmée
Il existe trois façons de changer la vitesse programmée :
- Accélérez ou freinez jusqu'à la vitesse voulue, puis appuyez brièvement vers le haut sur la touche SET (réglage).
- Augmentez ou diminuez la vitesse en maintenant enfoncée la touche SET (réglage) vers le haut ou vers le bas, jusqu'à ce que la vitesse programmée voulue s'affiche à l'écran d'information. Le véhicule atteindra progressivement la vitesse programmée.
- Augmentez ou diminuez la vitesse du véhicule par paliers de 2 km/h (1 mi/h) en appuyant brièvement sur la touche SET (réglage) vers le haut ou vers le bas.
Le système peut appliquer les freins pour ralentir le véhicule à la nouvelle vitesse programmée. La vitesse programmée s'affiche en continu à l'écran d'information lorsque le système est activé.
Reprise de la vitesse programmée
Note : Appuyez brièvement sur la touche de reprise seulement si vous vous souvenez de la vitesse programmée et si vous souhaitez y revenir.
Appuyez brièvement sur la touche RES (reprise). La vitesse programmée préalablement est rétablie. La vitesse programmée s'affiche en continu à l'écran d'information lorsque le système est activé.
Désactivation automatique à basse vitesse
Le système ne fonctionne pas lorsque la vitesse du véhicule est inférieure à 26 km/h (16 mi/h). Une alarme sonore retentit et le freinage automatique est annulé si le véhicule passe en dessous de cette vitesse.
Utilisation en terrain montagneux
Note : Une alarme sonore retentit et le système se désactive s'il serre les freins pendant une période prolongée. Ceci permet aux freins de se refroidir. Le système fonctionnera normalement de nouveau lorsque les freins se sont refroidis.
Vous devriez sélectionner un rapport inférieur lorsque le système est actif dans de longues pentes abruptes, en terrain montagneux par exemple. Votre véhicule a besoin d’une puissance supplémentaire du frein moteur dans de telles situations pour réduire la charge sur le système de freinage ordinaire du véhicule et prévenir la surchauffe.
Désactivation du régulateur de vitesse adaptative
Note : La mémoire de vitesse programme s'efface lorsque vous mettez le système hors fonction.
Appuyez brièvement sur la touche OFF (arrêt), ou coupez le contact.
Problèmes de détection
Le champ de « vision » du capteur du radar est limité. Le radar pourrait ne pas détecter un véhicule ou le détecter avec retard dans certaines situations. Le graphique de véhicule qui précède ne s'allume pas si le système ne détecte pas de véhicule devant vous.
Des problèmes de détection peuvent survenir dans les cas suivants :



A. Lorsque vous roulez dans une voie différente de celle du véhicule qui vous précède. B. Lorsque des véhicules s'engagent dans votre voie. Le système ne peut détecter ces véhicules que lorsqu'ils sont totalement engagés dans votre voie. C. Lorsque la détection des véhicules qui vous précèdent s'effectue à la sortie d'un virage ou d'une courbe de la route.
En pareil cas, le système pourrait freiner trop tard ou inopinément. Vous devez toujours être prêt à freiner ou à intervenir au besoin.
Si la partie avant du véhicule subit une collision ou est endommagée, la zone de détection du radar pourrait être modifiée, ce qui entraînerait des détections imprécises ou irrégulières des véhicules. Consultez votre concessionnaire autorisé pour faire vérifier la couverture et le fonctionnement appropriés du radar.
Régulateur de vitesse adaptatif non disponible
Plusieurs conditions peuvent provoquer la désactivation du système ou empêcher son activation à la suite d'une sollicitation. Ces conditions incluent :
- un capteur obstrué
- une température élevée des freins
- une panne du système ou d'un système connexe
Capteur obstrué

AVERTISSEMENT : N'utilise pas le régulateur de vitesse
adaptatif lorsque le véhicule tracte une remorque freinée. Les
freins de remorque du marché de seconde monte ne fonctionneront pas correctement lorsque le régulateur de vitesse adaptatif est activé, car ces freins sont commandés électroniquement. Sinon, vous risqueriez de perdre la maîtrise de votre véhicule et de subir de graves blessures.

AVERTISSEMENT: Ne montez pas de pneus de dimensions
autres que celles recommandées sur votre véhicule, car cela
pourrait nuire au fonctionnement normal du régulateur de vitesse adaptatif, et vous risqueriez de perdre la maîtrise de votre véhicule et de subir de graves blessures.

Si un message relatif à un capteur obstrué s'affiche, les signaux du radar provenant du capteur ont été obstrués. Le capteur est situé derrière une couverture de carénage, près côté conducteur, où se trouve la grille inférieure. Un véhicule ne peut pas être détecté à l'avant et le
Le système ne fonctionne pas lorsque les signaux du radar sont obstrués. Le tableau suivant donne la liste des causes pouvant provoquer l'affichage de ce message ainsi que les mesures correctives pour y remédier.
| Cause | Mesure corrective |
| La surface du radar dans la grille de calandre n'est pas propre ou elle est obstruée. | Nettoyez la surface de la grille de calandre devant le radar ou retirez l'objet causant l'obstruction. |
| La surface du radar dans la grille de calandre est propre, mais le message est toujours affché. | Attendez un court moment. Quelques minutes peuvent être nécessaires pour que le radar puisse reconnaître le retrait de l'obstruction. |
| De fortes pluies ou de la neige perturbent les signaux radar. | N'utilise pas le système dans ces conditions parce qu'il peut ne pas détector un vehicule qui vous précisé. |
| L'eau tourbillonnante, la neige ou la glace sur la chaussée peuvent perturber les signaux radar. | N'utilise pas le système dans ces conditions parce qu'il peut ne pas détector un vehicule qui vous précisé. |
| Le vehicule se trouve dans un endroit isolé et il n'y a aucun autre vehicule ni objet àproximé. | Attendez un court salarié ou passez en mode régulateur de vitesse normal. |
En raison de la nature de technologie du radar, il est possible d'obtenir un avertissement de blocage sans pour autant être bloqué. Ceci peut se produire, par exemple, lors de la conduite en zone rurale clairsemée ou dans le désert. Une fausse condition de blocage s'efface d'elle-même ou après un cycle d'allumage.
Passage au mode de régulateur de vitesse normal

AVERTISSEMENT: Le régulateur de vitesse normal ne freinera pas en présence de véhicules qui roulent plus lentement.
N'oubliez jamais le mode que vous avez sélectionné et serrez les freins lorsqu'il est nécessaire.
Vous pouvez passer manuellement du mode de régulateur de vitesse adaptatif au mode de régulateur de vitesse normal au moyen de l'écran d'information.

Le témoin du régulateur de vitesse remplace le témoin du régulateur de vitesse adaptatif si le mode de régulateur de vitesse normal est sélectionné. Le réglage de distance ne sera
pas affiché, le système ne réagira pas automatiquement aux véhicules qui vous précédent et le freinage automatique ne sera pas activé. Le système passe par défaut au régulateur de vitesse adaptatif lorsque vous démarrez le moteur.
Systéme de surveillance des ANGLES MORTS (BLIS®) avec alertte de circulation transversale (CTA) (SELEN l'équipement)

AVERTISSEMENT : Pour éviter les blessures, n'utilise JAMAIS
le système de surveillance des angles morts (BLIS®) pour
Remplacer les rétroviseurs extérieurs et intérieur, ni pour éviter de regarder au-dessus de votre épaule avant de changer de voie de circulation. Le système BLIS® ne remplace pas la conduite sécuritaire et n'est qu'un système d'aide.
Le système de surveillance des angles morts (BLIS®) aide le conducteur à vérifier si un véhicule est dans la zone des angles morts (A). La zone de détection se trouve des deux côtés du véhicule, s'étendant vers l'arrière, à partir des rétroviseurs extérieurs, jusqu'à 3 m (10 pi) au-delà du pare-chocs. Le système vous avertit si certains véhicules entrent dans la zone d'angle mort lors de la conduite.

Le système d'alerte de circulation transversale (CTA) avertit le conducteur de l'approche de véhicules des côtés lorsque la boîte de vitesses est à la position marche arrière (R).
Nota: Le système de surveillance des angles morts (BLIS®) n'est pas créé pour empêcher le contact avec les autres véhicules ou les objets, ou pour détecter les véhicules stationnés, les gens, les animaux ou l'infrastructure (les encadrements, les barrières de sécurité, les arbres, etc.). Il est créé pour alerter le conducteur de la proximité de véhicules dans les zones d'angle mort.
Note : Lorsqu'un véhicule passe rapidement dans la zone d'angle mort (généralement moins de deux secondes), le système ne se déclenche pas.
Utilisation des systèmes
Le système BLIS® entre en fonction lorsque le moteur est lancé et que le véhicule se déplace à au moins 5km / h (3 mi/h); il demeure en fonction tant que la transmission est à la position marche avant (D) ou point mort (N). Si la transmission passe à une autre position que marche avant (D) ou point mort (N), le système entre en mode CTA. Une fois revenu à la position marche avant (D), le mode BLIS® s'active lorsque vous dépassez 5km / h (3 mi/h)
Nota : Le système BLIS® ne fonctionne pas en marche arrêté (R) ou en position de stationnement (P); il ne donne aucun autre avertissement lorsqu'un clignotant est activé.
Le système de détction de la circulation transversale détecte les vehicules s'approchant à moins de 14m (45 pi), mais le rayon d'action diminue lorsque les capteurs sont bloqués. Sortir en marche arrrière aide à augmenter la zone de couverture des capteurs et leur efficacité.

AVERTISSEMENT : Pour réduire les risques de blessures,
n'utilisez JAMAIS le système de surveillance de la circulation
transversale pour remplacer les rétroviseurs latéraux et arrêté ni pour éviter de regarder au-dessus de votre épaule avant de reculer d'un espace de stationnement. Le système CTA ne remplace pas la conduite sécuritaire et n'est qu'un système d'aide.
Dans ce premier exemple, le capteur de gauche n'est que partiellement bloqué ; la zone de couverture de zone est presque maximale.

La zone de couverture diminue également lors des stationnements à angles étroits. Ici, le capteurGauche est presque totalement bloqué, et la zone de couverture de ce côté est grandement limitée.

Témoins et messages des systèmes

Les systèmes BLIS® et CTA allument un indicateur d'alerte jaune dans le rétroviseur extérieur du côté où le véhicule approche.
Note : L'indicateur d'alerte s'atténue lorsque la noirceur est détectée.
Le système CTA fait aussi entendre une alarme sonore et un message apparaît à l'écran d'information pour indiquer qu'un véhicule vient de la droite ou de la gauche. Le système CTA est compatible avec le sonar de recul qui émet sa propre alarme sonore ; consultez le chapitre Aides au stationnement.
Capteurs de système

AVERTISSEMENT: Juste avant la reconnaissance d'un état de blocage par le système et que l'alerte soit donnée au conducteur, nombre d'objets évités augmente. Pour éviter toutes blessures, sees JAMAIS le système BLIS® pour replacer les rétroviseurs aux et arrêter, ni pour éviter de regarder au-dessus de votre épaule de changer de voie de circulation. Le système BLIS® ne replace pas une conduite sécuritaire et n'est qu'un système d'aide.
Note : Il est possible que vous receviez un avertissement comme quoi il y a un blocage sans qu'il y ait aucun obstacle ; c'est un phénomène rare que l'on appelle « faux avertissement de blocage ». Une fausse condition de blocage s'efface d'elle-même ou après un cycle d'allumage.

Le système utilise des capteurs de radar situés derrière le bouclier du pare-chocs, de chaque côté du véhicule. Ne laissez pas ces endroits devenir bloqués par la boue, la neige ou les autocollants de pare-chocs, car cela pourrait dégrader le rendement du système.
Si le système détecte qu'il y a une perte de rendement, un avertissement de capteur bloqué ou un avertissement de faible visibilité apparaît à l'écran d'information, et l'indicateur d'alerte s'allume dans le(s) rétroviseur(s) approprié(s). L'avertissement peut être effacé dans l'écran d'information, mais l'indicateur d'alerte demeure illuminé.
Une fois l'obstacle supprimé, le système peut être réinitialisé de deux façons : 1) lorsqu'au moins deux objets sont détectés pendant la conduite ou 2) lorsque vous coupez puis rétablissez le contact. Si l'obstacle est encore présent une fois le contact établi, le système délectera à nouveau un obstacle une fois que vous aurez repris la route.
| Causes pouvant provoquer l'affichage d'un message | |
| La surface du radar est sale ou bloquée | Nettoyez la zone du bouclier à l'avant du radar ou bien retirez l'obstacle. |
| La surface du radar est sale ou bloquée | Conduisez normalement dans la circulation pendant quelques minutes pour permettre au radar d'indiquer qu'il n'est plus obstrué. |
| Une trop grande quantité de neige ou de pluie interfère avec les signaux du radar. | Aucune intervention n'est nécessaire. Le système se réinitialise et se débloque automatiquement lorsque la neige ou la pluie abondante diminue ou cette complètement. N'utilise pas le système BLIS® et/ou CTA dans ces conditions. |
Limites du système
Les systèmes BLIS® et CTA ne sont pas infaillibles ; les situations comme les conditions météorologiques sévères ou l'accumulation de débris dans la zone du capteur peuvent limiter la capacité de celui-ci à détecter les autres véhicules.
Voici d'autres situations qui peuvent limiter les performances du système BLIS®:
- Certaines manœuvres de véhicules entrant et sortant de la zone d'angle mort.
- Les véhicules passant dans la zone d'angle mort à des vitesses très élevées.
- Lorsqu'un convoi de véhicules passe dans la zone d'angle mort.
Voici d'autres situations qui peuvent limiter les performances du système CTA :
- Les véhicules ou les objets stationnés tout près qui encombrent les capteurs.
- Véhicules approchant à des vitesses supérieures à 24km / h (15 mi/h).
- Conduite en marche arrêtée à une vitesse supérieure à 5 km/h (3 mi/h).
- Reculer d'un espace de stationnement à angle étroit.
Fausses alertes
Nota : Si vous avez connecté une remorque à votre véhicule, le système BLIS® peut détecter la remorque, provoquant ainsi une fausse alerte. Pour éviter les fausses alertes, vous pouvez désactiver manuellement le système BLIS.
Il peut arriver que le système BLIS® ou les systèmes de CTA allument l'indicateur d'alerte alors qu'aucun véhicule ne se trouve dans la zone de couverture ; c'est ce que l'on appelle une fausse alerte. Il est normal d'avoir quelques fausses alertes ; celles-ci sont temporaires et s'effacent d'elles-mêmes.
Erreurs de système
Si ou le système détecte un problème avec le capteur gauche ou droit, l'indicateur BLIS® sur l'écran d'information s'illumine et demeure illuminé. DÉFAILLANCE DU SYSTème D'ANGLE MORT ou ANOMALIE SYSTE TRAFIC TRANSVE s'affiche aussi. Lorsque les problèmes empêchent que les témoins gauche ou droit de s'allumer, seules les anomalies du message de l'écran d'information s'affichent.
Activation et désactivation des systèmes
Vous pouvez désactiver temporairement un des deux systèmes ou les deux systèmes à la fois à l'aide des commandes de l'écran d'information ; consultez le chapitre Écran d'information. Lorsque le système BLIS® est désactivé, le conducteur ne reçoit aucune alerte et l'écran d'information indique SYSTÈME DE SURVEILLANCE DES ANGLES MORTS DÉSACTIVÉ et/ou SYSTÈME CTA DÉSACTIVÉ. Le dispositif se remet en fonction lorsque le contact est établi.
Votre concessionnaire autorisé peut aussi mettre hors fonction, de façon permanente, l'un ou l'autre système, ou les deux systèmes à la fois. Pour remettre le système en fonction, il faut encore une fois vous rendre chez votre concessionnaire.
Systeme d'avertissement de collision (SELON l'équipement)

AVERTISSEMENT : Ce système est conçu pour être un
accessoire supplémentaire d'aide à la conduite. Il n'a pas été
conçu pour remplacer l'attention du conducteur, ni son jugement ou le besoin d'appliquer les freins. Ce système n'active PAS les freins automatiquement. L'omission d'appuyer sur la pédale de frein pour activer les freins peut entraîner une collision.

AVERTISSEMENT : Le système d'advertissement de collision
avec support de frein ne peut prévenir toutes les collisions. Ne
Comptez pas sur ce système pour remplacer le jugement du conducteur ni le besoin de maintenir une distance et une vitesse constante.
Nota : Le système ne détecte pas, n'avertit pas ou ne réagit pas aux collisions pouvant survenir par l'arrière ou les côtés du véhicule.
Nota : Le système d'alerte de collision s'active à des vitesses supérieures à 8 km/h (5 mi/h).

Ce système est conçu pour alerter le conducteur de certains risques de collision. Un radar détecte si votre véhicule s'approche rapidement d'un
autre véhicule qui se déplace dans la même direction que le vôtre.

Si tel est le cas, un témoin rouge s'allume et un carillon retentit.
Le système de support de frein aide le conducteur à réduire la vitesse de collision en chargeant les freins. Si le risque de collision augmente davantage après que le témoin s'allume, le support de frein prépare le circuit de freinage pour le freinage rapide. Ceci peut être apparent pour le conducteur. Le système n'active pas automatiquement les freins, mais, si la pédale de frein est enfoncée, la fonction de freinage est exécutée à fond même si vous n'appliquez qu'une légère pression sur la pédale de frein.
Utilisation du système d'avertissement de collision

AVERTISSEMENT : Le système d'advertissement de collision avec support de frein peut aider à réduire la vitesse à laquelle la collision peut se produire si le conducteur applique les freins du véhicule. La pédale de frein doit être enfoncée comme pour n'importe quelle situation de freinage typique.
Vous pouvez mettre le système d'avertissement et l'alerte sonore hors fonction et en fonction séparément et CHOISIR entre trois réglages de sensibilité du système d'avertissement au moyen de la commande de l'écran d'information. Consultez le chapitre Écrans d'information.
Nota : Si le système ne peut pas être désactivé dans un véhicule muni d'un dispositif MyKey®, reportez-vous au chapitre MyKey®.
Nota : Si les avertissements de collision sont perçus comme étant trop fréquents ou dérangeants, la sensibilité d’alerte peut être réduite, bien que le fabricant recommande d’utiliser le réglage de sensibilité le plus élevé lorsque c’est possible. Un réglage bas de la sensibilité mènerait à moins d’alertes du système. Consultez le chapitre Écrans d’information pour les instructions relatives à la réduction de la sensibilité.
Capteurs bloqués

Si un message relatif à un capteur bloqué est affiché à l'écran d'information, les signaux radar du capteur ont été bloqués. Les capteurs sont situés derrière une couverture de carénage près du côté conducteur, où se trouve la grille inférieure. Lorsque les
Les capteurs sont bloqués, un véhicule ne peut pas être détecté à l'avant et le système d'avertissement de collision ne fonctionne pas. Le tableau suivant donne la liste des causes pouvant provoquer l'affichage de ce message ainsi que les mesures correctives pour y remédier.
| Cause | Mesure corrective |
| La surface du radar dans la calandre n'est pas propre ou sinon obstruée. | Nettoyez la surface de la calandre devant le radar ou retirez l'objet causant l'obstruction. |
| La surface du radar dans la calandre est propre, mais le message est toujours affché. | Attendez un court moment. Quelques minutes peuvent être nécessaires pour que le radar puisse reconnaître le retrait de l'obstruction. |
| La pluie diluvienne, la bruine, la neige, ou le brouillard interférènt avec les signaux radar. | Le système d'advertissement de collision est temporairement désactifé. Il devrait se réactiver automatiquement peu après que les conditions météorologiques soient améliorées. |
| L'eau ou la neige qui tourbillonne à la surface de la route peut:gérer les signaux radars. | Le système d'advertissement de collision est temporairement désactifé. Il devrait se réactiver automatiquement peu après que les conditions météorologiques soient améliorées. |
AVERTISSEMENT: Le système d'avertissement de collision avec support de frein peut aider à réduire la vitesse à laquelle une collision peut se produire si le conducteur applique les freins du véhicule. La pédale de frein doit être enfoncée comme pour n'importe quelle situation de freinage typique.
En raison de la nature de la technologie du radar, il peut y avoir certaines situations où les véhicules ne déclenchent aucun avertissement de collision. En voici quelques-uns :
- Les vehicules stationnaires ou qui se déplacent à moins de 10km / h (6 mi/h).
- Les piétons et les obstacles sur la route.
- Les véhicules venant en sens inverse dans la même voie.
- Les conditions météorologiques sévères (voir la rubrique sur les capteurs obstrués).
- L'accumulation de débris sur la grille près des phares (voir la rubrique sur les capteurs obstrués).
- Une courte distance avec le véhicule en avant.
- Les mouvements du volant et de la pédale sont amples (style de conduite très actif).
- Les températures intérieures trop élevées, qui peuvent désactiver l'illumination ou les témoins d'avertissement jusqu'à ce que la température intérieure diminue (l'avertisseur sonore alertera le conducteur).
Les certaines conditions peuvent réduire la visibilité du témoin d'avertissement; il est donc recommandé de maintenir l'avertisseur sonore en fonction.
Si la partie avant du véhicule subit une collision ou est endommagée, la zone de détection du radar pourrait être modifiée, ce qui entraînerait des avertissements de collision erronés ou irréguliers. Communiquez avec votre concessionnaire autorisé pour faire vérifier la couverture et le fonctionnement du radar du système d'avertissement de collision.
Système de direction assistée à commande électrique

AVERTISSEMENT : Faites réparer immédiatement votre véhicule lorsqu'une erreur système est détectée. Il se peut que ne remarquiez pas de différence significative dans la direction, un problème sérieux peut être présent. À défaut de quoi vous pouvez perdre la maîtrise du volant de direction.
Note : La voiture véhicule est équipée d'un système de direction assistée à commande électrique. Il n'y a pas de réservoir de liquide à vérifier ou à remplir.
Le système de direction assistée à commande électrique effectue des vérifications diagnostiques qui surveillent continuellement le système pour assurer le bon fonctionnement du système électronique. Lorsqu'une erreur électronique est détectée, un message s'affiche à l'écran d'information. Si cela se produit, immobilisez le véhicule dans un endroit sûr et coupez le moteur. Après un délai d'au moins 10 secondes, réinitialisez le système en redémarrant le moteur, puis vérifiez si le message de direction assistée apparaît de nouveau à l'écran d'information. Si le message persiste, ou qu'il revient lors de la conduite, confiez votre véhicule à un concessionnaire autorisé pour une vérification immédiate.
Si vous véhicule perd sa puissance électrique pendant la conduite (ou si le contact est coupé), vous pouvez diriger le véhicule manuellement, mais l'effort exigé sera plus important. L'utilisation extrême de la direction peut augmenter l'effort nécessaire pour tourner le volant. Cela se produit afin de prévenir la surchauffe interne et les dommages permanents au système de direction. Si cela avait se produit, vous ne perdrez pas la capacité de diriger le véhicule manuellement et cela ne causera pas de dommages permanents. Les manoeuvres types de direction et de conduite permettent au système de se refroidir et l'assistance à la direction revient à la normale.
Conseils relatifs à la direction assistée
Si la direction a tendance à dévier ou à tirer, cela peut être causé par :
- un pneu mal gonflé;
- une usure inégale des pneus; des éléments de la suspension desserrés ou usés; des éléments de la direction desserrés ou usés;
- un alignement incorrect du véhicule.
Un bombardement prononcé de la route ou de forts vents latéraux peuvent également laisser croire à une déviation ou à un tirage de la direction.
Filed'arrimage du chargement (SELON l'équipement)

AVERTISSEMENT : Le filet d'arrimage n'est pas conçu pour retenir des objets en cas de collision ou d'arrêt soudain.

Le filet d'arrimage permet deDMAHmienir en place des objets legers dans l'aire de chargement. Fixez lefilet aux agrafes prevues a cet effet. N'utilise pas le filet pour retenirdes objets dont le poids totaldepasse 22kg 50 lb).
Porte-bagages et supports de CHARGE (SELON l'équipement)

AVERTISSEMENT : Il est recommandé, au moment du chargement des traverses, de distribuer la charge uniformément sur le porte-bagages et de maintenir le centre de gravité aussi bas que possible. Lorsqu’un véhicule à centre de gravité élevé est chargé, ses caractéristiques de maniabilité diffèrent de celles d’un véhicule non chargé. Lors de la conduite d’un véhicule lourdement chargé, prenez des mesures de sécurité exceptionnelles. Conduisez à vitesse réduite et prévoyez une plus longue distance de freinage.
Note : La charge maximale recommandée est de 45 kg (100 lb), répartie uniformément sur les traverses.
Nota: Ne placez jamais de charges directement sur le panneau du toit. Le panneau de toit n'est pas conçu pour supporter directement une charge.
Pour tirer le maximum de votre système de porte-bagages, les charges doivent être réparties directement sur les traverses fixées aux montants latéraux du porte-bagages. Notre véhicule peut être équipé de traverses installées en usine. Les traverses d'origine Ford, conçues spécialement pour votre véhicule, sont également recommandées pour utiliser avec votre système de porte-bagages.
Assurez-vous que la charge est solidement arrimée. Vérifiez si la charge est correctement arrimée avant de prendre la route ainsi qu'à chaque ravitaillement.
Chargement du véhicule - avec ou sans remorque
Ce chapitre vous indique la bonne façon de charger votre véhicule ou votre remorque, et explique comment ne pas dépasser sa capacité de charge maximale, avec ou sans remorque. Un véhicule correctement chargé fournira une meilleure performance. Avant de charger votre véhicule, il est important de connaître la signification des termes suivants, afin de déterminer sur l'étiquette des pneus ou sur l'étiquette d'homologation de sécurité du véhicule la capacité de charge de ce dernier, avec et sans remorque :
Poids en ordre de marche - Il s'agit du poids du véhicule, y compris un plein de carburant et les équipements de série. Il n'inclut pas le poids des occupants, du chargement ou des équipements proposés en option.
Poids à vide en ordre de marché du véhicule - Il s'agit du poids, y compris tous les équipements de deuxième monte, à la livraison du véhicule neuf par le concessionnaire autorisé.

Charge utile - La charge utile est le poids combiné du chargement et des occupants que le véhicule transporte. La charge utile maximale de votre véhicule est indiquée sur l'étiquette des pneus apposée sur le pédalier milieu ou sur le rebord de la porte du conducteur (les véhicules exportés hors des É.-U. et du Canada peuvent ne pas comporter une étiquette des pneus). Recherchez la mention « LE POIDS COMBINÉ DES OCCUPANTS ET DU CHARGEMENT NE DOIT JAMAIS
Dépasser XXX kg ou XXX lb » afin de respecter la charge utile maximale. La charge utile inscrite sur l'étiquette des pneus est la charge utile maximale du véhicule à sa sortie d'usine. Si votre véhicule comprend des composants de deuxième monte ou d'autres accessoires autorisés installés par votre concessionnaire, leur poids doit être retranché de la charge utile figurant sur l'étiquette des pneus pour déterminer la nouvelle charge utile.

AVERTISSEMENT : La capacité de charge de votre véhicule
peut être limitée par le volume de chargement (espace
disponible) ou par la charge utile (la charge que le véhicule doit transporter). Lorsque la charge utile maximale de votre véhicule est atteinte, n'ajoutez pas de charge même si de l'espace est encore disponible. La surcharge ou le chargement incorrect de votre véhicule peut causer la perte de maîtrise du véhicule ou son capotage.
Exemple seulement :

Le poids total des occupants et du chargement ne doit jamais dépasser
| TIRE PNEU | SIZE DIMENSIONS | COLD TIRE PRESSURE PRESSION DES PNEUS A FROID |
| FRONT AVANT | P235/70R16 | 240 KPA, 35 PSI |
| REAR ARRIÈRE | P235/70R16 | 240 KPA, 35 PSI |
| SPARE DE SECOURS | T145/90R17 | 415 KPA, 60 PSI |
kg ou 1085 lbs.
OWNER'S
OWNERS 1X
QUALFOR
DITIONAL
BPMATION
RMATION
EMANUEL
USACER
USAGER
R PLUS DE 8
SIGNEMENTS
CHARGEMENT


Poids de la charge - Cela comprend le poids ajouté au poids en ordre de marche, y compris le poids du chargement et des équipements en option. Si vous tractez une remorque, le poids du timon de la remorque fait également partie du poids du chargement.
PAE (poids autorisé à l'essieu) - Il s'agit du poids total placé sur chaque essieu (avant et arrêté), incluant le poids à vide en ordre de marche du véhicule et toute la charge utile.
PMAE (poids maximal autorisé à l'essieu) - Il s'agit du poids maximal qu'un seul essieu peut supporter (avant ou arrière). Ces chiffres sont indiqués sur l'étiquette d'homologation de sécurité. L'étiquette doit être apposée sur le pied de charnière de porte, le montant de verrou de porte ou le rebord de porte qui rejoint le montant de verrou de porte, près du siège du conducteur. La charge totale sur chaque essieu ne doit jamais dépasser le PMAE.
Nota : Pour obtenir plus de renseignements sur la traction d'une remorque, consultez la rubrique Traction d'une remorque du présent chapitre, ou procurez-vous le Guide de remorquage de loisir et de traction d'une remorque chez votre concessionnaire autorisé.

PTC (poids total en charge) - Il s'agit du poids à vide en ordre de marche du véhicule additionné de son chargement et de ses occupants.
PTAC (poids total autorisé en charge) - Il s'agit du poids maximal permissible d'un véhicule complètement chargé (incluant toutes les options, l'équipement, les occupants et le chargement). Le PTAC (poids total autorisé en charge) est indiqué sur l'étiquette d'homologation de sécurité. L'étiquette doit être apposée sur le pied de charnière de porte, le montant de verrou de porte ou le rebord de porte qui rejoint le montant de verrou de porte, près du siège du conducteur. Le PTC ne doit jamais dépasser le PTAC.
- Exemple seulement :


AVERTISSEMENT : Un dépassement du poids total autorisé en charge indiqué sur l'étiquette d'homologation de sécurité peut sérieusement compromettre la tenue de route et le rendement du véhicule, endommager le moteur, la boîte de vitesses ou les composants structurels et provoquer une perte de maîtrise du véhicule et des blessures.

PTR (poids total roulant) - Il s'agit du poids d'un véhicule charge, soit le PTC (poids total en charge) plus le poids de la remorque complètement chargée.
PTRA (poids total roulant autorisé) – Il s'agit du poids maximal permissible d'un véhicule et d'une remorque complètement chargées, incluant tout le chargement et tous les occupants que le véhicule peut transporter sans risque de dommages. (Important : le système de freinage du véhicule tracteur est conçu en fonction du PTAC, et non du PTRA. Pour remorquer en toute sécurité un véhicule ou une remorque dont le PTR (poids total roulant) du véhicule tracteur et de la remorque dépasse le PTAC (poids total autorisé en charge) du véhicule tracteur, il faut prévoir des circuits de frein séparés. Le PTR ne doit jamais dépasser le PTRA.
Poids maximal autorisé de la remorque chargée - Il s'agit du poids maximal d'une remorque chargée pouvant être tirée par votre véhicule. Ce poids est basé sur un véhicule uniquement doté des accessoires obligatoires, sans chargement (à l'intérieur ou à l'extérieur), d'un poids au timon de 10 à 15% (remorque conventionnelle) et ne transportant que le conducteur (68 kg [150 lb]). Consultez votre concessionnaire autorisé (ou le Guide de remorquage de loisir et de traction d'une remorque fourni par votre concessionnaire autorisé) pour obtenir plus de renseignements.

AVERTISSEMENT: Ne dépassez jamais le PTAC (poids total autorisé en charge) ou le PMAE (poids maximal autorisé à
l'essieu) sur l'étiquette d'homologation de sécurité.
AVERTISSEMENT: N'utilisez pas de pneus de rechange ayant des limites de charge inférieures aux pneus d'origine, car ils peuvent réduire PTAC (poids total autorisé en charge) ou le PMAE (poids maximal autorisé à l'essieu) du véhicule. Le montage de pneus ayant des limites de charge plus élevées que celles des pneus d'origine n'augmente pas le PTAC ni le PMAE. AVERTISSEMENT: Si vous ne respectez pas les limites de poids établies pour votre véhicule, vous risquez de vous infliger des blessures graves et de causer des dommages importants au véhicule.
Observe les étapes suivantes pour déterminer la limite de charge appropriée :
- Recherche la mention « Le poids combiné des occupants et du chargement ne doit jamais dépasser xxx kg ou xxx lb » sur l'étiquette du véhicule.
- Déterminez le poids combiné du conducteur et des passagers qui prendront place dans le véhicule.
- Soustrayez le poids combiné du conducteur et des passagers des valeurs XXX kg ou XXX lb.
- Le résultat donne la charge disponible pour le chargement ou les bagages. Par exemple, si la valeur « XXX » est égale à 635 kg (1 400 lb), et si le véhicule transporte cinq occupants pesant 68 kg (150 lb) chacun, la charge disponible pour l'équipement ou les bagages sera de 295 kg (650 lb). (635 - 340 (5 × 68) = 295 ~kg ).
- Détermine les poids combinés du chargement et de l'équipement qui sera chargé dans le véhicule. Pour ne pas compromettre la sécurité, les poids ne doit pas dépasser la capacité de chargement calculée à l'étape 4.
- Si vous nevez tirer une remorque, la charge de la remorque sera transférée à votre véhicule. Consultez ce guide pour déterminer comment ce facteur peut réduire la capacité de charge des bagages et de l'équipement pour votre véhicule.
Les paragraphes suivants seront quelques autres exemples de calcul de la charge disponible pour l'équipement et les bagages :
- Supposez que votre véhicule a une capacité totale de 635kg (1400 lb) pour le chargement et les bagages. Vous décidez èsent environ 13,5kg (30 lb) chacun. Le calcul s'établit comme suit: 635kg - (5× 99kg) - (5× 13,5kg) = 635 - 495 - 67,5 = 72,5kg. Oui, la capacité de charge de votre véhicule est suffisante pour transporter quatre de vos amis et des sacs de golf. En unités impériales, le calcul s'établit comme suit: 1400 - (5× 220) - (5× 30) = 1400 - 1100 - 150 = 150 lb.
- Supposez que votre vé et un de vos amis décidez d'aller chercher du ciment pour terminer cette terrasse toujours en chantier après deux ans. En mesurant l'intérieur du véhicule lorsque les sièges arrière sont rabattus, vous constatez que vous pouvez y placer 12 sacs de ciment de 45kg (100 lb). La capacité de charge est-elle suffisante pour transporter le ciment jusqu'à votre domicile ? Si vous et votre ami(e) pesez chacun 99kg (220 lb.), le calcul s'établit comme suit: 635kg - (2× 99kg) - (12× 45kg) = 635 - 198 - 540 = -103kg. Non, la capacité de chargement est insuffisante pour transporter ce poids. En unités impé
635 - (2 x 99 kg) - (9 x 45 kg) = 635 - 198 - 405 = 32 kg. À présent, vous pouvez transporter cette nouvelle charge incluant votre ami. En unités impériales, le calcul s'établit comme suit : 1 400 - (2 x 220) - (9 x 100) = 1 400 - 440 - 900 = 60 lb.
Les calculs ci-dessus supposent aussi que les charges sont placées dans votre véhicule pour ne pas dépasser le poids maximal autorisé à l'essieu avant ou arrière précisé pour votre véhicule sur l'étiquette d'homologation de sécurité. L'étiquette doit être apposée sur le pied de charnière de porte, le montant de verrou de porte ou le rebord de porte qui rejoint le montant de verrou de porte, près du siège du conducteur.
Traction d'une remorque

AVERTISSEMENT: Ne dépassez jamais le PTAC (poids total autorisé en charge) ou le PMAE (poids maximal autorisé à charge) indiqué sur l'étiquette d'homologation de votre véhicule.

AVERTISSEMENT : La traction d'une remorque dont le poids dépasse le poids maximal autorisé de la remorque excède les seuils du véhicule et peut endommager le moteur, la boîte de vitesses, les essieux et augmenter les risques de perte de maîtrise ou de déversement de votre véhicule et de blessures.
Note : Pour tous renseignements sur les éléments électriques tels que les fusibles ou les relais, consultez le chapitre Fusibles.
La capacité de charge de votre véhicule est basée sur le poids et non sur le volume. Il est donc possible que vous ne puissiez pas utiliser tout l'espace disponible pour le chargement.
La traction d'une remorque impose des contraintes supplémentaires au moteur, à la boîte de vitesses, au pont, aux freins, aux pneus et à la suspension du véhicule. Vérifiez régulièrement ces composants pendant et après chaque utilisation du véhicule avec une remorque.
Disposition de la charge
Pour contribuer à minimiser les effets du mouvement de la remorque sur votre véhicule pendant la conduite :
- Chargez les articles les plus lourds le plus près possible du plancher de la remorque.
- Chargez les articles les plus lourds de sorte qu'ils sont centrés entre les pneus de remorque gauche et droit.
- Chargez les articles les plus lourds au-dessus des essieux de la remorque ou légèrement avancés vers le timon de la remorque. Ne permettez pas que le poids final du timon de la remorque soit supérieur ou inférieur à 10-15 % du poids de la remorque chargée.
- Choisissez une barre de remorquage offrant l'élevation ou l'abaissement approprié. Lorsque le véhicule et la remorque sont connectés, le cadre de la remorque doit être de niveau, ou légèrement incliné en bas vers votre véhicule, lorsque regardé latéralement.
Lors de la conduite avec une remorque ou une charge utile, une vibration ou une secousse légère au démarrage peut se manifester en raison du poids de charge utile accru. Vous trouvez des renseignements supplémentaires concernant le chargement approprié d'une remorque ainsi que la préparation de votre véhicule en vue du remorquage dans la rubrique Limite de charge du chapitre Chargement et dans le Guide de remorquage de loisir et de traction d'une remorque, disponible auprès de votre concessionnaire autorisé.
Dispositif antilouvoiement de remorque (SELON l'équipement)
Nota: Cette fonction n'empêche pas le roulis de la remorque, mais le réduit une fois que le roulis a débuté.
Nota : Cette fonction ne peut pas empêcher toutes les remarques de louvoyer.
Nota : Dans certains cas, si la vitesse du véhicule est trop élevée, le dispositif peut s'activer plusieurs fois et réduire graduellement la vitesse du véhicule.
Cette fonction applique les freins du véhicule aux roues individuelles et, au besoin, réduit la puissance du moteur. Si la caravane commence à osciller, le témoin de commande de stabilité clignote. Ralentissez d'abord, puis immobilisez le véhicule de façon sécuritaire en courbure de la route et vérifiez la répartition appropriée de la charge du timon et la charge de la remorque. Consultez le chapitre Chargement pour les renseignements spécifiques au chargement.
Poids de remorquage recommandés
Nota: Ne dépassez pas le poids de la remorque pour votre configuration de véhicule indiqué dans le tableau ci-dessous.
Nota : Assurez-vous de prendre en compte la surface frontale de la remorque. Ne dépassez pas :
- Une surface frontale de remorque de 1,86m² (20 pi²) si votre véhicule peut remorquer une remorque de catégorie I.
- Une surface frontale de remorque de 3,72m² (40pi²) si votre véhicule peut remorquer une remorque de catégorie III.
Nota : Pour le fonctionnement en haute altitude, réduisez le poids total combiné de 2% par 300m (1 000 pi) en commençant au point d'élévation de 300m (1 000 pi).
Nota : Certains États et certaines provinces exigent l'utilisation de freins de remorque électriques pour des remorques au-dessus d'un poids particulier. Assurez-vous de consulter les règlements de l'État ou de la province pour ce poids particulier. Les poids maximaux de la remorque indiqués peuvent être limités à ce poids particulier, car le circuit électrique de votre véhicule ne comprend pas le connecteur de câblage nécessaire pour utiliser les freins de remorque électriques.
Votre véhicule peut tirer une remorque de catégorie I ou III, à condition que le poids de la remorque ne dépasse pas le poids maximal de la remorque tel qu'indiqué pour la configuration de votre véhicule au tableau suivant :
| Groupe motopropulser et catégorie de remorquage | PTRA maximal - en kg (en lb) | Poids maximal de la remorque - en kg (en lb) |
| 3,5 L TiVCT traction avant, catégorie I | 3 131 (6 900) | 907 (2 000) |
| 3,5 L TiVCT traction intégrale, catégorie I | 3 199 (7 050) | 907 (2 000) |
| 3,5 L GTDI traction intégrale, catégorie I | 3 209 (7 072) | 907 (2 000) |
| 3,5 L TiVCT traction avant, catégorie III | 4 245 (9 357) | 2 042 (4 500)* |
| 3,5 L TiVCT traction intégrale, catégorie III | 4 320 (9 521) | 2 042 (4 500)** |
| 3,5 L GTDI traction intégrale, catégorie III | 4 366 (9 622) | 2 042 (4 500)** |
*Pour la traction de remorques pesant jusqu'à 1 588 kg (3 uniformément le poids au timon de la remorque sur toute la structure inférieure du véhicule. Pour les remorques de plus de 1 588 kg (3 500 lb) et jusqu'à 2 042 kg (4 500 lb), il est conseillé d'utiliser un attelage répartiteur de charge pour transférer davantage de poids sur l'essieu avant en traction.
Pour la traction de remorques pesant jusqu'à 2042 kg (4 uniformément le poids au timon de la remorque sur toute la structure inférieure du véhicule.
Verifications essentielles de remorquage
Pour un remorquage en toute sécurité, respectez les consignes suivantes :
- Ne tractez pas une remorque avant que votre vehicule n'ait parcouru 1600km (1 000 mi).
- Renseignez-vous sur les règlements du code de la sécurité routière en vigueur dans votre région concernant la traction d'une remorque.
- Prenez connaissance des instructions de pose et de réglage fournies avec les accessoires de remorquage.
- Effectuez plus souvent les opérations d'entretien si vous tirez une remorque. Consultez votre Guide d'entretien périodique.
- Si vous utilisez une remorque louée, suivez les directives fournies par l'agence de location.
Pour la définition des termes utilisés sur l'étiquette de pneus et de consignes de sécurité pour la specification de la charge et pour les instructions sur le calcul de la charge du véhicule, consultez la rubrique Lame de charge dans le chapitre Chargement.
Lors du calcul du poids total du véhicule, n'oubliez pas d'inclure le poids au timon de la remorque chargée.
Connecteur de remorque

Pour raccorder le connecteur de remorque à votre véhicule, n'utilisez qu'un connecteur adapté au véhicule et à la remorque. Certains connecteurs à sept positions portent le logo SAE J2863 qui confirme que ce connecteur est approprié et fonctionne correctement avec votre véhicule.
| Couleur | Fonction |
| 1. Jaune | Clignotant et feu stop gauches |
| 2. Blanc | Masse (-) |
| 3. Bleu | Freins électriques |
| 4. Vert | Clignotant et feu stop droits |
| 5. Orange | Batterie (+) |
| 6. Brun | Feux de jour |
| 7. Gris | Phares de recul |
Attelages
N'utilisez pas un attelage qui se fixe sur le pare-chocs de votre véhicule. Utilisez un attelage porteur.
Vous devez distribuer la charge de sorte qu'une proportion de 10 à 15% du poids total de la remorque repose sur le timon. Ne dépassez pas la charge maximale sur le timon de 227 kg (500 lb) sur un récepteur de catégorie III.
Attelage répartiteur de charge

AVERTISSEMENT: Ne régler pas un attelage répartiteur de charge de façon à ce que le pare-chocs arrière soit plus haut qu'il était avant d'atteler la remorque. Un tel réglage annulerait la fonction de répartition de charge et pourrait rendre la conduite difficile, entraînant des blessures graves en cas d'accident.
Lorsque vous attelez une remorque à l'aide d'un attelage répartiteur de charge, vous devez suivre la méthode suivante :
- Stationnez le véhicule, sans la remorque, sur une surface plane.
- Mesurez la hauteur du sommet de l'ouverture de roue avant sur l'aile. Ceci est H1.
- Attachez la remorque au véhicule sans connecter les barres répartitrices de charge.
- Mesurez la hauteur du sommet de l'ouverture de roue avant sur l'aile une deuxième fois. Ceci est H2.
- Installez et ajustez la tension dans les barres répartitrices de poids pour que la hauteur de l'aile avant soit approximativement à mi-chemin entre H1 et H2.
- Vérifiez que la remorque est à niveau. Si la remorque n'est pas à niveau, ajustez la hauteur de bille et répétez les étapes 3 à 6.
Chaînes de sécurité
Nota: Ne fixez jamais les chaînes de sécurité au pare-chocs.
Raccordez toujours les chaînes de sécurité aux dispositifs de fixation de l'attelage de votre véhicule.
Pour raccorder les chaînes de sécurité, croisez-les sous le timon de la remorque en laissant un jeu suffisant pour ne pas nuire aux virages serrés. Ne laissez pas les chaînes trainer au sol.
Freins de remorque
AVERTISSEMENT: Ne reliez pas le circuit de freinage hydraulique d'une remorque directement à celui du véhicule. La capacité de freinage de votre véhicule en souffrirait et les risques de collision seraient accrus.
Vous pouvez utiliser des freins électriques ou des freins à inertie, mécaniques ou automatiques, à condition que les installer et de les régler correctement conformément aux directives du fabricant. Les freins de leur remorque doivent être conformes aux réglementations locale et fédérale.
La valeur retenue pour le fonctionnement du système de freinage du véhicule tracteur est le poids total autorisé en charge, pas le poids total roulant autorisé.
Des circuits de freinage distincts en bon état sont essentiels pour bien manœuvrer les véhicules remorqués et les remorques qui pèsent plus de 680 kg (1 500 lb) une fois chargés.
Connecteur de commande électronique de freins de remorque (selon l'équipement)

Le connecteur est localisé sous le tableau de bord au-dessus de la pédale de frein.
Feux de remorque

AVERTISSEMENT: Ne branchez jamais l'éclairage d'une remorque sur les circuits des feux arrière du véhicule, car vous risquez d'endommager le circuit électrique et provoquer un incendie. Uniquement avec votre concessionnaire autorisé dès que possible obtenir de l'aide sur l'installation du câblage des feux de remorque. L'installation de ces feux peut exiger de l'équipement unique supplémentaire.
Des feux de remorque sont requis sur la plupart des véhicules remorqués. Assurez-vous que tous les feux de jour, les feux d'arrêt, les clignotants et les feux de détresse fonctionnent.
Avant de tirer une remorque
Avant de prendre la route, entraînez-vous à tourner, à vous arrêter et à reculer afin de vous familiariser avec la conduite et les réactions de votre combinaison véhicule-remorque. Pour tourner, prenez des virages plus larges de façon à ce que les roues de la remorque ne heurtent pas le trottoir ou d'autres obstacles.
Pendant la traction d'une remorque
- Ne dépassez pas 113km / h (70 mi/h) durant les premiers 800 km (500 mi) parcours.
- N'accélérez pas brusquement.
- Après avoir parcouru environ 80 km (50 mi), vérifie de nouveau l'attelage, les branchements électriques et le serrage des écrous de roue de la remorque.
- Lors d'arrêts dans un embouteillage ou en circulation dense par temps chaud, placez le levier de vitesse en position de stationnement (P) pour faciliter le refroidissement du moteur et de la boîte de vitesses, et rehausser le rendement du climatiseur.
- Mettez hors fonction le régulateur de vitesse dans le cas de chargements lourds ou de terrain accidenté. Il est possible que le régulateur de vitesse se désactive automatiquement lors de la traction d'une remorque sur pente abrupte et prolongée.
- Passez manuellement à une vitesse inférieure lorsque vous conduisez sur une pente abrupte et prolongée. Ne freinez pas continuellement, car les pneus pourraient surchauffer et devenir ainsi moins efficaces.
- Si votre boîte de vitesses est dotée de la fonction d'assistance en côte ou de la fonction remorquage-charge lourde, utilisez cette caractéristique lors du remorquage. Cette fonction fournit un frein moteur et aide à prévenir les changements de vitesse excessifs afin d'obtenir une consommation de carburant optimale et un meilleur refroidissement de la boîte de vitesses.
- éhicule. Anticipez les arrêts et freinez graduellement.
- Évitez de vous stationner sur une pente. Toutefois, si vous devez stationner en pente :
- Tournez le volant de manière à orienter les pneus de votre véhicule dans un sens permettant d’éviter un retour à la circulation.
- Serrez le frein de stationnement de votre véhicule.
- Placez la boîte de vitesses automatique en position de stationnement (P).
- Placez des cales de roue à l'avant et à l'arrière des roues de la remorque. (Cales non fournies avec le véhicule.)
Mise à l'eau ou sortie de l'eau d'un bateau ou d'une motomarine
Nota : Débranchez le câblage électrique de la remorque avant de reculer celle-ci dans l'eau.
Nota : Rebranchez le câblage électrique de la remorque après l'avoir sortie de l'eau.
Lorsque vous reculez en vue de mettre un bateau à l'eau ou de le hisser :
- ne laissez pas le niveau de l'eau atteindre le bord inférieur du pare-chocs arrêté;
- ne laissez pas les vagues dépasser de plus de 15 cm (6 po) le bord inférieur du pare-chocs arrêté.
Si ces directives ne sont pas respectées, l'eau risque de pénétrer dans certains organes importants du véhicule :
- en causant des dommages internes;
- en nuisant à la conduite, aux dispositifs antipollution et au bon fonctionnement du véhicule.
Remplacez le lubrifiant du pont arrêté chaque fois que ce dernier est submergé dans l'eau. L'eau pourrait avoir contaminé le lubrifiant du pont arrêté, qui n'est normalement vérifié ou changé qu'à moins qu'une fuite soit soupçonnée ou que la réparation de l'autre essieu soit nécessaire.
Transport du véhicule

Si vous nevez faire remorquer votre véhicule, faites appel à un service professionnel de remorquage ou appelez le Programme d'assistance dépannage si vous y étiez abonné.
Nous vous recommandons d'utiliser une dépanneuse à cadre de levage avec chariots porte-roues ou d'une dépanneuse à plateau pour remorquer votre véhicule. Ne faites pas remorquer votre véhicule au moyen d'une sangle de levage. Aucune méthode de remorquage avec sangle de levage n'est approuvée par Ford. Si le véhicule est remorqué d'une manière incorrecte, ou par d'autres moyens, des dommages peuvent s'ensuivre. Ford met à la disposition des services de remorquage un manuel de directives pour le remorquage des véhicules Ford. Demandez au conducteur de la dépanneuse de s'y référer pour connaître la méthode d'attelage et de remorquage qui convient à votre véhicule.
Un véhicule à traction avant peut être remorqué par l'avant si les roues avant sont soulevées à l'aide d'une dépanneuse à cadre de levage appropriée. Dans ce cas, les roues arrière peuvent demeurer au sol. Les roues avant des véhicules à traction avant doivent être placées sur un chariot porte-roues si votre véhicule est remorqué par l'arrière au moyen d'un cadre de levage. Ceci évite les dommages à la boîte de vitesses.
Pour remorquer un véhicule à traction intégrale, aucune roue ne doit toucher le sol. Il faut utiliser, par exemple, une dépanneuse à cadre de levage avec chariots portes-roues ou une dépanneuse à plateau. Ceci évite d'endommager la boîte de vitesses, le système de traction intégrale et le véhicule.
Remorquage d'urgence
Si votre véhicule est en panne (lorsqu'un chariot porte-roues, une dépanneuse ou un véhicule à plateforme ne sont pas disponibles), il peut être remorqué à plat (les quatre roues au sol, peu importe la configuration de groupe motopropulseur ou de boîte de vitesses) dans les conditions suivantes :
- Voiture véhicule est orienté vers l'avant pour être remorqué en roulant vers l'avant.
- Placez la boîte de vitesses en position point mort (N). Consultez la rubrique Boîte de vitesses automatique dans le chapitre Boîte de vitesses si vous ne pouvez pas amener le levier sélecteur en position point mort (N).
- Ne roulez pas à plus de 56 km / h (35 mi/h). La distance maximale est de 80km (50 mi).
Remorquage derrière un véhicule de loisir
Nota : Mettez votre système de chauffage et de climatisation en mode de recirculation d'air pour empêcher les émanations du circuit d'échappement de pénétrer dans votre véhicule. Consultez le chapitre Chauffage et climatisation.
Suivez ces directives si vous devez remorquer votre véhicule derrière un véhicule de loisirs, une autocaravane ou un pick-up par exemple. Ces directives visent à prévenir les dommages à votre véhicule lorsqu'il est attelé au véhicule de loisirs ou au chariot porte-roues.
Vous pouvez remorquer votre véhicule à traction avant en laissant les quatre roues au sol ou en soulevant les roues avant au moyen d'un chariot porte-roues. Si vous utilisez un chariot porte-rou
Vous pouvez remorquer votre véhicule à traction intégrale en laissant les quatre roues au sol ou en soulèvant les quatre roues au moyen d'une remorque de transport de véhicules. Ne remorquez pas votre véhicule à traction intégrale en soulèvant les roues avant du sol (au moyen de roues porteuses) et en laissant les roues arrière au sol. Ceci endommagerait votre système de traction intégrale. Si vous utilisez une remorque de transport de véhicul
Si vous remorquez votre véhicule en laissant les quatre roues au sol :
- Remorquez le véhicule vers l'avant seulement.
- Desserrer le frein de stationnement.
- Placez la boîte de vitesses en position point mort (N).
- Ne roulez pas à plus de 105km / h (65 mi/h).
- Démarrez le moteur et laissez-le tourner pendant cinq minutes au début de chaque journée et toutes les six heures par la suite. Lorsque le moteur tourne et que vous appuyez sur la pédale de frein, placez la boîte de vitesses en position marche avant (D), puis en position marche arrêté (R) avant de la ramener au point mort (N).
RODAGE
Vous devez roder les pneus neufs pendant environ 480 km (300 mi). Durant cette période, votre véhicule peut manifester des caractéristiques inhabituelles de conduite. Evitez la conduite à haute vitesse pendant les premiers 1600 km (1 000 mi). Changez fréquemment de vitesse et passez aux rapports supérieurs à faible régime. Ne forcez pas le moteur. Ne tractez pas une remorque pendant les premiers 1600 km (1 000 mi).
Conduite économique
Plusieurs facteurs influencent la consommation de carburant, par exemple votre style de conduite, les conditions dans lesquelles vous conduisez et l'entretien de votre véhicule.
En adoptant les comportements suivants, vous pourriez minimiser votre consommation de carburant :
- Accélérez et ralentissez doucement et modérément.
- Conduisez à une vitesse constante sans arrêter.
- Prévoyez les arrêts; le ralentissement peut éliminer le besoin de vous arrêter.
- Groupez vos sorties pour faire vos courses et, dans la mesure du possible, évitez la conduite exigeant des arrêts fréquents.
- Fermez les glaces lorsque vous conduisez à grande vitesse.
- Conduisez à une vitesse modérée (la conduite à 105 km/h [65 mi/h] augmente la consommation de carburant de 15 % par rapport à la conduite à 88 km/h [55 mi/h]).
- Maintenez les pneus gonflés à la pression préconisée et n'utilisez que des pneus de dimensions appropriées.
- Utilisez l'huile moteur recommandée.
- Effectuez toutes les interventions d'entretien périodique régulières.
Évitez les comportements suivants, car ils pourraient augmenter votre consommation de carburant :
- Les accélérations soudaines ou brusques.
- L'augmentation du régime moteur avant de l'arrêter.
- Le fonctionnement du moteur au ralenti pendant plus d'une minute.
- Le réchauffement de votre véhicule par temps froid avant le départ.
- L'utilisation du climatiseur ou du dégivreur avant.
- L'utilisation du régulateur de vitesse dans les régions montagneuses.
- L'appui du pied sur la pédale de frein pendant la conduite.
- Le transport d'une lourde charge ou la conduite en tirant une remorque.
- Le transport d'une charge inutile (l'autonomie diminue d'environ 0,4km / l [1 mi/gal. US] pour chaque charge de 180 kg [400 lb] transportee).
- L'installation d'accessoires particuliers sur votre véhicule (par exemple, des pare-insectes, des arceaux de sécurité ou des barres de signalisation, des marchepieds ou des porte-skis).
- La conduite d'un véhicule qui présente un alignement des roues déréglé.
Conduite dans l'eau

AVERTISSEMENT : Conduisez dans l'eau en cas d'urgence seulement et non pas comme faisant partie de la conduite.
normale.

AVERTISSEMENT : Vous risquez d'endommager le moteur si de l'eau pénètre dans le filtre à air.
Nota : La conduite dans l'eau profonde peut entraîner la pénétration de l'eau dans la boîte de vitesse ou l'admission d'air et provoquer des dommages internes au véhicule ou le calage du moteur.
Nota : Une fois le véhicule hors de l'eau, séchez toujours les freins en conduisant votre véhicule lentement tout en exerçant une légère pression sur la pédale de frein.
Si la conduite dans une nappe d'eau profonde ou stagnante ne peut être évitée, conduisez très lentement. Ne traversez jamais un plan d'eau si le niveau dépasse la partie inférieure des jantes (automobiles) ou la partie inférieure des moyeux de roue (camions).


Les capacités d'adhérence ou de freinage du véhicule sont limitées lorsque ce dernier se déplace dans l'eau. En outre, l'eau pourrait pénétrer dans le circuit d'admission d'air du moteur et causer d'importants dommages ou le calage du moteur.
Des freins humides ne sont pas aussi efficaces que des freins secs.
TAPIS

AVERTISSEMENT : Utilisez toujours des tapis qui sont conçus pour s'adapter au plancher de votre véhicule. Utilisez uniquement des tapis qui n'entravent pas le fonctionnement des pédales. Utilisez des tapis qui sont placés solidement sur les tiges de son afin d'éviter qu'ils ne se déplacent de leur position d'origine et inquiètent le mouvement des pédales ou nuisent au fonctionnement sanitaire du véhicule d'autre façon.
- Les pédales qui ne peuvent pas se déplacer librement peuvent causer la perte de maîtrise du véhicule et augmenter le risque de blessures graves.

Avertissement (suite)
- Assurez-vous toujours que les tapis soient fixés correctement sur les tiges de fixation du tapis qui sont fournies avec votre véhicule. Les tapis doivent être correctement fixés aux deux tiges de fixation pour s'assurer qu'ils ne se déplacent pas de leur position d'origine.
- Ne placez jamais de tapis ou d'autres revêtements de plancher s'ils ne peuvent être fixés correctement pour éviter qu'ils ne se déplacent et entravent le fonctionnement des pédales ou compromettent l'aptitude du conducteur à maîtriser le véhicule.
- Ne placez jamais des tapis ou tout autre recouvrement sur des tapis qui sont déjà installés. Les tapis doivent toujours être placés directement sur la moquette du véhicule et non sur un autre tapis ou un autre revêtement. Des tapis supplémentaires ou tout autre recouvrement réduiront le jeu de la pédale, ce qui pourrait entraver le fonctionnement des pédales.
- Vérifiez les fixations des tapis régulièrement. Réinstallez toujours correctement et de façon sécuritaire les tapis qui ont été retirés pour le nettoyage ou le remplacement. Assurez-vous toujours qu'aucun objet ne peut tomber dans la zone du plancher du conducteur pendant la marche du véhicule. Les objets qui ne sont pas fixés peuvent se loger sous les pédales et entraîner une perte de maîtrise du véhicule.
- Si vous ne respectez pas les directives d'installation ou de fixation du tapis, ce dernier risque d'entraver le fonctionnement des pédales, ce qui pourrait entraîner une perte de maîtrise du véhicule.
- Pour installer le tapis, placez le tapis de façon à insérer la tige de fixation dans l'œillet et appuyez pour le verrouiller en place.
- Effectuez les mêmes opérations dans l'ordre inverse pour enlever le tapis.
Véhicules vendus aux états-unis : comment faire appel à l'assistance dépannage
Pour vous fournir toute l'aide dont vous pourriez avoir besoin concernant votre véhicule, Ford a mis sur pied un programme de service de dépannage. Ce service, indépendant de votre Garantie limitée de véhicule neuf, il est disponible :
24 heures par jour, sept jours par semaine - pour la durée de couverture indiquée sur la carte d'assistance dépannage qui se trouve dans le porte-documents du manuel du propriétaire.
L'assistance dépannage offre les services suivants :
- La pose d'une roue de secours en bon état en cas de crevaison (sauf pour les véhicules équipés d'une trousse d'obturation pour pneus).
- Les démarrages-secours en cas de décharge de la batterie.
- Le service de déverrouillage (les frais de remplacement des clés incombent au client).
- La livraison de carburant - Les fournisseurs de services indépendants, si la réglementation de l'État ou province ou les lois locales et municipales le permettent, livreront jusqu'à 7,5 litres (2 gal US) d'essence ou 18,9 litres (5 gal US) de carburant diesel à un véhicule en panne sèche. La livraison de carburant se limite à deux livraisons sans frais au cours d'une période de 12 mois.
- Le treuillage - Disponible jusqu'à 30,5 m (100 pi) d'une route pavée ou d'un chemin rural entretenu (pas de récupération de véhicule).
- Le remorquage - Véhicules admissibles Ford ou Lincoln pour un remorquage chez un concessionnaire autorisé situé dans un rayon de 56 km (35 mi) du lieu de la panne, ou chez le concessionnaire autorisé le plus proche. Lorsqu'un membre du club d'assistance dépannage souhaite que son véhicule soit remorqué chez un concessionnaire autorisé situé à plus de 56 km (35 mi) du lieu de la panne, il doit payer les frais correspondant à la distance dépassant 56,3 km (35 mi).
Les remorques sont couvertes pour un coût maximal de 200 $ si le véhicule tracteur en panne admissible a besoin d'être réparé par le concessionnaire autorisé le plus proche. Si la remorque est en panne et que le véhicule tracteur est en état de rouler, le plan d'assistance dépannage ne s'applique pas à la remorque.
Véhicules vendus aux états-unis : utilisation de l'assistance dépannage
Remplissez la carte d'identification du Service de dépannage et gardez-la dans votre portefeuille afin de pouvoir vous y référer rapidement en cas de besoin. Cette carte se trouve dans le port-documents du manuel du propriétaire, situé dans la boîte à gants.
Pour obtenir l'aide du Service de dépannage, les clients américains (véhicules Ford) doivent composer le 1 800 241-3673.
Si vous nevez vous-même faire le nécessaire pour obtenir un service de dépannage, Ford Motor Company you rembourse a un montant raisonnable pour le remorquage jusqu'à la concession la plus proche dans un rayon de 56 km (35 mi). Pour obtaining des renseignements relatifs au remboursement, les propriétaires de vehicules Ford aux USA doivent appeler le 1 800 241-3673. Les clients seront priés de soumettre leurs reçus originaux.
Véhicules vendus au canada : comment faire appel à l'assistance dépannage
Les clients canadiens qui requirement l'aide du Service de dépannage doivent téléphoner au 1 800 665-2006.
Véhicules vendus au canada : utilisation de l'assistance dépannage
Remplissez la carte d'identification du Service de dépannage et gardez-la dans votre portefeuille afin de pouvoir vous y référer rapidement en cas de besoin. Au Canada, la carte se trouve dans le Livret de garantie situé dans la boîte à gants.
Les prestations couvertes par le service de dépannage canadien peuvent différer de celles des États-Unis. Veuillez vous reporter à votre livret de garantie ou consulter notre site Web www. ford. ca pour des renseignements concernant les prestations canadiennes.
Les clients canadiens qui ont besoin de renseignements relatifs au service de dépannage doivent téléphoner au 1 800 665-2006 ou visiter notre site Web www.ford.ca.
FEUX de détresse

La commande des yeux de détresse est située sur le tableau de bord, près de la radio. Utilisez cette commande lorsque votre véhicule est en panne et qu’il est immobilisé dans un endroit
présentant des risques pour les autres automobilistes.
- Appuyez sur la commande des yeux de détresse pour activer tous les clignotants avant et arrière.
- Enforcez-la de nouveau pour les désactiver.
Note : Les yeux de détresse peuvent décharger votre batterie 12 volts s'ils sont actifs pendant une période prolongée.
Interrupteur de coupure de carburant

AVERTISSEMENT : Pour éliminer tout risque d'incendie ou de graves blessures, le véhicule doit être vérifié pour s'assurer de
l'absence de fuites de carburant et doit être réparé au besoin. Ford recommande l'inspection du circuit d'alimentation par un concessionnaire autorisé après une collision.
Ce véhicule est équipé d'un interrupteur automatique de pompe d'alimentation qui, en cas de collision frontale de moyenne à forte intensité, coupe automatiquement l'alimentation en carburant du moteur. La coupure d'alimentation ne se produit pas à chaque impact.
Si le moteur est coupé après une collision, effectuez les étapes suivantes pour le faire redémarrer :
- Coupez le contact et attendez approximativement 10 secondes.
- Établissez le contact.
- Répétez les étapes 1 et 2 pour réactiver la pompe à carburant.
Démarrage d'appoint du véhicule

AVERTISSEMENT: Les gaz dégagés par la batterie peuvent l'explosion s'ils sont exposés à une flamme, à des étincelles ou à cigarette allumée. Une explosion causerait de graves blessures ou hommages au véhicule.

AVERTISSEMENT : Les batteries contiennent de l'acide sulfurique susceptible de brûler la peau, les yeux et les
vêtements s'il y a contact.
Ne poussez pas votre véhicule à boîte de vitesses automatique pour le faire démarrer. Les boîtes de vitesses automatiques ne sont pas conçues pour ce type de démarrage. Toute tentative de pousser votre véhicule à boîte de vitesses automatique pour le faire démarrer peut causer des dommages à la boîte de vitesses.
Lorsque la batterie est débranchée ou replacée, la boîte de vitesses automatique doit acquérir de nouveau sa stratégie de passage des vitesses. Il se peut donc que certains changements de vitesses soient fermes et d'autres plus doux. Cette situation est normale et ne nuit ni au fonctionnement ni à la longévité de la boîte de vitesses. Avec le temps, la stratégie d'apprentissage adaptative réactualisera entièrement le fonctionnement de la boîte de vitesses.
Préparation du véhicule
Nota : Utilisez uniquement une alimentation de 12 volts pour faire démarrer votre véhicule.
Nota: Ne débranchez pas la batterie du véhicule en panne car cela risque d'endommager ses circuits électriques.
- Placez le véhicule de secours près du capot du véhicule en panne, en veillant à ce que les deux véhicules ne se touchent pas. Serrez le frein de stationnement des deux véhicules et tenez-vous à l'écart du ventilateur de refroidissement et de toute pièce mobile du moteur.
- Vérifiez toutes les bornes de batteries. Déposez le couvercle de la borne positive (selon l'équipement) et éliminez tout excès de corrosion avant de brancher les câbles de batterie. Veillez à ce que les rampes de bouchons des batteries soient toutes au niveau et bien serrées.
- Mettez le ventilateur de chauffage des deux véhicules en fonction pour assurer une protection contre les surtensions. Éteignez tous les autres accessoires.
Branchement des câbles volants

AVERTISSEMENT: Ne branchez pas l'extrémité du deuxième câble à la borne négative (-) de la batterie décharge. Ce
branchement risque de causer des étincelles qui entraîneraient une explosion des gaz qui se dégagent normalement d'une batterie.
Nota: Ne connectez pas le câble négatif (-) aux canalisations de carburant, couvre-culbuteurs, collecteur d'admission ou composants électriques comme points de mise à la masse.
Nota : Le véhicule au bas de l'illustration est utilisé pour désigner la batterie d'appoint.

- Branchez le câble volant positif (+) à la borne positive (+) de la batterie déchargée.
- Branchez l'autre extrémité du câble positif (+) à la borne positive (+) de la batterie d'appoint.
- Branchez le câble négatif (-) à la borne négative (-) de la batterie d'appoint.
- Branchez l'autre extrémité du cable négatif (-) à une surface métallique nue du véhicule en panne, éloignée de la batterie et du circuit d'alimentation en carburant.
Assurez-vous que les câbles volants sont éloignés des pales du ventilateur, des courroies, de toute pièce mobile des deux moteurs et de tout élément du circuit d'alimentation.
Démarrage-secours
- Mettez en marche le moteur du véhicule de secours et faites-le tourner à régime modéré.
- Faites démarrer le moteur du véhicule en panne.
- Une fois le moteur du véhicule en panne en marche, faites tourner les deux moteurs pendant environ trois minutes avant déstérerolir les câbles volants.
Débranchement des câbles volants
Note : Le véhicule au bas de l'illustration est utilisé pour désigner la batterie d'appoint.
Débranchez les câbles volants dans l'ordre inverse de leur branchement.

- Débranchez d'abord le câble volant de la surface métallique à la masse.
- Débranchez le câble volant de la borne négative (-) de la batterie d'appoint.
- Débranchez le câble volant de la borne positive (+) de la batterie d'appoint.
- Débranchez le câble volant de la borne positive (+) de la batterie qui était déchargée.
Une fois le moteur en marche et les câbles volants retirés, laissez le moteur tourner au ralenti pendant quelques minutes pour lui permettre de réapprendre ses paramètres de fonctionnement au ralenti.
Pour obtenir les services dont vous AVEZ BESOIN
Les réparations en vertu de la garantie doivent être effectuées par un concessionnaire autorisé. Bien que tout concessionnaire autorisé qui vend la gamme à laquelle appartiennent votre véhicule fournisse le service sous garantie, nous vous recommandons de retourner chez le concessionnaire autorisé qui vous a vendu le véhicule, car celui-ci peut s'assurer de votre satisfaction continue.
Veuillez noter que certaines réparations couvertes par la garantie doivent être effectuées par un technicien ayant reçu une formation technique spécialisée ou avec un équipement spécialisé ou les deux. Par conséquent, les concessionnaires autorisés ne sont pas tous autorisés à exécuter toutes les réparations couvertes par la garantie. Ainsi, selon la nature de la réparation, il se peut qu’il soit nécessaire de vous rendre chez un autre concessionnaire autorisé.
Accordez un délai raisonnable au concessionnaire autorisé pour effectuer votre réparation une fois que vous lui aurez apporté votre véhicule. Les réparations seront effectuées à l'aide de pièces Ford ou Motorcraft, de pièces remises à neuf ou autres pièces autorisées par Ford.
Loin de votre domicile
Si vous êtes à l'extérieur et qu'une intervention s'impose sur votre véhicule, communiquez avec le Centre de relations avec la clientèle Ford ou visitez le site Web suivant pour trouver le concessionnaire autorisé le plus proche.
Aux États-Unis :
Adresse postale
Ford Motor Company
Appareil de télécommunications pour les malentendants (ATME) :
1-800-232-5952
En ligne
Des ressources et des renseignements additionnels sont disponibles en ligne à l'adresse www.fordowner.com.
Certains des articles suivants peuvent être trouvés en ligne :
- Outil de localisation de concessionnaires aux É.-U.; classement par raison sociale, ville, État ou code postal
- Guides du propriétaire
- Calendriers d'entretien Rappels
- Programmes d'entretien prolongé Ford
- Accessoires Ford d'origine
- Tarifs de réparation et d'entretien spéciaux et promotionnels
Au Canada :
Adresse postale
Centre de relations avec la clientèle
Ford du Canada Limitée
P. O Box 2000
Oakville, Ontario L6K 0C8
Téléphone
1-800-565-3673 (FORD)
En ligne
www. ford. ca
Assistance supplémentaire
Si vous avez des questions ou si vous n'êtes pas satisfait du service que vous recevez, procédez de la manière suivante:
- Prenez contact avec votre vendeur ou avec votre conseiller technique chez le concessionnaire autorisé qui vous a vendu le véhicule.
- Si vous n'obtenez pas satisfaction, communiquez avec le directeur des ventes, le directeur du service technique ou le directeur des relations avec la clientèle.
- Pour obtenir de l'aide ou des renseignements détaillés concernant les politiques de Ford, veuillez communiquer avec le Centre de relations avec la clientèle Ford.
Pour nous permettre de mieux vous servir, veuillez avoir en main les renseignements suivants lorsque vous communiquez avec le Centre de relations avec la clientèle :
- Le numéro d'identification du véhicule (NIV).
- Numéro de téléphone (au travail et à domicile).
- La raison sociale et la ville où est situé le concessionnaire autorisé.
- Le kilométrage indiqué au compteur de votre véhicule.
Selon les lois sur la garantie en vigueur dans certains États, vous devrez aviser Ford directement et par écrit avant d'entamer un recours en justice. Ford pourrait avoir droit, dans certains États ou provinces, à une tentative visant à réparer le véhicule.
Aux États-Unis, un litige relatif à la garantie doit être soumis au programme AUTO LINE du BBB avant que le client puisse recourir au « Magnuson-Moss Warranty Act » ou, dans les limites permises par les lois de l'État, avant qu'il puisse faire appel aux mesures de remplacement ou de rachat prévues par les lois de certains États. Il n'est pas nécessaire d'appliquer cette procédure de traitement des litiges avant d'exercer les droits constitués par un État ou d'autres droits indépendants du « Magnuson-Moss Warranty Act » ou des lois d'État régissant le remplacement ou le rachat.
La section 1793.2(d) du Code civil de Californie exige que, lorsqu'un fabricant ou son représentant n'est pas en mesure de réparer un véhicule en se conformant à la garantie applicable au véhicule après un nombre raisonnable de tentatives, le fabricant doit remplacer le véhicule par un autre sensiblement identique ou racheter le véhicule et rembourser l'acheteur pour un montant égal au prix actuel payé ou payable par le client (moins une déduction raisonnable pour l'utilisation du véhicule par le client). Le client est en droit de choisir le remboursement ou le remplacement du véhicule.
La section 1793.22(b) du Code civil de Californie présume que le fabricant a tenté à plusieurs reprises de se conformer aux garanties applicables au véhicule si, dans les 18 mois ou les 28 968,19 km (29 000 km) suivant l'achat d'un nouveau véhicule, selon la première échéance :
- Deux tentatives ou plus de réparations d'une même non-conformité pouvant causer la mort ou des blessures graves ont été effectuées; OU
- Quatre tentatives de réparations ou plus d'une même non-conformité (une défectuosité ou une condition nuisant considérablement à l'utilisation, à la valeur ou à la sécurité du véhicule) ont été effectuées OU
- Le véhicule ne peut être utilisé pendant une période de plus de 30 jours civils (pas nécessairement consécutifs) à cause de la réparation de non-conformités.
Dans les situations 1 et 2 mentionnées ci-dessus, le client doit également aviser le fabricant du besoin de réparation de la non-conformité à l'adresse suivante :
Vous devez formuler votre plainte relative à la garantie à la BBB AUTO LINE avant d'exposer à la cour certains droits ou recours conférés par la section 1793.22(b) du Code civil de Californie. Vous devez également utiliser la BBB AUTO LINE avant de faire valoir vos droits ou de rechercher des recours créés par le « Magnuson-Moss Warranty Act », 15 U. S. C. sec. 2301 et seq. Si vous désirez d'obtenir un règlement en exerçant des droits et des recours non créés par la section 1793.22(b) du Code civil de Californie ou le « Magnuson-Moss Warranty Act », ces statuts n'exigent pas de recours auprès de la BBB AUTO LINE.
Votre satisfaction est importante pour Ford Motor Company et votre concessionnaire. Si un problème relatif à la garantie n'a pas été résolu au moyen de la procédure en trois étapes décrite ci-dessus dans ce chapitre à la rubrique Pour obtenir les services dont vous avez besoin, vous avez peut-être le droit de participer au programme AUTO LINE du BBB.
Le programme AUTO LINE du BBB comprend deux secteurs - Médiation et arbitrage. Durant la médiation, un représentant du BBB communiquera avec les deux parties, vous et Ford Motor Company, pour tenter de trouver des solutions au règlement de la demande. À défaut d'une entente durant la phase de médiation ou si vous ne souhaitez pas participer à la médiation, vous pouvez participer au processus d'arbitrage si votre demande est admissible. Une audience d'arbitrage est planifiée pour que vous puissiez présenter votre cas devant une personne impartiale dans un cadre informel. L'arbitre étudie le témoignage et rend une décision après l'audience.
Une décision au sujet des litiges soumis au programme AUTO LINE du BBB est habituellement rendue moins de 40 jours après la soumission de votre demande au BBB. Vous n'êtes pas lié par la décision et vous pouvez la rejeter. Toutes les conclusions de BBB AUTO LINE relatives à la plainte, et la décision, sont admissibles lors d'une poursuite en justice. Si vous êtes en accord avec la décision du BBB AUTO LINE, Ford devra également se soumettre à la décision rendue et devra s'y conformer dans un délai de 30 jours suivant la réception de votre dette stipulant votre acceptation de la décision.
Demande d'admissibilité au programme BBB AUTO LINE : utilisez les renseignements ci-après pour appeler ou écrire en vue de votre admissibilité au programme BBB AUTO LINE. Vous devrez fournir votre nom et votre adresse, certains renseignements au sujet de votre nouveau vehicule, des renseignements sur les désaccords concernant la garantie et une description des démarches déjà entreprises en vue de résoudre le problème. Vous receivez ensuite un-formulaire de demande de règlement du client que vous devrez replir, signer et renvoyer au BBB enPNANT SOIN DE JOINDRE UN PREUVE DE PROPRIÉTÉ DU VEHICULE. À LA réception, le BBB étudiera l'admissibilité de la demande en vertu des lignes directrices du programme.
Pour obtenir de plus amples renseignements, veuillez appeler BBB AUTO LINE au 1 800 955-5100, ou écrivez à l'adresse suivante :
BBB AUTO LINE
3033 Wilson Boulevard, Suite 600
Vous pouvez également obtenir une demande d'admissibilité au programme AUTO LINE du BBB en appelant le Centre de relations avec la clientèle Ford au 1 800 392-3673.
Note : Ford Motor Company se réserve le droit de modifier les critères d'admissibilité et les procédures et de mettre fin au processus en tout temps sans préavis et sans obligation.
Programme de médiation et d'arbitrage (CANADA seulement)
Ceci concerne les véhicules livrés aux concessionnaires canadiens autorisés. Si les efforts déployés par Ford du Canada et le concessionnaire autorisé pour résoudre un problème de service lié à l'usine vous semblent insatisfaisants, Ford du Canada participe à un programme de médiation ou d'arbitrage impartial de tierce partie généré par le Programme d'arbitrage pour les véhicules automobiles du Canada (PAVAC).
Le Programme d'arbitrage est un moyen simple et relativement rapide de résoudre un différend quand tous les autres efforts visant à obtenir un règlement ont échoué. Cette procédure sans frais pour vous a été mise sur pied dans le but d'éliminer le recours aux poursuites légales longues et coûteuses.
Dans le cadre du programme du PAVAC, des arbitres impartiaux de tierce partie tiennent des audiences dans un contexte informel à des dates et endroits qui conviennent aux différentes parties. Les arbitres impartiaux examinent les positions des parties, prennent des décisions
et, le cas échéant, rendent un jugement pour résoudre les litiges. Les décisions du PAVAC sont rapides, équitables et définitives, et la sentence de l'arbitre lie le plaignant et Ford Canada.
Les services du PAVAC sont offerts dans tous les territoires et toutes les provinces du Canada. Pour obtenir de plus amples renseignements, sans frais ni obligation, appelez directement l'administrateur provincial du PAVAC au 1 800 207-0685, ou visitez le www.camvap.ca.
Pour recevoir de l'aide à l'extérieur des É.-U. et du CANADA
Avant d'exporter votre véhicule dans un pays étranger, communiquez avec l'ambassade ou le consulat de ce pays. Ces représentants pourront vous renseigner sur les lois locales régissant l'immatriculation des véhicules et sur les endroits où vous pourrez vous procurer de l'essence sans plomb.
Si vous ne trouvez pas d'essence sans plomb ou si vous ne trouvez que de l'essence dont l'indice antidétonant est inférieur à celui recommandé pour votre véhicule, communiquez avec notre Centre de relations avec la clientèle.
L'utilisation d'essence au plomb sans conversion appropriée peut nuire au rendement des dispositifs antipollution de votre véhicule et provoquer des cliquetis ou des dommages sérieux au moteur. Ford du Canada ou Ford Motor Company décline toute responsabilité en cas de dommages provoqués par l'utilisation d'un carburant inapproprié. L'utilisation d'une essence au plomb peut également causer des difficultés lors du retour de votre véhicule aux É.-U.
Si vous véhicule doit être entretenu pendant que vous voyagez ou habitez dans la région Asie-Pacifique, en Afrique subsaharienne, aux Îles Vierges américaines, en Amérique Centrale, aux Antilles et en Israël, communiquez avec le concessionnaire autorisé le plus proche. Si le concessionnaire autorisé ne peut vous aider, écrivez ou téléphonez à :
Customer Relationship Center 1555 Fairlane Drive Fairlane Business Park #3 Allen Park, Michigan 48101 ETATS-UNIS Téléphone : (313) 594-4857 TELECOP. : (313) 390-0804 Courriel : expcac@
Pour les clients du Guam, du Commonwealth des Mariannes du Nord (CMN), des Samoa américaines, et des îles Vierges américaines, n'hésitez pas à nous contacter au numéro sans frais : (800) 841-FORD (3673)
Si une intervention s'impose sur votre véhicule alors que vous voyagez ou résidiez à Porto Rico, communiquez avec le concessionnaire autorisé le plus proche. Si le concessionnaire autorisé ne peut vous aider, écrivez ou téléphonez à :
Customer Relationship Center 1555 Fairlane Drive Fairlane Business Park #3 Allen Park, Michigan 48101 ETATS-UNIS
Téléphone : (313) 594-4857 TELECOP. : (313) 390-0804 Courriel : www.ford.com.pr
Si une intervention s'impose sur votre véhicule alors que vous voyagez ou résidez au Moyen-Orient, communiquez avec le concessionnaire autorisé le plus proche. Si le concessionnaire autorisé ne peut vous aider, écrivez ou téléphonez à :
P. O. Box 21470 Dubai, Emirats arabes unis Téléphone: +971 4 3326084 Numéro sans frais pour le Royaume d'Arabie saoudite: 800 8971409 Numéro de téléphone local pour le Koweit: 24810575 TELECOP.: +971 4 3327299 Courriel: menace@ford. com www. me. ford. com
Si vous achetez votre véhicule en Amérique du Nord et que vous déménagez par la suite à l'un des emplacements numérés précédemment, signalez le numéro d'identification de votre véhicule (NIV) et votre nouvelle adresse à Ford Motor Company Export Operations & Global Growth Initiatives par courriel à l'adresse : expcac@ford.com.
Si vous vous trouvez dans tout autre pays étranger, communiquez avec le concessionnaire autorisé le plus proche. S'il n'est pas apporté de réponse à votre question, communiquez avec le directeur des ventes, le directeur du service technique ou le directeur des relations avec la clientèle du concessionnaire. Pour obtenir de l'aide ou des renseignements détailléS, veuillez communiquer avec le Centre de relations avec la clientèle indiqué ci-dessus.
Les clients aux É.-U. doivent composer le 1 800 392-3673.
Commande de documentation supplémentaire
Pour commander les publications générées dans cette pochette, veuillez communiquer avec Helm Inc. à:
HELM, INCORPORATED
47911 Halyard Drive
Attention: Service à la clientèle
Appelez pour commander un catalogue gratuit des publications offertes, appelez le numéro sans frais : 1-800-782-4356
Ouvert du lundi au vendredi, de 8 h à 18 h, HNE
Vous pouvez aussi joindre HELM, Incorporated sur le Web à l'adresse : www.helminc.com.
(L'achat d'articles figurant dans le catalogue peut se faire par carte de crédit, chèque ou mandat.)
Pour obtenir une copie du manuel du propriétaire en français
Un manuel du propriétaire peut être obtenu en français auprès de votre concessionnaire autorisé ou en communiquant avec HELM, Incorporated au moyen des coordonnées indiquées précédemment dans ce chapitre.
Défauts compromettant la sécurité (É.-U. seulement)

Si vous croyez que votre véhicule présente une défectuosité qui pourrait causer un accident ou des blessures graves ou mortelles, informez immédiatement la National
Si la NHTSA reçoit d'autres plaintes similaires, elle peut ouvrir une enquête et ordonner le lancement d'une campagne de rappel et de réparation lorsqu'elle détermine qu'un défaut compromettant la sécurité touche un groupe de véhicules. Toutefois, la NHTSA ne peut pas intervenir dans le cas d'un différend entre le client, son concessionnaire et Ford Motor Company.
Pour communiquer avec la NHTSA, appelez le service d'assistance en matière de sécurité automobile au numéro sans frais 1-888-327-4236 (ligne directe:1-800-424-9153) ; consultez le site Web http://www.safercar.gov ; ou écrire à :
Le site Web http://www.safercar.gov permet également d'obtenir d'autres renseignements relatifs à la sécurité automobile.
Defauts compromettant la securite (CANADA seulement)
Si vous craignez qu'une défectuosité de votre véhicule puisse entraîner un accident, des blessures ou la mort, informez-en immédiatement Transport Canada en composant le numéro sans frais suivant: 1-800-333-0510, ou en ligne sur: https://wwwapps.tc.gc.ca/Saf-Sec-Sur/7/PCDB-BDPP/Index.aspx.
AVERTISSEMENT: Remplacez toujours un fusible par un autre de l'intensité spécifique. L'utilisation d'un fusible possédant une intensité supérieure peut causer des dommages graves au câblage et provoquer un incendie.

Si certains accessoires électriques de votre véhicule ne fonctionnent pas, il se peut qu'un fusible soit grillé. La présence d'un fil métallique rompu à l'intérieur du fusible indique que ce fusible est grillé. Vérifiez les fusibles
appropriés avant de remplacer des composants électriques.
Intensité nominale et couleur de fusible standard
| COULEUR | |||||
| Inten-sité | Mini-fusibles | Fusibles standard | Fusibles à haute intensité | Fusibles à cartouche à haute intensité | Cartou-che de fil fusible |
| 2 A | Gris | Gris | — | — | — |
| 3 A | Violet | Violet | — | — | — |
| 4 A | Rose | Rose | — | — | — |
| 5 A | Havane | Havane | — | — | — |
| 7,5 A | Brun | Brun | — | — | — |
| 10 A | Rouge | Rouge | — | — | — |
| 15 A | Bleu | Bleu | — | — | — |
| 20 A | Jaune | Jaune | Jaune | Bleu | Bleu |
| 25 A | Beige | Beige | — | Beige | Beige |
| 30 A | Vert | Vert | Vert | Rose | Rose |
| 40 A | — | — | Orange | Vert | Vert |
| 50 A | — | — | Rouge | Rouge | Rouge |
| 60 A | — | — | Bleu | Jaune | Jaune |
| 70 A | — | — | Havane | — | Brun |
| 80 A | — | — | Beige | Noir | Noir |
Boîtier de distribution électrique

AVERTISSEMENT: Débranche toujours la batterie avant de faire l'entretien des fusibles haute intensité.

AVERTISSEMENT : Afin de réduire les risques d'électrocution, remettez toujours le couvercle du boîtier de distribution en place avant de rebrancher la batterie ou de replir les voirs de liquide.
Le boîtier de distribution électrique est situé dans le compartiment moteur. Il contient des fusibles à haute intensité qui protègent les principaux circuits électriques de votre véhicule contre les surcharges.
Si la batterie a été débranchée et rebranchée, consultez la rubrique Remplacement de la batterie du véhicule dans le chapitre Entretien.

Les fusibles à haute intensité sont identifiés comme suit :
| Numéro de fusible ou relais | Intensité | Composants protégés |
| 1 | 40 A** | Relais de ventilateur 2 |
| 2 | 40 A** | Relais de ventilateur 1 |
| 3 | 30 A** | Module de commande de freins de remorque |
| 4 | 30 A** | Essuie-glaces, pompe de lave-glace |
| 5 | 50 A** | Pompe de freins antiblocage |
| 6 | — | Inutilisé |
| 7 | 30 A** | Hayon à commande électrique |
| 8 | 20 A** | Toit ouvrant transparent |
| 9 | 20 A** | Prise de courant de console de deuxîme rangée |
| 10 | — | Relais de sièges à réglage électrique de la troisième rangée |
| 11 | — | Relais de lunette arrière chauffante |
| 12 | — | Relais de circuit de charge de remorquage |
| 13 | — | Relais de démarreur |
| 14 | — | Relais n° 2 du ventilateur de refroidissement |
| 15 | — | Relais de pompé d'alimentation |
| 16 | — | Inutilisé |
| 17 | 30 A** | Prise de courant de 110 volts c.a. |
| 18 | 40 A** | Ventilateur d'habitacle avant |
| 19 | 30 A** | Démarreur |
| 20 | 20 A** | Prise de courant dans le bac de rangement |
| 21 | 20 A** | Prise de courant du tableau de bord, allume-cigares |
Fusibles
| Numéro de fusible ou relais | Intensité | Composants protégés |
| 22 | 30 A** | Module de siège de troisisième rangée |
| 23 | 30 A** | Siège à réglage électrique du conducteur, module des régages mémorisés |
| 24 | 30 A** | Circuit de charge de remorquage |
| 25 | — | Inutilisé |
| 26 | 40 A** | Dégivreur de lunette, rétroviseurs chauffants |
| 27 | 20 A** | Prise de courant d'air de chargement |
| 28 | 30 A** | Sièges avant chauffants/refroidissants |
| 29 | 20 A** | Sièges avant chauffants |
| 30 | 20 A** | Sièges arrêté chauffants |
| 31 | 25 A** | Relais de ventilateur 3 |
| 32 | — | Relais du ventilateur auxiliaire |
| 33 | — | Relais n° 1 du ventilateur de refroidissement |
| 34 | — | Relais du ventilateur avant |
| 35 | — | Relais du ventilateur de refroidissement (série) |
| 36 | — | Inutilisé |
| 37 | — | Relais de clignotant et feu deiminage droits de la remorque |
| 38 | — | Relais de phares de recul de la remorque |
| 39 | 30 A** | Ventilateur d'habitacle auxiliaire |
| 40 | — | Inutilisé |
| 41 | — | Inutilisé |
| 42 | 30 A** | Siège à réglage électrique=côté passager |
| 43 | 20 A** | Soupapes du freins antiblocage |
| 44 | — | Relais de lave-glace de pare-brise |
| 45 | 5 A* | Détecteur de pluie |
| 46 | 5 A* | Électrovanne de mise à l'air libre du filtre à charbon actif (moteurs EcoBoost) |
| 47 | 15 A* | Pompe de lave-glace |
| 48 | 10 A* | Feux de position avant |
| 49 | — | Inutilisé |
| 50 | 10 A* | Rétrouviseurs chauffants |
| 51 | 5 A* | Module de commande du groupe motopropulseur - Contrôleur de puissance des injecteurs (sauf moteurs non-EcoBoost) |
| 52 | — | Inutilisé |
| 53 | — | Relais de clignotant et feu de freinage gauches de la remorque |
| 54 | — | Inutilisé |
| 55 | — | Relais des essue-glace |
| 56 | 30 A* | Injecteurs de carburant, relais de la pompe à carburant |
| 57 | 20 A* | Phares avec lampe à décharge à haute intensité gauches |
| 58 | 10 A* | Capteur d'alternateur |
| 59 | 10 A* | Contacteur des feuks stop |
| 60 | 10 A* | Phares de recul de remorquage |
| 61 | — | Inutilisé |
| 62 | 10 A* | Embrayage du climatiseur |
Fusibles
| Numéro de fuse ou relais | Intensité | Composants protégés |
| 63 | 15 A* | Feux de freinage/clignotants de la remorque |
| 64 | 15 A* | Essue-glaces arrêté |
| 65 | — | Inutilisé |
| 66 | — | Module de commande du groupe motopropulseur - relais d'alimentation du vehicule |
| 67 | 20 A* | Alimentation du vehicule n° 2 - Dispositif de chauffage de la sonde d'oxygène, débitmètre d'air massique, solénoïde de commande variable des arbre à cames, électrovanne de mise à l'air libre du filtré à charbon actif, solénoïde de purge du filtré à charbon actif |
| 68 | 20 A* | Alimentation du vehicule n° 4 (bobines d'allumage) |
| 69 | 20 A* | Alimentation du vehicule n° 1 (module de commande du groupe motopropulseur) |
| Numéro de fusible ou relais | Intensité | Composants protégés |
| 70 | 15 A* | Alimentation du vehicule n° 3 (bobine) - Relais de l'embrayage du climatisationur, relais de commande de ventilateur, compresseur de climatisation variable, réchauffement de transmission auxiliaire, vanne de dégagement des gaz de turbo, clapet de déivation du compresseur électronique (pour turbosoufflante), module à traction intégrale, chauffage de la soupape de recyclage des gaz de carter |
| 71 | — | Inutilisé |
| 72 | — | Inutilisé |
| 73 | — | Inutilisé |
| 74 | — | Inutilisé |
| 75 | — | Inutilisé |
| 76 | — | Inutilisé |
| 77 | — | Relai de deux de position de la remorque |
| 78 | 20 A* | Phares avec lampe à décharge à haute intensité droits |
| 79 | 10 A* | Régulateur de vitesse adaptatif |
| 80 | — | Inutilisé |
| 81 | — | Inutilisé |
| 82 | 15 A* | Lave-glace arrière |
| 83 | — | Inutilisé |
| 84 | 20 A* | Feux de position de remorque |
| 85 | — | Inutilisé |
| 86 | 5 A* | Module de commande du groupe motopropulser - Alimentation de mémoire d'anomalies, relais du module de commande du groupe motopropulser, électrovanne de mise à l'air libre du filtré à charbon actif (sauf moteurs EcoBoost) |
| 87 | 5 A* | Contact/démarrage |
| 88 | — | Relais contact/démarrage |
| 89 | 10 A* | Module du freins antiblocage |
| 90 | 10 A* | Contact/démarrage du module de commande du groupe motopropulser |
| 91 | 10 A* | Régulateur de vitesse adaptatif |
| 92 | 5 A* | Bobine de relais de ventilateur avant, module de direction assistée |
| 93 | 5 A* | Ventilateur auxiliaire, dégivreur arrière, relais de chargement de la batterie |
| 94 | 30 A** | Contact/démarrage du module de commande de carrosserie |
| 95 | 5 A* | Commande de glace du passager avant |
| 96 | — | Inutilisé |
| 97 | — | Inutilisé |
| 98 | — | Relais d'embrayage du climatiseur |
| *Mini-fusibles **Fusibles à cartouche | ||
Porte-fusibles de l'habitatcle
Le porte-fusibles est situé sous le tableau de bord, à gauche du volant. Il se peut que vous deviez retirer un panneau de garniture pour y accéder.

Les fusibles sont identifiés comme suit :
| Numéro de fuse ou relais | Intensité | Composants protégés |
| 1 | 30 A | Glace avant du côte conducteur |
| 2 | 15 A | Siège à réglage mémorisé, sièges de deuxîme rangée |
| 3 | 30 A | Inutilisé (rechange) |
| 4 | 10 A | Relais antidécharge de la batterie (alimentation des lampes d'accueil intérieures et de siège) |
| 5 | 20 A | Amplificateur intelligent |
| 6 | 5 A | Inutilisé (rechange) |
Fusibles
| Numéro de fusible ou relais | Intensité | Composants protégés |
| 7 | 7,5 A | Commande des rétroviseurs électriques, module de porte du conducteur, module de siège du conducteur, clavier numérique |
| 8 | 10 A | Hayon à commande électriche |
| 9 | 10 A | Système SYNC, lampe EFP, module émetteur récepteur radio |
| 10 | 10 A | Relais contact-accessoires, relais de moteur d'essuie-glaces avant |
| 11 | 10 A | Module de clé intelligente, affichage tête haute |
| 12 | 15 A | Éclairage interieur, lampes dirigées vers le sol, rétroéclairage |
| 13 | 15 A | Clignotants droits |
| 14 | 15 A | Clignotants gauches |
| 15 | 15 A | Feu de freinage central surélevé, phares de recul |
| 16 | 10 A | Feu de croisement (droit) |
| 17 | 10 A | Feu de croisement (gauche) |
| 18 | 10 A | Sièges à commande électricque de troisisième rangée, indicateur de marche de bouton de démarrage, éclairage du clavier, interverrouillage du levier de vitesses, réveil du module de commande du groupe motopropulseur, système antivol |
| 19 | 20 A | Inutilisé (rechange) |
| 20 | 20 A | Serrures |
| 21 | 10 A | Inutilisé (rechange) |
| 22 | 20 A | Relais de l'avertisseur sonore |
| 23 | 15 A | Module de commande du volant, tableau de bord |
| 24 | 15 A | Prise de diagnostic, module de commande du volant |
| 25 | 15 A | Ouverture de hayon |
| 26 | 5 A | Commutateur d'allumage, commutateur de démarrage à bouton-poussoir |
| 27 | 20 A | Module de clé d'accès intelligent |
| 28 | 15 A | Inutilisé (rechange) |
| 29 | 20 A | Radio, module du système mondial de localisation |
| 30 | 15 A | Feux de position avant, relais des yeux de stationnement de remorque, yeux de position latéraux avant |
| 31 | 5 A | Commande électronique de remorque |
| 32 | 15 A | Commande et moteur de glace du conducteur, commandes de verrouillage électrique, toit ouvrant, prise de courant de 110 volts c.a., rétroviseur interieur |
| 33 | 10 A | Inutilisé (rechange) |
| 34 | 10 A | Système de surveillance des angles morts, sièges chauffants de deuxieme rangée, sonar de recul, caméra de marche arrêté |
| 35 | 5 A | Affichage tête haute, capteur d'humidité de commande de chauffage et de climatisation |
| 36 | 10 A | Inutilisé (rechange) |
Fusibles
| Numéro de fusible ou relais | Intensité | Composants protégés |
| 37 | 10 A | Réfrigérateur |
| 38 | 10 A | Commutateur de glace du passager avant |
| 39 | 15 A | Feux de route |
| 40 | 10 A | Feux de position arrêté, éclairage de plaque d'immatriculation |
| 41 | 7,5 A | Capteur de poids de l'occupant, module de commande des dispositifs de retenue |
| 42 | 5 A | Inutilisé (rechange) |
| 43 | 10 A | Inutilisé (rechange) |
| 44 | 10 A | Inutilisé (rechange) |
| 45 | 5 A | Inutilisé (rechange) |
| 46 | 10 A | Module de chauffage et climatisation |
| 47 | 15 A | Antibrouillards, tímein des antibrouillards, clignotants avant 2 |
| 48 | Disjoncteur 30 A | Lève-glace du passager avant, lève-glaces arrêté |
| 49 | Relais d'alimentation prolongée des accessoires | Module de commande de carrosserie |
Généralités
Un entretien régulier du véhicule est nécessaire pour le maintien de la sécurité du véhicule et de sa valeur de revente. Un grand réseau de concessionnaires autorisés Ford est à votre disposition pour effectuer un entretien professionnel et compétent de votre véhicule. Nous sommes d'avis que leurs techniciens spécialement formés sont les meilleures personnes qualifiées pour effectuer l'entretien de votre véhicule de façon adéquate et compétente. Ils ont à leur disposition une vaste gamme d'outils hautement spécialisés et conçus particulièrement pour effectuer l'entretien de votre véhicule.
Pour vous aider à entretenir votre véhicule, nous vous remettons un Guide d'entretien périodique qui vous permet de facilement faire le suivi de l'entretien prescrit pour votre véhicule.
Si votre véhicule exige les soins d'un expert, votre concessionnaire autorisé peut vous fournir les pièces et la main-d'œuvre dont vous avez besoin. Consultez les renseignements sur les garanties pour déterminer quelles pièces et quelles interventions sont couvertes.
Utilisez uniquement le carburant, les lubrifiants, les liquides et les pièces de rechange conformes aux normes. Les pièces Motorcraft® sont conçues pour assurer le rendement optimal de votre véhicule.
- Ne travailliez jamais sur un moteur chaud. Assurez-vous que rien n’entre en contact avec les pièces en mouvement.
- Ne travailliez pas sur un véhicule dont le moteur est en marche dans un local fermé, à moins d'être certain que le local est suffisamment aéré.
- N'approchez jamais de flamme ni d'objet allumé (telles que des cigarettes) de la batterie ou des éléments du circuit d'alimentation.
Intervention moteur arrêté
- Serrez le frein de stationnement et placez le levier de vitesses en position de stationnement (P)
- Coupez le moteur et retirez la clé (selon l'équipement).
- Bloquez les roues.
Si vous travailliez alors que le moteur tourne

AVERTISSEMENT : Pour éviter d'endommager le véhicule ou de subir des brûlures, ne faites pas démarrer le moteur lorsque le
Lorsque le filtre à air est déposé et ne déposez pas le filtre à air pendant que le moteur tourne.
- Serrez le frein de stationnement et placez le levier sélecteur en position de stationnement (P)
- Bloquez les roues.
Ouverture et fermeture du CAPOT

- À l'intérieur du véhicule, tirez sur la manette d'ouverture du capot située sous le tableau de bord, près de la colonne de direction.

- Placez-vous devant le véhicule et dégagez le loquet auxiliaire qui se trouve sous le devant du capot, au centre.
- Ouvrez le capot.
Apéçu sous le CAPOT

A. Réservoir de liquide de refroidissement B. Réservoir de liquide de lave-glace C. Réservoir de liquide de frein D. Batterie E. Boîtier de distribution électrique F. Filtre à air G. Jauge d'huile de la boîte de vitesses automatique H. Jauge d'huile moteur I. Bouchon de replissage d'huile moteur
Moteur V6 3,5 L EcoBoost®
A. Réservoir de liquide de refroidissement B. Réservoir de liquide de frein C. Batterie D. Boîtier de distribution électrique E. Filtre à air F. Jauge d'huile pour boîte de vitesses automatique (non visible) G. Jauge d'huile moteur H. Bouchon de remplissage d'huile moteur I. Réservoir de liquide de lave-glace
Déflecteur du moteur

Certains véhicules sont équipés d'un déflecteur sous le moteur. Ce déflecteur doit être retiré pour l'entretien, incluant les vidanges d'huile et le remplacement du filtre. Il est fixé à l'aide de quatre fermoirs à relachement rapide.

Vérification du niveau d'huile moteur
Nota : Vérifiez le niveau avant de démarrer le moteur.
Nota : Assurez-vous que le niveau se trouve entre les repères MIN et MAX.
- Stationnez le véhicule sur une surface plane.
- Coupez le contact et attendez 10 minutes, le temps que l'huile se dépose dans le carter inférieur.
- Retirez la jauge et essuyez-la avec un chiffon propre et non pelucheux. Replacez la jauge et retirez-la de nouveau pour vérifier le niveau d'huile.
Si le niveau se situe au repère MIN, ajoutez immédiatement de l'huile.
Ajout d'huile moteur
Nota: Ne retirez pas le bouchon de remplissage lorsque le moteur est en marche.
Nota: N'ajoutez pas l'huile moteur plus haut que le repère MAX. Si le niveau d'huile dépasse le repère MAX, le moteur risque de subir des dommages.

Utilisez uniquement une huile moteur homologuée pour les moteurs à essence par l'American Petroleum Institute (API). Une huile portant ce symbole commercial est conforme aux normes en vigueur relatives aux moteurs et aux systèmes antipollution, ainsi qu'aux exigences de consommation de carburant du comité international de normalisation et d'homologation des lubrifiants (ILSAC), dont font
partie différents constructeurs automobiles américains et japonais.
- Retirez le bouchon de remplissage.
- Ajoutez de l'huile moteur qui répond aux normes Ford. Consultez le chapitre Contenances et caractéristiques pour obtenir de plus amples renseignements.
- Remplacez le bouchon de remplissage. Tournez-le jusqu'à ce que vous sentiez une forte résistance.
Vérification du liquide de refroidissement du moteur
La concentration et le niveau du liquide de refroidissement du moteur doivent être vérifiés aux intervalles précisés dans le Guide d'entretien périodique.
Nota : Assurez-vous que le niveau du liquide de refroidissement est au repère « FULL COLD » (niveau maximal à froid) ou au repère « COLD FILL RANGE » (plage de replissage à froid) du vase d'expansion.
Nota : Le liquide de refroidissement se dilate lorsqu'il est chaud. Le niveau peut dépasser le niveau normal de remplissage à froid.
Si le niveau est inférieur au « NIVEAU DE REMPLISSAGE À FROID », ajoutez du liquide de refroidissement immédiatement. Consultez la rubrique Ajout de liquide de refroidissement du présent chapitre.
La concentration du liquide de refroidissement doit être maintenue entre 48% et 50%, ce qui correspond à un point de congélation de -34°C (-30^) à -37°C (-34^).
Nota : Pour les meilleurs résultats, la concentration du liquide de refroidissement doit être testée avec un refractomètre comme l'outil Rotunda 300ROB75240 disponible chez votre concessionnaire. Ford ne recommande pas l'utilisation d'hydromètres ou de bandes d'essai de liquide de refroidissement pour mesurer la concentration du liquide de refroidissement.
Note : Les liquides pour véhicules automobiles ne sont pas interchangeables ; n'utilisez pas le liquide de refroidissement moteur/antigel ou le liquide de lave-glace pour un usage ou à un emplacement sur le véhicule autre que celui prévu.
Ajout de liquide de refroidissement du moteur

AVERTISSEMENT : N'ajoutez pas de liquide de refroidissement si le moteur est chaud. Du liquide bouillant et de la vapeur
peuvent s'échapper du circuit de refroidissement et vous causer de graves brûlures. Vous pouvez aussi vous brûler si vous renversez du liquide sur des composants brûlants du moteur.

AVERTISSEMENT: Ne versez pas de liquide de refroidissement dans le réservoir de liquide lave-glace. Si du liquide de
refroidissement est projeté sur le pare-brise, la visibilité risque d'être grandement réduite.

AVERTISSEMENT : Pour réduire les risques de blessures, assurez-vous que le moteur a refroidi avant de dévisser le
bouchon taraudé du vase d'expansion. Le circuit de refroidissement étant sous pression, de la vapeur et du liquide brûlant peuvent jaillir avec force lorsque le bouchon est légèrement desserré.

AVERTISSEMENT : N'ajoutez pas du liquide de refroidissement au-delà du repère MAX.
Nota : N'utilisez pas de pastilles antifuite, de produits détanchéité ou d'additifs pour circuit de refroidissement, car ils risquent d'endommager le circuit de refroidissement du moteur et/ou les circuits de chauffage. Ces dommages ne seraient pas couverts par la garantie du véhicule neuf.
Nota : Pendant le fonctionnement normal du véhicule, le liquide de refroidissement du moteur peut passer de la couleur orange à la couleur rose ou rouge clair. Pourvu que le liquide de refroidissement du moteur soit clair et non contaminé, ce changement de couleur n'indique pas que le liquide de refroidissement du moteur a dégradé ni que le liquide doit être vidangé, que le système doit être rinçé ou que le liquide doit être remplacé.
- NE MÉLANGEZ PAS les liquides de refroidissement de type ou de couleur différente dans votre véhicule. Assurez-vous que le liquide de refroidissement ajustat est utilisé. L'utilisation d'un tel mélange de liquides de refroidissement pourrait endommager le circuit de refroidissement de votre moteur. L'utilisation d'un liquide de refroidissement inadéquat peut endommager le moteur et le circuit de refroidissement.
- En cas d'urgence, vous pouvez ajouter au vase d'expansion de l'eau ne contenant pas de liquide de refroidissement, de manière à pouvoir vous rendre à un centre d'entretien et de réparation des véhicules. Dans ce cas, le circuit de refroidissement doit être vidangé, nettoyé chimiquement avec du liquide de rincage pour circuit de refroidissement de première qualité Motorcraft et rempli de nouveau avec du liquide de refroidissement pour moteur dès que possible. L'utilisation d'eau sans liquide de refroidissement risque d'entraîner des dommages au moteur par la corrosion, la surchauffe ou le gel.
- N'utilisez pas d'alcool, de méthanol ou de saumure, ni de liquide de refroidissement mélangé à de tels produits. L'alcool et les autres liquides peuvent entraîner des dommages au moteur causés par une surchauffe ou le gel.
- N'ajoutez ni inhibiteurs ni additifs au liquide de refroidissement. Ces produits sont néfastes et risquent de compromettre la protection anticorrosion du liquide de refroidissement.
Desserrez le bouchon lentement. Toute pression s'échappera lors du desserrage du bouchon.
Ajoutez du liquide de refroidissement du moteur prédilué conforme à la norme Ford. Consultez le chapitre Contenances et caractéristiques pour obtenir de plus amples renseignements.
Après chaque ajout de liquide de refroidissement, le niveau dans le vase d'expansion doit être vérifié au terme des cycles de conduite qui suivront. Au besoin, ajoutez suffisamment de liquide de refroidissement du moteur prédilué pour rétablir le liquide de refroidissement au niveau approprié.
Liquide de refroidissement du moteur recyclé
Ford Motor Company ne recommande PAS l'utilisation d'un liquide de refroidissement du moteur recyclé, car aucun procédé de recyclage n'a encore été homologué par Ford.

La mise au rebut du liquide de refroidissement usagé doit être
effectue de façon appropriée. Consultez les centres locaux de recyclage pour tout renseignement sur le recyclage et la récupération de ces liquides.
Conditions climatiques rigoureuses
Si vous conduisez par temps très froid, considérez ce qui suit :
- Il peut être nécessaire de faire augmenter la concentration du liquide de refroidissement à plus de 50% par un concessionnaire autorisé Ford.
- Une concentration du liquide de refroidissement de 60% assurera une protection améliorée contre le gel. Une concentration du liquide de refroidissement supérieure à 60% diminuera les caractéristiques de protection par le liquide de refroidissement contre la surchauffe du moteur et peut causer des dommages au moteur.
Si vous conduisez par temps très chaud, considérerez ce qui suit :
- Il peut être nécessaire de faire réduire la concentration du liquide de refroidissement à 40% par un concessionnaire autorisé FORD.
- Une concentration du liquide de refroidissement de 40% assurera une protection améliorée contre la surchauffe. La concentration du liquide de refroidissement à moins de 40% réduit ses caractéristiques de protection contre la corrosion et le gel et peut endommager le moteur.
Les véhicules conduits toute l'année dans des climats tempérés devraient utiliser un liquide de refroidissement du moteur prédilué pour obtenir une protection optimale du circuit de refroidissement et du moteur.
Gestion de la température du liquide du moteur (moteur ecoboost seulement)

AVERTISSEMENT : Pour réduire le risque de collision et de
blessure, soyez prêt à ce que la vitesse du véhicule diminue e
que ce dernier ne puisse accélérer à sa pleine puissance jusqu'à ce que
La température du liquide baisse.
Votre véhicule a été conçu pour tirer une remorque, mais à cause de la charge supplémentaire, le moteur du véhicule peut atteindre temporairement une température plus élevée dans des conditions rigoureuses comme la montée d'une pente longue ou raide en tractant une remorque par temps chaud.
Dans ce cas, vous pourriez remarquer que l'aiguille de l'indicateur de température du liquide de refroidissement pivote vers la plage « H » (chaud) et le message PUISSANCE RÉDUITE POUR ABAISSETER TEMPERATURE peut apparaitre dans l'afficheur multimessage.
Vous pouvez remarquer une diminution de la vitesse du véhicule en raison de la puissance réduite du moteur. Notre véhicule a été conçu pour passer à ce mode dans certaines conditions de température ou de charge élevées afin de gérer la température du liquide du moteur. La réduction de la vitesse dépendra de la charge du véhicule, du type de traction, de la pente, de la température ambiante et d'autres facteurs. Dans ce cas, il n'est pas nécessaire de se ranger sur l'accotement de la route. Le véhicule peut continuer à rouler pendant que ce message est affiché.
Dans des conditions rigoureuses, le climatiseur pourrait s'arrêter puis redémarrer plusieurs fois pour éviter une surchauffe du moteur. Lorsque la température du liquide de refroidissement diminue à une température de fonctionnement plus normale, le climatiseur redémarrera.
En présence de l'une des conditions suivantes :
- L'aiguille de l'indicateur de température du liquide de refroidissement passe dans l'arc rouge.
- Le témoin de température du liquide de refroidissement s'allume.
- Le témoin d'anomalie du moteur s'allume.
- Quittez la route des qu'il est possible et prudent de le faire et placez le levier de vitesses à la position de stationnement (P).
- Laissez le moteur tourner jusqu'à ce que l'aiguille de l'indicateur de température du liquide de refroidissement s'éloigne de la plage « H ». Si après plusieurs minutes l'aiguille demeure dans la plage « H », suivez les autres étapes.
- Arrêtez le moteur et laissez-le refroidir avant de vérifier le niveau du liquide de refroidissement.

AVERTISSEMENT: Ne retirez jamais le bouchon du vase d'expansion lorsque le moteur tourne ou est encore chaud.
- Si le niveau du liquide de refroidissement est normal, vous pouvez redémarrer le moteur et poursuivre votre route.
- Si le niveau du liquide de refroidissement est bas, faites l'appoint de liquide, redémarrez le moteur et conduisez jusqu'à un concessionnaire autorisé. Consultez la rubrique Ajout de liquide de refroidissement du présent chapitre pour obtenir plus de renseignements.
Reportez-vous à la rubrique Refroidissement à protection totale pour un supplément d'information.
À savoir à propos du circuit de refroidissement à protection totale
Ce dispositif permet de rouler sur une courte distance sans endommager le moteur de façon permanente dans le cas où le liquide de refroidissement viendrait à s’épuiser. Les distances que le « circuit à protection totale » permet de parcourir varient en fonction de la température extérieure, de la charge du véhicule et des conditions routières.
Principe de fonctionnement du circuit de refroidissement à protection totale
Si le moteur surchauffe, l'aiguille de l'indicateur de température du liquide de refroidissement passe dans la zone rouge (chaude) et :

Le témoin de température du liquide de refroidissement s'allume.

Le témoin d'anomalie du moteur s'allume.
Si le moteur atteint une température prédéterminée, il passe automatiquement à un mode de fonctionnement avec alternance des cylindres. Chaque cylindre inopérant agit alors comme une pompe à air et refroidit le moteur.
Dans un tel cas, le véhicule peut tout de même être conduit. Toutefois :
- la puissance du moteur est réduite;
- le climatiseur est désactivé.
Un fonctionnement prolongé du moteur augmentera la température du moteur. Le moteur s'arrête complètement, ce qui provoquera une augmentation de l'effort requis pour freiner et tourner le volant.
Une fois le moteur refroidi, vous pourrez redémarrer. Confiéz votre véhicule à un concessionnaire autorisé dès que possible pour minimiser les dommages au moteur.
Activation du mode de protection totale
AVERTISSEMENT: Le mode de protection totale du moteur doit être utilisé uniquement en cas d'urgence. Roulez avec le véhicule en mode de protection totale seulement aussi longtemps qu'il le faut pour immobiliser le véhicule à un endroit sûr et faites réparer le véhicule immédiatement. En mode protection totale, le véhicule aura une puissance limitée, ne pourrait rouler à vitesse élevée et pourrait s'arrêter sans avertissement, étant ainsi privé de la puissance du moteur ainsi que de l'assistance des freins et de la direction, ce qui pourrait accroître les risques d'accident et de blessures graves.
AVERTISSEMENT: Ne retirez jamais le bouchon du vase d'expansion lorsque le moteur tourne ou est encore chaud.
En mode de protection totale, la puissance du moteur est limitée ; il est donc important de conduire avec précaution. Le véhicule ne peut maintenir une vitesse élevée et le fonctionnement du moteur est irrégulier. N'oubliez pas que le moteur peut s'arrêter complètement pour éviter les dommages. Par conséquent :
- Quittez la route lorsque c'est possible et prudent de le faire et arrêtez le moteur.
- Faites remarquer dès que possible votre véhicule chez un concessionnaire autorisé.
- Si ce n'est pas possible, laissez le moteur refroidir.
- Vérifiez le niveau du liquide de refroidissement et ajoutez du liquide au besoin.
- Redémarrez le moteur et conduisez jusqu'à un concessionnaire autorisé.
Nota : Si vous conduisiez le véhicule sans faire réparer le moteur, les risques de dommages augmentent. Confiez votre véhicule à un concessionnaire autorisé dès que possible.
Vérification du niveau d'huile de la boite de vitesses
Boîte de vitesses 6F50/6F55

AVERTISSEMENT: Le bouchon de la jauge de niveau d'huile et les composants environnants peuvent être chauds; l'utilisation de gants est recommandée.

AVERTISSEMENT : Utilisez des gants pour déplacer l'ensemble du filtre à air; les composants deviennent chauds.
Nota : L'huile de boîte de vitesses automatique se dilate lorsqu'elle est chauffée. Il est préférible de vérifier le niveau d'huile de la boîte-pont à sa température normale, soit après environ 30 km (20 mi) de conduite. Si votre véhicule vient de rouler à haute vitesse pendant un certain temps ou dans la circulation urbaine par temps chaud, ou encore, s'il a été utilisé pour la traction d'une remorque, coupez le moteur et laissez l'huile refroidir avant d'en vérifier le niveau. Selon l'utilisation du véhicule, les temps de refroidissement peuvent prendre jusqu'à 30 minutes ou plus.
Respectez les intervalles de vérification et de vidange de l'huile indiqués dans le Guide d'entretien périodique. Le fonctionnement de la boîte de vitesses n'entraîne pas de consommation d'huile. Le niveau d'huile doit toutefois être vérifié si la boîte de vitesses ne fonctionne pas correctement, c'est-à-dire si elle patine, si le passage des vitesses est lent ou si vous remarquez des traces de fuite.
- Roulez sur environ 30km (20 mi) ou jusqu'à ce que l'huile atteigne sa température normale de fonctionnement.
- Arrêtez le véhicule sur une surface plane et serrez le frein de stationnement.
- Avec le frein de stationnement serré et votre pied sur la pédale de frein, faites démarrer le moteur et déplacez le levier sélecteur dans tous les rapports. Permettez un délai d'au moins 10 secondes pour que chaque rapport puisse s'engager.
- Verrouillez le levier de vitesse en position de stationnement (P) et laissez le moteur en marche.
- éhicules équipés d'un moteur EcoBoost, déplacez le filtre à air de côté pour accéder à la jauge du liquide de transmission. Pour de plus amples renseignements, reportez-vous à la rubrique Déplacement de l'ensemble de filtre à air (moteur EcoBoost).
- Installez la jauge de niveau d'huile en vous assurant qu'elle est entièrement enfoncée dans le tube de remplissage et en la tournant à la position fermée.
- Retirez-la de nouveau pour examiner le niveau du liquide. Le niveau de liquide devrait se situer dans la plage correspondant à la température normale de fonctionnement.
Déplacement de l'ensemble de filtrage à air (moteur ecoboost)

AVERTISSEMENT: Ne faites jamais tourner le moteur lorsque le filtre à air est débranché.
- Arrêtez le moteur.

- Nettoyez la zone autour du serre-joint qui fixe l'ensemble de filtrage à air au flexible de caoutchouc (1).

- Déposez le couvercle de boulon (selon l'équipement).
- Déposez les deux boulons qui fixent l'ensemble de filtration à air au devant du véhicule (2).
- Desserrez le serre-joint fixant l'ensemble de filtre à air au flexible de caoutchouc (1).
- Déposez l'agrafe de retenue du faisceau de câblage en tirant vers le haut (3). Ne débranchez pas le capteur (4).
- Sans débrancher le capteur (4), tirez l'ensemble de filtré à air vers le haut pour le débrancher des oeillets situés sous l'ensemble de filtré à air.

- Tournez l'ensemble de filtré à air de 90 degrés dans le sens contraire des aiguilles d'une montre et réinstallé-le dans le flexible de caoutchouc.
- Resserrez le serre-joint (1).
- L'indicateur de niveau d'huile de la boîte de vitesses est maintenant accessible.
Niveau d'huile trop bas

Si le niveau du liquide est inférieur au repère MIN de la jauge, ajoutez du liquide pour atteindre la zone de repère hachurée. Nota : Si le niveau
du liquide est inférieur au niveau MIN, ne conduisez pas le véhicule. Une condition de sous-remplissage peut causer des problèmes d'embrayage, de changement de vitesses et des dommages.
Niveau approprié
Il est préférible de vérifier le niveau d'huile de la boîte de vitesses sur une surface plane à une température normale de fonctionnement située entre 82°C et 93°C (180 °F et 200 °F). La température normale de fonctionnement peut être atteinte après un trajet d'environ 30 km (20 mi).

Le niveau liquide à transmission devrait se situer dans la zone hachurée lorsque la température normale de fonctionnement est
atteinte, entre 82°C et 93°C (180^ et 200°F).
Niveau d'huile trop élevé

Si le niveau du liquide est supérieur au repère MAX de la jauge, enlevez du liquide pour atteindre la zone de repère hachurée. Nota : Le niveau de
Un niveau de liquide au-dessus du niveau MAX peut causer des problèmes d'embrayage et/ou d'engagement des vitesses et/ou des dommages.
Un niveau excessif d'huile peut être causé par une surchauffe du moteur. Si votre véhicule vient de rouler à haute vitesse pendant un certain temps ou dans la circulation urbaine par temps chaud, ou encore, s'il a été utilisé pour la traction d'une remorque, coupez le moteur et attendez pour permettre à l'huile de refroidir. Selon l'utilisation du véhicule, les temps de refroidissement peuvent prendre jusqu'à 30 minutes ou plus.
Ajout d'huile pour boîte de vitesses automatique
Avant d'ajouter de l'huile, assurez-vous d'employer une huile appropriée. Le type d'huile à utiliser est indiqué généralement sur la jauge d'huile et également dans la rubrique Caractéristiques techniques dans ce chapitre.
Note : L'utilisation d'une huile non homologuée pour boîte de vitesses automatique pourrait causer des dommages aux composants internes de la boîte de vitesses.

Au besoin, ajoutez 250ml (1/2 pte) d'huile à la fois par le tube de replissage jusqu'à ce que le niveau soit approprié.

Si le niveau d'huile dépasse le repère supérieur de la jauge, faites vidanger l'excès d'huile par un concessionnaire autorisé.
Note : Un excès d'huile peut causer des problèmes de passage ou d'engagement des vitesses ainsi que des dommages.
N'utilise pas d'additifs supplémentaires d'huile pour boîte de vitesses, ni de produits de traitement de l'huile ou de nettoyage du moteur.
L'utilisation de ces produits peut modifier le fonctionnement de la boîte de vitesses et causer des dommages aux composants internes de la boîte de vitesses.
Pour les véhicules équipés d'un moteur EcoBoost MC, réinstallez l'ensemble de filtre à air.
Après que le niveau du liquide a été vérifié et ajusté comme nécessaire, faites comme suit :
- Arrêtez le moteur.
- Desserrez le serre-joint fixant l'ensemble de filtrer à air au flexible de caoutchouc.
- Tournez l'ensemble de filtre à air à 90 degrés dans le sens des aiguilles d'une montre sans débrancher le capteur.
- Remettez l'ensemble de filtré à air dans les oeillets en appuyant.
- Resserrez le serre-joint.
- Installez et resserrez les deux boulons qui fixent l'ensemble de filtre à air à l'avant du véhicule.
- Installez le couvercle de boulon (selon l'équipement).
- Réinstallez l'agrafe de retenue du faisceau à l'avant de l'ensemble de filtre à air.
Vérification du niveau du liquide de FREIN
Un niveau de liquide se situant entre les repères MIN et MAX est dans la plage normale et aucun ajout de liquide n'est nécessaire dans ce cas. Si les niveaux de liquide se trouvent hors de la plage normale, le rendement du circuit peut être compromis; faites immédiatement vérifier le véhicule par votre concessionnaire autorisé.
Vérification du niveau du liquide de direction assistée
Votre véhicule est équipé d'une direction assistée à commande électrique. Il n'y a pas de réservoir de liquide à vérifier ou à remplir.
Filtre à carburant
Votre véhicule est équipé d'un filtre à carburant de type permanent intégré au réservoir de carburant. Ce filtre ne nécessite aucun entretien périodique et n'a jamais besoin d'être remplacé.
Vérification du niveau du liquide lave-glace

AVERTISSEMENT : Si vous utilisez votre véhicule lorsque la température est inférieure à 5°C (40^), utilisez du liquide
lave-glace avec protection antigel. Si vous omettez d'utiliser ce type de liquide lave-glace par temps froid, la visibilité du pare-brise en sera affectée et les risques de blessures ou d'accidents seront accrus.
Remplissez le réservoir de liquide lave-glace lorsque le niveau est bas. Utilisez uniquement un liquide lave-glace conforme aux normes Ford. Consultez le tableau des caractéristiques techniques dans le chapitre Contenances et caractéristiques.
Note : Les circuits de lave-glace avant et arrière s'approvisionnent au même réservoir.
Il se peut que des règlements relatifs aux composés organiques volatils en vigueur dans votre région ou dans votre province restreignent l'usage du méthanol, qui est un antigel de lave-glace couramment utilisé. Les liquides lave-glaces contenant des antigels sans additifs à base de méthanol ne doivent être utilisés que s'ils sont efficaces par temps froid et s'ils ne causent pas de dommages à la fin de la peinture, aux balais d'essuie-glace ou au dispositif de lave-glace.
Replacement de la batterie du vehicule

AVERTISSEMENT : Les batteries dégagent des gaz explosifs qui peuvent causer des blessures. N'approchez donc jamais d'une étincelle ou de substance en feu près d'une batterie.
Protégez-vous toujours le visage et les yeux lorsque vous travaillez près d'une batterie. Assurez-vous que le local est bien aéré en tout temps.
AVERTISSEMENT : Lorsque vous devez soulever une batterie dont le bac est en plastique, une pression excessive sur les parois peut faire gicler l'électrolyte par la rampe de bouchons et provoquer aussi bien des blessures que des dommages au véhicule ou à la batterie. Utilisez un porte-batterie ou saisissez le bac par les coins diagonalement opposés.
AVERTISSEMENT : Gardez les batteries hors de portée des enfants. Les batteries contiennent de l'acide sulfurique, qui peut brûler la peau, les yeux et les vêtements. Protégez-vous les yeux quand vous effectuez une intervention à proximité d'une batterie. En cas d'éclaboussures d'électrolyte sur la peau ou dans les yeux, rincez immédiatement à grande eau pendant au moins 15 minutes et consultez un médecin dans les plus brefs délais. En cas d'ingestion d'électrolyte, consultez un médecin immédiatement.
AVERTISSEMENT : Les bornes de batterie, les cosses de câble et les accessoires connexes contiennent du plomb et des composés de plomb. Lavez-vous les mains après avoir manipulé de telles pièces.
La batterie sans entretien Motorcraft® de votre véhicule n'exige normalement aucun ajout d'eau pendant toute sa durée de vie utile.
Note : Si votre batterie est munie d'un couvercle protecteur, veillez à le remettre en place après avoir nettoyé ou replacé la batterie.
Pour prolonger la vie utile de la batterie, veillez à ce que le dessus du boîtier soit toujours propre et sec. De plus, assurez-vous que les câbles sont toujours fermement serrés sur les bornes de la batterie.
En cas de corrosion sur la batterie ou sur ses bornes, débranchez les cables, et nettoyez cables et bornes au moyen d'une brosse métallique. Neutralisez l'électrolyte avec une solution de bicarbonate de soude et d'eau.
Il est recommandé de débrancher le câble négatif de la batterie si vous prévoyez entreposer votre véhicule pendant une période prolongée.
Réacquisition de la batterie
Étant donné que le moteur de votre véhicule est commandé par un processeur électronique, certains régimes de commande font appel à l'alimentation électrique provenant de la batterie. Lorsque la batterie est débranchée ou qu'une nouvelle batterie est installée, le moteur doit réapprendre ses paramètres de fonctionnement au ralenti et sa stratégie d'alimentation avant de retrouver son rendement optimal. Pour amorcer ce nouvel apprentissage :
- Serrez le frein de stationnement lorsque le véhicule est à l'arrêt complet.
- Placez le levier de vitesse en position de stationnement (P). Éteignez tous les accessoires et faites démarrer le moteur.
- Laissez le moteur tourner jusqu'à ce qu'il atteigne sa température normale de fonctionnement.
- Laissez le moteur tourner au ralenti pendant au moins une minute.
- Mettez la climatisation en fonction et faites tourner le moteur au ralenti pendant au moins une minute.
- Conduisez le véhicule pour compléter le processus de réapprentissage.
- Vous devrez peut-être conduire le véhicule pour qu’il réapprenne ses paramètres de fonctionnement au ralenti et de stratégie d’alimentation.
- Nota : Si vous ne permettez pas au moteur de réapprendre ses paramètres de fonctionnement au ralenti, la qualité du ralenti pourrait être compromise jusqu'à l'exécution de ce réapprentissage.
Lorsque la batterie est débranchée ou qu’une nouvelle batterie est posée, la boîte de vitesses doit réapprendre sa stratégie adaptative. Pour cette raison, il se peut que le passage des vitesses manque de souplesse au début. Cette situation est normale et ne nuit ni au fonctionnement ni à la longévité de la boîte de vitesses. Avec le temps, la stratégie adaptative permettra à la boîte de vitesses de retrouver sa souplesse de fonctionnement.
Si la batterie est débranchée ou si une nouvelle batterie est installée, l'horloge et les stations de radio mises en mémoire doivent être reprogrammées après le branchement de la batterie.
La mise au rebut des batteries d'automobile doit toujours être effectuée de manière responsable. Respectez les réglements en vigueur dans votre région. Adressez-vous à votre centre de recyclage local pour obtenir de plus amples renseignements concernant le recyclage des batteries d'automobile.
Vérification des BALAIS d'essuie-glace

Passez le bout de vos doigts sur le bord du balai pour vérifier la présence de rugosité.
Nettoyez les balais d'essuie-glace à l'aide d'une éponge ou d'un chiffon imbibé de liquide lave-glace ou d'eau.
Reemplacement des BALAIS d'essuie-glace

- Éloignez du pare-brise le bras d'essuie-glace. Placez le balai en angle par rapport au bras d'essuie-glace. Appuyez sur la patte de blocage pour dégager le balai et tirez ce dernier vers le bas en direction du pare-brise pour le retarder du bras d'essuie-glace.
- Fixez le nouvel essuie-glace sur le bras d'essuie-glace et appuyez pour le mettre en place jusqu'à ce que vous entendiez un déclic.
Remplacez les balais d'essuie-glace au moins une fois l'an pour obtenir un rendement optimal.
Le rendement des essuie-glaces peut être amélioré en nettoyant les balais d'essuie-glaces et le pare-brise.
Pour prolonger la durée de vie des balais d'essuie-glace, il est recommandé de déloger la glace accumulée sur le pare-brise avant d'actionner les essuie-glaces. La couche de glace qui se forme sur le pare-brise comporte plusieurs arêtes vives qui peuvent endommager le fin rebord des lames de caoutchouc.
Remplacement du balai d'essuie-glace de lunette
Pour remplacer le balai d'essuie-glace de lunette :

- D'une main, saisissez le bras d'essuie-glace près du point d'attache du balai et tirez-le pour l'écarter le plus possible du pare-brise. Ne forcez
- De l'autre main, saisissez le corps du balai, près de son point d'attache sur le bras d'essuie-glace.

- Le bras d'essuie-glace a une caractéristique de fixation par enclenchement pouvant recevoir une contre-goupille provenant de la structure du balai d'essuie-glace. Maintenez fermement le corps du
balai et poursuivez sous le point d'attache pour séparer le balai du bras d'essuie-glace. Évitez de tourner la structure du balai d'essuie-glace et de placer votre main gauche entre le bras d'essuie-glace et le balai.
- Fixez le nouvel essuie-glace sur le bras d'essuie-glace et appuyez pour le mettre en place jusqu'à ce que vous entendiez un déclic.
Consultez votre concessionnaire si cette intervention s'avère trop difficile.
Vérification du filtre à air

AVERTISSEMENT : Pour éviter d'endommager le véhicule ou de subir des brûlures, ne faites pas démarrer le moteur lorsque le filtré à air est retiré et ne retirez pas le filtré à air lorsque le moteur est en marche.
Remplacez le filtre à air uniquement par un filtre à air recommandé. Consultez la rubrique Références pièces Motorcraft® dans le chapitre Contenances et caractéristiques.
Pour les véhicules à moteur EcoBoost : Lors de l'entretien du filtre à air, il est important qu'aucun corps étranger ne pénétre dans le circuit d'admission d'air. Même les petites particules sont susceptibles d'endommager le moteur et le turbocompresseur.
Consultez le chapitre Entretien périodique pour connaître les intervalles appropriés de remplacement de l'élément de filtre à air.
Note : L'utilisation d'un filtre à air non approprié risque d'endommager gravement le moteur. La garantie risque d'être annulée en cas de dommages au moteur si un filtre à air inapproprié est utilisé.
Remplacement du filtre à air

- Sur le côté du passager du boîtier de filtre à air, détachez les agrafes et soulevez le couvercle du boîtier de filtre à air.

- Soulevez le couvercle du côté passager et poussez le couvercle vers le côté passager. Détachez les trois pattes des fentes du couvercle du côté conducteur du boîtier.
- Séparez soigneusement le couvercle du boîtier.
- Retirez le filtre du boîtier.
- Essuyez le couvercle et le boîtier du filtre
- Posez un filtre à air neuf. Prenez soin de ne pas coincer les bords du filtre entre le boîtier et le couvercle. Le filtre it directement dans le moteur.
- Abaissez le couvercle du côté conducteur et faites glisser les trois pattes dans les trois fentes du boîtier.
- Abaissez le côté du passager du couvercle. Mettez en place les deux agrafes pour fixer le couvercle au boîtier.
Réglage des PHARES
Les phares de votre véhicule ont été correctement régés à l'usine. Si leur véhicule a été accidenté, le réglage des phares doit être vérifié par un concessionnaire autorisé.
Réglage vertical
- Stationnez le véhicule directement devant un mur ou un écran sur une surface plane, à environ 7,6 m (25 pi).

(1) 2,4m (8 pi) (2) Hauteur du centre du phare au sol (3) 7,6m (25 pi) (4) Ligne de repère horizontalie
- Mesurez la hauteur entre le centre de l'ampoule du phare et le sol, puis tracez une ligne horizontalement (une bande de ruban adhésif convient très bien) de 2,4 m (8 pi)
sur le mur ou sur la surface verticale. Un cercle de 3 mm sur la lentille du phare désigne le centre du phare.
- Allumez les phares pour éclairer le mur ou la surface verticale et ouvrez le capot.
Pour voir le faisceau de lumière lors du réglage d'un phare, vous pouvez obstrurer le phare opposé.

Sur la paroi ou sur la surface, vous remarquerez une zone lumineuse de haute intensité en haut à droite du faisceau lumineux. Si le rebord supérieur de la zone lumineuse de haute intensité ne se trouve pas au niveau de la ligne de repère horizontale, il faut régler le phare.
- Repérez le régleur vertical de chaque phare. Tournez la vis de réglage dans l'un ou l'autre sens avec un tournevis Phillips n°2 pour régler le phare dans le sens vertical. La couronne horizontale de la zone à haute intensité doit toucher la ligne de repère horizontale.

- Fermez le capot et éteignez les phares.
LE RÉGLAGE HORIZONTAL DES PHARES DE CE VÉHICULE N'EST PAS REQUIS ET NE PEUT PAS ÉTRE EFFECTUÉ.
Condensation dans les blocs optiques
Les phares sont ventilés afin d'en équilibrer la pression interne. De la condensation peut se former naturellement dans ce type de phare. Lorsque l'air humide pénétre dans les phares par les évents, de la condensation peut s'y former par temps froid. Lorsque la condensation se forme, une fine buée peut apparaître à l'intérieur de la lentille. Durant le fonctionnement normal des phares, cette fine buée est éventuellement dissipée et s'échappe par les évents. La dissipation de la bruine peut demander jusqu'à 48 heures en conditions météorologiques sèches.
Exemples de condensation acceptable :
- Présence de fine buée (aucune trainée, trace ou gouttelette).
- Fine buée couvrant moins de 50% de la lentille.
Exemples de condensation inacceptable (provenant généralement d'une accumulation d'eau dans le phare):
- Accumulation d'eau dans le phare.
- Présence de grosses gouttes d'eau, trainées ou traces à l'intérieur de la lentille.
Faites vérifier votre véhicule par un concessionnaire si vous constatez la présence de condensation inacceptable dans les phares.
Remplacement des ampoules de phare

AVERTISSEMENT: Manipulez les ampoules des phares à halogène avec soin et gardez-les hors de la portée des enfants.
Tenez l'ampoule uniquement par sa base de plastique et n'en touchez pas le verre. L'huile qui se trouve naturellement sur vos mains provoquerait le bris de l'ampoule au moment d'allumer les phares.
Note : Si vous touchez l'ampoule par inadvertance, essuyez-la avec un chiffon imbibé d'alcool avant de l'utiliser.
- Assurez-vous que le commutateur d'éclairage est à la position hors fonction, puis ouvrez le capot.
- Accédez à l'arrière du phare pour atteindre les douilles et les connecteurs des ampoules.
- Repérez le connecteur électrique d'ampoule de feu de route/feu de croisement et retirez-le en serrant la patte de verrouillage et en le tirant tout droit.

- Retirez la douille de l'ampoule en la tournant dans le sens inverse des aiguilles d'une montre, puis en la tirant en ligne droite.
Suivez ces étapes dans l'ordre inverse pour installer la ou les nouvelles ampoules.
Remplacement des ampoules de phares avec lampes à décharge (selon l'équipement)
Les phares de votre véhicule utilisent une alimentation de type à décharge à haute intensité. Ces ampoules utilisent une tension élevée. Lorsqu'elles sont grillées, l'ampoule et la capsule d'amorçage doivent être remplacées par votre concessionnaire.
Remplacement des ampoules des yeux de position avant et des clignotants avant
- Assurez-vous que le commutateur d'éclairage est à la position hors fonction, puis ouvrez le capot.
- Glissez la main derrière le bloc optique pour accéder aux douilles d'ampoule.

- Retirez la douille de l'ampoule en la tournant dans le sens inverse des aiguilles d'une montre, puis en la tirant en ligne droite.
- Pour retirer l'ampoule, tirez-la en ligne droite à l'extérieur de la douille.
Suivez ces étapes dans l'ordre inverse pour installer la ou les nouvelles ampoules.
Remplacement des ampoules des antibrouillards
- Assurez-vous que la commande des antibrouillards est à la position hors fonction.

- Sous le véhicule, retirez partiellement l'écran pare-boue de la roue en dévissant les quatre vis du panneau inférieur.
Le panneau de l'écran pare-boue peut maintenant être repositionné pour permettre d'accéder à l'ampoule d'antibrouillard avant et au faisceau de câblage électrique.

- Débranchez le connecteur du faisceau de câblage de la douille d'ampoule en libérant les deux agrafes.
- Faites tourner l'ampoule dans le sens contraire des aiguilles d'une montre pour l'extraire de l'antibrouillard.
Suivez ces étapes dans l'ordre inverse pour installer la nouvelle ampoule.
Remplacement des ampoules des feux de freinage, des feux arrêtés, des clignotants, des phares de recul et des feux de position latéraux arrêtés
Les ampoules des feux de freinage, des feux arrière, des clignotants, des phares de recul et des feux de position latéraux arrière sont situées dans le bloc optique arrière.
Nota : Notre véhicule peut être équipé de feux de freinage, de feux de position, de clignotants, de feux de position latéraux composés d'un module à diodes électroluminescentes (DEL). S'ils doivent être remplacés, consultez notre concessionnaire autorisé.

A. Feux de recul B. Feux de freinage, feux arrière et clignotants C. Feux de position latéraux D. Feux arrêté supplémentaires
- Assurez-vous que le commutateur d'éclairage est à la position d'arrêt, puis ouvrez le hayon.
- éhicule. En tirant, les deux fixations à pression sur le côté du véhicule se libèrent.
- Retirez la douille de l'ampoule en la tournant dans le sens inverse des aiguilles d'une montre, puis en la tirant hors du bloc optique.
- Tirez l'ampoule directement hors de la douille.
Suivez ces étapes dans l'ordre inverse pour installer la ou les nouvelles ampoules.
Remplacement de l'ampoule du troisième feu de freinage
Votre véhicule est équipé d'un troisième feu d'arrêt à diode électroluminescente. Ce feu est conçu pour durer aussi longtemps que votre véhicule. Il est recommandé de consulter votre concessionnaire autorisé s'il doit être remplacé.
Remplacement des ampoules d'éclairage de la plaque d'immatriculation
- Assurez-vous que le commutateur d'éclairage est à la position Hors fonction.

- Retirez les deux vis et le bloc optique de la plaque d'immatriculation du hayon.

- Tirez l'ampoule hors du bloc optique, sans la tourner.
Suivez ces étapes dans l'ordre inverse pour installer la ou les nouvelles ampoules.
Tableeau des specifications des ampoules
Les ampoules de rechange à utiliser sont indiquées dans le tableau ci-dessous. Les ampoules des phares doivent porter la mention « D. O. T. » pour l'Amérique du Nord ou la mention « E » pour l'Europe, appellations qui assurent le bon rendement du phare, la puissance du faisceau lumineux et une bonne visibilité. Les ampoules appropriées n'endommagent pas le bloc optique, ne risquent pas d'annuler la garantie de celui-ci et offrent un éclairage ajustat de longue durée.
| Fonction | Nombre d'ampoules | Numéro commercial |
| Phares | 2 | 9008 H13 |
| 2 | D3 HID (option) | |
| Feux de position/clignotants avant | 4 | 3157NA |
| * Feux de position latéraux avant | s.o. | DEL |
| Antibrouillards | 2 | H11 |
| Lampe de lecture | 2 | 12V6W |
| Plafonnier et lampes de lecture | 6 | 578 |
| Feux arrêté/feux stop/clignotants | 2 | 3157K |
| s.o. | *DEL (en option) | |
| Feux arrêté supplémentaires | 2 | 194 |
| Feu de position latéral arrêté | 2 | 194 |
| s.o. | *DEL (en option) | |
| Feux de recul | 2 | 921 |
| Éclairage de la plaque d'immatriculation | 2 | C5WL |
| *Troisième feu de freinage | s.o. | DEL |
| Faites replacer toutes les ampoules du tableau de bord par votre concessionnaire autorisé. *Pour replacer ces ampoules, consultez votre concessionnaire autorisé. | ||
Généralités
Votre concessionnaire Ford ou Lincoln offre une vaste sélection de produits de nettoyage et de produits de protection pour le fini de votre véhicule.
Produits de nettoyage
Pour obtenir plusieurs résultats, utilisez les produits suivants ou des produits de qualité équivalente :
Dissolvant de goudron et éliminateur d'insectes Motorcraft® (ZC-42).
Nettoyant pour métal brillant spécial Motorcraft® (ZC-15).
Chiffon à épousseter Motorcraft® (ZC-24).
Shampooing et dégraissant pour moteurs Motorcraft® (É.-U. seulement) (ZC-20).
Shampooing pour moteurs Motorcraft® (Canada seulement) (CXC-66-A).
Nettoyant tout usage Motorcraft® (Canada seulement) (CXC-101).
Nettoie-vitres Premium Motorcraft® (Canada) (CXC-100).
Liquide lave-glace de qualité supérieure Motorcraft® (Canada) (CXC-37-[A, B, D ou F]).
Concentré de liquide lave-glace de première qualité Motorcraft® (É.-U. seulement) (ZC-32-A1 ou ZC-32-B1)
Nettoyant professionnel pour tapis et tissus Motorcraft® (ZC-54).
Détergeant Motorcraft® (É.-U. seulement) (ZC-14).
Nettoye-vitres Motorcraft® Ultra-Clear en aérosol (ZC-23).
Nettoyant pour vinyle Motorcraft® (Canada seulement) (CXC-93).
Nettoyant pour roues et pneus Motorcraft® (ZC-37-A).
Nettoyage de l'extérieur du véhicule
Lavez votre véhicule régulièrement avec de l'eau froide ou tiède et un shampooing au pH neutre, tel que le shampooing superfin Motorcraft®.
- N'utilise jamais de détergent ou de savon domestique puissant tel que le savon pour lave-vaisselle ou le détergent à lessive liquide. Ces produits peuvent décolorer et tacher les surfaces peintes.
- Ne lavez jamais votre véhicule lorsqu'il est chaud au toucher ou lorsqu'il se trouve en plein soleil.
- Séchez le véhicule à l'aide d'un chamois ou d'un tissu-éponge doux afin d’éliminer les taches d’eau.
- Nettoyez immédiatement les traces d’essence, de carburant diesel, les fientes d’oiseaux et les traces d’insectes, car ils peuvent endommager la peinture du véhicule et même l’écailler avec le temps. Utilisez le dissolvant de goudron et éliminateur d’insectes Motorcraft®.
- Note : Les lotions solaires et les produits pour éloigner les insectes peuvent endommager toute surface peinte ; si de telles substances entrent en contact avec votre véhicule, lavez-le dès que possible.
- Avant de pénétrer dans un lave-auto, enlevez tous les accessoires extérieurs.
Éléments extérieurs chromés
Nota : N'utilisez pas de produits abrasifs tels qu'une laine d'acier ou des tampons à récurer en plastique car ils peuvent rayer les surfaces chromées.
Nota : N'utilisez pas de produit de nettoyage pour chrome, de nettoyant pour métal ou de produit à polir sur les roues et les enjoliveurs.
- Lavez d'abord le véhicule à l'eau froide ou tiède à l'aide d'un shampooing au pH neutre, tel que le shampooing superfin Motorcraft®.
- Utilisez le nettoyant pour métal brillant spécial Motorcraft®. Appliquez le produit comme une cire pour nettoyer les pare-chocs et les autres parties chromées. Laissez le nettoyant sécher pendant quelques minutes, puis essuyez le voile avec un chiffon propre et sec.
- N'appliquez pas le produit de nettoyage sur les surfaces chaudes et ne laissez pas le produit sur les surfaces chromées pendant une période de temps dépassant celle recommandée.
- Note : L'utilisation de produits de nettoyage autres que ceux recommandés peut entraîner des dommages esthétiques importants et permanents.
Soubassement
Rincez fréquemment la totalité du soubassement du véhicule. Assurez-vous de retirer les saletés accumulées dans les orifices de drainage de la carrosserie et des portes.
Nettoyage des pièces extérieures en plastique
N'utilisez que des produits approuvés pour nettoyer les pièces en plastique.
- Pour le nettoyage de routine, utilisez le shampooing superfin Motorcraft®.
- En présence de taches de goudron ou de graisse, utilisez le dissolvant de goudron et éliminateur d'insectes Motorcraft®.
Lustrage
- Lavez d'abord le véhicule.
- Utilisez une cire de qualité qui ne contient pas de produits abrasifs.
- Veillez à ce que l’enduit protecteur n’entre pas en contact avec les garnitures d’un noir peu lustré qui ne font pas partie de la carrosserie (poignées de porte à surface granuleuse, porte-bagages, pare-chocs, moulures latérales, boîtiers de miroirs ou zone de l’auvent du pare-brise). Avec le temps, l’enduit protecteur causera une décoloration de ces pièces ou les tachera.
Réparation des dommages mineurs à la peinture
De la peinture de retouche dont la couleur est identique à celle de votre véhicule est disponible chez votre concessionnaire autorisé. Indiquez le code de couleur (indiqué sur une étiquette apposée sur le montant de la porte du conducteur) à votre concessionnaire autorisé pour être sûr d'obtenir la couleur exacte.
- Enlevez les particules comme les fientes d'oiseau, la sève d'arbre, les restes d'insectes, les taches de goudron, le sel et les retombées industrielles avant de réparer la peinture écaillée.
- Assurez-vous de toujours suivre les instructions avant d'utiliser ces produits.
Nettoyage du moteur
Un moteur propre fournit un meilleur rendement. En effet, les accumulations de graisse et de poussière agissent comme un isolant qui empêche le refroidissement du moteur.
Lors du nettoyage :
- Faites preuve de prudence lors de l'utilisation d'un appareil de lavage à pression pour nettoyer le moteur ; le liquide à haute pression peut pénétrer dans les pièces scellées et causer des dommages ;
- pour éviter tout risque de férule du bloc-moteur ou d'autres composants du moteur, ne pulvérisez jamais d'eau froide sur un moteur encore chaud;
- pulvérisez le shampoing et dégraissant pour moteur Motorcraft® sur toutes les piè
- ne lavez ni ne rincez jamais un moteur chaud ou en marche; l'infiltration d'eau dans le moteur pourrait causer des dommages internes:
- ne lavez ni ne rincez jamais une bobine d'allumage, un câble de bougie d'allumage ou un orifice de bougie, ni la zone entourant l'emplacement d'assemblage:
- Couvre la batterie, le boîtier de distribution électrique et l'ensemble de filtre à air pour éviter les dommages causés par l'eau lors du nettoyage du moteur.
Nettoyage des GLACES et des BALAIS d'essuie-glace
Les glaces et les balais d'essuie-glace doivent être nettoyés régulièrement. Si le balayage des essuie-glaces ne s'effectue pas correctement, la présence de substances sur le pare-brise ou sur les balais d'essuie-glace peut provoquer un son de raclement ou de sifflement et laisser des trainées ou des souillures sur le pare-brise. Pour nettoyer les balais d'essuie-glace, veuillez suivre les instructions suivantes :
- Les glaces peuvent être nettoyées à l'aide d'un détergent non abrasif comme le Nettoie-vitres Ultra-Clear en aérosol Motorcraft®.
- Vous pouvez nettoyer les balais d'essuie-glace avec de l'alcool isopropylique (alcool à friction) ou un concentré de liquide lave-glace, Motorcraft® Premium aux É.-U. ou du liquide lave-glace de première qualité au Canada. Assurez-vous de replacer les balais d'essuie-glace lorsqu'ils semblent usés ou qu'ils ne fonctionnent pas correctement.
- N'utilisez pas d'abrasifs, car ils peuvent provoquer des rayures.
- N'utilisez pas d'essence, de kérosène ni de diluant pour peinture pour le nettoyage de ces pièces.
Si vous ne pouvez pas éliminer ces trainées au moyen du nettoie-vitres ou si les essuie-glaces crissent et se déplacent irrégulièrement, nettoyez la surface extérieure du pare-brise et les balais d'essuie-glace à l'aide d'une éponge ou d'un chiffon doux et un détergent neutre ou un produit abrasif doux. Après le nettoyage, rincez le pare-brise et les balais d'essuie-glace avec de l'eau propre. Le pare-brise est propre si aucune perle ne se forme lorsque vous le rincez avec de l'eau.
Note : N'utilisez pas d'objets tranchants, tels qu'une lame de rasoir, pour nettoyer l'intérieur de la lunette arrière ou pour retirer des autocollants car vous pourriez ainsi endommager la grille chauffante du dégivreur.
Nettoyage de l'habitacle

AVERTISSEMENT: N'utilisez pas d'agents de blanchiment, de colorants ou d'autres solvants pour nettoyer les ceintures de te. En effet, de tels produits pourraient causer l'usure des ces.

AVERTISSEMENT : N'utilisez pas de solvants chimiques ni de puissants détergents sur les véhicules dotés de sacs gonflables latéraux. Ces produits peuvent contaminer le sac gonflable létal et au fonctionnement du sac en cas de collision.
Pour les garnitures intérieures, les tapis, les sièges en tissu, les ceintures de sécurité et les sièges munis de sacs gonflables latéraux, faites ce qui suit :
- Enlevez la poussière et la saleté au moyen d'un aspirateur.
- Pour enlever les taches légères et les saletés, utilisez le nettoyant professionnel pour tapis et tissus Motorcraft®.
- Si le tissu est taché de graissé ou de goudron, nettoyez d'abord la zone souillée avec le détachant Motorcraft®. Au Canada, utilisez le nettoyant multiusage Motorcraft®.
- Si une tache se forme sur le tissu après le détachage, nettoyez immédiatement la région entière (sans la sursaturer) ; sinon, la tache demeurera.
- N'utilisez pas de produits nettoyants domestiques ou de nettoyants à partir de lui puisqu'ils risquent de tacher et de décolorer les tissus et de réduire les propriétés ignifuges du revêtement des sièges.
Nettoyage du tableau de BORD et de la lentille du GROUPE d'instruments

AVERTISSEMENT : N'utilisez pas de solvants chimiques ni de détergents puissants pour nettoyer le volant ou le tableau de bord afin d'éviter de contaminer le système de sacs gonflables.
Nettoyez le tableau de bord et le verre du tableau de bord à l'aide d’un chiffon de coton blanc, propre et humide, puis séchez ces surfaces avec un chiffon sec de coton blanc.
- Évitez les nettoyants ou les produits à polir qui augmentent le lustre de la partie supérieure du tableau de bord. Le fini mat de cette zone aide à protéger le conducteur des reflets nuisibles du pare-brise.
- Lavez-vous ou essuyez-vous soigneusement les mains si vous avez touché certains produits comme des lotions solaires et insectifuges, afin d’éviter d’endommager les surfaces peintes de l’habitacle.
- N'utilisez pas de produit de nettoyage pour l'entretien ménager ni de nettoye-vitres car ils pourraient endommager le fini du tableau de bord, des garnitures intérieures et les lentilles du tableau de bord.
- Veillez à ne pas renverser des purificateurs d'air et des assainisseurs à mains sur les surfaces intérieures. En cas de déversement, nettoyez la surface touchée immédiatement. Les dommages pourraient ne pas être couverts par la garantie.
Si vous avez répandu sur la planche de bord ou sur les garnitures intérieures un liquide qui laisse des taches, par exemple du café ou du jus de fruits, nettoyez comme suit :
- Essuyez le liquide déversé avec un chiffon de coton blanc propre.
- Essuyez la surface avec un chiffon doux et humide. Pour nettoyer plus en profondeur, utilisez une solution d'eau savonneuse. Si la tache refuse de disparaître complètement avec cette méthode, utilisez un produit nettoyant de type commercial pour les intérieurs d'automobile.
- Si nécessaire, appliquez plus d'eau savonneuse ou de produit nettoyant sur un chiffon en coton blanc propre, pressez le chiffon sur l'endroit souillé et laissez reposer à température ambiante pendant 30 minutes.
- Retirez le chiffon imbibé et, s'il n'est pas excessivement taché, utilisez-le pour frotter la surface d'un mouvement circulaire pendant une minute.
- Essuyez ensuite la surface avec un chiffon de coton blanc propre.
Nettoyage des sièges en CUIR (SELON l'équipement)
- Enlevez la poussière et la saleté au moyen d'un aspirateur.
- Nettoyez les liquides renversés et les taches dès que possible.
- Pour les nettoyages ordinaires, essuyez les surfaces avec un chiffon doux et humide. Pour les nettoyages plus complets, utilisez un savon doux avec de l'eau. Au Canada, utilisez le nettoyant pour vinyle Motorcraft®. Séchez avec un chiffon doux.
- Si le cuir ne peut être complètement nettoyé avec de l'eau et un savon doux, utilisez un produit nettoyant pour cuir de type commercial conçu pour les intérieurs d'automobile.
- Pour vérifier si le produit est approprié, testez d'abord tout détachant sur un endroit non visible du cuir.
- N'utilisez pas de produit de nettoyage domestique, de mélange à base d'alcool, de solvant, de produit conçu pour le nettoyage du caoutchouc, du vinyle ou des matières plastiques ni de revitalisant pour cuir à base de pétrole. Ces produits peuvent provoquer une usure prématurée ou endommager le cuir.
Nettoyage des ROUES en alliage
Note : N'utilisez pas de produit de nettoyage pour chrome, de nettoyant pour métal ou de produit à polir sur les roues et les enjoliveurs.
Les jantes et les enjoliveurs en aluminium sont recouverts d'un enduit de finition lustré. Afin de garder leur lustre, faites ce qui suit:
- Nettoyez-les une fois par semaine avec le nettoyant pour roues et pneus Motorcraft®. Les accumulations de saleté et de poussière produit par les freins peuvent être nettoyées à l'aide d'une éponge. Rincez ensuite à l'aide d'un fort jet d'eau.
- N'appliquez jamais de produit de nettoyage chimique sur des jantes ou des enjoleurs chauds ou tièdes.
- Certains lave-automatiques peuvent endommager l'enduit de finition lustré des jantes et des enjoliveurs de votre véhicule. L'application de nettoyants chimiques combinée à l'action d'un rouleau pour enlever la poussière et la saleté peut causer, avec le temps, une usure de l'enduit de finition lustré.
- N'utilise pas de nettoyants pour roues à l'acide fluorhydrique ou hautement corrosifs, de laine d'acier, d'essence ou des détergents domestiques puissants.
- Pour enlever le goudron et la graisse, utilisez le dissolvant de goudron et éliminateur d'insectes Motorcraft®.
Entreposage du vehicule
Si vous prévoyez entreposer votre véhicule pendant une période prolongée (au moins 30 jours), consultez les recommandations d'entretien suivantes pour vous assurer que votre véhicule demeure toujours en bon état de fonctionnement.
Tous les véhicules automobiles et leurs composants ont été conçus et mis à l'essai dans des conditions de conduite fiable et normale. Un entreposage prolongé peut entraîner la dégradation ou la défaillance de certains composants, à moins de précautions spéciales pour protéger les composants.
Généralités
- Entreposez tous les véhicules dans un lieu sec et ventilé.
- Protégez le véhicule de la lumière du soleil, si possible.
- Si les véhicules sont entreposés à l'extérieur, ils exigent un entretien régulier pour les protéger contre la rouille et les dommages.
Carrosserie
- Lavez le véhicule à fond pour enlever la saleté, la graisse, le pétrole, le goudron ou la boue des surfaces extérieures, le carter des roues arrière et le dessous des ailes avant.
- Lavez périodiquement les véhicules entreprises dans les endroits exposés.
- Retouchez le métal brut ou apprêté pour prévenir la rouille.
- Recouvre les parties chromées et en acier inoxydable d'une épaisse couche de cire automobile pour éviter la décoloration. Appliquez à nouveau de la cire, au besoin, lorsque le véhicule a été lavé.
- Lubrifiez la fermeture de capot, toutes les fermetures de portes et les charnières du coffre avec une huile légère.
- Recouvre les garnitures intérieures pour éviter leur décoloration.
- Gardez toutes les pièces de caoutchouc libres d’huile ou de solvants.
Moteur
- L'huile moteur et le filtre doivent être changés avant l'entreposage, car l'huile moteur usée contient des contaminants qui peuvent endommager le moteur.
- Démarrez le moteur tous les 15 jours. Faites-le tourner au régime d'idle élevé jusqu'à ce qu'il atteigne la température de fonctionnement normale.
- Avec votre pied sur le frein, effectuez les changements de vitesses en passant par tous les rapports alors que le moteur tourne.
Circuit d'alimentation
- Remplissez le réservoir avec du carburant de haute qualité jusqu'à ce que le premier système d'arrêt automatique de la pompe à carburant s'active.
Note : Pendant les périodes prolongées d'entreposage du véhicule (30 jours ou plus), le carburant peut se détériorer en raison de l'oxydation. Ajoutez un stabilisateur d'essence de qualité au circuit d'alimentation du véhicule lorsque les périodes véritables ou prévues d'entreposage dépassent 30 jours. Suivez les instructions sur l'étiquette de l'additif. Le véhicule doit alors fonctionner au régime ralenti pour permettre à l'additif de circuler à travers le circuit d'alimentation.
Circuit de refroidissement
- Protégez-le contre le gel.
- En sortant le véhicule de l'entrepôt, vérifie le niveau de liquide de refroidissement. Confirmez qu'il n'y a aucune fuite et que le liquide de refroidissement est au niveau recommandé.
Batterie
- Vérifiez et rechargez, au besoin. Les bornes doivent être propres.
- Si vous entreposez votre véhicule pendant plus de 30 jours sans recharger la batterie, il serait préférable de débrancher les câbles de la batterie pour vous assurer de maintenir sa charge en cas de démarrage rapide.
Note : Si les câbles de la batterie sont débranchés, il sera nécessaire de réinitialiser les fonctions de mémoire.
Freins
Assurez-vous que les freins et le frein à main sont entièrement relâchés.
Pneus
- Maintenez la pression d'air recommandée.
Divers
Assurez-vous que toutes les tringleries, les câbles, les leviers et les goupilles sous le véhicule sont couverts avec de la graisse pour empêcher la rouille de se propager. - Déplacez les véhicules d'au moins 8 m (25 pi) tous les 15 jours pour lubrifier les parties mobiles et empêcher la corrosion.
Sortir le véhicule de l'entreposage
Quand votre véhicule est prêt à sortir de l'entreposage, faites comme suit :
- Lavez votre véhicule pour enlever toutes saletés ou accumulations de graisse sur les surfaces vitrées.
- Vérifiez les essuie-glaces pour tout signe de détérioration.
- Vérifiez sous le capot pour déceler tout corps étranger qui pourrait s'être accumulé durant l'entreposage (nids de souris/écureuil).
- Vérifiez l'échéancier pour tout corps étranger qui pourrait s'être infiltré lors de l'entreposage.
- Vérifiez le niveau de pression de gonflage des pneus et respectez les niveaux de gonflage recommandés sur l'étiquette des pneus.
- Vérifiez le fonctionnement de la pédale de frein. Conduisez le véhicule sur une distance de 4,5m (15 pi) en avançant d'abord, puis en reculant pour éliminer l'accumulation de rouille.
- Vérifiez les niveaux de liquide (y compris le liquide de refroidissement, l'huile et le carburant), assurez-vous qu'il n'y a pas de fuite et que les liquides sont aux niveaux recommandés.
- Si la batterie a été enlevée, nettoyez les extrémités des câbles de batterie et inspectez-la.
Communiquez avec votre concessionnaire autorisé pour tous problèmes.
Avis aux propriétaires de véhicules utilisés sport

La conduite d'un véhicule utilisé sport différent de celle d'une voiture de tourisme dans des conditions de conduite sur route, sur autoroute et hors route. Les véhicules utilisaires sport ne sont pas conçus pour prendre des virages à haute vitesse comme peuvent le faire les voitures
de tourisme, au même titre que les voitures de sport surbaissées ne sont pas conçues pour la conduite hors route.

AVERTISSEMENT : Les véhicules utilitaires sport ont un taux de capotage significativement plus élevé que pour les autres
types de véhicules. Afin de réduire les risques de blessures graves ou de mort en cas de capotage ou autre accident, vous devez :
- éviter les virages serrés et les manœuvres brusques;
- conduire à une vitesse sécuritaire appropriée aux conditions de la route;
- gonfler les pneus; ajustement;
- ne jamais surcharger ou charger incorrectement votre véhicule;
- vous assurer que tous les passagers sont correctement retenus.

AVERTISSEMENT : En cas de capotage du véhicule, les risques de blessures mortelles sont nettement plus grands pour une
personne qui ne porte pas sa ceinture de sécurité que pour une personne qui la porte. Tous les occupants doivent boucler leur ceinture de sécurité. Les enfants et les bébés doivent être retenus ajustement par un dispositif conçu à leur intention afin de réduire les risques de blessures ou d'éjection du véhicule.
Consultez votre manuel du propriétaire pour obtenir des renseignements pertinents sur les caractéristiques de l'équipement, des directives pour la conduite sécuritaire et des précautions supplémentaires permettant de réduire les risques d'accident ou de blessures graves.
Traction intégrale (selon l'équipement)
AVERTISSEMENT: Ne vous montrez jamais trop confiant quant aux capacités des véhicules à traction intégrale. Bien qu'un véhicule à traction intégrale puisse mieux accélérer qu'un véhicule à deux roues motrices quand l'adhérence est faible, il ne s'arrête pas plus vite que lui. Conduisez toujours à une vitesse sécuritaire.
Nota : Notre véhicule à traction intégrale n'est pas conçu pour une utilisation hors route. La traction intégrale assure à votre véhicule certaines possibilités limitées pour la conduite hors route, à condition que la surface soit plane, exempte d'obstacles et qu'elle présente des conditions de conduite similaires aux conditions de conduite sur route normales. La conduite de votre véhicule dans des conditions différentes pourrait imposer un stress excessif au véhicule qui risquerait de causer des dommages non couverts par votre garantie.
Avec l'option de traction intégrale, la puissance est fournie aux roues avant et distribuée aux roues arrière selon les besoins. L'adhérence est ainsi accrue, ce qui peut vous permettre de conduire sur des terrains ou dans des conditions routières que les véhicules à 2 roues motrices doivent généralement éviter. La traction intégrale est activée en tout temps et ne nécessite aucune action du conducteur.
Si votre véhicule est équipé d'un système à traction intégrale, ne remplacez jamais une des roues d'origine par une roue de secours de dimension différente. Une roue de secours de taille différente (autre que la roue de secours fournie) ou une différence importante de roue entre les essieux avant et arrière pourrait entraîner la désactivation de la traction intégrale et le passage au mode de traction avant par défaut.
Ce en quoi votre véhicule diffère des autres véhicules

Les véhicules utilisables sport peuvent partager des différences majeures par rapport aux autres types de véhicules. Notre véhicule peut être:
- plus haut - pour permettre une plus grande capacité de charge;
- plus court - pour pouvoir aborder des pentes raides; Si toutes les conditions sont identiques, un véhicule avec un empattement court peut réagir plus rapidement aux manœuvres du volant;
- plus étroit - pour améliorer la manœuvrabilité dans les passages étroits.
En raison des différences dimensionnelles indiquées ci-dessus, les véhicules utilitaires sport ont souvent un centre de gravité plus élevé et une différence de centre de gravité plus grande entre l'état charge et l'état décharge.
Ces caractéristiques, qui rendent votre véhicule plus polyvalent qu'un véhicule classique, peuvent aussi AMDRE sa maniabilité très différente de celle d'une voiture conventionnelle.
Information sur l'indice de qualité uniforme des pneus

Les indices de qualité des pneus concernent les pneus neufs dédiés aux voitures de tourisme. L'indice de qualité se trouve, le cas échéant, sur le flanc du pneu, entre l'épaulement et la largeur de section maximale. Par exemple:
Indicateur d'usure 200 adhérence AA température a
Ces indices de qualité sont conformes à des normes établies par l'United States Department of Transportation.
Les indices de qualité des pneus concernent les pneus neufs dédiés aux voitures de tourisme. Ces indices ne concernent pas les pneus à sculptures profondes, les pneus d'hiver, les pneus de secours à encombrement réduit ou temporaires, les pneus de camionnettes ou de type «LT», les pneus avec un diamètre nominal de jante de 25 à 30 cm (10 à 12 po), ou les pneus de production limitée, définis selon la réglementation américaine pertinente.
Usure de la bande de roulement
L'indice d'usure de la bande de roulement est une cote comparative qui indique le taux d'usure d'un pneu obtenu lors d'essais sur piste, sous contrôle gouvernemental. Par exemple, un pneu de classe 150 s'use 1,5 fois plus sur le parcours spécifique par le gouvernement qu'un pneu de classe 100. La performance relative d'un pneu dépend toutefois des conditions réelles d'utilisation, qui peuvent différer des conditions fixées par la norme en raison des habitudes de conduite, de l'entretien, de l'état des routes et du climat.

AVERTISSEMENT : L'indice d'adhérence d'un pneu est basé sur des essais de freinage effectués en ligne droite et ne se rapporte pas à l'adhérence en accélération, en virage, en cas deaquoplanage ou lors de conditions d'adhérence exceptionnelles.
Les indices d'adhérence, du plus élevé au plus bas, sont AA, A, B et C. Ils représentent l'aptitude d'un pneu à s'arrêter sur une chaussée mouillée, évaluée en conditions contrôlées sur des surfaces d'essai d'asphalte ou de béton précisées par le gouvernement. Un pneu avec un indice C peut avoir une faible adhérence.

AVERTISSEMENT : L'indice de température pour ce pneu est établi pour un pneu correctement gonflé et qui n'est pas
surcharge. Une vitesse excessive, un sous-gonflage ou une surcharge du pneu, séparément ou ensemble, peuvent causer une surchauffe et la dépréciation du pneu.
Les indices de température sont A (le meilleur), B et C, et représentent l'aptitude d'un pneu à résister à l'échauffement et à dissiper la chaleur lors d'essais effectués sous diverses conditions en laboratoire. Une utilisation continue à haute température peut entraîner la détermination du pneu et en réduire la durée, tandis qu'une température excessive peut entraîner une crevaison du pneu. L'indice C correspond à un niveau de rendement que doivent atteindre tous les pneus de voitures de tourisme en vertu de la norme fédérale américaine n° 139 sur la sécurité des véhicules automobiles. Les indices B et A représentent des niveaux plus élevés de rendement lors d'essais en laboratoire que le minimum exigé par la loi.
Terminologie du pneu
- Étiquette concernant les pneus : Étiquette renseignant sur la taille des pneus de première monte, la pression de gonflage préconisée et la charge maximale transportable par le véhicule.
- Numéro d'identification de pneu : Numéro apparaisant sur le flanc de chaque pneu qui renseigne sur la marque, l'usine de fabrication, les dimensions et la date de fabrication du pneu. Ce numéro d'identification s'appelle également code DOT.
- Pression de gonflage : Mesure de la quantité d'air dans un pneu.
- Charge standard : Pneu de classe P-métrique ou pneu métrique conçu pour transporter une charge maximale lorsqu'il est gonflé à 35 lb/po² (37 lb/po² [2,5
- Charge supplémentaire : Pneu de classe P-métrique ou pneu métrique conçu pour transporter une charge plus lourde maximale lorsqu’il est gonflé à 41 lb/po² (43 lb/po² [2,9 ’augmente pas la capacité de charge du pneu.
- kPa: Kilopascal, unité métrique de pression d'air.
- lb/in² : Livres par pouce carré, unité de mesure de pression d'air anglo-saxonne.
- Pression de gonflage des pneus à froid : Pression des pneus quand le véhicule est à l'arrêt et à l'abri des rayons du soleil depuis au moins une heure et avant qu'il n'ait roulé 1,6 km (1 mi).
- Pression de gonflage recommandée : La pression de gonflage à froid est inscrite sur l'étiquette d'homologation de sécurité du vé ès du siège du conducteur) ou sur l'étiquette des pneus apposée sur le pied milieu ou le rebord de la porte du conducteur.
- Pied milieu : Élément structurel latéral du véhicule situé derrière la porte avant
- Talon du pneu : Surface du pneu située à côté de la jante.
- Flanc du pneu : Surface entre le talon et la bande de roulement.
- Bande de roulement du pneu : Périmètre du pneu en contact avec la route lorsqu'il est monté sur le véhicule.
- Jante: Support métallique (roue) d'un pneu ou d'un ensemble pneu-chambre à air sur lequel prennent place les talons.
Renseignements MOULES sur le FLANC du PNEU
La réglementation fédérale du Canada et des É.-U. exige que le fabricant de pneus inscrive des renseignements normalisés sur le flanc du pneu. Ces renseignements identifient et décrivent les caractéristiques du pneu en plus de fournir un numéro d'identification du département des Transports des É.-U. relatifs aux normes de sécurité, lequel peut être utilisé en cas de rappel du pneu.
Renseignements sur les pneus de type p

Prenons par exemple un pneu de taille, de capacité de charge et de code de vitesse P215/65R15 95H. La signification de ces caractères est donnée ci-après. (La taille, la capacité de charge et le code de vitesse des pneus de votre véhicule peuvent différer de cet exemple.)
A. P : Indique, selon la Tire and Rim Association, que ce pneu peut être utilisé sur une voiture de tourisme, un véhicule utilitaire sport, une fourgonnette ou une camionnette.
Nota : Si le marquage de vos pneus ne débute pas par une lecture, sa désignation pourrait être celle de l'Organisation technique européenne du pneumatique et de la jante (ETRTO) ou de l'Association japonaise des producteurs de pneumatiques (JATMA).
B. 215 : Indique la largeur nominale du pneu en millimètres, d’un rebord de flanc à l’autre. En général, plus le nombre est grand, plus le pneu est large.
C. 65 : Indique le rapport de section entre la hauteur et la largeur du pneu.
D. R : Indique qu'il s'agit d'un pneu de type radial.
E. 15 : Indique le diamètre de la roue ou de la jante en pouces. Si vous remplacez votre jante par un modèle d'un autre diamètre, vous devrez vous procurer de nouveaux pneus qui correspondent à ce diamètre.
F. 95 : Indique l'indice de charge du pneu. Cet indice renseigne sur la charge qu'un pneu peut transporter. Notre manuel du propriétaire pourrait contenir ces renseignements. Sinon, vous pouvez consulter votre détaillant de pneus.
Note : Cette information peut ne pas être présente sur tous les pneus, car elle n'est pas requise par la loi fédérale.
G. H: Indique la cote de vitesse du pneu. La cote de vitesse donne la vitesse à laquelle le pneu peut rouler sur une période prolongée, dans des conditions de charge et pressions de gonflage normales. Les pneus de leur vehicule peuventrixtrenger des conditions de charge et pressions de gonflage differentes. Ces valeurs peuvent etre ajustees en fonction des differentes conditions d'utilisation. Les vitesse varient entre 130km / h (81mi / h) et 299 km / h (186~mi / h). Les differents codes de vitesse figurent dans le tableau qui suit.
Note : Cette information peut ne pas être présente sur tous les pneus, car elle n'est pas requise par la loi fédérale.
| Code de vitesse | Cote de vitesse - Km/h (mi/h) |
| M | 130 (81) |
| N | 140 (87) |
| Q | 159 (99) |
| R | 171 (106) |
| S | 180 (112) |
| T | 190 (118) |
| U | 200 (124) |
| H | 210 (130) |
| V | 240 (149) |
| W | 270 (168) |
| Y | 299 (186) |
| Nota : Pour les pneus dont la vitesse maximale est supérieure à 240 km/h (149 mi/h), les fabricants de pneus utilisant parfois les lettres ZR. Pour les pneus dont la vitesse maximale est supérieure à 299 km/h (186 mi/h), les fabricants de pneus utilisant toujours les lettres ZR. | |
H. Inscription DOT (U. S. DOT Tire Identification Number) : Cette inscription débute par les lettres DOT et indique que le pneu est conforme à toutes les normes fédérales. Les deux caractères suivants constituent le code de l'usine de fabrication, les deux autres indiquent la taille du pneu et les quatre derniers chiffres représentent la semaine et l'année de fabrication. Par exemple, les chiffres 317 désignent la 31e semaine de 1997. Après 2000 les nombres passent à quatre chiffres. Par exemple, 2501 désigne la 25e semaine de 2001. Les nombres intermédiaires sont des codes d'identification utilisés pour la traçabilité. Ces données sont utilisées pour communiquer avec un client en cas de rappel du pneu.
I. M + S ou M / S : Boue ou neige, ou
AT : Tout terrain, ou
AS : Toutes saisons.
J. Composition des pièces et des matières utilisées : Indique le nombre de pièces ou de couches de tissu caoutchouteux qui composent la bande de roulement et le flanc du pneu. Le fabricant doit également préciser le type de matériel utilisé pour fabriquer les pièces de la carcasse et des flancs, par exemple l'acier, le nylon, le polyester, etc.
K. Charge maximale : Indique la charge maximale en kilogrammes et en livres pouvant être transportée par le pneu. Reportez-vous à l'étiquette d'homologation de sécurité (apposée sur le pied de charnière de porte, le montant de serrure de porte ou le rebord de porte qui rejoint le montant de serrure de porte, près du siège du conducteur) pour trouver les pressions de gonflage correctes des pneus de votre véhicule.
L. indices d'usure, d'adhérence et de température
- Usure de la bande de roulement : L'indice d'usure de la bande de roulement est une cote comparative qui indique le taux d'usure d'un pneu obtenu lors d'essais sur piste, sous contrôle gouvernemental. Par exemple, un pneu d'indice 150 doit s'user une fois et demie moins vite qu'un pneu d'indice 100 sur ce circuit.
- Adhérence : Les indices d'adhérence, du plus élevé au plus bas, sont AA, A, B et C. Ils représentent l'aptitude d'un pneu à s'arrêter sur une chaussée mouillée, évaluée en conditions contrôlées sur des surfaces d'essai d'asphalte et de béton spécifiées par le gouvernement. Un pneu avec un indice C peut avoir une faible adhérence.
- Température : Les indices de température sont A (le meilleur), B et C. Ils représentent l'aptitude d'un pneu à résister à l'échauffement et à dissiper la chaleur lors d'essais effectués dans diverses conditions contrôlées en laboratoire à l'aide d'une roue témoin.
M. Pression de gonflage maximale : Indique la pression maximale stipulée par le fabricant ou la pression correspondant à la charge maximale du pneu. Cette pression est normalement plus élevée que la pression de gonflage à froid recommandée par le fabricant qui est indiquée sur l'étiquette d'homologation de sécurité du véhicule (apposée sur le pied de charnière de porte, le pied de fermeture de porte ou le rebord de porte qui rejoint le pied de fermeture de porte, près du siège du conducteur) ou sur l'étiquette des pneus apposée sur le pied milieu ou sur le rebord de la porte du conducteur. La pression de gonflage à froid ne doit jamais être inférieure à la pression préconisée sur l'étiquette du véhicule.
Le fabricant peut fournir d'autres marquages, remarques ou avertissements, par exemple : charge normale ou radial sans chambre.
Autres renseignements figurant sur le flanc des pneus de type LT.

Les pneus de type LT présentent quelques renseignements en plus que les pneus de type P. Ces différences sont décrites ci-dessous.
Note : Les indices de qualité des pneus ne concernent pas ce type de pneu.
A. LT : Indique, selon la Tire and Rim Association, que ce pneu est conçu pour une camionnette.
B. Charge nominale et limites de pression de gonflage : Indique les capacités de charge du pneu et ses limites de pression de gonflage.
C. Charge maximale en roues jumelées à une pression po / lb² (kPa) à froid : Indique la charge maximale et la pression de gonflage pour des roues jumelées, ce qui signifie quatre pneus sur l'essieu arrêté (total de six pneus ou plus sur le véhicule). D. Charge maximale en roues simples à une pression po/lb² (kPa) à froid : Indique la charge maximale et la pression de gonflage pour des roues simples; ce qui signifie deux pneus sur l'essieu arrêté.

Les pneus de type T présentaient quelques renseignements en plus que les pneus de type P. Ces différences sont décrites ci-dessous.
Prenons par exemple un pneu de taille T145/80D16.
Note : La taille du pneu de la roue de secours-temporaire de votre véhicule peut différer de l'exemple donné. Les indices de qualité des pneus ne concernent pas ce type de pneu.
A. T : Indique, selon la Tire and Rim Association, que ce pneu peut être temporairement utilisé sur une voiture de tourisme, un véhicule utilitaire sport, une fourgonnette ou une camionnette. B. 145 : Indique la largeur nominale du pneu en millimètres, d'un rebord de flanc à l'autre. En général, plus le nombre est grand, plus le pneu est large. C. 80 : Indique le rapport de profil, c'est-à-dire le rapport entre la hauteur et la largeur du pneu. Les nombres 70 ou moins indiquent une hauteur de flanc plus basse. D. D: Indique qu'il s'agit d'un pneu de type à carcasse diagonale. R: Indique qu'il s'agit d'un pneu de type radial. E. 16 : Indique le diamètre de la roue ou de la jante en pouces. Si vous remplacez votre jante par un modèle d'un autre diamètre, vous devrez vous procurer de nouveaux pneus qui correspondent à ce diamètre.
Emplacement de l'étiquette des pneus
L'étiquette des pneus, apposée sur le pédalier milieu ou sur le rebord de la porte du conducteur, présente les pressions de gonflage par taille de pneu et d'autres renseignements importants. Consultez la description de la charge utile et le graphique du chapitre Chargement.
Gonflage des PNEUS
Une pression de gonflage des pneus adéquate est essentielle à une conduite sécuritaire. N'oubliez pas que la pression d'un pneu peut chuter de moitié sans qu'il ne paraisse à plat.
Avant de prendre la route, vérifiez tous les pneus. Si l'un d'eux paraît moins gonflé que les autres, vérifiez la pression de tous les pneus à l'aide d'un manomètre pour pneus et gonflez-les au besoin.
Au moins une fois par mois et avant de longs trajets, vérifie la pression de gonflage des pneus avec un manomètre (y compris la pression de la roue de secours, selon l'équipement). Gonflez tous les pneus selon la pression recommandée par Ford.

AVERTISSEMENT : Un gonflage insuffisant est la cause la plus
fréquence de défaillance d'un pneu. En effet, cet état peut causer de graves fissures, une séparation de la semelle ou
l'éclatement du pneu, ce qui risque d'entraîner une perte de maîtrise du véhicule et de causer de graves blessures. Le sous-gonflage augmente le fléchissement des flancs et la résistance de roulement. Ces facteurs font surchauffer le pneu et causent des dommages internes. Le sous-gonflage fatigue inutilement le pneu et engendre une usure irrégulière. Il risque d'entraîner une perte de maîtrise du véhicule et de causer un accident. La pression d'un pneu peut chuter de moitié sans qu'il ne paraisse à plat!
Il est fortement conseillé de vous procurer un manomètre pour pneus précis, car les manomètres utilisés dans une station-service sont souvent imprécis. Ford recommende d'utiliser un manomètre pour pneus numérique ou à cadran plutôt qu'un manomètre à tîrette.
Observez la pression de gonflage à froid préconisée afin d'assurer le rendement et la longévité que vous attendez de vos pneus. Un gonflage insuffisant ou excessif peut causer une usure inégale de la bande de roulement.
Gonflez toujours vos pneus à la pression de gonflage recommandée par Ford même si elle est inférieure à la pression de gonflage maximale.
indiquée sur le pneu. La pression de gonflage recommandée par Ford est inscrite sur l'étiquette d'homologation de sécurité (apposée sur le pied de charnière de porte, le montant de verrou de porte ou le rebord de porte qui rejoint le montant de verrou de porte, près du siège du conducteur) ou sur l'étiquette des pneus apposée sur le pied milieu ou sur le rebord de la porte du conducteur. Le non-respect de la pression de gonflage recommandée peut causer une usure inégale de la bande de roulement et ainsi ALTERER la conduite de votre véhicule.
La pression de gonflage maximale autorisée est la pression maximale précise par le fabricant ou la pression à laquelle la charge maximale peut être supportée par le pneu. Cette pression est normalement plus élevée que la pression de gonflage à froid recommandée par le fabricant qui est indiquée sur l'étiquette d'homologation de sécurité du véhicule (apposée sur le pied de charnière de porte, le pied de fermeture de porte ou le rebord de porte qui rejoint le pied de fermeture de porte, prè a pression de gonflage à froid ne doit jamais être inférieure à la pression recommandée sur l'étiquette d'homologation de sécurité ou sur l'étiquette des pneus.
La pression des pneus varie également selon la température ambience. Une chute de température de 6°C (10°F) peut faire baisser la pression de 7kPa (1lb/_po²). Vérifiez fréquemment la pression des pneus et réglez-la en fonction de la valeur précisée sur l'étiquette d'homologation de sécurité ou sur l'étiquette des pneus.
Pour vérifier la pression de vos pneus :
- Assurez-vous que les pneus sont froids, c'est-à-dire qu'ils n'ont pas roulé sur 1,6 km (1 mi).
Nota : Si vous vérifiez la pression de vos pneus lorsqu'ils sont chauds, par exemple après avoir roulé plus de 1,6 km (1 mi), ne réduisez jamais la pression. Après avoir roulé, les pneus se sont échauffés et il est normal que la pression augmente au-delà des pressions de gonflage préconisées. Un pneu chaud qui affiche une pression de gonflage normale ou sous la normale risque d'être considérablement sous-gonflé.
Note : Si vous devez rouler une certaine distance pour atteindre une station-service, notez la pression de vos pneus avant de partir, et n'ajoutez que le volume d'air nécessaire à la pompe. Il est normal que les pneus s'échauffent et que la pression augmente lorsque vous roulez.
- Retirez le bouchon de valve de l'un des pneus, appliquez fermement le manomètre sur la valve et mesurez la pression.
- Ajoutez suffisamment d'air pour atteindre la pression de gonflage recommandée. Nota : Si vous ajoutez trop d'air, libérez la surpression en, enfonç
- Remettez le bouchon de valve en place.
- Recommencez ces opérations pour chaque pneu, sans oublier la roue de secours.
Note : La pression de gonflage de certains pneus de secours est plus élevée que celle des autres pneus. Pour les mini-roues de secours de type T, consultez la rubrique Renseignements concernant les roues de secours de taille différente. Rangez le pneu et maintenez une pression de 4,15 bar (60lb / po^2). Pour les roues de secours de dimension normale et de taille différente, consultez la rubrique Renseignements sur les roues de secours de taille différente sous Remplacement d'une roue dans ce chapitre. Rangez le pneu et maintenez la pression de gonflage la plus élevée pour l'avant et l'arrière indiquée sur l'étiquette de pneu.
- Assurez-vous visuellement de l'absence de clous ou d'autres objets logés dans le pneu qui pourrait percer le pneu et causer une fuite d'air.
- Vérifie aussi la présence d'entailles, de coupures, de gonflements ou de tout autre défaut sur les flancs.
Vérification des pneus et des tiges de soupape
Vérifiez périodiquement les sculptures des pneus à la recherche d'usure inégale ou excessive et retirez-en les objets tels que des cailloux, des clous ou des morceaux de verre qui auraient pu s'y loger. Vérifiez les pneus et les tiges de soupape pour les trous, les fissures ou les entailles, car cela peut permettre les fuites d'air. Donc, il faut réparer ou remplacer les pneus et les tiges de soupape, au besoin. Vérifiez également que les flancs des pneus ne comportent aucune déchirure, coupure, boursouflure ou autre manifestation de détérioration ou d'usure excessive. Si vous soupçonnez des dommages internes, faites démonter et vérifier les pneus pour déterminer si une intervention ou le remplacement est nécessaire. Pour votre sécurité, ne conduisez pas votre véhicule si les pneus sont endommagés ou montrent des signes d'usure excessive, en raison du risque accru de crevaison ou d'éclatement pouvant en résulter.
Un entretien mal effectué ou inadéquat peut également causer une usure inégale des pneus. Inspectez régulièrement l'état de tous vos pneus et replacez-les si vous constatez l'une des situations suivantes :
Usure des pneus

Lorsque la profondeur des sculptures atteint le minimum de 2 mm (1/16 po), les pneus doivent être remplacés pour réduire les risques de dérapage ou d'aquplanage. Des indicateurs d'usure de la bande de roulement, ou bandes d'usure, qui ressemblent à de minces bandes de caoutchouc souple intégrées à la bande de roulement, apparaissent lorsque la
profondeur des sculptures atteint le minimum de 2mm (1/16 po). Lorsque les sculptures du pneu sont usées à tel point que ces bandes d'usure apparaissent, le pneu est usé et doit être remplacé.
Dommages
Inspectez régulièrement la bande de roulement et les flancs des pneus pour l'absence de dommages tels que des gonflements de la bande de roulement ou des flancs, des fissures sur la sculpture ou une déchirure de la bande de roulement ou des flancs. Si vous constatez ou soupçonnez des dommages, faites inspecter le pneu par un professionnel. Les pneus risquent plus d'être endommagés en conduite hors route. Il est donc recommandé de les inspecter après ce genre d'utilisation.

Avertissement : vieillissement
Les pneus se dégradent au fil du temps, en fonction de divers facteurs qu'ils subissent au cours de leur durée de vie utile, tels que la température, les conditions d'entreposage ou l'utilisation (charge, vitesse, pression de gonflage, etc.).
En général, les pneus doivent être remplacés au bout de six ans, peu importe l'usure de la bande de roulement. Toutefois, la chaleur des climats chauds ou les chargements lourds et fréquents peuvent accélérer la détérioration et nécessiter le remplacement plus fréquent des pneus. Vous devez remplacer votre pneu de secours lorsque vous remplacez les pneus normaux ou après six ans en raison de l'âge du pneu, même s'il n'a pas été utilisé.
La réglementation fédérale du Canada et des É.-U. exige que le fabricant de pneus inscrive des renseignements normalisés sur le flanc du pneu. Ces renseignements identifient et décrivent les caractéristiques du pneu en plus de fournir un numéro d'identification du département des Transports des É.-U. relatif aux normes de sécurité, lequel peut être utilisé en cas de rappel du pneu.
Cette inscription débute par les lettres « DOT » et indique que le pau est conforme aux normes fédérales. Les deux caractères suivants constituent le code de l'usine de fabrication, les deux autres indiquent la taille du pau et les quatre derniers chiffres représentent la semaine et l'année de fabrication. Par exemple, les chiffres 317 désignent la 31e semaine de 1997. APRÈS 2000 les nombres passent à quatre chiffres. Par exemple, 2501 désigne la 25e semaine de 2001. Les nombres intermédiaires sont des codes d'identification utilisés pour la traçabilité. Ces données sont utilisées pour communiquer avec un client en cas de rappel du pau.
Exigences de remplacement des pneus

AVERTISSEMENT : N'utilisez que des pneus et des jantes de remplacement de même taille, capacité de charge, indice de
vitesse et type (tels que des pneus P-métriques par rapport aux pneus LT-métriques ou des pneus quatre saisons par rapport aux pneus tout-terrain) que ceux montés à l'origine par Ford. La taille des pneus et des roues recommandée par Ford est inscrite sur l'étiquette d'homologation de sécurité (apposée sur le pied de charnière de porte, le montant de verrou de porte ou le rebord de porte qui rejoint le montant de verrou de porte, près du siège du conducteur) ou sur l'étiquette des pneus apposée sur le pied milieu ou sur le rebord de la porte du conducteur. Consultez votre concessionnaire autorisé dès que possible si ces renseignements ne figurent pas sur ces étiquettes. L'utilisation de tout modèle de pneu ou de jante non préconisé par Ford peut compromettre la sécurité et le rendement de votre véhicule, ce qui pourrait occasionner une perte de maîtrise ou un renversement du véhicule, de même que des blessures graves ou la mort. De plus, l'utilisation de pneus et de jantes non recommandés peut endommager la direction, la suspension, les essieux, la boîte de transfert ou le groupe de transfert. Pour obtenir de plus amples renseignements sur le remplacement des pneus, consultez un concessionnaire autorisé dès que possible.
AVERTISSEMENT: Pour réduire le risque de blessures graves lorsqu'vous montez des pneus et des roues de remplacement, vous ne devez pas dépasser la pression maximale indiquée sur le flanc du pneu pour loger les talons sans prendre les mesures additionnelles enumeratees ci-dessous. Si les talons ne peuvent être logés à la pression maximale précise, lubrifiez les talons de nouveau et réessayez.
Lorsque vous gonflez le pneu à une pression de montage qui dépasse de jusqu'à 1,38 bar (20 lb/ po² ) la pression maximale indiquée sur le flanc du pneu, prenez les mesures suivantes pour protéger la personne qui monte le pneu:
- Assurez-vous que la taille du pneu et de la roue est appropriée.
- Lubrifiez de nouveau le talon du pneu et la zone de logement du talon sur la roue.
- Demeurez à au moins 3,66 m (12 pi) de la roue.
- Portez des lunettes de protection et un protecteur antibruit. Pour une pression de montage de plus de 1,38 bar (20lb / po^2) supérieure à la pression maximale, confiez le montage à un concessionnaire Ford ou à un autre professionnel de l'entretien des pneus. Gonflez toujours les pneus à carcasse d'accier avec un apparil de gonflage à distance et éloignez-vous d'au moins 3,66m (12 pi) de la roue.
Votre véhicule est muni de pneus destinés à assurer la sécurité et la tenue de route.
Important : Assurez-vous de remplacer les corps de valve lorsque vous remplacez les pneus du véhicule.
Les deux pneus avant ou les deux pneus arrière doivent généralement être remplacés ensemble.
Les capteurs de surveillance de la pression des pneus montés dans les jantes (les jantes d'origine de votre véhicule) ne sont pas conçus pour être utilisés sur les jantes du marché secondaire.
L'utilisation de roues ou de pneus qui ne sont pas recommandés par Ford Motor Company peut nuire au fonctionnement du système de surveillance de pression des pneus.
Si le témoin du système de surveillance de la pression des pneus clignote, le système est défectueux. Le pneu de rechange peut être incompatible avec le système de surveillance de la pression des pneus ou un composant du système de surveillance peut être endommagé.
Mesures de sécurité

AVERTISSEMENT: Si votre véhicule est enlisé dans la neige, la boue ou le sable, ne faites pas patiner rapidement les roues. Le rage des roues peut user les pneus et les faire exploser. Un pneu éclater en l'espace de trois à cinq secondes.

AVERTISSEMENT : Ne faites pas patiner les roues à plus de 56 km/h (35 mi/h). Les pneus pourraient éclater et infliger des blessures à un passager ou à une personne se trouvant à proximité.
Vos habitudes de conduite influencent grandement la durée de vie utile de vos pneus et votre sécurité.
- Respectez les limites de vitesse signalisées.
- Évitez les démarrages, arrêts et virages brusques.
- Contournez les nids de poule ou autres obstacles sur la route.
- Ne montez pas sur les cordures de trottoir et ne les heurtez pas en vous garant.
Dangers potentiels sur l'autoroute
Quelle que soit votre prudence au volant, la possibilité d'une crevaison ne peut être écartée. Roulez doucement vers une zone sécuritaire, à l'écart de la circulation. Vous devez assurer leur sécurité, malgré le risque d'endommager le pneu crevé.
Si vous ressentez une vibration soudaine ou une condition anormale de conduite, ou si vous croyez que l'un de vos pneus ou que le véhicule a subi des dommages, réduisez votre vitesse sur-le-champ. Roulez prudemment jusqu'à ce que vous puissiez quitter la chaussée.
Arrêtez-vous et inspectez les pneus pour savoir s'ils sont endommagés. Si l'un des pneus est sous-gonflé ou endommagé, dégonflez-le et remplacez la roue en question par la roue de secours. Si vous ne pouvez pas déterminer la cause de l'anomalie, faites remorquer votre véhicule chez le concessionnaire ou le détaillant de pneus le plus proche afin de faire inspecter votre véhicule.
Réglage de la géométrie des roues
Le fait de heurter une courture de trottoir ou un nid de poule secoue le train avant et peut fausser la géométrie des roues ou endommager les pneus. Si votre véhicule semble tirer d'un côté en roulant, la géométrie des roues est peut-être incorrecte. Faites périodiquement vérifier la géométrie des roues par un concessionnaire autorisé.
Un train avant ou arrêté depuis peut causer une usure rapide et prématurée des pneus. Faites corriger ce problème par un concessionnaire autorisé. Les véhicules à traction avant et leurs munis d'une suspension arrêtée indépendante doivent faire l'objet d'un réglage de la géométrie aux quatre roues.
De plus, les pneus doivent être rééquilibrés régulièrement. Une roue mal équilibrée peut occasionner une usure inégale du pneu.
Permutation des pneus
Nota : Si vos pneus présentent une usure inégale, demandez à un concessionnaire autorisé de vérifier si les roues sont décentrées, déséquilibrées ou endommagées et de corriger les problèmes au besoin avant de permuter les pneus.
Nota : Votre véhicule pourrait être équipé d'un pneu et d'une roue de secours de taille différente. Une roue de secours de taille différente signifie que la marque, la taille ou l'apparence du pneu ou de la jante diffère de celle fournie en première monte. Si votre véhicule est équipé d'une roue de secours de taille différente de celle des autres roues, elle est destinée uniquement à un usage temporaire et ne doit pas être utilisée pour la permutation des pneus.
Nota : Une fois vos pneus permutés, la pression de gonflage doit être vérifiée et corrigée selon les valeurs prescrites pour votre véhicule.
La permutation des pneus aux intervalles recommandés (conformément au guide d'entretien périodique) produit une usure plus uniforme, un meilleur rendement et une durée de vie utile optimale des pneus.

- Véhicules à traction avant ou à traction intégrale (pneus avant à la gauche du schéma)
Il peut être possible de corriger une usure irrégulière des pneus en faisant la permutation des pneus.
Utilisation des châines antidérapantes

AVERTISSEMENT : La catégorie et les indices de charge et de vitesse des pneus d'hiver doivent être les mêmes que pour les pneus d'origine.
pneus d'origine montés par Ford sur votre véhicule. L'utilisation de tout modèle de pneu ou de jante non préconisé par Ford peut compromettre la sécurité et le rendement de votre véhicule, ce qui pourrait
occasionner une perte de maîtrise ou un renversement du véhicule, de même que des blessures graves ou la mort. De plus, l'utilisation de pneus et de jantes non recommandés peut endommager la direction, la suspension, les essieux, la boîte de transfert ou le groupe de transfert.
Nota : Les isolants et les butées de suspension contribuent à éviter les dommages au véhicule. Ne retirez jamais ces éléments lorsque vous utilisez des pneus d'hiver ou des chaînes antidérapantes sur votre véhicule.
Les pneus de votre véhicule comportent une bande de roulement quatre saisons qui assure une bonne adhérence, qu'il pleuve ou qu'il neige.
Cependant, dans certaines régions, des pneus d'hiver et des câbles antidérapants peuvent s'avérer nécessaires. Si vous devez utiliser des câbles antidérapants, il est recommandé d'utiliser des roues en acier de même taille et de même type, car les câbles risquent d'endommager les roues en aluminium.
Respectez les consignes suivantes lorsque vous utilisez des pneus d'hiver et des chaînes antidérapantes :
- Dans la mesure du possible, évitez de charger votre véhicule au maximum.
- Utilisez uniquement les chaînes antidérapantes SAE de classe « S » ou l'équivalent sur l'essieu avant pour les véhicules munis de pneus P235/60R17, P235/60R18 ou P235/55R19. L'utilisation de chaînes antidérapantes, de câbles antidérapants ou de tout autre dispositif d'aide à la traction plus larges que la classe « S » SAE peut endommager le passage de roue de votre véhicule, la suspension et/ou la carrosserie.
- N'installez pas de chaînes antidérapantes, de câbles ou de dispositifs d'adhérence en option sur les pneus. Cela pourrait endommager le passage de roue ou la carrosserie.
- N'installez pas de chaînes antidérapantes, de câbles ou de dispositifs d'adhérence en option sur les pneus 255/45R20.
- Montez les câbles de façon à ce qu'ils soient maintenus en toute sécurité et ne risquent pas d'entrer
- Ne dépassez pas 48km / h (30 mi/h) lorsque des câbles sont posés sur les roues de votre véhicule.
- Conduisez prudemment. Si vous entendez les câbles frotter ou cogner contre la carrosserie, arrêtez le véhicule et resserrez-les. S'ils continuent de frotter ou de cogner, retirez-les pour éviter tout dommage au véhicule.
- Retirez les chaînes dès qu'elles ne sont plus nécessaires. N'utilisez pas les chaînes antidérapantes sur des revêtements secs.
Système de surveillance de la pression des PNEUS

AVERTISSEMENT : Le système de surveillance de pression des pneus ne remplace PAS les vérifications manuelles de la pression des pneus. La pression de gonflage des pneus doit être vérifiée régulièrement (au moins une fois par mois) avec un manomètre. Consultez la rubrique Gonflage des pneus dans ce chapitre. Les signes de crevaison d'un ou de plusieurs des pneus, de perte de maîtrise, renversement du véhicule ainsi que les risques de blessures sont possibles si la pression des pneus n'est pas maintenue à un niveau adéquat.

Vérifiez mensuellement la pression des pneus à froid, y compris celle des pneus de rechange (selon l'équipement) et gonflez-les à la pression de gonflage recommandée par le constructeur de
votre véhicule sur l'étiquette du véhicule et sur l'étiquette de pression de gonflage des pneus. (Si votre véhicule est doté de pneus de dimensions différentes de celles qui sont indiquées sur l'étiquette du véhicule ou sur l'étiquette de pression de gonflage des pneus, vous devez déterminer la pression de gonflage appropriée de ces pneus.)
Comme mesure de sécurité additionnelle, votre véhicule est muni d'un système de surveillance de pression des pneus qui allume un témoin de basse pression des pneus lorsque l'un des pneus ou plus est considérablement sous-gonflé. Ainsi, lorsque le témoin de basse pression des pneus s'allume, immobilisez le véhicule et vérifiez vos pneusès que possible, puis gonflez-les à la pression appropriée. La conduite avec un pneu sous-gonflé produit un échauffement excessif et peut provoquer une crevaison du pneu. Le sous-gonflage augmente également la consommation de carburant, réduit la durée de vie utile du pneu et peut influencer le comportement du véhicule et sa distance de freinage.
Notez que le système de surveillance de pression des pneus ne remplace pas l'entretien approprié des pneus et il incombe au conducteur de maintenir la pression de gonflage appropriée, même en cas de sous-gonflage qui ne déclenche pas l'illumination du témoin de basse pression des pneus du système de surveillance de pression des pneus.
Votre véhicule est aussi doté d'un témoin de défaillance du système de surveillance de pression des pneus qui signale un mauvais fonctionnement du système. Le témoin de défaillance du système de surveillance de pression des pneus est associé au témoin de basse pression des pneus. Lorsque le système détecte une anomalie, le témoin clignote pendant environ une minute, puis demeure allumé. Cette série se poursuit lors des démarrages suivants du moteur tant que l'anomalie persiste.
Lorsque le témoin de défaillance est allumé, le système peut ne pas être en mesure de détecter ou de signaler une basse pression d'un pneu. Les anomalies du système de surveillance de pression des pneus surviennent pour diverses raisons, y compris le montage de pneus ou de roues de remplacement ou de rechange qui empêchent le système de surveillance de pression des pneus de fonctionner correctement. Vérifiez toujours le témoin de défaillance du système de surveillance de pression des pneus après avoir remplacé un ou plusieurs pneus ou roues afin de vous assurer que les pneus et les roues de remplacement ou de rechange permettent au système de surveillance de pression des pneus de fonctionner correctement.
Le système de surveillance de pression des pneus est conforme à la partie 15 des règlements de la FCC et aux normes RSS-210 d'Industrie Canada. Son utilisation est soumise aux deux conditions suivantes : (1) Ce dispositif ne doit causer aucune interférence nuisible et (2) il doit accepter toutes les interférences, y compris celles qui peuvent l'activer de façon inopinée.
Changement de pneus avec un système de surveillance de la pression des pneus

Nota : Chaque pneu de route est muni d'un capteur de pression des pneus situé dans la cavité du pneu et de la jante. Le capteur de pression est fixé au corps de valve. Le capteur de pression est couvert par le pneu et n'est pas visible à moins d'enlever le pneu. Veillez à ne pas endommager le capteur lors du remplacement d'un pneu.
Faites toujours réparer vos pneus par un concessionnaire autorisé.
Vérifiez régulièrement la pression des pneus (au moins mensuellement) au moyen d’un manomètre pour pneus précis. Consultez la rubrique Gonflage des pneus dans ce chapitre.
Fonctionnement du système de surveillance de pression des pneus
Le système de surveillance de pression des pneus mesure la pression des quatre pneus et transmet les lectures de pression à votre véhicule. Le témoin de basse pression des pneus s'allume si la pression des pneus est trop BASSE. Lorsque le témoin est allumé, vos pneus sont sous-gonflés et ils doivent être gonflés à la pression recommandée par le fabricant des pneus. Même si le témoin s'allume et s'éteint peu après, il faut vérifier la pression des pneus.
Lorsque la roue de secours-temporaire est installée
Lorsqu'un des pneus a dû être remplacé par la roue de secours-temporaire, le système continue de signaler un problème pour indiquer que la roue endommagée doit être réparée et réinstallée sur le véhicule.
Pour rétablir le fonctionnement complet du système de surveillance de pression des pneus, faites réparer la roue endommagée et faites-la remonter sur votre véhicule.
Lorsque vous croyez que votre système ne fonctionne pas correctement
La principale fonction du système de surveillance de pression des pneus consiste à signaler que vos pneus sont sous-gonflés. Le système peut aussi vous aviser s'il n'est plus en mesure de fonctionner correctement. Consultez le tableau suivant pour obtenir des renseignements sur ce système de surveillance de pression des pneus.
| Témoin de basse pression des pneus | Cause possible | Intervention de la part du client |
| Témoin allumé en permanence | Pneus sous-gonflés | 1. Assurez que les pneus sont gonflés à la pression ajustée. Consultez la rubrique Gonflage des pneus dans ce chapitre. 2. Une fois les pneus gonflés à la pression recommendée du fabricant, comme il est précisé sur l'étiquette des pneus (apposée sur le rebord de la porte du conducteur ou sur le pied millieu), le vehicule doit rouler pendant au moins deux minutes à plus de 32 km/h (20 mi/h) avant que le témoin s'éteigne. |
| Pneu de secours utilisé | Réparez le pneu ou la jante endommagé et réinstallé-le sur le vehicule pour rétablier le fonctionnement du système. Consultez la rubrique Lorsque la roude de secours temporaire est installée de ce chapitre pour obtenir une description du fonctionnement du système. | |
| Défaillance du système de surveillance de pression des pneus | Si vos pneus sont correctement gonflés, que votre pneu de secours n'est pas utilisé et que le témoin demeure allumé, communiquez avec un concessionnaire autorisé dès que possible. | |
| Témoin clignotant | Pneu de secours utilisé | Réparez l'ensemble jante et pneu endommagé et remontez-le sur le vehicule pour rétablier le fonctionnement du système. Consultez la rubrique Lorsque la roude de secours temporaire est installée de ce chapitre pour Broker une description du fonctionnement du système. |
| Défaillance du système de surveillance de pression des pneus | Si vos pneus sont correctement gonflés, que votre pneu de secours n'est pas utilisé et que le témoin demeure allumé, communiquez avec un concessionnaire autorisé dès que possible. |
Lorsque vous gonflez vos pneus
Lorsque vous gonflez vos pneus (à une station-service ou dans votre garage, par exemple), le système de surveillance de pression des pneus peut ne pas réagir immédiatement.
Il faut parfois jusqu'à deux minutes de conduite à plus de 32km / h (20mi / h) pour que le témoin s'éteigne après avoir gonflé vos pneus à la pression de gonflage recommandée.
Incidence de la température sur la pression des pneus
Le système de surveillance de pression des pneus surveille la pression de chaque pneu. Pendant la conduite normale, la pression normale de gonflage de pneus de voiture peut augmenter d'environ 14 à 28 kPa (2 à 4 lb/po²) après un démarrage à froid. Si le véhicule est stationné pendant toute la nuit et que la température de l'air y est considérablement plus basse que la température du jour, la pression des pneus peut diminuer d'environ 21 kPa (3 lb/po²) si la température ambiantediminue de 17 °C (30 °F). Le système de surveillance de la pression des pneus peut considérer que cette pression est considérablement inférieure à la pression de gonflage recommandée et allumer le témoin de BASSE pression des pneus s'allume, inspectez visuellement chaque pneu pour vous assurer qu'aucun pneu n'est à plat. Si au moins un pneu est à plat, effectuez les réparations nécessaires. Vérifiez la pression de l'air dans les pneus. Si un pneu est sous-gonflé, conduisez prudemment le véhicule jusqu'à l'endroit le plus proche qui permet d'ajouter de l'air dans les pneus. Gonflez tous les pneus à la pression recommandée.
Reemplacement d'une ROUE

AVERTISSEMENT : Les agents de scellement pour les pneus ne peuvent endommager votre système de surveillance de pression pneus et ne doivent pas être utilisés. Toutefois, si vous devez utiliser un produit d'obturation pour pneus, le capteur de pression et la soupape de la roue concernée doivent être remplacés par un sessionnaire Ford autorisé.

AVERTISSEMENT : Consultez la rubrique Système de surveillance de pression des pneus dans ce chapitre pour obtenir des renseignements importants. Le capteur de pression cessera de fonctionner s'il est endommagé.
Note : Le témoin du système de surveillance de la pression des pneus s'allume lorsque le pneu de secours est utilisé. Pour rétablir toutes les fonctions du système de surveillance de la pression des pneus, les quatre roues du véhicule munies d'un capteur de pression doivent être montées sur le véhicule.
Si une crevaison se produit pendant que vous conduisez, ne freinez pas brusquement. Freinez plutôt graduellement pour ralentir. Tenez fermement le volant et dirigez-vous lentement et avec prudence sur l'accotement.
Faites réparer un pneu crevé par un concessionnaire autorisé pour éviter d'endommager le capteur. Consultez la rubrique Système de surveillance de la pression des pneus plus haut dans ce chapitre. Remplacez la roue de secours par une roue normale dès que possible. Lors de la réparation ou du remplacement du pneu, demandez à votre concessionnaire autorisé de vérifier l'état du capteur de pression du pneu.
Renseignements concernant les roues de secours de taille différente

AVERTISSEMENT: Le non-respect de ces règles peut accroître les risques de perte de maîtrise du véhicule et de blessures ou mortelles.
Si votre véhicule est équipé d'une roue de secours de taille différente de celle des autres roues, elle est destinée uniquement à un usage temporaire. Cela signifie qu'en cas d'utilisation, elle devra être remplacée dès possible par une jante et un pneu de même taille et de même type que ceux fournis en première monte par Ford. Lorsqu'une roue de secours de taille différente est endommagée, il est préférable de la remplacer plutôt que d'envisager sa réparation.
Une roue de secours de taille différente signifie que la marque, la taille ou l'apparence de la jante et du pneu diffère de celle fournie en première monte. Elle peut appartenir à l'une des trois catégories suivantes :
- Mini-pneu de secours type T : Le marquage des dimensions de ce pneu de secours commence par la lecture T et peut aussi comporter l'inscription Temporary Use Only (utilisation temporaire seulement) moulée dans le flanc.
- Une roue de secours de dimension normale, mais différente avec étiquette : La roue sur laquelle est monté ce pneu de secours porte une étiquette qui indique : THIS TIRE AND WHEEL FOR TEMPORARY USE ONLY (pneu et roue prévus pour un usage temporaire seulement)
Lorsque vous roulez avec une roue de secours de taille différente, il ne faut pas :
- dépasser 80km / h (50 mi/h);
- dépasser la charge maximale du véhicule indiquée sur l'étiquette d'homologation;
- tracter une remorque;
- monter des chaînes à neige sur l'essieu équipé de la roue de secours de taille différente;
- monter plus d'une roue de secours de ce type à la fois;
- utiliser les services d'un lave-auto;
- tenter de réparer le pou de ce type de roue de secours.
L'utilisation d'une roue de secours de taille différente à l'un ou l'autre des emplacements de roue peut avoir un impact sur les points suivants :
- La tenue de route, la stabilité et les performances de freinage
- Le comportement et le bruit
- La garde au sol et le stationnement le long d'un trottoir
- La conduite en hiver
- La conduite par temps pluvieux
3. Une roue de secours de dimension normale, mais différente sans étiquette.
Lorsque vous roulez avec une roue de secours normale de taille différente, il ne faut pas :
- dépasser 113km / h (70 mi/h);
- monter plus d'une roue de secours de ce type à la fois;
- utiliser les services d'un lave-auto;
- monter des chaînes à neige sur l'essieu équipé de la roue de secours de taille différente.
L'utilisation d'une roue de secours de taille différente peut avoir un impact négatif sur les points suivants :
- La tenue de route, la stabilité et les performances de freinage Le comportement et le bruit
- La garde au sol et le stationnement le long d'un trottoir
- La conduite en hiver
La conduite par temps pluvieux - La conduite d'un véhicule à traction intégrale - La correction automatique d'assiette
Lorsque vous roulez avec une roue de secours normale de taille différente, il faut porter une attention supplémentaire aux points suivants :
- traction d'une remorque;
- conduite d'un véhicule équipé d'une carrosserie de camping;
- conduite d'un véhicule avec une charge sur le porte-bagages.
Conduisez prudemment lorsque vous roulez avec une roue de secours normale de taille différente et remédiez à la situation dès que possible.
Méthode de changement d'un pneu

AVERTISSEMENT : Lorsqu'une des roues avant est soulevée, la boîte de vitesses à elle seule ne suffit pas à immobiliser le
véhicule ou à l’empêcher de glisser du cric, même si le levier sélecteur est en position de stationnement (P).

AVERTISSEMENT : Pour immobiliser le véhicule lorsque vous changez une roue, assurez-vous que le levier sélecteur est à la
position de stationnement (P), que le frein de stationnement est serré, puis calez (à l'avant et à l'arrière) la roue diagonalement opposée (de l'autre côté du véhicule) à celle à changer.

AVERTISSEMENT: Ne vous glissez jamais sous un véhicule si ce dernier n'est soutenu que par un cric. Le glissement du véhicule hors du cric peut entraîner des blessures graves.

AVERTISSEMENT : Ne tentez pas de remplacer un pneu du côté du véhicule à proximité de la circulation routière. Arrêtez-le suffisamment loin de la route pour éviter d'être frappé par un véhicule pendant l'utilisation du cric ou le remplacement de la
AVERTISSEMENT : Utilisez toujours le cric fourni comme équipement d'origine avec votre véhicule. Si vous utilisez un cric autre que celui fourni comme équipement d'origine avec votre véhicule, assurez-vous que la capacité du cric est suffisante pour le poids du véhicule, y compris n'importe quelle cargaison de véhicule ou les modifications.
Note : Les passagers ne doivent pas demeurer dans le véhicule lorsque ce dernier est mis sur le cric.
- Stationnez le véhicule sur une surface plane, serrez le frein de stationnement et allumez les deux feux de détresse.
- Placez le levier sélecteur de boîte de vitesses en position de stationnement (P), puis arrêtez le moteur.
Si la banquette de la troisième rangée est rabattue dans le plancher, vous devrez la relever pour accéder à la roue de secours et au cric.

- Retirez le panneau tapissé du plancher à l’arrière du véhicule, puis retirez l’écrou à oreilles qui retient la roue de secours en le faisant tourner dans le sens contraire des aiguilles d’une montre.
- Soulevez et retirez la roue de secours du coffre.
- Retirez le second écrou à oreilles qui fixe le support de retenue du cric en le tournant dans le sens contraire des aiguilles d'une montre, puis sortez la trousse de cric du véhicule.
- Retirez le cric, le boulon en L et le démonte-roue de l'étui de feutre. Tirez la douille hors du manche du démonte-roue pour desserrer les écrous de roue et actionner le cric.

- Bloquez la roue diagonalement opposée à la roue qui doit être replacée.
- Retirez l'enjolivre avec la pointe du démonte-roue et desserrez chaque écrou de roue d'un demi-tour dans le sens contraire des aiguilles d'une montre, mais ne les enlevez pas avant d'avoir soulevé la roue du sol.

- Les points de levage du véhicule sont indiqués dans cette illustration et sur l'étiquette d'avertissement jaune du cric.
Note: Ne soulevez le véhicule qu'en plaçant le cric aux endroits spécifiés afin de ne pas endommager le véhicule.

- Placez le cric dans l'encastrement la plus proche de la roue que vous devez
- Enlevez les écrous de roue au moyen du démonte-roue.
- Remplacez le pneu à plat par la roue de secours, en vous assurant que le corps de la valve est orienté vers l'extérieur. Remettez en place les écrous de roue et vissez-les jusqu'à ce que la roue soit bien appuyée contre le moyeu. Ne serrez pas complètement les écrous de roue tant que vous n'avez pas abaissé le véhicule.
- Abaissez le véhicule en tournant le levier de manœuvre du cric dans le sens contraire des aiguilles d'une montre.

- Retirez le cric et achevez de serrer les écrous de roue dans l'ordre indiqué sur l'illustration. Serrez au couple indiqué dans la rubrique Couples de serrage des écrous de roues plus loin dans ce chapitre.
- Remplacez l'enjoliveur de roue.
Rangement de la roue et du cric

- Abaissez complètement le cric, repoussez la douille dans le manche du démonte-roue et placez le cric et le démonte-roue dans l'étui de feuille tel qu'illustré. Rangez le boulon de rallonge ou le boulon en L dans la pochette extérieure de l'étui de feuille. Positionnez bien le cric de telle façon que les trous d'alignement de la base de cric correspondent aux pattes du
support de montage dans le logement de la roue de secours.
- Refermez correctement les sections du démonte-roue et du cric de l'étui au moyen des attaches Velcro®.
- Placez la trousse de cric sur le support incliné du logement de la roue de secours en utilisant les pattes d'alignement pour bien positionner l'ensemble.

- Insérez l'extrémité courbe du support de retenue du cric dans l'oeillet du support d'angle et faites basculer le support de retenue par-dessus le cric. Lorsque le cric est en place, placez l'extrémité en boucle du support de retenue sur le goujon filé dans le plancher du coffre et fixez-le avec l'écrou à oreilles en plastique.

Si vous rangez la roue de secours avec le pneu à plat, sortez le boulon en L de la pochette extérieure de l'étui de feutre. La banquette de la troisième rangée relevée, placez le pneu dégonflé à l'arrière du véhicule, son corps de valve vers l'arrière. Fixez le pneu à plat sur le véhicule en insérant le boulon en L dans un des orifices pour boulons à oreilles dans la roue. Tournez-le
boulon dans le sens des aiguilles d'une montre dans le trou fileté du véhicule jusqu'à ce que le pneu soit fixé.
Si vous rangez la roue de secours-temporaire, placez le pneu sur le cric et arrimez-le avec le gros écrou à oreilles.
Caractéristiques de couple de serrage des écrous de roue

AVERTISSEMENT : Pendant l'installation d'une roue, enlevez
AVERTISSEMENT : Pendant la corrosion, la saleté ou les corps étrangers logés sur les surfaces de montage de la roue ou sur les surfaces du moyeu, du tambour de frein ou du disque de frein qui entrent en contact avec la roue. Assurez-vous qu'aucune pièce de fixation du disque au moyeu ne perturbe les surfaces de montage de la roue. L'installation de roues dont le contact métal à métal sur les surfaces de montage est déficient peut entraîner un desserrage des écrous de roue suivi de la perte d'une roue alors que le véhicule est en mouvement, ce qui provoquerait la perte de la maîtrise du véhicule.
Resserrez les écrous de roue au couple spécifique au plus tard 160 km (100 mi) après tout desserrage (tel que permutation, crevaison, dépose de la roue).
| Dimensions de la douille et des boulons des écrous de roue | Couple de serrage de l'écrou de roue* | |
| lb-pi | Nm | |
| 0,5 x 20 | 100 | 135 |
| *Cas couples de serrage sont pour des boulons et des écrous dont les filets sont propres et sans rouille. Utilisez seulement des éléments de fixation de rechange recommends par Ford. | ||

Note: Vérifiez l'avant-trou et la surface de montage de la roue avant la pose. Retirez toute trace de corrosion visible ou de particules détachées.
CHARACTERISTIQUES DU MOTEUR
| Mateur | Mateur V6 3,5 L | Mateur EcoBoost V6 3,5 L |
| Cylindrée (po3) | 214 | 214 |
| Carburant | Consultez la rubrique Indice d’octane recommandé dans le chapitre Carburant et ravitationnement. | Consultez la rubrique Indice d’octane recommandé dans le chapitre Carburant et ravitationnement. |
| Ordre d’allumage | 1-4-2-5-3-6 | 1-4-2-5-3-6 |
| Écartement des électrodes | 1,25 à 1,35 mm (0,049 à 0,053 po) | 0,081 à 0,097 mm (0,0031 à 0,0038 po) |
| Système d’allumage | Bobine intégrée à la bougie | Bobine intégrée à la bougie |
| Taux de compression | 10,8 à 1 | 10,0 à 1 |
Cheminement de la courroie d'entraînement des accessoires du moteur
CHARACTERISTIQUES TECHNIQUES
| Éléments | Contenance | Désignation Ford ou équivalent | Numéro de piece et norme Ford |
| Liquide de frein1 | Entre les repères MAX et MIN du réservoir | Liquide de frein pour vehicule automobile DOT 4 LV MotorcraftMC High Performance | PM-20 / WSS-M6C65-A2 et ISO 4925 classe 6 |
| Serrures de portep, serrure et loquet auxiliaire de capot, glissières de siège, serrures de coffre et de hayon | — | Graisse multiusage (graisse au lithium) | XG-4 ou XL-5 ou équivalent/ ESA-M1C93-B |
| Barillets de serrure | — | Dégrippant et lubrifiant MotorcraftMC pour serrures | XL-1 / Aucun |
| Huile pour boîte de vitesses automatique2,3 | 10,3 L (10,9 ptes) (6F50) | Huile pour boîte de vitesses automatique MERCONMC MotorcraftMC | XT-10-QLV / MERCON® LV |
| 11 l (11,6 ptes) (6F55) | |||
| Huile pour différentiel arrêté (traction intégrale) | 0,615 L (1,3 chopines) | Lubrifiant pour pont arrêté de haute qualité MotorcraftMC SAE 80W-90 | XY-80W90-QL / WSP-M2C197-A |
| Huile pour groupe de transfert (traction intégrale)4 | 0,53 L (18 oz) | Lubrifiant synthétique pour pont arrêté MotorcraftMC SAE 75W-140 | XY-75W140-QL / WSL-M2C192-A |
| Huile moteur5 | 5,7 L (6 ptes) (Moteur V6 3,5 L) | Huile moteur MotorcraftMC SAE 5W-20 ou équivalent4 | WSS-M2C945-A |
| 5,7 L (6 ptes) (Moteur EcoBoost V6 3,5 L) | • Huile moteur MotorcraftMC SAE 5W-30 ou équivalent4 | WSS-M2C946-A | |
| Liquide de refroidissement6 | Moteur 3,5 L 12,5 L (13,2 ptes) | Antigel ou liquide de refroidissement prédilué de couleur orange MotorcraftMC | • VC-3DIL-B (États-Unis) • CVC-3DIL-B (Canada)/ WSS-M97B44-D2 |
| Moteur EcoBoost V6 3,5 L 13 L (13,7 ptes) | |||
| Réserveir de carburant | 70,4 L (18,6 gallons) | — | — |
| Liquide lave-glace | Remplir au besoin | Concentré de liquide lave-glace de haute qualité MotorcraftMC (États-Unis) Liquide lave-glace de haute qualité (Canada) | ZC-32-A (États-Unis) CXC-37-(A, B, D et F) (Canada)/ WSB-M8B16-A2/- - |
| Contenance de frigorigène de climatisation et d'huile7 | 3,5 L GTDI 1,15 L (39 oz) 3,5 L TiVCT 1,09 L (37 oz) | Frigorigène R134A Motorcraft | YN-19 (États-Unis), CYN16-R (Canada) WSH-M17B19-A |
| Éléments | Contenance | Désignation Ford ou équivalent | Numéro de piece et norme Ford |
| Huile pour comprésur de frigorigène de climatisation8 | 3,5 L GTDI0,23 L (7,9 oz)3,5 L TIVCT0,26 L (8,9 oz) | Huile PAG pour comprésur de frigorigène de climatisation | YN-12-DWSH-M1C231-B |
| 1 Utilisez uniquement le liquide de frein DOT 4 LV MotorcraftMC High Performance ou équivalent conforme à la norme WSS-M6C65-A2 et ISO 4925 Classe 6. L'utilisation d'un liquide autre que le liquide recommendé peut endommager le système de freinage. | |||
| 2 Contenance approximative à vide. La quantité réelle peut varier lors des vidanges d'huile. | |||
| 3 Seule de l'huile MERCONMC LV doit être ajoutée aux boîtes de vitesses automatiques qui nécessitant de l'huile MERCONMC LV. Pour connaître les intervalles de vérification et de vidange, consultez le Guide d'entretien périodique. L'utilisation d'une huile autre que celle recommandée peut endommager la boîte de vitesses. | |||
| 4 Consultez votre concessionnaire autorisé pour la vérification du niveau d'huile ou pour le replissage. | |||
| 5 Notre moteur a été élevé pour utiliser une huile moteur conforme à la Specification Ford ou une huile moteur équivalente de la viscosité recommandaee et portant étiquette d'homologation de l'API pour moteurs à essence. | |||
| 6 Ajoutez le type de liquide de refroidissement d'origine de votre vehicule. | |||
| 7 Avertissement : Le circuit de frigorigène de climatisation contient du frigorigène R134A haute pression. Louverture du circuit de frigorigène de climatisation peut provoquer des blessures. L'entretien et la réparation du circuit de frigorigène de climatisation ne doivent être effectuels que par le personnel qualifié. | |||
PIÉCES DE RECHANGE MOTORCRAFTMC
| Composant | Moteur V6 3,5 L | Moteur EcoBoost V6 3,5 L |
| Filtre à air du moteur | FA-1884 | FA-1884 |
| Batterie | BXT-65-650 | BXT-65-750 |
| Filtre à huile | FL-500-S | FL-500-S |
| Bougies d'allumage¹ | SP-520 | SP-528 |
| Filtre à air d'habitacle | FP68 | FP68 |
| Filtre à air de siège | FS-104 | FS-104 |
| Balai d'essuie-glace de pare-brise | WW-2401-PF (côté conducteur)WW-2201-PF (côté passager)WW-1201-PF (arrière) | |
1 Consultez le Guide d'entretien périodique pour connaître les intervalles de changement des bougies d'allumage. Nota : Les bougies de remplacement, telles que des bougies de marque Motorcraft ou équivalentes, doivent être conformes à la norme Ford concernant les matériaux et spécifications pour votre véhicule. La garantie risque d'être annulée en cas de dommages au moteur si des bougies inappropriées sont utilisées.
NUMERO D'identification du vehicule

Le numéro d'identification du véhicule se trouve sur le tableau de bord, du côté du conducteur.
Veuillez noter que la mention XXXX reprise le numéro d'identification de votre véhicule dans le graphique.
Le numéro d'identification du véhicule (NIV) comprend les renseignements suivants :

A. Étiquette d'identification de constructeur mondial B. Circuit de freinage / PTAC (poids total autorisé en charge) / dispositif de retenue et leur emplacement. C. Fabrication, gamme de véhicules, série, type de carrosserie. D. Type de moteur E. Chiffre de contrôle
F. Année-modèle G. Usine de montage H. Numéro de série de production
Étiquette d'homologation du véhicule

La loi exige que chaque véhicule soit pourvu d'une étiquette d'homologation de sécurité et prescrit également l'emplacement de cette étiquette. L'étiquette d'homologation de sécurité sera apposée sur le pied de charnière de porte, le montant de verrou de porte ou le rebord de porte qui rejoint le montant de verrou de porte, près du siège du conducteur.
Désignation des CODES de boîte de vitesses

Le code de la boîte de vitesses se trouve sur l'étiquette d'homologation de sécurité du véhicule. Le tableau suivant indique la boîte de vitesses qui correspond à chaque code.
| Description | Code |
| Boîte automatique à six vitesses (6F50) | J |
| Boîte automatique à six vitesses (6F55) | G |
Accessions
Pour obtenir une liste complète des accessoires disponibles pour votre véhicule, veuillez communiquer avec votre concessionnaire ou visiter notre boutique d'achat en ligne à l'adresse suivante :
Accessoires. Ford.com (États-Unis seulement).
Les accessoires personnalisés Ford sont disponibles auprès de votre concessionnaire Ford local ou Ford Canada. Pendant la période de garantie, Ford réparera ou remplacera tout accessoire personnalisé Ford, installé comme il se doit par le concessionnaire, qui présenterait une défectuosité liée aux matériaux fournis en usine ou à la main-d'œuvre, ainsi que tout composant endommagé par des accessoires défectueux. Les accessoires sont garantis selon la modalité qui vous avantage le plus :
12 mois ou 20 000 km (12 000 mi) (selon la première échéance), ou - la portion restante de votre Garantie limitée de véhicule neuf.
Adressez-vous à votre concessionnaire pour obtenir tous les détails ainsi qu’une copie du document de garantie.
Apparence extérieure
- Pare-insectes
- Pare-boue
- Déflecteurs Graphisme Aileron
Apparence intérieure
-Éclairage ambiant Divertissement de siège arrête* - Enjoliveurs de seuil de porte avec logo - Enjoliveurs de seuil de porte arrière éclairés Tapis
Style de vie
Cendrier amovible et casier à monnaie - Porte-bagages et supports - Organisation et gestion du chargement - File d'arrimage Tente de camping pour VUS Miroir panoramique - Attelages de remorque, faisceaux électriques et accessoires - Brancards de pavillon
Tranquillité d'esprit
- Système de démarrage à distance
- Antivol de jantes
- Bouchon de carburant verrouillable pour système de replissage sans bouchon
- Sécurité du véhicule
- Housses intégrales pour le véhicule*
- Capteurs de stationnement montés sur le pare-chocs et sur l'attelage*
*Les accessoires sous licence Ford sont garantis par la garantie de fabricant d'accessoires. Les accessoires sous licence Ford sont entièrement conçus et créés par le fabricant d'accessoires et n'ont pas été conçus ou testés selon les exigences d'ingénierie de Ford Motor Company. Communiquez avec votre concessionnaire Ford pour obtenir les détails sur la garantie limitée du fabricant ou, dans le cas des accessoires sous licence Ford, pour Broker une copie de la garantie limitée du produit offerte par le fabricant d'accessoires.
Pour tirer un rendement optimal de votre véhicule, considérez les renseignements suivants lorsque vous y ajoutez des accessoires ou de l'équipement :
- Si vous transportez des passagers ou des bagages, et si vous ajoutez des accessoires ou de l'équipement à votre véhicule, ne dépassez jamais le poids total autorisé en charge ou le poids maximal autorisé à l'essieu avant ou arrière. Ces poids sont indiqués par leur sigle français (PTAC ou PMAE) ou leur sigle anglais (GVWR ou GAWR) sur l'étiquette d'homologation de votre véhicule. Consultez ce concessionnaire autorisé pour obtenir des renseignements supplémentaires à ce sujet.
- Le Conseil de la radiodiffusion et des télécommunications canadiennes (CRC) et, aux États-Unis, la « Federal Communications Commission » (FCC) réglementent l'utilisation des appareils de communication mobiles, tels qu'émetteurs récepteurs radio, téléphones et alarmes antivol, qui comportent des émetteurs radio. Si vous équipez vos véhicicule d'un appareil de ce type, celui-ci doit être conforme à la réglementation du CRTC ou de la FCC et doit être installé uniquement par un technicien qualifié.
- S'ils ne sont pas conçus pour un usage automobile, les appareils de communication mobiles peuvent nuir au bon fonctionnement de votre véhicule.
Accessoires
- Pour éviter de causer des interférences avec les autres fonctions du véhicule, comme les freins antiblocage, les utilisateurs de radio amateur installant une radio et des antennes sur leur véhicule ne doivent jamais placer les antennes de la radio amateur près du capot côté conducteur.
- Les accessoires et les composants électriques ou électroniques personnalisés non conçus par Ford ajoutés au véhicule par le propriétaire ou le concessionnaire autorisé peuvent nuir au rendement et à la durée de vie utile de la batterie et peuvent également compromettre le rendement d'autres circuits électriques dans le véhicule.
Programmes d'entretien prolongé (PEP) FORD
PROTEGEZ-VOUS CONTRE LA HAUSSE DES COÛTS DE RÉPARATION EN SOUSCRIVANT AU PROGRAMME D'ENTRETIEN PROLONGÉ FORD.
Programmes d'entretien (états-unis seulement)
Plus de 32 millions de propriétaires de véhicules Ford et Lincoln ont découvert les enormes avantages de la protection du PEP de Ford. Il s'agit du seul programme d'entretien prolongé appuyé par Ford Motor Company, car il offre une protection rassurante qui va au-delà de cette offerte par la garantie de véhicule neuf.
Le PEP de ford devient vite rentable
Une seule facture d'entretien : le prix des pièces et de la main-d'œuvre peut facilement dépasser le prix du Programme d'entretien prolongé de Ford. Avec le PEP de Ford, vous minimisez les risques de coûts de réparation imprévus, lesquels sont toujours à la hausse.
Couverture de jusqu'à plus de 500 composants
Il existe quatre programmes d'entretien prolongé, chacun offrant des couvertures différentes. Communiquez avec votre concessionnaire pour obtenir des précisions.
- PremiumCARE - Notre couverture la plus complète. Couvrant plus de 500 composants, ce programme est tellement complet que nous ne discutons généralement avec le client que de ce qui n'est pas couvert.
- ExtraCARE - 113 composants couverts, dont de nombreux à la pointe de la technologie.
- BaseCARE - 84 composants couverts.
- PowertrainCARE - 29 composants essentiels couverts.
Le programme Ford ESP est homologué par tous les concessionnaires Ford et Lincoln des États-Unis et du Canada. C'est le seul programme d'entretien prolongé autorisé et pris en charge par Ford Motor Company. Vous avez donc droit à ce qui suit :
- un service fiable et de qualité partout où vous allez;
- des réparations effectuées par des techniciens formés en usine utilisant des pièces d'origine Ford et Lincoln.
Remboursement de la voiture de location
Véhicule de location le jour - Vous profitez d'un véhicule de remplacement si votre véhicule reste chez le concessionnaire pour des réparations sous garantie effectuées dans la journée.
Véhicules de location pour une durée prolongée - Si votre véhicule reste à l'atelier jusqu'au lendemain pour des réparations sous garantie, vous avez droit à la couverture du véhicule de location, ce qui comprend les réparations au titre de la garantie intégrale, ou les programmes après-vente spéciaux.
Service de dépannage
Vous bénéficiez d'un service de dépannage jour et nuit exclusif, ce qui comprend :
- le remorquage, le remplacement d'un pneu à plat et les démarrages-secours;
- l'assistance en cas de panne d'essence et le service de déverrouillage des portes;
- le remboursement des frais de voyage afférents à l'hébergement, aux repas et aux véhicules de location;
- l'assistance destination en ce qui concerne les services de taxi et de navette, la couverture du véhicule de location et le transport d'urgence.
Garantie transférable
Si vous vendez votre véhicule avant la date d'expiration de votre programme d'entretien prolongé de Ford, vous pouvez céder toute partie restante de la garantie au nouveau propriétaire. Lorsque vous revendez votre véhicule, les acheteurs potentiels peuvent avoir un degré de confiance plus élevé que le véhicule a été correctement entretenu conformément au programme PEP Ford, ce qui améliore sa valeur à la revente!
Évitez les coûts grimpants de l'entretien de votre véhicule
Le PEP de Ford offre également le programme d'entretien Premium qui couvre tout l'entretien périodique et certaines pièces d'usure.
Cette couverture est comprise dans le prix, alors vous n'avez plus à vous soucier du prix de l'entretien de votre véhicule. Le programme couvre les inspections périodiques et de routine, l'entretien préventif et le remplacement des composants qui doivent être entretenus périodiquement en raison d'une usure normale :
Balais d'essuie-glace - Bougies d'allumage (sauf en Californie) - Le disque d'embrayage
- Plaquettes et garnitures de freins
- Amortisseurs Courroies et flexibles
- Plein de liquide d'échappement diesel
Communiquez avec votre concessionnaire dès aujourd'hui pour prendre un rendez-vous et obtenir un programme d'entretien prolongé personnalisé de Ford qui conviendra à vos besoins ainsi qu'à votre budget.
Options de financement sans intérêt offertes
Profitez de notre programme de paiement par versements sans intérêt. Un seul paiement de 10% vous permettra de bénéficier d'un programme de paiement abordable, sans intérêt et sans frais.
Complétez le formulaire ci-dessous et envoyez-le à l'adresse suivante :
Ford ESP
PO Box 8072
Royal Oak Michigan 48068-0039
Pour en savoir plus, appelez nos spécialistes du programme PEP Ford au 1 800 367-3377. N'oubliez pas de vous renseigner sur nos offres de paiement sans intérêts, qui vous permettent de bénéficier de la sécurité et des avantages du programme PEP Ford tout en échelonnant vos paiements. Vous êtes approuvé d'avance sans aucune vérification de crédit, ni aucune complication!
Programmes d'entretien (CANADA seulement)
Vous pouvez obtenir une protection supplémentaire pour votre véhicule en achetant un Programme d'entretien prolongé Ford. Le Programme d'entretien prolongé Ford est le seul contrat d'entretien appuyé par Ford du Canada Limitée. Selon le programme choisi, le Programme d'entretien prolongé Ford offre des avantages tels que:
- le remboursement de locations;
- couverture de certaines pièces d'entretien et d'usure;
- protection contre le coût des réparations après expiration de votre Garantie limitée de véhicule neuf;
- les avantages du programme Club d'assistance dépannage.
Il existe différents Programmes d'entretien prolongé Ford offrant diverses combinaisons de temps, de kilométrage et de franchise. Chaque programme a ses particularités propres, conçues pour répondre aux différents besoins des conducteurs, y compris le remboursement des frais de remorquage et de location.
Lorsque vous achetez le Programme d'entretien prolongé Ford, vous obtenez la tranquillité d'esprit partout au Canada et aux États-Unis, grâce au réseau de concessionnaires de Ford Motor Company participants. L'entretien en vertu du Programme Protection-entretien Lincoln peut être effectué chez tout concessionnaire autorisé Lincoln.
Nota : Les réparations effectuées à l'extérieur du Canada et des États-Unis ne sont pas couvertes par le Programme d'entretien prolongé Ford.
Cette information n'est donnée qu'à titre indicatif.
Pour obtenir de plus amples renseignements, visitez votre concessionnaire local Ford du Canada ou visitez le www.ford.ca pour trouver le Programme d'entretien prolongé personnalisé de Ford qui vous convient.
Fréquences radio et facteurs pouvant influencer la réception
Les fréquences radio AM et FM sont déterminées par le Conseil de la radiodiffusion et des télécommunications canadiennes (CRTC) et, aux États-Unis, par la « Federal Communications Commission » (FCC). Ces fréquences sont :
| Facteurs pouvant influencer la réception radio | |
| Distance et puissance du signal | Plus vous vous éloignez d'une station FM, plus le signal, et conséquèment la réception, sont faibles. |
| Terrain | Les collines, les montagnes, les grands immeubles, les Ponts, les tunnels, les passages supérieurs, les parcs de stationnement couverts, le feuillage dense des arbres et les orages peuvent nuire à la réception. |
| Station surchargeée | Lorsque vous croisez une tour de répétition de diffusion terrestre, un signal plus puissant peut interférer avec un signal plus faible, puis la chaine stéréo est mise en sourdine. |
Renseignements sur les disques compacts et le lecteur de disques compacts
Nota : Les lecteurs de CD lisent les disques compacts audionumériques du commerce de 12 cm (4,75 po) uniquement. En raison d'incompatibilités techniques, certains disques compacts enregistrables et réenregistrables peuvent ne pas fonctionner correctement lorsqu'ils sont insérés dans les lecteurs de disques compacts Ford.
Nota : Les CD avec étiquettes en papier gravées à domicile (adhésives) ne doivent pas être insérés dans le lecteur de disques compacts, car l'étiquette peut se décoller et coincer le disque compact dans le lecteur. Utilisez un marqueur permanent à pointe de feutre et non des étiquettes adhésives pour identifier vos disques compacts gravés à domicile. Les stylos à bille peuvent endommager les disques compacts. Veuillez consulter votre concessionnaire autorisé pour obtenir de plus amples renseignements.
Nota : N'utilisez pas de disques de forme irrégulière ou recouverts d'un film contre les rayures.
Saisissez toujours les disques par leur pourtour uniquement. Nettoyez les disques seulement avec un produit de nettoyage homologué pour disques compacts. Frottez du centre vers le bord des disques. Ne nettoyez pas le disque en effectuant un mouvement circulaire.
N'exposez pas les disques à la lumière directe du soleil ou à la chaleur pendant une longue période.
Structure des pistes et des dossiers MP3
Les chaînes audio qui reconnaissent les différentes pistes et structures de dossiers MP3 fonctionnent comme suit :
- Il existe deux différents modes de lecture de disque MP3 : le mode piste MP3 (réglage système par défaut) et le mode dossier MP3.
- Le mode piste MP3 ne tient pas compte de la structure de dossiers présente sur le disque MP3. Le lecteur numérote séquentiellement chaque piste MP3 du disque (dénotée par l'extension de fichier .mp3) de T001 à T255. Nota : Le nombre maximal de pistes MP3 qui peuvent être lues dépend de la structure du disque compact et du modèle exact de la chaîne audio.
- Le mode dossier MP3 représente une structure de dossiers composée d'un niveau. Le lecteur de disques compacts numérote toutes les pistes MP3 du disque (dénotées par l'extension de fichier. mp3) et tous les dossiers qui contiennent des fichiers MP3, de F001 (dossier) T001 (piste) à F253 T255.
- La création de disque à un seul niveau de dossiers facilite la navigation dans les fichiers du disque.
Si vous gravez vos propres disques MP3, il est important de comprendre comment la chaine stéreo lit les structures que vous définissez. Bien que divers types de fichier puissent être présents (fichiers avec une extension autre que .mp3), seuls les fichiers portant l'extension .mp3 sont lus. Vous pouvez ainsi utiliser le même disque MP3 pour une variété de tâches, aussi bien sur votre ordinateur au bureau ou à la maison que sur la chaine stéreo de votre véhicule.
En mode piste, la chaîne affiche et lit la structure comme si elle ne comportait qu'un niveau (tous les fichiers. mp3 sont lus, peu importe le dossier). En mode dossier, la chaîne ne lit que les fichiers. mp3 du dossier en cours.
Système myford®


AVERTISSEMENT : La distraction au volant peut causer une perte de maîtrise du véhicule, un accident et des blessures. Ford commande fortement aux conducteurs de faire preuve d'une vigilance ou les instants lorsqu'ils utilisent un dispositif qui pourrait nuire à concentration sur la route. Avant tout, vous devez vous assurer de diriger votre véhicule de façon sécuritaire. Nous vous déconseillons d'un appareil portatif lorsque vous conduisez et nous vous mandons d'utiliser des systèmes à commande vocale dans la vie du possible. Prenez bien connaissance de toutes les mentions locales pouvant affecter l'utilisation des appareils électroniques en conduisant.
Nota : Certaines fonctions telles que la radio satellite SIRIUS peuvent ne pas être disponibles dans votre région. Consultez votre concessionnaire autorisé.
A. RADIO: Appuyez sur ce bouton pour écouter une station de radio ou pour changer de bande de fréquences. Appuyez sur les touches de fonction sous l'écran de la radio pour sélectionner les diverses fonctions de la radio. B. CD (lecteur de disques compacts): Appuyez sur cette touche pour éjecter un disque compact. Appuyez sur les touches de fonction sous l'écran de la radio pour sélectionner les options Répétition ou Lecture aléatoire à l'écran.
C. touches de préselection :
- En mode radio, enregistrez vos stations préférées. Pour mémoriser une station radio, symphonisez la station, puis maintenez enfoncée la touche de préselection jusqu'au retour du son.
- En mode CD, appuyez sur l'une de ces touches pour sélectionner une piste.
D. Touches de fonction : Sélectionnez différentes fonctions de la chaîne stéréo selon le mode (c.-à-d. la radio ou lecteur CD) sélectionné.
E. TUNE (syntonisation) :
- En mode radio, tournez la commande pour effectuer une recherche manuelle sur la bande de fréquences.
- En mode radio satellite, tournez la commande pour passer à la station suivante ou précédente.
F. recul et avance rapide ; recherche automatique am/fm/cd :
- En mode radio, sélectionnez une bande de fréquences et appuyez sur une de ces touches. Le système s'arrête à la première station qu'il trouve dans cette direction. Appuyez sur l'une de ces touches et maintenez-la enfoncée pour passer rapidement à la station de radio audible suivante ou pré-sélectionnée.
- En mode SIRIUS, appuyez sur une de ces touches pour sélectionner la chaîne précédente ou suivante. Si vous sélectionnez une catégorie particulière (jazz, rock, nouvelles, etc.), utilisez ces touches pour couvrir la station précédente ou suivante dans la catégorie sélectionnée. Appuyez sur l'une de ces touches et maintenez-la enfoncée pour passer rapidement à la station ou catégorie suivante.
- En mode CD, appuyez sur l’une de ces touches pour sélectionner la piste précédente ou suivante. Appuyez sur l’une de ces touches et maintenez-la enfoncée pour avancer ou reculer rapidement dans la plage en cours de lecture.
Touches OK et fléchées :
- Appuyez sur les touches fléchées haut et bas ou droite et gauche pour naviguer dans les sélections de menu.
- Appuyez sur OK pour confirmer les sélections de menu.
H. Éjecter : Appuyez sur cette touche pour éjecter un disque compact.
I. Marche-arrêt et volume :
- Appuyez sur ce bouton pour activer/désactiver la chaîne audio.
- Tournez-le pour régler le volume.
J. CLOCK (horloge) : Appuyez sur cette touche pour accéder aux réglages de l'horloge. Utilisez les touches fléchées centrales pour modifier les heures et les minutes.
K. SOUND (son) : Appuyez sur cette touche pour ajuster les réglages des aigus, des mediums, des graves et des balances gauche-droite et avant-arrière. L. MENU : Appuyez sur ce bouton pour accéder aux différentes fonctions de la chaîne audio. Consultez la rubrique Structure de menu plus loin dans ce chapitre. M. PHONE (téléphone) : Appuyez sur cette touche pour accéder aux fonctions téléphoniques du système SYNC. Consultez le chapitre SYNC® pour obtenir de plus amples renseignements. N. AUX (auxiliaire) : Appuyez sur cette touche pour accéder à la prise d'entrée auxiliaire ou pour alterner entre les appareils que vous branchez dans la prise d'entrée ou le port USB. Consultez la rubrique Prise d'entrée auxiliaire plus loin dans ce chapitre. O. SIRIUS : Appuyez sur cette touche pour écouter la radio satellite SIRIUS.
Structure de menu
Note : Selon votre système, certaines options peuvent s'afficher de manière légèrement différente.
Appuyez sur MENU.
Appuyez sur les touches fléchées haut et bas pour faire défiler les options.
Appuyez sur la touche fléchée de droite pour accéder à un menu. Appuyez sur la touche fléchée de gauche pour quitter un menu.
Appuyez sur OK pour confirmer une sélection.
| Réglages de la radio | |
| Scan (balayage automatique) | Sélectionnez cette option pour écouter un extrait de toutes les chaînes disponibles. |
| Définir la catégorie | Sélectionnez cette fonction pour que le système effectue une recherche par catégorie de musique souhaitée (rock, pop, country, etc.). |
| Texte RBDS/RDS | Sélectionnez cette option pour afficher des données de radiodiffusion supplémentaires, si celles-ci sont disponibles. Cette fonction passe en mode de désactivation par défaut. La radio RBDS activée pour que vous puissiez définir une catégorie. |
| AST (mise en mémoire automatique) | Sélectionnez cette option pour memoriser automatiquement les six stations locales les plus puissantes des bandes de fréquences AM-AST et FM-AST. |
| SIRIUS | |
| Scan (balayage automatique) | Sélectionnez cette option pour écouter un extrait de toutes les chaînes disponibles. |
| Afficher le numéro de série électronique | Sélectionnez cette option pour afficher votre numéro de série électronique de radio satellite (ESN). Vous avez besoin de ce numéro lorsque vous communiquerez avec SIRIUS® pour activer, modifier ou faire un suivi de votre compte d'utilisateur de radio satellite. |
| Guide deschains | Sélectionnez cette option pour afficher leschains de ratio satellite disponibles. Appuyez sur OK pour ouvrir une liste des options suivantes pour cette station : Syntoniser la station, Sauter la station ou Verrouiller la station. Une fois que vous avez sauté ouverrouillé une station, vous ne pourrez y accéder qu'en appuyant sur Direct et en entrant le numéro de la station. Vous devez fournir votre NIP pour verrouiller ou déverrouiller uneCHAINE. |
| Définir la catégorie | Sélectionnez cette option pour visualiser descatégories de stations (pop, rock ou nouvelles). Si vous choisissez une catégorie, les fonctions de recherche automatique et de balayage ne s'arrêtent que sur les stations appartenant à cette catégorie. |
| Alertes | Sélectionnez cette option pour désactiver ou activer des alertes concernant des plages musicales, des artistes ou des équipes. Le système vous alerte lors de la relecture de la chanson sur une autre chaine. Le système peut mémoriser jusqu'à 20 alertes. |
| Déverrouiller toutes les stations | Utilisez votre NIP pour déverrouiller lesstations qui ont étéverrouillées. |
| Ne pas sauter de station | Éliminez la fonction de saut de toutes lesstations que vous avez sautéesAAParavant. |
| Verrouillage parental (NIP) | Sélectionnez cette option pour creator un NIPqui vous permet de verrouiller ou déverrouiller certaines stations. Vote NIP initial est 1234. |
Chaîne stéréo
| Réglages audio | |
| Vol. compens. vitesse | Ajuste automatiquement le volume pour compenser les bruits généres par la vitesse et le vent. Vous pouvez régler le système entre 0 et +7. |
| Son | Sélectionnez cette fonction pour acceder aux réglages des aigus, des médiums, des graves et des balances gauche-droite et avant-arrête. |
| Réglages de CD | |
| Balayer tout | Sélectionnez cette option pour effectuer un balayage toutes les sélections de disque. |
| Balayer le dossier | Sélectionnez cette option pour effectuer un balayage de toute la musique dans le dossier de MP3 en cours de lecture. |
| Compression de disque compact | Sélectionnez cette option pour diminuier l'écart de volume entre les passages doux et les passages forts et harmoniser ainsi l'écoute. |
| Réglages de l'horloge | |
| Régler l'heure | Sélectionnez cette option pour régler l'heure. |
| Régler la date | Sélectionnez cette option pour régler la date du calendrier. |
| Mode 24 h | Sélectionnez cette option pour afficher l'heure de l'horloge en mode 12 heures ou en mode 24 heures. |
| Réglages de l'affichage | |
| Langue | Sélectionnez cette option pour afficher la langue en Englais, en français ou en espagnol. |
| Réglage Temp. | Sélectionnez cette option pour afficher la température extérieure en degrés Celsius ou Fahrenheit. |
CHAINE Stéréo HAUT de GAMME am-fm avec lecteur de disques compacts
AVERTISSEMENT : La distraction au volant peut causer une perte de maîtrise du véhicule, un accident et des blessures. Ford recommande fortement aux conducteurs de faire preuve d’une vigilance de tous les instants lorsqu’ils utilisent un dispositif qui pourrait nuire à leur concentration sur la route. Avant tout, vous devez vous assurer de conduire votre véhicule de façon sécuritaire. Nous vous déconseillons l’utilisation d’un appareil portatif lorsque vous conduisez et nous vous recommandons d’utiliser des systèmes à commande vocale dans la mesure du possible. Prenez bien connaissance de toutes les réglementations locales pouvant affecter l’utilisation des appareils électroniques en conduisant.
Note : Le système MyFord Touch® commande la plupart des fonctions audio. Consultez le chapitre Système MyFord Touch® pour plus de renseignements.
A. Ejecter : Appuyez sur cette touche pour éjecter un disque compact. B. Fente de disque compact : Insérez un disque compact.
C. TUNE (syntonisation) + et TUNE (syntonisation) - :
- En mode radio, appuyez sur ces touches pour effectuer une recherche manuelle sur la bande de fréquences.
- En mode SIRIUS, appuyez sur ces touches pour couvrir la station de radio satellite suivante ou précédente disponible.
D. volume et marche-arrêt :
- Appuyez sur ce bouton pour activer/désactiver la chaîne audio. Tournez-le pour régler le volume.
E. SEEK (recherche automatique), recul et avance rapides :
- En mode radio, sélectionnez une bande de fréquences et appuyez sur une de ces touches. Le système s'arrête à la première station qu'il trouve dans cette direction.
- En mode SIRIUS, appuyez sur ces touches pour sélectionner la chaîne précédente ou suivante. Si une catégorie particulière est sélectionnée (jazz, rock, nouvelles, etc.), utilisez ces touches pour trouver la chaîne précédente ou suivante dans la catégorie sélectionnée.
- En mode CD, appuyez sur ces touches pour sélectionner la piste précédente ou suivante.
CHAINE Stéréo SONY® am-fm avec lecteur de disques compacts

AVERTISSEMENT : La distraction au volant peut causer une perte de maîtrise du véhicule, un accident et des blessures. Ford recommande fortement aux conducteurs de faire preuve d’une vigilance de tous les instants lorsqu’ils utilisent un dispositif qui pourrait nuire à leur concentration sur la route. Avant tout, vous devez vous assurer de conduire votre véhicule de façon sécuritaire. Nous vous déconseillons l’utilisation d’un appareil portatif lorsque vous conduisez et nous vous recommandons d’utiliser des systèmes à commande vocale dans la mesure du possible. Prenez bien connaissance de toutes les réglementations locales pouvant affecter l’utilisation des appareils électroniques en conduisant.
Note : Le système MyFord Touch® commande la plupart des fonctions audio. Consultez le chapitre Système MyFord Touch® pour plus de renseignements.
A. SOURCE : Ce bouton permet d'accéder à divers modes audio, comme AM, FM et entrée A/V. B. Recherche automatique/Recul/Avance rapide :
- En mode radio, sélectionnez une bande de fréquences et appuyez sur une de ces touches. Le système s'arrête à la première station qu'il trouve dans cette direction.
- En mode SIRIUS, appuyez sur ces touches pour sélectionner la chaine précédente ou suivante. Si une catégorie particulière est sélectionnée (jazz, rock, nouvelles, etc.), utilisez ces touches pour couver la chaine précédente ou suivante dans la catégorie sélectionnée.
- En mode CD, appuyez sur ces touches pour sélectionner la piste précédente ou suivante.
C. SOUND (son): Appuyez sur cette touche pour accéder aux réglages des aigus, des mediums, des graves et des balances gauche-droite et avant-arrière. D. TUNE (syntonisation) + et TUNE (syntonisation) - :
- En mode radio, appuyez sur ces touches pour effectuer une recherche manuelle sur la bande de fréquences.
- En mode SIRIUS, appuyez sur ces touches pour couvrir la station de radio satellite suivante ou précédente disponible.
Marche-arrêt et volume :
- Appuyez sur ce bouton pour activer/désactiver la chaîne audio. Tournez-le pour régler le volume.
Renseignements sur le système HD radiomc (si disponible)
Nota : Les émissions de radio HD ne sont pas disponibles dans tous les marchés.
La technologie radio HD radio constitue l'évolution numérique de la radio AM/FM analogue. Notre système est doté d'un récepteur spécial qui permet de capter des émissions numériques (là où le service est disponible) en plus des émissions analogiques que vous recevez déjà. Les émissions numériques fournissent une meilleure qualité sonore que les émissions analog. analogiques en diffusant un signal audio libre de parasites et de distorsion. Pour de plus amples renseignements, et pour consulter le guide des stations et de la programmation disponibles, veuillez visiter le www.hdradio.com.
Une fois que la radio HD est activée et que vous synchronisez une station diffusée en HD, vous remarquerez le logo HD Radio sur l'écran. Lorsque ce logo est affiché, les champs Titre et Artiste peuvent également s'afficher à l'écran.
L'indicateur de multidiffusion s'affiche en mode FM seulement s'il s'agit d'une station multidiffusion numérique. Les chiffres en surbrillance indiquent les chaînes numériques disponibles où du contenu nouveau ou différent est disponible. HD1 signifie que l'état de la programmation principale est disponible sous forme d'émissions analogiques et numériques. Toutes stations supplémentaires à diffusion multiple (HD2 à HD7) sont diffusées uniquement en mode numérique.
Lorsque les émissions de radio HD sont actives, vous pouvez accéder aux fonctions suivantes :
| Lorsque vous sélectionnez : | Vous pouvez : |
| Scan (balayage automatique) | Écouter un bref extrait de toutes les stations disponibles. Cette fonction demeure fonctionnelle lorsque la réception de radio HD est activée; toutefois, elle ne peut effectuer un balayage des chaînes HD2 à HD7. Le logo HD pourrait s'afficher si une émission numérique est disponible sur une station. |
| Pour mémoriser une station à diffusion multiple associée à une touche de préselection | Lorsque la chaine est activée à l'écran, appuyez longuement sur une touche de préselection correspondant à la fente voulue jusqu'à ce que le son soit rétabli. Pendant un bref silence, la radio enregistre la station. Le son réapparait lorsque c'est terminé. Lorsqu'une station HD2 ou HD3 mise en mémoire est rappelée, le son est mis en sourdine temporairement avant que le son numérique ne soit rétabli, car le système doit accérir de nouveau le signal numérique. Comme c'est le cas avec toute station de radio mémorisée, vous ne pouvez pas acceder à la station mémorisée si votre vehicule se trouve hors de la zone de réception de la station. |
Dépannage relatif à la réception et à la station de radio HD
| Problèmes potentiels de réception | |
| Zone de réception | Si vous écoutez une station à diffusion multiple et que vous étés à la limite du rayon de diffusion, la station passée en mode de sourdine en raison de la faiblesse du signal de réception. Si vous écoutez la châne HD1, le système passée en mode analogique jusqu'à ce que la diffusion numérique soit de nouveau disponible. Toutefois, si vous écoutez une des chaînes à diffusion multiple HD2 à HD7, la station passée en mode de sourdine et demeure dans ce mode jusqu'à ce qu'elle puisse rétablier la connexion avec le signal numérique. |
| Passage en alternance de station | Lorsque le système reçoit en premier une station (différente des stations à diffusion multiple HD2-HD7), il diffuse d'abord la station dont le signal est analogique. Une fois que le réseauur a vérifié que la station est une station radio HD, il passes à la version numérique. Selon la qualité de réception de la station, il se peut que vous entendiez un léger changement de son lorsque la station passé du mode analogique au mode numérique. Ce passage du son analogique au son numérique ou vice-versa est appelé passage en alternance. |
Dans le but d'offrir la meilleure expérience qui soit, un formulaire de contact a été mis au point pour signaler tous les problèmes de station trouvés lors de l'écoute d'une station diffusée à l'aide de la technologie radio HD. Des organisations indépendantes possèdent et exploitent chacune des stations. Ces stations sont responsables de la diffusion audio en continu et de la précision des champs de données.
| Problèmes de station potentiels | ||
| Problème | Cause | Mesure à prendre |
| Écho, hesitation, sauts ou répetitions de l'audio. Augmentation ou diminution du volume sonore. | Mauvaise synchronisation du diffuseur radiophonique. | Aucune action n'est nécessaire. Ceci est un problème d'émission. |
| Attenuation du son ou augmentation et diminution du son en alternance. | La radio passée entre le mode analogue et numérique en alternance. | Aucune action n'est nécessaire. Problème de réception qui tend à se résoudre à mesure que vous roulez. |
| Mise en sourdine-temporaire lors de la sélection d'une station HD2 ou HD3, d'une préselection d'une station multidiffusion ou d'une symtonisation directe. | La diffusion multiple numérique n'est pas disponible jusqu'à ce que l'émission de radio HD soit décodée. Une fois décodée, l'audio est disponible. | Aucune action n'est nécessaire. Ce comportement est normal. Attendeez que l'audio redevienne disponible. |
| Impossible d'acceder à la chaine de multidiffusion HD2/HD3 lorsqu'une touche de préselection est sélectionnée ou a partir de la symtonisation directe. | La touche de préselection enregistrree précédemment ou la symtonisation directe n'est pas disponible dans la zone courante de réception. | Aucune action n'est nécessaire. La station n'est pas disponible dans votre emplacement actuel. |
| L'information textuelle ne correspond pas à la trame sonore en cours de lecture. | Problème de traitement de données par le diffuseur radio. | Remplissez le formulaire relatif aux problèmes de station radiophonique disponible sur le site Web indiqué ci-dessous.* |
| Aucune information textuelle affichée pour la fréquence sélectionnée. | Problème de traitement de données par le diffuseur radio. | Remplissez le formulaire relatif aux problèmes de station radiophonique disponible sur le site Web indiqué ci-dessous.* |
| Stations de radio HD2 à HD7 introuvables lorsque la touche Balayage est actionnée. | Lorsque vous appuyez sur la touche Balayage, la fonction de recherche des chaînes HD2 à HD7 est désactivée. | Aucune action n'est nécessaire. Ce comportement est normal. |
- http://www.ibiquity.com/automotive/report_radio_station_experiences La technologie du système HD Radio MC est fabriquée sous licence de iBiquity Digital Corp. U. S. et de brevets étrangers. L'appellation HD Radio MC et les logos HD et HD Radio sont des marques commerciales déposées de iBiquity Digital Corp. Ford Motor Company et iBiquity Digital Corp. ne sauraient être tenues pour responsables du contenu transmis au moyen de la technologie HD Radio. Le contenu pourrait être changé, ajouté ou supprimé à tout moment à la discrétion du contrôle de la station.
Châines de la radio satellite
La radio satellite SIRIUS® diffuse une variété de chaînes de radio satellite de musique, de nouvelles, de sports, de météo, de circulation et de variétés. Pour obtenir de plus amples renseignements et une liste complète des chaînes de la radio satellite SIRIUS, visitez le site Web www.siriusxm.com aux États-Unis, le site Web www.sirius.ca au Canada ou communiquez avec SIRIUS au 1-888-539-7474.
Nota: Ce récepteur inclut le système d'exploitation en temps réel eCos. eCos est publié sous la licence eCos.
Facteurs touchant la réception de la radio satellite
| Problèmes potentiels de réception de radio satellite | |
| Antenne obstruée | Pour oblérer une réception optimale, ne laisser pas la neige et la glace s'accumuler sur l'antenne et placez les bagages et tout autre article aussi loin que possible de l'antenne. |
| Terrain | Les collines, les montagnes, les grands immeubles, les Ponts, les tunnels, les passages supérieurs, les parcs de stationnement couverts, le feuillage dense des arbres et les orages peuvent nuire à la réception. |
| Station surchargeée | Lorsque vous croisez une tour de répétition de diffusion terrestre, un signal plus puissant peut interférer avec un signal plus faible et la chaine stéreo peut être mise en sourdine. |
| Interférence dans le signal radio satellite | Il se peut que l'affichage indique « ACQUISITION » . . . pour indiquer l'interférence et la chaine audio peut être mise en sourdine. |
Service de radio satellite SIRIUS
Nota : SIRIUS se réserve le droit absolu de modifier, réorganiser, ajouter ou supprimer des chaînes, y compris l'annulation, le déplacement ou l'ajout de chaînes particulières et la modification des tarifs, à n'importe quel moment, avec ou sans préavis. Ford Motor Company n'est aucunement responsable de ces changements de programmation.

La radio satellite SIRIUS est un service de radio satellite à abonnement qui diffuse de la musique, des sports, des nouvelles, de la météo, de la circulation et des variétés. Le système de radio satellite SIRIUS installé en usine d'abonnement limitée qui la location du véhicule. Consultez la disponibilité.
comprend le matériel et une période d'abonnement limitée qui commence à la date de vente ou de la location du véhicule. Consultez votre concessionnaire autorisé pour la disponibilité.
Pour obtenir de plus amples renseignements sur les modalités d'abonnement prolongées (des frais de service sont exigés), le lecteur multimédia en ligne et une liste complète de chaînes de radio satellite SIRIUS ainsi que d'autres fonctions, visitez le site Web www.siriusxm.com aux États-Unis, le site Web www.sirius.ca au Canada, ou communiquez avec SIRIUS au 1-888-539-7474.
Numéro de série électronique de la radio satellite
Vous avez besoin de votre numéro de série électrique pour activer, modifier ou consulter votre compte de radio satellite. En mode radio satellite, vous pouvez afficher ce numéro en appuyant simultanément sur la touche SIRIUS et sur la touche de préselection 1. Pour accéder à votre numéro de série électrique (ESN), appuyez sur le coin inférieur gauche de l'écran tactile, puis sur SIRIUS > Options.
Recherche des pannes
| Écran de la radio | État | Mesures correctives |
| Acquisition | La radio prend plus de deux secondes pour produire les donnéesées audio de la chaîne sélectionnée. | Aucune action n'est nécessaire. Le message devrait disparaître sous peu. |
| Anomalie du satellite ou défaillance du système SIRIUS | Un module ou un système interne est défectueux. | Si ce message ne disparait pas sous peu ou lorsque le contact est coupé et rétabli, votre récepteur est peut-être défectueux. Consultez votre concessionnaire autorisé pour la réparation. |
| Chaîne non valide | La chaîne n'est plus disponible. | Syntonisez une autre chaîne ouCHOisissez une touche de préselection. |
| Chaîne non accessible avec l'abonnement | Votre abonnement ne comprend pas cette chaîne. | Communiquez avec SIRIUS au 1-888-539-7474 pour vous abonnner à la chaîne, ou synthonisez une autre chaîne. |
| Aucun signal | Perte de signal entre le satellite SIRIUS ou la tour SIRIUS et l'antenne du vehicule. | Le signal est bloqué. Le signal devrait revenir lorsque la zone redevient dégagée. |
| Mise à jour | La mise à jour de la chaîne est en cours. | Aucune action n'est nécessaire. Le processus peut demander jusqu'à trois minutes. |
| Appeler SIRIUS 1-888-539-7474 | Votre service de radio par satellite n'est plus disponible. | Communiquez avec SIRIUS au 1-888-539-7474 pour résoudre les problèmes d'abonnement. |
| Aucune trouvée.Consultez le Guide des chaînes. | Toutes les chaînes dans la catégorie sélectionnée sont sautées ou sont verrouillées. | Utilisez le guide des chaînes pour désactiver la fonction Saut ou Verrouillage de cette station. |
| Abonnement mis à jour | SIRIUS a mis à jour les chaînes disponibles pour votre vehicule. | Aucune action n'est nécessaire. |
Prise d'entrée auxiliaire
AVERTISSEMENT : La distraction au volant peut causer une perte de maîtrise du véhicule, un accident et des blessures. Ford recommande fortement aux conducteurs de faire preuve d'une vigilance de tous les instants lorsqu'ils utilisent un dispositif qui pourrait nuire à leur concentration sur la route. Avant tout, vous devez vous assurer de conduire votre véhicule de façon sécuritaire. Nous vous déconseillons l'utilisation d'un appareil portatif lorsque vous conduisez et nous vous recommandons d'utiliser des systèmes à commande vocale dans la mesure du possible. Prenez bien connaissance de toutes les réglementations locales pouvant affecter l'utilisation des appareils électroniques en conduisant.
AVERTISSEMENT : Pour des raisons de sécurité, ne branchez pas votre lecteur de musique portatif et n'en reglez pas les paramètres lorsque le véhicule roule. AVERTISSEMENT : Rangez le lecteur de musique portatif dans un endroit sécuritaire, comme la console centrale ou la boîte à gants, lorsque le véhicule roule. Les objets durs peuvent se transformer en projectiles en cas d'accident ou d'arrêt brusque et ainsi augmenter les risques de blessures graves. La longueur de la câble audio doit être suffisante pour ranger le lecteur de musique portatif en toute sécurité lorsque le véhicule roule.

La prise d'entrée auxiliaire vous permet de brancher un lecteur de musique portatif et d'en écouter le contenu par les haut-parleurs du véhicule. Vous pouvez utiliser n'importe quel lecteur de musique portatif conçu pour être utilisé avec un casque d'écoute. La rallonge audio doit être munie de connecteurs mâles de 3,5 mm (1/8 po) à chaque extrémité.
- Arrêtez le moteur et mettez hors fonction la radio ainsi que le lecteur de musique portatif. Serrez le frein de stationnement et mettez le sélecteur de vitesse à la position de stationnement (P).
- Branchez la rallonge du lecteur de musique portatif dans la prise d'entrée auxiliaire.
- Allumez la radio. Sélectionnez une station FM synthonisée ou un disque compact.
- Réglez le volume comme souhaité.
- Mettez votre lecteur de musique portatif en fonction et réglez le volume à la moitié de la plage.
- Appuyez sur la touche AUX jusqu'à ce que LIGNE ou ENTREE DE LIGNE s'affiche à l'écran. Vous devriez entendre la musique de votre appareil même si le volume est bas.
- Réglez le volume de votre lecteur de musique portatif jusqu'à ce qu'il atteigne le niveau de volume de la station FM ou du disque compact. Effectuez ceci en alternant plusieurs fois entre les touches AUXILIAIRE et FM ou CD.
PORT USB (SELON l'équipement)
AVERTISSEMENT : La distraction au volant peut causer une perte de maîtrise du véhicule, un accident et des blessures. Ford recommande fortement aux conducteurs de faire preuve d'une vigilance de tous les instants lorsqu'ils utilisent un dispositif qui pourrait nuire à leur concentration sur la route. Avant tout, vous devez vous assurer de conduire votre véhicule de façon sécuritaire. Nous vous déconseillons l'utilisation d'un appareil portatif lorsque vous conduisez et nous vous recommandons d'utiliser des systèmes à commande vocale dans la mesure du possible. Prenez bien connaissance de toutes les réglementations locales pouvant affecter l'utilisation des appareils électroniques en conduisant.

La prise USB vous permet de brancher différents médias, des cartes mémoire flash ainsi que de recharger divers appareils (si cette fonction est prise en charge). Consultez le chapitre SYNC pour obtenir de plus amples renseignements.
Centrale multimédia (SELON l'équipement)
La passerelle multimédia est située dans la console centrale et comprend les fonctions suivantes :

A. Entrées AV (audio-vidéo) B. Fente de carte mémoire flash C. Ports USB
Consultez le chapitre Système MyFord Touch pour plus de renseignements.

Le système SYNC est un système de communications à bord du véhicule qui interagit avec votre téléphone cellulaire compatible Bluetooth et votre lecteur multimédia portatif. Ce système vous permet :
- d'effectuer et de recevoir des appels;
- d'accéder à la musique et à la lecture à partir de votre lecteur de musique portatif;
- d'utiliser la fonction Assistance 911®, d'exécuter le bilan du véhicule et d'utiliser les services du système SYNC (services d'information des conditions de la circulation, d'itinéraires et de renseignements) (selon l'équipement);
- d'utiliser les applications telles que Pandora et Stitcher au moyen de SYNC AppLink® (le cas échéant);
- d'accéder aux contacts du répertoire et à la musique au moyen des commandes vocales;
- d'écouter de la musique en continu à partir de votre téléphone connecté;
- d'envoyer un message texte;
- d'utiliser le système de reconnaissance vocale évolué;
- de recharger un appareil USB (si votre appareil prend en charge cette fonction).
Généralités
Assurez-vous de consulter le manuel de votre appareil avant de l'utiliser avec le système SYNC.
Soutien SYNC
L'équipe de soutien SYNC est disponible pour vous aider à répondre à toute question non résolue,
Du lundi au samedi, de 08:30 à 20 h, HNE
Aux États-Unis, appelez le : 1-888-270-1055
Au Canada, appelez le : 1-800-565-3673
Les heures peuvent être modifiées en raison des jours fériés.
Compte de propriété SYNC
Pourquoi ai-je besoin d'un compte client SYNC?
- Activer le bilan du véhicule et consulter les rapports en ligne.
- Activer les Services SYNC sur abonnement et personnaliservos points d'intérêt et destinations favorites.
- Recevoir les dernières mises à jour logicielles disponibles pour SYNC.
- Accéder au soutien à la clientèle pour obtenir des réponses à toutes vos questions.
Restrictions pendant la conduite
Dans le but d'assurer votre sécurité, certaines fonctions sont asservies à la vitesse du véhicule et sont inaccessibles lorsque la vitesse du véhicule est supérieure à 5 km/h (3 mi/h).
Consignes de sécurité
AVERTISSEMENT : La distraction au volant peut causer la perte de maîtrise du véhicule et entraîner des blessures. Ford recommande fortement aux conducteurs de faire preuve d'une vigilance de tous les instants lorsqu'ils utilisent un dispositif qui pourrait nuire à leur concentration sur la route. Avant tout, vous devez vous assurer de conduire votre véhicule de façon sécuritaire. Nous vous déconseillons l'utilisation d'un appareil portatif lorsque vous conduisez. Nous vous recommandons d'utiliser les systèmes commandés par la voix dans la mesure du possible et de vous conformer aux lois applicables dans votre région qui pourraient restreindre l'utilisation des appareils électroniques durant la conduite.
Pendant l'utilisation du système SYNC :
- N'utilise aucun lecteur dont les câbles ou cordons d'alimentation sont fendus, entaillés ou endommagés. Placez de côté cordons et câbles pour qu'ils n'entravent pas le fonctionnement des pédales, le réglage des sièges, l'utilisation des compartiments de rangement ou la sécurité de conduite.
- Ne laissez pas de lecteurs ou d'appareils dans le véhicule sous des conditions de température extrêmes, sous peine de les endommager. Consultez le manuel de votre appareil pour plus de renseignements.
- N'essayez pas d'assurer l'entretien du système ou de le réparer vous-même. Consultez votre concessionnaire autorisé.
Pour votre sécurité, certaines fonctions du système SYNC sont asservies à la vitesse. Leur utilisation n'est possible que lorsque le véhicule roule à moins de 5 km/h (3 mi/h).
Assurez-vous de consulter le manuel de votre appareil avant de l'utiliser avec le système SYNC.
Renseignements sur la confidentialité
Lorsqu'un téléphone cellulaire est connecté au système SYNC, le système crée un profil dans votre véhicule qui est relié à ce téléphone cellulaire. Ce profil est créé pour vous offrir plus de fonctions et pour améliorer le fonctionnement de l'appareil cellulaire. Entre autres, ce profil peut contenir des données du réseau de votre téléphone cellulaire, des messages textes (lus et non lus) et l'historique des appels, y compris l'historique des appels survenus lorsque votre téléphone cellulaire n'était pas connecté au système. De plus, si vous connectez un appareil multimédia, le système crée et retient un index de contenu multimédia pris en charge. Le système enregistre aussi un bref journal de déroulement d'environ 10 minutes de toute activité récente du système. Le profil du journal et d'autres données du système peuvent être utilisés pour améliorer le système et vous aider à diagnostiquer n'importe quel problème qui pourrait survenir.
Le profil cellulaire, l'index des appareils multimédias et le journal de déroulement restent dans le véhicule à moins que vous les effaciez, et ils sont généralement accessibles seulement dans le véhicule lorsque le téléphone cellulaire ou le lecteur multimédia est connecté. Si vous décidez de ne plus utiliser le système ou le véhicule, nous recommandons que vous exécutiez une réinitialisation générale pour effacer toutes les données enregistrées.
Vous ne pouvez accéder aux données du système sans un équipement spécial, ni au module du système SYNC du véhicule. Ford Motor
Company et Ford Canada ne lisent pas les données du système sans en avoir obtenu le consentement, à moins d'être soumis à une ordonnance d'un tribunal, à l'application d'une loi, à une instance gouvernementale ou à la demande de tiers détenant un pouvoir légal. Indépendamment de Ford et de Ford du Canada, d'autres organismes pourraient demander l'accès à cette information. Pour plus de renseignements sur la vie privée, consultez les rubriques Assistance 911, Bilan du véhicule et Circulation, directions et information.
Utilisation de la reconnaissance VOCALE
Ce système vous aide à commander plusieurs fonctions au moyen de commandes vocales. Ceci vous permet de garder vos mains sur le volant et de vous concentrer sur la circulation.
Démarrage d'une session de reconnaissance vocale

Appuyez sur le pictogramme de commande vocale ; une tonalité retentit et le message « Listening » (écoute) s'affiche à l'écran. Énoncez une des commandes suivantes :
| Dites : | Si vous souhaitez : |
| « Téléphone » | Passer un appel. |
| « USB » | Accéder à l'appareil relié au port USB. |
| « Système audioBluetooth » | Utiliser la musique en continu de votre téléphone. |
| « Entrée de ligne » | Accéder à l'appareil relié à la prise d'entrée auxiliaire. |
| « Annuler » | Annuler l'action demandée. |
| « SYNC » | Retourner au menu principal. |
| « Paramètres de la voix » | Régler le niveau de l'interaction et de la rétroaction vocales. |
| « Vehicle Health Report » | Exécuter un bilan du vehicule.** |
| « Services » | Accéder au portail des services du système SYNC.* |
| « Mobile apps » | Accéder aux applications mobiles.* |
| « Aide » | Obtenir une liste audible des commandes vocales disponibles dans le mode actuel. |
Selon l'équipement, É.-U. seulement
Interaction et rétroaction du système
Le système fournit la retroaction au moyen de tonalités audibles, d'invites, de questions et de confirmations énoncées en fonction de la situation et du niveau d'interaction sélection (paramètres de la voix). Vous pouvez personnaliser le système de reconnaissance vocale pour obtenir plus ou moins de directives et de retroaction.
Le paramètre par défaut est défini pour un niveau plus élevé d'interaction afin de faciliter votre apprentissage du système. Vous pouvez modifier ces paramètres en tout temps.
Réglage du niveau d'interaction

Appuyez sur le pictogramme de commande vocale ; à l'invite, dites « Paramètres de la voix », puis énoncez l'une des commandes suivantes :
| Lorsque vous dites : | Le système : |
| « Mode interactif standard » | Fournit une interaction et un guidage plus détaillés. |
| « Mode interactif avancé » | Fournit moins d'interaction audible et plus d'invites par tonalité. |
Le système passe par défaut au mode d'interaction standard.
Les invitations de confirmation sont de courtes questions posées par le système en cas d'incertitude concernant votre demande, ou lorsque plusieurs réponses possibles sont disponibles relatives à votre demande. (Par exemple, le système pourrait dire : « Téléphone, est-ce exact? ») Si la fonction est désactivée, le système devine au moins ce que vous avez demandé et peut à l'occasion vous demander de confirmer les paramètres.
| « Invites de confirmation activées » |
| « Invites de confirmation désactivées » |
Lorsque le niveau de certitude du système est analogue à plusieurs options, il crée des listes de candidats en fonction de votre commande vocale. Lorsqu'il est activé, le système vous offrira jusqu'à quatre possibilités et vous demandera de préciser.
Par exemple, « Dites 1 après la tonalité pour appeler Jean Tremblay à son domicile. Dites 2 après la tonalité pour appeler Jean Tremblay sur son téléphone cellulaire. Dites 3 après la tonalité pour appeler Jeanne Tremblay à la maison. » Ou « Dites 1 après la tonalité pour dire Jean Tremblay, dites 2 après la tonalité pour journé Jeanne Tremblay. »
| « Lists des candidats du téléphone activées » |
| « Lists des candidats du téléphone désactivées » |
| « Lists des candidats du support activées » |
| « Lists des candidats du support désactivées » |
Conseils utiles
Assurez-vous que l'habitacle est aussi silencieux que possible. Le bruit du vent provenant de glaces ouvertes et les vibrations de la route peuvent empêcher le système de reconnaître correctement les commandes énoncées. - Après avoir activé le pictogramme de commande vocale, attendez que la tonalité retentisse et que le message « Écoute » s'affiche à l'écran avant d'énoncer une commande. Toute commande énoncée au préalable n'est pas enregistrée dans le système. - Parlez normalement, sans marquer de longues pauses entre les mots. - À n'importe quel moment, vous pouvez interrompre le système pendant qu'il énonce une commande en appuyant sur le pictogramme de commande vocale.
Utilisation de SYNCH avec votre téléphone
La téléphonie mains libres est l'une des principales fonctions de SYNC. Bien que le système prenne en charge un grand nombre de fonctions, plusieurs d'entre elles sont asservies aux fonctionnalités de votre téléphone cellulaires. Au minimum, la plupart des téléphones cellulaires avec technologie sans fil Bluetooth prennent en charge les fonctions suivantes :
- Répondre à un appel entrant
- Mettre fin à un appel
- Utilisation du mode de confidentialité
- Composition d'un numéro
- Recomposition
- Avis d'essai en attente
- Identité de l'appelant
D'autres fonctions, telles que la messagerie textuelle avec Bluetooth et le téléchargement automatique du réseau, sont asservies à votre téléphone. Pour vérifier la compatibilité de votre téléphone, consultez le guide de l'utilisateur de votre téléphone et visitez le site Web www.SYNCMyRide.com, www.SYNCMyRide.ca ou www.syncaroute.ca.
Jumelage initial du téléphone
Note: Le système SYNC peut prendre en charge le téléchargement d'environ 2000 entrées maximales par téléphone cellulaire compatible Bluetooth.
Nota : Assurez-vous que le contact est établi, que la radio est en fonction et que le levier sélecteur de la boîte de vitesses est à la position de stationnement (P).
Nota : Pour faire défiler les menus, appuyez sur les touches fléchées vers le haut et vers le bas de votre chaîne stéréo.
Le jumelage de votre téléphone avec le système SYNC au moyen de la technologie sans fil vous permet de faire et de recevoir des appels en mode mains libres.
- Appuyez sur la touche de téléphone ; lorsque l'écran affiche un message pour indiquer qu'aucun téléphone n'est jumelé, appuyez sur la touche OK.
- Lorsque le message FIND SYNC (détecteur SYNC) s'affiche à l'écran, appuyez sur OK.
- Mettez votre téléphone en mode découverte Bluetooth. Consultez le guide d’utilisateur de votre téléphone, au besoin.
- À l'invite affichée à l'écran de votre téléphone, entrez le NIP à six chiffres fourni par le système SYNC à l'écran de la radio.
- L'écran affiche un message pour indiquer que le jumelage a réussi.
En fonction des caractéristiques de votre téléphone et du lieu de résidence, le système peut générer des questions au moyen d'invites, telles que la configuration du téléphone actuel en tant que téléphone principal (le système SYNC tente automatiquement de se relier au téléphone principal lors du démarrage initial du véhicule), le téléchargement de votre répertoire, etc.
Jumelage d'autres téléphones
Nota : Pour faire défiler les menus, appuyez sur les touches fléchées vers le haut et vers le bas de votre chaîne stéréo.
Nota : Assurez-vous que le contact est établi, que la radio est en fonction et que le levier sélecteur de la boîte de vitesses est à la position de stationnement (P).
- Appuyez sur la touche de téléphone et faites défiler les sélections jusqu'à ce que l'option Paramètres système soit sélectionnée.
- Appuyez sur la touche OK et faites défilier les sélections jusqu'à ce que l'option Appareils Bluetooth soit sélectionnée, puis appuyez sur la touche OK.
- Faites défilier les sélections jusqu'à ce que l'option Ajouter un appareil BT soit sélectionnée, puis appuyez sur la touche OK.
- Lorsque le message Détector SYNC s'affiche à l'écran, appuyez sur la touche OK.
- Mettez votre téléphone en mode découverte Bluetooth. Consultez le guide d’utilisateur de votre téléphone, au besoin.
- À l'invite affichée à l'écran de votre téléphone, entrez le NIP à six chiffres fourni par le système SYNC à l'écran de la radio. L'écran affiche un message pour indiquer que le jumelage a réussi.
- Le système génère ensuite des questions au moyen d'invités, telles que la configuration du téléphone actuel en tant que téléphone principal (le système SYNC tente automatiquement de se relier au téléphone principal lors du démarrage initial du véhicule), le téléchargement de votre réseau, etc.
Commandes vocales de téléphone

Appuyez sur le pictogramme de commande vocale et dites
« Téléphone ». Énoncez l'une des commandes suivantes :
| « TÉLEPHONE » |
| « Appeler <nom> »1,2 |
| « Appeler <nom> sur le cellulair / mobile »1,2 |
| « Appeler <nom> À un autre [numéro] »1,2 |
| « Répertoiré <nom> [numéro] du domicile »2 |
| « 2Rétapertoire <nom> sur le cellulair / mobile »2 |
| « Historique des appel sortants »2 |
| « Répertoiré <nom> Autre [numéro] »2 |
| « Historique des appel manqués »2 |
| « Menu »2,3 |
| « Joindre » |
| « Appeler <nom> à son domicile »1,2 |
| « Appeler <nom> au travail » OU « Appeler <nom> au bureau »1,2 |
| « Composer »1,4 |
| « Répertoiré <nom> »2 |
| « Répertoiré <nom> [du numéro] du travail » OU « Répertoiré <nom> [du numéro] du bureau »2 |
| « Historique des appel entrants »2 |
| « Connexions »2 |
| « TÉLÉPHONE » |
| « Aller à la section confidentialité » |
| « En attente » |
Il n'est pas nécessaire de dire d'abord « Téléphone » avec ces commandes. Ces commandes ne sont disponibles que lorsque le téléchargement de l'information téléphonique au moyen du système Bluetooth est terminé. Consultez le tableau « MENU » ci-dessous. Consultez le tableau « COMPOSER » ci-dessous.
| « MENU » |
| « Connexions (du téléphone) »* |
| « (Message de) notification des paramètres (du téléphone) désactivée »* |
| « (Message de) notification des paramètres (du téléphone) activée »* |
| « (Définir les) paramètres de sonnerie (du téléphone) »* |
| « (Définir les) paramètres de la sonnerie 1 (du téléphone) »* |
| « (Définir les) paramètres de la sonnerie 2 (du téléphone) »* |
| « (Définir les) paramètres de la sonnerie 3 (du téléphone) »* |
| « Paramètres de la sonnerie (du téléphone) désactivés »* |
| « Pile » |
| « Nom du téléphone » |
| « Signal » |
| « Boîte de réception des messages texte » |
*Les mots entre les parenthèses () sont optionnels et ne sont pas nécessaires pour que le système interprète la commande.
Commandes de répertoire : lorsque vous demandez au système SYNC® d'accéder à un nom, un numéro, etc. dans le répertoire, l'information demandée s'affiche à l'écran. Appuyez sur la touche de téléphone et dites « Appeler » pour passer l'appel au contact.
| « COMPOSER » |
| « 411 » (quatre-un-un), « 911 » (neuf-un-un) |
| « 700 (sept cent) » (sept cent) |
| « 800 (huit cent) » (huit cent) |
| « 900 (neuf cent) » (neuf cent) |
| « # » (touche dièse) |
| « <number> 0-9 » |
| « Astérisque » (*) |
| « Effacer » (supprime tous les chiffres entrés) |
| « Supprimer » (supprime un chiffre) |
| « Plus » |
| « Étoile » |
Nota : Pour quitter le mode de composition, maintenez la touche de téléphone enfoncée ou appuyez sur MENU pour accéder au menu Téléphonique.
Faire un appel
Appuyez sur le pictogramme de commande vocale, puis à l'invite :
- Dites « Appeler » ou « Composer », puis le numéro souhaité.
- Lorsque le système confirme le numéro, dites « Composer » de nouveau pour établir l'appel.
Pour effacer le dernier chiffre énoncé, dites « Supprimer » ou appuyez sur la touche fléchée gauche. Pour effacer tous les chiffres énoncés, dites « Effacer » ou maintenez la touche fléchée gauche enfonnée.
Pour mettre fin à l'appel, maintenez la touche de téléphone enfonnée.
Répondre à un appel
Lorsque vous recevez un appel, vous pouvez faire ce qui suit :
- Répondre à l'appel en appuyant sur la touche de téléphone.
- Rejeter l'appel en maintenant la touche de téléphone enfoncée.
- Ignorer l'appel en n'appuyant sur aucune touche.
Options téléphoniques pendant un appel en cours
Pendant un appel en cours, des fonctions de menu supplémentaires sont disponibles telles que la mise en attente d'un appel, la liaison d'appels en cours, etc. Utilisez les touches fléchées pour faire défiler les options de menu.
Pour y accéder :
- Appuyez sur la touche MENU pendant un appel en cours.
- Lorsque l'option Menu appel actif est sélectionnée, appuyez sur la touche OK.
- Faites défiler les options suivantes :
| Lorsque vous sélectionnez : | Vous pouvez : |
| Touché discrétion activée? | Mettre l'appel en sourdine. |
| Mode confidentialité | Faire passer un appel actif effectué en mode mains libres à votre téléphone cellulaire pour une conversation privée.Appuyez sur la touche OK lorsque « Confidentialité act./désact. » s'affiche.(L'écran affiche Mode confidentialité et le système transféré votre appel.) |
| Appel attente | Mettre un appel en cours en attente.Appuyez sur la touche OK lorsque « Mettre l'appel en attente? » s'affiche. Pour répondre à un autre appel en même temps, appuyez sur la touche de téléphone. |
| Combiner appeals | Combiner deux appeals distincts.1. Appuyez sur la touche de téléphone.2. Accédez au contact voulu au moyen du système SYNC ou utiliser les commandes vocales pour effectuer un deuxième appel. Une fois que le第二种appeel est établi, appuyez sur la touche MENU.3. Faites défilier les sélections jusqu'à ce que l'option « Combiner appeals » s'affiche, puis appuyez sur la touche OK. Appuyez de nouveau sur la touche OK lorsque le message Combiner appeals? s'affiche.Notaf: Le système SYNC prend en charge un maximum de trois interlocuteurs par appel à plusieurs interlocuteurs ou conférence téléphonique. |
| Entrée sons | Entrer des « tonalités », telles que des numérios pour les mots de passer.Faites défiler les sélections jusqu'à ce que le numéro souhaité s'affiche à l'écran, puis appuyez sur la touche OK; une tonalité retentit pour confirmer la sélection. Répétez l'étape au besoin. |
| Répertoire | Accéder aux contacts de votre répertoire.1. Appuyez sur la touche OK pour sélectionner la fonction, puis faites défiler vos contacts du réseau.2. Appuyez à nouveau sur la touche OK lorsque la sélection voulue s'affiche à l'écran.3. Appuyez sur la touche de téléphone. |
| Historique desAAPels | Accéder à votre journal d'historique desAAPels.1. Appuyez sur la touche OK pour sélectionner la fonction, puis faites défiler les options de votre historique desAAPels(entrants, sortants, manqués).2. Appuyez sur la touche OK lorsque la sélection voulue s'affiche à l'écran.3. Appuyez sur la touche de téléphone pour appeler la sélection可以选择. |
| Retour | Quitter le menu courant. |
Accès aux fonctions à partir du menu du téléphone
Le menu du téléphone du système SYNC vous permet de recomposer un numéro, d'accéder à votre historique des appels et à votre réseau, d'envoyer des messages/textes ainsi que d'accéder aux paramètres du téléphone et des systèmes. Vous pouvez aussi accéder à des fonctions avancées telles que le service Assistance 911®, le Bilan du véhicule et les services du système SYNC.
- Appuyez sur la touche de téléphone pour accéder au Menu du téléphone.
- Faites défiler les options suivantes :
| Lorsque vous sélectionnez : | Vous pouvez : |
| Recomposition téléphonique | Recomposer le dernier numéro appelé (s'il est disponible). Appuyez sur la touche OK pour sélectionner cette fonction, puis appuyez de nouveau sur la touche OK pour confirmer la scélection. |
| Historique des éléments1 | Vous permet d'acceder à tout numéro composé précédemment, tout appel reçu ou tout appel manqué avec votre téléphone relié au système. 1. Appuyez sur OK pour sélectionner. 2. Faites défilier les selections pour désir parmi les options Historique des appeals entrants, Historique des appeals sortants ou Historique des appeals manqués. Appuyez sur la touche OK pour procceder à votre scélection. 3. Appuyez sur la touche OK ou sur la touche de téléphone pour appeler la scélection souhaitée. Nota : Le système tente automatiquement de télécharger de nouveaux yours répertoire ou votre historique des appeals chaque fois que votre téléphone se relié au système SYNC (si la fonction de téléchargement automatique est activée et si vous téléphone cellulaire compatible Bluetooth prend en charge cette fonction). |
| Répertoire1,2 | Vous permet d'acceder à votre réseau téléphonique téléchargeé.1. Appuyez sur la touche OK pour confirmer et acceder à l'options. Si votre réseau contient moins de 255 entrées, elles apparaissent par ordre alphabétique en mode de fichier plat. Si elle en contient plus, ils sont organisés par catégories alphabétiques.2. Faites défilier les sélections jusqu'àu contact voulu, puis appuyez sur la touche OK.3. Appuyez sur la touche OK ou sur la touche de téléphone. |
| Msg texte1 | Envoyer, télécharger et supprimer les messages/textes. |
| Paramètres du téléphone1 | Afficher l'état de votre téléphone, configurer une sonnerie, sélectionner un avis de message, modifier les entrées du réseau et télécharger automatiquement votre téléphone cellulaire entre autres. |
| SYNC Services3 | Accéder au portail des services du système SYNC où vous pouvez demander divers types de renseignements, des rapports de circulation routière et des itinéaires. |
| Assistance 9114 | Permettre au système de placer un appel d'urgence à un préposé du service d'urgence 911 après un accident (si la fonction est utilisée correctement). |
| Bilan du vehicule3 | Exécuter et recevoir un rapport de diagnostic du vehicule. |
| Mobile Apps3 | Interagir avec les applications mobiles compatibles avec le système SYNC® sur votre téléphone intelligent. |
| Paramètres système | Accéder aux listes du menu AppareilsBluetooth (ajout, connexion, configuration entant que téléphone principal, activation oudéactivation, suppression), ainsi qu'aux listedu menu Avancé (invites, langues, valeurs pardéfaut, réinitialisation générale, installationdes applications et renseignements relatifs au système). |
| Quitter menu du téléphone | Quitter le menu de téléphone en appuyant surla touche OK. |
1 Cette fonction est asservie à la téléphonie. 2 Cette fonction est asservie à la téléphonie et à la vitesse. 3 Selon l'équipement, É.-U. seulement 4 Selon l'équipement, É.-U. et Canada seulement
Messagerie texte
Note : Cette fonction est asservie à la téléphonie.
Le système SYNC vous permet de recevoir, d'envoyer, de télécharger et de supprimer les messages textes. Le système lit aussi les messages/textes entrants afin que vous ne détourniez pas votre attention de la route pendant que vous conduisez.
Réception d'un message texte
Nota : Cette fonction est asservie à la téléphonie. Votre téléphone doit prendre en charge le téléchargement des messages/textes au moyen du système Bluetooth pour recevoir les messages/textes entrants.
Nota : L'envoi d'un message texte est une fonction asservie à la vitesse et ne peut être effectuée que lorsque la vitesse du véhicule ne dépasse pas 5 km/h (3 mi/h).
Note : Un seul destinataire est permis par message texte.
Lors de la réception d'un nouveau message, une tonalité audible retentit et l'écran affiche un message pour indiquer la réception d'un nouveau message. Vous avez le besoin entre ces options :
- Appuyez sur la touche de reconnaissance vocale, attendez l'invite, puis dites « Lecture des messages » pour permettre la lecture du message par le système SYNC.
- Appuyez sur la touche OK pour receivevoir et ouvrir le message texte ou ne prenez aucune action et le message est transféré à votre boîte de réception de messages/textes. Appuyez sur la touche OK de nouveau et le système SYNC lit votre message à haute voix, car vous ne pourrez pas afficher le message. Vous pouvez aussi désirir de répondre ou de faire suivre le message.
- Appuyez sur la touche OK et faites défilier les sélections pour choisir entre les options suivantes :
- Répondre au message texte : Appuyez sur la touche OK pour accéder à l'option, puis faites défiler la liste des messages prédéfinis à envoyer.
- Transférer le message texte : Appuyez sur la touche OK pour transférer le message à un contact de votre Répertoire ou Historique des appels. Vous pouvez aussi sélectionner l'option Entrer le numéro.
Envoi, téléchargement et suppression des messages/textes
La messagerie texte est une fonction asservie à la téléphonie. Si votre téléphone est compatible, le système SYNC vous permet de recevoir, d'envoyer, de télécharger et de supprimer les messages/textes.
- Appuyez sur la touche de téléphone.
- Faites défilier les sélections jusqu'à ce que l'option MsgBox texte s'affiche, puis appuyez sur la touche OK.
- Faites défilier les options suivantes :
Envoyer message texte? - Cette option vous permet d'envoyer un nouveau message texte en fonction d'un ensemble de 15 messages prédéfinis.
Télécharger les messages non lus - Cette option vous permet de télécharger les messages non lus (seulement) dans le système SYNC. Pour télécharg le téléchargement des messages est en cours. Lorsque le téléchargement est terminé, le système SYNC vous fera passer à votre boîte de réception.
Supprimer tous les messages? - Cette option vous permet de supprimer les messages/texte actuels du système SYNC (et non pas de votre téléphone). Pour supprimer les messages, appuyez sur la touche OK pour sélectionner l'option. L'écran affiche un message pour indiquer que tous les messages/textes ont été supprimés et le système SYNC retourne au menu de messages/textes.
Note : Le système SYNC ne télécharge pas automatiquement tous vos messages texte non lus lors de chaque cycle d'allumage (comme il le fait pour l'historique des appels et le réseau si la fonction de téléchargement automatique est activée).
Retour - Cette option vous permet de quitter le menu actuel lorsque vous appuyez sur la touche OK.
Si vous avez sélectionné Envoyer message texte :
- Appuyez sur OK pour sélectionner. Si le système détecte que votre téléphone ne prend pas en charge cette fonction, le message « Non pris en charge » s'affiche à l'écran et le système SYNC retourne au menu principal.
- Faites défiler les options de messages du tableau suivant pour effectuer votre sélection.
- Appuyez sur la touche OK lorsque la sélection voulue s'affiche à l'écran. Il est maintenant nécessaire que le système connaisse le destinataire du message.
- Faites défiler les entrées du Répertoire ou de l'Historique des appels. Vous pouvez également sélectionner l'option Entrer le numéro pour entrer verbalement un numéro voulu.
- Appuyez sur la touche OK pour entrer le menu voulu, puis faites défiler les options pour sélectionner le contact spécifique.
- Appuyez sur la touche OK lorsque le contact s'affiche à l'écran, puis appuyez de nouveau sur la touche OK pour confirmer la sélection lorsque le système vous demande si vous souhaitez envoyer le message. Chaque message texte est envoyé accompagné de la signature suivante : « Ce message a été transmis depuis mon véhicule »
| Options de messages/textes prédéfinis |
| Je ne peux pas parler |
| Appelle-moi |
| Je te rappelle |
| On se retrouve dans 10 minutes |
| On se retrouve dans 20 minutes |
| Oui |
| Non |
| Pourquoi? |
| Merci |
| Où es-tu? |
| J'ai besoin de plus d'indications |
| Je t'aime |
| Trop drôle |
| J'ai hâte de te voir |
| Je suis dans un embouteillage |
Accès aux paramètres du téléphone
Ces fonctions sont asservies à la téléphonie. Les paramètres de votre téléphone vous permettent d'accéder et de régler les fonctions telles que la sonnerie, l'avis de message texte, la modification du répertoire, ainsi que la configuration du téléchargement automatique.
- Appuyez sur la touche de téléphone.
- Faites défilier les sélections jusqu'à ce que l'option Paramètres du téléphone s'affiche, puis appuyez sur la touche OK.
- Faites défiler les options suivantes :
| Lorsque vous sélectionnez : | Vous pouvez : |
| État du téléphone | Afficher le fournisseur de service, le nom, la puissance du signal, le niveau de charge de la pile et l'état d'itinérance de votre téléphone relié. Appuyez sur la touche OK pour sélectionner l'options, puis faites défiler les sélections pour afficher l'information. Lorsque vous avez terminé, appuyez sur la touche OK de nouveau pour returner au menu d'état du téléphone. |
| Sonnerie | Sélectionner la sonnerie de vos appeals entrants (une sonnerie du système ou de votre téléphone). 1. Appuyez sur la touche OK pour sélectionner l'options, puis faites défiler les sélections pour entendre la Sonnerie 1, la Sonnerie 2, la Sonnerie 3 et la Sonnerie du téléphone. 2. Appuyez sur OK pour sélectionner. Nota : Si votre téléphone prend en charge la sonnerie intrabande, la sonnerie de votre téléphone retentit lorsque l'options Sonnerie du téléphone est sélectionnée. |
| Message de notification | Avoir la possibilité d'entendre un signal sonore lorsque vous receivez un message texte.1. Appuyez sur la touche OK pour sélectionner l'options, puis faites défiler les sélections pourCHOISIR entre les optionsMessage de notification activé ou Message de notifies. désactivé.2. Appuyez sur OK pour sélectionner. |
| Modifier répertoire | Modifier le contenu de votre répertoire (par ex., ajust, suppression, téléchargement).Appuyez sur la touche OK pour sélectionner l'options, puis faites défiler les sélections pourCHOISIR entre les options : |
| Ajouter des contacts : appuyez sur la touche OK pour ajouter d'autres contacts à partir de votre répertoire. Appuyez sur le(s) contact(s) voulu(s) sur votre téléphone. Consultez le guide d'utilisateur de votre téléphone concernant l'ajout de contacts. | |
| Supprimer le répertoire : Appuyez sur la touche OK pour supprimer le répertoire actuel et l'historique des appeals. Lorsque l'options Supprimer le répertoire s'affiche, appuyez sur la touche OK pour confirmer la sélection. Le système SYNC returne au menu Paramètres du téléphone. | |
| Télécharger le répertoire : appuyez sur la touche OK pour sélectionner l'options, puis appuyez de nouveau sur la touche OK lorsque le message Confirmer le téléchargement s'affiche. | |
| Téléchargement automatique | Télécharger automatiquement votre réseau chaque fois que votre téléphone se relie au système SYNC. Appuyez sur OK pour sélectionner. Lorsque le message Activer le charg. automatique? s'affiche, appuyez sur la touche OK pour télécharger automatiquement votre réseau chaque fois. Sélectionnez l'options Désactiver pour ne PAS télécharger votre réseau chaque fois que votre téléphone se relie au système SYNC. Votre réseau, votre historique d'appels et vos messages/textes ne sont accessibles que lorsque votre téléphone particulier est relié au système SYNC. Nota : La durée des téléchangements varie en fonction du téléphone et de la quantité d'entrées à télécharger. Nota : Lorsque la fonction de téléchargement automatique est activée, les modifications, les ajouts ou les suppressions enregistrées depuis le dernier téléchargement sont supprimés. |
| Retour | Quitter le menu courant. |
Paramètres du système
Paramètres système vous permet d'accéder aux fonctions du menu Appareils Bluetooth et du menu Avancé. Utilisez les touches fléchées pour faire défiler les options de menu.
Le menu Appareils Bluetooth vous permet d'ajouter, de relier, de supprimer et de configurer un téléphone en tant que téléphone principal, ainsi que d'activer et de désactiver la fonction Bluetooth.
Le menu Avancé vous permet d'accéder et de définir les invites, les langues et les paramètres par défaut, d'effectuer une réinitialisation générale, d'installer une application et d'afficher les renseignements relatifs au système.
Options du menu appareils bluetooth
Ce menu vous permet d'ajouter, de relier, de supprimer et de configurer un téléphone comme téléphone principal, ainsi que d'activer et de désactiver la fonction Bluetooth.
- Appuyez sur la touche de téléphone pour accéder au Menu du téléphone.
- Faites défilier les sélections jusqu'à ce que l'option Paramètres système s'affiche, puis appuyez sur la touche OK.
- Faites défiler les sélections jusqu'à ce que l'option Appareils Bluetooth s'affiche, puis appuyez sur la touche OK.
- Faites défiler les options suivantes :
| Si vous sélectionnez : | Voupsouvez : |
| Ajouter un apparéil BT* | Consultez Utilisation du système SYNC avec votre téléphone préalablement dans ce chapitre concernant les instructions de jumelage. |
| Connector l' apparéil BT | Relier un téléphone compatible Bluetooth préalablement jumelé.1. Appuyez sur la touche OK pour séclectionner l'options et afficher une liste de telephones préalablement jumelés.2. Faites défiler les options jusqu'à l' apparéil voulu, puis appuyez sur la touche OK pour relier le téléphone.Notaf: Un seul apparéil peut être relié à la fois. Lorsqu'un autre téléphone est relié, l' apparéil précédent est déconnecté. |
| Si vous sélectionnez : | Vous pouvez : |
| Régler le téléphone primaire | Définir un téléphone jumelé précédemment comme votre téléphone principal. Appuyez sur la touche OK pour sélectionner l'option, puis faites défiler les sélections jusqu'àu téléphone voulu. Appuyez sur OK pour confirmer. Nota : Le système SYNC tente d'étabrir une connexion avec le téléphone principal à chaque cycle d'illumage. Lorsqu'un téléphone est sélectionné comme téléphone principal, il s'affiche en premier dans la liste accompagné d'un astérisque (*) . |
| DésactiverBluetooth? | Activer ou désactiver la fonction Bluetooth. Appuyez sur la touche OK et faites défiler les options pour alterner entre Activer et Désactiver. Lorsque l'option voulue est SéLECTIONNée, appuyez sur la touche OK. Nota : La désactivation du système Bluetooth entraîne la mise hors tension de tous les appareils Bluetooth et désactive les fonctions Bluetooth. |
| Supprimer l'appareil | Supprimer un téléphone jumelé. Appuyez sur la touche OK et faites défiler les options pour sélectionner l'appareil. Appuyez sur OK pour confirmer. |
| Supprimer tous les appareils | Supprimer tous les téléphones préalablement jumelés (et toute l'information enregistrée à l'origine avec ces téléphones). Appuyez sur OK pour sélectionner. |
| Retour | Quitter le menu courant. |
Cette fonction est asservie à la vitesse du véhicule.
Options du menu avancé
Ce menu vous permet d'accéder aux paramètres tels que les invites, les langues, les valeurs par défaut, d'effectuer une réinitialisation générale, d'installer une application et d'afficher les renseignements relatifs au système.
- Appuyez sur la touche de téléphone pour accéder au Menu du téléphone.
- Faites défilier les sélections jusqu'à ce que l'option Paramètres système s'affiche, puis appuyez sur la touche OK.
- Faites défilier les sélections jusqu'à ce que l'option Avancé s'affiche, puis appuyez sur la touche OK.
- Faites défiler les options suivantes :
| Si vous sélectionnez : | Vous pouvez : |
| Invites | Obtenir de l'aide du système SYNC au moyen de questions qui vous sont posées ou de demandes spécifique. Pour activer ou désactiver les invites :1. Appuyez sur la touche OK pour sélectionner l'options, puis faites défiler les sélections pourCHOISIR entre Activer ou Déactualier.2. Appuyez sur la touche OK lorsque la sélection voulue s'affiche à l'écran. Le système SYNC returne au menu Avancé. |
| Langues | Choisir entre les options English, Espanol et Français. Une fois la langue可以选择, tous les messages et invites du système SYNC à l'écran de la radio s'affichent dans cette langue.1. Appuyez sur la touche OK pour sélectionner l'options, puis faites défiler les langues.2. Appuyez sur la touche OK lorsque la sélection voulue s'affiche à l'écran. Si vous modifier le paramètre de la langue, l'écran affiche un message pour indiquer la mise à jour en cours du système. Lorsque la mise à jour est terminée, le système SYNC revient au menu Avancé. |
| Paramètres par défaut | Retourner aux paramètres par défaut établis en usine. Cette sélection n'efface pas l'information indexée (le répertoire, l'historique des appeals, les messages texte et les apparciels jumelés).1. Appuyez sur la touche OK pour sélectionner l'options, puis appuyez de nouveau sur la touche OK lorsque le message Restaurer paramètres? s'affiche à l'écran.2. Appuyez sur OK pour confirmer. |
| Réinit. générale | Effacer complètement toute l'information enregistrée dans le système SYNC (le répertoire, l'historique des appeals, les messages/textes et les apparciels jumelés), et revenir aux paramètres par défaut établis en usine.Appuyez sur OK pour sélectionner. L'écran affiche un message pour indiquer que la réinitialisation est terminée et le système SYNC returne au menu Avancé. |
| Installer | Installer les applications que vous avez téléchargées.Appuyez sur la touche OK et faites défiler les options pour faire votre sélection. Appuyez sur OK pour confirmer. |
| Information système | Accéder au numéro Auto Version ainsi qu'au numéro FPN.Appuyez sur OK pour sélectionner. |
| Profil d'accès MAP | Il s'agit d'un élément Bluetooth qui peut contributor davantage à l'échange de messages/textes pour votre téléphone. |
| Retour | Quitter le menu courant. |
Applications et services du système SYNC (SELON l'équipement)
Nota : Ces fonctions ne sont activées que si votre téléphone cellulaire est compatible avec le système SYNC. Pour vérifier la compatibilité de votre téléphone, visitez le site Web www(syncmaroute.ca).
- Services SYNC (selon l'équipement, États-Unis seulement) : Cette fonction permet d'accéder aux services d'information des conditions de la circulation, d'itinéraires et de renseignements tels que les voyages, les horoscopes, le cours des actions et davantage encore.
- Assistance 911®: Cette fonction permet au système, en cas d'urgence, de placer un appel au service d'urgence 911.
- Rapport d'état du véhicule (selon l'équipement, États-Unis seulement) : Cette fonction permet d'obtenir un rapport de diagnostic et d'entretien de votre véhicule.
Assistance 911®

AVERTISSEMENT : Si la fonction Assistance 911 n'est pas
activement avant une collision, le système ne composera pas le
numéro des services d'urgence, ce qui pourrait retarder le délai d'intervention et augmenter les risques de blessures graves ou mortelles après une collision.

AVERTISSEMENT : N'attendez pas que le système utilise la
fonction Assistance 911 pour établir l'appel si vous pouvez le faire
vous-même. Composez immédiatement le numéro des services
composez immédiatement le numéro des services d'urgence pour ne pas retarder le début d'intervention, ce qui pourrait accroître les risques de blessures graves ou mortelles après une collision. Si la fonction Assistance 911 n'est pas activée dans les cinq secondes après la collision, le système ou le téléphone peut être endommagé ou inopérant.

AVERTISSEMENT : Placez toujours votre téléphone dans un
endroit sécuritaire du véhicule pour éviter qu'il se transforme en
projectile ou qu'il soit endommagé en cas d'impact. Si vous ne
respectez pas cette précaution, des blessures graves persisteraient
s'ensuivre ainsi que des dommages au téléphone qui pourraient
empêcher le bon fonctionnement de la fonction Assistance 911.
Nota : La fonction Assistance 911 du système SYNC doit être activée avant l'accident.
Nota : Avant d'activer cette fonction, assurez-vous de lire l'avis de confidentialité de la fonction Assistance 911 plus loin dans ce chapitre pour des renseignements importants.
Nota : Si la fonction Assistance 911 est activée ou désactivée par un utilisateur, ce paramètre s'applique à tous les téléphones jumelés. Si la fonction Assistance 911 est désactivée, un message vocal est lu ou un message ou un pictogramme s'affiche à l'écran lors du démarrage du moteur après la connexion d'un téléphone préalablement jumelé.
Nota : Chaque téléphone fonctionne différemment. Bien que la fonction Assistance 911 du système SYNC soit accessible avec la plupart des téléphones cellulaires, certains téléphones peuvent éprouver des difficultés à utiliser cette fonction.
Si une collision provoque le déploiement d'un sac gonflable (sauf des protège-genoux gonflables ou des ceintures de sécurité gonflables arrêté [selon l'équipement]) ou l'activation de la fonction de coupure automatique de la pompe d'alimentation, votre véhicule muni du système SYNC peut communiquer avec les services d'urgence en composant le 911 au moyen d'un téléphone compatible Bluetooth jumelé et relié. Pour plus de renseignements sur la fonction Assistance 911, visitez le site Web www(syncmaroute.ca).
- Pour obtenir des renseignements sur le déploiement des sacs gonflables, consultez le chapitre Système de retenue supplémentaire.
- Pour obtenir des renseignements sur la coupure automatique de la pompe d'alimentation, consultez le chapitre Dépannage.
Faites ce qui suit :
- Appuyez sur la touche de téléphone pour accéder au Menu du téléphone.
- Faites défiler les sélections jusqu'à ce que l'option Assistance 911 soit sélectionnée.
- Appuyez sur la touche OK pour confirmer la sélection, puis accédez au menu Assistance 911.
- Faites défiler les options pour choisir entre les sélections Activer ou Désactiver.
- Appuyez sur OK lorsque l'option voulue s'affiche à l'écran de la radio. Le message Assistance activée ou Assistance désactivée s'affiche à l'écran pour confirmer la sélection.
Les sélections Désactiver comprennent : Désactivation avec rappel et Désactivation sans rappel. La sélection Désactivation avec rappel fournit un rappel d'affichage et vocal à la connexion du téléphone, au démarrage du véhicule. La sélection Désactivation sans rappel fournit un rappel d'affichage seulement, sans un rappel vocal, à la connexion du téléphone.
Pour vous assurer que la fonction Assistance 911 fonctionne correctement :
- le système SYNC doit être activé et il doit fonctionner correctement au moment de l'accident, pendant l'activation de la fonction et pendant l'utilisation;
- La fonction Assistance 911 du système SYNC doit être activée avant l'accident;
- un téléphone Bluetooth activé et compatible doit être jumelé et relié au système SYNC;
- un téléphone activé Bluetooth relié doit être en mesure d'établir et de maintenir un appel sortant au moment de l'accident;
- un téléphone activé Bluetooth relié doit être muni d'une couverture de réseau adéquate et d'un niveau de charge de pile et de puissance de signal suffisants;
- Le véhicule doit être alimenté par la batterie et il doit être situé aux É.-U., au Canada ou dans un territoire où le 911 est le numéro d'urgence.
En cas de collision
Le déploiement d'un sac gonfable ou l'activation de la fonction de coupure automatique de la pompe d'alimentation ne se produit pas dans toutes les collisions (ce qui activerait la fonction Assistance 911). Toutefois, en cas de déclenchement de la fonction Assistance 911, le système SYNC tente de communiquer avec les services d'urgence. Si un téléphone relié est endommagé ou s'il ne peut communiquer avec le système SYNC, le système SYNC recherche un téléphone disponible déjà jumelé et tente d'établir l'appel au service 911.
Avant d'établir l'appareil
- le système SYNC attend environ 10 secondes pour annuler l'appel; si personne n'annule l'appel, le système SYNC tente de communiquer avec le service 911;
- le système SYNC énonce le message suivant ou un message similaire : « SYNC tentera de communiquer avec le service 911; pour annuler l'appel, appuyez sur la touche Annuler à l'écran ou maintenez la touche de téléphone enfoncée du volant »
Si l'appel n'est pas annulé et que l'appel est passé, le préposé du service d'urgence entend un message préenregistré et les occupants du véhicule peuvent alors communiquer avec le préposé. Soyez prêt à lui fournir immédiatement votre nom, votre numéro de téléphone et votre emplacement, car les systèmes 911 ne peuvent pas tous recevoir cette information électroniquement.
La fonction assistance 911 peut ne pas fonctionner si :
- votre téléphone cellulaire ou le matériel de la fonction Assistance 911 a été endommagé durant une collision;
- la batterie du véhicule ou le système SYNC n'est plus alimenté;
- le téléphone jumelé et relié au système a été éjecté du véhicule.
Avis de confidentialité de la fonction assistance 911
Lorsque la fonction Assistance 911 est activée, le système peut divulguer aux services d'urgence que le véhicule a été impliqué dans une collision qui a entraîné le déploiement d'un sac gonfable ou l'activation de la fonction de coupure automatique de la pompe d'alimentation. Certaines versions ou mises à niveau du service Assistance 911 permettent également de divulguer électroniquement ou verbalement l'emplacement du véhicule et/ou d'autres détails à propos du véhicule ou de la collision, pour aider les opérateurs du service d'urgence 911 à diriger les secours les plus appropriés en fonction de la situation. Si vous ne souhaitez pas divulguer ces renseignements, n'activez pas la fonction.
Bilan du véhicule

AVERTISSEMENT: Suivez toujours les instructions d'entretien du programme, inspectez régulièrement votre véhicule, et faites dresser tous dommages ou problèmes que vous soupçonnez. Le rapport sur du véhicule sort de complément et non de remplacement à certain entretien normal et à la vérification du véhicule. Le rapport sur l'état véhicule contrôle seulement certains systèmes électroniquement disposés par le véhicule et ne contrôle pas ni ne rapporte l'état un autre système (c.-à-d., usure des garnitures de frein). Le respect de l'entretien périodique recommandé et de l'inspection générale de votre véhicule pourrait avoir pour résultat hommage le véhicule ou de cause des blessures sérieuses.
Nota : La fonction de Bilan du véhicule doit être activée avant de pouvoir être utilisée. Visitez le site Web www.syncaroute.ca pour vous abonner. Il n'y a pas de frais d'abonnement associé au rapport d'état sur votre véhicule, mais vous nevez vous abonner pour utiliser cette fonction.
Nota : Cette fonction peut ne pas fonctionner convenablement si vous avez activé le blocage de l'identification de l'appellant sur votre téléphone mobile. Avant d'exécuter un rapport, consultez de nouveau l'Avis de confidentialité du rapport d'état sur le véhicule.
Nota : Pour permettre une période de rodage pour votre véhicule, vous ne serez peut-être pas en mesure de créer un rapport d'état du véhicule jusqu'à ce que le compteur kilométrique du véhicule atteigne 160 km (200 mi).
Pour vous abonner au Bilan du véhicule et établir vos préférences relatives au rapport, consultez le site Web www.syncaroute.ca. Après vous être inscrit, vous pouvez faire la demande d'un Bilan du véhicule (à l'intérieur du véhicule). Retournez à votre compte à l'adresse www.syncmaroute.ca pour afficher votre rapport. Vous pouvez également choisir d'attendre que le système SYNC vous rappelle automatiquement d'exécuter les rapports à des intervalles de kilométrage précis. La consommation du temps d'antenne de téléphone cellulaire peut s'appliquer lors du rapport.
Le système vous permet de vérifier l'état général de votre véhicule sous forme de rapport de diagnostic. Le rapport d'état du véhicule contient de l'information de grande valeur telle que:
- l'information diagnostique sur le véhicule;
- l'entretien périodique;
- les rappels ouverts et les actions de l'assistance technique;
- articles non réparés à la suite d'inspections de véhicules par votre concessionnaire/agréé.
Vous pouvez exécuter un rapport (après que le véhicule a roulé au moins 60 secondes) en appuyant sur le bouton de reconnaissance vocale, puis en disant « Rapport d'état du véhicule » ou en appuyant sur la touche de téléphone.
Pour exécuter un rapport à l'aide de la touche de téléphone, suivez les étapes suivantes :
- Appuyez sur la touche de téléphone pour accéder au Menu du téléphone.
- Faites défilier les sélections jusqu'à l'option État du véhicule, puis appuyez sur OK.
- Faites défilier les options suivantes :
| Options de bilan du vehicule | |
| Préférences de l'utilisateur: Appuyez sur OK pour effectuer vosere sélection et acceder au menu. Faites défilier les options suivantes: | Rapports automatiques: Appuyez sur OK et choisissez Activer ou Désactiver. Sélectionnéz l'options Activer pour receivevoir une invite automatique du système SYNC d'exécuter un rapport d'état à certains intervalles de kilométrage. Nota: Vousdez d'abord activer cette fonction avant de pouvoir sélectionner les intervalles de kilométrage auxquels vous souhaitez receivevoir une invite. |
| Intervalles en kilométrage (millage): Appuyez sur OK. Faites défilier les sélections pourCHOISIR entre les intervalles de 8 000 km (5 000 mi), 12 000 km (7 500 mi) ou 16 000 km (10 000 mi). | |
| Retour: Appuyez sur OK pour quitter le menu. | |
| Exécuter le rapport? | Appuyez sur OK pour permettre au système SYNC d'exécuter un rapport d'état des systèmes de diagnostic de votre vehicule et de transmettre les résultats à Ford qui les évaluera conjointement avec les données relatives aux intervalles d'entretien, les rappels ouverts et les autres actions de l'assistance technique, ainsi que les pieces qui n'ont pas fait l'objet d'un entretien lors d'une vérification par votre concessionnaire agréé. |
Avis de confidentialité du rapport d'état du véhicule
Lorsque vous exécutez un rapport d'état du véhicule, Ford Motor Company peut recueillir votre numéro de téléphone cellulaire (pour traiter votre demande de rapport) et les données de diagnostic de votre véhicule. Certaines versions ou mises à jour vers le rapport d'état sur le véhicule peuvent aussi recueillir des renseignements supplémentaires. Ford peut utiliser l'information du véhicule recueillie pour n'importe quel but. Si vous souhaitez ne pas dévoiler votre numéro de téléphone cellulaire ou les données du véhicule, n'exécutez pas la fonction et ne régalez pas votre profil de Bilan du véhicule sur le site Web www(syncaroute.ca. Visitez le site Web wwwsyncmaroute.ca, Modalités du Bilan du véhicule et Déclaration de confidentialité, pour plus de renseignements.
Services SYNC : circulation, directions et information
Nota : Les services SYNC doivent être actifs avant de pouvoir être utilisés. Visitez le site Web www(syncaroute.ca) pour vous enregistrer et pour vérifier votre admissibilité aux services complémentaires. Des tarifs de téléphonie standard et de messagerie peuvent s'appliquer. Un abonnement pourrait être exigé. Notre téléphone cellulaire adapté à Bluetooth avec les services SYNC actifs doit également être jumelé et relié au système afin de vous connecter et d'utiliser les services SYNC. Consultez la rubrique Utilisation du système SYNC avec votre téléphone les instructions sur le jumelage.
Nota : Cette fonction ne fonctionne pas convenablement si vous avez activé le blocage de l'identification de l'appellant sur votre téléphone mobile. Assurez-vous que votre téléphone mobile ne bloque pas l'identification de l'appellant avant d'utiliser les services SYNC.
Nota : Le conducteur demeure responsable de la sécurité de conduite de son véhicule et doit donc étudier l'itinéraire suggéré afin d'évaluer sa sécurité. Les fonctions du système de navigation sont destinées essentiellement à vous apporter de l'aide. Conduisez toujours en fonction des conditions locales et du Code de la sécurité routière en vigueur. N'empruntez pas les itinéraires suggérés s'ils impliquent des manœuvres illégales ou dangereuses ou s'ils vous entraînent dans des situations dangereuses ou dans des endroits qui ne vous inspirent pas confiance. Les cartes utilisées par ce système peuvent être inexactes à cause d'erreurs, de changements de routes, de conditions de la circulation ou des conditions de conduite.
Nota : Lorsque vous vous connectez, le système utilise la technologie du système de repérage par satellites et des capteurs de pointe dans le véhicule pour déterminer l'emplacement actuel du véhicule, sa trajectoire et sa vitesse afin de vous renseigner sur les itinéraires, la circulation ou les adresses d'entreprises, selon vos besoins. De plus, pour fournir les services que vous demandez et pour les améliorer continuellement, le service peut recueillir et enregistrer les détails d'appel et les communications vocales. Pour plus de renseignements, consultez les Modalités des services SYNC sur le site Web www.syncarmeoute.ca. Si vous ne voulez pas que Ford ou ses fournisseurs de service recueillent les données sur les allers et retours du véhicule ou d'autres renseignements identifiés dans les Modalités, n'activez pas ou n'utilisez pas ce service.
Les services du système SYNC utilisent des capteurs de véhicule avancés, la technologie du système de positionnement par satellites intégrée et des données de circulation et de cartes routières comprehensives pour vous fournir des rapports de circulation personnalisés et des directives virage après virage, ainsi que pour vous renseigner sur les cotes en bourse, les actualités, les sports, la météo et plus encore. Pour une liste complète de services, ou pour obtenir de plus amples renseignements, visitez le site Web www(syncaroute. ca).
Connexion aux services SYNC au moyen des commandes vocales
- Appuyez sur la touche de reconnaissance vocale.
- À l'invite, dites « Services ». Ceci établit un appel sortant vers les services SYNC à l'aide de votre téléphone compatible Bluetooth jumelé et relié.
- Une fois que vous êtes connecté, suivez les invitations vocales pour demander le service voulu, tel que « Circulation » ou « Directions ». Vous pouvez aussi dire « Quels sont mes besoins ? » pour recevoir une liste complète de services disponibles.
- Dites « Services » pour retourner au menu principal de services ou pour obtenir de l'aide, dites « Aide »
Connexion aux services SYNC au moyen du menu du téléphone
- Appuyez sur la touche de téléphone pour accéder au Menu du téléphone.
- Faites défiler les sélections jusqu'à ce que l'option Services s'affiche à l'écran.
- Appuyez sur la touche OK pour confirmer la selection et passer au menu des services. L'écran affiche un message pour indiquer que le système est en cours de connexion.
- Appuyez sur OK. Le système SYNC établit la connexion au portail des services.
- Une fois connecté, suivez les invitations vocales pour demander le service désiré, tel que la « Circulation » ou les « Directives d'accès ». Vous pouvez aussi dire « Quels sont mes besoins ? » pour recevoir une liste complète de services disponibles.
- Pour retourner au menu des services, dites « Services » ou pour obtenir de l'aide, dites « Aide »
Réception des directives virage après virage
- Lorsque vous êtes connecté aux services SYNC, dites « Directives d'accès » ou « Adresses d'entreprises ». Pour trouver l'adresse de l'entreprise la plus proche de votre emplacement ou le type d'entreprise, dites simplement « Adresses d'entreprises », puis « Recherche près de mon emplacement ». Si vous avez besoin d'aide supplémentaire pour trouver un emplacement, vous pouvez dire « Préposé » à tout moment durant une commande de directive d'accès ou d'adresse d'entreprises pour parler à un préposé en direct. Vous pouvez également être invité à parler à un préposé lorsque le système ne trouve aucune emplacement correspondant à votre demande vocale. Le préposé peut vous aider en recherchant les entreprises par nom ou par catégorie et les adresses résidentielles par adresse de rue ou par nom ou par intersections de rue particulières. La fonction Assistance du préposé est une caractéristique de votre abonnement aux services SYNC. Pour obtenir de plus amples renseignements sur la fonction Assistance du préposé, visitez le site Web www(syncaroute.ca).
- Suivez les messages-guides vocaux pour sélectionner votre destination. Une fois votre destination désignée, l'emplacement actuel du véhicule est téléchargé et un itinéraire programmé selon les conditions actuelles de la circulation est calculé et retransmis à votre véhicule. Une fois le téléchargement de l'itinéraire terminé, l'appel téléphonique prend fin automatiquement. Vous recevez ensuite des instructions de conduite audibles et visuelles à mesure que vous vous déplacez vers votre destination.
- Lorsqu'un itinéraire actif est en cours, vous pouvez sélectionner « Itinéraire relatif » ou « État de l'itinéraire » en utilisant les touches à l'écran tactile ou les commandes vocales pour afficher la liste de virages de l'itinéraire relatif ou l'état de l'itinéraire à l'heure d'arrivée prévue. De plus, vous pouvez activer ou désactiver les messages-guides vocaux, annuler l'itinéraire ou le modifier.
Si vous manquez un virage, le système SYNC vous demande si vous souhaitez mettre à jour l'itinéraire. Dites simplement « Oui » à l'instant pour recevoir un nouvel itinéraire.
Déconnexion des services SYNC
- Maintenez enfoncée la touche de téléphone du volant.
- Dites « Au revoir » à partir du menu principal des services du système SYNC.
| Conseils rapides relatifs aux services SYNC | |
| Personnalisation | Vous pouvez personnelier la fonction de Services pour obtenir un accès plus rapide aux renseignements que vous utilisez le plus souvent ou que vous préférez. Vous pouvez enregister des points d'adresse tels que le bureau ou le domicile. Vous pouvez aussi enregisterer votre information préférée comme les équipés sportives ou une catégorie de nouvelles. Pour obtaining de plus amples renseignements, visitez le site Web www(syncaroute.ca. |
| Interruption à l'aide de la touche | Appuyez sur la touche de reconnaissance vocale en tout temps (lorsque vous étés connecté aux services SYNC TDI) pour interrompree une commande vocale ou un clip audio ( comme un bulletin de sports), attendez la tonalité et énonzez votre commande vocale. |
| Portatif | Votre abonnement est associé à votre numéro de téléphone cellulaire compatible avec Bluetooth et non pas votre NIV (nummer d'identification du vehicule). Vous pouvez jumeler et connecter votre téléphone à n'importe quel vehicule équipé des services d'information des conditions de la circulation, d'itinéaires et de renseignements et continuez de bien profiter de vos services personnalisés.-vous pouvez même acceder à votre compte hors le vehicule. Utilisez simplement le numéro indiqué dans l'historique des appeals de votre téléphone. Les fonctions des conditions de la circulation et d'itinéaires ne fonctionnent pas ajustement, mais les services d'information et les fonctions de connexion 411 et de messages/textes sont disponibles. |
Utilisation du système sync avec voiture lecteur multimédia
Vous pouvez accéder et effectuer la lecture de musique à partir de votre lecteur de musique numérique, diffusée par les haut-parleurs du véhicule au moyen du menu source du système ou des commandes vocales. Vous pouvez également trier et effectuer la lecture de votre musique par catégories spécifiques telles que artistes, albums, etc.
Le système SYNC est compatible avec presque tous les lecteurs multimédias numériques, y compris : les dispositifs iPod®, Zune™, les lecteurs de cartes et la plupart des clés USB. Le système SYNC prend également en charge les formats audio tels que MP3, WMA, WAV et ACC.
Connexion d'un lecteur multimédia numérique au moyen du port USB
Note : Si votre lecteur multimédia numérique est muni d'un interrupteur, assurez-vous que l'appareil est sous tension.
Pour vous connecter à l'aide des commandes vocales :
- Branchez l'appareil au port USB du véhicule.
- Appuyez sur le pictogramme de commande vocale, puis à l'invite, dites « USB »
- Vous pouvez entamer la lecture de musique en énonçant une des commandes vocales appropriées. Consultez les commandes vocales relatives aux médias.
Pour vous connecter à l'aide du menu du système :
- Branchez l'appareil au port USB du véhicule.
- Appuyez sur la touche AUX puis sur MENU pour accéder au Menu source.
- Faites défilier les sélections jusqu'à ce que l'option Sélectionner la source s'affiche, puis appuyez sur la touche OK.
- Faites défilier les sélections pour choisir l'option USB, puis appuyez sur la touche OK.
- En fonction du nombre de fichiers de média numérique contenus dans l'appareil connecté, le message Indexation peut s'afficher à l'écran de la radio. Lorsque l'indexation est terminée, l'écran retourne au Menu de lecture.
- Appuyez sur la touche OK et faites défiler les sélections suivantes :
- Lire tout
- Artistes
- Albums
- Genres
- Sélections Pistes
- Expl. USB
- Musique similaire
- Retour
Lorsque la sélection voulue s'affiche à l'écran, appuyez sur la touche OK pour créer votre sélection de musique voulue.
Quel morceau est lu?

À n'importe quel moment pendant la lecture d'une piste, vous pouvez appuyer sur le pictogramme de commande vocale et demandez au système, « Quel morceau est lu? ». Le système ne la lecture des étiquettes de métadonnées (si elles ne sont pas de la piste en cours de lecture.
Appuyez sur le pictogramme de commande vocale, puis à l'invite, dites « USB » et énoncez l'une des commandes suivantes :
| « USB » |
| « Lecture automatique désactivée » |
| « Lecture automatique activée » |
| « Connexions (du téléphone) (au support) (Bluetooth) » |
| « Pause » |
| « Lire » |
| « Lire l'album »1,3 |
| « Lire tout » |
| « Lire l'artiste »1,3 |
| « Lire le genre »1,3 |
| « Lire le dossier suivant »2 |
| « Lire la piste suivante » |
| « Lire la sélection »1,3 |
| « Lire le dossier précédent »2 |
| « Lire la piste précédent » |
| « Jouer chanson »1,3 |
| « Lire la piste »1,3 |
| « Préciser l'album »1,3 |
| « Préciser l'artiste »1,3 |
| « Préciser la chanson »1,3 |
| « Préciser la piste »1,3 |
| « Relecture désactivée » |
| « Relecture [Activée] » |
| « Recherche l'album »1,3 |
| « Rechercher l'artiste <nom> »1,3 |
| « Rechercher le genre <nom> »1,3 |
| « Rechercher la chanson <nom> »1,3 |
| « Rechercher la piste <nom> »1,3 |
| « Lecture aléatoire désactivée » |
| « Lecture aléatoire [Activée] » |
| « Musique similaire » |
| « Quel morceau est lu? » |
« USB » est une liste dynamique, en ce sens qu'elle peut représenter tout nom souhaité qui se trouve dans votre réseau de groupes, d'artistes, etc. Commandes vocales qui ne sont disponibles qu'en mode dossier. Commandes vocales qui ne sont disponibles qu'à la fin du processus d'indexation.
| Guide de commandes vocales | |
| « Lecture automatique » | Activez cette fonction pour écouter la musique qui a déjà été indexée dans un ordre aléatoire durant le processus d'indexation. Désactivez cette fonction pour empêcher le système d'effectuer la lecture de votre musique tant que tous les médias n'ont pas été indexés. Les durées d'indexation varient d'un apparil à l'autre et aussi en regard du nombre de chansons à indexer. |
| « Recherche ou生存 le genre » | Le systèmecherche toutes les données de la musique indexée et, s'il y a lieu, commence la lecture du type de musique choisi. Vous pouvez uniquement effectuer la lecture de genres de musique Presents dans lesétiquettes de métadonnées GENRE de votree lecteur multimédia numérique. |
| « Musique similaire » | Le système compile une liste d'écoute et effectue ensuite la lecture de musique similaire à celle qui est en cours de lecture provenant du port USB en utilisant l'information des métadonnées indexée. |
| « Rechercher ou lure l'artiste, la piste ou l'album » | Le système recherche un artiste, une piste ou un album particulier dans la musique indexée au moyen du port USB. |
| « Preciser » | Cette fonction vous permet de définir plus précisément votre commande précédente. Par exemple, si vous avez demandé de rechercher et d'effectuer la lecture de toute la musique d'un certain artiste, vous pouvez ensuite dire « Preciser l'album » et désirir un album particulier dans la liste affichée. Si vous sélectionnez l'options Lire, le système effectue seulement la lecture de musique de cet album particulier. |
Appuyez sur le pictogramme de commande vocale, puis à l'invite, dites « Bluetooth » et enoncez l'une des commandes vocales suivantes :
| « AUDIO BLUETOOTH » |
| « Connexions (du téléphone) (au support) (Bluetooth) » |
| « Pause » |
| « Lire » |
| « Lire la piste suivante » |
| « Lire la piste précédente » |
Fonctions du menu source
Le menu source vous permet de sélectionner la source de média, la façon dont vous souhaitez écouter la musique (par artiste, genre, lecture aléatoire, répétition, etc.) et également d'ajouter, de relier ou de supprimer des appareils.
- Appuyez sur la touche AUX puis sur MENU pour accéder au Menu source.
- Faites défiler les options suivantes :
| Lorsque vous sélectionnez : | Vous pouvez : |
| Menu de lecture | Effectuer la lecture de votre musique par artiste, album, genre, listedes d'écoute, pistes, musique similaire ou tout simplement, la lecture de toutes les pieces musicales. Vous pouvez aussi désirir l'options EXPL. USB qui vous permet d'explorer tous les fichiers de musique numérique pris en charge par votre lecteur.Consultez Menu de lecture plus loin dans ce chapitre pour obtenir de plus amples renseignements. |
| Sélectionner la source | USB SYNC: Appuyez sur la touche OK pour acceder à un apparéil branché sur le port USB. Vous pouze également brancher des apparéils pour les recharger (si cette fonction est prise en charge par votre apparéil). Lorsque la connexion est établie, le système effectue l'indexation de tous les fichiers multiméias lisibles. (Le temps requis pour terminer l'indexation dépend de la taille du contenu média étant indexé). Si la fonction de Lecture automatique est activée, vous pouze acceder de façon aléatoire aux fichiers de Médias au fur et à mesure de leur indexation. Si la fonction est désactivée, les fichiers multiméias indexés ne seront pas disponibles avant la fin du processus d'indexation. Le système SYNC peut indexer des milliers de fichiers multiméias de taille moyenne et vous envisage lorsque la taille maximale d'indexation de fichier est atteinte. |
| Audio Bluetooth: Cette fonction est asservie à la téléphonie et vous permet d'écouter de la musique en continu à partir de votre téléphone compatible Bluetooth. Si cette fonction est prise en charge par votre apparéil, vous pouze appuyer sur les touches RECHERCHE AUTOMATIQUE pour acceder à la piste précédente ou suivante. | |
| Entrée de ligne SYNC: Appuyez sur la touche OK pour sélectionner et effectuer la lecture de musique à partir de votre lecteur de musique portatif par les haut-parleurs du vehicule. Nota: Si un apparéil est déjà branché sur le port USB, vous ne pouvez pas utiliser la fonction d'entrée de ligne. Certains lecteurs multiméias numériques nécessitent l'usage des deux ports USB et Entrée de ligne pourTRAITER en continu les données et la musique séparément. | |
| Paramètres de la source | Sélectionner la fonction de lecture aléatoire ou de répétition de votre musique en plus de définir les paramètres de la lecture automatique. Une fois que ces fonctions sont activées, elles restent activées jusqu'à ce qu'elles soient désactivées. Appuyez sur la touche RECHERCHE AUTOMATIQUE pour effectuer la lecture de la piste précédente ou suivante. Nota : Certains lecteurs multimédias numériques nécessitent l'utilisation des deux ports USB et Entrée de ligne pourTRAITER en continu les données et la musique séparément. Appuyez sur la touche OK pour sélectionner l'options, puis faites défiler les sélections suivantes : |
| Lecture aléatoire activée : Appuyez sur la touche OK pour effectuer la lecture aléatoire des fichiers multimédias disponibles dans la liste d'écoute actuelle. Nota : Pour effectuer la lecture aléatoire de toutes les pistes multimédias, vousdezuez sélectionner l'options Lire tout dans le Menu de lecture, puis sélectionner l'options Aléatoire. | |
| Rélecture : Appuyez sur la touche OK pour répéter un morceau. | |
| Lecture automatique : Appuyez sur la touche OK pour écouter la musique qui a déjà été indexée dans un ordre aléatoire durant le processus d'indexation. | |
| Applications mobiles | Interagir avec les applications mobiles compatibles du système SYNC® sur votre téléphone intelligent. Pour plus de renseignements, consultez la rubrique SYNC<® AppLinkMC ci-dessus dans ce chapitre. |
| Paramètres système | Accéder aux listes du menu Appareil BT (ajout, connexion, configuration en tant que téléphone principal, activation ou désactivation, suppression), ainsi qu'aux listedes du menu Avancé (invites, langues, valeurs par défaut, réinitialisation générale, installation des applications et renseignements relatifs au système). Nota : Pour obtenir de plus amples renseignements, consultez Paramètres système . |
| Quitter le Menu support | Appuyez sur la touche OK pour quitter le menu source. |
Accès au menu de lecture
Ce menu vous permet de sélectionner et d'effectuer la lecture de vos médias par artiste, album, genre, liste d'écoute, piste, musique similaire ou même d'explorer le contenu de votre dispositif USB.
- Assurez-vous que votre appareil est branché dans le port USB et qu'il est mis sous tension.
- Appuyez sur la touche AUX puis sur MENU pour accéder au Menu source.
- Faites défiler les sélections jusqu'à l'option Menu de lecture, puis appuyez sur la touche OK.
S'il n'y aeldom fichier multimédia accessible, l'affichage indique qu'il n'y a pas de média. Si des fichiers multimédia sontopsis, faites défiler les options suivantes et effectuez votre sélection :
| Lorsque vous sélectionnez : | Vous pouvez : |
| Lire tout | Effectuer la lecture de tous les fichiers multimédias (pistes) indexés de votre lecteur en mode de fichier plat, un à la fois, par ordre numérique. Appuyez sur OK pour sélectionner. Le titre de la première piste s'affiche à l'écran. |
| Artistes | Trier tous les fichiers multimédias indexés par artiste. ÀpRES avoir fait votre sélection, le système établit la liste et effectue la lecture de tous les artistes et de toutes les pistes par ordre alphétique. Si la liste contient moins de 255 artistes indexés, ils sont répertoriés par ordre alphétique en mode de fichier plat. Si elle en contient davantage, ils sont classés par catégorie alphétique.1. Appuyez sur OK pour sélectionner. Vous pouvez sélectionner l'option Ts artistes ou un des artistes indexés.2. Faites défiléres les options jusqu'à ce que l'artiste voulu soit sélectionné, puis appuyez sur la touche OK. |
| Albums | Trier tous les fichiers multimédias indexés par album. Si la liste contient moins de 255 albums indexés, ils sont répertoriés par ordre alphabetique en mode de fjichier plat. Si elle en contient plus, ils sont organisés par catégories alphétiques. 1. Appuyez sur la touche OK pour acceder au menu de l'album et sélectionnez parmi la lecture de tous les albums ou un album indexé distinct. 2. Faites défiler les options jusqu'à ce que l'album youlu soit sélectionné, puis appuyez sur la touche OK. |
| Genres | Trier les fichiers de musique indexés par genre (catégorie). Le système SYNC établit une liste des genres par ordre alphabetique en mode de fjichier plat. Si la liste contient plus de 255 pistes, le système SYNC les organise automatiquement par catégories alphétiques. Appuyez sur la touche OK pour sélectionner l'option, puis faites défiler les sélections jusqu'à genres youlu et appuyez sur la touche OK. |
| Sélections | Accéder à vos listes d'écoute (en format tel que ASX, .M3U, .WPL, .MTP). Le système établit une liste de vos listes d'écoute par ordre alphabétique en mode de fichier plat. Si la liste contient plus de 255 listes d'écoute, elles sont organises par catégories alphabétiques. Appuyez sur OK pour sélectionner. Faites défiler ensuite les options jusqu'à la liste d'écoute voulue, puis appuyez sur la touche OK. |
| Pistes | Effectuer la recherche et la lecture d'une piste particulière indexée. Le système SYNC établit une liste alphabétique des pistes en mode de fichier plat. Si la liste contient plus de 255 pistes, le système SYNC les organise automatiquement par catégories alphabétiques. Appuyez sur OK pour sélectionner. Puis faites défiler les options jusqu'à la piste voulue et appuyez sur la touche OK. |
| Expl. USB | Explorer tous les fichiers multiméias numériques pris en charge sur votre apparil multiméia branché sur le port USB. Vous ne pouvez afficher que le contenu multiméia compatible avec le système SYNC; les autres fichiers enregistrrés ne sont pas visibles. Appuyez sur OK pour sélectionner. Puis faites défiler les options pour explorer les fichiers multiméias indexés sur votre disque à mémoire flash. |
| Musique similaire | Effectuer la lecture de musique similaire à celle qui est en cours de lecture provenant du port USB. Le système utilise les renseignements des métadonnées de chaque pieceusicale pour compiler une liste d'écoute. Appuyez sur OK pour sélectionner. Le système create une nouvelle liste de pieces musicales similaires et en commence la lecture. Les étiquettes de métadonnées doivent être remplies pour que cette fonction puisse inclure chaque piste. Nota : Sur certains lecteurs, les pistes ne sont pas accessibles en mode de reconnaissance vocale, menu de lecture ou musique similaire si les étiquettes de métadonnées ne sont pas remplies. Toutefois, si vous placez ces pistes en « mode de mémoire de grande capacité » sur votre lecteur, les pistes sont accessibles en mode de reconnaissance vocale, menu de lecture et musique similaire. Les pistes inconnues sont placées dans une étiquette de métadonnées vierge. |
| Retour | Quitter le menu courant. |
Paramètres du système
Les paramètres du système assurent un accès aux fonctions du menu Appareils Bluetooth et du menu Avancé.
Le menu Appareils Bluetooth vous permet d'ajouter, de relier et de supprimer un appareil, ainsi que d'activer et de désactiver la fonction Bluetooth.
Le menu Avancé vous permet d'accéder et de définir les invites, les langues et les valeurs par défaut, ainsi que d'effectuer une réinitialisation générale.
Options du menu appareils bluetooth
Ce menu vous permet d'ajouter, de relier et de supprimer les appareils, ainsi que d'activer et de désactiver la fonction Bluetooth.
- Appuyez sur la touche AUX puis sur MENU pour accéder au Menu source.
- Faites défilier les sélections jusqu'à ce que l'option Paramètres système s'affiche, puis sélectionnez la touche OK.
- Faites défilier les sélections jusqu'à ce que l'option Appareils Bluetooth s'affiche.
- Appuyez sur la touche OK, puis faites défiler les options suivantes :
| Lorsque vous sélectionnez : | Vous pouvez : |
| Ajouter un apparéil BT* | Jumelier des apparêls supplémentaires au système. 1. Appuyez sur la touche OK pour sélectionner l'option, puis appuyez de nouveau sur la touche OK lorsque le message Détecter SYNC s'affiche à l'écran. 2. Suivez les directives dans le guide d'utilisateur de votre téléphone pourmettre le téléphone en mode de découverte. Un NIP à six chiffres s'affiche à l'écran. 3. À l'invite affichée à l'écran de votre téléphone, entrez le NIP à six chiffres. |
| Connector l' apparéil BT | Relier un téléphone compatible Bluetooth préalablement jumelé. 1. Appuyez sur la touche OK pour sélectionner et afficher une listes des apparêls. 2. Faites défiler les options jusqu'à ce que l' apparéil youlu soit sélectionné, puis appuyez sur la touche OK pour relier l' apparéil. |
| DéscientiverBluetooth? | Activer ou désactiver la fonction Bluetooth. Appuyez sur la touche OK et faites défiler les options pour alterner entre Activer et Déscientiver. Lorsque l'option voulue est sélectionnée, appuyez sur la touche OK. La désactivation de l'appareil Bluetooth entraîne le débranchement de tous les appareils Bluetooth et désactive les fonctions Bluetooth. |
| Supprimer l'appareil | Supprimer un appleil multimédia jumelé. Appuyez sur la touche OK et faites défiler les options pour sélectionner l'appleil. Appuyez sur OK pour confirmer. |
| Supprimer tous les appareils | Supprimer tous les APPLEs préalablement jumelés. Appuyez sur OK pour sélectionner. |
| Retour | Quitter le menu courant. |
*Cette fonction est asservie à la vitesse du véhicule.
Options du menu avancé
Ce menu vous permet d'accéder aux paramètres du système tels que les invites, les langues, l'exécution d'une réinitialisation générale ainsi que le retour aux paramètres par défaut établis en usine.
- Appuyez sur AUX, puis sur MENU pour accéder au Menu source.
- Faites défiler les sélections jusqu'à ce que l'option Paramètres système s'affiche, puis sélectionnez la touche OK.
- Faites défiler les sélections jusqu'à ce que l'option Avancé s'affiche.
- Appuyez sur la touche OK, puis faites défiler les options suivantes :
| Lorsque vous sélectionnez : | Vous pouvez : |
| Invites | Être guidé par le système SYNC au moyen de questions qui vous sont posées, de conseils utiles ou de demandes spécifique.1. Appuyez sur la touche OK pour sélectionner l'option, puis faites défiler les sélections pourCHOISIR entre Activer ou Désactiver.2. Appuyez sur la touche OK lorsque la sélection voulue s'affiche à l'écran. Le système SYNC returne au menu Avancé. |
| Langues | Choisir entre English, Français et Espanol. Les écrans et les invites s'affichent dans la langue sélectionnée.1. Appuyez sur la touche OK pour sélectionner l'option, puis faites défiler les langues.2. Appuyez sur la touche OK lorsque la sélection voulue s'affiche à l'écran.3. Si vous modifiez le paramètre de la langue, l'écran affiche un message pour indiquer la mise à jour en cours du système. Lorsque la mise à jour est terminée, le système SYNC revient au menu Avancé. |
| Paramètres par défaut | Retourner aux paramètres par défaut établis en usine. Cette sélection n'efface pas l'information indexée (le réseau, l'historique des appeals, les messages texte et les apparciels jumelés).1. Appuyez sur la touche OK pour sélectionner l'options, puis appuyez de nouveau sur la touche OK lorsque le message Restaurer paramètres? s'affiche à l'écran.2. Appuyez sur OK pour confirmer. |
| Réinit. générale | Effacer complètement toute l'information enregistrée dans le système SYNC (tout le réseau, l'historique des appeals, les messages/textes et tous les apparciels jumelés) et revenir aux paramètres par défaut établis en usine. |
| Usage | Télécharger de nouvelles applications logicielles (si elles sont disponibles) et charger ensuite les applications voulues au moyen du port USB. Consultez le site Web pour有關ir plus de renseignements. |
| Retour | Quitter le menu courant. |
Dépannage
Votre système SYNC est facile à utiliser. Toutefois, si vous avez des questions, consultez les tableaux ci-dessous.
Visitez le site Web en tout temps pour vérifier la compatibilité de votre téléphone, enregistrer votre compte et définir les préférences, ainsi que pour communiquer avec un représentant du service à la clientèle au moyen d’une conversation en ligne (durant certaines heures). Visitez le site Web www(syncaroute.ca) pour obtenir de plus amples renseignements.
| Problèmes relatifs au téléphone | ||
| Problème | Cause(s) possible(s) | Solution(s) possible(s) |
| Bruit ambient excessif pendant un appel. | Il se peut que les régles de commande audio sur votre téléphone nuisent au rendement du système SYNC. | Consultez le guide d'utiliser de votre téléphone concernant les régles audio. |
| Pendant un appel, je peux entendre l'autre personne, mais elle ne peut pas m'entendre. | Anomalie possible du téléphone. | Mettez l'appareil hors tension, réinitialisez l'appareil, retirez la pile de l'appareil, puis essayez de nouveau. |
| Le système SYNC ne peut télécharger mon réseau. | • Cette fonction est asservie à la téléphony, OU • Anomalie possible du téléphone. | • Visitez le site Web pour consulter les renseignements concernant la compatibilité de votre téléphone. • Mettez l'appareil hors tension, réinitialisez l'appareil ou retirez la batterie de l'appareil, puis essayez de nouveau. • Essayez d'envoyer les contacts de votre réseau au système SYNC au moyen de la fonction Ajouter des contacts. • Utilisez la fonction Synchroniser mon téléphone disponible sur le site Web. |
| Le système énoncé Répertoiré téléchargeé, mais mon réseau dans SYNC est vide ou il ne contient pas tous les contacts. | Limitations de la fonctionnalité de votre téléphone. | • Essayez d'envoyer les contacts de votre réseau au système SYNC au moyen de la fonction Ajouter des contacts. • Si les contacts manquants sont enregistrrés sur votre carte d'identification de l'abonné, transférez-les dans la mémoire de l'appareil. • Retirez toutes les photos ou les sonneries spéciales associées au contact manquant. |
| J'ai des problèmes à étabir la connexion de mon téléphone au système SYNC. | • Cette fonction est asservie à la téléphony, OU • Anomalie possible du téléphone. | • Visitez le site Web pour consulter les renseignements concernant la compatibilité de votre téléphone. • Mettez l'appareil hors tension, réinitialisez l'appareil ou retirez la batterie de l'appareil, puis essayez de nouveau. • Suprimez votre appareil du système SYNC et suprimez le système SYNC sur votre appareil, puis essayez de nouveau. • Vérifiez les paramètres de sécurité et de « toujours accepter automatiquement les invites » relatifs à la connexion Bluetooth du système SYNC sur votre téléphone. • Mettez à jour le micrologiciel du logiciel de votre appareil. • Désactivez le paramètre de téléchargement automatique du réseau. |
| La messagerie/texte ne fonctionne pas sur le système SYNC. | • Cette fonction est asservie à la téléphony, OU • Anomalie possible du téléphone. | • Visitez le site Web pour consulter les renseignements concernant la compatibilité de votre téléphone. • Mettez l'appareil hors tension, réinitialisez l'appareil ou retirez la batterie de l'appareil, puis essayez de nouveau. |
| Problèmes relatifs à l'appareil USB et multimédia | ||
| Problème | Cause(s) possible(s) | Solution(s) possible(s) |
| J'ai des problèmes à établier la connexion de mon apparéil. | Anomalie possible de l' apparéil. | • Mettez l' apparéil hors tension, réinitialisçez l' apparéil ou retirez la batterie de l' apparéil, puis essayez de nouveau. • Assurez-vous d'utiliser le cable du fabricant. • Assurez-vous que le cable USB est inséré correctement dans l' apparéil et dans le port USB du vehicule. • Assurez-vous que votre apparéil ne compte pas un programme d'installation automatique ou des paramètres de sécurité actifs. |
| Le système SYNC ne reconnaît pas mon apparéil lorsque j'établis le contact. | Il s'agit d'une limitation relative à l' apparéil. | Assurez-vous de ne pas laisser votre apparéil dans le vehicule par temps très chaud ou très froid. |
| La musique en continu Bluetooth n'est pas disponible. | • Cette fonction est asservie à la téléphonie, OU • L' apparéil n'est pas connecté. | Assurez-vous que l' apparéil est relié au système SYNC et que vous appuyez sur la touche de lecture sur votre apparéil. |
| Le système SYNC ne reconnaît pas la musique contenue dans mon apparéil. | • Vos fichiers musicaux peuvent ne pasContainir les donnéesées appropriées relatives à l'artiste, à la piece musicale, au titre, à l'album ou au genre, OU • Le fichier pourrait être corrompu, OU • Le morceau peut être protégé par des droits d'auteur qui poursaient empêcher la lecture. | • Assurez-vous que toutes les données du morceau sont complètes. • Les paramètres USB de certains apparéils doivent être modifiés du mode de mémoire de grande capacité à la catégorie MTP (protocole de transfert de fichiers multimédias). |
| Problèmes relatifs au rapport d'état du vehicule et aux services d'information (Circulation, directions et information) | ||
| Problème | Cause(s) possible(s) | Solution(s) possible(s) |
| J'ai reçu un message texte que la fonction de rapport d'état du vehicule n'est pas activée. | • Voitre compte peut ne pas être activé sur le site Web, OU • Vous pouvez avoir indiqué un NIV (numéro d'identification du vehicule) erroné. | • Il s'agit d'une fonction gratuite, mais vous devez d'abord vous enregistrer en ligne pour l'utiliser. • Assurez-vous que le NIV enregistré dans votre compte est exact. |
| Je ne peux récapérer le rapport sur le site Web, ou je recois une erreur de système. | Les renseignements relatifs au concessionnaire préfééré n'ont pas été téléchargés correctement. | Lorsque vous enregistrez votre compte, vous devez indiquer un concessionnaire préfééré. Si le compte comporte déjà un concessionnaire préfééré, sélectionnez un autre concessionnaire et fermez la session. Ouvrez de nouveau une session et revenez à votre concessionnaire préfééré d'origine en modifiant encore une fois les renseignements, puis récapérez le rapport. |
| Il m'est impossible de soumettre un rapport. | • Cela peut avoir un rapport avec la compatibilité de votre téléphone, OU • Puisance du signal insuffisante, OU • Voitre téléphone peut ne pas être activé sur le site Web. | • Mettez à jour le numéro de votre téléphone mobile dans votre compte sur le site Web. • Assurez-vous que la puissance du signal est à son maximum et que votre apparéil Bluetooth est réglé au niveau de volume élevé. • Supprimez votre téléphone et effectuez de nouveau le jumelage. |
| J'ai entendu une announce publicitaire lorsque j'ai essayé d'utiliser les services d'information des conditions de la circulation, d'inéraires et de renseignements. | • Le téléphone utilisé n'est pas activé, OU • La fonction de blocage d'identificateur est activée sur votre téléphone. | • Il s'agit d'une fonction gratuite, mais vous devez d'abord vous enregistrer en ligne pour l'utiliser. • Désactivez la fonction de blocage d'identificateur sur votre téléphone étant donné que le système vous reconnaît par votre numéro de téléphone. • Assurez-vous que le téléphone actuellément connecté est le même que celui qui est enregistrré sur votre compte SyncMaRoute. |
| Problèmes relatifs aux commandes vocales | ||
| Problème | Cause(s) possible(s) | Solution(s) possible(s) |
| Le système SYNC ne comprend pas ce que je dis. | Il se peut que vous utilisiez les mauvaises commandes vocales, OUIl se peut que vous énonciez les commandes trop tôt ou au mauvais moment. | Consultez les commandes vocales relatives au téléphone et aux médias au début de leurs rubriques respectives.N'oubliez pas que le microphone du système SYNC se trouve dans le rétroviseur interieur ou dans la garniture de pavillon juste au-dessus du pare-brise. |
| Le système SYNC ne comprend pas le nom d'une pièce musicale ou d'un artiste. | Il se peut que vous utilisiez les mauvaises commandes vocales, OUIl se peut que vous n'énonciez pas le nom exactement comme il a été enregistré, OULe système peut ne pas dire le nom de la même façon que vous l'énonzez. | Consultez les commandes vocales relatives aux Médias au début de la rubrique traitant des médias.Enonzez le nom du morceau ou de l'artiste exactement comme ils sont enregistrés. Si vous dites « Lire l'artiste Prince», le système n'effectue pas la lecture de musique de Prince et Revolution ou de Prince et New Power Generation.Assurez-vous d'énoncer le titre complet, par exemple « California remix featuring Jennifer Nettles ».Si les morceaux sont enregistrés en LETTRES MAJUSCULES, vous devez les épeler. Par exemple, dans le cas de LOLA, vous devez dire « Lire L-O-L-A ».N'utilise pas de caractères spéciaux dans le titre car le système ne les reconnaît pas. |
| Le système SYNC ne comprend pas ou appelle le mauvais contact lorsque je veux faire un appel. | Il se peut que vous utilisiez les mauvaises commandes vocales, OUIl se peut que vous n'énonciez pas le nom exactement comme il a été enregistré, OULes entrées de votre répertoire sont peut-être très courtes ou similaires, ou elles peuventContainir des caractères spéciaux, OULes entrées de votre répertoire peuvent être enregistrées en LETTRES MAJUSCULES. | Consultez les commandes vocales relatives au téléphone au début de la rubrique traitant du téléphone.Assurez-vous d'énoncer les contacts exactement tels qu'enregistrés. Par exemple, si une entrée est enregistrée comme Jean Tremblay, dites « Appeler Jean Tremblay »Le système fonctionné mistroux si vous enregistrrez les noms complets tels que « Jean Tremblay » au lieu de « Jean ».N'utilise pas des caractères spéciaux comme 123 ou ICE (en cas d'urgence), car le système ne les reconnait pas.Si les contacts sont enregistrés en LETTRES MAJUSCULES, vous devez les épeler. Par exemple, dans le cas de JAKE, vous devez dire « Appeler J-A-K-E » . |
| Problèmes liés à AppLink | ||
| Problème | Cause(s) possible(s) | Solution(s) possible(s) |
| Le système SYNC ne trouve aucune des applications mobiles qui sont dans mon téléphone. | • Voiture/dispositif ne prend pas en charge la fonction AppLink, OU • L'application ne prend pas en charge AppLink., OU • Si vous avez un iPhone®, il n'est peut-être pas branché, OU • Voiture téléphone peut ne pas être jumelé ou connecté. | • Consultez le site Web pour connaître les dispositifs et applications compatibles. • Confirmez que votre apparéil est jumelé et connecté. Si vous avez un iPhone®, confirmez qu'il est branché par le biais de la prise USB et que l'application est exécutée en arrêtre-plan. |
AVERTISSEMENT: La distraction au volant peut causer une perte de maîtrise du véhicule, un accident et des blessures. Ford recommande fortement aux conducteurs de faire preuve d'une vigilance de tous les instants lorsqu'ils utilisent un dispositif qui pourrait nuire à leur concentration sur la route. Avant tout, vous devez vous assurer de conduire votre véhicule de façon sécuritaire. Nous vous déconseillons l'utilisation d'un appareil portatif lorsque vous conduisez et nous vous recommandons d'utiliser des systèmes à commande vocale dans la mesure du possible. Prenez bien connaissance de toutes les réglementations locales pouvant affecter l'utilisation des appareils électroniques en conduisant.

A. B. Navigation (ou Information si votre véhicule n'est pas équipé du système de navigation) C. Chauffage et climatisation D. Réglages E. Domicile F. Information G. Divertissement
504 Système myford touch® (selon l'équipement)
Ce système utilise une stratégie à quatre coins pour offrir un accès rapide aux fonctions et aux paramètres du véhicule. L'écran tactile permet une interaction facile avec votre téléphone cellulaire, les systèmes multimédia, de chauffage et climatisation et de navigation. Les coins affichent les modes actifs dans ces menus, comme l'état de votre téléphone ou la température du système de chauffage et climatisation.
Nota : Certaines fonctions ne sont pas disponibles lorsque le véhicule roule.
Nota : Notre système est doté d'une fonction qui vous permet d'accéder à des fonctions audio et de les commander pendant 30 minutes après la coupure du contact (si aucune porte n'est ouverte).
Telephone
Appuyez sur cette touche pour sélectionner l'une des options suivantes :
Composition et réception des appels - Composition rapide - Répertoire téléphonique - Historique des appels - Messagerie texte - Réglages
Appuyez sur cette touche pour sélectionner une des options suivantes :
- Mon domicile Favors
- Destinations précédentes
- Point d'intérêt
- Urgence Adresse
- Intersection Centre-ville Carte
- Modifier un itinéraire Annuler un itinéraire
Appuyez sur cette touche pour sélectionner une des options suivantes :
- Réglages du conducteur Recyclage de l'air
- Auto
- Deux zones
- Réglages du passager
- Climatisation
- Dégivrage

Paramètres
Appuyez sur cette touche pour sélectionner l'une des options suivantes :
Montre - Affichage - Son Vehicule Réglages Aide

Accueil
Appuyez sur la touche pour accéder à l'écran d'accueil. Selon l'ensemble d'options de votre véhicule et le logiciel, l'apparence des écrans montrés dans ce chapitre peut être différente des écrans de votre véhicule. Les fonctions de ce système peuvent aussi être limitées selon votre lieu de résidence. Communiquez avec ce concessionnaire autorisé pour connaître la disponibilité de ce service.

Appuyez sur cette touche pour sélectionner une des options suivantes :
- Services d'entretien SYNC® SIRIUS® Travel Link® Alertes
- Calendrier
- Applications de SYNC
Si le pictogramme est jaune, consultez la rubrique Alertes dans la partie Information de ce chapitre.
Divertissement
Appuyez sur cette touche pour sélectionner une des options suivantes :
AM FM SIRIUS - CD (lecteur de disques compacts) USB Audio BT - Carte SD - Entrée A/V
Utilisation des touches à effleurement du système
Pour activer et désactiver une fonction, appuyez simplement sur le graphique avec votre doigt. Pour assurer le meilleur rendement des touches à effleurement :
- N'appuyez pas trop sur les touches. Elles sont sensibles au toucher lorsque vous appuyez légèrement sur celles-ci. Utilisez simplement votre doigt pour toucher le centre du graphique de commande de touche. Si vous n'appuyez pas au centre du graphique, le fonctionnement d'une commande voisine peut être affecté. Assurez-vous que vos mains sont propres et sèches.
- Éloignez le métal et tous les autres matériaux conducteurs de la surface de l'écran tactile, car ils peuvent provoquer une interférence électromagnétique (par exemple, activer accidentellement une autre fonction que celle qui est désirée).
Selon la marque de votre véhicule et l'ensemble d'options choisi, voitrapanneau peut être également muni des commandes suivantes :
- Marche/arrêt : Permet d'activer ou de désactiver les fonctions de la source ou du chauffage et climatisation. VOL+ : Commande le volume de la source en cours de lecture.
- Ventilateur : commande la vitesse du ventilateur du système de chauffage et climatisation.
- Touches de recherche automatique et de syntonisation : Utilisez ces touches comme vous le feriez normalement dans les modes multimédias.
- Éjection : Permet d'éjecter un CD de l'équipement audio-vidéo.
- SOURCE : Appuyez sur le mot à plusieurs reprises pour afficher tous les modes multimédias disponibles. L'écran ne change pas, mais le changement de media s'affiche dans la barre d'état inférieure gauche.
- SOUND (son) : Appuyez sur le mot à plusieurs reprises pour accéder au menu Son d'où vous pourrez ajuster les paramètres suivants : Graves, aigus, mediums, balance gauche-droite et avant-arrière, son THX d'extrêmes graves (selon l'équipement), traitement numérique du signal (selon l'équipement), mode de distribution du son (selon l'équipement) et volume asservi à la vitesse. (Votre véhicule peut ne pas comporter toutes ces options de son.)
- Feux de détresse: Met en et hors fonction les feux de détresse.
Nettoyage de l'écran tactile
Utilisez un chiffon doux et propre, comme un chiffon de nettoyage de vitre. Si de la saleté ou des empreintes digitales sont toujours visibles, humectez le chiffon d'une petite quantité d'alcool. Ne versez pas et ne vaporisez pas d'alcool sur l'écran. N'utilisez pas de détergent ou chaque type de solvant que ce soit pour nettoyer l'écran.
Soutien SYNC
L'équipe de soutien SYNC est disponible pour vous aider à répondre à toute question à laquelle vous ne pouvez pas répondre par vous-même.
Du lundi au samedi, de 8 h 30 à 20 h, HNE
Aux États-Unis, appelez le : 1-888-270-1055
Au Canada, appelez le : 1-800-565-3673
Les heures peuvent être modifiées en raison des jours fériés.
Conseils de sécurité

AVERTISSEMENT : La distraction au volant peut causer la perte de maîtrise du véhicule et entraîner des blessures. Ford
recommande fortement aux conducteurs de faire preuve d'une vigilance de tous les instants lorsqu'ils utilisent un dispositif qui pourrait nuire à leur concentration sur la route. Avant tout, vous devez vous assurer de conduire votre véhicule de façon sécuritaire. Nous vous déconseillons l'utilisation d'un appareil portatif lorsque vous conduisez. Nous vous recommandons d'utiliser les systèmes commandés par la voix dans la mesure du possible et de vous conformer aux lois applicables dans votre région qui pourrait restreindre l'utilisation des appareils électroniques durant la conduite.
- N'essayez jamais de démonter, de réparer ou de modifier votre système SYNC®. Consultez ce concessionnaire autorisé.
- N'utilisez aucun lecteur dont les câbles ou cordons d'alimentation sont fendus, entaillés ou endommagés. Placez les cordons et câbles de manière à ce qu'ils ne gênent pas au niveau du plancher. Assurez-vous qu'ils n'entravent pas le fonctionnement des pédales, le réglage des sièges, l'utilisation des compartiments de rangement ou la sécurité de conduite.
508 Système myford touch® (selon l'équipement)
- Ne laissez pas de lecteurs ou d'appareils dans le véhicule sous des conditions de température extrêmes, sous peine de les endommager. Consultez le guide d'utilisateur de votre appareil pour obtenir de plus amples renseignements.
- Pour votre sécurité, certaines fonctions du système SYNC® sont asservies à la vitesse du véhicule et ne peuvent pas fonctionner lorsque le véhicule roule à plus de 5 km/h (3 mi/h).
- Consultez le guide d'utilisation de votre appareil avant d'utiliser l'appareil avec le système SYNC®.
Fonctions limitées en raison de la vitesse
Certaines fonctions de ce système trop difficiles à utiliser en cours de route sont restreintes et uniquement disponibles à l'arrêt du véhicule.
- Écrans qui contiennent trop d'informations, comme les commentaires et les normes de classement des points d'intérêt, les résultats sportifs du service SIRIUS® Travel Link MC, les horaires des cinémas, les conditions de ski, etc.
- Toute intervention nécessitant l'usage du clavier, p. ex., l'entrée d'une destination de navigation ou la modification d'une information.
- Toutes les listes sont limitées, p. ex., les contacts téléphoniques ou les entrées récentes de votre réseau téléphonique, de sorte que l'utilisateur puisse voir moins d'entrées.
Pour des exemples plus spécifiques, consultez le tableau ci-dessous :
| Fonctions restreintes | |
| Téléphone cellulaire | Couplage d'un téléphone Bluetooth |
| Ajout de contacts dans le réseau ou téléchargement des contacts du réseau (à partir d'un port USB) | |
| Les listedes d'entrées sont limitées pour les contacts téléphoniques et les entrées récentes de votre réseau téléphonique | |
| Fonctionnalités du système | Modification du code de clavier |
| Activation du mode valet | |
| Modification des réglages lorsque laamera de recul ou le stationnement actif sont activés | |
| Wi-Fi et sans fil | Modification des paramètres sans fil |
| Modification de la liste des réseaux sans fil | |
Système myford touch® (selon l'équipement)
| Fonctions restreintes | |
| VidEOS, photos et illustrations | Lecture d'une vidéo |
| Modification du fond d'écran ou ajout d'un nouveau fond d'écran | |
| Messages/textes | Composition de messages/textes |
| Réception de messages/textes | |
| Modification de messages/textes prédéfinis | |
| Navigation | Utilisation du clavier pour saisir une destination |
| Itinéraire de navigation en mode de démonstration | |
| Ajout ou modification des entrées du carnet d'adresses ou des zones à éviter | |
Information privée
Quand un téléphone cellulaire est connecté à SYNC®, SYNC® crée un profil dans votre véhicule qui est relié à ce téléphone cellulaire. Ce profil est créé pour vous offrir plus de fonctions et pour améliorer le fonctionnement de l'appareil cellulaire. Entre autres choses, ce profil peut contenir des données du répertoire de votre téléphone cellulaire, des messages/textes (lus et non lus), et l'historique des appels, y compris l'historique d'appels survenus quand votre téléphone cellulaire n'était pas connecté à SYNC®. Par ailleurs, si vous connectez un appareil multimédia, SYNC® crée et retient un index de contenu multimédia compatible avec SYNC®. SYNC® enregistre aussi un bref journal de déroulement d'approximativement 10 minutes de toute activité récente de SYNC®. Le profil du journal et autres données SYNC® peuvent être utilisés pour améliorer le système SYNC® et vous aider à diagnostiquer n'importe quel problème qui pourrait survenir.
Le profil cellulaire, l'index des appareils multimédias et le journal de déroulement resteront dans le véhicule à moins que vous les effaciez, et ils sont généralement accessibles seulement dans le véhicule lorsque le téléphone cellulaire ou le lecteur multimédia est connecté. Si vous décidez de ne plus utiliser SYNC® ou le véhicule, nous recommandons que vous exécutiez une réinitialisation générale pour effacer toute information enregistrée dans SYNC®.
510 Système myford touch® (selon l'équipement)
Vous ne pouvez accéder aux données SYNC® sans matériel spécialisé, ni au module SYNC® du véhicule. Ford Motor Company et Ford Canada ne liront pas les données SYNC® sans en avoir obtenu le consentement, à moins d’être soumis à une ordonnance d’un tribunal, à l’application d’une loi, à une instance gouvernementale ou à la demande de tiers détenant un pouvoir légal. Indépendamment de Ford et de Ford du Canada, d’autres organismes pourraient demander l’accès à cette information. Pour obtenir plus d’informations sur les renseignements privés, consultez les rubriques traitant du service Assistance 911 (selon l’équipement), du bilan du véhicule (selon l’équipement), et la circulation, les directions et l’information (selon l’équipement).
Accès et réglage des MODES à l'écran d'information DROIT de votre vehicule (SELON l'équipement)

L'écran situé sur le côté droit du tableau de bord. Vous pouvez utiliser les commandes au volant pour afficher et effectuer des réglages mineurs aux modes actifs sans quitter des mains le volant. Par exemple :
- En mode divertissement, vous pouvez afficher la sélection en cours de lecture, changer la source audio et sélectionner vos présélections.
- En mode téléphone, vous pouvez accepter ou refuser un appel entrant.
- Si votre véhicule est équipé du système de navigation, vous pouvez consulter l'itinéraire actuel ou annuler un itinéraire.

Utilisez les touches OK et fléchées du côté droit du volant pour faire défiler les modes disponibles.
Vous pouvez effectuer vos sélections dans le menu en appuyant sur la touche OK. Le menu de sélection se développe et différentes options s'affichent.
- Appuyez sur OK pour accéder au mode.
- Appuyez sur les touches fléchées de gauche ou de droite pour effectuer des réglages dans le mode choisi. Des petites flèches blanches apparaissent dans le menu dans lequel vous vous trouvez, indiquant que vous pouvez faire défiler les options dans ces directions pour accéder à d'autres menus.
- Appuyez sur OK pour confirmer votre sélection.
Nota: Si votre véhicule n'est pas équipé du système de navigation, l'écran affiche Boussole au lieu de Navigation. Si vous appuyez sur la touche fléchée de droite pour accéder au menu Boussole, le graphique de la boussole s'affiche. La boussole affiche la direction du véhicule, et non le point cardinal réel (p. ex., si le véhicule se déplace vers l'ouest, le milieu du graphique indique l'ouest, tandis que le nord apparait à gauche, même si son emplacement véritable devrait être à la droite de l'ouest).
Utilisation de la reconnaissance VOCALE
Ce système vous aide à commander plusieurs fonctions au moyen de commandes vocales. Ceci vous permet de garder vos mains sur le volant et de vous concentrer sur la circulation. Le système fournit la rétroaction au moyen de tonalités audibles, d'invites, de questions et de confirmations énoncées en fonction de la situation et du niveau d'interaction sélectionné (paramètres de la voix).
Le système vous pose également de courtes questions (messages-guides de confirmation) lorsqu'il n'est pas certain de votre demande ou lorsqu'il existe plusieurs réponses possibles à votre demande.
Lorsque vous utilisez les commandes vocales, des mots et des pictogrammes peuvent également s'afficher dans la barre d'état inférieure gauche pour indiquer l'état de la session de reconnaissance vocale (par exemple, en cours d'écoute, réussie, échouée, interrompue temporairement ou essayer de nouveau).
512 Système myford touch® (selon l'équipement)
Comment utiliser les commandes vocales avec votre système

Appuyez sur le pictogramme de la voix. Après la tonalité, énoncez clairement votre commande.
| Ces commandes peuvent être énoncées à tout moment. |
| « Annuler » |
| « Annuler » |
| « Retourner » |
| « Listé de commandes » |
| « Menu principal » |
| « Page suivante » |
| « Page précédente » |
| « Commandes disponibles » |
| « Aide » |
Commandes disponibles
Pour accéder aux commandes vocales disponibles pour la session en cours, effectuez une des méthodes suivantes:
- Au cours d'une session vocale, appuyez sur le pictogramme d'aide (?) dans la barre d'état inférieure gauche de l'écran.
- Dites « Commandes disponibles » pour afficher à l'écran une liste des commandes vocales disponibles associées à votre session de reconnaissance vocale en cours.
- Appuyez sur le pictogramme de la voix. Après la tonalité, dites « Aide » pour entendre une liste des commandes vocales disponibles.
Conseils utiles
- Assurez-vous que l'habitacle est aussi silencieux que possible. Le bruit du vent provenant de glaces ouvertes et les vibrations de la route peuvent empêcher le système de reconnaître correctement les commandes énoncées.
- Après avoir enclenché le pictogramme de commande vocale, attendez que la tonalité retentisse et que le message « Écoute » s'affiche à l'écran avant d'énoncer une commande. Toute commande énoncée au préalable n'est pas enregistrée dans le système.
- Parlez normalement, sans marquer de longues pauses entre les mots.
- À n'importe quel moment, vous pouvez interrompre le système pendant qu'il énonce une commande en appuyant sur le pictogramme de commande vocale.
Pour accéder à une liste de commandes vocales disponibles
- Si vous utilisez l'écran tactile, appuyez sur l'icône Réglages > Aide > Liste de commandes vocales.
- Si vous utilisez les commandes au volant, appuyez sur la touche de la voix. Après la tonalité, énoncez clairement votre commande.
| Liste de commandes vocales |
| « Audio liste de commandes » |
| « Bluetooth liste de commandes » |
| « Recherche - liste de commandes » |
| « CD liste de commandes » |
| « Climatisation liste de commandes » |
| «liste de commandes » |
| « Navigation liste de commandes »* |
| « Téléphone liste de commandes » |
| « Radio liste de commandes » |
| « Carte SD liste de commandes » |
| « Sirius liste de commandes »** |
| « Travel link liste de commandes »* |
| « USB liste de commandes » |
| « Reconnaissance vocale liste de commandes » |
| « Paramètres vocaux liste de commandes » |
| « Aide » |
- Ces commandes ne sont disponibles que si votre véhicule est équipé du système de navigation, et que la carte SD du système de navigation est dans sa fente. **Cette commande n'est disponible que si vous avez un abonnement actif à la radio satellite SIRIUS.**
Paramètres de la voix
Les paramètres de la voix vous permettent de personnaliser le niveau d'interaction, d'aide et de rétroaction du système. Le système passe par défaut à l'interaction standard qui utilise des listes de descripteurs et des invitations de confirmation, car ils offrent le plus haut niveau de guidage et de rétroaction.
514 Système myford touch® (selon l'équipement)
Mode interactif : Le mode interactif novice offre une interaction et un guidage plus détaillés tandis que le mode interactif avancé offre moins d'interactions sonores et plus d'invites par tonalité.
Invites de confirmation : Le système utilise ces courtes questions pour confirmer votre demande vocale. S'il est désactivé, le système devine au moins ce que vous avez demandé. Le système peut également vous demander occasionnellement de confirmer vos réglages.
Liste de candidats de source/téléphoniques : Les listes de candidats sont des listes de résultats possibles obtenus à partir de vos commandes vocales. Lorsque le niveau de certitude du système est analogue à plusieurs options, il crée ces listes en fonction de votre commande vocale.
Pour accéder à ces paramètres à l'aide de l'écran tactile :
- Appuyez sur l'icône de Reglages Reglages > Commande vocale.
- Choisissez parmi les options suivantes :
Mode d'interaction - Messages guides de confirmation - Listes des candidats de source - Listes des candidats du téléphone - Volume de commande vocale
Pour accéder à ces paramètres à l'aide des commandes vocales :

Appuyez sur le pictogramme de la voix. Attendez le message-guide « Veuillez dire une commande ». Une autre tonalité retentit pour indiquer que le système est à l'écoute.
| Paramètres de la voix à l'aide des commandes vocales |
| « Mode interactif novice » |
| « Mode interactif avancé » |
| « Messages-guides de confirmation activés » |
| « Messages-guides de confirmation désactivés » |
| « Lists des candidats de téléphone activées » |
| « Lists des candidats de téléphone désactivées » |
| « Lists des candidats de source activées » |
| « Lists des candidats de source désactivées » |
| « Aide » |
Utilisation des commandes vocales à l'aide des options de l'écran tactile
Votre système vocal comporte une fonction double mode qui vous permet de basculer entre l'utilisation des commandes vocales et des sélections à l'écran. Ceci n'est disponible que si le système affiche une liste de candidats générée lors d'une session vocale. Par exemple, lors de la saisie d'une adresse (nom de rue) ou d'une tentative d'appel d'un contact depuis le téléphone que vous avez jumelé avec le système.
Divertissement

A. AM 1 et AM AST B. FM 1, FM 2 et FM AST C. SIRIUS D. CD (lecteur de disques compacts) E. USB
F. Touchez cette touche pour faire défiler d'autres options, à savoir :
- Carte SD Audio BT
- Entrée A/V
G. Ces touches changent selon le mode multimédia dans lequel vous vous trouvez. H. Présélections radio et commandes de disque compact.
516 Système myford touch® (selon l'équipement)
Note : Il est possible que certaines fonctions ne soient pas disponibles dans votre région. Contactez un concessionnaire autorisé pour obtenir plus de renseignements.
Vous pouvez accéder à ces options au moyen de l'écran tactile ou des commandes vocales.
Recherche rapide dans le contenu d'un appareil
Lorsque vous écoutez une source audio sur un appareil, vous pouvez effectuer une recherche rapide dans (ou survoler) d'autres appareils sans avoir à changer de source audio. Par exemple, si vous écoutez actuellement une source audio sur une carte SD, vous pouvez survoler tous les artistes qui sont enregistrés sur votre appareil USB.

Appuyez sur le pictogramme de commande vocale sur le volant. À l'invite, vous pouvez dire :
| « RECHERCHER » dans les apparêls |
| « Rechercher »* |
| « Rechercher - matches de <ligue> »** |
| « Recherche les chaînes <catégorie Sirius> »** |
| « Rechercher - guide de tout les canaux Sirius »** |
| « Rechercher - carte SD » |
| « Rechercher - USB » |
| « Aide » |
*Si vous avez dit « Recherche », vous pouvez ensuite énoncer une des commandes indiquées dans le tableau suivant.
**Cette commande n'est disponible que si vous avez un abonnement actif à la radio satellite SIRIUS.
| « RECHERCHER » |
| « Matches de <ligue> »* |
| « Châînes <catégorie Sirius> »* |
| « carte SD »** |
| « Guide de tout les canaux Sirius »* |
| « USB »** |
| « Aide » |
Cette commande n'est disponible que si vous avez un abonnement actif à la radio satellite SIRIUS.
Pour obtenir une liste plus complète des commandes vocales en mode carte SD ou port USB, consultez le paragraphe « Carte SD et port USB » dans ce chapitre.
Pour une liste complète des commandes vocales « Rechercheur », consultez les rubriques Commandes vocales relatives au dispositif USB et à la carte mémoire flash et Commandes vocales relatives à la chaîne stéréo Bluetooth plus loin dans ce chapitre.
Votre système vocal vous permet de changer de source audio par simple commande vocale. Par exemple, si vous écoutez de la musique sur un appareil USB, puis que vous VOULEZ passer à une station de radio satellite, il vous suffit d'appuyer sur la touche de commande vocale au volant et de prononcer le nom de la station SIRIUS (« the Highway » par exemple). Les commandes vocales suivantes sont disponibles au niveau supérieur de la session vocale, quelle que soit la source audio que vous écoutez actuellement (un appareil USB ou une station de radio satellite SIRIUS, par exemple). Nota : Ceci n'est disponible que si la langue de votre système MyFord Touch® est réglée sur « North American English » (anglais de l'Amérique du Nord).
| « AM <530 à 1 710> » | « FM <87,7 à 107,9> » |
| « <530 - 1710> » | « <87,7 - 107,9> » |
| « Sirius <0 à 223> »* | « <Nom de la chaîne> »* |
| « Lire [genre] <nom> ** | « Lire [liste d'écoute] <nom> ** |
| « Lire [artiste] <nom> ** | « Lire [morceau] <nom> ** |
| « Lire [album] <nom> ** | « Lire <nom (morceau ou album) >par <nom de l'artiste> » |
| « Lire <nom> » | « Matches de sport »* |
Cette commande n'est disponible que si vous avez un abonnement actif à la radio satellite SIRIUS.
Les commandes dont le nom est entre [ ] signifient que le mot est facultatif. Par exemple, si vous prononcez, « Lire Metallica », ceci correspond à la commande vocale, « Lire [artiste] »
AM et fm

Touchez l'onglet AM ou FM pour écouter la radio.
Pour alterner entre les présélections AM et FM, touchez simplement l'onglet AM ou FM.
Présélections
Enregistrer une station en appuyant longuement sur une des zones de préselection. Pendant un bref silence, la radio enregistre la station. Le son reapparaît lorsque c'est terminé.
Radio HD
Touchez ce bouton pour allumer la radio HD. Le timer sur le bouton est allumé lorsque la fonction est active. La radio HD vous permet de recevoir des signaux radiophoniques numériques (si cette fonction est disponible) qui produit un son cristallin. Consultez la rubrique Renseignements sur le système HD Radio ultérieurement dans ce chapitre.
Scan (balayage automatique)
Touchez ce bouton pour passer à la prochaine station AM ou FM suffisamment puissante. Le témoin sur le bouton est allumé lorsque la fonction est active.
Options
Réglages du son vous permet d'ajuster les réglages suivants :
Graves Moyennes Aiguës - Équilibre gauche-droit et équilibre avant-arrière DSP (Traitement numérique du signal) Mode de distribution du son Volume asservi à la vitesse
Nota : Notre véhicule peut ne pas comporter tous ces réglages de son.
Définir le type de programmation pour la recherche automatique ou le balayage - Cette option vous permet de sélectionner une catégorie de musique que vous souhaitez rechercher. Vous pouvez ensuite désirer la fonction de recherche automatique ou de balayage des stations proposant cette catégorie.
Affichage de texte du système de radiocommunication - Cette option vous permet d'afficher l'information diffusée par les stations FM.
AST (Présélections automatiques) - Cette option permet au système de mémoriser automatiquement les six stations les plus puissantes de votre emplacement actuel.
Touche MARQUAGE est disponible lorsque la radio HD est en fonction et vous permet de marquer un morceau pour le télécharger
ultérieurement. Lorsque vous sélectionnez Activé, MARQUAGE apparait sur l'écran lorsque la radio HD est activée. Vous pouvez appuyer sur MARQUAGE pour enregistrer les renseignements relatifs à la chanson en cours. Lorsque vous branchez votre lecteur de musique portatif, les données sont transférées, si cette fonction est prise en charge par votre appareil. Lorsque vous êtes connecté à iTunes, les marquages s'affichent pour vous rappeler les morceaux que vous souhaitez télécharger. Consultez la rubrique Renseignements sur le système HD Radio ultérieurement dans ce chapitre.
Syntonisation directe
Touchez ce bouton pour entrer manuellement le numéro de la station voulu.e. Touchez Entrer une fois ceci effectué.
Renseignements sur le système hdroadi mc (si cette fonction est disponible)
Nota : Les émissions de radio HD ne sont pas disponibles dans tous les marchés.
La technologie radio HD constitue l'évolution numérique de la radio AM/FM analogue. Notre système est doté d'un récepteur spécial qui permet de capter des émissions numériques (là où le service est disponible) en plus des émissions analogiques que vous recevez déjà. Les émissions numériques fournissent une meilleure qualité sonore que les émissions analogique en diffusant un signal audio libre de parasites et de distorsion. Pour de plus amples renseignements, et pour consulter le guide des stations et de la programmation disponibles, veuillez visiter le www.hdradio.com.
Une fois que la radio HD est activée et que vous synchronisez une station diffusée en HD, vous remarquerez les indicateurs suivants sur l'écran :

Le logo HD clignote lors de la réception d'une station numérique et reste allumé lorsque le signal audionumérique est diffusé. Lorsque ce logo est accessible, les champs Titre et Artiste peuvent également s'afficher à l'écran.
L'indicateur de diffusion multiple s'affiche en mode FM (seulement) si la station en cours diffuse de multiples émissions numériques. Les chiffres en surbrillance indiquent les chaînes numériques disponibles où du contenu nouveau ou différent est disponible. HD1 signifie que l'état de la programmation principale est disponible sous forme d'émissions analogiques et numériques. Toutes stations supplémentaires à diffusion multiple (HD2 à HD7) sont diffusées uniquement en mode numérique.
520 Système myford touch® (selon l'équipement)
MARQUAGE vous permet d'enregistrer une chanson à télécharger ultérieurement lorsque vous recevez une station radio HD et que la fonction est activée. Pour activer la fonction et l'utiliser :
- Appuyez sur AM ou FM > Options > touche MARQUAGE > Activé.
- Lorsque vous entendez une chanson qui vous plaît, touchez le bouton MARQUAGE.
- Le système mémorise automatiquement les renseignements relatifs à la pièce musicale et les transfère à votre lecteur de musique portatif (si cette fonction est prise en charge) lorsqu'il est relié au système. Le système transfère automatiquement le marquage à votre lecteur et une fenêtre contextuelle s'affiche pour confirmer le transfert.
- Lorsque vous accédez à iTunes® au moyen de votre lecteur de musique portatif, les marquages s'affichent à titre de rappel. Le système vous permet de marquer jusqu'à 100 pièces musicales environ. Pour obtenir une liste d'appareils qui prennent en charge la fonction de marquage, consultez le site Web www.SYNCMyRide.com, www.SYNCMyRide.ca ou www.syncaroute.ca.
Lorsque les émissions de radio HD sont actives, vous pouvez accéder aux fonctions suivantes :
- fois, elle ne peut effectuer un balayage des chaînes HD2 à HD7. Le logo HD pourrait s'afficher si une émission numérique est disponible sur une station.
- PréseLECTIONs vous permet d'enregistrer une station active comme préselection. Touchez et maintainez une touche de préselection jusqu'à ce que le son revienne. Pendant un bref silence, la radio enregistre la station. Le son reappeaîrt lorsque c'est terminé. Lors du passage à une station HD2 ou HD3 préselectionnée, le son est mis en sourdine temporairement avant que le son numérique ne soit rétabli, car le système doit accuperir de nouveau le signal numérique.
- éder à la station mémorisée si votre véhicule se trouve hors de la zone de réception de la station.
Dépannage relatif à la réception et à la station de radio HD
| Problèmes potentiels de réception | |
| Zone de réception | Si vous écoutez une station à diffusion multiple et que vous étés à la limite du rayon de diffusion, la station passée en mode de sourdine en raison de la faibblesse du signal de réception. |
| Si vous écoutez la châne HD1, le système passée en mode analogique jusqu'à ce que la diffusion numérique soit de nouveau disponible. Toutefois, si vous écoutez une des chânes à diffusion multiple HD2 à HD7, la station passée en mode de sourdine et demeure dans ce mode jusqu'à ce qu'elle puisse rétablier la connexion avec le signal numérique. | |
| Passage en alternance de station | Lorsque le système reçoit en premier une station (différente des stations à diffusion multiple HD2-HD7), il diffuse d'abord la station dont le signal est analogique. Une fois que le réseauur a vérifié que la station est une station radio HD, il passes à la version numérique. Selon la qualité de réception de la station, il se peut que vous entendiez un léger changement de son lorsque la station passée du mode analogique au mode numérique. Ce passage du son analogique au son numérique ou vice-versa est appelé passage en alternance. |
Dans le but d'offrir la meilleure expérience qui soit, un formulaire de contact a été mis au point pour signaler tous les problèmes de station trouvés lors de l'écoute d'une station diffusée à l'aide de la technologie radio HD. Des organisations indépendantes possèdent et exploitent chacune des stations. Ces stations sont responsables de la diffusion audio en continu et de la précision des champs de données.
522 Système MyFord Touch® (selon l'équipement)
| Problèmes de station potentiels | ||
| Problème | Cause | Mesure à prendre |
| Écho, hesitation, sauts ou répetitions de l'audio. Augmentation ou diminution du volume sonore. | Mauvaise synchronisation du diffuseur radiophonique. | Aucune action n'est nécessaire. Ceci est un problème d'émission. |
| Atténuation du son ou augmentation et diminution du son en alternance. | La radio passé entre le mode analogue et numérique en alternance. | Aucune action n'est nécessaire. Problème de réception qui tend à se résoudre à mesure que vous roulez. |
| Mise en sourdine-temporaire lors de la sélection d'une station HD2 ou HD3, d'une préselection d'une station multidiffusion ou d'une symtonisation directe. | La diffusion multiple numérique n'est pas disponible jusqu'à ce que l'émission de radio HD soit décodée. Une fois décodée, l'audio est disponible. | Aucune action n'est nécessaire. Ce comportement est normal. Attendez que l'audio redevienne disponible. |
| Impossible d'acceder à la chaine de multidiffusion HD2/HD3 lorsqu'une touche de préselection est sélectionnée ou à partir de la symtonisation directe. | La touche de préselection enregistrree précédemment ou la syntonisation directe n'est pas disponible dans la zone courante de réception. | Aucune action n'est nécessaire. La station n'est pas disponible dans votre emplacement actuel. |
Système myford touch® (selon l'équipement)
| Problèmes de station potentiels | ||
| Problème | Cause | Mesure à prendre |
| L'information textuelle ne correspond pas à la trame sonore en cours de lecture. | Problème de traitement de données par le diffuseur radio. | Remplissez le formulaire relatif aux problèmes de station radiophonique disponible sur le site Web indiqué ci-dessous.* |
| Aucune information textuelle affichée pour la fréquence sélectionnée. | Problème de traitement de données par le diffuseur radio. | Remplissez le formulaire relatif aux problèmes de station radiophonique disponible sur le site Web indiqué ci-dessous.* |
| Stations de radio HD2 à HD7 introuvables lorsque la touche Balayage est actionnée. | Lorsque vous appuyez sur la touche Balayage, la fonction de recherche des chaînes HD2 à HD7 est désactivée. | Aucune action n'est nécessaire. Ce comportement est normal. |
- http://www.ibiquity.com/automotive/report_radio_station_experiences La technologie du système HD RadioMC est fabriquée sous licence de iBiquity Digital Corp. U. S. et de brevets étrangers. L'appellation HD RadioMC et les logos HD et HD Radio sont des marques commerciales déposées de iBiquity Digital Corp. Ford Motor Company et iBiquity Digital Corp. ne sauraient être tenues pour responsables du contenu transmis au moyen de la technologie HD Radio. Le contenu pourrait être changé, ajouté ou supprimé à tout moment à la discrétion du propriétaire de la station.
Commandes vocales de la radio

Si vous écoutez la radio, appuyez sur la touche de reconnaissance vocale du volant. À l'invite, énoncez l'une des commandes indiquées dans le tableau suivant.
Si vous n'écoutez pas la radio, appuyez sur la touche de reconnaissance vocale, puis après la tonalité, dites « Radio » et l’une des commandes indiquées dans le tableau suivant.
| « RADIO » | |
| « <87,9 à 107,9> » | « Préréglage FM <numéro> » |
| « <87,9 à 107,9> HD »* | « FM 1 » |
| « <530-1710> » | « Préréglage FM 1 <numéro> » |
| « AM » | « FM 2 » |
| « AM <530-1710> » | « Préréglage FM 2 <numéro> » |
| « Sauvegarde automatique AM » | « HD <numéro> »* |
| « Sauvegarde automatique préréglage <1-10> AM » | « Préréglage <numéro> » |
| « Préréglage AM <1-10> » | « Radio éteinte » |
| « FM » | « Radio activé » |
| « FM <87.9-107.9> » | « Sélectionner le type de programme » |
| « FM <87.9-107.9> HD <#> »* | « Syntoniser radio ** |
| « Sauvegarde automatique FM » | « Aide » |
| « Sauvegarde automatique préréglage <1-10> FM » | |
Si l'option est disponible.
**Si vous avez dit « Syntoniser radio », consultez le tableau « Syntoniser radio » suivant.**
| « SYNTONISER » | |
| « <87,9-107,9> » | « Sauvegarde automatique FM » |
| « <87,9 à 107,9> HD <numéro> »* | « Sauvegarde automatique préréglage <1-10> FM » |
| « <530-1710> » | « Préréglage FM <numéro> » |
| « AM » | « FM 1 » |
| « AM <530-1710> » | « Préréglage FM 1 <numéro> » |
| « Sauvegarde automatique AM » | « FM 2 » |
| « Sauvegarde automatique préréglage <1-10> AM » | « Pré réglage FM 2 <numéro> » |
| « Pré réglage AM <1-10> » | « HD <numéro> »* |
| « FM » | « Pré réglage <numéro> » |
| « FM <87.9-107.9> » | « Aide » |
| « FM <87.9-107.9> HD <#> »* | |
Si l'option est disponible.
Radio satellite SIRIUS® (si le mode est activé)

Appuyez sur le coin inférieur gauche de l'écran tactile, puis sélectionnez l'onglet SIRIUS.
Présentations
Enregistrez une station en appuyant longuement sur une des zones de présélection. Pendant un bref silence, la radio enregistre la station. Le son reapparaît lorsque c'est terminé.
ALERTE
Mémoriser la pièce musicale, l'artiste ou l'équipe actuelle en tant que favori. Le système vous alerte lors de la relecture de la pièce musicale sur une des chaînes.
Relecture
Effectuer la relecture audio sur la chaîne actuelle. Vous pouvez effectuer la relecture audio pendant environ 45 minutes pourvu que la chaîne actuelle ait été syntonisée sans interruption. Le changement de station efface le signal audio précédent.
En mode relecture :
- Appuyez brièvement sur les touches de recherche automatique pour écouter la plage musicale précédente ou suivante.
- Maintenez les touches de recherche automatique enfoncées pour reculer ou avancer rapidement dans la plage musicale en cours.
- Appuyez sur la touche de lecture ou de pause pour commencer, reprendre ou pauser la lecture audio.
- Appuyez de nouveau sur la touche Relecture pour retourner à l'audio en direct si vous utilisiez la fonction de relecture audio.
Scan (balayage automatique)
Touchez ce bouton pour écouter un bref extrait des chaînes.
Options
Réglages du son vous permet d'ajuster les réglages suivants :
Graves Moyennes Aiguës - Équilibre gauche-droit et équilibre avant-arrière DSP (Traitement numérique du signal) Mode de distribution du son Volume asservi à la vitesse
Nota : Notre véhicule peut ne pas comporter tous ces réglages de son.
Définir la catégorie pour la recherche automatique ou le balayage vous permet de sélectionner une catégorie de musique que vous souhaitez rechercher. Vous pouvez ensuite désirer la fonction de recherche automatique ou de balayage des stations proposant cette catégorie.
Verrouillage parental - Cette option vous permet de verrouiller et de déverrouiller des chaînes, de changer ou de réinitialiser votre code PIN ou de déverrouiller toutes les chaînes. Pour utiliser cette fonction, vous avez besoin de votre code NIP initial qui est 1234.
Alertes d'artistes/de titres/d'équipes - Cette option vous permet de sélectionner les artistes, les titres et les équipes dont vous souhaitez recevoir une alerte du système lorsqu'ils sont diffusés sur d'autres chaînes. Appuyez sur la touche Modifier les alertes pour supprimer ou désactiver les alertes. Vous pouvez également définir toutes les alertes au réglage en fonction ou hors fonction. Lorsqu'une alerte s'affiche à l'écran, vous pouvez choisir de « Syntoniser » la chaîne, de « Supprimer » l'alerte ou de « Désactiver les alertes ». Si vous écoutez un événement sportif, vous pouvez mémoriser vos équipes préférées afin que le système vous alerte lorsqu'une chaîne de radio satellite diffuse les émissions sur ces équipes.
Nota : SIRIUS ne prend pas en charge la fonction Alerte sur toutes les chaînes. Ford Motor Company n'est aucunement responsable des variations de la fonction Alerte.
Le numéro de série électronique (ESN) est requis lorsque vous communiquez avec SIRIUS au sujet de votre compte.
Syntonisation directe
Touchez ce bouton pour entrer manuellement le numéro de la station satellite voulue. Touchez Entrer une fois ceci effectué.
Touchez ce bouton pour afficher une liste de toutes les stations disponibles. Faites défiler pour voir les autres catégories. Touchez la station que vous pouvez écouter.
Touchez Sauter si vous voulez sauter cette chaîne.
Touchez Verrouiller si vous voulez que personne n’écoute cette station.
Touchez Titre ou Artiste pour voir les morceaux et artistes sur les autres stations.
Commandes vocales de la radio satellite

Si vous écoutez la radio satellite SIRIUS, appuyez sur la touche de reconnaissance vocale du volant. À l'invite, énoncez l'une des commandes indiquées dans le tableau suivant.
Si vous n'écoutez pas la radio satellite SIRIUS, appuyez sur la touche de reconnaissance vocale, puis après la tonalité, dites « Sirius » et énoncez l’une des commandes indiquées dans le tableau suivant.
| « SIRIUS » | |
| « Sirius <0 à 223> » | « SAT 3 » |
| « Sirius <valid canal name> » | « SAT 3 préréglage <numéro> » |
| « Pré réglage <numéro> » | SAT préréglage <numéro> » |
| « SAT » | « Sirius fermée » |
| « SAT 1 » | « Sirius allumée » |
| « SAT 1 préréglage <numéro> » | « Matches de sports »* |
| « SAT 2 » | « Syntoniser »** |
| « SAT 2 préréglage <numéro> » | « Aide » |
- Si vous avez dit, « Matches de sports », consultez le tableau suivant « Matches de sports ». Si vous avez dit « Syntoniser radio », consultez le tableau « Syntoniser radio » suivant.
| « MATCHS DE SPORTS » |
| « Syntoniser match de <college name> » |
| « Syntoniser partie de <city> » |
| « Syntoniser partie des <team> de <city> » |
| « Syntoniser partie des <team> » |
| « Aide » |
528 Système myford touch® (selon l'équipement)
| « SYNTONISER » |
| « Sirius <0 à 223> » |
| « Sirius <valid canal name> » |
| « Préréglage <numéro> » |
| « SAT » |
| « SAT 1 » |
| « SAT 1 préréglage <numéro> » |
| « SAT 2 » |
| « SAT 2 préréglage <numéro> » |
| « SAT 3 » |
| « SAT 3 préréglage <numéro> » |
| « Aide » |
Renseignements concernant la radio satellite SIRIUS
Nota : SIRIUS se réserve le droit absolu de modifier, réorganiser, ajouter ou supprimer des chaînes, y compris l'annulation, le déplacement ou l'ajout de chaînes particulières et la modification des tarifs, à n'importe quel moment, avec ou sans préavis. Ford Motor Company n'est aucunement responsable de ces changements de programmation.
Nota: Ce récepteur inclut le système d'exploitation en temps réel eCos. eCos est publié sous la licence eCos.

La radio satellite SIRIUS est un service de radio satellite à abonnement qui diffuse de la musique, des sports, des nouvelles, de la météo, de la circulation et des variétés. Le système de radio satellite SIRIUS installé en usine
comprend le matériel et une période d'abonnement limitée qui commence à la date de vente ou de la location du véhicule. Consultez votre concessionnaire/agréé pour les disponibilités.
Pour obtenir de plus amples renseignements sur les modalités d'abonnement prolongées (des frais de service sont exigés), le lecteur multimédia en ligne et une liste complète de chaînes de radio satellite SIRIUS, ainsi que d'autres caractéristiques, consultez le site Web www.siriusxm.com aux États-Unis, le site Web www.sirius.ca au Canada, ou communiquez avec SIRIUS au 1 888 539-7474.
Numéro de série électrique de la radio satellite : Vous avez besoin de votre numéro de série électrique pour activer, modifier ou consulter votre compte de radio satellite. Le numéro NSE se trouve sur l'écran d'information du système (SR ESN: XXXXXXXXXX). Pour accéder à votre numéro de série électrique (ESN), appuyez sur le coin inférieur gauche de l'écran tactile, puis sur SIRIUS > Options.
| Problèmes potentiels de réception de radio satellite | |
| Antenne obstruée | Pour obtenir une réception optimale, ne laisserz pas la neige et la glace s'accumuler sur l'antenne et placez les bagages et tous autres articles aussi loin que possible de l'antenne. |
| Terrain | Les collines, les montagnes, les grands immeubles, les Ponts, les tunnels, les passages supérieurs, les parcs de stationnement couverts, le feuillage dense des arbres et les orages peuvent nuire à la réception. |
| Station surchargeée | Lorsque vous passez devant la tour d'un repéteur de diffusion terrestre, un signal plus puissant peut interférer avec un signal plus faible et la chaîne stéréo peut être mise en sourdine. |
| Interférence dans le signal radio satellite | Il se peut que l'affichage indique « ACQUISITION » . . . pour indiquer l'interférence et la chaîne audio peut être mise en sourdine. |
530 Système MyFord Touch® (selon l'équipement)
| Conseils de dépannage de la radio satellite SIRIUS | ||
| Écran de la radio | Problème | Mesure corrective |
| Acquisition... | La radio prend plus de deux secondes pour produit les données audio de la châne sélectionnée. | Aucune action n'est nécessaire. Le message devrait disparaitre sous peu. |
| Anomalie de satellite ou défaillance du système de radio satellite SIRIUS. | Un module ou un système interne est défectueux. | Si ce message ne disparaît pas sous peu ou lorsque le contact est coupé et rétabli, votre récepteur est peut-être défectueux. Confiez le vehicule à votre concessionnaire autorisé. |
| Chaîne non valide. | La chaîne n'est plus disponible. | Syntonisez une autre chaîne ou désissez une touche de préselection. |
| Chaîne non accessible avec l'abonnement. | Votre abonnement ne comprend pas cette chaîne. | Communiquez avec SIRIUS au 1-888-539-7474 pour vous abandonner à la chaîne, ou syntonisez une autre chaîne. |
| Aucun signal. | Perte de signal entre le satellite SIRIUS ou la tour SIRIUS et l'antenne du vehicule. | Le signal est bloqué. Le signal devrait revenir lorsque la zone redevient dégagée. |
| Mise à jour. | La mise à jour de la chaîne est en cours. | Aucune action n'est nécessaire. Le processus peut demander jusqu'à trois minutes. |
Système myford touch® (selon l'équipement)
| Conseils de dépannage de la radio satellite SIRIUS | ||
| Écran de la radio | Problème | Mesure corrective |
| Appeler SIRIUS 1-888-539-7474. | Votre service de radio par satellite n'est plus disponible. | Communiquez avec SIRIUS au 1 888 539-7474 pour résoudre les problèmes d'abonnement. |
| Aucune trouvée. Consultez le Guide deschains. | Toutes les chaînes de la catégorie sélectionnée sont sautées ou sont verrouillées. | Utilisez le guide des chaînes pour désactiver la fonction Verrouillage ou Saut de cette station. |
| Abonnement mis à jour. | SIRIUS a mis à jour leschains des disponibles pour votre vehicule. | Aucune action n'est nécessaire. |
CD (lecteur de disques compacts)

Appuyez sur le coin inférieur gauche de l'écran tactile, puis sélectionnez l'onglet CD.
Vous pouvez aussi avancer et reculer sur la piste actuelle ou le fichier actuel, le cas échéant.
Relecture
Touchez ce bouton pour répéter la plage en cours de lecture, toutes les plages du disque ou pour désactiver la fonction si elle est déjà activée.
Lecture aléatoire
Touchez ce bouton pour jouer les plages ou les albums entiers dans un ordre aléatoire, ou désactiver la fonction si elle est déjà activée.
Scan (balayage automatique)
Touchez ce bouton pour écouter un bref extrait des plages disponibles.
Plus d'information
Touchez ce bouton pour voir l'information du disque.
Options
Réglages du son vous permet d'ajuster les réglages suivants :
Graves Moyennes Aiguës - Équilibre gauche-droit et équilibre avant-arrière DSP (Traitement numérique du signal) Mode de distribution du son Volume asservi à la vitesse
Nota : Notre véhicule peut ne pas comporter tous ces réglages de son.
Compression vous permet d'activer ou de désactiver la fonction de compression.
Touchez ce bouton pour voir toutes les plages de disque compact disponibles.
Commandes vocales du lecteur de CD

Pendant la lecture d'un disque compact, appuyez sur la touche de reconnaissance vocale du volant. À l'invite, énoncez l'une des commandes indiquées dans le tableau suivant.
Si vous n'effectuez pas la lecture d'un disque compact, appuyez sur la touche de reconnaissance vocale, puis après la tonalité, dites « CD » et énoncez l’une des commandes indiquées dans le tableau suivant.
| « CD » | |
| « Pause » | « Fonction "répéter" morceau désactiver » |
| « Jouer » | « Rejouer chanson » |
| « Jouer piste suivante » | « Lecture aléatoire activée » |
| « Jouer piste précédente » | « Lecture aléatoire du disque activée »* |
| « Jouer piste numéro <1-512> » | « Lecture aléatoire du dossier activée »* |
| « Fonction "répéter" morceau activer » | « Lecture aléatoire désactivée » |
| « Répéter fichier »* | « Aide » |
Cela ne concerne que les fichiers WMA et MP3.
Fente de carte SD
Nota : La fente pour carte SD comporte un ressort. Pour retirer la carte mémoire flash, appuyez simplement sur la carte vers l'intérieur et le système l'éjecte. Ne tentez pas de tirer la carte pour la retirer, car vous pourriez l'endommager.
Nota : Le système de navigation utilise aussi cette fente de carte.
Consultez la rubrique Système de navigation plus loin dans ce chapitre pour plus de renseignements.

La fente se trouve dans la console centrale ou derrière un petit volet d'accès dans le tableau de bord. Pour accéder à et effectuer la lecture de musique à partir de votre carte, appuyez sur le coin inférieur gauche de l'écran tactile, puis sélectionnez l'onglet Carte SD.
Le logo de SD est une marque de commerce de SD-3C, LLC.

Port USB

La fente se trouve dans la console centrale ou derrière un petit volet d'accès dans le tableau de bord. Pour accéder à et effectuer la lecture de musique à partir de votre appareil, appuyez sur le coin inférieur gauche de l'écran tactile, puis sélectionnez l'onglet USB.
Cette fonction vous permet de brancher des lecteurs multimédias, des cartes mémoire flash, des clés USB et aussi de recharger des appareils si cette fonction est prise en charge.
Pour diffuser une vidéo à partir de votre iPod® ou de votre iPhone®, si l'appareil est compatible, vous devez avoir un câble vidéo composite spécial USB/RCA que vous pouvez vous procurer chez Apple®. Lorsque le câble est relié à votre iPod® ou à votre iPhone®, branchez l'autre extrémité dans les fiches RCA et le port USB.
Jouer de la musique à partir de votre dispositif
Insérez votre dispositif et sélectionnez l'onglet Carte SD ou USB une fois que le système a détecté votre appareil. Les options suivantes sont offertes :
Relire rejoue la chanson ou l'album en cours.
Lecture aléatoire lit la musique d'un album ou d'un dossier sélectionné dans un ordre aléatoire.
Musique similaire vous permet de choisir de la musique similaire à celle en cours de lecture.
Plus d'informations affiche l'information telle que la plage actuelle, le nom de l'artiste, l'album et le genre.
Options vous permet de visualiser et d'ajuster les divers réglages multimédia.
- Réglages du son vous permet d'ajuster les réglages suivants :
Graves Moyennes Aiguës - Équilibre gauche-droit et équilibre avant-arrière DSP (Traitement numérique du signal) Mode de distribution du son Volume asservi à la vitesse.
Nota : Notre véhicule peut ne pas comporter tous ces réglages de son.
- Paramètres de la source Cette option vous permet d'accéder à des réglages supplémentaires sous Lecteur num. Consultez la rubrique Param.
- Renseignements relatifs à l'appareil affiche l'information sur le logiciel et le micrologiciel de l'appareil multimédia actuellement connecté.
- Actualiser index multimédia Cette option vous permet d'indexer l'appareil chaque fois qu'il est connecté pour vous assurer d'avoir les commandes vocales les plus récentes pour tous les médias sur l'appareil.
Rechercher vous permet de visualiser le contenu de l'appareil. Cette fonction vous permet également d'effectuer une recherche par catégorie, à savoir genre, artiste ou album.
Pour afficher les renseignements relatifs à une chanson tels que le titre, l'artiste, le fichier, le dossier, l'album et le genre, appuyez sur la couverture de l'album à l'écran.
Vous pouvez aussi toucher Quel morceau est lu pour entendre la façon dont le système énonce le nom du groupe et de la chanson en cours.
Ceci peut être utile lorsque vous utilisez les commandes vocales pour vous assurer que le système interprète correctement votre demande pour la lecture.
Commandes vocales de carte SD ou d'appareil USB

Si vous écoutez un appareil USB ou une carte SD, appuyez sur la touche de reconnaissance vocale du volant. À l'invite, énoncez l'une des commandes indiquées dans le tableau suivant.
Si vous n'écoutez pas un appareil USB ou une carte mémoire flash, appuyez sur la touche de reconnaissance vocale, puis après la tonalité, dites « USB » ou « Carte mémoire flash » et énoncez l'une des commandes indiquées dans le tableau suivant.
| « USB » ou « CARTE SD » | |
| « Recherche »* | « Lire la chanson précédente » |
| « Piste suivante » | « Lecture aléatoire désactivée » |
| « Pause » | « Jouer chanson <nom> » |
| « Reprendre » | « Lire émission de télévision <nom> ** |
| « Jouer album <nom> » | « Jouer episode TV <nom> ** |
| « Lire tout » | « Jouer video-clip <nom> ** |
| « Jouer artiste <nom> » | « Lire balado video <nom> ** |
| « Jouer livre audio <nom> » | « Jouer episode balado video <nom> ** |
| « Jouer auteur <nom> » | « Jouer liste de video-clipps <nom> ** |
| « Jouer compositeur <nom> » | « Piste précédente » |
| « Jouer dossier <nom> » | « "répéter" activée » |
| « Jouer genre <nom> » | « "répéter" désactivée » |
| « Jouer film <nom> ** | « Répéter une piste » |
| « Lire video de musique <nom> ** | « Lecture aléatoire activée » |
| « Lire chanson suivante » | « Lecture aléatoire désactivée » |
| « Liste d'écoute <nom> » | Qui est-ce qui joueMAINANT » |
| Jouer balado <nom> » | « Aide » |
| « Jouer episode balado <nom> » | |
Si vous avez dit que vous souhaitiez rechercher dans la clé USB ou la carte mémoire flash, le système vous demande de préciser ce que vous aimeriez rechercher. À l'invite, consultez le tableau « Recherche » suivant.
Les commandes ne sont disponibles qu'en mode USB, selon l'appareil utilisé.
Système MyFord Touch® (selon l'équipement)
| « RECHERCHER » | |
| « Album <nom> » | « Tout video podcast »* |
| « Tous les albums » | « Tous les vidEOS »* |
| « Tous les artistes » | « Artiste <nom> » |
| « Tous les livres audio » | « Livre audio <nom/titre> » |
| « Tous les auteurs » | « Auteur <nom> » |
| « Tous les compositeurs » | « Compositeur <nom> » |
| « Tous les dossiers » | « Dossier <folder name> » |
| « Tous les genres » | « Genre <nom> » |
| « Tous les films »* | « Liste d'écoute <nom> » |
| « Tout clips * » | « Balado <nom> » |
| « Toutes les listes d'écoute » | « Spectacle télé »* |
| « Tous les balados » | « Video <nom> »* |
| « Toutes les pistes » | « Liste vidEOS »* |
| « Tous les spectacles télé »* | « Video podcast »* |
| « Toutes les liste de vidEOS »* | « Aide » |
- Ces commandes ne sont disponibles qu'en mode USB, selon l'appareil utilisé.
Information sur la prise en charge des lecteurs multimédias, des formats et des métadonnées
SYNC est compatible avec presque tous les lecteurs multimédias numériques, incluant les iPod®, les Zune™, les lecteurs de cartes et les appareils USB. SYNC prend en charge les formats audio MP3, WMA, WAV et AAC.
Le système peut également organiser et trier les fichiers multimédias indexés sur votre lecteur à l'aide d'étiquettes de métadonnées. Les étiquettes de métadonnées sont des identificateurs logiciels intégrés dans les fichiers multimédias, qui fournissent des renseignements sur le fichier.
Si les étiquettes intégrées dans vos fichiers multimédias indexés ne renferment aucune donnée, le système SYNC peut classer les étiquettes de métadonnées vides sous Inconnu.
Pour diffuser une vidéo à partir de votre iPod® ou de votre iPhone® (si l'appareil est compatible), vous DEVEZ avoir un câble vidéo composite spécial USB/RCA (pouvant être acheté chez Apple®). Lorsque le câble est relié à votre iPod® ou à votre iPhone®, branchez l'autre extrémité dans les fiches RCA et le port USB.
Bluetooth audio
Votre système vous permet d'écouter la musique en continu par les haut-parleurs du véhicule à partir de votre téléphone cellulaire compatible Bluetooth relié.

Pour accéder à cette fonction, appuyez sur le coin inférieur gauche de l'écran tactile, puis sélectionnez l'onglet Audio BT.
Commandes vocales relatives à la chaîne stéréo bluetooth

Si vous écoutez un appareil audio Bluetooth, appuyez sur la touche de reconnaissance vocale du volant. À l'invite, dites « Chanson suivante », « Pause », « Lire » ou « Chanson
précédente
Si vous n'écoutez pas un appareil audio Bluetooth, appuyez sur la touche de reconnaissance vocale puis, après la tonalité, dites « Audio Bluetooth », puis dites « Chanson suivante », « Pause », « Lire » ou « Chanson précédente »
Entrées a/v (audio-video)

AVERTISSEMENT : La distraction au volant peut causer une perte de maîtrise du véhicule, un accident et des blessures. Ford commande fortement aux conducteurs de faire preuve d'une vigilance, plus les instants lorsqu'ils utilisent un dispositif qui pourrait nuire à la concentration sur la route. Avant tout, vous devez vous assurer de conduire votre véhicule de façon sécuritaire. Nous vous déconseillons l'action d'un appareil portatif lorsque vous conduisez et nous vous mandatons d'utiliser des systèmes à commande vocale dans la vie du possible. Prenez bien connaissance de toutes les mentions locales pouvant affecter l'utilisation des appareils électroniques en conduisant.

AVERTISSEMENT : Pour des raisons de sécurité, ne branchez pas votre lecteur de musique portatif et n'en régalez pas les mètres lorsque le véhicule roule.
AVERTISSEMENT: Rangez le lecteur de musique portatif dans un endroit sécuritaire, tel que la console centrale ou la boîte à gants, lorsque le véhicule roule. Les objets durs peuvent se transformer en projectiles en cas d'accident ou d'arrêt brusque et ainsi augmenter les risques de blessures graves. La longueur de la rallonge audio doit être suffisante pour ranger le lecteur de musique portatif en toute sécurité lorsque le véhicule roule.

Les entrées AV vous permettent de raccorder une source audio ou vidéo auxiliaire (par ex. consoles de jeu et caméscopes) en branchant des fiches RCA (non comprises) à ces prises d'entrée. Les prises sont jaunes, rouges et blanches et elles se trouvent derrière un
petit volet d'accès du tableau de bord ou dans la console centrale.
Vous pouvez aussi utiliser les entrées audio-video comme prises d'entrée auxiliaires pour brancher un lecteur de musique portatif et écouter de la musique par les haut-parleurs du véhicule. Branchez votre adaptateur RCA de 3,5 mm (1/8 po) aux deux prises d'entrée audio-video gauches (rouge et blanche).
Appuyez sur le coin inférieur gauche de l'écran tactile, puis sélectionnez Entrée AV.
Pour utiliser la fonction de prise d'entrée auxiliaire, assurez-vous que votre lecteur de musique portatif est conçu pour être utilisé avec des casques d'écoute et qu'il est complètement chargé. Vous aurez aussi besoin d'une rallonge audio munie de connecteurs stéréo mâles de
3,5 mm (1/8 po) à une extrémité et d'une fiche RCA à l'autre extrémité.
- Arrêtez le moteur et mettez hors fonction la radio ainsi que le lecteur de musique portatif. Serrez le frein de stationnement et mettez le sélecteur de vitesse à la position de stationnement (P).
- Raccordez une extrémité de la câble audio à la sortie du casque d'écoute de votre lecteur et l'autre extrémité dans l'adaptateur d'une des deux prises d'entrée A/V gauches (blanche ou rouge) à l'intérieur de la console centrale.
- Appuyez sur le coin inférieur gauche de l'écran tactile. Sélectionnez une station FM syntonisée ou un CD (si un CD est déjà chargé dans le système).
- Réglez le volume comme souhaité.
- Mettez le lecteur de musique portatif en fonction et réglez le volume à la moitié de la plage.
- Appuyez sur le coin inférieur gauche de l'écran tactile. Sélectionnez l'onglet Entrée A/V. (Vous devriez entendre le son de votre lecteur de musique portatif bien qu'il puisse être faible.)
- Réglez le son de votre lecteur de musique portatif jusqu'à ce qu'il atteigne le niveau de la station FM ou du disque compact en alternant entre les commandes.
Pour diffuser une vidéo à partir de votre iPod® ou de votre iPhone® (si l'appareil est compatible), vous devez avoir un câble vidéo composite spécial USB/RCA (pouvant être acheté chez Apple®). Lorsque le câble est relié à votre iPod® ou à votre iPhone®, branchez l'autre extrémité dans les fiches RCA et le port USB.
Recherche des pannes
- Ne branchez pas la prise d'entrée audio à une sortie de niveau ligne. La prise ne fonctionne correctement qu’avec les dispositifs munis d’une sortie pour casque d’écoute et d’une commande de volume.
- Afin d'éviter la déformation acoustique et une qualité sonore moindre, ne réglez pas le volume du lecteur de musique portatif plus haut qu'il n'est nécessaire pour permettre le même niveau de volume du disque compact ou de la radio FM.
- Si la musique est déformée à un niveau d'écoute plus bas, diminuez le volume du lecteur de musique portatif. Si le problème persiste, remplacez ou rechargez les piles du lecteur de musique portatif.
- Le lecteur de musique portatif doit être commandé de la même façon que lorsqu'il est utilisé avec le casque d'écoute, car la prise d'entrée auxiliaire ne commande aucunement (lecture, pause, etc.) le lecteur de musique portatif branché.
Telephone

A. Téléphone B. Composition rapide C. Répertoire téléphonique D. Historique E. Messagerie F. Réglages
La téléphonie mains libres constitue une des principales caractéristiques du système SYNC®. Lorsque votre téléphone est jumelé, vous pouvez accéder à plusieurs options au moyen de l'écran tactile ou des commandes vocales. Bien que le système prenne en charge une variété de fonctions, plusieurs d'entre elles sont asservies à la fonctionnalité de votre téléphone cellulaire. Au minimum, la plupart des téléphones cellulaires avec technologie sans fil Bluetooth prennent en charge les fonctions suivantes :
- Répondre à un appel entrant
- Mettre fin à un appel Utilisation du mode de confidentialité Composition d'un numéro
- Recomposition
- Avis d'appel en attente
- Identité de l'appelant
D'autres fonctions, telles que la messagerie textuelle avec Bluetooth et le téléchargement automatique du réseau, sont asservies à votre téléphone. Pour vérifier la compatibilité de votre téléphone, consultez le guide de l'utilisateur de votre téléphone et visitez le site Web www.SYNCMyRide.com, www.SYNCMyRide.ca ou www.syncaroute.ca.
Jumelage initial de votre téléphone
AVERTISSEMENT: La distraction au volant peut causer une perte de maîtrise du véhicule, un accident et des blessures. Ford recommande fortement aux conducteurs de faire preuve d'une vigilance de tous les instants lorsqu'ils utilisent un dispositif qui pourrait nuire à leur concentration sur la route. Avant tout, vous devez vous assurer de conduire votre véhicule de façon sécuritaire. Nous vous déconseillons l'utilisation d'un appareil portatif lorsque vous conduisez et nous vous recommandons d'utiliser des systèmes à commande vocale dans la mesure du possible. Prenez bien connaissance de toutes les réglementations locales pouvant affecter l'utilisation des appareils électroniques en conduisant.
La première étape que vous devez effectuer pour utiliser les fonctions téléphoniques du système SYNC consiste à jumeler votre téléphone cellulaire compatible avec la technologie Bluetooth au système SYNC. Ceci vous permet d'utiliser votre téléphone en mode mains libres.
Note: Mettez la boîte de vitesses à la position de stationnement (P). Mettez le contact et mettez en fonction la radio.
- Appuyez sur la touche Ajouter un téléphone dans le coin supérieur gauche de l'écran tactile. Trouver SYNC s'affiche à l'écran et vous demande de commencer le processus de jumelage depuis votre appareil.
- Assurez-vous que l'option Bluetooth est réglée à On et que votre téléphone cellulaire est dans le mode approprié. Consultez le manuel de votre téléphone, au besoin.
- Sélectionnez SYNC, et un NIP à six chiffres s'affiche sur votre appareil.
- Si vous êtes invité à entrer un NIP sur votre appareil, c'est qu'il ne prend pas en charge le jumelage simple sécurisé. Pour le jumelage, entrez le NIP affiché à l'écran tactile. Sautez l'étape suivante.
- Lorsque l'écran de votre téléphone vous l'indique, confirmez que le NIP fourni par SYNC correspond au NIP affiché sur votre téléphone cellulaire.
- L'écran affiche un message pour indiquer que le jumelage a réussi.
542 Système myford touch® (selon l'équipement)
Le système SYNC peut vous proposer d'autres options téléphoniques. Pour obtenir de plus amples renseignements sur les caractéristiques de votre téléphone, consultez le manuel de votre téléphone et visitez le site Web.
Jumelage d'autres téléphones
Note: Mettez la boîte de vitesses à la position de stationnement (P). Mettez le contact et mettez en fonction la radio.
- Appuyez sur le coin Téléphone de l'écran tactile > Paramètres > Appareil BT > Ajout appareil.
- Assurez-vous que l'option Bluetooth est réglée à On et que votre téléphone cellulaire est dans le mode approprié. Consultez le guide d'utilisateur de votre téléphone, au besoin.
- À l'invite affichée à l'écran de votre téléphone, entrez le NIP à six chiffres fourni par le système SYNC à l'écran. L'écran affiche un message pour indiquer que le jumelage a réussi. Le système vous demande si vous pouze télécharger vos répertoires.
Le système SYNC peut vous proposer d'autres options téléphoniques. Pour obtenir de plus amples renseignements sur les caractéristiques de votre téléphone, consultez le guide d'utilisateur de votre téléphone et visitez le site Web.
Faire un appel

Appuyez sur la touche de reconnaissance vocale des commandes au volant. À l'invite, dites « Appeler » ou dites « Composer » et le numéro voulu.

Pour permettre la fin de l'appel ou pour quitter le mode de téléphone, maintenez la touche de téléphone enfoncée.
Répondre à un appel
Pendant un appel entrant, une tonalité audible retentit. Si elle est disponible, l'information relative à l'appel s'affiche à l'écran.

Acceptez l'appel en appuyant sur la touche Accepter de l'écran tactile ou en appuyant sur la touche de téléphone des commandes au volant.
Refusez l'appoint en appuyant sur la touche Refuser de l'écran tactile ou en maintenant enfoncée la touche de téléphone des commandes au volant.
Ignore l'appoint en n'appuyant sur aucune touche. Le système SYNC l'enregistre comme étant un appoint manqué.
Options du menu du téléphone
Appuyez sur le coin supérieur gauche de l'écran tactile pour sélectionner parmi les options suivantes :
Téléphone
Touchez ce bouton pour accéder au clavier numérique de l'écran afin de saisir un numéro et de passer un appel. Pendant un appel en cours, vous pouvez aussi choisir:
- de mettre l'appoint en sourdine;
- de le mettre en attente;
- d'activer le mode de confidentialité (redirige l'appel vers votre téléphone cellulaire);
- de relier deux appels;
- de terminer l'essai.
Composition rapide
Configuration des contacts favoris à partir de votre réseau ou dossier d'historique.
Répertoire téléphonique
Touchez ce bouton pour accéder à un des contacts de votre réseau téléphonique téléchargé et l'appeler. Le système place les entrées dans des catégories alphabétiques indiquées en haut de l'écran.
Pour activer les paramètres d'image de contact, si votre appareil prend en charge cette fonction, appuyez sur Téléphone > Param. > Gérer répertoire > Télécharger photos du réseau > Activer.
Certains téléphones intelligents peuvent accepter le transfert des adresses municipales lorsqu'elles sont enregistrées dans le répertoire. Si votre téléphone prend en charge cette fonction, vous pouvez sélectionner et utiliser ces adresses comme des adresses de destination et les enregistrer dans vos favoris.
Historique
Après avoir connecté votre téléphone compatible Bluetooth au système SYNC, vous pouvez accéder aux appels précédemment composés, reçus ou manqués. Vous pouvez aussi désigner ces numéros dans vos favoris ou dans la composition rapide.
Note : Cette fonction est asservie à la téléphonie. Si votre téléphone ne prend pas en charge le téléchargement de l'historique des appels au moyen de Bluetooth, le système SYNC enregistre les appels effectués avec le système SYNC.
Messagerie
Envoyer des messages textes au moyen de l'écran tactile. Voir Messages textes plus loin dans ce chapitre.
Réglages
Touchez ce bouton pour accéder aux divers paramètres du téléphone, comme l'activation et la désactivation de Bluetooth, la gestion de votre réseau et d'autres. Voyez Paramètres du téléphone plus loin dans ce chapitre.
Messagerie texte
Nota : Le téléchargement et la transmission de messages/textes au moyen de Bluetooth sont des fonctions asservies à la téléphonie.
Nota : Certaines fonctions de messagerie texte sont asservies à la vitesse et ne sont pas disponibles lorsque la vitesse du véhicule est supérieure à 5 km/h (3 mi/h).
Nota : SYNC ne peut pas télécharger de messages/textes déjà lus à partir de votre téléphone cellulaire.
Le système vous permet d'envoyer et de recevoir des messages/textes au moyen de Bluetooth, de les dire à haute voix et de traduire également des acronymes souvent utilisés dans les messages/textes, comme « LOL ».
- Touchez le coin supérieur gauche de l'écran pour accéder au menu du téléphone.
- Sélectionnez l'option Messagerie.
- Choisissez parmi les options suivantes :
- Écouter (pictogramme de haut-parleur) - Composer
- Envoyer le texte
- Afficher
- Supprimer
Composition d'un message texte
Nota : Cette fonction est asservie à la vitesse du véhicule. Elle n'est pas disponible lorsque le véhicule roule à plus de 5 km/h (5 mi/h).
Nota : Le téléchargement et la transmission de messages/textes au moyen de Bluetooth sont des fonctions asservies à la téléphonie.
- Touchez le coin supérieur gauche de l'écran pour accéder au menu du Téléphone.
- Touchez Messagerie > Envoyer texte.
- Entrez un numéro de téléphone ou choisissez-en un dans votre répertoire.
Système myford touch® (selon l'équipement)
- Les options suivantes sont offertes :
- Envoyer envoie le message tel quel.
- Modifier texte vous permet de personnaliser le message prédéfini ou d'en créer un qui vous est propre.
Vous sous-poucez als prévisualiser le message et vérifier le destinataire, et aussi mettre à jour la liste de messages et l'envoyera un dispositif connecté (par ex. une clé USB).
| Options de messages textes prédéfinis |
| Je vous rappellerai dans quelques minutes. |
| Je viens juste de partir, je seront là bientôt. |
| Pouvez-vous me rappeler? |
| Je suis en chemin. |
| Je suis en retard de quelques minutes. |
| Je suis en avance, donc je seront là plus+tôt. |
| Je suis dehors. |
| Je vous appellérerai quand je seront là. |
| OK |
| Oui |
| Non |
| Merci |
| Je suis dans un embouteillage. |
| Appelez-moi plus tard. |
| Rire aux éclats |
Réception d'un message texte
Lorsque le système reçoit un nouveau message, une tonalité audible retentit et l'écran affiche une fenêtre contextuelle indiquant le nom et l'identité de l'appelant, si cette fonction est prise en charge par votre téléphone. Vous pouvez appuyer sur la touche :
- Afficher pour afficher le message texte.
- Écouter pour que le système SYNC vous lise le message de vive voix. Composer pour appeler le contact.
- Ignorer pour quitter l'écran.
Nota : Si vous appuyez sur la touche Afficher et que la vitesse du véhicule est supérieure à 8 km/h (5 mi/h), le système vous propose de vous lire le message plutôt que de l'afficher pendant que vous conduisez.
546 Système myford touch® (selon l'équipement)
Paramètres du téléphone
Appuyez sur Téléphone > Paramètres.
Appareils Bluetooth
Touchez ce bouton pour connecter, déconnecter, ajouter ou supprimer un appareil, ainsi que pour l'enregistrer en tant que favori.
Bluetooth
Touchez cet onglet pour activer ou désactiver Bluetooth.
Ne pas déranger
Touchez cet onglet si vous voulez que tous les appels soient directement dirigés vers votre boîte vocale sans que la sonnerie ne retentisse dans le véhicule. Lorsque cette fonction est activée, les sonneries d'avis de message texte ne retentissent pas non plus dans l'habitacle.
Assistance 911
Active et désactive la fonction Assistance 911^MC. Voyez 911 Assist® au chapitre Services et applications du système SYNC.
Sonnerie du téléphone
Sélectionner la sonnerie que vous souhaitez entendre lorsque vous recevez un appel. Choisissez parmi les sonneries du système disponibles, la sonnerie de votre téléphone jumelé actuellement, un bip, un message texte à une commande vocale ou un avis silencieux.
Notification de message texte
Sélectionnez un avis de message texte si votre téléphone prend en charge cette fonction. Sélectionnez parmi des tonalités d'alerte du système disponibles, de message texte à une commande vocale ou en mode silencieux.
Connexion de données Internet
Si vous telèphone est compatible, utilisez cet écran pour ajuster votre connexion de données Internet. Sélectionnez cette option pour étabrir votre profil de réseau personnel ou pour désactiver votre connexion. Vous pouvez aussiCHOISIR DE REGLER VOUS paramêtres ou faire en sorte que le système établitse toujours la connexion, n'étabilitse jamais la connexion lors de l'itinérance ou demande d'étabrir la connexion. Appuyez sur ? pour de plus amples renseignements.
Gérer le répertoire
Touchez ce bouton pour accéder aux fonctions comme le téléchargement automatique du réseau, télécharger de nouveau votre réseau, ajouter des contacts à partir de votre réseau ainsi que supprimer ou télécharger votre réseau.
Avertissement d'itinérance
Touchez ce bouton pour que le système vous alerte quand votre téléphone est en mode itinérance.
Commandes vocales de téléphone

Appuyez sur la touche de reconnaissance vocale du volant. Après la tonalité, énoncez l'une des commandes suivantes :
| « TÉLÉPHONE » | |
| « Appeler » | « Conférence téléphonique »* |
| « Appeler <nom> » | « Écouter le message texte <numéro> » |
| « Appeler <nom> <location> » | « Écouter message » |
| « Appeler <nom> <location> » | « Messages »** |
| « Appeler <nom> <location> » | « Touche discretion activée »* |
| « Appeler <nom> <location> » | « Ajouter téléphone » |
| « Appeler boîte vocale » | « Mode confidentiel »* |
| « Composer » | « Lire le messageertext » |
| « Fonction "Ne pas déranger" désactivée » | « Répondre au message » |
| « Fonction "Ne pas déranger" activée » | « Sonnerie désactivée » |
| « Acheminer le message » | Sonnerie activée » |
| « Mains libres activé »* | « Touche discretion désactivée »* |
| « Appel en attente désactivé »* | « Aide » |
| « Mettre l'appoint en attente »* | |
- Ces commandes ne sont disponibles que lorsqu'un appel est en cours. ** Si vous avez dit « Messages », consultez le tableau « Messages » suivant.
548 Système myford touch® (selon l'équipement)
| « MESSAGES » |
| « Appeler » |
| « Acheminer le message » |
| « Écouter le message texte <numéro> » |
| « Écouter message » |
| « Répondre au message » |
| « Aide » |

Si votre véhicule est équipé du système de navigation, touchez le bouton « i » (information) pour accéder à ces fonctions. Si votre véhicule n'est pas équipé du système de navigation,
touchez le coin de l'écran tactile où se trouve l'onglet vert.

Sous le menu Information, vous pouvez accéder aux fonctions telles que :
A. Services d'entretien SYNC® B. SIRIUS® Travel Link MC C. Alertes D. Calendrier E. Applications SYNC
Services SYNC (selon l'équipement, états-unis seulement)
Nota : Les services SYNC doivent être activés avant de pouvoir être utilisés. Visitez le www.SYNCMyRide.com pour vous enregistrer et pour vérifier votre admissibilité aux services complémentaires. Des tarifs de téléphonie standard et de messagerie peuvent s'appliquer. Un abonnement pourrait être exigé. Notre téléphone cellulaire adapté à Bluetooth avec les services SYNC actifs doit également être jumelé et relié au système afin de vous connecter et d'utiliser les services SYNC. (Consultez la rubrique Téléphone plus haut dans ce chapitre pour des directives relatives au jumelage.)
Nota : Cette fonction ne fonctionne pas convenablement si vous avez activé le blocage de l'identification de l'appellant sur votre téléphone mobile. Assurez-vous que votre téléphone mobile ne bloque pas l'identification de l'appellant avant d'utiliser les services SYNC.
Nota : Le conducteur demeure responsable de la sécurité de conduite de son véhicule et doit donc étudier l'itinéraire suggéré afin d'évaluer sa sécurité. Les fonctions du système de navigation sont destinées essentiellement à vous apporter de l'aide. Conduisez toujours en fonction des conditions locales et du Code de la sécurité routière en vigueur. N'empruntez pas les itinéraires suggérés s'ils impliquent des manoeuvres illégales ou dangereuses ou s'ils vous entraînent dans des situations dangereuses ou dans des endroits qui ne vous inspirent pas confiance. Les cartes utilisées par ce système peuvent être inexactes à cause d'erreurs, de changements de routes, de conditions de la circulation ou des conditions de conduite.
Nota : Lorsque vous vous connectez, le service utilise la technologie GPS et des capteurs de pointe dans le véhicule pour déterminer l'emplacement actuel du véhicule, sa trajectoire et sa vitesse afin de vous renseigner sur les itinéraires, la circulation ou les adresses d'entreprises, selon vos besoins. De plus, pour fournir les services que vous demandez et pour les améliorer continuellement, le service peut recueillir et enregistrer les détails d'appel et les communications vocales. Pour plus de renseignements, consultez les Modalités des services SYNC sur le site Web www.SYNCMyRide.com. Si vous ne pouvez pas que Ford ou ses fournisseurs de service recueillent les données sur les allers et retours du véhicule ou d'autres renseignements identifiés dans les Modalités, n'activez pas ou n'utilisez pas ce service.
550 Système myford touch® (selon l'équipement)
Les services du système SYNC utilisent des capteurs de véhicule avancés, la technologie du système de localisation par satellites intégrée et des données de circulation et de cartes routières comprehensives pour vous fournir des rapports de circulation personnalisés et des directives virage après virage, ainsi que pour vous renseigner sur les cotes en bourse, les actualités, les sports, la météo et plus encore. Pour une liste complète de services, ou pour obtenir de plus amples renseignements, visitez le site Web www(syncarmeoute.ca).
Connexion aux services SYNC au moyen des commandes vocales

- Appuyez sur la touche de reconnaissance vocale du volant.
- À l'invite, dites « Services ». Ceci établit un appel sorta vers les services SYNC à l'aide de votre téléphone compatible Bluetooth jumelé et relié.
- Une fois que vous êtes connecté au service, suivez les invitations vocales pour demander le service v s ? » pour recevoir une liste complète de services disponibles.
- Dites « Services » pour retourner au menu principal de services ou pour obtenir de l'aide, dites « Aide »
Connexion aux services SYNC à l'aide de l'écran tactile

Si votre véhicule est équipé du système de navigation, touchez le bouton « i » (information) pour accéder à ces fonctions. Si votre véhicule n'est pas équipé du système de navigation,
touchez le coin de l'écran tactile où se trouve l'onglet vert.
Appuyez sur services.
- Sélectionnez Connexion aux services pour faire un appel sortant aux services SYNC au moyen de votre téléphone cellulaire compatible Bluetooth jumelé et connecté.
- Une fois que vous êtes connecté au service, suivez les invitations vocales pour demander le service voulu, tel que « Circulation » ou « Directions ». Vous pouvez aussi dire « Quels sont mes besoins ? » pour recevoir une liste complète de services disponibles.
- Dites « Services » pour retourner au menu principal de services ou pour obtenir de l'aide, dites « Aide »
Réception des directives virage après virage
- Lorsque vous êtes connecté aux services SYNC^MC, dites « Directives d'accès » ou « Adresses d'entreprises ». Pour tracer l'adresse de l'entreprise la plus proche de votre emplacement ou le type d'entreprise, dites simplement « Adresses d'entreprises », puis « Recherche près de mon emplacement ». Si vous avez besoin d'aide supplémentaire pour tracer un emplacement, vous pouvez dire « Préposé » à tout moment durant une commande de directive d'accès ou d'adresse d'entreprises pour parler à un préposé en direct. Vous pouvez ca).
- Suivez les messages-guides pour sélectionner votre destination. Une fois le téléchargement de l'itinéraire terminé, l'appel téléphonique prend fin automatiquement.
Si votre véhicule n'est pas équipé du système de navigation :
- Les directives virage après virage s'affichent à l'écran d'information, dans la barre d'état de votre système à écran tactile et aussi sur l'écran des services SYNC. Vous recevez également des directives de conduite au moyen des indications audibles.
- Pendant un itinéraire en cours, vous pouvez désigner Afficher liste des virages ou État itinéraire au moyen des commandes à l'écran tactile ou des commandes vocales pour afficher la liste des virages ou l'état de l'itinéraire et l'heure d'arrivée prévue. De plus, vous pouvez activer ou désactiver les messages-guides vocaux, annuler l'itinéraire ou le modifier.
Si vous manquez un virage, le système SYNC vous demande si vous souhaitez mettre à jour l'itinéraire. Répondez simplement « Oui » à la question et le système indiquera un nouvel itinéraire.
Si vous vivez, le véhicule est équipé de la fonction de navigation, les services SYNC téléchargeant la destination sollicitée au système de navigation. Le système de navigation calcule alors l'itinéraire et vous fournit des directives de conduite. Voyez la rubrique Système de navigation pour plus de renseignements.
Déconnexion des services SYNC
- Maintenez enfoncée la touche de téléphone du volant.
- Dites « Au revoir » à partir du menu principal des services du système SYNC®.
| Conseils rapides relatifs aux services SYNC | |
| Personnalisation | Vous pouvez personnelier la fonction de Services pour obtenir un accès plus rapide aux renseignements que vous utilisez le plus souvent ou que vous préférez. Vous pouvez enregister des points d'adresse tels que le bureau ou le domicile. Vous pouze également enregister votre information préférée parmi les équipés de sports, comme « Lions de Détroit » ou une catégorie de nouvelles. Pour en savoir plus sur la personnalisation, consultez le site Web www.SYNCMyRide.com. |
| Interruption à l'aide de la touche | Appuyez sur la touche de reconnaissance vocale en tout temps (lorsque vous étés connecté aux services SYNC d'information des conditions de la circulation, d'itinéraires et d'information) pour interrompre une commande vocale ou un clip audio ( comme un bulletin de sports) et énonzeez votre commande vocale. |
| Portatif | Votre abonnement est associé à votre numéro de téléphone cellulaire compatible avec Bluetooth et non pas votre NIV (nummer d'identification du vehicule). Vous pouvez jumeler et connecter votre téléphone à n'importe quel vehicule équipé des services d'information des conditions de la circulation, d'itinéraires et de renseignements et continuez de bien profiter de vos services personnalisés. |
Lorsqu'un itinéraire a été téléchargé (véhicules non équipés d'un système de navigation), appuyez sur la touche de reconnaissance vocale du volant. À l'invite, vous pouvez dire
l'une des commandes suivantes :
| « SERVICES » |
| « Annuler cet itinéraire » |
| « Navigation guide vocale désactivé » |
| « Navigation guide vocale activé°» |
| « Répéter instruction » |
| « Heure d'arrivée estimée » |
| « Afficher liste de virages » |
| « Services » |
| « Mise à jour » |
| « Aide » |
Service SIRIUS travel link
(selon l'équipement et si la fonction est activée)

AVERTISSEMENT : La distraction au volant peut causer une perte de maîtrise du véhicule, un accident et des blessures. Fo
recommande fortement aux conducteurs de faire preuve d'une vigilance de tous les instants lorsqu'ils utilisent un dispositif qui pourrait nuire à leur concentration sur la route. Avant tout, vous devez vous assurer de conduire votre véhicule de façon sécuritaire. Nous vous déconseillons l'utilisation d'un appareil portatif lorsque vous conduisez et nous vous recommandons d'utiliser des systèmes à commande vocale dans la mesure du possible. Prenez bien connaissance de toutes les réglementations locales pouvant affecter l'utilisation des appareils électroniques en conduisant.
Nota : Pour utiliser le service SIRIUS Travel Link, votre véhicule doit être équipé du système de navigation et votre carte SD de navigation doit être insérée dans la fente.
Nota : Un abonnement payé est exigé pour accéder à ces fonctions et les utiliser. Visitez le site Web www.siriusxm.com/travellink pour obtenir de plus amples renseignements.
554 Système myford touch® (selon l'équipement)
Note: Visitez le site Web www.siriusxm.com/traffic# et cliquez sur Zones de couverture de carte et détails pour obtenir une liste complète de toutes les zones de circulation couvertes par le service SIRIUS Travel Link.
Note : SIRIUS et Ford ne sont pas responsables des erreurs ou des imprécisions du service SIRIUS Travel Link ou de son utilisation dans les véhicules.
Le service SIRIUS Travel Link peut vous aider à tracer les mêleurs prix de carburant, à rechercher les films à l'affiche, à recevoir les alertes routières actuelles, à accéder aux cartes météo, aux conditions actuelles des pistes de ski, ainsi qu'aux derniers résultats sportifs.

Si votre véhicule est équipé du système de navigation, touchez le bouton « i » (information) pour accéder à ces fonctions. Si votre véhicule n'est pas équipé du système de navigation,
touchez le coin de l'écran tactile où se trouve l'onglet vert.
Circulation sur l'itinéraire et circulation à proximité
Touchez ces boutons pour identifier les incidents de circulation sur votre itinéraire, à proximité de l'emplacement actuel de votre véhicule ou près d'un de vos emplacements favoris, si cette option est programmée.
Prix des carburants
Touchez ce bouton pour afficher le prix d'essence dans les stations à proximité de l'emplacement de votre véhicule ou sur un itinéraire de navigation activé.
Films à l'affiche
Touchez ce bouton pour afficher les cinémas à proximité et les horaires des films, si cette option est disponible.
Météo
Touchez ce bouton pour afficher la météo à proximité, la météo actuelle ou les prévisions pour les cinq prochains jours pour une région. Sélectionnez l'option Carte pour afficher la carte météo qui peut
illustrer les orages, l'information de radar, des tableaux et les vents.
Sélectionnez l'option Région pour afficher une liste d'emplacements de conditions météo et en désirez un.
Information sport
Touchez ce bouton pour afficher les résultats et les calendriers d'une multitude de sports. Vous pouvez également enregistrer jusqu'à
10 équipes préférées pour y accéder plus facilement. Le résultat se met automatiquement à jour lorsqu'une partie est en cours.
Conditions de ski
Touchez ce bouton pour afficher les conditions de ski pour une région particulière.
Commandes vocales de SIRIUS travel link
Note : Pour utiliser le service SIRIUS Travel Link, votre véhicule doit être équipé du système de navigation et votre carte SD de navigation doit être insérée dans la fente.

Appuyez sur la touche de reconnaissance vocale au volant et, à l'invite, énoncez une des commandes suivantes :
| Commandes vocales Travel Link | |
| « Prévisions météorologiques pour la semaine » | « Résultats sportifs »* |
| « Prix de l'essence » | « Circulation routière » |
| « Films à l'affiche » | « Travel Link »** |
| « Manchettes du sport »* | « Prévisions météorologiques » |
| « Horaire des sport »* | « Carte météorologique » |
*Si vous avez dit « Manchettes du sport », « Horaires des sports » ou « Résultats sportifs », vous pouvez énoncer une des commandes du tableau « Manchettes de sport, Calendriers sportifs et Pointages sportifs » :
Si vous avez dit « Travel Link », vous pouvez énoncer une des commandes indiquées dans le tableau « Travel Link ».
| Commandes vocales de manchettes de sport, calendriers sportifs et résultats sportifs | |
| « MLB » | « Mes écipes » |
| « Basketball de la NCAA » | « NBA » |
| « Football de la NCAA » | « NFL » |
| « Golf » | « LNH » |
| « MLS » | « WNBA » |
| « Sports motorisés » | |
556 Système MyFord Touch® (selon l'équipement)
| « TRAVEL LINK » | ||
| « Prévisions météorologiques pour la semaine » | « Horaire de golf » | « Résultats NBA » |
| « Manchettes de la ligue majeure de baseball » | « Manchettes de la ligue majeure de soccer » | « Manchettes NFL » |
| « Horaire de la ligue majeure de baseball » | « Horaire ligue majeure de soccer » | « Horaire NFL » |
| « Résultats de la ligue majeure de baseball » | « Résultats de la ligue majeure de soccer » | « Résultats NFL » |
| « Manchettes du basketball universitaire » | « Sports motorisés » | « Manchettes de hockey » |
| « Horaire du basketball de la NCAA » | « Commandes des sports motorisés » | « Horaire de hockey » |
| « Résultats du basketball de la NCAA » | « Horaire des sports motorisés » | « Résultats de hockey » |
| « Manchettes du football de la NCAA » | « Films à l'affiche » | « Circulation routière » |
| « Horaire du football de la NCAA » | « Manchettes de mes Equipes » | « Prévisions météorologiques » |
| « Résultats du football de la NCAA » | « Horaire de mes Equipes » | « Carte météorologique » |
| « Prix de l'essence » | « Résultats de mes Equipes » | « Manchettes de la ligue nationale de basketball féminin » |
| « Manchettes du golf » | « Manchettes NBA » | « Horaire de la ligue nationale de basketball féminin » |
| « Meneurs du golf » | « Horaire NBA » | « Résultats de la ligue nationale de basketball féminin » |
Alertes

Si votre véhicule est équipé du système de navigation, touchez le bouton « i » (information) pour accéder à ces fonctions. Si votre véhicule n'est pas équipé du système de navigation,
touchez le coin de l'écran tactile où se trouve l'onglet vert.
Appuyez sur Alertes et choisissez parmi les services suivants :
- Afficher le message.
- Effacer le message.
- Effacer tous les messages.
Cet écran affiche n'importe quel message de système tel qu'une anomalie de carte mémoire flash, etc.
Note : Le système vous alerte que vous avez des messages en affichant en jaune l'icône d'information. Avec la lecture ou la suppression des messages, l'icône redevient blanche.

Si votre véhicule est équipé du système de navigation, touchez le bouton « i » (information) pour accéder à ces fonctions. Si votre véhicule n'est pas équipé du système de navigation,
touchez le coin de l'écran tactile où se trouve l'onglet vert.
Appuyez sur Calendrier. Vous pouvez afficher le calendrier actuel en sélectionnant le mode d'affichage par jour, semaine ou mois.
Assistance 911® (selon l'équipement)

AVERTISSEMENT : Si la fonction Assistance 911 n'est pas
activée avant une collision, le système ne composera pas le numéro des services d'urgence, ce qui pourrait augmenter le délai d'intervention et augmenter les risques de blessures graves ou mortelles après une collision.

AVERTISSEMENT : N'attendez pas que le système utilise la
fonction Assistance 911 pour établir l'essai si vous pouvez le faire
vous-même. Composez immédiatement le numéro des services d'urgence pour ne pas retarder le déclenchement d'intervention, ce qui pourrait accroître les risques de blessures graves, voire mortelles, après une collision. Si la fonction Assistance 911 n'est pas activée dans les cinq secondes après la collision, le système ou le téléphone peut être endommagé ou inopérant.
558 Système myford touch® (selon l'équipement)
AVERTISSEMENT: Placez toujours votre téléphone dans un endroit sécuritaire du véhicule pour éviter qu'il se transforme en projectile ou qu'il soit endommagé en cas de collision. Si vous ne respectez pas cette précaution, des blessures graves pourraient s'ensuivre ainsi que des dommages au téléphone qui pourraient empêcher le bon fonctionnement de la fonction Assistance 911.
Nota : La fonction Assistance 911 du système SYNC doit être activée avant l'incident.
Nota : Avant d'activer cette fonction, lisez l'avis de confidentialité de la fonction Assistance 911 plus loin dans ce chapitre, pour y trouver des renseignements importants.
Nota : Si un utilisateur active ou désactive la fonction Assistance 911, ce réglage touche tous les téléphones jumelés. Si la fonction Assistance 911 est désactivée, un message vocal est lu ou un message (ou un pictogramme) ou les deux s'affichent à l'écran lors du démarrage du moteur après la connexion d'un téléphone préalablement jumelé.
Nota : Chaque téléphone fonctionne différemment. Bien que la fonction Assistance 911 du système SYNC soit accessible avec la plupart des téléphones cellulaires, certains téléphones peuvent éprouver des difficultés à utiliser cette fonction.
Si une collision provoque le déploiement d'un sac gonflable (sauf des protège-genoux gonflables ou des ceintures de sécurité gonflables arrêté [selon l'équipement]) ou l'activation de la fonction de coupure automatique de la pompe d'alimentation, votre véhicule muni du système SYNC peut communiquer avec les services d'urgence en composant le 911 au moyen d'un téléphone compatible Bluetooth jumelé et relié. Pour en savoir plus sur la fonction Assistance 911, consultez le site Web www.SYNCMyRide.com, www.SYNCMyRide.ca ou www(syncaroute.ca).
- Pour obtenir des renseignements sur le déploiement des sacs gonflables, consultez le chapitre Système de retenue supplémentaire.
- Pour obtenir des renseignements sur la coupure automatique de la pompe d'alimentation, consultez le chapitre Dépannage.
Activation de la fonction assistance 911

Si votre véhicule est équipé du système de navigation, touchez le bouton « i » (information) pour accéder à ces fonctions. Si votre véhicule n'est pas équipé du système de navigation,
touchez le coin de l'écran tactile où se trouve l'onglet vert.
Appuyez sur Apps > Assistance 911, puis Sélectionnez l'option En fonction.
VoupsousseaussiaccederaAssistance911en

appuyant sur l'icone Paramètres > Paramètres > Téléphone > Assistance 911, ou en
appuyant sur l'icône Paramètres > Aide > Assistance 911.
Pour vous assurer que la fonction assistance 911 fonctionne correctement
- Le système SYNC doit être activé et il doit fonctionner correctement au moment de l'accident, pendant l'activation de la fonction et pendant l'utilisation.
- La fonction Assistance 911 doit être activée avant l'accident.
- Un téléphone compatible Bluetooth doit être jumelé et connecté au système SYNC.
- Un téléphone activé Bluetooth relié doit être en mesure d'établir et de maintenir un appel sortant au moment de l'accident.
- Un téléphone activé Bluetooth relié doit être muni d'une couverture de réseau ajustée et d'un niveau de charge de pile et de puissance de signal suffisants.
- Le véhicule doit être alimenté par la batterie et il doit être situé aux É.-U., au Canada ou dans un territoire où le 911 est le numéro d'urgence.
En cas de collision
Le déploiement d'un sac gonfuble ou l'activation de la fonction de coupure automatique de la pompe d'alimentation ne se produit pas dans toutes les collisions (ce qui activerait la fonction Assistance 911). Toutefois, en cas de déclenchement de la fonction Assistance 911, le système SYNC tente de communiquer avec les services d'urgence. Si un téléphone relié est endommagé ou s'il ne peut communiquer avec le système SYNC, celui-ci recherche un téléphone disponible déjà jumelé et tente d’établir l'appel au service 911.
560 Système myford touch® (selon l'équipement)
Avant d'établir l'appel!
- le système SYNC attend environ 10 secondes pour annuler l'appel; si l'appel n'est pas annulé, le système SYNC tente d'appeler le 911;
- le système SYNC énonce le message suivant ou un message similaire : « SYNC tentera de communiquer avec le service 911 ; pour annuler l'appel, appuyez sur la touche Annuler à l'écran ou maintenez la touche de téléphone enfoncée du volant »
Si vous n'annulez pas l'appel et que le système SYNC réussit à appeler, un message préenregistré est transmis au préposé du 911, puis les occupants du véhicule peuvent parler au préposé. Soyez prêt à lui fournir immédiatement votre nom, votre numéro de téléphone et votre emplacement, car les systèmes 911 ne peuvent pas tous recevoir cette information électroniquement.
La fonction assistance 911 peut ne pas fonctionner si :
- votre téléphone cellulaire ou le matériel de la fonction Assistance 911 a été endommagé durant une collision;
- la batterie du véhicule ou le système SYNC n'est plus alimentée;
- Le ou les téléphones éjectés du véhicule sont les téléphones jumelés et connectés au système.
Avis de confidentialité de la fonction assistance 911
Lorsque la fonction Assistance 911 est activée, le système peut divulguer aux services d'urgence que le véhicule a été impliqué dans une collision qui a entraîné le déploiement d'un sac gonflable ou l'activation de la fonction de coupure automatique de la pompe d'alimentation. Certaines versions ou mises à niveau du service Assistance 911 permettent également de divulguer électroniquement ou verbalement l'emplacement du véhicule et/ou d'autres détails sur le véhicule ou la collision, pour aider les opérateurs du service d'urgence 911 à diriger les secours les plus appropriés en fonction de la situation. Si vous ne souhaitez pas divulguer ces renseignements, n'activez pas la fonction.
Rapport d'état du véhicule (selon l'équipement, états-unis seulement)
AVERTISSEMENT: Suivez toujours les instructions d'entretien programmées, inspectez régulièrement votre véhicule, et faites réparer tous dommages ou problèmes que vous soupçonnez. Le rapport d'état du véhicule sort de complément et non de remplacement à l'entretien normal et à la vérification du véhicule. Le bilan du véhicule contrôle seulement certains systèmes électroniquement surveillés par le véhicule et ne contrôle pas ni ne signale l'état d'aucun autre système (comme l'usure des garnitures de frein). Le non-respect de l'entretien périodique recommandé et de l'inspection régulière de votre véhicule pourraient avoir pour résultat d'endommager le véhicule ou de causer des blessures sérieuses.
Nota : La fonction de Bilan du véhicule doit être activée avant de pouvoir être utilisée. Visitez le site Web www.SYNCMyRide.com pour vous abonner. Il n'y a pas de frais d'abonnement associé au rapport d'état sur votre véhicule, mais vous nevez vous abonner pour utiliser cette fonction.
Nota : Cette fonction peut ne pas fonctionner convenablement si vous avez activé le blocage de l'identification de l'appellant sur votre téléphone mobile. Avant d'exécuter un rapport, consultez de nouveau l'Avis de confidentialité du rapport d'état sur le véhicule.
Nota : Pour permettre une période de rodage pour votre véhicule, vous ne serez peut-être pas en mesure de créer un rapport d'état du véhicule jusqu'à ce que le compteur kilométrique du véhicule atteigne 160 km (200 mi).
Nota : Des frais relatifs au téléphone cellulaire et aux messages/textes peuvent s'appliquer lorsque vous exécutez un rapport.
Pour vous abonner au Bilan du véhicule et établir vos préférences relatives au rapport, consultez le site Web www.SYNCMyRide.com. Après être enregistré, vous pouvez faire la demande d'un Bilan du véhicule (à l'intérieur du véhicule). Retournez à votre compte à l'adresse www.SYNCMyRide.com pour afficher votre rapport. Vous pouvez également désirer d'attendre que le système SYNC vous rappelle automatiquement d'exécuter les rapports à des intervalles de kilométrage précis. La consommation du temps d'antenne de téléphone cellulaire peut s'appliquer lors du rapport.
562 Système myford touch® (selon l'équipement)
Le système vous permet de vérifier l'état général de votre véhicule sous forme de rapport de diagnostic. Le rapport d'état du véhicule contient de l'information de grande valeur telle que:
- l'information diagnostique sur le véhicule;
- l'entretien périodique;
- les rappels ouverts et les actions de l'assistance technique;
- les éléments relevés pendant les inspections du véhicule par votre concessionnaire autorisé qui exigent toujours une intervention.
Exécution d'un rapport

Si votre véhicule est équipé du système de navigation, touchez le bouton « i » (information) pour accéder à ces fonctions. Si votre véhicule n'est pas équipé du système de navigation,
touchez le coin de l'écran tactile où se trouve l'onglet vert.
Si vous voulez exécuter un rapport au moyen de l'écran tactile, touchez Apps > Bilan du véhicule.

Pour exécuter un rapport à l'aide de la commande vocale, appuyez sur la touche de reconnaissance vocale au volant, puis à l'invite, dites « Bilan du véhicule »
Avis de confidentialité du rapport d'état du véhicule
Lorsque vous executez un bilan du vehicule, Ford Motor Company peut recueillir votre numero de téléphone cellulaire (pourTRAITER VOYRE demande de bilan) et les données de diagnostic de votre vehicule. Certaines versions ou mises à jour du bilan du vehicule peuvent aussi recueillir des renseignements supplémentaires. Ford peut utiliser l'information du vehicule recueillie pour n'importe quel but. Si vous souhaitez ne pas dévoiler votre numero de téléphone cellulaire ou les données du vehicule, n'executez pas la fonction et ne reglez pas votre profil de Bilan du vehicule sur le site Web www(syncaroute. ca. Consultez le site Web www-syncmaroute. ca (Modalités du Bilan du vehicule et Déclaration de confidentialité) pour plus de renseignements.
Paramètres

A. Montre B. Affichage C. Son D. Véhicule E. Réglages
F. Aide

À partir de ce menu, vous pouvez régler l'horloge, régler l'affichage, le son et les paramètres du véhicule et les modifier, ainsi qu'accéder aux réglages des modes spécifiques ou à la
fonction d'aide.
Montre
Nota : Vous ne pouvez pas régler manuellement la date. Le système GPS de votre véhicule fait cela pour vous.
Nota : Si la batterie a été débranchée, le véhicule devra acquérir un signal GPS pour mettre à jour l'horloge. Une fois que votre véhicule a capté le signal, il peut s'écouler quelques minutes avant que la mise à jour affiche l'heure exacte.
- Appuyez sur l'icône Paramètres > Horloge.
- Appuyez sur + et - pour régler l'heure.
564 Système myford touch® (selon l'équipement)
Depuis cet écran, vous pouvez aussi effectuer d'autres réglages tels que le mode de 12 heures ou de 24 heures, l'activation de la synchronisation de l'heure du système de repérage par satellites et la mise à jour automatique par le système des nouveaux fuseaux horaires.
Vous pouvez aussi activer et désactiver l'affichage de la température extérieure. Elle apparait dans la partie centrale supérieure de l'écran tactile, à côté de l'heure et de la date.
Le système enregistre automatiquement toutes les mises à jour des paramètres.
Affichage
Vous pouvez modifier l'affichage de l'écran tactile par l'intermédiaire de l'écran tactile ou de la commande vocale. Dans ce dernier cas, appuyez sur la touche de reconnaissance vocale des commandes au volant, puis à l'invite, dites « Paramètres d'affichage »

Appuyez sur l'icône Paramètres > Affichage, puis sélectionnez une des options suivantes :
Luminosité you permit d'augmenter ou de réduire la luminosité de l'écran.
Mode vous permet de régler l'écran à une certaine luminosité ou de laisser le système ajuster automatiquement la luminosité en fonction de l'éclairage ambiant.
- Si vous scélectionné AZUTO ou NUIT, vous avez le besoin d'activer ou de désactiver la fonction d'assombrissement automatique de l'affichage et de changer la fonction de modification manuelle de l'assombrissement automatique.
Modifier le fond d'écran
- Vous pouvez afficher la photo par défaut sur l'écran tactile ou télécharger une photo de votre choix.
Téléchargement de photos pour votre fond d'écran d'accueil
Nota : Vous ne pouvez pas télécharger des photos directement de votre appareil photo. Vous devez accéder aux photos à partir de votre appareil de mémoire de masse USB ou d'une carte SD.
Nota : Les photos de très grandes dimensions (par exemple, 2 048 x 1 536) peuvent ne pas être compatibles et s'affichent sans image (noir) à l'écran.
Votre système vous permet de télécharger et d'afficher jusqu'à 32 photos.
Pour y accéder, appuyez sur l'icône Paramètres > Affichage >
Modifier fond d’écran, puis suivez les messages-guides du système pour télécharger vos photos.
Seules les photos conformes aux critères suivants s'affichent :
- Les formats de fichier compatibles sont les suivants :.jpg, .gif, .png, .bmp.
- Le volume de chaque fichier doit être d'au plus 1,5 Mo.
- Dimensions recommandées : 800 x 384.
Son

Appuyez sur l'icône Paramètres > Son, puis sélectionnez l'une des options suivantes :
| Réglages de son | |
| Graves | Traitement numérique du signal* |
| Moyennes | Mode de distribution du son* |
| Aiguës | Volume asservi à la vitesse |
| Régler l'équilibre gauche-droit et l'équilibre avant-arrêté | |
*Selon l'équipement.
Véhicule

Appuyez sur l'icône Paramètres > Véhicule, puis sélectionnez une des options suivantes :
- Éclairage ambiant
- Bilan du véhicule Code clavier de porte
- Caméra de recul
- Activation du mode voiturier
Éclairage ambiant (selon l'équipement)
Lorsque cette fonction est activée, l'éclairage ambient illumine les espaces pour les jambes et les porte-gobelets dans un choix de couleurs. Pour accéder et effectuer des réglages :
- Appuyez sur l'icône Paramètres > Véhicule > Éclairage ambient.
- Appuyez sur la couleur voulue.
- Utilisez la barre de défilement pour augmenter ou diminuer l'intensité.
Pour activer ou désactiver la fonction, appuyez sur le bouton d'alimentation.
Bilan du véhicule
Activez ou désactivez les rappels automatiques et définissez l'intervalle de kilométrage auquel vous voulez recevoir les rapports. Appuyez sur ? pour obtenir plus de renseignements sur ces sélections.
Une fois vos sélections terminées, appuyez sur Afficher bilan du véhicule maintenant si vous souhaitez obtenir votre bilan.
Code clavier de porte
Pour modifier le code de clavier de votre système de clavier d'entrée sans clé :
- Appuyez sur l'icône Paramètres > Véhicule > Code clavier de porte.
- Entrez votre code d'usine actuel, puis à l'invite, entrez votre nouveau code.
Caméra de recul
Ce menu vous permet d'accéder aux réglages de la caméra de marche arrêté.
Appuyez sur l'icône Paramètres > Véhicule > Caméra de recul, puis sélectionnez l'un des paramètres suivants :
- Temporisation de la caméra de recul
- Alerte visuelle du sonar de recul Lignes de guidage
Activation du mode valet
Note : Si le système se verrouille et si vous nevez réinitialiser le NIP, entrez 3681 pour déverrouiller le système.
Le mode voiturier vous permet de verrouiller le système. Aucune information n'est accessible tant que le système n'est pas déverrouillé avec le NIP approprié.
- Appuyez sur l'icône Paramètres > Véhicule > Activer mode voiturier.
Après avoir appuyé sur Continuer, le système est verrouillé jusqu'à ce que le NIP soit entré de nouveau.
Réglages
Accédez et effectuez les paramètres de système, les fonctions vocales ainsi que les réglages de téléphone, de navigation et sans fil.
Système

Appuyez sur l'icône Paramètres > Paramètres > Système, puis sélectionnez une des options suivantes :
| Système | |
| Langue | Sélectionnez l'anglais, l'espagnol ou le français pour l'affichage de l'écran tactile. |
| Distance | Sélectionnez les kilomètres ou les milles comme unité d'affichage. |
| Température | Sélectionnez les degrès Celsius ou Fahrenheit comme unité d'affichage. |
| Volume des invites du système | Réglez le volume des invites vocales du système. |
| Bip des boutons de l'écran tactile | Choisissez qu'un bip sonore confirme les choix faits à l'écran tactile. |
| Bip des boutons du panneau tactile | Choisissez qu'un bip sonore confirme les choix faits via le climatiseur ou la châne audio. |
| Disposition du clavier | Choisissez le format QWERTY ou ABC pour le clavier de l'écran tactile. |
| Installation d'applications | Installer les applications téléchargées ou afficher les licences de logiciels actuels. |
| Réinitialisation complète | Choisir de rétablier les paramètres usine par défaut. Cela efface tous les paramètres et données personnel. |
Commande vocale

Appuyez sur l'icône Paramètres > Paramètres > Commande vocale, puis sélectionnez une des options suivantes :
| Commande vocale | |
| Mode d'interaction | Le mode interactif standard offre une interaction et un guidage plus détaillés. Le mode avancé offre moins d'interaction audible et plus de messages-guides par tonalité. |
| Messages-guides de confirmation | Le système vous posera des questions s'il n'a pas entendu ou compris clairément votre demande. Nota : Mête lorsque les messages-guides de confirmation sont désactivés, le système peut à l'occasion vous demander de confirmer certains réglages. |
| Listes des candidats du support | Les listes de candidats sont des résultats possibles obtenu à partir de vos commandes vocales. Le système devine au mieux Your demande lorsque celles-ci sont désactivées. |
| Listes des candidats du téléphone | Les listes de candidats sont des résultats possibles obtenu à partir de vos commandes vocales. Le système devine au mieux Your demande lorsque celles-ci sont désactivées. |
| Volume des commandes vocales | Cette option vous permet de régler le volume des commandes vocales du système. |
Lecteur numérique

Appuyez sur l'icône Paramètres > Paramètres > Lecteur num., puis sélectionnez une des options suivantes :
| Lecteur numérique | |
| Lecture automatique | Lorsque cette fonction est activée, le système passée automatiquement à la source numérique lors de la connexion initiale Cela vous permet d'écouter de la musique pendant le processus d'indexation. Lorsque cette fonction est désactivée, le système ne passé pas automatiquement à la source numérique insérée. |
| Appareils Bluetooth | Sélectionnez cette option pour connecter, déconnecter, ajouter ou supprimer un appareil. Vous pouvez aussi définir un appareil en tant que favori de sorte que le système tentera automatiquement d'établit une connexion avec cet apparéil à chaque cycle d'allumage. |
| Information sur la base de données Gracenote® | Cette fonction vous permit d'afficher la version de la base de données Gracenote. |
| Gracenote® Mgmt | Lorsque cette fonction est activée, la base de données Gracenote fournit des métadonnées sur vos fichiers de musique. Cette compilation annule les renseignements contenus sur votre apparéil. Cette fonction passé en mode de désactivation par défaut. |
| Priorité couverture d'album | Lorsque cette fonction est activée, la base de données Gracenote fournit la couverture des albums de vos fichiers de musique. Cela annule toutes les couvertures d'album de votre apparéil. Cette fonction passé par défaut à Lecteur multimédia. |
Navigation

Appuyez sur l'icône Paramètres > Paramètres > Navigation, puis sélectionnez une des options suivantes :
| Navigation | |
| Préférences de carte | Activer ou désactiver la piste de navigation. |
| Faire afficher votre liste de bifurcations de haut en bas ou de bas en haut. | |
| Activer et désactiver la notification des points d'intérêt de stationnement. | |
| Préférences d'itinéraire | Faire afficher l'itinéraire le plus court, le plus rapide ou le plus écologique. |
| Éviter les autoroutes. | |
| Éviter les routes à péage. | |
| Éviter les ferries et les auto trains. | |
| Utiliser les voies réservées aux vehicules multioccupants. | |
| Préférences de navigation | Utiliser les messages de guidage. |
| Choisir l'entrée automatique des états/provinces. | |
| Préférences de circulation | Afficher les zones de travaux. |
| Afficher les iconônes d'accidents. | |
| Afficher les zones où les conditions de circulation peuvent être difficiles. | |
| Afficher les zones représentant des risques de neige et de verglas. | |
| Afficher les alertes au smog. | |
| Afficher les avertissements météorologiques. | |
| Afficher les zones où la visibilité peut être réduite. | |
| Faire allumer la radio pour les bulletins d'informations routières. | |
| Zones à éviter | Entrez les zones spécifiques que vous souhaitez éviter sur vos itinéraires de navigation. |
Paramètres du téléphone

Appuyez sur l'icône Paramètres > Paramètres > Téléphone, puis sélectionnez l'une des options suivantes :
| Téléphone | |
| Appareils Bluetooth | Connector, déconnecter, ajouter ou supprimer un apparéil, ainsi que l'enregistrrer en tant que favorsi. |
| Bluetooth | Mettre en fonction et hors fonction le système Bluetooth. |
| Ne pas déranger | Acheminer directement tous les appeals vers votre boîte vocale, sans que la sonnerie ne retentisse dans le vehicule. Lorsque cette fonction est activée, les avis de message texte sont également supprimés, sans que la sonnerie ne retentisse dans le vehicule. |
| Assistance 911 | Active et désactive la fonction Assistance 911. Voyez Assistance 911 au chapitre Services et applications du système SYNC. |
| Sonnerie du téléphone | Sélectionne le type de notification pour les appeals téléphoniques : sonnerie, bip, parole, ou bien silence. |
| Notification de message texte | Sélectionne le type de notification pour les messages/texte : sonnerie, bip, parole, ou bien silence. |
Système MyFord Touch® (selon l'équipement)
| Téléphone | |
| Connexion de données Internet | Si vous téléphone le permet, vous pouvez apporder des réglages à votre connexion de données Internet. Sélectionnez cette option pour étabrir votre profil de réseau personnel ou pour désactiver votre connexion. Vous pouvez aussi désirir de régler vos paramètres ou faire en sortie que le système étabisse toujours la connexion, n'étabisse jamais la connexion lors de l'itinérance ou demande d'étabrir la connexion. Appuyez sur ? pour de plus amples renseignements. |
| Gérer le réseau | Accéder aux fonctions telles que : télécharger automatiquement le réseau, télécharger de nouveau votre réseau, ajouter des contacts à partir de votre téléphone ainsi que supprimer ou télécharger votre réseau. |
| Avertissement d'itinérance | Le système vous alertera quand il sera en mode itinérance. |
Sans fil et internet
Votre système comporte une fonction Wi-Fi qui crée un réseau sans fil à l'intérieur du véhicule, ce qui permet à d'autres appareils (comme des ordinateurs ou des téléphones) dans votre véhicule de communiquer entre eux, de partager des fichiers ou de jour à des yeux. À l'aide de cette fonction Wi-Fi, tous les occupants du véhicule peuvent accéder à Internet si vous disposez d'une connexion large bande mobile USB dans le véhicule, si votre téléphone prend en charge un réseau personnel et si vous êtes stationné à l'extérieur d'un point d'accès sans fil.
Système myford touch® (selon l'équipement)

Appuyez sur l'icône Paramètres > Paramètres > Sans fil et Internet, puis sélectionnez une des options suivantes :
| Sans fil et Internet | |
| Paramètres Wi-Fi | Mode de réseau Wi-Fi (client) Cette option active et désactive la fonction Wi-Fi dans votre vehicule. Assurez-vous qu'elle est activée à des fins de connectivité. |
| Sélection d'un réseau sans fil Cette option vous permet d'utiliser un réseau sans fil enregistrré antérieurement. Vous pouze catégoriser par ordre alphabetique, par priorité ou par intenseur du signal. Vous pouvez égalementCHOISIR DE RECHERCHER UN RÉSEAU, de vous connecter à un réseau, de vous déconnecter d'un réseau, de receivevoir de plus amples renseignements, d'accorder la priorité à un réseau ou de supprimer un réseau. | |
| Mode passerelle (point d'accès) Activer cette fonction pour que le système SYNC soit le point d'accès pour un téléphone ou un ordinateur. Ceci forme le réseau local dans l'habitacle pour des activités comme des jours, le transfert de fichiers, la navigation sur Internet. Appuyez sur ? pour de plus amples renseignements. | |
| Paramètres de passerelle (point d'accès) Cette option vous permit d'afficher et de modifier les paramètres d'utilisation du système SYNC comme passerelle Internet. | |
| Liste d'appareils de passerelle (point d'accès) Cette option vous permit d'afficher les récentes connexions à votre système Wi-Fi. | |
574 Système MyFord Touch® (selon l'équipement)
| Sans fil et Internet | |
| Large bande mobile USB | Au lieu d'utiliser la fonction Wi-Fi, votre système peut utiliser une connexion USB haut débit mobile pour acceder à Internet. (Vous nevezayarne en fonction votreordinateur avant de le connecter au système.) Cet écran vous permet de configurer ce qui est votre zone type pour votre connexion USB haut débit mobile. (Les paramètres de la large bande mobile USB peuvent ne pas être affichés si l'appareil est déjà activé.) Vous pouvez sélectionner les options suivantes : Pays, Réseau, Numéro de téléphone, Nom d'utilisateur et Mot de passer. |
| ParamètresBluetooth | Cette option vous permet d'afficher l'appareil qui est actuellement jumelé avec le système, ainsi que les options Bluetooth pour connecter, déconnecter, définir comme favori, supprimer et ajouter un appleil. Bluetooth est une marque déposée de Bluetooth SIG. |
| Établir la priorité dans les méthodes de connexion | Choisissez vos méthodes de connexion et changez-les au besoin. Vous pouze désirir de modifier l'ordre pour que le système tente toujours de se connecter au moyen d'une connexion USB haut débit mobile ou au moyen d'une connexion Wi-Fi. |

Le logo Wi-Fi CERTIFIED est une marque de certification de Wi-Fi Alliance.
Aide

Appuyez sur l'icône Paramètres > Aide, puis sélectionnez l'une des options suivantes :
| Aide | |
| Où suis-je? | Afficher la position actuelle du vehicule s'il est équipé d'un système de navigation. Si votre vehicule n'est pas équipé d'un système de navigation, rien ne s'affiche. |
| Information du système | Numéro de série du système d'écran tactile. |
| Numéro d'identification de votre vehicule (NIV). | |
| Version du logiciel du système d'écran tactile. | |
| Version du système de navigation. | |
| Version de la base de données cartographique. | |
| Numéro de série électronique de la radio satellite (ESN). | |
| Information sur la base de données Gracenote® et version de la bibliothèque. | |
| Licences de logiciel | Affiche les licences de tous logiciels et applications installés sur votre système. |
| Restrictions pendant la conduite | Certaines fonctions sont désactivées pendant que le vehicule roule. |
576 Système MyFord Touch® (selon l'équipement)
| Aide | |
| Assistance 911 | Active et désactive la fonction Assistance 911. Voyez Assistance 911 au chapitre Services et applications du système SYNC. Composition abrégée en cas d'urgence (ICE) vous permet d'enregistrer deux numérios de contacts ICE pour un accès rapide en cas d'urgence. Sélectionnez Corriger pour acceder à votre réseau téléphonique, puisCHOISSEZ les contacts voulus. Les numérios s'affichent en tant qu'options à cet écran pour les boutons 1 et 2 de composition rapide en cas d'urgence. Les contacts ICE que vous sélectionnez apparaissent à la fin du processus d'appel Assistance 911. |
| Liste de commandes vocales | Affiche les listes catégorisées de commandes vocales. |
Pour accéder à l'option Aide au moyen des commandes vocales, appuyez sur la touche de reconnaissance vocale, puis après la tonalité, dites « Aide ». Le système indique les commandes vocales disponibles pour le mode en cours.
Appuyez sur le coin inférieur droit de l'écran tactile pour accéder aux fonctions de chauffage et climatisation. Selon la marque de votre véhicule et l'ensemble d'options choisi, l'apparence de l'écran de chauffage et climatisation peut ne pas être similaire à l'illustration.

A. Marche/arrêt : Touchez ce bouton pour activer et désactiver le système. L'air extérieur ne peut pas entrer dans le véhicule lorsque le système est désactivé.
B. réglages du passager :
- Appuyez sur la touche DEUX ZONES pour activer la commande de température du côté passager.
- Touchez + ou - pour régler la température.
- Touchez le pictogramme de siège chauffant pour commander le siège chauffant.
- Touchez le pictogramme de siège chauffant pour commander le siège chauffant.
C. Vitesse du ventilateur : Touchez + ou - pour régler la vitesse du ventilateur.
D. Arrière : Touchez pour accéder aux commandes de chauffage et de climatisation arrière. Les réglages du chauffage et de climatisation arrière sont affichés en bas de l'écran.
- Touchez l'icône de marche/arrêt pour activer ou désactiver les fonctions de commande de chauffage et de climatisation arrêté.
578 Système myford touch® (selon l'équipement)
- Appuyez sur Commande arrêté pour permettre aux passagers arrêté d'ajuster les réglages de chauffage et de climatisation.
Touchez-la à nouveau pour empêcher les passagers arrêté de modifier les réglages. Commande arrêté se désactive automatiquement lorsque vous utilisez l'écran tactile pour modifier les réglages de chauffage et de climatisation arrêté.
- Touchez + ou - pour régler la température.
- Pour ajuster la vitesse du ventilateur, touchez + ou - à côté de l'icone de ventilateur.
- Touchez à nouveau Arrière pour fermer les commandes arrêté. La fermeture des fonctions de commande de chauffage et de climatisation arrêté n'affecte pas les réglages actuels.
E. Recirculation d'air : Touchez pour activer ou désactiver la fonction de recirculation de l'air qui :
- Peut refroidir plus rapidement l'habitacle.
- Peut contribuer à empêcher les odeurs désagréables de pénétrer dans l'habitacle.
- Entre automatiquement en fonction lorsque le mode CLIMATISATION MAXIMALE est sélectionné.
- Peut être activée manuellement dans tous les modes de début d'air, sauf le mode de dégivrage.
- Peut se désactiver dans tous les modes de début d'air, sauf le mode de CLIMATISATION MAXIMALE pour réduire la formation de buée.
F. A/C MAX : Touchez pour refroidir le véhicule avec de l'air recyclé. Appuyez de nouveau sur cette touche pour revenir au mode normal de climatisation. CLIMATISATION MAXIMALE :
- Répartit l'air entre les bouches du tableau de bord.
- Est plus économique et efficace que le mode normal de climatisation.
- peut empêcher les odeurs désagréables de pénétrer dans l'habitacle.
G. A/C : Touchez pour activer ou désactiver la climatisation.
- Utilisez la climatisation avec la recirculation de l'air pour améliorer le rendement et l'efficacité du refroidissement.
- La climatisation est activée automatiquement dans les modes de CLIMATISATION MAXIMALE, dégivrage et plancher-dégivrage.
H. AUTO : Touchez pour passer en mode automatique, puis régalez la température au moyen de la commande de température. Le système commande automatique :
Vitesse du ventilateur - Répartition de l'air - Activation ou désactivation de la climatisation Air extérieur ou air recyclé.
I. Dégivreur de lunette arrière : Touchez pour activer le dégivreur de lunette arrière et les rétroviseurs extérieurs chauffants.
J. Dégivrage : Touchez pour éliminer la buée et la glace fine du pare-brise. Appuyez de nouveau sur cette touche pour revenir à la sélection précédente de début d'air. Lorsque la fonction de dégivrage est activée, elle :
- distribue l'air provenant de l'extérieur afin de réduire la formation de buée sur les glaces;
- Répartit l'air entre les bouches de dégivrage du pare-brise et les bouches de désembuage.
K. Commandes manuelles : Sélectionnez l'un des modes de répartition d'air suivants :
- Plancher/Dégivrage: Répartit l'air entre les bouches de dégivrage du pare-brise, les bouches de désembuage, les bouches du plancher et les bouches de plancher des sièges arrière, et fournit aussi l'air extérieur afin de réduire la formation de buée sur les glaces.
- Planche de bord : Répartit l'air entre les bouches de la planche de bord.
- Planche de bord et plancher: Répartit l'air entre les bouches de planche de bord, êté.
- Plancher : répartit l'air entre les bouches de désembuage, les bouches du plancher et les bouches de plancher des sièges arrrière.
L. Réglages du conducteur : Selon votre véhicule et l'ensemble d'options choisies, vous pouvez disposer des fonctions suivantes :
- Touchez + ou - pour régler la température.
- Si votre véhicule est équipé de sièges chauff
- Si votre véhicule est équipé de sièges refroidiss
- Maintenez la touche « Ma température » enfoncée pour sélectionner la température que vous souhaitez mémoriser et rappeler ultérieurement.
Commandes vocales du système de chauffage et climatisation

Les commandes vocales suivantes sont disponibles dans le menu principal d'une session vocale. Par exemple, appuyez sur la touche de reconnaissance vocale, puis après l'invite « Énoncer commande », énoncez l'une des commandes suivantes:
| Commandes vocales du système de chauffage et climatisation |
| « Climatisation automatique » |
| « Climatisation ma température » |
| « Climatisation désactivée » |
| « Climatisation activée » |
| « Climatisation – régler température à <15,0-29,5> » |
| « Climatisation – régler température à <59-86> » |
| « Aide » |
Des commandes de chauffage et climatisation supplémentaires sont disponibles, mais pour pouvoir y accéder, vous devez dire d'abord « Régulation de la température ». Ensuite, lorsque le système est prêt pour recevoir une commande, vous pouvez énoncer les commandes suivantes :
| Commandes vocales supplémentaires du système de chauffage et climatisation | |
| « Mise en marche automatique » | « Bouche d'aération activée » |
| « Air conditionné désactivé » | « Dégivrage arrêté désactivé » |
| « Air conditionné activé » | « Dégivrage arrêté activé » |
| « Dégivrage avant désactivé » | « Recirculation désactivée » |
| « Dégivrage avant activé » | « Recirculation activée » |
| « Arrêt simultané » | « Température »* |
| « Diminution de la vitesse du ventilateur » | « Température <15,5-29,5> » |
| « Augmentation de la vitesse du ventilateur » | « Température <60-85> » |
| « Chauffage par le sol activé » | « Diminution de la température » |
| « Air conditionné – maximum désactivé » | « Température actuelle maximum » |
| « Air conditionné – maximum activé » | « Augmentation de la température » |
| « Ma température préférée activée » | « Température actuelle minimum » |
| « Chauffage fermé » | « Bouche d'aération de dégivrage sol activée » |
| « Chauffage ouvert » | « Aide » |
| « Bouche d'aération sol activée » | |
Si vous avez dit « Température », vous pouvez enoncer une des commandes indiquées dans le tableau « Température » suivant.
| « TEMPERATURE » |
| « Maximum » |
| « Minimum » |
| « <15.5-29.5> » |
| « <60-85> » |
| « Aide » |
Systeme de navigation (SELON l'équipement)
Nota : La carte SD de navigation doit être insérée dans la fente de carte mémoire flash pour utiliser le système de navigation. Si vous nevez obtenir une carte mémoire flash de rechange, consultez votre concessionnaire autorisé.
Nota : La fente pour carte SD compte un ressort. Pour retirer la carte mémoire flash, insérez simplement la carte et relâchez-la. Ne tentez pas de tirer la carte pour la retirer, car vous pourriez l'endommager.
Votre système de navigation comprend deux fonctions principales, soit le mode de destination et le mode de carte.
Pour fixer une destination, appuyez sur le coin vert de votre écran tactile, puis sur le bouton Dest lorsque celui-ci apparait. Voir Définir une destination plus loin dans ce chapitre.
Pour afficher la carte de navigation et l'emplacement actuel du véhicule, appuyez sur la barre verte dans le coin supérieur droit de l'écran tactile ou appuyez sur Dest > Carte. Voyez Mode carte plus loin dans ce chapitre.
Définir une destination
Appuyez sur le coin vert de votre écran tactile, puis sur le bouton Dest lorsque celui-ci apparaît. Sélectionnez une des options ci-dessous :
| Choix de destinations | |
| Mon domicile | Adresse |
| Favoris | Intersection |
| Destinations précédentes | Centre-ville |
| Point d'intérêt | Carte |
| Urgence | Modifier un itinéraire Annuler un itinéraire |
- Entrez l'information nécessaire dans les champs de texte mis en surbrillance (dans n'importe ées. Appuyez sur le bouton Go! pour afficher l'emplacement de l'adresse sur la carte. Si vous sélectionnez Destination précédente, les 20 dernières destinations que vous avez choisies s'affichent à l'écran.
- Sélectionnez l'option Régler comme doît pour qu'elle soit votre destination. Vous pouvez désirez établir cette destination comme point de cheminement (pour que le système établis
- Choisissez parmi trois types différents d'itinéraires, puis sélectionnez l'option Démarrer itinéraire.
- Itinéraire le plus rapide : utilise les routes qui assurent le déplacement le plus rapide possible.
- Itinéraire le plus court : utilise la distance la plus courte possible.
- Itinéraire écologique : utilise l'itinéraire qui permet la plus grande économie de carburant.
Vous pouvez annuler l'itinéraire ou obtenir une démonstration de l'itinéraire. Sélectionnez l'option Préitinéraire pour définir les préférences de l'itinéraire, comme éviter les autoroutes, les routes à péage, les traversiers et les trains, ainsi qu'utiliser les voies réservées aux véhicules multioccupants ou les éviter. (Les voies réservées aux
véhicules multioccupants sont aussi appelées voies de covoiturage. Les personnes voyageant par autobus, fourgonnette de covoiturage ou voiture multioccupants utilisent ces voies.)
Note : Si votre véhicule se trouve sur une route reconnue et que vous n'appuyez pas sur la touche Démarrer itinéraire, le système passe par défaut à l'option Itinéraire le plus rapide et commence le guidage.
Pendant le guidage, vous pouvez appuyer sur l'icône de bulle de dialogue qui s'affiche dans le coin supérieur droit de l'écran du système de navigation (barre verte) si vous souhaitez faire répéter une information de guidage. Lorsque le système répète la instruction de guidage, il actualise la distance jusqu'à la prochaine instruction de guidage, car il détecte si le véhicule se déplace.
Catégories de points d'intérêt (PI)
Votre système offre une variété de catégories de points d'intérêt.
| Catégories principales | |
| Alimentation, boisons et repas | Automobile |
| Voyage et transport | Boutiques |
| Finances | Divertissement et arts |
| Urgence | Loisirs et sports |
| Communauté | Gouvernement |
| Santé et matière | Services menagers |
Dans ces catégories principales se trouvent des sous-catégories qui contiennent des listes supplémentaires :
| Sous-catégories |
| Restaurant |
| Golf |
| Stationnement |
| Maison et extérieur |
| Soins personnels |
| Concessionnaire automobile |
| Bureau du gouvernement |
| Transports publics |
| Enseignement |
Pour consulter plus en détail ces listes, appuyez sur la touche + devant la liste de PI.
584 Système myford touch® (selon l'équipement)
Lors de la programmation de la destination d'un point d'intérêt, le système vous permet aussi de trier les listes produites par ordre alphabétique, par distance ou par listes du service CitySeekr (si ce service est disponible).
Appuyer sur le bouton Zone de recherche vous permet de rechercher les points d'intérêt à proximité, près d'une ville ou d'un état ou près d'une destination, si un itinéraire est activé.
Appuyer sur le bouton Recherche par nom vous permet d'entrer directement le nom du point d'intérêt dans le système au clavier.
Service cityseekr (si ce service est disponible)
Nota : Les renseignements relatifs aux points d’intérêt (PI) du service CitySeekr sont limités à environ 912 villes (20 au Canada, 881 aux États-Unis et 11 au Mexique).

Lorsqu'il est disponible, cityseekr est un service qui fournit plus de renseignements sur certains points d'intérêt, comme les restaurants, les hôtels et les attractions.
Lorsque vous avez sélectionné un point d'intérêt, l'emplacement et les renseignements, comme l'adresse et le numéro de téléphone, s'affichent. Si cityseekr iste le point d'intérêt, des renseignements, comme une brève description, les heures d'enregistrement à un hôtel et de départ ou les heures du restaurant, s'affichent.
Appuyez sur la touche Plus de renseignements pour obtenir plus de commentaires, une liste de services et d'installations, le prix moyen de la chambre ou du repas ainsi que le lien vers le site Web.
Système myford touch® (selon l'équipement)
Cet écran affiche une photo des lieux (si disponible) ou les icônes des points d'intérêt comme :

Hôtel

Café

Alimentation et boissons

Vie nocturne

Attraction

Cette icône s'affiche lorsqu'on ne sait le résultat. Il ne sait pas qu'une autre et une autre catégorie dans le système.
Lorsque des renseignements supplémentaires relatifs aux hôtels sont affichés, le service CitySeekr vous informe également si l'hôtel comprend certains services et certaines installations au moyen d'icônes.
| Services et prestations de l'hôtel | |
| Restaurant | Service à l'étage 24 heures |
| Centre d'affaires | Centre de conditionnement physique |
| Aménagements pour les handicapés | Accès à Internet |
| Buanderie | Piscine |
| Réfrigérateur | Wi-Fi |
586 Système myford touch® (selon l'équipement)
Pour les restaurant e prix moyen, les commentaires, l'accès pour les handicapés, les heures d'ouverture et l'adresse du site Web.
Pour les hôtel a catégorie de prix, les commentaires, les heures d'arrivée et de départ, les icônes de service de l'hôtel et l'adresse du site Web.
Définir vos préférences de navigation
Sélectionnez les paramètres qui seront pris en compte par le système lors de la planification de votre itinéraire.

Appuyez sur l'icône de Réglages > Réglages > Navigation.
Préférences de carte
Fil d'Ariane affiche l'itinéraire déjà parcouru par votre véhicule sous forme de traits blancs. Activer ou Désactiver cette fonction.
Format de la liste des intersections vous permet de choisir entre l'affichage de votre liste d'intersections de Haut en bas ou de Bas en haut.
Notification de stationnement après des PI règle la notification automatique de stationnement après des points d'intérêt. Activer ou Désactiver cette fonction. Si la fonction d'avis de points d'intérêt de stationnement est activée, les icônes de point d'intérêt de stationnement s'affichent sur la carte lorsque vous êtes près de votre destination. Cette fonction peut ne pas être utile dans des zones très denses et peut encombrer la carte si d'autres points d'intérêt sont également affichés sur la carte.
Préférences d'itinéraire
Itinéraire préféré vous permet de choisir entre l'affichage de l'itinéraire le plus court, le plus rapide ou le plus écologique en premier.
Toujours utiliser l'itinéraire préféré contourne la sélection d'itinéraire dans la programmation de la destination. Le système ne calcule qu'un itinéraire basé sur le réglage de l'itinéraire préféré.
Pénalité temps éco vous permet de sélectionner un coût bas, moyen ou élevé pour l'itinéraire Eco. Plus le réglage est haut, plus le temps attribué pour l'itinéraire est long.
Éviter vous permet d'éviter les autoroutes, les routes à péage, les traversiers et les trains lorsque vous planifiez votre itinéraire. Activer ou Désactiver ces fonctions.
Utiliser les voies réservées aux véhicules multioccupants vous permet d'utiliser les voies réservées aux véhicules multioccupants, si disponible, lorsque vous planifiez votre itinéraire.
Préférences de navigation
Invites de guidage vous permettent de choisir entre Voix et tonalités ou Tonalité uniquement sur votre itinéraire programme.
Remplissage automatique état/province vous permet de demander au système d'ajouter automatiquement l'état et la province selon les renseignements déjà entrés dans le système. Activer ou Désactiver cette fonction.
Préférences de circulation
Éviter les problèmes de circulation vous permet de désirer la façon dont le système doit gérer les problèmes de circulation le long de votre itinéraire.
- Automatique : le système vous redirige pour éviter les incidents de la circulation qui surviennent et qui affectent l'itinéraire actuel. Le système ne fournit pas de notification d'accident de la circulation.
- Manuel : permet au système de toujours fournir une alerte en cas d'incidents de la circulation le long de l'itinéraire prévu. Vous aurez le besoin d'accepter ou d'ignorer l'avais avant de dévier de l'itinéraire.
Notification d'incident de la circulation vous permet de demander au système d'afficher les notifications d'incidents de la circulation.
D'autres fonctions liées aux alertes d'incidents de la circulation vous permettent d'activer certaines ou toutes les icônes de circulation sur la carte, à savoir travaux d'entretien de route, incidents, accidents et routes fermées. Faites défiler les différents types d'alertes. Activer ou
Désactiver ces fonctions.
Zones à éviter
Zones à éviter vous permet de sélectionner des zones que le système doit éviter lorsqu'il calcule votre itinéraire.
Appuyez sur Ajouter pour programmer une entrée. Dès que vous avez fait une sélection, le système tente d'éviter la ou les zones si cela est possible pour tous les itinéraires. Pour supprimer une sélection, désirez la liste sur l'écran. Lorsque l'écran indique Modifier zones à éviter, vous pouvez appuyer sur Supprimer dans la partie inférieure droite de l'écran.
Mode d'affichage de carte
Appuyez sur la barre verte dans la zone supérieure droite de l'écran tactile pour afficher le mode d'affichage de carte. Le mode d'affichage de carte offre l'affichage de carte avancé qui comprend des cartes de ville en mode d'affichage 2D ainsi que des principaux points d'intérêt en mode d'affichage 3D (lorsque cette option est disponible).
Cartes de ville en mode d'affichage 2D - Ces cartes affichent les silhouettes détaillées des bâtiments, les espaces et les éléments naturels ainsi que l'infrastructure détaillée des chemins de fer des plus importantes villes du monde. Ces cartes contiennent également des caractéristiques telles que les blocs de ville, les empreintes de bâtiment et les chemins de fer.
Points de repère 3D - Ces points sont présentés comme des objets facilement reconnaissables et qui ont une certaine valeur touristique. Les principaux points d'intérêt en mode d'affichage 3D s'affichent en mode d'affichage de carte 3D uniquement. La couverture varie et s'améliore avec les mises à jour des cartes.

Modifiez l'apparence de l'affichage en appuyant plusieurs fois sur la flèche dans le coin supérieur gauche de l'écran. Cela permet d'utiliser trois modes cartographiques différents : cap en haut, nord en haut et 3D.

Cap en haut (carte 2D) - Cet affichage indique toujours la direction de marche avant pointant vers le haut de l'écran. Cet affichage est disponible pour les échelles de carte allant jusqu'à 4km (2,5 mi). Le système mémorise ce réglage pour les échelles
de carte supérieures, mais la carte est affichée en mode nord en haut seulement. Si l'échelle revient sous ce niveau, le mode cap vers le haut est rétabli.

Nord en haut (carte 2D) – Cet affichage indique toujours la direction Nord au haut de l'écran.

Mode d'affichage de carte 3D - Ce mode fournit une perspective élevée de la carte. Cet angle d'affichage peut être réglé et la carte peut être tournée de 180 degrés en touchant la carte deux fois et en faisant glisser votre doigt le long de la barre ombrée avec les flèches au bas de la carte.
Afficher alterne entre carte complète, liste des rues et quitter l'affichage lors du guidage.
Menu affiche une fenêtre contextuelle qui permet d'accéder directement aux réglages de navigation, Afficher/Modifier l'itinéraire, SIRIUS Travel Link, Guidage silencieux et Annuler l'itinéraire.

Recentrage de la carte - Cette icône permet de recentrer la carte lorsque vous faites défilier la carte en l'éloignant de l'emplacement actuel de votre véhicule.
Zoom automatique
Appuyez sur la barre verte pour accéder au mode carte, puis sélectionnez le bouton de zoom + ou - pour amener les boutons de niveau de zoom et Auto sur l'écran tactile. Lorsque vous appuyez sur Auto, le zoom automatique est activé et Auto est affiché dans le coin inférieur gauche de l'écran dans l'échelle de la carte. Le niveau de zoom de la carte se synchronise alors avec la vitesse du véhicule. Moins le véhicule roule vite, plus la carte est rapprochée, et plus le véhicule roule vite, plus la carte est éloignée. Pour désactiver la fonction, il suffit d'appuyer de nouveau sur le bouton + ou -.
En mode 3D, faites pivoter l'affichage de la carte en glissant votre doigt sur la barre ombragée avec les flèches.
Icônes de carte

Repère du véhicule - Cette icône indique l'emplacement actuel du véhicule. Le repère du véhicule apparait au centre de l'affichage de la carte, sauf en mode de défilament.

Curseur de défilament - Cette icône vous permet de faire défiler la carte ; l'icône est fixe au centre de l'écran. La position de la carte la plus proche du curseur se trouve dans une fenêtre à la partie supérieure centrale de l'écran.

Icône(s) par défaut d'entrée du carnet d'adresses - Ces icônes indiquent l'emplacement d'une entrée du carnet d'adresses sur la carte. Il s'agit du symbole par défaut indiqué lorsque l'entrée est stockée dans le carnet d'adresses par une méthode que la carte. Vous pouvez sélectionner l'une des 22 icônes. Vous pouvez utiliser chacune des icônes plus d'une fois.

Icône de domicile - Cette icône indique l'emplacement du domicile sur la carte. Pour votre résidence, vous ne pouvez sélectionner qu'une adresse dans le réseau. Vous ne pouvez pas modifier cette icône.

Les icônes de PI (points d'intérêt) indiquent l'emplacement de toutes les catégories de points d'intérêt que vous avez choisis d'afficher sur la carte. Vous pouvez désirer d'afficher simultanément trois catégories de points d'intérêt sur la carte.

Point de départ - Cette icône indique le point de départ d'un itinéraire de navigation planifié.

Points de cheminement - Cette icône indique l'emplacement d'un point de cheminement sur la carte. Le nombre à l'intérieur du cercle est différent pour chaque point de cheminement et représentée la position du point de cheminement dans la liste des étapes.

Symbole de destination - Cette icône indique le point final d'un itinéraire planifié.

Prochain point de manœuvre - Cette icône indique l'emplacement du prochain virage prévu sur l'itinéraire planifié.

Icône d'absence de signal du système de repérage par satellites - Cette icône indique que les signaux du système de repérage par satellites reçus sont insuffisants pour bien positionner la carte. Cette icône peut être affichée dans des ions de fonctionnement normales dans une zone à faible ture du système GPS.
Touches d'accès rapide
En mode d'affichage de la carte, appuyez sur n'importe quelle partie de la carte pour accéder à d'autres options.
Définir comme destination
Touchez ce bouton pour sélectionner un emplacement sur la carte correspondant à votre destination. Vous pouvez faire défiler la carte en appuyant votre index sur l'affichage de la carte. Lorsque vous atteignez l'emplacement voulu, retirez votre doigt, puis touchez Régler comme destin..
Définir comme point de cheminement
Touchez sur ce bouton pour définir l'emplacement actuel comme point de cheminement.
Enregistrer dans les favoris
Touchez sur ce bouton pour enregistrer l'emplacement actuel dans vos favoris.
Icônes de points d'intérêt
Touchez ce bouton pour sélectionner les icônes à afficher sur la carte. Vous pouvez sélectionner jusqu'à trois icônes à afficher simultanément sur la carte. Activer ou Désactiver ces icônes.
Annuler cet itinéraire
Touchez ce bouton pour annuler l'itinéraire actif.
Afficher ou modifier l'itinéraire
Accéder à ces fonctions lorsqu'un itinéraire est activé :
- Afficher l'itinéraire
- Modifier la destination ou les points de cheminement
- Modifier liste des intersections Détour
- Modifier les préférences de l'itinéraire
- Modifier les préférences de circulation Annuler cet itinéraire
Nokia est le fournisseur de carte numérique pour l'application de navigation. Si vous trouvez des erreurs de données de carte, vous pouvez les signaler directement à Nokia à l'adresse http://mapreporter.navteq.com. Nokia évalue toutes les erreurs de données de carte qui lui sont signalées et vous envoie une réponse par courriel concernant le résultat de leur investigation.
Mises à jour des cartes de navigation
Vous pouvez acheter des mises à jour cartographiques annuelles pour votre système de navigation auprès de votre concessionnaire en composant le 1 800 NAVMAPS (le 01 800 557-5539 au Mexique) ou en visitant le site Web www-navigation.com/ford. Vous devez spécifier la marque et le modèle de tout véhicule afin de déterminer si une mise à jour est disponible.
Commandes vocales de navigation

En mode de navigation, appuyez sur la touche de reconnaissance vocale du volant. Après la tonalité, énoncez l'une des commandes suivantes :
| Commandes vocales de navigation | |
| « Annuler point de passage »1 | « Navigation »3 |
| « Annuler cet itinéraire »1 | « Guide vocal de navigation - diminuér le volume »1 |
| « Destination »2 | « Guide vocal de navigation - augmenter le volume » |
| « Destination <nom enregistrré> » | « Répéter instruction » |
| « Destination <POI catégorie> » | « Affichage image 3D » |
| « Destination - favorites » | « Montrer orientation » |
| « Destination - mon domicile » | « Afficher la carte » |
| « Trouver une intersection » | « Nord vers le haut » |
| « Destination la plus proche <catégorie POI> » | « Afficher itinéraire »1 |
| « Destination - POI le plus près » | « Afficher liste de virages »1 |
| « Destination lire noms enregistrrés » | « Désactiver le guidage vocal » |
| « Destination POI » | « Activer le guidage vocal » |
| « Destination catégorie PI » | « Où suis-je » |
| « Destination antérieure » | « Zoom avant » |
| « Adresse de destination » | « Zoom arrière » |
| « Détour »1 | « Aide » |
1 Ces commandes ne sont disponibles que lorsqu'un itinéraire de navigation est actif. 2 Si vous avez énoncé la commande « Destination », vous pouvez dire une des commandes ci-dessus ou une des commandes indiquées dans le tableau Destination suivant. 3 Si vous avez énoncé la commande « Navigation », vous pouvez prononcer une des commandes ci-dessus ou une des commandes indiquées dans le tableau Navigation suivant.
| « DESTINATION » |
| « <nom enregistré> » |
| « <catégorie POI> » |
| « Destination favorite » |
| « Mon domicile » |
| « Intersection » |
| « Plus proche <POI_category> » |
| « Plus proche POI » |
| « Lire noms enregistrés » |
| « Catégorie de POI » |
| « Destination précédente » |
| « Adresse » |
| « Aide » |
| « NAVIGATION » |
| « Destination * |
| « Zoom ville » |
| « Zoom pays » |
| « Zoom avant minimum » |
| « Zoom arrêté maximum » |
| « Zoom province » |
| « Zoom état » |
| « Zoom rue » |
| « Zoom sur <distance> » |
| « Aide » |
- Si vous avez dit « Destination », vous pouvez énoncer une des commandes indiquées dans le tableau Destination.
Adresse de destination d'un seul coup
Si votre véhicule est muni de la fonction de navigation à carte SD, vous pouvez saisir une adresse au moyen d'une nouvelle fonction appelée Adresse de destination d'un seul coup. Lorsque vous dites soit « Adresse de destination de navigation » ou « Adresse de destination », le système vous demandera de dire l'adresse au complet. Le système affiche un exemple à l'écran. Vous pouvez ensuite enoncer l'adresse naturellement, comme « Un deux trois quatre rue principale, ville quelconque »
Contrat de licence d'utilisateur final du système SYNC® (licence)
- Vous avez fait l'acquisition d'un appareil (« L'APPAREIL ») qui comprend un logiciel autorisé par FORD MOTOR COMPANY d'une société affiliée de Microsoft Corporation (« MS »). Ces logiciels installés provenant de MS, ainsi que les médias associés, les documents imprimés, la documentation électronique ou sur Internet (« LOGICIEL MS ») sont protégés par des lois et des traités internationaux sur la propriété intellectuelle. Le LOGICIEL MS est autorisé sous licence, il n'est pas vendu. Tous droits réservés.
- Le LOGICIEL MS peut interfacer et/ou communiquer avec des logiciels et/ou systèmes supplémentaires fournis par FORD MOTOR COMPANY ystèmes supplémentaires de FORD MOTOR COMPANY, ainsi que les médias associés, les documents imprimés, la documentation électronique ou sur Internet (« LOGICIEL FORD ») sont protégés par des lois et des traités internationaux sur la propriété intellectuelle. Le LOGICIEL FORD est autorisé sous licence, il n'est pas vendu. Tous droits réservés.
- Le LOGICIEL MS et/ou le LOGICIEL FORD peut interfacer et/ou communiquer avec des logiciels et/ou systèmes supplémentaires provenant de fournisseurs de logiciels et services tiers ervices supplémentaires provenant de tiers, ainsi que les médias connexes, les documents imprimés, la documentation électronique ou sur Internet (« LOGICIELS DE TIERS ») sont protégés par des lois et des traits internationaux sur la propriété intellectuelle. Les LOGICIELS DE TIERS ne sont pas vendus, seule une licence d'utilisation est accordée. Tous droits réservés.
- Le LOGICIEL MS, le LOGICIEL FORD et les LOGICIELS DE TIERS sont ci-après désignés collectivement et individuellement par le terme « LOGICIEL ».
SI VOUS N'ACCEPTEZ PAS LES CONDITIONS DE CE CONTRAT D'UTILISATEUR FINAL (« LICENCE »), N'UTILISEZ PAS CET APPAREIL OU NE COPIEZ PAS CE LOGICIEL. TOUTE UTILISATION DU LOGICIEL, Y COMPRIS, SANS S'Y LIMITER, L'UTILISATION DU LOGICIEL SUR L'APPAREIL, SIGNIFIE QUE VOUS ACCEPTEZ LES CONDITIONS DE CETTE LICENCE (OU QUE VOUS ENTERINEZ TOUT CONSENTEMENT PRÉCÉDENT).
Autorisation de Licence Logicielle : Cette LICENCE vous accorde la licence suivante :
- Vous êtes autorisé à utiliser le LOGICIEL tel qu’il est installé sur l’APPAREIL et qu’il interfacce avec des systèmes et/ou des services fournis par FORD MOTOR COMPANY ou par son intermédiaire ou par des fournisseurs de logiciels et services tiers.
Description des AUTRES DROITS et limitations :
- Reconnaissance vocale : si le LOGICIEL comprend des composants de reconnaissance vocale, vous doivent comprendre que la reconnaissance vocale est un procédé fondamentalement statistique et que les erreurs de reconnaissance sont inherentes à ce procédé. Ni FORD MOTOR COMPANY ni ses fournisseurs ne doivent être tenus responsables de chaque dommage que ce soit qui pourrait avoir été causé par des erreurs dans le procédé de reconnaissance vocale.
- Limitations concernant l'ingénierie inverse, la décompilation et le désassemblage : vous n'êtes pas autorisé, ni à permettre à des tiers, à reconstituer la logique du LOGICIEL, à le décompiler ou à le désassembler, sauf et uniquement dans la mesure où une telle activité est expressément permise par une loi applicable, nonobstant la présente limitation.
- Limitations concernant la distribution, la copie, la modification et la création de travaux dérivés : vous ne pouvez pas distribuer, copier, modifier ou d'é laborer des oeuvres dérivées en fonction du LOGICIEL, sauf et seulement dans la mesure où telle activité est expressément permise par la loi applicable nonobstant la présente limitation.
- LICENCE simple : la documentation à l'intention d'utilisateur final de cet APPAREIL et des systèmes et services connexes peut conten ême si vous recevez plusieurs LICENCES, votre licence ne vous autorise à utiliser qu'une seule copie (1) du LOGICIEL.
- Transfert du LOGICIEL : vous pouvez transférer vos droits en vertu de cette LICENCE de manière permanente uniquement dans le cadre de la vente ou du transfert de l'APPAREIL, à condition que vous n'en gardiez aucune copie, que vous transfériez le LOGICIEL au complet (notamment tous ses composants, la documentation imprimée et sur média, toute mise à niveau et, s'il y a lieu, le(s) certificat(s) d'authenticité) et que la personne qui recoit ce logiciel accepte les conditions de cette LICENCE. Si le LOGICIEL est une mise à jour, le transfert doit inclure toutes les versions précédentes du LOGICIEL.
- Résiliation : sous réserve de tous autres droits, FORD MOTOR COMPANY ou MS peut résilier cette LICENCE si vous ne vous conformez pas aux conditions de cette LICENCE.
- WMDRM pour accéder au contenu protégé de WMDRM. Si le WMDRM ne protège pas le contenu, les propriétaires de contenu peuvent demander à Microsoft la révocation du droit du LOGICIEL à utiliser WMDRM pour lire ou copier le contenu protégé. Le contenu non protégé n'est pas touché par cette révocation. Lorsque votre APPAREIL télécharge des licences pour le contenu protégé, vous reconnaissez que Microsoft peut inclure une liste de révocation avec les licences. Les propriétaires de contenu peuvent exiger que vous mettiez à niveau le LOGICIEL de votre APPAREIL pour accéder à leur contenu. Si vous refusez une mise à niveau, vous ne pourrez plus accéder au contenu qui nécessite la mise à niveau.
- Consentement à l'utilisation des données : vous acceptez que MS, Microsoft Corporation, FORD MOTOR COMPANY, des fournisseurs de logiciels et systèmes tiers, leurs sociétés associées et leurs représentants autorisés puissent recueillir et utiliser des renseignements techniques obtenus de quelque
- Composants de services sur l'Internet : le LOGICIEL peut contenir des composants qui permettent et facilitent l'utilisation de certains services sur l'Internet. Vous reconnaissez et acceptez que MS, Microsoft Corporation, FORD MOTOR COMPANY, des fournisseurs de logiciels et services tiers, leurs sociétés associées et leurs représentants autorisés puissent vérifier automatiquement la version et les
composants du LOGICIEL que vous utilisez et pouvoir fournir des mises à jour ou des suppléments au LOGICIEL qui pouvoir être automatiquement téléchargés dans votre APPAREIL.
- Logiciels et services supplémentaires : le LOGICIEL peut permettre à FORD MOTOR COMPANY, à des fournisseurs de logiciels et services tiers, à MS, à Microsoft Corporation, à leurs sociétés associées et leurs représentants autorisés de vous fournir ou de vous donner accès à des mises à jour du LOGICIEL, des suppléments, des composants additionnels ou des composants de services sur l'Internet du LOGICIEL après la date à laquelle vous obtenez votre copie initiale du LOGICIEL (« Composants supplémentaires »).
Si FORD MOTOR COMPANY ou des fournisseurs de logiciels et services tiers vous fournissent ou rendent disponibles des composants supplémentaires et qu'aucune autre condition relative à la licence n'a été fournie avec ces composants, les conditions de cette LICENCE s'availant.
Si prévalent, sauf si MS, Microsoft Corporation ou l'entité affiliée fournissant ce(s) composant(s) supplémentaire(s) est le concédant de licence de ce(s) composant(s) supplémentaire(s).
FORD MOTOR COMPANY, se réservent le droit de cesser d'offrir, sans responsabilité d'aucune sorte, tout service sur l'Internet qui vous est fourni ou auquel on vous donne accès par l'utilisation du LOGICIEL.
- Liens vers les sites des tiers : le LOGICIEL MS peut vous permettre d’établir des liens avec les sites des tiers en utilisant le LOGICIEL. Les sites des tiers ne sont pas sous le contrôle de ’à des fins pratiques et l’inclusion de tout lien n’implique aucune homologation du site de tiers par .
- Obligation de conduire de manière responsable : vous reconnaissiez votre obligation de conduire de manière responsable et de porter attention à la route. Vous lirez et respectez les directives d'utilisation de l'APPAREIL, en particulier lorsque celles-ci se rapportent à la sécurité, et acceptez tous les risques associés à l'utilisation de l'APPAREIL.
MISES À NIVEAU ET MÉDAS DE RÉCUPÉRATION : si le LOGICIEL est fourni séparément de l'APPAREIL par FORD MOTOR COMPANY sous forme de puce de mémoire morte, de CD, par téléchargement de l'Internet ou par tout autre moyen, et qu'il est identifié par la mention « À seules fins de mise à niveau » ou « À seules fins de récapération », vous pouvez alors installer une (1) copie du dit LOGICIEL sur l'APPAREIL comme copie de remplacement du LOGICIEL existant et l'utiliser conformément à cette LICENCE, y compris à toute condition supplémentaire à cette LICENCE accompagnant la mise à niveau LOGICIELLE.
DROITS DE PROPRIÉTÉ INTELLECTUELLE : tous droits de titre et de propriété intellectuelle relatifs au LOGICIEL (y compris, sans s'y limiter, toute illustration, photographie, animation, vidéo, audio, musique, texte et « applets » intégrés au LOGICIEL), les documents imprimés l'accompagnant, et toute copie du LOGICIEL, sont la propriété de MS, Microsoft Corporation, FORD MOTOR COMPANY, leurs sociétés associées ou leurs fournisseurs. Le LOGICIEL est autorisé sous licence, il n'est pas vendu. Vous n'êtes pas autorisé à copier les documents imprimés qui accompagnent le LOGICIEL. Tous droits de titre et de propriété intellectuelle relatifs au contenu accessible par l'utilisation du LOGICIEL sont la propriété de son détenteur respectif et peuvent être protégés par des droits d'auteur applicables ou par d'autres lois et traités de propriété intellectuelle. Cette LICENCE ne vous accorde aucun droit sur un tel contenu. Tous droits qui ne sont pas spécifiquement accordés en vertu de cette LICENCE sont réservés par MS, Microsoft Corporation, FORD MOTOR COMPANY, des fournisseurs de logiciels et services tiers, leurs sociétés associées ou leurs fournisseurs. L'utilisation de services en ligne auxquels il est possible d'accéder par le LOGICIEL peut être régie par les conditions d'utilisation respectives afférentes à de tels services. Si ce LOGICSIEL contient de la documentation fournie uniquement sous forme électronique, vous êtes autorisé à imprimer une copie de cette documentation électronique.
RESTRICTIONS À L'EXPORTATION : vous reconnaissez que le LOGICIEL est assujetti aux juridictions américaine et européenne quant à l'exportation. Vous acceptez de vous conformer à toutes les lois internationales et nationales applicables au LOGICIEL, y compris les règlements américain sur l'administration des exportations et, en tant qu'utilisateur final, avec les restrictions d'utilisation finale et de destination émises par les E.-U. et d'autres gouvernements. Pour obtenir de plus amples renseignements, consultez le site Web http://www.microsoft.com/exporting/.
MARQUES DE COMMERCE : cette LICENCE ne vous concède aucun droit en relation avec toute marque de commerce ou marque de service de FORD MOTOR COMPANY, MS, Microsoft Corporation, des fournisseurs de logiciels ou services tiers, leurs sociétés associées ou leurs fournisseurs.
SUPPORT TECHNIQUE : le support technique pour le LOGICIEL n'est pas fourni par MS, sa société mère Microsoft Corporation ni par ses sociétés associées ou succursales. Pour tout support technique, consultez les directives d'utilisation de FORD MOTOR COMPANY fournies dans la documentation de l'APPAREIL. Pour toute question concernant cette LICENCE, ou si vous désirez communiquer avec FORD MOTOR COMPANY pour toute autre raison, reportez-vous aux coordonnées de l'adresse fournie dans la documentation de l'APPAREIL.
Déni de responsabilité pour certains dommages : SAUF CEUX QUI SONT PROHIBÉS PAR LA LOI, FORD MOTOR COMPANY, TOUT FOURNISSEUR DE LOGICIELS OU SERVICES TIERS, MS, MICROSOFT CORPORATION ET LEURS SOCIÉTÉS AFFILIÉES NE SONT RESPONSABLES D'AUCUN DOMMAGE INDIRECT, SPÉCIAL, CORRELATIF, ACCIDENTEL À OU EN RAPPORT AVEC L UTILISATION OU LA PERFORMANCE DU LOGICIEL. CETTE LIMITATION S'APPLIQUE MÈME SI TOUS LES RECOURS ONT ÉTÉ ÉPUISÉS SANS SUCESS. EN AUCUN CAS MS, MICROSOFT CORPORATION ET LEURS SOCIÉTÉS AFFILIÉES NE SERONT TENUES RESPONSABLES D'AUCUN MONTANT DEPASSANT DEUX CENT CINQUANTE DOLLARS AMÉRICAINS (250,00 $ US).
- IL N'Y A AUCUNE GARANTIE AUTRE QUE CELLES QUI SONT EXPRESSEMENT FOURNIES POUR VOTRE NOUVEAU VEHICULE.
Information de sécurité importante relative à microsoft® windows® mobile pour véhicules automobiles
Le système Ford SYNC^MC contient un logiciel ainsi qu'une licence d'utilisation remise au fabricant FORD MOTOR COMPANY par une entreprise affiliée à Microsoft Corporation à la suite d'un contrat de licence. Tout retrait, reproduction, ingénierie à rebours ou autre utilisation non autorisée du logiciel de ce système en violation du présent contrat de licence est strictement interdit et peut vous rendre passible d'action en justice.
Lisez et suivez les directives fournies
Avant d'utiliser votre système Windows pour véhicules automobiles, lisez et suivez toutes les directives d'utilisation et les directives de sécurité fournies dans ce manuel d'utilisateur final (« guide d'utilisateur »). Le non-respect des précautions contenues dans ce manuel du contrôle pourrait provoquer un accident ou d'autres conséquences graves.
Rangez le manuel du propriétaire dans votre véhicule
Si le manuel du propriétaire se trouve dans le véhicule, vous pouvez facilement le consulter, de même que les autres utilisateurs non familiers avec le système Windows pour véhicules automobiles. Avant d'utiliser le système pour la première fois, assurez-vous que toutes les personnes qui l'utiliseront ont accès au guide d'utilisateur et qu'ils ont lu attentivement les directives d'utilisation et les directives de sécurité.

AVERTISSEMENT : L'utilisation de certaines fonctions de ce système pendant la conduite peut vous distraire de l'attention.
que vous devez porter à la route et potentiellement provoquer un accident ou avoir d'autres conséquences graves. Ne modifiez pas les réglages du système et n'entrez pas de données (manuellement) tout en conduisant. Arrêtez-vous de façon légale dans un endroit sûr avant d'effectuer ce genre d'opération. Cette précaution est importante puisque le réglage ou la modification de certaines fonctions peut exiger de porter attention à l'écran qu'à la route et de lâcher le volant.
Commandes vocales
Les fonctions associées au système Windows de votre véhicule ne sont disponibles que par commandes vocales. L'emploi de commandes vocales rend possible l'utilisation du système pendant la conduite sans quitter des mains le volant.
Consultation prolongée de l'écran d'affichage
Pendant la conduite, ne tentez pas d'accéder à une fonction qui nécessiterait une consultation prolongée de l'écran d'affichage. Arrêtez-vous de façon légale dans un endroit sûr si vous devez utiliser une fonction qui demande une attention prolongée de votre part. Lorsque la situation de conduite exige une grande vigilance, même un regard furtif à l'écran peut s'avérer dangereux.
Réglage du volume
Évitez de régler le volume à un niveau excessif. Réglez le volume à un niveau qui vous permet de distinguer les bruits de la circulation et les sirènes d’urgence eventuelles. Si vous ne pouvez entendre ces bruits lorsque vous conduisez, vous risquez un accident.
Utilisation des fonctions de reconnaissance vocale
Le calcul de reconnaissance vocale utilise essentiellement un processus de statistique sujet à l'erreur. Vous devez toujours être attentif aux fonctions de reconnaissance vocale de votre système et prévoir des erreurs possibles.
Fonctions du système de navigation
Toutes les fonctions du système de navigation ont pour but de fournir des directives virage après virage afin de vous guider jusqu'à votre destination. Assurez-vous que toute personne susceptible d'utiliser le système de navigation lise attentivement et observe les directives d'utilisation et de sécurité du système.
Possibilité de distraction
Toute fonction du système de navigation pourrait nécessiter une configuration manuelle (non verbale). Le fait de procéder à une telle configuration ou d'entrer des données dans le système pendant la conduite peut distraire votre attention de la route et causer un accident pouvant avoir des conséquences désastreuses. Arrêtez-vous de façon légale dans un endroit sûr avant d'effectuer ce genre d'opération.
Fiez-vous à votre jugement
Les fonctions du système de navigation sont destinées essentiellement à vous apporter de l'aide. Conduisez toujours en fonction des conditions locales et du Code de la sécurité routière en vigueur. Les fonctions du système de navigation ne peuvent pas remplacer un bon jugement. Les suggestions d'itinéraires de ce système ne doivent en aucun cas vous faire ignorer la réglementation de la circulation locale de même que les pratiques de conduite que vous jugez sécuritaires.
Sécurité routière
N'empruntez pas les itinéraires suggérés s'ils impliquent des manœuvres illégales ou dangereuses ou s'ils vous entraînent dans des situations dangereuses ou dans des endroits qui ne vous inspirent pas confiance. Le conducteur demeure responsable de la sécurité de conduite de son véhicule et doit donc étudier l'itinéraire suggéré afin d'évaluer sa sécurité.
Imprecisions eventuelles des cartes
Les cartes utilisées par le système de navigation peuvent devenir imprécises en fonction des modifications apportées au réseau routier, à la signalisation routière et aux conditions de conduite changeantes. Les itinéraires suggérés doivent être interprétés avec jugement et bon sens.
Services d'urgence
Ne vous fiez pas au système de navigation pour localiser les services d'urgence. Renseignez-vous auprès des autorités locales ou des organismes de services d'urgence. Les cartes du système de navigation peuvent ne pas inclure tous les services tels que la police, les pompiers, les hôpitaux ou cliniques de soins médicaux.
Contrat de licence de l'utilisateur final du logiciel telenav
Veuillez lire ces modalités et conditions attentivement avant d'utiliser le Logiciel TeleNav. Notre utilisation du Logiciel TeleNav indique que vous acceptez ces modalités et conditions. Si vous n'acceptez pas ces modalités et conditions, ne brisez pas le sceau de l'emballage, ne lancez pas ni autrement utilisez le Logiciel TeleNav.
TeleNav peut modifier ce Contrat ainsi que la politique de confidentialité à n'importe quel moment, avec ou sans préavis. Vous consentez à visiter le site Web http://www.telenav.com de temps en temps pour passer en revue la version plus récente de ce Contrat et la politique de confidentialité.
1. Utilisation sécuritaire et légale
Vous reconnaissiez que l'utilisation du Logiciel TeleNav durant la conduite peut poser un risque de blessures ou de mort pour vous et d'autres personnes dans des situations qui exigent autrement votre attention complète, et vous consentez donc à vous conformer aux directives suivantes lorsque vous utilisez le Logiciel TeleNav : (a) respectez le code de la sécurité routière et conduisez prudemment; (b) utilisez votre bon jugement lorsque vous conduisez. Si vous croyez qu'un itinéraire suggéré par le Logiciel TeleNav vous oblige à effectuer une manœuvre non sécuritaire ou illégale, vous met dans une situation dangereuse, ou vous
dirige dans un endroit que vous considérez ne pas être sécuritaire, ne suivez pas ces directives; (c) ne saisissez pas des destinations, ni autrement manipulez le Logiciel TeleNav à moins que votre véhicule soit immobile et stationné; (d) n'utilisez pas le Logiciel TeleNav à des fins illégales, non autorisées, non intentionnelles, non sécuritaires, dangereuses ou de chaque manière que ce soit incompatible avec ce Contrat; (e) placez le GPS et tous les appareils sans fil ainsi que les câbles qui doivent être utilisés de façon sécuritaire dans votre véhicule afin qu'ils ne puissent pas compromettre la sécurité de conduite du véhicule ni entraver le fonctionnement de tout dispositif de sécurité (tel qu'un airbag).
Vous consentez à indemniser TeleNav contre toutes les réclamations découliant de l'utilisation dangereuse ou autrement inappropriée du Logiciel TeleNav dans tout véhicule en mouvement, y compris en raison de votre non-conformité aux directives mentionnées ci-dessus.
2. Information relative au compte
Vous consentez : (a) lorsque vous enregistrez le Logiciel TeleNav, de fournir à TeleNav de l'information exacte, précise, à jour et complète sur vous, et (b) d'informer TeleNav sans tarder de tout changement relatif à de telle information, en vous assurant qu'elle soit exacte, précise, à jour et complète.
3. Licence de logiciel
En conformité avec les modalités de ce Contrat, TeleNav vous accorde par la présente une licence personnelle, non exclusive et non transférable (sauf comme expressement autorisé ci-dessous en relation avec votre transfert permanent de la licence de Logiciel TeleNav), sans le droit de concéder de sous-licence, pour utiliser le Logiciel TeleNav (sous forme de code d'objet seulement) afin d'accéder au Logiciel TeleNav et de l'utiliser. Cette licence prendra fin lors de toute résiliation ou expiration de ce Contrat. Vous consentez que vous utiliserez le Logiciel TeleNav seulement à des fins d'affaire personnelle ou de loisir, et de ne pas fournir des services de navigation commerciaux à d'autres parties.
3.1 Limitations de licence
Vous consentez à ne pas effectuer une de ces actions : (a) reconstituer la logique du Logiciel TeleNav, ou une partie quelconque du Logiciel, le décompiler, le désassembler, le traduire, le modifier ou l’altérer de quelque manière que ce soit ; (b) tenter de tirer le code source, la bibliothèque audio ou la structure du Logiciel TeleNav sans le consentement préalable, exprès et écrit, de TeleNav ; (c) stérer du Logiciel TeleNav, ou altérer, toute marque de commerce, nom de commerce, logo, brevet ou avis de droit d’auteur ou d’autres avis ou
marques de TeleNav ou de ses fournisseurs; (d) distribuer, concéder de sous-licence ou autrement transférer le Logiciel TeleNav à d'autres, sauf comme faisant partie de votre transfert permanent du Logiciel TeleNav; ou (e) utiliser le Logiciel TeleNav de quelque manière que ce soit qui (i) enfreint la propriété intellectuelle ou les droits de propriété, les droits de publicité ou de confidentialité ou d'autres droits de toute partie, (ii) viole toute loi, statut, règlement, y compris, mais sans s'y limiter, aux lois et aux règlements relatifs au pollution postage, à la confidentialité, à la protection du consommateur et de l'enfant, à l'obscénité ou à la diffamation, ou (iii) est dangereux, abusif, tortueux, diffamatoire, vulgaire, obscène, litigieux ou autrement inacceptable; et (f) louer, prêter ou autrement permettre l'accès non autorisé par des tiers au Logiciel TeleNav sans en obtenir au préalable la permission écrite de TeleNav.
4. Avis de non-responsabilité
Dans la pleine mesure où le permet la loi, en aucun cas TeleNav, ses concédants de licence et fournisseurs, ou agents ou employés ne seront tenus responsables pour toute décision prise ou action effectuée par vous ou par une autre personne en se fiant à l'information fournie par le Logiciel TeleNav. TeleNav ne garantit pas également l'exactitude de la carte ou d'autres données utilisées pour le Logiciel TeleNav. De telles données peuvent ne pas toujours refléter la réalité en raison de divers facteurs, entre autres, les fermetures de route, la construction, les conditions météorologiques, les nouvelles routes et d'autres conditions changeantes. Vous êtes responsable du risque entier qui résulte de votre utilisation du Logiciel TeleNav. Par exemple, mais sans s'y limiter, vous consentez à ne pas compter sur le Logiciel TeleNav pour la navigation critique dans les secteurs où votre bien-être ou votre survie ainsi que celles des autres dépendent de l'exactitude de la navigation, car les cartes ou la fonctionnalité du Logiciel TeleNav ne sont pas conçues pour soutenir de telles applications de risque élevé, notamment dans des régions géographiques plus éloignées.
TELENAV DÉCLINE EXPLICITÉMENT ET EXCLUT TOUTES LES GARANTIES À PROPOS DU LOGICIEL TELENAV, QU'ELLES SOIENT STATUTAIRES, EXPRESSES OU TACITES, Y COMPRIS TOUTES LES GARANTIES QUI POURRAIENT RÉSULTER DE VENTE ABSOLUE, DE CONDITIONS DE COMMERCE NORMALES ET Y COMPRIS, MAIS SANS S'Y LIMITER, LES GARANTIES IMPLICITES DE QUALITE MARCHANDE, D'APTITUDE À UN EMPLOYO DONNÉ ET D'ABSENCE DE CONTREFAÇON DES DROITS DE TIERS PAR RAPPORT AU LOGICIEL DE TELENAV. Certaines juridictions ne permettent pas l'avis de non-responsabilité de certaines garanties, donc cette limitation peut ne pas s'appliquer dans votre cas.
5. Limitation de responsabilité
DANS LA MESURE OU LA LOI LE PERMET, EN AUCUN CAS TELENAV OU SES CONCÉDANTS DE LICENCE ET FOURNISSEURS NE SERONT TENUS RESPONSABLES ENVERS VOUS OU ENVERS DES TIERS POUR LES DOMMAGES INDIRECTS, ACCESSOIRES, CONSEQUENTS, SPEÇIAUX OU EXEMPLAÎRES (Y COMPRIS DANS CHAQUE CAS, MAIS SANS S'Y LIMITER, LES DOMMAGES POUR L'INCAPACITE D'UTILISER L'ÉQUIPEMENT OU D'ACCÉDER AUX DONNÉES, LA PERTE DE DONNÉES, LA PERTE D'AFFAIRES, LA PERTE DE PROFITS, LA PERTE D'EXPLOITATION OU SIMILAIÈRE) RÉSULTANT DE L'USAGE OU L'INCAPACITE D'UTILISER LE LOGICIEL TELENAV, MÉME SI TELENAV A ÉTÉ AVISE DE LA POSSIBILITE DE TELS DOMMAGES. NONOBSTANT AUCUN DOMMAGE QUE VOUS POURRIEZ ENCOURIR POUR QUELQUE RAISON QUE CE SOIT (Y COMPRIS, SANS S'Y LIMITER, TOUS LES DOMMAGES MENTIONNES DANS CE CONTRAT ET TOUT DIRECT OU DOMMAGES GÉNÉAUX DANS LE CONTRAT, LE DELIT CIVIL [Y COMPRIS LA NÉLGENCE] OU AUTREMENT), LA RESPONSABILITE ENTIERE DE TELENAV ET DE TOUS LES FOURNISSEURS DE TELENAV SERA LIMITÉE AU MONTANT PAYÉ PAR VOUS POUR LE LOGICIEL TELENAV. CERTAINS ETATS OU CERTAINES JURIDICTIONS NE PERMETTENT PAS L'EXCLUSION OU LA LIMITATION DE DOMMAGES ACCESSOIRES OU CONSEQUENTS, DONC LES LIMITATIONS OU LES EXCLUSIONS MENTIONNÉES CI-DESSUS PEUVENT NE PAS S'APPLIQUER DANS VOTRE CAS.
6. Arbitrage et loi applicable
Vous consentez que toute dispute, réclamation ou controverse qui résulte ou est connexe à ce Contrat ou au Logiciel TeleNav sera résolue par un arbitrage indépendant qui implique un médiateur neutre et est géré par l'American Arbitration Association dans le comté de Santa Clara, en Californie. Le médiateur appliquera les Règles d'arbitrage commerciales de l'American Arbitration Association, et le jugement concernant la récompense rendu par le médiateur peut être entré par n'importe quel tribunal ayant juridiction. Notez qu'il n'y a aucun juge ni jury dans un processus d'arbitrage et que la décision du médiateur liera les deux parties. Vous consentez expressément à renoncer à votre droit à un procès avec jury.
Ce Contrat et son exécution seront gouvernés et interprétés conformément aux lois de l'État de la Californie, sans donner effet à ses stipulations en matière de conflit des lois. Dans la mesure où une action légale est nécessaire concernant l'arbitrage liant, TeleNav et vous-même consentez à soumettre à la juridiction exclusive des tribunaux de l'État de la Californie du Comté de Santa Clara. La Convention des Nations Unies sur les contrats de vente internationale de marchandises ne s'applique pas.
7. Cession
Vous ne pouvez pas revendre, céder ou transférer ce Contrat ou aucun de vos droits ou obligations, sauf dans son intégralité, en ce qui est de votre transfert permanent du Logiciel TeleNav, et expressément conditionné par l'acceptation des modalités et des conditions de ce Contrat par l'utilisateur du Logiciel de TeleNav. Toute vente, cession ou transfert qui n'est pas expressément permis selon ce paragraphe entraînera la résiliation immédiate de ce Contrat, sans aucune responsabilité de la part de TeleNav, dans lequel cas vous devrez ainsi que les autres parties cesser immédiatement d'utiliser le Logiciel TeleNav. Nonobstant les stipulations précédentes, TeleNav peut céder ce Contrat à toute autre partie en tout temps sans préavis à condition que le cessionnaire reste lié par ce Contrat.
8. Divers
8.1 Ce Contrat constitue l'accord entier entre TeleNav et vous par rapport au sujet du précédent document. 8.2 Sauf en ce qui est des licences limitées expressément accordées dans ce Contrat, TeleNav retient tout droit, titre et intérêt dans et au Logiciel TeleNav, y compris, mais sans s'y limiter, tous les droits de propriété intellectuelle connexe. Aucune licence ou autres droits qui ne sont pas expressément accordés dans ce Contrat sont conçus, ou le seront, pour être accordés ou conférés par implication, par statut, incitation, estoppel ou autrement, et TeleNav et ses fournisseurs ainsi que ses concédants de licence réservent par la présente tous leurs droits respectifs autres que les licences accordées explicitement dans ce Contrat. 8.3 En utilisant le logiciel TeleNav, vous consentez à recevoir de TeleNav toutes les communications, y compris les avis, les accords, les divulgations requises juridiques ou d'autres renseignements à propos du Logiciel de TeleNav (collectivement, les « Avis ») électroniquement. TeleNav peut fournir de tels avis en les affichant sur le site Web de TeleNav ou en téléchargeant de tels avis à votre appareil sans fil. Si vous désirez retirer votre consentement pour recevoir les avis électroniquement, vous devez discontinuer l'utilisation du Logiciel TeleNav. 8.4 L'échec de TeleNav ou le contrôle d'exiger l'exécution de toute stipulation ne compromettra pas le droit de cette partie, en tout temps par la suite, ni un abandon de toute violation ou de défaut de ce Contrat constitue un abandon d'une violation suivante ou d'un défaut ou un abandon de la stipulation même. 8.5 Si une provision quelconque dans la présente est non exécutoire, alors une telle stipulation sera modifiée pour refléter l'intention des parties, et les stipulations restantes de ce Contrat resteront en vigueur et de plein effet.
8.6 Les titres de ce Contrat sont à titre de référence uniquement, ne seront pas considérés comme faisant partie de ce Contrat et ne seront pas utilisés comme référence en rapport avec la réduction ou l'interprétation de ce Contrat. Comme ils sont utilisés dans ce Contrat, les mots « inclus » et « y compris, » et les variations, ne seront pas considérés comme étant des termes de limitation, mais seront suivis par les mots « sans limitation ».
9. Modalités et conditions relatives aux autres fournisseurs
Le Logiciel TeleNav utilise la carte et les autres données autorisées à TeleNav par les fournisseurs de tiers pour votre bénéfice et d'autres utilisateurs finaux. Ce Contrat inclut les modalités de l'utilisateur final applicables à ces entreprises (comprises à la fin de ce Contrat), et donc votre utilisation du Logiciel TeleNav est aussi soumise à de telles modalités. Vous consentez à vous conformer aux modalités additionnelles suivantes, qui sont applicables aux concédants de licence de fournisseur de tiers de TeleNav :
Modalités de l'utilisateur FINAL
Le contenu fourni (les « Données ») est autorisé sous licence, il n'est pas vendu. En ouvrant cet emballage ou en l'installant, en le copiant ou en utilisant les Données, vous acceptez les modalités de ce contrat. Si vous n'acceptez pas les modalités de ce contrat, vous n'avez pas l'autorisation d'installer, de copier, d'utiliser, de revendre ou de transférer les Données. Si vous souhaitez refuser les modalités de ce contrat et que vous n'avez pas installé, copié ou utilisé les Données, vous devez communiquer avec votre détaillant ou NAVTEQ North America, LLC (« NT ») dans les trente (30) jours suivant l'achat pour obtenir un remboursement du prix d'achat. Pour communiquer avec NT, visitez le site Web www.navteq.com.
Les Données sont fournies pour votre utilisation personnelle et interne seulement et non pour la revente. Elles sont protégées par le droit d'auteur et sont assujetties aux modalités (ce « contrat de licence d'utilisateur final ») et aux conditions suivantes que vous acceptez d'une part, et que NAVTEQ North America, LLC (« NT ») et ses concédants de licence (y compris leurs concédants de licence et leurs fournisseurs) acceptent de leur part.
Les Données concernant les régions du Canada incluent l'information obtenue avec la permission des autorités canadiennes, parmi lesquelles : © Sa Majesté la reine du chef du Canada, © Imprimeur de la Reine pour l'Ontario, © Société canadienne des postes, GéoBase ®.
NT détient une licence non exclusive de l'agence générale française United States Postal Service® pour publier et vendre de l'information ZIP+4®.
© United States Postal Service © 2009. Les prix ne sont pas établis, contrôlés ou approuvés par le United States Postal Service ©. Les marques de commerce et enregistrements sont la propriété de USPS : United States Postal Service, USPS et ZIP+4.
Les Données pour le Mexique comprennent les Données de l'Instituto Nacional de Estadística y Geografía.
Modalités et conditions
Limitations de licence relatives à l'utilisation : vous acceptez d'utiliser ces données à des fins personnelles seulement et non commerciales, pour lesquelles vous avez obtenu une licence, et non pour des fins de bureau de service, de partage de temps ou d'autres fins semblables. Sauf s'il est mentionné autrement dans le présent document, vous acceptez de ne pas autrement reproduire, copier, modifier, décompiler, désassembler ni faire de l'ingénierie inverse de ces Données et de ne pas les transférer ni les distribuer sous toute forme ou pour tout usage, sauf dans la mesure où le permettent les lois obligatoires.
Limitations de licence relatives au transfert : votre licence limitée ne permet pas le transfert ou la revente des Données, sauf si vous pouvez transférer les Données et toute la documentation qui les accompagne de façon permanente si : (a) vous ne gardez aucune copie des Données ; (b) la personne qui reçoit les Données accepte les modalités de ce contrat de licence d'utilisateur final ; et (c) vous transférez les Données exactement de la même façon que lors de l’achat en transférant physiquement le média d’origine (par exemple, le CD-ROM ou le DVD que vous avez acheté), tout l'emballage d'origine, tous les manuels et toute autre documentation. En particulier, les ensembles à disques multiples ne peuvent être transférés ou vendus que en tant qu'ensemble complet tel qu’il vous a été fourni et non en sous-ensemble.
Limitations de licence supplémentaires : à moins que vous ayez obtenu une licence spécifique pour le faire de la part de NT dans un contrat écrit distinct, et sans limiter le paragraphe précédent, votre licence est limitée à l'utilisation des Données décrite dans ce contrat, et vous ne pouvez pas (a) utiliser ces Données avec des produits, des dispositifs ou des applications installés ou autrement branchés ou en communication avec des véhicules, en mesure d'effectuer la navigation, le positionnement, la répartition, le guidage en temps réel, la gestion de parc ou les applications semblables ; ou (b) avec ou en communication avec, y compris, sans s'y limiter, les téléphones cellulaires, les ordinateurs de poche, les téléviseurs et les assistants numériques personnels.
AVERTISSEMENT: Ces Données peuvent contenir de l'information inexacte ou incomplète en raison du temps écoulé depuis sa publication, des circonstances changeantes, des sources utilisées et de la nature de l'acte de recueillir des Données géographiques complètes, et n'importe quelle de ces raisons peut faire en sorte que l'on obtienne de faux résultats.
Aucune garantie : les présentes Données vous sont fournies « en l'état » et vous consentez à les utiliser à vos propres risques. NT et ses concédants de licence (y compris leurs concédants de licence et leurs fournisseurs) n'offrent aucune garantie, ne font aucune représentation ou garantie de quelque sorte que ce soit, explicite ou implicite, découluant de la loi ou autrement, incluant sans s'y limiter, le contenu, la qualité, la précision, l'intégralité, l'efficacité, la fiabilité, l'aptitude à un emploi donné, l'utilité, l'utilisation ou les résultats obtenus de ces Données ou que les Données ou le serveur seront accessibles en tout temps ou sans erreur.
Stipulation d'exonération de garantie : NT ET SES CONCÉDANTS DE LICENCE (Y COMPRIS LEURS CONCÉDANTS DE LICENCE ET LEURS FOURNISSEURS) DÉCLINENT TOUTE GARANTIE, EXPLICITE OU IMPLICITE, DE QUALITÉ, DE RENDEMENT, DE QUALITÉ MARCHANDE, D'APTITUDE À UN USAGEPARTICULIER OU DE CONTREFAÇON. Certains États, territoires et pays ne permettent pas d'exclure certaines garanties, dans cette mesure, la garantie ci-dessus peut ne pas s'appliquer.
Déni de responsabilité : NT ET SES CONCÉDANTS DE LICENCE (Y COMPRIS LEURS CONCÉDANTS DE LICENCE ET LEURS FOURNISSEURS) NE PEUVENT ÉTRE TENUS RESPONSABLES DE Toute RÉCLAMATION, DEMANDE OU ACTION, SANS TENIR COMPTE DE LA NATURE DE LA CAUSE DE LA RÉCLAMATION, DE LA DEMANDE OU DE L'ACTION SUPPOSANT TOUTE PERTE, BLESSURE OU DOMMAGE, DIRECT OU INDIRECT, QUI PEUVENT RÉSULTER DE L'UTILISATION OU DE LA POSSESSION DE CES DONNÉES; OU POUR LA PERTE DE PROFIT, REVENUS, CONTRATS OU ÉPARGNES, OU TOUT DOMMAGE DIRECT, INDIRECT, CONSÉCUTIF DÉCOULANT DE L'UTILISATION OU DE L'IMPOSSIBILITE D'UTILISER CES DONNÉES, DE TOUTE ERREUR DE CES DONNÉES OU DE LA VIOLATION DE CES MODALITÉS ET CONDITIONS, DANS UNE ACTION CONTRACTUELLE OU DELICTUELLE OU BASEE SUR UNE GARANTIE, MÈME SI NT OU SES CONCÉDANTS DE LICENCE ONT ÉTÉ AVISÉS DE LA POSSIBILITE
DE TELS DOMMAGES. Certains États, territoires et pays ne permettent pas d'exclure certains dommages ou responsabilités. Dans cette mesure, l'exclusion ci-dessus peut ne pas s'appliquer.
Contrôle d'exportation : vous acceptez de ne pas exporter à partir de tout endroit n'importe quelle partie des Données fournies ou tout produit direct provenant de celles-ci, sauf si cela est conforme et fait avec toutes les licences et approbations exigées d'après les lois, les règles et les règlements d'exportation qui s'appliquent, y compris mais sans se limiter aux lois, règles et règlements applicables gérés par l'organisme chargé du contrôle des avoirs étrangers (Office of Foreign Assets Control) du département du Commerce des États-Unis (U. S. Department of Commerce) et le Bureau de l'industrie et de la sécurité (Bureau of Industry and Security) du département du Commerce des États-Unis (U. S. Department of Commerce). Dans la mesure où de telles lois, règles ou règlements empêchent NT de se conformer à une de ses obligations en vertu des présentes modalités pour livrer ou distribuer les Données, une telle défaillance sera autorisée et ne constituera pas une violation de ce contrat.
Entente complète : ces modalités et conditions constituent l'entente complète entre NT (et ses concédants de licence, y compris leurs concédants de licence et leurs fournisseurs) et vous par rapport au sujet du présent document et remplace en entier toute entente écrite ou verbale déjà conclue par rapport au sujet du présent document.
Divisibilité : vous et NT convenez que si une partie de ce contrat s'avère illégale ou non exécutoire, cette partie sera divisée et les stipulations restantes du contrat resteront en vigueur et de plein effet.
Loi applicable : les modalités et conditions ci-dessus sont régies par les lois de l'État de l'Illinois, sans donner cours (i) à des conflits de lois ou (ii) à la Convention des Nations Unies sur les contrats de vente internationale de marchandises, qui est explicitement exclue. Vous convenez de vous soumettre à la juridiction de l'État de l'Illinois pour tout litige, réclamation et action découlant des Données fournies en vertu des présentes modalités.
Utilisateurs finaux gouvernementaux : si les Données qui sont acquises par ou au nom du gouvernement des États-Unis ou de n'importe quelle autre entité cherchant à faire l'acquisition de ou appliquant des droits semblables à ceux réclamés habituellement par le gouvernement des États-Unis, ces Données sont un « article commercial », tel que ce terme est défini dans le règlement 48 C. F. R. (« FAR ») 2.101, sont accordées sous licence conformément au présent Contrat de licence d'utilisateur final, et chaque copie des Données livrée ou autrement
fournie doit avoir été marquée et/ou avoir été incorporée comme de rigueur de l’« Avis d'utilisation » suivant, et traitée conformément à cet Avis :
Avis d'utilisation
PARTIE CONTRACTANTE (FABRICANT OU FOURNISSEUR)
NOM :
PARTIE CONTRACTANTE (FABRICANT OU FOURNISSEUR)
ADRESSE :
Ces Données sont un article commercial tel que défini dans le règlement FAR 2.101
et sont assujetties au contrat de licence d'utilisateur final d'après lequel ces Données ont été fournies.
© 2011 NAVTEQ. Tous droits réservés.
Si le représentant de la partie contractante, un organisme gouvernemental fédéral, ou n'importe quel fonctionnaire fédéral refuse d'utiliser la légende ci-incluse, le représentant de la partie contractante, l'organisme gouvernemental fédéral, ou n'importe quel fonctionnaire fédéral doit informer NAVTEQ avant de chercher à obtenir des droits supplémentaires ou d'autres droits pour les Données.
Les données Wi-Fi de point d'accès sans fil sont fournies par JiWire ©2013 JiWire.
Disque compact et musique - Données connexes de Gracenote, Inc., copyright ©2000-2007 Gracenote. Logiciel Gracenote, copyright © 2000-2007 Gracenote. Ce produit et service peuvent respecter une ou plusieurs des brevets américains suivants : no 5 987 525; no 6 061 680; no 6 154 773, no 6 161 132, no 6 230 192, no 6 230 207, no 6 240 459, no 6 330 593, et d'autres brevets ont été émis ou sont en instance. Certains services sont fournis sous licences par Open Globe, Inc. pour les États-Unis : #6,304,523.
Gracenote et CDDB sont des marques déposées de Gracenote. Le logo et le logotype Gracenote, et le logo « Powered by Gracenote® » sont des marques de commerce de Gracenote.
Contrat de licence d'utilisation gracenote®
Ce périphérique contient un logiciel de Gracenote, Inc. de 2000 Powell Street Emeryville, Californie 94608 (« Gracenote »).
Le logiciel de Gracenote (le « logiciel Gracenote ») permet à ce périphérique d'identifier un fichier de disque et de musique et d'obtenir de l'information connexe, y compris de l'information sur le nom, l'artiste, la piste et le titre (« données Gracenote ») de serveurs en ligne (« serveurs Gracenote ») et d'effectuer certaines fonctions. Vous ne pouvez utiliser les données Gracenote que par les fonctions destinées à l'utilisateur de ce périphérique.
Ce périphérique peut contenir de l'information appartenant aux fournisseurs de Gracenote. Le cas échéant, toutes les restrictions établies et relatives aux données Gracenote s'appliquent aussi à un tel contenu et de tels fournisseurs de contenu auront également droit à tous les avantages et protections établis et dont jouit Gracenote.
Vous acceptez d'utiliser le contenu de Gracenote (« contenu Gracenote »), les données Gracenote, le calculiel Gracenote et les serveurs Gracenote pour votre usage personnel et non commercial. Vous acceptez de ne pas attribuer, copier, transférer ou transmettre le contenu Gracenote, le calculiel Gracenote ou toute donnée Gracenote (sauf dans une étiquette associée à un fichier de musique) à un tiers. VOUS ACCEPTÉZ DE NE PAS UTILISER ET DE NE PAS EXPLOITER LE CONTENU GRACENOTE, LES DONNÉES GRACENOTE, LE LOGICIEL GRACENOTE OU LES SERVEURS GRACENOTE À D'AUTRES FINS QUE CELLES EXPRESSEMENT PERMISES AUX PRESENTES.
Vous acceptez que vos licences non exclusives d'utilisation du contenu Gracenote, des données Gracenote, du logiciel Gracenote et des serveurs Gracenote soient immédiatement révoquées si vous enfreignez ces restrictions. Si vos licences arrivent à échéance, vous acceptez de cesser toute utilisation du contenu Gracenote, des données Gracenote, du logiciel Gracenote et des serveurs Gracenote. Gracenote, respectivement, réserves tous les droits des données Gracenote, du logiciel Gracenote, des serveurs Gracenote et du contenu Gracenote, y compris les droits de propriété. En aucune circonstance Gracenote ne sera tenue responsable de tout paiement qui vous a été remis pour toute information que vous fournissez, y compris tout matériel protégé par droits d'auteur ou information de fichier musical. Vous acceptez que Gracenote fasse valoir ses droits respectifs, collectivement ou individuellement, en vertu de ce contrat, contre vous, directement au nom de chaque société.
Gracenote utilise un identifiant unique afin de faire le suivi des demandes à des fins statistiques. Le but d'un identifiant numérique attribué de manière aléatoire est de permettre à Gracenote de compter les demandes tout en protégeant votre anonymat. Pour obtenir de plus amples renseignements, consultez la page de politique de protection de la vie privée sur le site Web www.gracenote.com.
LES LOGICIELS GRACENOTE, CHAQUE COMPOSANT DES DONNÉES GRACENOTE ET LE CONTENU GRACENOTE VOUS SONT ACCORDÉS SOUS LICENCE « EN L'ÊTAT ». GRACENOTE DÉCLINE EN OUTRE Toute représentATION OU GARANTIE, EXPLICITE OU IMPLICITE, CONCERNANT L'EXACTITUDE DES DONNÉES GRACENOTE ISSUES DES SERVEURS GRACENOTE OU DU CONTENU GRACENOTE. GRACENOTE SE RÉSERVE LE DROIT COLLECTIVEMENT ET INDIVIDUELLEMENT DE SUPPRIMER DES DONNÉES ET/OU LE CONTENU DES SERVEURS DES SOCIÉTÉS RESPECTIVES OU, DANS LE CAS DE GRACENOTE, DE MODIFIER DES CATÉGORIES DE DONNÉES POUR TOUT MOTIF JUGÉ SUFFISANT PAR GRACENOTE. GRACENOTE NE GARANTIT PAS QUE LE CONTENU GRACENOTE, LE LOGICIEL GRACENOTE OU LES SERVEURS GRACENOTE NE CONTIENNENT PAS D'ERREUR OU QUE LE FONCTIONNEMENT DU LOGICIEL GRACENOTE OU DES SERVEURS GRACENOTE NE SERONT PAS INTERROMPUS. GRACENOTE N'EST NULLEMENT TENUE DE VOUS FOURNIR DES TYPES DE DONNÉES AMÉLIORÉS OU SUPPLEMENTAIRES QUE GRACENOTE peut CHOISIR DE FOURNIR À L'AVENIR, ET EST LIBRE D'INTERROMPRE SES SERVICES EN LIGNE À N'IMPORTE QUEL MOMENT. GRACENOTE DENIE Toute GARANTIE EXPRESSE OU IMPLICITE, Y COMPRIS, Sans S'Y LIMITER, LES GARANTIES DE VALEUR MARCHANDE, D'ADEQUATION À UN USAGE PARTICULIER, TITRE ET D'ABSENCE DE CONTREFAÇON. GRACENOTE NE GARANTIT PAS LES RÉSULTATS OBTENUS PAR VOTRE UTILISATION DU LOGICIEL OU DE TOUT SERVEUR GRACENOTE. EN AUCUNE CIRCONSTANCE GRACENOTE NE SERA TENUE RESPONSABLE DES DOMMAGES CONSécUTIFS OU ACCESSOIRES OU DE Toute PERTE DE PROFIT OU DE REVENU POUR UN MOTIF QUELCONQUE.
© Gracenote 2007
Véhicule avec SYNC uniquement
ID FCC: KMHSG1G1 IC: 1422A-SG1G1
Véhicule avec SYNC et myford touch ou mylincoln touch
Ce dispositif est conforme aux normes de la section 15 des règles de la FCC des États-Unis et aux normes RSS-210 d'Industrie Canada. Son utilisation est soumise aux deux conditions suivantes : (1) ce dispositif ne doit causer aucune interférence nuisible et (2) il doit accepter toutes les interférences, y compris celles qui peuvent causer son dysfonctionnement.

Avertissement : tout changement apporté au dispositif sans
l'approbation expresse des autorités compétentes peut révoquer
le droit de l'utilisateur d'en faire usage. Le terme « IC » avant le numéro de certification de la radio signifie seulement que les normes techniques d'Industrie Canada ont été respectées.
L'antenne utilisée pour cet émetteur ne doit pas être située au même endroit ou fonctionner conjointement avec une autre antenne ou un autre émetteur.
Pourquoi entretenir votre véhicule?
Si vous suivez attentivement le calendrier d'entretien, vous vous éviterez de couteuses réparations pouvant être causées par la négligence ou un entretien inadéquat. Vous pourrez en outre vous assurer ainsi d'une valeur de revente ou d'échange de votre véhicule. Conservez tous les reçus des services d'entretien exécutés sur votre véhicule.
Les intervalles d'entretien périodiques pour votre véhicule ont été établis en fonction d'essais rigoureux. Il est important d'effectuer l'entretien de votre véhicule aux intervalles appropriés. Ces intervalles visent à préserver la fiabilité de votre véhicule et à en minimiser le coût total de propriété.
Il incombe au propriétaire de s'assurer que l'entretien périodique est effectué et que les pièces utilisées sont conformes aux normes décrites dans le chapitre Contenances et caractéristiques. Le non-respect de l'entretien périodique annule la garantie sur les pièces touchées par un manque d'entretien.
Techniciens formés en usine
Les techniciens participent à des programmes de formation approfondie parrainés par l'usine qui les aident à devenir des experts sur le fonctionnement de votre véhicule. Renseignez-vous auprès de votre concessionnaire sur la formation et les accréditations qu'ont reçues ses techniciens.
Pièces de remplacement ford et motorcraft® d'origine
Les concessionnaires gardent en stock des pièces de rechange de marque Ford et Motorcraft® ainsi que des pièces remises à neuf homologuées par Ford. Ces pièces, rentrent ou dépassent les spécifications de Ford Motor Company. Les pièces d'entretien installées chez votre concessionnaire sont couvertes par une garantie nationale limitée de 12 mois ou 20000km (12000mi) sur les pièces et la main-d'œuvre. Si vous n'utilisez pas des pièces homologuées par Ford, elles pourraient ne pas être conformes aux normes de Ford et, selon la pièce, elle pourrait ne pas être conforme aux normes d'émissions.
Convenance
Plusieurs concessionnaires proposent des heures prolongées en soi ou le samedi afin de vous accommoder et de vous offrir un emplacement pour l'entretien et vos achats. Ils peuvent effectuer tous les services requis sur votre véhicule, que ce soit un entretien général ou des réparations à la suite d'une collision.
Note : Les heures prolongées ou les ateliers de réparation de carrosserie et de peinture ne sont pas offerts par tous les concessionnaires. Consultez votre concessionnaire pour obtenir les détails.
Protégez votre investissement
Un bon entretien est synonyme d'investissement, et ses dividendes sont : la fiabilité, la durabilité et la valeur de revente. Pour maintenir un rendement optimal de votre véhicule et de ses dispositifs antipollution, il est essentiel d'effectuer l'entretien périodique aux intervalles recommandés.
Votre véhicule est muni d'un système de contrôle d'huile Intelligent Oil Life Monitor® (IOLM) qui affiche un message sur l'écran d'information à chaque intervalle d'entretien de vidange d'huile; cet intervalle peut être d'un an ou 16 000 km (10 000 mi). Lorsque le message HUILE DU MOTEUR VIDANGE NÉCESSAIRE ou VIDANGE HUILE REQUISE apparait sur l'écran d'information, il est temps de changer l'huile. La vidange doit être faite dans les deux semaines ou 800 km (500 mi) suivant l'apparition du message HUILE DU MOTEUR VIDANGE NÉCESSAIRE ou VIDANGE HUILE REQUISE. L'indicateur Intelligent Oil Life Monitor® doit être remis à l'état initial après chaque vidange d'huile; consultez le chapitre Écrans d'information.
Si votre écran d'information est remis à l'état initial prématurément ou devient inopérant, vous devez vidanger l'huile six mois ou 8 000 km (5 000 mi) après cette dernière vidange d'huile. Ne dépassez jamais un an ou 16 000 km (10 000 mi) entre les intervalles de vidange d'huile.
Votre véhicule est très perfectionné et construit avec de multiples systèmes performants et complexes. Tous les constructeurs mettent ces systèmes au point selon divers critères de performance et différentes spécifications. C'est pourquoi il est important de vous fier à votre concessionnaire pour effectuer les diagnostics et les réparations appropriés sur votre véhicule.
Ford préconise des périodicités d'entretien particulières pour les composants de votre véhicule en fonction d'essais mécaniques réalisés par des équipes spécialisées. Ford se base sur ces essais pour définir le kilométrage le mieux approprié pour le remplacement des huiles et des liquides de votre véhicule et ce, dans un souci de longévité et d'économie; Ford déconseille l'adoption de périodicités d'entretien autres que celles stipulées dans le guide d'entretien périodique de votre véhicule.
Ford recommande fortement de n'utiliser que des pièces de rechange Ford et Motorcraft® d'origine ou des pièces remises à neuf approuvées par Ford, car ces pièces sont conçues pour votre véhicule.
Produits chimiques et additives
Ford Motor Company recommande les produits chimiques et les additifs qui sont répertoriés dans le manuel du propriétaire et dans le manuel de réparation Ford. Les produits chimiques et les additifs non approuvés par Ford ne sont pas recommandés pour l'entretien normal. Veuillez consulter les renseignements sur votre garantie.
Huiles, liquides et rincage
Dans de nombreux cas, la décoloration d'un liquide est une caractéristique normale de fonctionnement et n'indique pas nécessairement un problème ou n'impose pas le remplacement du liquide. Toutefois, lorsqu'une décoloration indique également une condition de surchauffe ou de contamination par des matières étrangères, le véhicule doit être inspecté immédiatement par des experts qualifiés, tels que les techniciens formés en usine de votre établissement concessionnaire. Les huiles et les liquides de votre véhicule doivent être remplacés aux intervalles prescrits ou au moment d'une réparation. Le rinçage est une méthode efficace pour le remplacement des liquides de plusieurs sous-systèmes du véhicule durant l'entretien périodique. Il est important que les systèmes soient rincés en utilisant uniquement un liquide neuf et identique à celui utilisé pour le remplissage et le fonctionnement du système, ou en utilisant un produit chimique de rinçage approuvé par Ford.
Vérifications et procédures d'entretien par le propriétaire
Certaines vérifications et inspections d'entretien de base doivent être effectuées mensuellement ou tous les six mois.
| Tous les mois |
| Niveau d'huile moteur. |
| Fonctionnement de tous les feu et phares et de toutes les lampes intérieures. |
| L'usure et la pression correcte des pneus (y compris le pneu de secours). |
| Niveau de liquide lave-glace. |
| Tous les six mois |
| Connexions de la batterie. Nettoyez-les au besoin. |
| Orifices de drainage des portes et de la carrosserie obstrués. Nettoyez-les au besoin. |
| Niveau de liquide du circuit de refroidissement et concentration du liquide de refroidissement. |
| Usure des bourrelets d'étanchéité des portes. Lubrifiéz-les au besoin. |
| Fonctionnement correct des charnières, loquets et serrures extérieures. Lubrifiéz-les au besoin. |
| Fonctionnement ajustat du frein de stationnement. |
| Usure et fonctionnement ajustat des ceintures de sécurité et des loquets de siège. |
| Fonctionnement des témoins de sécurité (freins, freins antiblocage, sacs gonflables, ceintures de sécurité). |
| Fonctionnement du lave-glace et des essuie-glaces. Nettoyez ou remplacez au besoin des balais. |
Afin de maintenir votre véhicule en bon état de fonctionnement, il est important de faire vérifier les systèmes de votre véhicule régulièrement. Cela peut aider à déterminer tout problème potentiel avant qu'il ne survienne. Ford recommande d'effectuer l'inspection multipoint suivante à chaque entretien périodique pour vous assurer que votre véhicule fonctionne comme il se doit.
| Inspection multipoint | |
| Courroie(s) d'entrainment des accessoires | Fonctionnement des feu de détresse |
| Rendement de la batterie | Fonctionnement de l'avertisseur sonore |
| Filtre à air du moteur | Radiateur, refroidisseur et flexibles du réchauffeur et du système de climatisation |
| Échémpement | Éléments de suspension (fuites ou dommages) |
| Fonctionnement des lampes extérieures | Direction et tringlerie |
| Niveau de liquide*; replisssez au besoin | Usure et pression correcte des pneus (y compris le pau de secours)** |
| Présence de fuites d'huile et de liquides | Fissures, gravillonnages et piqûres au pare-brise |
| Soufflets pare-poussière de demi-arbre | Fonctionnement du lave-glace et des essuie-glaces |
Freins, vase d'expansion, boîte de vitesses automatique (avec jauge sous le capot) et liquide de lave-glace.
Si votre véhicule est équipé d'une trousse de gonflage de secours, vérifiez la date d'expiration du scellant anticrevaison, indiquée sur la cartouche. Remplacez au besoin.
Assurez-vous de demander au conseiller technique de l'établissement concessionnaire ou au technicien des renseignements à propos de l'inspection multipoint du véhicule. C'est une façon complète d'effectuer l'inspection de votre véhicule. Votre liste de vérification vous donne la rétroaction immédiate sur la condition générale de votre véhicule. Vous saurez ce qui a été vérifié, ce qui est en bon état, ainsi que les éléments qui nécessiteront une réparation future ou qui demandent une attention immédiate. L'inspection multipoint est la façon idéale d'assurer que votre véhicule fonctionnera comme il se doit.

Intelligent Oil-Life Monitor® (indicateur de durée de l'huile intelligent)
Votre véhicule est équipé d'un système de contrôle d'huile Intelligent Oil-Life Monitor® qui détermine quand l'huile moteur doit être remplacée en fonction des conditions d'utilisation de votre véhicule. En utilisant plusieurs facteurs importants lors de ses calculs, le système contribue à réduire les coûts associés à l'utilisation de votre véhicule et à diminuer les déchets écologiques en même temps. Ainsi vous n'avez pas à vous rappeler de vidanger l'huile en fonction d'un programme d'entretien prescrit selon le kilométrage. Le système vous signalera lorsqu'une vidange d'huile est nécessaire en affichant le message VIDANGE D'HUIL MOTEUR NÉCESSAIRE ou VIDANGE D'HUIL REQUISE à l'écran d'information. Le tableau suivant présente des exemples d'utilisation de véhicule et de leur impact sur les intervalles de vidange d'huile moteur; il est fourni à titre de référence seulement. La fréquence des vidanges d'huile moteur dépend de plusieurs facteurs et augmente généralement avec la sévérité de l'usage.
| Quand prévoir le message VIDANGE D'HUILE REQUISE | |
| Km (mi) | Utilisation de vehicule et exemples |
| 12 000-16 000(7 500-10 000) | Normal |
| - Trajets quotidiens normaux avec conduite sur autoroute- Chargement ou remorquage nul ou modéré- Routes plates à moyenement accidentées- Pas de fonctionnement prolongé au ralenti | |
| 8 000-11 999(5 000-7 499) | Sevère |
| - Chargement ou remorquage modéré à lourd- Routes de montagne ou conduite hors route- Fonctionnement prolongé au ralenti- Fonctionnement prolongé à haute température ou à froid | |
| 4 000-7 999(3 000-4 999) | Extrème |
| - Chargement ou remorquage maximum- Fonctionnement à températures extrêmes haute ou basses | |
| Entretien périodique normal* | |
| À chaque intervalle de vidange d'huile indiqué sur l'afficheur | Vidangez l'huile moteur et remplacez le filtré.** |
| Faites la permutation des pneus, inspectez l'usure des pneus et mesurez la profondeur de la chape. | |
| Effectuez l'inspection multipoint (conseillé). | |
| Vérifiez le niveau d'huile de la boîte de vitesses automatique (à l'aide d'une jauge d'huile, selon l'équipement). Consultez un concessionnaire pour connaître les exigences. | |
| Vérifiez les plaquettes de frein, les sabots, les disques, les tambours, les canalisations et flexibles de frein et le frein de stationnement. | |
| Vérifiez le filtré à air de l'habitacle (selon l'équipement). | |
| Vérifiez la concentration du liquide du système de refroidissement et vérifiez les flexibles. | |
| Vérifiez le système d'échappement et les écrans pare-chaleur. | |
| Vérifiez le pont arrêté et les joints de cardan. Lubrifiez s'ils sont munis de graisseurs (vehicules à traction intégrale). | |
| Vérifiez les soufflets de demi-arbre (selon l'équipement). | |
| Inspectez et lubrifiez la timonerie de direction, les rotules, la suspension, les embouts de biellette de direction, l'arbre de transmission et les joints de cardan. Lubrifiez s'ils sont munis de graisseurs. | |
| Inspectez les roues et les pièces connexes pour déceler tout bruit, usure, jeu ou frottement annormal. | |
- Ne dépassez pas un an ou 16 000 km (10 000 mi) entre les intervalles d'entretien. ** Réinitialisez l'indicateur de durée d'huile intelligent après chaque vidange d'huile moteur et chaque remplacement du filtre. Consultez le chapitre Tableau de bord.
| Interventions d'entretien supplémentaires1 | |
| Tous les 32 000 km (20 000 mi) | Remplacez le filtrtre à air de l'habitacle (selon l'équipement). |
| Tous les 48 000 km (30 000 mi) | Remplacez le filtrtre du siège à régulation de température (chauffant/rafraîchissant) (selon l'équipement). |
| Remplacez le filtrtre à air du moteur. | |
| À 160 000 km (100 000 mi) | Changez le liquide de refroidissement du moteur.2 |
| Tous les 160 000 km (100 000 mi) | Remplacez les bougies. |
| Inspectez l'état des courriots d'entrainment des accessoires.3 | |
| Tous les 240 000 km (150 000 mi) | Vidangez le liquide de boîte de vitesses automatique. |
| Remplacez des courriots d'entrainment des accessoires si elles n'ont pas été replacées au cours des derniers 160 000 km (100 000 mi). | |
Des tests d'entretien supplémentaires peuvent être exécutés dans les 4800 km (3000 mi) suivant la dernière vidange d'huile. Ne dépassez pas la distance désignée pour l'intervalle. Remplacement initial à six ans ou 160 000 km (100 000 mi), puis tous les trois ans ou 80 000 km (50 000 mi). Après l'inspection initiale, inspectez une fois toutes les deux vidanges d'huile jusqu'au remplacement.
Journal du calendrier d'entretien
| CERTIFICATION DU CONCESSIONNAIRE :Code PA :N° RÉP. : HEURES :DATE : KILOMETRAGE : | CERTIFICATION DU CONCESSIONNAIRE :Code PA :N° RÉP. : HEURES :KILOMETRAGE : |
| CERTIFICATION DU CONCESSIONNAIRE :Code PA :N° RÉP. : HEURES :DATE : KILOMETRAGE : | CERTIFICATION DU CONCESSIONNAIRE :Code PA :N° RÉP. : HEURES :KILOMETRAGE : |
| CERTIFICATION DU CONCESSIONNAIRE :Code PA :N° RÉP. : HEURES :DATE : KILOMETRAGE : | CERTIFICATIONDU CONCESSIONNAIRE :Code PA :N° RÉP. : HEURES :KILOMETRAGE : |
| CERTIFICATION DU CONCESSIONNAIRE :Code PA :N° RÉP. : HEURES :DATE : KILOMETRAGE : | CERTIFICATION DU CONCESSIONNAIRE :Code PA :N° RÉP. : HEURES :KILOMETRAGE : |
| CERTIFICATION DU CONCESSIONNALRE :Code PA :N° RÉP. : HEURES :DATE : KILOMETRAGE : | CERTIFICATION DU CONCESSIONNAIRE :Code PA :N° RÉP. : HEURES :KILOMETRAGE : |
| CERTIFICATION DU CONCESSIONNAIRE :Code PA :N° RÉP. : HEURES :DATE : KILOMÉTRAGE : | CERTIFICATION DU CONCESSIONNAIRE :Code PA :N° RÉP. : HEURES :KILOMÉTRAGE : |
| CERTIFICATION DU CONCESSIONNAIRE :Code PA :N° RÉP. : HEURES :DATE : KILOMÉTRAGE : | CERTIFICATION DU CONCESSIONNAIRE :Code PA :N° RÉP. : HEURES :KILOMÉTRAGE : |
| CERTIFICATION DU CONCESSIONNAIRE :Code PA :N° RÉP. : HEURES :DATE : KILOMÉTRAGE : | |
| CERTIFICATION DU CONCESSIONNAIRE :Code PA :N° RÉP. : HEURES :DATE : KILOMÉTRAGE : | |
| CERTIFICATION DU CONCESSIONNAIRE :Code PA :N° RÉP. : HEURES :DATE : KILOMÉTRAGE : | |
| CERTIFICATION DU CONCESSIONNAIRE :Code PA :N° RÉP. : HEURES :DATE :KILOMÉTRAGE : | |
| CERTIFICATION DU CONCESSIONNAIRE :Code PA :N° RÉP. : HEURES :DATE : KILOMETRAGE : | CERTIFICATION DU CONCESSIONNAIRE :Code PA :N° RÉP. : HEURES :KILOMETRAGE : |
| CERTIFICATION DU CONCESSIONNAIRE :Code PA :N° RÉP. : HEURES :DATE : KILOMETRAGE : | CERTIFICATION DU CONCESSIONNAIRE :Code PA :N° RÉP. : HEURES :KILOMETRAGE : |
| CERTIFICATION DU CONCESSIONNAIRE :Code PA :N° RÉP. : HEURES :DATE : KILOMETRAGE : | CERTIFICATIONDU CONCESSIONNAIRE :Code PA :N° RÉP. : HEURES :KILOMETRAGE : |
| CERTIFICATION DU CONCESSIONNAIRE :Code PA :N° RÉP. : HEURES :DATE : KILOMETRAGE : | CERTIFICATION DU CONCESSIONNAIRE :Code PA :N° RÉP. : HEURES :KILOMETRAGE : |
| CERTIFICATION DU CONCESSIONNALRE :Code PA :N° RÉP. : HEURES :DATE : KILOMETRAGE : | CERTIFICATION DU CONCESSIONNAIRE :Code PA :N° RÉP. : HEURES :KILOMETRAGE : |
Conditions de conduite particulières
Si vous utilisez principalement votre véhicule dans une des conditions suivantes, vous devez effectuer un entretien supplémentaire comme il est indiqué. Si vous utilisez votre véhicule occasionnellement dans une de ces conditions, il n'est pas nécessaire d'effectuer l'entretien supplémentaire. Pour obtenir des conseils particuliers, consultez le conseiller technique de votre établissement concessionnaire ou un technicien.
Exécutez les interventions indiquées dans les tableaux suivants au moment précisé ou dans les 4 800 km (3 000 mi) après l'affichage du message VIDANGE HUILE REQUISE à l'écran d'information.
Exemple 1: Le message VIDANGE HUILRE REQUISE s'affiche à 46270km (28 751 mi); remplacez l'huile de la boite de vitesses automatique à 48000km (30 000 mi).
Exemple 2: Le message VIDANGE HUILLE REQUISE n'est pas apparu, mais le compteur kilométrique indique 48 000 km (30 000 mi): Remplacez le filtre à air du moteur. (Par exemple, l'indicateur de durée d'huile intelligent a été réinitialisé à 40 000 km [25 000 mi].)
| Traction d'une remorque ou utilisation d'une galerie porte-bagages au toit | |
| Au besoin | Vidangez l'huile moteur et remplacez le filtre à huile comme indiqué sur l'afficheur, puis effectuez les opérations d'entretien individuées dans le calendrier d'entretien périodique normal. |
| Inspectez également, réparez au besoin | Vérifiez et gratissez les joints de cardan. |
| Consultez les interventions d'entretien pour pont indiquées sous Exceptions. | |
| Tous les 48 000 km (30 000 mi) | Vidangez le liquide de boîte de vitesses automatique. |
| Moteur tournant souvent au ralenti ou conduite à faible vitessependant de longs trajets ( comme c'est le cas pour les vehiculesutilisés à des fins commerciales (livraison, taxi) ou pour lesvehicules de patrouille | |
| Au besoin | Vidangez l'huile moteur et remplacez le filtré àhuile comme indiqué sur l'afficheur, puiseffectuez les opérations d'entretien indiquées dans le calendrier d'entretien périodiquenormal. |
| Inspectezfreiement, réparezau besoin | Remplacez le filtré à air de l'habitacle (selonl'équipement). |
| Remplacez le filtré à air du moteur. | |
| Tous les 48 000 km(30 000 mi) | Vidangez le liquide de boîte de vitessesautomatique. |
| Tous les 96 000 km(60 000 mi) | Remplacez les bougies. |
| Conduite dans des conditions poussièresuses, par exemple sur des routes non revêtres ou dégageant de la poussière | |
| Inspectez fréquèment, réparez au besoin | Remplacez le filtrtre à air de l'habitacle (selon l'équipement). |
| Remplacez le filtrtre à air du moteur. | |
| Tous les 8 000 km (5 000 mi) | Inspectez les roues et les pièces connexes pour déceler tout bruit, usure, jeu ou frottement anormal. |
| Faites la permutation des pneus, vérifiez le degré d'usure des pneus et mesurez la profondeur des sculptures. | |
| Chaque 8 000 km (5 000 mi) ou six mois | Vidangez l'huile moteur et remplacez le filtrtre.* |
| Effectuez l'inspection multipoint. | |
| Tous les 48 000 km (30 000 mi) | Vidangez le liquide de boîte de vitesses automatique. |
Réinitialisez l'indicateur de durée d'huile intelligent après chaque vidange d'huile moteur et chaque remplacement du filtre. Consultez le chapitre Tableau de bord.
Journal des conditions spéciales d'utilisation
| CERTIFICATION DU CONCESSIONNAIRE :Code PA :N° RÉP. : HEURES :DATE : KILOMÉTRAGE : | CERTIFICATION DU CONCESSIONNAIRE :Code PA :N° RÉP. : HEURES :DATE : KILOMÉTRAGE : |
| CERTIFICATION DU CONCESSIONNAIRE :Code PA :N° RÉP. : HEURES :DATE : KILOMÉTRAGE : | CERTIFICATION DU CONCESSIONNAIRE :Code PA :N° RÉP. : HEURES :DATE : KILOMÉTRAGE : |
| CERTIFICATION DU CONCESSIONNAIRE :Code PA :N° RÉP. : HEURES :DATE : KILOMÉTRAGE : | Certification DU CONCESSIONNAIRE :Code PA :N° RÉP. : HEURES :DATE : KILOMÉTRAGE : |
| CERTIFICATION DU CONCESSIONNAIRE :Code PA :N° RÉP. : HEURES :DATE : KILOMÉTRAGE : | Certification DU CONCESSIONNAIRE :Code PA :N° RÉP. : HEURES :DATE : KILOMÉTRAGE : |
| CERTIFCATION DU CONCESSIONNAIRE :Code PA :N° RÉP. : HEURES :DATE : KILOMÉTRAGE : | Certification DU CONCESSIONNAIRE :Code PA :N° RÉP. : HEURES :DATE : KILOMÉTRAGE : |
| CERTIFICATION DU CONCESSIONNAIRE :Code PA :N° RÉP. : HEURES :DATE : KILOMETRAGE : | CERTIFICATION DU CONCESSIONNAIRE :Code PA :N° RÉP. : HEURES :KILOMETRAGE : |
| CERTIFICATION DU CONCESSIONNAIRE :Code PA :N° RÉP. : HEURES :DATE : KILOMETRAGE : | CERTIFICATION DU CONCESSIONNAIRE :Code PA :N° RÉP. : HEURES :KILOMETRAGE : |
| CERTIFICATION DU CONCESSIONNAIRE :Code PA :N° RÉP. : HEURES :DATE : KILOMETRAGE : | CERTIFICATIONDU CONCESSIONNAIRE :Code PA :N° RÉP. : HEURES :KILOMETRAGE : |
| CERTIFICATION DU CONCESSIONNAIRE :Code PA :N° RÉP. : HEURES :DATE : KILOMETRAGE : | CERTIFICATION DU CONCESSIONNAIRE :Code PA :N° RÉP. : HEURES :KILOMETRAGE : |
| CERTIFICATION DU CONCESSIONNALRE :Code PA :N° RÉP. : HEURES :DATE : KILOMETRAGE : | CERTIFICATION DU CONCESSIONNAIRE :Code PA :N° RÉP. : HEURES :KILOMETRAGE : |
Le programme d'entretien normal comporte plusieurs cas d'exceptions. La liste des exceptions figure ci-dessous.
Entretien normal des essieux du véhicule : les Ponts arrière et les prises de mouvement à lubrifiant synthétique ainsi que les camionnettes équipées de Ponts de marque Ford sont lubrifiés à vie. La vérification du niveau de liquide ou la vidange des Ponts arrière n'est requise que si une fuite est détectée, qu'une intervention doit être effectuée ou que l'ensemble a été submergé dans l'eau. Pendant de longues périodes de traction de remorque lorsque la température est supérieure à 21 °C (70 °F) et en conduite à pleine puissance pendant de longues périodes au-dessus de 72 km/h (45 mi/h), les huiles non synthétiques pour pont arrière doivent être remplacées tous les 4 800 km (3 000 mi) ou aux trois mois, selon la première éventualité. Cet intervalle peut être ignoré si le pont a été rempli d'huile synthétique 75W140 pour engrenages répondant aux spécifications Ford WSL-M2C192-A, numéro de pièce F1TZ-19580-B ou un produit équivalent. Ajoutez l'additif modificateur de friction XL-3 (EST-M2C118-A) ou un produit équivalent pour un remplissage complet des Ponts arrière autobloquants (consultez la rubrique Caractéristiques techniques dans le chapitre Contenances et caractéristiques pour obtenir de plus amples renseignements).
Entretien des essieux pour vehicules de police, taxi, location : vidangez l'huile pour pont arriere tous les 160 000 km (100 000 mi). La vidange d'huile pour pont arriere peut etre ignoreré si le pont a eté rempli de lubrifiant synthetique 75W140 pour engrenages repondant aux normes Ford WSL-M2C192-A, numero de piece FITZ-19580-B ou un produit équivalent. Ajoutez 118 ml (4 oz US) d'additif modifieur de friction XL-3 (EST-M2C118-A) ou un produit équivalent pour un replissage complet des Ponts arriere autobloquants. La vidange d'huile pour pont doit etre effectue cheque fois que le pont a ete submergé dans l'eau.
Remplacement du filtre à carburant en Californie : si le véhicule est immatriculé dans l'État de Californie, le comité sur la protection de l'air CARB (California Air Resources Board) a spécifié que l'absence de remplacement du filtre à carburant à ce stade n'annule pas la garantie des dispositifs antipollution ni ne limite la responsabilité en matière de rappel avant l'expiration de la durée de vie utile du véhicule. Cependant, Ford recommande à tous d'exécuter les services d'entretien périodiques selon les intervalles spécifiés et d'enregistrer au registre toutes réparations effectuées sur le véhicule.
Intervalles de vidange d'huile - climats chauds : si vous conduisez votre véhicule au Moyen-Orient, en Afrique du Nord, en Afrique subsaharienne ou dans d'autres régions où le climat est similaire en utilisant une huile homologuée par l'American Petroleum Institute (API), certifiée pour les moteurs à essence (marque de certification) de catégorie SM ou SN, l'intervalle normal des vidanges d'huile est de 8 000 km (5 000 mi).
Si aucune huile API de qualité SM ou SN n'est disponible, l'intervalle de vidange d'huile est de 4 800 km (3 000 mi).
Remplacement du filtre à air du moteur et du filtre à air de l'habitacle : l'exposition du véhicule à la poussière et à la saleté compromet la durée de vie utile du filtre à air du moteur et du filtre à air d'habitacle. Dans ces conditions, vérifiez régulièrement le filtre à air du moteur et le filtre à air d'habitacle et remplacez-les au besoin.
FICHE DE REMPLACEMENT DU LIQUIDE DE REFROIDISSEMENT DU MOTEUR
| Première vidange | Six ans ou 160 000 km (100 000 mi) (selon la première évitalité) |
| Après la première vidange | Chaque trois ans ou 80 000 km (50 000 mi) |
Journal des vidanges du liquide de refroidissement du moteur
| CERTIFICATION DU CONCESSIONNAIRE : | CERTIFICATION DU CONCESSIONNAIRE : | ||
| Code PA : | Code PA : | ||
| N° RÉP. : | HEURES : | N° RÉP. : | HEURES : |
| DATE : | KILOMÉTRAGE : | DATE : | KILOMÉTRAGE : |
| CERTIFICATION DU CONCESSIONNAIRE : | CERTIFICATION DU CONCESSIONNAIRE : | ||
| Code PA : | Code PA : | ||
| N° RÉP. : | HEURES : | N° RÉP. : | HEURES : |
| DATE : | KILOMÉTRAGE : | DATE : | KILOMÉTRAGE : |
| CERTIFICATION DU CONCESSIONNAIRE : | CERTification DU CONCESSIONNAIRE : | ||
| Code PA : | Code PA : | ||
| N° RÉP. : | HEURES : | N° RÉP. : | HEURES : |
| DATE : | KILOMÉTRAGE : | DATE : | KILOMÉTRAGE : |
ABS (voir Freins) 239
Accès à l'histoire des appels et au répertoire en cours d'appel 452
Accès au port USB et utilisation 533
Accès aux fonctions de menu de votre téléphone 454
Accès aux fonctions de votre menu source 481
Accès à votre calendrier 557
Activation du sonar de recul...246
Aération de l'habitacle 211
Affichage de la caméra de marche arrière 251, 566
Affichage des renseignements...133
Afficheur multimessage 133 messages d'avertissement 138, 146
Aide 575
Aide au stationnement 246
Ajout (jumelage) d'un téléphone 542
AM-FM 517
Ancrage de fixation 34
Antigel (voir Liquide de refroidissement) 337
Antipatinage 241
Antivol, alarme.98, 102 activation.98, 102 désactivation d'une alarme déclenchée.102
Appuietete 171
Assistance 911 466,557
Assistance à la clientèle 305 commande de documentation supplémentaire 318 entretien et service
après-vente 311
programme de médiation et d'arbitrage 315
programme d'entretien prolongé Ford 416 service de dépannage 305
Association de votre téléphone. 541
Association initiale de votre téléphone 448, 541
Avertisseurs (voir Témoins et carillons).....126
Avis 557
Batterie 349
de rechange, caractéristiques 410
électrolyte, premiers soins...349
entretien 349
sans entretien 349
survoltage 307
Boîte de vitesses automatique, vérification du niveau d'huile et appoint....344
interverrouillage du levier sélecteur 227
Boîte de vitesses automatique avec surmultiplication, conduite 224
lubrifiant, appoint 344
lubrifiant, contenances 407
Lubrifiant prescrit 407
lubrifiant, vérification du niveau 344
Selectshift (boîte de vitesses automatique à double mode de sélection) 225
Boîte-pont huile, contenances 407
Boîte-pont lubrifiant prescrit 407
Boîtier de distribution électrique (voir Fusibles) 321
Bouchon de réserve de carburant (voir Remplissage du réservoir de carburant) 217
Bougies, caractéristiques 406,410
Bouton-poussoir de démarrage...205
Calendrier d'entretien périodique : liste des tâches d'entretien périodique normal 621
Capot 333
Capteur de poids de l'occupant 59
Carburant bouchon 217 choix du carburant approprié 215
contenance 407
filtre, caractéristiques... 349, 410
goulot de remplissage 215 indice d'octane 215, 406
interrupteur automatique de pompe d'alimentation 307 panne sèche 215
qualité 214
Remplissage du réservoir 217 Sécurité 213
Carte SD 441,533,581
Catégories de points d'intérêt (PI) 583
CD 422, 428, 430
Ceintures de sécurité (voir Dispositifs de retenue) 43, 47
Chaîne audio (voir Radio) 422, 428, 430
Chargement du véhicule 281
Chauffage 158, 160, 162
Chauffe-moteur 211
Choix de votre source média (USB, entrée de ligne, audio BT) 481
Clés 71,98 positions du commutateur d'allumage 205
Clignotants 115
Climatisation 158 Chauffage-climatisation à commande manuelle 158
Commande de stabilité 243
Commandes vocales de la radio 524
Commandes vocales de la radio satellite SIRIUS 527
Commandes vocales de navigation 592
Commandes vocales de SIRIUS Travel Link 555
Commandes vocales de Telphony 547
Commandes vocales du lecteur CD 532
Commandes vocales du système de chauffage-climatisation 580
Commandes vocales en mode média 478
Commandes vocales en mode téléphone 449
Commutateur d'allage 205,406
Composition et réception des appels 542
Conditions particulières de conduite 229, 232, 235
Nappes d'eau profondes 234,302 Neige et verglas 236
sable 233
Conduite à travers des nappes d'eau 302
Conduite hors-route avec une transmission intégrale (AWD) 230
Configuration 563
Configuration de la montre 422, 563
Conseils de sécurité 443, 507
Console 201 arrière 201
au pavillon 203
Contenance des réservoirs... 407
Contenances 407
Contrôle dynamique de stabilité 243
Contrôle et entretien du circuit de diagnostic embarqué (OBD II) 223
Courroie d'entraînement 406
Cric 397
positionnement 397
rangement 397
Défauts portant atteinte à la sécurité, déclaration 319
Définir une destination 581
Dégivreur 158, 160, 162 lunette arrière 167
Dégivreur de lunette arrière 158, 160, 162
Demarrage 206
Démarrage survoltge 307
Démarrage du véhicule bouton-poussoir de démarrage 205
Dépannage 305 panne sèche 215 survoltage 307
Direction assistée 278, liquide, caractéristiques 407, contenances 407
Dispositif antilouvoiement de remorque 290
Dispositif d'alerte de circulation transversale 268
Dispositif de retenue supplémentaire sac gonflable latéral 57,64
Dispositif de rideaux gonflables latéraux 65
Dispositifs antipollution 220
Dispositifs de retenue - ancrage de fixation 34
Dispositifs de retenue supplémentaires (SRS) (voir Sachs gonflables) 57
DVD cartographique - Chargement et éjection 542
Eclairage d'ambiance 565-566
Écoute de musique 515
Écrous de roue 405
Enregistrement des données d'événement 14
Entrée AV 441,537
Entrée sans clé clavier 95
Entrée sans clé : programmation d'un code d'accès 95
Entrée sans clé verrouillage automatique.....89
Entrée sans clé : verrouillage et déverrouillage des portes 97
Entrée sans clé à télécommande éclairage à l'entrée 90 replacement des piles 72 verrouillage et déverrouillage des portes 86-87
Entretien des ceintures de sécurité 53
Envoi de nouveaux messages texte 544
Essuie-glace et lave-glace 109 remplacement des balais d'essuie-glace 352-353 vérification du niveau etappoint 349
Étiquette d'homologation du véhicule 411
Feux éclairage intérieur 116 feux de croisement 112 remplacement des ampoules.357 tableau de remplacement des ampoules.362
Feux de détresse 307
Filtre d'arrimage 280
Filtre à air 353-354, 410
Filtre à air, habitacle 167
Fonctions d'aide à la navigation 581
Fonctions de l'écran tactile (chauffage-climatisation) 577
Freinage antiblocage (voir Freins) 239
Frein de stationnement 240
Frein d'urgence (voir Frein de stationnement)...240
Freins 238 antiblocage 239 de stationnement 240 interverrouillage du levier sélecteur 227 liquide, contenances 407
liquide prescrit 407 lubrifiant prescrit 407 remorque 294 témoin de frein 239 témoin du freinage antiblocage (ABS) 239 vérification du niveau etappoint du liquide de frein....348 Fusibles 320-321
Galerie porte-bagages 280
Gaz d'échappement 210
Glaciere 201
Gonflage des pneus 384
Hayon 91-92
Hayon à commande électrique............92
HD RadioTM 519
Huile moteur caractéristiques 407 contenances 407
Filtre, caractéristiques 410
jauge d'huile 336 vérification du niveau et appoint 336
Icones cartographiques 589
Indicateurs 125-126 compteur journalier 137 compteur kilométrique 137
Indice d'octane 215
Information sur la prise en charge des lecteurs, formats de média et métadonnées 536
Jauge huile moteur 336
lubrifiant de boîte de vitesses automatique 344
Jumelage de téléphones additionnels 448, 542
Lecteur de disques compacts 420,531
Lecture de la musique (par artiste, album, genre, liste d'écoute, piste, musique similaire) 484
Les options du menu Avancés (messages-guides, langues, valeurs par défaut, réinitialisation complète, installation d'applications).....464
Lève-glaces à commande électrique 117
Lève-glaces à commande électrique 117
Licence d'utilisation 594
Limite de charge 281
Liquide de refroidissement 337 caractéristiques 407 contenances 407 vérification du niveau et appoint 337
Liquide de refroidissement à protection totale 342
Liquide lave-glace 349
Lubrifiants prescrits 407
Lunette arrière, essuie-glace et lave-glace 111
Messagerie textuelle (envoyer, télécharger, supprimer)...457, 459
Messages textuels 456, 544
Miroir de courtoisie éclairé sur pare-soleil 122
Mise en garde d'un appel et récapitulation 452
Mises à jour des cartes 591
Mode d'affichage de carte....588
Module de commande de frein de remorque - intégré 295
Montre 422,563
Moteur 406 circuit de refroidissement à protection totale 342
commande de ralenti 349
contenances 407
Huiles moteur prescrites 407
liquide de refroidissement...337
nettoyage 365
points d'intervention 335
MyKey 79
Nettoyage de l'écran tactile....507
Nettoyage du véhicule 363 balais d'essuie-glace 366 compartiment moteur 365
intérieur 367
lavage 363
lustrage 365
Pièces en plastique 364
planche de bord 368
roues 369
Numéro d'identification du véhicule (N. I. V.) 410
Options de menu en cours d'appel 452
Options du menu Avancés 464, 491
Options du menu Multimédia Bluetooth (ajouter, brancher, supprimer ainsi qu'activer/désactiver) 489
Options du menu Téléphone compatible Bluetooth (ajouter, brancher, supprimer ainsi qu’activer/désactiver) 462
Ordinateur de voyage 137
autonomie 137
Distance parcourue 137
température extérieure 137
Touche de remise à zéro du compteur journalier (TRIP/RST) 137
Ouvre-portegarage 192
Paramétrage d'une destination par commande vocale 582
Paramètres d'affichage 564
Phares alignement 355 ampoules, caractéristiques...362
feux de croisement 112
feux de route 112
Remplacement des ampoules 357
Pièces Motorcraft® 363, 410
Pièces (voir Pièces Motorcraft®) 410
Planche de bord nettoyage 368 - Tableau de bord 126
Pneu de secours (voir Remplacement d'un pneu)....400
Pneus 375-376, 397
écran, d'affichage du
compas 137
entretien 375
étiquettes 384
géométrie 390
Hiver et chaînes 392
Indices de qualité des pneus 376
Mesures de sécurité 390
permutation 391
remplacement 388, 397, 400
renseignements présents sur les flancs 378
roue secours 398
témoin d'usure 376,387
Terminologie 377
vérification de la pression....386
Point d'intérêt (PI) 583
Port USB 440-441,533
Préférences cartographiques...586
Préférences des bulletins de circulation routière 586
Préférences d'itinéraire 586
Prise d'alimentation 198
Prise de courant auxiliaire...198
Prise d'entrée auxiliaire 528
Prise d'entrée auxiliaire (entrée auxiliaire) 439
Programmateur de vitesse de croisière 257
Programmation du contrôle parental MyKey 79
Programmation du véhicule de parc MyKey 79
Radio 422, 428, 430
Radio par satellite SIRIUS® 422, 525
Rapport sur l'état du véhicule 469, 561
Réception d'un message texte 456,545
Réception radio 420
Recommandations concernant la fixation des dispositifs de retenue pour enfant 28
Recomposition 454
Reconnaissance vocale 511
Réfrigérateur 201
Réglage de la température (voir Chauffage ou Climatisation)....158, 160, 162, 577
Réglage de la température (voir Climatisation ou Chauffage) 158
Réglages du système 567
Réglages du téléphone....546, 571
Régulateur de vitesse adaptatif 259
Rehausseurs 26
Relais 320-321
Relier deux appels (conférence téléphonique) 452
Remorquage 289, 298-299 module de commande de frein de remorque - intégré..295 remorquage du véhicule 298 traction d'une remorque 289 véhicule de loisir 299
Remorquage par une dépanneuse 298
Remplacement d'un pneu...397
Renseignements sur la confidentialité 444, 509
Rétroviseurs 118, 121 à mémoire programmable 74
Rétroviseurs extérieurs à commande électrique 118
Rétroviseurs rabattables 119
Rétroviseurs à commande électrique 118
Régulation automatique de la température à deux zones 160, 162
Rideau gonflable latéral.65
Sacs gonflables 57
côté conducteur 57
côté passager 57
description 57
Mise au rebut 69
sièges d'enfant 59
Sécurité enfants 40
Serrures portes : 86 verrouillage automatique : 89
Serrures à commande électrique 86
Services d'entretien SYNC® 472, 549
Services d'information sur les conditions de la circulation, les itinéraires et les renseignements 472
Sièges 182 chauffants 178-179 commande de la température 181
Sièges recul automatique 178
Sièges à mémoire 74, 177
Sièges sièges avant 174-175, 180 sièges d'enfant 27-28 sièges du deuxième rang 182, 186 sièges du troisième rang 186-187, 189
Sièges arrêtés chauffants 179
Sièges d'enfant 27-28 boucle de verrouillage 34 mode de blocage automatique (enrouleur) 44
Sièges d'enfant - rehausseurs....26
Sièges rabattables à commande électrique de deuxième rangée 183
Sièges rabattables à commande électrique de troisième rangée 189
SIRIUS Travel Link 553
Sonar de recul 245
Soutien à la clientèle SYNC®.443
Survoltage 307
Système d'entrée sans clé SecuriCode 94
Système antidémarrage Securilock 98
Système d'alerte après collision 57
Système d'accélération de collision 274
Système de clé intelligente....72
Système de données du dispositif de surveillance des angles morts 268
Système MyFord Touch™.....503
Systèmes de retenue.....43-44, 47 capteur de poids de l'occupant.....59
Ceinture de sécurité gonflable 51
entretien des ceintures de sécurité 53
pour adultes 43-44 pour enfants 27-28
rallonge 47
Rappel de bouclage des ceintures de sécurité 48 Témoin et carillon 48
Systèmes de retenue pour infant 34, 36
Tableau des lubrifiants prescrits 407
Tapis 303
Télécommande sans fil Homelink® 192
Témoins et indicateurs 126
Temporisation d'alimentation des accessoires 118
Toit ouvrant 123
Touches rapides 590
Types de fichiers multimédias compatibles 536
Unité de congélation 201
Utilisation des commandes vocales 512
Utilisation du mode de confidentialité 452
Utilisation d'un téléphone cellulaire 18
Véhicules à quatre roues motrices, conduite tout-terrain 231
Volant 103 Commandes 105 Inclinable 103
Volant chauffant 577 Volant inclinable 103
Notice Facile