BRZ (2020) - Automobile SUBARU - Notice d'utilisation et mode d'emploi gratuit
Retrouvez gratuitement la notice de l'appareil BRZ (2020) SUBARU au format PDF.
| Type d'appareil | Système multimédia automobile |
| Fonction principale | Navigation et connectivité |
| Version du logiciel | 7.0 |
| Compatibilité véhicule | Modèles compatibles Subaru |
| Écran | Non précisé |
| Connectivité | Bluetooth, USB, Wi-Fi |
| Commandes vocales | Oui |
| Navigation GPS | Intégrée |
| Applications intégrées | Non précisé |
| Audio | Radio, musique en streaming |
| Compatibilité smartphone | Oui |
| Mises à jour | Via internet ou USB |
| Langues disponibles | Multilingue |
| Assistance | Manuel utilisateur fourni |
| Année modèle | 2020 |
FOIRE AUX QUESTIONS - BRZ (2020) SUBARU
Questions des utilisateurs sur BRZ (2020) SUBARU
0 question sur cet appareil. Repondez a celles que vous connaissez ou posez la votre.
Poser une nouvelle question sur cet appareil
Téléchargez la notice de votre Automobile au format PDF gratuitement ! Retrouvez votre notice BRZ (2020) - SUBARU et reprennez votre appareil électronique en main. Sur cette page sont publiés tous les documents nécessaires à l'utilisation de votre appareil BRZ (2020) de la marque SUBARU.
MODE D'EMPLOI BRZ (2020) SUBARU
Système multimédia navigation 7,0 po SUBARU STARLINK®
MANUEL DU PROPRIÉTAIRE
BRZ
2020
Avant-propos
On trouveradansce supplementunepresentationetunmode d'emploi detailles pour les systemes suivants.
- Systeme de navigation
- Systeme audio et visuel
- Systeme mains libres
APPLIS
Si votre vehicule est muni de l'un de ces systemes, veillez bien a vérifier le contenu de ce supplément.
Si le proprietaire du vehicule change, veillez bien a fournir ce supplement avec le Manuel du proprietaire a l'interieur du vehicule. Les informations, les specifications et les illustrations figurant dans ce supplement sont valides au moment de sa publication. SUBARU CORPORATION se reserve le droit de modifier les specifications et les concepts a tout moment sans avis prealable et sans devoir apporter ces modifications, qu'elles soient identiques ou similaires, aux vehicules deja vendus.
Ce supplement du Manuel du proprietaire s'applique a tous les modeles et徹t tous les dispositifs, notamment les options installees en usine. Cela signifie que des informations peuvent y etre comprises et concerner des dispositifs qui ne figurent pas dans voitre vehicule.
SUBARU
STARLINK
SUBARU STARLINK est le «in-car connectivity system» (système de connectivité embarqué) disponible sur une sélection de vehicules Subaru.
«SUBARU» et le logo aux six étoiles sont des marques déposées de SUBARU CORPORATION.
1 Guide Rapide
2 Fonctions De Base
3 Paramètres
4 Telephone
5 Applis
6 Audio
7 Système De Navigation
8 Siri/Système De Reconnaissance Vocale
9 Annexe/Que Faire Si/Index
·Type De Systeme... 12 · Principales Caracteristiques Du Produit... 14 · Boutons D'aperçu... 16
- Écran D'accueil... 17 - Commandes Au Volant... 28
- Informations De Base Avant L'utilisation... 30 - Caméra De Recul... 39
· Enregistrement D'un Appareil Audio Bluetooth Pour La Première Fois... 48 · Enregistrement D'un Telefoné/Periphérique Bluetooth... 52
- Paramètres Généraux... 59 - Paramètres Du Son... 72
· Appel Sur Le Telefone Bluetooth... 80 · Réception Sur Le Telefone Bluetooth... 84
· Parler Avec Le Telefonique Bluetooth... 85 · Fonction De Message Telefonique Bluetooth... 87
·SUBARU STARLINK... 97 ·aha™... 102 · Pandora®*... 106 ·Apple CarPlay... 109 ·Android Auto... 111
SiriusXM Travel Link... 113
· Fonctionnement De Base... 118 · Fonctionnement De La Radio... 122 · Fonctionnement Media... 139
- Telecommande Audio... 148
· Fonctionnement De Base... 156 · Recherche De Destination... 165 · Guide D'itinéraire... 173 · Configuration... 180
Mises A Jour De La Carte SUBARU.... 184
· Siri... 194 · Fonctionnement Du Systeme De Reconnaissance Vocale... 197
·Résolution Des Problèmes... 212 ·Index... 229
*: Pandora n'est disponible que dans certains pays. Veuillez consulter pandas.com/legal pour plus d'informations.
INTRODUCTION
INTRODUCTION
Les symboles décrites ci-dessous figurent dans ce mode d'emploi ainsi que sur l'appareil lui-même afin de garantir une utilisation correcte et en toute sécurité, et afin d'éviter des blessures ou des dommages matériels. Assurez-vous de bien comprendre le sens de ces symboles avant de dire la suite de ce manuel.
À LIRE EN PREMIER
Nous vous recommendons d'attendre jusqu'à ce que le positionnement se stabilise avant de commencer à conduire.
Si vous commencez à conduire alors que le positionnement ne s'est pas terminé, la position indiquée peut varier par rapport à la position réelle du vehicule.
Les écrans illustrés dans ce manuel peuvent différer des écrans réels selon le type de données, ou lorsque les données de la carte sont créées.
Lorsque les cartes sont créées, des enquêtes géographiques sont menées et des informations sur des améliorations et des réouvertures de routes sont collectées pour fournir les informations les plus précises possibles. Toutefois, les modifications de routes, des noms de lieux et des établissements peuvent être effectuees à n'importe quel moment. Par consequent, nous ne pouvons pas garantir que les données de la carte ne contiennent pas d'erreurs sur les positions de route, les configurations et les noms, ou quant aux noms des établissements.
Les informations contenues dans ce mode d'emploi qui doivent être suivies pour l'appareil, et les informations utiles sont indiquées comme suit.

AVERTISSEMENT
- Ce symbole indique une situation dans laquelle une manipulation incorrecte ne tenant pas compte des informations écrites pourrait entraîner la mort ou de graves blessures.

ATTENTION
- Ce symbole indique une situation dans laquelle une manipulation incorrecte ne tenant pas compte des informations écrites pourrait entraîner des blessures ou des dommages matériels.
REMARQUE
- Les informations utiles pour l'utilisateur sont décrites.
Veillez à litre attentivement toutes les informations, comme les garanties et les manuels fournis avec ce produit. SUBARU CORPORATION n'est pas responsable des problèmes susceptibles de survenir si ces instructions ne sont pas suivies. - Les modifications apportées aux specifications du produit peuvent entraîner des différences entre le contenu de ce manuel et les caractéristiques de l'appareil.
SYMBOLES UTILISÉS DANS LES ILLUSTRATIONS
Symbole de sécurité

Le symbole du cercle barré signifie «Ne pas», «Ne pas faire cela» ou «Ne pas laisser cela se produit».
Flèches indiquant des opérations


Ceci indique l'action (appuyer, tournier, etc.) utilisé pour manoeuvrer les boutons et autres commandes.
PRECAUTIONS D'UTILISATION
AVENTISSEMENT
- L'appareil principal a besoin d'une source d'alimentation de 12 V CC. L'appareil principal ne doit pas etre instalé dans un vehicule qui n'est pas équipèd'un système d'alimentation 12 V avec un cote négatif mis à la terre. Une installation autre que cette prévue risque de causer de graves dommages à l'appareil principal, et une électrocution ou des blessures graves aux utilisateurs.
- Meme lorsque vous utilisez le guide d'itinétaire sur le système de navigation, veillez à conduire en suivant les règlementations routières réelles. Si vous conduisez uniquement en suivant le guide d'itinétaire sur le système de navigation, vous risquez de violer les règlementations routières réelles et de provoquer un accident.
Pour assurer la sécurité, le conducteur ne doit pas faire fonctionner le système de navigation pendant la conduite. L'utilisation du système de navigation lors de la conduite pourrait provoquer une opération accidentelle du volant ou un accident. Arrêtez le vehicule avant d'utiliser le système de navigation. De même, ne pas regarder l'écran pendant la conduite car cela pourrait être dangereux (ETC). Ne pas préter attention à l'état de la route peut provoquer un accident. -
Le conducteur ne doit pas tenter d'effectuer des opérations telles que le réglage du volume pendant la conduite. Ne pas faire attention à l'état de la route peut provoquer un accident, par conséquent, voirlez à arrêter le vehicule dans un endroit sur avant d'effectuer l'opération.
-
Le conducteur ne doit jamais tenter d'effectuer des opérations telles que l'avout d'un emplacement ou le réglage de la mémoire pendant la conduite. Ne pas fait attention à l'état de la route peut provoquer un accident, par conséquent, voirlez à arrêter le vehicule dans un endroit sur avant d'effectuer l'opération.
- Avant la lecture d'une video, veillez à arreter le vehicule dans un endroit sur et mettez le frein de stationnement. Pour assurer la sécurité, les videos ne s'affichent pas pendant la conduite.
- Pour des raisons de sécurité, n'utilise jamais un téléphone portable en conduisant.
- Ne pas démonter ni modifier l'unité. Cela pourrait provoquer un accident, un incendie ou un chocoléctique.
- Ne pas laisser de l'eau ou des corps étrangers pénétre dans les parties internes de l'appareil. Cela pourrait provoquer une émission de fumée, un incendie ou une electrocution.
N'utilise pas l'appareil lorsqu'il ne fonctionne pas correctement, par exemple lorsque I'écran ne s'allume pas ou qu'aucun son ne sort. Cela pourrait provoquer un accident, un incendie ou un chocoléctrique. - Toujours remplacer les fusibles avec des fusibles de même capacité spécifiée (intensité). L'utilisation d'un fusible d'une capacité supérieure à celle des specifications peut provoquer un incendie.
-
Si un corps étranger ou de l'eau pénétre dans l'appareil, de la fumée ou une odeur inhabituelle peuvent être émis. Si une telle anomalie se produit, arrêtez immédiatement d'utiliser l'appareil et contactez votre concessionnaire SUBARU. Un accident, un incendie ou un choc électrique risquent de se produit si vous continuez à utiliser l'appareil dans ces conditions.
-
Lors d'un orage, ne touchez pas la ligne de l'antenne ou l'appareil. La foudre peut provoquer un choc électrique.
- Évitez de vous arrêté ou de stationner dans des zones interdisant l'utilisation de l'appareil.
- Si la lumière directe du soleil illumine l'intérieur du vehicule, elle risque de se reflérer sur le produit. Faire très attention pendant la conduite.
- Ne jamais utiliser un casque ou des écouteurs pendant la conduite. Conduire sans être capable d'entendre lessons à l'extérieur de votre vehicule est susceptible d'entrainer un accident de la route.
ATTENTION
- Bien que l'appareil puisse être utilisé lorsque le contacteur d'allumage est réglé sur la position «ACC» ou «ON», pour protégger la batterie, démarrez le moteur avant d'utiliser l'appareil.
- N'utilise pas l'appareil ailleurs que dans un vehicule. Vous risqueriez de provoquer une électrocution ou d'autres blessures.
- Pendant la conduite, maintenez le volume suffisamment faible pour que vous puissiez entendre les bruits extérieurs. Conduire sans être capable d'entendre lessons à l'extérieur de votre vehicule est susceptible d'entrainer un accident.
- Faites attention au volume lors de la mise sous tension. Si un bruit fort sort subitement lors de la mise sous tension, ceci risque d'endommager votre audition.
-
Ne pas appliquer une pression trop forté sur l'affchage. Sinon, vous risquez d'être responsable d'un fonctionnement défectueux.
-
Ne touche pas les parties chaudes de l'appareil. Les parties chaudes peuvent provoquer des brûlures.
N'utilisez pas l'appareil lorsqu'il y a une anomalie telle que la distorsion ou l'interruption du son. Cela pourrait provoquer un incendie.
L'utilisation de l'appareil pendant une très haute ou basse température peut résultat en une opération accidentelle ou un mauvais fonctionnement. En particulier, la température à l'intérieur du vehicule peut souvent augmenter à un niveau élevé pendant l'éte. Refroidissez le vehicule, par exemple par l'ouverture d'une vitre, avant d'utiliser l'appareil. - Faites attention si du métal ou de l'eau penètre dans l'appareil, ou si l'appareil est soumis à un impact important, car ceci pourrait provoquer un dysfonctionnement.
- Appuyez sur les boutons à l'écran peut ne pas fonctionner correctement si de la condensation se forme à l'intérieur. Si cela se produit, ne pas tenter d'actionner les commutateurs jusqu'à ce que la condensation ait disparu.
- Si du jus ou autre liquide est renversé sur l'affichage, essuyer immédiatement. Le non-respect de cette instruction peut entraîner un dysfonctionnement de l'appareil.
L'écran est facilement marqué par des empreintes et a tendance à attirer la poussière, et doit donc être nettoyé régulièrement. Lors du nettoyage, coupez l'alimentation et essuyer légarement avec un chiffon doux et sec. Pour enlever la saleté, trempez un chiffon doux dans un détergent neutre et presssez-le avant de nettoyer. N'utilise pas de serpillière mouillée, de solvants organiques (benzène, diluant, ethanol etc.), d'acides ou d'alcalis. L'utilisation de ces produits endommage l'écran. En outre, ne pas frapper l'écran ou le frottier avec des objets durs.
REMARQUE
- SUBARU CORPORATION n'est pas responsable de tous dommages à l'acheteur ou à des tiers qui se produit suite à l'utilisation des données de la carte.
- Nous ne sommes pas en mesure de fournir un remboursement ou un remplacement pour toute erreur au niveau de l'affichage et du contenu des données de carte, comme des fautes d'orthographe, des omissions ou des positions mal alignées.
- SUBARU CORPORATION n'offre aucune garantie que les fonctions inclues dans les données de la carte seront appropriées aux objectifs spécifiques de l'acheteur.
- Les fonctions qui ne peuvent pas etre utilisées pendant la conduite ont leurs couleurs attenuées lorsque le vehicule est en marche, et leur fonctionnement est désactiver. Toucher un bouton désactiver peut entrainer l'affichage d'un message à l'écran signalant une opération interdite.
Lorsque vous utilisez l'appareil pour la première fois après I'avoir acheté, ou après que la batterie a ete retiree pendant un long moment, la position actuelle peut ne pas s'afficher correctement. Attendez un peu jusqu'à ce que le positionnement GPS corrige la position affichee. - Ce dispositif est un équipement de précision et les données enregistrées peuvent être perdues, en raison de l'électricité statique, des parasites électriques, des vibrations ou d'autres facteurs. Pour protéger l'appareil contre la perte des données, nous vous recommendons de garder un enregistrement séparé des données que vous enregistrez après l'achat.
L'écran peut être affecté ou brouillé par le bruit électrique si un apparilélectricquigénére unpuissant bruit électrique est utilisé àproximé du système. Dans ce cas, maintenez l'équipement électrique à distance, ou ne l'utilisez pas.
REMARQUE
L'affichage peut être plus brillant lorsqu'la température est bassé, ou immédiatement après le démarrage du moteur, cependant, il s'agit d'une caractéristique des éléments DEL, et cela n'indique pas un dysfonctionnement. L'affichage revient à sa luminosité d'origine lorsqu'l'habitacle du vehicule se réchauffe.
Lorsque vous regardez l'écran à travers un matériel polarisé comme des lunettes de soleil polarisées, l'écran peut devenir souvent et difficile à voir. Si tel est le cas, regardez l'écran à partir de différents angles, ajustez les réglages de l'écran à partir des paramétrages généraux de l'écran ou retirez vos lunettes de soleil.
- Il peut être difficile de voir l'écran si l'affichage est exposé à la lumière du soleil selon un angle génant.
L'écran LCD risque de ne pas fonctionner normalement s'il est recouvert d'un film de protection. Ne posez pas de film de protection.
Le panneau tactile pourrait fonctionner de manière incorrecte ou ne pas répondre s'il est utilisé avec autre chose que les doigts (ongles, utilisation lorsque vous portez des gants, stylos, etc.)
Si le système fonctionne de manière inattendue comme en seLECTIONnant une zone autre que celle touchée, ou en ne répondant pas lorsqu'il est touché, il est possible qu'un autre doit ou qu'une autre partie de la main soit en contact avec l'affichage.
- Des rayures sur la surface de l'écran du système sont facies à remarquer et le système doit donc être manipulé avec soin.
INSTRUCTION DE SECURITÉ

Caution
Pour utiliser ce système de la manière la plus sure possible, suivez tous les conseils de sécurité présentés ci-dessous.
Ce système est conçu pour aider à atteindre une destination, et s'il est utilisé correctement, c'est ce qu'il fait. Le conducteur est seul responsable du fonctionnement en toute sécurité de son vehicule et de la sécurité des passagers.
N'utilise aucune caractéristique de ce système comme une distraction, car cela risque d'empêcher une conduite en toute sécurité. La première priorité pendant la conduite doit toujours être le fonctionnement sécurisé du vehicule. Pendant la conduite, s'assurer de respecter toutes les règlementations routières.
Avant l'utilisation effective de ce système, apprendre à l'utiliser et se familiariser parfaitement avec celui-ci. Lire entièrement le manuel pour s'assurer de bien comprendre le système. Ne pas permettre à d'autres utilisateurs d'utiliser ce système jusqu'à ce qu'ils aient bien lu et compris les instructions de ce manuel.
Pour votre sécurité, certaines fonctions ne peuvent pas etre utilisées lorsque vous etes au volant. Les touches inutilisables sont asombries a I'ecran. La selection de la destination et de l'itinéraire peut etre faite uniquement lorsque le vehicule n'est pas en mouvement.

AVERTISSEMENT
Pour des raisons de sécurité, le conducteur ne doit pas faire fonctionner ce système lorsqu'il conduit. Un manque d'attention par rapport à la route et au traffic risque de provoquer un accident.
- Pendant la conduite, s'assurer de respecter les règlementations de traffic et de faire attention aux conditions de la route. Si un panneau routier a été changé, le guide d'itinéraire peut ne pas avoir des informations à jour, comme le sens d'une voix à sens unique.
Pendant la conduite, écoutez les instructions vocales autant que possible et regardez l'écran brièvement et uniquement si cela est absolument sans danger. Toutefois, ne pas se fier totallyment au guidage vocal. N'utilise qu'à titre de référence. Si le système n'arrive pas à déterminer la position actuelle correctement, il existe une possibilité que le guide soit incorrect, tardif ou ne fonctionne pas avec la fonction vocale.
Les données du système peuvent parfois etre incomplètes. L'état de la route, y compris les restrictions de conduite (impossible de tourner à gauche, rues fermées etc.) change fréquement. Par conséquent, avant de suivre toute instruction du système, vérifie qu'elle puisse etre suivie en toute sécurité et légalement.
Ce système peut ne pas avertir des choses telles que la sécurité d'une zone, l'etat des rues et la disponibilité des services d'urgence. En cas de doute concernant la sécurité d'une zone, ne conduisez pas dans cette zone. Ce système n'est enaucun cas un substitut au jugement personnel du conducteur.
Utilisez le système uniquement dans des endroits où cette utilisation est légale. Certains États/provinces peuvent avoir des lois interdisant l'utilisation des écans video et de navigation à côté du conducteur.
Lors du réglage du téléphone/periphérique Bluetooth
4. Sélectionné ne le téléphone/perpéhérique Bluetooth souhaïte.
5. Sélectionnez l'élément à régler.

| N° | Fonction | Page |
| 1 | Connexion ou déconnexion des téléphones/ péripériques Bluetooth | 54 |
| 2 | Suppression des téléphones/péripériques Bluetooth | 56 |
| 3 | Téléchargement du réglage du réseau | 57 |
| 4 | Réglage de la priorité de la connexion automatique | 58 |
REMARQUE
L'écran des réglages du téléphone peut également être affiché en scéléptionnant [Change Device] (Changer d'app.) sur l'écran d'apercu du téléphone ( P.76) ou l'écran de fonctionnement audio Bluetooth ( P.144).
ENREGISTREMENT D'UN TÉLÉPHONE/PERIPHÉRIQUE Bluetooth
Jusqu'a 5 téléphones/periphériques Bluetooth peuvent être enregistrées.
Les téléphones (HFP) et les périhèques (AVP) Bluetooth compatibles peuvent être enregistrées simultanément.
Cette operation est impossible pendant la marche du vehicule.
- Affichez I'ecran de reglages du téléphone. ( P.51)
- Sélectionnez Add Device (Ajouter un apparéil).

- Si un message s'affiche, suive les instructions à l'écran.
1
2
3
| N° | Nom | Description |
| 1 | Description du fonctionnement | Une presentation générale du fonctionnement est donnée. |
| 2 | Opérations principales | Les étapes d'une opération sont expliquées. |
| 3 | Informations complémentaires | Ceci décrit des informations supplémentaires concernant le fonctionnement principal. |
- Lorsqu'un bouton du tableau doit être sélectionné, les noms de boutons s'affichent comme 000.
- Lorsqu'un bouton tactile de l'écran doit être sélectionné, les noms de boutons s'affichent comme
Guide Rapide

Type De Système 12
Principales Caracteristiques Du Produit 14
Fonctions De Base 16
Boutons D'aperçu 16
Écran D'accueil 17
Ce manuel décrit la méthode de fonctionnement pour l'audio affichage de l'écran tactile 7 pouces avec système de navigation.

Écran tactile 7 pouces
FONCTIONS PRINCIPALES
| Fonction | Page |
| Couplage (Bluetooth 3.0) | 18 |
| Système de navigation | 20 |
| Applis | 24 |
| Apple CarPlay | 109 |
| Android Auto | 111 |
| Radio AM / FM | 22 |
| HD Radio receiver | 124 |
| Satellite radio SiriusXM® | 128 |
| Fonctionnement média | USB:139 iPod:141 Audio Bluetooth:144 |
| Téléphone | 18 |
| Système de reconnaissance vocale | 197 |
| Commandes au volant | 28 |
| Caméra de recul | 39 |
PRINCIPALES CARACTERISTIQUES DU PRODUIT
Adoption de l'interface utilisateur graphique comme sur smartphone intuitif et facile à utiliser

DISPOSITION D'ÉCRAN D'EXPLOitation STANDARDISE POUR TOUTES LES FONCTIONS

Touches de commutation de mode, etc. Boutons de commande, etc.
Les boutons de commutation de mode sur la gauche et les boutons de commande sur la droite et en bas empêchent les utilisateurs de se perdre dans l'opération, quelles que soient les fonctions utilisées.
UTILISATION DES ÉCRANS POP-UP
Fermez l'écran pop-up pour revenir à l'écran d'origine

Les écrans pop-up sont utilisées à la place de la commutation de l'écran, ce qui empêche les utilisateurs de perdre l'écran actuel.
Affichage d'écran en vue facile de la carte
P.157
Les cartes apparaisent plus larges en réduisant au minimum les boutons affichés en permanence.

Touchez l'écran pour afficher les boutons cachés automatiquement.
Fonction de recherche de destination approximative
P.166
Lancez une recherche avec une variété de mots tels que les adresses, les noms des installations, les noms d'intersections ou la latitude/longitude.

Affiche la prédiction de recherche
Les résultats de recherche sont prediits et les candidats sont affichés, même si une partie des mots seulement est connue
- Les recherches peuvent même être réalisées avec plusieurs mots-clés.
Mise en page personalisée de l'écran d'accueil
P.37
Les fonctions et les opérations fréquement utilisées peuvent être ajoutées à l'écran d'accueil.


Example: Pour appeler des nombres de téléphone spécifique, écouter des stations de radio spécifique, etc.
La position des boutons peut etre modifie librement.

Couplage du système et du téléphone / péripérisque Bluetooth P.18
Des fonctions telles que le mode mains-libres et des applications peuvent etre utilisées au moyen de la connexion du système
avec des téléphones / péripérisque Bluetooth sans fil.



Apple CarPlay / Android Auto
La prise en charge pour Apple CarPlay et Android Auto permet l'accès aux fonctions telles que les cartes, les appels
teléphoniques et la musique.


P.109
P.111
FONCTIONS DE BASE
BOUTONS D'APERÇU
ÉCRAN TACTILE
Les opérations sont effectuées en touchant directement l'écran tactile avec le doigt. P.31

Faites glisser

Pincez

Tournez la molette pour régler le volume.

Appuyez sur le bouton pour activer/désactiver la sourdine du volume etmettre en pause la lecture de la mémoire cache de la radio et d'autres péripériques multimédia.
Appuyez et maintenez enforcé pour désactiver le système audio, et appuyez pour l'activer de nouveau. Appuyez et maintenez enforcé le bouton pendant 10 secondes au moins pour réinitialiser le système si l'écran tactile devient insensible pendant l'opération ou si une autre erreur du système se produit.

Affiche l'écran d'accueil
Raccourci vers chaque écran

«Radio»
P.22

«Carte»
P.20

«Applications»
P.24
Écran de fonctionnement audio:

Tournez la molette pour selectionner une station de radio ou passer à la piste / au fichier suivant ou precedent.

Appuyez et maintenez la molette pour afficher l'écran de réglages audio.
P.73
Écran d'affichage de liste:

Tournez la molette pour déplacer le curseur.

Appuyez sur la molette pour selectionner I'elément selectionné à l'aide du curseur.
ÉCRAN D'ACCUEIL

Les fonctions et les opérations fréquemment utilisées peuvent être ajoutées à l'écran d'accueil. P.37 La position des boutons peut être modifiée libre. P.38
Une icône CarPlay ou Android Auto s'affiche sur l'écran d'accueil en connectant un iPhone ou un périphérique Android au port USB.

Appelez ou envoyez un SMS à un favori enregistré P.82,91
Appelez ou envoyez un SMS à un contact récent P.82,91

Appelez ou envoyez un SMS à un contact du réseau du téléphone connecté Bluetooth P.83,91
Vérifiez ou répondez aux messages / passes des appels à partir de la liste des messages reçus P.89,90,91
Saisissez directement un nombre pour passer un appel P.83

- Opération de flux: Couplage du système à un téléphone / périphérique Bluetooth
-
- Opération de flux: Émission d'appels / Envoi de messages à partir du réseau -
Sélectionnez le destinataire de l'appoint à partir du repertoire.


S'il s'avère impossible de sélectionner le bouton, il se peut que le réglage du téléchargement du réseau pour le téléphone Bluetooth soit coupé. P.57
Sélectionnez un message.

»Envoyez un message.

Sélectionnez le numéro pour l'émission d'essay / l'envoi de message.

Envoyez un message
Passez I'appeIe
L'écran d'appoint entrant s'affiche.

Suspendez l'essay
Passez un appel à trois voies
L'affichage de l'écran d'applé en cours et le fonctionnement peuvent être différents, ou peuvent ne pas être possibles en fonction du téléphone Bluetooth utilisé.

ÉCRAN «Map (Carte)»
Informations
routières activées / déactivées

Position actuelle deVFOTRE VEHICULE
(faisant face à la direction de déplacement)

CARTE DE POSITION ACTUELLE
Limitation de vitesse

Touchez l'écran pour afficher les boutons cachés automatiquement. P.157
Recherche des stations-service a proximite
Rue actuelle
Touchez le nom de la rue actuelle pour afficher les détails sur l'emplacement actuel, ce qui permet d'afficher l'emplacement que vous souhaitez enregistrer.

L'orientation de la carte peut être modifiée - entre 2D vers le nord, 2D vers le haut et 3D
P.159

Écran 2D vers le nord

Écran 2D vers le haut

Écran 3D

ÉCRAN DE GUIDAGE D'ITINÉRAIRE
Nom de la prochaine rue
Guidage d'itinénaire
Position actuelle
Distance jusqu'au prochain tournant et flèche indiquant le sens du tournant
Temps restant / distance restante / heures d'arrivée estimée
Recherche de destination
P.165
Guidage d'itinéraire
P.173
- Fonctionnement du flux: Guidage d'itinéraire -
Affichez le menu de recherche de destination.
Des destinations peuvent également être régles directement à partir de l'écran de la carte. P.166
Recherche également par POI ou destinations précédemment définies. P.167,168

» Recherchez votre destination.
Lancez une recherche avec une variété de mots tels que les adresses, les noms des installations, ou la latitude/ longitude, etc.
Les résultats de la recherche prédits apparaîront automatiquement lorsque vous tapez.
Sélectionnez votre destination.
Les destinations correspondant à la recherche des mots s'affichent dans une liste.
Sélectionnez le parcours.
Lorsqu'une recherche est effectuee, les résultats sont affiches pour les itinéaires les plus rapides, les plus courts, les plus économiques. P.171

Le guidage d'itinétaire commence.
L'itinétaire est affché, et le guidage vocal commence.

L'affichage de l'écran change automatiquement à l'affichage des voies de circulation aux jonctions d'autoroutes, etc. P.174
ÉCRAN DE JONCTION
RETOURNER AU DOMICILE
Si vous enregistrez une adresse en tant que Domicile, elle peut rapidement etre définie comme destination.
Enregistrez une adresse en tant que Domicile
Réglage du domicile comme destination
P.27
P.165

Changez de mode radio

Stations / chaînes prêrgées
Sélectionnez pour rechercher des canaux / stations que vous pouvez recevoir.
Sélectionnez pour activer / désactiver le mode HD Radio (AM / FM). P.124
PAUSE ET LECTURE RADIO EN DIRECT

Précedent
Suivant
Pause / lecture Programme actuel
Les émissions de radio peuvent être enregistrées temporairement et lues plus tard. P:126
- Flux de fonctionnement: Présélection d'une station de radio -
Sélectionnez la bande radio.

Un abonnement valide à SiriusXM® Satellite Radio est nécessaire pour la réception du service de radio satellite.
Sélectionnez la station de radio.


3 Appuyez pour rechercher une station / un canal.
Enregistrez la station de radio.

Selectionnez et maintenez enforcé l'un des boutons de I'écran.
Mélangez la fonction prédéfinie
Plusieurs stations
peuvent être
enregistrées comme
présections. (AM, FM ou SiriusXM®
Satellite Radio)
P.123,132

ÉCRAN «Media (Média)»
Lecture des plages et des programmes, etc. dans une grande variété de modes de lecture

MEDIA PRIS EN CHARGE
USB / iPod P.152
Audio Bluetooth P.49
- Flux de fonctionnement: Utilisation des modes de lecture -
>> Affichez la liste du mode de lecture.

>> Sélectionnez le mode de lecture.

En fonction de la source audio, plusieurs éléments de ces catégories sont affichés dans une liste.
Lecture d'une piste.

Lecture de toutes les plages à partir de la catégorie sélectionnée.
Lecture de la piste sélectionnée.

À PROPOS DE L'UTILISATION DES APPLICATIONS
Afin de pouvoir utiliser une application sur ce système, l'application correspondante doit être installée sur votre smartphone. P.94
Apple CarPlay ne nécessite aucune application à installer.

Pandora*

Pandora est une radio personalisée gratuite qui vous permet de découvertir et de profiter de la musique en continu et sans efforts. P.106
*: Pandora n'est disponible que dans certains pays. Visitez Pandora.com/legal pour plus d'informations.

ahaTM

aha™ est une application en nuage qui se connecte au système et vous permet d'acceder à votre contenu web favori en toute sécurité et facilement. P.102

SUBARU STARLINK

La fonction SUBARU STARLINK
permiet la liaison du système
avec un smartphone. P.97

Apple CarPlay

Carplay peut être utilisé pour visuaisier les cartes iPhone, jour de la musique, et passer des appels en connectant votre iPhone au système. Les applications prises en charge peuvent également être exécutées. P.109

Android Auto

Android Auto peut être utilisé pour visualiser les cartes Android, jour de la musique, et passer des appeals en connectant votre périphérique Android au système. Les applications prises en charge peuvent également être executées. P.111

SiriusXM Travel Link est un service fourni par SiriusXM® Satellite Radio, et peut être utilisé pour visualiser des informations sur le carburant, le sport, les actions boursières, et la météo.

Informations sur le carburant

Sports

Bourse

Méteo
P.113
Les informations météorologiques peuvent être visualisées par la liaison avec la fonction de navigation.

Informations relatives à la météo
Les informations relatives à la météo pour votre destination actuelle peuvent être affichées à l'écran de calcul de l'itinétaire.
P.171

Les informations météorologiques diffusées par des stations météo sur la route vers votre destination peuvent être visualisées pendant le guidage d'itinétaire. P.179
Un abonnement à SiriusXM Travel Link est requis.

ÉCRAN «Settings (Réglages)»

- Flux de fonctionnement: Création d'un profil de conducteur -
CREATION D'UN PROFIL DE CONDUCTEUR
Creez un profil de conducteur et enregistrez votre téléphone portable, votre adresse, etc.
Vou ave la possibilité de mémoriser et de rappeler les informations enregistrées à tout moment.

» Ajoutez un nouveau profil.




COMMANDES AU VOLANT
COMMANDES AU VOLANT
Certaines parties du système audio peuvent être contrôlées au moyen des commandes au volant. P.148
RADIO
Appuyez sur: Station/canal prédéfini haut / bas
Maintenez enforcé: Effectue un balayage et s'arrête sur la première station reçue lorsque la commande est relachée
MÉDIA
Appuyez: Changer la piste / le fichier
Maintenez enforcé: Avance rapide / retard rapide
Appuyez sur le bouton pour changer les sources audio entre les modes radio et média.
Appuyez sur le commutateur du téléphone pour receivevoir/terminer un appel sans-retirer les mains du volant. P.78

Appuyez:
Volume haut / bas
Maintenez enforcé:
Volume haut / bas en continu

Appuyez: Activer le système de reconnaissance vocale*1 P.197
Appuyez et maintenez: Demarrer Siri\* P.194
^*1 : La fonction de reconnaissance vocale du système ne peut pas etre utiliser pendant l'utilisation de Siri, Apple CarPlay ou Android Auto. Démarrez la fonction de reconnaissance vocale apres avoir quitté Siri, Apple CarPlay ou Android Auto.
^*2 : Si connecté à l'iPhone
Fonctions De Base
Informations De Base Avant L'utilisation 30
Écran Initial 30
Écran Initial 30
Connexion Et Déconnexion D'un
Periphérique De Mémoire USB 31
Connexion D'un Appareil 31
Gestes Pour L'écran Tactile 31
Fonctionnement De L'écran Tactile 33
Saisie De Lettres Et De Numeros/
Fonctionnement De L'écran De Ensemble 34
Saisie De Lettres Et De Numeros 34
Fonctionnement De L'écran De Liste 35
Réglage De L'écran 36
Ajuster La Luminosite 36
Changement Entre Les Modes Diurne
Et Nocturne 36
Affichage De L'etat 36
Fonctionnement De L'écran D'accueil 37
Ajout D'icones De Raccourcis Sur L'écran
D'accueil 37
Déplacement Et Suppression Des Icones
De Raccourcis 38
Camera De Recul 39
Camera De Recul 39
Utilisation De La Camera De Recul 41
Plage De Visibilité Sur L'écran 41
Ligne De Secours 43
INFORMATIONS DE BASE AVANT L'UTILISATION
ÉCRAN INITIAL
ÉCRAN INITIAL
AVENTISSEMENT
-
Lorsque le vehicule est à l'arrêt avec le moteur en marche, toujours serrer le frein de stationnement pour des raisons de sécurité.
-
Lorsque le contacteur d'allumage est sur la position «ACC» ou «ON», l'écran initial s'affiche et le système commence à fonctionner.

-
ÀpRES quelsques secondes, l'écran «Caution (Attention)» s'affiche.
-
Sélectionnez I Agree (J'accepte).
Caution
- Connectez un apparéil.

- Mettez sous tension l'alimentation de l'appareil si ce n'est déjà fait.
REMARQUE
Périphrérique de mémoire USB compatible: P.152
- iPod compatible: P.152
- Cet apparéil ne prend pas en charge les concentrateurs USB disponibles dans le commerce.
- Par la connexion d'un appareil comme un téléphone portable, la recharge démarre en fonction de l'appareil.
GESTES POUR L'ÉCRAN TACTILE
Les opérations sont effectuees en touchant directement I'ecran tactile avec le doigt.
| Méthode de fonctionnement | Description | Utilisation principale |
| Touchez Touchez brièvement et relâchéz une fois. | Modification et sélection de divers régages | |
| Touchez deux fois avec un doigt Toucherrapidement et relâcher deux fois avec un doigt. | Agrandissement de l'échelle de l'écran de la carte | |
| Touchez deux fois avec deux doigs Touchezrapidement et relâchéz deux fois avec deux doigs. | Réduction de l'échelle de l'écran de la carte | |
| Faites glisser* Touchez l'écran avec votre doigt, et déplacer l'écran vers la position souhaitée. | Défilament des.listesDéfilament de l'écran de la carte | |
| Swipe* Déplacezrapidement en balayant l'écran avec le doigt. | Défilament des.listesDéfilament de l'écran de la carte | |
| PincezÉcartez vos deux doigs l'un de l'autre (pincez vers l'extérieur) pour effectuer un zoom avant sur la carte. Rapprochez vos deux doigs (pincez vers l'intérieur) pour effectuer un zoom arrêté sur la carte. | Modifier l'échelle de l'écran de la carte |
*: Les opérations ci-dessus peuvent ne pas être executées sur tous les écrons.
REMARQUE
- Les opérations ci-dessus peuvent ne pas bien être exécutées en cas de haute altitude.
FONCTIONNEMENT DE L'ÉCRAN TACTILE
Ce système fonctionne principalement avec les boutons à l'écran. (Ce manuel y fait ↔reference en tant que boutons d'écran.)
- When a screen button is touched, a beep sounds. Le bip sonore peut être activé ou désacté (→P.72)
ATTENTION
- Pour éviter d'endommager l'écran, touche légèrement les boutons de l'écran avec le doigt.
- Ne pas utiliser d'objet autre que votre doigt pour toucher l'écran.
- Essuyez les traces de doigt en utilisant un chiffon à lunettes. N'utilise pas de nettoyants chimiques pour nettoyer l'écran car ils pourrait endommager l'écran tactile.
REMARQUE
Si le système ne répond pas à l'effleurement d'une touche de l'écran, retirez votre doigt de l'écran, puis appuyez dessus à nouveau.
- Des touches estompées de l'écran ne peuvent pas être utilisées.
L'image affichée peut devenir plus nombre et déformer légèrement les images en mouvement lorsque l'écran est froid.
- Dans des conditions de froid extréme, la carte peut ne pas s'afficher et des données saisies par un utilisateur risquent d'être supprimées. De plus, les boutons à l'écran peuvent être plus difficiles à enforcer qu'à l'accoutumée.
REMARQUE
Lorsque X s'affiche sur I'ecran, selectionnez X pour fermer I'ecran contextual.
SAISIE DE LETTRES ET DE NUMÉROS/FONCTIONNEMENT DE L'ÉCRAN DE LISTE
SAISIE DE LETTRES ET DE NUMÉROS
Lors de la recherche avec une adresse, un nom etc., ou lors de la saisie de données, vous pouze saisir des lettres et des numérores par le biais de l'écran.

| N° | Informations/fonction |
| 1 | Champ de saisie • Le champ de saisie contient du texte afin d'aider l'utilisateur à réaliser les tâches. • La position du curseur peut être déplacée en sélectionnant l'emplacement souhaité dans le champ de saisie. |
| 2 | Sélectionnez pour effacer le champ de saisie. |
| 3 | Affiche les articles de candidats sur la base des lettres entrées. L'élément souhaité peut être sélectionné. |
| 4 | Sélectionnez pour effacer un caractère. |
| 5 | Sélectionnez pour entraîr l'élement. |
| 6 | Sélectionnez pour modifier les types du clavier. |
| 7 | Sélectionnez pour saisir des symboles. |
| 8 | Sélectionnez pour entraîr des caractères en minuscules ou en majuscules. |
REMARQUE
L'aspect du clavier peut changer ou la méthode d'entrée peut être limite en fonction des circonstances d'affichage du clavier virtuel.
FONCTIONNEMENT DE L'ÉCRAN DE LISTE
Vous pouvez faire defiler l'écran de la liste par un mouvement de balayage.
Pour plus de détails concernant l'opération: P. 31
Vous pouvez également faire défilier l'écran de liste au moyen de la «TUNE/SCROLL» molette puis pressez la molette pour le saisir.

| N° | Informations/fonction |
| 1 | Sélectionnez pour passer à la page suivante ou précédente. |
| 2 | Ceci indique la position de l'écran affché. Un défilament plus rapide est possible en faisant glisser l'indicateur de position. |
| N° | Informations/fonction |
| 3 | Certaines listes comportent des boutons d'écran de caractère permettant un saut direct vers les entrées de la liste qui commencent par la même dette que le bouton d'écran de caractère. Chaque fois que le même bouton d'écran de caractère est sélectionné, la liste commençant avec ce caractère est affichée. |
RéGLAGE DE L'ÉCRAN
AJUSTER LA LUMINOSITÉ
La luminosité de l'écran peut être régée. ( P.59)
CHANGEMENT ENTRE LES MODES DIURNE ET NOCTURNE
En réglant «Map Display (Affichage de carte)» sur auto sur l'écran des paramètres de navigation, l'écran de carte passée en mode diurne ou en mode nocturne en fonction de la position du commutateur du projecteur avant ou de la commande de réglage de l'éclairage et de la luminosité ambiente. ( P.180)
AFFICHAGE DE L'ÉTAT
L'etat de la connexion Bluetooth, etc. s'affiche sur l'écran.

| N° | Nom | Conditions |
| 1 | Nom de l'écran | Affiche le nom de l'écran. |
| 2 | Niveau de réception Wi-Fi® | Fairble → Excellent Lorsque la fonction Wi-Fi® est désactivée, aucun élément n'est affchéé. |
| 3 | Indicateur de connexionBluetooth | Cette icône s'affiche lorsqu'une connexion Bluetooth a été établie. |
| 4 | Charge restante de la batterie | Faible ↑ Plein La valeur affichée ne correspond pas toujours à la valeur affichée sur le pérophérique Bluetooth. |
| 5 | Niveau de réception | Faible ↑ Excellent Le niveau de réception ne correspond pas toujours au niveau affchéé sur le téléphone portable. Le niveau de la réception peut ne pas s'afficher selon le téléphone que vous avez. |
| 6 | Source audio active | Sélectionnez pour afficher la source audio active, la fréquence radio et le nom de l'artiste et de la piste en cours de lecture, etc. |
FONCTIONNEMENT DE L'ÉCRAN D'ACCUEIL
AJOUT D'ICONES DE RACCOURCIS SUR L'ÉCRAN D'ACCUEIL
Les iconônes de raccourcis pour les diverses fonctions peuvent être ajoutées à l'écran d'accueil lorsqu'la fonction de raccourcis de l'écran d'accueil est activée. (→P.59)
- Appuyez sur
- Sélectionnez Add Shortcut (Ajouter un raccourci).

- Sélectionnéz la fonction souhaitée.

- Sélectionnéz la fonction de raccourci souhaïée.

-
Selon la fonction, Sélectionnez d'autres éléments et saississe les informations nécessaires.
-
Verifiez que l'icone de raccourci s'affiche sur l'écran d'accueil.
REMARQUE
L'écran d'accueil comporte 3 pages, et les iconônes de raccourci peuvent être ajoutées pour chaque page. La page peut être modifiée en effectuant un balayage du doigt.
DéPLACEMENT ET SUPPRESSION DES ICONES DE RACCOURCIS
Les utilisateurs ont la possibilité de réorganiser les boutons d'écran d'accueil lorsque la fonction de raccourci de l'écran d'accueil est activée. (→P.59)
- Sélectionnez et maintenez enforcée l'icone de raccourci.
Lors du déplacement des icones de raccourcis -
Faites glisser le bouton sur la position souhaitatione.
-
L'utilisateur peut déplacer les boutons vers une autre page en les faisant glisser jusqu'à la fin de l'écran correspondante si le nombre de touches permet l'affichage de plusieurs pages.
Lors de la suppression des icônes de raccourcis
2. Faites glisser le bouton vers le bas de I'ecran.
CAMÉRA DE RECUR
CAMÉRA DE RECUL
Laamera de recul est attachée au hayon du coffre.

Lorsque le contacteur d'allumage est place sur «ON» et le sélecteur de vitesses (Modèleés équipés d'une boîte de vitesses manuelle) ou le levier de scélection (Modèleés équipés d'une boîte de vitesses automatique) est réglé sur «R», laamera de recul affiche l'image de la vue arrêtée du vehicule. L'imagé de laamera de vue arrêtée s'affiche sur ce système.
AVENTISSEMENT
- Comme laamera de recul utilise un objectif à grand angle, l'image sur le moniteur est différente du réel en termes de distance.
- Comme la plage de l'image est limitée sur le moniteur, vous devez toujours vérifier la vue arrêté et celle des allentours en vous servant de vos yeux et des rétroviseurs, et reculez lentement. Reculer uniquement à l'aide de l'image de vue arrêté par laamera pourrait cause un accident.
- Ne démontez pas ou ne modifies pas laamera, la commande ou les cablages électriques. Si de la fumée sort ou que vous sentez une oedur étrange, cessez tout de suite d'utiliser laamera. Contactez votre concessionnaire SUBARU pour un contrôle. Continuer d'utiliser laamera pourrait provoquer un accident, un incendie ou une électrocution.

ATTENTION
- Si vous vécicule est lavé avec un nettoyeur haute pression, ne laïsez pas l'eau rentrer en contact directement avec laamera. De l'eau dans l'objetif de laamera pourrait cause une condensation, des dégats et un dysfonctionnement de laamera.
- Étant donné que laamera est un dispositif de haute précision, ne lui faites pas subir de chocs violents. Sinon, un dysfonctionnement, un incendie ou une électrocution peuvent se produit.
Si de la boue ou de la neige adhére à laamera, ou si elle gèle, vous doivent être très vigilant au moment de la retirer. Versez de l'eau ou de l'eau tiède sur laamera pour enlever la boue et la glace, et essuyez-la avec un chiffon doux et sec.
N'essayez pas de faire fondre la neige ou la glace sur laamera avec une source de chaleur. Autrement, des dommages ou un incendie pourrait se produit. - Lorsque vous remplacez les fusibles, assurez-vous de bien utiliser les fusibles prescrites. L'utilisation d'un usable d'un calibre différent peut entraîner un dysfonctionnement.
- Si laamera de recul est utilisée pendant un long moment alors que le moteur n'est pas en marche, la batterie peut se décharger complètement.
REMARQUE
- Ne nettoyez pas laamera avec de l'alcool, de l'essence ou du diluant pour peinture. Dans le cas contraire, il pourrait se produit une décoloration. Pour éliminer la saleté, essuyez laamera avec un chiffon imbibé de détergent neutre dilué, puis essuyez-la avec un chiffon doux et sec.
Lorsque vous cirez le vehicule, faites bien attention à ne pasmettre de cire sur laamera. Si la cire entre en contact aveclaamera, imbibez un chiffon de détergent neutre dilué pourenlever la cire.
L'objet de laamera se compose d'un revêtement dur pour éviter les rayures. Toutefois, lors du nettoyage du vehicule ou de l'objet de laamera, évitez de rayer ce dernier. N'utilise pas une Brosse de lavage directement sur l'objet de laamera. La qualité de l'image de laamera de recul pourrait être détériorer.
Si de fortes lumieres éblouissant l'objet de laamera, il peut se former des lignes verticales autour de la source de lumière. Il ne s'agit pas d'un dysfonctionnement. - Sous une lumière fluorescente, l'affichage peut clignoter. Cependant, cela ne constitue pas un dysfonctionnement.
- L'image de laamera peut être légèrement différente de la couleur réelle des objets.
UTILISATION DE LA CAMÉRA DE RECUR
Lorsque le levier de vitesse/levier de seLECTION est régé sur «R», laamera de recul affiche automatiquement la vue arrêtée du vehicule. Lorsque ces leviers sont régés sur une autre position, l'image avant le réglage sur «R» s'affiche.
- Placez le contacteur d'allumage sur «ON».
- Placez le levier de vitesse/levier de selection sur «R».
REMARQUE
Lorsque le système de navigation est activé, l'image de laamera de recul n'est pas affichée. Touteois, l'imagé de laamera de recul a la priorité sur toutes les autres vues.
- L' image de laamera de recul est inversée horizontally comme c'est le cas avec le rétroviseur interieur ou le rétroviseur extérieur létral.
- Il peut être difficile de voir l'image de laamera de recul dans les cas suivants. Il ne s'agit pas d'un dysfonctionnement de laamera.
- Le vehicule se trouve dans un endroitASFRE (en pleine nuit, dans un tunnel, etc.).
- Le vehicule se trouve dans un endroit extrémement froid ou chaud.
- Un objet ( comme des gouttes de pluie, de la neige, de la saleté, etc.) qui cache la vue de laamera de recul est collé à l'objet de laamera.
- De fortes lumières éblouissant l'objet de laamera (il peut se former des lignes verticales sur l'écran).
- Le vehicule est utilisé pour le remorquage ou un attelage de caravane/remorque est installé.
RéGLAGE DE LA DUREE D'AFFICHAGE DE L'AFFICHAGE DE LA CAMÉRA
La durée pendant laquelle l'image de laamera resté affichée lorsque le sélection de vitesse/levier de selection est passé de «R» à toute autre position peut être définie. ( P.59)
PLAGE DE VISIBILITÉ SUR L'ÉCRAN
ATTENTION
- La portée de la vue avec laamera de recul est limitée. Assurez-vous de toujours vérifier de par vous-même au moment de reculer et manœuvrez doucement.
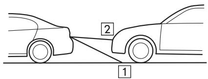
La zone à l'arrière des pare-chocs est visible. Les zones aux deux extrémités des pare-chocs et la zone juste en dessous du pare-choc ne sont pas visibles. De plus, l'image de laamera de recul fait apparaitre la distance bien plus courte que la distance réelle.

Plage de visibilité


Image de laamera
La zone au-dessus de laamera n'est pas visible. Si un objet qui a une large projection sur sa partie supérieure comme un poteau de signalisation se trouve derrière le vehicule, la projection n'est pas visible à l'écran.
Plage de visibilité

Image de laamera

LIGNE DE SECOURS
La ligne de secours (marqueur de distance, conformément aux directives de positionnement du vehicule et ligne de largeur du vehicule) est un guide vous aidant a vous rendre compte de la distance reelle et de la route a partir de l'image de I'écran.

| N° | Informations |
| 1 | Ligne de largeur du vehicule (ligne verticale oblique) |
| 2 | Environ 10 pieds (3 m) des pare-chocs (ligne verte horizontal) |
| 3 | Environ 3 pieds (1 m) des pare-chocs (ligne jaune horizontal) |
| 4 | Environ 1.5 pieds (0.5 m) ou moins des pare-chocs (ligne rouge horizontal) |
| 5 | Ligne centrale du vehicule |
- Lorsque le levier de vitesse/levier de seLECTION est sur la position «R», l'écran affiche les lignes de secours avec l'image de la vue arrêté.
ATTENTION
Lorsque vous recULEz, assurez-vous de toujours regarder derrière sans vous reposer uniquement sur les lignes de secours.
- La position et la route réelles peuvent être différentes de celles indiquées par les lignes de secours.
- Des différences peuvent se produit selon le nombre de passagers ou des bagages dans le vehicule.
- Si le vehicule est en pente ou incliné contre la route, les indications sont différentes de la réalité.
Assurez-vous de respecter le message d'advertissement affché: «Check Surroundings Before Backing Up (Vérifier les alentours avant de reculer)».
REMARQUE
Si vous passez le sélection de vitesse/levier de selection sur «R» peu de temps après avoir mis le contacteur de démarrage en marche, le message d'advertisement «Check Surroundings Before Backing Up (Vérifier les alentours avant de reculer)» peut ne pas s'afficher. Attendez quelques secondes après avoir mis le contacteur de démarrage en marche avant de passer le sélection de vitesse/levier de selection sur «R». Ensuite, le message d'advertisement s'affiche.
DIFFÉRENCE ENTRE L'IMAGE DE L'ÉCRAN ET LA ROUTE RÉELLE
Les marqueurs de distance indiquent la distance pour une route avec un vehicule non chargeé. Elle peut s'avérer bien différente de la distance actuelle selon les conditions de route et de chargement.
Lorsqu'il y a une pente ascendante à l'arrière

- La distance sur l'écran parait plus lointaine qu'en réalité.
Lorsqu'il y a une pente descendante à l'arrière

- La distance sur l'écran pourrait plus proche qu'en réalité.
REMARQUE
Lorsque le coffre est plein, la distance sur l'écran pourrait plus lointaine qu'en réalité comme sur une pente ascendante.
CHARACTERISTIQUES DES MARQUEURS DE DISTANCE

| N° | Informations |
| 1 | 3 pieds (1 m) de ligne |
| 2 | 10 pieds (3 m) de ligne |
- Les marqueurs de distance indiquent les distances sur la route. S'il y a un objet ou un autre vehicule à proximé derrière, la distance ne peut pas être affichée correctement.
MÉMO
Paramètres
Paramètres Bluetooth® 48
Enregistrement D'un Appareil Audio Bluetooth
Pour La Première Fois 48
Profils 49
Réglages Bluetooth 51
Enregistrement D'un Telephone/
Periphérique Bluetooth 52
Connector Ou Deconnector Un Telephone/
Periphérique Bluetooth 54
Suppression Des Télephones/
Periphériques Bluetooth 56
Télécharge du Réglage Du Répertoire 57
Réglage De La Priorité De La Connexion
Automatique 58
Autres Paramétres 59
Paramètres Généraux 59
Ecran De Parametes Generaux 59
Réglage Du Profil Du Conducteur 62
Configuration De La Connexion Wi-fi 65
Mise A Jour Du Systeme 68
Paramètres Du Son 72
Changement Des Paramètres Du Volume
De Chaque Fonction 72
Ecran Des Reglages Audio 73
PARAMÉTRES Bluetooth®
ENREGISTREMENT D'UN APPAREIL AUDIO Bluetooth POUR LA PREMIÈRE FOIS

Bluetooth
La marque et les logos Bluetooth® sont des marques commerciales déposées qui appartiennent à Bluetooth SIG, Inc.
Pour pouvoir utiliser le système mains libres ou le système audio Bluetooth, il est nécessaire d'enregistrer un téléphone/periphérique Bluetooth avec le système.
Une fois que le téléphone/periphérique Bluetooth a été enregistré, il est possible d'utiliser le système mains libres et le système audio Bluetooth.
Cette opération est impossible pendant la marche du vehicule.
Pour plus de détails sur l'enregistrement d'un téléphone/ péripérisque Bluetooth: P.52
-
Mettez le réglage de la connexion Bluetooth de votre téléphone/periphérique Bluetooth sur marche.
-
Cette fonction n'est pas disponible si le réglage de la connexion Bluetooth de votre téléphone/periphérique Bluetooth est réglé sur arrêt.
- Affichage de l'écran du téléphone ( P.76) ou de l'écran de fonctionnement audio Bluetooth ( P.144) .
- Sélectionnez Yes (Oui) pour enregistrer un téléphone/ périphérique Bluetooth.

- Suivez les étapes de «ENREGISTREMENT D'UN TÉLEPHONE/PÉRIPHÉRIQUE Bluetooth» de «ÉTAPE 3» à «ÉTAPE 7». (→P.52)
PROFILS
Ce système prend en charge les services suivants.
| Dispositif Bluetooth | Spéc. | Fonction | Exigences | Recommendations |
| Téléphone/PériphrériqueBluetooth | Caracteristiquestechniques du Bluetooth | Enregistrement d'un téléphone/périphrériqueBluetooth | Ver. 1.1 | Ver. 3.0 +EDR |
| Dispositif Bluetooth | Profil | Fonction | Exigences | Recommendations |
| Téléphone Bluetooth | HFP (Profil mains libres) | Système mains libres | Ver. 1.0 | Ver. 1.6 |
| PBAP (Profil d'accès au réseau) | Transfert des contacts | Ver. 1.0 | Ver. 1.1.1 | |
| MAP (Profil d'accès au message) | Message téléphonique Bluetooth | - | Ver. 1.0 | |
| PAN (Profil de réseau personnel) | Fonction APPS | - | PAN 1.0 | |
| DUN (Profil réseau commuté) | Fonction APPS | - | DUN 1.1 | |
| SPP (Profil port série) | Fonction APPS | - | Ver. 1.1 | |
| Dispositif Bluetooth | A2DP (Profile of distribution audio avancée) | Système audio Bluetooth | Ver. 1.0 | Ver. 1.2 |
| AVRCP (Profile of commande audio/vidéo à distance) | Ver. 1.0 | Ver. 1.4 |
REMARQUE
- Si vous têlephone mobile ne prend pas en charge le HFP, l'enregistrement du téléphone Bluetooth ou l'utilisation individuelle des profils PBAP, MAP ou SPP ne sera pas possible.
- Si la version du périhérique Bluetooth connecté est plus ancienne que celle recommendée ou est incompatible, la fonction du périhérique Bluetooth risque de ne pas fonctionner correctement.
- Si l'application ne fonctionne pas correctement ou est instable, déconnectez et reconnectpez le téléphone/péripétrique Bluetooth (→P.54) et/ou le cable USB (→P.31). Si le problème persististe, redémarrez le téléphone/péripétrique Bluetooth.
RéGLAGES Bluetooth
- Appuyez sur

- Sélectionnez Settings (Réglages).
- Sélectionnez Phone (Téléph).
Lors de l'enregistrement d'un téléphone/periphérique Bluetooth
4. Sélectionnez Add Device (Ajouter un apparéil).

- Pour plus de détails sur l'enregistrement d'un téléphone/periphérique Bluetooth: P.52
Lors du réglage du téléphone/periphérique Bluetooth
- Sélectionnez le téléphone/péripétrique Bluetooth souhaité.
- Sélectionnez l'objet à régler.

| N° | Fonction | Page |
| 1 | Connexion ou déconnexion des téléphones/ péripériques Bluetooth | 54 |
| 2 | Suppression des téléphones/péripériques Bluetooth | 56 |
| 3 | Téléchargement du réglage du réseau | 57 |
| 4 | Réglage de la priorité de la connexion automatique | 58 |
REMARQUE
L'écran des réglages du téléphone peut également être affché en sélectionnant Change Device (Changer d'app.) sur l'écran d'aperçu du téléphone ( P.76) ou l'écran de fonctionnement audio Bluetooth ( P.144) .
ENREGISTREMENT D'UN TÉLÉPHONE/PERIPHÉRIQUE Bluetooth
Jusqu'à 5 téléphones/periphériques Bluetooth peuvent être enregistrés.
Les téléphones (HFP) et les péripériques (AVP) Bluetooth compatibles peuvent être enregistrés simultanément.
Cette opération est impossible pendant la marche du vehicule.
- Affichez l'écran de réglages du téléphone. (→P.51)
- Sélectionnez Add Device (Ajouter un apparéil).

-
Si un message s'affiche, suivez les instructions à l'écran.
-
Lorsque cet écran s'affiche, recherche le nom du dispositif affché sur cet écran sur celui de votre téléphone/periphérique Bluetooth.

- Cancel (Annuler): Sélectionnez pour annuler l'enregistrement.
-
Pour plus de détails sur le fonctionnement du téléphone/periphérique Bluetooth, consultez le manuel fourni avec ce dernier.
-
Enregistrez depuis votre téléphone/péripérisque Bluetooth.
-
Un code PIN n'est pas requis avec les téléphones/ péripériques Bluetooth compatibles avec le système SSP (Appariement Simple Sécurisé). En fonction du type de téléphone/péripérique Bluetooth connecté, un message de confirmation d'enregistrement peut s'afficher sur l'écran du téléphone/péripérique Bluetooth. Répondez et faites fonctionner le téléphone/péripérique Bluetooth en fonction du message de confirmation.
REMARQUE
Pour enregistrer à nouveau votre téléphone/appareil Bluetooth après l'avoir supprimé du système, utilisez le téléphone/ l'appareil Bluetooth et enregistrez-le après avoir effacé les informations système précédemment enregistrées du téléphone/ de l'appareil Bluetooth.
- Sélectionnez Confirm (Conf.).

-
Cancel (Annuler): Sélectionnez pour annuler l'enregistrement.
-
Vérifiez que l'écran contextuel suivant peut s'afficher.

-
Cancel (Annuler): Sélectionnez pour annuler l'enregistrement.
-
Vérifiez que l'écran de confirmation s'affiche lorsque la connexion est terminée.

- Si un message de confirmation s'affiche pour vous demander si vous souhaitez transférer les données de contact du téléphone au système, Sélectionnez le bouton approprié.
- Si un message d'erreur s'affiche, suivez les instructions à l'écran pour effectuer une nouvelle tentative.
CONNECTER OU DECONNECTER UN TÉLÉPHONE/PÉRIPHÉRIQUE Bluetooth
Jusqu'à 5 téléphones/periphériques Bluetooth (telephones (HFP) et périhériques (AVP)) peuvent être enregistrés.
Si plus d'1 téléphone/periphérique Bluetooth a été enregistré, sélectionnez le téléphone/periphérique Bluetooth à connecter.
- Affichez l'écran de réglages du téléphone. (→P.51)
- Sélectionnez le téléphone/periphérique Bluetooth à connecter ou à déconnecter.

- «Connected (Connecté)» est affché à côté du téléphone/periphérique Bluetooth actuèlement connecté.
-
Si le téléphone/periphérique Bluetooth de votre choix n'est pas sur la liste, Sélectionnez Add Device (Ajouter un apparéil) pour enregistrer le téléphone/pheriphérique Bluetooth. ( P.52)
-
Sélectionnez Connect (Connector) ou Disconnect (Déconnecter).

-
Vérifiez que «Connected (Connecté)» s'affiche à côte du téléphone/periphérique Bluetooth lorsque la connexion est terminée.
-
Si un message d'erreur s'affiche, suivez les instructions à l'écran pour effectuer une nouvelle tentative.
REMARQUE
- Cela peut prendre du temps si la connexion du téléphone/ péripérisque Bluetooth a lieu pendant la lecture audio Bluetooth.
- Selon le type de téléphone/periphérique Bluetooth connecté, il peut être nécessaire d'effectuer des étapes supplémentaires sur le téléphone/periphérique Bluetooth.
MODE DE CONNEXION AUTOMATIQUE
Laissez le téléphone/periphérique Bluetooth à un endroit où la connexion peut être établie.
- Lorsque le contacteur d'allumage est reglé sur la position «ACC» ou «ON», le systèmecherche un téléphone/periphérique Bluetooth enregistré à proximité.
- Le système se connecte avec le téléphone/ périphérique Bluetooth enregistré qui a été connecté en dernier, s'il est à sa portée.
CONNEXION MANUELLE
Si la connexion automatique a échoué, il est nécessaire de connecter les téléphones/periphériques Bluetooth manuellement.
- Appuyez sur 山 , puis selectionnez Settings (Réglages).
- Sélectionnez Phone (Téléph).
- Suivez les étapes de «CONNECTER OU DECONNECTER UN TÉLÉPHONE/PÉRIPHÉRIQUE Bluetooth» dans «ÉTAPE 2». (→P.54)
RECONNEXION DU TÉLÉPHONE/PÉRIPHÉRIQUE Bluetooth
Si un téléphone/periphérique Bluetooth a été déconnecté en raison d'une réception de mauvaise qualité du réseau Bluetooth lorsque le contacteur d'allumage est régle sur la position «ACC» ou «ON», le système reconnecttera automatiquement le téléphone/periphérique Bluetooth.
- Si un téléphone/periphérique Bluetooth est volontairement déconnecté, comme par exemple en l'éteignant, cela ne se produit pas. Reconnectez le téléphone/periphérique Bluetooth manuellement.
SUPPRESSION DES TÉLÉPHONES/PERIPHÉRIQUES Bluetooth
- Affichez l'écran de réglages du téléphone. (→P.51)
- Sélectionnez le téléphone/periphérique Bluetooth souhaité.

- Sélectionnez Delete (Supprimer).

- Sélectionnez Delete (Suppr.) lorsque l'écran de confirmation apparait.
REMARQUE
Le téléphone/appareil Bluetooth contienda toujours les informations de ce système, même après la suppression du téléphone/appareil Bluetooth. Faites fonctionner le téléphone/ l'appareil Bluetooth pour supprimer les informations enregistrées dans le téléphone/l'appareil Bluetooth.
TÉLÉCHARGEMENT DU RÉGLAGE DU RÉPERTOIRE
Lorsque cette fonction est activée, les données du repertoire du téléphone connecté sont téléchargees automatiquement.
- Affichez l'écran de réglages du téléphone. (→P.51)
- Sélectionnez le téléphone Bluetooth que vous désirez configurer.

- Sélectionnez pour activer/désactiver «Phonebook Download (Télécharger le réseau téléphon.)».

REMARQUE
- La version profil du téléphone portable connecté Bluetooth peut ne pas être compatible avec le transfert de données du réseau. Pour plus de détails, contactez votre concessionnaire SUBARU.
- Il se pourrait que les notifications doivent être activées dans les paramètres du téléphone bluetooth pour télécharger le réseau. Pour plus d'informations, consultez le mode d'emploi du téléphone Bluetooth connecté. La fonction message de ce système ne fonctionnera pas correctement si le réseau téléphonique n'est pas téléchargeé. ( P.87)
- La liste des+favoris du téléphoneBluetooth ne sera pas téléchargeee automatiquement meme après le telechargement des données du repertoire à partir du téléphoneBluetooth. Ce système ne prend actuellement pas en charge le transfert de données à partir de la liste des favors du téléphoneBluetooth. Pour ajouter la liste des favors du téléphoneBluetooth à la liste des favors du système, vous doivent l'enregister dans la liste des contacts du repertoire du système. ( P.83)
RéGLAGE DE LA PRIORITE DE LA CONNXION AUTOMATIQUE
La priorité de la connexion automatique des téléphones/ péripériques Bluetooth enregistrés peut être modifiée.
- Affichez l'écran de réglages du téléphone. (→P.51)
- Sélectionnez le téléphone/periphérique Bluetooth à régler.

- Sélectionnez Reorder (Réorganiser).

- Sélectionnez à côté du téléphone/periphérique Bluetooth souhaité, puis faites-le glisser vers l'emplacement approprié.

AUTRES PARAMETRES
PARAMÉTRES GÉNÉRAUX
- Appuyez sur 山 山

- Sélectionnez Settings (Réglages).
- Sélectionnez General (Général).
- Sélectionnéz les éléments à régler.
ÉCRAN DE PARAMÉTRES GÉNÉRAUX






| N° | Fonction | Page |
| 1 | Sélectionnez pour paramétrer le profil de conducteur. | 62 |
| 2 | Sélectionnez pour basculer entre l'écran de réglage de la luminosité automatique/manuelle. | - |
| N° | Fonction | Page |
| 3 | Sélectionnez pour régler manuelle la luminosité de l'écran. Cette fonction est disponible lorsque «Brightness Adjustment (Ajustement de la luminosité)» est régé sur «Manual (Manuel)». | - |
| 4 | Sélectionnez pour activer/désactiver l'écran. | - |
| 5 | Sélectionnez pour activer/désactiver les messages de reconnaissance vocal. | - |
| 6 | Sélectionnez pour activer/désactiver la fonction de raccourcis d'écran d'accueil. | 37 |
| 7 | Sélectionnez pour activer/désactiver la fonction Wi-Fi®. | - |
| 8 | Sélectionnez pour régler les paramètres de connexion Wi-Fi®. | 65 |
| 9 | Permet d'indiquer si vous souhaitez change automatiquement pour l'écran USB lorsqu'un périphérique USB est connecté. | - |
| 10 | Sélectionnez pour régler s'il faut démarrer automatiquement la lecture lorsqu'un iPod ou un dispositif de mémoire USB contenant des fichiers audio est connecté. | - |
| 11 | Sélectionnez pour afficher l'abonnement Sirius XM. Sélectionnez pour activer/désactiver la fonction Tune Start. Sélectionnez pour activer/désactiver la fonction Sports Flash. | - |
| 12 | Sélectionnez pour changer la langue. Lorsque Synchronized Language Settings (Réglages de langue synchronisés) est sélectionné, les réglages de la langue dans le système sont synchronisés avec les réglages de l'affichage au combiné d'instruments. | - |
| 13 | Sélectionnez pour changer l'unité de mesure pour la distance. | - |
| 14 | Sélectionnez pour définir la durée pendant laquelle l'image de laamera reste affichée lorsque le sélectionur de vitesse/levier de sélection est passé de «R» à toute autre position. | - |
| 15 | Sélectionnez pourmettre à jour les versions du logiciel du système. | 68 |
| 16 | Sélectionnez pouractiver/désactiver la vérification de la nouvelle version du logiciel du système. | 68 |
| 17 | Sélectionnez pouractiver/désactiver le téléchargement automatique des mises à jour. | 68 |
| 18 | Sélectionnez pourafficher les informations sur le système. | - |
| 19 | Sélectionnez pour modifier le nom du système Bluetooth. | - |
| N° | Fonction | Page |
| 20 | Sélectionnez cette option pour remettre à zéro tous les éléments de réglage. Le système audio redémarre automatiquement après la réinitialisation des données d'usine. Pour finaliser le processus de réinitialisation, mettez le commutateur d'allumage sur la position «LOCK»/«OFF» après que le système audio a redémarré, puis mettez-le sur la position «ACC» ou «ON» après environ 3 minutes. | - |
| 21 | Sélectionnez pour afficher la licence du logiciel. | - |
RéGLAGE DU PROFIL DU CONDUCTEUR
AJOUT D'UN NOUVEAU PROFIL
- Affichez l'écran de réglages généraux. (→P.59)
- Sélectionnez Driver Profile (Profil de cond.).
- Sélectionnez Add New Profile (Ajouter un profil).

- Sélectionnez Enter Name (Entrez un nom).

- Entrez un nom et sélectionnez Next (Suvivant).

- Sélectionnez Next (Suvivant).

- Sélectionnez Add Phone (Ajouter un téléphone) pour enregistrer un téléphone/periphérique Bluetooth.

- Pour sauter l'enregistrement, Sélectionnez
Next
(Suivant) avant l'enregistrement, puis selectionnez Skijp (Sauter).
- Suivez les étapes de «ENREGISTREMENT D'UN TÉLEPHONE/PÉRIPHÉRIQUE Bluetooth» de «ÉTAPE 3» à «ÉTAPE 7». (→P.52)
- Sélectionnez Next (Suvivant).

- Sélectionnez Home Address (Adresse dom.).

- Pour sauter l'enregistrement, Sélectionnez (Suivant) avant l'enregistrement.
Next
- Entrez une adresse, puis seLECTIONnez (Rech.).
Search

- Sélectionnez les images désirées à partir de la liste, puis Sélectionnez Save (Enr).
- Sélectionnez Work Address (Adresse travail.) et enregistrez de la même manière que l'adresse de domicile.
- Sélectionnez Next (Suvant).

- Sélectionnez le fond d'écran de votrechioix, puis Sélectionnez Next (Suvivant).

-
Pour sauter l'enregistrement, Sélectionnez No. (Suivant) avant l'enregistrement.
-
Sélectionnez Finish (Term.).

Une fois le réglage terminé, vous pouvez modifier l'adresse du domicile ou du travail et les réglages du téléphone, etc.
- Modification de l'adresse du domicile/travail: P.163
- Modification du téléphone/periphérique Bluetooth: →P.51
- Modification du profil du conducteur: P.65
REMARQUE
- Jusqu'à 4 profils de conducteurs peuvent être enregistrés.
MODIFICATION DU PROFIL DU CONDUCTEUR
- Affichez l'écran de réglages généraux. (→P.59)
- Sélectionnez Driver Profile (Profil de cond.).
- Sélectionnez le profil souhaité.
- Sélectionnez l'élement de votre choix à régler.

| N° | Fonction |
| 1 | Sélectionnez pour modifier le profil du conducteur. |
| 2 | Sélectionnez pour effacer le profil du conducteur. |
| 3 | Sélectionnez pour éoperator le profil du conducteur. Suivez les étapes de «AJOUT D'UN NOUVEAU PROFIL» dans «ÉTAPE 4». (→P.62) |
| 4 | Sélectionnez pour réorganiser le profil du conducteur. |
CONFIGURATION DE LA ConnEXION Wi-Fi®
CONNEXION OU DÉCONNECTION D'UN RÉSEAU Wi-Fi®
- Affichez l'écran de réglages généraux. (→P.59)
- Sélectionnez Wi-Fi Settings (Réglages Wi-Fi).
- Sélectionnez le réseau souhaïte.

- Add New Network (Ajouter un nouveau réseau): Sélectionnez pour ajouter un réseau Wi-Fi®. ( P.66)
-
Lorsqu'un réseau avec l est selectionné et que l'écran de saisie du mot de passerappe apparait, entrez le mot de passer, puis selectionnéz Join (Connec.).
-
Sélectionnez Connect (Connector) ou Disconnect (Déconnecter).

-
Forget This Network (Ignorer ce réseau): Sélectionnéz pour supprimer l'élement.
-
Vérifiez que l'écran de confirmation s'affiche lorsque la connexion est terminée.
- Si un message d'erreur s'affiche, suivez les instructions à l'écran pour effectuer une nouvelle tentative.
AJOUT D'UN RÉSEAU Wi-Fi®
Les réseaux disponibles qui ne s'affichent pas pendant la recherche peuvent être ajoutés.
- Affichez l'écran de réglages généraux. (→P.59)
- Sélectionnez Wi-Fi Settings (Réglages Wi-Fi).
- Sélectionnez Add New Network (Ajouter un nouveau réseau).
- Entre le nom du réseau, puis selectionnez Join (Connec.).
- Sélectionnéz le type de sécurité.

- Entre le mot de passer, puis selectionnez Join (Connec.).
- Vérifiez que l'écran de confirmation s'affiche lorsque la connexion est terminée.

AVERTISSEMENT
Utiliser des périhériques Wi-Fi® uniquely lorsque cela est sur et légal de le faire.
- Ce système est équipé d'antennes Wi-Fi®. Les personnes porteuses de stimulateurs cardiaques implantables, de stimulateurs pour un traitement de resynchronisation cardiaque, ou de défibrillateurs automatiques implantables doiventmaintenir une distance raisonnable entre elles et les antennes Wi-Fi®. Les ondes radios peuvent perturber le fonctionnement de ces systèmes.
- Avant d'utiliser des appareils Wi-Fi®, il est demandé aux personnes porteuses d'appareils Médicaux électriques autres qu'un stimulator cardiaque implantable, qu'un stimulator pour un traitement de resynchronisation cardiaque, ou qu'un défibrillateur automatique implantable, de se renseigner auprès du fabricant de l'appareil pour des informations quant à son fonctionnement en présence d'ondes radio extérieures.
Les ondes radio peuvent avoir des effets inattendus sur le fonctionnement de ces protheses medicales.
SPÉCIFICATIONS DU RÉSEAU Wi-Fi PRISES EN CHARGE
Le système peut se connecter à un réseau Wi-Fi qui prend en charge les normes suivantes.
- Normes de communication:
802.11b
802.11g
802.11n (2,4 GHz)
802.11a - Sécurité:
WPA™ - WPA2TM
REMARQUE
WPA et WPA2 sont des marques déposées de Wi-Fi Alliance®.
MISE À JOUR DU SYSTÉME
AVANT LA MISE À JOUR
AVENTISSEMENT
- Il n'est pas nécessaire que le moteur tourne pourmettre à jour le système. Si vous laissiez le moteur tourner pendant le téléchargement ou l'installation d'une mise à jour, ne garez pas le vehicule dans un espace clos, comme un garage. Cela pourrait cause des blessures graves, voire mortelles.
ATTENTION
- Lors de la réalisation d'une mise à jour à l'aide du Wi-Fi ou d'un smartphone, veiliez à garer le vehicule dans une zone où le niveau de bruit du aux parasites d'origine électrique est faible et où le signal du réseau est assez puissant.
Garez le vehicule dans une zone où la reception des signaux GPS est bonne.
Si une mise à jour est effectue dans une zone où se produit des parasites d'origine électrique et/ou le signal du réseau est faible, le temps nécessaire à sa réalisation peut être plus long ou une erreur peut se produit.
REMARQUE
- Àprous la réalisation d'une mise à jour, divers paramêtres peuvent être rétablis à leurs valeurs par défaut. Dans ce cas, vous devrez les régler à nouveau en fonction des paramêtres souhaités.
MISE À JOUR DE L'HORLOGE
Pour rechercher des mises à jour logicielles de manière fiable, l'horloge du système doit être régée à la bonne-heure.
Effectuez la procédure suivante pour régler l'horloge au moyen des signaux GPS.
Une fois que l'horloge est réglée, il n'est plus nécessaire de l'ajuster à moins qu'une coupure de l'alimentation électrique ne se produit du fait du déchargement ou du remplacement de la batterie.
- Vérifiez que la position actuelle du vehicule est correctement affichée sur l'écran du système de navigation.
- Si la position est correcte, passez à «CONNEXION AU RÉSEAU». (→P.69)
- Si la position n'est pas correcte, déplacez le vehicule dans une zone où la réception des signaux GPS est bonne (à l'extérieur, etc.).
- Une fois que le vehicule est correctement positionné, passez à «CONNEXION AU RÉSEAU». (→P.69)
CONNEXION AU RÉSEAU
Lors d'une mise a jour via une connexion Wi-Fi
-
Connectez-vous à un dispositif de réseau Wi-Fi (router, point d'accès, etc.) ( P.65)
-
Lorsqu'une connexion est établie, l'icone d'etat de la connexion Wi-Fi s'affiche. Vérifiez que la connexion est suffisamment forte et stable. ( P.36)
Lors d'une mise à jour via l'application Aha sur un smartphone
- Téléchargez l'application Aha sur le smartphone à connecter, ou mettez à jour l'application si elle est déjà installée.
- Démarrez l'application Aha sur le smartphone.
-
Si les mises à jour doivent être téléchargeées en utilisant les données mobiles, désactivez le paramètre « Télécharger en Wifi uniquement » de l'application Aha.
-
Si le smartphone doit être connecté à un dispositif de réseau Wi-Fi, il n'est pas nécessaire de désactiver ce paramètre.
-
Connectez le smartphone au système.
-
Lorsque vous utilisez un smartphone doté d'un système d'exploitation Android, connectez-le via Bluetooth. ( P.54)
- Lorsque vous utilisez un apparéil iOS, connectez-le via Bluetooth ou un cable USB d'origine non endommagé. (→P.31, 54)
TELECHARGEMENT DE LA MISE À JOUR
- Affichez l'écran de réglages généraux. (→P.59)
-
Sélectionnez Check for Updates (Recherche les mises à jour).
-
Lors du démarriage du système, Check for Updates (Recherche les mises à jour) est grisé et ne peut pas être sélectionné pendant environ 1 minute.
- Si la fenêtre contextuelle «Software Update Ready To Download (Mise à jour logicielle prête à télécharger)» s'affiche:
Sélectionnez
Download Now
(Télécharger
maintenant) pour télécharger la mise à jour logicielle la plus récente.
- Patientez jusqu'à ce que la progression du téléchargement atteigne 100% .

- Lorsque vous téléchargez des mises à jour en utilisant l'application Aha sur un smartphone, la progression du téléchargement s'affiche sur l'écran du système une fois que la mise à jour a été téléchargeée sur le smartphone, puis le smartphone démarre son transfert vers le système. L'affichage de la progression du téléchargement peut donc prendre un certain temps.
-
Durée approximative du téléchargement sur le système
-
Wi-Fi: 5-20 minutes (en fonction de la vitesse de connexion et de la force du signal)
- Application Aha via Bluetooth: 10-50 minutes (en fonction du système d'exploitation du smartphone (Android ou iOS))
-
Application Aha via USB (iOS unique): 5-10 minutes
-
Une fois le téléchargement terminé, vérifie que «Software Update Ready To Install (Mise à jour logicielle préte à installer)» s'affiche.
-
Si vous étés prét à installer la mise à jour,/passez à «INSTALLATION DE LA MISE À JOUR».(→P.71)
- Si vous souhaitez installer la mise à jour ultérieurement, Sélectionnez Cancel (Annuler).
- Si vous sélectionnez Cancel (Annuler), vous dévrez effectuer la procédure déscrie dans «TELECHARGEMENT DE LA MISE À JOUR» à nouveau à partir de «ÉTAPE 1». (→P.69)
- Si la fenêtre contextuelle «Connect To Wi-Fi (Connectez-vous au Wi-Fi)» s'affiche: Effectuez la procédure «CONNEXION AU RÉSEAU» à nouveau. (→P.69)
- Si la fenêtre «Your device's software is up to date. (Le logiciel de votre apparueil a été mis à jour.)» s'affiche: Vous disposez déjà de la version la plus récente du logiciel du système et la mise à jour n'est pas nécessaire.
- Si la fenêtre contextuelle «Software download failed. Do you want to retry? (Échec de la mise à jour logicielle. Voulez-vous réessayer?)» s'affiche: Il se peut que l'horloge du système ne soit pas réglée correctement.
Déplacez le vehicule dans une zone où la réception des signaux GPS est bonne pour régler l'horloge. Effectuez la procédure décrite dans «MISE À JOUR DE L'HORLOGE» à nouveau. (→P.68)
- Si le processus de mise à jour échoue, reportez-vous à la section «QUE FAIRE SI». ( P.219)
INSTALLATION DE LA MISE À JOUR
AVENTISSEMENT
Il n'est pas nécessaire que le moteur tourne pourmettre a jour le systeme. Si vous laissiez le moteur tourner pendant le telechargement ou l'installation d'une mise a jour, ne garez pas le vehicule dans un espace clos, comme un garage. Cela pourrait cause des blessures graves, voire mortelles.
ATTENTION
Garez-vous vehicule dans un endroit sur et ne l'utilisez pas pendant l'installation de la mise a jour.
- Les fonctions du système qui seront sont restreintes pendant l'installation de la mise à jour.
- Il ne sera pas possible d'utiliser les fonctions générales du système.
-
Laamera de vue arrête peut être complètement ou partiellement désactivée pendant la mise à jour. La ligne d'aide (repère de distance, lignes directrices dynamiques et ligne de largeur du vehicule) ne s'affiche pas.
-
Sélectionnez Install Now (Installer maint.).
-
L'installation de la mise à jour démarre.
-
Attendez que l'installation de la mise a jour soit terminée.
- Durée approximative de l'installation: 10 minutes
- Une fois que l'installation est terminée, vérifie que le système redémarre automatiquement.
- La mise à jour peut être effectuee en 2 etapes. Dans ce cas, le systeme redemarre 2 fois. Attendez que l'écran d'accueil soit affché.
- En fonction du système, une mise à jour peut être effectuee en 3 etapes. Dans ce cas, le système redemarre 3 fois. Ceci n'indique pas un dysfonctionnement.
- Appuyez sur
- Si l'écran d'accueil s'affiche, la mise à jour s'est terminée normalement.
- Pour contrôler la version du logiciel, Sélectionnéz System Information (Infos système) sur l'écran des paramètres généraux. ( P.59)
- L'opération est terminée.
ATTENTION
Si l'écran «Software update install failed (Échéac installation mise à jour logicielle)» s'affiche, contactez votre concessionnaire SUBARU immédiatement. Si l'écran s'affiche, aucune des fonctions du système, à l'exception de laamera arrêté, ne fonctionne. Lorsque vous utilise laamera arrêté, seule l'image de laamera s'affiche. La ligne d'aide (repère de distance, lignes directrices dynamiques et ligne de largeur du vehicule) ne s'affiche pas.
PARAMÉTRES DU SON
CHANGEMENT DES PARAMÉTRES DU VOLUME DE CHAQUE FONCTION
Le volume peut être régé en tournant la molette « © /VOLUME» ou en actionnant le commutateur de contrôle du volume des commandes au volant.
Le volume régle change en fonction de l'écran affché et de l'objet du système.
Lors du réglage du volume, le volume s'affiche temporairement et le volume de la fonction en cours de réglage ainsi que le volume actuel peuvent être consultés.

| N° | Icône | Fonction |
| 1 | - | Volume actuel |
| 2 | Paramètre du volume du système mains libres (→P.84) | |
| Paramètre du volume audio (→P.118) | ||
| Paramètre du volume du guidage vocal de navigation (→P.176) | ||
| Paramètre du volume du système de reconnaissance vocale (→P.198) |
ÉCRAN DES RÉGLAGES AUDIO
1. Appuyez sur 山 \ 山

- Sélectionnez Settings (Réglages).
- Sélectionnez Sound (Sons).
- Sélectionné les éléments à régler.



| N° | Fonction |
| 1 | Sélectionnez pour régler les paramètres audio. (→P.120) |
| 2 | Sélectionnez pour régler le volume audio. |
| 3 | Sélectionnez pour ajuster la sensibilité du micro. Règle la voix de l'orateur lors de la communication mains-libres. |
| 4 | Sélectionnez pour régler le volume des invites de navigation. |
| 5 | Sélectionnez pour régler ou pour ajuster le volume par défaut de la voix de l'interlocuteur. |
| 6 | Sélectionnez pour ajuster le volume de la sonnerie. |
| 7 | Sélectionnez pour régler l'invite de reconnaissance vocale. |
| 8 | Sélectionnez pour activer/désactiver le son d'alerte lorsque la circulation, la météo, les informations deieux SXM sont mises à jour. |
| 9 | Sélectionnez pour activer/désactiver le bip sonore. |
| 10* | Sélectionnez pour régler le volume de la vitesse. Le système règle le volume et la qualité sonore de manière optimale en fonction de la vitesse du vehicule afin de compenser le bruit plus important émis par le vehicule. |
*: Ce réglage peut être effectué en fonction du type d'amplificateur connecté.
Telephone
Fonctionnement Du Telephone 76
Ecran De Telephone 76
Quelques Principes De Base 77
Enregistrement/Connexion D'un
Telephone Bluetooth 78
Utilisation Du Commutateur De Telefoné/
Microphone 78
Système De Reconnaissance VOCale 79
À Propos Des Contacts Dans La Liste De
Contacts 79
Lors De La Vente Ou De La Mise Au Rebut
Du Vehicule 80
Appel Sur Le Telephone Bluetooth 80
Par Le Dernier Numéro 81
Par La Liste Des Favoris 82
Par La Liste Des Appels Récents 82
ParLe Clavier 83
Par Lieste De Contacts 83
Réception Sur Le Telephone Bluetooth 84
Appels Entrants 84
ParlerAvecLeTelephoneBluetooth 85
Envoi De Tonalités 85
Appel En Attente 86
Fonction De Message Télephonique Bluetooth 87
Réception D'un Message 88
Vérification Des Messages 89
Répondre À Un Message (Réponse Rapide) … 90
Envoi D'un Nouveau Message Court 91
Appel De L'expéditeur Du Message 91
FONCTIONNEMENT DU TÉLÉPHONE (SYSTEME MAINS LIBRES POUR LES TÉLEPHONES MOBILES)
ÉCRAN DE TÉLÉPHONE
L'écran du téléphone est accessible en appuyant sur , puis en selectionnant Phone (Téléph).

| Fonction | Page | |
| Fonction-nement du téléphone | Enregistrement d'un téléphone/ péripérisque Bluetooth | 48 |
| Appel au téléphone Bluetooth | 80 | |
| Réception sur le téléphone Bluetooth | 84 | |
| Parler avec le téléphone Bluetooth | 85 | |
| Fonction de message | Utilisation de la fonction de message téléphonique Bluetooth | 87 |
| Configuration d'un téléphone | Réglage du téléphone/péripérisque Bluetooth | 51 |
QUELQUES PRINCIPES DE BASE
Le système mains libres permet de passer et de receivevoir des appeals en gardant les mains sur le volant.
Ce système prend en charge le Bluetooth. Le Bluetooth est un système de données sans fil qui permet d'utiliser un téléphone mobile sans connexion avec un cable ou sans qu'il soit place sur un socle.
La procédure d'utilisation du téléphone est expliquée ici.

AVERTISSEMENT
- Pendant la conduite, ne pas utiliser un téléphone mobile ni connecter un téléphone Bluetooth.
- Ce système est équipé d'antennes Bluetooth. Les personnes porteuses d'un stimulateur cardiaque implantable, d'un stimulator pour un traitement de resynchronisation cardiaque, ou d'un défibrillateur automatique implantable doivent maintainir une distance raisonnable entre elles et les antennes du système Bluetooth. Les ondes radios peuvent perturber le fonctionnement de ces systèmes.
- Avant d'utiliser des téléphones Bluetooth, il est demandé aux personnes porteuses d'un apparéil Médical électrique autre qu'un stimulator cardiaque implantable, qu'un stimulator pour un traitement de resynchronisation cardiaque, ou qu'un défibrillateur automatique implantable, de se renseigner auprès du fabricant de l' apparéil pour obtenir des informations quant à son fonctionnement en présence d'ondes radio extérieures. Les ondes radio peuvent avoir des effets inattendus sur le fonctionnement de ces protheses Médicales.

ATTENTION
- Ne laïsez pas votre téléphone mobile à l'intérieur du vehicule. La température à l'intérieur risque d'augmenter à un niveau qui peut endommager le téléphone.
REMARQUE
- Si vous téléphone mobile ne prend pas en charge le Bluetooth, ce système ne peut pas fonctionner. Certaines fonctions peuvent ne pas être disponibles selon le type de téléphone mobile.
- Il peut arriver que le système ne fonctionne pas dans les situations suivantes:
Le telephone mobile est eteint.
- La position actuelle est en dehors de la zone de communication.
- Le téléphone mobile n'est pas connecté.
- La batterie du téléphone mobile est décharge.
-
Lors de l'utilisation simultanée de la fonction mains libres et autres fonctions Bluetooth, les problèmes suivants risquent de se produit:
-
La connexion Bluetooth peut être coupée.
-
Des bruits peuvent être émis lors de la lecture de signaux audio à l'aide de la fonction Bluetooth.
-
La voix de l'interlocuteur proviendra des haut-parleurs avant. Le système audio passera en mode silencieux au cours des appeals téléphoniques ou lors de l'utilisation des commandes vocales mains libres.
- Parlez successivement avec l'autre correspondant au téléphone. Si les deux interlocuteurs parlent en même temps, votre interlocuteur peut ne pas entendre ce qui a été dit. (Il ne s'agit pas d'un dysfonctionnement.)
REMARQUE
Garder le volume d'appel bas. Dans le cas contraire, la voix de l'interlocuteur peut être audible à l'extérieur du vehicule et l'effet d'echo peut augmenter. Lorsque vous parlez au téléphone, parlez clairément vers le microphone.
- Voiture interlocuteur peut ne pas vous entendre clairrement lorsque:
- Conduite sur une route non pavée. (Émission d'un bruit de circulation excessif.)
- Vous roulez à une vitesse élevée.
Conduite avec une fenetre ouverte. - Lorsque l'air du ventilateur souffle directement sur le microphone.
Lorsque le bruit du système de climatisation est élevé. - Il y a un effet négatif sur la qualité sonore à cause du téléphone et/ou du réseau en cours d'utilisation.
ENREGISTREMENT/CONNEXION D'UN TÉLEPHONE Bluetooth
Pour utiliser le système mains libres pour les téléphones mobiles, il est nécessaire d'enregistrer un téléphone portable avec le système. ( P.48)
AFFICHAGE DE L'ÉTAT DU TÉLÉPHONE Bluetooth
L'etat du téléphone Bluetooth apparait dans le coin supérieur droit de l'écran. (→P.36)
UTILISATION DU COMMUTATEUR DE TÉLÉPHONE/MICROPHONE
Commande au volant
En appuyant sur le bouton de téléphone, un appel peut être reçu ou terminé tout en gardant les mains sur le volant.

1 Commutateur de contrôle du volume
- Appuyez sur la touche « 加 + pour augmenter le volume.
- Appuyez sur la touche « 四 —» pour réuire le volume.
2 Commutateur de décrochage
3 Commutateur de raccrochage
Microphone
Le microphone est utilisé pour parler au téléphone.

SYSTEME DE RECONNAISSANCE VOCALE
Appuyez sur ce commutateur pour activer le système de reconnaissance vocale.

- Le système de reconnaissance vocale et sa liste de commandes peuvent être utilisés. (→P.197)
À PROPOS DES CONTACTS DANS LA LISTE DE CONTACTS
-
Vous pouvez memoriser les données suivantes pour chaque téléphone enregistré. Lorsqu'un autre téléphone est connecté, les données enregistrées suivantes ne peuvent pas etre lues:
-
Données des contacts
- Données d'histoire des appeals
- Données favorites
- Tous les réglages du téléphone
REMARQUE
- Lorsqu'un enregistrement de téléphone est suprimé, les données mentionnées ci-dessus sont également supprimées.
LORS DE LA VENTE OU DE LA MISE AU REBUT DU VEHICULE
Un grand nombre de données personnelles est enregistré lorsque le système mains libres est utilisé. Lors de la vente ou de la mise au rebut du vehicule, réinitialisiez tous les éléments de réglage. ( P.59)
-
Il est possible de réinitialiser les données du système suivantes:
-
Données des contacts
- Données d'historique des appeals
- Données favorites
- Tous les réglages du téléphone
REMARQUE
- Une fois réinitialisés, les données et les réglages seront effacés.
Soyez vigilant lors de la réinitialisation des données.
APPEL SUR LE TÉLÉPHONE Bluetooth
Une fois qu'un téléphone Bluetooth est enregistré, un appel peut être passé à l'aide du système mains libres. Il existe plusieurs méthodes avec lesquelles un appel peut être effectué, comme décrit ci-dessous.
- Appuyez sur 山 山

- Sélectionnez Phone (Téléph).
3. Sélectionné le bouton depuis lequel appeler.

| Comment faire une liste d'appels | Page |
| Par le dernier numéro | 81 |
| Par la liste des+favors | 82 |
| Par la liste des appels réçents | 82 |
| Par le clavier* | 83 |
| Parliste de contacts | 83 |
| Par SMS/MMS | 91 |
| Par appel PDI | 166, 167, 170 |
| Avec le système de reconnaissance vocale | 197 |
*: L'opération est impossible pendant la conduite.
Des appeals peuvent être émis grâce à l'histoire du dernier appel.
- Affichez l'écran du téléphone. (→P.80)
- Sélectionnez Overview (Sommaire).
- Sélectionnez Redial (Bis).

- Vérifiez que l'écran «Calling (Appel)» s'affiche.
PAR LA LISTE DES FAVORIS
Des appeals peuvent être émis grâce aux contacts enregistrés qui peuvent être sélectionnés à partir d'une liste de contacts.
- Affichez l'écran du téléphone. ( P.80)
- Sélectionnez Favorites (Favoris), puis selectionné le contact souhaité.

- Vérifiez que l'écran «Calling (Appel)» s'affiche.
REMARQUE
- La liste des favors de ce système et celle de votre téléphone Bluetooth ne sont pas synchronisées. Ce système ne prend actuellement pas en charge le transfert de données de la liste des favors à partir du téléphone Bluetooth. Pour ajouter la liste des favors du téléphone Bluetooth à la liste des favors du système, vous doivent l'enregistrer dans la liste des contacts du repertoire du système. (→P.83)
PAR LA LISTE DES APPELS RÉCENTS
- Affichez l'écran du téléphone. ( P.80)
- Sélectionnez Recent (Récent), puis seLECTIONnez le contact souhaïte.

| N° | Informations/fonction |
| 1 | Sélectionnez pour afficher tous les derniers éléments d'historique des appeals. |
| 2 | Sélectionnez pour afficher les appeals manqués. |
| 3 | Affiche les icônes de type d'appeal. • : Appel manqué • : Appel entrant • : Appel sortant |
- Vérifiez que l'écran «Calling (Appel)» s'affiche.
REMARQUE
- Lorsqu'un numéro de téléphone enregistré dans la liste de contacts est reçu, le nom est affché.
- Les appels internationaux téléphoniques risquent de ne pas etre effectués selon le type de téléphone portable que vous avez.
PAR LE CLAVIER
- Affichez l'écran du téléphone. ( P.80)
- Sélectionnez Keypad (Clavier), puis saisissez le numéro de téléphone.

- Sélectionnez Call (Appeler).
- Verifiez que l'écran «Calling (Appel)» s'affiche.
REMARQUE
- Selon le type de téléphone Bluetooth connecté, il peut être nécessaire d'effectuer des étapes supplémentaires sur le téléphone.
PAR LISTE DE CONTACTS
Des appeliers peuvent etre émis en utilisant les données de contact qui sont transférées depuis un téléphone portable enregistré.
- Affichez l'écran du téléphone. (→P.80)
- Sélectionnez Phonebook (Répert. tél.), puis selectionnez le contact souhaïte.

-
Il est possible de rechercher un contact en saisissant le nom du contact.
-
Sélectionnez le numéro souhaïte.

- Lorsque l'adresse est selectionnée, l'écran de recherche s'affiche. ( P.166)
- Les nombres peuvent inclure les mobile, domicile, travail en tant que catégories selon les données de l'annulaire téléphonique du téléphone cellulaire connecté.
-
Lorsque ☆ est sélectionné, ☆ est modifié en ★ (jaune).
-
Le numero est enregistré dans la liste des favors. ( P.82)
-
À chaque fois que le symbole est sélectionné, le symbole passé de à (jaune).
-
Vérifiez que l'écran «Calling (Appel)» s'affiche.
REMARQUE
Lorsque «Phonebook Download (Télécharger le répertoire téléphon.)» est régé sur marche, les contacts sont transférés automatiquement. ( P.57)
RéCEPTION SUR LE TÉLÉPHONE Bluetooth
APPELS ENTRANTS
Lorsqu'un appel est reçu, l'écran d'appel entrant est affiché avec un son.
- Sélectionnez ou appuyez sur le commutateur situé sur le volant pour parler au téléphone.

Pour refuser de recevoir l'appoint: Sélectionnez ou appuyez sur le commutateur situé sur le volant.
Pour régler le volume d'un appel reçu: Tournez la molette « © /VOLUME», ou utilisez le commutateur de volume sur le volant.
REMARQUE
- Pendant des appels téléphoniques internationaux, le nom de l'interlocuteur ou le numéro peut ne pas s'afficher correctement selon le type de téléphone portable que vous avez.
- Le volume de la sonnerie peut également être réglée à partir de l'écran de configuration audio. ( P.72)
PARLER AVEC LE TÉLÉPHONE Bluetooth
Lorsque vous parlez au téléphone, cet écran s'affiche. Les opérations décrites ci-dessous peuvent être effectuees sur cet écran.

| N° | Fonction |
| 1 | Sélectionnez pour transférer l'appel. Sélectionnez Transfer (Transférer) pour passer d'un appel mains libres à un appel avec téléphone portable. Sélectionnez Transfer Back (Transférer) pour passer d'un appel avec le téléphone portable à un appel mains libres. |
| 2 | Sélectionnez pour placer un appel en attente. |
| 3 | Sélectionnez pour couper le son de votre voix pour l'interlocuteur. |
| 4 | Sélectionnez pour raccrocher le téléphone. |
REMARQUE
- Vous pouvez passer entre un appel sur le téléphone mobile et l'appeil mains libres en utilisant le téléphone mobile directement.
- Les méthodes et les opérations de transfert sont différentes selon le type de téléphone portable que vous avez.
- Pour en savoir plus sur le fonctionnement du téléphone portable, consultez le manuel fourni avec celui-ci.
- Tournez la « /VOLUME» molette, ou utilisez le commutateur de volume sur le volant pour régler le volume de la voix de l'interlocuteur.
ENVOI DE TONALITÉS
PAR LE CLAVIER
Cette opération est impossible pendant la marche du vehicule.
- Sélectionnez Keypad (Clavier).
- Saisissez le numero de téléphone de votrechoix.

APPEL EN ATTENTE
Lorsqu'un appel est interrompu par un tiers pendant une conversation, l'écran d'appeel entrant est affché avec un son.
- Sélectionnez ou appuyez sur le commutateur situé sur le volant pour commencer à parler avec votre interlocuteur.

Pour refuser de receivevoir l'appe! : Sélectionnez ou appuyez sur le commutateur ≈ situé sur le volant.
-
Le premier appel est mis en attente.
-
Vérifiez que l'écran d'applen en attente soit affché.

- Swap (Changer): Sélectionnez pour changer d'interlocuteur. Chaque fois que Swap (Changer) est sélectionné, la partie qui est maintainue en attente sera commutée.
- Merge (Fusionner): Sélectionnéz pour passer à un appel conférence.
- Sélectionnez ou appuyez sur le bouton au volant pour terminer l'expérience et revenir à la conversation avec l'interlocuteur en attente lors d'une conversation bidirectionnelle, et pour terminer l'expérience avec les deux interlocuteurs lors d'une conversation tridirectionnelle.
FONCTION DEMESSAGE TÉLÉPHONIQUE Bluetooth
Les messages reçus peuvent être transmis depuis le téléphone Bluetooth connecté, ce qui permet de contrôler et de répondre via le système.
Selon le type de téléphone Bluetooth connecté, les messages reçus ne sont pas transmis à la boîte de réception.
Si le téléphone mobile n'est pas compatible avec la fonction de message, cette fonction ne peut etre utilisé.
En fonction du type de téléphone Bluetooth, l'affichage de l'écran peut être différent, et il peut s'avérer impossible d'utiliser certaines fonctions.
Pour utiliser cette fonction, il est nécessaire d'activer la fonction de téléchargement du réseauTELphonique. ( P.57)
REMARQUE
-
Selon le modele de votre téléphone, le paramétrage Bluetooth du téléphone connectéaura peut-être besoin d'être modifié. (ex.: Pour iOS ou autres modèles, le paramètre de notificationaura peut-être besoin d'être activé.) Pour plus d'informations, consultez le mode d'emploi du téléphone Bluetooth connecté.
-
Appuyez sur

- Sélectionnez Phone (Téléph).
-
Sélectionnez Messages (Messages).
-
Vérifiez que la boîte de réception des messages est affichée.

- : lcône de message non lu
| Fonction | Page |
| Réception d'un message | 88 |
| Vérification des messages | 89 |
| Répondre à un message (réponse rapide) | 90 |
| Envoi d'un nouveau message court | 91 |
| Appel de l'expéditeur du message | 91 |
RéCEPTION D'UNMESSAGE
Lorsqu'un SMS/MMS entrant est reçu, l'écran de message reçu s'ouvre avec un son et peut être contrôle à l'écran.
- Sélectionnez Play (Écouter) pour obtenir une lecture à voix haute du message.

S'il y a des messages non lus

- Inbox (Boîte de réception): Sélectionnez pour afficher l'écran de boîte de réception des messages.
-
Ignore (Ignorer): Sélectionnez pour ne pas ouvrir le message.
-
ÀpRES avoir pris connaissance du message, l'écran suivant s'affiche.

| N° | Fonction |
| 1 | Sélectionnez pour obtenir une lecture à voix haute du message une nouvelle fois. |
| 2 | Sélectionnez pour vérifier le message. |
| 3 | Sélectionnez pour répondre au message. (→P.90) |
| 4 | Sélectionnez pour annuler cette fonction. |
*: En fonction du téléphone Bluetooth qui est connecté au système audio, cette fonction n'est pas disponible.
REMARQUE
- Selon le téléphone mobile utilisé pour receivevoir des messages, ou son état d'enregistrement avec le système, des informations peuvent ne pas s'afficher.
Lorsque plusieurs messages sont reçus, un écran contextuel s'affiche. Sélectionné Messages (Messages) pour enregistrer les messages dans la boîte de réception.
VÉRIFICATION DES MESSAGES
- Afficher l'écran des messages reçus. (→P.87)
- Sélectionnéz le message de votre choix dans la liste.
- Sélectionnez View (Afficher).

- Vérifiez le message.

- Play (Écouter): Sélectionnez pour obtenir une lecture à voix haute du message.
- Reply (Répondre)*: Sélectionnez pour répondre au message. ( P.90)
- Cancel (Annuler): Sélectionnéz pour annuler cette fonction.
*: En fonction du téléphone Bluetooth qui est connecté au système audio, cette fonction n'est pas disponible.
REMARQUE
- Selon le type de téléphone Bluetooth connecté, il peut être nécessaire d'effectuer des étapes supplémentaires sur le téléphone.
Seuls les messages reçus sur le téléphone Bluetooth connecté peuvent être affichés. - Le texte du message n'est pas affché lorsque vous conduisez.
- Tournez la molette « 口 /VOLUME», ou utilisez le commutateur de volume sur le volant pour ajuster le volume de lecture à voix haute du message.
Répondre à UNMESSAGE (RéPONSE RAPIDE)*
*: En fonction du téléphone Bluetooth qui est connecté au système audio, cette fonction n'est pas disponible.
- Afficher l'écran des messages reçus. (→P.87)
- Sélectionnéz le message de votre choix dans la liste.
- Sélectionnez Reply (Répondre).

- Sélectionnéz le message souhaïte.

- Sélectionnez Send (Envoyer).

- Change (Modifier): Sélectionnez pour changer le message.
- Cancel (Annuler): Sélectionnéz pour annuler l'envoi du message.
REMARQUE
10 messages ont déjà été enregistrés.
ENVOI D'UN NOUVEAUMESSAGE COURT
- Affichage de l'écran de la liste des favors ( P.82) , l'écran de la liste des derniers appeals ( P.82) ou l'écran de détails de contact ( P.83) .
- Sélectionnez en face du numéro souhaïte.
- Sélectionnéz le message souhaïte.

- Sélectionnez Send (Envoyer).

- Change (Modifier): Sélectionnez pour changer le message.
- Cancel (Annuler): Sélectionnez pour annuler l'envoi du message.
APPEL DE L'EXPÉDITEUR DUMESSAGE
Des appels peuvent être émis vers le numéro de téléphone de l'expéditeur du SMS/MMS.
- Afficher l'écran des messages reçus. (→P.87)
- Sélectionnez à côté de l'expéditeur souhaïte.
- Vérifiez que l'écran «Calling (Appel)» s'affiche.
MÉMO
Applis

Avant D'utiliser Les Applications 94
Avant D'utiliser Les Applications 94
Réglages Requis Pour L'utilisation Des
Pandora 106
Applications
Pandora 106
À Propos Du Contenu Connecté Par
Vue D'ensemble 106
Application 95
Apple CarPlay 109
Apple CarPlay 109
UBARU STARLINK 97
Vue D'ensemble 109
SUBARUSTARLINK 97
Affichage Des Informations
Android Auto 111
SUBARUSTARLINK 97
Mention Legale 98
Android Auto 111
Vue D'ensemble 111
SiriusXM Travel Link 113
SiriusXM Travel Link 113
Affichage Des Informations De Sport 113
Affiche Des Informations Météorologiques 114
Affichage Des Informations De Stock 115
Affichage Des Informations De Carburant 115
ahaTM par HARMAN 102
ahaTM par HARMAN 102
Vue D'ensemble 102
AVANT D'UTILISER LES APPLICATIONS
AVANT D'UTILISER LES APPLICATIONS
Les précautions à prendre en compte lors de l'utilisation de l'application sont indiquées ci-dessous.
Dans ce chapitre, les iPhone ou les appareils Android sont appelés smartphone.

AVERTISSEMENT
- Ne connectez pas et n'utilisez pas le smartphone pendant la conduite.
Veillez à garer le vehicule dans un endroit sur avant d'utiliser ou de connecter votre smartphone.

ATTENTION
- Ne laisses pas votre smartphone dans la voiture. En particulier, une température élevée à l'intérieur du vehicule risque d'endommager le smartphone.
N'appuyez pas et n'exercez pas de pression inutile sur le smartphone alors qu'il est branché, car vous risquez d'endommager le smartphone ou son connecteur. - Si vous connectez votre smartphone via USB, n'introduisez pas de corps étrangers dans le port USB, car vous risquez d'endommager le smartphone ou son connecteur.
REMARQUE
- En fonction de l'application, certaines fonctions ne sont pas disponible pendant la conduite pour des raisons de sécurité.
- Afin de maximiser la réception de signal, la performance et la précision du smartphone, veuillez vous assurer que le smartphone est place aussi après que possible du système, tout en vous assurant qu'il est bien rangé pendant la conduite.
- Lorsque vous connectez votre smartphone via USB, utilisez les cables d'origine fournis avec votre smartphone ou équivalent tiers (certifié).
- Lorsque le contacteur d'allumage est sur la position «ACC» ou «ON», la batterie du smartphone connecté est chargée.
- En connectant votre smartphone via USB, le smartphone peut ne pas être reconnu quand le contacteur d'allumage est sur la position «ACC» ou «ON». Dans ce cas, retirez le smartphone et rebranchez-le.
- L'exactitude des informations affichées ou la performance de la réception de signal dépend du smartphone ou du dispositif connecté, et de la connexion sans fil.
- Pour l'utilisation du smartphone, consultez le manuel d'utilisation fourni avec ce dernier.
- Suivez les procédures spécifiques de fonctionnement pour l'application du smartphone.
- Lors de la connexion d'un dispositif via Bluetooth, la vitesse de communication peut devenir plus lente que via USB.
- Si l'application ne fonctionne pas correctement ou est instable, déconnectez et reconnectez le smartphone Bluetooth (→P.54) et/ou le cable USB (→P.31). Si le problème persiste, redémarrez le smartphone.
RÉGLAGES REQUIS POUR L'UTILISATION DES APPLICATIONS
Afin de pouvoir utiliser l'application sur ce système, l'application doit être installée sur le smartphone.
- Recherche et téléchargez l'application depuis l'app de votre smartphone.
- iPhone: App Store via iTunes
- Dispositif Android: Google Play Store
- Creez un compte et connectez-vous à l'application sur le smartphone.
REMARQUE
- Veuillez utiliser la version la plus récente de l'application.
Apple CarPlay ne nécessite aucune application à installer. Rêférez-vous à «Apple CarPlay» pour plus de détails sur le fonctionnement d'Apple CarPlay. (→P.109)
À PROPOS DU CONTENU CONNECTÉ PAR APPLICATION
Les exigences concernant l'utilisation de services de contenu connectés à l'application sur ce système.
- La dernière version du système est compatible avec le(s) application(s) de contenu connectée(s) pour les smartphones, et est téléchargeé sur votre smartphone.
- Un compte actuel avec un fournisseur de service de contenu sans fil.
- Un forfait de données smartphone: Si le forfait de données pour votre smartphone ne fournit pas une utilisation illimitée des données, des frais supplémentaires de votre opérateur sont susceptibles de s'appliquer pour acceder à un contenu connecté avec une application via les reseaux sans fil 3G, 4G, Wi-Fi ou 4G LTE.
- Connexion à Internet via les réseaux 3G, 4G, Wi-Fi ou 4G LTE.
REMARQUE
- Les modifications apportées aux specifications du produit peuvent entraîner des différences entre le contenu de ce manuel et les caractéristiques du produit.
- Faire attention à ne pas dépasser les limites d'utilisation des données de votre smartphone. Cela pourrait entraîner des frais supplémentaires sur l'utilisation des données de la part de l'opérateur de votre téléphone.
REMARQUE
Limitations:
- L'accès au contenu connecté via une application dépend de la disponibilité des téléphones sans fil et/ou de la couverture réseau Wi-Fi pour permettre à votre smartphone de se connecter à Internet.
- La disponibilité du service peut être géographiquement limitée selon les régions. Consulter le fournisseur de services de contenu connecté sans fil pour plus d'informations.
-
La capacité d'accès de ce produit à des contenus connectés est soumise à des changements sans préavis et peut être affectée par l'un des éléments suivants: problèmes de compatibilité avec des versions futures du micrologiciel du smartphone; problèmes de compatibilité avec des versions futures des applications de contenus connectés pour le smartphone; modification ou interruption des applications de contenus connectés ou des services par le fournisseur.
-
Étant donné que certaines applications utilisent des signaux satellites GPS et des lignes de communication sans fil, elles risquent de ne pas fonctionner correctement dans les endroits suivants.
-
Dans les tunnels
- Dans un parking souterrain
- En dehors de la portée de communication sans fil, comme certaines zones à la campagne
-
Là où le réseau de communication sans fil est sature, ou la où les communications sont restreintes
-
En fonction des conditions et de l'environnement, le signal reçu est faible ou n'est pas reçu. Dans de tels cas, une erreur peut se produit.
REMARQUE
- Les frais de communication et d'appels téléphoniques pour les smartphones doivent être payés par l'abonné sans fil.
Si vous perdez les données d'un smartphone ou d'un autre péripérisque lors d'une'utilisation avec le système, aucune compensation ne sera donnée pour la perte de données. - SUBARU CORPORATION n'offre aucune garantie concernant le contenu fourni par l'application.
- L'application peut ne pas fonctionner en raison de facteurs relatifs aux smartphones, aux applications smartphone ou aux stations. SUBARU CORPORATION décline toute responsabilité quant à cela.
SUBARU STARLINK
SUBARU STARLINK
La fonction SUBARU STARLINK permet la liaison du système avec un smartphone au moyen d'une connexion Bluetooth ou USB.
Lors de la connexion d'un périphérique iPhone ou Android avec l'application SUBARU STARLINK installée, vous pouvez contrôler le contente de SUBARU STARLINK via le système.
Pour utiliser l'application SUBARU STARLINK, connectez votre iPhone au port USB ou via Bluetooth, ou connectez votre appareil Android via Bluetooth.
Lors de l'utilisation de l'application, liquez les précautions indiquées dans «AVANT D'UTILISER LES APPLICATIONS». (→P.94)
REMARQUE
- SUBARU STARLINK ne pas être utilisé lors de la connexion à une source Wi-Fi externe de ce système si l'adresse IP source est 192.168.1.x.
AFFICHAGE DES INFORMATIONS SUBARU STARLINK
- Lancez l'application SUBARU STARLINK sur votre smartphone.
-
Connectez l'iPhone au port USB ou connectez votre péripérisque iPhone ou Android, en utilisant la connexion Bluetooth.
-
Pour plus d'informations sur la connexion de votre iPhone au port USB: P.31 Pour plus de détails sur l'enregistrement ou la connexion de votre péripérisque iPhone ou Android: P.48
-
Sélectionnez SUBARU STARLINK (SUBARU STARLINK) sur l'écran «Apps (Applications)». ( P.24)
REMARQUE
- Il peut arriver que SUBARU STARLINK (SUBARU STARLINK) n'apparaisse pas immédiatement lorsque le contacteur d'allumage est régèle sur la position «ACC» ou «ON». Dans ce cas, veuillez patienter.
À PROPOS DES DISPOSITIFS PRIS EN CHARGE
Ce système est compatible avec les/dispositifs suivants.
- iPhone: iOS 7.1.2 ou version ultérieure
- Android: Android 4.0 ou version ultérieure
MENTION LÉGALE
For iPhone
- AVERTISSEMENT
Pour vous securité, ne tentez pas de faire fonctionner quelques fonctionnalité de ce dispositif sauf si ceci peut être fait de façon sécurité sans distraction d'une conduite prudente. Ce dispositif est à des fins d'information seulement. Veuillez vérifier et vous conformer à la législation locale et obéissez en tout temps aux règles liées à la conduite prudente au volant, ainsi qu'à la signalisation affichée. Ce dispositif ne doit être utilisé que dans des endroits où il est légal de le faire. Veuillez lire le manuel d'instructions afin de faire fonctionner ce dispositif correctement. Ce produit utilise le service de données mobiles du téléphone intelligent pour ses fonctionnalités et services. Veuillez consulter le service de données mobiles, la tarification, les frais d'utilisation excédante et lignes directrices relatives aux limites et utilisation de votre opérateur de télécommunications.
- Autorisation
Vous pourriez faire l'objet d'une demande de renseignements personnels et/ou non personnells uniquement pour les fins indiquées.
- GARANTIE LIMITÉE
Toute utilisation de ce produit (le « produit »), le logiciel STARLINK, et toute application prise en charge avec le produit (collectivement avec le produit et le logiciel STARLINK, le « système lie au produit »), y compris tout recours au contenu affché par le système lie au produit est à vos propres risques. SUBARU CORPORATION et ses filiales ("SUBARU CORPORATION") [NTD : Reference below is to affiliates.] déclinent toute responsabilité quant à l'exactitude, le contenu, le caractère complet, la légalité, fiabilité, le caractère opérationnel ou la disponibilité de toute information résultat de l'utilisation du système lie au produit. Le réseau de télécommunication utilisé et la version particulière du iPhone, Android ou autre téléphone intelligent (chacun, un « téléphone intelligent ») et les systèmes d'exploitation de Apple, Android ou d'autres téléphones intelligents (collectivement, avec le téléphone intelligent, le « système de téléphone ») utilisés sont la responsabilité du client, et SUBARU CORPORATION n'encourt aucune responsabilité pour l'interopérabilité du système lie au produit avec toute combinaison de réseau de télécommunication et de système de téléphone n'était pas explicitement pris en charge tel qu'indiqué dans la documentation du système lie au produit.
Les seuls et uniques recours de l'utilisateur pour toute application téléchargeée des boutiques en ligne iTunes, Google Play ou tout autre boutique en ligne (chacune, une « boutique d'applications ») (y compris l'application STARLINK), ou autrement installée sur le téléphone intelligent du client, seront telles que prévu dans les termes et conditions de la boutique d'applications ou autre document similaire et SUBARU CORPORATION n'assume aucune responsabilité pour ces applications ou leur fonctionnement. Tout service fourni par le système lié au produit sera couvert par une entente de services distincte.
DANS LA MESURE MAXIMALE PRÉVUE PAR LA LOI, LE SYSTème LIÉ AU PRODUIT EST FOURNI TEL QUEL ET TEL QUE DISPONIBLE, SANS GARANTIES DE QUELQUE NATURE, EXPRESSES OU IMPLICITES OU QUI DÉCOULENT PAR AILLEURS D'UNE LOI, Y COMPRIS, NOTAMMENT, LES GARANTIES IMPLICITES DE QUALITE MARCHANDE, D'ADAPTATION À UN USAGE PARTICULIER OU DE D'ABSENCE DE CONTREFAÇON. SUBARU CORPORATION ET SES SOCIENTÉS AFFILIÉES, DIRIGEANTS, EMPLOYÉS, MANDATAIRES, PARTENAIRES, FOURNISSEURS ET DONNEURS DE LICENCE (COLLECTIVEMENT, LES « PARTIES SUBARU CORPORATION ») DECLINENT TOUTE GARANTIE RELATIVEMENT À LA SECURité, LA FIABILITÉ, LA RAPIDITÉ, LE CARACTÈRE COMPLET, L'EXACTITUDE ET LA PERFORMANCE DU SYSTème LIÉ AU PRODUIT. LES PARTIES SUBARU CORPORATION NE GARANTISSENT PAS NI NE S'ENGAGEMENT À CE QUE TOUT DEFAUT OU ERREUR ASSOCIÉ AU SYSTème LIÉ AU PRODUIT SOIT CORRIGÉ, OU QUE LE SYSTème LIÉ AU PRODUIT EST LIBRE DE TOUT VIRUS, ERREURS OU AUTRES COMPOSANTES NUISIBLES, OU QU'IL FONCTIONNERASans INTERRUPTION OU EN CONFORMITE AVEC TOUT HORAIRE. PUISQUE CERTAINS TERRITOIRES PEUVENT NE PAS PERMETTRÉ L'EXCLUSION OU LA LIMITATION DE CES GARANTIES IMPLICITES, LES EXCLUSIONS CI-DESSOUS NE S'APPLIQUENT PEUT-ÊTRPAS À VOUS.
For Android devices
- AVERTISSEMENT
Pour vous securité, ne tentez pas de faire fonctionner quelles fonctionnalités de ce dispositif sauf si ceci peut être fait de façon sécuritaire sans distraction d'une conduite prudente. Ce dispositif est à des fins d'information seulement. Veuiliez vérifier et vous conformer à la législation locale et obésissez en tout temps aux règles liées à la conduite prudente au volant, ainsi qu'à la signalisation affichée. Ce dispositif ne doit être utilisé que dans des endroits où il est légal de le faire. Veuiliez lore le manuel d'instructions afin de faire fonctionner ce dispositif correctement. Ce produit utilise le service de données mobiles du téléphone intelligent pour ses fonctionnalités et services. Veuiliez consulter le service de données mobiles, la tarification, les frais d'utilisation excédante et lignes directrices relatives aux limites et utilisation de votre opérateur de télécommunications.
- Autorisation
Vous pourriez faire l'objet d'une demande de renseignements personnels et/ou non personnells uniquement pour les fins indiquées.
- GARANTIE LIMITÉE
Toute utilisation de ce produit (le « produit »), le logiciel STARLINK, et toute application prise en charge avec le produit (collectivement avec le produit et le logiciel STARLINK, le « système lié au produit »), y compris tout recours au contenu affchéé par le système lié au produit est à vos propres risques. SUBARU CORPORATION et ses filiales ("SUBARU CORPORATION") [NTD : Reference below is to affiliates.] déclinent toute responsabilité quant à l'exactitude, le contenu, le caractère complet, la légalité, fiabilité, le caractère opérationnel ou la disponibilité de toute information resultant de l'utilisation du système lié au produit. Le réseau de télécommunication utilisé et la version particulière du iPhone, Android ou autre téléphone intelligent (chacun, un « téléphone intelligent ») et les systèmes d'exploitation de Apple, Android ou d'autres téléphones intelligents (collectivement, avec le téléphone intelligent, le « système de téléphone ») utilisés sont la responsabilité du client, et SUBARU CORPORATION n'accourt aucune responsabilité pour l'interopérabilité du système lié au produit avec toute combinaison de réseau de télécommunication et de système de téléphone n'était pas explicitement pris en charge tel qu'indiqué dans la documentation du système lié au produit.
Les seuls et uniques recours de l'utilisateur pour toute application téléchargee des boutiques en ligne iTunes, Google Play ou tout autre boutique en ligne (chacune, une « boutique d'applications ») (y compris l'application STARLINK), ou autrement installee sur le téléphone intelligent du client, seront telles que prevu dans les termes et conditions de la boutique d'applications ou autre document similaire et SUBARU CORPORATION n'assume aucune responsabilité pour ces applications ou leur fonctionnement. Tout service fourni par le système lie au produit sera couvert par une entente de services distincte.
DANS LA MESURE MAXIMALE PRÉVUE PAR LA LOI, LE SYSTème LIÉ AU PRODUIT EST FOURNI TEL QUEL ET TEL QUE DISPONIBLE, SANS GARANTIES DE QUELQUE NATURE, EXPRESSES OU IMPLICITES OU QUI DÉCOULENT PAR AILLEURS D'UNE LOI, Y COMPRIS, NOTAMMENT, LES GARANTIES IMPLICITES DE QUALITE MARCHANDE, D'ADAPTATION À UN USAGE PARTICULIER OU DE D'ABSENCE DE CONTREFAÇON. SUBARU CORPORATION ET SES SOCIENTÉS AFFILIÉES, DIRIGEANTS, EMPLOYÉS, MANDATAIRES, PARTENAIRES, FOURNISSEURS ET DONNEURS DE LICENCE (COLLECTIVEMENT, LES « PARTIES SUBARU CORPORATION ») DECLINENT TOUTE GARANTIE RELATIVEMENT À LA SECURité, LA FIABILITÉ, LA RAPIDITÉ, LE CARACTÈRE COMPLET, L'EXACTITUDE ET LA PERFORMANCE DU SYSTème LIÉ AU PRODUIT. LES PARTIES SUBARU CORPORATION NE GARANTISSENT PAS NI NE S'ENGAGEMENT À CE QUE TOUT DEFAUT OU ERREUR ASSOCIÉ AU SYSTème LIÉ AU PRODUIT SOIT CORRIGÉ, OU QUE LE SYSTème LIÉ AU PRODUIT EST LIBRE DE TOUT VIRUS, ERREURS OU AUTRES COMPOSANTES NUISIBLES, OU QU'IL FONCTIONNERASans INTERRUPTION OU EN CONFORMITE AVEC TOUT HORAIRE. PUISQUE CERTAINS TERRITOIRES PEUVENT NE PAS PERMETTRÉ L'EXCLUSION OU LA LIMITATION DE CES GARANTIES IMPLICITES, LES EXCLUSIONS CI-DESSOUS NE S'APPLIQUENT PEUT-ÊTRPAS À VOUS.
aha™ par HARMAN
aha™ par HARMAN
aha est une application en nuage qui se connecte au système et vous permet d'acceder à votre contenu Web favori en toute sécurité et facilement. Il existe des dizaines de milliers de stations couvrant la radio Internet, la musique personnalisée, les livres audio, Facebook, Twitter, les recherches de restaurants et d'hoteurs, la météo et bien plus encore. Pour en savoir plus sur aha, accédez au site aha (http://www.ahradio.com).
Lors de la connexion d'un iPhone ou d'appareils Android avec l'application aha installee, vous pouvez contrôle, afficher et entendre le contenu aha via le système.
Pour utiliser l'application aha, connectez votre péripérisque iPhone ou Android via Bluetooth.
Lors de l'utilisation de l'application, lisez les précautions indiquées dans «AVANT D'UTILISER LES APPLICATIONS». (→P.94)
Avec la fonction de navigation: Vous pouze également afficher des informations POI à partir de l'application aha sur l'écran de la carte et sur l'itinétaire de ces points d'intérêt.
VUE D'ENSEMBLE
L'écran de fonctionnement aha ^TM by HARMAN est accessible à l'aide des méthodes suivantes:
- Lancez l'application aha sur votre smartphone.
-
Connectez le périphérique iPhone ou Android en utilisant la connexion Bluetooth.
-
Pour plus de détails sur l'enregistrement ou la connexion d'un périphérique iPhone ou Android: →P.48
-
Sélectionnez Aha (Aha) sur l'écran «Apps (Applications)». ( P.24)
Panneau de commande

| N° | Fonction |
| 1 | Tournez pour régler le volume. Appuyez pourmettre en sourdine le système audio etmettre en pause la lecture. Appuyez et maintenez,enforcé pourdéspectiver lesysteme audio,et appuyez pour l'activer de nouveau. |
| 2 | Tournez pour afficher l'élement de contenu suivant/preçédent. Appuyez pour sélectionner un élément. |
| 3 | Appuyez pour afficher l'élement de contenu suivant/preçédent. |
| 4 | Appuyez pour afficher l'écran «Apps (Applications)». |
Écran de contrôle

<Écran principal>

<Écran de liste de station>
| N° | Fonction |
| 1 | Affiche la couverture de l'album. |
| 2 | Affiche le nom de la station. |
| 3 | Sélectionnez pour afficher l'écran de liste de la station. |
| 4 | Sélectionnez pour afficher l'écran de liste des pistes. |
| 5 | Sélectionnez pour afficher l'écran des paramètres audio. (→P.73) |
| 6 | Boutons de fonctionnement de l'écran de commande • Les éléments de contenu peuvent être modifiés, et si les éléments de contenu contiennent des informations, les appeals peuvent être placés et les éléments de contenu peuvent être régliés pour des destinations, etc. |
| 7 | Indique la progression. |
| 8 | Sélectionnez pour transférer les informations «N'aime pas» sur le serveur de l'application. Pour annuler des informations «N'aime pas» qui sont en train d'être téléchargeées sur le serveur, Sélectionnez de nouveau ce bouton. |
| 9 | Sélectionnez pour transférer les informations «Aimer» sur le serveur de l'application. Pour annuler des informations «Aimer» qui sont en train d'être téléchargeées sur le serveur, Sélectionnez de nouveau ce bouton. |
| 10 | Sélectionnez pour afficher la liste des stations prérégliées. |
| 11 | Sélectionnez pour afficher la liste des stations prérégliées. |
| 12 | Sélectionnez pour afficher la liste des stations utilisant les informations de localisation. |
REMARQUE
Lorsque vous passez à d'autres modes avec l'application aha activée, puis que vous mettez le système hors/sous tension avec le smartphone encore connecté, l'écran d'accueil s'affiche.
- Les 35 premières entrées dans la liste des stations préréglées sur le smartphone s'afficht. Lorsqu'il y a plus de 35 entrées dans la liste de stations préréglées, modifier l'ordre des entrées dans la liste sur le smartphone. Vous pouze changer la priorité de vos stations préréglées dans l'application aha (après avoir débranché de ce système) pour modifier la liste de stations affichée à l'écran. Veuillez consulter l'application aha de votre smartphone « Modifier les préseLECTIONs» pour modifier cette liste.
S'il y a plusieurs fichiers audio stockés sur votre iPhone, il peut faloir un certain temps avant que la lecture démarre.
- Il se peut que la lecture soit intermittente lorsque vous passez sur l'audio Bluetooth en streaming depuis l'aha de votre smartphone.
- Les opérations suivantes ne sont pas disponibles sur ce système. Effectuez ces opérations sur le smartphone.
- Ajouter/reorganiser/supprimer des stations
-
Ouvrez une session sur Facebook/Twitter (Si vous n'êtes pas connecté, la connexion est requise par la station. Il est nécessaire de le faire lorsque l'appareil est déconnecté du système).
-
Pour la fonction aha, les gestes pour l'écran tactile suivants ne sont pas disponibles.
-
Touchez deux fois avec un doigt
-
Touchez deux fois avec deux doigts
-
Le système audio s'eteint lorsque l'application aha est fermée sur l'iPhone et/ou sur le pérophérique Android.
REMARQUE
Utilisez ce système pour dire de la musique avec l'application aha. Si la station ou les réglages sont modifiés fréquement par le biais des deux système audio et smartphone, l'application aha pourrait ne pas fonctionner. Il pourrait s'avérer nécessaire de relancer l'application sur le smartphone.
À PROPOS DES DISPOSITIFS PRIS EN CHARGE POUR aha
Ce système est compatible avec les dispositifs suivants.
- iPhone: iOS 7.0 ou version ultérieure
- Android: Android 2.2 ou version ultérieure
REMARQUE
- Noter que la garantie ne s'applique pas si un iPhone non compatible est connecté.
- Les fonctions disponibles varient selon le type d'appareil Android.
Pandora®
Pandora®
Pandora est une radio personnalisée gratuite qui vous permet de découvert et de profiter de la musique en continu et sans efforts.
Pour utiliser l'application Pandora, connectez votre péripérisque iPhone ou Android via Bluetooth.
Selon les différences entre modèles ou versions logicielles, etc., il est possible que certains modèles soient incompatibles avec ce système.
L'application Pandora doit être installée sur votre smartphone.
Lors de l'utilisation de l'application, lisez les précautions indiquées dans «AVANT D'UTILISER LES APPLICATIONS». (→P.94)
REMARQUE
- Pandora n'est disponible que dans certains pays. Veuillez consulter Pandora.com/legal pour plus d'informations.
VUE D'ENSEMBLE
L'écran d'utilisation Pandora est accessible par l'une des méthodes suivantes:
- Connectez le périphérique iPhone ou Android en utilisant la connexion Bluetooth.
- Pour plus de détails sur l'enregistrement ou la connexion d'un périphérique iPhone ou Android: →P.48
- Sélectionnez Pandora (Pandora) sur l'écran «Apps (Applications)». ( P.24)
Panneau de commande

| N° | Fonction |
| 1 | Tournez pour régler le volume. Appuyez pourmettre en sourdine le système audio etmettre en pause la lecture. Appuyez et maintenez,enforcé pour désactiver lesysteme audio, et appuyez pour l'activer de nouveau. |
| 2 | Appuyez pour passer à la piste suivante. Appuyez et maintenez,enforcé pour faire une avancerapide. |
| 3 | Appuyez pour afficher l'écran «Apps (Applications)». |
Écran de contrôle

| N° | Fonction |
| 1 | Affiche la couverture de l'album. |
| 2 | Sélectionnez pour afficher l'écran de liste de la station. |
| 3 | Sélectionnez pour afficher l'écran des paramètres audio. (→P.73) |
| 4 | Sélectionnez pour créé une station depuis l'artiste ou le morceau. |
| 5 | Sélectionnez pourcréer un signet pour la piste en cours de lecture. |
| N° | Fonction |
| 6 | Sélectionnez pour passer à la piste suivante. |
| 7 | Indique la progression. |
| 8 | Sélectionnez pourmettre en pause/lecture. |
| 9 | Sélectionnez pour évaluer la piste en cours de lecture comme «Aimer» ou «N'aime pas». |
REMARQUE
Utilisez ce système pour dire de la musique avec l'application Pandora. Si la station ou les réglages sont modifiés fréquement par le biais des deux système audio et smartphone, l'application Pandora pourrait ne pas fonctionner. Il pourrait s'avérer nécessaire de relancer l'application sur le smartphone.
À PROPOS DES DISPOSITIFS PRIS EN CHARGE
Ce système est compatible avec les dispositifs suivants.
- iPhone: iOS 8.0 ou version ultérieure
- Android: Jellybean 4.1.1 ou version ultérieure
Apple CarPlay
Apple CarPlay
Carplay peut être utilisé pour visualiser les cartes iPhone, jouer de la musique, et passer des appeals en connectant votre iPhone au système. Les applications prises en charge peuvent également être executées.
- Pour plus de détails sur les services ou les opérations, consultez le site d'Apple CarPlay (https://ssl.apple.com/ios/carplay/).
Pour utiliser l'application Apple CarPlay, connectez votre apparériel iPhone au port USB.
Lors de l'utilisation de l'application, liquez les précautions indiquées dans «AVANT D'UTILISER LES APPLICATIONS». (→P.94)
REMARQUE
- Utilisez un cable authenticate non endommagé lors de l'utilisation de cette fonction.
Activez Apple CarPlay sur les paramètres de restrictions de votre iPhone lorsqu'elles vous utilise cette fonction. - Lorsque vous utilisez Apple CarPlay, certaines fonctions de ce système peuvent ne pas fonctionner.
VUE D'ENSEMBLE
L'écran d'utilisation Apple CarPlay est accessible par l'une des méthodes suivantes:
- Connectez votre iPhone au port USB.
- Pour plus d'informations sur la connexion de votre iPhone au port USB: P.31
- Sélectionnez Apple CarPlay (Apple CarPlay) sur l'écran «Apps (Applications)». (→ P.24)
Panneau de commande

| N° | Fonction |
| 1 | Tournez pour régler le volume. Appuyez pourmettre en sourdine le système audio etmettre en pause la lecture. Appuyez et maintenez,enforcé pourdéspectiver lesysteme audio,et appuyez pour l'activer de nouveau. |
| 2 | Appuyez pour afficher l'écran «Apps (Applications)». |
Écran de contrôle

*: L'écran affiché peut être différent selon l'iPhone connecté.
| N° | Fonction |
| 1 | Permet d'afficher les touches d'application. Sélectionnez pour lancer l'application. |
| 2 | Sélectionnez pour afficher l'écran d'accueil d'Apple CarPlay. |
| 3 | Sélectionnez pour quitter Apple CarPlay. |
À PROPOS DES DISPOSITIFS PRIS EN CHARGE
Ce système est compatible avec l'iOS7.0 ou version ultérieure.
Android Auto
Android Auto
Android Auto peut être utilisé pour visualiser les cartes Android, jour de la musique, et passer des appeals en connectant votre périphérique Android au système. Les applications prises en charge peuvent également être exécutées.
- Pour plus de détails sur les services ou les opérations, veuillez consulter les sites d'Android Auto (https://www.android.com/auto/) et (https://support.google.com/androidauto/).
Pour utiliser l'application Android Auto, connectez votre apparéil Android au port USB.
Lors de l'utilisation de l'application, liquez les précautions indiquées dans «AVANT D'UTILISER LES APPLICATIONS». (→P.94)
REMARQUE
Utilisez un cable authenticate non endommagé lors de l'utilisation de cette fonction.
- Pour utiliser cette fonction, vérifie que votre apparéil Android est configuré pour accepter une connexion avec un nouveau vehicule.
- Lorsque vous utilisez Android Auto, certaines fonctions de ce système peuvent ne pas fonctionner.
VUE D'ENSEMBLE
L'écran d'utilisation Android Auto est accessible par l'une des méthodes suivantes:
- Connectez votre apparéil Android au port USB.
- Pour plus d'informations sur la connexion de votre appareil Android au port USB: P.31
- Sélectionnez Android Auto (Android Auto) sur l'écran «Apps (Applications)». (→ P.24)
Panneau de commande

| N° | Fonction |
| 1 | Tournez pour régler le volume. Appuyez pourmettre en sourdine le système audio etmettre en pause la lecture. Appuyez et maintenez,enforcé pourdéspectiver lesysteme audio,et appuyez pour l'activer de nouveau. |
| 2 | Appuyez pour afficher l'écran «Apps (Applications)». |
Écran de contrôle

| N° | Fonction |
| 1 | Affiche les boutons d'application/information.Sélectionnez pour lancer l'application, ou sélectionnéz pour afficher l'information. |
À PROPOS DES DISPOSITIFS PRIS EN CHARGE
Ce système est compatible avec Android 5.0 ou version ultérieure.
*: Les services de données satellite SiriusXM aux États-Unis sont uniquement disponibles dans les 48 états contigus des États-Unis et DC. Le service satellite SiriusXM est aussi disponible au Canada; voir www.siriusxm.ca.
Les informations du service de données, qui comprend les informations sportives, les informations relatives à la météo, les informations boursières et les informations relatives au carburant peuvent être reçues via la radio SiriusXM®.
Pour receivevoir des informations de service de données dans le vehicule, un abonnement à SiriusXM® Satellite Radio Service est nécessaire. (→P.129)
Le contenu utilisant SiriusXM® Satellite Radio Service est réinitialisé lorsque des informations personnelles sont initiaisées en selectionnant Factory Data Reset (Retour aux données d'usine) à «ÉCRAN DE PARAMÉTRES GÉNÉRAUX». (→P.59)
AFFICHAGE DES INFORMATIONS DE SPORT
En enregistrant votre equipoze favorite, les informations sportives telles que les matches et les résultats, l'etat des matches encore en cours, et les futurs horaires de jeu peuvent être affichés.
- Sélectionnez Travel Link (TravelLink) sur l'écran «Apps (Applications)». ( P.24)
- Sélectionnez Sports (Sports).
- Vérifiez que les informations sur le sport s'affichent.

| N° | Fonction |
| 1 | Sélectionnez pour modifier les informations affichées. |
| 2 | Les informations sportives sont affichées. |
| 3 | Sélectionnez pour définir les informations sur le sport à afficher. |
| 4 | Sélectionnez pour édimter ou enregistrer votre equipe favorite. |
AFFICHAGE DES INFORMATIONS MÉTEOROLOGIQUES
Les prévisions météo, les prévisions de température ou les températures minimales/maximales, et les risques de précipitation, etc. peuvent être affichées dans les informations relatives à la météo.
- Sélectionnez Travel Link (TravelLink) sur l'écran «Apps (Applications)». ( P.24)
-
Sélectionnez Weather (Météo).
-
Vérifiez que les informations relatives à la météos'affichent.


| N° | Fonction |
| 1 | Sélectionnez pour basculer la synchronisation de la prévision affichée. |
| 2 | Sélectionnez pour régler la région de la prévision. Les prévisions météo de votre position actuelle à votre destination peuvent également être affichées. |
| 3 | Les informations relatives à la météo s'affichent. |
| 4 | Sélectionnez pour afficher l'état de fonctionnement des stations de ski, la météo, la température et la hauteur d'enneigement, etc. |
| 5 | Sélectionnez pour afficher les prévisions météorologiques pour l'itinéraire parcouru pendant le guidage d'itinéraire. |
AFFICHAGE DES INFORMATIONS DE STOCK
Les noms de sociétés, les cours des actions, et les fluctuations de prix peuvent être affichés dans les informations boursières. Les variations supérieures à zéro sont affichées par des flèches vertes, et les variations inférieures à zéro sont affichées par des flèches rouges.
- Sélectionnez Travel Link (TravelLink) sur l'écran «Apps (Applications)». ( P.24)
-
Sélectionnez Stocks (Actions).
-
Vérifiez que les informations sur le stock s'affichent.

| N° | Fonction |
| 1 | Informations boursières s'affichent. |
| 2 | Sélectionnez pour ajouter ou modifier des stocks. |
AFFICHAGE DES INFORMATIONS DE CARBURANT
Les informations relatives aux stations-essence peuvent être affichées, et les stations-essence peuvent être paramétrées en tant que destination. Lorsque le Bluetooth est activé sur votre téléphone mobile, un appel peut être place si l'écran d'informations affché contient des informations sur le numéro de téléphone.
- Sélectionnez Travel Link (TravelLink) sur l'écran «Apps (Applications)». ( P.24)
-
Sélectionnez Fuel Prices (Prix carb.).
-
Vérifiez que les informations sur le carburant s'affichent.

| N° | Fonction |
| 1 | Sélectionnez pour classer les stations-essence selon la distance par rapport à la position actuelle. |
| 2 | Sélectionner pour trier les stations service selon le prix. |
| 3 | Sélectionnez pour classer les stations service par envisage. |
| 4 | Les informations relatives aux stations-essence s'affichent. |
| 5 | Sélectionnez pour régler le type de carburant. |
| 6* | Sélectionnez pour changer entre les États-Unis et le Canada. |
*: Si équipé
Audio


Fonctionnement De Base 118
Quelques Principes De Base 118
Mise En Marche Et Arrêt Du Systeme 118
Sélection D'une Source Audio 119
Parametres Du Son 120
Système De Reconnaissance VOCale 121
Fonctionnement De La Radio 122
Radio AM/FM 122
Vue D'ensemble 122
Préroglage D'une Station 123
Système De Données De Diffusion Radio … 124
Technologie HD Radio™ Disponible 124
Mise En Cache De Programmes Radio 126
SiriusXM RadioSatellite 128
Vue D'ensemble 128
Comment S'abonner À SiriusXM®
Satellite Radio 129
Affichage De L'id Radio 132
Préroglage D'un Canal 132
Mise En Cache De Programmes Radio 132
Recherche Dans La Sélection De Favoris … 133
Selection D'un Canal Dans La Liste 134
Réglage Des Équipes Pour Notifications 135
Réglage Des Canaux De Mixage Tune 136
Réglage Du Trafic Et Météo 138
Fonctionnement Media 139
Mémoire USB 139
Vue D'ensemble 139
iPod 141
Vue D'ensemble 141
Audio Bluetooth 144
Vue D'ensemble 144
Connexion D'un Dispositif Bluetooth 147
Télécommande Audio 148
Commandes Au Volant 148
Conseils D'utilisation Du Systeme Audio 150
Informations Sur Le Fonctionnement 150
Radio 150
Periphérique De Mémoire USB 152
iPod 152
Informations Sur Le Fichier 152
FONCTIONNEMENT DE BASE
QUELQUES PRINCIPES DE BASE
Cette section détaille quelques-unes des fonctions de base du système audio. Certaines informations risquent de ne pas se rapporter à votre système.
Votre système audio fonctionne quand le contact d'allumage est tourné sur la position «ACC» ou «ON».

ATTENTION
Pour éviter que la batterie ne se décharge, ne laissez pas le système audio en marche plus longtemps que nécessaire lorsque le moteur est arrêté.
REMARQUE
L'accessoire de mise à niveau du système audio (option du revendeur) ne fonctionne que si le contacteur d'allumage est en position «ACC» ou «ON». Aucun son n'est émis par l' amplificateur lorsque le contacteur d'allumage est en position «OFF».
« 口 /VOLUME» molette: Appuyez et maintainé enforcé pour désactiver le système audio, et appuyez pour l'activer de nouveau. Le système se met en marche sur le dernier mode utilisé. Tournez ce bouton pour régler le volume. Appuyez pour désactiver le système audio.
- En appuyant sur [RADIO], l'écran de radio s'affiche.
- En appuyant sur 山 , puis en scélectionnant Media (Média), l'écran des médias s'affiche.
REMARQUE
Le système audio reste eteint si vous changez la position de la clé de contact de la position «LOCK»/«OFF» à «ACC»/«ON» alors que le système audio est eteint. Par contre, si vous aviez regle le volume sur muet, alors la lecture de la piste commencerà à partir du point où elle a ete arrêtée la derniere fois.
SELECTION D'UNE SOURCE AUDIO
Radio (Radio) écran
- Appuyez sur [RADIO].

- Sélectionnéz le mode radio souhaïte.

- À chaque pression sur (RADIO), la source audio peut également être changée.
«Media (Média)» écran
- Appuyez sur 山 山

- Sélectionnez Media (Média).
- Sélectionnéz la source audio souhaïtée.

PARAMÉTRES DU SON
La qualité de son suivante peut être ajustée.
TONALITE:
La qualité sonore d'un programme audio est largement déterminée par le mélange des aigus, des médiums et des graves. En effet, différents types de programmes vocaux et musicaux rendent généralement比较好 avec différents mélanges d'aigus, de Médiums et de graves.
EQUILIBRE:
Un bon équilibre des canaux stéreo gauche et droit et des niveaux sonores avant et arrière est également important.
Garder à l'esprit que lors de l'écoute d'une émission ou d'un enregistrement stéreo, le changement de l'équilibre croite/ gauche augmente le volume d'1 groupe de sons tout en réduisant le volume d'un autre.
- Appuyez sur
- Sélectionnez Settings (Réglages).
- Sélectionnez Sound (Sons).
-
Sélectionnez EQ and Sound Position (Égaliseur et position du son).
-
Sélectionnez l'élement souhaïte.

| N° | Fonction |
| 1 | Sélectionnez l'icône pour régler la balance des sons. |
| 2 | Sélectionnez les curseurs pour régler les tonalités aigus. |
| 3 | Sélectionnez les curseurs pour régler les tonalités moyennes. |
| 4 | Sélectionnez les curseurs pour régler les tonalités graves. |
| 5 | Sélectionnez cette option pour remettre à zéro tous les éléments de réglage. |
SYSTEME DE RECONNAISSANCE VOCALE
- Appuyez sur ce commutateur pour activer le système de reconnaissance vocale.

- Le système de reconnaissance vocale et sa liste de commandes peuvent être utilisés. (→P.197)
FONCTIONNEMENT DE LA RADIO
RADIO AM/FM
VUE D'ENSEMBLE
L'utilisation de la radio FM/AM sur le contenu apparaît en séLECTIONnant FM (FM) ou AM (AM) sur l'écran «Radio (Radio)». ( P.119)
Panneau de commande

| N° | Fonction |
| 1 | Tournez pour régler le volume. Appuyez pour désactiver le système audio. Appuyez et maintenez enforcé pour désactiver le système audio, et appuyez pour l'activer de nouveau. |
| 2 | Tournez pour augmenter/diminuer les fréquences. Appuyez et maintenez enforcé pour afficher l'écran de configuration audio. (→P.73) |
| 3 | Appuyez pour effectuer une recherche vers le haut/bas des stations/canaux. |
Écran de contrôle

| N° | Fonction |
| 1 | Sélectionnez pour modifier les modes radio. |
| 2 | Sélectionnez pour rechercher des canaux/stations que vous pouze recevoir. Le balayage continua jusqu'à ce que vous sélectionniez à nouveau. |
| 3 | Sélectionnez pour afficher les boutons de fonctionnement de la radio de mémoire cache. (→P.126) |
| 4 | Sélectionnez pour activer/désactiver le mode HD Radio. |
| N° | Fonction |
| 5 | Sélectionnez cette option pour changer les canaux disponibles. (→P.125) |
| 6 | Sélectionnez pour faire défilier la liste des touches de présélection. |
| 7 | Sélectionnez pour symponiser les stations/chaînes prérégliées. Il est possible de faire défilier la liste des stations prérégliées en faisant glisser votre doigt sur la liste. |
| 8 | Sélectionnez pour afficher l'écran des paramètres audio. (→P.73) |
REMARQUE
- La radio passe automatiquement sur la réception stéreo lorsqu'une émission stéreo est captée.
- La radio fusionne automatiquement avec un signal HD Radio en AM ou FM le cas échéant.
PRÉRÉGLAGE D'UNE STATION
Plusieurs stations peuvent être enregistrées comme prérogliages.
-
Reglez la station de votrechoix.
-
Sélectionnez et maintenez enforcée une des touches des stations préseLECTIONnées souhaitées.

- Pour remplaçer la station préréglée par une autre, suivez la même procédure.
SYSTEME DE DONNÉES DE DIFFUSION RADIO
Ce système audio est doté des systèmes de données de diffusion radio (RBDS).
Les fonctionnalités de RBDS sont uniquement disponibles lors de l'écoute d'une station FM qui diffuse des informations RBDS.
TECHNOLOGIE HD Radio™ DISPONIBLE

Radio®
La technologie HD Radio est fabriquée sous licence d'iBiquity Digital Corporation. Brevets americains et internationaux. HD Radio™ et les logos HD, HD Radio, et «Arc» sont des marques commerciales propriétaires d'iBiquity Digital Corp.
La technologie HD Radio™ est l'évolution numérique de la radio AM/FM analogue. Notre équipement radio dispose d'un récepteur spécial lui permettant de recevoir des émissions numériques (si disponibles) en plus des émissions analogiques qu'il reçoit déjà. Les émissions numériques offrent une catégorie qualité sonore que les émissions analogiques, car les émissions numériques produit un son pur et clair sans parasite ni distorsion. Pour plus d'informations et un guide sur les stations de radio et la programmation disponibles, consultez le site www.hdradio.com.
MULTIDIFFUSION
Sur la fréquence radio FM, la plupart des stations digitales disposant de programmes supplémentaires sur une station FM.
1. Sélectionnez 123

- Chaque fais que 123. est selectionné, le canal est modifié.
Digital Sound
- La technologie HD RadioTM permet d'améliorer la qualité de vos stations locales et délivre un signal numérique parfaitement clair sur votre récepteur. La technologie HD Radio permet aux stations de radio locales d'émettre un signal numérique clair. Les stations AM seront comme le FM de nos jours et le FM ressemble au son numérique clair.
HD2/HD3
- Les stations FM peuvent offrir d'autres programmes audionumeriques seuls sur les canaux HD2/HD3.
- EXAMPLE:
101,1 HD1
101,1 HD2
101,1 HD3
REMARQUE
- Les stations HD Radio™ peuvent être préregliées.
- Un HD orange s'affiche sur l'écran lorsque la diffusion est numérique. Le HD s'affiche d'abord en gris, indiquant que la station numérique est en cours d'acquisition. Une fois que le signal numérique est obtenu, le logo devient orange vif.
- Le titre de la chanson et le nom de l'artiste apparaisent sur l'écran lorsqu'ils sont diffusés par la station de radio. La station radio peut envoyer des images de l'album lorsqu'elles sont disponibles.
- Si un utilisateur se sert de stations radio analogiques, (le cas échéant) le récepteur radio passera automatiquement d'un signal analogique à un signal numérique dans les 5 secondes qui suivent.
Program Info
- Les informations sur le programme vous donnent le nom du morceau, l'artiste, la station ID, et autres données sur votre récepteur.
Artist Experience
- Les images visuelles de la couverture de l'album et du logo des stations sont diffusées en même temps que le son sur votre récepteur, comme la pochette de l'album, les photographies historiques, les images de diffusions en direct, les logos de station, parmi d'autres contenus concernés.
MISE EN CACHEDE PROGRAMMES RADIO
Un programme radio peut être mis en cache et lu avec un décalage.
LECTURE AUTOMATIQUE DU CACHED
Si la diffusion radio est interrompue par une autre sortie audio, comme un appel téléphonique entrant, le système met automatiquement en cache la partie interrompue. Pour faire fonctionner manuelle l'opération de cache: ( P.127)
REMARQUE
- Le système peut enregistrer jusqu'à 30 minutes. Les données mises en cache sont effacées lorsque le mode radio ou la station est modifié(e), ou lorsque le système audio est étéint.
LECTURE MANUELLE DU CACHED
La diffusion mise en cache dans la mémoire cache du programme peut être lue manuellement.
- Sélectionnez Replay (Rejouer). ( P.122)
- Sélectionnez le bouton souhaité de fonctionnement de la radio de mémoire cache.

| N° | Informations/fonction |
| 1 | Indique l'emplacement de lecture actuel. L'emplacement de lecture peut être modifié en faisant glisser les curseurs. |
| 2 | Revient à la diffusion radio en direct. |
| N° | Informations/fonction |
| 3 | Sélectionnez: Saute vers l'avant 10 secondes. Sélectionnez et maintenez enforcé: Avance rapide en continu. |
| 4 | Lance la lecture ou met en pause la diffusion radio. |
| 5 | Sélectionnez: Saute vers l'arrête 10 secondes. Sélectionnez et maintenez enforcé: Rembobinage rapide en continu. |
| 6 | Sort de la lecture en cache. |
REMARQUE
L'heure affichée sur l'échelle à barres peut différer de l'heure actuelle.
Live Pause
- Permet aux récepteurs HD Radio de stocker du contenu (chansons/programmes et données) dans une mémoire tampon. La lecture peut commencer à n'importe quel point situé dans le tampon et doit continuer jusqu'à la fin du tampon ou jusqu'à ce que l'utilisateur ait choisi d'arrête la lecture. Live Pause (pause en direct) a la capacité de stocker à la fois des contenus analogique et numérique dans la mémoire tampon.
SiriusXM® Radio Satellite
VUE D'ENSEMBLE
L'écran de fonctionnement SiriusXM® est accessible en sélectionnant sxm (sxm) sur l'écran «Radio (Radio)». ( P.119)
Panneau de commande

| N° | Fonction |
| 1 | Tournez pour régler le volume. Appuyez pour désactiver le système audio. Appuyez et maintenez enforcé pour désactiver le système audio, et appuyez pour l'activer de nouveau. |
| 2 | Tournez pour augmenter/diminuer les canaux. Appuyez et maintenez enforcé pour afficher l'écran de configuration audio. (→P.73) |
| 3 | Appuyez pour effectuer une recherche vers le haut/bas des canaux disponibles. |
Écran de contrôle

| N° | Fonction |
| 1 | Sélectionnez pour modifier les modes radio. |
| 2 | Sélectionnez pour rechercher des chaînes. (→P.134) |
| 3 | Sélectionnez pour rechercher des abonnements de chaînes par catégorie. Pour utiliser cette fonction, activez «Tune Start (Lancer la symtonisation)» dans «Sirius XM Settings (Réglages Sirius XM)» sur l'écran de réglages généraux. (→P.59) |
| 4 | Sélectionnez pour afficher les boutons de fonctionnement de la radio de mémoire cache. (→P.132) |
| N° | Fonction |
| 5 | Sélectionnez pour rechercher des chaînes en saisissant le numéro de canal. |
| 6 | Sélectionnez pour dire les informations de traffic et de météo. (→P.138) |
| 7 | Sélectionnez pour faire défilier la liste des touches de présélection. |
| 8 | Sélectionnez pour symponiser les stations/chaînes prérégliées. Il est possible de faire défilier la liste des stations prérégliées en faisant glisser votre doigt sur la liste. |
| 9 | Sélectionnez pour afficher l'écran des paramètres audio. (→P.73) |
COMMENT S'ABONNER À SiriusXM® Satellite Radio
Pour écouter une émission de radio par satellite dans le vehicule, un abonnement au service SiriusXM® Satellite Radio est nécessaire.
SiriusXM® Satellite Radio est un symponiseur concu exclusivement pour receivevoir des programmes soumis à un abonnement distinct.
COMMENT S'ABONNER
Les services audio SiriusXM nécessitent un abonnement, vendu séparément ou comme un tout, par Sirius XM Radio Inc.
Détails Abonnement: Voiture service SiriusXM s'arrête automatiquement à la fin de votre période d'essay, sauf si vous decide de vous abonner. Si vous decide de continuer le service, le plan d'abonnement payant que vous choisissez sera automatiquement renouvelé et vous serez factué au taux en vigueur à ce moment et en fonction de votre mode de paiement choisi. Des frais et taxes s'appliquent. Vous pouvez annuler à n'importe quel moment en appelant le 1-866-635-2349. Veuillez vous reférer à l'Accord clientèle SiriusXM pour les termes complets sur www.siriusxm.com. Tous les frais et programmes peuvent être soumis à modification.
- Pour des informations complètes sur les tarifs et les conditions d'abonnement, ou pour adhérer à SiriusXM® Satellite Radio:
États-Unis
Se reporter à la section www.siriusxm.com ou appelez le 1-877-447-0011.
Canada
Se reporter à la section www.siriusxm.ca ou appelez le 1-877-209-0079.
AVENTISSEMENT
- AVERTISSEMENT FCC
Toute modification non expressément approuvée par le tiers responsable de l'homologation est susceptible d'entraîner la levée du droit de l'utilisateur à faire fonctionner l'équipement.
ATTENTION: Exposition aux radiations de radioféquences
Cet équipement est conforme aux limites d'exposition aux rayonnements FCC énoncées pour un environnement non contrôle et répond aux directives de la FCC sur l'exposition aux radiofréquences (RF). Cet équipement doit être installé et utilisé de telle sorte que la source de rayonnements ne soit jamais à moins de 20 cm du corps des personnes dans des conditions d'utilisation normales.
- Utilisation conjointe: Leprésent émetteur ne doit pas se trouver àproximateimmediaté,ni etreutilisé en association avec une autre antennou ou un autre émetteur.
Note de langage explicite — Les canaux utilisant fréquement un langage explicite sont indiqués par un «XL» placé devant le nom du canal. Un blocage de chaîne est disponible pour les récepteurs SiriusXM® Satellite Radio en informant SiriusXM à;
États-Unis Clients:
Consultez www.siriusxm.com ou appelez le
1-877-447-0011
Clients du Canada:
Visitez www.siriusxm.ca ou téléphone
1-877-209-0079
ATTENTION
- Il est interdir de copier, décompiler, démonter, rechercher le secret de fabrication, pirater, manipuler ou rendre disponible toute technologie ou logiciel incorpores dans les récepteurs compatibles avec le SiriusXM® Satellite Radio Services ou compatibles avec le site web SiriusXM, le service en ligne ou son contenu. De plus, le logiciel de compression vocale AMBE® inclus dans ce produit est protégé par les lois sur la propriété intellectuelle y compris les brevets, les droits d'auteur et les secrets de fabrication de Digital Voice Systems, Inc.
- Remarque: ceci s'applique aux récepteurs SiriusXM® Satellite Radio uniquement et non aux dispositifs SiriusXM Ready.
REMARQUE
SiriusXM® Satellite Radio Services--Descriptions
- Obtenez plus de 175 canaux de divertissement optimal en appuyant simplement sur un bouton, comprant des programmes musicaux sans publicité, ainsi que les matches en directs de tous les yeux importants, les actualités dans le monde, et le meilleur de la comédie, des débats et des divertissements. Des informations supplémentaires sur SiriusXM® Satellite Radio sont disponibles en ligne sur www.siriusxm.com (États-Unis) ou www.siriusxm.ca (Canada).
REMARQUE
SiriusXM® Satellite Radio Services — Instructions d'abonnement
- Pour les services SiriusXM nécessitant un abonnement (tels que SiriusXM® Satellite Radio Services, et certains services d'info-loisirs et de données), le paragraphe suivant doit être inclus.
Les services audio et de données SiriusXM nécessitant chacun un abonnement vendu séparément ou comme un tout, par Sirius XM Radio Inc. Le plan de souscription que vousCHOISSEZ sera renouvelé automatiquement et vous sera facturé en fonction du mode de paiement choisi au taux alors en vigueur. Des frais et taxes s'appliquent. Pour annulier, vousdezvez appeler Sirius XM au 1-866-635-2349. Veuillez youreférer à l'Accord clientèle SiriusXM pour les termes complets sur www.siriusxm.com. Tous les frais et programmes peuvent être soumis à modification. © 2016 SiriusXM Radio Inc. Sirius, XM, SiriusXM et toutes les marques et logos associés sont des marques déposées de SiriusXM Radio Inc. Toutes les autres marques, noms de canaux et logos sont la propriété de leurs propriétaires respectifs. Tout droits réservés.
Pour plus d'informations, grilles de programmes, et pour souscrite ou prolonger son abonnement après la période d'essayaire gratuite; plus d'informations sont disponibles sur:
Clients des États-Unis:
Consultez www.siriusxm.com ou appelez le 1-877-447-0011
- Les clients doivent avoir leur identifient radio prét ; vous trouvrez votre ID radio en réglant le canal «0» sur la radio. Pour plus de détails, voir «AFFICHAGE DE L'ID RADIO» ci-dessous.
AFFICHAGE DE L'ID RADIO
Chaque tunesiriusXM est identifé par un ID radio unique composé de 8 caractères alphanumériques. L'identifiant radio est nécessaire lors de l'activation des SiriusXM Satellite Services ou pour signaler un problème.
L'ID radio peut être vérifié sur l'écran d'information sur l'abonnement SiriusXM (→P.59) ou si vous vous placez sur le canal «0».
PRÉRÉGLAGE D'UN CANAL
Plusieurs stations peuvent être enregistrées comme prérogliages.
- Syntonisez le canal de votrechoix.
- Sélectionnez et maintenez enforcée une des touches des stations présélectionnées souhaitées.

- Pour remplaçer la station pré régée par une autre, suivez la même méthode.
MISE EN CACHEDE PROGRAMMES RADIO
Un programme radio peut être mis en cache et lu avec un décalage.
Le programme qui est actuellément en cours d'écoute peut être mis en cache.
LECTURE DU Cache
La diffusion mise en cache dans la mémoire cache du programme peut être lue.
-
Sélectionnez Replay (Rejouer). (→P.128)
-
Sélectionné le bouton souhaité de fonctionnement de la radio de mémoire cache.

| N° | Informations/fonction |
| 1 | Indique l'emplacement de lecture actuel. L'emplacement de lecture peut être modifié en faisant glisser les curseurs. |
| 2 | Revient à la diffusion radio en direct. |
| 3 | Sélectionnez: Accédez au programme souhaité. Passez en avant les programmes. Sélectionnez et maintenez,enforcé: Avance rapide en continu. La vitesse d'avance rapide augmente plus la touche est maintainue,enforcée. |
| N° | Informations/fonction |
| 4 | Lance la lecture ou met en pause la diffusion radio. |
| 5 | Sélectionnez: Accédez au programme souhaité. Repassez les programmes. Sélectionnez et maintenez,enforcé: Rembobinage rapide en continu. La vitesse de retour rapide augmente plus la touche est maintainue,enforcée. |
| 6 | Sort de la lecture en cache. |
REMARQUE
L'houre affichée sur l'échelle à barres peut différer de l'houre actuelle.
RECHERCHE DANS LA SELECTION DE FAVORIS
La Sélection de Favoris est une collection de canaux créé par l'équipe de programmation SiriusXM qui est mise à jour plusieurs fois tout au long de l'année.
Le canal de Sélection de Favoris souhaïte peut être sélectionné à partir de l'écran de liste. (→P.134)
SELECTION D'UN CANAL DANS LA LISTE
- Sélectionnez Browse (Parcourir).
- Sélectionnez la liste désirée, puis sélectionnez le canal de votrechoix.


| N° | Fonction | Page |
| 1 | Sélectionnez pour afficher la liste de tous les canaux. | - |
| 2 | Sélectionnez cette option pour afficher les catégories de canaux et de la liste de canaux favoris. | 134 |
| N° | Fonction | Page |
| 3 | Sélectionnez pour afficher le canal de mixage tune. | 136 |
| 4 | Sélectionnez pour définir les équipes pour avertir l'utilisateur du début des matches et mises à jour sur les scores. | 135 |
| 5 | Sélectionnez pour régler les informations de traffic et de météo. | 138 |
SELECTION DEPUIS LES LISTES DE CATÉGORIES ET DU CANAL DES FAVORIS
- Sélectionnez Categories (Catégories).

-
Les canaux des favors reçus apparaisent tout en haut de la liste.
-
Sélectionnéz la station de votrechoix.
RéGLAGE DES ÉQUIPES POUR NOTIFICATIONS
En enregistrant des équipes, un écran contextuel apparaît pour informer les auditeurs des informations sur la progression du jeu et ainsi de suite. Vous pouvez revenir au point d'origine de l'émission normale en quittant l'écran contextuel.
Pour utiliser cette fonction, activez «Sports Flash (Sports Flash)» dans «Sirius XM Settings (Réglages Sirius XM)» dans l'écran des paramètres généraux. ( P.59)
AJOUT D'ÉQUIPES
- Sélectionnez Browse (Parcourir).
- Sélectionnez Game Zone (Game Zone).
- Sélectionnez Favorite Teams (Équipes favor.).

- Sélectionnez Add Teams (Ajouter des équipes).

- Sélectionnez la division souhaitée.

- Sélectionnez l'équipe de votrechoix.

MODIFICATION DE LA LISTE
- Sélectionnez Favorite Teams (Équipes favor.) sur l'écran «Game Zone (Game Zone)». ( P.135)
- Sélectionnez
- Sélectionnez l'élement de votre choix à régler.

- : Sélectionnez pour supprimer l'élement.
: Faites glisser un élément vers la position désirée.
RéGLAGE DES ALERTES POP-UP
Les alertes pop-up peuvent être régliées pour un affichage à l'écran.
- Sélectionnez Favorite Teams (Équipes favor.) sur l'écran «Game Zone (Game Zone)». ( P.135)
-
Sélectionnez l'élement souhaïte.
-
Sélectionnez les éléments de votre choix puis selectionné Save (Enr).

RéGLAGE DES CANAUX DE MIXAGE TUNE
Les pistes sur plusieurs canaux peuvent etre lues de maniere aléatoire.
Pour utiliser cette fonction, il est nécessaire d'enregistrer les canaux souhaités dans le canal préréglé. ( P.132)
ENREGISTREMENT DE CANAUX
- Sélectionnez Browse (Parcourir).
- Sélectionnez Tune Mix (Tune Mix).
3. Sélectionnez Add Tune Mix (Add Tune Mix).

4. Sélectionnéz les canaux souhaités dans la liste des canaux préreglés.

ÉCOUTER LES CANAUX MIXTES
1. Sélectionnéz le canal souhaité sur l'écran «Tune Mix (Tune Mix)».

ÉDITION DU MIX TUNE
1. Sélectionnez sur l'écran «Tune Mix (Tune Mix)».

- Sélectionnez l'élement de votreCHOIX à régler.

-
[m]: Sélectionnez pour supprimer l'élement.
-
Sélectionnez les canaux souhaités dans la liste des canaux préreglés.
REMARQUE
- Le nom du mixage musical ne peut pas'être modifié.
RéGLAGE DU TRAFIC ET MÉTEO
Les informations sur le traffic et la météo peuvent être lues pour les villes définies.
RéGLAGE DU TRAFIC ET MÉTEO
- Sélectionnez Browse (Parcourir).
-
Sélectionnez Traffic & Weather (Traffic & Weather).
-
Sélectionnez la ville.

ÉCOUTER LES INFORMATIONS SUR LA CIRCULATION ET LES CONDITIONS MÉTEOROLOGIQUES
- Sélectionnez Traffic & Weather Now (Traffic &
Weather Now) sur I'ecran de contrôle.

- Lorsque les dernières informations sont reçues, Traffic & Weather Now (Traffic & Weather Now) passée en vert.
- Return (Return): Sélectionnez pour revenir au canal d'origine.
FONCTIONNEMENT MÉDIA
MÉMOIRE USB
Des fichiers audio sur le périphérique de mémoire USB peuvent être lus.
VUE D'ENSEMBLE
L'écran de lecture audio USB est accessible par l'une des méthodes suivantes:
- Connectez un périhérique de mémoire USB. ( P.31)
- Sélectionnez sur l'écran «Media (Média)».
(→P.119)
Panneau de commande

| N° | Fonction |
| 1 | Tournez pour régler le volume. Appuyez pourmettre en sourdine le système audio etmettre en pause la lecture. Appuyez et maintenez,enforcé pourdéspectiver lesysteme audio,et appuyez pour l'activer de nouveau. |
| 2 | Tournez pour changer une piste. Appuyez et maintenez,enforcé pourafficher l'écran deconfigurationaudio.(→P.73) |
| 3 | Appuyez pour changer une piste. Appuyez et maintenez,enforcé pourfaire une avancerapide/unretour rapide. |
Écran de contrôle

| N° | Fonction |
| 1 | Sélectionnez pour basculer entre d'autres sources d'alimentation. |
| 2 | Affiche la couverture de l'album. |
| 3 | Sélectionnez pour afficher l'écran de sélection du mode de lecture. • Sélectionnez ♀ afin d'affiner la recherche de pistes dans chaque mode de lecture. |
| 4 | Indique la progression. L'emplacement de lecture peut être modifié en faisant glisser les curseurs. |
| N° | Fonction |
| 5 | Changements entre les répetitions de la piste en cours → Rêpeter le dossier/album en cours → annuler répéter chaque fois que ce bouton est sélectionné. |
| 6 | Sélectionnez pour changer une piste. Sélectionnez et maintenez,enforcé pour faire une avance rapide/un retour rapide. |
| 7 | Sélectionnez pourmettre en pause/lecture. |
| 8 | Sélectionnez pour activer/désactiver la lecture aléatoire des pistes actuellément lues sur le périphérique de mémoire USB. |
| 9 | Sélectionnez pour afficher l'écran des paramètres audio. (→P.73) |

AVERTISSEMENT
- Ne faites pas fonctionner les commandes du lecteur et ne connectez pas de péripérisque de mémoire USB pendant la conduite.

ATTENTION
- Ne laisses pas votre lecteur portable dans la voiture. En particulier, une température élevée à l'intérieur du vehicule risque d'endommager le lecteur portable.
N'appuyez pas et n'exercez pas de pression inutile sur le lecteur portable lorsqu'il est branché, vous risquez de l'endommager ou d'endommager son connecteur. - Ne pas introduire de corps étrangers dans le port, sous peine de causeur des dommages au lecteur portable ou à son connecteur.
REMARQUE
- En fonction du périhérique ou du fichier musical en cours de lecture, la couverture d'album peut ne pas s'afficher.
iPod
Lorsqu'un iPod est connecté, vous pouvez dire des fichiers de musique iPod. Sur cet apparéil, vous pouvez effectuer des opérations telles que la sélection d'un fjchier à partir d'une liste ou passer sur le mode de lecture aléatoire.
Sur les apparèils prénant en charge Apple CarPlay, mettez hors tension Apple CarPlay dans les Paramètres de restrictions de l'appareil.
VUE D'ENSEMBLE
L'écran d'utilisation iPod est accessible par l'une des méthodes suivantes:
- Connecter un iPod. ( P.31)
- Sélectionnez sur l'écran «Media (Média)».
(→P.119)
Panneau de commande

| N° | Fonction |
| 1 | Tournez pour régler le volume. Appuyez pourmettre en sourdine le système audio etmettre en pause la lecture. Appuyez et maintenez,enforcé pour désactiver lesysteme audio,et appuyez pour l'activer de nouveau. |
| 2 | Tournez pour changer une piste. Appuyez et maintenez,enforcé pour afficher l'écran deconfiguration audio.(→P.73) |
| 3 | Appuyez pour changer une piste. Appuyez et maintenez,enforcé pour faire une avancerapide/unretour rapide. |
Écran de contrôle

| N° | Fonction |
| 1 | Sélectionnez pour basculer entre d'autres sources d'alimentation. |
| 2 | Affiche la couverture de l'album. |
| 3 | Sélectionnez pour afficher l'écran de sélection du mode de lecture. • Sélectionnez ♀ afin d'affiner la recherche de pistes dans chaque mode de lecture. |
| 4 | Indique la progression. L'emplacement de lecture peut être modifié en faisant glisser les curseurs. |
| 5 | Changements entre les répetitions de la piste en cours → Régier le album en cours → annuler régier chaque fois que ce bouton est sélectionné. |
| 6 | Sélectionnez pour changer une piste. Sélectionnez et maintenez,enforcé pour faire une avance rapide/un retour rapide. |
| 7 | Sélectionnez pourmettre en pause/lecture. |
| 8 | Sélectionnez pour activer/désactiver la lecture aléatoire des pistes de l'iPod en cours de lecture. |
| 9 | Sélectionnez pour afficher l'écran des paramètres audio. (→P.73) |
| 10* | Sélectionnez poureffectuer une avance rapide de l'élement de contenu actué à intervalles fixes. |
| 11* | Sélectionnez pourfaire unretour arrêtere sur l'élement de contenu actué à intervalles fixes. |
*: Affichage lors de la lecture d'audiobooks ou de podcasts
AVENTISSEMENT
- Ne faites pas fonctionner les commandes du lecteur et ne connectez pas l'iPod pendant la conduite.
ATTENTION
- Ne laïsez pas votre lecteur portable dans la voiture. En particulier, une température élevée à l'intérieur du vehicule risque d'endommager le lecteur portable.
N'appuyez pas et n'exercez pas de pression inutile sur le lecteur portable lorsqu'il est branché, vous risquez de l'endommager ou d'endommager son connecteur. - Ne pas introduire de corps étrangers dans le port, sous peine de causeur des dommages au lecteur portable ou à son connecteur.
REMARQUE
- Lorsqu'un iPod est connecté au moyen d'un fil d'iPod d'origine, l'iPod commence à recharger sa batterie.
- En cas de lecture de musique iPod, effectuez l'opération sur le système. Certaines fonctions peuvent ne pas etre disponibles si la lecture se fait directement depuis l'iPod. De plus, en fonction de I'iPod connecte, certaines fonctions peuvent ne pas etre disponibles.
- En fonction de l'IPod ou du fichier musical en cours de lecture, la couverture d'album peut ne pas s'afficher.
- Lorsqu'un iPod est connecté et que la source audio est passée sur le mode iPod, l'iPod reprend la lecture à partir du point où il était lors de sa dernière utilisation.
- Les pistes sélectionnées par l'utilisation d'un iPod connecté peuvent ne pas être reconnues ou affichées correctement.
AUDIO Bluetooth
Le système audio Bluetooth permet aux utilisateurs d'éçouter les fichiers musicaux sur les péripériques Bluetooth via les haut-parleurs du vehicule, via une communication sans fil.
Ce système audio est compatible avec Bluetooth, un système de transmission de données sans fil capable de dire la musique d'audio portable sans aucun cable. Si vous appeareil ne prend pas en charge le Bluetooth, le système d'audio Bluetooth ne pourrait pas fonctionner.
VUE D'ENSEMBLE
L'écran de fonctionnement audio Bluetooth est accessible en selectionnant sur l'écran «Media (Média)». ( P.119)
Selon le type de lecteur portable connecté, certaines fonctions peuvent ne pas etre disponibles et/ou I'ecran peut etre different que tel qu'indiquedans ce manuel.
Panneau de commande

| N° | Fonction |
| 1 | Tournez pour régler le volume. Appuyez pourmettre en sourdine le système audio etmettre en pause la lecture. Appuyez et maintenez,enforcé pour désactiver lesysteme audio, et appuyez pour l'activer de nouveau. |
| 2 | Tournez pour changer une piste. Appuyez et maintenez,enforcé pour afficher l'écran deconfiguration audio. (→P.73) |
| 3 | Appuyez pour changer une piste. Appuyez et maintenez,enforcé pour faire une avancerapide/unretour rapide. |
Écran de contrôle

| N° | Fonction |
| 1 | Sélectionnez pour basculer entre d'autres sources d'alimentation. |
| 2 | Affiche la couverture de l'album. |
| 3 | Sélectionnez pour afficher l'écran de sélection du mode de lecture. • Sélectionnez ♀ affirm d'affiner la recherche de pistes dans chaque mode de lecture. |
| 4 | Sélectionnez pour afficher l'écran «Change Device (Changer d'app.)». (→P.147) |
| N° | Fonction |
| 5 | Indique la progression. L'emplacement de lecture peut être modifié en faisant glisser les curseurs. |
| 6 | Changements entre les répetitions de la piste en cours → Régérer le dossier/album en cours → annuler régérer chaque fois que ce bouton est sélectionné. |
| 7 | Sélectionnez pour changer une piste. Sélectionnez et maintenez,enforcé pour faire une avance rapide/un retour rapide. |
| 8 | Sélectionnez pourmettre en pause/lecture. |
| 9 | Sélectionnez pour activer/désactiver la lecture aléatoire des pistes actuellément lues sur le périphérique audio Bluetooth. |
| 10 | Sélectionnez pour afficher l'écran des paramètres audio. (→P.73) |
AVENTISSEMENT
- Ne faites pas fonctionner les commandes du lecteur et ne connectez pas le système audio Bluetooth pendant la conduite.
- Ce système est équipé d'antennes Bluetooth. Les personnes porteuses d'un stimulateur cardiaque implantable, d'un stimulator pour un traitement de resynchronisation cardiaque, ou d'un défibrillateur automatique implantable doivent maintainir une distance raisonnable entre elles et les antennes du système Bluetooth. Les ondes radios peuvent perturber le fonctionnement de ces systèmes.
- Avant d'utiliser des apparéils Bluetooth, il est demandé aux personnes porteuses d'une prothèse Médicale électrique autre qu'un stimulator cardiaque implantable, qu'un stimulator pour un traitement de resynchronisation cardiaque, ou qu'un défibrillateur automatique implantable, de se renseigner auprès du fabricant de la prothèse pour des informations quant à son fonctionnement en présence d'ondes radio extérieures. Les ondes radio peuvent avoir des effets inattendus sur le fonctionnement de ces prothèses Médicales.
ATTENTION
- Ne laïsez pas votre lecteur portable dans le vehicule. En particulier, une température élevée à l'intérieur du vehicule risque d'endommager le lecteur portable.
REMARQUE
- Selon le dispositif Bluetooth connecté au système, la musique commence à être lue lors de la sélection de alors qu'elle est en pause. Inversement, la musique est mise en pause lors de la sélection de alors qu'elle est lue.
- Il peut arriver que le système ne fonctionne pas dans les situations suivantes:
Le dispositif Bluetooth est désacté.
Le dispositif Bluetooth n'est pas connecté.
La batterie du dispositif Bluetooth est faible.
- Cela peut prendre du temps pour connecter le téléphone lorsqu'lectronique est en cours de lecture.
Pour l'utilisation d'un lecteur portable, consultez le manuel d'instructions fourni avec ce dernier.
Si le dispositif Bluetooth a ete deconnected en raison d'une reception de mauvaise qualite du reseau Bluetooth lorsque le contacteur d'allumage est tourné sur la position «ACC» ou «ON», le systeme reconnecttera automatiquement le lecteur portable. - Si le dispositif Bluetooth est volontairement déconnecté, comme par exemple en l'éteignant, cela ne se produit pas. Reconnecter le lecteur portable manuellement.
- Des informations sur le péripérisque Bluetooth sont enregistrées lorsque le péripérisque Bluetooth est connecté au système audio Bluetooth. Lors de la vente ou de la mise au rebut de votre vehicule, retirez les informations audio Bluetooth du système. ( P.59)
- En fonction du périphérique Bluetooth ou du fichier musical en cours de lecture, la couverture d'album peut ne pas s'afficher.
- Si le péripérisque Bluetooth n'est pas automatiquement lu lors de la connexion, un lancement du péripérisque peut s'avérer nécessaire.
CONNEXION D'UN DISPOSITIF Bluetooth
Pour utiliser le système audio Bluetooth, il est nécessaire d'enregistrer un dispositif Bluetooth avec le système.
Enregistrement d'un dispositif supplémentaire
- Sélectionnez Change Device (Changer d'app.) sur l'écran de contrôle audio Bluetooth.
- Pour plus d'informations: P.52
Sélection d'un dispositif enregistré - Sélectionnez Change Device (Changer d'app.) sur l'écran de contrôle audio Bluetooth.
- Sélectionnez le périphérique Bluetooth à connecter.
TELECOMMANDE AUDIO
COMMANDES AU VOLANT
Certaines parties du système audio peuvent être contrôlées au moyen des commandes au volant.

| N° | Commutateur |
| 1 | «+/-» commutateur |
| 2 | «< / >» commutateur |
| 3 | «Source» commutateur |
+ / commutateur
| Mode | Fonctionnement | Fonction |
| Volume | Appuyez sur | Monter/baisser le volume |
| Appuyez longuement | Augmenter/diminuer le volume de façon continue |
/ commutateur
| Mode | Fonctionnement | Fonction |
| Radio FM/AM, SiriusXM® | Appuyez sur | Augmenter/diminuer un canal prédéfini |
| Appuyez longuement | Effectue un balayage et s'arrête sur la première station reçue lorsque la commande est relachée | |
| aha | Appuyez sur | Contenu vers le haut/bas |
| USB, iPod, Audio Bluetooth | Appuyez sur | Changer une piste |
| Appuyez longuement | Avance rapide/retour rapide | |
| Pandora* | Appuyez sur | Piste précédente (« > » uniquement) |
*: Pandora n'est disponible que dans certains pays. Veuillez consulter Pandora.com/legal pour plus d'informations.
«Source» commutateur
| Mode | Fonctionnement | Fonction |
| Tous | Appuyez sur | Change les modes audio |
REMARQUE
- Dans les modes aha, Pandora* et SUBARU STARLINK, certaines opérations peuvent être effectuees à partir de l'écran en fonction de l'APPS selektionnée.
*: Pandora n'est disponible que dans certains pays. Veuillez consulter Pandora.com/legal pour plus d'informations.
CONSEILS D'UTILISATION DU SYSTEME AUDIO
INFORMATIONS SUR LE FONCTIONNEMENT

ATTENTION
- Pour éviter d'endommager le système audio, voirlez à ne pas renverser de boissons sur le système audio.
REMARQUE
L'utilisation d'un téléphone mobile à l'intérieur ou à proximé du vehicule risque de causeur un bruit en provenance des enceintes du système audio que vous écoutez. Cependant, ceci n'indique pas un dysfonctionnement.
RADIO
Généralement, un problème avec la réception radio ne signifie pas qu'il y a un problème avec la radio — il s'agit d'un résultat normal des conditions à l'extérieur du vehicule.
Par exemple, la proximé de batiments et des terrains peut interférer avec la réception FM. Les lignes électriques ou les cables de téléphone peuvent interférer avec les signaux AM. Et bien entendu, les signaux radio ont une plage limitée. Plus le vehicule est loin d'une station, plus le signal est faible. De plus, les conditions de réception varient constamment au fur et à mesure que le vehicule se déplace.
Ici, certains problèmes courants de réception qui n'indiquent probablement pas un problème avec la radio sont décrites.
FM
Fondu et dérive de stations: En général, la portée effective FM est d'environ 25 miles (40 km). Une fois en dehors de cette plage, il se peut que vous constatiez un fondu et une dérive, qui augmentent avec la distance depuis le transmetteur radio. Cela s'accompagne souvent d'une distorsion.
Multiples: Les signaux FM sont réfléchissants, rendant ainsi possible que 2 signaux atteignent l'antenne en même temps. Si cela se produit, les signaux s'annulent mutuellesment, ce qui risque d'occasionner momentarilyment un chevrotement ou une perte de réception.
Électricité statique et chevrotement: Cela se produit lorsque les signaux sont bloqués par des batiments, des arbres ou d'autres objets de grande taille. L'augmentation du niveau des graves peut réduire l'électricité statique et le chevrotement.
Permutation de station: Si le signal FM en cours d'écoute est interrompu ou affaibli, et s'il y a une autre station puissant àproximé sur la bande FM,la radio peut symponiser la deuxieme station jusqu'à ce que le signal d'origine puisse à nouveau être capte.
AM
Affaiblissement: Toutes les émissions AM sont renvoyées par l'atmosphère supérieure, en particulier la nuit. Ces signaux renvoyés peuvent interférer avec ceux reçus directement depuis la station radio, accentuant et diminuant alternatively le son de la station radio.
Interférence de station: Lorsqu'un signal renvoyé et un signal reçu directement à partir d'une station radio sont presque à la même fréquence, ils peuvent interférer l'un avec l'autre, ce qui brouille la diffusion.
L'électricité statique: L'AM est facilement affecté par les sources externes de bruit électricque, comme les lignes électriques à haute tension, la foudre ou les moteurs électriques. Cela cause de l'électricité statique.
SiriusXM
- Tout chargement sur la galerie de toit, particulièrement les objets métalliques, peut perturber la réception de SiriusXM® Satellite Radio.
- Toute permutation ou modification apportée sans autorisation peut entraîner pour l'utilisateur la levée de son droit à faire fonctionner l'équipement.
PERIPHÉRIQUE DE MÉMOIRE USB
- Formats de communication USB: USB 2.0 HS (480 Mbps) et FS (12 Mbps)
- Formats de fichier: FAT 16/32
- Classe de correspondance: Classe de stockage de masse
iPod
Les appareils suivants: iPod®, iPod nano®, iPod touch®, iPhone® peuvent être utilisés avec ce système. Fabriqué pour
- iPod touch (5ème génération)
- iPod nano (7ème génération)
iPhone 4s
iPhone 5
iPhone 5s - iPhone 6
iPhone 6s - iPhone 6 Plus
iPhone 6s Plus - iPhone SE
iPhone 7 -
Selon les différences entre modèles ou versions logicielles, etc., il est possible que certains modèles soient incompatibles avec ce système.
-
La video iPod n'est pas prise en charge.
- Pour les clients des États-Unis, veuillez vous rendre sur www.subaru.com pour plus de détails. En dehors des clients des États-Unis, demandez à votre revendeur qu'il organise une démonstration pour confirmer si le téléphone peut être jumelé avec le vehicule.
INFORMATIONS SUR LE FICHIER
| Codec | Description | Canaux | Contueur/ Extension |
| MPEG-4 AAC LC | Fréquence d'échantillonnage 8-48 kHz CBR, VBR 8-320 kbps | Mono et stéréo | .3gp, .m4a, .aac, .mp4 |
| MPEG-4 HE AAC | Fréquence d'échantillonnage 16-48 kHz CBR, VBR 8-320 kbps | Mono et stéréo | .3gp, .m4a, .aac, .mp4 |
| MPEG-4 HE AAC v2 | Fréquence d'échantillonnage 16-48 kHz CBR, VBR 8-320 kbps | Mono et stéréo | .3gp, .m4a, .aac, .mp4 |
| MP3 | Fréquence d'échantillonnage 8-48 kHz CBR, VBR 8-320 kbps | Mono, stéréo et mixte | .mp3 |
| WMA2/7/8/9/9.1/9.2 | Fréquence d'échantillonnage 16-48 kHz CBR, VBR 8-320 kbps | Mono et stéréo | .wma, .asf |
| PCMWAVE | 8 bits et 16 bits 8000, 16000 et 44100 Hz Fréquence d'échantillonnage | Mono et stéréo | .wav |
- Le lecteur est compatible avec VBR (débit binaire variable).
- MP3 (couche 3 audio du MPEG), WMA (Windows Media Audio) et AAC (codage audio avancé) sont des normes de compression audio.
- Ce système est capable de dire les fichiers AAC/AAC+ v2/MP3/WMA sur un périphérique de mémoire USB et un apparéil Bluetooth.
- Lorsque vous nommez un fjichier AAC/AAC+ v2/MP3/WMA, ajoutez une extension de fjichier appropriée (.mp3/.wma/.m4a).
-
Ce système permet de dire les fichiers avec les extensions de fichier .mp3/.wma/.m4a, tells que les fichiers AAC/AAC+ v2/MP3/WMA, respectivement. Pour éviter le bruit et des erreurs de lecture, utilisez l'extension de fichier appropriée.
-
Les fichiers MP3 sont compatibles avec les formats ID3 Tag Ver. 1.0, Ver. 1.1, Ver. 2.2 et Ver. 2.3. Ce système ne peut pas afficher le titre du dossier, le nom du fichier et le nom de l'artiste dans d'autres formats.
- Les fichiers WMA/AAC peuvent contenir une balise WMA/AAC qui est utilisée de la même façon qu'une balise ID3. Les balises WMA/AAC transportent des informations telles que le nom du fichier et le nom de l'artiste.
- Ce système est capable de dire les fichiers AAC codés par iTunes.
- La qualité de son des fichiers MP3/WMA s'améliore généralement avec de hauts débits binaires. Afin d'obtenir un niveau raisonnable de qualité sonore, des périhériques de mémoire USB avec un débit binaire d'au moins 128 kbps sont recommends.
- Les listes de lecture m3u ne sont pas compatibles avec le périphérique audio.
- Les formats MP3i (MP3 interactif) et MP3PRO ne sont pas compatibles avec le périphérique audio.
- Lors de la lecture de fichiers enregistrés en VBR (débit binaire variable), le temps de lecture ne s'affichera pas correctement si les opérations d'avance rapide ou de retard rapide sont utilisées.
-
Il n'est pas possible d'acceder aux dossiers qui ne contiennent pas de fichiers AAC/AAC+ v2/MP3/WMA.
-
Les fichiers AAC/AAC+ v2/MP3/WMA dans des dossiers jusqu'à 3 niveaux d'imbrication peuvent être lus. Cependant, le début de la lecture peut être retardé lors de l'utilisation d'un périphérique de mémoire USB contenant un grand nombre de niveaux de dossiers. Pour cette raison, nous vous recommendons de créé un périphérique de mémoire USB avec un maximum de 2 niveaux de dossiers.

- L'ordre de lecture du périphérique de mémoire USB avec la structure indiquée ci-dessus est comme suit :

- L'ordre varie en fonction de l'ordinateur et du logiciel d'encodage AAC/AAC+ v2/MP3/WMA que vous utilisez.
Système De Navigation
Fonctionnement De Base 156
Écran De Carte 156
Généralités De L'écran De Carte 156
Aperçu Des Boutons D'écran De La Carte … 157
Fonctionnement De L'écran De Carte 158
Affichage De La Position Actuelle 158
Echelle De La Carte 159
Orientation De La Carte 159
Informations De L'ecran De La Carte 160
Icones PDI 160
Informations Routieres 161
Autres Informations 161
Points De Mémoire 162
Enregistrement Des Points De Mémoire 162
Modification Des Points De Mémoire 163
Recherche De Destination 165
Opération De Recherche 165
Réglage Du Domicile Ou Du Travail comme Destination … 165
Recherche Sur La Carte 166
Recherche Par Saisie D'un Mot De Recherche 166
Recherche Par PDI 167
Recherche Au Moyen De Destinations
Précedemment Regles 168
Recherche Depuis La Liste Des Destinations Favorites 169
Recherche De Stations-Service 170
Calcul De L'itinétaire 171
Ecran De Calcul D'itinétaire 171
Guide D'itinéraire 173
Guide D'itinétaire 173
Ecran De Guide D'itinéraire 173
Icône De Carte Standard 175
Messages De Guide Vocal Typiques 176
Fonctions Liees A L'itinétaire 176
Verification De La Route 176
Modification D'itinétaire 177
Ajout De Destinations 177
Vérification De L'itinétaire 178
Réorganisation Des Destinations 178
Suppression De Destinations 179
Arrêt Du Guidage D'itinétaire 179
Informations Relatives A La Météo 179
Configuration 180
Conseils D'utilisation Du Systeme De Navigation 182
Parametres De Navigation 180
Écran De Paramètres De Navigation 180
GPS(Global Positioning System) 182
Concernant Les Erreurs Dans L'affichage
De La Position Actuelle 182
Limitations Du Systeme De Navigation 182
Données De Carte 184
En Ce Qui Concerne Les Données De Noms
De Lieux Et De Routes 184
Mises A Jour De La Carte SUBARU 184
Mise À Jour Manuelle Des Données
Cartographiques Au Moyen D'un Clé USB … 185
Mise À Jour Manuelle Des Données
Cartographiques Au Moyen Du Wi-Fi 186
Mise À Jour Manuelle Des Données
Cartographiques Au Moyen D'un Smartphone 187
Mise A Jour Automatique Des Données De La Carte … 191
FONCTIONNEMENT DE BASE
ÉCRAN DE CARTE
GÉNÉRALITÉS DE L'ÉCRAN DE CARTE
L'écran de la carte est accessible à l'aide des méthodes suivantes:
- Appuyez sur .
- Appuyez sur 山 , fais sélectionnéz Map (Carte).

| N° | Informations/fonction | Page |
| 1 | Sélectionnez pour changer le mode d'affichage de la carte entre 2D vers le nord, 2D vers le haut ou 3D. Avec la carte en 3D, seul un affichage vers le haut est disponible. | 159 |
| 2 | Affiche la position actuelle du vehicule. | - |
| 3 | Affiche la limite de vitesse pour la route sur laquelle vous conduisez. | - |
| 4 | Affiche le nom de la rue actuelle. Sélectionnez pour afficher l'emplacement actuel et les coordonnées géo et enregistrez la position en tant que favori, maison ou travail. | 162 |
| 5 | Sélectionnez pour afficher l'écran du menu de recherche. | 166, 167, 168, 169 |
| 6 | En enregistrant votre domicile ou lieu de travail, (→P.162), la direction souhaitée et l'heure s'affichent.Maintenez sélectionné ↓ pour paramétrer le domicile comme destination.Maintenez sélectionné ↓ pour paramétrer le travail comme destination. | 165 |
APERÇU DES BOUTONS D'ÉCRAN DE LA CARTE
Les boutons d'écran de la carte sont accessibles en sélectionnant un point sur la carte.

| N° | Fonction | Page |
| 3 | Sélectionnez pour rechercher des stations service. Lorsque vous conduisez sur l'autoroute lors du guidage d'itinéraire, des informations sur les stations-service, restaurants, ou les trois prochaines aires de repos à proximité des sorties d'autoroute seront affichées. | 170 |
| 4 | Sélectionnez pour modifier l'échelle de la carte. | 159 |
| N° | Fonction | Page |
| 1 | Sélectionnez pour activer/activer l'affichage des informations sur la circulation. | 161 |
| 2 | Sélectionnez pour activer/désactiver le guidage vocal. | - |
FONCTIONNEMENT DE L'ÉCRAN DE CARTE
AFFICHAGE DE LA POSITION ACTUELLE
1. Appuyez sur MAP

2. Vérifiez que la carte de la position actuelle est affichée.

- La position actuelle de la carte peut également être affichée en appuyant sur 山 , puis en selectionnant (Carte).
- ÀpRES le déplacement de la carte, (Reprise) peut s'afficher. Sélectionnez (Reprise) pour revenir à l'écran précédent.
REMARQUE
- Pendant la conduite, le repère de position actuelle est fixé sur l'écran et la carte se déplace.
- La position actuelle est automatiquement définie lorsque le vehicule recoit des signaux du GPS (Global Positioning System). Si la position actuelle n'est pas correcte, elle est automatiquement corrigée après que le vehicule recoit des signaux du GPS.
- Àprous le débranchement de la batterie, ou sur un nouveau vehicule, la position actuelle peut ne pas être correcte. Dés que le système reçoit des signaux du GPS, la position actuelle correcte est affichée.
ÉCHELLE DE LA CARTE
- Sélectionné un point sur la carte.
- Sélectionnez + ou - pour changer l'échelle sur l'écran de la carte.

- Sélectionnez et maintenez enforcé + ou - pour continuer à changer l'échelle de l'écran de la carte.
- Lorsque la fonction zoom auto est activée ( P.180) pendant le guidage d'itinétaire, la carte est agrandie automatiquement lorsque vous approche d'une intersection ou de virages.
REMARQUE
L'échelle de l'écran de la carte peut également être changée par double contact ou par pincement. (→P.31)
ORIENTATION DE LA CARTE
L'orientation de la carte peut être modifiée entre 2D vers le nord, 2D vers le haut et 3D.
-
Sélectionnez , , ou .
-
À chaque fois que le symbole est sélectionné, l'orientation de la carte change.
2D vers le nord

- Quelle que soit la direction de déplacement du vehicule, le nord est toujours vers le haut.
- La(les)笺 (s) indique(nt) la direction suivie par le vehicule (ex. N pour le nord).
2D vers le haut

- Le sens de déplacement du vehicule est toujours vers le haut.
3D vers le haut

- Le sens de déplacement du vehicule est toujours vers le haut.
INFORMATIONS DE L'ÉCRAN DE LA CARTE
ICONES PDI
Les points d'intérêt tels que les stations-service et les restaurants peuvent être affichés sur l'écran de la carte. Leurs emplacements peuvent également être paramétrés en tant que destination.

- L'affichage des icones PDI peut être activé/désactivé. ( P.180)
INFORMATIONS ROUTIÈRES
Les sections de route affectées par les conditions de traffic s'affichent dans une couleur différente sur la carte, et une petite icône représentant le type de condition de traffic s'affiche au-dessus de la route.
Pour receivevoir des informations de service de données dans le vehicule, un abonnement à SiriusXM® Satellite Radio Service est nécessaire. (→P.129)

- L'affichage des informations sur le traffic peut être activé/désactivé. (→P.157)
AUTRES INFORMATION
Un écran contextuel s'affiche en fonction de la situation de conduite, etc.
Alerte météorologique

- OK (OK): Sélectionnéz pour effacer le message.
POINTS DE MÉMOIRE
ENREGISTREMENT DES POINTS DE MÉMOIRE
Le point de votre可以选择 peut être enregistré en tant que favoris, maison ou travail.
Les points enregistrés peuvent être utilisés comme destinations.
ENREGISTREMENT DU POINT ACTUEL
- Sélectionnéz le nom de la rue actuelle.
- Sélectionnez Save (Enr).

- Sélectionnez l'élement pour lequel la rueporte le nom que vous souhaitez déclarer.

- Le point est enregistré dans la liste des destinations favorites. ( P.169)
- Les iconônes s'affichent sur la carte.
REMARQUE
- Voiture domicile et votre bureau peuvent également être enregistrés à partir de l'écran de paramètres de navigation. ( P.180)
- Les destinations favorites peuvent également être enregistrées à partir de l'écran de calcul d'itinétaire. (→P.171)
ENREGISTREMENT DEPUIS LA CARTE
- Sélectionnez et maintenez enforcé le point désiré sur la carte ou l'icone PDI.
- Sélectionnez ☆.

- change pour (jaune), et le point est enregistré dans la liste des destinations favorites.
- À chaque fois que le symbole est sélectionné, le symbole passé de à (jaune).
MODIFICATION DES POINTS DE MÉMOIRE
- Sélectionnez Menu (Menu).
- Sélectionnez Nearby Places (PI à proximité) ou Previous Address (Adresse précédente).

- Sélectionnéz Favorite (Favori).

- : Sélectionnez pour modifier une adresse de domicile ou de travail. (→P.164)
- : Sélectionnez pour supprimer l'élement. (→P.164)
- Sélectionnez la destination pour modifier le nom. ( P.164)
MODIFICATION DE L'ADRESSE DU DOMICILE/ TRAVAIL
- Sélectionnez à côté de «Home (Maison)» ou «Work (Travail)».
- Entre une adresse, puis selectionnez (Rech.).
- Sélectionnez les images désirées à partir de la liste, puis sélectionné Save (Enr).
- Sélectionnez OK (OK).
REMARQUE
- Voiture domicile et votre bureau peuvent également être modifiés à partir de l'écran de paramètres de navigation. ( P.180)
SUPPRESSION DES DESTINATIONS FAVORITES
- Sélectionnez à côté de l'élement à supprimer.
- Sélectionnez Delete (Suppr.).

-
Delete All (Tout suppr.): Sélectionnéz pour supprimer tous les éléments.
-
Cancel (Annuler): Sélectionnéz pour annuler la suppression.
REMARQUE
- Les+favorispeuventegalelementetre enregistrésàpartider de l'écrande calculd'itinéraire. ( P.171)
CHANGEMENT DU NOM DE LA DESTINATION FAVORITE
- Sélectionnez la destination souhaïée pour modifier le nom.
- Entrez un nom et sélectionné (Renome (Renommer).
- Sélectionnez OK (OK).
RECHERCHE DE DESTINATION
OPÉRATION DE RECHERCHE
Il existe plusieurs fois de rechercher une destination.
| Fonction | Page |
| Réglage du domicile ou du travail comme destination | 165 |
| Recherche sur la carte | 166 |
| Recherche par saisie d'un mot de recherche | 166 |
| Recherche par PDI | 167 |
| Recherche au moyen de destinations précédemment régliées | 168 |
| Recherche depuis la liste des destinations favorites | 169 |
| Recherche de stations-service | 170 |
| Recherche au moyen du réseau | 83 |
RÉGLAGE DU DOMICILE OU DU TRAVAIL COMME DESTINATION
- Sélectionnez et maintenez G ou O.

-
Le temps de trajet estimé et la direction jusqu'à destination sont affichés à côte de l'icone.
-
Vérifiez que l'écran de calcul de l'itinétaire s'affiche. ( P.171)
REMARQUE
Pour utiliser cette fonction, il est nécessaire d'enregistrer l'entrée. ( P.162)
- Voiture domicile et votre bureau peuvent également être régles comme destination à partir de la liste des+favoris. ( P.169)
- Sélectionnez et maintenez enforcé le point désiré sur la carte ou l'icone PDI.
- Sélectionnez GO (GO).

: Sélectionnez pour rechercher une destination autour du point.
3. Vérifiez que l'écran de calcul de l'itinétaire s'affiche. ( P.171)
RECHERCHE PAR SAISIE D'UN MOT DE RECHERCHE
La destination peut être régée en saisissant un mot à rechercher, par exemple une adresse, un nom d'installation ou une latitude/longitude, etc.
- Sélectionnez Menu (Menu).
- Sélectionnez Search for Destination (Rech. une destination).

3. Entrez le nom, puis selectionnéz Search (Rech.).

| N° | Fonction |
| 1* | Sélectionnez pour paramétrer le rayon du filtre. Une fois que le rayon du filtre a été définiti, une recherche peut être effectuée uniquement pour des éléments au sein du rayon.À chaque fois que le bouton est sélectionné, le symbole bascule entre «Along Route (En cours d'itinétaire)», «Near Destination (Près de la destination)» et «Near Me (Près de moi)». |
| 2 | Certaines destinations candidates sont affichées sur la base des caractères d'entrée. Le calcul de l'itinétaire s'affiche lors de la sélection d'un élément. |
*:Durant le guidage d'itinétaire
4. Sélectionnez les images désirées à partir de la liste, puis Sélectionnez GO (GO).

- Sélectionnez et maintenez enforcée la carte pour effectuer des réglages fins jusqu'à la destination.
: Sélectionnez pour appeler le numéro enregistré. -
Sélectionnez pour ouvrir/fermer la liste.
-
Vérifiez que l'écran de calcul de l'itinéraire s'affiche. ( P.171)
RECHERCHE PAR PDI
- Sélectionnez Menu (Menu).
- Sélectionnez Nearby Places (PI à proximité).

- Sélectionnez la catégorie souhaïée.

- Sélectionnez les images désirées à partir de la liste, puis Sélectionnez GO (GO).

- Sélectionnez et maintenez enforcée la carte pour effectuer des réglages fins jusqu'à la destination.
: Sélectionnez pour appeler le numéro enregistré. -
: Sélectionnez pour ouvrir/fermer la liste.
-
Vérifiez que l'écran de calcul de l'itinétaire s'affiche. ( P.171)
RECHERCHE AU MOYEN DE DESTINATIONS PRÉCÉDEMMENT RÉGLÉES
- Sélectionnez Menu (Menu).
- Sélectionnez Previous Address (Adresse précédente).

- Sélectionnez l'élement souhaïte.

- Vérifiez que l'écran de calcul de l'itinétaire s'affiche. ( P.171)
SUPPRESSION DE L'ÉLÉMENT DANS LA LISTE
- Sélectionnez sur l'écran «Recent Destinations (Destination récente)».
- Sélectionnez à côté de l'élement à supprimer.

- Sélectionnez Delete (Suppr.).

- Delete All (Tout suppr.): Sélectionnéz pour supprimer tous les éléments.
- Cancel (Annuler): Sélectionnez pour annuler la suppression.
RECHERCHE DEPUIS LA LISTE DES DESTINATIONS FAVORITES
- Sélectionnez Menu (Menu).
- Sélectionnez Nearby Places (PI à proximité) ou Previous Address (Adresse précédente).

- Sélectionnez Favorite (Favori).
- Sélectionnez l'élement souhaïte.

- Vérifiez que l'écran de calcul de l'itinétaire s'affiche. ( P.171)
REMARQUE
- Pour utiliser cette fonction, il est nécessaire d'enregistrer l'entrée. ( P.162)
RECHERCHE DE STATIONS-SERVICE
- Sélectionnéz un point sur la carte.
- Sélectionnez

- Lorsque vous conduisiez sur l'autoroute lors du guidage d'itinéraire, des informations sur les stations-service, restaurants, ou les trois prochaines aires de repos à proximité des sorties d'autoroute seront affichées.

- Sélectionnez les images désirées à partir de la liste, puis sélectionnez GO (GO).

: Sélectionnez pour appeler le numéro enregistré.
- Vérifiez que l'écran de calcul de l'itinétaire s'affiche. ( P.171)
CALCUL DE L'ITINÉRAIRE
ÉCRAN DE CALCUL D'ITINÉRAIRE
Après la recherche d'une destination, l'écran de calcul de l'itinéraire s'affiche.

| N° | Informations/fonction |
| 1 | Permet d'afficher l'ensemble de l'itinétaire. |
| 2 | Sélectionnez pour lancer le guidage d'itinétaire. |
| N° | Informations/fonction |
| 3 | Sélectionnez l'un des trois itinéraires recommendés. Le type d'itinétaire (→P.180) définis dans les paramètres d'itinétaire s'affiche en bleu. |
| 4 | Sélectionnez pour régler les critères d'évitement pour l'itinétaire actuel. (→P.172) |
| 5 | Affiche l'heure d'acciviée. Si SiriusXM Travel Link est disponible, le nom de l'icone de la météo, le nom de station météo la plus proche de la destination, et les températures minimales/maximales de cet emplacement s'affichent. Pour plus de détails sur SiriusXM Travel Link: →P.113 |
| 6 | Sélectionnez pour enregistrer la position dans la liste des destinations favorites. (→P.169) |
AVENTISSEMENT
Veillez à respecter la reglementation du traffic et pensez à l'état de la route lorsque vous conduisez. Si un panneau routier a changé, le guide d'itinétaire peut ne pas afficher ce type de changement d'information.
REMARQUE
L'itinétaire de return peut être différent de celui utilisé à l'aller.
- Le guide d'itinétaire jusqu'à la destination peut ne pas être l'itinétaire le plus court ou un itinétaire sans encombrement du trafic.
- Le guide d'itinéraire peut ne pas être disponible s'il n'y a pas de données de la route à l'emplacement spécifique.
REMARQUE
Si une destination qui n'est pas située sur une route est reglee, le vehicule est guidé à ce point sur la route la plus proche de la destination. La route la plus proche du point seLECTIONné est reglee comme destination.
ÉCRAN DE RÉGLAGES DE L'ITINÉRAIRE
Les critères d'évitement pour le calcul de l'itinétaire peuvent être paramétrés.
- Sélectionnez Route Options (Options itinétaire) sur l'écran de calcul de l'itinétaire.
- Sélectionnez l'élement souhaïte.

REMARQUE
- Les critères d'évitement pour le calcul de l'itinéraire peuvent également être sélectionnés depuis l'écran de paramétres de navigation. (→P.180)
GUIDE D'ITINÉRAIRE
GUIDE D'ITINÉRAIRE
ÉCRAN DE GUIDE D'ITINÉRAIRE
Pendant le guidage d'itinéraire, différents types d'écrans de guidage peuvent être affichés en fonction des conditions.

| N° | Informations/fonction |
| 1 | Affiche le nom de la prochaine rue. Sélectionnez pour afficher la liste de tours/d'itinéraires. (→P.176, 178) |
| 2 | Affiche le guidage d'itinéraire. |
| 3 | Affiche la distance, le temps de voyage estimé jusqu'à la destination ou l'heure d'arrivée estimée à la destination. Sélectionnez la zone d'information, puis Sélectionnez les informations souhaitées. |
| 4 | Sélectionnez pour rechercher une destination ou arrêté le guidage d'itinéraire. (→P.179) |
| 5 | Affiche la distance jusqu'au prochain changement de direction avec une flèche indiquant la direction du changement de direction. Sélectionnez pour dire l'announce de navigation. |
Écran de jonction
Lorsque vous approchez d'une intersection compliquée ou d'une sortie d'autoroute, la carte bascule sur un affichage 3D si les informations nécessaires peuvent etre affichees. Une flèche indique la voie sur laquelle vous devez conduire. Des panneaux sont également affichés si les informations sont disponibles.

Écran de commande de voie
Lorsque vous approchez d'un point de changement de direction, la voie recommandée s'affiche automatiquement.

«Then (Puis)» s'affiche si nécessaire de tourner immédiatement après un changement de direction.

Écran de zoom automatique
Lorsque la fonction zoom auto est activée ( P.180) , la carte est agrandie automatiquement lorsque vous approchez d'une intersection ou de virages.
REMARQUE
- Si le vehicule quitte le guide d'itinétaire, l'itinétaire est à nouveau rechnché.
- Pour certaines zones, les routes ne sont pas complètement numériées dans notre base de données. Pour cette raison, le guide d'itinéraire peut seLECTIONner une route qui ne doit pas être empruntée.
ICONE DE CARTE STANDARD
Le tableau suivant indique les événements d'itinétaire les plus couramment affichés.
| Icône | Explication |
| # | Tournez à gauche |
| # | Tournez à droite |
| # | Demi-tour à gauche |
| # | Demi-tour à droite |
| # | Restez à gauche de la fourche sur la route. |
| # | Restez à droite de la fourche sur la route. |
| # | Tournez à gauche et prenez une courbe prononcée. |
| # | Tournez à droite et prenez une courbe prononcée. |
| # | Restez sur la voie de gauche. |
| # | Restez sur la voie de droite. |
| # | Allez tout droit à l'intersection. |
| Icône | Explication |
| ↑ | Tournez à gauche au carrefour en T. |
| ↑ | Tournez à droit de au carrefour en T. |
| ♀ | Allez à gauche au rond-point. |
| (bleu) | Vous étés à mi-chemin de votre destination. |
| (à carreaux) | Vous étés arrivé à destination. |
MESSAGESDGUIDEVOCAL TYPIQUES
Au fur et à mesure que le vehicule s'approche d'une intersection, ou d'un point, lorsqu'une manoeuvre du vehicule est nécessaire, le système de guidage vocal fournit divers messages.

AVERTISSEMENT
Assurez-vous d'obéir au code de la route et de rester conscient de l'état de la route sur tout lorsque vous conduisez sur des routes IPD. Le guide d'itinéraire peut ne pas avoir des informations à jours, comme le sens d'une voie à sens unique.
REMARQUE
- Tournez la molette « 口 /VOLUME», ou utilisez le commutateur de contrôle du volume sur le volant pour régler le volume du guidage vocal.
- Le volume du guidage vocal peut également être régé à partir de l'écran des paramètres du son. (→P.73)
Le guidage vocal peut etre effectue t oit ou tard.
Si le système n'arrive pas à déterminer la position actuelle correctement, vous pourriez ne pas entendre le guide vocal ou ne pas voir l'intersection agrandie à l'écran.
FONCTIONS LIÉES À L'ITINÉRAIRE
VÉRIFICATION DE LA ROUTE
- Sélectionnéz le nom de la rue. (→P.173)
- Sélectionnez Turn List (Liste virag.).
- Sélectionnez l'élement pour lequel l'itinétaire est à vérifier.

- Sélectionnez la affichée lorsque la carte est déplacee pour afficher un écran montrant toutes les routes.
- : Sélectionnez pour fermer la liste et afficher l'écran montrant toutes les routes.
MODIFICATION D'ITINÉRAIRE
- Sélectionnéz le nom de la rue. (→P.173)
- Sélectionnez Turn List (Liste virag.).
- Sélectionnez
- Sélectionnez à côté de l'élement à supprimer.

- L'itinétaire est recalculé automatiquement.
AJOUT DE DESTINATIONS
- Recherche une destination supplémentaire de la même manière qu'une recherche de destination. ( P.165)
- Sélectionnez Add Waypoint (Aj. p. ch.).

- Replace Route (Remp. it.): Sélectionnez pour remplaçer la destination existante par une nouvelle.
- Cancel (Annuler): Sélectionnez pour annuler l'ajout de destinations.
- L'itinétaire est recalculé automatiquement.
REMARQUE
La première destination saisie est ajoutée en tant que première destination. L'ordre de destination peut être changé. ( P.178)
VÉRIFICATION DE L'ITINÉRAIRE
- Sélectionnéz le nom de la rue. (→P.173)
- Sélectionnez Itinerary (Itinéitaire).

- Sélectionnez la affichée lorsque la carte est déplacee pour afficher un écran montrant toutes les routes.
- Sélectionnez pour fermer la liste et afficher l'écran montrant toutes les routes.
RéORGANISATION DES DESTINATIONS
- Sélectionnéz le nom de la rue. (→P.173)
- Sélectionnez Itinerary (Itinéitaire).
- Sélectionnez
- Sélectionnez à côté de la destination souhaïée, puis faites-le glisser vers l'emplacement souhaité.

- L'itinétaire est recalculé automatiquement.
SUPPRESSION DE DESTINATIONS
- Sélectionnéz le nom de la rue. (→P.173)
- Sélectionnez Itinerary (Itinéitaire).
- Sélectionnez
-
Sélectionnez à côté de l'élement à supprimer.
-
L'itinétaire est recalculé automatiquement.
ARRÉT DU GUIDAGE D'ITINÉRAIRE
- Sélectionnez Menu (Menu).
- Sélectionnez Cancel (Annuler).

INFORMATIONS RELATIVES À LA MÉTEO
«At Destination (At Destination)» et les informations météorologiques «Along Route (En cours d'itinéraire)» peuvent être vérifiées pendant le guidage d'itinéraire au moyen de la fonction SiriusXM Travel Link.
Pour plus de détails sur SiriusXM Travel Link: P.113

CONFIGURATION
PARAMÉTRES DE NAVIGATION
1. Appuyez sur

- Sélectionnez Settings (Réglages).
- Sélectionnez Navigation (Navigation).
- Sélectionnez l'élement de votrechoix à régler.
ÉCRAN DE PARAMÉTRES DE NAVIGATION



| N° | Fonction |
| 1 | Sélectionnez pour régler le type d'itinéraire. |
| 2 | Sélectionnez pour régler les critères d'évitement pour le calcul de l'itinéraire. |
| 3 | Sélectionnez pour activer/désactiver l'affichage de la vue de la jonation. |
| 4 | Sélectionnez pour paramétrer le mode de l'écran. «Auto (Auto)»: Sélectionnez pour changer l'écran en mode diurne ou en mode nocturne en fonction de la position du commutateur de projecteur avant. «Day (Journée)»: Sélectionnez pour toujours afficher la carte en more diurne. «Night (Nuit)»: Sélectionnez pour toujours afficher la carte en more nocturne. |
| 5 | Sélectionnez pour enregistrer ou modifier l'adresse de votre domicile. • Si le domicile a été enregistrré, Change Home (Modifier le domicile) s'affiche. • Pour plus d'informations sur l'enregistrement et la modification de l'adresse: →P.164 |
| 6 | Sélectionnez pour enregistrer ou modifier l'adresse du travail. • Si le travail a été enregistrré, Change Work (Changer le lieu de travail) s'affiche. • Pour plus d'informations sur l'enregistrement et la modification de l'adresse: →P.164 |
| 7 | Sélectionnez pour activer/désactiver l'affichage des icônes PDI. |
| N° | Fonction |
| 8 | Sélectionnez pour définir l'affichage de l'heure d'arrivée en format 24 heures ou 12 heures. (→P.173) |
| 9 | Sélectionnez pour définir l'agrandissement automatique de la carte à l'approche des intersections ou points de virage pendant le guidage d'itinéraire. |
| 10 | Sélectionner pour paramétre la mise à jour des données de carte. (→P.184) |
| 11 | Sélectionnez pour afficher le code de demande permettant de télécharger les maps via le site Internet. |
CONSEILS D'UTILISATION DU SYSTEME DE NAVIGATION
GPS (GLOBAL POSITIONING SYSTEM)
CONCERNANT LES ERREURS DANS L'AFFICHAGE DE LA POSITION ACTUELLE
Le système affiche la position actuelle du vehicule en se basant sur les informations GPS et les données à partir de différents capteurs et cartes routières. Toutefois, lorsque les signaux à ondes radio de satellites GPS sont faibles ou lorsque des signaux sont reçus depuis seulement deux satellites ou moins, des erreurs risquent de se produit au niveau de la position. Modifier ou régler le système n'empêchera pas ces erreurs.
LIMITATIONS DU SYSTème DE NAVIGATION
Ce système de navigation calcule la position actuelle à l'aide de signaux satellites, de divers signaux du vehicule, des données sur la carte, etc. Cependant, une position précise peut ne pas s'afficher selon les conditions satellite, la configuration de la route, l'etat du vehicule ou d'autres circonstances.
Le système de positionnement global (GPS) développé et exploité par le Département de la Défense américain fournit une position actuelle précise, normalement en utilisant 4 ou plusieurs satellites, et dans certains cas 3 satellites. Le système GPS a un certain niveau d'impréciation. Meme si le système de navigation compense cela la plupart du temps, des erreurs occasionnelles de positionnement allant jusqu'à 300 pieds (100 m) peuvent et doit être prévues. En général, les erreurs de position sont corrigées en quelques secondes.

Le signal GPS peut être physiquement bloqué, entraînant une position inexacte du vehicule sur l'écran de la carte. Les tunnels, les grands batiments, les camions, ou même l'emplacement d'objets sur le tableau de bord peuvent bloquer les signaux GPS.
Les satellites GPS peuvent ne pas envoyer de signaux en raison de réparations ou d'améliorations en cours sur ceux-ci. Meme lorsque le système de navigation recoit des signaux GPS clairs, la position du vehicule peut ne pas s'afficher avec précision ou un guide d'itinétaire incorrect peut se produit dans certains cas.
ATTENTION
-
L'installation d'une fenêtre teintée pourrait obstruer les signaux GPS. La plupart des teintures de fenêtre contiennent certaines matières métalliques qui interférènt avec la réception du signal GPS de l'antenne sur le tableau de bord. Nous déconseillons l'utilisation d'une fenêtre teintée sur les vehicules équipés d'un système de navigation.
-
La position actuelle précise peut ne pas s'afficher dans les cas suivants:
- Lorsque vous roulez sur une route à petit angle ayant la forme d'un Y.
Lorsque you roulez sur une route sinueuse. - Lorsque vous roulez sur une route glissante comme avec du sable, des graviers, de la neige, etc.
- Lorsque vous roulez sur une longue route droite.
- Lorsque l'autoroute et les axes de traffic urbain sont en parallèle.
- Àprous avoir été déplaced par ferry ou transporteur de vehicule.
- Lorsqu'un long trajet est recherchépendant la conduite à grande vitesse.
- Àprous la répétition d'un changement de direction en allant vers l'avant et vers l'arrière, ou en tournant sur une table tournante dans un parc de stationnement.
-
Lorsque vous sortez d'un parc de stationnement couvert ou d'un garage.
-
Lorsqu'une galerie de toit est installée.
- Lorsque vous conduisiez avec des chaînes à neige installées.
Lorsque les pneus sont usés. - Àprous le remplacement d'un ou de plusieurs pneus.
- Lorsque vous utilisez des pneus plus petits ou plus grands que les specifications d'usine.
-
Lorsque la pression de gonflage d'un des 4 pneus n'est pas correcte.
-
Un guide d'itinétaire inapproprié peut se produit dans les cas suivants:
-
Lorsque vous tournez à une intersection ne figurant pas sur le guide d'itinéraire désigné.
- Si vous scélectionnez plus d'1 destination mais ignorez l'une d'elles, le changement d'itinétaire automatique affiche un itinétaire returnant à la destination sur l'itinétaire précédent.
- Lorsque vous tournez à une intersection pour laquelle il n'y a pas de guide d'itinéraire.
- Lorsque vous traversez une intersection pour laquelle il n'y a pas de guide d'itinéraire.
- Lors du changement d'itinétaire automatique, le guide d'itinétaire peut ne pas être disponible pour le prochain tournant à droite ou à gauche.
-
À vitesse soutenue, il peut falloir un certain temps pour que le changement d'itinétaire automatique fonctionne. Lors du changement d'itinétaire automatique, une déviation peut s'afficher.
-
Àprous le changement d'itinéraire automatique, l'itinéraire ne peut pas être modifié.
- Si un demi-tour inutile est affiché ou annuncié.
- Si un emplacement a plusieurs noms et le système annonce 1 ou plusieurs de ces noms.
Lorsqu'un itinéraire ne peut être recherchéé. - Si l'itinéraire jusqu'à votre destination comporte des routes avec des graviers, non pavées ou des allées, le guide d'itinéraire peut ne pas s'afficher.
- Voiture point de destination peut s'afficher sur le côte opposé de la rue.
- Lorsqu'une partie de l'itinéraire a une réglementation interdisant l'entrée du vehicule qui varie selon le temps ou la saision, ou pour d'autres raisons.
- Les données de la route et de la carte enregistrées dans le système de navigation peuvent être incomplétées ou ne pas être mises à jour à laforthème version.
REMARQUE
- Ce système de navigation utilise des données liées à la rotation des pneus et a été concu pour fonctionner avec les pneus spécifiés en usine pour le vehicule. L'installation de pneus plus grands ou plus petits que le diamètre d'origine risque de provoquer des imprecisions d'affichage de la position actuelle. La pression de gonflage des pneus influence également le diamètre des pneus, par conséquent, veillez à ce que la pression des 4 pneus soit correcte.
DONNÉES DE CARTE
EN CE QUI CONCERNE LES DONNÉES DE NOMS DE LIEUX ET DE ROUTES
Lorsque les cartes sont créées, des enquêtes géographiques sont menées et des informations sur des améliorations et des réouvertures de routes sont collectées pour fournir les informations les plus précises possibles. Toutefois, les modifications de routes, des noms de lieux et des établissements peuvent être effectuées à n'importe quel moment. Par conséquent, nous ne pouvons pas garantir que les données de la carte ne contiennent pas d'erreurs sur les positions de route, les configurations et les noms, ou quant aux noms des établissements.
MISES À JOUR DE LA CARTE SUBARU
Les données cartographiques peuvent être mises à jour à l'aide des méthodes suivantes:
- Clé USB: Toutes les données cartographiques peuvent être mises à jour en même temps. (→P.185)
-
Wi-Fi: Les données cartographiques 8 régions maximum peuvent être sélectionnées et mises à jour. ( P.186)
-
Smartphone: Les données cartographiques 8 régions maximum peuvent être seLECTIONnées et mises à jour. Cette méthode s'applique lorsque les données de mise à jour cartographique doivent être téléchargeées sur un smartphone à l'extérieur du vehicule, par exemple au domicile, puis transférées vers le système. ( P.187)
REMARQUE
- Pendant le téléchargement des données de mise à jour cartographique, un écran de carte vide s'affiche pour la région qui est mise à jour. Si le vehicule est utilisé pendant la mise à jour des données cartographiques, la fonction de cartes peut ne pas être disponible jusqu'à la fin de la procédure de mise à jour.
Pour une expérience de navigation optimale, mettez régulièrement à jour les cartes pour toutes les régions fréquentées, y compris les états voisins. Si vous ne parvenez pas àmettre à jour les cartes pour les états environnants, vous risquez d'obtenir des informations inexactes sur la carte pendant le trajet entre états. Les mises à jour effectuees à l'aide d'une clé USB metront à jour les informations cartographiques pour tous les états. Veuillez visitor Subaru.com pour plus d'informations et les dernières mises à jour.
Si la mise à jour cartographique échoue ou ne peut pas être effectue lors de l'utilisation du Wi-Fi ou d'un smartphone connecté, contrôle l'état de communication de l'appareil connecté. En cas de problème de communication, effectuez la procédure à nouveau en utilisant un point d'accès Wi-Fi ou un smartphone différent.
Si la procédure de mise à jour cartographique échoue, reportez-vous à la section «QUE FAIRE SI». ( P.223)
REMARQUE
- SUBARU peut, à sa seule discrétion, résilier ou suspendre votre accès à tout ou partie des Services, pour chaque raison que ce soit ou sans raison, y compris mais sans s'y limiter, toute violation des Presents conditions.
MISE À JOUR MANUELLE DES DONNÉES CARTOGRAPHIQUES AU MOYEN D'UN CLÉ USB
Les cartes peuvent être mises à jour en utilisant un périphérique de mémoire USB.
Pour plus de détails ainsi que pour télécharger les données de mise à jour, reportez-vous à l'adresse URL suivante:
https://subaru-maps.com/
MISE À JOUR MANUELLE DES DONNÉES CARTOGRAPHIQUES AU MOYEN DU Wi-Fi
Les données cartographiques peuvent également être mises à jour via le réseau Wi-Fi.
- Connexion à un réseau Wi-Fi. (→P.65)
- Sélectionnez Map Update (Mise à jour de la carte) sur l'écran de paramètres de navigation. ( P.180)
- Sélectionnez Select Region (Max up to 8) (Sélectionner la région (jusqu'à 8 max)).

- Sélectionnez les régions pour lesquelles les cartes doivent être mises à jour.

- Sélectionnez Back (Préc.) ou X
- Sélectionnez Check for Updates (Rechercher les mises à jour).

- Vérifiez le message de confirmation, puis Sélectionnez Yes (Oui).

- Select Region(s) (Sélect. régions): Revenez à «ÉTAPE 4» et Sélectionné de nouveau la région.
-
Cancel (Annuler): Sélectionnéz pour annuler la mise à jour des données de la carte.
-
L'écran suivant est affiché en même temps que début le téléchargement et l'installation.

- : Sélectionnez pour annuler le téléchargement et l'installation de la mise à jour. Une fois le téléchargement terminé, seule l'installation peut être annulée.
Si Cancel Download (Annul. téléchargement) est sélectionné, le téléchargement sur le smartphone peut être repris ultérieurement.
REMARQUE
- Si la connexion Wi-Fi est interrompue pendant le téléchargement, un écran de carte vide peut s'afficher. Dans ce cas, reconnectez-vous et effectuez la procédure de téléchargement et d'installation à nouveau pour restaurer le système.
MISE À JOUR MANUELLE DES DONNÉES CARTOGRAPHIQUES AU MOYEN D'UN SMARTPHONE
Si le système ne peut pas se connecter à un réseau Wi-Fi, les données cartographiques peuvent être mises à jour à l'aide d'un smartphone. Les données de mise à jour cartographique peuvent être téléchargees sur un smartphone à l'extérieur du vehicule, par exemple au domicile, puis transférées vers le système pour effectuer la mise à jour cartographique.
Lorsque vous mettez à jour les données cartographiques à l'aide d'un smartphone, l'application SUBARU STARLINK doit être installée sur le smartphone.
REMARQUE
- Les données de mise à jour cartographique peuvent être téléchargeées si leur taille est inférieure ou égale à 30 MB.
TELECHARGEMENT DES DONNÉES DE MISE À JOUR CARTOGRAPHIQUE SUR UN SMARTPHONE
- Connectez un smartphone au système via Bluetooth.
- Lorsque vous utilisez un iPhone, vous pouvez également le connecter à l'aide d'un cable USB.
- Démarrez l'application SUBARU STARLINK sur le smartphone.
- Sélectionnez Map Update (Mise à jour de la carte) sur l'écran des paramètres de navigation. ( P.180)
- Sélectionnez Select Region (Max up to 8) (Sélectionner la région (jusqu'à 8 max)).

-
Si Select Region (Max up to 8) ( Sélectionner la région (jusqu'à 8 max)) ne peut pas être selectionné, effectuez cette procédure à nouveau à partir de « ÉTAPE 1 »
-
Sélectionnez les régions pour lesquelles les cartes doivent être mises à jour.

- Sélectionnez Back (Préc.) ou X
- Activez le paramètre de communication des données mobiles sur l'application SUBARU STARLINK sur le smartphone.
- Sélectionnez Check for Updates (Rechercher les mises à jour) sur l'écran de mise à jour cartographique.

- Sélectionnez Cancel (Annuler).
- Connectez le smartphone à un réseau Wi-Fi.
- En utilisant l'application SUBARU STARLINK sur les smartphone, téléchargez les données de mise à jour cartographique.
INSTALLATION DES DONNÉES DE MISE À JOUR CARTOGRAPHIQUE
-
Connectez un smartphone au système via Bluetooth.
-
Lorsque vous utilisez un iPhone, vous pouze également le connecter à l'aide d'un cable USB.
-
Sélectionnez Map Update (Mise à jour de la carte) sur l'écran des paramètres de navigation. ( P.180)
- Sélectionnez Check for Updates (Rechercher les mises à jour) sur l'écran de mise à jour cartographique.

-
Si «Auto Update (Mise à jour automatique)» est activé, les données de mise à jour cartographique sont installées automatiquement lorsque le smartphone est connecté au système.
-
Vérifiez le message de confirmation, puis Sélectionnez Yes (Oui).

- Select Region(s) (Sélect. régions): Revenez à «ÉTAPE 5» dans «TéléCHARGEMENT DES DONNÉES DE MISE À JOUR CARTOGRAPHIQUE SUR UN SMARTPHONE» et sélectionnez les régions souhaitées à nouveau. ( P.188)
- Cancel (Annuler): Sélectionnéz pour annuler la mise à jour des données de la carte.
-
Si le paramètre de communication des données mobiles n'a pas eté activé sur l'application SUBARU STARLINK, les données de mise à jour cartographique ne peuvent pas etre téléchargees.
-
L'écran suivant est affiché en même temps que début le téléchargement et l'installation.

- X: Sélectionnez pour annuler le téléchargement et l'installation de la mise à jour. Une fois le téléchargement terminé, seule l'installation peut être annulée.
Si Cancel Download (Annul. téléchargement) est sélectionné, le téléchargement sur le smartphone peut être repris ultérieurement. - Meme si l'installation est annulée, les données cartographiques teléchargées sur le smartphone ne sont pas supprimées. Par conséquent, l'installation peut être effectue immédiatement au prochain démarrage de la procédure de mise à jour.
REMARQUE
Lorsque you tellechargez les données cartographiques au moyen de l'application SUBARU STARLINK, veiliez a ce que le smartphone dispose d'un espace de stockage suffisant pour les données cartographiques de la région selectionnee.
Lorsque vous utilisez un iPhone pour effectuer une mise à jour, il est recommendé de connecter l'iPhone au système via USB. Dans ce cas, l'utilisation d'un cable USB Apple permet une communication à haut débit.
- Pendant l'installation des données de mise à jour cartographique, l'installation de la mise à jour se poursuit même si un autre écran s'affiche.
- Ce produit utilise le service de données mobiles du téléphone intelligent pour ses fonctionnalités et services.
Veuillez consultier le service de données mobiles, la tarification, les frais d'utilisation excédante et lignes directrices relatives aux limites et utilisation de votre opérateur de télécommunications.
À PROPOS DES APPAREILS PRIS EN CHARGE
Ce système prend en charge les apparciels suivants.
- iPhone: iOS 11 ou version ultérieure
- Android: Android 7.0 ou version ultérieure
MISE À JOUR AUTOMATIQUE DES DONNÉES DE LA CARTE
- Suívez les «ÉTAPE 1 à 5» dans «MISE À JOUR MANUELLE DES DONNÉES CARTOGRAPHÍQUES AU MOYEN DU Wi-Fi». (→P.186)
- Réglez «Auto Update (Mise à jour automatique)» sur on.

- Vérifiez le message de confirmation, puis sélectionnez I Agree (J'accepte).
MÉMO
Siri/Système De Reconnaissance VOCALE
Siri 194
Siri 194
Avant D'utiliser Siri 194
Utiliser Siri 194
Fonctionnement Siri 195
Fonctionnement Du Systeme De Reconnaissance Vocale 197
Système De Reconnaissance VOCale 197
Utilisation Du Systeme De
Reconnaissance Vocale 197
Fonctionnement Du Systeme De
Reconnaissance Vocale 198
Liste Des Commandes 199
Siri
Siri®
Siri est une fonction qui permet à vous iPhone et iPod touch d'être utilisé sans opération manuelle en connectant votre appareil à l'unité.
Pour utiliser Siri, connectez votre appareil via Bluetooth.
AVANT D'UTILISER Siri
Cette section déscrit la préparation nécessaire pour utiliser Siri.
- Enregistrez votre iPhone ou iPod touch dans l'unité. ( P.48)
- Connectez votre iPhone ou iPod touch à l'unité. ( P.54)
- Activez Siri dans les réglages de votre iPhone ou iPod touch. (Voir le site internet d'Apple pour plus de détails.)
- Un forfait de données iPhone et iPod touch: Si le forfait de données pour votre iPhone et iPod touch ne fournit pas une utilisation illimitée des données, des frais supplémentaires de votre opérateur s'appliquent pour pouvoir acceder au contenu connecté à des apps via les reseaux sans fil 3G, 4G, Wi-Fi ou 4G LTE.
- Connexion à Internet via les réseaux 3G, 4G, Wi-Fi ou 4G LTE.
REMARQUE
- Les opérations disponibles diffèrent en fonction de votre iPhone et iPod touch.
- Faire attention à ne pas dépasser les limites d'utilisation des données de votre iPhone et iPod touch. Cela pourrait entraîner des frais supplémentaires sur l'utilisation des données de la part de l'opérateur de votre téléphone.
UTILISER Siri
COMMANDE AU VOLANT

1 Commutateur d'activation vocale
- Appuyez longuement sur le commutateur d'activation vocale pour lancer Siri.
- Pour annuler Siri, appuyez sur le commutateur d'activation vocale.
MICROPHONE

- Il est inutil de parler directement dans le microphone lorsque vous utilisez Siri.
FONCTIONNEMENT Siri
- Appuyez longuement sur le commutateur d'activation vocale.
-
Parlez lorsque que vous entendez le signal sonore.
-
S'il est nécessaire de parler plus, le système vous informera avec le bip sonore. Continuez de parler.
- Si le système ne reconnait pas ce qui est dit, ou pour demander une autre opération, appuyez sur le commutateur d'activation vocale en le maintainant enforcé.
- Pour annuler Siri, appuyez sur le commutateur d'activation vocale.
REMARQUE
- Siri ne peut pas être démarré lorsque vous placez ou receivez des appel mains libres avec votre iPhone et iPod touch (y compris tout en maintainant les appel entrants), ou tout en ayant une conversation mains libres.
- Siri ne peut pas être utilisé lors de l'utilisation de la fonction de reconnaissance vocale du système. Démarrez Siri après avoir quitté la fonction de reconnaissance vocale.
L'écran système affiche l'écran d'appel lorsqu'un appel mains libres est lancé. -
Le fonctionnement de l'unité lors de l'utilisation de Siri sera différent en fonction de votre iPhone ou iPod touch.
Siri risque de ne pas reconnaître ce qui est dit si: -
Vous parlez trop rapidement.
- Vous parlez à faible ou fort volume.
Conduite avec une fenetre ouverte. - Les passagers discutent pendant que vous utilisez Siri.
- Le système de climatisation est régé trop fort.
-
Lorsque l'air du ventilateur souffle directement sur le microphone.
-
Dans les conditions suivantes, le système peut ne pas reconnaître ce qui est dit correctement, et l'utilisation de Siri peut ne pas être possible.
-
Ce qui est dit est incorrect ou n'est pas clair. Notez que certains mots, accents ou fonçons de s'exprimer peuvent être difficile à reconnaître pour votre iPhone ou iPod touch.
-
Il y a trop de bruit de fond, par exemple le bruit du vent.
-
Les fonctionnalités offertes par Siri dépendent de la version iOS et, dans ce cas, les specifications peuvent faire l'objet de modifications sans préavis.
À PROPOS DES DISPOSITIFS PRIS EN CHARGE POUR Siri
Ce système est compatible avec les dispositifs suivants.
Versions iOS prises en charge
iOS6 ou ultérieure (6, 7)
Modèles pris en charge
- iPod touch (5ème génération)
iPhone 4s
iPhone 5
iPhone 5s
iPhone 6
iPhone 6s
iPhone 6 Plus - iPhone 6s Plus
- iPhone SE
iPhone 7
FONCTIONNEMENT DU SYSTEME DE RECONNAISSANCE VOCALE
SYSTÉME DE RECONNAISSANCE VOCALE
Le système de reconnaissance vocale permet au système de navigation, aux systèmes audio et mains libres, etc., d'être utilisés à l'aide des commandes vocales.
Se reporter à la liste des commandes pour les échantillons de commandes vocales. (→P.199)
UTILISATION DU SYSTEME DE RECONNAISSANCE VOCALE
COMMANDE AU VOLANT

1 Commutateur d'activation vocale
- Appuyez sur le commutateur d'activation vocale pour lancer le système de reconnaissance vocale.
- Pour annuler la reconnaissance vocale, appuyez longuement sur le commutateur d'activation vocale ou la source.
MICROPHONE

- Il est inutil de parler directement dans le microphone quand vous donnez une commande.
REMARQUE
- Attendre le bip de confirmation avant de donner une commande.
-
Les commandes vocales risquent de ne pas être reconnues si:
-
Vous parlez trop rapidement.
- Vous parlez à faible ou fort volume.
Conduite avec une fenetre ouverte. - Les passagers discutent tandis que vous énoncéz les commandes vocales.
Le système de climatisation est régle trop fort. -
Lorsque l'air du ventilateur souffle directement sur le microphone.
-
Dans les conditions suivantes, le système risque de ne pas reconnaître correctement la commande et l'utilisation des commandes vocales risque de ne pas être possible:
-
La commande est incorrecte ou n'est pas claire. Notez que certains mots, accents ou de façon de s'exprimer peuvent être difficile à reconnaître pour le système.
- Il y a trop de bruit de fond, par exemple le bruit du vent.
FONCTIONNEMENT DU SYSTEME DE RECONNAISSANCE VOCALE
-
Appuyez sur le commutateur d'activation vocale.
-
ÀpRES l'affichage de l'écran supérieur de reconnaissance vocale, le guidage vocal commence.
-
Prononcez la commande.

- Lorsque vous selectionnez Help (Aide) ou pronounce «Aide», toutes les commandes prises en charge par le système sont listedes.
- Pour annuler la reconnaissance vocale, Sélectionnez X, ou appuyez longuement sur le commutateur d'activation vocale.
REMARQUE
- Tournez la molette « 口 /VOLUME», ou utilisez le commutateur de contrôle du volume sur le volant pour régler le volume du guidage vocal.
- La fonction de reconnaissance vocale du système ne peut pas etre utiliseer pendant l'utilisation de Siri,Apple CarPlay ou Android Auto. Demarrez la fonction de reconnaissance vocale apres avoir quitté Siri,Apple CarPlay ou Android Auto.
LISTE DES COMMANDES
Les commandes vocales reconnaissables et leurs actions sont indiquées ci-dessous.
- Les commandes féquement utilisées sont indiquées dans les tableaux suivants.
- Pour les-appareils qui ne sont pas installés dans le vehicule,les commandes liées ne seront pas affichées sur l'écran.De plus, selon les conditions, d'autres commandes peuvent ne pas s'afficher sur l'écran.
- Les fonctions disponibles varient en fonction du système installé.
- La langue de reconnaissance vocale peut être modifiée. ( P.59)
REMARQUE
-
Les symboles utilisés dans les commandes sont comme suit.
-
[○○]: Numéros, titres ou noms à prononcer
- (ooo): Choisissez l'une des commandes à partir de l'intérieur des crochets
Principales commandes
| Commande vocale | Fonction |
| Entrer une adresse | Permet de définir une destination en énonçant l'adresse |
| Naviguer jusqu'àu [Numéro d'immeuble, Rue, Ville, état] | Permet de définir une destination en énonçant l'adresse avec ville et état |
| Trouver le plus près [POI] | Affiche une liste de catégorie PDI àproximité de la position actuelle |
| Appeler [Nom] [Type de télé.] | Passez un appel au nom et au type de téléphone d'un contact prononcé à partir du réseauTELphonique |
| Composer [Numéro] | Passe un appel vers leedit numéro de téléphone |
| Lire chanson [Titre de la chanson] | Joue le morceau sélectionné |
| Afficher (Chansons / Albums / Artistes / Genres, les listes de lecture, les balados, les compositeurs, les livres audio) | Affiche la liste de Chansons/Artistes/Albums/Genres/Listes d'écoute/Podcasts/Compositeurs/Livres audio |
| Régler sur [Fréquence] (AM / FM) | Bascule sur AM/FM et se règle à la fréquence prononnée |
| Préréglage [Numéro] | Bascule vers le canal préréglé |
| Modifier la source à (AM / FM / USB / iPod / Bluetooth / Satellite Radio) | Change la source pour AM/FM/USB/iPod/Bluetooth/SiriusXM®Satellite Radio |
| Aller à (Radio / Média / Tél. / Carte / Accueil / Paramètres / Pandora / Aha / Applications) | Change l'écran Radio/Média/Téléphone/Carte/Accueil/Paramètres/Pandora/Aha/Applications |
| Aide | Bascule vers l'écran d'aide |
Commandes de navigation
| Commande vocale | Fonction |
| Entrer une adresse | Permet de définir une destination en énonçant l'adresse |
| Naviguer jusqu'àu [Numéro d'immeuble, Rue, Ville, état] | Permet de définir une destination en énonçant l'adresse avec ville et état |
| Naviguer jusqu'à la maison | Affiche le trajet vers le domicile |
| Naviguer jusqu'àu travail | Affiche le trajet vers le travail |
| Trouver le plus pres [POI] | Affiche une liste de catégorie PDI àproximité de la position actuelle |
| Trouver une station-service | Affiche une liste de stations-essence àproximité de la position actuelle |
| Afficher la carte | Affiche l'écran de la carte |
| Arrêtier l'itinéraire | Annule le guidage d'itinéraire |
| Où suis-jé? | Affiche la position actuelle sur la carte |
| Aide du système de navigation | Affiche la liste des commandes vocales relatives à la navigation |
Commandes téléphoniques
| Commande vocale | Fonction |
| Envoyer un message texte à [Nom] [Type de téléphone] | Envoyez le message prérégle pour énoncer le nom et le type de téléphone d'un contact à partir du réseauTELphonique |
| Appeler [Nom] [Type de TCL.] | Passez un appel au nom et au type de téléphone d'un contact prononcé à partir du réseauTELphonique |
| Composer [Numéro] | Passe un appel vers leedit numéro de téléphone |
| Recomposer | Passer un appel vers le numéro de téléphone du dernier appel-sortant |
| Téléphones jumelés | Affiche l'écran de réglages du téléphone |
| Appels récents | Affiche l'écran de l'histoire d'appoint |
| Appels manqués | Affiche l'écran de la liste des appeals manqués |
| Répondre au message texte | Répondez à un message texte |
| Afficher les messages texte | Affiche l'écran des messages reçus |
| Aide du téléphone | Affiche la liste des commandes vocales liées à la commande de votre téléphone |
Commandes de medias
| Commande vocale | Fonction |
| Piste [Numéro] | Lit la piste sélectionnée |
| Lire chanson [Titre de la chanson] | Joue le morceau sélectionné |
| Lire l'album [Titre de l'album] | Lit des pistes de l'album sélectionné |
| Lire l'artiste [Nom de l'artiste] | Lit des pistes de l'artiste sélectionné |
| Lire genre [Nom du genre] | Lit des pistes du genre sélectionné |
| Lire liste de lecture [Nom de la liste] | Lit des pistes de la liste de lecture sélectionnée |
| Lire baladodiffusion [Nom de balado.] | Lit le podcast sélectionné |
| Lire livre audio [Titre du livre] | Lit le livre audio sélectionné |
| Lire compositeur [Nom du comp] | Lit des pistes du compositeur sélectionné |
| Afficher (Chansons / Albums / Artistes / Genres / les listes de lecture / les balados, les compositeurs / les livres audio) | Affiche la liste de Chansons/Artistes/Albums/Genres/Listes d'écoute/Podcasts/Compositeurs/Livres audio |
| (Activer / Déspectiver) la lecture aléatoire | Lecture aléatoire activée/désactivée |
| Parcourir l'album [Titre de l'album] | Affiche la liste des morceaux de l'album |
| Parcourir l'artiste [Nom de l'artiste] | Affiche la liste des albums de l'artiste |
| Parcourir genre [Nom du genre] | Affiche la liste des artistes du genre |
| Parcourir liste de lecture [Nom de la liste] | Affiche la liste de liste de lecture |
| Parcourir compositeur [Nom du comp.] | Affiche la liste des albums du compositeur |
| Aide de média | Affiche la liste des commandes relatives au média |
REMARQUE
- En fonction du périphérique, votre iPod/iPhone peut ne pas fonctionner lorsqu'il est utilisé avec la reconnaissance vocale.
Commandes radio
| Commande vocale | Fonction |
| Régler sur [Fréquence] (AM / FM) | Bascule sur AM/FM et se règle à la fréquence prononnée |
| Préréglage [Numéro] | Bascule vers le canal préréglé |
| Canal satellite [Nom / Numéro de canal] | Passe au numéro de canal satellite |
| Catégorie satellite [Nom de catég.] | Affiche la liste des chaînes satellite de la catégorie prononnée |
| Aide de la radio | Affiche la liste des commandes relatives à la radio |
Plus de commandes
| Commande vocale | Fonction |
| Modifier la source à (AM / FM / USB / iPod / Bluetooth / Satellite Radio) | Change la source pour AM/FM/USB/iPod/Bluetooth/SiriusXM®Satellite Radio |
| Aller à (Radio / Média / Tél. / Carte / Accueil / Paramètres / Pandora / Aha / Applications) | Change l'écran Radio/Média/Téléphone/Carte/Accueil/Paramètres/Pandora/Aha/Applications |
| Prix de l'essence | Change l'écran sur Prix des carburantsSiriusXM Travel Link |
| Résultats sportifs | Change l'écran sur Résultats des sportsSiriusXM Travel Link |
| Actions | Change l'écran sur Côtes boursièresSiriusXM Travel Link |
| Météo | Change l'écran à Météo SiriusXM Travel Link |
| Aller à Aha | Change l'écran à Aha |
| Aller à Pandora* | Change l'écran à Pandora |
| Répéter | Lecture de la première invite de dialogue |
| Annuler | Annule la session de dialogue en cours |
*: Pandora n'est disponible que dans certains pays. Veuillez consulter Pandora.com/legal pour plus d'informations.
MÉMO
Annexe/Que Faire Si/Index
Certification 206
Certification 206
SiriusXM Radio Satellite 206
Service De Données SiriusXM 206
Communications D'ondes Radio 206
Bluetooth 209
iPod 209
Pandora 210
Google 210
Comment Obtenir Le Code Source Avec La Source Ouverte 211
Que Faire Si 212
Résolution Des Problèmes 212
Problèmes De Dépannage Communs
A Ce Systeme 212
Fonctionnement De La Radio 212
Telephone 214
Mise A Jour Du Systeme 219
Mises A Jour De La Carte 223
Index 229
CERTIFICATION
CERTIFICATION
SiriusXM® Radio Satellite
((SiriusXM®) SATELLITE RADIO
- © 2016 SiriusXM Radio Inc. Sirius, XM, SiriusXM et toutes les marques et logos associés sont des marques déposées de SiriusXM Radio Inc. Toutes les autres marques, noms de canaux et logos sont la propriété de leurs propriétaires respectifs. Tous droits réservés.
Ni SiriusXM ni Subaru ne sont responsables des erreurs ou inexactitudes containues dans les services de données SiriusXM ou de leur utilisation dans le vehicule.
COMMUNICATIONS D'ONDES RADIO
U.S.A.
Le present apparéil est conforme aux CNR d'Industrie Canada applicables aux apparéils radio exempts de licence. L'exploitation est autorisée aux deux conditions suivantes : (1) l' apparéil ne doit pas produit de brouillage, et (2) l'utilisateur de l' apparéil doit accepter tout brouillage radioélectrique subi, même si le brouillage est susceptible d'en compromètre le fonctionnement.

AVERTISSEMENT
ATTENTION: l'exposition aux rayonnements radiofréquence - Cét équipement est conforme aux limites d'exposition aux rayonnements énoncées pour un environnement non contrôle et respecte les règles d'exposition aux fréquences radioélectriques (RF) CNR-102 de l'IC. Cét équipement doit être installé et utilisé en gardant une distance de 20cm ou plus entre le dispositif rayonnant et le corps (à l'exception des extrémités: mains, poignets, pieds et chevilles).
México

- La marque et les logos Bluetooth® sont des marques commerciales déposées qui appartiennent à Bluetooth SIG, Inc. et ces marques sont utilisées sous licence par SUBARU CORPORATION. Les autres marques et noms commerciaux appartiennent à leurs propriétaires respectifs.
iPod
Made for

Pod iPhone
- «Made for iPod» et «Made for iPhone» signifie qu'un accessoire électronique a été consçu pour se connecter spécifique à un iPod ou iPhone, respectivement, et a été certifié par le développement pour répondre aux normes de performance d'Apple.
- Apple ne peut pas être tenu responsable du fonctionnement de ce dispositif ou de sa conformité aux normes de sécurité et de réglementation. Veuillez notes que l'utilisation de cet accessoire avec un iPod ou un iPhone risque d'afector les performances sans fil.
- iPhone, iPod, iPod classic, iPod nano et iPod touch sont des marques commerciales d'Apple Inc., déposées aux États-Unis et dans d'autres pays. Lightning est une marque déposée d'Apple Inc.
- App Store est une marque d'Apple Inc.
Pandora

- Pandora, le logo Pandora, et l'habillage commercial Pandora sont des marques commerciales ou des marques déposées de Pandora Media, Inc. Utilisées avec permission.
- Google Play est une marque déposée de Google Inc.
Ce produit contient un logiciel libre, dont certains est régi par la licence GPL. Pour votre comfort, le code source et les instructions de construction pertinentes pour les logiciels sous licence GPL est disponible à http://www.harmankardon.com/opensource.html.
Vous pouvez aussi obtenir ces informations en nous contactant:
[ADRESSE MAIL]
Ou OpenSourceSupport@Harman.com
QUE FAIRE SI
RÉSOLUTION DES PROBLEMES
PROBLEMES DE DÉPANNAGE COMMUNS À CE SYSTème
| Symptôme | Cause | Action |
| L'écran tactile devient insensible pendant l'opération. | Une erreur s'est produit dans le système. | Appuyez longuement sur le bouton «\(\bigcirc\)/VOLUME»endant au moins 10 secondes pour réinitialiser le système. |
| Le son cesse soudainement de fonctionner. | ||
| Seul l'arrête-plan s'affiche à l'écran et aucune icône ne s'affiche. |
FONCTIONNEMENT DE LA RADIO
| Expérience | Cause | Action |
| Discordance de l'alignement temporel - un utilisateur peut entendre une courte période de programmation relue ou un écho, une cadence ou un saut. | Le volume analogique ou digital des stations radio n'est pas correctement aligné ou la station est en mode ballgame. | Aucun, problème de diffusion radio. Un utilisateur peut contacter la station radio. |
| Le son s'affaïblit, disparait et réapparait. | La radio change entre l'audio analogique et l'audio digital. | Problème de réception, peut se résoudre si le vehicule continue d'avancer. Mettre le tímein du bouton HD Radio sur arrêt peut forcer la radio en audio analogique. |
| La condition muette audio lorsqu'une chaîne multidiffusion HD2/HD3 a été écoutee. | La radio n'a pas accès aux signaux digitaux pour le moment. | Il s'agit d'un comportement normal, attendez le return du signal radio. Si vous étés en-dehors de la zone de couverture, recherchez une nouvelle station. |
| Délambda du mode silence audio lorsque vous sélectionnez un préréglage de chaîne multicast HD2/HD3. | Le contenu de diffusion numérique n'est pas disponible jusqu'à ce que l'émission HD Radio™ puisse être décodée et que l'audio soit disponible. Cela prend jusqu'à 7 secondes. | Il s'agit d'un comportement normal, attendez que l'audio devienne disponible. |
| Les informations affichées ne correspondant pas à la chanson actuelle. | Problème de service de données par le diffuseur radio. | Le diffuseur devrait en être informé. |
| Aucun texte informatif affchéé pour la fréquence présentement sélectionnée. | Problème de service de données par le diffuseur radio. | Le diffuseur devrait en être informé. |
TELEPHONE
S'il y a un problème avec le système mains libres ou un téléphone Bluetooth, vérifie tout d'abord le tableau ci-dessous.
Lors de l'utilisation du système mains libres avec un téléphone Bluetooth
| Symptôme | Cause possible | Solution | Page | |
| Téléphone cellulaire | Ce système | |||
| Le système mains libres ou le téléphone Bluetooth ne fonctionnent pas. | Le téléphone Bluetooth connecté peut ne pas être compatible avec un téléphone portable Bluetooth. | Pour consulter la liste des téléphones Bluetooth spécifiques dont le fonctionnement a été confirmé avec ce système.Pour les clients des États-Unis, veuillagez vous rendre sur www.subaru.com pour plus de détails.En dehors des clients des États-Unis, demandez à votre revendeur qu'il organise une démonstration pour confirmer si le téléphone peut être jumelé avec le vehicule. | * | 49 |
| La version Bluetooth du téléphone portable connecté peut être antérieure à la version spécifique. | Utilisez un téléphone portable avec la version 1.1 Bluetooth ou supérieure.Recommmandée: Ver. 3.0 +EDR ou supérieure | * | 49 | |
*: Pour plus de détails, reportez-vous au manuel du propriété foumi avec le téléphone portable.
Lors de I'enregistrement/la connexion d'un téléphone portable
| Symptôme | Cause possible | Solution | Page | |
| Téléphone cellulaire | Ce système | |||
| Un téléphone portable ne peut pas être enregistré. | Un mot de passer incorrect a été saisi dans le téléphone portable. | Saisissez le mot de passer correct dans le téléphone portable. | * | - |
| L'enregistrement n'a pas été terminé du côte du téléphone portable. | Terminez l'enregistrement du téléphone portable (approvuez l'enregistrement sur le téléphone). | * | - | |
| Les anciennes informations d'enregistrement restent sur ce système ou sur le téléphone portable. | Supprimez les informations d'enregistrement existantes, à la fois sur ce système et sur le téléphone portable, puis enregistrez le téléphone portable que vous pouze connecter à ce système. | * | 56 | |
| Une connexion Bluetooth ne peut pas être effectué. | Un autre téléphone Bluetooth est déjà connecté. | Connectez manuellement le téléphone portable que vous souhaitez utiliser pour ce système. | - | 54 |
| La fonction Bluetooth n'est pas activée sur le téléphone portable. | Activez la fonction Bluetooth sur le téléphone portable. | * | - | |
*: Pour plus de détails, reportez-vous au manuel du propretaire fourni avec le téléphone portable.
Lors de la création/reception d'un appel
| Symptôme | Cause possible | Solution | Page | |
| Téléphone cellulaire | Ce système | |||
| Un appel ne peut pas être effectué/ reçu. | Votre vehicule est dans une zone «Pas de service». | Déplacez-vous dans la zone de service. | - | - |
Lors de l'utilisation du réseau téléphonique
| Symptôme | Cause possible | Solution | Page | |
| Téléphone cellulaire | Ce système | |||
| Les données du réseau téléphonique ne peuvent pas etre transférées automatiquement. | La version profil du téléphone portable connecté peut ne pas etre compatible avec le transfert de données du réseau téléphonique. | Pour consulter la liste des téléphones Bluetooth spécifiques dont le fonctionnement a eté confirmé avec ce système.Pour les clients des États-Unis, veuillez vous rendre sur www.subaru.com pour plus d'autres.En dehors des clients des États-Unis, demandez à votre revendeur qu'il organise une démonstration pour confirmer si le téléphone peut etre jumelé avec le vehicule. | * | 49 |
| La fonction de transfert automatique des contacts sur ce système est réglée sur arrêt. | Réglez la fonction de transfert automatique des contacts sur ce système sur marche. | - | 57 | |
*: Pour plus de détails, reportez-vous au manuel du propriétaire fourni avec le téléphone portable.
Lors de l'utilisation de la fonction de message Bluetooth
| Symptôme | Cause possible | Solution | Page | |
| Téléphone cellulaire | Ce système | |||
| Les messages ne peuvent pas etre给你们. | La fonction de transfert de message n'est pas activée sur le téléphone portable. | Activez le transfert de message sur le téléphone portable (acceptez le transfert de message sur le téléphone). | * | - |
*: Pour plus de détails, reportez-vous au manuel du propretaire fourni avec le téléphone portable.
En d'autres situations
| Symptôme | Cause possible | Solution | Page | |
| Téléphone cellulaire | Ce système | |||
| Mème si toutes les mesures ont été prises, le problème ne change pas. | Le téléphone portable n'est pas assez proche de ce système. | Amenez le téléphone portable在此之前 de ce téléphone. | - | - |
| Le téléphone portable est probablement la cause du problème. | Mettez le téléphone portable hors tension, enlevez et replacez la batterie, puis redémarrez le téléphone portable. | * | - | |
| Activez la connexion Bluetooth du téléphone portable. | * | - | ||
| Arrêtez le logiciel de sécurité du téléphone portable et fermez toutes les applications. | * | - | ||
| Avant d'utiliser une application installée sur votre téléphone portable, veuillez vérifier attentivement la source et la manière dont l'opération peut influer ce système. | * | - | ||
*: Pour plus de détails, reportez-vous au manuel du propriétaire fourni avec le téléphone portable.
MISE À JOUR DU SYSTÉME
Si un problème se produit lors d'une tentative de mise à jour du système, reportez-vous au tableau suivant.
| Symptôme | Cause | Solution |
| Impossible de se connecter au réseau Wi-Fi. | Tentative de connexion à un dispositif de réseau Wi-Fi à l'aide d'un nom de dispositif (SSID) incorrect | Vérifiez les paramètres et le fonctionnement du dispositif de réseau Wi-Fi. |
| Entrée d'un mot de passer Wi-Fi incorrect. | ||
| Nombre maximum d'appareils déjà connectés au dispositif de réseau Wi-Fi souhaïte. | ||
| Le signal Wi-Fi est faible. | ||
| Le vehicule est hors de portée du dispositif de réseau Wi-Fi. | ||
| Le contrat de service du dispositif de réseau Wi-Fi a expiré. | ||
| «Connect To Wi-Fi (Connectez-vous au Wi-Fi)» s'affiche lorsque Check for Updates (Rechercher les mises à jour) est sélectionné. | Le système n'est pas connecté au dispositif de réseau Wi-Fi. | Connectez le système au dispositif de réseau Wi-Fi. (→P.65) |
| Le dispositif de réseau Wi-Fi n'a pas accès à internet. | Contrôlez le dispositif de réseau Wi-Fi. | |
| Le système n'est pas connecté ou a du mal à se connecter au dispositif de réseau Wi-Fi. | Sur l'écran «Wi-Fi (Wi-Fi)», désactiveruez puis réactivé le paramètre du Wi-Fi. (→P.59) Si le symptôme réapparait, effectuez la procédure suivante:1) Sélectionnez le dispositif de réseau Wi-Fi (SSID) souhaïté sur l'écran «Wi-Fi Settings (Réglages Wi-Fi)». (→P.65)2) Sélectionnez Forget This Network (Ignorer ce réseau).3) Sélectionnez le dispositif de réseau Wi-Fi (SSID) souhaïté à nouveau et entrez le mot de passer afin de connecter l'ordinateil. | |
| «Software download failed. Do you want to retry? (Échec de la mise à jour logicielle. Voulez-vous réessayer?)» s'affiche lorsque Check for Updates (Rechercher les mises à jour) est sélectionné. | Le système n'a peut-être pas pu receivevoir les informations de l'horloge correctement. | Déplacez le vehicule dans une zone où la réception des signaux GPS est possible. |
| Le contrat de service du dispositif de réseau Wi-Fi a expiré. | Vérifiez les paramètres et le fonctionnement du dispositif de réseau Wi-Fi. | |
| Problème de communication avec l'application Aha. | Si vous effectuez une mise à jour au moyen de l'application Aha du smartphone, forcez la fermeture de l'application Aha et redémarrez-la, et essayez à nouveau. | |
| La barre de progression du téléchargement ne s'affiche pas. | Le téléchargement de la mise à jour sur le smartphone n'a pas été effectué. | Contrôlez la progression du téléchargement sur l'application Aha du smartphone.Lorsque le téléchargement de la mise à jour sur le smartphone est terminé, ce dernier transfère les données au système et le système affiche ensuite la progression du téléchargement.Si vous utilisez l'application Aha iOS, la progression du téléchargement ne s'affiche pas sur l'application. Attendez que le téléchargement soit terminé.Le temps de téléchargement peut varier en fonction de la taille des données de mise à jour et de l'état de la communication. |
| La progression du téléchargement est interrompue pendant un long moment. | Problème de communication avec l'application Aha. | Si vous effectuez une mise à jour au moyen de l'application Aha du smartphone, force la fermeture de l'application Aha et redémarrez-la, et essayez à nouveau. |
| Problème de communication avec le smartphone. | Si vous effectuez une mise à jour au moyen de l'application Aha du smartphone, débranchez le smartphone du système, fermez l'application Aha du smartphone, connectez-le à nouveau au moyen du Bluetooth/de la prise USB (→P.31, 54) et redémarrez ensuite l'application Aha. | |
| Le téléchargement est interrompu et ne peut pas être repris. | La communication avec le dispositif de réseau Wi-Fi ou le smartphone a été interrompue. | Vérifiez la connexion au réseau Wi-Fi.Vérifiez la connexion du smartphone (état de la connexion Bluetooth et de l'application Aha du smartphone). (→P.36) |
| Impossible de reprendre l'installation après avoir séLECTIONné Cancel (Annuler) sur l'écran contextuel «Software Update Ready To Install (Mise à jour logicielle prête à installer)». | - | Les téléchargesements ne peuvent pas être repris s'ilts sont annulés, effectuez la procédure de mise à jour à nouveau. (→P.69) |
| L'installation ne se termine pas (le système redémarré en permanence). | - | Attendez que l'écran d'accueil s'affiche. · En fonction de la version du logiciel à partir de laquelle vous procédéz à la mise à jour, la mise à jour peut être effectué en plusieurs étapes et le système peut redémarrer plusieurs fois. Il ne s'agit pas d'un dysfonctionnement. |
| «Software update install failed (Échec installation mise à jour logicielle)» s'affiche. | Le logiciel du système a été endommagé. | Faites actualiser le logiciel par votre concessionnaire SUBARU immédiatement. Dans ce cas, aucune des fonctions du système, à l'exception de laamera arrêté, ne fonctionne. Lorsque vous utilisez laamera arrêté, seule l'image de laamera s'affiche, les lignes de guidage, etc. ne s'affichent pas. Si ce message s'affiche, le système redémarrre toutes les 180 secondes. Dans ce cas, placez le contacteur d'allumage sur la position «LOCK»/«OFF», ouvrez et fermez la portecôté conducteur et vérifie que le système est désactivé. Si une portec est ouverte lorsque le contacteur d'allumage est placé sur la position «LOCK»/«OFF», le système risque de ne pas se désactiver. |
MISES À JOUR DE LA CARTE
Si un problème se produit lors d'une tentative de mise à jour cartographique, reportez-vous au tableau suivant.
Erreurs lors de la mise à jour via Wi-Fi, smartphone
| Code d'erreur | Cause | Solution |
| 101 | Le package de mise à jour reçu n'est pas valide pour cet apparéil. | Veuillezmettre à jour les données cartographiques au moyen d'une clé USB. (→P.185)Effectuezensuite la procédure suivante:Tournez le commutateur d'allumage sur la position «LOCK»/«OFF» → Ouvrez la portecôté conducteur → Fermez la porte → Attendez au moins 3 minutes → Démarrez le moteur.Si la mise à jour ne peut pas être exécutée avec succès, contactez votre concessionnaire SUBARU. |
| 103 | Espace insuffisant pour le package de mise à jour | Veuillez rétabliressalamètres d'origine pour libérer de l'espace (→P.59) et effectuezla mise à jour à nouveau. (→P.184)Effectuezensuite la procédure suivante:Tournez le commutateur d'allumage sur la position «LOCK»/«OFF» → Ouvrez la portecôté conducteur → Fermez la porte → Attendez au moins 3 minutes → Démarrez le moteur.Si la mise à jour ne peut pas être exécutée avec succès, contactez votre concessionnaire SUBARU.ATTENTION:Si les paramètres d'origine sont rétablis, différents paramètres (profil conducteur, apparéils Bluetooth couplés, préréglages de la radio, paramètres audio, etc.) sont réinitialisés. |
| 104 | Le package de mise à jour est plus ancien que le package actuellementprésent sur l' apparéil. | La version la plus récentedes données cartographiques du système est déjà installée. La mise à jour n'est pas nécessaire. |
| 106 | Erreur de compatibilité entre les données cartographiques et le système de navigation | Veuillezmettre à jour les données cartographiques au moyen d'une clé USB. (→P.185)Effectuez ensuite la procédure suivante:Tournez le commutateur d'allumage sur la position «LOCK»/«OFF» → Ouvrez la portecoté conducteur → Fermez la porte → Attendez au moins 3 minutes → D'émarrez le moteur.Si la mise à jour ne peut pas être exécutée avec succès, contactez votre concessionnaire SUBARU. |
| 107 | Erreur de connexion Connexion à internet par Wi-Fi/point d'accès mobile non disponible ou internet non accessible. | 1) Vérifiez le signal du réseau Wi-Fi. (→P.36) Dans la mesure du possible, déplacez le vehicule dans une zone où le signal est meilleur et la communication possible.2) Essayez d'effectuer la mise à jour à nouveau. (→P.184)3) Si la mise à jour ne peut pas être effectué, procédez de la manière suivante:Tournez le commutateur d'allumage sur la position «LOCK»/«OFF» → Ouvrez la portecoté conducteur → Fermez la porte → Attendez au moins 3 minutes → D'émarrez le moteur.4) Essayez d'effectuer la mise à jour à nouveau. (→P.184)5) Si la mise à jour ne peut pas être effectué, veuillezmettre à jour les données cartographiques à l'aide d'une clé USB. (→P.185)6) Répétez «ÉTAPE 3».7) Si la mise à jour ne peut pas être exécutée avec succès, contactez votre concessionnaire SUBARU. |
Erreurs lors de la mise a jour via smartphone
| Code d'erreur | Cause | Solution |
| 108 | Erreur liée à l'application Aha du téléphone Service non authenticate | Veuillezmettre à jour les données cartographiques au moyen d'une clé USB ou du réseau Wi-Fi. (→P.185, 186)Réalisez ensuite la procédure suivant ou contactez votre concessionnaire SUBARU.Tournez le commutateur d'allumage sur la position «LOCK»/«OFF» → Ouvrez la portecôté conducteur → Fermez la porte → Attendez au moins 3 minutes → D'émarrez le moteur. |
| 109 | Erreur liée à l'application Aha du téléphone Service non activé | |
| 110 | Erreur liée à l'application Aha du téléphone Erreur inconnue | 1) Tournez le commutateur d'allumage sur la position «LOCK»/«OFF» → Ouvrez la portecôté conducteur → Fermez la porte → Attendez au moins 3 minutes → D'émarrez le moteur.2) Essayez d'effectuer la mise à jour à nouveau. (→P.187)3) Si la mise à jour ne peut pas être effectué, veuillezmettre à jour les données cartographiques à l'aide d'une clé USB ou du réseau Wi-Fi. (→P.185, 186)4) Répétez «ÉTAPE 1».5) Si la mise à jour ne peut pas être exécutée avec succès, contactez votre concessionnaire SUBARU. |
| 111 | Erreur liée à l'application Aha du téléphone Erreur serveur | |
| 112 | Erreur liée à l'application Aha du téléphone Délai d'expiration | 1) Vérifiez le signal du réseau. (→P.36) Dans la mesure du possible, déplacez le vehicule dans une zone où le signal est meilleur et la communication possible. 2) Essayez d'effectuer la mise à jour à nouveau. (→P.187) 3) Si la mise à jour ne peut pas être effectuee, procédez de la manière suivante: Tournez le commutateur d'allumage sur la position «LOCK»/«OFF» → Ouvrez la portecôté conducteur → Fermez la porte → Attendez au moins 3 minutes → Démarrez le moteur. 4) Essayez d'effectuer la mise à jour à nouveau. (→P.187) 5) Si la mise à jour ne peut pas être effectuée, veuillezmettre à jour les données cartographiques à l'aide d'une clé USB ou du réseau Wi-Fi. (→P.185, 186) 6) Répétez «ÉTAPE 3». 7) Si la mise à jour ne peut pas être exécutée avec succès, contactez votre concessionnaire SUBARU. |
| 113 | Erreur liée à l'application Aha du téléphone Réponse non valide | |
| 114 | Espace insuffisante sur le téléphone | Libéréz suffisamment d'espace sur le smartphone et essayez de télécharger les données de mise à jour cartographique à nouveau (→P.187), ou mettez à jour les données cartographiques à l'aide d'une clé USB ou du réseau Wi-Fi. (→P.185, 186) Effectuez ensuite la procédure suivante: Tournez le commutateur d'allumage sur la position «LOCK»/«OFF» → Ouvrez la portecôté conducteur → Fermez la porte → Attendez au moins 3 minutes → Démarrez le moteur. |
| 115 | Limitation de la taille des données sur le téléphone Limité de données atteinte sur le téléphone mobile. | Le smartphone connecté a dépasse la limite du forfait de données. Veuillezmettre à jour les données cartographiques au moyen d'une clé USB ou du réseau Wi-Fi. (→P.185, 186) Effectuez ensuite la procédure suivante: Tournez le commutateur d'allumage sur la position «LOCK»/«OFF» → Ouvrez la portecôté conducteur → Fermez la porte → Attendez au moins 3 minutes → Démarrez le moteur. |
| 116 | Données de la demande non valides | Veuillez rétablier les paramètres d'origine (→P.59) et essayez d'effectuer la mise à jour à nouveau (→P.187), ou mettez à jour les données cartographiques à l'aide d'une clé USB ou du réseau Wi-Fi. (→P.185, 186) Effectuez ensuite la procédure suivante: Tournez le commutateur d'allumage sur la position «LOCK»/«OFF» → Ouvrez la porte côte conducteur → Fermez la porte → Attendez au moins 3 minutes → Démarrez le moteur. ATTENTION: Si les paramètres d'origine sont rétablis, différents paramètres (profil conducteur, apparèils Bluetooth couplés, préréglages de la radio, paramètres audio, etc.) sont réinitialisés. |
| 117 | Erreur interne | 1) Tournez le commutateur d'allumage sur la position «LOCK»/«OFF» → Ouvrez la porte côte conducteur → Fermez la porte → Attendez au moins 3 minutes → Démarrez le moteur. 2) Essayez d'effectuer la mise à jour à nouveau. (→P.187) 3) Si la mise à jour ne peut pas être effectué, veuillezmettre à jour les données cartographiques à l'aide d'une clé USB ou du réseau Wi-Fi. (→P.185, 186) 4) Répêtz «ÉTAPE 1». 5) Si la mise à jour ne peut pas être exécutée avec succès, contactez votre concessionnaire SUBARU. |
| 128 | Échec de l'installation | Veuillez rétablit les paramètres d'origine (→P.59) et essayez d'effectuer la mise à jour à nouveau (→P.187), ou mettez à jour les données cartographiques à l'aide d'une clé USB ou du réseau Wi-Fi. (→P.185, 186) Effectuez ensuite la procédure suivante: Tournez le commutateur d'allumage sur la position «LOCK»/«OFF» → Ouvrez la porte côté conducteur → Fermez la porte → Attendez au moins 3 minutes → D'émarrez le moteur. ATTENTION: Si les paramètres d'origine sont rétablis, différents paramètres (profil conducteur, appar兼s Bluetooth couplés, préréglages de la radio, paramètres audio, etc.) sont réinitialisés. |
INDEX
A
Affichage de I'etat 36
aha^TM par HARMAN 102
Android Auto 111
Appel sur un téléphone Bluetooth 80
Par la liste des appeals récents 82
Par la liste des favors 82
Par le clavier 83
Par le dernier numero 81
Parliste de contacts 83
Apple CarPlay 109
Audio Bluetooth 144
B
Bluetooth 48
Enregistrement d'un périhérique Bluetooth 48
Profils. 49
C
Camera de recul 39
Commandes au volant 148
D
Données de carte 184
Mise à jour 184
E
Écran initial 30
F
Fonctionnement de I'ecran d'accueil 37
Ajout dicones de raccourcis 37
Déplacement/suppression des icones de raccourcis 38
Fonctionnement de I'ecran de carte 158
Affichage de la position actuelle 158
Échelle de la carte 159
Orientation de la carte 159
Fonctionnement de I'ecran tactile 33
Fonctionnement de la radio 122
Radio AM/FM 122
SiriusXM satellite radio. 128
Fonctionnement média 139
Audio Bluetooth 144
iPod 141
Memoire USB 139
Fonctions liées à l'itinétaire 176
Ajout de destinations 177
Arrêt du guidage 179
Informations relatives à la météo. 179
Modification d'itinétaire 177
Réorganisation des destinations 178
Suppression de destinations 179
Vérification de l'itinétaire. 178
Vérification de la route 176
G
Gestes pour I'ecran tactile 31
GPS 182
Limitations 182
Guidage d'itinétaire 173
1
Informations de I'ecran de la carte 160
Informations relatives à la météo. 179
Informations routieres 161
iPod 141
L
Opération de recherche 165
Destinations precedemment definies 168
Domicile/Travail 165
Listedeslieux préféres. 169
PDI 167
Rechercher un mot 166
Stations-service 170
Sur la carte 166
P
Pandora 106
Paramètres de navigation 180
Paramètres des points de mémoire 162
Parametres du téléphone 51
Parametres généraux 59
Parler avec un téléphone Bluetooth 85
Appel en attente 86
Envoi de tonalités 85
R
Radio AM 122
Radio FM 122
Recherche de destination 165
Réception sur un téléphone Bluetooth 84
Appels entrants 84
Réglage 47
Général 59
Navigation 180
Son 72
Telephone 51
Réglage de l'écran. 36
Ajuster la luminosité 36
Mode diurne et nocturne 36
Réglages sonores 72
Résolution des problèmes 212
S
Saisie de lettres, de numeros/écran de liste 34
Fonctionnement de I'ecran de liste 35
Saisie de lettres/numeros 34
Siri 194
SiriusXM Travel Link 113
SiriusXM satellite radio 128
SUBARU STARLINK 97
Système de reconnaissance vocale 197
Système mains libres 76
MÉMO



FSC
MIXTE
Papler
FSC° C102270

SUBARU
SUBARU CORPORATION
TOKYO, JAPON
Notice Facile