Relay (2007) - Automobile Saturn - Notice d'utilisation et mode d'emploi gratuit
Retrouvez gratuitement la notice de l'appareil Relay (2007) Saturn au format PDF.
| Caractéristique | Détails |
|---|---|
| Type de produit | Monospace |
| Année de modèle | 2007 |
| Moteur | V6 de 3,9 L |
| Puissance | 240 ch |
| Transmission | Automatique à 4 vitesses |
| Dimensions (L x l x h) | 5 120 mm x 1 986 mm x 1 800 mm |
| Poids | 1 800 kg |
| Capacité du réservoir de carburant | 73 L |
| Consommation de carburant | Environ 12 L/100 km en cycle mixte |
| Capacité de chargement | Jusqu'à 1 200 kg |
| Système de sécurité | Airbags frontaux et latéraux, ABS, contrôle de traction |
| Équipements de confort | Climatisation, sièges en cuir, système audio premium |
| Entretien et nettoyage | Vidange tous les 10 000 km, nettoyage régulier des filtres |
| Pièces détachées et réparabilité | Disponibilité des pièces chez les concessionnaires et en ligne |
| Compatibilités | Compatible avec divers accessoires de transport et de sécurité |
FOIRE AUX QUESTIONS - Relay (2007) Saturn
Questions des utilisateurs sur Relay (2007) Saturn
0 question sur cet appareil. Repondez a celles que vous connaissez ou posez la votre.
Poser une nouvelle question sur cet appareil
Téléchargez la notice de votre Automobile au format PDF gratuitement ! Retrouvez votre notice Relay (2007) - Saturn et reprennez votre appareil électronique en main. Sur cette page sont publiés tous les documents nécessaires à l'utilisation de votre appareil Relay (2007) de la marque Saturn.
MODE D'EMPLOI Relay (2007) Saturn
Guide du propriété de la Saturn RELAY 2007

Sièges et dispositifs de retenue 1
Sièges avant 9
Sièges arrêté 15
Ceintures de sécurité 34
Appareils de retenue pour enfant 59
Système de sac gonflable 88
Vérification des dispositifs de retenue 106
Fonctions et commandes 111
Clés 111
Portes et serrures 121
Glaces 140
Systèmes antivol 143
Demarrage et fonctionnement devoitrvichicule 148
Rétroviseurs 165
Système OnStarMD 168
Système de télécommande sans fil maison universel 172
Compartiments de rangement 185
Tableau de bord 198
Apercu du tableau de bord 198
Commandes de la climatisation 226
Feux de détresSES,jauges et temoins 241
Centralisateur informatique de bord (CIB) 260
Systèmes audio 306
Conduite de votre vehicule 410
Votreconde,la route etvoire vehicule 410
Remorquage 453
Guide du propriétaire de la Saturn RELAY 2007
Réparation et entretien de l'apparce 470
Entretien 470
Carburant 473
Vérification sous le capot 480
Remplacement d'ampoules 519
Remplacement de la raclette d'essuie-glace 525
Pneus 526
Entretien de l'aspect 570
Identification du vehicule 580
Système électrique 581
Capacités et specifications 589
Programme d'entretien 592
Programme d'entretien 592
Information du centre d'assistance
a la clientèle 616
Information sur le centre d'assistance à la clientèle 616
Déclaration des défectuosités menacant la sécurité 631
Index 635

SATURN, l'emblème SATURN et le nom RELAY sont des marques déposées de Saturn Corporation. GENERAL MOTORS et GM sont des marques déposées de General Motors Corporation.
Leprésent manuel renferme les tout derniers renseignements disponibles au moment de son impression. Nous nous réservons le droit d'apporter des modifications sans prévis après l'impression.
Ce vehicule déscrit les caractéristiques de ce modèle, options comprises. Par exemple, plus d'un système de divertissement peut être offert ou votre vehicule peut avoir été commandé sans sièges de passager avant ou arrrière.
Conserver ce guide dans le vehicule. Vous l'aura ainsi à portée de la main en cas de besoin sur la route. Si le vehicule est vendu, faisser le guide à l'acheteur.
Propriétaires canadiens
On peut obtenir un exemple de ce guide en anglais auprès du concessionnaire ou à l'adresse suivante :
Helm, Incorporated
P.O.Box 07130
Detroit, MI 48207
Imprimé au Canada
Numero de piece 15869250 FR
©2006 General Motors Corporation. Tous droits réservés.
Utilisation de votre guide
Nombreux sont ceux qui lisent entièrement le guide d'utilisation lorsqu'ils prennten livraison de leur nouveau vehicule. Cela peut en effet vous aider à很好地 connaître les fonctions et les commandes du vehicule. Pour expliquer les différentes notions, le guide conjugue le texte et les images.
Index
L'index, à la fin du guide, est un bon endroit où l'on peut rapidement trouver des renseignements sur le vehicule. Il s'agit d'une liste alphabetique des articles du guide, avec le nombre de la page compteant l'article en question.
Avertissements et symboles de sécurité
Ce guide comprend plusieurs averissements sur la sécurité. Nous utilisons un cadre et le mot ATTENTION pour vous avertir des situations qui risquent de vous causer des blessures si vous ne tenez pas compte de l'advertisement.
ATTENTION:
Cela indique un danger, et que vous ou d'autres personnes pourriez'être blessés.
Dans le cadre de mise en garde, nous vous indiquons le risque en question. Nous vous expliquons ensuite comment éviter ou réduire ce risque. Lire ces mises en garde, sinon vous ou autres personnes pourriez être blessés.

Vous trouvrez aussi dans ce guide une ligne diagonale en travers d'un cercle. Ce symbole de sécurité signifie
« Interdiction »
« Interdiction de faire ceci » ou
« Ne pas laisser ceci se produit. »
Avertissements concernant des dommages du vehicule
Les remarques suivantes sont également indiquées dans leprésent guide :
Remarque: Cela signifie que quelques chose risque d'endommager votre vehicule.
Une remarque indique que quelques chose pourait endommager le vehicule. Bien souvent, ce dommage ne serait pas couvert par la garantie de votre vehicule et les réparations pourrait être couteuses. Toutefois, la remarque indique que faire pour éviter ce dommage.
D'autres guides peuvent accompter des mentions ATTENTION et REMARQUE en d'autres couleurs ou en d'autres termes.
Le vehicule est également doté d'étiquettes d'avertissement. Elles utilisent des mots similaires, soit ATTENTION ou REMARQUE.
Symboles de vehicule
Le vehicule peut être équipé de composants et d'étiquettes sur lesquelles figurent des symboles只不过 qu'un texte. Les symboles sont illustrés de pair avec le texte décrivant le fonctionnement ou avec l'information relative à un composant, une commande, un message, une jauge ou un indicateur particulier.
Pour obtenir de l'aide pour trouver l'appellation spécifique d'un composant, d'une jauge ou d'un indicateur, se reporter à l'un des titres suivants :
- Sièges et dispositifs de protection dans la section 1
- Caracteristiques et commandes dans la section 2
- Aperçu du tableau de bord dans la section 3
- Commandes de climatisation dans la section 3
Témoins, jauges et indicateurs dans la section 3 - Système(s) audio dans la section 3
- Aperçu du compartment-moteur dans la section 5
Voici quelques exemple de symboles qui pourraient se trouver sur le vehicule :
| Attention,danger | Attachez les ceinture ventrale etépauière pour protégéeroccupant. Ne tordez pas laceinture de sécurité en l'attachment | Commutateur d'éclairageprincipal | Températurede liquide defréodissement | Presson despneus | |
| Protégéer vosyeux | Rappel debouclage desceinturesde sécurité | Sac gonflable | Clignotants | Système decharge dBatterie | Accès à laboite defusibles |
| L'électrolype peutvourbrûler | Reculez le siègecomplètement.Fixez l'ensemblede retenue pourenfant | N'installez pas unensemble de retenuepour infant orientévers l'arrière à cetteplace | Feux destationnement | Freinage | Ventilateurde moteur |
| Éviterflames ouétincelles | Retireezcomplètementlaceinture puisfixez l'ensemblede retenue pourenfant | N'installez pas unensemble de retenuepour infant orientévers l'avant à cetteplace | Feux dedétrésse | Liquide defréodissement | Carburant |
| Étincelles ouflamespeuvent faireexplorerla batterie | Lève-glacélectrique | Verrouillage etdéverrouillagedes portes | Feux decirculationde jour | Pressiond'huile-moteur | Guide dupropriétaire |
| Pharesantibrouillard | Systèmede freinagantiblocage | Manuel deréparation | |||
Section 1 Sièges et dispositifs de retenue
Sièges avant 9
Sièges à commande manuelle 9
Sièges à commande électrique 10
Sièges chauffants 11
Sièges à dossier inclinable 12
Appuis-têtes 15
Siègesarrière 15
Fonctionnement du siege arrête 15
Sièges baquets 16
Siègescapitaines 24
Sièges de la troisième rangée 29
Ceintures de sécurité 34
Ceintures de sécurité : Pour tous 34
Questions et réponses au sujet des ceintures de sécurité 39
Port adequat des ceintures de sécurité 40
Position du conducteur 41
Réglage de hauteur de ceinture de baudrier 50
Utilisation de la ceinture de sécurité pendant la grossesse 51
Position du passager - côté avant droit 51
Passagers du siege arrête 52
Guides-baudriers de sécurité 55
Prétendeurs de ceinture de sécurité 58
Rallongedeceinturedesecurite 58
Appareils de retenue pour infant 59
Enfants plus agés 59
Bébes et jeunes enfants 62
Appareils de retenue pour enfant 65
Où installer l'appareil de retenue 70
Ancrages inférieurs pour siège d'enfant (Système LATCH) 72
Fixation d'un appeareil de retenue pour enfant en position siège arrière 80
Fixation d'un appeareil de retenue pour enfant en position siège avant droit 83
Section 1 Sièges et dispositifs de retenue
Système de sac gonflable 88
Où se trouvent les sacs gonflables? 91
Quand un sac gonflable doit-il se déployer? ... 93
Qu'est-ce qui entraîne le déploiement du sac gonflable? 95
Dequelle facon le sac gonflable retient-il? .... 95
Que verrez-vous après le déploiement d'un sac gonflable? 96
Système de détention des occupants 99
Réparation d'un vehicule muni de sacs gonflables 104
Ajout d'equipement à un vehicule muni de sacs gonflables 105
Vérification des dispositifs de retenue .... 106
Vérification de l'appareil de retenue 106
Remplacement des pieces des dispositifs de sécurité après une collision 106
Sièges avant
Sièges à commande manuelle

Utiliser le levier situé sur l'avant du siège pour avancer ou reculer le siège. Tirer sur le levier pour débloquer le siège. Faire glisser le siège à la position voulue et relâcher le levier.
ATTENTION:
Si vous essayez de régler le siège du conducteur à commande manuelle lorsque le vehicule est en mouvement, vous risquez de perdre le contrôle du vehicule. Le déplacement brusque du siège pourrait en effet vous faire sursauter, vous dérouter ou vous faire actionner une pédale sans le fouloir. Il faut donc régler le siège du conducteur seulement quand le vehicule est immobile.
Pour s'assurer que le siège est bloqué en place, essayer de déplacer le siège en tous sens avec la pression de votre corps.
Sièges à commande électrique

Si les sièges possèdent des dossiers à commande électrique, ces commandes se trouvent sur le côte extérieur des sièges.
Pour régler le siège, agir comme suit :
Pour déplacer le siège vers l'avant ou l'arrière, glisser la commande vers l'avant ou vers l'arrière.
Pour lever ou abaisser la partie avant du coussin, déplacer la partie avant de la commande vers le haut ou vers le bas.
Pour lever ou abaisser la partie arriere du coussin, déplacer la partie arrière de la commande vers le haut ou vers le bas.
Sièges chauffants
Il est possible que votre vehicule soit équipé de cette fonction. Dans ce cas, les boutons de siège chauffant se trouvent sur le panneau de commande de la climatisation.
Cette fonction permet de réchauffer les coussins inférieurs des sièges conducteur et passager avant.

Bouton cote conducteur illustré, cote passager similaire
Les deux tímoins proches du symbole du siège chauffant s'allument pour indiquer que la température est réglée au niveau maximum. Appuyer une seconde fois sur ce bouton pour sélectionner le réglage minimal. Un tímoin s'allume. Appuyer une troisième fois sur le bouton pour arrêtéchauffage du siège.
Cette fonction est désactivée automatiquement lorsqu'le contact est coupé.
Sièges à dossier inclinable
ATTENTION:
Si vous essayez de régler le siège du conducteur à commande manuelle lorsque le vehicule est en mouvement, vous risquez de perdre le contrôle du vehicule. Le déplacement brusque du siège pourrait en effet vous faire sursauter, vous dérouter ou vous faire actionner une pédale sans le fouloir. Il faut donc régler le siège du conducteur seulement quand le vehicule est immobile.
ATTENTION:
Si le dossier de siège n'est pas bloqué, il risque de se déplacer vers l'avant lors d'un arrêt brusque ou d'un accident et de blesser la personne assise à cet endroit. Tout jours appuyer sur le dossier du siège puis tirer dessus pour s'assurer qu'il est bloqué.
Vos sièges sont équipés de dossiers à inclinaison manuelle. Le levier permettant de les faire fonctionner se trouve du côté extérieur des sièges.

- Lever le levier d'inclinaison.
- Déplacer le dossier de siège à la position désirée, puis relâcher le levier pour verrouiller le dossier de siège en place.
- Pousser et tirer sur le dossier pour s'assurer qu'il soit correctement verrouillé.
Pour redresser le dossier de siège à une position verticale, observer les étapes suivantes :
- Lever le levier complètement sans appliquer de pression au dossier de siège : le dossier de siège returne à la position redressée.
- Pousser et tirer sur le dossier pour s'assurer qu'il soit correctement verrouillé.

ATTENTION:
Il peut être dangereux de s'asseoir en position inclinée lorsque le vehicule est en mouvement. Meme si vous portez vos ceintures de sécurité, elles ne peuvent pas bien vous protégger quand vous étés dans une telle position.
/
ATTENTION: (suite)
La ceinture épaulière ne pourra pas etre efficace, car elle ne sera pas placee contre votre corps, mais plutôt devant vous. Lors d'une collision, vous risquez d'être projeté contre la ceinture et de vous blesser a la nuque ou ailleurs.
La ceinture ventral ne sera pas efficace non plus. Lors d'une collision, elle pourrait exercer sa force sur l'abdomen et non pas sur les os du bassin. Ceci pourrait entrainer de graves blessures internes.
Pour être bien protégé quand le vehicule est en mouvement, placer le dossier en position verticale. Il faut aussi se caler dans le siège et porter convenablement la ceinture de sécurité.
Ne pas conduire avec le dossier de siege inclé.
Appuis-têtes

Régler l'appuie-tête de sorte que sa partie supérieure arrive au niveau du haut de la tete de l'occupant. Cette position réduit les risques de blessure à la nuque lors d'une collision.
La hauteur des appuis-têtes peut être réglée sur les sièges de première et de seconde rangée.
Lever ou abaisser l'appui-tete pour le regler.
Les appuis-têtes des sièges de troisième rangée ne peuvent être régés.
Sièges arrêté
Fonctionnement du siège arrêté
Les sièges arrirée de votre vehicule possèdent des leviers et des sangles destinés à régler, restorer et replacer les sièges. En utilisant les leviers et les sangles dans l'ordre correct, vous pouvez facilement restorer les sièges du vehicule. Si votre vehicule est équipé de sièges capitaine de seconde rangée avec sac gonflable, les sièges ne peuvent être retrirés.
Lors du remontage des sièges, s'assurer que les sièges soient dans les positions appropriées.
Si vous véchicule possède une console de deuxième rangée, elle peut être enlevée. Se reporter à la rubrique Console centrale de deuxième rangée à la page 188. Ne pas installer de siege en position centrale, car la ceinture de sécurité ne peut pas être mise correctement à cet endroit. Se reporter à la rubrique Ceintures de sécurité : Pour tous à la page 34.
Sièges baquets
Votre vehicule peut etre équipé de sièges baquets dans la seconde rangée. Ces sièges peuvent etre régés de différentes manières.
Sièges pliants et basculants
ATTENTION:
Prendre soit de remettre le siège en position passager après avoir fini. Pousser et tirer sur le siège pour vous assurer qu'il est verrouillé en place. Ne jamais utiliser la troisième rangée de sièges si la seconde rangée est rabattue ou rabattue et basculée. Cela peut provoquer des blessures lors d'un arrêt soudain ou d'une collision.
Les sièges baquets de seconde rangée peuvent être pliers et rabattus vers l'avant. Utiliser cette fonction pour acceder aux sièges de la troisième rangée (option).
- Les appuis-tête régibles doivent être complètement abaissés.
Remarque: Replier un siège arrêté lorsqu'les ceintures de sécurité sont encore bouclées peut endommager le siège ou les ceintures de sécurité. Toujours déboucler les ceintures et les remettre en position normale avant de replier un siège arrêté.

- Rabattre le dossier de siège à plat sur le siège.
On peut facilement le faire en tirant sur la sangle de nylon placée du côté arrère droit du siège ou en levant le levier d'inclinaison, placé à l'avant droit du dossier du siège.
- Faire glisser le siège complètement pour le replacer.

- Dégager le jeu de crochets arrêtés des goupilles de plancher en tirant la sangle en nylon qui se trouve à la base du siège. Utiliser la sangle pour guider le siège vers l'avant.
Pour redresser le siège à la position vertical, exécuter les étapes suivantes:
- Aligner le siège pour que les crochets arrêté du siège se trouvent par-dessus les goupilles arrêté du plancher. Pousser fermement vers le bas sur l'arrière du siège pour que les crochets arrêté se fixent aux goupilles arrêté du plancher.
-
Essayer de lever le siège pour confirmer son verrouillage.
-
Tirer sur la sangle de nylon placé du côté arrrière droit du siège ou lever le levier d'inclinaison, placé à l'avant droit du dossier du siège pour lever le dossier du siège en position redressée.
ATTENTION:
Si le dossier de siège n'est pas bloqué, il risque de se déplacer vers l'avant lors d'un arrêt brusque ou d'un accident et de blesser la personne assise à cet endroit. Toutjours appuyer sur le dossier du siège puis tirer dessus pour s'assurer qu'il est bloqué.
- Secouer le dossier dans tous les sens pour vous assurer qu'il est bloqué en place.
Réglages des sièges baquets d'avant en arrête
Il existe deux leviers de réglage sur les sièges baquets de la seconde rangée qui permettent de déplacer le siège vers l'avant ou l'arrière.

Un des leviers est situé sous l'avant du siège.

L'autre levier est situé à l'arrière du siège.
Pour régler les sièges baquets de seconde rangée vers l'avant ou l'arrière, agir comme suit :
- Soulever l'un des leviers et glisser le siège vers l'avant ou l'arrière.
- Relâcher le levier quand le siège occupe la position désirée.
- Pousser et tirer sur le siège pour s'assurer qu'il soit correctement verrouillé.
Pour rabattre ou incliner les dossiers de siège
Le dossier de siège d'un siège baquet peut être plié vers l'avant ou incliné en utilisant la sangle de nylon ou le levier d'inclinaison.

Sangle en nylon

Levier d'inclinaison
Pour rabattre le dossier du siècle vers l'avant, agir comme suit :
- Tirer sur la sangle de nylon placé du côté arrrière droit du siège ou lever le levier d'inclinaison placé du côté avant droit du dossier du siège pour relâcher le dossier du siège.
Remarque: Replier un siège arrêté lorsque les ceintures de sécurité sont encore bouclées peut endommager le siège ou les ceintures de sécurité. Tout jours déboucler les ceintures et les remettre en position normale avant de replier un siège arrêté.
- Rabattre le dossier vers l'avant.
ATTENTION:
Si le dossier de siège n'est pas bloqué, il risque de se déplacer vers l'avant lors d'un arrêt brusque ou d'un accident et de blesser la personne assise à cet endroit. Toutjours appuyer sur le dossier du siège puis tirer dessus pour s'assurer qu'il est bloqué.
Pour redresser le dossier du siège à partir d'une position inclinée, agir comme suit :
- Tirer sur la sangle de nylon ou lever le levier d'inclinaison en levant le dossier du siège jusqu'à son verrouillage en position relevée.
- Secouer le dossier dans tous les sens pour vous assurer qu'il est bloqué en place.
Pour incliner le dossier, exécuter les étapes suivantes :
- Tirer sur la sangle de nylon ou lever le levier d'inclinaison.
- Appuyer à nouveau sur le dossier du siège jusqu'à ce qu'il occupe la position désirée
- Relacher la sangle ou le levier.
Dépose des sièges baquets
Pour déposer les sièges baquets, agir comme suit.
- L'appui-tete doit être complètement abaisse.
Remarque: Replier un siège arrêté lorsqu'les ceintures de sécurité sont encore bouclées peut endommager le siège ou les ceintures de sécurité. Toujours déboucler les ceintures et les remettre en position normale avant de replier un siège arrêté.
-
Rabattre le dossier à plat sur le siège, soit en tirant sur la sangle de nylon placée du côte arrêté droit du siège, soit en levant le levier d'inclinaison, place à l'avant droit du dossier du siège.
-
Lever l'un des leviers de réglage et faire glisser le siège à la position la plus reculée. Se reporter à « Réglages des sièges baquets d'avant en arrrière », plus haut dans cette section.

- Dégager le jeu de crochets arrêté des goupilles de plancher en tirant la sangle en nylon qui se trouve à la base du siège. Utiliser la sangle pour guider le siège vers l'avant.

- Pour relâcher les crochets de siège avant des goupilles du plancher, pincer la barre inclinée, placee sous le siège, vers la traverse rectiligne.
- Enlever le siège en le faisant basculer légèrement vers l'avant puis vers l'arrière du vehicule, en le retardant. Cela devrait être fait en un mouvement.
Installation des sièges baquets
ATTENTION:
Une ceinture de sécurité mal acheminee, mal attachée ou entortillée n'offre pas la protection necessaire en cas d'accident. La personne portant la ceinture pourrait etre gravement blessee.Apres la pose du siège,s'assurer toujours que les ceintures de sécurité sont bien acheminées et bien attachées et qu'elles ne sont pas tordues.
Ne pas installer le siège dirigé vers l'arrière du vehicule, étant donné qu'il ne se verrouillerait pas en place. Si un espace de rangement est nécessaire derrière le siège, faire glisser le siège vers l'avant.
S'assurer que le siège est complètement reculé avant de commencer cette opération.
Pour réinstaller les sièges baquets, agir comme suit :
- Lorsque le siège est rabattu, appuyer sur la barre inclinée place sous le siège, vers la traverse rectiligne en plaçant les crochets avant du siège dans les deux goupilles avant du plancher.

- Le siège doit être incliné afin que les crochets de siège avant se dégagent des goupilles du plancher.
Si les crochets avant ne sont pas fixés correctement, les crochets arrêté du siège ne se fixeront pas à l'ensemble arrêté des goupilles du plancher arrêté.
Si les pieds avant ne sont pas bien accrochés, vérifier que le siège est à la position la plus à l'arrière.

- Pousser fermement les crochets arriré du siège dans les goupilles de plancher arriré en poussant l'arrête du siège vers le bas.

ATTENTION:
Un siège qui n'est pas bloqué en place peut se déplacer dans une collision ou un arrêt brusque. Les occupants du vehicule pourraient être blessés. S'assurer de bien bloquer le siège en place lorsque vous l'installez.
- Confirmer le verrouillage du siège en tentant de lever le siège.
- Tirer sur la sangle de nylon place du côté arrrière droit du siège ou lever le levier d'inclinaison, place à l'avant droit du dossier du siège pour lever le dossier du siège en position redressée.

ATTENTION:
Si le dossier de siège n'est pas bloqué, il risque de se déplacer vers l'avant lors d'un arrêt brusque ou d'un accident et de blesser la personne assise à cet endroit. Toutjours appuyer sur le dossier du siège puis tirer dessus pour s'assurer qu'il est bloqué.
- Pousser et tirer sur le dossier pour confirmer son verrouillage.
Sièges capitaines
Votre vehicule peut etre equipe de sieges capitaine de seconde rangée.Dans ce cas, il peuvent etre reglés vers l'avant et l'arriere et les dossiers de siège peuvent etre reglés.
Réglage des sièges individuels vers l'avant et l'arrière
Il y a deux barres de réglage manuel sur chaque siège. L'une est située sous l'avant du coussin de siège. L'autre est située sous l'arrière du coussin de siège.
Soulever l'un des barres pour glisser le siège vers l'avant ou l'arrière. Relâcher le levier. Secouer le siège dans tous les sens pour vous assurer qu'il est bloqué en place.
Pour rabattre ou incliner les dossiers de siège
ATTENTION:
Si le dossier de siège n'est pas bloqué, il risque de se déplacer vers l'avant lors d'un arrêt brusque ou d'un accident et de blesser la personne assise à cet endroit. Toutjours appuyer sur le dossier du siège puis tirer dessus pour s'assurer qu'il est bloqué.

Pour incliner le dossier de siège, lever le levier d'inclinaison place sur le côte extérieur du siège puis déplacer le dossier à la position voulue.
Pour lever le dossier de siège, lever le levier d'inclinaison sans appuyer sur le dossier du siège. Pousser et tirer sur le dossier du siège pour confirmer son verrouillage en place.
Remarque: Replier un siège arrêté lorsqu'les ceintures de sécurité sont encore bouclées peut endommager le siège ou les ceintures de sécurité. Toujours déboucler les ceintures et les remettre en position normale avant de replier un siège arrêté.
Pour rabattre le dossier de siège vers l'avant, lever complètement le levier d'inclinaison.
Pousser le dossier de siège vers l'avant pour l'abaisser complètement.
Les accoudoirs peuvent abaissés ou levés pour pouvoir entraer plus facilement dans le vehicule et le quitter. Si vous vehicule est équipé de sièges capitaine avec sacs gonflables latéraux, ils possèdent un accouvoir du côte interieur.
Dépose d'un siège capitaire (sans sac gonflable létral)
Si vous véchicule possède des sièges capitaine avec sac gonflable látéral, les sièges ne peuvent être déposé. Se reporter à Ou se trouvent les sacs gonflables? à la page 91 pour plus d'information.
Pour déposer un siège capitaine, agir comme suit.

- Tirer sur la sangle de nylon derrière le siège pour libérer les crochets arrêté des goupilles de plancher.

- Le siège peut être soulevé des goupilles de plancher avant et enlevé du vehicule.
Placement d'un siège capitaine (sans sac gonflable létal)

ATTENTION:
Une ceinture de sécurité mal acheminee, mal attachée ou entortillée n'offre pas la protection necessaire en cas d'accident. La personne portant la ceinture pourrait etre gravement blessee.Apres la pose du siège,s assurer always que les ceintures de sécurité sont bien acheminées et bien attachées et qu'elles ne sont pas tordues.
Ne pas placer les sièges dans le vehicule face à l'arrière car ils ne se verrouilleront pas dans cesens. Pour la deuxième rangée, si vous désirez plus d'espace de rangement derrière le siège, régler le siège en le faisant glisser vers l'avant.
S'assurer que les dossiers de siège soient en position verticale, que les ceintures de sécurité soient du bon côte des sièges et que les sièges soient complètement reculés avant d'entrepreneire cette procédure.
Agir comme suit pour placer un siège capitaine.

- Accrocher les crochets avant sur les goupilles de plancher avant.

2. Appuyer sur l'arrière du siège pour engager les crochets arrêté sur les goupilles de plancher arrêté.

ATTENTION:
Un siège qui n'est pas bloqué en place peut se déplacer dans une collision ou un arrêt brusque. Les occupants du vehicule pourraient être blessés. S'assurer de bien bloquer le siège en place lorsque vous l'installez.
- Secouer le siège dans tous les sens pour vous assurer qu'il est bloqué en place.
Sièges de la troisième rangée
Votre vehicule peut etre équipé d'un siège en troisième rangée. C'est une banquette complète, qui peut venir avec des compartments de rangement arriré dissimulés. Se reporter à la rubrique Compartiments de rangement arriré escamtables à la page 192 pour plus de précisions. Le siège de troisième rangée peut etre retire et remis en place ou, avec le dossier replié, il offrira une surface plane de niveau avec les compartments de rangement arriré dissimulés.
Rabattre un ou plusieurs dossier(s) de siège
Remarque: Replier un siège arrêté lorsque les ceintures de sécurité sont encore bouclées peut endommager le siège ou les ceintures de sécurité. Tout jours déboucler les ceintures et les remettre en position normale avant de replier un siège arrêté.

Pour rabattre l'un des côtés de la banquette divisée 50/50, tirer sur le le levier place à l'arrière du siège à rabattre puis appuyer sur le dossier pour l'abaisser.
Replacer le dossier de siège en position verticale
ATTENTION:
Si le dossier de siège n'est pas bloqué, il risque de se déplacer vers l'avant lors d'un arrêt brusque ou d'un accident et de blesser la personne assise à cet endroit. Toutjours appuyer sur le dossier du siège puis tirer dessus pour s'assurer qu'il est bloqué.
Pour relever le dossier, exécuter les étapes suivantes :
- Déplacer la deuxième rangée de sièges complètement vers l'avant à l'aide du levier de réglage manuel situé sous la partie avant ou arrière du coussin de siège.
- Ouvrir le hayon.

- Depuis l'arrière du vehicule, localiser la sangle de traction fixée au levier au dos du siège et tirer pour lever le siège.
- Secouer le dossier de siege dans tous les sens pour vous assurer qu'il est bloqué à la verticale.
Dépose de la troisième rangée de sièges
- Retirer les compartments de rangement arrrière dissimulés, si le vehicule en est équipé. Se reporter à la rubrique Compartiments de rangement arrrière escamotables à la page 192 pour plus de précisions.
- S'assurer de ne laisser aucun article sur le siège.
Remarque: Replier un siège arrêté lorsque les ceintures de sécurité sont encore bouclées peut endommager le siège ou les ceintures de sécurité. Tout jours déboucler les ceintures et les remettre en position normale avant de replier un siège arrêté.
- Rabattre le dossier du siège avant de le retirer. Se référer à la rubrique "Rabattre le dossier du siège" plus haut.

- Depuis l'arrête du siège, serrer la poignée de dégagement jusqu'à ce que les goupilles dessortent complètement, indiquant que les crochets arrêtè sont dés Solidarisés du plancher. Pour déposer facilement le siège, serrer la poignée en plaçant la paume de votre main vers le haut.
- Soulever légèrement le siège du plancher pour s'assurer que les crochets sont sortis des goupilles fixées au plancher.
- Tirer le siège vers l'arrière puis le sortir du vehicule. Vous pouvez utiliser la poignée de dégagement pour porter le siège.
Installation de la troisième rangée de sièges
ATTENTION:
Une ceinture de sécurité mal acheminée, mal attachée ou entortillée n'offre pas la protection nécessaire en cas d'accident. La personne portant la ceinture pourrait etre gravement blessée.Apres la pose du siège,s assurer always que les ceintures de sécurité sont bien acheminées et bien attachées et qu'elles ne sont pas tordues.
Ne pas placer le siège de troisième rangée dans le vehicule de manière à ce qu'il pointe vers l'arrière puisqu'il sera impossible de le verrouiller de cette façon. Le siège de troisième rangée doit être installé avant les compartments de rangement arrière dissimulés. Se reporter à la rubrique Compartiments de rangement arrière escamtables à la page 192 pour plus de renseignements.
Remarque: Replier un siège arrêté lorsqu'les ceintures de sécurité sont encore bouclées peut endommager le siège ou les ceintures de sécurité. Toutjours déboucler les ceintures et les remettre en position normale avant de replier un siège arrêté.
Pour installer facilement le siège, le rabattre avant d'entamer cette procédure.
- De l'arrière du vehicule, placer les crochets avant du siège sur les goupilles de plancher avant dans la troisième rangée. Pour ce faire, le siège doit être incliné d'environ 20-25 cm (8-10 pouces) pour que les crochets avant évitent les goupilles de plancher arrêté et les cuvettes de plancher arrêté. Utiliser la poignée de déblocage pour guider le siège en position.
Si les crochets avant ne sont pas correctement fixés, les crochets arrêté ne pourront pas été fixés aux goupilles de plancher arrêté.
- Pousser fermement les loquets arrêté dans les goupilles de plancher arrêté en poussant l'arrêté du siècle vers le bas.

ATTENTION:
Un siège qui n'est pas bloqué en place peut se déplacer dans une collision ou un arrêt brusque. Les occupants du vehicule pourraient être blessés. S'assurer de bien bloquer le siège en place lorsque vous l'installez.
- Essayer deSoulever le siège pour s'assurer qu'il est bien enclenché. Une fois le siège correctement réinstallé, les goupilles ne doivent plus dépasser.

ATTENTION:
Si le dossier de siège n'est pas bloqué, il risque de se déplacer vers l'avant lors d'un arrêt brusque ou d'un accident et de blesser la personne assise à cet endroit. Toutjours appuyer sur le dossier du siège puis tirer dessus pour s'assurer qu'il est bloqué.
- Remetre le dossier de siège en position verticale. Se reporter à la rubrique « Réinstallation du dossier de siège en position verticale » plus haut dans cette section.
Ceintures de sécurité
Ceintures de sécurité : Pour tous
Cette partie du guide vous explique comment utiliser comme il faut les ceintures de sécurité. Elle vous indique également les choses à ne pas faire avec vos ceintures de sécurité.

ATTENTION:
Ne jamais permettre qu'une personne prenne place dans le vehicule la où il est impossible de porter convenablement une ceinture de sécurité. En cas de collision, si vous ne portez pas de ceinture de sécurité, vos blessures peuvent etre beaucoup plus graves. Vous risquez de heurter certaines objets à l'intérieur du vehicule ou d'en etre ejecté. Vous pouvez etre gravement blessé ou même tué, alors que vous auriez pu vous en sortir indemne si vous aviez boucle votre ceinture. Il faut toujours boucler convenablement toute ceinture de sécurité et s'assurer que celles des passagers le sont également.

ATTENTION:
Il est extrémement dangereux de s'asseoir dans le compartment utilisé, à l'intérieur ou à l'extérieur du vehicule. Lors d'une collision, les passagers assist à ces endroits risquent d'être blessés gravement ou même d'être tués. Ne permettre à personne de prendre place dans le vehicule là où il n'y a pas de sièges ni de ceintures de sécurité. S'assurer que tous les passagers du vehicule ont un siège et qu'ils utilisent leur ceinture de sécurité convenablement.
Votre vehicule est équipé de témoins pour vous rappeler, ainsi qu'à vos passagers, de boucler toute ceinture de sécurité. Se reporter à Témoin de rappel des ceintures de sécurité à la page 243 et à Témoin de rappel de bouclage de la ceinture de sécurité du passager à la page 244.
Dans toutes les provinces canadiennes et dans la plupart des États américain, la loi exige que tous les passagers portent des ceintures de sécurité parce qu'elles les protégent.
Il est impossible de prévoir une collision et sa gravité.
Cercains accidents ne sont pas graves. D'autres sont si graves que meme les personnes attachees ne survivaient pas. Cependant, la plupart des collisions se situent entre ces deux extromes. Dans de nombreux cas, les personnes attachées peuvent survivre et parfois s'en sortir indemnes. Sans ceinture, elles risquent d'être gravement blesses ou meme tuées.
Après plus de 40 ans d'utilisation des ceintures de sécurité dans les vehicules, les résultats sont clairs. Dans la plupart des collisions, les ceintures de sécurité font... toute la différence!
Efficacité des ceintures de sécurité
Quand vous estes passager d'un vehicule quel qu'il soit, vous vous déplacez à la même vitesse que celui-ci.

Prenons le vehicule le plus simple. Supposons qu'il s'agisse simplement d'un siège sur roues.

Supposons que quelques un prend place sur le siège.

Le vehicule prend de la vitesse. Tout a coup, le vehicule s'arrête. Le passager, lui, ne s'arrête pas.

Ce passager poursuivra sa course jusqu'à ce qu'il soit arrêté par quelque chose. Dans un vrai vehicule, cela pourrait être le pare-brise...

Ou le tableau de bord.

Ou les ceintures de sécurité!
Avec les ceintures de sécurité, vous ralentissez en même temps que le vehicule. Vous avez plus de temps pour vous arrêté. Vous vous arrêtez sur une distance plus longue et les os les plus solides de votre corps amortissent le chocol. Il est donc logique de porter les ceintures de sécurité.
Questions et réponses au sujet des ceintures de sécurité
Q: Ne vais-je pas rester coincé dans le vehicule après un accident si je porte une ceinture de sécurité?
A: Vous pourriez l'être — que vous portiez une ceinture de sécurité ou non. Cependant, vous pouvez déboucler votre ceinture de sécurité, même si vous vous trouvez la tête en bas. Si vous étés attaché, vous avez plus de chances de rester conscient pendant et après une collision, ce qui vous permettrait de déboucler votre ceinture et de sortir du vehicule.
Q: Si mon vehicule est équipé de sacs gonflables, pourquoi devrais-je porter une ceinture de sécurité?
A: Les sacs gonflables ne sont que des systèmes complémentaires. Ainsi, ils ne sont efficaces qu'avac les ceintures de sécurité et ne les remplacent pas. Tous les sacs gonflables vendus sur le marché ne sont efficaces que si l'on porte aussi une ceinture de sécurité. Meme si vous etes dans un vehicule equipe de sacs gonflables, vous devez toujours attacher votre ceinture de sécurité pour obtaining la meilleure protection possible. Ceci est vrai non seulement pour les collisions frontales, mais aussi pour toutes les autres, notamment pour les collisions laterales.
Q: Si je suis un bon conducteur et que je ne vais jamais loin de chez moi, pourquoi devrais-je porter une ceinture de sécurité?
A: Vous doivent être un excellent conducteur, mais si vous doivent impliqué dans un accident — même si vous n'en doivent pas responsable — vous et vos passagers serez peut-être blessés. Étre un bon conducteur ne vous protégé pas des faits que vous ne contrôlez pas, comme des mauvais conducteurs.
La plupart des accidents se produit à moins de 40 km (25 milles) de la maison. De plus, le plus grand nombre de blessures graves et de morts se produit à des vitesse inférieures à 65 km/h (40 mi/h).
Les ceintures de sécurité sont pour tout le monde.
Port ajustat des ceintures de sécurité
Cette rubrique ne concerne que les personnes deaille adulte.
Se tener compte qu'il y a des renseignements spécifiques sur le bouclage des ceintures de sécurité des enfants. De plus, les renseignements sont différents pour les bébés et les petits enfants. Si un enfant voyage à bord de votre vehicule, se reporter à la rubrique Enfants plus âgés à la page 59 ou Bébés et jeunes enfants à la page 62. Suivre les directives pour assurer la protection de tout le monde.
D'abord, il vous faut savoir de quels dispositifs de retenue dispose votre vehicule.
Commençons par le siege du conducteur.
Position du conducteur
Ceinture-baudrier
Le siège du conducteur est muni d'une ceinture-baudrier. Voici comment la metre.
- Fermer et verrouiller la porte.
- Régler le siège de façon à être assis droit. Pour plus de détails, se reporter à la rubrique « Sièges » dans l'index.

- Prendre la plaque de blocage et dérouler la ceinture en la ramenant sur vous. Veiller à ce qu'elle ne soit pas vrillée.
La ceinture épaulière peut se bloquer si vous la tirez très rapidement. Si cela se produit, laisser la ceinture revenir légèrement vers l'arrête pour la débloquer. Tirer ensuite la ceinture plus lentement.
- Enconcer la plaque de blocage dans la boucle jusqu'à ce que vous entendiez un déclic. Tirer sur la languette pour s'assurer qu'elle est bien en place. Si la ceinture n'est pas assez longue, se reporter à la rubrique Rallonge de ceinture de sécurité à la page 58. S'assurer que le bouton de déblocage de la boucle est placé de manière à pouvoir détacher rapidement la ceinture en cas de besoin.
- Déplacer le dispositif de réglage de la hauteur de ceinture épaulière à la position ajustée. Un réglage incorrect de la hauteur de la ceinture épaulière peut amoindrir l'efficacité de la ceinture de sécurité en cas d'accident. Se reporter à Réglage de hauteur de ceinture de baudrier à la page 50.

- Pour serrer la ceinture ventrale, tirer la ceinture épaulière vers le haut.
Il peut s'avérer nécessaire de tirer la Couture de la ceinture de sécurité à travers la plaque de blocage pour serrer complètement la ceinture ventrale sur les occupants de petite taille.

La ceinture ventrale doit être ajustée le plus bas possible sur le bassin, juste au-dessus des cuisses. Cette position permet de répartir la force de la ceinture sur les os solides du bassin en cas de collision. Ainsi, les risques de glisser sous la ceinture ventrale sont diminués.
Si vous glissiez sous la ceinture, l'abdomen absorberait la pression de la ceinture, ce qui pourrait entraîner des blessures graves, voir mortelles. La ceinture épaulière doit passer par-dessus l'épaule et sur la poitrine. Ce sont ces parties du corps qui peuvent le mieux absorber les forces de retenue de la ceinture.
La ceinture de sécurité se bloque lors d'un arrêt soudain ou d'une collision.
Q: Qu'est-ce qui ne va pas avecça?

A: La ceinture épaulière n'est pas assez serrée. De cette façon, elle n'assure pas la protection voulue.
ATTENTION:
Vous risquez d'être grièvement blessé si vous ceinture épaulière est trop lâche. Lors d'une collision, votre corps se déplacerait trop vers l'avant, ce qui pourrait augmenter la gravité des blessures. La ceinture épaulière devrait reposer contre votre corps.
Q: Qu'est-ce qui ne va pas avecça?

A: La ceinture ventrale n'est pas assez serrée. De cette façon, elle n'assure pas la protection voulue.
ATTENTION:
Vous risquez d'être grièvement blessé si votre ceinture ventrale n'est pas serrée. Dans une collision, vous pourriez glisser sous la ceinture et appliquer de la force à votre abdomen. Ceci pourrait vous blesser grièvement ou même vous tuer. La ceinture ventrale doit être portée bas et serrée sur les hanches, en touchant les cuisses.
Q: Qu'est-ce qui ne va pas avecça?

A: La ceinture est bouclée au mauvais endroit.
ATTENTION:
Vous risquez d'être grièvement blessé si votre ceinture est attachée à la mauvaise boucle, tel qu'illustré. Lors d'une collision, la ceinture pourrait exercer sa force sur l'abdomen et non pas sur les os du bassin. Ceci pourrait entraîner de graves blessures internes. Vous devez toujours attacher votre ceinture dans la boucle la plus proche de vous.

Q: Qu'est-ce qui ne va pas avecça?
ATTENTION:
Vous risquez d'être gravement blessé si votre ceinture passe par-dessus un accouvoir, tel qu'illustré. La ceinture serait beaucoup trop haute. Lors d'une collision, vous pouvez glisser sous la ceinture. La force de la ceinture serait alors exercée sur votre abdomen, et non pas les os du bassin, ce qui pourrait causer des blessures internes graves ou fatales. S'assurer que la ceinture passé sous les accoufoirs.
A: La ceinture passe par-dessus un accouvoir.

Q: Qu'est-ce qui ne va pas avecça?
ATTENTION:
Vous risque d'être grièvement blessé si vous portez la ceinture épaulière sous votre bras. Lors d'une collision, votre corps se déplacerait trop vers l'avant, ce qui augmenterait le risque de blessures à la tête et au cou. De plus, ceci exercerait trop de force sur les côtes, qui ne sont pas aussi solides que les os des épales. Vous risque aussi de causeur de graves blessures à vos organes internes comme le foie ou la rate.
A: La ceinture épaulière passée sous le bras.
Elle doit toujours passer par-dessus l'épaule.
Q: Qu'est-ce qui ne va pas avecça?

ATTENTION:
Vous risquez d'être grièvement blessé par une ceinture tordue. Lors d'une collision, les forces d'impact ne seraient pas réparties sur toute la largeur de la ceinture. Si une ceinture est tordue, vous devez la détordre pour qu'elle puisse fonctionner convenablement ou demander à votre concessionnaire de la réparer.
A: La ceinture estvrillée.

Pour détacher la ceinture, appuyer sur le bouton situé sur la boucle. La ceinture devrait s'éloigner.
S'assurer de ne pas refermer la porte sur la ceinture. Si vous claquez la porte sur la ceinture, vous risquez d'endommager la ceinture et votre vehicule.
Réglage de hauteur de ceinture de baudrier
Avant de prendre la route, placer le dispositif de réglage de la ceinture épaulière à la hauteur qui vous convient le moins.
Régler la hauteur pour que la ceinture épaulière soit centrefee sur votre épaulé. La sangle doit être écartée de votre face et de votre cou, mais ne doit pas tomber de votre épaulé. Un placement incorrect de la ceinture épaulière peut réduire son efficacité en cas de collision.

Pour l'abaiser, pousser sur le bouton (A) et déplacer le dispositif de réglage de hauteur à la position souhaitée. Vous pouze déplacer le dispositif de réglage de hauteur en poussant le guide de ceinture baudrier vers le haut.
Après avoir déplaced le dispositif de réglage en hauteur à la position désirée, essayer de l'abaisser sans pousser sur le bouton pour confirmer le verrouillage.
Utilisation de la ceinture de sécurité pendant la grossesse
Les ceintures de sécurité sont efficaces pour tout le monde, y compris les femmes enceintes.
Comme tous les autres occupants du vehicule, elles risquent d'être gravement blessées si elles n'en portent pas.

Une femme enceinte devrait porter une ceinture-baudrier et la ceinture ventrale devrait être portée sous le ventre aussi bas que possible tout au long de la grossesse.
La meilleure façon de protégger le foetus est de protégger la mère. Quand la ceinture de sécurité est portée comme il faut, il est vraisemblable que le foetus ne sera pas blessé lors d'une collision. Pour les femmes enceintes, comme pour tout le monde, le secret de l'efficacité des ceintures de sécurité est de les porter comme il faut.
Position du passager - côté avant droit
Pour savoir comment porter la ceinture du passager avant droit comme il faut, se reporter à la rubrique Position du conducteur à la page 41.
La ceinture de sécurité du passager avant
droit fonctionne de la meme facon que la ceinture
de sécurité du conducteur - a l'exception
d'une chose. Si vous enlevez complètement la
partie du baudrier de la ceinture, vous actionnerez
la caractéristique de blocage d'ensemble de
retenue pour enfant qui pourraitmettre le sac
gonfable frontal du passager hors fonction.
Si cela se produit de façon non intentionnelle,
laisser simplement la ceinture returner à
sa position initiale et recommencer.
Passagers du siège arrière
Il est très important que les passagers des sièges arrêté attachent leur ceinture de sécurité! Les statistiques des accidents indiquent que les personnes assises à l'arrière sans ceintures sont plus souvent blessées lors d'une collision que celles qui portent une ceinture de sécurité.
Les passagers arrirè qui ne sont pas protégés par une ceinture peuvent être éjectés du vehicule lors d'une collision ou heurter ceux dans le vehicule qui portent des ceintures de sécurité.
Ceinture-baudrier
Toutes les places arrirè sont équipées d'une ceinture-baudrier. Voici comment la metre.

- Prendre la plaque de blocage et dérouler la ceinture en la ramenant sur vous. Veiller à ce qu'elle ne soit pas vrillée.
La ceinture épaulière peut se bloquer si vous la déroulez trop rapidement. Si cela se produit, la laisseur se réenrouler légèrement pour la débloquer, puis la dérouler plus lentement.
- Enconcer la plaque de blocage dans la boucle jusqu'à ce que vous entendiez un déclic.
Tirer sur la plaque de blocage pour s'assurer qu'elle est bien en place.
Si la ceinture épaulière est complètement tirée, elle se bloque. Dans ce cas, la laisser se réenrouler complètement et recommencer.
Si la ceinture n'est pas assez longue, se reporter à la rubrique Rallonge de ceinture de sécurité à la page 58.
S'assurer que le bouton de déblocage de la boucle est placé de manière à pouvoir détacherrapidementla ceinture en cas de besoin.

- Pour serrer la ceinture ventrale, tirer la ceinture vers le haut au niveau de l'épaule.

La ceinture ventrale doit être ajustée le plus bas possible sur le bassin, juste au-dessus des cuisses. Cette position permet de répartir la force de la ceinture sur les os solides du bassin en cas de collision. Ainsi, les risques de glisser sous la ceinture ventrale sont diminués.
Si vous glissiez sous la ceinture, l'abdomen absorberait la pression de la ceinture, ce qui pourrait entraîner des blessures graves, voir mortelles. La ceinture épaulière doit passer par-dessus l'épaule et sur la poitrine. Ce sont ces parties du corps qui peuvent le mieux absorber les forces de retenue de la ceinture.
La ceinture de sécurité se bloque lors d'un arrêt soudain ou d'une collision.

ATTENTION:
Vous risquez d'être grièvement blessé si vous ceinture épaulière est trop lâche. Lors d'une collision, votre corps se déplacerait trop vers l'avant, ce qui pourrait augmenter la gravité des blessures. La ceinture épaulière devrait reposer contre votre corps.

Pour détacher la ceinture, appuyer sur le bouton situé sur la boucle.
Guides-baudriers de sécurité
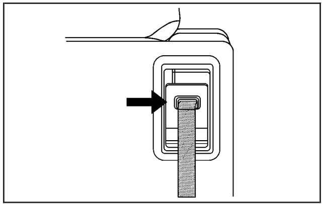
Les guides de comport des ceintures épaulières arrirée rendent le port des ceintures de sécurité plus comforts pour les enfants qui sont trop grands pour s'asseoir dans les sièges d'appoint ainsi que pour certains adultes. Lorsque les guides de comport sont installés sur une ceinture épaulière, ils éloignent ces dernières de la nuque et de la tête.
Il existe un guide pour chaque position de siège de seconde rangée. Si vous vehicule possède une troisième rangée, il existe un guide pour chaque position extérieure. Voici comment placer un guide de comport sur la ceinture-baudrier :

- Retirer le guide de saPOCHette de rangement située sur le cote du dossier de siège.

2. Placer le guide sur la ceinture et introduire les deux bords de la ceinture dans les encoches du guide.

3. S'assurer que la ceinture n'est pas vrillée et qu'elle repose a plat. Le cordon élastique doit se trouver sous la ceinture et le guide de comfort doit être sur la ceinture.

ATTENTION:
Une ceinture de sécurité qui n'est pas portée correctement n'assure pas une protection suffisante en cas de collision. La personne qui utilise cette ceinture pourrait etre sérieusement blessée. La ceinture épaulière doit passer par dessus I'épaule puis en diagonale sur la poitrine. Ce sont ces parties du corps qui sont les plus aptes à absorber les forces générées par l'action de retenue de la ceinture.

- Boucler, régler et détacher la ceinture de la manière décrite à la rubrique Passagers du siège arrêté à la page 52. S'assurer que la ceinture épaulière croise l'épaule.
Pour déposer et ranger les guides de comport, pincer les bords de la ceinture pour que vous puissiez les enlever du guide. Faire glisser le guide dans sa pochette.
Prétendeurs de ceinture de sécurité
Votre vehicule possede des tendeurs de ceinture de sécurité pour le conducteur et le passager avant droit. Bien qu'ils soient invisibles, ils font partie de l'ensemble de ceinture de sécurité. Ils contribuient a serrer les ceintures de sécurité pendant les premières etapes d'une collision frontale ou presque frontale moderée à sévère si le seuil d'activation du tendeur est atteint.
Les tendeurs ne fonctionnent qu'une seule fois.
S'ils sont activés lors d'une collision, vous devrez
vous procurer de nouveaux tendeurs et peut'être
d'autres pieces aussi pour votre sécurité. Se
reporter à la rubrique Remplacement des pièces
des dispositifs de sécurité après une collision
à la page 106.
Rallonge de ceinture de sécurité
Si la ceinture de sécurité du vehicule peut s'attacher autour de vous, la utiliser.
Mais si la ceinture de sécurité n'est pas assez longue, votre concessionnaire vous permettra d'obtenir une rallonge. Lorsque vous passez votre commande, porter le plus gros manteau que vous ayez pour être certain que la ceinture sera adaptée à vous. Pour éviter les blessures, ne laisser personne d'autre s'en servir et l'utiliser seulement sur le siège pour lequel elle a été commandée. Les rallonges sont conçues pour les femmes. Ne jamais l'utiliser pour fixer un siège d'enfant. Pour l'utiliser, il suffit de la fixer à la ceinture de sécurité ordinaire. Pour plus de renseignements, se reporter au mode d'emploi de la rallonge.
Appareils de retenue pour enfant
Enfants plus âgés

Les enfants qui sont trop grands pour des sièges d'appoint devraient porter les ceintures de sécurité du vehicule.
Q: Quelle est la façon appropriée de porter une ceinture de sécurité?
A: Si possible, un enfant plus âgé devrait porter une ceinture-baudrier et bénéficier de la protection supplémentaire d'une ceinture épaulière. La ceinture épaulière ne devrait pas passer devant le visage ou le cou. La ceinture ventrale devrait être portée bas sur les hanches, bien ajustée et touchant à peine les cuisses. Elle ne devrait jamais être portée sur l'abdomen. Ceci pourrait cause des blessures graves et même des blessures internes fatales lors d'une collision.
Selon les statistiques d'accident, les enfants sont plus en sécurité dans les sièges arrêté plutôt que les sièges avant, s'ils sont correctement retenus.
Lors d'une collision, les enfants qui ne sont pas attachés peuvent heurter d'autres occupants qui le sont ou peuvent etre ejectees du vehicule. Les enfants plus ages doivent bien porter les ceintures de sécurité.

ATTENTION:
Anejamaisfaire.
Voici deux enfants partageant la même ceinture. La ceinture ne peut pas bien répartir les forces d'impact. Lors d'une collision, les deux enfants peuvent s'écraser l'un contre l'autre et être grièvement blessés. Chaque ceinture ne doit servir qu'à une personne à la fois.
Q: Qu'arrive-t-il si un enfantporte une ceinture-baudrier mais que l'enfant est si petit que la ceinture épaulière est très pres du visage ou du cou de l'enfant?
A: Si l'enfant est assis sur un siège à côté d'une glace, déplacer l'enfant vers le centre du vehicule. Si l'enfant est assis à une place centrale arrêté, déplacer l'enfant vers la boucle de la ceinture de sécurité. Dans les deux cas, s'assurer que la ceinture épaulière repose toujours sur l'épaule de l'enfant de façon à ce qu'elle puisse retenir le haut de son corps en cas de collision. Si l'enfant est assis à une place latérale arrêté, se reporter à Guides-baudriers de sécurité à la page 55.


Quelle que soit la place où l'enfant est assis, la ceinture ventrale doit être portée sur les hanches, bien ajustée et touchant à peine les cuisses de l'enfant. Ainsi, les os du bassin amortiront le chocol de la ceinture lors d'une collision.
Bébés et jeunes enfants
Tout le monde dans un vehicule a besoin de protection y compris les bébés et les enfants! Ni la distance parcourue, ni l'âge ni la taille de l'occupant ne changent le besoin, pour tout le monde, d'utiliser les dispositifs de protection. En effet, la loi de chaque province canadienne et de chaque État américain exige que les enfants, jusqu'à un certain âge, soient attachés à l'aide d'un apparéil de retenue dans un vehicule.
ATTENTION:
Les enfants peuvent être gravement blessés ou étranglés si la ceinture épaulière s'enroule autour de leur cou et qu'elle continue à se serrer. Ne jamais laisser d'enfant sans surveillance dans un vehicule et ne jamais laisser les enfants jouer avec les ceintures de sécurité.
Chaque fois que des bébés et des petits enfants prennant place à bord des vehicules, ils devraient être protégés par un apparéil de retenue approprié. Les petits enfants ne devraient pas utiliser les ceintures de sécurité du vehicule, sauf en cas de nécessité. Ils doivent utiliser un apparéil de retenue pour infant approprié.
ATTENTION:
Une personne ne devrait jamais tener un bébé dans ses bras quand elle prend place à bord d'un vehicule. Un bébé n'est pas bien lourd — sauf lorsque survient une collision. En effet, lors d'une collision, le poids d'un bébé est tel qu'il sera impossible de le retenir. Par exemple, lors d'une collision à une vitesse de 40 km/h (25 mi/h) seulement, le poids d'un bébé de 5,5 kg (12 lb) exercera soudainement une force de 110 kg (240 lb) sur les bras de la personne qui le transporte. Un bébé devrait être attaché dans un siège d'enfant approprié.

ATTENTION: (suite)
pour les jeunes enfants ni les bébés, car ni les ceintures de sécurité du vehicule ni le système de sacs gonflables ne sont concus pour eux. Les bébés et les jeunes enfants ont besoin de la protection que fournit un siège d'enfant.
ATTENTION:
Les enfants qui sont assist très pres d'un sac gonflable lorsqu'il se déploie peuvent être blessés grièvement ou tués. La combinaison des sacs gonflables et des ceintures baudriers offre la(Meilleure protection pour lesadultes, mais pas
/

Q: Quels sont les différents types d'appareils de retenue pour infant supplémentaires?
A: Quatre types élémentaires d'appareils de retenue pour infant supplémentaires, achetés par le propriétaire du vehicule, sont offerts. Pour la sélection d'un apparéil de retenue spécifique, il faut tener compte non seulement du poids, de la taille et de l'âge de l'enfant, mais aussi de la compatibilité de l' apparéil avec le vehicule automobile dans lequel il sera utilisé.
Pour la plupart des types de base d'appareils de retenue pour enfant, différents modèles sont offerts. Quand vous achetez un apparéil de retenue pour enfant, s'assurer qu'il est conçu pour être utilisé dans un vehicule automobile. Si tel est le cas, l' apparéil de retenue portera une étiquette de conformité aux normes fédérales de sécurité des vehicules automobiles.
Les directives du fabricant accompagnant l'appareil de retenue indiquent les limites de poids et de grandeur pour un appareil de retenue pour infant spécifique. De plus, il existe de nombreux types d'appareils de retenue pour les enfants ayant des besoin particuliers.
ATTENTION:
Les nouveaux-nés ont besoin d'un soutien complet, y compris le soutien de la tête et du cou, notamment parce que le cou d'un nouveau-né est faible et sa tête est très lourde comparativement au reste de son corps. Lors d'une collision, un bébé dans un siège d'enfant orienté vers l'arrière s'immobilise dans l'ensemble de retenue, de sorte que les forces de la collision sont distribuées sur les parties les plus solides du corps du bébé, soit le dos et les épaules. Un bébé devrait toujours être attaché dans un siège d'enfant approprié.

ATTENTION:
L'ossature d'un jeune infant est très différente de celle d'un adulte ou d'un infant plus âgé pour qui les ceintures de sécurité ont été conçues. Les os du bassin d'un jeune infant sont encore si petits que la ceinture de sécurité ordinaire du vehicule pourrait ne pas rester sur les os du bassin comme elle le devrait. Au contraire, elle pourrait remonter sur l'abdomen de l'enfant. Lors d'une collision, la ceinture exercerait alors la force de l'impact sur une partie du corps qui n'est pas protégée par aucune ossature, ce qui pourrait entraîner des blessures graves ou fatales. Un jeune infant devrait toujours être attaché dans un siège d'enfant approprié.
Appareils de retenue pour enfant

Un lit d'enfant (A) est un lit conçu spécialément pour l'utilisation dans un vehicule automobile afin de retenir ou de placer un enfant sur une surface plate. S'assurer que la tête du bébé repose vers le centre du vehicule.

(B)



Le siège d'enfant orienté vers l'arrière (B) fournit la protection grâce à la surface du siège contre lequel s'appuie le dos du bébé. Le harnais retient le bébé en place dans le siège lors d'une collision.
Un siège d'enfant orienté vers l'avant (C-E) protège le corps de l'enfant au moyen du harnais et aussi parfois de protecteurs en forme de T ousemblables à une tablette.


Un siège d'appoint (F-G) est un siège d'enfant pour infant conçu pour améliorer l'ajustement du système de ceinture de sécurité du vehicule. Certains sièges d'appoint sont munis d'un guide de ceinture épaulière. Certains sièges d'appoint à haut dossier sont munis d'un harnais à cinq points. Un siège d'appoint peut aussi permettre à un infant de voir dehors.
Q: Comment doit je utiliser un siège d'enfant?
A: Un siège d'enfant est un dispositif concu pour être utilisé dans un vehicule automobile afin de retenir, asseoir ou installer un enfant. Un siège intégré est un dispositif permanent du vehicule automobile. Un siège supplémentaire est un dispositif portatif acheté par le propriétaire du vehicule. Pour réduire les risques de blessure, un siège supplémentaire doit être installé dans le vehicule. Avec les sièges intégrés ou supplémentaires, l'enfant doit être attaché sur le siège d'enfant.
Lors du choix d'un siège d'enfant supplémentaire, s'assurer que le siège d'enfant est conçu pour être utilisé dans un vehicule. Dans ce cas, il est muni d'une étiquette de conformité aux normes féderales de sécurité des vehicules automobiles. Ensuite, suivre les instructions indiquées sur le siège d'enfant. Vous pouvez couver ces instructions sur le siège lui-même et/ou dans une brochure.
Fixation d'un siège d'enfant supplémentaire dans le vehicule
ATTENTION:
En cas de collision, si le siège d'enfant n'est pas correctement fixé dans le vehicule, un enfant risque d'être sérieusement blessé ou tué. S'assurer que le siège d'enfant est correctement fixé dans le vehicule grâce à la ceinture de sécurité ou au système LATCH, selon les instructions fournies avec le siège d'enfant et celles contenues dans le present manuel.
Pour réduire les risques de blessure, le siège d'enfant doit être sécurisé à l'intérieur du vehicule. Les systèmes de siège d'enfant doivent être sécurisés sur les sièges du vehicule au moyen de ceintures ventrales, de la section de la ceinture ventrale d'une ceinture-baudrier ou bien du système LATCH.
Pour plus d'informations, se reporter à la rubrique Ancrages inférieurs pour siège d'enfant (Système LATCH) à la page 72. En cas de collision, un infant peut être en danger si le siège d'enfant n'est pas correctement fixé dans le vehicule.
Lors de l'installation d'un siège d'enfant supplémentaire, se reporter aux instructions fournies avec le siège d'enfant et qui se trouvent sur le siège d'enfant et/ou dans une brochure ainsi que dans leprésent manuel. Les instructions fournies avec le siège d'enfant sont importantes. Aussi, si elles ne sont pas disponibles, en obtenir une copie auprès du fabricant.
Ne pas oublier qu'un dispositif de retenue pour enfant non fixé peut se déplacer lors d'une collision ou d'un arrêt soudain et blesser les occupants du vehicule. S'assurer que tout dispositif de retenue pour enfant est bien fixé dans votre vehicule même lorsqu'il est inoccupé.
Installation de l'enfant sur le siège d'enfant
Plusieurs systèmes permettent d'installer l'enfant sur le siège d'enfant. L'un d'eux, appelé harnais à trois points, est muni de sangles qui passent par-dessus les épaules du bébé et se bouclent entre les jambes.
Le harnais à cinq points est muni de deux sangles épaulières, de deux sangles pour les hanches et d'une sangle d'entre jambes. Un protecteur peut replacer les sangles pour les hanches.
Un protecteur en forme de T est muni de sangles épaulières attachées à un tampon plat reposant au bas du corps de l'enfant. Un protecteur de type tablette ou accoudoir est muni de sangles attachées à un large protecteur de type tablette qui pivote vers le haut ou sur le côté.
ATTENTION:
En cas de collision, si l'enfant n'est pas correctement attaché dans le siège d'enfant, il risque d'être sérieusement blessé ou tué. S'assurer que l'enfant est correctement attaché selon les instructions fournies avec ce siège d'enfant.
En raison des différents types de systèmes, il est important de se reporter aux instructions fournies avec le siège d'enfant. Un enfant peut etre en danger lors d'une collision s'il n'est pas attaché correctement dans le siège d'enfant.
Où installer l'appareil de retenue
Les statistiques d'accident indiquent que les enfants qui sont attachés sont plus en sécurité sur le siège arrêté que sur le siège avant. Nous recommendons de fixer le dispositif de retenue pour enfant sur le siège arrêté, y compris le siège de bébé orienté vers l'arrière, le siège pour enfant orienté vers l'avant et le siège d'appoint pour enfant plus âgé.
Votre vehicule dispose d'un siège arrêté pouvant être équipé d'un apparéil de retenue pour infant orienté vers l'arrière. Une étiquette apposée sur votre pare-soileil stipule : « Ne jamais mettre un siège pour infant orienté vers l'arrière à l'avant du vehicule ». En effet, en cas de déploiation du sac gonflable, le risque pour un infant assist dans un siège pour infant orienté vers l'arrière est extrémement élevé.

ATTENTION:
Un enfant asss dans un siège d'enfant orienté vers l'arrière peut être gravement blessé ou tué si le sac gonflable du passager avant droit se déploie. Ceci pourrait se produit, car l'arrière de l'appareil de siège d'enfant orienté vers l'arrière serait très pres du sac gonflable quand il se déploie.
Bien que le système de détention de passager soit concu pourmettre hors fonction sous certaines conditions, le sac gonflable frontal du passager et le sac gonflable latorial monte dans le siège (si le vehicule en est équipé),
…/
ATTENTION: (suite)
aucun système n'est infaillible et personne ne peut garantir qu'un sac gonflable ne se déploiera pas dans certaines circonstances inhabituelles, même s'il est hors fonction. Nous vous recommendons qu'un apparéil de retenue pour infant orienté vers l'arrête soit fixé sur le siège arrérique, même si le sac gonflable est désactivié. Si vous fixez un siège d'enfant orienté vers l'avant sur le siège avant droit, toujours déplacer le siège du passager le plus loin possible vers l'arrête. Il est préférible de fixer le siège d'enfant sur un siège arrérique.
Quel que soit l'endetroit où est installé le siège infant, veiller à le fixer correctement.
Ne pas oublier qu'un dispositif de retenue pour enfant non fixé peut se déplacer lors d'une collision ou d'un arrêt soudain et blesser les occupants du vehicule. S'assurer que tout dispositif de retenue pour enfant est bien fixé dans votre vehicule même lorsqu'il est inoccupé.
Ancrages inférieurs pour siège d'enfant (Système LATCH)
Le système LATCH Maintain les sièges d'enfant pendant la conduite ou en cas de collision. Il est prévu pour faciliter l'installation d'un siège d'enfant. Le système LATCH utilise des ancrages situés dans le vehicule et des fixations sur le siège d'enfant prévus à cet effet.
S'assurer qu'un siège d'enfant compatible avec le système LATCH est correctement installé à l'aide des ancrages, ou bien utiliser les ceintures de sécurité du vehicule pour fixer le siège d'enfant, en suivant les instructions fournies avec le siège ainsi que les instructions containes dans leprésent manuel. Lorsque vous installez un siège d'enfant à l'aide d'une sangle supérieure, vous doivent également utiliser les ancrages inférieurs ou les ceintures de sécurité pour fixer le siège d'enfant. Un siège d'enfant ne doit jamais être installé uniquement à l'aide de la sangle supérieure et de l'ancrage.
Pour utiliser le système LATCH dans votre vehicule, vous doivent disposer d'un siège d'enfant équipé de fixations LATCH. Le fabricant du siège d'enfant vous fournir des instructions d'installation du siège d'enfant et de ses fixations. La section suivante explique comment fixer un siège d'enfant à l'aide de ces fixations dans votre vehicule.
Tous les sièges du vehicule et tous les sièges d'enfant ne disposent pas d'ancrages inférieurs et de fixations ou bien d'ancrage de sangle supérieure et de fixations.
Ancrages inférieurs

Les ancrages inférieurs (A) consist en des barres métalliques construites dans le vehicule. Chaque place assise équipée du système LATCH et susceptible de receivevoir un siège d'enfant muni de fixations inférieures dispose de deux ancrages inférieurs (B).
Ancrage de sangle supérieure

Une sangle supérieure (A, C) retient la partie supérieure du siège d'enfant au vehicule. Un ancrage de sangle supérieure est construit dans le vehicule. La fixation de la sangle supérieure (B) située sur le siège d'enfant est raccordée à l'ancrage de sangle supérieure située dans le vehicule, ce qui permet de réduire le mouvement vers l'avant et la rotation du siège d'enfant pendant la conduite ou en cas de collision.
Il est possible que votre siège d'enfant dispose d'une sangle simple (A) ou d'une sangle double (C). Chacune sera munie d'une seule fixation (B) permettant de fixer la sangle supérieure à l'ancrage.
Certains sièges d'enfant équipés de sangle supérieure sont conçus pour être utilisés avec une sangle supérieure fixée ou non. D'autres exigent la fixation permanente de la sangle supérieure. Au Canada, la loi stipule que les sièges d'enfant orientés vers l'avant doivent-disposer d'une sangle supérieure et que la sangle doit être fixée. Aux États-Unis, certains sièges d'enfant disposent également d'une sangle supérieure. Veiller à litre et suivre les instructions relatives à votre siège d'enfant.
Si vous siège d'enfant n'est pas équipé d'une sangle supérieure, vous pouvez obtenir un nécessaire incluant la sangle, qui s'adapte à de nombreux dispositifs de sièges d'enfant. Se renseigner auprès du fabricant de sièges d'enfant pour savoir si un besoinaire est disponible.
Emplacements de l'ancrage inférieur et de l'ancrage de sangle supérieure

Deuxieme rangée

Troisième rangée
(ancrage de sangle supérieure) : places assises avec ancrages de sangle supérieure.
(ancrage inférieur) : places assises munies de deux ancrages inférieurs.
(ancrage de sangle supérieure) : places assises avec ancrages de sangle supérieure.

Pour vous permettre de repérer les ancrages inférieurs, chaque place assise équipée d'ancrages inférieurs comporte deux étiquettes situées pres de la nervure mediane de capot, entre le dossier du siège et le coussin du siège.
Pour les positions d'assise de seconde rangée, les ancrages d'attache supérieurs sont placés sur le dossier de siège, pres de la base de chaque siège. Utiliser un ancrage placé du même côté du vehicule que la position d'assise ou le siège d'enfant sera placé.

Deuxieme rangée
Pour la position centrale de siège de troisième rangée (option), l'ancrage d'attache supérieur se trouve sur le dossier du siècle pres du centre de la position d'assise de troisième rangée.
Cet ancrage ne peut être utilisé que pour une seule attache supérieur.

Troisieme rangée
Ne pas fixer un siège d'enfant à la position du passager avant droit ni aux positions laterales de troisième rangée, si votre vehicule en possède un, si la réglementation nationale ou locale exige que l'attache supérieure soit fixée ou si le mode d'emploi du siège pour infant indique que l'attache supérieure doit être fixée. Il n'existe pas d'emplacement de fixation de sangle supérieure à cet emplacement.
Les statistiques d'accident indiquent que les enfants sont plus en sécurité lorsqu'ils sont attachés sur le siège arrière plutôt que sur le siège avant. Pour plus d'informations, se reporter à la rubrique où installer l'appareil de retenue à la page 70.
Fixation d'un apparéil de retenue pour infant conçu pour être utilisé avec le système LATCH

ATTENTION:
Si un siège d'enfant équipé du système LATCH n'est pas fixé aux ancrages, l'enfant risque de ne pas été correctement protégé. En cas d'accident, l'enfant pourrait être sérieusement blessé ou même tué. S'assurer qu'un siège d'enfant équipé du système LATCH est fixé correctement aux ancrages ou bien utiliser les ceintures de sécurité du vehicule pour le fixer, en suivant les instructions fournies avec ce siège d'enfant et celles containues dans leprésent manuel.

ATTENTION:
Chaque support de sangle supérieure et chaque ancrage inférieur du vehicule est conçu pour maintainir un seul siège d'enfant. Si vous attachez plusieurs sièges d'enfant à un seul ancrage, vous risquez de provoquer un desserrement ou une cassure de l'ancrage ou de la fixation en cas de collision. Le cas échéant, un infant ou autres passagers pouraient être blessés. Pour éviter que des personnes se blessent et que votre vehicule soit endommagé, fixer un seul siège d'enfant par ancrage.
ATTENTION:
Les enfants peuvent être gravement blessés ou étranglés si la ceinture épaulière s'enroule autour de leur cou et qu'elle continue à se serrer. Fixer toute ceinture de sécurité non utilisée derrière le siège infant de manière à ce que l'enfant ne puisse l'atteindre. Tirer complètement la ceinture épaulière hors de l'enrouleur pour engager le système de blocage, si votre vehicule en est équipé, après avoir installé le siège infant. Veiller à suivre les instructions du fabricant du siège infant.
Remarque: Un contact entre les pieces de fixation de siège enfant ou du système LATCH et l'ensemble de ceinture de sécurité du vehicule peut endommager ces pieces. S'assurer, lors de la fixation des ceintures de sécurité non utilisées derrière le siège enfant qu'il n'y aaucun contact entre les pieces de fixation du siège enfant ou du système LATCH et l'ensemble de ceinture de sécurité du vehicule.
Replier un siège arrêté vide lorsqu'la ceinture de sécurité est fixée peut endommager la ceinture ou le siège. Lors du retrait du siège infant, toujours se rappeler de remettre les ceintures de sécurité en position normale avant de replier le siège arrêté.
- Attacher et serrer les fixations inférieures aux ancrages inférieurs. Si le siège d'enfant ne dispose pas de fixations inférieures ou si la position assiste voulue n'est pas dotée d'ancrages inférieurs, fixer le siège d'enfant au moyen de la sangle supérieure et des ceintures de sécurité. Se reporter au mode d'emploi du siège d'enfant et aux instructions continues dans ce manuel.
1.1. Repérer les ancrages inférieurs correspondant à la position assise désirée.
1.2. Placer le siège infant sur le siège.
1.3. Attacher et serrer les fixations inférieures du siège d'enfant aux ancrages inférieurs.
- Si le fabricant du siège d'enfant recommande de fixer la sangle supérieure, l'attacher et la serrer à l'ancrage de sangle supérieure, le cas échéant. Se reporter au mode d'emploi du siège d'enfant et aux étapes qui suivent :
2.1. Repérer l'ancrage de sangle supérieure.
2.2. Acheminer, fixer et serrer la sangle supérieure conformément aux instructions fournies avec votre siège d'enfant et suivre les instructions suivantes :

Si la place utilisee ne compte pas d'appuie-tete et si vous utilisez une sangle simple, acheminer la sangle sur le dossier du siege.

Si la place utiliseenne compte pasd'appuie-tete et si vousutilisez une sangledouble,acheminer lasange sur le dossierdu siege.

Si la position que vous utilisez dispose d'un appuie-tete réglable et que vous utilisez une attache double, faire passer l'attache autour de l'appuie-tete.

Si la position assiste utilise dispose d'un appuie-tete régiable et si vous utilisez une sangle simple, lever l'appuie-tête et passer la sangle dessous, entre ses tiges.
- Tirer le siège d'enfant dans tous les sens pour s'assurer qu'il est solidement fixé.
Fixation d'un apparéil de retenue pour infant en position siège arrête
Si vous siège d'enfant est équipé du système LATCH, se reporter à la rubrique Ancrages inférieurs pour siège d'enfant (Système LATCH) à la page 72.
En cas de troisieme rangée, il n'existe pas de points d'ancrage supérieurs aux positions d'assise extérieure. Ne pas installer un siège d'enfant à ces places si les lois nationales ou régionales exigent que l'attache supérieure soit ancree, ou si les instructions jointes au siège d'enfant font etat de la meme exigence.
Si le siège d'enfant ne possède pas de système LATCH, vous doivent utiliser la ceinture-baudrier pour le fixer. S'assurer de suivre les directives jointes au siège d'enfant. Attacher l'enfant dans le siège selon les directives.
- Placer le siège enfant sur le siège.
- Prendre la plaque de blocage et passer la ceinture épaulière et la ceinture ventrale au travers ou autour du siège d'enfant. Les directives accompagnant l'appareil de retenue pour infant indiquent la façon de procéder.

- Boucler la ceinture. S'assurer que le bouton de déblocage est placé de façon à faciliter le débouclagerapide la ceinture de sécurité au besoin.

4. Tirer complètement le reste de la ceinture épaulière de l'enrouleur pour engager le système de blocage.

5. Pour serrer la ceinture, tirer sur la ceinture épaulière pour serrer la ceinture ventrale tout en appuyant sur le siège d'enfant, puis introduire la ceinture épaulière dans l'enrouleur. Si vous utilisez un siège d'enfant orienté vers l'avant, vous pouvez vous servir de votre genou pour appuyer sur le siège d'enfant tout en serrant la ceinture.
- Si vous siège d'enfant dispose d'une sangle supérieure, et que la position utilisée a un ancrage de sangle supérieure, attacher la sangle supérieure à cet ancrage et la serrer. Se reporter aux instructions fournies avec le siège d'enfant et à la rubrique Ancrages inférieurs pour siège d'enfant (Système LATCH) à la page 72.
- Tirer le siège d'enfant dans tous les sens pour s'assurer qu'il est solidement fixé.
Pour déposer le siège d'enfant, retarder la sangle supérieure de l'ancrage de sangle supérieure si celle-ci est fixée au vehicule. Déboucler la ceinture de sécurité et la laisser s'enrouler complètement. La ceinture de sécurité fonctionnera de nouveau librement et sera alors prête à être utilisée par un passager adulte ou un enfant de plus grande taille.
Fixation d'un apparéil de retenue pour infant en position siège avant droit
Votre vehicule est équipé de sacs gonflables. Il est plus sécurité de fixer un siège d'enfant orienté vers l'avant sur un siège arrêté. Se reporter à Ou installer l'appareil de retenue à la page 70.
De plus,Vote vehicule est equipé d'un système de détction du passager.Ce système a eté concu pour désactiver le sac gonflable du passager avant droit et son sac gonflable létal (si le vehicule en est équipé) lorsqu'un bébé est assis dans un siège d'enfant orienté vers l'arrière ou qu'un petit infant est assis dans un appeareil de retenue pour infant orienté vers l'avant ou un siège d'appoint.Pour de plus amples renseignements à ce sujet, y compris des informations importantes relatives à la sécurité, se reporter aux rubriques Systeme de détction des occupants à la page 99 et Témoin de l'état du sac gonflable du passager à la page 246.
Une étiquette sur le pare-soleil indique, « Ne mettre jamais un siège pour enfant orienté vers l'arrière à l'avant ». Le risque pour un enfant dans un siège orienté vers l'arrière est très grand si le sac gonflable se déploie.
ATTENTION:
Un enfant assis dans un apparéil de retenue pour enfant orienté vers l'arrière peut être gravement blessé ou tué si le sac gonflable du passager avant droit se déploie. Ceci pourrait se produit, car l'arrête de l' apparéil de retenue pour enfant orienté vers l'arrière serait très près du sac gonflable quand il se déploie.
Bien que le système de détction de passager soit concu pourmettre hors fonction sous certaines conditions, le sac gonflable frontal du passager et le sac gonflable latorial montedans le siège (si le vehicule en est équipé),
/
ATTENTION: (suite)
aucun système n'est infaillible et personne ne peut garantir qu'un sac gonflable ne se déploiera pas dans certaines circonstances inhabituelles, même s'il est hors fonction. General Motors recommende qu'un apparéil de retenue pour infant orienté vers l'arrière soit fixé sur le siège arrêté, même si le sac gonflable est désactivé.
Si vous avez besoin d'instructor un siège d'enfant orienté vers l'avant sur le siège de passager avant, commencer par déplacer le siège du vehicule au point le plus reculé possible. Se reporter à Sièges à commande manuelle à la page 9 ou Sièges à commande électrique à la page 10.
Si vous siège d'enfant est équipé du système LATCH, se reporter à la rubrique Ancrages inférieurs pour siège d'enfant (Système LATCH) à la page 72.
Le siège du passager avant droit ne comporte pas de point d'ancrage de sangle. Ne pas attacher un siège d'enfant sur ce siège si une loi nationale ou locale, ou si les instructions accompagnant les sièges d'enfant exigent que ceux-ci soient fixés à un point d'ancrage supérieur. Se reporter à Ancrages inférieurs pour siège d'enfant (Système LATCH) à la page 72 si votre siège d'enfant en compte un.
Vous utiliserez la ceinture-baudrier pour fixer le dispositif de retenue pour infant dans cette position. Observer les directives jointes au dispositif de retenue pour infant. Attacher l'enfant dans le dispositif de retenue pour infant, selon les directives du fabricant.
- Notre vehicule est équipé d'un sac gonflable pour le passager avant droit. Se reporter à la rubrique Système de détction des occupants à la page 99. Nous vous recommendons qu'on installe les sièges d'enfant orientés vers l'arrête sur un siège arrrière, même si le ou les sacs gonflables
dont désactivés. Si vous siège d'enfant est orienté vers l'avant, reculer le siège au maximum avant de fixer le siège d'enfant sur ce siège. Se reporter à la rubrique Sièges à commande manuelle à la page 9 ou Sièges à commande électrique à la page 10. Lorsque le système de détction de passager a désactivé le(s) sac(s) gonflable(s) avant côté passager, le témoin désactivation du témoin d'etat de sac gonflable du passager devrait s'allumer et demeurer allumé lorsque vous tournez le commutateur d'allumage à la position RUN (marche) ou START (démarriage). Se reporter à la rubrique Témoin de l'etat du sac gonflable du passager à la page 246.
- Placer le siège enfant sur le siège.
- Prendre la plaque de blocage et passer la ceinture épaulière et la ceinture ventrale au travers ou autour du siège d'enfant. Les directives accompagnant l'appareil de retenue pour infant indiquent la façon de proceder.

4. Boucler la ceinture. S'assurer que le bouton de déblocage est placé de façon à faciliter le débouclagerapide la ceinture de sécurité au besoin.

5. Tirer complètement le reste de la ceinture épaulière de l'enrouleur pour engager le système de blocage.

-
Pour serrer la ceinture, tirer sur la ceinture épaulière pour serrer la ceinture ventrale tout en appuyant sur le siège d'enfant, puis introduire la ceinture épaulière dans l'enrouleur. Si vous utilisez un siège d'enfant orienté vers l'avant, vous pouvez vous servir de votre genou pour appuyer sur le siège d'enfant tout en serrant la ceinture. Vous ne devriez pas etre en mesure de sortir davantage la ceinture de l'enrouleur une fois qu'elle est bloquée.
-
Tirer le siège d'enfant dans tous les sens pour s'assurer qu'il est solidement fixé.
- Si le ou les sacs gonflables sont désactivés, le témoin de désactivation Situé sur le tableau de bord s'allumera et restera allumé lorsque la clé sera tournée en position RUN (marche) ou START (démarrage).
Si un siège d'enfant a été installé et que le témoin d'activation est allumé, couper le contact. Retirer le siège d'enfant du vehicule, puis le réinstaller.
Si le témoin est toujours allumé après que vous avez réinstallé le siège d'enfant et redémarré le vehicule, s'assurer que le dossier de siège du vehicule n'applique pas une pression sur le siège d'enfant dans le coussin de siège. Si cela se produit, incliner un peu le dossier de siège du vehicule et régler le coussin de siège si possible. S'assurer également que le siège d'enfant n'est pas pris sous l'appui-tête du vehicule. Si c'est le cas, régler l'appui-tête.
Si le témoin est toujours allumé, placer l'enfant dans un siège d'enfant installé sur le siège arrêté du vehicule et consulter le concessionnaire.
Pour enlever le siège d'enfant, déboucler simplement la ceinture de sécurité du vehicule et la laisser s'enrouler complètement. La ceinture de sécurité fonctionnera de nouveau librement et sera prête à être utilisée par un passager adulte ou un enfant de plus grande taille.
Système de sac gonflable
Votre vehicule est équipé d'un sac gonflable frontal pour le conducteur et d'un sac gonflable frontal pour le passager avant droit. Des sacs gonflables latéraux sont disponibles pour le conducteur, le passager avant droit et les sièges individuels de seconde rangée (option).
Si votre vehicule est équipé d'un sac gonflable létral, AIRBAG (sac gonflable) figure sur le couvercle de sac gonflable situé sur le côté du dossier de siège, pres de la porte.
Les sacs gonflables avant sont conçus de façon à aider à réduire le risque de blessures causées par la force de déploiemment d'un sac gonfable avant. Cependant, ces sacs gonflables doivent se gonfler très rapidement pour être efficaces et se conformer aux lois fédérales.
Voici ce que vous devez savoir à propos des sacs gonflables :
ATTENTION:
En cas de collision, vous risquez de subir des blessures corporelles graves voire fatales si vous ne portez pas de ceinture de sécurité — même si la voiture est équipée de sacs gonflables. La ceinture de sécurité diminue les risques de chocs contre l'équipement interieur ou déjection du vehicule. Les sacs gonflables sont des « systèmes de retenue supplémentaires » Ils sont fournis en complément et non en remplacement des ceintures de sécurité.
Les sacs gonflables avant destinés au conducteur et au passager avant droit sont concus pour se déployer en cas de collision frontale ou quasi frontale, de force moyenne à importante.
/
ATTENTION: (suite)
Ils ne sont pas concus pour se déployer en cas de tonnaux, de collisions arrrière ou laterales multiples. De plus, il est possible que certains passagers non attachés soient moins protégés par les sacs gonflables avant lors d'une collision frontale qu'ils ne l'étaitAAParavant avec les ancients sacs gonflables au déploiement plus puissant.
Les sacs gonflables latéraux sont conçus pour se déployer lors d'une collision de force moyenne à grave lorsque celui chose heures le côté du vehicule. Ilns ne sont pas conçus pour se déployer lors des collisions frontales ou arrêté, ni lors du capotage du vehicule.
Tous les passagers doivent porter la ceinture de sécurité comme il faut, qu'il y ait ou non un sac gonflable pour chaque personne.
ATTENTION:
Les sacs gonflables avant et latraux se déploient avec puissance et très rapidement. Si vous étés trop pres d'un sac gonflable qui se déploie, comme vous le série si vous étiez penché vers l'avant, il risque de vous blesser gravement. Les ceintures de sécurité aident à vous tener dans une bonne position avant et pendant une collision. Toujours porter la ceinture de sécurité, même si le vehicule est équipé de sacs gonflables avant. Le conducteur doit s'asseoir aussi loin que possible tout en gardant la maitrise du vehicule. Les passagers ne doivent pas s'appuyer ni s'endormir contre la porte.
ATTENTION:
Toute personne assise contre ou très pres d'un sac gonflable lorsqu'il se déploie peut être grièvement blessée ou tuée. La combinaison du sac gonflable et de la ceinture-baudrier offre la(Meilleure) protection possible pour les adults, mais pas pour les jeunes enfants ou les bébés, car ni les ceintures de sécurité ni les sacs gonflables ne sont conçus pour eux.Les bébés et les jeunes enfants ont besoin de la protection que leur offre un appeareil de retenue pour enfant. Il faut always attacher convenablement les enfants dans un vehicule. Pour connaître la bonne façon de le faire, se reporter aux rubriques Enfants plus âgés à la page 59 et Bébés et jeunes enfants à la page 62.

Il y a un tímoin de sac gonflable sur le groupe d'instruments du tableau de bord qui montre le symbole d'un sac gonflable.
Le système électrique des sacs gonflables est vérifié. Le témoin vous avertit en cas de défaillance. Se reporter à la rubrique Témoin de sac gonflable prét à fonctionner (AIRBAG) à la page 245.
Où se trouvent les sacs gonflables?

Le sac gonflable avant du conducteur se trouve au milieu du volant de direction.

Le sac gonflable du passager avant droit se trouve dans le tableau de bord du côté passager.

Le sac gonflable létal du siège du conducteur se trouve, le cas échéant, dans le côté du dossier de siège du conducteur le plus proche de la porte.

Si vous véchicule possède un sac gonflable létal pour le passager avant droit et/ou les sièges individuels de seconde rangée (option) il se trouve dans le côté du dossier de siège le plus proche de la porte.

ATTENTION:
Si quelques chose se trouve entre un occupant et le sac gonflable, ceci risque de nuire au déploiemment du sac gonflable ou de projeter l'objet sur cette personne et cause des blessures graves ou même la mort. La trajectorye d'un sac gonflable doit'être libre. On ne doit rien attacher ni placer quoi que ce soit sur le moyeu du volant ni sur le couvercle d'un sac gonflable ou pres de celui-ci. Il faut éviter que les housses de siège ne bloquent latrajectoryire d'un sac gonflablelateral.
Quand un sac gonflable doit-il se déployer?
Les sacs gonflables du conducteur et du passager avant droit son concus pour se déployer dans des collisions frontales ou presque frontales modérées à graves. Mais ils sont concus pour se déployer uniquement si l'impact dépasse le seuil de déplolement prédéterminé. Les seuils de déplolement tiennent compte de divers événements de déploiment youlu et de non-deplolement et sont utilisés pour prédire à temps la gravité probable d'une collision de manière à ce que les sacs gonflables se déploiment et retiennent les passagers. Le déplolement des sacs gonflables frontaux n'est pas fonction de la vitesse à laquelle le vehicule roule. Il dépend principalement de ce que le vehicule heures, du sens de l'impact et de la rapidité de ralentissement du vehicule.
De plus, votre vehicule est doté de sacs gonflables frontaux « à déploiement adapté » à la gravité de la collision, c'est-à-dire qu'en cas d'impact frontal modéré, ces sacs gonflables ne se déploient que partiellement. Notre vehicule est doté de capteurs électroniques frontaux qui permettent au système de détction de différencier un impact frontal modéré d'un impact frontal plus important. En cas d'impacts frontaux graves, il y a déploiement complet. Si votre vehicule heurte de plein fouet un mur immobile et sans déformation, le seuil de déploiement partiel est d'environ 19 à 29 km/h (de 12 à 18 mi/h), tandis que le seuil de déploiement complet est d'environ 29 à 40,2 km/h (de 18 à 25 mi/h). Ce seuil de vitesse est variable et dépend de la conception particulière du vehicule; il peut donc être plus ou moins élevé.
Les sacs gonflables avant peuvent se déployer à différentes vitesses de collision. Par exemple :
-
La vitesse de déploiation des sacs gonflables dépend de la mobilité de l'objet heures.
-
Si le vehicule heurte un objet, la vitesse de collision à laquelle les sacs gonflables se déploient peut ne pas être la même selon que l'objet heurté se déforme ou non.
-
Si le vehicule heurte un objet étroit ( comme un poteau), les sacs gonflables vont se déployer à une vitesse différente que si l'objet est large ( comme un mur).
-
Si le vehicule heurte un objet de biais, les sacs gonflables vont se déployer à une vitesse différente que si le vehicule heurte l'objet frontalement.
Les sacs gonflables frontaux (conducteur et passager avant droit) ne sont pas concus pour se déployer lors des tonnaux, des collisions arrêtée, ou dans de nombreux cas de collisions latérales.
Votre vehicule peut, ou peut ne pas, etre équipé de sacs gonflables lateraux. Se reporter à la rubrique Système de sac gonflable à la page 88. Les sacs gonflables lateraux sont conçus pour se déployer en cas de collisions laterales modérées ou fortes. Un sac gonflable létal ne se déploie que si la gravité de la collision est supérieure au « seuil prévu ». Ce seuil peut varier en fonction de la conception particulière du vehicule. Les sacs gonflables lateraux ne sont pas conçus pour se déployer lors de collisions frontales ou quasi frontales, lors de tonnaux ou de collisions arrête. Un sac gonflable létal est conçu pour se déployer du côte où le vehicule a été heures.
Lors d'une collision, il ne peut pas etre établi qu'un sac gonflable aurait du se déployer simplement en raison des dommages causés au vehicule ou des frais de réparation. Dans le cas des sacs gonflables avant, le déploement est déterminé par l'objet heures par le vehicule, l'angle de l'impact et la vitesse de decélération du vehicule. Pour les sacs gonflables lateraux, le déplolement est déterminé par l'emplacement et la gravité de l'impact.
Qu'est-ce qui entraîne le déploiement du sac gonflable?
En cas de collision d'une gravité suffisante, le système de détction de sac gonflable détecte la collision. Le système de détction libre un gaz provenant du gonflaur pour gonfler le sac gonflable. Le gonflaur, le sac gonflable et les fixations font partie des modules de sac gonflable. Le module de sac gonflable frontal se trouve dans le volant et le tableau de bord. Pour les positions de siège équipées de sacs gonflables lateraux, il existe également des modules de sac gonflable dans le cote des dossiers de siège les plus proches de la porte.
Dequelle façon le sac gonflable retient-il?
En cas de collision modérée à sévère à l'avant ou presque à l'avant du vehicule, même les occupants qui ont boucé la ceinture de sécurité peuvent toucher le volant ou le tableau de bord. Dans les collisions laterales modérées à sévères, même les occupants ayant boucé leur ceinture peuvent toucher l'intérieur du vehicule. Les sacs gonflables complètent la protection assurée par les ceintures de sécurité.
Les sacs gonflables répartissent la force de l'impact de manière plus uniforme sur la partie supérieure du corps des occupants, arrêtant l'occupant plus graduèlement. Cependant, les sacs gonflables avant ne vous aideront pas dans de nombreux types de collisions, tels que les capotages et les impacts arrière et laterales, principalement parce que l'occupant ne serait pas projeté vers.
Ne jamais considérer les sacs gonflables autrement que comme un complément des ceintures de sécurité et ceci uniquement en cas de collisions modérées à sévères, frontales ou presque frontales, pour les sacs gonflables avant de conducteur et de passager avant droit et uniquement en cas de collisions modérées à sévères, ou de capotage pour les vehicules avec sacs gonflables lateraux.
Que verrez-vous après le déploiement d'un sac gonflable?
Après le déploiement du sac, ce dernier se dégonfle rapidement au point que certaines personnes peuvent ne pas s'apercevoir du déploiement du sac. Certains composants du module de sac gonflable tels que le moyeu du volant pour le sac gonflable avant de conducteur, le panneau d'instruments pour le sac gonflable avant de passager avant droit et les positions d'assise avec les sacs gonflables lateraux, le coto de dossier de siege le plus proche de la porte peuvent être chauds brievement. Les pieces de sac gonflable qui entrent en contact vous peuvent être chaudes sans être brulantes. De la fumée et de la poussière peut s'échapper par les évents des sacs gonflables dégonflés. Le gonflage des sacs gonflables n'empêche pas le conducteur de regarder à travers le pare-brise et ne l'empêche pas non plus de diriger le vehicule. Enfin, il n'empêche pas les personnes de quitter le vehicule.

ATTENTION:
Lors du déploiement d'un sac gonflable, il y a peut être des particules de poussière dans l'air. Les personnes souffrant d'asthme ou d'autres problèmes respiratoires auront peut-être de la difficulté à respirer. Pour éviter ceci, tous les occupants devraient sortir du vehicule des qu'ils peuvent le faire en toute sécurité. Si vous suffrez de problèmes respiratoires et que vous ne pouvez pas sortir du vehicule après le déploiement du sac, vous pouvez ouvrir une glace ou une porte pour laisser entrer de l'air frais dans le vehicule. En cas de problèmes de respiration après le déploiement d'un sac gonflable, il faut consulter un médecin.
Votre vehicule est équipé d'une fonction permettant de déverrouiller automatiquement les portes et d'allumer l'éclairage interieur ainsi que les我喜欢 détresse lors du déploiement des sacs gonflables. Vous pouvez reverrouiller les portes et éteindre l'éclairage interieur ainsi que les我喜欢 détresse à l'aide des commandes prévues à cet effet.
Lors des collisions assez graves pour déployer le sac gonflable, le pare-brise se brise habituellement à cause de la déformation du vehicule. S'il y a un sac gonflable à la place du passager avant droit, le pare-brise peut se briser encore davantage.
-
Les sacs gonflables sont conçus pour se déployer une seule fois. ÀpRES le déplolement d'un sac gonflable, vousdezvez vousprocurez certaines nouvelles pieces pour le remetre en état de fonctionnement. Si vous ne remplacez pas ces pieces, le système de sacs gonflables ne pourrait pas vousprotégé lors d'une autre collision. Un nouveau système comprend des modules de sac gonflable et peut'être d'autres pieces. Le manuel de réparation vous renseignera sur le besoin de replacer d'autres pieces.
-
Voiture vehicule est équipé d'un module de détction de collision et de diagnostic qui enregistre les données après une collision. Se reporter à la rubrique Collecte des données du vehicule et enregistreurs de données d'évenement à la page 625.
-
Seuls des techniciens qualifiés devraient réparer ou entretenir les sacs gonflables de votre vehicule. Un mauvais entretien peut empêcher le bon fonctionnement des sacs gonflables. Consulter votre concessionnaire pour toute opération d'entretien.
Système de détction des occupants
Votre vehicule possede un système de détction de passager. Le témoin de statut de sac gonflable de passager du tableau de bord est visible lorsque la clé est placée sur RUN (marche) ou START (démarriage).

États-Unis

Canada
Les mots ON (marche) et OFF (arrêt) ou le symbole correspondant sont visibles pendant la vérification du système. Lorsque la vérification du système est terminée, seul l'un ou l'autre des mots ON ou OFF ou le symbole correspondant demeure visible. Se reporter à la rubrique Témoin de l'etat du sac gonflable du passager à la page 246.
Le système de détction de passager désactive le sac gonflable frontal de passager avant droit et son sac gonflable létal (option) à certaines conditions. Les sacs gonflables de conducteur ou les sacs latéraux de seconde rangée (option) ne font pas partie du système de détction de passager.
Le système de détction de passager fonctionne avec des capteurs incorporens au siège de passager avant droit et à la ceinture de sécurité. Les capteurs sont concus pour détecter la présence d'un passager correctement assist sur son siège et déterminé si le sac gonflable frontal du passager doit être activé (déplolement possible) ou non.
Les statistiques d'accident indiquent que les enfants qui sont attachés sont plus en sécurité sur le siège arrêté que sur le siège avant. Nous recommendons de fixer le dispositif de retenue pour infant sur le siège arrrière, y compris le siège de bébé orienté vers l'arrière, le siège pour infant orienté vers l'avant et le siège d'appoint pour infant plus âgé.
Votre vehicule dispose d'un siège arrêté pouvant être équipé d'un apparéil de retenue pour infant orienté vers l'arrière. Une étiquette appossée sur votre pare-soleil stipule : « Ne jamais mettre un siège pour infant orienté vers l'arrière à l'avant du vehicule ». En effet, en cas de déplolement du sac gonflable, le risque pour un infant assist dans un siège pour infant orienté vers l'arrière est extrémement élevé.
ATTENTION:
Un enfant asiss dans un siège d'enfant orienté vers l'arrière peut être gravement blessé ou tué si le sac gonflable du passager avant droit se déploie. Ceci pourrait se produit, car l'arrière de l'appareil de siège d'enfant orienté vers l'arrière serait trèsprés du sac gonflable quand il se déploie.
…/
ATTENTION: (suite)
Bien que le système de détention de passager soit conçu pourmettre hors fonction sous certaines conditions,le sac gonflable frontal du passager et le sac gonflable latorial monte dans le siège (si le vehicule en est équipé),aucun système n'est infaillible et personne ne peut garantir qu'un sac gonflable ne se déploiera pas dans certaines circonstances inhabituelles,meme s'il est hors fonction.Nous vous recommandons qu'un appeareil de retenue pour infant orienté vers I'arriere soit fixe sur le siège arriere,meme si le sac gonflable est désactivé.
Si vous fixez un siège d'enfant orienté vers l'avant sur le siège avant droit, toujours déplacer le siège du passager le plus loin possible vers l'arrière. Il est préféable de fixer le siège d'enfant sur un siège arrière.
Le système de détction de passager est concu pour désactiver le sac gonflable du passager avant droit et le sac gonflable latorial (le cas échéant) si :
- Le siège du passager avant droit est inoccupé.
Le système détermine qu'un bébé est assist dans un siège pour bébé orienté vers l'arrière. - Le système détermine qu'un petit infant est installé dans un siège d'enfant orienté vers l'avant.
- Le système déterminé qu'un petit infant est installé dans un siège d'appoint.
- Le passager qui occupe le siège avant droit se lève, et son poids ne pèse plus sur le siègependant un certain temps.
- Le siège du passager avant droit est occupé par une personne de petite taille, par exemple un enfant qui n'est plus en âge de s'asseoir sur un siège d'enfant.
- Le système de sacs gonflables ou le système de détction de passager présente une défectuosité importante.
Lorsque le système de détention de passager a désactifié le ou les sacs gonflables du passager, le témoin de désactivation s'allume et reste allumé pour vous rappeler que le ou les sacs gonflables sont désactivés.
Si un siège d'enfant a été installé et que l'indicateur est allumé, couper le contact. Enlever l'appareil de retenue pour enfant du vehicule. L'installer de nouveau selon les directives du fabricant et consulter Fixation d'un appeareil de retenue pour enfant en position siège avant droit à la page 83.
Si le témoin est toujours allumé après que vous avez réinstallé le siège d'enfant et redémarré le vehicule, s'assurer que le dossier de siège du vehicule n'applique pas une pression sur le siège d'enfant dans le coussin de siège. Si cela se produit, incliner un peu le dossier de siège du vehicule et régler le coussin de siège si possible. S'assurer également que le siège d'enfant n'est pas pris sous l'appui-tête du vehicule. Si c'est le cas, régler l'appui-tête.
Si le témoin est toujours allumé, placer l'enfant dans un siège d'enfant installé sur le siège arrêté du vehicule et consulter le concessionnaire.
Le système de détction du passager est concu pour activer (peut déployer) le ou les sacs gonflables du passager avant droit à chaque fois qu'il détecte qu'une personne de tailleadulte est correctement assise sur le siège du passager avant droit. Lorsque le système de détction du passager active le ou les sacs gonflables, le témoin s'allume et resté allumé pour vous rappeler que le ou les sacs gonflables sont activés.
Dans le cas de certains enfants qui ne sont plus en âge d'être attachés à un ensemble de retenue d'enfant ou dans le cas d'adultes de très petite taille, il est possible que le système de détction du passager désactive parfois le (les) sac(s) gonflable(s) frontal(s) avant droit. Cela dépend de la posture et de la stature de la personne. Toute personne dans votre vehicule qui n'est plus en âge d'être attachée à un ensemble de retenue d'enfant doit porter correctement une ceinture de sécurité — que la personne soit protégée par un sac gonflable ou non.
Lorsqu'une personne de taille adulte occupe le siège du passager avant droit, mais que le témoin de désactivation est allumé, la personne peut être mal assise sur son siège.
Dans ce cas, couper le contact, demander à la personne de relever le dossier de son siège, pres de la verticale, et de s'asseoir correctement au centre de son siège, les jambes normalement allongées. Redémarrer le vehicule et demander à la personne de garder cette position pour environ deux minutes. Cela permettra au système de détecter cette personne et par suite d'activer le(s) sac(s) gonflable(s) du passager.


ATTENTION:
Si le témoin de sac gonflable sur le tableau de bord apparait et reste allumé, cela indique que le système de sacs gonflables ne fonctionne peut être pas correctement. Si cela avait arrivier, faire vérifier le plus rapidement possible le vehicule, car une personne de taille adulte assise sur le siège passager avant droit pourrait ne pas être protégée par les sacs gonflables. Se reporter à Témoin de sac gonflable prét à fonctionner (AIRBAG) à la page 245 pour en savoir plus, complenant d'importantes informations sur la sécurité.
Les équipements d'après-vente, tels que les housses de siège, peuvent nuire au fonctionnement du système de détction du passager. Vous voudriez peut-être envisager de ne pas utiliser des housses de siège ou d'autres produits d'après-vente si vous vehicule comporte un système de détction du passager. Se reporter à la rubrique Ajout d'équipment à un vehicule muni de sacs gonflables à la page 105 pour obtenir de plus amples renseignements sur les modifications qui peuvent nuire au fonctionnement du système.

ATTENTION:
Le fait de ranger certains articles sous le siège du passager ou entre le coussin de siège du passager et le dossier du siège peut entraver le fonctionnement ajustat du système de détention de passager.
Réparation d'un vehicule muni de sacs gonflables
Les sacs gonflables ont une incidence sur la maniere dont les réparations doivent être effectuées sur votre vehicule. Des composants du système de sacs gonflables sont disposés à plusieurs endroits dans le vehicule. Vous ne voudriez pas que les sacs se déploient pendant que celui'un effectue une réparation sur votre vehicule. Pour des renseignements sur l'entretien du système de sacs gonflables, communiquer avec le concessionnaire ou consulter le manuel de réparation de votre vehicule. Pour acheter un manuel de réparation, se reporter à Renseignements sur la commande de guides de réparation à la page 632.

ATTENTION:
Un sac gonflable peut encore se déployer au cours d'un entretien mal effectué jusqu'à 10 secondes après que le contact et la batterie ont été coupés. Vous pouze être blessé si vous étés pres d'un sac gonflable lorsqu'il se déploie. Éviter les connecteurs jaunes. Ils font probablement partie du système de sacs gonflables. S'assurer que les méthodes appropriées d'entretien sont suivies et que le travail est effectué par une personne dûment qualifiée.
Le système de sacs gonflables ne nécessite pas d'entretien régulier.
Ajout déquipement à un vehicule muni de sacs gonflables
Q: Un objet ajouté à l'avant ou aux côts du vehicule pourrait-il nuire au fonctionnement ajustat des sacs gonflables?
A: Oui. En ajoutant des objets qui modifiert le chassin du vehicule, les pare-chocs, la hauteur, l'avant ou la trole laterale, vous pourriez alterer le bon fonctionnement du système de sacs gonflables. De plus, le système de sacs gonflables pourrait ne pas fonctionner correctement si vous déplacez l'un des capteurs de sac gonflable. En cas de doute, communiquer avec le Service à la clientèle avant de modifier votre vehicule. Les numeros de téléphone et les adresses du Service à la clientèle se trouvent à l'Etape deux de la Procedure de satisfaction du client de ce manuel. Se reporter à Procedure de satisfaction de la clientèle à la page 616.
Q: Mon vehicule doit être modifié en raison de mon invalidité. Comment puis-je savoir si les modifications altereront le système de sacs gonflables?
A: Le fait de modifier ou de déplacer une piece des sièges avant, des ceintures de sécurité, du module de détction et de diagnostic des sacs gonflables, du volant, du tableau de bord ou du câblage de sacs gonflables, peut alterer le fonctionnement des sacs gonflables. En cas de doute, communiquer avec le Service à la clientèle. Les numérios de téléphone et les adresses du Service à la clientèle se trouvent à l'Étape deux de la Procedure de satisfaction du client de ce manuel. Se reporter à Procedure de satisfaction de la clientèle à la page 616.
Vérification des dispositifs de retenue
Vérification de l'appareil de retenue
De temps en temps, s'assurer que le témoin de rappel de bouclage des ceintures de sécurité et que toutes les ceintures, bocles, plaques de blocage, enrouleurs et pièces d'ancrage fonctionnent comme il faut. Vérifier s'il n'y a pas de pièces de ceintures de sécurité desserrées ou endommagées. Si vous voyagez quoi que ce soit qui pourrait empêcher le fonctionnement d'un dispositif de protection, le faire réparer. Se reporter à la rubrique Entretien des ceintures de sécurité à la page 574.
Les ceintures déchirées ou effilochées ne vous protégérer peut-être pas lors d'une collision. Elles peuvent se déchirer complètement sous les forces d'impact. Remplacer immédiatement toute ceinture déchirée ou effilochée.
Rechercher aussi les couvercles de sac gonflable ouverts ou brises et les faire réparer ou remplacer. Le système de sacs gonflables n'a pas besoin d'entretien régulier.
Remarque: Si vous endommagez le recouvrement du sac gonflable frontal du conducteur ou du passager avant droit, ou si un recouvrement de sac gonflable de dossier de siege (option), le sac gonflable peut etre en panne. Vous pourriez devoir replacer le module de sac gonflable du volant, le module de sac gonflable et le tableau de bord pour le sac gonflable frontal du passager avant droit ou le module de sac gonflable et le dossier de siege pour les positons de siege avec sac gonflable lateral (option). Ni ouvrir ni briser les recouvrents de sac gonflable.
Remplacement des pieces des dispositifs de sécurité après une collision

ATTENTION:
Les dispositifs de retenue peuvent etre endommages si le vehicule subit une collision. Ou, un dispositif de retenue endommagé peut ne pas protégger
/
ATTENTION: (suite)
adéquatement la personne qui l'utilise, entrainant des blessures graves ou même la mort en cas de collision. Afin de s'assurer que les/dispositifs de protection fonctionnent de manièreADFÉQUATE après une collision,les faire vérifier et procédér à tout remplacement nécessaireès que possible.
Après une collision, faut-il changer les ceintures de sécurité ou les pieces du système LATCH?
Cela n'est peut-être pas nécessaire à la suite d'une collision mineure. Cependant, si les ceintures de sécurité ont été étiées lors d'une collision plus grave, vous aurez besoin de nouvelles pieces.
Si le système LATCH était utilisé lors d'une collision plus grave, il faudra peut-être en changer des pièces.
Si les ceintures de sécurité sont coupées ou endommagées, il convient de les replacer.
Si le vehicule est endommagé lors d'une collision, il se peut qu'il soit nécessaire de réparer ou de
remplacer des pieces du système LATCH, des ceintures de sécurité ou des sièges. La réparation ou le remplacement de pieces peut être nécessaires même si les ceintures ou le système LATCH n'était pas utilisés au moment de la collision.
Si un sac gonflable se déploie, il vous faudra remplacer certaines pieces du système de sacs gonflables. Se reporter à la partie concernant le système de sacs gonflables mentionnée précédemment dans cette section.
Si les sacs gonflables avant se déploient, il faudra aussi replacer l'enrouleur de la ceinture de sécurité du conducteur et du passager avant. Ceci est impératif afin que le nouvel ensemble d'enrouleur de ceinture puisse vous protégérer en cas de collision.
En cas de collision, il faudra peut-être remplacer l'enrouleur de la ceinture de sécurité du conducteur et du passager avant, même si les sacs gonflables ne se sont pas déployés. Ces enrouleurs renferment le tendeur des ceintures. Faire vérifier les tendeurs de ceintures en cas de collision ou si le témoin d'etat de disponibilité des sacs gonflables reste allumé après le démarrage ou lorsque le vehicule roule.
Se reporter à la rubrique Témoin de sac gonflable prét à fonctionner (AIRBAG) à la page 245.
NOTES
Section 2 Fonctions et commandes
Clés 111
Système de télédeverrouillage 112
Fonctionnement du système de télédéverrouillage 114
Portes et serrures 121
Serrures de porte 121
Portes à verrouillage electrique 123
Verrouillage temporisé 123
Verrouillage automatique de porte 124
Déverrouillage automatique programmable des portes 125
Dispositif antiverrouillage 125
Double portes coulissantes 125
Porte coulissante electrique 128
Hayon 138
Glaces 140
Glaces electriques 141
Glaces de custode 141
Glaces electriques de custode 142
Pare-soleil 142
Systèmes antivol 143
Système anti-cambriolage 143
PASS-KeyMD III 145
PASS-Key ^MD III - Fonctionnement 146
Demarrage et fonctionnement de la ville vehicule 148
Rodage de vehicule neuf 148
Positions du commutateur d'allumage 149
Prolongation d'alimentation des accessoires 150
Demarrage du moteur 150
Chauffe-liquide de refroidissement du moteur 152
Fonctionnement de la boite-pont automatique 154
Frein de stationnement 158
Passage à la position de stationnement (P) 159
Passage hors de la position de stationnement (P) 161
Section 2 Fonctions et commandes
Stationnement au-dessus de matieres qui brulent 162
Échappement du moteur 163
Laisser le moteur tournier lorsque le vehicule est stationné 164
Rétroviseurs 165
Rétroviseur à commande manuelle 165
Rétroviseurs extérieurs à commande électrique 166
Rétroviseur extérieur convexe 167
Rétroviseurs extérieurs chauffants 167
Système OnStarMD 168
Système de télécommande sans fil maison universel 172
Système de télécommande sans fil maison universel (Avec trois diodes rondes) 172
Système de télécommande sans fil maison universel (Avec une diode triangulaire) .... 173
Fonctionnement du système de télécommande sans fil maison universel (Avec trois diodes rondes) 174
Fonctionnement du système de télécommande sans fil maison universel (Avec une diode triangulaire) 180
Compartiments de rangement 185
Boite a gants 185
Porte-gobelets 185
Console de plafond (Avec longeron) 186
Console de plafond (Sans longeron) 188
Compartiment de rangement de la console au plancher 188
Platearabattable 188
Console centrale de deuxieme rangée 188
Porte-bagages 190
Filetd'arrimage(Avecrangements
arriere escamotables) 191
Filetd'arrimage (Sansrangements
arriere escamotables) 191
Compartiments de rangement arriere escamotables 192
Clés

ATTENTION:
Pour de nombreuses raisons, il est dangereux de laisser des enfants dans un vehicule quand la clé de contact s'y trouve. Ils pourraient faire fonctionner les lève-glace électriques ou d'autres commandes ou même faire rouler le vehicule. Les enfants ou autres personnes pourraient subir de graves blessures et même mournir. Ne pas laisser les clés dans un vehicule avec des enfants.

Votre vehicule est équipé d'une clé taillée des deux côtes servant à la fois àmettre le contact et à déverrouiller la portedu conducteur.
Votre vehicule est équipé du dispositif antivol PASS-Key MD III. La tête de la clé est munie d'un transpondeur qui est agencé à un décodeur dans la colonne de direction du vehicule. Si vous avez besoin d'une clé de rechange ou d'une clé supplémentaire, vous doivent acheter cette clé chez votre concessionnaire. L'indication PK3 sera estampée sur la clé. Garder l'étiquette de code à barre livrée avec les clés d'origine. Donner cette étiquette à votre concessionnaire si vous foulez obtenir de nouvelles clés.
Toute nouvelle clé PASS-KeyMD III doit être programmée avant qu'elle puisse faire démarrer votre vehicule. Se reporter à la rubrique PASS-KeyMD III à la page 145 pour obtenir de plus amples renseignements sur la programmation de votre nouvelle clé.
Remarque: Si les clés restent fermées dans le vehicule, il est possible de devoir endommager le vehicule pour y acceder. S'assurer d'avoir des clés de rechange.
S'il vous arrive de verrouiller votre vehicule avec les clés à l'intérieur, se reporter à Programme d'assistance routière à la page 621 pour de plus amples renseignements.
Système de télédéverrouillage
Si le vehicule est ainsi équipé, le système de télédéverrouillage fonctionne sur une radio-fréquence assujettie au règlement de la Federal Communications Commission (FCC) et d'Industrie Canada.
Cet émetteur est conforme à l'article 15 des règlements de la FCC. Le fonctionnement est sujét aux deux conditions suivantes :
- Cet apparéil ne doit causeur aucune interférence.
- Cet apparéil doit accepter toute interférence reçue dont celles pouvant entraîner un dysfonctionnement.
Cet émetteur est conforme à la norme CNR-210 d'Industrie Canada. Le fonctionnement est soumis aux deux conditions suivantes :
- Cet apparéil ne doit causeur aucune interférence.
- Cet apparéil doit accepter toute interférence reçue dont celles pouvant entraîner un dysfonctionnement.
Des changements ou des modifications à ce système effectués par un autre établissement qu'un centre de réparation agrée risquent d'annuler le droit d'utiliser cet équipement.
Parfois, vous pouvez remarquer une diminution dans la portée de l'émetteur. Ceci est normal pour tout système de télédéverrouillage. Si l'émetteur ne fonctionne pas ou si vousdezvezvoustenerplus pres du vehicule pour que l'émetteur fonctionne, essayer ceci :
- Vérifier la distance. Vous étes peut-être trop loin de votre vehicule. Vous devrez peut-être vous tener plus pres du vehicule lorsqu'il pleut ou qu'il neige.
- Vérifier l'emplacement. D'autres vehicules ou des objets peuvent bloquer le signal. Faire quelques pas vers la gauche ou vers la droite, tener l'émetteur plus haut et essayer de nouveau.
- Vérifier s'il faut remplacer la pile. Voir « Remplacement de la pile » sous la rubrique Fonctionnement du système de télédéverrouillage à la page 114.
- Si vous avez toujours des problèmes, consulter votre concessionnaire ou un technicien qualifié pour l'entretien.
Fonctionnement du système de télédéverrouillage
Vous pouvez verrouiller et déverrouiller les portes ainsi que le hayon en utilisant l'émetteur de télédéverrouillage du vehicule.

L'émetteur de
telédéverrouillage
illustré ici est celui d'un
vehicule équipé de
la fonction de
démarrage à distance et
de deux portes
coulissantes électriques.
L'émetteur de télédéverrouillage fourni avec votre vehicule ne compte que les boutons nécessaires aux fonctions de système à distance installées au départ d'usine du vehicule.
Q (démarrage à distance du vehicule): Si vous vehicule est équipé de cette fonction, il peut être démarré de l'extérieur. Pour de plus amples renseignements, se reporter à la rubrique « Démarrage à distance du vehicule » à la fin de cette section.
(Verrouillage): Pour verrouiller toutes les portes et le hayon, appuyer sur le bouton de verrouillage de l'émetteur de télédéverrouillage. Pour de plus amples renseignements sur les fonctions de verrouillage électrique des portes, se reporter à Portes à verrouillage électrique à la page 123. Si votre vehicule est équipé du système antivol, le bouton de verrouillage de l'émetteur de télédéverrouillage peut armer le système. Pour de plus amples renseignements, se reporter à Système anti-cambriolage à la page 143.
Lorsque vous utilisez l'émetteur de télédéverrouillage pour verrouiller votre vehicule, les clignotants peuvent s'allumer pour vous avertir que la commande a été transmise. Si vous appuyez de nouveau sur le bouton de verrouillage dans les cinq secondes, le klaxon retentit et les clignotants peuvent s'allumer pour vous avertir que le vehicule est déjà verrouillé. Pour de plus amples renseignements, se reporter à la rubrique « FOB LOCK FEEDBACK » (rétroaction de verrouillage par émetteur) sous Personnelisation CIB du vehicule (Haut de gamme uniquement) à la page 294.
( déverrouillage): Lorsque vous appuyez sur le bouton de déverrouillage de l'émetteur de télédéverrouillage, seule la porte du conducteur est déverrouillée. Si vous appuyez de nouveau sur ce bouton dans les cinq secondes, toutes les portes et le hayon sont déverrouillés. Si vous foulez que toutes les portes se déverrouillent la première fois que vous appuyez sur le bouton de déverrouillage, se reporter à la rubrique « FOB UNLOCK ON 1ST PRESS » (déverrouillage au premier appui sur l'émetteur) sous Personnelisation CIB du vehicule (Haut de gamme uniquement) à la page 294.
Si vous vécicule est équipé du système antivol, le bouton de déverrouillage de l'émetteur de télédéverrouillage désarme le système. Pour de plus amples renseignements, se reporter à Système anti-cambriolage à la page 143.
Lorsque vous utilisez votre émetteur de télédéverrouillage pour déverrouiller votre vehicule, les clignotants s'allument pour vous avertir que la commande a été transmise.
(télévertisseur sonore): Lorsque vous appuyez sur le bouton de klaxon de l'émetteur de télédéverrouillage, les clignotants clignotent et le klaxon retentit. Cela vous permet d'attirer l'attention s'il y a lieu.
Appuyer de nouveau sur ce bouton pour que l'alarme)cesse de retentir.
Fonctionnement des portes coulissantes électriques à distance
(porte coulissantélectrique):Si voire vehicule est équipé d'une portecoulissantélectrique,votrecemetre de télédéverrouillage comporte un bouton sur lequel se trouve le symbole d'une fourgonnette. Appuyer sur ce bouton et le maintainir enforcé pour ouvrir ou fermer la portecoulissantélectrique.Se reporter à la rubrique Portecoulissantélectrique à la page 128.
( double portes coulissantes): Si vous vehicule est equipé de deux portes coulissantes électriques, votre émetteur de télédéverrouillage compte des deux boutons sur lesquels se trouve un symbole de fourgonnette. Le symbole de fourgonnette de gauche sert à la porte coulissante côté conducteur et le symbole de fourgonnette de droite sert à la porte coulissante côté passager. Appuyer sur le bouton compteant le symbole de fourgonnette, côté conducteur ou passager, et le maintainir enforcé pour ouvrir ou fermer la porte coulissantue souhaitée. Se reporter à la rubrique Portecoulissantetelectriquea la page 128.
Vous pouvez faire fonctionner la ou les portes coulissantes électriques avec l'émetteur de télédéverrouillage même si le ou les commutateurs de neutralisation des portes coulissantes électriques, situés sur la console du pavillon, sont actifs. Pour de plus amples renseignements, se reporter à la rubrique Porte coulissante électrique à la page 128.
Si la porte coulissant est fermée et que l'on appuie en le maintainant sur le bouton de la portecoulissantélectriquede I'emetteur,les portes du vehicule se déverrouilleront et alors la portecoulissantesouvrira. Si la portecoulissantélectrique a etevrouillée enutilisant le levier manuel de verrouillage, il vous faudra déverrouillerla portecoulissantélectrique avant de pouvoirI'ouvrir avec le bouton de la portecoulissantede I'emteur àdistance.
Si le volet d'accès au réservoir est ouvert, la portecoulissante électrique du côte conducteur ne s'ouvrira pas complètement. Ne pas essayer de forcer la porte. Lorsque le volet d'accès au réservoir est fermé, la portecoulissante du côte conducteur peut être ouverte normalement.
Émetteur ou émetteurs correspondant à votre vehicule
Chaque émetteur de télédéverrouillage est codé pour empêcher un autre émetteur de déverrouiller votre vehicule. Si un émetteur est perdu ou volé, vous pouvez en acheter un de rechange par l'entremise de votre concessionnaire. Ne pas oublier d'apporter tout autre émetteur lorsque vous给您 rendez chez vos réconcessionnaire. Lorsque le concessionnaire programme l'émetteur de rechange pour votre vehicule, tout autre émetteur doit aussi êtreprogrammé. Une fois que le nouvel émetteur a été codé, l'émetteur perdu ne poursra plus déverrouiller librevehicule. Chaque vehicule peut avoir un maximum de quatre émetteurs programmés.
ConsulterVoteconcessionnaire pour faire correspondedesemeteursaunautrevehicule.
Remplacement de la pile
Dans des conditions normales d'utilisation, la pile de l'émetteur de télédéverrouillage devrait durer environ trois ans.
Lorsque la pile est faible, la portée de l'émetteur est réduite, quel que soit l'endroit où il est actionné. Si vous nevez vousapprocher de votre vehicule pour que l'émetteur fonctionne, il est probablement temps de replacer la pile.
Remarque: Lorsque vous remplacez la pile, prendre soin de ne toucher àaucun des circuits. L'électricité statique de votre corps transférée à ces surfaces peut endommager I'émetteur.
- Introduire un objet plat, tel qu'une piece de monnaie, dans la fente sur le côte de l'émetteur et le tourner pour séparer les deux moitiés.

- Retirer déllicitament la pile de l'émetteur. Ne pas utiliser les flasques en métal pour déloger la pile.
- Remplacer la pile.
- Assembler l'émetteur. S'assurer que les moitiés sont bien enclenchées pour empêcher l'eau de s'infiltrer.
- Maintenir enfoncés les deux boutons de verrouillage et de déverrouillage pendant sept secondes pour synchroniser l'émetteur.
- Vérifier le fonctionnement de l'émetteur.
Démarrage à distance du vehicule
Cette fonction vous permet de démarrer le moteur depuis l'extérieur du vehicule. Elle peut égalementmettre en fonction le désembuage de la lunettearrière si la température extérieure est inférieure à 7^ (45^)
Les lois de certaines communautés peuvent restreindre l'utilisation du démarrage à distance. Certaines lois exigent par exemple que le vehicule soit dans le champ de vision de l'utilisateur lorsqu'il procède au démarrage à distance. Vérifier les règlements locaux pour toute exigence concernant le démarrage à distance des vehicules.
( démarrage à distance du vehicule): Si vous vehicule est équipé de la fonction de démarrage à distance, l'émetteur de télédéverrouillage compte un bouton avec ce symbole.
La portée d'une télécommande avec bouton de démarrage à distance est augmentée.
En cas de faible niveau de carburant dans le réservoir, ne pas utiliser la commande de démarrage à distance. Le vehicule pourrait manquer de carburant. Le vehicule peut également manquer de carburant s'il est arrêté dans une pente en étant dirigé vers le bas, avec peu de carburant.
Pour démarrer le moteur en utilisant la fonction de démarrage à distance, effectuer les étapes suivantes :
- Pointer l'émetteur de télédéverrouillage, le cas échéant, avec le bouton de démarrage à distance, vers le vehicule.
- Appuyer sur le bouton de verrouillage de l'émetteur et le relâcher, puis appuyer immédiatement sur le bouton de démarriage à distance et le maintainir enforcé jusqu'à ce que les clignotants s'allument, ou pendant au moins deux secondes, si vous ne voirz pas les feuux du vehicule. Les portes du vehicule se verrouillent.
- Lorsque le moteur démarre, les feu des stationnement s'allument et restent allumés pendant que le moteur tourne.
Après un démarriage à distance, le moteur se coupe automatiquement après 10 minutes sauf si une extension de temps a été programmée ou si la clé est insérée sur le contact et tournée en position RUN (marche).
Il est possible d'effectuer au maximum deux démarrages à distance (ou deux tentatives) entre les démarrages au moyen de la clé.
Si un nouveau demarrage à distance est effectué avant que le laps de temps de 10 minutes ne soit écoulé, le premier laps de temps prendra immédiatement fin et le second laps de temps de 10 minutes débutera.
Lorsque deux démarrages à distance ont été effectuels,mettre la clé sur le contact en position RUN (marche),puis de nouveau en position LOCK (verrouillage) avant de pouvoir proceder a un nouveau démarrage à distance.
Si vous entrez dans le vehicule après un démarriage à distance, et que le moteur tourne, mesure la clé sur le contact en position RUN (marche) pour conduire le vehicule.
Pour couper manuellement le moteur après un démarrage à distance, suivre l'une des procédures suivantes :
- Orienter l'émetteur de télédéverrouillage vers le vehicule et appuyer sur le bouton de démarrage à distance jusqu'à ce que les feuels de stationnement s'eteignent.
- Allumer les clignotants de détresse.
- Mettre la clé sur le contact en position RUN (marche), puis en position LOCK (verrouillage).
Le démarrage à distance ne fonctionne pas si :
- Le système de démarrage à distance est désactivé. Se reporter à « REMOTE START » (démarage à distance) sous Personnelisation CIB du vehicule (Haut de gamme uniquement) à la page 294.
- La clé est sur le contact.
- Le capot, le hayon, ou les portes du vehicule ne sont pas fermés.
- Les feu de détresse sont allumés.
- Le dispositif antipollution présente une défectuosité.
-
La température du liquide de refroidissement du moteur est trop élevé.
-
La pression d'huile est basse.
- Deux démarrages à distance ont déjà été effectuels. Il est possible d'effectuer au maximum deux démarrages à distance (ou deux tentatives) entre les démarrages au moyen de la clé.
Prêt pour l'installation de démarrage à distance
Si vous vécicule n'est pas équipé de la fonction de démarrage à distance, il peut cependant être équipé de la fonction de préparation au démarrage à distance. Ceci permet à votre concessionnaire d'ajouter la fonction de démarrage à distance du fabricant à votre vehicule.
Si l'émetteur de télédéverrouillage comporte un symbole plus (+) sur sa face postérieure, votre vehicule est équipé de la fonction de préparation au démarrage à distance. Vous pouvez verrouiller ou déverrouiller votre vehicule à une distance d'environ 60 m (197 pi).
Pour ajouter la fonction de démarrage à distance du fabricant à votre vehicule, contacter votre concessionnaire.
Portes et serrures
Serrures de porte

ATTENTION:
Des portières non verrouillées peuvent être dangereuses.
Des passagers, et spécialement des enfants, peuvent facilement ouvrir les portières et tomber à l'extérieur du vehicule en train de rouler. Lorsqu'une portière est verrouillée, la poignée ne permet pas de l'ouvrir. Vous augmentez vos chances d'être ejecté hors du vehicule lors d'une collision si les portières ne sont pas verrouillées. Par conséquent, ajuster correctement vos ceintures de sécurité et verrouiller les portières chaque fois que vous roulez.
/
ATTENTION: (suite)
- De jeunes enfants se trouvant dans des vehicules déverrouillés peuvent se trouver dans l'impossibilité d'en sortir. Un enfant peut avoir à subir une chaleur extrème et souffrir de blessures définitives ou même mournir d'un coup de chaleur. Toujours verrouiller votre vehicule chaque fois que vous le laissez.
- Desgens del'extérieur peuvent facilement pénétrer dans un vehicule dont les portières ne sont pas verrouillées lorsque vous ralentissez ou que vous vous arrêtez. Le verrouillage des portières peut empêcher que cela se produit.
Il existe plusieurs façon de verrouiller et de déverrouiller votre vehicule.
De l'extérieur, se servir de la clé ou de l'émetteur de télédéverrouillage.
Pour déverrouiller la porte côte conducteur de l'extérieur avec la clé, introduire la clé et la tourner vers l'avant du vehicule. Pour verrouiller la porte côte conducteur de l'extérieur avec la clé, introduire la clé et la tourner vers l'arrière du vehicule.
Si vous vécicule est équipé du verrouillage électrique des portes, vous pouvez peut-être déverrouiller toutes les portes et le hayon lorsque vous insérez la clé, que vous la tournez vers l'avant du vehicule, et la maintenez à cette position pendant une seconde. Vous pouvez peut-être verrouiller toutes les portes lorsque vous insérez la clé et que vous la tournez vers l'arrête du vehicule.

De l'intérieur, utiliser la commande de verrouillage manuel ou les commandes de verrouillage électrique.
Pour déverrouiller une porte de l'intérieur, tirer la commande de verrouillage manuel vers l'arrière. Pour verrouiller une porte de l'intérieur, pousser la commande de verrouillage manuel vers l'avant.
Portes à verrouillage électrique
Votre vehicule possede des serrures de porte a commande electrique.

Les commutateurs se trouvent sur les portes de conducteur et de passager avant.
Appuyer sur le haut du commutateur pour déverrouiller les portes et le hayon.
Tant que le système antivol du contenu est activé, les portes ne peuvent pas etre déverrouillées à l'aide du commutateur de verrouillage electrique des portes. Pour plus d'informations, se reporter a la rubrique Systeme anti-cambriolage a la page 143.
Appuyer sur le bas du commutateur pour verrouiller les portes et le hayon. Avec le système antivol de contenu, le commutateur de serrure
de porte à commande électrique peut armer le système. Se reporter à Système anti-cambriolage à la page 143 pour plus de détails.
Verrouillage temporisé
Cette fonction permet de temporiser le verrouillage du vehicule pendant environ cinq secondes jusqu'à ce que toutes les portes soient fermées.
Pour activer la fonction de verrouillage temporisé, procéder selon des méthodes suivantes :
- Appuyer une fois sur le commutateur de verrouillage électrique de la porte conducteur lorsqu'elle est ouverte.
Appuyer une fois sur le commutateur de verrouillage electrique de la porte passager lorsqu'elle est ouverte. - Appuyer une fois sur le bouton de verrouillage situé sur l'émetteur de télédéverrouillage lorsque n'importe qu'elle porte est ouverte.
Deux carillons retentissent pour signaler que le verrouillage temporisé est actif.
Pour verrouiller les portes immédiatement, répéter plusieurs fois l'une des actions décrites ci-dessus.
Si une porte reste ouverte et si aucune autre porte n'est ouverte ou fermée, le vehicule se verrouille au bout de 45 secondes environ.
Si la clé est dans le commutateur d'allumage, cette fonction ne verrouillera pas les portes.
Pourmetrelacaracteristiquedeverrouillagtemporiséenouhorsfonction,sereporter àPersonnalisationCIBduvehicule(Haut de gammeuniquement)àla page294.
Verrouillage à temporisation de portecoulissante
Si l'une ou l'autre des portes coulissantes est ouverte quand vous utilisez les commutateurs de verrouillage electrique des portes pour verrouiller le vehicule, la porte coulissant qui est ouverte ne se verrouillera pas. Normalement, la caractéristique de verrouillage à la fermeture de la dernière porte est utilisée pour verrouiller la porte coulissant après sa fermeture.
La fonction de verrouillage temporisé de la porte coulissante permet de verrouiller la ou les portes) coulissante(s) lorsque la fonction de verrouillage temporisé ne fonctionne pas, qu'elle est désactivée
ou déprogrammée. Se reporter à la rubrique « Verrouillage temporisé » plus haut dans cette section. Toutes les portes se verrouillent quelques instants après la fermeture de la dernière porte coulissant.
Verrouillage automatique de porte
Toutes les portes se verrouillent automatiquement quand vous déplacez le levier de changement de vitesse hors de la position de stationnement (P). Cette fonction ne peut être désactivée.
Si quelqu'un désire quitter le vehicule quand le levier n'occappe pas la position de stationnement (P), selectionner la position de stationnement (P) ou prior cette personne d'utiliser le levier manuel ou encore le commutateur de serrure electrique de porte. Quand la porte est refermée, la serrure se verrouille quand la vitesse du vehicule dépasse 8 km/h (5 mi/h).
La fonction de verrouillage automatique des portes vous permet de verrouiller ou de déverrouiller les portes en tout temps, manuellement ou au moyen des commutateurs de serrure électrique de porte.
Déverrouillage automatique programmable des portes
Votre vehicule a ete programmé pour que toutes les portes se déverrouillent automatiquement quand le levier de changement de vitesse est placé en position de stationnement (P).
Pour modifier la fonction de déverrouillage automatique des portes se reporter à Personnalisation CIB du vehicule (Haut de gamme uniquement) à la page 294.
Dispositif antiverrouillage
Le dispositif antiverrouillage fait en sorte qu'il est plus difficile de verrouiller le vehicule avec la clé à l'intérieur. Si la porte du conducteur est ouverte alors que la clé se trouve sur le contact, la porte ne peut pas être verrouillée à l'aide du commutateur de verrouillage électrique des portes.
Cette fonction ne peut nullement vous assurer que vous ne serez jamais pris à l'extérieur de votre vehicule verrouillé. Si la clé n'est pas laissée dans le contact ou si la commande de verrouillage de porte manuel est utilisé, la clé pourrait se trouver dans le vehicule verrouillé. Toutjours penser d'apporter la clé avec soi.
Double portes coulissantes
Pour ouvrir l'une ou l'autre des portes coulissantes de l'extérieur, tirer la poignée et faire couilisser la porte vers l'arrière. Si vous la faites coulisser complètement vers l'arrière, elle se bloquera.
Pour ramener la porte vers l'avant, vous devez d'abord lui faire dépasser sa position de blocage.
La portecoulissante du cote conducteur a etecoune de façon a s'ouvrir legerement si le couvercle d'acces au reservoir de carburant est ouverte. Si cela se produit, ne pas tenter de forcer la portecoulissante. Fermer simplement la portecoulissante du cote conducteur. Quand le volet d'acces au reservoir de carburant est fermé, vous pouvez ouvrir normalement la portecoulissante du cote conducteur.
Verrouillage d'une porte coulissante

ATTENTION:
Si vous véchicule est sur une pente raide (15 pour cent ou plus), dans le sens de la descente, la portecpe ne pas rester ouverte et pouvoir se refermer en claquant, blessant quelqu'un. Pour vous assurer que la portecne se ferme pas en claquant, s'assurer de la tener ouverte jusqu'à ce que tout le monde se soit éloigné de la portec, puis laisser-la se fermer lentement.

Verrouiller l'une ou l'autre des portes coulissantes de l'intérieur du vehicule en abaissant le levier de verrouillage manuel. Pour la déverrouiller, le relever.
Lorsque le vehicule est pourvu de portes à verrouillage électrique, les portes coulissantes sont munie d'une caractéristique de temporisation. Se reporter aux rubriques Verrouillage temporisé à la page 123 et Personnalisation CIB du vehicule (Haut de gamme uniquement) à la page 294.
Serrure de sécurité de portecoulissante
Votre vehicule est équipé de serrures de sécurité de porte coulissant qui aide à empêcher les jeunes enfants et autres passagers d'ouvrir une porte coulissant en employant la poignée de porte interieure. Pour utiliser la serrure de sécurité :
- Ouvrir la porte coulissante.

-
Le levier de serrure de sécurité est situé sur l'intérieur de la porte coulissant, sur le bord avant de la porte. Pousser le levier vers le haut pour engager la serrure.
-
Fermer la porte.
- Répéter les étapes 1 à 3 pour l'autre porte.
Si vous véchicule dispose d'une portecoulissante,
vous pouvez empêcher l'ouverture électrique
de la portecoulissante depuis le commutateur
d'activation de portecoulissante électrique
situé côté passager en appuyant sur le
commutateur d'activation de portecoulissante
électrique de la deuxieme rangée situé sur
la console de pavillon. Se reporter à la rubrique
Portecoulissante électrique à la page 128.
Pour ouvrir une porte coulissant lorsque la serrure de sécurité est en fonction, déverrouiller la porte coulissant et l'ouvrir de l'extérieur.
Indiquer aux adultes et aux enfants plus âgés comment fonctionne la serrure de sécurité et comment la désactiver. Dans le cas contraire, lesadultes et les enfants plus âgés quivoyagent à l'arrière ne pourront pas ouvrir la portecoulissante depuis l'intérieur lorsque la serrure de sécurité sera enclenchée.
Mise hors fonction d'une serrure de sécurité de porte coulissante
- Déverrouiller la porte coulissant et l'ouvrir de l'extérieur.
- Pousser le levier de serrer de sécurité complètement vers le bas.
- Fermer la porte.
- Repeter les étapes 1 à 3 pour l'autre porte. La serrure de porte coulissant fonctionnera maintainant normalement.
Porte coulissantélectrique
Si vous véchicule est équipé de cette fonction,
vous pouvez ouvrir et fermer les portes
coulissantes électriques à l'aide des commutateurs
situés à l'intérieur de votre vehicule. Vous
pouvez également actionner les portes
coulissantes à l'aide de l'émetteur de
telédéverrouillage. Se reporter à la rubrique
Système de telédéverrouillage à la page 112.

ATTENTION:
Il peut être dangereux de laisser des enfants ou des animaux domestiques sans surveillance dans un vehicule. Ils pourraient faire fonctionner la portecoulissante électrique. Un enfant ou d'autres personnes pourrait être blessés. Ne pas laisser d'enfants ni d'animaux domestiques sans surveillance dans votre vehicule.
Commutateurs de portecoulissante électrique
Votre vehicule comporte l'un des ensembles de commutateurs suivants situés sur le bloc de commutateurs de la console de pavillon.

Si vous vécique est équipé d'une seule porte coulissant électrique (PSD), il est équipé de ce commutateur.
Commutateur d'activation/désactivation de PSD

Commutateur d'activation/désactivation de PSD des côtes conducteur et passager
Si vous vécique dispose de deux portes coulissantes, ces commutateurs sont prênts.

Commutateur d'activation de portecoulissante électrique, côte passager
Votrecvehicule possede
egalement un ou
plusieurs commutateurs
d'activation de portecoulissante de passager
a commande electrique.
Si vous possédez un seul PSD, ce commutateur se trouve à l'avant de la porte coulissante côté passager. Si vous vehicule possède deux PSD, les commutateurs se trouvent à l'avant des deux portes coulissantes.
Fonctionnement de la porte coulissante électrique
Les portes coulissantes électriques ne s'ouvrent que si la boîte-pont est à la position stationnement (P). La boîte-pont n'a pas à été à la position de stationnement (P) pour fermer les portes.
La portecoulissante electrique peut etre ouverte et fermee de plusieurs manieres.
- Si votre vehicule est équipé d'une seule porte coulissanté électrique, appuyer sur le haut du commutateur d'activation/désactivation PSD de la console de pavillon.
- Si vous vécicule est équipé de deux portes coulissantes électriques, appuyer sur la partie supérieure du commutateur d'activation/désactivation PSD de la console de pavillon côté conducteur et/ou côté passager.
-
Appuyer sur le commutateur d'activation de la porte coulissanté électrique côte passager. Ce commutateur permet également d'interr compromise immidiatement le déplacement d'une porte.
-
Appuyer sur le bouton de la porte coulissantélectrique situé sur l'émetteur de télédéverrouillage.
- Pour ouvrir manuellement une ou plusieurs portes coulissantes électriques alors que les commutateurs sont en position d'activation, appuyer puis relâcher la poignée interieure ou extérieure de la porte pour relâcher le loquet de la porte. La porte s'ouvre entièrement.
Pour fermer manuellement une ou plusieurs portes coulissantes alors que les commutateurs sont en position d'activation, appuyer sur la poignee interieure ou exterieure de la porte ou sur le rebord de la porte. Déplacer la porte d'environ 10 cm (4 po) vers la position de fermeture, puis la relâcher. La porte se ferme complètement et s'enclenche.
Si une porte coulissante est verrouillée, elle ne peut pas etre déverrouillée et ouverte à partir des commutateurs d'activation de porte coulissante électrique situés sur la console de pavillon ou à partir des commutateurs d'activation de portecoulissante électrique situés cote passager.
La porte coulissantélectrique doit être déverrouillée manuellement ou à l'aide du commutateur de déverrouillageelectrique des portes situé sur l'accouvoir du conducteur ou du passager avant, puis ouverte à l'aide des commutateurs d'activation des portes coulissantes électriques situés côté passager ou sur la console de pavillon.
Vous pouvez également utiliser l'émetteur de télédéverrouillage pour ourir la ou les portes(s) coulissante(s). Si le vehicule est verrouillé, appuyer sur le ou les bouton(s) de la porte coulissante électrique. Toutes les portes sont alors déverrouillées et la ou les portes(s) coulissante(s) s'ouvre(nt). Se reporter à la rubrique Fonctionnement du système de télédéverrouillage à la page 114.
Si la porte coulissanté électrique a été verrouillée manuelles, vousdez vaez la déverrouiller avant de pouvoir l'ouvrir.
Remarque: Si on laisse la portecoulissante a commande electrique en fonction lorsque I'on traverse un lave-auto automatique, la portec peut s'ouvrir accidentellement. S'assurer que la portecoulissante a commande automatique est mise hors fonction quand on traverse un lave-auto.
Si la porte coulissanté électrique est ouverte ou en cours de fermeture lorsque vous passez le levier de vitesses en position de stationnement (P), un carillon retentit pour vous avertir que la ou les portes) coulissante(s) n'est ou ne sont pas complètement fermée(s). Le centralisateur informatique de bord (CIB) vous préviert également si une porte est ouverte. Se reporter à la rubrique Centralisateur informatique de bord - Avertissements et messages à la page 270. Arrête le vehicule et fermer la porte.

ATTENTION:
Si vous déplacez le levier des vitesses de la boîte-pont hors de la position de stationnement (P) et accélérez avant que la porte coulissante électrique ne s'enclenché en position fermée, la porte risque de s'ouvrir de nouveau. Un enfant ou d'autres personnes risqueraient de tomber du vehicule et d'être blessés. S'assurer toujours que la porte coulissante électrique est fermée et enclenchée avant de conduire.

Si un objet bloque une porte coulissante pendant sa fermeture, la porte passée automatiquement à la position inverse, soit ouverte, si la résistance est suffisante. La résistance peut être aussi forte que la force appliquée par la porte qui se ferme, ou elle peut être plus forte. La force de la porte qui se ferme augmente de façon significative lorsque la porte s'approche de la position de verrouillage.
La portecoulissante du cote conducteur a etecoune de façon à s'ouvrir légèrement si le couvercle d'accès au réservoir de carburant est ouverte. Si cela se produit, ne pas tenter de forcer la portecoulissante. Lorsque le bouchon du goulot de replissage du réservoir de carburant est fermé, il est possible d'ouvrir normalement la portecoulissante du cote conducteur.
ATTENTION:
Vous ou d'autres personnes risquez d'être blessés si vous vous trouvez sur le passage de la porte coulissante. S'assurer de ne pas bloquer le passage de la porte quand elle se ferme.


ATTENTION:
Si vous véchicule est sur une pente raide (15 pour cent ou plus), dans le sens de la descente, la porte peut ne pas rester ouverte et pourrait se refermer en claquant, blessant quelqu'un. Pour vous assurer que la porte ne se ferme pas en claquant, activer le commutateur prioritaire de porte coulissante électrique. Alors, la porte ne se fermera que sous le contrôle du système de portes coulissantes electriques.
Désactivation de la porte coulissantélectrique de la deuxième rangée de sièges côté passager.
Appuyer sur la partie de désactivation du commutateur de la console de pavillon pour éviter un fonctionnement accidentel de porte coulissant en utilisant le commutateur d'activation PSD de passager. La porte peut être ouverte manuellement depuis l'intérieur ou l'extérieur quand la désactivation est en fonction.
Pour ouvrir manuellement une ou plusieurs portes) coulissante(s) electrique(s) lorsque le commutateur de la console de pavillon est en position de désaction, tirer sur la poignee interieure ou exterieure de porte et faire glisser complètement la porte.
Pour fermer manuelle les portes du vehicule lorsqu'un ou plusieurs commutateur(s) de désactivation est ou sont en position de désactivation, tirer sur la poignée interieure ou extérieure de la porte et faire glisser complètement la porte vers l'avant jusqu'à ce qu'elle s'enclenché.
Pour interrompre immédiatement l'ouverture ou la fermeture d'une porte, appuyer sur la partie de désactivation PSD du commutateur.
Appuyer sur le(s) bouton(s) de portecoulissante electrique situé(s) sur l'émetteur de télédéverrouillage pour ouvrir et fermer la porte à moins que la porte avait été verrouillée à l'aide de la glissière mécanique.
Réinitialisation d'une porte coulissantélectrique
Il est possible qu'une porte coulissanté électrique ne fonctionne pas bien ou pas du tout en raison des conditions suivantes :
- Faible tension de la batterie ou batterie à plat
- Batterie débranchée
- Si leFuse 21/porte coulissanteelectrique, 24/porte coulissanteelectrique gauche ou 25/porte coulissanteelectrique droite situé dans le tableau de bord sont retirés ou grillés.
Se reporter à la rubrique Fusibles et disjoncteurs à la page 583 pour plus de renseignements.
Si l'une de ces conditions se produit, la porte coulissantélectrique doit être réinitialisée. Si voitrévicule est équipé de deux portes coulissantes électriques,les deux portes doivent être réinitialisées.Pour réinitialiser une porte coulissantélectrique,procédér comme suit :
- Vérifier la porte coulissante électrique pour vous assurer qu'elle est déverrouillée et bien fermée.
- Tourner la clé de contact en position LOCK (verrouillée).
- Si le commutateur de porte coulissanté lectrique)situé sur la console du pavillon est en position de désactivation, leMETRE en position d'activation.
- Ouvrir la porte coulissant à l'aide de l'émetteur de télédéverrouillage, du commutateur situé sur la console de pavillon ou du commutateur passager. Faire en sorte que la porte s'ouvre complètement.
Si la porte ne s'ouvre pas complètement, placer le commutateur situé sur la console de pavillon en position de désactivation et faire glisser la porte de manière à l'ouvrir et la fermer complètement.
Vérifier qu'aucun objet ne se trouve sur les rails.
Répéter cette procédure en commençant par la première étape. Si la porte résiste et ne s'ouvre pas complètement, contacter votre concessionnaire pour qu'il procède à sa réparation.
Hayon
Pour verrouiller ou déverrouiller le hayon de l'extérieur, utiliser l'émetteur de télédéverrouillage. Pour de plus amples renseignements, se reporter à la rubrique Fonctionnement du système de télédéverrouillage à la page 114.
Vous pouvez également verrouiller et déverrouiller le hayon à l'aide du commutateur de verrouillage électrique des portes.
Ouvrir le hayon au moyen de la poignée située au-dessus de la plaque d'immatriculation. Une fois qu'il est légèrement ouvert, le hayon vas se soulever de lui-même. L'éclairage à l'arrière du vehicule s'allumera pour éclairer le coffre.
Remarque: Si l'on ouvre le hayon sans vérifier s'il y a des obstructions au-dessus telles qu'une porte de garage, on risque de casser la glace de hayon. Tout jours s'assurer que la zone située au-dessus du hayon est libre avant de l'ouvrir.

ATTENTION:
Il peut être dangereux de conduire avec le hayon ouvert, car le monoxyde de carbone (CO) peut s'infiltrer dans votre vehicule. On ne peut ni voir ni sentir l'oxyde de carbone. Il peut provoquer l'évanouissement et même la mort.
…/
ATTENTION: (suite)
Si vous devez conduire avec le hayon ouvert ou si un câblage électrique ou autres connexions de cables doivent passer entre la carrosserie et le hayon :
- S'assurer que toutes les autres glaces sont fermées.
- Activer le ventilateur de votre système de chauffage ou de refroidissement, le régler à son régime maximal et selectionner la commande qui fait pénétrer l'air extérieur dans le vehicule. Se reporter à Système de régulation de température à la page 226 ou Système de climatisation à deux zones à la page 230.
- Si vous disposez de volets d'aération sur ou sous le tableau de bord, les ouvrir complètement. Se reporter à la rubrique Echappement du moteur à la page 163.

Pour fermer le hayon, tirer la poignée vers le bas, puis bien fermer le hayon. Ne pas conduire avec le hayon ouvert, même partiellement.
Glaces
ATTENTION:
Il est dangereux de laisser des enfants, des adultes impotents ou des animaux deOMPagnie a l'intérieur du vehicule lorsque les glaces sont fermées. Iles peuvent en effet etre exposés a une chaleur extreme et subir des troubles de sante permanents ou meme mournir d'un coup de chaleur. Ne jamais laisser un enfant, un adulte impotent ou un animal de compagnie seul dans un vehicule, sur tout si les glaces sont fermées par temps chaud ou très chaud.

Glaces électriques

Les commutateurs situés sur l'accouvoir de la porte conducteur commandant les glaces avant lorsque le commutateur d'allumage est en position RUN (marche), ACCESSORY (accessoires) ou lorsque la prolongation de l'alimentation des accessoires est active.
Se reporter à la rubrique Prolongation d'alimentation des accessoires à la page 150.
Le commutateur de l'eve-glace electrique du conducteur est muni de deux positions de descente. La première position baise la glace normalement.
Pour lever la glace, tirer vers le haut l'avant du commutateur de l'eve-glace.
Glace à descente rapide
Pourmettre enfonctionla caractéristique d'ouverture intégrale,appuyer sur le commutateur AUTO (automatique) jusqu'à la deuxieme position,puis le relâcher.La glace se baisseracomplicitement.Pour empêcher que la glace baisse complètement,tirer versle haut sur la partie avant du commutateur.
Glaces de custode
Il est possible que votre vehicule soit équipé de glaces de custode manuelles.

Pour les ouvrir, pousser le loquet vers l'avant pour le débloquer, puis faites pivoter la glace vers l'extérieur. Appuyer sur le centre du loquet pour bloquer la glace en position ouverte.
Pour les fermer, tirer le centre du loquet vers l'avant puis fermer le loquet. Appuyer sur le centre du loquet pour bloquer la glace en position fermée.
Glaces électriques de custode
Il est possible que votre vehicule soit équipé de glaces de custode électriques.

Ce commutateur, qui se trouve dans le bloc-commuteurs de la console de pavillon, est utilisé pour ouvrir et fermer les glaces de custode électriques.
Appuyer le haut du commutateur pour baisser les glaces; les deux glaces se BAISSENT. Les glaces continueront a s'ouvrir aussi longtemps que vous appuyez sur le commutateur et ce, jusqu'à ce qu'elles soient complètement ouvertes.
Appuyer sur le bas du commutateur pour fermer les deux glaces. Les glaces peuvent etre fermées entierement ou partiellement selon la durée pendant laquelle vous appuyez sur le commutateur.
Il faut que la clé de contact soit à la position RUN (marche) ou ACCESSORY (accessoires) ou bien que la prolongation de l'alimentation des accessoires soit en fonction pour utiliser les glaces de custode électriques. Voir Prolongation d'alimentation des accessoires à la page 150.
Pare-soleil
Pour supprimer l'éblouissement, abaiser les pare-soleil. Vous pouvez aussiPTRir les pare-soleil de leur monture centrale et les basculer sur le cote. Les pare-soleil peuvent aussi glisser le long de la tige pour couvir differentes zones de glace avant.
Miroir de pare-soleil
Un miroir de courtoisie peut etre present. Abaiser le pare-soleil pour acceder au miroir.
Miroir de pare-soileil éclairé
Votre vehicule peut etre equiped'un miroir de courtoisie eclairé.Rabatte le pare-soleil et soulever le volet pour discoverir le miroir. Les lampes s'allument lorsque vous souveze le volet.
Systèmes antivol
Le vol de vehicules est très repandu, surtout dans certaines villes. Bien que votre vehicule ait plusieurs dispositifs antivol, nous savons que nous ne pouvons pas exclure complètement le vol.
Système anti-cambriolage
Votre vehicule peut etre equipe d'un systeme anticambriolage.

Un témoin situé sur le dessus du tableau de bord près du centre du vehicule, a côté du pare-brise clignotera lentement pour vous avertir que le système est armé.
Pendant que le système est armé, les portes ne se déverrouilleront pas au moyen des commutateurs de verrouillage électrique des portes.
Une fois armée, l'alarme se déclenchera siquelqu'un tente d'entrée dans le vehicule sansutiliser ni I'emetteur de teledeverrouillage ni unecle, ou met le contact. Le klaxon retentira etles feu des stationnement clignoteront pendantune période allant jusqu'à deux minutes.
Armement au moyen du commutateur de verrouillage électrique des portes
Votre système d'alarme s'armera lors du retrait de la clé du contact et de l'utilisation du commutateur de verrouillage électrique de la porte du conducteur avec la porte conducteur ouverte, ou du commutateur de verrouillage électrique de la porte du passager avec la porte passager ouverte, pour verrouiller le vehicule. Si vous souhaitez activer l'armement du commutateur de verrouillage électrique, se reporter à la rubrique Personnelisation CIB du vehicule (Haut de gamme uniquement) à la page 294.
Lorsque le témoin de sécurité clignote rapidement, le système est en train de s'armer. Une fois toutes les portes et le hayon fermés et verrouillés, le témoin de sécurité commencerà à clignoter à un rythme très lent pour vous faire savoir que le système est armé.
Armement au moyen de l'émetteur de télédéverrouillage
Votre système d'alarme s'arme si la clé n'est pas dans le contact et si vous utilisez votre émetteur de télédéverrouillage pour verrouiller les portes. Le tímoin de sécurité clignote pour signaler l'armement du système. Si vous appuyez deux fois sur la touche de verrouillage de la télécommande dans les cinq secondes, l'avertisseur retentit. Avec la fermetre et le verrouillage de toutes les portes et du hayon, le tímoin de sécurité commence à clignoter à un rythme très lent pour signaler l'arme du système.
Armement avec la clé
Votre système d'alarme s'arme lorsque vous utilisez votre clé pour verrouiller les portes. Le témoin de sécurité s'allume pour vous laisser savoir que le système est armé.
Après que toutes les portes et le hayon aient été fermés et verrouillés, le témoin de sécurité commencerà à clignoter très lentement pour que vous sachiez que le système est armé. Si vous désirez que votre clé n'arme pas le système, se reporter à Personnelisation CIB du vehicule (Haut de gamme uniquement) à la page 294.
Confirmation d'armement du système
Si la confirmation de désarmement du système est activée, les yeux de stationnement clignoteront brièvement pour vous faire savoir quand votre système d'alarme a été désarmé. Si vous ne désirez pas que vos yeux de stationnement clignotent, se reporter à la rubrique Personnelisation CIB du vehicule (Haut de gamme uniquement) à la page 294.
Désarmement au moyen de l'émetteur de télédéverrouillage
Le système d'alarme se désarme quand vous déverrouillez les portes au moyen de l'émetteur de télédéverrouillage. Le témoin de sécurité arrêté de clignoter pour vous signaler que le système est désarmé.
Désarmement au moyen de votre clé
Le système d'alarme se désarme quand vous déverrouillez les portes au moyen de la clé.
Le témoin de sécurité arrêté de clignoter pour vous signaler que le système est désarmé. Si vous désirez que votre clé ne désarme pas le système d'alarme, se reporter à Personnalisation CIB du vehicule (Haut de gamme uniquement) à la page 294.
PASS-Key ^MD III
Le système PASS-KeyMD III fonctionne sur une radio-fréquence soumise aux règlements de la haute autorité de l'audio-visuel des États-Unis (FCC) et d'Industrie Canada.
Cet émetteur est conforme à l'article 15 des règlements de la FCC. Le fonctionnement est sujét aux deux conditions suivantes :
- Cet apparéil ne doit causeur aucune interférence dangereuse.
- Cet apparéil doit accepter toute interférence reçue y compris celles pouvant entraîner un dysfonctionnement.
Cet émetteur est conforme à la norme CNR-210 d'Industrie Canada. Le fonctionnement est soumis aux deux conditions suivantes :
- Cet apparéil ne doit causeur aucune interférence.
- Cet apparéil doit accepter toute interférence reçue dont celles pouvant entraîner un dysfonctionnement.
Des changements ou des modifications à ce système effectuels par un autre établissement qu'un centre de réparation agrée risquent d'annulier le droit d'utiliser cet équipement.
Le dispositif PASS-KeyMD III utilise un transpondeur à radiofréquence dans la clé qui correspond à un décodeur dans votre vehicule.
PASS-Key ^MD III - Fonctionnement

Votre vehicule est
equipe du dispositif
antivol PASS-KeyMD III
systeme de sécurité
automobile
personnalise).Le
systeme PASS-KeyMD III
est un dispositif antivol
passif.
Cela peut dire que vous n'avez rien d'autre à faire pour armer ou désarmer le système. Il fonctionne lorsque vous insérez ouPTRir la clé dans le commutateur d'allumage.
Lorsque le système PASS-KeyMD III détecte l'utilisation d'une mauvaise clé, il coupe l'alimentation en carburant et empêche le démarrage du vehicule. Le démarreur ne fonctionnera pas et il n'y aura plus d'alimentation en carburant au moteur. Toute personne qui
essaie de faire demarrer le vehicule en essayant différentes clés au hasard en sera découverté à cause du grand nombre de codes de clé.
Si le moteur ne démarre pas et que le message de sécurité s'allume, il est possible que la cléait un transpondeur endommagé. Couper le contact et essayer de nouveau.
Si le moteur ne démarre toujours pas et que la clé ne semble pas être endommagée, essayer une autre clé de contact. À ce moment, vous pourriez opter de vérifier le fusible PASS KEY du tableau de bord. Si le moteur ne démarre pas avec l'autre clé, votre vehicule a besoin d'entretien. Si le moteur démarre, il se peut que la première clé de contact soit défectueuse. Se rendre chez votre concessionnaire ou chez un serrurier qui s'occupé des dispositifs PASS-KeyMD III pour vous faire faire une autre clé. Se reporter à la rubrique Fusibles et disjoncteurs à la page 583.
Le décodeur du dispositif PASS-KeyMD III peut mémoriser le code de transpondeur d'une nouvelle clé ou d'une clé de rechange. Vous pouvez programmermer un maximum de 10 clés supplémentaires pour votre vehicule. Cette méthode s'applique seulement à la programmation de clés supplémentaires. Si toutes les clés déjà programmes sont perdues ou ne fonctionnent pas, vousdez虑 consulter votre concessionnaire ou un serrurier capable d'entretenir le système PASS-KeyMD III pour obtenir de nouvelles clés et les programmermer au système.
Consulter votre concessionnaire ou un serrurier capable d'entrenir le système PASS-KeyMD III pour obtenir de nouvelles clés correspondant exactement au modele de clé de contact pour ce système.
Pourprogrammerla nouvelleclé,fairecequitsuit:
- Vérifier que la nouvelle cléporte l'estampe PK3.
-
Insérer la clé originale, déjà programmée, dans le contacteur d'allumage et démarrer le moteur. Si le moteur ne démarre pas, consulterer votre concessionnaire pour le faire réparer.
-
ÀpRES que le moteur a démarré,mettre la clé à la position LOCK (verrouillage) et la retirer.
- Insérer la clé à programmer et laMETRE à la position RUN (marche) dans les 10 secondes suivant le retrait de la clé précédente.
- Le message de sécurité s'eteindra lorsque la clé a été programmée. Vous ne verrez peut-être pas l'écran afficher le message de sécurité à cause de la rapidité de la programmation de la clé.
- Suivre de nouveau les étapes 1 à 4 si d'autres clés doivent être programmées.
Si l'écran affiche le message de sécurité en cours de route et qu'il reste affché, vous pourrezmettre le moteur en marche après l'avoir arrêté. Toutefois, le système PASS-KeyMD III est défectueux et doit être réparé par votre concessionnaire. Notre vehicule n'est plus protégé par le dispositif PASS-KeyMD III.
Si vous perdez ou endommagez une clé PASS-KeyMD III, se rendre chez votre concessionnaire ou chez un serrurier qui répare les dispositifs PASS-KeyMD III pour vous faire faire une nouvelle clé.
Démarrage et fonctionnement de votre vehicule
Rodage de vehicule neuf
Remarque: Notre vehicule n'exige pas de rodage complexe. Toutefois, il ne s'en portera que比较好 long terme si vous suivez les recommendations suivantes :
- Ne pas conduire à vitesse constante, rapide ou lente, pendant les premiers 805 km (500 milles). Ne pas démarrer pleins gaz. Éviter de rétrograder pour freiner ou ralentir le vehicule.
- Au cours des premiers 322 km (200 milles) environ, éviter de freiner brusquement car les garnitures de freins ne sont pas encore rodées. Des arrêts brusques sur des garnitures neuves peuvent
provoquer l'usure prematurée des garnitures qui devront etre replacées plus tout que prevu. Ces recommendations sont egrassment applicables à chaque fois que vous remplacez les garnitures des freins de votre vehicule.
- Ne pas tracter de remorque pendant le rodage. Pour connaître les capacités de traction de remorque de votre vehicule et obtenir plus d'informations, se reporter à la rubrique Traction d'une remorque à la page 455.
Suite au rodage, la vitesse du moteur et la charge peuvent être augmentées progressivement.
Positions du commutateur d'allumage
La clé peut être tournée à l'une des quatre positions quand elle est sur le contact.

A (verrouillage): C'est la seule position dans laquelle vous pouvez-retirer la clé. Ellebloque l'allumage et la boîte-pont.
Remarque: L'utilisation d'un outil pour extraire la clé du commutateur d'allumage pourrait cause des dommages ou briser la clé.
Utiliser la clé ajustate et ne la manipuler qu'avac la main. S'assurer que la clé est bien enforcée. Si aucune de ces possibilités ne fonctionnent, le vehicule doit être réparé.
B (accessoires): C'est la position dans laquelle vous pouvez faire fonctionner les accessoires électriques comme la radio.
C (marche): C'est la position à laquelle le commutateur revient lorsque le moteur a démarré et que la clé est reliée. C'est la position de conduite. même lorsque le moteur ne tourne pas, vous pouvez utiliser la position RUN (marche) pour faire fonctionner les accessoires électriques et afficher certains témoins du tableau de bord.
La batterie risque de se décharger si vous laissez la clé de contact en position ACCESSORY (accessoires) ou RUN (marche) quand le moteur est arrêté. Vous risquez de ne pas pouvoir démarrer si la batterie est déchargée.
D (démarrage): Cette position fait démarrer le moteur. Lorsque le moteur démarre, relâcher la clé de contact. Le commutateur revient à la position RUN (marche) pour la conduite.
Clé dans le contact
Ne jamais laisser les clés dans le vehicule au risque de tenter une balade en voiture ou des voleurs. Si vous laisser la clé dans le contact et que vous mettez le vehicule en stationnement, un carillon retentit quand vous ouvrez la portedu conducteur. Toujours se rappeler de déposer la clé du contact et de la conserver avec vous. Ceci verrouille l'allumage et la boîte-pont. En outre, toujours verrouiller les portes.
Si vous laissiez la clé dans le contact pendant que votre vehicule est en stationnement, la batterie risque de se décharger. Vous risquez de ne pas pouvoir démarrer si la voiture a stationné pendant un certain temps.
Prolongation d'alimentation des accessoires
La prolongation de l'alimentation des accessoires permet aux glaces à commande électrique et au système audio de fonctionner pendant encore 10 minutes une fois le moteur coupé ou jusqu'à ce qu'une porte soit ouverte. Si une porte est ouverte, les glaces à commande électrique et le système audio cesseront de fonctionner.
Démarrage du moteur
Déplacer le levier des vitesses à la position de stationnement (P) ou de point mort (N).
Le démarrage à toute autre position est impossible — il s'agit d'un dispositif de sécurité. Pour redémarrer alors que le vehicule roule toujours, utiliser le point mort (N) seulement.
Remarque: Le fait de passer à la position de stationnement (P) alors que le vehicule se déplace pourrait endommager la boîte-pont. Ne passer à la position de stationnement (P) qu'après l'arrêt du vehicule.
- Avec le pied sur la pédale d'accélérateur,mettre la clé de contact en position deSTART (démarrage).Quand le moteurdémarre,relâcher la clé.Le régime de ralentibaissera quand le moteur sera réchauffé.Nepas faire emballer le moteurimmédiatement après le démarrage.Fairefonctionner le moteur et la boîte de vitessesdoucement jusqu'à ce que l'huile soit chaude etlubrifie tous les organes mobiles.Votrec vehicule est équipé d'un système delémarrage informatisé.Ce dispositif contribueau démarrage du moteur et protège lecircircuit électrique.Si la clé est tournée enposition START (démarrage) et qu'elleestrelachée quand le moteur commence atourner,le moteur continuera à tourner jusqu'àce que le vehicule démarre ou jusqu'àl'écoulement du temps maximum de
fonctionnement du démarreur (environ 15 secondes) pour éviter d'endommager le démarreur. Ce système empêche également le fonctionnement du démarreur si le moteur tourne déjà. Le démarrage du moteur peut être arrêté en plaçant le commutateur d'allumage en position ACCESSORY (accessoires) ou LOCK (verrouillage).
Remarque: Si vous tenez la clé à la position de démarriage pendant plus de 15 secondes à la fois, vous épuiserez la batterie beaucoup plus vite. De plus, la surchauffe peut endommager le démarreur. Attendre environ 15 secondes après chaque essai pour aider à éviter d'épUISER la batterie ou d'endommager le démarreur.
-
Si le moteur ne démarre pas en 10 secondes, enforcer l'accelerateur environ au quart de la course vers le bas tout en tournant la clé à START (démarriage). Continuer jusqu'à ce que le moteur démarre. Lorsque le moteur se met en marche, relâcher la clé.
-
Si le moteur refuse toujours de démarrer (ou s'il démarre et s'arrête ensuite), il se peut qu'il soit noyé par un surplus d'essence. Enconcer complètement l'accélérateur et le maintainir ainsi tout en gardant la clé à la position START (démarrage) pendant 15 secondes maximum. Cette opération élimine l'excess d'essence du moteur. Si le moteur ne démarré toujours pas ou s'il démarre brièvement mais s'arrête de nouveau, repeter les étapes 1 ou 2, selon la température. Lorsque le moteur a démarré, relâcher la clé et l'accélérateur.
Remarque: Voiture moteur est conçu pour fonctionner à partir de l'équipement électronique du vehicule. Si vous ajoutez des accessoires ou des pieces électriques, vous risquez de modifier le fonctionnement du moteur. Consulter votre concessionnaire Saturn, avant d'ajouter des équipements électriques. Dans le cas contraire, votre moteur risque de ne pas fonctionner correctement et les dommages résultats ne seraient pas couverts par la garantie du vehicule.
Chauffe-liquide de refroidissement du moteur
Il est possible que votre vehicule soit équipé d'un chauffe-liquide de refroidissement. Par temps très froid, c'est-à-dire lorsque la température est inférieure ou égale à -18^ ( 0^ ), le chauffe-liquide de refroidissement du moteur peut être utile. Il facilitera le démarrage et permettra une consommation de carburant moindre lors du réchauffement du moteur. En général, le chauffe-liquide de refroidissement doit être branché pendant au moins quatre heures avant le démarrage du vehicule. Lorsque la températuredépasse 0^ ( 32^ ), il n'est pas nécessaire d'utiliser le chauffe-liquide de refroidissement. Notre vehicule peut également être équipé d'un thermostat interne situé à l'extrémité de la fiche du cordon d'alimentation. Ce dispositif empêche le fonctionnement du chauffe-liquide de refroidissement du moteur lorsque la température est supérieure ou égale à -18^ ( 0^ ), comme indiqué sur le cordon.
Pour utiliser le chauffe-moteur
- Arrête le moteur.
- Ouvrir le capot et dérouler le fil électrique. Le fil électrique est situé sur le côte conducteur du compartment moteur.
- Le brancher sur une prise de courant alternatif de 110 volts reliée à la terre.

ATTENTION:
L'utilisation d'une prise non reliée à la terre entraine un risque de décharge électrique. De plus, une mauvaise rallonge pourrait surchauffer et provoquer un incendie. Risques de graves blessures. Brancher la fiche dans une prise de courant alternatif pour trois broches de 110 volts reliée à la terre. Si le cordon n'est pas assez long, utiliser un cordon prolongateur à trois broches robuste d'au moins 15 ampères.
- Avant de démarrer le moteur, s'assurer de débrancher le fil électrique et de le ranger tel qu'il était pour le tener loin des pièces mobiles du moteur, sinon il risque d'être endommagé.
Pendant combien de temps le chauffe-moteur devrait-il être branché? La réponse dépend de la température extérieure, du type d'huile que vous utilisez et de certains autres facteurs.
Comme le guide neTRAITE pas du sujet, consulter le concessionnaire de la région où vous utiliserez votre vehicule. Il pourra vous donner les excellenturs conseils qui soient pour cette région.
Fonctionnement de la boîte-pont automatique
PRND321
Le régime maximal du moteur est limité lorsque la boîte-pont est à la position de stationnement (P) ou de point mort (N), afin de protégger les éléments de la transmission contre un fonctionnement inadéquat.
Le levier de vitesses a plusieurs positions.
P (stationnement): Cette position verrouille les roues avant. C'est la position ideale pour faire demarrer le moteur, car votre vehicule ne peut pas bouger facilement.
S'assurer que le levier de vitesses est parfaitement en position de stationnement (P) avant de démarrer le moteur. Notre vehicule est équipé d'un système de commande de verrouillage de levier de vitesses de boîte-pont automatique.
Il faut appliquer complètement les freins ordinaires avant de pouvoir sortir de la position de stationnement (P) lorsque la clé de contact est à la position RUN (marche). Si vous ne pouvez pas sortir de la position de stationnement (P), diminuer la pression sur le levier de vitesses, le pousser complètement à la position de stationnement (P) en maintainant les freins appliqués. Ensuite, enforcer le bouton du levier de vitesses et déplacer le levier à une autre position. Se reporter à la rubrique Passage hors de la position de stationnement (P) à la page 161.
ATTENTION:
Il peut être dangereux de quitter le vehicule si le levier des vitesses n'est pas complètement à la position de stationnement (P) et si le frein de stationnement n'est pas serré fermement. Le vehicule pourrait rouler.
/
ATTENTION: (suite)
Ne pas quitter le vehicule lorsque le moteur tourne à moins que cela ne soit nécessaire. Si l'on quitte le vehicule lorsque le moteur tourne, le vehicule peut se déplacer soudainement. Le conducteur ou d'autres personnes pourrait être blessés. Pour s'assurer que le vehicule ne rouge pas, même sur un terrain assez plat, toujours serrer le frein de stationnement etmettrele levier des vitesses à la position stationnement (P). Se reporter à la rubrique Passage à la position de stationnement (P) à la page 159. Si une remorque est tirée, se reporter à Traction d'une remorque à la page 455.
R (marche arrrière): Utiliser cette position pour reculer.
Remarque: Le fait de passer à la position de marche arrière (R) alors que le vehicule se déplace vers l'avant pourrait endommager la boîte-pont. Les réparations ne seraient pas couvertes pas la garantie. Ne passer à la position de marche arrière (R) qu'après l'arrêt complet du vehicule.
Pour déplacer votre vehicule d'avant en arrêté lorsqu'il est embourbé dans la neige, la glace ou le sable sans endommager la boîte-pont, se reporter à la rubrique Si le vehicule est coincé dans le sable, la boue ou la neige à la page 446.
N (point mort): À cette position, la puissance du moteur n'est pas transmise aux roues. Pour redémarrer alors que votre vehicule est déjà en mouvement, utiliser uniquement la position de point mort (N). Utiliser aussi le point mort (N) lorsque votre vehicule est remorqué.
ATTENTION:
Le passage à une vitesse de marche avant pendant que tourne le moteur à haut régime est dangereux. À moins que le pied soit fermement appuyé sur la pédale de freinage, le vehicule pourrait se déplacer très rapidement. On pourrait perdre le contrôle et toucher des personnes ou des objets. Ne pas passer à une vitesse de marche avant pendant que le moteur tourne à haut régime.
Remarque: Si vous quittez la position de stationnement (P) ou de point mort (N) alors que le moteur tourne à une vitesse élevée, vous risquez d'endommager la boîte-pont. Les réparations ne seraient pas couvertes par
votre garantie. S'assurer que le moteur ne tourne pas à vitesse élevé lorsque vous changez de rapport.
D (marche avant): Ceci est la position de conduite normale. Elle réduit la consommation de carburant de votre vehicule. Si vous désirez plus de puissance pour dépasser, et:
-
Vous roulez à moins de 55 km/h (35 mi/h), enforcer l'accélérateur jusqu'à mi-course environ.
-
Vous roulez à environ 55km / h (35 mi/h) ou plus, enforcer complètement l'accélérateur. Le vehicule rétrogradera et possèdera plus de puissance.
La rétrogradation vitesses sur une route glissante peut entraîner un dérapage. Se reporter à Dérapage sous Perte de contrôle à la page 428.
Remarque: Si vous vehicule semble demarrer difficilement ou ne pas passer à la vitesse supérieure lorsque vous accélérez, et que vous continuez à rouler quand même, vous pourriez endommager la boîte-pont. Faire réparer immidiatement le vehicule. Jusque la, rouler en seconde (2), en dessous de 55 km/h (35 mi/h), et en marche avant (D) aux vitesses plus élevées.
Changement de réchauffement
Votre vehicule est équipé d'une boîte-pont commande par ordinateur conçue pour faire réchauffer plus rapidement le moteur lorsque la température extérieure est de 2^ (35^) ou moins. Vous pouvez remarquer que la boîte-pont change de vitesse à une vitesse de vehicule plus élevé jusqu'à ce que le moteur soit réchafferé. Cela est une condition normale conçue pour réchauffer l'habitacle et dégivrer les glaces plus rapidement. Se reporter à Système de régulation de température à la page 226 et Système de climatisation à deux zones à la page 230 pour plus de renseignements.
3 (Troisième vitesse): Cette position est également utilisée pour la conduite normale. Cependant, elle réduit davantage la vitesse du vehicule que la marche avant (D) sans utiliser les freins. Vous pouvez désirir la troisième (3) à la place de la marche avant (D) en roulant en montagne, sur des routes sinueuses, en tirant une remorque de façon à réduire le nombre des changements de rapport ainsi que quand vous roulez dans une forte descente.
2 (deuxieme vitesse): Cette position reduit la vitesse du vehicule davantage que la marche avant (D) sans utiliser vos freins. Vous pouze utiliser la deuxieme vitesse (2) en montagne. Elle peut contribuer à contrôler votre vitesse dans les fortes descentes mais ensuite vous désirerez également utiliser vos freins.
Remarque: Une conduite en deuxieme vitesse (2) sur plus de 40 km (25 milles), ou à des vitesses supérieures à 90 km/h (55 mi/h) peut endommager la boite-pont. Le fait de passer en deuxieme vitesse (2) à des vitesses supérieures à 105 km/h (65 mi/h) peut également cause des dommages. Rouler en troisième vitesse (3) ou en marche avant (D) au lieu de la deuxieme vitesse (2).
Remarque: Si le vehicule semble démarrer\ plutôt lentement ou s'il semble ne pas changer\ de vitesse en accélérant, un détecteur de\ système de la boîte-pont peut être défectueux.\ Conduire le vehicule longtemps de cette\ facon risque de l'endommager. Donc, si ceci se produit, faire réparer le vehicule\ immédiatement. En attendant, utiliser la\ seconde (2) pour conduire à moins de\ 55 km/h (35 mi/h) et la troisième (3) aux\ vitesses supérieures.
1 (première vitesse): Cette position réduit davantage la vitesse du vehicule que la deuxième vitesse (2), sans utiliser les freins. Vous pouze l'utiliser dans les côtes très raides, dans la neige ou la boue profonde. Si vous placez le levier en première (1) le boîte-pont ne passera pas à la première vitesse que lorsque le vehicule aura suffisamment ralenti.
Remarque: Le patinage des roues ou le maintien du vehicule immobile sur une pente à l'aide de la pedale d'accéléateur risque d'endommager la boite-pont. Si vous est broqué, ne pas faire patiner les roues. En cas d'arrêt sur une pente, utiliser les freins ou le frein de stationnement pourmaintenir le vehicule en place.
Frein de stationnement

Le frein de stationnement se trouve sous le tableau de bord, du coto conducteur du vehicule.
Pour serrer le frein de stationnement, maintainir la pédale des freins ordinaires enforcée avec le pied droit et enforcer la pédale du frein de stationnement avec le pied gauche.
Si le contact est établi, le témoin du système de freinage s'allumera. Se reporter à la rubrique Témoin du système de freinage à la page 249.
Pour desserrer le frein de stationnement, enforcer et maintainir la pédale de frein ordinaire avec le pied droit, tandis que vous enforcez la pédale du frein de stationnement avec le pied gauche. Quand vous retirerez votre pied de la pédale du frein de stationnement, celle-ci revienda à sa position d'origine.
Remarque: Le fait de conduire avec le frein de stationnement serré peut cause la surchauffe du système de freinage et entrainer une usure prématurée ou endommager les pieces du système de freinage. S'assurer que le frein de stationnement est entièrement relaché et que le témoin de frein de stationnement est étant avant de conduire.
Si le vehicule sert à tracter une remorque et est stationné dans une côte, se reporter à la rubrique Traction d'une remorque à la page 455.
Passage à la position de stationnement (P)

ATTENTION:
Il est dangereux de quitter le vehicule si le levier des vitesses n'est pas complètement à la position de stationnement (P) et si le frein de
ATTENTION: (suite)
stationnement n'est pas fermement serré. Le vehicule pourrait rouler. Si l'on quitte le vehicule lorsque le moteur tourne, le vehicule peut se déplacer soudainement. Le conducteur ou d'autres personnes pourrait être blessés. Pour s'assurer que le vehicule ne rouge pas, même sur un terrain plat, suivre les étapes suivantes. Si une remorque est tirée, se reporter à Traction d'une remorque à la page 455.
- Maintenir la pédale des freins ordinaires enforcée avec le pied droit et enforcer la pédale du frein de stationnement avec le pied gauche.
-
Déplacer le levier des vitesses à la position de stationnement (P) en tirant le levier vers vous et en le déplaçant le plus haut possible.
-
Tournier la clé de contact à la position LOCK (verrouillage).
- Retirer la clé et l'emporter avec soi. Si vous pouvez sortir de votre vehicule avec la clé en main, votre vehicule est bien à la position de stationnement (P).
Quitter le vehicule en laissant tournier le moteur

ATTENTION:
Il peut être dangereux de quitter le vehicule pendant que le moteur tourne. Le vehicule pourrait soudainement rouler si le levier des vitesses n'est pas complètement à la position stationnement (P) et si le frein de stationnement n'est pas bien serré.
/
ATTENTION: (suite)
De plus, si on quitte le vehicule pendant que le moteur tourne, ce dernier risque de surchauffer et même de prendre feu. Le conducteur ou d'autres personnes poursaient être blessés. Ne pas quitter le vehicule lorsque le moteur tourne.
Si vous nevez quitter votre vehicule pendant que le moteur tourne, s'assurer que le levier selecteur est à la position de stationnement (P) et que le frein de stationnement est bien serré. ÀpRES avoir déplace le levier selecteur à la position de stationnement (P),maintenir la pédale de freinage ordinaire enfonnée.Ensuite,vérifier si le levier des vitesses peut être déplace hors de la position de stationnement (P) sans d'abord tirer le levier vers vous.Si vous pouvez le faire, cela signifie que le levier selecteur n'était pas bien bloqué à la position de stationnement (P).
Blocage de couple
Si vous stationnez en pente et que vous n'engagez pas correctement le levier de vitesses à la position de stationnement (P), le poids du vehicule peut exercer trop de force sur le cliquet de stationnement dans la boîte-pont. Il vous sera peut-être difficile de déplacer le levier de vitesses hors de la position de stationnement (P). C'est ce qu'on appelle blocage de couple. Pour éviter le blocage de couple, serrer le frein de stationnement, puis déplacer correctement le levier de vitesses en position de stationnement (P) avant de sortir du vehicule. Pour savoir comment faire, se reporter à Passage à la position de stationnement (P) à la page 159.
Quand vous étés prét à reprendre la route, déplacer le levier de vitesses de la position de stationnement (P) avant de desserrer le frein de stationnement.
Si un blocage de couple se produit, vous devrez peut-être vous faire pousser par un autre vehicule pour remonter légèrement la pente. Ceci, pour diminuer la pression sur le cliquet de stationnement de la boîte de vitesses et pouvoir ainsi déplacer le levier de vitesses de la position de stationnement (P).
Passage hors de la position de stationnement (P)
Votre vehicule est équipé d'un système de verrouillage du levier de vitesses de la boîte-pont automatique qui verrouille celui-ci lorsqu'il est à la position de stationnement (P) et que le commutateur d'allumage est en position LOCK (verrouillage). De plus, vousdezvez appuyer à fond sur la pédale de frein avant de pouvoir déplacer le levier de vitesses de la position de stationnement (P) lorsque le commutateur d'allumage est à la position RUN (marche). Se reporter à la rubrique Fonctionnement de la boîte-pont automatique à la page 154.
Stationnement au-dessus de matières qui brûlent

ATTENTION:
Des matières inflammables sont susceptibles de toucher des pieces chaudes du système d'échéppement situées sous votre vehicule et de s'enflammer. Ne pas se garer sur des papiers, des feuilles, de l'herbe s'est ou autres matières inflammables.
Échéappement du moteur

ATTENTION:
Les gaz d'échévement du moteur peuvent être fatals. Ils contiennent du monoxyde de carbone (CO) que vous ne pouvez ni voir ni partager. Ce lui-ce peut provoquer l'évanouissement et la mort. Il se peut que des gaz d'échévement s'infiltrent dans votre vehicule si :
- Le système d'échéppement fait un bruit bizarre ou différent.
Le dessous du vehicule est rouillé.
Le vehicule a ete endommagé lors d'une collision.
/
ATTENTION: (suite)
- Le vehicule a eté endommagé lors de la conduite sur des revêtements élevés ou sur des débris.
- Les réparations n'ont pas été faites correctement.
Le vehicule ou le système d'échévement n'a pas été bien modifié.
Si vous soupconnez que des gaz d'échéappement s'infiltrent dans votre vehicule :
- Ne pas conduire qu'avac toutes les glaces abaissées pour permettre au monoxyde de carbone de s'échapper, et
- Faire réparer le vehicule immédiatement.
Laisser le moteur tournier lorsque le vehicule est stationné
Il vaut很好地 ne pas stationner en laissant le moteur en marche. Cependant, en cas de besoin, voici certains faits importants à savoir.
ATTENTION:
Des gaz d'échéppement nocifs pourraient s'infiltrer à l'intérieur de votre vehicule si le moteur tourne au ralenti pendant que le système de climatisation est arrêté. Se reporter à l'avertissement susmentionné sous la rubrique Échéppement du moteur à la page 163.
De plus, si vous laissez le moteur tourner au ralenti dans un endroit clos, ceci peut permettre au monoxyde de carbone (CO),
ATTENTION: (suite)
un gaz mortel, de s'infiltrer dans votre vehicule, même si le ventilateur tourne au régime le plus élevé. Ceci peut se produit dans un garage par exemple. Les gaz d'échéppement — contenant du monoxyde de carbone peuvent facilement s'infiltrer dans l'habitacle. NE JAMAIS stationner dans un garage en laissant tournier le moteur.
Un autre endroit fermé peut-être un tempête de neige. Se reporter à la rubrique Conduite hivernale à la page 442.

ATTENTION:
Il peut être dangereux de quitter le vehicule si le levier des vitesses n'est pas complètement à la position de stationnement (P) et si le frein de stationnement n'est pas serré fermement. Le vehicule pourrait rouler. Ne pas quitter le vehicule lorsque le moteur tourne à moins que cela ne soit nécessaire. Si l'on quitte le vehicule lorsque le moteur tourne, le vehicule peut se déplacer soudainement. Le conducteur ou d'autres personnes pouraient être blessés. Pour s'assurer que le vehicule ne se déplacera pas, même lorsqu'il est sur une surface relativement plane, serrer toujours le frein de stationnement etmettre le levier de vitesse sur stationnement (P).
Suivre les étapes appropriées pour s'assurer que le vehicule ne bougera pas. Se reporter à la rubrique Passage à la position de stationnement (P) à la page 159.
Si une remorque est tirée, se reporter à Traction d'une remorque à la page 455.
Rétroviseurs
Rétroviseur à commande manuelle
Une foiscomfortablementassis en position de conduite,le conducteur doitreglerleretroviseur de façon a avoir une bonnovidion derriere le vehicule.Saisirleretroviseur au centre pour I'orienterversheautoulebas,et lateralement. Le reglage jour/nuitpeutpermétrede réduire l'éblouissement provenant des phares des vehicules qui suiventlevotre.Tirer sur la patte pour uneutilisationde jour;la pousserpour uneutilisationde nuit.
Rétroviseurs extérieurs à commande électrique

Les commandes situées sur la porte conducteur permettant de régler les deux rétroviseurs extérieurs.
Pousser la commande supérieure vers la gauche ou vers la droite pour selectionner respectivement le rétroviseur extérieur conducteur ou passager. Placer la commande en position centrale pour éviter de déplacer les rétroviseurs une fois qu'ils sont régles.
Régler la position de chaque rétroviseur à l'aide des flèches situées sur la commande inférieure. Régler chaque rétroviseur de sorte que vous puissiez voir le côte de votre vehicule et la zone située derrière lorsque vous estes assis en position de conduite comfortable.
Pour éviter d'endommager les deux rétroviseurs extérieurs dans les lave-autos ou les espaces étroits, vous pouvez les rabattre vers l'avant ou vers l'arrière.
Rétroviseur extérieur convexe
ATTENTION:
Les objets (comme d'autres vehicules) réfléchis par un miroir convexe peuvent paraitre plus éloignés qu'ils le sont en réalité. En vous déplaçant sur la voie de droite trop rapidement, vous risquez d'entre en collision avec un autre vehicule circulant dans cette voie. Jeter un coup d'oeil dans votre rétroviseur interieur ou vers l'arrière avant de changer de voie.
Le rétroviseur du passager est convexe. La surface d'un rétroviseur convexe est courbée de manière à moins voir du siège du conducteur. Il fait aussi parmiètre les objets plus loin qu'ils ne le sont en réalité.
Rétroviseurs extérieurs chauffants
Le vehicule est muni de rétroviseurs extérieurs chauffants qui entrent en fonction lorsqu'vous activez le dégivreur de lunette arrière. Se reporter à la rubrique « Dégivreur de lunette » dans Système de régulation de température à la page 226 ou Système de climatisation à deux zones à la page 230.
Système OnStarMD

OnStar ^MD utilise plusieurs technologies novatrices et des téléconseillers vivants pour vous offrir un large évientail de services de sécurité, d'information et de commodité. Si vos sacs gonflables se déploient, le système est conçu pour appeler automatiquement OnStar ^MD Emergency (urgences OnStar ^MD ) où nous pouvons demander que des services de secours soient envoyés à l'endroit où vous vous trouvez. Si vous enfermez vos clés dans la voiture, appeler OnStar ^MD au 1-888-4-ONSTAR (1-888-466-7827) d'ou l'on peut vous adresser un signal pour déverrouiller vos portes. Si vous avez besoin d'une assistance routière, appuyer sur le bouton OnStar ^MD et ils pourrait entrairen contact avec l'assistance routière pour votre compte.
Le service OnStar ^MD est sujet au contrat OnStar ^MD . Vous pouvez annuler le service OnStar ^MD à tout moment en vous adressant à OnStar ^MD comme mentionné plus loin. Un mode d'emploi OnStar ^MD complet et le contrat OnStar ^MD sont inclus dans la documentation de la boîte à gants réservée aux abonnés. Pour plus d'information, consulter le site onstar.com ou onstar.ca, ou téléphone au numéro 1-888-4-ONSTAR (1-888-466-7827) ou TTY 1-877-248-2080 ou encore appuyer sur le bouton OnStar ^MD pour parler avec un conseiller OnStar ^MD 24 heures sur 24 et 7 jours sur 7.
Toutes les fonctions OnStar^MD ne sont pas disponibles sur tous les vehicules. Pour vérifier si votre vehicule est équipé pour les services décrits plus loin ou pour obtenir une description complète des services OnStar^MD et des limitations du système, consulter le mode d'emploi OnStar^MD de votre boîte à gants ou visiter le site onstar.com.
Services OnStar ^MD
Pour les nouveaux vehicules avec OnStar^MD , le plan Safe & Sound (sain et sauf) ou le plan Directions & Connections ^MD (directions et raccordements) est inclus pendant une année à partir de la date d'achat. Vous pouvez prolonger ce plan au-delà de la première année ou passer au plan Directions & Connections ^MD . Pour plus d'information, appuyer sur le bouton OnStar^MD pour parler avec un conseiller. Certains services OnStar^MD (teils que le déverrouillage à distance des portes) ou l'assistance au sujet de l'emplacement des vehicules volés) peuvent ne pas être disponibles avant votre enregistrement avec OnStar^MD .
Services disponibles avec le plan Safe & Sound ^MD (sain et sauf)
- Avis de déploiation de sac gonflable
- Notification automatique préliminaire en cas de collision (AACN) (option)
- Lien vers les services de secours
Assistance routière - Assistance d'emplacement en cas de vol du vehicule
Aide accident
- Déverrouillage à distance des portes/système d'advertissement du vehicule
- Diagnostics des vehicules OnStar ^MD
- Diagnostics GM Goodwrench ^MD sur demande
- Appel mains libres OnStar ^MD dans les 30 minutes
- Conseiller virtuel OnStar ^MD (États-Unis uniquement)
Services disponibles avec le plan Directions & ConnectionsMD (directions et raccordements)
- Tous les services du plan de services Sain et sauf
- Informations d'itinétaire - Information sur les changements de direction successifs par conseiller ou OnStar ^MD (option)
- RideAssist (assistance routière)
Plan de services Information et commodité
Communication mains-libres OnStar ^MD
Conseiller virtuel OnStarMD
OnStar™ Virtual Advisor (conseiller virtuel) est une fonction de l'appoint mains-libres d'OnStar™ qui utilise vos minutes pour acceder aux informations météo locales, aux informations routières locales et aux cotations boursières. En appuyant sur le bouton de téléphone et en donnant de simples commandes vocales, vous pouvez sélectionner les sujets. Voir le mode d'emploi
OnStar ^MD pour plus d'information (Service disponible uniquement dans les États continentaux des États-Unis).
Commandes OnStar ^MD au volant
Votre vehicule peut etre equipe avec un bouton Talk/Mute (parler/sourdine) avec lequel you pouvez utiliser la fonction mains-libres OnStar^MD Voir Commandes audio integrees au volant de direction a la page 404 pour plus d'information.
Sur certains vehicules, le bouton doit etre maintenu enfoncé pendant quelques secondes et il faut donner la commande « ONSTAR » pour activer la fonction d'applel mains libres OnStar ^MD .
Sur certains vehicules, le bouton de sourdine peut etre utiliser pour composer les numero dans les systèmes de message vocal ou pour saisir les extensions de numero de téléphone. Voir le guide d'emploi OnStarMD pour plus d'information.
Comment fonctionne OnStar ^MD
Pour vous offrir les services OnStar^MD ,voire système OnStar^MD doit être capable d'enregistrer et de transmettre l'information sur le vehicule. Cette information est envoyée automatiquement à un centre d'appel OnStar^MD lors d'une pression sur le bouton OnStar^MD , sur le bouton d'urgence, si vos sacs gonflables ou le système AACN se déploie. L'information sur le vehicule inclut habituèlement votre emplacement GPS et en cas de collision, une information supplémentaire au sujet de l'accident dans lequel votre vehicule a été impliqué (par exemple la direction dans laquelle le vehicule a été heures). Quand vous utilisez la fonction Virtual Advisor (conseiller virtuel) de l'appel mains-libres OnStar^MD ,voire vehicule envoie également votre emplacement GPS afin d'affrir des services localisés.
Le service OnStar ^MD fonctionne uniquement là où OnStar ^MD possède un accord avec un fournisseur de service sans fil de service dans la région.
Le service OnStar ^MD ne fonctionne que la où le fournisseur de service sans fil OnStar ^MD couvreette cette région, possede la capacité reseau et de reception quand le service est nécessaire. Enfin la technologie doit etre compatible avec le service OnStar ^MD .Tous les services ne sont pas disponibles partout, particulierement dans les zones distantes ou enfermées, ni a tout moment.
Le service OnStarMD qui inclut l'information sur l'emplacement de votre vehicule ne peut fonctionner si les signaux satellites GPS sont obstrués ou indisponibles dans ce lieu.
Votre vehicule doit posseder un circuit électrique en fonctionnement (y compris la puissance de batterie nécessaire) pour le fonctionnement de l'équipement OnStarMD. Il existe d'autres problèmes qu'OnStarMD ne peut contrôler et qui peuvent empêcher OnStarMD d'offrir ce service dans un lieu ou un temps particulier. Exemples : dégats à des organes importants de votre vehicule dans un accident, les collines, des batiments elevés, des tunnels, des conditions météo défavorables ou une congestion du réseau de téléphone sans fil.
Votre responsabilité
Il peut s'avérer nécessaire d'augmenter le volume de votre autoradio pour entendre le conseiller OnStar ^MD . Si le témoin place à côté du bouton OnStar ^MD est rouge, ceci signifie que votre système ne fonctionne pas correctement et doit être vérifié par un concessionnaire. Si le témoin est transparent (sans lumière), votre abonnement OnStar ^MD aExpired. Vous pouvez toujours appuyer sur le bouton OnStar ^MD pour confirmer que votre équipement OnStar ^MD est actif.
Système de télécommandes sans fil maison universel
Système de télécommandes sans fil maison universel (Avec trois diodes rondes)
Le système de télécommande maison universel peut remplacer jusqu'à trois télécommandes à fréquence radio (RF) pour activer des ouvre-porte de garage, des systèmes de sécurité et l'éclairage domestique.
Cet émetteur est conforme à l'article 15 des règlements de la FCC. Le fonctionnement est sujet aux deux conditions suivantes :
- Cet apparéil ne doit causeur aucune interférence dangereuse.
- Cet apparéil doit accepter toute interférence reçue y compris celles pouvant entraîner un dysfonctionnement.
Le numero du certificat d'homologation de la FCC est KOBGTE05A.
Cet émetteur est conforme à la norme CNR-210 d'Industrie Canada. Le fonctionnement est soumis aux deux conditions suivantes :
- Cet apparéil ne doit causeur aucune interférence.
- Cet apparéil doit accepter toute interférence reçue dont celles pouvant entraîner un dysfonctionnement.
Le numéro d'identification d'enregistrement canadien est 3521A-GTE05A.
Des changements ou des modifications à ce système effectuels par un autre établissement qu'un centre de réparation agréé risquent d'annulier le droit d'utiliser cet équipement.
Système de télécommandes sans fil maison universel (Avec une diode triangulaire)
Système de télécommande maison universel peut remplacer jusqu'à trois télécommandes à fréquence radio (RF) pour activer des ouvre-porte de garage, des systèmes de sécurité et l'éclairage domestique.
Cet émetteur est conforme à l'article 15 des règlements de la FCC. Le fonctionnement est sujét aux deux conditions suivantes :
- Cet apparéil ne doit causeur aucune interférence dangereuse.
- Cet apparéil doit accepter toute interférence reçue y compris celles pouvant entraîner un dysfonctionnement.
Le numero du certificat d'homologation d'équipement de la FCC est CB2SAHL3.
Cet émetteur est conforme à la norme CNR-210 d'Industrie Canada. Le fonctionnement est soumis aux deux conditions suivantes :
- Cet apparéil ne doit causeur aucune interférence.
- Cet apparéil doit accepter toute interférence reçue dont celles pouvant entraîner un dysfonctionnement.
Le numero d'identification d'enregistrement canadien est 2791021849A.
Des changements ou des modifications à ce système effectuels par un autre établissement qu'un centre de réparation agrée risquent d'annuler le droit d'utiliser cet équipement.
Fonctionnement du système de télécommande sans fil maison universel (Avec trois diodes rondes)

Votre vehicule peut etre équipé d'un système de télécommande maison universel. Si la télécommande possede trois diodes rondes au-dessus des boutons du système de télécommande maison universel, suivre les instructions plus loin. S'il existe une diode triangulaire au-dessus des boutons du système de télécommande maison universel, suivre les instructions qui suivent la description du fonctionnement du système (avec une diode triangulaire).
Ce système permet de remplaçer jusqu'à trois télécommandes utilisées pour activer des dispositifs tels qu'une porte de garage, un système de sécurité et un éclairage de la maison.
Ne pas utiliser ce système avec ouvre-porte de garage qui ne possède pas de fonction d'arrêt et de marche arrière. Ceci inclut tout modulo d'ouvre-porte de garage fabriqué avant le 1er avril 1982.
Lire toutes les directives avant de tenter de programmer l'émetteur. En raison des étapes impliquées, il peut s'avérer utile d'avoir l'aide d'une autre personne pour programmer l'émetteur.
Conserver la télécommande d'origine pour l'utilisation dans d'autres vehicules et pour une programmation future. Vous avez besoin uniquement de la télécommande d'origine pour le code fixe de programmation. Il est également recommandé que lors de la vente ou de la fin du programme de location du vehicule, les boutons programmes soient effacés pour des raisons de sécurité. Consulter « Effacement des boutons de la télécommande maison universel » plus loin dans cette section.
S'assurer que personne, ni aucun objet, ne se trouve pres de la porte du garage lors de la programmation. Il est recommendé de laisser le vehicule hors du garage lors de la programmation d'un ouvre-porte de garage.

Si vous ne savez pas si votre ouvre-porte de garage possède un code fixe ou un code de brassage, ouvrir le couvercle de pile de télécommande d'ouvre-porte de garage.
Votre ouvre-porte de garage possede un code fixe si un panneau de contacteurs est present.
Sinon,Vote ouvre-portede garagepossede un code de brassage.
Programmation de la télécommandede domestique universelle — Code fixe
Les ouvre-porte de garage avec code fixes sont utilisés pour les portes de garage fabriqués avant 1996. Le code fixe utilise le même signal codé à chaque fois, programme manuellement par mise en place des contacteurs DIP pour un code personnel unique.
Suisse les étapes suivantes pour programmer jusqu'à trois canaux :
- Déposer le couvercle de la pile de la télécommande.

| Numéro de contacteur | 1 | 2 | 3 | 4 | 5 | 6 | 7 | 8 |
| Position de contacteur | Marché | Marché | Arêt | Marché | Arêt | Marche | Arêt | Arêt |
Exemple de position des commutateurs
-
Noter la position des huit à 12 contacteur de codage, de gauche à droite. Quand le contacteur est en position haute, écrire « en fonction » et quand un contacteur est en position basse, écrire « hors fonction ». Si un contacteur se trouve entre les positions haute et basse, écrire « milieu »
-
Entrer ces positions dans le système de commande maison universel de la manière suivante.
Enconcer et relâcher simultanément les trois boutons pour placer le dispositif en mode de programmation.
| Numéro de contacteur | 1 | 2 | 3 | 4 | 5 | 6 | 7 | 8 |
| Position de contacteur | Marche | Marche | Arret | Marche | Arret | Marche | Arret | Arret |
| Votre bouton de UHR | Gauche | Gauche | Droit | Gauche | Droit | Gauche | Droit | Droit |

Example
- Le témoin clignotera lentement. Dans l'ordre de droite à gauche et dans les deux minutes et demi, saisir chaque position de contacteur dans le système de télécommande maison universel.
Pousser un bouton pour chaque contacteur de la manière suivante :
- Bouton de gauche = position de contacteur « en fonction ».
- Bouton de droite = position de contacteur « hors fonction ».
-
Bouton du milieu = position de contacteur « au milieu ».
-
Àpres l'entrée des positions de contacteur, presser et relâcher simultanément les trois boutons. Le témoin s'allumera.
- Maintenir enforcé le bouton que vous désírez utiliser pour commander la porte du garage jusqu'à ce que la porte du garage se déplace. Le tímoin placé au-dessus du bouton sélectionné clignotera lentement. Il peut s'avérer nécessaire de maintainir le bouton enforcé pendant 55 secondes.
- Relâcher immédiatement le bouton quand la porte de garage se déplace. Le tímoin clignotera rapidement jusqu'à l'issue de la programmation.
- Presser et relâcher à nouveau le bouton. La porte de garage doit se déplacer, confirmant que la programmation est terminée et a réussi.
Pour programmer un autre dispositif tel qu'un ouvre-porte de garage supplémentaire, un dispositif de sécurité ou l'éclairage domestique, répéter les étapes 1 à 8 enCHOISIGANT un bouton de fonction différent à l'etape 7.
Programmation de télécommande maison universel — Code de brassage
Les ouvre-porte de garage à code de brassage sont utilisés pour les portes de garage produites après 1996 et protégées par un code. Un code de brassage produit un signal code qui change chaque fois que vous ouvre-porte de garage est utilisé.
La programmation d'un ouvre-porte de garage avec code de brassage implique des actions sensibles au temps. Veuillez tire la description de l'ensemble de la méthode avant de commencer. Si vous ne suivez pas ces consignes, le temps s'écoulera et vous devrez répéter l'opération.
Suisse les étapes suivantes pour programmer jusqu'à trois canaux :
- Appuyer simultanément sur les deux boutons extérieurs pendant une à deux secondes puis les relâcher immédiatement.

- Aller au garage. Localiser la tete du moteur de porte du garage et presser puis relâcher le bouton d'apprentissage.
Après avoir pressé le bouton d'apprentissage, vous disposerez de 10 à 30 secondes pour achiever l'étape 4 en fonction de l'unité de commande de votre garage. Si vous ne pouvez localiser le bouton d'apprentissage, consulter le manuel du propriétaire de l'ouvre-porte de garage.
- Maintenir enforcé le bouton que vous désirez utiliser pour commander la porte de garage jusqu'à ce que la porte de garage se déplace. Le tímoin place au-dessus du bouton sélectionné clignotera lentement. Il peut s'avérer nécessaire demaintenir le bouton enforcé pendant de 5 à 20 secondes.
- Relâcher immédiatement le bouton quand la porte de garage se déplace. Le tímein clignotera rapidement jusqu'à l'issue de la programmation.
- Presser et relâcher à nouveau le bouton. La porte de garage doit se déplacer, confirmant que la programmation est terminée et a réussi.
Pour programmer un autre dispositif tel qu'un ouvre-porte de garage supplémentaire, un dispositif de sécurité ou l'éclairage domestique, repeter les étapes 1 à 6 enCHOISIGANT un bouton de fonction différent.
Utilisation du système d'accueil universal à distance
Appuyer sur le bouton approprié de l'émetteur et le maintainir enforcé pendant au moins une demi-seconde. Le témoin s'allume pendant la transmission du signal.
Reprogrammation des boutons de télécommande maison universal
Vous pouvez programmer un des trois boutons en repétant les opérations.
Effaçage des boutons du système d'accueil universel à distance
Voudevez effacer les boutonsprogrammés quandyouvendezlevehiculeouqueyou achievezvoireprogramme de location.
Pour effacer un code de brassage ou un code fixe de la télécommande, agir comme suit :
- Maintenir enfoncés simultanément les deux boutons extérieurs pendant environ 20 secondes jusqu'à ce que les témoins placés directement au-dessus des boutons commencant à clignoter rapidement.
- Ensuite, relâcher les deux boutons. Les codes des deux boutons sont effacés.
Pour plus d'informations sur le système d'accueil universal à distance, se reporter à la rubrique Bureaux d'assistance à la clientèle à la page 620.
Fonctionnement du système de télécommande sans fil maison universel (Avec une diode triangulaire)

Votre vehicule peut etre équipé du système télécommande maison universel. Si elle possede une diode triangulaire (LED) au-dessus des boutons de commande à distance, suivre les instructions plus loin. Si voitre vehicule possede une diode ronde au-dessus des boutons, suivre les instructions placées sous la description du fonctionnement de la télécommande maison universel (avec trois diodes rondes).
Ne pas utiliser le système d'accueil universel à distance avec le système d'ouverture de porte de garage non muni de la fonction « arrêt et marche arrière ». Tous les modèles de système
d'ouverture de porte de garage fabriqués avant le 1er avril 1982 sont concernés. Si votre système d'ouverture de porte de garage est plus récent et muni de codes changeants, veiller à suivre les étapes 6 à 8 pour programmer l'émetteur de votre système d'accueil universal à distance.
Lire entièrement les instructions avant de tenter de programmer le système d'accueil universal à distance. En raison des étapes impliquées, il peut s'avérer utile de se faire aid par une autre personne lors des étapes de programmation.
Conserver l'émetteur portatif d'origine pour l'utiliser dans d'autres vehicules et pour programmer ultérieurement l'accueil universel à distance. Pour des raisons de sécurité, il est également recommandé d'effacer la programmation des boutons du système d'accueil universel à distance lorsque vous vendez le vehicule. Se reporter à la rubrique « Effacement des boutons du système d'accueil universel » plus bas dans cette section ou se reporter à la rubrique Procedure de satisfaction de la clientèle à la page 616 pour obtenir de l'aide.
S'assurer que personne, ni aucun objet, ne se trouve pres de la porte du garage lors de la programmation. Il est recommendé de laisser le vehicule hors du garage lors de la programmation d'un ouvre-porte de garage.
L'installation d'une nouvelle pile dans l'émetteur portatif est recommendée pour permettre une émission de fréquence radioélectrique plus rapide et plus précise.
Programmation de l'accueil universel à distance
Suisse les étapes suivantes pour programmer jusqu'à trois canaux :
-
Appuyer sur les deux boutons externes de l'accueil universel à distance et les maintainir enforcés jusqu'à ce que le témoin d'accueil universel à distance commence à clignoter, au bout de 20 secondes. Ne pasmaintenir les boutons enforcés plus de 30 secondes et ne pas répéter cette étape pour programmer un deuxième et/ou un troisième émetteur portatif sur les deux autres boutons d'accueil universel à distance.
-
Sans perdre de vue le témoin, placer l'extrémité de votre émetteur portatif à une distance d'environ 3 à 8 cm (1 à 3 po) des boutons du système d'accueil universel à distance.
- Appuyer simultanément sur le bouton du système d'accueil universal à distance désiré et sur le bouton de l'émetteur portatif et les maintainir enfonçés. Ne pas relâcher ces boutons avant d'avoir exécuté entièrement l'étape 4.
Il se peut que, pour certains ouvre-porte de garage ou de barrière, vous deviez replacer l'etape 3 par la procédure indiquée dans la rubrique « Dispositif actioneur de barrière et Programmation d'appareils canadiens » plus loin dans cette section.
-
Le témoin clignote lentement au début, puis plus rapidement lorsque le système d'accueil universal à distance recoit bien le signal de fréquence émis par l'émetteur portatif. Relâcher les deux boutons.
-
Appuyer sur le nouveau bouton programme du système d'accueil universel à distance et observer le témoin.
Si le témoin reste allumé, la programmation est réussie et votre apparéil doit semettre en fonction lorsque vous appuyez sur le bouton du système d'accueil universel à distance et que vous le relâchez.
Pour programmer les deux autres boutons du système d'accueil universel à distance, commencer par exécuter l' étape 2 décrite dans la rubrique « Programmation du système d'accueil universel à distance ». Ne pas repeter l' étape 1 au risque d'effacer tous les canaux programmes.
Si le témoin clignote rapidement pendant deux secondes, puis reste allumé en continu, poursuivre les étapes suivantes de 6 à 8 pour effectuer la programmation d'un apparéil équipé de codes changeants, généralement, un ouvre-porte de garage.
-
Localiser dans le garage le récepteur de l'ouvre-porte de garage (unité moteur). Localiser le bouton « Learn » ou « Smart » Ils se trouvent d'habitude où est fixé le fil d'antenne suspendu au récepteur.
-
Presser fermement et relâcher le bouton « Learn » ou « Smart ». L'emplacement et la couleur exacte du bouton peuvent varier selon la marque.
Après cette étape, vous avez 30 secondes pour commencer l'étape 8.
- Retourner au vehicule. Maintenir fermement enforcé le bouton de la télécommande domestique universelle pendant deux secondes puis le relâcher. Enfonceur immédiatement le même bouton pendant deux secondes puis le relâcher. Enfonceursousjresmemebouton pour une troisième foispendant deux secondespuislerelâcher.
Le système d'accueil universal à distance doit maintainant activer le dispositif de code de brassage.
Pour programmer les boutons restants de la télécommande maison universel, commencer par l'objet 2 de la programmation. Ne pas repeteré l'objet 1 qui effacerait toutes les programmations precedentes des boutons.
Dispositif actioneur de barrière et programmation d'appareils canadiens
Les lois regissant la fréquence radioélectrique au Canada exigent qu'il y ait un temps écoulé dans les signaux de l'émetteur ou qu'ils s'arrêtent après plusieurs secondes de transmission. Il se peut que cela empêche l'émetteur Universal Home Remote de capter le signal lors de la programmation. Aux États-Unis, certains apparils permettant d'ouvrir des barrières sont fabriqués de la même façon.
Si vous habitez au Canada, ou si vous éprouvEZ des difficultés à programmer un portail ou une porte de garage à partir des procédures indiquées dans la rubrique « Programmation du système d'accueil universel à distance » quel que soit l'endetroit où vous habitez, replacer l'étape 3 de la rubrique « Programmation du système d'accueil universel à distance » par les actions suivantes :
Continuer d'appuyer sur le bouton du système d'accueil universel à distance et le maintainir enforcé tout en appuyant sur le bouton de
l'émetteur portatif et en le relachant toutes les deux secondes (cycle) jusqu'à ce que le signal de fréquence ait été accepté par le système d'accueil universel à distance. Le tímoin du système d'accueil universel à distance clignote lentement au début puis plus rapidement. Exécuter l'étape 4 déscribe dans la rubrique « Programmation du système d'accueil universel à distance » pour terminer la programmation.
Utilisation du système d'accueil universel à distance
Appuyer sur le bouton approprié du système d'accueil universel à distance et le maintainir enforcé pendant au moins une demi-seconde. Le témoin s'allume pendant la transmission du signal.
Effaçage des boutons du système d'accueil universel à distance
Pour effacer la programmation des trois boutons du système d'accueil universel à distance, proceder comme suit :
- Enforcer les deux boutons extérieurs jusqu'à ce que l'indicateur commence à clignoter, après 20 secondes. Ne pas laisser les boutons extérieurs enforcés durant plus de 30 secondes.
- Relacher les deux boutons.
Le système d'accueil universel à distance est désormais en mode d'apprentissage et peut êtreprogrammé à tout moment à partir de l'étape 2 de la rubrique « Programmation du système d'accueil universel à distance » décrite plus haut dans cette section.
Les boutons individuels ne peuvent être effacés, mais ils peuvent être reprogrammés. Se reporter à la rubrique suivante « Reprogrammation d'un seul bouton du système d'accueil universal à distance »
Reprogrammation d'un seul bouton du système d'accueil universal à distance
Pour programmer un apparéil sur le système d'accueil universel à distance à partir d'un bouton du système d'accueil universel à distanceprogramme précédemment, suivre les étapes suivantes :
- Appuyer sur le bouton souhaité du système d'accueil universel à distance et le maintainir enforcé. Ne pas relâcher le bouton.
- Le témoin commence à clignoter au bout de 20 secondes. Tout en maintainant,enforcé le bouton du système d'accueil universal à distance, executer l' étape 2 de la rubrique «Programmation du système d'accueil universal à distance » décrite plus haut dans cette section.
Pour plus d'informations sur le système d'accueil universal à distance, se reporter à la rubrique Procedure de satisfaction de la clientèle à la page 616.
Compartiments de rangement
Grçè à sa grande capacité de stockage,
votre vehicule peutContainir de nombreux objets.
Si le vehicule comporte un empattement
rallongé, il peutcontainir des objets encore plus
grands. Les goupilles de plancher qui servent
à attacher les sièges peuvent être utilisées pour
arrimer des charges plus volumineuses.
Boîte à gants
Si la boîte à gants est munie d'une serrure, insérer la clé dans la serrure et la tourner vers la gauche. Pour ouvrir la boîte à gants, soulever le loquet de blocage.
Le volet de la boîte à gants possède une position d'arrêt qui l'empêche de trop s'abaisser. Ouvrir la boîte à gants jusqu'à ce que le volet soit partiellement ouvert, puis abaisser le volet s'il faut l'ouvrir complètement.
Pour fermer la boîte à gants, pousser le volet au-delà de la détente. Pour verrouiller la boîte à gants, insérer votre clé dans la serrure et la tourner vers la droite.
Porte-gobelets
Des porte-gobelets sont situés sous le bloc-commutateurs du tableau de bord. Les porte-gobelets sont munis d'une garniture en caoutchouc amovible, ce qui permet de poser également des gobelets plus grands sur les porte-gobelets. Vous pouvez également retarder la garniture pour la nettoyer.
Pour utiliser les porte-gobelets, partager le plateau.
Repousser le plateau lorsque vous ne l'utilise pas.
Votre vehicule peut etre equipe de porte-gobelets dans la seconde rangée.
Console de plafond (Avec longeron)
Si votre vehicule est doté d'une console de pavillon, celle-ci peutContainir ce qui suit :
- Des lampes de lecture. Voir Lampes de lecture avant à la page 217 ou Lampes de lecture arrêté à la page 217.
- Bloc-commutateurs. Voir
- Bloc-commutateurs - console de pavillon à la page 219.
- Boutons du système OnStar ^MD . Voir Système OnStar ^MD à la page 168.
- Bouton du système d'accueil universal à distance. Se reporter à Système de télécommande sans fil maison universel (Avec trois diodes rondes) à la page 172 ou Système de télécommande sans fil maison universel (Avec une diode triangulaire) à la page 173.
Consulter votre concessionnaire pour acheter des articles complémentaires destinés au système de rail.
Votre vehicule est peut etre equipe d'un compartment de rangement fixe sur le rail suspendu.

Si le compartment de rangement est équipé de loquet de la taille d'un doigt, agir comme suit :
- Accrocher le compartment de rangement à l'emplacement souhaite sur les rails.
-
Pousser fermement le compartment de rangement vers le haut en le soutenant avec une main.
-
Pousser sur le loquet puis le faire pivoter de 90 degrés.

- Appuyer fermement vers le bas pour vérifier que le loquet repose à plat sur les nervvures (A) du compartment de rangement.
- En inversant les mains, répéter les étapes 2 à 4 pour le loquet situé du côte opposé du compartment de rangement.
- Inverser ces étapes pour-retirer le compartment de rangement.
Si le compartment de rangement est équipé de loquet de la taille d'une main, agir comme suit :
- Accrocher le compartment de rangement à l'emplacement souhaité sur les rails.
- Pousser fermement le compartment de rangement vers le haut en le soutenant avec une main.
- Le compartmenté s'emboîte en place.

- Pour déposer le compartment, le soutenir d'une main en tirant chaque loquet vers le haut et à l'écart du compartment.
Le contenu du compartment de rangement ne doit jamais peser plus de 0,7 kg (1,5 lb).
Toujours s'assurer de fermer et verrouiller le compartment avant de conduire.
Console de plafond (Sans longeron)
Si votre vehicule est équipé d'une console de plafond sans système de rail, elle comporte deux lampes de lecture, une lampe d'accueil, et un bloc-commutateurs. Pour de plus amples renseignements, se reporter à Bloc-commutateurs - console de pavillon à la page 219.
Compartment de rangement de la console au plancher
Si vous véchicule dispose d'un compartment de rangement sur la console avant, sous les portegobelets, tirer la poignée vers le haut puis vers l'avant pour ouvrir le compartment de rangement.
Plateau rabatable

Votre vehicule est peut-etre équipé de plateaux de rangement pliants situés entre les sièges. Pour utiliser chaque plateau, tirer sur la poignée située à l'extrémité avant, tout en tirant sur le plateau pour le bloquer en place.
Il y a quatre porte-gobelets sur chaque plateau.
Console centrale de deuxieme rangée
Si vous véchicule possède une console en deuxieme rangée, utiliser la procédure suivant pour retarder ou installer la console.
Retirer la console centrale
- Repérer le levier de fixation dans une ouverture à l'arrière de la console.
- Tirer vers le haut le levier de fixation pour libérer le crochet de fixation.
- Soulever la console pour la retirer du vehicule.
Remetre la console centrale

ATTENTION:
Une console centrale de deuxieme rangée qui n'est pas correctement bloquée en place risque de se déplacer dans une collision ou un arrêt brusque. Les occupants du vehicule pourraient être blessés. S'assurer de bien bloquer la console en place en l'instant.
- Placer la console de deuxieme rangée au-dessus des fixations de plancher avant, entre les sièges baquets de la deuxieme rangée.
Pour des renseignements sur l'installation des sièges, se reporter à la rubrique Fonctionnement du siècle arrêté à la page 15.
- Placer les crochets avant de la console sur les fixations de plancher avant.
- Repérer le levier de fixation à l'arrière de la console et le tirer vers le haut.
- Basculer le support de fixation arriere sur la fixation de plancher et relacher le levier.
- Tirer la console vers le haut pour s'assurer que le crochet de fixation arrêté est enclenché.
Porte-bagages
ATTENTION:
Si vous essayez de transporter sur le toit de votre vehicule quelque que qui dépasse le porte-bagages en longueur et en largeur — comme des panneaux de lambris, des feuilles de contre-plaqué, un matelas, etc. — le vent peut les soulever quand vous conduisez. Cela peut vous faire perdre le contrôle du vehicule. Les objets transportés pourraient être brusquement arrachés par le vent et tomber, ce qui pourrait provoquer une collision pour vous et d'autres conducteurs. De plus, votre vehicule pourrait être endommagé. Vous pouvez peut-être transporter de tels articles à l'intérieur de votre vehicule. Cependant, ne jamais transporter quoi que ce soit qui dépasse en longueur ou en largeur le porte-bagages sur le toit de votre vehicule.
Si votre vehicule est équipé d'un porte-bagages, vous pouvez charger des objets sur le toit de votre vehicule. Les traverses de toit doivent être achétées séparément chez votre concessionnaire.
Remarque: Un chargement sur le porte-bagages qui pèse plus de 68 kg (150 lb) ou qui est suspendu à l'arrête ou sur les côtés du vehicule peut endommager votre vehicule. Placer le chargement de manière à ce qu'il repose sur le support, le plus à l'avant possible et appuyé sur les longerons, en s'assurant de le fixer le plus solidement possible.
Ne pas dépasser la capacité de charge maximale lorsque vous chargez votre vehicule. Pour obtenir plus de renseignements sur la capacité de charge du vehicule et le chargement, se reporter à la rubrique Chargement du vehicule à la page 447.
Pour éviter d'endommager ou de perdre la charge en cours de route, vérifier de temps à autre si la charge est encore solidement fixée.
Filet d'arrimage (Avecrangements arrrière escamotables)
Votre vehicule est peut'être équipé d'un filt d'arrimage. Le filt d'arrimage a été concu pour empêcher les petites charges de tomber du vehicule lorsque le hayon est ouvert. Installer le filt d'arrimage à l'arrière du vehicule, à l'intérieur du hayon.
Pour vous servir du filet d'arrimage, procéder de la façon suivante :
- Accrocher les bouches supérieures aux tiges qui sont situées de chaque côte de l'ouverture du hayon. L'étiquette du filet devrait être dans le coin supérieur gauche.
- Attacher les bouches inférieures aux pattes situées sur le bord arrêté des casiers de rangement arrêté.
Quand vous n'utilise pas le filet de retenue, il est recommandé de le décrocher de façon à en prolonger la durée, à maintainir son élasticité et à garder la sortie arrêté dégagée.
Filet d'arrimage (Sansrangements arrrière escamotables)
Votre vehicule peut etre equiped'un filet de retenue.Le filet de retenue arriere a ete concu pour aidera empecher lespetites charges, comme des sacsd'épicerie par exemple, de tomber. Installer le filet de retenue a l'arriere du vehicule, à l'intérieur du hayon.
Pour vous servir du filet d'arrimage, préceder de la façon suivante :
- Accrocher les boucles supérieures aux tiges qui sont situées de chaque côte de l'ouverture du hayon. L'étiquette du filet devrait être dans le coin supérieur gauche.
- Attacher les crochets inférieurs aux anneaux en métal au plancher.
- Une fois les articles placés dans le filet, tirer le côté le plus haut du filet vers le haut puis par dessus la charge pour bien la maintainir en place.
La capacité maximale de charge du filet de retenue est de 45 kg (100 lb). Le filt n'a pas eté concu pour retenir des charges plus grosses ni plus lourdes. Ranger ces charges sur le plancher du vehicule, le plus à l'avant possible. Quand vous n'utilise pas le filt de retenue, il est recommendé de le décrocher de façon à en prolonger la durée, àMAINTER son élasticité et à garder la sortie arrrière dégagée.
Compartiments de rangement arrrière escamotables
ATTENTION:
Tout accessoire amovible non fixé solidement peut se déplacer en cas de collision ou d'arrêt brusque. Les occupants du vehicule pouraient être blessés. S'assurer de bien fixer de tels articles.
Votre vehicule peut etre equipe a l'arriere de compartments de rangement dissimulés.
Cela donne de l'espace de rangement supplémentaire à l'arrière du vehicule.
Pour ouvrir les compartments de rangement arrrière dissimulés, tirer vers le haut le loquet de porte situé sur le dessus du couvercle. Les compartments de rangement arrrière dissimulés possèdent deux béquilles automatiques pour les maintainir en position ouverte.
Pour fermer le couvercle, vous doivent tirer la tringlerie d'une des bequilles vers vous tout en tenant le loquet, puis abaisser le couvercle pour le fermer.
Démontage des compartments de rangement arrière dissimulés
- S'assurer que tout le contenu soit retire des compartments de rangement arriere dissimulés et qu'ils soient vides.
- Tourner le bouton manuel, situé à l'arrière des compartments de rangement arrêtédissimulés, dans le sens inverse des aiguilles d'une montre, jusqu'à ce qu'il tourne à vide.
- Soulever avec le bouton manuel, puis saisir et tirer vers le haut les compartments de rangement arrêté dissimulés pour les retarder du vehicule.
Remontage des compartments de rangement arrière dissimulés
- S'assurer que le siège de la troisième rangée soit correctement installé dans le vehicule. Se référer à la rubrique Sièges de la troisième rangée à la page 29 pour plus de précisions. Si le siège de la troisième rangée n'est pas installé en même temps que les compartments de rangement arrière dissimulés, ces derniers ne pourront pas été correctement verrouillés dans le vehicule.
- S'assurer que les compartments de rangement arrêtè dissimulés soient vides et fermés.
- Soulever les compartments de rangement arrrière dissimulés et les placer à l'arrière du vehicule.
-
Faire glisser en place les compartments de rangement arrêté dissimulés et les aligner avec le siège arrêté.
-
Appuyer sur l'avant des compartments de rangement arrêté dissimulés de sorte que le centre soit aligné avec le support de montage de seuil.
- Tourner la poignée vers la droite jusqu'à ce qu'elle soit serrée.
- Tirer sur les compartments de rangement arrêté dissimulés pour s'assurer qu'ils soient bien verrouillés.
Le couvercle des compartments de rangement arrrière dissimulés peut rester ouvert à la verticale pendant que le vehicule roule.
Les comportiments de rangement arriere dissimulés et le siège de la troisième rangée ont tous deux une charge utile maximum de 181,6 kg (400 lbs).
Remarque: En surchargeant le vehicule, on risque de l'endommager. Les réparations ne seront pas couvertes par la garantie. Ne pas surcharger le vehicule.
NOTES
Section 3 Tableau de bord
Apercu du tableau de bord 198
Feux de détresse 200
Autres avertisseurs 201
Klaxon 201
Volant inclinable 201
Levier des clignotants/multifonctions 202
Signaux de changement de direction et de changement de voies 203
Commande de feuix de route et
feux de croissement 204
Clignotant de dépassement 204
Essuie-glaces de pare-brise 204
Lave-glace de pare-brise 205
Régulateur de vitesse automatique 207
Eclairageextérieur 211
Phares activés par les essuie-glaces 212
Feux de circulation de jour et phares automatiques 212
Intensité d'éclairage du tableau de bord .... 214
Commanded'éclairage interieur 214
Plafonnier 215
Eclairage d'entree 215
Eclairage temporisé 216
Eclairage de sortie 216
Lampes de lecture avant 217
Lampes de lecture arriere 217
Eclairage de l'espace utilisé 217
Gestion de l'énergie électriche 217
Protection antidécharge de la batterie 218
Bloc-commutateurs - console de pavillon ... 219
Assistance ultrasonique arriere de stationnement 220
Prises electriques pour accessoires 223
Courant alternatif 115 V de la prise d'alimentation 224
Allume-cigarette 225
Section 3 Tableau de bord
Commandes de la climatisation 226
Système de régulation de température 226
Système de climatisation à deux zones .... 230
Réglage de bouche de sortie 233
Système de régulation de la climatisation arrière (Option A, Haut de gamme) 234
Système de régulation de la climatisation arrière (Option B, Haut de gamme) 236
Filtre à air de l'habitacle 239
Feux de détresSES, jauges et témoins 241
Ensemble d'instruments 242
Indicateur de vitesse et compteur kilométrique 243
Totalisateur partiel 243
Tachymetre 243
Témoin de rappel des ceintures de sécurité 243
Témoin de rappel de bouclage de la ceinture de sécurité du passager 244
Témoin de sac gonflable prét à fonctionner (AIRBAG) 245
Témoin de l'etat du sac gonflable du passager 246
Témoin du système de charge 248
Témoin du système de freinage 249
Témoin du système de freinage antibilocage 250
Témoin du système de traction asservie .... 251
Indicateur de température du liquide de refroidissement du moteur 252
Témoin d'anomalie 252
Témoin de pression d'huile 256
Témoin de sécurité 258
Indicateur du régulateur de vitesse automatique 258
Témoin de feu des route 258
Jauge de carburant 259
Témoin de bas niveau de carburant 259
Section 3 Tableau de bord
Centralisateur informatique de bord (CIB) ... 260
Fonctionnement et affichages du centralisateur informatique de bord 261
Boussole de centralisateur informatique de bord (Haut de gamme uniquement) 268
Centralisateur informatique de bord - Avertissements et messages 270
Personnalisation CIB du vehicule (Haut de gamme uniquement) 294
Systèmes audio 306
Réglage de l'heure 308
Radio avec lecteur de disques compacts 308
A l'aide d'un MP3 326
Messages autoradio XM 333
Système de navigation/radio 335
Système de divertissement intégré au siège arrrière (Option A, Haut de gamme) 335
Système de divertissement intégré au siège arrrière (Option B, Haut de gamme) 355
Système sonore arrêté
(Option A, Haut de gamme) 375
Système sonore arrêté
(Option B, Haut de gamme) 378
Système média numérique mobile 380
Dispositif antivol 403
Commandes audio intégrées au volant de direction 404
Réception radio 405
Entretien des disques compacts et des disques videonumeriques (DVD) 406
Entretien du lecteur de disques compacts et de disques videonumériques (DVD) 407
Antenne fixe 407
Système d'antenne autoradio satellite
XMMC (États-Unis seulement) 407
Réglage du niveau de carillon 407
Aperçu du tableau de bord

Le tableau de bord comprend les éléments principaux suivants :
A. Volets d'aération. Se reporter à la rubrique Réglage de bouche de sortie à la page 233.
B. Clignotants/levier multifonction. Se reporter à la rubrique Levier des clignotants/multifonctions à la page 202.
C. Commandes audio du volant (si le vehicule comporte cette caractéristique). Se reporter à la rubrique Commandes audio intégrées au volant de direction à la page 404.
D. Groupe d'instruments du tableau de bord. Se reporter à la rubrique Ensemble d'instruments à la page 242.
E. Commandes du centralisateur informatique de bord (CIB) (si le vehicule en est pourvu). Se reporter à la rubrique Centralisateur informatique de bord (CIB) à la page 260.
F. Bouton de la traction asservie (le cas échéant). Se reporter à la rubrique Système de traction asservie (TCS) à la page 419.
G. Commande des yeux de détresse. Se reporter à la rubrique Feux de détresse à la page 200.
H. Indicateur d'etat du sac gonflable du passager et rappel de ceinture de sécurité du passager. Se reporter à la rubrique Témoin de l'etat du sac gonflable du passager à la page 246 et Témoin de rappel de bouclage de la ceinture de sécurité du passager à la page 244.
I. Système sonore. Se reporter à la rubrique Systemes audio à la page 306.
J. Commande de l'éclairage extérieur. Se reporter à Éclairage extérieur à la page 211.
K. Commande d'éclairage interieur. Se reporter à la rubrique Commande d'éclairage interieur à la page 214. Contrôle d'intensité de l'éclairage du tableau de bord. Se reporter à la rubrique Intensité d'éclairage du tableau de bord à la page 214.
L. Ouverture du capot. Se reporter à la rubrique Levier d'ouverture du capot à la page 481.
M. Frein de stationnement. Se reporter à la rubrique Frein de stationnement à la page 158.
N. Klaxon. Se reporter à la rubrique Klaxon à la page 201.
O. Régulateur de vitesse (le cas échéant). Se reporter à la rubrique Régulateur de vitesse automatique à la page 207.
P. Commandes de climatisation. Voir Systeme de régulation de température à la page 226. Commandes doubles de climatisation. Voir Systeme de climatisation à deux zones à la page 230.
Q. Commandes de siège chauffant (si le vehicule en est pourvu). Se reporter à la rubrique Sièges chauffants à la page 11.
R. Boite à gants. Se reporter à la rubrique Boite à gants à la page 185.
Feux de détresse
Employer les feuels de détresse pour averrir d'autres conducteurs et les policiers que vous étés en panne. Vos clignotants clignotent alors ensemble.

Le bouton des feu de détresse est situé au centre du tableau de bord.
Les feu de détresse fonctionnent à toutes les positions du commutateur d'allumage et même en l'absence de la clé de contact.
Appuyer sur ce bouton pourmettre en marche lesfeux de détresse. Pour les arreter, appuyer de nouveau sur le bouton.
Quand les feu de détresse clignotent, les clignotants ne fonctionnent pas.
Autres avertisseurs
Si vous disposez de triangles de signalisation, vous pouvez en installer sur la route, à environ 100m (300 pi) derrière votre vehicule.
Klaxon
Appuyer sur ou pres des symboles de klaxon sur le rembourse du volant pour faire retentir le klaxon.
Volant inclinable
Un volant inclinable vous permet de régler le volant avant de conduire. Vous pouvez le remonter au maximum pour donner plus d'espace à vos jambes quand vous entrez dans le vehicule ou quand vous en sortez.
Le levier qui vous permet d'incliner le volant de direction est situé sur le côte gauche de la colonne de direction.

Pour incliner le volant, le tener et tirer le levier. Regler ensuite le volant à une position comfortable et le bloquer en relachant le levier.
Levier des clignotants/multifonctions

Le levier situé sur le côte gauche de la colonne de direction commande les fonctions suivantes :
-
Clignotants et indicateurs de changement de voie. Se reporter à Signaux de changement de direction et de changement de voies à la page 203.
-
Interrupteur depuis route/feux de croissement. Se reporter à la rubrique Commande de droits de route et droits de croissement à la page 204.
- Avertisseur de dépassement. Se reporter à Clignotant de dépassement à la page 204.
Essuie-glaces. Se reporter à Essuie-glaces de pare-brise à la page 204.
Lave-glace. Se reporter à Lave-glace de pare-brise à la page 205. - Essuie-glace de lunette arrête. Se reporter à la rubrique Lave-glace de pare-brise à la page 205.
- Lave-glace de lunette arrêté. Se reporter à la rubrique Lave-glace de pare-brise à la page 205.
Pour plus d'information au sujet des phares, se reporter à Éclairage extérieur à la page 211.
Signaux de changement de direction et de changement de voies
Le levier des clignotants a deux positions vers le haut (pour la droite) et deux positions vers le bas (pour la gauche). Ces positions vous permettent de signaler un changement de direction ou de voie.
Pour signaler un changement de direction, lever ou abaisser complètement le levier. ÀpRES le virage, le levier se remet en place automatiquement.

Une flèche située dans le groupe d'instruments du tableau de bord clignote pour indiquer la direction du changement de direction ou de voie.
Pour signaler un changement de voie, lever ou abaisser simplement le levier jusqu'à ce que la flèche se mette à clignoter. Le maintainir ainsi jusqu'à ce que vous ayez terminé votre changement de voie. Le levier se remet en place quand vous le relâchez.
Pendant que vous signalez un virage ou un changement de voie, si la flèche clignote plus rapidement que la normale, une ampoule de clignotant peut être grillée et les autres conducteurs ne verront pas votre signal.
Si une ampoule est grillée, la replacer afin d'aider à éviter un accident. Si les flèches ne clignotent pas du tout lorsque vous signez un virage, vérifier s'il y a des ampoules grillées et vérifier ensuite le fusible. Se reporter à la rubrique Remplacement d'ampoules à la page 519 et Fusibles et disjoncteurs à la page 583.
Si vous vécicule est équipé de l'option de remorquage avec des fils électriques supplémentaires pour les yeux de remorque, les témoins clignotent normalement, même si une ampoule de clignotant est grillée. Vérifier régulièrement que les clignotants avant et arrière fonctionnent.
Carillon de rappel des clignotants
Si vous laissez fonctionner l'un des clignotants sur plus de 1,2 km (3/4 mille), un carillon retentit pour vous rappeler de le désactiver. Si vous devez laisser fonctionner un clignotant sur plus de 1,2 km (3/4 mille), vous devrez le désactiver puis le remettre en fonction.
Commande de feu des route et feu des croisement
Pour passer des feuels de croissement aux feuels de route, pousser le levier des clignotants/multifonction vers le tableau de bord.

Lorsque les phares de route sont allumés, ce témoin s'allume également dans le groupe d'instruments de tableau de bord.
Pour passer des feuels de route aux feuels de croissement, tirer le levier des clignotants/multifonction vers vous.
Clignotant de dépassement
Lorsque les phares sont eteints, il suffit de tirer le levier vers vous pour passer momentanement aux phares de route (afin de signaler que vous allez depasser). Les phares s'eteignent lorsque vous relachez le levier.
Essuie-glaces de pare-brise
Pour régler les essuie-glaces, tourner l'anneau qui porte le symbole des essuie-glaces.
(bruine): Pour obtenir un seul cycle d'essuyage, tourner l'anneau à la position de bruine, le maintainir, puis le relâcher. Les essuie-glaces s'arrêteont après un seul cycle. Pour augmenter le nombre de cycles de balayage, maintainir le levier à la position de bruine plus longtemps.
(arrêt): Pour arrêté les essuie-glaces, tourner l'anneau à OFF (arrêt).
temporisation): You couvez régler l'intervalle de balayage des essuie-glaces. Cette fonction est très utile en présence de pluie ou de neige légère. Tourner l'anneau pour déterminer la durée de la temporisation. Plus l'anneau est proche du haut du levier, plus court est la temporisation.
(vitesse lente): Pour un cycle d'essuyage continu à basse vitesse, tourner l'anneau en l'éloignant du conducteur, au premier annexe plein après les réglages d'interrmittence. Pour un cycle d'essuyage continu à grande vitesse, tourner l'anneau plus loin, au deuxième anneau plein, après les réglages d'interrmittence. Pour arrêter les essuie-glace, ramener l'anneau à la position OFF (arrêt).
(vitesse rapide): Pour un cycle d'essuyage continu à grande vitesse, tournier l'anneau plus loin, au deuxième anneau plein, après les réglages de déliais.
S'assurer d'enlever la glace et la neige des raclettes d'essuie-glace avant de les utiliser. Si elles sont gelées contre le pare-brise, les dégager ou les dégager avec précaution. Si les raclettes sont usées ou endommagées, se procurer des raclettes ou des caoutchoucs neufs.
Lave-glace de pare-brise
(ave-glace): Pour nettoyer le pare-brise, enforcer et maintainir la manette du lave-glace portant ce symbole. Elle permet d'actionner les essuie-glaces et les vaporisateurs de lave-glace.
Lorsque vous relâchez la manette, les vaporisateurs cèssent de fonctionner, tandis que les essuie-glaces poursuivient pendant deux cycles d'essayage, sauf s'ils ne fonctionnaient déjàAAParavant. Dans ce cas, ils reprendront la vitesse d'essayage que vous aviez besoin préalablement.
ATTENTION:
Lorsque la température est glaciale, ne pas utiliser l'essuie-glace tant que le pare-brise n'est pas rechauffé. Autrement, le liquide de lave-glace peut geler sur le pare-brise et bloquer le champ de vision.
Essuie-glace/lave-glace arrêté
ATTENTION:
Lorsque la température est glaciale, ne pas utiliser l'essuie-glace tant que le pare-brise n'est pas rechauffé. Autrement, le liquide de lave-glace peut geler sur le pare-brise et bloquer le champ de vision.

Si vous vécicule est équipé d'un essuie-glace/lave-glace arrrière, ses commandes se trouvent à l'extrémité du levier des clignotants/multifonction.
(arrêt): Mettre la manette à cette position pour arrêter les lave-glaces/essuie-glaces.
(essuie-glace arrêté): Mettre la manette à cette position pourmettre les essuie-glaces arrêté en fonction.
(lave-glace/essuie-glace arrriere): Mettre la manette à cette position pour laver et essuyer la lunette arrriere.
Le lave-glace de lunette utilise le même réservoir de liquide de lave-glace que celui de pare-brise. Toutefois, le lave-glace de lunette manquera de liquide avant le lave-glace de pare-brise. Si vous pouvez nettoyer le pare-brise, mais pas la lunette, vérifier le niveau du liquide.
Régulateur de vitesse automatique
ATTENTION:
L'utilisation du régulateur automatique de vitesse peut être dangereuse lorsque vous ne pouvez pas rouler en toute sécurité à une vitesse fixe. Par conséquent, ne pas l'utiliser sur des routes sinueuses ou dans la circulation intense.
Il peut être dangereux d'utiliser le régulateur automatique de vitesse sur des routes glissantes, car des changements rapides d'adherence des pneus peuvent causer un glissage excessif des roues, et vous pourriez perdre le contrôle du vehicule. Ne pas utiliser le régulateur automatique de vitesse sur les routes glissantes.

Si vous vécicule est équipé de la régulation de vitesse, son levier se trouve sous la commande d'essuie-glace avant, à droite du volant.
RES + (reprise/accelération): Monter le levier pour reprendre la vitesse du régulateur de vitesse ou pour accélérer au moment de dépasser un autre vehicule.
ON/OFF (marche-arrêt du régulateur de vitesse): Enfoncer le bouton, situé à l'extrémité du levier, pour activer le régulateur de vitesse. L'enfoncer de nouveau pour désactiver le régulateur de vitesse.
▼ SET — (réglage/roue libre/décélération): Baisser le levier pour régler la vitesse du régulateur. Si la vitesse du régulateur est déjà régée, cette position peut être utilisée pour decélierer d'une vitesse élevée.
CANCEL (annuler): Tirer le levier pour annuler la vitesse du régulateur.
Le régulateur de vitesse vous permet de maintainir une vitesse d'environ 40 km/h (25 mi/h) ou plus sans avoir à garder le pied sur l'accélérateur. Cette fonction peut être un avantage pour les longs voyages. Le régulateur de vitesse ne fonctionne pas à des vitesse inférieures à 40 km/h (25 mi/h).
Quand vous serrez les freins, le régulateur de vitesse se désactive.
Si le régulateur de vitesse du vehicule est activé et que le système de traction asservie améliorée commence à limiter le patinage des roues, le régulateur de vitesse sera automatiquement désactivé. Se reporter à la rubrique Système de traction asservie (TCS) à la page 419. Lorsque les conditions routières le permettront, le régulateur de vitesse pourrait de nouveau être utilisé.
Réglage du régulateur de vitesse
ATTENTION:
Si le régulateur automatique de vitesse est activé alors que le conducteur n'utilise pas cette fonction, il est possible que le conducteur touche accidentellement à un bouton et active le régulateur sans le fouvoir. Cela pourrait surprétre le conducteur et même lui faire perdre la maitrise du vehicule. Garder le commutateur du régulateur automatique de vitesse à la position d'arrêt jusqu'à ce qu'on decide de s'en servir.
- Enfoncer le bouton, situé à l'extrémité du levier, pour activer le régulateur de vitesse.
- Accélérer jusqu'à la vitesse voulue.
- Baisser le levier du régulateur de vitesse, puis le relâcher. Cela permettra de régler la vitesse du régulateur.
- Relacher l'accelerateur.

Ce symbole
apparaître sur le
groupe d'instruments
du tableau de bord
lorsque le régulateur
de vitesse est activé.
Ce symbole disparaîtra au freinage ou si le régulateur de vitesse est désactivé. Il réapparaîtra lorsque le réglage de la vitesse de croisière sera réactivé.
Reprise d'une vitesse régée à l'avance
Si le régulateur de vitesse est régé à la vitesse voulue et que vous freinez, il se désactive, mais il n'est pas nécessaire de le régler de nouveau.
Lorsque la vitesse du vehicule est d'environ 40 km/h (25 mi/h) ou plus, le levier du régulateur de vitesse peut être monté à la position plus (reprise/accelération) pour returner à la vitesse de croisière préréglée.
Le vehicule returnera à la vitesse de croisière préreglee et y restera. Si le levier du régulateur de vitesse est monté et gardé à la position plus (reprise/accelération), la vitesse du vehicule augmentera jusqu'à ce que le levier soit reliché
ou que les freins soient appliqués. Ne pas continuer à maintainir le levier à la position plus (reprise/accelération) à moins qu'une vitesse accrue soit recherchéée.
Accélération au moyen du régulateur de vitesse
Il y a deux façons d'accélérer.
Utiliser l'accélérateur pour accroître la vitesse. Monter le levier du régulateur de vitesse à la position plus (reprise/accélération), puis relâcher le levier et enlever votre pied de l'accélérateur. La vitesse de croisière du vehicule sera maintainant plus élevé.
- Monter le levier du régulateur de vitesse à la position plus (reprise/accelération) et le garder en place jusqu'à ce que le vehicule ait atteint la vitesse recherchee. Relâcher ensuite le levier du régulateur de vitesse. Pour accroître la vitesse du vehicule petit à petit, monter brièvement le levier du régulateur de vitesse, puis le relâcher. Chaque fois que cela est fait, le vehicule accelérerera d'environ 1,6 km/h (1 mi/h).
La fonction d'accelération ne fonctionnera qu'aupres avoir regle la vitesse du régulateur en baissant le levier à la position de réglage.
Décelération au moyen du régulateur de vitesse
Il y a deux façon de réduire la vitesse en utilisant le régulateur de vitesse :
- Baisser le levier du régulateur de vitesse à la position moins (réglage/roue libre/décélération) jusqu'à ce qu'une vitesse inférieure soit atteinte, puis le relâcher.
Pour ralentir petit à petit, baisser brièvement le levier du régulateur de vitesse à la position moins (réglage/roue libre/décélération). Chaque fois que cela est fait, le vehicule réduit sa vitesse d'environ 1,6 km/h (1 mi/h).
Dépassement d'un vehicule avec le régulateur de vitesse
Appuyer sur l'accelérer pour augmenter la vitesse. Quand vous le relâchez, le vehicule ralentit jusqu'à la vitesse réglée à l'avance.
Utilisation du régulateur de vitesse en côte
Le bon fonctionnement du régulateur de vitesse en pente dépend de la vitesse du vehicule, de sa charge et de l'inclinaison de la pente. Si une pente abrupte est montée, l'accéléateur peut devoir être utilisé pour maintainir la vitesse du vehicule.
Pour la descente d'une pente, il peut falloir appliquer les freins ou passer à une vitesse inférieure de la boîte-pont pour maintainir la vitesse du vehicule basse. Ces actions annuleront la vitesse de croisière du vehicule. Il peut être préféable de ne pas utiliser le régulateur de vitesse si les freins doivent constamment être appliqués ou s'il faut souvent passer à une vitesse inférieure du vehicule.
Annulation du réglage automatique
Pourmettre finàune session du régulateur de vitesse,tirerversl'avantlerégulateurdevitesse ouappuyerlegerement sur lapedaledefreinage.
Effectuer une de ces actions n'interrompra que la session actuelle du régulateur de vitesse, la vitesse réglée sera mémorisée.
Enconcer le bouton, logé à l'extrémité du levier du régulateur de vitesse, pour désactiver le système.
Effacement de la mémoire du régulateur de vitesse
Lorsque le régulateur de vitesse est désactivé ou que le contact est coupé, la mémoire de vitesse réglée du régulateur de vitesse est effacée.
Éclairage extérieur

La commande d'éclairage extérieur est située du côté gauche de la colonne de direction.
(arrêt): Tourner la commande à cette position pour basculer toutes les lampes en position arrêt. Il s'agit d'une commande-temporaire qui se remet automatiquement à la position AUTO (automatique) une fois reliachée.
Cette commande temporaire allume et eteint les phares automatiques et/ou les feud de circulation de jour sur les vehicules vendus aux Etats-Unis. Pour les vehicules mis en vente au Canada, cette commande ne fonctionne que si la boite-pont est en position de stationnement (P).
AUTO (automatique): Tournier le commutateur dans cette position pour faire passer les phares en mode automatique. S'il est activé, le mode AUTO (automatique) allume ou eteint automatiquement l'éclairage extérieur en fonction de la quantité de lumière presente à l'extérieur du vehicule.
En raison du caractèretemporaire du commutateur,les phares automatiques peuvent etre desactivés même si le commutateur est en position AUTO (automatique).
(elseif stationnement): Tourner la commande à cette position pour allumer les yeux de stationnement, ainsi que:
- Feux arrêté
L'éclairage du tableau de bord
(phares): Tourner la commande à cette position pour allumer les phares ainsi que les yeux et l'éclairage extérieur mentionnés ci-avant.
Phares activés par les essuie-glaces
Cette fonction, si le vehicule en est équipé, allume automatiquement les phares et les yeux de stationnement lorsque les essuie-glaces ont fonctionné pendant environ 30 secondes et lorsque les conditions suivantes sont remplies.
- La commande d'éclairage extérieur est à la position AUTO (automatique).
- Les phares n'ont pas eté allumés par l'éclairage automatique.
- La fonction d'éclairage automatique n'a pas été désactivée au moyen de la commande d'éclairage extérieur.
Se reporter à la rubrique Éclairage extérieur à la page 211 pour obtenir de plus amples renseignements.
Si les essuie-glaces fonctionnent depuis plus de 30 secondes, et que la commande d'éclairage extérieur est sur la position feud de stationnement, ou que la fonction d'éclairage automatique a été désactivée au moyen de la commande d'éclairage extérieur, le message HEADLAMPS SUGGESTED (phares recommends) s'affiche sur le centralisateur informatique de bord, si le vehicule en est équipé.
Si vous mettez le contact en position LOCK (verrouillage) en laissant les feuels allumés, un carillon se fait entendre une fois la portedu conducteur ouverte.
Feux de circulation de jour et phares automatiques
Les feuels de circulation de jour peuvent rendre l'avant de votre vehicule plus visible aux autres automobilistes pendant le jour. Ils peuvent etre utiles dans bon nombre de conditions de conduite, mais surtout durant les courtes periodes suivant laube et precedant le crépuscule. Tous les vehicules vendus initialement au Canada doivent etre équipés de feuels de circulation de jour fonctionnels.
Un détector de lumière sur le dessus du tableau de bord fait fonctionner le système des FCJ; s'assurer donc qu'il n'est pas couvert. Le jour, le système des FCJ fait allumer les feuels de stationnement/clignotants avant dans les conditions suivantes:
- Le contact est mis.
- La commande des deux extérieurs est désactivée.
Lorsque les feu des circulation de jour (FCJ) sont allumés, seuls les feu clignotants avant sont allumés. L'éclairage du tableau de bord ne s'allume pas.
Lorsqu'il fait suffisamment nombre à l'extérieur, l'éclairage extérieur s'allume automatiquement. Lorsqu'il fait assez clair à l'extérieur, l'éclairage extérieur s'eteint et les deux de circulation de jour s'allument. Bien entendu, vous pouvez en tout temps allumer les phares au besoin.
Si vous démarrez votre vehicule dans un garageASF, le système de phares automatiquesse met en fonction immEDIatement. Une fois sortidu garage, s'il fait jour a l'extérieur, il faudrarenviron 30 secondes avant que les pharesautomatiques ne passent en mode feu descirculation de jour. Pendant ce delai, il est possibleque le groupe d'instruments du tableau de bordne soit pas aussi lumineux qu'a l'habitude. S'assurer que la commande de luminosité du tableau de bord est a la position pleine intensité.Se reporter à Intensité d'éclairage du tableaude bord à la page 214.
Pour laisser le moteur tournier au ralenti avec les yeux de circulation de jour (FCJ) et les phares automatiques eteints, faire basculer la commande de I'eclairage extérieur sur arrêt après avoir demarré le vehicule.
Comme pour tout autre vehicule, allumer vos phares ordinaires au besoin.
Intensité déclairage du tableau de bord

Le bouton de réglage de la luminosité du tableau de bord estitué au centre des commandes de l'éclairage interieur.
Tournier le bouton dans le sens des aiguilles d'une montre pour augmenter l'intensité de l'éclairage ou dans le sens contraire des aiguilles d'une montre pour réduire l'intensité de l'éclairage.
Commande d'éclairage interieur

La commande d'éclairage interieur est situé à droite des commandes de l'éclairage extérieur sur le tableau de bord, à gauche de la colonne de direction.
(chemique de neutralisation d'éclairage interieur): Tourner le bouton extérieur à cette position pour que l'éclairage interieur reste étant lorsqu'une porte est ouverte.
- (porte): Tourner le bouton extérieur à cette position pour allumer l'éclairage interieur lorsqu'une porté est ouverte et lorsque la clé est retiree du commutateur d'allumage.
(éclairage interieur): Tourner le bouton extérieur à cette position pour allumer l'éclairage interieur.
Tournier le bouton interieur pour régler la luminosité du tableau de bord, déscrit plus haut dans cette section.
Plafonnier
Le plafonnier se trouve dans la garniture de plafond et est muni de deux boutons permettant de l'allumer et de I'eteindre manuellement. Il s'allume automatiquement chaque fois que vous ouvrez une porte, à moins que la fonction de désactivation de I'éclairage interieur soit activée. Voir Commande d'éclairage interieur à la page 214.
Éclairage d'entrée
L'éclairage d'accueil illumine l'intérieur de votre vehicule avant que vous y entriez. Il s'allume pendant 20 secondes si vous déverrouille la porte à l'aide de la clé ou de l'émetteur de télédéverrouillage et si le commutateur d'allumage est en position LOCK (verrouillage).
Au bout de 20 secondes, l'éclairage interieur s'attenue lentement. L'éclairage s'estint avant que les 20 secondes soient écou�ées si vous effectuez l'une des actions suivantes :
- Verrouiller toutes les portes en utilisant la clé.
Appuyer sur la partie de verrouillage du commutateur de verrouillage électrique des portes.
Appuyer sur le bouton de verrouillage de l'émetteur de télédéverrouillage.
Si vous ouvrez une porte, l'éclairage d'entrée est annulé. L'éclairage interieur reste allumé pendant qu'une porte est ouverte ou que le hayon est ouvert et s'attenue lentement quand toutes les portes ainsi que le hayon sont fermés.
L'éclairage interieur peut rester allumé pendant 25 secondes après la fermeture de toutes les portes si elles n'ont pas été verrouillées. Se reporter à la rubrique Éclairage temporisé à la page 216.
Pourmettrela caractéristiquedéclairaged'acces en ou hors service,se reporter àPersonnalisation CIB du vehicule (Haut de gamme uniquement) àla page 294.
Éclairage temporisé
La caractéristique déclairage à temporisation continue déclairer l'intérieur du vehicule pendant 20 secondes après la fermeture de toutes les portes pour que vous puissiez trouver le commutateur d'allumage et attacher votre ceinture de sécurité leoir. Cette caractéristique ne fonctionne pas quand le commutateur d'allumage est à la position RUN (marche) ou ACCESSORY (accessoires). Lorsque les 20 secondes se sont écoulées, l'éclairage interieur s'attenue lentement. L'éclairage interieur s'attenue avant les 20 secondes si vous faites une des actions suivantes :
- Tourner le commutateur d'allumage à la position de marche ou d'accessoires.
- Verrouiller toutes les portes en utilisant l'émetteur de télédéverrouillage.
- Verrouiller toutes les portes en utilisant le commutateur de verrouillage électrique des portes ou la clé.
Pourmetrelacaracteristiquedele'éclairageatemporisation en ouhorsfonction,sereporter àPersonnalisationCIBdu vehicule(Haut de gammeuniquement)àla page294.
Éclairage de sortie
Quand vous retirez la clé du commutateur d'allumage, l'éclairage interieur reste allumé pendant environ 25 secondes. Si vous tournez la clé de contact à la position RUN (marche) ou ACCESSORY (accessoires), l'éclairage s'attenuera. de même que si vous verrouillez les portes au moyen du commutateur de verrouillage électrique ou de l'émetteur de télédéverrouillage en option.
Si vous ouvrez une porte, l'éclairage de sortie est annulé. L'éclairage interieur reste allumé pendant qu'une porte est ouverte ou que le hayon est ouvert et s'attenue lentement quand toutes les portes ainsi que le hayon sont fermés.
L'éclairage interieur peut rester allumé pendant 20 secondes après la fermeture de toutes les portes si elles n'ont pas été verrouillées. Se reporter à la rubrique Éclairage temporisé à la page 216.
Pourmetrelacaracteristiqued'éclairagedesorting enouhorsfonction,sereporteràPersonnalisation CIB du vehicule (Haut de gamme uniquement) àla page 294.
Lampes de lecture avant
La console de plafond comporte deux lampes de lecture et une lampe d'accueil. Pour allumer ou éteindre l'une ou l'autre des lampes de lecture, appuyer sur sa lentille. La lampe d'accueil s'allume chaque fois que vous ouvrez une porte, à moins que la fonction de neutralisation de l'éclairage interieur soit activée. Se reporter à la rubrique Commande d'éclairage interieur à la page 214.
Lampes de lecture arrière
Il y a deux lampes de lecture dans le plafond de la troisième rangée. Pour les allumer ou les éteindre, il suffit d'appuyer sur leur lentille.
Il peut aussi se trouver une lampe de lecture à la deuxième rangée, intégrée au plafonnier. Pour l'allumer ou l'éteindre, appuyer sur le bouton à côté de la lentille de la lampe.
Éclairage de l'espace utilisé
Cette lampe d'éclairage de l'espace utilisé se trouve à l'arrière du vehicule, au-dessus de l'ouverture du hayon et n'a pas de commutateur. Elle s'allume chaque fois que vous ouvrez une porte, à moins que vous ayez activé la fonction de désactivation de l'éclairage interieur. Voir Commande d'éclairage interieur à la page 214.
Gestion de l'énergie électrique
Ce vehicule possede la fonction de gestion d'alimentation electrique (EPM) qui estime la tempereature de la batterie et son etat de charge. La tension est regulée pour le meilleur rendement et la meilleure durée de vie de la batterie.
Quand la batterie est peu chargée, la tension est légèrement augmente pour la rechargerrapidement. Quand la batterie est très chargée, la tension est légèrement diminuée pour éviter la surcharge. Le voltmètre ou l'indication de tension du centralisateur informatique de bord (CIB) peut monrer cette différence qui est normale. En cas de problème, une alerte s'affiche.
Comme pour tous les vehicules, la batterie peut etre déchargée au ralenti en cas de charge electrique tres elevée car l'alternateur ne peut tourner assez vite au ralenti pour produire le courant necessaire.
La charge est elevée en cas d'utilisation des phares, deux de route, deux antibrouillard, du dégivrage arrêté, du ventilateur de climatisation à grande vitesse, du chauffage des sièges, des ventilateurs de refroidissement du moteur, de deux de remorque, d'accessoires branchés aux prises de courant.
L'EPM évite les décharges excessives en équilibrant la production de l'alternateur et les besoinés électriques du vehicule. Il peut augmenter le régime de ralenti pour générer plus de courant chaque fois que nécessaire. Il peut réduire temporairement la consommation de certains accessoires.
Normalement, ces actions sont progressives et insensibles sauf en de rares cas. Un message peut alors s'afficher au CIB, tel que Battery Saver Active (economiseur de batterie actif) ou Service Battery Charging System (réparer le système de charge de la batterie) et il est recommandé de réduire la consommation électrique. Voir Centralisateur informatique de bord - Avertissements et messages à la page 270.
Protection antidécharge de la batterie
Votre vehicule comporte une caractéristique qui aide à empêcher la batterie de se décharger si, par mégarde, vous avez laissé allumé l'éclairage interieur. Si vous laissez cet éclairage allumé pendant que le commutateur d'allumage est à la position de blocage, ou arrêt, il s'eteindra automatiquement après 10 minutes.
Les lampes ne se rallumeront pas avant que l'une de ces situations se produit :
- Tournier le commutateur d'allumage à la position RUN (marche) ou ACCESSORY (accessoires).
- Ouvrir une porte fermée ou bien fermer et rouvrir l'une des portes.
- Allumer l'éclairage interieur s'il est en position porte ou neutralisation.
- Tournier l'éclairage interieur en position porto ou neutralisation, puis à nouveau en position allumée, lorsque la commande d'éclairage interieur est en position allumée.
Si vous véchicule a enregistré moins de 25 km (15 milles) au compteur kilométrique, la protection contre la décharge de la batterie éteint les lampes après seulement trois minutes.
Bloc-commutateurs - console de pavillon

Le bloc-commutateurs de la console de pavillon se trouve dans la console de pavillon et peut comprendre ce qui suit :
- Portes(s) coulissantes électriques/ Commutateur(s) de désactivation. Voir Porte coulissante électrique à la page 128.
- Glaces de custode électriques. Voir Glaces électriques de custode à la page 142.
- Commutateur de désactivation du système d'assistance ultrasonique arrêté de stationnement (URPA). Se reporter à la rubrique Assistance ultrasonique arrêté de stationnement à la page 220.
Si vous vécique n'est pas doté de certaines de ces options, le bloc-commutateurs comportera un emplacement inutilisé.
Assistance ultrasonique arrêté de stationnement
Si vous vécicule est équipé du système d'assistance ultrasonique arrière de stationnement (URPA), il est unconçu pour vous aider à stationner lorsque le vehicule est en marche arrière (R). Il fonctionne seulement à très faible vitesse, soit moins de 5 km/h (3 mi/h). Le système URPA facilité vos manoeuvres de stationnement et vous évite de heurter des objets tels que les vehicules stationnés. Il peut détecter des objets se trouvant jusqu'à 1,5 m (5 pi) derrière le vehicule et vous renseigne sur la proximité de ces objets avec votre pare-chocs arrière.
L'assistance de stationnement arrêté ultrasonique de votre vehicule fonctionne quand le levier des vitesses est déplaced à la position de marche arrêté (R) et que la vitesse du vehicule est moins de 5km / h (3 mi/h). Les quatre capteurs ultrasonores sur le pare-chocs arrêté détectent la proximité à l'objet dans l'endroit déterminé. L'affichage de système de stationnement arrêté à ultrasons est situé à l'intérieur du vehicule, au-dessus de la lunette. Il a trois tímoins à code couleur que vous pouvez voir au moyen du rétroviseur.

ATTENTION:
Le système d'assistance de stationnement arrêté à ultrasons (URPA) ne remplace pas le regard du conducteur. En effet, l'URPA est incapable des actions suivantes :
- Fonctionner à des vitesses supérieures à 5 km/h (3 mi/h).
- Détector des objets de plus de 1,5 mètre (5 pieds) derrière le vehicule. La distance peut être inférieure par temps chaud ou humide.
- Détector des objets sous le pare-chocs, sous le vehicule, ou très proches du vehicule.
- Détector des enfants, des piétons, des cyclistes ou des animaux domestiques.
Dès lors, à défaut de prudence en reculant il est possible de heurter un vehicule, un enfant, un piéton, un cycliste ou un animal domestique en causant des dégats au vehicule, des blessures ou un décès.
/
ATTENTION: (suite)
Bien que le vehicule soit équipé du système URPA, il convient de toutes vérifier soignement avant de reculer, en vérifier derrière le vehicule.

L'URPA peut etremis hors fonction enappuyant sur lecommutateur derésactivation de l'aideau stationnementarriere,place dansla rangée decommutateurs de laconsole au pavillon.
Pendant que le système est désactivé, un tímoin s'allume sur le commutateur. Vous ne verrez aucune lampe à l'écran arrêté si le commutateur est en position hors fonction.
Fonctionnement du système
À moins d'être désactivé, le système de stationnement arrêté à ultrasons se met automatiquement en fonction lorsque le levier des vitesses est déplace à la position de marche arrrière (R). Lorsque le système est activé, les trois tímoins de l'afficheur s'allument pendant une seconde et demie pour confirmer le bon fonctionnement du système. Si le vehicule se déplace en marche arrêté à plus de 5 km/h (3 mi/h), le tímoin rouge clignote pour vous rappeler que le système ne peut fonctionner à une vitesse supérieure à 5 km/h (3 mi/h).
Lorsqu'un objet est détecté en marche arrêté (R) à moins de 5 km/h (3mi/h):
| Description | Anglais | Métrique |
| Témoin jaune | 5 pi | 1,5 m |
| Témoins jaune/jaune | 40 po | 1 m |
| Témoins jaune/jaune/ rouge et retentissement continu du carillon | 20 po | 0,5 m |
| Clignotement des tímoins jaune/jaune/ rouge et retentissement continu du carillon | 1 pi | 0,3 m |
Un carillon retentit quand un objet est détecté pour la première fois, si l'objet se trouve à une distance de 0,5 m (20 po) à 1,5 m (5 pi) du vehicule.
Le radar de stationnement arrêté ne peut pas détecter les objets qui se trouvent au-dessus du hayon. Les capteurs arrêté peuvent détecter uniquement les objets situés dans leur plage de fonctionnement.
Si le système semble ne pas fonctionner correctement
Le témoin rouge peut également clignoter lorsque le vehicule est en marche arrière (R), si les capteurs à ultrasons ne sont pas propres.
Garder donc le pare-chocs arrirée libre de boue, de saleté, de neige, de glace ou de neige fondante, sinon le système risque de ne pas bien fonctionner. D'autres éléments peuvent réduire la performance du système, notamment les vibrations d'un marteau-piqueur ou la compression des freins pneumatiques d'un très gros camion. Si après avoir nettoyé le pare-chocs arrirée et avoir ensuite rouled à une vitesse d'au moins 25km / h (15 mi/h) le témoin rouge continue de clignoter, communiquer avec votre concessionnaire.
Le témoin rouge clignotera lorsque vous déplacez le levier des vitesses à la position de marche arrrière (R) si vous transportiez une bicyclette ou un autre objet à l'arrête du vehicule ou si ceux-ci dépassaient du hayon lors de votre dernière sortie. Le témoin continuaera de clignoter lorsque le levier des vitesses est à la position de marche arrrière (R), jusqu'à ce que le vehicule roule vers l'avant à une vitesse d'au moins 25 km/h (15 mi/h) sans aucun obstacle derrière le vehicule.
Pour les directives de nettoyage, voir Lavage du vehicule à la page 574.
Prises électriques pour accessoires
Votre vehicule est équipé d'une prise électrique pour accessoires avant, située pres du plancher, sur le tableau de bord. Cette prise peut être utilisée pour le branchement d'appareils électriques tels qu'un téléphone portable ou une radio BP.
Pour utiliser la prise électrique pour accessoires, abaisser le couvercle. Refermer le couvercle lorsque vous n'utilise pas la prise.
La prise électrique pour accessoires arrrière se trouve derrière les sièges de la troisième rangiée, du côté conducteur derrière un couvercle d'accès.
Pour enlever le couvercle, tirer la languette sur le couvercle puis le retirer. Pour remettre en place le couvercle de la prise électrique arrriere pour accessoires, aligner les languettes se trouvant à l'arrêté du couvercle et le remettre en place. Pousser sur la patte pour fixer le couvercle. Lorsque vous n'utilise pas la prise électrique arrrière pour accessoires, remettre toujours le couvercle de protection.
Remarque: Si l'équipement électrique est maintenu en fonctionnement pendant des périodes prolongées, la batterie se décharger. Toujours débrancher l'équipement électrique inutilisé et ne pas brancher d'équipement qui dépasse l'ampérage maximum (20 A).
Certsains accessoires électriques peuvent ne pas être compatibles avec les prises de courant auxiliaires et pouraient faire griller les fusibles du vehicule et de l'adaptateur. En cas de problème, consulter le concessionnaire pour obtenir des renseignements supplémentaires sur les prises de courant auxiliaires.
Remarque: L'ajout à votre vehicule de tout équipement électrique risque de l'endommager ou d'empêcher le fonctionnement normal d'autres composants. Les réparations ne seraient pas prises en charge par votre garantie. Ne pas utiliser un équipement dépassant la valeur nominale d'ampérage maximum. Se renseigner auprès de votre concessionnaire avant d'ajouter un équipement électrique.
Au moment d'installer des appareils électriques, suivre à la lecture les directives d'installation jointes à l'appareil.
Remarque: Une mauvaise utilisation de la prise électrique peut cause des dommages qui ne sont pas couverts par la garantie. Ne pas suspendre des accessoires ou des supports d'accessoires dans la fiche car les prises electriques sont conçues uniquement pour les fiches d'alimentation des accessoires.
Courant alternatif 115 V de la prise d'alimentation
Votre vehicule est peut etre equipe d'une prise
electrique qui peut servir a brancher un apparieil
electrique auxiliaire d'une puissance maximale
de 150 watt. Si vous branchez un apparieil
qui requiert une puissance supérieure, un circuit
de protection coupe l'alimentation electrique. Pour reinitialiser la prise, debrancher puis rebrancher I' apparieil ou metre le contact en position LOCK (verrouillage) ou ACCESSORY
(cessoires) puis a nouveau en position marche. La prise fonctionne a nouveau lorsqu'un apparieil ne depassant pas la puissance maximale
recommandee est branché.

La prise electrique est située derrière les sièges du troisième rang sur la garniture du panneau arrêté, du côté passager.
La prise électrique n'est pas conçue pour les apparèils suivants et ne fonctionnera peut-être pas correctement si ces apparèils sont branchés sur la prise :
- Appareils à pic de consommation initiale élevé tels que : réfrigerateurs à compresseur et outils electriques.
- Autres apparèils exigeant une alimentation extrément régulière tels que : couvertures électriques à microproesseur, lampes tactiles, etc.
Allume-cigarette
Votre vehicule peut etre equipe d'un allume-cigarette. Pour utiliser l'allume-cigarette situé sur le tableau de bord sous les commandes de climatisation, I'enforcer complètement, puis le relacher. Lorsqu'il est prêt, il s'ejcte de lui-même.
Remarque: Maintenir un allume-cigare enforcé pendant qu'ilchauffe l'empêche de s'éloigner de l'élement chauffant lorsqu'il est chaud. L'allume-cigare ou l'élement chauffant peuvent être endommages en raison d'une surchauffe, ou bien un fusible peut griller. Ne pas bloquer un allume-cigarette en position enforcée pendant qu'ilchauffe.
Remarque: Si vous mettez des papiers, des épingles, ou d'autres objets inflammables dans le cendrier, des cigaretteses chaudes ou autres objets de fumeurs risqueraient de les allumer et eventuèlement endommager votre vehicule. Ne jamais mettre d'objets inflammables dans le cendrier.
Commandes de la climatisation
Système de régulation de température
Grâce à ce système, vous pouvez commander le chauffage, le refroidissement et la ventilation de votre vehicule.

Fonctionnement
Tourner ce bouton dans le sens des aiguilles d'une montre ou dans le sens contraire pour diriger l'air à l'intérieur de votre vehicule.
Pour modifier le mode actuel, selectionner l'une des positions suivantes :
(ventilation): Ce mode dirige l'air dans les bouches d'aération du tableau de bord.
(duques niveaux): Ce réglage dirige la moitié de l'air par les volets du tableau de bord et le reste de l'air par les sorties de plancher. L'air frais est dirigé vers les sorties supérieures tandis que l'air rechauffé est dirigé vers les sorties de plancher.
(plancher): Ce réglage dirige la plupart de l'air par les sorties de plancher. Ce réglage est aussi utilisé pour diriger l'air vers l'arrière du vehicule. Ne rien mette sous les sièges avant qui pourrait empêcher l'air de circuler vers l'arrière du vehicule.
La commande de droite vous permet également de sélectionner les modes de désembavage ou de dégivrage. Pour plus de détails, se reporter à la rubrique « Désembuage et dégivrage » plus loin dans cette section.
Air extérieur: Ce mode sera selectionné automatiquement quel que soit le mode dans lequel se trouve votre vehicule, sauf climatisation maximale.
(ventilateur): Tourner le bouton gauche dans le sens des aiguilles d'une montre ou le sens contraire pour augmenter ou diminuer la vitesse du ventilateur. Mettre le bouton à 0 pour arreter le ventilateur. Le ventilateur doit être en marche pour que le compresseur de climatiseur fonctionne.
Réglage de la température: Tourner la commande centrale vers la croite ou la gauche pour augmenter ou diminuer la température de l'air dans votre vehicule.
( climatisation): Appuyer sur ce bouton pourmettre le systeme de climatisation en fonction ou hors fonction. Le témoin s'allume lorsquel bouton est enforcé pour signaler que leclimatiseur fonctionne.
Lorsque le compresseur de climatisation démarre ou s'arrête, vous remarquerez parfois de légères variations de performance du moteur. C'est normal. Le système a été créé pourmaintenir l'habitacle à la température voulue sans consommer trop de carburant.
Par temps chaud, abaisser les glaces pour laisser l'air chaud s'échapper de l'habitacle, puis les remonter. Ceci permet au climatiseur de rafraîchir l'air ambiant plus rapidement et en améliore l'efficacité.
Le climatiseur déshumidifie l'air et vous pourrez remarquer de temps en temps un peu d'eau dégoutter de votre vehicule lorsque le moteur est au ralenti ou une fois que le contact est coupé. Cette situation est normale.
MAX A/C (climatisation maximale): Tourner le bouton de croite à cette position pour obtenir la climatisation maximale. Cela selectionnera la climatisation et la recirculation pour un refroidissement maximum de votre vehicule. Ce mode dirige l'air vers les bouches du tableau de bord.
Recirculation: Ce mode empêche l'air extérieur de pénétrer dans le vehicule. Il peut être utilisé pour empêcher l'air et les odeurs extérieurs de pénétrer dans le vehicule ou aider à rechauffer ou refroidir l'air interieur du vehicule plus rapidement. Ce mode sera selectionné automatiquement lorsque vous sélectionnez la climatisation maximale.
Sièges chauffants): Appuyer sur ce bouton pour activer ou désactiver les sièges chauffants. Le bouton de gauche règle le siège du conducteur et celui de droite règle le siège du passager. Se reporter à la rubrique Sièges chauffants à la page 11 pour plus de renseignements.
Désembuage et dégivrage
La présence de buée sur la surface interieure des glaces est due à un taux d'humidité élevé avec condensation sur le verre froid. Cette condition peut être minimisée si vous utilisez le système de régulation de température de façon judicieuse. Vous pouvez désoir entre deux modes pour éliminer la buée ou le givre du pare-brise. Utiliser le mode de désembuage pour faire disparaître la buée ou l'humidité des glaces et rechauffer les passagers. Utiliser le mode de dégivrage pour faire disparaître la buée ou le givre du pare-brise plus rapidement.
Tournier le bouton de croite pour selectionner le mode de désembuage ou de dégivrage.
(?) (désembuage): Ce mode dirige l'air vers le pare-brise et les sorties de plancher. Lorsque vous sélectionnez ce mode, le système fait fonctionner le comprésur de climatisation sauf si la température extérieure est au point de congélation ou plus basse. Le mode de recyclage ne peut être sélectionné lorsque le système est en mode de désembuage.
(dégivrage): Ce réglage dirige la plus grande partie de l'air par les volets d'aération du pare-brise et des glaces latérales, et une faible partie vers les sorties de plancher. Dans ce mode, le système met automatiquement le compresseur de climatiseur en marche, sauf si la température extérieure est au point de congestion ou plus BASSE. La recirculation ne peut être sélectionnée lorsque le système est en mode de dégivrage.
Ne pas conduire le vehicule avant que toutes les glaces soient dégagées.
Désembumeur de lunette
Si vous vécicule est équipé du désembueur de la lunette arrête, une grille de chauffage est utilisée pour éliminer la buée de la lunette arrête.
REAR (arrière): Appuyer sur ce bouton pourmettre le dégivreur de lunette en fonction ou hors fonction.Un témoin sur le bouton s'allume pour signaler que le dégivreur de lunette est activé.
Le désembueur de lunette se met hors fonction au bout d'environ 10 minutes après que vous ayez appuyé sur le bouton. Si vous le mettez en service de nouveau, le désembueur fonctionnera pendant environ cinq minutes seulement avant de s'teindre. Vous pouvez également eteindre le désembueur en appuyant de nouveau sur le bouton ou en arrêtant le moteur.
Remarque: Ne pas utiliser d'objets tranchants sur la surface interieure de la lunette. Vous risqueriez de sectionner ou d'endommager le réseau de fils chauffants et les réparations ne seraient pas couvertes par votre garantie. Ne pas fixer de plaque d'immatriculation-temporaire, de ruban adhésif, d'autocollant ou d'objet similaire sur la grille du dégivreur.
Système de climatisation à deux zones
Votre vehicule peut etre equipe d'un systeme de regulation de tempereature a deux zones.
Avec ce systeme, vous pouvez commander le chauffage, le refroidissement et la ventilation de votre vehicule.

Fonctionnement
(ventilateur): Tourner le bouton gauche dans le sens des aiguilles d'une montre ou le sens contraire pour augmenter ou diminuer la vitesse du ventilateur. Mettre le bouton à 0 pour arrêté le ventilateur. Le ventilateur doit être en marche pour que le compresseur de climatiseur fonctionne.
Réglage de la température: Utiliser les leviers de commande du conducteur et du passager pour augmenter ou diminuer la température de l'air dans l'habitacle.
Tourner ce bouton dans le sens des aiguilles d'une montre ou dans le sens contraire pour diriger l'air à l'intérieur de votre vehicule.
Pour modifier le mode actuel, selectionner l'une des positions suivantes :
MAX A/C (climatisation maximale): Tournier le bouton droit à cette position pourmettre la climatisation à la puissance maximale. Ceci active la climatisation et la circulation d'air pour un rafraîchissement maximal de l'air du vehicule.
Recirculation: Ce mode empêche l'air extérieur de pénétrer dans le vehicule. Il peut être utilisé pour empêcher l'air et les odeurs extérieurs de pénétrer dans le vehicule ou aider à réchauffer ou refroidir l'air interieur du vehicule plus rapidement. Ce mode sera sélectionné automatiquement lorsque vous sélectionnez la climatisation maximale.
(ventilation): Ce mode dirige l'air dans les bouches d'aération du tableau de bord.
(duques niveaux): Ce réglage dirige la moitié de l'air par les volets du tableau de bord et le reste de l'air par les sorties de plancher. L'air frais est dirigé vers les sorties supérieures tandis que l'air rechauffé est dirigé vers les sorties de plancher.
(plancher): Ce réglage dirige la plupart de l'air par les sorties de plancher. Ce réglage est aussi utilisé pour diriger l'air vers l'arrière du vehicule. Ne rien mette sous les sièges avant qui pourrait empêcher l'air de circuler vers l'arrière du vehicule.
Air extérieur: Ce mode sera selectionné automatiquement dans tous les modes, sauf climatisation maximale.
La commande de droite vous permet également de sélectionner les modes de désembavage ou de dégivrage. Pour plus de détails, se reporter à la rubrique « Désembuage et dégivrage » plus loin dans cette section.
( climatisation): Appuyer sur ce bouton pour allumer ou eteindre le système de climatisation. Un tímoin s'allume alors sur le bouton pour signaler que la climatisation fonctionne.
Lorsque le compresseur de climatisation démarre ou s'arrête, vous remarquerez parfois de légères variations de performance du moteur. C'est normal. Le système a été créé pourmaintenir l'habitacle à la température voulue sans consommer trop de carburant.
Par temps chaud, abaisser les glaces pour laisser l'air chaud s'échapper de l'habitacle, puis les remonter et passer en mode de climatisation maximale. Ceci permet de rafraîchir l'habitacle plus rapidement et améliore l'efficacité du système.
Le climatiseur déshumidifie l'air et vous pourrez remarquer de temps en temps un peu d'eau dégoutter de votre vehicule lorsque le moteur est au ralenti ou une fois que le contact est coupé. Cette situation est normale.
(sièges chauffants): Appuyer sur ce bouton pour activer ou désactiver les sièges chauffants. Le bouton de gauche règle le siège du conducteur et celui de droite règle le siège du passager. Se reporter à la rubrique Sièges chauffants à la page 11 pour plus de renseignements.
Désembuage et dégivrage
La présence de buée sur la surface interieure des glaces est due à un taux d'humidité élevé avec condensation sur le verre froid. Cette condition peut être minimisée si vous utilisez le système de régulation de température de façon judicieuse. Vous pouvezCHOISIR entre deux modes pour eliminer la buée ou le givre du pare-brise. Utiliser le mode de désembuage pour faire disparaître la buée ou l'humidité des glaces et rechauffer les passagers. Utiliser le mode de dégivrage pour faire disparaître la buée ou le givre du pare-brise plus rapidement.
Tournier le bouton de croite pour selectionner le mode de désembuage ou de dégivrage.
(?) (désembuage): Ce réglage dirige l'air vers le pare-brise et les sorties du plancher. Lorsque vous sélectionné ce mode, le système fait fonctionner le compresseur de climatisation sauf si la température extérieure est au point de congélation ou plus BASSE.
Le mode de recyclage ne peut être sélectionné pendant l'utilisation du désembusage.
(dégivrage): Ce mode dirige la plus grande partie de l'air vers le pare-brise vers les volets d'aération du pare-brise et des glaces latérales, une faible partie étant dirigée vers les sorties du plancher. Dans ce mode, le système met automatiquement le compresseur de climatisation en marche, sauf si la température extérieure est au point de congélation ou plus BASSE.
La circulation ne peut être sélectionnée pendant le dégivrage.
Ne pas conduire le vehicule avant que toutes les glaces soient dégagées.
Désembumeur de lunette
Le dégivreur de lunette utilise un réseau de fils chauffants pour enlever la buée de la lunette.
(duembueur de lunette): Appuyer sur ce bouton pourmettreledegivreurdunette enfonction ou horsfonction.Un témoin sur le bouton s'allume pour signaler quele dégivreurd Lunette est activé.
Le désembueur de lunette se met hors fonction au bout d'environ 10 minutes après que vous ayez appuyé sur le bouton. Si vous le mettez en service de nouveau, le désembueur fonctionnera pendant environ cinq minutes seulement avant de s'eteindre. Vous pouvez également eteindre le désembueur en appuyant de nouveau sur le bouton ou en arrêtant le moteur.
Remarque: Ne pas utiliser d'objets tranchants sur la surface interieure de la lunette. Vous risqueriez de sectionner ou d'endommager le réseau de fils chauffants et les réparations ne seraient pas couvertes par votre garantie. Ne pas fixer de plaque d'immatriculation-temporaire, de ruban adhésisif, d'autocollant ou d'objet similaire sur la grille du dégivreur.
Réglage de bouche de sortie
≈ (ouverture): Tournier la molette dans cette position pour ouvrir les bouches d'aération.
(fermé): Tourner la molette dans cette position pour fermer les bouches d'aération.
Régler les volets des bouches d'air pour modifier le sens de la circulation d'air.
Conseils d'utilisation
- Dégager les prises d'air situées à la base du vehicule de la glace, de la neige ou des feuilles pouvant obstruer l'entrée d'air dans votre vehicule.
- L'utilisation de déflecteurs de capot non autorisés par GM peut comprometer le rendissement du système.
- Ne rienMETTRESouslessiegesavantafinde permecttrea l'airde circulerlibrementdans toutl'habitacle.
Système de régulation de la climatisation arrière (Option A, Haut de gamme)
Votre vehicule peut etre muni d'un systeme de regulation de tempereature arriere qui permet au conducteur de regler le regime du ventilateur pour la partie arriere de I'habitacle. Ce systeme fonctionne avec le systeme principal de commande de climatisation du vehicule.

Ce levier se trouve au-dessous du système principal de commande de climatisation sur le tableau de bord. L'utiliser pour régler le régime du ventilateur desservant les passagers arrêté.
(ventilateur): Faire glisser la commande vers 1, 2, ou 3 pour augmenter ou diminuer le débit de l'air vers les places arrêté. Pour couper le ventilateur, faire glisser la commande à la position 0.
AUX (auxiliaire): Faire glisser la commande vers AUX (auxiliaire) pour permettre aux passagers arrriere de regler la temperature et le débit d'air dans la partie arrriere de l'habitacle.
Votre vehicule peut aussi être muni d'un système de climatisation arrêté permettant aux passagers arrêté de régler la température et le régime du ventilateur pour la partie arrêté de l'habitacle.
Lorsque la climatisation avant est en position AUX (auxiliaire) et que vous appuyez sur le bouton du ventilateur de climatisation arrêté ou de la température, l'affichage fait apparaitre les mêmes modes de circulation d'air que pour le système de climatisation avant. Se reporter à Systeme de climatisation à deux zones à la page 230.

La commande avant doit être en position AUX (auxiliaire) pour permettre le réglage de la température et du régime du ventilateur sur le système de climatisation arrêté. Si elle n'est pas en position AUX, une pression sur le bouton de ventilation ou de température du système de climatisation arrêté fera s'afficher le message DISABLED (désactivé) sur l'écran du système de divertissement de siège arrêté.
( diminuier le réglage): Appuyer sur ce bouton pour diminuer le réglage de ventilation ou de température lorsque les flèches sont activées sur l'écran.
(augmenter le réglage): Appuyer sur ce bouton pour augmenter le réglage de ventilation ou de température lorsque les flèches sont activées sur l'écran.
(ventilateur): Appuyer sur ce bouton pour augmenter ou diminuer la vitesse du ventilateur. ÀpRES avoir appuyé sur ce bouton, des flèches et un ventilateur apparaitron sur l'écran. Les flèches indiquent que, pour augmenter ou diminuer la vitesse du ventilateur, vousdezappuyer sur l'un des boutons flèche gauche ou droite. L'affichage des flèches et du ventilateur disparait après quelques secondes.
F (température): Appuyer sur ce bouton pour augmenter ou diminuer la température. ÀpRES avoir appuyé sur ce bouton, des flèches et une échelle de température apparaitront sur l'écran. Les flèches indiquent que, pour augmenter ou diminuer la température, vousdezappuyer sur l'un des boutons flèche gauche ou droite. L'affichage des flèches et de l'échelle de température disparait après quelques secondes.
Volets d'aération arrêté
Le volet d'aération qui est situé derrière le siège arrêté gauche est le volet d'aération de return d'air froid. S'assurer de ne pas le bloquer.
Garder l'espace autour de la base de la console centrale du tableau de bord, ainsi que celui entre et sous les sièges avant, libre de tout objet qui risque de bloquer la circulation de l'air vers l'arrière.
Pour obtenir de plus amples renseignements sur la façon d'utiliser le système principal de commande de la climatisation, voir Système de climatisation à deux zones à la page 230. Pour obtenir de l'information sur la ventilation, voir Réglage de bouche de sortie à la page 233.
Système de régulation de la climatisation arrière (Option B, Haut de gamme)
Votre vehicule peut etre muni d'un systeme de regulation de tempereature arriere qui permet au conducteur de regler le regime du ventilateur pour la partie arriere de Ihabitacle. Ce systeme fonctionne avec le systeme principal de commande de climatisation du vehicule.

Ce levier se trouve au-dessous du système principal de commande de climatisation sur le tableau de bord. L'utiliser pour régler le régime du ventilateur desservant les passagers arrêté.
(ventilateur): Faire glisser la commande vers 1, 2, ou 3 pour augmenter ou diminuer le débit de l'air vers les places arrêté. Pour couper le ventilateur, faire glisser la commande à la position 0.
AUX (auxiliaire): Faire glisser la commande vers AUX (auxiliaire) pour permettre aux passagers arrriere de regler la temperture et le débit d'air dans la partie arrriere de l'habitacle.
Votre vehicule peut aussi être muni d'un système de climatisation arrêté permettant aux passagers arrêté de régler la température et le régime du ventilateur pour la partie arrêté de l'habitacle.
Lorsque la climatisation avant est en position AUX (auxiliaire) et que vous appuyez sur le bouton du ventilateur de climatisation arrêté ou de la température, l'affichage fait apparaitre les mêmes modes de circulation d'air que pour le système de climatisation avant. Se reporter à Système de climatisation à deux zones à la page 230.

La commande avant doit être en position AUX (auxiliaire) pour permettre le réglage de la température et du régime du ventilateur sur le système de climatisation arrière. Si elle n'est pas en position AUX, une pression sur le bouton de ventilation ou de température du système de climatisation arrière fera s'afficher le message DISABLED (désactivé) sur l'écran du système de divertissement de siège arrière.
(diminuer le réglage): Appuyer sur ce bouton pour diminuer le réglage de ventilation ou de température lorsque les flèches sont activées sur l'écran.
( augmenter le réglage): Appuyer sur ce bouton pour augmenter le réglage de ventilation ou de température lorsque les flèches sont activées sur l'écran.
(ventilateur) (température): Appuyer une fois sur ce bouton pour permettre le réglage de la vitesse du ventilateur. ÀpRES avoir appuyé sur ce bouton, le réglage actuel de vitesse de ventilateur est mis en évidence et apparait à l'écran. Les flèches indiquent que, pour augmenter ou diminuer la vitesse du ventilateur, vous doivent appuyer sur l'un des boutons flèche gauche ou droite. L'affichage à l'écran disparaît après quelques secondes.
Appuyer deux fois sur ce bouton pour permettre le réglage de la température. ÀpRES avoir appuyé sur ce bouton, le réglage actuel de température est mis en évidence et s'affiche à l'écran. Les flèches indiquent que, pour augmenter ou diminuer la température, vousdezvez appuyer sur l'un des boutons flèche gauche ou droite. L'affichage à l'écran disparait après quelques secondes.
Une troisième pression de ce bouton coupe l'affichage à l'écran.
: Appuyer sur les flèches haut et bas pour basculer entre les réglages de ventilateur et de température.
Volets d'aération arrêté
Le volet d'aération qui est situé derrière le siège arrêté gauche est le volet d'aération de return d'air froid. S'assurer de ne pas le bloquer.
Garder l'espace autour de la base de la console centrale du tableau de bord, ainsi que celui entre et sous les sièges avant, libre de tout object qui risque de bloquer la circulation de l'air vers l'arrière.
Pour obtenir de plus amples renseignements sur la façon d'utiliser le système principal de commande de la climatisation, voir Système de climatisation à deux zones à la page 230. Pour obtenir de l'information sur la ventilation, voir Réglage de bouche de sortie à la page 233.
Filtre à air de l'habitacle
L'air de l'habitacle, qu'il provienne de l'extérieur ou qu'il soit recyclé, passes par un filtr. Ce filtr retient la plupart des particules de l'air, y compris les poussières. La diminution du début d'air, qui peut se produit plus rapidement dans les endroits poussièreux, indique que le filtr est besoin d'être bientôt remplaced. Pour déterminer le moment de replacer le filtr à air, se reporter la rubrique Entretien prévu à la page 595.
Le panneau d'accès au filtré à air de l'habitacle est situé à l'arrière de la boîte à gants. Pour le remplaçer, effectuer les étapes suivantes :

- Tirer vers le haut la languette située sur le panneau d'accès extérieur, et la retirer.

- Ensuite, serrer la languette se trouvant à la gauche du panneau d'accès interieur.
-
Le premier filtr se retire directement. Pour enlever le deuxième filtr, passer la main et faire glisser le filtr vers l'ouverture, et le retarder.
-
Remplacer les filtres en inversant l'étépe 3. S'assurer que les filtres sont introduits de façon que l'angle de la mousse d'étanchéité soit dans le même sens sur les deux filtres. Pour savoirquel type de filtrer à utiliser, se reporter à la rubrique Pièces de rechange d'entretien normal à la page 609.
- Tout en serrant la languette, fermer le panneau d'accès interieur. S'assurer qu'il est bien fermé.
- Enclencher le panneau d'accès extérieur dans l'arrière de la boîte à gants.
Feux de détresses, jauges et témoins
Cette rubrique déscrit les témoins et les indicateurs qui peuvent se trouver sur votre vehicule. Les illustrations vous aideront à les repérer.
Les témoins et les indicateurs peuvent signaler une défaillance avant qu'elle ne devienne assez grave pour nécessiter une réparation ou un remplacement couâteux. Vous pouvez aussi réduire le risque de blessures tant à vous qu'à vos passagers en portant attention à ces témoins et indicateurs.
Les témoins s'allument s'il y a défaillance potentielle ou réelle de l'une des fonctions de votre vehicule. Comme vous le verrez plus en détaïl dans les pages suivantes, quelques témoins s'allument brievement quand vous faites démarrer le moteur pour vous indiquer qu'ils sont en état de fonctionnement. Si vous vous familiarisez avec cette rubrique, vous ne serez pas inquiet lorsque ces témoins s'allumeront.
Les indicateurs peuvent signaler une défaillance potentielle ou réelle de l'une des fonctions de votre vehicule. Les indicateurs et les tímoins fonctionnent souvent de concert pour vous prévenir d'une défaillance sur votre vehicule.
Quand l'un des témoins s'allume et reste allumé pendant que vous conduisez ou que l'un des indicateurs signale une défaillance possible, se reporter à la rubrique indiquant ce qu'il faut faire pour y.Remédier. Prière de suivre les conseils de ce Guide du propriétaire. Trop attendre avant de faire les réparations nécessaires pourrait s'avérer couteux — même dangereux. Prière de vous familiariser avec les témoins et les indicateurs. Ils sont extrémement utiles.
Ensemble d'instruments
Le groupe d'instruments du tableau de bord est concu pour vous informer du fonctionnement du vehicule d'un simple coup d'oeil. Vous saurez àquelle vitesse vous roulez,quelle quantité de carburant vous consommez et beaucoup d'autres choses nécessaires pour conduire de manière économique et en sécurité. Les témoins et indicateurs sont expliqués dans les pages suivantes.

Version americaine illustrée. Version canadiennesemblable.
Indicateur de vitesse et compteur kilométrique
L'indicateur de vitesse vous permet d'afficher votre vitesse en milles à l'heure (mi/h) et en kilomètres à l'heure (km/h). Le compteur kilométrique permet d'indiquer la distance parcourue par le vehicule en milles (aux États-Unis) ou en kilomètres (au Canada).
Votrecvhucule est equiped'un compteur kilométrique infalsifiable.
Si vous véchicule nécessite l'installation d'un nouveau compteur kilométrique, il peut être réglé au même kilométrage qu'affichait l'ancien compteur kilométrique.
Totalisateur partiel
Le compteur journalier indique la distance parcoursue par le vehicule depuis sa derniere mise à zéro.
Pour obtenir de plus amples renseignements, se reporter à Fonctionnement et affichages du centralisateur informatique de bord à la page 261.
Tachymètre

Le tachymètre indique le régime du moteur en tours/minute (rpm).
Témoin de rappel des ceintures de sécurité
Lorsque la clé de contact est tournée à la position RUN (marche) ou START (démarriage), un carillononnependant plusieurs secondes afin derappeler aux occupants d'attacher leurs ceintures.

De plus, le témoin de rappel de bouclage des ceintures de sécurité s'allume et reste allumé pendant quelques secondes, puis il clignote pendant quelques secondes.
Si la ceinture de sécurité du conducteur restede brouclée quand le contact est mis et quele vehicule se déplace, le carillon et le témoin deceinture de sécurité sont mis en fonction. Vousdevez boucler votre ceinture de sécurité. Si la ceinture de sécurité du conducteur est déjàbouclée, ni le carillon, ni le témoin ne fonctionnent.
Témoin de rappel de bouclage de la ceinture de sécurité du passager
Quelques secondes après avoir tourné la clé en position RUN (marche) ou START (démarriage), un carillon retentit pendant plusieurs secondes pour rappeler au passager avant qu'il doit boucler sa ceinture de sécurité. Ceci ne se produit que si un
passager est détecté par le système de détction du passager. Pour de plus amples renseignements, se reporter à Système de détction des occupants à la page 99. Le témoin lumineux de la ceinture de sécurité du passager s'allume aussi et reste allumé pendant plusieurs secondes, puis il clignote ensuite pendant plusieurs secondes supplémentaires.

Les passagers doivent boucher leur ceinture de sécurité.
Ce témoin et le carillon de rappel sont répétés si le contact est mis, si le vehicule se déplace et si la ceinture de sécurité de passager est toujours débouclée alors que le sac gonflable de passager est activé.
Le carillon ne retentit pas et le témoin ne s'allume pas si la ceinture de sécurité du passager est bouclée.
Témoin de sac gonflable prét à fonctionner (AIRBAG)
Il y a un tímoin du système de sacs gonflables sur le tableau de bord qui montre le symbole de sac gonflable. Le système vérifie le circuit électrique du sac gonflable pour repérer les défaillances. Le tímoin s'allume s'il y a un problème électrique. Le système vérifie le détecteur de sac gonflable, les modules de sac gonflable, le câblage et le module de diagnostic. Se reporter à Système de sac gonflable à la page 88 pour plus de renseignements sur le système de sacs gonflables.

Ce témoin s'allume
lorsque vous faites
démarrer le moteur, puis
il clignote pendant
quelles secondes.
Ensuite, il devrait
s'éteindre, indiquant
ainsi que le système
est prét.
Si le témoin de sac gonflable reste allumé après le démarrage du vehicule ou s'allume en cours de route, il se peut que votre système des sacs gonflables ne fonctionne pas correctement. Faire réparer votre vehicule immédiatement.
ATTENTION:
Si le témoin de sac gonflable reste allumé après le démarrage du vehicule, cela indique que le système de sacs gonflables ne fonctionne peut-être pas correctement. Les sacs gonflables dans votre vehicule pouraient ne pas se déployer lors d'une collision ou pouraient même se déployer sans qu'il y ait de collision. Pour éviter que vous ou d'autres personnes ne subissiez des blessures, vous devez faire réparer votre vehicule immédiatement si le témoin de sac gonflable reste allumé après le démarrage du vehicule.
Le témoin d'etat des sacs gonflables devrait clignoter pendant quelques secondes lorsque vous tournez la clé de contact à la position RUN (marche). Si le témoin ne s'allume pas, le faire réparer pour qu'il puisse vous avertir en cas de problème.
Témoin de l'etat du sac gonflable du passager
Votre vehicule est équipé du système de détction du passager. Le tableau de bord compte un témoin d'etat de sac gonflable du passager.

Témoin d'etat du sac gonflable de passager - États-Unis

Témoin d'etat de sac gonflable du passager - Canada
Lorsque le commutateur d'allumage est à la position RUN (marche) ou START (démarriage), le témoin d'etat de sac gonflable du passager, ou le symbole d'activation et de désactivation, s'allume et s'éteint lors de la vérification d'etat du système. Puis, quelques secondes plus tard, le témoin affiche ON (actif) ou OFF (inactif) ou le symbole correspondant afin de vous renseigner sur l'état du sac gonflable frontal et latéral (le cas échéant) du passager avant droit.
Si le mot ON (actif) ou le symbole correspondant du fémoin d'etat de sac gonflable du passager est allumé, cela signifie que le ou les sacs gonflables du passager avant droit sont activés (peuvent se déployer).
ATTENTION:
Si le témoin s'allume quand un ensemble de retenue pour enfant orienté vers l'arrière est installé sur le siège passager avant droit, cela signifie que le système de détction de passager n'a pas mis hors fonction le sac gonflable frontal et le sac gonflable latéral monté dans le siège du passager (si le vehicule en est équipé). Un enfant assist dans un ensemble de retenue pour enfant orienté vers l'arrière peut être gravement blessé ou tué si le sac gonflable du passager avant droit se déploie parce que l'arrière de l'ensemble de retenue pour enfant orienté vers l'arrière serait très prise du sac gonflable quand il
/
ATTENTION: (suite)
se déploie. Ne pas utiliser un ensemble de retenue pour infant orienté vers l'arrière sur un siège passager avant droit si le sac gonflable est activé.
Votre vehicule dispose d'un siège arrière pouvant être équipé d'un apparéil de retenue pour infant orienté vers l'arrière. Une étiquette apposée sur votre pare-soileil stipule : « Ne jamais mettre un siège pour infant orienté vers l'arrière à l'avant du vehicule ». En effet, en cas de déploiation du sac gonflable, le risque pour un infant assist dans un siège pour infant orienté vers l'arrière est extrémement élevé.

ATTENTION:
Mème si le système de détction de passager est créé pourmettre hors fonction le sac gonflable frontal du
/
ATTENTION: (suite)
passager et le sac gonflable létal (option) en cas de détction d'un siège d'enfant orienté vers l'arrière,aucun système n'est infaillible et nul ne peut garantir qu'un sac gonflable ne se déploiera pas dans certaines circonstances inhabituelles, même s'il est hors fonction. Nous vous recommendons de fixer les sièges d'enfant orientés vers l'arrière sur le siège arrière, même si le sac gonflable est désactivé.
Si la mention ou le symbole OFF (arrêt) s'allume sur le témoin de sac gonflable, cela signifie que le système de détction a désactifié le(s) sac(s) gonflable(s) frontal(s) du passager avant. Se reporter à la rubrique Système de détction des occupants à la page 99 pour plus de détails, incluant des renseignements importants sur la sécurité.
Si, quelques secondes plus tard, tous les témoins d'etat restent allumés ou s'ils sont tous éteints, cela peut indiquer l'existence d'un problème relatif aux témoins ou au système de détention du passager. Consulter le concessionnaire pour tout service d'entretien.
ATTENTION:
Si le témoin de désactivation et le témoin d'état de fonctionnement de sac gonflable venaient à s'allumer ensemble, cela youdrait dire que le système de sacs gonflables ne fonctionne pas correctement. Si cela avait arrivier, faire vérifier le plus rapidement possible le vehicule, car une personne de taille adulte assise sur le siège passager avant droit pourrait ne pas être protégée par un sac gonflable. Se reporter à Témoin de sac gonflable prét à fonctionner (AIRBAG) à la page 245.
Témoin du système de charge

Le témoin du système de charge s'allume brièvement lorsque vous mettez le contact, mais le moteur ne tourne pas, pour vous montré que le système fonctionne.
Il devrait s'eteindre des que le moteur tourne.
S'il reste allumé ou s'allume en cours de route,
il peut y avoir un problème dans le système
de charge. Cela pourrait indiquer un problème
avec une courroie d'entrainment ou un autre
problème électrique. Faire vérifier immédiatement
le système de charge. Si vous conduizez
pendant que ce témoin est allumé, vous risquez
d'épuiser votre batterie.
Si vous doivent conduire sur une courte distance pendant que ce témoin est allumé, s'assurer d'éteindre tous les accessoires, comme la radio et le climatiseur.
Témoin du système de freinage
Lorsque le contact est établi, le témoin du système de freinage s'allume quand vous serrez le frein de stationnement. Le témoin reste allumé si le frein de stationnement n'est pas complètement desserré. S'il reste allumé une fois le frein de stationnement desserré, il y a une défaillance du système de freinage.
Le système de freinage hydraulique de votre vehicule compte des deux parties. Si l'une d'elles ne fonctionne pas, l'autre peut encore fonctionner et vous permettre de vous arrêté. Pour un bon freinage, cependant, il faut que les deux parties fonctionnent comme il se doit.
Si le témoin s'allume, il se peut qu'il y ait un problème de freins. Faire inspecter immédiatement le système de freinage.
BRAKE
États-Unis

Canada
Ce témoin devrait s'allumer brievement lorsque la clé de contact est tournée à la position RUN (marche). S'il ne s'allume pas à ce moment, le faire réparer de façon à pouvoir être averti en cas de problème.
Si le témoin s'allume pendant que vous conduisez, quitter la route et s'arrêté prudèment. Vous remarquerez peut-être qu'il sera plus difficile d'enforcer la pédale ou que sa course a augmente. Le temps qu'il faut pour arrêter aura peut-être augmente. Si le témoin reste allumé, faire remorquer et réparer votre vehicule. Se reporter aux rubriques Témoin du système de freinage antiblocage à la page 250 et Remorquage du vehicule à la page 453.
ATTENTION:
Il se peut que le système de freinage ne fonctionne pas convenablement si le témoin du système de freinage est allumé. Si l'on conduit avec le témoin du système de freinage allumé, on risque d'avoir un accident. Si le témoin demeure allumé après avoir quitté la route et arrêté le vehicule prudèment, faire remorquer le vehicule pour qu'il soit vérifié.
Témoin du système de freinage antiblocage

Votrecvhicule estequipe d'un temoin ABS.
Ce témoin s'allume pendant quelques secondes quand la clé de contact est tournée en position RUN (marche). Sinon, faire réparer le système pour être averti en cas de problème.
Si le témoin reste allumé anormalement après le démarrage du moteur, couper le contact. Si le témoin s'allume et reste allumé pendant le trajet, arrêtérès que possible et couper le contact. Ensuite, démarrer à nouveau le moteur pour réinitialiser le système. Si le témoin reste allumé à nouveau ou s'allume à nouveau pendant le trajet, l'ABS ne fonctionne plus et doit être réparé.
Témoin du système de traction asservie

Votrec vehicule possede un témoin pour lesysteme de traction asservie.
Le témoin du système de traction asservie peut s'allumer pour une des raisons suivantes :
-
Si vous désactevez le système en appuyant sur le bouton de la traction asservie. Pour le reactiver, appuyer à nouveau sur le bouton. Le tímoin doit s'eteindre. Pour de plus amples renseignements, se reporter à Système de traction asservie (TCS) à la page 419.
-
S'il y a un problème avec le système de freinage qui se rapporte spécifique à la traction asservie, le système de traction asservie se met hors fonction et le témoin s'allume. Si les freins commencent à surchauffer, le système de traction asservie se met hors fonction et le témoin s'allume jusqu'à ce que vos freins refroidissent.
- Si le système de traction asservie est touché par une anomalie associée au moteur, le système est désactifié et le témoin s'allume.
Si le témoin de la traction asservie s'allume et reste allumé pendant une période prolongée lorsque la traction est en fonction, le vehicule a besoin d'entretien.
Indicateur de température du liquide de refroidissement du moteur

États-Unis

Canada
Cet indicateur donne la température du liquide de refroidissement du moteur. Si la lampe rouge de l'indicateur s'allume, votre moteur est trop chaud!
Cela signifie que le liquide de refroidissement du moteur a surchauffé. Si vous avez conduit votre vehicule dans des conditions normales, vous devriez quitter la route, arrêtier le vehicule et le moteur dés que possible.
Se reporter à la rubrique Surchauffe du moteur à la page 497.
Témoin d'anomalie
Témoin Check Engine (verifier le moteur)

Votrecvehicule possede d'un ordinateur qui surveille le fonctionnement des systèmes d'alimentation, d'allumage et antipollution.
Ce système s'appeille OBD II (diagnostics embarqués, deuxième génération) et sert à vérifier que les gaz d'échéppement sont d'un niveau acceptable tout au long de la durée de vie du vehicule, afin d'aider à protéger l'environnement. Le témoin de vérification du moteur s'allume pour indiquer qu'il y a un problème et qu'un entretien est nécessaire. Les défaillances sont souvent signalées par le système avant qu'elle n'apparaissent, ce qui aide à protéger votre vehicule contre les dommages les plus sérieux. Ce système est aussi grâce pour aider votre technician à diagnostique correctement les défaillances.
Remarque: Si vous continuez à conduire votre vehicule avec ce témoin allumé, le dispositif antipollution risque de ne plus fonctionner comme il se doit, votre consommation de carburant pourrait augmenter et votre moteur risque de ne plus tournier de manière optimale, au bout d'une certaine période. Ceci pourrait entraîner des réparations couteuses qui ne sont pasforcément couvertes par votre garantie.
Remarque: Les modifications apportées au moteur, à la boite-pont ou au système d'échévement, d'admission ou d'alimentation de votre vehicule, ou le remplacement des pneus d'origine par des pneus dont les mêmes peuvent avoir un effet sur le dispositif antipollution de votre vehicule et peut faire allumer ce témoin. Les modifications effectuees sur ces systèmes pourraient entraîner des réparations couteuses qui ne sont pas couvertes par votre garantie. De plus, ceci peut faire échouer un test obligatoire d'inspection/d'entretien du dispositif antipollution. Se reporter à la rubrique Accessoires et modifications à la page 471.
Ce témoin devrait s'allumer à titre de vérification lorsque le contact est mis et que le moteur ne tourne pas. S'il ne s'allume pas, le faire réparer. Ce témoin s'allume aussi lors d'une défaillance d'une des deux façon suivantes :
- Témoin qui clignote — Des ratés de moteur ont été détectés. Les ratés augmentent les gaz d'échéppement du vehicule et peuvent endommager le dispositif antipollution. Notre vehicule a peut-être besoin d'un diagnostic et d'un entretien.
- Témoin qui reste allumé — Une défaillance dans le dispositif antipollution a été détectée dans votre vehicule. Your vehicule a peut-être besoin d'un diagnostic et d'un entretien.
Si levoyant clignote
Les actions suivantes peuvent prévenir des dommages plus importants au vehicule :
- Diminuer la vitesse du vehicule.
- Éviter les accelerations brusques.
- Éviter la montée de pentes raides.
- Si vous tirez une remorque, réduire la charge de la remorque lors que possible.
Si le témoin arrête de clignoter et reste allumé, se reporter à la rubrique suivante « Si le voyant reste allumé »
Si levoyant continue de clignoter, arreter le vehicule lorsquevous pouvezle faire en toute sécurité.Rechercher un endroit sur pour stationner le vehicule.Couper le contact, attendre au moins 10 secondes et redemarrer le moteur. Si levoyant reste allumé, se reporter à la rubrique « Si le voyant reste allumé » Si levoyant clignote toujours, suivre les étapes precedentes, puis se rendre des que possible chez le concessionnaire pour faire réparer le vehicule.
Si le témoin reste allumé
Vous pouvez peut-être remédier à la défaillance du dispositif antipollution en considérant ce qui suit :
Avez-vous fait le plein récemment?
Si oui, remetre le bouchon du réservoir de carburant et s'assurer qu'il est bien en place. Se reporter à la rubrique Remplissage du réservoir à la page 476. Le système de diagnostic peut déterminer si le bouchon du réservoir n'est plus là ou s'il a été mal posé. Un bouchon de réservoir de carburant manquant ou desserré permet au carburant de s'évaporer dans l'atmosphère. Quelques sorties en voiture avec un bouchon bien posé devraient faire eteindre le témoin.
Venez-vous tout juste de rouler dans une flaque d'eau profonde?
Si oui, il se peut que le système électrique soit mouillé. Cette condition se corrige normalement une fois que le système électrique est sec.
Quelques sorties en voiture devraient faire eteindre le témoin.
Avez-vous récemment changé de marque de carburant?
Si oui, s'assurer de faire le plein avec du carburant de qualité. Se reporter à la rubrique Indice d'octane à la page 473. Vote moteur ne fonctionnera pas aussi efficacement que prévu avec un carburant de qualité inférieure. Vous pouvez remarquer cela par un calage du moteur après le démarriage ou lors de l'engagement d'un rapport, par des ratés du moteur, des hésitations ou des décélérations momentanées au cours des accélérations. (Ces conditions peuvent disparaître lorsque le moteur s'est réchauffé.) Le système détecte ces problèmes, et, de ce fait, le témoin s'allume.
Si une ou plusieurs de ces conditions sont presents, utiliser un carburant d'une autre marque. La consommation d'un plein réservoir de carburant approprié sera requise pour faire eteindre le témoin.
Si aucune des étapes ci-dessus n'a permis d'eteindre levoyant, demander au concessionnaire de vérifier le vehicule. Vote concessionnaire possede l'équipement d'essay et les outils de diagnostic nécessaires pour réparer toute défaillance électrique ou mécanique pouvant être presente.
Programmes d'inspection de dispositifs antipollution et d'entretien
Certains gouvernements d'états/provinciaux et régionaux ont mis sur pied ou sont en train de mettre sur pied des programmes d'inspection du dispositif antipollution de votre vehicule. Si votre vehicule échoue à cette inspection, vous risquez de ne pouvoir immatriculer le vehicule.
Voici certains choses que vous devriez savoir afin de vous assurer que vous vehicule n'échoupe pas à l'inspection :
Le vehicule échouera à l'inspection si le témoin d'anomalie est allumé ou s'il ne fonctionne pas correctement.
Votre vehicule echouera a l'inspection si le système de diagnostic embarqué (OBD) détermine que les systèmes principaux du dispositif antipollution n'ont pas été complètement diagnostiqués par le système. Le vehicule sera considéré comme n'était pas prêt pour l'inspection. Ceci peut se produit si vous avez récemment replacé la batterie ou si vous batterie est décharge. Le système de diagnostic est concu pour évaluer les systèmes principaux du dispositif antipollution pendant une conduite normale. Ceci peut exiger plusieurs jours de conduite normale. Si vous avez fait tout ce qu'il fallait et que votre vehicule ne satisfait toujours pas à la verification d'état de marche du système de diagnostic embarqué, votre concessionnaire peut se charger de préparer votre vehicule pour l'inspection.
Témoin de pression d'huile

En cas de basse
pression d'huile moteur,
ce témoin reste allumé
apres le démarrage
du moteur ou s'allume
pendant la conduite.
Cela indique que vous moteur ne recoit pas suffisamment d'huile. Il est possible que le moteur manque d'huile ou qu'il y ait un autre problème relatif à la pression d'huile. Faire réparer le vehicule immédiatement par votre concessionnaire GM.
Le témoin de niveau d'huile peut aussi s'allumer pour trois autres raisons :
- Lorsque le contact est mis mais que le moteur ne tourne pas, le témoin s'allume pour vous indiquer qu'il fonctionné, puis il s'éteint au démarrage du vehicule. S'il ne s'allume pas lorsque le contact est mis, cela signifie peut-être un problème de fusible ou d'ampoule. Corriger le problème immédiatement.
Lorsque le moteur tourne au ralenti à un arrêt, le témoin peut clignoter avant de s'eteindre. - Si vous arrêtez brusquement, le témoin peut s'allumer momentanément. C'est normal.
ATTENTION:
Ne pas conduire le vehicule si la pression d'huile est basse. Si on le fait, le moteur risque de surchauffer au point de prendre feu. Le conducteur ou d'autres personnes pourraient etre brulés. Vérifier l'huile des que possible et faire réparer le vehicule.
Remarque: Un manque d'entretien de l'huile à moteur peut endommager le moteur. Les réparations ne seraient pas couvertes par la garantie. Suivre toujours le programme d'entretien donné dans le manuel pour les changements d'huile.
Témoin de sécurité

Pour oblir des renseignements sur cet éclairage, voir Systèmes antivol à la page 143.
Indicateur du régulateur de vitesse automatique

Ce témoin s'allume
chaque fois que vous
activez le régulateur
automatique de vitesse.
Le témoin s'éteint lorsque le régulateur est désactivé. Se reporter à la rubrique Régulateur de vitesse automatique à la page 207 pour obtenir de plus amples informations.
Témoin de frais de route

Ce témoin s'allume lorsque les feu des route sont allumés ou que la fonction avertisseur de dépassement est active.
Se reporter à la rubrique Commande de feu des route et feu de croissement à la page 204.
Jauge de carburant

États-Unis

Canada
Lorsque l'aiguille s'approche de vide, vous avez encore un peu de carburant, mais vous devriez faire le plein sans tarder.
L'indicateur d'essence vous indique la quantité approximative d'essence qui reste dans le réservoir quand le contact est mis.
Voici quatre situations qui inquiètent certains automobilistes. Aucune de ces situation n'indique un problème avec l'indicateur de carburant :
-
À la station-service, la pompe s'arrête avant que l'aiguille de l'indicateur n'atteigne le niveau plein.
-
Il faut un peu plus ou un peu moins de carburant pour replir le réservoir que ce qu'indique l'aiguille. Par exemple, l'aiguille indique que le réservoir est à moins plein, mais pour faire le plein il faut ajouter un peu plus (ou un peu moins) que la moitié de la capacité du réservoir.
- L'aiguille oscille un peu dans les virages, lorsque vous freinez ou lorsque vous accélérez.
- L'indicateur ne revient pas à vide quand vous coupez le contact.
Témoin de bas niveau de carburant
Le témoin à côté de l'indicateur de carburant s'allume brievement lorsque vous faites démarrer le moteur.
Le témoin s'allume lorsque le niveau de carburant dans le réservoir est bas. Pour l'éteindre, ajouter du carburant dans le réservoir.
Centralisateur informatique de bord (CIB)
Votrec vehicule est equipe d'un centralisateur informatique de bord (CIB).
Tous les messages apparaîtront sur l'écran du centralisateur informatique de bord situé sur le groupe d'instruments du tableau de bord, sous le tachymètre. Les boutons du centralisateur informatique de bord sont situés au centre du tableau de bord, sous les sorties centrales.
Le centralisateur informatique de bord (CIB) s'allume quand le contact est mis. Avec un court instant, le CIB affiche le message WELCOME DRIVER (bienvenue au conducteur) (1 ou 2) si une clé personalisée 1 ou 2 est utilisée, puis les informations qui étaient affichées avant que le moteur ne soit étant. Le numéro de conducteur correspond aussi au chiffre 1 ou 2 du dos des télécommandes.
Le centralisateur informatique de bord (CIB) affiche le compteur kilométrique, les totalisateurs partiens, la consommation de carburant, l'ordinateur de route, les informations sur les systèmes du vehicule, et la boussole, si le vehicule en est équipé. Il affiche aussi des messages d'avertissement si un problème est détecté sur un système du vehicule. De plus, le CIB affiche les numérios de téléphone appelés au moyen du système OnStarMD, si le vehicule en est équipé. Se reporter à la rubrique Système OnStarMD à la page 168.
Si monté, la température de l'air extérieur apparait automatiquement dans le coin inférieur droit de l'écran du centralisateur informatique de bord (CIB) lors de la visualisation de tous les écrans d'informations, sauf ceux de la durée de vie de l'huile. Si la température de l'air extérieur est inférieure à 3^ (37^) , l'affichage de la température alternera entre la température et le mot ICE (glace) pendant deux minutes.
S'il y a un problème avec le système qui contrôle l'affichage de la température, les lettres OC (circuit ouvert) ou SC (court-circuit) apparaitront sur l'écran. Si cela se produit, faire réparer le vehicule chez votre concessionnaire.
Le centralisateur informatique de bord (CIB) permit également du personneliser certaines fonctions, si le vehicule en est équipé. Pour de plus amples renseignements, se reporter à la rubrique Personnelisation CIB du vehicule (Haut de gamme uniquement) à la page 294.
Fonctionnement et affichages du centralisateur informatique de bord
Le centralisateur informatique de bord (CIB) comporte différents modes auxquels on peut acceder en appuyant sur les boutons du CIB qui sont situés au centre du tableau de bord. Ce sont les boutons information, réglage/ réinitialisation et menu.
Les fonctions des boutons sont détaillées dans les pages suivantes.
Boutons du centralisateur informatique de bord (CIB)

i (information): Appuyer sur ce bouton pour afficher le compteur kilométrique, la distance parcours, le temps écoué, la vitesse moyenne, la consommation de carburant, la tension de la batterie, la durée de vie de l'huile moteur, et pour désactiver le centralisateur informatique de bord (CIB).
( réglage/remise à zéro): Appuyer sur ce bouton pour régler ou réinitialiser certaines fonctions et désactiver ou accuser réception des messages du centralisateur informatique de bord.
(1) (menu): Appuyer sur ce bouton pour afficher les unités, la langue, la personnalisation, si le vehicule en est équipé, la zone de la boussole et l'étaconnage de la boussole, si le vehicule en est équipé. Pour de plus amples renseignements, se reporter à la rubrique Personnalisation CIB du vehicule (Haut de gamme uniquement) à la page 294 et Boussole de centralisateur informatique de bord (Haut de gamme uniquement) à la page 268.
Éléments du bouton information
i (information): Appuyer sur ce bouton pour faire defiler les éléments suivants:
Odometer (compteur kilométrique)
Appuyer sur le bouton information jusqu'à ce que le compteur kilométrique s'affiche. Ce mode permet d'afficher la distance parcourue par le vehicule en kilomètres ou en milles.
Trip A and Trip B (trajet A et trajet B)
Appuyer sur le bouton d'information jusqu'à ce que A ou B apparaisse. Ce mode permet d'afficher la distance parcourue en milles ou en kilomètres depuis la dernière réinitialisation pour chaque compteur journalier. Les deux compteurs journaliers peuvent être utilisés simultanément.
Cet écran affiche le compteur kilométrique sur la ligne du haut et les informations relatives au compteur journalier, A ou B, sur la ligne du bas.
Chaque compteur journalier peut être remis à zéro séparément en appuyant sur le bouton réglage/ réinitialisation pendant que le compteur kilométrique souhaïte est affiché.
Il existe également une fonction de compteur journalier rétroactif qui fonctionne de la manière suivante pour chaque compteur journalier.
- Si la vitesse du vehicule dépasse 5 km/h (3 mi/h) pendant le cycle d'allumage en cours, cette fonction configure le compteur journalier pour la distance parcourue pendant le cycle d'allumage en cours.
- Si la vitesse du vehicule ne dépasse pas 5 km/h (3 mi/h), cette fonction configure le compteur journalier à la distance parcourue pendant le cycle d'allumage précédented augmentée de la distance parcourue pendant le cycle d'allumage en cours.
Maintenir enforcé le bouton de réinitialisation pendant trois secondes puis le relâcher. La valeur du compteur journalier rétroactif sera régée dans le compteur journalier affché actuellement.
Time Elapsed (temps écoulé)
Appuyer sur le bouton d'information jusqu'à ce que TIME ELAPSED :00 (temps écoulé : 00) apparaïssé. Ce mode agit comme un chronomètre, dans la mesure où vous pouvez chronométerrer le temps nécessaire pour vous rendre d'un point à un autre. Chaque champ correspondant aux heures, aux minutes et aux secondes comporte deux chiffres.
Lorsque la mention TIME ELAPSED :00 (temps écoulé : 00) s'affiche, appuyer sur le bouton de réglage/reinitialisation pour lancer la fonction de chronométrage. Appuyer de nouveau sur le bouton de réglage/reinitialisation pour l'arrêté. Si vous démarrez puis arrêtez le vehicule, au cours d'un trajet par exemple, la fonction TIME ELAPSED (temps écoulé) relance automatiquement le chronomètre là où il s'était arrêté. Pour le réinitialiser, appuyer sur le bouton de réglage/reinitialisation pendant environ 1,5 seconde. L'affichage se remet à zéro.
Average Speed (vitesse moyenne)
Appuyer sur le bouton information jusqu'à ce que la mention AVERAGE SPEED (vitesse moyenne) s'affiche. Ce mode affiche la vitesse moyenne du vehicule en kilomètres à l'heure (km/h) ou en milles à l'heure (mi/h). Cette moyenne est calculée à partir des différentes vitesse du vehicule enregistrées depuis la dernière réinitialisation de cette valeur. Pour réinitialiser la valeur, appuyer sur le bouton information jusqu'à ce que AVERAGE SPEED s'affiche, puis appuyer sur le bouton de réglage/reinitialisation et le maintainir enfoncé. L'affichage se remet à zéro.
Fuel Range (autonomie de carburant)
Appuyer sur le bouton information jusqu'à ce que la mention FUEL RANGE (autonomie de carburant) s'affiche. Ce mode affiche le nombre approximatif de kilomètres ou de milles que le vehicule peut parcourir sans effectuer de ravitation en carburant.
Les données relatives à l'autonomie de carburant reposent sur plusieurs facteurs, notamment la distance parcourue, le carburant utilisé, la réserve de carburant, etc. Cette estimation varie si les conditions de conduite changent. Par exemple, si la circulation est importante et si vous vous arrêtez frequentlyment ce mode peut afficher un chiffre, mais si vous roulez sur une autoroute, ce chiffre peut changer bien que la même quantité de carburant soit présente dans le réservoir de carburant. Cela est dû au fait que des conditions de conduite différentes produit des consommations de carburant différentes. En général, la conduite sur autoroute entraine une consommation de carburant moindre que la conduite en ville. Le compteur relatif à l'autonomie de carburant ne peut pas être réinitialisé.
Si le niveau de carburant de votre réservoir est bas, FUEL RANGE LOW (faible autonomie de carburant) apparait, suivi du message LOW FUEL (niveau de carburant bas). Pour plus d'informations, se reporter à la rubrique « LOW FUEL » dans la section Centralisateur informatique de bord - Avertissements et messages à la page 270.
Avg Economy (consommation d'essence moyenne)
Appuyer sur le bouton d'information jusqu'à ce que AVG ECONOMY (consommation d'essence moyenne) apparaisse. Ce mode permet d'afficher le nombre approximatif moyen de milles parcours avec un gallon (mi/gal) ou le nombre de litres consommés sur 100 kilomètres (L/100 km). Ce chiffre est calculé à partir du nombre de milles parcours avec un gallon (L/100 km) et enregistrrés depuis la première fois que cet élément de menu a été réinitialisé. Pour remettre à zéro la valeur AVG ECONOMY, appuyer sur le bouton de réglage/ réinitialisation et le maintainir enforcé. L'affichage repasse à zéro.
Battery (battery)
Appuyer sur le bouton d'information jusqu'à ce que BATTERY (batterie) apparaisse.
Ce mode affiche la tension actuelle de la batterie.
Le système de charge de votre vehicule régule le voltage en fonction de l'etat de la batterie.
Le voltage de la batterie peut fluctuer lorsqu'you regardez cette information sur le CIB.
C'est normal.
En cas de problème avec le système de charge de la batterie, un message apparait sur le centralisateur informatique de bord. Pour plus d'informations, se reporter à la rubrique Centralisateur informatique de bord - Avertissements et messages à la page 270.
Oil Life (durée de l'huile moteur)
Appuyer sur le bouton d'information jusqu'à ce que OIL LIFE (durée de vie de l'huile moteur) apparaisse. Ce mode affiche une estimation de la durée de vie utile de l'huile restante.
Si OIL LIFE 99% (durée de vie de l'huile moteur 99% ) apparait, cela signifie que la durée de vie restante de l'huile moteur actuelle est de 99% . L'indicateur d'usure d'huile vous prévient de vidanger l'huile selon un calendrier qui tient compte de vos conditions de conduite.
Lorsque le niveau d'huile moteur restante est bas, le message CHANGE ENGINE OIL SOON (vidanger l'huile moteur sous peu) apparait a I'écran. Vousdezvez vidanger l'huile des que possible. Se reporter à la rubrique Huile à moteur à la page 484. Bien que l'indicateur d'usure de l'huile moteur contrôle la durée de vie de l'huile, un entretien supplémentaire est recommendé dans le programme d'entretien de ce manuel. Pour plus d'informations, se reporter à la rubrique Entretien prévu à la page 595.
Ne pas oublier de réinitialiser vous-même l'écran OIL LIFE (durée de l'huile moteur) après chaque vidange. Cet écran ne se réinitialisera pas tout seul. Veiller également à ne pas réinitialiser l'écran OIL LIFE par accident à un moment autre que celui de la vidange. Il ne peut pas être réinitialisé précisément jusqu'à la prochaine vidange d'huile moteur. Pour réinitialiser l'indicateur d'usure d'huile à moteur, se reporter à la rubrique Indicateur d'usure d'huile à moteur à la page 487. L'écran affiche 100% lorsque l'indicateur est remis à zéro.
Éléments du bouton menu
(1) (menu): Appuyer sur ce bouton pour faire défiler les éléments suivants :
Units (unités)
Appuyer sur le bouton de menu jusqu'à ce que UNITS (unités) apparaisse. Ce mode vous permet deCHOISIR entre les unités de mesure anglaises et les unités de mesure métriques. Avres avoir sélectionné ce mode, appuyer sur le bouton de réglage/reinitialisation pourCHOISIR entre les unités ENGLISH (anglaises) ou METRIC (metriques).
Language (langue)
Appuyer sur le bouton de menu jusqu'à ce que l'écran de la langue apparaisse. Ce mode vous permet deCHOISIR LA LANGUAGE D'AFFICHAGE des messages du centralisateur informatique de bord. Avec avoir selectionné ce mode, appuyer sur le bouton de réglage/ réinitialisation pourCHOISIR PARMI LES OPTIONS SUIVANTES :
Anglais
- Français
- Espanol (espagnol)
Personal Program (personnalisation) (version supérieure seulement)
Appuyer sur le bouton de menu jusqu'à ce que PERSONAL PROGRAM (programme personnel) apparaisse. Notre vehicule peut être équipé de fonctions de personnalisation vous permettant de programmer certaines fonctions selon un paramètre souhaité pour un ou deux conducteurs.
Il est également possible que votre vehicule soit équipé de fonctions de personnelisation vous permettant de programmermet certaines fonctions selon des paramètres souhaités. Les fonctions de personnelisation peuvent être programmées uniquement selon un paramètre du vehicule et ne peuvent pas être programmées selon un paramètre souhaité pour un ou deux conducteurs. Pour plus d'informations sur les paramètres de personnelisation, se reporter à la rubrique Personnelisation CIB du vehicule (Haut de gamme uniquement) à la page 294.
Zone de la boussole (version supérieure seulement)
Dans certains cas, notamment durant une longue traversée du pays, il sera nécessaire de compenser la variance de la boussole et de réinitialiser la zone au moyen du CIB. Voir Boussole de centralisateur informatique de bord (Haut de gamme uniquement) à la page 268.
Étalonnage de la boussole (version supérieure seulement)
La boussole peut être étabonnée manuellement au moyen du CIB, voir Boussole de centralisateur informatique de bord (Haut de gamme uniquement) à la page 268.
Boussole de centralisateur informatique de bord (Haut de gamme uniquement)
Votrecvehiculepeutpossederuneboussoldans le centralisateur informatique de bord (CIB).
Compass Zone (zone de la boussole)
Appuyer sur le bouton menu jusqu'à ce que la mention COMPASS ZONE (zone de la boussole) s'affiche. Appuyer sur le bouton réglage/ réinitialisation pour changer de zone. Les zones 1 à 15 sont accessibles. La direction dans laquelle le vehicule se déplace s'affiche dans le coin supérieur droit de l'écran du centralisateur informatique de bord (CIB).
Compass Calibration (étalonnage de la boussole)
Dans certains cas, notamment durant une longue traversée du pays, il sera nécessaire de compenser la variance de la boussole et de réinitialiser la zone au moyen du CIB.
La variance de la boussole est la différence entre le nord magnétique de la terre et le nord vrai géographique. Si la boussole du vehicule n'est pas réglée de manière à tener compte de cette variance, elle risque de donner de faux relevés.
Pour le faire, la boussole doit être réglée ou calibrée sur la zone de variance dans laquelle circule le vehicule.
Pour régler la variance de la boussole, procéder comme suit :
- Appuyer sur le bouton menu jusqu'à ce que la mention COMPASS ZONE (zone de la boussole) s'affiche.

- Repérer l'emplacement actuel du vehicule et le numero de zone de variance sur la carte.
-
Appuyer sur le bouton de réglage/remise à zéro pour faire défilier, et selectionner la zone de variance appropriée.
-
Appuyer sur le bouton menu pour afficher l'écran COMPASS CALIBRATION (étalonnage de la boussole).
- Pour commencer l'étalonnage de la boussole, appuyer sur le bouton réglage/reinitialisation et le maintainir enforcé jusqu'à ce que le message CALIBRATION BEGUN DRIVE UNTIL DONE (début de l'étalonnage, conduire jusqu'à ce qu'il soit terminé) s'affiche sur l'écran du centralisateur informatique de bord (CIB).
- Faire faire au vehicule deux cercles complets à faible allure pour activer la boussole. Lorsque l'étalonnage est terminé, le centralisateur informatique de bord (CIB) affiche le message CALIBRATION FINISHED (calibration terminée).
- Si le message CAL (calibrage) s'affiche sur l'écran du centralisateur informatique de bord (CIB), vous devez remetre manuellement la boussole en mode étalandnage. Répéter les étapes 1 à 6.
Centralisateur informatique debord - Avertissements et messages
Des messages sont affichés sur le centralisateur informatique de bord pour indiquer au conducteur que l'etat du vehicule a changé et que des actions doivent être entreprises par le conducteur pour corriger la condition. Plusieurs messages peuvent apparaître l'un après l'autre.
Certsains messages peuvent ne pas nécessiter d'action immédiate, mais vous pouvez appuyer sur n'importe quel bouton du centralisateur informatique de bord pour accuser réception du message et l'effacer de l'écran du centralisateur informatique de bord.
Certsains messages ne peuvent pas etre effacés de I'écran du centralisateur informatique de bord parce quils sont plus urgents. Ces messages nécessiter une action avant de pouvoir etre effacés.
En cas de messages d'advertisement actifs lorsque le vehicule est eteint, deux carillons retentissent et le centralisateur informatique de bord passae en mode de rappel. Le mode de rappel affiche n'importe quel message actif. Si plusieurs messages sont actifs, le centralisateur informatique de bord affiche chaque message pendant cinq secondes. Lorsque tous les messages ont ete affiches une fois, le mode de rappel s'eteint.
S'assurer de prendre au sérieux tout message apparaissant à l'écran et ne pas oublier qu'effacer un message fait uniquement disparaître le message, mais ne corige pas le problème.
Les messages suivants peuvent apparaître ainsi que certaines informations s'y rapportant.
A/C OFF FOR ENGINE PROTECTION (climatisationur désactivé pour protégier le moteur)
Ce message s'affiche lorsque la chaleur du liquide de refroidissement du moteur devient plus elevée que la température de fonctionnement normale. Voir Indicateur de température du liquide de refroidissement du moteur à la page 252. Pour éviter une contrainte accrue sur un moteur chaud, le compresseur du climatiseur se désactive automatiquement. Lorsque la température du liquide de refroidissement redevient normale, le compresseur du climatiseur est réactivé. Vous pouvez continuer à conduire votre vehicule.
Ce message apparait lorsque le commutateur d'allumage est en position RUN (marche). Appuyer sur n'importe quel bouton du centralisateur informatique de bord (CIB) pour accuser reception de ce message d'avertissement et l'effacer de l'écran.
Ce message continue à s'afficher pendant deux secondes s'il n'a pas été confirmé alors que le moteur est eteint. Il s'affiche a nouveau pendant deux secondes si le message a ete confirmé, mais que le problème est always present alors que le moteur est eteint.
Si le symptôme persiste, le message réapparait lorsque le moteur est mis en fonction. Si ce message persiste, faire réparer le système par votre concessionnaire dés que possible pour éviter d'endommager votre moteur.
BATTERY SAVER ACTIVE (protection contre la décharge de la batterie en fonction)
Ce message apparaît lorsque le système déetecte une chute de tension de la batterie sous un niveau raisonnable. Le dispositif de protection contre la décharge de la batterie réduit certaines fonctions du vehicule et il est possible que vous ne puissiez vous en rendre compte. Lorsque les fonctions sont désactivées, ce message est affchéé. Il indique que le vehicule essaie d'économiser la charge de la batterie.
Désactiver tous les accessoires non essentiels afin de permettre à la batterie de se recharger.
La gamme de tension normale de la batterie se situe entre 11,5 et 15,5 volts. Pour contrôler la tension de votre batterie, appuyer sur le bouton d'informations jusqu'à ce que BATTERY (battery) apparaisse.
CHANGE OIL SOON (vidange d'huile bientôt)
Ce message s'affiche lorsque le vehicule doit être réparé. Contacter votre concessionnaire. Pour plus d'informations, se reporter aux rubriques Huile à moteur à la page 484 et Entretien prévu à la page 595.
Accuser réception du message CHANGE OIL SOON (vidange d'huile bientôt) pour l'effacer. L'écran OIL LIFE (durée de vie de l'huile moteur) situé sous le menu des indicateurs du centralisateur informatique de bord doit également être réinitialisé. Se reporter à la rubrique « Durée de vie de l'huile moteur » dans les sections Fonctionnement et affichages du centralisateur informatique de bord à la page 261 et Indicateur d'usure d'huile à moteur à la page 487.
Ce message apparait lorsque le commutateur d'allumage est en position RUN (marche). Pour accuser reception de ce message et l'effacer de l'écran, appuyer sur n'importe quel bouton du centralisateur informatique de bord (CIB).
Ce message continue à s'afficher pendant deux secondes s'il n'a pas été confirmé alors que le moteur est étient. Il s'affiche à nouveau pendant deux secondes si le message a été confirmé, mais que le problème est toujoursprésent alors que le moteur est étient.
Si le symptôme persiste, le message s'affiche à nouveau lorsque le moteur est allumé.
CHARGING SYSTEM FAILURE (défaillance du système de charge)
Ce message apparait en cas de problème avec les systèmes de charge de la batterie et de la généatrice. Si vous conduisez lorsque ce problème est present, vous risquez de décharger votre batterie. Éteindre tous les accessoires inutiles. Arrête et éteindre le vehicule dés que vous pouze le faire en toute sécurité. Faire vérifier le système électrique immédiatement par votre concessionnaire.
Ce message s'affiche et un carillon retentit lorsque le commutateur d'allumage est en position RUN (marche). Pour accuser réception de ce message et l'effacer de l'écran, appuyer sur n'importe quel bouton du centralisateur informatique de bord (CIB).
Ce message continue à s'afficher pendant deux secondes s'il n'a pas été confirmé alors que le moteur est étant. Il s'affiche à nouveau pendant deux secondes si le message a été confirmé, mais que le problème est toujours present alors que le moteur est étant.
Si le symptôme persiste, le message s'affiche à nouveau lorsque le moteur est allumé.
CHECK GAS CAP (verifier le bouchon du réservoir)
Ce message s'affiche si le bouchon du réservoir n'est pas fermé ou s'il est mal serré. Vérifier le bouchon pour s'assurer qu'il est correctement serré. Pour plus d'informations, se reporter à la rubrique Remplissage du réservoir à la page 476.
Ce message s'affiche et un carillon retentit lorsque le commutateur d'allumage est en position RUN (marche). Pour accuser réception de ce message et l'effacer de l'écran, appuyer sur n'importe quel bouton du centralisateur informatique de bord (CIB).
Ce message continue à s'afficher pendant deux secondes s'il n'a pas été confirmé alors que le moteur est étéint. Il s'affiche à nouveaupendant deux secondes si le message a étéconfirmé, mais que le problème est toujourspresent alors que le moteur est étéint.
Si le symptôme persiste, le message s'affiche à nouveau lorsquè le moteur est allumé.
DELAYED LOCKING (verrouillage temporisé)
Ce message apparait pour informer le conducteur que meme apree s avoir appuyé sur le commutateur de verrouillage des portes ou sur le bouton de verrouillage des portes situé sur I'emetteur de teledeverrouillage, le verrouillage des portes peut etre retardede parce que la fonction de verrouillage temporise a ete activee a partir du centralisateur informatique de bord (CIB). Pour plus d'informations, se reporter a la rubrique « Verrouillage temporise » dans la section Personnalisation CIB du vehicule (Haut de gamme uniquement) à la page 294.
Ce message s'affiche et un carillon retentit quand le contact est coupé.
Ce message ne peut être confirmé.
DRIVER'S DOOR AJAR (porte conducteur entrouverte)
Ce message s'affiche lorsque la porte du conducteur n'est pas fermée correctement. Lorsque ce message s'affiche, vérifier la fermeture complete de la porte du conducteur.
Ce message s'affiche lorsque le commutateur d'allumage est en position RUN (marche). Un carillon retentit lorsque le levier de vitesses est déplaced de la position de stationnement (P). Appuyer sur n'importe quel bouton du centralisateur informatique de bord (CIB) pour accuser réception de ce message et l'effacer de l'écran.
Ce message continue à s'afficher pendant deux secondes s'il n'a pas été confirmé alors que le moteur est étant. Il s'affiche à nouveaupendant deux secondes si le message a étéconfirmé, mais que le problème est toujourspresent alors que le moteur est étant.
Si le symptôme persiste, le message s'affiche à nouveau lorsque le moteur est allumé.
DRIVER'S REAR DOOR AJAR (porte arrrière côté conducteur entrouverte)
Ce message s'affiche lorsque la porte arrête cote conducteur n'est pas correctement fermée. Lorsque ce message s'affiche, vérifier la fermeture complete de la porte arrête cote conducteur.
Ce message s'affiche lorsque le commutateur d'allumage est en position RUN (marche). Un carillon retentit lorsque le levier de vitesses est déplaced de la position de stationnement (P). Appuyer sur n'importe quel bouton du centralisateur informatique de bord (CIB) pour accuser réception de ce message et l'effacer de l'écran.
Ce message continue à s'afficher pendant deux secondes s'il n'a pas été confirmé alors que le moteur est étant. Il s'affiche à nouveaupendant deux secondes si le message a étéconfirmé, mais que le problème est alwayspresent alors que le moteur est eteint.
Si le symptôme persiste, le message s'affiche à nouveau lorsque le moteur est allumé.
ENGINE COOLANT HOT (liquide de refroidissement chaud)
Remarque: Si le vehicule est utilisé alors que le moteur surchauffe, des dommages importants au moteur pourrait se produit. Si un avertissement de surchauffe apparaît sur l'ensemble d'instruments du tableau de bord ou sur le centralisateur informatique de bord, arrêté le vehicule dés que possible. Ne pas fait tourner le moteur à un régime supérieur au ralenti normal. Se reporter à Surchauffe du moteur à la page 497 pour有關ir plus de renseignements.
Ce message s'affiche lorsque la température du liquide de refroidissement est trop élevé. Le tímein de température du liquide de refroidissement s'affiche également sur le groupe d'instruments du tableau de bord. Pour plus d'informations, se reporter à la rubrique Indicateur de température du liquide de refroidissement du moteur à la page 252.
Pour éviter une contrainte accrue sur le moteur, éteindre le climatiseur s'il est allumé. Lorsque la température du liquide de refroidissement redevient normale, vous pouvez rallumer le climatiseur.
Ce message s'affiche uniquement lorsque le commutateur d'allumage est en position RUN (marche). Lorsque ce message s'affiche, un carillon retentit de manière continue. Appuyer sur n'importequelbouton du centralisateur informatique debord (CIB) pour accuser reception de ce message et l'effacer de I'écran.
Ce message continue à s'afficher pendant deux secondes s'il n'a pas été confirmé alors que le moteur est étant. Il s'affiche à nouveau pendant deux secondes si le message a été confirmé, mais que le problème est toujours present alors que le moteur est étant.
Si le symptôme persiste, le message s'affiche à nouveau lorsque le moteur est allumé.
HEADLAMPS SUGGESTED (allumage des phares recomméde)
Ce message apparait lorsque la quantité de lumière disponible à l'extérieur du vehicule est faible ou lorsque les essuie-glace sont allumés depuis environ 30 secondes alors que la commande déclairage extérieur est désactivée ou que les feuels de stationnement sont allumés. Ce message recomende au conducteur d'allumer les phares. Pour plus d'informations, se reporter à la rubrique Éclairage extérieur à la page 211.
Ce message apparait lorsque le commutateur d'allumage est en position RUN (marche). Pour accuser reception de ce message et l'effacer de l'écran, appuyer sur n'importe quel bouton du centralisateur informatique de bord (CIB).
Ce message continue à s'afficher pendant deux secondes s'il n'a pas été confirmé alors que le moteur est étéint. Il s'affiche à nouveau pendant deux secondes si le message a été confirmé, mais que le problème est toujoursprésent alors que le moteur est étéint.
Si le symptôme persiste, le message s'affiche à nouveau lorsque le moteur est allumé.
HOOD AJAR (capot entrouvert)
Si vous véchicule est équipé de la fonction de démarriage à distance, ce message s'affiche lorsque le capot n'est pas correctement fermé. Lorsque ce message s'affiche, vous devez vous assurer que le capot est complètement fermé. Se reporter à la rubrique Levier d'ouverture du capot à la page 481.
Ce message apparait lorsque le commutateur d'allumage est en position RUN (marche). Pour accuser réception de ce message et l'effacer de l'écran, appuyer sur n'importe quel bouton du centralisateur informatique de bord (CIB).
Ce message continue à s'afficher pendant deux secondes s'il n'a pas été confirmé alors que le moteur est étant. Il s'affiche à nouveaupendant deux secondes si le message a étéconfirmé, mais que le problème est toujourspresent alors que le moteur est étant.
Si le symptôme persiste, le message s'affiche à nouveau lorsque le moteur est allumé.
KEY FOB BATTERY LOW (pile faible de l'émetteur de télédéverrouillage)
Ce message s'affiche quand la pile de la télécommande doit être remplacée. Pour replacer la pile, se reporter à la rubrique « Remplacement de la pile » dans la section Fonctionnement du système de télédéverrouillage à la page 114.
Ce message apparait lorsque le commutateur d'allumage est en position RUN (marche). Pour accuser reception de ce message et l'effacer de l'écran, appuyer sur n'importe quel bouton du centralisateur informatique de bord (CIB).
Ce message continue à s'afficher pendant deux secondes s'il n'a pas été confirmé alors que le moteur est étant. Il s'affiche à nouveau pendant deux secondes si le message a été confirmé, mais que le problème est toujours present alors que le moteur est étant.
Si le symptôme persiste, le message s'affiche à nouveau lorsque le moteur est allumé.
KEY IN IGNITION (clé dans le contact)
Ce message s'affiche et un carillon retentit en permanence quand la porte du conducteur est ouverte et que la clé de contact est en position ACC (accessoires) ou LOCK (verrouillage).
Ce message ne peut etre confirmé.
Ce message disparaît et le carillon s'arrête quand la clé est retiree du commutateur d'allumage.
LEFT FRONT TURN LAMP OUT (clignant avant gauche grillé)
Ce message s'affiche lorsque l'ampoule du clignotant avant gauche doit etre remplacemente. Se reporter a la rubrique Phares et feud de gabarit à la page 520.
Ce message apparait lorsque le commutateur d'allumage est en position RUN (marche). Pour accuser réception de ce message et l'effacer de l'écran, appuyer sur n'importe quel bouton du centralisateur informatique de bord (CIB).
Ce message continue à s'afficher pendant deux secondes s'il n'a pas été confirmé alors que le moteur est étèint. Il s'affiche à nouveau
pendant deux secondes si le message a eté confirmé, mais que le problème est toujours present alors que le moteur est eteint.
Si le symptôme persiste, le message s'affiche à nouveau lorsque le moteur est allumé.
LEFT REAR TURN LAMP OUT (clignotant arrêté gauche grillé)
Ce message s'affiche lorsque l'ampoule du clignotant arrêteGauche doit etre remplacée. Se reporter à la rubrique Feux arriere, clignotants, feux d'arrêt et yeux de recul à la page 523.
Ce message apparait lorsque le commutateur d'allumage est en position RUN (marche). Pour accuser reception de ce message et l'effacer de l'écran, appuyer sur n'importe quel bouton du centralisateur informatique de bord (CIB).
Ce message continue à s'afficher pendant deux secondes s'il n'a pas été confirmé alors que le moteur est étant. Il s'affiche à nouveau pendant deux secondes si le message a été confirmé, mais que le problème est toujoursprésent alors que le moteur est étant.
Si le symptôme persiste, le message s'affiche à nouveau lorsque le moteur est allumé.
LIFT GATE AJAR (porte de hayon entrouverte)
Ce message s'affiche lorsque le hayon est mal fermé. Vérifier la fermeture complète du hayon. Se reporter à la rubrique Hayon à la page 138.
Ce message s'affiche lorsque le commutateur d'allumage est en position RUN (marche). Un carillon retentit lorsque le levier de vitesses est déplaced de la position de stationnement (P) Appuyer sur n'importe quel bouton du centralisateur informatique de bord (CIB) pour accuser réception de ce message et l'effacer de l'écran.
Ce message continue à s'afficher pendant deux secondes s'il n'a pas été confirmé alors que le moteur est étéint. Il s'affiche à nouveaupendant deux secondes si le message a étéconfirmé, mais que le problème est toujourspresent alors que le moteur est étéint.
Si le symptôme persiste, le message s'affiche à nouveau lorsque le moteur est allumé.
LOW BRAKE FLUID (bas niveau du liquide de freins)
Ce message s'affiche quand le niveau du liquide de frein est bas. Faire réparer le circuit de freinage dés que possible par votre concessionnaire.
Se reporter à la rubrique Freins à la page 508 pour vérifier le niveau de liquide.
Le témoin du circuit de freinage s'affiche également sur le groupe d'instruments du tableau de bord lorsque ce message s'affiche au CIB. Se reporter à Témoin du système de freinage à la page 249.
Ce message s'affiche et un carillon retentit lorsque le commutateur d'allumage est en position RUN (marche). Pour accuser reception de ce message et l'effacer de l'écran, appuyer sur n'importe quel bouton du centralisateur informatique de bord (CIB).
Ce message continue à s'afficher pendant deux secondes s'il n'a pas été confirmé alors que le moteur est étéint. Il s'affiche à nouveaupendant deux secondes si le message a étéconfirmé, mais que le problème est toujourspresent alors que le moteur est étéint.
Si le symptôme persiste, le message s'affiche à nouveau lorsque le moteur est allumé.
LOW FUEL (bas niveau de carburant)
Ce message s'affiche lorsque le niveau de carburant de votre vehicule est bas. Vous doivent faire le plein des que possible. Pour plus d'informations, se reporter aux rubriques Jauge de carburant à la page 259 et Remplissage du réservoir à la page 476.
Ce message s'affiche et un carillon retentit lorsque le commutateur d'allumage est en position RUN (marche). Pour accuser réception de ce message et l'effacer de l'écran, appuyer sur n'importe quel bouton du centralisateur informatique de bord (CIB).
Si le symptôme persiste, le message s'affiche à nouveau lorsquè le moteur est allumé.
LOW OIL PRESSURE (faible pression d'huile)
Remarque: Si le message LOW OIL PRESSURE (faible pression d'huile) apparait sur l'écran du centralisateur informatique de bord, arrêter immidiatement le vehicule. Ne pas conduire le vehicule que lorsque le problème de la pression d'huileasse a été réglé. Le fait de continuer à conduire le vehicule lorsque la pression de l'huile est basse peut endommager le moteur gravement. Pour plus de renseignements, se reporter à Huile à moteur à la page 484.
Ce message s'affiche lorsque la pression d'huile moteur du vehicule est BASSE. Le témoin de BASSE pression d'huile s'affiche également sur le groupe d'instruments du tableau de bord. Se reporter à la rubrique Témoin de pression d'huile à la page 256.
Arrêter le vehicule immédiatement, car le moteur peut subir des dommages dus à la conduite d'un vehicule représentant une basse pression d'huile. Faire réparer le vehicule par votre concessionnaire des que possible lorsque ce message est affché.
Ce message s'affiche uniquement quand le commutateur d'allumage est en position RUN (marche). Lorsque ce message s'affiche, un carillon retentit de manière continue.
Vous ne pouvez pas accuser réception de ce message et l'effacer de l'écran. Si la condition existe toujours, ce message s'affichera de nouveau pendant quelques secondes lorsque le moteur sera éteint.
Si le symptôme persiste, le message s'affiche à nouveau lorsque le moteur est allumé.
PARKING BRAKE ON (frein de stationnement engagé)
Ce message apparait pour avertir le conducteur que le frein de stationnement du vehicule est mis alors que le commutateur d'allumage est en position RUN (marche) et que la vitesse du vehicule est supérieure à 8 km/h (5 mi/h). Relâcher le frein de stationnement avant de conduire. Pour plus d'informations, se reporter à la rubrique Frein de stationnement à la page 158.
Le témoin du circuit de freinage s'affiche également sur le groupe d'instruments du tableau de bord lorsque ce message s'affiche au CIB. Se reporter à Témoin du système de freinage à la page 249.
Un carillon retentit de manière continue lorsque ce message apparait alors que la vitesse du vehicule est supérieure à 8 km/h (5 mi/h). Appuyer sur n'importe quel bouton du centralisateur informatique de bord (CIB) pour accuser reception de ce message et l'effacer de l'écran.
Ce message continue à s'afficher pendant deux secondes s'il n'a pas été confirmé alors que le moteur est eteint. Il s'affiche a nouveau pendant deux secondes si le message a ete confirmé, mais que le problème est always present alors que le moteur est eteint.
Si le symptôme persiste, le message s'affiche à nouveau lorsque le moteur est allumé.
PARK LAMPS ON (feux de stationnement allumés)
Ce message s'affiche pour informer le conducteur que les phares ou les yeux de stationnement sont allumés alors que le contact est coupé et que la porte du conducteur est ouverte. Pour plus d'informations, se reporter à la rubrique Éclairage extérieur à la page 211. Lorsque ce message s'affiche, un carillon retentit de manière continue.
Appuyer sur n'importequelbouton du centralisateur informatique de bord (CIB) pour accuser reception de ce message et l'effacer de I'écran.
PASSenger's DOOR AJAR (porte passager entrouverte)
Ce message s'affiche lorsque la porte du passager avant n'est pas fermée correctement. Lorsque ce message s'affiche, vérifier la fermeture completé de la porte de passager avant.
Ce message s'affiche lorsque le commutateur d'allumage est en position RUN (marche). Un carillon retentit lorsque le levier de vitesses est déplaced de la position de stationnement (P). Appuyer sur n'importe quel bouton du centralisateur informatique de bord (CIB) pour accuser réception de ce message et l'effacer de l'écran.
Ce message continue à s'afficher pendant deux secondes s'il n'a pas été confirmé alors que le moteur est étant. Il s'affiche à nouveaupendant deux secondes si le message a étéconfirmé, mais que le problème est toujourspresent alors que le moteur est étant.
Si le symptôme persiste, le message s'affiche à nouveau lorsque le moteur est allumé.
PASSINGER'S REAR DOOR AJAR (porte passager arrêté entrouverte)
Ce message s'affiche lorsque la porte arriré côté passager n'est pas correctement fermée.
Lorsque ce message s'affiche, vérifier la fermeture completé de la porte de passager arrêté.
Ce message s'affiche lorsque le commutateur d'allumage est en position RUN (marche).
Un carillon retentit lorsque le levier de vitesses est déplaced de la position de stationnement (P).
Appuyer sur n'importequelbouton du centralisateur informatique de bord (CIB) pour accuser reception de ce message et l'effacer de I'écran.
Ce message continue à s'afficher pendant deux secondes s'il n'a pas été confirmé alors que le moteur est étant. Il s'affiche à nouveau pendant deux secondes si le message a été confirmé, mais que le problème est toujours present alors que le moteur est étant.
Si le symptôme persiste, le message s'affiche à nouveau lorsque le moteur est allumé.
PASSenger SEATBELT IS NOT FASTENED (ceinture passager non bouclée)
Ce message rappelle que le passager doit boucler sa ceinture de sécurité.
Ce message s'affiche et le carillon retentit lorsque le contact est mis, la ceinture de sécurité du conducteur est bouclée, la ceinture de sécurité du passager n'est pas bouclée mais le sac gonflable du passager est activé et le vehicule est en mouvement. Vous devez demander au passager de boucler sa ceinture de sécurité.
Le message réapparaître et le carillon retentira de nouveau si le contact est mis, le vehicule est en mouvement, la ceinture du conducteur n'est pas bouclée, la ceinture du passager n'est toujours pas bouclée et le sac gonflable du passager est activé. Si la ceinture du passager est déjà bouclée, ce message n'apparaître pas et le carillon ne retentira pas.
REDUCED ENGINE POWER (puissance du moteur réduite)
Ce message apparait lorsque la puissance du moteur du vehicule est réduite. Cela se produit dans certains situations comme la montée d'une pente abrupte, la boîte-pont fournit un effort excessif à une vitesse, ce qui peut endommager le moteur ou la boîte-pont du vehicule. Une puissance réduite du moteur peut réduire la capacité d'accélération du vehicule.
Ce message s'affiche et un carillon retentit lorsque le commutateur d'allumage est en position RUN (marche). Pour accuser réception de ce message et l'effacer de l'écran, appuyer sur n'importe quel bouton du centralisateur informatique de bord (CIB).
Ce message continue à s'afficher pendant deux secondes s'il n'a pas été confirmé alors que le moteur est étéint. Il s'affiche à nouveau pendant deux secondes si le message a été confirmé, mais que le problème est toujoursprésent alors que le moteur est étéint.
Si le symptôme persiste, le message s'affiche à nouveau lorsque le moteur est allumé.
REDUCED POWER STOP WHEN SAFE (puissance réduite, s'arrêté en lieu sûr)
Ce message apparait lorsque vous vehicule est en mode de moteur surchauffé. Ce mode de fonctionnement vous permet de conduire votre vehicule en lieu sur en cas d'urgence. Lorsque ce mode est selectionné, vous remarquerez une perte importante de puissance et de performance du moteur. Pour plus d'informations, se reporter à la rubrique Mode de fonctionnement de protection du moteur surchauffé à la page 500. Chaque fois que ce message est affiché, amener votre vehicule chez vous concessionnaire pour le faire réparer dans les autres délais.
Ce message s'affiche et un carillon retentit lorsque le commutateur d'allumage est en position RUN (marche). Pour accuser réception de ce message et l'effacer de l'écran, appuyer sur n'importe quel bouton du centralisateur informatique de bord (CIB).
Ce message continue à s'afficher pendant deux secondes s'il n'a pas été confirmé alors que le moteur est étant. Il s'affiche à nouveaupendant deux secondes si le message a étéconfirmé, mais que le problème est toujourspresent alors que le moteur est étant.
Si le symptôme persiste, le message s'affiche à nouveau lorsque le moteur est allumé.
REMOTE START DISABLED (démarrage à distance désactivé)
Si vous véchicule est équipé du démarrage à distance, ce message s'affiche si une tentative de démarrage à distance échoue. Ceci peut être dû à une des situations suivantes lors d'un essai de démarrage à distance :
- Le système de démarrage à distance est désactivé par le centralisateur informatique de bord.
- La clé est dans le contact.
Le capot ou les portes ne sont pas fermés. - Le dispositif antipollution présente une défectuosité.
- La température du liquide de refroidissement du moteur est trop élevé.
La pression d'huile est basse. -
Les feu de détresse sont allumés.
-
Le nombre maximal de démarrages à distance ou de tentatives de démarrage à distance entre les cycles d'allumage a été atteint.
- L'alarme antivol du contenu s'est allumée lorsque vous avez essayé de démarrer le vehicule à distance.
Se reporter à « REMOTE START » (démarrage à distance) de la rubrique Personnalisation CIB du vehicule (Haut de gamme uniquement) à la page 294 et « Démarrage du vehicule à distance » de la rubrique Fonctionnement du système de télédéverrouillage à la page 114 pour en savoir plus.
REMOTE START ON (démarrage à distance enclenché)
Si vous vehicule est équipé de la fonction de démarrage à distance, ce message apparait lorsqu'un démarrage à distance est enclenché. Pour plus d'informations, se reporter à la rubrique « Démarrage à distance du vehicule » dans la section Fonctionnement du système de télédéverrouillage à la page 114.
RIGHT FRONT TURN LAMP OUT (clignotant avant droit grille)
Ce message s'affiche lorsque l'ampoule du clignotant avant droit doit être replacée. Se reporter à la rubrique Phares et peux de gabarit à la page 520.
Ce message apparait lorsque le commutateur d'allumage est en position RUN (marche). Pour accuser reception de ce message et l'effacer de l'écran, appuyer sur n'importe quel bouton du centralisateur informatique de bord (CIB).
Ce message continue à s'afficher pendant deux secondes s'il n'a pas été confirmé alors que le moteur est eteint. Il s'affiche a nouveau pendant deux secondes si le message a ete confirmé, mais que le probleme est always present alors que le moteur est eteint.
Si le symptôme persiste, le message s'affiche à nouveau lorsque le moteur est allumé.
RIGHT REAR TURN LAMP OUT (clignotant arrêté droit grillé)
Ce message s'affiche lorsque l'ampoule du clignotant arrêt croit doit être remplacée. Se reporter à la rubrique Feux arrêtre, clignotants, feux d'arrêt et yeux de recul à la page 523.
Ce message apparait lorsque le commutateur d'allumage est en position RUN (marche). Pour accuser reception de ce message et l'effacer de l'écran, appuyer sur n'importe quel bouton du centralisateur informatique de bord (CIB).
Ce message continue à s'afficher pendant deux secondes s'il n'a pas été confirmé alors que le moteur est eteint. Il s'affiche a nouveau pendant deux secondes si le message a ete confirmé, mais que le probleme est always present alors que le moteur est eteint.
Si le symptôme persiste, le message s'affiche à nouveau lorsque le moteur est allumé.
SERVICE ABS SYSTEM (faire réparer le système ABS)
Ce message s'affiche en cas de panne de l'ABS.
Faire réparer l'ABS par votre concessionnaire dés que possible.
Le témoin ABS s'affiche également au groupe d'instruments du tableau de bord lorsque ce message s'affiche à l'écran du centralisateur informatique de bord (CIB). Se reporter à la rubrique Témoin du système de freinage antiblocage à la page 250.
Ce message n'apparaît que si le contact est mis à la position RUN (marche). Pour accuser réception de ce message et l'effacer de l'écran, appuyer sur n'importe quel bouton du centralisateur informatique de bord.
Ce message continue à s'afficher pendant deux secondes s'il n'a pas été confirmé alors que le moteur est eteint. Il s'affiche a nouveau pendant deux secondes si le message a ete confirmé, mais que le probleme est always present alors que le moteur est eteint.
Si le symptôme persiste, le message s'affiche à nouveau lorsque le moteur est allumé.
SERVICE AIR BAG (proceder à l'entretien des sacs gonflables)
Ce message s'affiche en même temps que le témoin de disponibilité de sac gonflable en cas de problème de sac gonflable. Faire vérifier le système par votre concessionnaire. Se reporter à Témoin de sac gonflable prét à fonctionner (AIRBAG) à la page 245 et Système de sac gonflable à la page 88 pour plus d'information.
Ce message n'apparaît que si le contact est mis à la position RUN (marche). Pour accuser réception de ce message et l'effacer de l'écran, appuyer sur n'importe quel bouton du centralisateur informatique de bord.
Ce message continue à s'afficher pendant deux secondes s'il n'a pas été confirmé alors que le moteur est étant. Il s'affiche à nouveaupendant deux secondes si le message a étéconfirmé, mais que le problème est toujourspresent alors que le moteur est étant.
Si le symptôme persiste, le message s'affiche à nouveau lorsque le moteur est allumé.
SERVICE BRAKE SYSTEM (réparer le système de freinage)
Ce message apparait en cas de détention d'un problème au niveau du système de freinage. Faire réparer votre vehicule par un concessionnaire dans les plus brefs déliés.
Le témoin du circuit de freinage s'affiche également sur le groupe d'instruments du tableau de bord lorsque ce message s'affiche au CIB. Se reporter à Témoin du système de freinage à la page 249.
Ce message n'apparaît que si le contact est mis à la position RUN (marche). Pour accuser réception de ce message et l'effacer de l'écran, appuyer sur n'importe quel bouton du centralisateur informatique de bord.
Ce message continue à s'afficher pendant deux secondes s'il n'a pas été confirmé alors que le moteur est étant. Il s'affiche à nouveaupendant deux secondes si le message a etecommé, mais que le problème est alwayspresent alors que le moteur est eteint.
Si le symptôme persiste, le message s'affiche à nouveau lorsque le moteur est allumé.
SERVICE PARK LAMPS (faire réparer les yeux de stationnement)
Ce message apparait en cas de problème au niveau des feu des stationnement. Vérifier si le fusible du feu de stationnement est grillé et le remplacer au besoin. Pour plus d'informations, se reporter aux rubriques Fusibles et disjoncteurs à la page 583 et Bloc-fusibles d'ensemble instruments à la page 583. Si le remplacement du fusible ne corrige pas le problème, contacter votre concessionnaire.
Ce message n'apparaît que si le contact est mis à la position RUN (marche). Pour accuser réception de ce message et l'effacer de l'écran, appuyer sur n'importe quel bouton du centralisateur informatique de bord.
Ce message continue à s'afficher pendant deux secondes s'il n'a pas été confirmé alors que le moteur est étant. Il s'affiche à nouveaupendant deux secondes si le message a étéconfirmé, mais que le problème est toujourspresent alors que le moteur est étant.
Si le symptôme persiste, le message s'affiche à nouveau lorsque le moteur est allumé.
SERVICE STABILITY SYSTEM (verifier le système de stabilité)
Si vous vécuule est équipé de la fonction
StabiliTrakMD, ce message s'affiche en cas de
détection d'un problème au niveau du système
StabiliTrakMD. Se reporter à la rubrique Système
StabiliTrakMD à la page 420.
Si ce message apparait pendant la conduite, se ranger sur le cote de la route des que possible et arreter prudemment le vehicule. Essayer de réinitialiser le système en coupant le contact, puis en le remettant. Si ce message reste affiché ou réappaît pendant la conduite, votre vehicule doit être réparé. Faire vérifier le système StabiliTrakMD par votre concessionnaireès que possible.
Ce message n'apparaît que si le contact est mis à la position RUN (marche). Pour accuser réception de ce message et l'effacer de l'écran, appuyer sur n'importe quel bouton du centralisateur informatique de bord.
Ce message continue à s'afficher pendant deux secondes s'il n'a pas été confirmé alors que le moteur est étant. Il s'affiche à nouveau
pendant deux secondes si le message a eté confirmé, mais que le problème est toujours present alors que le moteur est eteint.
Si le symptôme persiste, le message s'affiche à nouveau lorsque le moteur est allumé.
SERVICE TRACTION SYSTEM (rappel d'entretien de la traction asservie)
Si vous vécicule est équipé du système de traction asservie TCS, ce message s'affiche en cas de panne du système. Un témoin s'affiche également au groupe d'instruments du tableau de bord. Se reporter à Témoin du système de traction asservie à la page 251. Voir aussi Système de traction asservie (TCS) à la page 419 pour plus d'information. Faire réparer le système de traction asservie par votre concessionnaire lors que possible.
Ce message n'apparaît que si le contact est mis à la position RUN (marche). Pour accuser réception de ce message et l'effacer de l'écran, appuyer sur n'importe quel bouton du centralisateur informatique de bord.
Ce message continue à s'afficher pendant deux secondes s'il n'a pas été confirmé alors que le moteur est étant. Il s'affiche à nouveau pendant deux secondes si le message a été confirmé, mais que le problème est toujours present alors que le moteur est étant.
Si le symptôme persiste, le message s'affiche à nouveau lorsque le moteur est allumé.
SERVICE VEHICLE SOON (réparer le vehicule sous peu)
Ce message s'affiche en cas de panne en rapport avec le dispositif antipollution. Faire réparer le vehicule par votre concessionnaire dés que possible.
Ce message n'apparaît que si le contact est mis à la position RUN (marche). Pour accuser réception de ce message et l'effacer de l'écran, appuyer sur n'importequel bouton du centralisateur informatique de bord.
Ce message continue à s'afficher pendant deux secondes s'il n'a pas été confirmé alors que le moteur est étant. Il s'affiche à nouveau
pendant deux secondes si le message a eté confirmé, mais que le problème est toujours present alors que le moteur est eteint.
Si le symptôme persiste, le message s'affiche à nouveau lorsque le moteur est allumé.
STABILITY CONTROL ACTIVE (contrôle de stabilité activé)
Si vous vehicule est équipé du système
StabiliTrakMD, ce message apparait lorsque
StabiliTrakMD vous aide activement à garder la
maîtrise directionnelle du vehicule. Des conditions
de chaussée glissante peuvent existier lorsque
ce message s'affiche, donc adapter votre conduite
en conséquence. Se reporter à la rubrique
Système StabiliTrakMD à la page 420.
Ce message s'affiche uniquement quand le contact est à la position RUN (marche).
Ce message demeure affché jusqu'à ce que les conditions routières changent et que StabiliTrakMD ne soit plus actif.
Ce message ne peut pas etre confirmé ni effacé de I'ecran.
STABILITY CONTROL OFF (commande de stabilité désactivée)
Si vous vehicule est équipé du système
StabiliTrakMD, ce message apparait chaque
fois que le système est désactivé. Lorsque ce
message apparait, StabiliTrakMD n'est plus
en mesure de vous aider à garder la maîtrise
directionnelle du vehicule. Adapter vous conduite
en conséquence. Se reporter à la rubrique
Système StabiliTrakMD à la page 420.
Ce message s'affiche uniquement lorsque le commutateur d'allumage est en position RUN (marche).
Un des problèmes suivants peut cause la désactivation du système StabiliTrakMD:
- La batterie est faible.
- Le système StabiliTrakMD présente une défaillance. Contacter votre concessionnaire pour le faire réparer.
STARTING DISABLED (démarrage désactivé)
Ce message apparait si le démarrage du moteur est désactifé en raison du système de commande électronique d'accelération ou du système antivol. Faire réparer immidiatement votre vehicule par votre concessionnaire.
Ce message s'affiche uniquement lorsque le commutateur d'allumage est en position RUN (marche) et il ne disparaît pas avant que le problème soit résolu.
Ce message ne peut etre confirmé.
TRACTION CONTROL ACTIVE (traction asservie activée)
Si vous vécuicide est équipé du système de traction asservie (TCS), ce message s'affiche lorsque le système est allumé. Ce message peut s'afficher en cas de chaussée glissante, donc adapter votre conduite en conséquence. Pour plus d'informations, se reporter à la rubrique Système de traction asservie (TCS) à la page 419.
Ce message n'apparait que si le contact est mis à la position RUN (marche) et demeure affché jusqu'à ce que les conditions routières changent et que la traction asservie ne soit plus activée.
Ce message ne peut être confirmé ni effacé de l'écran.
TRACTION CONTROL OFF (traction asservie désactivée)
Si votre vehicule est équipé du système de traction asservie (TCS), ce message s'affiche lorsque le système de traction asservie est désactivé. Pour plus d'informations, se reporter à la rubrique Système de traction asservie (TCS) à la page 419.
Ce message s'affiche uniquement lorsque le commutateur d'allumage est en position RUN (marche) et il disparaît au bout de deux secondes.
Un des problèmes suivants peut cause la déactivation de la traction asservie (TCS) :
- La traction asservie (TCS) est désactivé en appuyant sur le bouton de commande de traction asservie situé au centre du tableau de bord. Voir Système de traction asservie (TCS) à la page 419.
La batterie est faible. - La traction asservie (TCS) est en panne.
Le faire réparer par votre concessionnaire.
TRANSMISSION FLUID HOT (température élevé du liquide de la boîte de vitesses)
Ce message apparait lorsque le liquide de boîte-pont de votre vehicule est trop chaud. Arrêter le vehicule et le laisser tourner au ralenti jusqu'à ce qu'il refroidisse. Si ce message d'advertissement continue d'apparaître, faire réparer le vehicule par votre concessionnaireès que possible.
Ce message s'affiche et un carillon retentit lorsque le commutateur d'allumage est en position RUN (marche). Pour accuser réception de ce message et l'effacer de l'écran, appuyer sur n'importe quel bouton du centralisateur informatique de bord (CIB).
Ce message continue à s'afficher pendant deux secondes s'il n'a pas été confirmé alors que le moteur est étant. Il s'affiche à nouveaupendant deux secondes si le message a etecommémé, mais que le problème est alwayspresent alors que le moteur est étant.
Si le symptôme persiste, le message s'affiche à nouveau lorsque le moteur est allumé.
TURN SIGNAL ON (clignotant activé)
Ce message apparait pour vous rappeler d'eteindre le clignotant si vous conduisez votre vehicule sur une distance supérieure à 1,2 km (0,75 mille) avec le clignotant allumé. Se reporter à la rubrique Levier des clignotants/multifonctions à la page 202.
Ce message s'affiche et un carillon retentit uniquement quand le commutateur d'allumage est en position RUN (marche). Ce message s'efface du CIB si le clignotant est eteint manuellement, si vous sortez du virage ou si vous avez accusé reception du message.
Personnalisation CIB du vehicule (Haut de gamme uniquement)
Il est possible que votre vehicule soit équipé de fonctions de personnelisation vous permettant de programmer certaines fonctions selon un paramètre préfééré. Les fonctions de personnelisation peuvent être programmées uniquement selon un paramètre du vehicule et ne peuvent pas être programmées selon un paramètre préfééré pour deux conducteurs différents. Les fonctions de personnelisation incluent les options suivantes :
- Exterior lighting delay (temporisation de l'éclairage extérieur)
- Interior lighting delay (temporisation de l'éclairage interieur)
- Delayed locking (verrouillage temporisé)
- Content theft (système anti-cambriolage)
- Remote keyless entry feedback (rétroaction de télédéverrouillage)
- Remote start (démarrage à distance)
- Rear park chime (carillon de stationnement arrêté)
Votre vehicule soit équipé de fonctions de personnalisation vous permettant de programmermertcertaines fonctions selon un paramètre préfééré pour un ou deux conducteurs. La premièrecle personalisée correspond au conducteur 1 et la deuxième clé personalisée correspond au conducteur 2. Le numéro de conducteur correspond aux chiffres 1 ou 2 du dos des télécommandes.
Les fonctions de personnelisation complènent ce qui suit :
- Préroglages des stations de radio
- Préférences de déverrouillage automatique des portes
- Préférences de déverrouillage de l'émetteur de télédéverrouillage
Il est possible que votre vehicule ne soit pas équipé de toutes les options de personnalisation. Seules les options disponibles sont affichées sur toute centralisateur informatique de bord.
Les paramètres par défaut des fonctions de personnelisation ont été configurés à l'usine, mais ont peut-être été modifiés depuis.
Les préférences de personnelisation sont rappelées automatiquement.
Les préférences de conducteur sont rappelées en utilisant la clé programme pour le conducteur 1 ou 2. Le nombre de conducteur correspond aussi aux chiffres 1 ou 2 du dos des émetteurs de télédéverrouillage.
Pour modifier les préférences de personnelisation, procéder comme suit :
Entrer dans le menu des paramètres de personnelisation
- Mettre le contact et placer le vehicule en position de stationnement (P). Il est conseilé d'eteindre les phares pour ne pas décharger la batterie.
- Appuyer sur le bouton menu jusqu'à ce que la mention PERSONAL PROGRAM (programme de personnelisation) s'affiche.
Si le vehicule n'est pas en position de stationnement (P), PERSONAL PROGRAM ONLY IN PARK (paramètre de personnelisation uniquement en position de stationnement) apparait.
Si vous ne pouvez pas acceder au menu des paramètres de personnelisation du vehicule, PERSONAL PROGRAM NOT AVAILABLE (paramètre de personnelisation non disponible) apparait.
- Pour commencer, appuyer sur le bouton de réglage/reinitialisation.
- Le centralisateur informatique de bord affiche ensuite un écran compteant des instructions. Appuyer sur le bouton menu pour afficher les modes programmables.
Appuyer sur le bouton de réglage/ réinitialisation pour modifier le réglage de chaque mode.
Éléments du menu de personnelisation
Les éléments suivants sont des fonctions de personnelisation vous permettant de programmer des paramètres sur le vehicule :
FACTORY DEFAULTS (réglages en usine par défaut)
Cette fonction vous permet de définir toutes les fonctions de personnalisation selon les paramétres par défaut définis en usine.
Appuyer sur le bouton de menu jusqu'à ce que FACTORY DEFAULTS (réglages en usine par défaut) apparaisse à l'écran du centralisateur informatique de bord. Appuyer sur le bouton de réglage/réinitialisation pour faire défilier les options suivantes :
NO (non) (par défaut): Les fonctions de personnalisation ne seront pas régées selon les paramètres par défaut définis en usine.
YES (oui): Les fonctions de personnelisation seront programmesées selon les paramétres par défaut définis en usine.
Si YES (oui) est sélectionné, les clés doivent être personnalisées à nouveau pour être reconnues comme touche 1 ou 2. Pour de plus amples renseignements, se reporter à « PERSONNALISATION DES CLÉS » plus loin dans cette section.
Choisir l'une des options, appuyer ensuite sur le bouton de menu lorsque celle-ci est affichee à l'écran du centralisateur informatique de bord afin de la sélectionner, puis passer à la fonction suivante.
ALL KEYS RESET (réinitialisation de toutes les touches effectuee)
Cet écran apparait uniquement si YES (oui) a été sélectionné sur l'écran FACTORY DEFAULTS (réglages en usine par défaut).
Appuyer sur le bouton de réglage/ réinitialisation pour faire défilier les différentes options :
CANCEL (annuler) (par défaut): Les fonctions ne seront pas programmesées selon leurs paramètres par défaut définis en usine et le centralisateur informatique de bord affichera de nouveau l'écran FACTORY DEFAULTS (réglages en usine par défaut).
OK: Les fonctions seront programmesées selon leurs paramètres par défaut définis en usine, le centralisateur informatique de bord quittera le menu des paramètres de personnalisation et PERSONAL OPTIONS SAVED (options personnelles enregistrées) apparait.
EXT LIGHT DELAY (temporisation de l'éclairage extérieur)
Cette fonction vous permet de définir la durée pendant laquelle l'éclairage extérieur restera allumé après que la clé est retiree du commutateur d'allumage ou que le vehicule est déverrouillé à l'aide de l'émetteur de télédéverrouillage.
Appuyer sur le bouton de menu jusqu'à ce que EXT LIGHT DELAY (temporisation de l'éclairage extérieur) apparaisse à l'écran du centralisateur informatique de bord. Appuyer sur le bouton de réglage/reinitialisation pour faire défiler les différentes options :
OFF (désactivée): L'éclairage extérieur ne s'allumera pas.
15 secondes: L'éclairage extérieur restera allumé pendant 15 secondes.
30 secondes (par défaut): L'éclairage extérieur restera allumé pendant 30 secondes.
60 secondes: L'éclairage extérieur restera allumé pendant 60 secondes.
90 secondes: L'éclairage extérieur restera allumé pendant 90 secondes.
Choisir l'une des options, appuyer ensuite sur le bouton de menu lorsque celle-ci est affichee à l'écran du centralisateur informatique de bordafin de la sélectionner, puis passer à la fonction suivante.
INT LIGHTS KEYS REMOVED (éclairage interieur - clés retirees)
Cette fonction permet d'allumer l'éclairage interieur du vehicule pendant environ 25 secondes après que la clé est retiree du commutateur d'allumage.
Appuyer sur le bouton de menu jusqu'à ce que INT LIGHTS KEYS REMOVED (éclairage interieur - clés retirees) apparaisse à l'écran du centralisateur informatique de bord. Appuyer sur le bouton de réglage/reinitialisation pour faire défilier les différentes options :
OFF (désactivée): Le retrait de la clé du commutateur d'allumage n'entrainera pas l'allumage de l'éclairage interieur.
ON (fonction activée) (par défaut): Le retrait de la clé du commutateur d'allumage entraînera l'allumage de l'éclairage interieur pendant environ 25 secondes.
Choisir l'une des options, appuyer ensuite sur le bouton de menu lorsque celle-ci est affichée à l'écran du centralisateur informatique de bord afin de la sélectionner, puis passer à la fonction suivante.
DELAYED LOCKING (verrouillage temporisé)
Cette fonction permet de temporiser le verrouillage du vehicule pendant environ cinq secondes jusqu'à ce que toutes les portes soient fermées.
Lorsque la fonction de verrouillage temporisé est activée, vous pouvez la déclencher lorsque la clé n'est pas dans le commutateur d'allumage en procédant selon l'une des méthodes suivantes :
Appuyer une fois sur le commutateur de verrouillage électrique de la porte conducteur lorsqu'elle est ouverte.
Appuyer une fois sur le commutateur de verrouillage électrique de la porte passager lorsqu'elle est ouverte.
- Appuyer une fois sur le bouton de verrouillage situé sur l'émetteur de télédéverrouillage lorsque n'importe qu'elle porte est ouverte.
Deux carillons retentissent pour signaler que le verrouillage temporisé est actif.
Pour verrouiller les portes immédiatement, répéter plusieurs fois l'une des actions décrites ci-dessus.
Si une porte reste ouverte et si aucune autre porte n'est ouverte ou fermée, le vehicule se verrouille au bout de 45 secondes environ.
Si une clé se trouve dans le commutateur d'allumage, cette fonction ne verrouillera pas les portes. Pour plus d'informations, se reporter à la rubrique Verrouillage temporisé à la page 123.
Appuyer sur le bouton de menu jusqu'à ce que DELAYED LOCKING (verrouillage temporisé) apparaisse à l'écran du centralisateur informatique de bord. Appuyer sur le bouton de réglage/reinitialisation pour faire défilier les différentes options suivantes :
OFF (désactivée): Il n'y aura pas de verrouillage temporisé des portes du vehicule.
ON (fonction activée) (par défaut): Si vous ouvrez une porte à l'aide du commutateur de verrouillage électrique des portes ou si vous appuyez sur le bouton de verrouillage de l'émetteur de télédéverrouillage alors qu'une porte est ouverte, le verrouillage des portes du vehicule sera temporisé de cinq secondes.
Choisir l'une des options, appuyer ensuite sur le bouton de menu lorsque celle-ci est affichee à l'écran du centralisateur informatique de bord afin de la sélectionner, puis passer à la fonction suivante.
CONTENT THEFT (système anti-cambriolage)
Si votre vehicule est équipé du système antivol, lorsque cette fonction est activée le système se déclenché si quelqu'un tente d'entrée dans le vehicule sans utiliser l'émetteur de télédéverrouillage ou la bonne clé. Il se déclenché également lorsqu'une mauvaise clé est insérée dans le commutateur d'allumage.
Appuyer sur le bouton de menu jusqu'à ce que CONTENT THEFT (système anti-cambriolage) apparaissée à l'écran du centralisateur informatique de bord. Appuyer sur le bouton de réglage/ réinitialisation pour faire défiler les différentes options suivantes :
OFF (désactivée): Le système antivol est désactivié.
ON (fonction activée) (par défaut): Le système antivol est activé.
Lorsque ON (fonction activée) est sélectionné, le système antivol du contenu est armé si le vehicule est verrouillé après que vous avez appuyé sur le bouton de verrouillage situé sur l'émetteur de télédéverrouillage ou après que vous avez appuyé sur le commutateur de verrouillage électrique des portes. Pour plus d'informations, se reporter aux rubriques Système anti-cambriolage à la page 143 et Portes à verrouillage électrique à la page 123.
Choisir l'une des options, appuyer ensuite sur le bouton de menu lorsque celle-ci est affichee à l'écran du centralisateur informatique de bord afin de la sélectionner, puis passer à la fonction suivante.
FOB LOCK FEEDBACK (rétroaction de déverrouillage)
Cette fonction vous permet de selectionner le type de rétroaction que vous receivez lorsque vous verrouillerez le vehicule à l'aide de l'émetteur de télédéverrouillage.
Appuyer sur le bouton de menu jusqu'à ce que FOB LOCK FEEDBACK (rétroaction de déverrouillage) apparaisse à l'écran du centralisateur informatique de bord. Appuyer sur le bouton de réglage/ réinitialisation pour faire défilier les différentes options suivantes :
OFF (désactivée): Aucune rétroaction n'aura lieu lors du verrouillage du vehicule.
LIGHTS (éclairage): Les feuux extérieurs clignotent lorsque vous appuyez sur le bouton de verrouillageitué sur l'émetteur de télédéverrouillage.
LIGHTS and HORN (éclairage et klaxon)
(par défaut): Les feuux extérieurs clignotent lorsque vous appuyez sur le bouton de verrouillage situé sur l'émetteur de télédéverrouillage et le klaxon retentit lorsque vous appuyez de nouveau sur le bouton de verrouillage dans les cinq secondes suivantes.
Choisir l'une des options, appuyer ensuite sur le bouton de menu lorsque celle-ci est affichée à l'écran du centralisateur informatique de bord afin de la sélectionner, puis passer à la fonction suivante.
REMOTE START
(démarrage à distance)
Si vous vehicule est équipé d'un système de démarrage à distance, cette fonction vous permet d'activer ou de désactiver le démarrage à distance. La fonction de démarrage à distance vous permet de démarrer le moteur depuis l'extérieur du vehicule à l'aide de l'émetteur de
telédéverrouillage. Pour plus d'informations, se reporter à la rubrique « Démarriage à distance du vehicule » dans la section Fonctionnement du système de telédéverrouillage à la page 114.
Appuyer sur le bouton de menu jusqu'à ce que REMOTE START (démarrage à distance) apparaïssé à l'écran du centralisateur informatique de bord. Appuyer sur le bouton de réglage/ réinitialisation pour faire défiler les différentes options suivantes :
OFF (désactivée): La fonction de démarrage à distance est désactivée.
ON (fonction activée) (par défaut): La fonction de démarrage à distance est activée.
Choisir l'une des options, appuyer ensuite sur le bouton de menu lorsque celle-ci est affichée à l'écran du centralisateur informatique de bord afin de la sélectionner, puis passer à la fonction suivante.
REAR PARK CHIME (carillon de stationnement arrêté)
Si vous véchicule est équipé du système d'assistance de stationnement arrêté à ultrasons (URPA), cette fonction vous permet d'éteindre ou d'allumer le carillon du système URPA. Pour plus d'informations, se reporter à la rubrique Assistance ultrasonique arrêté de stationnement à la page 220.
Appuyer sur le bouton d'options jusqu'à ce que REAR PARK CHIME (carillon de stationnement arrêté) apparaisse à l'écran du centralisateur informatique de bord. Appuyer sur le bouton de réglage/reinitialisation pour faire défiler les options suivantes :
OFF (désactivée): Le carillon du système URPA est désactivié.
ON (fonction activée) (par défaut): Le carillon du système URPA est activé.
Choisir l'une des options, appuyer ensuite sur le bouton de menu lorsque celle-ci est affichée à l'écran du centralisateur informatique de bord afin de la sélectionner, puis passer à la fonction suivante.
Éléments du menu de personnelisation
Les éléments suivants sont des fonctions de personnelisation vous permettant de programmer des paramètres pour un ou deux conducteurs :
PERSONALIZE KEY (personnaliser la clé)
Si vous utilisez une clé qui a déjà été personnalisée pour être reconnaue comme clé 1 ou 2, cet écran ne s'affiche pas. Cette fonction vous permet de personnaliser une clé pour qu'elle soit reconnaue comme clé 1 ou 2. Une clé personnalisée vous permet de programmer des fonctions de personnalisation selon vos préférences afin qu'elles correspondent à la clé 1 ou 2.
Appuyer sur le bouton d'options jusqu'à ce que PERSONALIZE KEY (personnaliser la clé) apparaïssée à l'écran du centralisateur informatique de bord. Appuyer sur le bouton de réglage/reinitialisation pour faire défilier les différentes options suivantes :
NO (non) (par défaut): La clé ne sera pas personnelisée.
YES (oui): La clé sera personnalisée.
Choisir l'une des options, appuyer ensuite sur le bouton de menu lorsque celle-ci est affichée à l'écran du centralisateur informatique de bord afin de la sélectionner, puis passer à la fonction suivante.
REPLACE KEY (replacer la clé)
Cet écran apparait uniquement si vous\ avez scélectionné YES (oui) pour la fonction PERSONALIZE KEY (personnaliser la clé), si les clés 1 et 2 ont déjà été personalisées et si la clé utilisée à ce moment-là n'est pas la clé 1 ou 2. Cette fonction vous permet de programmer une clé de sorte qu'elle soit reconnue comme clé 1 ou 2 au cas où la clé précedemment programmée doit être replacée.
1: La clé sera programmée pour être reconnaue comme clé 1.
2: La clé sera programmée pour être reconnue comme clé 2.
CANCEL (annuler) (par défaut): La clé ne sera pas programmée.
RADIO STATIONS PERSONALIZED (stations de radio personalisées)
Cet écran apparait uniquement si vous avez sélectionné YES (oui) pour la fonction PERSONALIZE KEY (personnaliser la clé). Cette fonction vous permet de définir les préréglages des stations de radio de sorte qu'ils soient reconnues par la clé 1 ou 2 utilisée. Lorsque ce message apparait, définir les préréglages des stations de radio. Si les préréglages ne sont pas définis à ce moment-là, ils ne seront pas reconnus par les clés 1 ou 2. Cependant, les préréglages des stations de radio du vehicule seront conservés.
AUTO DOOR UNLOCK (déverrouillage automatique des portes)
Ceci permet de désactiver le déverrouillage automatique des portes, utilisés pour la porte du conducteur uniquement ou pour toutes les portes.
Appuyer sur le bouton de menu jusqu'à ce que AUTO DOOR UNLOCK (déverrouillage automatique des portes) apparaisse à l'écran du centralisateur informatique de bord. Appuyer sur le bouton de réglage/ réinitialisation pour faire défilier les différentes options suivantes :
OFF (désactivée): Aucune porte ne sera déverrouillée lorsque le vehicule passera en position de stationnement (P) ou lorsque la clé sera retiree du commutateur d'allumage.
DRIVER (conducteur): Seule la porte conducteur sera déverrouillée lorsque le vehicule passera en position de stationnement (P) ou lorsque la clé sera retiree du commutateur d'allumage.
ALL (par défaut) (toutes les portes): Toutes les portes seront déverrouillées lorsque le vehicule passera en position de stationnement (P) ou lorsque la clé sera retiree du commutateur d'allumage.
Choisir l'une des options, appuyer ensuite sur le bouton de menu lorsque celle-ci est affichée à l'écran du centralisateur informatique de bord afin de la sélectionner, puis passer à la fonction suivante.
AUTO UNLOCK ON (déverrouillage automatique activé)
Cette fonction s'affiche uniquement si DRIVER (conducteur) ou ALL (toutes) a ete selectionne comme fonction AUTO DOOR UNLOCK (déverrouillage automatique des portes).
Cette fonction permet de besoin le moment ou les portes du vehicule seront déverrouillées. Appuyer sur le bouton de menu jusqu'a ce que AUTO UNLOCK ON (déverrouillage automatique activé) apparaisse a l'ecran du centralisateur informatique de bord. Appuyer sur le bouton de réglage/ réinitialisation pour faire defiler les différentes options suivantes :
KEY-OUT (clé hors du commutateur d'allumage): Toutes les portes seront déverrouillées lorsque la clé sera retiree du commutateur d'allumage.
PARK (stationnement) (par défaut): Toutes les portes seront déverrouillées lorsque le vehicule passera en position de stationnement (P). Choisir l'une des options, appuyer ensuite sur le bouton de menu lorsque celle-ci est affichée à l'écran du centralisateur informatique de bord afin de la sélectionner, puis passer à la fonction suivante.
FOB UNLOCK ON 1ST PRESS (déverrouillage suite à une seule pression sur l'émetteur de télédéverrouillage)
Cette fonction permet de déterminer quelles portes seront déverrouillées lorsque vous appuyez une fois sur le bouton de déverrouillage situé sur l'émetteur de télédéverrouillage. Pour plus d'informations, se reporter à la rubrique Fonctionnement du système de télédéverrouillage à la page 114.
Appuyer sur le bouton de menu jusqu'à ce que FOB UNLOCK ON 1ST PRESS (déverrouillage suite à une seule pression sur l'émetteur de télédéverrouillage) apparaisse à l'écran du centralisateur informatique de bord. Appuyer sur le bouton de réglage/ réinitialisation pour faire défiler les différentes options suivantes :
DRIVER (conducteur) (par défaut): La portec conducteur est déverrouillée lorsque vous appuyez une fois sur le bouton de déverrouillage situé sur l'émetteur de télédéverrouillage.
ALL (toutes): Toutes les portes sont déverrouillées lorsque vous appuyez une fois sur le bouton de déverrouillage situé sur l'émetteur de télédéverrouillage.
Selectionner l'une des réglages proposées, puis appuyer sur le bouton de menu lorsqu'il apparait sur le centralisateur informatique de bord pour le selectionner. Le centralisateur informatique de bord affiche ensuite PRESS UNLOCK SWITCH ON KEY FOB (appuyer sur le commutateur de déverrouillage situé sur l'émetteur de télédéverrouillage). Appuyer sur le bouton de déverrouillage situé sur l'émetteur de télédéverrouillage pour enregistrer vos paramètres pour cet émetteur de télédéverrouillage.
Après avoir programmes la dernière option, le message KEY FOB NOW PERSONALIZED (émetteur de télédéverrouillage personnelisé) apparait pendant quelques secondes sur l'écran du centralisateur informatique de bord si vous avez personnelisé la clé. Ensuite, le message PERSONAL OPTIONS SAVED (options personnelles enregistrées) apparaît brièvement sur l'écran du centralisateur informatique de bord, puis l'écran principal PERSONAL PROGRAM (programme personnel) s'affiche de nouveau.
Quitter le menu Personal Settings (paramètres de personnelisation)
Vous quitterez le menu des paramètres de personnelisation lorsque l'une des situations suivantes se produit :
Le vehicule quitte la position de stationnement (P).
Le vehicule n'est plus en position RUN (marche).
- Vous avez atteint la fin du menu des paramètres de personnelisation.
Systèmes audio
Déterminer qu'elle radio équipe votre vehicule puis lore les pages suivantes pour vous familiariser avec ses fonctions.
Pour conduire en toute sécurité, il est impératif de ne pas être distrait. Se reporter à la rubrique Conduite défensive à la page 410. Consacrer quelques instants à la lecture de ce manuel pour vous familiariser avec le système audio de votre vehicule. Vous pourrez alors l'utiliser facilement et profiter de ses fonctions.
Lorsque votre vehicule est stationné, configurer le système audio en programmant vos stations de radio préférentes et en réglant la tonalité ainsi que les haut-parleurs. Ensuite, lorsque les conditions de conduite le permettent, vous pouvez symponiser vos stations préférentes à l'aide des prépréglages et des commandes au volant, si le vehicule en est équipé.

ATTENTION:
Ce système vous permet d'acceder à un nombre beaucoup plus important de stations audio et de listedes chansons. Si vous accordez trop d'attention aux tâches de divertissement pendant la conduite, vous risquez de provoquer une collision et de vous blesser ou de vous tuer ou de blesser ou tuer d'autres personnes. Tout jours garder un oeil sur la route et se concentrer sur la conduite. Éviter de s'engager dans des recherches compliquées pendant la conduite.
Il est important pour la sécurité de rester concentré sur le trajet. Pour plus de renseignements, se reporter à Conduite défensive à la page 410.
Voici quelques moyens qui vous éviteront d'être distrustiants pendant la conduite.
Lorsque votre vehicule est stationné :
Se familiariser avec toutes ses commandes.
Se familiariser avec son fonctionnement.
- Configurer le système audio en préreglant vos stations de radio préféERées, en réglant la tonalité et en réglant les haut-parleurs. Ensuite, lorsque les conditions routières le permettent, vous pouze symponiser vos stations de radio préféERées à l'aide des préreglages et des commandes au volant si votre vehicule en est équipé.
Remarque: Avant d'ajouter à votre vehicule tout matériel de sonorisation, comme un système audio, un lecteur de CD, une radio BP, un téléphone mobile ou un poste émetteur récepteur, il convient de consulter le concessionnaire pour s'assurer de la compatibilité de ce matériel. Il faut également vérifier les règlements féderaux portant sur les radios et les téléphones mobiles.
S'il est possible d'ajouter du matériel de sonorisation, il convient de le faire de façon appropriée, car cela peut nuire au bon fonctionnement du moteur du vehicule, de la radio ou d'autres systèmes et pourrait même les endommager. Les systèmes de votre vehicule peuvent pour leur part nuire au bon fonctionnement du matériel sonore ajoute.
Remarque: Les carillons relatifs aux ceintures de sécurité, frein de stationnement, et autres fonctions marchent avec le système de radio/divertissement GM. Si cet équipement est remplaced ou si des équipements supplémentaires sont ajoutés à votre vehicule, les carillons risquent de ne plus fonctionner. S'assurer que les équipements de remplacement ou supplémentaires soient compatibles avec votre vehicule avant de les installer. Se reporter à la rubrique Accessoires et modifications à la page 471.
Votre vehicule est doté de la fonction de prolongation de l'alimentation des accessoires. Gráce à cette fonction, le système audio peut jourer même après que le contact a été coupé. Se reporter à la rubrique Prolongation d'alimentation des accessoires à la page 150 pour en savoir plus.
Réglage de l'heure
Appuyer sur le bouton H ou M pour entrer en mode horloge. Rester appuyé sur H jusqu'à ce que l'heure correcte s'affiche sur l'écran. Rester appuyé sur M jusqu'à ce que la minute correcte s'affiche sur l'écran.
Pour remplaçer la configuration par défaut de l'heure effacer de l'affichage 12 heures à l'affichage 24 heures, appuyer sur la touche H ou M pour entrer en mode d'horloge, puis appuyer sur le bouton de symponiser pour sélectionner l'un des deux formats d'affichage. L'horloge affichera automatiquement l'heure dans le format choisi.
Radio avec lecteur de disques compacts

Radio avec CD illustrée, Radio pourvue d'un chargeur de CD à six disques similaire
Système de radiocommunication de données (RDS)
Le système audio est doté d'un système de radiocommunication de données (RDS). Les fonctions du système RDS ne peuvent être utilisées que pour l'écoute des stations FM qui diffusent l'information RDS.
La radio peut effectuer ce qui suit avec le système de radiocommunication de données (RDS):
- Recherche les stations qui diffusent le type d'émission de votrechoix
- Recevoir des communiqués d'urgence locale et nationale
- Afficher des messages provenant de stations radio
- Rechercher les stations diffusant des bulletins de circulation
Ce système repose sur la réception d'informations particulières diffusées par ces stations. Il n'intervient que lorsque ces informations sont disponibles. Dans de rares cas, des informations incorrectes diffusées par une station de radio peut empêcher le bon fonctionnement de la radio. Si ce cas se produit, communiquer avec la station de radio.
Lorsque la radio est syntonisée sur une station RDS, le nom ou l'indicatif d'appel de la station apparaitront sur l'affichage. Les stations RDS peuvent également fournir l'heure du jour, un type de programme (PTY) pour la programmation en cours et le nom du programme en cours de diffusion.
Service de radio par satellite XMMC
XMMC est un service de radio par satellite basé dans les 48 États contigus des États-Unis et au Canada. XMMC offre une grande variété de canaux d'une côte à l'autre incluant la musique, les nouvelles le sport, les Causeyeries, l'information routière/métoe (abonnés des États-Unis) et des programmes pour les enfants. XMMC fournit un son de qualité numérique et une information textuelle qui inclut le titre des morceaux et le nom des interprètes. Un abonnement est requis pour receivevoir les services XMMC. Pour obtenir de plus amples renseignements, s'adresser à XMMC; aux États-Unis à www.xmradio.com ou appeler le no 1-800-852-XMXM (1-800-852-9696) ou au Canada à www.xmradio.ca ou appeler le 1-877-GET-XMSR (1-877-438-9677).
Fonctionnement de la radio
Bouton supérieur (puissance/volume):
Appuyer sur ce bouton pour allumer et éteindre le système. Tourner ce bouton pour augmenter ou diminuer le volume.
i (information): Dans le cas du système RDS (système de radiocommunication de données), appuyer sur ce bouton pour modifier l'affichage lorsque le système RDS est sélectionné.
Les options d'affichage complrennt le nom ou l'indicatif d'applé de la station, la fréquence de la station, le type de programme (PTY) et le nom du programme (si disponible).
Pour le système XMMC (le cas échéant), appuyer sur le bouton d'information pour récapérer quatre types de renseignements relatifs au morceau ou à la station en cours d'écoute : Artiste, titre du morceau, catégorie ou type de programme sélectionné, numéro de station ou nom de la station.
Pour modifier la valeur par défaut de l'affichage, appuyer sur le bouton d'information jusqu'à ce que votrechoix s'affiche, puis le maintainir enforcé pendant deux secondes. La radio émet un bip et la valeur sélectionnée devient la valeur affichée par défaut.
AUTO (volume autoréglable): Gráce au volume autoréglable, votre système audio se règle automatiquement pour compenser le bruit du vent et de la route en montant le volume à mesure que la vitesse du vehicule augmente.
Régler le volume au niveau désiré. Appuyer sur ce bouton pour désirer entre AUTO VOLUME MIN (volume autoréglable minimal), AUTO VOLUME MED (volume autoréglable moyen), ou AUTO VOLUME MAX (volume autoréglable maximal). À chaque choix d'un réglage plus élevé, il se produit une compensation de volume plus importante à des vitesses plus grandes du vehicule. Pour désactiver le volume autoréglable, appuyer sur ce bouton jusqu'à ce que la mention AUTO VOLUME OFF (volume autoréglable neutralisé) s'affiche.
MUTE (sourdine): Appuyer sur ce bouton pour couper le son. Appuyer de nouveau sur ce bouton pour rétablier le son.
Ce bouton n'est pas disponible sur la radio avec CD à six disques.
Recherche d'une station
BAND (bande): Appuyer sur ce bouton pour alterner entre FM1, FM2, AM, ou XM1 ou XM2 (option). L'afficheur indique l'option selectionnée.
□ / (syntonisation): Tourner ce bouton pour symponiser les stations.
SEEK (recherche): Appuyer sur la flèche droite ou gauche pour symponiser la station suivante ou précédente et y demeurer.
La radio n'explore que les stations se trouvant dans la bande selectionnée et dont le signal est puissant.
SCAN (exploration): Maintain enforcée l'une des flèches pendant deux secondes jusqu'à l'affichage de FREQUENCY SCAN (exploration des fréquences). La radio recherche un émetteur, le fait entendrependant quelques secondes puis passé à l'émetteur suivant. Appuyer à nouveau sur une flèche pour arrêté l'exploration.
Pour explorer les stations préréglées, maintainir enfoncée pendant quatre secondes l'une des deux flèches jusqu'à ce que PRESET SCAN (exploration des programmes préréglées) s'affiche. La radio passé à la station suivante préréglée et la fait entendre pendant quelques secondes avant de passer à la station préréglée suivante.
La radio n'explore que les stations se trouvant dans la bande selectionnee et dont le signal est puissant.
Programmation des stations
Vous pouvez programmermer jusqu'à 30 stations (6 FM1, 6 FM2 et 6 AM, 6 XM1 et 6 XM2 (le cas échéant)) sur les 6 boutons-poussoirs numérétés. Pour ici, executer les étapes suivantes :
- Mettre en fonction la radio.
- Appuyer sur le bouton BAND (bande) pour désir la bande FM1, FM2, AM, XM1 ou XM2.
- Syntoniser la station voulue.
-
Appuyer sur AUTO EQ (réglage automatique de la tonalité) pour sélectionner l'égalisation.
-
Maintenir enforcé un des six boutons-poussoirs numérotés et jusqu'àu bip. Chaque fois que vous appuyez sur ce bouton-poussoir, la station présélectionnée est rappelée avec l'égalisation chosesie.
- Répéter ces étapes pour chacun des boutons-poussoirs.
Réglage de la tonalité (graves/aigus)
(gravés/aigus/moyens): Appuyer sur ce bouton pour sélectionner BASS (graves), MIDRANGE (moyens), ou TREBLE (aigus). Tourner le bouton pour augmenter ou diminuer. Si une station est faible ou parasité, diminuier les graves.
Pour régler les sons graves, moyens ou aigus en position moyenne, appuyer sur ce bouton et le maintainir enforcé lorsque la commande de tonalité est affichée. Le niveau se règle à la position moyenne.
Pour régler toutes les commandes de tonalité et de haut-parleur en position moyenne, appuyer sur ce bouton et le maintainir enforcé lorsque ni la commande de tonalité, ni la commande de haut-parleur ne sont affichées. La mention AUDIO SETTINGS CENTERED (réglages audio en position moyenne) s'affiche.
AUTO EQ (réglage automatique de la totalité): Appuyer sur ce bouton pour désir les réglages présélectionnés des aigus et des graves pour les stations de musique country/western, jazz, populaire, rock et classique. Pour returner au mode de réglage manuel de la tonalité, sélectionner CUSTOM (personnalisé) ou régler manuellement les graves ou les aigus.
La radio permet d'enregistrer des paramétrages AUTO EQ (réglage automatique de la totalité) distincts pour chaque préselection et source.
Réglage des haut-parleurs (équilibre croit/gauche et avant/arrière)
équilibre droite-gauche/équilibre
avant-àrrière): Pour régler l'équilibre entre les haut-parleurs droit et gauche, appuyer sur ce bouton jusqu'à ce que BALANCE (balance) apparaisse à l'écran. Tourner le bouton pour déplacer le son vers les haut-parleurs de droite ou de gauche.
Pour régler l'équilibre entre les haut-parleurs avant et arrière, appuyer sur ce bouton jusqu'à ce que FADE (équilibre avant-àrrière) apparaisse à l'écran. Tourner le bouton pour déplacer le son vers les haut-parleurs avant ou arrière.
Pour régler l'équilibre avant/arroire et gauche/droite en position moyenne, appuyer sur ce bouton et le maintainir enforcé lorsque la commande de haut-parleur est affichée. Le niveau se règle à la position moyenne.
Pour régler toutes les commandes de tonalité et de haut-parleur en position moyenne, appuyer sur ce bouton et le maintainir enfoncé lorsque ni la commande de tonalité, ni la commande de haut-parleur ne sont affichées. La mention AUDIO SETTINGS CENTERED (réglages audio en position moyenne) s'affiche.
Recherche d'une station de catégorie (RDS et XMMC)
Pour couver et selectionner une categorie souhaitee,proceder comme suit:
- Appuyer sur le bouton CAT (catégorie). La dernière catégorie sélectionnée s'affiche.
- Pour sélectionner la catégorie, tourner le bouton de tonalité.
- Lorsque la catégorie souhaitatione est affichée, appuyer sur l'une des flèches SEEK (recherche) pour trouver une station de cette catégorie. La mention SEEKING CATEGORY (recherche catégorie) s'affiche.
- Pour passer à une autre station de cette catégorie, appuyer sur le bouton CAT (catégorie) pour afficher la catégorie, puis appuyer sur l'une des flèches SEEK (recherche).
Si les deux fonctions de catégorie et de circulation sont sélectionnées, la radio recherche les stations de la catégorie sélectionnée diffusant des bulletins de circulation. Cette fonction est absente avec XMMC.
Si la radio ne réussit pas à tracer une station diffusant le type de programme sélectionné, l'indication NONE (aucune) s'affiche et la radio returne à la première station écoute. Cette fonction est absente avec XM^MC .
SCAN (exploration): Pour explorer les stations d'une catégorie, suivre les étapes suivantes :
- Appuyer sur le bouton CAT (catégorie). La dernière catégorie sélectionnée s'affiche.
- Pour selectionner la catégorie, tourner le bouton de tonalité.
- Lorsque la catégorie souhaitatione est affichee, appuyer sur la flèche SCAN (exploration) et la maintainir enfoncée jusqu'à ce que vous entendiez un signal sonore, et que la mention SCAN CATEGORY (exploration de catégorie) s'affiche. La radio commence l'exploration des stations de la catégorie.
- Appuyer sur l'une des flèches de SCAN (exploration) pour interrompree l'exploration.
Si les deux fonctions de catégorie et TRAF (circulation) sont sélectionnées, la radio recherche les stations de la catégorie sélectionnée diffusant des bulletins de circulation.
BAND (bande) (fréquence de rechange):
La fréquence de rechange permet de passer à une station qui diffuse le même type de programme et dont le signal est plus puissant. Pour activer la fonction de fréquence de rechange, appuyer sur le bouton BAND (bande) et le maintainir enforcé pendant 4 secondes. L'indication AF ON (fréquence de rechange activée) s'affiche. La radio peutMAINENANT passeraux stations dont le signal est plus puissant.
Pour désactiver la fonction de fréquence de rechange, appuyer sur le bouton BAND (bande) et le maintainir enforcé pendant quatre secondes. L'indication AF OFF (fréquence de rechange désactivée) s'affiche. La radio ne peut plus passer à des stations dont le signal émetteur est plus puissant.
Cette fonction n'est pas compatible avec le service de radiodiffusion par satellite XMMC.
Messages RDS
ALERT! (communiqués d'urgence): Cette fonction vous avertit des urgences locales et nationales. Lorsque la station en cours d'écoute diffuse un message d'urgence, l'indication ALERT! (communiqués d'urgence) s'affiche. Vous entendez ce message même si la sourdine est activée ou si un disque compact est en cours de lecture. Si le lecteur de disques compacts fonctionne, il s'arrête pendant la diffusion du communiqué. Vous ne pouvez pas interrompré la diffusion de communiqués d'urgence.
L'affichage du message ALERT! (communiqués d'urgence) n'est pas affecté par les essais du système de diffusion de communiqués d'urgence. Cette fonction n'est pas prise en charge par toutes les stations RDS.
i (information): Si la station qui joue diffuse un message, l'indication INFO (information) apparait. Appuyer sur ce bouton pour afficher le message. Le message peut contenir le nom de l'artiste, le nom de la piece musicale, des numeros de téléphone pour appeler la station, etc.
Si le message complet ne s'affiche pas, il s'affichera par parties, toutes les trois secondes. Pour faire défilier le message, enforcer et relâcher ce bouton. Un nouveau groupe de mots s'affiche chaque fois que vous appuyez sur ce bouton. Une fois le message entier affché, la mention INFO (information) disparait de l'affichage jusqu'à ce qu'un nouveau message soit diffusé. Le dernier message peut être affché en appuyant sur ce bouton. Vous pouvez consulter le dernier message jusqu'à ce qu'un nouveau message soit reçu ou que la radio soit syntonisée sur une station différente.
Lorsqu'un message est indisponible, l'indication NO INFO (aucune information) s'affiche.
TRAFA (circulation): Si TA (bulletins de circulation) s'affiche, la station radio symtonisée diffuse les bulletins de circulation. Vous l'entendrez quand un bulletin est émis.
Si la station ne diffuse pas de bulletins de circulation appuyer sur le bouton TRAF (circulation) et la radio recherche une station qui en diffuse. Une fois cette station trouvée, la recherche s'arrête et l'indication TA (bulletins de circulation) s'affiche. Si aucune station diffusant des bulletins de circulation n'est trouvée, l'indication NO TRAFFIC (pas de bulletin de circulation) s'affiche.
Si l'indication TA (bulletins de circulation) apparait sur l'afficheur, vous pouvez appuyer sur le bouton TRAF (circulation) pour désactiver la diffusion de bulletins de circulation.
La radio transmet les bulletins de circulation si le volume est bas. Elle interrupt également la lecture d'un disque compact si laforthère station syntonisée diffuse les bulletins de circulation.
Cette fonction n'est pas compatible avec le service de radiodiffusion par satellite XMMC.
Messages radio
CAL ERR (erreur d'étalonnage): Voiture système audio a été étabonné en usine en fonction de votre vehicule. Si l'indication CAL ERR (erreur d'étalonnage) s'affiche, cela signifie que la radio n'a pas été correctement configurée et qu'il faut la renvoyer au concessionnaire pour corriger la situation.
LOCKED (bloqué): Ce message s'affiche lorsque le système THEFTLOCKMD se verrouille. Rapporter alors votre vehicule chez votre concessionnaire pour réparation.
Si une erreur se produit à maines reprises ou si elle ne peut pas être corrigeée, communiquer avec le concessionnaire. Si la radio affiche un message d'erreur, prendre celui-ci en note et le fournir au concessionnaire.
Messages radio pour XM^MC uniquely
Se reporter à Messages autoradio XM à la page 333 plus loin dans cette section pour plus de détails.
Écoute d'un CD (lecteur monodisme)
Insérer partiellement un CD dans la fente, étiquette vers le haut. Le lecteur le rentre et la lecture doit commencer.
Si vous coupez le contact ou si la radio est eteinte pendant qu'un disque se trouve dans le lecteur, il reste dans le lecteur. Lorsque vous remettez en marche le vehicule ou le système sonore, la lecture du disque commence à l'endetroit où elle s'est interrompue, à condition que le lecteur de disque ait eté la dernière source audio sélectionnée.
Lorsque you inserez un CD (disque compact), l'indication CD et le symbole CD s'affichent. Au début de chaque piste, son numero s'affiche également.
Le lecteur de disques compacts peut dire des minidisques de 8 cm (3 po) insérés dans un adaptateur. Les disques standard et les minidisques sont insérés de la même façon.
La qualité sonore d'un CD-R dépend de la méthode d'enregistrement, de la qualité de la musique enregistrée et de la manière dont le disque a été manipulé. La(Meilleure méthode de copie des disques s'obtient en utilisant des disques de marque portant la mention Compact Disc^MC et une vitesse maximale de 12X.
Il peut exister une augmentation des sauts, une difficulté dans la recherche des pistes et/ou une difficulté de chargement et déjection. En cas de problème, vérifier la surface inférieure du CD. Si la surface est endommagée (fissurée, brisée ou rayée), le CD sera lu incorrectement. Si la surface du CD est souillée, voir Entretien des disques compacts et des disques vidéonumériques (DVD) à la page 406 pour plus d'information.
S'il n'y a pas de dommages apparentes, essayer un disque compact dont vous savez qu'il est en bon état.
Ne pas ajouter d'étiquette à un disque compact, car elle pourrait rester accrochée dans le lecteur. Si un disque compact est enregistré sur un
ordinaire et qu'une étiquette s'avere nécessaire, utiliser plutôt un stylo feuteur pour inscrire les informations directement sur le dessus du disque.
Remarque: Si vous collez une étiquette sur un disque compact, insérez plusieurs disques compacts à la fois dans la fente ou tentez de lire des disques compacts rayés ou endommagés, vous risquez d'endommager le lecteur de disques compacts. Lorsque vous faites fonctionner le lecteur de disques compacts, utiliser uniquement des disques compacts en bon état et non munis d'étiquette, charger un disque compact à la fois et éloigner tous corps étrangers, liquides et débris du lecteur de disques compacts et de la fente de chargement.
Si une erreur s'affiche à l'écran, se reporter à « Messages du lecteur de disques compacts » plus loin dans cette section.
□ / (syntonisation): Tourner ce bouton pour passer à la piste suivante ou précédente.
(«retour en arrière): Rester appuyé sur ce bouton pour revenir en arrière sur la piste en cours.
(avance rapide): Rester appuyé sur ce bouton pour avancer rapidement sur la piste en cours.
RDM (accès aléatoire): Appuyer sur ce bouton-poussoir pour écouter les pistes selon un ordre aléatoire plutôt que séquentiel. La mention RANDOM DISC (lecture aléatoire de disque) sera affichée. Appuyer de nouveau sur ce bouton-poussoir pour désactiver la lecture aléatoire.
RPT (répetition): Appuyer sur ce bouton pour réécouter une piste. REPEAT (répetition) s'affiche. Appuyer à nouveau sur ce bouton pour désactiver la lecture répétitive.
MUTE (sourdine): Appuyer sur ce bouton pour couper le son. Appuyer de nouveau sur ce bouton pour rétablier le son.
(READER): Appuyer sur la flèche gauche pour returner au début de la piste en cours, si sa lecture a démarré depuis plus de 8 secondes. Appuyer sur la flèche droite pour passer à la piste suivante. Si vous maintainez enforcée l'une des flèches ou si vous l'enforcez plusieurs fois, le lecteur continue de reculer ou d'avancer d'une piste à l'autre.
BAND (bande): Appuyer sur ce bouton pour écouter la radio pendant la lecture d'un disque compact. Le CD inactif reste en sécurité dans le lecteur jusqu'à la prochaine lecture.
CD AUX (lecteur de disque compact auxiliaire): Appuyer sur ce bouton pour dire un CD en écouteant la radio. La mention CD s'affiche quand le lecteur contient un disque. Si le système est muni d'un lecture à distance, appuyer sur ce bouton une seconde fois pour faire fonctionner le lecture à distance.
AUTO EQ (réglage automatique de la totalité): Appuyer sur le bouton AUTO EQ (réglage automatique de la totalité) pour désir l'égalisation pendant la lecture d'un CD. L'égalisation sera rappelée à la lecture de chaque CD. Pour plus de renseignements sur la fonction AUTO EQ, se reporter à « AUTO EQ», plus haut dans cette section.
(éjection): Appuyer sur ce bouton pour éjecter un CD (disque compact). L'éjection peut être activée alors que le contact est coupé ou que la radio est hors fonction.
Écoute de CD(s) (lecteur CD à six disques)
Si vous coupez le contact ou si la radio est eteinte pendant qu'un disque se trouve dans le lecteur, il reste dans le lecteur. Lorsque vous remettez en marche le vehicule ou le système sonore, la lecture du disque commence à l'endroit où elle s'est interrompue, à condition que le lecteur de disque ait eté la dernière source audio sélectionnée.
Lorsque you insérez un CD, l'indication CD apparait sur l'affichage de la radio. Au début de chaque piste, son numéro apparait également à l'écran.
Le lecteur de disques compacts peut dire des minidisques de 8 cm (3 po) insérés dans un adaptateur. Les disques standard et les minidisques sont insérés de la même façon.
La qualité sonore d'un CD-R dépend de la méthode d'enregistrement, de la qualité de la musique enregistrée et de la manière dont le disque a été manipulé. La meilleure méthode de copie des disques s'obtient en utilisant des disques de marque portant la mention Compact DiscMC et une vitesse maximale de 12X.
Il peut exister une augmentation des sauts, une difficulté dans la recherche des pistes et/ou une difficulté de chargement et déjection. En cas de problème, vérifier la surface inférieure du CD. Si la surface est endommagée (fissurée, brisée ou rayée), le CD sera lu incorrectement. Si la surface du CD est souillée, voir Entretien des disques compacts et des disques videonumériques (DVD) à la page 406 pour plus d'information.
S'il n'y a pas de dommages apparentes, essayer un disque compact dont vous savez qu'il est en bon état.
Ne pas ajouter d'étiquette à un disque compact, car elle pourrait rester accrochée dans le lecteur. Si un disque compact est enregistré sur un ordinateur et qu'une étiquette s'avere nécessaire, utiliser plutôt un stylo feutre pour inscire les informations directement sur le dessus du disque.
Remarque: Si vous collez une étiquette sur un disque compact, insérez plusieurs disques compacts à la fois dans la fente ou tentez de dire des disques compacts rayés ou endommages, vous risquez d'endommager le lecteur de disques compacts. Lorsque vous faites fonctionner le lecteur de disques compacts, utiliser uniquement des disques compacts en bon état et non munis d'étiquette,charger un disque compact à la fois et éloigner tous corps étrangers, liquides et débris du lecteur de disques compacts et de la fente de chargement.
Si une erreur s'affiche à l'écran, se reporter à « Messages du lecteur de disques compacts » plus loin dans cette section.
(chemgement): Appuyer sur ce bouton pour charger des disques compacts dans le lecteur. Le lecteur peut receivevoir jusqu'à six disques.
Pour charger un disque, procéder de la façon suivante :
- Mettre le contact.
- Appuyer et relâcher le bouton de chargement.
- Lorsque INSERT CD # (introduire le disque numéro) apparait sur l'écran, charger un disque. L'introduire partiellement dans la fente, l'étiquette orientée vers le haut. Le lecteur tirera le disque vers l'intérieur.
Pourinsérer plusieurs disques, procéder de la façon suivante :
- Mettre le contact.
- Appuyer et maintainir pendant deux secondes sur le bouton de chargement. Un bip retentit et LOAD ALL DISC (charger tous les disques) s'affiche.
- Lorsque INSERT CD # (introuire le disque numéro) apparait sur l'écran, charger un disque. L'introduire partiellement dans la fente, l'étiquette orientée vers le haut. Le lecteur tirera le disque vers l'intérieur. Une fois le CD inséré, attendre que la mention INSERT CD# (introuire le disque numéro) s'affiche, puis charger le CD suivant. Vous pouvez charger jusqu'à 6 CD dans le lecteur. Ne pas tenter d'en charger davantage.
Pour insérer entre 2 et 5 disques, effectuer les étapes 1 à 3. Une fois les disques insérés, appuyer sur le bouton de chargement pour annuler la fonction de chargement. Le lecteur se met à jour le dernier CD (disque compact) inséré.
Si plus d'un disque a eté charge, un numéro s'affiche pour chaque disque.
Lecture d'un disque compact chargé particulier
Au chargement de chaque CD, un numéro s'affiche. Pour jouer un CD particulier, appuyer sur le bouton-poussoir numérotré correspondant au CD.
Si une erreur s'affiche à l'écran, se reporter à « Messages du lecteur de disques compacts » plus loin dans cette section.
(éjection): Appuyer sur ce bouton pour éjecter un ou des CD.
Pour éjecter le CD en cours de lecture, enforcer et relâcher ce bouton.
Pour éjecter plusieurs disques, procéder de la façon suivante :
- Appuyer pendant deux secondes sur le bouton d'éjection.
Un bip retentit et EJECT ALL DISCS (ejeter tous les disques) s'affiche.
- Lorsque REMOVE DISC (retirer le disque) s'affiche, le CD est éjecté et peut être retired.
Pour interrompre l'éjection des CD (disque compact), appuyer sur le bouton de chargement ou d'éjection.
Si le CD n'est pas retiree, après 25 secondes, le lecteur rentrera automatiquement le CD à l'intérieur. Si le CD est rentré dans le lecteur avant la fin de la période de 25 secondes, le lecteur détectera une erreur et tentera d'éjecter le CD plusieurs fois avant d'arrêter.
Ne pas appuyer sur le bouton d'éjection de disque compact de façon répétée pour éjecter le disque après avoir tenté de le repousser à l'intérieur. En effet, la temporisation d'éjection de 25 secondes se remet à zéro chaque fois que vous appuyez sur ce bouton. Le disque ne sera donc pas éjecté avant que les 25 secondes se soient écoulées.
□ / (syntonisation): Tourner ce bouton pour passer à la piste suivante ou précédente.
(retour en arrêté): Appuyer sur ce bouton et le maintainir enforcé pour reculer à l'intérieur d'une piste.
(avance rapide): Rester appuyé sur ce bouton pour avancer rapidement sur la piste en cours.
RDM (accès aléatoire): Appuyer sur ce bouton pour écouter les pistes d'un CD ou de tous les CD dans un ordre aléatoire只不过 que dans un ordre séquentiel.
Pour utiliser l'accès aléatoire, effectuer les étapes suivantes :
- Pour dire les pistes du CD dans un ordre aléatoire, enforcer et relâcher ce bouton jusqu'à ce que la mention RANDOM DISC PLAY (lecture aléatoire du disque) s'affiche.
- Pour dire les pistes de tous les CD charges dans un ordre aléatoire, enforcer et relâcher ce bouton jusqu'à ce que la mention RANDOM ALL DISCS (lecture aléatoire de tous les disques) s'affiche.
Pour désactiver la fonction de lecture aléatoire, appuyer sur et relâcher le bouton RDM (accès aléatoire) jusqu'à ce que RANDOM OFF (lecture aléatoire désactivée) apparaïssse sur l'écran.
RPT (répetition): Appuyer sur ce bouton pour écouter à nouveau une piste ou l'ensemble d'un CD.
Pour utiliser la fonction de répétition, procéder selon l'une des méthodes suivantes:
Pour repeter la lecture d'une piste, enforcer et relacher ce bouton jusqu'à ce que la mention REPEAT (répetition) s'affiche.
- Pour répéter la lecture d'un CD entier, enforcer et relâcher ce bouton jusqu'à ce que la mention REPEAT ONE DISC (répétition d'un disque) s'affiche.
Pour arrêter la lecture répétitive, enforcer et relâcher le bouton RPT (répétition) jusqu'à ce que la mention REPEAT OFF (répétition désactivée) s'affiche.
SEEK (recherche): Appuyer sur la flèche vers la gauche pour returner au début de la piste en cours, si sa lecture a démarré depuis plus de 10 secondes. Appuyer sur la flèche vers la droite pour passer à la piste suivante. Si vous maintainez enforcée l'une des flèches ou si vous l'enforce plusieurs fois, le lecteur continue de reculer ou d'avancer d'une piste à l'autre.
SCAN (exploration): Pour explorer un disque, maintainir enfoncée la flèche SCAN (exploration) pendant plus de deux secondes, jusqu'à l'affichage de SCAN et du bip. Le lecteur passé à la piste suivante, la lit pendant 10 secondes puis passé à la piste suivante. Appuyer à nouveau sur une flèche SCAN pour arrêté l'exploration.
Pour explorer tous les disques insérés, appuyer sur l'une des flèches du bouton SCAN (exploration) et la maintainir enfoncée pendant plus de quatre secondes, jusqu'à ce que l'écran affiche CD SCAN (exploration des disques) et que vous entendiez un bip. Utiliser cette fonction pour écouter 10 secondes la première piste de chaque disque inséré. Appuyer de nouveau sur une des flèches du bouton SCAN pour arrêté l'exploration.
BAND (bande): Appuyer sur ce bouton pour écouter la radio lorsqu'une cassette ou un disque compact joue. La cassette ou le disque compact inactif restera en sécurité dans le lecteur jusqu'à la prochaine lecture.
CD AUX (lecteur de disque compact auxiliaire): Appuyer sur ce bouton pour faire jouer un CD (disque compact) lorsque la radio joue. La mention CD s'affiche à l'écran lorsqu'il y a un disque compact dans le lecteur. Si le système est muni d'un dispositif de lecture à distance, le fait d'appuyer sur ce bouton une deuxieme fois permet au lecture à distance de fonctionner.
AUTO EQ (réglage automatique de la totalité): Appuyer sur le bouton AUTO EQ (réglage automatique de la totalité) pour désir l'égalisation pendant la lecture d'un CD. L'égalisation sera rappelée à la lecture de chaque CD. Pour plus de renseignements sur la fonction AUTO EQ, se reporter à « AUTO EQ», plus haut dans cette section.
Lecture d'un disque MP3 CD-R
Votre autoradio peut être équipé de la fonction MP3. Dans ce cas, il peut dire les disques MP3 CD-R. Pour plus d'information sur la lecture d'un disque MP3 CD-R, voir À l'aide d'un MP3 à la page 326 plus loin dans cette section.
Utilisation de la mode (liste des chansons) (CD unique, MP3 et chargeur six disques)
Cette fonction peut mémoriser 20 sélections de pistes. Pour mémoriser les pistes dans la fonction de liste de chansons, suivre les étapes suivantes :
- Allumer le lecteur CD et y charger au moins un CD.
-
S'assurer que le changeur de disques n'est pas au mode de liste de chansons. L'écran ne devrait pas afficher S-LIST (liste de chansons). S'il affiche S-LIST, appuyer sur le bouton de liste de chansons pour désactiver la fonction.
-
Sélectionner le CD souhaité en appuyant sur le bouton-poussoir numérotré, puis utiliser la flèche droite du bouton SEEK (recherche) ou tournier le bouton de tonalité pour repérer la piste que vous poulez memoriser. La lecture de la piste commence alors.
- Maintenir enforcé le bouton de liste de chansons pour mémoriser la piste. Dès que vous appuyez sur ce bouton, un bip se fait entendre. La mention ADDED SONG (chanson ajouté) s'affiche.
- Répéter les étapes 3 et 4 pourmettre en mémoire d'autres sélections.
SONGLIST FULL (liste de chansons remplie) s'affiche si vous tentez de sauvegarder plus de 20 sélections.
Pour dire la liste de chansons, appuyer sur le bouton de liste de morceaux. Les pistes enregistrées sont lues dans l'ordre de leur mémorisation.
Vous pouvez faire defiler la liste des chansons au moyen des flèches SEEK (recherche). Une fois arrivé à la première piste mise en mémoire, le lecteur returne à la première.
Pour supprimer des pistes de la liste de chansons, effectuer les étapes suivantes:
- Mettre en marche le lecteur de disques compacts.
- Appuyer sur le bouton de liste des chansons pourmettre cette liste en fonction.S-LIST (liste de chansons)s'affiche.
- Appuyer sur l'une des flèches du bouton SEEK (recherche) ou tournier le bouton de tonalité pour sélectionner la piste que vous pouze supprimer.
- Appuyer sur le bouton liste de chansons et le maintainir enforcé pendant deux secondes. Relâcher le bouton lorsque la mention SONG REMOVED (chanson supprimée) s'affiche.
Après la suppression d'une piste, les pistes restantes se décalent vers le haut de la liste.
Quand une autre piste est ajoutée, elle est placée en fin de liste.
Pour effacer la liste entière de chansons, effectuer les étapes suivantes :
- Mettre en marche le lecteur de disques compacts.
- Appuyer sur le bouton de liste des chansons pourmettre cette liste en fonction.S-LIST (liste de chansons)s'affiche.
- Maintenir enforcé plus de quatre secondes le bouton de liste de chansons. Un bip se fait entendre. SONGLIST EMPTY (liste de chansons vide) s'affiche pour indiquer que la liste de chansons a été effacée.
Si un disque est ejecté et que la liste de chansons contient des pistes de ce disque, elles sont automatiquement effacées de la liste. Quand une autre piste est ajoutée, elle est placée à la fin de la liste.
Pour quitter le mode de liste de chansons, appuyer sur le bouton de liste de chansons. Vous entendez un bip et S-LIST (liste de chansons) disparait de l'écran.
Messages du lecteur de disques compacts
CHECK CD (verifier le disque compact):
Si ce message s'affiche et/ou que le disque compact s'éjecte, l'une des conditions suivantes peut être la cause de l'erreur :
- La température est très élevé. Lorsqu'elle revienda à la normale, la lecture devrait reprendre.
- Vous conduissez sur une route en très mauvais état. Une fois que la route deviendra plus carrossable, la lecture du disque compact devrait reprendre.
- Le disque est sale, rayé, mouillé ou inséré à l'envers.
- Le taux d'humidité de l'air est très élevé.
Attendre environ une heures et essayer de nouveau. - Un problème est survenu lors de la gravure du disque compact.
L'etiquette s'est coincée dans le lecteur.
Si le disque compact n'est pas lu correctement pour toute autre raison, essayer un disque que vous savez etre en bon etat de fonctionnement.
Si une erreur se produit à maintes reprises ou si elle ne peut pas être corrigée, communiquer avec le concessionnaire. Si la radio affiche un message d'erreur, prendre celui-ci en note et le fournir au concessionnaire.
À l'aide d'un MP3
Disque MP3 CD-R
Format MP3
Si vous gravez votre propre disque MP3 sur un ordinateur personnel :
- S'assurer que les fichiers MP3 sont enregistrés sur un disque CD-R.
- Ne pas mélanger des fichiers audio standard et des fichiers MP3 sur un seul disque.
- S'assurer que les listedes d'écoute comportent une extension .m3u ou .wpl. D'autres extensions de fichier pourraient ne pas fonctionner.
-
Les fichiers peuvent être enregistrés selon différents débits binaires fixes ou variables. Vous pouvez afficher le titre de la chanson, le nom de l'artiste et le nom de l'album sur la radio lorsque vous procédez à l'enregistrement à l'aide d'étiquettes ID3 versions 1 et 2.
-
Créer une structure de réseau qui facilité la recherche des morceaux de musique en roulant. Organiser les morceaux par album en utilisant un fjichier pour chaque album. Chaque fjichier ou album devraitContaining un maximum de 18 morceaux.
- Lorsque vous gravez un disque MP3 en utilisant plusieurs sessions, s'assurer de finaliser le disque. Généralement, il vaut moins graver le disque en une seule fois.
- Ne pas utiliser de disques CD-RW.
- Ne pas utiliser de disques colorés.
Le lecteur peut dire et diffuser un maximum de 50 dossiers, 50 listedes d'écoute, 10 sessions et 255 fichiers. Les longs noms de fichier, de dossier ou de liste d'écoute peuvent utiliser plus d'espace mémoire disque que nécessaire. Pour conserver de l'espace sur le disque, minimiser la longueur des noms de fichier, de dossier et de liste d'écoute. Vous pouze également dire un CD MP3 enregistré sans dossiers de fichiers. Le système accepte jusqu'à 11 dossiers en profondeur, cependant, limiter le nombre total de dossiers pour réduire la complexité et le risque de confusion lors
des tentatives de localisation d'un dossier particulier pendant la lecture. Si un CD contient davantage que le maximum de 50 dossiers, 50 listedes d'écoute, 10 sessions et 255 fichiers, le lecteur vous laissera acceder (et naviguer jusqu'àu maximum), mais tous les éléments au-delà du maximum seront ignorés.
Répertoire racine
Le repertoire racine sera traité comme un dossier. Si le repertoire racine possède des fichiers audio compressés, le repertoire s'affichera comme F1 ROOT (racine). Tous les fichiers contenus directement dans le repertoire racine seront lus avant ceux des dossiers créés dans le repertoire racine. Toutefois, les listes de lecture (Px) seront toujours lues avant les dossiers ou fichiers du repertoire racine.
Répertoire ou dossier vide
Lorsque la structure de fichiers contient un repertoire racine ou un dossier renfermant uniquement des dossiers ou sous-dossiers sans fichier comprése directement sous eux, le lecteur passé directement au dossier suivant contenant des fichiers audio compressés. Le dossier vide n'est pas affché.
Absence de dossier
Si le disque contient uniquement des fichiers compressés, ces fichiers seront situés sous le dossier racine. Si le CD a été enregistré sans dossiers ni liste de produits, les fonctions suivante et précédente de dossier seront indisponibles. La radio affichera ROOT (racine) à titre de nom de dossier.
Lorsque le CD ne compte pas de dossiers mais uniquement des listes de lecture et de fichiers audio compressés, tous les fichiers seront situés dans le dossier racine. Les boutons bas et haut de dossier rechercheront d'abord les listedes de pieces (Px) pour ensuite passer au dossier racine. Lorsque la radio affiche le nom du dossier, ROOT (racine) apparait sur l'afficheur.
Ordre des pièces
Les pistes sont lues dans l'ordre suivant :
-
Le lecteur lit d'abord la première piste de la première liste de lecture et poursuit de façon séquentielle pour toutes les pistes de chaque liste de lecture. Lorsque la dernière piste de la dernière liste de lecture est lue, la lecture reprend à la première piste de la première liste de lecture.
-
Si le CD ne renferme aucune liste de pieces, la lecture débutera à la première piste du réseau racine. Lorsque toutes les pistes du réseau racine auront été lues, la lecture des fichiers reprendra en ordre numérique. ÀpRES la lecture de la dernière piste du dernier dossier, la lecture reprendra à la première piste du premier dossier ou du réseau racine.
Lorsque la lecture d'un nouveau dossier début, son nom n'est pas automatiquement affché, à moins que le mode d'affichage par défaut soit le mode de dossier. Pour plus de renseignements, se reporter à la rubrique plus loin dans cette section. Le nom de la nouvelle piste s'affiche.
Système de fichiers et noms
Le nom de la chanson affiché sera celui indiqué sur l'identificateur ID3. Lorsque l'identificateur ID3 ne fournitaucun nom,la radio affiche le nom de fichier sans son extension (par exemple .mp3) comme nom de piste.
Les noms de piste d'une longueur supérieure à 32 caractères ou quatre pages sont raccourcis. Des parties de mots de la dernière page de texte et l'extension du fichier ne s'affichent pas.
Listes de lecture préprogrammées
Les listes préprogrammées créées en utilisant WinAmpMC, MusicMatchMC ou Real JukeboxMC sont accessibles mais elles ne peuvent être modifiées en utilisant la radio. Ces listes sont traitées comme des dossiers spéciaux contenant des fichiers audio compressés.
Lecture d'un MP3
Insérer partiellement un CD dans la fente, étiquette au-dessus. Le lecteur le fera rentrer et READING (lecture) s'affichera. Le CD devrait commencer à jour et le symbole CD devrait s'afficher à l'écran.
Sile contact ou la radio est étant alors qu'un disque compact se trouve dans le lecteur, celui-ci y restera. Lorsque le contact ou la radio sera rallumé, la lecture reprendra où elle a eté interrompue, si le CD était la dernière source sélectionnée.
Lorsqu'une nouvelle piste commence à jouer, son numéro s'affiche.
Le lecteur de disques compacts peut dire des minidisques de 8 cm (3 po) insérés dans un adaptateur. Les disques standard et les minidisques sont insérés de la même façon.
La qualité sonore d'un CD-R dépend de la méthode d'enregistrement, de la qualité de la musique enregistrée et de la manière dont le disque a été manipulé. La meilleure méthode de copie des disques s'obtient en utilisant des disques de marque portant la mention Compact DiscMC et une vitesse maximale de 12X.
Il peut exister une augmentation des sauts, une difficulté dans la recherche des pistes et/ou une difficulté de chargement et déjection. En cas de problème, vérifier la surface inférieure du CD. Si la surface est endommagée (fissurée, brisée ou rayée), le CD sera lu incorrectement. Si la surface du CD est souillée, voir Entretien des disques compacts et des disques videonumériques (DVD) à la page 406 pour plus d'information.
S'il n'y a pas de dommages apparents, essayer un disque compact dont vous savez qu'il est en bon état.
Ne pas ajouter d'étiquette à un disque compact, car elle pourrait rester accrochée dans le lecteur. Si un disque compact est enregistré sur un ordinateur et qu'une étiquette s'avère nécessaire, utiliser plutôt un stylo neufre pour inscrite les informations directement sur le dessus du disque.
Remarque: Si vous collez une étiquette sur un disque compact, insérez plusieurs disques compacts à la fois dans la fente ou tentez de dire des disques compacts rayés ou endommages, vous risquez d'endommager le lecteur de disques compacts.
Lorsque vous faites fonctionner le lecteur de disques compacts, utiliser uniquement des disques compacts en bon et non munis d'étiquette, charger un disque compact à la fois et éloigner tous corps étrangers, liquides et débris du lecteur de disques compacts et de la fente de chargement.
Si une erreur s'affiche à l'écran, se reporter à « Messages du lecteur de disques compacts » plus loin dans cette section.
□ / (syntonisation): Tourner ce bouton pour passer à la piste suivante ou précédente.
(dossier précédent): Appuyer sur ce bouton pour aller à la première piste du dossier précédent. Maintenir appuyé ce bouton pour revenir en arrêté sur la piste en cours.
(dossier suivant): Appuyer sur ce bouton-poussoir pour aller à la première piste du dossier suivant. Maintenir appuyé ce bouton pour avancer rapidement sur la piste en cours.
RDM (accès aléatoire): Appuyer sur ce bouton pour écouter les pistes d'un CD, d'un dossier ou de tous les CD charges dans un ordre aléatoireplatz que dans un ordre séquentiel.
Pour utiliser l'accès aléatoire, effectuer les étapes suivantes :
- Pour lire les pistes du CD en cours d'écoute dans un ordre aléatoire, enforcer et relâcher ce bouton jusqu'à ce que la mention RANDOM DISC (lecture aléatoire du disque) s'affiche.
- Pour dire les pistes du dossier en cours d'écoute dans un ordre aléatoire, enforcer et relâcher ce bouton jusqu'à ce que la mention RANDOM FOLDER (lecture aléatoire du dossier) s'affiche.
- Pour lire les pistes de tous les CD charges dans un ordre aléatoire, enforcer et relâcher ce bouton jusqu'à ce que la mention RANDOM ALL (lecture aléatoire de tous les disques) s'affiche.
Pour arrêter la lecture aléatoire, enforcer et relâcher le bouton RDM (lecture aléatoire) jusqu'à ce que la mention RANDOM OFF (lecture aléatoire désactivée) s'affiche.
RPT (répetition): Appuyer sur ce bouton pour écouter à nouveau une piste, un CD ou un dossier.
Pour utiliser la fonction de répétition, procéder selon l'une des méthodes suivantes:
Pour repeter la lecture d'une piste, enforcer et relacher ce bouton jusqu'à ce que la mention REPEAT TRACK (répetition de la piste) s'affiche.
- Pour répéter la lecture d'un CD, enforcer et relâcher ce bouton jusqu'à ce que la mention REPEAT DISC (répétition du disque) s'affiche.
Pour repeter la lecture d'un dossier, enforcer et relacher ce bouton jusqu'à ce que la mention REPEAT FOLDER (répetition du dossier) s'affiche.
Pour arrêter la lecture répétitive, enforcer et relâcher le bouton RPT (répétition) jusqu'à ce que la mention REPEAT OFF (répétition désactivée) s'affiche.
MUTE (sourdine): Appuyer sur ce bouton pour couper le son. Appuyer de nouveau sur ce bouton pour rétablier le son.
Ce bouton n'est pas disponible sur la radio avec CD à six disques.
SEEK (recherche): Appuyer sur la flèche gauche pour returner au début de la piste en cours, si sa lecture a démarré depuis plus de 10 secondes. Appuyer sur la flèche droite pour passer à la piste suivante. Si vous maintainez enforcée l'une des flèches ou si vous l'enforcez plusieurs fois, le lecteur continue de reculer ou d'avancer d'une piste à l'autre.
i (information): Appuyer sur ce bouton pour afficher le nom de l'artiste et le titre de l'album contenu dans l'indicateur ID3.
BAND (bande): Appuyer sur ce bouton pour écouter la radio lors de la lecture d'un disque compact. Le CD inactif reste en sécurité dans le lecteur jusqu'à la prochaine lecture.
CD AUX (lecteur de disque compact auxiliaire): Appuyer sur ce bouton pour faire jouer un disque compact pendant que vous écoutez la radio. Le symbole CD s'affichera à l'écran lorsqu'un disque compact sera chargé.
(éjection): Appuyer sur ce bouton pour éjecter un disque compact. L'éjection peut être activée alors que le contact est coupé ou que la radio est hors fonction.
Messages autoradio XM
| Affichage message radio | Condition | Action nécessaire |
| XL | La présence de la mention XL sur l'écran de la radio, à la suite du nom de la station, indique un contenu en langage explicite. | Un client peut demander le blocage de ces stations ou de toute autre station en composant le 1-800-852-XMXM (1-800-852-9696). |
| Updating | Mise à jour du code de chiffrement | Le code de chiffrement de votre récepteur est en cours de mise à jour et vous n'avez pas à intervenir. Cette opération ne dure pas plus de 30 secondes. |
| No Signal | Perte de signal | Le système fonctionne correctement, mais le vehicule se trouve à un endroit où la réception du signal XMMC est bloquée. Le signal devrait revenir lorsque vous aurez quitté cet endroit. |
| Loading XM | Acquisition des données audio des stations (au bout de 4 secondes) | Les données audio et texte sont en cours d'acquisition et de traitement par votre système audio. Vous n'avez pas à intervenir. Ce message disparaître sous peu. |
| CH Off Air | Station hors service | Cette station n'est pas actuellément en service. Vous devez en syntoniser une autre. |
| CH Unavail | Cette station n'est plus disponible. | Cette station aparavant accessible, ne l'est plus. Syntoniser une autre station. Si vous aviez memorisé cette station, vous pourriez en assigner une autre à ce bouton de préréglage. |
| No Info | Nom d'artiste ou informations non disponibles | Aucune information sur l'artiste n'est disponible en ce moment sur cette station. Notre système fonctionne correctement. |
| No Info | Titre de chanson ou d'émission non disponible | Aucune information sur le titre de la chanson n'est disponible en ce moment sur cette station. Notre système fonctionne correctement. |
| No Info | Nom de catégorie non disponible | Aucune information sur la catégorie n'est disponible en ce moment sur cette station. Notre système fonctionne correctement. |
| No Info | Aucun message texte ou informatif disponible | Aucun message texte ou informatif n'est diffusé en ce moment sur cette station. Notre système fonctionne correctement. |
| Not found | Aucune station offerte pour la catégorie可以选择 | Aucune station ne peut être syntonisée pour la catégorie que vous avez可以选择. Notre système fonctionne correctement. |
| XM Locked | Dispositif antivol activé | Le récepteur XMMC du vehicule a peut-être été installé dans un autre vehicule. Pour des raisons de sécurité, les récepteurs XMMC ne peuvent pas été changés de vehicule. Si ce message apparait après un entretien de votre vehicule, consulterer votre concessionnaire. |
| Radio ID | Étiquette d'identification radio (canal 0) | Si la station 0 est syntonisée, ce message apparait en alternance avec l'étiquette d'identification à 8 chiffres de la radio XMMC. Cette étiquette est nécessaire pour activer le système. |
| Unknown | Identification radio inconnue (uniquemment en cas de défaillance du matériel) | Si vous receiveze ce message alors que vous avez syntonisé la station 0, le récepteur a un problème. Consultanter votre concessionnaire. |
| Chk XMRcvr | Défaillance du matériel | Si ce message ne s'efface pas après un court moment, votre récepteur est peut-être défectueux. Consultanter votre concessionnaire. |
Système de navigation/radio
Votrecvhiculepeutetreequipe d'un système de navigation radio.
Le système de navigation est doté de fonctions intégrées destinées à réduire la distraction du conducteur. La technologie en elle-même, quelque soit son avancement, ne peut jamais replacer votre propre jugement. Se reporter au manuel du système de navigation pour obtenir des conseils sur la manière de réduire les distractions pendant que vous conduisez.
Système de divertissement intégré au siècle arrière (Option A, Haut de gamme)
Votre vehicule peut etre equipe d'un systeme de ce type de système de DVD divertissement de siège arrière (RSE). Dans ce cas, il inclura un lecteur DVD, un écran video, des entrées auxiliaires, deux ensembles de casques sans fil (option) et une télécommande.
Contrôle parental
(contrôle parental): Ce bouton est situé derrière l'écran video, sous les prises auxiliaires. Appuyer sur ce bouton lorsque le système audio de siège arrêté est en cours d'utilisation ou lorsqu'un disque vidéonumérique ou un disque compact est en cours de lecture, afin de ne pas utiliser l'écran video et demettre le son en sourdine. Les témoins d'alimentation situés sur le lecteur de disques vidéonumériques clignotent. L'activation du contrôle parental désactive également le fonctionnement de tous les autres boutons, depuis la commande à distance jusqu'àu lecteur de disques vidéonumériques, à l'exception du bouton d'éjection. Appuyer de nouveau sur ce bouton pour réactiver le fonctionnement du système audio de siège arrrière, du lecteur de disques vidéonumériques et de la commande à distance.
Vous pouvez également utiliser ce bouton pour allumer le lecteur de disques videonumériques et démarrer la lecture automatiquement si le vehicule est allumé et si un disque se trouve dans le lecteur. S'il n'y a aucun disque dans le lecteur, le système s'allume en mode auxiliaire.
Avant de prendre la route
Le centre de divertissement de siège arrêté est concu uniquement pour les passagers arrêté. Le conducteur ne peut pas visionner l'écran video en toute sécurité lorsqu'il conduit et il ne doit pas le faire. Le centre de divertissement de siège arrêté permet de visionner des disques vidéonumériques, des disques compacts ainsi que des disques MP3. Vous pouvez également brancher un apparil auxiliaire au centre de divertissement de siège arrêté pour jouer à des yeux, regarder des films, des photos, etc.
Le fonctionnement normal peut être limité en cas de températures extrémement basses ou élevées, de manière à éviter tout endommagement de l'appareil. Faire fonctionner le centre de divertissement de siege arrêté lorsque la température de l'habitacle est normale ou comfortable.
Casques d'écoute
Casques d'écoute sans fil
Le centre de divertissement de siège arrêté peut composer deux casques d'écoute sans fil (les piles sont comprises).
Les casques d'écoute sans fil sont munis d'un commutateur ON/OFF (marche/arrêt), d'un commutateur de seLECTION de station et d'une commande de volume sonore. Pour utiliser le casque d'écoute, tourner le commutateur en position ON (marche). Un tímein s'allume sur le casque d'écoute. S'il ne s'allume pas, il est peut-être nécessaire de changer les piles. Pour plus d'informations, se reporter à la rubrique « Remplacement des piles » plus bas dans cette section. Tourner le commutateur du casque d'écoute en position OFF (arrêt) lorsque vous ne l'utilisez pas.
Si le centre de divertissement de siège arrêté est étant ou si les casques d'écoute se trouvent hors de portée des émetteurs pendant plus de trois minutes, ces derniers s'éteignent automatiquement pour economiser les piles.
Les émetteurs sont situés près de la façade du lecteur de disques videonumériques. Si vous avancez trop pres ou si vous sortez du vehicule, les casques perdent le signal audio.
Le lecteur de disques videonumériques et les disposits auxiliaires audio se trouvent toujours sur une station (CHA ou CH1) du casque d'écoute sans fil. Le système audio de siège arrêté est dédié au bouton CHB ou CH2 du casque d'écoute sans fil.
Pour régler la puissance sonore des casques d'écoute, utiliser la commande de puissance sonore.
Remarque: N'exposer les écouteurs ni à la chaleur ni aux rayons directs du soleil. Les écouteurs risqueraient des dégats et leur réparation ne serait pas couverte par la garantie. Ranger les écouteurs en lieu sec et frais.
Si le signal audio est réduit pendant la lecture d'un disque compact, un MP3 ou d'un disque videonumérique, un faisible sifflement dans les haut-parleurs et/ou les casques d'écoute pourrait se produit. Si le sifflement dans les casques d'écoute sans fil semble excessif, s'assurer que les piles des casques d'écoute sont entièrement chargées. Un sifflement d'une certaine intensité est normal.
Les deux séries de casques peuvent inclure des patins amovibles de mousse.
Les patins de mousse peuvent s'user ou être endommages. S'ils ne sont pas manipulés ou ranges correctement. Dans ce cas, ils peuvent être replacés séparément de l'ensemble de casque. Il est superflu de replacer l'ensemble de casque.
Des patins de mousse de rechange peuvent être commandés par paires. Consulter votre concessionnaire pour d'information.
Remplacement de la pile
Pour remplaçer les piles, effectuer les étapes suivantes:
- Desserrer la vis située sur le couvercle du compartment à piles, du côté gauche de l'écouteur du casque d'écoute.
- Remplacer les deux piles AAA qui se trouvent dans le compartmentement à piles. S'assurer d'inclanger les piles correctement selon le diagramme qui se trouve à l'intérieur du compartmentement.
- Serrer la vis du volet du compartment des piles.
Si vous comptez ranger les casques d'écoute pendant une période prolongée,steroler les piles et les garder dans un endroit frais et sec.
Casque d'écoute branché
Le vehicule est équipé d'une prise pour casque d'écoute branché à droite et à gauche. Pour régler le volume, procédér comme suit :
-
Brancher le casque d'écoute dans la prise correspondante et située derrière l'écran video, pres des prises auxiliaires.
-
Appuyer sur le bouton correspondant au casque d'écoute, situé sur la façon du lecteur de disques videonumériques.
- Pour augmenter ou diminuer le volume, appuyer sur les flèches droite et gauche situées sur la façade du lecteur de disques vidéonumériques.
Les casques d'écoute branchés fonctionnent de la manière suivante :
- Lecteur de disques videonumériques allumé/système audio de siège arrêté éteint : Le son émis par le casque d'écoute branché est celui du centre de divertissement de siège arrêté.
- Lecteur de disques videonumériques éteint/système audio de siège arrêté allumé : Le son émis par le casque d'écoute branché est celui du système audio de siège arrêté.
- Lecteur de disques videonumériques allumé/système audio de siège arrêté allumé : Le son émis par le casque d'écoute branché est celui du système audio de siège arrêté.
Prises stéreo RCA

Les prises RCA se trouvent derrière l'écran video du lecteur de disques vidéonumériques. Les prises RCA permettent le raccordement video et audio d'un apparéil auxiliaire, tel qu'un caméscope ou une console de produits, au centre de divertissement de siège arrêté. La prise RCA jaune correspond à l'entrée video, la prise RCA à l'entrée audio droite et la prise RCA blanche à l'entrée audio gauche. Des cables RCA standard, non inclus, sont nécessaires pour raccorder l' apparéil auxiliaire aux prises RCA. Se reporter aux instructions du fabricant.
Pour utiliser les entrées audio et videoauxiliaires, brancher un caméoscope ou une console de jeu video dans les prises RCA et allumer le dispositif auxiliaire et le centre de divertissement.
Si un disque a eté introduit avant d'allumer le centre de divertissement de siège arrêté, la lecture du disque demarrera automatiquement. Vous devrez alors appuyer sur le bouton AUX (auxiliaire) de la télécommande ou du lecteur de disques videonumériques pour passer à l'appareil auxiliaire. Pour plus de renseignements, se reporter aux rubriques « Lecteur de disques videonumériques » et « Télecommande», plus loin dans cette section.
Signal de sortie audio
Vouspouverezécouterle signalaudio du lecteur dedisques videonumériques ou d'un dispositifauxiliaire au moyen des sources possibles suivantes:
- Haut-parleurs du vehicule
Casques d'ecoute sans fil
Casque d'écoute branché (non inclus)
Haut-parleurs du vehicule
Vous ne pouvez écouter qu'une seule source à la fois, au moyen des haut-parleurs.
Le son du système RSE (centre de divertissement pour siège arrière) ou d'un apparéil auxiliaire peut être entendu à travers tous les haut-parleurs du vehicule dans les cas suivants :
- Un disque videonumérique ou un apparéil auxiliaire est en cours de lecture ou d'utilisation.
- Le système audio avant est en marche et le bouton CD AUX (lecteur de disque compact auxiliaire) est enforcé pour activer le centre de divertissement de siège arrêté.
DVD (disque videonumérique) apparait sur l'écran de la radio lorsque le centre de divertissement de siège arrêté est allumé.
Pour allumer et éteindre les haut-parleurs du vehicule, appuyer sur le bouton CD AUX (lecteur de disque compact auxiliaire) situé sur la radio.
Vous pouvez entendre le son diffusé par le centre de divertissement de siège arrêté à travers le casque d'écoute sans fil et les haut-parleurs du vehicule simultanément. Le volume de la radio peut varier lorsque vous bascules entre la radio, un disque compact, un disque videonumérique, un MP3 ou un apparéil auxiliaire.
Écran video
L'écran video est situé dans la console de pavillon.
Pour utiliser l'écran video, procéder comme suit :
- Pousser vers l'avant sur le bouton de déblocage et l'écran s'abaissera.
- Régler selon la position souhaïée.
Lorsque you n'utilisez pas l'écran video, vous nevez le remonter et le verrouiller.
Remarque: Éviter de toucher directement l'écran video, au risque de dégats. Se reporter à Nettoyage de l'écran video, plus loin dans cette section, pour plus d'information.
Lecteur de disques video numériques
Le lecteur de DVD est liéqu dans la console au pavillon.
Le lecteur de DVD (disques videonumériques) peut être contrôle au moyen de ses boutons et/ou des boutons sur la télécommande. Pour plus d'information, se reporter à la rubrique « Télecommande » plus loin dans cette section.
Le lecteur de disques videonumériques du centre de divertissement de siege arrêté n'est compatible qu'avez les disques videonumériques dont le code de région correspond au pays dans lequel le vehicule a été vendu. Le code de région est imprimé sur le coffret de la plupart des disques videonumériques.
Ce lecteur de disques videonumériques lit les disques compacts audio standard, les disques compacts enregistrables, les disques compacts réinscr总承包, les disques compacts améliorés, les disques videonumériques, les CD-ROM et les supports MP3. Il peut accepter les disques videonumériques inscr总承包, les disques videonumériques réinscr总承包 et les disques compacts interdits de copie. Ce lecteur de disques videonumériques n'accepte pas les DVD-RAM, DVD-ROM, DVD-R, DVD-R/W et support audio de disques videonumériques. Un message d'erreur apparait à l'écran si ce type de support est inséré dans le lecteur de disques videonumériques.
Si un message d'erreur s'affiche à l'écran video, se reporter à la rubrique « Messages du lecteur de disques vidéonumériques » dans cette section.
Boutons du lecteur de disques vidéonumériques

( arrêt/ejection): Appuyer sur ce bouton puis le relâcher pour interrompre la lecture, le défilament arrêté ou l'avance rapide.
Appuyer deux fois sur ce bouton pour ejecter un disque. Si le lecteur est déjà arrêté, n'appuyer sur le bouton qu'une seule fois.
(-alimentation): Appuyer sur ce bouton pour allumer ou eteindre le lecteur de disques videonumériques.
AUX (auxiliaire): Appuyer sur ce bouton pour passer du lecteur de disques vidéonumériques à un apparéil auxiliaire.
(lecture/pause): Appuyer sur ce bouton pour commencer la lecture d'un disque. Appuyer sur ce bouton lorsqu'un disque est en cours de lecture pour lemettre en pause.Appuyer de nouveau sur ce bouton pour poursuivre la lecture d'un disque.
(Recul rapide et precedent/avance rapide et suivant): Ces commandes permettent d'avancer ou de reculer à l'intérieur d'un disque.
Ces boutons peuvent être utilisés pour modifier les réglages du système audio de siège arrêté, la température à l'arrière, la vitesse du ventilateur à l'arrière et le volume du casque d'écoute branché. Pour plus d'informations, se reporter aux rubriques « Casque d'écoute » plus haut dans cette section Système sonore arrêté (Option A, Haut de gamme) à la page 375 ou Système sonore arrêté (Option B, Haut de gamme) à la page 378 et Système de régulation de la climatisation arrêté (Option A, Haut de gamme) à la page 234 ou Système de régulation de la climatisation arrêté (Option B, Haut de gamme) à la page 236.
Lorsqu'un disque videonumérique est en cours de lecture dans le lecteur et que le système audio de siège arrêté est allumé, seuls les boutons stop/ eject (arret/éjection) et play/pause (lecture/pause) fonctionnent.
Faire jouer un disque videonumérique
Pour dire un disque, insérer delicatement le disque, avec l'étiquette vers le haut, dans la fente de chargement. Le lecteur de DVD continue le chargement du disque et le lecteur commencer a la lecture automatiquement si le vehicule est sur ACCESSORY (accessoires), RUN (marche), ou RAP (prolongation d'alimentation des accessoires).
Si un disque se trouve déjà dans le lecteur, s'assurer que le lecteur de disques videonumériques est allumé, puis appuyer sur le bouton de lecture/pauseitué sur la plaque frontale du lecteur de disques videonumériques ou sur la télécommande. Pour commencer la lecture d'un disque, vous pouvez également appuyer sur le bouton CD AUX (lecteur de disque compact auxiliaire) situé sur la plaque frontale de la radio jusqu'à ce que RSE (centre de divertissement de siège arrêté) apparaissée à l'écran.
Certains DVD (disques vidéonumériques) ne permettent pas les avances rapides, ni le saut les droits d'auteurs ou des bandes-announces. La lecture de certains DVDs ne débute qu'à la fin des bandes-announces. Si le lecteur ne commence pas la lecture au titre principal, se reporter aux directives à l'écran.
Arrête et reprendre la lecture
Pour arrêté un disque, appuyer sur le bouton d'arrêt sur le lecteur de disques videonumériques ou de la télécommande, puis le relâcher.
Pour reprendre la lecture, appuyer sur le bouton de lecture/pause situé sur la plaque frontale du lecteur de disques videonumériques ou sur la télécommande. Si le disque n'a pas eté éjecté, la lecture du film doit reprendre à l'endetroit où elle s'était arrêtée.
Si le disque a eté éjecté, il reprend sa lecture au début.
Éjecter un disque
Pour éjecter un disque videonumérique, appuyer sur le bouton d'éjectionitué sur la façade du lecteur de disques videonumériques lorsque le disque est arrêté. La télécommande ne dispose pas de bouton d'éjection.
Si un disque est ejecté du lecteur mais qu'il n'en est pas retire, le lecteur de DVD le rechargera après un court retard.
Télécommande
Le système de divertissement arrêté comprend une télécommande (piles incluses). Pour utiliser la télécommande, diriger celle-ci vers la fenêtre de l'émetteur à coté de la façade du système de divertissement de siège arrêté et appuyer sur le bouton désiré.
La lumière directe du soleil ou une force luminosité peuvent influencer la capacité de réception des signaux de la télécommande par le récepteur. S'il semble que la télécommande ne fonctionne pas, il sera peut-être nécessaire de replacer les piles. Se reporter à la rubrique « Remplacement des piles » plus loin dans cette section. Les objets qui bloquent le champ de vision ont un effet sur le fonctionnement de la télécommande.
Remarque: Le rangement de la télécommande dans un lieu chaud ou exposé directement au soleil peut endommager la télécommande et sa réparation ne serait pas couverte par votre garantie. Conserver la télécommande en lieu sec et frais.
Boutons de la télécommande

(-alimentation): Appuyer sur ce bouton pour allumer ou eteindre le lecteur de disques videonumériques.
(étrtroéclairage): Appuyer sur ce bouton pour allumer leétrtroéclairage de la télécommande.
Leétrtroéclairage s'eteint automatiquement au bout de huit secondes.
(titre): Appuyer sur ce bouton pour afficher le numéro courant du titre. Chaque pression du bouton permet d'avancer vers le prochain titre disponible du disque.
A, V, A, > (flèches directionnelles): Appuyer sur ces boutons pour vous déplacer à l'intérieur des menus du disque videonumérique.
Les flèches du haut et du bas permettent de vous déplacer à l'intérieur des répertoires MP3.
(entre): Appuyer sur ce bouton pour selectionner l'option mise en surbrillance dans un menu.
(bouton de réglage de l'affichage):
Appuyer sur ce bouton pour acceder aux menus d'affichage à l'écran du centre de divertissement de siège permettant de régler la couleur, le ton, la luminosité, le contraste et les modes d'affichage.
(menu principal): Appuyer sur ce bouton pour afficher le menu principal de disque videonumérique. Ce menu differe d'un disque à l'autre. Déplacer le curseur à l'intérieur du menu à l'aide des flèches du haut, du bas, de droite et de gauche. ÀpRES avoir fait votrechoix, appuyer sur le bouton Enter (entree).
(returns): Appuyer sur ce bouton pour revenir à l' étape précédente du menu RSE OSD (affichage à l'écran du centre de divertissement de siège arrrière) et de certains menus de disques védéonumériques. Appuyer sur ce bouton pour quitter le menu actuel et revenir au menu précédent.
(arryt): Appuyer sur ce bouton pour interrompre la lecture, l'avance rapide ou le défilament arrêté rapide d'un disque videonymique.
(lecture/pause): Appuyer sur ce bouton pour commencer la lecture d'un disque. Appuyer sur ce bouton pourmettre enpause undisque qui est en cours de lecture.Appuyer de nouveau sur ce bouton pour poursuivre la lecture du disque.
(chapitre ou piste précédent): Appuyer sur ce bouton pour returner au début de la piste ou du chapitre en cours. Appuyer de nouveau sur ce bouton pour passer à la piste ou au chapitre précédent. Ce bouton peut ne pas fonctionner lors de la lecture du message sur les droits d'auteurs ou des bandes-annonces.
(chapitre/piste suivants): Appuyer sur ce bouton pour avancer jusqu'au début du chapitre ou de la piste suivants. Ce bouton peut ne pas fonctionner lorsque le disque videonumérique diffuse les renseignements relatifs aux droits d'auteur ou les bandes-annonces.
(Recul rapide): Appuyer sur ce bouton pour reculer rapidement dans le DVD ou le CD. Appuyer sur le bouton de lecture ou d'arrêt pour interrompre le défilament arrêté. Ce bouton peut ne pas fonctionner lorsque le DVD diffuse l'information relative aux droits d'auteur ou les bandes-annonces.
(avance rapide): Appuyer sur ce bouton pour avancer rapidement dans le DVD ou le CD. Appuyer sur le bouton de lecture ou d'arrêt pour interrompre l'avance rapide. Ce bouton peut ne pas fonctionner lorsque le DVD diffuse les renseignements relatifs aux droits d'auteur ou les bandes-annonces.
(son): Appuyer sur ce bouton pour afficher la piste audio courante. Chaque pression du bouton vous permet d'avancer vers la langue ou le commentaire suivant du disque videonymique. Le format et le contenu de cette fonction varient selon chaque disque.
(sous-titres): Appuyer sur ce bouton pour afficher les sous-titres courants. Chaque pression du bouton permet d'avancer jusqu'à la prochaine option de sous-titre disponible (anglais, espagnol, français, etc., si disponible) sur le disque videonumérique. Le format et le contenu de cette fonction varient selon chaque disque.
AUX (auxiliaire): Appuyer sur ce bouton pour passer du lecteur de disques videonumériques à une source auxiliaire.
(caméra): Appuyer sur ce bouton pour afficher l'angle courant de la caméra sur les disques vidéonumériques disposant de cette fonction. Chaque pression du bouton permet d'avancer dans l'angle suivant disponible de la caméra du disque vidéonumérique. Le format et le contenu de cette fonction varient selon chaque disque.
0 à 9 (clavier numérique): Le clavier numéroque vous permet de sélectionner directement le numéro de chapitre ou de piste.
(effacer): Appuyer sur ce bouton dans les deux secondes suivant l'entrée d'une selection numérique afin d'effacer toutes les entrées numériques.
≥ 10 (numeros à plusieurs chiffres): Appuyer sur ce bouton pour selectionner un numero de chapitre ou de piste supérieur à 9. Appuyer sur ce bouton avant d'entrée le chiffre.
RSE On-Screen Display (OSD) Menu (menu d'affichage à l'écran du centre de divertissement de siège arrêté)
Pour utiliser le menu RSE OSD (affichage à l'écran du centre de divertissement de siege arrière) lorsqu'un disque videonumérique est en cours de lecture ou qu'un dispositif auxiliaire est en cours d'utilisation, procéder comme suit :
Pour acceder à ce menu, appuyer sur le bouton d'affichage situé sur la télécommande. Lorsque ce menu s'affiche, utiliser les flèches directionnelles et le bouton d'entrée pour naviguer à l'intérieur de l'écran. Ce menu vous permet de sélectionner vos préférences par défaut pour le format de video, la langue d'affichage, la luminosité, la couleur, le contraste et le ton. Tous les disques videonymétriques ne supportent pas toutes les fonctions par défaut des menus de configuration. Si une fonction n'est pas supportée, le lecteur de disques videonymétriques permettra de sélectionner les paramètres par défaut. Pour quitter ce menu, appuyer sur le bouton d'affichage ou sur le bouton de retour situés sur la télécommande ou attendre que le menu disparaisse automatiquement.
La sélection de la langue par défaut s'affichera à tous les DVD ultérieurs.
Pour utiliser le menu RSE OSD (affichage à l'écran du centre de divertissement de siège arrêté) lors de la lecture d'un disque compact ou d'un MP3, procédér comme suit :
S'assurer qu'un disque compact ou un MP3 est chargé dans le centre de divertissement de siège arrrière et que le système n'est pas en mode auxiliaire, puis appuyer sur le bouton d'affichage situé sur la télécommande. Lorsque le menu s'affiche, naviguer dans l'écran à l'aide des flèches directionnelles et du bouton d'entrée. Ce menu vous permet de sélectionner vos préférences de langue et de lecture par défaut. Pour quitter ce menu, appuyer sur le bouton d'affichage ou sur le bouton de retour situé sur la télécommande ou bien attendre que le menu disparaisse automatiquement.
Remplacement de la pile
Pour remplaçer les piles de la télécommande, effectuer les étapes suivantes:
- Faire glisser le couvercle des piles situé à l'arrière de la télécommande vers le bas.
- Remplacer les deux piles AA qui se trouvent dans le compartment à piles. S'assurer d'installer les piles correctement selon le diagramme qui se trouve à l'intérieur du compartment.
- Fermer le volet du compartmente à piles.
Si vous comptez ranger la télécommande pendant une période prolongée, retirer les piles et les garder dans un endroit frais et sec.
Tableau de conseils et de dépannage
| Problème | Action recommendée |
| Aucune alimentation | Le commutateur d'allumage ne doit pas être en position ACCESSORY (accessoires), RUN (marche) ou RAP (prolongation de l'alimentation des accessoires). |
| Le disque ne joue pas. | Le système est peut-être hors fonction. Le bouton de contrôle parental a peut-être été,enforcé. Les tímoins d'alimentation clignotent. Le système est peut-être en mode de source auxiliaire. Appuyer sur le bouton AUX (auxiliaire) pour passer au disque vidéonumérique. Le disque est à l'envers ou n'est pas compatible. |
| Problème | Action recommandée |
| Aucun son — Casque d'écoute sans fil | Allumer le casque d'écoute. S'assurer que la bonne fréquence est sélectionnée sur le casque d'écoute sans fil. Vérifier les piles. Régler le volume du casque d'écoute, il doit être trop bas. |
| Aucun son — Casque d'écoute branché | S'assurer que le casque d'écoute est branché. Régler le volume. Si le système audio de siège arrêté est allumé, vous n'entendrez aucun son en provenance du lecteur de disques vidéonumériques. |
| Problème | Action recommendée |
| Aucun son — Haut-parleurs du vehicule | Si vous entendez le son du lecteur de disques vidéonumériques à partir des haut-parleurs du vehicule, régler le volume de la radio. Appuyer sur le bouton CD AUX (lecteur de disque compact auxiliaire) situé sur la radio pour s'assurer que le centre de divertissement de siège arrêté est activé. Les haut-parleurs arrêtés sont mis en sourdine lorsque le système audio de siège arrêté est allumé. |
| L'image est déformée pendant l'avance ou le recul rapide. | Cela est normal pour cette fonction. |
| L'image ne remplit pas l'écran. Il y a des bordures noires sur le haut et le bas ou sur les deux côtés de l'écran ou l'image semble étirée. | Vous n'avez peut-être pas défini correctement le mode video. Se reporter à la rubrique « Affichage à l'écran du centre de divertissement de siège arrière » plus haut dans cette section. |
| Le disque a été éjecté et j'ai essayé de le sortir, mais il s'est retirené dans la fente. | Appuyer une fois sur le bouton d'éjection. |
| La langue entendue ou affichée à l'écran est incorrecte. | Appuyer sur le bouton du menu principalitué sur la télécommande et changer la langue ou les paramètres audio à partir du menu de disque vidéonumérique. Pour modifier votre préférence de langue, appuyer sur le bouton d'affichage, ce qui vous permet d'accéder au menu RSE OSD (affichage à l'écran du centre de divertissement de siège arrêté). Se reporter à la rubrique « Affichage à l'écran du centre de divertissement de siège arrêté » plus haut dans cette section. |
| Problème | Action recommendée |
| La télécommande ne fonctionne pas. | Diriger la télécommande directement sur la fenêtre du lecteur de disques vidéonumériques. Les piles peuvent être faibles ou mal installées. Il est possible que le bouton de contrôle parental soit enforcé. Le tímoin d'alimentation clignote. |
| Comment puis-je afficher ou éliminer les sous-titres? | Pour sélectionner l'option de sous-titrage, appuyer sur le bouton de sous-titrageitué sur la télécommande ou aller dans le menu principal du lecteur de disques vidéonumériques et suivre les instructions affichées. |
| Le lecteur est en mode auxiliaire, mais il n'y a pas d'image ni de son. | Appuyer sur le bouton AUX (auxiliaire) de la télécommande ou du lecteur de disques vidéonumériques pour passer à la source auxiliaire. S'assurer que la source auxiliaire est correctement raccordée aux entrées. |
| L'audio ou le video saute. | Le disque vidéonumérique est peut-être sale ou égratigné. Nettoyer le disque. |
| Les commandes d'avance rapide, de recul rapide, ou suivant et précédent ne fonctionnent pas. | Certaines commandes ont une fonction particulière pour les disques vidéonumériques mais ne fonctionnent pas toujours ou n'ont pas nécessairement la même fonction pour la radio, les disques audio ou les yeux. Vous pouvez également désactiver ces fonctions lorsque le disque vidéonumérique diffuse les renseignements relatifs aux droits d'auteurs ou les bandes-announces. Lorsque le système audio arrêté est allumé, ces boutons commandent les fonctions du système audio arrêté. |
| Problème | Action recommendée |
| Le disque est coincé dans le lecteur. Le bouton d'éjection ne fonctionne pas. | Appuyer sur le bouton d'éjection du disque vidéonumérique. Couper l'allumage, puis la rétablit et appuyer sur le bouton d'éjection du lecteur de disques vidéonumériques. Ne pas tenter de forcer le disque hors du lecteur ni de l'enlever. Si le problème persiste, voir votre concessionnaire pour obtenir de l'aide. |
| La télécommande ou le casque d'écoute ont été égarés. | Consulter votre concessionnaire pour obtenir de l'assistance. |
| Parfois, le son dans le casque d'écoute sans fil est interrompu ou brouillé pendant un moment, puis il revient. | Ceci peut être causé par des interférences produites par des stations cellulaires, ou par un téléphone cellulaire ou tout autre émetteur radio utilisé dans le vehicule. |
| Le lecteur de disques videonumériques est inutilisable. | À des températures extrêmes, le lecteur de disques videonumériques pourrait être inutilisable. Les températures inférieures à -20°C (-4°F) ou supérieures à 60°C (140°F) risquent d'endommager le lecteur de disques videonumériques. Utiliser le lecteur de disques videonumériques dans des plages de température normales ou Comfortables dans l'habitacle. Consulter votre concessionnaire si le problème persiste. |
| Problème | Action recommendée |
| Le son du casque d'écoute sans fil a de la distorsion. | S'assurer que le casque d'écoute est orienté vers l'avant du vehicule. Les côtsès gauche et droit sont indiqués sur le casque d'écoute pour assurer une bonne réception des signaux. Vérifier qu'il n'y aaucun obstacle entre le casque d'écoute et l'émetteur. Vérifier que les batteries sont complètement chargées. |
| En mode auxiliaire, l'image rouge ou défile. | Vérifier le signal provenant du dispositif auxiliaire et s'assurer que la connexion et le signal sont bons. |
Messages du lecteur de disques videonumériques
Les messages d'erreur suivants peuvent s'afficher à l'écran video.
Disc Format Error (erreur de format de disque): Ce message s'affiche si un disque est inséré à l'envers, si le disque ne peut être lu ou si le format du disque est incompatible.
Disc Play Error (erreur de lecture de disque): Ce message s'affiche si le mecanisme ne peut pas faire la lecture du disque. Les disques rayés ou gravement endommagés peuvent être à l'origine d'une erreursemblable.
Region Code Error (erreur de code de zone): Ce message s'affiche si le code de région du disque videonumérique est incompatible avec le code de région du lecteur de disques videonumériques.
Load/Eject Error (erreur de chargement/ d'éjection): Ce message s'affiche si le disque n'est pas bien chargé ou éjecté.
No Disc (pas de disque): Ce message s'affiche lorsque vous essayez de dire ou d'éjecter un disque qui n'est pas dans le lecteur.
X: Une croix (X) s'affiche dans le coin supérieur gauche de l'écran video, si l'opération sélectionnée n'est pas actuellement disponible.
Distorsion des disques videonumériques
L'image video pourrait partager de la distorsion si vous utilisez un téléphone cellulaire, un scanner, une radio BP, un système de positionnement global (GPS*), un télécopieur mobile ou un émetteur-recepteur fixe ou portatif.
Si vous utilisez l'un de ces apparèils dans l'habitacle ou pres du vehicule, vous pourriez devoir éteindre le lecteur de disques videonumériques.
^* À l'exception du système OnStar ^MD .
Nettoyage du lecteur de disques videonumériques (DVD)
Pour nettoyer la façade et les boutons du lecteur de disques videonumériques, utiliser uniquement un chiffon propre imbibé d'eau.
Nettoyage de I'écran video
Pour nettoyer l'écran video, utiliser uniquement un chiffon propre imbibé d'eau. Prendre ses précautions lorsqu'on doit toucher directement l'écran ou le nettoyer, car il est facile de l'endommager.
Système de divertissement intégré au siècle arrière (Option B, Haut de gamme)
Votre vehicule peut posseder ce type de système de divertissement de siège arrière DVD (RSE). Dans ce cas, il inclura un lecteur DVD, un écran video, des entrées auxiliaires, deux ensembles de casques sans fil et une télécommande.
Contrôle parental
(contrôle parental): Ce bouton se trouve derrière l'écran video, pres des prises auxiliaires. Appuyer sur ce bouton en utilisant le système audio de siege arrêté (RSA) ou quand un DVD ou un CD est lu pour êtreindre l'écran video etmettre le son en sourdine.Les témoins d'alimentation du lecteur DVD clignotent. L'activation du contrôle parental désactive également tous les autres boutons de la télécommande ainsi que le lecteur DVD, à l'exception du bouton d'éjection.Appuyer a nouveau sur ce bouton pour réactiver le fonctionnement du RSA),du lecteur DVD et la télécommande.
Vous pouze également utiliser ce bouton pourmettre sous tension le lecteur DVD et pourreprene automatiquement la lecture d'un disqueplace dans le lecteur pendant que le vehiculefonctionne. En l'absence de disque dans le lecteur,le système est mis sous tension et n'affiche rienà l'écran LCD.
Avant de prendre la route
Le centre de divertissement de siège arrêté est concu uniquement pour les passagers arrêté. Le conducteur ne peut pas visionner l'écran video en toute sécurité lorsqu'il conduit et il ne doit pas le faire. Le centre de divertissement de siège arrêté permet la lecture des disques vidéonumériques, des disques compacts ainsi que des disques MP3. Vous pouze également brancher un apparéil auxiliaire au centre de divertissement de siège arrêté pour jouer à des yeux, regarder des films, des photos, etc.
Le fonctionnement normal peut être limité en cas de températures extrémement basses ou élevées, de manière à éviter tout endommagement de l' apparéil. Faire fonctionner le centre de divertissement de siège arrêté lorsque la température de l'habitacle est normale ou comfortable.
Casques d'écoute
Remarque: N'exposer les écouteurs ni à la chaleur ni aux rayons directs du soleil. Les écouteurs risqueraient des dégats et leur réparation ne serait pas couverte par la garantie. Ranger les écouteurs en lieu sec et frais.
Casques d'écoute sans fil
Le système RSE peut inclure deux ensembles de casques sans fil (les piles peuvent être fournies avec les casques).
Les casques d'écoute sans fil sont munis d'un commutateur ON/OFF (marche/arrêt), d'un commutateur de selection de canal et d'une commande de volume. Pour utiliser les casques d'écoute, faire tournier le commutateur ON/OFF en position ON (marche). Un tímoin s'allume sur les casques. Si le tímoin s'allume pas, il est peut-être nécessaire de changer les piles. Voir « Remplacement des piles » plus loin dans cette section. Mettre les casques en position OFF (arrêt) lorsque vous ne les utilisiez pas.
Si le centre de divertissement de siège arrêté est étant ou si les casques d'écoute se trouvent hors de portée des émetteurs pendant plus de trois minutes, ces derniers s'éteignent automatiquement pour économiser les piles. Les émetteurs sont situés pres de la façade du lecteur de disques vidéonumériques. Si vous vous avancez trop après ou si vous sortez du vehicule, les casques perdent le signal audio.
Le lecteur de disques videonumériques et les disposits auxiliaires audio se trouvent toujours sur une station (CHA ou CH1) du casque d'écoute sans fil. Le système audio de siège arrêté est dédié au bouton CHB ou CH2 du casque d'écoute sans fil.
Pour régler la puissance sonore des casques d'écoute sans fil, utiliser la commande de volume située sur le casque.
Si le signal audio est réduit pendant la lecture d'un disque compact, un MP3 ou d'un disque videonumérique, un faisible sifflement dans les haut-parleurs et/ou les casques d'écoute pourrait se produit. Si le sifflement dans les casques d'écoute sans fil semble excessif, s'assurer que les piles des casques d'écoute sont entièrement chargées. Un sifflement d'une certaine intensité est normal.
Les deux séries de casques peuvent inclure des patins amovibles de mousse.
Les patins de mousse peuvent s 用户 ou être endommages. S'ils ne sont pas manipulés ourangés correctement. Dans ce cas, ils peuvent être replacés séparément de l'ensemble de casque. Il est superflu de replacer l'ensemble de casque.
Des patins de mousse de rechange peuvent être commandés par paires. Consulter votre concessionnaire pour d'information.
Remplacement de la pile
Pour remplaçer les piles, effectuer les étapes suivantes :
- Desserrer la vis située sur le couvercle du compartment et piles, du côté gauche de l'écouteur du casque d'écoute.
- Remplacer les deux piles qui se trouvent dans le compartment à piles. S'assurer d'installer les piles correctement selon le diagramme qui se trouve à l'intérieur du compartment.
- Serrer la vis du volet du compartment des piles.
Si vous comptez ranger les casques d'écoute pendant une période prolongée,steroler les piles et les garder dans un endroit frais et sec.
Casque d'écoute branché
Le vehicule est équipé d'une prise pour casque d'écoute branché à droite et à gauche. Pour régler le volume, procédé comme suit :
- Brancher le casque d'écoute dans la prise correspondante et située derrière l'écran video, pres des prises auxiliaires.
- Appuyer sur le bouton de commande de volume de casque jusqu'à ce que le volume soit affché et que le casque cable du côté gauche soit mis en evidence pour la sélection. Appuyer sur le bouton de commande de volume à nouveau pour selectionner la commande de volume du côté droit. Une autre façon de selectionner le volume des casques des côtes gauche et droit consiste à appuyer sur les flèches vers le haut ou le bas de la façade du lecteur DVD.
- Appuyer sur les flèches du côté croit et gauche de la façade du DVD pour augmenter ou diminuer le volume. Appuyer à nouveau sur le bouton de volume de casque ou attendre quelques secondes la disparition de l'écran.
Les casques d'écoute branchés fonctionnent de la manière suivante :
- Lecteur de disques videonumériques allumé/système audio de siège arrêté etint : Le son émis par le casque d'écoute branché est celui du centre de divertissement de siège arrêté.
- Lecteur de disques videonumériques éteint/système audio de siège arrêté allumé : Le son émis par le casque d'écoute branché est celui du système audio de siège arrêté.
- Lecteur de disques videonumériques allumé/système audio de siège arrêté allumé : Le son émis par le casque d'écoute branché est celui du système audio de siège arrêté.
Prises stéreo RCA

Les prises RCA se trouvent derrière l'écran video du lecteur de disques vidéonumériques. Les prises RCA permettent le raccordement video et audio d'un apparéil auxiliaire, tel qu'un caméscope ou une console de produits, au centre de divertissement de siège arrêté. La prise RCA jaune correspond à l'entrée video, la prise RCA (rouge) à l'entrée audio droite et la prise RCA blanche à l'entrée audio gauche. Des cables RCA standard, non inclus, sont nécessaires pour raccorder l' apparéil auxiliaire aux prises RCA. Se reporter aux instructions du fabricant.
Pour utiliser les entrées audio et videoauxiliaires, brancher un caméoscope ou une console de jeu video dans les prises RCA et allumer le dispositif auxiliaire et le centre de divertissement.
Si un disque est present quand le RSE est sous tension, le lecteur peut commencer automatiquement à dire le disque. Appuyer sur le bouton AUX (auxiliaire) de la télécommande ou sur le bouton DVD AUX (lecteur de disques videonymérique auxiliaire) du lecteur DVD pour commuter entre le lecteur DVD et le dispositif auxiliaire. Se reporter aux rubriques « Lecteur de disques videonymétriques » et « Télécommande», plus loin dans cette section.
Signal de sortie audio
Voussoupiezécouterle signalaudio du lecteur dedisques videonumériques ou d'un dispositifauxiliaire au moyen des sources possibles suivantes:
- Haut-parleurs du vehicule
Casques d'ecoute sans fil - Casque d'écoute branché (non inclus)
Haut-parleurs du vehicule
Vous ne pouvez écouter qu'une seule source à la fois, au moyen des haut-parleurs.
Le son du système RSE (centre de divertissement pour siège arrière) ou d'un apparéil auxiliaire peut être entendu à travers tous les haut-parleurs du vehicule dans les cas suivants :
- Un disque videonumérique ou un apparéil auxiliaire est en cours de lecture ou d'utilisation.
- Le système audio avant est en marche et le bouton CD AUX (lecteur de disque compact auxiliaire) est enforcé pour activer le centre de divertissement de siège arrêté.
DVD (disque videonumérique) apparait sur l'écran de la radio lorsque le système RSE est en fonction.
Pour allumer et éteindre les haut-parleurs du vehicule, appuyer sur le bouton CD AUX (lecteur de disque compact auxiliaire) situé sur la radio.
Vous pouvez entendre le son diffusé par le centre de divertissement de siège arrêté à travers le casque d'écoute sans fil et les haut-parleurs du vehicule simultanément. Le volume de la radio peut varier lorsque vous bascules entre la radio, un disque compact, un disque videonumérique, un MP3 ou un apparéil auxiliaire.
Écran video
L'écran video est situé dans la console de pavillon.
Pour utiliser l'écran video, procéder comme suit :
- Pousser sur le bouton de déblocage et l'écran s'abraissera.
- Régler selon la position souhaïée.
Lorsque you n'utilisez pas l'écran video, vous nevez le remonter et le verrouiller.
Remarque: Éviter de toucher directement l'écran video, au risque de dégats. Se reporter à Nettoyage de l'écran video, plus loin dans cette section, pour plus d'information.
Lecteur de disques video numériques
Le lecteur de DVD est liéquedans la console au pavillon.
Le lecteur de DVD (disques videonumériques) peut être contrôle au moyen de ses boutons et/ou des boutons sur la télécommande. Pour plus d'information, se reporter à la rubrique « Télecommande » plus loin dans cette section.
Le lecteur de disques videonumériques du centre de divertissement de siège arrêté n'est compatible qu'avez les disques videonumériques dont le code de région correspond au pays dans lequel le vehicule a été vendu. Le code de région est imprimé sur le coffret de la plupart des disques videonumériques.
Le lecteur peut dire les formats suivants : DVD (lecteur simple et double), DVD+R/RW, DVD-R/RW, DVD-ROM avec MP3, DVD-ROM avec WMA, CD-DA, CD-R/RW, CD-ROM avec MP3, CD-ROM avec WMA, CD amélioré, SACD (lecteur CD uniquement). Un message d'erreur peut s'afficher à l'écran si un autre type de media est introduit dans le lecteur DVD.
Si un message d'erreur s'affiche à l'écran video, se reporter à la rubrique « Messages du lecteur de disques vidéonumériques » dans cette section.
Boutons du lecteur de disques vidéonumériques

Face de RSE avec commandes de climatisation de siège arrêté affichées, face de RSE sans commandes de climatisation de siège arrêté similaire
( arrêt/éjection): Appuyer sur ce bouton puis le relâcher pour interrompre la lecture, le défilament arrêté ou l'avance rapide.
Appuyer deux fois sur ce bouton pour ejecter un disque. Si le lecteur est déjà arrêté, n'appuyer sur le bouton qu'une seule fois.
DVD AUX (disque auxiliaire): Appuyer sur ce bouton pour passer du lecteur de disques videonumériques à un appeareil auxiliaire.
(lecture/pause): Appuyer sur le bouton de lecture pour commencer la lecture d'un disque.
Appuyer sur le bouton de pause pendant la lecture pour lemettre en pause.Appuyer a nouveau sur le bouton pour poursuivre la lecture du disque.
( volume du casque branché): Appuyer sur ce bouton pour selectionner le casque correct. Ensuite, appuyer sur les boutons avec flèches des côtés gauche et droit pour augmenter ou diminuer le volume du casque.
Lorsqu'un disque videonumérique est en cours de lecture dans le lecteur et que le système audio de siège arrêté est allumé, seuls les boutons stop/eject (arrêt/éjection) et play/pause (lecture/pause) fonctionnent.
RSA SRC (source audio du siège arrière):
Appuyer sur ce bouton pour commuter entre la lecture AM, FM1, FM2, le service radio satellite XM1^MC ou XM2^MC (option) ou le lecteur de disques avant. Si une des sources n'est pas chargée, le système saute cette source quand ce bouton est pressé.
, , , (flèches directionnelles): Appuyer sur ces boutons pour vous déplacer à l'intérieur des menus du disque videonumérique.
Les flèches du haut et du bas permettent de vous déplacer à l'intérieur des répertoires MP3.
(Recul rapide): Appuyer sur ce bouton pour reculer rapidement dans le DVD ou le CD. Appuyer sur le bouton de lecture ou d'arrêt pour interrompre le défilament arrêté. Ce bouton peut ne pas fonctionner lorsque le DVD diffuse l'information relative aux droits d'auteur ou les bandes-annonces.
(avance rapide): Appuyer sur ce bouton pour avancer rapidement dans le DVD ou le CD. Appuyer sur le bouton de lecture ou d'arrêt pour interrompre l'avance rapide. Ce bouton peut ne pas fonctionner lorsque le DVD diffuse les renseignements relatifs aux droits d'auteur ou les bandes-annonces.
MENU (disque): Appuyer sur ce bouton pour afficher le menu principal de disque vidéonumérique. Ce menu diffère d'un disque à l'autre. Déplacer le curseur à l'intérieur du menu à l'aide des flèches du haut, du bas, de droite et de gauche. ÀpRES avoir fait votrechoix, appuyer sur le bouton Enter (entree).
(entrée/sélectionner): Appuyer sur ce bouton pour sélectionner l'option mise en surbrillance dans un menu.
(bouton de réglage de l'affichage): Pour les vehicules sans commandes de climatisation de siège arrêté, ce bouton prend la place du bouton de ventilateur/température. Pour les vehicules avec commandes de climatisation de siège arrêté, ce bouton se trouve également sur la télécommande. Appuyer sur ce bouton pour ouvrir les menus d'écran RSE (OSD) pour régler la couleur, la teinte, la brillance, le contraste et les modes d'affichage.
Faire jouer un disque videonumérique
Pour dire un disque, insérer delicatement le disque, avec l'étiquette vers le haut, dans la fente de chargement. Le lecteur de DVD continue le chargement du disque et le lecteur commencerala lecture automatiquement si le vehicule est sur ACCESSORY (accessoires), RUN (marche), ou RAP (prolongation d'alimentation des accessoires).
Si un disque se trouve déjà dans le lecteur, s'assurer que le lecteur de disques videonumériques est allumé, puis appuyer sur le bouton de lecture/pause de la face du lecteur
ou de la télécommande. Vous pouvez aussi appuyer sur le bouton DVD AUX (lecteur de disque video numérique auxiliaire) de la face du lecteur ou sur le bouton CD AUX (lecteur de disque compact auxiliaire) de la face de la radio jusqu'à l'affichage de RSE à l'écran, pour commencer la lecture d'un disque.
Certsains DVD (disques vidéonumériques) ne permettent pas les avances rapides, ni le saut les droits d'auteurs ou des bandes-annonces. La lecture de certains DVDs ne débute qu'à la fin des bandes-annonces. Si le lecteur ne commence pas la lecture au titre principal, se reporter aux directives à l'écran.
Arrête et reprendre la lecture
Pour arrêté un disque, appuyer sur le bouton d'arrêt sur le lecteur de disques videonumériques ou de la télécommande, puis le relâcher.
Pour reprendre la lecture, appuyer sur le bouton de lecture/pause situé sur la plaque frontale du lecteur de disques videonumériques ou sur la télécommande. Si le disque n'a pas eté ejecté, la lecture du film doit reprendre à l'endroit où elle s'était arrêtée.
Si le disque a eté éjecté, il reprend sa lecture au début.
Éjecter un disque
Pour éjecter un disque videonumérique, appuyer sur le bouton d'éjection situé sur la façon du lecteur de disques videonumériques lorsque le disque est arrêté. La télécommande ne dispose pas de bouton d'éjection.
Si un disque est ejecté du lecteur mais qu'il n'en est pas retire, le lecteur de DVD le rechargera après un court retard.
Télécommande
Le système de divertissement arrêté (RSE) inclut une télécommande dont les piles peuvent être fournies. Pour utiliser la télécommande, diriger celle-ci vers la fenêtre de l'émetteur à coté de la façade du système de divertissement de siège arrêté et appuyer sur le bouton désiré.
La lumière directe du soleil ou une force luminosité peuvent influencer la capacité de réception des signaux de la télécommande par le récepteur. S'il semble que la télécommande ne fonctionne pas, il sera peut-être nécessaire de replacer les piles. Se reporter à la rubrique « Remplacement des piles » plus loin dans cette section. Les objets qui bloquent le champ de vision ont un effet sur le fonctionnement de la télécommande.
Remarque: Le rangement de la télécommande dans un lieu chaud ou exposé directement au soleil peut endommager la télécommande et sa réparation ne serait pas couverte par votre garantie. Conserver la télécommande en lieu sec et frais.
Boutons de la télécommande

(-alimentation): Appuyer sur ce bouton pour allumer ou eteindre le lecteur de disques videonumériques.
(étrtroéclairage): Appuyer sur ce bouton pour allumer leétrtroéclairage de la télécommande. Leétrtroéclairage s'eteint automatiquement au bout de huit secondes.
(titre): Appuyer sur ce bouton pour afficher le numéro courant du titre. Chaque pression du bouton permet d'avancer vers le prochain titre disponible du disque.
A, V, A, > (flèches directionnelles): Appuyer sur ces boutons pour vous déplacer à l'intérieur des menus du disque videonumérique.
Les flèches du haut et du bas permettent de vous déplacer à l'intérieur des repertoires MP3.
(entrer): Appuyer sur ce bouton pour seLECTIONner l'option mise en surbrillance dans un menu.
(bouton de réglage de l'affichage): Appuyer sur ce bouton pour acceder aux menus d'affichage à l'écran du centre de divertissement de siège permettant de régler la couleur, le ton, la luminosité, le contraste et les modes d'affichage.
- (menu principal): Appuyer sur ce bouton pour afficher le menu principal de disque videonumérique. Ce menu diffère d'un disque à l'autre. Déplacer le curseur à l'intérieur du menu à l'aide des flèches du haut, du bas, de droite et de gauche. ÀpRES avoir fait votrechoix, appuyer sur le bouton Enter (entree).
(returns): Appuyer sur ce bouton pour revenir à l' étape précédente du menu RSE OSD (affichage à l'écran du centre de divertissement de siège arrêté) et de certains menus de disques védéonumériques. Appuyer sur ce bouton pour quitter le menu actuel et revenir au menu précédent.
(arryt): Appuyer sur ce bouton pour interrompre la lecture, l'avance rapide ou le défilament arrêté rapide d'un disque videonumérique.
(lecture/pause): Appuyer sur ce bouton pour commencer la lecture d'un disque. Appuyer sur ce bouton pourmettre en pause un disque qui est en cours de lecture. Appuyer de nouveau sur ce bouton pour poursuivre la lecture du disque.
(chapitre ou piste précédENT): Appuyer sur ce bouton pour returner au début de la piste ou du chapitre en cours. Appuyer de nouveau sur ce bouton pour passer à la piste ou au chapitre précédent. Ce bouton peut ne pas fonctionner lors de la lecture du message sur les droits d'auteurs ou des bandes-annonces.
(chapitre/piste suivants): Appuyer sur ce bouton pour avancer jusqu'àu début du chapitre ou de la piste suivants. Ce bouton peut ne pas fonctionner lorsque le disque videonumérique diffuse les renseignements relatifs aux droits d'auteur ou les bandes-annonces.
( recul rapide): Appuyer sur ce bouton pour reculer rapidement dans le DVD ou le CD. Appuyer sur le bouton de lecture ou d'arrêt pour interrompre le défilament arrêté. Ce bouton peut ne pas fonctionner lorsque le DVD diffuse l'information relative aux droits d'auteur ou les bandes-annonces.
(avance rapide): Appuyer sur ce bouton pour avancer rapidement dans le DVD ou le CD. Appuyer sur le bouton de lecture ou d'arrêt pour interrompre l'avance rapide. Ce bouton peut ne pas fonctionner lorsque le DVD diffuse les renseignements relatifs aux droits d'auteur ou les bandes-annonces.
(son): Appuyer sur ce bouton pour afficher la piste audio courante. Chaque pression du bouton vous permet d'avancer vers la langue ou le commentaire suivant du disque videonique. Le format et le contenu de cette fonction varient selon chaque disque.
(sous-titres): Appuyer sur ce bouton pour afficher les sous-titres courants. Chaque pression du bouton permet d'avancer jusqu'à la prochaine option de sous-titre disponible (anglais, espagnol, français, etc., si disponible) sur le disque videonique. Le format et le contenu de cette fonction varient selon chaque disque.
AUX (auxiliaire): Appuyer sur ce bouton pour passer du lecteur de disques videonumériques à une source auxiliaire.
(caméra): Appuyer sur ce bouton pour afficher l'angle courant de la caméra sur les disques vidéonumériques disposant de cette fonction. Chaque pression du bouton permet d'avancer dans l'angle suivant disponible de la caméra du disque vidéonumérique. Le format et le contenu de cette fonction varient selon chaque disque.
0 à 9 (clavier numérique): Le clavier numéroque vous permet de sélectionner directement le numéro de chapitre ou de piste.
(effacer): Appuyer sur ce bouton dans les deux secondes suivant l'entrée d'une selection numérique afin d'effacer toutes les entrées numériques.
≥ 10 (numeros à plusieurs chiffres): Appuyer sur ce bouton pour selectionner un numero de chapitre ou de piste supérieur à 9. Appuyer sur ce bouton avant d'entrée le chiffre.
RSE On-Screen Display (OSD) Menu (menu d'affichage à l'écran du centre de divertissement de siège arrêté)
Pour utiliser le menu RSE OSD (affichage à l'écran du centre de divertissement de siège arrrière) lorsqu'un disque videonumérique est en cours de lecture ou qu'un dispositif auxiliaire est en cours d'utilisation, procéder comme suit :
Pour acceder à ce menu, appuyer sur le bouton d'écran de la télécommande ou sur la face du DVD, si vous ne possédez pas de commandes de climatisation de siege arrière. Une fois le menu affché, utiliser les flèches et le bouton d'entrée pour naviguer à l'écran. Ce menu vous permet de selectionner les préférences par défaut de format video, de langue, de brillance, de couleur, de contraste et de teinte. Tous les DVD ne permettent pas tous les réglages par défaut dans les menus de paramétrage. Si une fonction n'est pas disponible, les réglages par défaut sont fournis par le media DVD. Pour quitter le menu, appuyer sur le bouton d'écran ou le bouton de retour de la télécommande ou encore sur la face de l'appareil en l'absence de commandes de climatisation de siege arrêté ou enfin attendre la fin de l'affichage du menu.
La sélection de la langue par défaut s'affichera à tous les DVD ultérieurs.
Pour utiliser le menu RSE OSD (affichage à l'écran du centre de divertissement de siège arrêté) lors de la lecture d'un disque compact ou d'un MP3, procédér comme suit :
Un CD ou un MP3 doit être charge dans le système RSE et le système ne peut être en mode auxiliaire. Appuyer sur le bouton d'affichage de la télécommande ou de la face du lecteur en l'absence de commandes de climatisation de siège arrrière. Une fois le menu affché, utiliser les flèches directionnelles et le bouton d'entrée pour naviguer à l'écran. Ce menu vous permet de sélectionner vos préférences de langue et de lecture par défaut. Pour quitter ce menu, appuyer sur le bouton d'affichage ou sur le bouton de retour situé sur la télécommande ou la face de l'appareil en l'absence de commandes de climatisation de siège arrrière, ou bien attendre que le menu disparaissée automatiquement.
Remplacement de la pile
Pour remplaçer les piles de la télécommande, effectuer les étapes suivantes:
- Faire glisser le couvercle des piles situé à l'arrière de la télécommande vers le bas.
- Remplacer les deux piles qui se trouvent dans le compartment à piles. S'assurer d'installer les piles correctement selon le diagramme qui se trouve à l'intérieur du compartment.
- Fermer le volet du compartmente à piles.
Si vous comptez ranger la télécommande pendant une période prolongée,sterol les piles et les garder dans un endroit frais et sec.
Tableau de conseils et de dépannage
| Problème | Action recommendée |
| Aucune alimentation | Le commutateur d'allumage ne doit pas être en position ACCESSORY (accessoires), RUN (marche) ou RAP (prolongation de l'alimentation des accessoires). |
| Le disque ne joue pas. | Le système peut-être hors fonction. Le bouton de contrôle parental a peut-être été enforcé. Les t'émoins d'alimentation clignotent. Le système est peut-être en mode de source auxiliaire. Appuyer sur le bouton DVD AUX (disque auxiliaire) de la face du lecteur ou sur le bouton AUX (auxiliaire) de la télécommande pour commuter entre le lecteur DVD et les sources auxiliaires. Le disque est à l'envers ou n'est pas compatible. |
| Problème | Action recommandée |
| Aucun son — Casque d'écoute sans fil | Allumer le casque d'écoute. S'assurer que la bonne fréquence est sélectionnée sur le casque d'écoute sans fil. Vérifier les piles. Régler le volume du casque d'écoute, il doit être trop bas. |
| Aucun son — Casque d'écoute branché | S'assurer que le casque d'écoute est branché. Régler le volume. Si le système audio de siège arrêté est allumé, vous n'entendrez aucun son en provenance du lecteur de disques vidéonumériques. |
| Problème | Action recommendée |
| Aucun son — Haut-parleurs du vehicule | Si vous entendez le son du lecteur de disques vidéonumériques à partir des haut-parleurs du vehicule, régler le volume de la radio. Appuyer sur le bouton CD AUX (lecteur de disque compact auxiliaire) situé sur la radio pour s'assurer que le centre de divertissement de siège arrêté est activé. Les haut-parleurs arrêtés sont mis en sourdine lorsque le système audio de siège arrêté est allumé. |
| L'image est déformée pendant l'avance ou le recul rapide. | Cela est normal pour cette fonction. |
| L'image ne remplit pas l'écran. Il y a des bordures noires sur le haut et le bas ou sur les deux côtés de l'écran ou l'image semble étirée. | Vous n'avez peut-être pas défini correctement le mode video. Se reporter à la rubrique « Affichage à l'écran du centre de divertissement de siège arrière » plus haut dans cette section. |
| Le disque a été éjecté et j'ai essayé de lesorting, mais il s'est terminé dans la fente. | Appuyer une fois sur le bouton d'éjection. |
| La langue entendue ou affichée à l'écran est incorrecte. | Appuyer sur le bouton du menu principalitué sur la télécommande et changer la langue ou les paramètres audio à partir du menu de disque vidéonumérique. Pour modifier votre préférence de langue, appuyer sur le bouton d'affichage, ce qui vous permet d'acceder au menu RSE OSD (affichage à l'écran du centre de divertissement de siège arrière). Se reporter à la rubrique « Affichage à l'écran du centre de divertissement de siège arrière » plus haut dans cette section. |
| Problème | Action recommendée |
| La télécommande ne fonctionne pas. | Diriger la télécommande directement sur la fenêtre du lecteur de disques vidéonumériques. Les piles peuvent être faibles ou mal installées. Il est possible que le bouton de contrôle parental soit enforcé. Le tímoin d'alimentation clignote. |
| Comment puis-je afficher ou éliminer les sous-titres? | Pour sélectionner l'option de sous-titrage, appuyer sur le bouton de sous-titrageitué sur la télécommande ou aller dans le menu principal du lecteur de disques vidéonumériques et suivre les instructions affichées. |
| Le lecteur est en mode auxiliaire, mais il n'y a pas d'image ni de son. | Appuyer sur le bouton AUX (auxiliaire) de la télécommande ou sur le bouton DVD AUX (disque auxiliaire) du lecteur puis le relâcher pour passer à l'entrée auxiliaire. S'assurer que la source auxiliaire est connectée correctement aux entrées. |
| L'audio ou le video saute. | Le disque vidéonumérique est peut-être sale ou égratigné. Nettoyer le disque. |
| Les commandes d'avance rapide, de recul rapide, ou suivant et précédent ne fonctionnent pas. | Certaines commandes ont une fonction particulière pour les disques vidéonumériques mais ne fonctionnent pas toujours ou n'ont pas nécessairement la même fonction pour la radio, les disques audio ou les yeux. Ces fonctions peuvent être désactivées aussi lorsque le disque vidéonumérique diffuse les renseignements relatifs aux droits d'auteurs ou les bandes-announces. Lorsque le système audio arrêté est allumé, ces boutons peuvent commander les fonctions du système audio arrêté. |
| Problème | Action recommendée |
| Le disque est coincé dans le lecteur. Le bouton d'éjection ne fonctionne pas. | Appuyer sur le bouton d'éjection du disque vidéonumérique. Couper l'allumage, puis la rétablit et appuyer sur le bouton d'éjection du lecteur de disques vidéonumériques. Ne pas tenter de forcer le disque hors du lecteur ni de l'enlever. Si le problème persiste, voir votre concessionnaire pour obtenir de l'aide. |
| La télécommande ou le casque d'écoute ont été égarés. | Consulter votre concessionnaire pour obtenir de l'assistance. |
| Parfois, le son dans le casque d'écoute sans fil est interrompu ou brouillé pendant un moment, puis il revient. | Ceci peut être causé par des interférences produites par des stations cellulaires, ou par un téléphone cellulaire ou tout autre émetteur radio utilisé dans le vehicule. |
| Le lecteur de disques videonumériques est inutilisable. | À des températures extrêmes, le lecteur de disques videonumériques pourrait être inutilisable. Les températures inférieures à -20°C (-4°F) ou supérieures à 60°C (140°F) risquent d'endommager le lecteur de disques videonumériques. Utiliser le lecteur de disques videonumériques dans des plages de température normales ou Comfortables dans l'habitacle. Consulter votre concessionnaire si le problème persiste. |
| Problème | Action recommendée |
| Le son du casque d'écoute sans fil a de la distorsion. | S'assurer que le casque d'écoute est orienté vers l'avant du vehicule. Les côtsès gauche et droit sont indiqués sur le casque d'écoute pour assurer une bonne réception des signaux. Vérifier qu'il n'y aaucun obstacle entre le casque d'écoute et l'émetteur. Vérifier que les batteries sont complètement chargées. |
| En mode auxiliaire, l'image rouge ou défile. | Vérifier le signal provenant du dispositif auxiliaire et s'assurer que la connexion et le signal sont bons. |
Messages du lecteur de disques videonumériques
Les messages d'erreur suivants peuvent s'afficher à l'écran video.
Disc Format Error (erreur de format de disque): Ce message s'affiche si un disque est inséré à l'envers, si le disque ne peut être lu ou si le format du disque est incompatible.
Disc Play Error (erreur de lecture de disque): Ce message s'affiche si le mecanisme ne peut pas faire la lecture du disque. Les disques rayés ou gravement endommagés peuvent être à l'origine d'une erreursemblable.
Region Code Error (erreur de code de zone): Ce message s'affiche si le code de région du disque videonumérique est incompatible avec le code de région du lecteur de disques videonumériques.
Load/Eject Error (erreur de chargement/ d'éjection): Ce message s'affiche si le disque n'est pas bien chargé ou éjecté.
No Disc (pas de disque): Ce message s'affiche lorsque vous essayez de dire ou d'éjecter un disque qui n'est pas dans le lecteur.
X: Une croix blanche (X) s'affiche dans le coin supérieur gauche de l'écran video, si l'opération selectionnée n'est pas actuellement disponible.
Distorsion des disques videonumériques
L'image video pourrait partager de la distorsion si vous utilisez un téléphone cellulaire, un scanner, une radio BP, un système de positionnement global (GPS*), un télécopieur mobile ou un émetteur-recepteur fixe ou portatif.
Si vous utilisez l'un de ces apparèils dans l'habitacle ou pres du vehicule, vous pourriez devoir éteindre le lecteur de disques videonumériques.
^* À l'exception du système OnStar ^MD .
Nettoyage du lecteur de disques videonumériques (DVD)
Pour nettoyer la façade et les boutons du lecteur de disques videonumériques, utiliser uniquement un chiffon propre imbibé d'eau.
Nettoyage de I'ecran video
Pour nettoyer l'écran video, utiliser uniquement un chiffon propre imbibé d'eau. Prendre ses précautions lorsqu'on doit toucher directement l'écran ou le nettoyer, car il est facile de l'endommager.
Système sonore arrêté (Option A, Haut de gamme)
Votre vehicule peut etre equipé de ce type de
système audio de siège arrière (RSA).Cette
fonction permet aux passagers arriere d'écouter
et de commander l'une des sources audio
suivantes:radio AM/FM,lecteur de disque avant
et service de radio par satellite XMMC (option).
Toutefois,les passagers arriere peuvent
uniquement commander les sources que les
passagers avant n'écoutent pas.Par exemple,
les passagers arriere peuvent écouter un CD dans
la radio avant et le commander pendant que le conducteur écoute la radio diffusée par les haut-parleurs avant. Les passagers arrêt都可以ient commander le volume de chaque casque d'écoute.
Les commandes audio du siège avant ont toujours priorité sur celles du système audio de siège arrêté. Si les passagers des sièges avant changent de source pour la radio principale, vers une source à distance, le système audio du siège arrêté ne pourrait pas contrôler la source à distance. Vous pouvez faire fonctionner le système audio de siège arrêté lorsque la radio principale est étente.
Le DVD ou le dispositif auxiliaire sera toujours disponible sur le canal (CHA ou CH1) des casques sans fil. Toutes les autres sources RSA sont disponibles sur le canal (CHB ou CH2) des casques sans fil, aussi bien que des casques avec fil. Si la source RSA est hors fonction, les casques avec fil permettent d'entendre le DVD ou le dispositif audio auxiliaire. Les passagers arrêt ne pourrait écouter la radio XM, sur le canal (CHB ou CH2), si le passager avant écoute un DVD ou un dispositif auxiliaire.
La télécommande ne permet pas d'activer les fonctions du RSA.

RSA (alimentation): Appuyer sur ce bouton pour allumer ou eteindre le systeme RSA. RSA CHB ou RSA CH2 s'affiche quand le systeme est en fonction pour indiquer quel est le canal de reception audio pour les casques sans fil. Une pression sur ce bouton supprime le son provenant des haut-parleurs arrriere.
BAND (bande): Appuyer sur ce bouton pour alterner entre les bandes FM1, FM2, AM, ou XM1 ou XM2 (le cas échéant). La station radio sélectionnée s'affiche. Si les passagers avant écoute la radio, le RSA ne peut pas passer d'une bande à l'autre ou changer la fréquence.
/ (syntonisation): Si l'on écoute la radio, appuyer sur la flèche droite ou gauche pour passer à la station suivante ou à la station précédente et y rester. Cette fonction est inopérante si les passagers des sièges avant écoute la radio.
Lors de la lecture d'un CD, appuyer sur la flèche gauche pour returner au début de la piste en cours, ou à la piste précédente. Appuyer sur la flèche droite pour passer à la piste suivante du CD. Cette fonction est inopérante si les passagers avant écoulent un CD.
PROG (programme): Appuyer sur ce bouton pour passer à la station préréglée suivante de la radio. Chaque pression sur ce bouton vous fait passer à la station préréglée suivante. Cette fonction est inopérante si les passagers avant ecoutent la radio.
Lors de la lecture d'un CD au moyen d'un lecteur ne pouvant contenir qu'un seul disque, appuyer sur ce bouton pour selectionner la piste suivante. Cette fonction est inopérante si les passagers des sièges avant écoulent un CD.
Lors de la lecture d'un disque compact dans le changeur de disques compacts à six disques, appuyer sur ce bouton pour sélectionner le disque compact suivant si plusieurs disques sont charges. Cette fonction est inopérante si les passagers des sièges avant écoute un disque compact.
SRCE (source): Appuyer sur ce bouton pour passer de la radio AM/FM, au lecteur de CD monté à l'avant, ou au service de radio par satellite XMMC (si le vehicule en est équipé). Si l'une des sources n'est pas chargée au moment où vous appuyez sur le bouton, le système l'ignore.
C (casque d'écoute): Appuyer sur le bouton croit ou gauche du casque d'écoute pour permettre le contrôle du volume du casque d'écoute avec fil connecté à la prise correspondante. Appuyer sur les flèches droite et gauche pour modifier le volume.
(contrôle parental): Ce bouton estitué derrière l'écran video, sous les prises auxiliaires. Appuyer sur ce bouton lorsque le système audio de siège arrêté est en cours d'utilisation ou lorsqu'un disque videonumérique ou un disque compact est en cours de lecture, afin de ne pas utiliser l'écran video et demettre le son en sourdine. Les témoins d'alimentation situés sur le lecteur de disques videonumériques clignotent. L'activation du contrôle parental désactive également le fonctionnement de tous les autres boutons, depuis la commande à distance jusqu'au lecteur de disques videonumériques, à l'exception du bouton d'éjection. Appuyer de nouveau sur ce bouton pour reactiver le fonctionnement du système audio de siège arrrière, du lecteur de disques videonumériques et de la commande à distance.
Ce bouton sert également à allumer le lecteur de DVD et à reprendre automatiquement la lecture du DVD si le moteur est démarré alors qu'un disque se trouve dans le lecteur. S'il n'y a pas de disque dans le lecteur alors le système s'allumera en mode auxiliaire.
Système sonore arrêté (Option B, Haut de gamme)
Votre vehicule peut etre equipe de ce type de système audio de siège arrêté (RSA).Cette fonction permet aux passagers arrêté d'écouter et de commander l'une des sources audio suivantes: radio AM/FM, lecteur de disque avant et service de radio par satellite XMMC (option). Toutefois, les passagers arrêté peuvent uniquement commander les sources que les passagers avant n'écoutent pas. Par exemple, les passagers arrêté peuvent écouter un CD dans la radio avant et le commander pendant que le conducteur écoute la radio diffusée par les haut-parleurs avant. Les passagers arrêté peuvent commander le volume de chaque casque d'écoute.
Les commandes audio du siège avant ont toujours priorité sur celles du système audio de siège arrêté. Si les passagers des sièges avant changent de source pour la radio principale, vers une source à distance, le système audio du siège arrêté ne pourra pas contrôle la source à distance. Vous pouvez faire fonctionner le système audio de siège arrêté lorsque la radio principale est éteinte.
Le DVD ou le dispositif auxiliaire sera toujours disponible sur le canal (CHA ou CH1) des casques sans fil. Toutes les autres sources RSA sont disponibles sur CHB ou CH2 des casques sans fil aussi bien que des casques avec fil. Si la source RSA est hors fonction, les casques avec fil permettent d'entendre le DVD ou le dispositif audio auxiliaire. Les passagers arrirè ne pourront écouter la radio XM sur le canal CHB ou CH2 si le passager avant écoute un DVD ou un dispositif auxiliaire.
La télécommande ne permet pas d'activer les fonctions du RSA.

RSA SRC (source audio du siège arrière):
Appuyer sur ce bouton pourmettrele système RSA en fonction.Appuyer sur ce bouton pour commuter entre les sources AM, FM1, FM2, le service radio satellite X M 1 ^ MC ou X M 2 ^ MC (option) ou le lecteur de disques avant.Si l'une des sources n'est pas chargée,le système saute la source quand ce bouton est enforcé.Maintenir le bouton enforcé pourmettrele RSA hors fonction.
, , , (flèches directionnelles): Flèche vers le haut - Appuyer sur ce bouton en mode de radio AM/FM ou de service radio satellite X M^MC pour commuter entre les présections d'émetteurs. Appuyer sur ce bouton en écouteant le lecteur monodisque pour passer à la piste suivante. Appuyer sur ce bouton pendant l'utilisation du lecteur pour six disques pour passer au disque suivant.
Flèche vers le bas - Appuyer sur ce bouton en mode de radio AM/FM pour changer de bande entre AM/FM et le lecteur de disque ou le service radio satellite XMMC.
Flèche vers la gauche - Appuyer sur ce bouton en mode de radio AM/FM ou de service radio satellite XMMC pour rechercher vers le bas. Appuyer sur ce bouton pendant la lecture d'un lecteur monodisque ou d'un lecteur pour six disques pour passer à la piste précédente.
Flèche vers la droite - Appuyer sur ce bouton en mode AM/FM ou de service radio satellite XMMC pour rechercher vers le haut. Appuyer sur ce bouton pendant la lecture d'un lecteur monodisque ou d'un lecteur pour six disques pour passer à la piste suivante.
( volume du casque branché): Appuyer sur ce bouton pour selectionner le casque correct. Ensuite, appuyer sur les boutons avec flèches des côtés gauche et droit pour augmenter ou diminuer le volume du casque.
(contrôle parental): Ce bouton estitué derrière l'écran video, pres des prises auxiliaires et de casque. Appuyer sur ce bouton lorsque le système audio de siège arrêté est en cours d'utilisation ou lorsqu'un disque vidéonumérique ou un disque compact est en cours de lecture, afin de ne pas utiliser l'écran video et demettre le son en sourdine. Les tímoins d'alimentation situés sur le lecteur de disques vidéonumériques clignotent. L'activation du contrôle parental désactive également le fonctionnement de tous les autres boutons, depuis la commande à distance jusqu'au lecteur de disques vidéonumériques, à l'exception du bouton déjection. Appuyer de nouveau sur ce bouton pour réactiver le fonctionnement du système audio de siège arrêté, du lecteur de disques vidéonumériques et de la commande à distance.
Ce bouton sert également à allumer le lecteur de DVD et à reprendre automatiquement la lecture du DVD si le moteur est démarré alors qu'un disque se trouve dans le lecteur. S'il n'y a pas de disque dans le lecteur alors le système s'allumera en mode auxiliaire.
Système média numérique mobile
Votre vehicule peut etre equipe du système de media numérique mobile GM qui comprend un lecteur de media numérique, un contrôleur de jeu sans fil, la cartouche de mémorisation de media numérique (DMS), le berceau USB 2.0 (station d'accueil) et le logiciel de gestion media PhatNoiseMC.
Voir l'information suivante pour plus d'information au sujet des composants du système de media numérique complet.
Lecteur de media numérique

Le lecteur de media numérique est contenu dans une console au pavillon. Il est fixé au système de longeron en hauteur du vehicule, derrière le plafonnier de la seconde rangée de sièges.
La console au pavillon possède une ouverture qui s'ouvre vers le bas et est utilisée pour introduire ou-retirer la cartouche DMS. Tirer le panneau vers le bas pour introduire la cartouche amovible. Fermer ce panneau pour dissimuler complètement la cartouche dans la console.
Quand la cartouche DMS est introduite, le lecteur de media numérique peut dire tout le contenu enregistré sur la cartouche. Le contenu audio est accessible au moyen des commandes de l'autoradio et du volant. Les enregistements audio, video et les yeux sont accessibles via l'écran video de siège arrêté.
Contrôleur de jeu sans fil

La plupart des fonctions du contrôle de jeu variant en fonction du jeu utilisé.
Le contrôleur de jeu sans fil permet aux passagers arrêté d'interagir. Appuyer sur les boutons du contrôleur pour envoyer des commandes au jeu en cours.
Cartouche d'enregistrement de media numérique (DMS)

La cartouche DMS est un disque dur portable de 40 giga de la taille d'un Palm.
Cette cartouche peut enregistrer jusqu'à 5000 morceaux au format MP3 ou jusqu'à 15 films courants au format MPEG et des heures de collections deieux, ou une combinaison des trois.
Berceau USB 2.0

Ce type de berceau est la station d'accueil de la cartouche DMS.
Le berceau USB 2.0 est la station d'utilisation qui connecte la cartouche DMS à l'ordinateur domestique, permettant d'ajouter un nouveau contenu à la cartouche DMS. Quand le berceau est connecté à l'ordinateur domestique, vous pouvez dire la cartouche DMS ou y écrire. Le système est compatible avec les ordinateurs domestiques qui soutiennent la communication USB (Microsoft™ Windows 98 SR2 et ultérieures).
Le berceau USB 2.0 est également compatible en回头 avec les ordinateurs équipés d'USB 1.1.
Gestionnaire de media PhatNoiseMC

Le gestionnaire de media PhatNoise ^MC (PMM) accepts the systeme de media numérique mobile GM de vehicule. Le PMM peut être utilisé pour sauvégarder des disques compacts audio sur la cartouche DMS aussi bien que pour organiser et transférer des pistes existantes sur votre PC, pour charger des fichiers video sur votre cartouche DMS, pour acheter des videos préchargeées et des yeux, etc.
Sélection de votre media numérique mobile comme source active
Votre radio et votre système de divertissement des sièges arrêté communiquent avec le système media numérique mobile GM, étant donné qu'une unité compacte peut être accessible par les occupants du vehicule. Le système de media numérique mobile GM peut mémoriser des milliers de chansons, des heures de video et des centaines de jours.
Pour utiliser ce système, consulter l'information rapide suivante :
- Aux sièges du conducteur et de passager avant, utiliser la radio et les commandes au volant pour acceder à la collection de musique avec la technologie de PhatNoise Voice IndexMC. Les boutons de préselection peuvent être utilisés pour selectionner la catégorie parcourue. Les boutons Next (suivant), Previous (précedent) et Seek (recherche) peuvent être utilisés pour parcourir une catégorie. Parcourir la collection de musique par artiste, album, genre ou liste personnalisée.
Le système utilise le mode vocal pourannoncer ses sélections. Consulter le paragraphe qui explique l'utilisation du système de media numérique mobile GM aux sièges avant, plus loin dans ce manuel.
- Les passagers de siège arrêté utilisent la commande à distance DVD sans fil pour naviguer dans le menu affiché à l'écran video DVD placé en hauteur, puis pour sélectionner la musique, les films ou les yeux. Un contrôleur de jeu dédié est inclus dans l'ensemble de media numérique mobile. Se reporter à la Description du media numérique mobile GM pour le divertissement aux sièges arrêté, plus loin dans ce manuel.
Votre vehicule peut etre équipé de commandes audio au volant qui peuvent etre régées au volant. Voir Commandes audio intégrées au volant de direction à la page 404 dans le guide du propriétaire.
Si votre vehicule est équipé de commandes au volant audio OnStar ^MD /Mute, dire les informations suivantes.
Pour les vehicules avec OnStar ^MD :
- Maintenir enforcé le bouton de sourdine pour activer OnStar ^MD .
- Appuyer puis relâcher ce bouton pour désactiver le mode OnStarMD et passer en mode de sourdine.
Appuyer deux fois sur ce bouton pour retrouver le son du système de media numérique mobile GM.
Les vehicules sans OnStar ^MD :
- Appuyer sur le bouton de sourdine pour couper le son, appuyer sur ce bouton puis le relâcher pour retrouver le son.

Utilisation du système de media numérique mobile GM pour le divertissement audio dans le siège avant
A. Album
B. Artiste
C. Genre
D. List de lecture
E. Items de mode
F. Pistes
Le media numérique mobile GM est commandé à travers les commandes de radio et du volant sur votre système audio de vehicule. Ce système ne fonctionne pas comme un changeur de disques classique. Le système de media numérique vous permet de commuter entre différents modes de lecture. Ces modes déterminent la chanson suivante qui sera écoutee. En utilisant les modes, vous pouze parcourir des listedes de lecture, des artistes, des albums et des genres pendant que le système lit les noms par index vocalMC pendant que vous roulez. En selectionnant le mode de liste de lecture, vous pouze acceder à la collection de musique dans l'ordre de la cartouche DMS ou vous pouze trier les morceaux par album, artiste ou genre en selectionnant les modes correspondants.
Commande du système aux sièges avant
Le système de media numérique mobile GM est disponible à travers le mode DMS de votre autoradio. Ce système s'allume et s'éteint automatiquement et reprend la où le système avait été arrêté.
Voici comment commencer la lecture :
- Introduire la cartouche DMS dans le lecteur de media numérique mobile GM.
- Mettre l'autoradio en fonction et passer en mode DMS en appuyant sur le bouton CD/AUX (lecteur de disque compact auxiliaire) de votre autoradio.
- Appuyer sur l'un des quatre premiers boutons-poussoirs (A-D) pour sélectionner un mode.
- Appuyer sur la flèche SEEK/SCAN (recherche/exploration) du côté gauche ou droit (E) pour naviguer à travers les éléments de mode.
- Faire tournier le bouton de syntonisation (F) pour naviguer à travers les chansons d'une liste.
Présentation des modes
Les boutons numérotés de préselection un à quatre sont utilisés pour modifier l'ordre des pistes groupées et lues. Par exemple, en mode artiste, toutes les pistes sont groupées par nom d'artiste. Les noms sont triés alphabetiquement.
Les flèches SEEK/SCAN (recherche/exploration) sont utilisées pour changer d'article de mode. Par exemple, en mode album, ceci permet de passer à l'album suivant ou précédent. Le nom de liste de mode s'affiche pendant cinq secondes puis est mis à jour pour montré la liste en cours du système de media numérique mobile GM.
Le bouton de syntonisation est utilisé pour modifier le morceau de la catégorie en cours. Par exemple, dans une liste (mode de liste) faire tourner le bouton de syntonisation vers la droite pour passer de la piste 1 à la piste 2.
Une fois qu'un mode a eté mémorisé, naviguer à travers les catégories dans ce mode en appuyant sur la flèche SEEK/SCAN (recherche/exploration) du côté droit ou gauche. Les éléments de catégorie s'affichent pendant cinq secondes puis se mettent à jour pour indiquer la catégorie de lecture du système de media numérique.
Pour modifier le chanson en cours de lecture, appuyer sur la flèche SEEK/SCAN (recherche/exploration) du côté droit ou gauche pour naviguer entre les chansons.
Paramétrage du mode de défilament en utilisant l'index vocalMC
Le système organise automatiquement tous les chansons de la cartouche DMS. Avec le défilament d'index vocalMC, les six boutons-poussoirs numérotés sont utilisés comme boutons de mode pour circuler dans le système qui lit les albums, les artistes, les genres et les noms de listependant que vous roulez.
1-6 (boutons-poussoirs): Le système de media numérique GM utilise les boutons de préselection numérotés d'émetteur pour circuler entre les modes. Appuyer sur l'un des boutons-poussoirs pour régler le mode de défilament. Le mode de défilament sélectionné est annoncé et son nom s'affiche.
Les boutons-poussoirs de préselection et les modes associés avec ces nombres sont :
(1) Album
(2) Artiste
(3) Genre
(4) List de lecture
(5) Inutilisé
(6) Inutilisé
Changement des listedes de morceaux dans un mode de défilament
Chaque mode de défilament contient des listes de chansons. Par exemple, le mode genre pourrait/countér une liste de chansons classiques, une liste de musique rock et une liste d'autres chansons.
Une fois le système audio paramétré pour un des quatre modes, appuyer sur le bouton SEEK/SCAN (recherche/exploration) pour naviguer à travers les listes de chanson. Par exemple, appuyer sur la flèche du côté droit en mode album pour passer à l'album suivant. Appuyer sur la flèche du côté gauche pour returner à l'article précédent d'album.
Appuyer sur la touche SEEK/SCAN (recherche/exploration) pour passer à la liste de chansons suivante.
Mode 1 (mode album): Appuyer sur le bouton-poussoir (1) pourmettrele systeme en modeAlbum.Appuyersur la flècheSEEK/SCAN (recherche/exploration) du côté droit ou gauche pourpassaràl'albumpréciédentou suivant. Lesalbums sonténumerérés alphétiquement par groupes d'artistes.
Mode 2 (mode artiste): Appuyer sur le bouton-poussoir (2) pourmettrele système en mode Artiste. Appuyer sur la flèche SEEK/SCAN (recherche/exploration) du côté droit ou gauche pourpassar à l'artiste suivant ou precedent énumérés dans l'ordre alphétique.
Mode 3 (mode genre): Appuyer sur le bouton-poussoir (3) pourmettrele système en mode Genre. Appuyer sur la flèche SEEK/SCAN (recherche/exploration) du côté droit ou gauche pour passer au genre suivant ou précédent, dans l'ordre alphétique.
Mode 4 (mode liste de lecture): Appuyer sur le bouton-poussoir (4) pourmettrele système en modeliste de lecture.Appuyer sur la flèche SEEK/SCAN(recherche/exploration) du côté croit ou gauche pour passera à la liste de lecture suivante ou précédente,dans l'ordre de sauvegarde deslistes sur la cartouche DMS.
Les listes d'album, d'artiste ou de genre sont générées et organisées automatiquement en utilisant le gestionnaire de media PhatNoiseMC.
Recherche à travers les titres d'une liste de chansons
Maintenir enforcé le bouton SEEK/SCAN (recherche/exploration) pendant plus de 2 secondes pour lancer la recherche à travers les titres. Appuyer sur ce bouton à nouveau pour arrêté sur un titre de la liste.
Le système de media numérique annunciera dans chaque mode ce qui suit :
Mode 1 (mode album): Les noms d'album.
Mode 2 (mode artiste): Les noms d'artiste.
Maintenir enforcé le bouton SEEK/SCAN
(recherche/exploration) jusqu'à ce que le système annonce la première lecture de chaque nom d'artiste.
Mode 3 (mode genre): La première lecture de nom d'artiste estANNOCEE dans l'ordre alphabétique. Maintenir enfoncé le bouton SEEK/SCAN (recherche/exploration) jusqu'à ce que le systèmeannounce la première lecture de chaque nom d'artiste.
Mode 4 (mode liste de lecture): La recherche à travers les chansons n'est pas disponible en mode liste de lecture.
Recherche de chanson dans une liste de chansons
Après avoir trouvez une liste de lecture, un artiste, un album ou un genre, naviguer travers les chansons en faisant tourner le bouton de syntonisation.
Utilisation des boutons d'avance et de recul rapide
(«») (avance et recul rapides): Maintenir enforcée la flèche d'avance ou de recul rapides pour avancer ou reculer rapidement dans la piste en cours.
Utilisation du système de media numérique mobile GM dans les sièges arrêté

Les passagers des sièges arrêté peuvent jour des enregistements audio, video et des yeux en utilisant les casques sans fil.
Écran video placé en hauteur
L'accès aux enregistements audio, video et aux yeux, dans le système de menu est affiché à l'écran video. La télécommande DVD et les commandes du lecteur DVD lui-même peuvent être utilisées pour effectuer les sélections.
Lancement du système pour le divertissement aux sièges arrêté
Le système de media numérique mobile GM est disponible à travers le mode auxiliaire du lecteur DVD.
Pour commencer à utiliser le système, agir comme suit :
- Introduire la cartouche DMS dans le lecteur de media numérique mobile GM.
- Allumer vous écran video en appuyant sur le bouton de mise sous tension.
- Passer en mode DMS en appuyant sur le bouton AUX (auxiliaire).
Naviguer parmi les menus affichés en utilisant la télécommande DVD
Les menus affichés permettent d'acceder aux enregistements audio, video et aux yeux de votre cartouche d'enregistrement des media numérique (DMS). Utiliser la télécommande DVD pour naviguer parmi les menus affichés.

A. Liste vers le haut
B. Menu supérieur
C. Gauche
D. Liste vers le bas
E. Sélection
F. Options
G. Droit
H. Retourner à la seLECTION en cours
A, V, <, > (liste vers le haut, liste vers le bas, flèches vers la droite et la gauche):
Pour le système de media numérique mobile GM, appuyer sur les flèches de liste vers le haut ou vers le bas (A, D) pour déplacer la zone vers le haut ou vers le bas mise en évidence des articles.
Appuyer sur la flèche du côte droit (G) pour avancer dans l'item sélectionné ou appuyer sur la flèche du côte gauche (C) pour remonter à un niveau de menu.
(entrée/sélectionner): Pour le système de media numérique mobile GM, appuyer sur le bouton enter/select (accepter/sélectionner) (E) pour passer à un article de menu sélectionné.
( titre/menu supérieur): Pour le système de media numérique mobile GM, appuyer sur le bouton de titre/menu supérieur (B) pour sauter à l'écran de début.
(%) (retour/sélection actuelle): Pour le système de media numérique mobile GM, si l'audio fonctionne ou en mode pause, appuyer sur le bouton (H) de retard/sélection actuelle pour returner à la sélection actuelle.
- (menu/options): Pour le système de media numérique mobile GM, appuyer sur le bouton (F) menu/options pour afficher la liste des options.
(arryt): Pour le système de media numérique mobile GM, appuyer sur ce bouton pour arreter la lecture de l'option sélectionnée.
/II (lecture/pause): Pour le système de media numérique mobile GM, appuyer sur ce bouton pour lancer la lecture d'une option selectionnée. Appuyer sur ce bouton quand une option est en mode de lecture pour une pause. Appuyer à nouveau pour poursuivre la lecture de l'option en cours.
Piles de télécommande DVD
Si la télécommande semble en panne, les piles sont peut être déchargées. Se reporter à Telecommande, « Remplacement des piles », dans le guide du propriétaire du vehicule.
Défilament audio

1. Sélectionner l'option audio dans le système de menus affiché à l'écran video.

2. Appuyer sur le bouton SELECT (selection) et sur les flèches (A, D) de listes vers le haut ou le bas de la télécommande pour naviguer à travers les options de menu telles qu'album, artiste, liste de lecture ou genre. Consulter « Naviguer parmi les menus affichés en utilisant la télécommande DVD», plus haut dans cette section, pour plus d'information.

- Appuyer sur le bouton de selection (E) de la télécommande pour commencer la lecture d'un album, d'un artiste, d'un genre, d'une liste ou d'une chanson. Se reporter à navigation dans les menus affichés en utilisant la télécommande, plus haut dans cette section, pour plus d'information.

- Si vous désirez trouver une chanson particulier, appuyer sur la flèche (G) de la télécommande pour avancer dans un article sélectionné. Se reporter à « Naviguer parmi les menus affichés en utilisant la télécommande DVD », plus haut dans cette section, pour plus d'information.
Défilament des films video
Faire défilier les films enregistrés sur le système à travers l'écran de menu. Le format MPEG est utilisé et vous pouze voir des films enregistrés depuis la télévision, un film à la maison, des films téléchargés, des films préenregistrés et des spectacles. Consulter les instructions suivantes pour plus d'information au sujet de l'écran :

- Sélectionner l'option audio au système de menus affché à l'écran video.

- Appuyer sur les flèches (A, D) de listes vers le haut ou le bas de la télécommande pour naviguer à travers les video préchargees et les listes de lecture de video déverrouillées. Consulter « Naviguer parmi les menus affichés en utilisant la télécommande DVD », plus haut dans cette section, pour plus d'information.

- Si vous désirez tracer un film particulier, appuyer sur la flèche (G) du côté droit de la télécommande pour avancer dans un item sélectionné. Se reporter à « Naviguer parmi les menus affichés en utilisant la télécommande DVD», plus haut dans cette section, pour plus d'information.
Défilament des jours
Défilament des produits enregistrés sur le système à travers l'écran de menu. Les produits sont précharges sur la cartouche DMS et affichés avec des riches graphismes ainsi que le contrôleur de jeu sans fil.

- Sélectionner l'option des produits à travers le système de menus affiché à l'écran video.

- Appuyer sur les flèches (A, D) de listedes vers le haut ou le bas de la télécommande pour naviguer à travers les ensembles de yeux préchargeés. Ces ensembles de yeux peuvent être achetés et déverrouillés depuis votre ordinateur de bureau. Se reporter au guide du propriétaire de gestionnaire de media PhatNoiseMC pour plus d'information sur la manière de déverrouiller les yeux.

Contrôleur de jeu sans fil

A. Bouton de démarrage
B. Lumière de démarrage
C. Bouton de sélection
D. Lampe de sélection
E. Levier de pouce du côte gauche
F. Pavé basculant du côte gauche
G. Levier de pouce du cote droit
Le contrôleur de jeu sans fil transmets des signaux de fréquence radio au moniteur placé en hauteur. Aucun fil ne gén ne vos mouvements en jouant.
Le clavier illustré plus haut possède six boutons placés en haut à droit du contrôleur de jeu.
Synchronisation du contrôle de jeu sans fil
Dans le cas où votre contrôleur de jeu de media numérique mobile GM doit être synchronisé à nouveau avec votre vehicule, ouvrir le compartment des piles etPTRirer une pile.
Dés que la pile est replaced, le contrôleur de jeu sera synchronisé avec le vehicule pendant le cycle d'allumage suivant.
Mode de lecture du contrôle de jeu sans fil
La fonctionnalité de contrôleur de jeu de media numérique mobile GM dépend du jeu utilisé. Dans les cas où il existe des options à deux jouveurs pour un jeu, vous pouvez désirer posseder un second contrôleur dans votre vehicule. Ce contrôleur peut être acheté chez votre concessionnaire.
Mode sauvegarde d'alimentation du contrôleur de jeu sans fil
Votre contrôleur de jeu de media numérique mobile GM possède un mode de sauvegarde d'alimentation pour prolonger la durée de vie des piles. Quand il n'est pas utilisé, le contrôleur de jeu passée automatiquement en mode sommeil. Le contrôleur de jeu peut être réveillé à tout moment en appuyant sur le bouton de démarrage.
Importantes consignes de sécurité et de manipulation
Cet équipement a ete teste et est conforme aux limites d'un dispositif numérique de classe B, apparanten à la partie 15 de la reglementation FCC. Ces limites sont conques pour offrir une protection raisonnable contre les interférences nuisibles dans une installation résidentielle.
Cet équipement peut cause des interférences nuisibles avec les communications radio s'il n'est pas installé et utilise conformément aux instructions. Cependant, il n'existe pas de garantie d'absence d'interférence dans une installation particulière. Si cet équipement cause des interférences nuisibles lors de la réception de la radio ou de la télévision, qui peuvent être déterminés en mettant l'équipement en et hors fonction, consulter le concessionnaire pour obtenir de l'aide.
Cet émetteur est conforme à la norme CNR-210 d'Industrie Canada. Le fonctionnement est soumis aux deux conditions suivantes :
- Cet apparéil ne doit causeur aucune interférence.
- Cet apparéil doit accepter toute interférence reçue dont celles pouvant causeur un fonctionnement intempestif.
Des changements et modifications à ce système par un établissement autre qu'un centre de service agrée pourrait annuler le droit d'utiliser cet équipement.
Lire les instructions suivantes de manipulation et d'entretien de votre système de media numérique mobile et de ses composants.
Entretien de la cartouche d'enregistrement de media numérique (DMS)
- Ne pas abandonner la cartouche DMS dans des lieux extrémement chauds comme dans l'habitacle, sur le tableau de bord ou sur la tablette arrêté, sous les rayons solaires directs.
-
Ne pas laisser tomber la cartouche DMS ni la soumettre à des chocs violents.
-
Ne pas verser de liquide sur la cartouche DMS ni l'immerger dans du liquide. La seule protection efficace des données et des autres matériaux enregistrres sur la cartouche DMS consiste à effectuer une sauvegarde régulière des données.
Entretien du lecteur de media numérique mobile
- Ne jamais utiliseraucun type de liquide tel qu'unagent de nettoyage à l'intérieur d'un panneau de cartouche ouvert du lecteur de media numérique. Ceci endommagerait les pièces ou le mécanisme interne nécessaires pour faire fonctionner l'unité.
- N'utiliser aucun objet pour tenter d'ouvrir le lecteur de media numérique mobile et ne placer aucune partie du corps ni aucun corps étranger dans l'ouverture du produit.
Tableau de conseils et de dépannage
| Problème | Causes et solutions |
| Le système de media numérique et le système RSE ne s'allument pas du tout. | • Un Fuse de la voiture a fondu. ÀpRES la recherche de courts-circuits dans les fils, remplacer lefuse par une piece du même ampérage. |
| L'écran RSE affiche DMS MEDIA NOT INSERTED (media DMS non inséré). | • La cartouche DMS n'est pas complètement introduite. Introduire complètement la cartouche. |
| L'écran RSE affiche DMS MEDIA LOADING (chargement du media DMS). | • Le système est en cours d'initialisation. Attendre jusqu'à 15 secondsl'initialisation du système puis returner au mode de media numérique. |
| L'écran RSE affiche DMS MEDIA ERROR (erreur de media DMS). | • La cartouche DMS ne fonctionne pas correctement ou est endommagée. Si le problème persiste, consulter votre concessionnaire. |
| L'écran RSE affiche DMS MEDIA FILE ERROR (erreur de fichier de media DMS). | • Les fichiers de votre cartouche peuvent être corrompus. Faire tournier le programme PhatNoise DMS Doctor sur votre ordinateur et suivres les consignes. |
Tableau de conseils et de dépannage (suite)
| Problème | Causes et solutions |
| La lampe verte clignote à un rythme constant pendant plus de 20 secondes. | • Vous avez mis à jour le logiciel de la cartouche DMS et le système de media numérique mobile effectue sa reprogrammation. NE PAS DEPOSER LA CARTOUCHE DMS. Laisser le système de media numérique se reprogrammer lui-même pendant 10 minutes au besoin. Quand la programmation est achèvée, la lampe s'éteint. Le système est prét à l'utilisation. |
| Aucun son. | • Régler le volume de l'unité de tête. • L'unité de tête doit avoir le lecteur de media numérique comme source active. |
| Aucun son. L'unité de tête ne peut accéder au système de media numérique. | • Les fichiers de votre cartouche peuvent être corrompus. Faire tournier le programme PhatNoise DMS Doctor sur votre ordinateur et suivre les consignes. • Si vous venez de télécharger un nouveau logiciel, ceci est normal. Attendre environ sept minutes l'accrit du clignotement de la lampe verte, puis les deux lampes doivent s'éteindre. |
Tableau de conseils et de dépannage (suite)
| Problème | Causes et solutions |
| Souts audio pendant la lecture. | Un saut ou une coupure pendant la lecture peut avoir de nombreuses causes. En cas de coupure voici des choses à vérifier : • Quand vous entendez un saut, recommencer la lecture de la piste ou rechercher en arrêt pour écouter si le saut figure dans le fichier musical. • Vérifier si vous utilisez les logiciels les plus récents. Ceci est très important étant donné que les logiciels sont fréquèment mis à jour. Consulter le manuel du gestionnaire de musique PhatNoise. • Il arrive qu'une cartouche fragmentée présente des sauts suite à l'augmentation des durées de recherche. Défragmenter la cartouche pour un meilleur rendissement. Consulter les instructions du logarithmici PhatNoise Media ManagerMC pour la défragmentation d'une cartouche. |
| Les fichiers WMA ne sont pas lus dans le système de media numérique mobile. | Certains logiciels tels que Windows Media Player représentent une protection contre la copie dans les outils d'encodage WMA. Ceci empêche la lecture des pistes sur un dispositif autre que votre ordinateur. Désactiver la case à cocher Copy Protect Music (protection contre la copie de musique) en encodant la musique. Consulter votre manuel de logarithmici pour plus d'information. |
Tableau de conseils et de dépannage (suite)
| Problème | Causes et solutions |
| Les messages vocaux manquent dans le vehicule. | Vérifier les réglages de message vocal sur votre ordinateur de bureau :Introduire le DMS.Ouvrir la fonction Device view (voir le dispositif) et sélectionner le DMS.Appuyer sur le bouton Hardware Options(options matérielles).Ouvrir l'onglet DMS Database/Voice Prompts(base de données DMS/avis vocaux et cliquer sur Fix Voice Prompts (réparer les messages vocaux). |
Centre d'assistance à la clientèle
Pour obtenir une assistance à la clientèle aux États-Unis, appeler le 1-877-GM-PHATN (1-877-467-4286) ou s'adresser au centre d'assistance à la clientèle par Internet sur le site gmmobilemediasupportgedas.com.
Pour obtenir une assistance à la clientèle au Canada, consulter les bureaux d'assistance à la clientèle dans l'index du guide du propretaire de votre vehicule.
Dispositif antivol
Le système THEFTLOCKMD est unconçu pour désigner le vol de votre radio. Il fonctionne automatiquement par mémorisation d'une partie du numéro d'identification du vehicule (NIV). Si la radio est transférée dans un autre vehicule, elle ne pourrait pas fonctionner et l'indication LOCKED (verrouillé) s'affichera.
Si le système THEFTLOCKMD est activé, il empêche votre radio de fonctionner en cas de vol.
Commandes audio intégrées au volant de direction


Si vous vécicule est muni de cette fonction, certaines commandes audio peuvent être régées sur le volant. Ces commands sont indiquées ci-après :
(\triangle \triangle \triangle \triangle \triangle \triangle \triangle \triangle \triangle \triangle \triangle \triangle \triangle \triangle \triangle \triangle \triangle \triangle \triangle \triangle \triangle \triangle \triangle \triangle \triangle \triangle \triangle \triangle \triangle \triangle \triangle \triangle \triangle \triangle \triangle \triangle \triangle \triangle \triangle \triangle \triangle \triangle \triangle \triangle \triangle \triangle \triangle \triangle \triangle \triangle \triangle (recherche): Pour passer à la station suivante ou à la précédente, appuyer sur les flèches haut ou bas.
Pour effectuer l'exploration des stations radio, appuyer sur l'une des flèches et la maintainir enforcée pendant deux secondes jusqu'à ce que la mention FREQUENCY SCAN (exploration des fréquences) s'affiche. La radio passe d'une station à l'autre en s'arrêtant quelques secondes sur chacune. Appuyer de nouveau sur l'une des flèches pourmettre fin à l'exploration.
Le son se coupe pendant la recherche ou l'exploration. La radio ne recherche ou n'explore que les stations de signal fort se trouvant dans la bande sélectionnée.
Quand on écoute un disque compact, appuyer sur l'une ou l'autre des flèches pour passer à la piste précédente ou suivante, au cas où plus de huit secondes se sont écoulées. Si on appuie sur l'une ou l'autre des flèches plus d'une fois, le lecteur continua à parcourir la cassette vers l'arrière ou l'avant.
BAND (bande): Appuyer sur ce bouton pour changer entre les bandes FM1, FM2 ou AM, ou XM1 ou XM2 (le cas échéant).
1-6: Appuyer sur ce bouton pour explorer les stations préréglées sur les boutons-poussoirs. La radio passée à la station mémorisée suivante, la joue quelques secondes, puis saute à la station suivante. Enconcer de nouveau ce bouton pour interrompre l'exploration. La radio n'explore que les stations préréglées avec un signal fort et comprises dans la bande sélectionnée.
(sourdine): Appuyer sur ce bouton pour couper le son. Appuyer de nouveau sur ce bouton pour rétabir le son.
(lecture): Appuyer sur ce bouton pour passer de la radio à l'écoute d'un disque compact.
(volume): Appuyer sur la flèche montante ou descendante pour augmenter ou diminuer le volume.
Réception radio
Il est possible que vous subissiez des interférences de fréquence et des parasites lors de la réception normale de la radio si des éléments tels que des chargeurs de téléphones cellulaires, des accessoires de comport pour le vehicule et des dispositifs électroniques externes sont branchés à la prise électrique pour accessoires. En cas d'interférence ou de parasites, débrancher le dispositif en cause de la prise électrique pour accessoire.
AM
La portée de la plupart des stations AM est supérieure à celle des stations FM, en particulier la nuit. Une portée plus importante peut provoquer des interférences entre les stations. Pour une meilleure réception de la radio, la plupart des stations radio AM augmentent les niveaux de puissance en journée, puis les réduisent la nuit. Des parasites peuvent également se produit lorsque des tempêtes et lignes électriques interférènt avec la réception radio. Dans ce cas, essayer de réduire le niveau des aigus sur la radio.
FM stéreo
La FM stéreo offre un meilleur son, mais les signaux FM n'ont une portée que d'environ 16 à 65 km (10 à 40 milles). Les grands édifices et les collines peuvent interférer avec les signaux FM et atténuer par moment la réception.
Service de radio par satellite XMMC
Le service de radio par satellite XMMC you offre une réception radio numérique d'un océan à l'autre dans les 48 états contigus des États-Unis et au Canada. Tout comme pour les stations FM, les grands édifices et les collines peuvent interférer avec les signaux radio par satellite, attenuant ainsi la réception à certains moments. Par ailleurs, le fait de voyageer ou de se trouver sous des feuillages écais, des Ponts, des garages ou des tunnels peut entraîner une perte du signal XMMC pendant une certaine durée. Le message NO XM SIGNAL (aucun signal XM) peut s'afficher sur la radio pour signaler une interférence.
Entretien des disques compacts et des disques videonumériques (DVD)
Manipuler les disques compacts avec précaution. Les ranger dans leurs boîtiers d'origine ou dans d'autres boîtiers de protection et les éloigner des rayons du soleil et de la poussière. Le lecteur de disques compacts explore la surface inférieure du disque. Si la surface d'un disque compact est endommagée, notamment fendue, brisée ou rayée, le disque compact ne pourra pas être lu correctement, voire pas du tout. Si la surface d'un disque compact est souillée, utiliser un tissu doux et non pelucheurs ou bien humecter un tissu doux et propre dans une solution détergente neutre et douce pour la nettoyer. S'assurer de procéder à l'essuyage en partant du centre pour revenir vers le bord.
Ne pas toucher le côté inférieur d'un disque compact lors de sa manipulation. Vous risqueriez d'endommager la surface. Saisir les disques compacts par les bords extérieurs ou par l'ouverture centrale et le bord extérieur.
Entretien du lecteur de disques compacts et de disques videonumériques (DVD)
L'utilisation de nettoyeurs de lentille de lecteur de disques compacts n'est pas recommendée à cause du risque de contamination de la lentille par les lubrifiants du mécanisme interne du lecteur.
Antenne fixe
L'antenne fixe peut passer dans la plupart des lave-autos sans dommage. Si elle en ressort légèrement pliee, elle peut etre redressée à la main. Toutefois, si la piure est accentuee, I'antenne doit etre remplacee.
Vérifier le mât à l'occasion pour s'assurer qu'il est bien visse sur la base de l'antenne située sur le capot. S'il a besoin d'être resserré, le faire à la main.
Système d'antenne autoradiosatellite XMMC (États-Unis seulement)
L'antenne radio satellite XM^MC se trouve sur le toit du vehicule. Éviter l'accumulation de neige ou de glace dessus pour conserver la qualité de la réception.
La disposition d'objets sur le toit peut également nuire au rendement du système XMMC. S'assurer que l'antenna satellite XMMC n'est pas obstruée.
Réglage du niveau de carillon
L'autoradio est utilisé pour régler le niveau du carillon. Pour modifier le niveau de volume du carillon, enforcer le bouton-poussoir 6 pendant que le contact est mis et que l'autoradio est étéint. Le niveau du volume passera de normal à fort, et LOUD (fort) s'affichera. Pour revenir au réglage normal ou par défaut, enforcer de nouveau le bouton-poussoir 6. Le niveau du volume passera de fort à normal, et NORMAL s'affichera. Si l'autoradio est retire et n'est pas remplace par un autoradio ou un carillon d'usine, les carillons du vehicule seront désactivés.
NOTES
Section 4 Conduite de votre vehicule
Votre conduite, la route et votre vehicule .... 410
Conduite defensive 410
Conduite en etat d'ébriéte 411
Contrôle du vehicule 414
Freinage 415
Système de freinage antiblocage 416
Freinage d'urgence 418
Système de traction asservie (TCS) 419
Système StabiliTrakMD 420
Direction 423
Contrôle d'un dérapage sur l'accotement .... 426
Manoeuvre de dépassement 426
Perte de contrôle 428
Conduite de nuit 430
Conduite sous la pluie et sur routes mouillées 432
Conduite en ville 435
Conduite sur les autoroutes 436
Avant de partir pour un long trajet 438
Hypnose de la route 438
Routes onduleuses et de montagne 439
Conduite hivernale 442
Si le vehicule est coincide dans le sable, la boue ou la neige 446
Va-et-vient du vehicule pour le sortir 447
Chargement du vehicule 447
Remorquage 453
Remorquage du vehicule 453
Remorquage d'un vehicule récréatif 453
Commandediveau 454
Traction d'une remorque 455
Votreconde,la route et voitrévécule
Conduite défensive
Le meilleur conseil qu'on puisse donner est : conduire de manière prévoyante.
Prière de commencer en employant un dispositif de sécurité très important de votre vehicule : boucler votre ceinture de sécurité. Se reporter à la rubrique Ceintures de sécurité : Pour tous à la page 34.

ATTENTION:
Une conduite défensive signifie réellement « Soyez prét à tout. » En ville, sur les routes de campagne ou sur les voies rapides, cela signifie « Prévoyez toujours l'imprévu. » S'attendre à ce que les piétons ou d'autres conducteurs soient insouciants et fassent des erreurs.
/
ATTENTION: (suite)
Prévoir ce qu'ils pouraient faire et se tenir prét. Les collisions arrirè sont quasiment les accidents les plus évitables. Pourtant ils sont féuents. Augmenter les distances de sécurité. La conduite défensive exige que le conducteur se concentre sur la conduite. Tout élément susceptible de le distraire de la conduite complique la conduite défensive et risque même de provoquer une collision et de blesser des personnes. Demander à un passager de vous aider à effectuer certaines tâches ou bien s'arrêté sur le bas côté de la route en lieu sur pour les réaliser. Ces techniques simples de conduite défensive peuvent vous sauvier la vie.
Conduite en état d'ébriété
La mort et les blessures associées à la conduite en état d'ébriété constituent une tragédie nationale. La conduite en état d'ébriété contribue plus que tout autre facteur aux accidents fatals des autoroutes, elle fait des milliers de morts chaque année.
La consommation d'alcool prive un conducteur de quatre facultés dont il a besoin pour conduire un vehicule :
Le discernement
- La coordination musculaire
L'acuite visuelle
La vigilance
Les archives de la police montrent que l'alcool est la cause de presque la moitié des accidents mortels de la route. Dans la plupart des cas, c'est la conduite en état d'ébriété qui cause l'accident fatal. Dans les dernières années, les accidents de la route dans lesquels l'alcool était un facteur on fait qu'il ne sortit plus de 300 000 blessés annuellement.
On estime que presque la moitié de la population adulte désisit de ne pas boire d'alcool. Par conséquent, ces personnes ne conduisent pas après avoir consommé de l'alcool. Aux États-Unis, il est illégal de consommer de l'alcool avant l'âge de 21 ans. Ces lois existent pour de bonnes raisons Médicales, psychologiques, ou liées à la croissance.
La façon la plus évidente de résoudre ce problème important de sécurité routière est de ne pas boire d'alcool avant de conduire. Mais que faire dans le cas contraire? Combien d'alcool est « trop » d'alcool? La quantité d'alcool qui affertera la conduite est beaucoup plus petite que vous ne le pensez. Bien que cette quantité varie selon la personne et la situation, voici des faits généraux sur ce sujet :
Le taux d'alcoolémie d'un consommateur d'alcool dépend de quatre facteurs :
- Quantité d'alcool consommée
- Poids du consommateur
- Quantité de nourriture consommée avant et pendant la consommation d'alcool
Rapidité de consommation de l'alcool
Selon l'American Medical Association, une personne pesant 82 kg (180 lb) qui boit trois bouteilles de biere de 355 ml (12 oz) en une heures aura un taux d'alcoolémie d'environ 0.06% . Cette personne obtiendrait le même taux d'alcoolémie en buvant trois verres de vin de 120 ml (4 oz) ou trois verres contenant chacun 45 ml (1-1/2 oz) d'alcool comme du whisky, du gin ou de la vodka.

C'est la quantité d'alcool qui compte. Par exemple, si la même personne boit trois martinis doubles (90 ml ou 3 onces de spiritueux chacun) en une heures, son taux d'alcoolémie sera pres de 0,12%. Une personne qui mange juste avant de boire ou pendant qu'elle boit aura un taux d'alcoolémie légèrement moins élevé.
Il y a aussi une différence entre les sexes. En général, les femmes ont un pourcentage relatif d'eau dans le corps plus bas que les hommes.
Puisque c'est l'eau dans le corps qui transporte l'alcool, une femme atteint un taux d'alcoolémie plus élevé qu'un homme du même poids, si les deux ont bu la même quantité d'alcool.
Au Canada et dans un nombre croissant d'Etats américains, la loi fixe la limite légale à 0,08%. Dans certains autres pays, la limite est inférieure à ceci. Par exemple, en France et en Allemagne, la limite est à 0,05%. La limite légale du taux d'alcoolémie pour tous les chauffeurs commerciaux aux États-Unis est à 0,04%.
Le taux d'alcoolémie dépasse 0,10% après la consommation de trois à six verres (en une heures). Evidemment, comme nous l'avons vu, cela dépend de la quantité d'alcool consommée et de la rapidité de consommation.
Cependant, la capacité de conduire est affectée par des taux d'alcoolémie bien au-dessous de 0,10%. Les études montrent que les facultés de beaucoup de conducteurs sont nettement affaiblies par des taux d'alcoolémie pres de 0,05% et que les effets sont encore plus marquants la nuit.
Tous les conducteurs sont affectés par des taux d'alcoolémie supérieurs à 0,05%. Les statistiques montrent que le risque d'entrée en collision augmente beaucoup quand le taux d'alcoolémie d'un conducteur est à 0,05% ou plus. Un conducteur ayant un taux d'alcoolémie de 0,06% voit son risque d'accident doubler. Si le taux d'alcoolémie est à 0,10%, le risque d'accident augmente de 12. À un taux de 0,15%, le risque augmente de 25 fois!
Il faut environ une heures pour que le corps élimine l'alcool d'un seul verre. Ni la consommation de café ni les douches froides n'accéléoreront le processus. « Je ferais attention » n'est également pas une bonne solution. Qu'arrive-t-il en cas d'urgence quand il faut prendre une décidision rapide si, par exemple, un enfant se précipite sur la route? Meme un conducteur ayant un taux d'alcoolémie moyen ne sera peut-être pas capable de réagir assez rapidement pour éviter un collision.
Bien desgensignorelat faitsuivanta proposde la conduite en etat d'ebriete.Larcherche medicale revele que la gravite des blessures peut augmenter s'ilayade l'alcool dans lesangdesvictimes.Ceciest particulierementvrai danslescasdeblessures au cerveau,a loelle epiniereet au coeur.
Cela peut dire qu'en cas d'accident, quiconque a bu de l'alcool — le conducteur ou un passager — risque de perdre la vie ou d'être invalide pour le reste de ses jours comparativement à quelqu'un qui n'a pas bu.
ATTENTION:
Il est très dangereux de conduire après avoir bu. Meme une petite quantité d'alcool peut affecter vos réflexes, vos perceptions, votre concentration et votre discernement. Si vous conduisez après avoir bu, vous pouvez avoir un accident sériieux, ou même fatal. Ne pas conduire après avoir bu et ne pas accepter d'être le passager d'un conducteur qui a bu. Rentre r à la maison en taxi ou, si vous sortez en groupe, désirir un conducteur qui s'abstiendra de boire.
Contrôle du vehicule
Trois systèmes permettent à votre vehicule d'aller là où vous poulez qu'il aille. Ce sont les freins, le volant et l'accélérateur. Ces trois systèmes doivent fonctionner aux endroits où les pneus entrent en contact avec la route.
Parfois, comme lorsque l'on conduit dans la neige ou sur la glace, il est facile d'en demander plus à ces systèmes de commandes ce que les pneus et la route peuvent fournir. Cela signifie que l'on peut perdre le contrôle du vehicule. Se reporter à Systeme de traction asservie (TCS) à la page 419 et Systeme StabiliTrakMD à la page 420.
Le montage d'accessoires de marque autre que Saturn peut avoir un impact négatif sur les performances de votre vehicule. Se reporter à Accessoires et modifications à la page 471.
Freinage
Se reporter à la rubrique Témoin du système de freinage à la page 249.
Le freinage implique un temps de perception et un temps de réaction.
Vous devez d'abord decide d'appuyer sur la pédale de frein. C'est le temps de perception.
Vous devez ensuite lever votre pied et le faire. C'est le temps de réaction.
Le temps de réaction moyen est d'environ 3/4 de seconde. Mais cela n'est qu'une moyenne. Ce temps peut être inférieur pour certains conducteurs et atteindre jusqu'à deux ou trois secondes pour d'autres conducteurs. L'âge, l'état physique, la vivacité d'esprit, la coordination et la vision jouent tous un role à cet égard. Tout comme l'alcool, les drogues et la frustration. Mais, même en 3/4 de seconde, un vehicule se déplaçant à 100 km/h (60 mi/h) parcourra 20 m (66 pi). Cela pourrait représentater une distance considérable en cas d'urgence. Il est donc important de garder une distance suffisante entre votre vehicule et les autres.
Et, évidemment, les distances réelles d'arrêt varient considérablement selon la surface de la route, qu'elle soit pavée ou gravillonnée; l'état de la chaussée, qu'elle soit mouillée, sèche ou verglacée; la bande de roulement du pneu, l'état de les freins; le poids du vehicule et la force de freinage appliquée.
Il faut éviter de freiner très fort inutillement.
Certaines personnes conduisent par à-coup s—des accélérations importantes suivies de freinage important —只不过 que de suivre le flot de la circulation. C'est une erreur. Les freins pouraient ne pas avoir le temps de refroidir entre les arrêts brusques. Les freins s'useront donc beaucoup plus rapidement si vous freine brusquement. Si vous suivez la circulation et gardez une distance appropriée entre votre vehicule et les autres, vous éliminerez beaucoup de freinage inutil. Il en résultat a un meilleur freinage et une plus longue durée de vie des freins.
Si vous moteur du vehicule s'arrête de tournier pendant que vous roulez, freiner normalement sans pomper les freins. Si vous le faites, la pédale pourra être plus difficile à enforcer. Si le moteur s'arrête de tourner, vous aurez quand même accès à une certaine assistance du servofrein. Cependant, vous l'utiliserez au moment de freiner. Une fois que l'assistance du servofrein est épuisée, le freinage sera plus lent et la pédale de frein sera plus difficile à enforcer.
Le montage d'accessoires de marque autre que Saturn peut avoir un impact négatif sur les performances de votre vehicule. Se reporter à Accessoires et modifications à la page 471.
Système de freinage antiblocage
Votre vehicule est équipé de l'ABS, ce système de freinage antiblocage est un système perfectionné de freinage electronique qui vous aidera à éviter un dérapage à la suite d'un freinage.
Lorsque vous faites démarrer le moteur et que vous commencez à rouler, l'ABS se vérifie par lui-même. Vous entendrez peut-être un bruit de moteur ou un déclic momentané pendant cette vérification et vous remarquerez peut-être que la pédale de freinage rouge ou vibre un peu. C'est normal.

S'il existe une défaillance de l'ABS, ce témoin restera allumé. Se reporter à la rubrique Témoin du système de freinage antiblocage à la page 250.

Supposons que la chaussée est mouillée et que vous conduisez de façon sécuritétaire. Soudain, un animal surgit devant vous. Vous enforcez la pédale de frein et continuez à freiner.
Voici ce qui se produit grâce au système de freinage antiblocage :
L'ordinateur s'aperçoit que les roues tournent moins vite. Si une roue est sur le point d'arrêté de tourner, l'ordinateur actionne séparément les freins de chaque roue.
Le système ABS peut modifier la pression de freinage plus rapidement que ne pourrait le faire n'importe quel conducteur. L'ordinateur estprogrammé pour tirer le plus grand avantagedes conditions de la route et des pneus. Cela pourra vous aider à contourner l'obstacle tout enfreinant très fort.

Lorsque vous freinez, l'ordinateur continue à receivevoir des mises à jour sur la vitesse des roues et contrôle la pression de freinage en fonction de ces données.
Vous doivent appuyer sur la pédale de frein, en plus de ne pas toujours diminuer la distance d'arrêt. Si vous suivez de trop après le vehicule devant vous, vous n'aurez pas le temps de freiner si ce vehicule ralentit ou s'arrête soudainement. La distance séparant votre vehicule des autres doit être suffisante pour vous permettre de vous arrêté, même si votre vehicule est équipé d'un système de freinage antiblocage (ABS).
Utilisation de l'ABS
Vous ne devez pas pomper les freins. Il fautmaintenir la pédale de frein solidement enfoncéeet laisser le système de freinage antiblocage travailler pour vous. Vous pourrez sentir une légère pulsation au niveau de la pédale de frein ou entendre certains bruits, c'est normal.
Freinage d'urgence
Avec le système de freinage antiblocage (ABS), vous pouvez braquer les roues et freiner en même temps. Dans de nombreuses situations d'urgence, le fait de pouvoir diriger le vehicule sera plus utile que le meilleur des freinages.
Système de traction asservie (TCS)
Votre vehicule est équipé d'une traction asservie qui limite le patinage des roues. Ceci est particulièrement utile sur les routes glissantes. Le système ne fonctionne que s'il détecte qu'au moins une des roues arrrière patine ou commence à perdre de l'adhérence. Quand ceci se produit, le système freine les roues qui patinent et/ou réduit la puissance du moteur pour limiter le patinage des roues.
Le message TRACTION CONTROL ACTIVE (traction asservie activée) s'affiche à l'écran du centralisateur informatique de bord (CIB) lorsque le système de traction asservie limite le patinage des roues. Vous pouvez sentir ou entendre le système fonctionner, mais c'est normal.
Si le régulateur de vitesse fonctionne lorsque le système de traction asservie commence à limiter le patinage des roues, le régulateur automatique de vitesse se désengagea automatiquement. Vous pouze le remettre en fonction lorsque les conditions routières vous permettent de vous en servir en toute sécurité.

Ce témoin s'allume pour vous signaler une défaillance du système de traction asservie.
Lorsque ce témoin est allumé, le système ne limitera pas le patinage des roues. Adapter votre conduite en conséquence.
Si le message SERVICE TRACTION SYSTEM (réviser le système de traction asservie) s'affiche à l'écran du centralisateur informatique de bord (CIB) et reste affché, ou s'il s'affiche pendant que vous conduisez, cela signifie que votre système de traction asservie présente un problème. Le faire réviser par votre concessionnaire Saturn dans que possible.
Quand ce message d'ajretissement est affché, le message TRACTION CONTROL OFF (traction asservie désactivée) s'affiche à l'écran du centralisateur informatique de bord (CIB) pour vous rappeler que le système ne limite pas le patinage des roues. Régler votre conduite en conséquence.
Le système de traction asservie se met en fonction automatiquement quand vous faites démarrer votre vehicule. Pour limiter le patinage des roues, surtout sur des routes glissantes, vous devriez toujours laisser le système en fonction. Vous pouvez toute foismettrele système de traction asservie hors fonction au besoin. Vous devriezmettrele système hors fonction si votre vehicule est immobilisé dans le sable, la boue, la neige ou sur la glace. Se reporter à la rubrique Va-et-vient du vehicule pour le sortir à la page 447 et Si le vehicule est coince dans le sable, la boue ou la neige à la page 446.

Pour désactiver le système, appuyer sur le bouton de commande de la traction asservie situé au centre du tableau de bord.
Si le système limite le patinage des roues quand vous appuyez sur le bouton, le message TRACTION CONTROL ACTIVE (traction asservie activée) disparait, cependant le système ne se met hors fonction que lorsqu'il n'est plus nécessaire de
limiter le patinage des roues. Le message TRACTION CONTROL OFF (traction asservie désactivée) s'affiche pour vous rappeler que le système est hors fonction. Vous pouvez le remettre en fonction à tout moment en appuyant à nouveau sur le bouton. Le message qui vous avertit que la traction asservie est désactivée doit disparaitre.
Le montage d'accessoires de marque autre que Saturn peut avoir un impact négatif sur les performances de votre vehicule. Pour de plus amples renseignements, se reporter à Accessoires et modifications à la page 471.
Système StabiliTrakMD
Votre vehicule est équipé du système
StabiliTrakMD, lequel combine les avantages de systèmes de freinage antiblocage, de traction asservie et de stabilité du vehicule, afin de conserver la maîtrise de la direction dans la plupart des situations.
Lorsque vous démarrez le vehicule pour la première fois et que vous commencez à conduire, le système effectue plusieurs vérifications de diagnostic pour s'assurer qu'il n'y a pas de problème. Il est possible que vous entendiez ou que vous sentiez le fonctionnement du système. Cela est normal et ne signifie pas que votre vehicule a un problème.
Si le système ne s'allume pas ou ne s'active pas, le message SERVICE STABILITY SYSTEM (verifier le système de stabilité) apparait sur le centralisateur informatique de bord (CIB). Si le vehicule a subi des fortes accélérations ou à une sollicitation excessive des freins ou s'il a effectué de nombreux virages au cours des premiers 3 km (2 milles) de conduite, le message STABILITY CONTROL OFF (commande de stabilité désactivée) peut apparaitre sur le centralisateur informatique de bord. Dans ce cas, il n'est pas nécessaire de faire réparer vos vécicule. Vous devez l'éteindre puis le redémarrer pour initiaiser le système StabiliTrakMD. Si l'un de ces messages apparait sur le centralisateur informatique de bord et si votre vehicule n'a pas subi de fortes accélérations, de freinages importants ou de nombreux virages lors des premiers 3 km (2 milles), il doit être réparé.
Le message STABILITY CONTROL ACTIVE (commande de stabilité activée) apparait sur le centralisateur informatique de bord (CIB) uniquely lorsque le système est allumé et activé. Cela signifie qu'un système informatique perfectionné assiste votre vehicule pour qu'il continue à rouler dans la direction que vous lui indiquez. StabiliTrakMD est activé lorsque l'ordinateur détecte que votre vehicule commence à patiner, comme il le ferais si vous traversiez une plaque de glace ou toute autre surface glissante. Lorsque le système s'active, il est possible que vous entendiez un bruit ou que vous ressentiez une vibration en appuyant sur la pédale de frein. Cela est normal. Lorsque le message STABILITY CONTROL ACTIVE apparaît, vous devez continuer à conduire dans la direction désirée. Le système est liéqu pour vous assister par mauvais temps ou dans d'autres situations de conduite difficiles en optimisant le rendement, quelles que soient les conditions de conduite. Pour plus d'informations sur les messages relatifs à la stabilité, se reporter à la rubrique Centralisateur informatique de bord (CIB) à la page 260.
Si le système StabiliTrakMD est désactivié, le témoin du système de traction asservie s'allume et le message STABILITY CONTROL OFF (commande de stabilité désactivée) apparait sur le centralisateur informatique de bord pour avertir le conducteur que le système StabiliTrakMD n'est plus en mesure de l'aider à garder le contrôle directionnel du vehicule. Ajuster la conduite en conséquence.
Pour profiter pleinement du système d'amélioration de la stabilité, vous doivent normalement laisser le StabiliTrak ^MD en fonction, mais il peut être nécessaire de désactiver le système si vous vehicule est pris dans le sable, la boue, la glace ou la neige et si vous souhaitez le faire basculer pour tenter de le dégager. Se reporter aux rubriques Va-et-vient du vehicule pour le sortir à la page 447 et Si le vehicule est coincé dans le sable, la boue ou la neige à la page 446.
Fonctionnement du système de traction asservie
Le système de traction asservie fait partie du système StabiliTrak ^MD . Le système de traction asservie limite le patinage des roues en réduisant la puissance du moteur transmise aux roues (gestion du régime moteur) et par l'application des freins.
Le système de traction asservie est activé automatiquement au démarriage du vehicule. Le message TRACTION CONTROL ACTIVE (traction asservie active) s'affiche au centralisateur informatique de bord en cas de détention de patinage ou d'un début de perte d'adherence d'une ou de deux roues avant pendant un trajet.
Si le système de traction asservie (antipatinage) s'active constamment ou si les freins ont chauffé en raison de freinage à haute vitesse, le système de traction asservie (antipatinage) sera désactivé et le message TRACTION CONTROL ACTIVE (traction asservie activée) s'affichera. En mode limité, le système de traction asservie (antipatinage) utilise uniquement le contrôle de traction du moteur et sa capacité d'offrir un rendement optimal est limitée puisque le système n'utilise pas la traction asservie pour contrôler le patinage des roues de traction.
Le système revient en mode de fonctionnement normal une fois que les freins se sont refroidis. Cela peut prendre jusqu'à deux minutes ou plus, selon l'usage fait des freins.
Le système de traction asservie peut être activé sur une chaussée sèche ou une route difficile et dans les conditions suivantes : forte accélération dans les virages ou passage ascendant ou descendant brusque de la boîte-pont. Si cela se produit, vous noterez peut-être une réduction de l'accélération ou entendrez un bruit ou une vibration. C'est normal.
Si le régulateur de vitesse de votre vehicule est enclenché lorsque le système est activé, le message STABILITY CONTROL ACTIVE (commande de stabilité active) apparaît sur le centralisateur informatique de bord et le régulateur de vitesse s'éteint automatiquement. Lorsque les conditions routières vous permettent d'utiliser à nouveau le régulateur de vitesse, vous pouvez le réenclenger. Se reporter à la rubrique Régulateur de vitesse automatique à la page 207.
Le système StabiliTrakMD peut aussi se désactiver automatiquement s'il détecte une anomalie du système. Si l'anomalie persiste après le redémarrage du vehicule, consulter le concessionnaire pour faire réparer le système.
Direction
Direction assistée
Si la direction assistée lâche en raison de l'arrêt du moteur ou d'une panne du système, vous pourrez quand même diriger votre vehicule, mais cela demandera beaucoup plus d'efforts.
Conseils en matière de direction
Il est important de prendre les virages à une vitesse raisonnable.
Un grand nombre d'accidents de type « perte de contrôle du conducteur » signalés dans les bulletins d'information se produit dans les virages. Voici pourquoi :
Tant les conducteurs experimentés que les conducteurs débutants sont soumis aux mêmes bois de la physique lors de la conduite d'un vehicule dans un virage. La traction des pneus contre la surface de la route fait en sorte qu'il est possible de changer la direction du vehicule lorsque vous tournez les roues avant. S'il n'y a pas de traction, l'inertie fait que le vehicule poursuit son trajet dans la même direction. Si vous avez déjà essayé de changer de direction sur de la glace mouillée, vous comprendrez de quoi il s'agit.
La traction que vous pouze obtenir dans un
virage dépend de l'etat de vos pneus et de
la surface de la route, de l'angle d'inclinaison du
virage, ainsi que de la vitesse du vehicule.
Dans un virage, la vitesse constitue le seul facteur
que vous pouze contrôler.
Supposons que vous estes en train de négocier un virage prononcé. Tout à coup, vous freinez. Les deux systèmes de contrôle du vehicule — direction et freinage — doivent faire leur travail à l'endroit où les pneus sont en contact avec la route. Sauf si vous disposez d'un système de freinage antiblocage aux quatre roues, un freinage énergique peut exiger trop de ces points de contact. Vous pouvez perdre le contrôle.
La même chose peut se produit si vous étés en train de négocier un virage prononcé et que vous accélérez de manière soudaine. Ces deux systèmes de contrôle — direction et accélération — peuvent exiger trop des points de contact du vehicule sur la route et vous pouvez subir une perte de contrôle. Se reporter à Systeme de traction asservie (TCS) à la page 419 et Systeme StabiliTrakMD à la page 420.
Que devez-vous faire si cela se produit? Relâcher la pédale de freinage ou d'accéléateur, tourner le volant dans la direction où vous voulez aller et ralentir.
Les panneaux de limitation de vitesse situés pres des virages vous avertissent que vous doivent réduire votre vitesse. Bien entendu, les vittesses affichées sont établies en supposant des conditions météorologiques et routières optimes. Dans des conditions moins favorables, il vous faudra rouler plus lentement.
Si vous nevez réduire votre vitesse à l'approche d'un virage, vous nevez le faire avant d'entrée dans le virage, alors que vos roues avant sont parallètes au vehicule.
Essayer d'ajuster votre vitesse de manière à ce que vous puissiez « conduire » dans le virage.
Garder une vitesse raisonnable et constante.
Attendre d'être sorti du virage avant d'accélérer et le faire en douceur, une fois en ligne droite.
Le montage d'accessoires de marque autre que Saturn peut avoir un impact négatif sur les performances de votre vehicule. Se reporter à Accessoires et modifications à la page 471.
Manipulation du volant en situations d'urgence
Il y a des moments où un coup de volant peut être plus efficace que le freinage. Par exemple, vous passerez le sommet d'une colline et vous vous apercevez qu'un camion est arrêté dans votre voie, une voiture sort soudainement de nulle part ou un enfant surgir entre deux voitures stationnées et s'immobilise directement devant vous. Vous pouvez effectuer une manoeuvre de freinage pour remédier à cela — si vous pouvez vous arrêté à temps. Mais parfois, cela est impossible, car la distance entre vous et l'obstacle est trop courte. Voilà le moment de faire appel aux mesures d'évitement — se servir du volant pour éviter les obstacles.
Votre vehicule peut se composer de maniere tres satisfaisante dans de telles situations d'urgence. Il faut d'abord appliquer les freins.
Se reporter à la rubrique Freinage à la page 415. Il est préférible de réduire la vitesse au maximum à l'approche d'une éventuelle collision. Contourner ensuite l'obstacle, vers la droite ou la gauche, selon l'espace disponible.

Une telle situation d'urgence nécessite une grande attention et une prise de décision rapide. Si vous tenez le volant aux positions 9 et 3 heures recommandées, vous pouvez le tourner très rapidement de 180 degrés complets en gardant les deux mains sur le volant. Mais vous nezez agir vite, tourner le volant rapidement et revenir tout aussi rapidement en ligne droite une fois que vous avez évité l'obstacle.
Le fait que de telles situations d'urgence sont toujours possibles constitue une bonne raison pour adopter un style de conduite préventif en tout temps et pour bien attacher sa ceinture de sécurité.
Contrôle d'un dérapage sur l'accotement
Il est possible que vous ayez le sentiment que vos roues droites se déportent du bord de la route sur l'accotement lorsque vous roulez.

Si le niveau de l'accotement ne se trouve que légèrement sous la chaussée, vous devez pouvoir récapucérer le vehicule relativement facilement. Relâcher la pédale d'accélérateur puis, si aucun obstacle n'est en vue, diriger le vehicule de sorte qu'il passse entre le bord de la chaussée. Vous pouvez tourner le volant d'un quart de tour au maximum jusqu'à ce que le pneu avant droit entre en contact avec le bord de la chaussée. Tourner ensuite le volant pour rouler en ligne droite sur la route.
Manoeuvre de dépassement
Le conducteur qui veut dépasser un autre vehicule sur une grande route à deux voies attend le moment propice, accélère, contourne le vehicule qui le précède et revient sur la voie de droite. C'est simple, non?
Pas nécessairement! Le dépassement sur une grande route à deux voies est une manoeuvre dangereuse, car le vehicule qui dépasse occupe pendant plusieurs secondes la même voie que les vehicules venant en sens inverse. Si le conducteur fait une erreur de calcul ou de discernement, ou s'il a un accès de frustration ou de colère, il risque d'avoir le pire genre d'accident — la collision frontale.
Voici donc quelques conseils pour dépasser :
- Vous doivent prévoyant. Il faut regarder la route loin devant soi et sur les côtes, et vérifier les intersections, à la recherche de situations qui pourrait vous obliger à modifier votre manoeuvre de dépassement. Si vous ave le moindre doute quant ausuccès de la manoeuvre, attendre un moment plus propice.
-
Faire attention aux panneaux de signalisation, aux marques et aux lignes de chaussée. Si vous apercevez au loin un panneau indiquant un virage ou une intersection, retarder votre dépassement. Si la ligne Médiane n'est pas continue, vous avez généralement le droit de dépasser (pourvu qu'il n'y ait pas de circulation en sens inverse). Ne jamais franchir une ligne continue de votre côte ou une ligne continue double, même s'il vous semble qu'il n'y a pas de circulation en sens inverse.
-
Ne pas trop vousapprocher du vehicule que vous voulez dépasser pendant que vous attendez le moment propice. D'abord, cela réduit votre champ de vision, surtout si vous suivez un gros vehicule. Ensuite, vous n'aurez pas assez de temps pour freiner si le vehicule qui vous précède s'accête ou ralentit brusquement. Garder une distance raisonnable entre notre vehicule et celui qui vous précède.
-
Quand il vous semble que vous pouvez dépasser, commencer à accélérer tout en restant sur la voie de droite et en gardant une certaine distance par rapport au vehicule à dépasser. Planifier votre manoeuvre de façon à pouvoir accélérer lorsque vous changez de voie. Si la route est libre, vous pouze prendre de l'élan, ce qui compensera largement la distance que vous avez laissée avec le vehicule devant vous. Si un événement quelconque empêche le dépassement, vous n'aurez qu'à ralentir et à attendre un meilleur moment.
-
Si plusieurs vehicules font la file pour dépasser un vehicule lent, attendre son tour. Toutefois, vous assurer que personne n'essaie de vous doubler quand vous changez de voir pour dépasser. Ne pas oublier de jeter un coup d'oeil vers l'arrête et de vérifier les angles morts.
- Vérifier vos rétroviseurs, regarder par-dessus l'épaule etmettrevoire clignotantgauche pour changer de voie avant de dégager la voie de droite. Une fois que vous etesassez loin devant le vehicule que youaves avez dépasse pour en voir l'avant dans le rétroviseur interieur, faire fonctionner vos clignotant de droite et revenir sur la voie de droite. Se rappeler que si vous rétroviseur extérieur du côte passager est convexe,le vehicule que youes venez juste de doublereptuemsbler plus loin qu'il n'est réellement.
-
Ne pas essayer de dépasser plus d'un vehicule à la fois sur une route à deux voies. Réévaluer la situation avant de dépasser le vehicule suivant.
-
Ne pas dépasser trop vite un vehicule qui roule lentement. Ses feu des freinage pourraient ne pas fonctionner et ne pas indiquer qu'il ralentit ou qu'il se prépare à tourner.
- Si on vous dépasse, faciliter la tâche à l'autre conducteur en serrant la droite de la route.
Perte de contrôle
Il peut arriver que le point de contact des pneus avec la chaussée ne soit pas suffisant pour que les trois systèmes de commande — freins, direction et accélération — puissant réagir aux manoeuvres du conducteur. Voici ce que nous conseillent les experts de l'industrie automobile dans ces cas-là.
Peu imports la situation d'urgence, ne pas désesperer. Essayer de contrôler le volant et chercher continuèlement une voie de sortie ou un chemin moins dangereux.
Dérapage
Lors d'un dérapage, le conducteur risque de perdre le contrôle du vehicule. Les conducteurs qui conduisent sur la défensive sont en mesure d'eviter la plupart des dérapages en adaptant leur conduite aux conditions existantes et en n'« abusant » pas de ces conditions. Toutefois, les dérapages sont quand même possibles.
Les trois types de dérapages correspondant aux trois systèmes de commande de votre vehicule. Lors d'un dérapage au freinage, les roues ne tournent pas. Dans un dérapage en virage, une trop grande vitesse dans une courbe fait que les pneus glissant ou perdent leur force de virage. En outre, dans un dérapage en accélération, une trop grande accélération fait que les roues motrices patinent.
Vous contrôlez plus facilement un dérapage en virage en retardant votre pied de l'accéléateur.
Se rappeler que le système de traction asservie ne vous aide à éviter que le dérapage d'accelération. Si le système de traction asservie est hors fonction, vous pouvez.Remédier à un dérapage d'accelération en relâchant l'accéléateur.
Si vous vécicule se met à glisser, enlever votre pied de l'accéléateur et orienter rapidement le vehicule dans la direction désirée. Si vous tournez le volant assez rapidement, le vehicule peut se redresser. Étre toujours prét à manoeuvrer le vehicule au cas où le dérapage se produit.
Évidemment, la traction est réduite en présence d'eau, de neige, de glace, de roches ou d'autres matériaux sur la route. Pour vous securité, vous devriez ralentir et ajuster votre conduite selon ces conditions. Il est important de ralentir sur les surfaces glissantes puisque la distance de freinage du vehicule sera plus longue et que le contrôle du vehicule sera réduit.
Lorsque vous conduisiez sur une chaussée dont la traction est réduite, faire de votre比较好 pour éviter les coups de volant, les accélérations ou les freinages brusques y compris la réduction de la vitesse du vehicule au moyen d'une rétrogradation. Tout changement brusque pourrait entraîner le glissement des pneus. Il est possible que vous ne réalisez pas que la surface est glissante avant que le vehicule ne commence à déraper.
Apprendre à reconnaître les signes d'advertissement — s'il y a suffisamment d'eau, de glace ou de neige tassée sur la route pour creer une surface réfléchissante — et à ralentir lorsque vous avez des doutes.
Se rappeler que tout système de freinage antiblocage (ABS) ne vous aide à éviter que le dérapage au freinage.
Conduite de nuit
Il est plus dangereux de conduire la nuit que le jour. Il en est ainsi parce que les facultés de certains conducteurs sont plus susceptibles d'être affaiblies par l'alcool, la drogue, la fatigue ou en raison d'une mauvaise vision nocturne.
Voici quelques conseils sur la conduite de nuit.
- Étre prévoyant.
- Ne pas conduire en état d'ébriété.
-
Régler le rétroviseur interieur pour réduire l'éblouissement des phares des vehicules qui vous suivent.
-
Puisque votre vision est réduite, il faudra peut-être ralentir et augmenter la distance vous séparant des autres vehicules.
- Ralentir, surtout sur les routes à circulation plus rapide. La portée des phares de votre vehicule ne peut couvir qu'une certaine distance.
- Dans les régions éloignées, faire attention aux animaux.
- Si vous étés fatigué, s'arrêt dans un endroit sur et se reposer.
Personne ne voit aussi bien la nuit que le jour. En outre, avec l'âge cette différence est encore plus marquée. La nuit, un conducteur âgé de 50 ans peut avoir besoin d'au moins deux fois plus de lumière pour voir la même chose qu'un conducteur âgé de 20 ans.
Vos activités de la journée peuvent aussi influer sur votre vision nocturne. Par exemple, si vous passez la journée en plein soleil, il est prudent de porter des lunettes de soleil de façon à ce que vos yeux aient moins de difficulté à s'adapter à l'obscurité. Cependant, si vous conduisiez la nuit, ne pas porter de lunettes de soleil. Elles peuvent réduire l'éblouissement des phares, mais elles rendront aussi beaucoup de choses invisibles.
Les phares d'un vehicule roulant dans la voie inverse peuvent vous aveugler pendant un certain temps. Il vous faudra une seconde ou deux et même plus pour que vos yeux se réadaptent à l'obscurité. Si vous subissez un éblouissement important, un conducteur roulant avec ses phares de route allumés ou phares d'un vehicule mal orientés, ralentir. Éviter de regarder directement les phares.
Garder le pare-brise et toutes les glaces de votre vehicule propres — tant à l'intérieur qu'à l'extérieur. L'éblouissement de nuit empire considérablement quand les glaces sont sales. Meme la face interieure de vos glaces peut être recouverte d'une pellicule de poussière. Une glace sale rend les lumières plus aveuglantes et plus scintillantes qu'une glace propre, faisant se contracter vos pupilles de manière répetée.
Se rappeler que dans un virage, les phares éclarent une moins grande partie de la route. Ne pas garder les yeux fixes de façon à pouvoir repérer plus facilement les objets peu éclairés. Tout comme il faut faire vérifier le réglage des phares, vous nevez faire examiner régulièrement vos yeux. Certains conducteurs souffrent de cédité nocturne (inaptitude à percevoir dans les faibles quantités de lumière) sans le savoir.
Conduite sous la pluie et sur routes mouillées

La conduite sous la pluie et sur les chaussée mouillées est dangereuse. Sur une surface mouillée, l'adherence est moindre que sur une route sèche et vous ne pourrez pas vous arrêté, accéléorer ou prendre les virages aussi facilement.
De plus, si les pneus sont usés, l'adhérence sera encore moindre. Il est toujours préféable de ralentir lorsqu'il commence à pleuvoir quand vous conduisez. La route peut devenir mouillée soudainement alors que vos réflexes sont habitués à la conduite sur route sèche.
Plus la pluie est forte, plus la visibilité est réduite. Mème si vous avez des essuie-glaces en bon état, quand il pleut fort, vous voyagez moins bien les panneaux de signalisation, les feuels de circulation, les marques sur la chaussée, le bord de la route et même les piétons.
Il est prudent de maintainir le système d'essuie-glace et de lave-glace en bon etat et le réservoir de lave-glace rempli de liquide. Remplacer les lames d'essuie-glace lorsqu'elles laissent des trainées ou des espaces non essuyés sur le pare-brise ou bien lorsque des bandes de caoutchouc commence à se detacher des lames.

ATTENTION:
Les freins humides peuvent cause des accidents. Ils peuvent fonctionner moins bien lors d'un arrêt rapide et peuvent entrainer une déviation d'un côté. Vous risqueriez de perdre le contrôle du vehicule.
Après avoir traversé une grande flaque d'eau ou une station de lavage, enforcer légèrement la pédale de frein jusqu'à ce que les freins fonctionnent normalement.
La conduite trop rapide dans de grandes flaques d'eau ou même le passage du vehicule dans un lave-auto peuvent aussi cause des problèmes. L'eau peut alterer le fonctionnement de vos freins. Essayer d'eviter les flaques d'eau, sinon essayer de ralentir avant de les traverser.
Aquaplanage
L'aquaplanage est dangereux. Une quantité importante d'eau peut s'amasser sous les pneus que de fait vous conduisez sur de l'eau. Une telle situation peut se produit si la route est assez mouillée et si vous conduisez suffisamment rapidement. En aquaplanage, il y a peu ou pas de contact entre votre vehicule et la route.
L'aquaplanage est rare, mais il peut se produit si les pneus sont usés, si la pression d'au moins un des pneus est BASSE ou s'il y a beaucoup d'eau sur la route. Si vous pouvez voir le reflet des arbres, des poteaux téléphoniques ou d'autres vehicules et que les gouttes de la pluie rident la surface de l'eau, il y a danger d'aquaplanage.
L'aquaplanage se produit généralement à grande vitesse. Il est impossible de tous jours prévoir l'aquaplanage. Le meilleur conseil est de ralentir quand il pleut.
Conduite dans des flaques d'eau profonde
Remarque: Si vous traversez trop rapidement des flaques ou des trous d'eau profonds, l'eau risque de pénétrer par la prise d'air du moteur et d'endommager gravement votre moteur. Ne jamais conduire dans des flaques d'eau qui atteignent presque le dessous du vehicule. Si vous ne pouvez pas éviter les flaques ou trous d'eau profonds, les traverser alors très lentement.
Conduite dans un courant d'eau vivo
ATTENTION:
L'eau courante ou les déferements d'eau abondante créé des courants forts. Si l'on tente de rouler dans de l'eau courante, comme on le ferait pour traverser un cours d'eau peu profond, le vehicule peut être emporté. Un courant d'eau d'une profondeur de six pouces seulement peut emporter un petit vehicule. Si cela se produit, le conducteur et d'autres occupants du vehicule poursraient se noyer. Ne pasailerer les panneaux d'advertissement de la police, et essayer de ne pas conduire dans les nappes d'eau.
Autres conseils pour la conduite sous la pluie
- Allumer vos phares de croissement — et non uniquement vos feuels de stationnement — pour rendre votre vehicule plus visible.
- En plus de ralentir, augmenter la distance entre votre vehicule et celui qui vousPRECÔde. Faire particulièrement attention en dépassant un autre vehicule. Prévoir plus d'espace pour manoeuvrer et s'attendre à une visibilité réduite par suite d'éclaboussures de la route.
Garder toujours les pneus en bon état, avec une semelle d'une profondeur ajustée. Se reporter à la rubrique Pneus à la page 526.

Conduite en ville
Un des plus grands problèmes des routes urbaines est le nombre de vehicules. Vous devez vous erfier des autres conducteurs et préter attention à la signalisation routière.
Voici quelques façon d'augmenter votre sécurité quand vous conduisiez en ville :
- Connaître le meilleur itinéraire pour vous rendre à destination. Ogebenir une carte de la ville et définir à l'avance votre trajet vers un endroit inconnu de la ville, comme vous le fériez pour un voyage d'un bout à l'autre du pays.
- Essayer d'emprunter les autoroutes qui contournent et croisent la plupart des grandes villes. Vous y gagnerez temps et énergie. Se reporter à la rubrique Conduite sur les autoroutes à la page 436.
- Considerer un feu vert comme un avertissement. S'il y a des我喜欢 de circulation, c'est que l'intersection est assez encourirable pour en justifier la présence. Quand le feu de circulation passse au vert et juste avant de commencer à rouler, regarder des deux côtés pour s'assurer que l'intersection est libre et que personne ne brûle un feu rouge.

Conduite sur les autoroutes
Pour une même distance, les autoroutes (qu'il s'agisse d'autoroutes à péage ou non) sont les routes les plus sûres. Elles ont toute fois leurs propres règes.
Le conseil le plus important pour la conduite sur autoroute est de suivre le flot de la circulation et garder la droite. Rouler à la même vitesse que celle de la plupart des autres conducteurs. Une conduite trop rapide ou trop lente nuit à la circulation. Considerer la voie de gauche comme voie de dépassement.
À l'entrée d'une autoroute, il y a généralement une bretelle d'accès. Si vous avez une bonne vue de l'autoroute pendant que vous conduissez sur la bretelle d'accès, vous devriez commencer à regarder la circulation. Essayer de voir où vous joindrez à la circulation. Tenter de vous joindre à la circulation à une vitesse se rapprochant de celle des autres vehicules. Allumer votre clignotant, regarder dans les rétroviseurs et vérifier les angles morts autant qu'il est nécessaire. Essayer de vous joindre doucement à la circulation.
Une fois sur l'autoroute, régler votre vitesse à la vitesse autorisée ou à celle de la circulation si elle est plus lente. Rester sur la voie de droite sauf pour dépasser.
Avant de changer de voie, regarder dans les rétroviseurs et allumer votre clignotant.
Juste avant de quitter la voie, jeter un coup d'oeil vers l'arrière pour s'assurer qu'il n'y a pas de vehicule dans votre angle mort.
Une fois sur l'autoroute, garder une distance raisonnable entre votre vehicule et celui qui vous precede. S'attendre à conduire un peu plus lentement la nuit.
Quand vous poulez sortir de l'autoroute, passer sur la bonne voie bien à l'avance. Si vous manquez votre sortie, ne jamais s'arrêté pour reculer. Conduire jusqu'à la sortie suivante.
Le tournant de la rampe de sortie peut être parfois très serré. La vitesse de sortie autorisée est normalement indiquée.
Ralentir selon votre indicateur de vitesse et non pas selon votre instinct. ÀpRES avoir conduit à grande vitesse pendant un certain temps, vous aurez tendance à croire que vous conduisez plus lentement qu'en réalité.
Avant de partir pour un long trajet
S'assurer d'être bien prét. Essayer d'être bien reposé. Si vous neces partir alors que vous n'étes pas frais — comme après une journée de travail — ne pas prévoir de faire trop de kilomètres pour la première partie du trajet. Porter des vêtements et des chaussures comforts pour faciliter la conduite.
Votre vehicule est-il prêt pour un long trajet? Si vous l'avez fait entretenir régulièrement, il est prêt à partir. S'il a besoin d'entretien, le faire avant de partir. Bien entendu, vous trouvez des experts en entretien experimentés et compétents chez les concessionnaires Saturn des États-Unis et du Canada. Ils seront prêts et désireux de vous aider si vous en avez besoin.
Voici certains points que vous pouvez vérifier avant un voyage :
- Liquide de lave-glaces: Le réservoir est-il plein? Toutes les glaces sont-elles propres à l'intérieur et à l'extérieur?
-
Lames d'essuie-glaces : Sont-elles en bon état?
-
Carburant, huile moteur, autres liquides : Avez-vous vérifié tous les niveaux?
- Lampes : Fonctionnement-elles toutes ? Sont-elles propres?
- Pneus : Ils sont d'une importance cruciale pour un trajet sur et sans problèmes. Les sculptures sont-elles suffisantes pour un long trajet? Tous les pneus sont-ils gonflés à la pression recommandée?
- Prévisions météorologiques : Quelles sont les prévisions de temps sur votre itinéraire? Devriez-vous retarder un peu votre voyage pour éviter une grossse perturbation?
- Cartes : Avez-vous des cartes à jour?
Hypnose de la route
Est-ce qu'il existe une hypnose sur les grandes routes? Ou est-ce qu'on s'endort simplement au volant? Appeler ceci l'hypnose sur les grandes routes, la somnolence ou ce qu vous pouze.
Sur une route facile, sans paysages intéressants, le murmure des pneus sur la route ou celui du moteur et le bruit du vent contre le vehicule peuvent vous rendre somnolent. S'assurer que cela ne vous arrive pas! Si cela se produit, votre vehicule pourrait quitter la route en moins d'une seconde et vous pourriez avoir une collision et vous blesser.
Que pouvez vous faire pour éviter l'hypnose sur les grandes routes? D'abord, on doit savoir qu'elle peut se produit.
Suivre ensuite ces conseils :
- S'assurer que la ventilation du vehicule est bonne et qu'il fait assez frais dans le vehicule.
- Ne pas garder les yeux fixes. Balayer la route devant vous et sur les côts. Vérifier souvent les rétroviseurs et les instruments de bord.
- Si vous devenez somnolent, quitter la route et aller dans un terrain de repos, une station-service ou un terrain de stationnement pour y faire la sieste, prendre de l'exercice ou les deux. Par mesure de sécurité, considérer la somnolence sur les grandes routes comme un cas d'urgence.

Routes onduleuses et de montagne
La conduite sur les pentes abruptes ou les routes de montagne diffère de la conduite sur un terrain plat ou valonné.
Si vous conduisiez régulièrement dans des régions montagneuses ou si vous projetez en visitor, voici quelques conseils pratiques qui rendront vos déplacements plus surs et plus agreables :
Assurer un bon entretien du vehicule. Vérifier le niveau de tous les liquides ainsi que les freins, les pneus, le système de refroidissement et la boîte-pont. Ces pieces sont mises à rude épréuve sur les routes de montagne.
ATTENTION:
Si la rétrogradation n'est pas utilisé, la surchauffe des freins peut faire en sorte de diminuer le travail des freins. On risque de n'avoir que peu ou pas de puissance de freinage lors de la descente. On risque d'avoir une collision. Rétrograder pour que le moteur puisse aider les freins quand on descend une pente raide.
ATTENTION:
Il est dangereux de descendre une côte en roue libre, avec le levier des vitesses au point mort (N) ou avec le contact coupé. Dans ce cas, les freins doivent faire tout le travail de ralentissement. La surchauffe des freins peut faire en sorte de diminuer le travail des freins. On risque de n'avoir que peu ou pas de puissance de freinage lors de la descente. On risque d'avoir une collision. Toutjours garder le moteur en marche et une vitesse engagée en descendant une côte.
-
Apprendre comment descendre les côtes. Le conseil le plus important est le suivant : laisser le moteur contribuer au ralentissement du vehicule. Rétrograder à une vitesse plus BASSE sur les pentes abruptes ou longues.
-
Apprendre comment monter les côtes. Il peut s'avérer utile de rétrograder à une vitesse plus BASSE. Les vittesses plus basses aident à refroidir le moteur et la boîte-pont, ce qui facilité l'ascension des côtes.
-
Rester dans votre voie lorsque vous conduisez sur les routes à deux voies d'une pente ou d'une route montagneuse. Ne pas prendre de larges virages et ne pas traverser la ligne mediane. Conduire à une vitesse qui vous permet de rester dans votre voie.
-
Faire attention quand vous passez la créée d'une côte. Il pourrait y avoir un obstacle sur votre voie comme un vehicule en panne ou un accident.
- Sur les routes de montagne, vous verrez peut-être des panneaux de signalisation qui vous préviennent de certains dangers. Par exemple de longues pentes, des zones de dépassement ou de dépassement interfit, des chutes de pierres, ou des routes tortueuses. Faire attention et prendre les mesures nécessaires.
Conduite hivernale

Voici des conseils sur la conduite en hiver :
- Vous doivent arrêer la conduite en hiver.
- Vous voudrez peut-être garder des articles de secours d'hiver dans votre coffre.
Se reporter également à la rubrique Pneus à la page 526.
Y placer un gratoir à glace, une petite brosse ou un petit balai, du liquide de lave-glace, un chiffon, des vêtements d'hiver, une petite pelle, une lampe de poche, une pierce de tissu rouge et deux triangles de signalisation réfléchissants. Dans les conditions de conduite difficiles, ajouter un petit sac de sable, un peux morceau de tapis ou deux sacs de toile de jute pour améliorer l'adhérence du vehicule.
S'assurer de bien ranger ces articles dans le vehicule.
Conduite dans la neige ou sur la glace
Dans la plupart des cas, les pneus auront une bonneadhérence à la route.
Toutefois, en cas de neige ou de glace entre les pneus et la chaussée, le vehicule risque de glisser. L'adhérence diminuera nettement et vous devrez donc être très prudent.

Quelle est la situation la plus dangereuse? De la glace mouillée. Une chaussée couverte de neige très froide ou de glace peut être glissante et entrainer une conduite très difficile. Mais la glace mouillée est plus dangereuse, car elle offre encore moins d'adherence. La glace mouillée survient par températures environnant le point de congélation 0^ (32^) , et quand de la pluie verglaçante
commence à tomber. Il faut éviter de conduire dans ces conditions jusqu'à ce que les équipés d'épandage de sel et de sable aient fait leur travail.
Quelles que soient les conditions — glace lisse, neige compacte, neige folle ou soufflée par le vent — conduire avec prudence.
Si vous vécicule est équipé du système de traction asservie, vous pourrez accélérer plus facilement sur chaussée glissante. Toutefois, vous pouvezmettre vosetyisme de traction asservie hors fonction au besoin. Vous devriezmettre vosetyisme de traction asservie hors fonction si votre vehicule restepris dans le sable, la boue, la glace ou la neige. Se reporter à la rubrique Si le vehicule est coince dans le sable, la boue ou la neige à la page 446. Meme si vous vehicule est équipé d'un système de traction asservie, ralentir et adapter libre conduite aux conditions routières.Dans certaines conditions, il peut s'avérer préférible de désactiver le système de traction asservie, comme durant une conduite dans la neige profonde ou le gravier mal compacté, afin d'aider à maintainir le vehicule à une vitesse inférieure.Se reporter à la rubrique Systeme de traction asservie (TCS) à la page 419 et Systeme StabiliTrakMD à la page 420.
Il est prudent d'accélérer lentement si vous vehicule n'est pas pourvu du système de traction asservie. Vous doivent de ne pas perdre le peu d'adhérence qu'il y a. Si vous accélérez trop rapidement, les roues motrices patineront et poliront davantage la surface sous les pneus.
Le système de freinage antiblocage (ABS) améliore la stabilité de votre vehicule en cours de freinage brusque sur une chaussée glissante. Bien que votre vehicule soit équipé du système de freinage antiblocage, il faut commencer à freiner plus tout que sur une chaussée sèche. Se reporter à la rubrique Système de freinage antiblocage à la page 416.
- Vous doivent augmenter la distance entre yourselves, et celui qui vousprecede quand vous conduisiez sur une route glissante.
- Se moyen des plaques glissantes. La route peut sembler correcte jusqu'à ce que vous vehicule roule sur une plaque de glace. Sur une route autrement sans glace, il peut se former des plaques de glace à des endroits ombragés que le soleil ne peut pas atteindre;
tel que pres de groupes d'arbres, derrière des batiments ou sous les ponts. Il peut arriver qu'un virage ou qu'un viaduc routier reste glissant quand d'autres routes ne le sont plus. Si vous apercevez une plaque de glace, freiner avant de l'atteindre. Éviter de freiner ou de tourner brusquement sur la glace.
Si vous estes surris par un tempete de neige
Si la neige immobilise votre vehicule, vous risquez d'être en danger. Vous devriez probablement rester dans votre vehicule, à moins que vous ne sachiez avec certitude que vous pouvez obtenir l'aide de personnes se trouvant à proximé et que vous pouvez marcher dans la neige. Voici ce que vous pouvez faire pour indiquer que vous avez besoin d'aide et pour assurer votre sécurité et celle de vos passagers :
- Allumer les yeux de détresse du vehicule.
-
Attacher une piece de tissu rouge au vehicule pour avertir la police que votre vehicule est coince dans la neige.
-
Mettre des vêtements supplémentaires ou s'enrouler dans une couverture. Si vous n'avez ni couverture ni vêtements supplémentaires, se protégger contre le froid avec des journaux, des sacs en jute, des chiffons, les tapis du vehicule — enfin, tout ce que vous pouvez utiliser pour vous couvir ou placer sous vos vêtements pour vous tener au chaud.

Vous pouvez faire tourner le moteur pour vous rechauffer, mais il faut etre prudent.
ATTENTION:
La neige peut provoquer l'accumulation des gaz d'échéppement sous le vehicule. Du monoxyde de carbone (CO), un gaz mortel, pourrait alors s'infiltrer dans l'habitacle et vous pourriez perdre connaissance et mournir. Le monoxyde de carbone étant incolore et inodore, vous ne vous rendrez peut-être pas compte de sa présence. Enlever la neige accumulée autour de votre vehicule, surtout si elle bloque le tuyau d'échéppement et vérifier de temps en temps que la neige ne s'y amasse pas.
Ouvrir un peu la glace du côté qui se trouve à l'abri du vent pour empêcher le CO de s'infiltrer dans le vehicule.
Faire tournier le moteur seulement le temps qu'il faut, afin d'économiser le carburant. Lorsque le moteur tourne, le faire tourner un peu plus rapidement qu'au ralenti. C'est-à-dire appuyer légèrement sur la pédale d'accéléateur.
De cette façon, vous utiliserez moins de carburant pour la chaleur obtenue et la batterie gardera sa charge. Vous aurez besoin d'une batterie en bon état pour démarrer de nouveau et éventuelles pour allumer les phares pour indiquer que vous avez besoin d'aide. Vous devriez laisser fonctionner le chauffage pendant un certain temps.
Arreter ensuite le moteur et monter presque totallyment la glace pour conserver la chaleur. Régier l'opération lorsque le froid devientvriment incomfortable, mais il faut éviter de lefaire trop souvent. Économiser le carburant aussi longtemps que possible. Sortir du vehicule etfaire des exercices vigoureux toutes les30 minutes, afin de réchauffer vos musclesjusqu'à ce qu'on vous viennent en aide.
Si le vehicule est coincide dans lesable, la boue ou la neige
Pour dégagerVotevéhiculelorsqu'ilest immobilisé,vousdevezfairepatinerlesroues, maispas troprapidement.Lamanoeuvre de va-et-vientpeutvousperméttredeyouxdégager, maisyoudevezétreprudent.

ATTENTION:
Si vous faites patiner les pneus à grande vitesse, ils peuvent éclater et vous ou d'autres personnes pourriez être blessés. De plus, la boîte-pont et d'autres organes du vehicule peuvent surchauffer et causer un incendie dans le compartment-moteur ou d'autres dommages. Quand le vehicule est enlisé, il faut éviter le patinage des roues le plus possible. Ne pas faire patiner les roues à plus de 55 km/h (35 mi/h) d'après l'indication du compteur de vitesse.
Remarque: Le patinage des roues peut détruire des pieces de votre vehicule ainsi que les pneus. Si vous faites tournier les roues trop vite tout effectuant un va-et-vient avec les vitesses de la boîte-pont, vous risquez de détruire la boîte-pont. Se reporter à la rubrique Va-et-vient du vehicule pour le sortir à la page 447.
Pour plus de renseignements au sujet de l'utilisation de chaînes à neige sur votre vehicule, se reporter à Châines à neige à la page 547.
Va-et-vient du vehicule pour le sortir
Commencer par tourner le volant des deux cotsés afin de dégager la zone située autour des roues avant. Si le vehicule est équipé du système de traction asservie, le désactiver. Se reporter aux rubriques Système de traction asservie (TCS) à la page 419 et Système StabiliTrakMD à la page 420. Ensuite, passer alternatively de la marche arrrière (R) à une vitesse de marche avant en faisant patiner les roues le moins possible. Relâcher l'accéléateur pendant que vous changez de vitesse et appuyer légarement sur la pédale d'accéléateur quand la boîte-pont est engagée. En faisant lentement patiner les roues vers l'avant puis vers l'arrière, vous obtiendaun mouvement de va-et-vient, lequel peut dégager votre vehicule. Si cette manoeuvre ne donne pas de résultats après quelques essais, vous devrez peut-être faire remorquer votre vehicule. Le cas échéant, se reporter à la rubrique Remorquage du vehicule à la page 453.
Chargement du vehicule
Il est très important que vous connaissiez le poids que votre vehicule peut transporter. Ce poids est appelé capacité nominale du vehicule et comprend le poids des occupants, du chargement et de tous les accessoires d'après-vente installés. Deuxétiquettes affichées sur toute vehicule indiquent le poids qui peut être transporte de manière sécurité, l'étiquette d'information sur le chargement des pneus et l'étiquette de conformité.
ATTENTION:
Ne pas dépasser ni le PNBV ni le PNBE tant pour l'essieu avant que pour le pont arrrière. Autrement, il se peut que des pieces de votre vehicule brisent, ce qui peut modifier la tenue de route et provoquer une perte du maîtrise et cause une collision. De plus, la surcharge peut réduire la durée utile du vehicule.
Étiquette d'information sur les pneus et le chargement

Exemple d'étiquette
L'étiquette d'information sur les pneus et le chargement se trouve sur le montant central (montant B). Si vous ouvrez la porte du conducteur, vous trouvez cette étiquette sous le butoir du verrou de porte. Elle indique le nombre de places assises (A) et le poids maximum du vehicule (B), en kilogrammes et en livres.
L'étiquette d'information sur les pneus et le chargement indique également les dimensions des pneus d'origine (C) et la pression recommandée à froid (D). Pour plus de renseignements sur les pneus et leur pression, se reporter à Pneus à la page 526 et Gonflement - Pression des pneus à la page 535.
L'étiquette de conformité renferme aussi des renseignements importants relatifs à la charge. Le poids nominal brut du vehicule (PNBV) et le poids nominal brut sur l'essieu (PNBE) pour les essieux avant et arrière y sont reportés. Se reporter à la rubrique « Étiquette de conformité » plus loin dans cette section.
Étapes afin de déterminer le poids de la charge maximal
-
Rechercher la mention « The combined weight of occupants and cargo should never exceed XXX kg or XXX lbs » (le poids combiné des occupants et du chargement ne doit jamais excéder XXX kg ou XXX lbs) située sur l'étiquette de votre vehicule.
-
Déterminer le poids combiné du conducteur et des passagers qui prendront place dans le vehicule.
-
Soustraire le poids combiné du conducteur et des passagers de XXX kg ou XXX lbs.
- Le poids obtenu représenté le poids de la charge et des bagages disponible. Par exemple, si le poids XXX égale 1 400 lb et que cinq occupants pesant 150 lb chacun prendront place dans le vehicule, le poids de la charge et des bagages disponible sera de 650 lb (1 400 - 750 (5 × 150) = 650 lb).
- Determiner le poids combiné des bagages et de la charge ajoutés au vehicule. Ce poids ne peut excéder pas le poids de la charge et des bagages déterminé à l'étape 4.
- Si vous tractez une remorque à l'aide de votre vehicule, la charge de cette remorque sera transférée à votre vehicule. Consulter ce manuel afin de connaître l'incidence du tractage d'une remorque sur le poids de la charge et des bagages que votre vehicule peut transporter.
Se reporter à la rubrique Traction d'une remorque à la page 455 pour obtenir des renseignements importants sur la façon de tracter une remorque de manière sécuritaire.

Example 1
| Article | Description | Total |
| A | Capacité nominale du vehicule dans l'exemple 1 = | 453 kg (1 000 lb) |
| B | Soustraire le poids des occupants évalué à 68 kg (150 lb) × 2 = | 136 kg (300 lb) |
| C | Poids disponible pour les occupants et le chargement = | 317 kg (700 lb) |

Example 2

Example 3
| Article | Description | Total |
| A | Capacité nominale du vehicule dans l'exemple 2 = | 453 kg (1 000 lb) |
| B | Soustraire le poids des occupants évalué à 68 kg (150 lb) × 5 = | 340 kg (750 lb) |
| C | Poids disponible pour le chargement = | 113 kg (250 lb) |
| Article | Description | Total |
| A | Capacité nominale du vehicule dans l'exemple 3 = | 453 kg (1000 lb) |
| B | Soutraire le poids des occupants évalué à 91 kg (200 lb) × 5 = | 453 kg (1 000 lb) |
| C | Poids disponible pour le chargement = | 0 kg (0 lb) |
Se reporter à l'étiquette d'information sur les pneus et le chargement pour connaître les données précises sur la capacité nominale de votre vehicule et sur le nombre de places assises.
Le poids combiné du conducteur, des passagers et de la charge ne doit jamais dépasser la capacité nominale du vehicule.
Étiquette de conformité

L'étiquette indique la capacité nominale du vehicule, appelée poids nominal brut du vehicule (PNBV). Le PNBV comprend le poids du vehicule, de tous les occupants, du carburant et de la charge.
L'étiquette de conformité/pneus indique également le poids nominal brut sur l'essieu (PNBE) pour l'essieu avant et arrêté. Pour étabrir exactement ces charges, faire peser votre vehicule à un poste de pesage pour vehicules routiers. Vote concessionnaire peut vous aider. S'assurer de bien répartir la charge uniformément de part et d'autre de la ligne Médiane.
L'étiquette de conformité du vehicule se trouve sur le bord arrêté de la porte du conducteur.
Ne jamais dépasser le PNBV de votre vehicule ni le PNBE, tant pour l'essieu avant que pour l'essieu arrêté.
ATTENTION:
Ne pas dépasser ni le PNBV ni le PNBE tant pour l'essieu avant que pour le pont arrrière. Autrement, il se peut que des pieces de votre vehicule brisent, ce qui peut modifier la tenue de route et provoquer une perte du maîtrise et cause une collision. De plus, la surcharge peut réduire la durée utile du vehicule.
Remarque: En surchargeant le vehicule, on risque de l'endommager. Les réparations ne seront pas couvertes par la garantie. Ne pas surcharger le vehicule.
Si vous mettez des objets dans votre vehicule — notamment des valises, des outils, des paquets ou autre chose, ils se déplaceront aussi rapidement que votre vehicule.
Si vous doivent ou si vous aze une collision, ces objets ne s'arreteront pas.
ATTENTION:
Les objets déposés dans le vehicule peuvent heurter et blesser des personnes lors d'un arrêt brusque, d'un virage soudain ou d'une collision.
Ranger les objets dans l'espace utilise du vehicule. Essayer de répartir uniformément la charge.
- Ne jamais empiler des objets lourds dans l'habitacle, comme des valises, plus haut que les dossiers de siège.
- Ne pas laisser un dispositif de retenue pour infant libre dans le vehicule.
- Lorsqu'on transporte un objet dans l'habitacle, dans la mesure du possible, il faut l'attacher.
- Ne pas laisser un siège relié à moins que cela soit nécessaire.
Remorquage
Remorquage du vehicule
Consulter votre concessionnaire ou un service de remorquage professionnel si vous avez besoin de faire remorquer votre vehicule en panne. Se reporter à la rubrique Programme d'assistance routière à la page 621.
Pour faire remorquer votre vehicule derrière un autre vehicule à des fins récreatives (tel qu'une autocaravane), se reporter à « Remorquage d'un vehicule récréatif » suivant.
Remorquage d'un vehicule récréatif
Le remorquage de vehicules de plaisance peut dire remorquer votre vehicule derrière un autre vehicule — comme derrière une autocaravane. Les deux types de remorquage récréatif les plus communs sont le remorquage avec les quatre roues au sol et le remorquage avec chariot dépanneur ou deux roues touchent le sol et deux roues sont sur un chariot dépanneur.
Avec la préparation et l'équipement appropriés, de nombreux vehicules peuvent être remorqués de ces façon.
Se reporter aux rubriques « Remorquage pneumatique » et « Remorquage avec chariot», ci-dessous.
Voici certaines choses importantes dont vous nevez tener compte avant de faire le remorquage récréatif :
- Quelle est la capacité de remorquage du vehicule tracteur? Bien dire les recommendations du fabricant du vehicule tracteur.
- Surquelle distance prévoit-on effectuer le remorquage? Certains vehicules comportent des restrictions quant à la distance et à la durée du remorquage.
- Avez-vous le matériel de remorquage approprié? Consulter votre concessionnaire ou professionnel en remorquage pour obtenir des conseils supplémentaires et des recommendations sur les équipements.
- Voiture vehicule est-il prêt à être remorqué? Tout comme vous préparez votre vehicule pour de longs déplacements, vousdezvezvous assurer que votre vehicule est prêt à être remorqué. Se reporter à la rubrique Avant de partir pour un long trajet à la page 438.
Remorquage pneumatique
Votre vehicule n'a pas ete concu pour etre remorqué avec les quatre roues au sol. Il peut etre remorqué avec les deux roues arriere au sol. Se reporter à « Remorquage sur chariot», pour plus d'information.
Remorquage avec chariot
Pour remorquer votre vehicule sur chariot, agir comme suit :
- Mettre les roues avant sur le chariot.
- Placer le levier des vitesses à la position de stationnement (P).
- Serrer le frein de stationnement, puis retirer la clé.
- Bloquer le volant en position croit devant à l'aide d'un dispositif de serrage conçu pour le remorquage.
- Desserrer le frein de stationnement.
Commande de niveau
Sur les vehicules équipés de cette option, le correcteur d'assiette électronique assure que l'arrête du vehicule reste au niveau pendant que vous chargez ou déchargez le vehicule. Vous ne devriez toute fois pas dépasser le PNBV ni le PNBE. Se reporter à Chargement du vehicule à la page 447.
Il se peut que vous entendiez fonctionner le compresseur quand vous chargez ou déchargez votre vehicule et, de temps en temps, lorsque le dispositif s'ajuste. C'est normal. Toutefois, le fonctionnement devrait être bref. Si le bruit persiste, faire réparer le vehicule.
L'utilisation de pieces de suspension plus lourdes pour augmenter la durabilité peut ne pas modifier les poids nominaux du vehicule. Demander au concessionnaire de vous expliquer la façon appropriée de charger votre vehicule.
Traction d'une remorque
ATTENTION:
Si vous n'utilisez pas l'équipement approprié et ne conduisez pas comme il faut, vous risquez de perdre le contrôle quand vous tirez une remorque. Par exemple, si la remorque est trop lourde, les freins ne fonctionneront peut-être pas bien — ou même pas du tout. Vous et vos passagers pourriez être gravement blessés. Ne tracter une remorque que si vous avez suivi toutes les étapes de cette rubrique. Demander à votre concessionnaire conseils et renseignements sur la traction de remorque par votre vehicule.
Remarque: Tracter une remorque de manière incorrecte peut endommager votre vehicule et entrainer des réparations couteuses qui ne seraient pas couvertes par votre garantie.
Toujours suivre les instructions de cette section, et consulterer votre concessionnaire pour plus d'informations sur la façon de tracter une remorque avec votre vehicule.
Votre vehicule peut tirer une remorque. Pour connaître la capacité de remorquage du vehicule, vous devriez dire les informations de la rubrique « Poids de la remorque », plus loin dans cette section. Cependant, le remorquage est différent de la conduite d'un vehicule sans remorque. La traction d'une remorque modifie la maniability, le comportement, l'accelération, le freinage, la durabilité et la consommation de carburant. La traction d'une remorque dans la sécurité et sans problème exige un équipement ajustat utilisé correctement.
Cette rubrique donne des conseils importants sur la traction de remorque et presente des règles de sécurité ayant fait leurs preuves et qui assureront toute sécurité et celle de vos passagers. Alors, dire cette rubrique attentivement avant de tirer une remorque.
Les éléments tracteurs comme le moteur, la boîte-pont, les roues et les pneus doivent fournir un gros effort pour compenser le poids supplémentaire à tirer. Le moteur doit tourner à un régime plus élevé et être assujetti à de plus lourdes charges, ce qui produit plus de chaleur. De plus, la remorque augmente considérablement la résistance aérodynamique, et par conséquent, l'effort de remorquage.
Si vous decide de tirer une remorque
Voici quelques points importants à prendre en ligne de compte :
- Plusieurs bois, telles que celles qui s'appliquent aux limites de vitesse, régissant la traction de remorque. S'assurer que l'ensemble vehicule-remorque est conforme non seulement aux bois de votre province ou territorioire, mais aussi à celles des régions où vous voyagerez. Vous pouvez vous renseigner à ce sujet auprès de la police provinciale ou d'Etat.
-
Considerer l'utilisation d'un dispositif antiroulis. Voir la section « Attelages » plus loin dans la présente section.
-
Ne pas tracter de remorque pendant les premiers 800 km (premiers 500 milles) d'un vehicule. Vous pourriez endommager le moteur, les essieux ou d'autres composants.
- Pendant les premiers 800 km (premiers 500 milles) de remorquage, ne pas conduire à plus de 80 km/h (50 mi/h) et ne pas faire de démarriage à pleins gaz. Le respect de ces directives facilitera le rodage du moteur et d'autres pieces du vehicule pour la traction de lourdes charges.
- Vous devriez conduire en troisième vitesse (3) ou à une vitesse plus BASSE au besoin, lorsque vous tirez une remorque. La conduite en troisième vitesse (3) permet de minimiser l'échauffement et d'augmenter la durée de vie de la boîte-pont.
Trois considérations importantes sont à prendre en compte avec le poids :
- Poids de la remorque
- Poids au timon
- Poids total reposant sur les pneus du vehicule
Poids de la remorque
Quel est le poids maximal de la remorque que voiture vehicule peut tracter en toute sécurité?
Cela dépend de la façon dont vous envisagez de conduire l'ensemble vehicule-remorque. Par exemple, la vitesse, l'altitude, la déclivité, la température extérieure et la fréquence d'utilisation du vehicule pour tracter une remorque sont tous des facteurs importants. Cela dépend aussi de l'équipement spécial monté sur le vehicule, et du poids au timon que votre vehicule peut supporter. Pour de plus amples renseignements, se reporter à « Poids au timon», plus loin dans cette section.
Le poids maximal de la remorque est calculé en supposant que celui le conducteur prend place dans le vehicule remorqueur et que celui-ci est équipé de tout le matériel nécessaire à la traction de remorque. Le poids du matériel optionnel supplémentaire, des passagers et du chargement du vehicule remorqueur doit être soustrait du poids maximal de la remorque.
Consulter le tableau suivant pour trouver le poids maximal de la remorque que le vehicule peut tracter.
| Véhicule | Rapport de pont | Poids maximal de la remorque | *PNBC |
| Deux roues motrices | 3,29 | 1 588 kg (3 500 lb) | 3 856 kg (8 500 lb) |
| Les vehicules sans ensemble de remorquage V92 ou sans ensemble de refroidissement pour service sévère son limités à un poids total de remorque de 907 kg (2 000 lb) et à un PNBC de 3 175 kg (7 000 lb). *Le poids nominal brut combiné (PNBC) est le poids total permis pour un vehicule et sa remorque entièrement charges, c'est-à-dire avec tous les occupants, la charge, l'équipment, y compris les facteurs de conversion. Le PNBC du vehicule ne doit pas être dépassé. | |||
Vous pouvez vous renseigner auprès de votre concessionnaire, lui demander des conseils sur la traction d'une remorque ou nous écrire à l'adresse indiquée dans votre livre de garantie et d'assistance au propretaire.
Au Canada, vous pouvez nous écrire à l'adresse suivante :
General Motors du Canada Limitée
Centre de communication - clientèle, 163-005
Il est important de prendre en considération le poids au timon (A) d'une remorque, car il a des répercussions sur le poids total ou brut de votre vehicule. Le poids brut du vehicule (PBV) comprend le poids à vide du vehicule, ainsi que le poids du chargement et celui du conducteur. Si cette vehicule possède plusieurs options ou équipements, que plusieurs passagers y prenant place ou qu'il transporte une grossse charge,
cela diminuera le poids au timon que votre vehicule pourra tracter et, par le fait même, sa capacité de remorquage. Si vous tractez une remorque, vous devez ajouter le poids au timon au PBV, car votre vehicule devrait aussi tracter ce poids. Se reporter à la rubrique Chargement du vehicule à la page 447 pour plus de renseignements sur la capacité de charge maximale de votre vehicule.

A

B
Le timon (A) devrait peser de 10% à 15% du poids total de la remorque chargée (B). Ne pas dépasser le poids maximal de 159~kg (350 lb), lequel est permis sur le timon de votre vehicule.
Une fois la remorque chargée, peser séparément la remorque et ensuite le timon, pour voir si les poids sont appropriés. Si ce n'est pas le cas, vous pouvez peut-être remodelier à la situation simplement en déplaçant certains articles dans la remorque.
Le remorquage peut être limité par la capacité du vehicule de porter le poids au timon. Le poids au timon ne peut pas faire dépasser le PNBV (poids nominal brut du vehicule) ou le PNBE arrêté (poids nominal brut sur l'essieu arrêté). L'effect d'un poids supplémentaire peut réduire la capacité de remorquage plus que le total du poids supplémentaire.
Examiner les exemples suivants :
Un poids nominal modèle de vehicule est égal à 2 495 kg (5 500 lb); 1 270 kg (2 800 lb) au niveau de l'essieu avant, et 1 225 kg (2 700 lb) au niveau de l'essieu arrêté. Il a un PNBV de 3 266 kg (7 200 lb), un PNBE de 1 814 kg (4 000 lb) et un PNBC (poids nominal brut combiné) de 6 350 kg (14 000 lb).
Le pays nominal de la remorque devrait etre :
Vous pouvez vous attendre à ce que le poids au timon soit au moins égal à 10 pour cent du poids de la remorque (386 kg (850 lb)), et, étant donné que le poids est bien appliqué à l'arrière de l'essieu arrrière, l'effet sur l'essieu arrrière est plus important que le poids en lui-même et peut s'élever à 1,5 fois de plus. Le poids au niveau de l'essieu arrrière pourrait être égal à 386 kg (850 lb) X 1,5 = 578 kg (1 275 lb). Vu que l'essieu arrrière pse déjà 1 225 kg (2 700 lb), l'avout de 578 kg (1 275 lb) amène le total à 1 803 kg (3 975 lb). Ceci est aussi très proche, mais dans les limites, du PNBE. Le vehicule est réglé pour remorquer un poids maximum de 3 856 kg (8 500 lb).
Mais suppossons que votre vehicule en particulier est équipé des dernières options et que vous avez un passager de siège avant et deux passagers de sièges arrêté avec bagages et équipement dans le vehicule. Vous pouvez ajouter 136 kg (300 lb) au poids de l'essieu avant et 181 kg (400 lb) à celui de l'essieu arrêté. Notre vehicule pèse désormais :
Le poids est toujours inférieur à 3 266 kg (7 200 lb) et vous pouvez penser que vous devriez soustraire 318 kg (700 lb) de plus de votre capacité de remorquage pour rester dans la plage du PNBC. Notre remorque maximum ne serait que 3 538 kg (7 800 lb). Vous pouvez aller plus loin et penser que vous doivent limiter le poids au timon à moins de 454 kg (1 000 lb) pour éviter de dépasser le PNBV.
Mais vous devez néanmoins considérer l'effet sur l'essieu arrrière. Étant donné que vous essieu arrrière pèse désormais 1 406 kg (3 100 lb), vous pouvez uniquement ajouter 408 kg (900 lb) sur l'essieu arrrière sans dépasser le PNBE. L'effet du poids au timon est d'environ 1,5 fois de plus que le poids réel. Le fait de diviser les 408 kg (900 lb) par 1,5 vous permet de ne prendre en charge que 272 kg (600 lb) du poids au timon. comme le poids au timon est généralement au moins égal à 10 pour cent du poids total de la remorque chargée, vous pouvez vous attendre à ce que le poids maximum d'une remorque pouvant être tirée sans difficulté par votre vehicule est égal à 2 721 kg (6 000 lb).
Il est important d'assurer que votre vehicule ne dépasse aucun de ses poids nominaux, soit les PNBV, PNBE arrêté, PNBC, poids maximum de la remorque ou poids au timon. La seule façon de vérifier cela est de peser votre vehicule et la remorque.
Poids total reposant sur les pneus du vehicule
S'assurer que les pneus de votre vehicule sont gonflés à la pression maximale recommandée pour des pneus froids. Vous trouvez ce renseignement sur l'étiquette de conformité/pneus se trouvant sur le bord arrirée de la porte du conducteur. Vous pouvez également vous reporter à la rubrique Chargement du vehicule à la page 447. Ensuite, s'assurer de ne pas dépasser le PNB de votre vehicule, poids au timon compris.
Attelages
Il est important d'avoir l'équipement d'attelage approprié. Vous aurez besoin d'un attelage ajustat à cause de plusieurs facteurs, notamment les vents de travers, les croisements de gros camions et l'irregularité des routes qui peuvent affecter votre attelage. Voici quelques recommendations à suivre :
-
Les pare-chocs de votre vehicule n'ont pas eté concus pour y attacher un attelage. N'y pas attacher d'attelage de location ni tout autre type d'attelage qui s'attache aux pare-chocs. Ne pas utiliser qu'un attelage s'attachant au chassin du vehicule et non pas au pare-chocs.
-
Devrez-vous faire des trous de montage dans la carrosserie de votre vehicule quand vous installerez un attelage de remorque? Si c'est le cas, s'assurer de bien sceller les trous quand vous enlevez l'attelage. Si vous ne le faites pas, de l'oxyde de carbone (CO), un gaz mortel émis par l'échéppement, risque de s'infiltrer dans votre vehicule. Se reporter à la rubrique Échéppement du moteur à la page 163. La saleté et l'eau peuvent également y pénétrer.
Châines de sécurité
Vous devriez toujours attacher des chaînes entre le vehicule et la remorque. Croiser ces chaînes de sécurité sous le timon de la remorque pour éviter que celui-ci ne touche la route s'il se sépare de l'attelage. Des directives sur les chaînes de sécurité sont parfois fournies par le fabricant de l'attelage ou le fabricant de la remorque. Suivre les recommendations du fabricant pour attacher les chaînes, ne pas les attacher au pare-chocs. Laisser toujours juste assez de jeu pour effectuer les virages avec l'ensemble vehicule-remorque. De plus, ne jamais laisser les chaînes de sécurité trainer sur le sol.
Freins de remorque
Si vous remorque pèse plus de 450 kg (1 000 lb) lorsqu'elle est chargée, elle doit avoir ses propres freins et ils doivent être ajustats. S'assurer de dire et de suivre les directives sur les freins de remorque afin de pouvoir les installer, les régler et les entrenir comme il faut.
Parce que votre vehicule est équipé d'un système de freinage antiblocage, ne pas essayer de raccorder les freins de remorque au système de freinage de votre vehicule. Si vous le faites, les deux systèmes de freinage fonctionneront mal ou pas du tout.
Conduite avec une remorque
ATTENTION:
Si une des glaces latérales arrirée est ouverte lorsque vous tractez une remorque, le monoxyde de carbone (CO) pourrait s'infiltrer dans votre vehicule. On ne peut ni voir ni sentir le monoxyde de carbone. Vous pourriez perdre conscience et même mournir. Se reporter à la rubrique Échévement du moteur à la page 163. Pour maximiser votre sécurité lorsque vous tractez une remorque :
- Faire vérifier le système d'échévement pour répérez les fuites et faire effectuer les réparations avant de partir en voyage.
Garder les glaces les plus à l'arrière fermées.
/
ATTENTION: (suite)
- Si des gaz d'échéppement pénétre dans votre vehicule par une glace arrrière ou par toute autre ouverture, conduire avec le système de chauffage ou de climatisation principal en fonction et régler le ventilateur à n'importequelle vitesse. De cette façon, l'air extérieur pénétrera dans votre vehicule. Ne pas utiliser le mode de recirculation, car ce mode ne fait que recirculer l'air dans l'habitacle. Se reporter à la rubrique Système de régulation de température à la page 226 ou Système de climatisation à deux zones à la page 230.
La traction d'une remorque exige une certaine
experiencé.Avant de prendre la route, vousdezvez
connaitre votre équipement. Se familiariser avec
les effets de l'addition d'une remorque sur la
maniability et le freinage du vehicule.
De plus, il ne faut pas oublier que le vehicule que vous conduisez est bien plus long et n'est plus aussi maniable que lorsque vous ne tractez pas de remorque.
Avant le départ, vérifier l'attelage et les pieces de fixation, les chaînes de sécurité, le branchement électrique, les feuels, les pneus et le réglage des rétroviseurs. Si la remorque est équipée de freins ELECTriques,mettre le vehicule et la remorque en marche et serrer les freins de cette dernière à la main pour s'assurer qu'ils fonctionnement, ce qui vous permet de vérifier en même temps le branchement électrique.
Au cours du voyage, vérifier de temps en temps la fixation de la charge, de même que les deux et les freins de remorque pour s'assurer de leur bon fonctionnement.
Distance entre les vehicules
Garder au moins deux fois plus de distance entre votre vehicule et celui qui vous précède que lorsque vous ne tractez pas de remorque. Cette mesure de sécurité vous aidera à éviter des situations qui exigent un freinage brusque et des virages inattendus.
Manoeuvre de dépassement
Lorsque vous tractez une remorque, vous avez besoin d'une grande distance pour effectuer des manoeuvres de dépassement. De plus, étant donné que votre vehicule est très long, vous devrez parcourir une grande distance avant de réintégrer votre voie.
Marche arrête
Placer une main sur le bas du volant. Ensuite, pour faire reculer la remorque vers la gauche, tourner la main vers la gauche. Pour faire reculer la remorque vers la droite, tourner la main vers la droite. Reculer toujours lentement et, si possible, se faire guider.
Virages
Remarque: Lors de virages très serrés en traction de remorque, celle-ci pourrait venir en contact avec le vehicule. Notre vehicule pourrait être endommagé. Éviter les virages très serrés lorsque vous tirez une remorque.
Quand vous tractez une remorque, prendre vos virages plus larges qu'à l'habitude. Ainsi, la remorque ne montera pas sur l'accotement ou sur les trottoirs et n'accrochera pas les panneaux
de signalisation, les arbres ou d'autres objets.
Éviter les manoeuvres brusques et soudaines.
Mettre les clignotants bien à l'avance.
Les clignotants et le remorquage
Lorsque you tirez une remorque, il faut installer des fils supplémentaires sur votre vehicule.
Les flèches au tableau de bord clignotent chaque fois que vous signez un virage ou un changement de voie. Si les yeux de remorque sont bien branchés, ils clignoteront également pour avertir les autres conducteurs que vous âtes sur le point d'effectuer un virage, de changer de voie ou de vous arrêter.
Lorsque vous tractez une remorque, les flèches au tableau de bord clignotent même si les ampoules des frais de la remorque sont grillées. Donc, vous pourriez croire que les conducteurs qui vous suivent voient votre intention d'effectuer un virage alors que ce ne serait pas le cas. Il est donc important de vérifier de temps en temps que les frais de remorque fonctionnent encore.
Conduite en pente
Ralentir et rétrograder à une vitesse plus BASSE avant de descendre une pente longue ou raide. Si vous ne rétrogradez pas, vous devrez peut-être freiner tellement que les freins surchaufferont et ne fonctionneront pas bien.
Si vous tirez une remarque qui pèse plus de 450 kg (1 000 lb), il serait bon de conduire en troisisième vitesse (3) (ou même à une vitesse plus basse au besoin) plutôt qu'en marche avant (D). Vous minimiserez ainsi l'accumulation de chaleur et vous augmenterez la durée de service de la boîte-pont.
Stationnement en pente
ATTENTION:
Vous de devriez pas stationner en côte quand une remarque est attachée à votre vehicule. En cas de problème, votre
/
ATTENTION: (suite)
ensemble vehicule-remorque pourrait semettre à rouler. Des personnes peuventetre blessées. Voitre vehicule et la remorque peuvent être endommages.
Cependant, si vous avez à stationner en côte, voici comment faire :
- Serrer les freins ordinaires, mais ne pas passer pas à la position de stationnement (P).
- Faire placer des cales contre les roues de la remorque.
- Quand les cales sont en place, desserrer les freins ordinaires jusqu'à ce que les cales absorbent le poids.
- Serrer de nouveau les freins ordinaires. Serrer ensuite le frein de stationnement et déplacer le levier des vitesses à la position de stationnement (P).
- Desserrer les freins ordinaires.
Reprise de la route après avoir stationné en pente
-
Freiner normalement, maintainir la pedale enfonnée et :
-
Demarrer le moteur.
- Passer en vitesse.
-
Desserrer le frein de stationnement.
-
Relacher la pédale de frein.
- Avancer lentement pour libérer les cales.
- Arrête, faire enlever et ranger les cales.
Entretien du vehicule lorsque vous tractez une remorque
Votre vehicule aura plus fréquèment besoin d'entretien si vous tractez une remorque. Pour plus de renseignements à ce sujet, se reporter au programme d'entretien. Les éléments a vérifier particulièrement lorsque vous tractez une remorque sont le liquide de la boîte-pont automatique, l'huile moteur, les courroies,
le système de refroidissement et le circuit de freinage. Toutes ces composantes sont couvertes dans ce guide et l'index vous permettra de rapidement les trouver. Si vous tractez une remarque, il est conseilé de revoir ces rubriques avant de partir.
Vérifier périodiquement que tous les écrous et boulons d'attelage de la remorque sont serrés.
Faisceau de câblage de remorque
Votre vehicule peut etre equipe d'un faisceau de cablage de remorque place dans la boite a gants. Il peut etre branché entre l'arriere de votre vehicule et la remorque. S'adresser à sua re concessionnaire pour plus d'information.
Section 5 Réparation et entretien de l'apparce
Entretien 470
Accessoires et modifications 471
Avertissement sur proposition 65 - Californie 471
Entretien par le propriete 472
Ajout d'equipement à l'extérieur de votre vehicule 473
Carburant 473
Indice d'octane 473
Spécifications de l'essence 473
Carburant - Californie 474
Additifs 474
Carburants dans les pays étrangers 475
Remplissage du réservoir 476
Remplissage d'un bidon de carburant 479
Vérification sous le capot 480
Levier d'ouverture du capot 481
Apercu du compartmente moteur 482
Huile à moteur 484
Indicateur d'usure d'huile a moteur 487
Filtre à air du moteur 489
Liquide de boite-pont automatique 491
Liquide de refroidissement 493
Bouchon de radiateur 497
Surchauffedumoteur 497
Mode de fonctionnement de protection du moteur surchauffé 500
Système de refroidissement 500
Liquide de direction assistée 506
Liquide de lave-glace 507
Freins 508
Batterie 513
Demarrage avec batterie auxiliaire 514
Remplacement d'ampoules 519
Ampoules à halogène 520
Phares et feu de gabarit 520
Clignotants avant, feu de stationnement et feux de circulation de jour (FCJ) 522
Feux arrêt, clignotants, deux d'arrêt et deux de recul 523
Feudela plaque d'immatriculation 524
Ampoules de rechange 525
Section 5 Réparation et entretien de l'apparce
Remplacement de la raclette d'essuie-glace 525
Pneus 526
Étiquette sur paroi latérale du pneu 527
Terminologie et definiptions de pneu 532
Gonflement - Pression des pneus 535
Fonctionnement haute vitesse 537
Inspection et permutation des pneus 538
Quand faut-il remplacer les pneus? 539
Achat de pneus neufs 540
Pneus et roues de dimensions variees .... 542
Classification uniforme de la qualite des pneus 543
Réglage de la géométrie et équilibrage des pneus 545
Remplacement de roue 545
Chaines a neige 547
Accessoire de gonflage 548
Au cas d'un pneu à plat 550
Remplacement d'un pneu à plat 552
Dépose du pneu de secours et des outils 553
Dépose d'un pau ne creve et installation du pau de rechange 557
Système de serrerse secondaire 563
Entreposage d'un pau neve ou d'un
pneu de secours et des outils 566
Pneudecourscompact 569
Entretien de I'aspect 570
Nettoyage de l'intérieur du vehicule 570
Tissu et tapis 572
Cuir 573
Tableau de bord, surfaces en vinyle et autres surfaces en plastique 573
Entretien des ceintures de sécurité 574
Joints d'étanchéité 574
Lavage du vehicule 574
Nettoyage de I'éclairage extérieur et des lentilles 575
Soin de finition 575
Section 5 Réparation et entretien de l'apparence
Pare-brise, lunette et lames d'essuie-glace 576
Roues aluminium 576
Pneus 577
Trole endommagée 577
Finition endomagée 578
Entretien du dessous de la carrosserie 578
Peinture endommagée par retombées chimiques 578
Matériaux d'entretien/d'aspect du vehicule ... 579
Identification du vehicule 580
Numéro d'identification du vehicule (NIV) 580
Étiquette d'identification des pieces de rechange 581
Système électrique 581
Euplementelectrique complémentaire.....581
Câblage des phares 582
Fusibles d'essuie-glace 582
Glaces à commande électrique et autres
équipements électriques 582
Fusibles et disjoncteurs 583
Bloc-fusibles d'ensemble d'instruments .... 583
Bloc-fusibles sous le capot 585
Capacités et specifications 589
Entretien
Votre concessionnaire Saturn est la personne qui connait le mieux votre vehicule, et il souhaite que vous en soyez satisfait. Nous espérons que vous aurez recours à lui pour tous vos besoin d'entretien. Vous aurez la garantie d'y trouver des pieces d'origine Saturn et des techniciens d'entretien formés et assistés par Saturn.
Nous espérons que vous voudrez que votre vehicule soit uniquement équipé de pieces Saturn.
Les pièces d'origine Saturn portent l'une de ces marques.


SATURN®
Accessoires et modifications
Lorsque vous ajoutez des accessoires non Saturn à votre vehicule, ceux-ci peuvent affecter les performances et la sécurité de votre vehicule, notamment sacs gonflables, le freinage, la stabilité, la conduite et la maniabilité, les systèmes d'émissions, l'aérodynamisme, la durabilité et les systèmes électroniques tels que les freins antiblocage, la commande de traction asservie et la commande de stabilité. Certains de ces accessoires peuvent même entraîner des dysfonctionnements ou des dommages qui ne seraient pas couverts par votre garantie.
Les accessoires Saturn sont conçus pour compléter, et fonctionner avec d'autres systèmes montés sur votre vehicule. Vote concessionnaire Saturn peut éoperatoraire voirche vehicule avec des accessoires Saturn d'origine. Lorsque vous demandez des accessoires Saturn à vote concessionnaire Saturn, ce sont des techniciens d'entretien formés et assistés par Saturn qui réalisent le travail en utilisant des accessoires Saturn d'origine.
Avertissement sur proposition 65 - Californie
La plupart des vehicules, y compris celui-ci, comportent et/ou émettent des produits ou émanations chimiques dont il a été prouvé en Californie qu'ils peuvent provoquer le cancer, des anomalies congénitales ou des troubles des fonctions reproductrices. L'échévement du moteur, ainsi que de nombreux systèmes et pieces (dont certains se trouvent à l'intérieur du vehicule), de nombreux liquides et certains sous-produits dus à l'usure des composants contiennent et/ou émettent ces produits chimiques.
Entretien par le propriété
ATTENTION:
Vous pouvez'être blessé et votre vehicule pourrait être endommagé si vous essayez de faire vous-même les travaux d'entretien sans savoir exactement comment vous y prendre.
- Avant de faire vous-même un travail d'entretien, s'assurer que vous possédez les connaissances et l'expérience nécessaires et que vous avez les pieces de rechange et les outils appropriés.
- S'assurer que les écrous, les boulons et les autres pieces d'attache sont appropriés. On peut facilement confondre les pieces d'attache des systèmes anglais et métrique. Si vous utilisez les mauvaises pieces d'attache, elles risquent à la longue de se briser ou de se détacher. Vous pourriez être blessé.
Si vous foulez effectuer vous-même certains travaux d'entretien, vous devriez vous procurer le manuel d'entretien approprié. Il vous renseignera beaucoup plus sur l'entretien de votre vehicule que ce guide. Pour commander le manuel d'entretien approprié, se reporter à Renseignements sur la commande de guides de réparation à la page 632.
Votre vehicule est équipé d'un système de sacs gonflables. Avant d'essayer d'effectuer vous-même l'entretien sur votre vehicule, se reporter à Réparation d'un vehicule muni de sacs gonflables à la page 104.
Vous devriez garder un dossier avec tous les reçus des pieces et faire une liste du kilométrage et des dates auxquels les travaux ont été effectués. Se reporter à la rubrique Fiche d'entretien à la page 611.
Ajout d'équipement à l'extérieur de votre vehicule
Certaines pièces ajoutées sur l'extérieur du vehicule peuvent affecter la circulation d'air autour de celui-ci. Elles pourrait cause des bruits d'infiltration d'air et affecter l'efficacité du lave-glace. Demander au détaillant avant d'ajouter un équipement à l'extérieur du vehicule.
Carburant
Utiliser le carburant qui convient est une partie importante de l'entretien correct de votre vehicule. Pour vous aider à garder votre moteur propre et préserver ses performances, Saturn recommends d'utiliser de l'essence dite TOP TIER Detergent Gasoline.
Indice d'octane
Utiliser de l'essence ordinaire sans plomb à indice d'octane d'au moins 87. Si l'indice d'octane est inférieur à 87, il est possible que vous entendiez un cognement lors de la conduite, généralement appelé détonation. Dans ce cas, utiliser une essence à indice d'octane d'au moins 87 dés que possible. Si vous utilisez une essence à indice d'octane d'au moins 87 et si vous entendez un fort cognement, le moteur de votre vehicule doit être réparé.
Spécifications de l'essence
L'essence doit au minimum être conforme à la norme ASTM D 4814 aux États-Unis ou CAN/CGSB-3.5 au Canada. Il est possible que certaines essences contiennent un additif qui augmente l'indice d'octane appelé manganésé methyl-cyclopentadiemylique-tricarbonyle (MMT). Nous vous déconseillons d'utiliser de l'essence contenant du MMT. Pour plus de renseignements, se reporter à la rubrique Additifs à la page 474.
Carburant - Californie
Si vous VXecule est conforme aux normes d'émission automobile de la Californie, il est concu pour fonctionner avec les carburants qui satisfont à ces normes. Voir l'étiquette de dispositif antipollution sous le capot. Il se peut que vous État ou province ait adopté ces normes californiennes, mais que ce carburant n'y soit pas offert. Notre vehicule fonctionnera tout de même de façon satisfaisante avec les carburants conformes aux exigences fédérales, mais le rendement de votre système antipollution en sera peut-être réduit. Le témoin d'anomalie peut s'allumer et votre vehicule peut échouer une vérification antipollution. Se reporter à la rubrique Témoin d'anomalie à la page 252. Dans ce cas, consulterer vosce concessionnaire Saturn pour le diagnostic. Si le type de carburant utilisé est la cause du mauvais fonctionnement de votre vehicule, les réparations nécessaires peuvent ne pas être couvertes par la garantie.
Additifs
Afin d'améliorer la qualité de l'air, toutes les essences aux États-Unis doivent désormais conténir des additifs qui empêchent la formation de dépôts dans le moteur et dans le circuit de carburant pour permettre un fonctionnement correct de votre système antipollution. Dans la plupart des cas, vous n'avez rien à ajouter au carburant. Cependant, certaines essences contiennent uniquement la quantité minimale d'additifs fixée par les réglementations de l'Environmental Protection Agency (agence de protection de l'environnement) américaine. Pour garantir la propre dé injecteurs de carburant et des soupapes d'admission, ou bien si vous végicule rencontres des problèmes liés à des injecteurs ou soupapes sales, veiller à utiliser de l'essence dite TOP TIER Detergent Gasoline. Par ailleurs, votre concessionnaire dispose d'additifs permettant de corriger et d'éviter la plupart des problèmes de dépôts.
Les essences contenant des composés oxygénés, tels que l'éther et l'éthanol, ainsi que les essences reformulées peuvent être disponibles dans toute région. Nous vous recommendons d'utiliser ces essences si elles sont conformes aux spécifications décrites plus haut. Cependant, l'E85 (85% d'éthanol) et d'autres carburants contenant plus de 10% d'éthanol ne doivent pas été utilisés dans les vehicules non conçus pour ces carburants.
Remarque: Le vehicule n'a pas ete concu pour fonctionner avec un carburant contenant du methanol. Ne pas utiliser de carburant contenant du methanol. Il peut corroder les pieces metalliques du systeme d'alimentation en carburant et endommager les pieces en plastique et en caoutchouc. De tels dommages poursraient ne pas etre couverts par la garantie.
Certaines essences non reformulées pour réduire les émissions peuvent containir un additif qui augmente l'indice d'octane appelé manganèse méthyl-cyclopentadiémylique-tricarbonyle (MMT); se renseigner auprès de votre station-service afin de savoir si le carburant utilisé contient ce produit.
Nous vous recommendons de ne pas utiliser de telles essences. Le carburant contenant du MMT peut réduire la durée de vie des bougies et ALTERER le rendement du système antipollution. Le tímoin d'anomalie pourrait s'allumer. Dans ce cas, faire vérifier votre vehicule chez votre concessionnaire.
Carburants dans les pays étrangers
Si on compte utiliser le vehicule ailleurs qu'au Canada ou aux États-Unis, le carburant approprié peut être difficile à couver. Ne jamais utiliser d'essence avec plomb ou tout autre carburant qui n'est pas recommandé dans la rubrique précédente Les coûts élevés de réparation qu'entraînera l'utilisation d'un carburant inapproprié ne seront pas couverts par la garantie.
Pour vérifier la disponibilité du carburant approprié, se renseigner auprès d'un club automobile, ou contacter une importante entreprise petrolière presente dans le pays où on se rendra avec le vehicule.
Remplissage du réservoir
ATTENTION:
Les vapeurs de carburant brulient
violent et un feu de carburant peut
causer de sérieuses blessures. Afin
d'eviter des blessures à vous-même et aux
autres, suivre toutes les instructions sur
l'ilot des pompes de la station service.
Éteindre votre moteur pendant que vous
faites le plein. Ne pas fumer lorsque vous
étés pres du carburant ou pendant que
vous faites le plein de votre vehicule.
Tenir à l'écart du carburant les étincelles,
les flammes ou les accessoires de fumeur.
Ne pas laisser la pompe à carburant sans
surveillance pendant que vous refaites le
plein - ceci contrevient à la loi dans
certaines endroits. Tenir les enfants
éloignés de la pompe à carburant;
ne jamais laisser des enfants refaire le
plein de carburant.

Le bouchon de réservoir captif se trouve derrière un volet d'accès (à charnière) au réservoir de carburant, du côté conducteur du vehicule.
Quand le volet du réservoir de carburant d'un vehicule équipé de deux portes coulissantes est ouvert, la porte coulissante du côte conducteur ne s'ouvre que partiellement.
Quand vous faites le plein, laisserPENDRE le bouchon par son attache.

ATTENTION:
Si vous éclaboussez de l'essence et qu'elle s'enflamme, vous pourriez être gravement brûlé. L'essence peut jaillir du réservoir si vous ouvrez le bouchon du réservoir de carburant trop rapidement. Ceci peut se produit si le réservoir est presque plein et surtout par temps chaud. Dévisser lentement le bouchon de réservoir de carburant. Si vous entendez un sifflement attendre que le bruit cette avant de continuer. Dévisser ensuite le bouchon complètement.
Ne pas renverser de carburant. Ne pas replir le réservoir à ras bord ou de façon excessive et attendre quelques secondes avant de retirer le pistolet. Nettoyer le plus tout possible le carburant déversé sur les surfaces peintes. Se reporter à la rubrique Lavage du vehicule à la page 574.
Lorsque vous remettez en place le bouchon de réservoir, le tourner dans le sens des aiguilles d'une montre jusqu'au clic. S'assurer que le bouchon est bien en place. Le dispositif de diagnostic peut déterminer si le bouchon de réservoir n'a été replaced ou a été mal revisse. Une telle erreur permet au carburant de s'évaporer. Se reporter à la rubrique Témoin d'anomalie à la page 252.
Le message CHECK GAS CAP (verifier le bouchon du réservoir de carburant) s'affiche à l'écran du centralisateur informatique de bord (CIB) si le bouchon n'est pas bien mis en place. Pour de plus amples renseignements, se reporter à Centralisateur informatique de bord - Avertissements et messages à la page 270.
ATTENTION:
Si un feu se déclare lors du plein du vehicule, ne pas-retirer le bec. Arreter le débit de carburant en fermant la pompe ou en informant le préposé de la station. Quitter immidiatement la zone.
Remarque: Si vous devez remplaner le bouchon du réservoir de carburant, s'assurer d'obtenir le type approprié. Vous pouvez vous en procurer un chez votre concessionnaire. Un bouchon inapproprié risque de ne pas s'adapter correctement. Cela pourrait faire allumer le témoin d'anomalie et endommager le réservoir de carburant ainsi que le dispositif antipollution. Se reporter à la rubrique Témoin d'anomalie à la page 252.
Remplissage d'un bidon de carburant

ATTENTION:
Ne jamais replir un bidon de carburant pendant qu'il est dans le vehicule. La décharge d'électricité statique du contenant peut faire enflammer la vapeur d'essence. Si cela se produit, vous pouvez être gravement brûlé et votre vehicule peut être endommagé.
/
ATTENTION: (suite)
Pour aider à éviter des blessures à vous et à d'autres personnes :
- Mettre de l'essence seulement dans un bidonapprové.
- Ne pas replir un bidon pendant qu'il est à l'intérieur d'un vehicule, dans le coffre d'un vehicule, dans la caisse d'une camionnette ou sur toute surface autre que le sol.
- Amener le bec de replissage en contact avec l'intérieur de l'ouverture de replissage avant d'actionner le bec. Le contact devrait etre maintainu jusqu'à la fin du replissage.
- Ne pas fumerpendant que vous faites le plein d'essence.
Vérification sous le capot
ATTENTION:
Un ventilateur électrique du compartment
moteur peut entraer en action et vous
blesser même si le moteur ne tourne pas.
Éloigner les mains, vêtements et outils du
ventilateur électrique du compartment
moteur.
ATTENTION:
Des matières inflammables peuvent toucher aux pieces chaudes du moteur et provoquer un incendie. Celles-ci incluent des liquides comme l'essence, l'huile, le liquide de refroidissement, le liquide à freins, le liquide de lave-glace et l'autres liquides ainsi que le plastique et le caoutchouc. Vous ou d'autres personnes pourriez être brûlés. Faire attention de ne pas laisser tomber ou de ne pas renverser des matières inflammables sur un moteur chaud.
Levier d'ouverture du capot
Pour ouvrir le capot, effectuer les étapes suivantes :

-
Tirer sur la poignée d'ouverture du capot portant ce symbole. Elle est située sous le tableau de bord, cote conducteur.
-
Aller à l'avant du vehicule et pousser la poignée d'ouverture située sous le capot vers la droite. Elle se trouve pres du centre du capot, sous la calandre.
-
Soulever le capot.
-
Tirer la bequille de capot vers le haut pour la dégager de son attache de retenue.
La béquille de capot risque d'être chaude à cause des températures élevées sous le capot. Alors, être prudent. Se servir de la gaine de béquille de capot lorsque vous manipuez la béquille de capot. - Placer l'extrémité de la bequille de capot dans la fente située sous le capot, côté conducteur du vehicule. Elle comporte une flèche.
Avant de fermer le capot, s'assurer que tous les bouchons de replissage sont fermés correctement. Puis soulever le capot pour relâcher la pression sur le support de capot. Retirer le support de capot de la fente du capot et le replacer dans son dispositif de retenue. Enfin, simplement laisser tomber le capot et bien le fermer.
Aperçu du compartmente moteur
AGRAVE l'ouverture du capot d'un moteur V6 de 3,9 L, les organes suivants sont visibles.

A. Bloc-fusibles sous le capot. Se reporter à la rubrique Bloc-fusibles sous le capot à la page 585.
B. Borne positive (+) à distance. Se reporter à la rubrique Demarrage avec batterie auxiliaire à la page 514.
C. Réservoir de liquide de lave-glace. Se reporter à « Ajout de liquide de lave-glace » sous la rubrique Liquide de lave-glace à la page 507.
D. Bouchon de radiateur. Se reporter à la rubrique Bouchon de radiateur à la page 497.
E. Réservoir du liquide de direction assistée. Se reporter à la rubrique Liquide de direction assistée à la page 506.
F. Bouchon de replissage d'huile moteur. Se reporter à « Quand ajouter de l'huile moteur » à la rubrique Huile à moteur à la page 484.
G. Jauge d'huile moteur. Se reporter à « Vérification de l'huile moteur » à la rubrique Huile à moteur à la page 484.
H. Jauge de liquide de boîte-pont automatique. Se reporter à « Vérification du niveau de liquide » à la rubrique Liquide de boîte-pont automatique à la page 491.
I. Réservoir du maître-cylindre des freins. Se reporter à « Liquide pour freins » à la rubrique Freins à la page 508.
J. Filtre à air. Se reporter à la rubrique Filtre à air du moteur à la page 489.
K. Réservoir de récuppération de liquide de refroidissement. Se reporter à la rubrique Système de refroidissement à la page 500.
Huile à moteur
Vérification de l'huile moteur
Il est bon de vérifier le niveau de l'huile moteur chaque fois que vous faites le plein. Pour obtenir une lecture précise, il faut que l'huile soit chaude et que le vehicule soit stationné sur une surface de niveau.
La poignée de laJAuge d'huile moteur est en forme d'anneau et de couleur jaune.Voir Apercu du compartmente moteur a la page 482 pour connaître l'emplacement précis de la jauge d'huile moteur.
- Couper le contact et attendre plusieurs minutes pour permettre à l'huile de revenir dans le carter. Sinon, la jauge d'huile n'indiquera peut-être pas le niveau actuel.
- Enlever la jauge d'huile et la nettoyer avec un essuie-tout ou un chiffon et l'enforcer de nouveau à fond. La retirer à nouveau en maintainant la pointe vers le bas et vérifier le niveau.
Ajout d'huile moteur

Si le niveau d'huile se situe au-dessous de la section quadrillée sur la pointe de la jauge, il est nécessaire d'ajouter au moins un litre d'huile. Mais, l'huile appropriée doit être utilisée. Cette section contient des explications sur le type d'huile à utiliser. Pour la capacité d'huile moteur de carter de vilebrevin, se reporter à Capacités et spécifications à la page 589.
Remarque: Ne pas ajouter trop d'huile. Le moteur pourrait etre endommagé si le niveau d'huile depasse la zone hachurée indiquant la plage de fonctionnement appropriée.

Voir Aperçu du compartmentement moteur à la page 482 pour connaître l'emplacement précis du bouchon de replissage d'huile.
S'assurer d'ajouter assez d'huile pour amener le niveau dans la plage de fonctionnement appropriée, soit dans la zone hachurée de la jauge. À la fin de l'opération, repousser complètement la jauge en place.
Huile moteur appropriée
HUILE-MOTEUR SAE DE LA VISCOSITE RECOMMANDÉE
Rechner deux choses :
GM6094M
Il faut utiliser dans votre vehicule une huié conforme à la norme GM6094M. Vous devez donc rechercher et utiliser uniquement une huié conforme à la norme GM6094M.
SAE 5W-30
Tel qu'indiéqu dans le tableau de viscosité, l'huile SAE 5W-30 est l'huile qui convient le mieux à votre vehicule.
Les chiffres inscrit sur le contenant d'huile indiquent sa viscosité ou son épaisseur.
Ne pas utiliser d'huile de viscosité différente, telle que l'huile d'indice SAE 20W-50.

Les contenants d'huiles conformes à ces exigences dévaient également porter le symbole d'étoile, qui indique que l'huile a été approvée par l'American Petroleum Institute (API).
Vous devriez le rechercher sur le contenant d'huile et utiliser seulement les huiles qui sont indiquées comme conformes à la norme GM6094M et dont le contenantporte le sceau dentelé.
Remarque: N'utiliser que de l'huile-moteur répondant aux normes GM6094M et portant le symbole étoilé de l'American Petroleum Institute (API) pour les moteurs à essence. L'utilisation d'huile-moteur inapproprié peut cause des dommages au moteur qui ne seraient pas couverts par la garantie.
L'huile moteur GM Goodwrench ^MD satisfait à toutes les exigences de votre vehicule.
Si vous vivez dans une région très froide où la température descend sous -29^ (-20^) , vous devrez utiliser plutôt une huile synthétique SAE 5W-30 ou SAE 0W-30. Par temps très froid, ces deux huiles faciliteront le démarrage à froid et offriront une(Meilleure protection au moteur.
Additifs pour huile moteur
Ne rien ajouter à l'huile. Les huiles recommendees qui portent l'étoile rayonnante de conformité à la norme GM6094M suffisent à assurer un bon rendement de votre moteur et à le protégger.
Indicateur d'usure d'huile à moteur Intervalles de vidange d'huile-moteur
Votre vehicule est équipé d'un ordinateur qui vous signale àquel moment faire la vidange de l'huile moteur et remplacer le filtré. Ceci est calculé en fonction du régime moteur et de la température de fonctionnement du moteur, et non en fonction du kilométrage. Selon les conditions de conduite, le kilométrage auquel la vidange d'huile est signalée peut varier considérablement. Pour que l'indicateur de vidange d'huile moteur fonctionne correctement, vous devez le réinitialiser à chaque vidange d'huile.
Quand le système a calculé que la durée de vie de l'huile a été réduite, il indiquera qu'une vidange est nécessaire. L'écran affichera le message CHANGE OIL SOON (vidanger l'huile-moteur bientôt). Se reporter à Centralisateur informatique de bord - Avertissements et messages à la page 270. Vidanger l'huile le plus tôt possible dans les prochains 1 000 km (600 milles). Si vous conduisez dans des conditions ideales, il est possible que l'indicateur de vidange d'huile n'indique pas la nécessité d'effectuer une vidange d'huile pendant un an ou plus.
Toutefois, l'huile-moteur doit être vidangée et le filtré remplace au moins une fois par an et le système doit être réinitialisé à ce moment-là. Voitre concessionnaire emploie des techniciens formés par Saturn qui se chargeront d'effectuer cet entretien, avec des pieces d'origine Saturn, et de réinitialiser le système. Il est également important de vérifier l'huile régulièrement et de la garder au niveau approprié.
Si l'indicateur a ete reinitialise par megarde, vous nevez remplacer l'huile 5 000 km (3 000 milles) apres la derniere vidange d'huile. Ne pas oublier de reinitialiser l'indicateur de vidange d'huile lorsque la vidange d'huile est effectuee.
Comment réinitialiser l'indicateur de vidange d'huile moteur
Le système Engine Oil Life System (indicateur d'usure d'huile à moteur) calcule la fréquence de remplacement de l'huile moteur et du filtré en fonction des habitudes de conduite. À chaque vidange, il convient de remettre le système à zéro pour lui permettre de calculer le moment de la
prochaine vidange. Si la vidange est effectuee avant l' apparition du message CHANGE OIL SOON (vidanger I'huile bientot), l'indicateur doit etre réinitialisé.
- Avec la clé de contact à la position RUN (marche) et le moteur arrêté, appuyer à plusieurs reprises sur le bouton de réglage/ réinitialisation jusqu'à ce que le témoin OIL (huile) s'affiche sur le centralisateur informatique de bord (CIB).
- Lorsque le témoin OIL (huile) est affché, appuyer sur le bouton de réglage/ réinitialisation et le maintainir enforcé pendant cinq secondes. Le chiffre disparaître et sera replacé par 100 (pour signaler qu'il reste 100% de durée de vie à l'huile).
- Mettre le commutateur d'allumage à LOCK (verrouillage).
Si le message CHANGE OIL SOON (vidanger l'huile bientôt) réapparaît au démarrage du moteur, cela signifie que la réinitialisation a échoué. Répéter la manoeuvre.
Que faire de I'huile de rebut?
L'huile moteur usée renferme certains éléments qui peuvent être malsains pour la peau et qui risquent même de provoquer le cancer. Il faut donc éviter tout contact prolongé avec la peau. Nettoyer la peau et les ongles avec de l'eau savonneuse ou un nettoyant pour les mains de bonne qualité. Laver ou éliminer de façon appropriée les vêtements ou chiffons imbibés d'huile moteur usée. Voir les avertissements du fabricant sur l'utilisation et la mise au rebut des produits d'huile.
L'huile de rebut présente de sérieux risques de pollution pour l'environnement. Si vous faites la vidange vous-même, prendre soin de vider le filtré de toute son huile avant de le jeter. Ne jamais jeter l'huile à la poubelle, la déverser sur le sol, dans les égouts, dans les ruiscaux ou dans les plans d'eau pour s'en débarrasser. L'apporter à un centre de récepération à des fins de recyclage. Si vous ne savez pas comment vous débarrasser proprement de l'huile de vidange, s'adresser à votre concessionnaire, à une station-service ou à un centre de recyclage de votre localité.
Filtre à air du moteur

Voir Aperçu du compartmentement moteur à la page 482 pour connaître l'emplacement du filtré à air du moteur.
Quand inspector le filtré à air du moteur
Inspector le filtré à air lors de l'Entretien II et le remplacer à la première vidange d'huile après 85 000 km (50 000 milles). Pour plus d'informations, se reporter à la rubrique Entretien prévu à la page 595. Si vous roulez sur des routes poussièresuses ou sales, inspector le filtré à chaque vidange d'huile moteur.
Comment inspector le filtré à air du moteur
Pour examiner le filtré à air, le retarder du vehicule et le secouer légèrement pour faire tomber les particules de saleté et la poussière. Si la saleté forme une « croute collée » dans le filtré, il faut le replacer. Ne pas utiliser d'air compré pour le nettoyage du filtré.
Pour inspector ou remplacer le filtré à air, procédé de la manière suivante :
- Enlever les deux colliers situés sur le conduit.
- Enlever le conduit.
- Libérer les deux crochets situés sur le dessus du boîtier de filtré à air du moteur.
-
Vérifier ou remplancer le filtré à air du moteur.
-
Aligner les languettes situées au bas du panneau avec les encoches au bas du boîtier.
- Raccrocher les languettes pour bloquer le panneau en place. S'il rouge facilement, vérifier que les languettes sont bien enforcées dans les encoches.
- Remetre le conduit en place ainsi que les colliers.
ATTENTION:
Si vous faites fonctionner le moteur sans filtré à air, vous ou d'autres personnes pourriez être brûlés. Le filtré à air non seulement nettoie l'air, mais il assure également une protection en cas de return de flamme. S'il n'est pas en place et qu'un return de flammes se produit, vous risquez d'être brûlé. Ne pas rouler sans filtré à air et être prudent lorsqu'on travaille sur un moteur dépourvu de filtré à air.
Remarque: Si le filtré à air est enlevé, un retour de flamme peut causeur un incendie qui endommagera le moteur. De plus, la saleté peut facilement s'infiltrer dans le moteur, ce qui peut l'endommager. Toujours avoir le filtré à air en place en conduisant.
Liquide de boîte-pont automatique
Quand vérifier et vidanger le liquide de boîte-pont automatique
Le meilleur moment pour vérifier le niveau de liquide de la boîte-pont automatique est lors de la vidange de l'huile-moteur.
Changer le liquide et le filtré selon les intervalles indiqués en Réparations additionnelles requises à la page 598, et veiller à utiliser le liquide de boîte-pont indiqué en Liquides et lubrifiants recommendés à la page 607.
Comment vérifier le liquide de boîte-pont automatique
Cette opération étant relativement délicate, vous pouvez decide de confier ce travail au service après-venture de votre concessionnaire.
Si vous faites la vérification, s'assurer de suivre toutes les directives suivantes, sinon vous risquez d'obtenir une lecture erronée sur la jauge d'huile.
Remarque: La boîte-pont peut être endommagée s'il y a trop ou pas assez de liquide. S'il y en a trop, l'excess pourrait s'échapper, couler sur des pieces chaudes du moteur ou du système d'échéppement et prendre feu. S'il n'y en a pas assez, la boîte-pont peut surchauffer. S'assurer que la valeur affichée est exacte quand on vérifie le liquide de boîte-pont.
Attendre au moins 30 minutes avant de vérifier le niveau de liquide de boîte-pont si vous venez de conduire :
- Par une température extérieure supérieure à 32^ ( 90^ ).
- À grande vitesse pendant assez longtemps.
- Dans la circulation urbaine intense — surtout par temps chaud.
- En tirant une remorque.
Pour obtenir une lecture précise, il faut que le liquide soit à sa température de fonctionnement normal, qui est comprise entre 82^ et 93^ (180^ et 200^) .
Réchauffer le vehicule en conduisant pendant environ 24km (15 milles) quand la température extérieure est supérieure à 10^ (50^) . Si la température est inférieure à 10^ (50^) , vous devrez peut-être conduire plus longtemps.
Vérification du niveau du liquide
Préparer le vehicule de la façon suivante :
- Stationner le vehicule sur un terrain de niveau.
Garder le moteur en marche. - Serrer le frein de stationnement et déplacer le levier des vitesses à la position de stationnement (P).
- Enforcer la pédale des freins, déplacer le levier des vitesses à toutes les positions en le tenant à chaque position pendant environ 3 secondes. Ensuite, déplacer le levier des vitesses à la position de stationnement (P).
- Laisser le moteur tourner au ralenti pendant trois à cinq minutes.
Ensuite, sans couper le contact, suivre les étapes suivantes :
- Retirer la jauge et l'essuyer avec un chiffon propre ou un essuie-tout.
La jauge de liquide de boite-pont automatique est située vers l'arrière du compartment mateur, pres du réservoir de maître-cylindre de frein. Sa poignée est une boucle rouge.
Pour son emplacement, se reporter à la rubrique Aperçu du compartmente moteur à la page 482. - La repousser en place complètement, attendre trois secondes, puis la retirer de nouveau.
- Vérifier les deux côtés de la jauge et repérer le niveau plus bas. Le niveau de liquide doit se couver dans la zone hachurée.
- Si le niveau de liquide se trouve dans la plage appropriée, repousser la jauge en place complètement.
Comment ajouter du liquide de boîte-pont automatique
Se reporter au programme d'entretien pour connaître le type de liquide de boîte-pont à utiliser. Voir la rubrique Liquides et lubrifiants recommendés à la page 607.
Si le niveau de liquide est bas, ajouter seulement assez de liquide approprié pour que le niveau atteigne la zone hachurée de la jauge.
- Retirer la jauge.
- À l'aide d'un entonnoir à long goulot, ajouter suffisamment de liquide dans le trou de la jauge pour amener le liquide au niveau approprié.
En règle générale, il suffit d'ajouter une très petite quantité de fluide, soit moins de 0,5 L (1 chopine) dans la plupart des cas. Éviter le trop-plein.
Remarque: L'utilisation d'un liquide de boîte-pont automatique non approprié risque d'endommager votre vehicule et d'entrainer des réparations qui ne seraient pas couvertes par votre garantie.
Toujours utiliser le liquide de boîte-pont automatique indiqué dans la section Liquides et lubrifiants recommendés à la page 607.
- ÀpRES avoir ajouté du liquide, vérifier de nouveau son niveau, tel qu'indiqué précédemment dans cette section, sous la rubrique « Comment vérifier le liquide de boîte-pont automatique »
- Quand le niveau de liquide est ajustat, repousser la jauge en place complètement.
Liquide de refroidissement
Le système de refroidissement de votre vehicule est rempli avec le liquide de refroidissement DEX-COOLMD. Ce liquide de refroidissement est donc pour rester dans votre vehicule pendant 5 ans ou 240 000 km (150 000 milles), selon la première éventualité, si vous ajouter seulement du liquide de refroidissement DEX-COOLMD de longue durée.
Ce qui suit explique le fonctionnement du système de refroidissement et comment ajouter du liquide de refroidissement quand le niveau est bas. Si le moteur surchauffe, voir Surchauffe du moteur à la page 497.
Un mélange à 50/50 d'eau potable propre et de liquide de refroidissement DEX-COOLMD:
- Protégera contre le gel jusqu'à -37^ (-34^) .
- Protégera contre l'ébullition jusqu'à 129^ (265^) .
- Protégera contre la rouille et la corrosion.
- Aidera à garder le moteur à la température appropriée.
Permettra aux témoins et indicateurs de fonctionner comme ils le devraient.
Remarque: L'utilisation d'un autre liquide de refroidissement que DEX-COOLMD peut entrainer une corrosion prematurée du moteur, du corps de chauffe ou du radiateur. De plus, il peut être nécessaire de vidanger le liquide de refroidissement plus tôt, soit après 50 000 km (30 000 milles) ou 24 mois, selon la première échéance. Toutes les réparations ne sont pas couvertes par votre garantie. Toujours utiliser le liquide de refroidissement DEX-COOLMD (sans silicate) dans votre vehicule.
Liquide de refroidissement à utiliser
Utiliser un mélange à 50/50 d'eau potable propre et de liquide de refroidissement DEX-COOLMD qui n'endommagera pas les pieces en aluminium. Si vous utilise ce mélange de liquide de refroidissement, vous n'aurez pas besoin d'ajouter autre chose.

ATTENTION:
Il peut être dangereux de n'ajouter que de l'eau ordinaire au système de refroidissement. L'eau ordinaire, ou un autre liquide comme l'alcohol, peut bouillir plus tout que le mélange approprié de liquide de refroidissement. Le système d'avertissement relatif au liquide de refroidissement du vehicule est régle pour le mélange approprié de liquide de
/
ATTENTION: (suite)
refroidissement. Avec de l'eau pure ou le mauvais mélange, le moteur pourrait surchauffer, sans que l'advertissement de surchauffe n'apparaisse. Le moteur pourrait prendre feu, et le conducteur ou d'autres personnes pouraient être brûlés. Utiliser un mélange à 50/50 d'eau potable propre et de liquide de refroidissement DEX-COOLMD.
Remarque: En cas d'utilisation d'un mélange incorrect de liquide de refroidissement, le moteur peut surchauffer et être gravement endommagé. Les coûts de la réparation ne seront pas couverts par la garantie. Un mélange trop aquarex peut geler et fissurer le moteur, le radiateur, le noyau de chauffage et d'autres pièces.
S'il est nécessaire d'ajouter du liquide de refroidissement plus de quatre fois par an, faire vérifier le système de refroidissement par le concessionnaire.
Remarque: Si vous utilisez des inhibiteurs supplémentaires et/ou si vous ajouter des additifs dans le système de refroidissement, vous risquez d'endommager votre vehicule. Utiliser uniquement le mélange approprié de liquide de refroidissement indiqué dans le present manuel pour le système de refroidissement. Pour plus d'informations, se reporter à la rubrique Liquides et lubrifiants recommends à la page 607.
Vérification du niveau de liquide de refroidissement

Le réservoir
d'expansion de liquide
de refroidissement
estitué dans le
compartiment-moteur,
du côté conducteur,
au-dessus du filtré à air.
Pour connaître son
emplacement, se
reporter à la rubrique
Aperçu du comportiment
moteur à la page 482.
Le vehicule doit etre sur une surface plane.
Lorsque le moteur est froid, le niveau du liquide de refroidissement doit atteindre le repere plein a froid, ou le depasser tegerement. Lorsque le moteur est chaud, le niveau doit etre au-dessus du repere plein a froid, ou un peu plus haut. Le repere plein a froid est materialisé par une ligne et signalé par une flèche. Il est situé sur l'avant du réservoir d'expansion de liquide de refroidissement.
Ajout de liquide de refroidissement
Si vous avez besoin de plus de liquide de refroidissement, ajouter le mélange approprié de DEX-COOLMD au réservoir d'expansion, mais faire attention de ne pas en renverser.
ATTENTION:
Le fait de tourner le bouchon de pression du radiateur lorsque le moteur et le radiateur sont chauds peut faire jaillir la vapeur et les liquides en ébullition et vous brûler gravement. Avec un réservoir d'expansion, il est peu probable qu'il soit nécessaire d'ajouter du liquide de refroidissement au radiateur. Ne jamais tourner le bouchon du radiateur — même un peu — lorsque le moteur et le radiateur sont chauds.

ATTENTION:
On risque de se brûler si l'on renverse du liquide de refroidissement sur des pieces chaudes du moteur. Le liquide de refroidissement contient de l'éthylene glycol qui brûle si les pieces du moteur sont suffisamment chaudes. Ne pas déverser de liquide de refroidissement sur un moteur chaud.
À l'occasion, vérifier le niveau dans le radiateur. Voir Système de refroidissement à la page 500 pour savoir comment ajouter du liquide de refroidissement au radiateur.
Bouchon de radiateur
Remarque: Le bouchon de radiateur de votre vehicule est du type à pression et doit être bien serré pour empêcher la perte de liquide de refroidissement et des dégats au moteur suite à la surchauffe. Le bouchon doit être correctement fermé.
Se reporter à Aperçu du compartmente moteur à la page 482 pour connaître son emplacement.
Surchauffe du moteur
Le tableau de bord du vehicule comprend un indicateur de température de liquide de refroidissement. Se reporter à la rubrique Indicateur de température du liquide de refroidissement du moteur à la page 252.
Il est également possible que le message ENGINE COOLANT HOT (liquide de refroidissement chaud) s'affiche sur le centralisateur informatique de bord (CIB) de votre vehicule. Se reporter à la rubrique Centralisateur informatique de bord - Avertissements et messages à la page 270.
Au cas où de la vapeur s'échappe de votre moteur
ATTENTION:
La vapeur s'échappant d'un moteur surchauffé peut vous brûler gravement, même si vous ne faites qu'ouvrir le capot. Rester loin du moteur si vous voirz ou si vous entendez le sifflement de la vapeur qui s'échappe du moteur. Arrête le moteur et éloigner tout le monde du vehicule jusqu'à ce que le moteur refroidisse. Attendre jusqu'à ce qu'il n'y ait plus signe de vapeur ni de liquide de refroidissement avant d'ouvrir le capot. Si vous continue à conduire quand le moteur est surchauffé, les liquides du moteur peuvent prendre feu. Vous ou
ATTENTION: (suite)
d'autres personnes pourriez etre grièvement brûlés. Si le moteur surchauffe, l'arrête et quitter le vehicule jusqu'au refroidissement du moteur. Se reporter à la rubrique Mode de fonctionnement de protection du moteur surchauffé à la page 500 pour obtenir des informations sur la conduite du vehicule en lieu sur en cas d'urgence.
Remarque: Si le moteur prend feu à cause de la conduite sans liquide de refroidissement, votre vehicule risque d'être gravement endommagé. Les réparations couteuses ne seraient pas couvertes par la garantie. Se reporter à la rubrique Mode de fonctionnement de protection du moteur surchauffé à la page 500 pour des renseignements sur la conduite jusqu'en lieu sûr en cas d'urgence.
Au cas où aucune vapeur ne s'échépe de votre moteur
En cas d'indication de surchauffe, sans vapeur apparente ni sifflement, le problème n'est peut'être pas trop grave. Parfois, le moteur peut chauffer un peu trop lorsque vous :
- Vous roulez sur une longue côte au cours d'une journée chaude.
- Vous arrêtez à la suite d'une conduite à haute vitesse.
- Vous roulez au ralenti pendant de longues périodes dans un embouteillage.
- Vous tirez une remorque.
Si vous obtenez un averissement de surchauffesans qu'il y ait de la vapeur, proceder comme suitpendant une minute ou deux :
- Éteindre le climatisation si celui-ci est en fonction.
-
Mettre le chauffage et le ventilateur à la position maximale et ouvrir la fenêtre, au besoin.
-
Si vous étés pris dans un embouteillage, passer en position de point mort (N). Sinon, passer à la vitesse la plus élevé pendant la conduite — marche avant (D) ou troisième (3).
S'il n'y a plus d'advertissement de surchauffe, vous pouvez continuer à conduire. Pour plus de sécurité, conduire plus lentement pendant environ 10 minutes. Si le témoin ne se rallume pas, vous pouvez conduire normalement.
Si le témoin est toujours allumé, quitter la route, s'arrête et garer le vehicule immédiatement.
Si vous ne VOYZ pas de vapeur, faire tournier le moteur au ralenti pendant trois minutes tout en restant garé. Si le témoin d'avertissement s'allume toujours, couper le contact et faire sortir tout le monde du vehicule jusqu'à ce que le moteur refroidisse. Aussi, se reporter à la rubrique « Mode de protection de moteur surchauffé » plus loin dans cette section.
Il est peut-être préférible de ne pas soulever le capot et d'appeler un centre de service immédiatement.
Mode de fonctionnement de protection du moteur surchauffé
Ce mode de fonctionnement d'urgence vous permet de conduire votre vehicule en lieu sur en cas d'urgence. Si le moteur surchauffe, un mode de protection contre la surchauffe fait alterner l'allumage de groupes de cylindres pour protégger le moteur. Dans ce mode, vous remarquerez une perte de puissance significative et une diminution du rendement du moteur. L'indicateur de température indiquera une surchauffe. La conduite sur de grandes distances et la traction d'une remorque devraient être évitées en mode de protection de moteur surchauffé.
Remarque: ÀpRES avoir conduit le vehicule en mode de protection de moteur surchauffé, afin d'eviter des dommages au moteur, laisser le moteur refroidir avant d'entrepreneure toute réparation. L'huile-moteur sera gravement déteriorée. Réparer la cause de la perte de liquide de refroidissement, vidanger l'huile et réinitialiser l'indicateur de vidange d'huile. Se reporter à la rubrique Huile à moteur à la page 484.
Système de refroidissement
Lorsque vous decidez qu'il est possible de soulever le capot sans danger, voici ce que vous y trouverez :

A. Bouchon de radiateur
B. Ventilateurs de refroidissement électriques du moteur
C. Réservoir d'expansion de liquide de refroidissement
D. Marque de niveau FULL COLD (plein à froid) du vase d'expansion

ATTENTION:
Un ventilateur électrique de refroidissement du moteur place sous le capot peut commencer à tourner et bleisser même si le moteur est arrêté. Les mains, les vêtements et les outils doivent être maintainus à l'écart des ventilateurs.
Si le liquide de refroidissement situé à l'intérieur du réservoir d'expansion bout, ne rien faire jusqu'à ce qu'il refroidisse. Garer le vehicule sur une surface plane.
Le niveau du liquide de refroidissement devrait etre à la hauteur de la marque plein à froid ou au-dessus. Si ce n'est pas le cas, il y a peut etre une fuite au bouchon de pression ou dans les durites de radiateur ou les tuyaux de chauffage, le radiateur, la pompe à eau, ou un autre endroit du système de refroidissement.

ATTENTION:
Les durites du radiateur et les conduits de chauffage, ainsi que d'autres pieces du moteur, peuvent être très chauds. Ne pas les toucher. Si on les touche, on risque de se brûler.
Ne pasmettrele moteur en marchesisi une fuiteexiste.Si onfaittournerle moteur, il risque de perdreetoutleliquide defrefroidissement.Le moteur pourrait alors prendrefeu et le conducteur pourrait sebruler.Faire réparer toute fuite avant deconduirelevehicule.
S'il n'y a aucune fuite apparente, au moment où le moteur tourne, vérifier si les ventilateurs de refroidissement electriques du moteur fonctionnent.
Si le moteur surchauffe, les deux ventilateurs devraient fonctionner. Si ce n'est pas le cas, des travaux doivent etre effectués sur notre vehicule.
Remarque: Les dommages causés au moteur par la conduite sans liquide de refroidissement ne sont pas couverts par votre garantie. Voir Mode de fonctionnement de protection du moteur surchauffé à la page 500 pour des renseignements sur la conduite jusqu'en lieu sûr en cas d'urgence.
Remarque: Utiliser un autre liquide de refroidissement que DEX-COOLMD peut cause une corrosion prematurée du moteur, du radiateur de chauffage ou du radiateur. De plus, il peut falloir vidanger le liquide de refroidissement du moteur plus tout, soit à 50 000 km (30 000 milles) ou 24 mois, selon la première éventualité. Aucune réparation ne sera couverte par votre garantie. Toujours utiliser le liquide de refroidissement DEX-COOLMD (sans silicate) dans votre vehicule.
Ajout de liquide de refroidissement au réservoir d'expansion
Si vous n'avez toujours pas eu de problème, mais le niveau du liquide de refroidissement n'est pas au repère plein à froid ou au-dessus, ajouter un mélange 50/50 d'eau propre potable et de liquide de refroidissement DEX-COOLMD dans le réservoir d'expansion. Se reporter à Liquide de refroidissement à la page 493 pour plus de renseignements.

ATTENTION:
Il peut être dangereux de n'ajouter que de l'eau ordinaire au système de refroidissement. L'eau ordinaire, ou un autre liquide comme l'alcool, peut bouillir plus tout que le mélange approprié de liquide de refroidissement. Le système d'avertissement relatif au liquide de refroidissement du vehicule est réglé pour le mélange approprié de liquide de refroidissement. Avec de l'eau pure ou le mauvais mélange, le moteur pourrait surchauffer, sans que l'avertissement de surchauffe n'apparaisse. Le moteur pourrait prendre feu, et le conducteur ou autres personnes pouraient être brûlés. Utiliser un mélange à 50/50 d'eau potable propre et de liquide de refroidissement DEX-COOLMD.
Remarque: Par temps froid, l'eau peut geler et faire fendre le moteur, le radiateur, le faisceau de chaufferette et d'autres pieces. Utiliser le liquide de refroidissement recommendé et le mélange approprié de liquide de refroidissement.

ATTENTION:
On risque de se brûler si l'on renverse du liquide de refroidissement sur des pièces chaudes du moteur. Le liquide de refroidissement contient de l'éthylène glycol qui brûlerait si les pièces du moteur sont suffisamment chaudes. Ne pas déverser de liquide de refroidissement sur un moteur chaud.
Lorsque le liquide de refroidissement dans le réservoir d'expansion atteint le repere plein à froid ou le dépasse, faire demarrer votre vehicule.
S'il y a toujours une indication de surchauffe, vous pouvez essayer autre chose. Vous pouvez ajouter le mélange approprié de liquide de refroidissement directement au radiateur, mais s'assurer que le système de refroidissement est froid avant de le faire.
ATTENTION:
La vapeur et les liquides en ébullition peuvent jaillir d'un système de refroidissement chaud et brûler gravement celui qui y touche. Ces liquides sont sous pression, et si le bouchon du radiateur est tourné — même un peu — ils peuvent jaillir à une grande vitesse. Ne jamais toucher le bouchon lorsque le système de refroidissement, incluant le bouchon de radiateur, est chaud. Attendre que le système de refroidissement et le bouchon de radiateur refroidissant s'il faut tourner le bouchon de pression.
Ajout de liquide de refroidissement au radiateur
Remarque: You've gezue suivre une procEDURE specifique pour replir le radiateur. Si vous ne suivez pas cette methode, le moteur risque de surchauffer et d'être gravement endommagé.

- Vous pouvez enlever le bouchon de pression de radiateur lorsque le système de refroidissement, y compris le bouchon de pression de radiateur et la durite supérieure, ne sera plus chaud.
Faire tourner le bouchon à pression lentement dans le sens inverse des aiguilles d'une montre. Un sifflement signifie qu'il subsiste de la pression. Fermer le bouchon et attendre le refroidissement du système.
- Continuer à faire tourner le bouchon à pression. Retirer le bouchon.

ATTENTION:
On risque de se brûler si l'on renverse du liquide de refroidissement sur des pièces chaudes du moteur. Le liquide de refroidissement contient de l'éthylène glycol qui brûlerait si les pièces du moteur sont suffisamment chaudes. Ne pas déverser de liquide de refroidissement sur un moteur chaud.
- Remplir le radiateur de melange de liquide de refroidissement DEX-COOLMD approprié, jusqu'à la base de l'orifice de replissage. Se reporter à Liquide de refroidissement à la page 493 pour plus de renseignements sur le melange approprié de liquide de refroidissement.
-
Rincer ou essuyer toute éclaboussure de liquide de refroidissement sur le moteur et le compartment moteur.
-
Faire démarrer le moteur et le laisser tournier jusqu'à ce que la durite supérieure du radiateur se réchauffe. Faire attention aux ventilateurs de refroidissement du moteur.
- À ce moment-là, le niveau de liquide de refroidissement dans l'orifice de remplissage du radiateur peut avoir baisse. Si le niveau est plus bas, ajouter le bon mélange de liquide de refroidissement DEX-COOLMD, par l'orifice de remplissage du radiateur, jusqu'à ce que le niveau attaigne la base de l'orifice.
- Ensuite, replacer le bouchon de pression. Si du liquide de refroidissement s'échappe de l'orifice de replissage durant l'utilisation de cette méthode, reposer le bouchon de pression. S'assurer que le bouchon de pression est bien serré à la main.

Remplissage du vase d'expansion
- Remplir ensuite le réservoir d'expansion de liquide de refroidissement jusqu'àu repère plein à froid.
- Remetre le bouchon sur le réservoir d'expansion.
Liquide de direction assistée

Le réservoir de liquide de servodirection se trouve vers l'arrière du compartment-moteur, du coto passager du vehicule. Se reporter a Apercu du compantiment moteur à la page 482 pour connaître l'emplacement.
Intervalle de vérification du liquide de servodirection
À moins de soupconner une fuite ou d'entendre un bruit anormal, il n'est pas nécessaire de vérifier régulierement le liquide de servodirection. Une perte de liquide dans ce système pourrait indiquer un problème. Faire inspector et réparer le système.
Vérification du niveau du liquide de servodirection
Pour vérifier le liquide de servodirection, il faut procéder comme suit :
- Couper le contact et laisser refroidir le compartment-moteur.
- Essuyer le bouchon et le dessus du réservoir pour les débarrasser de toute saleté.
- Dévisser le bouchon et essuyer la jauge à l'aide d'un chiffon propre.
- Remetre le bouchon et bien le serrer en place.
- Retirer le bouchon à nouveau et examiner le niveau de fluide indiqué sur la jauge.
Le liquide doit arriver au niveau de la zone hachurée de la jauge. S'il arrive au niveau du repère ADD (ajouter), en ajouter.
Utiliser ce qui suit
Pour déterminer quel type de liquide utiliser, se reporter à Liquides et lubrifiants recommends à la page 607. Toutjours utiliser le liquide approprié, sinon cela pourrait cause des fuites et des dommages aux durites et aux joints.
Liquide de lave-glace
Liquide de lave-glace à utiliser
Bien dire les directives du fabricant avant d'utiliser du liquide de lave-glace. Si vous projetez de conduire votre vehicule dans une région où la température extérieure peut baisser sous le point de congélation, il faut utiliser un liquide qui offre assez de protection contre le gel.
Ajout de liquide de lave-glace

Enlever le bouchon
marqué du symbole de
lave-glace. Ajouter du
liquide jusqu'à ce que le
réservoir soit plein. Voir
Aperçu du compartment
moteur à la page 482
pour connaître
l'emplacement du
réservoir.
Remarque:
- Pour l'utilisation de lave-glace concentré, suivre les directives du fabricant pour ajouter de l'eau.
-
Ne pas mélanger d'eau avec un liquide lave-glace prét à l'emploi. L'eau risque de faire geler la solution et d'endommager le réservoir de liquide de lave-glace et d'autres pieces du système. De plus, l'eau ne nettoie pas aussi bien que le liquide lave-glace.
-
Remplir le réservoir de lave-glace aux trois quarts seulement lorsqu'il est très froid. Ceci permettra la dilatation du liquide en cas de gel. Si le réservoir est rempli complètement, la dilatation du liquide pourrait l'endommager.
- Ne pas utiliser de liquide de refroidissement (antigel) dans le système de lave-glace. Il peut endommager le système de lave-glace et la peinture.
Freins
Liquide de frein

Le réserve du maître-cylindre des freins est rempli de liquide pour freins DOT 3. Se reporter à la rubrique Aperçu du compartmentement moteur à la page 482 pour connaître l'emplacement du réserveir.
Le niveau du liquide de frein dans le réserve peut baiser pour deux raisons seulement. La première raison est que le liquide baisse à un niveau acceptable au cours de l'usure normale des garnitures de freins. Lorsque vous remplacez les garnitures, le niveau du liquide remonte. La seconde raison est qu'il peut y avoir une fuite de liquide dans le système de freinage. Dans ce cas, vous devriez faire réparer le système de freinage, car tout ou tard, les freins fonctionneront mal ou pas du tout.
Il n'est donc pas recommandé d'ajouter du liquide de frein. L'ajout de liquide ne supprimera pas une fuite. Si vous ajoutez du liquide quand vos garnitures de freins sont usées, le niveau de liquide sera trop élevé lorsque vous replacerez les garnitures. Vous devriez ajouter ou enlever du liquide au besoin, seulement lorsque vous faites effectuer des travaux sur le système de freinage hydraulique.
ATTENTION:
Si le niveau du liquide de freins est trop élevé, le liquide peut couler sur le moteur. Le liquide brûlera si le moteur est assez chaud. Vous ou d'autres personnes pourriez être brûlés et le vehicule pourrait être endommagé. Ajouter du liquide de freins seulement lorsque des travaux sont effectués sur le système hydraulique de freinage.
Lorsque le niveau du liquide de frein est bas, le témoin du système de freinage s'allume. Se reporter à Témoin du système de freinage à la page 249.
Liquide approprié
Si vous doivent ajouter du liquide de frein, utiliser seulement du liquide DOT-3. Utiliser uniquement du liquide de frein neuf provenant d'un contenant scellé. Se reporter à la rubrique Liquides et lubricifants recommends à la page 607.
Nettoyer toujours le bouchon du réservoir de liquide de frein ainsi que la surface autour du bouchon avant de l'enlever. Cela aidera a empêcher la saleté de pénétrer dans le réservoir.
ATTENTION:
Les freins risquent de ne pas fonctionner correctement ou de ne pas fonctionner du tout si un liquide incorrect est utilisé pour le circuit de freinage. Ceci pourrait provoquer un accident. Tout jours utiliser le liquide de frein ajustat.
Remarque:
- L'emploi d'un liquide incorrect peut sérieusement endommager les composants du système de freinage. Il suffit par exemple de quelques gouttes d'une huile à base minérale, comme de l'huile-moteur, dans le système de freinage pour endommager les pieces de ce système au point de devoir les replacer. Ne laisser personne ajouter un type de liquide incorrect.
- Si vous renversez du liquide de frein sur les surfaces peintes du vehicule, la peinture de finition peut être endommagée. Veiller à éviter tout renversement de liquide de frein sur votre vehicule. Si cela se produit, nettoyer immédiatement. Se reporter à la rubrique Lavage du vehicule à la page 574.
Usure des freins
Votre vehicule est équipé de freins à disque aux quatre roues.
Les plaquettes de freins à disque ont des indicateurs d'usure intégrés qui font un bruit strident en guise d'avertissement quand les plaquettes de freins sont usées et doivent être replacées. Le bruit peut être permanent ou occasionnel lorsque vous conduisez, sauf lorsque vous enforcez fermement la pédale de frein.
ATTENTION:
L'alerte sonore d'usure de frein signifie que les freins sont bientôt perdre leur efficacité. Ceci peut cause un accident. Notre vehicule doit être réparé.
Remarque: Si vous continuez à conduiré alors que les plaquettes de freins sont usées, ceci peut entraîner des réparations de freins couteuses.
Certaines conditions de conduite ou climatiques peuvent producescrissement des freins lorsque vous serrez les freins pour la premiere fois ou légération. Ce crissement n'est pas un signe d'une défaillance des freins.
Un serrage au couple approprié des écrous de roue est nécessaire pour prévenir la pulsation des freins. Lors de la permutation des pneus, inspector les plaquettes de frein pour déceler l'usure et serrer également les écrous de roue dans la séquence appropriée selon les specifications de couple de serrage de Saturn.
Les garnitures pour les deux roues du même essieu devraient toujours être replacées ensemble.
Course de la pédale de freinage
Si la pédale de frein ne revient pas à sa hauteur normale ou si la course de la pédale augmente subitement, s'adresser à votre concessionnaire. Il pourrait s'agir d'une défaillance du système de freinage.
Réglage des freins
Chaque fais que vous freinez, que le vehicule roule ou non, les freins s'ajustent pour compenser l'usure.
Remplacement des pieces du système de freinage
Le système de freinage d'un vehicule est complexe. Ses nombreuses pieces doivent etre de qualite supérieure etdoivent bien fonctionner ensemble pour assurer un tres bon freinage.Votre vehicule a ete concu et teste avec des pieces de freins Saturn de qualite supérieure.Lorsque you remplacez des pieces du système de freinage,par exemple quand les garnitures de freins s'usent et qu'il faut les replacer,s'assurer d'obtenir des pieces de rechange Saturn d'origine neuves.Sinon les freins ne fonctionneront peut-etre plus comme il faut.Par exemple,si on installe des garnitures de freins qui ne convennent pas à VOte vehicule,l'équilibrage entre les freins avant et arriere peut changer pour le pire.L'efficacite du freinage a laquelle you estes habitue peut changer de bien d'autres facons si I'on installe des pieces de rechange inappropriées.
Batterie
Votre vehicule est équipé d'une batterie sans entretien. Quand vient le temps de replacer la batterie, il faut s'en procurer une ayant le même numéro de Replacement que celui indiqué sur l'étiquette de la batterie d'origine. Nous vous recommendons l'utilisation d'une batterie de rechange ACDelco ^MD .
Avertissement: Les bornes de batterie, les cosses ainsi que les accessoires connexes contiennent du plomb et des composés de plomb, des produits chimiques que la Californie reconnaît comme étant carcinogènes et nuit à la reproduction. Se laver les mains après avoir manipulé ces pieces.
Entrepassage du vehicule
Si vous ne comptez pas utiliser votre vehicule pendant 25 jours ou plus, débrancher le cable négatif (-) noir de la batterie afin d'empêcher la batterie de se décharger.
ATTENTION:
Les batteries contiennent de l'acide qui peut brûler la peau et des gaz qui peuvent exploser. La prudence est de mise pour éviter les blessures graves. Se reporter à Demarrage avec batterie auxiliaire à la page 514 pour obtenir des conseils relatifs au travail autour de la batterie afin d'éviter les blessures.
Démarrage avec batterie auxiliaire
Si la batterie est à plat, il est possible de démarrer le vehicule en reliant la batterie à celle d'un autre vehicule avec des cables volants. Les indications qui suivent vous permettront d'effectuer cette manoeuvre en toute sécurité.
Sur les vehicules équipés d'une porte coulissanté lectrique en option, une batterie dont la tension est trop faible ou le remplacement d'une batterie peut empêcher le fonctionnement de ce système. Se reporter à Porte coulissanté lectrique à la page 128 pour plus de renseignements.

ATTENTION:
Les batteries peuvent blesser. Elles sont dangereuses pour les raisons suivantes :
- Elles contiennent de l'acide qui peut brûler la peau.
- Elles contiennent des gaz qui peuvent explodeur ou s'enflammer.
- Elles contiennent assez d'électricité pour brûler la peau.
Si ces étapes ne sont pas suivies à la lettuce, des blessures pourraient survenir.
Remarque: Si ces étapes ne sont pas suivies, il pourrait en résultat des dommages couâteux sur le vehicule et qui ne seraient pas couverts par la garantie.
Il ne faut pas tenter de faire démarrer le vehicule en le poussant ou en le tirant, sans quoi le vehicule risque d'être endommagé.
- Vérifier l'autre vehicule. Il doit avoir une batterie de 12 volts ainsi qu'un système de masse négative.
Remarque: Si l'autre système du vehicule n'est pas un système à 12 volts avec une prise de masse négative, les deux vehicules risquent d'être endommages. N'utiliser que des vehicules ayant des systèmes à 12 volts avec prise de masse négative pour faire une connexion provisoire de la batterie du vehicule.
- Rapprocher les vehicules suffisamment pour que les cables volants puissant etre a la portee, mais s'assurer que les vehicules ne se touchent pas. Le cas échéant, cela provoquera une connexion de masse dont vous ne voulez certainement pas. Vous ne pourriez faire demarrer votre vehicule et la mauvaise mise à la masse pourrait endommager les systèmes électriques.
Serrer fermement le frein de stationnement des deux vehicules pour éviter qu'ils roulent. Si la boîte-pont est automatique, la mesure en position de stationnement (P) et si elle est manuelle, la mesure au point mort (N) avant de serrer le frein de stationnement.
Remarque: Si la radio est allumée ou si d'autres accessoires sont en marche pendant la procédure de connexion provisoire de la batterie, ils risquent d'être endommages. Les réparations ne seraient pas couvertes par la garantie. Toutjour s'éteindre la radio et les autres accessoires en faisant une connexion provisoire de la batterie d'un vehicule.
- Couper le contact des deux vehicules. Débrancher tout accessoire inutile de l'allume-cigarette ou de la prise électrique pour accessoires (le cas échéant). Éteindre la radio et toutes les lampes inutiles. Cela permettra d'éviter des étincelles et des dommages aux deux batteries, ainsi que des dommages à la radio!
- Soulever les capots et repérer les batteries. Trouver les bornes positives (+) et négatives (-) de chaque vehicule.
Vous n'avez pas besoin d'acceder à la batterie pour le démarrage à l'aide d'une batterie auxiliaire. Notre vehicule est équipé d'une borne positive (+) à distance conçue à cette fin.

La borne se trouvesous le couvercle dubloc-fusibles. Retirer le couvercle pour acceder à la borne positive (+) a distance.
Se reporter à Aperçu du compartmentement moteur à la page 482 pour plus d'information sur l'emplacement de borne positive (+) à distance. C'est la borne positive (+) à distance qui doit être utilisée au lieu de la borne positive (+) de la batterie.
ATTENTION:
Un ventilateur électrique peut semettre en marche et vous blesser meme si le moteur ne tourne pas. Garder mains, vetements et outils loin de tout ventilateur电量 sous le capot.
ATTENTION:
L'utilisation d'une allumette pres d'une batterie peut provoquer une explosion des gaz de batterie. Des personnes ont eté blessées par ces explosions et quelques-unes sont même devenues aveugles. Utiliser une lampe de poche si vous avez besoin de plus d'éclairage.
S'assurer que la batterie contient assez d'eau. Vous n'vez pas besoin d'ajouter d'eau à la batterie installée dans votre vehicule neuf. Cependant, si une batterie a des bouchons de replissage, s'assurer que la quantité de liquide contenue est ajustée. Si le niveau est bas, ajouter d'abord de l'eau. Si vous ne le faites pas, il pourrait y avoir des gaz explosifs.
/
ATTENTION: (suite)
Le liquide de batterie contient de l'acide qui peut vous brûler. Il faut éviter de le toucher. Si par mègarde vous en éclabroussez dans les yeux ou sur la peau, rincer à l'eau et faire immédiatement appel à un médecin.
ATTENTION:
Les ventilateurs et d'autres pièces
mobiles du moteur peuvent vous blesser
gravement. Une fois que les moteurs sont
en marche, garder les mains loin des
pièces mobiles du moteur.
- S'assurer que l'isolant des cables volants n'est pas l'ache ou manquant. Le cas échéant, vous pourriez receivevoir un choc. Les vehicules poursraient également être endommages.
Avant de brancher les cables, voici quelques éléments de base à connaître. Le positif (+) et relié au positif (+) ou à une borne positive (+) auxiliaire si le vehicule en est équipé. La borne négative (-) est reliée à une piece métallique solide non pointe du moteur ou à une borne négative (-) distante si le vehicule en est équipé. Ne pas raccarder la borne positive (+) à la borne négative (-), car vous provoqueriez un court-circuit. Vous endommageriez ainsi la batterie et peut-être d'autres pieces aussi. De plus, ne pas raccarder le cable négatif (-) à la borne négative (-) de la batterie déchargée pour ne pas risquer de provoquer des étincelles.
-
Brancher le cable rouge positif (+) sur la borne positive (+) de la batterie déchargeé. Utiliser une borne positive (+) auxiliaire si le vehicule est ainsi équipé.
-
Ne pas laisser l'autre extrémité toucher le métal. La relier à la borne positive (+) de la batterie chargée. Utiliser une borne positive (+) auxiliaire si le vehicule est ainsi équipé.
- À présent, brancher le cable noir négatif (-) à la borne négative (-) de la batterie chargée. Utiliser une borne négative (-) auxiliairesi le vehicule en est équipé.
Empêcher l'autre extrémité du cable d'entrée en contact avec un autre élément avant l'étape suivante. L'autre extrémité du cable négatif (-) ne doit pas être reliée à la batterie déchargée. Elle doit être reliée à une piece de moteur en métal solide non peinte, ou à la borne négative (-) auxiliaire du vehicule dont la batterie est déchargée.
-
Brancher l'autre extrémité du cable négatif (-) d'au moins 45 cm (18 po) de la batterie vide, mais pas à proximité des pieces mobiles du moteur. La connexion électrique convient ici et le risque d'étinçelles touchant la batterie est moindre.
-
Demarrer le vehicule de depannage et laisser son moteur tourner pendant quelques instants.
- Essayer de faire démarrer le vehicule dont la batterie était déchargée. S'il ne démarre pas après quelques essais, le vehicule doit être réparé.
Remarque: Si les câbles volants ne sont pas raccordés ou déposés dans le bon ordre, un court-circuit électrique peut survenir et endommager le vehicule. Les réparations ne seraient pas couvertes par votre garantie. Toutjours raccorder et déposer les câbles volants dans l'ordre correct, en s'assurant que les câbles ne se touchent pas et qu'ils ne sont pas en contact avec une autre piece métallique.

Retrait des câbles volants
A. Pièce en métal solide non peinte du moteur ou borne négative (-) éloignée.
B. Batterie en bon et ou bornes positive (+) et négative (-) à distance.
C. Batterie décharge ou borne positive (+) éloignée.
Pour débrancher les cables volants des deux vehicules, procéder comme suit :
- Débrancher le cable noir négatif (-) du vehicule dont la batterie est décharge.
- Debrancher le cable noir négatif (-) du vehicule dont la batterie est chargee.
- Débrancher le cable rouge positif (+) du vehicule dont la batterie est chargée.
- Débrancher le cable rouge positif (+) de l'autre vehicule.
- Replacer le couvercle de borne positive (+) à distance ou le couvercle du bloc-fusibles sous le capot.
Remplacement d'ampoules
Se reporter à la rubrique Ampoules de rechange à la page 525 concernant le type d'ampoule à utiliser.
Pour toute directive relative au remplacement d'ampoule qui ne figure pas dans cette rubrique, consulterer votre concessionnaire.
Ampoules à halogène
ATTENTION:
Les ampôules aux halogènes contiennent un gaz sous pression. Elles peuvent éclater si vous les laissez tomber ou les égratignez. Vous ou d'autres personnes pourrié être blessés. S'assurer de生存 et de suivre les directives sur l'emballage de l'ampôule.
Phares et feu x de gabarit

A. Phare de route
B. Phare de croissement
C. Feu de position latéral
Pour remplacer l'une de ces ampoules, proceder comme suit :
- Ouvrir le capot. Pour de plus amples renseignements, se reporter à la rubrique Levier d'ouverture du capot à la page 481.

- Pour-retirer la broche de retenue du phare (A), la tournier vers l'ensemble de phare, puis la tirer pour l'extraire.
-
Retirer le vis (B) situé sur la partie supérieure de l'ensemble de phare.
-
Tirer sur le groupe deieux pour I'elsoigner du vehicule.
- Débrancher le connecteur du faisceau de câblage de la douille de l'ensemble de phare.
- Tourner la douille d'ampoule vers la gauche pour la retireur de l'ensemble de phare.
- Pour remplaçer une ampoule de phare, débrancher le faisceau de câblage de la douille d'ampoule et le brancher à la nouvelle douille d'ampoule.
Pour remplaçer l'ampoule d'un feu de position latéral, extraire l'ancienne ampoule et en insérer une nouvelle.
- Remetre la douille d'ampoule en place en l'inserant dans l'ensemble de feu et en la tournant vers la droite pour la fixer en place.
- Répéter ces étapes dans le sens inverse pour remonter le phare.
Clignotants avant, feux de stationnement et feux de circulation de jour (FCJ)

Pour remplaçer l'une de ces ampoules (A), procédé comme suit :
-
Suivre les étapes 1 à 4 pour déposer l'ensemble de phare. Pour plus d'informations, se reporter à la rubrique Phares et peux de gabarit à la page 520.
-
Tourner la douille d'ampoule vers la gauche pour la retirer de l'ensemble de phare.
- Retirer l'ancienne ampoule de la douille d'ampoule.
- Remplacer l'ampoule par une nouvelle ampoule.
- Remetre la douille d'ampoule en place en l'insérant dans l'ensemble de feu et en la tournant vers la droite pour la fixer en place.
- Répéter ces étapes dans le sens inverse pour remonter le phare.
Feux arrêt, clignotants, feu d'arrêt et feu des recul
Pour remplaçer une ampoule de feu d'arrêt/feu arrêté, de clignotant ou de feu de recul, procédér comme suit :
- Ouvrir le hayon. Pour plus de renseignements, se reporter à Hayon à la page 138.

-
Retirer les deux vis du côté intérieur du boîtier de faux arrêtre.
-
Retirer le boitier du groupe de deux arriere.
- Débrancher le connecteur du faisceau de câblage de l'ensemble de feu arrêté.

A. Feu d'arrêt/Feu rouge arrêté
B. Clignantant
C. Ampoule de feu de recul
- Tourner la douille d'ampoule vers la gauche pour la retirer.
-
Pour remplaçer l'ampoule, extraire l'ancienne ampoule de la douille et insérer delicatement une nouvelle ampoule.
-
Replacer la douille d'ampoule en l'insérant et en la tournant vers la droite pour la fixer en place.
- Remetre en place le feu arrêté en,enfantant les goupilles de fixation du côte extérieur jusqu'à ce que le feu soit convenablement positionné.
- Fixer l'ensemble avec les vis intérieures.
Feu de la plaque d'immatriculation
Pour remplaçer l'une de ces ampoules,procéder comme suit :
- Retirer les deux vis maintenant chacune des lampes de plaque d'immatriculation au carénage.

- Tourner et tirer l'éclairage de la plaque d'immatriculation vers l'avant à travers l'ouverture de carénage.
- Tourner la douille de l'ampoule vers la gauche et extraire l'ampoule de la douille.
- Installer la nouvelle ampoule.
- Inverser les étapes 1 à 3 pour remettre en place la lampe de plaque d'immatriculation.
Ampôules de rechange
| Éclairage extérieur | Numéro d'ampoule |
| Recul | 3057KX |
| Clignotant avant, feu de circulation de jour et feu de stationnement | 3157NAK |
| Feu de route et feu de croisement | H11 |
| L'éclairage de la plaque d'immatriculation | 168 |
| Feu de position latéral | 194 |
| Feu d'accret/feu arrêté et clignotant | 3057KX |
Pour obtenir les ampôules de rechange non répertoriées ici, contacter un concessionnaire.
Remplacement de la raclette d'essuie-glace
Vousdezinspectepériodiquementlesbalais des essuie-glacesa la recherche d'usure et de fissure.Pourplusd'informations,se reporter àla rubriqueEntretien prévuà la page 595.
Il existe divers types de lames de rechange qui se retirent de manière différente. Pour connaître la longueur et le type de lames à utiliser, se reporter à la rubrique Pièces de rechange d'entretien normal à la page 609.
Pour remplacer les lames d'essuie-glace, effectuer les étapes suivantes:
- Soulever le bras d'essuie-glace et tourner la lame pour qu'elle fasse dos au pare-brise.

-
Serrer les languettes (B) situées de chaque côté du balai d'essuie-glace pour dégager le bras d'essuie-glace (A) de la lame (C). Le pare-brise peut subir des dommages si le bras du balai d'essuie-glace le touche alors qu'il n'est pas muni de son balai. Les dommages ne seraient alors pas couverts par la garantie. Ne pas laisser le bras du balai d'essuie-glace toucher le pare-brise.
-
Appuyer fermement la nouvelle lame sur le bras d'essuie-glace jusqu'à ce qu'un déclic vous indique que les languettes situées de chaque côté du balai d'essuie-glace sont bien en place.
Pour remplaçer la lame de l'essuie-glace arrière, suivre les étapes décrites précédemment.
Pneus
Votre vehicule neuf est équipé de pneus de haute qualité fabriqués par un des plus importants fabricants de pneus. Si vous avez des questions à poser au sujet de la garantie de vos pneus ou si vous désirez savoir où faire effectuer leur entretien, consulter le guide de garantie Saturn pour obtenir de plus amples détails. Pour de plus amples informations, se reporter au livre du fabricant des pneus se trouvant dans votre vehicule.

ATTENTION:
Des pneus mal entretenus ou incorcorrectement utilisés sont dangereux.
- La surcharge des pneus du vehicule peut les faire surchauffer par suite de friction excessive. Ils pourraient perdre de l'air et provoquer un accident grave. Se reporter à la rubrique Chargement du vehicule à la page 447.
- Des pneus sous-gonflés posit le même danger que des pneus surcharges. Ceci pourrait entrainer un accident qui pourrait cause des blessures graves. Vérifier féquèment tous les pneus afin de maintainir la pression recommendée. La pression des pneus doit être vérifiée quand les pneus du vehicule sont froids. Voir Gonflement - Pression des pneus à la page 535.
/
ATTENTION: (suite)
- Les pneus surgonflés sont plus susceptibles d'être entaillés, crevés ou ouverts sous un impact soudain, comme quand vous passez sur un nid-de-poule. Garder les pneus à la pression recommandaee.
- Les pneus vieux et usés peuvent causeur des accidents. Si la bande de roulement des pneus est très usee ou si les pneus ont ete endommages, les replacer.
Étiquette sur paroi latérale du pneu
Des renseignements utiles sont moulés sur le flanc du pau. Les exemples ci-dessous illustrent les renseignements qui se trouvent habituellément sur le flanc d'un pau de tourisme ou d'une roue de secours compacte.

Exemple d'un pau de vehicule de tourisme (taille P-Metric)
(A) Dimensions du pau: Le code de dimensions du pau est une combinaison de lettres et de chiffres qui définit la largeur, la hauteur, le rapport d'aspect, le type de construction, et la description d'utilisation d'un pau. Se reporter à l'illustration « Code de dimension du pau » plus loin dans cette section pour de plus amples détails.
(B) Code TPC (Tire Performance Criteria) (criterè de performance d'un pneu): Les pneus d'origine montés sur les vehicules GM répondent aux exigences de performance établies par GM et le code TPC qui est moulé sur leurs flancs. Ces exigences de performance respectent les normes de sécurité établies par le gouvernement fédéral.
(C) DOT (Department of Transportation)
(ministère des transports des États-Unis): Le code DOT indique que le pneu répond aux normes de sécurité des vehicules à moteur établies par le ministère des transports des États-Unis.
(D) Tire Identification Number (TIN) (numéro d'identification du pau): Les lettres et les chiffres suivant le code DOT (Department of Transportation) (ministère des transports des États-Unis) représentent le numéro d'identification du pau (TIN). Ce numéro indique le nom du fabricant et le code d'usine, la dimension du pau et sa date de fabrication. Le numéro est moulé sur les deux flancs du pau, même si un seul côtéporte la date de fabrication.
(E) Composition de la carcasse du pneu: Type de cable et nombre de pris sur les flancs et sous la bande de roulement.
(F) Normes UTQG (Uniform Tire Quality Grading) (système de classement uniforme de la qualité des pneus): Les fabricants de pneus doivent coter les pneus en fonction de trois facteurs de performance : l'usure de la bande de roulement, l'adhérence et la résistance à la chaleur. Pour plus de renseignements se reporter à la rubrique Classification uniforme de la qualité des pneus à la page 543.
(G) Charge et pression de gonflage maximales à froid: Charge maximale que le pneu peut transporter et pression maximale du pneu nécessaire pour soutenir cette charge.

Exemple de roue de secours compacte
(A) Usage-temporaire seulement: La durée de vie utile de la bande de roulement de la roue de secours compacte ou du pneu à usage temporaire est d'environ 5000 km (3000 milles) et sa vitesse maximale ne doit pas dépasser 105 km/h (65 mi/h). La roue de secours compacte doit être utilisée en cas d'urgence lorsque le pneu habituel a une fuite d'air ou qu'il est à plat. Se reporter aux rubriques Pneu de secours compact à la page 569 et Au cas d'un pneu à plat à la page 550.
(B) Composition de la carcasse du pneu: Type de cable et nombre de pris sur les flancs et sous la bande de roulement.
(C) Tire Identification Number (TIN) (numéro d'identification du pau): Les lettres et les chiffres suivant le code DOT (Département of Transportation) (ministère des transports des États-Unis) représentent le numéro d'identification du pau (TIN). Ce numéro indique le nom du fabricant et le code d'usine, la dimension du pau et sa date de fabrication. Le numéro est moulé sur les deux flancs du pau, même si un seul côteporte la date de fabrication.
(D) Charge et pression de gonflage maximales à froid: Charge maximale que le pneu peut transporter et pression maximale du pneu nécessaire pour soutenir cette charge.
(E) Pression du pneu: Le pneu de la roue de secours compacte doit être gonflé à 420 kPa (60 lb/po²). Pour plus de renseignements sur la pression et le gonflage des pneus, se reporter à la rubrique Gonflement - Pression des pneus à la page 535.
(F) Dimensions du pau: Le code de dimensions du pau est une combinaison de lettres et de chiffres qui définit la largeur, la hauteur, le rapport d'aspect, le type de construction et la description d'utilisation d'un pau. La lecture « T » en début de code signifie que le pau est destiné à une usage-temporaire seulement.
(G) Code TPC (Tire Performance Criteria Specification) (critère de performance d'un pneu): Les pneus d'origine montés sur les vehicules GM répondent aux exigences de performance établies par GM et le code TPC qui est moulé sur leurs flancs. Ces exigences de performance respectent les normes de sécurité établies par le gouvernement fédéral.
Dimensions des pneus
L'illustration suivante concerne un exemple de pneu typique de voiture de tourisme.

(A) Pneu de tourism (grandeur « P-Metric »): Version américain du système de dimensions métriques. La dette P initiale indique un peu de voiture de tourisme conforme aux normes de la Tire and Rim Association américaine.
(B) Largeur de section: Mesure (trois premiers chiffres) indiquant la largeur de section du pneu en millimétres d'un flanc à l'autre.
(C) Rapport d'aspect: Nombre à deux chiffres indiquant le rapport hauteur/largeur du pneau. Par exemple, un rapport d'aspect de 60, tel qu'indiqué au repère C de l'illustration, signifie que la hauteur du pneau équivaut à 60% de sa largeur.
(D) Type de construction: Lette充分利用 pour indiquer le type de construction de la carcasse du pneu. La lecture R indique qu'il s'agit d'un pneu à structure radiale, la lecture D indique qu'il s'agit d'un pneu à structure diagonale, la lecture B indique qu'il s'agit d'un pneu à structure diagonale ceinturée.
(E) Diamètre de jante: Diametre de la roue en pouces.
(F) Description d'utilisation: Ces caractères représentent la limite de charge et la cote de vitesse du pau. L'indice de charge représentée la charge nominale approuvée qu'un pau peut transporter. L'indice de charge peut varier entre 1 et 279. La cote de vitesse est la vitesse maximalie approuvée à laquelle un pau peut transporter une charge. Les cotes de vitesse varient entre A et Z.
Terminologie et définitions de pneu
Pression d'air: Force exercée par l'air à l'intérieur du pneau exprimée en livres par pouce carré (lb/ po^2 ) ou en kilopascals (kPa).
Poids des accessoires: Cela signifie le poids combinés des accessoires en option. Quelques exemples d'accessoires en option : boîte-pont/boîte de vitesses automatique, direction assistée, freins assistés, lève-glaces à commande électrique, sièges à commande électrique et climatisationur.
Rapport d'aspect: Rapport entre la hauteur et la largeur du pneu.
Ceinture: Ensemble de cables caoutchoutés situés entre les plis et la bande de roulement. Ces câbles peuvent être faits d'accier ou d'autres matériaux de renforcement.
Talon: Partie du pneu contenant les câbles d'acier et qui s'appuient contre la jante lorsqu'il est monté sur une roue.
Pneu à carcasse diagonale: Pneu dont les plis se croisent à un angle inférieur à 90^ par rapport à l'axe longitudinal de la bande de roulement.
Pression des pneus à froid: Quantité d'air dans un pneu, mesurée en livres par pouce carré (lb/ po^2 ) ou en kilopascals (kPa), avant que la température du pneu n'ait augmente en raison du roulement. Se reporter à la rubrique Gonflement - Pression des pneus à la page 535.
Poids à vide: Poids total du vehicule complenant les équipements de série et les équipements en option, de même que la capacité maximale de carburant, d'huile moteur et de liquide de refroidissement, mais sans passager ni chargement.
Marquage DOT: Code moulé sur le flanc d'un pneu signifiant qu'il répond aux normes de sécurité des vehicules à moteur du U.S. Department of Transportation (DOT) (ministère des transports des États-Unis). Le marquage DOT compte le numéro d'identification du pneu, une indication alphanumeric que qui identifie également le fabricant, l'usine de fabrication, la marque et la date de fabrication.
PNBV: Poids nominal brut du vehicule. Se reporter à la rubrique Chargement du vehicule à la page 447.
PNBE AVANT: Poids nominal brut sur l'essieu avant. Se reporter à la rubrique Chargement du vehicule à la page 447.
PNBE ARRIÈRE: Poids nominal brut sur l'essieu arrêté. Se reporter à la rubrique Chargement du vehicule à la page 447.
Côté d'installation d'un pneu asymétrique: Côté d'un pneu asymétrique devant toujours se trouver sur le côté extérieur du vehicule.
Kilopascal (kPa): Unité métrique pour la pression d'air.
Pneu de camionnette (grandeur « LT-Metric »): Pneu monté sur les camionnettes et sur certains vehicules de tourisme multifonctions.
Indice de charge: Nombre situé entre 1 et 279 et représentant la capacité de charge d'un pneu.
Pression de gonflage maximale: Pression d'air maximale à laquelle un pneu froid peut être gonflé. La pression d'air maximale est moulée sur le flanc du pneu.
Charge maximale: Limité de charge qu'un pneu gonflé à la pression d'air maximale permetse peut supporter.
Poids maximal du vehicule en charge: Somme du poids à vide, du poids des accessoires, de la capacité nominale du vehicule et du poids des options d'usine.
Poids normal des occupants: Poids déterminé par le nombre de sièges, multiplié par 68 kg (150 lb). Se reporter à la rubrique Chargement du vehicule à la page 447.
Répartition des occupants: Places assises désignées
Côté d'installation d'un pauas asymétrique: Côté d'un paua asymétrique devant toujours se trouver sur le côté extérieur du vehicule. Côté du pau dont le flanc est blanc et qui comporte des lettres blanches ou le nom du fabricant, la marque et/ou le modele du paua moulé sur le pau et dont le relief est plus accentué que celui des mêmes renseignements indiqués sur l'autre flanc.
Pneu de tourisme (grandeur « P-Metric »): Pneumonté sur les voitures de tourisme et sur certains vehicules de tourisme multifonctions.
Pression de gonflage recommanded: Pression de gonflage des pneus recommendée par le fabricant telle qu'elle est indiquée sur l'étiquette des pneus. Se reporter aux rubriques Gonflement - Pression des pneus à la page 535 et Chargement du vehicule à la page 447.
Pneu radial: Pneu dont les plis de la carcasse se croisent à un angle de 90^ par rapport à l'axe longitudinal de la bande de roulement.
Jante: Support de métal d'un pneu et sur lequel s'appuie le talon.
Flanc: Partie du pneu située entre la bande de roulement et le talon.
Cote de vitesse: Système alphanumeric que indiquant la capacité d'un pneu à rouler à une vitesse déterminée.
Adhérence: Friction entre le pneu et la chaussée.
Degré d'adhérence fournie.
Bande de roulement: Partie du pneu en contact avec la chaussée.
Indicateurs d'usure: Minces bandes, appelées parfois repères d'usure, qui apparaissent sur la bande de roulement pour indiquer que la profondeur des sculptures n'est plus que de 1,6 mm (1/16 po). Se reporter à la rubrique Quand faut-il remplacer les pneus? à la page 539.
Normes de qualité de pneus uniformes:
Système d'information sur les pneus fournissant aux consommateurs des cotes sur la traction, la température et l'usure de la bande de roulement des pneus. Les cotes sont déterminées par chaque fabricant de pneus, selon les procédures d'essais gouvernementales. Ces cotes sont moulées sur le flanc des pneus. Se reporter à la rubrique Classification uniforme de la qualité des pneus à la page 543.
Capacité nominale du vehicule: Nombre de places assises désignées, multiplié par 68 kg (150 lb), plus poids de la charge établi. Se reporter à la rubrique Chargement du vehicule à la page 447.
Charge maximale sur le pneu: Charge exercée sur un pneu en raison du poids à vide, du poids des accessoires, du poids des occupants et du poids de la charge.
Étiquette du vehicule: Une étiquette, apposée en permanence à un vehicule, affichtant la capacité nominale du vehicule et indiquant la dimension des pneus d'origine et la pression de gonflage recommandée. Se reporter à « Étiquette d'information sur les pneus et le chargement » sous la rubrique Chargement du vehicule à la page 447.
Gonflement - Pression des pneus
Pour bien fonctionner, la pression d'air des pneus doit être ajustate.
Remarque: Ne pas écouter ceux qui disent qu'un pneu sous-gonflé ou surgonflé ne pose pas de problème. C'est faux. Un pneu pas assez gonflé (sous-gonflé):
S'écrase trop
- Surchauffe
- Subit une surcharge
- S'use prématurément ou irrégulierement
- Réduit la maniabilité du vehicule
- Augmente la consommation de carburant Un pneu surgonfle :
- S'use prématurément
- Réduit la maniabilité du vehicule
- Rend la conduite inconfortable
- Est plus vulnérable aux dangers routiers
Une étiquette d'information sur les pneus et le chargement est apposée sur le montant central (montant B) du vehicule. Cette étiquette indique les pneus d'origine de votre vehicule et la bonne pression de gonflage des pneus à froid. La pression de gonflage des pneus à froid recommendée, indiquée sur l'étiquette, est la pression d'air minimale nécessaire pour la capacité de charge maximale du vehicule.
Pour obtenir plus de renseignements sur la charge pouvant être transportée par le vehicule et un exemple de l'étiquette d'information sur les pneus et le chargement, se reporter à la rubrique Chargement du vehicule à la page 447. La charge ajoutée à votre vehicule influence la tenue de route du vehicule et le comport de la suspension. Ne jamais dépasser le poids prévu pour la charge du vehicule.
Quand les vérifier
Vérifier les pneus au moins une fois par mois.
Ne pas oublier de vérifier la roue de secours compacte, dont la pression devrait s'étabir à 420 kPa (60 lb/po²). Pour obtenir plus d'information au sujet de la roue de secours compacte, se reporter à la rubrique Pneu de secours compact à la page 569.
Comment procéder à la vérification
Utiliser un manomètre pour pneus de poche deonne qualite pour vérifier la pression de gonflage des pneus. Il est impossible de savoir si la pressionde gonflage des pneus est appropriee uniquement en procedant a une inspection visuelle. Les pneus à carcasse radiale peuvent sembler etre gonflés à la pression appropriée alors quils sont en fait insuffisamment gonflés. Vérifier la pression de gonflage appropriée des pneus à froid, c'est-à-dire lorsque le vehicule est immobile depuis au moins trois heures ou qu'il a parcouru une distance inférieure à 1,6 km (1 mille).
Retirer le bouchon de la tige de valve. Appuyer fermement le manomètre pour pneus contre la valve afin de mesurer la pression. La pression de gonflage à froid doit correspondre à celle recommandée sur l'étiquette d'information sur les pneus et le chargement. Si ce n'est pas le cas, vous devez ajouter de l'air jusqu'à ce vous atteigniez la pression de gonflage recommandée.
Si vous surgonflez le pneu, laisser échapper de l'air en appuyant sur la tige en métal au centre de la valve du pneu. Vérifier à nouveau la pression de gonflage du pneu à l'aide d'un manomètre pour pneus.
Voir à remettre les bouchons de valve en place sur les tiges de valve. Ils contribuient à empêcher les fuites en protégeant les valves de la saleté et de l'humidité.
Fonctionnement haute vitesse
ATTENTION:
La conduite à haute vitesse, 160 km/h (100 mi/h) ou plus, met une contrainte sur les pneus. Une conduite à haute vitesse soutenue entraine une accumulation de chaleur excessive, ce qui peut cause une défaillance soudaine des pneus. Vous risque d'avoir une collision et de vous tuer ainsi que de tuer d'autres personnes. Certains pneus cotés pour la haute vitesse exigent un réglage de pression de gonflage pour une utilisation à haute vitesse. Lorsque la limite de vitesse et les conditions routières sont telles qu'il est possible de conduire un vehicule à haute vitesse, s'assurer que les pneus sont cotés pour une utilisation à haute vitesse, sont en bonne condition et sont régles à la bonne pression de gonflage des pneus froids pour la charge du vehicule.
Si votre vehicule est équipé de pneus de la taille P225/60R17, la pression de gonflage doit être réglée en roulant à des vitesses égales ou supérieures à 160 km (100 mi/h). Régler la pression de gonflage à froid à la pression de gonflage maximal mentionné sur le flanc du pneu sans dépasser 262 kPa (38 lb/po²). Consulter l'exemple suivant. Quand vous achevez la conduite à grande vitesse, returner à la pression de gonflage à froid mentionné sur l'étiquette d'information sur les pneus et le chargement. Voir Chargement du vehicule à la page 447 et Gonflement - Pression des pneus à la page 535.
Exemple :
Vous trouvrez la charge et la pression de gonflage maximes moulées en petites lettres sur le flanc du pneu, pres du rebord de jante. Il pourrait être indiqué ceci : Charge maximale de 690 kg (1 521 lb) pression de gonflage maximale de 300 kPa (44 lb/ po^2 ).
Pour cet exemple, la pression de gonflage pour la conduite à grande vitesse serait de 262 kPa (38 lb/po²).
Inspection et permutation des pneus
Les pneus doivent être permutés tous les 8 000 à 13 000 km (5 000 à 8 000 milles).
En cas de détention d'une usure anormale, permuter les pneus dés que possible et vérifier le parallélisme des roues. Examiner aussi les pneus et les roues pour voir s'ils sont endommages. Se reporter aux rubriques Quand faut-il replacer les pneus? à la page 539 et Remplacement de roue à la page 545 pour plus de renseignements.
Le but de la permutation périodique est d'obtenir une usure uniforme de tous les pneus du vehicule. La première permutation est la plus importante. Se reporter à la rubrique Entretien prévu à la page 595.

Toujours utiliser l'ordre de permutation illustré ici lors de la permutation des pneus.
Ne pas inclure la roue de secours compacte dans la permutation des pneus.
Après la permutation des pneus, ajuster les pressions de gonflage avant et arrrière selon les indications de l'étiquette d'information sur les pneus et la capacité de chargement du vehicule.
S'assurer que tous les écrous de roue sont bien serrés correctement. Voir la rubrique « Couple de serrage des écrous de roue » sous Capacités et specifications à la page 589.

ATTENTION:
S'il y a de la rouille ou de la saleté sur la roue ou sur les pièces auxquelles elle est attachée, les écrous peuvent à la longue se desserrer. La roue pourrait alors se détacher et provoquer un accident. Lors du remplacement d'une roue, enlever toute rouille ou toute saleté des pièces du vehicule auxquelles la roue s'attaché. En cas d'urgence, vous pouvez utiliser un linge ou un essuie-tout pour le faire, mais s'assurer d'utiliser un gratoir ou une Brosse à poils métalliques plus tard, au besoin, pour enlever toute rouille et toute saleté. Se reporter à « Remplacement d'un pau dégonflé » dans l'index Remplacement d'un pau à plat à la page 552.
Quand faut-il remplacer les pneus?

Pour savoir àquel moment il est nécessaire de changer les pneus, vérifier les indicateurs d'usure qui apparaisent lorsque la bande de roulement restante est inférieure ou égale à 1,6 mm (1/16 po).
Remplacer le pneu lorsque l'une des affirmations suivantes se vérifie :
- Les indicateurs apparaisent à trois endroits au moins autour du pneu.
- Le cable ou la trame au travers du caoutchouc du pneu sont visibles.
- La semelle ou le flanc est fendillé, coupé ou entaille suffisamment pour exposer le cable ou la trame.
- Le pneu a une bosse, un ballonnement ou une déchirure.
- Le pneu est creve, entaille ou a des dommages impossibles à réparer de façon satisfaisante du fait de leur importance ou de leur emplacement.
Achat de pneus neufs
GM a développé et adapté des pneus spécifiques pour votre vehicule. Les pneus d'équipement d'origine installés sur votre vehicule neuf ont été conçus pour répondre aux caractéristiques nominales du code TPC (critère de performance
d'un pneu) de General Motors. Si vos pneus doivent être remplacés, GM vous recommende fortement d'acquerir des pneus de caractéristiques nominales TPC identiques. De cette manière, votre vehicule aura toujours des pneus conçus pour procurer les mêmes performances et la même sécurité du vehicule que les pneus d'origine en utilisation normale.
Le système de code TPC exclusif GM prend en compte plus d'une douzaine de specifications critiques qui affectent les performances globales de votre vehicule, notamment les performances du système de freinage, la tenue de route et la maniability, la traction asservie et la surveillance de la pression des pneus. Le numero du code TPC de GM a eté moulé sur le flanc du pneu par le fabricant du pneu. Si les pneus sont équipés d'une sculpture de bande de roulement toutes saisons, le code TPC est suivi des lettres MS, pour la boue et la neige. Pour plus d'informations, se reporter à la rubrique Étiquette sur paroi latorale du pneu à la page 527.

ATTENTION:
L'installation de pneus différents risque de vous faire perdre le contrôle du vehicule. Si vous utilisez des pneus de différentes tailles ou marques ou de différents types (radial et a pli diagonal ceinture), vous risquez de perdre le contrôle du vehicule et provoquer un accident. L'utilisation de pneus de différentes tailles ou marques ou de différents types peut également endommager votre vehicule. Veiller à utiliser des pneus de taille, marque et type corrects sur les quatre roues. Néanmoins, vous pouvez conduire temporairement avec la roue de secours compacte car elle a eté conçue pour votre vehicule. Se reporter à la rubrique Pneu de secours compact à la page 569.

ATTENTION:
Si vous utilisez des pneus à carcasse diagonale, les rebords de jante de roue pourraient développer des fissures à la longue. Un pneu ou une roue pourrait defaillir soudainement, provoquant une collision. Utiliser seulement des pneus à carcasse radiale sur les roues de votre vehicule.
Si vous doivent remplaner les pneus de votre vehicule par des pneus non munis d'un code TPC, s'assurer qu'ils sont de themselves dimensions, qu'ils possèdent la même limite de charge, la même cote de vitesse et le même type de fabrication (pneus radiaux et pneus à carcasse diagonale ceinturée) que les pneus d'origine de leur vehicule.
Les caractéristiques des pneus d'origine de votre vehicule sont indiquées sur l'étiquette d'information sur les pneus et le chargement. Cette étiquette est fixée sur le montant central du vehicule (montant B). Se reporter à Chargement du vehicule à la page 447 pour plus d'informations sur l'étiquette d'information sur les pneus et le chargement et son emplacement sur votre vehicule.
Pneus et roues de dimensions variees
Si vous ajoutez des roues ou des pneus de dimensions différentes des roues et pneus d'origine, cela risque d'affector les performances de votre vehicule, notamment les caractéristiques de freinage, de conduite et de maniabilité, ainsi que la stabilité, et la résistance au capotage. Par ailleurs, si votre vehicule dispose de systèmes électroniques tels que des freins antiblocage, la traction asservie, et la commande de stabilité électronique, les performances de ces systèmes peuvent être affectés.
ATTENTION:
En cas de montage de roues de taille différente, le niveau de performance ou de sécurité du vehicule peutvenir insuffisant si des pneus qui ne sont pas recommendés pour ces roues sont montés. Cela risque d'augmenter les risques d'accident et de blessures graves. N'utiliser que des ensembles spécifiques de roues et de pneus Saturn conçus pour votre vehicule, et les faire monter par un technicien agréé Saturn.
Pour plus de renseignements, se reporter aux rubriques Achat de pneus neufs à la page 540 et Accessoires et modifications à la page 471.
Classification uniforme de la qualité des pneus
Les catégories de qualité peuvent être trouvées, le cas échéant, sur le flanc du pneu, entre l'épaulement et la largeur maximum de la section. Par exemple :
Usure de la bande roulement 200 Traction AA Température A
Les informations ci-dessous se rapportent au système développement par le service National Highway Traffic Safety Administration (NHTSA) des États-Unis, qui classe les pneus selon l'usure de la bande de roulement, la traction, et la température. Ceci s'applique uniquement aux vehicules vendus aux États-Unis. Les catégories sont moulées sur les flancs de la plupart des pneus des voitures particulières. Le système de classement de qualité de pneus uniforme (UTQG) ne s'applique pas aux pneus à lamelles, aux pneus à neige d'hiver, aux pneus gagne-place ou à usage-temporaire, aux pneus avec diamètres de jantes de roue nominaux de 25 à 30 cm (10 à 12 po), ou à certains pneus à production limitee.
Alors que les pneus disponibles sur les voitures de tourisme et camions General Motors peuvent varier en fonction de ces catégories,ils doivent également se conformer aux exigences de sécurité fédérales et aux normes supplémentaires de critères de performance des pneus (TPC) de General Motors.
Usure de la bande de roulement
Les degrés d'usure de la bande de roulement sont des caractéristiques nominales comparatives qui se basent sur le taux d'usure des pneus, lorsqu'ils sont testés dans des conditions contrôlees avec un programme de test particulier du gouvernement. Par exemple, un pneu de catégorie 150 s'utilait une fois et demie (1,5) autant selon le programme gouvernemental qu'un pneu de catégorie 100. La performance relative des pneus dépend cependant des conditions réelles de leur utilisation, et peut différer grandement de la norme en raison des variations dans les manières de conduire, le nombre d'entreiens, et les différences de caractéristiques routières et de climats.
Traction - AA, A, B, C
Les catégories de traction, du niveau le plus élevé au niveau le plus bas, sont AA, A, B et C. Ces catégories représentent la capacité des pneus de pouvoir s'arrête sur une chaussée mouillée tel que mesure dans des conditions contrôlées sur des surfaces de test, spécifiées par le gouvernement, sur l'asphalte et le béton. Un pneu portant la mention C peut avoir une performance de traction de bas niveau.
Avertissement : le degré de traction attribué à ce pneu se base sur des tests de traction à freinage tout droit et ne comprend pas les accélérations, les virages, l'aquplanage ou les caractéristiques à traction de pointe.
Température - A, B, C
Les catégories de températures sont A (la plus élevé), B et C, et représentent la résistance des pneus à la génération de chaleur, et leur capacité à dissiper la chaleur lors d'un test effectué dans des conditions contrôlées sur une roue d'essay spécifiée d'un laboratoire interieur. Les températures élevées soutenues peuvent provoquer la dégradation du matériel des pneus et en réduire la durée de vie, et une/tempature excessive peut entraîner une défaillance soudaine des pneus. La catégorie C correspond à un niveau de performance auquel tous les pneus de voitures particulières doivent se conformer selon la norme no. 109 de Federal Motor Vehicle Safety Standard. Les catégories B et A représentent des niveaux de performance plus élevé sur la roue d'essay de laboratoire que le niveau minimum requis par la loi.
Avertissement : la catégorie de température pour ce pneu est établie pour un pneu gonflé correctement et qui n'est pas surcharge. Une vitesse excessive, un gonflage insuffisant, ou une charge excessive, séparément ou en combinaison, peuvent provoquer une accumulation de chaleur et une défaillance eventuelle des pneus.
Réglage de la géométrie et équilibrage des pneus
Les roues et les pneus de votre vehicule ont été soignement alignés et équilibrés en usine pour vous offrir la plus grande durée de vie de pneus et les autres résultats possibles. Des réglages de l'alignement des roues et l'équilibrage des pneus ne seront pas nécessaires de façon régulière.
Cependant, si vous constatez une usure inhabituelle des pneus, ou que votre vehicule tire d'un côté ou de l'autre, l'alignement a besoin d'être vérifié. Si vous constaté que votre vehicule vibrependant que vous conduisez sur une route plate, vos pneus et roues peuvent avoir besoin d'être rééquilibrés. Consulter votre concessionnaire pour un diagnostic approprié.
Remplacement de roue
Remplacer toute jante tordue, fissurée ou trop rouillée ou corrodée. Si les écrous de roue ne tiennent pas serrés, replacer la roue, les boulons et les écrous de roue. Si la jante fuit, la replacer (sauf dans le cas de certaines jantes en aluminium parfois réparables). Si l'un de ces cas se présente, s'adresser à votre concessionnaire.
Votre concessionnaire connait le type de roue adapté à votre vehicule.
La nouvelle jante doit avoir la même capacité de charge, le même diamètre, la même largeur et le même deport et être montée de la même maniere que la jante qu'elle remplace.
Si vous doivent remplaner une jante, un boulon ou un écrou de roue, utiliser exclusivement des pieces Saturn d'origine neuves. De cette façon, vous serez sur que ces nouvelles pieces convennent à votre vehicule.
ATTENTION:
Il est dangereux de ne pas utiliser des roues de secours, des boulons de roue ou des écrous de roue corrects sur votre vehicule. Vous risquez d'affector le freinage et la maniabilité de votre vehicule, d'entrainer des fuites d'air au niveau des roues et de perdre le contrôle. Vous pourriez avoir un accident et vous blesser ou blesser d'autres personnes. Toujours utiliser les roues de secours, boulons de roues et écrous de roues corrects.
Remarque: Un roue Incorrecte peut cause des problèmes de durée de vie de palier, de refroidissement des freins, de calibrage de compteur de vitesse ou de totalisateur, de portée des projecteurs, de hauteur de pare-chocs, de garde au sol du vehicule et espace entre les pneus ou les chaînes de pneu par rapport à la carrosserie et au chassin.
Se reporter à la rubrique Remplacement d'un pneu à plat à la page 552 pour plus de renseignements.
Roues de rechange d'occasion
ATTENTION:
Il est dangereux d'installer une roue d'occasion sur votre vehicule. Vous ne pouvez pas savoir dans quelles conditions et surquelle distance elle a ete utilisée. Elle pourrait eclater subitement et provoquer un accident. Si vous devez replacer une roue, utiliser une roue neuve d'origine Saturn.
Châines à neige

ATTENTION:
Ne pas utiliser de chaînes à neige. Il n'y a pas suffisamment de dégagement. Des chaînes à neige utilisées sur un vehicule n'ayant pas le dégagement suffisant peuvent cause des dommages aux freins, à la suspension ou à d'autres pieces du vehicule. L'endroit endommagé par les chaînes pourrait cause une perte de contrôle de votre vehicule et d'autres personnes ou vous-même pourriez subir des blessures lors d'une collision.
/
ATTENTION: (suite)
Utiliser un autre type de dispositif de traction uniquement si son fabricant le recommande pour votre vehicule, selon les dimensions des pneus et des conditions routières. Suivre les directives de ce fabricant. Pour éviter d'endommager levéhicule, conduire lentement, régler ou enlever le dispositif s'il entre en contact avec votre vehicule, et éviter de faire patiner les roues. Si vous trouvez un dispositif de traction qui convient, l'instructor sur les pneus avant.
Accessoire de gonflage
Votre vehicule peut etre muni d'un gonflleur pour accessoires. Le gonflleur yous permet de gonfler des pneus de bicyclette ou des ballons, et yous pouvez aussi l'utiliser pour garder les pneus de voitre vehicule a la bonne pression.
Le gonfleur pour accessoires se trouve dans le compartmentement arrière, côte conducteur. Pour acceder au gonfleur pour accessoires, proceder comme suit :
- Ouvrir le hayon. Pour plus de renseignements, se reporter à Hayon à la page 138.
- Soulever le levier pour avancer le dossier du siège de troisieme rangée. Se reporter à la rubrique Sièges de la troisieme rangée à la page 29 pour plus de renseignements.
- Retirer le couvercle en tirant le levier vers le haut.

Le commutateur du gonfleur pour accessoires comporte ce symbole.
Il peut y avoir un nécessaire de gonflage pour accessoires dans le compartment arrière, côte passager. Il comprend un tuyau de 6 m (20 pi) de longueur avec un manomètre et des embouts adaptateurs.

ATTENTION:
Tout objet gonflé à l'excess risque d'explorer et vous et autres personnes pourriez être blessées. S'assurer de生存 le mode d'emploi du gonfleur et ne pas dépasser la pression recommandée pour l'objet.
Pour utiliser le gonfleur pour accessoires, proceder de la manière suivante :
- Mettre la clé de contact à la position ACCESSORY (accessoires) ou RUN (marche).
- Brancher l'adaptateur approprié, au besoin, à l'extrémité du boyau muni du manomètre.
- Brancher ensuite cette extrémité du boyau à l'objet que vous pouze gonfler.
- Enlever le capuchon de protection qui couvre la prise du gonfleur.
-
Brancher l'autre extrémité du boyau à la prise.
-
Appuyer ensuite sur le commutateur de marche du gonfleur. Le témoin du commutateur s'allume lorsque le système fonctionne.
Si le système de gonflage pour accessoires ne se met pas en fonction ou que le témoin ne s'allume pas, il se peut que le fusible soit brûlé ou mal installé. Se reporter à la rubrique Fusibles et disjoncteurs à la page 583 ou consulter votre concessionnaire pour l'entretien.
Votre gonfleur pour accessoires s'arrête automatiquement après environ 10 minutes. Le témoin du commutateur clignotera. Avec environ une minute, vous pouvez remettre le gonfleur en marche. Appuyer sur le commutateur et le témoin s'allumera.
Remarque: Si le débit d'air fonctionne pendant plus de 30 minutes d'affilée, il peut s'endommager. Les réparations ne seraient pas couvertes pas la garantie. Ne faire fonctionner le débit d'air que pour de courtes durées.
Après avoir utilisé le gonfleur pour accessoires pendant 30 minutes, attendre au moins 10 minutes avant de le remettre en marche.
Pour arrêté le gonfleur, procédér comme suit :
- Appuyer sur le commutateur et débrancher le boyau d'abord de l'objet gonflé, puis de la prise.
- Reposer le capuchon de protection.
- Mettre les outils du kit de gonflage dans la trousse, et ranger dans le compartment arrêté, côté passager.
Aligner les pattes au bas du couvercle et le remettre en place. Pousser sur la patte pour fixer le couvercle.
Au cas d'un pneu à plat
Il est rare qu'un pneu éclate pendant la conduite, sur tout si les pneus du vehicule sont bien entretenus. En cas de fuite, l'air s'échappera du pneu probablement très lentement. Toutefois, en cas d'éclatement d'un pneu, voici quelques informations sur ce qui risque de se produit et ce que vous doivent faire :
Si un pneu avant est dégonflé, il produit un frottement qui entraînera le vehicule vers ce côte-là. Retirer votre pied de la pédale d'accélérateur et saisir fermement le volant. Maintenir votre position, puis freiner doucement pour vous arrêté entièrement sorti de la voie de circulation.
En cas d'éclatement d'un pneu arrêté, particulièrement dans un virage, le vehicule se comportera comme lors d'un dérapage. Les effets de l'éclatement devront donc être corrigés comme s'il s'agissait d'un dérapage. Relâcher alors l'accélérateur. Conserver le contrôle du vehicule en l'orientant dans la direction voulue. Le vehicule sera très instable et bruyant, mais vous pourrez toujours le diriger. Freiner doucement jusqu'à l'arrêt complet — bien à l'écart de la route, si possible.
ATTENTION:
Il est dangereux de soulever un vehicule et d'aller sous le vehicule pour effectuer un entretien ou des réparations sans l'équipement de sécurité et la formation appropriés. Le cric fourni avec le vehicule est unconqu uniquement pour changer un pneu à plat. S'il est utilisé pour autre chose, des blessures graves ou même un décès poursuient survenir si le vehicule glisse du cric. Utiliser le cric fourni avec le vehicule uniquement pour changer un pneu à plat.
Si un pneu se dégonfle, la partie suivante vous indique la façon d'utiliser l'équipement de levage pour changer un pneu dégonfle en toute sécurité.
Remplacement d'un pneu à plat
Si un pneu se dégonfle, éviter tout autre dommage au pneu et à la roue en conduisant lentement vers un terrain plat. Allumer les feuels de détresse. Se reporter à Feux de détresse à la page 200 pour有關 des renseignements supplémentaires.
ATTENTION:
Changer un pneu peut partager des dangers. Le vehicule peut glisser du cric et se renverser ou tomber sur vous ou sur d'autres personnes. Vous pourriez être gravement blessé ou même tué. Trouver un endroit plat où changer le pneu. Pour empêcher le vehicule de bouger :
- Serrer fermement le frein de stationnement.
- Placer le levier sélecteur en position de stationnement (P).
…/
ATTENTION: (suite)
- Couper le contact et ne pas redémarrer le vehicule lorsqu'il est soulevé.
- Demander aux occupants de sortir du vehicule.
Pour être encore plus certain que le vehicule ne se déplacera pas,mettre des cales devant et derrière le pneu le plus éloigné de celui à replacer, c'est-à-dire celui de l'autre côté, à l'extrémité opposée.
Si l'un des pneus du vehicule est à plat, se reporter à l'exemple suivant pour vous aider à poser les cales de roues.

Les informations suivantes expliquent comment utiliser le cric et changer un pneu.
Dépose du pneu de secours et des outils

Les outils nécessaires pour déposer la roue de secours se trouvent dans le compartment de rangement à l'arrête du vehicule, du côté passager.
Pour retirer les outils, faire ce qui suit :
- Ouvrir le hayon. Pour plus de renseignements, se reporter à Hayon à la page 138.
- Retirer le filet d'arrimage si le vehicule en est pourvu.
- Ouvrir le compartment de remisage du cric en soulevant la languette et en retardant le couvercle.

A. Cric
D. Écrou à oreilles
B. Courroie
E. Sac et outils
C. Support
- Enlever le cric (A) et les outils de levage (E) en dévissant puis retardant l'écrou à oreilles (D) et le support (C).
- Detacher la poche en plastique du cric et sorting les outils de levage (clé pliante et rallonge) qu'elle contient.

Les outils dont vous aurez besoin sont le cric (A), la rallonge (B) et la clé pliante (C).
La roue de secours compacte se trouve sous l'arrière du vehicule. Pour de plus amples renseignements sur la roue de secours compacte, se reporter à la rubrique Pneu de secours compact à la page 569.
Pour-retirer la roue de secours compacte,faire comme ceci:

A. Axe de treuil
B. Treuil
C. Élement de retenue
D. Pneu de secours compact
E. Rallonge
(extrémité
biseautée)
F. Clé pliable
-
Attacher la clé pliable (F) à la ballonge (E) et insérer l'extrémité biseautée de biais à travers le trou dans le pare-chocs arrêté et dans la tige de levage (A).
-
Tourner la clé pliable vers la gauche pour abaisser le pneu de secours compact (D) jusqu'au sol. Continuer de tourner la clé afin de pouvoir tirer le pneu de secours compact du dessous du vehicule.

- Basculer le dispositif de retenue situé à l'extrémité du cable pour dégager la roue de secours compacte de ce dernier, afin de pouvoir la faire passer par l'ouverture.
Le treuil permet de ranger une roue de taille normale ou un pneu dégonfle sous le vehicule. Se reporter à la rubrique Entreposage d'un pneu creve ou d'un pneu de secours et des outils à la page 566. - Retirer la roue de secours compacte du cable.
Si vous ne parvenez pas à abaisser la roue de secours, regarder sous le vehicule pour vérifier si le pneu pend librement et si l'extrémité du cable et le ressort sous le plateau de roue ont été otsés. Si c'est le cas, le loquet secondaire est engagé. Se reporter à la rubrique Système de serrer seconde à la page 563.
Pour continuer à changer le pau dégonfle, se reporter à la rubrique Dépose d'un pau creve et installation du pau de rechange à la page 557.
Dépose d'un pneu creve et installation du pneu de rechange
Votre vehicule peut etre équipé de roues en aluminium. Dans ce cas, les écrous de roues en acier inoxydable sont visibles. Utiliser la clé de roue pour les desserrer. Ne pas encore les déposer. Ou,Vote vehicule peut etre équipé d'enjoliveurs d'accier. Pour déposer les,enjoliveurs et les capuchons d'écrou de roues, desserrer les capuchons de plastique des écrous au moyen de la clé de roue dans le sens inverse des aiguilles d'une montre. Au besoin, vous pouvez achieve le desserrage avec les doigts. Les capuchons de plastique des écrous ne se détacheront pas. Utiliser la partie plate de la clé de roue et appuyer le long du bord de l'enjoliveur pour le détacher. Le bord de l'enjoliveur peut etre tranchant, ne pas tenter de le retirer avec les mains nues. Ne pas laisser tomber l'enjoliveur et ne pas le laisser avec la face vers le bas, au risque de rayures et de dégats. Avres avoir retirel'enjoliveur, adopter la methode suivante pour retirer le pneu plat et poser la roue de secours.


- Desserrer les écrous de roue en utilisant la clé pliable mais sans les déposer.
Faire tourner la poignée dans le sens inverse des aiguilles d'une montre de 180 degrés, puis replacer le manche à la position de départ. Ceci évitera le retrait de la clé de l'écrou à chaque tour de clé.
Remarque: Si le vehicule est équipé d'écrous antivol et qu'on utilise une clé à chocs pour les(ATR)retirer, on peut endommager l'écrou de blocage ou la clé de blocage des roues. Ne pas utiliser de clé à chocs pour(ATR)retirer les écrous de roue si le vehicule est équipé d'écrous antivol.
Remarque: L'utilisation d'un cric pour soulever le vehicule sans l'avoir correctement place au préalable risque d'endommager le vehicule. Pendant le levage du vehicule avec un cric, s'assurer que le cric n'est pas en contact avec les bras de suspension arrêté.
Remarque: Si vous placez le cric sous la moulure du bas de caisse et que vous essayez de lever le vehicule, vous pouvez casser la moulure et/ou provoquer d'autres dommages aux vehicule. Tout jours positionner le cric de telle façon que lorsque la tete du cric est levée, elle s'insère fermement dans l'encoche située à l'intérieur de la moulure du bas de caisse.

A. Avant du vehicule
B. Arrière du vehicule
- Près de chaque roue se trouve une encoche (A et B) située sous le chassin du vehicule. Placer le cric sous le vehicule et lever la tête du cric jusqu'à ce qu'elle s'emboîte fermement dans l'encoche la plus proche du pneu dégonfle.
Ne pas soulever le vehicule pour le moment.
- Placer la roue de secours compacte pres de soi.

ATTENTION:
Il est dangereux de se glisser sous un vehicule lorsqu'il est soutenu par un cric. Si le vehicule glisse du cric, vous risquez d'être gravement blessé ou même tué. Ne jamais glisser sous un vehicule lorsqu'il n'est soutenu que par un cric.

ATTENTION:
Le levage de votre vehicule par un cric mal place risque d'endommager votre vehicule ou même de le faire tomber. Pour aider à éviter des blessures ou d'endommager le vehicule, s'assurer de bien placer la tête de levage du cric au bon endroit avant de lever votre vehicule.

- Fixer la clé pliable (A) au cric (B) et la tournier vers la droite pour soulever la tête du cric d'environ 7,6 cm (3 po).

- Soulever le vehicule en tournant la clé pliable vers la droite. Soulever le vehicule en tournant la clé pliable vers la droite. Soulever le vehicule suffisamment au-dessus du sol pour placer le pneu de secours compact sous la cage de roue.
- Enlever tous les écrous de la roue etsterolre le pneu degonflé.

ATTENTION:
La présence de rouille ou de saleté sur la roue ou sur les pieces auxquelles elle est fixée peut, à la longue, entraîner un desserrement des écrous de roue. La roue pourrait alors se détacher et provoquer un accident. Lors du remplacement d'une roue, retirer toute rouille ou saleté aux endroits de fixation de la roue au vehicule. En cas d'urgence, utiliser un linge ou un essuie-tout, mais au besoin, veiller à utiliser ultérieurement un gratoir ou une Brosse à poils métalliques pour retirer toute la rouille et toute la saleté.

- Enlever toute rouille et toute saleté des boulons de roue, des surfaces de montage et de la roue de secours.

- Installer la roue de secours compact et reposer les écrous, extrémité arrondie face à la roue.

ATTENTION:
Ne jamais utiliser d'huile ni de graisse sur les goujons et sur les écrous, car les écrous pourrait se desserrer. La roue pourrait se détacher, entraînant un accident grave.
Serrer chaque écrou à la main jusqu'à ce que la roue tiennent sur le moyeu.

9. Abaisser le vehicule en attachant la clé pliable au cric et en la tournant vers la gauche. Abaisser complètement le cric.
ATTENTION:
Une roue peut se desserrer et même se détacher si les écrous de roue ne sont pas serrés comme il faut ou s'ils sont inappropriés. Ceci pourrait entrainer un accident. S'assurer que les écrous de roue sont appropriés. S'il faut les replacer, s'assurer d'obtenir des écrous de roue GM authentiques neufs. S'arrête lors que possible et faire serrer les écrous avec une clé dynamométrique au couple prescrit. Voir la rubrique Capacités et specifications à la page 589 pour connaître le couple de serrage des écrous de roues.
Remarque: Des écrous de roue mal serrés peuvent entrainer la pulsation des freins et endommager le rotor. Pour éviter des réparations couteuses des freins, serrer les écrous de roue également et fermement, dans l'ordre approprié et au couple ajustat. Pour le couple de serrage des écrous de roues, se reporter à la rubrique Capacités et specifications à la page 589.

- Serrer les écrous de roue fermement en croix, selon le schéma.
Remarque: On ne peut installer un,enjoliveur sur le pau de secours compact. Le pau de secours ou I'enjoliveur pourraient subir des dommages si I'on tentait d'installer un enjoliveur sur le pau de secours compact.
- Ne pas essayer demettre un enjoliveur sur voitre roue de secours compacte; il ne s'y adaptera pas.Ranger soigneusement l'enjoliveur dans le compartment arriere du vehicule jusqu'à ce que le pneu degonfle soit réparé ou remplace.
Système de serrure secondaire
Votre vehicule peut etre equipe d'un apparil de levage de pneu, muni d'un systeme de loquet secondaire, monte sous la carrosserie. Il est concu pour empêcher un pneu de se dégager soudainement de votre vehicule si le cable qui retient le pneu de secours est endommagé. Pour que le loquet secondaire fonctionne, le pneu doit etre remise avec la tige de valve orientée vers le bas.
Le treuil place sous le chassinis permet d'y ranger une roue de secours compacte ou un pneu dégonflé. Pour les détails sur le rangement d'une roue de secours ou d'un pneu dégonflé, se reporter à la rubrique Entreposage d'un pneu creve ou d'un pneu de secours et des outils à la page 566.
ATTENTION:
Avant cette opération, dire toutes les instructions. Il est nécessaire de respecter les consignes pour ne pas endommager l'ensemble de levage et pour éviter les blessures. Lire et respecter les consignes qui seront.
ATTENTION:
Une personne se tenant trop pres pendant l'opération peut etre blessee par le cric. Si le pnu de rechange empêche le cric de coulisser entièrement, s'assurer que personne ne se tient derrière vous ou de l'un ou l'autre côté pendant que vous retirez le cric de dessous le pnu de rechange.
Pour dégager la roue de secours du loquet secondaire, procéder comme suit :

- Placer le cric sous le vehicule, devant le pare-chocs arrière. Positionner le point de levage central du cric sous le centre du pneu de secours compact.
- Tournier la clé pliable vers la droite pour lever le cric jusqu'à ce qu'il souilve le dispositif de loquet secondaire situé sous le plateau de roue.
- Continuer de lever le cric jusqu'à ce que le pneu de secours compact arrêté de monter
et qu'il soit maintainu fermement en place. Cela vous signale que le loquet secondaire est désengageé.
- Abaisser le cric en tournant la clé pliable vers la gauche. Continuer d'abaisser le cric jusqu'à ce que le pneu de secours repose sur la clé pliable.

- Saisir le pneu de secours compact avec les deux mains et le tirer d'en dessous du vehicule.
- Passer la main sous le vehicule et-retirer la clé pliable et le cric.
Faire inspector l'appareil de levage des que possible. Vous ne pourrez pas remisser une roude de secours ou un pneu degonfle au moyen de l'appareil de levage jusqu'à ce qu'il ait eté réparé ou replacé.
Entreposage d'un pau creve ou d'un pau de secours et des outils
ATTENTION:
Le remisage d'un cric, d'un pneu ou d'autre équipement dans l'habitacle du vehicule pourrait cause des blessures. Lors d'un arrêt soudain ou d'une collision, l'équipement non attaché pourrait heurter quelqu'un. Ranger tout l'équipement à l'endroit approprié.
Rangement du pneu plat ou de la roue de secours
ATTENTION:
La roue de secours montée sous la carrosserie doit etre rangee avec la tige de valve dirigee vers le bas. Sinon, son loquet secondaire fonctionnera mal et la roue de secours peut se desserrer et tomber brusquement du vehicule. Pendant un trajet, la roue risque alors de toucher une personne ou un autre vehicule et causer des blessures ou des degats. La roue de secours fixe sous la carrosserie doit etre rangee avec la tige de valve dirigee vers le bas.
Pour ranger la roue de secours, professionnel comme suit :
- Placer le pneu pres de l'arrière du vehicule, la tige de valve orientee vers le bas.
- Si le vehicule est équipé de roues en aluminium,steroler le petit capuchon central en glissant dessous la rallonge de l'axe.
- Faire glisser le dispositif de retenue du cable à travers l'ouverture centrale de la roue et commencer à soulever le pneu. S'assurer que le dispositif de retenue est complètement logé à travers le dessous de la roue.
- Quand le pneu est presque en position de remisage, tournier le pneu de sorte que la valve soit orientee vers l'arriere du vehicule. Cela vous facilitera la tache lors de la verification de la pression de gonflage du pneu de secours.
- Soulever complètement le pneu contre le dessous du vehicule. Continuer à tourner la clé pliable jusqu'à ce que vous sentiez plus de deux déclics. Cela indique que le pneu de secours compact est bien rangé et que le cable est serré. L'appareil de levage du pneu de secours ne peut pas être serrer à l'excess.

- Bien ranger le pau de façon sécuritaire. Pousser, tirer (A) et ensuite essayer de faire pivoter ou tourner le pau (B). Si le pau rouge, serrer le cable avec la clé pliante.
Rangement des outils

A. Courroie
B. Sac et outils
C. Cric
Remiser tous les outils tels qu'ils étaient rangés aparavant dans le compartment de remisage du cric et replacer le couvercle du compartment.
Pour remettre le couvercle en place, aligner les languettes sur la partie droite du couvercle avec les encoches dans l'ouverture du couvercle. Appuyer sur le couvercle et abaiser la languette pour qu'elle repose dans la rainure. Ainsi le couvercle sera bloqué en place.
Ranger le chapeau de roue central ou l'enjoliveur en plastique « à boulons » jusqu'à ce qu'une roue pleine grandeur soit à nouveau installée sur le vehicule. Lorsque vous remplacerez la roue de secours compacte par un pneu ordinaire pleine grandeur, remetre en place l'enjoliveur à boulons ou le chapeau de roue central. Serrer manuellement sur les écrous de roue, au moyen de la clé pliable.
Pneu de secours compact
Meme si le pneu de la roue de secours compact etait bien gonflé quand le vehicule etait neuf, il peut perdre de l'air après un certain temps. Vérifier régulièrement la pression de gonflage. Elle devrait atteindre 420 kPa (60 lb/ po^2 ).
Après avoir installé la roue de secours compacte sur le vehicule, arrêtier le vehicule dés que possible afin de s'assurer que le pneu de la roue de secours est bien gonflé. La roue de secours compacte est donc pour bien fonctionner jusqu'à une vitesse de 105 km/h (65 mi/h) pour une distance maximale de 5 000 km (3 000 milles), vous pouze donc terminer votre déplacement et faire réparer ou replacer le pneu de taille normale quand cela vous conviendra. Il est bien sur préférible de replacer la roue de secours par un pneu de taille normale dés que possible. La roue de secours durera plus longtemps et sera en bon état pour les fins d'urgence possibles.
Remarque: Ne pas passer dans un lave-auto automatique équipé de rails de guidage quand vous employez un pneu de secours compact. Le pneu de secours compact peut rester coince dans les rails de guidage. Ceci peut endommager le pneu, la roue et peut-être d'autres pieces de votre vehicule.
Ne pas installer la roue de secours compact sur d'autres vehicules.
De plus, ne pas monter le pau de la roude de secours compact sur une roue ordinaire ou vice-versa, car ils ne s'adapteraient pas. Garder le pau de secours et sa roue ensemble.
Remarque: Les chaînes antidérapantes ne pourront être mises sur la roue de secours compacte. Leur utilisation risque d'endommager le vehicule ainsi que les chaînes. Ne pas utiliser de chaînes antidérapantes sur la roue de secours compacte.
Entretien de l'aspect
Nettoyage de l'intérieur du vehicule
L'intérieur de votre vehicule sera toujours aussi joli si vous le nettoyez régulièrement. Bien qu'elles ne soient pas toujours visibles, la poussière et la saleté peuvent s'accumuler sur les garnitures. La poussière peut endommager les tapis, tissus et surfaces en plastique. Il est recommendé de passer régulièrement l'aspirateur de manière à supprimer les particules déposées sur les garnitures. Il est important d'éviter que les garnitures soient excessivement souillées et le restent. Nettoyer les souillures dés que possible. L'intérieur de votre vehicule peut avoir à faire face à des températures élevées susceptibles de provoquer rapidement l' apparition de taches.
Les intérêurs de couleur plus claire peuvent nécessiter un nettoyage plus fréquent. Prendre des précautions car les journaux et vêtements qui déteignent sur les meubles de votre domicile peuvent également déteindre sur l'intérieur de votre vehicule.
Lorsque vous procédez au nettoyage de l'intérieur de votre vehicule, utiliser uniquement des nettoyants conçus spécifique pour les surfaces à nettoyer. L'utilisation sur certaines surfaces de nettoyants non appropriés risque d'entrainer une détérioration définitive. Utiliser un nettoyant pour vitre uniquement sur les vitres. Retirer immeditatement toute projection accidentelle déposée sur d'autres surfaces. Pour éviter les projections, appliquer le nettoyant directement sur le chiffon.
Remarque: Si vous utilisez un produit abrasif pour nettoyer les surfaces vitrées de votre vehicule, vous pourrier les égratigner ou, dans le cas de la lunette arriere, endommager le système de dégivrage. Nettoyer les vitres du vehicule uniquement avec un chiffon doux et un nettoyant à vitres.
De nombreux nettoyants contiennent des solvants qui peuvent se concentrer dans l'habitacle de votre vehicule. Avant d'utiliser des nettoyants, dire et se conformer aux instructions de sécurité figurant sur l'étiquette. Lors du nettoyage de l'intérieur de votre vehicule, maintainir une ventilation appropriée en ouvrant les portes et les glaces du vehicule.
Pour-retirer la poussière des petits boutons,
vous pouvez utiliser une petite brosse munie de
poils soudues.
Votre concessionnaire dispose d'un produit vous permettant de nettoyer les vitres de votre vehicule. Au besoin, vous pouze également vous procurer chez votre concessionnaire, un produit permettant de débarrasser les garnitures des mauvaises odeurs.
Ne pas nettoyer votre vehicule à l'aide des nettoyants suivants et procédures décrites ci-après :
- Ne jamais utiliser de couteau ou autre object tranchant pour retarder les impuretés des surfaces interieures.
-
Ne jamais utiliser de brosse dure, qui risquerait d'endommager les surfaces interieures de votre vehicule.
-
Ne jamais appliquer de pression importante ou froter de manière agressive à l'aide d'un chiffon. Une pression importante risque d'endommager votre intérieur et ne permet pas dePTRir les impuretés de maniere plus efficace.
Utiliser uniquement de I'eau tiède et du savon à PH neutre. Éviter les poudres détergentes ou produits de lave-vaiselle comportant des dégraisants. L'utilisation excessive de savon entraînera le dépôt d'un résidu qui laissera des traces et attirera la poussière. Pour ce qui concerne des nettoyants liquide, compter environ 20 gouttes pour 3,78 L (1 gallon) d'eau. - Ne pas saturair de manière excessive vos garnitures lors du nettoyage.
- L'utilisation de nombreux solvants organiques tels que le naphte, l'alcool, etc., risque d'endommager l'intérieur de votre vehicule.
Tissu et tapis
Passer féquement un aspirateur muni d'une BrosseSouple pour retarder la poussière et les salissures. Vous pouvez utiliser an aspirateur-chariot muni d'une Brosse batteuse uniquement sur les tapis et revêtements de sol. Essayer toujours d'enlever en premier lieu les salissures situées au sol avec de l'eau ou du soda. Avant de proceder au nettoyage, retarder le plus de salissures possible selon l'une des techniques suivantes:
Pour les liquides : éponger délicatement les salissures restantes à l'aide d'un essuie-tout. Absorber les salissures dans l'essuie-tout jusqu'à ce que vous ne puissiez plus en retarder.
Pour les salissures sèches solides : en retarder autant que possible puis passer l'aspirateur.
Proceder au nettoyage comme suit :
- Saturer un chiffon blanc, propre et non pelucheux d'eau ou de soda.
-
Tordre le chiffon pour-retirer l'excedant d'humidité.
-
Commencer par le bord extérieur de la salissure et frottier delicatement vers le centre. Continuer à nettoyer à l'aide d'une partie propre du chiffonès qu'il devient souillé.
- Continuer à frottier delicatement la zone souillée jusqu'à ce que le chiffon reste propre.
- Si vous ne parvenez pas à retarder toutes les salissures, utiliser une solution d'eau savonneuse tiège et répéter la procédure utilisée lors du nettoyage à l'eau.
Si une partie des salissures ne s'enlève pas, vous pouvez utiliser un nettoyant ou détachant vendu dans le commerce. Si vous utilisez un nettoyant ou détachant pour garnitures, le tester tout d'abord sur une petite zone cachée pour s'assurer que la couleur n'est pas déteriorée. Si la surface déjà nettoyée vous donne l'impression qu'un cercle peut se former, nettoyer l'ensemble de la surface.
Une fois le processus de nettoyage terminé,
vous pouvez utiliser un essuie-tout pour éponger
l'excedant d'humidity du tissu ou du tapis.
Cuir
Il est possible d'utiliser un chiffon doux humidifié avec de l'eau pour enlever la poussière. Si un nettoyage plus approfondi s'avere nécessaire, utiliser un chiffon doux humidifié avec une solution d'eau et de savon doux. Laisser le cuir sécher naturellement. Ne pas utiliser de chaleur pour sécher. Ne jamais utiliser de vapeur pour nettoyer le cuir. Ne jamais utiliser de détachants sur le cuir. De nombreux nettoyants et revêtements de cuir vendus dans le commerce et destinés à préserver et à protégé le cuir peuvent en modifier l'apparce et le toucher de manière permanente et ne sont pas recommends. Ne pas utiliser de produits à base de silicone ou de cire, ni aucun produit contenant des solvants organiques pour nettoyer l'intérieur de votre vehicule, étant donné qu'ils peuvent modifier l'apparce en augmentant le brillant de manière non uniforme. Ne jamais utiliser du cirage pour chaussures sur votre cuir.
Tableau de bord, surfaces en vinyle et autres surfaces en plastique
Vous pouvez utiliser un chiffon doux imbibé d'eau pour-retirer la poussière. Si un nettoyage plus approfondi s'avéré nécessaire, vous pouvez utiliser un chiffon doux et propre imbibé d'une solution savonneuse tiège pour-retirer delicatement la poussière et la saleté. Ne jamais utiliser de détachant ou de solvant sur les surfaces en plastique. De nombreux nettoyants et revêtements vendus dans le commerce pour préserver et protégger les surfaces en plastique couple peuvent modifier de manière permanente l'apparce et la sensation de votre intérieur et ne sont pas recommandés. Ne pas utiliser de silicone, de produits à base de cire ou contenant des solvants pour nettoyer l'intérieur de votre vehicule car ils risquent de modifier son appearance en augmentant le brillant de manière non uniforme.
Certains produits vendus dans le commerce peuvent accroître l'effet de brillant de votre tableau de bord, ce qui risque d'entrainer des réflexions génantes sur le pare-brise et même d'entraver la bonne visibilité du conducteur dans certains cas.
Entretien des ceintures de sécurité
Garder les courroies propres et sèches.
ATTENTION:
Il faut éviter de blanchir ou de teindre les ceintures de sécurité, car cela risquérait de les affaibrir considérablement. Lors d'une collision, elles ne pouraient peut-être pas fournir une protection adequate. Nettoyer les ceinture de sécurité seulement avec du savon doux et de l'eau tiède.
Joints détanchéité
La graisse de silicone sur les bourrelets
d'étanchéité prolongera leur durée, améliorer laur
étanchéité et les empêchera de coller ou de grincer.
Applique de la graisse de silicone à l'aide d'un
chiffon propre. Au cours des saisons très froides et
humides, il sera peut-être nécessaire d'en appliquer
plus souvent. Se reporter à la rubrique Liquides et
lubrifiants recommends à la page 607.
Lavage du vehicule
La peinture de finition de votre vehicule apporte à ce dernier beau, richesse de coloris, maintain du lustre et durabilité.
La(Meilleurefacondeconserverlefinidevotrevehiculeestdelegarderpropen enlevantsouventa l'aide d'eau tiède ou froide.
Ne pas laver votre vehicule sous les rayons directs du soleil. Utiliser un détergent pour voitures.
Ne pas employerer de détergents chimiques ou forts.
S'assurer de bien rincer le vehicule, en enlevant complètement le résidu du détergent. Vous pouvez obtenir des produits de nettoyageapprovés par votre concessionnaire. Se reporter à la rubrique Matériaux d'entretien/d'aspect du vehicule à la page 579. Ne pas utiliser de produits de nettoyage à base de petrole ou qui contiennent de l'acide ou des abrasifs. Vous devez rincer rapidement tous les produits de nettoyage et ne pas les laisser sécher sur la surface, sinon ils pourrait laisser des taches. Pour éviter des éraflures et des traces d'eau sur la surface, faire sécher le fini à l'aide d'un chamois doux et propre ou d'une serviette tout en coton.
Les lave-auto utilisant des systèmes à haute pression pourrait faire pénétrer de l'eau dans votre vehicule.
Nettoyage de l'éclairage extérieur et des lentilles
Pour nettoyer les phares et les lentilles, n'utiliser que de l'eau tiède ou froide, un chiffon doux et un nettoyant pour voitures. Suivre les directives sous la rubrique Lavage du vehicule à la page 574.
Soin de finition
Il peut être nécessaire de cirer ou de polir doucement votre vehicule à la main de temps en temps pour enlever tout résidu de la peinture de finition. Vous pouvez obtenir des produits de nettoyage approvés par votre concessionnaire Saturn. Se reporter à la rubrique Matériaux d'entretien/d'aspect du vehicule à la page 579.
La peinture de finition de votre vehicule compte une couche d'ajprêt et laque. La laque donne plus de profondeur et de lustre à la couche d'ajprêt colorée. Toutjours utiliser des cires et des produits de polissage qui sont non abrasifs et destinés à une peinture de finition couche-d'ajprêt-et-laque.
Remarque: Un polissage à l'aide d'un outil ou un polissage puissant sur une couche de base ou un enduit lustré peut l'endommager. N'utiliser que des cires et des produits à polir non abrasifs conçus pour la couche de base ou l'endet lustré du vehicule.
Les matières étrangères comme le chlorure de calcium et tous autres sels, les agents de déglacage, le bitume routier et le goudron, la sève des arbres, les fuentes d'oiseaux, les produits chimiques provenant des cheminées industrielles, etc. peuvent endommager le fini de votre vehicule s'ils demeurent sur les surfaces peintes. Laver le vehicule aussitôt que possible. Au besoin, utiliser des nettoyants non abrasifs, qui sont inoffensifs pour les surfaces peintes, afin d'enlever toute matière étrangère.
Les surfaces extérieures peintes sont sujettes au vieillissement, aux conditions atmosphériques et aux produits chimiques qui peuvent avoir un effet néfaste au fil des ans. Vous pouvez aider à conserver l'allure neue de la peinture de finition en gardant votre vehicule dans un garage ou en le couvrant autant que possible.
Pare-brise, lunette et lames d'essuie-glace
Si le pare-brise ne devient pas clair à la suite de l'utilisation du lave-glace, ou si la lame d'essuie-glace vibre durant sa course, il se peut qu'il y ait de la cire, de la sève ou une autre matière sur la lame ou le pare-brise.
Nettoyer l'extérieur du pare-brise à l'aide d'un liquide de nettoyage pour vous non dilué. Le pare-brise est propre s'il ne se forme pas de gouttes d'eau lorsque vous le rincez.
La saleté du pare-brise collera aux lames d'essuie-glace et affectera leur rendement. Nettoyer la lame en l'essuyant vigoureusement à l'aide d'un tissu imbibé d'un solvant de lave-glace non dilué. Rincer ensuite la lame à l'eau.
Vérifier les lames d'essuie-glace et les nettoyer, au besoin. Remplacer les lames qui semble usées.
Roues aluminium
Remarque: Si vous utiliser des savons, produits chimiques, polis abrasifs, nettoyants puissants, des brosses dures ou des nettoyants renferment de l'acid de sur des roues chromées, vous risquez d'endommager la surface de roue. La réparation ne sera pas couverte par la garantie. Utiliser uniquement des nettoyants approvés par Saturn pour les roues en aluminium ou chromées.
Garder les roues propres en les nettoyant à l'aide d'un chiffon doux et propre, de savon doux et d'eau. Rincer à l'eau propre. ÀpRES les avoir rinceées complètement, les sécher à l'aide d'un chiffon doux et propre. On peut alors les cirer.
Remarque: L'utilisation d'un poli à chrome sur des roues en aluminium risque d'endommager les roues. La réparation ne sera pas couverte par votre garantie. Utiliser uniquement le poli à chrome sur des roues chromées.
La surface de ces roues est semble à la surface peinte de votre vehicule. Ne pas employerer des savons forts, de produits chimiques, de produits de polissage abrasifs, de nettoyants abrasifs, de nettoyants acides ou de brosses de nettoyage abrasives sur les roues parce que la surface risque d'être endommagée. Ne pas employerer de produits de polissage de chrome sur des roues en aluminium.
Remarque: Si vous rentrez votre vehicule dans un lave-auto automatique pourvu de brosses de nettoyage de pneus en carbure de silicone, vous risquez d'endommager les roues en aluminium ou chromées. La réparation ne sera pas couverte par la garantie. Ne jamais rentrer un vehicule muni de roues en aluminium ou chromées dans un lave-auto pourvu de ces brosses.
Ne pas faire laver le vehicule dans un lave-auto qui compte des brosses de nettoyage de pneus en carbure de silicone. Ces brosses peuvent également endommager la surface de ces roues.
Pneus
Pour nettoyer les pneus, utiliser unerosse raide et un nettoyant pour pneus.
Remarque: L'utilisation de produits à base de petrole risque d'endommager la peinture du vehicule ou les pneus. Lorsque l'on utilise un enduit pour pneus, always essuyer le surplus des surfaces peintes du vehicule.
Tôle endommagée
Si le vehicule est endommagé et nécessite la réparation ou le remplacement de la tôle, s'assurer que l'atelier de réparation de carrosserie applique un matériel antico corrosion sur les pieces réparées ou replacées afin de restaurer la protection anticorrosion.
Les pièces de rechange du fabriquant d'origine assureront la protection anticorrosion tout en conservant la garantie.
Finition endommagée
Toute éraflure, rupture ou rayure profonde du fini devrait réparée tout de suite. Le métal nu corrodera rapidement et peut engendrer des frais de réparation élevés.
Les petites éraflures et rayures peuvent être réparées avec de la peinture de retouché disponible chez votre concessionnaire Saturn. Les grands dommages de fini peuvent être réparés dans l'atelier de carrosserie de votre concessionnaire Saturn.
Entretien du dessous de la carrosserie
Les produits chimiques qui servent à enlever la glace, la neige et la poussière peuvent s'accumuler dans le soubassement. Si ceux-ci ne sont pas enlevés, une corrosion et de la rouille peuvent se développer sur les pieces du soubassement comme les canalisations de carburant, le cadre de chassis, le bac de plancher et le système d'échévement, même s'ils sont protégés contre la corrosion.
Chaque printemps au moins, faire evacuer ces matériaux du soubassage à l'aide d'eau ordinaire. Nettoyer tous les endroits où la boue et les débris peuvent s'accumuler. Il faudra délogger la saleté accumulatingée dans les endroits fermés du cadre de chassinis avant de la rincer. Notre concessionnaire Saturn ou un système de lavage de soubassage peut le faire pour vous.
Peinture endommagée par retombées chimiques
Certaines conditions climatiques et atmophériques peuvent cause des réactions chimiques. Des polluants atmosphériques peuvent tomber sur les surfaces peintes du vehicule et les attaquer. Ce genre de dommages peut prendre deux formes : décolorations en forme de bouclettes marbrées ou petites tâches irrégulières fonçées graves sur la surface peinte.
Bien qu'aucun défaut ne soit d'u au travail de peinture, Saturn réparera, sans frais pour le propriétaire, les surfaces de vehicules neufs qui sont endommages par ces retombées dans les 12 mois ou 20 000 km (12 000 milles) suivant l'achat, selon la première de ces deux occurrences.
Matériaux d'entretien/d'aspect du vehicule
| Description | Usage |
| Tissu de polissage traité à la cire | Tissu de polissage de l'intérieur et de l'extérieur |
| Solvant pour goudron et bitume routier | Ce produit permet d'enlever le goudron, le bitume routier et l'asphalte. |
| Nettoyant et produit de polissage pour chrome | Produit à utiliser sur le chrome ou l'acier inoxydable. |
| Nettoyant pour pneau à blanc blanc | Ce produit permit d'enlever les impuretés et les marques noires des flances blancs. |
| Nettoyant pour vinyle | Nettoie le vinyle. |
| Nettoyant pour glace | Ce produit permit d'enlever les saletés, l'encrassement, les traces de fumée et les empreintes digitales. |
| Description | Usage |
| Nettoyant pour roues chromées et à rayons | Ce produit permit d'enlever les saletés et l'encrassement des enjoliveurs de roues chromées et à rayons. |
| Renforceur de fini | Ce produit permit d'enlever la poussière, les empreintes digitales et les contaminants extérieurs. Il suffit de vaporiser et d'essuyer. |
| Solvant pour sillages de polissage | Ce produit permit d'enlever les marbrues, les rayures fines et autres dégradations légères de la surface. |
| Nettoyant pour cire | Ce produit permit d'enlever les rayures légères et de protéger le fini. |
| Lustre moussant peu brillant pour pneus | Ce produit permit en une seule étape facile de nettoyer, de faire briller et de protéger les pneus sans les essuyer. |
| Concentré de détergent et de cire | Shampooing moussant moyen. Ce produit permet de nettoyer et de cirer légération. Biodégradable et sans phosphate. |
| Solvant pour taches | Ce produit permit d'enlever rapidement et facilement les taches des tapis et des garnitures en vinyle et en tissu. |
| Anti-odeur | Vaporisateur inodore pour les tissus, le vinyle, le cuir et les tapis. |
Identification du vehicule
Numero d'identification du vehicule (NIV)

Il s'agit de l'identificateur légal de votre vehicule. Il se trouve sur une plaque fixée dans le coin avant du tableau de bord, côté conducteur. Vous pouvez facilement l'apercevoir par le pare-brise, de l'extérieur de votre vehicule. Le NIV se trouve aussi sur les étiquettes de conformité du vehicule et d'identification des pieces de rechange, ainsi que sur votre titre et votre certificat d'immatriculation.
Identification du moteur
Le code-moteur est le 8e caractère du NIV.
Ce code vous aidera à identifier votre moteur, ses caractéristiques et ses pièces de rechange.
Étiquette d'identification des pieces de rechange
Cette étiquette se trouve dans la boîte à gants. Très utile pour commander des pièces, elle contient les renseignements suivants :
Le NIV (numéro d'identification du vehicule)
La désignation du modele
- Des renseignements sur la peinture
- Les options de production et les équipements spéciaux
Ne pas-retirer cetteétiquette du vehicule.
Système électrique
Équipement électrique complémentaire
Remarque: Ne pas ajouter d'équipement électrique à votre vehicule avant d'avoir consulté votre concessionnaire à ce sujet. Certains équipements ELECTRIques peuvent endommager leur vehicule et les dommages ne seraient pas couverts par la garantie. Certains équipements ELECTRIques ajoutés peuvent empêcher d'autres composants de fonctionner normalement.
Ce vehicule est équipé de sacs gonflables. Avant de l'équipier d'autres appareils électriques, se reporter à Réparation d'un vehicule muni de sacs gonflables à la page 104.
Câblage des phares
Le câblage des phares est protégé par quatre fusibles internes situés dans le bloc-fusibles sous le capot. Une surcharge électrique peut provoquer un clignotation des phares, voire leur extinction totale dans certains cas. Si cela se produit, faire immédiatement vérifier le câblage des phares.
Fusibles d'essuie-glace
Le moteur d'essuie-glace du pare-brise est protégé par un fusible interne situé dans le bloc-fusibles sous le capot. Si le moteur surchauffe par suite d'une surcharge due à de fortes chutes de neige, etc., l'essuie-glace s'arrête jusqu'à ce que le moteur refroidisse. Si la surcharge est causée par une anomalie électrique, s'assurer de la faire réparer.
La pompe du lave-glace arrêté est contrôleé par un relais situé dans le compartment moteur, derrière le réservoir du liquide de lave-glace. Le moteur du lave-glace arrêté est protégé par un fusible situé dans le bloc-fusibles du tableau de bord.
Glaces à commande électrique et autres équipements électriques
Des disjoncteurs dans le panneau des fusibles du tableau de bord protégent les lève-glace électriques et autres accessoires électriques. Lorsque la charge de courant est trop élevé, le disjoncteur s'ouvre et se ferme, pour protéger le circuit jusqu'à ce que la défaillance soit réglée.
Fusibles et disjoncteurs
Des fusibles, des disjoncteurs et des fils fusibles thermiques protégent les circuits électriques contre les courts-circuits.
Observer la bande argentée qui se trouve à l'intérieur du fusible. Si la bande est cassée ou fondue, replacer le fusible. S'assurer de replacer un fusible endommagé par un fusible neuf de dimensions et de calibre identiques.
Si vous tombez en panne sur la route et que n'avez pas de fusible de rechange, vous pouvez provisoirement en emprunter un du même calibre ou utiliser l'un des fusibles de rechange dans le bloc-fusibles sous le capot. Choiser un des accessoires du vehicule dont vous pouvez vous
passer, comme la radio ou l'allume-cigarette, et utiliser son fusible s'il est du même calibre. Le replacer dEs que vous pouvez.
Il y a deux blocs-fusibles dans votre vehicule, le bloc-fusibles du tableau de bord et le bloc-fusibles sous le capot.
Bloc-fusibles d'ensemble instruments
Le bloc-fusibles de l'habitacle se trouve à droite du tableau de bord, côté passager du vehicule.
Ouvrir la porte de passager avant et retirer le couvercle pour acceder au bloc-fusibles.
Votre vehicule n'est pasforcement equipe de I'ensemble des fusibles indiques ci-dessous.

| Fusibles | Usage |
| 1 | Serrures du coffre, des portes |
| 2 | Correcteur d'assiette électronique |
| 3 | Essuie-glace arrière |
| 4 | Radio, lecteur de DVD |
| 5 | Éclairage intérieur |
| 6 | OnStarMD |
| 7 | Module de télédéverrouillage |
| 8 | Groupe d'instruments, chauffage, ventilation et climatisation |
| 9 | Commutateur du régulateur de vitesse |
| 10 | Éclairage du volant |
| 11 | Réroviseur électrique |
| 12 | Feu d'accret, clignotants |
| 13 | Sièges chauffants |
| 14 | Non utilisé |
| 15 | Correcteur d'assiette électronique |
| 16 | Réroviseur chauffe |
| 17 | Feu d'accêt central surélevé,excepts de recul |
| 18 | Non utilisé |
| 19 | Électrovanne de mise à l'air libre |
| 20 | Feux de stationnement |
| 21 | Porte coulissante électrique |
| 22 | Non utilisé |
| 23 | Non utilisé |
| 24 | Porte coulissante électrique gauche |
| 25 | Porte coulissante électrique droite |
| Relais | Usage |
| 26 | Non utilisé |
| 27 | Non utilisé |
| 28 | Feux de stationnement,ieux arrêtè |
| 29 | Prolongation de l'alimentation des accessoires |
| 30 | Désembauer de lunette |
| PLR | Extracteur de fusible |
| Disjoncteurs | Usage |
| 31 | Sièges à commande électrique |
| 32 | Vitre électrique |
Bloc-fusibles sous le capot
Le bloc-fusibles sous le capot est situé dans le compartmente moteur. Pour plus d'informations sur son emplacement, se reporter à la rubrique Aperçu du compartmente moteur à la page 482.
Il est possible que votre vehicule ne soit pas équipé de tous les fusibles indiqués.

| Fusibles | Usage |
| 1 | Feu de route droit |
| 2 | Pompe à carburant |
| Fusibles | Usage |
| 3 | Diode |
| Non utilisé | Non utilisé |
| Non utilisé | Non utilisé |
| 4 | Feu de route gauche |
| Non utilisé | Non utilisé |
| Non utilisé | Non utilisé |
| Non utilisé | Non utilisé |
| 5 | Non utilisé |
| 6 | Embrayage du compresseur de climatiseur |
| 7 | Klaxon |
| 8 | Feu de croisement gauche |
| 9 | Module de commande du groupe motopulaseur/commande électronique du papillon |
| 10 | Non utilisé |
| 11 | Solénoïde de boîte de vitesses |
| 12 | Feu de croisement droit |
| 13 | Système de freinage antiblocage |
| Fusibles | Usage |
| 14 | Allumage du module de commande du groupe motopropulseur |
| 15 | Allumage électronique |
| 16 | Injecteur de carburant |
| 17 | Commande de climatisation, RPA, régulateur de vitesse |
| 18 | Commande électronique de papillon |
| 19 | Capteur de moteur, evaporateur |
| 20 | Sacs gonflables |
| 21 | Non utilisé |
| 22 | Non utilisé |
| 23 | Alimentation auxiliaire |
| 24 | Lave-glace avant |
| 25 | Convertisseur CA/CC |
| 26 | Soufflante arrière |
| 27 | Soufflante avant |
| 28 | Essuie-glace de pare-brise |
| Fusibles de la boîte J | Usage |
| PLR | Extracteur de fusible |
| 29 | Ventilateur 1 |
| 30 | Solénoïde de démarreur |
| 31 | Système de freinage antiblocage (ABS) |
| 32 | Non utilisé |
| 33 | Ventilateur 2 |
| 34 | Soufflante avant vitesse élevée |
| 35 | Fusible principal de batterie 3 |
| 36 | Désembumeur arrêté |
| 37 | Fusible principal de batterie 2 |
| 38 | Fusible de changange |
| Relais | Usage |
| RUN RLY | Démarreur |
| LO BEAM | Feu de croisement |
| Relais | Usage |
| FUEL PUMP | Pompe à carburant |
| HORN | Klaxon |
| AC/CLTCH | Embrayage du compresseur de climatiseur |
| HI BEAM | Feu de route |
| PWR/TRN | Groupe motopropulseur |
| WPR2 | Essue-glace 2 |
| WPR1 | Essue-glace 1 |
| FAN1 | Ventilateur 1 |
| CRNK | Démarreur |
| IGN MAIN | Allumage principal |
| FAN2 | Ventilateur 2 |
| FAN3 | Ventilateur 3 |
| Non utilisé | Non utilisé |
Capacités et specifications
Les capacités approximatives suivantes sont données selon les systèmes de mesure anglais et métrique. Pour obtenir de plus amples renseignements, se reporter à Liquides et lubrifiants recommends à la page 607.
Capacités et specifications
| Application | Capacités | |
| Anglais | Métrique | |
| Fluide frigorigène de climatiseur R134a | Pour le volume de charge de réfrigérant du circuit de climatisation, se reporter à l'étiquette de mise en garde de réfrigérant placée sous le capot. Consulter votre concessionnaire pour plus d'information. | |
| Boîte-pont automatique — Dépose et repose du carter | 7,4 pintes | 7,0 L |
| Système de refroidissement | ||
| Moteur 3,9 L Commandes de climatisation avant uniquement | 10,77 pintes | 10,2 L |
| Moteur 3,9 L avec commandes de climatisation arrêtè | 12,11 pintes | 11,55 L |
| Huile moteur avec filtré | 4,0 pintes | 3,8 L |
| Réserveir de carburant | 25,1 gallons | 95,0 L |
| Couple d'écrou de roue | 100 lb-pi | 140 N·m |
| Les capacités indiquées sont approximatives. Lors de l'ajout de liquide, replir jusqu'àu niveau indiqué, selon les recommendations du précédent manuel, puis revérifier le niveau du liquide. | ||
\section*{Caracteristiques du moteur}
| Mateur | Code NIV | Boîte-pont | Écartement des électrodes |
| V6 de 3,9 L | 1 | Automatique | 1,1 mm (0,040 po) |
Section 6 Programme d'entretien
Programme d'entretien 592
Introduction 592
Conditions d'entretien 592
Ce vehicule et I'environnement 592
Utilisation du programme d'entretien 593
Entretien prévu 595
Réparations additionelles requises 598
Notes en bas de page pour l'entretien 599
Vérifications et services par le propriétaire ... 602
Chaque fais que vous faites le plein 602
Au moins une fois par mois 603
Au moins une fois par an 604
Liquides et lubrifiants recommends 607
Pièces de rechange d'entretien normal .... 609
Disposition de la courroie d'entrainment 610
Fiche d'entretien 611
Programme d'entretien
Introduction
Important : Garder l'huile-moteur au bon niveau et procededer aux changements d'huile selon les recommendations.
Conditions d'entretien
Remarque: Les intervalles d'entretien, vérifications, pieces de rechange, inspections ainsi que les liquides et lubrifiants recommandés tels que prescrits dans ce guide sont nécessaires pour garder votre vehicule en bon état de fonctionnement. Les dommages qui doivent du non-respect du calendrier d'entretien poursraient ne pas être couverts par la garantie.
Ce vehicule et l'environnement
L'entretien approprié du vehicule contribue non seulement à maintainir le bon état de votre vehicule mais aide aussi à protégger l'environnement. Toutes les manoeuvres d'entretien recommandées sont importantes. Un entretien mal fait du vehicule peut même affecter la qualité de l'air que nous respirons. Des niveaux de liquides inappropriés ou une mauvaise pression des pneus peut entraîner une augmentation des gaz d'échéppement provenant de votre vehicule. Vous contribuerez à la protection de l'environnement en gardant votre vehicule en bon état et en vous assurant d'en faire l'entretien ajustat.
Utilisation du programme d'entretien
Chez Saturn, nous voulons vous aider à garder votre vehicule en bon état de fonctionnement. Nous ne savons toute fois pas exactement comment vous l'utiliserez. Vous le conduirez peut-être sur de très courtes distances, seulement quelques fois par这段时间, ou sur de longues distances, toujours par temps très chaud et sur des routes poussièresuses. Vous l'utiliserez peut-être comme vehicule de livraison ou pour vous rendre au travail, faire des courses ou pour bien d'autres usages.
Comme il existe autant de façon de conduire un vehicule qu'il y a d'automobilistes, les besoin sont variant en matière d'entretien. Vous devrez peut-être effectuer fraisment des vérifications et des remplacements. S'assurer ainsi de bien dire
ce qui suit et de noter la façon dont vous conduisez. Pour toute question concernant la manière de garder votre vehicule en bon état, consulter votre concessionnaire Saturn.
Ce programme d'entretien s'applique aux vehicules qui :
- Transporter des passagers et des charges dans les limites recommandées. Ces limites figurent sur l'étiquette d'information sur les pneus et le chargement du vehicule. Se reporter à la rubrique Chargement du vehicule à la page 447.
- Sont conduits sur de bons revêtements routiers à la vitesse autorisée.
Utilisent le carburant recommanded. Se reporter à la rubrique Indice d'octane à la page 473.
Les services de Entretien prévu à la page 595 doivent être effectuels aux moments indiqués. Se reporter aux rubriques Réparations additionnelles requises à la page 598 et Notes en bas de page pour l'entretien à la page 599 pour obtenir plus de renseignements.
ATTENTION:
Il peut être dangereux d'effectuer des travaux d'entretien sur un vehicule.
Vous pourriez vous blesser gravement en essayant d'effectuer certaines tâches vous-même. Procéder aux travaux d'entretien uniquement si vous avez les compétences nécessaires ainsi que les outils et équipements appropriés. En cas de doute, contacter votre concessionnaire pour qu'un technicien qualifié fasse le travail. Se reporter à la rubrique Entretien par le propriétaire à la page 472.
Certsains services d'entretien peuvent s'avérer complexes. Si vous ne possédez pas les qualifications techniques et le matériel nécessaires, nous vous conseillons de confier ces tâches à votre concessionnaire Saturn.
En vous adressant à votre concessionnaire Saturn pour les travaux d'entretien de votre vehicule, vous savez que le travail est fait par des techniciens formés et appuyés par Saturn à l'aide de pieces Saturn d'origine.
Pour acheter de l'information concernant l'entretien, se reporter à la rubrique Renseignements sur la commande de guides de réparation à la page 632.
Vérifications et services par le propriété à la page 602 vous indique ce qu'il faut vérifier, àquel moment, et les mesures simples que vous pouvez prendre pour aider à maintainir votre vehicule en bon état.
Les pièces de rechange, les liquides et les lubrifiants à utiliser sont énumérés sous les rubriques Liquides et lubrifiants commandés à la page 607 et Pièces de rechange d'entretien normal à la page 609. S'assurer de leur utilisation dans l'entretien de votre vehicule. Toutes les pièces doivent être replacées et toutes les réparations nécessaires doivent être effectuees avant que vous ou une autre personne conduisiez le vehicule. Nous recommendons l'utilisation des pièces Saturn d'origine.
Entretien prévu
Lorsque le message CHANGE OIL SOON (vidanger l'huile bientôt) s'affiche, votre vehicule doit être entretenu. Faire entretenir votre vehicule sans tarder d'ici 1 000 km (600 milles). Dans des conditions de conduite ideales, il est possible qu'il s'écoule plus d'une année avant que l'indicateur de vidange d'huile n'indique la nécessité de vidanger l'huile. Il convient toutefois de vidanger l'huile et de replacer le filtré au moins une fois par année et de réinitialiser l'indicateur à ce moment. Les techniciens qualifiés de votre concessionnaire Saturn se chargeront d'effectuer la vidange d'huile, en utilisant des pieces Saturn d'origine, et de réinitialiser l'indicateur.
Si l'indicateur de vidange est réinitialisé accidentellement, vous devrez faire faire l'entretien de votre vehicule au cours des 5 000 km (3 000 milles) suivant votre dernière vidange d'huile. Ne pas oublier de réinitialiser l'indicateur de vidange chaque fois qu'une vidange d'huile est effectuee. Se reporter à la rubrique Indicateur d'usure d'huile à moteur à la page 487 pour obtenir des renseignements sur l'indicateur de vidange et sa réinitialisation.
Lorsque le message CHANGE OIL SOON (vidanger l'huile bientôt) apparait, certaines vérifications, inspections et services d'entretien s'imposent. Les services d'entretien nécessaires sont décrits aux rubriques « Entretien I » et « Entretien II » qui suivent. En général, il est recommendé d'effectuer les services de l'Entretien I, en premier et ceux de l'Entretien II en second, puis d'alterner entre ces deux programmes par la suite. Toutefois, dans certains cas, le service de l'Entretien II devra être effectué plus souvent.
Entretien I — Effectuer l'Entretien I si le message CHANGE OIL SOON (vidanger l'huile moteur bientôt) s'allume dans les dix mois suivant l'achat du vehicule ou le service de l'Entretien II.
Entretien II — Effectuer l'Entretien II si le service precedent était celui de l'Entretien I. Toujours effectuer le service de l'Entretien II quand le message apparait dans les 10 mois ou plus suivant le dernier service d'entretien ou si le témoin ne s'est pas allumé depuis une année.
Entretien prévu
| Entretien | Entretien I | Entretien II |
| Remplacer l'huile moteur et le filtré. Se reporter à la rubrique Huile à moteur à la page 484. Réinitialiser l'indicateur de vidange. Se reporter à la rubrique Indicateur d'usure d'huile à moteur à la page 487. Un entretien antipollution. | • | • |
| Lubrifier les éléments du chàssis. Se reporter à la remarque#. | • | • |
| Vérifier visuellement s'il y a des fuites ou des dommages. Consulter la note en bas de page (k). | • | • |
| Vérifier le filtré à air du moteur. Au besoin, le replacer. Se reporter à la rubrique Filtré à air du moteur à la page 489. Voir note en bas de page (g). | • | |
| Permuter les pneus et vérifier la pression de gonflage et l'usure. Se reporter à Inspection et permutation des pneus à la page 538 et « Inspection de l'usure des pneus » sous la rubrique Au moins une fois par mois à la page 603. | • | • |
| Inspector le système de freinage. Voir note en bas de page (a). | • | • |
Entretien prévu (suite)
| Entretien | Entretien I | Entretien II |
| Vérifier le niveau du liquide de refroidissement et du lave-glace et en ajouter au besoin. | • | • |
| Effectuer tout autre entretien nécessaire. Se reporter à la rubrique « Entretien supplémentaire nécessaires » dans cette section. | • | • |
| Inspector les éléments de la suspension et de la direction.Voir note en bas de page (b). | • | |
| Inspector le système de refroidissement du moteur.Voir note en bas de page (c). | • | |
| Inspector les lames d'essuie-glace. Voir note en bas de page (d). | • | |
| Inspector les éléments du dispositif de protection.Voir note en bas de page (e). | • | |
| Lubrifier les éléments de carrosserie. Voir note en bas de page (f). | • | |
| Vérifier le niveau du liquide de boîte-pont et compléter au besoin. | • | |
| Remplacer le filtré à air de l'habitacle. Voir note en bas de page (l). | • | |
| Inspector la commande d'accélérateur. Voir note en bas de page (j). | • |
Réparations additionnelles requises
Les services suivants doivent être effectuels à partir du premier rendez-vous d'entretien (I ou II) après le nombre de kilomètres (milles) parcours indiqués pour chacun.
Réparations additionnelles requises
| Entretien et kilomètres (milles) | 40 000(25 000) | 80 000(50 000) | 120 000(75 000) | 160 000(100 000) | 200 000(125 000) | 240 000(150 000) |
| Inspector le système d'alimentation au complet pour déceler tout dommage ou toute fuite. | • | • | • | • | • | • |
| Inspector le système d'échéappement pour déceler les composants desserrés ou endommages. | • | • | • | • | • | • |
| Changer le filtré à air du moteur.Se reporter à la rubrique Filtré à air du moteur à la page 489. | • | • | • | |||
| Remplacer le liquide de la boîte-pont automatique et le filtré (conditions rigoureuses de conduite). Voir la note en bas de page (h). | • | • | • | |||
| Remplacer le liquide de boîte automatique et le filtré (conditions normales de conduite). | • | |||||
| Replacing les bougies et vérifier les fils de bougies. Un entretien antipollution. | • |
| Entretien et kilomètres (milles) | 40 000(25 000) | 80 000(50 000) | 120 000(75 000) | 160 000(100 000) | 200 000(125 000) | 240 000(150 000) |
| Entretien du système de refroidissement (ou tous les cinq ans, selon la première éventualité). Un entretien antipollution.Voir la note de bas de page (i). | • | |||||
| Inspector la courroie d'entrainment des accessoires. Un entretien antipollution.Se reporter à la note (m) en bas de page. | • |
Notes en bas de page pour l'entretien
Lubrifier la suspension, la tringerie de direction, la tringerie de changement de vitesse de boîte-pont, et les points de friction et la tringerie situés sous le châssis.
(a) Proceder à l'inspection visuelle des conduites et des flexibles pour s'assurer qu'ils sont bien branchés, qu'ils ne sont pas pliers, uses par le frottement ou fendillés, qu'ils neprésentent pas de fuite, etc. Inspector les plaquettes de freins
pour s'assurer qu'elles ne sont pas trop usées et inspecter la surface des disques. Vérifier les autres éléments des freins, tels que les étriers, le frein de stationnement, etc.
(b) Inspector la suspension avant et arrrière et la direction à la recherche de pieces endommagées, desserrées ou manquantes, de signes d'usure ou de manque de lubrification. Vérifier les conduites et les flexibles de la servodirection pour s'assurer de leur bon raccordement et pour y déceler tout grippage, fuite, fissure, usure, etc.
(c) Inspector visuèlement les flexibles et replacer(
ceux qui sont craqués, gonflés ou déterminrés.
Inspector les tuyaux, les colliers et les joints et les replacer, au besoin, par des pièces Saturn authentiques. Pour assurer le bon fonctionnement du système, il est recommandé de procédér à un essai de pression du système de refroidissement et du bouchon de radiateur et de nettoyer l'extérieur du radiateur et du condensateur du climatiseur au moins une fois par année.
(d) Inspector les lames d'essuie-glace pour s'assurer qu'elles ne sont ni usées ni fissurées. Remplacer les caoutchoucs qui semble usés ou endommages, qui laissent des marques ou qui n'essayant pas certains endroits du pare-brise.
(e) S'assurer que le témoin de rappel des ceintures de sécurité et toutes les ceintures, les bouches, les plaques de blocage, de même que tous les rétracteurs et les points d'ancrage fonctionnent bien. S'assurer qu'il n'y a pas de pieces lâches ou endommagées. Si vous constaté que celui chose qui pourrait gérer le
bon fonctionnement des ceintures de sécurité, le faire réparer. Les ceintures de sécurité déchirées ou effiloches doivent être remplacées. S'assurer que les couvercles de sacs gonflables ne sont pas ouverts ou brises et les faire réparer ou remplaner, le cas échéant. Les sacs gonflables n'ont pas besoin d'un entretien régulier.
(f) Lubrifier les cylindres de serrures, le loquet du hayon, les loquets secondaires, les pivots, les ancrages de ressort et le cliquet de déclenchement du capot, les charnières du capot et des portes, les charnières des sièges arrrière rabattables, du hayon et de la trappe à essence, et le cable et les rails de la porte coulissanté electrique. Les vehicules soumis à un environnement corrosif nécessitant une lubrification plus frequente. Appliquer de laGRAISSAuxsilicones sur les profilés d'étanchéité avec un chiffon propre prolongera leur durée, améliorera leur étanchéité et les empêchera de coller ou de grincer.
(g) Si vous roulez régulierement dans la poussière, inspector le filtré à chaque vidange d'huile.
(h) Remplacer le liquide et le filtré de la boîte-pont automatique si le vehicule est utilisé principalement dans au moins l'une des conditions suivantes :
- Dans la circulation urbaine intense ou la température extérieure atteint régulièrement 32^ ( 90^ ) ou plus.
- Sur un terrain accidenté ou montagneux.
- En cas de traction de remorque fréquence.
- Comme vehicule de livreaison, comme vehicule de police ou comme taxi.
(i) Vidanger le système de refroidissement et le remplir. Se reporter à la rubrique Liquide de refroidissement à la page 493 pour savoir quel type de liquide utiliser. Inspector les flexibles. Nettoyer le radiateur, le condensateur, le bouchon du radiateur et le goulot de replissage. Proceder à un essai de pression du système de refroidissement et du bouchon de radiateur.
(j) Inspector le système pour s'assurer qu'il n'est ni entrave ni coincide et qu'aucune piece n'est endommagée ni manquante. Remplacer les pieces au besoin. Remplacer tout composant présente une contrainte élevée ou un degré d'usure excessif. Ne pas lubrifier les cables de l'accéléateur ni du régulateur automatique de vitesse.
(k) Une perte de liquide dans un circuit du vehicule peut indiquer un problème. Faire inspector et réparer le circuit, et faire vérifier le niveau de liquide. Compléter le niveau au besoin.
(I) Si vous roulez régulièrement dans des environnements poussièreux, il se peut que vous ayez à changer le filtré plus souvent.
(m) Inspector visuellement la couroie d'entrainment pour s'assurer qu'elle ne compte pas de fissure, de déchirure importante ou de dommage apparent. Au besoin, replacer la couroie.
Vérifications et services par le propriété
Ces detretiens et inspections par l'utilisateur doivent être effectuels aux intervalles spécifiés pour assurer la sécurité, la fiabilité, et la performance des dispositifs antipollution de votre vehicule. Notre concessionnaire Saturn peut vous aider avec ces inspections et detretiens.
S'assurer que toutes les réparations nécessaires sont effectuées immédiatement. Lors de chaque ajustant de liquides ou de lubrifiants à votre vehicule, s'assurer que ce sont les produits déquats, tel qu'indiqué au Liquides et lubrifiants recommends à la page 607.
Chaque fais que vous faites le plein
Il est important d'effectuer ces vérifications sous le capot lors de chaque replissage de carburant.
Vérification du niveau d'huile moteur
Vérifier le niveau d'huile-moteur et ajouter la quantité d'huile appropriée si nécessaire. Se reporter à la rubrique Huile à moteur à la page 484 pour plus de renseignements.
Remarque: Il est essentiel que le niveau d'huile soit vérifié sur une base régulière et que l'huile demeure à un niveau approprié. Le défaut deMAINTER L'huile à moteur à un niveau approprié peut donner lieu à un vomage de votre moteur qui n'est pas couvert par toute garantie.
Vérification du niveau de liquide de refroidissement
Vérifier le niveau de liquide de refroidissement du moteur et ajouter le mélange de liquide de refroidissement DEX-COOLMD si nécessaire. Se reporter à Liquide de refroidissement à la page 493 pour plus de renseignements.
Vérification du niveau du liquide de lave-glace
Vérifier le niveau dans le réservoir de liquide de lave-glace et ajouter du liquide approprié si nécessaire.
Au moins une fois par mois
Vérification de la pression des pneus
Vérifier visuellement les pneus du vehicule et s'assurer que la pression de gonflage est correcte. Ne pas oublier de vérifier le pneu de secours.
Se reporter à la rubrique Gonflement - Pression des pneus à la page 535. S'assurer que la roue de secours est rangée de façon sécuritaire.
Se reporter à la rubrique Remplacement d'un pneu à plat à la page 552.
Vérification de l'usure des pneus
Il peut s'avérer nécessaire pour les conducteurs parcourant de nombreux kilomètres sur autoroute de procédé à la permutation des pneus avant qu'apparaisse la notification d'entretien sur l'indicateur d'usure d'huile à moteur. Vérifier l'usure des pneus et les permuter au besoin.
Se reporter à la rubrique Inspection et permutation des pneus à la page 538.
Au moins une fois par an Vérification du commutateur de démarrage
ATTENTION:
Lors de cette vérification, le vehicule pourrait semettre en mouvement soudainement. Si le vehicule se déplace, cela pourrait provoquer des blessures aux personnes qui se trouvent pres du vehicule.
- Avant de commencer, s'assurer qu'il y a suffisamment d'espace autour du vehicule.
- Serrer fermement le frein de stationnement et les freins ordinaires. Se reporter à la rubrique Frein de stationnement à la page 158.
Ne pas appuyer sur la pédale d'accéléateur et être pré à couper immédiatement le contact si le moteur démarre.
- Essayer de faire démarrer le moteur à chaque vitesse. Le vehicule ne devrait démarrer qu'en position de stationnement (P) ou au point mort (N). S'il fonctionne à n'importe celle autre position, s'adresser à votre concessionnaire Saturn pour le faire réparer.
Vérification du système de verrouillage du levier de vitesses de la boîte-pont automatique

ATTENTION:
Lors de cette vérification, le vehicule pourrait semettre en mouvement soudainement. Si le vehicule se déplace, cela pourrait provoquer des blessures aux personnes qui se trouvent pres du vehicule.
-
Avant de commencer, s'assurer qu'il y a suffisamment d'espace autour du vehicule. Le vehicule doit être stationné sur une surface à niveau.
-
Serrer à fond le frein de stationnement. Se reporter à la rubrique Frein de stationnement à la page 158.
Se préparer à serrer les freins ordinaires immédiatement si le vehicule commence à avancer.
- Le moteur étant arrêté, tourner la clé à RUN (marche), sans démarrer le moteur. Les freins ordinaires n'était pas appliqués, essayer d'enlever le levier de vitesses de la position de stationnement (P), sans forcer. S'il quitte la position de stationnement (P), s'adresser à votre détaillant Saturn pour le faire réparer.
Vérification du blocage de la boîte-pont à l'allumage
Le vehicule étant stationné et le frein de stationnement étant appliqué, tenter de tourner la clé de contact à la position LOCK (verrouillage) à chaque position du levier sélecteur.
- Il ne devrait être possible de tournier la clé à LOCK (verrouillage) que lorsque le levier sélecteur est à la position de stationnement (P).
- La clé ne devrait pouvoir être retiree qu'en position LOCK (verrouillage).
Si une réparation s'impose, s'adresser au concessionnaire Saturn.
Vérification du frein de stationnement et du mécanisme de stationnement (P) de la boîte-pont automatique

ATTENTION:
Lorsque you effectuez cette verification, le vehicule pourrait se déplacer. Vous ou d'autres personnes pourriez être blessés et des dommages poursaient survenir. S'assurer d'avoir assez de place en avant de votre vehicule et être prét à serrer les freins ordinaires immédiatement si le vehicule se met à rouler.
Arreter le vehicule sur une pente assez raide, le nez dans le sens de la descente. Tout en appuyant sur la pedale des freins ordinaires, serrer le frein de stationnement.
- Pour vérifier la capacité de retenue du frein de stationnement, procéder comme suit : Pendant que le moteur tourne, le levier de vitesses étant au point mort (N), relâcher lentement la pédale des freins ordinaires jusqu'à ce que le vehicule ne soit retenu que par le frein de stationnement.
- Pour vérifier la capacité de retenue du mécanisme de stationnement (P): Le moteur étant en marche, amener le levier de vitesse à la position de stationnement (P). Desserrer le frein de stationnement puis les freins ordinaires.
Si une réparation s'impose, s'adresser au concessionnaire Saturn.
Rinçage du dessous de la carrosserie
Au moins à chaque printemps, rincer le dessous de la carrosserie à l'eau pour éliminer tout dépôt corrosif. Bien nettoyer les parties du vehicule susceptibles d'accumuler de la boue ou d'autres débris.
Liquides et lubriciants recommends
Les liquides et lubrifiants identifiés ci-dessous par leur nom, leur numéro de piece ou par leur spécification sont disponibles chez votre concessionnaire.
| Usage | Liquide/lubrifiant |
| Huile à moteur | Huile moteur conforme à la norme GM6094M et affichant le symbole (petite étoile rayonnante) d'homologation par l'American Petroleum Institute pour'utilisation dans les moteurs à essence. L'huile GM Goodwrench™ répond à toutes les exigences du vehicule. Pour déterminer l'indice de viscosité qui convient au moteur du vehicule, se reporter à la rubrique Huile à moteur à la page 484. |
| Liquide de refroidissement du moteur | Mélange à 50/50 d'eau potable propre et de liquide de refroidissement DEX-COOL™ uniquement. Se reporter à la rubrique Liquide de refroidissement à la page 493. |
| Système de freinage hydraulique | Liquide de freins Delco™ Supreme 11 ou liquide de freins DOT-3 équivalent. |
| Lave-glace | Liquide de lave-glace GM OptikleenMD. |
| Système de servodirection | Liquide de servodirection (no de piece Saturn 21007583 ou no de piece GM E.-U. 89021184, et Canada 89021186). |
| Boîte-pont automatique | Liquide de boîte de vitesses automatique DEXRONMD -VI. |
| Cylindres de serrures | Lubrifiant à usage général, Superlube (no de piece GM E.-U. 12346241, Canada 10953474). |
| Lubrification du châssis | Lubrifiant de châssis (no de piece GM E.-U. 12377985, Canada 88901242) ou lubrifiant conformé à la norme NLGI no 2, catégorie CB ou GC-LB. |
| Loquet de capot, loquet secondaire, pivots, ancrage de ressort, clique de déclenchement | Lubrifiant aérosol Lubriplate (no de piece Saturn 21038869 ou GM E.-U. 12346293, Canada 992723) ou lubrifiant conformé à la norme NLGI no 2, catégorie CB ou GC-LB |
| Usage | Liquide/lubrifiant |
| Charnières de capot et de porte, siège arrière rabatable, charnière de volet d'accès au réservoir de carburant, charnières de hayon, cable de porte coulissante électrique | Lubrifiant à usage général, Superlube (no de piece GM E.-U. 12346241, Canada 10953474). |
| Voie de porte coulissante | Lubrifiant aérosol Lubriplate (no de piece Saturn 21038869 ou GM E.-U. 12346293, Canada 992723) ou lubrifiant conforme à la norme NLGI no 2, catégorie LB ou GC-LB |
| Conditionnement des profilés d'étanchéité | Lubrifiant pour bourrelet d'étanchéité (no de piece GM E.-U. 3634770, Canada 10953518) ouGRAisse diélectrique aux silicones (no de piece GM E.-U. 12345579, Canada 992887). |
Pièces de rechange d'entretien normal
Les pièces de rechange indiquées ci-après par leur nom, numéro de référence ou spécification peuvent être obtenues auprès de votre concessionnaire Saturn.
| Pièce | Numéro de référence GM | Numéro de piece ACDelco™ |
| Filtre à air du moteur | 15222510 | — |
| Filtre à huile du moteur | 89017342 | PF61 |
| Bougies | 12591131 | 41-100 |
| Balais d'essuie-glace de pare-brise | ||
| Côté conducteur — 55 cm (22 po) | 12335833 | — |
| Côté passager — 60 cm (24 po) | 12335834 | — |
| Arrière — 40 cm (16 po) | 15192147 | — |
Disposition de la courroied'entrainement

Moteur V6 de 3,9 L
Fiche d'entretien
Une fois l'entretien prévu terminé, notes la date, le relevé du compteur kilométrique et indiquer qui a effectué l'entretien, et le type d'entretien dans les cases prévues à cet effet. Voir la rubrique Conditions d'entretien à la page 592. Toutes les informations supplémentaires de Vérifications et services par le propriétaire à la page 602 peuvent être ajoutées dans les pages de fiches suivantes. Prière d'également conserver tous les reçus de services d'entretien.
Fiche d'entretien
| Date | Kilométrage | Entretien par | Entretien I ou Entretien II | Services réalisés |
Fiche d'entretien (suite)
| Date | Kilométrage | Entretien par | Entretien I ou Entretien II | Services réalisés |
Fiche d'entretien (suite)
| Date | Kilométrage | Entretien par | Entretien I ou Entretien II | Services réalisés |
Fiche d'entretien (suite)
| Date | Kilométrage | Entretien par | Entretien I ou Entretien II | Services réalisés |
Section 7 Information du centre d'assistance à la clientèle
Information sur le centre d'assistance
à la clientèle 616
Procedure de satisfaction de la clientèle .... 616
Centre d'aide en ligne à la clientèle 619
Assistance technique aux utilisateurs de téléSCRIPTeurs 620
Bureau d'assistance à la clientèle 620
Programme de remboursement de mobilité GM 621
Programme d'assistance routiere 621
Collecte des données du vehicule et enregistreurs de données d'evénement .... 625
Réparation de dommages causés par une collision 626
Déclaration des défectuosités menant
la sécurité 631
Comment signaler les défectuosités prompressant la sécurité au gouvernement des États-Unis 631
Comment signaler les défectuosités prompressant la sécurité au gouvernement canadien 631
Comment signaler les défectuosités prompressant la sécurité à Saturn 632
Renseignements sur la commande de guides de réparation 632
Information sur le centre d'assistance à la clientèle
Procedure de satisfaction de la clientèle
Votre satisfaction et votre bonne volonté sont importants pour votre concessionnaire et pour Saturn. Ensemble, nous sommes engagés à offrir à nos clients un service incomparable avant, pendant et après l'achat d'un vehicule Saturn, afin de satisfaire totallement nos clients. C'est ce que nous appelons la Différence Saturn. Habituellement, tout problème associé à une transaction de vente ou au fonctionnement de votre vehicule sera corrigé par les services de ventes ou d'entretien de votre concessionnaire. Si, pour quelles raison que ce soit, votre expérience en tant que propriétaire ne répond pas à vos attentes, nous vous recommendons de prendre les mesures suivantes :
Première étape: Communiquer avec le bureau de liaison d'assistance à la clientèle au détail. Tout membre de l'équipe de gestion au détail détient l'autorité et la volonté de résoudre vos problèmes. Habituellesment, les problèmes peuvent rapidement être résolus à cet échelon.
Deuxieme etape: Si vous avez besoin d'assistance supplémentaire, aux Etats-Unis, communiquer avec le Centre d'assistance à la clientele Saturn en composant le 1-800-553-6000. Au Canada, communiquer avec le Centre de communication de la clientele Saturn au 1-800-263-1999. Un membre de I'équipe du Centre d'assistance à la clientele Saturn prendra votre appel et vous donnera de l'information sur les produits et la garantie, le concessionnaire le plus pres de chez vous, l'assistance routière, les brochures, la documentation et discutera des problèmes que vous avez.
Nos you recommendons d'utiliser le numero sans frais pour obtenir rapidement de l'aide. Se tenir pret à fournir les renseignements suivants au conseiller du Centre d'assistance à la clientèle :
- Numéro d'identification du vehicule. Vous trouvrez ce numéro à 17 chiffres sur l'enregistrement ou titre du vehicule, sur le coin supérieur du module d'intégration du tableau de bord côté conducteur ou sur votre carte-clé d'assistance routière.
-
Le nom de l'établissement de vente et d'entretien au détail.
-
Date de livraison et kilométrage actuel du vehicule.
Vos numeros de téléphone (jour et soit).
Lorsque vous contactez Saturn, ne pas oublier que votre cas sera sans doute résolu chez le concessionnaire. C'est pourquoi nous vous proposons de suivre d'abord les directives de la première étape.
Troisième étape (propriétaires des États-Unis): Saturn et ses concessionnaires sont impliqués dans votre satisfaction complète au sujet de votre vehicule Saturn. Cependant, si vous demeurez insatisfait après avoir suivi la procédure décrite dans les étapes un et deux, Saturn et ses concessionnaires vous offrent une assistance supplémentaire d'une pierce partie à travers notre participation volontaire au programme de mediation/arbitrage appelé BBB Auto Line.
Le programme BBB Auto Line est un programme hors cours administré par le Conseil des bureaux d'éthique commerciale permettant de régler les différencs portant sur des réparations de vehicule ou l'interprétable de la garantie limite du vehicule neuf. Ce programme est offert sans frais à vous, notre client.
Bien que vous puissiez devoir recourir à ce programme de résolution de différencs informel avant d'intenter des poursuites judiciaires, l'utilisation du programme est gratuite et votre cas est habituellement entendu dans les 40 jours suivant la demande. Si vous ETES en désaccord avec la décision rendue sur votre cas, vous pouvez la rejoeter et passer à un autre lieu de procès qui vous est offert pour obtenir une mesure réparatoire.
Il est possible de communiquer avec le BBB Auto Line Program au moyen de la ligne téléphonique sans frais ou par écrit à l'adresse suivante :
Ce programme est disponible aux résidents des 50 états et du district de Columbia. L'admissibilité à ce programme dépend de l'année de fabrication du vehicule, de son kilométrage et plus de divers autres facteurs. La Saturn se réserve le droit de modifier les limitations d'admissibilité et/ou d'interr compromise sa participation à ce programme.
Troisième étape (propriétaires Canadiens) :
Participation de GM dans le programme de mediation/arbitrage
Si vous estimez que vos questions ne recoivent pas la réponse que vous attendez après avoir suivi la procédure décrite aux étapes 1 et 2, General Motors du Canada Limitée tient à vous signaler qu'elle adhéère à un programme de mediation/ d'arbitrage gratuite. Ce programme permet l'arbitrage des différencs avec les propriétaires, au sujet de réclamations concernant des problèmes de fabrication et d'assemblage. Il consiste en l'examen des faits par un arbitre tiers et impartial, et peut inclure une audience informelle devant cet arbitre. Ce programme est concu de façon à ce que l'ensemble du processus de règlement du litige, depuis le moment où vous déposez une réclamation jusqu'à la décision finale, ne dépasse pas 70 jours. Nous pensons que notre programme impartial offre des avantages par rapport aux tribunaux de la plupart des juridictions car il est informel, rapide et sans frais.
Pour plus de renseignements sur l'admissibilité au Programme d'arbitrage pour les vehicules automobiles au Canada (PAVAC), composer gratuitement le 1-800-207-0685. Vous pouvez aussi communiquer avec le Centre de communication avec la clientèle de Saturn, au 1-800-263-1999 ou écrire au :
Programme de mediation/arbitrage
A/s Centre de communication avec la clientèle
General Motors du Canada Limitée
Code postal : CA1-163-005
La demande devra estre accompagnée du numero d'identification du vehicule (NIV).
Centre d'aide en ligne à la clientèle
Centre du contrôle en ligne (États-Unis uniquement)
Le Centre du propriétaire met ses ressources à la disposition des propriétaires de vehicules Saturn. Toute l'information particulière se rapportant au vehicule peut être trouvée au même endroit.
Le Centre du contrôle en ligne vous permet de bénéficier des services suivants :
- Obtenir des rappels d'entretien par courriel.
- Avoir accès à l'information concernant votre vehicule en particulier, notamment des conseils et des vidés, ainsi qu'une version électronique du présent guide.
Garder une trace de l'histoire des entretiens de votre vehicule et du calendrier des entretiens. - Trouver dans tout le pays des concessionnaires Saturn pour l'entretien.
- Recevoir des promotions et privilèges disponibles uniquement pour les membres.
Se reporter à www.saturn.com pour l'information mise à jour et l'enregistrement de votre vehicule.
Mon GM Canada est une section protégée par mot de passer du site gmcanada.com où vous pouvez sauegarder de l'information sur les vehicules GM, Broker des offres personnalisées et utiliser des outils et formulaires pratiques.
Voici quelques uns des outils et services intéressants auxquels vous aurez accès :
- Ma salle d'exposition : Trouver et sauvégarder de l'information sur les vehicules et les offres actuelles dans votre région.
- Mes concessionnaires : Sauvegarder des détails tels que l'adresse et le numéro de téléphone de chacun de vos concessionnaires GM préféres.
- Mes ateliers : Recevoir des rappels d'entretien et des conseils utiles au sujet de votre vehicule.
- Mes préférences : Gérer votre profil, souscrire à des nouvelles électroniques et utiliser facilement des outils et formulaires.
Pour vous abonner à mon GM Canada, visiter la section mon GM Canada du site www.gmcanada.com.
Assistance technique aux utilisateurs de téléSCRIPTeurs
Pour aider les propriétaires malentendants, Saturn a installé un dispositif ATS (Appareil de télécommunication pour sourds) dans son Centre d'Assistance à la clientèle.
Tout client qui aurtait des difficultés à entendre ou à parler, et qui a accès à un dispositif ATS ou à un télécriteur conventionnel, peut communiquer avec Saturn en composant le 1-800-TDD-6000 (1-800-833-6000); ceux du Canada peuvent composer le 1-800-263-3830.
Bureau d'assistance à la clientèle
Saturn encourage les clients à appeler le numéro gratuite pour obtaining une assistance.
Si un client désire écrire à Saturn, la dette doit être adressée à :
1-800-833-6000 (pour apparéils téléSCRIPTeurs)
Assistance routière : 1-800-553-6000
Au Canada, vous pouvez nous écrire à l'adresse suivante :
Centre de Communication avec
la Clientèle Saturn
General Motors du Canada Limitée
CA1-163-005
1-800-263-3830 (pour apparéils téléphoniques à texte : téléSCRIPTeurs)
Assistance routière : 1-800-268-6800
Programme de remboursement de mobilité GM
GM MOBILITY
Ce programme, offert aux souscripteurs qualifiés, peut vous permettre de bénéficier d'un remboursement jusqu'à 1 000 $ de l'équipement adaptatif après-vente pour le conducteur ou le passager requis pour le vehicule, comme des commandes manuelles, élevateurs pour fauteuils roulants ou scooters, etc.
Cette offre est valable pendant une période limitée à compter de la date d'achat/de location du vehicule.
Pour plus de détails ou pour déterminer si vous vehicule est éligible, contacter un concessionnaire Saturn ou appeler le centre d'assistance à la clientèle Saturn au 1-800-553-6000. Les utilisateurs de téléimprimeur peuvent appeler le 1-800-833-6000.
Au Canada, les clients peuvent appeler le centre de communication avec la clientèle Saturn au 1-800-263-1999. Les utilisateurs de téléimprimeur au Canada peuvent appeler le 1-800-263-3830.
Programme d'assistance routière
Pour les vehicules achetés aux É.-U., composer le 1-800-553-6000 (TTY: 1-800-833-6000).
Pour les vehicules achetés au Canada, composer le 1-800-268-6800.
Service disponible 24 heures/24, 365 jours par an
En tant que propriété d'un vehicule Saturn
Chevrolet neuf, vous est automatiquement inscrit
au programme d'Assistance routière Saturn.
L'objectif de ce service à valeur ajoutée est de
vous assurer une tranquilité d'esprit lorsque
vous conduisez le vehicule en ville ou que vous
vous déplacez sur les routes.
Qui est couvert?
Le plan de protection pour assistance routière s'adresse au conducteur du vehicule, qu'il en soit ou non le propriétaire. Toute personne conduisant ce vehicule sans autorisation préalable du propriétaire ne peut pas être couverte par ce plan de protection.
Les services suivants sont proposés aux États-Unis pendant la période de garantie Pare-chocs à pare-chocs et au Canada pendant la période de couverture de la garantie de base de la garantie limite du vehicule neuf, pour une couverture maximale de 100 $
- Approvisionnement en carburant :
- Approvisionnement en quantité suffisante de carburant pour que client se rende à la station-service la plus proche (environ 5 $ aux États-Unis et 10 litres au Canada). La livraison de carburant au diesel peut être restreinte. Pour des raisons de sécurité, le propane et autres carburants alternatifs ne seront pas fournis par ce service.
- Portes verrouillées : À des fins de sécurité, le conducteur doit partager les papiers d'immatriculation et d'identification personnelle avant l'application du service d'ouverture du
vécicule. Ce service est proposé gratuitement si vous n'ètes pas en mesure de pénétrer à l'intérieur de votre vehicule. Si vous vehicule ne démarre pas, l'Assistance routière fera en sorte que votre voiture soit remorquée jusqu'àau concessionnaire/agréé le plus proche. Aux États-Unis, des clés de remplacement réalisées aux frais du client sont couvertes dans un rayon de 10 milles.
- Remorquage routier d'urgence : Remorquage jusqu'au concessionnaire Saturn le plus proche pour un service sous garantie ou en cas d'accident à la suite duquel le vehicule est hors fonction. Assistance au moyen d'un treuil lorsque le vehicule est envisé ou enlisé dans la boue ou la neige.
- Remplacement d'un pauen plat : Si vous possédez une roue de secours, le temps et la pose de ce pauen en bon état seront Gratis. Le client est responsable de la réparation ou du remplacement du pauen qui ne serait pas couvert par une garantie de panne.
- Demarrage avec batterie auxiliaire : Les situations de non-demarrage nécessitant le démarrage avec une batterie auxiliaire seront couvertes sans supplément.
Services supplémentaires pour les clients canadiens
- Service d'itinétaire du parcours : Sur commande, le service d'assistance routière vous envoie des cartes détaillées, personnalisées par ordinateur, en mettant en valeur votrechoix pour l'itinétaire le plus direct ou le pluspanoramaque vers votre destination, n'importe où en Amérique du Nord, ainsi que touteinformation utile dont nous disposons notrevoyage. Pour demander ce service, nousappeker Gratisement au 1-800-268-6800. Nous ferons tout notre possible pour vousenvoyer un itinétaire personnelisé de vourterbacours aussirapidement que possible,maisil est recommends de prévenir trois semainesavant la date de départ prévue. Les demandedesitinétaire de parcours sont limitées à six parannée calendrier.
- Avantages et assistance en cas d'interruption du voyage : En cas d'incapacité de fonctionnement du vehicule ayant rapport avec la garantie, vous pouvez bénéficier, lorsque vous estes en cours de route et sur plus de 250 kilomètres du point de départ initial, d'une assistance pour frais dus à une
interruption de voyage. Cette assistance couvre un remboursement raisonnable jusqu'à 500 (canadiens) pour (A) repas (maximum de 50/jour), (B) logement (maximum de 100 /nuit) et (C) autre transport terrestre (maximum de 40/jour). Cet avantage est destiné à vous aider à assumer quelques une des dépenses non prévues susceptibles de se produit pendant que vous attendez que votre vehicule soit réparé.
Une autorisation préalable, les reçus originaux détaillés et une copie de la demande de réparation sont requis.
Lorsque l'autorisation a eté fournie, votre conseiller vous aide à effectuer tous les arrangements nécessaires et à expliquer comment faire une demande d'assistance pour frais d'interruption de voyage.
- Autre service : À certaines périodes, il est possible que l'assistance routière ne soit pas en mesure de vous fournir une assistance en temps youlu, votre conseiller peut vous autoriser à couver un service routier d'urgence local et vous serez remboursé jusqu'à 100 $ après avoir soumis l'original du reçu au service d'assistance routière.
Dans de nombreux cas, les défaillances mécaniques sont couvertes par la garantie pare-chocs à pare-chocs de Saturn et pendant la durée de la couverture de la garantie de base de la garantie limitée du vehicule neuf pour les clients canadiens. Toutefois, tous les frais de piece et de main d'oeuvre liés à des réparations qui ne sont pas sous garantie sont à la charge du conducteur.
Pour obtenir une assistance rapide et efficace, il est recommandé de fournir les renseignements suivants aux représentants d'assistance routière au moment de l'expérience:
- Nom, adresse du domicile, et numéro de téléphone du domicile.
- Numéro de téléphone de l'emplacement d'ou est effectué l'appel.
- Emplacement du vehicule.
- Modèle, année, couleur et numéro de plaque d'immatriculation.
- Kilométrage, numéro d'identification du vehicule (NIV) et date de livraison du vehicule.
Description du problème.
Nous souhaitons que vous ne deviez jamais faire appel à notre service. Mais ceci procure plus de sécurité à vous et à votre famille durant vos voyages. Ne pas oublier qu'il suffit d'un appel téléphonique pour nous joindre. Assistance routière Saturn : 1-800-553-6000, les utilisateurs de téléimprimeur peuvent composer le 1-800-833-6000. Les clients canadiens peuvent appeler le 1-800-268-6800.
Saturn et General Motors du Canada Limitée se réservent le droit de limiter leurs services ou le remboursement à un propriété ou conducteur lorsque, selon leur opinion, la fréquence ou le type d'occurrences des demandes devient excessif.
L'assistance routière ne fait pas partie de la couverture offerte par la garantie limitée de vehicule neuf. Saturn et la General Motors du Canada Limitée se réservent le droit de modifier ou d'annuler le programme d'assistance routière à tout moment sans préavis.
Exclusions de remorquage et de services routiers
Le remorquage ou les services pour vehicules utilisés hors route, les amendes, le remorquage pour mise en fourrière à la suite d'une infraction de loi locale, municipale, provinciale ou federale, ainsi que le montage, le démontage ou le changement de pneus d'hiver, de chaînes ou d'autres dispositifs d'adhérence sont spécifiquement exclus du plan de protection pour assistance routière.
Collecte des données du vehicule et enregistrleurs de données d'evénement
Votre vehicule, comme tout autre vehicule motorisé moderne, présente un certain nombre de systèmes informatiques perfectionnés qui surveillent et commandent plusieurs aspects de la performance du vehicule. Notre vehicule fait appel à des ordinateurs embarqués pour surveriller les composants antipollution en vue d'une économie de carburant accrue, pour surveriller les conditions de déploiement des sacs gonflables et, le cas échéant, pour assurer un freinage antiblocage et aider le conducteur à maîtriser le vehicule en situations difficiles. Certains renseignements
peuvent être enregistrées durant des opérations courantes pour faciliter la correction de défectuosités déteçées; d'autres renseignements sont enregistrés uniquement en cas de collision, par des systèmes informatiques comme les apparêls d'enregistrement de données de collision. En cas de collision, des systèmes informatiques installés dans votre vehicule, comme le module de détction et de diagnostic pour sacs gonflables (SDM), peuvent enregistrer des informations sur l'etat du vehicule et la façon dont il a été utilisé, comme les données relatives au régime moteur, à l'utilisation des freins, à la position du papillon, à la vitesse du vehicule, à l'utilisation des ceintures de sécurité, à la capacité de fonctionnement des sacs gonflables, à leur efficacité et à la gravité de la collision. Si votre vehicule est équipé du système StabiliTrakMD, le comportement de la direction, y compris l'amplitude du mouvement de lacet, l'angle du volant et l'accélération latérale, sont également enregistrés. Ces informations permettent d'améliorer le comportement des vehicules actuels ou futurs lors de collisions et la sécurité de conduite. Contrairement aux apparêls d'enregistrement de données de la plupart des avions, ces systèmes embarqués n'enregistrent pas les sons, (teils que la conversation des passagers d'un vehicule).
Pour dire cette information, un équipement spécial est nécessaire ainsi que l'accès au vehicule ou l'appareil qui enregistre les données est requis. GM ne recueillera pas l'information sur une collision ni ne la partagera avec d'autres sauf :
- Avec le consentement du propriétaire du vehicule ou, si le vehicule est loué, avec le consentement du locataire.
- En réponse à une demande officielle de la police ou d'un bureau gouvernemental.
- Dans le cadre de la défense d'une poursuite contre GM, dans le processus de libre détermination, ou
- Comme l'exige la loi.
De plus, après que GM a recueilli ou recoù les données, GM peut :
- Les utiliser pour ses besoin de recherche.
- Les transmettre pour la recherche à la condition qu'une confidentialité ajustée soit maintainue et que le besoin pour ces données soient démontré, ou
- Partager des données globales, non associées à un vehicule spécifique, avec des organismes autres que GM, à des fins de recherche.
D'autres, comme l'ordre publique, peuvent acceder à l'équipement spécial permettant de dire l'information sils ont accès au vehicule ou à l'appareil qui enregistre les données.
Si votre vehicule est doté d'OnStarMD, vérifier le contrat d'abonnement OnStarMD ou le manuel pour obtenir l'information sur ses opérations et la collecte des données.
Réparation de dommages causés par une collision
Si votre vehicule est impliqué dans une collision et s'il est endommagé, le faire réparer par un technicien qualifié qui utilisera les équipements appropriés et des pieces de rechange de qualité. Des réparations mal effectuées diminueront la valeur de votre vehicule lors de sa revente et les performances de sécurité pourraient être compromises en cas de collisions ultérieures.
Pièces de collision
Les pièces de collision GM d'origine sont des pièces neuves conçues avec les mêmes matériaux et méthodes de fabrication que pour la réalisation de votre vehicule. Les pièces de collision GM d'origine constituent votre meilleurchioix pour garantir la preservation de l'apparace, de la durabilité et de la sécurité de votre vehicule. L'utilisation de pièces GM d'origine peut vous permettre de conserver votre garantie du vehicule neuf GM.
Les pièces d'équipement d'origine recyclées peuvent également être utilisées lors des réparations. Ces pièces sont habituèlement retirees des vehicules complètement détruits dans des accidents antérieurs. Dans la plupart des cas, les pièces recyclées proviennent de sections non endommagées du vehicule. Une pièce GM provenant d'un équipement d'origine recyclé peut constituer un choix acceptable pour préserver l'apparance et les performances de sécurité d'origine de votre vehicule. Cependant, on ne connait pas l'historique de ces pièces. De telles pièces ne sont pas couvertes par la garantie limitée du vehicule neuf GM et toute défaillance y affirmant n'est pas couverte pas cette garantie.
Les pièces de collision du marché secondaire sont également disponibles. Elles sont fabriquées par des sociétés autres que GM et peuvent ne pas avoir été testées pour votre vehicule. Par conséquent, ces pièces risquent de ne pas convenir, deprésenter des problèmes de corrosion ou de durabilité prématurément et de ne pas se comporter correctement lors de collisions ultérieures. Les pièces du marché secondaire ne sont pas couvertes par la garantie limitée du vehicule neuf GM et toute défaillance du vehicule liée à de telles pièces n'est pas couverte par cette garantie.
Entreprise de réparation
GM you recomande également de désir une entreprise de réparation qui réponde à vos besoin en cas de nécessité de proceder à des réparations suite à une collision. Il est possible que votre concessionnaire Saturn dispose d'un centre de réparation employant des techniciens formés par GM et d'équipements ultramodernes ou bien qu'il soit en mesure de vous recommander un centre de réparation employant des techniciens formés par GM et un équipement comparable.
Assurer votre vehicule
Protégier l'investissement que vous avez réalisé lors de l'acquisition d'un vehicule GM en souscrivant à une couverture d'assurance complète contre les collisions. Il existe des différentes importantes quant à la qualité de la couverture décrite dans les contrats d'assurance. De nombreuses compagnies d'assurance proposent une protection réduite de votre vehicule GM en limitant les indemnisations pour les réparations grâce à l'utilisation de pieces de collision du marché secondaire. Certaines compagnies d'assurance ne précisent pas que des pieces de collision du marché secondaire seront utilisées. Lors de la souscription à une assurance, nous vous recommendons de vous assurer que votre vehicule sera réparé à l'aide de pieces de collision d'équipement d'origine GM. Si votre Compagnie d'assurance actuelle ne vous permet pas de bénéficier d'une telle couverture, envisager de vous tourner vers une autre compétie d'assurance.
Si votre vehicule est loué, la société de location peut vous demander de souscrire une assurance couvrant les frais de réparations à l'aide de pieces d'origine d'un équipementier GM ou de pieces de rechange du constructeur d'origine.
Lire attentivement votre contrat de location car vous risquez de vous voir facturer des réparations de mauvaise qualité à la fin de votre location.
En cas d'accident
Voici la procédure à suivre si vous vous trouvez impliqué dans un accident
- Essayer de se détendre puis s'assurer de ne pas être blessé. Vérifier ensuite que les autres passagers de votre vehicule ou de l'autre vehicule ne sont pas blessés.
- Si l'un des passagers est blessé, appeler le 911 pour obtenir de l'aide. Ne pas quitter les lieux de l'accident avant que tous les problèmes soient réglos. Déplacer votre vehicule uniquement si sa position vous met en danger ou bien si un agent de police vous demande de le faire.
-
Transmettre à la police et aux tiers impliqués dans l'accident uniquement les informations nécessaires et requises. Ne pas évoquer votre situation personnelle, votre disposition d'esprit ni tout autre sujet qui n'est pas en rapport avec l'accident. Cela vous protégera contre toute action juridique susceptible d'être prise après l'accident.
-
Si vous avez besoin d'assistance routière, appeler GM Roadside Assistance. Pour plus d'informations, se reporter à la rubrique Programme d'assistance routière à la page 621.
- Si votre vehicule n'est pas en état de rouler, se renseigner sur le service de remorquage qui va l'emmener. Demander une carte de visite à l'opérateur de la dépanneuse ou noter le nom du conducteur, le nom du service et le numéro de téléphone.
- Retirer tout objet de valeur du vehicule avant qu'il soit remorqué. S'assurer de récapuerer les papiers d'assurance et le certificat de propriété si vous avez l'habitude de conserver ces documents dans votre vehicule.
- Conserver les informations importantes dont vous aurez besoin concernant l'autre conducteur, notamment son nom, son adresse, son numero de téléphone, son numero de permis de conduire, la plaque d'immatriculation de son vehicule, la marque du vehicule, le modele et l'année du modele, le numero d'identification du vehicule (NIV), la compagnie
d'assurance et le numéro de police ainsi qu'une description générale des dommages causés à l'autre vehicule.
- Si possible, appeler votre compagnie d'assurance depuis les lieux de l'accident. Elle vous guidera pour obtenir les informations dont elle a besoin. Si elle vous demande un rapport de police, téléphoner ou se rendre au commissariat principal le lendomain pour Broker une copie du rapport pour une somme minime. Dans certains états/provinces où s'appliquent des lois dites d'assurance « sans égard à la responsabilité », il est possible qu'un rapport ne soit pas nécessaire. Cela est particulièrement vrai en l'absence de blessés et lorsque les deux vehicules peuvent rouler.
-
Choisir une entreprise de réparation contre les collisions réputée pour votre vehicule. Que vous choisisssiez un concessionnaire Saturn ou une entreprise de réparation contre les collisions privée pour procéder aux réparations, s'assurer que vous vous sentez bien avec eux. Ne pas oublier que le travail qu'ils réaliséront devra vous permettre de bien vous sentir pendant un long moment.
-
Àprous avoir obtenu un devis, le litre attentivement et s'assurer de comprendre quelles seront les interventions effectuees sur votre vehicule. Si vous vous posez des questions, demander des explications. Les magasins réputés approucem l'intérêt que vous portez à leur travail.
Gestion du processus de réparation des dommages causés au vehicule
Dans l'eventualité où votre vehicule nécessite des réparations, GM vous recommende de vous impliquer activement dans celles-ci. Si vous ave déjà opté pour une entreprise de réparation, y amener votre vehicule ou le faire remorquer. Preciser à l'entreprise d'utiliser uniquement des pieces de collision d'origine, que ce soient des pieces GM d'origine ou des pieces GM d'origine recyclées. Ne pas oublier que les piece recyclées ne seront pas couvertes par la garantie de votre vehicule GM.
L'assurance paye la facture des réparations mais vous devez vivre avec les réparations. En fonction des limites de votre police, votre compagnie d'assurance peut évaluer les réparations sur la base de pieces du marché secondaire. En discuter avec votre professionnel des réparations et insister pour obtenir des pieces GM d'origine. Ne pas oublier que si le vehicule est en location, vous risquez d'être obligé de faire réparer le vehicule à l'aide de pieces GM d'origine, même si votre assurance ne vous rembourse pas l'ensemble des frais.
Si une compétie d'assurance tiers paye les réparations, vous n'êtes pas obligé d'accepter une évaluation des réparations en fonction des limites de réparation fixées par la politique de collision de cette compétie d'assurance, car vous n'avez aucune limite contractuelle avec cette société. Dans ce cas, vous pouvez avoir le contrôle des réparations et lechioix des pieces dans la mesure où leur coût reste dans des limites raisonnables.
Déclaration des défectuosités menant la sécurité
Comment signaler les défectuosités prompressant la sécurité au gouvernement des États-Unis
Si vous estimez que le vehicule presente une défectuosité qui pourrait entraîner un accident, des blessures ou la mort, vous devrez immédiatement en informer la National Highway Traffic Safety Administration (NHTSA), en plus d'avertir Saturn Corporation.
Si la NHTSA recoit d'autres plaintes de ce genre, elle peut faire une enquête, et, si elle découvert qu'un groupe de vehicules présente une défectuosité posant un problème de sécurité, elle peut exiger une campagne de rappel et de réparation. Toutefois, la NHTSA ne peut s'occuper des problèmes individuels entre vous-même, le concessionnaire ou Saturn Corporation.
Pour entrer en contact avec NHTSA, vous pouvez appeler l'assistance de sécurité des vehicules gratuitement au 1-888-327-4236 (TTY:1-800-424-9153);visiter le site http://www.safercar.gov; ou écrire à :
D'autres informations sur la sécurité des vehicules à moteur sont disponibles sur le site http : //www.safercar.gov.
Comment signaler les défectuosités prompressant la sécurité au gouvernement canadien
Si vous vivez au Canada et si vous pensez qu'un défectuosité compromet la sécurité de votre vehicule, vous doivent immédiatement avertir. Transports Canada ainsi que la General Motors du Canada Limitée. Vous pouvez les appeler au 1-800-333-0510 ou leur écrire à l'adresse suivante :
Comment signaler les défectuosités prompressant la sécurité à Saturn
En plus d'avertir Transports Canada ou la NHTSA d'une telle situation, nous espérons que vous nous préviendrez aussi.
Les clients des États-Unis peuvent appeler le centre d'assistance à la clientèle Saturn au numéro 1-800-553-6000 ou écrire :
Saturn Corporation
100 Saturn Parkway
Mail Drop 371-999-S24
Spring Hill, TN 37174-1500
Au Canada, prière de nous appeler au 1-800-263-1999 ou de nous écrire :
Centre de Communication avec
la Clientèle Saturn
General Motors du Canada Limitée
CA1-163-005
Renseignements sur la commande de guides de réparation
Manuels de réparation
Plusieurs documentations sont à votre disposition. Les manuels de réparation Saturn sont écrites pour des techniciens formés et, dans certains cas, des outils et des équipements spécifique sont nécessaires pour réaliser certaines réparations.
Cependant les manuels sont disponibles pour les propriétaires qui ou bien possèdent la formation ou bien souhaitent accürir une(Meilleure) comprehension des aspects techniques de leur Saturn.
Pour plus de renseignements sur les
documentations ou pour les commander
aux Etats-Unis, appeler le numero gratuite
1-800-2-SATURN (1-800-272-8876) ou se rendre
sur le site www.saturn-publications.com pour
commander en-ligne.
Au Canada, les manuels de réparation Saturn sont disponibles en appelant le numéro gratuite 1-800-551-4123.
Documentations pour le propriétaire
Les informations sur la manière d'obtenir les bulletins produits décrits ci-dessous ne concernent que les cinquante états des É.-U. et le district de Colombie, et seulement les voitures et camions légers d'un poids nominal brut du vehicule (PNBV) inférieur à 4536 kg (10000 livres). Des exemplaires des bulletins individuels se trouvent également chez votre concessionnaire Saturn participant. Vous pouvez demander à les consulter.
Au Canada, vous pouvez obtenir les informations relatives aux bulletins d'entretien des produits en contactant votre concessionnaire Saturn.
Bulletin techniques
Saturn envoie régulièrement à ses concessionnaires des bulletins d'entretien utiles relatifs aux produits Saturn. Saturn surveille le comportement de ses produits sur le terrain. Nous préparons alors des bulletins pour un meilleur entretien de nos produits. Vous pouvez également vous procurer ces bulletins.
Les bulletins couvrent divers sujets. Certains concernent la bonne utilisation et le bon entretien de votre vehicule. Certains décrivent les réparations onéreuses. D'autres décrivent des réparations bon marché qui, si elles sont réalisées à temps avec les pieces les plus récentes, peuvent éviter des réparations ultérieures couteuses.
Certains bulletins expliquent au technicien comment remédier à une situation nouvelle ou inattendue. D'autres décrivent une manière plus rapide de réparer votre vehicule. Ils peuvent aider un technicien à mistrés entrenir votre vehicule.
La plupart des bulletins concernent des situations affectant un petit nombre de vehicules. Vote concessionnaire Saturn ou un technician qualifié peut avoir à déterminer si un bulletin spécifique s'applique à votre vehicule. Pour commander les bulletins Saturn, appeler les Publications Saturn au 1-800-2-SATURN (1-800-272-8876) ou se rendre sur www.saturn-publications.com pour commander en-ligne.
NOTES
A
Accessoire de gonflage 548
Accessoires et modifications 471
Achat de pneus neufs 540
Additifs du carburant 474
Ajout d'equipement à un vehicule muni de sacs gonflables 105
Alimentation
Prolongation de l'alimentation des
accessoires 150
Allume-cigarette 225
Ampoules de rechange 525
Antenne fixe 407
Antivol
Fonctionnement de PASS-Key MD III 146
PASS-KeyMD III 145
Antivol de la radio 403
Appareils de retenue pour enfant 65
Ancrages inférieurs pour siège d'enfant (Système LATCH) 72
Bébes et jeunes enfants 62
Enfants plus ages 59
Fixation d'un appeareil de retenue pour enfant en position siège arrière 80
Appareils de retenue pour enfant (suite)
Fixation d'un appeareil de retenue pour enfant en position siège avant droit 83
Où installer l'appareil de retenue 70
Appuis-têtes 15
Arrière
Système de régulation de la climatisation 234, 236
Assistance routière
Programme d'assistance 621
Assistance ultrasonique arriré de stationnement 220
Audio 306
Antenne fixe 407
Commandes audio intégrées au volant de direction 404
Comprehension de la réception radio 405
Entretien des disques compacts et DVD 406
Entretien du lecteur de disques compacts et DVD 407
Fonction antivol 403
Radio avec lecteur de disques compacts 308
Audio (suite)
Réglage de l'heure 308
Réglage du niveau de carillon 407
Système audio arrêté 375, 378
Système de navigation/radio 335
Avant de partir pour un long trajet 438
Avertissement sur
proposition 65 - Californie 471
Avertissements
Autres avertisseurs 201
Avertissements et messages du centralisateur informatique de bord 270
Concernant des dommages du vehicule 5
Feux de détresse 200
Sécurité et symboles 4
Avertisseur de dépassement 204
B
Baquets - Sièges baquets arrêté 16
Batterie 513
Gestion de la puissance electrique 217
Protection antidécharge de la batterie .... 218
Bébes et jeunes enfants,
Appareils de retenue 62
Bloc-commutateurs
Console de pavillon 219
Boite a gants 185
Boite-pont automatique
Fonctionnement 154
Liquide 491
Bouchon de radiateur 497
Boussole 268
Boussole de CIB 268
C
Câblage des phares 582
Capacités et specifications 589
Capot
Levier d'ouverture 481
Vérification sous le capot 480
Carburant 473
Additifs 474
Carburant-Californie 474
Carburants dans les pays étrangers 475
Indice d'octane 473
Jauge 259
Remplissage du réservoir 476
Remplissage d'un bidon de carburant 479
Carburant (suite)
Spécifications de l'essence 473
Témoin de bas niveau 259
CD, MP3 326
Ce vehicule et I'environnement 592
Ceintures de sécurité
Entretien 574
Guides de comport de ceinture de sécurité 55
Les ceintures de sécurité pour tous 34
Passagers du siege arrriere 52
Port adequat des ceintures de sécurité 40
Position du conducteur 41
Position du passager - côté avant droit .... 51
Prétendeurs 58
Questions et réponses au sujet des ceintures de sécurité 39
Rallongedeceinturedesecurite 58
Régleur de hauteur de ceinture de baudrier 50
Témoin de rappel 243
Témoin de rappel de bouclage 244
Utilisation de la ceinture de sécurité pendant la grossesse 51
Centralisateur informatique de bord (CIB) .... 260
Avertissements et messages du centralisateur informatique de bord 270
CIB Personalisation du vehicule 294
Fonctionnement et affichages du centralisateur informatique de bord 261
Centre d'aide en ligne à la clientèle 619
Chaines a neige 547
Chargement du vehicule 447
Chauffage 226
Classification uniforme de la qualite des pneus 543
Clés 111
Clignotants avant, feu de stationnement et feu de circulation de jour 522
Climatisation 226
Climatiseur 226
Collecte des données du vehicule et enregistreurs de données d'événement .... 625
Commande de climatisation Deux zones 230
Commandedeniveau 454
Commanded'éclairage interieur 214
Commandes au volant, Audio 404
Compartment de rangement de la console avant 188
Compartiments de rangement 185
Boite à gants 185
Compartment de rangement de la console au plancher 188
Compartiments de rangement arrriere escamotables 192
Console centrale de deuxieme rangée 188
Console de plafond 186, 188
Filetd'arrimage 191
Plateau rabattable 188
Porte-bagages 190
Portegobelets 185
Comprehension de la réception radio 405
Compteur de vitesse 243
Compteur kilométrique 243
Conducteur Place, Ceinture de sécurité 41
Conduite Autoroute 436
De nuit 430
Defensive 410
En etat d'ebriete 411
Hivernale 442
Conduite (suite)
Routes onduleuses et de montagne 439
Secouer le vehicule pour le sortir 447
Sous la pluie et sur les routes humides 432
Ville 435
Console centrale de deuxieme rangée 188
Console de pavillon - Bloc-commutateurs 219
Console de plafond 186, 188
Contenu antivol 143
Contrôle du vehicule 414
Courant electrique Prise de courant alternatif 115 V 224
D
Demarrage avec batterie auxiliaire 514
Demarrage du moteur 150
Dépose du pneu de rechange et des outils 553
Dépose d'un pneu creve et installation du pneu de rechange 557
Déverrouillage automatiqueprogrammable des portes 125
Direction 423
Dispositifs de sécurité
Remplacement des pieces 106
Dispositifs de verrouillage Déverrouillage automatique programmable des portes 125
Dispositif antiverrouillage 125
Porte 121
Verrouillage central 124
Verrouillage electrique des portes 123
Verrouillage retardé 123
Disposition de la courroie d'entrainement du moteur 610
Disque, MP3 326
Disques videonumériques
Système de divertissement intégré au siècle arrêté 335, 355
E
Éclairage Commande d'éclairage interieur 214
Entree 215
Exterieur 211
Eclairage temporisé 216
Espaceutilitaire 217
Gestion de la puissance electrique 217
Sortie 216
Eclairage de plaque d'immatriculation 524
Electrique
Glaces 141
Glaces électriques de custode 142
Liquide de servodirection 506
Porte coulissante 128
Prises electriques pour accessoires 223
Réseau électrique 582
Siège 10
Verrouillage de portes 123
Enfants plus ages, Appareils de retenue 59
Enregistreurs de données d'accident 625
Entretien 470
Accessoires et modifications 471
Ajout d'equipement à l'extérieur de votre vehicule 473
Avertissement sur proposition 65 - Californie 471
Ceintures de sécurité 574
Disques compacts et DVD 406
Entretien par le propriete 472
Lecteur de disques compacts et DVD 407
Pourcommanderdespublications techniques 632
Témoin d'anomalie du moteur 252
Entretien de l'apparce
Cuir 573
Entretien des ceintures de sécurité 574
Entretien du dessous de la carrosserie 578
Finition endommagée 578
Joints d'etanchéité 574
Lavage du vehicule 574
Matériaux d'entretien/d'aspect du vehicule 579
Nettoyage de l'éclairage exéieur et des lentilles 575
Nettoyage de l'intérieur du vehicule 570
Pare-brise, lunette arriere et lames d'essuie-glace 576
Peinture endommagée par retombées chimiques 578
Pneus 577
Roues en aluminium 576
Soin de finition 575
Tableau de bord, vinyle, et autres surfaces en plastique 573
Trole endommagée 577
Tissu et tapis 572
Entretien periodique 595
Équipement électrique complémentaire 581
Essence
Octane 473
Spécifications 473
Essue-glace
Fusibles 582
Essuie-glace/lave-glace arrriere 206
Essuies-glaces de pare-brise 204
Etiquette sur paroi latérale du pneu 527
Exterieur
Rétroviseur convexe 167
Rétroviseurs extérieurs chauffants 167
Rétroviseurs à commande électrique 166
Etalonnage 268
F
Feux
Feux arrêté
Liseusesarriere 217
Clignotant,feux d'arrêt et feuels de recul 523
Feux de circulation de jour et phares
automatique 212
Feux de détresse 200
Feux de détresSES, jauges et méoons 241
Filetd'arrimage 191
Filtre
Filtre a air du moteur 489
Filtre à air de l'habitacle 239
Finition endomagée 578
Fixation d'un appeareil de retenue pour enfant en position siège arrière 80
Fixation d'un appeareil de retenue pour enfant en position siège avant droit 83
Fonctionnement de la boite-pont, automatique 154
Fonctionnement de PASS-Key MD III 146
Fonctionnement du siege arrête 15
Frein
Stationnement 158
Système de freinage antiblocage (ABS) 416
Urgences 418
Freinage 415
Témoin du système de freinage 249
Freinage d'urgence 418
Freins 508
Fusibles
Bloc-fusibles d'ensemble d'instruments .... 583
Bloc-fusibles sous le capot 585
Disjoncteurs et fusibles 583
Essuie-glace 582
G
Gestion de la puissance electrique 217
Glaces 140
Électrique 141
Glaces de custode 141
Glaces electriques de custode 142
Gonflement - Pression des pneus 535
Guides de comport de ceinture de sécurité 55
H
Haute vitesse,Pneus 537
Hayon 138
Huile
Huile pour moteur 484
Indicateur d'usure d'huile à moteur 487
Témoin de pression 256
Hypnose de la route 438

Identification du vehicule
Étiquette d'identification des pièces de rechange 581
Numéro (NIV) 580
Indicateur
Compteur de vitesse 243
Tachymetre 243
Indicateur du régulateur de vitesse automatique 258
Information sur le centre d'assistance à la clientèle
Assistance technique aux utilisateurs de téléSCRIPTeurs 620
Bureau d'assistance à la clientèle 620
Comment signaler les défectuosités prompettant la sécurité au gouvernement canadien 631
Comment signaler les défectuosités prompettant la sécurité au gouvernement des États-Unis 631
Procedure de satisfaction de la clientèle .... 616
Programme d'assistance routiere 621
Information sur le centre d'assistance à la clientèle (suite)
Remboursement au titre duProgramme de Mobilité GM 621
Renseignements sur la commande de guides de réparation 632
Installation électrique
Bloc-fusibles d'ensemble d'instruments .... 583
Bloc-fusibles sous le capot 585
Câblage des phares 582
Disjoncteurs et fusibles 583
Equipementelectrique complémentaire..... 581
Fusibles d'essuie-glace 582
Glaces à commande électrique et autres équipements électriques 582
Intensité d'éclairage du tableau de bord 214

Jauge
Carburant 259
Température du liquide de refroidissement 252
K
Klaxon 201
L
Laisser le moteur tournier lorsque le vehicule est stationné 164
Lampes Plafonnier 215
Lave-glace 205
Levier des clignants/multifonction 202
Levier du régulateur de vitesse automatique 207
Liquide Boite-pont automatique 491
Lave-glace 507
Servodirection 506
Liquide de refroidissement
Chauffe-liquide de refroidissement du moteur 152
Indicateur de température du moteur 252
Liquides et lubriciants recommends 607
Liseusesarriere 217
Liseuses avant 217
M
Manoeuvre de dépassement 426
Message
Avertissements et messages
du centralisateur informatique
de bord 270
Messages radio XM 333
Mode de protection contre le surchauffedu moteur 500
Monoxyde carbone 138, 163, 442, 455
Mateur
Aperçu du compartment moteur 482
Batterie 513
Chauffe-liquide de refroidissement 152
Démarrage 150
Disposition de la courroie d'entrainment 610
Filtre a air 489
Huile 484 Indicateur de tempereature du liquide de refroidissement 252
Indicateur d'usure d'huile à moteur 487
Liquide de refroidissement 493
Mode de fonctionnement de protection contre la surchauffe du moteur 500
Moteur (suite)
Surchauffe 497
Système d'échéppement 163
Témoin d'anomalie et d'entretien du moteur 252
MP3 326
MyGMLink.com 619
N
Nettoyage
Cuir 573
Entretien du dessous de la carrosserie .... 578
Eclairage exerieur et lentilles 575
Intérieur de votre vehicule 570
Joints d'étanchéité 574
Lavage du vehicule 574
Pare-brise, lunette arriere et lames d'essuie-glace 576
Pneus 577
Roues en aluminium 576
Soin de finition 575
Tableau de bord, vinyle, et autres surfaces en plastique 573
Tissu et tapis 572
0
Où installer l'appareil de retenue 70
Ouvre-porte de garage 172, 173
P
Pare-brise
Liquide de lave-glace 507
Nettoyage de pare-brise, lunette
arrière et lames d'essuie-glace 576
Remplacement des balais 525
Pare-soleil 142
Passage à la position de stationnement (P) 159
Passage hors de la position de stationnement (P) 161
Passager - Témoin de l'etat du sac gonflable du passager 246
Passagers du siège arrêté, ceintures de sécurité 52
PASS-KeyMD III 145
Peinture endommagée par retombées chimiques 578
Personnalisation du vehicule CIB 294
Perte de contrôle 428
Phares Ampoules à halogène 520
Avertisseur de dépassement 204
Carillon de rappel 212
Commande de feuix de route et
feux de croissement 204
Feux de circulation de jour et phares automatique 212
Phares activés par les essuie-glace 212
Phares et feu de gabarit 520
Protection antidécharge de la batterie 218
Remplacement des ampoules 519
Phares activés par les essuie-glace 212
Phares et feu de gabarit 520
Pièces de rechange d'entretien normal 609
Plafonnier 215
Plateau rabatable 188
Pneu creve,entreposage 566
Pneuderechange Installation 557
Pneus 526
Accessoire de gonflage 548
Achat de pneus neufs 540
Pneus (suite) Au cas d'un pneu à plat 550
Chaines a neige 547
Changer un pneu à plat 552
Classification uniforme de la qualite des pneus 543
Dépose du pneu de rechange et des outil 553
Dépose d'un pneu creve 557
Dimensions variees 542
Entreposage d'un pau neve ou d'un
pneu de rechange et desoutils 566
Etiquette sur paroi latérale du pneu 527
Fonctionnement à haute vitesse 537
Gonflement - Pression des pneus 535
Inspection et permutation 538
Installation du pneu de rechange 557
Nettoyage 577
Pneudecourscompact 569
Quand faut-il remplacer les pneus? 539
Remplacement de roue 545
Réglage de la géométrie et équilibrage des pneus 545
Roues en aluminium, nettoyage 576
Serrure secondaire 563
Terminologie et definiptions 532
Port adequat des ceintures de sécurité 40
Porte coulissante electrique 128
Porte-bagages 190
Porte-gobelets 185
Portes Déverrouillage automatique programmable des portes 125
Dispositifs de verrouillage 121
Double portes coulissantes 125
Porte coulissante electrique 128
Portes à verrouillage électrique 123
Verrouillage central 124
Verrouillage retardé 123
Position du passager - côté avant droit, ceintures de sécurité 51
Positions du commutateur d'allumage 149
Prétendeurs, ceinture de sécurité 58
Prises electriques pour accessoires 223
Programme d'entretien Au moins une fois par an 604
Au moins une fois par mois 603
Ce vehicule et I'environnement 592
Chaque fais que vous faites le plein 602
Conditions d'entretien 592
Entretien periodique 595
Fiche d'entretien 611
Introduction 592
Programme d'entretien (suite)
Liquides et lubrifiants recommends 607
Notes en bas de page 599
Pièces de rechange d'entretien normal 609
Réparations additionelles requises 598
Utilisation de votre programme d'entretien 593
Vérifications et services par le propriété 602
Prolongation de l'alimentation des
accessoires 150
Propriétaires canadiens 3
Q
Questions et réponses au sujet des ceintures de sécurité 39
R
Radios 306
Comprehension de la réception radio 405
Dispositif antivol 403
Entretien des disques compacts et DVD 406
Entretien du lecteur de disques compacts et DVD 407
Radios (suite)
Radio avec lecteur de disques compacts 308
Réglage de l'heure 308
Système audio arrêté 375, 378
Système de navigation/radio 335
Rallonge de la ceinture de sécurité 58
Réglage de bouche de sortie 233
Réglage de la ventilation 233
Réglage de l'heure 308
Réglage du niveau de carillon 407
Remboursement au titre du Programme de Mobilité GM 621
Remorquage
Traction d'une remorque 455
Vehicule récréatif 453
Votrecvehicule 453
Remplacement des ampoules 519
Ampoules de rechange 525
Ampoules à halogène 520
Clignotants avant, feu de stationnement et feu de circulation de jour 522
Eclairage de plaque d'immatriculation 524
Feuxarriere,clignotant,feuxd'arrêt etfeuxde recul 523
Remplacement des pieces des dispositifs de sécurité après une collision 106
Renseignements relatifs au service à la clientèle Commentsignaler les défectuosités compromettant la sécuritéa Saturn 632
Reprise tout terrain 426
Rétroviseurs 165
Rétroviseur extérieur convexe 167
Rétroviseur à commande manuelle 165
Rétroviseurs extérieurs chauffants 167
Rétroviseurs extérieurs à commande électrique 166
Régleur de hauteur de la ceinture de baudrier 50
Réparation de dommages par collision 626
Réparation de votre vehicule muni de sacs gonflables 104
Rodage de vehicule neuf 148
Rouede secours Rangement 566
Roues Dimensions variees 542
Géométrie et équilibrage des roues 545
Remplacement 545
Routes onduleuses et de montagne 439
s
Sacs gonflables 88
Ajout d'equipement à un vehicule muni de sacs gonflables 105
Dequellefaqonle sacgonfable retient-il? 95
Mise en etat de fonctionnement 245
Où se trouvent les sacs gonflables? 91
Quand un sac gonflable doit-il se gonfler? 93
Queverrez-vousapresle déploiemed d'un sac gonflable? 96
Qu'est-ce qui entraîne le déploiement d'un sac gonflable? 95
Réparation de votre vehicule muni de sacs gonflables 104
Système de détention des occupants 99
Témoin de l'etat du sac gonfable du passager 246
Sacs gonflables, module de détction et de diagnostic 625
Secouer le vehicule pour le sortir 447
Serrure secondaire 563
Si vous estes pris dans le sable/ la boue/la neige/sur la glace 446
Sièges
Appuis-têtes 15
A commande manuelle 9
Fonctionnement du siege arriere 15
Sièges baquets arrrière 16
Siègescapitaines 24
Sièges chauffants 11
Sièges de la troisième rangée 29
Sièges à commande électrique 10
Sièges à dossier inclinable 12
Signaler les défectuosités prompressant la sécurité
Gouvernement 631
Gouvernement canadien 631
Signaler les défectuosités promommant lasecurité
Saturn 632
Signaux de changement de direction et de changement de voies 203
StabiliTrakMD 420
Stationnement
Assistance ultrasonique 220
Au-dessus de matieres qui brulent 162
Frein de stationnement 158
Stationnement (P)
Passage à la position 159
Passage hors de la position 161
Système audio arrêté 375, 378
Système d'antenne autoradio satellite XMMC 407
Système de climatisation à deux zones 230
Système de détention des occupants 99
Système de divertissement intégré au siècle arrière 335, 355
Système de freinage antiblocage, Témoin d'ajretissement 250
Système de freinage antiblocage (ABS) 416
Système de media numérique mobile 380
Système de navigation/radio 335
Système de refroidissement 500
Système de régulation de la climatisation arrière 234, 236
Système de régulation de température
Filtre à air, habitacle 239
Réglage de bouche de sortie 233
Système de télécommande maison universel 172, 173 Fonctionnement 174, 180
Système OnStarMD 168
Systèmes antivol 143
Contenu antivol 143
Systèmes audio
Système d'antenne autoradio satellite
XMMC (États-Unisseulement) 407
T
Tableau de bord
Aperçu 198
Ensemble d'instruments 242
Tachymetre 243
Télédéverrouillage 112
Télédéverrouillage, Fonctionnement 114
Témoin
Bas nivea de carburant 259
Etat du sac gonflable du passager 246
Feux de route 258
Mise en etat de fonctionnement des sacs gonflables 245
Pression d'huile 256
Rappel de bouclage de la ceinture de sécurité du passager 244
Régulateur de vitesse automatique 258
Sécurité 258
Témoin (suite)
Système de charge 248
Système de traction asservie 251
Témoin d'anomalie 252
Témoin de rappel des ceintures de sécurité 243
Témoin du système de freinage 249
Témoin du système de freinage antiblocage 250
Temporisation
Éclairage temporisé 216
Tôle endommagée 577
Totalisateur partiel 243
Traction
Système de traction asservie (TCS) 419
Système StabiliTrakMD 420
Témoin du système 251
Troisième rangée - Sièges de la troisième rangée 29
U
Utilisation de votre guide 4
V
Véhicule
Avertissements concernant des
dommages 5
Chargement 447
Contrôle 414
Symboles 5
Vérification
Témoin du moteur 252
Vérification de l'appareil de retenue 106
Remplacement des pieces des dispositifs de sécurité après une collision 106
Vérification sous le capot 480
Vérifications et services par le propriétaire 602
Verrouillage central 124
Verrouillage retardé 123
Volant inclinable 201
Notice Facile