WRX (2011) - Automobile SUBARU - Notice d'utilisation et mode d'emploi gratuit
Retrouvez gratuitement la notice de l'appareil WRX (2011) SUBARU au format PDF.
| Intitulé | Détails |
|---|---|
| Type de produit | Automobile sportive compacte |
| Moteur | 2.5L Turbo Flat-4 |
| Puissance | 265 ch à 6 000 tr/min |
| Couple | 350 Nm à 4 000 tr/min |
| Transmission | Manuelle à 5 vitesses ou automatique à variation continue (CVT) |
| Dimensions (L x l x H) | 4 460 mm x 1 780 mm x 1 470 mm |
| Poids | 1 450 kg |
| Capacité du réservoir | 60 litres |
| Consommation de carburant (mixte) | 9,0 L/100 km |
| Émissions de CO2 | 210 g/km |
| Système de sécurité | ABS, EBD, contrôle de traction, airbags frontaux et latéraux |
| Équipements de confort | Climatisation, système audio avec Bluetooth, sièges sport |
| Entretien et nettoyage | Vidanges régulières, contrôle des freins, nettoyage des filtres |
| Pièces détachées et réparabilité | Disponibilité élevée des pièces, réparabilité modérée |
| Garantie | 3 ans ou 100 000 km |
| Informations générales | Modèle emblématique de Subaru, réputé pour sa performance et sa maniabilité |
FOIRE AUX QUESTIONS - WRX (2011) SUBARU
Questions des utilisateurs sur WRX (2011) SUBARU
0 question sur cet appareil. Repondez a celles que vous connaissez ou posez la votre.
Poser une nouvelle question sur cet appareil
Téléchargez la notice de votre Automobile au format PDF gratuitement ! Retrouvez votre notice WRX (2011) - SUBARU et reprennez votre appareil électronique en main. Sur cette page sont publiés tous les documents nécessaires à l'utilisation de votre appareil WRX (2011) de la marque SUBARU.
MODE D'EMPLOI WRX (2011) SUBARU
Toutes nos félicitations pour avoir choisi un vehicule SUBARU. Ce Manuel du conducteur contient tous les renseignements indispen-sables pour maintainir votre SUBARU en parfait état, y compris les systèmes antipollution. Pour apprendre à connaître votre vehicule et la manière de s'en servir, nous vous conseillons de prendre la peine de dire attentivement ce manuel. Pour tout renseignement complémentaire ne figurant pas dans le Manuel du conducteur, par exemple sur la manière d'effectuer une réparation ou un réglage, veuillez vous adresser au concessionnaire SUBARU chez qui vous avez acheté votre SUBARU ou au concessionnaire SUBARU le plus proche.
Les informations, caractéristiques et illustrations contenues dans ce manuel sont à jour à la date d'impression du manuel. FUJI HEAVY INDUSTRIES LTD. se reserve le droit de modifier les caractéristiques et la presentation à tout moment sans préavis et sans encourir l'obligation d'effectuer des modifications identiques ou similaires sur les vehicules vendus précédemment. Ce Manuel du conducteur est commun à tous les modèles et présente l'ensemble des équipements, y compris les options montées en usine. De ce fait, certaines explications peuvent concerner des équipements dont votre vehicule n'est pas pourvu.
À la revente, prière de laisser ce manuel dans le vehicule. L'acheteur en aura besoin.
Ce manuel couvre les types de vehicule suivants.




000681
1) Modèles 4 portières sans turbo
2) Modèles 5 portières sans turbo et OUTBACK
3) Modèles 4 portières turbo
4) Modèles 5 portières turbo
Garanties
Garanties pour les États-Unis
Tous les vehicules SUBARU distribués par Subaru of America, Inc. et vendus par les concessionnaires agreés SUBARU aux États-Unis sont couverts par les garanties suivantes:
- Garantie Limitée SUBARU
- Garantie des systèmes antipollution
- Garantie des performances en matière de gaz d'échéppement
Voutrouvez toutes les informations utiles sur les garanties, y compris la presentation détaillée de la couverture et des exclusions, dans le "Livret de Garantie et d'Entretien". Veuillez tire attentivement ces clauses de garantie.
Garanties pour le Canada
Tous les vehicules SUBARU distribués par Subaru Canada, Inc. et vendus par les concessionnaires agrées SUBARU au Canada sont couverts par les garanties suivantes:
- Garantie Limitée SUBARU
- Garantie anticorrosion
- Garantie antipollution
Voutrouverez toutes les informations
utiles sur les garanties, y compris la presentation détaillée de la couverture et des exclusions, dans le "Livret de Garantie et d'Entretien". Veuillez tire attentivement ces clauses de garantie.
Modèles avec phares HID

ATTENTION
Les phares à décharge sous haute intensité (HID) contiennent du mercure. Pour cette raison, il est indISPENSABLE d'enlever les phares HID avant de se débarrasser du vehicule. Une fois démontes, les phares HID doivent être réutilisés, recyclés ou jetsés selon les règles applicables aux déchets potentiellement dangereux.
Modèles sans phares HID REMARQUE
Ce vehicule ne renferme aucun dispos- titif ou piece contenant du mercure.
Comment utiliser ce Manuel du conducteur
Utilisation du Manuel du conducteur
Avant de prendre la route avec votre nouveau vehicule, lisez attentivement ce manuel. Vous y trouvez les renseignements indispensablees pour garantir vosurescURITY et assurer la longevite de cette vehicule.Le non-respect des instructions peut etre a l'origine de graves blessures ou de dommages au niveau du vehicule.
Ce manuel se compose de quatorze chapitres. Chaque chapitre commence par une brève table des matières, vous permettant de savoir au premier coup d'eel s'il contient le renseignement cherché.
Chapitre 1: Sièges, ceintures de sécurité et coussins de sécurité SRS
Ce chapitre contient des informations relatives à l'utilisation des sièges et des ceintures de sécurité, et aux précautions à observer à propos des coussins de sécurité SRS.
Chapitre 2: Clés et portières
Ce chapitre contient des informations relatives à l'utilisation des clés, des serrures et des vitres de portière.
Chapitre 3: Instruments et commandes
Ce chapitre contient des informations relatives au fonctionnement des instruments et témoins du tableau de bord, et à l'utilisation des instruments et autres commandes.
Chapitre 4: Climatisation
Ce chapitre contient des informations relatives à l'utilisation des commandes de climatisation.
Chapitre 5: Equipement audio
Ce chapitre contient des informations relatives à l'utilisation du système audio.
Chapitre 6: Équipements intérieurs
Ce chapitre contient des informations relatives au fonctionnement des équipements de l'habitacle.
Chapitre 7: Demarrage et conduite
Ce chapitre contient des informations relatives à la mise en marche et à la conduite de votre SUBARU.
Chapitre 8: Conseils de conduite
Ce chapitre contient des informations relatives à la conduite de votre SUBARU dans les conditions les plus variees, ainsi que des conseils pour une conduite en toute sécurité.
Chapitre 9: En cas d'urgence
Ce chapitre vous explique ce qu'il faut faire en cas de difficulté lors de la conduite, comme un pneu creve ou une
surchauffedumoteur.
Chapitre 10: Soins du vehicule
Ce chapitre explique comment conserver votre SUBARU en bel état.
Chapitre 11: Entretien et réparations
Vous trouvrez dans ce chapitre les intervalles auxquelsVote SUBARU doit etre confiee au concessionnaire pour des travaux d'entretien periodique,aisin que des informations sur les operations d'entretien qui vous permittright de conserver voire SUBARU en bon etat de marche.
Chapitre 12: Caracteristiques techniques
Ce chapitre présente les caractéristiques techniques (dimensions, volumes, etc.) de votre SUBARU.
Chapitre 13: Informations au consommateur et déclaration en cas de défaut de sécurité
Ce chapitre présente la notation standardisée des qualités de pneumatiques et la procédure de déclaration en cas de défaut de sécurité.
Chapitre 14: Index
Cet index est une liste alphabetique de tous les sujets traités dans le manuel. Il vous permet de tracer rapidement la page traitant du sujet que vous recherchez.
■ Mises en garde concernant la sécurité
Tout au long de ce manuel, vous trouvezez un certain nombre de mises en garde signalées à votre attention par la mention "DANGER", "ATTENTION" ou "REMARQUE".
Elles vous avertissent de situations potentiellement dangereuses, susceptibles d'occasionner des blessures, sur vous même ou sur les personnes se trouvant aproximé.
Pour apprendre à utiliser votre vehicule SUBARU en toute sécurité, prenez la peine de litre attentivement ces mises en garde comme les autres explications du manuel.

DANGER
La mention "DANGER" attire toute attention sur une situation pouvant entrainer des blessures graves voire mortelles si les consignes données ne sont pas respectées.

ATTENTION
La mention "ATTENTION" met en garde contre un risque de blessure ou d'endommagement du vehicule
si les consignes données ne sont pas respectées.
REMARQUE
La mention "REMARQUE" indique des informations ou suggestions pour une utilisation optimale de votre vehicule.

■ Symbole de sécurité
Ce symbole représentant un cercle barre apparait en plusieurs points du manuel. Selon le contexte, il attire votre attention sur chaque chose d'interdit ou à ne pas faire, ou sur une situation que vous ne devez pas laisser se produit.
■ Listed'abréviation
Vous trouvrez dans ce manuel plusieurs abréviations. Les significations de ces abréviations sont montrées dans la liste suivante.
| Abréviation | Signification |
| A/C | Climatisationur |
| A/ELR | Enrouleur à blocage automa-tique/d'urgence |
| ABS | Système de freins antiblocage |
| AKI | Indice anti-cliquetis |
| ALR | Enrouleur à blocage automa-tique |
| ATF | Liquide de transmission auto-matique |
| AWD | Traction intégrale |
| B/M | Boîte de vitesses manuelle |
| BVA | Boîte de vitesses automatique |
| DCCD | Différentiel de centre de contrôle conducteur |
| DRL | Éclairage pour conduite de jour |
| EBD | Répartition électronique de la force de freinage |
| ELR | Enrouleur à blocage d'ur-gence |
| FWD | Traction de roues avant |
| GAW | Poids maximal sur l'essieu |
| Abréviation | Signification |
| GAWR | Poids nominal brut sur l'essieu |
| GVW | Poids total en charge |
| GVWR | Poids nominal brut du véhicule |
| HID | Décharge sous haute inten-sité |
| INT | Balayage intermittent |
| LATCH | Ancrages inférieurs et longes pour enfants |
| LED | Diode élctroluminescente |
| LSD | Différentiel à mouvement li-mité |
| MIL | Témoin indicateur d'anomalie de fonctionnement |
| MMT | Méthylcyclopentadienyl man-ganèse tricarbonyle |
| OBD | Diagnostic embarqué |
| SI-DRIVE | SUBARU Intelligent Drive |
| SRS | Système de retenue supplémentaire |
| TIN | Numéro d'identification de pneus |
| TPMS | Système de surveillance de la pression des pneus |
| VDC | Contrôle de dynamique du vehicule |
Pictogrammes utilisés sur le vehicule
Voutrouverez ci-dessous la signification de certains pictogrammes figurant sur voitre vehicule.
Pour les témoins avertisseurs et indicateurs, reportez-vous à “Témoins avertisseurs et indicateurs” 24.
| Repère | Signification |
| ! | DANGER |
| ! | ATTENTION |
| Verrouillage électrique des portières (modèles turbo) | |
| Déverrouillage électrique des portières (modèles turbo) | |
| Verrouillage et déverrouillage électrique des portières (modèles sans turbo) | |
| Verrouillage et déverrouillage des lève-vitres passagers | |
| A | Lève-vitre électrique avec fonction d'ouverture (tous modèles) et de ferméture automatique (selon modèles) |
| Carburant |
| Repère | Signification |
| ‡D | Phares antibrouillard avant |
| Δ | Feux de détresse |
| C | Capot moteur |
| C | Coffre à bagages (4 portières) |
| S | Sièges chauffants |
| t | Ancrages de longe supérieure de dispositif de retenue pour enfants |
| Ancrages inférieurs de retenue pour enfants | |
| Avertisseur sonore | |
| Essuie-glace intermittent | |
| Lave-glace de pare-brise | |
| PULL MIST | Bruine d'essuie-glace de pare-brise (pour balayage unique) |
| REAR | Essuie-glace de lunette arrière |
| Lave-glace de lunette arrière | |
| - | Éclairages |
| EOD | Feux arrêtère, éclairage de plaque d'immatriculation et éclairage du tableau de bord |
| D | Phares |
| Clignotant de direction | |
| Intensité lumineuse | |
| Vitesse de soufflante | |
| Sorties du tableau de bord | |
| Sorties du tableau de bord et sorties vers les pieds | |
| Sorties vers les pieds |
| Repère | Signification |
| Sorties de dégivrage du pare-brise et sorties vers les pieds | |
| Dégivreur du pare-brise | |
| Désembumeur de lunette arrière/Désembumeur de rétrovi-seur extérieur/Dégivreur d'es-suie-glace de pare-brise | |
| Recyclage d'air | |
| Huile moteur | |
| Lave-glace | |
| Verrouillage de portière(transmetteur) | |
| Déverrouillage de portière(transmetteur) | |
| Ouverture coffre à bagages (4 portières) ou déverrouillage hayon (5 portières) (transmet-tein) |
Précautions de sécurité pendant la conduite
■ Ceintures de sécurité et coussins de sécurité SRS

DANGER
- Toutes les personnes à bord du vehicule doivent boucler leur ceinture de sécurité AVANT que le vehicule ne démarre. Dans le cas contraire, le risque de blessure grave est beaucoup plus élevé en cas d'arrêt brusque ou d'accident.
Pour bénéficier de la(Meilleure protection possible en cas d'accident,le conducteur et tous les passagersdoivent toutjours avoir leur ceinture de sécurité bouclée lorsque le vehicule roule. Les coussins de sécurité SRS (Système de Retenue Supplémentaire) ne dispensent pas du port de la ceinture de sécurité.En combinaison avec les ceintures de sécurité,ils assurenta meilleure protection possible en cas d'accident grave.
Ne pas porter de ceinture de sécurité augmente le risque de
blessures graves ou mortelles en cas de collision, même si le vehicule est équipé de coussins de sécurité SRS.
- Les coussins de sécurité SRS se déploient très rapidement avec une énergie considérable. Les personnes qui ne se tiennent pas assises correctement sur leur siège lorsque le coussin de sécurité SRS se déploie risquent d'être gravesment blessées. Les coussins de sécurité SRS occupt assez d'espace lorsqu'ils se déploient, le conducteur doit se tener aussi au fond de son siège, bien droit contre le dossier, et se tener éloigné du volant autant que le permet le maintain d'une parfaite maitrise du vehicule. Le passager avant doit recycler son siège au maximum et se tener au fond du siège, bien droit contre le dossier.
Lisez attentivement les sections suivantes pour les conseils et précautions.
Pour le système de ceintures de sécurité, reportez-vous à "Ceintures de sécurité" 1-11.
Pour le système de coussins de sécurité SRS, reportez-vous à "Coussin
de sécurité *SRS (Système de Retenue Supplémentaire)" 1-37.
Sécurité des enfants

DANGER
- Ne tenez jamais un enfant sur vos genoux ou dans vos bras pendant que le vehicule roule. En cas de collision, il vous serait impossible de proteter l'enfant, qui se couverait pris entre votre corps et les structures du vehicule.
- Lorsqu'ils voyagent à bord du vehicule, les nourrissons et les enfants en bas âge doivent toujours être installés sur le siege ARRIÈRE dans des systèmes de retenue pour nourrisson ou enfant appropriés à leur âge, leur taille et leur poids. Si un enfant est trop grand pour utiliser un système de retenue pour enfant, il faut l'inverterer sur le siege ARRIÈRE et l'attacher avec la ceinture de sécurité du siège. Les statistiques d'accidents pouvant que les enfants sont plus en sécurité lorsqu'ils sont correctement attachés sur les
sièges arrrière plutôt que sur les sièges avant. Ne laïsez jamais un enfant se tenirABOUT ou à genoux sur le siège.
- Les enfants âgés de moins de 12 ans doivent voyager toujours sur le siège ARRRIERE correctement attachés dans un système de retenue pour enfant ou avec la ceinture de sécurité. Le coussin de sécurité SRS se déploie très rapidement avec une energia considérable, et il peut blesser ou même tuer un enfant qui n'est pas attaché ou mal attaché. Plus légers et moins robustes que les adultes, les enfants sont plus exposés au risque de blessures par déploiement du coussin de sécurité.
N'INSTALLALLEZ JAMAIS UN SIÉGE POUR ENFANT TOURNÉ VERS L'ARRIÈRE SUR LE SIÉGE AVANT. L'ENFANT SE TROUVERAIT TROP PRÉS DU COUSSIN DE SECURITE SRS, ET SERAIT DONC EXPOSE À DES RISQUES DE BLESSURES GRAVES VOIRE MORTELLES. - Mettez toujours les verrous de sécurité pour enfants en position "LOCK" lorsque des enfants se
trouvent sur le siège arrière. Un accident grave pourrait se produit si un enfant ouvrait accidentellement une portière et tombait du vehicule. Reportez-vous à "Verrou de sécurité pour enfants" 2-23.
La commande de condemnation des lève-vitres passagers doit toujours être enclenchée lorsqu'il y a des enfants à bord du vehicule. Dans le cas contraire, les enfants pourraient se blesser en manipulant les lève-vitres électriques. Reportez-vous à "Vitres" 2-24.
- Ne laïsez jamais des enfants, des adultes ou des animaux sans surveillance dans le vehicule. Ils pourraient se blesser ou provoquer un accident en manipulant accidentellement les commandes du vehicule. En outre, par temps chaud ou ensoleillé, la température à l'intérieur d'un vehicule fermé peut rapidement s'élever au point d'entraîner des malaises graves voire mortels.
- Pensez à prévenir le risque d'enfermement des enfants, des adultes et des animaux dans le coffre à bagages. Par temps chaud ou
ensoleillé, la température à l'intérieur d'un coffre devient assez élevée pour entrainer rapidement la mort ou de graves affections pour une personne qui serait enfermée à l'intérieur, surtout chez les jeunes enfants qui sont très vulnables aux léasons cérébrales produites par l'exposition à la chaleur.
Lorsque you quittez le vehicule, fermez toutes les vitres et verrouillez toutes les portieres. Verifiez également que le coffre est bien fermé.
Lisez attentivement les sections suivantes pour les conseils et précautions.
Pour le système de ceintures de sécurité, reportez-vous à "Ceintures de sécurité" 1-11.
Pour le système de retenue pour enfant, reportez-vous à "Systèmes de retenue pour enfant" 1-23.
Pour le système de coussins de sécurité SRS, reportez-vous à "Coussin de sécurité *SRS (Système de Retenu Supplémentaire)" 1-37.
Gaz d'échéppement du moteur (monoxyde de carbone)

DANGER
- Ne respirez jamais les gaz d'échéppement du moteur. Le monoxyde de carbone contenu dans les gaz d'échéppement du moteur est incolore et inodore, mais son inhalation est dangereuse voire mortelle.
- Maintenez toujours le système d'échévement en bon état pour éviter que les gaz d'échévement du moteur ne pénétre dans le vehicule.
- Ne laïsez jamais tournier le moteur du vehicule dans un garage ou un local fermé, sauf pendant le minimum de temps nécessaire à l'entrée ou à la sortie du vehicule.
- Évitez de rester longtemps dans le vehicule en stationnement en laissant le moteur en marche. Si vous ne pouze l'éviter, mettez la soufflante de ventilation en marche pour forcer l'entrée d'air frais dans le vehicule.
Pour que le système de ventila
tion puisse fonctionner normalement, débarrassée la grille de la prise d'air de ventilation avant de la neige, des feuilles ou des autres corps étrangers qui l'encombrent.
- Si vous avez l'impression que les gaz d'échéppement pénétrent dans le vehicule, faites contrôle et réparer le vehicule au plusôt. Si vousdezutiliserlevehicule dans cet état, roulez avec toutes les vitresgrandes ouvertes.
Pour éviter que les gaz d'échépement ne penènt dans le vehicule, ne roulez pas avec le coffre à bagages ou le hayon ouvert.
Alcool et conduite

DANGER
Il est très dangereux de conduire après avoir bu. La présence d'alcool dans le sang rend les réflexes plus lents et amoindrit les facultés sensorielles, la vigilance et la sureté de jugement. Prendre le volant après avoir bu, même peu, augmente le risque d'accident grave voire mor
tel, pour vous comme pour les personnes alentour. En outre, en cas d'accident, l'alcool est un facteur d'accroissement de la gravité des blessures.
Ne conduisez pas après avoir bu.
La conduite en état d'avresse compte parmi les causes d'accident les plus féquentes. Les effets de l'alcool varient d'une personne à l'autre, et il est possible que vous ayez trop bu pour conduire en toute sécurité, même avec un taux d'alcool dans le sang inférieur à la limite tolérée par la loi. Le plus sur est de ne pas conduire après avoir bu. Si vous aze bu et ne pouvez faire autrement que de conduire, arrêtez de boire et, avant de prendre le volant, attendez que les effets de l'alcool se soient complètement dissipés.
■ Médicaments et conduite

DANGER
Certains medicaments (en vente libre ou sur ordonnance) rendent les réflexes plus lents et amoindrissent les facultés sensorielles, la vigilance et la sureté de jugement. Si vous conduisez après avoir pris
de tels médicaments, vous courez le risque d'être gravement blessé ou de vous tuer, et vous faites courir ce risque à d'autres personnes.
Si vous prenez des médicaments, renseignez-vous auprès de votre médecin ou de leur pharmacien, ou lisez la notice fournie avec ces médicaments, pour savoir s'ils sont susceptibles de nuire à vos facultés de conduite. Ne conduisez pas après avoir pris un Médicament provoquant une certaine somnolence ou affectant les réflexes indispensablees à la conduite d'un vehicule automobile en toute sécurité. Si vous état de santé vous oblige à prendre des médicaments, n'oubliez pas de demander l'avis de votre médecin à ce sujet.
Ne conduisez jamais sous l'influence d'un stupéfiant interdit par la loi,quel qu'il soit. Pour vous santé et votre bien-être, nous vous déconseillons vivement de prendre des drogues ou stipéfiants interdits par la loi, et de suivre un traitement dans le cas où vous seriesez sous la dépendance d'une telle substance.
Fatigue, sommeil et conduite

DANGER
La fatigue et le sommeil rendent les réflexes plus lents et amoindrissant les facultés sensorielles, la vigilance et la suture de jugement. La conduite en état de fatigue ou de somnolence vous expose, ainsi que les personnes alentour, à des risques de blessures graves voire mortelles.
Si vous vous sentez fatigué ou si vous avec sommeil, ne persistez pas à conduire mais cherchez只不过 un endroit sur pour stationner et vous reposer. Au cours de longs déplacements, faites des pauses à intervalles réguliers pour vous détendre et reprendre la route dans de bonnes conditions. Dans la mesure du possible, partagez le temps de conduite avec les personnes vous encournant.
Modification du vehicule

ATTENTION
Modifiez votre vehicule avec des pieces ou accessoires SUBARU d'origine uniquement. Toute autre
type de modification risque d'en affecter les performances, la sécurité ou la longevité, et peut même constituer une infraction des reglements gouvernementales. En outre, les dégradations ou baisses de performances résultat de modifications ne sont pas couvertes par les garanties du vehicule.
Téléphone de voiture/cellulaire et conduite

ATTENTION
L'usage d'un téléphone de voiture ou d'un téléphone cellulaire par le conducteur l'empêche de porter toute son attention sur la conduite, ce qui peut entraîner un accident. Si vous téléphones tout en conduitant, il vaut moins s'arrêté sur l'accotement de la route avant d'utiliser le téléphone de voiture/téléphone cellulaire. Dans certains États/Provinces, il est interdit d'utiliser en conduitant un téléphone autre que de type mains libres.
Conduite de vehicules Equipés d'un système de navigation

DANGER
Ne vous laissez pas déconcentrer par l'écran d'affichage; gardez toute votre attention sur la conduite. Ne manipulez pas les commandes du système de navigation tout en conduitant. Vous risqueriez de vous déconcentrer et de provoquer un accident. Pour toute manipulation des commandes du système de navigation, commence par garer le vehicule dans un lieu sur.
■ Animaux deOMPagne à bord du vehicule
Un animal deOMPagnie non attaché risque de yous gener ou de yous distraire lors de la conduite.En cas de collision ou d'arrêt brusque, un animal ou une cage non attachée risque d'être projetée et de blesser les occupants du vehicule. En outre,l'animal risque lui-même d'être blessé.Pour voitre s'ecurité comme pour la leur,attachez de maniere adequate les animaux de compagnie voyageant à bord devoiture vehicule.II existence dans ce but des
harnais spéciaux se fixant au siège arrière par une ceinture de sécurité, ou bien installez l'animal dans un panier de transport et immobilisez le panier en passant une ceinture de sécurité dans la poignée du panier. N'attachez jamais un animal ou son panier de transport sur le siège du passager avant. Pour plus de précisions, renseignez-vous auprès d'un vétérinaire, d'une association de protection des animaux ou d'une boutique d'animaux de compagnie.
■ Pression des pneus
Contrôlez et, si nécessaire, réglez la pression des pneus (roue de secours comprise) au moins une fois par mois et avant chaque long trajet.
Vérifiez la pression des pneus quand les pneus sont froids. Utilisez un gonflaur à manomètre pour ajuster la pression à la valeur indiquée sur l'étiquette d'information des pneus. Pour de plus amples informations, reportez-vous à "Roues et pneus" 11-35.

DANGER
Rouler à grande vitesse avec des pneus trop peu gonflés peut entraîner une déformation importante et un échauffement rapide des pneus.
Une brusque élevation de la tempé
rature d'un pau ne peut entrainer le
décollement de la bande de roule
ment et la destruction du pau. Ceci
entrainerait une perte de contrôle du
vehicule, et des risques d'accident.
■ Avertissement sur la Proposition de l'etat de Californie 65

DANGER
Les gaz d'échévement des moteurs, certains de leurs composants, et certaines matières utilisées dans les vehicules contiennent ou émettent des substances reconnues par l'État de Californie comme cancérigènes ou susceptibles de cause des malformations à la naissance ou autres défauts de reproduction. De plus, certains fluides utilisés dans les vehicules et certaines composants provenant de l'usure de substances de l'automobile contiennent ou émettent des produits chimiques reconnus dans l'État de Californie comme cancérigènes ou susceptibles de cause des malformations à la naissance ou
autres defaults de reproduction.
■ Avertissement de l'etat de Californie sur le Perchlorate
Certsains composants du vehicule tels que les modules de coussin de sécurité, les pretensionneurs de ceinture de sécurité et les piles de la télécommande d'entrée sans clé peuvent contenir du perchlorate. Un traitement special peut être nécessaire pour une intervention d'entretien ou pour l'élimination du vehicule en fin de vie. Consultez
www.dtsc.ca.gov/hazardouswaste/ perchlorate pour plus de détails.
Table des matieres
| Sièges, ceintures de sécurité et coussins de sécurité SRS | 1 |
| Clés et portières | 2 |
| Instruments et commandes | 3 |
| Climatisation | 4 |
| Équipement audio | 5 |
| Équipements interieurs | 6 |
| Démarrage et conduite | 7 |
| Conseils de conduite | 8 |
| En cas d'urgence | 9 |
| Soins du vehicule | 10 |
| Entretien et réparations | 11 |
| Caracteristique techniques | 12 |
| Informations au consommateur et déclaration en cas de défaut de sécurité | 13 |
| Index | 14 |
Index illustré
Exterieur

000631
1) Capot moteur (page 11-5)
2) Commande des phares (page 3-36)
3) Remplacement des ampoules (page 11-52)
4) Commande d'essuie-glace (page 3-43)
5) Toit ouvrant opaque (page 2-32)
6) Serrures de portière (page 2-4)
7) Pression des pneus (page 11-37)
8) Crevaisons (page 9-6)
9) Pneus neige (page 8-12)
10) Commande des phares antibrouillard avant (page 3-41)
11) Crochets d'arrimage (page 9-15)
12) Crochet de remorquage (page 9-15)


000353
1) Désembueur de lunette arrête (page 3-55)
2) Volet et bouchon du réservoir de carburant (page 7-5)
3) Verrou de sécurité pour enfants (page 2-23)
4) Crochet d'arrimage (page 9-15)
5) Couvercle du coffre (page 2-27)
6) Hayon (page 2-30)
7) Crochet de remorquage (page 9-15)
Intérieur
Habitacle

1) Ancrages inférieurs pour le système de retenue pour infant (page 1-31)
2) Ceinture de sécurité (page 1-11)
3) Levier de frein de stationnement (page 7-46)
4) Siège avant (page 1-2)
5) Siège arrêté (page 1-7)

1) Console centrale (page 6-5)
2) Porte-gobelet (page 6-6)
3) Prise d'alimentation electrique avant (page 6-8)
4) Boîte à gants (page 6-5)

Tableau de bord
1) Serrures de portière (page 2-4)
2)Commande de rétroviseur extérieur (page 3-53)
3) Réglage d'intensité lumineuse (page 3-38)
4) Dispositif de réglage de portée des phares (page 3-39)
5) Commande de réglage des éclairages (page 3-36)
6) Instruments de bord (page 3-6)
7) Manette de commande des essuie-glaces (page 3-41)
8) Commutateur des yeux de détresse (page 3-6)
9) Équipment audio (page 5-1)
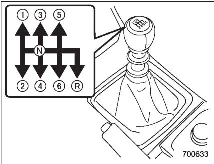
10) Levier de changement de vitesses (B/M) (page 7-17/page 7-20)/levier selecteur (BVA) (page 7-26)
11) Climatisation (page 4-1)
12) Régulateur de vitesse (page 7-51)
13) Avertisseur sonore (page 3-58)
14) Coussin de sécurité SRS (page 1-37)
15) Volant de direction à inclinaison réglable/ téléscopique (page 3-57)
16) Commandes mains libres (page 5-48)
17) Touches de commande audio (page 5-44)
18) Boîte à fusibles (page 11-50)
19) Commutateur de désactivation du Contrôle de Dynamique du Véhicule (page 7-43)/commutateur de mode de Contrôle de Dynamique du Véhicule (page 7-42)
20) Bouton d'ouverture du capot (page 11-5)
21) Lève-vitres électriques (page 2-24)
Commandes/manettes de réglage des éclairages et d'essuie-glace

1) Essuie-glace de pare-brise (page 3-43)
2) Bruine (page 3-44)
3) Lave-glace de pare-brise (page 3-44)
4) Commande d'essuie-glace et de laveglace de lunette arrête (page 3-44)
5) Interrupteur de réglage de la fréquence de balayage des essui-glaces intermittents (page 3-43)
6) Manette de commande des essuie-glaces (page 3-41)
7) Commande de réglage des éclairages (page 3-36)
8) Commande des phares antibrouillard (page 3-41)
9) ON/OFF des phares (page 3-36)
10) Inverseur feuux de route/feux de croissement (page 3-37)
11) Clignotants de direction (page 3-38)
Instruments de bord
Modèles Specification des États-Unis (STI)

1) Indicateur de niveau de carburant (page 3-11)
2) Compte-tours (page 3-10)
3) Indicateur de vitesse (page 3-9)
4) Molette de sélection compteur journalier A/B et de remise à zéro (page 3-9)
5) Compteur totalisateur/journalier (page 3-9)
6) Indicateur de températe (page 3-12)

ModèlespécificationdesÉtats-Unis (modèlesturbaufSTI)
1) Indicateur de niveau de carburant (page 3-11)
2) Compte-tours (page 3-10)
3) Indicateur de vitesse (page 3-9)
4) Molette de sélection compteur journalier A/B et de remise à zéro (page 3-9)
5) Compteur totalisateur/journalier (page 3-9)
6) Indicateur de position du levier sélecteur/ du rapport engagé (modèles BVA) (page 3-30)
7) Indicateur de températe (page 3-12)

ModèlespécificationdesÉtats-Unis (modèlessansturbo)
1) Compte-tours (page 3-10)
2) Indicateur de vitesse (page 3-9)
3) Indicateur de niveau de carburant (page 3-11)
4) Molette de selection compteur journalier A/B et de remise à zéro (page 3-9)
5) Compteur totalisateur/journalier (page 3-9)
6) Indicateur de position du levier sélecteur/ du rapport engagé (modèles BVA) (page 3-30)
7) Témoin avertisseur/indicateur de température du liquide de refroidissement (page 3-20)

Sauf modèles Specification des États-Unis (STI)
1) Indicateur de niveau de carburant (page 3-11)
2) Compte-tours (page 3-10)
3) Indicateur de vitesse (page 3-9)
4) Molette de sélection compteur journalier A/B et de remise à zéro (page 3-9)
5) Compteur totalisateur/journalier (page 3-9)
6) Indicateur de températe (page 3-12)
Sauf modèles Specification des États-Unis (modèles turbo sauf STI)

1) Indicateur de niveau de carburant (page 3-11)
2) Compte-tours (page 3-10)
3) Indicateur de vitesse (page 3-9)
4) Molette de sélection compteur journalier A/B et de remise à zéro (page 3-9)
5) Compteur totalisateur/journalier (page 3-9)
6) Indicateur de position du levier sélecteur/ du rapport engage (modèles BVA) (page 3-30)
7) Indicateur de températe (page 3-12)

Sauf modèles spécification des États-Unis (modèles sans turbo)
1) Compte-tours (page 3-10)
2) Indicateur de vitesse (page 3-9)
3) Indicateur de niveau de carburant (page 3-11)
4) Molette de sélection compteur journalier A/B et de remise à zéro (page 3-9)
5) Compteur totalisateur/journalier (page 3-9)
6) Indicateur de position du levier sélecteur/ du rapport engagé (modèles BVA) (page 3-30)
7) Témoin avertisseur/indicateur de tempé
rature du liquide de refroidissement
(page 3-20)
Témoins averisseurs et indicateurs
| Repère | Signification | Page |
| 台 | Témoin averitisseur de ceinture de sécurité | 3-16 |
| 台2 | Témoin averitisseur de ceinture de sécurité du passager avant | 3-16 |
| AIR BAG | Témoin averitisseur du système de coussin de sécurité SRS | 3-18 |
| ON / 2 | Témoin d'activation du coussin de sécurité frontal passager avant | 3-18 |
| OFF / 2 | Témoin de désactiva-tion du coussin de sécurité frontal passa-ger avant | 3-18 |
| CHECK ENGINE | Témoin averitisseur d'anomalie moteur CHECK ENGINE/ Témoin indicateur d'a-nomalie de fonction-nement | 3-19 |
| E | Témoin indicateur de températureasse du liquide de refroidisse-ment (modeles sans turbo)/Témoin averitisseur de température elevée du liquide de refroidissement (mo-dèles sans turbo) | 3-20 |
| Repèle | Signification | Page |
| Témoin averitisseur de charge | 3-21 | |
| Témoin averitisseur de pression d'huile | 3-21 | |
| AT OIL TEMP | Témoin averitisseur de surchauffe de l'huile de boîte de vitesses automatique AT OIL TEMP (modèles BVA) | 3-21 |
| R.DIFF TEMP | Témoin averitisseur de température d'huile du différentiel arrêté (STI) | 3-22 |
| ABS / (ABS) | Témoin averitisseur des freins antiblocage (ABS) | 3-24 |
| BRAKE / (1) | Témoin averitisseur du système des freins | 3-25 |
| Témoin averitisseur d'ouverture de portière | 3-26 | |
| AWD | Témoin averitisseur AWD (modèles BVA) | 3-27 |
| Témoin averitisseur d'assistance pour dé-marrage en côte (se-lon modèles)/Témoin indicateur de désacti-vation d'assistance pour démarrage en côte (STI) | 3-26 |
| Repère | Signification | Page |
| Témoin indicateur de fonctionnement du Contrôle de Dyna-mique du Véhicule | 3-27 | |
| Témoin avertisseur du Contrôle de Dyna-mique du Véhicule/ Témoin indicateur de désactivation du Contrôle de Dyna-mique du Véhicule/ Témoin indicateur de désactivation du contrôle de traction (STI) | 3-27 | |
| Témoins indicateurs des clignants de direction | 3-30 | |
| Témoin indicateur des yeux de route | 3-31 | |
| Témoin indicateur des phares antibrouillard avant (selon modèles) | 3-31 | |
| Témoin indicateur du système de sécurité | 3-29 | |
| Témoin indicateur des phares (selon modè-les) | 3-31 | |
| CRUISE | Témoin indicateur de régulateur de vitesse | 3-31 |
| SET | Témoin indicateur de réglage du régulateur de vitesse constante | 3-31 |
| Témoin averitisseur de bas niveau de carbu-rant | 3-26 | |
| Témoin averitisseur de basse pression des pneus (modèle spé-cification des États-Unis) | 3-22 | |
| SPORT | Témoin indicateur de mode SPORT (modèle BVA) | 3-30 |
| Témoin indicateur de passage au rapport supérieur (STI) | 3-30 | |
| AUTO | Témoin indicateur de différentiel automa-tique de centre de contrôle conducteur (STI) | 3-31 |
| AUTO←[+] | Témoin indicateur de mode Auto [+](STI) | 3-32 |
| [−]←AUTO | Témoin indicateur de mode Auto [−](STI) | 3-32 |
| Témoin indicateur et témoin averitisseur de différentiel de centre de contrôle conduc-teur (STI) | 3-32 |
| Repère | Signification | Page |
| ○ | Témoin indicateur de régime moteur (STI) | 3-32 |
| [S] | Témoin indicateur de mode Sport (S) (STI) | 3-30 |
| [I] | Témoin indicateur de mode Intelligent (I) (STI) | 3-30 |
| [S#] | Témoin indicateur de mode Sport Sharp (S#) (STI) | 3-30 |
Réglage des fonctions
Voupue demander a un concessionaire SUBARU de change le reglage des fonctions indique dans le tableau ci-dessous en fonction de vos exigences personelles. Pour plus de détails, adressez-vous à votre concessionaire SUBARU le plus proche. Si vous vehicule est equipé d'un système de navigation SUBARU d'origine, il est possible de régler certaines de ces fonctions sur le moniter de navigation. Pour de plus amples détails, reportez-vous au supplément du Manuel du conducteur traitant du système de navigation.
| Éléments | Fonction | Réglages possibles | Réglage par défaut | Page |
| Système d'alarme | Système d'alarme | Activé/désactivé | Activé | 2-17 |
| Délai avant début de la surveillance (après fermeture des portières) | 0 seconde/30 secondes | 30 secondes | 2-19 | |
| Fonctionnement des capteurs d'impact (modèles avec capteurs d'impact unique-ment [option concessionnaire]) | Activé/désactivé | Désactivé | 2-22 | |
| Armement passif | Activé/désactivé | Désactivé | 2-21 | |
| Allumage du plafonnier et lampes de lecture (modèles avec toit ouvrant opaque) | ON/OFF | OFF | 2-17 | |
| Allumage du plafonnier (modèles sans toit ouvrant opaque) | ||||
| Système d'entrée sans clé par télé-commande | Feux de détresse | Activé/désactivé | Activé | 2-8 |
| Signal sonore | Activé/désactivé | Activé | 2-11 | |
| Prévention du verrouillage avec clé à l'intérieur | Prévention du verrouillage avec clé à l'intérieur | Activé/désactivé | Activé | 2-7 |
| Système de démarrage à distance du moteur (option concessionnaire) | Confirmation via avertisseur sonore | ON/OFF | ON | 7-15 |
| Système de désembumer et de dégi-veur pour les modèles équipés de système de climatisation automa-tique | Désembumer de lunette arrête, désem-bueur de rétroviseur extérieur et dégivreur d'essuie-glaces de pare-brise | Fonctionnement pendant 15 minutes/Fonctionne-ment en continu | Fonctionnement pendant 15 minutes | 3-55 |
| Élément | Fonction | Réglages possibles | Réglage par défaut | Page |
| Plafonnier | Fonction de minuterie de désactivation du plafonnier/de la lampe de lecture | OFF/Court/Normal/Long | Long | 6-2, 6-3 |
| Lampe de lecture pour les modèles avec toit ouvrant opaque | ||||
| Fonction de prévention de déchar-gement de la batterie | Fonction de prévention de déchargement de la batterie | Activé/désactivé | Activé | 2-6 |
| Témoin de ceinture de sécurité | Émet un averissement sonore lors de la conduite de rétroviseur extérieur et dégi-vreur d'essuie-glaces de pare-brise | Activé/désactivé | Activé | 3-16 |
Sièges avant 1-2
Ajustement vers l'avant et vers l'arrière 1-3
Inclinaison du dossier 1-3
Ajustement de la hauteur du coussin de siège (siège du conducteur) 1-4
Ajustement des appuis-tete (selon modèles) 1-4
Appui-tete actif (selon modèles) 1-5
Sièges chauffants (selon modèles) 1-6
Siègechauffant de type A. 1-6
Siègechauffant de type B. 1-6
Sièges arrière 1-7
Accoudoir (selon modèles) 1-8
Ajustement d'appui-tete 1-8
Dossier arrière rabatable 1-9
Ceintures de sécurité 1-11
Conseils à propos des ceintures de sécurité 1-11
Enrouleur à blocage d'urgence (ELR) 1-12
Enrouleur à blocage automatique/d'urgence (A/ELR). 1-13
Témoin avertisseur et signal sonore de ceinture de sécurité 1-13
Pour boucler votre ceinture de sécurité 1-13
Entretien des ceintures de sécurité 1-20
Prétensionneurs des ceintures de sécurité avant 1-20
Surveillance du système 1-21
Entretien du système 1-21
Précautions concernant les modifications apportées au vehicule 1-22
Systèmes de retenue pour enfant 1-23
Ou placer le système de retenue pour enfant 1-24
Choix d'un système de retenue pour enfant 1-25
Installation des systèmes de retenue au moyen de la ceinture de sécurité A/ELR. 1-26
Installation du siège rehausseur 1-29
Installation d'un système de retenue pour infant au moyen des ancrages inférieurs et longes (LATCH) 1-31
Ancrages de longe supérieure 1-33
Coussin de sécurité *SRS (Système de Retenue Supplémentaire) 1-37
Modèles avec coussin de sécurité SRS et retenues abdominales/d'épaules pour le conducteur, le passagier avant et les passagers arrêté coté portière 1-37
Système SUBARU de coussin de sécurité frontal perfectionné 1-41
Coussin de sécurité latral SRS et rideau de sécurité SRS 1-53
Surveillance du système des coussins de sécurité SRS 1-60
Entretien du système des coussins de sécurité SRS 1-62
Précautions concernant les modifications apportées au vehicule 1-63
Sièges avant

DANGER
Le conducteur ne doit jamais régler son siège lors de la conduite, ou il risquerait de perdre le contrôle du vehicule et de provoquer un accident.
- Avant de régler le siège, assurez-vous que les passagers arriront les mains et les pieds à l'écart du mécanisme de réglage, et qu'aucune charge ne vient bloquer ce dernier.
- ÀpRES avoir ajusté le siège, poussez-le légèrement pour vous assurer qu'il est bien bloqué. Si le siège n'est pas bien bloqué, il peut se déplacer ou la ceinture pourrait ne pas fonctionner correctement.
- Ne placez pas d'objets sous les sièges avant. Ils risquent de générer le verrouillage du siège avant et de provoquer un accident.
- La ceinture de sécurité assure une protection optimale lorsque l'occupant du siècle se tient assis le plus en arrêté possible sur le
coussin, droit contre le dossier. Pour éviter que l'occupant du siège ne glisse sous sa ceinture de sécurité lors d'une collision, le dossier des sièges avant doit toujours être en position verticale lorsque le vehicule roule. Si le dossier des sièges avant se trouve en position inclinée au moment de la collision, l'occupant du siège risque de glisser sous la sangle abdominale, celci lui remontant sur l'abdomen, ce qui peut entrainer des blessures internes graves voire mortilles.
- Les coussins de sécurité SRS se déploient très rapidement avec une énergie considérable. Les personnes qui ne se tiennent pas assises correctement sur leur siège lorsque le coussin de sécurité SRS se déploie risquent d'être gravement blessées. Les coussins de sécurité SRS occupant assez d'espace lorsqu'ils se déploient, le conducteur doit se tenir assist au fond de son siège, bien droit contre le dossier, et se tenir éloigné du volant autant que le permet le maintain d'une parfaite maîtrise du vehicule. Le
passager avant doit reculer son siège au maximum et se tenir au fond du siège, bien droit contre le dossier.

100082

DANGER
Les enfants de moins de 12 ans doivent toujours être installés sur les sièges arrrière et convenablement attachés. Le coussin de sécurité SRS se déploie très rapidement avec une energia considérable, et il peut blesser ou même tuer un enfant qui n'est pas attaché ou mal attaché. Plus légers et moins robustes que les adultes, les enfants sont plus exposés au risque de blessures par déplolement du coussin de
sécurities. Pour cette raison, nous vous recommendons vivement de veiller à ce que TOUS les enfants (ceux utilisant un système de retenue pour enfant et aussi ceux qui sont trop grands pour en utiliser un) voyagent sur les sièges ARRÈRE et soient convenablement attachés au moyen d'un système de retenue pour enfant ou de la ceinture de sécurité du siège, compte tenu de leur âge, de leur taille et de leur poids. Veillez à ce que TOUS les systèmes de retenue pour enfant (y compris les sièges pour enfant tournés vers l'avant) soient toujours installés sur les sièges ARRÈRE.
N'INSTALLALLEZ JAMAIS UN SIÉGE POUR ENFANT TOURNÉ VERS L'ARRIÈRE SUR LE SIEGE AVANT. L'ENFANT SE TROUVERAIT TROP PRÉS DU COUSSIN DE SECURITE SRS, ET SERAIT DONC EXPOSE À DES RISQUES DE BLESSURES GRAVES VOIRE MORTELLES.
Les statistiques d'accidents pouvent que les enfants sont plus en sécurité lorsquils sont correctement attachés sur les sièges arrêté只不过 que sur les sièges avant. Pour des consignes et précautions relatives aux systèmes de retenue pour
enfant, reportez-vous à "Systèmes de retenue pour enfant" 1-23.
■ Ajustement vers l'avant et vers l'arrière

Tirez la manette vers le haut et déplacez le siège vers la position souhaitée. Ensuite, relâchez la manette et essayez de déplacer le siège d'avant en arrêt pour s'assurer qu'il est bien bloqué en position.
Inclinaison du dossier

Tirez la manette d'inclinaison vers le haut et amenez le dossier à la position souhaïée. Ensuite, relâchez la manette et assurez-vous que le dossier est bien bloqué en position.
En position inclinee, le dossier de siège risque de se redresser brusquement et avec force lorsque l'on tire sur la manette. Lorsque vous actionnez la manette, retenez légèrement le dossier pour le redresser lentement.


DANGER
Pour éviter que l'occupant du siège ne glisse sous la ceinture de sécurité en cas de collision, le dossier de siège doit toujours être en position verticale lorsque le vehicule est en mouvement. Par ailleurs, aucun objet (coussin ou autre) ne doit se trouver entre l'occupant du siège et le dossier. De cette manière, les risques de glisser sous la sangle abdominale et la sangle abdominale de glisser au-dessus de l'abdomen augmentent, tous les deux pouvant résulter en des blessures internes graves voire mortelles.
■ Ajustement de la hauteur du coussin de siège (siège du conducteur)

1) Quand on pousse la manette vers le bas, le siège descend.
2) Quand on tire la manette vers le haut, le siege monte.
La hauteur du siège se règle en déplaçant la manette de réglage du coussin de siège vers le haut ou vers le bas.
■ Ajustement des appuis-tête (selon modèles)

1) Appui-tete
2) Bouton de libération
Le siège conducteur et le siège passager sont tous deux équipés d'appuis-tête.
L'appui-tete doit être régle de sorte que le centre de l'appui-tête soit au niveau du haut des oreilles de l'occupant du siècle.
Pour relever:
Tirez les appuis-tete.
Pour abaiser:
Poussez l'appui-tête vers le bas tout en appuyant sur le bouton de libération qui se trouve sur le haut du dossier.
Pour enlever:
Tout en appuyant sur le bouton de libération, enlevez l'appui-tete.
Pour installer:
Installez l'appui-tete dans les troussitués en haut du dossier de siege jusqu'au déclic de l'appui-tete.

DANGER
- Ne roulez jamais avec les appuistête enlevés car ils sont conçus pour réduire le risque de blessure à la nuque en cas de collision par l'arrière. Par conséquent, lorsque vous enlevez les appuis-tête, tous les appuis-tete devront être réinstallés pour la sécurité des passagers.
- Tous les occupants, le conducteur compris, ne doivent pas conduire le vehicule ou s'asseoir sur les sièges tant que les appuis-tête ne sont pas remis à leur position pour minimiser le risque de blessure au cou en cas d'accident.
■ Appui-tete actif (selon modèles)

Les sièges avant de votre vehicule sont équipés d'appuis-tête actifs. Ils basculent automatiquement légèrement en avant dans l'éventualité où le vehicule recoit un choc par l'arrière, ce qui réduit l'amplitude du mouvement de la nuque vers l'arrière pour atténuer l'effet de "coup du lapin". Pour une efficacité maximum, la hauteur de l'appui-tête doit être réglée de telle sorte que le centre de l'appui-tête se trouve au niveau du haut des oreilles de l'occupant du siège.

ATTENTION
- Chaque appui-tête actif n'est efficace que s'il a eté régèle à la
bonne hauteur et si le conduc-. teur/passager se tient dans la position correcte dans le siège.
- Si vous véchicule a subi une collision par l'arrière, faites contrôleurs appuis-tête actifs par un concessionnaire/agréed SUBARU.
- Les appuis-tete actifs ne fonctionnent pas toujours si l'impact arrêté n'a pas été très fort.
- Une forté poussaée par l'arrière ou un choc important au niveau des appuis-tête actifs risquent d'endommager ces derniers. Ce qui risquerait d'empêcher leur fonctionnement en cas de collision par l'arrière.
Sièges chauffants (selon modèles)
Les sièges avant sont équipés d'un système de siège chauffant.
Les sièges chauffants fonctionnent lorsqu'le contacteur d'allumage est en position "Acc" ou "ON".

ATTENTION
- Les personnes à peu délicate peuvent sourffrir de brûlures légères même à basse température si l'utilisation du siège chauffant est prolongé. Avertisse toujours les personnes concernées avant d'activer le siège chauffant.
- Ne recouvre pas les sièges d'un matériel ou autre object isolant (couverture, coussin, etc.). Cela pourrait entrainer une surchauffe des sièges chauffants.
REMARQUE
L'usage prolongé d'un siège chauffant avec le moteur à l'arrêt peut decharger complètement la batterie.
Siège chauffant de type A

1) HI - Chauffage rapide
2) LO - Chauffage normal
3) OFF - Arrêt
A) Côté gauche
B) Côté droit
Pour utiliser le chauffage du siège, mettez le commutateur en position "LÖ" ou "HI" selon la température que vous préférez.
Pour un rechauffage plus rapide du siège, choisissez la position "HI".
Pour eteindre le chauffage du siège, appuyez légèrement sur le côté opposé du commutateur.
L'indicateur intégré au bouton s'allume lorsque le chauffage du siège fonctionne. Lorsque l'intérieur du vehicule est suffisamment rechauffé et avant de descendre du vehicule, n'oubliez pas de couper le chauffage de votre siège.
Siège chauffant de type B

100868
Chaque siège chauffant est régable à quatre niveaux différents. Pour utiliser le
chauffage intégré dans le siège droit, tournez la molette de réglage “R” pour amener la marque “●” à la position souhaïée. De même, pour utiliser le siège chauffant de gauche, tournez la molette de réglage “L” jusqu'à ce que la marque “●” attigne la position souhaïée. Pour chacun des sièges, le chauffage est d'autant plus rapide que la marque “●” de la molette de réglage a été positionnée plus en avant. Le témoin indicateur situé pres de la molette de réglage pour chaque siège s'allume lorsque le chauffage du siège correspondant est en service.
Lorsque l'intérieur du vehicule est suffisamment chaud ou si vous souhaitez quitter le vehicule, tournez toujours la molette de réglage sur la position la plus en arrêté, de sorte que la marque “●” se trouve en position “OFF”.
Sièges arrrière

DANGER
La ceinture de sécurité assure une protection optimale lorsque l'occupant du siècle se tient assis le plus en arrêté possible sur le coussin, droit contre le dossier. Aucun objet (coussins, etc.) ne doit se couver entre l'occupant d'un siècle et le dossier ou le coussin du siècle. De cette manière, les risques de glisser sous la sangle abdominale et la sangle abdominale de glisser audessus de l'abdomen augmentent, tous les deux pouvant résultat en des blessures internes graves voire mortelles.


DANGER
N'empilez jamais de bagages ou colis plus haut que le dossier du siège: ils pourraient tomber vers l'avant et blesser les passagers en cas d'arrêt brusque ou d'accident.
Accoudoir (selon modèles)

Pour abaiser l'accoudoir, tirez-le par l'extrémité supérieure.

DANGER
Afin d'eviter tout risque d'accident grave, les passagers ne doivent enaucun cas s'asseoir sur l'accouvoir central lorsque le vehicule est en mouvement.
Ajustement d'appui-tête
Les sièges arriré côté fenêtre et central sont équipés d'appuis-tête.

DANGER
- Ne roulez jamais avec les appuistete enlevés car ils sont conçus pour réduire le risque de blessure à la nuque en cas de collision par l'arrière. Par conséquent, lorsque vous enlevez les appuis-tête, tous les appuis-tete devront être réinstallés pour la sécurité des passagers.
- Tous les occupants, le conducteur compris, ne doivent pas conduire le vehicule ou s'asseoir sur les sièges tant que les appuis-tête ne sont pas remis à leur position pour minimiser le risque de blessure au cou en cas d'accident.
Places cote fenetre à l'arriere

1) Appui-tete
2) Bouton de libération
Pour enlever:
Tout en appuyant sur le bouton de libération, enlevez l'appui-tete.
Pour installer:
Installez l'appui-tete dans les troussitués en haut du dossier de siege jusqu'au déclic de l'appui-tete.
Place du milieu à l'arrière

ATTENTION
L'appui-tete n'est pas destiné à être utilisé dans la position la plus)basse. Avant de prendre place sur le siège, haussez l'appui-tete jus
qu'à la position d'enclenchement.

1

2
101429
1) Siège non occupe (position la plusasse)
2) Siège occupé (position d'enclement)

1) Appui-tete
2) Bouton de libération
Pour relever:
Tirez les appuis-tete.
Pour abaisser:
Poussez l'appui-tête vers le bas tout en appuyant sur le bouton de libération qui se trouve sur le haut du dossier.
Pour enlever:
Tout en appuyant sur le bouton de libération, enlevez l'appui-tete.
Pour installer:
Installez l'appui-tete dans les troussitués en haut du dossier de siege jusqu'audéclic de l'appui-tete.
Quand la place du milieu à l'arrière est occupée, haussez l'appui-tête jusqu'à la
position appropriée, selon votre hauteur en position assise. Quand la place du milieu à l'arrière n'est pas occupée, abaissez l'appui-tête pour améliorer la visibilité arrière.
Dossier arrêté rabatable

DANGER
- Àprouv avoir redressé le dossier arrêté, n'oubliez pas de remettre toutes les ceintures de sécurité et la patte du coussin sur le siège. Vérifiez que les sangles-baudriers sont entièrement visibles.
- Ne laïsez jamais vos passagers voyager sur le siège arrêté replié ou dans l'espace de chargement ou le coffre. Ceci est dangereux et peut entraîner des blessures graves voire mortelles.
- Attachez correctement tous les objets, en particulier ceux de grande longueur, car ils peuvent etre a l'origine de graves blessures s'ils se trouvaient projetés dans l'habitacle lors d'un arrêt brusque, d'une acceleration rapide ou dans un virage serré.
Modèles 4 portières
- Abaissez les appuis-tête.

- Tirez sur la languette de libération pour déverrouiller le dossier, puis rabatteze dernier.
Pour ramener le dossier à sa position d'origine, relevez le dossier jusqu'à ce qu'il se verrouille en position et vérifie qu'il est convenablement verrouillé.
Voupez laisser les dossiers verrouillés lorsque vous quitterze votre vehicule et remettez les clés au gardien d'un parking.

- Tirez la languette de libération derrière le dossier, à l'écart de son support.
- Relevez le dossier jusqu'à ce qu'il se verrouille en position, avec la languette de libération pendant dans le coffre à bagages. Vérifiez que le dossier est solidement
verrouille.
Dans ce cas, procédez comme indiqué ci-après pour rabattre le dossier.
- Ouvrez le coffre à bagages. Reportez-vous à "Coffre à bagages (4 portières)" 2-27.
- Accedez à la languette de libération depuis le coffre à bagages, et rabattez le dossier vers l'avant tout en tirant la languette vers le bas.
Modèles 5 portières
- Abaissez les appuis-tête.

- Tirez sur le bouton de libération et rabattez le dossier.
Pour ramener le dossier à sa position d'origine, relevez le dossier jusqu'à ce qu'il se verrouille en position et vérifie
qu'il est convenablement verrouillé.
Ceintures de sécurité
Conseils à propos des ceintures de sécurité
DANGER
- Toutes les personnes à bord du vehicule doivent boucler leur ceinture de sécurité AVANT que le vehicule ne démarre. Dans le cas contraire, le risque de blessure grave est beaucoup plus élevé en cas d'arrêt brusque ou d'accident.
Pour assurer une bonne protection, toutes les ceintures doivent etre bien ajustées. Mal ajustée, la ceinture de sécurité est moins efficace. - Une ceinture de sécurité est concise pour retenir une seule personne. N'utilise jamais de ceinture unique pour deux ou davantage de passagers, même pour les enfants. Le non-respect de cette règle fait courir le risque de blessures graves ou mortelles en cas d'accident.
- Toute ceinture de sécurité portée par un occupant du vehicule lors
d'un accident grave doit être remplacée (y compris l'enrouleur et les fixations). Il est indispensable de replacer la ceinture complète, même si dernier dommage n'est apparent.
- Les enfants de moins de 12 ans doivent toujours être installés sur les sièges arrrière et convenablement attachés. Le coussin de sécurité SRS se déploie très rapidement avec une energia considérable, et il peut blesser ou même tuer un infant qui n'est pas attaché ou mal attaché. Plus légers et moins robustes que les adultes, les enfants sont plus exposés au risque de blessures par déploiement du coussin de sécurité. Pour cette raison, nous vous recommendons vivement de veiller à ce que TOUS les enfants (ceux utilisant un système de retenue pour enfant et aussi ceux qui sont trop grands pour en utiliser un) voyagent sur les sièges ARRIÈRE et soient convenablement attachés au moyen d'un système de retenue pour enfant ou de la ceinture de sécurité du siège, compte tenu de leur taille et de leur poids.
TOUS les systèmes de retenue pour infant (y compris les sièges pour infant tournés vers l'avant) doivent toujours être installés sur les sièges ARRIÈRE.
N'INSTALLLEZ JAMAIS UN SIÉGE POUR ENFANT TOURNÉ VERS L'ARRÊRE SUR LE SIÉGE AVANT. L'ENFANT SE TROUVERAIT TROP PRès DU COUSSIN DE SECURITE SRS, ET SERAIT DONC EXPOSE À DES RISQUES DE BLESSURES GRAVES VOIRE MORTELLES.
Les statistiques d'accidents provenant que les enfants sont plus en sécurité lorsqu'ils sont correctement attachés sur les sièges arrêté plutôt que sur les sièges avant. Pour des consignes et précautions relatives au système de retenue pour infant, reportez-vous à "Systèmes de retenue pour infant" 1-23.
Votre vehicule est equipoé d'un module de détction et de diagnostic de collision, qui enregistre le fait que la ceinture de sécurité du passager avant itait bouclée ou non au moment du déploiement d'un des coussins de sécurité SRS frontaux, lateraux ou d'un des rideaux de sécurité.
Bébes ou enfants en bas âge
Utilisez un système de retenue pour enfant adapté à votre vehicule. Reportez-vous à "Systèmes de retenue pour enfant" 1-23.
Enfants
Les enfants trop grands pour un système de retenue pour enfant doivent être installés sur le siège arrêté et porter des ceintures de sécurité. Les statistiques d'accidents provouent que les enfants sont plus en sécurité lorsqu'ils sont correctement attachés sur les sièges arrêté只不过 que sur les sièges avant. Ne laisser qu jamais un enfant se tenir debout ou à genoux sur le siège.
Si la sangle-baudrieronne au niveau du visage ou du cou de I'enfant, reglez la hauteur de I'ancrage de sangle-baudrier (places cote fenetre uniquement), puis, si nécessaire, placez I'enfant plus pres de la boute pour que la sangle-baudrier lui passse correctement sur I'epaule. On preendra grand soin de placer la ceinture sous-abdominale le plus bas possible sur le bassin de I'enfant, et non pas a hauteur de la taille. S'il n'est pas possible de passer la sangle-baudrier correctement, utilisez un système de retenue pour infant. Ne faites jamais passer la sangle-baudrier sous I'aisselle ou dans le dos
de l'enfant.
Femmes enceintes

Les femmes enceintes doivent également utiliser les ceintures de sécurité. Elles doivent consulter et s'en tener à l'avis de leur médecin à ce sujet. La sangle sous-abdominale doit être portée bien ajustée, le plus bas possible sur le bassin et non pas à hauteur de la taille.
Enrouleur à blocage d'ur-gence (ELR)
La ceinture de sécurité du conducteur comporte un enrouleur à blocage d'urgence (ELR).
La ceinture de sécurité avec enrouleur à blocage d'urgence n'empêche pas les mouvements ordinaires du corps, mais
elle se bloque automatiquement en cas d'arrêt brusque ou de collision, ou si on la tire trop vite hors de l'enrouleur.
■ Enrouleur à blocage automatique/d'urgence (A/ELR)
Chacune des ceintures de sécurité des passagers arrirée compte un enrouleur à blocage automatique/d'urgence (A/ELR). L'enrouleur à blocage automatique/d'urgence fonctionne normalement comme un enrouleur à blocage d'urgence (ELR). L'A/ELR inclut en outre un "mode enrouleur à blocage automatique (ALR)", destiné à fixer un système de retenue pour infant. Lorsque la sangle est complètement extraite de l'enrouleur, puis qu'elle se réenroule même très légèrement, l'enrouleur se bloque dans cette position et la sangle ne peut plus être extraite. Quand la sangle s'enroule dans l'enrouleur, on entend un cliquetis qui indique que l'enrouleur est en mode ALR. Le mode ALR est désactivé quand on enroule la sangle complètement dans l'enrouleur.
Quand vous fixez un système de retenue pour enfant à l'un des sièges arrrière au moyen de la ceinture de sécurité, la ceinture de sécurité de ce siège doit être mise en mode de fonctionnement d'en
rouleur à blocage automatique (ALR).
Quand vous enlevez le système de retenue pour enfant, n'oubliez pas de laisser rentrer la ceinture de sécurité complètement dans l'enrouleur pour que ce dernier revienne en mode de fonctionnement d'enrouleur à blocage d'urgence (ELR).
Pour des conseils sur la maniere demettre I'enrouleur en mode ALR et de le remetre en mode ELR, reportez-vous a "Installation des systèmes de retenue au moyen de la ceinture de sécurité A/ELR" 1-26.
Témoin avertisseur et signal sonore de ceinture de sécurité
Reportez-vous à "Témoin averitisseur et signal sonore de ceinture de sécurité" 3-16.
Pour boucler votre ceinture de sécurité

DANGER
- N'utilisez jamais une ceinture avec la sangle entortillée ou à l'envers. En cas d'accident, ceci pourrait augmenter le risque ou
la gravité des blessures.
- Placez la sangle abdominale le plus bas possible sur vos hanches. En cas de collision, ceci répartit la pression de la ceinture sur les os solides du bassin au lieu de l'abdomen moins résistant.
- La ceinture de sécurité assure une protection optimale lorsque l'occupant du siège se tient aussi le plus en arrêté possible sur le coussin, droit contre le dossier. Pour éviter que l'occupant du siège ne glisse sous sa ceinture de sécurité lors d'une collision, le dossier des sièges avant doit toujours être en position verticale lorsque le vehicule roule. Si le dossier des sièges avant se trouve en position inclinée au moment de la collision, l'occupant du siège risque de glisser sous la sangle abdominale, celleci lui remontant sur l'abdomen, ce qui peut entraîner des blessures internes graves voire mortilles.
- Aucun objet (coussins, etc.) ne doit se trouver entre l'occupant d'un siège et le dossier ou le coussin du siège. De cette ma
nière, les risques de glisser sous la sangle abdominale et la sangle abdominale de glisser au-dessus de l'abdomen augmentent, tous les deux pouvant résultat en des blessures internes graves voire mortelles.


DANGER
Ne faites jamais passer la sangle-baudrier sous l'aisselle ou dans le dos. En cas d'accident, ici pourrait augmenter le risque ou la gravité des blessures.

ATTENTION
Les parties métalliques des ceintures de sécurité d'un vehicule resté fermé en plein soleil peuvent devenir brulantes. Ne touche pas ces parties métalliques quand elles sont chaudes avant qu'elles ne refroidissent.
Ceintures de sécurité des sièges avant
- Réglez la position du siècle en suivant la procédure suivante.
Siège du conducteur: Mettez le dossier de siège en position verticale. Reculez le siège par rapport au volant autant que le permet le maintain d'une parfaite maîtrise du vehicule.
Siège du passager avant: Mettez le dossier de siège en position verticale. Reculez le siège le plus possible.
- Asseyez-vous au fond du siège contre le dossier.
- Saisissez la languette et tirez la ceinture lentement. Ne la laissez pas se tordre. Si la sangle se bloque avant d'atteindre la boucle, revenez légèrement en arrêté et tirez de nouveau lentement. S'il n'est always pas possible de débloquer la ceinture, laissez la sangle s'enrou
ler légèrement après lui avoir assené une force traction, puis déroulez-la lentement à nouveau.

- Introduisez la languette dans la boucle jusqu'à enclenchement.

- Pour tendre la sangle abdominale,
tirez sur la sangle-baudrier.
6. Faites passer la sangle abdominale le plus bas possible sur votre bassin, et non pas au niveau de votre talle.
Réglage de la hauteur de l'ancrage de sangle-baudrier des sièges avant

L'ancrage de la sangle-baudrier doit être réglé à la position qui convient le mistrs au conducteur/passager avant. La hauteur de l'ancrage de ceinture doit toujours être ajustée de sorte que la sangle-baudrier se trouve au milieu de l'épaule sans toucher le cou.
Pour relever:
Tirez l'ancrage vers le haut.
Pour abaisser:
Tirez sur le bouton de libération et faites
coulisser l'ancrage vers le bas.
Faites effort sur l'ancrage vers le bas pour vérifier qu'il s'est verrouillé en position.
DANGER
Lorsque vous bouclez votre ceinture de sécurité, assurez-vous que la sangle-baudrier ne passé pas devant toute cou. Le cas échéant, réglez l'ancrage de ceinture de sécurité sur une position plus basse. Une sangle-baudrier passant devant le cou peut être à l'origine d'une blessure cervicale en cas de freinage brusque ou de collision.

Pour détacher votre ceinture
Appuyez sur le bouton de la boucle.
Avant de referrer la portiere, vérifie que la ceinture s'est enroulée correctement et que la sangle ne risque pas de se coincer dans la portiere.
Veintures de sécurité arrêté (sauf la ceinture de sécurité arrêté centrale sur les modèles 5 portières)
- Asseyez-vous au fond du siège contre le dossier.
- Saisissez la languette et tirez la ceinture lentement. Ne la laissez pas se tordre. Si la sangle se bloque avant d'atteindre la boucle, revenez légerement en arrrière et tirez de nouveau lentement. S'il n'est toujours pas possible de débloquer la ceinture, laissez la sangle s'enrou
ler légrement après lui avoir assené une force traction, puis déroulez-la lentement à nouveau.

- Introduisez la languette dans la boucle jusqu'à enclenchement.

- Pour tendre la sangle abdominale,
tirez sur la sangle-baudrier.
5. Faites passer la sangle abdominale le plus bas possible sur votre bassin, et non pas au niveau de votre taille.

Pour détacher votre ceinture
Appuyez sur le bouton de la boucle.
Avant de referrer la portiere, vérifie que la ceinture s'est enroulée correctement et que la sangle ne risque pas de se coincer dans la portiere.

Ceinture de sécurité arrêté centrale sur les modèles 5 portières
1) Languette de la ceinture de sécurité centrale
2) Connecteur (languette)
3) Connecteur (boucle)
4) Boucle de la ceinture de sécurité centrale


DANGER
Une ceinture de sécurité avec la sangle entortillée augmente le risque ou la gravité des blessures en cas d'accident. Lorsque vous bouclez votre ceinture après l'avoir tirée hors de l'enrouleur,urtout au moment d'introduire la languette du connecteur dans la boucle correspondante (boucle sur le cote croit), vérifie bien que la sangle n'est pas tortillée.


DANGER
Veiliez à ce que les languettes soient introduites dans les boucles correspondantes. Si la ceinture de sécurité n'est utilisée que comme ceinture-baudrier (sans que la langueue du connecteur soit introduite dans la boucle du connecteur du cote droit), l'occupant du siège n'est pas suffisamment maintainu en cas d'accident et cela peut être à l'origine de blessures graves et même mortelles.

La ceinture de sécurité arrête centrale se trouve dans le porte-ceinture situé sur la droite de l'espace de rangement.
- Sortez la languette du porte-ceinture, et déroulez lentement la ceinture en tirant.

- ÀpRES avoir dérouled la ceinture de sécurité, passez-la dans le guide de ceinture, comme suit: commencéz par glisser un bord de la sangle dans la fente du guide de ceinture; ensuite faire glisser la sangle sur toute sa largeur vers l'intérieur du guide jusqu'à ce qu'elle y rentre complètement.

- ÀpRES avoir vérifié que la sangle n'est pas entortillée, introduizez le connecteur (languette) situé à l'extrémité de la sangle dans la boucle sur le côte droit jusqu'à enclenchement.
Si la sangle se bloque avant d'atteindre la boute, revenez légrement en arrrière et tirez de nouveau lentement. S'il n'est toujours pas possible de débloquer la ceinture, laissez la sangle s'enrouler légrement après lui avoir assené une
forte traction, puis déroulez-la lentement à nouveau.

- Introduisez la languette de la ceinture de sécurité centrale dans la boucle correspondante marquee "CENTER" sur le côte gauche jusqu'à enclenchement.

- Pour tendre la sangle abdominale, tirez sur la sangle-baudrier.
- Faites passer la sangle abdominale le plus bas possible sur votre bassin, et non pas au niveau de votre taille.

Pour détacher votre ceinture
Pour détacher la ceinture de sécurité, appuyez sur le bouton de déverrouillage de la boucle de la ceinture de sécurité centrale (sur le côte gauche).
REMARQUE
Lorsqu'on rabat le dossier du siege pour disposeer d'une plus grande charge, il est nécessaire de retarder le connecteur.

- Pour-retirer de la boucle la languette du connecteur (boucle) du cote droit, introduisez une clé ou un autre object pointu dans la fente du connecteur (languette).

- Laissez la sangle s'enrouler dans l'enrouleur. Orientez convenablement la sangle pour que la languette métallique viennent se ranger dans l'enrouleur. Introduisez le connecteur (languette) dans le porte-ceinture.


ATTENTION
- Ne laisses pas la sangle s'enrouler trop rapidement dans l'enrouleur. Si I'enroulement est trop rapide, les languettes métalliques viennent heurter et endommager le capiton.
- Enroulez soigneusement et complètement la ceinture de sécurité pour que les languettes soient en position de rangement correcte. Une languette quiPEND va heurter et endommager le capiton du fait de son balansement pendant la conduite.
Entretien des ceintures de sécurité
Pour nettoyer les ceintures, utilisez un détergent doux et de l'eau tiède. N'essayez jamais de décolorer ou de teindre les ceintures car cela pourrait affecter sensiblement leur résistance.
Contrôlez régulierement les ceintures et accessoires de fixation, y compris les sangles et éléments matériels, et vérifie l'absence de fissures, entailles, déchirues, défauts de serrage, marques d'usure ou autres types de dommages. Remplacez les ceintures de sécurité même en cas de défaut mineur.

ATTENTION
Veiliez a ce que les ceintures de sécurité ne soient pas touchées par de l'huile, de l'encaustique ou des produits chimiques, et tout particulièrement par de l'électrolyte de batterie.
- N'essayez jamais de modifier ou de réagencer les ceintures de sécurité: cela pourrait nuir à leur fonctionnement.
Prétensionneurs des ceintu-ures de sécurité avant

La ceinture de sécurité du conducteur et celle du passager avant ont un préten-sionneur. Ces prétensionneurs sont concus pour entrer en action dans l'éventuaité d'un accident entrainant une collision frontale d'intensité moyenne à violente.
Le capteur de pretensionneur sert également de capteur pour le coussin de sécurité SRS frontal. Si, au cours d'une collision frontale, l'intensité du choc détecté par le capteur dépasse un certain seuil, la sangle de la ceinture de sécurité est rapidement tendue par l'enrouleur pour supprimer le mou, de sorte que
l'occupant du siège soit plus efficacement maintenu par la ceinture de sécurité.
Le déclenchement d'un prétensionneur de ceinture de sécurité entraîne un bruit caractéristique accompagné d'un léger dégagement de fumée. Ces phénomènes sont normaux et ne sont pas dangereux. La fumée n'est pas le signe d'un début d'incendie dans le vehicule.
Après déclenchement du pretensionneur de ceinture de sécurité, l'enrouleur de ceinture reste bloqué. Il n'est donc plus possible de dérouler ni d'enrouler la ceinture de sécurité, qui doit être remplacée.
REMARQUE
- Les pretensionneurs de ceinture de sécurité ne sont pas conçus pour se déclencher lors d'un choc frontal faible, ni lors d'un choc létal ou arrêté, ni en cas de tonneaux.
- Les pretensionneurs de ceinture de sécurité du conducteur et du passager avant et le coussin de sécurité frontal SRS se déclenchent simultanément.
- Les prétensionneurs sont concus pour ne se déclencher qu'une seule fois. Si l'un des prétensionneurs s'est déclenché, il vous faut faire replacer les deux ensembles enrouleur de cein
tures de sécurité avant, celui du siège du conducteur et celui du passager avant exclusivement par un concessionaire SUBARU. Lors du remplacement des ensembles enrouleur de ceinture de sécurité, utilisez toujours des pièces SUBARU d'origine.
- Si une des ceintures de sécurité avant ne s'enroule ou ne se déroule par suite d'un mauvais fonctionnement du pretensionneur, présente cette vehicule à un concessionnaire SUBARU le plus tout possible.
- Si l'ensemble enrouleur de ceinture de sécurité avant ou la zone voisine de l'enrouleur ont ete endommagés, presentez voiecule a un concessionnaire SUBARU le plus tot possible.
- Nous vous prions instament, lorsque vous revendez votre vehicule, d'expliquer à l'acheteur qu'il est équipé de pretensionneurs et d'attirer l'attention de l'acheteur sur le contenu de cette section.
DANGER
Pour une protection maximum, les personnes occupant ces sièges doivent se tener assist bien droit et attacher leur ceinture correctement. Reportez-vous à "Ceintures de sécurité" 1-11.
- Il ne faut jamais modifier ou déposer les ensembles enrouleurs de ceinture de sécurité avant, ni taper dessus. Ceci pourrait déclencher accidentellement les pretensionneurs de ceinture de sécurité ou les rendre inopérants, vous exposant à des risques de blessures graves. Les pretensionneurs de securité ne renferment aucune piece dont l'utiliseur puisse assurer l'entretien. Pour toute intervention sur un enrouleur de ceinture de sécurité avant équipé d'un pretensionneur, adressez-vous à un concessionnaire agréé SUBARU.
- Si vous devez vous débarrasser des ensembles enrouleur de ceinture de sécurité avant ou si le vehicule doit être mis à la ferraille suite à un accident ou pour toute autre raison, consultez un concessionnaire/agréé SUBARU.
Surveillance du système
Un système de diagnostic surveille en permanence les pretensionneurs de ceinture de sécurité pendant la conduite pour
verifier qu'ils sont en etat de fonctionner. Les pretensionneurs de ceinture de sécurité sont commandes par le même module de commande que le système des cousins de sécurité SRS. En cas d'anomalie au niveau de l'un des pretensionneurs de ceinture de sécurité, le témoin avertisseur des cousins de sécurité SRS s'allume. Reportez-vous à "Surveillance du système des cousins de sécurité SRS" 1-60 pour plus de détails.
Entretien du système

DANGER
- Avant de jeter un ensemble enrouleur de ceinture de sécurité ou demettre le vehicule endomagé dans un accident à la ferraille, consultez votre concessionnaire SUBARU.
- Bricoler le système ou en débrancher le câblage électrique risque de provoquer le déclenchement inopiné du prétensionnéur de ceinture de sécurité et/ou cousin de sécurité SRS ou de rendre le système inopérant, ce qui peut entraîner de graves blessures. N'utilise jamais d'appareil d'essai électrique sur des circuits
concernant un pretensionneur de ceinture de sécurité ou les systèmes des coussins de sécurité SRS. Pour toute intervention sur le système des pretensionneurs de ceinture de sécurité, consultez le concessionnaire SUBARU le plus proche.

ATTENTION
Les capteurs auxiliaires avant se trouvent sur la gauche et sur la droite à l'avant du vehicule, et le module de commande des coussins de sécurité SRS avec capteurs d'impact intégrés se trouve sous la console centrale. Pour les travaux d'entretien ou de réparation à proximate de ces capteurs ou des enrouleurs des ceintures de sécurité avant, faites effectuer le travail par un concessionnaire agréé SUBARU.
REMARQUE
Si I'avant de votre vehicule a ete endommagé dans un accident à tel point que le pretensionneur de ceinture de sécurité ne fonctionne pas, contactez libre concessionnaire SUBARU le plus tout possible.
■ Précautions concernant les modifications apportées au vehicule
Avant d'installer un accessoire ou un équipement auxiliaire sur votre vehicule, prenez conseil auprès de votre concessionnaire SUBARU.

ATTENTION
Aucune des modifications enumeratedes ci-après ne doit être effectuee. De telles modifications sont susceptibles d'empêcher le bon fonctionnement du système des pretensionneurs de ceinture de sécurité.
- À l'avant du vehicule, installation de tout équipement (pare-broussaille, treuil, chasse-neige, tôle de protection, etc.) qui n'est pas un accessoire SUBARU d'origine.
- Modification de la suspension ou des structures avant du vehicule.
- Installation d'un pneau de taille ou de structure différente des pneus prescrites sur la plaque du vehicule apposoedre contre le montant de la portiere du conducteur ou prescrites pour le modele du vehicule dans le present Manuel du
conducteur.
Systèmes de retenue pour enfant

Les enfants doivent toujours être attachés avec un système de retenue pour bébé ou enfant sur le siècle arrière lorsqu'ils voyagent en voiture. Utilisez un système de retenue pour bébé ou enfant conforme aux Normes des Federal Motor Vehicle Safety Standard aux États-Unis ou aux Normes Canadiennes de Sécurité des Véhicules Automobiles et convenant à votre vehicule, et désisissez un modèle approprié à l'âge et à la taille de l'enfant. Tous les systèmes de retenue pour enfant sont conçus pour être fixés au siècle du vehicule par une ceinture sous-abdominale ou par la sangle sous-abdominale d'une ceinture sangle sous-abdominale/
sangle-baudrier (à l'exception des systèmes décrits sous "Installation d'un système de retenue pour infant au moyen des ancrages inférieurs et longes (LATCH)" 1-31).
Un système de retenue mal fixé au vehicule met l'enfant en danger en cas de collision. Le système de retenue pour enfant doit être soigneusement installé en suivant les instructions du fabricant.
Les statistiques d'accidents provouent que les enfants sont plus en sécurité lorsqu'ils sont correctement attachés sur les sièges arrrière plutôt que sur les sièges avant.
Dans tous les états des États-Unis et dans toutes les provinces du Canada, la réglementation impose que, pendant que le vehicule roule, les nourrissons et les enfants en bas âge soient toujours attachés à l'aide de systèmes de retenue pour enfant de type homologué.


DANGER
Il est très dangereux de tener un enfant sur les genoux ou les bras dans un vehicule en mouvement. En cas de collision, il vous serait impossible de protégger l'enfant, qui se trouverait pris entre votre corps et les structures du vehicule.
En outre, un enfant tenu sur les genoux ou dans les bras d'une personne assise sur le siège avant est exposé à un autre grave danger. En cas de déploiement du coussin de sécurité SRS, la vitesse et la force de déploiement sont telles que l'enfant risquerait d'être blessé ou même tué.


DANGER
Les enfants doivent toujours être correctement attachés. Ne laisserEZ jamais les enfants se tenirABOUT ou a genoux sur un siege.S'il n'est pas attaché, un infant risque d'être projeté en avant en cas d'arrêt brusque ou d'accident et d'être exposé à de graves blessures.
En outre, un enfantABOUT ou a genoux à l'avant du siège avant est exposé à un autre grave danger. En cas de déploiemet du coussin de sécurité SRS, la vitesse et la force de déploiemont sont telles que l'enfant risquerait d'être blessé ou même tué.
Où placer le système de retenue pour infant
Vous trouverez ci-après les recommendations de SUBARU sur l'endetroit où il convient dinstaller un système de retenue pour enfant dans votre vehicule.

100127
A: Siège passager avant
Vous ne devez pas installer de système de retenue pour enfant (y compris un siège de rehaussement) sur ce siège, en raison du risque que ferait courir à l'enfant le coussin de sécurité du passager.
B: Siège arrêté, aux places côte fenêtre
Emplacements recommendés pour l'installation de tous types de système de retenue pour enfant.
À ces places, les ceintures de sécurité
dont de type à enrouleur automatique/ blocage d'urgence (A/ELR) et il y a des barres d'ancrage inférieur pour l'installation d'un système de retenue pour enfant. Certains types de système de retenue pour enfant ne peuvent pas se fixer fermement à cette place, en raison du dépassement du coussin de siège.
N'installez un système de retenue pour enfant à cette place que si le fond du siège d'enfant épouse la forme du coussin de siège du vehicule et s'il est possible de le maintainir fermement avec la ceinture de sécurité.
C: Siège arrêté, place du milieu
Il est déconseilé d'installer un système de retenue pour infant à cette place, bien que la ceinture de sécurité soit de type à enrouleur A/ELR et qu'il y ait un ancrage haut (ancrage de longe) (sauf modèles pour l'Amérique latine).
Certains types de système de retenue pour infant ne peuvent pas se fixer fermement à cette place, en raison du dépassement du coussin de siège.
N'installez un système de retenue pour enfant à cette place que si le fond du siècle d'enfant épouse la forme du coussin de siècle du vehicule et s'il est possible de le maintainir fermement avec la ceinture de sécurité.
S'il est indispensable d'installer un système de retenue pour infant à la place du milieu à l'arrière, abaissez l'appui-tête au maximum et installez le système de retenue pour infant correctement en passant la ceinture de sécurité de ce siège dans le guide de ceinture.

DANGER
Les enfants de moins de 12 ans doivent toujours être installés sur les sièges arrrière et convenablement attachés. Le coussin de sécurité SRS se déploie très rapidement avec une energia considérable, et il peut blesser ou même tuer un enfant qui n'est pas attaché ou mal attaché. Plus légers et moins robustes que lesadultes, les enfants sont plus exposés au risque de blessures par déploiement du coussin de sécurité.
Pour cette raison, vous devez veiller à ce que TOUS les systèmes de retenue pour infant (y compris les sièges pour infant tournés vers l'avant) soient toujours installés sur les sièges ARRIÈRE. Procurez-vous un système de retenue approprié à l'âge, à la taille et au poids de l'enfant. Les statistiques d'accidents pouvant que les enfants sont
plus en sécurité lorsqu'ils sont correctement attachés sur les sièges arrêté plutôt que sur les sièges avant.


DANGER
ÉTANT DONNÉ QUE VOTRE VÉHICLE EST ÉQUIPÉ D'UN COUSSIN DE SECURITE SRS DU CÔTE DU PASSAGER, IL NE FAUT JAMAIS INSTALLER DE SIÉGE DE SECURITE POUR ENFANT TOURÉ VERS L'ARRÊRÉ SUR LE SIÉGE DU PASSAGER AVANT. L'ENFANT SE TROUVERAIT TROP PRÉS DU COUSSIN DE SECURITE SRS, ET SERAIT DONC EXPOSE À DES RISQUES DE BLESSURES GRAVES
VOIRE MORTELLES.
Choix d'un système de retenue pour enfant

Choisissez le système de retenue pour enfant en fonction de l'âge et de la corpulence de l'enfant (poids et taille) pour le protégé le mieux possible. Le système de retenue pour enfant doit être conforme à toutes les prescriptions réglementaires des Federal Motor Vehicle Safety Standards des États-Unis et Normes Canadiennes de Sécurité des Véhicules à Moteur du Canada. Pour vous en assurer, consultez l'étiquette du système de retenue pour enfant ou, dans la documentation fournie avec le système, la déclaration de conformité par le fabri-
cant.
En outre, il est important de vérifier que le système de retenue pour infant est compatible avec le vehicule dans lequel il doit être installé.
■ Installation des systèmes de retenue au moyen de la ceinture de sécurité A/ELR

DANGER
- Les systèmes de retenue pour infant et les ceintures de sécurité d'un vehicule resté fermé en plein soleil peuvent devenir brûlants. Vérifiez la/tempature du système de sécurité pour infant avant d'y installer un infant.
- Ne laïsez jamais un système de retenue pour enfant non fixé dans votre vehicule. Il risqueraisit d'être projeté à l'intérieur du vehicule en cas de virages, d'arrêt brusque ou d'accident, exposant l'enfant et les autres occupants du vehicule à des blessures graves voire mortelles.

ATTENTION
Lorsque vous installez un système de retenue pour enfant, suivez les instructions fournies par le fabricant de ce siècle. ÀpRES avoir installé le système de retenue pour enfant, assurez-vous qu'il est bien fixé en position. Une mauvaise fixation ou un mauvais maintainen augmenterait le risque de blessures pour l'enfant en cas d'accident.
Installation d'un système de retenue pour infant tourné vers l'arrière

-
Installes le système de retenue pour enfant sur la place arrête.
-
Passez la sangle-baudrier et la sangle abdominale au travers et autour du système de retenue pour infant, en suivant les instructions fournies par le fabricant.
- Introduisez la languette dans la boucle jusqu'à enclenchement.

- Supprimez le mou de la sangle abdominale.
- Déroulez complètement la sangle hors de l'enrouleur pour faire passer ce dernier de la fonction d'enrouleur à blocage d'urgence (ELR) à la fonction d'enrouleur à blocage automatique (ALR). Laissez ensuite la ceinture s'enrouler dans l'enrouleur. Quand la sangle s'enroule dans l'enrouleur, on entend unCLSquetis qui indique que l'enrouleur est en mode ALR.

- Poussez et tirez le système de retenue pour enfant dans le sens avant-arrête et sur les côtes, pour vous assurer qu'il est fermement fixé. Un système de retenue pour enfant est souvent maintainu plus fermement si on l'enforce le plus possible sur le coussin de siège avant de serrer la ceinture de sécurité.
- Tirez sur la sangle-baudrier pour vérifier qu'elle ne se déroule pas (c'est-à-dire que l'ALR fonctionne bien).

- Pour enlever le système de retenue pour enfant, appuyez sur le bouton de déverrouillage de la boucle de ceinture de sécurité et enroulez complètement la sangle dans l'enrouleur. L'enrouleur repasse en mode ELR.
DANGER
N'INSTALLLEZ JAMAIS UN SIÉGE POUR ENFANT TOURNÉ VERS L'ARRIÈRE SUR LE SIÉGE DU PASSAGER AVANT. L'ENFANT SE TROUVERAIT TROP PRÉS DU COUSSIN DE SECURITE SRS, ET SERAIT DONC EXPOSE À DES RISQUES DE BLESSURES GRAVES VOIRE MORTELLES.
REMARQUE
Enlevez le système de retenue pour enfants lorsque vous ne vous en servez pas et rétabliesz l'enrouleur dans sa fonction d'ELR. Pour ce faire, il suffit d'enrouler complètement la sangle une fois.
Installation d'un système de retenue pour infant tourné vers l'avant

- Installes le système de retenue pour enfant sur le siege arrière.
- Passez la sangle-baudrier et la sangle abdominale au travers et autour du système de retenue pour enfant, en suivant les instructions fournies par le fabricant.
- Introduisez la languette dans la boucle jusqu'à enclenchement.

- Supprimez le mou de la sangle abdominale.
- Déroulez complètement la sangle hors de l'enrouleur pour faire passer ce dernier de la fonction d'enrouleur à blocage d'urgence (ELR) à la fonction d'enrouleur à blocage automatique (ALR). Laissez ensuite la ceinture s'enrouler dans l'enrouleur. Quand la sangle s'enroule dans l'enrouleur, on entend unclistuetis qui indique que l'enrouleur est en mode ALR.

- Avant d'installer l'enfant, vérifie que le système de retenue pour enfant est bien fixé en essayant de le déplacer dans tous les sens. Un système de retenue pour enfant est souvent maintainu plus fermement si on l'enforce le plus possible sur le coussin de siège avant de serrer la ceinture de sécurité.
- Tirez sur la sangle-baudrier pour vérifier qu'elle ne se déroule pas (c'est-à-dire que l'ALR fonctionne bien).


Modèles 4 portières
Modèles 5 portières (type A)

Modèles 5 portières (type B)
- Si le système de retenue pour infant compte une longe supérieure, engagez le crochet dans l'ancrage de longe supérieure en tendant suffisamment la sangle. Pour des instructions supplémentaires, reportez-vous à "Ancrages de longe supérieure" 1-33.

- Pour enlever le système de retenue pour enfant, appuyez sur le bouton de déverrouillage de la boucle de ceinture de sécurité et enroulez complètement la sangle dans l'enrouleur. L'enrouleur repasse en mode ELR.
REMARQUE
Enlevez le système de retenue pour enfants lorsque vous ne vous en servez pas et rétabliesze l'enrouleur dans sa fonction d'ELR. Pour ce faire, il suffit d'enrouler complètement la sangle une fois.
■ Installation du siège rehausseur

DANGER
- Les systèmes de retenue pour enfant et les ceintures de sécurité d'un vehicule resté fermé en plein soleil peuvent开发商 brûlants. Vérifiez la température du système de sécurité pour enfant avant d'y installer un enfant.
- Ne laïsez jamais un système de retenue pour enfant non fixé dans votre vehicule. Il risquerais d'être projeté à l'intérieur du vehicule en cas de virages, d'arrêt brusque ou d'accident, exposant l'enfant et les autres occupants du vehicule à des blessures graves voire mortelles.

ATTENTION
Lorsque you installez un système de retenue pour enfant, suivez les instructions fournies par le fabricant de ce siege. Avec avoir installe le système de retenue pour enfant, assurez-vous qu'il est bien fixe en position. Une mauvaise fixation ou
un mauvais maintainier augmenterait le risque de blessures pour l'enfant en cas d'accident.

- Posez le siège de rehaussement à la place arrière et asseyez l'enfant dessus. L'enfant doit être assis bien en arrrière sur le siège rehausseur.
- Faites passer la sangle-baudrier et la sangle abdominale à travers le siège de rehaussement ou autour du coussin et de l'enfant, en suivant les instructions fournies par le fabricant.
- Introduisez la languette dans la boucle jusqu'à enclenchement. Veillez à ne pas entortiller la ceinture de sécurité.
Assurez-vous que la sangle-baudrieronne en travers de I'epaule de I'enfant, au milieu, et que la sangle abdominale
passe le plus bas possible sur le bassin de l'enfant.

- Pour enlever le siège réhausseur, appuyez sur le bouton de déverrouillage de la boucle de ceinture de sécurité pour enrouler la ceinture.

DANGER
- N'utilisez jamais une ceinture avec la sangle entortillée ou à l'envers. En cas d'accident, cette augmenterait pour l'enfant le risque de blessures ou leur gravité.
- Ne faites jamais passer la sangle-baudrier sous l'aisselle ou dans le dos de l'enfant. En cas d'accident, cela augmenterait pour
I'enfant le risque de blessures ou leur gravité.
- La ceinture de sécurité doit être prés du corps pour un maintien optimal. Mal ajustée, la ceinture de sécurité est moins efficace.
- Faites passer la sangle abdominale le plus bas possible sur le bassin de l'enfant. Une sangle ventrale haut placé augmentera le risque de glisser sous la sangle ventrale et du glissement de la sangle au-dessus de l'abdomen, les deux cas pouvant résultat en des blessures internes graves voire mortelles.
Assurez-vous que la sangle-baudrieronne en travers de I'epaule de I'enfant au milieu. Une sangle-baudrier passant devant le cou peut etre a lorigine d'une blessure cervicale en cas de freinage brusque ou de collision.
■ Installation d'un système de retenue pour enfant au moyen des ancrages inférieurs et longes (LATCH)

DANGER
- Les systèmes de retenue pour enfant et les ceintures de sécurité d'un vehicule resté fermé en plein soleil peuvent开发商 brûlants. Vérifiez la température du système de sécurité pour enfant avant d'y installer un enfant.
- Ne laïsez jamais un système de retenue pour enfant non fixé dans votre vehicule. Il risquerais d'être projeté à l'intérieur du vehicule en cas de virages, d'arret brusque ou d'accident, exposant l'enfant et les autres occupants du vehicule à des blessures graves voire mortelles.

ATTENTION
Lorsque you installez un système de retenue pour enfant, suivez les instructions fournies par le fabricant de ce siège. Avec avoir installe le système de retenue pour enfant,
assurez-vous qu'il est bien fixé en position. Une mauvaise fixation ou un mauvais maintainier augmenterait le risque de blessures pour l'enfant en cas d'accident.

Certains types de système de retenue pour enfant peuvent être installés sur le siècle arrière de votre vehicule sans utiliser les ceintures de sécurité. Ces systèmes de retenue pour enfant se fixent à des ancrages prévus à cet effet sur la caisse du vehicule. Les ancrages inférieurs et ancrages de longe sont parfois appelés système LATCH (abréviation de l'anglais Lower Anchors and Tethers for Children).

Anchor. Tether.
LATCH
Votre vehicule est équipé de quatre ancrages inférieurs (barres) et de deux ou trois ancrages supérieurs (ancrages de longes) pour installer les systèmes de retenue pour infant de ce type.

Les ancrages inférieurs (barres) ne s'uti
lisent que dans le cas où le système de retenue pour enfant est installé à une place arrrière cote fenêtre. Il y a deux ancrages inférieurs pour chacune des places cote fenetre.
Ces ancrages inférieurs se trouvent à la jointure entre le coussin et le dossier de siège.

*: Les modèles pour l'Amérique latine ne sont pas équipés d'ancrage de longe au niveau de l'emplacement central.
Les ancrages de longe (ancrages supérieurs) se trouvent aux emplacements indiqués sur l'illustration ci-dessus.

Les inscriptions "®" figurent au bas des dossiers de siège arrêté. Ces inscriptions indiquent la position des ancrages inférieurs (barres).

Ces ancrages inférieurs se trouvent à la jointure entre le coussin et le dossier de
siège.
- À l'aide des inscriptions “ © ”, repêrez la position des deux ancrages inférieurs (barres) de la place à laquelle vous pouze installer le système de retenue pour infant.

- En suivant les instructions fournies par le fabricant du système de retenue pour enfant, fixez les crochets inférieurs aux ancrages inférieurs à l'endetroit des marques "en bas du dossier du siège arrêté. En accrochant les crochets, veillez à ne pas prendre les ceintures de sécurité voisines.

- (Si le système de retenue pour infant est de type à fixationSouple [avec lequel le système de retenue pour infant se fixe aux ancrages inférieurs au moyen de longes])
Tout en,enfantantle siège pour infant dans le coussin de siège,tirez les deux longes inférieures pour supprimer le mou et immobiliser le système de retenue pour infant.
- Passez le crochet de la longe supérieure dans l'ancrage de longe, et tendez fortement la longe. Pour des informations sur la maniere de fixer la longe supérieure, reportez-vous à "Ancrages de longe supérieure" 1-33.

- Avant d'asseoir un enfant dans le système de retenue pour enfant, essayez de déplacer le siège dans toutes les directions pour vous assurer qu'il est fermement maintenu en position.
- Pour enlever le système de retenue pour infant, repreneze les opérations d'installation dans l'ordre inverse.
Pour toute question à propos de ce type de système de retenue pour enfant, adressez-vous à votre concessionnaire SUBARU.
Ancrages de longe supérieure
Votre vehicule est équipé de deux ou trois ancrages de longe supérieure, permettant l'installation d'un système de retenue pour enfant équipé d'une longe supérieure sur les places arrêté. Pour installer un système de retenue pour enfant avec une longe supérieure, procédez comme suit, en vous conformant aux instructions du fabricant du système de retenue pour enfant.
Une longe supérieure assurant une plus grande stabilité en ajoutant un point de fixation supplémentaire entre le système de retenue pour infant et le vehicule, nous vous recommendons de toujours utiliser la longe supérieure quand elle est nécessaire ou quand elle est fournie.
Emplacements des ancrages
Modèles 4 portières

1) Pour siège gauche
2) Pour siège central (les modèles pour l'Amérique latine ne sont pas équipés d'ancrage de longe au niveau de l'emplacement central.)
3) Pour siege droit
Deux ou trois ancrages supérieurs sont installés sur la plage arrêté, derrière le siège arrêté.
Modèles 5 portières

1) Pour siege gauche
2) Pour siège central (les modèles pour l'Amérique latine ne sont pas équipés d'ancrage de longe au niveau de l'emplacement central.)
3) Pour siege droit
La cloison arrirée de l'espace de charge-ment est équipée de deux ou trois ancrages.
Pour accrocher la longe supérieure

- Enlevez l'appui-tete situé à la place côte fenêtre où le système de retenue pour enfant a été installé au moyen de la ceinture de sécurité ou de l'ancrage inférieur; tirez l'appui-tete vers le haut tout en appuyant sur le bouton de déverrouillage. Rangez l'appui-tete dans le coffre à bagages (4 portières) ou dans l'espace de chargement (5 portières). Évitez de laisser l'appui-tete dans le compartment des passagers car il risquerait d'être projeté en cas d'arrêt brusque ou de virage.

Modèles 4 portières

Modèle 5 portières (type A)

Modèles 5 portières (type B)
- Ouvrez et retirez le capuchon de l'ancrage supérieur approprié.
REMARQUE
Les modèles 5 portières avec les ancrages de longe supérieure type B sont équipés d'un capuchon de crochet de longe, situé sur le tapis du plancher. Soulevez le tapis du plancher de chargement et enlevez le capuchon de crochet de longe. ÀpRES avoir enlevé le capuchon, rangez-le dans l'espace de rangement sous plancher ou dans un autre espace de rangement. Reportez-vous à "Espace de rangement sous plancher" 一 6 - 1 5 ou "Espace de rangement" 一 6 - 5

Modèle 4 portières

Modèle 5 portières (type B)

Modèles 5 portières (type A)
- Attachez le crochet de la longe supérieure du système de retenue pour infant sur l'ancrage supérieur approprié.

- Pour les modèles 5 portières avec les ancrages de longe supérieure type B,
réinstallé le tapis du plancher de l'espace de chargement.
- Tendez fermement la longe supérieure.
Pour toute question concernant l'installation d'un système de retenue pour enfant, adressez-vous à votre concessionnaire SUBARU.

ATTENTION
Déposez toujours l'appui-tête quand vous installez un système de retenue pour enfant avec longe supérieure. Faute de quoi, il n'est pas possible d'attacher et de tendre correctement la longe supérieure.
Coussin de sécurité *SRS (Système de Retenu Supplémentaire)
*SRS: Abréviation de l'expression "Système de Retenue Supplémentaire". Cette appellation est due au fait que le système des coussins de sécurité constitue une protection supplémentaire, en plus des ceintures de sécurité.
Votre vehicule est equipoé d'un module de détction et de diagnostic de collision qui enregistre le fait que la ceinture de sécurité du passager avant itait bouclée ou non au moment du déploement d'un des coussins de sécurité SRS ou latéraux ou d'un des rideaux de sécurité.
■ Modèles avec coussin de sécurité SRS et retenues abdominales/d'épaules pour le conducteur, le passager avant et les passagers arrêté côté portière
Votre vehicule est equipoed'un système de retenue supplémentaire en plus de la ceinture de sécurité abdominale/d'épaule à la place du conducteur, à la place du passager avant, et aux deux places des passagers arrêté côté portière. Le sys
treme de retenue supplémentaire (SRS) se compose de six coussins de sécurité. Les configurations sont les suivantes.
- Coussins de sécurité frontaux du conducteur et du passager avant
- Coussins de sécurité latéraux du conducteur et du passager avant
- Rideaux de sécurité (pour le conducteur, le passager avant et les passagers arrrière des cotes portières)
Ces coussins de sécurité SRS ne sont concus que comme une protection supplémentaire en plus de la ceinture de sécurité.
Le système commande aussi les prétensionneurs de ceinture de sécurité avant. Pour des conseils et précautions d'utilisation supplémentaires concernant les prétensionneurs de ceinture de sécurité, reportez-vous à "Prétensionneurs des ceintures de sécurité avant" 1-20.

DANGER
Pour bénéficier de la(Meilleure protection possible en cas d'accident,le conducteur et tous les passagers doivent toujours avoir leur ceinture de sécurité bouclée lorsque le vehicule roule. Le coussin de sécurité SRS n'est
conqu que comme une protection supplémentaire en plus de la ceinture de sécurité. Il ne dispense pas d'utiliser les ceintures de sécurité. En combinaison avec les ceintures de sécurité, ils assurent la meilleure protection possible en cas d'accident grave.
Ne pas porter de ceinture de sécurité augmente le risque de blessures graves ou mortelles en cas de collision, même si le vehicule est équipé de coussins de sécurité SRS.
Pour des consignes et précautions relatives au système de ceintures de sécurité, reportez-vous à “Ceintures de sécurité” 1-11.
- Ne vous tenez pas assist ou penché trop pres du coussin de sécurité SRS. comme le coussin de sécurité SRS se déploie à une vitesse considérable- plusrapidement qu'un battement de cils et avec force pour protéger l'occupant du siège en cas de collision à grande vitesse, cette force de déploement peut blesser l'occupant du siège s'il se tient trop pres du coussin de sécurité SRS.
Le port de la ceinture de sécurité peut également constituer une protection contre le risque de blessure inherant au déploissement d'un coussin de sécurité SRS si l'occupant n'est pas dans la position correcte et est projeté en avant pendant le coup de frein avant l'accident.
Meme si I'occupant se tient dans une position correcte, il est possible que la force de déploiement du coussin de sécurité SRS lui provoque de légères blessures, telles que des écorchures au visage ou au bras.
- Les coussins de sécurité SRS se déploient très rapidement avec une énergie considérable. Les personnes qui ne se tiennent pas assises correctement sur leur siège lorsque le coussin de sécurité SRS se déploie risquent d'être gravement blessées. Les coussins de sécurité SRS occupant assez d'espace lorsqu'ils se déploient, le conducteur doit se tenir assist au fond de son siège, bien droit contre le dossier, et se tenir éloigné du volant autant que le permet le maintain d'une parfaite maitrise du vehicule. Le
passager avant doit reculer son siège au maximum et se tenir au fond du siège, bien droit contre le dossier.
- Ne posez aucun objet sur ou à proximé du couvercle du coussin de sécurité SRS ou entre le coussin de sécurité SRS et vous. En cas de déploiemment du coussin de sécurité SRS, tout objet place devant serait projeté, entrainant un risque de blessures.

100082

DANGER
- Les enfants de moins de 12 ans doivent toujours être installés sur les sièges arrêté et convena
blement attachés. Le coussin de sécurité SRS se déploie très rapidement avec une energia considérable, et il peut blesser ou même tuer un enfant qui n'est pas attaché ou mal attaché. Plus légers et moins robustes que les femmes, les enfants sont plus exposés au risque de blessures par déploiement du coussin de sécurité.
Pour cette raison, nous vous recommendons vivement de veiller à ce que TOUS les enfants (ceux utilisant un système de retenue pour enfant et aussi ceux qui sont trop grands pour en utiliser un) voyagent sur les sièges ARRÊIRE et soient convenablement attachés au moyen d'un système de retenue pour enfant ou de la ceinture de sécurité du siege, compte tenu de leur âge, de leur taille et de leur poids.
TOUS les systèmes de retenue pour infant (y compris les sièges pour infant tournés vers l'avant) doivent toujours être installés sur les sièges ARRIÈRE.
Les statistiques d'accidents prouvent que les enfants sont
plus en sécurité lorsquils sont correctement attachés sur les sièges arrêté只想 que sur les sièges avant.
Pour des consignes et précautions relatives au système de retenue pour infant, reportez-vous à "Systèmes de retenue pour infant" 1-23.
N'INSTALLALLEZ JAMAIS UN SIÈGE POUR ENFANT TOURNÉ VERS L'ARRIÈRE SUR LE SIÈGE AVANT. L'ENFANT SE TROUVERAIT TROP PRÉS DU COUSSIN DE SECURITE SRS, ET SERAIT DONC EXPOSE À DES RISQUES DE BLESSURES GRAVES VOIRE MORTELLES.
- Ne laïsez jamais un enfant se tenir debout ou à genoux sur le siège du passager avant, et ne tenez jamais un enfant sur vos genoux ou dans vos bras. Le coussin de sécurité SRS se déploie avec une énergie considérable, assez forte pour blesser voire tuer l'enfant.

ATTENTION
Le déplolement des coussins de
sécurities SRS s'accompagne d'un léger dégagement de fumée. Cette fumée peut incommoder des personnes souffrant d'asthme ou d'autres affections respiratoires. Si vous ou l'un de vos passagers souffrez d'affections respiratoires, pensez à aérer rapidement en cas de déploiement des coussins de sécurité SRS.
Le déploiement d'un coussin de sécurité SRS s'accompagne d'un dégagement de gaz chauds. Les occupants risquent d'être brûlés s'ils sont exposés directement à ces gaz chauds.
REMARQUE
Quand you revendez voire vehicule,
nous you prions instamment d'explainar a l'acheteur qu'il est equipedecoussins de security SRS et d'inviterl'acheteur a dire la section correspondante dans ce Manuel du conducteur.
Éléments

1) Module de commande du coussin de sécurité (y compris le capteur d'impact)
2) Module de coussin de sécurité frontal (côté conducteur)
3) Module de coussin de sécurité frontal (côté passager avant)
4) Captereur auxiliaire avant (côté gauche)
5) Capteur auxiliaire avant (côté droit)
6) Module du coussin de sécurité l'ital (côté conducteur)
7) Module du coussin de sécurité l'ital (côté passager avant)
8) Capteur du coussin de sécurité l'ital (côté gauche du montant central)
9) Capteur du coussin de sécurité l'etal (cote croit du montant central)
10) Câblage du coussin de sécurité
11) Préensionneur de ceinture de sécurité (cote conducteur)
12) Prétenaisonneur de ceinture de sécurité (cote passager avant)
13) Capteur du rideau de sécurité (logement de roue arrêté côté droit)
14) Capteur du rideau de sécurité (logement de roue arrêté côte gauche)
15) Module de rideau de sécurité (cote droit)
16) Module de rideau de sécurité (côte gauche)
17) Contacteur de boucle de ceinture de sécurité (cote passager avant)
18) Capteur de tension de la ceinture de sécurité du passager avant
19) Capteur de poids du système de détction de présence d'un passager avant
20) Module de commande pour détction de présence d'un passager avant
21) Indicateur ON/OFF du coussin de sécurité frontal du passager avant
22) Témoin avertisseur du système de cousinsin de sécurité SRS
23) Capteur d'impact (sous le siège central arrêté)
Système SUBARU de coussin de sécurité frontal perfectionné
Votre vehicule est équipé du système SUBARU de coussin de sécurité frontal perfectionné, conforme aux nouvelles exigences de la norme révisée Federal Motor Vehicle Safety Standard (FMVSS) N°208 en matière de coussins de sécurité frontaux perfectionnés.
Au moment du déploiement, le système SUBARU de coussin de sécurité frontal perfectionné détermine automatiquement qu'elle doit être la force de déploiement du coussin de sécurité frontal SRS du conducteur aussi bien que le déploiemont ou non du coussin de sécurité frontal SRS et dans le cas où il doit être activé, la force de son déploiement.
Votre vehicule comporte des etiquettes de mise en garde collées sur le pare-soilel du conducteur et du passager avant commençant par la mention "MÈME AVEC DES COUSSINS GONFLABLES INTELLIGENTS", ainsi qu'une plaque appoçaée sur la boîte à gants commençant aussi par la mention "Mème avec des coussins gonflables intelligents". N'oubliez pas de dire attentivement les instructions données sur ces étiquettes de mise en garde et sur cette plaque.
Attachez toujours votre ceinture de sécurité. Le système SUBARU de coussin de sécurité frontal perfectionné est un système de retenue supplémentaire à utiliser en combinaison avec les ceintures de sécurité. Tous les occupants du vehicule doivent porter une ceinture de sécurité ou être installés dans un siège pour enfants approprié.
Le coussin de sécurité frontal SRS du conducteur est logé dans la partie centrale du volant de direction. Le coussin de sécurité SRS frontal passager est intégré à la partie supérieure du tableau de bord, derrière le couvercle marqu "SRS AIRBAG".
En cas de collision frontale violente ou de force moyenne, les coussins de sécurité SRS frontaux complètent la protection assurée par les ceintures de sécurité en protégeant le conducteur et le passager avant au niveau de la tête et de la poitrine.


DANGER
N'INSTALLLEZ JAMAIS UN SIÈGE POUR ENFANT TOURNÉ VERS L'ARRÊRE SUR LE SIÈGE AVANT. L'ENFANT SE TROUVERAIT TROP PRÉS DU COUSSIN DE SECURITE SRS, ET SERAIT DONC EXPOSE À DES RISQUES DE BLESSURES GRAVES VOIRE MORTELLES.


DANGER
Ne laisses jamais un enfant se tenir debout ou a genoux sur le siege passager avant. Le coussin de sécurité SRS se déploie avec une énergie considérable, assez forte pour blesser voire tuer l'enfant.


DANGER
Ne tenez jamais un enfant sur vos genoux ou dans vos bras. Le cousin de sécurité SRS se déploie avec une énergie considérable, assez forte pour blesser voire tuer l'enfant.


DANGER
Le coussin de sécurité SRS se déploie très rapidement et avec une energia considérable. Les personnes qui ne se tiennent pas assises correctement sur leur siège lorsque le coussin de sécurité SRS se déploie risquent d'être gravement blessées. Les coussins de sécurité SRS occupant assez d'espace lorsqu'ils se déploient, le conducteur doit se tenir assis au fond de son siège, bien droit contre le dossier, et se tenir éloigné du volant autant que le permet le maintainier d'une parfaitaite maitrise du vehicule. Le passager avant doit reculer son siège au maximum et
se tener au fond du siège, bien droit contre le dossier.
Le port de la ceinture de sécurité peut également constituer une protection contre le risque de blessure inherént au déploiation d'un cousin de sécurité SRS si l'occupant n'est pas dans la position correcte et est projeté en avant pendant le coup de frein avant l'accident.

DANGER
Ne posez jamais d'objets sur le rembourse du volant de direction ou sur le tableau de bord. Si les coussins de sécurité SRS frontaux venaient à se déployer, cet objet
pourtait empêcher le fonctionnement normal du système et être projeté dans le vehicule, provoquant des blessures.

DANGER
Ne fixez pas d'accessoires contre le pare-brise, ni ne posez de rétroviseur extra-large sur le rétroviseur standard. En cas de déploiemment des coussins de sécurité SRS frontaux, ces objets pouraient doivent de redoutables projectiles infligeant de graves blessures aux occupants du vehicule.
Coussin de sécurité frontal SRS du conducteur
Le coussin de sécurité frontal SRS du conducteur comporte un déclencheur biétagé. Le mode de fonctionnement du déclencheur dépend de la violence de l'impact.
Faites immédiatement contrôle le système par un concessionnaire SUBARU si le témoin averitisseur du système de coussin de sécurité SRS s'allume.
REMARQUE
Le coussin de sécurité latorial SRS, le rideau de sécurité SRS et le pretensionneur du cote conducteur ne sont pas commandés par le système SUBARU de coussin de sécurité frontal perfectionné.
Coussin de sécurité frontal SRS du passager avant
Le coussin de sécurité frontal SRS du passager avant compte un déclencheur bi-étagé. Le mode de fonctionnement du déclencheur dépend de la violence de l'impact.
La charge totale reposant sur le siège est détectée par le capteur de poids du système de détction de présence d'un passager qui se trouve sous le siège.
Le système comporte un capteur supplé
mentaire qui détecte la tension de la ceinture de sécurité du passager avant. Sur la base des signaux transmis par le capteur de poids total sur le siege et le capteur de tension de la ceinture, le système de détction de présence d'un passager avant decide si le coussin de sécurité SRS frontal du passager avant doit être en service ou hors service.
Il peut donc arriver que le coussin de sécurité SRS frontal du passager avant ne se déclenché pas, alors que le coussin de sécurité SRS frontal du conducteur se déclenché. Ceci est normal.
Observe les précautions suivantes. Dans le cas contraire, le système SUBARU de coussin de sécurité frontal perfectionné pourrait être dans l'impossibilité de fonctionner ou ne fonctionnerait pas correctement.
- Ne soumettez pas le siège du passagier avant à des forts impacts, comme des coups de pied par exemple.
- Ne repandez pas de liquides sur le siège du passager avant. Si un liquide a été repandu, épongez immédiatement.
- N'enlevez pas et ne demontez pas le siège du passager avant.
-
N'installez pas sous le siège du passager avant un accessoire (amplificateur audio, etc.) autre qu'un accessoire SUBARU d'origine.
-
Ne placezaucunobjectoueffetpersonnel (chaussures,paraplueie,etc.) sousle siege du passager avant.
- Le siège du passager avant ne doit pas s'utiliser avec l'appui-tête enlevé.
- Quand vous quitterze le vehicule, ne laissez aucun objet, y compris un siège pour enfant, posé sur le siège du passager avant, et ne laissez pas la languette de la ceinture de sécurité engagée dans la boucle.
- Ne placez pas des aimants ou objets aimentés près de la boucle ou de l'enrouilleur des ceintures de sécurité.
- N'utilisez pas les sièges sans qu'ils soient correctement verrouillés en position avant-arrête ou sans que le dossier soit correctement verrouillé. Si un siège ou son dossier n'est pas verrouillé correctement, agissez sur le réglage pour que le loquet s'engage correctement. Pour la procédure de réglage, reportez-vous à "Sièges avant" 1-2.
Si le contacteur de ceinture de sécurité et/ ou le système de détction d'un passager avant ne fonctionnement pas normalement, le témoin avertisseur du système de coussin de sécurité SRS s'allume. Faites immédiatement contrôle le système par un concessionnaire SUBARU si le témoin avertisseur du système de coussin de
sécurité SRS s'allume.
L'implication de votre vehicule dans une collision peut afferter le bon fonctionnement du système SUBARU de coussin de sécurité frontal perfectionné. Faites contrôleurve vehicule par un concessionnaire SUBARU.
REMARQUE
Le coussin de sécurité latorial SRS du passager avant, le rideau de sécurité SRS et le pretensionneur du cote passager avant ne sont pas commandés par le système SUBARU de coussin de sécurité frontal perfectionné.
Indicateurs ON et OFF du coussin de sécurité frontal du passager
Reportez-vous à "Indicateurs ON et OFF du coussin de sécurité frontal du passager avant" 3-18.
Conditions dans lesquelles le coussin de sécurité frontal SRS du passager avant n'est pas mis en service
Le système est conçu pour que le coussin de sécurité frontal SRS du passager avant soit mis hors service dans l'une des situations suivantes concernant le siège du passager avant:
- Le siège n'est pas occupé.
- Un système de retenue pour enfant de
type tourné vers l'arrière est installé sur le siège et est occupé par un nourrisson. (Voir DANGER qui suit.)
- Un système de retenue pour enfant de type tournée vers l'avant est installé sur le siècle et est occupé par un enfant en bas âge. (Voir DANGER qui suit.)
- Un siège réhausera a été installé sur le siège et un enfant en bas âge est assis sur le siège réhauser. (Voir DANGER qui suit.)
- Le siège est décharge du poids de l'occupant pendant une durée excédant le temps de surveillance prédéterminé.
- Le siège est occupé par un enfant trop grand pour utiliser un siège pour enfant (Voir DANGER qui suit.) ou par unadulte de petite corpulence.
- Le système de détction de présence d'un passager avant est défectueux.

DANGER
N'INSTALLLEZ JAMAIS DE SIÉGE POUR ENFANT TOURNÉ VERS L'ARRÊRE SUR LE SIÉGE DU PASSAGER AVANT, MÈME SI LE COUSSIN DE SECURITE FRONTAL SRS DU PASSAGER EST HORS SERVICE. Installez-le correctement sur le siège ARRIÈRE, comme indiquédans ce manuel. En outre, il est
vivement recommendé qu'un siège pour enfant tourné dans le sens avant ou un siège rehauserse soit installé à l'ARRIÈRE, et qu'un enfant trop grand pour utiliser le système de retenue pour enfant soit assis à l'ARRIÈRE. En effet, un enfant assist sur le siège du passager avant pourrait être très gravement blessé et même tué en cas de déploiation du coussin de sécurité frontal SRS du passager avant. Les sièges ARRRIÈRE sont les places les plus sûres pour les enfants.
Quand le siège du passager avant est occupé par un enfant, observez les précautions suivantes. Faute de quoi, en raison de l'augmentation de la charge s'exerçant sur le siège du passager avant, le coussin de sécurité frontal SRS du passager sera mis en service bien que le siège soit occupé par un enfant.
- Ne placez aucun objet sur le siège qui ne doit supporter comme charge que l'enfant et le système de retenue pour enfant.
- N'installez jamais plus d'un enfant sur le siège.
- Ne fixezaucun accessoire au dossier du siège(tablete,téléviseur,etc.).
- Ne placez aucun objet lourd dans la
poche du dossier de siege.
Veillez à ce que le passager installé à l'arrière ne pose pas les bras ou les jambes sur ou contre le dossier du siège avant et qu'il ne tire pas le dossier du siège avant.
Si I'indicateur ON du coussin de sécurité frontal du passager avant s'allume et si I'indicateur OFF s'éteint, alors qu'il y a sur le siège un bébé ou un enfant en bas âge installé dans un système de retenue pour enfant (siège rehausseur compris)
Remettez le contacteur d'allumage en position "LOCK" si l'indicateur ON du coussin de sécurité frontal du passager avant s'allume et si l'indicateur OFF s'eteint, alors qu'il y a sur le siège un bébé ou un enfant en bas âge installé dans un système de retenue pour enfant (siège rehausseur compris). Enlevez le système de retenue pour enfant du siège du passager. Puis, en suivant les recommendations du fabricant du système de retenue pour enfants et les instructions données dans "Systèmes de retenue pour enfant" 1-23, installez correctement le système de retenue pour enfant. Mettez le contacteur d'allumage en position "ON", puis vérifie que l'indicateur ON du coussin de sécurité frontal du passager avant
ne s'allume plus et que c'est l'indicateur OFF qui s'allume.
Si l'indicateur ON reste allumé et l'indicateur OFF étèint, prenez les mesures suivantes.
- Vérifiez qu'il n'y a sur le siège du passager rien d'autre que le système de retenue pour infant et l'enfant qui l'ocupe.
- Vérifiez que vous n'avez laissé aucun objet dans la poche du dossier de siège.
- Vérifiez que le loquet de position avant-arrrière et le loquet du dossier du siège du passager avant sont correctement engagés en essayant de déplacer le siège vers l'avant et vers l'arrière.
Si malgré l'une des mesures correctives appropriées décrites ci-dessus prises, l'indicateur ON persiste à s'allumer et l'indicateur OFF à s'teindre, déplacez le système de retenue pour enfant pour lemettre sur le siège arrêté et faites immeditatement effectuer un contrôle par un concessionnaire SUBARU.
REMARQUE
Si le siège du passager avant est occupé par un enfant trop grand pour utiliser un système de retenue pour enfant ou par un adulte de petite taille, le fait que le système SUBARU de
coussin de sécurité frontal perfectionné mettra ou ne mettra pas en service le coussin de sécurité frontal SRS du passager avant sera fonction de la manière dont la personne se tient assise. En cas d'activation du coussin de sécurité frontal SRS du passager avant (indicateur ON allumé, indicateur OFF étèint), prenez les mesures suivantes.
- Vérifiez qu'il n'y a sur le siège du passager rien d'autre que la personne qui l'occupe.
- Vérifiez que vous n'avez laissé aucun objet dans la poche du dossier de siège.
Si, après les vérifications et mesures correctives ci-dessus, l'indicateur ON reste allumé et l'indicateur OFF étant, demandez à l'enfant ou l'adulte de petite corpulence de s'asseoir sur le siège arrêté, et faites immédiatement effectuer un contrôle par un concessionnaire SUBARU. Par la suite, même si le bon fonctionnement du système a été vérifié par un concessionnaire, il est préférible que cet enfant ou cet adulte voyage toujours sur le siège arrêté.
Indépendamment du fait que le coussin de sécurité frontal est en service ou non, les
enfants trop grands pour utiliser un système de retenue pour enfant doivent toujours porter la ceinture de sécurité du siège, que le coussin de sécurité soit activé ou désactivé.
Conditions dans lesquelles le coussin de sécurité frontal SRS du passager avant est mis en service
Le coussin de sécurité frontal SRS du passager avant sera mis en service et se déploiera en cas de collision dans l'une des situations suivantes concernant le siège du passager avant:
- Le siège est occupé par unadulte.
- Un objet lourd a eté déposé sur le siège.
Quand le siège du passager avant est occupé par un adulte, observez les précautions suivantes. Faute de quoi, la charge s'exercant sur le siège du passager avant se trouve réduite et il se peut que le coussin de sécurité frontal SRS du passager avant soit mis hors service bien que le siège soit occupé par unadulte.
Veillez à ce que l'occupant du siège arrrière n'exce pas avec ses pieds une poussée vers le haut sous le coussin du siège du passager avant.
- Ne placez aucun objet sous le siège du passager avant; ne coincez aucun objet entre les sièges avant et arrêté. Cela
pourtait exercerc sur le siege une poussee vers le haut.
- Ne Coincez aucun objet entre le siège du passager avant et le montant lésral, la portière ou la boite de console centrale. Cela pourrait exercer sur le siège une poussée vers le haut.
Si I'indicateur OFF du coussin de sécurité frontal du passager est allumé et l'indicateur ON étèint alors que le siège du passager avant est occupé par un adulte
Cela peut provenir du fait que l'adulte n'est pas asssis correctement sur le siège du passager avant. Mettez le contacteur d'allumage en position "LOCK". Demandez au passager avant de redresser le dossier de son siège, de se tener asssis droit au milieu du siège, d'attacher correctement sa ceinture de sécurité, d'etendre les jambes vers l'avant et de reculser son siège au maximum vers l'arrière. Mettez le contacteur d'allumage en position "ON". Si l'indicateur OFF reste allumé et l'indicateur ON étèint, prenez les mesures suivantes.
- Mettez le contacteur d'allumage en position "LOCK".
-
Vérifiez qu'il n'y aaucun objet (livre, chaussure ou autre) coincide sous le siege, à l'arrête du siege ou sur le coto du siege.
-
Vérifiez que le loquet de position avant-arrrière et le loquet du dossier du siège du passager avant sont correctement engagés en essayant de déplacer le siège vers l'avant et vers l'arrière.
- Mettez ensuite le contacteur d'allumage en position "ON" et attendez 6 secondes pour que le système termine son contrôle. Àpres le contrôle, les indicateurs s'éteignent tous deux pendant 2 secondes. L'indicateur devrait à partir s'allumer, et l'indicateur OFF rester étant.
Si, malgré tout, l'indicateur OFF reste allumé et l'indicateur ON esteint, faites voyager la personne sur le siège arrière. Contactez immédiatement votre concessionnaire SUBARU et faites contrôle le système.
Effets que l'adaptation d'un vehicule à une personne handicapée peut avoir sur le fonctionnement du système SUBARU de coussin de sécurité frontal perfectionné (États-Unis uniquement)
Modifier ou déplacer une partie quelconque des sièges avant, du siège arrrière, des ceintures de sécurité, du pare-chocs avant, de l'avant et des côtes de la caisse, du tableau de bord, des instruments groupés, du volant de direction, de la colonne de direction, des roues, de la
suspension ou du plancher peut affecter le fonctionnement du système SUBARU de coussin de sécurité frontal perfectionné. Pour toute question à ce sujet, vous pouvez contacter les distributeurs SUBARU suivants.
<États continentaux, Alaska et District de Columbia>
Il n'y a actuellément pas de distributeur SUBARU sur les autres territoires des États-Unis. Si vous vous trouvez dans l'une de ces régions, veuillez prendre contact avec le distributeur ou concessionnaire SUBARU auprès duquel vous avez acheté votre vehicule.
Fonctionnement

A) Côté conducteur
B) Côté passager
1) Les COUSSINS DE SECURITE SRS du cote passager se gonflent des qu'il y a une collision.
2) ÀpRES gonflement, les COUSSINS DE SECURITE SRS se dégonflent immédiatement pour ne pas obstruer la vue du conducteur.
Les coussins de sécurité SRS ne fonctionnent que lorsque le contacteur d'allumage est en position "ON".
Le système SUBARU de coussin de sécurité frontal perfectionné est concu pour déterminer les conditions d'activation ou de désaction du coussin de sécurité frontal SRS du passager avant, en fonction de la charge totale sur le siege du passager avant, ce poids étant surveillé par le capteur de poids du système de détéction de présence d'un passager avant. Pour cette raison, il peut arriver que seul le coussin de sécurité frontal SRS du conducteur se déploie en cas de collision, mais ceci ne signifie pas que le système est défailleant.
Si les capteurs auxiliaires avant et les capteurs d'impact incorporens au module de commande de coussin de sécurité déetect une collision par l'avant d'une intensité prédéterminée, le module de commande envoie au(x) module(s) de sécurité (seulement au module conducteur, ou à la fois au module conducteur et au module passager avant) le signal de déploiemet du coussin de sécurité frontal SRS. Les coussins de sécurité frontaux SRS du conducteur et du passager avant sont équipés de déclencheurs bi-étagés. Les deux déclencheurs de chaque coussin gonflable sont actionnés soit l'un après
l'autre, soit simultanément, selon la violence de l'impact dans le cas du coussin de sécurité frontal SRS du conducteur, ou de la violence de l'impact et de la charge totale sur le siège dans le cas du coussin de sécurité frontal SRS du passager avant.
Après déploiemment, le coussin de sécurité SRS se dégonfle immidiatement pour ne pas gérer la vue du conducteur. Toutes ces opérations, de la détéction de l'impact au dégonflement des coussins de sécurité SRS, se déroulent en moins de temps qu'il n'en faut pour un clin d'eel.
Que seul le coussin de sécurité frontal SRS du passager se déploie ou que les coussins de sécurité frontaux SRS du conducteur et du passager se déploient tous deux, dans les deux cas les pretensionneurs de ceinture de sécurité du conducteur et du passager sont simultanément tous deux déclenchés.
Bien qu'il soit très improbable qu'un coussin de sécurité SRS se déclenché hors situation d'accident, si cela se produit, le coussin se dégonfle si rapidement qu'il n'obstrue pas la vue du conducteur et ne lui fait pas perdre le contrôle du vehicule.
Le déploiement d'un coussin de sécurité
SRS s'accompagne d'un bruit de gonflement soudain et assez fort, et d'un léger dégagement de fumée. Ceci est le résultat normal du déploiement. La fumée n'est pas le signe d'un début d'incendie dans le vehicule.

ATTENTION
Ne touchez pas les composants du système et les alentours du volant et du tableau de bord a mains tres juste après le deploiemet des coussins de securite SRS. Vous risqueriez de vous bruler, car le deploiemet entraine un fort degagement de chaleur au niveau de certaines parties du systeme.
Le coussin de sécurité frontal SRS du conducteur et le coussin de sécurité frontal SRS du passager avant sont concus pour se déployer dans l'eventualité d'un accident impliquant un chic de plein front. En principe, ils ne se déploient pas en cas de chic frontal léger car les ceintures de sécurité suffisent alors à assurer une bonne protection. De plus, ils ne sont en principe pas concus pour se déployer lors d'un accident par impact lésral ou retournement du vehicule, car le déploiemé du coussin de sécurité frontal SRS du conducteur ou des coussins de
sécurité frontaux SRS du conducteur et du passager ne constituerait pas dans ces situations une aide pour les occupants. Les coussins de sécurité frontaux SRS du conducteur et du passager avant sont conçus pour ne servir qu'une seule fois.
Le déploiement des coussins de sécurité SRS dépend de l'intensité du choc que subit l'habitacle du vehicule au moment de la collision. Cette intensité est très variable d'un type de collision à l'autre, et n'est pas nécessairement en rapport avec les dommages visibles sur le vehicule.
Exemple d'accident au cours duquel les coussins de sécurité frontaux SRS du conducteur/du conducteur et du passager avant se déploierontramerissemblablement.

Une collision de front contre un épais mur de béton avec une vitesse du vehicule de l'ordre de 20 à 30 km/h (12 à 19 mph) ou plus actionnera le coussin de sécurité frontal SRS du conducteur seulement ou les deux coussins de sécurité frontaux SRS du conducteur et du passager avant. Le coussin de sécurité est aussi activé quand le vehicule subit un choc par l'avant du même genre et de la même intensité que la collision indiquée ci-dessus.
Exemples de types d'accidents au cours desquels il est possible que les coussins de sécurité frontaux SRS du conducteur/du conducteur et du passager avant se déploient.

Le coussin de sécurité frontal SRS du conducteur seulement ou les coussins de sécurité frontaux SRS du conducteur et du passager avant peuvent être actionnés si le soubassement du vehicule subit un fort impact par le bas ( comme lorsque le vehicule tombe dans un fossé profond ou-heurte violemment un obstacle tel qu'une cordure de trottor).
Exemples de types d'accidents au cours desquels il est peu vraisemblable que le coussin de sécurité frontal SRS du conducteur/du conducteur et du passager avant se déploient.

1

4

2

5

3

101418
1) Le vehicule percute un objet tel qu'un poteau téléphonique ou un poteau de signalisation.
2) Le vehicule glisse sous le plateau de chargement d'un camion.
3) Le vehicule subit un impact en oblique frontal de travers.
4) Le vehicule subit un impact frontal de travers.
5) Le vehicule heurte un obstacle mobile ou qui peut se déformer, comme un vehicule en stationnement.
Dans divers types de collisions, le déploiemment du coussin de sécurité frontal SRS du conducteur/du conducteur et du passager avant n'est pas nécessairement requis. En cas d'accident tel que ceux illustrés, les coussins de sécurité SRS du conducteur/du conducteur et du passager avant ne se déploient pas toujours, cela dépendant de l'intensité des forces agissant dans l'accident.
Exemples de types d'accidents au cours desquels les coussins de sécurité frontaux SRS du conducteur/du conducteur et du passager avant ne devraient pas se déployer.



101315
Les coussins de sécurité frontaux SRS du
conducteur et du passager sont concus pour, en principe, ne pas se déployer si le vehicule est heures par le cote ou par l'arrière, s'il se renverse sur le flanc ou sur le toit, ou s'il est impliqué dans une collision frontale à petite vitesse.

1)Premier impact
2) Second impact
Dans un accident au cours duquel le vehicule subit plusieurs chocs, les cousins de sécurité frontaux SRS du conducteur et/ou du passager avant ne se déploient qu'une fois lors du premier chic.
Exemple: Dans le cas d'une double collision, d'abord avec un autre vehicule puis en succession rapide contre un mur de béton, une fois que le coussin de sécurité frontal du conducteur et/ou du
passager s'est ou se sont déployé(s) lors du premier impact, il(s) ne peu(ven)t plus être actionné(s) lors du second impact.
Coussin de sécurité létal SRS et rideau de sécurité SRS
Les coussins de sécurité SRS latéraux sont intégrés au dossier de chaque siège avant du côte de la portière, et sont signalés par l'étiquette "SRS AIRBAG".
En cas de collision violente ou d'intensité moyenne par le côté, le coussin de sécurité SRS latéral du côté de l'impact contre le vehicule se déploie entre l'occupant du siège et la portière pour compléter la protection assurée par la ceinture de sécurité et réduire le chocol à hauteur de la poitrine et de la taille. Les coussins de sécurité latéraux SRS ne protégent que les occupants des sièges avant.
De chaque côte de l'habitacle, le rideau de sécurité SRS est logé dans le toit (entre le montant avant et un point à la verticale du siège arrière). Un repère "SRS AIRBAG" est apposé en haut de chacun des montants avant.
En cas de collision latérale violente ou d'intensité moyenne par le côte, le rideau de sécurité SRS du côte du vehicule qui subit le choc se déploie entre l'occupant
du siège et la vitre de portière pour compléter la protection assurée par la ceinture de sécurité et réduire la violence du chic au niveau de la tête de l'occupant.

DANGER
Le coussin de sécurité SRS latorial et le rideau de sécurité ne sont conçus que comme une protection supplémentaire en plus de la ceinture de sécurité. Ilns ne dispensent pas d'utiliser les ceintures de sécurité. Il est en outre important de boucler sa ceinture de sécurité pour contributor a eviter les blessures auxquelles s'expose l'occupant qui ne se tient pas assis bien droit.


DANGER
-
Ne vous tenez pas appuyé contre ou assis inutillement près d'une des portières avant. Un coussin de sécurité SRS latéral est incorpore au dossier de chacun des sièges avant, du côte de la portière. Il protège en cas de collision latérale en se déployant instantanément (plus rapidement qu'un battement de cils). Toutefois, l'énergie de déploiemment du coussin de sécurité SRS est considérable et pourrait vous blesser à la tête ou à une autre partie du corps si vous vous tenez trop près du coussin de sécurité SRS.
-
Voiture vehicule étant équipé de rideaux de sécurité SRS, ne vous tenez pas appuyé contre ou assis inutillement pres de la portière, à l'avant comme à l'arrête. Par ailleurs, ne passez pas votre tête, vos bras ni vos mains par la fenêtre. De chaque côté de l'habitacle, le rideau de sécurité SRS est logé dans le toit (entre le montant avant et un point à la verticale du siège arrrière), et assure une protection en se dé
ployant instantanément (plus rapidement qu'un battement de cils) dans l'eventualité d'un choc par le (:oté. Toutefois, l'énergie de déplolement est considérable et pourrait vous blesser à la :(si vous vous tenez trop pres.


DANGER
Ne reposez votre bras sur aucune des portières avant ni sur leur garniture interieure. Vous risqueriez d'être blessé en cas de déploiemment du coussin de sécurité l arterial SRS.


DANGER
- Ne laïsez jamais un enfant se tenirABOUToua genoux sur le siège avant face à la portière, ou passer le bras autour du dossier du siège avant. En cas d'accident, la force de déploiation du coussin de sécurité létal SRS pourrait blesser gravement un enfant qui aurait la tête, le bras ou toute autre partie du corps trop proche de ce coussin SRS.
Ce vehicule étant aussi équipé d'un coussin de sécurité frontal SRS du passager avant, les enfants de moins de 12 ans doivent toujours être installés sur le siège arrêté et convenablement attachés.
- Ne laïsez aucun enfant se mettre à genoux sur un siège passager, tourné vers la vitre; de même, ne les laïsez jamais passer leur tête, leurs bras ou leurs mains par la fenêtre. En cas d'accident, la force de déploiemet du rideau de sécurité SRS pourrait blesser gravement un enfant qui aurait la tête trop proche de ce rideau de sécurité.


DANGER
-
Ne fixez pas d'accessoires contre la garniture de portière et à proximé d'un des coussins de sécurité SRS latéraux. De même, ne posez aucun objet à proximé des coussins de sécurité SRS latéraux. En cas de déploiement des coussins de sécurité SRS latéraux, ces objets pouraient se transformer en redoutables projectiles et infliger de graves blessures aux occupants du vehicule.
-
Ne fixez jamais un microphone de téléphone mains libres ou tout autre accessoire contre un mon
tant avant, un montant central, un montant arrière, le pare-brise, une vitre laterale, une poignée de maintien ou toute autre partie de l'habitacle située sur le trajet du déploiement d'un rideau de sécurité SRS. Un microphone de téléphone mains libres ou tout autre accessoire place à un tel endroit pourrait être projeté violément dans la cabine par le déploiement du rideau de sécurité, ou pourrait empêcher le déploiement normal de ce dernier. Dans un cas comme dans l'autre, il y aurait risque de graves blessures.
- N'accrochez ou ne placez jamais de cintres à vêtements ou d'autres objets durs ou pointus à proximité des glaces latérales. En cas de déploement des rideaux de sécurité SRS, ils risqueraient de se trouver projétés dans l'habitacle et de provoquer des blessures graves. Ils risqueraient en outre d'empêcher le bon fonctionnement des rideaux de sécurité SRS.

DANGER
Il ne faut pasmettre des housses ou d'autres objets sur les dossiers des sièges avant, ni y poser des vêtements, ni coller sur ou a proximé des coussins de sécurité SRS lateraux des étiquettes ou autocollants. Tout ceci peut empêcher les coussins de sécurité SRS lateraux de se déployer convenablement, ou empêcher les occupants des sièges avant de bénéficier de la protection disponible.

Fonctionnement
Les coussins de sécurité SRS latéraux et les rideaux de sécurité SRS ne fonctionnent que lorsque le contacteur d'allumage est en position "ON".
Doté de son propre capteur d'impact, chacun des coussins de sécurité SRS latéraux et des rideaux de sécurité SRS fonctionne independamment de l'autre. Lors d'un accident, Il est donc possible que seulement l'une de ces deux protections soit activée. Les coussins de sécurité SRS latéraux et les rideaux de sécurité SRS fonctionnent aussi independamment du système des coussins de sécurité frontaux SRS du conducteur et du passager avant logés dans le volant de direction et dans le tableau de bord.
Il y a un capteur d'impact, qui detecte la force de l'impact, dans chacun des montants centraux droit et gauche et dans chacun des logements de roue arrêté. Un autre capteur d'impact, qui detecte également la force de l'impact, est situé sous le siège central arrêté. Si le capteur d'impact d'un des montants centraux ainsi que le capteur d'impact situé sous le siège central arrêté déductent ensemble un impact d'une force excédant le niveau prédéterminé pour une collision latérale, le module de commande déclenché le gonflement du coussin de sécurité SRS et du rideau de sécurité SRS du côte de la collision, indépendamment du fait que le capteur d'impact du logement de roue arrêté du même côte ait ou non déducté un impact. Si l'un des capteurs d'impact de logement des roues arrêté et le capteur d'impact situé sous le siège central arrêté déductent ensemble une force d'impact supérieure à un niveau prédéterminé, le module de commande déclenché uniquement le gonflement du rideau de sécurité SRS du côte de la collision.
Après déploiemment, le coussin de sécurité SRS latorial se dégonfle immidiatement. Toutes ces opérations depuis la détéction de l'impact au dégonflement des coussins de sécurité SRS lateraux se déroulent en
moins de temps qu'il n'en faut pour un clin d'eel.
Le rideau de sécurité SRS du côte de l'impact reste un instant gonflé après déploiement, puis se dégonfle lentement.
Le coussin de sécurité SRS latorial et le ridesau de sécurité SRS du cote de I'impact se deploient meme si le siege de ce cote n'est pas occupé.
Le déploiement d'un coussin de sécurité SRS l'éral et d'un rideau de sécurité SRS s'accompagnet d'un bruit soudain et assez fort que fait le coussin en se gonflant, et aussi d'un léger dégagement de fumée. Ceci est le résultat normal du déploiement. La fumée n'est pas le signe d'un début d'incendie dans le vehicule.

ATTENTION
Ne touchez pas les composants du système et la zone autour du dossier de siege avant a mains nues juste après le déploiement des coussins de sécurité SRS. Vous risqueriez de vous brûler, car le déploiement entraîne un fort dégagement de chaleur au niveau de certaines parties du système.
Après déploiement, ne touchez àaucun des organes du système
rideau de sécurité SRS (toute la partie du toit entre le montant avant et la verticale du siege arrière). Vous risqueriez de vous brûler, car le déploiement entraine un fort dégagement de chaleur au niveau de certaines parties du système.
Le coussin de sécurité SRS latorial et le ridau de sécurité SRS sont concus pour se déployer en cas d'accident avec un chic violent ou d'intensité moyenne par le cote. En principe, il ne se déploie pas si le choc par le cote est peu intense. De plus, le coussin de sécurité SRS latorial et le ridau de sécurité SRS ne sont pas concus pour se déployer en cas de collision par l'avant ou par l'arrière car il ne protégerait pas utillement l'occupant du siège dans une telle évitalité.
Les coussins de sécurité SRS latéraux et le ridesau de sécurité sont concus pour ne servir qu'une seule fois.
Le déploiement des coussins de sécurité SRS latéraux et de rideaux de sécurité SRS dépend de l'intensité du chic que subit l'habitacle au moment de la collision. Cette intensité est très variable d'un type de collision à l'autre, et n'est pas nécessairement en rapport avec les dommages visibles sur le vehicule.
Exemple d'accident type susceptible d'entrainer le déploiement du cousin de sécurité SRS l arterial et du ridesau de sécurité SRS.

Un fort impact par le côte à proximité du siège avant active le coussin de sécurité SRS létal et le rideau de sécurité SRS.
Exemples d'accidents peu susceptibles d'entraîner le déploiement du coussin de sécurité SRS lésral et du rideau de sécurité SRS.


2

4

3

5
101319
1) Le vehicule est implique dans une collision laterale oblique.
2) Le vehicule est impliqué dans une collision latérale n'effectant pas l'habitacle.
3) Le vehicule heurte un obstacle comme un poteau téléphonique ou un objet similaire.
4) Le vehicule est impliqué dans une collision latérale avec une motocyclette.
5) Le vehicule se renverse sur le flanc ou sur le toit.
Il y a de nombreux types de collisions où il se peut que les coussins de sécurité SRS latéraux et les rideaux de sécurité SRS ne nécessitant pas de se déployer. Lors de la survenance d'un accident illustré, les coussins de sécurité SRS latéraux et les rideaux de sécurité ne se déploiant pastoujours, cela dépendant de l'intensité des forces agissant dans l'accident.
Exemples d'accidents qui ne devraient pas provoquer le déploiement du coussin de sécurité létal SRS et du rideau de sécurité SRS.

1) Le vehicule est implique dans une collision frontale avec un另一种 vehicule (en déplacement ou à l'arrêt).
2) Le vehicule est heures par l'arrière.
Le coussin de sécurité SRS latorial et le rideau de sécurité SRS ne sont en principe pas conçus pour se déployer si le vehicule est impliqué dans une collision par l'avant ou par l'arrière. Voyez les exemples d'accident de ce genre sur l'illustration.

1)Premier impact
2) Second impact
A) Rideau de sécurité SRS
B) Coussins de sécurité SRS latéraux
Dans un accident entrainant pour le vehicule plus d'un choc lateral du même cote, le coussin de sécurité SRS lateral et le rideau de sécurité SRS ne se déploient qu'une fois lors du premier impact.
Exemple: Dans le cas d'une double
collision latérale, d'abord un impact avec un autre vehicule suivi d'un autre impact dans le même sens immédiatement après, une fois que le coussin de sécurité SRS l arterial et le rideau de sécurité SRS ont été activé lors du premier impact, ils ne sont pas activités lors du second.
Surveillance du système des coussins de sécurité SRS

Modèles avec turbo

Modèles sans turbo
Un système de diagnostic surveille en permanence les coussins de sécurité SRS (y compris les pretensionneurs de ceinture de sécurité avant) pendant la conduite pour vérifier quils sont en etat de fonctionner en cas de besoin. Lorsque tout est normal, le témoin avertisseur des coussins de sécurité SRS "AIRBAG" s'allume pendant 6 secondes environ au moment où on met le contacteur d'allumage en position "ON" puis s'éteint.
Les organes contrôlés par le système de surveillance sont les suivants:
- Capteur auxiliaire avant (côté droit)
- Capteur auxiliaire avant (côte gauche)
-
Module de commande du coussin de sécurité (y compris le capteur d'impact)
-
Module de coussin de sécurité frontal (côté conducteur)
- Module de coussin de sécurité frontal (côté passager avant)
- Capterur du coussin de sécurité latéral (côté droit du montant central)
- Câteur du coussin de sécurité latéral (côté gauche du montant central)
- Module du coussin de sécurité latéral (côté conducteur)
- Module du coussin de sécurité latéral (côté passager avant)
- Capteur du rideau de sécurité (logement de roue arrêté côté droit)
- Capteur du rideau de sécurité (logement de roue arrêté côte gauche)
- Module de rideau de sécurité (côté droit)
- Module de rideau de sécurité (côté gauche)
- Capteur d'impact (sous le siège central arrêté)
- Prétenaisonneur de ceinture de sécurité (côté conducteur)
- Prétenaisonneur de ceinture de sécurité (côté passager avant)
- Contacteur de boucle de ceinture de sécurité (côté passager avant)
-
Capteur de tension de la ceinture de sécurité du passager avant
-
Capteur de poids du système de détction de présence d'un passager avant
- Module de commande pour détention de présence d'un passager avant
- Indicateur ON/OFF du coussin de sécurité frontal du passager avant
- Ensemble du câblage associé

DANGER
Si le témoin avertisseur présente l'un des états mentionnés ci-après, les pretensionneurs de ceinture de sécurité et/ou le système des cousins de sécurité SRS ne fonctionnement peut-être pas normalement. Présentez immédiatement votre vehicule au concessionnaire SUBARU le plus proche pour faire contrôle le système. Faute de faire contrôle et remmettre le système en état, les pretensionneurs de ceinture de sécurité et/ou les cousins de sécurité SRS ne fonctionneront pas correctement en cas de collision, ce qui pourrait accroître les risques de blessures.
Le témoin averitisseur clignote ou s'allume et s'éteint.
Le témoin avertisseur ne s'allume pas lors de la mise sur la
position "ON" du contacteur d'alumage.
Le témoin avertisseur reste allumé en permanence.
- Le témoin avertisseur s'allumependant la conduite.
Entretien du système des coussins de sécurité SRS

DANGER
- Avant de jeter un module du coussin de sécurité ou demettre le vehicule endommagé dans un accident à la ferraille, consultez votre concessionnaire SUBARU.
- Les coussins de sécurité SRS ne sont pas des organes que l'utilisateur peut entrenir par lui-même. N'utilisez jamais d'appareil d'essay des circuits électriques sur les circuits du système des coussins de sécurité SRS. Pour toute intervention sur le système des coussins de sécurité SRS, consultez le concessionnaire SUBARU le plus proche. Bricoler le système ou en débrancher le cablage électrique
risque de provoquer le gonflement inopiné des coussins de sécurité SRS ou de rendre le système inopérant, ce qui peut entrainer de graves blessures.

ATTENTION
Pour toute intervention d'entretien ou de réparation aux endroits mentionnés dans la liste ci-après, faites effectuer le travail par un concessionaire/agréé SUBARU. Ces zones renferment le module de commande des coussins de sécurité SRS, les capteurs d'impact et les modules de coussin de sécurité.
- Sous la console centrale
- À l'avant du vehicule, côtés droit et gauche
- Volant et colonne de direction, et aux alentours
- Dessus du tableau de bord cotoe passager avant, et aux alentours
- Chacun des sièges avant, et aux alentours
- Intérieur de chacun des montants centraux
- Des deux côtés du toit (entre le montant avant et la verticale du
siège arrié)
- Entre le coussin de siège arrêté et le logement de roue arrêté, de chaque côte.
Sous le siège central arrêté
Un coussin de sécurité SRS qui s'est déployé doit être remplaced par un concessionnaire/agree SUBARU. Les composants du système des coussins de sécurité SRS doivent toujours être remplacés par des pieces SUBARU d'origine.
REMARQUE
Le cas échéant, consultez un concessionnaire SUBARU le plus tout possible.
- L'avant du vehicule a ete implique dans un accident sans que le coussin de securite frontal SRS du conducteur et/ou celui du conducteur et du passager ne se deploient.
- Le rembourse du volant de direction, le panneau de couverture du coussin de sécurité frontal SRS du passager avant ou le cote du toit (entre le montant avant et la verticale du siège arrêté) présente une rayure ou une fissure ou est autrement endommagé.
- Un montant central, un logement de roue ou soubassement arrêté, ou le voisinage d'une de ces parties du
vécuicule à subi un choc, sans que le coussin de sécurité lésal RSR et le rideau de sécurité SRS ne se déploient.
- Le tissu ou le curir des dossiers de siège avant est élimé, déchéré ou autrement endommagé.
- L'arrière du vehicule a eté impliquédans un accident au cours duquelaucun coussin de sécurité SRS ne s'est déployé.
■ Précautions concernant les modifications apportées au vehicule

DANGER
Pour éviter que le système se dé-clènche accidentellement ou qu'il soit rendu inopérant, ce qui pourrait entraîner de graves blessures, il ne faut modifier en aucune manière ni les composants, ni le câblage électrique du système des coussins de sécurité SRS.
Cette remarque concerne les modifications suivantes.
- Installation d'un volant autre que celui d'origine
- Adjonction de garnitures supplémentaires sur le tableau de bord
Installation de sièges autre que ceux d'origine
- Remplacement du tissu ou du curir des sièges
- Installation de pieces de tissu ou de cuir supplémentaires sur les sièges avant
Fixation d'un microphone de type mains libres ou de tout autre accessoire contre un montant avant, un montant central, un montant arrêté, le pare-brise, une vitre laterale, une poignée de maintainien ou tout autre endroit de l'habitacle du vehicule sur le passage d'un rideau de sécurité SRS lorsqu'il se déploie.
- Il est déconseilé d'installer un équipement électrique/electronique tel qu'un émetteur/recepteur radio mobile sur ou à proximite des organes d'un système de coussin de sécurité SRS et/ou son cablage électrique. Cela risquerait d'interférer avec le bon fonctionnement du système de coussin de sécurité SRS.

ATTENTION
Aucune des modificationsénéme
rées ci-après ne doit être effectuee. De telles modifications sont susceptibles d'empêcher le bon fonctionnement du système des coussins de sécurité SRS.
- À l'avant du vehicule, installation de tout équipement (pare-broussaille, treuil, chasse-neige, tôle de protection, etc.) qui n'est pas un accessoire SUBARU d'origine.
- Modification de la suspension ou des structures avant du vehicule.
- Installation d'un pneu de taille ou de structure différente des pneus prescrits sur la plaque du vehicule apposée contre le montant de la portière du conducteur ou prescrits pour le modele du vehicule dans le present Manuel du conducteur.
- Sur le côte du vehicule, installation de tout équipement (marchepieds ou protections de bas de marche, etc.) qui n'est pas un accessoire SUBARU d'origine.
Avant d'installer un accessoire ou un équipement auxiliaire sur votre vehicule, prenez conseil auprès de suaure concessionnaire SUBARU.
Clés. 2-2
Plaque de numero de clé 2-2
Antidémarrage 2-2
Plaque d'identité de sécurité 2-3
Témoin indicateur du système de sécurité 2-4
Remplacement des clés 2-4
Serrures de portiere 2-4
Verrouillage et déverrouillage par l'extérieur 2-4
Verrouillage et déverrouillage par l'intérieur 2-5
Fonction de prévention de déchargement de la batterie 2-6
Commutateurs de verrouillage électrique des portières 2-7
Fonction de prévention du verrouillage avec clé à l'intérieur 2-7
Système d'entrée sans clé par télécommande...... 2-8
Verrouillage des portières 2-10
Déverrouillage des portières 2-10
Ouverture du coffre à bagages/déverrouillage du hayon 2-10
Fonction de represse du vehicule 2-11
Emission d'une alarme d'applé au secours 2-11
Réglage du signal sonore de confirmation 2-11
Remplacement de la pile 2-12
Remplacement des transmetteurs perdus 2-13
Système d'alarme 2-17
Fonctionnement du système 2-17
Pour activer et désactiver le système d'alarme 2-17
Si vous avez déclenché l'alarme par inadvertance 2-18
Pour armer le système d'alarme 2-18
Pour désarmer le système d'alarme 2-20
Mode parking gardé 2-20
Armement passif 2-21
Informations sur les tentatives d'effraction 2-22
Capeurs d'impact (option concessionnaire) 2-22
Verrou de sécurité pour enfants 2-23
Vitres 2-24
Lève-vitres électriques 2-24
Coffre à bagages (4 portières) 2-27
Ouverture et fermetre du coffre à bagages par l'extérieur 2-28
Ouverture du coffre à bagages par l'intérieur 2-28
Pour verrouiller et déverrouiller le levier d'ouverture du coffre à bagages 2-28
Poignée de déverrouillage interne du coffre à bagages 2-29
Hayon (5 portieres) 2-30
Toit ouvrant opaque (selon modèles) 2-32
Commandes de toit ouvrant opaque 2-32
Pare-soleil 2-34
Clés

1) Clé principale (noire)
2) Clé de secours (noire)
3) Clé de service (grise)
4) Plaque de numero de clé
5) Plaque d'identité de sécurité
Le vehicule est livre avec trois types de clé:
Clé principale, clé de secours et clé de service.
La clé principale et la clé de secours commandant toutes les serrures du vehicule:
- Contacteur d'allumage
- Portiere du conducteur
Levier de déverrouillage du coffre à bagages (4 portières)
Boite a gants
La clé de service ne commande que le contacteur d'allumage et la portière du conducteur. C'est cette clé que vous remettez au gardien d'un parking lorsque vous lui confiez votre vehicule.

ATTENTION
N'attachez pas de porte-clés ou d'étui à clés de grande talle à vos clés. Si cet accessoire venait heurter vos genoux pendant la conduite, le contacteur d'allumage pourrait passer de la position "ON" à la position "Acc" ou "LOCK", ce qui arrêterait le moteur.
Le numero de clé est grave sur la plaque de numero de clé attachée au jeu de clés. Prenez la peine de noter les nombres de clé et de garder cette information dans un endroit sür, ailleurs que dans le vehicule. Vous aurez besoin de ce numero pour faire fabriquer un double en cas de perte de la clé, ou bien si les portières ont été verrouillées avec les clés à l'intérieur du vehicule. Reportez-vous à “Remplacement des clés” 2-4.
Antidémarrage

ATTENTION
AVERTISSEMENT FCC
Tout changement ou modification effectué sans l'accord formel de l'autorité responsable de la conformité aux règles peut entraîner la privation du droit d'utiliser l'équipement.
Le dispositif antidémarrage a pour but d'interdire la mise en marche du moteur par une personne non autorisée à utiliser le vehicule. Seules les clés enregistrées au dispositif antidémarrage de votre vehicule peuvent être utilisées pour démarrer le vehicule. Une clé non enregistrée, même si elle entre dans le contacteur d'allumage et tourne jusqu'à la position "START", ne permet pas d'utiliser le vehicule car le moteur s'arrête automatiquement au bout de quelques secondes.
Chacune des clés d'un vehicule à verroulectronique renferme un transpondeur dans lequel a été enregistré un code d'identification de clé. Lorsqu'on introduit une clé dans le contacteur d'allumage et la met en position "ON", ce transpondeur émet le code d'identification de la clé et ce
code est capté par le récepteur du système antidémarrage. S'il correspond au code d'identification enregistré dans la mémoire de système, celui-ci autorise la mise en marche du moteur. La transmission et la reconnaissance du code d'identification étant pratiquement instantanées, le système de verrou electronique n'entrave pas la mise en marche normale du moteur.
Si le moteur ne démarre pas, retirez la clé une fois avant de faire une nouvelle tentative. Reportez-vous à "Contacteur d'allumage" 3-3.
Ce dispositif est conforme à la Section 15 des Régles FCC et à la directive RSS-Gen des Régles IC. Son fonctionnement répond aux deux conditions suivantes: (1) ce dispositif ne doit pas engendrer d'interférences nuisibles, et (2) ce dispositif doit être capable de subir toutes formes d'interférences, y compris des interférences susceptibles d'en perturber le fonctionnement.

ATTENTION
- Ne laissez pas la clé dans un endroit exposé directement au soleil ou dans tout autre endroit exposé à une forte chaleur.
- Les clés doivent être protégées
de l'humidité. Si une clé a été mouillée, séchez-la immédiatement en l'essuyant avec un chiffon.
REMARQUE
Pour protégéur vosvr évecule contre le vol, observez strictement les mesures de sécurité suivantes:
- Ne quittez jamais votre vehicule en laissant les clés à l'intérieur.
- Avant de quitter votre vehicule, fermez toutes les vitres et le toit ouvrant opaque et verrouillez les portières et le hayon.
- Ne laïsez pas vos clés de secours ou le document sur lequel vous avez noté les numérores de clé à l'intérieur du vehicule.
Plaque d'identité de sécurité

1

2
200803
1) Plaque de numero de clé
2) Plaque d'identité de sécurité
L'identité de sécurité est gravée sur la plaque d'identité de sécurité attachée au jeu de clés. Notez cette identité de sécurité et conservez cette information dans un endroit sur, ailleurs que dans le vehicule. Vous aurez besoin de ce numéro pour faire fabriquer un double en cas de perte de la clé, ou bien si les portières ont été verrouillées avec les clés à l'intérieur du vehicule.
Ce numero est aussi indispensable pour remplaner ou réparer le module de commande du moteur, le module des fonctions intégrées et le bloc des instruments de bord.
Témoin indicateur du système de sécurité

Reportez-vous à “Témoin indicateur du système de sécurité” 3-29.
■ Remplacement des clés
La plaque de numero de clé et la plaque d'identité de sécurité sont indispensablees pour faire fabriquer un double. Avant employe, toute nouvelle clé doit être enregistrée afin d'être reconnaue par le dispositif antidémarrage de votre vehicule. Pour un vehicule, le nombre maximum de clés que l'on peut enregistrer est de quatre.
Pour la sécurité, lorsque vous faites fabriquer une nouvelle clé, les codes d'identification des autres clés reconnues par le verrou électronique de votre vehicule doivent être effacés et ré-enregistrés. Pour faire enregistrer une nouvelle clé, il faut donc partager toutes les clés existantes. Toutcle existante non ré-enregistrée lorsque vous faites fabriquer une nouvelle clé ne pourrait donc plus être utilisée, car elle ne sera plus reconnaue par le système. Pour tout renseignement à propos des clés de rechange et de la reconnaissance des clés par le système de verrou électronique, consultez votre concessionnaire SUBARU.
REMARQUE
Les vehicules équipés du système de démarrage à distance du moteur en option concessionnaire peuvent enregistrer jusqu'à trois clés par vehicule.
Serrures de portière
■ Verrouillage et déverrouillage par l'extérieur
REMARQUE
Si vous déverrouille la portière du conducteur avec une clé et ouvre la porte alors que le système d'alarme du vehicule est armé, le système d'alarme se déclenchera et la sirène du vehicule retentira. Dans ce cas, effectuez les opérations suivantes:
- Appuyez sur l'une des touches du transmetteur à distance.
- Introduisez la clé dans le contacteur d'allumage et tournez-la en position "ON".
Pour plus de détails concernant le système d'alarme, reportez-vous à "Système d'alarme" 2-17.

Pour verrouiller une portiere du conducteur de l'extérieur au moyen de la clé, tournez la clé vers l'arrière du vehicule. Pour déverrouiller, tournez la clé vers l'avant du vehicule. Àpres déverrouillage, tirez la poignée extérieure pour ouvrir la portiere.

1) Basculez le loquet vers l'arrière.
2) Fermez la portiere.
Pour verrouiller une portière de l'extérieur sans clé, basculez le loquet vers l'arrière et fermez la portière.
Pour verrouiller une portière de l'extérieur en utilisant le commutateur de verrouillage électrique des portières, appuyez sur le côte avant du commutateur (côté "LOCK"), puis fermez la portière. Ceci a pour effet de verrouiller en une fois toutes les portières fermées et le hayon (5 portières).
Avant de quitter le vehicule, vérifie toujours que toutes les portières et le hayon (5 portières) ont été verrouillés.
REMARQUE
Avant de verrouiller les portières de l'extérieur sans clé, assurez-vous que la clé n'est pas restée à l'intérieur du vehicule.
Verrouillage et déverrouillage par l'intérieur

1) Verrouiller
2) Déverrouiller
Pour verrouiller une portière de l'intérieur, basculez le loquet vers l'arrière. Pour déverrouiller de l'intérieur, basculez le loquet vers l'avant.
Le repère rouge du loquet est visible lorsqu'la portière est déverrouillée.
Après déverrouillage, ouvre la portière en tirant la poignée interieure.
Avant de prendre la route, vérifie toujours que toutes les portières et le hayon (5 portières) ont été fermés.

DANGER
Les portières doivent toujours être verrouillées pendant la conduite, rundout s'il y a de jeunes enfants à bord du vehicule.
En plus d'une utilisation correcte des ceintures de sécurité et des systèmes de retenue pour enfants, le fait de verrouiller les portières réduit le risque d'être projeté hors du vehicule en cas d'accident.
Cela contribue aussi à éviter qu'un passager ne tombe hors du vehicule si la portière est ouverte accidentellement, et vous protège aussi contre les délinquants qui ne peuvent ainsi ouvrir une portière et pénétre dans le vehicule.
■ Fonction de prévention de déchargement de la batterie
Si l'une des portières ou le hayon (5 portières) n'est pas complètement fermé, les éclairages interieurs restent allumés. Cependant, plusieurs lumières sont automatiquement éteintes via la fonction de
prévention de décharge de la batterie afin de prévenir le déchargement de la batterie. Cette fonction concerne les éclairages interieurs suivants.
| Élément | Position de la commande | Extinction automatique |
| Lampes de lecture1 | OFF*1 | Au bout de 30 secondes environ |
| Plafonnier | DOOR | Au bout de 20 minutes environ |
| Éclairage du contacteur d'allumage | — | Au bout de 20 minutes environ |
| Lampes de marchepied de portière | — | Non*2 |
| Éclairage de l'espace de chargement | DOOR | Non*2 |
*1: La fonction de prévention de déchargement de la batterie affecte uniquement les lampes de lecture sur les modèles avec toit ouvrant opaque et uniquement lorsque les interrupteurs de lampe de lecture sont en position OFF. Les lampes de lecture sur les modèles sans toit ouvrant opaque ne s'éteignent pas automatiquement, donc appuyez sur les commandes d'éclairage pour les étéindre.
*2: Les lampes de marchepied de portière et l'éclairage de l'espace de chargement ne sont
pas affectés par la fonction de prévention de déchargement de la batterie, et ne s'éteignent donc pas automatiquement. Pour que les éclairages s'éteignent, il est nécessaire que chaque portière et le hayon (5 portières) soient bien fermés.
Cette fonction peut être activée ou désactivée à volonté par un concessionnaire SUBARU. Contactez votre concessionnaire SUBARU pour changer le réglage.
REMARQUE
- Le réglage usine (par défaut) de cette fonction est régèle sur "activation".
- Vérifiez toujours que toutes les portières et le hayon (5 portières) sont bien fermés quand vous quittez le vehicule.
- La fonction de prévention de déchargement de la batterie est inopérante tant que la clé est dans le contacteur d'allumage.
Commutateurs de verrouillage électrique des portières

202018
Type A

201314
Type B
1) Verrouiller
2) Déverrouiller
Toutes les portières et le hayon (5 portières) peuvent être verrouillés et déverrouillés à partir du commutateur de verrouillage électrique de la portière avant côté conducteur ou de la portière avant côté passager.
Pour verrouiller les portières, appuyez sur le côté avant du commutateur.
Pour déverrouiller les portières, appuyez sur le côté arrêté du commutateur.
Quand on ferme les portieres après avoir activé le système de verrouillage, les portères restent verrouillées.
REMARQUE
Avant de verrouiller les portières par l'extérieur à l'aide des commutateurs de verrouillage électrique, vérifie que vous n'avez pas laissé la clé à l'intérieur du vehicule.
■ Fonction de prévention du verrouillage avec clé à l'intérieur
Cette fonction empêche de verrouiller les portières tant que la clé est dans le contacteur d'allumage.
Comportement après activation de la fonction de prévention du verrouillage avec clé à l'intérieur
Avec la portière du conducteur ouverte, les portières restent automatiquement déverrouillées même si le commutateur de verrouillage électrique des portières est appuyé vers l'avant.
Comportement après désactivation de la fonction de prévention du verrouillage avec clé à l'intérieur
- Si on pousse le bouton de verrouillage vers la position arrêté ("LOCK") avec la portière du conducteur ouverte et qu'on refère ensuite la portière du conducteur avec le bouton de verrouillage dans cette position, la portière du conducteur se
verrouille.
- Si on verrouille la portiere du conducteur par l'extérieur du vehicule en utilisant la clé de secours, la portiere se verrouille.
Vous pouvez faire changer le réglage d'activation/de désactivation de cette fonction comme suit. - Modèles avec système de navigation SUBARU d'origine:
Vous pouvez changer le réglage à partir du moniteur de navigation. Pour de plus amples détails, reportez-vous au supplément du Manuel du Conducteur traitant du système de navigation. Vous pouze également faire changer le réglage par un concessionnaire SUBARU. Pour les détails, adressez-vous à votre concessionnaire SUBARU.
- Modèles sans système de navigation SUBARU d'origine:
Vou puez faire changer ce réglage par un concessionnaire SUBARU. Pour les détails, adressez-vous à votre concessionnaire SUBARU.
REMARQUE
Avant de quitter votre vehicule, assurez-vous que vous emportez la clé avec vous.
Système d'entrée sans clé par télécommande

ATTENTION
- N'exposez pas le transmetteur à distance à des chocs brutaux, tel que ceux provoqués par une chute ou un jet.
- Ne demontez pas le transmetteur à distance, sauf quand il faut replacer la pile.
- Protégez le transmetteur à distance de l'humidité. S'il a été mouillé, séchez-le immédiatement en l'essuyant avec un chiffon.
- N'appuyez pas sur le bouton du transmetteur à distance lorsque vous vous trouvez dans un avion. Une pression sur les boutons du transmetteur à distance provoquerait l'émission d'ondes radio susceptibles d'affector le fonctionnement de l'avion. Lorsque vous vous trouvez dans un avion et que vous transportez le transmetteur à distance dans votre sac, faites le nécessaire pour qu'aucune pression ne se fasse sur les boutons de ce
dernier.
- AVERTISSEMENT FCC
Tout changement ou modification effectué sans l'accord expres de l'autorité responsable de la conformité aux règes peut entrainer la privation du droit d'utiliser l'équipement.
Ce dispositif est conforme à la Section 15 des Régles FCC et à la directive RSS-Gen des Régles IC. Son fonctionnement répond aux deux conditions suivantes: (1) ce dispositif ne doit pas engendrer d'interférences nuisibles, et (2) ce dispositif doit être capable de subir toutes formes d'interférences, y compris des interférences susceptibles d'en perturber le fonctionnement.
Votre vehicule est livre avec deux transmetteurs.
Le système d'entrée sans clé par télécommande replit les fonctions suivantes:
- Verrouillage et déverrouillage des portières (et du hayon sur modèle 5 portières) sans la clé
- Déverrouillage du hayon sur modele 5 portières sans la clé
- Ouverture du coffre à bagages sur
modèle 4 portières sans la clé
- Émission d'une alarme d'appoint au secours
- Armement et désarmement du système d'alarme. Pour de plus amples informations, reportez-vous à "Système d'alarme" 2 -17.
La portée de la télécommande du système d'entrée sans clé par télécommande est de l'ordre de 10 metres (30 feet). Mais cette distance varie en fonction de l'environnement. La télécommande portera moins loin dans les zones proches d'une installation ou d'un équipementlectronique émettant de puissantes ondes radio, comme par exemple une centrale électrique, une station de radiodiffusion, un relais de télévision ou un système de télécommande d'appareils electroniques domestiques.
Le système d'entrée sans clé par télécommande ne fonctionne pas lorsque la clé est introduite dans le contacteur d'allumage.

: Touche de déverrouillage du coffre à bagages/hayon
: Touche de déverrouillage/désarmement
Touche de verrouillage/armement
A: Touche d'applé au secours
1) Avant
2) Arrière
REMARQUE
- Les clignotants se mettront à cligner une/deux fois dans les conditions suivantes.
Lors du verrouillage des portieres
Lors du déverrouillage des portières
Lors de l'ouverture du couvercle de coffre (modèles 4 portières)
Lors du déverrouillage du hayon
(modules 5 portières)
- Le réglage du fonctionnement des clignotants peut être modifié par votre concessionnaire SUBARU. Pour les détails, adressez-vous à votre concessionnaire SUBARU. De même, pour les modèles avec système de navigation d'origine SUBARU, le réglage peut être modifié à l'aide du système de navigation. Pour de plus amples détails, reportez-vous au supplément du Manuel du Conducteur traitant du système de navigation.
■ Verrouillage des portières

Appuyez sur la touche " pour verrouiller toutes les portieres et le hayon (5 portieres). On entend la tonalité électronique une fois et les clignotants de direction clignotent une fois.
Si I'une des portières (ou le hayon/coffre à bagages) n'est pas complètement fermée, on entend la tonalité électronique cinq fois et les clignotants de direction clignotent cinq fois pour vous averrir que les portières (ou le hayon/coffre à bagages) ne sont pas correctement fermées. Quand vous fermez la portière, elle se verrouille automatiquement et puis on entend la tonalité électronique une fois et les clignotants de direction clignotent une fois.
Déverrouillage des portières

Appuyez sur la touche " pour déverrouiller la portière du conducteur. On entend la tonalité électronique deux fois et les clignotants de direction clignotent deux fois. Pour déverrouiller toutes les portières et le hayon (5 portières), appuyez une deuxième fois sur la touche " dans les 5 secondes.
REMARQUE
Si l'intervalle entre la première et la seconde pression sur la touche "O" (pour déverrouiller toutes les portières et le hayon) est trop court, il arrive que le système ne réagisse pas.
■ Ouverture du coffre à bagages/déverrouillage du hayon

Modèles 4 portières
Le coffre à bagages s'ouvre lorsque la touche "é" est appuyée en continu pendant au moins 2 secondes. On entend la tonalité électronique deux fois et les clignotants de direction clignotent deux fois.
Modèles 5 portières
Une pression sur la touche "C" déverrouille le hayon.
On entend la tonalité électronique deux fois et les clignotants de direction clignotent deux fois.
■ Fonction de repération du vehicule
Cette fonction vous permet de retrouver facilement votre vehicule garé dans un parc de stationnement parmi de nombreuses voitures. Sous réserve que vous vous trouviez à moins de 10 mètres (30 feet) du vehicule, une triple pression sur la touche "en moins de 5 secondes fait donner un coup d'avertisseur sonore et clignoter les yeux de direction du vehicule trois fois.
REMARQUE
Si l'intervalle entre les trois pressions successives sur la touche "O" est trop court, le système ne réagit pas aux signaux envoyés par le transmetteur à distance.
■ Émission d'une alarme d'applé au secours

La touche "PANIC" se trouve sur la face arrrière du transmetteur.
Pour lancer l'alarme, appuyez une fois sur la touche "PANIC".
L'avertisseur sonore retentit et les clignotants de direction clignotent.
Pour faire cesser l'alarme, appuyez sur l'une des touches du transmetteur à distance. Si on ne touche à aucune des touches du transmetteur à distance, l'alarme est désactivée 30 secondes plus tard environ.
Réglage du signal sonore de confirmation
Au moyen de la tonalité électronique, le système donne une confirmation sonore du verrouillage ou du déverrouillage des portières. Si vous le souhaitez, vous pouvez supprimer ce signal sonore de confirmation.
Pour désactiver le signal sonore de confirmation, procedede comme suit. Vous pourrez par la suite le reactiver à volonté en repétant les mêmes opérations.
- Asseyez-vous au volant et fermez toutes les portières et le hayon.
- Maintenez enforcé le côte ARRIÈRE (DéVERROUILLAGE) du commutateur de verrouillage électrique des portières.
- Tout en maintainant enforcé le côte ARRRIÈRE (DéVERROUILLAGE) du commutateur de verrouillage électrique des portières, retirez puis réintroduisez la clé dans le contacteur d'allumage à au moins 6 reprises en l'espace de 10 secondes après l'étape 2.
- Ouvrez et refermez une fois la portière du conducteur en moins de 10 secondes après l'etape 3.
- Les clignotants de direction clignotent 3 fois pour indiquer que le réglage est terminé.
Vous pouvez demander à un concession-
naire SUBARU de vous faire les réglages ci-dessus. De même, pour les modéles avec système de navigation d'origine SUBARU, le réglage peut être modifié à l'aide de l'écran de navigation. Pour de plus amples détails, reportez-vous au supplément du Manuel du Conducteur traitant du système de navigation.
■ Remplacement de la pile

ATTENTION
- Pendant le remplacement de la pile, prenez garde à ne pas laisser pénétrer de la poussière, de l'huile ou de l'eau à l'intérieur du transmetteur.
- En replaçant la pile, veillez à ne pas endommager le circuit imprimé se trouvant à l'intérieur du transmetteur.
Veillez à ne pas laisser la pile et les autres pieces du boitier démonté à portée de jeunes enfants, car ils risqueraient de les avaler. -
L'insertion d'une pile de type non adapté vous exposerait à des risques d'explosion. Insérez uniquement une pile de type identique ou équivalent.
-
N'exposez pas les piles à des températures excessives (rayons directs du soleil, feu ou équivalent).
Quand la pile commence à faibrir, le transmetteur porte moins loin. Remplacez la pile le plus tout possible.
Pour remplacer la pile:

1. Ouvrez le boitier du transmetteur au moyen d'un tournevis à lame plate.

2. Sortez la ventepile du logement.

1) Côté borne négative (-) tourné vers le haut
3. Installes la pile neuve (type CR2025 ou équivalent) en veillant à placer la borne négative (-) vers le haut.
- Refermez la demi-coque du boftier de transmetteur.
Après remplacement de la pile, il faut synchroniser le transmetteur avec le bloc de commande du système d'entrée sans clé par télécommande. Pour procéder à cette synchronisation, appuyez six fois sur la touche "O" ou "O".
■ Remplacement des transmetteurs perdus
Si vous perdez un transmetteur ou si vous souhaitez disposer de transmetteurs supplémentaires (il est possible d'en programme quatre au maximum), il vous faut reprogrammer l'ensemble de vos transmetteurs pour des raisons de sécurité. Pour la programmation des transmetteurs de votre système, nous vous conseillons de vous adresser à votre concessionnaire.
Programmation des transmetteurs
Le système d'entrée sans clé par télécommande est doté d'une fonction spéciale d'apprentissage des codes qui vous permet de programmer les codes de vos transmetteurs dans votre système et d'effacer les anciens codes. Le système peut<memoriser les codes d'un maximum de quatre transmetteurs. Les quatre co
des du transmetteur peuvent utiliser le même code ou des codes différents.
Programmation des codes du transmetteur au système:

Sachet contenant le transmetteur

Carte de circuits d'un transmetteur
Pour enregistrer un nouveau transmetteur avec le système d'entrée sans clé par télécommande, il est nécessaire de programme le code du transmetteur (numéro d'identification) dans le système. Ce code se trouve sur l'étiquette collée sur le sachet contenant le transmetteur, ainsi que sur la carte de circuits à l'intérieur du transmetteur. Si vous n'avez pas le sachet, ouvrez le boîtier du transmetteur et notez le numéro à huit chiffres. Programmez ce numéro dans le système en procédant comme suit:
- Fermez toutes les portières, ainsi que le hayon, ou le coffre à bagages.
- Ouvrez la portiere du conducteur, asseyez-vous sur le siège du conducteur et refermez la portiere.
- Effectuez les opérations suivantes en moins de 45 secondes.

(1) Ouvrez et refermez la portière du conducteur une fois.

1) ON
2) LOCK
(2) Introduisez la clé dans le contacteur d'allumage, puis tournez la clé sur les positions "LOCK" et "ON" à 10 reprises en moins de 15 secondes.
REMARQUE
- Quand l'etape (2) prend fin, une tonalité électronique se fait entendre une fois.
Si vous ne terminez pas les étapes (1) et (2) en moins de 45 secondes, le système entre en effet d'erreur. Il n'y a ni tonalitélectronique ni sonnerie, et le plafonnier ne clignote pas. Dans ce cas, vous doivent reprendre la marche à
suivre depuis le début de l'été 1.
- Ouvrez et refermez la portière une fois en moins de 15 secondes.
REMARQUE
- Quand l'etape 4 est terminée, une tonalité électronique se fait entendrependant 30 secondes.
- Si vous n'effectuez pas les opérations de l'étape 4 en moins de 15 secondes, le système entre en état d'erreur et il n'y a pas de tonalité électronique. Dans ce cas, vous doivent reprendre les opérations d'enregistrement à partir de l'étape 3 de cette marche à suivre.

Type A

Type B
- Avant la fin de la tonalité électronique, poussez le côté verrouillant du commutateur de verrouillage électrique des portières un nombre de fois équivalent au chiffre situé à gauche du code du transmetteur. Par exemple, si le chiffre de gauche du code est "8", actionnez 8 fois le commutateur.
REMARQUE
- La tonalité électronique cette quand vous avons actionné le commutateur le nombre de fois requis.
Si vous ne commence pas a manoeuvrer le commutateur de condamnation des portieres avant que la tonalite electronique cesse, le systeme entre en etat d'erreur. Dans ce cas,
youdevezrepriseledesoperations d'enregistrementa partirde l'etape3 de cette marche a suivre.
- Il ne doit pas s'écouler plus de 5 secondes entre une pression sur le commutateur et la pression suivant, faute de quoi le système entre en état d'erreur. Dans ce cas, effectuez à nouveau la procédure en commençant à l'étape 4. Si une erreur se produit à six reprises, effectez à nouveau la procédure en commençant à l'étape 3.

201865
Type A

201318
Type B
- Pour indiquer que vous avez actionné le bouton le nombre de fois requis, appuyez sur le côte déverrouillant du commutateur de verrouillage dans les 5 secondes qui suivent.
REMARQUE
- Une tonalité électronique se fait entendre.
-
Si vous avez attendu plus de 5 secondes avant d'appuyer sur le cote déverrouillant du commutateur de verrouillage, le système entre en état d'erreur. Dans ce cas, effectuez à nouveau la procédure en commençant à l'étape 4. Si une erreur se produit à six reprises, effectuez à nouveau la procédure en commençant à l'étape 3.
-
Répétez les opérations décrites aux étapes 5 et 6 pour chacun des chiffres restants du code du transmetteur, en commençant par le 2ème chiffre (à partir de la gauche) pour finir par le 8ème chiffre.
REMARQUE
- Quand vous terminez l'enregistrement du 8ème chiffre, une tonalité électronique se fait entendre pendant 30 secondes.
-
Il ne doit pas s'écouler plus de 5 secondes entre une pression sur le commutateur et la pression suivante, faute de quoi le système entre en état d'erreur. Dans ce cas, effectuez à nouveau la procédure en commençant à l'étape 4. Si une erreur se produit à six reprises, effectuez à nouveau la procédure en commençant à l'étape 3.
-
Avant que la tonalité électronique ne cesse, toujours en actionnant le commutateur de verrouillage électrique des portières, recommencce à enregistrer le code du transmetteur, toujours le chiffre de gauche en premier.
REMARQUE
Si vous ne commencez pas à manoeuvrer le commutateur de condamnation des portières avant que la tonalité
électronique)cesse,le système entre en état d'erreur.Dans ce cas, youdezrepreneledesopérationsàl'étape3.
- Quand vous avez ainsi enregistré une deuxieme fois le code complet, une tonalitélectronique se fait entendre pendant 1 seconde, et les portieres se verrouillent et se déverrouillent une fois. Ceci est le signe que le code enregistré la deuxieme fois est bien identique au premier.
REMARQUE
Si le code enregistré la deuxième fois n'est pas identique au premier, le système entre en état d'erreur. Dans ce cas, effectuez a nouveau la procédure en commençant a l'étape 5. Si une erreur se produit a cinq reprises, effectuez a nouveau la procédure en commençant a l'étape 3.
-
Si vous désirez programmer un autre code de transmetteur dans le système (jusqu'à quatre codes peuvent être programmés), effectuez à nouveau la procédure en commencerant par la partie 4. Une fois terminée la programmation de tous les codes du transmetteur requis dans le système, retirez la clé du contacteur d'allumage.
-
Faites un essai avec la ou les trans
metteurs que vous venez d'enregistrer pour en vérifier le bon fonctionnement.
Effacement des anciens codes du transmetteur
Le bloc de commande du système d'entree sans cle par telecommande a quatre mémoires pour les codes des transmetteurs, ce qui vous permet d'utiliser jusqu'à quatre transmetteurs. Si vous perdez un transmetteur, le code du transmetteur perdu reste en mémoire dans le système. Pour des raisons de sécurité, il est préférende d'effacer de la mémoire du système le code du transmetteur perdu.
Pour effacer tous les ancients codes du transmetteur, programmez quatre codes du transmetteur dans le système. Si vous n'avez qu'un transmetteur en cours d'utilisation, programmez-le quatre fois dans le système. Si vous avez deux transmetteurs en cours d'utilisation, programmez chacun d'eux deux fois. Si vous avez trois transmetteurs en cours d'utilisation, programmez-en deux une fois chacun et la troisième deux fois. De cette manière, seuls les codes des transmetteurs en votre possession seront reconnus par le système.
REMARQUE
Pendant que vous programmesz les transmetteurs de votre vehicule, voirlez à ce que personne d'autre n'utilise le télécommande d'un autre vehicule à proximite de votre vehicule. Si le transmetteur a distance d'un autre vehicule est utilisé à proximite de votre vehicule pendant l'opération de programmation, il peut arriver que le code de cet autre transmetteur soit méorisé par le système de votre vehicule et que cet autre transmetteur permette ensuite d'ouvrir votre vehicule.
Système d'alarme
Le système d'alarme vous assure une toute belleme protection contre le vol du vehicule et des objets de valeur à l'intérieur. Si quelqu'un tente une effraction sur votre vehicule, l'avertisseur sonore retentit et les clignotants de direction se mettent à clignoter. Le démarreur est aussi neutralisé pour interdire la mise en marche du moteur sans la clé.
Le système peut etre armé et désarmé au moyen du transmetteur a distance.
Le système ne fonctionne pas quand la clé est introduite dans le contacteur d'allumage.
Au moment de la sortie d'usine de votre vehicule, le système d'alarme est activé. Vous pouvez désactiver le système, ou le faire désactiver par toute concessionnaire SUBARU.
■ Fonctionnement du système
Le système d'alarme donne l'alarme de la maniere suivante lorsqu'il se déclenché.
- L'avertisseur sonore sonnera pendant 30 secondes.
- Les clignotants de direction clignotéront pendant 30 secondes.
Si I'une des portières ou le hayon/couver
cle du coffre reste ouvert au-delà de cette période de 30 secondes, l'avertisseur continue à retentir pendant une durée maximum de 3 minutes. Si la portière ou le hayon/coffre à bagages est reférépendant que l'avertisseur retentit, l'avertisseur cette de retentir 30 secondes plus tard au maximum.
L'alarme est déclenchée:
- Par l'ouverture d'une des portières, du hayon ou du coffre à bagages
- Par un impact physique sur le vehicule, comme au moment d'une effraction (modèles avec capteurs d'impact uniquement [option concessionnaire])
REMARQUE
Il est possible de régler le système d'alarme de sorte qu'il provoque l'allumage des éclairages interieurs suivants.
- Plafonnier (s'allume uniquement lorsque la commande du plafonnier est en position "DOOR")
- Lampes de lecture (modèles avec toit ouvrant opaque)
Les notifications concernant le plafonnier et les lampes de lecture sont désactivées en réglage usine. Un concessionnaire SUBARU peut activer le système. Pour les détails, adressez
vous à votre concessionnaire SUBARU.
Pour activer et désactiver le système d'alarme
Pour activer votre système d'alarme s'il est désacté, ou vice-versa, procédez comme suit:
- Désarmez le système d'alarme. Reportez-vous à “Pour désarmer le système d'alarme” 2-20.
- Asseyez-vous au volant et fermez toutes les portières (et le hayon si vous vehicule est un modele 5 portieres).
- Mettez le contacteur d'allumage en position "ON".
- Maintenez enforcé le côte ARRIÈRE (DéVERROUILLAGE) du commutateur de verrouillage électrique de portière du conducteur, puis ouvrez la portière du conducteur dans la seconde qui suit. Attendez 10 secondes avant de lâcher le bouton. Ceci a pour effet de changer le réglage comme suit.
Si le système était activé:
L'écran du compteur totalisateur/journalier affiche "AL oF" et l'avertisseur retentit deux fois pour indiquer que le système est maintainant désactivé.
Si le système était désactiver:
L'écran du compteur totalisateur/journalier affiche "AL on" et l'avertisseur retentit une fois pour indiquer que le système est maintainant actif.
REMARQUE
Vou pouvez demander à votre concessionnaire SUBARU de vous faire le réglage ci-dessus.
Si vous avez déclenché l'alarme par inadvertance
Pour arrête l'alarme
Effectuez l'une des opérations suivantes:
- Appuyez sur l'une des touches du transmetteur à distance.
- Mettez le contacteur d'allumage en position "ON".
REMARQUE
Seules les clés enregistrées permettent d'arreter l'alarme. Si le transpondeur de dispositif antidémarrage n'est pas enregistré, l'alarme ne s'arrête pas.
Pour armer le système d'alarme
Pour armer le système au moyen du transmetteur à distance
- Fermez toutes les fenêtres.
- Retirez la clé du contacteur d'allumage.
- Ouvrez les portières et descendez du vehicule.
- Vérifiez que le capot moteur (et le coffre à bagages sur modèle 4 portières) sont verrouillés.
- Fermez toutes les portieres (et le hayon sur modulo 5 portieres).

200918
Appuyez ici pour armer le système.
: Appuyez ici pour désarmer le système.

201300
Modèles avec turbo

Modèles sans turbo
- Exercez une brève pression sur la touche "B" (moins de 2 secondes). Toutes les portières (et le hayon sur le modele 5 portières) se verrouillent, la tonalité electronicque retentit une fois, les clignotants de direction clignotent une fois, et le témoin indicateur de sécurité se met à clignoter à un rythme rapide. Àpres avoir clignotérapidement pendant 30 secondes (temps de veille), les témoins indicateurs de sécurité clignotent ensuite lentement (au rythme de 2 fois toutes les 2 secondes environ), ce qui indique que le système est armé et sous surveillance.
Si une des portières (ou le hayon/coffre à bagages) n'est pas complètement fermée, on entend la tonalité électronique cinq fois, les clignotants de direction clignotent
cinq fois pour vous avertir que les portières (ou le hayon) ne sont pas correctement fermées. Quand vous fermez la portière, le système est armé et les portières sont verrouillées automatiquement.
Pour armer le système au moyen du commutateur de verrouillage électrique des portieres
- Fermez toutes les fenêtres.
- Retirez la clé du contacteur d'allumage.
- Ouvrez les portières et descendez du vehicule.
- Vérifiéz que le capot moteur est verrouillé.
- Fermez les portières (et le hayon sur modèle 5 portières), mais laissez la portière du conducteur ou du passager avant ouverte.

201864
Type A

201317
Type B
-
Appuyez sur le côté avant du commutateur (côté “LOCK”) de verrouillage électrique des portières pour verrouiller les portières.
-
Fermez la portière. La tonalitélectronique retentit une fois, les clignotants de direction clignotent une fois, et le témoin indicateur de sécurité se met à clignoter à un rythme rapide. ÀpRES avoir clignotérapidement pendant 30 secondes (temps de veille), les témoins indicateurs de sécurité clignotent ensuite lentement (au rythme de 2 fois toutes les 2 secondes environ), ce qui indique que le système est armé et sous surveillance.
REMARQUE
Le système peut etre armé meme si le capot du moteur et/ou les fenetes sont ouverts. Verifiez always que tout est fermé avant d'armer le système.
- Vous pouvez, si vous le préférez, supprimer l'attente de 30 secondes. Adressez-vous à votre concessionnaire SUBARU pour effectuer cette opération.
- Si le vehicule est une 4 portières, quand on appuie sur la touche "du transmetteur à distance, cela inhibe provisoirement le système s'il est armé. La surveillance reprend quand on refère et verrouille le coffre à bagages.
Le système reste en mode d'attente pour une durée de 30 secondes après le verrouillage des portières par le
transmetteur à distance. Pendant ce délambda, le témoin indicateur du système de sécurité clignote à un rythme rapide.
-
Si l'une des opérations suivantes est effectuee pendant le retard d'atte de 30 secondes, le systeme n'entre pas en mode de surveillance.
-
Déverrouillage des portières au moyen du transmetteur à distance.
- Ouverture d'une portière (ou du hayon sur une 5 portières, ou du coffre à bagages sur une 4 portières)
- Mise du contacteur d'allumage en position "ON".
Pour désarmer le système d'alarme
Exercez une brève pression (moins de 2 secondes) sur la touche "d" du transmetteur à distance. La portière du conducteur se déverrouille, on entend la tonalité électronique deux fois et les clignotants de direction clignotent deux fois. La fréquence de clignotement du témoin indicateur le système de sécurité change alors lentement (d'un clignotement toutes les 3 secondes environ à deux clignotements toutes les 2 secondes environ), indiquant que le système d'alarme a été désarmé.
REMARQUE
Une fois le système d'alarme désarmé, appuyez brivement sur la touche "un'une deuxieme fois dans les 5 secondes afin de déverrouiller toutes les autres portières et le hayon (5 portières).
Désarmement du système en cas d'urgence
Au cas où vous ne pourriez pas désactiver le système par le transmetteur (transmetteur perdu, cassé, pile du transmetteur trop faible, etc.), la marche à suivre pour désactiver le système sans utiliser le transmetteur est la suivante.
- Tournez le contacteur d'allumage de la position "LOCK" à "ON" à l'aide d'une clé enregistrée.
Mode parking gardé
Si vous le mettez en mode parking gardé, le système d'alarme ne fonctionne pas. En mode parking gardé, le transmetteur à distance ne sert qu'à verrouiller et déverrouiller les portières et le hayon (5 portières) et à déclencher l'alarme d'appel au secours.
Pour entrer en mode parking gardé, changez le réglage du système d'alarme qui doit être en mode désactivé. Reportez-vous à “Pour activer et désactiver le
syte me d'alarme" 2-17. Le témoin indicateur du système de sécurité continue à clignoter au rythme d'une fois toutes les 3 secondes pour indiquer que le système est en mode parking gardé.
Pour quitter le mode parking gardé, changez le réglage du système d'alarme pour le remetre en mode activé. Reportez-vous à “Pour activer et désactiver le système d'alarme” 2-17.
Armement passif
Si le mode d'alarme passif a ete programme par le concessionnaire, le systeme est automatiquement mis en alarme sans le recours au transmetteur a distance. Sachez touteo que, dans ce cas, les PORTIERES DOIVENT ETRE VERROUILLEES MANUELLEMENT.
Pour entrer en mode passif
Pour programmer le mode d'armement passif, demandez à votre concessionnaire SUBARU de le faire pour vous.
Pour armer le système d'alarme

ATTENTION
En mode passif, le système active automatiquement l'alarme mais NE VERROUILLE PAS les portières automatiquement. Les portières devont soit être verrouillées comme indiqué au point 4 ci-dessous, soit être verrouillées avec la clé après avoir été refermées. Du point de vue de la sécurité, le risque sera donc plus grand si on oublie de verrouiller manuellement les portières.
- Mettez le contacteur d'allumage en position "ON".

1) ON
2) LOCK
- Passez la clé du contacteur d'allumage de la position "ON" à la position "LOCK" et retirez la clé du contacteur d'allumage.
- Ouvrez les portières et descendez du vehicule.

- Avant de referrer les portières, verrouillez toutes les portières avec le loquet par l'intérieur.
- Fermez les portières. Le système s'arme automatique au bout de 1 minute.
En mode passif, il reste possible d'armer le système au moyen du transmetteur à distance ou du commutateur de verrouillage électrique des portières. Quand on verrouille le vehicule au moyen du transmetteur à distance ou du commutateur de verrouillage électrique des portières, le système n'est pas armé immidiatement, independamment du fait qu'il soit ou non en mode passif.
Pour désarmer le système d'alarme Pour désarmer, exercez une brève pression sur la touche "D" du transmetteur.
Informations sur les tentatives d'effraction
Le témoin indicateur du système de sécurité clignote si le système d'alarme a été déclenché. Le nombre de clignotements donne une indication sur l'emplacement où la tentative d'effraction a eu lieu ou sur la violence de l'impact sur le vehicule.
Quand on met le contacteur d'allumage en position "ON", le témoin indicateur s'allume pendant 1 seconde, puis il clignote comme suit.
- En cas d'ouverture d'une portière ou du hayon (5 portières): 5 fois
- En cas d'ouverture d'une portière ou du coffre (4 portières): 4 fois
- Si le contacteur d'allumage a eté mis en position "ON": 3 fois
- Si le vehicule a subi un fort impact ou des impacts multiples: 2 fois (modèles avec capteurs d'impact uniquement [option concessionnaire])
- Si le vehicule a subi un impact léger: une fois (modèles avec capteurs d'impact uniquement [option concessionnaire])
REMARQUE
Le clignotement du témoin indicateur indiqué ci-dessus se produit chaque fois que le contacteur d'allumage est mis en position "ON". Le fait de réarmer le système d'alarme fait cesser ce clignotement.
Capeurs d'impact (option concessionnaire)
Les capteurs d'impact déclenchent le système d'alarme quand ils détectent un impact sur le vehicule ou si on coupe un de leurs fils électriques. Le système d'alarme fait retentir l'avertisseur sonore et clignoter les clignotants de direction pendant un court instant seulement si l'impact est léger, mais donne l'alarme en cas de fort impact ou d'impacts multiples en faisant retentir l'avertisseur et clignoter les clignotants de direction pendant 30 secondes environ.
Si vous le désirez, votre concessionnaire SUBARU peut racorder ces capteurs et effectuer les réglages d'activation ou de désactivation.
REMARQUE
- Les capteurs d'impact ne réagissant pas à toutes les effractions; en particulier, ils ne détectent pas les chocs
n'entrainant pas de vibrations (par exemple un bris de glace avec un outil de type marteau de sauveteur).
- Les capteurs d'impact réagissant parfois à des vibrations externes au vehicule comme dans les cas indiqués ci-après, et déclenchent le système d'alarme. Il convient donc que les réglages du système d'alarme et des capteurs d'impact soient effectuels en fonction de l'endetroit où le vehicule est ordinairement garé.
Examples:
Vibrations d'un chantier de construction
Vibrations de structure dans un parc de stationnement à plusieurs étages
- Vibrations au passage des trains
- Pour faire régler la sensibilité des capteurs d'impact de votre vehicule, adressez-vous à votre concessionnaire SUBARU.
Verrou de sécurité pour enfants

Chacune des portières arrêté est équipée d'un verrou de sécurité pour enfants qui condamme l'ouverture de la portière par la poignée interieure.
Lorsque le verroude sécurité pour enfants est en position verrouillée, il est impossible d'ouvoir la portiere de l'intérieur, qu'elle que soit la position du loquet. La portiere ne peut etre ouverte que de I'estérieur.

DANGER
Mettez toujours les verrous de sécurité pour enfants en position "LOCK" lorsque des enfants se
trouvent sur le siège arrière. Un accident grave pourrait se produit si un enfant ouvrait accidentellement une portière et tombait du vehicule.
Vitres
Lève-vitres électriques

DANGER
Pour éviter de graves blessures par suite de pincement, prenez les précautions suivantes, sans exception.
- Les lève-vitres electriques doivent toujours être manœuvrés avec la plus grande prudence, afin d'éviter que quiconque ne se coince les doigts, les bras, le cou ou la tête, ou que d'autres objets ne se trouvent pris dans la vitre.
- La commande de condamnation des lève-vitres passagers doit toujours être enclenchée lorsqu'il y a des enfants à bord du vehicule.
Pour des raisons de sécurité, lorsque vous quittez le vehicule, retirez toujours la clé du contacteur d'allumage, et ne laissez jamais un enfant seul dans le vehicule. Dans le cas contraire, les enfants pouraient se blesser en manipulant les lève-vitres ELECTriques.
Les lève-vitres électriques ne fonctionnent
que si le contacteur d'allumage est en position "ON".
Commutateur du cotoce conducteur

1) Commande de verrouillage
2) Pour la vitre du conducteur (avec fonction de remontée et descente rapide (type A)/fonction de descente rapide (type B))
3) Pour la vitre du passager avant
4) Pour la vitre du passager arrêté gauche
5) Pour la vitre du passager arrêté droit
Tous les lève-vitres peuvent être actionnés à partir du panneau de commande des lève-vitres électriques de la portière côte conducteur.
Maneuvre de la vitre du conducteur (type A)

1) Ouverture/fermeture automatique
2) Ouverture/fermeture
Pour ouvrir:
Poussez le bouton légerement vers le bas et maintenez-le enforcé. La vitre s'ouvre jusqu'à ce que vous l'achiez le bouton.
Ce commutateur dispose également d'une fonction d'ouverture complète par simple pression, qui permet d'ouvrir complètement la vitre sans qu'il soit nécessaire de tener le bouton.
Abaissez le bouton au maximum jusqu'à enclenchement: la vitre s'ouvre complètement, même si vous avez relâché le bouton. Pour arrêter la vitre à mi-course, exercez une brève traction sur le bouton
verslehaut.
Pour fermer:
Tirez le bouton légèrement vers le haut et tenez-le levé. La vitre se ferme jusqu'à ce que vous l'achiez le bouton.
Ce commutateur dispose également d'une fonction d'ouverture complète par simple pression, qui permet de remonter complètement la vitre sans qu'il soit nécessaire de tener le bouton.
Lorsque you tirez le bouton vers le haut jusqu'au déclic, la vitre se femme complètement même si vous avez relâché le bouton. Pour arrêter la vitre à mi-course, poussez légèrement le bouton vers le bas.
REMARQUE
Si la batterie du vehicule est deconnectede, en raison d'un remplacement de batterie ou de fusible, la fonction d'ouverture/fermeture complete par simple pression est desactivete. Initiaisez les lve-vitres electriques pour reactiver la fonction d'ouverture/fermeture complete par simple pression. Reportez-vous a "Initialisation des lve-vitres electriques (type A)" 2-27.
Maneuvre de la vitre du conducteur (type B)

1) Ouvrir
2) Ouverture automatique
3) Fermer
Pour ouvrir:
Poussez le bouton légerement vers le bas et maintenez-le enforcé. La vitre s'ouvre jusqu'à ce que vous l'achiez le bouton.
Ce commutateur dispose également d'une fonction d'ouverture complète par simple pression, qui permet d'ouvrir complètement la vitre sans qu'il soit nécessaire de tener le bouton.
Abaissez le bouton au maximum jusqu'à enclenchement: la vitre s'ouvre complètement, même si vous avez relâché le bouton. Pour arrêter la vitre à mi-course, exercez une brève traction sur le bouton
verslehaut.
Pour fermer:
Tirez le bouton franchement vers le haut et tenez-le levé. La vitre se ferme jusqu'à ce que vous l'chiez le bouton.
Fonction de sécurité anti-enfermentation (type A)

ATTENTION
- Ne tentez jamais de tester cette fonction en plaçant vos doigts, mains ou autres parties de votre corps dans la course de fermeture du toit ouvrant opaque.
La fonction anti-blocage pourrait ne pas fonctionner correctement si un objet quelconque se coince juste avant la fermeture complete du titre.
REMARQUE
- Si une vitre détecte un impact similaire à celui causé par le coincement d'un objet (par exemple, lorsque le vehicule heurte un nid de poule profond), la fonction anti-blocage poursait s'activer, dépendamment de la condition de conduite.
- La vitre ne peut pas etre manipulée
pendant quelques secondes après l'activation de la fonction anti-blocage.
- Si la batterie du vehicule est déconnectée, en raison d'un remplacement de batterie ou de fusible, la fonction anti-blocage est désactivée. Initialisez le lève-vitre électrique pour réactiver la fonction anti-blocage. Reportez-vous à "Initialisation des lève-vitres électriques (type A)" 2-27.
Si, lors de la fermeture automatique de la vitre conducteur, la présence d'un objet suffisamment gros coince entre la vitre et l'encadrement de vitre est détectee, elle s'abaisse automatiquement légèrement, puis s'arrête.

Maneuvre des vitres des passagers
Pour ouvrir:
Poussez le bouton approprié vers le bas et maintenez-le jusqu'à ce que la vitre attaigne la position souhaitée.
Pour fermer:
Tirez le commutateur vers le haut et maintenez-le jusqu'à ce que la vitre attaigne la position souhaitée.

Verrouillage des vitres des passagers
1) Verrouiller
2) Déverrouiller
Appuyez sur le commutateur de verrouillage. Lorsque ce commutateur est en position "LOCK", les commandes des portières ne fonctionnent pas.
Appuyez à nouveau sur le commutateur pour désactiver la fonction de condensation des lève-vitres des passagers.
Commutateurs des passagers

1) Ouvrir
2) Fermer
Pour ouvrir:
Poussez le commutateur vers le bas et maintenez-le jusqu'à ce que la vitre attaigne la position souhaitée.
Pour fermer:
Tirez le commutateur vers le haut et maintenez-le jusqu'à ce que la vitre attaigne la position souhaitation.
Lorsque la commande de verrouillage située sur le panneau de commande des lève-vitres électriques de la portière conducteur est en position "LOCK", les vitres passagers ne peuvent pas être actionnées à partir des commutateurs passagers.
Initialisation des lève-vitres électriques (type A)
Si la batterie du vehicule est disconnected, en raison d'un remplacement de batterie ou de fusible, les fonctions suivantes sont désactivées.
- Fonction d'ouverture/fermeture complete par simple pression
- Fonction de sécurité anti-enfermement
Initialisez les lève-vitres électriques en suivant la procédure suivante pour réactiver de telles fonctions.
- Fermez la portiere conducteur.
- Mettez le contacteur d'allumage en position "ON".
- Ouvrez la vitre du côte conducteur à moitié en appuyant la commande des lève-vitres électriques.
- Tirez la commande des lève-vitres électriques en haut et fermez complètement la vitre. Continuez à tirer la commande pendant environ une seconde après la fermeture complète de la vitre.
Coffre à bagages (4 portières)

DANGER
- Les gaz d'échéppement sont nocifs et, pour éviter qu'ils ne pénétrent dans le vehicule, le coffre à bagages doit toujours être fermé quand le vehicule roule.
- Pensez à prévenir le risque d'enfermement des enfants, des adults et des animaux dans le coffre à bagages. Par temps chaud ou ensoleillé, la température à l'intérieur d'un coffre devient assez élevé pour entrainer rapidement la mort ou de graves affections pour une personne qui serait enfermée à l'intérieur, surtout chez les jeunes enfants qui sont très vulnérables aux léasons cérébrales générées par l'exposition à la chaleur.
Lorsque vous quittez le vehicule, fermez toutes les vitres et verrouillez toutes les portieres. Verifiéz également que le coffre est bien fermé.
■ Ouverture et fermetre du coffre à bagages par l'extérieur
Il est aussi possible d'ouvrir le coffre à bagages en utilisant la télécommande du système d'entrée sans clé par télécommande. Reportez-vous à "Système d'entrée sans clé par télécommande" 2-8. Pour referrer, appuyez légèrement sur le coffre à bagages jusqu'à enclenchement de la serrure.
REMARQUE
Quand you quittez voire vehicule, ne laisses pas d'objets de valeur à l'intérieur.
■ Ouverture du coffre à bagages par l'intérieur

Tirez le levier de déverrouillage du coffre à bagages vers le haut.
Pour verrouiller et déverrouiller le levier d'ouverture du coffre à bagages

Quand vous confiez votre vehicule à une autre personne, vous pouvez verrouiller le levier d'ouverture du coffre à bagages pour que cette-ci ne puisse etre ouverte. Pour verrouiller le levier d'ouverture du coffre à bagages, introduizez la clé principale ou la clé auxiliaire dans la serrure à l'arriere du levier et tournez dans le sens inverse des aiguilles d'une montre. Confiez ensuite voite�Vehicle apres avoir donne la clé de service uniquement. Pour déverrouiller, tournez dans le sens des aiguilles d'une montre.
■ Poignée de déverrouillage interne du coffre à bagages
Cette poignée est un dispositif concu pour ouvrir le coffre à bagages de l'intérieur. Dans l'eventualité où des enfants ou des femmes auraient été enfermés à l'intérieur du coffre,ils peuvent ainsi ouvrir le couvercle de l'intérieur. La poignée se trouve à l'intérieur du couvercle de coffre.

Pour ouvrir le coffre à bagages de l'intérieur, tirez la poignée jaune vers le haut, comme l'indique la flèche sur la poignée.
Cette action a pour effet de déverrouiller le coffre à bagages. Il suffit ensuite de pousser pour ouvrir le coffre.
La poignée est faite en une matière luminescente, et elle reste visible pendant
une heures environ dans l'obscurité du coffre à bagages fermé après avoir été exposée à la lumière ambiante même pendant peu de temps.
DANGER
Ne laissiez jamais les enfants entre dans le coffre à bagages et jouer avec la poignée de déverrouillage. Si le conducteur fait demarrer le vehicule avec un enfant à l'intérieur du coffre à bagages et si l'enfant ouvre le coffre à bagages à l'aide de cette poignée, l'enfant pourrait en tombant se tuer ou se blesser gravement.
ATTENTION
- Ne fermez pas le coffre à bagages en le tenant par la poignée de déverrouillage. Cela pourrait endommager la poignée.
- Ne vous servez pas de cette poignée comme crochet de fixation des sangles ou cordes pour arrimer le chargement dans le coffre à bagages. Cela pourrait endommager la poignée.
- En chargeant le coffre à bagages, voirlez à ce que le chargement ne
risque pas de heurter la poignée de déverrouillage. Si le chargement vient heurter la poignée pendant que le vehicule roule, le coffre risque de s'ouvrir si la poignée est pousseee vers le haut. Le chargement pourrait alors tomber du coffre a bagages et creer un danger d'accident pour les autres vehicules.
Inspection
Au moins deux fois par an, effectuez les opérations suivantes pour vérifier que la poignée de déverrouillage fonctionne bien.
- Ouvrez le coffre à bagages.

- Munissez-vous d'un tournevis à lame
plate et fine. Introduisez la lame du tournevis dans la fente de l'ensemble serrure jusqu'à enclenchement.

Ceci met le loquet en position verrouillée.

- De l'extérieur du vehicule, manoeuvrez la poignée de déverrouillage dans le sens
de la flèche pour vérifier que cela déverrouille le loquet.
Si le loquet ne se déverrouille pas, contactez votre concessionnaire SUBARU.
Le cas échéant, utilisez la clé pour déverrouiller le loquet, puis refermez le coffre à bagages.
De plus, si le mouvement de la poignée de déverrouillage vous pourrait être trop limité ou manquer de souplesse, ou si la poignée et/ou l'embase de la poignée sont fendues ou endommagées, contactez votre concessionnaire SUBARU.
Hayon (5 portières)

Le hayon peut être verrouillé et déverrouillé à l'aide des systèmes suivants.
- Commutateur de verrouillage électrique des portières: Reportez-vous à "Commutateurs de verrouillage électrique des portières" 2-7.
- Système d'entrée sans clé par télécommande: Reportez-vous à "Système d'entrée sans clé par télécommande" 2-8.
Pour ouvrir:
Déverrouillez le hayon, puis appuyez sur le bouton d'ouverture du hayon.

Pour fermer:
Rabattez le hayon lentement puis appuyez fermement pour enclencher la serrure.
Pour fermer facilement le hayon, abaissez-le en le tenant par la poignée encastree.

DANGER
Pour éviter que de dangereux gaz d'échéppement ne pénétrent dans le vehicule, gardez toujours le hayon fermé lors de la conduite.
- N'essayez pas de fermer le hayon pendant que vous le tenez par la poignée encastrée. Évitez aussi de fermer le hayon en le tirant par la poignée encastrée de l'intérieur de l'espace de chargement. Vous risqueriez de vous faire prendre la main et de vous blesser.

ATTENTION
- N'insérez pas d'objets tels que des sachets en plastique derrière les pistons du hayon, et ne collez pas de ruban adhésif sur ces pistons et voirlez à ne pas les rayer en chargeant ou en déchargeant du matériel. Ceci pourrait provoquer la fuite du gaz actionnant les pistons, qui ne pourraient plus maintainir le hayon en position ouverte.
Veillez à ne pas vous cogner la tête ou le visage contre le hayon pendant le mouvement d'ouverture ou de fermeture et pendant les opérations de chargement ou déchargement des bagages.
REMARQUE
S'il est impossible de déverrouiller le hayon parce que la batterie du vehicule est déchargée, ou suite à une anomalie dans le système de verrouillage/déverrouillage des portières ou pour toute autre raison, vous pouvez le déverrouiller manuellement en actionnant le levier d'ouverture du hayon. Pour la procédure à suivre, reportez-vous à "Hayon - s'il est impossible de déverrouiller le hayon" 9-19.
Toit ouvrant opaque (selon modèles)

DANGER
Ne laissez jamais dépasser les mains, la tête, les bras ou un objet quelconque de quelqu'un par l'ouverture du toit ouvrant opaque. Cette personne pourrait être gravement blessée en cas de freinage, de virage brusque ou d'accident.
Pour éviter de graves blessures par suite de pincement, prenez les précautions suivantes, sans exception.
-
Avant de fermer le toit ouvrant opaque, vérifie que personne ne risque de se faire prendre les mains, les bras ou la tête.
Pour des raisons de sécurité, lorsque vous quittez le vehicule, retirez toujours la clé du contacteur d'allumage, et ne laisssez jamais un enfant seul dans le vehicule. Faute de quoi, l'enfant risque de se blesser en manœuvrant le toit ouvrant opaque. -
Ne tentez jamais de vérifier le fonctionnement de la sécurité anti-blocage en plaçant intentionnellement une partie quelconque de votre corps dans le toit ouvrant opaque.

ATTENTION
- Ne vous asseyez pas au bord de l'ouverture du tout ouvrant opaque.
N'essayez pas de manœuvrer le toit ouvrant opaque si celui-ci est bloqué par la neige ou par le gel.
La fonction anti-blocage est inopérante pendant le mouvement d'abaissement du toit ouvrant opaque depuis la position inclinée. Avant d'abaisser le toit ouvrant opaque, assurez-vous de confirmer que vous pouvez le faire en toute sécurité.
Le toit ouvrant opaque coulisse et peut aussi être incliné.
Le toit ouvrant opaque ne fonctionne que si le contacteur d'allumage est en position "ON".
Commandes de toit ouvrant opaque

Toit ouvrant opaque inclinable
1) Lever
2) Baisser
Le toit ouvrant opaque ne peut être incliné que lorsqu'il est en position de fermeture complete.
Pour lever le toit ouvrant opaque, appuyez sur l'arrière du commutateur d'inclinaison "MONTÉE/DESCENTE".
Pour baiser le toit ouvrant opaque, appuyez sur l'avant du commutateur d'inclinaison "MONTÉE/DESCENTE".
Relâchez le commutateurès que le toit ouvrant opaque atteint la position d'inclinaison maximum ou de fermeture
complète. Continuer à tener le commutateur,enforcé risquérait d'endommager le toit ouvrant opaque.
REMARQUE
La manoeuvre du toit ouvrant opaque par simple pression sur le commutateur est inopérante pendant l'abaissement du toit ouvrant opaque. Maintenez le commutateur enforcé pour lever ou baiser le toit ouvrant opaque.

Toit ouvrant opaque coulissant
1) Ouvrir
2) Fermer
Pour ouvrir le toit ouvrant opaque, poussez le commutateur d"OUVERTURE/ FERMETURE" vers l'arriere. Le paresoileil de toit s'ouvre en meme temps que
le toit ouvrant opaque.
Pour fermer le toit ouvrant opaque, poussez le commutateur d"OUVERTURE/ FERMETURE" vers l'avant.
Pour arrêté le toit ouvrant opaque sur la position intermédiaire souhaïette pendant le mouvement d'ouverture ou de fermetre, exercez une brève pression sur le côte "OUVERTURE" ou "FERMETURE".
Après la pluie ou si le vehicule vient d'être lavé, essuyez le toit avant d'ouvrir le toit ouvrant opaque pour ne pas mouiller l'intérieur du vehicule.
Fonction de sécurité anti-enfermentation
Si, lors de sa fermeture, le toit ouvrant opaque détecte la présence d'un objet suffisamment gros coincé entre sa vitre et le toit du vehicule, il returne automatiquement en position entierement ouverte, puis s'arrête. Il arrive que, même siaucun objet n'est pris dans le toit ouvrant opaque, un fort chic sur le toit ouvrant opaque déclenché la sécurité anti-enfermement.

ATTENTION
Ne tentez jamais de tester cette fonction en plaçant vos doigts, mains ou autres parties de votre
corps dans la course de fermeture du toit ouvrant opaque.
REMARQUE
- Pour votre sécurité, il est conseilé de ne pas rouler avec le toit ouvrant opaque complètement ouvert.
- S'il s'avéré impossible de fermer le toit ouvrant opaque par le commutateur en raison d'une panne du système, utilisez la clé hexagonale pour le referrer manuellement. Pour la procédure à suivre, reportez-vous à "Toit ouvrant opaque - s'il est impossible de fermer le toit ouvrant opaque" ^-9 20.
Pare-soileil

On peut faire glisser le pare-soleil vers l'avant ou vers l'arrière à la main lorsque le toit ouvrant opaque est fermé.
À l'ouverture du toit ouvrant opaque, le pare-soileil suit le mouvement du toit vers l'arrière.
Contacteur d'allumage 3-3
LOCK 3-3
Acc 3-4
ON 3-4
START 3-4
Signal sonore derappel de clé 3-5
Eclairage du contacteur d'allumage 3-5
Feux de détresse 3-6
Indicateurs et jauges 3-6
Eclairage des instruments de bord 3-6
Désactivation de la fonction de mouvement des aiguilles des compteurs et jauges à l'activation du contacteur d'allume. 3-7
Réglages de l'éclairage de l'aiguille des compteurs et jauges (modèles turbo sauf STI) 3-7
Indicateur de vitesse 3-9
Compteur totalisateur/Compteur journalier 3-9
Compte-tours 3-10
Indicateur de niveau de carburant. 3-11
Jauge de température (modèles turbo) 3-12
Témoin indicateur REV et averisseur sonore de régime moteur (STI) 3-13
Réglage du niveau d'alarme de régime moteur. 3-13
Désactivation du système d'alarme REV. 3-14
Témoins avertisseurs et indicateurs 3-15
Témoin avertisseur et signal sonore de ceinture de sécurité 3-16
Témoin averitisseur du système de coussin de sécurité SRS 3-18
Indicateurs ON et OFF du coussin de sécurité frontal du passager avant 3-18
Témoin avertisseur d'anomalie moteur CHECK ENGINE/Témoin indicateur d'anomalie de fonctionnement 3-19
Témoin indicateur de température basse du liquide de refroidissement (modèle sans turbo)/Témoin avertisseur de température élevé du liquide de refroidissement (modèle sans turbo). 3-20
Témoin averitisseur de charge 3-21
Témoin avertisseur de pression d'huile 3-21
Témoin avertisseur de surchauffe de l'huile de boite de vitesses automatique AT OIL TEMP (modèles BVA) 3-21
Témoin averissueur de température d'huile du différentiel arrêté (STI) 3-22
Témoin avertisseur de masse pression des pneus (modèles spécification des États-Unis) 3-22
Témoin avertisseur des freins antiblocage (ABS) 3-24
Témoin avertisseur du système des freins 3-25
Témoin avertisseur de bas niveau de carburant.... 3-26
Témoin averitisseur d'assistance pour démarrage en côte (modèles B/M - selon modèles)/Témoin indicateur de désactivation d'assistance pour démarrage en côte (STI) 3-26
Témoin avertisseur d'ouverture de portière 3-26
Témoin averâtisseur de traction intégrale (modèles BVA) 3-27
Témoin indicateur de fonctionnement du Contrôle de Dynamique du Véhicule 3-27
Témoin avertisseur du Contrôle de Dynamique du Véhicule/Témoin indicateur de désactivation du Contrôle de Dynamique du Véhicule/Témoin indicateur de désactivation du contrôle de traction (STI) 3-27
Témoin indicateur du système de sécurité 3-29
Témoin indicateur de mode SPORT (modèles BVA) 3-30
Témoin indicateur SI-DRIVE (STI) 3-30
Témoin indicateur de passage au rapport supérieur (STI) 3-30
Indicateur de position du levier selecteur/du rapport engagé (modèles BVA) 3-30
Témoins indicateurs des clignotants de direction 3-30
Témoin indicateur des feués de route 3-31
Témoin indicateur de régulateur de vitesse 3-31
Témoin indicateur réglage du régulateur de vitesse constante 3-31
Témoin indicateur des phares antibrouillard avant (selon modèles) 3-31
Témoin indicateur des phares (selon modèles) 3-31
Témoin indicateur de différentiel automatique de centre de contrôle conducteur (STI) 3-31
Témoin indicateur et témoin averitisseur de différentiel de centre de contrôle conducteur (STI) 3-32
Témoin indicateur de régime moteur (STI) 3-32
Horloge 3-33
Affichage d'informations 3-33
Indicateur de températe extérieure 3-34
Consommation actuelle de carburant (selon
modules) 3-35
Consommation moyenne de carburant. 3-35
Désactivation de l'affichage de consommation de carburant 3-35
Commande de réglage des éclairages 3-36
Phares 3-36
Inverseur feuux de route/feux de croissement (moins lumineux) 3-37
Appels de phares 3-37
Système d'éclairage pour conduite de jour 3-37
Manette des clignotants de direction 3-38
Réglage d'intensité lumineuse 3-38
Dispositif de réglage de portée des phares (selon modèles) 3-39
Commande des phares antibrouillard avant (selon modèles) 3-41
Essuie-glace et lave-glace 3-41
Commandes d'essuie-glace et de lave-glace de pare-brise 3-43
Commande d'essuie-glace et de lave-glace de lunette arrêté - 5 portières 3-44
Rétroviseurs 3-45
Rétroviseur interieur 3-45
Rétroviseur d'atténuation automatique/boussole (selon modèles) 3-46
Rétroviseur d'atténuation automatique/boussole avec HomeLink (selon modèles) 3-47
Rétroviseurs extérieurs 3-53
Désembumeur et dégivreur 3-55
Volant de direction à inclinaison régliable 3-57
Volant de direction à inclinaison régliable/
téléscopique (selon modèles) 3-57
Avertisseur sonore 3-58
Contacteur d'allumage

DANGER
- Ne mettez jamais le contacteur d'allumage en "LOCK" pendant la conduite ou le remorquage du vehicule car cela bloquerait le volant de direction et ferait perdre le contrôle du vehicule. Lorsque le moteur est a l'arrêt, il faut exercer sur le volant beaucoup plus de force que d'habitude.
Pour des raisons de sécurité, lorsque vous quittez le vehicule, retirez toujours la clé du contacteur d'allumage, et ne laissez jamais un enfant seul dans le vehicule. Faute d'observer ces précautions, les enfants risquent de se blesser ou de blesser autre. Les enfants pourraient actionner les lève-vitres ELECTriques, le toit ouvrant opaque ou les autres commandes, et même déplacer le vehicule.

ATTENTION
N'attachez pas de porte-clés ou
d'étui à clés de grande taille à vos clés. S'il rebondit contre vos genoux ou vos mains pendant la conduite, cela pourrait faire passer le contacteur d'allumage de la position "ON" à la position "Acc" ou "LOCK", et ainsi couper le contact. De plus, si la clé est attachée à un lourd porteclés ou à un trousseau de plusieurs clés, il peut arriver que, par un effet de force centrifuge produit par le déplacement du vehicule, la clé tourne d'elle-même dans le contacteur d'allumage.

Le contacteur d'allumage comprend quatre positions différentes: LOCK, Acc, ON et START.
REMARQUE
- Le contacteur d'allumage doit être laïssé en position "LOCK" lorsque le moteur est à l'arrêt.
- L'usage prolongé d'accessoires électriques avec le contacteur d'allumage en position "ON" ou "Acc" peutmettre la batterie à plat.
- Si le contacteur d'allumage est difficile à manœuvrer de la position "LOCK" à la position "Acc", tournez légèrement le volant vers la droite et la gauche tout en tournant le contacteur d'allumage.
■ LOCK
La clé ne peut être introduite et retiree que dans cette position. Le contacteur d'allumage bloque le volant lorsque vous retirez la clé.
Si la clé est difficile à manœuvrer, tournez légèrement le volant vers la droite et la gauche tout en tournant la clé.
Modèles BVA


La clé ne peut être tournée de "Acc" à "LOCK" que si le levier sélecteur est en position "P".
Modeles B/M

Pour faire passer la clé de "Acc" à "LOCK", poussez-la lorsque vous la tournez.
Acc
Cette position permet d'utiliser les accessoires électriques (système audio, prise de courant pour accessoire, etc.).
ON
C'est la position normale pour la conduite après la mise en marche du moteur.
START
Le moteur démarre dans cette position. Le démarre entraîne le moteur pour le faire démarrer. Lorsque vous relâchez la clé
(après que le moteur a démarré), elle revient automatiquement en position "ON".

ATTENTION
Ne mettez pas le contacteur d'allumage en position "START" lorsque le moteur est en marche.
Si vous n'etes pas parvenu àmettre le moteur en marche alors que la clé que vous utilisez est bien une clé enregistrree, retirez une fois la clé (le témoin indicateur de sécurité clignote), réintroduisez la clé dans le contacteur d'allumage et tournezzla en position "START" et essayez a nouveau demettre le moteur en marche.
REMARQUE
Le moteur peut ne pas démarrer dans les cas suivants:

- L'anneau de la clé est en contact avec une autre clé ou avec un porteclés métallique.

- La clé est à proximité d'une autre clé dotée d'un transpondeur pour le dispositif antidémarrage.
- La clé est à proximé ou au contact d'un autre transmetteur.
■ Signal sonore de rappel de clé
Le signal sonore de rappel de clé retentit à l'ouverture de la portière conducteur si le contacteur d'allumage se trouve en position "LOCK" ou "Acc".
Le carillon s'arrête dans les conditions suivantes.
- Lorsque le contacteur d'allumage a eté mis en position "ON"
- Lorsque vous retirez la clé du contacteur d'allumage
Lorsque la portiere du conducteur est fermée
Eclairage du contacteur d'alumage
Pour faciliter l'accès au contacteur d'allumage dans l'obscurité, l'éclairage du contacteur d'allumage s'allume à l'ouverture de portière du conducteur ou lorsque la portière conducteur est verrouillée en utilisant la télécommande d'entrée sans clé.
L'éclairage reste allumé pendant un bref instant, puis s'eteint progressivement si les conditions suivantes sont réunies.
- Lorsque la portiere du conducteur est fermée.
- Lorsque les portières sont déverrouillées au moyen de la télécommande d'entrée sans clé.
L'éclairage s'eteint immédiatement si les conditions suivantes sont réunies.
- Lorsque le contacteur d'allumage a eté mis en position "ON"
- Lorsque toutes les portières et le hayon (5 portières) sont verrouillés au moyen de la télécommande d'entrée sans clé.
Feux de détresse

Les feu des detresse seront a signaler aux autres conducteurs la presence d'un vehicule en difficulté. Les feu des detresse fonctionnent qu'elle que soit la position du contacteur d'allumage.
Les feu de détresse s'allument en appuyant sur la touche des feu de détresse située sur le tableau de bord. Pour les eteindre, appuyez de nouveau sur la touche.
REMARQUE
Les clignotants de direction ne fonctionnent pas lorsque les yeux de détresse sont actifs.
Indicateurs et jauges
REMARQUE
Les affichages de certains des instruments et jauges sur des instruments de bord sont des écrans à cristaux liquides. Ils peuvent être difficilement lisibles en cas de port de lunettes à verres polarisés.
■ Éclairage des instruments de bord
Quand le contacteur d'allumage est mis en position "ON", les différentes parties des instruments de bord sont éclairées dans l'ordre suivant:
Modèle avec turbo:
- Les témoins avertisseurs, les témoins indicateurs et les aiguilles des compteurs et des jauges s'allument.
- Chacune des aiguilles des instruments et des jauges va à sa position de MAXIMUM.
- Chacune des aiguilles des instruments et des jauges va à sa position de MINIMUM.
-
Les graduations des compteurs et jauges et l'éclairage arrière du compteur totalisateur et du compteur journalier s'allument.
-
L'éclairage normal (de conduite) commence.
Modèles sans turbo:
- Les témoins avertisseurs, les témoins indicateurs, les aiguilles des instruments et jauges et l'éclairage arrêté du compteur totalisateur et du compteur journalier s'allument.
- Chacune des aiguilles des instruments et des jauges va à sa position de MAXIMUM.
- Chacune des aiguilles des instruments et des jauges va à sa position de MINIMUM.
- L'éclairage normal (de conduite) commence.
Désactivation de la fonction de mouvement des aiguilles des compteurs et jauges à l'activation du contacteur d'allumage

Il est possible en changeant les réglages d'activer ou de désactiver le mouvement des aiguilles des instruments et jauges qui a lieu lors de la mise du contacteur d'allumage en position "ON".
Mettez le contacteur d'allumage en position "LOCK" ou "Acc".
Appuyez sur le bouton du compteur journalier pour afficher "5-0n" ou "5-0FF" sur l'écran du compteur totalisateur et du compteur journalier.
Vous pouvez alors passer d'un écran à l'autre comme indiqué sur l'illustration ci-
dessous en appuyant sur le bouton du compteur journalier.

^1 : STI uniqueness
^2 : "S- on" ou "S- oFF", et "L- on" ou "L- oFF" ne peutment pas s'afficher lorsque le contacteur d'allumage est sur la position "ON".
^*3 : Modèles turbo sauf STI
Pour changer le mode actuel, exercez sur le bouton du compteur journalier une pression prolongée pendant plus de 2 secondes.
5-on: Activé
5-DF: Désactivé
REMARQUE
- Le réglage du mouvement initial des aiguilles des compteurs/jauges de votre vehicule est mis en position d'activation "S" à la sortie de l'usine.
- Il n'est pas possible d'annuler le réglage du mouvement initial des aiguilles des instruments/jauges lorsque le contacteur d'allumage est sur "ON". Annulez le réglage lorsque le contacteur d'allumage est en position "LOCK" ou "Acc".
Réglages de l'éclairage de l'aiguille des compteurs et jauges (modèles turbo sauf STI)
Lorsque le réglage est activé ou désactivé, les aiguilles des compteurs et jauges s'allument et s'éteignent comme suit.
Activé:
Lorsque la portière du conducteur est ouverte alors que le contacteur d'allumage est en position "LOCK", les aiguilles s'allument, puis s'éteignent au bout de 20 secondes environ. L'intensité lumineuse des aiguilles diminue graduèlement après le passage du contacteur d'allumage de la position "ON" à la position "LOCK".
Désactivé:
Les aiguilles ne s'allument pas lorsque la portiere du conducteur est ouverte alors que le contacteur d'allumage est sur la position "LOCK". Les aiguilles s'éteignent immédiatement après le passage du contacteur d'allumage de la position "ON" à la position "LOCK".
REMARQUE
- Les instruments de bord s'allument comme d'habitude lors de la mise sur la position "ON" du contacteur d'allumage, même lorsque les aiguilles s'allument suite à l'ouverture de la portière du conducteur.
Si, pendant la période d'éclairage consécutive à l'ouverture de la portière du conducteur, les portières sont verrouillées au moyen du système d'entrée sans clé par télécommande, l'éclairage s'eteint. - Les instruments de bord s'allument comme d'habitude lors la mise sur la position "ON" du contacteur d'allumage, même lors de la baisse d'intensité graduelle suivant la mise sur la position "LOCK" du contacteur d'allumage.
Pour modifier le réglage:
- Mettez le contacteur d'allumage en position "LOCK" ou "Acc".

- Appuyez sur le bouton du compteur journalier pour afficher " _ L - o n ou " _ L - o F F sur l'écran du compteur totalisateur et du compteur journalier. Vous pouze alors passer d'un écran à l'autre comme indiqué sur l'illustration ci-dessous en appuyant sur le bouton du compteur journalier.

*: “S-ON” ou “S-OFF”, et “L-ON” ou “L-OFF” ne peuvent s'afficher lorsqué le contacteur d'allumage est sur la position “ON”.
3. Pour changer le mode actuel, exercez sur le bouton du compteur journalier une pression prolongée pendant plus de 2 secondes.
L-0n: Activé
L-OFF: Désactivé
REMARQUE
L'allumage initial des aiguilles des compteurs/jauges de votre vehicule est regle par défaut sur la position d'activation l_-o n à la sortie d'usine.
Indicateur de vitesse
L'indicateur de vitesse indique la vitesse de déplacement du vehicule.
Compteur totalisateur/Competeur journalier

Modèles avec turbo

Modèles sans turbo
1) Bouton du compteur journalier
Ce compteur affiche le compteur totalisateur et deux compteurs journaliers lorsque le contacteur d'allumage est en position "LOCK", "Acc" ou "ON".
Pour allumer le compteur totalisateur/ journalier, appuyez sur le bouton du compteur journalier lorsque le contacteur d'allumage est en position "LOCK". Il est possible de passer d'un affichage à l'autre lorsque le compteur totalisateur/journalier est allumé. Le compteur totalisateur/journalier s'éteint si vous n'appuyez pas sur le bouton du compteur journalier dans les 10 secondes suivant l'allumage.
Yououpoucezalorspasserd'unecranà l'autre comme indiquedur l'illustration ci
dessous en appuyant sur le bouton du compteur journalier.

^1 : STI uniqueness
^2 : "S- on" ou "S- oFF", et "L- on" ou "L- oFF" ne peut vent s'afficher lorsque le contacteur d'allumage est sur la position "ON".
^*3 : Modèles turbo sauf STI
Compteur totalisateur

Le compteur totalisateur indique la distance totale parcourue par le vehicule.
Compteurjournalier double

Le compteur journalier indique la distance parcoursue par le vehicule depuis la derniere remise a zéro.
Pour remettre ce compteur à zéro, choisissez la fonction compteur journalier A ou B en appuyant sur le bouton et tenez le bouton enforcé pendant au moins 2 secondes.

ATTENTION
Pour des questions de sécurité, ne tentez pas de changer le mode de fonctionnement de l'indicateur tout en conduisant: vous risqueriez de provoquer un accident.
REMARQUE
Toute interruption de la liaison entre les instruments de bord et la batterie (travaux d'entretien, remplacement du fusible, etc.), entraine la perte des données enregistrées par le compteur journalier.
Compte-tours
Le compte-tours indique le régime du mateur en milliers de tours par minute.

ATTENTION
Ne faites pas tourner le moteur avec l'aiguille du compte-tours dans la zone rouge. Vous risqueriez d'endommager sérieusement le moteur.
REMARQUE
Sur les modèles sans turbo, pour protéger le moteur lorsque le levier sélecteur est en position “P” ou “N” (pour les modèles BVA) ou lorsque le levier de changement de vitesses est au point mort (pour les modèles B/M), le moteur est contrôle, de sorte que le régime moteur n’augmente pas excessivement, même lorsque la pédale d'accéléateur est enforcée fortement au plancher.
Indicateur de niveau de carburant

Modèle avec turbo

Modèles sans turbo
1) Témoin averâtisseur de bas niveau de carburant
L'indicateur de niveau de carburant indique la quantite approximative de carburant dans le réservoir.
Lorsque le contacteur d'allumage est en position "LOCK" ou "Acc", l'indicateur du niveau de carburant est sur "E" (vide), même si le réservoir de carburant contient du carburant.
L'indication de la jauge peut fluctuer légèrement en cas de freinage, d'accélération ou de virage, du fait de l'agitation du carburant à l'intérieur du réservoir.
Si you appuyez sur le bouton du compteur journalier quand le contacteur d'allumage est en position "LOCK" ou "Acc", l'indicateur de niveau de carburant s'allume et indique la quantité de carburant restant dans le réservoir.
Quand la jauge de carburant indique la quantité de carburant restant dans le réservoir, si (a) vous ne touchez pas au bouton du compteur totalisateur pendant 10 secondes ou si (b) vous ouvrez et refermez la portière du conducteur, l'indication de la jauge de carburant disparait de l'affichage.
REMARQUE

Vous verrez le pictogramme "■" sur la jauge de carburant.
Cette inscription indique que le volet (covercle) de replissage en carburant se trouve du cote droit du vehicule.
Témoin averitisseur de bas niveau de carburant
Le témoin averitisseur du bas niveau du carburant s'allume lorsque le réservoir est presque vide (environ 10,0 litres [2,6 US gal, 2,2 Imp gal]).
Il ne fonctionne que lorsque le contacteur d'allumage est en position "ON".
REMARQUE
Ce témoin ne s'éteint pas tant que la quantité de carburant dans le réservoir n'atteint pas environ 15 litres (4,0 US gal, 3,3 Imp gal).

ATTENTION
Ravitailliez the vehicule en carburant des que possible quand le témoin avertisseur de bas niveau de carburant s'allume. Les ratés d'allumage provoques par le manque de carburant dans le réservoir sont susceptibles d'endommager le moteur.
Jauge de température (modèles turbo)

1) Zone de fonctionnement normale
L'indicateur de température indique la température du liquide de refroidissement du moteur lorsque le contacteur d'allumage est en position "ON".
La température du liquide de refroidissement dépend de la température extérieure et des conditions de conduite.
Nous vous recommendons de conduire avec modération tant que l'aiguille de l'indicateur de température n'a pas atteint le milieu du cadran. Le moteur fonctionne de manière optimale avec cette température du liquide de refroidissement et il faut éviter de le faire tourner à un régime élevé
tant qu'il n'est pas suffisamment réchauffé.

ATTENTION
Si l'indicateur sort de la zone des températures de fonctionnement normales, garez le vehicule dans un endroit sur le plus tot possible.
Reportez-vous à “Surchauffe du moteur” 9-14.
Témoin indicateur REV et avertisseur sonore de régime moteur (STI)

Le système d'alarme de régime moteur REV émet un averissement au moyen du témoin indicateur REV (et d'un averissement sonore s'il est sélection) lorsque le régime moteur atteint un niveau préalablement régle au moyen du bouton du compteur journalier.
Appuyez sur le bouton du compteur journalier pour afficher sur le compteur totalisateur/journalier le régime moteur préalablement régle.
REMARQUE
Meme si le système d'alarme de régime moteur n'est pas regle, le témoin indicateur de régime moteur s'allume dés que le régime moteur entre dans la zone rouge du compte-tours.
Réglage du niveau d'alarme de régime moteur
- Appuyez sur le bouton du compteur journalier pour selectionner "REV" sur les instruments de bord.

- Maintenez le bouton du compteur journalier enforcé pendant 2 secondes pour faire cligneter l'emplacement des milliers.
- Relâchez le bouton du compteur journalier, puis maintenez-le à nouveau en
foncé. Le chiffre augmente par séquences de 2 à 7. Relâchéz le bouton lorsqu'ell'affichage indique le niveau d'alarme de régime moteur souhaité.

- Appuyez sur le bouton du compteur journalier pour faire clignoter l'emplacement des centaines.
- Relâchez le bouton du compteur journalier, puis maintenez-le à nouveau enforcé. Le chiffre augmente par séquences de 0 à 9. Relâchez le bouton lorsque l'affichage indique le niveau d'alarme de régime moteur souhaité.
- Lorsque le bouton du compteur journalier est enforcé, l'avertisseur sonore retentit et le système d'alarme de régime moteur entre automatiquement en mode de nouveau réglage (étape 7 ci-dessous), permettant d'activer ou de désactiver
I'avertisseur sonore.
Il est possible de régler le niveau d'alarme de régime moteur (par incréements de 100 tr/mn) dans une gamme de 2.000 tr/mn à 7.000 tr/mn.

- L'avertisseur sonore s'active/se dés-active à chaque nouvelle pression prolongée sur le bouton du compteur journalier.
b - on: Activé
b-off:Désactivé
L'avertisseur sonore retentit lors du passage en mode "acteve".
8. Appuyez sur le bouton du compteur journalier pour terminer la procédure de réglage.
REMARQUE
- Le système d'alarme REV ne fonctionne pas lorsqu'il est en cours de réglage.
- La sélection de "-00" tr/mn provoque l'annulation du mode de réglage de régime moteur.
- Le mode de réglage de régime moteur s'annule lors du passage du contacteur d'allumage de ON à OFF ou de OFF à ON, ou lorsque le vehicule commence à rouler avant la fin de la procédure de réglage.
- Il est impossible de régler le régime moteur lorsque le vehicule roule.
- Il est possible que le régime moteur régèle diffère de celui affché par le compte-tours. Prenez repère sur le régime moteur affché par le compte-tours.
- Si vous procédez au réglage alors que le moteur est étéint, le témoin indicateur REV s'éteint, et le processus de réglage s'interrompt si aucune touche n'est actionnée pendant 10 secondes.
- Si vous procédez au réglage alors que le moteur est étéeint, le témoin indicateur REV s'éteint, et le processus de réglage s'interrrompt si vous ouvrez puis reférer la portière du conductor.
Désactivation du système d'alarme REV
Pour désactiver les fonctions de témoin indicateur REV et d'avertisseur sonore du système d'alarme de régime moteur, réglez l'emplacement des milliers du niveau d'alarme de régime moteur sur “-”.
Témoins avertisseurs et indicateurs
Certains des témoins avertisseurs et indicateurs s'allument lorsque le contacteur d'allumage est en position "ON" du contacteur d'allumage, puis s'éteignent peu après. Ceci permet le contrôle des ampoules de ces témoins.
Pour contrôler le fonctionnement des témoins, serrez le frein de stationnement et mettez le contacteur d'allumage en position "ON". Pendant la phase de contrôle du système, les témoins suivants s'allument et s'eteignent après quelques secondes ou après la mise en marche du moteur:
4: Témoin avertisseur de ceinture de sécurité (Ce témoin avertisseur de ceinture de sécurité ne s'éteint que lorsque le conducteur attache sa ceinture de sécurité.)
2: Témoin averitisseur de ceinture de sécurité du passager avant (Ce témoin averitisseur de ceinture de sécurité ne s'éteint que lorsque le passager du siège avant attache sa ceinture de sécurité.)
AIR BAG: Témoin avertisseur du système de coussin de sécurité SRS
ON / Témoin indicateur ON du coussin de sécurité frontal du passager avant
OFF / Témoin indicateur OFF du coussin de sécurité frontal du passager avant
CHECK ENGINE: Témoin avertisseur d'anomalie moteur CHECK ENGINE/Témoin indicateur d'anomalie de fonctionnement
Témoin avertisseur de température elevée du liquide de refroidissement (modèles sans turbo)
Témoin avertisseur de charge
Témoin avertisseur de pression d'huile
AT OIL Témoin avertisseur de surchauffe de l'huile de boîte de vitesses automatique AT OIL TEMP (modèles BVA)
R.DIFF.Témoin avertisseur de température d'huile du différentiel arrêté (STI)
(1): Témoin averitisseur de basse pression des pneus (modèles spécification des États-Unis)
ABS / (AUS) : Témoin averitisseur des freins antiblocage (ABS)
BRAKE / (1): Témoin averissur du système des freins
B: Témoin averitisseur de bas niveau de carburant
Témoin averitisseur d'assistance pour démarrage en côte (modèles B/M - selon modèles)/Témoin indicateur de désactivation d'assistance pour démarrage en côte (STI)
Témoin avertisseur d'ouverture de portière
AWD: Témoin avertisseur AWD (modèles BVA)
Témoin indicateur de fonctionnement du Contrôle de Dynamique du Véhicule
Témoin averitisseur du Contrôle de Dynamique du Véhicule/Témoin indicateur de désaction du Contrôle de Dynamique du Véhicule/Témoin indicateur de désaction du contrôle de traction (STI)
SPORT: Témoin indicateur de mode SPORT (modèles BVA)
CRUISE: Témoin indicateur de régulateur devités
SET: Témoin indicateur de réglage du régulateur de vitesse constante
A: Témoin indicateur de passage au rapport supérieur (STI)
Témoin indicateur de régime moteur (STI)
F: Témoin indicateur et témoin averitisseur de différentiel de centre de contrôle conducteur (STI)
Si l'un de ces tímoins ne s'allume pas,
l'ampoule est grillée ou bien le circuit du
témoin ne fonctionne pas correctement.
Adressez-vous à votre concessionnaire
agréé SUBARU pour la réparation.
Témoin avertisseur et signal sonore de ceinture de sécurité

Conformément à la reglementation en vigueur, votre vehicule est équipé d'un dispositif d'alarme pour la ceinture de sécurité du conducteur et du passager avant.
Ce dispositif a pour objet de rappeler au conducteur et au passager avant, au moment où le contacteur d'allumage est mis en position "ON", qu'ils doivent attacher leur ceinture de sécurité. Des éléments averissateurs s'allument aux emplacements indiqués sur l'illustration suivant
et un signal sonore se fait entendre.

Témoin avertisseur du conducteur (modèle des avec turbo)

Témoin avertisseur du conducteur (modèle sans turbo)

Témoin avertisseur du passager avant
Activé
Si le conducteur et/ou le passager avant n'ont pas encore attaché leur ceinture de sécurité quand le contacteur d'allumage est mis en position "ON", le(s) tímoin(s) avertisseur(s) clignote(nt) pendant 6 secondes pour averir que la ou les ceintures de sécurité ne sont pas attachées. Si la ceinture de sécurité du conducteur n'est pas attachée, on entend également un signal sonore.
REMARQUE
- Si le conducteur et/ou le passager avant n'est (ne sont) pas attaché(s) 6 secondes plus tard, le dispositif aver-tisseur des ceintures de sécurité fonctionnera de la maniere suivante, en
fonction de la vitesse du vehicule.
- À une vitesse inférieure à environ 15 km/h (9 mph)
Le ou les témoins avertisseurs de la ou des ceintures de sécurité non attachées alfterneront les phases de clignotement et d'allumage en continu par intervalles de 15 secondes. Il n'y a pas de signal sonore. - À une vitesse supérieure à environ 15 km/h (9 mph)
Le ou les témoins averitisseurs de la ou des ceintures de sécurité non attachées alfterneront les phases de clignotement et d'allumage en continu à intervalles de 15 secondes, avec signal sonore d'alarme pendant les phases de clignotement du ou des témoins averitisseurs.
- Il est possible de désactiver la fonction d'ajretissement qui s'est enclenchée après la période de 6 secondes ayant suivi le positionnement sur ON du contacteur d'allumage. Cependant, quand le contacteur d'allumage est activé la fois suivante, cela réarme le système et toutes les fonctions d'ajretissement décrites ci-dessus sont à nouveau opérationnelles. Pour plus de détails sur la désactivation de la fonction de mise en garde, veuillez
contacter votre concessionnaire SUBARU.
S'il n'y a personne sur le siège du passager avant, le dispositif avertisseur de ceinture de sécurité du siège du passager avant est désacté. Le dispositif de détention de présence d'un passager avant permet au système de savoir si le siège du passager avant estOccupé ou non.
Observe les précautions suivantes. Faute de quoi, le dispositif ne pourrait pas fonctionner correctement et risque de se dérégler.
- Ne fixez aucun accessoire au dossier du siège (tablette, téléviseur, etc.).
- Ne placez aucun objet lourd dans la poche du dossier de siege.
Veillez à ce que le passager installé à l'arrière ne pose pas les bras ou les jambes sur ou contre le dossier du siège avant et qu'il ne tire pas le dossier du siège avant. - N'utilisez pas les sièges sans qu'ils soient correctement verrouillés en position avant-arrête ou sans que le dossier soit correctement verrouillé. Si un siège ou son dossier n'est pas verrouillé correctement, agissez sur le réglage pour que le loquet s'engage correctement. Pour la procédure de réglage, reportez-vous à
"Sièges avant" 1-2.
Si le dispositif averitisseur de ceinture de sécurité ne fonctionne pas correctement (c'est-à-dire s'il est activé alors que le siège du passager avant n'est pas occupé, ou s'il est désactivé alors que le passager avant n'a pas attaché sa ceinture de sécurité), prenez les mesures suivantes:
Assurez-vous qu'aucun objet ne se trouve sur le siège, excepté un évientel système de retenue pour enfant et l'enfant l'occupant. Nous vous conseillons cependant fortement d'asseoir tous les enfants sur le siège arrêté, correctement attachés.
- Vérifiez que vous n'avez laissé aucun objet dans la poche du dossier de siège.
- Vérifie que le loquet de position avant-àrrière et le loquet du dossier du siège du passager avant sont correctement engagés en essayant de déplacer le siège vers l'avant et vers l'arrière.
Si le dispositif averitisseur de ceinture de sécurité ne fonctionne always pas correctement après que les mesures correctes ci-dessus aient ete prises, contactez immediatement un concessionnaire SUBARU pour un contrôle.
Témoin averitisseur du AIR BAG système de coussin de sécurité SRS

DANGER
Si le témoin avertisseur présente l'un des états mentionnés ci-après, les pretensionneurs de ceinture de sécurité et/ou le système des cousins de sécurité SRS ne fonctionnement peut-être pas normalement. Présentez immeditatement votre vehicule au concessionnaire SUBARU le plus proche pour faire contrôle le système. Faute de faire contrôle et remetre le système en état, les pretensionneurs de ceinture de sécurité et/ou les cousins de sécurité SRS ne fonctionneront pas correctement en cas de collision, ce qui pourrait accroître les risques de blessures.
- Le témoin avertisseur clignote ou s'allume et s'éteint.
- Le témoin avertisseur ne s'allume pas lors de la mise sur la position "ON" du contacteur d'allumage.
-
Le témoin avertisseur reste allumé en permanence.
-
Le témoin avertisseur s'allume pendant la conduite.
Indicateurs ON et OFF du coussin de sécurité frontal du passager avant

ON / Indicateur ON du coussin de sécurité frontal du passager avant OFF / Indicateur OFF du coussin de sécurité frontal du passager avant
Les indicateurs ON et OFF du coussin de sécurité frontal du passager avant permettent de savoir si le système a mis en service ou non le coussin de sécurité frontal SRS du passager avant.
Ces indicateurs se trouvent pres de la montre, au milieu du tableau de bord.
Quand on met le contacteur d'allumage en position "ON", les deux indicateurs ON et OFF s'allument pendant 6 secondes, période pendant laquelle se fait le contrôle du système. Avres le contrôle, les indicateurs s'eteignent tous deux pendant 2 secondes. L'un des deux indicateurs s'allume ensuite, en fonction du statut du coussin de sécurité frontal SRS du passager avant déterminé par le système SUBARU de coussin de sécurité frontal perfectionné.
Si le coussin de sécurité frontal SRS du passager avant est activé, l'indicateur ON s'allume et l'indicateur OFF reste éteint.
Si le coussin de sécurité frontal SRS du passager avant est désacté, l'indicateur ON reste éteint, et l'indicateur OFF s'allume.
Lorsque le contacteur d'allumage est en position "ON", si les indicateurs ON et OFF restent tous deux allumés ou eteints une fois la phase de contrôle du système terminée, le système est défectueux. Contactez immeditatement votre concessionnaire SUBARU et faites-le contrôle.
Témoin averitisseur d'anomalie moteur CHECK ENGINE/ Témoin indicateur d'anomalie de fonctionnement
ATTENTION
Si le témoin avertisseur d'anomalie moteur CHECK ENGINE s'allume pendant la conduite, faites contrôle/réparer votre vehicule par un concessionnaire/agree SUBARU des que possible. Continuer à rouler sans faire contrôle/réparer le système antipollution peut entrainer de graves déteriorations qui ne seraient pas couvertes par la garantie de votre vehicule.
Si ce témoin reste allumé en permanence ou clignote lorsque le moteur toume, cela peut être signe d'une anomalie dans le système antipollution.
Si le témoin s'allume constamment
Si le témoin reste allumé en continu pendant la conduite, ou s'il ne s'éteint pas après la mise en marche du moteur, une anomalie de fonctionnement du système antipollution a été détectée.
Il faut alors faire immédiatement contrôle
le vehicule par un concessionnaire agreé SUBARU.
REMARQUE
Le témoin s'allume également si le bouchon du réservoir de carburant n'a pas été serré correctement jusqu'à enclenchement.
Si vous avez récemment fait le plein de leur vehicule, la cause de l'allumage du témoin avertisseur d'anomalie moteur CHECK ENGINE/témoin indicateur d'anomalie de fonctionnement peut provenir d'un bouchon de réserve manuant ou mal serre. Rouvre le bouchon et refermez-le en le tournant jusqu'à enclenchement. Vérifiez que rien n'empêche la fermeture étanche du bouchon. Le resserrage du bouchon n'a pas pour effet immédiat d'eteindre le témoin avertisseur d'anomalie moteur CHECK ENGINE. L'extinction du témoin peut ne se produit qu'avrent plusieurs trajets avec le vehicule. Si le témoin ne s'éteint pas, présentez immédiatement votre vehicule à un concessionnaire agrée SUBARU.
Si le témoin clignote
Si le témoin clignote pendant la conduite, un défaut d'allumage du moteur susceptible d'endommager le système antipollution a été détecté.
Pour éviter que le système antipollution ne soit gravement endommagé, vous doivent alors:
- réduire la vitesse du vehicule,
- éviter lesfortes accélérations,
- éviter de monter des routes très pentues,
- si possible, réduire la charge du vehicule.
Après plusieurs trajets avec vehicule, il arrive que le témoin averitisseur d'anomalie moteur CHECK ENGINE cette de clignoter pour rester allumé en permanence. Il faut alors faire immédiatement contrôle le vehicule par un concessionnaire/agree SUBARU.
Témoin indicateur de température basse du liquide de refroidissement (modèles sans turbo)/Témoin averâtisseur de température élevé du liquide de refroidissement (modèles sans turbo)

ATTENTION
-
Àprou la mise sur "ON" du contacteur d'allumage, si le témoin indicateur/témoin averitisseur réagit de manière suivante, ceci peut indiquer une défectuosité du circuit électrique. Contactez immeditatement votre concessionnaire SUBARU et faites-le contrôle.
-
Il clignote en ROUGE.
- Il demeure allumé en ROUGE pendant plus de 2 secondes.
-
Il clignote alternatively en ROUGE et en BLEU.
-
Si ce témoin indicateur/avertisseur réagit de manière suivante, conformez-vous aux mesures spécifiques appropriées listedes ci-dessous.
-
Clignote ou s'allume en ROUGE:
Arrétezèsque possible le vehicule en toute sécurité et consultez les étapes de la procédure d'urgence a suivi en cas de surchauffe du moteur.Faites ensuite vérifier les systemeparle concessionnaire SUBARUle plus proche.Reportez-vousa“Surchauffedu moteur"9-14.
- Clignote alternatively en ROUGE et en BLEU:
Le circuit électrique pourrait etre defectueux.Contactez voitré concessionnaire SUBARU pour une inspection.
Ce témoin indicateur de température basse de liquide de refroidissement/témoin avertisseur de température élevée de liquide de refroidissement possède les trois fonctions suivantes.
- Il s'allume en BLEU pour indiquer une température insuffisante du moteur
- Clignotement en ROUGE indique que le moteur est pres de la surchauffe
- Il s'allume en ROUGE pour indiquer une surchauffe du moteur
Pour un contrôle du système, ce témoin
indicateur/témoin avertisseur s'allume en ROUGE pendant 2 secondes environ lors de la mise sur "ON" du contacteur d'allumage. Àpres cela, le fémoin indicateur/témoin avertisseur passue au BLEU et reste allumé en BLEU. Ce fémoin BLEU allumé s'éteint lorsque le moteur est suffisamment chaud.
Si la température de liquide de refroidissement du moteur augmente au-delà de la plage spécifiée, le témoin indicateur/avertisseur clignote en ROUGE. Dans ces moments-ci, le moteur est pres de la surchauffe.
Si la température de liquide de refroidissement du moteur augmente plus, le témoin indicateur/avertisseur s'illumine en ROUGE en continu. Dans ces moments-ci, le moteur pourrait être en surchauffe.
Lorsque ce témoin indicateur/témoin aver-tisseur clignote en ROUGE ou s'allume en ROUGE, garez le vehicule dans un endroit sur le plus tout possible, et suivez les étapes de la procédure d'urgence à suivre en cas de surchauffe moteur. Reportez-vous à "Surchauffe du moteur" 9-14. Faites ensuite vérifier le système par le concessionnaire SUBARU le plus proche.
Également, si le témoin indicateur/témoin avertisseur clignote souvent en ROUGE, le circuit électrique pourrait être en dysfonctionnement. Contactez votre concessionnaire SUBARU pour une inspection.
REMARQUE
Si le moteur est redémarré après certaines conditions de conduite, ce témoin indicateur/avertisseur peut s'allumer en ROUGE. Ceci n'est pas signe de défectuosité si le témoin indicateur/avertisseur s'est dans un-delai rapide.
Témoin avertisseur de charge

Si ce témoin s'allume pendant que le moteur tourne,ILA signifie que le circuit de charge ne fonctionne pas normalement.
Si le témoin s'allume pendant la conduite ou s'il reste allumé après la mise en marche du moteur, arrêtez le moteur dés que la sécurité le permet, puis contrôlez la courroie de l'alternateur. Si la courroie est détenuedue ou cassée, ou si le témoin reste allumé alors que la courroie est en bon état, contactez immidiatement le concessionnaire SUBARU le plus proche.
Témoin avertisseur de depression d'huile
Si ce témoin s'allume pendant que le moteur tourne, cela signifie que la pression d'huile moteur est trop BASSE et que le circuit de lubrification ne fonctionne pas normalement.
Si le témoin s'allume pendant la conduite ou s'il reste allumé après la mise en marche du moteur, arrêtez le moteur dés que la sécurité le permet, puis contrôlez le niveau d'huile moteur. Si le niveau est bas, rajoutez de l'huile immidiatement. Si le niveau d'huile moteur est normal mais que le témoin reste allumé, contactez immidiatement le concessionnaire SUBARU le plus proche.
Pour plus de détails concernant le contrôle du niveau d'huile ou l'ajout d'huile moteur, reportez-vous à "Huile moteur" 11-10.

ATTENTION
Ne faites pas fonctionner le moteur si le témoin avertisseur de pression d'huile reste allumé. Cela peut endommager gravement le moteur.
Témoin avertisseur de surchauffe de l'huile de boîte de vitesses automatique AT OIL TEMP (modèles BVA)
AT OIL TEMP
L'allumage de ce témoin pendant que le moteur tourne peut signifier que le liquide de transmission automatique est trop chaud.
Si ce témoin s'allume pendant la conduite, garez immédiatement le vehicule dans un endroit sur et laissez le moteur tourner au ralenti jusqu'à ce que le témoin avertisseur s'éteigne.
Avertissement du système de commande de boite de vitesses automatique
Le clignotement du témoin averitisseur de surchauffe de l'huile de boite de vitesses automatique "AT OIL TEMP" après la mise en marche du moteur signale une défectuosité du système de commande de la boite de vitesses automatique. Faites immeditatement examinerer votre vehicule par le concessionnaire SUBARU le plus proche.
Témoin avertisseur de R.Diff Températe d'huile du differentiel arrêté (STI)

ATTENTION
Ralentissez, puis garez le vehicule des que possible dans un lieu sur si le témoin avertisseur de températe d'huile du différentiel arrêtesallume. Ne continuez pas à conduire lorsque ce témoin est allumé: vous risqueriez d'endomma-ger le différentiel arrrière et d'autres pieces du groupe motopropulseur.
L'allumage de ce témoin pendant que le moteur tourne peut signifier que l'huile de différentiel arrêté est trop chaude.
Le différentiel de centre de contrôle conducteur annule alors automatiquement le réglage de taux de distribution de couple en cours, et adopte le taux minimum.
Si le témoin s'allume lors de la conduite, ralentissez, puis garez le vehicule dés que la sécurité le permet. Laissez le vehicule stationné pendant plusieurs minutes. Vous pouvez recommencer à conduire dés que le témoin s'eteint.
Si le témoin ne s'éteint pas, contactez le concessionnaire SUBARU le plus proche
pour réparation.
REMARQUE
- En cas de pression incorrecte des pneus et/ou de pneus de tailles et marques différentes, le différentiel arrêt doit supporter une lourde charge lors de la conduite du vehicule, ce qui provoque une température d'huile excessivement élevé.
L'huile du différentiel arriré se détiroye si sa température augmente suffisamment pour provoquer l'allumage du témoin avertisseur de température d'huile du différentiel arriré. Il est conseilé de faire remplacer l'huile du différentiel arriré dans les plus brefs délais.
Témoin averitisseur de basse pression des pneus (modèles spécification des États-Unis)
Lors de la mise sur "ON" du contacteur allumage, le témoin averitisseur de bassé pression des pneus s'allume pendant 2 secondes environ, ce qui indique que le système de surveillance de la pression des pneus (TPMS) fonctionne normalement. S'il n'y a pas de problème et si tous les pneus sont normalement
gonfles, le témoin s'eteint.
Tous les pneus, y compris celui de la roue de secours (si fourni), doivent être contrôlés à froid une fois par mois et regonflés à la pression recommendée par le constructeur du vehicule et indiquée sur la plaque du vehicule ou sur l'étiquette des pressions de gonflage des pneus. (Si votre vehicule est équipé de pneus de taille autre que la taille indiquée sur la plaque du vehicule ou sur l'étiquette de pression de gonflage des pneus, vous nevez déterminer qu'elle est la pression de gonflage des pneus correcte de ces pneus.)
Pour une meilleure sécurité, votre vehicule est doté d'un système de surveillance de la pression des pneus (TPMS), qui allume un témoin avertisseur de basse pression si l'un des pneus ou plus est sensiblement sous-gonflé. Par conséquent, quand le témoin avertisseur de basse pression des pneus s'allume, vous nevez arrêté le plus tout possible pour vérifier vos pneus et les regonfler à la pression normale. Rouler avec un pneus sensiblement sous-gonflé fait surchaufferce ce pneu, avec risque d'éclatement. De plus, une pression de gonflage insuffisante réduit l'efficacité du carburant, réduit la longévité normale des pneus et nuit à la bonne tenue de route et aux performan

ces de freinage.
Voudevez estreconscientquele systeme TPMS ne dispense pas d'entretenir normalementlespneusdevoirevichicule.II restede la responsabilité du conducteur de maintainir la pression de gonflage des pneus,meme si le sous-gonflage n'aspas atteintle niveaqui déclenchec l'allumage du témoin du TPMSsignant une tropasse pression des pneus.
Votre vehicule est également équipé d'un témoin d'anomalie de fonctionnement du TPMS pour indiquer quand le système ne fonctionne pas correctement. Le témoin d'anomalie de fonctionnement du TPMS est combiné avec le témoin avertisseur de basse pression. Quand le système détecte une anomalie de fonctionnement, le témoin avertisseur de basse pression clignotera pendant environ 1 minute et restera ensuite allumé en permanence. Ceci à chaque démarche du vehicule tant que l'anomalie de fonctionnement n'est pas réglée. Quand le témoin d'anomalie de fonctionnement est allumé, le système peut ne pas être capable de détecter ou de signaler la faible pression des pneus comme il le devrait. Les anomalies de fonctionnement du TPMS peuvent survenir pour diverses raisons, comme l'installation de la roue de secours ou de nouveaux pneus ou roues sur le vehicule
qui empêchant le TPMS de fonctionner correctement. Vérifiez toujours le témoin averissueur de basse pression du TPMS après le remplacement d'un ou plusieurs pneus ou roues pour s'assurer du bon fonctionnement du TPMS avec les nouveaux pneus/roues.
Si ce témoin averitisseur reste allumé après avoir clignote pendant environ 1 minute, faites contrôle le système par le concessionnaire SUBARU le plus proche le plus tout possible.
DANGER
Si le témoin ne s'allume pas brievement après que le contacteur d'allumage est activé, ou s'il reste allumé en continu après avoir clignotépendant environ 1 minute, faites contrôler le système de surveillance de pression des pneus par un concessionnaire SUBARU le plus tout possible.
Si le témoin s'allume pendant la conduite, ne freinez jamais brusquement et continuez à rouler en ligne droite en réduisant progressivement votre vitesse. Quittez la route et garez le vehicule dans un endroit sur. Faute de quoi, vous couzez le risque d'un accident avec d'impor
tants dégats matériels et des bles-sures graves.
Si le témoin se rallume une fois la pression des pneus régée, l'un des pneus est probablement en mauvais état et perdrapidement son air.Dés que vous avez des raisons de croire qu'un pneu ne tient pas l'air, remplacez cette roue par la roue de secours.
Après avoir installé la roue de secours ou replacé une jante sans faire transférer le capteur manometrique/le transmetteur, le témoin averitisseur de basse pression des pneus s'illumine après avoir clignote pendant environ une minute. C'est le signe que le système de surveillance de la pression des pneus (TPMS) ne peut pas surveiller l'ensemble des quatre roues. Contactez un concessionnaire SUBARU des que possible pour faire remplaçer la roue et le capteur et/ou réinitialiser le système.
Si le témoin reste allumé après avoir clignoté pendant environ une minute, contactez rapidement un concessionnaire SUBARU pour faire contrôle le vehicule.

ATTENTION
Le système de surveillance de la pression des pneus n'a PAS pour but de vous dispenser de contrôle la pression de vos pneus. N'oubliez pas de contrôle régulièrement (au moins une fois par mois) la pression de gonflage des pneus de votre vehicule avec un manomètre pour pneus. Un changement dans la pression d'un ou plusieurs pneus n'est reconnu par le système de surveillance de la pression des pneus qu'avant que le vehicule ne redémarre et n'atteigne la vitesse de 32 km/h (20 mph). Quand vous venez de régler la pression des pneus, vous doivent redémarrer et atteindre une vitesse d'au moins 32 km/h (20 mph) avant que le TPMS n'entre en action et ne contrôle la pression de gonflage des pneus. Si tous les pneus sont gonfles à une pression supérieur à la valeur jugée critique par le système, le témoin avertisseur de basse pression des pneus doit s'teindre au bout de quelques minutes.
Par conséquent, utilisez toujours des pneus de la taille prescrite pour les roues avant et les roues arrrière.
Témoin avertisseur des freins antiblocage (ABS)
ABS/ (ABS)

ATTENTION
- Dans l'une des situations suivantes, nous vous recommendons de faire réparer le système ABS de votre vehicule par un concessionnaire SUBARU au plus tout.
- Le témoin avertisseur ne s'allume pas lors de la mise sur la position "ON" du contacteur d'allumage.
- Le témoin avertisseur s'allume lors de la mise sur "ON" du contacteur d'allumage, mais il ne s'éteint pas même lorsque la vitesse du vehicule dépasse environ 12 km/h (8 mph).
- Le témoin averitisseur s'allumependantla conduite.
- Si ce témoin s'allume (et le témoin avertisseur du système
des freins est eteint),le systeme ABS est desactive.Toutefois,les freins continuant a fonctionner comme des freins ordinaires.
Sur un vehicule équipé du système EBD, le témoin avertisseur ABS s'allume de pair avec le témoin avertisseur du système des freins en cas de défaillance au niveau du système EBD. Pour de plus amples détails sur la façon dont les défaillances du système EBD sont signalées, reportez-vous à "Avertissement d'anomalie au niveau du système de répartitionlectronique de la force de freinage (EBD)" 3-25.
REMARQUE
Si le témoin averitisseur présente l'un des comportements suivants, le système ABS peut être considéré comme fonctionnant normalement.
- Le témoin avertisseur s'allume juste après le démarriage du moteur, mais il s'éteint immédiatement et reste éteint.
- Le témoin averitisseur reste allumé après la mise en marche du moteur, mais il s'éteint lorsque la vitesse du vehicule atteint 12 km/h (8 mph) environ.
- Le témoin avertisseur s'allume pendant la conduite, mais il s'éteint immé
diatement et reste eteint.
En cas de conduite avec une tension de la batterie trop basse (par exemple après un démarriage avec des cables volants pour cause de batterie déchargée), il arrive que le témoin avertisseur ABS s'allume. Cela est dû à la tension faible de la batterie et n'est pas une anomalie. Le témoin s'éteint des que la batterie est suffisamment rechargée.
Témoin avertisseur BRAKE/ (!) du système des freins

DANGER
Conduire avec le témoin averiss-. seur du système des freins allumé est dangereux. Ceci indique que votre système de freins risque de ne pas fonctionner normalement. Si le témoin reste allumé, faites immeditatement contrcler les freins par un concessionnaire SUBARU.
Si vous avez un doute quant au bon fonctionnement des freins, n'utilise pas le vehicule. Faitesle remorquer jusqu'au concessionnaire SUBARU le plus proche pour le faire réparer.
Ce témoin replit trois fonctions.
Avertissement d'anomalie du frein de stationnement
Le témoin s'allume lorsqu'on serre le frein de stationnement alors que le contacteur d'allumage est sur la position "ON". Il s'eteint lorsque l'on desserre complètement le frein de stationnement.
Avertissement d'anomalie du niveau de liquide de frein
Lorsque le contacteur d'allumage est sur la position "ON" et que le frein de stationnement est complètement desserré, le témoin s'allume si le niveau dans le réservoir de liquide de frein atteint le repère de niveau minimum "MIN".
L'allumage du témoin averissueur du système des freins pendant la conduite (alors que le frein de stationnement est complètement desserré et que le contacteur d'allumage est en "ON"), peut signaler une fuite de liquide de frein ou l'usure des plaquettes de frein. Le cas échéant, immobilisez immédiatement le vehiculeès qu'il est possible de le faire en toute sécurité et contrôle le niveau de liquide de frein. Si le niveau de liquide dans le réservoir est en dessous du repère "MIN", ne roulez pas avec le vehicule. Faites-le remorquer jusqu'àau concessionnaire SUBARU le plus proche pour réparation.
Avertissement d'anomalie au niveau du système de répartition électronique de la force de freinage (EBD)
Le témoin averitisseur du système des freins s'allume également en cas d'anovaie au niveau du système EBD. Dans ce cas, le témoin s'allume de pair avec le témoin averitisseur ABS.
Si le témoin averitisseur des freins et le témoin averitisseur ABS s'allument tous les deux pendant la conduite, c'est le signe d'une défectuosité du système EBD. Meme si le système EBD est en panne, les freins continuent à fonctionner. Cependant, les roues arrirée auront tendance à se bloquer plus facilement en cas de freinage brusque, rendant le vehicule sensiblement plus difficile à contrôler.
En cas d'allumage simultané du témoin avertisseur du système des freins et du témoin avertisseur ABS, prenez les mesures suivantes.
- Immobilisez le vehicule des qu'il est possible de le faire en toute sécurité.
- Arrêtez le moteur, serrez le frein de stationnement puis remettez le moteur en marche.
- Desserrez le frein de stationnement. L'extinction des deux tímoins averitisseurs peut être signe d'un dysfonctionnement
du système EBD. Roulez prudemment jusqu'que chez le concessionnaire SUBARU le plus proche et faites contrôle le système.
- Si les deux tímoins avertisseurs se rallument et restent allumés une fois le moteur remis en marche, arrêtez à nouveau le moteur, serrez le frein de stationnement, puis contrôle le niveau de liquide de frein.
- Si le niveau de liquide de frein n'est pas en dessous du repère "MIN", le système EBD estvraisemblalement defectueux.Roulez prudemment jusqu'que chez le concessionnaire SUBARU le plus proche et faites contrcler le système.
- Si le niveau de liquide de frein est en dessous du repere "MIN", NE roulez PLUS avec le vehicule. Faites-le remorquer jusqu'au concessionnaire SUBARU le plus proche pour réparation.
Témoin avertisseur de bas niveau de carburant

Le témoin avertisseur de bas niveau de carburant s'allume également lorsque le réservoir est presque vide (environ 10,0 litres [2,6 US gal, 2,2 Imp gal]). Il ne fonctionne que lorsque le contacteur d'allumage est en position "ON". Remplissez le réservoir de carburantès que
ce témoin s'allume.
REMARQUE
Ce témoin ne s'éteint pas tant que la quantité de carburant dans le réservoir n'atteint pas environ 14 litres (3,7 US gal, 3,1 Imp gal).

ATTENTION
Ravitallez le vehicule en carburant des que possible quand le témoin avertisseur de bas niveau de carburant s'allume. Les ratés d'allumage provoqués par le manque de carburant dans le réservoir sont susceptibles d'endommager le moteur.
Témoin avertisseur d'assistance pour démarriage en côte (modèle B/M - selon modèle)/Témoin indicateur de désactivation d'assistance pour démarriage en côte (STI)
Témoin averitisseur d'assistance pour démarrage en côte
Il s'allume en cas de defectuosite du système d'assistance pour demarrage en
côte lorsquel moteur tourne.

DANGER
En cas d'allumage du témoin aver-tisseur d'assistance pour démarriage en côte, faites inspectoré le vehicule par un concessionnaire/agrée SUBARU.
Témoin indicateur de désactivation d'assistance pour démarrage en côte (STI)
Lorsque le système d'assistance pour démarrage en côte est désacté, le témoin indicateur OFF d'assistance pour démarrage en côte s'allume en continu pour informer le conducteur que le système d'assistance pour démarrage en côte n'est pas opérationnel.
Témoin averitisseur d'ouverture de portière

Le témoin averitisseur d'ouverture de portière resté allumé si l'une des portières ou le hayon n'est pas complètement fermé.
Vérifiez toujours que ce témoin est étéint avant de prendre la route.
Témoin averitisseur de AWD traction intégrale (modèles BVA)
Ce témoin s'allume lorsque, pour les besoins de l'entretien ou opérations similaires, la traction intégrale est débrayée et que seules les roues avant sont motrices. Il clignote dans le cas où les pneus montés sur les roues ne sont pas tous de la même taille, ou si la pression de gonflage de l'un des pneus est excessivement basse.

ATTENTION
Certsains organes de transmission risquent d'être endommages si vous continuez à rouler quand le témoin avertisseur AWD clignote. Si le témoin avertisseur AWD se met à clignoter, garezrapidement le vehicule dans un endroit sur et assurez-vous que les pneus ne sont pas de taille différente ou qu'il n'y a pas un pneu dont la pression de gonflage est excessivementasse.
Témoin indicateur de fonctionnement du Contrôle de Dynamique du Véhicule
Il clignote lorsque le système de suppression du dérapage entre en action. Il s'allume uniquement lorsque le système de contrôle de traction est activé.
L'une des situations suivantes est signe d'une probable defectuosite au niveau du système de Contrôle de Dynamique du Véhicule. Le cas échéant, faites immediatement contrôleur voce vehicule par un concessionnaire SUBARU.
- Le témoin ne s'allume pas lors de la mise sur la position "ON" du contacteur d'allumage.
- Le témoin ne s'éteint pas alors que 2 secondes environ se sont déjà écou�ées depuis la mise sur la position "ON" du contacteur d'allumage.

Témoin avertisseur du Contrôle de Dynamique du Véhicule/Témoin indicateur de désactivation du Contrôle de Dynamique du Véhicule/ Témoin indicateur de désactivation du contrôle de traction (STI)

Ce témoin avertisseur a une double fonction: signaler les anomalies de fonctionnement du système du Contrôle de Dynamique du Vehicule, et indiquer que le système du Contrôle de Dynamique du Vehicule a été désactivé ou qu'uniquement le système de contrôle de traction a été désactivé.
Il s'allume en cas de defectuosité du système, et lorsque le système de Contrôle de Dynamique du Véhicule ne fonctionne pas ou que seul le système de contrôle de traction ne fonctionne pas.
STI
Ce témoin averitisseur s'allume en jaune pendant 1 seconde environ lors de la mise sur la position "ON" du contacteur d'allumage. Il passe ensuite au vert, et reste allumé ainsi pendant 1 seconde, puis s'éteint. Ceci indique que le système du Contrôle de Dynamique du Vehicule
fonctionne normalement.
Témoin averitisseur du Contrôle de Dynamique du Véhicule (jaune)

ATTENTION
Le système du Contrôle de Dynamique du Véhicule exerce son contrôle sur l'ABS par l'intérémière du circuit électrique de l'ABS. Autrement dit, en cas de panne du système ABS, le système du Contrôle de Dynamique du Véhicule ne peut plus contröler l'ABS. Le système du Contrôle de Dynamique du Véhicule ne fonctionnant plus, cela provoque l'allumage du témoin avertisseur. Bien que les systèmes du Contrôle de Dynamique du Véhicule et ABS soient alors tous les deux hors service, les freins continuent à fonctionner comme des freins ordinaires. Vous pouvez continuer à rouler en sécurité dans cet état, mais conduisez avec prudence et faites contrôler le vehicule par un concessionnaire SUBARU le plus tout possible.
REMARQUE
- En cas de défectuosité du circuit
électrique du système du Contrôle de Dynamique du Véhicule proprement dit, seul le témoin avertisseur s'allume. Le système de freins antiblocage (ABS) continue à fonctionner normalement.
Le témoin averitisseur s'allume en cas de défectuosité du système de commande électronique ABS/du Contrôle de Dynamique du Véhicule.
L'une des situations suivantes est le signe que le système du Contrôle de Dynamique du Vehicule est probablement en panne. Le cas échéant, faites immédiatement contrôler votre vehicule par un concessionnaire SUBARU.
- Le témoin averitisseur ne s'allume pas lors de la mise sur la position "ON" du contacteur d'allumage.
- Le témoin averitisseur s'allume pendant que le vehicule roule.
REMARQUE
Au cas où le témoin averitisseurprésenterait l'un des comportements ci-après, le système du Contrôle de Dynamique du Véhicule peut être considéré comme fonctionnant normalément.
- Le témoin averitisseur s'allume juste après le démarrage du moteur, mais il s'éteint immédiatement et reste éteint.
- Le témoin avertisseur s'allume
apres le démarrage du moteur, mais s'eteint lorsque le vehicule commence à rouler.
- Le témoin averitisseur s'allume pendant la conduite, mais il s'eteint immédiatement et reste étient.
Témoin indicateur de désactivation du Contrôle de Dynamique du Véhicule (jaune) - Ce témoin s'allume en cas de pression sur le commutateur de désactivation du Contrôle de Dynamique du Véhicule (sauf STI).
- Ce témoin s'allume en cas de pression de plus de 2 secondes sur le commutateur de mode du Contrôle de Dynamique du Véhicule (STI).
- Il s'allume également lorsque le système du Contrôle de Dynamique du Véhicule est désactivé.
REMARQUE
- Il arrive que le témoin reste allumé un certain temps après la mise en marche du moteur, surtout par temps froid. Ceci n'est pas anormal. Le témoin doit s'éteindre des que le moteur a monté en température.
Le témoin indicateur s'allume en cas d'anomalie au niveau du moteur, lorsque le témoin averitisseur d'anoma
lie moteur CHECK ENGINE/témoin indicateur d'anomalie de fonctionnement est allumé.
La situation suivante indique une defec-tuosite probable du système de Contrôle de Dynamique du Vehicule. Le cas échéant, faites contrôler votre vehicule par un concessionnaire SUBARU le plus tôt possible.
- Le témoin ne s'éteint pas alors que plusieurs minutes se sont déjà écou�ées depuis la mise en marche du moteur (moteur deja chaud).
Témoin indicateurésactivation du contrôle de traction (vert - STI)
Ce témoin s'allume en cas de brève pression sur le commutateur de mode du Contrôle de Dynamique du Véhicule. Reportez-vous à "Mode de traction" 7-42 pour plus de détails.
Témoin indicateur du système de sécurité


Modèles avec turbo

Modèles sans turbo
Le témoin indicateur du sécurité du
système de sécurité dissuade une tentative de vol en signalant au voleur que le vehicule est équipé d'un système de verrou électronique. Il se met à clignoter (à une fréquence d'une fois toutes les 3 secondes environ) 60 secondes environ après le passage du contacteur d'allumage de la position "ON" à la position "Acc" ou "LOCK" du contacteur d'allumage, ou immidiatement après le retrait de la clé.
Si le témoin indicateur du système de sécurité ne clignote pas, le système de verrou electronique est peut-être défectueux. Le cas échéant, consultez un concessionnaire SUBARU le plus+tôt possible.
Toute tentative d'utilisation d'une clé non reconnue (clé copée, par exemple) entre l'allumage du témoin indicateur du système de sécurité.
REMARQUE
- Pour connaître le mode de clignotence lorsqu'elle système d'alarme s'arme, reportez-vous à "Pour armer le système d'alarme" 2-18.
- Meme si le témoin indicateur de sécurité clignote irrégulièrement ou si le fusible du témoin grille (l'ampoule du témoin ne s'allume plus si le fusible est grillé), le système de verrou electro
nique continue à fonctionner normalement.
Témoin indicateur de SPORT mode SPORT (modèles BVA)
Le positionnement du levier sélecteur dans la grille de changement manuel des rapportes entraîne la sélection du mode SPORT et l'allumage du的身影in indicateur. Reportez-vous à "Mode SPORT" 7-32.
Témoin indicateur SI-DRIVE (STI)

1) Mode Intelligent (I)
2) Mode Sport (S)
3) Mode Sport Sharp (S#)
Ce témoin indique le mode SI-DRIVE en
cours.
Pour de plus amples détails relatifs au mode SI-DRIVE, reportez-vous à "SI-DRIVE (STI)" 7-32.
Témoin indicateur de passage au rapport supérieur (STI)

Lorsque le mode Intelligent (I) de SI-DRIVE est seLECTIONné, ce témoin indicateur s'allume et signale au conducteur qu'il doit passer au rapport supérieur, pour une meilleure économie de carburant.
Indicateur de position du levier selecteur/du rapport engagé (modèles BVA)

Lors de la mise sur la position "ON" du
contacteur d'allumage, tous les indicateurs de position du levier sélecteur/dur rapport engagé s'allument pendant 2 secondes, puis l'indicateur affiche la position du levier sélecteur.
À la sélection du mode manuel, l'indicateur de position de la boîte de vitesses (qui indique quel est le rapport en prise) et le témoin indicateur de passage au rapport supérieur/inférior s'allume. Reportez-vous à "Boîte de vitesses automatique" 7-26.
Témoins indicateurs des clignotants de direction

Ces tímoins clignotent en même temps que les feuux clignotants de direction dans les tournants et lors des changements de voie.
Si l'un de ces temoins indicateur ne fonctionne pas ou clignote très rapidement, c'est le signe qu'une des ampoules des feuclignotants est grillée. Remplacez cette ampoule le plus tout possible. Reportez-vous à "Remplacement des ampoules" 11-52.
Témoin indicateur des deux de route

Ce témoin s'allume lorsque les phares sont en position de feu des route.
Ce témoin indicateur s'allume également pendant les appeals de phares.
Témoin indicateur de CRUISE régulateur de vitesse
Ce témoin s'allume en cas de pression sur l'interrupteur principal "CRUISE".
REMARQUE
-
Si vous appuyez sur le bouton "CRUISE" de l'interrupteur principal tout en tournant le contacteur d'allumage en position "ON", cela désactive le régulateur de vitesse et fait clignoter le tímoin indicateur de régulateur de vitesse. Pour réactiver le régulateur de vitesse, ramenez le contacteur d'allumage en position "Acc" ou "LOCK", puis remettez-le en position "ON".
-
Si ce témoin indicateur ainsi que le témoin avertisseur anomalie moteur CHECK ENGINE/témoin indicateur d'anomalie de fonctionnement clignotent tous les deux pendant la conduite, faites contrôle le vehicule par le concessionnaire SUBARU le plus proche.
Témoin indicateur de réglage du régulateur de vitesse constante
SET
Ce témoin s'allume lorsque la vitesse à maintenir est réglée.
Témoin indicateur des phares antibrouillard avant (selon modèles)

Ce témoin indicateur s'allume lorsque les phares antibrouillard avant sont allumés.
Témoin indicateur des éphares (selon modèles)
Ce témoin indicateur s'allume lorsque la commande des phares se trouve sur ou
Témoin indicateur de diffé- rentiel automatique de centre de contrôle conducteur (STI)

Ce témoin fonctionne lorsque le contacteur d'allumage est sur "ON". Son allumage indique que le différentiel de centre de contrôle conducteur est en mode automatique. Il s'estint lors de la mise en mode manuel du différentiel de centre de contrôle conducteur. Reportez-vous à "Différentiel de centre de contrôle conducteur (DCCD) (STI)" 7-22 pour plus de détails.
Témoin indicateur de diffé- rentiel automatique [+ ] de centre de contrôle conduc- teur
Le témoin indicateur AUTO [+] s'allume lorsque le mode AUTO [+] est activé.
Reportez-vous à "Différentiel de centre de contrôle conducteur (DCCD) (STI)" 7-22 pour plus de détails.
Témoin indicateur de diffé- [-] AUTO rentiel automatique [-] de centre de contrôle conduc-teur
Le témoin indicateur AUTO [-] s'allume lorsque le mode AUTO [-] est activé.
Reportez-vous à "Différentiel de centre de contrôle conducteur (DCCD) (STI)" 7-22 pour plus de détails.
Témoin indicateur et témoin avertisseur de différentiel de centre de contrôle conduc-tein (STI)
Témoins indicateurs

Lors de la sélection du mode manuel de différentiel de centre de contrôle conducteur, ces témoins indicateurs s'allument pour indiquer le couple de différentiel à mouvement limite (LSD) sélectionné à ce moment pour le différentiel du centre.
Témoin avertisseur

Tous les témoins indicateurs se mettent à clignoter en cas de défectuosité du différentiel du centre de contrôle conducteur. Faites contrôleur vos vehicule par toute concessionnaire SUBARU. Reportez-vous à "Différentiel de centre de contrôle conducteur (DCCD) (STI)" 7-22 pour plus de détails.
Témoin indicateur de régime moteur (STI)

Ce témoin s'allume lorsque le régime moteur atteint le niveau préalablement réglé par le conducteur, ou lorsque l'aiguille du compte-tours entre dans la zone rouge.
Horloge

Chaque pression sur le bouton "+" ou "- fait avancer ou reculer l'heure d'une minute. Une pression sur le bouton "+" fait avancer l'heure affichée; une pression sur le bouton "- fait reculer l'heure affichée. Maintenez l'un de ces boutons enforcé pour un changement continu de l'heure.

ATTENTION
Pour assurer la sécurité, ne tentez pas demettre la montre à l'heure tout en conduisant. Tout manque d'attention à ce qui se passé sur la route peut entrainer un accident.
REMARQUE
L'heure s'efface en cas de débranchement de la batterie. Reglez l'heure une fois la batterie rebranchée.
Affichage d'informations

1) Indicateur de températe extérieure
2) Indicateur de consommation de carburant
Lorsque le contacteur d'allumage est sur la position "ON", l'affichage indique la température extérieure, la consommation actuelle de carburant (selon modèles) et la consommation moyenne de carburant.
L'affichage de la consommation de carburant est lie à celui du compteur totalisateur/journalier, comme l'indique le tableau suivant.
| Compteur to-talisateur/ Compteur journalier | Indicateur de consommation de carburant |
| Compteur journalier A | Consommation moyenne de carburant correspondant au compteur journalier A |
| Compteur journalier B | Consommation moyenne de carburant correspondant au compteur journalier B |
| Compteur to-talisateur | Modèles spécification des États-Unis: Non indiqué |
| Autres modèles: Consommation actuelle de carburant |
Indicateur de température extérieure

1) Modèles Specification des États-Unis
2) Sauf modèles spécification des États-Unis
L'affichage de l'indicateur de température extérieure couvre la plage de -30 à 50^ (-22à 122^)
L'indication de température obtenue risque d'être erronée dans les cas suivants:
- Lorsque le rayonnement solaire est intense.
- Au ralenti; en roulant à faible vitesse dans un encombrement; juste au moment de la remise en marche du moteur après l'avoir arrêté.
Lorsque la température extérieure réel
le est hors de la plage d'affichage de l'instrument.
Indication de risque de verglas sur la route

1) Modèles spécification des États-Unis
2) Sauf modèles spécification des États-Unis
Quand la tempéature extérieure tombe à 3^ (37^) ou moins, l'indication de tempéature clignote pour averrir le conducteur du risque de verglas sur la route.
Si l'affichage n'est pas celui de la tempé rature extérieure au moment où la baisse de température à moins de 3^ (37^) est détectée, l'affichage change et donne l'indication clignotante de la température extérieure pendant 5 secondes avant de revenir au mode précédent.
Si la température extérieure affichée au moment où le contacteur d'allumage est mis en position "ON" est déjà inférieure à 3^ (37^) , l'indication ne clignote pas.
REMARQUE
La température extérieure indiquée peut être sensiblement différente de la température extérieure réelle. Cet aver-tissement de risque de verglas n'est donc donné qu'a titre indicatif. Cela ne vous dispense pas de vous informer sur l'etat des routes avant de prendre le volant.
Consommation actuelle de carburant (selon modèles)

1 100km
301325
Cette valeur indique le taux de la consommation de carburant à l'instant liéven.
Consommation moyenne de carburant

1) Modèles spécification des États-Unis
2) Sauf modèles spécification des États-Unis
Cette valeur indique la consommation moyenne de carburant depuis que le compteur journalier a ete remis a zero pour la derniere fois.
Quand l'un des deux compteurs journaIiers est remis a zero, l'indication de la consommation moyenne du carburant correspondante est aussi remise a zero.
REMARQUE
- Les valeurs affichées varient en fonction des changements dans les conditions de conduite du vehicule. De même, ces valeurs indiquées peu
vent être légèrement différentes des valeurs réelles et doivent être considérées à titre indicatif seulement.
- A la remise à zéro d'un des compteurs journaliers, la consommation moyenne du carburant correspondant à ce compteur ne s'affiche pas avant que le vehicule ait parcouru une distance d'au moins 1 km (ou 1 mile).
Désactivation de l'affichage de consommation de carburant
Il est possible de désactiver l'affichage de consommation de carburant.
Pour cela, tournez le contacteur d'allumage sur la position "LOCK", puis appuyez sur le bouton "+" adjacent à l'écran d'information pendant 5 secondes environ. L'écran d'information et l'affichage de l'heure clignotent alors pendant 3 secondes, indiquant que l'affichage de la consommation de carburant vient d'être désactivé.
Pour rétablit l'affichage, appuyez à nouveau sur la touche "+" pendant 5 secondes environ.
REMARQUE
Le réglage initial d'affichage de l'indicateur de consommation de carburant de votre vehicule est régled par
défaut sur la position d'activation à la sortie d'usine.
- La consommation moyenne de carburant est calculée même lorsque l'indicateur n'est pas affché.
- Meme si vous désactivez l'indicateur de consommation de carburant, ce dernier s'allume automatiquement en cas de débranchement puis de rebranchement de la batterie, à l'occasion du remplacement de la batterie ou d'un fusible.
Commande de réglage des éclairages
La commande de réglage des éclairages fonctionné lorsque la clé de contact est insérée dans le contacteur d'allumage.
Indépendamment de la position de la commande de réglage des éclairages, les lumières allumées s'éteignent lorsque l'on retire la clé du contacteur d'allumage.
REMARQUE
Meme si la clé est retiree du contacteur allumage, il est possible dallumer les éclairages en tournant la commande de réglage des éclairages de la position "OFF" à "OQ" ou "O". Dans ce cas, un signal sonore retentit lors de l'ouverture de la portiere du conducteur, informant ce dernier que les éclairages sont allumés.

ATTENTION
L'usage prolongé des éclairages lorsque le moteur est à l'arrêt peut décharger complètement la batterie.
Assurez-vous que la commande de réglage des lumières est sur la position "OFF" avant de quitter le vehicule. La batterie risque de
se décharger si vous quittez le vehicule pour une période prolongée alors que la commande de réglage des lumières se trouve sur une position autre que "OFF".
Phares

Pour allumer les phares, tournez le bouton situé à l'extrémité de la manette des clignotants de direction.
1ere position
L'éclairage du tableau de bord, les feuux arrières, les feuels de gabarit avant et l'éclairage de plaque d'immatriculation sont allumés.
2ème position
Les phares, l'éclairage du tableau de bord, les feuux arrêté, les feuels de gabarit avant et l'éclairage de plaque d'immatri-culation sont allumés.
Inverseur feuux de route/feux de croissement (moins lumi-neux)

Pour passer des feuels de croisement aux feuels de route, poussez la manette des clignotants de direction vers l'avant. Le témoin indicateur des feuels de route "é" Situé sur les instruments combinés s'allume en même temps que les feuels de route.
Pour revenir en position de feu des croisement, tirez la manette en arrriere jusqu'au déclic.
Appels de phares

Pour faire un appel de phares, tirez la manette vers vous puis relâchez-la. Les feuux de route restent allumés tant que vous tenez la manette. Il est possible de faire des appeals de phares même quand la commande des phares est en position "OFF".
Le témoin indicateur des feués de route "saité sur les instruments combinés s'allume en même temps que les feués deroute.
ATTENTION
Ne tenez pas la manette en position tirée pendant plus de quelques secondes.
Système d'éclairage pour conduite de jour

DANGER
L'intensité lumineuse de l'éclairage des yeux de route est réduite par le système d'éclairage pour conduite de jour. La commande d'éclairage doit toujours être mise en position "D" lorsqu'il fait nombre.
Lorsque le moteur est en marche, les phares se mettent automatiquement en position de deux de route à intensité lumineuse réduite si les conditions suivantes sont réunies:
- Le levier sélecteur est sur une position autre que "P" (modèles BVA).
- Le frein de stationnement est desserré à fond.
- La commande d'éclairage est en position "OFF" ou "DQZ".
REMARQUE
Lorsque la commande d'éclairage est en position "E0E", les feuels de gabarit avant, les feuels arrêté et l'éclairage de plaque d'immatriculation s'allument.
Manette des clignotants de direction

Pour signaler un virage à droite, poussez la manette des clignotants de direction vers le haut. Pour signaler un virage à gauche, poussez la manette vers le bas. La manette revient automatiquement en position centrale en sortie de virage. Si la manette ne revient pas d'elle-même en sortie de virage, ramenez-la manuellement en position centrale.
Pour signaler un changement de voie, appuyez légèrement sur la manette vers le haut ou le bas et enforcez pendant le changement de voie. Les témoins indicateurs du signal de direction clignotera dans la direction de circulation ou du
changement de voie. La manette revient automatiquement en position centrale lorsque vous la lâchez.
Réglage d'intensité lumi-neuse

L'éclairage de la montre, de l'audio, du climatiseur, de l'affichage d'informations et des instruments du tableau de bord devient moins lumineux quand la commande d'éclairage est mise en position "Ooo" ou "D". Vous pouvez régler l'intensité de l'éclairage du tableau de bord pour une visibilité optime.
Sur les modeles avec turbo, il est egallement possible de regler la luminosité du tableau de bord avec la commande des lumières en position "OFF".
Pour rendre l'éclairage plus lumineux, tournez la molette vers le haut.
Pour rendre l'éclairage moins lumineux,
tournez la molette vers le bas.
REMARQUE
Quand la molette est tournée à fond vers le haut, la luminosité est à son maximum et la fonction d'attenuation automatique devient inopérante.
Dispositif de réglage de portée des phares (selon modèles)

Le vehicule est équipé de phares à décharge sous haute intensité (HID) au niveau des yeux de croissement. Les phares HID éclairent moins que les phares à halogène classiques. Par conséquent, lorsque votre vehicule est très charge, sans correction de portée des phares, les phares éclaireraient plus haut qu'en temps normal, ce qui constitueira une gène pour les conducteurs des vehicules roulant en sens opposé.
Le dispositif de réglage de portée des phares permet de régler la portée des phares pour éviter que cela ne se produit.
Pour régler de manière optimale la distance d'éclairament des phares, placez la molette sur la position conseillée ci-après en fonction du nombre de passagers et de la charge du vehicule.
| Position de la commande | Nombre de personnes à l'avant | Nombre de personnes à l'arrête | Charge dans le compartmentement à bagages |
| 0 | 1 ou 2 | 0 | Charge nulle |
| 1 | 2 | 3 | Charge nulle |
| 2 | 2 | 3 | Pleine charge* |
| 1 | 0 | Pleine charge* | |
| 3 | Ne s'applique pas | Ne s'applique pas | Ne s'applique pas |
| 4 | Ne s'applique pas | Ne s'applique pas | Ne s'applique pas |
| 5 | Ne s'applique pas | Ne s'applique pas | Ne s'applique pas |
*: C'est-à-dire à la charge maximale autorisée
Commande des phares antibrouillard avant (selon modèles)

Les phares antibrouillard avant ne peuvent etre allumés que si la commande d'éclairage est en position 0
Cependant, les phares antibrouillard avant s'eteignent quand on allume les phares en position de deux de route.
Pour allumer les phares antibrouillard avant, tournez vers le haut jusqu'à la position "F" la commande des phares antibrouillard qui se trouve sur la manette des clignotants de direction. Pour êtreindre les phares antibrouillard avant, ramenez la commande en position "OFF".

Modèles avec turbo

Modèles sans turbo
Le témoin indicateur situé sur les instruments de bord s'allume lorsque les phares antibrouillard avant sont allumés.
Essuie-glace et lave-glace

DANGER
Par temps de gel, n'actionnez pas le lave-glace avant d'avoir suffisamment rechauffe le pare-brise au moyen du dégivrage.
Le liquide de lavage pourrait geler sur le pare-brise et:gener la visibilité.

ATTENTION
- N'actionnez pas le lave-glace pendant plus de 10 secondes sans interruption ou lorsque le réservoir est vide: Cela pourrait entrainer une surchauffe du moteur de projection de liquide de lavage. Verifiez frequentlyment le niveau de liquide du lave-glace, par exemple à l'occasion de chaque ravitationnement en carburant.
- N'actionnez pas les essuie-glaces lorsque le pare-brise ou la lunette arrête est sec. Cela risque de rayer le verre, d'endommager les balais d'essuie
glace et de griller le moteur d'essuie-glace. Avant demettre l'essuie-glace en marche sur une lunette arrriere ou un pare-brise sec, n'oubliez pas d'actionner le lave-glace.
- Par temps de gel, avant d'actionner les essuie-glaces, n'oubliez pas de vérifier que les balais d'essuie-glace ne sont pas collés par le gel contre le pare-brise ou la lunette arrière. Mettre l'essuie-glace en marche quand les balais sont collés contre la vitre par le gel risque non seulement d'endommager les balais d'essuie-glace mais aussi de griller le moteur d'essuie-glace. Si les balais d'essuie-glace sont collés contre la vitre par le gel, commencez par actionner le dégivrage de pare-brise, le dégivreur d'essuie-glace (selon modèles) ou le désembumeur de lunette arrrière avant demettre l'essuie-glace en marche.
- Si les essuie-glaces sont bloqués pendant leur fonctionnement par de la glace ou tout autre obstacle sur la lunette, le moteur d'essuie-glace risque de griller même si vous remettez la commande en
position d'arrêt. Si cela venait à se produit, garez rapidement le vehicule dans un endroit sur, mettez le contacteur d'allumage en position "LOCK", puis nettoyez la vitre de lunette pour que l'essuie-glace puisse fonctionner normalement.
Utilisez de I'eau douce si vous ne disposez pas de liquide pour lave-glace. Dans les régions où il gèle en hiver, utilisez du liquide de lave-glace de pare-brise ou un produit équivalent. Reportez-vous à "Liquide de lave-glace de pare-brise" 11 - 43
En outre, si le vehicule est utilisé dans une région où il gèle en hiver, employez des balais d'essuie-glace adaptés au gel.
- Ne nettoyez pas les balais d'essuie-glace avec de l'essence ou du solvant (diluant à peinture, benzine, etc.). Ces produits les endommageraient.
REMARQUE
- L'essuie-glace ne fonctionne que si le contacteur d'allumage est en position "ON" ou "Acc".
- Le moteur électrique d'essuie-glace
avant est protégé des surcharges par un disjoncteur. Si le moteur fonctionne en continu sous une charge anormalement forte, le disjoncteur se déclenché et arrête provisoirement le moteur électrique. Si cela se produit, garez votre vehicule dans un endroit sur, mettez la commande d'essuie-glace en position d'arrêt et attendez une dizaine de minutes. Le disjoncteur se réarme automatiquement et les essuie-glaces fonctionnent à nouveau normallement.
Pour éviter la formation de marques sur le pare-brise et pour éliminer les dépôts de sel et d'enrobé routier, nettoyez frequentlyment la vitre et les balais d'essuie-glace avec une solution de lavage. Tenez le bouton de lave-glace,enforcépendant 1 seconde au minimum pour que la solution de lavage se repande sur toute la surface du pare-brise ou de la lunette arrête.
- LaGRAISS,la cire,les insectes et toute autre substance adherant au pare-brise et aux balais d'essuie-glace rendent le fonctionnement d'essuie-glace irregulier et forment des marques sur la vitre. Si vous ne parvenez pas a eliminer ces impuretés simplement en actionnant le lave-glace, ou si le mouvement d'essuie-glace est irregulier, nettoyez les balais d'essuie-glace et la
face exter du pare-brise ou de la lunette arriere en frottant avec une éponge ou un chiffon doux imbibé de détergent neutre ou faiblement abrasif. Àpres nettoyage, rincez la vitre et les balais d'essuie-glace à l'eau propre. La vitre est propre s'il ne s'y forme pas d'auréoles pendant le rincege à l'eau.
- Si vous ne parvenez pas à éliminer les marques par lavage selon la méthode ci-dessus, remplacez les balais d'essuie-glace par des neufs. Pour de plus amples conseils de remplacement, reportez-vous à "Remplacement des balais d'essuie-glace" 11-44.
Commandes d'essuie-glace et de lave-glace de pare-brise
L'essuie-glace ne fonctionne que si le contacteur d'allumage est en position "ON" ou "Acc".
Essuie-glace de pare-brise

OFF: Arret
B. Balayage intermittent
LO: Balayage lent
HI: Balayage rapide
Pourmettreles essuie-glaces en marche, abaissezla manette decommandedesessuie-glacejusqu'ala position qui convient. Pourarrerles essuie-glaces,ramenez lamanette en position“OFF”.
Réglage de la fréquence de balayage des essuie-glaces intermittents

Quand la commande d'essuie-glace est en position "V", tournez la molette pour regler la fréquence de balayage d'essuie-glace.
Le réglage est à neuf pas, soit neuf fréquences de balayage différentes.
Bruine (pour balayage unique)

Tirez la manette vers vous et relâchez pour donner un seul coup d'essuie-glace. Les essuie-glaces fonctionnent tant que vous tenez la manette tirée.
Lave-glace

Pour laver le pare-brise, appuyez sur le bouton situé à l'extrémité de la manette de commande d'essuie-glace. La projection du liquide de lavage cette lorsque vous relâchez le bouton. Les essuie-glaces fonctionnent tant que vous actionné le lave-glace.
Commande d'essuie-glace et de lave-glace de lunette arrête - 5 portières

Lave-glace (avec balayage d'essuie-glace)
ON: En continu
INT: Balayage intermittent
OFF: Arêt
:Lave-glace
Essue-glace de lunette arrête
Pourmettre l'essuie-glace de lunette arrriere en marche,tournez vers le haut jusqu'à la position "INT" ou "ON"la molette à l'extrémité de la manette de commande d'essuie-glace.
Pour l'arrêté, remettez la bague d'extrémité de la manette sur la position "OFF". Lorsque la commande est mise en posi
tion "INT", l'essuie-glace de lunette arrête fonctionne en mode intermittent, la fréquence de balayage variant en fonction de la vitesse du vehicule (intervalle de balayage plus long à basse vitesse, et plus court à vitesse élevée).
Si vous placez ensuite le levier sélecteur sur la position "R" (modèles BVA) ou le levier de changement de vitesses en position de marche arrêté (modèles B/M), l'essuie-glace de lunette arrêté passée en mode de fonctionnement continu. Lorsque le levier sélecteur/de changement de vitesses quitter la position "R"/de marche arrêté pour toute autre position, l'essuie-glace de lunette arrêté revient en mode de fonctionnement intermittent.
Lave-glace
Pour actionner le lave-glace de lunette arrriere pendant que l'essuie-glace de lunette arrriere est en marche, tournez la bague dans le sens des aiguilles d'une montre jusqu'à la position "". La projection de liquide de lavage cette dés que vous relâchez la bague.
Pour actionner le lave-glace alors que l'essuie-glace de lunette arrière n'est pas en service, tournez la bague dans le sens contraire des aiguilles d'une montre jusqu'à la position "". Le liquide de lavage est vaporisé, puis l'essuie-glace se met en marche 2 secondes plus tard. Le reli-
chement de la bague entraine l'arrêt de la vaporisation de liquide de lavage, puis, 3 secondes plus tard, de l'essuie-glace arrrière.
Rétroviseurs
Avant de prendre la route, vérifie toujours que les rétroviseurs extérieurs et le rétroviseur interieur sont convenablement régles.
Rétroviseur interieur

Le rétroviseur interieur a une position de jour et une position de nuit. Pour passer en position de nuit, tirez vers vous la patte du bas du rétroviseur. Pour revenir en position de jour, repousseze cette patte. La position de nuit diminue l'éblouissement par les phares des autres vehicules.
Rétroviseur d'atténuation automatique/boussole (selon modèles)

1) Témoin d'atténuation automatique
2) Bouton de gauche (rétroviseur)
3) Photocapteur
4) Bouton de droite (boussole)
5) Affichage de la boussole
Le rétroviseur d'atténuation automatique a une fonction anti-reflet qui réduit automatiquement le reflet des phares des vehicules de derrière. Il comporte aussi une boussole incorporee.
- Pour activer ou désactiver la fonction d'atténuation automatique du reflet, appuyez sur le bouton de gauche et relâchéz. Quand la fonction d'atténuation automatique est active, le tímein indica
teur d'atténuation automatique (vert) situé sur le bouton gauche est allumé.
- Pour faire apparaitre ou disparaitre l'affichage de la boussole, appuyez sur le bouton de croite et relâchez. Quand la boussole est en service, son indication lumineuse est visible à la partie supérieure droit du rétroviseur.
Meme quand le rétroviseur est en mode anti-reflet, la vitre du rétroviseur devient plus lumineuse quand on engage la marche arrêté de la boîte de vitesses. Cela permet d'assurer une bonne visibilité arrêté pendant les mouvements de recul.
Photocapteurs

Le rétroviseur comporte un photocopateur sur la face avant et un autre sur la face arrrière. Quand les phares des vehicules
qui vous suivent se reflètent dans le rétroviseur, ces capteurs le détectent et rendent le rétroviseur moins refléchissant pour éviter que le reflet ne vous éblouisse. Pour cela, il ne faut pas recouvrir ces capteurs en collant une étiquette, etc. Nettoyez périodiquement ces capteurs avec un chiffon de coton doux et sec ou avec essuie-tout.
Reglage de zone de la boussole

Zone d'étalonnage de la boussole
- La boussole est reglee en usine pour la Zone 8. Consultez la carte "Zone d'etalonnage de la boussole" ci-dessus pour voirquelreglage de zone vousdezvez adopter pour la région du monde ou vous youvoues trouvez.
- Appuyez sur le bouton de droite et
tenez-le enforcé 3 secondes avant de le lâcher. L'indication “ZONE” apparait un instant, et est remplaced par le numéro de zone.
- Appuyez de manière répétitive sur le bouton de droite, autant de fois que nécessaire pour faire apparaitre les différents numérios de zone. Arrétez-vous quant apparait le nombre de zone de la région où vous vous trouvez.
- La sortie du mode de réglage de zone se fait automatiquement quand le bouton n'a pas été sollicité depuis plus de 3 secondes.
Étalonnage de la boussole
- Pour un réglage optimal, il est recom-mandé d'arrête tous les accessoires électriques non indispensablees (désem-bueur de la lunette arrère, système de chauffage/climatisationur, lampe de lecture, etc.) et de fermer toutes les portières.
- Roulez jusqu'à une zone bien dégagée, loin de toute masse ou structure metallique importante et vérifie que le contacteur d'allumage est en position "ON".
-
Appuyez sur le bouton de droite et tenez-le enforcé de 6 à 7 secondes avant de le lâcher. La boussole entre en mode d'étalonnage. L'indication "CAL" et le cap apparaisent à l'affichage.
-
Roulez lentement en formant un cercle jusqu'à ce que l'indication "CAL" disparaïssé (il faut en général faire deux à trois cercles). La boussole est maintainant étalonnée.
- Un ré-étalonnage peut s'avérer nécessaire si des influences extérieures perturbant le bon fonctionnement de la boussole. Vous vous apercevez quand la boussole se met à n'être lisible que pour certaines directions. Quand le cas se présente, réétaisonnez en reconnant la marche à suivre ci-dessus à l'étape 1.
Rétroviseur d'atténuation automatique/boussole avec HomeLink (selon modèles)

1) Bouton HomeLink© 1
2) Bouton HomeLink© 2
3) LED
4) Bouton HomeLink© 3
5) Capterur
6) Bouton activation/désactivation d'atténuation automatique du reflet
7) Bouton d'affichage de la boussole
8) Affichage de la boussole
Le rétroviseur d'atténuation automatique a une fonction anti-reflet qui réduit automatiquement le reflet des phares des vehicules de dérrière. Il comporte aussi une boussole incorporee et un système de commande sans fils HomeLink®.
Pour activer ou désactiver la fonction
d'attenuation automatique du reflet, appuyez sur le bouton activation/désactivation d'attenuation automatique du reflet. Quand la fonction d'attenuation automatique est active, l'indicateur LED s'allume. Meme quand le retroviseur est en mode d'attenuation automatique, la vitre du retroviseur devient plus lumineuse quand on engage la marche arriere de la boite de vitesses. Cela permet d'assurer une bonne visibilité arriere pendant les mouvements de recul.
- Pour faire apparaitre ou disparaitre l'affichage de la boussole, appuyez sur le bouton d'affichage de la boussole. Quand la boussole est en service, son indication lumineuse est visible à la partie supérieure droite du rétroviseur.
Lors du nettoyage du rétroviseur, utilisez un essuie-tout ou un outil similaire trempe dans du nettoyant à glace. Ne pulveriséz pas directement le nettoyant à glace sur le rétroviseur car ceci peut provoquer une pénetration du nettoyant dans le boftier du rétroviseur et l'endommager.
Photocopaeurs

Le rétroviseur comporte un photocopateur sur la face avant et un autre sur la face arrrière. Pendant la conduite de nuit, ces capteurs détectent les reflets distrustants des phares du vehicule de derrière et attenuent automatiquement les reflets du rétroviseur pour éliminer les reflets et préserver votre vue. Pour cela, il ne faut pas recouvoir ces capteurs en collant une étiquette, etc. Nettoyez périodiquément ces capteurs avec un chiffon de coton doux et sec ou avec essuie-tout.
Reglage de zone de la boussole

Zone d'étalonnage de la boussole
- Consultez la carte "Zone d'étalonnage de la boussole" ci-dessus pour voirquel réglage de zone vous doivent adopter pour la région du monde où vous vous trouvez. 2. Appuyez sur le bouton d'affichage de la boussole et tenez-le enforcé pendant 3 secondes jusqu'à ce que seLECTION de zone apparaiscent (un nombre sera affché dans la fenêtre de boussole du rétroviseur).
- Appuyez sur le bouton d'affichage de la boussole répétitivement jusqu'à ce que le réglage de zone correcte de votre emplacement soit affchéé.
- La sortie du mode de réglage de zone se fait automatiquement quand le bouton n'a pas été sollicité depuis plus de 5
seconds.
Étalonnage de la boussole
- Si "C" s'affiche dans la fenetre de boussole, la boussole nécessite d'être réétalonnée.
- Conduisez le vehicule en rond à une vitesse de 8 km/h (5 mph) ou inférieure jusqu'à ce que l'affichage indique une direction.
- Vous pouvez également étabonnner la boussole en conduisant le vehicule au quotidien. La boussole sera étabonnée une fois que le vehicule a fait un tour complet.
- Pour réétalonner votre boussole, appuyez et maintenez enforcé le bouton d'affichage de la boussole pendant 9 secondes jusqu'à ce que "C" s'affiche dans la fenêtre de boussole.
- Étalandnez la boussole en suivant l'étépe 2 ou l'étépe 3.
Système de commande sans fils HomeLink
Le système de commande sans fils HomeLink® peut être utilisé pour activer les dispositifs commandés à distance comme les ouvre-portes, les ouvre-portes de garage, le verrouillage des portières, l'allumage des lumières et les systèmes
de sécurité.
Vous pouvez programmer chacun des trois boutons HomeLink sur le retroviseur qui peuvent etre programmés pour actionner le dispositif de votrechoix. Pour la presentation détaillée des types de dispositifs qui peuvent etre commandés par ce système, consultez le site Internet de HomeLink à l'adresse:
www.homelink.com ou appelez le 1-800-355-3515.
À propos de ce système, notez les informations suivantes.
Le système de commande sans fil HomeLink qui équipe votre vehicule est en conformité avec le Chapitre 15 des règles de la Federal Communications Commission des États-Unis et au Canada, avec les règles RSS-210 d'Industrie Canada. L'autorisation d'utilisation du système est soumise aux deux conditions suivantes:
(1) ce dispositif ne doit pas engendrer des interférences génantes, et (2) il doit être capable de subir toutes formes d'interférence, y compris des interférences susceptibles d'en perturber le fonctionnement.
Tout changement ou altiereation du systeme par un tiers autre qu'un agent de service agree pourait vous metre en
infraction et annuler votre autorisation d'utilisation.
HomeLink et le logo orné de la maison HomeLink sont des marques déposées par Johnson Controls, Inc.

DANGER
- Pendant la programmation du système de commande sans fil HomeLink®, il se peut que vous actionniez inopinément la porte du garage ou un autre dispositif. En raison du risque de blessures ou de dommages matériels, vérifie au préalable qu'il n'y a ni personne ni objet dans le champ d'action de la porte du garage ou du dispositif quel qu'il soit.
- N'utilisez pas le système de commande sans fil HomeLink avec une porte de garage automatique dénuée de la fonction d'arrêt de sécurité et d'inversion prévue dans les normes de sécurité afferentes. Une porte de garage automatique qui ne detecte pas les obstacles, ne s'arrête ni ne repart en sens inverse s'il y a un obstacle sur sa course n'est pas conforme à ces normes de sécurité. L'utilisation d'une
porte de garage automatique non dotée de cette fonction fait courir le risque de blessures graves ou mortelles. Pour tout renseignement, consultez le site Internet de HomeLink à l'adresse www.homelink.com ou appelez le 1-800-355-3515.

ATTENTION
Lorsque you programmez le système de commande sans fils HomeLink pour activer l'ouvre-porte de garage ou un portail, débranche le moteur du dispositif de la prise pendant la programmation afin d'eviter la surchauffe du moteur.
REMARQUE
- Àpres avoirprogramme le systeme de commande sans fils HomeLink pour le dispositif souhaite, gardez les transmetteurs pour d'autres programmations ou d'essai du dispositif en cas de problème.
- Nous vous conseillons d'insérer une pile neue dans le transmetteur du dispositif pour assurer une programmation correcte.
Programmation d'ouvre-porte de garage aux États-Unis
REMARQUE
Lorsque you programmez le systeme de commande sans fils HomeLink pour un ouvre-porte de garage, il est conseilé que you stationnez le vehicule en dehors du garage.
- Débranche le moteur de l'ouvre-porte de garage de la prise.
REMARQUE
Si l'un des boutons HomeLink est déjàprogrammé pour un autre dispositif,passez l'etape 2,car ceci efface la mémoire des trois boutons.

1) Bouton HomeLink 1
2) BoutonHomeLink ⑥ 2
3) Bouton HomeLink 3
- Appuyez et maintenez enforcé les deux boutons externes HomeLink (bouton 1 et bouton 3) jusqu'à ce que le témoin indicateur commence à clignoter (après environ 20 secondes). Relâchézas alors les deux boutons.
- Tenez le bout du transmetteur de l'ouvre-porte de garage entre 25 et 76 mm (1 à 3 inches) du bouton HomeLink® que vous souhaitez programmer.
- Appuyez simultanément sur le bouton de transmetteur et le bouton HomeLink de votrechoix,et maintenez-les enfoncés. NE relachez PAS les boutons avant la fin de l'étépe 5.
REMARQUE
Certains ouvre-porte et ouvre-porte de garage peuvent nécessiter le remplacement de la programmation de l'etape 4 par les procedures décrites sous "Programmation de grilles d'entrée et de portes de garages automatiques pour le Canada" ^一 3-52.
- Maintenez les deux boutons enforcés jusqu'à ce que le témoin indicateur HomeLink se mette à clignoter, d'abord lentement, puis rapidement. Lorsque le témoin indicateur clignote rapidement, vous pouvez relâcher les deux boutons. (Le clignotement rapide indique que le nouveau signal de fréquence a étéprogrammé avec succès.)
- Maintenez le bouton programme enfoncé, et contrôle le tímoin indicateur HomeLink. Si le tímoin indicateur reste allumé en continu, votre porte de garage doit s'activer, et la programmation est terminée.
Si le témoin indicateur clignote rapidement pendant 2 secondes puis reste allumé en continu, il est possible que votre porte de garage automatique soit protégée par un système de code tournant. Dans ce cas, vous nevez effectuer les étapes supplémentaires décrites sous "Programmation de porte de garage auto
matique à protection par code tournant aux États-Unis" 3-51.
Programmation de porte de garage automatique à protection par code tournant aux États-Unis
Si vous porte de garage automatique est protégée par un système de code tournant, programmez le système de commande sans fil HomeLink en suivant les étapes 1 à 5 sous "Programmation d'ouvre-porte de garage aux États-Unis" 3-50. Effectuez ensuite les étapes suivantes.
REMARQUE
L'aide d'une deuxième personne peut faciliter et accelerer la programmation.

1. Localisez le bouton d'apprentissage
situé sur l'unité motrice principale de la porte de garage automatique. L'emplacement exact et la couleur du bouton sont susceptibles de varier en fonction de la marque de la porte de garage automatique. Si vous ne parvenez pas à localiser le bouton d'apprentissage, reportez-vous au mode d'emploi de votre porte de garage automatique.

1) Bouton d'apprentissage
- Appuyez sur le bouton d'apprentissage situé sur l'unité motrice principale de la porte de garage automatique (ce qui active le "témoin d'apprentissage" situé sur l'unité). Effectuez l'étape 3 dans les 30 secondes.
- À l'intérieur du vehicule, maintenez le bouton HomeLink® programme dans la section précédente fermement enforcé
pendant 2 secondes, puis relâchez-le. Appuyez puis relâchez le bouton une seconde fois pour terminer la procédure de programmation.
REMARQUE
En fonction du type de porte de garage automatique, il peut s'avérer nécessaire d'appuyer sur le bouton et de le relâcher une troisième fois pour terminer la programmation.
- La porte de garage automatique doit à partir reconnaitre le système de commande sans fil HomeLink®, et s'activen en cas de pression sur le bouton HomeLink®.
Programmation de grilles d'entree et de portes de garages automatiques pour le Canada
- Débranchez le moteur de la grille d'entrée ou de la porte de garage automatique de la prise.
REMARQUE
Si l'un des boutons HomeLink est déjàprogrammé pour un autre dispositif,passez l'etape 2,car ceci efface la mémoire des trois boutons.

1) Bouton HomeLink ⑥ 1
2) Bouton HomeLink 2
3) Bouton HomeLink® 3
- Appuyez et maintenez enforcés les deux boutons externes HomeLink (boutons 1 et 3) jusqu'à ce que le témoin indicateur HomeLink commence à clignoter (au bout de 20 secondes environ). Relâchéz alors les deux boutons.
- Tenez le bout du transmetteur de la grille d'entrée/porte de garage automatique entre 25 et 76 mm (1 à 3 inches) du bouton HomeLink® que vous souhaitez programmer.
- Maintenez le bouton HomeLink de votrechoix enforcé.
- Appuyez sur le bouton de transmetteur puis relâchéz-le ("cycle") toutes les 2 secondes jusqu'à ce que l'étape 6 soit
terminée.
- Lorsque le témoin indicateur se met à clignoter lentement puis rapidement au bout de plusieurs secondes, relâchez les deux boutons.
- Branchez le moteur de la grille d'entrée/porte de garage automatique sur la prise.
- Testez votre grille d'entrée/porte de garage automatique en appuyant sur le bouton HomeLink®programmé.
Utilisation du système de commande sans fils HomeLink
Une fois la programmation terminée, il est possible d'utiliser le système de commande sans fil HomeLink pour commander à distance les apparciels pour lesquels les boutons ont été programmés. Pour activer un apparéil, il suffit d'appuyer sur le bouton correspondant. Le témoin indicateur s'allume, indiquant que le signal est en cours de transmission.
Programmation d'autres appareils
Pour programmer d'autres appareils tels que des verrouillages de portiere, éclairages interieurs ou systèmes de sécurité, contactez HomeLink sur www.homelink.com ou en appelant le 1-800-355-3515.
Reprogrammation d'un seul bouton HomeLink
- Maintenez le bouton HomeLink® que vous souhaitez reprogrammer enforcé. NE relâchez PAS le bouton avant la fin de l'étape 4.
- Lorsque le témoin indicateur HomeLink® commence à clignoter lente-ment (au bout de 20 secondes environ), positionnez le transmetteur de l'appareil entre 25 et 76 mm (1 à 3 inches) du bouton HomeLink® que vous souhaitez programmer.
- Maintenez le bouton du transmetteur enforcé. Le témoin indicateur HomeLink se met à clignoter, d'abord lentement, puis rapidement.
- Lorsque le témoin indicateur commence à clignoter rapidement, relâchez les deux boutons.
Ceci efface l'appareil précédemment programme, et il est possible d'utiliser le nouvel appareil en appuyant sur le bouton HomeLink.
Effacement de la mémoire du bouton HomeLink
REMARQUE
- Cette procédure permet d'effacer la mémoire de tous les boutons pré
programmés simultanément. Il n'est pas possible d'effacer la mémoire des boutons de manière individuelle.
- Pour des raisons de sécurité, il est conseilé d'effacer la mémoire de tous les boutons HomeLink® programmes en cas de revente du vehicule.

1) Bouton HomeLink ⑥ 1
2) BoutonHomeLink ⑥ 2
3) BoutonHomeLink ⑥ 3
- Maintenez les deux boutons externes (boutons 1 et 3) enforcés jusqu'à ce que le témoin indicateur commence à clignoter (au bout de 20 secondes environ).
- Relâchez les deux boutons.
En cas de problème
Si, une fois la programmation effectuée, vous vous trouvez dans l'impossibilité d'activer un apparéil à l'aide du bouton HomeLink correspondant, contactez HomeLink sur www.homelink.com ou en appelant le 1-800-355-3515 pour receivevoir de l'aide.
Rétroviseurs extérieurs

Rétroviseur à miroir convexe (côté passager)

DANGER
Vus dans un rétroviseur convexe, les objets semblent plus petits et plus éloignés que dans un rétroviseur ordinaire plat. En cas de chan-
gement de voie, n'utilise pas le rétroviseur convexe pour estimer la distance vous séparant des vehicules qui vous suivent. Pour confirmer la taille ou l'éloignement des objets dont la présence a été détectée dans le rétroviseur convexe, utilisez le rétroviseur interieur (ou jetez un coup d'œil vers l'arrière).
Interrupteur de rétroviseurs télé-commandés

1) Sélecteur
2) Bouton de commande
Les rétroviseurs télécommandés ne fonctionnent que lorsque le contacteur d'allumage est en position "ON" ou "Acc".
- Appuyez sur le côté du sélecteur
correspondant au rétroviseur à régler: “L” pour gauche ou “R” pour droite.
- Déplacez le bouton de commande dans le sens du mouvement à imprimer au rétroviseur.
- Remettez le.selecteur en position neutre pour eviter de déregler les rétroviseurs par inadvertance.
Les rétroviseurs peuvent également être régés manuelle.
Commande de rétroviseurs électriques rabattables (selon modèles)

La commande de rétroviseurs électriques rabattables ne fonctionnent que lorsque le contacteur d'allumage est en position "ON" ou "Acc".
Pour rabattre les rétroviseurs extérieurs, appuyez sur la commande des rétrovi
seurs électriques rabattables. Pour redresser les rétroviseurs, appuyez de nouveau sur la commande.
REMARQUE
-
Lorsque la température est BASSE, les rétroviseurs extérieurs peuvent s'arrêter durant l'opération par la commande. Si cela se produit, appuyez de nouveau sur la commande. S'il n'est pas possible de faire fonctionner les rétroviseurs en appuyant sur la commande, actionnez-les plusieurs fois manuellement. Il sera ensuite de nouveau possible de les actionner via la commande.
-
Il est possible que les rétroviseurs ne répondent plus lorsque vous actionnez la commande de rétroviseurs électriques rabattables de manière continue. Il ne s'agit pas d'une anomalie. Laissez passer quelques minutes, puis actionné à nouveau la commande.
- Il est possible que les rétroviseurs deviennent lâches lorsque vous les redressez manuellement. Redressez les rétroviseurs via la commande. Si les rétroviseurs extérieurs sont toutes lâches, rabattez-les puis redresse-les à nouveau au moyen de la commande.
Désembumeur et dégivreur

1) Désembueur de lunette arrête
2) Désembumeur de rétroviseur extérieur (selon modèles)
3) Dégivreur d'essuie-glace de pare-brise (selon modèles)
Le vehicule est équipé d'un désembueur de lunette arrrière. Certains modèles sont également équipés de désembueur des rétroviseurs extérieurs et/ou de dégivreur d'essuie-glace de pare-brise. Le système de désembueur et de dégivreur ne fonctionne que lorsque le contacteur d'allumage est en position "ON".

Système de climatisation manuelle

Système de climatisation automatique
Pour activer le système de désembueur et de dégivreur, appuyez sur la commande de réglage située sur le tableau de commande de climatisation. Le désembueur de lunette arrière, le désembueur de rétroviseur extérieur et le dégivreur d'essuie-glace de pare-brise sont activés simultanément. Le tímoin indicateur de la commande de réglage s'illumine lorsque le système de désembueur et de dégivreur est activé.
Pour les arrêté, appuyez de nouveau sur la commande de réglage. Ils se désactivement également lorsque le contacteur d'allumage est raméné en position "Acc" ou "LOCK".
Le système de désembueur et de dégi
vreur se désactive automatiquement au bout de 15 minutes environ. Si la lunette arrrière et les rétroviseurs extérieurs sont dégagés et les balais d'essue-glace de pare-brise sont complètement dégivrés avant, appuyez sur la commande de réglage pour désactiver le dégivreur. S'il est nécessaire de continuer à déssember ou à dégivrer, remettez le dégivreur en marche en appuyant à nouveau sur la commande de réglage.
Pour les modèles équipés de système de climatisation automatique, il est possible de régler le système de désembueur et de dégivreur en mode de fonctionnement en continu tel qu'indiqué.
- Modèles avec système de navigation SUBARU d'origine:
Le réglage peut être modifié en mode de fonctionnement en continu par le moniter de navigation. Pour de plus amples détails, reportez-vous au supplément du Manuel du Conducteur traitant du système de navigation.
Voussouspèzeaussifiairechangere réglageparunconcessionnaireSUBARU. Pourles détails,adressez-vousàvotre concessionnaire SUBARU.
- Modèles sans système de navigation SUBARU d'origine:
Vous pouvez faire changer ce réglage par
un concessionnaire SUBARU. Pour les détails, adressez-vous à votre concessionnaire SUBARU.
Si la tension de batterie tombe en-dessous du niveau admissible, le fonctionnement en continu du système de désembueur et de dégivreur est annulé, et le système s'arrête.

ATTENTION
Pour ne pas décharger inutillement la batterie, ne laissez pas fonctionner le système de désembueur et de dégivreur en continu plus longtemps que nécessaire.
Pour nettoyer la face interieure de la lunette arriere, n'utilisez pas un produit de nettoyage abrasif et ne grattez pas la vitre avec une raclette dure ou tranchante. Cela risquerait d'endommager le fil chauffant applique contre la vitre.
REMARQUE
-
Activez le système de désembueur et de dégivre si les balais d'essuie-glace sont collés par le gel contre le pare-brise.
-
Si le pare-brise est couvert de neige, enlevez la neige pour permettre un fonctionnement efficace du dégivreur d'essuie-glace de pare-brise.
- Lorsque le système de désembueur et de dégivreur est en mode de fonctionnement en continu, si la vitesse du vehicule demeure à 15km / h (9 mph) ou moins pendant 15 minutes, le dégivreur d'essuie-glace de pare-brise s'arrête automatiquement, tandis que le désembueur de lunette arrêté et le désembueur des rétroviseurs extérieurs continuant de fonctionner.
Volant de direction à inclinaison régliable

DANGER
- Ne réglez jamais l'inclinaison du volant de direction pendant la conduite. Cela en raison du risque de perte de contrôle du vehicule et de blessures.
- Si le levier ne peut pas etre mis en position de blocage, réajustez la position du volant. Il est dangereux de conduire sans avoir bloqué le volant. Cela en raison du risque de perte de contrôle du vehicule et de blessures.

- Reglez la position du siège. Reportez-vous à "Sièges avant" 1-2.
- Tirez la manette de blocage du mécanisme d'inclinaison vers le bas.
- Amenez le volant à la position souhai-tée.
- Tirez la manette vers le haut pour bloquer le volant dans la position chosesie.
- Essayez de faire bouger le volant vers le haut et vers le bas pour vérifier qu'il s'est bien verrouillé en position.
Volant de direction à inclinaison régliable/telescopique (selon modèles)

DANGER
- Ne réglez jamais le volant inclinable/telescopique pendant la conduite: Cela en raison du risque de perte de contrôle du vehicule et de blessures.
Si le levier ne peut pas etre mis en position de blocage, réajustez la position du volant. Il est dangereux de conduire sans avoir bloqué le volant. Cela en raison du risque de perte de contrôle du vehicule et de blessures.

- Reglez la position du siège. Reportez-vous à "Sièges avant" 1-2.
- Tirez vers le bas le levier de blocage du volant inclinable/telescopique.
- Amenez le volant à la position souhai-tée.
- Tirez la manette vers le haut pour bloquer le volant dans la position可以选择.
- Essayez de faire bouger le volant vers le haut et vers le bas, vers l'avant et vers l'arrière pour vérifier qu'il est bien verrouillé en position.
Avertisseur sonore

Pour actionner l'avertisseur sonore, appuyez sur le rembourse central du volant.
Aérateurs 4-2
Selection des sorties d'air 4-2
Aérateurs centraux et lateraux 4-3
Système de climatisation manuelle (selon modèles) 4-3
Tableau des commandes 4-3
Mode d'emploi du chiffage 4-5
Mode d'emploi du climatiseur 4-7
Système de climatisation automatique (selon modèles) 4-8
Tableau des commandes 4-9
Utilisation du système de climatisation en mode entiement automatique 4-9
Utilisation du système de climatisation en mode semi-automatique 4-9
Molette de réglage de la vitesse de soufflante 4-9
Molette de réglage de la température 4-10
Molette de commande de début d'air 4-10
Touche selecteur d'admission d'air 4-11
Touche du climatiseur 4-11
Capeurs de températe 4-12
Conseils d'utilisation du chauffage et du climatiseur. 4-13
Nettoyage de la grille de prise d'air 4-13
Pour un refroidissement plus rapide après avoir stationné en plein soleil 4-13
Circulation de l'huile de lubrication dans le circuit du réfrigérant. 4-13
Contrôle du système de climatisation avant la saison chaude 4-13
Refroidissement et déshumidification par temps très humide et bassé température 4-13
Arrêt du compresseur du climatisation en cas de surcharge du moteur 4-13
Réfrigérant de votre système de climatisation 4-13
Système de filtration d'air 4-14
Remplacement d'un filtré à air 4-14
Aérateurs

■ Sélection des sorties d'air
Aérateurs centraux et lateraux
Aérateurs centraux

Déplacez la grille pour orienter le courant d'air à volonte.
Aérateurs latéraux

1) Ouvrir
2) Fermer
3) Molette
Déplacez la grille pour orienter le courant d'air à volonte.
Pour ouvrir ou fermer l'aérateur, tournez la molette dans le sens haut-bas.
Système de climatisation manuelle (selon modèles)
Tableau des commandes

1) Molette de réglage de la température
2) Molette de réglage de la vitesse de soufflante
3) Molette de commande de début d'air
4) Commande de réglage du système de désembumeur et de dégivreur (Reportez-vous à “Désembumeur et dégivreur” 3-55.)
5) Touche du climatiseur
6) Touche sélecteur d'admission d'air
Molette de réglage de la température
Ce cadran sert au réglage de la température de l'air soufflé par les bouches d'air. Positionné le levier à volonté du côte
bleu (plus froid) au côte rouge (plus chaud).
Molette de réglage de la vitesse de soufflante
La soufflante ne fonctionne que lorsque le contacteur d'allumage est en position "ON". Cette molette permet de désirer entre 4 vitesses différentes.
Molette de commande de début d'air
La molette comporte cinq positions qui activent les sorties d'air suivantes.
(ventilation): Sorties du tableau de bord
(2 niveaux): Sorties du tableau de bord et sorties vers les pieds
(chauffage): Sorties vers les pieds et sorties de dégivreur du pare-brise (faible courant d'air par les sorties de dégivrage pare-brise)
(chauffage-dégivrage): Sorties de dégivreur du pare-brise et sorties vers les pieds
: Sorties de degivreur du pare-brise
Reportez-vous à " Sélection des sorties d'air" 4-2 pour plus de détails.
REMARQUE
Lorsque le cadran est placé en position "ou *o, le compresseur du
climatiseur se met en marche automatiquement qu'elle que soit la position du bouton du climatiseur pour désem-buer rapidement le pare-brise. Cependant, le témoin du commutateur de climatiseur ne s'allume pas. En même temps, le selectableur d'admission d'air est automatiquement mis en mode "air extérieur".
Dans cet état, vous ne pouvez pas désigner le mode "recyclage" en appuyant sur la touche de selection des entrées d'air.
Vou ne pouvez pas non plus arreter le compresseur du climatiseur en appuyant sur le commutateur de climatieur.
Touche du climatiseur

Le climatiseur ne fonctionne que lorsque le moteur tourne.
Pourmettreleclimatisationuren marche, appuyez sur cette touche pendant que la soufflante est en marche. Le témoin indicateur s'allume.
Pour arrêté le climatiseur, appuyez de nouveau sur la touche.
Touche selecteur d'admission d'air

Position ON (air recyclé): L'air de l'habitude est recyclé, c'est-à-dire qu'il recircule à l'intérieur du vehicule. Appuyez sur le bouton pour lemettre en position ON. Le témoin indicateur s'allume.
Pour obtenir un refroidissement plus rapide par le climatiseur ou lorsque vous roulez sur une route poussièreuse, placez le bouton de selection d'entrée d'air en position ON.
Position OFF (air extérieur): Il y a admission d'air extérieur dans l'habitacle. Pour revenir en position OFF, appuyez de nouveau sur le bouton. Le témoin indicateur s'éteint.
Lorsque l'habitacle est suffisamment refroidi ou que la route n'est plus poussié
reuse, placez le bouton de selection d'entrée d'air en position OFF.
DANGER
L'utilisation prolongée du bouton sélecteur d'entrée d'air en position ON entraine la formation de buée sur les vitres. Revenez à la position OFF des que l'air extérieur est à nouveau propre.
Mode d'emploi du chiffage REMARQUE
- Lorsque la position "W" ou "W" est sélectionnée, le compresseur du climatiseur se met automatiquement en marche, qu'elle que soit la position du bouton du climatiseur, pour désembuer rapidement le pare-brise. En même temps, le.selecteur d'admission d'air se met automatiquement en position OFF (air extérieur). Cependant, le t'émoin indicateur du climatiseur ne s'allume alors pas.
Lors du dégivrage, du désembuage ou du chauffage, l'air chaud sort également par les bouches d'air droite et gauche. Pour interrompre le souffle d'air chaud par ces sorties, tournez la molette correspondante vers le bas.
Dégivrage ou désembuage du pare-brise

Pour diriger l'air chaud vers le pare-brise et les vitres des portières avant:
- Mettez le sélecteur des sorties d'air en position "W".
- Tournez le réglage de température à fond vers la droite.
- Mettez la molette de réglage de la vitesse de soufflante en position de vitesse maximum.
Chauffage et dégivrage

Pour diriger de l'air chaud vers le plancher et le pare-brise:
- Mettez le sélecteur des sorties d'air en position "".
- Mettez le réglage de température sur la position assurant un comport optimal.
- Mettez la molette de réglage de la vitesse de soufflante sur la position souhaitée.
Chauffage

Pour diriger de l'air chaud vers le plancher:
- Mettez le bouton sélecteur d'entrée d'air en position OFF.
- Mettez le sélecteur des sorties d'air en position "
- Mettez le réglage de température sur la position assurant un comport optimal.
- Mettez la molette de réglage de la vitesse de soufflante sur la position souhaitée.
Chauffage sur deux niveaux

Ce mode d'utilisation vous permet d'obtenir de l'air à des températures différentes par les sorties du tableau de bord et par les sorties vers les pieds. L'air souffle par les sorties vers les pieds est un peu plus chaud que l'air souffle par les sorties du tableau de bord.
- Mettez le bouton sélecteur d'entrée d'air en position OFF.
- Mettez le sélecteur des sorties d'air en position "
- Mettez le réglage de température sur la position souhaïée.
- Mettez la molette de réglage de la vitesse de soufflante sur la position souhaitée.
Le positionnement du réglage de tempé
rature en bout de course dans la zone rouge ou dans la zone bleue a pour effet de réduire l'écart de température de l'air s'écouulant par les sorties du tableau de bord et par les sorties vers les pieds.
Ventilation

Pour forcer l'admission d'air extérieur par les sorties du tableau de bord:
- Mettez le bouton sélecteur d'entrée d'air en position OFF.
- Mettez le sélecteur des sorties d'air en position ^一 .
- Tournez le réglage de température à fond vers la gauche.
- Mettez la molette de réglage de la vitesse de soufflante sur la position souhaitée.
Lorsque you condusez sur une route
poussiereuse, mettez le bouton selecteur d'admission d'air en position "ON".
DANGER
L'utilisation prolongée du bouton sélecteur d'entrée d'air en position ON entraine la formation de buée sur les vitres. Revenez à la position OFF des que l'air extérieur est à nouveau propre.
Mode d'emploi du climatiseur
Refroidissement ou déshumidification

1) Position ON
Pour le refroidissement ou la déshumidification de l'habitacle du vehicule, procé
dez comme suit pour obtenir de l'air par les bouches de sortie du tableau de bord:
- Mettez le bouton sélecteur d'entrée d'air en position OFF.
- Mettez le sélecteur des sorties d'air en position
- Mettez le bouton du climatiseur en position "ON".
- Tournez le réglage de température vers le côte bleu.
- Mettez le cadran de réglage de la vitesse de soufflante en position de vitesse maximum.
Désembuage ou dégivrage

Pour diriger l'air chaud vers le pare-brise et les vitres des portières avant:
- Mettez le sélecteur des sorties d'air en
position
- Tournez le réglage de température vers le côte rouge.
- Mettez le cadran de réglage de la vitesse de soufflante en position de vitesse maximum.
Pour que le désembUAGE soit plus efficace, le compresseur du climatiseur se met en marche automatiquement quand le sélecteur de sortie d'air est mis en position "ou"
Système de climatisation automatique (selon modèles)
Bien que le système de climatisation puisse s'utiliser en mode entierement automatique, on peut aussi si on le souhaite l'utiliser en mode semi-automatique.
Quand le système de climatisation est utilisé en mode entièrement automatique, les réglages de température de sortie de l'air et de vitesse de la soufflante, la répartition de l'air vers les sorties, la sélection de l'entrée d'air et la mise en marche/arrêt du compresseur de climatisationur se font entièrement automatiquement pour maintainir en permanence la température de comfort à l'intérieur de l'habitacle.
REMARQUE
Utilisez toujours le système de climatisation automatique avec le moteur en marche.
Lorsque le liquide de refroidissement du moteur est froid, la soufflante ne se met pas en marche.
- En mode "AUTO", le compresseur du climatiseur ne se met pas en marche si l'air de l'habitacle est suffisamment frais. Pour que le déssembuage et la déshumidification soient plus efficaces par temps froid, appuyez
sur la touche "A/C" pourmettre le compresseur du climatiseur en marche.
- Meme lorsqu'il n'est pas nécessaire de rafraîchir l'air, le fait de régler la température sur une valeur bien inférieure à la température de l'air sortant des bouches d'air met automatiquement le compresseur du climatiseur en marche et allume le témoin indicateur "A/C" intégré à la touche du climatiseur.
Tableau des commandes

1) Molette de réglage de la température.
2) Molette de réglage de la vitesse de soufflante
3) Molette de commande de début d'air
4) Commande de réglage du système de désembueur et de dégivreur (Reportez-vous à “Désembumeur et dégivreur” 3-55.)
5) Touche selecteur d'admission d'air
6) Touche du climatiseur
Utilisation du système de climatisation en mode entièrement automatique
Placez le cadran de réglage de la température sur la position correspondant à la température souhaïée, puis positionné les autres cadrans et les boutons comme indiqué ci-après. Le système entre alors en mode AUTO et sera commandé automatiquement.
- Molette de commande de début d'air: position AUTO
- Molette de réglage de la vitesse desouffante: position AUTO
Utilisation du système de climatisation en mode semi-automatique
On peut adopter pour chacune des fonctions le mode AUTO independament des autres fonctions. Les réglages correspondant aux fonctions pour lesquelles on a adopté le mode AUTO se feront automatiquement. Toutes les autres fonctions peuvent être régées à volonté manuelle.
La température de l'habitacle peut être réglée entre 20 et 30^ (65 et 85^ ).
Molette de réglage de la vitesse de soufflante

La soufflante ne fonctionne que lorsque le contacteur d'allumage est en position ON. Cette molette permet de passer en mode AUTO (commande automatique), ou de selectionner la vitesse de soufflante souhaitée. Cette molette peut être mise sur les positions suivantes.
OFF: La soufflante ne fonctionne pas.
AUTO: La vitesse de la soufflante change automatiquement en fonction de la tempérapure de l'air à l'intérieur et à l'extérieur de l'habitacle, de l'enseillement et d'un certain nombre d'autres facteurs. SUBARU recommende d'adopter la position AUTO.
Autres positions: La vitesse de sufflante peut etre reglee a 7 niveaux differents.
REMARQUE
Lorsque la molette de réglage de vitesse de la soufflante est en position AUTO et la molette de commande de débit d'air en position " , " ou " , la soufflante ne fonctionne pas pendant la montée en temperature du moteur tant que le liquide de refroidissement du moteur ne dépasse pas 50^ (122^)

Molette de réglage de la température
Cette molette sert à régler la température souhaïée dans l'habitacle. Placez cette
molette dans la position correspondant à la température souhaitation; le système contrôle automatiquement la température de l'air insuffle par les bouches d'air de façon à atteindre puis maintainir la température souhaitation.
Si la molette est tournée au maximum dans le sens inverse des aiguilles d'une montre, le système fonctionne au maximum de ses performances de refroidissement. Si la molette est tournée au maximum dans le sens des aiguilles d'une montre, le système fonctionne au maximum de ses performances de chauffage.

Molette de commande de débit d'air
La molette comporte six positions qui activent les sorties d'air suivantes.
AUTO: La commande des sorties d'air change automatiquement en fonction de la température de l'air à l'intérieur et à l'extérieur de l'habitacle, de l'ensoillelement, et d'un certain nombre d'autres facteurs. SUBARU recomende d'adopter la position AUTO.
: Sorties du tableau de bord
Sorties du tableau de bord et sorties vers les pieds
Sorties vers les pieds et sorties de dégivrage du pare-brise (faible courant d'air par les sorties de dégivrage pare-brise)
: Sorties de dégivrage du pare-brise et sorties vers les pieds
: Sorties de degivreur du pare-brise
Reportez-vous à " Sélection des sorties d'air" 4-2 pour plus de détails.
REMARQUE
Lorsque la molette est positionnée sur la position "ou", la selection d'admission d'air passé automatique en mode "air extérieur".
Touché sélecteur d'admission d'air

Position ON (air recyclé): L'air de l'habitacle est recyclé, c'est-à-dire qu'il recircule à l'intérieur du vehicule. Pour obtenir un refroidissement plus rapide par le climaitseur ou lorsque vous roulez sur une route poussièreuse, appuyez sur le bouton de selection d'entrée d'air pour lemettre en position ON. Le témoin indicateur s'allume.
Position OFF (air extérieur): Il y a admission d'air extérieur dans l'habitacle. Lorsque l'habitacle est suffisamment refroidi ou que la route n'est plus poussi-reuse, appuyez de nouveau sur le bouton de selection d'entrée d'air pour le remettre en position OFF. Le témoin indicateur s'éteint.
AUTO: Tournez la molette de réglage de vitesse de la soufflante ainsi que la molette de commande de début d'air à la position AUTO. La sélection d'entrée d'air change automatiquement en fonction de la température de l'air à l'intérieur de l'habitacle et à l'extérieur, de l'ensoillelement, et de certains autres facteurs. Une pression sur la touche de selection d'admission d'air annule le mode "AUTO". Pour revenir en mode "AUTO", tournez la molette de réglage de vitesse de la soufflante ou la molette de commande de début d'air à une position autre que "AUTO". Revenez ensuite en position "AUTO". SUBARU recomende d'adopter la position AUTO.

DANGER
L'utilisation prolongée de la position ON entraine la formation de buée sur les vitres. Revenez à la position OFF dés que l'air extérieur est à nouveau propre.
Touché du climatiseur

Les positions du bouton et leurs fonctions sont les suivantes.
ON: Le climatiseur fonctionne si la soufflante est en marche.
Appuyez sur le bouton pour désir cette position. Le témoin indicateur s'allume.
OFF: Le climatiseur ne fonctionne pas.
Appuyez de nouveau sur le bouton pour désir cette position. Le tímoin indicateur s'éteint.
AUTO: Tournez la molette de réglage de vitesse de la soufflante ainsi que la molette de commande de débit d'air à la position AUTO. L'état en marche ou arrêt du compresseur de climatisationur change automatiquement en fonction de la température de l'air à l'intérieur de l'habitacle
et à l'extérieur, de l'ensoleillement, et de certains autres facteurs. Une pression sur le bouton annule le mode "AUTO". Pour revenir en mode "AUTO", tournez la molette de réglage de vitesse de la soufflante ou la molette de commande de début d'air à une position autre que "AUTO". Revenez ensuite en position "AUTO". SUBARU recommende d'adopter la position AUTO.
REMARQUE
Le compresseur du climatiseur ne fonctionne pas quand la température de l'air est inférieure à 0^ (32^) . Capteurs de température
Capeurs de température


1) Capteur de température d'air de l'habitie
2) Capteur d'enseillement
Le système de climatisation automatique est équipé de plusieurs capteurs. Ces
capteurs sont fragiles. S'ils sont maltraités et endommages, le système ne peut plus maintainir correctement la température demandée dans l'habitacle. Pour éviter d'endommager les capteurs, suivez les précautions suivantes.
- Ne soumettez pas les capteurs à des chocs.
- Ne mouillez pas les capteurs.
- Ne recouvre pas les capteurs.
Les capteurs se trouvent aux endroits suivants.
- Capteur d'ensoleillement: sur le côté de la grille de dégivrage de pare-brise
- Capteur de température d'air de l'habitacle: à proximé du contacteur d'allumage
- Capteur de température extérieure: derrière la calandre avant
Conseils d'utilisation du chauffage et du climatiseur
Nettoyage de la grille de prise d'air

Pour assurer une bonne puissance de chauffage et de dégivrage, veillez à ce que la grille de prise d'air extérieur ne soit pas obstruée par de la neige, des feuilles ou d'autres corps étrangers. Le pouvoir de refroidissement du climatiseur diminue si le condensateur situé devant le radiateur est encrasse par des insectes, des feuilles, etc. Tenez cet endroit toujours propre.
Pour un refroidissement plus rapide après avoir stationné en plein soleil
Si le vehicule a ete garé en plein soleil, roulez pendant quelques minutes avec les vitres ouvertes pour faire circuler l'air extérieur dans l'habitacle. Le climatiseur pourra ensuite refroidir l'habitacle plus rapidement. Pour que le climatiseur soit au maximum de son efficacité, les vitres doivent ensuite etre tenues fermées.
■ Circulation de l'huile de lubrification dans le circuit du réfrigérant
Hors saison, faites fonctionner le compresseur du climatiseur à bas régime (au ralenti ou en roulant lentement) une fois par mois pendant quelques minutes pour en faire circuler l'huile.
Contrôle du système de climatisation avant la saison chaude
Chaque printemps, le climatiseur doit etre controlé pour s'assurer que le réfrigerant ne fuit pas, que les tuyaux sont en bon état et que le fonctionnement est normal. Faites vérifier le système de la climatisation par un concessionnaire SUBARU.
■ Refroidissement et déshumidification par temps très humide et basse température
Sous certaines conditions climatiques (forte humidité relative, basse température, etc.), il arrive que l'on constate un léger dégagement de vapeur par les sorties d'air. Ceci est normal et n'indique pas une défectuosité du système de climatisation.
■ Arrêt du compresseur du climatiseur en cas de sur-charge du moteur
Pour améliorer les reprises et economiser le carburant, le compresseur du climatiseur se désactive momentarily en même si le climatiseur est en marche - lorsque l'on appuie au maximum sur la pédale d'accéléateur pour obtenir une accélération rapide ou gravir une forte pente.
Réfrigérant de votre système de climatisation
Le climatiseur de ce vehicule fonctionne avec du réfrigerant HFC134a non nocif pour la couche d' ozone. La méthode de replissage, de remplacement et de contrôle du réfrigerant n'est pas la même qu'avac le CFC12 (freon). Pour toute
intervention, consultez un concessionnaire SUBARU. Les réparations rendues nécessaires par l'utilisation d'un réfrigérant de type inapproprié ne sont pas couvertes par la garantie.
Système de filtration d'air
Remplacez l'objet du filtré selon la fréquence indiquée ci-après. Il est important de respecter cette fréquence de remplacement pour maintainir le pouvoir d'élimination de la poussière par le filtré. Si le vehicule est utilisé dans un environnement très poussièreux, remplacez le filtré plus fréquement. Nous vous recommandons de vous adresser à un concessionnaire SUBARU pour faire contrôle ou remplacer le filtré. comme rechange, utilisez uniquement un kit de filtré à air SUBARU d'origine.
Fréquence de remplacement:
Tous les 12 mois ou tous les 12.000 km (7.500 miles), à la première de ces deux échéances

ATTENTION
Adresse-à-vous à votre concessionnaire SUBARU, même si le moment de replacer le filtré n'est pas encore venu, si vous constatez:
- Affaiblissemment du débit d'air insuffle par les aérateurs.
Tendance du pare-brise a s'em-buer.
REMARQUE
Négliger l'entretien du filtré affecte les performances de la climatisation, du chauffage et du dégivrage.
■ Remplacement d'un filtré à air
- Retirez la boîte à gants.
(1) Ouvrez la boîte à gants.

(2) Retirez la tige d'amortissement de la boîte à gants.

(3) Extrayez la boite à gants.

3. Remplacez l'objet du filtre à air par un neuf.

2. Enlevez le filtré à air.

ATTENTION
La flèche inscrite sur le filtre doit pointer vers le HAUT.

- Réinstallez la boîte à gants, puis connectez la tige d'amortissement.
- Refermez la boite a gants.
- Pose des ÉTIQUETTES
(1) Apposez l'étiquette d'entretien contre le montant de la portière du conducteur.

1) Étiquette de mise en garde
(2) Apposez l'etiquette de mise en garde à côté du filtré à air, comme indiqué sur l'illustration.
Système d'antenne 5-3
Antenne de toit. 5-3
Réception FM 5-3
Installation d'accessoires 5-4
Équipment audio. 5-4
Équipment audio de type A (selon modèles) 5-5
Équipment audio de type B (selon modèles) 5-6
Équipment audio de type C (selon modèles) 5-7
Commandes de marche/arrêt et de réglage du son. 5-8
Interrupteur marche/arrêt et réglage du volume. 5-8
Contrôle du son 5-8
Gamme d'ajustement de chaque mode 5-11
Mode d'emploi de la radio FM/AM 5-12
Sélection FM/AM 5-12
Accord 5-12
Affichage PS (nom de service programme) et RT (texte radio) 5-15
Préroglage des stations 5-16
Mode d'emploi de la radio satellite (selon
modedes) 5-17
Réception de la radio satellite XM^TM (États-Unis uniquement) 5-17
Réception de radio satellite 5-17
Afficher le code d'identification du tuner de la radio satellite. 5-19
Sélection de bande 5-19
Sélection de canal et de catégorie 5-19
Préroglage des canaux 5-22
Sélection de l'affichage 5-23
Mode d'emploi du lecteur CD. 5-23
Fichiers lisibles. 5-24
Comment inserer un CD (type A et C) 5-24
Pour introduire un CD (type B) 5-24
Pour écouter un CD. 5-25
Pour écouter une plage depuis le début 5-27
Avance et回头 rapide 5-28
Lecture répétitive 5-29
Lecture aléatoire 5-30
Balayage 5-31
Selection de l'affichage 5-31
Choix d'un dossier 5-32
Pour éjecter le CD du lecteur (type A et C) 5-33
Pour éjecter les CD du lecteur (type B) 5-33
Lorsque les messages suivants s'affichent 5-34
Prise d'entrée auxiliaire (selon modèles) 5-35
Précautions à observer pour la manipulation des disques compacts 5-36
Utilisation d'une clé USB/d'un iPod (audio de type C) 5-38
Fichiers lisibles 5-38
Clé USB compatible. 5-38
Modèles iPod® compatibles 5-39
Branchement d'une clé USB/d'un iPod 5-39
Procedure de lecture 5-40
Pour selectionner une plage/un index depuis le début 5-41
Pour selectionner un chapitre depuis le début lors du branchement de l'iPod 5-41
Avance et回头 rapide 5-41
Lecture repétitive 5-41
Lecture aléatoire 5-42
SCAN (uniquement lors du branchement d'une clé USB) 5-42
Selection de la catégorie (uniquement lors du branchement de l'IPod®) 5-42
Sélection de l'affichage 5-43
Selection de dossier (uniquement lors du branchement d'une clé USB) 5-43
En cas d'affichage du message "CHECK DEVICE" 5-43
Touches de commande audio (selon
modetes) 5-44
Touche MODE 5-44
Touches " " et "
Touches de réglage de volume 5-45
Touche MUTE (modèles sans système téléphonique mains libres) 5-46
Audio Bluetooth® (audio de type C) 5-46
Format média 5-46
Réglage audio Bluetooth® 5-46
Fonctionnement de l'appareil audio Bluetooth 5-47
Système téléphonique mains libres (selon
modes) 5-48
Conseils d'utilisation du système téléphonique mains libres. 5-48
Certification du système téléphonique mains libres 5-49
Précautions de sécurité 5-50
Utilisation du système téléphonique mains libres 5-51
Réglage Bluetooth 5-61
Système d'antenne
Antenne de toit

ATTENTION
- Baissez toujours la tige d'antenne avant de vous engager dans un garage, une tour de stationnement ou tout autre lieu ayant une hauteur sous plafond réduite.
- Retirez la tige d'antenne avant de laver le vehicule dans un laveauto. Dans le cas contraire, elle risquerait de rayer le toit.
Veillez à bien serrer la tige d'antenne au maximum lorsque vous la remontez.

1) Dévissez
2) Retirez
L'antenne de toit se trouve au centre de la zone arrirée du toit.
Pour retirer la tige d'antenne, devissez-la par la base.
Réception FM
Bien que la modulation de fréquence soit peu sensible aux parasites atmosphériques, la qualité de la réception peut être affectée par la configuration du terrain, les conditions atmosphériques, l'éloignement par rapport au transmetteur et la puissance de ce dernier. Les batiments ou autres obstacles peuvent engendrer par moments des parasites, du pleurage ou des interférences entre stations. Si la réception est médiocre de façon persistante, passsez à l'écoute d'une station plus puissant.
Installation d'accessoires
Avant d'instructor un émetteur-recepteur de radio CB ou tout autre dispositif émetteur, il est indispensable que vous consultiez un concessionnaire SUBARU. En effet, detels apparèils perturbent le fonctionnement des systèmes Electroniques du vehicule s'ils n'ont pas été installés correctement ou s'ils sont d'un type incompatible avec le vehicule.
Équipment audio
Votre SUBARU est dotée de l'un des équipements audio suivants. Pour le mode d'emploi détaillé, reportez-vous aux pages indiquées dans la presente section.
REMARQUE
La presence d'un téléphone cellulaire a proximate de l'équipement audio peut causeur l'équipement audio à parasiter la réception en cas d' appel. Ce bruit est normal et n'indique pas un défaut de fonctionnement de l'équipement audio. Notez qu'un téléphone cellulaire doit être place le plus loin possible de l'équipement audio.
■ Equipement audio de type A (selon modèles)

500410
L'équipement audio ne fonctionne que lorsque le contacteur d'allumage est en position "Acc" ou "ON".
- Commandes de marche/arrêt et de réglage du son: reportez-vous à la page 5-8
Mode d'emploi de la radio: reportez-vous à la page 5-12 - Fonctionnement de la radio satellite (selon modèles): reportez-vous à la page 5-17
Mode d'emploi du lecteur CD (disque compact): reportez-vous à la page 5-23 - Prise d'entrée auxiliaire: reportez-vous à la page 5-35
■ Equipement audio de type B (selon modèles)

L'équipement audio ne fonctionne que lorsque le contacteur d'allumage est en position "Acc" ou "ON".
- Commandes de marche/arrêt et de réglage du son: reportez-vous à la page 5-8
Mode d'emploi de la radio: reportez-vous à la page 5-12 - Fonctionnement de la radio satellite (selon modèles): reportez-vous à la page 5-17
Mode d'emploi du lecteur CD (disque compact): reportez-vous à la page 5-23 - Prise d'entrée auxiliaire: reportez-vous à la page 5-35
Équipment audio de type C (selon modèles)

500565
L'équipement audio ne fonctionne que lorsque le contacteur d'allumage est en position "Acc" ou "ON".
- Commandes de marche/arrêt et de réglage du son: reportez-vous à la page 5-8
Mode d'emploi de la radio: reportez-vous à la page 5-12 - Fonctionnement de la radio satellite (selon modèles): reportez-vous à la page 5-17
Mode d'emploi du lecteur CD (disque compact): reportez-vous à la page 5-23 - Prise d'entrée auxiliaire: reportez-vous à la page 5-35
- Fonctionnement d'une clé USB/d'un iPod®: reportez-vous à la page 5-38
- Système téléphonique mains libres: reportez-vous à la page 5-48
Commandes de marche/arrêt et de réglage du son
Interrupteur marche/arrêt et réglage du volume

Audio de type A et B

Audio de type C
Cette molette commande l'alimentation (marche/arrêt) et le volume sonore. Le radio se met en marche et s'arrête en appuyant sur la molette et le volume se contrôle en tournant la molette.
Contrôle du son
Réglage de tonalité et de balance

Audio de type A et B

Audio de type C
Chaque brève pression sur la molette de
réglage du son change le mode de réglage selon la séquence suivante.

Choisissez le niveau souhaité dans chaque des modes en tournant la commande de réglage du son.
La fonction de commande revient au mode de réglage de fréquence/de plage/ de canal au bout de 5 secondes environ.
Autres commandes de réglage du son

Audio de type A et B

Audio de type C
Chaque pression brève sur la touche "MENU" permet de commuter entre les différents modes de commande dans l'ordre suivant.
Audio de type A:

Audio de type B:

Audio de type C:

Choisissez les réglages souhaités pour chacun des modes en tournant la commande de réglage du son.
La fonction de commande revient au mode de réglage de fréquence/de plage/ de canal au bout de 5 secondes environ.
Réglage du VOLUME EN FONCTION DE LA VITESSE
La fonction du CONTROLLE DU VOLUME EN FONCTION DE LA VITESSE ajuste automatiquement le volume en fonction de la vitesse du vehicule. Lorsque le vehicule prend de la vitesse, le volume audio augmente automatiquement pour s'adapter à la vitesse du vehicule: ceci create un environnement d'écoute agréable, même en cas d'amplification des bruits liés à la conduite. Il est possible de régler l'ampleur de cette variation automatique du volume, de OFF à 2. Le système est régle sur OFF par défaut.
Réglage du BIP
Il est possible d'activer ou de désactiver le bip (son de fonctionnement) émis lors de
l'actionnement du système audio. Ce bip est activé par défaut.
Réglage SRS CS Auto (audio de type B)
Il est possible d'activer ou de désactiver la fonction SRS CS Auto. Lorsqu'elle est activée, "C" s'affiche à l'écran.
REMARQUE
La fonction SRS CS Auto create un son surround équivalent à 5.1 canaux à l'aide des 10 haut-parleurs installés dans le vehicule.
Fonctionnalités SRS CS Auto:
1) Son en provenance des haut-parleurs de montants de portieres, audibles au niveau des oreilles (effet SRS FOCUS intégré).
2) Basses ultra riches, pouvant etre obtenues depuis des haut-parleurs de montants de portieres standard (effet SRS TruBass integre).
3) Le son surround peut être obtenu à partir de sources stéreo à 2 canaux, telles que des fichiers CD, MP3 ou FM (effet SRS Circle Surround Il intégré).
4) La fonction SRS CS Auto peut positionner l'image de canal central au centre du pare-brise du vehicule. Il n'est donc plus nécessaire de disposer d'un haut-parleur central (effets centre fantôme SRS Circle Surroundé Il et SRS
FOCUS intégrés).
Les symboles CS Auto, TruBass, FOCUS, Circle Surround-II, SRS et "() " sont des marques déposées de SRS Labs, Inc.
La technologie "CS AUTO" est intégrée au dispositif sous licence de SRS Labs, Inc.
■ Gamme d'ajustement de chaque mode
| Mode | Plage de niveau (affichage) | Réglage initial | Tournez dans le sens inverse des aiguilles d'une montre | Tournez dans le sens des aiguilles d'une montre | |
| Volume | Réglage de volume | 0 à 40 | 15 | Pour baisser le volume | Pour monter le volume |
| Réglage du volume auxiliaire (AUX)* | 0 à 40 | 15 | Pour baisser le volume | Pour monter le volume | |
| Tonalité et ba-lance | Réglage des basses | -8 à +8 | 0 | Pour atténuer les basses | Pour renforcer les basses |
| Réglage des mediums | -8 à +8 | 0 | Pour atténuer les mediums | Pour renforcer les mediums | |
| Réglage des aigus | -8 à +8 | 0 | Pour atténuer les aigus | Pour renforcer les aigus | |
| Balance | L9 à R9 | 0 | Pour atténuer les haut-par-leurs de croite | Pour atténuer les haut-parleurs de gauche | |
| Fondu | R9 à F9 | 0 | Pour atténuer les haut-par-leurs avant | Pour atténuer les haut-parleurs arrêté | |
| Autres réglages | SPEED VOLUME | OFF à 2 | OFF | Pour une variation automa-tique du volume inférieure | Pour une variation automatique du volume supérieure |
| BEEP | OFF à ON | ON | OFF | ON | |
| CS Auto (audio de type B) | OFF à ON | OFF | OFF | ON | |
*: Pour l'équipment audio de type A et B, le volume AUX peut être ajusté uniquement quand un apparéil audio AUX est connecté.
Mode d'emploi de la radio FM/AM
■ Sélection FM/AM

Audio de type A et B

Audio de type C
Pour allumer la radio quand elle est eteinte, appuyez sur la touche FM/AM.
Quand la radio est allumée, appuyez sur la touche "FM/AM" pour faire la seLECTION entre les games d'ondes FM1, FM2, FM3 ou AM.
Par brèves pressions successives sur la touche “FM/AM”, les modes de radio défilent dans l'ordre suivant, en commençant par la dernière gamme de fréquence sélectionnée.

■ Accord
Accord manuel

Audio de type A et B

Audio de type C
Tournez la molette "TUNE/TRACK/CH" dans le sens des aiguilles d'une montre pour augmenter la fréquence, ou dans le sens inverse des aiguilles d'une montre pour la diminuer.
À chaque rotation de la molette, la fréquence change entre 10 kHz en mode AM et 0,2 MHz en mode FM.
Indicateur stéreo
L'indicateur stéreo "ST" s'allume pendant la réception des émissions FM stéreo.
Accord par recherche (SEEK)

Audio de type A et B

Audio de type C
Si vous appuyez brievement sur le cotoé «« ou «» de la touche “SEEK”, l'appareilcherche automatiquement une
station qu'il peut capter et s'accorde sur la première qu'il rencontres. Cette fonction n'est cependant pas opérante avec des signaux radio faibles. Dans ce cas, effectuez manuellement le réglage sur la station souhaitée.
Accord par exploration (SCAN)

Audio de type A et B

500568
Audio de type C
Une pression sur la touche "SCAN" fait commuter la radio en mode de balayage. Dans ce mode, la radio effectue un balayage de la gamme de fréquences jusqu'à la détction d'une station. La fréquence apparait alors à l'affichage et la radio reste accordée sur la station pendant 5 secondes, puis le balayage reprend. Toutle gamme de fréquence est ainsi balayée.
Pour arrêté le balayage (SCAN) et rester à l'écoute du canal affché, appuyez de nouveau sur la touche "SCAN".
L'accord automatique peut ne pas fonctionner correctement si le signal reçu est faible en raison de l'éloignement de l'émetteur, ou en raison du relief ou de la présence de grands immeubles.
Réglage de groupe PTY (type de programme) (pour réception FM uniquement)

Audio de type A et B

Audio de type C
Appuyez sur la touche "PTY/CAT" pour
passer en mode de selection PTY. Ceci entraine l'affichage du groupe PTY en cours d'écoute pendant 10 secondes. En mode de selection PTY, "PTY" s'affiche à l'écran.
Sélection de groupe PTY (type de programme)

Audio de type A et B

Audio de type C
En mode de seLECTION PTY, appuyez sur la touche "FOLDER/PTY/CAT" "▲" ou "▼" pour passer d'un groupe PTY à l'autre. Une pression sur "▲" permet de passer au groupe PTY suivant. Une pression sur "▼" permet de passer au groupe PTY précédent.
Ceci modifie uniquement l'affichage. La station en cours de réception reste la même.

Recherche dans le groupe PTY (type de programme)

Audio de type A et B
Audio de type C
En mode de selection PTY, une fois le groupe PTY souhaïte sélectionné, ap-
puyez sur la touche "SEEK" ">>" ou "..." pour effectuer une recherche au sein de ce groupe PTY.
Appuyez sur “>>” pour effectuer une recherche croissant. Appuyez sur “<” pour effectuer une recherche décroissant.
La fonction de commande revient au mode normal au bout de 10 secondes environ.
■ Affichage PS (nom de service programme) et RT (texte radio)

Audio de type A et B

500554
Audio de type C
Si les indications PS (nom de service programme) et/ou RT (texte radio) sont disponibles, une pression sur la touche "TEXT" fait commuter les indications PS, RT et de fréquence sur l'écran. "PS" est réglé par défaut.
REMARQUE
- L'indication PS peut composer 8 caractères maximum.
- L'indication RT peut composerter 64 caractères maximum.
- En cas d'indication RT supérieure ou égale à 13 caractères, maintenez la touche "TEXT" enforcé pendant au moins 0,5 seconde pour changer de page.
■ Préroglage des stations

Touches de préselection (audio de type A et B)

Touches de préselection (audio de type C)
Comment prérégler des stations
- Appuyez sur la touche "FM/AM" pour selectionner la réception FM1, FM2, FM3 ou AM.
- Appuyez sur le côte «« ou «» de la touche “SEEK” pour faire l'accord manuellement jusqu'à l'affichage de la fréquence de la station souhaïée.
- Appuyez sur une des touches de prééglage pendant plus de 1,5 seconde pour memoriser la fréquence. Si la pression sur la touche dure moins de 1,5 seconde, la selection précédente reste en mémoire.
REMARQUE
- Lorsque l'alimentation electrique de la radio est interrompue (retrait de la radio, batterie débranchée pour l'entretien, etc.), la mémoire des touches de préréglage s'efface entièrement. Le cas échéant, il faut regler à nouveau les touches de préréglage.
- Si on place un téléphone cellulaire à proximé de la radio, cela peut entrainer des parasites dans la réception radio pendant que le téléphone cellulaire recoit des appels. Ces parasites ne sont pas signe de défectuosité de la radio.
Sélection d'une station prérégée
Une fois qu'une station a ete memoriseesous une touche de preréglage, il youssuffit d'appuyer sur cette touche pourpasser a l'ecoute de la station. Youspouvez prerégler un maximum de sixstations pour chacune des gammes d'ondes AM,FM1,FM2 et FM3.
Mode d'emploi de la radio satellite (selon modèles)
Pour receivevoir la radio satellite, il est nécessaire d'inverter le récepteur satellite d'origine SUBARU (en option) et d'étabir un contrat. Pour les détails, veuillez contacter vous concessionnaire SUBARU.
Réception de la radio satellite XM^TM (États-Unis uniquement)
X M^TM est un service radio par satellite continental basé aux États-Unis, incluant de la musique, des informations, du sport, des débats et des programmes pour enfants. X M^TM offre un son de qualite digitale et des informations textuelles, incluant les titres de chansons et noms d'artistes. La reception des services X M^TM est subordonnée au paiement d'un abonnement. Pour plus d'informations, contactez X M^TM à
www.xmradio.com ou appelez le 1-800XM-RADIO (1-800-967-2346).
La radio satellite Sirius est une innovation réçente qui permet à l'auditeur de profiter de la qualité du son numérique avec une
grande variété de stations.
L'utilisation d'une radio satellite (Sirius) nécessite un accordeur de fréquence (tuner), une antenné et un contrat de service. Pour de plus amples détails, veuillez contacter votre concessionnaire SUBARU ou visitez le site de la radio satellite Sirius à www.sirius.com, ou appelez le 1-888-539-SIRIUS (7474) pour plus d'informations. Sirius, le logo Sirius orné du chien, les noms de canaux et logos sont des marques déposées de SIRIUS Satellite Radio Inc.
Réception de radio satellite
Les signaux de radio satellite sont mistré reçus dans des zones dégagées, en plein air. Dans des endroits pourvus d'immebres hauts, d'arbres, de tunnels ou autres structures susceptibles de perturber les signaux en provenance du satellite, il peut se produit des coupures de signaux. D'autres conditions peuvent entraîner une perte de signal telles la conduite pres d'un mur, sur une corniche ou en pente abrupte, sur les voies inférieures d'une route à niveaux multiples ou à l'intérieur d'un garage.
Afin de réduire ces cas, les opérateurs de radio satellite ont installé des répétableurs au sol dans les zones fortement feuplées. Vous risquez cependant de connaître des
problèmes de réception dans certaines régions.
Conseils d'utilisation pour la reception de la radio satellite XM^TM avec l'antenne du pare-brise (Etats-Unis uniquement — selon modèles)

Pour certains modèles, une antenné radio par satellite XMTM est montée sur le coin supérieur droit du pare-brise.
Le récepteur radio par satellite XM^TM monté sur votre vehicule reçoit les signaux nécessaires de deux satellites spécialement concus, placés en orbite géostationnaire au-dessus de l'équateur. L'un des satellites couvre l'Orient, l'autre l'Occident. Ils envoient tous deux des signaux vers le nord. Ces signaux sont ensuite relayés à travers la zone de
réception de radio par un réseau de stations de relais au sol. Les signaux radio par satellite sont transmis en tant que signaux "en visibilité directe". Les signaux en visibilité directe peuvent être bloqués par des obstacles tels que des immeubles, mais le réseau de stations de relais assure la couverture des signaux en zone urbaine.
Il est possible que vous rencontres des problèmes de réception de signaux radio par satellite XM^TM dans les situations suivantes.
- Si vous vous dirigez vers le nord, en zone littorale
Comme l'antenne radio par satellite est située sur le pare-brise, les signaux viennent du sud, et peuvent ne pas etre captés par I'antenne dans certaines circonstances lorsque vous vous dirigez vers le nord.

- Si vous vous trouvez dans un tunnel ou sur un parking couvert
- Si vous vous trouvez sous le niveau supérieur d'une route à plusieurs niveaux
- Si vous vous trouvez sous un pont
- Si vous vous trouvez proche d'un vehicule de grande taille (poids lourd ou autobus, par exemple) bloquant le signal
- Si vous vous trouvez dans une vallee entourée par des collines ou des montagnes bloquant les signaux en provenance du sud
- Si vous vous trouvez sur une route de montagne, avec des hauteurs vers le sud

- Si vous vous trouvez dans une zone avec des arbres hauts de 10m ou plus bloquant le signal, par exemple, sur une route traversant une forêt dense
- Le signal peut s'affaïblir dans certaines zones qui ne sont pas couvertes par le réseau de stations de relais.
Notez bien que dans certaines autres circonstances imprévues, il est également possible que vous rencontres des difficultés de réception des signaux radio par satellite XM™.
■ Afficher le code d'identificaiton du tuner de la radio satellite
Lorsque you activez la radio satellite, ayez avec you le code d'identification du tuner de la radio satellite, car chaque tuner est en effet identifié par son code d'identification unique.
Le code d'identification de la radio satellite est nécessaire pour activer la radio satellite et bénéficier du service clientèle.
Le code d'identification de la radio satellite peut etre lu sur l'affichage audio en reglant le canal sur "0".
Tournez la molette "TUNE/TRACK/CH" de manière à seLECTIONner un canal de radio satellite.
REMARQUE
Pour les systèmes Sirius, faites passer l'affichage à un mode d'affichage autre que le numero de canal une fois l'opération ci-dessus effectuee.
■ Sélection de bande

Audio de type A et B

Audio de type C
Pour allumer la radio quand elle est eteinte, appuyez sur la touche "SAT".
Quand la radio est allumée, appuyez sur
la touche "SAT" pour faire la seLECTION entre les games d'ondes SAT1, SAT2 ou SAT3.
■ Sélection de canal et de catégorie
Sélection des canaux

Audio de type A et B

Audio de type C
Tournez le bouton "TUNE/TRACK/CH" dans le sens des aiguilles d'une montre pour selectionner le canal suivant, ou dans le sens inverse des aiguilles d'une montre pour selectionner le canal precedent.
Sélection de canal par saut

Audio de type A et B

Audio de type C
En mode SAT, maintenez la touche "SEEK" "«' ou "»" enforcée pour passer en mode de seLECTION de canal.
Appuyez sur la touche "SEEK"▶ pour avancer de 10 canaux en même temps.
Appuyez sur la touche "▲" pour reculer de 10 canaux en même temps.
Sélection des catégories

Audio de type A et B

Audio de type C
Pour activer le mode de recherche de catégorie, appuyez le bouton "PTY/CAT". Pour désactiver le mode de recherche de catégorie, appuyez à nouveau le bouton "PTY/CAT".

Audio de type A et B

Audio de type C
En mode de recherche de catégorie, appuyez sur le bouton "FOLDER/PTY/ CAT" "▲" pour passer à la catégorie suivante. Une pression sur "▼" permet
de passer à la catégorie précédente.
Une fois une catégorie sélectionnée, tournez la molette "TUNE/TRACK/CH" pour selectionner un canal au sein de cette catégorie.
La fonction de commande revient au mode normal au bout de 10 secondes environ.

Balayage des canaux
Audio de type A et B

Audio de type C
Appuyez sur la touche "SCAN" pourmettre la radio en mode de balayage (SCAN). Dans ce mode, la radio effectue un balayage de la gamme de fréquences au sein de la catégorie sélectionnée jusqu'à la rencontres d'une station. Le numero de canal s'affiche et la radio s'arrête sur la station pendant 5 secondes, puis le balayage reprend. Toutte la gamme de fréquences est ainsi balayée du bas vers le haut.
Pour arrêter le balayage d'accord automatique (SCAN) et rester à l'écoute du canal affché, appuyez de nouveau sur la touche "SCAN".
■ Préroglage des canaux

Touches de préselection (audio de type A et B)

Touches de préselection (audio de type C)
Prérglage des canaux
- Appuyez sur la touche "SAT" pour selectionner la reception SAT1, SAT2 ou SAT3.
- Sélectionnez le canal souhaité.
- Appuyez sur une des touches de préréglage pendant plus de 1,5 seconde pour memoriser le canal. Si la pression sur la touche dure moins de 1,5 seconde, la sélection precedente reste en mémoire.
REMARQUE
Lorsque l'alimentation electrique de la radio est interrompue (retrait de la radio, batterie débranchée pour l'entretien, etc.), la mémoire des touches de prépréglage s'efface entièrement. Le cas échéant, il faut régler à nouveau les touches de prépréglage.
Selection de canaux préreglés
Une fois qu'un canal a ete associé à une touche de preréglage, il vous suffit d'appuyer sur cette touche pour passer à l'ecoute du canal correspondant. Vous pouvez prerégler un maximum de six stations pour chacun des canaux SAT1, SAT2 et SAT3.
■ Sélection de l'affichage

Audio de type A et B

Audio de type C
Appuyez sur la touche "TEXT" lors de la réception de la radio satellite pour modifier l'affichage comme suit.

Mode d'emploi du lecteur CD
REMARQUE
- Introduisez toujours le disque avec l'étiquette tournée vers le haut. Si le disque est introduit avec l'étiquette vers le bas, le lecteur affiche "CHECK DISC" (verifier disque). Reportez-vous à "Lorsque les messages suivants s'affichent" 5· 34
- À l'introduction d'un disque pendant l'écoute de la radio, la lecture du disque commence et la radio est interrompue.
- Àpres lecture de la dernière plage du disque, le lecteur reprend automatiquement la lecture à la plage 1 et commence automatiquement.
- Le lecteur est unconçu pour dire les CD-R de musique et les CD-RW de musique, mais il ne peut pas dire tous les formats existants.
- Certains CD (par exemple les CD de 8 cm/3 inch) ne sont pas lisibles, et seront immédiatement ejectés si introduits.
- Les fichiers WMA/AAC protégés par le droit d'auteur ne sont pas lus par le système. Le lecteur passera automatiquement au fichier suivant (plage).
- Les CD qui peuvent être produits s'accompagnent des limitations sui
vantes.
- Nombre maximum de dossiers: 255
- Nombre maximum de fichiers dans un dossier: 255
- Nombre maximum de fichiers sur un CD: 510
Fichiers lisibles
MP3:
- Compatible MPEG1, 2 et 2.5 Layer3
Taux d'échantillonnage (kHz): 48, 44, 1, 32, 24, 22,05, 16, 12, 11,025, 8 - Débit binaire (kbps): 8 à 320
- Prend en charge les débits binaires variables
WMA:
- Compatible Windows Media Audio 9
- Débit binaire (kbps): 32 à 192
Comment insérer un CD (type A et C)
Saisissez le disque en glissant un doigt dans l'orifice central et en retenant le bord du disque avec un autre doigt, puis introduisez-le dans la fente (avec l'étiquette en haut). Le lecteur met automatiquement le disque en position.
REMARQUE
N'INTRODUISEZ JAMAIS PLUS D'UN DISQUE À LA FOIS DANS LA FENTE D'INTRODUCTION DU DISQUE.
Pour introduire un CD (type B)

- Exercez une brève pression sur la touche "LOAD". S'il y a un emplacement
libre dans le chargeur, l'indicateur de nombre de disque correspondant à la position libre clignote.
Si,aucun des temoins ne clignote,ça la signifie qu'il n'y a plus de place dans le chargeur.
-
Lorsque l'indicateur "LOAD" s'allume, insérez le disque. Une fois le disque inséré, l'indicateur "LOAD" s'éteint. Il est automatiquement attiré dans l'appareil et la lecture commence à la première plage du disque.
-
Pour introduire plusieurs disques à la suite, répétez les opérations 1 et 2. Le chargeur se remplit dans l'ordre croissant des numérodes de position de disque.
Sieldom disque n'est introduit dans les 15 secondes qui suivent la pression sur la touche "LOAD", le lecteur commence à dire la première plage du dernier disque que vous avez introduit.
- Les témoins de disque allumés en continu correspondant aux positions déjà occupées par un disque dans le chargeur.
- Pendant que le lecteur est en mode de chargement, si vous appuyez sur le bouton "FM/AM" ou "SAT", le lecteur entre en mode de veille. Dans ce cas, appuyez sur le bouton "CD/AUX" pour commencer la lecture.
Introduction d'un disque dans la position souhaitatione
- Exercez une brève pression sur la touche "LOAD". S'il y a un emplacement libre dans le chargeur, l'indicateur de numéro de disque correspondant à la position libre clignote.
Les témoins allumés en continu correspondant aux positions déjà occupées par un disque dans le chargeur.

Boutons de selection de disque
- Appuyez sur la touche de seLECTION de disque correspondant à la position où vous pouze introduire le disque.
- Lorsque l'indicateur "LOAD" s'allume, insérez le disque. Une fois le disque inséré, l'indicateur "LOAD" s'éteint. Le disque se charge automatiquement dans
l'appareil, et le lecteur commence à生存 la première plage du disque.
- Si vous poulez introduire un autre disque, repreneze la marche à suivre à l'objet 1.
Sieldom disque n'est introduit dans les 15 secondes qui suivent la pression sur la touche "LOAD", le lecteur commence à dire la première plage du dernier disque que vous avez introduit.
- Pendant que le lecteur est en mode de chargement, si vous appuyez sur le bouton "FM/AM" ou "SAT", le lecteur entre en mode de veille. Dans ce cas, appuyez sur le bouton "CD/AUX" pour commencer la lecture.
Pour replir le chargeur entierement (mode de chargement integral)
- Si vous maintainez la pression sur la touche "LOAD" pendant plus de 1,5 seconde, le lecteur émet un "bip" et entre en mode de chargement intégral.
- Quand l'indicateur de numero de disque et le témoin "ALL LOAD" s'allument, introduizez un disque dans les 15 secondes qui suivent. Si le disque a été correctement introduit pendant ce délambda, l'indicateur de numero de disque cesse de clignoter et reste allumé.
- Quand le chargement du disque est
terminé, l'indicateur de numéro de disque suivant se met à clignoter. Répétez l'opération 2.
- Une fois le chargeur entiennent rempli par repetition des operations 2 et 3, le lecteur commence à dire les disques à partir du premier disque introduit.
Si vous n'introduisez pas de disque dans les 15 secondes, le mode de chargement intégral se désactive et le lecteur commence à生存 le premier disque introduit.
Pourécouter un CD
Quand il n'y a pas de CD dans le lecteur
Introduisez correctement un CD. Reportez-vous à “Comment insérer un CD (type A et C)” 5-24 / “Pour introduire un CD (type B)” 5-24.
Lorsqu'un CD est introduit, le lecteur commence à le生存 à partir de la première plage.
Si le CD est déjà dans le lecteur (type A)

Appuyez sur le bouton "CD/AUX" et la lecture commence.
Quand il y a déjà des CD dans le chargeur (type B)

Boutons de selection de disque
Appuyez sur la touche de sélection de disque correspondant au disque souhaité parmi ceux dont le témoin de numéro de disque est allumé. Le lecteur commence à dire le CD besoin à partir de la première plage.
Si le lecteur ne peut pas dire le disque charged, il l'ejcte et affiche le message "CHECK DISC" (verifier disque).
Si le CD est déjà dans le lecteur (type C)

Chaque pression brève sur la touche "CD/AUX" permet de commuter entre les différents modes dans l'ordre suivant.

Lorsque le mode CD est selectionné, la lecture commence.
Pour écouter une plage depuis le début
Plage suivante

Audio de type A et B

Audio de type C
Pour passer au début de la plage/du fichier (plage) suivant, tournez le bouton "TUNE/TRACK/CH" dans le sens des aiguilles d'une montre. À chaque pression sur la molette, le numéro de plage/fichier (plage) affché augmente.
REMARQUE
Dans un dossier MP3, WMA ou AAC (audio de type C), sauter au-delà de la dernière plage/fichier (plage) fait revenir au début de la première plage/fichier (plage) de ce dossier.
Plage precedente

Audio de type A et B

Audio de type C
Pour passer au début de la plage/du fichier (plage) en cours d'écoute, tournez le bouton "TUNE/TRACK/CH" dans le sens inverse des aiguilles d'une montre. À chaque pression sur la molette, le nombre de plage/fichier (plage) affché diminue.
REMARQUE
Dans un dossier MP3, WMA ou AAC (audio de type C), sauter au-delà de la première plage/fichier (plage) vous emmenera à la dernière plage/fichier (plage) de ce dossier.
Avance et retour rapide
Avance rapide


Audio de type A et B
Audio de type C
Pour effectuer une avance rapide sur le
disque/dossier, exercez une pression prolongée du côté "▶" de la touche "SEEK". Pour arrêtier l'avance rapide, relâchéz la touche.
REMARQUE
En avance rapide, si vous dépassez la fin de la dernière plage/fichier (plage), l'avance rapide cette et le lecteur commence à生存 la première plage/ fichier (plage). Dans un dossier MP3, WMA ou AAC (audio de type C), le lecteur commence la lecture à la première plage/fichier (plage) du dossier actuel.
Retour rapide

Audio de type A et B

Audio de type C
Pour effectuer un retour rapide sur le disque/dossier, exercez une pression prolongée du côte «« de la touche “SEEK”. Pour arrêté le retour rapide, relâchez la touche.
REMARQUE
En retour rapide, si vousatteignez le début de la première plage/fichier (plage),le retour rapide)cesse et la lecture commence a partir de ce point. Dans un dossier MP3,WMA ou AAC (audio de type C),le lecteur commence la lecture à la première plage/fichier (plage) du dossier actuel.
Lecture repétitive

Audio de type A et B

Audio de type C
Pour répéter une plage/fichier (plage), exercez une brève pression sur la touche "RPT/RDM" pendant la lecture de cette
plage/fichier (plage).
Chaque brève pression sur la touche provoque un changement de mode dans l'ordre suivant.
Audio de type A et C:

*: Equipement audio de type C
Audio de type B:

REMARQUE
- L'indication "RPT" indique la lecture repétée d'une seule plage. La plage en cours de lecture sera donc repétée.
- L'indication "F-RPT" indique la lecture repétée d'un dossier. Toutes les plages du dossier en cours seront donc repétées. Cette fonction est disponible lors de la lecture d'une plage au format MP3/WMA/AAC.
- L'indication "D-RPT" indique la lecture repétée d'un disque. Toutes les plages du CD seront donc repétées. Cette fonction est disponible sur les équipements audio de type B uniquement.
Pour annuler le mode de répétition d'une plage/fichier (plage), exercez une brève pression sur le bouton "RPT/RDM" et Sélectionnez CANCEL. L'indication "RPT" disparaît de l'affichage et le lecteur reprend le mode de lecture normale.
REMARQUE
Le mode de répétition de la plage sera automatiquement annulé si vous effectuez une des opérations suivantes.
- Appuyez sur la touche “
- Appuyez sur la touche de sélection de disque (audio de type B)
- Appuyez sur la touche "SCAN"
- Appuyez sur la touche "LOAD" lorsqu'il y a des espaces libres dans le chargeur
Lecture aléatoire

Audio de type A et B

Audio de type C
Pour une lecture aléatoire de plage/fichier (s), appuyez sur la touche "RPT/RDM" pendant au moins 0,5 seconde lors de la
lecture de la plage/du fichier.
Chaque pression sur la touche provoque un changement de mode dans l'ordre suivant.
Audio de type A et B:

Audio de type C:

REMARQUE
- L'indication "RDM" indique la lecture aléatoire des plages. Les plages du CD sont donc répetées de manière aléatoire. Cette fonction est disponible lors de la lecture de fichiers autres que les CD au format MP3/WMA/AAC.
- L'indication "F-RDM" indique la lecture aléatoire du dossier. Les plages du dossier sont donc répetées de manière aléatoire. Cette fonction est disponible lors de la lecture d'une plage au format MP3/WMA/AAC.
- L'indication "D-RDM" indique la lecture aléatoire d'un disque. Toutes les
plages du CD seront donc repétées de manière aléatoire. Cette fonction est disponible lors de la lecture d'une plage au format MP3/WMA.
Pour annuler le mode de lecture aléatoire, appuyez à nouveau sur la touche “RPT/RDM”, et sélectionnez CANCEL.
L'indication "RDM" disparaît de l'affichage et le lecteur reprend le mode de lecture normale.
REMARQUE
Le mode de lecture aléatoire sera automatiquement annulé si vous effectuez une des opérations suivantes.
- Appuyez sur la touche “ ”
- Appuyez sur la touche de sélection de disque (audio de type B)
- Appuyez sur la touche "SCAN"
- Appuyez sur la touche "LOAD" lorsqu'il y a des espaces libres dans le chargeur
Balayage


Audio de type A et B
Audio de type C
Le mode d'exploration du disque permet d'écouter successivement les 10 premières secondes de chaque plage/fichier.
Appuyez sur la touche "SCAN" pour explorer le disque en allant vers la fin à partir de la plage/fichier(s) en cours d'écoute.
Après avoir exploré toutes les plages/ fichiers que contient le disque/dossier, le lecteur reprend le mode de lecture normale. Pourmettre fin à l'exploration du disque,appuyez à nouveau sur la touche "SCAN".
REMARQUE
Le mode de balayage du disque est annulé si vous effectuez une des opérations suivantes.
- Appuyez sur le bouton "RPT/RDM"
- Tournez la molette "TUNE/TRACK/CH"
- Appuyez sur la touche "FOLDER/PTY/CAT" du côté "▼" ou du côté "▲"
- Appuyez sur la touche “ ”
- Appuyez sur la touche de sélection de disque
- Sélectionnez le mode radio ou auxiliaire (AUX)
- Appuyez sur la touche "LOAD" lorsqu'il y a des espaces libres dans le chargeur
- Appuyez sur la touche "PTY/CAT"
- Mettez l'équipement audio hors tension
- Mettez le contacteur d'allumage en
position "LOCK"
■ Sélection de l'affichage


Audio de type A et B
Audio de type C
Si vous appuyez sur la touche "TEXT" pendant la lecture, les indications à l'affchage changent dans l'ordre suivant.
Pour CD-DA:

Pour MP3/WMA/AAC:

Pour iPod:

1: Pour équipement audio de type C, "ARTIST TITLE" s'affiche.
2: Pour équipement audio de type C, "FOLDER TITLE" s'affiche.
*3: Pour équipement audio de type C, "FILE TITLE" s'affiche.
Défilament de page (titre du plage/ dossier)
Si vous appuyez à nouveau sur la touche "TEXT" pendant au moins 0,5 seconde, le titre défile, vous permettant de le dire dans sa totalité.
REMARQUE
L'écran est unconqu pour afficher des titres pouvant contir jusqu'à 24 caractères.
- Si aucune opération n'est effectuée pendant 10 secondes, l'écran qui s'est affché avant d'appuyer sur la touche "TEXT" pendant plus de 0,5 seconde apparaitra.
Choix d'un dossier

Audio de type A et B

Audio de type C
Exercez une brève pression sur le côte "▲" de la touche "FOLDER/PTY/CAT" pour sélectionner le dossier suivant. Exercez une brève pression sur le côte "▼" de la touche pour revenir au dossier précédent. Pour l'équipment audio de type A et B, le titre du dossier apparait à l'affichage à chaque pression sur une de ces touches.
REMARQUE
- La seLECTION d'un dossier n'est possible de cette manière que parmi les dossiers contenus sur un même disque.
- Quand on tente ainsi de passer au dossier suivant ou de revenir au dossier précédent, seuils les dossiers MP3/
WMA/AAC sont reconnus. S'il n'y a pas de dossier de ce type sur le disque, une pression sur le cote "A" ou "V" de la touche "FOLDER/PTY/CAT" active la lecture à partir de la première plage/ du premier fjichier (plage).
Pour ejecter le CD du lecteur (type A et C)

Pour éjecter le disque pendant la lecture, ainsi que quand le lecteur est à l'arrêt, appuyez sur la touche “ ”. Le disque choisi est éjecté.
REMARQUE
-
Evitez de rouler en laissant le disque éjecté dans la fente, car les vibrations risquent de le faire tomber.
-
Si on laïsse le disque éjecté dans la fente pendant plus de 15 secondes après la mise du contacteur d'allumage en position "OFF", la fonction de protection du disque réintroduira automatiquement le disque dans le lecteur. Le disque n'est pas joué dans ce cas.
Pour éjecter les CD du lecteur (type B)
Ejection d'un CD du lecteur
Parmi les disques introduits, il est possible d'en selectionner et d'en ejecter un seul.

Boutons de selection de disque
- Pour indiquer quel disque vous pouze éjecter, utilisez la touche de selection de disque correspondante.

500430
- Exercez une brève pression sur la touche “▲”. Le disqueChoisi est éjecté. L'indicateur de numero de disque clignote pendant ce temps. Lorsque vous retirez le disque éjecté, l'indicateur de numero de disque s'éteint.
Pour retirer plusieurs disques à la suite, repêze les opérations 1 et 2.
Éjection de tous les disques du lecteur (mode d'éjection intégrale)

- Si vous exercez une pression prolongée sur la touche “▲”, le lecteur émet un “bip” et entre en mode d'éjection de tous les disques. À ce moment, l'indicateur de nombre de disque et le témoin “ALL EJECT” clignotent.
- Retirez le disque éjecté. Les disques contenus dans le chargeur sont éjectés les uns après les autres. Si vous ne retirez pas un disque après son éjection, le mode "d'éjection intégrale" est annulé.
REMARQUE
-
Evitez de rouler en laissant le disque éjecté dans la fente, car les vibrations risquent de le faire tomber.
-
Si vous appuyez sur la touche "▲" pendant que le lecteur est en mode d'éjection de tous les disques, ce mode prendra fin quand le disque en cours d'éjection aura été ejecté.
- Si vous appuyez sur le bouton "CD/AUX" ou "LOAD" pendant que le lecteur est en mode d'éjection de tous les disques, le lecteur réintroduit le disque qu'il vient d' ejecter et commence à le litre.
Lorsque les messages suivants s'affichent
Si l'un des messages s'affiche lors du fonctionnement du lecteur de CD, déterminez la cause à l'aide des informations suivantes. Si un de ces messages ne peut être effacé contactez un concessionnaire SUBARU.
En cas d'affichage du message "PUSH EJECT"
Appuyez sur la touche d'éjection afin de retarder le disque. Vérifiez que le disque ne présente pas de dommages ou de déformation, et qu'il est d'un type approprié. Ne tentez pas d'extraire le disque par la force. Les CD de petite taille (c'est à dire CD de 8 cm/3 inch) ne convennent pas, ils sont immeditatement éjectés en cas d'insertion, et ce message s'affiche. Si le disque ne peut être extrait ou si ce message d'erreur
reste affché,contactez un concessionnaire SUBARU.
En cas d'affichage du message "CHECK DISC"
Appuyez sur la touche d'éjection afin desteroler les disques. Vérifiez l'absence de dommages ou de déformation sur les disques, et assurez-vous que le disque est inséré correctement. Ce message risque d'apparaître quand vous utilise des disques CD-RW. Vérifiez que le type du disque et le format des données sont compatibles (les CD de 8 cm/3 inch ne sont pas pris en charge) Ce lecteur ne lit que les formats de données MP3, WMA et AAC (équipement audio de type C). Si le disque ne peut être extrait ou si ce message d'erreur reste affché, contactez un concessionnaire SUBARU.
Prise d'entrée auxiliaire (selon modèles)

Prise d'entrée AUX de type A

Prise d'entrée AUX de type B

Prise d'entrée AUX de type C

Prise d'entrée AUX de type D
En le raccordant au vehicule, il est possible d'ecouter tout équipement audio disponible dans le commerce (tel qu'un lecteur audio portatif) via les haut-parleurs
du vehicule.
Une prise d'entrée auxiliaire (AUX) est prévue dans la console centrale. Un mini connecteur à broches stéreo (3,50) peut être raccordé à cette prise. La cable de connexion est disponible aux magasins d'appareil électrique ou similaires.
Pour utiliser la prise d'entrée AUX:
- Connectez un lecteur audio portatif à la prise d'entrée AUX.

Audio de type A et B
500424

Audio de type C
- Appuyez sur la touche de seLECTION d'entrée AUX "CD/AUX" du tableau des commandes audio pour activer l'entrée de dispositif audio auxiliaire.
- Commencez la lecture avec le lecteur audio portatif. Reportez-vous au mode d'emploi du lecteur audio portatif.
REMARQUE
- Les prises AUX des modèles équi-pés du système de navigation SUBARU d'origine sont de type RCA. Pour les détails, reportez-vous au supplément du Manuel du conducteurtraitant du système de navigation.
- Le son émis par le lecteur audio portatif n'est pas très élevé, et celui
émis par les haut-parleurs connectés à l'équipement audio du vehicule est très faible. Si vous augmentez le volume du système audio, le son émis est plus fort. Cependant, lorsque vous changez d'un lecteur audio portatif à un autre, le niveau de son à travers les hautparleurs du vehicule pourrait être sensiblement plus fort comparé au dispositif précédent. Pour éviter une grande différence de volume, baissez le volumé lorsque vous changez de lecteur audio portatif.
- Dans certains cas, lorsque le volume du lecteur audio portatif est bas, il peut arriver que le son devienne médiocre lorsque vous augmentez le volume du système audio du vehicule. Le cas échéant, réglez le volume sonore du lecteur audio portatif.
- Dans certains cas, des parasites peuvent se produit en raison d'une mauvaise connexion entre le lecteur portatif et le système audio. Essayez de nettoyer le cable jack de la stéreo ainsi que la prise audio.
- Si le bruit n'est pas réduit, vérifie toute éventuelle déconnexion de fil ou autres anomalies du lecteur portatif.
Précautions à observer pour la manipulation des disques compacts
Utilisez uniquement les Compact Discs (CD, CD-R et CD-RW) portant la marque suivante. La lecture de certains disques compacts est également impossible.

DIGITAL AUDIO

Recordable

ReWritable
500090


DualDisc
500396
- Vous ne pouvez pas utiliser des disques DualDisc avec ce lecteur de CD. Si vous introduisez un DualDisc dans le lecteur, il peut arriver que le disque ne puisse être ejecté et que le fonctionnement du lecteur en soit perturbé.
- Par temps froid et/ou plouvieux, il arrive que de la condensation de buée à l'intérieur du lecteur de CD en empêche le fonctionnement normal. Le cas échéant, ejectez le CD et attendez que le lecteur ait séché.
- Lorsque le lecteur est soumis à de fortes vibrations (par exemple, lorsque le vehicule roule sur une chaussée irregulière), il arrive que cela produit des sauts de lecture.
- Pour sorting un disque de son étui, saississez le disque en deux points oppo
sés sur le bord et appuyez au centre de l'étui. Evitez de toucher la surface gravée du disque car toute rayure ou saleté déposée sur le disque peut nuire à la qualité du son produit. Ne touche pas la surface gravée du disque.
Utilisez un disque propre si possible. Pour éliminer les saletés ou dépôts sur le disque, essuyez avec un chiffon doux sec du centre vers la périhérie du disque. N'utilisezers jamais de chiffons reches, ni de produits tels que du diluant à peinture, de la benzine, de l'alcool, etc.
- N'utilisez pas un disque rayé, déformé ou fendu. Abstenez-vous également d'utiliser un disque de format ou forme non-standard (par exemple, disque en forme de cœur, etc.). Il pourrait en résultat un mauvais fonctionnement de l'appareil ou d'autres problèmes.
- Les disques ne supportent pas la chaleur. Veillez à ne pas les exposer au soleil et à ne pas les placer à proximé d'appareils de chauffage, ou dans un vehicule stationné au soleil ou à la chaleur.
- Insérez les disques un par un dans le lecteur CD (audio de type B).








500034
Utilisation d'une clé USB/ d'un iPod® (audio de type C)
Fichiers lisibles
Reportez-vous à "Fichiers lisibles" 5-24.
REMARQUE
- Les fichiers MP3/WMA/AAC protégés par des droits d'auteur ne seront pas lus par le système. Le lecteur passera automatiquement au fichier suivant (plage).
- Les formats WMA9 Lossless, WMA9 Professional et WMA9 Voice ne peuvent pas etre lus.
Clé USB compatible
Il est possible de connecter une clé USB. Les clés USB qui peuvent être lues s'accompagnent des limitations suivantes.
Maximum de couches repertoire: 8 couches (y compris la RACINE)
- Nombre maximum de fichiers dans un dossier: 255
- Nombre maximum de dossiers: 512 (y compris la RACINE)
- Nombre maximum de fichiers sur la clé: 130.560
REMARQUE
- Les clés USB de classe HUB ne peuvent pas etre lues.
- Les clés USC de sous-classe ATAPI ne peuvent pas etre lues.
- Les clés USB 2.0 haut débit ne peuvent pas être lues.
- Une clé USB qui est alimentée par une source extérieure (par exemple un adaptateur secteur) ne peut pas fonctionner.
- Une clé USB qui est connectée au lecteur de carte mémoire ou au lecteur multicarte ne peut pas fonctionner.
Modèles iPod® compatibles
| Modèle | Version du firmware | |
| iPod® | 5G | 1.3 |
| 5.5G | 1.3 | |
| classic 1G | 2.0.4 | |
| classic 2G | 2.0.4 | |
| nano 2G | 1.1.3 | |
| nano 3G | 1.1.3 | |
| nano 4G | 1.0.4 | |
| nano 5G | 1.0.2 | |
| touch 1G | 3.1.2 | |
| touch 2G | 3.1.2 | |
| iPhone® | 1G (GSM) | 3.1.2 |
| 3G | 3.1.2 | |
| 3G S | 3.1.2 | |

ATTENTION
Ne branchez pas un iPod® différent des modèles énumérés plus haut. Ceci pourrait provoquer un dysfonctionnement, voir un incendie selon les circonstances.
REMARQUE
- iPod® est une marque de commerce déposée par Apple Inc.
- Vous étés uniquement autorisé à copier personnellement et à tire du matériel exempt de droits d'auteur ou du matériel qu'il est légalement permis de copier et de tire à l'aide d'un iPod et d'iTunes. Toute infraction aux droits d'auteur est interdite par la loi.
- Pour vérifier la version du firmware d'un iPod®, branchez-le à un ordinateur et consultez le gestionnaire de l'appareil. Pour plus d'informations, reportez-vous au Guide de l'utilisateur qui accompagne l'iPod®
- Pourmettreàjourlefirmwared'un iPod®,rendez-voussurlesiteInternet d'AppleInc.
- En fonction du modele et de la version du firmware d'un iPod®, il peut ne pas fonctionner correctement ou ne pas fonctionner du tout.
■ Branchement d'une clé USB/ d'un iPod®

ATTENTION
- Si les données stockées sur un iPod® sont effacées alors qu'il est branché au système du vehi
culé, les données ne peuvent plus être récapurées.
- Ne rangez pas un iPod dans le vehicule. Si un iPod est abandonné dans le vehicule pendant une longue période, il peut se déformer, se décolorer ou s'abrir sous l'effet de la chaleur.
REMARQUE
- Meme si vous branchez une clé USB ou un iPod®, vous ne pourrez pas la/le dire tant que le bouton “CD/AUX” n'est pas enforcé.
- Un film ne peut pas etre le lorsqu'un iPod est connecté.
- Lorsqu'un iPod est connecté, l'i-Pod ne peut pas fonctionner à l'aide de la commande de l'iPod. Toutefois, les modèles équipés d'un écran tactile peuvent fonctionner.
- Lors de l'utilisation d'un iPod connecté à l'équipement du vehicule, l'ordre des éléments de la liste affché sur l'équipement du vehicule peut différer de celui de l'IPod. Toutefois, ici n'indique pas une anomalie.
- Une batterie d'iPod® qui est branchée à l'équipement du vehicule sera rechargée lorsque le contacteur d'allumage est mis en position “ON” ou
"Acc". Toutefois, l'activation de I'iPod peut'être retardée si la recharge de la batterie de I'iPod est BASSE.
- Si un iPod® ne fonctionne pas après activation, débranche le cable de connexion de l'iPod® et réinitialisez-le. Pour connaître la méthode de réinitialisation, reportez-vous au Guide de l'utilisateur qui accompagne l'iPod®.
- Si un iPod® et le cable de connexion sont mal raccordés, l'IPod® ne peut pas être mis sous tension ou ne sera pas reconnectu par l'équipement du vehicule. Dans ce cas, débranchez le cable de connexion de l'IPod®, puis rebranchez-le.

Sauf STI

STI
La prise USB est située dans la console centrale. Utilisez la prise pour brancher une clé USB / un iPod®.
Procedure de lecture
- Branchez une clé USB / un iPod®

- Appuyez sur le bouton "CD/AUX". Chaque pression brève de la touche modifie le mode selon la série suivante.

*: Uniquement lorsqu'une passerelle multimédia est connectée.
Lorsque le mode USB/iPod est selec-tionné, le lecteur commencerà la lecture de la clé USB / de l'iPod.
REMARQUE
- En fonction du nombre de fichiers sur l'iPod et de la version du firmware, l'iPod peut ne pas s'activer de manière normale ou ne pas fonctionner convenablement.
- Ne débranchez pas la prise d'un iPod pendant que celui-ci fonctionne.
Pour selectionner une plage/ un index depuis le début
Selectionnez une plage/un index de la même manière que pour selectionner une plage lors de la lecture d'un CD. Reportez-vous à “Pour écouter une plage depuis le début” 5-27 pour plus de détails.
Pour sélectionner un chapitre depuis le début lors du branchement de l'iPod®
Pendant la lecture de podcasts ou de livres audio, Sélectionnez un chapitre de la même manière que pour sélectionner une plage lors de la lecture d'un CD. Reportez-vous à “Pour écouter une plage depuis le début” 5-27 pour plus de détails.
Avance et retour rapide
L'avance ou le retour rapide fonctionne de la même manière que pour la lecture d'un CD. Reportez-vous à "Avance et return
rapide"5-28 pour plus de détails.
REMARQUE
Lors du branchement d'un iPod:
- Lorsque la fin d'un index est atteinte en cours d'avance rapide, l'avance rapide se termine et la lecture commence à partir du début de l'index suivant.
Lorsque le début d'un index est atteint en cours de return rapide, le return rapide se termine et la lecture commence a partir du début de l'index.
Lecture répétitive
Lors du branchement d'une clé USB
La répetition fonctionne de la même manière que pour la lecture d'un CD. Reportez-vous à “Lecture répétitive” 5-29 pour plus de détails.
Lors du branchement d'un iPod

500561
Chaque pression brève sur la touche "RPT/RDM" modifie le mode selon la séquence suivante.
ALL RPT SONG RPT
REMARQUE
- L'indication "ALL RPT" fait reférence à la lecture repétée de tous les index sur tout l'iPod®.
- L'indication "SONG RPT" se refère à la lecture repétée d'un même index. L'index actuèlement lu est repété.
Lors de la lecture d'un livre audio, le mode ne change pas meme si vous appuyez sur la touche "RPT/RDM".
Lecture aléatoire

Pour activer la lecture aléatoire de plages/ d'un index/de fichier(s), pressez la touche "RPT/RDM" pendant au moins 0,5 seconde lors de la lecture des plage/index/ fichier.
Chaque pression de la touche modifie le mode selon la séquence suivante.
Lors du branchement d'une clé USB:


REMARQUE
- L'indication "FOLDER RDM" indique la lecture aléatoire des dossiers. Tous les morceaux du dossier sont répétés de façon aléatoire.
- L'indication "ALL RDM" indique la lecture aléatoire de l'ensemble de la clé USB. Tous les morceaux de la clé USB sont répétés de façon aléatoire.
- L'indication "ALBUM RDM" indique la lecture aléatoire de l'album. Tous les index de l'album sont répétés de façon aléatoire.
- L'indication "SONG RDM" indique la lecture aléatoire de l'ensemble de l'i-Pod®. Tous les index de l'iPod® sont répertés de façon aléatoire.
Lorsqu'un iPod est branché, les fichiers sont lus de manière aléatoire par la fonction aléatoire de l'iPod. Par consécut, le fonctionnement de l'i-Pod peut être différent en fonction du modele d'iPod connecté.
Lors de la lecture d'un livre audio ou d'un podcast, le mode ne change pas même si vous appuyez sur la touche "RPT/RDM" pendant au moins 0,5 seconde.
Pour annuler le mode de lecture aléatoire, appuyez sur la touche "RPT/RDM" pendant au moins 0,5 seconde et sélectionnez CANCEL. L'indication "RDM" dispar
raft de l'affichage et le lecteur reprendle mode de lecture normale.
■ SCAN (uniquement lors du branchement d'une clé USB)
Le balayage fonctionne de la même manière que pour la lecture d'un CD. Reportez-vous à “Balayage” 5-31 pour plus de détails.
REMARQUE
Lorsqu'un iPod® est connecté, vous pouvez selectionner le mode SCAN.
■ Sélection de la catégorie (uniquement lors du branchement de l'iPod®)

Lorsque la touche "LIST" est enforcée
pendant moins de 1,5 seconde, le menu de l'iPod® s'affiche.
Chaque fais que vous tournez la molette "TUNE/TRACK/CH" dans le sens des aiguilles d'une montre, la catégorie affchée change dans l'ordre suivant. Chaque fais que vous tournez la molette "TUNE/ TRACK/CH" dans le sens contraire des aiguilles d'une montre, la catégorie affchée change dans l'ordre opposé.

Pour selectionner la catégorie, appuyez sur la molette "TUNE/TRACK/CH". Pour fermer le menu iPod, appuyez sur la touche LIST pendant plus de 1,5 se-. conde. Pour returner a l'ecran precedent, appuyez brievement sur la touche LIST
■ Sélection de l'affichage
Reportez-vous à " Sélection de l'affichage" 5-31.
Défilament de page
Reportez-vous à “Défilament de page (titre du plage/dossier)” 5-32
■ Sélection de dossier (uniquement lors du branchement d'une clé USB)
Reportez-vous à “Choix d'un dossier” 5-32.
REMARQUE
Lorsqu'un iPod est connecté, vous pouvez selectionner un dossier.
En cas d'affichage du message “CHECK DEVICE”
Ce message s'affiche dans les conditions suivantes.
- Lorsqu'il y a un court-circuit dans le bus USB
- Lorsqu'un apparéil ne correspondant pas (par exemple une souris USB) est connecté
- Lorsqu'un iPod® ne correspondant pas est connecté
Lorsqu'un iPod connecté est bloqué
Lorsqu'un problème de transmission se produit -
Lorsqu'un problème de confirmation d'iPod® se produit
-
Lorsqu'une clé USB de classe HUB est connectée
Débranche la clé USB/l'iPod® et vérifie-la/le.
Touches de commande audio (selon modèles)
Ces touches sont situées sur les branches du volant de direction. Elles permettent au conducteur de commander les fonctions audio en gardant les deux mains sur le volant.
Touche MODE

Modèles sans système téléphonique mains libres

Modèle avec système téléphonique mains libres
La touche "MODE" permet la sélection du mode audio souhaité. Par pressions successives sur la touche, les modes défilent dans l'ordre indiqué ci-après:
Audio de type A et B:

Audio de type C:

1: La féquence de la première station écoute dans la gamme d'ondes可以选择 s'affiche.
2: Uniquement s'il y a un CD dans le lecteur.
*3: Uniquement lorsqu l'appareil est connecté.
Modèles avec système téléphonique mains libres
Appuyez sur cette touche pendant plus de 1,5 seconde si vous souhaitez couper instantanément le son.
L'affichage audio indique "MUTE".
Si vous appuyez à nouveau sur la touche pendant plus de 1,5 seconde, le volume sonore d'origine est rétabli, et l'indication "MUTE" disparaît de l'affichage.

Modèles sans système téléphonique mains libres

Modèles avec système téléphonique mains libres
Apreselection du mode radio
Appuyez sur la touche "Λ" ou "√". La radio s'accorde sur la station disponible suivante et reste accordée sur cette station. La fréquence de la station captée apparait à l'affichage audio.
Apreselection du mode CD
Appuyez sur la touche pour sauter dans l'ordre croissant des numeros de plage/fichier (plage). Appuyez sur la touche pour sauter dans l'ordre decroissant des numeros de plage/fichier (plage). Le numero de plage/fichier (plage) apparait a l'affichage du système audio.
Pour les modèles avec système mains libres, appuyez continuèlement sur la
touche “ ” pour sélectionner le dossier suivant. Appuyez continuèlement sur la touche “ ” pour revenir au dossier précédent.
Aprese selection du mode SAT
Appuyez sur la touche “ ” pour sauter dans l'ordre croissant des numéroes de canal. Appuyez sur la touche “ ” pour sauter dans l'ordre décroissant des numéroes de canal.
Le canal en cours d'utilisation est visible sur l'affichage.
Touches de réglage de volume

Modèles sans système téléphonique mains libres

Modèle avec système téléphonique mains libres
Appuyez sur la touche "+" pour augmenter le volume. Appuyez sur la touche "- pour réduire le volume.
Un chiffre indiquant le niveau du volume sonore apparait sur l'affichage audio.
Touche MUTE (modèles sans système téléphonique mains libres)

Appuyez sur la touche "Si vous souhaitez couper instantanément le son. L'affichage audio indique "MUTE".
Si vous appuyez à nouveau sur la touche, le volume sonore d'origine est rétabli, et l'indication "MUTE" disparaît de l'affchage.
Audio Bluetooth® (audio type C)
Cette fonction vous permet de dire des sources audio enregistrées dans des appeareils audio Bluetooth. Il faut enregistrer l'appareil audio Bluetooth dans le système avant de l'utiliser.
Format média
Les apparèils audio Bluetooth® ne peuvent pas être connectés s'ils ne sont pas compatibles avec les profils Bluetooth® suivants.
- Sélectionnez le menu "BT-A SETUP" en appuyant sur le bouton "MENU".
- Suivez la procédure ci-après pendant que "BT-A" est affché.
REMARQUE
Vous ne pouvez pas régler un apparéil audio Bluetooth® en cours de conduite.
Enregistrement (synchronisation) de l'appareil
- Sélectionnez le menu “PAIR AUDIO” à l’aide de la molette “TUNE/TRACK/CH”. Si un apparéil est déjà enregistré, “MEMORY FULL” s'affiche et le mode passée au mode de réglage d’ apparéil audio Bluetooth®.
- Une fois que le code s'affiche à l'écran, entrez le code dans le téléphone cellulaire. Si vous entrez le code correct, "PAIRED" s'affiche et la procédure d'enregistrement est terminée. Si vous entrez un code incorrect, "FAILED" s'affiche, la procédure d'enregistrement a échoué et le mode passse au mode de réglage de l'appareil audio Bluetooth®.
Selection de l'appareil
- Sélectionnez le menu "SELECT AUDIO" à l'aide de la molette "TUNE/TRACK/CH". Si aucun apparéil n'est enregistré, "EMPTY" s'affiche et le mode passe au mode de réglage d' apparéil audio Bluetooth®.
- Sélectionnez le menu “CONFIRM” à l’aide de la molette “TUNE/TRACK/CH”. Si l’appareil est connecté, “SELECTED” s'affiche et la procédure de sélection est terminée. Si l’appareil ne peut pas être connecté, “FAILED” s'affiche et la procédure de sélection n’a pas réussi.
Réglage du code
- Sélectionnez le menu "SET PASSKEY" à l'aide de la molette "TUNE/TRACK/CH". Une fois que le code actuelment défini s'affiche, un nouveau code peut être entrez.
- Entrez le nouveau code à l'aide de la molette "TUNE/TRACK/CH".
- Sélectionnez le menu “CONFIRM” à l’aide de la molette “TUNE/TRACK/CH”. Le nouveau code s'affiche, le code change et le mode passé au mode de réglage audio Bluetooth®.
Suppression d'un apparéil
- Sélectionnez le menu "DELETE AUDIO" à l'aide de la molette "TUNE/TRACK/CH". Si aucun apparéil n'est enregistré, "EMPTY" s'affiche et le mode passée au mode de réglage d' apparéil audio Bluetooth®.
- Sélectionnez le menu “CONFIRM” à l’aide de la molette “TUNE/TRACK/CH”. “DELETED” s'affiche et le mode passe au mode de réglage d’appareil audio Bluetooth®.
■ Fonctionnement de l'appareil audio Bluetooth®
REMARQUE
En fonction de l'appareil raccordé, il peut ne pas s'activer pour les raisons suivantes ou ne pas fonctionner de manière régulière.
Procedure de lecture
Appuyez sur la touche "CD/AUX" et sélectionné le mode "BT-A".
Pour écouter une plage depuis le début
Sélectionnez une plage de la même manière que pour sélectionner une plage lors de la lecture d'un CD. Reportez-vous à “Pour écouter une plage depuis le début” 5-27.
Lecture répétitive
La répetition fonctionne de la même manière que pour la lecture d'un CD. Reportez-vous à “Lecture répetitive” 5-29. Chaque pression brève sur la touche “RPT/RDM” modifie le mode selon la série suivante.

Lecture aléatoire
La lecture aléatoire fonctionne de la même manière que pour la lecture d'un CD. Reportez-vous à "Lecture aléatoire" 5-30. Chaque pression sur la touche "RPT/RDM" pendant plus de 0,5 seconde modifie le mode selon la séquence suivante.

Selection de l'affichage
Sélectionnez une indication de la même manière que pour sélectionner une indication lors de la lecture d'un CD. Reportez-vous à " Sélection de l'affichage" 5-31. Chaque pression brève de la touche "TEXT" modifie l'indication selon la séquence suivante.

Choix d'un dossier
Selectionnez un dossier de la même manière que pour selectionner un dossier lors de la lecture d'un CD. Reportez-vous à “Choix d'un dossier” 5-32.
Système téléphonique mains libres (selon modèles)
REMARQUE
- Pour les modèles équipés d'un système de navigation SUBARU d'origine, reportez-vous au supplément du Manuel du conducteur portant sur le système de navigation.
- Quand vous revendez votre vehicule, assurez-vous d'initialiser le système téléphonique mains libres pour éviter des accès Incorrects aux données personnelles.
Le système téléphonique mains libres fonctionne lorsque le contacteur d'allumage est en position "Acc" ou "ON".
Conseils d'utilisation du système téléphonique mains libres
Bluetooth®

Bluetooth®
500481
REMARQUE
La marque et le logo Bluetooth sont des marques déposées de Bluetooth SIG, Inc.
Il est possible de connecter un téléphone cellulaire à l'équipement du vehicule à travers le format Bluetooth (sans fil) pour faire un appel téléphonique ou receivevoir des appeals à partir de l'équipement du vehicule.
Étant donné que le format Bluetooth® est sans fil, la connexion entre l'équipement du vehicule et le téléphone cellulaire peut
etre faite sans les placer a proximé l'un de l'autre. Le téléphone cellulaire peut etre utilisé en le laissant dans la poche de la veste ou dans le sac.
REMARQUE
-
Le système téléphonique mains libres pourrait ne pas fonctionner correctement dans les situations suivantes.
-
Le téléphone cellulaire est eteint.
- Le téléphone cellulaire n'est pas dans la zone de réception.
-La batterie du telephone cellulaire est dechargee. - Le téléphone cellulaire n'est pas connecté au système téléphonique mains libres.
- Le téléphone cellularaire est en dessous du siège ou dans la boite à gants.
-
Un matériel metallique couvre ou est en contact avec le téléphone cellulaire.
-
Selon le type de téléphone cellulaire utilisé, l'écran du téléphone cellulaire resté allumé lorsque le contacteur d'allumage est en position "ON". Le cas échéant, éteignez l'éclairage en réglant les réglages du téléphone cellulaire.
- Selon le réglage de téléphone cellu
laire, la fonction de verrouillage du clavier peut etre activee après avoir effectue un appel. Désactive la fonction de verrouillage automatique du clavier du téléphone cellulaire avant l'utilisation du système téléphonique mains libres.
- Selon le type de téléphone cellulaire utilisé, le fonctionnement et le volume sonore peuvent différer de ceux des téléphones cellulaires utilisés actuellement.
- Lorsque le contacteur d'allumage est mis en position "LOCK" durant l'appeil, l'appeil peut etre coupé ou poursuivi sur le téléphone cellulaire selon le type de téléphone cellulaire utilisé. Notez que des operations du téléphone cellulaire pourraient etre nécessaires si I'appeil est poursuivi autelephone cellulaire.
- Ne parlez pas en même temps que l'autre partie pendant l'appeil. Si vous et l'autre partie parlez en même temps, votre voix peut être difficile à entendre par l'autre partie et vice versa. Ceci est normal.
-
Le volume sonore du récepteur doit être régle le plus bas possible. Autrement, la partie avec qui vous étés en communication peut remarquer un écho indésirable.
-
Parlez clairament et fortement.
-
Voiture voix peut être difficile à entendre par l'autre partie sous les conditions suivantes.
-
En conduite sur des routes rugueuses.
- En conduite à grande vitesse.
- En conduite avec une vitre ouverte.
Lorsque l'air du ventilateur souffle directement vers le microphone.
Lorsque le son provenant de I'hydrateur est bruyant. -
Lorsque le téléphone cellularie est placé trop pres du microphone.
-
La qualite sonore peut devenir mediocre du à l'influence du téléphone cellulaire connecté au système ou à l'etat du réseau Bluetooth.
- Lorsqu'un autre dispositif Bluetooth® est connecté simultanément, des bruits peuvent se produit dans la voix provenant du téléphone mains libres.
Profils compatibles au téléphone cellulaire
- HFP (Hands Free Profile [profil mains libres]): Ver. 1.0
- OPP (Object Push Profile [profil d'envoi de fichiers]): Ver. 1.1
■ Certification du système téléphonique mains libres

ATTENTION
AVERTISSEMENT FCC
Tout changement ou modification effectué sans l'accord espres de l'autorité responsable de la conformité aux règles peut entrainer la privation du droit d'utiliser l'équipment.
REMARQUE
Ce dispositif est conforme à la Section 15 des Régles FCC et à la directive RSS-Gen des Régles IC. Son fonctionnement répond aux deux conditions suivantes: (1) ce dispositif ne doit pas engendrer des interférences génantes, et (2) il doit être capable de subir toutes formes d'interférence, y compris des interférences susceptibles d'en perturber le fonctionnement.
REMARQUE
Cet équipement a ete teste et approuve pour repondre aux normes d'un dispositif numerie de Classe B, conformement a la Section 15 des Regles FCC. Ces normes sont conques pour
fournir une protection adequate contre les interférences nuisibles en installation résidentielle. Cet équipement pourrait cause des interférences nuisibles à la réception radio, s'il n'est pas installé et utilisé conformément aux instructions. Cependant, il n'est pas garantie que ces interférences nuisibles ne se produit pas en cas d'installation particulière. Si cet équipement cause des interférences nuisibles à la réception radio ou télévision, déterminables en allumant et éteignant l'équipment, l'utilisateur est invité à atteuer les interférences en effectuant une ou plusieurs des mesures suivantes.
- Réorientez ou déplacez l'antenne de réception.
- Allongez la distance entre l'équipement et le récepteur.
- Connectez l'équipement à une prise d'un circuit différent de celui où le récepteur est connecté.
- Consultez un concessionnaire ou un technicien radio/television experimentes.
-
Tout changement ou modification effectué sans l'accord espres de l'autorité responsable de la conformité aux règes peut entrainer la privation du droit d'utiliser l'équipement.
-
Cet équipement est conforme aux limites d'exposition aux rayonnements FCC/IC édictés pour un équipement non contrôle et répond aux Directives d'exposition de radiofréquence (RF) FCC du Supplément C de OET65 et RSS-102 des régles d'exposition aux radiofréquences (RF) IC. Cet équipement affiche de très faibles niveaux d'énergie RF si bien qu'il est considéré comme conforme sans évaluation d'exposition permise maximale (MPE). Mais il est préféable de l'incluer et de l'utiliser en laissant le radiateur à au moins 20 cm ou plus du corps d'une personne (à l'exclusion des extrémités: mains, poignets, pieds et chevilles).
- Cét émetteur ne doit pas être place à côte ni utilisé avec d'autres antennes ou émetteurs.
Precautions de sécurité

DANGER
Pour des raisons de sécurité, evitez de manipuler le téléphone cellulaire pendant la conduite.
- Ne faites pas d'appel téléphonique pendant la conduite. Lorsque vous receivez un appel, Arrêtez le vehicule dans un endroit sur avant de répondre à l'appeil. Lorsque vous nevez absolument répondre à l'appeil, dites "Je vous rappelerai" à l'interlocuteur. Àpès avoir arrêté le vehicule dans un endroit sur, rappelez la personne.

ATTENTION
- Ne laïsez pas le téléphone cellulaire dans le vehicule. La tempérapure à l'intérieur du vehicule peut devenir extrément élevée et cause un dysfonctionnement du téléphone cellulaire.
- Lors d'utilisation du téléphone cellulaire, faites attention à ne pas l'approcher de l'équipement du vehicule. Le fait de l'appro
cher trop pres de I'equipement du vehicule peut résultat a une déterioration de la qualite du son ou a une connexion mediocre.
- Dans la gamme d'ondes utilisée par cet équipement, des équipements industriels, scientifiques et médicaux comme un four à micro-ondes, les stations radio (une licence est nécessaire) utilisées dans une ligne de production en usine pour détecter les corps mouvants, des petites stations radio spécifiques (une licence n'est pas nécessaire) et des stations radio amateurs (une licence est nécessaire) sont en fonction. (Ces trois types de stations radio sont réferés par la suite comme “les autres stations radio”). Avant d'utiliser cet équipement, assurez vous de vérifier si “les autres stations radio” sont utilisées dans les alentours. S'il y a des interférences nuisibles de cet équipement aux “autres stations radio”, déplacez l'équipment à un autre endroit le plus tot possible pour éviter l'interfERENCE à la radio. La gamme d'ondes utilisé par cet équipement est dans la gamme 2,4 GHz.
La modulation FH-SS est utilisé en tant que méthode de modulation. La distance d'infliction d'intérférence presumée est au maximum 10 m (33 ft). Cet équipement exploite une bande complète et peut éviter une bande utilisée par un dispositif d'identification de corps mouvant.
Utilisation du système téléphonique mains libres
REMARQUE
Vou puez selectionner les menus à l'aide de la molette "TUNE/TRACK/CH" ou de la commande vocale. Reportez-vous à "Liste de menu du système téléphonique mains libres" 5-57 ou "Système de commande vocale" 5-60.
Activez/désactivez le mode mains libres

1)Commandedecrocher
2) Commande raccrocher
3) Commande de conversation
Pour activer le mode mains libres, appuyez sur la commande decrocher Pour désactiver le mode mains libres, appuyez sur la commande raccrocher

Préparation pour l'utilisation du système téléphonique mains libres Avant usage du système téléphonique mains libres, il est nécessaire d'enregistrer un téléphone cellulaire au système. Effectuez la procedure suivante pour enregistrer un téléphone cellulaire.
- Appuyez sur la commande decrocher
C
- Sélectionnez le menu "ENGLISH"/"FRENCH" à l'aide de la molette "TUNE/TRACK/CH". Ensuite, "WELCOME!" s'affiche.
- Tournez la molette "TUNE/TRACK/CH" ou appuyez sur le bouton de conversation
- Sélectionnez le menu "RECORD NAME".
- Dites le nom à enregistrer.
- Sélectionnez le menu “CONFIRM”. Un mot de passer sera affiché après le message “CAR M_MEDIA”.
- Entrez le mot de passer dans le téléphone cellulaire pendant que "PKY:****" est affché. Si vous entrez le code correct, "PAIRED" s'affiche et la procédure d'enregistrement est terminée. Si vous entrez un mot de passer incorrect, "FAI-LED" s'affiche et la procédure d'enregistrement a échoué.
Mise à jour des données du repertoire
Enregistrement vocal
- Sélectionnez le menu "PHONE BOOK".
- Sélectionnez le menu "ADD ENTRY".
-
Sélectionnez le menu "BY VOICE".
-
Appuyez sur le bouton de conversation
- Prononcez le numero de téléphone à enregistrer.
- Sélectionnez le menu “CONFIRM”.
- Sélectionnez le menu “RECORD NAME” à l’aide de la molette “TUNE/TRACK/CH” ou appuyez sur le bouton de conversation
- Prononcez le nom (étiquette vocale) à enregistrer.
- Sélectionnez le menu "CONFIRM". Ensuite, "STORED" s'affiche et le mode passée au mode de composition rapide d'enregistrement. Reportez-vous à "Enregistrement de composition rapide" 5-53.
Enregistrement par téléphone
- Sélectionnez le menu "PHONE BOOK".
- Sélectionnez le menu "ADD ENTRY".
- Sélectionnez le menu "BY PHONE".
- Sélectionnez le menu "CONFIRM". Ensuite, "TRANSFER" s'affiche.
- Transfrez les données à partir du téléphone cellularie. Pour de plus amples détails sur le transfert de données, reportez-vous au Manuel d'Utilisateur du téléphone cellularie.
- Sélectionnez le menu "RECORD NAME" à l'aide de la molette "TUNE/
TRACK/CH" ou appuyez sur le bouton de conversation
- Prononcez le nom (étiquette vocale) à enregistrer.
- Sélectionnez le menu "CONFIRM". Ensuite, "STORED" s'affiche et le mode passée au mode de composition rapide d'enregistrement. Reportez-vous à "Enregistrement de composition rapide" 5-53.
Enregistrement par saisie manuelle
- Sélectionnez le menu "PHONE BOOK".
- Sélectionnez le menu "ADD ENTRY".
- Sélectionnez le menu "MANUAL INPUT" à l'aide de la molette "TUNE/TRACK/CH".
- Entrez le numero de téléphone à enregistrer.
- Sélectionnez le menu “RECORD NAME” à l’aide de la molette “TUNE/TRACK/CH” ou appuyez sur le bouton de conversation
- Prononcez le nom (étiquette vocale) à enregistrer.
- Sélectionnez le menu "CONFIRM". Ensuite, "STORED" s'affiche et le mode passée au mode de composition rapide d'enregistrement. Reportez-vous à "Enregistrement de composition rapide" 5-53.
REMARQUE
Lors de la saisie du numero de téléphone, si "GO BACK" est besoin à l'aide de la molette "TUNE/TRACK/CH", les caractères saisis précédemment sont effacés.
Enregistrement à partir de l'histoire des appeals
- Sélectionnez le menu "PHONE BOOK".
- Sélectionnez le menu "ADD ENTRY".
- Sélectionnez le menu "CALL HISTORY".
- Sélectionnez le menu "OUTGOING" ou "INCOMING" à l'aide de la molette "TUNE/TRACK/CH".
- Sélectionnez le numéro de téléphone à l'aide de la molette "TUNE/TRACK/CH".
- Sélectionnez le menu "RECORD NAME" à l'aide de la molette "TUNE/TRACK/CH" ou appuyez sur le bouton de conversation
- Prononcez le nom (étiquette vocale) à enregistrer.
- Sélectionnez le menu “CONFIRM”. Ensuite, “STORED” s'affiche et le mode passée au mode de composition rapide d'enregistrement. Reportez-vous à “Enregistrement de composition rapide” 5-53.
Enregistrement à partir de la recom-position
- Sélectionnez le menu "REDIAL".
- Sélectionnez le numéro de téléphone à l'aide de la molette "TUNE/TRACK/CH".
- Sélectionnez le menu "STORE".
- Sélectionnez le menu “CONFIRM”.
- Sélectionnez le menu "RECORD NAME" à l'aide de la molette "TUNE/TRACK/CH" ou appuyez sur le bouton de conversation
- Prononcez le nom (étiquette vocale) à enregistrer.
- Sélectionnez le menu "CONFIRM". Ensuite, "STORED" s'affiche et le mode passée au mode de composition rapide d'enregistrement. Reportez-vous à "Enregistrement de composition rapide" 5-53.
Enregistrement à partir du rappel
- Sélectionnez le menu "CALL BACK".
- Sélectionnez le numéro de téléphone à l'aide de la molette "TUNE/TRACK/CH".
- Sélectionnez le menu "STORE".
- Sélectionnez le menu “CONFIRM”.
- Sélectionnez le menu "RECORD NAME" à l'aide de la molette "TUNE/TRACK/CH" ou appuyez sur le bouton de conversation
- Prononcez le nom (étiquette vocale) à
enregisterr.
- Sélectionnez le menu “CONFIRM”. Ensuite, “STORED” s'affiche et le mode passée au mode de composition rapide d'enregistrement. Reportez-vous à “Enregistrement de composition rapide” 5-53.
Enregistrement de composition rapide
- ÀpRES avoir enregistré les données du repertoire, Sélectionnez le menu "SPEED DIAL".

Boutons de préRéglage
- Appuyez le bouton de prééglage où vous voulez enregistrer le numéro de téléphone.
REMARQUE
Si le numero a utiliser est déjà enregistré dans la composition rapide, "OVERWRITE?" apparaitra.
Fonction de liste de noms
Les étiquettes vocales enregistrées dans l'annuaire sont prononcées à l'aide de la fonction de liste de noms. Pour utiliser la fonction de liste de noms, exécutez la procédure suivante.
- Sélectionnez le menu "PHONE BOOK".
- Sélectionnez le menu "LIST NAMES".
- Choisissez les données enregistrées en tournant la molette "TUNE/TRACK/CH" ou en appuyant sur le bouton de conversation [06]. Ensuite, "SELECTED" s'affiche. Vous pouvez désirer les menus suivants.
-DIAL' pour passer un appel
- "CHANGE NAME" pour changer le nom (étiquette vocale)
- "SET SPD DIAL"/"SET SPEED DIAL" pour régler la composition rapide
- "DELETE ENTRY" pour effacer le nom (étiquette vocale) de l'annuaire
- "GO BACK" pour returner au mode de menu
REMARQUE
- ÀpRES que “LIST NAMES” soit sélectionné, si le bouton décrocher est enforcé, le numéro sélectionné est formé.
- Une fois que "LIST NAMES" est sélectionné, si rien n'est actionné, la mémoire s'affiche et les étiquettes vocales sont prononcées.
Changement de I'etiquette vocale
- Sélectionnez le menu "PHONE BOOK".
- Sélectionnez le menu "CHANGE NAME".
- Sélectionnez le numéro de téléphone à l'aide de la molette "TUNE/TRACK/CH" en appuyant sur le bouton de conversation et en prononçant l'étiquette vocale.
- Sélectionnez le menu "CONFIRM". Ensuite, le numéro de téléphone/nom sélectionné s'affiche.
- Appuyez sur le bouton de conversation
- Prononcez la nouvelle commande vocale.
- Sélectionnez le menu "CONFIRM".
Ensuite, "CHANGED" s'affiche.
Réglage de la composition rapide
- Sélectionnez le menu "PHONE BOOK".
- Sélectionnez "SET SPD DIAL" à l'aide de la molette "TUNE/TRACK/CH" ou sélectionnez "SET SPEED DIAL" à l'aide de la commande vocale.
- Sélectionnez le numéro de téléphone à l'aide de la molette "TUNE/TRACK/CH" en appuyant sur le bouton de conversation et en prononçant l'étiquette vocale.
- Sélectionnez le menu “CONFIRM”.

Boutons de préRéglage
- Appuyez le bouton de préréglage où vous voulez enregistrer le numéro de téléphone.
REMARQUE
Si le numero a utiliser est déjà enregistré dans la composition rapide, "OVERWRITE?" apparaitra.
Effacement de données dans l'annuaire
- Sélectionnez le menu "PHONE BOOK".
- Sélectionnez le menu "DELETE ENTRY".
- Sélectionnez le numéro de téléphone à l'aide de la molette "TUNE/TRACK/CH" en appuyant sur le bouton de conversation et en prononçant l'étiquette vocale.
- Sélectionnez le menu "CONFIRM". Ensuite, "DELETED" s'affiche et les données de l'annulaire sélectionnées sont supprimées.
Suppression de la composition rapide
- Sélectionnez le menu "PHONE BOOK".
- Sélectionnez "DEL SPD DIAL" à l'aide de la molette "TUNE/TRACK/CH" ou sélectionnez "DELETE SPEED DIAL" à l'aide de la commande vocale.

Boutons de préRéglage
- Appuyez sur le bouton de préRéglage où vous voulez supprimer la composition rapide.
- Sélectionnez le menu “CONFIRM”. Ensuite, “DELETED” s'affiche et la composition rapide sélectionnée est supprimée.
Effacement des données de rappel du dernier numéro
- Sélectionnez le menu "REDIAL".
- Sélectionnez le numéro de téléphone à l'aide de la molette "TUNE/TRACK/CH".
- Sélectionnez le menu "DELETE".
- Sélectionnez le menu “CONFIRM”. Ensuite, “DELETED” s'affiche et les données de rappel du dernier numéro sélec
tionnées sont suprimées.
Effacement des données de rappel
- Sélectionnez le menu "CALLBACK".
- Sélectionnez le numéro de téléphone à l'aide de la molette "TUNE/TRACK/CH".
- Sélectionnez le menu "DELETE".
- Sélectionnez le menu "CONFIRM". Ensuite, "DELETED" s'affiche et les données de rappel sont supprimées.
Passer un appel
Passer un appel en prononçant le nom
- Appuyez sur le bouton de conversation
- Dites "DIAL BY NAME".
- Appuyez de nouveau sur le bouton de conversation
- Prononcez le nom souhaité (étiquette vocale) à appeler.
- Sélectionnez le menu "DIAL" ou appuyez sur la commande décrocher
Passer un appel en prononçant le numéro
- Appuyez sur le bouton de conversation
-
Dites "DIAL BY NUMBER".
-
Appuyez de nouveau sur le bouton de conversation
- Prononcez le numero de téléphone souhaite à appeler.
- Sélectionnez le menu "DIAL" ou ap-puyez sur la commande décrocher
Passer un appel à partir de la composition rapide
Il est possible de selectionner un numero de téléphone à partir de la composition rapide enregistrée avec l'équipment du vehicule pour passer un appel.

Boutons de préRéglage
- Appuyez sur le bouton de préRéglage où le numéro recherche est enregistré.
- Appuyez sur la commande décrocher
REMARQUE
Lorsque le bouton de préréglage auquel aucun numero n'est enregistré est appuyé, un message d'erreur s'affiche sur l'écran audio.
Rappel du dernier numero
- Sélectionnez le menu "REDIAL".
- Sélectionnez le numéro désiré à l'aide de la molette "TUNE/TRACK/CH".
- Sélectionnez le menu "DIAL" ou appuyez sur la commande décrocher
Rappeler
- Sélectionnez le menu "CALL BACK".
- Sélectionnez le numéro désiré à l'aide de la molette "TUNE/TRACK/CH".
- Sélectionnez le menu "DIAL" ou appuyez sur la commande décrocher
Passer un appel à partir de la liste de noms
Il est possible de selectionner un numero de téléphone à partir de la liste des noms enregistrée avec l'équipment du vehicule pour passer un appel.

- Sélectionnez le menu "LIST NAMES".
- Sélectionnez le numéro désiré à l'aide de la molette "TUNE/TRACK/CH".
- Sélectionnez le menu "DIAL" ou appuyez sur la commande décrocher C.
Recomposition du dernier numéro
- Appuyez sur le bouton décrocher et chargez l'histoire des appeals sortants.
- Sélectionnez le menu "DIAL" ou appuyez sur la commande décrocher C.
Répondre à l'expérience et refuser un appel entrant
Répondre à l'appe! Appuyez sur la commande décrocher
Mettre un appel entrant en attente: Appuyez brievement sur la commande raccrocher
Refuser un appel entrant: Appuyez sur la commande raccrocher pendant plus de 1,5 seconde.
Reglage de volume

Yououpouvezajusterlevolume sonore de l'appel,levolume sonorede la voix et le volume du guidage vocal.Reportez-vous à"Touches de réglage de volume"5-45.
Gamme de réglage de chaque volume
| Volume | Gamme | Réglage initial |
| Appel télépho-nique | 0 à 14 | 7 |
| Voix | 0 à 14 | 7 |
| Guidage vocal | 0 à 6 | 3 |
Listede menu du système téléphonique mains libres

Tournez la molette "TUNE/TRACK/CH" pour selectionner un menu et appuyez sur la molette pour confirmer la selection du menu.
| Premier menu | Deuxième menu | Troisième menu | Détails |
| PHONE BOOK* | ADD ENTRY | BY VOICE | Ajout d'un nouveau numéro par la voix |
| BY PHONE | Ajout d'un nouveau numéro par le téléphone cellulaire | ||
| MANUAL INPUT | Ajout d'un nouveau numéro par la saisie manuelle | ||
| CALL HISTORY | Ajout d'un nouveau numéro à partir de l'historique des appeals | ||
| GO BACK | |||
| LIST NAMES | — | Affichage de la liste des noms enregistrrés dans le réseau | |
| CHANGE NAME | — | Changement du nom enregistré dans le réseau | |
| SET SPD DIAL | — | Enregistrement d'un appel rapide | |
| DELETE ENTRY | — | Effacement de données du réseau | |
| DEL SPD DIAL | — | Effacement d'une composition rapide enregistrée | |
| GO BACK | — | ||
| REDIAL | DIAL | — | Rappel du dernier numéro |
| STORE | — | Ajout d'un nouveau numéro enregistré dans la mémoire des historiques des appeals sortants | |
| DELETE | — | Suppression d'un numéro enregistré dans la mémoire des historiques des appeals sortants | |
| GO BACK | — | ||
| CALLBACK | DIAL | — | Appel du numéro enregistré dans la mémoire des historiques des appeals entrants |
| STORE | — | Ajout d'un nouveau numéro enregistré dans la mémoire des historiques des appeals entrants | |
| DELETE | — | Suppression d'un numéro enregistré dans la mémoire des historiques des appeals entrants | |
| GO BACK | — |
*: Si un téléphone cellulaire n'est pas enregistré, le menu déscrit dans le tableau n'est pas indiqué.
| Premier menu | Deuxième menu | Troisième menu | Détails |
| SETUP | SECURITY | SET PIN | Réglage du code PIN |
| PHBK LOCK* | Verrouillage du réseau | ||
| PHBK UNLOCK* | Déverrouillage du réseau | ||
| GO BACK | |||
| PHONE SETUP | PAIR PHONE | Enregistrement d'un nouveau téléphone cellulaire | |
| SELECT PHONE | Sélection du téléphone cellulaire à utiliser | ||
| CHANGE NAME | Changement du nom enregistrré du téléphone cellulaire | ||
| LIST PHONES | Affichage de la liste des téléphones cellulaires enregistrrés | ||
| SET PASSKEY | Changement du mot de passer | ||
| DELETE | Effacement d'un téléphone cellulaire enregistrré | ||
| GO BACK | |||
| SYSTEM SETUP | GUIDANCE VOL | Réglage de volume du guidage vocal | |
| INITIALIZE | Initialisation | ||
| SEL LANGUAGE | Sélection de la langue (à l'aide du système téléphonique mains libres) | ||
| GO BACK | |||
| GO BACK | — |
*: Si un code PIN n'est pas enregistré, le menu décrit dans le tableau n'est pas disponible.
Systeme de commande vocale

1) Commande décrocher
2) Commande raccrocher
3) Commande de conversation
Pour activer le système de commande vocale, appuyez brievement le bouton de conversation. Pour eteindre la commande vocale,attendez 5 secondes sans utilise la commande vocale.
Les fonctions disponibles pour le système de commande vocale sont listedes dans le tableau suivant.
| Fonction | ||
| Anglais | Français | |
| 1 | 0 (zero, oh) | 0 (zéro) |
| 2 | 1 (one) | 1 (un) |
| 3 | 2 (two) | 2 (deux) |
| 4 | 3 (three) | 3 (trois) |
| 5 | 4 (four) | 4 (quatre) |
| 6 | 5 (five) | 5 (cinq) |
| 7 | 6 (six) | 6 (six) |
| 8 | 7 (seven) | 7 (sept) |
| 9 | 8 (eight) | 8 (huit) |
| 10 | 9 (nine) | 9 (neuf) |
| 11 | * (star) | * (étoile) |
| 12 | # (pound) | # (carré, dièse) |
| 13 | + (plus) | + (plus) |
| 14 | callback | rappel |
| 15 | redial | recomposer |
| 16 | dial by number | composer par numéro |
| 17 | dial by name | composer par nom |
| 18 | phonebook | registre |
| 19 | setup | réglages |
| 20 | phone book add entry | ajouter l'entrée dans le registre |
| 21 | phone book change name | modifier le nom dans le registre |
| 22 | phone book delete entry | supprimer l'entrée du registre |
| 23 | phone book list names | liste les noms du registre |
| 24 | phone book set speed dial | configurer composition abrégée pour le registre |
| 25 | phone book delete speed dial | supposer composition abrégée pour le registre |
| 26 | phone book unlock | déverrouiller le registre |
| 27 | cancel | annuler |
| 28 | help | aide |
| 29 | repeat | répéter |
| 30 | go back | retourner |
| 31 | mute | sourdine |
| 32 | dial | composer |
| 33 | previous | précepted |
| 34 | delete | supprimer |
| 35 | store | enregistrer |
| 36 | confirm | confirmer |
| 37 | phone setup | réglages du téléphone |
| 38 | security | sécURITY |
| 39 | pair phone | jumeler le télé- phone |
| 40 | change name | modifier le nom |
| 41 | select phone | séclectionner le télé-電話 |
| 42 | list phones | liste les téléphones |
| 43 | set pass key | configurer le passé-partout |
| 44 | add entry | ajouter l'entrée |
| 45 | delete entry | supprimer l'entrée |
| 46 | delete speed dial | supprimer composi- sition abrégée |
| 47 | by voice | vocalement |
| 48 | by phone | par téléphone |
| 49 | call history | historique d'appels |
| 50 | set speed dial | configurer composi- sition abrégée |
| 51 | incoming | entrant |
| 52 | outgoing | sortant |
| 53 | list names | liste les noms |
| 54 | set PIN | configurer NIP |
| 55 | phone book lock | verrouiller le regis- tre |
Réglage Bluetooth®
Réglage de sécurité
Réglage du code PIN
Le code PIN est un chiffre à 4 caractères utilisé lors du blocage de l'annuaire.
- Sélectionnez le menu "SETUP".
- Sélectionnez le menu "SECURITY".
- Sélectionnez le menu "SET PIN". Ensuite, "CURRENT PIN?" s'affiche.
- Introduisez le code PIN actuel à l'aide de la molette "TUNE/TRACK/CH" ou pronouncez le numéro.
- Sélectionnez le menu "CONFIRM".
- Introduisez le nouveau code PIN à l'aide de la molette "TUNE/TRACK/CH" ou pronouncez le numéro.
- Sélectionnez le menu "CONFIRM".
Verrouillage du repertoire
- Sélectionnez le menu "SETUP".
- Sélectionnez le menu "SECURITY".
- Sélectionnez le menu "PHBK LOCK" à l'aide de la molette "TUNE/TRACK/CH" ou pronouncez "PHONEBOOK LOCK". Ensuite, "CURRENT PIN?" s'affiche.
- Introduisez le code PIN à l'aide de la molette "TUNE/TRACK/CH" ou pronounceze le numéro.
- Sélectionnez le menu “CONFIRM”. Si
le code PIN entre est correct, "LOCKED" s'affiche et l'annulaire est bloqué.
REMARQUE
Pendant que l'annuaire est bloqué, si le menu de fonctionnement restreint est seLECTIONné, "PHBK LOCK" s'affiche.
Déverrouillage du repertoire
- Sélectionnez le menu "SETUP".
- Sélectionnez le menu "SECURITY".
- Sélectionnez le menu "PHBK UNLOCK" à l'aide de la molette "TUNE/TRACK/CH" ou pronouncez "PHONEBOOK UNLOCK". Ensuite, "CURRENT PIN?" s'affiche.
REMARQUE
Si l'annuaire n'est pas bloqué, "UNLOCK" s'affiche et le mode passé au mode de sécurité.
- Introduisez le code PIN à l'aide de la molette "TUNE/TRACK/CH" ou pronouncez le numéro.
- Sélectionnez le menu "CONFIRM". Si le code PIN entre est correct, "UNLOCKED" s'affiche et l'annulaire est débloqué.
Configuration du téléphone
Synchronisation du téléphone
Reportez-vous à "Préparation pour l'utilisation du système téléphonique mains libres" 5-51.
Sélection du téléphone
Pour selectionner le téléphone cellulaire enregistré pour connecter l'équipment dans le vehicule, executez la procédure suivante.
- Sélectionnez le menu "SETUP".
- Sélectionnez le menu "PHONE SET-UP".
- Sélectionnez le menu "SELECT PHONE". Si aucun téléphone cellulaire n'est enregistré, "EMPTY" s'affiche et le mode passée au mode "PHONE SETUP".
- Sélectionnez le téléphone cellulaire à l'aide de la molette "TUNE/TRACK/CH" ou pronouncez l'étiquette vocale.
- Sélectionnez le menu “CONFIRM”. “SELECTED” s'affiche, le téléphone cellulaire est connecté à l'équipment du vehicule et le mode passé au mode “PHONE SETUP”.
Changement de I'etiquette vocale du téléphone portable
- Sélectionnez le menu "SETUP".
- Sélectionnez le menu "PHONE SET-
UP".
- Sélectionnez le menu "CHANGE NAME". Si aucun téléphone cellularen'est enregistré, "EMPTY" s'affiche et le mode passae au mode "PHONE SETUP".
- Sélectionnez le téléphone cellulaire à l'aide de la molette "TUNE/TRACK/CH" ou pronouncez l'étiquette vocale.
- Sélectionnez le menu "RECORD NAME".
- Enregistrement de l'étiquette vocale. Reportez-vous à "Préparation pour l'utilisation du système téléphonique mains libres" 5-51 pour plus de détails.
Fonction de liste de téléphones
Lesétiquettes vocales des téléphones cellulaires enregistrés dans la liste des téléphones sont prononcées à l'aide de la fonction de liste des téléphones.
- Sélectionnez le menu "SETUP".
- Sélectionnez le menu "PHONE SETUP".
- Sélectionnez le menu "LIST PHONES". Si aucun téléphone cellulaire n'est enregistré, "EMPTY" s'affiche et le mode passée au mode "PHONE SETUP".
- Les téléphones cellulaires enregistrés s'affichent du côté sauvegarde. Pendant l'affichage, si la molette "TUNE/TRACK/CH" est tournée, le téléphone cellulaire
suivant enregistré s'affiche. Appuyez sur le bouton raccrocher pour quitter le menu mains libres.
- Sélectionnez un téléphone cellulaire à l'aide de la molette "TUNE/TRACK/CH" ou en appuyant sur le bouton de conversation [16]. Ensuite, "SELECTED" s'affiche.
-
Sélectionnez les menus suivants.
-
"SELECT PHONE" pour connecter le téléphone cellulaire sélectionné
- “CHANGE NAME” pour changer l'étiquette vocale
- "DELETE" pour supprimer le téléphone cellulaire sélectionné de la liste
- "GO BACK" pour returner au mode "PHONE SETUP"
Réglage du code
- Sélectionnez le menu "SETUP".
- Sélectionnez le menu "PHONE SETUP".
- Sélectionnez le menu "SET PASSKEY". Une fois que le code actuellement défini s'affiche, un nouveau code peut être entré.
- Introduisez le nouveau code à l'aide de la molette "TUNE/TRACK/CH" ou pronouncez le code.
- Sélectionnez le menu “CONFIRM”. Le nouveau code s'affiche, le code change et le mode passe au mode de “PHONE
SETUP".
Suppression d'un téléphone cellulaire enregistré de la liste
- Sélectionnez le menu "SETUP".
- Sélectionnez le menu "PHONE SETUP".
- Sélectionnez le menu "DELETE".
- Sélectionnez le téléphone cellulaire à supprimer à l'aide de la molette "TUNE/TRACK/CH" ou pronouncez une étiquette vocale.
- Sélectionnez le menu "CONFIRM". "DELETED" s'affiche, les données sont supprimées et le mode passé au mode de "PHONE SETUP".
Configuration du système
Réglage du volume de guidage
Pour régler le volume de guidage, exécutez la procédure suivante.
- Sélectionnez le menu "SETUP".
- Sélectionnez le menu "SYSTEM SETUP".
- Sélectionnez le menu “GUIDANCE VOL” à l’aide de la molette “TUNE/TRACK/CH”.
- Reglez le volume du guidage à l'aide de la molette "TUNE/TRACK/CH".
Initialisation des données enregistrées
Pour initiaiser les données enregistrées, executez la Procedure suivante.
- Sélectionnez le menu "SETUP".
- Sélectionnez le menu "SYSTEM SET-UP".
- Sélectionnez le menu "INITIALIZE" à l'aide de la molette "TUNE/TRACK/CH".
- Sélectionnez le menu “CONFIRM” à l’aide de la molette “TUNE/TRACK/CH”. D’abord “PLEASE WAIT”, puis “INITIALLY” s'affichent. Les données enregistrées sont initiaisées et le mode passa au dernier mode.
Sélectionnez la langue
Pour selectionner la langue, executez la procEDURE suivante.
- Sélectionnez le menu "SETUP".
- Sélectionnez le menu "SYSTEM SETUP".
- Sélectionnez le menu "SEL LANGUAGE" à l'aide de la molette "TUNE/TRACK/CH".
- Sélectionnez la langue désirée à l'aide de la molette "TUNE/TRACK/CH".
Eclairage interieur. 6-2
Plafonnier 6-2
Éclairage de l'espace de chargement (modèles 5 portières) 6-2
Lampes de lecture 6-3
Pare-soleil 6-4
Miroir de courtoisie. 6-4
Espace de rangement 6-5
Boite a gants. 6-5
Boite à monnaie (selon modèles) 6-6
Porte-gobelets 6-6
Porte-gobelet du passager avant 6-6
Porte-gobelet des passagers arrêté (selon modèles) 6-7
Porte-bouteilles 6-8
Prises de courant pour accessoire 6-8
Utilisation avec un allume-cigare (selon modèles) 6-10
Cendrier (selon modèles) 6-11
Cendrier portable 6-11
Cendrier arriré (STI - selon modèles) 6-11
Tapis de sol (selon modèles) 6-12
Crocket pour sac de provisions (5 portières) 6-12
Couverture de l'espace de chargement (5 portières - selon modèles) 6-13
Mode d'emploi du rideau de couverture 6-13
Pourretirerlerideau 6-13
Pour installer le rideau 6-14
Crochets d'arrimage du chargement (5 portières - selon modèles) 6-14
Espace de rangement sous plancher (selon
modes) 6-15
Éclairage interieur
Pour éviter de décharger la batterie, vérifie que les éclairages sont éteints avant de quitter le vehicule.
Plafonnier

L'interrupteur du plafonnier peut se placer dans les trois positions suivantes.
ON: L'éclairage reste allumé en permanence.
OFF: L'éclairage reste étant.
DOOR: Le plafonnier s'illumine automatiquement dans les cas suivants.
Une des portières ou le hayon (5
portières) est ouvert.
- Les portières ou le hayon (5 portières) est déverrouillé au moyen de la télécommande d'entrée sans clé.
- Le contacteur d'allumage est tourné de la position "Acc" à la position "LOCK".
Le plafonnier allumé automatiquement demeure illumine pendant quelques secondes puis s'éteint progressivement une fois toutes les portières et le hayon (5 portières) fermés.
Lorsque l'éclairage est allumé, le plafonnier s'eteint immédiatement lorsqu'une des opérations suivantes est effectuee.
- Le contacteur d'allumage est tourné de la position "LOCK" à la position "Acc" ou "ON".
- Toutes les portières et le hayon (5 portières) sont verrouillés au moyen de la télécommande d'entrée sans clé.
Le délambdavant l'extinction de la lumière (minuterie d'extinction) peut être changé comme suit.
- Modèles avec système de navigation SUBARU d'origine:
Vous pouvez changer le réglage à partir du monitateur de navigation. Pour de plus amples détails, reportez-vous au supplément du Manuel du Conducteur traitant du système de navigation. Vous pouvez
égarlement faire changer le réglage par un concessionnaire SUBARU. Pour les détails, adressez-vous à votre concessionnaire SUBARU.
- Modèles sans système de navigation SUBARU d'origine:
Vous pouvez faire changer ce réglage par un concessionnaire SUBARU. Pour les détails, adressez-vous à votre concessionnaire SUBARU.
Éclairage de l'espace de chargement (modèles 5 portières)

Position ON: La lumière est allumée quand le hayon est ouvert. La lumière reste allumée pendant plusieurs secondes, puis s'eteint progressivement une fois le hayon fermé.
Position OFF: L'éclairage reste éteint.
Lampes de lecture

Type A

Type B
Appuyez sur le commutateur pour allumer
la lampe de lecture.
Pour l'arrête, appuyez de nouveau sur le commutateur.
Pour éviter de décharger la batterie, vérifie que les lumières sont éteintes avant de quitter le vehicule.
REMARQUE
Pour les lampes de lecture de type A, même si les commandes d'éclairage sont en position ON, les éclairages sont eteints automatiquement au bout de 30 secondes environ afin de prévenir le déchargement de la batterie. Reportez-vous à “Fonction de prévention de déchargement de la batterie” 2-6 pour plus de détails.
Illumination automatique (modèles avec toit ouvrant opaque)
Les lampes de lecture s'illuminent automatiquement dans les cas suivants.
- Une des portières autre que le hayon est ouvert. (Les lampes de lecture ne s'allument pas lorsque seul le hayon est ouvert.)
- Les portières sont déverrouillées au moyen de la télécommande d'entrée sans clé.
- Le contacteur d'allumage est tourné de la position "Acc" à la position "LOCK".
Les lampes de lecture allumées automatiquement demeurent illuminées pendant quelques secondes puis s'éteignent progressivement une fois toutes les portières fermées.
Lorsque les éclairages sont allumés, les lampes de lecture s'eteignent immédiatement lorsqu'une des opérations suivantes est effectué.
- Le contacteur d'allumage est tourné de la position "LOCK" à la position "Acc" ou "ON".
- Toutes les portières et le hayon (5 portières) sont verrouillés au moyen de la télécommande d'entrée sans clé.
Le décai avant l'extinction des lumières (minuterie d'extinction) peut être changé comme suit.
- Modèles avec système de navigation SUBARU d'origine:
Vous pouvez changer le réglage à partir du moniteur de navigation. Pour de plus amples détails, reportez-vous au supplément du Manuel du Conducteur traitant du système de navigation. Vous pouvez également faire changer le réglage par un concessionnaire SUBARU. Pour les détails, adressez-vous à votre concessionnaire SUBARU.
- Modèles sans système de navigation SUBARU d'origine:
Vou puez faire changer ce réglage par un concessionnaire SUBARU. Pour les détails, adressez-vous à votre concessionnaire SUBARU.
Pare-soleil

Abaissez le pare-soleil pour vous protégger des éblouissements.
Les pare-soleil peuvent pivoter et se placer sur le cotoe.
■ Miroir de courtoisie

ATTENTION
Afin d'éviter d'être ébloui par la lumière vivie, maintenez le couvercle du miroir de courtoisie fermé lors de la conduite du vehicule.

Pour utiliser le miroir de courtoisie, abaissez le pare-soleil et ouvre le couvercle du miroir de courtoisie.
Espace de rangement

ATTENTION
Pour réduire les risques de blessures en cas d'arrêt brusque ou d'accident, ne laissiez jamais l'espace de rangement ouvert pendant la conduite.
- Ne mettez pas d'atomiseurs ou de recipients contenant des produits inflammables ou corrosifs, ni aucun autre article dangereux dans l'espace de rangement.
Boite à gants

1) Verrouiller
2) Déverrouiller
Pour ouvrir la boîte à gants, tirez la poignée vers vous. Pour la referrer, poussez fermement le volet vers le haut.
Pour verrouiller, introduizez la clé et tournez dans le sens des aiguilles d'une montre. Pour déverrouiller la boîte à gants, insérez la clé et tournez-la dans le sens inverse des aiguilles d'une montre.
■ Console centrale

Pour ouvrir le couvercle, tirez le loquet vers le haut.
Boite à monnaie (selon modèles)

Une boîte à monnaie est intégrée à la console centrale.
Porte-gobelets

ATTENTION
Prenez garde à ne pas renverser le gobelet. Vous pourriez vous brûler ou brûler vos passagers avec une boisson chaude. En outre, toute boisson renversée peut endommager la sellerie, les tapis et l'équipe-ment audio.
Porte-gobelet du passager avant

ATTENTION
Ne prenez pas votre gobelet du porte-gobelet ou ne l'y remettez pas pendant que vous conduisez, car cela distraitir toute attention de la conduite et pourrait etre à l'origine d'un accident.
Sauf STI

Un double portegobetelet est incorpore à la console centrale, proche du levier de frein de stationnement.
STI

Il y a un double portegobelet à l'intérieur
de la console centrale, à côté du levier de frein de stationnement.

Pour acceder au portegobealet, tirez le couvercle vers l'arriere.

Il est possible d'extraire la cloison mediane du porte-gobelet et de I'inserer dans
une autre position (plus en avant ou en arrrière) pour insérer des gobelets de tailles différentes.

REMARQUE
Lorsque la cloison mediane est retiree, le porte-gobelet peut faire office d'espace de rangement.
- Porte-gobelet des passagers arrêté (selon modèles)

ATTENTION
Pour réduire les risques de blessures en cas d'arrêt brusque ou d'accident, le porte-gobetelet doit toujours être en position de rangement quand on ne s'en sert pas.

Un double portegobealet se trouve a l'arriere de la console centrale. Pour utiliser ce portegobealet, ouvre le volet en le tirant par le bord supérieur.
Porte-bouteilles

ATTENTION
- Ne prenez pas une bouteille du porte-bouteille ou ne l'y remettez pas pendant que vous conduisez, car cela distrustait votre attention de la conduite et peut être à l'origine d'un accident.
- Quand vous placez une boisson dans la poche de portiere, pensez àmettre un couvercle. Faute de quoi, le liquide risque de se repandre pendant la conduite ou à l'ouverture/fermeture de la portiere et, si la boisson est chaude, vous risqueriez alors d'être brûlé.

Les poches de portière intégrées aux garnitures de portières peuvent servir à ranger des bouteilles ou d'autres objets.
Prises de courant pour accessoire

Prise de courant sous les commandes de climatisation


Prise de courant de la console centrale (sauf STI)
Prise de courant de la console centrale (STI)
Des prises de courant pour accessoire se trouvent sous les commandes de climati
sation et dans la console centrale. Le courant électriche de la batterie (12 V CC) est disponible depuis n'importe qu'elle prise de courant lorsque le contacteur d'allumage est en position "Acc" ou "ON". Vous pouvez utiliser un accessoire électriche pour automobile en le branchant à une prise.
La puissance maximum de l'appareil branché est 120 W. N'utilise jamais d'appareils dont la puissance dépasse la puissance maximum indiquée ci-après pour chaque prise.
Quand vous utilisez simultanement deux
appareils branchés à ces prises de
courant, la consommation totale de ces
appareils ne doit pas dépasser 120 W.

ATTENTION
- Ne tentez pas d'utiliser un allume-cigare dans les prises de courant pour accessoire.
- N'introduisez pas de corps étrangers, en particulier des objets métalliques comme des pièces de monnaie ou du papier alumi-nium, dans la prise de courant pour accessoire. Cela pourrait produit un court-circuit. N'oubliez pas de remettre le couvercle de protection sur la prise
lorsqu'elle n'est pas en service.
- N'utilisez que des apparèils électriques concus pour fonctionner en 12 V CC.
La puissance maximum de l'appareil branché est de 120 W. N'utilise jamais d'appareils dont la puissance dépasse la puissance maximum indiquée ci-après pour chaque prise.
Quand vous utilisez simultanement deux apparéils branchés à ces prises de courant, la consommation totale de ces apparéils ne doit pas dépasser 120 W. Une surcharge de la prise de courant pour accèsoir peut causer un court-circuit. Ne branchez pas de fiche de dédoublement et n'utilise qu'un apparéil électrique par prise de courant.
- Si la fiche de l'appareil électrique serre trop ou est trop lâché dans la prise de courant pour accessoire, il peut en résultat un mauvais contact électrique et un grippage de la fiche dans la prise. N'utilise que des appareils dont la fiche est bien adaptée.
L'usage prolongé d'un apparéil électrique branché sur la prise de
courant pour accessoire avec le moteur du vehicule à l'arrêt peut décharger la batterie.
- Avant de prendre la route, vérifie que la fiche, le cable et l'appareil électrique ne risquent pas de vous générer pour actionner le levier de changement de vitesse, la pedale de frein ou la pedale d'accélérateur. Si vous étés géné, n'utilise pas l'appareil électrique en conduisant.
Utilisation avec un allumecigare (selon modèles)
Afin d'utiliser la prise électrique pour accessoires (située sous la commande de climatisation) comme prise électrique pour l'allume-cigare, munissez-vous d'une prise à allume-cigare parmi les équipements optionnels. Les prises électriques pour l'allume-cigare sont disponibles chez votre concessionnaire SUBARU.
L'allume-cigare ne fonctionne que si le contacteur d'allumage est en position "ON" ou "Acc".
Pour utiliser l'allume-cigare, appuyez sur le bouton et attendez un instant. L'allume-cigare est pré à l'emploi lorsqu'il recule automatiquement.

DANGER
Ne tenez jamais l'allume-cigare par le cote de I'elément chauffant pour eviter de vous brûler. Vous risquériez à la fois de vous brûler et d'endommager I'elément chauffant.

ATTENTION
- Ne tenez pas l'allume-cigare en position enfoncée car cela le ferait surchauffer.
- La prise électrique qui se trouve dans la console centrale est concise pour receivevoir un allumecigare SUBARU d'origine. Ne branchez jamais dans cette prise un allume-cigare n'était pas d'origine. Ceci pourrait provoquer un court-circuit ou une surchauffe et déclencher un incendie.
L'usage de cette prise pour un accessoire périphérique comme un téléphone cellulaire, etc. risque d'endommager le mecanisme interne de la prise qui libre l'allume-cigare et le fait "sauter" quand I'élement a suffisamment chauffé. Il ne faut donc
pasmettreunallume-cigare dans une prise qui a eteutilisée,meme une foisseulement,pourracorder un accessoireperiphérique.L'allume-cigare risquerait de se bloquer,de surchauffer et de provoquer un feu.
Cendrier (selon modèles)

ATTENTION
- N'utilisez pas le cendrier comme poubelle et éteignez bien votre cigarette avant de referrer le cendrier. Dans le cas contraire, vous pourriez provoquer un incendie.
- Éteignez toujours les allumettes et cigarettes avant de lesmettre dans le cendrier, puis refermez bien ce dernier. Si vous laissez le cendrier ouvert, la cendre incandescente de la cigarette pourrait sepropager à un autre mégot et provoquer un début d'incendie.
- Ne mettez pas de matérielux inflammbables dans le dendrier.
- Ne laïsez pas une grande quantité de mégots dans le cendrier.
REMARQUE
De la cende et des particules de tabac s'aggloméré autour des channières du volet interieur du cendrier. Nettoyezles à l'aide d'une brosse à dents ou d'un autre ustensile similaire à bout étroit.
Cendrier portable

Le cendrier portable peut être installé dans chaque porte-gobealet. Pour des informations relatives à l'emplacement des porte-gobealets, reportez-vous à "Porte-gobealets" 6-6. Lorsque vous utilisez le cendrier, ouvrez son couvercle. Pour-retirer le cendrier d'un porte-gobealet, tirez le cendrier vers le haut.
Après utilisation, refermez le cendrier complètement pour éviter le dégagement de fumée.
Cendrier arrête (STI - selon modèles)

Le cendrier arrête se trouve sur le côté supérieur arrière de la console centrale. Pour ouvrir le cendrier, tirez sur l'extrémité supérieure du couvercle.
Après utilisation, refermez le cendrier complètement pour éviter le dégagement de fumée.
Pour-retirerle cendrierafinde le nettoyer, ouvre-ile,puis extrayez-le tout en appuyant sur la plaque interme.
Tapis de sol (selon modèles)

Le plancher côté conducteur est équipé d'ergots de fixation.
Pour immobiliser le tapis de sol, passerez les oeillets du tapis sur les ergots et poussez vers le bas.


ATTENTION
Du côté conducteur, le tapis de sol doit être immobilisé à sa position normale, c'est-à-dire en arrêté et engagé sur les ergots de fixation. De même, n'utilise pas plus d'un tapis de sol. Si le tapis de sol glisse vers l'avant, il risque de contrarier le mouvement des pédales pendant la conduite, ce qui peut causeur un accident.
Crocket pour sac de provisions (5 portières)

ATTENTION
Le poids des objets suspendus au crochet à sac à provisions ne doit pas dépasser 3 kg (6 lbs).

Un crochet pour sac de provisions est fixé de chaque côté de l'espace de charge-ment.
Couverture de l'espace de chargement (5 portières - selon modèles)
Cette couverture ferme l'espace de chargement et protège son contenu du soleil. Il peut être enlevé pour dégager un plus grand espace de chargement.
Mode d'emploi du rideau de couverture

Pour dérouler le ridesau, tirez le bout dépassant de l'enrouleur et engagez les crochets dans les points de prise comme indiqué sur l'illustration. Pour replier le rideau, décrochez-le; il s'enroule automatiquement. Retenez le ridesau à la main et guidez-le pendant qu'il rentre dans
I'enrouleur.
DANGER
Ne posez rien sur le rideau déployé. Une charge trop lourde posée sur le rideau pourrait l'endommager, et des objets poursraient être projétés vers l'avant en cas de freinage brusque ou de collision. Cela pourrait provoquer de graves blessures.
ATTENTION
Prenoz soit de ne pas rayer les béquilles du hayon en dérouulant ou en enroulant le rideau de couverture.
Des rayures sur les bequilles du hayon risquent de causeur une fuite du gaz qu'elles renferment, et les bequilles ne pourraient plus maintainir le hayon en position ouverte.
Pour retirer le rideau
- Faites rentrer le ridesau dans l'enrouleur.

- Poussez la barre vers le cote droit, puis retractez-la.
- Dégagez l'enrouleur des pattes de fixation.
Pour installer le rideau
1. Retractez la barre.

2. Engagez les ergots des extrémités de l'enrouleur dans les creux des pattes de fixation.
Crochets d'arrimage du chargement (5 portières - selon modèles)

L'espace de chargement est équipé de quatre crochets d'arrimage pour maintainir la charge immobile au moyen d'un filt à charges ou de cordes.
Pour utiliser les crochets d'arrimage, abaissez-les en tournant pour les faire sourir de leur niche. Lorsqu'ils ne sont pas en service, appuyez sur les crochets pour lesmettre en position escamotée.

ATTENTION
Les crochets d'arrimage de la charge ne sont prevus que pour des chargesements légers. N'y accrochez pas des chargesments dont le poids dépasse la résistance de ces crochets. La charge maximale ne doit pas dépasser 20 kg (44 lbs) par crochet.
Espace de rangement sous plancher (selon modèles)


Modèles 4 portières
Modèles 5 portières
L'espace de rangement sous plancher est
situé sous le plancher du coffre à bagages (4 portières) ou l'espace de chargement (5 portières) et peut être utilisé pour entreprises de petits objets. Pour ouvrir le couvercle, tirez le taquet vers le haut.
REMARQUE
- La forme de l'espace de rangement peut différer selon le modele.
- Lorsque vous rangez une roue crevee, mettez le plateau de rangement dans le coffre à bagages (4 portieres) ou dans l'espace de chargement (5 portieres).

ATTENTION
- Pendant la conduite, les couvercles doivent être en position fermée pour réduire le risque de blessures en cas d'arrêt brusque ou d'accident.
- Ne mettez pas d'atomiseurs ou de recipients contenant des produits inflammables ou corrosifs, ni aucun autre article dangereux dans l'espace de rangement.
Carburant. 7-3
Volet et bouchon du réservoir de carburant 7-5
Essai d'émission de pollutants (États-Unis uniquement) 7-8
Avant de prendre la route. 7-10
Demarrage du moteur 7-10
Modles B/M 7-11
Modèles BVA 7-11
Arrêt du moteur 7-12
Système de démarrage à distance du moteur (option concessionnaire) 7-13
Demarrage de vetre vehicule. 7-13
Fonctions de sécurité du système de démarrage à distance. 7-13
Pénetration dans le vehicule lorsque ce dernier est démarré via le système de commande à distance. 7-14
Pénetration dans le vehicule après arrêt du moteur à l'aide du système de démarrage à distance du moteur 7-14
Préchauffage ou pré-refroidissement de l'intérieur du vehicule 7-14
Mode de maintenance 7-14
Programmation du transmetteur de demarrage à distance du moteur et fonction programmable...... 7-15
Maintenance du système 7-16
Boite de vitesses manuelle - 6 rapport (STI) 7-17
Engagement de la marche arrête 7-18
Rapports de boite 7-18
Conseils de conduite 7-19
Boite de vitesses manuelle - 5 rapport (sauf STI) 7-20
Rapports de boite 7-20
Conseils de conduite 7-21
Différentiel de centre de contrôle conducteur (DCCD) (STI) 7-22
Changement du mode de différentiel de centre de contrôle conducteur 7-22
Mode automatique 7-23
Mode manuel 7-24
Relachement temporaire 7-26
Boite de vitesses automatique 7-26
Levierselecteur 7-27
Fonction de verrouillage du levier selecteur 7-29
Selection du mode manuel 7-30
Conseils de conduite 7-31
Mode SPORT 7-32
SI-DRIVE (STI) 7-32
Sellecteur SI-DRIVE 7-34
Différentiel à mouvement limité (LSD) (STI) 7-34
Servodirection 7-35
Freinage 7-35
Remarques d'ordre général sur le freinage 7-35
Système des freins 7-36
Indicateurs d'usure des plaquettes de frein à disque 7-37
ABS (système de freins antiblocage) 7-37
Fonction d'essai automatique du système ABS 7-38
Témoin averâtisseur des freins antiblocage (ABS) 7-38
Système EBD (répartition électronique de la force de freinage) 7-38
Mesures à prendre en cas de dysfonctionnement du système EBD 7-38
Système du Contrôle de Dynamique du Véhicule 7-40
Moniteur de système du Contrôle de Dynamique du Véhicule 7-42
Commutateur de mode du Contrôle de Dynamique du Véhicule (STI) 7-42
Commutateur de désactivation du Contrôle de Dynamique du Véhicule (sauf STI) 7-43
Système de surveillance de la pression des pneus (TPMS) (modèles spécification des États-Unis) 7-44
Stationnement du vehicule 7-46
Frein de stationnement 7-46
Conseils de stationnement 7-47
Système d'assistance pour démarrage en côte (modèles B/M - selon modèles) 7-48
Activation/Désactivation du système d'assistance au démarrage en côte (STI) 7-49
Témoin averâtisseur d'assistance pour démarrage en côte/Témoin indicateur de désactivation d'assistance pour démarrage en côte. 7-50
Régulateur de vitesse 7-51
Pour régler le régulateur de vitesse 7-51
Désactivation temporaire du régulateur de vitesse 7-52
Mise hors service du régulateur de vitesse 7-53
Pour changer la vitesse régée 7-53
Témoin indicateur de régulateur de vitesse 7-54
Témoin indicateur réglage du régulateur de vitesse constante 7-54
Carburant

ATTENTION
L'utilisation d'un carburant de qualite medicoe ou contenant un additif du carburant inapproprié peut avoir une mauvaise influence sur le moteur.
Modèles sans turbo
Ce moteur est concu pour fonctionner avec de l'essence sans plomb avec un indice d'octane égal ou supérieur à 87 AKI (90 RON).
Modèles avec turbo
Sauf STI
Ce moteur est conçu pour fonctionner avec de l'essence sans plomb de première qualité avec un indice d'octane égal ou supérieur à 91 AKI (95 RON). Si de l'essence sans plomb de première qualité n'est pas disponible, de l'essence sans plomb ordinaire ayant un indice d'octane égal ou supérieur à 87 AKI (90 RON) peut être utilisétemporairement. Pour des performances de moteur et une souplesse
optimales, il est nécessaire d'utiliser de l'essence sans plomb de qualite supérieure.
REMARQUE
Veiliez à utiliser de l'essence sans plomb de qualité supérieure de 91 AKI (95 RON) ou plus. Utiliser une autreASForte d essence (avec moins de 91 AKI 95 RON)) peut entrainer des cliquetis, une puissance reduite et une faible reponse des accelérateurs.
STI
Ce moteur est concu pour fonctionner de façon optimale avec de l'essence sans plomb avec un indice d'octane égal ou supérieur à 93 AKI (98 RON). Si de l'essence à 93 AKI (98 RON) n'est pas facile à obtenir dans votre région, de l'essence sans plomb avec un indice d'octane égal ou supérieur à 91 AKI (95 RON) peut être utilisé sans que cette cause du détrement à la longévité du moteur ou à la souplesse. Toutefois, vous pouvez remarquer une légère diminution des performances maximales du moteur si vous utilisez de l'essence à 91 AKI (95 RON). L'utilisation d'essence à 91 AKI (95 RON) n'affecte pas la couverture de votre garantie.
Indice d'octane des carburants
Cet indice d'octane auquel nous faisons reférence est la moyenne entre les indices de Recherche d'octane et d'Octane du moteur. On l'appelle aussi couramment "indice anti-cliquetis" ou AKI (de l'anglais "Anti-Knock Index").
Avec une essence d'un indice d'octane trop bas, le cliquetis du moteur est fort et persistent, et cela peut à la longue endommager le moteur. Il n'y a pas lieu de s'inquieter si le moteur de votre vehiculecies cliquette légèrement de temps à autre ou pendant les accélérations. Contactez cette concessionnaire SUBARU si vous vehicule fait des a coups forts ou constamment alors que vous utilisez un carburant ayant un indice d'octane spécifique.
Essence sans plomb
La goulotte de replissage du réservoir de carburant est prévue pour n'accepter que les pistolets des pompes distributrices d'essence sans plomb. N'utilise jamais, quelles que soient les circonstances, de l'essence au plomb; elle endommagerait le système antipollution et pourrait affecter la souplesse du moteur.
Essence pour vehicules certifiés LEV en Californie
Si vous vécicule a été homologué comme vehicule peu polluant (LEV) en Californie, ce qui est attesté par une étiquette collée sous le capot, il est unconçu pour obtenir des performances optimes du moteur et des systèmes antipollution avec une essence conforme aux specifications basse teneur en soufre pour la Californie. Dans un état autre que la Californie, votre vehicule sera ravitaillé avec une essence conforme aux specifications fédérales. Pour l'essence vendue ailleurs qu'en Californie, il est admis une teneur en soufre plus élevé, ce qui peut affecter le fonctionnement du convertisseur catalytique de votre vehicule et donner une légère odeur de soufre aux gaz d'éché-pement. Si le cas se présente, avant deprésenter vos vécicules à un concessionnaire agrée pour le faire réviser, SUBARU vous recommende d'essayer une marque d'essence sans plomb différente pour voir si le problème ne viert pas du carburant.
MMT
Certaines essences contiennent un additif d'amélioration de l'indice d'octane, appelé MMT (Méthylcyclopentadiényl Manganèse Tricarbonyle). Avec un tel carburant, les performances du système antipollution sont médiocres, et il arrive que le témoin
avertisseur d'anomalie moteur CHECK ENGINE/témoin indicateur d'anomalie de fonctionnement s'allume. Le cas échéant, présentez Your vehicule à un concessionnaire agree SUBARU pour le faire contrôle. S'il s'avere que le type de carburant utilise est à l'origine du problème, les réparations ne pourront pas été prises en charge dans le cadre de la garantie de votre vehicule.
Des essences moins polluantes
L'utilisation d'une essence contenant des additifs détergents évite la formation de dépôts à l'intérieur du moteur et dans le système d'alimentation en carburant. Cela aide à maintenir le moteur et ses systèmes antipollution au moins de leurs performances et, en ce sens, cela contribue à la lutte contre la pollution atmosphérique. Si vous utilisez en permanence un carburant de bonne qualité contenant du détermagent et les autres additifs appropriés, vous n'aurez jamais à introduire dans le réserveir de carburant un agent de nettoyage du système d'alimentation en carburant.
Les essences sont souvent mélangées à des produits oxygénés. L'utilisation de tels carburants contribue à la lutte contre la pollution. Il est possible d'utiliser avec votre vehicule un carburant mélangé
oxygéné, tel que le MTBE (éther méthyle butyle tertiaire) ou l'éthanol (alcool éthylique ou de grain). Toutefois, pour que votre SUBARU fonctionne bien, le mélange ne doit pasContainir plus de 15% de MTBE ou 10% d'éthanol.
Par ailleurs, certains fournisseurs d'essence proposent maintainant des essences dites "reformulées" conçues pour réduire les émissions de pollutants par les vehicules. SUBARU approuve l'utilisation de l'essence reformulée.
En cas de doute sur la composition des carburants, renseignez-vous auprès du personnel de la station-service qui pourrait indiquer si les essences vendues contiennent des détagents et des produits oxygénés et si elles ont été reformulées pour réduire les émissions de polluants.
En outre, utilisez uniquement du carburant adaptable à votre vehicule, comme précrit ci-après.
- Le carburant ne doit pas contenir de plomb et partager un indice d'octane au moins égal à la valeur prescrite dans ce manuel.
- Du methanol (alcool méthylique ou alcool de bois) est parfois mélange à l'essence sans plomb. Le methanol est admissible avec ce vehicule UNIQUEMENT en proportion inférieure à 5% du
mélange du carburant qui doit AUSSI containir les dissolvants et inhibiteurs de corrosion appropriés pour ne pas endomager le système d'alimentation en carburant. Utilisez un carburant contenant du methanol UNIQUEMENT si ces conditions sont remplies.
- En cas de difficultés avec le moteur, si ces difficultéssemblent être causées par le carburant, essayez une autre marque d'essence avant de demander assistance à votre concessionnaire SUBARU.
- Les problèmes d'endommagement du système d'alimentation en carburant ou de manque de souplesse du moteur dus à l'emploi de carburant de qualite inadéquate ne sont pas couverts par la Garantie Limitée SUBARU.

ATTENTION
Veillez à ne pas répandre de carburant sur la carrosserie du vehicule. Du fait que le carburant peut endomager la peinture, veillez à nettoyer rapidement tout carburant qui se serait répandu. Les dégats à la peinture provoqués par du carburant ne sont pas couverts par la Garantie Limitée SUBARU.
Volet et bouchon du réservoir de carburant
Ravitation en carburant
Le ravitallement en carburant doit être effectué par une personne uniquement. Ne laissez personne s'approcher de la goulotte de remplissage de carburant lors du ravitallement en carburant.
Respectez toujours toutes les précautions indiquées à la station service.

700574

700343
- Pour ouvrir le volet du bouchon de réservoir du carburant, tirez le levier d'ouverture vers le haut. Le levier d'ouverture se trouve sur le plancher, sur la gauche du siège du conducteur.

DANGER
Avant d'ouvrir le bouchon de réserve du carburant, touchez d'abord la carrosserie du vehicule ou une partie métallique de la pompe du carburant ou un objet similaire pour décharger l'électricité statique qui pourrait être present sur vous. Si votre corps transporte de l'électricité statique, il y un risque qu'une étincelle électricité enflame le carburant, ce qui pourrait vous brûler. Pour éviter d'accumuler à nouveau
de l'électricité statique, ne rentrez pas dans le vehicule pendant le ravitationnement en carburant.

1) Ouvrir
2) Fermer
- Ouvrez le bouchon de replissage en carburant en le tournant lentement dans les sens inverse des aiguilles d'une montre.

DANGER
- Les vapeurs d'essence sont très inflammables. Avant un ravitationllement en carburant, arrêté d'abord le moteur et fermez toutes les portières et vitres du vehicule. Vérifiez qu'il n'y a ni cagrette allumée, ni flamme vivie, ni
source d'étincelles électriques à proximé. Ne manipulez le carburant qu'à l'extérieur. Frottez immédiatement du carburant renverse.
Lors de l'ouverture du bouchon, saisissez-le fermement et tournez-le lentement vers la gauche. Ne I'enlevez pas brusquement. En particulier par temps chaud, le carburant sous pression risquerait de giclcer avec force par la goulotte de replissage du carburant, occasionnant dommages ou blessures. Si vous entendez un sifflement pendant que vous devissez le bouchon, attendez que le bruit s'arrête, puis ouvrez le bouchon delicatement pour éviter que le carburant se repande et constitue un risque d'incendie.

- Posez le bouchon de remplissage sur le support de bouchon à l'intérieur du volet de bouchon (modèles turbo).

- Attachez le fil du bouchon de remplissage sur le crochet situé à l'intérieur du volet de bouchon (modèles sans turbo).

DANGER
Lors du ravitationnement en carburant, inserez le pistolet du carburant convenablement dans le tuyau de replissage de carburant. Si le pistolet n'est pas souleve ou insere a fond, son mecanisme d'arrêt automatique risque de ne pas fonctionner, ce qui provoquera le débordement du carburant et représentera un risque d'incendie.
- Arrêtez le ravitationnement en carburant lorsque le mecanisme d'arrêt automatique du pistonlet du carburant s'active. Si vous continue à ajouter du carburant, des variations de température ou d'autres conditions peuvent provoquer le débordement du carburant et représentier un risque d'incendie.
- Le replissage en carburant est terminé quand le distributeur de la station-service s'arrête automatiquement. Ne tentez pas d'ajouter encore du carburant. 6. Refermez le bouchon en le tournant dans le sens des aiguilles d'une montre jusqu'à enclenchement. Au serrage, veillez à ce que la sangle de retenue ne soit
pas prise sous le bouchon.
- Refermez complètement le volet d'accès au bouchon de replissage du carburant.
Si vous avez repandu du carburant sur une surface peinte, rincez immédiatement. Dans le cas contraire, la peinture pourrait être endommagée.
REMARQUE
- Vous pouvez voir le pictogramme "■" sur la jauge de carburant. Cette inscription indique que le volet (couvercle) de replissage en carburant se trouve du cote droit du vehicule.
Si le bouchon de replissage en carburant n'a pas ete referme jusqu'au clic, ou si la longe de retenue est prise sous le bouchon, esta peut provoquer l'allumage du temoin avertisseur d'anomalie moteur CHECK ENGINE/temoin indicateur d'anomalie de fonctionnement. Reportez-vous a "Temoin avertisseur d'anomalie moteur CHECK ENGINE/Temoin indicateur d'anomalie de fonctionnement" 3-19.

ATTENTION
- Ne mettez jamais de produits de nettoyage dans le réserve de carburant. L'ajout de produits de
nettoyage risquerait d'endomma-ger le systeme d'alimentation en carburant.
- Àprous le ravitationnement en carburant, tournez le bouchon vers la droite jusqu'à enclenchement pour garantir un serrage maximal. Si le bouchon n'est pas bien serré, du carburant peut s'écouler pendant la conduite du vehicule ou du carburant peut se renverser en cas d'accident, ce qui peut représentier un risque d'incendie.
Veillez à ne pas répandre de carburant sur la carrosserie du vehicule. Du fait que le carburant peut endommager la peinture, voirlez à nettoyer rapidement tout carburant qui se serait répandu. Les dégats à la peinture provoques par du carburant ne sont pas couverts par la Garantie Limitée SUBARU.
N'tutilisez qu'un bouchon du carburant SUBARU d'origine. Si vous utilisez le mauvais bouchon, il risque de mal s'adapter à la goulotte, de ne pas assurer une prise d'air suffisante et il pourrait en résultat un mauvais fonctionnement de l'alimentation
et de votre réserve et du carburant du système antipollution. Cela peut également entraîner un débordement du carburant et un incendie.
Si le témoin averitisseur de bas niveau de carburant s'allume, ravitailliez le vehicule en carburant immidiatement. Les ratés d'allumage provoqués par le manque de carburant dans le réservoir sont susceptibles d'endommager le moteur.
Essai d'émission de polluants (États-Unis uniquement)
Au moment de l'inspection par les services officiels, n'oubliez pas d'attirer à l'avance l'attention de la station d'inspection ou la station-service sur le fait que votre vehicule SUBARU AWD ne doit pas être place sur un dynamomètre 2-roues. Il pourrait en résultat un grave endommagement de la transmission.
Certains états ont.Commencé àutiliser des dynamométres pour satisfaire à leurs obligations au titre de la loi federale d'appliquer des critères d'émissions de polluants plus sévères en vue de réduire la pollution atmosphérique par les vehicules. Ces dynamométres seprésentent sous la forme d'un dispositif ressemblant à un banc à rouleaux sur lequel les roues du vehicule testé peuvent tourner avec le vehicule restant en place. En fonction de la gravité de ces problèmes de pollution atmosphérique, chaque état adopte un programme d'inspection d'émission de polluants par les vehicules dit "programme de base" ou "programme renforcé".Normalement,avec le programme de base, l'essay constitue en partie pour l'inspecteur à introduire une sonde d'analyse dans le tuyau d'échéppement du vehicule au
ralenti pendant une courte période. Les États confrontés à des problèmes de pollution atmosphérique plus graves doivent pratiquer un essai d'émission de pollutants par les vehicules plus rigoureux. Ce test consiste à simuler les conditions réelles de conduite en plaçant le vehicule sur un dynamomètre pour permettre de mesurer les pollutants émis avec une plus grande précision que dans l'essay du programme de base.
L'Agence pour la Protection de l'Environnement des États-Unis (EPA) et les états utilisant des dynamométres 2-roues pour leur programme d'essai d'émission de polluants ont DISPENSE les vehicules SUBARU AWD de la partie des essais à effectuer sur dynamomètre 2-roues.
Certains États utilisent pour leur programme d'essay des dynamomètres 4 roues. Ceux-ci, convenableness utilisés, ne risquent pas d'endommager les vehicules SUBARU AWD.
Quelles que soient les circonstances dans lesquelles l'essay d'émission de polluant est effectué, il ne faut jamais faire décoller les roues arrrière du sol au cric ou découpler les arbres de roues.

DANGER
Les essais des modèles à traction intégrale ne doivent JAMAIS être effectuels sur un dynamomètre simple pour deux roues motrices. Sur ce type d'installation, vous risquez un accident et des blessures car les mouvements du vehicule seraient incontrolables, et il y a risque d'accident et de blessures pour les personnes aux alentours.

ATTENTION
La Garantie Limitée SUBARU ne couvRE pas les dommages subsis par le vehicule du fait d'une méthode d'essayinappropriée, de tels dommages étant de la responsabilité du Programme Inspection State, de ses entrepreneurs ou de ses licenciés.
L'EPA a émis des règles sur l'inspection du système de diagnostic embarqué (OnBoard Diagnostic), ci-après système OBD, dans le cadre du contrôle anti-pollution par les États. Le système OBD est créé pour détecter les problèmes de moteur ou de transmission susceptibles d'entrainer un dépassement des limites
d'émissions polluantes admissibles pour le vehicule. Ces contrôles concernnent toutes les voitures de tourisme et camions légers d'année de méthode 1996 ou plus récents. L'inspection du système OBD est déjà entree en vigueur dans plus de 30 états, ainsi que dans le District of Columbia.
-
L'inspection du système OBD consiste en un contrôle visuel du fonctionnement du témoin avertisseur d'anomalie moteur "CHECK ENGINE"/témoin indicateur d'anomalie de fonctionnement (MIL), et en un examen du système OBD au moyen d'un outil de détction électronique pendant que le moteur est en marche.
-
Un vehicule est accepté à l'inspection du système OBD si on constate que le témoin avertisseur d'anomalie moteur "CHECK ENGINE"/témoin MIL s'allume normalement, s'il n'y a pas en mémoire de code diagnostiquant une panne, et si les moniteurs d'états du système OBD sont achèves.
- Un vehicule est refusé à l'inspection du système OBD si le témoin avertisseur d'anomalie moteur "CHECK ENGINE"/ témoin MIL ne fonctionne pas correctement ou si la mémoire de l'ordinateur du vehicule contient un ou plusieurs code diagnostiquant une panne avec le témoin avertisseur d'anomalie moteur "CHECK
ENGINE"/témoin MIL allumé.
- L'inspection antipollution peut refuser de se prononcer (sans décision d'acceptation ou de refus du vehicule) si le nombre de moniteurs "Not Ready" d'êts du système OBD est supérieur à un. Dans ce cas, il sera demandé à l'utilisateur du vehicule de rouler avec le vehicule pendant quelques jours pour attendre que le réglage des moniteurs s'effectue et devenirprésenter à nouveau le vehicule à l'inspection antipollution.
- Les propriétaires des vehicules refusés lors de cette inspection sont priés de contacter leur concessionnaire SUBARU pour la mise en état du vehicule.
Avant de prendre la route
Effectuez les contrôles ou réglages suivants tous les jours avant de prendre la route.
- Vérifiez que les vitres, les rétroviseurs et les feuels sont propres et dégagés.
- Vérifiez que les pneus sont en bon état etprésentent un aspect normal. Assurez-vous également que la pression de gonflage des pneus est correcte.
- Regardez sous le vehicule pour vous assurer de l'absence de fuite.
- Vérifiez que le capot, le coffre à bagage (4 portières) et le hayon (5 portières) sont bien fermés.
- Vérifiez que votre siège est convenablement régle.
- Vérifiez que les rétroviseurs extérieurs et le rétroviseur interieur sont bien régles.
- Attachez votre ceinture de sécurité.
Vérifiez que tous les passagers ont attaché leur ceinture. - Verifiez que tous les témoins avertisseurs et indicateurs fonctionnent normalement lorsque le contacteur d'allumage est mis en position "ON".
- ÀpRES la mise en marche du moteur, contrôle les jauges, témoins indicateurs et avertisseurs.
REMARQUE
Les niveaux de fluides tels que l'huile moteur et le liquide de refroidissement du moteur, le liquide de frein, le liquide de lave-glace, etc. sont à vérifier régulierment soit une fois par jour, une fois par semaine ou à chaque ravitationnement en carburant.
Démarrage du moteur

ATTENTION
N'actionnez pas le démarreur pendant plus de 10 secondes d'affilée. Si le moteur n'a pas démarré au bout de 5 à 10 secondes de lancement au démarreur, attendez au moins 10 secondes avant de faire une nouvelle tentative.
REMARQUE
-
Il peut être difficile de démarrer le moteur après que la batterie ait esté débranchée et rebranchée (après une intervention d'entretien, par exemple). Cette difficulté provient de la fonction d'autodiagnostic du papillon des gaz à commande électronique. Dans ce casla, il suffit de laisser le contacteur d'allumage en position "ON" pendant une dizaine de secondes avant demettre le moteur en marche.
-
Sur les modèles sans turbo, pour protégé le moteur lorsque le levier de changement de vitesses est au point mort (pour les modèles B/M) ou lorsque le levier sélecteur est en position “P” ou “N” (pour les modèles BVA), le moteur est contrôle, de sorte que le
régime moteur n'augmente pas excessivement, même lorsque la pédale d'accéléateur est enforcée fortement au plancher.
Modèles B/M
- Serrez le frein de stationnement.
- Éteignez les lumières et accessoires électriques inutiles.
- Appuyez à fond sur la pédale d'embrayage et mettez le levier de changement de vitesses au point mort. Tenez la pédale enfonnée pendant le démarrage du moteur.
Le démarre ne peut fonctionner que lorsque la pédale d'embrayage est tenue enforcée jusqu'àu plancher.
- Mettez le contacteur d'allumage en position "ON" et vérifie que tous les témoins avertisseur et indicateurs fonctionnent normalement. Reportez-vous à "Témoins avertisseurs et indicateurs" 3-15.
- Mettez le contacteur d'allumage en position "START" sans enforcer la pédale d'accélérateur. Relâchez la clé dés que le moteur démarre.
Si le moteur ne démarre pas, essayez comme suit.
(1) Ramenez le contacteur d'allumage en position "OFF" et attendez au
moins 10 secondes. Àpès avoir vérifié que le frein de stationnement est bien serré, mettez le contacteur d'allumage en position "START" en tenant la pédale d'accéléateur légarement enforcée (environ un quart de la course complète). Relâchez la pédale d'accéléateur dès que le moteur démarre.
(2) Si le moteur ne démarre pas, ramenez le contacteur d'allumage en position "OFF" et attendez au moins 10 secondes. Ensuite, appuyez au maximum sur la pédale d'accelérateur et mettez le contacteur d'allumage en position "START". Si le moteur démarre, relâchéz immidiatement la pédale d'accelérateur.
(3) Si le moteur ne démarre pas, ramenez le contacteur d'allumage en position "OFF". Àpres avoir attendu au moins 10 secondes, mettez le contacteur d'allumage en position "START" sans toucher à la pédale d'accéléateur.
(4) Si le moteur refuse toujours de démarrer, contactez le concessionnaire SUBARU le plus proche pour demander de l'aide.
- Assurez-vous que tous les témoins avertisseurs et indicateurs s'éteignent une fois le moteur démarré. Le système d'injection du carburant réduit automatii
quement le régime de ralenti du moteur à mesure que le moteur se rechauffe.
Modèles BVA
- Serrez le frein de stationnement.
- Éteignez les lumières et accessoires électriques inutiles.
- Mettez le levier sélecteur en position "P" ou "N" (de préférence la position "P"). Le démarreur ne peut fonctionner que lorsque le levier sélecteur est en position "P" ou "N".
- Mettez le contacteur d'allumage en position "ON" et vérifie que tous les témoins averitisseur et indicateurs fonctionnement normalement. Reportez-vous à "Témoins averitisseurs et indicateurs" 3-15.
- Mettez le contacteur d'allumage en position "START" sans enforcer la pedale d'accélérateur. Relâchez la clé dés que le moteur démarre.
Si le moteur ne démarre pas, essayez comme suit.
(1) Ramenez le contacteur d'allumage en position "OFF" et attendez au moins 10 secondes. Avres avoir vérifié que le frein de stationnement est bien serré, mettez le contacteur d'allumage en position "START" en tenant la pédale d'accéléateur légèrement en
foncée (environ un quart de la course complète). Relâchez la pédale d'accéléateurès que le moteur démarre.
(2) Si le moteur ne démarre pas, ramenez le contacteur d'allumage en position "OFF" et attendez au moins 10 secondes. Ensuite, appuyez au maximum sur la pédale d'accélérateur et mettez le contacteur d'allumage en position "START". Si le moteur démarre, relâchézmédiatement la pédale d'accélérateur.
(3) Si le moteur ne démarre pas, ramenez le contacteur d'allumage en position "OFF". Àpres avoir attendu au moins 10 secondes, mettez le contacteur d'allumage en position "START" sans toucher à la pédale d'accéléateur.
(4) Si le moteur refuse toujours de démarrer, contactez le concessionnaire SUBARU le plus proche pour demander de l'aide.
- Assurez-vous que tous les témoins avertisseurs et indicateurs s'éteignent une fois le moteur démarré. Le système d'injection du carburant réduit automatiquement le régime de ralenti du moteur à mesure que le moteur se rechauffe.
Pendant la mise en température du moteur, le levier sélecteur doit rester en position "P" ou "N" et le frein de stationne
ment doit rester serre.

ATTENTION
Si you remettez le moteur en marche alors que le vehicule est en mouvement, placez le levier selecteur en position "N". Ne tentez pas d'engagelez levier selecteur en position "P" tant que le vehicule est en mouvement.
Arrêt du moteur
Le contacteur d'allumage ne doit etre coupé que lorsque le vehicule est immobile et que le moteur tourne au ralenti.

DANGER
N'arrêtez jamais le moteur pendant que le vehicule roule. Cela entrainerait la perte de la servodirection et du servofrein rendant la manipulation du volant de direction et des freins très durs à actionner. En outre, le contacteur d'allumage pourrait être accidentellement mis en position "LOCK" et le volant de direction serait bloqué.
Système de démarrage à distance du moteur (option concessionnaire)

DANGER
-
Ne démarrez pas le moteur à l'aide du système de démarrage à distance dans un environnement confiné (par exemple, dans un garage fermé). L'utilisation prolongée d'un vehicule à moteur dans un espace clos peut provoquer une accumulation dangereuse de monoxyde de carbone. Le monoxyde de carbone est nuisible pour la santé. L'exposition à une concentration élevée de monoxyde de carbone est susceptible de provoquer maux de tete, étourdissements ou, dans le pire des cas, une perte de conscience et/ou la mort.
-
Avant d'effectuer unquelconque entretien sur le vehicule, placez provisoirement le systeme de demarrage a distance du moteur en mode de maintenance afin d'eviter tout demarrage accidentel du moteur par le systeme.

700502
Démarrage de votre vehicule
Pour activer le système de démarriage à distance du moteur, appuyez deux fois sur la touche "Q" du transmetteur de démarrage à distance du moteur en l'espace de 3 secondes. Le système contrôle certaines conditions préalables avant le démarage et, si tous les paramétrés de sécurité contrôlés sont corrects, le moteur est mis en marche dans les 5 secondes. Lors de
l'activation du vehicule via le système de démarrage à distance, les fonctions de lève-vitre électrique du vehicule sont désactivées. Par ailleurs, le système est équipé d'une minuterie qui coupe le système après 15 minutes si le vehicule n'est pas utilisé. Appuyez à nouveau sur la touche "O" et maintainez-le enforcé pendant 2 secondes pour couper le moteur. Si le démarre du vehicule s'enclenché, mais que le moteur ne démarre pas ou cale après le démarrage, le système de démarrage à distance du moteur se désactive, puis effectue quatre nouveaux essais de démarrage du vehicule. Si les quatre nouvelles tentatives demeurent infructueuses, le système de démarrage à distance du moteur est coupé et revient à l'état désactivié.
■ Fonctions de sécurité du système de démarrage à distance
Pour des raisons de sécurité, le système ne pourra pas démarrer et l'avertisseur sonore retentira à deux reprises, ou le moteur sera coupé pendant l'utilisation du transmetteur à distance, dans les situations suivantes.
-
La pédale de frein est enforcée avant la mise sur la position "ON" du contacteur d'allumage.
-
La clé est déjà introduite dans le contacteur d'allumage.
Le capot du moteur est ouvert.
Le régime de ralenti du moteur du vehicule a depassé les 3.000 tr/mn.
L'alarme est activée par l'ouverture d'une portiere ou du hayon.
REMARQUE
- Le témoin indicateur de sécurité situé sur les instruments de bord arrêté de clignoter pendant le fonctionnement du système de démarrage à distance du moteur, mais la protection du vehicule demeure active.
- Si quelqu'un pénétre dans le vehiculependant le fonctionnement du système de démarrage à distance du moteur, le système n'enregistre pas l'entrée dans l'histoire des alarmes.
Pénetration dans le vehicule lorsque ce dernier est dé-marré via le système de commande à distance
- Déverrouillez les portières du vehicule à l'aide du système d'entrée sans clé partélécommande. En cas de déverrouillage manuel des portières à l'aide de la clé, le système d'alarme du vehicule s'active et le système de démarrage à distance se
désactive. Le fait d'insérer la clé dans le contacteur d'allumage et de la tourner en position "ON", ou d'appuyer sur le bouton de déverrouillage "D" de la télécommande d'entrée sans clé désarmera le système d'alarme. Reportez-vous à "Système d'alarme" 2-17.
- Pénétrez dans le vehicule. N'enforce pas la pédale de frein.
- Introduisez la clé dans le contacteur d'allumage et tournez-la en position "ON". Si le contacteur d'allumage est accidentellement mis en position "START", la fonction "starter anti-grind" du système empêche le démarreur d'être à nouveau activé.
- Appuyez sur la pédale de frein. Le démarreur à distance se désengage, les fonctions de lave-glace électrique du vehicule sont reactivées et le vehicule fonctionne à nouveau normalement.
Pénetration dans le vehicule après arrêt du moteur à l'aide du système de démarrage à distance du moteur
L'alarme peut se déclencher si le vehicule est ouvert à l'aide de la télécommande d'entrée sans clé quelques secondes après l'arrêt du moteur à l'aide du système de démarrage à distance.
■ Préchauffage ou pré-refroidissement de l'intérieur du vehicule
Avant de quitter le vehicule, réglez les commandes de température selon les paramètres et conditions d'utilisation de votrechoix. Une fois le vehicule démarré, lechauffage ou la climatisation s'active pour réchauffer ou refroidir l'habitacle en fonction de vos réglages.
Mode de maintenance
En mode de maintenance, la fonction de démarrage à distance est provisoirement désactivée afin d'éviter tout démarrage accidentel du moteur pendant l'entretien du vehicule.
Pour activer le mode de maintenance
Positionnez le contacteur d'allumage sur "ON", appuyez et maintenez enfoncée la pédale de frein, puis appuyez et reliâchez à trois reprises la touche "Q" du transmetteur de démarriage à distance du moteur. Le système est mis en attente pendant 1 seconde, puis active à trois reprises les clignotants et l'avertisseur sonore afin d'indiquer la mise en mode de maintenance du système. Lorsque l'on tente d'activer le système de démarriage à distance en mode de maintenance, les
clignotants et l'avertisseur sonore se déclenchent à deux reprises sans démarrer le moteur.
Pour désactiver le mode de maintenance
Positionnez le contacteur d'allumage sur "ON", appuyez et maintenez enfoncée la pedale de frein, puis appuyez et relâchez à trois reprises la touche "Q" du transmetteur de démarrage à distance du moteur. Le système est mis en attente pendant 1 seconde, puis active les clignotants une fois afin d'indiquer la désactivation du mode de maintenance.
REMARQUE
Lorsque vous conduisiez vosvréhicule à l'entretien, il est recommendé d'avertir le personnel de maintenance qu'il est équipé d'un système de démarrage à distance du moteur.
■ Programmation du transmetteur de démarrage à distance du moteur et fonction programmable
Il est possible de programmer de nouveaux transmetteurs sur le système de démarrage à distance du moteur en cas de perte, de vol ou d'endommagement des transmetteurs de démarrage à dis
tance du moteur. Le système de démarriage à distance du moteur comprend une fonction pouvant être régée selon les préférences de chaque utilisateur.
Il est possible de programmerme le systeme de démarriage à distance du moteur, de manière à activer ou désactiver l'avertisseur sonore lors de l'activation à distance du moteur. Pour programmerme le transmetteur de démarriage à distance du moteur ainsi que cette fonction, suivez la procedure ci-après.
- Ouvrez la portière du conducteur (cette portière doit demeurer ouverte tout au long du processus).
- Introduisez la clé dans le contacteur d'allumage et tournez-la en position "ON".
- Localisez le petit bouton noir de programmation situé au dos du couvercle de la boîte à fusibles, sous le tableau de bord à gauche, côté conducteur.
- Enforcez et maintenez enforcé le bouton noir de programmation pendant 10 à 15 secondes. L'avertisseur sonore retentit et les clignotants clignotent à trois reprises pour indiquer le passage du système en mode de programmation. À ce stade, vous pouvez passer à l'étape 5 ou 6.
- Pour programmer un transmetteur de démarrage à distance du moteur: enoncez et relâchez la touche "O" de chaque
transmetteur. L'avertisseur sonore retentit et les clignotants clignotent une fois pour indiquer une mémorisation de transmetteur reussie à chaque pression de la touche "Q". Jusqu'à huit transmetteurs peuvent être programmés.
- Pour activer/désactiver la fonction de confirmation via avertisseur sonore: en-forcez puis relâchez la pédale de frein pour passer d'une option à l'autre. L'avertisseur sonore retentit faiblement et les clignotants clignotent une fois pour indiquer la désaction de la fonction de confirmation via avertisseur sonore. L'avertisseur sonore retentit et les clignotants clignotent à deux reprises pour indiquer l'activation de la fonction de confirmation via avertisseur sonore. Chaque pression sur la pédale de frein permet d'activer ou de désactiver la fonction.
- Pour quitter le mode de programmation du transmetteur de démarrage à distance du moteur et de la fonction, mettez le contacteur d'allumage sur la position "LOCK", retirez la clé du contacteur d'allumage, puis testez le fonctionnement du (des) transmetteur(s) de démarrage à distance du moteur et de la fonction de confirmation par avertisseur sonore.
■ Maintenance du système
Remplacement des piles

ATTENTION
Veiliez a ne pas laisser pénétrer de poussière, d'huile ou d'eau à l'intérieur du transmetteur de démarrage à distance du moteur lors du remplacement des piles.
Veiliez a ne pas endommager le circuit imprimé se trouvant à l'intérieur du transmetteur de démarrage à distance du moteur lors du remplacement des piles.
Veillez à ne pas laisser la pile et les autres pieces du boitier démonté à portée de jeunes enfants, car ils risqueraient de lesmettre en bouche et de les avaler.
- L'insertion d'une pile de type non adapté vous exposerait à des risques d'explosion. Insérez uniquement une pile de type identique ou équivalent.
- N'exposez pas les piles à des températures excessives (rayons directs du soleil, feu ou équivalent).
Les deux piles au lithium de 3 volts
(modèle CR-1220) fournies avec votre transmetteur de démarrage à distance du moteur ont une durée d'environ 3 ans, en fonction de l'utilisation que vous en faites. Lorsqu'elles commenceront à se vider, vous noterez une diminution de la distance d'utilisation (distance du vehicule à laquelle votre système de démarrage à distance du moteur peut être utilisé). Suivez les instructions ci-après pour remplancer les piles du transmetteur de démarrage à distance du moteur.


- Séparez soigneusement les deux éléments du transmetteur de démarrage à distance en faisant levier à l'aide d'un petit tournevis à lame plate.


700392
- Retirez le circuit imprimé de l'élement inférieur du boîtier et faites couilisser le dispositif de retenue de pile en plastique blanc sous la languette afin de libérer les piles. Retirez les piles usagées et remplacez-les par des éléments neufs. Veillez à prendre note de l'emplacement du symbole (+) sur les anciennes piles avant de les extraire afin de garantir une insertion correcte des nouvelles piles (sur les deux piles, le symbole "+" doit être positionné à l'opposé de la carte de circuit imprimé du transmetteur).
- Réassemblez avec précaution les deux éléments du boîtier, puis testez le fonctionnement du système de démarrage à distance du moteur.

ATTENTION
AVERTISSEMENT FCC
Tout changement ou modification effectué sans l'accord espres de l'autorité responsable de la conformité aux règes peut entraîner la privation du droit d'utiliser l'équipe.
REMARQUE
Ce dispositif est conforme à la Section 15 des Régles FCC et à la directive RSS-Gen des Régles IC. Son fonctionnement répond aux deux conditions suivantes: (1) ce dispositif ne doit pas engendrer des interférences génantes, et (2) il doit être capable de subir toutes formes d'interférence, y compris des interférences susceptibles d'en perturber le fonctionnement.
Boîte de vitesses manuelle - 6 rapport (STI)

La boîte de vitesses est une boîte à 6 rapportés en marche avant entièrement synchronisés et 1 rapport en marche arrrière.
La grille des vitesses figure sur le pommeau du levier de changement de vitesses.

DANGER
- Ne roulez pas en position débrayée (c'est-à-dire avec la pédale d'embrayage enforcée) ou avec le levier de changement de vitesses au point mort. Vous ne disposez alors d'aucun effet de frein moteur et cela accroit considérablement le risque d'accident.
- N'engagez pas l'embrayage (c'est-à-dire ne relâchéz pas la pédale d'embrayage) subitement lors du démarrage du vehicule. Le vehicule pourrait accélérer brutalement ou la transmission pourrait afficher un dysfonctionnement.
■ Engagement de la marche arrrière

1) Bague coulissante
Pour pouvoir amener le levier de changement de vitesses à la position “R”, vous doivent lever la bague coulissant et la tener en position haute.
Pour changer de vitesse, appuyez au maximum sur la pédale d'embrayage, déplacez le levier de changement de vitesse, puis relâchez progressivement la pédale d'embrayage.
S'il est difficile d'engager la vitesse, ramenez le levier au point mort et relâchéz la pédale d'embrayage avant d'essayer à nouveau.

ATTENTION
La marche arrière ne doit être engagée qu'APRÉS l'arrêt complet du vehicule. Essayer d'engager la marche arrière pendant que le vehicule est en mouvement risque d'endommager la boîte de vitesses.
Rapports de boite
Rapports de boite recommandés
Le meilleur compromis entre economie du carburant et performances du vehicule en conduite normale est atteint en engageant le rapport supérieur aux vitesses de déplacement indiquées ci-après.
| Passage au rapport supérieur | km/h (mph) |
| De 1ère en 2ème | 24 (15) |
| De 2ème en 3ème | 40 (25) |
| De 3ème en 4ème | 64 (40) |
| De 4ème en 5ème | 72 (45) |
| De 5ème en 6ème | 80 (50) |
Vitesses maximums admissibles
Les tableaux ci-après indiquent la vitesse maximum admissible pour chacun des rapportes de la boîte de vittesses. L'iguille
du compte-tours entre dans la zone rouge si on dépasse ces vitesses.
À l'exception des situations où la sécurité obligerait à accélérer brusquement, le vehicule ne doit pas être conduit avec l'aiguille du compte-tours dans la zone rouge. Le non-respect de cette précaution entraine une usure excessive du moteur, autre qu'il nuit aux économies de carburant.
| Rapport | km/h (mph) |
| 1ère | 50 (31) |
| 2ème | 81 (50) |
| 3ème | 119 (74) |
| 4ème | 159 (99) |

DANGER
Avant de rétrograder, vérifie que la vitesse du vehicule n'excède pas la vitesse maximum admissible pour le rapport à engager. Le non-respect de cette précaution risquérait d'emballer le moteur et de l'endommager. En outre, il faut savoir que l'utilisation d'un puissant effet de frein moteur quand le vehicule roule sur une surface glissante peut entraîrner une perte du contrôle du vehicule, avec le risque d'accident qui s'en
suit.
REMARQUE
Ne dépassez jamais les limites de vitesses indiquées.
Conseils de conduite
Ne laïsez pas votre pied posé sur la pédale d'embrayage pendant la conduite et ne retènz pas le vehicule à l'arrêt dans les côtes au moyen de la pédale d'embrayage. À la longue, ces pratiques risquent d'endommager l'embrayage.
Ne laïsez pas votre main posée sur le levier de changement de vitesses pendant la conduite. Cela peut entraîner une usure excessive de certains organes de la boîte de vitesses.
Lorsque la vitesse du vehicule doit etre réduite par suite du ralentissement de la circulation, à l'entrée d'un virage ou dans une côte, retrogradez avant que le moteur ne commence à peiner.
Dans les descentes en force pente, retrogradez en 5eme, 4eme, 3eme ou 2eme selon le cas. Ceci aide aMAINTER la vitesse de sécurité et limite l'usure des plaquettes de frein.
Vous dispossez ainsi d'un effet de frein
mateur. N'oubliez pas qu'une utilisation trop prolongée des freins en descente entraine une perte de puissance de freinage par surchauffe des freins.
Bien que cela se produit rarement, il arrive que le moteur cliquette lorsque le vehicule accélere fortement ou démarre rapidement à partir de l'arrêt complet. Cela n'est pas une défectuosité.
Boîte de vitesses manuelle - 5 rapports (sauf STI)

La boîte de vitesses est une boîte à 5 rapportés en marche avant entièrement synchronisés et 1 rapport en marche arrrière.
La grille des vitesses figure sur le pommeau du levier de changement de vitesses. Pour passer de la 5ème en marche arrrière, vous doivent d'abord ramener le levier de changement de vitesses au point mort pour pouvoir l'engager en position de marche arrrière.
Pour changer de vitesse, appuyez sur la pedale d'embrayage à fond, déplacez le levier de changement de vitesse et relâchez la pedale d'embrayage progres
sivement.
S'il est difficile d'engager la vitesse, ramenez le levier au point mort et relâchéz la pédale d'embrayage avant d'essayer à nouveau.

DANGER
- Ne roulez pas en position débrayée (c'est-à-dire avec la pé-dale d'embrayage enforcée) ou avec le levier de changement de vitesses au point mort. Vous ne disposez alors d'aucun effet de frein moteur et cela accroit considérablement le risque d'accident.
- N'engagez pas l'embrayage (c'est-à-dire ne relâchéz pas la pédale d'embrayage) subitement lors du démarriage du vehicule. Le vehicule pourrait accélérer brutalement ou la transmission pourrait afficher un dysfonctionnement.

ATTENTION
La marche arrière ne doit être engagée qu'APRÉS l'arrêt complet du vehicule. Essayer d'engager la marche arrière pendant que le vehicule est en mouvement risque d'endom
mager la boite de vittesses.
Rapports de boite
Rapports de boite recommandés
Le meilleur compromis entre économie du carburant et performances du vehicule en conduite normale est atteint en engageant le rapport supérieur aux vitesses de déplacement indiquées ci-après.
| Passage au rapport supérieur | km/h (mph) |
| De 1ère en 2ème | 24 (15) |
| De 2ème en 3ème | 40 (25) |
| De 3ème en 4ème | 64 (40) |
| De 4ème en 5ème | 72 (45) |
Vitesses maximums admissibles
Le tableau ci-après indique la vitesse maximum admissible pour chacun des rapportes de la boîte de vittesses.
Sauf pour une brève accélération en cas d'urgence, ne dépassez jamais la vitesse limite indiquée ci-après. L'aiguille du compte-tours entre dans la zone rouge si on dépasse ces vittesses. Le non-respect de cette précaution entraine une usure excessive du moteur, autre qu'il nuit aux économies de carburant.
Modèles sans turbo
km/h (mph)
| 1ère | 51 (32) |
| 2ème | 86 (53) |
| 3ème | 122 (76) |
Modèles avec turbo
km/h (mph)
| 1ère | 56 (35) |
| 2ème | 94 (58) |
| 3ème | 137 (85) |

DANGER
Avant de rétrograder, vérifie que la vitesse du vehicule n'excède pas la vitesse maximum admissible pour le rapport à engager. Le non-respect de cette précaution risquerait d'emballer le moteur et de l'endommager. En outre, il faut savoir que l'utilisation d'un puissant effet de frein moteur quand le vehicule roule sur une surface glissante peut entraîner une perte du contrôle du vehicule, avec le risque d'accident qui s'en suit.
REMARQUE
Ne dépassez jamais la limite de vitesse indiquée.
Conseils de conduite
Ne laïssez pas votre pied posé sur la pédale d'embrayage pendant la conduite et ne retenez pas le vehicule à l'arrêt dans les côtes au moyen de la pédale d'embrayage. À la longue, ces pratiques risquent d'endommager l'embrayage.
Ne laïsez pas votre main posée sur le levier de changement de vitesses pendant la conduite. Cela peut entraîner une usure excessive de certains organes de la boîte de vitesses.
Lorsque la vitesse du vehicule doit etre réduite par suite du ralentissement de la circulation, à l'entrée d'un virage ou dans une côte, retrogradez avant que le moteur ne commence à peiner.
Dans les descentes en force pente, retrogradez en 4eme, 3eme ou 2eme selon le cas. Ceci aide a maintainir la vitesse de sécurité et limite l'usure des plaquettes de frein.
Vous dispossez ainsi d'un effet de frein moteur. N'oubliez pas qu'une utilisation trop prolongée des freins en descente entraine une perte de puissance de
freinage par surchauffe des freins.
Bien que cela se produit rarement, il arrive que le moteur cliquette lorsque le vehicule accelèrè fortement ou démarrerapidément à partir de l'arrêt complet. Ce phénomène est normal et ne doit pas être considéré comme dénotant une anomalie de fonctionnement.
Différentiel de centre de contrôle conducteur (DCCD) (STI)

DANGER
Soyez toujours très prudent lors de la conduite. Ne vous reposez pas excessivement sur le fait que vous étes au volant d'un vehicule équipé d'un différentiel de centre de contrôle conducteur: vous vous exposeriez à des risques d'accident grave.

ATTENTION
Tous les témoins indicateurs se mettent à clignoter en cas de défectuosité du différentiel du centre de contrôle conducteur. Faites contrôleur votre vehicule par toute concessionnaire SUBARU.
Le différentiel de centre de contrôle conducteur vous permet de modifier en toute liberté le degré de limitation de l'action du différentiel (couple de différentiel à mouvement limite [LSD]) du centre de votre vehicule.
La commande de contrôle de différentiel de centre vous permet de régler un couple LSD initial adapté à l'état de la route, aux conditions de conduite, et à votre style de conduite.

1) Couple LSD
2) Couple de traction
3) Couple LSD initial (maximum)
4) Couple LSD initial (minimum)
A) Couple LSD initial (réglable)
B) Couple LSD mécanique
Le différentiel de centre de contrôle conducteur presente un mode automatique et un mode manuel. En mode automatique, le système regle automatique le couple LSD initial. En mode manuel, vous pouvez passer manuelle au mode de votrechioix, au moyen de la commande de contrôle de difféen
tiel de centre.
REMARQUE
Si vous appuyez puis relâchézrapidément la pedale d'accélérateur en conduisant à vitesse réduite, il est possible que vous entendiez un bruit de cliquetis, en provenance du différentiel de centre et du différentiel arrêté. Ce bruit est dû à la structure du différentiel de centre. Il n'est pas signe de problème.
Changement du mode de différentiel de centre de contrôle conducteur

Appuyez sur le commutateur "AUTOMANU" de la console centrale pour passer du mode automatique au mode manuel,
ou inversement. Lorsque vous selectionnez le mode automatique, le témoin indicateur "AUTO" s'allume. Lorsque vous selectionnez le mode manuel, le témoin indicateur "AUTO" s'eteint.

Mode automatique
En mode automatique, le système estime les conditions de conduite et l'état de la route sur la base des signaux reçus du capteur de vitesse de roue, du capteur de position de papillon, du capteur d'angle de braquage, du contact des freins, etc. En fonction du résultat, il contrôlelectroniement et automatiquement le degré de limitation de l'action du différentiel (couple LSD), afin d'optimiser l'action du différentiel de centre. Lors de la mise sur ON du contacteur d'allumage, le témoin
indicateur "AUTO"itué sur les instruments de bord s'allume.
Le mode automatique offre les 3 modes suivants.
| Mode | Activé |
| AUTO [+] | Ce mode amplifie le contrôle de traction et renforce la limitation de l'action du différentiel adap-tee à la conduite sur route glissante, pour une meilleure stabilité du vehicule. |
| AUTO | Ce mode est adapté à la majorité des situations de conduite. |
| AUTO [-] | Sélectionnez ce mode pour une ↔ réponse rapide du volant et une conduite en douceur. |
Méthode de réglage de mode
Dans la plupart des situations, il est recommandé de selectionner le mode "AUTO".

Poussez le bouton de commande vers l'avant pour selectionner le mode "AUTO [+] ". Une fois le mode regle, "AUTO=[+] s'allume sur les instruments de bord.

Tirez le bouton de commande vers l'arrière pour selectionner le mode "AUTO
[-]". Une fois le mode regle, "[-]AUTO" s'allume sur les instruments de bord.
Lorsque le mode "AUTO [+] est sélectionné, tirez le bouton de commande vers l'arrête pour passer au mode "AUTO". Lorsque le mode "AUTO [-]" est sélectionné, poussez le bouton de commande vers l'avant pour passer au mode "AUTO".

Mode manuel
Le mode manuel vous permet d'utiliser la commande de contrôle de différentiel de centre afin de régler le couple LSD initial comme vous le souhaitez. Une fois ce mode sélectionné, le témoin indicateur "AUTO" Situé sur les instruments de bord s'eteint.
Commande de contrôle de différentiel de centre et témoin indicateur

La commande de contrôle se situe a coto du levier du frein de stationnement. Poussez la commande de contrôle vers l'avant ou tirez-la vers l'arriere pour modifier le couple LSD initial.
Les témoins indicateurs de différentiel de centre, situés sur les instruments de bord,donnent six niveaux d'information différents. Les témoins indicateurs et la commande de contrôle sont liés.Lorsque vous poussez ou tirez la commande pour modifier le couple LSD initial, la position d'allumage des témoins indicateurs change en conséquence.

Poussez la commande vers l'avant pour augmenter le couple LSD initial; l'allumage du témoin indicateur "LOCK" signifie que le couple LSD initial est à son niveau de réglage maximum. Le différentiel de centre est alors complètement verrouillé.

Tirez la commande vers l'arrière pour réduire le couple LSD initial. L'allumage de la position la plus BASSE du témoin indicateur de différentiel de centre de contrôle conducteur signifie que le couple LSD initial est au minimum. Dans cette condition, seul le couple LSD mécanique limite l'action du différentiel.

ATTENTION
- N'actionnez pas la commande de contrôle en cas de patinage des roues. Reprenez d'abord le contrôle des roues.
Si l'une des conditions suivantes venait à se produit après le passage en mode manuel, tirez la commande de contrôle du
différentiel de centre afin de minimiser le couple LSD initial:
- Lorsque la roue de secours provisoire est installée
- En cas de remorquage du vehicule
- En cas d'arrêt du vehicule alors que le mode manuel est sélectionné
REMARQUE
- Un réglage de couple LSD initial élevé donne au vehicule une(Meilleure) traction lors de la conduite en ligne droite, mais rend les virages plus difficles. Gardez ceci à l'esprit lors du réglage du couple LSD initial. En règle générale, un réglage de couple LSD initial élevé facilité la conduite sur chaussée glissante, et un couple bas facilité la conduite sur chaussée non glissante. Si le vehicule se trouve pris dans la neige ou la boue, réglez le couple LSD initial au maximum pour le dégager plus facilement.
- Le réglage du couple LSD initial est conservé, même en cas de sélection du mode automatique ou de mise du contacteur d'allumage sur la position "OFF". Cependant, le couple LSD initial
est minimisé en cas de débranchement et de rebranchement de la batterie.
- En cas de virage ou de demi-tour (en particulier, lors de la conduite dans un garage), la différence de rotation entre les roues avant et les roues arrrière risque de provoquer un effet de freinage, s'accompagnant de vibrations et de bruit. Ceci n'est pas signe de probleme. Il suffit de regler le couple LSD initial au minimum pour faire disparaitre ce phénomène.
En mode automatique, le système contrôle automatiquement le couple LSD initial. En mode automatique, ce phénomène se produit parfois, en fonction des conditions de conduite. Il n'est cependant pas signe de probleme.
- N'utilisez le témoin indicateur de différentiel de centre que comme une indication approximative du couple LSD initial.
- Il est possible que vous ressentiez de légers何时que vous actionné la commande de contrôle de différentiel de centre tout en accélérant rapidement ou ennant un virage serré. Ceci est dû à l'action du différentiel de centre, et n'est pas signe de problème.
Relachementtemporaire
Lorsque le conducteur arrête le vehicule et tire le levier de frein de stationnement après avoir reglé manuellement le couple LSD initial, ce dernier est temporairement minimisé. Cependant, l'indicateur situé sur les instruments de bord continue à indiquer le couple LSD initial sélectionné par le conducteur. Lorsque le conducteur desserre le levier de frein de stationnement, le couple LSD initial reglé par le conducteur est restauré.
Boîte de vitesses automatique
La boîte de vitesses automatique de type 4 rapportes en marche avant et un rapport en marche arrêté est commandeélectroniquement. Il y a aussi un mode manuel et mode SPORT.

DANGER
Ne passes jamais de la position "P" ou "N" à la position "D" ou "R" tout en appuyant sur la pédale d'accélérateur. Le vehicule ferait une embardee en avant ou en arrêté.

ATTENTION
- Ne passes à la position "P" ou "R" qu'après l'arrêt complet du vehicule. Le changement de rapport pendant que le vehicule roule endommagerait la boite de vitesses.
- Ne faites jamais tourner le moteur pendant plus de 5 secondes à régime élevé dans une position autre que "N" ou "P" avec le frein serré ou avec les roues calées par les cales de roue. Cela risquerait d'entraîner la surchauffe
du liquide de transmission automatique.
- Évitez de passer de l'une des positions de marche avant à la position "R" ou vice-versa avant l'arrêt complet du vehicule. Cela pourrait endommager la boîte de vitesses.
Pour garer le vehicule, serrez d'abord fermement le frein de stationnement, puis placez le levier selecteur en position "P". Evitez de laisser le vehicule en stationnement pendant longtemps avec le levier selecteur dans toute autre position car cela peut décharger complètement la batterie.
REMARQUE
Tant que la température du liquide de refroidissement du moteur est encore BASSE, la boite de vitesses automatique passée au rapport supérieur à un régime moteur plus élevé que lorsque la température du liquide de refroidissement est suffisamment haute, ceci dans le but de faire monter le moteur plus rapidement en température et d'en améliorer la souplesse. Àprès la montée en température du
mateur, les points de passage des vitesses redeviennent automatiquement normaux.
- Quand l'ATF (liquide de transmission automatique) vient d'être vidangé, le fonctionnement de la boîte de vitesses automatique peut sembler inhabituel. Ceci est dû à l'annulation des données recueillies et mémorisées par le microprocesseur pour optimiser le moment où a lieu le passage des vitesses en fonction de l'état actuel du vehicule. Le retour au fonctionnement optimal de la boîte de vitesses se fait lorsque le vehicule a roulé un certain temps.
Levierselecteur

: Déplacement du levier possible en appuyant sur la pédale de frein
: Déplacement du levier possible, que la pédale de frein soit enforcée ou non Toutefois,pendant que le contacteur d'allumage est en position "LOCK" ou "Acc",le changement de vitesse n'est pas possible si la pédale de frein n'est pas enforcée. Appuyez sur la pédale de frein et déplacez le levier sélecteur.
: Déplacement du levier possible, que la pédale de frein soit enforcée ou non
Le levier sélecteur peut prendre quatre positions différentes "P", "R", "N", "D" et il y a aussi un portail manuel pour l'utilisation du mode "SPORT" ou du mode manuel.
P (stationnement)
Cette position s'utilise pour garer le vehicule et pendant le démarrage du
moteur.
Dans cette position, la boîte de vitesses est mécaniquement verrouillée pour empêcher le vehicule de bouger.
Pour stationner, commencez par serrer le frein de stationnement au maximum, puis passez sur la position "P". Ne comptez pas sur la boite de vitesses seule pour maintainir le vehicule immobile.
Pour passer le levier sélecteur de la position "P" à toute autre position, il faut appuyer sur la pédale de frein à fond pendant qu'on déplace le levier. Ceci évite que le vehicule ne fasse une embardée au démarrage.
R (marche arrrière)
Cette position s'utilise pour faire marche arrriere.
Pour passer de la position "N" à "R", immobilisez complètement le vehicule puis mettez le levier en position "R".
N (neutre)
Cette position s'utilise pour remetre le moteur en marche lorsqu'il a calé.
Dans cette position, ni les roues ni la boîte de vitesses ne sont verrouillées. Dans cette position, la boîte de vitesses se trouve au point mort; même si la pente est très faible, le vehicule roule de son propre
poids si le frein de stationnement n'est pas serré/la pédale de frein enforcée.
Évitez de rouler en roue libre, c'est-à-dire demettre la boîte de vitesses au neutre quand le vehicule se déplace.
Lorsque le vehicule est en roue libre, il n'y a pas d'effet de frein moteur.

DANGER
Ne roulez pas avec le levier selec-. theur en position "N" (neutre).Voune ne disposeriez alors d'aucun effet de frein moteur, ce qui augmenterait considérablement le risque d'accident.
REMARQUE
Si vous mettez le levier sélecteur en position "N" en arrêtant le moteur pour stationner, il peut être ensuite impossible de le déplacer jusqu'en position "R" ou "P". Si cela se produit, mettez le contacteur d'allumage en position "ON". Il est alors possible de déplacer le levier sélecteur en position "P". Reportez-vous à "Fonction de verrouillage du levier sélecteur" 7-29 pour plus de détails.
D (conduite)
Cette position s'utilise pour la conduite ordinaire.
Le passage des rapport se fait automatiquement entre la 1ere et la 4eme en fonction de la vitesse du vehicule et des accelerations demandees par le conducteur.
Pour obtenir une accélération plus prononcée dans cette position, enforcez la pédale d'accéléateur jusqu'àu plancher et maintenez-la ainsi. La boîte rétrograde automatiquement en 3ème, en 2ème ou en 1ère. Le rapport précédent est réalisé au moment où vous relâchez la pédale.
Pour utiliser le mode "SPORT", déplacez le levier sélecteur de cette position au portail manuel. Pour entrer en mode manuel, déplacez le levier sélecteur de cette position jusqu'àu portail manuel, puis vers le côte "+" ou le côte "-".
En montée
Dans les montées, le passage interpestif en 4ème est empêché au moment où l'on relâche la pedale d'accélérateur. Ceci rend moins probable une retrogradation en conséquence au moment où on accélère à nouveau. Les passages repétés aux rapports supérieur et inférieur sont ainsi évités, ce qui rend la conduite plus
souple.
REMARQUE
La boîte de vitesses peut rétrograder en 2ème ou en 1ère, en fonction de la manière dont on appuie sur la pédale d'accéléateur pour accéléer à nouveau.
En descente
Quand vous descendez une pente en appuyant sur la pedale de frein en mode "SPORT", il arrive que la boîte de vitesses rétrograde en 3ème ou en 2ème. Ceci dépend de la force exercée sur la pedale de frein et est destiné à permettre l'utilisation de l'effet de frein moteur. Une brève accélération fait ensuite revenir la boîte de vitesses au rapport supérieur normal.
REMARQUE
-
La rétrogradation automatique de 4ème en 3ème ne se produit pas si la vitesse est supérieure à 80 km/h (50 mph), et la rétrogradation automatique de 3ème en 2ème ne se produit pas quand la vitesse est supérieure à 38 km/h (24 mph).
-
La rétrogradation automatique en 3ème ou en 2ème se produit parfois même quand on roule sur le plat. Cela dépend de certaines conditions,
comme la force exercée sur la pédale de frein.
■ Fonction de verrouillage du levier sélecteur
La fonction de verrouillage du levier sélecteur aide à prévenir une mauvaise manipulation du levier sélecteur.
- Le levier sélecteur ne peut pas être manipulé si le contacteur d'allumage n'est pas mis en position "ON" et la pédale de frein serrer.
- Le levier sélecteur ne peut pas être déplace de la position "P" à toutes autres positions avant que la pédale de frein soit serrée. Desserrez d'abord la pédale de frein et manipuez le levier sélecteur.
- Seule la position "P" permet de tourner la clé de la position "Acc" à la position "LOCK" et dePTRirer la clé de la serrure de contacteur d'allumage.
- Si le contacteur d'allumage est mis en position "LOCK" lorsque le levier sélecteur est en position "N", il peut être impossible de déplacer le levier sélecteur en position "P" après un certain temps. Par conséquent, déplacez le levier sélecteur en position "P" avec la pedale de frein serrer juste après que le contacteur d'allumage est tourné en position "LOCK".
Deverrouillage du levier selecteur
Si le levier selecteur ne peut pas etre manipulé, remettez le contacteur d'allumage en position "ON" et deplacez le levier selecteur en position P" avec la pedale de frein serrée.
Si le levier sélecteur ne se déplace pas après avoir effectué la procédure ci-dessus,procédez comme indiqué ci-après.
Lorsque le levier selecteur ne peut pas se déplacer de "P" à "N":
Reportez-vous à “Déverrouillage du levier sélecteur à l'aide du bouton de déverrouillage du levier sélecteur” 7-29.
- Lorsque le levier sélecteur ne peut pas se déplacer de "N" à "R", "P":
Dans les 60 secondes après avoir placé le contacteur d'allumage en position "Acc", déplacez le levier sélecteur en position "R" ou "P" avec la pédale de frein serrée.
Si vous doivent effectuer la procédure cédessus, le système de verrouillage du levier sélecteur (ou le système de contrôle du vehicule) peut être en dysfonctionnement. Contactez un concessionnaire SUBARU le plus tout possible pour une inspection.
Si le levier sélecteur ne se déplace pas après avoir effectué la procédure ci-dessus, reportez-vous à “Déverrouillage du
levier sélecteur à l'aide du bouton de déverrouillage du levier sélecteur" 7-29.
Déverrouillage du levier sélecteur à l'aide du bouton de déverrouillage du levier sélecteur
Effectuez la procEDURE suivante pour déverrouiller le verrouillage du levier sélecteur.
- Serrez le frein de stationnement et arrêtez le moteur.

- Retirez le couvercle de verrouillage du levier selecteur à l'aide d'un tournevis à lame plate. Le bouton de déverrouillage du levier selecteur est situé sous le couvercle de verrouillage du levier selecteur.
REMARQUE
Pour éviter l'endommagement du couvercle de verrouillage du levier selecteur, couvre le bout du tournevis à lame plate avec un ruban adhésif ou un chiffon avant d'enlever le couvercle.

- En serrant la pédale de frein, insérez un tournevis dans l'orifice, appuyez sur le bouton de déverrouillage du levier sélecteur avec le tournevis et déplacez le levier sélecteur.
Si le levier sélecteur ne se déplace pas après avoir effectué la procédure ci-dessus, le système de verrouillage du levier sélecteur peut être en dysfonctionnement. Contactez un concessionnaire SUBARU le plus+tôt possible pour une inspection.
■ Sélection du mode manuel

La sélection du mode manuel peut se faire aussi bien pendant que le vehicule roule qu'à l'arrêt. Déplacez le levier sélecteur de la position "D" sur le côté jusqu'à dans le portail manuel, puis vers le "+" ou le "-du portail manuel.

1) Indicateur de passage au rapport supérieur
2) Indicateur de passage au rapport inférieur
3) Indicateur du rapport engagé
Lorsque le mode manuel est selectionné, l'indicateur du rapport engagé et l'indicateur de passage au rapport supérieur et/ou inférieur situés sur les instruments de bord s'allument. L'indicateur du rapport engageé indique qu'elle est la vitesse actuellément en prise entre la 1ère et la 4ème. Les indicateurs de passage au rapport supérieur et inférieur indiquent qu'un changement de rapport est possible. Il est possible de passer au rapport supérieur quand l'indicateur “▲” est allumé. Il est possible de passer au rapport inférieur quand l'indicateur “▼” est allumé. Quand les deux indicateurs sont
allumés, il est possible de passer à volunteered au rapport supérieur ou inférieur. Lorsque le vehicule s'arrête (par exemple aux yeux de circulation), les indicateurs de passage au rapport inférieur s'éteignent. Les rapports peuvent être changés en utilisant le levier sélecteur.

Pour passer au rapport supérieur, pousez brievement le levier selecteur vers le cote "+" du portail manuel.
Pour rétrograder d'un rapport, tirez brie-vement le levier sélecteur vers le côte “-” du portail manuel.
REMARQUE
Lisez attentivement les observations suivantes que vous doivent garder presents à l'esprit quand vous utilisez le mode manuel.
- Si vous essayez de passer au rapport inférieur lorsque le régime moteur est trop élevé, c'est-à-dire lorsque cela ferait entrer l'aiguille du compte-tours dans la zone rouge, le système émet des bips sonores pour vous averir que cela n'est pas possible.
- Si vous essayez de passer au rapport supérieur lorsqu'la vitesse du vehicule est trop BASSE, la boite de vitesse ne répond pas.
- Vous pouvez sauter des rapportes (par exemple, passer de 4ème en 2ème) en actionnant le levier sélecteur à deux reprises rapidement.
Lorsque le vehicule se met a l'arrêt, la boite entre automatiquement en 1ere. - Si la température du liquide de transmission automatique devient trop élevé, le témoin avertisseur "AT OIL TEMP" s'allume et il devient impossible de monter les rapportés jusqu'en 4ème. Garez immidiatement le vehicule dans un endroit sur, puis laissez le moteur tourner au ralenti jusqu'à ce que le témoin avertisseur s'éteigne.
Conseils de conduite
- Lorsque les roues patinent sur la chaussée glissante (route enneigée ou couverte de gravillons, par exemple), il est souvent possible de faire dégager le vehicule (de manière sécurisée et facilement) sans risque en démarrant en mode manuel et en engageant le 2ème rapport.
Utilisez toujours le frein à pied ou le frein de stationnement lorsque le vehicule est à l'arrêt avec le levier en position "D" ou "R". - Serrez toujours le frein de stationnement lorsque vous garez le vehicule. Ne comptez pas sur la boite de vitesses seule pour maintainir le vehicule immobile.
- Ne retenez pas le vehicule à l'arrêt dans les côtes au moyen de la boîte en position "D". Utilisez les freins.
- Bien que cela se produit rarement, il arrive que le moteur cliquette lorsque le vehicule accélère fortement ou démarre rapidement à partir de l'arrêt complet. Cela ne doit pas être considéré comme anomal.
Mode SPORT

Le mode SPORT s'utilise lorsqu'on souhaite disposer d'une meilleure accelération, ou pour la conduite en côte. Pour entrer en mode SPORT, déplacez le levier sélecteur de la position "D" sur le côte jusqu'au portail manuel.

À la sélection, le témoin indicateur de mode SPORT situé sur les instruments de bord s'allume.
Pour quitter le mode SPORT, ramenez le levier sélecteur en position "D", ou bien sélectionnéz le mode manuel.
Pour entrer à nouveau en mode SPORT, déplacez une fois le levier sélecteur jusqu'à la position "D" et ramenez-le dans le portail manuel.
Avec ce mode, le passage au rapport supérieur a lieu à une vitesse de déplacement plus élevé et le retard au rapport inférieur est plus rapide qu'en temps ordinaire.
SI-DRIVE (STI)
Le système SI-DRIVE (SUBARU Intelligent Drive) maximise les performances, le contrôle et l'efficacité du moteur.
Il se compose de trois modes: Intelligent (I), Sport (S) et Sport Sharp (S#). Le réglage du sélecteur SI-DRIVE modifie les caractéristiques du groupe moteur.
Pour une conduite efficace et endouceur

Le mode Intelligent (I) équilibre la performance du vehicule, permettant uneffectiveeconomie de carburant et une conduite en douceur, sans stress. La puissance émise pendant les accelera
tions est modérée, pour une économie de carburant maximum.
C'est le mode idéal pour la conduite urbaine et dans des situations pour lesquilles une puissance maximale n'est pas nécessaire. Ceci permet un meilleur contrôle dans des conditions de conduite difficiles, sur chaussée glissante ou surface molle ou friable par exemple, en raison de la réponse des gaz plus moderée.

Lorsque le mode Intelligent (I) est selec-tionné, un témoin de passage au rapport supérieur “▲” se met à clignoter sur les instruments de bord, afin de signaler le moment propice au changement de rapport, pour une économie de carburant maximum.
Mode Sport (S)
Pour une conduite efficace dans toutes les conditions

Le mode Sport (S) mode fournit une puissance moteur deCHOix pour ceux qui veulent faire de la conduite leur aventure personnelle.
Les caractéristiques d'accelération linéaires de ce mode polyvalent sont ideales pour une conduite normale.
Mode Sport Sharp (S#)
Pour des performances de conduite optimales

Le mode Sport Sharp (S#) offre aux amoureux de la conduite sportive des niveaux grisants de performance et de contrôle moteur. Le papillon des gaz a davantage de repondant,quel que soit le régime moteur.Procurant un prise de conduite illimité,ce mode est idéal pour aborder les routes sinueuses et rattraper ou doubler d'autres vehicules en toute confiance sur autoroute.
■ Sélecteur SI-DRIVE
Lorsque you faites pivoter le levier sélecteur SI-DRIVE vers la gauche, le mode SI-DRIVE actuel passe en mode Sport (S). Lorsque you le faites pivoter vers la droite, le réglage passe en mode Sport Sharp (S#), et lorsque you le pressez, le réglage passe en mode Intelligent (I). Le sélecteur revient ensuite sur sa position d'origine.

REMARQUE
- Si vous éteignez le moteur en mode Sport Sharp (S#), le mode SI-DRIVE passée au mode Sport (S) au prochain allumage du moteur.
-
Si vous éteignez le moteur en mode Sport (S) ou en mode Intelligent (I), le mode SI-DRIVE reste sur le même mode au prochain allumage du moteur.
-
Si le témoin averitisseur d'anomalie moteur CHECK ENGINE/témoin indicateur d'anomalie de fonctionnement s'allume lorsque le moteur tourne, le mode SI-DRIVE passé en mode Sport (S). Il est alors impossible de passer en mode Sport Sharp (S#) ou Intelligent (I).
- En cas de risque de surchauffe du moteur d'à une hausse de la temperature du liquide de refroidissement du moteur, il est impossible de passer en mode Sport Sharp (S#). Lorsque le vehicule est en mode Sport Sharp (S#), il passée en mode Sport (S) si la température du liquide de refroidissement du moteur augmente.
- Le clignotement de l'un des indicateurs SI-DRIVE peut signaler une défectuosité du système SI-DRIVE. Contactez votre concessionnaire SUBARU.
Différentiel à mouvement li-mité (LSD) (STI)
Le différentiel à mouvement limite assure une distribution optimale de la puissance motrice, en tenant compte de la différence de vitesse de rotation des roues droite et gauche du fait de I'etat de la route. La tenue de route est ainsi améliorée sur chaussée enneigée, boueuse ou autrement glissante, ou en cas de conduite rapide.

ATTENTION
- Ne mettez jamais le moteur en marche quand une roue est levée sur le cric, car le vehicule pour rait se déplacer.
-
Evitez de laisser patiner longtemps une roue dans la boue à grande vitesse: cela risquerait d'endommager le différentiel à mouvement limite.
-
Si vous vous trouvez dans l'obligation d'utiliser une roue de secours provisoire suite à une crevaison, utilisez la roue de secours provisoire fournie avec le vehicule. L'utilisation d'une roue de taille différente endomagerait le LSD.
Servodirection
Le système de la servodirection ne fonctionne que lorsque le moteur est en marche.
Si l'assistance par la servodirection se désactive parce que le moteur s'arrête ou le système tombe en panne, vous pouvez manipuler mais ceci demandera beaucoup plus d'effort.

ATTENTION
Ne tenez pas le volant de direction braqué à fond vers la droite ou la gauche pendant plus de 5 secondes. Cela risque d'endommager la pompe de servodirection.
REMARQUE
Juste après la mise en marche du moteur et avant qu'il ne se soit monté en température, on entend parfois un bruit en provenance de la zone de la pompe de servodirection située à l'avant du compartment moteur à droite. Ce bruit est normal. Il n'indique pas une défectuosité du système de servodirection.
Freinage
■ Remarques d'ordre général sur le freinage

DANGER
Ne gardez pas le pied posé sur la pedale de frein pendant la conduite. Cela peut cause une dangereuse surchauffe des freins et use inutillement les plaquettes et garnitures de frein.
Si les freins ont ete mouillés
Lorsque vous conduisiez sous la pluie ou après avoir lavé le vehicule, il se peut que les freins deviennent humides. Les distances de freinage sont alors plus grandes. Pour secher les freins, appuyez légèrement sur la pédale de frein pour faire rechauffer les freins tout en roulant à vitesse modérée.
Utilisation du frein moteur
N'oubliez pas d'utiliser l'effet de frein moteur en plus de la pédale de frein. Lors d'une retrogradation, si vous n'utilise que le frein à pied, les freins finissent par perdre leur efficacité du fait de l'échauffement du liquide de frein que produit la surchauffe des plaquettes. Pour éviter
cela, rétrogradez à un rapport de boîte inférieur pour obtenir un effet de frein moteur plus puissant.
Freinage en cas de crevaison
N'enforcez pas brusquement la pédale de frein en cas de crevaison d'un pneu. Cela pourrait provoquer une perte de contrôle du vehicule. Continuez à avancer en ligne droite tout en réduisant progressivement la vitesse. Quittez la route et garez le vehicule dans un endroit sûr.
Système des freins
Deux circuits séparés
Votre vehicule est équipé de systèmes des freins à double circuit. Chacun des deux circuits commande les deux roues diagonalement opposées. En cas de panne d'un des circuits de freinage, l'autre moitié du système continue à fonctionner. La pédale de frein descend plus pres du plancher que d'habitude et il faut appuyer beaucoup plus fort. La distance nécessaire pour immobiliser le vehicule est également beaucoup plus longue.
Servofrein
Le servofrein utilise la dépression du collecteur d'admission du moteur pour assister la force de freinage. N'arrêtez pas le moteur pendant la conduite car le
servofrein ne fonctionnerait plus entrainant une faible puissance de freinage.
Toutefois, les freins continuent à fonctionner même si le servofrein ne fonctionne plus. Dans ce cas, vous doivent toutes appuyer sur la pédale de frein avec beaucoup plus de force que d'habitude, et la distance de freinage augmente.
Systeme d'assistance au freinage
DANGER
N'ayez pas une confiance aveugle dans le système d'assistance au freinage d'urgence. Ce système n'augmente pas la capacité de freinage du vehicule au-delà de ses limites. En cours de conduite, prenez toujours un maximum de précautions en tenant compte de la vitesse du vehicule et des distances de sécurité à respecter.
ATTENTION
En cas de freinage soudain obligatoire, maintenez fortement enforcée la pédale de frein afin d'activer le système d'assistance au freinage.
Le système d'assistance au freinage est destiné à assister le conducteur dans son
contrôle du vehicule. Il assiste la force de freinage lorsque le conducteur ne peut enforcer fortement la pédale de frein et que la force de freinage est insuffisante.
L'assistance au freinage génére une force de freinage qui dépend de la vitesse à laquelle le conducteur enforce la pédale de frein.
REMARQUE
Une pression forte ou soudaine sur la pedale de frein entraine les phénomènes suivants. Ces phénomènes ne sont pas signe de défectuosité; le système assistance au freinage fonctionne correctement.
- Vous pouvez avoir l'impression que l'actionnement de la pédale de frein demande moins de force, et que la force de freinage est supérieure.
- Il se peut que vous entendiez le bruit de l'ABS en action venant du compartment moteur.
Indicateurs d'usure des plaquettes de frein à disque

Les indicateurs d'usure des plaquettes de frein à disque émettent un bruit caractéristique pour vous avertir lorsque les plaquettes sont usées.
Lorsque you entendez un couinement ou un raclement en provenance des freins à disque pendant le freinage, faites immédiatement contrôle le vehicule par un concessionnaire SUBARU.
ABS (système de freins antiblocage)
Le système ABS empêche le blocage des roues qui se produit lors d'un freinage brusque ou sur chaussées glissantes. Il aide ainsi à empêcher la perte de contrôle de la direction entraînée par le blocage des roues et améliore la stabilité directionnelle.
Lorsque le système ABS s'active, il se peut que vous entendiez parfois un léger bruit de crécelle accompagné de légères vibrations de la pédale de frein. Ceci est normal et est le signe que l'ABS fonctionne.
Le système ABS ne fonctionne pas quand la vitesse de déplacement du vehicule est inférieure à 10 km/h (6 mph) environ.
DANGER
Observetzousjourlsplus grandeprudencependantlaconduiteetn'accordezpasun trop grandeconfiance du fait que youcv conduisezavecunvehiculeequipe dufreinageABScarceci pourraitprovocueran accidentseveire.

ATTENTION
- Le système ABS ne rend pas toujours la distance d'arrêt plus courte. Il faut donc rester prudent et toujours maintainir la distance de sécurité avec le vehicule qui vous précédède.
- Suroutes en mauvais état, sur du gravier, sur routes gelées ou dans la neige fraîche, les distances de freinage peuvent être plus longues pour un vehicule muni du système ABS que pour un vehicule à freins ordinaires. Lors de la conduite dans de telles conditions, ralentissez et gardez une distance suffisante par rapport aux autres vehicules.
Lorsque you sentez que le système ABS est en action, il faut maintainir constante la pression sur la pédale de frein. Ne pompez pas sur la pédale de frein car cela perturbe le bon fonctionnement du système ABS.
■ Fonction d'essai automatique du système ABS
Juste au moment où le vehicule démarre, il arrive que vous sentiez des vibrations de la pédale de frein comme lorsque l'ABS est en action, et que vous entendiez en provenance du compartment mateur le bruit de fonctionnement de l'ABS. Ceci provient de la fonction d'essai automatique du système ABS à la mise en marche et ne doit pas être considéré comme anormal.
Témoin avertisseur des freins antiblocage (ABS)
Reportez-vous à “Témoin averâtisseur des freins antiblocage (ABS)” 3-24.
Système EBD (répartition électronique de la force de freinage)
Le système EBD renforce l'efficacité du freinage en affectant aux freins arrirée une plus grande proportion de la force de freinage. Sa fonction consiste à ajuster la répartition de la force de freinage vers les roues arrêté en fonction des conditions de charge du vehicule et de sa vitesse.
Le système EBD fait partie intégrante du système ABS et utilise certains organes du système ABS pour assurer sa fonction d'optimisation de la force de freinage. En cas de dysfonctionnement d'un des composants ABS utilisés par le système EBD, le système EBD ne peut plus fonctionner lui non plus.
Lorsque le système EBD est activé, il arrive que vous entendiez un léger bruit de créçelle ou que vous sentiez de légères vibrations dans la pédale de frein. Ceci est normal et ne doit pas être considéré comme un début de fonctionnement.
Mesures à prendre en cas de dysfonctionnement du système EBD

Modèles avec turbo

Modèles sans turbo
En cas de défaut de fonctionnement du
système EBD, le système cessé de fonctionner, et les tepoin avertisseur du système des freins et de l'ABS s'allument simultanément.
Si le témoin avertisseur des freins et le témoin avertisseur ABS s'allument tous les deux pendant la conduite, c'est le signe d'une défectuosité du système EBD. Meme si le système EBD est en dysfonci-tionnement, les freins continuent à fonctionner comme des freins ordinaires. Cependant, les roues arriere auront tendance à se bloquer plus facilement en cas de freinage brusque, rendant le vehicule sensiblement plus difficile à contröler.
En cas d'allumage simultané du témoin avertisseur du système des freins et du témoin avertisseur ABS, prenez les mesures suivantes.
- Immobilisiez le vehicule dans un endroit en sécurité le plus proche et de niveau.
- Arretez le moteur, serrez le frein de stationnement puis remettez le moteur en marche.
- Desserrez le frein de stationnement. L'extinction des deux témoins avertisseurs peut être signe d'un dysfonctionnement du système EBD. Roulez prudiment jusqu'à chez le concessionnaire SUBARU le plus proche et faites contrôler le
système.
- Si les deux tímoins avertisseurs se rallument et restent allumés une fois le moteur remis en marche, arrêtez à nouveau le moteur, serrez le frein de stationnement, puis contrôle le niveau de liquide de frein. Reportez-vous à "Liquide de frein" 11-29.
- Si le niveau de liquide de frein n'est pas en dessous du repère "MIN", le système EBD estvraisemblalement défectueux.Roulez prudemment jusqu'que chez le concessionnaire SUBARU le plus proche et faites contrôle le système.
- Si le niveau de liquide de frein est en dessous du repere "MIN", NE roulez PLUS avec le vehicule. Faites-le remorquer jusqu'au concessionnaire SUBARU le plus proche pour réparation.
DANGER
- Il est dangereux de conduire avec le témoin avertisseur des freins allumé. Ceci indique que votre système de freins risque de ne pas fonctionner normalement. Si le témoin reste allumé, faites immeditatement contrôler les freins par un concessionnaire SUBARU.
- Si vous avez un doute quant au
bon fonctionnement des freins, n'utilise pas le vehicule. Faitesle remorquer jusqu'au concessionnaire SUBARU le plus proche pour le faire réparer.
Système du Contrôle de Dynamique du Véhicule

DANGER
Conduisez toujours avec la plus grande prudence. Un excès de confiance du fait que votre vehicule est équipé du système du Contrôle de Dynamique du Vehicule peut être à l'origine d'un grave accident.

ATTENTION
- Meme si vous vehicule est équipé du système du Contrôle de Dynamique du Vehicule, cela ne vous dispense pas d'utiliser des pneus hiver sur les routes enneigées ou verglacées, ni de réduire sensiblement la vitesse du vehicule sur de telles surfaces. Le système du Contrôle de Dynamique du Vehicule à lui seul n'est pas une garantie contre le risque d'accident en toute situation.
- L'activation du système du Contrôle de Dynamique du Véhicule est le signe que la route sur laquelle le vehicule roule est
glissante; le fait que le vehicule soit équipé du système du Contrôle de Dynamique du Vehicule ne garantit pas que le contrôle du vehicule puisse être maintenu en tous temps et dans toutes les situations. Toute entree en action du système doit etre interprétable comme une incitation à réduire très sensiblement la vitesse du vehicule.
-
Chaque fais que les organes de la suspension, les organes de la direction ou un essieu ont eté déposés sur un vehicule équipé du système du Contrôle de Dynamique du Vehicule, il faut faire contrôler ce système par un concessionnaire agrée SUBARU.
Pour que le système du Contrôle de Dynamique du Vehicule puisse fonctionner correctement, observer les précautions suivantes: -
Les pneus montés sur les quatre roues du vehicule doivent être de même taille, de même type et de même marque. En outre, l'usure doit être la même sur les quatre pneus.
-
Maintenez la pression des pneus à une valeur appropriée, comme indiqué sur la plaque du vehicule collée contre le montant de portière côte conducteur.
- En cas de crevaison, il ne faut utiliser que la roue de secours temporaire spécifique. Lorsque la roue de secours provisoire est en service, l'efficacité du système de Contrôle de Dynamique du Véhicule s'en trouve réduite et il faut en tener compte pour conduire dans ces conditions.
Le système de Contrôle de Dynamique du Véhicule aide à prévenir des mouvements instables du vehicule tels que les dérapages en utilisant les freins et la force mottice. Sauf en cas de nécessite absolue, ne désactive pas le système de Contrôle de Dynamique du Véhicule. Si vous dévez désactiver le système de Contrôle de Dynamique du Véhicule, conduisez très attentivement en vous basant sur la condition de la surface de la route.
En cas de patinage et/ou de dérapage sur chaussée glissante, et/ou en virage ou au cours d'une manoeuvre d'évitement, le système du Contrôle de Dynamique du Véhicule ajusté la puissance du moteur et les forces de freinage respectives des différentes roues pour aider à maintainir la traction et le contrôle de direction.
- Fonction de contrôle de traction
La fonction de contrôle de traction est conçue pour éviter le patinage des roues motrices sur chaussée glissante, et aide donc à soutenir la traction et le contrôle de direction. Cette fonction s'active lorsque le témoin indicateur de fonctionnement du Contrôle de Dynamique du Véhicule est allumé mais ne clignote pas.
- Fonction de suppression du dérapage
La fonction de suppression du dérapage est concise pour aider à dévelopir la stabilité de la direction en supprimant la tendance des roues à glisser sur le côté lors du braquage du volant. Cette fonction est active quand le témoin indicateur de fonctionnement du Contrôle de Dynamique du Véhicule clignote.
REMARQUE
- De légères vibrations sur la pédale de frein peuvent être ressenties
Iorsque le système du Contrôle de Dynamique du Véhicule est activé, accompaniesées de légères secousses du vehicule et du volant de direction. Ceci n'a rien d'inquiétant et est la caractéristique normale du fonctionnement du Contrôle de Dynamique du Véhicule.
-
En cas de démarrage immidiatement après la mise en marche du moteur, un petit bruit fonctionnel en provenance du compartment moteur se fait entendre. De courte durée, ce bruit qui résultat d'un contrôle de fonctionnement en cours sur le système du Contrôle de Dynamique du Véhicule est normal.
-
Selon le moment où on sollicite les freins peu après avoir mis le moteur en marche et pris la route, il arrive qu'on ressente comme des secousses sur la pédale de frein. Ceci est le résultat du contrôle de fonctionnement du Contrôle de Dynamique du Véhicule et n'a rien d'anormal.
-
Dans les situations enumerées ci-après, le vehicule peut être moins stable que le conducteur n'en a l'impression. Il est alors possible que le système du Contrôle de Dynamique du Vehicule s'active. Un tel fonctionnement n'indique pas une anomalie du système.
-
sur route couverte de gravillons ou ornière
- sur route non revêtement d'un enrobé de finition
-
lorsque le vehicule est équipé de pneus neige ou de pneus hiver
-
Lorsque le système du Contrôle de Dynamique du Véhicule est en action, la sensation à la manoeuvre du volant de direction est légèrement différente de la sensation habituelle.
- Mème si le vehicule est équipé d'un système du Contrôle de Dynamique du Vehicule, il est important d'utiliser des pneus hiver pour rouler sur les routes enneigées ou verglacées. (Montez des pneus de même taillée et de même marque sur les quatre roues.)
- Réduisez toujours vous vitesse à l'approche d'un virage, même si le vehicule est équipé du Contrôle de Dynamique du Véhicule.
-
Les pneus montés sur les quatre roues du vehicule doivent être de même taille, de même type et de même marque. En outre, l'usure doit être la même sur les quatre pneus. Faute d'observer ces précautions, si les pneus sont dépareillés, il se peut que le système du Contrôle de Dynamique du Vehicule ne puisse fonctionner correctement comme prévu.
-
Arrêtez toujours le moteur avant de remplaçer une roue. Le non-respect de cette précaution peut perturber le système du Contrôle de Dynamique du Véhicule qui ne peut plus fonctionner correctement.
Moniteur de système du Contrôle de Dynamique du Véhicule
Reportez-vous à “Témoin indicateur de fonctionnement du Contrôle de Dynamique du Véhicule” 3-27 et “Témoin avertisseur du Contrôle de Dynamique du Véhicule/Témoin indicateur de désactivation du Contrôle de Dynamique du Véhicule/Témoin indicateur de désactivation du contrôle de traction (STI)” 3-27.
Commutateur de mode du Contrôle de Dynamique du Véhicule (STI)

Appuyez brievement ou pendant plus de 3 secondes environ sur ce commutateur lorsque le moteur tourne pour changer le mode du système du Contrôle de Dynamique du Véhicule.
Mode du Contrôle de Dynamique du Véhicule
Ce mode est selectionné lorsque le commutateur d'allumage est sur ON.
Ce mode permet d'utiliser toutes les commandes d'ABS, du système de contrôle de traction et du système du Contrôle de Dynamique du Vehicule.
Selectionnez ce mode pour la majorité des situations de conduite.
Lorsque ce mode est selectionné, le témoin indicateur "sùtè" situé sur les instruments de bord s'étéint.
Mode de traction
Ce mode limite les fonctions du système de contrôle de traction et du système du Contrôle de Dynamique du Véhicule. L'utilisation de ces fonctions en réponse au comportement du vehicule se trouve donc retardé par rapport au mode du Contrôle de Dynamique du Véhicule. Utilisez ce mode pour les situations de conduite dans lesquelles les performances de dynamique du vehicule seront améliorées sans pour autant amoindrir la commande du couple moteur.
En cas de brève pression sur le commutateur alors que le moteur est en marche, le témoin indicateur "sùtè" Situé sur les instruments de bord s'allume en vert. Une nouvelle pression sur le commutateur pour réactiver le système du Contrôle de Dynamique du Véhicule entraîne l'extinction du témoin indicateur "s".
Mode de désactivation du Contrôle de Dynamique du Véhicule
Ce mode active la commande ABS uniquely. Utilise ce mode en cas d'urgence; par exemple, pour degager le vehicule de la boue ou de la neige. Une pression de plus de 3 secondes
environ sur le commutateur alors que le moteur tourne provoque l'allumage en jaune du témoin indicateur "situé sur les instruments de bord. Une nouvelle pression sur le commutateur pour réactiver le système du Contrôle de Dynamique du Vehicule entraine l'extinction du témoin indicateur "
REMARQUE
- En cas de selection d'un mode autre que celui du Contrôle de Dynamique du Véhicule, le système du Contrôle de Dynamique du Véhicule se réactive automatiquement lors de la prochaine mise sur la position "LOCK" du contacteur d'allumage et du redémarrage du moteur.
- Une pression d'au moins 10 secondes sur le commutateur provoque l'extinction du témoin indicateur et l'activation du système du Contrôle de Dynamique du Vehicule. Toute pression ultérieure sur le commutateur reste alors sans effet. Pour pouvoir utiliser à nouveau le commutateur, ramenez le contacteur d'allumage en position "LOCK", puis remettez le moteur en marche.
- Lorsque le mode de désactivation du Contrôle de Dynamique du Véhicule est sélectionné, les performances routrières du vehicule sont comparables à
celles d'un vehicule non équipé du système du Contrôle de Dynamique du Vehicule. Sauf en cas d'absolue nécessité, ne désactive pas le système du Contrôle de Dynamique du Vehicule.
- Mème lorsque le système de Contrôle de Dynamique du Véhicule est désactifé, les composants du système de commande des freins peuvent être actifs. Lorsque le système de commande des freins est activé, le témoin indicateur de fonctionnement du Contrôle de Dynamique du Véhicule s'allume.

Commutateur de désactivation du Contrôle de Dynamique du Véhicule (sauf STI)
Une pression sur le commutateur permet de désactiver le système du Contrôle de Dynamique du Vehicule, ce qui peut être nécessaire dans les cas suivants:
- lors d'un départ arrêté en pente raide sur route enneigée, sur des gravillons, ou sur d'autres surfaces glissantes
- pour dégager le vehicule lorsque les roues sont enlises dans la boue ou la neige profonde
En cas d'activation du commutateur alors que le moteur tourne, le témoin indicateur de désactivation du Contrôle de Dynamique du Véhicule "R" Situé sur les instruments de bord s'allume. Le système du Contrôle de Dynamique du Véhicule est désactifé et le vehicule se comporte alors comme les modèles non équipés de ce système. Une nouvelle pression sur le commutateur pour réactiver le système du Contrôle de Dynamique du Véhicule entraine l'extinction du témoin indicateur de désactivation du Contrôle de Dynamique du Véhicule "R".
Lorsque le système du Contrôle de Dynamique du Véhicule est désactifé, l'amélioration de la traction et de la stabilité qu'offre le système du Contrôle de Dynamique du Véhicule n'est plus disponible. Vous ne doivent pasposermettre le système du Contrôle de Dyna
mique du Vehicule hors service, sauf dans les situations mentionnées ci-dessus.
REMARQUE
- En cas de pression sur le commutateur pour désactiver le système du Contrôle de Dynamique du Vehicule, celui-ci est automatiquement réactivé lors de la remise en marche du moteur après avoir raméné le contacteur d'alumage en position "LOCK".
- Une pression d'au moins 10 secondes sur le commutateur provoque l'extinction du témoin indicateur et l'activation du système du Contrôle de Dynamique du Véhicule. Toute pression ultérieure sur le commutateur reste alors sans effet. Pour pouvoir utiliser à nouveau le commutateur, ramenez le contacteur d'allumage en position "LOCK", puis remettez le moteur en marche.
- Si le système du Contrôle de Dynamique du Véhicule a été désactivié en appuyant sur le commutateur, les performances routières du vehicule sont comparables à celles d'un vehicule qui n'est pas équipé du système du Contrôle de Dynamique du Véhicule. Sauf en cas d'absolue nécessite, ne désactivez pas le système du Contrôle de Dynamique du Véhicule.
- Mème lorsque le système de
Contrôle de Dynamique du Véhicule est désactifé, les composants du système de commande des freins peuvent être actifs. Lorsque le système de commande des freins est activé, le témoin indicateur de fonctionnement du Contrôle de Dynamique du Véhicule s'allume.
Système de surveillance de la pression des pneus (TPMS) (modèles spécification des États-Unis)

Modèles avec turbo

Modèles sans turbo
Le système de surveillance de la pression des pneus avertit le conducteur en cas de baisse sensible de la pression d'un pneu, chaque roue étant équipée d'un capteur qui émet un signal de pression.
Le système de surveillance de la pression des pneus n'est opérant que lorsque le vehicule roule à une vitesse supérieure à environ 32 km/h (20 mph). En outre, le système ne peut pas toujours réagir immédiatement en cas de baisse soudaine de la pression (par exemple l'éclatement du pneu cause par unobjet pointu ou tranchant).

DANGER
Si le témoin avertisseur de basse
pression des pneus s'allume pendant la conduite, ne freinez jamais brusquement et continuez à rouler en ligne droite en réduisant progressivement votre vitesse. Quittez la route et garez le vehicule dans un endroit sur. Faute de quoi, vous courez le risque d'un accident avec d'importants dégats matériels et des blessures graves.
Vérifiez la pression des quatre pneus et regonflez à la pression de gonflage à FROID indiquée sur l'étiquette apposée contre le montant de portière du côte conducteur.
Meme si le vehicule n'a roule que très peu, les pneus ont chauffé et leur pression a par conséquent augmente. Avant d'ajuster la pression des pneus à la valeur prescrite sur la plaque d'information sur les pneumatiques, il faut toujours attendre que les pneus aient refroidi. Reportez-vous à "Roues et pneus" 11-35. Le système de surveillance de la pression des pneus ne fonctionne pas lorsque le vehicule est immobile. Quand vous venez de régler la pression des pneus, vous doivent redémarrer et atteindre une vitesse d'au moins 32km / h (20 mph) avant que le TPMS n'entre en action
et ne contrôle la pression de gonflage des pneus. Si tous les pneus sont gonfles à une pression supérieur à la valeur jugée critique par le système, le témoin avertisseur de bassé pression des pneus doit s'éteindre au bout de quelques minutes.
Si le témoin se rallume une fois la pression des pneus régée, l'un des pneus est probablement en mauvais état et perdrapidement son air. Des que vous avez des raisons de croire qu'un pneu ne tient pas l'air, remplacez cette roue par la roue de secours.
Quand on a installé la roue de secours ou si on a remplace une jante sans faire transférer le capteur manometrique/transmetteur, le témoin averâtisseur de basse pression des pneus resté allumé après avoir clignotependant environ une minute.C'est le signe que le système de surveillance de la pression des pneus (TPMS) ne peut pas surveiller l'ensemble des quatre roues. Contactez un concessionnaire SUBARU des que possible pour faire remplacer la roue et le capteur et/ou réinitialiser le système.
N'injectez pas dans les pneus du
liquide ou de l'aerosol pour colmatage de pneu, car cela pourrait perturber le fonctionnement des capteurs manometriques des pneus. Si le témoin reste allumé après avoir clignoté pendant environ une minute, contactezrapidement un concessionnaire SUBARU pour faire contrôle le vehicule.

ATTENTION
- Ne placez pas d'objet ni de feuille métalliques dans l'espace de chargement/le coffre. Cela pourrait perturber la réception des signaux des capteurs de pression des pneus, et le système de surveillance de la pression des pneus ne pourrait pas fonctionner normalement.
- AVENTISSEMENT FCC
Tout changement ou modification effectué sans l'accord expres de l'autorité responsable de la conformité aux règes peut entrainer la privation du droit d'utiliser l'équipement.
REMARQUE
Ce dispositif est conforme à la Section 15 des Régles FCC et à la directive RSS-Gen des Régles IC. Son fonctionnement répond aux deux conditions suivantes: (1) ce dispositif ne doit pas engendrer des interférences génantes, et (2) il doit être capable de subir toutes formes d'interférence, y compris des interférences susceptibles d'en perturber le fonctionnement.
Stationnement du vehicule
Frein de stationnement
Pour serrer le frein de stationnement, appuyez fermement sur la pédale de frein jusqu'à ce que le levier du frein de stationnement soit entièrement tiré.

Pour desserrer le frein de stationnement, tirez légerement le levier vers le haut, appuyez sur le bouton de déblocage et abaissez le levier tout en tenant le bouton enforcé.
Lorsque le moteur est en marche, le témoin avertisseur du frein de stationnement s'allume lorsque le frein de stationnement est serré. Une fois le moteur démarré, assurez-vous que le témoin avertisseur est éteint avant de prendre la route. Reportez-vous à "Avertissement
d'anomalie du frein de stationnement" 3-25.

ATTENTION
Ne roulez jamais avec le frein de stationnement serré: cela userait inutillement les garnitures de frein. Avant de prendre la route, vérifie toujours que le frein de stationnement est complètement desserré.
Conseils de stationnement
Lorsque you garez le vehicule, effectuez always les actions suivantes.
- Serrez le frein de stationnement fortement.
- Pour les modèles B/M, placez le levier de changement de vitesses en "1" (prémière) dans une montée ou en "R" (marche arrière) dans une descente.
- Pour les modèles BVA, placez le levier sélecteur en position "P" (stationnement).
Ne comptez pas sur la seule boîte de vitesses pour tener le vehicule immobile.

Pour le stationnement en côte, orientez les roues correctement. Si le vehicule est dans le sens de la montée, les roues avant doivent etre braquées vers la chaussée.

Dans le sens de la descente, les roues
doivent etre braquées vers le trottoir.

DANGER
- Ne laïsez jamais d'enfants ni d'animaux sans surveillance dans le vehicule. Ils pourraient se blesser ou provoquer un accident en manipulant accidentellement les commandes du vehicule. En outre, par temps chaud ou ensoleillé, la température à l'intérieur d'un vehicule fermé peut s'élever au point d'entraîner de graves malaises et même la mort.
- En raison des risques d'incendie, ne garez pas le vehicule sur des matieres inflammables telles que de l'herbe seche, des derniers papiers et des chiffons, ces derniers pouvant doivent chauds ou brûlés du fait de la haute temperature du moteur.
- N'oubliez pas d'arrêteur le moteur avant de faire la sieste dans le vehicule. En cas d'infiltration des gaz d'échéppement dans l'habitacle, les occupants du vehicule risquent la mort par intoxication au monoxyde de carbone (CO) contenu dans les gaz d'échappe
ment.

ATTENTION
Si votre vehicule est équipé d'unbecquet aérodynamique inférieuravant et d'unbecquet inférieur arrrière (tous deux en option), lorsqu'yougarez le vehicule, faites attentionaux monticules et autres obstacles.Lesbecquetspeuventetreendommagesparcontact.
Système d'assistance pour démarrage en côte (modèles B/M - selon modèles)

ATTENTION
Ce dispositif ne sert qu'a aider le conducteur à DEMARRER le vehicule en côte. Pour éviter les accidents quand le vehicule est garé en côte, le frein de stationnement doit toujours être bien serré. Une fois le frein de stationnement serré, vérifie que le vehicule reste immobile lorsque vous relâchez la pedale d'embrayage.
Le système d'assistance pour démarrage en côte facile le démarrage du vehicule dans les montées.

Dans les côtes, le système d'assistance pour démarrage en côte a pour effet de maintainir temporairement un effet de freinage lorsque la pédale de frein est reliachée après que la pédale d'embrayage a été actionnée avec la pédale de frein enforcée. Le conducteur peut ainsi faire demarrer le vehicule comme sur le plat, en utilisant seulement l'embrayage et la pédale d'accéléateur.

Le système d'assistance pour démarrage pas en côte ne fonctionne pas en descente. Il arrive aussi qu'il ne fonctionne pas dans les pentes douces.
Lors d'un démarage en marche arrière avec utilisation de ce système d'assistance, il peut arriver que vous dessentiez un effet de freinage même après avoir relaché la pedale de frein. Toutefois, cet effet de freinage disparait des que vous avez lâché la pedale d'embrayage.
Une légère secousse se produit parfois lorsqu'elle vehicule commence à avancer en marche avant après une marche arrrière.
Si le système d'assistance au démarrage en côte n'exercce pas une force de freinage suffisante une fois la pédale de
frein relachée, appuyez de nouveau sur cette pédale pour obtenir une plus grande puissance de freinage.
■ Activation/Désactivation du système d'assistance au démarrage en côte (STI)

ATTENTION
Lorsque le système d'assistance au démarrage en côte est désactivé lors d'un démarrage en côte, la puissance de freinage n'est pas maintainue si la pédale de frein est reliachée. Effectuez votre démarrage en côte en vous aidant du frein de stationnement.
Pour activer/désactiver le système d'assistance au démarrage en côte, suivez la procédure suivante.
Désactivation
- Arretez le vehicule sur une surface plane et sure, et serrez le frein de stationnement.
- Éteignez le moteur.
- Redemarrez le moteur.

-
Vérifiez ce qui suit.
-
Le témoin ABS s'éteint.
- Le témoin indicateur de désactivation du Contrôle de Dynamique du Véhicule s'eteint.
- Le témoin avertisseur du système des freins s'allume.

- Appuyez sur le commutateur de mode du Contrôle de Dynamique du Véhicule, et maintenez-le enforcé jusqu'à l'extinction du témoin indicateur de désactivation du Contrôle de Dynamique du Véhicule. Le témoin indicateur de désactivation du Contrôle de Dynamique du Véhicule s'allume en vert, puis passée en jaune et reste allumé dans cette couleur pendant plusieurs secondes avant de s'éteindre. 6. Relâchez le commutateur de mode du Contrôle de Dynamique du Véhicule dans les 5 secondes suivant l'extinction du témoin indicateur de désactivation du Contrôle de Dynamique du Véhicule.

-
Appuyez à nouveau sur le commutateur de mode du Contrôle de Dynamique du Véhicule dans les 2 secondes suivant son relâchement. Le tímoin indicateur de désactivation d'assistance pour démarriage en côte s'allume alors.
-
Éteignez le moteur.
- Redemarrez le moteur.
Lorsque le système d'assistance au démarrage en côte est désactivé, le témoin indicateur de désactivation du système d'assistance au démarrage en côte reste allumé en continu.
Activation
Répétez la procédure de désactivation du système d'assistance au démarrage en côte pour activer le système. Lorsque le système d'assistance au démarrage en
côte est activé, le témoin indicateur de désactivation du système d'assistance au démarrage en côte s'éteint.
Témoin averitisseur d'assistance pour démarrage en côte/Témoin indicateur de désactivation d'assistance pour démarrage en côte
Reportez-vous à “Témoin averitisseur d'assistance pour démarrage en côte (modèles B/M - selon modèles)/Témoin indicateur de désactivation d'assistance pour démarrage en côte (STI)” 3-26.
Régulateur de vitesse
Le régulateur de vitesse vous dispense de tener le pied sur la pédale d'accéléateur lorsque vous roulez à vitesse. Il fonctionne pour une vitesse supérieure à 40 km/h (25 mph).

DANGER
N'utilise le régulateur de vitesse dans aucune des conditions suivantes. Ceci pourrait provoquer une perte de contrôle du vehicule.
en montant ou en descendant une forte pente
- sur route glissante ou sur route sinueuse
- en cas de circulation intense
REMARQUE
- Si vous appuyez sur le bouton "CRUISE" de l'interrupteur principal tout en tournant le contacteur d'allumage en position "ON", cela désactive le régulateur de vitesse et fait clignoter le tímoin indicateur de régulateur de vitesse. Pour réactiver le régulateur de vitesse, ramenez le contacteur d'allumage en position "Acc" ou "LOCK", puis remettez-le en position "ON".
Veillez bien a ce que l'interrupteur principal "CRUISE" soit désactivé lorsque le régulateur de vitesse n'est pas activé, afin d'eviter l'activation accidentelle du régulateur de vitesse.
Pour régler le régulateur de vitesse

1. Appuyez sur le bouton de l'interrupteur principal "CRUISE".

Modèles avec turbo

Modèles sans turbo
Le témoin indicateur de régulateur de vitesseitué sur les instruments de bord s'allume.
- Appuyez sur la pédale d'accéléateur
jusqu'ac que la vitesse désirée soit atteinte.

- Appuyez sur le bouton "SET/COAST", puis relâchez-le. Relâchez ensuite la pédale d'accélérateur.

Modèles avec turbo

Modèles sans turbo
Le témoin indicateur de réglage du régulateur de vitesse s'allume alors sur les instruments de bord.
Le vehicule garde alors la vitesse reglee.
Il est possible d'accélérer temporairement pendant la conduite sous contrôle du régulateur de vitesse. Il suffit d'appuyer sur la pédale d'accéléateur pour faire accélérez le vehicule. Lorsque vous relâchez la pédale d'accéléateur, le vehicule revient à la vitesse réglée précédente en maintainant celle-ci.
Désactivation-temporaire du régulateur de vitesse
Le régulateur de vitesse peut être temporairement désactivé de manières suivantes.

- Appuyez sur le bouton "CANCEL".
- Appuyez sur la pédale de frein.
- Appuyez sur la pédale d'embrayage (modèles B/M uniquement).
- Placez le levier sélecteur en position "N" (modèles BVA uniquement).
- Placez le levier de changement de vitesses en position neutre (modèles B/M uniquement).
Le témoin indicateur de réglage du régulateur de vitesse situé sur les instruments de bord s'éteint lorsque le régulateur de vitesse est désactivé.

Pour réactiver le régulateur de vitesse après une désactivation-temporaire lorsque la vitesse du vehicule est d'au moins 32km / h (20 mph), appuyez sur le bouton "RES/ACC": le vehicule revient à la vitesse précédemment régée.
Le témoin indicateur de réglage du régulateur de vitesse situé sur les instruments de bord s'allume alors automatiquement.
■ Mise hors service du régulator de vitesse
Le régulateur de vitesse peut être mis hors service de deux manières différentes:
- Appuyez à nouveau sur le bouton de l'interrupteur principal "CRUISE".
- Ramenez le contacteur d'allumage en
position "Acc" ou "LOCK" (uniquement après l'arrêt complet du vehicule).
Pour changer la vitesse régée
Pour augmenter la vitesse régée (avec le bouton)

Appuyez sur le bouton "RES/ACC", et maintenez-le enforcé jusqu'à ce que le vehiculeatteigne la vitesse de votrechoix. Relâchez alors le bouton. La vitesse du vehicule à cet instant est mémorisée et devient la nouvelle vitesse réglée.
Quand l'ecart entre la vitesse du vehicule et la vitesse de consigne est inférieure à 6,8 km/h (4 mph), chaque brève pression sur le bouton "RES/ACC" augmente la vitesse de consigne de 1,6 km/h (1 mph).
Pour augmenter la vitesse régée (au moyen de la pedale d'accéléateur)
- Appuyez sur la pédale d'accéléateur jusqu'à ce que la vitesse souhaïée soit atteinte.
- Appuyez une fois sur le bouton "SET/ COAST". Le système est à présent régle sur la vitesse souhaitation et le vehicule roule à cette vitesse sans qu'il soit nécessaire d'appuyer sur la pédale d'accéléateur.
REMARQUE
Si la différence est de moins de 6,8 km/h (4 mph) entre la vitesse réelle du vehicule au moment où le bouton est pressé et la vitesse réglée précédemment, la vitesse du vehicule est réduite de 1,6 km/h (1 mph). Ceci se produit car le système du contrôleur automatique de vitesse interprete cette action comme une demande de réduction de la vitesse du vehicule.
Pour baiser la vitesse régée (avec le bouton)

Appuyez sur le bouton "SET/COAST", et maintenez-le enforcé jusqu'à ce que le vehicule attaigne la vitesse de votrechoix. Relâchez alors le bouton. La vitesse du vehicule à cet instant est mémorisée et devient la nouvelle vitesse réglée.
Quand l'ecart entre la vitesse du vehicule et la vitesse de consigne est inférieure à 6,8 km/h (4 mph), chaque brève pression sur le bouton "SET/COAST" diminue la vitesse de consigne de 1,6 km/h (1 mph).
Pour diminuier la vitesse régée (au moyen de la pédale de frein)
-
Appuyez sur la pédale de frein pour désactiver temporairement le régulateur de vitesse.
-
Une fois la vitesse réduite au niveau souhaïte, appuyez une fois sur le bouton "SET/COAST". Le système est à présent régé sur la vitesse souhaïée et le vehicule roule à cette vitesse sans qu'il soit nécessaire d'appuyer sur la pédale d'accéléateur.
Témoin indicateur de régulateur de vitesse
Reportez-vous à "Témoin indicateur de régulateur de vitesse" 3-31.
Témoin indicateur de réglage du régulateur de vitesse constante
Reportez-vous à "Témoin indicateur de réglage du régulateur de vitesse constante" 3-31.
Rodage d'un vehicule neuf - premiers 1.600 km (1.000 miles) 8-2
Conseils pour economiser le carburant 8-2
Gaz d'échévement du moteur (monoxyde de carbone) 8-3
Convertisseur catalytique 8-3
Inspections periodiques 8-4
Conduite à l'étranger 8-5
Conseils de conduite pour les modèles à traction intégrale AWD. 8-5
Conduite hors route. 8-6
Tous les modèles AWD, sauf OUTBACK 8-7
OUTBACK 8-7
Conduite en hiver 8-9
Précautions à prendre par temps froid 8-9
Conduite sur routes enneigées et verglacées 8-10
Protection contre la corrosion 8-12
Pneus neige 8-12
Chaines antidérapantes 8-13
Balancement du vehicule 8-13
Chargement du vehicule 8-14
Charge utile du vehicule 8-15
Poids nominal brut du vehicule (GVWR) et poids nominal brut sur l'essieu (GAWR) 8-15
Moulure de toit et traverses (selon modèles) 8-16
Traction de remorque 8-17
Rodage d'un vehicule neuf - premiers 1.600 km (1.000 miles)
Les performances et la longévite de votre vehicule dépendent grandement de la façon dont il est soigné et utilisé lorsqu'il est neuf. Observe les consignes suivantes pendant les premiers 1.600 kilomètres (1.000 miles):
- N'emballez pas le moteur. Sauf en cas d'urgence, ne dépassez pas le régime de 4.000 tr/mn.
- Que ce soit lentement ou rapidement, ne roulez pas pendant des périodes prolongées à vitesse de déplacement constante ou à régime moteur constant.
- Sauf en cas d'urgence, évitez les accélérations et les démarrages brusques.
- Sauf en cas d'urgence, évitez les coupes de frein brusques.
Les mêmes consignes de rodage s'appliquent en cas de révision du moteur, de remplacement du moteur par un neuf, ou de remplacement des plaquettes ou garnitures de frein par des nuves.
Conseils pour economiser le carburant
Voici quelques suggestions pour vous aider à economiser le carburant.
- Roulez toujours enengageant le rapport de boîte de vitesses adapté à la vitesse du vehicule et aux conditions de conduite.
- Évitez les accelerations ou décelerations brusques. Accélèrez lentement pour atteindre la vitesse souhaitée progressivement. Dans la mesure du possible, essayez de maintainir ensuite cette vitesse constante.
- N'actionnez pas la pedale d'accelerateur inutillement et evitez d'emballer le moteur.
- Ne laïsez pas le moteur tourner au ralenti inutillement.
- Maintenez toujours le moteur bien réglé.
- Maintenez toujours les pneus gonflés à la pression correcte indiquée sur l'autocollant appliqué sous la serrure de la portière conducteur. Une pression trop faible augmente l'usure des pneus et la consommation de carburant.
- N'utilisez le climatiseur que lorsque cela est nécessaire.
- Maintenez les réglages corrects de
géométrie des trains de roulement avant et arrêté.
- Ne transportez pas de bagages ou charges inutiles.
Gaz d'éché+pement du moteur (monoxyde de carbone)

DANGER
- Ne respirez jamais les gaz d'échéppement du moteur. Le monoxyde de carbone contenu dans les gaz d'échéppement du moteur est incolore et inodore, mais son inhalation est dangereuse voire mortelle.
- Maintenez toujours le système d'échévement en bon état pour éviter que les gaz d'échévement du moteur ne pénétre dans le vehicule.
- Ne laïsez jamais tourner le moteur du vehicule dans un garage ou un local fermé, sauf pendant le minimum de temps nécessaire à l'entrée ou à la sortie du vehicule.
- Évitez de rester longtemps dans le vehicule en stationnement en laissant le moteur en marche. Si vous ne pouze l'éviter, mettez la soufflante de ventilation en marche pour forcer l'entrée d'air frais dans le vehicule.
Pour que le système de ventilation puisse fonctionner normalement, débarrassée la grille de la prise d'air de ventilation avant de la neige, des feuilles ou des autres corps étrangers qui l'encombrent.
- Si vous avec l'impression que les gaz d'échéppement pénétre dans le vehicule, faites contrôle et réparer le vehicule au plus tout. Si vous nevez utiliser le vehicule dans cet état, roulez avec toutes les vitres grandes ouvertes.
Pour éviter que les gaz d'échépement ne pénétre dans le vehicule, ne roulez pas avec le coffre à bagages (4 portières) ou le hayon (5 portières) ouvert.
REMARQUE
Peu après l'arrêt du moteur, il se peut que vous entendiez féquement de légers craquements en provenance du système d'échéappement. Ces bruits sont dus à la contraction thermique par refroidissement des métaux après l'arrêt du moteur. Ce bruit est normal.
Convertisseur catalytique

Modèles avec turbo

Modèles sans turbo
Le convertisseur catalytique est monté sur le tuyau d'échévement. Il réduit la teneur
en HC, CO et NOx, c'est-à-dire qu'il combat la pollution par les gaz d'éché-pement.
Pour ne pas endommager le convertisseur catalytique:
Utilisez uniquement du carburant sans plomb. Meme en petite quantite, le carburant au plomb detertiore le convertisseur catalytique.
- Ne faites jamais démarrer le moteur en poussant ou en tirant le vehicule.
- Evitez d'emballer le moteur.
- Ne coupez jamais le contacteur d'allumagependant que le vehicule est conduit.
Veillez a maintainir le moteur bien regle.
Des les premiers signes de dérèglement (cognement,retour de flamme ou combustion incomplète),faites contrôler et régler votre vehicule par un concessionnaire agréé SUBARU.
- N'enduisez pas le pare-chaleur du convertisseur catalytique de peinture d'après ou de tout autre produit anticorrosion.
- Ne conduisez pas avec un niveau extremement bas de carburant.

DANGER
- Attention au feu. Ne garez pas le vehicule sur ou à proximé de matières inflammables (herbe,
papiers, chiffons, feuilles, etc.), car le convertisseur catalytique fonctionne a très haute temperature.
Veiliez a ne pas exposer des personnes ou des matieres inflammables en sortie de tuyau d'échéppement quand le moteur du vehicule tourne. Les gaz d'échéppement sont très chauds.
Inspections périodiques
Pour maintainir votre vehicule toujours en parfait état de marche, il est important que vous respectiez les périodicités et kilométrages prescrits pour les opérations d'entretien figurant dans le programme d'entretien du "Livret de Garantie et d'Entretien".
Conduite à l'étranger
Si vous vous rendez dans un pays étranger avec votre voiture:
Assurez-vous que vous trouvrez dans ce pays du carburant approprié. Reportez-vous à "Carburant recommende" 7-3.
- Renseignez-vous sur la reglementation en vigueur et vérifie que votre vehicule est en conformité.
Conseils de conduite pour les modèles à traction intégrale AWD

La traction intégrale répartit la force motrice entre les quatre roues du vehicule. Les modèles AWD représentant uneffective traction pour la conduite sur route glissante, mouillée ou verglacée, et pour dégager le vehicule enlise dans la boue ou le sable. En répartissant de manière optimale la force motrice entre les roues avant et arrière, le vehicule SUBARU AWD assure aussi uneffective traction sur routes sèches pendant l'accélération et le freinage et en virage, ainsi que pour monter et descendre les côtes et un meilleur effet de frein moteur pendant la décelération.
Votre vehicule SUBARU AWD se comporte donc differemment d'un vehicule à deux roues motrices dans certaines circonstances et il presente les avantages spécifiques à AWD. Pour la sécurité et pour éviter d'endommager le système AWD, il vous faut observer certaines précautions.
-
Un modele AWD a plus de facilité qu'un vehicule à deux roues motrices pour gravir les routes pentues glissantes ou enneigées. Cependant, on note peu de différence de comportement dans les virages très serrés et en cas de freinage brusque. Dans les descentes et avant les virages, ralentissez et voirlez à garder une distance suffisante par rapport aux autres vehicules.
-
Quand vous remplacez un pneu, vérifie que le nouveau pneu est de même taille, de même structure, de même marque et de même capacité de charge que les pneus d'origine dont les caractéristiques sont indiquées sur la plaque des pneus. Monter des pneus de taille, de circonference ou de structure différente peut endommager gravement le train de roulement de votre vehicule, et nuit au comfort, à la tenue de route, au freinage, à la précision des indications du compteur totalisateur/journalier et au maintainen de la distance minimale entre la carrosserie et
les pneus. Ceci peut être aussi très dangereux et faire perdre le contrôle du vehicule.
- Si vous vous trouvez dans l'obligation d'utiliser une roue de secours provisoire suite à une crevaison, utilisez la roue de secours provisoire fournie avec le vehicule. Tout autre taille de roue pourrait endommager gravement le train de roulement de votre vehicule.
- Vérifiez toujours la pression de gonflage des pneus à froid avant de prendre la route. La pression de gonflage commande est indiquée sur la plaque signalétique des pneumatiques, située au-dessous de la serrure de la portière du côte du conducteur.
- En outre, le remorquage de ce type de vehicule nécessite l'observation d'un certain nombre de précautions particulières. Pour de plus amples informations, reportez-vous à "Remorquage" 9-15.

DANGER
-
Ne dépassez jamais la vitesse de sécurité imposée par l'etat de la route et les conditions climatiques, afin d'éviter tout risque d'accident dans les virages ou en cas de coup de frein brusque, etc.
-
Observetzousjoursla plus grande prudencependantla conduite. Ne soyezpas tropconfiant du fait que youcv conduisez un modea traction integrale,car il pourrait enresulter un grave accident.
Conduite hors route

DANGER
- Ne dépassez jamais la vitesse de sécurité imposée par l'état de la route et les conditions climatiques, afin d'eviter tout risque d'accident dans les virages ou en cas de coup de frein brusque, etc.
- Observetz无论如何 la plus grande prudence pendant la conduite. Ne soyez pas trop confiant du fait que vous conduisez un modele à traction integrale, car il pourrait en résultat un grave accident.

ATTENTION
Ne conduisez pas sur des routes en mauvais et ne montez pas sur des cordures de troitoirs avec des pneus a profil très bas comme les pneus de 17 pouces. Les chocs subsis pourraient endommager les jantes et les pneus, ce qui produit des vibrations et une mauvaise tenue en ligne droite.
La conduite est alors plus difficile.
Tous les modèles AWD, sauf OUTBACK
Votre modèle AWD n'est pas un vehicule de piste ou un vehicule tout terrain. C'est un vehicule de tourisme dont la conception de base est celle d'une routière. La traction intégrale lui confère quelques avantages limités pour la conduite hors route sur des surfaces relativement plates et exemples d'obstacles, au profil similaire à celui d'une route. L'utiliser dans d'autres conditions la soumettrait à des efforts excessifs et il pourrait en résultat des dégradations dont la réparation ne serait pas couverte par la garantie. Lorsque vous roulez ailleurs que sur la route avec votre SUBARU, vous doivent garderopsis à l'esprit les précautions de bon sens rappelées à la rubrique suivante (qui concerne les modèles OUTBACK). Et n'oubliez jamais que votre vehicule offre des possibités de conduite tous terrains plus limitées que les modèles OUTBACK. Ne tentez jamais de traverser des flâques d'eau ou des mares ou de rouler sur une route inondée. La pénétration d'eau par la prise d'air du moteur ou par le tuyau d'échéappement et les éclaboussures sur les organes électriques risqueraient d'en
dommager votre vehicule et de faire caler le moteur.
OUTBACK
Votre vehicule SUBARU peut se conduire sur route ordinaire et hors route. Mais rappelez-vous qu'une SUBARU AWD est un vehicule de tourisme, et non pas un vehicule de piste ou un vehicule tout terrain. Pour la conduite hors route de votre SUBARU, certaines précautions de bon sens comme celles indiquées dans la liste suivante s'imposent.
Assurez-vous que vous portez votre ceinture de sécurité et qu'il en va de même pour tous vos passagers.
- Prévoyez des équipements de secours, comme une corde ou une chaîne de remorquage, une pelle, des cales de roue, une trousse de premiers soins et un téléphone cellulaire ou un émetteur-recepteur BP.
- Conduisez prudemment. Ne prenez pas de risques inutiles et évitez les passages dangereux ou trop accidentés.
- Roulez lentement et redoublez de prudence. En conduite tout terrain, vous n'avez plus de couloir de circulation balisé, plus de virage relevé, plus de signalisation routière pour vous aider.
- Ne placez pas votre vehicule en
travers dans les pentes raides. Franchissez les pentes raides en montant ou en descendant tout droit. Un vehicule se returne beaucoup plus facilement sur le cote qu'en avant ou en arrêté. Que ce soit en montée ou en descente, évitez de vous engager sur des pentes trop raides.
- Evitez les changements de direction brusques, rundout à grande vitesse.
- Ne tenez pas le volant par les branches intérieures. Le sursaut du volant pourrait vous blesser au niveau des mains en cas de cahot violent. Tenez le volant par le pourtour, avec les doigts et les pouces vers l'extérieur.
- Avant de vous engager dans l'eau pour traverser un cours d'eau à gué par exemple, commencez par vérifier la profondeur de l'eau et assurez-vous que le fond du cours d'eau est ferme et plat. Traversez le cours d'eau lentement, sans vous arrêté au milieu. Le dessous de caisse du vehicule doit rester hors de l'eau même à l'endroit le plus profund. La pénetration d'eau par la prise d'air du moteur ou par le tuyau d'échéppement et les éclaboussures sur les organes électriques risqueraient d'endommager votre vehicule et de faire caler le moteur. Ne tentez jamais de traverser un torrent au courant rapide, même s'il est peu profund; la vitesse du courant pourrait miner le sol
sous les roues, avec risque de perte de traction et même de retournement du vehicule.
- Contrôlez toujours vos freins immédiatement après être passé dans du sable, de la boue ou de l'eau. Pour cela, roulez lentement et appuyez sur la pédale de frein. Enchaînez le même mouvement à plusieurs reprises pour nettoyer et secher les disques et les plaquettes de frein.
- Ne roulez ni ne stationnez sur ou a proximé de matières inflammables comme de l'herbe sèche ou des feuilles mortes, car elles pouraient prendre feu. Pendant que le moteur est en marche et immédiatement après l'arrêt, le système d'échéppement est extrémement chaud. Il y a donc risque d'accendie.
- ÀpRES avoir roulé dans de l'herbe haute, de la boue, de la pierraille, du sable, un cours d'eau, etc., vérifie qu'il n'y a pas d'herbes, branchages, papiers, chiffons, pierres, sable, etc. collés ou coincés dans le dessous de caisse du vehicule. Si nécessaire, débarrasssez le dessous de caisse de ces corps étrangers. Rouler avec de tels corps étrangers collés ou coincés dans le dessous de caisse fait courir un risque de panne mécanique ou de feu.
- Arrimez fermement toutes les charges à l'intérieur du vehicule, en veillant à ne
pas empiler les objets plus haut que les dossiers de siège. Les charges mal fixées risquent d'être projétées et d'infliger des blessures en cas d'arrêt brusque ou de force secousse. N'accumulez pas de charges importantes sur le toit. Cela rehausse le centre de gravité du vehicule et le rend plus enclin à se renverser.
- Lorsque, pour prendre de l'élan et sortir d'une zone de sable ou de boue, vous doivent balancer le vehicule en avant et en arrêté, déplacez le levier sélecteur à plusieurs reprises entre les positions "D" et "R" tout en appuyant légersement sur la pédale d'accéléateur. N'emballez pas le moteur. Si les roues ne patinent pas, la traction estAMLLE etyoudégagerezle vehicule plus facilement.
Sur une chaussée très glissante, vous obtenez une meilleure traction en démarrant le vehicule en 2ème plutôt qu'en 1ère (que la boîte soit manuelle ou automatique).
- Ne montez jamais sur le vehicule des pneus plus gros que la taille prescrite dans ce manuel.
- Si un modele AWD est utilisé fréquement dans des conditions difficilles, comme la conduite sur de mauvaises routes ou hors route, il est nécessaire de replacer l'huile moteur, le liquide de frein et l'huile de boîte de vitesses plus souvent
qu'aux intervalles prévus dans le programme d'entretien représenté dans le "Livret de Garantie et d'Entretien".
N'oubliez pas que les dommages infilgés à votre SUBARU pendant la conduite hors route, ou par non-respect des précautions de bon sens telles que celles qui sont rappelées ci-dessus, ne sont pas couverts par la garantie.
- Àprous avoir conduit hors route, lavez le dessous de caisse du vehicule. En particulier, les éléments de la suspension s'encrassent facilement et doivent être nettoyés soigneusement.
Conduite en hiver

■ Précautions à prendre par temps froid
Transportez toujours avec vous du matériel de secours: raclette à vitres, sac de sable, fuses de signalisation, petite pelle et câbles volants.
Contrôlez l'etat de la batterie et de ses câbles. Le froid réduit la capacité de la batterie. La batterie doit être en parfait état pour assurer le démarrage du moteur en hiver.
Utilisez une huile moteur de qualite et viscosite convenant aux conditions hivernales. Le moteur est plus difficile a demarrer avec une huile d'etre très visqueuse.
Protégez les serrures de portière contre le gel en y pulverisant un produit dégivrant ou de la glycérine.
L'ouverture en force d'une portiere gelée risque d'endommager ou de decoller le joint d'étanchéité en caoutchou du pourtour de la portiere. Si une portiere est gelée, faites fondre la glace à l'eau tiède puis essuyez soigneusement pour éliminer l'eau.
Le liquide de lave-glace utilise doit contenir de l'antigel. N'employez pas l'antigel pour moteur ou un autre produit de remplacement car cela pourrait endomager la peinture du vehicule.
Le liquide de lave-glace SUBARU contient 58.5% d'alcool methylique et 41.5% d'agent de surface par volume. La température de congestion est indiquée dans le tableau ci-après. Elle varie en fonction du degré de concentration de la solution dans l'eau.
| Concentration de la solution | Température de condensation |
| 30% | -12°C (10,4°F) |
| 50% | -20°C (-4°F) |
| 100% | -45°C (-49°F) |
Pour éviter que le liquide de lave-glace ne
gèle, ajustez la concentration du liquide en fonction de la température extérieure, sur la base des indications du tableau ci-dessus.
Lorsque you remplissez le réservoir avec un liquide de lave-glace plus concentré que celui que you utiliseiz precedemment, purgeze l'ancien liquide subsistant dans la canalisation entre le réservoir et les gicleurs en faisant fonctionner le lave-glace un certain temps. Dans le cas contraire, si le liquide se trouvant dans la canalisation n'était pas assez concentré pour la température extérieure, il risquerait de geler et de boucher les gicleurs.

ATTENTION
- Ajustez la concentration du liquide de lave-glace en fonction de la température extérieure. Si le liquide n'est pas assez concentré, il risque d'obstruer la vision en gelant contre le pare-brise, et de geler dans le réservoir.
- Les réglementations des États ou locales sur les composants organiques volatiles peut restreindre l'utilisation du méthanol, un additif antigel courant de lave-glace de pare-brise. Des lave-glaces contenant un antigel non méthy
lique ne doit être utilisés qu'uniquement s'ils procurunt une protection par temps froid sans endommager la peinture, les balais d'essuie-glace et le système de lave-glace.
Avant de conduire votre vehicule
Avant de vous installer dans le vehicule, enlevez la neige et le givre de vos chaussures pour que vos pieds ne glissent pas sur les pédales, ce qui pourrait être dangereux.
Pendant la montée en température du moteur avant de prendre la route, vérifie le bon fonctionnement de la pédale d'accéléateur, de la pédale de frein et de toutes les autres commandes.
Enlevez la neige et la glace accumulées sous les ailes car elles rendent la manèuvre de la direction difficile. Si vous roulez par mauvais temps en hiver, arrêtez-vous périodiquement dans un endroit sur pour dégager les logements de roue sous les ailes.
Stationnement par temps froid
Par temps froid, n'utilisez pas le frein de stationnement pour les arrêts de longue durée, car il risque de geler en position serrée. À la place, suivez les conseils
suivants.
- Positionnéz le levier de changement de vitesses sur "1" ou "R" (modèles B/M) ou le levier sélecteur sur "P" (modèles BVA).
- Placez des cales sous les roues pour empêcher le vehicule de bouger.
Lorsque le vehicule est garé à découvert sous la neige, relevez les balais d'essuie-glace pour éviter qu'ils ne soient endom-mages.
Si le vehicule est resté garé dans une tempête de neige ou après avoir roulé sur des routes enneigées, le fonctionnement des freins peut être entravé par le givre. Enlevez les dépôts de neige ou de givre au niveau de la suspension, des freins à disques et des flexibles de frein sous le vehicule.
Éliminez la neige avec soin pour ne pas risquer d'endommager les freins à disques, les flexibles de frein et les fils électriques de l'ABS.

DANGER
La neige peut être dangereuse si elle empêche la dispersion des gaz d'échévement. Lorsque le vehicule est garé dans la neige avec le moteur en marche, veillez à ce que
le tuyau d'échéppement resté libre de neige.
Ravitaillement en carburant par temps froid
Pour éviter le gel de l'eau de condensation presente dans le système d'alimentation en carburant, il est recommendé d'utiliser par temps froid un additif antigel à introduire dans le réservoir de carburant. N'utilisez rien d'autre qu'un additif spécifique destiné à cet usage. Pour prolonger les effets de l'additif antigel, faites le plein sans attendre dés que le niveau du carburant est à moins vide.
Si vous n'envisagez pas d'utiliser votre SUBARU avant longtemps, il vaut mistréux la garer avec le réservoir de carburant plein.
Conduite sur routes enneigées et verglacées
Pour ne pas provoquer de dérapage ou de patinage, évitez les freinages brusques, les accélérations soudaines, la conduite à grande vitesse et les coups de volant brusques lors de conduite sur routes enneigées ou verglacées.
Maintenez toujours une distance amplement suffisante entre notre vehicule et celui qui vous precede pour ne pas avoir à
freiner brusquement.
Facilitez le travail de freinage au pied en vous servant efficacement du freinage moteur pour contrôler la vitesse du vehicule. (Passez à un rapport inférieur lorsque cela est nécessaire.)
Évitez de rétrograder brutalement: Vous risqueriez de bloquer les roues et d'entraîner la perte de contrôle du vehicule.
Le système de freins antiblocage (ABS) améliore les performances de freinage de votre vehicule sur routes enneigées ou verglacées. Pour des informations relatives au freinage sur surfaces glissantes, reportez-vous à "ABS (système de freins antiblocage)" 7-37 et "Système du Contrôle de Dynamique du Véhicule" 7-40.

DANGER
N'utilisez pas le régulateur de vitesse lorsque la route est glissante, enneigeée ou verglacée. Il pourrait en résultat une perte de contrôle du vehicule.

ATTENTION
Évitez de rouler longtemps en cas de tempête de neige. La neige
pénetrant dans le système d'admission du moteur finirait par obstruer la circulation de l'air, ce qui pourrait entraîner l'arrêt voir la panne du moteur.
Fonctionnement des essuie-glaces sous la neige
Avant de prendre la route par temps froid, vérifie que les balais d'essuie-glace n'ont pas gelé contre le pare-brise ou la lunette arrrière.
Si les balais d'essuie-glace avant sont collés au pare-brise par le gel, utilisez le dégivrage avec la molette de commande de début d'air en position "W" et la molette de réglage de température en position de chaleur maximum jusqu'à ce que les balais d'essuie-glace soient complètement dégelés. Pour les détails, reportez-vous à la section suivante.
Pour le système de climatisation manuel, reportez-vous à "Dégivrage ou désembUAGE du pare-brise" 4-5.
- Pour le système de climatisation automatique, reportez-vous à “Tableau des commandes” 4-9.
Si le vehicule est équipé d'un dégivreur d'essuie-glace de pare-brise, cela aide à faire fondre le givre qui bloque les balais
d'essuie-glace du pare-brise. Reportez-vous à "Désembumeur et dégivre" 3-55.
Si le balais d'essuie-glace de lunette arrrière est gelé contre la lunette arrière, utilisez le désembueur de lunette arrrière. Reportez-vous à “Désembumeur et dégivreur” 3-55.
Lorsque you conduisez sous la neige, si la neige durcie a tendance a se coller sur le pare-brise malgre le balayage des essuie-glaces, utilisez le degivrage en appuyant sur la molette de commande de debit d'air "44" et en deplaçant la molette de réglage de la température en position de chaleur maximum. Lorsque la neige collée au pare-brise est suffisamment ramollie par le rechauffage, utilisez le lave-glace pour l'éliminer. Reportez-vous à "Lave-glace" 3-44.
La neige collée aux bras des essuie-glaces empêche le bon fonctionnement des essuie-glaces. Si la neige colle aux bras d'essuie-glaces, quittez la route pour garer le vehicule dans un endroit sur et enlevez cette neige. Si vous gerez le vehicule sur le bord de la route, allumez les feuels de détresse pour attirer l'attention des autres conducteurs.
Nous recommends l'usage de balais d'essuie-glace antigel (balais d'hiver) en
cas de neige ou de températures négatives. Les balais de ce type balaient plus efficacement la vitre par temps de neige. Veillez à ce que les balais que vous utilisez soient d'un modele adapté à votre vehicule.

ATTENTION
Pendant la conduite à grande vitesse, les balais d'essuie-glace antigel ne sont pas aussi efficaces que les balais d'essuie-glace ordinaires. S'ils ne sont pas suffisamment efficaces, réduisez la vitesse du vehicule.
REMARQUE
En fin de saison hivernale, lorsqu'il n'est plus nécessaire d'avoir des balais d'essuie-glace antigel, remplacez-les par des balais d'essuie-glace ordinaires.
Protection contre la corrosion
Reportez-vous à "Protection contre la corrosion" 10-4.
Pneus neige

DANGER
Lorsque you remplacez des pneus d'origine par des pneus hiver (pneus neige), assurez-vous que you n'utilise que des pneus de meme taille, de meme type et de meme classe de charge que les pneus d'origine et mentionnés sur l'etiquette des pneus. L'usage de pneus de tailles ou types differents affecte I'exactitude de I'indicateur de vitesse et du compteur totalisateur, et I'ecartement minimum des roues par rapport à la carroserie. Ceci peut ettre aussi tres dangereux et faire perdre le contrôle du vehicule.
- Les quatre pneus hiver doivent être de même taille, de même type, de même marque et de même classe de charge. La combinaison des pneus de tailles ou types différents peut entraîner de graves problèmes mécaniques dans la chaîne kinématique du vehicule, et affecte le comfort, la tenue de route, le freinage, l'exactitude de l'indicateur de
vitesse et du compteur totalisateur. Ceci peut être aussi très dangereux et faire perdre le contrôle du vehicule.
- N'utilisez jamais la combinaison de pneus radiaux, de pneus ceintures ou à carcasse croisé, car cela pourrait être à l'origine d'une dangereuse tenue de route et provoquer un accident.
Modeles avec turbo
Les pneus d'origine équipant votre vehicule sont des "pneus ete". Ils sont inadaptes à la conduite sur chaussée glissante, sur les routes enneigées ou verglacées par exemple.
Comparés aux pneus hiver ou aux pneus toutes saisons, les pneus est ont une adherence sensiblement moindre sur les surfaces enneigées ou verglacées. L'emploi de pneus hiver est donc fortement recommendé pour conduire dans de telles conditions.
Si vous decide dechauser des pneus hiver sur votre vehicule, veillez à désir des pneus de taille et de type appropriés. Les quatre pneus hiver doivent être de même taille, de même type, de même marque et de même classe de charge. Ne mélangez jamais des pneus radiaux avec
des pneus ceinturés ou à carcasse croisée car il peut en résultat un comportement dangereux du vehicule. Lorsque vous choisissez un pneu, vérifie qu'il reste suffisamment d'espace entre le pneu et la carrosserie du vehicule.
Par ailleurs, n'oubliez jamais que la prudence est de rigueur quels que soient le type et la qualité des pneus montés sur votre vehicule.
Modèles sans turbo
Les pneus d'origine équipant votre vehicule sont des pneus "toutes saisons" concus pour assurer une traction, une tenue de route et un freinage adequats tout au long de l'année. En hiver, vous obtiendrez deailles performances en montant des pneus spéciaux pour les conduites de conduite hivermale.
Si vous decide dechauser des pneus hiver sur votre vehicule, veillez a besoin des pneus de taille et de type appropriés. Les quatre pneus hiver doivent être de même taille, de même type, de même marque et de même classe de charge. Ne mélangez jamais des pneus radiaux avec des pneus ceinturés ou à carcasse croisée car il peut en résultat un comportement dangereux du vehicule. Lorsque vous choisissez un pneu, vérifie qu'il reste suffisamment d'espace entre le
pneu et la carrosserie du vehicule.
Par ailleurs, n'oubliez jamais que la prudence est de rigueur quels que soient le type et la qualité des pneus montés sur votre vehicule.
Chaines antidérapantes
ATTENTION
En raison d'un manque d'espace entre les pneus et la carrosserie du vehicule, il n'est pas possible d'utiliser des chaînes antidérapantes sur votre Impreza, WRX et STI.
Balancement du vehicule
Lorsque, pour prendre de l'élan et sortir d'une zone de sable, de boue ou de neige, vous doivent balancer le vehicule en avant et en arrêté, déplacez le levier de changement de vitesses/levier sélecteur à plusieurs reprises entre les positions "1"/ "D" et "R" tout en appuyant légersrement sur la pédale d'accéléateur. N'embalez pas le moteur. Si les roues ne patinent pas, la traction estAMLRE etyoudégagerezle vehicule plus facilement.
Sur une chaussée très glissante, vous obtenez une(Meilleure traction en démar
rant le vehicule en 2eme plusot qu'en 1ere (que la boite soit manuelle ou automatique).
Pour des informations relatives au mainien de la boite de vitesses automatique en 2ème, reportez-vous à “ Sélection du mode manuel” 7-30.
Chargement du vehicule

DANGER
- Ne laïsez jamais vos passagers voyager sur un siège arrêté replié, dans le coffre ou dans l'espace de chargement. Ceci est dangereux et peut entraîner de graves blessures.
- N'empilez jamais de bagages ou colis plus haut que le dossier du siècle: ils pourraient tomber vers l'avant et blesser les passagers en cas d'arrêt brusque ou d'accident. Les bagages et colis doivent être posés sur le plancher en limitant au maximum la hauteur de l'emplement.

100094

DANGER
- Dans la mesure du possible, toute charge transporte dans le vehicule doit être attachée pour éviter qu'elle ne soit projetée dans l'habitacle du vehicule dans les virages, ou en cas d'arrêt brusque ou d'accident.
- N'accumuez pas de charges importantes sur le toit. Cela rehausse le centre de gravité du vehicule et le rend plus enclin à se renverser.
- Attachez correctement les objets de forme allongée pour éviter qu'ils ne se transforment en projectiles susceptibles d'infliger de
graves blessures en cas d'arrêt brusque.
- Ne dépassez jamais la charge maximale admissible. En chargeant trop votre vehicule, vous risquez d'en casser certains organes et d'en modifier dangereusement le comportement. Il pourrait en résultat une perte de contrôle du vehicule, avec tous les risques de blessures que cela compte. En outre, surcharger un vehicule nuit à sa longévite.
- Ne posez aucun objet sur la plage arrrière derrière le dossier de la banquette arrrière (4 portières) ou sur le prolongement de la couverture de l'espace de chargement (5 portières). En cas d'arrêt brusque ou de collision, tout objet déposé à cet endroit risquérait d'être projeté vers l'avant. Cela pourrait provoquer de graves blessures.

ATTENTION
Ne transportez pas de produits en atomiseurs, de recipients de liquides inflammbables ou corrosifs ou autres produits dangereux à bord
de votre vehicule.
REMARQUE
Pour economiser le carburant, ne transporte pas de charges inutiles.
Charge utile du vehicule


La charge admissible de votre vehicule est déterminée par le poids, et non pas par l'espace disponible. La charge maximum que vous pouvez transporter à bord de votre vehicule est indiquée sur la plaque de vehicule apposée contre le montant de la portière du conducteur. Elle comprend le poids du conducteur et des passagers avec tous leurs effets personnels, le poids d'équipment en option comme la galerie de toit ou le portebicylettes, etc.
■ Poids nominal brut du vehicule (GVWR) et poids nominal brut sur I'essieu (GAWR)

Le sceau de certification apposé contre le montant de la portière du conducteur indique le poids nominal brut du vehicule (GVWR) et poids nominal brut sur l'essieu (GAWR).
Le poids total en charge (GVW) ne doit jamais excéder le GVWR. Le GVW est le total du poids du vehicule, du carburant, du conducteur, de tous les passagers, des bagages et des équipements en option. Le GVW varie donc en fonction des circonstances. Le GVWR est égal au poids à vide en ordre de marche (poids réel du vehicule avec son équipement standard, les fluides, l'outillage de secours et la roue de secours) plus la charge utile
du vehicule.
Par ailleurs, le poids total supporté par chaque essieu (GAW) ne doit jamais excéder le GAWR. Vous pouvez répartir le poids reposant sur les essieux avant et arrrière en répartissant les bagages à l'intérieur du vehicule.
Mème si le poids total de bagages ne fait pas dépasser la charge utile du vehicule, le poids reposant sur l'essieu avant ou arrrière peut être supérieur au GAWR si les bagages sont mal répartis.
Dans la mesure du possible, la charge doit être répartie également sur l'ensemble du vehicule.
Si vous transportez de lourdes charges dans votre vehicule, vous doivent peser votre vehicule sur la bascule d'une station de pesage commerciale pour vérifier que vous ne dépassez ni le GVWR sur les essieux avant et arrière, ni le GAWR.
Ne remplacez pas les pneus du vehicule par d'autres d'une capacité de charge inférieure aux pneus d'origine, car cela abaisserait les valeurs limites de GVWR et de GAWR. Par contre, monter des pneus d'une capacité de charge supérieure aux pneus d'origine n'a pas pour effet d'accroître les valeurs limites de GVWR et de GAWR.
Moulure de toit et traverses (selon modèles)


ATTENTION
Pour transporter des charges, il faut utiliser les moulures de toit avec un kit de traverses de toit fixées au moyen d'accessoires appropriés. En plus du fait que cela risquerait d'abimer le toit et la peinture, le risque de chute des colis serait extrément dangereux.
Lorsque you utilisez le kit de traverses de toit, veuillez à ce que le poids total de traverses, d'accessoires de fixation, et de charges ne dépasse pas la
charge maximale admissible. Toute surcharge peut endomma- ger le vehicule et etre dangereuse.
Le transport de bagages est possible après avoir monté un kit de traverses de toit sur les moulures de toit et installé un accessoire de fixation approprié. Pour l'installation du kit de traverses de toit, suivez les indications du fabricant du kit.
Lorsque vous transportez une charge sur le toit à l'aide du kit de traverses de toit, ne dépassez jamais la charge maximale admissible comme expliqué ci-après. En outre, veillez à ce que cette charge ne fasse dépasser ni le poids nominal brut du vehicule (GVWR), ni le poids nominal brut sur l'essieu (GAWR) à l'avant et à l'arrière. Pour des informations relatives au chargement de votre vehicule, reportez-vous à "Chargement du vehicule" 8-14. Le poids total de la charge, des traverses et des accessoires de fixation ne doit pas dépasser 80 kg (176 lbs). Placez les objets les plus lourds en bas, à proximité du toit et répartissez les poids des bagages. Il faut toujours arrimer soignement le chargement.
Fixation d'autres accessoires de transport sur les traverses
Pour l'installation d'autres accessoires de transport (porte-velos, porte-ski, portecanoé, panier de transport, etc.) sur les traverses, respectez les instructions du fabricant de ces accessoires et vérifie qu'ils sont fermement fixés sur les traverses. N'utilise que les fournitures spéciales conçues pour les traverses. Le jeu de traverses est concu pour une charge maximale (accessoires de fixation plus bagages) de 75 kg (165 lbs). Avant d'utiliser le vehicule, assurez-vous que le chargement est correctement arrimé aux accessoires de fixation.
REMARQUE
N'oubliez pas que le chargement d'un vehicule sur le toit rehausse le centre de gravité. Il faut en tener comptependant la conduite.
Conduisez prudemment. Evitez les dé-marrages brusques, les virages serrés et les arrêts brusques. Soyez également attentif à l'effet d'amplification des vents lateraux.
Fixation et retrait des traverses à bagages

Il y a dans chaque moulure de toit deux points de fixation pour traverse. Chacun des points de fixation est protégé par un bouchon. Pour y acceder, enlevez les bouchons à l'aide d'un tournevis. Pour installer les traverses sur les moulures de toit, suivez les instructions données par le fabricant de ce matériel.
Traction de remorque
Votre vehicule n'est pas concu pour tracter une remorque. Par consequent, ne vous en servez jamais pour tracter une remorque.
SUBARU décline toute responsabilité quant aux blessures ou dommages éventuels consécutifs au traction d'une remorque, provoqués par tout matériel de traction de remorque ou par toute erreur ou omission des modes d'emploi accompagnant lesdits équipements. Les garanties SUBARU ne couvent pas les dommages ou pannes du vehicule causés par la traction d'une remorque.
Pour garer le vehicule en cas d'urgence 9-2
Roude de secours temporaire 9-2
Précautions relatives aux modèles AWD avec boîte de vitesses automatique 9-3
Outils d'entretien 9-4
Trousse à outils. 9-4
Sous le plancher arrête 9-5
Crevaisons 9-6
Remplacement d'un pneu creve 9-6
Système de surveillance de la pression des pneus (TPMS) (modèles spécification des États-Unis) 9-10
Demarrage à l'aide de cables volants. 9-11
Méthode de démarrage avec des cables volants.... 9-12
Surchauffedumoteur 9-14
Si de la vapeur se dégage du compartment
mateur 9-14
En l'absence d'un dégagement de vapeur par le compartmentement moteur 9-14
Remorquage 9-15
Crochets de remorquage et d'arrimage 9-15
Sur un camion à plate-forme 9-18
Remorquage avec les quatre roues au sol 9-18
Hayon - s'il est impossible de déverrouiller le hayon 9-19
Toit ouvrant opaque - s'il est impossible de fermer le toit ouvrant opaque. 9-20
Pour garer le vehicule en cas d'urgence

Les yeux de détresse seront de jour comme de nuit pour signaler aux autres usagers de la route que vous doivent vous garer d'urgence.
Évitez de vous arrêté sur la route. Dans la mesure du possible, garez le vehicule dans un endroit sûr.
Les feu de détresse fonctionnent qu'elle que soit la position du contacteur d'allumage.
Pour allumer les feuels de détresse, appuyez sur le commutateur des feuels de détresse. Pour les étendre, appuyez de nouveau sur le commutateur.
REMARQUE
Les clignotants de direction ne fonctionnent pas lorsque les yeux de détresse sont actifs.
Roue de secours temporaire

DANGER
Quand on a installé la roue de secours ou si on a remplace une jante sans faire transférer le capteur manometrique/transmetteur, le témoin avertisseur de basse pression des pneus reste allumé après avoir clignote pendant environ une minute. C'est le signe que le système de surveillance de la pression des pneus (TPMS) ne peut pas surveiller l'ensemble des quatre roues. Contactez un concessionnaire SUBARU lorsque possible pour faire remplacer la roue et le capteur et/ou réinitialiser le système.

ATTENTION
N'utilise pas de roue de secourstemporaire d'une taille autre que la roue de secours d'origine fournie avec le vehicule. Toute autre taille de roue pourrait endommager gravement le train de roulement devoitre vehicule.
La roue de secours-temporaire est plus
petite et plus légère qu'une roue ordinaire et n'est donc que pour un usage d'urgence. Remplacez la roue de secours provisoire par une roue normale le plus tôt possible car cette roue de secours n'est prévue que pour des dépannages provisoires.
Pour que la roue de secours soit toujours prête à servir, vérifie en périodiquement la pression de gonflage. La pression de gonflage qui doit être de 420 kPa (4,2 kg/cm², 60 psi).
Lorsque you roulez avec la roue de secours-temporaire:
- Ne roulez jamais à plus de 80km/h (50 mph).
- Ne montez jamais des chaînes antidérapantes sur la roue de secours-temporaire. Du fait que cette roue est plus petite qu'une roue normale, les chaînes seraient mal ajustées.
- N'utilisez jamais deux roues de sec-cours temporaires ou plus en même temps.
- N'essayez pas de franchir des obstacles. La garde au sol du vehicule se trouve réduite du fait de la plus petite taille de la roue de secours.

1) Barre d'indicateur d'usure de bande de roulement
2) Marque indiquant l'emplacement de l'in-dicateur
- Remplacez le pneu quand l'indicateur d'usure devient visible sur la bande de roulement.
- La roue de secours temporaire ne doit s'utiliser qu'a la place d'une roue arrière. En cas de crevaison d'une roue avant, remplacez la roue avant crevee par une des roues arriere et instalze la roue de secours temporaire à l'arriere.
■ Précautions relatives aux modèles AWD avec boîte de vitesses automatique
Votre vehicule est équipé d'un système de traction intégrale. S'il s'agit d'un modele BVA, désactive la fonction de traction intégrale comme suit avant de conduire avec la roue de secours-temporaire.
- Mettez le contacteur d'allumage en position "LOCK".

- Retirez tous les fusibles de rechange de leur support situé dans le compartment moteur. Les fusibles de rechange sont fixés sur l'arrière du couvercle de boîte à fusibles. Vous pouvezPTRirer tous les fusibles de rechange de leur support.

1) Fuples de rechange
2) Connecteur FWD
- Placez un fusible de rechange dans le connecteur de traction avant (FWD) situé dans l'habitacle, puis assurez-vous que le témoin avertisseur de traction intégrale "AWD" s'allume. Le mode de traction intégrale est maintainant désactivé.
REMARQUE
Après avoir remis la roue ordinaire en place, enlevez le fusible de rechange du connecteur FWD pour reactiver le mode de traction intégrale. Prenez soit de bien remettre tous les fusibles de rechange en place sur leur support situé dans le compartment moteur.
Outils d'entretien
Le vehicule est livre avec les outils d'entretien suivants.
Cric
Manivelle de cric
- Tournevis
- Crochet de remorquage (vis à œil)
- Clé à écrous de roue
- Clé hexagonale (modèles avec toit ouvrant opaque uniquement)
Trousse à outils

1) Tournevis
2) Clé à écrous de roue
3) Clé hexagonale (modèles avec soit ouvrant opaque uniquement)
4) Trousse à outils
Le tournevis et la clé à écrous de roue sont rangiées dans la trousse à outils.
Sous le plancher arrête

1) Manivelle de cric
A) Modèles 4 portières
B) Modèles 5 portières

1) Espace de rangement sous plancher (selon modèles) (reportez-vous à "Espace de rangement sous plancher" 6-15.)
2) Bac à outils
3) Roude secours
A) Modèles 4 portières
B) Modèles 5 portières

1) Clé à écrous de roue
2) Clé hexagonale (modèles avec soit ouvrant opaque uniquement)
3) Tournevis
4) Cric
5) Crochet de remorquage (vis à œil)
A) Modèles avec roues de 16 pouces
B) Sauf modèles avec roues de 16 pouces
La manivelle de cric se trouve sous le plancher du coffre à bagages (4 portières) ou de l'espace de chargement (5 portières). Le cric et le crochetment de remorquage sont ranges dans le bac à outils situé dans le renforcement de la roue de secours.
Les outils de la trousse à outils peuvent être rangés également dans le bac à outils tel qu'illustré.
Pour le mode d'emploi du cric, reportez-vous à "Crevaisons" 9-6.
Crevaisons
Si un pneu crève ou se dégonfle pendant la conduite, ne freinez jamais brusquement; continuez à rouler en ligne droite en réduisant progressivement votre vitesse. Quittez la route et garez le vehicule dans un endroit sur.
■ Remplacement d'un pneu creve

DANGER
- Ne levez pas le vehicule au cric dans une pente ou sur un sol mou ou friable. Le cric risque d'échapper du point de prise ou de s'enforcer dans le sol, pouvant causeur un accident grave.
-
N'utilisez que le cric fourni avec le vehicule. Le cric fourni avec le vehicule est unconçu pour changer les roues uniquement. Ne vous glissez jamais sous le vehicule reposant sur le cric.
-
Arrêtez toujours le moteur avant de lever le vehicule au cric pour changer une roue. Ne poussez et ne secauiez jamais le vehicule pendant qu'il repose sur le cric. La secousse risquerait de faire échapper le cric du point de prise, pouvant cause un accident grave.
-
Garez si possible le vehicule sur un soldur et plat, puis arretez le moteur.
- Serrez fermement le frein de stationnement et mettez le levier de changement de vitesse en position de marche arriere (modèles B/M) ou le levier sélecteur sur "P" (stationnement) (modèles BVA).
- Allumez les feu de détresse et faites descendre tous les passagers du vehicule.

- Placez des cales devant et derrière la roue diagonalement opposée au pneu creve.
- Sortez le cric, la manivelle de cric et la clé à écrous de roue.
Les outils et la roue de secours se rangent sous le plancher de coffre à bagages (4 portières) ou de l'espace de chargement (5 portières). Reportez-vous à "Outils d'entretien" 9-4.
REMARQUE
Avant usage, vérifie que le cric est suffisamment lubrifié.

Modèles à 4 portières avec roue de secours standard

Autres modèles
- Retirez le bac à outils et tournez la vis de fixation dans le sens inverse des aiguilles d'une montre, puis sortez la roue
de secours.
REMARQUE
Si la roue de secours fournie avec le vehicule est de type provisoire, lisez attentivement "Roue de secours temporaire" 9-2 et conformez-vous aux instructions qui y sont données.

1) Encoche
2) Découpe de valve
- Si votre vehicule est équipé d'enjoliveurs, insérez un tournevis à lame plate dans l'encôche située en face de la découpe de valve et détachez l'enjoliveur pour le prisoner.

- À l'aide de la clé à écrous de roue, débloquez les écrous de roue sans les enlever.

Points de levage (STI)

Points de levage (modèles équipés de bandeaux de marche, sauf STI)

Points de levage (autres modèles)
- Placez le cric sous le bas de marche, au point de levage avant ou arrriere le plus proche du pneu creve.
Tournez la vis du cric à la main jusqu'à engagement complet de la tête de cric dans le point de levage.

- Placez la manivelle sur la vis du cric et tournez jusqu'à ce que la roue ne touche plus le sol. Ne levez pas le vehicule plus haut qu'il n'est nécessaire.
- Enlevez les écrous de roue et déposez la roue compteant le pneu creve.


- Avant de mettre la roue de secours en place, nettoyez les parties du moyeu en contact avec la roue avec un chiffon.
- Mettez la roue de secours en place. Remettez les écrous de roue. Serrez-les à la main.
DANGER
N'huilez ni ne gratisez jamais les goujons ou écrous de roue lorsque vous installez une roue de secours. Les écrous auraient tendance à se desserrer, ce qui pourrait cause un accident.
- Tournez la manivelle du cric dans le sens inverse des aiguilles d'une montre pour baiser le vehicule.

15.À l'aide de la clé à écrous de roue, serrez les écrous de la roue au couple prescrit, en respectant l'ordre des numéroros de l'illustration.
Pour connaître le couple de serrage de l'écrou, se reporter à “Pneus” 12-5. Pour ne pas dépasser le couple prescrit, ne
tournez pas la clé à écrous de roue avec le pied ni au moyen d'un tube de rallonge. Faites contrôle le couple de serrage des écrous de roue à la station-service la plus proche.

Modèles avec turbo

Modèles sans turbo
- Rangez la roue crevee dans l'espace de rangement de la roue de secours. Posez l'entretoise de support et serrez le boulon de fixation à fond.
Rangez également le cric, la manivelle de cric et la clé à écrous de roue dans leur espace de rangement.

DANGER
Après avoir remplaced les roues, ne placez jamais la roue déposée et les outils utilisés dans l'habitacle. En cas d'arrêt brusque ou de collision, ce matériel non fixé pourrait heurter et blesser les occupants du vehicule. Rangez la roue et les outils à l'endroit prévu à cet effet.
Système de surveillance de la pression des pneus (TPMS) (modèles spécification des États-Unis)

Modèles avec turbo

Modèles sans turbo
Le système de surveillance de la pression des pneus avertit le conducteur si le signal qu'il recoit d'un des capteurs de roue indique que la pression du pneu est sensiblement trop BASSE.
Le système de surveillance de la pression des pneus ne fonctionne que pendant que le vehicule roule. En outre, le système ne peut pas toutes réagir immédiatement en cas de baisse soudaine de la pression (par exemple l'éclatement du pneu causé par un object pointu ou tranchant).

DANGER
Si le témoin averitisseur de bassepression des pneus s'allume pendant la conduite, ne freinez jamais
brusquement et continuez à rouler en ligne droite en réduisant progressivement votre vitesse. Quittez la route et garez le vehicule dans un endroit sur. Faute de quoi, vous courez le risque d'un accident avec d'importants dégats matériels et des blessures graves.
Vérifiez la pression des quatre pneus et regonflez à la pression de gonflage à FROID indiquée sur la plaque de vehicule apposée contre le montant de portière du côte conducteur. Si le témoin se rallume une fois la pression des pneus réglée, l'un des pneus est probablement en mauvais état et perdrapidement son air. Dés que vous avez des raisons de croire qu'un pneu ne tient pas l'air, remplacez cette roue par la roue de secours.
Quand on a installé la roue de secours ou si on a remplace une jante sans faire transférer le capteur manometrique/transmetteur, le témoin avertisseur de basse pression des pneus reste allumé après avoir clignoté pendant environ une minute. C'est le signe que le système de surveillance de la pression des pneus (TPMS) ne peut pas surveiller l'ensemble des quatre roues.
Contactez un concessionnaire SUBARU des que possible pour faire remplacer la roue et le capteur et/ou réinitialiser le système.
N'injectez pas dans les pneus du liquide ou de l'aerosol pour colmatage de pneu, car cela pourrait perturber le fonctionnement des capteurs manometriques des pneus.
Si le témoin reste allumé après avoir clignoté pendant environ une minute, contactez rapidement un concessionnaire SUBARU pour faire contrôle le vehicule.
Démarrage à l'aide de câbles volants

DANGER
- La batterie contient de l'ACIDE SULFURIQUE. Évitez absolument tout contact entre le liquide de batterie et les yeux, la peau, les vêtements ou le vehicule.
En cas de contact avec la peau ou les yeux, lavez-vous immédiatement à grande eau. Si le liquide de batterie a pénétré dans les yeux, consultez un médecin de toute vergence.
Si le liquide de batterie a eté avale, buvez beaucoup de lait ou d'eau et consultez un médecin de toute urgence.
Ne laïsez personne, etURTout pas les enfants, s'approcher de la batterie.
-
Les gaz dégagés par une batterie explosent à proximé d'une flâme ou d'une étincelle. Ne fumez jamais et n'allumez jamais d'allumettes pendant que vous démarrez un vehicule avec des cables volants.
-
Ne tentez jamais de faire démarrer un vehicule dont la batterie est gelée avec des cables volants. La batterie risquerait de se fendre ou d'exploser.
- Chaque fois que vous travailliez sur ou pres d'une batterie, portez toujours des lunettes de protection appropriées et enlevez vos bagues, gourmettes et tout autre bijou métallique.
Assurez-vous que les câbles volants et leurs pince sont bien munis de leur isolant et que celui-ci est en bon état.
Le démarriage par câbles volants ne doit se faire qu'avec des câbles en bon état.
- Un moteur en marche peut être dangereux. N'approche jamais les mains du ventilateur de radiateur, des courroies et des autres organes en mouvement du moteur et faites très attention à ne pas y faire prendre vos vêtements, vos cheveux ou un outil. Il est conseillé de retarder toutes bagues, montres ou cravates.
- Le démarrage avec des câbles volants peut être dangereux s'il
n'est pas exécuté correctement. Si vous ne maitrises pas parfaitement la marche à suivre, faites-vous assister par une personne compétente.
Si vous ne pouvez faire demarrer votre vehicule parce que la batterie est decharge, vous pouvez utiliser une autre batterie (appelee ci-après batterie de secours) en raccordant cette dernière au moyen de cables volants.
Méthode de démarrage avec des câbles volants
- Assurez-vous que la tension de la batterie de secours est bien de 12 volts et que le négatif est à la masse.
- Si la batterie de secours est montée sur un autre vehicule, veillez à ce que les deux vehicules ne se touchent pas.
- Éteignez toutes les lumières et accessoires électriques inutiles.
- Raccordez les cables volants en respectant strictement la marche à suivre illustrée.

(1) Raccordez le premier cable volant à la borne (+) de la batterie décharge.
(2) Raccordez l'autre extrémité du premier cable volant à la borne (+) de la batterie de secours.
(3) Raccordez le deuxième cable volant à la borne (-) de la batterie de secours.
(4) Raccordez l'autre extrémité du cable à l'écrou de fixation de jambre de suspension du vehicule dont la batterie est décharge.
Vérifiez que les cables volants ne risquent pas d'être pris par les organes mobiles des moteurs lorsqu'ils démarreront et que les pince des cables ne touchent aucune partie métallique autre que la borne.
- Mettez le moteur du vehicule de secours en marche et laissez-le tourner à régime moyen. Faites ensuite demarrer le moteur du vehicule dont la batterie est déchargeé.
- Àpres démarriage, débranchez prudiment les câbles volants en suivant l'ordre exactement inverse du branchement.
Surchauffe du moteur

DANGER
N'ouvrez jamais le bouchon du radiateur avant d'arreter le moteur, et attendez que le moteur ait suffisamment refroidi. Lorsque le moteur est chaud, le liquide de refroidissement est sous pression. À l'ouverture du bouchon alors que le moteur est encore chaud, le liquide bouillant risque de jaillir avec force et de vous inflige de très graves brûlures.
Si le moteur surchauffe, quitterze la route sans prendre de risque et arrêtez le vehicule dans un endroit sür.
Si de la vapeur se dégage du compartmentement moteur
Arrétez le moteur, écartez-vous du vehicule et veillez à ne laisser personne s'approcher avant que le vehicule n'ait refroidi.
En l'absence d'un dégagement de vapeur par le compartmentement moteur
REMARQUE
Pour les détails relatifs au contrôle de niveau de liquide de refroidissement ou l'ajout de liquide de refroidissement, reportez-vous à "Liquide de refroidissement du moteur" 11-15.
- Laissez le moteur tourner au ralenti.
- Ouvrez le capot pour aérer le compartmentateur. Reportez-vous à “Capot moteur” 11-5.
Vérifiez que le ventilateur de radiateur tourne. S'il ne tourne pas, arrêtez immédiatement le moteur et contactez un concessionnaire/agréé pour faire réparer.
3. Une fois la température du liquide de refroidissement retombée, arrêtez le moteur.
Arrêtez le moteur si l'une des conditions suivantes venait à se produit.
- LaJAuge de I'indicateur de tempere rature ne quitte pas la zone de surchauffe (modes turbo).Reportez-vous a "Jauge de temperature (modes turbo)" 3-12.
- Le témoin avertisseur de température élevée de liquide de refroidissement resté allumé (modeles sans
turbo). Reportez-vous à "Témoin indicateur de température basse du liquide de refroidissement (modèles sans turbo)/Témoin averâtisseur de température élevée du liquide de refroidissement (modèles sans turbo)" 3-20.
- Dès que le moteur est assez froid, contrôle le niveau de liquide de refroidissement dans le vase d'expansion.
Si le niveau est en dessous du repere "LOW", rajoutez du liquide de refroidissement jusqu'au repere "FULL". - Si le vase d'expansion est vide, versez d'abord du liquide dans le vase d'expansion. Ouvrez ensuite le bouchon du réservoir et replissez complètement le radiateur de liquide de refroidissement.
Pour ouvrir le bouchon du radiateur lorsqu'il est encore chaud, entourez-le d'un chiffon écais et tournez-le lentement dans le sens inverse des aiguilles d'une montre, sans appuyer dessus. Libérez la pression du radiateur. Une fois la pression complètement libérée, retirez le bouchon en l'enfantant et en le faisant tourner.
Remorquage
Si le remorquage est nécessaire, il est préférible de vous adresser à un concessionnaire SUBARU ou à un service remorquage professionnel. Pour votre sécurité, suivez les conseils suivants.


DANGER
Il ne faut jamais remorquer les modèles AWD (qu'il soit à boîte de vitesses manuelle ou automatique) ni en levant les roues avant et en laissant les roues arrrière rouler sur le sol, ni en levant les roues arrrière et en laissant les roues avant rouler sur le sol. Le vehicule ne serait pas contrôleable en raison de la présence du différentiel central qui, de sur
croft,serait endommagé.
Crochets de remorquage et d'arrimage
Utilisez les crochets de remorquage en cas d'urgence uniquement (par ex., pour dégager le vehicule pris dans la boue, le sable ou la neige).

ATTENTION
- N'utilise que les crochets de remorquage et crochets d'arrimage prévus à cet effet. N'utilise jamais les éléments de la suspension ou d'autres parties de la carrosserie pour remorquer ou arrimer le vehicule.
- Pour ne risquer de déformer le pare-chocs avant et le crochet, voirlez à ne pas exercer des contraintes laterales excessives sur les crochets de remorquage.
Crocket de remorquage avant (modèle sans turbo):
- Sortez le crochet de remorquage du bac à outils, et le tournevis de la trousse à outils. Prenez la manivelle de cric dans le coffre à bagages (4 portières) ou dans
l'espace de chargement (5 portières).

- Pour acceder au trou filtré dans lequel se visse le crochet de remorquage, ouvre le couvercle sur le pare-chocs avant en faisant levier avec un tournevis.

- Vissez le crochet de remorquage dans
le trou filtré bien à fond. Toute la partie filtée de l'anneau doit disparaître dans le trou.

- Serrez fortement le crochet de remorquage au moyen de la manivelle de cric.
Crocket de remorquage avant (modèle turbo):
- Sortez le crochet de remorquage du bac à outils, et le tournevis de la trousse à outils. Sortez la manivelle de cric de l'espace de chargement.

- Couvre l'extrémité d'un tournevis à lame plate avec un morceau de ruban adhésiF ou un chiffon, afin de ne pas rayer le pare-chocs. Insérez le tournevis à lame plate dans la découpe du couvercle, puis ouvre le couvercle en faisant levier.

- Vissez le crochet de remorquage dans le trou filtré, de sorte que la partie filtée ne soit plus visible.

- Serrez fortement le crochet de remorquage au moyen de la manivelle de cric.
Après remorquage, enlevez le crochet de remorquage et rangez-le dans le bac à outils.
Remettez le couvercle du crochet de remorquage en place sur le pare-chocs.

DANGER
- N'utilise pas le crochet de remorquage dans un but autre que le remorquage du vehicule.
- N'oubliez pas d'enlever le crochet de remorquage après le
remorquage. Laisser le crochet de remorquage en place sur le vehicule peut empêcher le système des coussins de sécurité SRS de fonctionner normalement en cas de collision frontale.
Crocket de remorquage arrière:
- Sortez le crochet de remorquage du bac à outils, et le tournevis de la trousse à outils. Prenez la manivelle de cric dans le coffre à bagages (4 portières) ou dans l'espace de chargement (5 portières).

- Pour acceder au trou filtré dans lequel se visse le crochet de remorquage, ouvre le couvercle sur le pare-chocs arrêté en faisant levier avec un tournevis.

- Vissez le crochet de remorquage dans le trou filtré bien à fond. Toute la partie filtée de l'anneau doit disparaître dans le trou.

- Serrez fortement le crochet de remorquage au moyen de la manivelle de cric.
Après remorquage, enlevez le crochet de remorquage et rangez-le dans le bac à outils.
Remettez le couvre du crochet de remorquage en place sur le pare-chocs.

DANGER
N'utilisez pas le crochet de remorquage dans un but autre que le remorquage du vehicule.
Crochets d'arrimage avant:

Les crochets d'arrimage avant se trouvent de chaque côté entre la roue avant et le pare-chocs avant.
Crochets d'arrimage arrêté:

Les crochets d'arrimage arrêté se trouvent de chaque côte pres du point de prise au cric.

DANGER
Utilisez les crochets d'arrimage arrêté uniquement pour les arrimages vers le bas. S'ils sont utilisés en plaçant les élingues dans toute autre direction, celles-ci risquent d'échapper des crochets, ce qui créé une situation dangereuse.
Sur un camion à plate-forme

Ceci est la(Meilleure maniere de trans-portervoirevichicule.Pour la securite du transport,procedez comme suit:
- Placez le levier sélecteur en position "P" pour les modèles BVA. Placez le levier de changement de vitesses en position "1ère" pour les modèles B/M.
- Serrez le frein de stationnement à fond.
- Arrimez correctement le vehicule sur la plate-forme du camion au moyen de chaînes de sécurité. Les chaînes doivent être également tendues, et il faut veiller à ne pas trop les tendre pour que la suspension du vehicule ne soit pas en bout de course.

ATTENTION
Si votre vehicule est équipé d'unbecquet aérodynamique inférieuravant et d'unbecquet aérodynamique inférieurarrière (tous deuxen option),veillez ànepas lesérafler en faisant monter ou descendre le vehicule du plateau detransport.
Remorquage avec les quatre roues au sol

- Desserrez le frein de stationnement et mettez la boite de vitesses en position "N"/ point mort.
- Pendant toute la durée du remorquage, le contacteur d'allumage doit
rester en position "Acc".
- La corde de remorquage doit être tendue très lentement pour ne rien endommager.

DANGER
- Ne mettez jamais le contacteur d'allumage en position "LOCK" pendant le remorquage car la direction se bloquerait et vous ne pourriez plus diriger le vehicule.
- N'oubliez pas que le servofrein et la servodirection ne fonctionnent pas lorsque le moteur est à l'arrêt. Vous devez exercer plus de force que d'habitude sur le volant de direction et sur la pédale de frein.

ATTENTION
- Si la boîte de vitesses est en panne, le vehicule doit être transporte sur un camion à plateforme.
- Il ne faut pasmettrele moteur en marche lorsqu'onse fait remorquer par cette methode.Remorquer le vehicule avec le moteur
en marche pourrait endommager la boîte de vitesses.
Pour les modèles avec boîte de vitesses automatique, la vitesse de déplacement doit être limite à 30 km/h (20 mph) et la distance de remorquage ne doit pas excéder 50 km (31 miles). Pour des vitesses et distances supérieures, le vehicule doit être transporte sur un camion à plateforme.
Hayon - s'il est impossible de déverrouiller le hayon
Si vous ne parvenez pas à déverrouiller le hayon ni à partir des commutateurs de verrouillage électrique des portières, ni à partir du système d'entrée sans clé part telécommande, vous pouvez le déverrouiller par l'intérieur de l'espace de chargement en procédant comme suit.

- Enlevez le couvercle d'accès qui se trouve en bas au milieu de la garniture de hayon.
- Repérez le levier de déverrouillage du hayon qui se trouve derrière le panneau enjolivre du hayon.

ATTENTION
Ne manipulez jamais le levier de déverrouillage du hayon à la main: vous risqueriez de vous blesser. Utilisez toujours un tournevis à lame plate ou un outil similaire.

- Pour déverrouiller le hayon, tournez le levier vers la droite à l'aide d'un tournevis à lame plate ou d'un outil similaire.
- Ouvrez ensuite le hayon par l'extérieur du vehicule en levant la poignée de hayon.
Toit ouvrant opaque - s'il est impossible de fermer le toit ouvrant opaque
Si le toit ouvrant opaque ne peut pas se fermer avec la commande de toit ouvrant opaque, vous pouvez refermer le toit ouvrant opaque manuellement.
- Sortez la clé hexagonale et le tournés vis de la trousse à outils.

- Enlevez le verre diffuseur de la lampe de lecture en faisant levier avec un tournevis à lame plate glissé sous le bord du verre.

- Retirez les deux vis retenant le corps de la commande de toit ouvrant opaque. Puis retirez la commande de toit ouvrant opaque.

- Insérez la clé dans l'extrémité de l'arbre du moteur.
Pour baiser le toit ouvrant opaque, tournez la clé dans le sens des aiguilles d'une montre.
Pour fermer le toit ouvrant opaque, tournez la clé dans le sens contraire des aiguilles d'une montre.
Faites contrôler et réparer le vehicule par un concessionnaire agréé SUBARU.
Soins extérieurs 10-2
Lavage 10-2
Encaustiquage et polissage 10-3
Nettoyage des jantes en aluminium 10-3
Protection contre la corrosion 10-4
Causes les plus courantes de la corrosion 10-4
Pour éviter la corrosion 10-4
Nettoyage de I'habitacle 10-5
Sièges en tissu 10-5
Sièges en cuir 10-5
Capitons en similie-cuir 10-6
Tableau des commandes de climatisation, tableau des commandes audio, tableau de bord et commutateurs 10-6
Moniteur de navigation (selon modèles) 10-6
Soins extérieurs
Lavage

ATTENTION
- Il arrive que de l'eau penètre dans les freins pendant le lavage du vehicule. La distance de freinage est alors plus grande. Pour secher les freins, appuyez légèrement sur la pédale de frein pour faire rechauffer les freins tout en roulant à vitesse modérée.
- Ne lavez pas l'intérieur et les parties adjacentes du组成部分 moteur. Si l'eau entrait dans la prise d'air du moteur, dans les composants électriques ou dans le réservoir d'huile de servodirection, ceci provoquerait une panne de moteur ou causerait un mauvais fonctionnement de la servodirection.
-
N'utilise pas de solvants organiques lors du nettoyage du verre des ampoules. Toutefois, si un solvant organique est utilisé pour les laver, éliminez complètement le solvant organique juste après l'opération. Autrement, celà pourrait endommager le verre.
-
Les modèles 5 portières sont équipés d'un essuie-glace de lunette arrière. Les brosses de lave-auto automatique risquent de s'entortiller autour et d'endommager le bras ou d'autres parties de l'essuie-glace. Demandez à l'opérateur du lave-auto automatique de ne pas laisser les brosses toucher l'essuie-glace, ou collez l'essuie-glace contre la lunette arrière avec un morceau de ruban adhésif avant demettre la machine en marche.
REMARQUE
Avant de laver votre vehicule dans un lave-auto automatique, vérifie que ce lave-auto est de type approprié.
La(Meilleuremethode pourpreserver voirevetehiculeenbelétatestdelelaver fréquemment.Lavezvoirevhiculeau moins une fois par mois pour éviter l'incrustation de la crasse de la route.
Éliminez la saleté avec une éponge mouillée enarroissant abondamment à l'eau tiède ou froide. Ne lavez pas le vehicule à l'eau chaude ou en plein soleil.
Le sel, les produits chimiques, les insectes, le goudron, la suite, la sève d'arbre et
les fuentes d'oiseaux peuvent être éliminés en utilisant un détermgent doux si nécessaire. Si vous utilisez un détermgent léger, assurez-vous qu'il est chimiquement neutre. N'utilise jamais un savon ou un produit chimique agressif. Ne laissez pas les produits de nettoyage sécher sur la carrosserie et éliminez-les rapidement par rincçage. Rincez le vehicule complètement à grande eau. Éliminez les gouttes en essuyant avec une peau de chamois ou un chiffon doux.
Nettoyage du dessous de caisse
Les produits chimiques, le sel et les gravillons utilisés pour dégeler les routes sont extrémement corrosifs et attaquant le dessous de caisse, le système d'échémpement, les canalisations de carburant et de frein, les cables de frein, le plancher, les ailes et les éléments de la suspension. Lavez frequentlyment ces parties à l'eau tiède ou froide pour réduire les effets nocifs de ces produits, en particulier le dessous de caisse et les logements de roue.
L'adherence de boue et de sable sur les composants du dessous de caisse accélère la corrosion.
Après avoir utilisé le vehicule en tout terrain ou sur routes boueuses ou sablonneuses, lavez le dessous de caisse
pour éliminer la boue et le sable. Rincez soigneusement les organes de la suspension et les essieux, qui sont les plus exposés à la boue et au sable. N'utilise pas d'objets pointus ou tranchants pour décoller les paquets de boue.

ATTENTION
- Veillez à ne pas endommager les flexibles de frein, les fils electriques des capteurs, et les autres parties fragiles quand vous lavez la suspension.
- Faites attention à ne pas rincerpendant longtemps le bas dumoteur. Ceci pourrait endomma-ger certains organes électriques.
Usage d'une laveuse a eau chaude
- Tenez la lance à une bonne distance de 30 cm (12 in) ou plus entre les giclleurs et le vehicule.
- N'immobilisez pas le jet longtemps au même endroit.
- Éliminez les tâches persistantes en frrottant à la main. Certaines laveuses atteignent des températures et des pressions très élevées, qui risquent d'endommager les éléments en matière plastique tels que les moulures ou joint d'étanchéité et d'inonder l'intérieur du vehicule.
Encaustiquage et polissage
Le vehicule doit toujours être lavé et séché avant de le polir et de l'encaustique.
Utilisez des produits de polissage et d'encaustique de bonne qualite et appliquees les en suivant les instructions du fabricant. Pour le polissage et l'encaustique, la surface peinte ne doit pas etre chaude.
Polissez et encaustique non seulement les chromosomes mais aussi les surfaces peintes. La disparition de l'encaustique sur les surfaces peintes se traduit par la perte de l'éclat original et accélère le vieillissement des peintures. Il est commandé d'appliquer une couche d'encaustique au moins une fois par mois ou quand les surfaces peintes ne repoussent plus l'eau.
Si I'aspect de la peinture est degradé au point que l'éclat initial ne puisse être restauré, polissez légèrement la surface avec un produit de polissage à grain fin. Le polissage ne doit pas se limiter à la partie degradée mais doit être étendu aux alentours. Polissez d'un mouvement régulier toujours dans le même sens. Il est recommendé d'employer un produit de granulométrie N^2000 . N'utilise jamais un produit à gros grain. Plus le nombre de
granulométrie est petit, plus le grain est gros, et un grain trop gros endommagerait la peinture. Àpres le polissage, encaustique pour redonnner à la peinture son éclat d'origine. Un polissage trop féquent ou une mauvaise méthode de polissage finirait par user la couche de peinture et ferait apparaitre la couche d'ajpret. Dans le doute, il est préférende de consulter un concessionnaire SUBARU ou un spécialiste de la peinture sur automobiles.
REMARQUE
Si vous encaustique le vehicule, veillez à ne pas obstruer les gicleurs du lave-glace de pare-brise avec de la cire.
Nettoyage des jantes en aluminium
- Éliminez rapidement les saletés ou autres corps étrangers des jantes en aluminium. Si vous attendez trop longtemps, le nettoyage risque d'être difficile.
- N'utilise pas de savon contenant des particules abrasives pour nettoyer les jantes. Employez un produit de nettoyage neutre et bien rincez à l'eau. Ne nettoyez pas les jantes avec unerosse dure ou un apparéil delavage rapide.
- Lorsque le vehicule a ete eclaboussed'eau de mer, exposé au vent marin ou
utilisé sur des routes sur lesquelles du sel ou autres produits dépandage ont été employés, lavez-le (y compris les jantes en aluminium) à l'eau le plus tout possible.
Protection contre la corrosion
Votre SUBARU a ete conque et construite pour résister à la corrosion. Des matieriaux speciaux à finition de protection ont ete utilisés pour la plupart des éléments du vehicule à la fois pour assurer la robustesse et la fiabilité et pour maintainir un bel aspect extérieur.
Causes les plus courantes de la corrosion
Les causes les plus courantes de la corrosion sont:
- L'accumulation de l'humidité qui fixe la saleté et les corps étrangers aux toles de la carrosserie, dans les recoins, etc.
- Les blessures infligées à la peinture et aux autres revêtements protecteurs par les gravillons, les éclats de pierre et les petits accrochages.
Facteurs favorisant la corrosion:
- Le vehicule est utilisé sur des routes salées ou traitées avec des produits chimiques anti-poussière, sur le littoral où l'air est salin, ou encore dans des zones industrielles très polluées.
- Le vehicule est utilisé dans des régions très humides, surtout quand la
température atmosphérique frise le gel.
- Certaines parties du vehicule restent fréquemment humides pendant longtemps même si le reste du vehicule est sec.
- Certaines parties du vehicule exposées à des températures élevées restent humides par manque de ventilation.
Pour éviter la corrosion
Lavez le vehicule régulierement pour éviter la corrosion de la carrosserie et des éléments de la suspension. En outre, le vehicule doit être lavérapidement après avoir roulé sur une des surfaces suivantes.
-outes salées contre le verglas en hiver
- boue, sable, ou gravillons
- routes en bord de mer
En fin de saisson froide, il est recommandé de laver soigneusement et complètement le dessous de caisse.
Avant l'hiver, contrôlez l'etat des éléments qui se trouvent sous le vehicule, tels que le système d'échéappement, les canalisations de carburant et de frein, les cables de frein, la suspension, la direction, le plancher et l'intérieur des ailes. Les pièces rouillées doivent receivevoir un traitement antirouille ou doivent être replacées. Si vous avez besoin d'aide, vous pouvez
également pour ce genre de travaux vous adresser à un concessionnaire SUBARU.
Réparez sans attendre les écailles ou les éraflures de la peinture.
Contrôlez l'intérieur du vehicule; toute accumulation d'humidité ou de saleté sous les tapis de sol favorise la corrosion. Assurez-vous de temps à autre que le dessous des tapis est sec.
Gardez your garage sec. Évitez d'utiliser comme garage un local humide ou mal ventilé. L'humidité ambiente est aussi un facteur favorisant la corrosion. Laver le vehicule à l'intérieur du garage ou rentrer au garage un vehicule mouillé ou couvert de neige contribue à maintainir le garage humide.
Si le vehicule est utilisé par temps froid et/ ou dans des régions où du sel ou d'autres produits corrosifs sont employés sur les routes, les charnières et les serrures des portières, la serrure du couvercle de coffre et l'attache du capot doivent être vérifiées et lubrifiées périodiquement.
Nettoyage de l'habitacle
Pour nettoyer le tableau des commandes de climatisation, l'equipement audio, le tableau de bord, la console centrale, le tableau des instruments de bord et les commutateurs, utilisez un chiffon doux légèrement humide. (N'utilise pas de solvants organiques.)
Sièges en tissu
Éliminez les saletés, la poussière et les détritus à l'aspirateur. Pour les saletés incrustées dans le tissu et résistant à l'aspirateur, utilisez une brosse douce avant de les aspirer.
Frottez le tissu avec un chiffon humide bien essoré et séchez ensuite le tissu complètement. Si la tache est encore visible, frottez avec un savon doux en solution dans l'eau tiège et séchez complètement.
Pour éliminer les taches persistantes, vous pouvez essayer un détachant pour tissus en vente dans le commerce. Commencez par appliquer le produit sur un endroit non apparent pour vérifier qu'il ne dégrade pas le tissu des sièges. Suivez le mode d'emploi fourni avec le produit.
REMARQUE
Pour le nettoyage des sièges, n'employezaucun produit chimique comme le benzine,le diluant à peinture,etc.
Sièges en cuir
Le cuir adopté par SUBARU est un produit naturel de grande qualité qui conserveva un très bel aspect pendant de longues années s'il est convenablement entretenu. Ne laissiez pas la boue ou la saleté sécher sur le cuir car cela le fragilise et le vieillit prematurément. Nettoyez de temps à autre en frottant avec un chiffon doux en fibres naturelles légèrement imbibé d'eau. Ne détrempez jamais le cuir et voirlez à ne pas faire pénétrer de l'eau par les coutures.
Pour éliminer les taches rebelles, vous pourrez employer un dénergent doux pour laine et secher ensuite en frottant avec un chiffon sec pour faire briller. Si vous SUBARU doit être garée en plein soleil pendant une période prolongée, il est recommendé de couvir les sièges et les appuis-tête ou de masquer des vitres pour éviter que le cuir ne perde son éclat et ne rétrécisse.
Si le cuir est terni ou lustré localement,
vous pourrez le traiter avec une laque
pour cuirs en atomiseur en vente dans le
commerce. À l'utilisation, chaque section des sièges développée les pris et rides caractéristiques du cuir veritable.
Capitons en similie-cuir
Le simili-cuir adopté par SUBARU peut être nettoyé avec un savon doux ou une solution de détergent après avoir eliminé la plus grande partie de la saleté à l'aspirateur ou à la Brosse. Attendez quelques minutes que le savon ait détempé la saleté incrustée, puis essuyez avec un chiffon propre mouillé. Si nécessaire, utilisez un produit de nettoyage moussant pour cuirs synthétiques en vente dans le commerce.
REMARQUE
N'utilisez jamais un produit agressif (solvant chimique, diluant à peinture, produit de nettoyage des vitres ou essence) sur les garnitures en cuir veritable ou en matière synthétique.
Tableau des commandes de climatisation, tableau des commandes audio, tableau de bord et commutateurs
Pour nettoyer le tableau des commandes de climatisation, l'équipment audio, le tableau de bord, la console centrale, le tableau des instruments de bord et les commutateursurs, utilisez un chiffon doux légèrement humide.
REMARQUE
N'utilisez ni solvants organiques comme du diluant à peinture ou de l'essence, ni des produits détergents forts contenant de tels solvants.
Moniteur de navigation (selon modèles)
Pour nettoyer le moniter de navigation, essuyez-le avec un chiffon de silicone ou avec un chiffon doux. Si le moniter de navigation est très sale, frottez avec un chiffon doux imbibé de détergent neutre, puis essuyez soignement pour éliminer le détergent restant.
REMARQUE
- Ne pulveriséz pas le détergent neu-tre directement contre le moniteur: vous risqueriez d'endommager certains composants du moniteur.
- N'essuyez pas le moniteur avec un chiffon réché. Cela pourrait rayer le moniteur.
- N'utilise pas des produits de nettoyage contenant du diluant, de l'essence ou toute autre substance volatile. Ces produits de nettoyage pourraient effacer les indications inscrites sur les touches du bas de l'écran.
Programme d'entretien 11-3
Précautions concernant l'entretien 11-3
Avant toute intervention de contrôle ou de réparation dans le compartmente moteur 11-4
Lors de toute intervention de contrôle ou de réparation dans le compartment mateur 11-4
Lors des contrôle ou travaux dans le compartment
moteur avec le moteur en marche 11-5
Capot moteur 11-5
Vue d'ensemble du compartmente moteur 11-7
Modèles sans turbo 11-7
Modèles avec turbo sauf STI 11-8
STI 11-9
Huile moteur 11-10
Contrôle du niveau d'huile 11-10
Vidange de I'huile et remplacement du filtré 11-11
Qualité et viscosité d'huile recommendées 11-13
Qualité et viscosité d'huile recommendées pour des conditions de conduite difficiles 11-14
Huile synthétique 11-14
Système de refroidissement 11-14
Ventilateur, tuyaux et raccords 11-15
Liquide de refroidissement du moteur 11-15
Element du filtré à air 11-19
Remplacement de I'elément du filtré à air 11-19
Bougies d'allumage 11-21
Bougies d'allumage recommandées 11-21
Courroies d'entrainment 11-22
Huile de boite de vitesses manuelle 11-23
Contrôle du niveau d'huile 11-23
Qualité et viscosité d'huile recommendées 11-24
Liquide de transmission automatique 11-24
Contrôle du niveau de liquide 11-24
Liquide recommandé 11-25
Huile du différentiel avant (modèles BVA) 11-26
Contrôle du niveau d'huile 11-26
Qualité et viscosité d'huile recommendées 11-26
Huile du différentiel arrirée 11-27
Qualité et viscosité d'huile recommendées 11-27
Liquide de servodirection 11-27
Contrôle du niveau de liquide 11-27
Liquide recommandé 11-28
Liquide de frein 11-29
Contrôle du niveau de liquide 11-29
Liquide de frein recommandé 11-29
Liquide d'embrayage (modles B/M) 11-30
Contrôle du niveau de liquide 11-30
Liquide d'embrayage recommandé 11-30
Servofrein 11-31
Pédale de frein 11-31
Contrôle de la course libre de la pédale de frein. 11-31
Contrôle de la garde de la pédale de frein 11-32
Pédale d'embrayage (modèles B/M) 11-32
Contrôle du fonctionnement de l'embrayage 11-32
Contrôle de la course libre de la pédale d'embrayage 11-32
Système d'assistance pour démarrage en côte (modèles B/M - selon modèles) 11-33
Remplacement des plaquettes et garnitures de frein 11-33
Rodage des plaquettes et garnitures de frein neuves 11-33
Course du frein de stationnement 11-34
Roues et pneus. 11-35
Types de pneus 11-35
Système de surveillance de la pression des pneus (TPMS) (selon modèles) 11-35
Inspection des pneus 11-37
Pression et usure des pneus. 11-37
Équilibrage des roues 11-39
Indicateurs d'usure 11-39
Repere de sens de permutation des pneus 11-40
Permutation des roues 11-40
Remplacement des pneus 11-41
Remplacement des jantes 11-42
Jantes en aluminium 11-42
Liquide de lave-glace de pare-brise 11-43
Remplacement des balais d'essuie-glace 11-44
Ensemble balais d'essuie-glace de pare-brise 11-45
Caoutchouc de balais d'essuie-glace de pare-brise (types A et B) 11-46
Ensemble balais d'essuie-glace de lunette arrête 11-47
Caoutchouc de balai d'essuie-glace de lunette arrière 11-47
Batterie 11-49
Fusibles 11-50
Remplacement des ampoules 11-52
Phares (modles avec phares HID) 11-53
Phares (modèle sans phares HID) 11-53
Clignotant de direction avant 11-56
Phare antibrouillard avant (selon modèles) 11-56
Feux combinés arrière 11-57
Feu de recul (5 portières) 11-58
Eclairage de plaque d'immatriculation 11-59
Lampe de lecture 11-59
Plafonnier et éclairage de l'espace de chargement 11-60
Eclairage du coffre à bagages 11-61
Feu stop surélevé (4 portières) (sauf les types LED [diode electroluminescente]) 11-61
Autres ampoules 11-61
Programme d'entretien
Les travaux d'entretien à effectuer à intervalles réguliers sont indiqués dans le "Livret de Garantie et d'Entretien".
Pour les détails du programme d'entretien, prière de se reporter au "Livret de Garantie et d'Entretien".
Précautions concerning l'entretien
Il est recommandé de faire effectuer tous les travaux d'entretien et de réparation par un concessionnaire agréé SUBARU.
Si vous souhaitez effectuer vous-même certains travaux d'entretien et de réparation, vous doivent au préalable vous familiariser avec les consignes générées d'entretien de votre SUBARU représentées dans ce chapitre.
Toute erreur ou omission lors des travaux d'entretien peut comprometerle bon fonctionnement du vehicule et sa sécurité. La garantie ne couvre pas les anomalies resultant d'erreurs ou d'omissions lors des travaux d'entretien que vous auriez effectues par vous-même.
DANGER
- Les tests sur un modele à traction intégrale NE doivent JAMAIS être effectuels sur un dynamomètre pour deux-roues motrices ou un apparil仿真ie. Le non-respect de cette mise en garde risquerait d'endommager la transmission et de rendre les mouvements du vehicule incon
trôlables, et il y a risque d'accident et de blessures pour les personnes aux alentours.
- Avant toute intervention d'entretien, commencez par garer votre vehicule dans un endroit sûr.
- Observe toujours la plus grande prudence lorsque vous travailliez sur votre vehicule pour ne pas risquer de vous blesser. N'oubliez pas que certaines des substances utilisées par le vehicule sont dangereuses si elles sont manipulées sans précautions, par exemple l'acid de batterie.
- Ne confiez l'entretien de votre vehicule qu'a du personnel compétent. Toute personne inexpérimentée pourrait se blesser gravement en travaillant sur votre vehicule.
- N'utilise jamais d'outils de fortune ou en mauvais état.
- Ne vous placez jamais sous un vehicule soutenu seulement par un cric. Faites reposer le vehicule sur des chandelierles.
-
Ne laïsez jamais tournier le moteur dans un endroit mal aéré, tel qu'un garage ou autre local fermé.
-
Ne fumez pas à proximé du carburant ou de la batterie. Cela pourrait cause un incendie.
- L'alimentation en carburant étant un circuit sous pression, le remplacement du filtré à carburant ne doit être exécuté que par un concessionnaire SUBARU.
- Protégez-vous les yeux avec une protection appropriée pour éviter toute pénetration ou projection d'huile ou de fluide dans les yeux. En cas de contact avec les yeux, rincez-vous abondament avec de l'eau propre.
- Ne modifies pas le câblage électrique du système des coussins de sécurité SRS et du système des pretensionneurs de ceinture de sécurité; ne tentez pas de débrancher les connecteurs de ces systèmes, car cette pourrait provoquer leur déclenchement ou, au contraire, les rendre inopérants. NE faites JAMAIS de contrôles sur ce câblage en utilisant un testeur de circuits.
Pour toute intervention sur le système des coussins de sécurité SRS ou sur le prétensionneur de ceinture de sécurité, adresssez-vous au concessionnaire
SUBARU le plus proche.
Avant toute intervention de contrôle ou de réparation dans le compartment moteur
DANGER
- Arrétez le moteur et serrez le frein de stationnement pour évi ter que le vehicule ne rouge.
- Attendez que le moteur ait refroidi. Le moteur est très chaud pendant la marche et il reste brulant un certain temps après l'arrêt.
- Veillez à ne pas repandre d'huile moteur, de liquide de refroidissement, de liquide de frein ou tout autre fluide sur le moteur encore chaud. Cela pourrait provoquer un incendie.
- Retirez toujours la clé du contacteur d'allumage. Lorsque le contacteur d'allumage est en position "ON", le ventilateur du radiateur peut semettre soudaïnement en marche même après l'arrêt du moteur.
- Avant toute intervention d'entre
tien sur un vehicule équipé d'un système de démarrage à distance (option concessionnaire), mettez provisoirement ce système en mode de maintenance afin de l'empêcher de démarrer le moteur de manière intempéstive.
Lors de toute intervention de contrôle ou de réparation dans le compartmentement moteur


ATTENTION
Ne touchez pas la protection de la courroie lors d'une intervention de contrôle dans le compartmente menteur. Autrement, vous main risque
de glisser de la protection et cela pourrait provoquer un accident imprévu.
Lors des contrôle ou travaux dans le compartment mateur avec le moteur en marche

DANGER
Un moteur en marche peut etre dangereux. N'approchez jamais les mains du ventilateur de radiateur, des courroies et des autres organes en mouvement du moteur et faites tres attention a ne pas y faire prendre vos vetements,vos cheveux ou un outil. Il est conseilé de retarder vos bagues,voite montre et voitre cravate.
Capot moteur
Ouverture du capot:
- Si les balais d'essuie-glace ont eté écartés du pare-brise, remettez-les en position normale contre la vitre.

- Tirez le bouton d'ouverture du capot sous le tableau de bord.

- Libérez le crochet de sécurité en poussant vers la gauche le levier par l'entrebâtlement entre la calandre avant et le capot.
- Levez le capot.
Fermeture du capot:
- Abaissez le capot jusqu'à une hauteur de 15 cm (5,9 in) environ de la position de fermetre completé, puis lâchéz-le.
- Àpres fermeture, vérifietz toujours que le capot est convenablement verrouillé.
Si le capot ne se verrouille pas, recommencez en le lachant d'un peu plus haut. N'appuyez pas fortement sur le capot pour le fermer. Cela pourrait deformer le métal.

DANGER
Avant de prendre la route, vérifie toujours que le capot est bien verrouillé. Imparfaitement verrouillé, il risque de s'ouvrir pendant la conduite, ce qui peut causeur un grave accident car le conducteur ne peut plus voir la route.
Vue d'ensemble du compartmentement moteur
Modèles sans turbo

B01073
1) Réservoir de liquide de servodirection (page 11-27)
2) Jauge de niveau d'huile de boite de vitesses manuelle (B/M) (page 11-23) ou jauge de niveau d'huile du différentiel (BVA) (page 11-26)
3) Réservoir de liquide d'embrayage (page 11-30)
4) Jauge de niveau du liquide de transmission automatique (BVA) (page 11-24)
5) Réservoir de liquide de frein (page 11-29)
6) Boîte à fusibles (page 11-50)
7) Batterie (page 11-49)
8) Réservoir de liquide de lave-glace de pare-brise (page 11-43)
9) Bouchon de remplissage d'huile moteur (page 11-10)
10) Vase d'expansion du liquide de refroidissement du moteur (page 11-15)
11) Bouchon du radiateur (page 11-15)
12) Jauge de niveau d'huile moteur (page 11-10)
13) Boftier de filtré à air (page 11-19)
Modèles avec turbo sauf STI

1) Réservoir de liquide de servodirection (page 11-27)
2) Jauge de niveau d'huile de transmission manuelle (B/M) (page 11-23)
3) Réservoir de liquide d'embrayage (page 11-30)
4) Réservoir de liquide de frein (page 11-29)
5) Boite à fusibles (page 11-50)
6) Batterie (page 11-49)
7) Réservoir de liquide de lave-glace de pare-brise (page 11-43)
8) Bouchon de replissage d'huile moteur (page 11-10)
9) Vase d'expansion du liquide de refroidissement du moteur (page 11-15)
10) Jauge de niveau d'huile moteur (page 11-10)
11) Bouchon du radiateur (page 11-15)
12) Boitier de filtré à air (page 11-19)
STI

1) Réservoir de liquide de servodirection (page 11-27)
2) Réservoir de liquide d'embrayage (page 11-30)
3) Réservoir de liquide de frein (page 11-29)
4) Boîte à fusibles (page 11-50)
5) Batterie (page 11-49)
6) Réservoir de liquide de lave-glace de pare-brise (page 11-43)
7) Bouchon de remplissage d'huile moteur (page 11-10)
8) Vase d'expansion du liquide de refroidissement du moteur (page 11-15)
9) Jauge de niveau d'huile moteur (page 11-10)
10) Bouchon du radiateur (page 11-15)
11) Boitier de filtré à air (page 11-19)
Huile moteur
REMARQUE
- La consommation d'huile du vehicule n'est pas stabilisée, et ne peut donc être déterminée, avant que le vehicule ait roulé plusieurs milliers de kilométres (de milles). Meme après la fin du ro dosage, l'huile moteur se consume ou se déteriore plus rapidement si le vehicule est utilisé dans des conditions difficiles comme indiquédans le Livret de Garantie et d'Entretien. Si vous conduisez votre vehicule dans des conditions difficiles, vérifie le niveau d'huile au moins une fois tous les deux pleins de carburant, et changez l'huile plus fréquement. Veuillez vous reporter au Livret de Garantie et d'Entretien pour plus de détails.
- Si le taux de consommation d'huile semble anormalement élevé après la période de rodage, par exemple supérieur à 1 litre pour 2.000 kilomètres ou un quart de galon pour 1.200 miles, contactez un concessionnaire SUBARU.
Contrôle du niveau d'huile
Contrôlez le niveau d'huile moteur à chaque ravitationnement en carburant.
- Garez le vehicule sur une surface plane et arrêtez le moteur.

- Tirez la jauge de niveau représentant le symbole " sur son extrémité supérieur, essuyez-la puis remettez-la en place.
- Assurez-vous de bien insérer la jauge de niveau au maximum.

1) Encoche
2) Niveau supérieur
3) Niveau inférieur
- Tirez de nouveau la jauge de niveau et lisez le niveau d'huile. S'il n'atteint pas le repere inférieur, rajoutez de l'huile jusqu'àu repere supérieur.

ATTENTION
- N'utilise que de l'huile moteur de la qualité et de la viscosité recommandées.
Veillez à ne pas répandre de l'huile moteur pendant le remplissage. L'huile répandue sur le tuyau d'échéppement risquérait de produit une mauvaise oedur
et de la fumée, voire de s'enflammer. Si l'huile moteur coule sur le tuyau d'échéappement, n'oubliez pas de l'essuyer.
- Si la jauge de niveau ne s'enleve pas facilement, tournez-la à droite et à gauche, puis tirez-la. Sinon, vous pourriez vous blesser accidentellement en forçant.
Ne contrôle pas le niveau d'huile juste après l'arrêt du moteur mais attendez quelques minutes pour laisser à l'huile le temps de redescendre au carter inférieur. Lorsque le vehicule vient de rouler et que le moteur est chaud, il est normal que le niveau d'huile se situe entre le repère supérieur et l'encoche de la jauge. Ceci en raison de la dilatation thermique de l'huile.
Pour éviter tout excès de replissage d'huile moteur pendant le replissage.
Vidange de l'huile et remplacement du filtré
Effectuez les vidanges d'huile et remplacements du filtré à huile en suivant le programme d'entretien inclus dans le "Livret de Garantie et d'Entretien".
Ces opérations doivent être effectuees plus fréquemment que ne l'indique le programme d'entretien si le vehicule est
utilisé sur des routes poussièresuses, pour de courts trajets ou par temps extrément froid.
- Laissez le moteur tourné au ralenti pendant une dizaine de minutes pour que l'huile moteur soit plus fluide et coule mieux.
- Garez le vehicule sur une surface plane et arrêtez le moteur.
- Ouvrez le bouchon de replissage d'huile.

Modèles avec turbo

Modèles sans turbo
- Enlevez le bouchon de vidange pendant que le moteur est encore chaud. Récupérez l'huile usagée dans un réseau approprié pour vous en débarrasser conformément aux règles.

DANGER
Veiliez à ne pas vous brûler avec de l'huile moteur chaude.
- Une fois que toute l'huile s'est écoulée, essuyez la portée du bouchon de vidange avec un chiffon propre. Refermez le bouchon de vidange en utilisant une rondelle d'échéité neue.
- Enlevez la tôle de garde.

Modèles avec turbo

Modèles sans turbo
- Déposez le filtré à huile avec une clé à filtré.
- Huilez légèrement le joint de caoutchouc du filtre à huile moteur neuf avant la
mise en place.
- Essuyez la portée du joint du filtre à huile contre le moteur, en bas et vissez le filtre à huile à la main. Veillez à ne pas tortiller ou endommager le joint de caoutchouc.
- ÀpRES l'entrée du joint en contact contre le bas du moteur, serrez le filtre à huile en tournant encore à l'angle indiqué ci-après.
| Couleur du filtré à huile | Numéro de pieces | Angle de rotation |
| Noir | 15208AA100 | 1 tour |
| Bleu | 15208AA12A | 7/8 de tour |

ATTENTION
- Un serrage excessif du filtré à huile peut cause une fuite d'huile.
-
Essuyez soigneusement l'huile moteur ayant coule sur le tuyau d'échéppement et/ou la tôle de garde. Si vous ne le faites pas rapidement, l'huile risquerait de causer un incendie.
-
Remettez la tôle de garde.
- Versez l'huile moteur dans la goulotte de replissage. Pour connaître la conte
nance d'huile (consigne), reportez-vous à "Contenances" 12-4.
La quantité d'huile n'est donnée ci-dessus qu'à titre indicatif.
Dans la pratique, elle dépend de la quantité d'huile qui a été retiree. La quantité d'huile soutirée peut varier légèrement, car elle dépend de la tempétaire de l'huile et du laps de temps durant lequel vous avez laissé l'huile s'écouler. Une fois le plein d'huile fait dans le moteur, vérifie que le niveau est correct à l'aide de la jauge de niveau.
- Mettez le moteur en marche et assurez-vous qu'il n'y a pas de fuite par le joint de caoutchouc du filtre à huile et le bouchon de vidange.
- Laissez tourner le moteur jusqu'à ce qu'il attigne sa température normale de fonctionnement. Arrêtez le moteur et attendez quelques minutes pour laisser à l'huile le temps de redescendre. Contrôlez à nouveau le niveau d'huile et, s'il est nécessaire de faire l'appoint, rajoutez de l'huile moteur.

ATTENTION
Veillez à ne pas repandre de l'huile moteur pendant le replissage. L'huile repandue sur le tuyau d'échéppement risquérait de produit
une mauvaise odeur et de la fumee, voire de s'enflammer.
■ Qualité et viscosité d'huile recommendées
Qualité d'huile:
ILSAC GF-4 ou GF-5, reconnaissable à la marque d'estampille ILSAC (emblème étoilé)
ou classe SN ou SM selon API comprément la mention "ENERGY CONSERVING"
Ces qualités d'huile recommendées se reconnaissent aux marques suivantes, l'une ou les deux de ces marques figurant sur le bidon d'huile.

Étiquette de service API
1) Qualité de l'huile selon les prescriptions de l'API
2) Degre de viscosite SAE de I'huile
3) Huile reconnue comme contributor à économiser le carburant

Estampille ILSAC (emblème étoilé)
Dans le choix d'une huile, il convient de désoirir un produit de qualité et de viscosité appropriées permettant de limiter la consommation de carburant. Le tableau ci-après indique les viscosités recommannées en fonction des températures atmosphériques.
Pour faire l'appoint, il est possible de mélanger des marques différentes dans la mesure où elles appartiennent à la même classe API, sont de même viscosité SAE et sont conformes aux recommendations de SUBARU.

5W-30*, 5W-40
10W-30, 10W-40
B01102
N^o de viscosité SAE et température atmophérique
*: 5W-30 est recommende.
La viscosité, c'est-à-dire l'épaissur de l'huile moteur, influe sur la consommation de carburant. Les huiles de faible viscosité
permettent d'économiser le carburant.
Cependant, par temps chaud, il faut une huile plus visqueuse pour assurer la lubrication correcte du moteur.

ATTENTION
N'utilise que de l'huile moteur de la qualite et de la viscosite recommandees.
■ Qualité et viscosité d'huile recommendées pour des conditions de conduite difficiles
Dans les zones gratuites, sous des températures ambantes très élevées ou lorsque les conditions d'utilisation sont très difficiles, il est recommendé d'employer les huiles de qualité et de viscosité suivantes.
API de catégorie SN (ou SM):
N^o de viscosité SAE: 30, 40, 10W-50, 20W-40, 20W-50
Huile synthétique
Voussouspoucezutiliser une huielmeouteur synthetique satisfaisant aux exigences de l'huile moteur classique.Si vousutilizez une huiel synthetique,respectez lesindicationsdeclassification,de viscosite et de grade prescrites dans ce Manuel du conducteur,et respectez aussi les fréquences de remplacement de l'huile et du filtrer à huiel prévues au calendrier de maintenance.
Système de refroidissement

DANGER
N'ouvrez jamais le bouchon du radiateur avant d'arreter le moteur et attendez que le moteur ait suffisamment refroidi. À l'ouverture du bouchon alors que le moteur est encore chaud, le liquide bouillant risque de joillir avec force et d'infliger de très graves brûlures.

ATTENTION
- Les vehicules sont charges en usine avec du liquide de refroidissement Super SUBARU, qui n'a pas besoin d'être remplaced pendant 11 ans/220.000 km (137.500 miles). Ne mélangez pas ce liquide de refroidissement avec du liquide d'une autre marque ou d'un autre typependant cette période. Ceci réduirait la durée de vie du liquide de refroidissement. Si, pour quelseraison que ce soit, il s'avait nécessaire de rétabir le niveau de liquide de refroidissement, utilisez du liquide de refroidisse
ment Super SUBARU unique-ment.
En cas de melange du liquide de refroidissement Super SUBARU avec un liquide d'une autre marque ou d'un autre type, c'est l'intervalle d'entretien du liquide utilisé pour le melange qui s'applique.
Veillez à ne pas répandre de liquide de refroidissement du moteur sur les peintures. Le liquide de refroidissement contient de l'alcool, qui pourrait endommager les peintures.
■ Ventilateur, tuyaux et raccords
Le système de refroidissement de votre vehicule est muni d'un ventilateur de radiateur électrique à commande thermostatique qui se met en marche lorsque le liquide de refroidissement du moteur atteint une certaine température.
Si le ventilateur de radiateur ne fonctionne pas dans les situations suivantes, il y a une anomalie dans le circuit du ventilateur électrique.
- Pour les modèles avec turbo, l'aiguille de l'indicateur de température du liquide
de refroidissement du moteur sort de la zone des températures de fonctionnement normales. Reportez-vous à “Jauge de température (modèles turbo)” 3-12.
- Pour les modèles sans turbo, le témoin avertisseur de température élevée de liquide de refroidissement clignote ou s'allume en ROUGE. Reportez-vous à "Témoin indicateur de température basse du liquide de refroidissement (modèles sans turbo)/Témoin avertisseur de température élevée du liquide de refroidissement (modèles sans turbo)" 3-20.
Contrôlez le fusible et remplacez-le si nécessaire. Reportez-vous à "Fusibles" 11-50 et "Boîte à fusibles située dans le compartmentement moteur" 12-8.
Si le fusible n'est pas grillé, faites examiner le système de refroidissement par un concessionnaire SUBARU.
S'il est nécessaire de rajouter fréquement du liquide de refroidissement, il y a vainementment une fuite au niveau du système de refroidissement. Contrôlez l'étanchée du système et vérifie que les tuyaux sont en bon état et les racCORDs bien serrés.
Liquide de refroidissement du moteur
Contrôle du niveau de liquide de refroidissement

DANGER
N'ouvre jamais le bouchon du radiateur avant d'arrête le moteur et attendez que le moteur ait suffisamment refroidi. À l'ouverture du bouchon alors que le moteur est encore chaud, le liquide bouillant risque de jaillir avec force et d'infliger de très graves brûlures.

1) Repère de limite supérieur “FULL”
2) Repère de limite inférieur “LOW”
Contrôlez le niveau de liquide de refroidissement à chaque ravitationnement en carburant.
- Contrôlez le niveau du liquide de refroidissement dans le vase d'expansion transparent lorsque le moteur est froid.
- Si le niveau est proche ou plus bas que le repere de limite inférieur "LOW", ajoutez du liquide de refroidissement jusqu'au repere de limite supérieur "FULL". Si le vase d'expansion est vide, ouvre le bouchon du radiateur et faites le plein.

- ÀpRES le remplissage du vase d'expansion et du radiateur, refermez le bouchon en vérifant que les joints de caoutchouc du bouchon de radiateur sont bien en place.

DANGER
N'ouvrez jamais le bouchon du radiateur avant d'arrête le moteur et attendez que le moteur ait suffisamment refroidi. À l'ouverture du bouchon alors que le moteur est encore chaud, le liquide bouillant risque de jaillir avec force et d'infliger de très graves brûlures.

ATTENTION
Veillez à ne pas répandre de liquide de refroidissement du moteur pendant le replissage. Le liquide de refroidissement repandu sur le tuyau d'échévement risque de produit une mauvaise oedur et de la fumée, voire de s'enflammer. Si le liquide de refroidissement du moteur a coule sur le tuyau d'échévement, n'oubliez pas de l'essuyer.
Veillez à ne pas répandre de liquide de refroidissement du moteur sur les peintures. Le liquide de refroidissement contient de l'alcool, qui pourrait endommager les peintures.
Vidange du liquide de refroidissement

DANGER
N'ouvrez jamais le bouchon du radiateur avant d'arreter le moteur et attendez que le moteur ait suffisamment refroidi. À l'ouverture du bouchon alors que le moteur est encore chaud, le liquide bouillant risque de jaillir avec force et d'infliger de très graves brûlures.
Lorsque you vidangez le liquide de refroidissement, utilisez toujours du liquide de refroidissement et du conditionneur pour circuit de refroidissement SUBARU d'origine.
Effectuez les vidanges du liquide de refroidissement du moteur et ajoutez le conditionneur SUBARU d'origine du système de refroidissement dans le circuit de refroidissement en procédant comme indiqué ci-après et en suivant le programme d'entretien.
- Enlevez la tôle de garde.

- Placez un écipient approprié sous le bouchon de vidange et desserrez le bouchon de vidange.
- Desserrez le bouchon du radiateur pour que le radiateur se vide complètement. Videz ensuite le vase d'expansion. Refermez soigneusement le bouchon de vidange.
REMARQUE (modèles avec turbo uniquement)
Il n'est pas nécessaire d'ouvrir le bouchon (sans points de prise) qui se trouve en haut du radiateur. Pour ajouter du liquide de refroidissement, ouvrez le bouchon (avec points de prise) du réservoir de liquide de refroidissement au-dessus du moteur.
4. Refermez la tôle de garde.

Modèles sans turbo
1) Remplissez jusqu'ici

Modèle avec turbo
1) Remplissez jusqu'ici
5. Versez lentement le liquide de refroi
dissement jusqu'à ce que le niveau se situe juste en dessous du goulot de replischage, en laissant suffisamment de place pour ajouter le conditionner SUBARU d'origine du système de refroidissement pour circuit de refroidissement dans le radiateur. Versez le conditionner SUBARU d'origine du système de refroidissement pour faire monter le niveau de liquide jusqu'àu ras du goulot de replischage. Si le liquide est versé trop rapidement, la purge se fait mal et il reste de l'air emprisonné dans le système.
REMARQUE
Pour connaître les consignes de quantite d'huile (y compris le liquide de refroidissement dans le réservoir d'essence), reportez-vous a "Contenances" 12-4.

1) Repère de limite supérieur “FULL”
2) Repère de limite inférieur "LOW"

ATTENTION
Veiliez a ne pas repandre de liquide de refroidissement du moteur pendant le remplissage. Le liquide de refroidissement repandu sur le tuyau d'échévement risque de produit une mauvaise oedur et de la fumée, voire de s'enflammer. Si le liquide de refroidissement du moteur a coule sur le tuyau d'échévement, n'oubliez pas de l'essuyer.
Veiliez a ne pas repandre de liquide de refroidissement du
mateur sur les peintures. Le liquide de refroidissement contient de l'alcool, qui pourrait endommager les peintures.
- Versez le liquide de refroidissement. Remplissez le vase d'expansion jusqu'au repère de limite supérieure "FULL".

- Refermez le bouchon du radiateur en serrant fermement. Vérifiez que les joints de caoutchouc du bouchon de radiateur sont bien en place.
- Démarrez le moteur et accélèrez entre 2.000 et 3.000 tr/mn 5 à 6 fois en 40 secondes.
- Arrêtez le moteur et attendez que le liquide ait refroidi (50 à 60^ [122 à 140^] ). Si le niveau a baisse, replissez à nouveau le radiateur au ras du goulot et
le vase d'expansion jusqu'au repère de limiteurieur "FULL".
10. Refermez le bouchon du radiateur et celui du vase d'expansion en serrant fermement.
Élement du filtré à air

DANGER
Ne faites pas tournier le moteur si l'objet du filtrte a air n'est pas en place. En plus de sa fonction de filtrage, l'objet du filtrte a air arrêté les flammes en cas de retour de flammes depuis le moteur. Sans l'objet du filtrte a air, vous risquez d'être brûlé par un retour de flammes du moteur.

ATTENTION
Remplacez toujours l'objet de filtrer à air par une piece SUBARU d'origine. Dans le cas contraire, vous risqueriez d'endommager le moteur.
Le filtré à air fonctionné comme un écran de filtrage. Si cet élément est enlevé ou déchéré, ici compromet la longévite du moteur car l'usure est plus rapide.
Il n'est pas nécessaire de nettoyer ou laver l'objet du filtré à air.
■ Remplacement de l'objet du filtre à air
Effectuez les remplacements de l'élement du filtré à air en suivant le programme d'entretien inclus dans le "Livret de Garantie et d'Entretien". Si le vehicule est utilisé dans un environnement extrément poussièreux, replacez-le plus élevément. Il est recommendé de toutes utiliser des pieces SUBARU d'origine.

Modèles sans turbo
1) Connecteur
2) Agrafe
3) Loquet
4) Soufflet d'admission d'air
5) Agrafe
- Débranchez le connecteur qui se trouve sur le dessus du boîtier de filtre à
air.
- Detachez le cable de connecteur de l'agrafe situé sur le côte droit du boitier de filtré à air.
- Desserrez la vis du fermoire, puis extrayez le soufflet d'admission d'air du boîtier de filtré à air.
- Decroche les deux agrafes de main-tien du couvercle de boitier de filtré à air.

- Ouvrez le boîtier de filtré à air et déposez l'élement du filtré à air.
- Nettoyez l'intérieur du boitier de filtré à air et du couvercle sur le boitier de filtré à air avec un chiffon humide et installez un élément de filtré à air neuf.

- Pour referrer le boîtier de filtré à air, introduizez les trois taquets du boîtier dans les encoches du couvercle sur le boîtier de filtré à air.
- Installez en suivant la procEDURE de dépose, dans l'ordre inverse.
Modèles avec turbo

- Libérez les agrafes sur la gaine d'admission d'air à l'aide d'un tournevis, puis déposez la gaine d'admission d'air.

1) Connecteur
2) Agrafe
- Debranchez le connecteur qui se trouve sur le dessus du boitier de filtré à air.
- Decrochez les deux agrafes de main-tien du couvercle de boitier de filtré à air.

- Ouvrez le boitier de filtré à air et déposez l'élement du filtré à air.
- Nettoyez l'intérieur du boitier de filtré à air et du couvercle sur le boitier de filtré à air avec un chiffon humide et installez un élément de filtré à air neuf.

- Si le boîtier de filtré à air a été retire, introduizez les trois taquets du boîtier dans les encoches du couvercle sur le boîtier de filtré à air.
- Installes en suivant la procEDURE de dépose, dans l'ordre inverse.
Bougies d'allumage

Le remplacement des bougies d'allumage du vehicule peut presenter des difficultés. Nous vous recommendons de faire replacer les bougies d'allumage par votre concessionnaire SUBARU.
Les bougies d'allumage doivent être remplacées conformément au programme d'entretien inclus dans le "Livret de Garantie et d'Entretien".

ATTENTION
- Pour débrancher les câbles de bougie, tirez-les par le capuchon et non pas par le cable.
Veillez a ne pas intervenir les branchements des cables de
bougie.
■ Bougies d'allumage recommandées
Pour les bougies recommandées, reportez-vous à "Électricité" 12-3.
Courroies d'entrainment

1) Poulie de la pompe à huile de servodirection
2) Courroie latérale avant
3) Poulie d'alternateur
4) Poulie du compresseur du climatisationur
5) Courroie latérale arrêté
6) Poulie de vilebreguin
A) 98 N (10 kgf, 22 lbf)

ATTENTION
La courroie latérale avant, qui fonctionne avec les composants suivants, doit être utilisée selon le fléchéissement prescrit.
-
Poulie de la pompe à huile de servodirection
-
Poulie d'alternateur
- Poulie de vilebrequin
Vérifiez le flechissement de la courroie latérale avant. En cas de tension insuffisante, de fissure, d'usure ou de bruit inhabituel au niveau de la courroie latérale avant, contactez votre concessionnaire SUBARU.
Le fait de continuer à conduire le vehicule alors que la courroie ne correspond pas aux specifications risqueraisit de provoquer une defec-tuosite du moteur et des composants mentionnés ci'avant.
Pour contrôler la déviation de la couroie latérale avant, posez une règle entre deux poulies voisines (poulie d'alternateur et de vilebrevin), puis appliquez une force de 98 N (10 kgf, 22 lbf) à mi-chemin entre ces poulies au moyen d'un peson. Le fléchéusement de la couroie doit être conforme à la valeur prescrite. Si la couroie est détendue, fendillée ou usée, contactez un concessionnaire SUBARU.
mm (in)
| Flchéissement | ||
| Courroie neue | Courroie usagée | |
| A | 7,0 – 9,0 | 9,0 – 11,0 |
| (0,28 – 0,35) | (0,35 – 0,43) | |
La couroie arrêté est de type élastique; il n'est donc pas nécessaire de vérifier son flèchissement. En cas de fissures ou d'usure claires au niveau des courroies, et si ces dernières émettent un couinement, contactez votre concessionnaire SUBARU.
Huile de boîte de vitesses manuelle
Contrôle du niveau d'huile

Modèles sans turbo
1) Tirette de couleur jaune

Modèles avec turbo sauf STI
Contrôlez le niveau d'huile une fois par mois.
- Garez le vehicule sur une surface plane et arrêtez le moteur.
- Tirez la jauge de niveau, essuyez-la et remettez-la en place.

B00368
1) Niveau supérieur
2) Niveau inférieur
- Tirez de nouveau la jauge de niveau et lisez le niveau d'huile. S'il n'atteint pas le repere inférieur, ajoutez de l'huile par le trou de la jauge de niveau jusqu'àu repere supérieur.

ATTENTION
Veillez à ne pas répandre de l'huile de boite de vitesses manuelle pendant le replissage. L'huile répandue sur le tuyau d'échéppement risquérait de produit une mauvaise odeur et de la fumée, voire de s'enflammer. Si l'huile a coule sur le tuyau d'échéppement, n'oubliez pas d'essuyer pour éliminer l'huile répandue.
REMARQUE
Le modele STI n'est pas equipe d'une jauge de niveau d'huile de boite de vitesses. Adresse-vous a votre concessionnaire SUBARU pour vérifier le niveau d'huile.
■ Qualité et viscosité d'huile recommendées
Chaque fabricant a sa propre formule pour l'huile de base et utilise ses propres additifs. Ne mélangez jamais des huiles de marques différentes.
Qualité d'huile:
GL-5 dans la classification de l'API

N^o de viscosité SAE et température atmophérique
Liquide de transmission automatique
Contrôle du niveau de liquide
Le liquide de transmission automatique se dilate fortement quand sa température augmente et le niveau dépend donc de la température du liquide. Pour cette raison, la jauge comporte deux graduations: l'une pour contrôler le niveau à chaud, et l'autre pour contrôler le niveau à froid.
Bien que le contrôle de niveau puisse se faire sans rechauffer l'huile en utilisant la plaque "COLD" (froid) de la jauge, nous recommendons de contrôler le niveau d'huile quand cette dernière est à sa température normale de fonctionnement.
Contrôle du niveau de liquide quand le liquide est chaud
- Roulez plusieurs kilomètres pour que le liquide de transmissionatteigne sa température normale de fonctionnement, soit 70 à 80^ (158 à 176^ ).
- Garez le vehicule sur un sol horizontal et serrez le frein de stationnement.
- Faites d'abord passer le levier selecteur dans toutes les positions. Revenez sur la position "P" et laissez le moteur tournar au ralenti.

1) Tirette de couleur jaune

1) Plage HOT (chaud)
2) Plage COLD (froid)
3) Niveau supérieur
4) Niveau inférieur
- Tirez la jauge de niveau et lisez le
niveau de liquide. Si le niveau n'atteint pas le repere de niveau inférieur de la plage "HOT" de la jauge, ajoutez le liquide de transmission automatique recommandé jusqu'au repere de niveau supérieur.
Contrôle du niveau de liquide quand le liquide est froid
Si vous contrôle le niveau sans avoir fait monter la boîte de vitesses en température, le niveau doit se situer entre les repères de niveau supérieur et inférieur de la plage “COLD” de la jauge. Si le niveau se situe en dessous de la plage prescrite, faites l'appoint de liquide jusqu'àau niveau supérieur. Évitez tout excès de replissage.

ATTENTION
Veillez à ne pas répandre de liquide de transmission automatique pendant le replissage. Le liquide de transmission automatique repandur sur le tuyau d'échévement risquérait de produit une mauvaise oedur et de la fumée, voire de s'enflammer. Si le liquide de transmission automatique a coule sur le tuyau d'échévement, n'oubliez pas de l'essayer.
Liquide recommandé
Utilisez l'un des types de liquide de transmission automatique suivants.
SUBARU ATF
IDEMITSU ATF HP
REMARQUE
Pour des performances optimum de la boite de vitesses, utilisez uniquement du liquide de transmission recommandé et fourni par SUBARU.
Si le liquide de transmission automatique recommendé n'est pas disponible, le liquide Dexron III peut être utilisé de manière provisoire. Si le liquide Dexron III est utilisé de manière permanente, une augmentation sensible des vibrations et du bruit en provenance de la boite de vitesses automatique se fera sentir.
Huile du différentiel avant (modèles BVA)
Contrôle du niveau d'huile

1) Tirette de couleur jaune
- Garez le vehicule sur une surface plane et arrêtez le moteur.
- Tirez laJAuge de niveau, essuyez-la et remettez-la en place.

1) Niveau supérieur
2) Niveau inférieur
- Tirez de nouveau la jauge de niveau et lisez le niveau d'huile. S'il n'atteint pas le repere inférieur, rajoutez de l'huile jusqu'au repere supérieur.

ATTENTION
Veillez à ne pas répandre d'huile du différentiel avant pendant le remplissage. L'huile répandue sur le tuyau d'échéppement risquérait de produit une mauvaise oedur et de la fumée, voire de s'enflammer. Si l'huile a coule sur le tuyau d'échéppement, n'oubliez pas d'essuyer pour éliminer l'huile répandue.
■ Qualité et viscosité d'huile recommendées
Chaque fabricant a sa propre formule pour l'huile de base et utilise ses propres additifs. Ne mélangez jamais des huiles de marques différentes.
Qualité d'huile:
GL-5 dans la classification de l'API

N^o de viscosité SAE et température atmos- phérique
Huile du différentiel arrête
Il n'existe pas de jauge de niveau d'huile de différentiel arrêté. Pour vérifier le niveau d'huile de différentiel arrêté, nous vous recommendons de consulter votre concessionnaire SUBARU afin d'effectuer un entretien.
■ Qualité et viscosité d'huile recommendées
Chaque fabricant a sa propre formule pour l'huile de base et utilise ses propres additifs. Ne mélangez jamais des huiles de marques différentes.
Qualité d'huile:
GL-5 dans la classification de l'API

N^o de viscosité SAE et température atmos- phérique
Liquide de servodirection
Contrôle du niveau de liquide

Le liquide de servodirection se dilate fortement quand sa températe augmente et le niveau dépend donc de la températe de l'huile. Pour cette raison, deux plages de contrôle de niveau sont indiquées sur le réserve; utilisez cette qui convient, selon que l'huile est chaude ou froide.
Contrôlez le niveau du liquide de servodirection une fois par mois.
- Garez le vehicule sur un sol horizontal et arretez le moteur.

- Contrôlez le niveau de liquide dans le réservoir.
Quand le liquide est chaud après que le vehicule ait roulé: Vérifiez que le niveau se situe entre les repères "HOT MIN" et "HOT MAX" contre le réservoir.
Lorsque le liquide est froid avant que le vehicule ne roule: Vérifiez que le niveau se situe entre les repères "COLD MIN" et "COLD MAX" contre le réservoir.
- Si le niveau est plus bas que le repère "MIN" correspondant, ajoutez du liquide de la qualité préconisée pour faire remonter le niveau entre les repères "MIN" et "MAX".
Un niveau très bas peut signifier qu'il y a une fuite. Le cas échéant, faites contrôle le vehicule par un concessionnaire
SUBARU.

DANGER
Attention aux brûlures car le liquide peut être chaud.

ATTENTION
Lorsque you ajoutez du liquide de servodirection, n'utilise que du liquide propre et veillez à n'introduire aucune impuretédans le réservoir. En outre, ne mélangez jamais des huiles de marques différentes.
- Évitez de répandre du liquide en dehors du réservoir en faisant l'appoint.
Veillez à ne pas répandre du liquide de servodirection pendant le replissage. Le liquide de servodirection répandu sur le tuyau d'échéppement risquérait de produit une mauvaise odeur et de la fumée, voire de s'enflammer. Si le liquide de servodirection a coule sur le tuyau d'échéppement, n'oubliez pas d'essuyer le liquide répandu.
Liquide recommandé
Utilisez l'un des types de liquide de transmission automatique suivants.
SUBARU ATF
Liquide de transmission automatique type "Dexron III"
Liquide de frein
Contrôle du niveau de liquide

1) Repère de limite supérieur “MAX”
2) Repère de limite inférieur "MIN"
Contrôlez le niveau de liquide une fois par mois.
Contrôlez le niveau de liquide de l'extérieur du réservoir. Si le niveau se situe en dessous du repère "MIN", ajoutez du liquide de frein de la qualité recommendée jusqu'àu repère "MAX".
N'utilise que du liquide de frein provenant d'un recipient hermetiquement bouché.

DANGER
- Évitez soigneusement tout contact du liquide de frein avec
les yeux car ce liquide est agressif pour les yeux. En cas de penetration dans les yeux, rincez-vous immédiatement et abondament avec de l'eau propre. Pour des raisons de sécurité, il est recommendé de porter des lunettes de protection en effectuant ce travail.
- Exposé à l'air, le liquide de frein absorbe l'humidité de l'air. La présence d'humidité dans le liquide de frein entraine une dangereuse perte d'efficacité au freinage.
- S'il est nécessaire d'ajouter fraisment du liquide, il y a vraisemblalement uneuite. Le cas échéant, faites contrôler le vehicule chez un concessionnaire SUBARU.

ATTENTION
Lorsque you ajoutez du liquide de frein, prenez grand soin de ne pas introduire d'impuretés dans le réservoir.
Veillez à ne pas répandre de liquide de frein sur les peintures ou les pieces en caoutchouc.
L'alcool contenu dans le liquide de frein pourrait les endomma- ger.
Veiliez a ne pas repandre de liquide de frein pendant le remplissage. Le liquide de frein repandu sur le tuyau d'échévement risquerait de produit une mauvaise oedur et de la fumée, voire de s'enflammer. Si le liquide de frein a coule sur le tuyau d'échévement, n'oubliez pas de l'essuyer.
Liquide de frein recommandé
Utilizez l'un des types de liquide suivants.
Liquide de frein SUBARU d'origine
-Liquide de frein frais DOT 3 ou DOT 4,
selen FMVSS N°116

ATTENTION
Ne mélangez jamais des liquides de frein de marques différentes. Évitez également de mélanger des liquides de frein DOT 3 et DOT 4, même s'ils sont de marque identique.
Liquide d'embrayage (modles B/M)
Contrôle du niveau de liquide

Contrôlez le niveau de liquide de l'extérieur du réservoir. Si ce niveau est audessous de "MIN", ajoutez du liquide d'embrayage pour l'amener jusqu'à "MAX".
N'utilisez que du liquide d'embrayage provenant d'un recipient bien etanche.

DANGER
Évitez soigneusement tout contact du liquide d'embrayage avec les yeux car ce liquide est agressif pour les yeux. En cas de pénétration dans les yeux, rincez-les immédia
tement et abondament avec de l'eau propre. Pour des raisons de sécurité, il est recommendé de porter des lunettes de protection en effectuant ce travail.

ATTENTION
- Le liquide d'embrayage absorbe l'humidité de l'air. Toute humidité absorbée peut causeur un mauvais fonctionnement de l'embrayage.
- S'il est nécessaire d'ajouter fréquement du liquide, il y a vraisemblalement une fuite. Le cas échéant, faites contrôle le vehicule chez un concessionnaire SUBARU.
- En faisant l'appoint de liquide, voirlez à ne pas faire pénétrer de saleté dans le réservoir.
Veillez à ne pas répandre du liquide d'embrayage sur les peintures ou les pieces en caoutchouc. L'alcool contenu dans le liquide d'embrayage peut les endommager.
Veillez à ne pas répandre du liquide d'embrayagependant le replissage. Le liquide d'em
brayage repandu sur le tuyau d'échépement risque de produit une mauvaise odeur et de la fumée et peut même s'enflammier. Si le liquide d'embrayage a coule sur le tuyau d'échépement, n'oubliez pas d'essuyer pour éliminer le liquide repandu.
■ Liquide d'embrayage recommandé
Utilizez l'un des types de liquide suivants.
Liquide de frein SUBARU d'origine
-Liquide de frein frais DOT 3 ou DOT 4,
selen FMVSS N°116

ATTENTION
Ne mélangez jamais des liquides d'embrayage de marques différentes. Évitez également de mélanger des liquides de frein DOT 3 et DOT 4, même s'ils sont de marque identique.
Servofrein
Si le servofrein ne fonctionne pas comme il est décrit au cours des vérifications ci-après, faites-le contrôle par un concessionnaire SUBARU.
- Avec le moteur arrêté, appuyez à plusieurs reprises sur la pédale de frein avec une force égale. La course de la pédale doit rester identique.
- Tout en tenant la pédale de frein enforcée, mettez le moteur en marche. La pédale doit descendre légèrement vers le plancher.
- Tout en tenant la pédale de frein enforcée, arrêtez le moteur. Maintenez la pédale enforcée pendant 30 secondes. La hauteur de la pédale ne doit pas changer.
- Mettez le moteur en marche et laisserze le tourner une minute environ avant de l'arreter. Appuyez à plusieurs reprises sur la pédale de frein pour contrôler le fonctionnement du servofrein. Le servofrein fonctionne normalement si la course de la pédale diminue à chaque pression.
REMARQUE
Sur les vehicules équipés du système d'assistance au freinage, une pression forte ou soudaine sur la pédale de frein
entraîne le phénomène suivant. Ces phénomènes ne sont pas signe de défectuosité; le système assistance au freinage fonctionné correctement.
- Vous pouvez avoir l'impression que l'actionnement de la pédale de frein demande moins de force, et que la force de freinage est supérieure.
- Vous pouvez entendre un bruit de cliquetis dans les environns de la pédale de frein.
Le système d'assistance au freinage n'augmente pas la capacité de freinage du vehicule au-delà de ses limites.
Pédale de frein
Contrôlez la course libre et la garde de la pédale de frein quand cela est indiquédans le programme d'entretien inclus dans le "Livret de Garantie et d'Entretien".
Contrôle de la course libre de la pédale de frein

1) 0,5à 2,0mm (0,02à 0,08in)
Arrétez le moteur et appuyez fortement sur la pédale de frein à plusieurs reprises. Mesurez ensuite la course libre en appuyant légèrement avec un doigt sur la pédale de frein avec une force ne dépassant pas 10 N (1 kgf, 2 lbf).
Si la course libre est hors prescription, adressez-vous à un concessionnaire
SUBARU.
Contrôle de la garde de la pédale de frein

1) Plus de 65 mm (2,56 in)
Appuyez sur la pédale de frein avec une force d'environ 294 N (30 kgf, 66 lbf) et mesurez la distance entre le dessus du patin de pédale et le plancher.
Si la mesure est inférieure à la valeur prescrite, ou bien si la manoeuvre de la pédale n'est pasouple, adressez-vous à un concessionnaire SUBARU.
Pédale d'embrayage (modèles B/M)
Contrôlez la course libre et la garde de la pédale d'embrayage quand cela est indiquedans le programme d'entretien inclus dans le "Livret de Garantie et d'Entretien".
Contrôle du fonctionnement de l'embrayage
Vérifiez que le mécanisme embraye et débraye normalement.
- Avec le moteur tournant au ralenti, vérifie qu'il n'y a pas de bruits anormaux lorsque vous enchance la pédale d'embrayage et que le passage en première ou en marche arrêté s'effectue en douceur.
- Embrayez lentement pourmettre le vehicule en marche.Verifiez que le moteur et la boite de vitesses entrent en prise en douceur sans patinage.
Contrôle de la course libre de la pédale d'embrayage

1) 4,0 à 11,0 mm (0,16 à 0,43 in)
Appuyez légèrement du doigt sur la pédale d'embrayage jusqu'au point de résistance, et mesurez la course libre.
Si la course libre est hors prescription, adressez-vous à un concessionnaire SUBARU.
Système d'assistance pour démarrage en côte (modèles B/M - selon modèles)
Vérifiez le bon fonctionnement du système d'assistance pour démarrage en côte dans les conditions suivantes:
- Arretez le vehicule en cote dans le sens de la montée en appuyant en même temps sur la pedale de frein et sur la pedale d'embrayage. Laissez le moteur en marche.
- Vérifiez que le vehicule ne recule pas lorsque vous l'âchez la pédale de frein.
- Vérifiez que le démarrage en côte est possible par la méthode de démarrage normale.
Si le système d'assistance pour démarge en côte ne semble pas fonctionner normalement, adresse-vous à un concessionnaire SUBARU.
Remplacement des plaquettes et garnitures de frein

Le frein à disque avant droit et le frein à disque arrêté droit sont équipés d'indicateurs sonores d'usure des plaquettes. Si l'usure des plaquettes de frein est proche de la limite de service, ces indicateurs émettent un couinement caractéristique et bien audible lorsque vous appuyez sur la pédale de frein.
Si vous entendez ce couinement chaque fois que vous appuyez sur la pédale de frein, faites contrôle les plaquettes de frein par un concessionnaire SUBARU le plus tôt possible.

ATTENTION
Continuer à utiliser le vehicule avec des indicateurs d'usure des plaquettes de frein qui couinent entrainera ensuite une intervention couteuse pour la réparation ou le remplacement des rotors de frein.
Rodage des plaquettes et garnitures de frein neuves
Pour le remplacement des plaquettes et garnitures de frein, n'utilise que des pieces de rechange SUBARU d'origine. Àpres la mise en place, les pieces neuves doivent être rodedees en procédant comme suit.
Plaquettes et garnitures de frein
Tout en roulant à une vitesse entre 50 et 65km / h (30 et 40 mph), appuyez légèrement sur la pédale de frein. Répétez cette opération au moins cinq fois.
Garnitures de frein de stationnement
- Roulez à une vitesse de 35km / h (22 mph) environ.
- Tout en appuyant sur le bouton de déverrouillage du frein de stationnement, tirez le levier de frein de stationnement
LENTEMENT et EN DOUCEUR (tirez avec une force d'environ 147 N [15 kgf, 33 lbf]).
- Roulez ainsi sur une distance de 200 metres (220 yards) environ.
- Attendez 5 à 10 minutes pour laisser le frein de stationnement refroidir. Recommencez la même opération.
- Contrôlez la course du frein de stationnement. Si la course est hors prescription, réglez-la en tournant l'écrou de réglage qui se trouve sur le levier du frein de stationnement.
Course du frein de stationnement:
7-8 crans / 200 N (20,4 kgf, 45 lbf)

DANGER
Pour le rodage du frein de stationnement,CHOISSEZ un endroit sans danger.

ATTENTION
Vous risqueriez de bloquer les roues arrriere en tirant sur le levier de frein de stationnement trop energiquelement. Pour éviter cela, tirez le levier progressivement et en douceur.
Course du frein de stationnement

Vérifiez la course du frein de stationnement quand cela est indiqué dans le programme d'entretien inclus dans le "Livret de Garantie et d'Entretien". Lorsque le frein de stationnement est convenablement régle, la puissance de freinage maximale s'applique lorsque le levier est tiré vers le haut lentement mais fermement de 7 à 8 crans (force à exercer: 200 N [20,4 kgf, 45 lbf] environ). Si la course du levier de frein de stationnement est hors prescription, faites-le contrôle et régler par un concessionnaire SUBARU.
Roues et pneus
Types de pneus
Vou des peux dont sa vie ne peut.
Pneus toutes saisons
Les pneus toutes saisons sont conçus pour assurer de bonnes performances de traction, de tenue de route et de freinage tout au long de l'année, et ils peuvent être utilisés sur routes enneigées ou verglacées. Toutefois, sur la neige fraîche ou dense et sur le verglas, les pneus toutes saisons n'ont pas des performances de traction aussi bonnes que les pneus hiver (pneus neige).
Les pneus toutes saisons se reconnaissent à l'inscription "ALL SEASON" et/ou "M+S" (boue et neige) qu'ils portent sur le flanc.
Pneus eté
Les pneus eté sont conçus pour les vitesses élevées et convennent particulièrement bien à la conduite sur autoroute par temps sec.
Les pneus eté sont inadaptés à la conduite sur chaussée glissante, suroutes enneigées ou verglacées par exemple.
Si vous devez conduire sur routes ennei
gées ou verglacées, nous vous recom-mandons vivement d'utiliser des pneus hivers (pneus neige).
Lorsque you montez des pneus hiver,
vous nevez en monter sur les quatre
roues.
Pneus hiver (pneus neige)
Les pneus hiver sont les mistroux adaptés à la conduite sur routes enneigées ou verglacées. Toutefois, sur les routes qui ne sont ni enneigées ni verglacées, les pneus hiver n'ont pas des performances aussi bonnes que les pneus ete ou les pneus toutes saisons.
Système de surveillance de la pression des pneus (TPMS) (selon modèles)
Le système de surveillance de la pression des pneus avertit le conducteur en cas de baisse sensible de la pression d'un pneu, chaque roue étant équipée d'un capteur qui émet un signal de pression. Le système de surveillance de la pression des pneus ne fonctionne que pendant que le vehicule roule. En outre, le système ne peut pas toujours réagir immidiatement en cas de baisse soudaine de la pression (par exemple l'éclatement du pneu causé par un objet pointu ou tranchant).
Si vous reglez la pression des pneus dans
un garage chauffé et roulez ensuite par temps très froid, il peut en résultat une baisse de la pression des pneus suffisante pour causer l'allumage du témoin averitisseur de basse pression des pneus. Pour éviter ce problème, quand vous reglez la pression des pneus dans un garage chauffé, gonflez les pneus à une pression plus élevée que la valeur prescrite sur l'étiquette d'information sur les pneus. À savoir, la pression de gonflage doit être augmentee de 6,9 kPa (0,07 kgf/cm², 1 psi) pour chaque écart de 5,6°C (10°F) entre la température du garage et la température extérieure. À titre d'illustration, la table ci-après indique les pressions de gonflage requises pour certaines temperatures extérieures en supposant que la température du garage est de 15,6°C (60°F).
Example:
Taille: P205/55R16 89V et P205/50R17 88V
Pressions de gonflage standard:
Avant: 230kPa (2,3 kgf/cm², 33 psi)
Arrière: 220 kPa (2,2 kgf/cm², 32 psi)
Température du garage: 15,6°C (60°F)
| Température extérieure | Pression corrigée(kPa [kgf/cm2, psi]) | |
| Avant | Arrière | |
| -1°C(30°F) | 250 (2,5, 36) | 240 (2,4, 35) |
| -12°C (10°F) | 265(2,65, 38) | 255(2,55, 37) |
| -23°C (-10°F) | 280 (2,8, 40) | 270 (2,7, 39) |
Quand vous avez regle la pression des pneus dans un garage chauffé, si le témoin averitisseur de basse pression des pneus s'allume quand vous roulez par temps froid,regonfrez vos pneus à la valeur corrigée selon la méthode décrite ci-dessus. Augmentez ensuite la vitesse du vehicule jusqu'à 32 km/h (20 mph) au moins, puis vérifie que le témoin averitisseur de basse pression des pneus s'éteint au bout de quelques minutes. Si le témoin averitisseur ne s'éteint pas, il est possible que le système de surveillance de la pression des pneus ne fonctionne pas normalement. Le cas échéant, faites contrôler le système par un concessionnaire SUBARU le plus tout possible.
Quand le vehicule roule, le frottement entre les pneus et la chaussée produit un certain échauffement des pneus. Lorsque vous roulez avec le témoin avertisseur de basse pression des pneus
allumé, une remontée de la température atmosphérique ou l'échauffement normal des pneus d'au roulage peuvent entraîner une élevation de pression des pneus suffisante pour causeur l'extinction du témoin averitisseur.
Il est nécessaire de procéder à une réinitialisation du système quand on change les roues (par exemple, pourchausser des pneus neige), et il faut installer sur les nouveaux pneus de nouvelles valves TPMS. Suite à un remplacement des roues, faites executer cette opération par un concessionnaire SUBARU.
Certaines jantes du commerce peuvent être incompatibles avec les valves TPMS. Quand vous changez vos roues (par exemple, pourchausser des pneus neige), utilisez des jantes portant le même numero de pieces que les jantes d'origine. En l'absence de valves/capteurs TPMS appropriés sur l'ensemble des quatre roues, le système TPMS ne peut pas fonctionner entièrement, et le témoin avertisseur situé sur les instruments de bord resté allumé après avoir clignoté pendant une minute environ.
Quand vous remplacez un pneu, des réglages sont nécessaires pour que le système de surveillance de la pression
des pneus continue à fonctionner normalement. Lors d'un changement de roue, vous doivent donc faire executer cette opération par un concessionnaire SUBARU.

DANGER
Si le témoin averitisseur de faible pression des pneus ne s'allume pas du tout lors de la mise sur ON du contacteur d'allumage, ou s'il reste allumé après avoir clignote pendant environ 1 minute, faites contrôle le système de surveillance de pression des pneus par un concessionnaire SUBARU le plus tot possible. Si le témoin s'allume pendant la conduite, ne freinez jamais brusquement et continuez à rouler en ligne droite en réduisant progressivement votre vitesse. Quitte la route et garez le vehicule dans un endroit sur. Faute de quoi, vous courez le risque d'un accident avec d'importants dégats matériels et des blessures graves.
Si le témoin se rallume une fois la pression des pneus régée, l'un des pneus est probablement en mauvais état et perdrapidement son air. Dés que vous avez des raisons de croire
qu'un pneu ne tient pas l'air, remplacez cette roue par la roue de secours.
Quand on a installé la roue de secours ou si on a remplace une jante sans faire transférer le capteur manometrique/transmetteur, le témoin averitisseur de bassé pression des pneus resté allumé après avoir clignote pendant environ une minute. C'est le signe que le système de surveillance de la pression des pneus (TPMS) ne peut pas surveiller l'ensemble des quatre roues. Contactez un concessionnaire SUBARU des que possible pour faire replacer la roue et le capteur et/ou réinitialiser le système. Si le témoin reste allumé après avoir clignote pendant environ une minute, contactez rapidement un concessionnaire SUBARU pour faire contrôle le vehicule.
■ Inspection des pneus
Vérifiez quotidiennement que les pneus neprésent ni dommages graves visibles, ni incrustations de clous ou de pierre. Vérifiez également que les pneus neprésent pas de signes d'usure anormale.
En cas de problème, consultez immédiatement un concessionnaire SUBARU.
REMARQUE
-
Si les jantes et les pneus heurtent des cordures de trottoir ou sont mis à rude épréuve, par exemple en cas de conduite sur route déformée, les dommages qui leur sont ainsi infliçés ne sont pas toujours visibles à l'eel nu. De telles dégradations ne se manifestent parfois qu'après un certain temps. Évitez de franchir des cordures de trottooir ou de passer sur des nids-depoule ou autres irrégularités de terrain. Si vous ne pouvez l'éviter, faites-le à une vitesse aussi réduite que celle d'un piéton, voire inférieure, et abordez la cordure de trottooir perpendicularlement. En outre, lorsque vous garez le vehicule, veillez à ce que les pneus ne soient pas écrasés contre la cordure de trottooir.
-
En roulant, si vous ressentez des vibrations inhabituelles ou s'il est difficile de maintainir le vehicule en ligne droite, cela peut provenir de l'endommagement de l'un des pneus ou de l'une des jantes. Roulez lentement jusqu'à chez un concessionnaire/agree SUBARU le plus proche, et faites contrôle le vehicule.
■ Pression et usure des pneus
Maintenir les pneus à la pression de gonflage correcte en prolonge la durée de service et est indispensable à la bonne tenue de route du vehicule. Vérifiez et, si nécessaire, ajustez la pression de tous les pneus (roue de secours comprise) au moins une fois par mois (par exemple, lors d'un ravitationnement en carburant) et avant chaque long trajet.

Contrôlez la pression de gonflage lorsque les pneus sont froids. Utilisez un gonflaur à manometre pour ajuster la pression à la valeur indiquée sur l'étiquette d'information des pneus. Cette étiquette est appossee contre le montant de la portière du côté conducteur.
Meme si le vehicule a peu roulé, les pneus
dont chauds, et leur pression est plus elevée qu'a froid. La pression des pneus dépend également de la température extérieure. Le mieux est de contrôler la pression des pneus à l'extérieur, avant que le vehicule n'ait roulé.
Lorsqu'un pneu monte en température, l'air qu'il renferme se dilate, augmentant la pression du pneu. Il ne faut donc pas dégonfler un pneu chaud pour en réduire la pression.
REMARQUE
- La pression de l'air dans un pneu augmente d'environ 30 kPa (0,3 kgf/cm², 4,3 psi) quand le pneu se rechauffe.
- On peut considérer que les pneus sont froids quand le vehicule n'a pas roulé depuis plus de trois heures, ou s'il a roulé moins de 1,6 km (1 mile).

DANGER
Ne dégonflez pas des pneus chauds pour régler la pression. Il en résultatait une pression de gonflage trop BASSE.
Une pression de gonflage incorrecte nuit à la bonne tenue de route du vehicule et au comport, et elle entraîne une usure anor
male des pneus.
- Pression de gonflage correcte (usure régulière de la bande de roulement)

B00050
La tenue de route et le contrôle de la direction sont bons. La résistance au roulement est faible, ce qui réduit la consommation de carburant.
- Pression de gonflage trop BASSE (usure plus rapide sur les bords)

B00051
La résistance au roulement est forte et la consommation de carburant est donc plus élevé.
- Pression de gonflage trop forte (usure plus rapide au centre)

B00052
Le comport routier est médiocre. L'effet des irrégularités de la chaussée est amplifié par les pneus, ce qui peut endommager le vehicule.
Si la plaque de renseignements sur les pneus indique les pressions de gonflage à appliquer lorsque le vehicule est à pleine charge, réglez la pression de gonflage à la valeur correspondant aux conditions d'utilisation du vehicule.

DANGER
Rouler à grande vitesse avec des pneus trop peu gonflés peut entraîner une déformation importante et un échauffement rapide des pneus.
Une brusque élevation de la tempé
rature d'un pneu peut entrainer le
décollement de la bande de roule
ment et la destruction du pneu. Ceci
entrainerait une perte de contrôle du
vehicule, et des risques d'accident.
Équilibrage des roues
Chacune des roues était correctement équilibrée lorsque votre vehicule était neuf mais les pneus s'usent avec le temps, entrainant un défaut d'équilibrage des roues. Un défaut d'équilibrage des roues se traduit par des vibrations du volant de direction à certaines vitesses de déplacement, et nuit à la stabilité du vehicule en ligne droite. Cela peut aussi provoquer des problèmes au niveau de la direction et de la suspension du vehicule, et une usure anormale des pneus. Si vous pensez que les roues de votre vehicule ne sont pas correctement équilibrées, faites-les contrôleur et régler par un concessionnaire SUBARU. Faites également réequilibrer vos roues après permutation et après réparation d'une creaison.
REMARQUE
Un défaut de géométrie du train de roulement* entraine une usure irregulière des pneus et une moinsonne
tenue de route du vehicule. Si vous constatze une usure anormale des pneus de votre vehicule, contactez un concessionnaire SUBARU.
*: La suspension est conçue de manière à maintenir une certaine géométrie du train de roulement (c'est-à-dire une position déterminée de chacune des roues par rapport aux autres roues et à la route) pour une bonne stabilité en ligne droite et des performances en virage optimes.
Indicateurs d'usure

1) Bande de roulement neuve
2) Bande de roulement usee
3) Indicateur d'usure de bande de roulement
Chaque pneu incorpore un indicateur d'usure qui devient apparent lorsque la profondeur des dessins de la bande de roulement est réduite à 1,6 mm (0,063 in). Un pneu dont l'indicateur d'usure est visible tout autour de la bande de roulement doit être remplaced.

DANGER
Lorsque l'indicateur d'usure de la bande de roulement d'un pneu est apparent, le pneu est usé au-delà de la limite acceptable, et doit être immédiatement replacé. Rouler à grande vitesse par temps de pluie avec un pneu dans cet état peut provoquer un effet d'aquplaning. Il peut en résultat un accident par perte de contrôle du vehicule.
REMARQUE
Pour la sécurité, inspectez régulièrement la bande de roulement des pneus de votre vehicule, et remplacez les pneus avant que les indicateurs d'usure ne soient apparents.
■ Repère de sens de permutation des pneus

Exemple de repère de sens de permutation des pneus
1) Avant
Lorsque le sens de permutation du pneu est spécifique, il est indiqué par un repère situé sur son flanc.
Lors de l'installation d'un pneu possédant un repère de sens de permutation, veillez à ce que ce dernier soit orienté vers l'avant.
Permutation des roues

Vehicules équipés de quatre pneus non unidirectionnels
1) Avant

Vehicules Equipés de pneus unidirectionnels
1) Avant
L'usure des pneus est variable d'une roue à l'autre. Pour une longévité optimale et une usure régulière de chacun des pneus, il est recommandé de permuter les roues tous les 12.000 km (7.500 miles). À chaque rotation de pneu, déplacez les pneus dans les positions illustrées.
Au moment de la permutation des roues, remplacez tout pneu endommagé ou représentant une usure inégale. Àpres permutation, réglez la pression de gonflage des pneus et vérifie que les écrous de roue sont correctement serrés.
Après avoir roule 1.000km (600 miles) environ, contrôle à nouveau le serrage
des écrous de roue, et resserrez si nécessaire.
■ Remplacement des pneus
Les jantes et les pneus sont une partie importante et intégrante de votre vehicule et ne doivent pas être replacés arbitrairement. Les pneus montés en équipement standard sont les最好的 adaptations aux caractéristiques de leur vehicule. Ils ont été choisis pour concilier de manière optimale des exigences de performance, de comport et de longévite. Il est essentiel que chacun des pneus utilisés soit de la taille et de la structure indiquées sur l'étiquette des pneus, et qu'ilporte un symbole de vitesse et un indice de charge identiques à ceux indiqués sur ladite étiquette.
L'utilisation de pneus d'une talle autre que la talille prescrite nuit à la maniabilité, au comfort de conduite, aux performances de freinage et à la précision du compteur totalisateur et du compteur journalier. Elle entraîne en outre un débutment incor-rect entre les pneus et la carrosserie et modifie la garde au sol.
Les quatre pneus doivent etre identiques en termes de fabricant, de marque (motif de bande de roulement), de structure et de taille. Il est conseilé de replacer les
pneus par des pneus neufs identiques a ceux montes sur le vehicule en équipement standard.
Pour utiliser ce vehicule en toute sécurité, SUBARU recommende de replacer les quatre pneus simultanément.

DANGER
- Les quatre pneus doivent êtreidentiques en termes de fabricant, de marque (motifs de bande de roulement), de structure, de degré d'usure, de symbole de vitesse, d'indice de charge et de taille. Mélanger des pneus différents en type, en taille ou en degré d'usure risque d'endommager le train propulseur du vehicule. L'emploi de pneus différents en type ou en taille peut nuir gravement à la maitrise du vehicule et aux performances de freinage, et risque de causeur un accident.
Utilisez des pneus radiaux uniquement. N'utilisez pas des pneus radiaux en meme temps que des pneus a structure ceinturée croisée et/ou des pneus a structure diagonale. Cela pourrait réduire dangereusement la
maniabilité du vehicule et être à l'origine d'un accident.
■ Remplacement des jantes
Si vous doivent restorer l'elégé, parle qu'elles sont endommagées par exemple, vérifie que les jantes de rechange ont les mêmes caractéristiques que celles montèes en équipement standard. Des jantes de rechange sont disponibles chez les concessionnaires SUBARU.

DANGER
N'utilisez pas des jantes autres que celles prescrites pour votre vehicule. Des jantes non conformes aux specifications risquent d'empêcher le bon fonctionnement des étriers de frein, et les pneus risquent de frottier contre les logements de roue dans les virages. Ceci entrainerait une perte de contrôle du vehicule, et des risques d'accident.
REMARQUE
Après permutation des roues, ainsi que chaque fois qu'une roue a été déposée et remise en place en cas de crevaison, etc., vérifie toujours le serrage des
écrous de roue après avoir parcouru 1.000 km (600 miles) environ. Tout écrou mal serraientoireresserréau couple spécifique.
Jantes en aluminium
Les jantes en aluminium peuvent se rayer et s'endommager facilement. Prenez-en soit pour qu'elles conservent leur aspect, leurs performances et leur résistance.
- Àpres permutation des roues, ainsi que chaque fois qu'une roue a été déposée et remise en place en cas de crevaison, etc., vérifie toujours le serrage des écros de roue après avoir parcouru 1.000km (600 miles) environ. Tout écrou mal serrait doit être resserré au couple spécifique.
- N'huilez jamais les parties filetées, les écrous de roue ou les portées coniques des jantes.
- Ne laïsez jamais les roues frottier contre des bosses ou cordures de trottoir.
- Lorsque vous remplacez les écrous de roue, les masselottes d'équilibrage ou l'enjolveur central, utilisez des pieces SUBARU d'origine spéciales pour jantes en aluminium.
Liquide de lave-glace de pare-brise

Si le lave-glace ne débite pas assez de liquide de lavage quand vous l'actionnez, contrôle le niveau de liquide dans le réservoir de lave-glace.

Jauge de niveau de liquide de lave-glace

Ouvrez le bouchon de replissage du réservoir de lave-glace et contrôle le niveau de liquide sur la jauge de niveau (fixée au bouchon). Si le niveau est proche de la marque "Low" (bas), ajoutez
du liquide jusqu'à la marque "Hi" (haut), ou jusqu'au repère "FULL" (plein) sur la paroi du réservoir.
N'utilise que du liquide spécial pour lave-glace. Utilisez de I'eau douce lorsque le liquide pour lave-glace n'est pas disponible.
Dans les régions froides, utilisez en hiver un liquide de lave-glace de type antigel. Le liquide de lave-glace SUBARU contient 58.5% d'alcool methylique et 41.5% d'agent de surface par volume. La tempora-ture de congestion est indiquée dans le tableau ci-après. Elle varie en fonction du degré de concentration de la solution dans l'eau.
| Concentration de la solution | Température de congélation |
| 30% | -12°C (10.4°F) |
| 50% | -20°C (-4°F) |
| 100% | -45°C (-49°F) |

ATTENTION
N'employez jamais du liquide de refroidissement pour moteur comme liquide de lave-glace: cela pourrait endommager la peinture du vehicule.
Pour éviter que le liquide de lave-glace ne gèle, ajustez la concentration du liquide en fonction de la température extérieure, sur la base des indications du tableau cidesus.
Lorsque you remplissez le réservoir avec un liquide de lave-glace plus concentré que celui que you utilisez précédemment, purgeze l'ancien liquide subsistant dans la canalisation entre le réservoir et les gicleurs en faisant fonctionner le laveglace un certain temps. Dans le cas contraire, si le liquide se trouvant dans la canalisation n'était pas assez concentré pour la température extérieure, il risquerait de geler et de boucher les gicleurs.

ATTENTION
- Ajustez la concentration du liquide de lave-glace en fonction de la température extérieure. Si le liquide n'est pas assez concentré, il risque d'obstruer la vision en gelant contre le pare-brise, et de geler dans le réservoir.
- Les réglementations des États ou locales sur les composants organiques volatiles peut restreindre l'utilisation du méthanol, un additif antigel courant de lave-glace de pare-brise. Des lave-glaces
contenant un antigel non mét hylique ne doit être utilisés qu'uniquement s'ils procurent une protection par temps froid sans endommager la peinture, les balais d'essuie-glace et le système de lave-glace.
Remplacement des balais d'essuie-glace
LaGRAISS,la cire,les insectes et toute autre substance adherant au pare-brise et aux balais d'essuie-glace rendent le fonctionnement des essuie-glaces irregular et forment des marques sur la vitre. Si vous ne parvenez pas a eliminer ces impuretés simplement en actionnant le lave-glace, ou si le mouvement des essuie-glaces est irregular,nettoyzes les balais d'essuieglace et la face exter du pare-brise ou de la lunette arriere) en frottant avec une eponge ou un chiffon doux imbibede détergent neutre ou faiblement abrasif. Apre's nettoyage, rincez la vitre et les balais d'essuie-glace a I'eau propre.La vitre est propre s'il ne s'y forme pas d'auréoles pendant le rincage a I'eau.

ATTENTION
- Ne nettoyez pas les balais d'essuie-glace avec de l'essence ou du solvant (diluant à peinture, benzine, etc.). Ces produits les endommageraient.
Lors du retrait de balais d'essuie-glace des bras d'essuie-glace, ne remettez pas les bras d'essuie-glace en position d'origine. Au
trement, la surface du pare-brise serait rayé.
Lors de la remise des bras d'essuie-glace à la position d'origine, remettez les bras d'essuie-glace sur le pare-brise à la main. Vous ne devez pas remetre les bras d'essuie-glace au pare-brise par seul saut de retour. Autrement, les bras d'essuie-glace seraient déformés et/ou la surface de pare-brise serait rayé.
Si vous ne parvenez pas à éliminer les marques par lavage selon la méthode cédessus, replacez les balais d'essuie-glace, en procédant comme indiqué ci-après.
■ Ensemble balais d'essuie-glace de pare-brise
Type A
- Écartez le bras d'essuie-glace du pare-brise.

1) Butée
- Retirez l'ensemble balai d'essuie-glace en le tenant par le pivot et en le poussant dans le sens de la flèche de l'illustration tout en appuyant sur la butée de balai.
- Installez l'ensemble balai d'essuie-glace sur le bras d'essuie-glace. Vérifiez qu'il s'est correctement verrouillé en position.
- Tenez le bras d'essuie-glace à la main et abaissez-le doucement en position.
Type B
- Écartez le bras d'essuie-glace du pare-brise.

1) Ouvrez le couvercle
2) Tirez le balai d'essuie-glace vers le bas
- Demontez l'ensemble balai d'essuie glace en ouvrant le couvercle et en le tirant vers le bas dans le sens illustré.
- Installez l'ensemble balai d'essuie-glace sur le bras d'essuie-glace. Vérifiez qu'il s'est correctement verrouillé en position.
- Tenez le bras d'essuie-glace à la main et abaissez-le doucement en position.
Caoutchouc de balais d'essuie-glace de pare-brise (types A et B)
REMARQUE
Les illustrations suivantes montrent la procEDURE de remplacement du caoutchouc de balais d'essuie-glace pour ensembles de balais de type A. La procEDURE a suivre pour les ensembles de balais de type B est identique.

1) Support métallique
- Saisissez l'ensemble caoutchouc de balai par le bout prisoner, et tirez avec assez de force pour libérer les butées du caoutchouc du support métallique.

1) Joncs métalliques
- Si le nouveau caoutchouc de balai est livré sans les deux joncs métalliques, récapuérez les joncs métalliques de l'ancien caoutchouc de balai pour les installer sur le nouveau.

- Placez les griffes du support métallique en face des rainures du caoutchouc et faites glisser le caoutchouc dans le support métallique jusqu'à ce qu'il se verrouille en position.

1) Butée
- Veillez à placer les griffes du bout du support métallique entre les butées du caoutchouc comme indiqué sur l'illustration. Si le caoutchouc n'est pas maintainu correctement, le métal du balai risque de rayer le pare-brise.
REMARQUE
L'illustration montre la procEDURE de remplacement pour caoutchouc de balais d'essuie-glace de type A. La procEDURE a suivre pour le type B est
identique. Pour replacer des balais d'essuie-glace de type B, suivez la procEDURE réalisée dans cette section.
■ Ensemble balais d'essuie-glace de lunette arrête
- Relevez le bras d'essuie-glace pour l'écarter de la lunette arrière.

- Inclinez l'ensemble balai d'essuie-glace en le tournant dans le sens inverse des aiguilles d'une montre.

- Tirez l'ensemble balai d'essuie-glace vers vous pour le séparer du bras d'essuie-glace.
- Installez l'ensemble balai d'essuie-glace sur le bras d'essuie-glace. Vérifiez qu'il s'est correctement verrouillé en position.
- Tenez le bras d'essuie-glace à la main et abaissez-le doucement en position.
Caoutchouc de balai d'essuie-glace de lunette arriere

- Tirez sur la partie en caoutchouc du balai pour la décoller du support en plastique.


- Tirez la partie en caoutchouc hors du support en plastique jusqu'à séparation complete.
1) Joncs métalliques - Si le nouveau caoutchoc de balai est livré sans les deux joncs métalliques, récapérez les joncs métalliques de l'ancien caoutchoc de balai pour les installer sur le nouveau.

- Engagez les ergots du support en plastique dans les rainures du caoutchouc du balai, puis glissez le caoutchouc en place jusqu'au bout.

Immobilisez soigneusement les extrémites du caoutchouc dans les butées sur le
support en plastique. Si le caoutchou n'est pas maintenu correctement, le métal du balai risque de rayer la lunette arrière.
- Installez l'ensemble balai d'essuie-glace sur le bras d'essuie-glace. Vérifiez qu'il s'est correctement verrouillé en position.
- Tenez le bras d'essuie-glace à la main et abaissez-le doucement en position.
Batterie

DANGER
- Chaque fois que vous travailliez sur ou pres d'une batterie, éteignez toute cigarette, allumette ou briquet. N'exposez jamais une batterie à une flambre vivou ou à des étincelles. Les batteries dégagent des gaz inflammables et explosifs.
Pour la sécurité, en prévision d'une explosion, portez toujours des lunettes de protection ou protégéz-vous les yeux lorsque vous vous approached une batterie. Ne vous penchez jamais au-dessus d'une batterie. - Évitez absolument tout contact entre le liquide de batterie et les yeux, la peau, les vêtements ou la peinture du vehicule, car le liquide de batterie est un acide très corrosif. En cas de contact avec la peau ou les yeux, lavez-vous immédiatement à grande eau. Si le liquide de batterie a pénétré dans les yeux, consultez un médecin de toute vergence.
En cas d'ingestion accidentelle
du liquide de batterie, buvez immédiatement une grande quantité de lait ou d'eau, et consultez un médecin.
Pour limiter le risque de production d'étincelles, enlevez vos bagues, votre montre à bracelet métallique et tout autre bijou métallique. Ne laissez jamais un outil métallique toucher SIMULTANÉMENT la borne positive de la batterie ou tout autre object en contact avec cette borne tant que vous étes vous-même en contact avec une autre partie métallique quelconque du vehicule, car cette situation produit un court-circuit.
- Ne laissesz personne, et surtout pas les enfants, s'approcher de la batterie.
- Mettez la batterie en charge dans un endroit bien aéré.
- Les plots et cessions de batteries et les accessoires associés contiennent du plomb et des composés de plomb, substances reconnues par l'Etat de Californie comme cancérigènes et susceptibles de causeurs des défauts de reproduction. Les batteries ren
ferment aussi d'autres substances chimiques reconnues comme cancérigènes par l'État de Californie. Lavez-vous les mains après y avoir touché.

1) Bouchon
2) Niveau supérieur
3) Niveau inférieur
Il n'est en principe pas nécessaire de contrôler périodiquement le niveau du liquide dans la batterie ou de rajouter de l'eau distilled.
Cependant, si le niveau de liquide de batterie est inférieur au niveau bas, retirez le capuchon. Remplissez jusqu'au niveau supérieur avec de l'eau distilled.

ATTENTION
Ne rechargez jamais la batterie avec un courant de charge supérieur à 10 ampères: cela nuirait à la longévite de la batterie.
Fusions

ATTENTION
Ne remplacez jamais un fusible par un autre de plus forte intensité ou par un corps conducteur quel-conque: cela pourrait cause desérieux dégats ou un incendie.
Les fusibles sont prévus pour fondre en cas de surcharge des circuits électriques, afin de protégger les fils et équipements électriques. Les fusibles sont répartis entre deux boîtes à fusibles.

L'une se trouve sous le tableau de bord au dos du couvercle de la bofte à fusibles du côté du siège du conducteur. Pour retirer
le couvercle, sortez-le en tirant.

L'autre se trouve dans le compartmente.
moteur.

Les fusibles de rechange se trouvent au revers du couvercle de la boîte à fusibles principale dans le compartment mateur.

L'extracteur de fusible se trouve au revers de la boîte à fusibles principale dans le compartmentement moteur.

1) Bon état
2) Fondu
Lorsqu'une lumière, un accessoire ou une
commande électrique ne fonctionne pas, commencez par examiner le fusible correspondant. Remplacez-le s'il est fondu.
- Mettez le contacteur d'allumage en position "LOCK" et éteignez tous les équipements électriques.
- Enlevez le couvercle.
- Localisez le fusible qui pourrait etre grillé. Regardez l'envers de chaque couvercle de boite a fusible, et reportez-vous à "Fusibles et circuits" 12-6.

- Enlevez le fusible au moyen de l'extracteur de fusible.
- Examinez le fusible. S'il est fondu, remplacez-le par un fusible de rechange de même intensité.
- Si le même fusible fond à nouveau, c'est le signe qu'il y a une anomalie dans
le circuit. Faites réparer par un concessionnaire SUBARU.
Fusible principal

Boite à fusibles principaux
Les fusibles principaux sont conçus pour fondre en cas de surcharge avant que le câblage et les équipements électriques ne soient endommages. Si un équipement électrique (autre que le démarreur) ne fonctionne pas alors que tous les autres fusibles sont en bon état, examinez les fusibles principaux. Tout fuseible principal fondu doit être remplaced. Si un fuseible principal a fondu, remplacez-le par un fuseible principal de même intensité. Si le nouveau fuseible principal fonds aussi, faites inspector les circuits électriques du vehicule par le concessionnaire SUBARU le plus proche.
Installation d'accessoires
Avant d'installer des phares antibrouillard ou tout autre accessoire électrique sur votre vehicule, il est indispensable que vous consultiez un concessionnaire SUBARU. De tels accessoires risquent de perturber le fonctionnement des systèmes Electroniques du vehicule s'ils n'ont pas ete installes correctement ou s'ils sont d'un type incompatible avec le vehicule.
Remplacement des ampôules

DANGER
Les ampoules poursraient etre extrement chaudes lorsqu'elles sont allumées.Avant de replacer les ampoules,eteignez les éclairages et attendez que les ampoules refroidissent.A défaut,vous risqueriez de vous bruler.

ATTENTION
Lorsque you remplacez une ampoule,utilizez tous une nouvelle ampoule de meme puissance que I'ancienne.L'utilisation d'une ampoule de puissance différente risquerait de provoquer un incendie. Pour la puissance specifique de chaque ampoule,reportez-vous a "Ampoules electriques" 12-10.
Phares (modèles avec phares HID)

DANGER
Les feuels de croissement des phares sont équipés d'ampoules à décharge de forte intense (HID). Ces ampoules HID sont alimentées en très haute tension. Pour éviter de vous électrocuter et de subir de graves blessures, suivez les précautions suivantes.
- Ne remplacez pas les ampoules de phares (pour peux de route et peux de croissement) par vous-même.
- N'enlevez/restaurez pas les ensembles phare par vous-même.
- N'enlevez/restaurez pas les composants des ensembles phare par vous-même.
Pour le remplacement, contactez.
votre concessionnaire SUBARU.
Phares (modèles sans phares HID)

ATTENTION
Les ampoules de phare à halogène chauffent fortement lorsqu'elles sont allumées. Ne touche pas ces ampoules à main rue ou avec des gants gras même quand elles sont froides. Les emprentes digitales ou les corps gras déposés sur le verre font casser l'ampoule lorsqu'elle chauffe. Pour éliminer les emprentes digitales ou laGRAISS, frottez le verre de l'ampoule avec un chiffon doux imbibé d'alcool.
REMARQUE
- S'il est nécessaire de régler les axes optiques des phares, demandez à un concessionnaire SUBARU d'effectuer ce travail pour que le réglage soit correctement fait.
- Ces ampoules sont difficiles à replacer. Faites replacer les ampoules par votre concessionnaire SUBARU si nécessaire.
Ampôules des feués de croisement

Côté droit
- Libérez les agrafes sur la gaine d'admission d'air à l'aide d'un tournevis, puis retirez la gaine d'admission d'air (côté droit).

Côté gauche
- Utilisez un tournevis pour-retirer l'agrafe de fixation du réservoir de liquide de lave-glace. Afin d'acceder plus facilement à l'ampoule, déplacez le réservoir de liquide de lave-glace dans le sens horizontal (côté gauche).

- Libérrez le capuchon de l'ampoule en le tournant dans le sens inverse des aiguilles d'une montre.

- Debranche le connecteur électrique côte ampoule.

- Sortez l'ampoule de l'ensemble phare en la tournant dans le sens inverse des aiguilles d'une montre.
- Remplacez l'ampoule par une neue. Pour ce faire, voirlez à ne pas toucher à l'ampoule.
- Pourmettre l'ampoule en place sur I'ensemble phare,tournez dans le sens des aiguilles d'une montre jusqu'à enclenchement.
- Rebranche le connecteur électrique.
- Remettez le capuchon de l'ampoule en place.
- Installez la conduite d'admission d'air avec des agrafes (cote droit).
- Replacez le réservoir de liquide de lave-glace dans sa position d'origine et fixez-le à l'aide de l'agrafe (côté gauche).
Ampôules des feués de route

Côté droit
- Libérez les agrafes sur la gaine d'admission d'air à l'aide d'un tournevis, puis retirez la gaine d'admission d'air (côté droit).

Côté gauche
- Utilisez un tournevis pour-retirer l'agrafe de fixation du réservoir de liquide de lave-glace. Afin d'acceder plus facilement à l'ampoule, déplacez le réservoir de liquide de lave-glace dans le sens horizontal (côté gauche).

- Debranche le connecteur électrique côte ampoule.

- Sortez l'ampoule de l'ensemble phare en la tournant dans le sens inverse des aiguilles d'une montre.
- Remplacez l'ampoule par une neue.
Pour ce faire, veillez à ne pas toucher à l'ampoule.
- Pourmettre l'ampoule en place sur I'ensemble phare,tournez dans le sens des aiguilles d'une montre jusqu'à enclenchement.
- Rebranchez le connecteur électrique.
- Installez la conduite d'admission d'air avec des agrafes (côté droit).
- Replacez le réservoir de liquide de lave-glace dans sa position d'origine et fixez-le à l'aide de l'agrafe (côté gauche).
■ Clignotant de direction avant
Ces ampoules sont difficiles à replacer. Faites replacer les ampoules par votre concessionnaire SUBARU si nécessaire.
■ Phare antibrouillard avant (selon modèles)
REMARQUE
Ces ampoules sont difficiles à replacer. Faites replacer les ampoules par votre concessionnaire SUBARU si nécessaire.


Type A
Type B
- Enlevez les agrafes.

- Retournez le garde-boue.
- Debranchez le connecteur électrique.

1)Vue du cote gauche du conducteur
2)Vue du cote croit du conducteur
-
Enlevez l'ampoule.
-
Remplacez l'ampoule par une neue.
- ÀpRES avoir remplace l'ampoule, rattachez le garde-boue.
Feux combinés arrière
Modèles 4 portières

- Libérrez les agrafes de la garniture latérale du coffre à bagages avec un tournevis.
- Écartez la partie arrêté du panneau de garniture latorale du coffre à bagages.

1) Feu stop/arrête et feu de gabarit arrête
2) Clignotant de direction arrêté
3) Phare de recul
- Séparez la douille d'ampoule de l'ensemble feu combiné arrêté en la tournant dans le sens contraire des aiguilles d'une montre.
- Sortez l'ampoule de la douille d'ampoule et remplacez-la par une neue.
- Introduisez la douille d'ampoule dans l'ensemble peux combinés arrêté et tournez-la dans le sens des aiguilles d'une montre pour verrouiller.
- Remettez le panneau de garniture latérale du coffre à bagages en place en le fixant au moyen des agrafes.
Modèles 5 portières

- A l'aide d'un tournevis cruciforme, enlevez les vis supérieure et inférieure de l'ensemble deux combinés arrêté.

- Faites coulisser l'ensemble feu combiné arrêtè vers l'arrêtè et retirez-le
du vehicule.

1) Feu de gabarit arrête
2) Clignotant de direction arrêté
- Séparez la douille d'ampoule de l'ensemble feu combiné arrêté en la tournant dans le sens contraire des aiguilles d'une montre.
- Sortez l'ampoule de la douille d'ampoule et remplacez-la par une neue.
- Introduisez la douille d'ampoule dans l'ensemble peux combinés arrêté et tournez-la dans le sens des aiguilles d'une montre pour verrouiller.

- Remettez l'ensemble feuels combinés arrrière en place en alignant l'agrafage avec le guide cote vehicule.

- Serrez les vis de fixation en haut et en bas.
Feu de recul (5 portières)

- Plaquez un tournevis à tête plate contre le cache du feu comme indiquédans l'illustration, et retirez le cache en faisant levier contre la carrosserie.

- Retirez la douille d'ampoule en la
tournant dans le sens contraire des aiguilles d'une montre.

- Sortez l'ampoule de la douille d'ampoule et remplacez-la par une neue.
- Remettez la douille d'ampoule en place en tournant dans le sens des aiguilles d'une montre.
- Remettez le couvercle du phare de recul en place contre le hayon.
Éclairage de plaque d'immatriculation

- Insérez un doigt du côté droit du cache d'éclairage de plaque d'immatriculation, puis exercez une pression sur la gauche et tirez pour retarder le cache.

- Tournez la douille d'ampoule dans le sens contraire des aiguilles d'une montre, puis extrayez-la.
- Sortez l'ampoule de la douille en tirant.
- Installes une ampoule neuve.
- Remettez le cache déclairage de plaque d'immatriculation.
Lampe de lecture
▼ Type A

- Enlevez le verre diffuseur en faisant levier avec un tournevis à lame plate glissé sous le bord du verre.

- Tournez l'ampoule pour amener les parties plates du bout de l'ampoule en position verticale. Retirez ensuite l'ampoule en la tirant droit vers le bas.
- Installez une ampoule neuve.
- Remettez le verre diffuseur en place.
Type B

- Enlevez le verre diffuseur en faisant levier avec un tournevis à lame plate glissé sous le bord du verre.
- Sortez l'ampoule de la douille en tirant.
- Installez une ampoule neuve.
- Remettez le verre diffuseur en place.
Plafonnier et éclairage de l'espace de chargement

Plafonnier

Éclairage de l'espace de chargement
- Enlevez le verre diffuseur en faisant
levier avec un tournevis à lame plate glissé sous le bord du verre.
- Sortez l'ampoule de la douille en tirant.
- Installes une ampoule neuve.
- Remettez le verre diffuseur en place.

Eclairage du coffre à bagages
- Enlevez le couvercle en le pinant sur les cots et en tirant.
- Sortez l'ampoule de la douille en tirant.
- Installez une ampoule neuve.
- Refermez le couvercle.
■ Feu stop surelevé (4 portières) (sauf les types LED [diode electroluminescente])

- Ouvrez le couvercle du feu stop surelevé en faisant levier sous le bord avec un tournevis.
- Retirez la douille d'ampoule de l'ensemble feu stop surélevé en tournant dans le sens contraire des aiguilles d'une montre.
- Sortez l'ampoule de la douille en tirant.
- Installez une ampoule neuve.
- Refermez le couvercle.
Autres ampoules
Ces ampôules sont difficibles à replacer. Faites replacer les ampôules par votre concessionnaire SUBARU si nécessaire.
Ca chromatistiques techniques 12-2
Dimensions 12-2
Moteur 12-3
Électricité 12-3
Contenances 12-4
Pneus 12-5
Géométrie du train de roulement 12-5
Fusibles et circuits 12-6
Boite à fusibles située dans l'habitacle 12-6
Boite à fusibles située dans le compartment
moteur 12-8
Ampoules electriques 12-10
Identification du vehicule 12-13
\section*{Caracteristiques techniques}
Ces caractéristiques sont sujets à modifications sans préavis.
Dimensions
mm (in)
| Élément | 4 portières | 5 portières | ||||||
| Modèles sans turbo | Modèles avec turbo | Modèles sans turbo | Modèles avec turbo | |||||
| Sauf STI | STI | Sauf OUTBACK | OUTBACK | Sauf STI | STI | |||
| Longueur hors-tout | 4.580 (180,3) | 4.415 (173,8) | ||||||
| Largeur hors-tout | 1.740 (68,5) | 1.795 (70,7) | 1.740 (68,5) | 1.795 (70,7) | ||||
| Hauteur hors-tout | 1.475 (58,1) | 1.470 (57,9) | 1.475 (58,1) | 1.480 (58,3) | 1.475 (58,1) | 1.470 (57,9) | ||
| Empattement | 2.620 (103,1) | 2.625 (103,3) | 2.620 (103,1) | 2.625 (103,3) | ||||
| Bande de roulement | Avant | 1.495 (58,9) | 1.530 (60,2) | 1.495 (58,9) | 1.490 (58,7) | 1.530 (60,2) | ||
| Arrière | 1.495 (58,9)*21.500 (59,1)*3 | 1.540 (60,6) | 1.495 (58,9)*21.500 (59,1)*3 | 1.495 (58,9) | 1.540 (60,6) | |||
| Garde au sol*1 | 155 (6,1) | 150 (5,9) | 155 (6,1) | 160 (6,3) | 155 (6,1) | 150 (5,9) | ||
1: Mesuré avec le vehicule vide
2: Modèles avec roues de 16 pouces
*3: Modèles avec roues de 17 pouces
Moteur
| Modèle du moteur | EJ253(2,5 L, SOHC, sans turbo) | EJ255(2,5 L, DOHC, turbo, sauf STI) | EJ257(2,5 L, DOHC, turbo, STI) |
| Type du moteur | Moteur à essence à 4 temps, 4 cylindres opposés horizontally, refroidi par liquide | ||
| Cylindrée cm3 (cu-in) | 150 (2.457) | ||
| Alésage × Course mm (in) | 99,5 × 79,0 (3,9 × 3,1) | ||
| Taux de compression | 10,0 : 1 | 8,4 : 1 | 8,2 : 1 |
| Ordre d'allumage | 1 – 3 – 2 – 4 | ||
Électricité
| Type de batterie et capacité (5HR) | B/M | 12 V-48 AH (55D23L) |
| BVA | 12 V-52 AH (65D23L) | |
| Alternateur | Modèles sans turbo | 12 V-90 A |
| Modèles avec turbo | 12 V-110 A | |
| Bougies d'allumage | Modèles sans turbo | FR5AP-11 (NGK) |
| Modèles avec turbo | SILFR6A (NGK) |
BVA: Boîte de vitesses automatique
B/M: Boîte de vitesses manuelle
■ Contenances
| Réservoir de carburant | 64 litres (16,9 US gal, 14,1 Imp gal) | ||
| Huile moteur | 4,0 litres (4,2 US qt, 3,5 Imp qt) | ||
| Liquide de transmission (modèles B/M) | 5 rapports | 3,5 litres (3,7 US qt, 3,1 Imp qt) | |
| 6 rapports | 4,1 litres (4,3 US qt, 3,6 Imp qt) | ||
| Liquide de transmission (modèles BVA) | 9,3 litres (9,8 US qt, 8,2 Imp qt) | ||
| Huile du différentiel avant (modèles BVA) | 1,2 litre (1,3 US qt, 1,1 Imp qt) | ||
| Huile du différentiel arrêté | STI | 1,0 litre (1,1 US qt, 0,9 Imp qt) | |
| Autres modèles | 0,8 litre (0,8 US qt, 0,7 Imp qt) | ||
| Liquide de servodirection | 0,7 litre (0,7 US qt, 0,6 Imp qt) | ||
| Liquide de refroidissement du moteur | Modèles sans turbo | Modèles B/M | 6,8 litres (7,2 US qt, 6,0 Imp qt) |
| Modèles BVA | 6,7 litres (7,1 US qt, 5,9 Imp qt) | ||
| Modèles avec turbo sauf STI | Modèles B/M | 7,4 litres (7,8 US qt, 6,5 Imp qt) | |
| STI | Modèles B/M | 7,7 litres (8,1 US qt, 6,8 Imp qt) | |
BVA: Boîte de vitesses automatique
B/M: Boîte de vitesses manuelle
Chaque quantité n'est donnée ci-dessus qu'à titre indicatif. La quantité nécessaire au remplacement est susceptible de varier légarement en fonction de la température et d'autres facteurs.
Pneus
| Taille des pneus | P205/55R16 89V | P205/50R17 88V | 235/45R17 | 245/40R18 | |
| Taille des jantes | 16 × 61/2JJ | 17 × 7JJ | 17 × 8JJ | 18 × 81/2J | |
| Pression | Avant | 230 kPa (2,3 kgf/cm2, 33 psi) | |||
| Arrière | 220 kPa (2,2 kgf/cm2, 32 psi) | ||||
| Roue de secours de type provisoire | Taille | T125/70 D17 | T135/70 D17 | ||
| Pression | 420 kPa (4,2 kgf/cm2, 60 psi) | ||||
| Couple de serrage d'écrou de roue | 100 N·m (10 kgf·m, 72 lbf·ft)* | ||||
*: Ce couple équivaut à exercer une force de 40 à 50 kgf (88 à 110 lbf) au bord de la clé à écrous de roue. Si vous avez personnellement serrer les écrous de roue, faites vérifier le couple de serrage auprès du garage le plus proche dès que possible.
Géométrie du train de roulement
| Élément | 4 portières | 5 portières | ||||||
| Modèles sans turbo | Modèles avec turbo | Modèles sans turbo | Modèles avec turbo | |||||
| Sauf STI | STI | Sauf OUTBACK | OUTBACK | Sauf STI | STI | |||
| Pince-ment | Avant | 0±3 mm (0±0,12 in)Angle de pincement (somme des deux roues): 0°±0°15' | ||||||
| Arrière | ||||||||
| Carros-sage* | Avant | -0°10' ± 0°30' | -0°50' ± 0°30' | -0°45' ± 0°30' | -0°10' ± 0°30' | -0°05' ± 0°30' | -0°05' ± 0°30' | -0°45' ± 0°30' |
| Arrière | -1°05' ± 0°45' | -1°35' ± 0°45' | -1°30' ± 0°45' | -1°05' ± 0°45' | -1°35' ± 0°45' | -1°30' ± 0°45' | ||
*: La différence entre le carrossage droit et gauche doit être égale ou inférieure à 45^ .
Fusibles et circuits

Boîte à fusibles située dans l'habitacle
C00123
| Emplacement du fusible | Intensité | Circuit |
| 1 | Vide | |
| 2 | Vide | |
| 3 | 15 A | • Verrouillage des portières |
| 4 | 10 A | • Relais de dégivreur d'essuie-glace avant |
| 5 | 10 A | • Instruments de bordHorloge |
| 6 | 7,5 A | • Rétroviseurs arrêté telécommendés• Relais de sièges chauffants |
| 7 | 15 A | • Instruments de bord• Module des fonctions intégrées |
| 8 | 20 A | • Feu stop |
| 9 | 15 A | • Dégivreur d'essuie-glace avant |
| 10 | 7,5 A | • Alimentation élec-trique (batterie) |
| 11 | 7,5 A | • Clignotant de direction |
| 12 | 15 A | Boîte de vitesses automatique Bloc de commande du moteur Module des fonctions intégrées |
| 13 | 20 A | Prise de courant pour accèsoir (console centrale) |
| 14 | 15 A | Feux de position Feux arrêté Feux combinés arrière |
| 15 | Vide | (connecteur FWD pour modèles à traction intégrale et à BVA) |
| 16 | 10 A | Lumières |
| 17 | 15 A | Sièges chauffants |
| 18 | 10 A | Phare de recul |
| 19 | Vide | |
| 20 | 10 A | Prise de courant pour accèsoir (tableau de bord) |
| 21 | 7,5 A | Relais de démarreur |
| Emplacement du fusible | Intensité | Circuit |
| 22 | 15 A | • Climatisation • Relais de la bobine du désembueur de lunette arrière |
| 23 | 15 A | • Essuie-glace de lu-nette arrière • Lave-glace de lu-nette arrière |
| 24 | 15 A | • Appareil audio |
| 25 | 15 A | • Système des cous-sins de sécurité SRS |
| 26 | 7,5 A | • Relais de lève-vitre électrique • Relais de ventilateur principal de radiateur |
| 27 | 15 A | • Soufflante de chauffage |
| 28 | 15 A | • Soufflante de chauffage |
| 29 | 15 A | • Phare antibrouillard |
| 30 | 30 A | • Essuie-glace avant |
| 31 | 7,5 A | • Chauffage/climatisation automatique • Module des fonctions intégrées |
| Emplacement du fusible | Intensité | Circuit |
| 32 | Vide | |
| 33 | 7,5 A • Freins antiblocage (ABS)/Système du Contrôle de Dyna-mique du Véhicule |
Boîte à fusibles située dans le compartment moteur

A) Fusible principal
| Emplacement du fusible | Intensité | Circuit |
| 1 | 30 A | Freins antiblocage (ABS)Système du Contrôle de Dynamique du Véhicule |
| 2 | 25 A | Ventilateur principal (ventilateur) |
| 3 | 10 A | Volet d'air secon-daire (modèles avec turbo) |
| 4 | 25 A | Ventilateur auxiliaire (ventilateur) |
| 5 | Vide | |
| 6 | 10 A | Équipement audio |
| 7 | 30 A | Phare (feux de croi-usement) |
| 8 | 15 A | Phare (feux de route) |
| 9 | 20 A | Feu de recul |
| 10 | 15 A | Avertisseur sonore |
| 11 | 25 A | Désembumeur de lu-nette arrièreDégivreur de rétrovi-seur extérieur |
| 12 | 15 A | Pompe à carburant |
| 13 | 10 A | Bloc de commande de la boîte de vites-ses automatique |
| 14 | 7,5 A | • Bloc de commandedu moteur |
| 15 | 15 A | • Centrale de clignote-ment des clignotantsde direction et feuxdétresse |
| 16 | 15 A | • Relais d'éclairage defeux arrière |
| 17 | 7,5 A | • Alternateur |
| 18 | 15 A | • Phare (côte droit) |
| 19 | 15 A | • Phare (côte gauche) |
Ampoules électriques



C00181
REMARQUE
Les éclairages de A à D sont de type LED (diode electrolytes). Pour leur remplacement, adressez-vous à un concessionnaire SUBARU.
| Puisance | N° d'ampoule | ||
| 1) | Feu de route | 12 V-60 W | 9005 (HB3) |
| 2) | Feu de croissement | ||
| Modèles avec phares HID | 12 V-35 W | D2S | |
| Modèles avec phare à halogène | 12 V-55 W | H11 | |
| 3) | Clignotant de direction avant/Feu de gabarit avant | 12 V-27/8 W | 1157NA |
| 4) | Lampe de lecture | 12 V-8 W | - |
| 5) | Plafonnier | 12 V-8 W | - |
| 6) | Phare antibrouillard avant | 12 V-51 W | 9006 (HB4) |
| 7) | Lampe de marchepied de portière (STI) | 12 V-5 W | W5W |
| 8) | Éclairage de coffre à bagages (4 portières) | 12 V-5 W | (W5W) |
| 9) | Feu stop surélevé (4 portières, selon modèles) | 12 V-21 W | (P21W) |
| 10) | Clignotant de direction arrêté (4 portières) | 12 V-21 W | (WY21W) |
| 11) | Feu de recul (4 portières) | 12 V-16 W | 921 |
| 12) | Feu stop/arrière et feu de gabarit arrêté (4 portières) | 12 V-21/5 W | 7443 (W21/5W) |
| 13) | Éclairage de l'espace de chargement (5 portières) | 12 V-5 W | - |
| 14) | Feu de gabarit arrêté (5 portières) | 12 V-5 W | 168 |
| 15) | Clignotant de direction arrêté (5 portières) | 12 V-21 W | (WY21W) |
| 16) | Feu de recul (5 portières) | 12 V-21 W | 7440 |
| 17) | Éclairage de plaque d'immatriculation | 12 V-5 W | 168 (W5W) |
| A) | Feu stop surélevé (5 portières) | - | - |
| B) | Feu stop/arrière (5 portières) | - | - |
| C) | Feu stop surélevé (4 portières, selon modèles) | - | - |
| D) | Clignotant latéral (selon modèles) | - | - |

DANGER
-
Les ampoules pourraient etre extrement chaudes lorsqu'elles sont allumées. Avant de remplacer les ampoules, eteignez les éclairages et attendez que les ampoules refroidissant. A défaut, vous risqueriez de vous brûler.
Pour les modèles avec feu de croisement HID, suivez les précautions suivantes. Autrement, vous risqueriez de vous électrocutter et de subir de graves blessures car ces ampôules HID sont alimentées en très haute tension. -
Ne remplacez pas les ampoules de phares (pour feu de route et feu de croissement) par vous-même.
- N'enlevez/restaurez pas les ensembles phare par vous même.
- N'enlevez/restaurez pas les composants des ensembles phare par vous-même.
Pour le remplacement, contactez.
votre concessionnaire SUBARU.

ATTENTION
Lorsque you remplacez une ampoule, utilisez toujours une nouvelle ampoule de même puissance que l'ancienne. L'utilisation d'une ampoule de puissance différente risquerait de provoquer un incendie.
Identification du vehicule

1) Numéro d'identification du vehicule
2) Étiquette des renseignements antipollution
3) Étiquette de pression de gonflage des pneus
4) Sceau de certification
5) Plaque de numero d'identification du vehicule
6) Étiquette du numéro de modulo
7) Étiquette de carburant
8) Étiquette de climatisation
Pour les États-Unis 13-2
Informations sur les pneus 13-2
Marquage des pneus 13-2
Pression de gonflage recommandée des pneus 13-4
Glossaire des termes relatifs aux pneus 13-5
Soins des pneus - entretien et pratiques de sécurité 13-10
Limin de charge du vehicule - comment la déterminer 13-11
Pour déterminer la compatibilité entre capacités de charge et pneus du vehicule 13-14
Consequences sur la sécurité d'une surcharge du vehicule (comportement, arrêt, pneus, etc.). 13-15
Étapes de détermination de la limite de charge correcte 13-15
Notation standardisée de la qualité des pneus 13-16
Usure de la bande de roulement 13-16
Note de traction (AA, A, B, C) 13-17
Note de températe (A, B, C) 13-17
Déclaration en cas de défaut de sécurité (pour les États-Unis d'Amérique) 13-18
Pour les États-Unis
Les informations suivantes sont presentses en conformite avec le Code des Reglements Féderaux "Titre 49, Alinéa 575".
Informations sur les pneus
■ Marquage des pneus
Diverses indications ( comme la taille des pneus, le Numéro d'identification de Pneus ou TIN) sont inscrites sur le flanc des pneus par les fabricants de pneumatiques. Ces indications fournissant d'utilites informations sur les pneus que vous utilisez.
Tailles des pneus
Votre vehicule est équipé de pneus dont la taille est exprimée en notation P-Metric. Pour désir des pneus qui conviennent à votre vehicule, il est important de comprendre le système d'indication de taille. Voici une rapide presentation du système d'indication de taille des pneus pour vous permettre d'interpréter les informations fournies.
Notation P-Metric
En notation P-Metric, la largeur de section est donnée en millimètres.
Pour convertir les millimétres en pouces, il faut diviser par 25,4. Le rapport de forme (ou rapport H/L; Hauteur divisée par Largeur de la section du pneu) est une information supplémentaire sur la taille et la forme du pneu.
Example:
$$ \begin{array}{c c c c c} \mathbf {P} & 2 0 5 / & 5 5 \ \hline (1) & (2) & (3) & (4) & (5) \end{array} $$
(1) P = Signifie qu'il s'agit d'un pneu pour vehicules légers, comme les voitures de tourisme
(2) Largeur de la section en milli-mêtres
(3) Rapport H/L (hauteur de la section divisée par largeur de la section)
(4) R = Signifie qu'il s'agit d'un pneu à carcasse radiale
(5) Diametre de la jante en pôues
Indices de charge et de vitesse
Les indications concernant les prescriptions de charge et de vitesse
apparaissant à la suite des indications de taille.
Elles fournissent deux informations importantes concernant le pau. La première indication (chiffre) est l'indice de charge du pau. La deuxieme (lettre) est l'indice de vitesse du pau.
Example:
P 205 / 55 R 16 89 V
Indications de taille
(6) (7)
(6) Indice de charge: Ce code numérique indique la charge maximale que peut supporter le pneau à la vitesse maximale correspondant à l'indice de vitesse, à la pression de gonflage maximale.
Par example, "90" signifie 600 kg (1.323 lbs), "89" signifie 580 kg (1.278 lbs).
DANGER
L'indice de charge concerne uniquely le pneu, et non pas le vehicule. Monter des
pneus d'un indice de chargedonnedesur un vehicule ne signifie pas qu'on pourra chargerce vehicule jusqu'à la charge nominale correspondant à l'indice de charge des pneus.
(7) Indice de vitesse: Ce code alphabetique indique qu'elle est la vitesse maximale à laquelle le pneu est concu pour rouler.
Par example, “V” signifies 240 ~km / h (149 mph).
DANGER
L'indice de vitesse concerne uniquement le pneu, et non pas le vehicule. Monter des pneus d'un indice de vitesse donné sur un vehicule ne signifie pas qu'on pourrait rouler avec ce vehicule jusqu'à la vitesse nominale correspondant à l'indice de vitesse des pneus.
L'indice de vitesse n'a plus aucune valeur significative dans le cas de pneus très usés ou endommages, ou de pneus qui ont eté réparés ou rechapés ou dont l'état original a eté alteré d'une manière quelconque. Des pneus réparés, rechapés ou alterés d'une manière quelconque ne peuvent plus etre considérés comme conformes aux indices de charge et de vitesse d'origine.
Numéro d'identification de pneu (TIN)
Le numero d'identification de pneu (TIN) est inscrit sur le flanc du pneu à placer vers l'extérieur. Le numero TIN se compose de quatre indications. Les indications containues dans un numero TIN s'interprêtent comme suit.
DOT XX XX XXX XXXX (1) (2) (3) (4)
(1) Identification du fabricant
(2) Taille du pneu
(3) Code du type de pneu
(4) Date de fabrication
Les deux premiers chiffres correspondant à la période, "01" étant la première période complète de l'année calendaire; les deux chiffres suivants indiquent l'année. Par exemple, l'indication 0101 signifie que le pneu a été fabriqué la première période de l'année 2001.
Autres inscriptions
Le flanc du pneu porte aussi les inscriptions suivantes.
Pression de gonflage maximale admissible
C'est la pression maximale à laquelle le pneu peut être gonfle à froid. Exemple d'inscription: "300 kPa (44 PSI) MAX. PRESS"
Indice de charge maximale
C'est la charge maximale admissible exprimée en poids maximal que peut supporter le pneu. Exemple d'inscription: "MAX. LOAD 580 kg (1279 LBS) @ 300 kPa (44 PSI) MAX. PRESS."
DANGER
La charge maximale concerne uniquement le pau, et non pas le vehicule. Monter des paues d'un indice de charge donné sur un vehicule ne signifie pas qu'on pourrait charger ce vehicule jusqu'à la charge nominale correspondant à l'indice de charge des paues.
Type de structure
Indication du type structurel dupneu.
Par exemple, "TUBELESS STEEL BELTED RADIAL" (pneu sans chambre, à carasse radiale et
ceinture métallique)
Structure
Indication du nom générique des matériaux des cables composant les nappes du pneu (sur les flancs et sur la bande de roulement).
Par example, "PLIES: TREAD 2 STEEL + 2 POLYESTER SIDE-WALL 2 POLYESTER"
Classe de qualité normalisée du pneu (UTQG)
Reportez-vous à "Notation standardisée de la qualité des pneus" 13-16 pour plus de détails.
■ Pression de gonflage recommandée des pneus
Pression de gonflage recommandee des pneus à froid
Pour connaître la pression de gonflage recommandée pour les pneus de votre vehicule, reportez-vous à "Pneus" 12-5.
Plaque du vehicule

La plaque du vehicule est fixeecontre le montant B, du cote du conducteur.
Example:
| TIRE PNEU | SIZE DIMENSIONS | COLD TIRE PRESSURE PRESSION DES PNEUS À FROID | SEE OWNER'S MANUAL FOR ADDITIONAL INFORMATION |
| FRONT AVANT | PXXXXXRXXX | XXOKPA, XXPSI | |
| REAR ARRIÈRE | PXXXXXRXXX | XXOKPA, XXPSI | VOIR LE MANUEL DE L'USAGER POUR PLUS DE RENSEIGNEMENTS |
| SPARE DE SECOURS | TXXXXXDXX | XXXKPA, XXPSI |
La plaque du vehicule indique la taille des pneus d'origine, la pression de gonflage recommandée pour chacun des pneus à froid pour le vehicule charge à la charge maximale, le nombre de places et la charge autorisée.
Consequences sur la sécurité d'une pression de gonflage des pneus insuffisante
Si on roule à grande vitesse avec une pression de gonflage des pneus excessivement basse, les pneus sont soumis à une déformation importante qui entraine un échauffement rapide. Une forte élevation de la température d'un pneu peut entraîner l'arrachement de la bande de roulement et l'éclatement du pneu. Il peut en résultat un accident par perte de contrôle du vehicule.
Mesure et réglage de la pression pourmaintenir une pressionde gonflageadequate
Contrôlez et, si nécessaire, réglez la pression des pneus (roue de
secours comprise) au moins une fois par mois et avant chaque long trajet. Contrôlez la pression de gonflage lorsque les pneus sont froids. Utilisez un manomètre pour régler la pression de chaque pneu à la valeur prescrite. Meme si le vehicule a peu roulé, les pneus sont chauds, et leur pression est plus élevé qu'a froid. La pression des pneus dépend également de la température extérieure. Le mieux est de contrôler la pression des pneus à l'extérieur, avant que le vehicule n'ait roulé. Lorsqu'un pneu monte en température, l'air qu'il renferme se dilate, augmentant la pression du pneu. Il ne faut donc pas dégonfler un pneu chaud pour en réduire la pression.
Glossaire des termes relatifs aux pneus
- Poids des accessoires
Poids total (en plus des équipements standards replacables) de la transmission automatique, du
servodirection, du freinage assisté, des vitres électriques, des sièges à réglages électriques, de la radio et du radiateur, dans la mesure où ces articles sont disponibles comme options montées en usine (qu'ils soient installés ou non).
- Talon
Partie du pneu faite de fils en acier, entourée ou renforcée par des couches de cables, modelée pour s'adapter à la jante.
- Séparation du talon
Rupture du lien entre les composants du talon.
- Deviation des couches du pneu Pneu pneumatique au niveau duquel les couches de fils câblés qui se prolongent aux talons sont disposées en angles alternés nettement inférieurs à 90 degrès par rapport au centre de la bande de roulement du pneu.
Carcasse
Structure du pneu, exceptee le caoutchouc de la bande de roulement et celui du flanc du pneu, qui
lorsqu'il est gonflé, supporte la charge.
- Arrachement
Détachment des pieces de la bande de roulement ou du flanc du pneu.
- Pression des pneus à froid
Pression dans un pneu de vehicule ayant roulé moins de 1,6 km (1 mile) ou à l'arrêt depuis au moins trois heures.
- Fil câblé
Fils formant des couches dans le pneu.
- Séparation de fil câblé
Déparation entre les fils câblés et les composants adjacents en caoutchouc.
Craquelure
Toute séparation interne de la bande de roulement, du flanc ou du prolongement de la chemise interieure du pneu vers le matériel du fil cable.
- Poids en ordre de marche
Poids du vehicule à moteur avec son équipement standard, y
compris le plein de carburant, d'huile et de liquide de refroidissement et, si installés, le poids supplémentaire de la climatisation et du moteur en option.
- Pneu à charge élevée
Pneu concu pour supporter des charges et une pression de gonflage plus elevées que celles du pneu standard équivalent.
- Sillon
Espace entre deux stries adjacentes de bande de roulement de pnuu.
Chemise interieure
Couche(s) formant la surface interne d'un pneu sans,chambre a air, qui contient le milieu de gonflement du pneu.
- Séparation de la chemise interieure
Déparation entre la chemise interieure et le composant du fil câblé dans la carcasse.
- Flanc prévu pour l'extérieur
(1) Flanc du pneu renfermant une bande blanche, des inscrip
tions (nom du fabricant, nom de marque et/ou de modèle) en lettres blanches ou en relief ou en creux plus haut ou plus profond que les mêmes inscriptions sur l'autre flanc du pneu, ou
(2) Dans le cas des pneus asymétriques, le flanc qui doit obligatoirement être monté du côté extérieur du vehicule.
- Pneu pour camion léger (LT, Light Truck)
Pneu concu en première intention pour etre utilisé sur des camions de poids légers ou des vehicules de tourisma usages multiples.
- Indice de charge
Charge maximale qu'un pneu peut supporter pour une pression de gonflage donnée.
- Pression de gonflage maximale Maximum de pression à ne pas dépasser lorsqu'on gonfle un pneu à froid.
- Indice de charge maximale
- Indice de charge maximale pour un
pneu à la pression maximale de gonflage admissible.
- Poids du vehicule à la charge maximale
La somme de:
(a) Poids en ordre de marche
(b) Poids des accessoires
(c) Charge utile du vehicule
(d) Poids des options de production
- Pression de gonflage maximale admissible
Maximum de pression à ne pas dépasser lorsqu'on gonfle un pneu à froid.
Jante graduée
Jante sur laquelle le pneu est monté pour répondre aux spécifications physiques.
-
Poids normal des occupants 68 kg (150 lbs) multiplie par le nombre d'occupants indiquedans la deuxieme colonne du Tableau 1 ajouté à la fin de cette section.
-
Répartition des occupants
Répartition des occupants dans un vehicule conformément à la troi
sième colonne du Tableau 1 ajouté à la fin de cette section.
Raccord ouvert
Toute séparation au niveau du raccordement d'une bande de roulement, d'un flanc, d'une chemise interieure de pneu, qui s'étend au composant du fil câble.
Diametre externe
Diametre total d'un pneu neuf gonflé.
Largeur hors-tout
Distance linéaire entre les extérieurs des flancs d'un pneu gonfle, y compris les élevations liées à l'étiquetage, aux décorations, aux bandes ou stries protectrices.
- Pneu de vehicule de tourism
Pneu destiné à l'utilisation sur des vehicules de tourisme, des vehicules de tourisme à usages multiples et des camions qui ont un poids nominal brut du vehicule (GVWR, gross vehicle weight rating) de 4.535 kg (10.000 lbs) ou moins.
Couches
Couche de fils cables paralleles enrobés de caoutchouc.
- Séparation des couches
Déparation du composé en caoutchouc entre les couches adjacentes.
- Pneu pneumatique
Dispositif mécanique fait de caoutchouc, de composant chimique, de métal et d'acier ou d'autres matériel aux qui, monté sur une roue d'automobile, génére une traction et retient le gaz ou le liquide qui supporte la charge.
- Poids des options de production Poids total des options de production ordinaires effectivement installées, entrainant un surpoids de plus de 2,3 kg (5,1 lbs) par rapport aux équipements standard qu'ils remplacent, et qui n'ont pas été précédément pris en compte dans le poids en ordre de marche ou dans le poids des accessoires, incluant les freins pour vehicules lourds, les niveleurs de conduite, le support de
toit, la batterie pour vehicules lourds et la finition spéciale.
- Pneu avec couches radiales
Pneu pneumatique au niveau duquel les nappes de fils câbés qui se prolongent aux talons sont disposées en angles d'environ 90 degrès par rapport au centre de la bande de roulement du pau.
- Pression de gonflage recommandée
Pression de gonflage à froid recommandée par le constructeur du vehicule.
Pneu renforcé
Pneu concu pour supporter des charges et une pression de gonflage plus elevées que celles du pneu standard équivalent.
Jante
Métal de soutien de pneu ou assemblage de tube et de pneu sur lequel reposent les talons du pneu.
Diametre de la jante
Diametre nominal du siege du talon.
Désignation de la taille de la jante
Largeur et diamètre de la jante.
Désignation du type de jante
Les fabricants utilisent un style ou un code pour désigner la jante.
Largeur de la jante
Distance nominale entre les brides de la jante.
Largeur de la section
Distance linéaire entre les extérieurs des flancs d'un pneu gonflé, non-comprises les élevations liées à l'étiquetage, aux décorations ou aux bandes protectrices.
- Flanc
Portion du pneu comprende entre la bande de roulement et le talon.
- Séparation du flanc
Déparation entre le composé en caoutchouc et le composant du fil câblé dans le flanc.
Jante d'essai
Jante sur laquelle est monté un pneu pour le test et ce qui peut être toute jante jugée apte à l'utilisation avec ce pneu.
- Bande de roulement
Portion du pneu qui entre en contact avec la route.
- Strie de la bande de roulement Section de la bande roulant en circonférence autour d'un pneu.
- Séparation de la bande de roulement
Detacher la bande de roulement de la carcasse du pneu.
- Indicateurs d'usure de la bande de roulement (TWI, Treadwear indicators)
Les projections des sillons principaux sont conques pour donner une indication visuelle sur le niveau d'usure de la bande.
- Charge utile du vehicule
Charge de marchandises et bagages homologué, plus 68 kg (150 lbs), multiplie par la capacité en places recommandé pour le vehicule.
- Charge maximale du vehicule par pneu
Charge supportée par un pneu, qui se détermine par répartition sur
chaque essieu du poids du vehicule à la charge maximale et en divisant cette charge à l'essieu par 2.
- Charge normale du vehicule par pneu
Charge supportée par un pneu, qui se déterminé par répartition sur chaque essieu du total du poids du vehicule en ordre de marche, du poids des accessoires et du poids normal d'un occupant (distribué conformément au tableau 1 qui est ajoute à la fin de cette section) et en divisant cette charge à l'essieu par 2.
- Equipement de maintainen de la roue
Équipement utilisé pourmaintenir fermement l'assemblage pneu et rouependant l'essai.
Tableau 1 — Répartition de la charge et des occupants pour la charge normale du vehicule, pour la capacité en places recommendée
| Nombre de place reCOMMANDÉES,nombre d'occupants | Charge normale du vehicule, nombre d'oc-cupants | Répartition des occu-pants dans un vehiculenormalement chargé |
| 2 à 4 | 2 | 2 à l'avant. |
| 5 à 10 | 3 | 2 à l'avant, 1 dans le deuxième siège. |
| 11 à 15 | 5 | 2 à l'avant, 1 dans le deuxième siège, 1 dans le troisième siège, 1 dans le quatrième siège. |
| 16 à 22 | 7 | 2 à l'avant, 2 dans le deuxième siège, 2 dans le troisième siège, 1 dans le quatrième siège. |
Soins des pneus - entretien et pratiques de sécurité
-
Vérifiez quotidiennement que les pneus ne doivent ni dommages graves visibles, ni incrustations de clous ou de pierre. Vérifiez également que les pneus ne doivent pas de signes d'usure anormale.
-
Inspectez régulièrement la bande de roulement des pneus, et remplacez les pneus avant que les indicateurs d'usure de la bande de roulement ne deviennent visibles. Lorsque l'indicateur d'usure de la bande de roulement d'un pneu est apparent, le pneu est used au-delà de la limite acceptable, et doit être immédiatement replacé. Avec un pneu dans cet état, la conduite partemps de pluie même à petite vitesse peut faire partir le vehicule en aquaplanage. Il peut en résultat un accident par perte de contrôle du vehicule.
Pour une longévite optimale et une usure régulière de chacun des pneus, il est recommandé de perdumer les roues tous les 12.000 km (7.500 miles). Pour des informations relatives à l'ordre de rotation des pneus, reportez-vous à "Permutation des roues" 11-40. Au moment de la permutation des roues, remplacez tout pneu endommagé ou présentent une usure inégale. Àpres permutation, réglez la pression de gonflage des pneus et vérifie que les écrous de roue sont correctement serrés. Pour des informations sur le couple de serrage et l'ordre de serrage des écrous de roue, reportez-vous à "Crevaisons" 9-6.
Limits de charge du vehicule - comment la déterminer
La charge admissible de votre vehicule est déterminée par le poids, et non pas par l'espace disponible. La limite de charge de votre vehicule est indiquée sur la
plaque de vehicule fixee au montant B du cote du conducteur. Sur cette plaque, vous trouvezez l'indication: "Le total du poids des occupants et du poids du charge ment ne doit jamais dépasser XXX kg ou XXX lbs".
La plaque de vehicule indique aussi le nombre de places assises de votre vehicule.
La capacité de charge totale comprend le poids total du conducteur et de passagers, de leurs effets personnels, du chargement et de tous les équipements en option tels que d'attelage, galerie de toit, porte-bicyclettes, etc., augmenté de la charge imposée par le triangle d'attelage de la remorque. La capacité de chargement peut se calculer par la formule suivante:
Capacité de chargement = Limité de charge - (poids total d'occupants + poids total d'équipements en option + charge du triangle d'attelage de la remorque [le cas échéant])
Pour de plus amples informations sur le chargement du vehicule, reportez-vous à "Chargement du vehicule" 8-14.
REMARQUE
Votre vehicule n'est pas concu pour tracter une remorque. Par conséquent, ne vous en servez jamais pour tracter une remorque.
Calcul de la charge totale et de la capacité de charge selon la configuration en occupants
Calculons la capacité de charge disponible dans le cas des exemples suivants:

Example 1A
La charge utile du vehicule est de 408 kg (900 lbs), ce qui est indiqué sur la plaque du vehicule quiporte la mention "Le total du poids des occupants et du poids du charge-ment ne doit jamais dépasser 408 kg ou 900 lbs".
Par exemple, le vehicule transporte
une personne pesant 70kg (154 lbs), plus un chargement de 300 kg (662 lbs).
- Calculons le poids total.
Poids total
$$ \begin{array}{l} = \frac {7 0 \mathrm {k g} (1 5 4 \mathrm {I b s})}{(\text {o c c u p a n t})} + \frac {3 0 0 \mathrm {k g} (6 6 2 \mathrm {I b s})}{(\text {c h a r g e m e n t})} \ = 3 7 0 \mathrm {k g} (8 1 6 \mathrm {l b s}) \ \end{array} $$
- Calculons la capacité de charge encore disponible. Pour cela, il faut soustraire le poids total ci-dessus de la charge utile du vehicule de 408 kg (900 lbs).
Capacité de charge disponible
$$ \begin{array}{l} = \frac {4 0 8 \mathrm {k g} (9 0 0 \mathrm {l b s})}{(\text {c h a r g e u t i l e}} - \frac {3 7 0 \mathrm {k g} (8 1 6 \mathrm {l b s})}{(\text {p o i d s t o t a l})} \ = 3 8 \mathrm {k g} (8 4 \mathrm {l b s}) \ \end{array} $$
- Du calcul de l'etape 2, il résultat qu'on pourrait encore transporter un changement supplémentaire de 38kg (84 lbs).

Example 1B
Supposons qu'une personne pesant 80kg (176 lbs) monte maintenant a bord du même vehicule (ce quiporte le nombre d'occupants a deux).Les calculs s'établissant alors comme suit.
- Calculons le poids total.
Poids total
$$ \begin{array}{l} = \frac {7 0 \mathrm {k g} (1 5 4 \mathrm {l b s}) + 8 0 \mathrm {k g} (1 7 6 \mathrm {l b s})}{(\text {o c c u p a n t})} \ + \frac {3 0 0 \mathrm {k g} (6 6 2 \mathrm {l b s})}{(\text {c h a r g e m e n t})} \ = 4 5 0 \mathrm {k g} (9 9 2 \mathrm {l b s}) \ \end{array} $$
- Calculons la capacité de charge encore disponible.
Capacité de charge disponible
$$ \begin{array}{l} = \frac {4 0 8 \mathrm {k g} (9 0 0 \mathrm {l b s})}{(\text {c h a r g e u t i l e}} - \frac {4 5 0 \mathrm {k g} (9 9 2 \mathrm {l b s})}{(\text {p o i d s t o t a l})} \ = - 4 2 \mathrm {k g} (- 9 2 \mathrm {l b s}) \ \end{array} $$
- Le poids total excède maintenant la charge utile de 42 kg (92 lbs), et il va donc falloir réduire le poids du chargement d'au moins 42 kg (92 lbs).

Exampie 2A
La charge utile du vehicule est de
408 kg (900 lbs), ce qui est indiqué sur la plaque du vehicule qui porte la mention "Le total du poids des occupants et du poids du charge-ment ne doit jamais dépasser 408 kg ou 900 lbs".
Par exemple, le vehicule transporte une personne pesant 75 kg (165 lbs), plus un chargement de 170 kg (375 lbs). En outre, le vehicule est équipé d'un crochet d'attelage pesant 10 kg (22 lbs) acte une remorque pesant 800 kg (1.764 lbs). 10% du poids de la remorque s'exercé sur le triangle d'attelage (c'est-à-dire que la charge du triangle d'attelage est de 80 kg [176 lbs]).
- Calculons le poids total.
Poids total
$$ \begin{array}{l} = \frac {7 5 \mathrm {k g} (1 6 5 \mathrm {l b s})}{(\text {o c c u p a n t})} + \frac {1 7 0 \mathrm {k g} (3 7 5 \mathrm {l b s})}{(\text {c h a r g e m e n t})} \ + \frac {1 0 \mathrm {k g} (2 2 \mathrm {l b s})}{(\text {c r o c h e t}} + \frac {8 0 \mathrm {k g} (1 7 6 \mathrm {l b s})}{(\text {c h a r g e d u t r i -}} \ = 3 3 5 \mathrm {k g} (7 3 8 \mathrm {l b s}) \ \end{array} $$
- Calculons la capacité de charge encore disponible.
Capacité de charge disponible
$$ \begin{array}{l} = \frac {4 0 8 \mathrm {k g} (9 0 0 \mathrm {l b s})}{(\text {c h a r g e u t i l e}} - \frac {3 3 5 \mathrm {k g} (7 3 8 \mathrm {l b s})}{(\text {p o i d s t o t a l})} \ = 7 3 \mathrm {k g} (1 6 2 \mathrm {l b s}) \ \end{array} $$
- Du calcul de l'etape 2, il résultat qu'on pourrait encore transporter un changement supplémentaire de 73kg (162 lbs).
REMARQUE
Votrecvhicule n'est pas concu pour tracter une remorque.Par conssequent,ne you en servez jamais pour tracter une re
morque.
Exemple 2B

Supposons qu'une personne pesant 65kg (143 lbs) et qu'un enfant pesant 18kg (40 lbs) montent maintainant à bord du même vehicule (ce qui porte le nombre d'occupants à trois), et qu'on installe pour l'enfant un siège d'enfant d'un poids de 5kg (11 lbs). Les calculs s'établient alors comme suit.
- Calculons le poids total.
Poids total
$$ = \frac {7 5 \mathrm {k g} (1 6 5 \mathrm {l b s}) + 6 5 \mathrm {k g} (1 4 3 \mathrm {l b s})}{(\text {o c c u p a n t})} $$
$$ + \frac {1 8 \mathrm {k g} (4 0 \mathrm {l b s})}{(\text {o c c u p a n t})} $$
$$ + \frac {5 \mathrm {k g} (1 1 \mathrm {l b s})}{(\mathrm {s i e g e d} ^ {\prime} \mathrm {e n f a n t})}. $$
$$ + \frac {1 0 \mathrm {k g} (2 2 \mathrm {l b s})}{\text {(c r o c h e t}} $$
$$ + \frac {1 7 0 \mathrm {k g} (3 7 5 \mathrm {l b s})}{(\text {c h a r g e m e n t})} $$
$$ + \frac {8 0 \mathrm {k g} (1 7 6 \mathrm {l b s})}{(\text {c h a r g e d u t r i -}} $$
$$ = 4 2 3 \mathrm {k g} (9 3 2 \mathrm {l b s}) $$
- Calculons la capacité de charge encore disponible.
Capacité de charge disponible
$$ = \frac {4 0 8 \mathrm {k g} (9 0 0 \mathrm {l b s})}{(\text {c h a r g e u t i l e}} - \frac {4 2 3 \mathrm {k g} (9 3 2 \mathrm {l b s})}{(\text {p o i d s t o t a l})} $$
$$ = - 1 5 \mathrm {k g} (- 3 2 \mathrm {l b s}) $$
- Le poids total excède maintenant la charge utile de 15 kg (32 lbs), et il va donc falloir réduire le poids du chargement d'au moins 15 kg (32 lbs).
REMARQUE
Votre vehicule n'est pas concu pour tracter une remorque. Par conséquent, ne vous en servez jamais pour tracter une remorque.
Pour déterminer la compatibilité entre capacités de charge et pneus du vehicule
La somme des charges maximes admissibles des quatre pneus doit être supérieure au poids nominal brut du vehicule ("GVWR"). De plus, la somme des charges maximales admissibles des deux pneus avant et des deux pneus arrêtè doit être supérieure au poids nominal brut sur l'essieu ("GAWR"). Les pneus d'origine équipant le vehicule sont conçus pour replir ces conditions.
Le poids nominal brut du vehicule est appelé en anglais Gross Vehicle Weight Rating (GVWR). La somme des charges maximes admissibles par chaque essieux est appelé poids nominal brut sur
l'essieu, soit en anglais Gross Axle Weight Rating (GAWR). Le GVWR et le GAWR de chaque des essieux sont indiqués sur le sceau de certification du vehicule apposé contre la portière du conducteur.
Pour la détermination du GVWR et du GAWR des essieux avant et arrêtre, il est tenu compte non seulement de la charge maximale admissible des pneus, mais aussi des capacités de charge de la suspension, des essieux et d'autres éléments de la caisse du vehicule.
Autrement dit, on ne peut pas considérer que la charge du vehicule peut toujours aller jusqu'à la charge maximale admissible indiquée sur le flanc des pneus.
Consequences sur la sécurité d'une surcharge du vehicule (comportement, arrêt, pneus, etc.)
Surcharger un vehicule peut affecter son comportement routier et les
distances d'arrêt, ainsi que les performances du vehicule et des pneus, comme indiqué ci-après. Il peut en résultat un accident, avec risque de graves blessures personelles.
- La stabilité du vehicule est compromise.
- Les charges lourdes ou placées en hauteur augmentent le risque de retournement du vehicule.
- Les distances d'arrêt augmentent.
- Les freins risquent de surchauffer et de ne plus fonctionner.
- La suspension, les roulements, les essieux et d'autres éléments de la caisse du vehicule risquent de casser et subissant une usure et un vieillissement accélérés.
- Les pneus risquent d'éclater.
- Les bandes de roulement des pneus risquent de se séparer des pneus.
- Les pneus risquent de se séparer de leur jante.
Étapes de détermination de la limite de charge correcte
- Sur la plaque de votre vehicule, consultez l'indication "Le total du poids des occupants et du poids du chargement ne doit jamais dépasser XXX livres".
- Calculez le poids total du conducteur et des passagers qui seront dans le vehicule.
- Soustrayez ce total de la valeur XXX kilogrammes ou XXX livres.
- Le résultat de cette soustraction est le poids maximum de marchandises et bagages que vous pourrez transporter. Par exemple, si la valeur "XXX" est 635 kg (1.400 lbs) et qu'il y aura 5 personnes de 68 kg (150 lbs) à bord du vehicule, vous disposez d'une capacité de charge de 650 lbs de marchandises ou bagages. (1.400 - 750 (5 × 150) = 650 lbs)
- Calculez le poids total des marchandises et bagages que vous avez l'intention de charger dans le vehicule. Pour la sécurité, ce poids
ne doit pas dépasser la capacité de charge que vous avez calculée à l'étape 4 ci-dessus.
- Si vous tractez une remorque avec votre vehicule, il faut tener compte de la charge que la remorque impose au vehicule. Consultez les informations correspondantes du present manuel pour savoir de combien la capacité de charge disponible pour vos marchandises et bagages s'en trouve réduite.
REMARQUE
Votre vehicule n'est pas concu pour tracter une remorque. Par conséquent, ne vous en servez jamais pour tracter une remorque.
Notation standardisée de la qualité des pneus
Cette rubrique traite des performances des pneus de voiture de tourisme en ce qui concerne l'usure de la bande de roulement, la traction et la résistance à l'échauffement. Elle vise à aider le consommateur dans son choix lors d'un achat de pneumatiques.
Les pneus portent une note de qualité inscrite sur le flanc entre l'épaulement de la bande de roulement et la partie large du talon. Par exemple:
Usure bande de roulement 200 Traction AA Température A
Ces notes de qualité concernent les pneus neufs utilisés sur les vehicules de tourisme. Elles ne sont toutefois applicables ni aux pneus à sculptures profondes, ni aux pneus neige pour l'hiver et aux pneus à encombrement réduit pour roues de secours à usage tempo
raire, ni aux pneus pour diamètre nominal de jante inférieur ou égal à 12 pouces, ni à certains pneus de production limite.
En plus de cette note de qualité, tous les pneus pour vehicules de tourisme doivent etre conformes aux Federal Safety Requirements (prescriptions de sécurité féderales).
■ Usure de la bande de roulement
La note d'usure de la bande de roulement établit une comparaison entre des pneus soumis à des essais dans les conditions strictement déterminées d'un circuit d'essai officiel.
Par exemple, sur ce circuit d'essai officiel, un pneu note 150 s'use une fois et demie (1-1/2) moins vite qu'un pneu note 100. Dans la pratique, il est difficile de comparer les performances des pneus car elles dépendant pour une large mesure des conditions d'utilisation
et variant de façon appréciable en fonction des habitudes de conduite, de la nature et de l'etat des routes et du climat.
Note de traction (AA, A, B, C) Pour la traction, les notes attribuées sont, de la plus haute à la plus BASSE, AA, A, B et C. Ces notes représentent l'aptitude du pneu à s'arrête sur revêtement humide, telle qu'elle a été mesurée au cours d'essais effectuels dans des conditions déterminées sur des surfaces d'essais officielles en béton et en asphalte. Un pneu note C risque de présence de médiocres performances de traction.

DANGER
La note de traction attribuée à un pneu est déterminée au terme d'essais de freinage en ligne droite et ne presume pas des performances de traction en accelération, en virage, en situation d'aquplaning ou en
pointe.
Note de température (A, B, C)
Les notes de température sont A (la plus haute), B et C. Elles représentent la résistance du pau à la génération de chaleur et son aptitude à dissiper la chaleur, ces qualités ayant été appréciées en laboratoire dans des conditions déterminées au moyen d'une roue d'essay. Une température elevée persistante peut entraîner la dégradation du matériel et la réduction de la durée de service du pau et une température excessive peut entraîner une défaillance soudaine. La note C correspond aux niveaux de performances que tous les paus de vehicules de tourisme doivent atteindre selon les Normes fédérales de sécurité des vehicules automobiles (FMVSS N° 109). Les notes B et A sont attribuées aux pneumatiques qui, sur la roue d'essay en laboratoire,présentent
un niveau de performances supérieur au minimum exigé par la loi.

DANGER
La note de température attribuée à un pneu est significative pour un pneu convenablement gonflé et qui n'est pas en état de surcharge. La vitesse excessive, le gonflage insuffisant et l'état de surcharge, isolément ou en combinaison, peuvent provoquer l'échauffement et la défaillance du pneu.
Déclaration en cas de début de sécurité (pour les États-Unis d'Amérique)
Si vous avez des raisons de croire que votre vehicule presente un défaut de nature à causeur un grave accident avec danger de blessure ou de mort, il faut en avertir l'Administration Nationale de la Sécurité Routière (NHTSA), en plus de la réclamation que vous ferez auprès de Subaru of America Inc.
Si la NHTSA recoit d'autres plaintes similaires, elle peut ouvrir une enquête et, s'il s'avéré qu'une série de vehicules présente un défaut de sécurité, elle peut exiger le rappel et la modification de ces vehicules. La NHTSA n'est toute fois pas habilitée à intervenir dans les différencs entre Subaru of America Inc., ses concessionnaires et ses clients. Pour entrer en contact avec le service Sécurité
Automobile de la NHTSA, vous pouvez téléphoner en utilisant la ligne directe à appel libre 1-888-327-4236 (TTY: 1-800-424-9153) allez sur http://www.safercar.gov; ou adressez-vous à: Administratior, NHTSA, 1200 New Jersey Avenue, SE, West Building, Washington, DC 20590. Vous pouze également obtaining de plus amples informations concernant la sécurité des vehicules à moteur sur http://www.safercar.gov.
A
ABS (système de freins antiblocage) 7-37
Accessoires 5-4, 11-52
Accoudoir 1-8,6-5
Activation/Désactivation du système d'assistance au démarrage en côte (STI) 7-49
Aérateurs 4-2
Aérateurs centraux et lateraux 4-3
Affichage d'informations 3-33
Ajustement d'appui-tete 1-8
Ajustement de la hauteur du coussin de siège (siège du conducteur) 1-4
Ajustement des appuis-tete 1-4
Ajustement vers l'avant et vers l'arrière 1-3
Alcool et conduite 8
Ampoules électriques 12-10
Ancrages de longe supérieure 1-33
Animaux de compagnie à bord du vehicule 9
Appels de phares. 3-37
Appui-tete actif 1-5
Arrêt du moteur 7-12
Audio Bluetooth (audio de type C) 5-46
Avant de prendre la route 7-10
Avertisseur sonore 3-58
B
Balancement du vehicule 8-13
Batterie 11-49
Boite a gants. 6-5
Boite à monnaie 6-6
Boite de vitesses automatique 7-26
Boite de vitesses manuelle - 5 rapport (sauf STI)...... 7-20
Boite de vitesses manuelle - 6 rapport (STI) 7-17
Bougies d'allumage 11-21
Bougies d'allage recommendées 11-21
C
Capitons en similie-cuir 10-6
Capot moteur 11-5
Capeurs d'impact 2-22
Ceintures de sécurité 5, 1-11
Cendrier 6-11
Chaines antidérapantes 8-13
Charge utile du vehicule. 8-15
Chargement du vehicule. 8-14
Clés. 2-2
Clignotant de direction avant 11-56
Climatisationur 4-7
Coffre à bagages 2-27
Commande d'essuie-glaces et de lave-glace de lunette arrière 3-44
Commande de réglage des éclairages 3-36
Commande de rétroviseurs électriques rabattables 3-54
Commande des feuix antibrouillard 3-41
Commandes d'essuie-glace et de lave-glace de pare-brise 3-43
Commandes de marche/arrêt et de réglage du son. 5-8
Commutateur de désactivation du Contrôle de Dynamique du Véhicule (sauf STI). 7-43
Commutateur de mode du Contrôle de Dynamique du Véhicule (STI) 7-42
Commutateurs de verrouillage électrique des portières.... 2-7
Compte-tours 3-10
Compteur totalisateur/Compteur journalier 3-9
Compteurs et jauges 3-6
Conduite à l'étranger 8-5
Conduite en hiver. 8-9
Conduite hors route. 8-6
Conduite sur routes enneigées et verglacées 8-10
Conseils à propos des ceintures de sécurité 1-11
Conseils de conduite 7-19, 7-21
Conseils de conduite pour les modèles à traction intégrale AWD 8-5
Conseils de stationnement 7-47
Conseils pour economiser le carburant 8-2
Console centrale 6-5
Contacteur d'allumage 3-3
Contenances 12-4
Contrôle de la course libre de la pédale d'embrayage.... 11-32
Contrôle de la course libre de la pédale de frein 11-31
Contrôle de la garde de la pédale de frein 11-32
Contrôle du fonctionnement de l'embrayage 11-32
Contrôle du niveau d'huile 11-10, 11-23, 11-26
Contrôle du niveau de liquide....... 11-24, 11-27, 11-29, 11-30
Contrôle du niveau de liquide de refroidissement 11-15
Convertisseur catalytique 8-3
Courroies d'entrainment 11-22
Course du frein de stationnement 11-34
Coussin de sécurité latral SRS et ridesau de sécurité SRS 1-53
Coussins de sécurité SRS (coussins de sécurité du Systeme de Retenue Supplémentaire) 5, 1-37
Couverture de l'espace de chargement 6-13
Crevaisons 9-6
Crocket pour sac de provisions (5 portières) 6-12
Crochets d'arrimage de la charge 6-14
Crochets de remorquage et d'arrimage. 9-15
D
Demarrage à l'aide de cables volants 9-11
Demarrage du moteur 7-10
Désembueur et dégivre 3-55
Différentiel à mouvement limité (LSD) 7-34
Différentiel central à commande par le conducteur...... 7-22
Dimensions 12-2
Dispositif de maintien pour démarrage en côte (vehicules à boîte de vitesses manuelle) 7-48, 11-33
Dispositif de réglage de portée des phares 3-39
E
EBD (répartition électronique de la force de freinage). 3-25, 7-38
Éclairage de l'espace de chargement (modèles 5 portières) 6-2
Eclairage de plaque d'immatriculation 11-59
Eclairage du coffre à bagages 11-61
Eclairage du contacteur d'allumage 3-5
Éclairage interieur. 6-2
Électricité 12-3
Élement du filtré à air. 11-19
Émission d'une alarme d'appoint au secours 2-11
Encaustiquage et polissage. 10-3
Enrouleur à blocage automatique/d'urgence (A/ELR)...... 1-13
Enrouleur à blocage d'urgence (ELR) 1-12
Ensemble balais d'essuie-glace de lunette arrriere 11-47
Ensemble balais d'essuie-glace de pare-brise 11-45
Entretien des ceintures de sécurité 1-20
Entretien du système des coussins de sécurité SRS...... 1-62
Équilibrage des roues 11-39
Équipment audio 5-4
Espace de rangement 6-5
Essai d'émission de pollutants (États-Unis uniquement)...... 7-8
Essuie-glace de pare-brise 3-43
Essuie-glace et lave-glace 3-41
F
Fatigue, sommeil et conduite 9
Feu de recul (5 portières) 11-58
Feux combinés arrière 11-57
Feux de détresse 3-6, 9-2
Feux stop surélevés 11-61
Filtre à huile 11-11
Fonction de prévention de déchargement de la batterie .... 2-6
Fonction de verrouillage du levier sélecteur 7-29
Frein de stationnement 7-46
Freinage 7-35
Fusible principal 11-52
Fusibles 11-50
Fusibles et circuits 12-6
G
Garanties 1
GAWR (poids nominal brut sur l'essieu) 8-15
Gaz d'échévement du moteur (monoxyde de carbone) 7, 8-3
Géométrie du train de roulement 12-5
GVWR (poids nominal brut du vehicule) 8-15
H
Hayon 2-30,9-19
Horloge 3-33
Huile de boîte de vitesses manuelle. 11-23
Huile du différentiel arrière 11-27
Huile du différentiel avant (modèles BVA) 11-26
Huile moteur 11-10
1
Identification du vehicule 12-13
Inclinaison du dossier 1-3
Indicateur de niveau de carburant. 3-11
Indicateur de position du levier selecteur/du rapport engage (modèles BVA) 3-30
Indicateur de tempéature extérieure 3-34
Indicateur de vitesse 3-9
Indicateurs d'usure 11-39
Indicateurs d'usure des plaquettes de frein à disque...... 7-37
Inspection des pneus 11-37
Inspections périodes 8-4
Installation d'un système de retenue pour enfant au moyen des ancrages inférieurs et longes (LATCH) 1-31
Installation des systèmes de retenue au moyen de la ceinture de sécurité A/ELR 1-26
Installation du siège rehausseur 1-29
Interrupteur de rétroviseurs télécommandés 3-54
Inverseur feuex de route/feux de croissement (moins lumineux) 3-37
J
Jantes en aluminium 11-42
Jauge de températe (modèles turbo) 3-12
L
Lampe de lecture 11-59
Lampes de lecture 6-3
Lavage 10-2
Lève-vitres electriques 2-24
Levierselecteur 7-27
Liquide d'embrayage (modles B/M) 11-30
Liquide d'embrayage recommandé 11-30
Liquide de frein. 11-29
Liquide de frein recommandé 11-29
Liquide de lave-glace de pare-brise 11-43
Liquide de refroidissement du moteur 11-15
Liquide de servodirection 11-27
Liquide de transmission automatique 11-24
Liquide recommandé 11-25, 11-28
LSD (differential à mouvement limite) 7-34
M
Manette des clignotants de direction 3-38
Médicaments et conduite 8
Miroir de courtoisie 6-4
Mises en garde concernant la sécurité 2
Mode d'emploi de la radio FM/AM 5-12
Mode d'emploi de la radio satellite 5-17
Mode d'emploi du chiffage 4-5
Mode d'emploi du lecteur CD. 5-23
Mode parking gardé 2-20
Mode SPORT 7-32
Modèles 4 portières 11-57
Molette de commande de début d'air 4-4, 4-10
Moniteur de système du Contrôle de Dynamique du Véhicule 7-42
Moulure de toit et traverses 8-16
N
Nettoyage de l'habitacle 10-5
Nettoyage de la grille de prise d'air 4-13
Nettoyage des jantes en aluminium 10-3
0
Outils d'entretien 9-4
P
Pédale d'embrayage 11-32
Pédale de frein 11-31
Permutation des roues 11-40
Phare antibrouillard avant 11-56
Phares 3-36, 11-53
Pictogrammes utilisés sur le vehicule 4
Plafonnier 6-2
Plafonnier et éclairage de l'espace de chargement 11-60
Plaque d'identité de sécurité 2-3
Plaque de numero de clé 2-2
Plaquettes et garnitures de frein 11-33
Plateau de rangement sous plancher. 6-15
Pneus. 12-5
Pneus hiver (pneus neige) 11-35
Pneus neige 8-12
Poignée de déverrouillage interne du coffre à bagages... 2-29
Porte-bouteilles 6-8
Porte-gobelet des passagers arrêté 6-7
Porte-gobelet du passager avant 6-6
Porte-gobelets 6-6
Pour armer le système d'alarme 2-18
Pour boucler votre ceinture de sécurité 1-13
Pour désarmer le système d'alarme 2-20
Précautions concernant l'entretien 11-3
Précautions concernant les modifications apportées au vehicule 1-22, 1-63
Précautions de sécurité pendant la conduite 5
Pression et usure des pneus 11-37
Prétensionneurs des ceintures de sécurité avant 1-20
Prise d'entrée auxiliaire. 5-35
Prise de courant pour accessoire 6-8
Programme d'entretien 11-3
Protection contre la corrosion 10-4
Q
Qualité et viscosité d'huile
recommendées 11-13, 11-24, 11-26, 11-27
Qualité et viscosité d'huile recommendées pour des conditions de conduite difficiles 11-14
R
Ravitallement en carburant. 7-5
Réglage d'intensité lumineuse 3-38
Régulateur de vitesse constante 7-51
Remarques d'ordre général sur le freinage 7-35
Remorquage 9-15
Remorquage avec les quatre roues au sol. 9-18
Remplacement d'un pneu creve 9-6
Remplacement de I'elément du filtré à air 11-19
Remplacement de la pile 2-12
Remplacement des ampoules 11-52
Remplacement des balais d'essuie-glace 11-44
Remplacement des clés 2-4
Remplacement des jantes 11-42
Remplacement des piles 7-16
Remplacement des plaquettes et garnitures de frein..... 11-33
Remplacement des pneus 11-41
Remplacement des transmetteurs perdus 2-13
Rétroviseur d'atténuation automatique/boussole 3-46
Rétroviseur d'atténuation automatique/boussole avec HomeLink® 3-47
Rétroviseur interieur. 3-45
Rétroviseurs 3-45
Rétroviseurs extérieurs 3-53
Rodage d'un vehicule neuf 8-2
Rodage des plaquettes et garnitures de frein neues.... 11-33
Roue de secours de type provisoire 9-2
Roues et pneus 11-35
Routeneignees et verglacées 8-10
S
Sécurité des enfants. 6
Selection des sorties d'air 4-2
Sélection du mode manuel 7-30
Serrures de portière 2-4
Servodirection 7-35
Servofrein 7-36,11-31
SI-DRIVE (STI) 7-32
Siègearriererabattable 1-9
Sièges arrêté 1-7
Sièges avant 1-2
Sièges chauffants 1-6
Sièges en cuir 10-5
Sièges en tissu 10-5
Signal sonore de rappel de clé 3-5
Soins extérieurs 10-2
Sous le plancher arrête 9-5
Stationnement du vehicule 7-46
Sur un camion à plate-forme 9-18
Surchauffedumoteur 9-14
Surveillance du système des coussins de sécurité SRS 1-60
Symbole de sécurité 3
Système d'alarme 2-17
Système d'antenne 5-3
Système d'assistance au freinage 7-36
Système d'éclairage pour conduite de jour 3-37
Système d'entrée sans clé par télécommande 2-8
Système de climatisation automatique 4-8
Système de climatisation manuelle 4-3
Système de démarrage à distance du moteur (option concessionnaire) 7-13
Système de filtration d'air 4-14
Système de freins antiblocage (ABS) 7-37
Système de refroidissement 11-14
Système de surveillance de la pression des pneus (TPMS) 11-35
Système de surveillance de la pression des pneus (TPMS) (modèles spécification des États-Unis) ... 7-44, 9-10
Système de verrou électronique 2-2
Système des freins 7-36
Système du Contrôle de Dynamique du Véhicule 7-40
Système SUBARU de coussin de sécurité frontal perfectionné 1-41
Système téléphonique mains libres 5-48
Systèmes de retenue pour infant. 1-23
T
Tapis de sol 6-12
Telephone de voiture/cellulaire et conduite 9
Témoin avertisseur 3-32
Témoin avertisseur d'anomalie moteur CHECK ENGINE/ Témoin indicateur d'anomalie de fonctionnement. 3-19
Témoin averitisseur d'assistance pour démarrage en côte 3-26
Témoin averâtisseur d'assistance pour démarrage en côte (modèles B/M - selon modèles)/Témoin indicateur de désactivation d'assistance pour démarrage en côte (STI) 3-26
Témoin averitisseur d'assistance pour démarrage en côte/Témoin indicateur de désactivation d'assistance pour démarrage en côte 7-50
Témoin avertisseur d'ouverture de portière 3-26
Témoin averitisseur de bas niveau de carburant.... 3-11, 3-26
Témoin avertisseur de masse pression des pneus (modèles Specification des États-Unis) 3-22
Témoin avertisseur de charge 3-21
Témoin averitisseur de pression d'huile 3-21
Témoin avertisseur de surchauffe de l'huile de boîte de vitesses automatique AT OIL TEMP (modèles BVA) .... 3-21
Témoin avertisseur de traction intégrale 3-27
Témoin avertisseur des freins antiblocage (ABS) ... 3-24, 7-38
Témoin avertisseur du Contrôle de Dynamique du Véhicule/Témoin indicateur de désactivation du Contrôle de Dynamique du Véhicule/Témoin indicateur de désactivation du contrôle de traction (STI). 3-27
Témoin averitisseur du système de coussin de sécurité SRS 3-18
Témoin averisseur du système des freins 3-25
Témoin avertisseur et carillon de ceinture de sécurité.... 3-16
Témoin avertisseur et signal sonore de ceinture de sécurité 1-13
Témoin d'anomalie de température d'huile du différentiel arrêté (modèles avec turbo). 3-22
Témoin de mode automatique du différentiel central à commande par le conducteur 3-31
Témoin indicateur de désactivation d'assistance pour démarrage en côte (STI) 3-26
Témoin indicateur de fonctionnement du Contrôle de Dynamique du Véhicule 3-27
Témoin indicateur de mode SPORT (modèles BVA) 3-30
Témoin indicateur de passage au rapport supérieur (STI) 3-30
Témoin indicateur de régime moteur (WRX STI) 3-32
Témoin indicateur de réglage du régulateur de vitesse constante 3-31, 7-54
Témoin indicateur de régulateur de vitesse 7-54
Témoin indicateur de régulateur de vitesse constante...... 3-31
Témoin indicateur de température basse du liquide de refroidissement (modèles sans turbo)/Témoin avertisseur de température élevé du liquide de refroidissement (modèles sans turbo). 3-20
Témoin indicateur des feu de route 3-31
Témoin indicateur des phares 3-31
Témoin indicateur des phares antibrouillard avant 3-31
Témoin indicateur système de sécurité 2-4, 3-29
Témoin indicateur REV et averitisseur sonore de régime moteur (WRX STI). 3-13
Témoin indicateur SI-DRIVE (STI) 3-30
Témoins avertisseurs et indicateurs 3-15
Témoins de fonctionnement et d'anomalie du différentiel central à commande par le conducteur. 3-32
Témoins indicateurs des clignotants de direction 3-30
Toit ouvrant opaque 2-32
Toit ouvrant opaque - s'il est impossible de fermer le toit ouvrant opaque 9-20
Touche du climatiseur 4-4, 4-11
Touches de commande audio 5-44
Traction de remorque 8-17
Tuyaux et raccords 11-15
Types de pneus 11-35
U
Utilisation d'une clé USB/d'un iPod® (audio de type C).... 5-38
V
Verrou de sécurité pour enfants 2-23
Vidange de I'huile et remplacement du filtré 11-11
Vidange du liquide de refroidissement 11-16
Vitres. 2-24
Volant de direction à inclinaison régliable 3-57
Volant de direction à inclinaison régiable/télescopique.... 3-57
Volet et bouchon du réservoir de carburant 7-5
Vue d'ensemble du compartmentement moteur 11-7
RÉFERENCES POUR LA STATION-SERVICE
Carburant:
Modèles sans turbo
Utilisez uniquement de l'essence sans plomb avec l'indice d'octane égal ou supérieur à 87 AKI (90 RON).
Modèles avec turbo sauf STI
Utilissez de l'essence sans plomb de qualité supérieur avec l'indice d'octane égal ou supérieur à 91 AKI (95 RON). Si de l'essence sans plomb de première qualité avec un indice d'octane égal ou supérieur à 91 AKI (95 RON) n'est pas disponible, de l'essence sans plomb ordinaire avec un indice d'octane égal ou supérieur à 87 AKI (90 RON) peut être utilisétemporairement. Pour des performances de moteur et une souplesse optimes, il est nécessaire d'utiliser de l'essence sans plomb de qualité supérieur ayant un indice d'octane égal ou supérieur à 91 AKI (95 RON).
STI
Ce moteur est conçu pour fonctionner de façon optimale avec de l'essence sans plomb avec un indice d'octane égal ou supérieur à 93 AKI (98 RON). Si de l'essence à 93 AKI (98 RON) n'est pas facile à obtenir dans votre région, de l'essence sans plomb avec un indice d'octane égal ou supérieur à 91 AKI (95 RON) peut être utilisé sans que cela cause du détriment à la longévité du moteur ou à la souplesse. Toutefois, vous pouvez remarquer une légère diminution des performances maximales du moteur si vous utilisez de l'essence à 91 AKI (95 RON). L'utilisation d'essence à 91 AKI (95 RON) n'affecte pas la couverture de votre garantie.
■ Indice d'octane des carburants:
Cet indice d'octane auquel nous faisons reférence est la moyenne entre les indices de Recherche d'octane et d'Octane du moteur. On l'appelle aussi couramment "indice anti-cliquetis" ou AKI (de l'anglais "Anti-Knock Index"). Reportez-vous à "Indice d'octane des carburants" 7-3.
■ Contenance du réservoir de carburant:
64 litres (16,9 US gal, 14,1 Imp gal)
Huile moteur:
Utilisez uniquement les huiles suivantes.
- ILSAC GF4 ou GF5, reconnaissable à la marque d'estampille ILSAC (emblème étoilé)
ou classe SN ou SM selon API相对较 mention "ENERGY CONSERVING"
Reportez-vous aux sections suivantes pour des informations complètes sur les niveaux de viscosité.
- "Qualité et viscosité d'huile recommandées" 11-13
- "Qualité et viscosité d'huile recommendées pour des conditions de conduite difficiles" 11-14
■ Contenance en huile moteur:
4,0 litres (4,2 US qt, 3,5 Imp qt)
■ Pression des pneus à froid:
Reportez-vous à “Pneus” 12-5.
Publié en juin 2010
Imprimé 07/10
2011A
FRAN5

V-8011
Notice Facile