PHONEEASY312CS - Téléphone filaire DORO - Notice d'utilisation et mode d'emploi gratuit
Retrouvez gratuitement la notice de l'appareil PHONEEASY312CS DORO au format PDF.
| Type de produit | Téléphone filaire |
| Caractéristiques techniques principales | Affichage LCD, touches larges, son clair |
| Alimentation électrique | Alimentation par ligne téléphonique |
| Dimensions approximatives | 150 x 200 x 80 mm |
| Poids | 500 g |
| Compatibilités | Compatible avec les lignes téléphoniques analogiques |
| Fonctions principales | Appels, répertoire, sonnerie réglable |
| Entretien et nettoyage | Essuyer avec un chiffon doux, éviter les produits abrasifs |
| Pièces détachées et réparabilité | Disponibilité limitée, consulter le service après-vente |
| Sécurité | Conforme aux normes de sécurité en vigueur |
| Informations générales utiles | Idéal pour les personnes âgées ou ayant des difficultés auditives |
FOIRE AUX QUESTIONS - PHONEEASY312CS DORO
Questions des utilisateurs sur PHONEEASY312CS DORO
0 question sur cet appareil. Repondez a celles que vous connaissez ou posez la votre.
Poser une nouvelle question sur cet appareil
Téléchargez la notice de votre Téléphone filaire au format PDF gratuitement ! Retrouvez votre notice PHONEEASY312CS - DORO et reprennez votre appareil électronique en main. Sur cette page sont publiés tous les documents nécessaires à l'utilisation de votre appareil PHONEEASY312CS de la marque DORO.
MODE D'EMPLOI PHONEEASY312CS DORO
- Prise de ligne téléphonique
- Languette de support du combiné
- Clavier
- Prise du cordon du combiné
- Volume du combiné
- Touche R
-
Journal des appels / OK
-
Effacer
- Volume de la sonnerie
- Touches mémoires directes
- Répétaire
- Volume du haut-parleur
- Haut-parleur
- HAUT/BAS
- Témoin de nouvel appel
- Témoin de la sonnerie
Description
Doro PhoneEasy 312cs
Doro PhoneEasy 312cs peut être utilisé comme téléphone de bureau ou mural. L'augmentation du volume de sonnerie et le témoin d'appel visuel rendent ce téléphone particulièrement adapté aux personnes représentant une déficience auditive.
Le téléphone équipé d'un clavier extralarge et d'un afficheur à grands caractères facile à dire est simple d'utilisation, même par les personnes malvoyantes.
Le repertoire intégré peut mémoriser jusqu'à 30 noms et numéroes. Trois touches de mémoire directe peuvent être programmesées pour les numéroes féquèment utilisés ou les numéroes d'urgence. Un journal des appeals enregistrtre les 15 derniers appeals entrants et sortants.
Une fonction haut-parleur vous permet de téléphoner en mains libres en appuyant simplement sur un bouton.
Cet équipement est concu pour etre utilise sur le reseau tellephonique analogique AT, BE, BG, CH, CY, CZ, DE, DK, EE, ES, FI, FR, GB, GR, HU, IE, IS, IT, LV, LT, LU, MT, NL, NO, PL, PT, RO, SI, SK, SE.
Installation
Raccordement
- Reliez le cordon spiralé au combiné et à la prise marquee du téléphone.
- Reliez le cordon de ligne téléphonique à une prise de courant du réseau et à la prise située à l'arrière du téléphone.
- Décrochez le combiné et vérifie que vous avez la tonalité.
Piles
Ce téléphone est alimenté par la ligne téléphonique.
Si la puissance de la ligne est insuffisante, vous pouvez installer quatre piles alcalines AA pour la sauvegarde du journal des appelants et le haut-parleur.
N'utilisez que des piles alcalines AA de bonne qualité.
Remarque :
Avant d'insteller ou de remplacer les piles, assurez-vous que le téléphone n'est pas branché sur le réseau téléphonique.
- Débranche le cordon de ligne téléphonique.
- Retirez la trappe des piles.
- Placez les piles en veillant bien à respecter les polarités.
- Remettez la trappe en place et rebranchez le cordon de ligne téléphonique.
Réglages de base
Avant d'utiliser le téléphone pour la première fois, vous devez procéder aux réglages de base ci-dessous.
Une fois un réglage confirmé, le réglage suivant s'affiche automatiquement. Le mode de réglage s'éteindra automatiquement après 30 secondes d'inactivité. Vous pouvez quitter le mode de réglage à tout moment en appuyant sur la touche C/←.
Heure et date
Si les réglages du téléphone n'ont pas été effectuels, l'affichage de l'horloge indiquera 00:00 lorsque les piles sont installées.
- Maintenez la touche * enforcée pendant environ 5 secondes jusqu'à ce que l'heure clignote.
- Utilisez les touches / pour modifier la valeur et confirmez à l'aide de la touche [3] .
- Répétez les étapes 1-2 pour régler les minutes, le jour et le mois.
Langue d'affichage
Une fois la date réglée, ENGLISH s'affiche. Vous pouvez maintainantCHOISIRentre8langues:
Utilisez les touches / pour sélectionner la langue souhaïée et confirmez à l'aide de la touche .
Contraste de l'afficheur -2- CONTRASTE s'affiche.
Utilisez les touches / pour sélectionner un réglage de contraste de l'afficheur adapté (1-4) et confirmez à l'aide de la touche [3]R .
Durée de touche R
-100- FLASH s'affiche.
Utilisez les touches / pour régler la durée de touche R (100/300/600 ms) et confirmez à l'aide de la touche [4]R .
100 est le réglage standard pour la plupart des pays.
300 est le réglage pour la France / le Portugal.
Témoin d'appoint
LED OFF s'affiche.
Utilisez les touches / pour activer/désactiver le tímoin LED des nouveaux appeals et confirmez à l'aide de la touche [3]M .
Tonalité/impulsion
FV s'affiche.
Utilisez les touches / pour selectionner le mode de numérotation par tonalité ou par impulsion et confirmez à l'aide de la touche [3] .
Remarque :
Si vous n'êtes pas certain du mode de numérotation à utiliser, Sélectionnez TONE car il fonctionne dans la plupart des endroits.
Les réglages de base du téléphone sont maintainant terminés.
Fixation au mur
Le téléphone peut être fixé au mur à l'aide du support de fixation mural fourni et de deux vis (non incluses).
Avertissement !
Assurez-vous qu'aucun cable, qu'aucune conduite d'eau ou de gaz n'est situé(e) dans le mur avant de per forer.
- Perforez deux troughs dans le mur, en les faisant correspondre aux troughs du support de fixation mural.
- Insérez les vis, en laissant une saillie de 5 mm à partir du mur.
- Débranchez et retirez le combiné.
- Placez les onglets de guidage (A) du support dans les fentes (B) situées à l'arrière du téléphone, puis faites glisser le support vers le haut jusqu'à ce qu'il se mette en place.

- Placez le téléphone de sorte que les vis du mur correspondent aux fentes du support, puis glissez le téléphone vers le bas jusqu'à ce qu'il s'accroche aux vis.
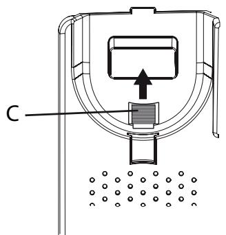
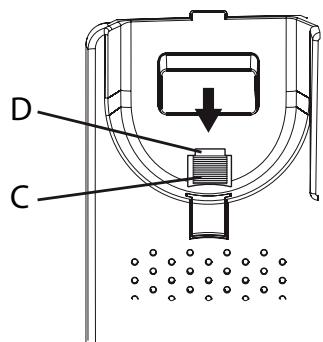
- Retirez la languette de support du combiné (C) en le poussant vers le haut et introduizez-le dans la position inverse de manière à ce que le petit onglet (D) fasse saillie. La languette sera désormais maintainue dans le support lorsque le téléphone est fixé au mur.


- Rebranche le combiné et placez-le dans le support.
Remarque :
Si le téléphone doit être à nouveau utilisé comme téléphone de bureau, rappelez-vous d'inverser la position de la languette de support du combiné.
Utilisation
Passer un appel
Numérorotation normale
- Decroche le combiné.
- Composez le numéro de téléphone souhaité à l'aide du clavier. Raccrochez le combiné pourmettre fin à l'appei.
Haut-parleur
La fonction haut-parleur vous permet de passer un appel sans utiliser le combiné.
- Appuyez sur la touche pour activer le haut-parleur. La LED situé e a côté de la touche s'allume.
- Composez le numéro de téléphone souhaité à l'aide du clavier. Appuyez une nouvelle fois sur la touche pourmettre fin à l'appoint.
Décrochez le combiné pour passer du haut-parleur au combinépendant un appel.
Pre-numérotation
La fonction de pré-numérotation vous permet de saisir et de modifier un numéro avant de le composer.
- Saisissez le numéro de téléphone souhaité à l'aide du clavier. Appuyez sur la touche C/← pour supprimer le dernier chiffre saisi.
- Décrochez le combiné ou appuyez sur la touche pour composer le numéro.
- Raccrochez le combiné ou appuyez sur la touche pourmettre fin à l'appoint.
Composition rapide du numero
- Décrochez le combiné ou appuyez sur la touche
- Appuyez sur la touche pour composer à nouveau le dernier numéro composé.
Composition des numéros enregistrés dans la mémoire des appeals
- Appuyez sur la touche pour afficher l'essay le plus récent.
- Utilisez les touches / pour faire défiler les 15 derniers appels entrants et sortants.
= Appel entrant = Appel sortant
3. Décroche le combiné ou appuyez sur la touche pour composer le numéro affché.
Mémoires directes (numérotation directe)
- Appuyez sur l'une des touches de s mémoires directes A, B ou C. Le numéro de téléphone mémorisé s'affiche.
- Décrochez le combiné ou appuyez sur la touche pour composer le numéro.
- Raccrochez le combiné ou appuyez sur la touche pourmettre fin à l'appeiI.
Composition des numéromes mémorisés dans le repertoire
- Appuyez sur la touche pour ouvrir le repertoire.
- Utilisez les touches / pour parcourir le repertoire ou saississez le premier caractère du nom pour trouverrapidement une entrée.
- Décroche le combiné ou appuyez sur la touche pour composer le numéro.
Répondre
Décrochez le combiné pour répondre à un appel entrant ou appuyez sur la touche pour répondre à l'aide du haut-parleur.
Fonctions supplémentaires
Temps d'appel
L'afficheur indique l'heure actuelle en mode de veille. Pendant un appel, l'afficheur indiquera à la place une minuterie de temps d'appeal, laquelle indique la durée de l'appeal. La durée de l'appeal reste affichée pendant 5 secondes après la fin de l'appeal.
Touche (R)

Appuyez sur la touche R suivie du numero d'extension pour transférer un appel en cas de connexion à un système PABX.
D'autres services réseau peuvent être accessibles à l'aide des touches R, * et #. Veuillez contacter votre opérateur pour obtenir plus d'informations sur les services réseau disponibles.
Prothèse auditive
Ce téléphone est compatible avec une prothèse auditive.
Sélectionnez le mode T sur votre prothèse auditive pour activer cette fonction.
Répétoire
Le repertoire intégré peut<memoriser jusqu'à 30 entrées. Lorsque la mémoire du repertoire est pleine, ----100% s'affiche
Mémorisation des numérios dans le repertoire
- Maintenez la touche enfoncée jusqu'à ce qu'un curseur clignotant s'affiche.
- Saisissez un numéro de téléphone (jusqu'à 22 chiffres) à l'aide du clavier. Utilisez les touches / pour déplacer le curseur et la touche / pour effacer si nécessaire. Utilisez la touche # pour insérer une pause dans le numéro.
- Appuyez sur la touche pour confirmer. Un curseur clignotant s'affichera sur la deuxième ligne de l'afficheur.
- Utilisez le clavier pour saisir un nom (jusqu'à 9 caractères) correspondant au nombre à mémoriser. Appuyez plusieurs fois pour selectionner les caractères pour chaque touche :
- Appuyez sur la touche pour confirmer. OK s'affiche.
- Répétez les étapes 1 à 5 pourémoriser un autre numéro ou maintenez la touche C / enforcée pour quitter le repertoire.
Suppression des numéroes mémorisés dans le repertoire
- Appuyez sur la touche pour ouvrir le repertoire.
- Utilisez les touches / pour parcouir le repertoire ou saisissez le premier caractère pour才知道 rapidement une entrée.
- Maintenez la touche C / enfoncée pour supprimer l'entrée sélectionnée.
Modification des numérios mémorisés dans le repertoire
- Appuyez sur la touche pour ouvrir le repertoire.
- Utilisez les touches / pour parcourir le repertoire ou saississez le premier caractère pour才知道 rapidement une entrée.
- Maintenez la touche enfoncée jusqu'à ce que le curseur clignotant s'affiche dans le numéro sélectionné.
- Utilisez les touches / pour déplacer le curseur et utilisez la touche / et le clavier pour effacer et saisir les nouvelles données.
- Appuyez sur la touche pour confirmer. Le curseur passera à la deuxième ligne de l'afficheur.
- Répétez l' étape 4 pour modifier le nom/la description du numéro sélectionné.
- Appuyez sur la touche pour confirmer. OK s'affiche.
Composition à partir du repertoire
- Appuyez sur la touche pour ouvrir le repertoire.
- Utilisez les touches / pour parcourir le repertoire ou saississez le premier caractère du nom pour trouverrapidement une entrée.
- Décrochez le combiné ou appuyez sur la touche pour composer le numéro.
Mémoires directes (numérorotation directe)
Le téléphone possède 3 touches de mémoires directes qui peuvent être utilisées pour les numérios qui sont composés frequentlyment et pour les numérios d'urgence.
Mémorisation des numérios abrégés
- Maintenez une des touches de numéro abrégé A, B ou C enfoncée jusqu'à ce qu'un curseur clignotant s'affiche sur la première ligne de l'afficheur.
- Saisissez un numéro de téléphone (jusqu'à 22 chiffres) à l'aide du clavier. Utilisez les touches / pour déplacer le curseur et la touche / pour effacer si nécessaire. Utilisez la touche # pour insérer une pause dans le numéro.
- Appuyez sur la touche pour confirmer. Un curseur clignotant s'affichera sur la deuxième ligne de l'afficheur.
- Saisissez un nom ou une description pour le numéro à mémoriser (jusqu'à 9 caractères). Appuyez plusieurs fois pour faire défilier les caractères de chaque touche du clavier (voir illustration de la page 10).
- Appuyez sur pour confirmer. OK s'affiche.
- Répétez les étapes 1 à 5 pourémoriser les numérios des autres touches de mémoires directes.
Suppression des mémoires directes
Les mémoires directes ne peuvent pas être supprimées, elles peuvent uniquement être remplacées en mémorisant un nouveau numéro.
Composition des mémoires directes
- Appuyez sur l'une des touches de s mémoires directes A, B ou C. Le numéro de téléphone mémorisé s'affiche.
- Décrochez le combiné ou appuyez sur la touche pour composer le numéro.
- Raccrochez le combiné ou appuyez sur la touche pourmettre fin à l'appoint.
Présentation du numéro/nom et du journal des appeals
La presentation du numéro/nom vous permet de voir qui vous appelle avant de répondre et qui a appelé en votre absence.
Remarque :
La fonction de presentation du numéro/nom doit être activée par abonnement. Veuillez contacter votre opérateur pour de plus amples informations.
La mémoire des appeals enregistrra les 15 derniers appeals entrants et les 15 derniers appeals sortants. Sur l'afficheur, les appeals entrants (auxquels vous avez ou non répondu) sont indiqués par le symbole et les appeals sortants par le symbole.
Si la fonction de Témoin d'appoint est activée, un signal clignotant indique qu'un appel sans réponse a été reçu depuis la dernière vérification de la mémoire des appeals.
Parcourir la mémoire des appel
- Appuyez sur la touche , puis sur les touches / pour faire défiler la mémoire des appeals. Le nombre et l'heure de chaque appel s'afficheront. Pour les appeals passés et reçus il y a plus de 24 heures, la date de l'appeil s'affiche à la place de l'heure.
- Appuyez sur la touche C/← pour quitter la mémoire des appel.
Appel des numéros enregistrés dans la mémoire des appeals
- Appuyez sur la touche , puis sur les touches / pour faire défiler la mémoire des appels.
- Décrochez le combiné ou appuyez sur la touche pour composer le numéro affché.
Suppression des numéros enregistrés dans le journal des appeals
- Appuyez sur la touche , puis sur les touches / pour faire défiler la mémoire des appels.
- Maintenez la touche C/← enfoncée pour supprimer l'entrée sélectionnée.
Copie des entrées de la mémoire des appeals dans le repertoire
- Appuyez sur la touche , puis sur les touches / pour faire défiler le journal des appels.
- Maintenez la touche * enfoncée. Appuyez sur la touche pour confirmer. Un curseur clignotant s'affichera sur la deuxième ligne de l'afficheur.
- Utilisez le clavier pour saisir un nom (jusqu'à 9 caractères) correspondant au nombre à mémoriser. Appuyez plusieurs fois pour selectionner les caractères pour chaque touche.
- Appuyez sur la touche pour confirmer. OK s'affiche.
Voir aussi Installation /Réglages de base.
Réglage volume de la sonnerie
Le volume de la sonnerie peut être régle à l'aide du curseur situé sur le côte droit du téléphone.
Volume de la sonnerie (sourdine/bas/haut)
Réglage du volume
Le volume du haut-parleur est réglé à l'aide d'un curseur situé sur le côté droit du téléphone.
Le réglage du volume du combiné se trouve sous le combiné.

François
Précautions et entretien
Votre téléphone est un produit de haute technologie et il doit être manipulé avec le plus grand soin. Une néligence peut annuler la garantie.
- Maintenez l'appareil au sec. L'eau de pluie ou la neige, l'humidité et les liquides contiennent des minéraux susceptibles d'oxyder et de déterminer les composants électroniques. Si votre apparéil est humide, retirez la batterie et laissez l'appareil secher complètement avant de la remètre en place.
- N'utilisez pas et ne rangez pas votre apparéil dans un endroit sale ou poussériqueaux. Les parties mobiles et les composants électroniques de l' apparéil pourrait être endommages.
- Ne rangez pas l'appareil dans des zones de température élevé. Des températures élevées peuvent réduire la durée de vie des apparils électroniques, endommager les batteries et faire fondre certains composants en plastique.
- Ne rangez pas l'appareil dans des zones de basse température. Lorsqu'il repasse à température normale, de la condensation peut se former à l'intérieur de l'appareil et endommager les circuits électroniques.
- N'essayez pas d'ouvoir l'appareil autrement que selon les instructions de ce manuel.
- Ne faites pas tomber l'appareil. Ne le hourtez pas et ne le secouez pas. Une manipulation brute risquerait de détruire les circuits internes et les pièces mécaniques.
- N'utilisez pas de produits chimiques puissants pour nettoyer votre apparéil.
Les recommandations ci-dessus s'appliquent à votre apparéil ainsi qu'à la batterie et à tout autre accessoire. Si le téléphone ne fonctionne pas correctement, rapportez-le au S.A.V. de votre revendeur. N'oubliez pas de vous munir du ticket de caisse ou d'une copie de la facture.
Garantie et données techniques
Garantie et S.A.V.
Pour la France
Cet apparéil est garanti deux ans à partir de sa date d'achat, la facture faisant fj. En cas de panne, contactez votre revendeur. La réparation dans le cadre de cette garantie sera effectué gratuitement.
La garantie ne s'appliquera pas si l'appareil a ete endommagé à la suite d'un chic ou d'une chute, d'une fausse manœuvre, d'un branchement non conforme aux instructions mentionnées dans la notice, d'une protection insuffisante contre l'humidité, la chaleur ou le gel. Par ailleurs, la garantie ne s'appliquera pas si l'appareil a ete endommagé à la suite d'un chic ou d'une chute, d'une fausse manœuvre, d'un branchement non-conformte aux instructions mentionnées dans la notice, de l'effet de la foudre, de surtensions électriques ou électrostatiques, d'une protection insuffisante contre l'humidité, la chaleur ou le gel. En tout état de cause, la garantie légale pour vices cachés s'appliquera conformément aux articles 1641 et suivants du Code Civil. Il est recommandé de débrancher le téléphone en cas d'orage.
Les batteries sont des articles consommables et ne sont couvertes par aucune garantie.
N'utilisez que des piles alcalines AA de bonne qualité.
Specifications
Dimensions : – 175 mm x 175 mm x 60 mm
Poids: 750 g (avec piles)
4x1,5V piles alcalines AA
Déclaration de conformité
Doro déclare par la présente que l'équipement hertzien
Doro PhoneEasy 312cs est conforme aux directives : 1999/05/CE ou
2014/53/UE et 2011/65/UE. Le texte intégral de la déclaration de conformité UE est disponible à l'adresse Internet suivante :
www.doro.com/dofc
French
Version 2.0
www.doro.com
Notice Facile