Corsair (2020) - Automobile Lincoln - Notice d'utilisation et mode d'emploi gratuit
Retrouvez gratuitement la notice de l'appareil Corsair (2020) Lincoln au format PDF.
| Type de produit | Véhicule utilitaire sport (SUV) |
| Caractéristiques techniques principales | Moteur 2.0L turbo, puissance de 250 ch, transmission intégrale disponible |
| Dimensions approximatives | Longueur : 4 634 mm, Largeur : 1 898 mm, Hauteur : 1 646 mm |
| Poids | Environ 1 800 kg |
| Capacité du réservoir de carburant | 60 litres |
| Consommation de carburant | Environ 10 L/100 km en ville, 7 L/100 km sur autoroute |
| Type de transmission | Automatique à 8 vitesses |
| Système de sécurité | Freinage d'urgence automatique, assistance au maintien de voie, surveillance des angles morts |
| Équipements de confort | Climatisation automatique, sièges en cuir, système audio premium |
| Entretien et nettoyage | Révisions tous les 15 000 km, nettoyage intérieur et extérieur recommandé régulièrement |
| Pièces détachées et réparabilité | Disponibilité de pièces d'origine, réseau de réparateurs agréés |
| Garantie | Garantie de 4 ans ou 80 000 km |
| Informations générales utiles | Modèle 2020, disponible en plusieurs finitions, options de personnalisation disponibles |
FOIRE AUX QUESTIONS - Corsair (2020) Lincoln
Questions des utilisateurs sur Corsair (2020) Lincoln
0 question sur cet appareil. Repondez a celles que vous connaissez ou posez la votre.
Poser une nouvelle question sur cet appareil
Téléchargez la notice de votre Automobile au format PDF gratuitement ! Retrouvez votre notice Corsair (2020) - Lincoln et reprennez votre appareil électronique en main. Sur cette page sont publiés tous les documents nécessaires à l'utilisation de votre appareil Corsair (2020) de la marque Lincoln.
MODE D'EMPLOI Corsair (2020) Lincoln
Juillet 2019 Première impression Imprimé aux États-Unis
L7J19A21CA

Manuel du propriétaire CORSAIR 2020
Manuel du propriétaire CORSAIR 2020
LA COMPAGNIE AUTOMOBILE LINCOLN
Les renseignements contenus dans le présent document sont exacts au moment de mettre sous presse. Dans l'intérêt d'un développement continu, nous nous réservons le droit de modifier en tout temps la conception, les spécifications ou les équipements des produits, et ce, sans préavis ni obligation. Aucune section de ce document ne peut être reproduite, diffusée ou sauvegardée dans un système de récupération ou traduite dans une langue quelconque sous quelle forme que ce soit sans notre consentement écrit. Sauf erreurs ou omissions.
• Ford Motor Company 2019
Tous droits réservés.
Numéro de publication: 201906 20190614184902
Proposition 65 de l'état de californie
AVERTISSEMENT: Le fonctionnement, l'entretien et la maintenance d'un véhicule de tourisme ou d'un véhicule tout terrain peuvent vous exposer aux produits chimiques, notamment aux gaz d'échappement, monoxyde de carbone, phthalates et plomb qui sont reconnus en Californie comme cause de cancer et de malformations congénitales. Pour limiter l'exposition, évitez de respirer les gaz d'échappement, ne faites tourner le moteur au ralenti que si nécessaire, entretenez votre véhicule dans un lieu bien aéré, portez des gants ou lavez-vous les mains souvent pendant l'entretien du véhicule. Visitez le site www.P65Warnings.ca.gov/passenger-vehicle pour obtenir de plus amples renseignements.
AVERTISSEMENT: Les bornes de batterie, les cosses de câbles et les accessoires connexes contiennent du plomb et des composés de plomb, produits chimiques qui sont reconnus dans l'État de Californie comme cause de cancer et autres lésions de l'appareil reproducteur. Lavez-vous les mains après manipulation.
Table des matières
Glossaire des symboles 9
Enregistrement de données 12
Perchlorate 17
Services financiers automobiles de Lincoln 17
Pièces de rechange recommandées 18
Avis spéciaux 18
Équipement de communication mobile 20
Options uniques d'exportation 20
Environnement
Protection de l'environnement 21
Aperçu
Planche de bord 22
Sécurité enfants
Généralités 25
Installation de sièges d'enfant 27
Rehausseurs 34
Positionnement des sièges de sécurité enfants 37
Verrouillage sécurité enfants 40
Ceintures de sécurité
Principes de fonctionnement 41
Utilisation des ceintures de sécurité...42
Réglage de hauteur de ceinture de sécurité 46
Témoin et carillon de ceinture de sécurité 46
Rappel de bouclage des ceintures de sécurité 47
Entretien des ceintures de sécurité et des dispositifs de retenue pour enfants 49
Rallonges de ceinture de sécurité 49
Dispositifs de retenue supplémentaires
Principes de fonctionnement 52
Sacs gonflables du conducteur et du passager 53
Capteur de poids du passager avant.....55
Sacs gonflables latéraux 58
Protège-genoux conducteur et passager 60
Safety Canopy TM 60
Déflecteurs d'impact et témoin de sac gonflable 62
Mise au rebut de l'airbag 63
911 Assist
Exigences des appels d'urgence 64
Limitations des appels d'urgence 65
Clés et commandes à distance
Renseignements généraux sur les radiofréquences 67
Télécommande 68
Table des matières
Remplacement d'une commande à distance ou d'une clé perdue 73
Téléphone en tant que clé
Programmation de votre téléphone...74
Utilisation du mot de passe de démarrage-secours 74
Téléphone en tant que clé - Dépannage 75
MyKeyTM
Principes de fonctionnement 76
Création d'un dispositif MyKey 78
Effacement de la programmation de tous les dispositifs MyKey 79
Vérification de l'état du dispositif MyKey 79
Utilisation de MyKey à l'aide d'un démarreur à distance 80
MyKey - Dépannage 80
Portes et serrures
Verrouillage et déverrouillage 82
Entrée sans clé 88
Hayon
Hayon à commande électrique 91
Sécurité
Système antivol passif 97
Alarme antivol 98
Volant
Réglage du volant - Véhicules avec : Colonne de direction à réglage manuel 100
Réglage du volant - Véhicules avec : Colonne de direction à réglage électrique 100
Commande audio 102
Commande vocale 102
Programmateur de vitesse - Véhicules avec : Régulateur de vitesse adaptatif avec maintien de voie 103
Programmateur de vitesse - Véhicules avec : Programmateur de vitesse....103
Commande de l'affichage d'information 104
Volant chauffant 104
Avertisseur sonore 105
Essuie-glaces et lave-glaces
Essuie-glaces 106
Essuie-glaces automatiques 107
Lave-glaces 108
Essuie-glace et lave-glace de lunette arrière 109
Éclairage
Généralités 110
Commande d'éclairage 110
Phares automatiques 111
Commande d'éclairage du tableau de bord 112
Phares à extinction temporisée 112
Feux de jour - Véhicules avec : Feux de jour configurables 112
Feux de jour - Véhicules avec : Feux de jour 113
Phares antibrouillards avant 113
Phares adaptatifs 114
Clignotants 116
Table des matières
Éclairage d'accueil 116 Éclairage intérieur 117 Éclairage ambiant 118
Feux de route automatiques
À propos des feux de route automatiques 119 Activation et désactivation des feux de route automatiques 119 Témoins de feux de route automatiques 120 Contournement des feux de route automatiques 120
Glaces, miroirs et rétroviseurs
Glaces à commande électrique 121 Ouverture et fermeture globales 122 Rétroviseurs extérieurs 123 Rétroviseur intérieur 125 Pare-soleil 126 Toit ouvrant 126
Combé des instruments
Jauges - Véhicules avec : Écran du système d'information et de divertissement de 6,5 po.....................129 Jauges - Véhicules avec : Écran du système d'information et de divertissement de 12,3 po.....................131 Témoins et indicateurs 134 Indicateurs et avertisseurs sonores 139
Affichage d'information
Généralités 140 Réglages personnalisés 144 Messages d'information 145 Affichage tête haute 167
Climatisation
Commande automatique de la température 171 Conseils sur la régulation de la température dans l'habitat 174 Pare-brise chauffant 175 Lunette arrière chauffante 175 Rétroviseurs extérieurs chauffants 175
Filtre à air d'habitacle 175 Démarreur à distance. 176
Sièges
Positions assises appropriées. 178 Appuie-tête 179 Sièges à commande électrique 181 Fonction de mémorisation 186 Sièges arrière 190 Sièges chauffants 192 Sièges à régulation de température.....193
Ouvre-porte de garage
Ouvre-porte-de-garage-universel 196
Prises de courant auxiliaires
Prises de courant auxiliaires 201
Charge d'accessoires sans fil 203
Espaces de rangement
Console de pavillon 205
Démarrage et arrêt du moteur
Généralités 206 Démarrage sans clé 206 Démarrage d'un moteur à essence.....207 Chauffe-moteur 211
Caractéristiques de conduite uniques
Auto-Start-Stop 214
Carburant et remplissage
Consignes de sécurité 217 Qualité du carburant 218 Emplacement de l'entonnoir de replissage de réserve de carburant 219 Panne de carburant 219 Ravitallement 221 Consommation de carburant 225
Dispositif antipollution
Normes d'émission 227 Convertisseur catalytique 228
Boîte de vitesses
Boîte de vitesses automatique 232
Transmission intégrale
Utilisation de la traction intégrale.....................239
Freins
Généralités 245 Conseils sur la conduite à l'aide de freins antiblocage 246 Frein de stationnement électronique....246 Aide au démarrage en côte 248 Maintien Auto 249
Aide au freinage en marche arrêtée
À propos de l'aide au freinage en marche arrêté 251 Précautions relatives à l'aide au freinage en marche arrêté 251 Activation et désactivation de l'aide au freinage en marche arrêté 252 Annulation de l'aide au freinage en marche arrêté 252
Témoins de l'aide au freinage en marche arrière 253 Aide au freinage en marche arrière - Dépannage 253
Antipatinage
Principes de fonctionnement 255 Utilisation de l'antipatinage 255
Contrôle de stabilité
Principes de fonctionnement 257 Utilisation du contrôle de stabilité.....................258
Aides au stationnement
Principes de fonctionnement 259 Aide au stationnement arrière 260 Aide au stationnement avant 262 Sonar latéral 264 Stationnement actif 267 Caméra de recul 271 Caméra à 360 degrés 274
Programmateur de vitesse
Activation et désactivation du régulateur de vitesse 277
Programmation de la vitesse du régulateur de vitesse 277
Annulation de la vitesse programmée 278
Reprise de la vitesse programmée 278
Témoins de régulateur de vitesse 278
Régulateur de vitesse adaptatif
À propos du régulateur de vitesse adaptatif avec arrêt-demarrage.....................279 À propos du régulateur de vitesse adaptatif avec maintien de voie.....................279 À propos du régulateur de vitesse adaptatif intelligent 279 maintien de voie 280
arrêt-demarrage 280 Limitations du régulateur de vitesse adaptatif - Véhicules avec : Régulateur de vitesse adaptatif avec maintien de voie 281 Limitations du régulateur de vitesse adaptatif - Véhicules avec : Régulateur de vitesse adaptatif avec arrêt-demarrage 282 Activation et déactivation du régulateur de vitesse adaptatif 284 Réglage de la vitesse du régulateur de vitesse adaptatif 285 Réglage de la distance de suivi du régulateur de vitesse adaptatif 286 Annulation de la vitesse programmée 287 Reprise de la vitesse programmée 287 Neutralisation de la vitesse programmée 288 Témoins du régulateur de vitesse adaptatif - Véhicules avec : Régulateur de vitesse adaptatif avec maintien de voie.....288
Témoi émarrage 288 Témoins du régulateur de vitesse adaptatif - Véhicules avec : Régulateur de vitesse adaptatif intelligent 289 Passage du régulateur de vitesse adaptatif au régulateur de vitesse standard 289 Activation et déactivation du système de maintien de voie 289 Activation et déactivation du mode intelligent 290 Réglage de la tolérance de la vitesse programmée 291 Régulateur de vitesse adaptatif - Dépannage 291
Aides à la conduite
Alerte conducteur 295 Système de maintien de trajectoire ……297 Système d'information sur les angles morts 303 Alerte de circulation transversale 305 Direction 311 Assistance pré-collision 312
Commande du mode de conduite
Sélection d'un mode de conduite 318
Modes de conduite 319
Transport de charge
Rangement sous le plancher arrêté...320
Cache-bagages 320
Porte-charge et porte-bagages de toit 321
Limite de charge 322
Remorquage
Traction d'une remorque 328
Fonction de stabilisation de la remorque 329
Poids de remorquage recommandés....330
Vérifications de remorquage essentielles 332
Remorquage du véhicule les quatre roues au sol 335
Conseils de conduite
Rodage 336
Conduite économique 336
Conduite dans l'eau 337
Couvre-plancher 337
Dépannage
Assistance dépannage 339
Feux de détresse 340
Coupure de carburant 341
Démarrage-secours du véhicule 342
Système d'alerte après impact 344
Transport du véhicule 345
Assistance à la clientèle
Pour obtenir les services nécessaires 347
En Californie (États-Unis seulement)....349
Programme Auto Line du Better Business Bureau (É.-U. seulement) 350
Utilisation du programme de médiation et d'arbitrage (Canada seulement) 351
Pour obtenir de l'aide hors des États-Unis et du Canada 352
Commande d'un Guide du propriétaire additionnel 354
Déclaration des défauts promettant la sécurité (É.-U. seulement) 354
Déclaration des défauts promettant la sécurité (Canada seulement).....................355
Fusibles
Tableau de spécifications des fusibles 356
Remplacement d'un fusible 367
Entretien
Généralités 370
Ouverture et fermeture du capot 371
Aperçu sous le capot 372
Jauge d'huile moteur 373
Vérification de l'huile moteur 373
Réinitialisation du témoin de vidange d'huile 375
Vérification du liquide de refroidissement 376
Vérification de l'huile de boîte de vitesses automatique 382
Vérification du liquide de frein 382
Table des matières
Vérification du liquide de direction assistée 383
Vérification du liquide de lave-glace....383
Filtre à carburant 384
Remplacement de la batterie de 12 V 384
Vérification des balais d'essuie-glace 387
Remplacement des balais d'essuie-glace 387
Réglage des phares 388
Dépose d'un phare 390
Remplacement d'une ampoule 390
Remplacement du filtre à air 390
Entretien du véhicule
Généralités 392
Produits de nettoyage 392
Nettoyage de l'extérieur 393
Cirage 395
Nettoyage du moteur 395
Nettoyage des glaces et des balais d'essuie-glace 396
Nettoyage de l'habitacle 396
Nettoyage de la planche de bord et des lentilles du tableau de bord 397
Nettoyage des sièges en cuir 398
Réparation de dommages mineurs à la peinture 398
Nettoyage des roues 399
Entreposage du véhicule 399
Trousse de carrosserie 401
Jantes et pneus
Généralités 402
Entretien des pneus 404
Utilisation de chaînes à neige 419
Système de surveillance de la pression des pneus 421
Remplacement d'une roue 425
Spécifications techniques 434
Capacités et spécifications
Spécifications du moteur - 2.0L 436
Spécifications du moteur - 2.3L 437
Pièces Motorcraft - 2.0L 439
Pièces Motorcraft - 2.3L 441
Numéro d'identification du véhicule....442
Étiquette d'homologation du véhicule 442
Désignation du code de boîte de vitesses 443
Capacités et spécifications - 2.0L.444
Capacités et spécifications - 2.3L.454
Tableau de spécifications des ampoules 464
Connectivité réseau
Connexion du véhicule à un réseau mobile 466
Connectivité réseau - Dépannage....467
Point d'accès wi-fi
Création d'un point d'accès Wi-Fi....470
Modification du nom ou du mot de passe du point d'accès Wi-Fi 471
Chaîne audio
Généralités 472
Autoradio 473
Radio numérique 474
Radio par satellite 478
Table des matières
Port USB 482
SYNC™ 3
Généralités 483
Utilisation de la reconnaissance vocale 485
Divertissement 497
Climatisation 511
Telephone 514
Navigation 517
Applications 525
Paramètres 528
Dépannage de SYNC TM 3 531
Accessoires
Accessoires 549
Lincoln Protect 551
Entretien de votre véhicule
Entretien usuel - Généralités 554
Entretien périodique normal 559
Entretien périodique - conditions de conduite rigoureuses 564
Dossier d'entretien périodique 568
Compatibilité électromagnétique 588
Contrat de licence de l'utilisateur final 593
Déclaration de conformité 627
Déclaration de conformité - Véhicules avec : SYNC 3 628
À PROPOS de ce MANUEL
Merci d'avoir choisi Lincoln. Nous vous recommandons de prendre le temps de vous familiariser avec votre véhicule en lisant ce manuel. Plus vous en saurez sur votre véhicule, plus vous prendrez plaisir à le conduire, et ce, en toute sécurité.

Avertissement: le manque
d'attention au volant peut se traduire par une perte de maîtrise du véhicule, une collision et des blessures. Ford recommande fortement aux conducteurs de faire preuve d'une vigilance de tous les instants lorsqu'ils utilisent un dispositif qui pourrait nuire à leur concentration sur la route. Avant tout, vous devez vous assurer de conduire votre véhicule de façon sécuritaire. Nous recommendons de ne pas utiliser un appareil portatif durant la conduite et vous encourageons à utiliser
les systèmes commandés par la voix dans la mesure du possible. Assurez-vous de connaître toutes les réglementations locales en vigueur relatives à l'utilisation d'appareils électroniques durant la conduite.
Nota: Ce manuel décrit des équipements et des options offerts sur toute la gamme de modèles disponibles, parfois avant même qu'ils ne soient disponibles. Il peut décrire des options dont votre véhicule n'est pas équipé.
Nota: Certaines illustrations du présent manuel peuvent indiquer des fonctions utilisées sur divers modèles, et peuvent donc sembler différentes sur votre véhicule.
Nota: Utilisez et conduisez votre véhicule conformément à toutes les lois et à tous les règlements applicables.
Nota: Remettez ce manuel au nouveau propriétaire lorsque vous vendez votre véhicule. Il fait partie intégrante de votre véhicule.
Ce manuel pourra qualifier l'emplacement d'un composant par le terme côté gauche ou côté droit. Le côté est déterminé pour un observateur assis sur le siège face à l'avant.

A Côté droit.
B Côté gauche.
GLOSSaire des symboles
Voici quelques-uns des pictogrammes qui pourraient s'afficher sur votre véhicule.

Système de climatisation

Type de lubrifiant du système de climatisation

Système de freins antiblocage

Ne fumez pas, évitez les flammes et les étincelles

Batterie

Acide de batterie

Liquide de frein - sans produits pétroliers

Circuit de freinage

Circuit de freinage

Filtre à air d'habitacle

Vérifiez le bouchon du réservoir de carburant

Dispositif de sécurité pour enfants verrouillé ou déverrouillé

Point d'ancrage inférieur pour siège infant

Patte d'ancrage pour siège infant

Régulateur de vitesse

Laissez refroidir avant d'ouvrir

Filtre à air du moteur

Liquide de refroidissement du moteur

Température du liquide de refroidissement

Huile moteur

Gaz explosif

Avertissement concernant le ventilateur

Bouclage de ceinture de sécurité

Inflammable

Sac gonflable avant

Antibrouillards vain

Réinitialisation de la pompe d'alimentation

Porte-fusibles

Feux de détresse

Lunette arrière chauffante

Système de dégivrage de pare-brise

Ouverture du coffre à bagages de l'intérieur

Cric

Conservez hors de la portée des enfants

Commande d'éclairage

Avertissement de basse pression des pneus

Maintenez un niveau de liquide approprié

Respectez les consignes d'utilisation

Commande de l'avertisseur sonore

Alarme de détresse

Module d'aide au stationnement

Frein de stationnement

Liquide de direction assistée

Glaces électriques avant et arrêtées

Verrouillage des glaces à commande électrique

Doit être effectué par un technicien certifié

Avertissement de sécurité

Consultez le Guide du propriétaire

Consultez le Manuel de réparation et d'entretien

Entretien recommandé du moteur

Sac gonflable passager activé

Sac gonflable passager désactivé

Sac gonflable latéral

Protégez-vous les yeux

Contrôle de la stabilité

Contrôle en descente

Contrôle de remorque

Système de balayage d'essuie-glaces

Lave-glace et essuie-glace de pare-brise
Enregistrement de données

AVERTISSEMENT: Ne branchez pas
d'appareils connectables sans fil à la prise de diagnostic. Un tiers non autorisé pourrait être en mesure d'accéder aux données du véhicule et de porter atteinte au fonctionnement de systèmes liés à la sécurité. Seuls les réparateurs qui respectent nos directives d'entretien et de réparation doivent être autorisés à brancher leurs équipements à la prise de diagnostic.
Nous respectons votre vie privée et nous nous engageons à la protéger. L'information représentée dans cette publication était correcte à la date d'impression. Cependant, les technologies évoluent rapidement et nous vous recommandons donc de consulter le site Web Lincoln de votre région pour en savoir plus sur les nouvelles.
Votre véhicule est doté d'un module de commande électronique qui peut enregistrer des données et stocker de manière temporaire ou permanente des données. Ces données peuvent indiquer l'état et le statut de votre véhicule, les exigences d'entretien du véhicule, les événements et les défaillances. Les types de données qui peuvent être enregistrées sont décrits dans cette section. Certaines des données enregistrées sont stockées dans le journal d'événements ou d'erreurs.
Nota: Les journaux d'erreurs sont réinitialisés suite à une réparation ou un entretien.
Nota : Nous pouvons transmettre des informations sur demande des autorités chargées de l'application de la loi, d'instances gouvernementales et de tiers détenant un pouvoir légal ou via une procédure judiciaire. Ces informations peuvent être utilisées dans un cadre légal.
Exemples de données enregistrées :
- États de fonctionnement des composants du système, par ex., le niveau de carburant, la pression des pneus et le niveau de charge de la batterie.
- État du véhicule et des composants, par ex., la vitesse de rotation des roues, la décélération, l'accélération latérale et l'état des ceintures de sécurité.
- Événements et erreurs dans les systèmes essentiels, par ex., les phares et les freins.
- Réponses système en situation de conduite, par ex., le déploiement des sacs gonflables et le contrôle de stabilité.
- Conditions ambiantes, par ex., la température.
Certaines de ces données quand elles sont combinées à d'autres renseignements, par ex., un rapport d'accident, des dommages au véhicule ou des déclarations de témoin oculaire, peuvent être associées à une personne spécifique.
Données d'entretien
Les enregistres de données d'entretien de votre véhicule recueillent et enregistrent l'information diagnostique du véhicule, notamment les données relatives à la performance ou à l'état de divers systèmes et modules dont il est équipé, par exemple le moteur, l'accélérateur, la direction ou le circuit de freinage. Afin de rendre un diagnostic précis et de bien entretenir votre véhicule, Lincoln Motor Company (Lincoln du Canada au Canada) et d'autres ateliers d'entretien et de réparation, peuvent accéder à ces données de diagnostic et les partager grâce à une connexion physique directe avec le véhicule au moment où vous le leur confiez pour entretien. De plus, Ford Motor Company (Ford du Canada au Canada) peut, là où la loi le permet, utiliser les données de diagnostic du véhicule aux fins d'amélioration
de ses produits, ou en les combinant aux renseignements que nous détenons sur vous, p. ex., vos coordonnées, pour vous offrir des produits ou services qui pouraient vous intéresser. Les données peuvent alors être transmises à nos fournisseurs de services (tels que les fournisseurs de pièces) qui, eux aussi dans l'obligation de protéger les données, peuvent aider à diagnostiquer les anomalies. Nous conservons ces données aussi longtemps que cela est nécessaire pour exécuter ces fonctions ou conformément à la loi. Nous pouvons, si besoin est, transmettre des informations sur demande officielle d'autorités chargées de l'application de la loi, d'instances gouvernementales ou de tiers détenant un pouvoir légal ou à la suite d'une ordonnance de tribunal, ces mêmes informations pouvant par la suite être utilisées lors de procédures judiciaires. Pour les É.-U. seulement (selon l'équipement) : Si vous choisissez d'utiliser les applications et les services connectés, vous consentez à ce que certaines données de diagnostic soient accessibles électroniquement par Ford Motor Company ou par toute installation Lincoln autorisée, et que, là où la loi le permet, ces données
pour être utilisées pour personnaliser votre expérience, effectuer toute recherche de pannes, améliorer les produits et services et vous offrir ce qui pourrait vous intéresser. Pour le Canada uniquement, pour plus d'informations, veuillez consulter la politique de confidentialité Lincoln du Canada sur www.LincolnCanada.com, notamment le stockage et l'utilisation de données de fournisseurs de services des États-Unis dans d'autres juridictions, lesquels fournisseurs pourraient être assujettis aux exigences légales au Canada, aux États-Unis et dans d'autres pays, par exemple des exigences légales de divulgation de données personnelles à des autorités gouvernementales dans ces pays.
Données d'événement
Ce véhicule est équipé d'un enregistreur de données d'événement. Un enregistreur de données d'événement sert essentiellement à enregistrer, lors d'un accident ou de situations similaires, comme lors du déploiement d'un sac gonflable ou lors d'un impact avec un obstacle sur la route; ces données aident à comprendre comment les
systèmes du véhicule ont exécuté leurs tâches. L'enregistreur de données d'événement est créé pour enregistrer des données liées à la dynamique et aux systèmes de sécurité du véhicule pendant un bref intervalle de temps, ne dépassant généralement pas 30 secondes.
L'enregistreur de données d'événement de ce véhicule est conçu pour enregistrer des données, notamment:
- la façon dont fonctionnaient différents systèmes de votre véhicule;
- le bouclage des ceintures de sécurité du conducteur et des passagers;
- la mesure (le cas échéant) dans laquelle le conducteur a appuyé sur la pédale d'accélérateur ou de frein;
- la vitesse à laquelle roulait le véhicule; et l'angle de braquage du volant.
Ces données peuvent aider à fournir une meilleure compréhension des circonstances dans lesquelles les accidents et les blessures surviennent.
Note: Les données de l'enregistreur de données d'événement sont enregistrées par tout véhicule uniquement si une situation grave d'accident survient; aucune donnée n'est enregistrée par l'enregistreur de données d'événement dans les conditions normales de conduite et aucune donnée ou renseignement personnel (par exemple le nom, le sexe, l'âge et le lieu de l'accident) n'est enregistré(e). Cependant, des tiers, comme les services de police, pourraient combiner les données de l'enregistreur de données d'événement avec le type de données d'identification personnelles normalement enregistrées pendant une enquête relative à une collision.
Pour lire des données enregistrées par un enregistrateur de données d'événement, du matériel spécialisé est nécessaire et un accès au véhicule ou à l'enregistrateur de données d'événement s'impose. Outre le constructeur du véhicule, des tiers, tels que les services de police, en possession d'un tel équipement, peuvent lire ces données s'ils ont accès au véhicule ou à l'enregistrateur de données d'événement.
Données pratiques, de comport et de divertissement
Votre véhicule est doté d'un module de commande électronique qui peut enregistrer des données en fonction de vos paramètres personnalisés. Les données enregistrées localement dans le véhicule ou sur les appareils connectés, par exemple, une clé USB ou un lecteur de musique. Vous pouvez effacer certaines de ces données, et également désirer de les partager via des services auxquels vous êtes abonnés. Voir Paramètres (page 528).
Données pratiques et de comportement
Exemples de données enregistrées :
Position du siège et du volant de direction. - Réglages de la régulation de température. - Préréglages de l'autoradio.
Données de divertissement
Exemples de données enregistrées :
Musique, vidéos ou couverture d'album. - Contacts et entrées correspondantes dans le carnet d'adresses. - Destinations de navigation.
Services proposés
Si vous utilisez nos services, nous collectons et utilisons les données, par ex., l'information sur le compte, la localisation du véhicule et les caractéristiques de conduite qui peuvent vous identifier. Nous transmettons ces données via une connexion protégée dédiée. Nous ne collectons et n'utilisons ces données que pour vous permettre d'utiliser les services auxquels vous êtes abonné, avec notre consentement ou si autorisé par la loi. Pour plus de renseignements, reportez-vous aux modalités des services auxquels vous êtes abonné.
Services proposés par des tiers
Nous vous recommandons d'étudier les modalités et les politiques de confidentialité de tous les services auxquels vous êtes abonné. Nous ne prenons aucune responsabilité en ce qui concerne les services fournis par des tiers.
Véhicules avec un modem

Le modem est doté d'une carte SIM. Le modem a été activé lors de la construction du véhicule et il
transmet périodiquement des messages pour rester connecté au réseau cellulaire, pour recevoir des mises à jour logicielles automatiques et pour nous transmettre des données liées au véhicule, comme des renseignements de diagnostic. Ces messages peuvent contenir des renseignements qui identifient notre véhicule, la carte SIM et le numéro de série électronique du modem. Les prestataires de service de réseau téléphonique cellulaire peuvent avoir accès à plus de
renseignements, comme l'identification de la tour du réseau cellulaire. Pour de plus amples informations sur nos politiques de confidentialité, visitez le site www Connected Lincoln com ou consultez le site Web Lincoln de votre région.
Nota: Le modem continue de transmettre cette information à moins que vous le désactiviez ou que vous l'empêchiez de partager les données du véhicule en modifiant ses paramètres.
Nota: Le service peut être non disponible ou interrompu pour plusieurs raisons, par ex., les conditions topographiques ou environnementales et la couverture du forfait de données.
Nota: Pour déterminer si votre véhicule est équipé d'un modem, visitez le site www.ConnectedLincoln.com.
Données d'appareil mobile
Si vous connectez un appareil mobile à votre véhicule, vous pouvez afficher des données de votre appareil sur l'écran tactile comme par ex. de la musique et une couverture d'album. Vous pouvez partager les données de votre véhicule avec les applications mobiles sur votre appareil via le système. Voir Applications (page 525).
Les applications mobiles fonctionnent avec leur appareil connecté qui nous envoie des données aux États-Unis. Les données sont codées et complètent votre numéro d'identification du véhicule, le numéro de série du module SYNC, kilométrage, les applications activées, les statistiques d'utilisation et les données de débogage. Nous ne conservons ces données que pour la durée nécessaire au service, au dépannage et à l'amélioration continue, ainsi que pour vous offrir des produits et services qui peuvent vous intéresser, en fonction de vos préférences et lorsque la loi l'autorise.
Si vous connectez un téléphone cellulaire au système, le système crée un profil qui réalise le couplage avec ce téléphone cellulaire. Le profil de ce téléphone cellulaire offre davantage de fonctions mobiles et améliore l'utilisation. Ce profil comprend par exemple, des données du réseau téléphonique, des messages texte (lus et non lus) et l'historique des appels, y compris l'historique d'appels survenus lorsque votre téléphone cellulaire n'était pas connecté au système.
Si vous connectez un appareil multimédia, le système crée et conserve un index du contenu multimédia compatible de l'appareil. Le système enregistre aussi un bref journal de diagnostic d'environ 10 minutes consignant toute activité récente du système.
Le profil du téléphone cellulaire, l'index des dispositifs multimédias et le journal de diagnostics restent dans le véhicule à moins que vous les effaciez. Ils sont généralement accessibles seulement dans le véhicule lorsque le téléphone cellulaire ou le lecteur
multimédia est connecté. Si vous ne souhaitez plus utiliser le système ou votre véhicule, nous vous recommandons d'exécuter une réinitialisation générale pour effacer toute information enregistrée. Voir Paramètres (page 528).
Vous ne pouvez pas accéder aux données du système sans équipement spécial ni accès au module du véhicule.
Pour de plus amples informations sur notre politique de confidentialité, reportez-vous au site Web Lincoln de votre région.
Avis de confidentialité relatif à la fonction 911 assist
Lorsque la fonction 911 Assist est activée, le système peut divulguer aux services d'urgence que le véhicule a été impliqué dans une collision qui a entraîné le déploiement d'un airbag ou l'activation de l'interrupteur automatique de pompe d'alimentation.
Certaines versions ou mises à jour du service 911 Assist peuvent également divulguer électroniquement ou verbalement l'emplacement du véhicule ou d'autres détails sur le véhicule ou la collision, pour aider les préposés du service d'urgence 911 à diriger les secours les plus appropriés en fonction de la situation.
Si vous ne souhaitez pas divulguer ces renseignements, n’activez pas la fonction.
Note: Pour activer ou désactiver la fonction 911 Assist, voir Paramètres (page 528).
Certains composants du véhicule, tels que les sacs gonflables, les tendeurs de ceinture de sécurité et les piles de la télécommande, peuvent contenir du perchlorate. La manipulation de ces composants lors de l'entretien et la mise à la casse du véhicule peut exiger des précautions particulières.
Pour obtenir de plus amples renseignements, visitez le site suivant :
| Adresse Web |
| www.dtsc.ca.gov/hazardouswaste/perchlo-rate |
Services financiers automobiles de lincoln
Les services financiers automobiles de Lincoln offrent une gamme complète de plans de financement et de location pour faciliter l'acquisition de votre véhicule. Nous nous engageons à vous fournir des réponses, des renseignements ainsi qu'une expérience vraiment exceptionnelle.
Utilisez les options ci-dessous pour nous contacter au sujet de questions relatives à votre compte ou au financement et nous y répondrons sans attendre :
| Adresse Web |
| www.credit.lincoln.com |
Nous avons construit votre véhicule selon les normes les plus strictes et en faisant usage de pièces de la plus haute qualité. Nous vous recommandons d'exiger l'utilisation de pièces d'origine Ford et Motorcraft pour l'entretien et la réparation du véhicule. Vous pouvez clairement identifier les pièces d'origine Ford et Motorcraft en cherchant la marque Ford, FoMoCo ou Motorcraft sur les pièces mêmes ou sur leur emballage.
Entretien périodique et réparations mécaniques
Une des meilleures façons d'assurer le bon fonctionnement de votre véhicule pendant de nombreuses années est de respecter nos recommandations en matière d'entretien périodique en utilisant des pièces conformes aux spécifications détaillées dans le Manuel du propriétaire. Les pièces d'origine Ford et Motorcraft sont conformes ou supérieures à ces spécifications.
Réparations suite à une collision
Nous espérons que vous ne serez jamais victime d'une collision, mais malheureusement, les accidents sont des choses qui arrivent. Les pièces de rechange Ford d'origine répondent à des normes rigoureuses en termes d'ajustage, de finition, d'intégrité, de protection anticorrosion et de résistance aux impacts. Pendant le développement du véhicule, nous certifions que ces pièces offrent le même niveau de protection que le système intégral. Pour garantir ce niveau de protection, exigez des pièces de rechange d'origine Ford pour tout remplacement de pièces suite à une collision.
Garantie sur les pièces de rechange
Les pièces de rechange Ford et Motorcraft d'origine sont les seules pièces de rechange qui sont couvertes par la garantie Lincoln. Les dommages causés au véhicule par suite d'une défaillance de pièces autres que les pièces Ford peuvent ne pas être couverts par la garantie Lincoln. Pour plus de renseignements, reportez-vous aux modalités de la garantie Lincoln.
Garantie limitée de véhicule neuf
Pour savoir exactement ce qui est couvert par votre Garantie limitée de véhicule neuf, consultez le guide de garantie disponible en ligne. Pour obtenir de plus amples renseignements, visitez notre site Web et téléchargez une copie du guide de garantie.
Directives spéciales
Dans le but d'assurer votre sécurité, le véhicule est doté de commandes électroniques perfectionnées.
AVERTISSEMENT: Le non-respect de la consigne mise en surbrillance par le pictogramme d'avertissement peut entraîner pour vous-même et autres personnes un risque de blessures graves, voir la mort. Il contient des avertissements et des consignes qui, faute d'être respectés, peuvent être à l'origine de blessures.

Avertissement: ne placez
JAMAIS un dispositif de retenue pour enfant orienté vers l'arrière sur un siège protégé par un SAC GONFLABLE à l'avant, car l'enfant peut subir des BLESSURES GRAVES ou MORTELLES.

Avertissement: ne branchez pas
d'appareils connectables sans fil à la prise de diagnostic. Un tiers non autorisé pourrait être en mesure d'accéder aux données du véhicule et de porter atteinte au fonctionnement de systèmes liés à la sécurité. Seuls les réparateurs qui respectent nos directives d'entretien et de réparation doivent être autorisés à brancher leurs équipements à la prise de diagnostic.
La prise de diagnostic embarqué OBD (DLC) se trouvant dans votre véhicule est utilisée avec un outil de diagnostic et permet d'effectuer des opérations de diagnostic, des réparations et des reprogrammations. L'installation d'un dispositif de deuxième monte qui utilise la prise de diagnostic (DLC) pendant la conduite normale, par exemple pour la télésurveillance par une Compagnie d'assurance, le transfert de données du véhicule vers d'autres dispositifs ou organisations, ou la modification des performances du véhicule peut générer des interférences, voire endommager les systèmes du véhicule. Ford ne recommande ni n'approuve l'utilisation de dispositifs enchâssables de deuxième monte non autorisés. La garantie du véhicule ne couvrira pas les dommages occasionnés par un dispositif enchâssable de deuxième monte.

Avertissement: les véhicules
utilitaires ont un taux de capotage significativement plus élevé que les autres types de véhicules.
Avant de prendre le volant, veuillez lire attentivement le présent Manuel du propriétaire. Notre véhicule n'est pas une voiture de tourisme. Comme c'est le cas des autres véhicules de ce type, une manoeuvre imprudente pourrait provoquer la perte de maîtrise ou le capotage du véhicule, ainsi que des blessures graves ou mortelles.
N'utilisez pas ce véhicule pour le déneigement.
Aucun ensemble de déneigement n'est disponible pour votre véhicule.
Utilisation du véhicule comme ambulance
N'utilisez pas ce véhicule comme ambulance.
Votre véhicule n'est pas équipé du préaménagement ambulance.
Équipement de communication MOBILE

volant peut se traduire par une perte de maîtrise du véhicule, une collision et des blessures. Nous vous recommandons fortement de faire preuve d'une prudence extrême lorsque vous utilisez un appareil qui pourrait nuire à votre concentration. Notre première responsabilité consiste à manœuvrer librement le véhicule en toute sécurité. Nous recommandons de ne pas
utiliser un appareil portatif durant la conduite et vous encourageons à utiliser les systèmes commandés par la voix dans la mesure du possible. Assurez-vous de connaître toutes les lois sur l'utilisation de dispositifs électroniques durant la conduite.
L'utilisation d'appareils de communication mobile dans le cadre des activités personnelles et professionnelles a augmenté de façon significative. Il est toutefois important de ne pas mettre en jeu votre sécurité et celle des autres lorsque vous utilisez de tels appareils. Ces appareils peuvent se révéler très avantageux du point de vue de la sécurité personnelle lorsqu'ils sont utilisés judicieusement, spécialement en situation d'urgence. Lorsque vous utilisez ces appareils de communication mobile, la sécurité est primordiale pour ne pas annuler les avantages qu'ils présentent. Notons, entre autres appareils de communication mobile, les téléphones cellulaires, les téléviseurs, les dispositifs de courrier électronique portables, les appareils de messagerie textuelle et les radios bidirectionnelles portables.
Les caractéristiques et les options des véhicules vendus dans votre pays peuvent différer de celles décrites dans ce Guide du propriétaire. Un supplément propre à votre pays peut compléter le guide du propriétaire de votre véhicule. En consultant ce supplément, s'il vous est remis, vous pourrez déterminer les caractéristiques du véhicule et connaître les recommandations et les spécifications propres à votre pays. Ce Guide du propriétaire porte principalement sur les véhicules vendus aux États-Unis et au Canada. Les caractéristiques et les équipements de série mentionnés dans ce manuel peuvent différer des modèles destinés à l'exportation. Consultez ce Guide du propriétaire pour obtenir tous les autres renseignements et avertissements nécessaires.
Protection de l'environnement
La protection de l'environnement est l'affaire de tous. Un usage approprié du véhicule associé au respect des normes relatives à la récupération et à l'élimination des liquides de vidange, des lubrifiants et des produits de nettoyage représentent des facteurs importants dans la poursuite de cet objectif.
Pour en savoir plus sur les initiatives et progrès de Ford en matière de durabilité, visitez :
Adresse Web
A Bouches d'air. B Clignotants. Voir Clignotants (page 116). C Commande vocale. Voir Utilisation de la reconnaissance vocale (page 485). D Commande audio. Voir Commande audio (page 102). E Écran d'information. Voir Généralités (page 140). F Commande de l'écran d'information. Voir Commande de l'affichage d'information (page 104). G Levier d'essuie-glaces. Voir Essuie-glaces (page 106). H Commutateur d'allumage. Voir Démarage sans clé (page 206).
I Écran d'information et de divertissement. J Bouton de laamera. Voir Camera à 360 degrés (page 274). Bouton d'aide au stationnement. Voir Stationnement actif (page 267). Bouton d'aide à la conduite. K Chaîne audio. Voir Autoradio (page 473). L Chauffage et climatisation. Voir Commande automatique de la température (page 171). M Contacter de feu de détresse. Voir Feux de détresse (page 340). N Levier sélecteur de la boîte de vitesses. Voir Boîte de vitesses automatique (page 232). O Boutons de commande du régulateur de vitesse. Voir Programmateur de vitesse (page 103). P Avertisseur sonore. Q Boutons de commande du régulateur de vitesse.
Aperçu
Réglement du volant de direction. Voir Réglement du volant (page 100). S Commande d'éclairage. Voir Commande d'éclairage (page 110). Hayon à commande électrique. Voir Hayon à commande électrique (page 91).
Généralités
Consultez les sections qui seront pour savoir comment utiliser l'ajustement des dispositifs de retenue pour enfants.

Avertissement: assurez-vous
toujours que l'enfant est correctement attaché dans un dispositif de retenue adapté à sa taille, son âge et son poids. Vous devez vous procurer des dispositifs de retenue pour enfants séparément. Si vous ne respectez pas ces directives, vous pourriez exposer davantage votre enfant à des blessures graves, voir mortelles.

Avertissement: le gabarit de
chaque enfant est différent. Les recommandations fournies par l'Agence fédérale américaine des États-Unis chargée de la sécurité routière (NHTSA) ou par tout autre organisme de sécurité
visant les dispositifs de retenue pour enfants sont fondées sur des limites probables de taille, d'âge et de poids, et représentent les exigences minimales stipulées par la loi. Nous vous recommandons de demander conseil à un technicien de l'Agence fédérale américaine des États-Unis chargée de la sécurité routière (NHTSA) certifié en matière de sécurité automobile pour enfants (CPST) ainsi qu'à un pédiatre, afin de vous assurer que le siège infant est bien adapté à votre enfant, qu'il est compatible avec tout véhicule, et qu'il est correctement installé. Pour localiser un centre d'installation de dispositif de retenue pour enfants et un technicien certifié en matière de sécurité automobile pour enfants, composez sans frais le numéro de la ligne directe de l'Agence fédérale américaine des États-Unis chargée de la sécurité routière (NHTSA) au 1888 327-4236, ou visitez le
site www.nhtsa.dot.gov. Au Canada, contactez Transport Canada, sans frais au 1-800-333-0371, ou visitez le site www.tc.gc.ca pour localiser un centre de conseils pour sièges infantiles dans votre région. L'utilisation d'un dispositif de retenue pour enfants qui n'est pas ajusté à la taille, à l'âge et au poids de l'enfant peut accroître les risques qu'il encourt de blessures graves, voire mortelles.

Avertissement: par temps chaud,
la température à l'intérieur du véhicule peut augmenter très rapidement. Une personne ou un animal exposé à cette chaleur, même pour une brève période, risque de subir de graves lésions, y compris des lésions cérébrales, ou de mourir par asphyxie. Les jeunes enfants sont particulièrement à risque.
Sécurité enfants
Recommandations concernant les dispositifs de retenue pour enfants
| Enfant | Grosseur, taille, poids et âge de l'enfant | Dispositif de retenue pour enfants recommandé |
| Bébés et tout-petits | Enfants pesant jusqu'à 18 kg (40 lb) (généralement âgés de moins de quatre ans). | Utilisez un dispositif de retenue pour d'enfant (quelquefois appelé porte-bébés, siège transformable ou siège pour tout-petits). |
| Jeunes enfants | Enfants trop grands pour un dispositif de retenue pour enfant (mesurant généralement moins de 1,45 m (57 po), âgés de plus de quatre ans et de moins de douze ans et pesant entre 18 kg (40 lb) et 36 kg (80 lb), et jusqu'à 45 kg (100 lb), lorsque le fabricant du dispositif de retenue pour enfants le recommande). | Utilisez un rehausseur. |
| Enfants plus grands | Enfants trop grands pour utiliser un rehausseur (mesurant généralement au moins 1,45 m (57 po) ou pesant plus de 36 kg (80 lb) ou 45 kg (100 lb), lorsque le fabricant du dispositif de retenue pour enfants le recommande). | Utilisez une ceinture de sécurité du vehicule en plaçant la ceinture sous-abdominale bien serrée et bas sur les hanches, le baudrier au centre de l'épaule et de la poitrine et le dossier de siège en position verticale. |
- Les lois américaines et canadiennes stipulent que vous devez convenablement utiliser un dispositif de retenue pour enfants pour les bébés et les tout-petits.
- Plusieurs États et provinces exigent l'utilisation de rehausseurs homologués pour les jeunes enfants de moins de huit ans, mesurant moins de 1,45 m (57 po), ou pesant moins de 36 kg (80 lb). Consultez les lois en vigueur dans votre État ou province concernant la sécurité des enfants à bord de leur véhicule.
- Dans la mesure du possible, les enfants de 12 ans et moins doivent être assis sur une place arrière et être correctement retenus. Les statistiques révèlent qu'en cas d'accident, un enfant bien retenu est plus en sécurité sur un siège arrière que sur un siège avant. Voir Capteur de poids du passager avant (page 55). Lors de l'installation d'un dispositif de retenue pour enfant orienté vers l'arrière, réglez les sièges du véhicule de façon à éviter toute interférence entre le dispositif de retenue pour enfant et le siège du véhicule situé devant lui.
Installation de sièges d'enfant
Dispositifs de retenue pour enfant
E142594
Servez-vous d’un dispositif de retenue pour enfant (parfois désigné porte-bébé, siège transformable ou siège pour tout-petits) pour les nourrissons, les tout-petits ou les enfants pesant 18 kg (40 lb) ou moins (généralement âgés de quatre ans ou moins).
Utilisation des ceintures-baudrier

AVERTISSEMENT: Ne placez pas un positif de retenue pour enfant orienté 'arrière en face d'un sac gonfable. Le non-respect de cette consigne entrainerait des blessures graves ou mortelles.

AVERTISSEMENT: Dans la mesure possible, les enfants âgés de 12 ans et les doivent prendre place sur un siège du véhicule et être convenablement ceints. S'il n'est pas possible que tous les enfants soient assis et correctement ceints sur un siège arrière, l'enfant de grande taille et poids devrait être assis correctement attaché sur le siège avant. Plus nevez placer un dispositif de que pour enfant orienté vers l'avant ce siège du passager avant, reculez ce siège autant que possible. Le respect de ces directives pourrait finir des blessures, voir la mort.

Avertissement: selon
L'emplacement et la conception de la fixation du dispositif de retenue pour enfant, vous risquez de bloquer l'accès à certaines boucles de ceintures de sécurité et à certains points d'ancrage inférieurs LATCH, les rendant ainsi potentiellement inutilisables. Pour éviter tout risque de blessure, assurez-vous que les occupants n'occupent que les places assises où ils peuvent être retenus efficacement par les dispositifs.
Lors de l'installation d'un dispositif de retenue pour enfant au moyen d'une ceinture trois points :
Utilisez la boucle de ceinture de sécurité qui correspond à cette place. - Insérez la languette dans la boucle correspondante jusqu'à ce que vous entendiez un déclic et assurez-vous que la ceinture est bien bouclée. Assurez-vous que la languette est bloquée dans la boucle.
Pour éviter que la ceinture ne se débloque de façon accidentelle, tournez le bouton de déblocage de la boucle vers le haut et à l'opposé du dispositif de retenue pour enfant, avec la languette entre le dispositif et le bouton. - Relevez à la verticale le siège du véhicule sur lequel le dispositif de retenue pour enfant sera fixé. - Placez l'enrouleur de la ceinture de sécurité en mode de blocage automatique. Reportez-vous à l'étape 5. Ce véhicule n'exige pas l'utilisation d'une agrafe de blocage.
Observez les étapes suivantes pour installer un dispositif de retenue pour enfant au moyen de la ceinture-baudrier :
Note: Bien que l'illustration montre un dispositif de retenue pour enfant orienté vers l'avant, les étapes décrites sont les mêmes pour un dispositif orienté vers l'arrière.
E142528
- Placez le dispositif de retenue pour enfant sur un siège muni d'une ceinture-baudrier.

Sécurité enfants
- Tirez sur le baudrier et saisissez à la fois le baudrier et la ceinture sous-abdominale.
E142530
- Tout en tenant à la fois le baudrier et la ceinture sous-abdominale, faites passer la languette à travers le dispositif de retenue pour enfant selon les directives du fabricant du dispositif. Assurez-vous que la sangle n'est pas vrillée.

- Insérez la languette de la ceinture dans la boucle correspondante (la plus proche de la direction d'où vient la languette), jusqu'à ce que vous entendiez un déclic et que vous sentiez le dispositif s'enclencher. Tirez sur la languette pour vous assurer qu'elle est bien verrouillée.
E142875
- Pour placer l'enrouleur en mode de blocage automatique, tirez sur le baudrier vers le bas jusqu'à dérouler entièrement la sangle.
Note: Le mode de blocage automatique est disponible pour le siège passager avant et les sièges arrière.
- Laissez la ceinture de sécurité se rétracter légèrement pour qu'elle se tende. Un déclic se produit pendant que la ceinture s'enroule et indique que l'enrouleur est passé en mode de blocage automatique.
Sécurité enfants
- Vérifiez à nouveau que l'enrouleur est bien en mode de blocage automatique en tirant sur la ceinture (la ceinture doit être bien bloquée). Si l'enrouleur n'est pas bloqué, débloquez la ceinture et répétez les étapes 5 et 6.
E142533
- Éliminez le reste du mou de la ceinture. Poussez sur le siège en y mettant du poids, par exemple en appuyant ou en posant les genoux sur le dispositif de retenue pour enfants, tout en tirant sur le baudrier afin de bien tendre la ceinture. Ce desserrage de la ceinture permettra de combler le jeu créé par le poids de l'enfant ajouté à celui du
dispositif de retenue pour enfant. Il assure également une fixation plus ferme du dispositif de retenue pour enfant au véhicule. Parfois, une légère inclinaison vers la boucle peut également contribuer à un meilleur serrage de la ceinture. 9. Attachez la sangle de retenue du dispositif de retenue pour enfant, le cas échéant.

- Avant d'asseoir l'enfant, essayez de déplacer le siège d'avant en arrière pour vérifier qu'il est bien fixé. Pour ce faire, empoignez le siège au niveau du passage de la sangle et tentez de le déplacer latéralement, puis de l'avant vers l'arrière. Si le siège est bien installé, il ne sera pas possible de le faire bouger de plus de 2,5 cm (1 po).
Nous recommandons de demander conseil à un technicien certifié en matière de sécurité automobile pour enfants de la NHTSA afin de vous assurer que votre dispositif de retenue pour enfant est correctement installé. Au Canada, communiquez avec Transport Canada pour être orienté vers un centre de conseils pour sièges d'enfant.
Utilisation des points d'ancrage inférieurs et des sangles de retenue (LATCH)

AVERTISSEMENT: Ne fixez pas deux
dispositifs de retenue pour enfant au même point d'ancrage. En cas d'accident, un seul point d'ancrage pourrait ne pas être assez solide pour retenir deux dispositifs de retenue pour enfant et pourrait se rompre, provoquant ainsi des blessures graves ou mortelles.

AVERTISSEMENT: Selon
L'emplacement et la conception de la fixation du dispositif de retenue pour enfant, vous risquez de bloquer l'accès à certaines boucles de ceintures de sécurité et à certains points d'ancrage inférieurs LATCH, les rendant ainsi potentiellement inutilisables. Pour éviter tout risque de blessure, assurez-vous que les occupants n'occupent que les places assises où ils peuvent être retenus efficacement par les dispositifs.
Le système LATCH comprend trois points d'ancrage sur le véhicule : Deux ancrages inférieurs qui se trouvent à la jonction du dossier de siège et de l'assise de siège, et un point d'ancrage de sangle supérieure située derrière ce même siège.
Les dispositifs de retenue pour enfant compatibles LATCH comprennent deux fixations rigides ou montées sur sangle qui se raccordent aux deux points d'ancrage inférieurs des places assises de votre véhicule équipées du système LATCH. Ce type de dispositif de retenue pour enfant se fixe sans qu'il soit nécessaire d'utiliser les ceintures de sécurité. Vous pouvez cependant utiliser la ceinture de sécurité pour attacher le dispositif de retenue pour enfant. Pour les dispositifs de retenue pour enfant orientés vers l'avant, vous devez également fixer la sangle de retenue supérieure à la patte d'ancrage de la sangle supérieure, si le dispositif de retenue est équipé d'une telle sangle.
E142535
Votre véhicule est équipé de points d'ancrage inférieurs LATCH pour l'installation d'un dispositif de retenue pour enfant. Les points d'ancrage du système LATCH se trouvent à la partie arrière du siège arrière, entre l'assise et le dossier de siège. Veuillez suivre les instructions du fabricant pour installer correctement le dispositif de retenue pour enfant équipé de fixations LATCH. Respectez les directives sur la fixation des dispositifs de retenue pour enfant au moyen de sangles de retenue.
N'installez les fixations inférieures LATCH du dispositif de retenue pour enfant qu'aux points d'ancrage.
Sécurité enfants
Utilisation des ancrages inférieurs côté intérieur des places latérales (pour la place centrale seulement)

Avertissement: l'espacement
centre à centre normalisé des points d'ancrage inférieurs LATCH est de 280 mm (11 po). N'utilise pas les points d'ancrage inférieurs LATCH pour la place centrale sauf si les instructions du fabricant du dispositif de retenue pour enfant indiquent que celui-ci peut être fixé à des ancrages aussi largement espacés que ceux de ce véhicule.
L'espacement des points d'ancrage inférieurs à la place centrale du siège arrêté de deuxième rangée est de 46 cm (18 po). Vous ne pouvez pas installer un dispositif de retenue pour enfant avec des fixations LATCH rigides à la place centrale. Des dispositifs de retenue pour enfant compatibles LATCH (avec des fixations sur les sangles de ceinture) ne peuvent être
Installés à cette place que si les instructions du fabricant du dispositif indiquent qu'il peut être fixé à des ancrages ainsi espacés. Ne fixez jamais un dispositif de retenue pour enfant à un point d'ancrage inférieur si un autre dispositif de retenue y est déjà arrimé.
Chaque fois que vous utilisez le dispositif de retenue pour enfant, assurez-vous qu'il est correctement fixé aux points d'ancrage inférieurs et à la patte d'ancrage, le cas échéant. Après avoir positionné le dispositif de retenue pour enfant, essayez de le déplacer d'un côté à l'autre et d'avant en arrière. Un dispositif de retenue pour enfant correctement fixé ne doit pas bouger de plus de 2,5 cm (1 po).
Si le dispositif de sécurité pour enfant n'est pas solidement fixé aux points d'ancrage, l'enfant court plus de risques de blessures en cas d'accident.
Fixation d'un dispositif de retenue pour enfant au moyen de la ceinture de sécurité et des points d'ancrage inférieurs LATCH
Si vous souhaitez utiliser la ceinture de sécurité en plus des points d'ancrage inférieurs LATCH, vous pourriez fixer l'un ou l'autre de ces systèmes en premier, pourvu que l'installation soit effectuée correctement. Fixez ensuite la sangle de retenue, si elle est fournie avec le dispositif de retenue pour enfant.
Utilisation des sangles de retenue

Plusieurs modèles de dispositifs de retenue pour infant orientés vers l'avant comportent une sangle qui émerge du dossier du de retenue pour infant et qui atteint l'ancrage supérieur du Certains fabricants de dispositifs pour infant proposent des comme accessoires pour les anciens
Sécurité enfants
Contactez le fabricant du dispositif de retenue pour enfant si vous souhaitez commander une sangle de retenue, ou si vous désirez vous procurer une sangle de retenue plus longue, si celle dont vous disposez n'atteint pas le point d'ancrage supérieur prévu dans votre véhicule.
Une fois le dispositif de retenue pour enfant fixé au véhicule au moyen de la ceinture de sécurité, des ancrages inférieurs LATCH, ou les deux, vous pouvez attacher la sangle de retenue supérieure.
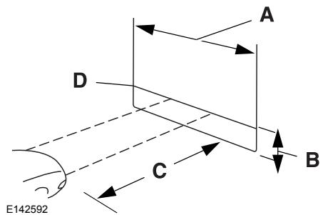
Les points d'ancrage pour sangle de retenue du véhicule se trouvent aux emplacements suivants (vus du haut):
E142537
Suivez les étapes suivantes pour fixer un dispositif de retenue pour infant au moyen des points d'ancrage du véhicule :
Note: Si vous installez un dispositif de retenue pour enfant muni de fixations LATCH rigides, ne tendez pas la sangle de retenue au point de soulever le dispositif lorsque l'enfant y est assis. Serrez la sangle de retenue juste assez pour que l'avant du dispositif ne soit pas soulevé. La meilleure protection en cas d'accident grave est assurée lorsque votre dispositif de retenue pour enfant entre à peine en contact avec le siège.
- Faites passer la sangle de retenue du dispositif de retenue pour enfant par-dessus le dossier du siège. Pour les places les plus éloignées, faites passer la sangle de retenue sous l'appuie-tête et entre les tiges de l'appuie-tête. Pour les places centrales, faites passer la sangle de retenue par-dessus l'appuie-tête. Si vous levez, vous pouvez également enlever les appuie-têtes.

- Repérez le point d'ancrage convenant à la position sur le panneau arrière du siège arrière. Les ancrages portent le symbole de sangle d'ancrage.
E142539
Sécurité enfants
- Fixez la sangle de retenue au point d'ancrage, comme illustré.
- Serrez la sangle de retenue selon les directives du fabricant du dispositif de retenue pour enfant. Si votre dispositif de retenue pour enfant est muni d'une sangle de retenue, et que le fabricant du dispositif en recommande l'usage, nous le recommandons également.
Rehausseurs

AVERTISSEMENT: Ne mettez pas le
Baudrier de la ceinture de sécurité. Ne laissez pas un enfant mettre le baudrier de la ceinture de sécurité sous leur bras ou derrière leur dos. Le non-respect de cette consigne réduit l'efficacité de la ceinture de sécurité et augmente les risques de blessures, voire la mort, en cas de collision.
Utilisez un rehausseur pour les enfants trop grands pour un siège d'enfant (mesurant généralement moins de 1,45 m (57 po), âgés de plus de quatre ans et de moins de douze ans et pesant entre 18 kg (40 lb) et 36 kg (80 lb), et jusqu'à 45 kg (100 lb), lorsque le fabricant du dispositif de retenue pour enfants le recommande). Les lois de plusieurs États et provinces exigent l'utilisation de rehausseurs homologués pour les enfants de moins de huit ans, mesurant moins de 1,45 m (57 po), ou pesant moins de 36 kg (80 lb).
Utilisez un rehausser jusqu'à ce que vous puissiez répondre OUI à TOUTES les questions suivantes lorsque l'enfant est assis sans rehausser:

- L'enfant peut-il s'asseoir le dos contre le dossier de son siège tout en gardant les genoux confortablement pliés sur le bord du coussin de siège? L'enfant peut-il s'asseoir sans être affaissé? La ceinture sous-abdominale passe-t-elle sur la partie inférieure des hanches? Le baudrier passe-t-il au centre de son épaule et de sa poitrine?
- L'enfant peut-il rester assis ainsi durant tout le trajet?
Les rehausseurs doivent toujours être utilisés avec une ceinture trois points.
Types de rehausseur

E68924
Rehausseur sans dossier
Si vous possédez un rehausseur sans dossier, retirez-le. Si le dossier du siège du véhicule est bas et sans appuie-tête, un rehausseur sans dossier peut élever la tête (au-dessus du niveau des oreilles) de l'enfant au-dessus du siège. Dans ce cas, installez le rehausseur sans dossier à une place où le dossier ou l'appuie-tête est plus élevé et équipé d'une ceinture trois points ou utilisez un rehausseur à dossier haut.

E70710
Rehausseur à dossier haut
Si, lors de l'utilisation d'un rehausseur sans dossier, vous ne pouvez tracer de siège qui supporte l'ajustement de la tête de l'enfant, vous devriez utiliser un rehausseur à dossier haut.
La taille et la forme des rehausseurs varient grandement, tout comme le gabarit des enfants. Choisissez un rehausseur qui maintient la ceinture sous-abdominale basse et fermement contre les hanches, jamais sur l'estomac, et qui vous permet d'ajuster le baudrier pour qu'il croise la poitrine et repose fermement au centre de l'épaule. Les illustrations ci-dessous comparent la position idéale (centrale) à un baudrier peu confortable près du cou et à un baudrier qui pourrait glisser de l'épaule. Les illustrations montrent également comment la ceinture sous-abdominale doit passer et reposer fermement sur les hanches de l'enfant.






Sécurité enfants
Si le rehausseur glisse sur le siège du véhicule où il est utilisé, il peut être maintenu en place en installant un filt caoutchoute vendu comme doublure d'étagère ou sous-tapis. Ne placez aucun objet d'épaisseur supérieure à ces articles sous le rehausseur. Consultez les directives du fabricant du rehausseur.
Positionnement des sièges de sécurité enfants

AVERTISSEMENT: Ne placez pas un
dispositif de retenue pour enfant orienté vers l'arrière en face d'un sac gonflable activé. Tout manquement à cet égard pourrait entraîner des blessures, voir la mort.

AVERTISSEMENT: Dans la mesure
du possible, les enfants âgés de 12 ans et moins doivent prendre place sur un siège arrière du véhicule et être convenablement attachés. S'il n'est pas possible que tous les enfants soient assis et correctement
attachés sur un siège arrière, l'enfant de plus grande taille et poids devrait être assis et correctement attaché sur le siège avant. Si vous ne pouvez placer un dispositif de retenue d'enfant orienté vers l'avant sur le siège du passager avant, reculez ce dernier autant que possible. Le non-respect de ces directives pourrait entraîner des blessures, voire la mort.

AVERTISSEMENT: Lisez toujours
attentivement les directives et les avertissements du fabricant de tout dispositif de retenue pour enfants afin de déterminer s'il est correctement adapté à la taille, la grandeur, le poids et l'âge de l'enfant. Respectez les directives et les avertissements du fabricant du dispositif de retenue ainsi que les directives et les avertissements du constructeur de votre véhicule. Un dispositif de retenue incorrectement installé ou utilisé, ou inapproprié à la taille, à l'âge et au poids de l'enfant, peut accroître les risques de blessures graves, voir mortelles.

AVERTISSEMENT: Ne laissez jamais un passager tenir un enfant sur ses genoux lorsque que le véhicule roule. Tout enfant à cet égard pourrait entraîner des blessures, voir la mort en cas d'arrêt brutal ou de collision.

AVERTISSEMENT: N'asseyez pas
l'enfant sur des coussins, des livres ou des serviettes pour augmenter sa hauteur. Tout manquement à cet égard pourrait entraîner des blessures, voire la mort.

AVERTISSEMENT: Fixez
correctement les dispositifs de retenue pour enfant ou les rehausseurs quand ils ne sont pas utilisés. Ils pourraient être projetés en cas d'arrêt brusque ou d'accident. Tout manquement à cet égard pourrait entraîner des blessures, voir la mort.
Sécurité enfants
AVERTISSEMENT: Ne mettez pas le baudrier de la ceinture de sécurité. Ne laissez pas un enfant mettre le baudrier de la ceinture de sécurité sous leur bras ou derrière leur dos. Le non-respect de cette
consigne réduit l'efficacité de la ceinture de sécurité et augmente les risques de blessures, voire la mort, en cas de collision.
AVERTISSEMENT: Ne laissez pas un enfant ou un animal sans surveillance dans votre véhicule. Tout manquement à cet égard pourrait entraîner des blessures, voire la mort.
Sécurité enfants
Recommandations de fixation des dispositifs de retenue pour enfants
| Type de dispositif de retenue | Poids combiné de l'enfant et du système de retenue pour enfant | Utilissez une des méthodes de fixation comme indiqué ci-dessous par un X | ||||
| Système LATCH (ancrages inférieurs et point d'ancrage supérieur) | Système LATCH (ancrages inférieurs seulement) | Ceinture de sécurité et patte d'ancrage supérieur | Ceinture de sécurité et système LATCH (points d'ancrage inférieurs et patte d'ancrage supérieur) | Ceinture de sécurité uniquement | ||
| Dispositif de retenue pour enfant orienté vers l'arrière | Jusqu'à 29,5 kg (65 lb) | X | X | |||
| Dispositif de retenue pour enfant orienté vers l'arrière | Plus de 29,5 kg (65 lb) | X | ||||
| Dispositif de retenue d'enfant orienté vers l'avant | Jusqu'à 29,5 kg (65 lb) | X | X | X | ||
| Dispositif de retenue d'enfant orienté vers l'avant | Plus de 29,5 kg (65 lb) | X | X | |||
Sécurité enfants
Nota : Le système de retenue pour enfant doit être bien serré sur le siège du véhicule sur lequel il est installé. Il peut être nécessaire de lever ou de rabaisser l'appuie-tête. Voir Sièges (page 178).
Verrouillage sécurité enfants
Lorsque ces verrouillages sont paramétrés, les portes arrêtées ne peuvent pas être ouvertes de l'intérieur.

Les verrous se trouvent sur le rebord arrière de chaque porte arrière et doivent être enclenchés séparément pour chaque porte.
Côté gauche
Tournez-le dans le sens des aiguilles d'une montre pour activer le verrou et dans le sens inverse des aiguilles d'une montre pour le désactiver.
Voir Clés et commandes à distance (page 67).
Côté droit
Tournez-le dans le sens inverse des aiguilles d'une montre pour activer le verrou et dans le sens des aiguilles d'une montre pour le désactiver.

Avertissement: conduisez
toujours avec le dossier à la verticale et la ceinture sous-abdominale bien serrée et placée au bas des hanches.

Avertissement: les enfants
doivent toujours être correctement retenus.

Avertissement: ne laissez jamais
un passager tenir un enfant sur ses genoux pendant que le véhicule roule. Le fait de ne pas tenir compte de ces précautions pourrait entraîner des blessures graves ou mortelles en cas d'arrêt brusque ou de collision.

Avertissement: tous les
occupants du véhicule, y compris le conducteur, doivent toujours boucler correctement leur ceinture de sécurité, même si la place qu'ils occupent est munie d'un dispositif de retenue supplémentaire de type sac gonflable. Le fait de ne pas placer correctement la ceinture de sécurité augmente fortement le risque de blessures graves ou mortelles.

dangereux de s'installer dans l'aire de chargement intérieure ou extérieure lorsque le véhicule roule. En cas de collision, ces occupants risquent des blessures graves ou mortelles. Ne laissez personne s'installer dans le véhicule à un endroit qui n'est pas muni d'un siège et d'une ceinture de sécurité. Veillez à ce que tous vos passagers s'installent sur un siège et bouclent leur ceinture correctement. Le non-respect de cet avertissement peut entraîner des blessures graves ou mortelles.

Avertissement: en cas de
capotage du véhicule, une personne qui ne porte pas sa ceinture de sécurité risque davantage de subir des blessures mortelles.

Avertissement: tous les sièges
du véhicule possèdent une ceinture de sécurité spécifique composée d'une boucle et d'une languette conçues pour être utilisées conjointement. Placez le baudrier uniquement sur l'épaule extérieure. Ne portez jamais le baudrier sous le bras. N'utilisez jamais une seule ceinture de sécurité pour plus d'une personne.

Avertissement: malgré la
protection offerte par les dispositifs de retenue perfectionnés, les enfants de 12 ans et moins doivent être assis à l'arrière et retenus correctement. Le non-respect de cette directive pourrait augmenter fortement le risque de blessures graves ou mortelles.

Avertissement: les ceintures de
Les ceintures de sécurité et les sièges peuvent être chauds dans un véhicule exposé aux rayons du soleil. Les ceintures de sécurité ou les sièges chauds peuvent brûler un petit enfant. Vérifiez la température des revêtements de siège et des boucles avant d'asseoir un enfant dans le véhicule.
Toutes les places du véhicule sont munies d’une ceinture de sécurité trois points. Tous les occupants du véhicule doivent boucler correctement leur ceinture de sécurité, même si la place qu’ils occupent est équipée d’un système de retenue supplémentaire de type sac gonflable.
Le système de ceintures de sécurité comporte les éléments suivants :
- Ceintures de sécurité trois points. Baudrier à mode de blocage automatique (sauf la ceinture de sécurité du conducteur).
- Régulateur de hauteur aux places latérales avant.
Tendeurs de ceinture de sécurité aux places latérales avant et aux places latérales de deuxième rangée. - Capteur de tension de ceinture à la place latérale du passager avant.

Témoin et carillon avertisseur de ceinture de sécurité.

- Détecteurs d'impact et système de contrôle avec témoins de fonctionnement.
Les tendeurs de ceinture de sécurité sont conçus pour tendre les ceintures de sécurité en cas d'activation. En cas de collision frontale ou quasi-frontale, les tendeurs de ceinture de sécurité peuvent s'activer seuls, ou avec les sacs gonflables avant si la collision est suffisamment grave. Les tendeurs peuvent également s'activer lorsqu'un sac gonflable de module de sécurité au pavillon se déploie.
Utilisation des ceintures de sécurité
Les places latérales avant et arrière du véhicule sont dotées de ceintures trois points.

- Pour boucler la ceinture, insérez la languette dans la boucle correspondante (la plus proche de la direction d'où provient la languette) jusqu'à ce qu'elle s'enclenche et que vous entendiez un déclic. Assurez-vous que la languette est bloquée dans la boucle.
Ceintures de sécurité
E142588
- Pour déboucler la ceinture, appuyez sur le bouton de déblocage et retirez la languette de la boucle.
E142589
Lorsque la voiture fonctionne, placez les ceintures de sécurité arrêtées dans leurs guides situés sur la partie extérieure des dossiers.
Utilisation d'un clip coulissant (selon)
I'equipement)
E200788
Éloignez le clip de la languette en le faisant glisser de sorte que la sangle ne soit pas lâche lorsque le siège d'un occupant ou d'un enfant est attaché. Vous pouvez aussi utiliser le clip coulissant pour soulever la languette et l’empêcher de cliqueter ou pour faciliter l’accès à la languette.

Avertissement: conduisez
toujours avec le dossier en position verticale et la ceinture de sécurité correctement bouclée. Placez la partie sous-abdominale de la ceinture de sécurité bien serrée et sur le bas des hanches. Placez le baudrier de la ceinture de sécurité en travers de votre poitrine. Les femmes enceintes doivent respecter ces consignes. Consultez l'illustration suivante.

Les femmes enceintes doivent toujours porter leur ceinture de sécurité. Placez la partie sous-abdominale d’une ceinture trois points au bas des hanches, sous le ventre, aussi serrée que possible tout en restant confortable. Placez le baudrier près du centre de l’épaule et de la poitrine.

Avertissement: si votre véhicule
est impliqué dans une collision, faites vérifier le système et les composants associés le plus tôt possible. Tout manquement à cet égard pourrait entraîner des blessures, voir la mort.
Tous les dispositifs de retenue du véhicule sont des ceintures de sécurité trois points. La ceinture de sécurité du conducteur est munie du premier mode de blocage et les ceintures de sécurité du passager avant l'etaléral et des passagers arrière sont munies des deux types de mode de blocage décrits ci-dessous.
Mode de blocage par inertie
Ce mode est le mode normal de fonctionnement de l'enrouleur qui laisse le baudrier libre de s'adapter à vos mouvements, mais qui se bloque en réaction aux mouvements du véhicule. Par exemple, en cas de freinage soudain, de virage brusque ou de collision à environ 8 km/h (5 mph) ou plus, les ceintures trois points se bloquent pour retenir les occupants.
De plus, l'enrouleur est conçu pour se bloquer si la sangle est tirée trop rapidement. Si le rétracteur de ceinture de sécurité est verrouillé, abaissez doucement le dispositif de réglage de hauteur pour permettre à la ceinture de sécurité de se rétracter. Si le rétracteur ne se déverrouille pas, tirez lentement sur la ceinture de sécurité et avancez d'une petite longueur de sangle vers la position d'arrimage. Pour les ceintures de sécurité arrêtées, inclinez le dossier du siège arrêté ou poussez le coussin du dossier du siège loin de la ceinture de sécurité. Faites avancer une petite longueur de sangle vers la position arrimée.
Mode de blocage automatique
Dans ce mode, le baudrier se préverrouille automatiquement. La ceinture se rétracte tout de même afin d'éliminer tout mou au niveau du baudrier. La ceinture du conducteur n'est pas dotée du mode de blocage automatique.
Quand utiliser le mode de blocage automatique
Utilisez impérativement ce mode lorsqu'un siège de sécurité enfant, à l'exception d'un rehausser, est installé sur un siège passager avant ou arrière. Dans la mesure du possible, les enfants âgés de 12 ans et moins doivent prendre place sur un siège arrière du véhicule et être convenablement retenus. Voir Sécurité enfants (page 25).
Utilisation du mode de blocage automatique

E142591
- Bouclez la ceinture trois points.
- Saisissez le baudrier et tirez-le vers le bas jusqu'à ce que la sangle soit complètement déroulée. Laissez alors la sangle s'enrouler. Pendant cette opération, un déclic se fait entendre. Ils indiquent que la ceinture de sécurité est en mode de blocage automatique.
Désactivation du mode de blocage automatique
Débloquez la ceinture-baudrier et laissez-la se rétracter complètement pour sortir du mode de blocage automatique et revenir au mode normal de blocage par inertie (mode d'urgence).
Extraction des ceintures de sécurité au niveau des places latérales arrêté
Les ceintures de sécurité des places latérales arrêtées peuvent se verrouiller si le dossier du siège est fermement rétabli à la position verticale. Vous pouvez débloquer les ceintures de sécurité en appliquant les procédures suivantes.
Pour les véhicules dotés de sièges arrière inclinables :
- Inclinez complètement le siège vers l'arrière.
- La ceinture de sécurité doit alors se débloquer.
- Ramenez le dossier du siège à la position verticale voulue.
Pour les véhicules dont les sièges arrêté ne s'inclinent pas ou sont verrouillés en position inclinée arrêté maximale :
- Saisissez la sangle de ceinture de sécurité au sommet du dossier du siège.
- Tirez la sangle de la ceinture de sécurité fermement vers l'avant.
- Après avoir tiré la ceinture de sécurité vers l'avant, laissez-la rentrer le plus possible dans l'enrouleur. Au besoin, appuyez sur le dossier du siège pour permettre à la sangle de se rétracter davantage.
- La ceinture de sécurité doit alors se débloquer.
- Si la ceinture de sécurité ne se débloque pas, répétez les étapes 1 à 3.
Régleur de hauteur de ceinture de sécurité

AVERTISSEMENT: Placez le régleur
de hauteur de ceinture de sécurité de sorte que le baudrier se trouve au milieu de l'épaule. Si le baudrier est mal réglé, son efficacité peut être réduite et les risques de blessures accrus en cas de collision.

Pour régler la hauteur du baudrier, appuyez sur le bouton du调节器并上下滑动。松开按钮并拉紧调节器,以确保它牢固锁定。
Témoin et carillon de ceinture de sécurité

Ce témoin s'allume et un carillon retentit si la ceinture de sécurité du conducteur n'a pas été bouclée
lors de l'établissement du contact.
Conditions de fonctionnement
| Si | Puis |
| La ceinture de sécurité du conducteur n'est pas bouclée avant d'établit le contact... | Le témoin de ceinture de sécurité s'allume et le carillon retentitpendant quelques secondes. |
| La ceinture de sécurité du conducteur est bouclée pendant que le témoin est allumé et que le carillon retentit... | Le témoin de ceinture de sécurité reste étéint et le carillon ne retentitpas. |
| La ceinture de sécurité du conducteur est bouclée avant d'établit le contact... | Le témoin de ceinture de sécurité reste étéint et le carillon ne retentitpas. |
RAPPEL de bouclage des ceintures de sécurité

AVERTISSEMENT: Le système ne
fournit une protection que lorsque la ceinture de sécurité est correctement utilisée.
Ce système surveille toutes les places assises et fournit des aversations sonores et graphiques.

Ce témoin s'allume et un avertissement sonore retentit si vous n'avez pas bouclé votre
ceinture de sécurité lors de l'établissement du contact. Le témoin s'éteint et l'avertissement sonore s'arrête si vous bouclez votre ceinture de sécurité, ou lorsqu'environ une minute s'est écoulée.
Quand l'avertissement initial expire pour le conducteur, d'autres avertissements sont activés pour le conducteur et le passager avant. Ce témoins s'allume et un avertissement sonore retentit si vous ou votre passager avant n'avez pas bouclé votre
ceinture de sécurité et que la vitesse du véhicule dépasse 9,7 km/h (6 mph). Pour désactiver l'avertissement, reportez-vous à la rubrique Désactivation et activation de la fonction de rappel de bouclage des ceintures de sécurité Belt-Minder.
Note: Pour éviter les avertissements intempestifs, ne posez pas d'objets volumineux sur le siège.

Ce témoin s'allume quand vous établissez le contact, pendant que le système identifie le nombre de
places auxquelles la ceinture de sécurité a été bouclée. Il se rallume lorsque l'état d'une ceinture de sécurité passe de non bouclée à bouclée.
E283584
Ce témoin s'allume et un avertissement sonore retentit si un occupant déboucle la ceinture de sécurité arrêtée ou si celle-ci se déboucle d'elle-même.
Nota: Ce témoin ne s'allume pas si un siège arrière n'est pas occupé ou si un occupant ne boucle jamais sa ceinture de sécurité pour commencer.
Nota: Les places avant apparaissent dans cet avertissement. Les avertissements de ceintures de sécurité avant non bouclées apparaissent dans le témoin initial.
État de la ceinture de sécurité
E281361
E274703
A Ceinture de sécurité bouclée B Ceinture de sécurité non bouclée
C Ceinture de sécurité récemment débouclée D Anomalie
Pour afficher l'état de la ceinture de sécurité, utilisez les commandes de l'écran d'information sur le volant de direction.
Désactivation et activation de la fonction rappel de bouclage des ceintures de sécurité (Sièges avant uniquement)
AVERTISSEMENT: Bien que le système permette de désactiver le dispositif Belt-Minder, ce dernier est conçu pour améliorer les probabilités que votre ceinture soit bien bouclée et de survivre à un accident. Nous vous recommandons de laisser le système activé pour vous et pour les autres personnes qui pourraient utiliser le véhicule.
Note : Les avertissements pour le conducteur et le passager avant s'activent et se désactivent de manière indépendante. Lorsque vous effectuez cette procédure sur un siège, ne bouclez pas la ceinture de l'autre siège, car cela mettra fin au processus.
Lisez les étapes 1 à 4 avant de commencer la procédure.
- le frein de stationnement est serré;
- éhicule sont fermées; les ceintures de sécurité du conducteur et du passager avant sont débouclées.
- Établissez le contact. Ne faites pas démarrer le moteur.
Ceintures de sécurité
- Attendez que le témoin de bouclage de ceinture de sécurité s’éteigne (environ une minute). Après l’étape 2, attendez cinq secondes supplémentaires avant de passer à l’étape 3. Une fois l’étape 3 commencée, vous nevez conclure la procédure dans les 60 secondes.
- Pour le siège dont vous désactivez la fonction, bouclez et débouclez la ceinture de sécurité trois fois à vitesse modérée en terminant avec la ceinture débouclée. Après l'étape 3, le témoin de bouclage de ceinture de sécurité s'allume.
- Quand le témoin de bouclage de ceinture de sécurité est allumé, bouclez puis débouclez la ceinture de sécurité. Avec l'étape 4, le témoin de bouclage de ceinture de sécurité clignote pour confirmer la réussite de la procédure.
- Ceci désactive la fonction si elle est activée.
- Ceci active la fonction si elle est désactivée.
Entretien des ceintures de securite et des dispositifs de retenue pour enfants
Vérifiez régulièrement les ceintures de sécurité et les sièges de sécurité infantiles pour vous assurer qu'ils fonctionnent correctement et qu'ils ne sont pas endommagés. Assurez-vous que les ceintures de sécurité du véhicule et les dispositifs de retenue pour infants ne sont pas coupés, entaillés ou usés. Remplacez-les au besoin. Tous les ensembles de ceintures de sécurité du véhicule, y compris les enrouleurs, les boucles, les ensembles de boucles des sièges avant, les supports de boucle (réglages coulissants, selon l'équipement), les réglages de hauteur des baudriers (selon l'équipement), les guides de baudrier sur le dossier de siège (selon l'équipement), les points d'ancrage inférieurs LATCH et les pattes d'ancrage pour siège d'enfant, ainsi que la boulonnerie de fixation, doivent être vérifiés après une collision. Consultez les directives supplémentaires relatives à l'inspection et à l'entretien de votre dispositif de retenue pour enfants.
Nous recommandons de remplacer toutes les ceintures de sécurité qui étaient utilisées au moment de la collision. Cependant, si la collision était mineure et qu'un concessionnaire autorisé détermine que les ceintures sont en bon état et fonctionnent correctement, il est inutile de les remplacer. Les ceintures qui n'étaient pas utilisées au moment de la collision doivent quand même être vérifiées et remplacées si elles sont endommagées ou ne fonctionnent pas correctement.
Effectuez l'entretien approprié des ceintures de sécurité. Voir Entretien du véhicule (page 392).
Rallonges de ceinture de sécurité
AVERTISSEMENT: Les personnes qui peuvent boucler confortablement la ceinture de sécurité ne doivent pas utiliser de rallonge. L'utilisation inutile d'une rallonge pourrait entraîner des blessures graves en cas d'accident.

Avertissement: utilisez
exclusivement les rallonges fournies gratuitement par les concessionnaires de la campagne automobile Lincoln. Le concessionnaire fournira une rallonge conscience spécialement pour ce véhicule, cette année-modèle et ce siège. Une rallonge prévue pour un véhicule, une année-modèle ou un siège différents peut réduire la protection normalement offerte par les ceintures de sécurité de votre véhicule.

Avertissement: n'utilisez jamais
de rallonges de ceinture de sécurité lorsque vous installez un dispositif de retenue pour enfants.

Avertissement: n'utilisez pas de
rallonge avec une ceinture de sécurité gonflable.

Avertissement: n'utilisez pas de
rallonge pour modifier la position de la sangle sur le torse ou l'abdomen, ou encore pour atteindre plus facilement la boucle de la ceinture de sécurité.
Si, en raison de votre taille ou de votre position de conduite, il vous est impossible de boucler correctement la ceinture trois points, vous pouvez vous procurer notamment une rallonge compatible avec la ceinture de sécurité auprès d’un concessionnaire de la Compagnie automobile Lincoln. Seules les rallonges de ceinture de sécurité Lincoln fabriquées par la même compagnie que celle ayant produit les ceintures de sécurité doivent être utilisées avec les ceintures de sécurité Lincoln. Demandez à votre concessionnaire autorisé si votre rallonge est compatible avec les dispositifs de retenue de votre véhicule Lincoln.
Le système de sécurité personnel assure une protection globale supérieure pour les passagers avant en cas de collision frontale. Il est conçu pour aider à réduire davantage les risques de blessures causées par les sacs gonflables. Ce dispositif peut analyser la situation des passagers et la gravité de la collision avant d'activer les dispositifs de sécurité appropriés, et ainsi aider à protéger un plus grand nombre de passagers pendant divers types de collisions frontales.
Le système de sécurité personnel du véhicule est composé des éléments suivants :
- Sacs gonflables à deux étapes pour le conducteur et le passager avant.
- Ceintures de sécurité des places latérales avant munies de prétendeurs, d'enrouleurs à absorption d'énergie et de capteurs de boucle de ceinture de sécurité.
- Capteur de position du siège du conducteur.
- Capteur de position de siège, côté passager.
- Capteur de poids du passager avant.
Témoins d'activation et de désactivation du sac gonflable passager. - Capteurs de gravité d'impact avant. - Module de commande des dispositifs de retenue avec capteurs d'impact et de sécurité. Témoin et carillon avertisseur du dispositif de retenue des occupants. - Câblage électrique pour les sacs gonflables, les détecteurs d'impact, les tendeurs de ceinture de sécurité, les capteurs de bouclage des ceintures de sécurité avant, le capteur de position du siège du conducteur, le détecteur d'occupation du siège du passager avant et les témoins.
Fonctionnement du système de sécurité personnalisé
Le système de sécurité personnelisé peut adapter la stratégie de déploiement des dispositifs de sécurité de votre véhicule selon la gravité de la collision et la situation des passagers. Un ensemble de détecteurs d'impact et de capteurs de poids fournit l'information au module de commande des
dispositifs de retenue. En cas de collision, le module de commande des dispositifs de retenue peut déployer les prétendeurs de ceinture de sécurité et peut activer une ou les deux étapes des sacs gonflables à deux étapes en fonction de la gravité de l'impact et de la situation des occupants.

Avertissement: les sacs
gonfables se déploient avec force et le risque de blessures est optimal à proximité de la garniture du module de sac gonfable.

Avertissement: tous les
occupants de votre véhicule, y compris le conducteur, doivent toujours boucler correctement leur ceinture de sécurité, même si la place qu'ils occupent est munie d'un dispositif de retenue supplémentaire de type sac gonfuble. Le fait de ne pas placer correctement la ceinture de sécurité augmente fortement le risque de blessures graves, voire mortelles.

Avertissement: malgré la
protection offerte par les dispositifs de retenue perfectionnés, les enfants de 12 ans et moins doivent être assis à l'arrière et retenus correctement. Autrement, vous pourriez augmenter considérablement les risques de blessures graves, voire mortelles.

Avertissement: ne placez pas
vos bras sur le couvercle du sac gonfable. Ne les faites pas passer dans le volant de direction. Le fait de ne pas tenir compte de ces précautions accroît les risques de blessures.

Avertissement: éliminez toutes
obstructions des zones à l'avant des sacs gonflables. Ne fixez rien sur ou au-dessus des couvercles de sac gonflable. Les objets peuvent venir des projectiles pendant le déploiement des sacs gonflables ou en cas d'arrêt brusque. Tout manquement à cet égard pourrait entraîner des blessures, voire la mort.

Avertissement: les sacs
gonflables peuvent causer des blessures graves, voire mortelles, à un enfant assis dans un dispositif de retenue pour enfant. Ne placez jamais un dispositif de retenue pour enfant orienté vers l'arrière en face d'un sac gonflable activé. Si vous nevez placer un siège d'enfant orienté vers l'avant sur le siège du passager avant, reculez ce dernier autant que possible.

Avertissement: ne tentez pas de
réparer ni de modifier le système de retenue supplémentaire ou les composants associés. Tout manquement à cet égard pourrait entraîner des blessures, voir la mort.

Avertissement: plusieurs
composants d'un système de sac gonfable sont chauds après le déploiement. Pour réduire le risque de blessures, ne les touchez pas après le déploiement.

AVERTISSEMENT: Si un composant
de retenue supplémentaire s'est déployé, il ne pourrait plus être utilisé. Faites le contrôle du système et des composants associés dès que possible. Tout manquement à cet égard pourrait entraîner des blessures, voir la mort.
Les systèmes de retenue supplémentaires sont conçus pour être utilisés de concert avec les ceintures de sécurité afin de protégérer le conducteur et le passager avant droit et de réduire la gravité de certaines blessures infligées à la partie supérieure du corps. Les sacs gonflables se déploient avec force. Le déploiement peut causer des blessures.
Note: Un bruit puissant retentit et des résidus de poudre inoffensifs se dégagent lors du déploiement d'un sac gonflable. Cette situation est normale.
Une fois activés, les sacs gonflables se gonflent et se dégonflent rapidement. Après le déploiement des sacs gonflables, il est normal de remarquer des résidus de poudre ou une odeur de poudre brûlée. Il peut s'agir d'amidon de maïs, de talc (qui sert à lubrifier le sac) ou de composés de sodium (le bicarbonate de sodium par exemple) qui résultent de la combustion qui sert à gonfler le sac. Vous pourriez trouver des traces d'hydroxyde de sodium, qui pourrait irriter la peau et les yeux, mais aucun des résidus n'est toxique.
Bien que les sacs gonflables soient conçus pour réduire les risques de blessures graves, ils peuvent provoquer des écorchures ou des enflures en se déployant. Le bruit associé au déploiement des sacs gonflables peut également provoquer une perte auditive temporaire. Comme les sacs gonflables doivent se déployer rapidement et avec une force considérable, ils présentent un risque de blessures mortelles ou graves, comme des fractures, des lésions faciales, oculaires ou internes, spécialement pour les occupants qui ne sont pas bien retenus ou qui n'occupent pas une position
Il est donc impératif que les occupants bouclent leur ceinture de sécurité et se tiennent aussi loin que possible des modules de sac gonflable, tout en s'assurant, dans le cas du conducteur, de conserver la maîtrise du véhicule.
Les sacs gonflables n'exigent aucun entretien périodique.
SACS gonflables du conducteur et du passager

AVERTISSEMENT: Ne placez pas gras sur le couvercle du sac gonfable. Les faites pas passer dans le volant de traction. Le fait de ne pas tenir compte les précautions accroît les risques de turps.

Avertissement: éliminez toutes
obstructions des zones à l'avant des sacs gonflables. Ne fixez rien sur ou au-dessus des couvercles de sac gonflable. Les objets peuvent devenir des projectiles pendant le déploiement des sacs gonflables ou en cas d'arrêt brusque. Tout manquement à cet égard pourrait entraîner des blessures, voir la mort.

Avertissement: les sacs
Les sacs gonflables peuvent causer des blessures graves, voire mortelles, à un enfant assis dans un dispositif de retenue pour enfant. Ne placez jamais un dispositif de retenue pour enfant orienté vers l'arrière en face d'un sac gonflable activé. Si vous devez utiliser un système de retenue pour enfant orienté vers l'avant sur le siège du passager avant, reculez le siège le plus loin possible.
E151127
Les sacs gonflables du conducteur et du passager avant se déploient en cas de collisions frontales et quasi frontales importantes.
Le sac gonflable du conducteur et le sac gonflable du passager avant sont constitués des éléments suivants :
des modules de sac gonflable du conducteur et du passager ; des détecteurs d'occupation du siège passager avant ;

- détecteurs d'impact et système de surveillance avec témoin d'état; Voir détecteurs d'impact et
témoin de sac gonflable (page 62).

Avertissement: l'administration
L'administration nationale de la sécurité routière (NHTSA) recommande de préserver un espace d'au minimum 25 cm (10 po) entre la poitrine d'un passager et le module de sac gonflable du conducteur.
Pour vous placer correctement par rapport au sac gonflable :
reculez votre siège au maximum, sans toutefois compromettre votre confort pour la manoeuvre des pédales ; - inclinez légèrement (d'un ou deux degrés) le siège vers l'arrière par rapport à la verticale.
Lorsque tous les occupants ont réglé leur siège et bouclé leur ceinture de sécurité, il est très important qu'ils demeurent correctement assis. Un passager correctement assis a le dos bien droit, appuyé contre le dossier et est centré sur le coussin d'assise, les pieds reposant confortablement sur le plancher. Une mauvaise position assise augmente les risques de blessures en cas de collision. Par exemple, si l'occupant se tient mollement, s'allonge, se tourne sur le côté, s'assoit sur l'extrémité du siège, se penche sur le côté ou en avant, ou s'il pose ses pieds ailleurs que sur le plancher, les risques de blessures augmentent considérablement en cas de collision.

Avertissement: les sacs
gonflables peuvent causer des blessures graves, voire mortelles, à un enfant assis dans un dispositif de retenue pour enfant. Ne placez jamais un dispositif de retenue pour enfant orienté vers l'arrière en face d'un sac gonflable activé. Si vous devez utiliser un système de retenue pour enfant orienté vers l'avant sur le siège du passager avant, reculez le siège le plus loin possible.
E142846
Les enfants doivent toujours être correctement retenus. Les statistiques révèlent qu'en cas d'accident, un enfant bien retenu est plus en sécurité aux places arrière du véhicule que sur le siège avant. Le non-respect de ces précautions peut augmenter les risques de blessures en cas de collision.

Avertissement: malgré la
protection offerte par les dispositifs de retenue perfectionnés, les enfants de 12 ans et moins doivent être assis à l'arrière et retenus correctement. Le non-respect de cette directive pourrait augmenter fortement le risque de blessures graves ou mortelles.

Avertissement: une mauvaise
position assise ou un dossier trop incliné peut réduire le poids reposant sur le coussin du siège, puis fausser la précision du détecteur d'occupation du siège passager avant et provoquer des blessures graves, voire mortelles en cas de collision. Maintenez toujours votre dos contre le dossier et laissez vos pieds reposer sur le plancher.

Avertissement: toute
Modification apportée au siège du passager avant peut nuire au rendement du capteur de poids du passager avant. Ceci risque d'augmenter fortement le risque de blessures graves, voire mortelles.
Ce système fait appel à des capteurs intégrés au siège et à la ceinture de sécurité du passager avant pour détecter la présence d'un occupant correctement assis sur le siège et déterminer si le sac gonflable frontal du passager avant doit être activé (déploiement possible).
Passenger Airbag




E181984
Les témoins se trouvent dans la console au pavillon.
Le détecteur d'occupation du siège passager avant utilise des témoins d'état du sac gonflable passager qui s'allument pour indiquer que le sac gonflable frontal du passager avant est activé (ON) ou désactivé (OFF).
Note: Les témoins s'allument brièvement lorsque vous établissez le contact la première fois pour confirmer leur bon fonctionnement.
Le détecteur d'occupation du siège passager avant est conçu pour désactiver (aucun déploiement) le sac gonflable frontal du passager avant lorsque le siège du passager avant est inoccupé ou lorsque la présence d'un siège pour bébé orienté vers l'arrière, d'un siège pour infant orienté vers l'avant ou d'un rehausseur est détectée. Même avec cette technologie, les parents doivent toujours attacher correctement les enfants sur le siège arrière.
Lorsque le détecteur d'occupation du siège passager avant désactive (aucun déploiement) le sac gonflable frontal du passager avant, le témoin d'état désactivé du sac gonflable passager s'allume et demeure allumé pour vous rappeler que le sac gonflable frontal du passager avant est désactivé. - Si le dispositif de retenue pour enfant est installé et que le témoin d'état activé du sac gonflable passager s'allume, coupez le contact, retirez le dispositif de retenue du véhicule, puis réinstallez-le conformément aux directives du fabricant.
Dispositifs de retenue supplémentaires
Le détecteur d'occupation du siège passager avant est conçu pour activer le sac gonflable frontal du passager avant (déploiement possible) lorsqu'il détecte la présence d'une personne de taille adulte correctement assise.
Lorsque le détecteur d'occupation du siège passager avant active le sac gonflable frontal du passager avant (déploiement possible), le témoin d'état activé du sac gonflable passager s'allume et demeure allumé.
Lorsqu'une personne de taille adulte occupe le siège du passager avant, mais que le sac gonflable passager est désactivé, la personne est peut-être mal assise sur le siège. Le cas échéant :
- Coupez le contact et demandez à la personne de placer le dossier à la verticale.
- Demandez à la personne de s'asseoir bien droit, au centre de l'assise de siège, en dépliantcomfortablement ses jambes.
- Redémarrez le vehicule et assurez-vous que la personne reste dans cette position pendant environ deux minutes. Le système pourrait ainsi détecter la présence de l'occupant et activer le sac gonflable frontal du passager.
- Si le témoin d'état de sac gonflable passager demeure allumé malgré cette procédure, demandez à cette personne de s'asseoir sur la banquette arrière.
| Occupant | Témoin d' état du sac gonflable du passager | Sac gonflable du passager |
| Inoccupé | OFF: Allumé | Désactivé |
| ON: Éteint | ||
| Enfant | OFF: Allumé | Désactivé |
| ON: Éteint | ||
| Adulte | OFF: Éteint | Activé |
| ON: Allumé |
Dispositifs de retenue supplémentaires
Lorsque les occupants ont réglé leur siège et bouclé leur ceinture de sécurité, il est très important qu'ils restent correctement assis. Un passager correctement assis a le dos bien droit, appuyé contre le dossier et centré sur l'assise de siège, les pieds reposant confortablement sur le plancher. Une mauvaise position assise augmente les risques de blessures en cas de collision. Par exemple, si l'occupant se tient mollement, s'allonge, se tourne sur le côté, s'assoit sur l'extrémité du siège, se penche sur le côté ou en avant, ou s'il pose ses pieds ailleurs que sur le plancher, les risques de blessures augmentent considérablement en cas de collision.
Si vous croyez que l'état du témoin de désactivation du sac gonflable du passager est incorrect, vérifiez les éléments suivants :
- Objets logés sous le siège.
- Objets situés entre l'assise de siège et la console centrale.
- Objets suspendus sur le dossier de siège
- Objets rangés dans le vide-poche du dossier de siège.
- Objets
- places sur les cuisses de l'occupant. Interférence du chargement avec le siège. Autres passagers poussant ou tirant sur le siège.
- Pieds ou genoux du passager arrêtés reposant contre le siège ou le poussant.
Les conditions enumerées ci-dessus peuvent faire que la bonne posture de l'occupant soit incorrectement interpretable par le capteur de poids du passager. La personne qui occupe le siege du passager avant peut sembler plus lourde ou plus légère en raison des conditions decrites ci-dessus.

Assurez-vous que le détecteur d'occupation du siège passager avant fonctionne correctement.
Voir DéTECTEURS d'impact et téMOIN de sac gonflable (page 62).
N'essayez pas d'effectuer les réparations ou l'entretien du système vous-même. Amenez immédiatement votre véhicule chez un concessionnaire autorisé.
Communiquez avec votre concessionnaire autorisé si vous devez faire modifier le système de sacs gonflables avant intelligent pour accueillir une personne handicapée à bord de votre véhicule.
SACS gonflables latéraux
! AVENTISSEMENT: Ne place aucun objet et n'installez aucun équipement qui pourrait entraver le déploiement du sac gonflable sur le couvercle du sac gonflable ou a proximate de celui-ci, sur le cote des dossiers des sièges avant ou arrêté ou pres des zones de déploiement d'un sac gonflable. Suivez ces instructions pour ne pas augmenter les risques de blessures en cas de collision.
AVERTISSEMENT: Ne recouvre pas les sièges de housses protectrices accessoires. Elles pourraient empêcher le déploiement des sacs gonflables latéraux et augmenter les risques de blessures en cas d'accident.

AVERTISSEMENT: N'appuyez pas
votre tête contre la porte. Le sac gonflable latéral pourrait vous blesser en se déployant du côté du dossier.

AVERTISSEMENT: Ne tentez pas de
réparer ni de modifier les dispositifs de retenue supplémentaires ou les composants associés. Le non-respect de cette consigne pourrait entraîner des blessures graves ou mortelles.

AVERTISSEMENT: Si un composant
des dispositifs de retenue supplémentaires s'est déployé, il ne pourra plus être utilisé. Faites inspecter le système et les composants associés dès que possible. Le non-respect de cette consigne pourrait entraîner des blessures graves ou mortelles.
Les sacs gonflables latéraux sont situés du côté extérieur des dossiers de siège avant et arrière. Les sacs gonflables latéraux se déployent dans certaines collisions latérales ou en cas de capotage. Le sac gonflable latéral est conçu pour se déployer entre le panneau de porte et l'occupant pour accroître la protection offerte en cas de collision latérale.

Dans la mesure du possible, assurez une retenue correcte des enfants de 12 ans et moins assis sur la banquette arrière. Le sac gonflable latéral ne génèrera pas les enfants assis dans un siège d'enfant ou sur un rehausseur correctement installé.
Le système comprend les éléments suivants :
- une étiquette ou un panneau en relief indiquant que les sacs gonflables latéraux sont installés dans votre véhicule;
- Des sacs gonflables latéraux situés dans les dossiers de siège du conducteur et du passager avant et dans chacun des dossiers de siège arrière du côté extérieur.

- déTECTeurs d'impact et système de contrôle avec téMOIN de fonctionnement. Voir DéTECTeurs d'impact et téMOIN des sacs gonflables (page 62).
La conception et la mise au point des sacs gonflables latéraux comprend des méthodes d'essai recommandées par un groupe d'experts en sécurité automobile appelé "Groupe de travail technique sur les sacs gonflables latéraux". Ces procédures d'essai contribuent à réduire les risques de blessures liées au déploiement des sacs gonflables latéraux.
Protege-genoux conducteur et passager
Les protège-genoux gonflables du conducteur et du passager sont situés sous ou dans la planche de bord. Lors d'une collision, le module de commande des dispositifs de retenue peut activer les protège-genoux gonflables du conducteur et du passager (individuellement ou les deux) selon la sévérité de l'impact et les conditions affectant l'occupant respectif. Dans certaines conditions de collision et affectant les occupants, les protège-genoux gonflables du conducteur et du passager peuvent se déployer (individuellement ou les deux) mais le sac gonflable avant correspondant peut ne pas s'activer. Comme c'est le cas pour les sacs gonflables latéraux et avant, il est important d’être ajustement assis pour réduire les risques de blessures ou de mort.

Assurez-vous que les protège-genoux gonflables fonctionnent correctement. Voir
Détecteurs d'impact et timing de sac gonflable (page 62).

Avertissement: ne placez, aucun
objet et n'installez aucune pièce d'équipement qui pourrait nuir au déploiement d'un rideau gonflable latéral à proximité de la garniture du pavillon au niveau du bord latéral. Le non-respect de ces précautions peut augmenter les risques de blessures en cas de collision.

Avertissement: n'appuyez pas
votre tête contre la porte. Le rideau gonflable latéral pourrait vous blesser en se déployant à partir de la garniture de pavillon.

Avertissement: ne tentez pas de
réparer ni de modifier le système de retenue supplémentaire ou les composants associés. Tout manquement à cet égard pourrait entraîner des blessures, voir la mort.

Avertissement: tous les
occupants de votre véhicule, y compris le conducteur, doivent toujours boucler correctement leur ceinture de sécurité, même si la place qu'ils occupent est munie d'un dispositif de retenue supplémentaire de type sac gonfuble. Le fait de ne pas placer correctement la ceinture de sécurité augmente fortement le risque de blessures graves, voire mortelles.

Avertissement: pour réduire les
risques de blessures, ne place aucun objet dans la trajectoire de déploiement du sac gonflable.

Avertissement: si un composant
de retenue supplémentaire s'est déployé, il ne pourra plus être utilisé. Faites contrôler le système et les composants associés dès que possible. Tout manquement à cet égard pourrait entraîner des blessures, voir la mort.
Dispositifs de retenue supplémentaires
Le système Safety Canopy se déploie en cas de collisions latérales importantes ou lorsque le capteur de capotage détecte une probabilité élevée de capotage. Le système Safety Canopy est fixé à la tôle du longeron du toit, derrière la garniture de pavillon, au-dessus de chaque rangée de sièges. Lors de certaines collisions latérales ou de capotages, le système Safety Canopy s'active, même si les sièges ne sont pas tous occupés. Le système Safety Canopy est donc pour se déployer entre la glace latérale et les occupants pour accroître la protection offerte en cas de collision latérale ou de capotage.

Le système comprend les éléments suivants :
- Les rideaux gonflables du système Safety Canopy situés au-dessus des panneaux de garniture supérieurs des glaces latérales avant et arrêtés dénotés par une étiquette ou une mention sur la garniture de pavillon ou la garniture du pied du toit;
- Une garniture de pavillonouple qui s'ouvre au-dessus des portes latérales pour laisser le rideau gonflable se déployer.

Des détecteurs d'impact et un système de surveillance avec témoins de fonctionnement. Voir
Détecteurs d'impact et témoin de sac gonflable (page 62).
Dans la mesure du possible, assurez une retenue correcte des enfants de 12 ans et moins assis sur la banquette arrière. Le système Safety Canopy ne génère pas les enfants assis dans un siège d'enfant ou sur un rehausseur correctement installé, car il est conçu pour se déployer vers le bas à partir de la garniture de pavillon, au-dessus des portes et le long de l'ouverture des glaces latérales.
La conception et la mise au point du système Safety Canopy comprennent des méthodes d'essai recommandées par un groupe d'experts en sécurité automobile appelé "Groupe de travail technique sur les sacs gonflables latéraux". Ces méthodes d'essai contribuent à réduire les risques de blessures liées au déploiement des sacs gonflables latéraux (y compris le système Safety Canopy).

Avertissement: les modifications
ou ajouts effectués à l'avant de votre véhicule (y compris au capot, au pare-chocs, au châssis, au train avant, aux crochets de remorquage et aux broches de capot) peuvent entraver le fonctionnement du système de sacs gonflables et accroître les risques de blessures. Ne modifiez pas ou n'ajoutez pas d'équipement à l'extrémité avant de votre véhicule.
Votre véhicule comporte de nombreux détecteurs d'impact et d'occupation de siège qui fournissent des renseignements concernant le module de commande des dispositifs de retenue. Le module de commande des dispositifs de retenue déploie (active) les tendeurs de ceinture de sécurité avant, le sac gonflable du conducteur, le sac gonflable du passager,
les protège-genoux, les sacs gonflables latéraux montés dans les sièges et le système de sécurité au pavillon. Selon le type de collision, le module des dispositifs de retenue déploie les dispositifs de sécurité appropriés.
Le module des dispositifs de retenue surveille aussi la disponibilité des dispositifs de sécurité ci-dessus en plus des capteurs de collision et des capteurs d'occupation. Un témoign au tableau de bord ou un carillon avertisseur, si le témoign ne fonctionne pas, sert à indiquer la disponibilité du système de sécurité. Les sacs gonflables n'exigent aucun entretien périodique.
Une anomalie du système est indiquée par l'un des événements suivants ou plusieurs :

Le témoin des sacs gonflables ne s'allume pas aussitôt que vous établissez le contact. Le témoin des sacs gonflables clignote ou reste allumé. - Une série de cinq bips retentit. Cet avertissement sonore se répète jusqu'à ce que l'anomalie soit corrigée, le témoin réparé ou les deux.
Si l'une de ces situations se produit, même de manière intermittente, faites immédiatement vérifier le dispositif de retenue supplémentaire par un concessionnaire autorisé. Si la réparation n'est pas effectuée, le système peut ne pas fonctionner normalement en cas de collision.
Le dispositif de retenue est conçu pour s'activer lorsque le véhicule subit des conditions suffisantes pour que le module des dispositifs de retenue active le déploiement d'un dispositif de sécurité.
Dispositifs de retenue supplémentaires
Le fait que tous les dispositifs de sécurité ne s'activent pas à toutes les places lors d'une collision n'indique pas nécessairement que le système est défectueux. Cela signifie plutôt que le module de commande des dispositifs de retenue a déterminé que les conditions de l'accident (gravité et type de la collision, utilisation des ceintures de sécurité, etc.) n'exigeaient pas la mise en fonction de ces dispositifs de sécurité.
- Les sacs gonflables avant sont conçus pour se déployer seulement en cas de collisions frontales et quasi frontales (et non en cas de capotage ou d'impact lésral ou arrère), à moins que la collision ne cause une décelération frontale suffisante.
- Les prétendeurs de ceinture de sécurité avant sont conçus pour s'activer lors de collisions frontales ou quasi frontales, de collisions latérales et de capotages. Les prétendeurs de ceinture de sécurité arrière s'activent lors de collisions frontales et de capotages.
- Les protège-genoux peuvent également se déployer selon la gravité de l'impact et les conditions affectant les occupants.
- çu pour se déployer lors de certaines collisions à impact létalé. Le système de sécurité au pavillon peut s'activer dans d'autres types de collisions si vous vehicule subit des mouvements latéraux ou des déformations suffisamment importants.
Mise au rebut de l'airbag
Contactez votre concessionnaire autorisé lorsque possible. Confiez la mise au rebut des sacs gonflables au personnel qualifié.
À PROPOS de l'assistance 911
911 Assist est une fonction du système SYNC qui peut passer un appel pour demander une assistance en cas d'accident. Si un accident déploie un coussin gonflable, à l'exception des protège-genoux gonflables et des ceintures de sécurité gonflables arrière (le cas échéant), ou active la fonction d'arrêt de la pompe d'alimentation, votre véhicule equipped d'un système SYNC peut être en mesure de communiquer avec les services d'urgence en composant le 911 au moyen d'un téléphone Bluetooth jumelé et branché. Pour en savoir plus sur la fonction Assist 911, visitez :
Site web
www.owner.lincoln.com www.syncmyride.ca
Site web
www.syncmaroute.ca
Toutes les collisions ne se traduisent pas nécessairement par le déploiement d'un sac gonflable ou l'activation de la fonction d'arrêt de la pompe d'alimentation, lesquels sont les critères d'application de la fonction 911 Assist. Si un téléphone cellulaire connecté est endommagé ou s'il ne peut communiquer avec le système SYNC au cours d'une collision, SYNC recherche un téléphone cellulaire disponible déjà jumelé. SYNC tente ensuite d'établir l'appel aux services d'urgence.
Avant de passer l'essay :
SYNC attend environ 10 secondes pour vous permettre d'annuler l'appel. Si vous n'annulez pas l'appel, SYNC tente de composer le 911. SYNC énonce le message suivant ou un message similaire : SYNC va tenter d'appeler le 911 ; pour annuler l'appel, appuyez sur la touche Annuler à l'écran ou maintenez enfoncé le bouton de téléphone au volant.
Si vous n'annulez pas l'appel, et que SYNC établit un appel, un message préenregistré est lu à l'intention du préposé du service 911, après quoi les occupants du véhicule peuvent communiquer avec le préposé. Soyez prêt à lui fournir immédiatement votre nom, votre numéro de téléphone et votre emplacement, car les systèmes 911 ne peuvent pas tous recevoir électroniquement ces renseignements.
Pendant un appel d'urgence, le système transmet les données du véhicule au service d'urgence. Voir Enregistrement de données (page 12).
Exigences des APPELS d'urgence

AVERTISSEMENT: N'attendez pas que le système utilise la fonction Assist 911. Passer l'appel d'urgence si vous ne passez pas le faire vous-même. Composez immédiatement le numéro des services, afin de ne pas prolonger le délai d'intervention, ce qui pourrait accroître les risques.
911 Assist
risques de blessures graves ou mortelles après une collision. Si la fonction Assist 911 n'est pas activée dans les cinq secondes suivant la collision, le système ou le téléphone peut être endommagé ou inopérant.

Avertissement: placez toujours
votre téléphone en lieu sûr dans le véhicule pour éviter qu'il se transforme en projectile ou soit endommagé en cas de collision. Il pourrait sinon en résulter des blessures graves et des dommages au téléphone qui pourrait empêcher le bon fonctionnement de la fonction d'assistance 911.

Avertissement: si la fonction
Assist 911 n'est pas activée avant une collision, le système ne composera pas le numéro des services d'urgence, ce qui pourrait prolonger le délai d'intervention et augmenter les risques de blessures graves ou mortelles après une collision.
SYNC doit être activé et doit fonctionner correctement au moment de l'accident, pendant l'activation et l'utilisation de la fonction. La fonction Assistance 911 doit être activée avant l'accident. - Vous devez coupler et connecter un téléphone cellulaire compatible Bluetooth à SYNC. Le téléphone compatible Bluetooth connecté doit être en mesure d'établir et de développer un appel SORTANT au moment de l'accident. Le téléphone compatible Bluetooth connecté doit avoir une couverture de réseau ajustée ainsi qu'un niveau de charge et une puissance de signal suffisants. Le véhicule doit être alimenté par la batterie et il doit se trouver aux États-Unis, au Canada ou dans un territoire où le 911 est le numéro d'urgence.
Note: Si un utilisateur active ou désactive la fonction d'assistance 911, ce paramétrage s'appliquera à tous les téléphones jumelés. Si la fonction d'assistance 911 est désactivée alors que le téléphone est connecté à SYNC, une icône s'affiche dans la barre d'état.
Note: Chaque téléphone fonctionne différemment. Bien que la fonction d'assistance 911 du système SYNC soit accessible avec la plupart des téléphones cellulaires, certains téléphones peuvent éprouver des difficultés à utiliser cette fonction.
Limitations des APPELS d'urgence
La fonction d'assistance 911 de SYNC est uniquement opérationnelle aux États-Unis, au Canada ou sur un territoire où le 911 est le numéro d'urgence.
911 Assist
- Voiture téléphone cellulaire ou le matériel de la fonction Assistance 911 est endommagé durant une collision. La batterie du véhicule est à plat ou SYNC n'est pas alimenté.
- Les téléphones joints de votre véhicule sont ceux qui sont jumelés et connectés au système.
Renseignements généraux sur les radiofréquences
Ce dispositif est conforme aux normes de la section 15 des règles de la commission fédérale des communications des É.-U. et aux normes RSS sans licence d'Industrie Canada. L'utilisation est soumise aux deux conditions suivantes : 1) ce dispositif ne doit pas causer d'interférences nuisibles, et 2) ce dispositif doit accepter toutes les interférences, même celles qui pourraient l'activer inopinément.

Avertissement: tout changement
ou modification apportée au dispositif sans l'approbation expresse des autorités d'homologation compétentes peut annuler le droit de l'utilisateur d'en faire usage. Le terme "IC" avant le numéro de certification radio signifie seulement que les normes techniques d'Industrie Canada ont été respectées.
La portée normale de votre télécommande est d'environ 10 m (33 ft). La portée de la télécommande est supérieure dans le cas des véhicules munis de la fonction de démarrage à distance.
Un des facteurs suivants peut provoquer une diminution de la portée :
les conditions atmosphériques; - la proximité d'une station émettrice de radio; les structures autour du véhicule; - la présence d'autres véhicules stationnés à proximité du nombre.
La fréquence radio utilisée par votre télécommande peut aussi l’être par d’autres émetteurs radio (par ex. : radio amateur, équipement médical, casque sans fil, télécommande, téléphone cellulaire, chargeur de batterie et système d’alarme). Si les fréquences sont brouillées, la télécommande ne fonctionnera pas. Vous pouvez toujours verrouiller ou déverrouiller les portes en introduisant la clé dans le barillet de serrure.
Nota: Assurez-vous de verrouiller votre véhicule avant de le laisser sans surveillance.
Nota: Si vous vous trouvez à portée du véhicule, la télécommande obéit si vous appuyez accidentellement sur une touche.
Nota: La télécommande contient des composants électriques sensibles.
L'exposition à l'humidité ou un impact peut causer des dommages permanents.
Clé d'accès intelligente (seion l'équipement)
Le système communique avec le véhicule grâce à des signaux radioélectriques qui autorisent le déverrouillage dans l'un des cas suivants :
- vous actionnez la commande de la poignée extérieure de porte avant;
- vous appuyez sur la touche du coffre à bagages;
- vous appuyez sur l'une des touches de la télécommande.
Clés et commandes à distance
Vous devrez peut-être déverrouiller mécaniquement la porte du véhicule en présence de brouillage radioélectrique excessif ou si la pile de la télécommande est faible. Vous pouvez utiliser le panneton mécanique de votre clé d'accès intelligent pour déverrouiller la porte du conducteur en pareil cas. Voir Télécommande (page 68).
Clé d'accès intelligente
Nota: Il est parfois impossible de quitter la position de stationnement (P), sauf si la clé d'accès intelligent se trouve dans le véhicule.

Votre télécommande actionne les serrures à commande électrique, le système de démarrage à distance et le hayon. Votre télécommande doit se trouver dans le véhicule pour activer le système de démarrage à bouton-poussoir.
Panneton de clé amovible
La clé d'accès intelligent renferme également un panneton de clé amovible qui peut être utilisé pour déverrouiller votre véhicule.

Appuyez sur le bouton de déblocage et sortez le panneton.

E151795
Note: Les clés du véhicule comportent une étiquette de sécurité contenant des renseignements essentiels sur la clé. Rangez l'étiquette dans un endroit sûr afin de la retrouver facilement en cas de besoin ultérieur.
Dispositifs de sécurité enfants
Verrouillez et déverrouillez les dispositifs de sécurité enfants à l'aide du panneau. Voir Verrouillage sécurité enfants (page 40).
Remplacement de la batterie
AVERTISSEMENT: Ne laissez pas les enfants s'approcher des piles pour éviter tout risque d'ingestion. Le non-respect de cette consigne pourrait entraîner des blessures graves ou mortelles. En cas d'ingestion, consultez immédiatement un médecin. AVERTISSEMENT: Si le compartiment de la pile ne se ferme pas correctement, cessez d'utiliser la télécommande et remplacez-la dès que possible. Entre-temps, gardez la télécommande hors de portée des enfants. Le non-respect de cette consigne pourrait entraîner des blessures graves ou mortelles.
Note: Consultez les règlements relatifs à la mise au rebut des piles de télécommandes.
Nota: N'essuyez pas la graisse sur les bornes de la pile ni sur la surface arrière dans le circuit imprimé.
Nota: Le remplacement de la pile n'efface pas la programmation de la clé pour votre véhicule. La télécommande devrait fonctionner normalement.
Un message s'affiche à l'écran d'information lorsque la pile de la télécommande est faible. Voir Messages d'information (page 145).
La télécommande utilise une pile bouton au lithium CR2450 de 3 volts ou une pile équivalente.
1. Appuyez sur le bouton de déblocage et sortez le panneton.

2. Engagez une pièce de monnaie mince sous la languette dissimulée derrière la tête du panneton et tournez-la pour retarder le couvercle de la pile.
E218402
- Insérez un outil approprié, tel qu'un tournevis, à la position indiquée et retirez la pile avec précaution.
- Installez une pile neuve en orientant le côté + vers le haut.
- Reposez le couvercle de la pile et le panier de clé.
Localisateur de véhicule

Appuyez deux fois sur le bouton en moins de trois secondes. Une tonalité retentit et les clignotants
clignotent. Nous vous recommandons d'utiliser cette méthode pour localiser votre véhicule.
Déclenchement de l'alarme de détresse
Note: L'alarme de détresse ne fonctionne que si le contact est coupé.

Appuyez sur le bouton pour déclencher l'alarme de détresse.
Appuyez de nouveau sur le bouton pour la désactiver.
Démarrage à distance

AVERTISSEMENT: Pour éviter les actions de gaz d'échappement, nez pas le démarrage à distance si vehicule est stationné à l'intérieur ou un endroit mal aéré.
Nota: N'utilisez pas le démarrage à distance si le niveau de carburant du véhicule est bas.

Le bouton de démarrage à distance se trouve sur la télécommande.
Cette fonction permet de faire démarrer le moteur depuis l'extérieur du véhicule. La télécommande a une portée étendue.
Vous pouvez configurer la commande automatique de la température de sorte qu'elle se mette en fonction au démarrage à distance du véhicule. Voir Climatisation (page 171).
De nombreux États et provinces réglementent l'utilisation du démarrage à distance. Consultez la législation en vigueur dans votre État ou province sur les dispositifs de démarrage à distance.
Le système de démarrage à distance ne fonctionne pas si :
Le contact est établi. L'alarme antivol se déclenche. - Vous désactiverez la fonction.
Le capot est ouvert. La boîte de vitesses n'est pas en position de stationnement (P). La tension de la batterie est inférieure à la tension minimale nécessaire à son fonctionnement. Le témoin d'anomalie du moteur est allumé.
Rétroaction de la télécommande
Un témoin DEL sur la télécommande indique l'état de démarrage et d'arrêt à distance du moteur.
| DEL | État |
| Vert en continu | Démarriage à distance réussi |
| Rouge en continu | Arrêt à distance réussi |
| Rouge clignotant | Requête échouée ou état non reçu |
| Vert clignotant | État incomplet |
Démarrage à distance du véhicule
Note: Vous devez appuyer sur les boutons à moins de trois secondes d'intervalle. Si vous ne suivez pas cette séquence, le démarrage à distance du véhicule est inopérant, les clignotants ne clignotent pas deux fois et l'avertisseur sonore ne retentit pas.
E138626
- Appuyez sur le bouton de verrouillage.
- Appuyez deux fois sur le bouton de démarrage à distance. Les feux extérieurs clignotent deux fois.
L'avertisseur sonore retentit si le démarrage à distance échoue, sauf si le démarrage en mode silencieux est activé.
Note: Vous devez appuyer une fois sur le bouton-poussoir de démarrage du tableau de bord tout en maintenant la pédale de frein avant de prendre la route.
Les lève-glaces électriques sont neutralisés pendant le démarrage à distance et la radio ne s'allume pas automatiquement.
Les feux des stationnements restent allumés et le moteur tourne pendant 5, 10 ou 15 minutes en fonction du réglage.
Prolongation de la durée de fonctionnement du moteur
Pour prolonger la durée de fonctionnement du moteur du véhicule pendant le démarrage à distance, répétez les étapes 1 et 2 pendant que le moteur tourne. Si la durée est régée pour une période de 10 minutes, elle augmente de 10 minutes.
Par exemple, si le moteur de votre véhicule tourne depuis 5 minutes après le premier démar rage à distance, il continuera de tourner jusqu'à atteindre un total de 20 minutes. La durée de fonctionnement du moteur peut être prolongée jusqu'à une durée maximale de 35 minutes.
Après l'arrêt du moteur, attendez au moins cinq secondes avant de le faire démarrer à distance.
Arrêt du moteur après un démarrage à distance

Appuyez une fois sur le bouton. Le moteur s'arrête et les yeux de stationnement s’éteignent.
Vous devrez peut-être vous trouver plus près du véhicule que lors d’un démarrage en raison de la réflexion au sol et du bruit produit par le fonctionnement du moteur. Vous pouvez activer ou désactiver cette fonction à l’écran d’information. Voir Généralités (page 140).
Fonction de rappel des réglages mémorisés
Vous pouvez programmer votre clé d'accès intelligent pour rappeler les positions mémorisées. Voir Fonction de mémorisation (page 186).
Reemplacement d'une commande à distance ou d'une clé PERDUE
Vous pouvez acheter des clés ou des télécommandes de remplacement chez votre concessionnaire autorisé. Les concessionnaires autorisés peuvent programmer les télécommandes pour votre véhicule. Voir Système antivol passif (page 97).
À PROPOS du téléphone en TANT que clé
Votre véhicule permet de configurer vos téléphones en tant que clé d'accès intelligent pour verrouiller, déverrouiller, faire démarrer et conduire notre véhicule à l'aide de l'application Lincoln Way.
Programmation de votre téléphone
Pour plus de renseignements, consultez la boutique d'applications de votre appareil ou visitez notre site Web.
Utilisation du MOT de PASSE de demarrage-secours
Note: Pour utiliser la fonction de mot de passe de démarrage-secours, le mode téléphone en tant que clé doit être actif et activé sur un téléphone au moins.
Procédez comme suit si le moteur refuse de démarrer :
- Appuyez à fond sur la pédale de frein.
- Le système SYNC affiche l'écran d'entrée du mot de passe de démarriage-secours.
- Entrez le mot de passer de secours à l'écran du système SYNC puis sélectionnez Entrée dans les 30 secondes.
- Le système SYNC affiche un message vous invitant à faire démarrer le véhicule.
- Appuyez à fond sur la pédale de frein et appuyez sur le bouton de démarrage dans les 20 secondes pour faire démarrer le moteur.
Telephone en TANT que clé - dépannage
Téléphone en tant que clé - Foire aux questions
| Pourquoi la fonction de téléphone en tant que clé ne s'active-t-elle pas? | Voyez votre concessionnaire autorisé pour faire configurer le système. |
| Pourquoi le moteur ne démarre-t-il pas? | Utilisez le mot de passer de démarrage-secours pour faire démarrer le moteur. Voir Utilisation du mot de passer de démarrage-secours (page 74). |
| Pourquoi le mot de passer de démarrage-secours ne fonctionne-t-il pas? | La fonction de mot de passer de démarrage-secours doit être activée sur un téléphone au moins. |
Principes de fonctionnement
La fonction MyKey vous permet de programmer les clés avec des modes de conduite limités pour favoriser de bonnes habitudes de conduite. Vous pouvez programmer des restrictions pour toutes les clés sauf une. Les clés qui n'ont pas été programmées sont appelées clés d'administrateur ou clés admin.
Vous pouvez utiliser les clés admin pour :
- créer une clé MyKey compte tenu de certaines restrictions pour votre véhicule ; programmer certains réglages MyKey ; effacer toutes les restrictions MyKey.
Après avoir programmé une clé MyKey, vous pouvez visualiser l'information suivante sur l'écran d'information :
- le nombre total de clés administr et de clés MyKey pour votre véhicule ; la distance totale parcourue avec votre véhicule par un conducteur possédant une clé MyKey.
Nota: Les restrictions et réglages sont identiques pour toutes les clés MyKey. Vous ne pouvez pas les programmer individuellement.
Nota: Pour les véhicules équipés du démarrage à bouton-poussoir : Lorsqu'une clé MyKey et une clé d'administrateur sont présentes lorsque vous démarrez votre véhicule, le système reconnaît uniquement la clé d'administrateur.
Réglages standard
Tous les véhicules ne seront pas les fonctions ci-dessous. Si votre véhicule est doté de cet équipement, il est impossible de modifier les fonctions suivantes avec une clé MyKey :
- rappel de bouclage de ceinture de sécurité ou Belt Minder™; MyKey met en sourdine la chaîne audio jusqu'à ce que le conducteur et dans certains cas, les passagers bouclent leur ceinture; Nota : Si votre véhicule est muni d'une radio AM/FM ou d'une chaîne audio de base, il se peut que la radio ne se mette pas en sourdine.
- averissement anticipé de bas niveau de carburant; L'ajretissement de bas niveau de carburant s'active de façon anticipée pour les conducteurs utilisant une clé MyKey. Ils disposent ainsi de plus de temps pour procéder au ravitationnement;
- il existe des alertes conducteur, des systèmes de stabilité ou des aides au stationnement qui s'activent automatiquement avec le système MyKey; par exemple, le système d'information sur les angles morts (BLIS), l'alerte de traffic transversal, l'avertisseur de déviation de trajectorie ou l'avertisseur de collision avant; Nota : Les conducteurs utilisant une clé MyKey peuvent désactiver l'avertisseur de déviation de trajectorie, cependant cette fonction se réactive automatiquement à chaque cycle d'allumage.
- utilisation restreinte de l'écran tactile dans certains marchés, par exemple, il se peut que MyKey empêche toute saisie manuelle de destination de navigation lorsqu'une position autre que la position de stationnement (P) est engagée ou que le véhicule atteint une certaine vitesse; restrictions du contenu réservé aux adultes de la radio satellite, si cette fonction est disponible sur votre marché.
Réglages optionnels
Vous pouvez configurer certains réglages des fonctions du véhicule lorsque vous créez une clé MyKey pour la première fois. Vous pouvez également modifier les réglages ultérieurement avec une clé admin.
Note: Toutes les fonctions ne s'appliquent pas à tous les véhicules sur tous les marchés. Lorsqu'elles sont disponibles sur votre véhicule, elles s'affichent sur l'écran d'information, avec la possibilité de les activer, de les désactiver ou de sélectionner un réglage plus spécifique.
- Plusieurs limitations de vitesse de sorte que le conducteur utilisant une clé MyKey ne puisse pas dépasser certaines vitesses. Des avertissements s'affichent à l'écran d'information suivis d'un carillon lorsque le conducteur utilise une clé MyKey atteint la vitesse programmée. Vous ne pouvez pas neutraliser la vitesse programmée en appuyant à fond sur la pédale d'accélérateur.

AVERTISSEMENT: Ne reglez pas la de vitesse maximale MyKey à une ur qui empêchera le conducteur de nir une vitesse sure compte tenu des actions de vitesse en vigueur et des actions routières. Le conducteur se doit respecter la législation locale et conditions en vigueur. À défaut il ce de causer un accident ou des sures.
- Plusieurs rappels de limitations de vitesse de sorte que les conducteurs utilisant une clé MyKey sachent qu'ils se rapprochent de ces limitations. Des avertissements s'affichent sur l'écran d'information accompagnés d'un carillon lorsque les conducteurs utilisant une clé MyKey dépassent la vitesse programmée. Le volume maximal de la chaîne audio est limité à 45 % de sorte que les conducteurs utilisant une clé MyKey puissent se concentrer sur la route. Un message s'affiche à l'écran d'information lorsque les conducteurs utilisant une clé MyKey tentent de dépasser la limite du volume. MyKey désactive également la commande automatique du volume. Note : Si votre véhicule est muni d'une radio AM/FM ou d'un chaîne audio de base, il se peut que la radio n'applique pas la limite.
- Réglage de fonction toujours activée. Ce réglage garde certaines fonction activées et actives pour les conducteurs utilisant une clé MyKey. Par exemple, E911 ou assistance d'urgence et la fonction "Ne pas déranger" restent activées même si
un conducteur utilise une clé MyKey, utilise la commande de la fonction en question pour la désactiver. Lorsque cette option est sélectionnée, vous ne pourrez pas désactiver la fonction AdvanceTrac ou l'antipatinage (si votre véhicule est équipé de ces fonctions).
Creation d'un dispositif MYKEY
Utilisez l'écran tactile pour créer une clé MyKey :
- Insérez la clé à programmer dans l'allumage. Si votre véhicule est équipé d'un système de démarrage à bouton-poussoir, placez la télécommande dans la fente de secours. Voir Démarrage d'un moteur à essence (page 207).
- Établissez le contact.
- Accédez au menu principal de l'écran tactile puis parcourez les menus pour modifier les réglages de votre clé MyKey. Dans le menu MyKey, sélectionnez l'option Créeer MyKey. Voir Paramètres (page 528).
- À l'invite, maintenez la touche OK enfoncée jusqu'à ce qu'un message vous demande de désigner cette clé comme clé MyKey. Les restrictions programmées s'appliquent lorsque vous fermez et ouvrez la porte conducteur avec le contact coupé et que vous faites ensuite redémarrer le moteur avec la clé programmée ou la télécommande.
La clé MyKey a été créée avec succès. Assurez-vous d'identifier la clé afin de pouvoir la stocker avec des clés d'administrateur.
Vous pouvez également programmer des réglages configurables pour la/les clé(s). Voir Programmation et modification des réglages configurables.
Programmation et modification des réglages configurables
Utilisez l'écran tactile pour accéder à vos réglages MyKey configurables.
- Établissez le contact à l'aide de la clé d'administrateur ou de la télécommande que vous souhaitez programmer.
- Accédez au menu principal de l'écran d'information puis parcourez les menus pour modifier les réglages de votre clé MyKey. Voir Paramètres (page 528).
- Suivez les instructions sur l'écran tactile. Les restrictions programmées s'appliquent lorsque vous fermez et ouvrez la porte conducteur avec le contact coupé et que vous faites ensuite redémarrer le moteur avec la clé programmée ou la télécommande.
Note: Vous pouvez effacer ou modifier vos réglages MyKey à tout moment pendant le cycle d'allumage au cours duquel vous avez créé la clé MyKey. Toutefois, une fois que vous avez coupé le contact, vous devrez utiliser une clé d'administrateur pour modifier ou effacer vos réglages MyKey. Lorsque vous modifiez vos réglages MyKey, vous changez les réglages de toutes vos clés MyKey. Vous ne pouvez pas modifier les réglages de clés MyKey individuelles.
Effacement de la programmation de tous les dispositifs MYKEY
Lorsque vous effacez la programmation de vos clés MyKey, vous supprimez toutes les restrictions et les clés MyKey retrouvent immédiatement leur statut original de clé d'administrateur. Pour effacer les réglages de toutes les clés MyKey, utilisez l'écran tactile.
- Établissez le contact à l'aide d'une clé d'administrateur.
- Accédez au menu principal de l'écran tactile, puis parcourez les menus pour commencer à effacer la programmation de vos clés MyKey. Voir Paramètres (page 528).
- Suivez les directives expliquées à l'écran.
- Un message de confirmation apparait dans l'affichage une fois que vous avez fini d'effacer vos clés MyKey.
Note: Lorsque vous effacez vos clés MyKey, vous supprimez toutes les restrictions et toutes les clés MyKey retrouvent leur statut de clé d'administrateur d'origine. Vous ne pouvez pas supprimer les restrictions MyKey individuellement.
Vérification de l'état du dispositif MYKEY
Vous pouvez trouver des renseignements sur vos clés MyKey programmées en utilisant l'écran tactile. Voir Paramètres (page 528).
Distance mykey
Cette fonction cumule la distance parcourue lorsque les conducteurs utilisent une clé MyKey. La distance cumulée ne peut être supprimée qu'en utilisant une clé d'administrateur pour effacer toutes les clés MyKey. Si la distance ne s'accumule pas comme prévu, c'est que l'utilisateur n'utilise pas la clé MyKey ou qu'un utilisateur de la clé d'administrateur a récemment effacé puis recréée une clé MyKey.
Nombre de mykey
Indiquez le nombre de clés MyKey que vous\ avez programmées pour votre véhicule.\ Utilisez cette fonction pour détecter le\ nombre de clés MyKey dont vous disposez\ pour votre véhicule et déterminer quand\ toutes les clés MyKey ont été effacées.
Nombre de clés admin
Ce paramètre indique le nombre de clés d'administrateur que vous avez programmées pour votre véhicule. Utilisez cette fonction pour savoir combien vous avez de clés administrateur pour votre véhicule et savoir si une clé MyKey supplémentaire a été programmée.
Utilisation de MYKEY à LAIDE d'un démarreur à distance
MyKey n'est pas compatible avec les démarreurs à distance de deuxième monte qui ne sont pas approvés par Lincoln. Si vous décidez d'installer un démarreur à distance, consultez un concessionnaire autorisé pour vous procurer un dispositif de démarrage à distance apprové par Lincoln.
MYKEY - DÉPANNAGE
| Problème | Causes possibles |
| Je ne peux pas créé de clé MyKey. | · La clé ou la télécommande utilisé pour faire demarrer le vehicule ne compte pas de privilèges d'administrateur. · Vehicules avec démarrage sans clé : assurez-vous de placer la télécommande dans la fente de secours. Voir Demarrage d'un moteur à essence (page 207). |
| · La clé ou la télécommande utilisée pour faire démarrer le vehicule est la seule clé d'administrateur. Il doit toujours y avoir au moins une clé d'administrateur. · Le système antidémarrage SecuriLock est désactifé ou en mode illimité. | |
| Je ne peux pas programmermer les paramètres configurable. | · La clé ou la télécommande utilisée pour faire démarrer le vehicule ne compte pas de privilèges d'administrateur. · Aucune clé MyKey n'est programmée pour le vehicule. Voir Création d'un dispositif MyKey (page 78). |
| Je ne peux pas effacer les dispositifs MyKey. | · La clé ou la télécommande utilisée pour faire démarrer le vehicule ne compte pas de privilèges d'administrateur. Aucune clé MyKey n'est créé. Voir Création d'un dispositif MyKey (page 78). |
| J'ai perdu la seule clé Admin. | · Procurez-vous une nouvelle clé ou télécommande chez un concess-ionnaire autorisé. |
| J'ai perdu une clé. | · Programmez une clé ou une télécommande de rechange. Il se peut que vous deviez consulter un concessionnaire agréé. VoirDémarrage d'un moteur à essence (page 207). |
| Les distances MyKey ne s'accumulent pas. | · L'utiliseur de la fonction MyKey n'utilise pas la clé MyKey. · Le détenteur d'une clé d'administrateur a effacé les clés MyKey et créé de nouvelles clés MyKey. · Le système de clé a été réinitialisé. |
Verrouillage et deverroillage
Vous pouvez utiliser la commande de verrouillage électrique des portes ou la télécommande pour verrouiller et déverrouiller votre véhicule.
Verrouillage électrique des portes
La commande de verrouillage électrique des portes se trouve sur les panneaux de porte du conducteur et du passager avant.

Déverrouillage B Verrouillage
Témoin de verrouillage de porte
Un témoin DEL situé sur le panneau de garniture de glace de chacune des portes s'allume lorsque vous verrouillez la porte. Le témoin reste allumé jusqu'à cinq minutes après la coupure du contact.
Neutralisation des commandes
Lorsque vous verrouillez le véhicule électroniquement, la commande de verrouillage électrique des portes et le contacteur intérieur d’ouverture de coffre à bagages ne fonctionnent plus au bout de 20 secondes. Vous devez alors déverrouiller le véhicule en utilisant la télécommande, la clé d’accès intelligent ou le clavier d’entrée sans clé, ou sinon établir le contact pour réactiver les fonctions de ces contacteurs. Vous pouvez activer ou désactiver cette fonction à l’écran tactile. Voir Paramètres (page 528).
Télécommande
Vous pouvez utiliser la télécommande à tout moment. Le bouton d'ouverture du coffre à bagages ne fonctionne que lorsque vous véhicule roule à moins de 5 km/h (3 mph).
Déverrouillage des portes (déverrouillage en deux étapes)

Appuyez sur le bouton pour déverrouiller la porte conducteur. Dans les trois secondes, appuyez
Appuyez de nouveau sur le bouton pour déverrouiller toutes les portes. Les clignotants clignotent.
Appuyez sur les boutons de verrouillage et de déverrouillage de la télécommande et maintenez-les enfoncés pendant quatre secondes pour désactiver ou activer le déverrouillage en deux étapes. La désactivation du déverrouillage en deux étapes permet de déverrouiller toutes les portes au moyen d'un seul enforcement du bouton. Les clignotants clignotent deux fois pour indiquer le passage au mode de déverrouillage. Le mode de déverrouillage s'applique à la télécommande, au clavier d'entrée sans clé et à la clé d'accès intelligent.
L'accès intelligent au niveau de la porte conducteur déverrouille toutes les portes lorsque la fonction de déverrouillage en deux étapes est désactivée.
Verrouillage des portes

Appuyez sur le bouton pour verrouiller toutes les portes. Les clignotants clignotent.
Appuyez de nouveau sur le bouton dans les trois secondes qui suivent pour confirmer la fermeture de toutes les portes. Les portes se verrouillent de nouveau, une tonalité retentit et les clignotants clignotent si toutes les portes et le coffre à bagages sont fermés.
Mauvais verrouillage
Si une porte ou le coffre à bagages n'est pas fermé, ou si le capot d'un véhicule muni d'une alarme antivol ou d'un dispositif de démarrage à distance est ouvert, une tonalité retentit et les clignants ne clignotent pas. Vous pouvez activer ou désactiver cette fonction à l'écran tactile. Voir Paramètres (page 528).
Confirmation de verrouillage sonore et visuelle
Si la confirmation de verrouillage sonore et visuelle peut être configurée, vous pouvez l'activer ou la désactiver à l'écran tactile. Voir Paramètres (page 528).
Clé mécanique
La clé d'accès intelligent renferme également un panneton de clé amovible qui peut être utilisé pour verrouiller et déverrouiller le véhicule. Voir Télécommande (page 68).
Pour verrouiller toutes les portes, tournez le haut de la clé une fois vers l'avant de votre véhicule.
Pour déverrouiller la porte du conducteur seulement, tournez le haut de la clé vers l'arrière de votre véhicule.
Verrouillage et déverrouillage des portes avec le panneton de clé
Si la fonction de verrouillage centralisé est inopérante, verrouillez les portes en insérant le panneton de clé dans le barillet de serrure de la poignée de porte.

Verrouillage avec le panneton de clé
Insérez le panneton de clé dans le barillet de serrure de la poignée de porte conducteur, faites tourner le panneton vers le haut et vers l'avant du véhicule pour verrouiller la porte.
Déverrouillage avec le panneton de clé
Insérez le panneton de clé dans le barillet de serrure de la poignée de porte conducteur, faites tourner le panneton vers le bas et vers l'arrière du véhicule pour déverrouiller la porte.
Ouverture d'une porte arrêtée depuis l'intérieur du véhicule
Tirez deux fois sur la poignée intérieure de porte pour déverrouiller et ouvrir une porte arrière. La porte se déverrouille lorsque vous tirez sur la poignée une fois et elle s'ouvre lorsque vous tirez sur la poignée une deuxième fois.
Généralités
Vous pouvez verrouiller et déverrouiller le véhicule sans sortir les clés de votre poche ou de votre sac si vous êtes à 1 m (3 ft) du véhicule. L'accès intelligent utilise un capteur situé à l'arrière de la poignée de porte pour le déverrouillage et un capteur distinct sur l'avant de chaque poignée pour le verrouillage.
Le système ne fonctionne pas si :
La batterie du véhicule est déchargée. La pile de la clé est à plat. - Les fréquences de la clé sont brouillées.
Note: Le système peut ne pas fonctionner si la clé codée se trouve à proximité d'objets métalliques ou d'appareils électroniques, par exemple d'autres clés ou un téléphone cellulaire.
Note: Si le système ne fonctionne pas, utilisez le panneton de la clé pour verrouiller et déverrouiller le véhicule. Voir Télécommande (page 68).
Dérober à l'aide de la clé intelligente
E248553
Portes et serrures
Avec la clé d'accès intelligent, à une distance de 1 m (3 ft) du véhicule, touchez brièvement le capteur de déverrouillage à l'arrière de la poignée de porte et tirez sur la poignée pour déverrouiller le véhicule, en prenant garde de ne pas toucher au même moment au capteur de verrouillage ou de tirer trop rapidement sur la poignée de porte. Le système d'accès intelligent requiert un bref délambda pour authenticate la télécommande d'accès intelligent.
Verrouiller à l'aide de l'accès intelligent

E248554
Avec la clé d'accès intelligent à une distance de 1 m (3 ft) du véhicule, touchez le capteur de verrouillage sur la poignée de porte extérieure pendant environ une seconde pour verrouiller le véhicule, en prenant garde de ne pas toucher au même moment au
capteur de déverrouillage situé à l'arrière de la poignée de porte. Après avoir verrouillé le véhicule, vous pouvez immédiatement tirer sur la poignée de porte pour confirmer qu'elle est verrouillée sans la déverrouiller par mégarde.
Au hayon
Appuyez sur le bouton de déverrouillage extérieur du hayon sur la partie supérieure de la poignée d'ouverture du hayon.
Déverrouillage intelligent
Cette fonction aide à éviter le verrouillage involontaire du véhicule en oubliant la clé d'accès intelligent dans l'habitacle ou dans l'aire de chargement arrêté.
Lors du verrouillage du véhicule avec une porte ouverte et le contact coupé, le système recherche la présence d'une clé d'accès intelligent dans l'habitacle après la fermeture de la porte. Si le véhicule détecte une clé, toutes les portes se déverrouillent immédiatement.
Vous pouvez neutraliser la fonction de déverrouillage intelligent et verrouiller délibérément votre véhicule avec la clé d'accès intelligent à l'intérieur. Pour ce faire, verrouillez le véhicule après avoir fermé toutes les portes en :
- utiliser le clavier d'entrée sans clé ; appuyer sur le bouton de verrouillage d'une autre clé d'accès intelligent ; toucher la zone de verrouillage sur la poignée avec une autre clé d'accès intelligent que vous tenez à la main.
Lorsque vous ouvrez une des portes avant alors que le contact est établi et que vous verrouillez le véhicule à l'aide du verrouillage électrique des portes, toutes les portes se verrouillent puis se déverrouillent.
Verrouillage automatique (selon l'équipement)
Le verrouillage automatique verrouille toutes les portes lorsque toutes les conditions ci-après sont réunies :
Toutes les portes sont fermées. Le contact est établi.
- Vous engagez un rapport pourmettre le vehicule en mouvement. Le vehicule roule a plus de 20km / h (12 mph).
Le verrouillage automatique des portes se répète dans les cas suivants :
- Vous ouvrez une porte et la referrerEZ alors que le contact est établi et que le vehicule roule à 15 km/h (9 mph) ou moins. Le vehicule roule a plus de 20km / h (12 mph).
Déverrouillage automatique
Le déverrouillage automatique des portes déverrouille toutes les portes lorsque :
Le contact est établi, toutes les portes sont fermées et votre véhicule roule à plus de 20 km/h (12 mph). - Voiture véhicule s'immobilise et vous tournez le commutateur d'allumage en position arrêt ou accessoires. - Vous ouvrez la porte conducteur dans les 10 minutes après avoir coupé le contact ou sélectionné la position accessoires.
Note: Les portes ne se déverrouillent pas automatiquement si vous verrouillez électroniquement le véhicule après avoir coupé le contact et avant d'ouvrir la porte conducteur.
Activation ou désactivation
Vous pouvez activer ou désactiver cette fonction à l'écran tactile ou demander l'aide d'un concessionnaire autorisé. Voir Paramètres (page 528).
Éclairage à l'entrée (selon l'équipement)
L'éclairage intérieur et certains faux extérieurs s'allument lorsque vous déverrouillez les portes au moyen de la télécommande.
Le système éteint l'éclairage si :
- Vous démarrez votre véhicule.
- Vous appuyez sur le bouton de verrouillage de la télécommande.
- Ils sont allumés depuis 25 secondes.
Les lampes ne s'éteignent pas si :
- Vous les allumez avec la commande d'éclairage. Une des portes est ouverte.
Éclairage à la sortie
L'éclairage intérieur et les faux extérieurs sélectionnés s'allument lorsque toutes les portes sont fermées et que vous coupez le contact.
Portes et serrures
L'éclairage s'éteint si toutes les portes restent fermées et :
25 secondes se sont écoulées. - Vous verrouillez votre véhicule depuis l'extérieur.
Protection antidécharge de la batterie
Si vous laissiez les lampes d'accueil ou les plafonniers allumés et que vous coupez le contact, cette fonction les éteint au bout d'un certain temps.
Protection antidécharge de la batterie du mode accessoires pour clés d'accès intelligent
Si vous laissez le contact établi après avoir quitté le véhicule, il se coupe 30 minutes après avoir fermé les portes.
Éclairage d'accueil
Cette fonction allume l'éclairage extérieur sélectionné lorsque vous approchez du véhicule. Vous devez porter une clé d'accès intelligente sur vous. La fonction se désactive lorsque vous ouvrez une porte ou le hayon, ou que vous déverrouillez le véhicule. L'éclairage d'accueil reste allumé pendant 25 secondes ou jusqu'au démarrage du moteur.
La fonction est activée lorsque :
La fonction est programmée à l'écran tactile. Voir Éclairage d'accueil (page 116). Le contact est coupé. Toutes les portes et le hayon sont fermés. - Vous verrouillez le véhicule.
La fonction est désactivée lorsque :
Le véhicule detecte que la clé d'accès intelligent est dans l'habitacle. - La clé d'accès intelligent se trouve à proximité du véhicule depuis plus de deux minutes.
L'alarme antivol se déclenche. - Vous ne faites pas démarrer le moteur pendant plus de cinq jours. - La charge de la batterie du véhicule est faible. - Vous approchez du véhicule pour activer l'éclairage d'accueil dix fois ou plus sans établir le contact.
Nota : Lorsque vous désactivez cette fonction, vous devez établir le contact pour la réinitialiser.
Nota: Cette fonction ne fonctionne pas correctement si la clé d'accès intelligente est rangée à 2,4-4,6 m (8-15 ft) du véhicule alors qu'elle n'est pas utilisée.
Nota: L'éclairage d'accueil ne fonctionne pas s'il a été désactivé à l'écran tactile.
Clavier d'entrée sans clé securicode™
Le clavier se trouve près de la glace du conducteur. Le clavier est invisible et s'allume au toucher pour permettre de voir et d'utiliser les touches appropriées.
Nota: Si vous saisissez votre code d'entrée trop rapidement sur le clavier, la fonction de déverrouillage pourrait ne pas fonctionner. Saisissez votre code d'entrée plus lentement.
| 90 | 78 | 56 | 34 | 12 |
E138637
Vous pouvez utiliser le clavier pour effectuer les opérations suivantes :
verrouiller ou déverrouiller les portes ; programmer et supprimer les codes d'utilisateur ; armer et désarmer l'alarme antivol.
Vous pouvez utiliser le clavier avec le code d'entrée à cinq chiffres programmé en usine. Ce code est inscrit sur votre carte du propriétaire dans la boîte à gants. Vous pouvez aussi l'obtenir chez un concessionnaire autorisé. Vous pouvez également créer jusqu'à cinq codes d'entrée personnalisés à cinq chiffres.
Le clavier d'entrée sans clé ne fonctionne que lorsque la porte conducteur est fermée et que la boîte de vitesses est en position de stationnement (P).
Programmation d'un code d'entrée personnalisé
Pour programmer un code d'entrée personnalisé :
- Saisissez le code d'origine
- Appuyez sur la touche 1-2 du clavier dans les cinq secondes.
- Composez votre code d'entrée personnalisé à cinq chiffres. Il ne peut s'écouler plus de cinq secondes entre la saisie de chacun des chiffres.
Portes et serrures
- Appuyez sur la touche 1-2 du clavier pour enregistrer le code personnelisé 1.
Les portes se verrouillent et se déverrouillent pour confirmer la réussite de la programmation.
Répétez les étapes 1 à 3 pour programmer d'autres codes personnalisés, puis pour l'étape 4 :
- Appuyez sur la touche 3-4 pour enregistrer le code personnelisé 2.
- Appuyez sur la touche 5·6 pour enregistrer le code personnelisé 3.
- Appuyez sur la touche 7·8 pour enregistrer le code personnelisé 4.
- Appuyez sur la touche 9·0 pour enregistrer le code personnalisé 5.
Conseils :
- Ne CHOISISSEZ pas un code contenant cinq fois le même chiffre.
- Ne choisissez pas cinq chiffres qui se suivent. Le code programme en usine fonctionne si vous programmez un code d’entrée personnalisé.
Suppression d'un code personnel
- Saisissez le code à cinq chiffres programmé en usine.
- Appuyez brièvement sur la touche 1-2 du clavier dans un délai de cinq secondes.
- Maintenez la touche 1-2 enfoncée pendant deux secondes. Vous devez exécuter cette étape dans les cinq secondes une fois l'étape 2 terminée.
Tous les codes personnalisés sont supprimés et seul le code à cinq chiffres programé en usine fonctionne.
Le clavier passe en mode anti-décodage si vous entrez un code incorrect à sept reprises (35 enfoncements de touche consécutifs).
Ce mode désactive le clavier pendant une minute et la lampe du clavier clignote.
La fonction anti-décodage se désactive dans les cas suivants :
- Appuyez une période d'inactivité du clavier d'une minute.
- Vous appuyez sur le bouton de déverrouillage de la télécommande.
- Vous établissez le contact.
- Vous déverrouillez le véhicule au moyen de l'accès intelligent.
Pour déverrouiller la porte conducteur
Saisissez le code à cinq chiffres programmé en usine ou votre code personnalisé. Il ne doit pas s'écouler plus de cinq secondes entre la saisie de chacun des chiffres. L'éclairage intérieur s'allume.
Nota : Toutes les portes se déverrouillent si la fonction de déverrouillage en deux étapes est désactivée. Voir Verrouillage et déverrouillage (page 82).
Pour déverrouiller toutes les portes
Entrez le code programme en usine ou votre code personnel, puis appuyez sur la touche 3-4 dans les cinq secondes.
Pourverrouiller toutes les portes
Maintenez les touches 7-8 et 9-0 enfoncées en même temps, avec la porte du conducteur fermée. Vous n'avez pas besoin de composer le code du clavier au préalable.
Affichage du code défini en usine.
Note : Vous avez besoin de deux clés d'accès intelligent programmées pour cette procédure.
Pour afficher le code programme en usine à l'écran d'information :

- Ouvrez le couvercle de la console centrale.
- Insérez la première clé programmée dans la fente de secours.
- Appuyez une fois sur le bouton-poussoir de démarrage et patientez quelques secondes.
- Appuyez de nouveau sur le bouton-poussoir de démarrage et retirez la clé.
- Dans les 10 secondes, placez une seconde clé d'accès intelligent programme dans la fente de secours et appuyez sur le bouton-poussoir de démarrage.
Le code programme en usine s'affiche à l'écran d'information pendant quelques secondes.
Nota : Le code pourrait ne s'afficher qu'à la suite d'autres messages d'avertissement.
Hayon à commande électrique

dangereux de s'installer dans l'aire de chargement intérieure ou extérieure lorsque le véhicule roule. En cas de collision, ces occupants risquent des blessures graves ou mortelles. Ne laissez personne s'installer dans le véhicule à un endroit qui n'est pas muni d'un siège et d'une ceinture de sécurité. Veillez à ce que tous vos passagers s'installent sur un siège et bouclent leur ceinture correctement. Le non-respect de cet avertissement peut entraîner des blessures graves ou mortelles.

Avertissement: assurez-vous de
bien fermer le hayon pour empêcher les gaz d'échappement de s'infiltrer dans l'habitacle. S'il n'est pas possible de fermer complètement le hayon, ouvre les bouches d'air ou les glaces pour laisser de l'air frais pénétrer dans l'habitacle. Le non-respect de cette consigne pourrait entraîner des blessures graves ou mortelles.

Avertissement: assurez-vous de
bien fermer le hayon pour éviter la chute des passagers et du chargement hors du véhicule. Le non-respect de cette consigne pourrait entraîner des blessures graves ou mortelles.

Avertissement: gardez les clés
Hors de portée des enfants. Ne laissez pas les enfants jouer avec ou à proximité d'un hayon à commande électrique ouvert ou en mouvement. Vous devez superviser l'utilisation du hayon à commande électrique à tout moment.
Nota : Fermez bien le hayon avant de démarrer ou de déplacer le véhicule, surtout dans un espace fermé comme un garage ou une aire de stationnement. Vous risqueriez d'endommager le hayon et ses composants.
Nota: Ne suspendez aucun objet (porte-bicyclette, par exemple) à la glace de hayon ou au hayon. Vous risqueriez d'endommager le hayon et ses composants.
Le hayon ne fonctionne que lorsque la boîte de vitesses est en position de stationnement (P).
Si la demande d'ouverture ou de fermeture présente une anomalie, une tonalité se fera entendre pour l'une des raisons suivantes :
- le contact est établi et la boîte de vitesses n'est pas en position de stationnement (P);
- la tension de la batterie est inférieure à la tension minimale nécessaire à son fonctionnement;
- le hayon n'est pas complètement fermé et vous roulez à une vitesse égale ou supérieure à 5 km/h (3 mph).
Si le hayon commence à se refermer après avoir atteint l'ouverture complète, cela peut indiquer une charge excessive sur le hayon ou une défaillance du vérin. Une tonalité retentit plusieurs fois et le hayon se ferme de manière contrôlée. Si le hayon continue de se fermer après l'ouverture, faites vérifier le système par un concessionnaire autorisé. Enlevez toute charge excessive du hayon.
Ouverture et fermeture du hayon

AVERTISSEMENT: Assurez-vous que
personne ne se trouve à proximité du hayon avant d'utiliser la commande électrique.
Nota: Assurez-vous qu'il y a assez de place derrière votre véhicule pour actionner le hayon sans obstruction. Les objets situés trop près de votre véhicule, tels qu'un mur, une porte de garage ou un autre véhicule, pourraient gêner la course du hayon. Vous risqueriez d'endommager le hayon et ses composants.
Note: Soyez vigilant lorsque vous ouvrez ou fermez le hayon dans un garage ou tout autre local fermé afin de ne pas endommager le hayon.
Nota: Ne roulez pas avec le hayon ouvert. Vous risqueriez d'endommager le hayon et ses composants.
Ouverture à partir de la planche de bord

Avec la boîte de vitesses en position de stationnement (P), appuyez sur le bouton situé sur la
planche de bord.
Ouverture avec la télécommande

Appuyez deux fois sur le bouton en moins de trois secondes.
Ouverture avec le bouton de commande extérieur
- Déverrouillez le hayon au moyen de la télécommande ou de la commande de déverrouillage électrique des portes. Si une clé codée se trouve à moins de 1 m (3 ft) du hayon, ce dernier se déverrouille lorsque vous appuyez sur le bouton de déverrouillage du hayon.

Hayon
- Appuyez sur le bouton de commande situé à droite de la caméra de recul.
Note: Laissez le système électrique ouvrir le hayon. Si vous tirez ou poussez sur le hayon, vous risquez d'activer la fonction de détection d'obstacles et d'interrompre la commande électrique, ce qui peut avoir le même effet qu'une défaillance de vérin et endommager des composants mécaniques.
Fermeture du hayon

AVERTISSEMENT: Éloignez-vous durant l'opération que vous utilisez la commande du hayon. Arrêtez.
E291351
Appuyez brièvement sur le bouton de commande du hayon.
Interruption de la course du hayon
Note: N'exercez pas une force excessive soudaine sur le hayon lorsqu'il se déplace.
Cela pourrait endommager le hayon électrique et ses composants.
Vous pouvez interrompre la course du hayon de l'une des manières suivantes :
en appuyant sur le bouton de commande du hayon; en appuyant deux fois sur la commande du hayon de la télécommande;
en appuyant sur la commande du hayon située sur la planche de bord; - en balançant le pied d'avant en arrêté sous le pare-chocs central arrêté, comme si vous donniez un coup de pied.
*Cette méthode ne convient que pour les véhicules dotés de la fonction hayon mains libres.
Réglage de la hauteur d'ouverture du hayon
- Ouvrez le hayon.
- Interrompez la course du hayon en appuyant sur le bouton de commande du hayon quand il atteint la hauteur voulue.
Note: Une fois le hayon immobilisé, vous pouvez aussi le déplacer manuellement à la hauteur voulue.
- Maintenez le bouton de commande sur le hayon enfoncé jusqu'à ce qu'une tonalité retentisse pour indiquer que la programmation a été effectuée.
Nota : Seul le bouton de commande du hayon permet de programmer la hauteur.
Nota : Vous ne pourrez pas programmer la hauteur si la position du hayon est trop basse.
La nouvelle hauteur d'ouverture du hayon sera maintenant rappelée à la prochaine ouverture du hayon à commande électrique. Pour modifier la hauteur programmée, répétez la procédure ci-dessus. Lorsque le hayon à commande électrique est ouvert, vous pouvez le déplacer manuellement à une hauteur différente.
Nota: Le système rappelle la nouvelle hauteur programmée jusqu'à ce que vous la reprogrammiez, même si la batterie est débranchée.
Lorsque le hayon à commande électrique est actionné après avoir programmé une hauteur inférieure à la hauteur d'ouverture complète, vous pouvez l'ouvrir complètement en le poussant manuellement vers le haut à la position d'ouverture maximale.
Détection d'obstacles
Note: Si vous entrez dans votre véhiculependant la fermeture du hayon, lemouvement de va-et-vient du véhicule risqued'activer la fonction de détction d'obstacle. Pour éviter cela, attendez la fermeturecomplete du hayon avant d'entrer dans levéhicule. Avant de prendre la route, vérifiela présence d'un message de porte ou dehayon mal fermée ou de témoin allumé au tableau de bord. Sans cette précaution, vous risquez de rouler en laissantaccidentellement le hayon ouvert.
Lors de la fermeture
Le hayon s'arrête lorsqu'il détecte un obstacle. Une tonalité retentit et le système inverse sa course pour s'ouvrir. Une fois que vous avez éliminé l'obstacle, vous pouvez refermer le hayon électriquement.
Lors de l'ouverture
Le système s'arrête lorsqu'il détecte un obstacle et une tonalité retentit. Une fois que vous avez éliminé l'obstacle, vous pouvez continuer d'actionner le hayon.
Activation et désactivation du hayon à commande électrique
Vous pouvez activer ou désactiver le hayon à commande électrique en accédant aux réglages du véhicule sur l'écran tactile.
Lorsque la fonction est désactivée, le hayon est seulement déverrouillé et ne peut pas être ouvert ou fermé électriquement.
Fonction mains libres (selon l'équipement)
Veillez à ce que la clé codée se trouve à 1 m (3 ft) du hayon.
- Tenez-vous derrière le véhicule, face au hayon.
- Balancelz le pied d'avant en arrière sous la zone de détection du pare-chocs arrière sans marquer de pause, comme on donne un coup de pied.

- Le hayon s'ouvre ou se ferme.
Évitez les gestes suivants pour ouvrir le hayon mains libre :
- toucher physiquement le pare-chocs ; garder le pied sous le pare-chocs ;
- balancer le pied d'un côté à l'autre, ou à un angle irrégulier.
Véhicules sans attelage de remorque

La zone de détention se trouve au centre du pare-chocs arrêté.
Véhicules avec attelage de remorque

La zone de détection se trouve sur les côtés gauche et droit de l'attelage, entre l'échappement et l'attelage.
Nota: Laissez le système électrique ouvrir le hayon. Si vous tirez ou poussez sur le hayon, vous risquez d'activer la fonction de détection d'obstacles et d'interrompre la commande électrique, ce qui peut avoir le même effet qu'une défaillance de vérin et endommager des composants mécaniques.
Hayon
Nota: Les projections d'eau peuvent entraîner l'ouverture du hayon mains libres. Maintenez la clé codée loin de la zone de détection du pare-chocs arrière lorsque vous lavez le véhicule.
Système antivol PASSIF
Nota: Le système n'est pas compatible avec les dispositifs de démarrage à distance de deuxième monte qui ne sont pas distribués par Lincoln. L'usage de tels dispositifs peut entraîner des problèmes de démarrage du moteur et la perte de protection contre le vol.
Nota: Les objets métalliques, les appareils électroniques ou la présence d'une seconde clé codée accrochée au même porte-clés peuvent entraîner des problèmes de démarrage, surtout s'ils sont trop près de la clé lors du démarrage de votre véhicule. Évitez tout contact de ces objets avec la clé codée lors du démarrage du véhicule. Si un problème survient, coupez le contact, éloignez de la clé codée tous les objets accrochés au porte-clés, puis redémarrez votre véhicule.
Note: Ne laissez pas de double de clé codée dans votre véhicule. Emportez toujours vos clés et verrouillez toutes les portes lorsque vous quitterez votre véhicule.
Le système empêche le moteur de démarrer à moins que vous n'utilisiez une clé codée programmée pour votre véhicule. L'utilisation d'une clé inadéquate peut empêcher le démarrage du véhicule. Un message peut s'afficher sur l'écran d'information.
Si vous ne parvenez pas à démarrer votre véhicule au moyen d'une clé codée, il ne fonctionne pas correctement. Un message peut s'afficher sur l'écran d'information.
Mise en service automatique
Le système est mis en service lorsque vous coupez le contact.
Mise hors service automatique
Le système est mis hors service lorsque vous établissez le contact avec une clé codée.
Clés de rechange
Nota: Votre véhicule est livré avec deux clés.
La clé d'accès intelligent fonctionne comme une clé programmée actionnant la serrure de la porte du conducteur et activant la fonction d'accès intelligent avec système de démarrage à bouton-poussoir, et comme une télécommande.
En cas de perte ou de vol des clés à télécommande intégrée programmées ou si vous ne possédez pas de clé codée supplémentaire, faites remorquer votre véhicule chez un concessionnaire autorisé pour faire programmer de nouvelles clés codées.
Conservez une clé d'accès intelligent de rechange dans un endroit sûr hors de votre véhicule. Vous pouvez acheter des clés ou des télécommandes de rechange chez un concessionnaire autorisé.
Programmation de clés supplémentaires
Note: Vous pouvez programmer jusqu'à quatre clés pour votre véhicule.
Sécurité
Vous devez avoir deux clés d'accès intelligentement programmées dans le véhicule ainsi qu'une nouvelle clé d'accès intelligent non programmée à portée de main. Consultez un concessionnaire autorisé pour programmer la clé supplémentaire si vous ne disposez pas de deux clés codées déjà programmées.
Assurez-vous que le contact est coupé avant de commencer cette procédure. Assurez-vous de fermer toutes les portes avant de commencer et de les laisser fermées durant toute la procédure. La procédure doit être exécutée entièrement en moins de 30 secondes. Si une étape n'est pas exécutée dans l'ordre, interrompez la procédure et attendez au moins une minute avant de recommencer.
Lisez attentivement toute la procédure avant de commencer.
- Ouvrez le couvercle de la console centrale.

- Insérez la première clé programme dans la fente de secours.
- Appuyez sur le bouton-poussoir de démarrage.
- Patientez cinq secondes, puis appuyez de nouveau sur le bouton-poussoir de démarrage.
- Retirez la clé d'accès intelligente.
- Dans les 10 secondes, placez une seconde clé d'accès intelligent programmée dans la fente de secours et appuyez sur le bouton-poussoir de démarrage.
- Patientez cinq secondes, puis appuyez de nouveau sur le bouton-poussoir de démarrage.
- Retirez la clé d'accès intelligente.
- Patientez cinq secondes, puis placez la clé d'accès intelligent non programmée dans la fente de secours et appuyez sur le bouton-poussoir de démarrage.
La programmation est terminée. Vérifiez que la télécommande fonctionne et que votre véhicule démarre avec la nouvelle clé d'accès intelligent.
Si la programmation a échoué, attendez 10 secondes avant de reprendre les étapes 1 à 7. Si la programmation échoue de nouveau, contactez un concessionnaire autorisé.
ALARME antivol
Le système vous avertit de toute entrée non autorisée dans votre véhicule. Il se déclenche si une porte, le coffre à bagages ou le capot est ouvert sans utiliser la clé, la télécommande ou le clavier d'entrée sans clé.
Sécurité
Les clignotants clignotent et l'avertisseur sonore retentit si une entrée non autorisée est tentée lorsque l'alarme est activée.
Apportez toutes vos télécommandes chez un concessionnaire autorisé si vous soupçonnez une anomalie du système d'alarme.
Activation de l'alarme
L'alarme est prête à être armée lorsqu'il n'y a pas de clé dans le véhicule. Verrouille électroniquement le véhicule pour armer l'alarme.
Déactualisation de l'alarme
Désactive l'alarme au moyen d'une des interventions suivantes :
déverrouillez les portes ou le coffre à bagages à l'aide de la télécommande ou du clavier d'entrée sans clé ; - établissez le contact ou démarrez le véhicule ; déverrouillez la porte du conducteur à l'aide d'une clé pour ouvrir le véhicule, puis établissez le contact dans les 12 secondes qui suivent.
Note: Une pression sur le bouton de détresse de la télécommande désactive l'avertisseur sonore et les clignotants, sans désactiver le système.
Volant
RéGLAGE DU VOLANT - VEHICULES AVEC : COLONNE DE DIRECTION À RÉGLAGE MANUEL

AVERTISSEMENT: Ne reglez pas le
volant de direction lorsque le véhicule roule.
Nota: Assurez-vous d'être correctement assis. Voir Positions assises appropriées (page 178).

E279960
- Déverrouillez la colonne de direction.
- Réglez le volant à la position voulue.

E279962
- Verrouillez la colonne de direction.
RéGLAGE DU VOLANT - VÉHICULES AVEC : COLONNE DE DIRECTION À RÉGLAGE ÉLECTRIQUE

AVERTISSEMENT: Ne réglez pas le volant de direction lorsque le véhicule
Nota: Assurez-vous d'être correctement assis. Voir Positions assises appropriées (page 178).
Volant

Utilisez la commande située sur le côté de la colonne de direction pour régler la position.
Pour régler les positions :
- Inclinaison : Appuyez sur la partie supérieure ou inférieure de la commande. Réglage téléscopique : Appuyez sur la partie avant ou arrêté de la commande.
Position de fin de course
Pour éviter tout dommage à la colonne de direction, sa course s'arrête juste avant d'atteindre sa butée. Une nouvelle limite de course est enregistrée si la colonne de direction rencontre un obstacle lors de l'inclinaison ou du réglage téléscopique.
Pour rétablir la limite de course normale de la colonne de direction :
- Confirmez que rien n'entrave la course de la colonne de direction.
- Appuyez sans relâcher sur la commande de la colonne de direction jusqu'à ce que la colonne s'immobilise.
- Appuyez de nouveau sur la commande de la colonne de direction.
Note : La colonne pourrait se remettre en mouvement.
- Continuez d'appuyer sur la commande pendant quelques secondes après l'immobilisation de la colonne de direction.
- Répétez pour chaque direction au besoin.
Une nouvelle position d'arrêt est enregistrée. La prochaine fois que vous inclinez ou déplacez la colonne de direction, sa course s'arrête juste avant d'atteindre sa butée.
Fonction de rappel des réglages mémorisés
Vous pouvez mémoriser et rappeler la position de la colonne de direction au moyen de la fonction de mise en mémoire. Voir Fonction de mémorisation (page 186).
Si vous appuyez sur la commande de réglage pendant le rappel des réglages mémorisés, l'opération de rappel est annulée.
Fonction d'entrée et de sortie faciles
La colonne de direction monte lorsque vous coupez le contact. Pour rétablir les réglages préalablement programmés du système, établissez le contact. Vous pouvez activer ou désactiver cette fonction sur l'écran tactile. Voir Paramètres (page 528).
Note: Si vous appuyez sur un bouton de mémoire ou de réglage en mode de sortie facile, le système annule l'opération.
Volant
Nota: En fonction du véhicule, la colonne peut se déplacer vers le haut et vers l'intérieur.
La commande permet d'exécuter les fonctions suivantes :

E281219
Déplacez le sélecteur vers le haut pour augmenter le niveau sonore.

Déplacez le sélecteur vers le bas pour réduire le niveau sonore.

Déplacez le sélecteur vers la gauche pour accéder à la source multimédia précédente.

Déplacez le sélecteur vers la droite pour accéder à la source multimédia suivante.

Note: Les commandes changent lorsque vous entrez dans un sous-menu.
Les commandes suivantes ne sont pas disponibles lorsque vous entrez dans un sous-menu :

Déplacez le sélecteur vers la droite pour entrer dans le sous-menu de mode téléphone.

Déplacez le sélecteur vers la gauche pour entrer dans le sous-menu multimédia.
Commande VOCALE
Les commandes sont situées sur le volant.

Appuyez brièvement sur ce bouton pour activer la fonction de reconnaissance vocale.
Programmateur de vitesse - vehicules avec : régulater de vitesse adaptatif avec maintien de VOIE
E281217
Les commandes suivantes ne sont disponibles que lorsque vous activez le régulateur de vitesse.
Note : Vous devez être au volant pour appuyer sur ces commandes.
E281221

Voir A propos du régulateur de vitesse adaptatif avec maintien de voie (page 279).
E281218
Les commandes suivantes ne sont disponibles que lorsque vous activez le régulateur de vitesse.
Note: Vous devez activer pour appuyer sur ces commandes.
Volant
E281222
Commande de l'affichage d'information

Voir Généralités (page 140).
E281224
Note: Les commandes changent lorsque vous entrez dans un sous-menu.
Les commandes suivantes ne sont disponibles que lorsque vous entrez dans un sous-menu :
L'équipement
Le bouton du volant de direction chauffant est situé sur le panneau des commandes de climatisation.

Appuyez sur le bouton pour activer et désactiver le volant chauffant.
Note: Le volant de direction chauffant ne peut être utilisé que lorsque le moteur est en marche.
Voir A propos du régulateur de vitesse (page 277).
Volant
Nota: Le système utilise un capteur et est conçu pour contrôler la température du volant et éviter la surchauffe.
Nota: Par températures chaudes, le volant atteint rapidement sa température maximale et le système limite le courant à l'élément chauffant. Le système n'a cependant pas cessé de fonctionner. Cette situation est normale.

Essuieglaces

Poussez le levier vers le haut ou vers le bas pour actionner les essuie-glaces de pare-brise.
E269410
A. Simple balayage B. Balayage intermittent C. Balayage normal D. Balayage rapide
Nota: Dégivrez complètement le pare-brise avant d'actionner les essuie-glaces.
Nota : Assurez-vous que les essuie-glaces de pare-brise sont désactivés avant de pénétrer dans un lave-auto.
Nota: Si des souillures ou des trainées apparaissent sur le pare-brise, nettoyez le pare-brise et les balais d'essuie-glace. Si le problème persiste, remplacez les balais d'essuie-glace.
Note: Ne faites pas fonctionner les essuie-glaces lorsque le pare-brise est sec. Ce faisant, vous pourriez rayer le pare-brise, endommager les balais d'essuie-glace ou griller le moteur d'essuie-glace. Lorsque le pare-brise est sec, utilisez toujours le lave-glace avant d'actionner les essuie-glaces.
Balayage intermittent
E269411
Balayage intermittent B Intervalle de balayage le plus court C Intervalle de balayage le plus long
Utilisez la commande rotative pour régler l'intervalle de balayage intermittent.
Essuie-glaces asservis à la vitesse
Lorsque la vitesse du véhicule augmente, l'intervalle entre les balayages diminue.
Essuieglaces automatiques
(SELON L'ÉQUIPEMENT)
La conduite en conditions humides ou hivernales (givre, neige ou encombrun de route salée) peut donner lieu à un balayage irrégulier et inattendu ou à des trainées sur le pare-brise.

Essuie-glaces automatiques activés Haute sensibilité Basse sensibilité

Utilisez la commande rotative pour régler la sensibilité des essuie-glaces automatiques.
Si vous abaissez le degré de sensibilité, les essuie-glaces se mettent en marche lorsque le capteur de pluie détecte beaucoup d'humidité sur le pare-brise. Si vous augmentez le degré de sensibilité, les essuie-glaces se mettent en marche lorsque le capteur de pluie détecte une petite quantité d'humidité sur le pare-brise.
Gardez la surface extérieure du pare-brise propre. Le capteur de pluie est très sensible et les essuie-glaces peuvent se mettre en marche en présence de saleté, de buée ou d'insectes sur le pare-brise.
Dans ces conditions, procédez comme suit :
Réduisez la sensibilité des essuie-glaces automatiques afin de réduire les traînées sur le pare-brise. - Passez au balayage à vitesse normale ou rapide. Désactivez les essuie-glaces automatiques.
Nota: Dégivrez complètement le pare-brise avant d'actionner les essuie-glaces.
Nota: Assurez-vous que les essuie-glaces de pare-brise sont désactivés avant de pénétrer dans un lave-auto.
Nota: Si des souillures ou des trainées apparaissent sur le pare-brise, nettoyez le pare-brise et les balais d'essuie-glace. Si cela ne résout pas le problème, remplacez les balais d'essuie-glace.
Nota: Si vous activez les phares automatiques ou les essuie-glaces, les phares s'allument lorsque les essuie-glaces de pare-brise fonctionnent en continu.
Réglages des essuie-glaces automatiques
Ce réglage est activé par défaut et demeure activé jusqu'à sa désactivation depuis l'écran tactile.
Lorsque vous désactiverez les essuie-glaces automatiques, les essuie-glaces fonctionnent en mode de balayage intermittent.
Déactivation des essuie-glaces par temps froid
La fonction de détection de pluie ne fonctionne pas immédiatement après le démarrage du véhicule stationnaire et lorsque la température extérieure est inférieure à 0°C (32°F). Vous pouvez activer les essuie-glaces en réglant la sensibilité du capteur de pluie ou la vitesse des essuie-glaces.
Cette fonction évite d'endommager les essuie-glaces en présence de glace ou de neige sur le pare-brise.
Lave-glaces

E269412
Tirez le levier pour actionner le lave-glace de pare-brise.
Les essuie-glaces poursuivent brièvement le balayage lorsque vous relâchez le levier. Si actifs, peu après l'arrêt des essuie-glaces, un balayage additionnel permet d'essuyer le liquide de lave-glace résiduel sur le pare-brise.
Nota: Vous pouvez activer ou désactiver cette fonction à l'écran tactile.
Nota: N'utilisez pas les lave-glaces lorsque le réservoir de lave-glace est vide. La pompe de lave-glace pourrait surchauffer.
I'equipement)
La mise en marche du lave-glace de pare-brise active également le nettoyeur d'écran avant.
Essuieglaces et laveglaces de lunette arrière
Essuie-glace arrière E242324
A Balayage intermittent B Balayage continu C Essuie-glace de lunette arrière désactivé
En fonction des options du véhicule, lorsque vous mettez les essuie-glaces avant en marche et que vous engagez ensuite la marche arrière (R), l'essuie-glace arrière se met automatiquement en marche en mode intermittent.
Note: Assurez-vous que l'essuie-glace de lunette arrière est désactivé avant de pénétrer dans un lave-auto.
Lave-glace de lunette arrêt E269727
Pour utiliser la fonction de lave-glace de lunette arrête, poussez le levier vers l'avant. Les essuie-glaces poursuivent brièvement le balayage lorsque vous relâchez le levier.
N'utilisez pas les lave-glaces lorsque le réservoir de lave-glace est vide. La pompe de lave-glace pourrait surchauffer.
Nettoyeur de caméra arrière
I'equipement)
La mise en marche du lave-glace de lunette arrière active également le nettoyeur d'éclairage arrière.
Condensation dans les yeux extérieurs avant et arrière
Les yeux avant et arrière ont des évents pour s'adapter aux changements normaux de la pression atmosphérique.
La condensation peut être une conséquence naturelle de cette conception. Lorsque de l'air humide pénétre dans le bloc optique par les événts, de la condensation peut se former par temps froid. En cas de condensation normale, une fine pellicule de buée se forme à l'intérieur du verre. Durant le fonctionnement normal, cette fine buée est eventuellement dissipée et s'échappe par les événts.
Jusqu'à 48 heures peuvent être nécessaires pour éliminer la buée par temps sec.
Expériences de condensation acceptables :
- présence d'une fine buée (pas de trainées, de marques d'égouttement ni de grosses gouttes);
- une fine pellicule de buée couvre moins de 50% du verre.
Exemples de condensation inacceptable :
- une accumulation d'eau à l'intérieur du feu;
- présence de trainées, de traces d'écoulement, grosses gouttes à l'intérieur de la glace.
Si vous constatez une condensation inacceptable, faites vérifier votre véhicule par un concessionnaire autorisé.
Sélections de la commande d'éclairage
E281338
Appuyez la commande à bascule vers le haut ou vers le bas pour faire une sélection.
Note: Un témoin s'allume à côté de la sélection active.

Position éteinte.

Feux de stationnement, éclairage du tableau de bord, éclairage de plaque d'immatriculation et feux

Commande automatique des phares.

Phares allumés.
Note: La commande d'éclairage passe à la position de phares à allumage automatique par défaut chaque fois que vous établissez le contact.
Activation et désactivation des feux de route

E273182

Poussez le levier pour allumer les yeux de route.
Poussez de nouveau le levier ou tirez-le pour éteindre les yeux de route.
Appel de phares

E273181
Tirez le levier pour faire un appel de phares.
PHARES automatiques
AVERTISSEMENT: Le système ne vous exonère pas de votre responsabilité de conduire avec la prudence et l'attention nécessaires. La neutralisation du système peut s'avérer nécessaire si les phares ne s'allument pas par faible visibilité, par exemple en cas de brouillard de jour.
Les phares à allumage automatique s'allument quand la lumière est faible ou quand les essuie-glaces sont en fonction.

Réglez la commande d'éclairage à la position de commande des phares automatiques.
Note: La commande d'éclairage passée à la position de phares à allumage automatique par défaut chaque fois que vous établissez le contact.
Les phares restent allumés pendant un certain temps après la coupure du contact. Utilisez l'écran tactile pour régler la durée pendant laquelle les phares restent allumés.
Note: Si vous mettez les phares en mode de commande de phares automatiques, vous ne pouvez pas allumer les feux de route tant que le système n'allume pas les feux de croisement.
Phares activés par les essuie-glaces
Lorsque le module de commande d’éclairage se trouve à la position de phares à allumage automatique, les phares s’allument environ 10 secondes après avoir activé les essuie-glaces. L’éclairage s’éteint environ 60 secondes après la mise hors fonction des essuie-glaces.
Les phares ne s'allument pas avec les essuie-glaces :
- pendant un seul balayage ; lorsque vous utilisez le liquide lavage-dépare-brise ;
- si les essuie-glaces sont en mode intermittent.
Nota: Si vous activez les phares automatiques ou les essuie-glaces automatiques, les phares s'allument lorsque les essuie-glaces de pare-brise fonctionnent en continu.
Commande d'éclairage du tableau de BORD
Les boutons de réglage de l'intensité d'éclairage du tableau de bord se trouvent sur la commande d'éclairage.

Appuyez plusieurs fois sur l'un des boutons pour régler la luminosité.

PHARES à extinction temporisée (SELON l'équipement)
Après la coupure du contact, vous pouvez allumer les phares en tirant le levier des clignotants vers vous. Vous entendrez une brève tonalité. Les phares s'éteignent automatiquement après trois minutes si une porte est ouverte ou 30 secondes après la fermeture de la dernière porte. Vous pouvez annuler cette fonction en tirant de nouveau le levier des clignotants vers vous ou en établissant le contact.
FEUX De jour - vehicules avec: FEUX de jour configurables
AVERTISSEMENT: Le système des feux de jour n'allume pas les feux arrière. De plus, il ne fournit pas nécessairement un éclairage d'intensité suffisante pour les conditions de conduite par faible visibilité. Assurez-vous que les phares sont allumés, selon le cas, dans les conditions de faible visibilité. À défaut, vous risquez d'avoir un accident.
Allumer ou éteindre les yeux de jour à l'aide de l'écran tactile :
- Sélectionnez Réglages. Voir Paramètres (page 528).
- Sélectionnez Véhicule.
- Sélectionnez Éclairage.
Les feux des jours s'allument lorsque :
- Les lumières sur l'écran d'information sont allumées.
- Vous avez mis le contact.
- La boîte de vitesses n'est pas en position de stationnement (P) pour les véhicules avec une boîte de vitesses automatique, ou bien vous relâchez le frein de stationnement pour les véhicules avec une boîte de vitesses manuelle.
- Le module d'éclairage est en position de commande automatique des phares.
- Les phares sont éteints.
Les autres positions du contacteur de commande de l'éclairage n'allument pas les yeux de jour.
Si les feux des jours sont éteints dans l'affichage d'information, les lumières restent éteintes à toutes les positions du contacteur.

Avertissement: le système des
Les feux de jour n’allument pas les feux arrière. De plus, ils ne fournissent pas nécessairement un éclairage d’intensité suffisante pour les conditions de conduite par faible visibilité. Assurez-vous que les phares sont allumés, selon le cas, dans les conditions de faible visibilité. À défaut, vous risquez d’avoir un accident.
Le système allume les phares dans des conditions de lumière du jour.
Pour permettre le système en fonction, réglez la commande des phares dans une position à l'exception de celle des phares.
Activation/désactivation des antibrouillards avant
Allumez les antibrouillards avant uniquement lorsque la visibilité est réduite.
Vous pouvez allumer les antibrouillards avant si une des conditions suivantes est présente :
Le commutateur d'éclairage est en position de deux de stationnement. Le commutateur d'éclairage est en position de phares. Le commutateur d'éclairage est en position de phares automatiques et les phares allumés.
Le bouton de l'antibrouillard avant se trouve sur la commande d'éclairage.

Appuyez sur le bouton pour allumer/éteindre les antibrouillards avant.
Éclairage
Nota : La luminosité des feux de jour peut diminuer quand les antibrouillards avant sont allumés.
Témoin d'antibrouillards avant

Ce témoin s'allume lorsque vous allumez les antibrouillards avant.
L'ÉQUIPEMENT)
Les phares sont conçus pour s'adapter dans les virages, ou si la caméra détecte des marquages de voie indiquant un virage ou des panneaux de circulation indiquant une intersection.
Le système est conçu pour fonctionner si toutes les conditions suivantes se produisent :
- Vous activez le système par le biais des réglages du véhicule.
- Vous régalez le commutateur d'éclairage en position de commande d'allumage automatique des phares. Le niveau de luminosité ambiant est juste suffisant pour les feux des routes.
Le véhicule effectuer un virage

E161714
A Sans phares adaptatifs.
B Avec phares adaptatifs.
Détecteur de marquages de voie (selon l'équipement)

AVERTISSEMENT: Vérifiez et
Remplacez les balais d'essuie-glace régulièrement pour s'assurer que le capteur de la caméra est bien dégagé. Les balais d'essuie-glace doivent avoir la longueur correcte.

E267903
Laamera détecte panneaux de circulation (Selon l'équipement)
Nota: Laamera ne détecte les panneaux de circulation que lorsque la vitesse de votre véhicule est inférieure à 50 km/h (31 mph).
Activation et désactivation des phares adaptatifs
Sélectionnez l'une des fonctions suivantes sur l'écran tactile :
- Sélectionnez Réglages. Voir Paramètres (page 528).
- Sélectionnez Véhicule.
- Sélectionnez Éclairage.
CLIGNOTANTS

Poussez le levier vers le haut ou vers le bas pour permettre les clignotants en fonction.
Signalement de changement de voie
Poussez brièvement le levier vers le haut ou vers le bas pour faire clignoter trois fois les clignotants afin d'indiquer un changement de voie.
Éclairage d'accueil
Les éclairages de projection d'accueil Lincoln sont situées à la base des boîtiers de rétroviseur extérieurs. Ils projettent une image au sol à proximité du véhicule lors de l'activation de l'éclairage d'accueil ou à l'entrée.
Pour les rétroviseurs rabattables automatiquement, l'éclairage de projection d'accueil Lincoln s'active lors de l'activation de l'éclairage d'accueil ou à l'entrée et au rabattement des rétroviseurs ou l'utilisation du contacteur sur la porte.
Nota: La présence d'humidité, de givre ou de glace (ou d'autres types de contamination) à la surface de la glace de la lampe peut entraîner une déformation non permanente ou une diminution de la luminosité de l'image. N'utilisez pas de matières abrasives pour nettoyer la glace.
Nota: Si vous activez la fonction de rabattement automatique et que vous rabattez les rétroviseurs dans la glace de porte, l'éclairage de projection d'accueil ne s'active pas.
Activation et désactivation de l'éclairage d'accueil
Sélectionnez l'une des fonctions suivantes sur l'écran tactile :
- Sélectionnez Réglages. Voir Paramètres (page 528).
- Sélectionnez Véhicule.
- Sélectionnez Éclairage.
Éclairage intérieur
L'éclairage s'allume dans les conditions suivantes :
- Vous ouvrez une porte.
- Vous appuyez sur un bouton de la télécommande.
- Vous appuyez sur la commande d'éclairage de toutes les lampes de la console au pavillon.
Éclairage intérieur avant

Les commandes de l'éclairage intérieur avant se trouvent sur la console au pavillon.
Note : L'emplacement de chaque bouton de la console au pavillon dépend des spécifications de votre véhicule.
Allumer ou éteindre tout l'éclairage

Appuyez sur ce bouton pour allumer ou éteindre tout l'éclairage intérieur.
Lampes de lecture individuelles

Appuyez sur ce bouton pour activer et désactiver le plafonnier individuel gauche.

Appuyez sur ce bouton pour activer et désactiver le plafonnier individuel droit.
Fonction d'éclairage intérieur

Appuyez pour activer et désactiver la fonction d'éclairage intérieur.
Lorsque la fonction d'éclairage intérieur est désactivée et que vous ouvrez une porte, les lampes d'accueil et de porte restent éteintes.
Lorsque la fonction d'éclairage intérieur est activée et que vous ouvrez une porte, les lampes d'accueil et de porte s'allument.
Note: Le témoins s'allume en couleur amber lorsque la fonction d'éclairage à l'ouverture de porte est désactivée.
Plafonniers arrêt

E281231
L'éclairage intérieur arrêté peut se trouver au-dessus du siège arrêté ou au-dessus des lunettes arrêté.

Appuyez sur le bouton pour allumer ou éteindre l'éclairage.
Note: Si vous allumez l'éclairage arrêté au moyen de la console au pavillon, vous ne pouvez pas l'éteindre en appuyant sur le commutateur d'éclairage arrêté.
Éclairage ambiant (SELON)
L'ÉQUIPEMENT)
Sélectionnez l’une des fonctions suivantes sur l’écran tactile :

Sélectionnez l'option des paramètres dans la barre de fonctions.

Sélectionnez l'éclairage ambiant.

E281470
L'éclairage ambiant s'allume
Touchez une couleur une fois.
Changement de couleur
Touchez une couleur une fois.
Réglage de la luminosité
Faites glisser la couleur sélectionnée vers le haut ou vers le bas.
L'éclairage ambiant s'éteint
Touchez une fois la couleur sélectionnée ou faites-la glisser vers le bas pour qu'elle perde toute son intensité.
À PROPOS des FEUX de ROUTE automatiques
Le système active les feux de route s'il fait suffisamment sombre et qu'aucun véhicule n'est en vue. S'il détecte les feux arrière ou les phares d'un véhicule se rapprochant ou encore un éclairage urbain, le système éteint les feux de route. Les feux de croissance restent allumés.
Une caméra montée au centre du pare-brise surveille en continu les conditions extérieures pour allumer ou éteindre les feux de route.
Activation et désactivation des FEUX de ROUTE automatiques

AVERTISSEMENT: N'utilisez pas le
système lorsque la visibilité est réduite, particulièrement par temps de brouillard, de pluie ou de neige, ou lorsque les projections de la route sont abondantes.
Sélectionnez l'une des fonctions suivantes sur l'écran tactile :
- Sélectionnez Réglages. Voir Paramètres (page 528).
- Sélectionnez Véhicule.
- Sélectionnez Éclairage.
Activation des feux de route automatiques

Réglez la commande d'éclairage à la position de commande des phares automatiques. Voir Phares (page 111).
Note: La commande d'éclairage passée à la position de phares à allumage automatique par défaut chaque fois que vous établissez le contact.
Lorsque la fonction est activée, les yeux de route s'allument lorsque :
L'éclairage ambiant extérieur est faible. Aucun véhicule ne se trouve devant le ; votre. Le véhicule roule à une vitesse supérieure à environ 51 km/h (32 mph).
Lorsque la fonction est activée, les yeux de route s'éteignent lorsque :
L'éclairage ambiant est suffisamment intense pour ne pas nécessiter l'usage des feux de route. Le système détecte les feux arrêtés ou les phares d'un véhicule qui se rapproche. - le système détecte une pluie, une chute de neige ou un brouillard intense; - la caméra est obstruée; Le véhicule roule à une vitesse inférieure à environ 44 km/h (27 mph).
Nota: La vitesse de déactivation est inférieure dans les courbes.
Nota: La réactivation des feux de route peut être différée sur certaines routes comptant des courbes.
Nota: Le système peut ne pas bien fonctionner si le capteur est bloqué. Maintenez le pare-brise libre d'obstructions ou de dommages.
Nota: Le système risque de ne pas fonctionner correctement dans des conditions froides ou défavorables. Vous pouvez activer les feux de route en contournant le système.
Nota : Si le système détecte une obstruction telle que des fientes d'oiseaux, des traces d'insectes, de la neige ou de la glace, il passe en mode feux de croisement jusqu'à ce que vous l'éliminiez. Si la caméra est obstruée, un message peut également apparaître sur l'affichage d'information.
Nota : L'utilisation de pneus bien plus large ou d'accessoires tel qu'un chasse-neige peut modifier la hauteur de suspension et avoir une incidence sur les performances de la commande de feux de route automatiques.
Contournement des FEUX de ROUTE automatiques
AVERTISSEMENT: Le système ne vous exonère pas de votre responsabilité de conduire avec la prudence et l'attention nécessaires. Vous pourriez devoir contourner le système s'il ne réussit pas à allumer ou éteindre les feux de route.
! AVENTISSEMENT: Il faudra peut-etre neutraliser le système à l'approche d'autres utilisateurs.
! AVERTISSEMENT: Il faudra peut-etre neutraliser le système par mauvais temps.

Écartez le levier vers vous pour passer des yeux de route aux yeux de croissement.
Témoins de FEUX de ROUTE automatiques

Le témoin correspondant s'allume pour confirmer que l'assistance est prête à fonctionner.
GLACES à commande électrique

AVERTISSEMENT: Ne laissez pas
des enfants sans surveillance dans le véhicule et ne les laissez pas s'amuser avec les glaces à commande électrique. Le fait de ne pas tenir compte de ces précautions accroît les risques de blessures.

AVERTISSEMENT: Lorsque vous
fermez les glaces à commande électrique, vous devez accuser que rien ne puisse entraver leur fonctionnement et qu'il n'y a pas d'enfants ou d'animaux à proximité des baies de glace.

Appuyez sur la commande pour ouvrir la glace. Soulevez la commande pour fermer la glace.
Pour réduire le bruit de vent ou de battement qui se produit lorsqu'une seule glace est ouverte, entrouvrez la glace opposée.
Ouverture par commande à impulsion
Appuyez brièvement sur la commande jusqu'au deuxième cran. Enforcez ou relevez de nouveau la commande pour immobiliser la glace.
Fermeture par commande à impulsion
Relevez complètement la commande et relâchez. Enforcez ou relevez de nouveau la commande pour immobiliser la glace.
Réinitialisation de la fermeture par commande à impulsion
Actionnez le démarreur.
- Soulevez et maintenez la commande de l'éve-glace jusqu'à ce que la glace soit complètement fermée. Maintenez la commande quelques secondes après la fermeture de la glace.
- Relâchez la commande de l'évè-glace.
- Maintenez la commande de l'évè-glace enfoncée jusqu'à ce que la glace soit complètement ouverte.
- Relâchez la commande de l'évè-glace.
- Soulevez et maintenez la commande de l'évier-glace jusqu'à ce que la glace soit complètement fermée.
- Vérifier le bon fonctionnement de la glace en activant les fonctions d'ouverture et de fermeture à impulsion.
Verrouillage des glaces arrêté

Appuyez sur la commande pour verrouiller ou déverrouiller les commandes des glaces arrêté.
Elles illumine lorsque vous verrouillez les commandes des glaces arrière.
Fonction d'inversion en cas d'obstruction (selon l'équipement)
La glace s'arrête et se rabaisse si un obstacle est détecté.

Avertissement: si vous
neutralise la fonction d'inversion en cas d'obstruction, la glace n'inverse pas sa course lorsqu'elle rencontre un obstacle. Pour éviter des blessures ou dommages au véhicule, faites attention avant de fermer les glaces.
Maintenez la commande de glace relevée pendant quelques secondes après que la glace a atteint sa position d'inversion en cas d'obstruction. La glace se ferme sans protection d'inversion en cas d'obstruction. La glace s'arrête si vous relâchez la commande avant qu'elle ne soit complètement fermée.

Avertissement: la fonction
d'inversion en cas d'obstruction demeure désactivée jusqu'à ce que vous réinitialisiez la mémoire. Pour éviter des blessures ou dommages au véhicule, faites attention avant de fermer les glaces.
Si vous avez débranché la batterie, vous devez réinitialiser la mémoire d'inversion en cas d'obstruction séparément pour chaque glace.
- Tirez sur la commande jusqu'à ce que la glace se ferme complètement.
- Relâchez la commande.
- Soulevez et appuyez de nouveau sur la commande pendant quelques secondes.
- Relâchez la commande.
- Soulevez et appuyez de nouveau sur la commande pendant quelques secondes.
- Relâchez la commande.
- Appuyez sur la commande jusqu'à ce que la glace s'ouvre complètement.
- Tirez sur la commande jusqu'à ce que la glace se ferme complètement.
- Relâchez la commande.
- Ouvrez la glace et tentez de la fermer au moyen de la commande à impulsion.
Note: Répétez la procédure si la glace ne se ferme pas avec la commande.
Alimentation prolongée des accessoires
Vous pouvez utiliser les commandes de glaces pendant plusieurs minutes après avoir coupé le contact, ou jusqu'à ce que vous ouvriez une porte avant.
Ouverture et fermeture globales
Vous pouvez utiliser la télécommande pour actionner les glaces quand le contact est coupé.
Nota : Vous pouvez activer et désactiver cette fonction à l'écran d'informations ou consulter un concessionnaire autorisé. Voir Généralités (page 140).
Glaces, miroirs et rétroviseurs
Note : Pour utiliser cette fonction, assurez-vous que la temporisation des accessoires n'est pas activée.
Ouverture des glaces
Vous pouvez ouvrir les glaces quelques instants seulement après avoir déverrouillé votre véhicule avec la télécommande. Après avoir déverrouillé votre véhicule, maintenez le bouton de déverrouillage de la télécommande enfoncé pour ouvrir les glaces. Relâchez le bouton au début du mouvement. Pour arrêter le mouvement, appuyez sur le bouton de verrouillage ou de déverrouillage.

Avertissement: lorsque vous
fermez les glaces, veillez à ce que rien ne puisse entraver leur fonctionnement et assurez-vous qu'il n'y a pas d'enfants ou d'animaux à proximité des glaces en cours d'ouverture.
Pour fermer les glaces, maintenez enfoncé le bouton de verrouillage de la télécommande. Relâchez le bouton au début du mouvement. Pour arrêter le mouvement, appuyez sur le bouton de verrouillage ou de déverrouillage.

Avertissement: ne réglez pas les
rétrouviseurs lorsquels véhicule est en mouvement. Cela pourrait entraîner la perte de contrôle de votre véhicule, des blessures graves ou la mort.

A Commande des rétroviseurs repliables à commande électrique. B Condamnation des lève-glaces électriques. C Commande de réglage. D Rétroviseur droit. E Rétroviseur gauche.
Pour régler vos rétroviseurs, établissez le contact (commutateur d'allumage en position accessoires ou moteur en marche), puis :
- Sélectionnez le rétroviseur que vous souhaitez régler ; la commande s'allume ;
- utilisez la commande de réglage pour régler la position du rétroviseur;
- Appuyez de nouveau sur la commande électrique des rétroviseurs ; le témoin de commande s’éteint.
Rétroviseurs extérieurs rabattables
Poussez le rétroviseur vers la glace de porte. Lorsque vous ramenez le rétroviseur à sa position d'origine, assurez-vous qu'il est complètement engagé dans son support.
Rétroviseurs extérieurs repliables automatiquement (selon l'équipement)
Les rétroviseurs extérieurs se replient automatiquement vers la glace lorsque vous sélectionnez la position de stationnement (P), coupez le contact, ouvrez et fermez la porte du conducteur et verrouillez le véhicule. Les rétroviseurs extérieurs se déploient et reconnaissent automatiquement leur position d'origine lorsque vous déverrouillez le véhicule et ouvrez et fermez la porte du conducteur.
Vous pouvez activer ou désactiver cette fonction à l'écran d'information. Voir Généralités (page 140).
Note: Si vous désactivez cette fonction sur l'écran d'information, l'éclairage d'accueil est également désactivé.
Vous pouvez aussi replier les rétroviseurs à la demande en appuyant sur la commande située sur la porte. La commande s'allume et les rétroviseurs se replient vers la glace. Appuyez de nouveau sur la commande pour déployer les rétroviseurs. Le témoin de commande s'éteint.
Note: La fonction de repliage automatique se désactive si vous utilisez la commande pour replier les rétroviseurs à la demande et que la fonction de repliage automatique est activée. Pour réinitialiser la fonction de repliage automatique, appuyez de nouveau sur la commande pour déployer les rétroviseurs.
Rétroviseur désengagé
Si les rétroviseurs rabattables automatiquement sont rabattus ou déployés manuellement, ils pourraient ne plus fonctionner correctement, même si vous les avez repositionnés. Vous devez que les réinitialiser dans les situations suivantes :
les rétroviseurs vibrent au cours de la conduite ; les rétroviseurs semblent desserrés ; les rétroviseurs ne restent pas à la position rabattue ou déployée ; - l'un des rétroviseurs ne se trouve pas à sa position normale pendant la conduite.
Pour réinitialiser la fonction de repliage automatique, utilisez la commande des rétroviseurs rabattables à commande électrique pour rabattre et déployer les rétroviseurs. Vous entendrez peut-être un bruit fort lorsque vous réinitialisez les rétroviseurs. Ce bruit est normal. Répétez cette procédure au besoin chaque fois que les rétroviseurs ont été rabattus ou déployés manuellement.
Rétroviseurs extérieurs chauffants
Voir Rétroviseurs extérieurs chauffants (page 175).
Rétroviseurs à mémoire (selon l'équipement)
Vous pouvez mémoriser et rappeler les positions des rétroviseurs au moyen de la fonction de mémorisation. Voir Fonction de mémorisation (page 186).
Rétroviseurs à clignotant
La partie extérieure du boîtier du rétroviseur approprié clignote lorsque le clignotant est activé.
I'equipement)
Le rétroviseur extérieur du conducteur s'assombrit automatiquement lorsque le rétroviseur intérieur à electrochrome se met en fonction.
Éclairage d'accueil lincoln
Des projecteurs, sur la partie inférieure des boîtiers de rétroviseurs, projetant une image au sol à proximité du véhicule. Voir Éclairage d'accueil (page 116).
Système d'information sur les angles morts (selon l'équipement)
Voir Système d'information sur les angles morts (page 303).
Retroviseur intérieur
AVERTISSEMENT: Ne reglez pas les rétroviseurs lorsque le véhicule roule. Vous risqueriez de perdre la maîtrise du véhicule et de causer des blessures graves ou mortelles.
Note: Ne nettoyez pas le boîtier ni le miroir d'un rétroviseur avec des substances abrasives, du carburant ou des produits de nettoyage à base de pétrole ou d'ammoniac.
Vous pouvez régler le rétroviseur intérieur à votre guise. Certains rétroviseurs sont dotés d'un deuxième point de pivotement. Ce point permet de déplacer le rétroviseur verticalement et horizontalement.
Rétroviseur à electrochrome
Note: Ne bloquez pas les capteurs à l'avant et à l'arrière du rétroviseur. Cela pourrait nuire au fonctionnement du rétroviseur. Un passager assis à une place centrale arrière ou un appuie-tête central arrière relevé pourraient empêcher la lumière d'atteindre le capteur.
Le rétroviseur passe automatiquement en mode antiéblouissement lorsqu'il détecte une lumière éblouissante provenant de l'arrière de votre véhicule. Il revient automatiquement au mode normal lorsque vous sélectionnez le rapport de marche arrière pour bénéficier d'une vue claire en reculant.
Pare-soleil
E138666
Tournez le pare-soleil vers la glace latérale et déployez-le vers l'arête pour produire plus d'objet.
Miroir de courtoisie du pare-soleil
E162197
Levez le volet pour allumer la lampe.
TOIT ouvrant

AVERTISSEMENT: Ne laissez pas les enfants jouer avec le toit ouvrant et ne les laissez pas sans surveillance dans le véhicule. Le fait de ne pas prendre compte de ces précautions expose aux risques de blessures.

Avertissement: lorsque vous
fermez le toit ouvrant transparent, veillez à ce que rien ne puisse entraver sa course et assurez-vous qu'il n'y a pas d'enfants ou d'animaux à proximité de son ouverture.
Les commandes du toit ouvrant transparent et de l'écran pare-soleil se trouvent sur la console au pavillon et comportent une commande d'ouverture et de fermeture à impulsion. Pour interrompre le mouvement durant l'ouverture ou la fermeture par commande à impulsion, appuyez sur la commande une deuxième fois.
Ouverture du toit ouvrant transparent. Pour ouvrir le toit ouvrant transparent, appuyez et relâchez. Basculement/fermeture du toit ouvrant. Appuyez et relâchez pour fermer le toit ouvrant ou le placer en position d'aération.
Ouverture de l'écran pare-soleil. Pour ouvrir l'écran pare-soleil, appuyez et relâchez. L'écran pare-soleil s'ouvre automatiquement avec le toit ouvrant transparent. Vous pouvez également ouvrir l'écran pare-soleil lorsque le toit ouvrant transparent est fermé.
Fermeture de l'écran pare-soleil. Pour fermer l'écran pare-soleil, appuyez et relâchez.
Note: L'écran pare-soleil s'arrête avant sa position d'ouverture maximale pour le comport des passagers arrêté. Pour ouvrir complètement l'écran pare-soleil, appuyez de nouveau sur la commande.
Note: Lorsque l'écran pare-soleil se ferme, il s'arrête au premier panneau du toit ouvrant à deux panneaux. Pour fermer entièrement l'écran pare-soleil, appuyez et relâchez de nouveau.
Fonction de rebond
Le toit ouvrant transparent s'arrête automatiquement et inverse légèrement sa course s'il rencontre un obstacle durant la fermeture.
Pour annuler cette fonction, maintenez la commande (C) enfoncée dans les deux secondes qui suivent une inversion en cas d'obstruction.
JAUGES - VÉHICULES AVEC : ÉCRAN DU SYSTème D'INFORMATION ET DE DIVERTISSEMENT DE 6,5 PO
A Compte-tours. B Barre d'information. C Indicateur de vitesse. D Jauge de carburant.
Écran d'information. Indicateur de température du liquide de refroidissement du moteur.
Barre d'information
Affiche l'information relative à la navigation, la température extérieure, le compteur et l'autonomie.
Autonomie - indique la distance approximative que votre véhicule peut parcourir avec le carburant qui reste dans le réservoir. Tout changement des habitudes de conduite peut faire diminuer cette valeur, mais aussi la faire augmenter ou la stabiliser pendant un laps de temps.
Écran d'information
L'information qui s'affiche dépend des réglages de votre véhicule. Voir Généralités (page 140).
Thermomètre du liquide de refroidissement du moteur
Indique la température du liquide de refroidissement. À la température normale de fonctionnement, l'aiguille demeure dans la partie centrale. Si l'aiguille passe dans la zone rouge, le moteur surchauffe. Arrêtez le moteur, coupez le contact et déterminez la cause lorsque le moteur a refroidi.
Note: Ne redémarrez pas le moteur avant d'avoir corrigé la cause de la surchauffe.
AVERTISSEMENT: Ne retirez pas le capuchon du réservoir du liquide de refroidissement quand le moteur tourne ou que le système de refroidissement est chaud. Attendez 10 minutes pour que le système de refroidissement se refroidisse.
Couvre le capuchon du réservoir du liquide de refroidissement avec un tissu épais pour éviter la possibilité de brûlures et retirez le capuchon lentement. Le fait de ne pas tenir compte de ces précautions accroît les risques de blessures.
Jauge de carburant
La jauge de carburant indique le niveau approximatif de carburant restant dans le reservoir.
La flèche à côté du symbole de distributeur d'essence indique le côté du véhicule où est située la trappe de remplissage de carburant.
Nota: Le niveau indiqué par la jauge de carburant peut varier légèrement lorsque le véhicule se déplace ou se trouve sur une pente.
Rappel de niveau de carburant bas
Un rappel de niveau de carburant bas s'affiche et retentit lorsque l'autonomie restante atteint 120 km (75 mi), et à 80 km (50 mi), 40 km (25 mi), 20 km (10 mi) et 0 km (0 mi) pour toutes les clés du véhicule.
Note: Le rappel de niveau de carburant bas peut apparaître à différentes positions de la jauge de carburant selon les conditions de consommation. Cette variation est normale.
JAUGES - VEHICULES AVEC : ÉCRAN DU SYSTEMÉD'INFORMATION ET DEDIVERTISSEMENT DE 12,3 PO
Nota : Tableaux de bord présentés avec une seule jauge.
Combé des instruments

A Barre d'état. B Indicateur de vitesse. C Groupe d'information de droite.
Combé des instruments
D Jauge de carburant. E Jauge du liquide de refroidissement. F Groupe d'information de gauche.
État barde
Affiche l'information relative à la source audio courante, le compas et la température extérieure.
Groupe d'information gauche et droit
L'information qui s'affiche dépend de l'affichage actuel de la jauge et des réglages sur demande. Voir Généralités (page 140).
Jauge de carburant
La jauge de carburant indique le niveau approximatif de carburant restant dans le réservoir.
La flèche à côté du symbole de distributeur d'essence indique le côté du véhicule où est située la trappe de remplissage de carburant.
Nota: Le niveau indiqué par la jauge de carburant peut varier légèrement lorsque le véhicule se déplace ou se trouve sur une pente.
Autonomie
Indique la distance approximative que votre véhicule peut parcourir avec le carburant qui reste dans le réservoir. Tout changement du mode de conduite peut faire diminuer cette valeur, mais aussi la faire augmenter ou la stabiliser pendant un laps de temps.
Rappel de niveau de carburant bas
Un rappel de niveau de carburant bas s'affiche et retentit lorsque l'autonomie restante atteint 120 km (75 mi), et à 80 km (50 mi), 40 km (25 mi), 20 km (10 mi) et 0 km (0 mi) pour toutes les clés du véhicule.
Note: Le rappel de niveau de carburant bas peut apparaître à différentes positions de la jauge de carburant selon les conditions de consommation. Cette variation est normale.
Thermomètre du liquide de refroidissement du moteur
Indique la température du liquide de refroidissement du moteur. À la température de fonctionnement normale, l'indicateur demeure dans la plage normale. Si la température du liquide de refroidissement du moteur dépasse la plage normale, arrêtez votre véhicule dès qu'il est possible de le faire en toute sécurité, coupez le moteur et laissez-le refroidir.

AVERTISSEMENT: Ne retirez pas le
Capuchon du réservoir du liquide de refroidissement quand le moteur tourne ou que le système de refroidissement est chaud. Attendez dix minutes pour que le circuit de refroidissement se refroidisse. Couvrez le capuchon du réservoir du liquide de refroidissement avec un tissu épais pour éviter la possibilité de brûlures et retirez le capuchon lentement. Le non-respect de ces précautions accroît les risques de blessures.
Témoins et indicateurs
Les témoins et indicateurs suivants vous signalent une anomalie du véhicule qui pourrait s'aggraver. Certains témoins s'allument au démarrage du véhicule pour confirmer qu'ils fonctionnent. Si un témoin reste allumé après le démarrage du véhicule, reportez-vous au témoin du système en question pour obtenir des renseignements supplémentaires.
Nota: Certains témoins apparaissant sur l'écran d'information et fonctionnant comme un témoin d'avertissement, mais ils ne s'affichent pas au démarrage du véhicule.
I'equipement)

Le témoin du régulateur de vitesse change de couleur pour indiquer le mode du système. Voir
Témoins du régulateur de vitesse adaptatif (page 288).
Activé (lumière blanch e le régulateur de vitesse adaptatif est désactivé.
Engagé (lumière verte) : S'allume lorsqu'vous activez le régulateur de vitesse adaptatif. S'eteint lorsqu'vous désactiver le régulateur de vitesse.
Système de freins antiblocage

Ce témoin révèle une erreur du système s'il s'allume durant la conduite. Le freinage normal (sans
ABS) reste toujours fonctionnel à moins que le témoin de frein ne soit lui aussi allumé.
Faites vérifier le circuit par un concessionnaire agréé.
Commande de feux de route automatiques (selon l'équipement)

Ce témoin s'allume lorsque cette fonction est activée. Voir Témoins de faux de route automatiques
(page 120).
Retenue automatique active

S'allume lorsque le système maintient votre véhicule à l'arrêt.
Retenue automatique non disponible

S'allume lorsque le système est activé, mais qu'il n'est pas disponible pour maintenir votre appareil à l'arrêt.
Démarrage-arrêt automatique (selon
l'equipement)

Ce témoin s'allume pour vous informer de l'arrêt du moteur ou de concert avec un message.
Batterie

Ce témoin indique une erreur du système s'il s'allume durant la conduite. Désactivez tous les
accessoires électriques superflus et faites immédiatement vérifier le système par un concessionnaire autorisé.
Système d'information sur les angles morts (selon l'équipement)

Ce témoin s'allume lorsque vous désactivez cette fonction ou conjointement avec un message.
Voir Système d'information sur les angles morts (page 303).
Témoin du système de freinage

AVERTISSEMENT: Il est dangereux
de conduire votre véhicule lorsque ce témoin est allumé. Les performances des freins peuvent être considérablement réduites. La distance de freinage du véhicule pourrait être plus longue. Faites vérifier le véhicule dans les plus brefs délais. Le fait de parcourir de longues distances lorsque le frein de stationnement est serré peut causer une défaillance du frein et provoquer des blessures.
Note: Les témoins peuvent varier selon la région.
Ce témoin a une double fonction et s'allume quand :
- Vous serrerez le frein de stationnement quand le contact est établi. Le freinage du véhicule est déficient ou le niveau de liquide de frein est bas, peu importe la position du frein de stationnement.
Si le témoin s'allume durant la conduite, le frein de stationnement est certainement appliqué.

Assurez-vous que le frein de stationnement est desseré. Faites vérifier votre véhicule dans les plus brefs délais si la lampe continue de s'allumer.
Régulateur de vitesse (selon l'équipement)

Ce témoin s'allume lorsque cette fonction est activée.
Clignotant

Ce témoin s'allume lorsque vous activez le clignotant gauche ou droit ou les feux de détresse.
Vérifiez si une ampoule est grillée lorsque ces témoins restent allumés ou clignotent rapidement. Voir Remplacement d'une ampoule (page 390).
Alerte de distance

Ce témoin clignote lorsque votre véhicule s'approche rapidement d'un autre véhicule ou d'un piéton.
situé sur toute trajectoire. Voir Assistance pré-collision (page 312).
Portemal fermée

Ce témoin s'allume lorsque le contact est établi et qu'une porte n'est pas complètement fermée.
Frein de stationnement électronique
Note : Les témoins peuvent varier selon la région.


Ce témoin s'allume ou clignote lorsqu'une erreur s'est produite dans le système de frein de stationnement électrique. Voir Frein de stationnement électronique (page 246).
Température du liquide de refroidissement du moteur

Ce témoin s'allume lorsque la température du liquide de refroidissement est élevée. Arrêtez
votre véhicule dès que possible, coupez le contact et laissez le moteur refroidir. Voir Vérification du liquide de refroidissement (page 376).
Huile moteur

Ce témoin révèle une erreur du système s'il s'allume lorsque le moteur tourne ou durant la
conduite. Arrêtez le véhicule dès que vous pouvez le faire de façon sécuritaire, puis arrêtez le moteur. Vérifiez le niveau d'huile moteur. Voir Vérification de l'huile moteur (page 373).
Note: Ne redémarrez pas si le témoin reste allumé, même si le niveau est correct. Faites vérifier le système immédiatement par un concessionnaire autorisé.
Bouclage de ceinture de sécurité

Ce témoin s'allume et une tonalité retentit pour vous rappeler de boucler votre ceinture de sécurité.
Voir Rappel de bouclage des ceintures de sécurité (page 47).
Bouclage de ceinture de sécurité arrêté (selon l'équipement)

Ce témoin s'allume et une tonalité retentit pour signaler que les ceintures de sécurité arrêtées ne sont pas bouclées.
Sac gonflable avant

Ce témoin indique une erreur du système s'il ne s'allume pas lorsque vous faites démarrer le
mateur, s'il continue de clignoter ou s'il demeure allumé. Faites vérifier le circuit par un concessionnaire/agréé.
Antibrouillards avant (selon l'équipement)

Ce témoin s'allume lorsque vous allumez les antibrouillards avant.
Feux de route

Ce témoin s'allume lorsque vous allumez les feux de route. Il clignote lorsque vous faites un
appel de phares.
Capot moteur ouvert

S'allume lorsque le contact est établi et que le capot n'est pas complètement fermé.
Phares allumés

Ce témoin s'allume lorsque vous allumez les phares de croissement ou les phares de stationnement.
Hayon ouvert

Ce message s'affiche lorsque le hayon n'est pas totalement fermé.
Témoin de feu de croisement

Ce témoin s'allume lorsque l'ampoule de feux de croisement présente un dysfonctionnement.
Bas niveau de carburant

Ce témoin s'allume lorsque le niveau de carburant est bas ou que le réservoir de carburant est vide. Faites le plein dès que
Avertissement de basse pression des pneus

Ce témoin s'allume lorsque la pression des pneus est BASSE. S'il demeure allumé lorsque le moteur
tourné ou durant la conduite, vérifie la pression des pneus si possible.
Il s'allume aussi momentanément à l'établissement du contact, pour vérifier son fonctionnement. S'il ne s'allume pas à l'établissement du contact ou s'il commence à clignoter, faites vérifier le système par un concessionnaire/agréé.
Bas niveau de liquide lave-glace

Ce témoin s'allume lorsque le niveau de liquide lave-glace est bas.
Anomalie du groupe motopropulseur

Ce témoin s'allume lorsque le système détecte une anomalie au niveau du groupe motopropulseur,
des quatre roues motrices (4WD) ou de la traction intégrale (AWD). Consultez un concessionnaire/agréés que possible.
l'equipement)

Ce témoin s'allume lorsque les antibrouillards arrêtés sont allumés.
Entretien recommandé du moteur

Le témoin d'anomalie du moteur s'allume à l'établissement du contact, avant le démarrage du
mateur, aux fins de vérification de l'ampoule et pour indiquer que le véhicule est prêt en vue des tests d'inspection et d'entretien (I/M).
Il demeure normalement allumé jusqu'à ce que le moteur soit lancé, puis il s'éteint si aucune erreur du système n'est détectée. Toutefois, si après 15 secondes, le témoin d'anomalie du moteur clignote huit fois, le véhicule n'est pas prêt en vue des tests d'inspection et d'entretien (I/M). Voir Convertisseur catalytique (page 228).
Ce témoin indique une erreur du système s'il s'allume lorsque le moteur est en marche. Le système de diagnostic embarqué a détecté une erreur dans le système antipollution du véhicule.
S'il clignote, une anomalie de raté pourrait se produire. Si vous continuez à rouler, la puissance peut être réduite ou le moteur s'arrête. Le fait d'ignorer l'allumage de ce témoin pourrait entraîner des dommages à certains composants qui ne seraient pas couverts par la garantie du véhicule. Faites vérifier le véhicule dans les plus brefs délais.
Contrôle de stabilité

Ce témoin clignote lorsque le système est actif. Il révèle une erreur du système s'il demeure allumé ou s'il ne s'allume pas lorsque vous actionnez le contact. Le système se déclenche pendant toute la durée de ce. Faites vérifier le système aliment par un concessionnaire (Voir Utilisation du contrôle de page 258).
Contrôle de stabilité désactivé

Ce témoin s'allume lorsque vous mettez le système hors fonction. Il s'éteint lorsque vous remettez le en fonction ou que vous coupez le. Voir Utilisation du contrôle de page 258).
I'equipement)

Ce témoin s'allume lorsque le système est mis en fonction.
Alerte d'entrée sans clé
L'avertisseur sonore retentit deux fois lorsque vous quittez le véhicule avec la clé d'accès intelligent alors que le contact est établi, ce qui indique que le véhicule est encore en fonction.
Carillon avertisseur de rappel des phares allumés
Ce carillon retentit lorsque vous ouvrez la porte conducteur après avoir coupé le contact, puis que les phares ou les yeux de stationnement sont toujours allumés.
Carillon avertisseur de frein de stationnement serré
Ce carillon retentit lorsque le frein de stationnement est serré et que vous conduisez le véhicule. Si le carillon avertisseur retentit toujours après avoir desserré le frein de stationnement, faites immédiatement vérifier le système par un concessionnaire autorisé.
Généralités

volant peut causer une perte de maîtrise du véhicule, un accident et des blessures. Ford recommande fortement aux conducteurs de faire preuve d'une vigilance de tous les instants lorsqu'ils utilisent un dispositif qui pourrait nuire à leur concentration sur la route. Avant tout, vous devez vous assurer de conduire votre véhicule en toute sécurité. Nous vous déconseillons l'utilisation d'un appareil portable lorsque vous conduisez et nous vous recommandons d'utiliser des systèmes à commande vocale dans la mesure du possible. Assurez-vous de connaître toutes les réglementations locales en vigueur concernant l'utilisation d'appareils électroniques pendant la conduite.
Vous pouvez commander divers systèmes du véhicule à l'aide du menu d'actions rapides (QAM) situé sur le côté droit du volant de direction. L'écran d'information fournit l'information correspondante.
Commandes de l'écran d'information

Note: Les commandes changent lorsque vous entrez dans un sous-menu.

Déplacez le sélecteur vers le haut pour entrer dans le sous-ménunavigation.

Déplacez le sélecteur vers le bas pour entrer dans le sous-menu réglages.

Déplacez le sélecteur vers la droite pour entrer dans le sous-menu de mode téléphone.

Déplacez le sélecteur vers la gauche pour entrer dans le sous-menu multimédia.

Appuyez sur le bouton dossier pour faire défiler les écrits d'information sur demande. Voir
Réglages personnalisés (page 144).
Touches de menus
Les commandes suivantes ne sont disponibles que lorsque vous entrez dans un sous-menu :
Affichage d'information

Utilisez le sélecteur pour faire défiler les options vers le haut et vers le bas.

Appuyez sur la touche Accueil pour quitter un sous-menu.

Déplacez le sélecteur vers la gauche pour quitter un sous-menu.

Déplacez le sélecteur vers la droite pour choisir et confirmer les réglages ou les messages.
Menu

Cette icône permet d'afficher l'état des fonctions (activé ou désactivé). La présence d'un crochet dans la
Une case cochée indique que la fonction est activée et une case vide indique qu'elle est désactivée.
Nota: Certaines options de menu peuvent s'afficher d'une manière légèrement différente ou ne pas apparaître du tout si elles correspondent à des équipements en option ou spécifiques à votre région.
Réglages
| Réglages | ||
| Configuration affi-chage | Écrans d'information | Voir Réglages personnelisés (page 144). |
| Compt. vite. num km/h | ||
| Compt. vite. num mi/h | ||
| Ajouter tachymètre à l'affich. | ||
| Passage de frontière | Accédez au sous-menu, puis sélectionnez votre réglage | |
| Durée d'huile | Pour afficher l'état de l'huile | |
Affichage d'information
| Réglages | |
| Tenir OK réinitialiser | |
| Surv. press. pneus | Tenir OK pr réinit. |
Note: D'autres réglages du véhicule sont
disponibles sur votre écran tactile. Voir
Paramètres (page 528).
Affichage tête haute
| Affichage tête haute |
| Options de menu traitées dans le chapitre Affichage tête haute. Voir Affichage tête haute (page 167). |
Téléphone
| Téléphone |
| Options de menu traitées dans le chapitre SYNC. Voir Téléphone (page 514). |
Audio
| Audio |
| Options de menu traitées dans le chapitre SYNC. Voir Divertissement (page 497). |
Navigation (seion l'équipement)
| Navigation |
| Options de menu traitées dans le chapitre SYNC. Voir Navigation (page 517). |
Réglages personnalisés
Information sur demande (Selon l'équipement)
Note : L'information à la demande apparaît sur le côté droit du tableau de bord avec une seule jauge et au centre du tableau de bord avec double jauge quand vous activez certains modes de conduite.
| Écran calme |
| Trajet 1 |
| Trajet 2 |
| Économie carburant |
| Auto StartStop |
| Ceint. sécurité |
| Pression pneus |
| Distribution puissance |
| Vérif. faux remorque |
| Guide éco |
Trajet 1 et 2
Affiche la durée du trajet, la consommation moyenne de carburant et la distance totale parcourue pour le trajet.
Maintenez la touche dossier enfoncée pour remettre le compteur à zéro.
Consommation de carburant
La jauge de consommation de carburant instantanée est fournie avec la consommation moyenne de carburant. La consommation moyenne de carburant est calculée en continu depuis la dernière réinitialisation.
Dans cet écran, vous pouvez réinitialiser votre consommation moyenne de carburant en maintenant enfoncée la touche dossier.
Déplacez le sélecteur vers la destination pour confirmer les messages et retarder certains d'entre eux de
L'écran d'information. D'autres messages seront effacés automatiquement après un court moment.
Certains messages doivent être confirmés avant que vous ne puissiez accéder aux menus.
Stationnement actif
| Message | Mesure à prendre |
| Défaillance stationnement actif | Le système a détesté une anomalie qui nécessite une intervention. Faites vérifier le circuit par un concessionnaire agréé. |
Affichage d'information
Régulateur de vitesse adaptatif
| Message | Mesure à prendre |
| Régulateur de vitesse adaptatif défectueux | Une anomalie du radar empêche l'engagement du régulateur de vitesse adaptatif. |
| Capteur avant non aligné | |
| Régulateur de vitesse adaptatif non disponible | Une anomalie fait que le régulateur de vitesse adaptatif ne peut pas fonctionner correctement. |
| Régulateur de vitesse adaptatif Capteur bloqué Voir le manuel | Le radar est obstrué pour cause de mauvaise visibilité en raison de mauvaises conditions météo ou d'une accumulation de glace, de boue ou d'eau devant le radar. Vous pouvez normalement nettoyer le capteur pour y.Remédier. |
| Freinage auto. régul. vitesse arrêté | S'affiche lorsque le freinage automatique est désactivé. |
| Régul. vitesse adaptatif Cond. reprend le contrôle | Ce message s'affiche lorsque le régulateur de vitesse adaptatif a rendu les commandes au conducteur. |
| Régul. vitesse adaptatif Vit. trop basse pour activer | Ce message s'affiche lorsque la vitesse du vehicule est trop bajo pour activer le régulateur de vitesse adaptatif. |
Phares adaptatifs
| Message | Mesure à prendre |
| Vérifier les phares adapt. Voir le manuel | Ce message s'affiche quand une erreur s'est produit dans le système. Consultez un concessionnaire agréé dès que possible. |
AdvanceTrac™ et antipatinage
| Message | Mesure à prendre |
| Service requis AdvanceTrac | Le système détecte un état qui nécessite une réparation. Consultez un concessionnaire agréé)dès que possible. |
| AdvanceTrac arrêt | État du système après que vous l'avez désactivé. |
| AdvanceTrac marche | État du système après que vous l'avez désactivé. |
| AdvanceTrac Mode sport | État du système après que vous l'avez activé. |
| Antipatinage Arrêt | État du système après que vous l'avez désactivé. |
| Antipatinage En marche | État du système après que vous l'avez désactivé. |
Alarme
| Message | Mesure à prendre |
| Alarme vehicule Pour arrêté l'alarme, démarrer le vehicule | L'alarme s'est déclenchée suite à une entrée non autorisée. Voir Alarme antivol (page 98). |
Affichage d'information
Arrêt automatique du moteur
| Message | Mesure à prendre |
| Arrêt vehicule dans {seconds:#0} secondes | Le moteur est sur le point de s'arrêter. |
| Vehicule arrêté pour économique d'énergie | Le moteur s'est arrêté pour économiser du carburant. |
| Arrêt vehicule dans {seconds:#0} secondes Appuyer sur OK pour annuler | Le moteur est sur le point de s'arrêter. Vous pouvez appuyer sur OK sur le bouton gauche du volant de direction pour annuler l'arrêt. |
Traction intégrale (AWD)
| Message | Mesure à prendre |
| AWD Désactivé temporairement | La transmission intégrale s'est temporairement désactivée pour se protégier d'une surchauffe. |
| AWD verrouillée temporairement | Le système de transmission intégrale bloque l'embrayage de transfert de couple pour aider à réduire la température de l'embrayage. |
| AWD ARRÊT | La transmission intégrale s'est temporairement désactivée pour se protégier d'une surchauffe ou en cas d'utilisation du pau et de secours-temporaire. |
| AWD rétablie | La transmission intégrale reprend un fonctionnement normal et efface ce message lorsque le vehicule à parcouru une courte distance avec le pau reposé ou après refroidissement du système. |
Affichage d'information
| Message | Mesure à prendre |
| Défectuosité AWD Service requis | Le système de transmission intégrale ne fonctionne pas correctement. Si le message d'alertis-sement demeure affchéé ou s'affiche de nouveau, consultez un concessionnaire/agréé. |
| Vidanger huile boîte de transfert AWD | Affiché lorsque l'huile de boîte de transfert nécessite un entretien. |
| Huile de boîte de transfert AWD réglée à neuf | Affiché lorsque l'huile de boîte de transfert a été vidangée et replacée. |
Batterie et circuit de charge
| Message | Mesure à prendre |
| Vérifier circuit de charge | Le circuit de charge doit être réparé. Si cet avertissement reste affchéé ou s'affiche de nouveau, consultez un concessionnaire agréé dès que possible. |
| Circuit de charge Serv. bientôt | Le circuit de charge doit être réparé. Si cet avertissement reste affchéé ou s'affiche de nouveau, consultez un concessionnaire agréé dès que possible. |
| Circuit de charge Serv. immédiat | Le circuit de charge doit être réparé. Consultez un concessionnaire agréé dès que possible. |
Affichage d'information
| Message | Mesure à prendre |
| État de charge de la batterie bas | Le système de gestion de batterie déterminée que l'état de charge de la batterie 12 V est faible. Faites démarrer le moteur pour charger la batterie ou chargez la batterie à l'aide d'un chargeur de batterie disponible dans le commerce. Ce message s'efface une fois que vous avez redémarré le vehicule et que l'état de charge de la batterie est rétabli. |
| Couper courant pour économique. la batterie | Le système de gestion de batterie déterminée que la charge de la batterie est faible. Mettez le commutateur d'allumage à la position arrêté le plus rapidement possible pour protégger la batterie. Ce message s'efface une fois que le vehicule a démarré et que la batterie a retrouvé son état de charge normal. Éteindre toutes les charges électriques inutilles permettra à la batterie de retrouver plusrapidement sa pleine charge. |
| Batterie faible Arrêt provisoire des fonctions | Ce message s'affiche lorsque le système de gestion de batterie détecte une condition prolongée de tension faible. Plusieurs accessoires du vehicule seront désactivés pour protégier la batterie. Mettez hors tension un maximum d'équipements électriques dus que possible pour améliorer la tension du système. Lorsque la tension du système est rétablie, les fonctions désactivées sont de nouveau disponibles. |
Systèmes d'information sur les angles morts et d'alerte de circulation transversale
| Message | Mesure à prendre |
| Défaillance système d'angle mort | Une erreur s'est produit dans le système. Consultez un concessionnaire agréé)dés que possible. |
| Angle mort non disponible CapteurbloquéVoir le manuel | Les capteurs du système sont bloqués. Voir Système d'information sur les angles morts (page 303). |
| Alerte de circulation transversale à l'appli-cation des freins | Le système détecte un vehicule et serre automatiquement les freins. |
| Circul. transv. non disponible capteurbloqué Voir le manuel | Les capteurs des systèmes d'information sur les angles morts et d'alerte de traffic transversal sont obstrués. Voir Alerte de circulation transversale (page 305). |
| Circulation transversale Défuctuosité | Une erreur s'est produit dans le système. Consultez un concessionnaire agréé)dés que possible. |
| Alerte Circulation transversale désactivéeRemorque attachée | Le système se désactive automatiquement et affiche ce message lorsque vousattelez une remorque au vehicule et que celui-ci est découvertu du système d'information sur les angles morts pour le remorquage, ou que vous désactive ce système par l'intémidiaire de l'écran d'informa-tion. Voir Alerte de circulation transversale (page 305). |
| Alerte angle mort désactivée Remorque attachée | Le système se désactive automatiquement et affiche ce message lorsque vousattelez une remorque au vehicule et que celui-ci est découvertu du système d'information sur les angles morts pour le remorquage, ou que vous désactive ce système par l'intémidiaire de l'écran d'informa-tion. Voir Système d'information sur les angles morts (page 303). |
Affichage d'information
Portes et serrures
| Message | Mesure à prendre |
| Porte conducteur ouverte | La portec conducteur n'est pas complètement fermée. |
| Porte passager ouverte | La portec passager n'est pas complètement fermée. |
| Porte arrière.gauche ouverte | La porte arrière.gauche n'est pas complètement fermée. |
| Côté passager portea rrière ouverte | La porte arrière droite n'est pas complètement fermée. |
| Hayon ouvert | Le hayon n'est pas complètement fermé. |
| Capot moteur ouvert | Le capot n'est pas complètement fermé. |
| Interrupteurs désactivés Mode sécurité | Le système a désactivé les contacteurs de porte. |
| Portes verrouillées Déverrouiller avant ouverture | Ce message s'affiche lorsque la serrure de porte est activée et que vous tentez d'ouvrir la porte. |
| Erreur portec conducteur Utiliser le levier manuel situé dans la poche pour carte | Indique une anomalie de la portec conducteur qui nécessite une ouverture manuelle de la portea l'aide du levier d'ouverture. Communique avec un concessionnaire autorisé. |
| Erreur porte Service requis | Indique une anomalie du système électronique de portes. Communique avec un concessionnaire autorisé. |
| Sécurit. enfants défectuosité Service requis | Le système présente une anomalie du verrouillage sécurité enfants. Consultez un concessionnaire/agréé)dés que possible. |
Affichage d'information
| Message | Mesure à prendre |
| Sécurité enfants activé | Indique que les commandes interieures de déverrouillage de porte de banquette arrêté et les glaces à commande électrique sont désactivées, empêchant les occupants de la banquette arrêté d'ouvrir les portes ou les fenôtres. |
| Sécurité enfants désactivé | Indique que les commandes interieures de déverrouillage de porte de banquette arrêté et les glaces à commande électrique sont activées. |
| Code de clavier d'usine {X X X X X} | Le code de clavier d'usine s'affiche sur l'écran d'information après réinitialisation du clavier par le système. Voir Système antivol passif (page 97). |
Alerte conducteur
| Message | Mesure à prendre |
| Alerte conducteur arrêt immédiat | Arrêtez-vous et reposez-vous dès que vous pouvez le faire en toute sécurité. |
| Alerte conducteur arrêt conseillé | Repos recommends. |
Carburant
| Message | Mesure à prendre |
| Niveau d'essence bas | Rappel anticipé de bas niveau de carburant. |
| Vérifier goulot de replissage carburant | La valve de replissage de carburant n'est peut-être pas correctement fermée. |
Affichage d'information
Aide au démarrage en côte
| Message | Mesure à prendre |
| Aide au démarrage en côte non disponible | L'aide au démarrage en côte n'est pas disponible. Communique avec un concessionnaire autorisé. Voir Aide au démarrage en côte (page 248). |
Clés et accès intelligents
| Message | Mesure à prendre |
| Appuyer frein pour DÉMARRER | Vous rappelle d'enforcer la pédale de frein au démarrage de votre vehicule. |
| Aucune clé détectée | Le système ne détecte pas la clé. Voir Démarrage sans clé (page 206). |
| Redémarrer maintain. ou clé est nécessaire | Le bouton-poussoir de démarrage est,enforcé pour arrêtier le moteur et aucune clé d'accès intelligent n'est détectée dans l'habitacle. |
| Alimentation accessoires active | La clé de contact du vehicule est à la position accessoires. |
| Anomalie système de démarrage | Le système de démarrage de votre vehicule présente une anomalie. Consultez votre concessionnaire autorisé pour la réparation. |
| Programmation clé réussie | Pendant la programmation de clés de rechange, une clé d'accès intelligent est programmée pour le système. |
| Nombre max clés program. | Pendant la programmation de clés de rechange, le nombre maximal de clés programmesées a été atteint. |
Affichage d'information
| Message | Mesure à prendre |
| Échec programmat. clé | Ce message s'affiche durant la programmation d'une clé de rechange, lorsqu'une clé d'accès intelligent n'a pas pu être programmée. |
| Nombre clés program. insuf. | Ce message s'affiche pendant la programmation d'une clé de rechange lorsqu'un nombre insuffisant de clés a été programmé. |
| Pile clé faible Remplacer bientôt | Ce message s'affiche lorsque la pile de la clé est faible. Remplacez la pile)dès que possible. |
| Le contact est coupé | Ce message s'affiche lorsque le contact est coupé sur le vehicule. |
Système de suivi de voie
| Message | Mesure à prendre |
| Système maint. voie défectuosité Service requis | Le système est défectueux. Consultez un concessionnaire agréé dès que possible. |
| Caméra avant provisoirement non disponible | Le système a detecté une anomalie à l'origine d'une indisponibilité-temporaire du système. |
| Caméra avant Visibilitéasse Nettoyer écran | Le système a detecté un état qui exige le nettoyage du pare-brise pour fonctionner correctement. |
| Caméra avant Défectuosité Service requis | Le système est défectueux. Consultez un concessionnaire agréé dès que possible. |
| Garder les mains sur le volant | Le système demande au conducteur de garder les deux mains sur le volant. |
Affichage d'information
Entretien
| Message | Mesure à prendre |
| Pression d'huile moteur basse | Arrêtez votre vehicule)dès qu'il est possible de le faire en toute sécurité et coupez le contact. Vérifiez le niveau d'huile. Si l'advertissement reste affché ou s'il continue de s'afficher lorsque le moteur est en marche, consultez un concessionnaire agréé)dès que possible. |
| Changement huile moteur bientôt | Le pourcentage de vie utile de l'huile moteur est de 10% ou moins. |
| Changement d'huile nécessaire | La durée de vie restante de l'huile atteint 0%. |
| Niveau de liquide de frein bas | Le niveau de liquide de frein est bas et le circuit de freinage doit être vérifié immédiatement. Voir Vérification du liquide de frein (page 382). |
| Vérifier le système de freins | Le circuit de freinage doit être réparé. Immobilisez le vehicule dans un endroit sûr. Communique avec un concessionnaire autorisé. |
| Surchauffe refroidiss. moteur | La température du liquide de refroidissement est trop élevé. |
| Niveau bas du liquide lave-glace | Le niveau de liquide lave-glace est bas et le réservoir doit être rempli. |
| Mode transport Contacter le concessionnaire | Indique que votre vehicule est encore en Mode transport. Certaines fonctions pourraient ne pas fonctionner correctement. Communique avec un concessionnaire autorisé. |
| Mode d'usine Contacter le concessionnaire | Indique que votre vehicule est encore en Mode usine. Certaines fonctions pourraient ne pas fonctionner correctement. Communique avec un concessionnaire autorisé. |
Affichage d'information
| Message | Mesure à prendre |
| Voir le manuel | Ce message avise le conducteur que le groupe motopropulseur requiert une intervention, car il présente une anomalie. |
| Puisance réduite pour abaisser la température du moteur | La puissance du moteur est réduite pour diminuer la température élevé du moteur. |
| Frein serra puissance réduite | La puissance de freinage du circuit de freinage est réduite. |
Dispositif MyKey
| Message | Mesure à prendre |
| MyKey non créé | Vous ne pouvez pas programmermer une clé MyKey. |
| MyKey actif Conduire prudemment | Une clé MyKey est active. |
| Vitesse limitée à XX mi/h / km/h | Lorsque vous établiessez le contact de votre vehicule et qu'une clé MyKey est en cours d'utilisation, indique que la limite de vitesse MyKey est activée. |
| Vitesse max presque atteinte | Une clé MyKey est utilisée; la limite de vitesse MyKey est activée, et la vitesse du vehicule approche 130 km/h (80 mph). |
| MyKey Vehicule à la vitesse maximale | Vous avez atteint la limite de vitesse régée pour votre clé MyKey. |
| Vérifier vitesse Conduire prudemment | Votre clé MyKey active comporte une limite de vitesse régée programmée. |
| Boucler ceinture pour activer audio | Le rappel de bouclage des ceintures Belt-Minder se met en fonction avec une clé MyKey en cours d'utilisation. |
Affichage d'information
| Message | Mesure à prendre |
| MyKey AdvanceTrac activé | Le contrôle de stabilité AdvanceTrac se met en fonction avec une clé MyKey en cours d'utilisation. |
| MyKey Antipatinage activé | L'antipatinage se met en fonction avec une clé MyKey en cours d'utilisation. |
| MyKey Désactivation de l'aide stationnement imposs. | L'aide au stationnement est activée en permanence avec une clé MyKey en cours d'utilisation. |
| Alarme maintainien voie activée régly. MyKey | Le système de maintainien de voie se met en fonction avec une clé MyKey en cours d'utilisation. |
Aide au stationnement
| Message | Mesure à prendre |
| Vérifier aide au stationnement avant | Le système a detecté une anomalie qui nécessite une intervention. Communique avec un concessionnaire autorisé. |
| Vérifier aide au stationnement arrière | Le système a detecté une anomalie qui nécessite une intervention. Communique avec un concessionnaire autorisé. |
| Aide stationnement AR non disponible Capteur bloqué Voir manuel | Le radar est obstrué en raison de mauvaises conditions météo ou d'une accumulation de glace, de boue ou d'eau. Vous pouvez normalement nettoyer le capteur pour y remédier. Voir Aide au stationnement arrière (page 260). |
| Aide stationnement AV non disponible Capteur bloqué Voir manuel | Le radar est obstrué en raison de mauvaises conditions météo ou d'une accumulation de glace, de boue ou d'eau. Vous pouvez normalement nettoyer le capteur pour y remédier. Voir Aide au stationnement avant (page 262). |
Affichage d'information
| Message | Mesure à prendre |
| Aide stationnement non disponible Capteur bloqué Voir manuel | Le radar est obstrué en raison de mauvaises conditions météo ou d'une accumulation de glace, de boue ou d'eau. Vous pouvez normalement nettoyer le capteur pour y.Remédier. Voir Principes de fonctionnement (page 259). |
| Aide stationnement. AV Activée Désactivée | Ce message affiche l'état de l'aide au stationnement. |
| Aide stationnement. AR Activée Désactivée | Ce message affiche l'état de l'aide au stationnement. |
Frein de stationnement
| Message | Mesure à prendre |
| Frein de stationnement verrouillé | Le frein de stationnement est serré, le moteur est en marche et vous conduisez votre vehicule à plus de 5 km/h (3 mph). Si cet avertissement persististe une fois le frein de stationnement desserré, contactez dès que possible un concessionnaire autorisé. |
| Frein stationnement Appuyer sur le frein et l'interrupteur | Le frein de stationnement électrique est actionné et un desserrage manuel est tenté sans appui sur la pédale de frein. |
| Utiliser interr. pour desserrer frein stationn. | Le frein de stationnement électrique est actionné et un desserrage automatique est tenté mais ne peut pas être réalisé. Effectuez un desserrage manuel. |
| Desserrer frein de stationnement | Le frein de stationnement électrique est actionné et la vitesse de votre vehicule dépasse 5 km/h (3 mph). Desserrez le frein de stationnement avant de continuer à conduire. |
| Frein stationn. non utilisé | Le frein de stationnement électrique n'est pas complètement serré. |
Affichage d'information
| Message | Mesure à prendre |
| Frein stat tjrs en fonction | Le frein de stationnement électrique n'est pas complètement relaché. |
| Mode entretien frein stationn. | Le frein de stationnement électrique a été placé dans un mode spécial utilisé pour permettre l'entretien des freins arrêté. Communiquez avec un concessionnaire autorisé. |
| Fonct. limitée frein stationn. Service requis | Le frein de stationnement électrique a déetecté une anomalie qui nécessite une vérification. Certaines fonctionnalités peuvent tout de même être disponibles. Contactez votre concessionnaire autorisé. |
| Frein stationn. défectuosité Serv. immédiat | Le frein de stationnement électrique a déetecté une anomalie qui nécessite une vérification. Contactez votre concessionnaire autorisé. |
| Surchauffe du système de frein stationn. | De nombreux serrages du frein de stationnement ont fait surchauffer le système. Attendez 2 minutes avant d'essayer de serrer de nouveau le frein. |
Direction assistée
| Message | Mesure à prendre |
| Anomalie direct. assistée Service immédiat | Le système de direction assistée a détesté un état qui nécessite une vérification. Consultez un concessionnaire agréé. |
| Perte de direct. Arrêté prudèment | Le système de direction assistée n'est pas fonctionnel. Immobilisez votre vehicule dans un endroit sûr. Communiquez avec un concessionnaire autorisé. |
| Anomalie direction essis. Service requis | La direction assistée a détesté une anomalie interne ou liée au système d'entrée sans clé ou de démarrage passif qui nécessite une intervention. Communiquez avec un concessionnaire autorisé. |
| Anomalie direct. assistée Serv. immédiat | Le système de blocage du volant a détesté une condition qui nécessite une vérification. Consultez un concessionnaire agréé. |
Avertissement de collision
| Message | Mesure à prendre |
| Ass. pré-collis. Non disponible Capteur bloqué | Un capteur est bloqué en raison de mauvaises conditions climatiques ou de la présence de glace, de boue ou d'eau devant le capteur du radar. Vous pouvez normalement nettoyer le capteur pour y remédier. |
| Ass. pré-collis. Non disponible | Une anomalie du système est survenue. Consultez un concessionnaire agrééès que possible. |
Affichage d'information
Démarrage à distance
| Message | Mesure à prendre |
| Pour conduire : Appuyer frein et bouton ch. vit. | S'affiche pour vous rappeler de serrer le frein et d'enforcer le bouton du levier sélecteur pour conduire le vehicule après un démarriage à distance. |
Sièges
| Message | Mesure à prendre |
| Capteur pass. BLOQUÉ Enlever objets siège du passager | Présence d'objets près du siège passager. Une fois que les objets ont été éloignés, si l'avertis- sement resté affchéé ou s'affiche périodiquement, contactez un concessionnaire autorisé d'es que possible. |
| Rappel mémoire non autorisé en conduite | Ce message s'affiche pour vous rappeler que les sièges à mémoire ne sont pas disponibles durant la conduite. |
| Mémoire {0} enregistrée | Ce message s'affiche pour vous indiquer l'endetroit où votre réglage mémorisé a été sauvegardé. |
Circuit de démarrage
| Message | Mesure à prendre |
| Appuyer frein pour DÉMARRER | Ce message s'affiche pour vous rappeler d'enforcer la pédale de frein au démarrage du moteur. |
| Temps démarr. excédé | Ce message s'affiche lorsque le démarreur a dépassé le temps de démarrage en tentant de démarrer le vehicule. |
| Démarr. moteur imminent Patientez | Ce message s'affiche lorsque le démarreur tente de démarrer le vehicule. |
| Démarr. moteur annulé | Ce message s'affiche lorsque le démarrage imminent a été annulé. |
Système de surveillance de la pression des pneus
| Message | Mesure à prendre |
| Pression des pneusasse | La pression d'un ou de plusieurs pneus est BASSE. Voir Système de surveillance de la pression des pneus (page 421). |
| Anomalie surveillance pression pneus | Le système de surveillance de la pression des pneus est défectieux. Si le message d'advertissement demeure affché ou s'affiche de nouveau, consultez un concessionnaire agréé. Voir Système de surveillance de la pression des pneus (page 421). |
| Anomalie capt. pression pneus | Un capteur de pression de pneus ne fonctionne pas correctement ou un pneu de secours est monté. Pour plus de renseignements sur le mode de fonctionnement du système dans ces conditions, Voir Système de surveillance de la pression des pneus (page 421). Si cet avertissement reste affché ou s'affiche périodiquement, consultez un concessionnaire autorisé dès que possible. |
Affichage d'information
Remorque
| Message | Mesure à prendre |
| Remorque connectée | Le branchement correct de la remorque est déetecté au cours d'un cycle d'allumage donné. |
| Remorque déconnectée | La remorque est déconnectée soit accidentellement, soit intentionnellement et cette condition a été déetectée au cours d'un cycle d'allumage définii. |
| Oscillation remorque RÉduire vitesse | La fonction de stabilisation de la remorque a déetecté une oscillation de celle-ci. |
| Erreur câblage de remorque | Il y a une anomalie dans les faisceaux de câblage du vehicule ou de la remorque ou dans le système de freinage. Voir Traction d'une remorque (page 328). |
| Anomalie clignotant gauche de remorque Vérifier ampoules | Une anomalie est présente dans le clignotant de votre remorque. Vérifiez le clignotant. |
| Anomalie clignotant droit de remorque Vérifier ampoules | Une anomalie est présente dans le clignotant de votre remorque. Vérifiez le clignotant. |
| Batt remorque ne charge pas Voir le manuel | Une anomalie est présente dans la batterie de votre remorque. Voir Traction d'une remorque (page 328). |
| Anomalie du module de deux remorque Voir le manuel | Une anomalie est présente dans le module d'éclairage de la remorque du vehicule. Voir Traction d'une remorque (page 328). |
Boîte de vitesses
| Message | Mesure à prendre |
| Changer au mode stationnement | Vous avez coupé le moteur et le levier sélecteur ne se trouve pas à la position de stationnement (P). |
| Réchauffage de boîte vitesses Veuillez attendre | La boîte de vitesses est trop froide. Attendez qu'elle se réchauffe avant de rouler. |
| Appuyer sur pédale frein | Ce message s'affiche lorsque vous doivent enforcer la pédale de frein. |
| Surchauffe boîte vitesses Arrêteur prudem-ment | La boîte de vitesses surchauffe et doit refroidir. Immobilisez le vehicule dès que possible dans un endroit sûr. |
| Boîte vitesses Service requis | Consultez un concessionnaire agréé. |
| Boîte vitesses trop chaude Appuyer sur frein | La boîte de vitesses surchauffe et doit refroidir. Immobilisez le vehicule dès que possible dans un endroit sûr. |
| Boîte vitesses fonction limitée Voir le manuel | Le fonctionnement de la boîte de vitesses est limité. Consultez un concessionnaire agréé. |
| Boîte de vitesses pas position P | Vous rappelle de passer à la position de stationnement (P). Aussi, ce message apparaît en général suite au rebranchement ou à la recharge de la batterie ce, jusqu'à l'établissement du contact. Voir Remplacement de la batterie de 12 V (page 384). |
| ANOMALIE PASS. VIT. Conf. frein stationn. Serrer frein stationn. avant sortie vehicule | Ce message s'affiche lorsque le système présente un défaut et que le frein de stationnement doit être relichéé avant de sorting du vehicule. Consultez votre concessionnaire autorisé. |
| Déf passage vit Service requis | Consultez votre concessionnaire autorisé. |
Affichage d'information
| Message | Mesure à prendre |
| ANOMALIE PASS. VIT. Embrayage vécicule sur P | Ce message s'affiche lorsque le système présente une anomalie et que le vehicule passe en position de stationnement. Consultez votre concessionnaire autorisé. |
| ANOMALIE VITESS R non disponible Service requis | Ce message s'affiche lorsque le système présente une anomalie pendant que le vehicule essaire de passer en marche arrière (R). Consultez votre concessionnaire autorisé. |
| ANOMALIE VITESS D non disponible Sélect. S pour cond Service requis | Consultez un concessionnaire agréé. |
| ANOMALIE VITESS N non disponible Service requis | Consultez votre concessionnaire autorisé. |
| ANOMALIE VITESS Sport non disponible Service requis | Consultez votre concessionnaire autorisé. |
| Sélection de vitesse invalide | Ce message s'affiche lorsqu'une vitesse invalide a été sélectionnée. |
| Appuyer sur frein pour sortir de P | Ce message s'affiche lorsque la pédale de frein doit être relachée pour permettre à la boîte de vitesse d'engager un rapport depuis la position de stationnement. |
Affichage tête HAUTE
L'affichage tête haute (HUD) est un système visuel qui affiche de l'information dans votre champ de vision pendant la conduite. Issue de divers systèmes du véhicule, l'information inclut la vitesse du véhicule, la limite de vitesse, la navigation et les systèmes avancés d'assistance au conducteur, tels que le régulateur de vitesse adaptatif et le système de suivi de voie. Ce système projette l'information sur le pare-brise et concentre l'image près de l'extrémité du capot à environ 2 m (7 ft) à l'avant du conducteur. Vous pouvez ainsi accéder rapidement et facilement à cette information et la visualiser sans avoir à tourner la tête et surtout sans quitter la route des yeux.
Configuration de l'affichage tête haute
Vous pouvez commander les options du système à l'écran d'information à l'aide de l'interrupteur à bascule à quatre positions situé sur le côté droit du volant de direction. Voir Généralités (page 140). Pour mieux voir le contenu, l'affichage est réglable en hauteur selon la taille du conducteur. Il est également possible de régler le contenu et la luminosité de l'affichage. Les options du système s'affichent au tableau de bord tandis que les mises à jour ont lieu dans l'affichage tête haute.
Nota: Si HUD activé n'est pas coché, d'autres options du système sont cachées.
Nota: Le menu de l'affichage tête haute se ferme automatiquement après une certaine période d'inactivité.
Nota: La luminosité de l'affichage tête haute se règle automatiquement en fonction de la luminosité ambiant.e. Il est aussi possible de régler la luminosité selon vos préférences.
Nota: Dans certaines conditions, le soleil peut causer des réflexions sur et autour de l'image de l'affichage tête haute.
| Affichage tête haute (HUD) | ||
| HUD activé | Activation et désactivation de l'affichage tête haute | |
| Luminosité | Suivez les instructions à l'écran pour confirmer ou modifier vos paramètres. | |
| Position affichage tête haute | Position verticalie | Suivez les instructions à l'écran pour confirmer ou modifier vos paramètres. |
| Rotation image | ||
Affichage d'information
| Affichage tête haute (HUD) | ||
| Contenu aff. tête haute | Active et désactive l'autonomie, l'houre et la température de l'air extérieur. | |
| Régulat. vitesse et voie | Sélectionnez vos paramètres | |
Note : Lorsque vous enregistrez une position mémorisée prédéfinie, vos paramètres courants du système d'affichage tête haute sont aussi enregistrés dans cette position mémorisée. Voir Fonction de mémorisation (page 186).
Vue d'ensemble de l'affichage tête haute
Affichage d'information
A Indication de signalisation et de circulation B Zone d'affichage de navigation C Zone d'affichage des systèmes évolués d'assistance au conducteur D Zone d'affichage des messages du système E Zone d'affichage des messages des systèmes évolués d'assistance au conducteur F Zone d'afflication de limite de vitesse G Zone d'affichage d'indicateur de vitesse H Barredetat.
Indication de signalisation et de circulation
Affiche les clignotants et l'information sur les angles morts (si les clignotants sont actifs).
Zone d'affichage de navigation
Affiche les instructions de navigation sur le prochain virage.
Zone d'affichage des systèmes évolués d'assistance au conducteur
Affiche l'état et les avertissements du régulateur de vitesse adaptatif, de l'aide au centrage dans la voie et du système de suivi de voie.
Zone d'affichage des messages du système
Affiche les messages et notifications du système incluant les appels entrants.
Zone d'affichage des messages des systèmes évolués d'assistance au conducteur
Affiche les messages des systèmes évolués d'assistance au conducteur et les invites de réglage de l'image.
Zone d'affichage de limite de vitesse
Affiche la limite de vitesse si cette information est disponible dans la base de données cartographique ou détectée par la caméra.
Zone d'affichage d'indicateur de vitesse
Affiche la vitesse courante du véhicule et voitre sélection de rapport.
Barre d'état
Affiche l'autonomie (DTE), l'heure et la température de l'air extérieur. Près de l'autonomie restante (DTE), la couleur de la jauge de carburant passe au jaune en cas de bas niveau. Vous pouvez désactiver la barre d'état dans le menu des paramètres de l'affichage tête haute.
Entretien du système d'affichage tête haute
- çu pour une qualité d'image optimale. Sur un véhicule disposant de ce système, vous devrez remplacer le pare-brise par un pare-brise d'affichage tête haute fabriqué par un équipementier certifié. Si vous remplacez ce pare-brise par un pare-brise standard, l'image sera double ou déformée. Faites remplacer le pare-brise par un concessionnaire ou un atelier de réparation autorisé.
- Les conditions de lumière peuvent rendre l'image de l'affichage tête haute plus difficile à voir, p. ex., les phares des vé ête haute, nettoyez fréquemment le pare-brise. Voir Nettoyage des glaces et des balais d'essuie-glace (page 396).
Commande automatique de la temperature
E287616
Nota : Selon les options de votre véhicule, les commandes peuvent avoir une apparence différente de celle présente ici.
Nota: Vous pouvez désir afficher la température en degrés Fahrenheit ou Celsius.
Nota : Vous pouvez commander certaines des fonctions de chauffage et de climatisation à l'écran tactile.
Accès de commandes de répartition de l'air

Appuyez, puis relâchez le bouton pour activer l'écran de sélection.
Sur l'écran, vous pouvez activer, désactiver et orienter le débit d'air depuis les bouches du pare-brise, de la planche de bord ou du plancher avant. Vous pouvez orienter l'air à travers toute combinaison de ces bouches. Voir Climatisation (page 511).
Accès au menu de commande de chauffage et de climatisation

Appuyez, puis relâchez le bouton pour accéder à d'autres commandes du système de et de climatisation avant.
Réglage de la vitesse du moteur de soufflerie

Tournez la commande pour régler le volume d'air qui circule dans l'habitacle.
Réglage de la température

Appuyez sur l'interrupteur à bascule à la gauche de la commande de climatisation vers le haut ou vers le bas pour régler la température du côté gauche.
Note: Cette commande permet égressément de régler la température du côté droit lorsque vous désactivez la fonction de régulation à deux zones.
Appuyez sur l'interrupteur à bascule à la droite de la commande de climatisation vers le haut ou vers le bas pour régler la température du côté droit.
Activation et désactivation du mode auto

Appuyez brièvement sur ce bouton pour activer le fonctionnement automatique. Appuyez plusieurs
Appuyez plusieurs fois sur le bouton pour régler le mode Auto.
Climatisation
Le système règle la vitesse du moteur de soufflerie, la répartition de l'air, le fonctionnement de la climatisation et l'admission d'air extérieur ou la recirculation de l'air pour atteindre la température sélectionnée et la sélectionner.
Réglez la commande du moteur de soufflerie pour désactiver le mode automatique.
Nota : Lorsque vous sélectionnez le mode AUTO, le système reprend le dernier réglage utilisé.
Nota : Vous pouvez aussi désactiver le mode deux zones en appuyant sur ce bouton pendant plus de deux secondes.
État du témoin de mode Auto
| État du témoin de mode Auto | Description |
| Un témoin allumé. | • La vitesse du moteur de soufflerie est réduite. • Utilise ce réglage pour limiter le bruit provenant du moteur de soufflerie. • Ce réglage augmente la durée requise pour refroidir l'habitacle. |
| Deux témoins allumés. | • La vitesse du moteur de soufflerie est modérée. |
| Trois témoins allumés. | • La vitesse du moteur de soufflerie augmente. • Utilise ce réglage pour réduire la durée requise pour refroidir l'habitacle. • Ce réglage augmente le bruit provenant du moteur de soufflerie. |
Activation/désactivation du système de climatisation

Appuyez brièvement sur le bouton.
Utilisez la climatisation avec l'air recyclé pour améliorer le rendement et l'efficacité du refroidissement.
Note: Dans certaines conditions, comme le dégivrage maximal, le compresseur de climatisation peut continuer à fonctionner même si la climatisation est désactivée.
Activation et désactivation de la commande de chauffage et de climatisation

Appuyez brièvement sur le bouton.
Nota : Notre véhicule peut ne pas être doté d'un bouton physique. Vous pouvez activer ou désactiver la climatisation à l'écran tactile.
Activation et désactivation de la climatisation au maximum

Appuyez, puis relâchez le bouton pour maximiser le refroidissement.
La température de gauche et de droite est réglée au niveau LO, l'air recirculé est diffusé par les bouches d'air de la planche de bord, la climatisation se met en marche et le moteur de soufflerie se règle à la vitesse maximale.
Activation et déactivation du dégivrage maximal

Appuyez brièvement sur ce bouton pour maximiser le dégivrage.
Les températures de gauche et de droite sont réglées au niveau le plus haut (HI), l'air est diffusé par les bouches d'air de la planche de bord et le moteur de soufflerie se règle à la vitesse maximale.
L'air est diffusé par les bouches d'air du pare-brise et le moteur de soufflerie se règle à la vitesse maximale.
Vous supportez utiliserez aussi ce réglage pour désembuer le pare-brise et éliminer une mince couche de glace.
Nota: Pour éviter l'embuage des glaces, il n'est pas possible de sélectionner l'air recirculé lorsque le dégivrage maximal est activé.
Nota: La lunette arrière chauffante s'active aussi lorsque vous sélectionnez le dégivrage maximal.
Activation et désactivation de l'air recirculé

Appuyez, puis relâchez le bouton pour passer de l'air extérieur à l'air recyclé.
L'air dans l'habitacle est recirculé. Cela peut ainsi réduire le temps de refroidissement de l'habitacle (de concert avec A/C) et minimiser l'infiltration des odeurs indésirables.
Climatisation
Nota: L'air recirculé peut se désactiver (ou ne pas s'activer) dans tous les modes sauf MAX A/C afin de réduire le risque de formation de buée. Par très forte chaleur, le recyclage de l'air peut aussi être automatiquement activé/désactivé dans diverses combinaisons de commande de répartition d'air pour améliorer l'efficacité de refroidissement.
Conseils généraux
Nota : L'utilisation prolongée de l'air recirculé peut embuer les glaces.
Nota : Vous pourrez déceler un peu d'air au niveau des bouches de plancher avant, quel que soit le réglage de répartition d'air.
Nota: Pour réduire l'accumulation d'humidité dans le véhicule, ne désactiver pas le système et ne laissez pas l'air recirculé continuer en fonction durant la conduite.
Nota: Ne placez pas sous les sièges avant des objets qui pourraient faire obstacle à la circulation de l'air vers les sièges arrière.
Nota : Enlevez toute accumulation de neige, de glace ou de feuilles qui pourrait obstruer la prise d’air extérieur située à la base du pare-brise.
Nota : Pour atteindre plus rapidement une température confortable par temps chaud, conduisez avec les glaces ouvertes jusqu'à ce que de l'air froid sorte des bouches d'air.
Commande automatique de la température
Nota: Il n'est pas nécessaire de régler la température de l'habitacle lorsque celle-ci est extrêmement chaude ou extrêmement froide. Le mode automatique est recommandé pour maintenir la température définie.
Nota: Le système apporte les réglages nécessaires pour réchauffer ou refroidir l'habitacle à la température sélectionnée le plus rapidement possible.
Nota: Les bouches d'air de la planche de bord et les bouches d'air latérales doivent être complètement ouvertes pour que le système soit efficace.
Nota: Si vous sélectionnez AUTO par temps froid, le système dirige le flux d'air vers les bouches d'air du pare-brise et des glaces latérales. De plus, le moteur de soufflerie risque de tourner plus lentement jusqu'à ce que le moteur se réchauffe.
Nota: Si vous sélectionnez AUTO alors qu'il fait chaud à l'extérieur et dans l'habitacle, le système sélectionne l'air recirculé pour maximiser le refroidissement de l'habitacle. Le moteur de soufflerie peut également tourner plus lentement jusqu'à ce que l'air refroidisse.
Chauffage rapide de l'habitable
- Appuyez brièvement sur AUTO.
- Réglez la température au réglage voulu.
- Appuyez brièvement sur AUTO.
Climatisation
- Réglez la température au réglage voulu. Utilisez 22°C (72^) comme point de départ, puis ajustez le réglage en fonction des besoins.
Refroidissement rapide de l'habitacle
- Appuyez brièvement sur MAX A/C.
Réglages de refroidissement recommandés
- Appuyez brièvement sur AUTO.
- Réglez la température au réglage voulu. Utilisez 22°C (72^) comme point de départ, puis ajustez le réglage en fonction des besoins.
Désembuage des glaces latérales par temps froid
- Appuyez brièvement sur le bouton de dégivrage.
- Réglez la température au réglage voulu. Utilisez 22°C (72^) comme point de départ, puis ajustez le réglage en fonction des besoins.
L'ÉQUIPEMENT)
Dégivreur d'essuie-glace de pare-brise

Lorsque vous activez la lunette arrière chauffante, le dégivreur d'essuie-glace de pare-brise
s'active.
Lunette arrière chauffante

Appuyez sur la commande pour éliminer le givre et la buée de la lunette arrière. La lunette arrière
chauffante se désactive après un certain temps.
Nota: N'utilise pas de produits chimiques agressifs, une lame de rasoir ou tout autre objet tranchant pour nettoyer l'intérieur de la lunette arrêtechauffante ou pour enlever des autocollants qui s'y trouveraient. La garantie du véhicule pourrait ne pas couvrir les dommages causés à la résistance chauffante de la lunette arrêtechauffante.
Rétroviseurs extérieurs chauffants
Lorsque vous activez la lunette arrière chauffante, les rétroviseurs extérieurs chauffants s'activent.
Nota: Ne vous servez pas d'un grattoir pour dégivrer les rétroviseurs et ne tentez pas de les régler lorsqu'ils sont immobilisés par le gel.
Nota: Ne nettoyez pas le miroir ou le boîtier du rétroviseur avec un abrasif dur, du carburant ou tout autre produit de nettoyage à base de pétrole. La garantie du véhicule peut ne pas couvrir les dommages causés à la glace ou au boîtier du rétroviseur.
Filtre à air d'habitacle
Le filtre à air d'habitacle est situé sous la planche de bord dans la zone du plancher avant du passager ou sous la console centrale sur le côté passager.
Climatisation
Le système faitre les particules aériennes telles que la poussière, les spores et le pollen qui circulent à l'intérieur de votre véhicule.
Assurez-vous qu'un filtre à air d'habitacle est installé en tout temps. Sans filtre, le système pourrait s'avérer moins efficace et il pourrait subir des dommages.
Voici les bénéfices du filtre à air d'habitacle de votre véhicule pour vous et vos passagers :
Il améliore le confort des occupants en diminuant la concentration de particules dans l'air. Il améliore la qualité de l'habitacle. Il protège les composants du système de chauffage-climatisation contre les dépôts de particules.
Remplacez l'objet de filtre à air aux intervalles appropriés. Voir Entretien de votre véhicule (page 554).
Consultez un concessionnaire autorisé pour plus de renseignements sur le filtre d'habitacle ou pour le faire remplacer.
Démarrage à distance (SELON
L'ÉQUIPEMENT)
Le système règle la température de l'habitacle en fonction des réglages effectués lors du démarrage à distance.
Vous ne pouvez pas régler le système de climatisation pendant le démarrage à distance. Lorsque vous établissez le contact, le système de chauffage et de climatisation retourne aux réglages précédents. Vous pouvez alors effectuer les réglages du système.
Certaines fonctions peuvent rester allumées si elles s'allument lors du démarrage à distance :
- Siège chauffant conducteur.
- Siège ventilé du conducteur.
- Volant de direction chauffant. Rétroviseurs chauffants. Lunette arrière chauffante.
- Dégivreur d'essuie-glace de pare-brise.
Note: Si les sièges passagers chauffants et ventilés sont actifs lorsque vous coupez le contact, ils reprendront par défaut le réglage du conducteur au prochain démarrage.
Vous pouvez ajuster les réglages de démarrage à distance par défaut au moyen des commandes de l’écran d’information. Voir Affichage d’information (page 140).
Réglages automatiques
Par temps chaud, le système se règle à 22°C (72^). Les sièges ventilés sont régés à la température maximum (si cette fonction est disponible et si le mode AUTO est sélectionné à l'écran d'information).
En temps modéré, le système se chauffe ou se refroidit (selon des réglages préétablis). Le dégivreur de lunette arrête, les rétroviseurs chauffants et les sièges chauffants ou ventilés ne s'activent pas automatiquement.
Climatisation
Par temps froid, le système se règle à 22°C (72^). Les sièges chauffants et le volant de direction chauffant sont régés à la température maximale (si cette fonction est disponible et si le mode AUTO est sélectionné à l'écran d'information). La lunette arrière chauffante et les rétroviseurs chauffants sont actifs.
Avertissement: une mauvaise
position assise ou un dossier trop incliné peut réduire le poids reposant sur le coussin du siège, puis fausser la précision du capteur de poids du passager avant et provoquer des blessures graves, voire mortelles en cas de collision. Maintenez toujours votre dos contre le dossier et laissez vos pieds reposer sur le plancher.

Avertissement: n'inclinez pas le
dossier du siège trop vers l'arrière, sinon l'occupant risque de glisser sous la ceinture de sécurité du siège, ce qui peut entraîner des blessures graves lors d'une collision.

Avertissement: ne placez pas
d'objets à une hauteur dépassant le haut du dossier du siège. Le non-respect de cette consigne pourrait entraîner des blessures, voire la mort en cas d'arrêt brusque ou de collision.

Lorsque vous utilisez correctement le siège, l'appuie-tête, la ceinture de sécurité et les sacs gonflables, ceux-ci assureront une protection optimale en cas de collision.
Nous vous recommandons de respecter les consignes suivantes :
asseoyez-vous à la verticale en laissant reposer la base de votre colonne aussi après du dossier que possible; n'inclinez pas le dossier de siège de manière à ce que votre torse soit à plus de la position verticale; - réglez l'appuie-tête pour que la partie supérieure se trouve à la hauteur du dessus de votre tête et autant vers l'avant que possible; trouvez une position durablement comfortable; - conservez une distance suffisante entre votre corps et le volant; nous recommandons une distance minimale de 25 cm (10 po) entre votre sternum et le couvercle du sac gonflable; - tenez le volant en pliant légèrement les bras;
- pliez légèrement les jambes pour être en mesure d'enclencher les pédales à fond;
- placez le baudrier de la ceinture de sécurité au centre de votre épaule et positionnez la ceinture sous-abdominale de manière à ce que vos hanches soient bien serrées.
Assurez-vous que votre position de conduite est confortable et que vous pouvez parfaitement maîtriser le véhicule.

Avertissement: régalez
correctement l'appuie-tête avant de prendre place dans le véhicule ou de conduire. Vous minimiserez ainsi les risques de blessures au cou en cas de collision. Ne régalez pas l'appuie-tête lorsque le véhicule roule.

AVERTISSEMENT: L'appuie-tête est
un dispositif de sécurité. Dans la mesure du possible, il doit être installé et correctement réglé lorsque le siège est occupé. Le mauvais réglage de l'appuie-tête peut nuir à son efficacité lors de certains impacts.

AVERTISSEMENT: Réglez les
appuie-tête de tous les occupants avant de conduire votre véhicule. Vous minimiserez ainsi les risques de blessures au cou en cas de collision. Ne régalez pas les appuie-tête lorsque le véhicule roule.
Note: Réglez le dossier de siège à une position de conduite verticale avant de régler l'appuie-tête. Réglez l'appuie-tête pour que la partie supérieure se trouve à la hauteur du dessus de votre tête et autant vers l'avant que possible. Trouvez une position durablement confortable. Si vous êtes très grand, réglez l'appuie-tête à la position la plus élevée.
Appuie-tête de siège avant
Les appuie-têtes de siège avant sont constitués des éléments suivants :
Appuie-tête à absorption d'énergie. B : Deux tiges en acier. C : Un bouton de réglage et de dégagement des guides de tige.
Appuie-tête de siège arrêté le plus à l'extérieur

Les appuie-têtes de siège arrière le plus à l'extérieur sont constitués des composants suivants :
A Appuie-tête avec absorption d'énergie. B Deux tiges en acier. C Un bouton de réglage et de dégagement des guides de tige. D Un bouton de déverrouillage et de retrait des manchons de guidage. E Un bouton de repliage.
Appuie-tête central de siège arrêté

L'appuie-tête de la place centrale arrière est constitué des composants suivants :
A Appuie-tête à absorption d'énergie. B Deux tiges en acier. C Un bouton de déverrouillage et de retrait des manchons de guidage.
Relevage de l'appuie-tête
Tirez l'appuie-tête vers le haut.
Abaissement de l'appuie-tête
- Appuyez sur le bouton C et maintenez-le enfoncé.
- Poussez l'appuie-tête vers le bas.
Inclinaison de l'appuie-tête de siège avant (selon l'équipement)
Vous pouvez incliner les appuie-têtes avant pour plus de confort. Réglez l'appuie-tête comme suit pour l'incliner :

- Réglez le dossier de siège à la verticale ou à une position de conduite.
- Faites pivoter l'appuie-tête en avant vers votre tête à la position voulue.
Lorsque l'appuie-tête atteint la position maximale d'inclinaison vers l'avant, faites-le pivoter de nouveau vers l'avant pour le dégager et le replacer en position redressée vers l'arrière.
Repliage de l'appuie-tête de siège arrière le plus à l'extérieur
- Appuyez sur le bouton E et maintenez-le enfoncé.
- Tirez l'appuie-tête vers l'arrière et le haut pour le remettre en place.
Retrait de l'appuie-tête
Retrait de l'appuie-tête de siège avant et de l'appuie-tête de siège arrêté le plus à l'extérieur
- Tirez sur l'appuie-tête jusqu'à ce qu'il atteigne sa position la plus élevée.
- Appuyez sur les boutons C et D et maintenez-les enfoncés.
- Tirez l'appuie-tête vers le haut.
Retrait de l'appuie-tête central du siège arrière
- Tirez sur l'appuie-tête jusqu'à ce qu'il atteigne sa position la plus élevée.
- Appuyez sur le bouton C et maintenez-le enfoncé.
- Tirez l'appuie-tête vers le haut.
Installation de l'appuie-tête
Alignez les tiges en acier dans les manchons de guidage, puis poussez l'appuie-tête vers le bas jusqu'à ce qu'il se verrouille.

AVERTISSEMENT: Ne régler ni le ni le dossier de siège conducteur que le véhicule roule. Ceci peutner un déplacement intempestif du et vous faire perdre la maîtrise de véhicule.

AVERTISSEMENT: Ne placez aucune de derrière le dossier avant de le cer à sa position d'origine. Tirez sur fissier de siège pour vous assurer qu'il en est enchaîné après avoir ramené le cer à sa position d'origine. Un siège rouillé peut se révéler dangereux en cas d'arrêt soudain ou de collision.
Commandes de siège 10 positions
Les commandes de réglage électrique des sièges se trouvent sur la porte.
Sièges

A Inclinaison. B Commande de réglage du support lombaire. C Fonction de mémorisation. D Siège à réglage électrique.

Appuyez sur ce bouton pour accéder au menu de réglage du support lombaire à l'écran tactile.


E285488
Commandes de siège 24 positions
Les commandes de réglage électrique des sièges se trouvent sur la porte.
Sièges

A Commande de support lombaire ou commande de siège multicontours. B Fonction de mémorisation. C Réglage de l'assise de siège. D Siège à réglage électrique. E Inclinaison.

Appuyez sur ce bouton pour accéder au menu de réglage du support lombaire à l'écran tactile.


Réglage de la longueur de l'assise de siège

E285685
Réglage des sièges avant multicontours avec active motion selon
I'equipement)
Vous pouvez régler cette fonction à l'écran tactile.
Nota : Le moteur doit tourner ou le véhicule doit être en mode accessoire pour activer les sièges.
Nota : Il faut quelques secondes pour que la sélection soit activée. Le massage ne peut être effectué simultanément sur le dossier de siège et l'assise.
Fonction de mémoire
(SELON L'ÉQUIPEMENT)
AVERTISSEMENT: Avant d'actionner le siège à mémoire, assurez-vous qu'aucun obstacle ne se trouve à proximité du siège et que les occupants sont loin des pièces mobiles.
AVERTISSEMENT: Ne rappelez pas les réglages mémorisés lorsque le véhicule roule.
Cette fonction rappelle la position des éléments suivants :
- Siège conducteur Rétroviseurs électriques
- Colonne de direction à réglage électrique en option
La commande de mémoire est située sur la porte conducteur.
E283882
Enregistrement d'une position préréglée
- Établissez le contact.
- Réglez les fonctions de rappel des réglages mémorisés à la position désirée.
- Maintenez le bouton de pré-réglage souhaité enfoncé jusqu'à ce qu'une tonalité unique retentisse.
Note: Un message de confirmation indiquant qu'une position préréglée a été enregistrée s'affiche à l'écran d'information.
Vous pouvez mémoriser jusqu'à trois positions préréglées. Vous pouvez enregistrer un préréglage à tout moment.
Rappel d'une position préréglée
Appuyez brièvement sur le bouton de préréglage associé à la position de conduite voulue. Les préréglages mémorisés pour cette position sont alors rappelés.
Note: Un réglage mémorisé peut uniquement être rappelé lorsque le contact est coupé ou, si le contact est établi, lorsque la boîte de vitesses est en position de stationnement (P) ou de point mort (N).
Note: Appuyez sur l'une des commandes de réglage de siège ou de rétroviseur (ou sur une touche de mémorisation) pendant un rappel de mémoire pour annuler l'opération.
Rappelez une position de mémoire préréglée en:
appuyant sur le bouton de déverrouillage de votre télécommande, si elle est synchronisée avec une position préréglée ; déverrouillant la porte conducteur si une télécommande synchronisée est présente.
Note: L'utilisation d'une télécommande synchronisée pour rappeler votre position mémoire alors que le contact est coupé aura pour effet de placer le siège et la colonne de direction en position d'entrée facile.
Synchronisation d'une position de préreglage avec votre télécommande
Pour plus de détails concernant la synchronisation d'une position prééglée avec votre télécommande, consultez le chapitre Profils personnalisés.
Fonction d'entrée et de sortie faciles
Si vous activez la fonction d'entrée et de sortie faciles, le siège conducteur se déplace vers l'arrière d'un maximum de 5 cm (2 po) lorsque vous coupez le contact. Le siège conducteur revient à sa position initiale lorsque vous établissez le contact.
Vous pouvez activer ou désactiver cette fonction sur l'écran d'information.
Voir Affichage d'information (page 140).
Profils personnalisés
Cette fonction permet de créer plusieurs profils personnalisés avec lesquels les utilisateurs personnalisent les réglages du véhicule. Vous pouvez créer un profil pour chaque bouton de siège électrique à mémoire avec un profil invité. Vous pouvez
rappeler un profil en utilisant l'écran tactile ou le bouton de préréglage sélectionné lorsque vous avez créé votre profil. Vous pouvez également synchroniser une télécommande et un appareil mobile avec votre profil. Ils seront utilisés pour le rappel.
Création d'un profil personnalisé
Utilisez l'écran tactile pour créer un profil personnalisé.
- Établissez le contact et laissez la boîte de vitesses en position de stationnement (P).
- Sélectionnez le bouton Profils personnalisés sous Réglages.
- Suivez les instructions à l'écran.
Synchronisation d'un profil personnalisé avec votre télécommande ou votre appareil mobile
Vous pouvez enregistrer les positions préréglées sur un maximum de trois télécommandes en attribuant une télécommande à un profil personnalisé à l'aide de l'écran tactile. Vous pouvez attribuer trois télécommandes supplémentaires en utilisant votre téléphone en tant que clé.
Utilisez l'écran tactile pour synchroniser une télécommande, un appareil mobile, ou les deux avec un profil personnalisé.
- Établissez le contact et laissez la boîte de vitesses en position de stationnement (P).
- Sélectionnez le bouton Profils personnalisés sous Réglages.
- Sélectionnez la flèche pour le profil que vous souhaitez synchroniser avec une télécommande ou à un appareil mobile.
- Sélectionnez une télécommande, un appareil mobile, ou les deux.
- Suivez les instructions à l'écran.
Note: Pour synchroniser un appareil mobile avec succès, l'appareil doit se trouver dans tout véhicule et doit avoir été précédemment configuré en tant que télécommande pour tout véhicule.
Note: Si plus d'une télécommande synchronisée se trouve dans le rayon, la fonction de rappel des réglages mémorisés adoptera les réglages de la première télécommande pour initier un rappel des réglages mémorisés.
Note: Le profil invite est constitué de réglages existants lorsqu'il n'y a aucune profil conducteur créé. Une fois le profil conducteur créé, le profil invite est utilisé comme profil conducteur supplémentaire.
Note: Vous ne pouvez pas synchroniser un nom personnalisé, un bouton de siège à mémoire ou une télécommande avec un profil invite.
Réglages personnalisés
Les profils personnalisés permettent de personnaliser les réglages de position, notamment les sièges et rétroviseurs, ainsi que d'autres réglages comme ceux des systèmes de la radio, de navigation et d'assistance au conducteur. Voir SYNC™ 3 (page 483). Vous ne pouvez pas changer les emplacements et les réglages du menu de ces fonctions personnalisées avec les profils personnalisés.
Nota: Les réglages autres que ceux de position sont enregistrés dans le profil conducteur actif à chaque changement de réglage.
Nota: Vous pouvez enregistrer les réglages de position en maintenant enfoncé un bouton de siège à mémoire.
Rappel et changement de profil
Pour rappeler un profil :
- À l'aide d'une télécommande ou d'un appareil mobile synchronisé avec un profil conducteur pour accéder à la fonction de démarrage à distance, appuyez sur un bouton de déverrouillage ou ouvrez la porte avec la poignée extérieure de porte.
- Appuyez sur un bouton de siège à mémoire synchronisé avec un profil conducteur. Utilisez le menu Profils personnalisés à l'écran tactile.
Note: Le dernier profil rappelé remplace le profil actif précédent. Si le profil actif ne correspond pas au profil souhaité, vous pouvez le changer en utilisant une des trois méthodes décrites.
Lorsque vous activez une fonction de profil personnalisé :
- En déverrouillant une porte avec une télécommande ou un appareil mobile qui n'est pas synchronisé(e) avec un profil conducteur, les réglages autres que ceux de position sont rappelés à partir du profil invité. Les réglages de position ne changent pas.
- En appuyant sur un bouton de siège à mémoire qui n'est pas synchronisé avec un profil conducteur ni enregistré dans un préréglage, les réglages autres que ceux de position sont rapproélés à partir du profil invite. Les réglages de position ne changent pas.
- mais qui a été enregistré dans un préréglage, les réglages autres que ceux de position sont rappelés à partir du profil invite. Les réglages de position enregistrés pour ce bouton de siège à mémoire sont rappelés.
Voir SYNC™ 3 (page 483).
Lorsque vous désactivez une fonction de profil personnalisé :
- En déverrouillant une porte avec une télécommande ou un appareil mobil sont toujours rappelés à partir du profil conducteur avec lequel la télécommande ou l'appareil mobile est synchronisé(e).
- En appuyant sur un bouton de siège à mémoire qui n'est pas synchronisé avec un profil conducteur ni enregistré dans un préréglag ne changent pas.
- En appuyant sur un bouton de siège à mémoire qui est synchronisé avec un profil conducteur ou qui a été enregistrés pour ce bouton de siège à mémoire sont rappelés.
Sièges arrière
Déplacement des sièges vers l'arrière et vers l'avant
AVERTISSEMENT: Assurez-vous que le siège est bien enclenché en place en effectuant une petite manœuvre de va-et-vient.

Sièges
Rabattre dossier de siège (Selon l'équipement)

Le siège étant inoccupé, soulevez le levier pour rabattre le dossier vers l'avant. Il pourrait être nécessaire de rabattre les appuie-têtes latéraux et d'abaisser l'appuie-tête central.
Relever le dossier de siège
Tirez le dossier de siège vers le haut pour le relever.
Réglage de l'inclinaison
Le siège étant occupé, soulevez le levier pour incliner le dossier.
Rabattre le dossier de siège à réglage électrique (Selon l'équipement)

A. Repliez le dossier de siège arrière gauche. B. Repliez le dossier de siège arrière droit.
L'ÉQUIPEMENT)

Avertissement: les personnes
insensibles aux douleurs cutanées en raison de l'âge, d'une maladie chronique, du diabète, d'une blessure à la moelle épinière, d'un traitement médicamentieux, d'une consommation d'alcool, d'épuisement ou d'autres circonstances doivent utiliser le siège chauffant avec prudence. Le siège chauffant peut causer des brûlures, même à basse température, sur toute personne s'il est utilisé pendant de longues périodes. Ne placez aucun objet qui offre une isolation contre la chaleur sur le siège (une couverture ou un coussin par exemple). Le siège chauffant pourrait surchauffer. Ne percez pas le siège avec
des épingles, des aiguilles ou d'autres objets pointus. Vous pourriez endommager l'élément chauffant et causer une surchauffe du siège chauffant. Un siège surchauffé pourrait causer de graves blessures.
Respectez les consignes suivantes :
- Ne placez un objet lourd sur le siège.
- Ne mettez pas le siège chauffant en fonction si de l'eau ou un autre liquide a été renversé sur le siège. Laissez le siège sécher complètement.
Note: Les sièges chauffants ne fonctionnent que lorsque le moteur tourne.

E146322
Appuyez sur le symbole de siège chauffant pour accéder aux divers réglages du chauffage et à la mise hors fonction. Le nombre de traits lumineux indique l'intensité du chauffage.
Nota: Après 90 minutes de fonctionnement, les sièges chauffants se désactivent. Appuyez sur le symbole de siège chauffant pour activer les sièges chauffants.
Nota : Selon les réglages du démarrage à distance, les sièges chauffants peuvent rester actifs après le démarrage à distance du véhicule. Les sièges chauffants peuvent aussi s'activer au démarrage du véhicule s'il s'était activés à la dernière coupure du contact.

Avertissement: les personnes
insensibles aux douleurs cutanées en raison de l'âge, d'une maladie chronique, du diabète, d'une blessure à la moelle épinière, de consommation de médicaments ou d'alcool, d'épuisement
ou d'une autre pathologie doit utiliser le siège chauffant avec prudence. Le siège chauffant peut causer des brûlures, même à basse température, surtout s'il est utilisé pendant de longues périodes. Ne placez aucun objet qui offre une isolation contre la chaleur sur le siège (tel qu'une couverture ou un coussin), car le siège chauffant pourrait surchauffer. N'enforcez pas d'épingles, d'aiguilles ni d'autres objets pointus dans le siège, sous peine d'endommager les éléments chauffants et de provoquer une surchauffe du siège. Un siège surchauffé pourrait causer de graves blessures.
Respectez les consignes suivantes :
- Ne placez un objet lourd sur le siège.
- N'activez pas l'élément chauffant du siège si de l'eau ou un autre liquide a été renversé sur le siège. Laissez le siège sécher complètement.
Note: Les sièges chauffants ne fonctionnent que lorsque le moteur tourne.
Les commandes de chauffage des sièges arrière se trouvent à l'arrière de la console centrale.
E146322
Appuyez sur le symbole de siège chauffant pour accéder aux divers réglages du chauffage et à la mise hors fonction. Le nombre de traits lumineux indique l'intensité du chauffage.
SIÉGES À RÉGULATION DE TEMPERATURE (SELON L'ÉQUIPEMENT)
Sièges chauffants
AVERTISSEMENT: Faites attention lorsque vous utilisez le siège chauffant si vous êtes insensible aux douleurs cutanées en raison de l'âge, d'une maladie chronique, du diabète, d'une blessure à la moelle épinière, d'un traitement médicamenteux, d'une consommation d'alcool, d'épuisement ou d'autres circonstances. Le siège chauffant pourrait causer des brûlures, même à basse température, surtout s'il est utilisé pendant de longues périodes. Le non-respect de ces précautions accroît les risques de blessures.

Avertissement: net transpercez
pas l'assise de siège ou le dossier de siège avec un objet pointu. Vous pourriez ainsi endommager l'élément chauffant, et causer la surchauffe du siège chauffant. Le non-respect de ces précautions accroît les risques de blessures.

Avertissement: ne placez sur le
AVERTISSEMENT: Ne placez sur le siège aucun objet susceptible de bloquer la chaleur, tel qu'une couverture ou un coussin. Cela pourrait entraîner la surchauffe du siège. Le non-respect de ces précautions accroît les risques de blessures.
Nota: Si cette fonction est activée, les sièges chauffants s'activent lors d'un démarrage à distance. Voir Démarrage à distance (page 176).
Nota : Les sièges chauffants peuvent aussi s’activer lorsque vous faites démarrer le moteur, s’ils l’étaient déjà la dernière fois que vous avez coupé le contact.
Nota : Respectez les consignes suivantes :
- Ne placez aucun objet lourd sur le siège.
- N'activez pas le siège chauffant si de l'eau ou un autre liquide a été renversé sur le siège. Laissez le siège sécher complètement.

E146322
Appuyez sur ce symbole pour accéder aux différents réglages de chauffage ou pour le désactiver. Le nombre de traits lumineux indique l'intensité de chauffage du siège.
Sièges à régulation de température automatique (selon l'équipement)
Lorsque vous activez le réglage automatique, les sièges à régulation de température passent du mode sièges chauffants au mode sièges ventilés en fonction du réglage du système.
Sièges ventilés
Note: Si cette fonction est activée, les sièges ventilés s'activent lors d'un démarrage à distance. Voir Démarrage à distance (page 176).
Nota: Les sièges ventilés peuvent aussi s'activer lorsque vous faites démarrer le moteur, s'il s'était déjà la dernière fois que vous avez coupé le contact.
Nota: Respectez les consignes suivantes :
- Ne renversez pas de liquide sur les sièges avant. Cela peut causer un blocage des ouïes de ventilation et un mauvais fonctionnement.
- Ne placez pas d'objets sous les sièges. Ils peuvent bloquer l'entrée d'air et créer un mauvais fonctionnement des ouïes de ventilation.
Les sièges ventilés fonctionnent uniquement lorsque le moteur tourne.

E224689
Appuyez sur ce symbole pour accéder aux différents réglages de ventilation ou pour la désactiver. Le nombre de traits lumineux indique l'intensité de ventilation du siège.
Si le régime du moteur chute sous les 350 tr/min et que les sièges ventilés sont activés, ils se désactivent automatiquement. Vous devrez alors les réactiver.
Sièges à régulation de température automatique (selon l'équipement)
Lorsque vous activez le réglage automatique, les sièges à régulation de température passent du mode sièges chauffants au mode sièges ventilés en fonction du réglage du système.
Ouvre-porte de GARAGE universel (SELON l'équipement)
Système de commande sans fil d'ouvre-porte de garage universel HomeLink

AVERTISSEMENT: N'utilisez pas le
système avec un ouvre-porte de garage qui n'est pas muni de la fonction d'arrêt et d'inversion de course tel que l'exigent les normes de sécurité fédérales américaines (ceci comprend tous les ouvre-portes de garage fabriqués avant le 1er avril 1982). Un ouvre-porte de garage qui ne peut pas détecter la présence d'un objet pour ensuite s'arrêter et inverser sa course ne satisfait pas aux normes de sécurité fédérales américaines actuelles. L'utilisation d'un ouvre-porte de garage sans ces fonctions augmente le risque de blessures graves, voire mortelles.
Nota: Assurez-vous qu'aucun obstacle ne se trouve près de la porte de garage ou du dispositif de sécurité lorsque vous effectuez la programmation. Ne programmez pas le système lorsque le véhicule se trouve dans le garage.
Nota: Assurez-vous de conserver la télécommande d'origine afin de l'utiliser dans d'autres véhicules ou pour une programmation ultérieure du système.
Nota : Nous recommandons, au moment de la vente ou de la résiliation du bail de votre véhicule, d'effacer les fonctions programmées par mesure de sécurité. Voir Effacement des codes des boutons de fonction plus loin dans ce chapitre.
Nota : Vous pouvez programmer jusqu'à trois dispositifs. Si vous devez remplacer un des trois dispositifs déjà programmés, vous devez d'abord effacer les réglages actuels. Voir Effacement des codes des boutons de fonction
E188211
L'ouvre-porte de garage universel remplace la télécommande portative classique par un émetteur à trois boutons intégré au pare-brise du conducteur.
Le système comprend deux composants principaux : un ouvre-porte de garage et une plateforme pour activer à distance les dispositifs de votre domicile. Vous pouvez programmer les portes de garage, les portails d'entrée, les systèmes de sécurité, les serrures de porte d'entrée et l'éclairage domestique ou de bureau.
Ouvre-porte de garage
Vous pouvez obtenir plus de renseignements sur le système en visitant le site Web www.homelink.com ou www.youtube.com/user/HomeLinkGentex, ou en communiquant avec la ligne d'aide au numéro sans frais 1-800-355-3515.
Programmation à bord
Ce processus permet de programmer le bouton de l'ouvre-porte de garage universal HomeLink dans le véhicule au moyen de la télécommande portative.
Note: La procédure de programmation ci-après suppose que vous allez effectuer une programmation HomeLink entière nouvelle. Si votre ouvre-porte de garage universal HomeLink a déjà été programmé, vous aurez peut-être besoin d'effacer la programmation de vos boutons HomeLink. Voir Effacement des codes des boutons de fonction.
Note: Insérez une pile neuve dans la télécommande portative. Cela accélère l'apprentissage et assure une transmission plus précise du signal radiofréquence.
E188212
- Notre véhicule étant stationné hors du garage, établissez le contact, sans toutefois démarrer votre véhicule.
- Appuyez brièvement sur le bouton de fonction que vous souhaitez programmer.
- Tenez la télécommande portative de porte de garage à 2-8 cm (1-3 po) du bouton HomeLink que vous souhaitez programmer.
- Maintenez enfoncé le bouton de la télécommande portative que vous désirez programmer tout en observant le témoignage de l'ouvre-porte de garage universel HomeLink. Maintenez le bouton enfoncé jusqu'à ce que le témoignage de l'ouvre-porte de garage universel HomeLink clignote rapidement ou reste allumé.
Note : Vous devrez éventuellement utiliser une méthode différente si vous résidez au Canada ou si vous rencontrez des difficultés pour programmer votre ouvre-portail ou votre ouvre-porte de garage. Voir
Ouverture-portail / Programmation au Canada.
- Appuyez sur le bouton HomeLink programmand pendant deux secondes, puis relâchez-le. Vous devrez peut-être exécuter cette opération deux fois pour activer la porte. Si votre porte de garage ne fonctionne pas, observez le témoin d'ouvre-porte de garage universel HomeLink.
Si le témoin reste allumé, la programmation est terminée. Notre dispositif devrait s'activer après un bref appui sur le bouton HomeLink.
Si le témoin clignote rapidement, maintenez le bouton HomeLink programmé enfoncé pendant deux secondes. Répétez la série "appuyer/maintenir/relâcher" jusqu'à trois fois pour terminer le processus de programmation. Si votre dispositif ne fonctionne toujours pas, vous devez programmer votre ouvre-porte de garage. Voir Programmation du moteur de votre ouvre-porte de garage.
Pour programmer des boutons supplémentaires, répétez les étapes 1 à 4.
Pour plus de renseignements ou des commentaires sur le système, visitez le site Web www.homelink.com ou www.youtube.com/user/HomeLinkGentex, ou communiquez avec la ligne d'aide au numéro sans frais 1-800-355-3515.
Programmation du moteur de votre ouvre-porte de garage
Note: Vous aurez peut-être besoin d'une échelle pour atteindre l'appareil et vous devrez peut-être retirer le couvercle ou la lentille de la lampe de votre ouvre-porte de garage.
E142659
- Appuyez sur le bouton d'apprentissage du moteur de l'ouvre-porte de garage, puis effectuez les deux étapes suivantes dans les 30 secondes.
- Retournez à votre véhicule.
E188212
- Appuyez sur le bouton de fonction à programme pendant 2 secondes. Répétez cette opération. Pour certaines marques de portes de garage, vous devrez répéter cette séquence une troisième fois.
Ouvre-portail / programmation au canada
Les lois canadiennes sur les radiofréquences exigent que les signaux de la télécommande s'interrompent au bout de plusieurs secondes d'émission, ce qui peut être trop court pour permettre au système HomeLink de détecter le signal durant la programmation. Tout comme cette loi canadienne, certains dispositifs d'ouverture de portail américain sont conçus pour s'arrêter de la même manière.
Nota: Si vous programmez un ouvre-porte de garage ou un ouvre-portail, il est recommandé de débrancher le dispositif pendant la procédure de "mise en fonction et hors fonction" pour éviter qu'il ne surchauffe.
Ouvre-porte de garage
- Appuyez brièvement, toutes les deux secondes, sur le bouton de votre télécommande jusqu'à ce que le témoin HomeLink se mette à clignoter rapidement ou reste allumé.
- Relâchez le bouton de la télécommande.
- Poursuivez la programmation du système HomeLink. Voir Programmation à bord, Étape 4.
Effacement des codes des boutons de fonction
Note : Vous ne pouvez pas effacer la programmation de boutons individuels.
E188213
- Appuyez simultanément sur les deux boutons de fonction extérieurs pendant approximativement 10 secondes jusqu'à ce que le témoin au-dessus des boutons clignote rapidement.
- Relâchez les boutons lorsque le témoin clignote. Vous avez effacé les codes de tous les boutons.
Reprogrammation d'un seul bouton
Suivez les étapes ci-dessous pour programmer un dispositif sur un bouton déjà programmé:
- Appuyez de manière prolongée sur le bouton voulu. NE relâchez PAS le bouton.
- Le témoin commence à clignoter après 20 secondes. Sans relâcher le bouton, suivez l'étape 1 de la section Programmation.
Pour plus de renseignements ou des commentaires sur le système, visitez le site Web www.homelink.com ou www.youtube.com/user/HomeLinkGentex, ou communiquez avec la ligne d'aide au numéro sans frais 1-800-355-3515.
Conformité à la réglementation de la FCC et aux normes rss-210 d'industrie canada
Ce dispositif est conforme aux normes de la section 15 des règles de la FCC des États-Unis et aux normes RSS-210 d'Industrie Canada. L'utilisation est soumise aux deux conditions suivantes : (1) Ce dispositif ne doit causer aucune interférence nuisible et (2) il doit accepter toutes les interférences, y compris celles qui peuvent l'activer de façon inopinée.

AVERTISSEMENT: Tout changement
Apporté au dispositif sans l'approbation expresse de la partie responsable de la conformité peut révoquer le droit de l'utilisateur d'en faire usage. Le terme "IC" avant le numéro de certification radio signifie seulement que les normes techniques d'Industrie Canada ont été respectées.
Cet équipement est conforme aux limites d'exposition aux rayonnements définies par la FCC pour un environnement non contrôlé. L'utilisateur final doit observer les instructions d'utilisation spécifiques pour respecter les normes d'exposition aux radiofréquences. Cette télécommande doit se trouver à au moins 20 cm (8 po) de l'utilisateur et ne doit pas être située au même endroit ou fonctionner conjointement avec une autre antenne ou télécommande.
Le terme "IC" avant le numéro de certification/enregistrement signifie seulement que les normes techniques d'Industrie Canada ont été respectées.
Prise de courant de 12 v c. c.

AVERTISSEMENT: Ne branchez pas
un accessoire électrique optionnel dans la prise d'allume-cigares. Une utilisation inappropriée de l'allume-cigares peut provoquer des dommages qui ne seront pas couverts par la garantie, et qui peuvent causer un incendie ou des blessures graves.
Nota: Lorsque vous établissez le contact, vous pouvez utiliser la prise pour alimenter des appareils 12 volts d'une intensité nominale maximale de 15 A.
Nota: Si la prise de courant ne fonctionne pas après avoir coupé le contact, établissez le contact.
Nota: Ne suspendez aucun accessoire à la fiche d'alimentation des accessoires.
Nota: Ne dépassez pas la capacité de la prise de courant du véhicule, de 12 volts c.c. ou 180 watts, au risque de faire griller un fusible.
Nota: Laissez toujours le couvercle de la prise de courant en place lorsque la prise est inutilisée.
N'insérez aucun objet autre qu'une fiche d'accessoire dans la prise de courant. Cela endommage la prise de courant et pourrait faire griller le fusible.
Faites fonctionner le moteur lorsque la prise de courant est utilisée à sa pleine capacité.
Pour éviter une décharge de la batterie :
- N'utilisez pas la prise de courant plus longtemps que nécessaire lorsque le véhicule n'est pas en marche.
- Ne laissez pas d'appareils branchés pendant la nuit ou lorsque le véhicule est stationné pendant de longues périodes.
Localisation de la prise de courant et du port USB
Les ports USB et les prises de courant peuvent être situés aux endroits suivants :
Sur la planche de bord inférieure. - Dans la console centrale. - À l'avant de la console centrale.
- Dans l'aire de chargement.
- Sur le panneau de plancher côté passager. 3ème rangée sur les panneaux de garniture de custode.
Note: Certains des ports USB peuvent ne pas avoir les capacités de transfert des données.
Note: Une utilisation incorrecte des ports USB peut entraîner des dommages ne relevant pas de la garantie du véhicule.
Prise de courant de 110 volts c. a.

AVERTISSEMENT: Ne laissez pas un câble électrique branché dans la prise pendant lorsqu'il n'est pas utilisé. Nechez aucune rallonge sur la prise de 110 V c. a., car vous annulerez l'action de sécurité. L'utilisation d'une tige, qui pourrait alimenter l'automatiquement plusieurs appareils, serait de surcharger la prise dont la est de 150 W et de causer un incendie ou de graves blessures.
Note: La prise de courant se désactive lorsque vous coupez le contact, quand le véhicule n'est pas en mode accessoire ou lorsque la tension de la batterie baisse en dessous de 11 volts.
Vous pouvez utiliser la prise de courant pour les appareils électriques nécessitant jusqu'à 150 watts de puissance. Elle se trouve à l'arrière de la console centrale.
E247586
Lorsque le témoin sur la prise de courant est :
- Allumé : la prise de courant est sous tension, le contact est établi ou le véhicule est en mode accessoire.
- Éteint : la prise de courant est hors tension, le contact est coupé ou le véhicule n'est pas en mode accessoire.
- Clignotant : la prise de courant est en mode de défaillance.
Plusieurs technologies étant utilisées sur ce modèle, certains appareils peuvent dépasser la capacité indiquée sur leurs étiquettes lors du premier branchement.
La prise de courant interrompt temporairement l'alimentation en mode de défaillance si l'appareil dépasse la limite des 150 watts. Débranchez l'appareil et coupez le contact. Rétablissez le contact, mais ne rebranchez pas l'appareil. Laissez le système refroidir et coupez le contact pour réinitialiser le mode de défaillance. Rétablissez le contact et assurez-vous que le témoin reste allumé.
N'utilisez pas la prise de courant pour certains appareils électriques, notamment :
- Télévision à tube cathodique. Appareils à moteur tels qu'un aspirateur, une scie électrique ou autre outil, ou un réfrigérateur à compresseur. Appareils de mesure qui traitent des données précises, comme un dispositif médical ou un instrument de mesure.
- Autres appareils qui nécessitent une alimentation extrêmement stable, par exemple une couverture électrique commandée par microprocesseur ou une lampe à capteur tactile.
CHARGE D'accessions sans FIL (SELON l'équipement)

AVERTISSEMENT: Les appareils de ce sans fil peuvent avoir une incidence relative sur le fonctionnement des appareils médicaux implantés, y compris simulateurs cardiaques. Si vous avez un appareil médical implanté, nous vous commandons de consulter votre médecin.
Nota: Les appareils sans récepteur de charge sans fil Qi doivent avoir un manchon ou un récepteur Qi supplémentaire.
Nota: Le rendement de charge d'un appareil compatible à charge sans fil Qi intégrée peut être réduit si celui-ci se trouve dans un étui. Il peut être nécessaire de retirer l'étui pour charger l'appareil sans fil.
Le système prend en charge les appareils de charge sans fil compatibles Qi dans la zone de charge.
Maintenez la zone de charge propre et retirez les corps étrangers avant de charger un appareil.
Pendant le chargement d'un appareil, ne placez pas d'éléments avec bande magnétique, par exemple, un passeport, des tickets de stationnement ou des cartes de crédit à côté de la zone de charge. La bande magnétique pourrait être endommagée.
Pendant le chargement d'un appareil, ne placez pas d'objets métalliques, par exemple, des télécommandes, des pièces et des papiers de bonbons dans la zone de charge ou à côté. Les objets métalliques peuvent chauffer et limiter les performances du chargement.
Note: Le taux (ou la puissance) de charge est contrôlé par l'appareil. Durant le cycle de charge, il est normal que l'appareil et le chargeur deviennent chauds. Si la batterie devient plus chaude qu'à la normale, le chargeur peut suspendre la charge.

La zone de charge se trouve sur la console centrale ou la planche de bord inférieure.
Vous pouvez charger un appareil compatible si le contact est établi, si le contact est en mode accessoire ou si le système SYNC est activé.
Pour commencer la charge, placez l'appareil au centre de la surface de charge avec le côté chargement vers le bas. La charge s'arrête une fois que l'appareil est complètement chargé.
Nota: Si le système détecte un corps étranger ou si l'appareil est mal aligné sur la zone de charge, un message s'affiche.
Nota: Les mises à jour de logiciels ou du micrologiciel peuvent influer sur la compatibilité des appareils, y compris l'utilisation d'un micrologiciel ou de logiciels non officiers. Les clients devraient vérifier la fonction de charge dans le véhicule avec leur appareil.
| Message | Comportement | Description |
| Chargeur sans fil actif | Affichage d'un message ou d'une fenêtre contextuelle. | Ce message s'affiche au début du cycle de charge sans fil. |
| Recharge interrompue Téléphone mal aligné ou objet détecté entre le téléphone et le chargeur. Corrigez le tout pour continuer la recharge. | Fenêtre contextuelle. | Le système arrêté de charger l'appareil s'il détecte que le téléphone est mal aligné, ou qu'un corps étranger en métal se trouve sur la surface de charge. |
Identifiant du FCC: L2C0074TR
Canada: 3432A-0074TR
Cet appareil a été vérifié et s'est révélé conforme à la section 18 des règlements de la FCC.
- Cet appareil génère, utilise et peut émettre de l'énergie de fréquence radio. Il peut causer des interférences nuisibles aux communications radio. Il n'est cependant pas garanti contactez votre concessionnaire.
- Ce produit ne peut pas être entretenu par l'utilisateur final.
Cet appareil contient un ou plusieurs émetteurs/récepteurs sans licence conformes aux normes RSS sans licence de Sciences et développement économique Canada. Son utilisation est soumise aux deux conditions suivantes :
- Ce dispositif ne doit pas causer d'interférences.
- Ce dispositif doit accepter toutes les interférences reçues, y compris celles qui pourraient l'activer inopinément.
Console de pavillon

Appuyez près du rebord arrêté du volet pour l'ouvrir.

Avertissement: un ralenti
prolongé à régime élevé peut produire des températures très élevées dans le moteur et le système d'échappement, ce qui crée des risques d'incendie ou d'autres dommages.

Avertissement: ne vous
stationnez pas, ne faites pas tourner le moteur au ralenti et ne conduisez pas votre véhicule sur du gazon sec ou tout autre revêtement de sol sec. Les dispositifs antipollution réchauffent le compartiment moteur et le système d'échappement, créant un risque d'incendie.

Avertissement: ne démarrez
jamais le moteur dans un garage fermé ou un autre endroit clos. Les gaz d'échappement peuvent être toxiques. Ouvrez toujours la porte du garage avant de démarrer le moteur.

Avertissement: des fuites
d'échappement peuvent entraîner la pénétration de gaz nocifs, voire mortels, dans l'habitacle. Si vous décelez une odeur de gaz d'échappement dans l'habitacle, faites immédiatement vérifier votre véhicule. Ne conduisez pas votre véhicule si vous percevez des gaz d'échappement.
Si la batterie est débranchée, votre véhicule peut manifester des caractéristiques inhabituelles de conduite pendant environ 8 km (5 mi) après le branchement de la batterie. Le système de gestion du moteur doit s'harmoniser de nouveau avec le moteur. Vous pouvez ignorer les comportements inhabituels durant cette période.
Le système de commande du groupe motopropulseur respecte toutes les normes canadiennes relatives aux appareils causant de l'interférence qui réglementent les champs électriques ou les bruits radioélectriques.
Lorsque vous démarrez le moteur, n'appuyez pas sur l'accélérateur avant ou pendant le démarrage. Utilisez l'accélérateur seulement lorsque le démarrage du moteur s'avère difficile.
Démarrage sans clé
Note: Le système de démarrage sans clé pourrait ne pas fonctionner si la clé se trouve près d'objets métalliques ou d'appareils électroniques comme des téléphones cellulaires.
Note: Une clé valide doit se trouver dans le véhicule pour établir le contact et démarrer le moteur.
Modes d'allumage

Le système de démarrage sans clé offre trois modes :
Hors fonction : Le contact est coupé.
- Sans enfoncer la pédale de frein, appuyez brièvement sur le bouton une fois que l'allumage est en mode contact ou lorsque le moteur tourne mais que le véhicule ne se déplace pas.
Activé : Tous les circuits électriques sont fonctionnels et les témoins et indicateurs s'allument.
- Appuyez brièvement sur le bouton une fois sans enforcer la pédale de frein.
Note: Il sera peut-être nécessaire d'appuyer sur le bouton-poussoir de démarrage deux fois pour établir le contact.
Démarrage : Démarrez le moteur.
- Enfoncez la pédale de frein puis appuyez sur le bouton (peu importe la durée). Un témoin s'allume sur le bouton lorsque le contact est établi et le moteur démarre.
Démarrage d'un moteur à essence
Au démarrage du moteur, l'augmentation du régime de ralenti contribue à réchauffer le moteur. Si le régime de ralenti du moteur ne diminue pas automatiquement, faites vérifier votre véhicule par un concessionnaire autorisé.
Note: Si votre véhicule est équipé d'un démarreur à distance, vous pouvez le démarrer au moyen de la télécommande, puis commencer à rouler en appuyant sur la pédale de frein et en actionnant un bouton sur la boîte de vitesses. Cela vous permet de commencer à rouler sans avoir à appuyer sur le bouton-poussoir de démarrage.
Avant le démarrage, vérifie ce qui suit :
Assurez-vous que tous les occupants ont bouclé leur ceinture de sécurité. Assurez-vous que les phares et tous les accessoires électriques du véhicule sont hors tension. Assurez-vous que le frein de stationnement est serré. - Mettez la boîte de vitesses en position de stationnement (P).
Note: N'enforcez pas la pédale d'accélérateur.
- Enlevez complètement la pédale de frein.
- Appuyez sur le bouton.
Démarrage et arrêt du moteur
Le système ne fonctionne pas dans les cas suivants :
Les fréquences de la clé sont brouillées. La pile de la clé est à plat.
Si vous ne parvenez pas à démarrer le moteur, procédez comme suit :

- Ouvrez le couvercle de la console centrale.
- Glissez la télécommande dans la fente de secours.
- Avec la clé dans cette fente, enfoncez la pédale de frein et utilisez le bouton-poussoir de démarrage pour établir le contact et faire démarrer le moteur.
Redémarrage rapide
La fonction de redémarrage rapide permet de redémarrer le moteur dans les 20 secondes après la coupure du contact, même si aucune clé valide ne se trouve à proximité.
Dans les 20 secondes après la coupure du moteur, enfoncez la pédale de frein et appuyez sur le bouton de démarrage. À l'expiration des 20 secondes, vous ne pourrez plus redémarrer le moteur sans que la clé se trouve dans le véhicule.
Lorsque le moteur a démarré, il tourne tant que vous maintenez le bouton de démarrage enfoncé, même si le système ne détecte aucune clé valide. Si vous ouvrez et fermez une porte lorsque le moteur tourne, le système cherche une clé valide. Vous ne pouvez pas redémarrer le moteur si le système ne détecte aucune clé valide dans les 20 secondes.
Véhicules utilisant un téléphone en tant que clé
Note: N'enforcez pas la pédale d'accélérateur.
Note: Votre téléphone en tant que clé doit se couvrir dans le véhicule afin de sortir la boîte de vitesses de la position de stationnement (P).
- Appuyez à fond sur la pédale de frein.
- Appuyez sur le bouton-poussoir de démarrage.
Le système ne fonctionne pas dans les cas suivants :
- Les fréquences de téléphone compatible Bluetooth sont brouillées. La batterie du téléphone en tant que clé est faible ou déchargée.
Démarrage impossible
Si le moteur ne démarre pas après trois tentatives, attendez 10 secondes et procédez comme suit :
- Enfoncez complètement la pédale de frein.
- Serrez le frein de stationnement.
- Passez à la position de stationnement (P).
- Enfoncez complètement la pédale d'accélérateur et maintenez-la dans cette position.
- Tournez la clé en position III et attendez que le moteur s'arrête.
- Relâchez la pédale d'accélérateur.
- Actionnez le démarreur.
Note: Vous pouvez lancer le moteur durant 60 secondes au total (sans que le moteur démarre) avant que le système de démarrage passe temporairement hors fonction. Les 60 secondes ne doivent pas nécessairement s'écouler en une seule série. Par exemple, si vous actionnez le démarreur trois fois durant 20 secondes à chaque fois, sans que le moteur ne démarre, vous avez atteint la limite de 60 secondes. Un message apparait à l'écran d'information pour signaler que vous avez dépassé la durée autorisée de lancement du moteur. Vous ne pouvez plus essayer de démarrer le moteur pendant au moins 15 minutes. Après 15 minutes, vous êtes limité à une période de lancement du moteur de 15 secondes. Vous devez attendre 60 minutes avant de lancer le moteur durant 60 secondes de nouveau.
Arrêt automatique du moteur
Si votre véhicule est équipé du démarrage sans clé, une fonction coupe automatiquement le moteur s'il a tourné au ralenti durant une période prolongée. Le contact est également coupé pour éviter de décharger la batterie. L'écran d'information affiche un compte à rebours de 30 secondes avant l'arrêt du moteur. Si vous n'intervenez pas dans les 30 secondes, le moteur s'arrête. L'écran d'information affiche un autre message vous signalant que le moteur a été arrêté pour économiser le carburant. Démarrez le moteur comme d'habitude.
Désactivation de la fonction d'arrêt automatique du moteur
Note: Vous ne pouvez pas désactiver de façon permanente la fonction d'arrêt automatique du moteur. Lorsque vous désactivez la fonction temporairement, elle se réactive au prochain cycle d'allumage.
Vous pouvez interrompre l'arrêt du moteur ou remettre la minuterie à zéro en tout temps avant l'expiration de la période de 30 secondes de la façon suivante :
- Vous pouvez remettre la minuterie à zéro en interagissant avec votre véhicule (en enfonçant la pédale de frein ou la pédale d'accélérateur).
- Vous pouvez désactiver temporairement la fonction d'arrêt automatique lorsque le contact est établi (durant le cycle d'allumage courant seulement). Pour ce faire, utilisez l'écran d'information. Voir Affichage d'information (page 140).
- Pendant le compte à rebours qui précède l'arrêt du moteur, le système vous invite à sélectionner les options OK ou RESET (selon le type d'écran de votre véhicule) pour désactiver temporairement cette fonction (durant le cycle d'allumage courant seulement).
Arrêt du moteur lorsque votre véhicule est immobile
- Mettez la boîte de vitesses en position de stationnement (P).
- Appuyez une fois sur le bouton.
- Serrez le frein de stationnement.
Nota : Cela coupe le contact, met les circuits électriques hors tension et éteint les témoins.
Nota: Si le moteur tourne pendant 30 minutes, le contact et le moteur sont automatiquement coupés.
Véhicules utilisant un téléphone en tant que clé
- Passez à la position de stationnement (P).
- Appuyez sur le bouton-poussoir de démarrage.
- Serrez le frein de stationnement.
Nota: Cela entraîne la coupure du contact, la mise hors tension de tous les circuits électriques et l'extinction de tous les témoins et indicateurs.
Nota: Si le moteur tourne pendant 30 minutes, le contact et le moteur sont automatiquement coupés.

Avertissement: si vous coupez
le moteur pendant que le véhicule est en mouvement, vous perdez largement l'assistance au freinage. Des efforts importants sont nécessaires pour freiner et immobiliser le véhicule. La performance de la direction assistée serait considérablement réduite. La direction n'est pas verrouillée, mais un effort supérieur pourrait être nécessaire pour diriger le véhicule. Lorsque le contact est coupé, certains circuits électriques peuvent être hors fonction, p. ex., des sacs gonflables. Si le contact a été coupé accidentellement, placez le levier sélecteur en position de point mort (N) et faites redémarrer le moteur.
- Placez le levier sélecteur en position point mort (N) et utilisez les freins pour immobiliser le véhicule.
- Une fois le véhicule immobilisé, placez le levier sélecteur en position de stationnement (P).
- Appuyez sur le bouton et maintenez-le enfoncé pendant une seconde, ou appuyez sur le bouton trois fois en deux secondes.
- Serrez le frein de stationnement.
Véhicules utilisant un téléphone en tant que clé
- Passez en position de point mort (N) et utilisez la pédale de frein pour immobiliser le véhicule en toute sécurité.
- Lorsque vous véhicule s'est immobilisé, passez à la position de stationnement (P).
- Appuyez sur le bouton-poussoir de démar rage et maintenez-le enfoncé, ou enfoncé-le trois fois en deux secondes.
- Serrez le frein de stationnement.

Avertissement: des fuites à
l'échappement pourraient entraîner l'infiltration de gaz nocifs ou mortels dans l'habitacle. Si vous décelez une odeur de gaz d'échappement dans l'habitacle, faites vérifier votre véhicule dès que possible. Ne conduisez pas votre véhicule si vous percevez une odeur de gaz d'échappement.
Information importante concernant la ventilation
Si vous arrêtez le véhicule et laissez tourner le moteur au ralenti durant une longue période, nous vous recommandons de prendre une des mesures suivantes :
Ouvrez les glaces d'au moins 2,5 cm (1 po). - Réglez la commande de chauffage et de climatisation pour admettre l'air extérieur.
Chauffe-moteur (SELON l'équipement)

AVERTISSEMENT: Le non-respect des directives concernant le chauffe-moteur peut provoquer des dommages matériels ou des blessures.

AVERTISSEMENT: Ne branchez
Jamais votre chauffe-moteur sur un circuit électrique qui n'est pas mis à la terre ou à l'aide d'un adaptateur bipolaire. Cela pourrait provoquer un choc électrique.

AVERTISSEMENT: Ne fermez pas l'entrée le capot et ne le laïsez pas faber sous son propre poids lorsqu'un chauffe-moteur est en cours d'utilisation. Il pourrait endommager le cable alimentation et provoquer un court-circuit, vigné d'un incendie, de blessures ou dommages matériels.
Note: Le chauffe-moteur est plus efficace lorsque la température extérieure est inférieure à -18°C (0°F).
Le chauffe-moteur facilite le démarrage en réchauffant le liquide de refroidissement du moteur. Le système de chauffage-climatisation devient ainsi efficace plus rapidement. L'équipement comprend un élément chauffant, installé dans le bloc-moteur, et un faisceau de câblage. Vous pouvez brancher le système sur une source électrique de 120 volts c.a. mise à la terre.
Nous vous recommandons de respecter les mesures suivantes pour utiliser correctement le chauffe-moteur en toute sécurité :
- Servez-vous d’une rallonge électrique de calibre 16 certifiée par le laboratoire habilité à délivrer un certificat de conformité aux normes exigées (UL) ou l’Association canadienne de normalisation (CSA). Cette rallonge électrique doit être conçue pour être utilisée à l’extérieur et par temps froid,
puis porter la mention Approuvée pour usage extérieur. Ne vous servez pas d'une rallonge électrique conçue pour l'intérieur à l'extérieur. Cela pourrait causer un choc électrique ou présenter un risque d'incendie.
- Choisissez une rallonge aussi courte que possible.
- N'utilisez pas de rallonges multiples. Assurez-vous, lorsque la rallonge est en fonction, que le point de branchement entre la rallonge et le chauffe-moteur est dégagé et exempt d'eau. Cela pourrait causer un choc électrique ou un risque d'incendie.
- Si le cordon du chauffe-moteur est situé sous le capot, ne retirez pas le câblage de son emplacement d'origine. Ne fermez pas le capot sur la rallonge. Assurez-vous que votre véhicule est stationné dans un endroit propre qui ne compte aucune matière combustible. Assurez-vous que le chauffe-moteur, le cordon du chauffe-moteur et la rallonge sont fermement branchés.
Lorsque le système a été en fonction depuis plus de 30 minutes, vérifiez si les points de branchement sont chauds. Veillez à débrancher et à ranger correctement le système avant de démarrer et conduire votre véhicule. Lorsque le chauffe-moteur est inutilisé, assurez-vous que le capuchon protecteur protège les prises du cordon du chauffe-moteur. Assurez-vous de faire vérifier le fonctionnement du chauffe-moteur avant l'hiver.
Utilisation du chauffe-moteur
Assurez-vous que la prise est propre et sèche avant l'utilisation. Nettoyez-la au besoin avec un chiffon sec.
Démarrage et arrêt du moteur
Le chauffe-moteur consomme de 0,4 à 1,0 kilowatt-heure d'électricité par heure d'utilisation. Le chauffe-moteur n'est pas doté d'un thermostat. Il atteint sa température maximale après environ trois heures de fonctionnement. Faire fonctionner le chauffe-moteur pendant plus de trois heures n'améliore pas le rendement du système et gaspille inutillement de l'électricité.

Avertissement: serrez toujours
fermement le frein de stationnement et assurez-vous de passer à la position de stationnement (P). Le non-respect de cette consigne pourrait entraîner des blessures graves ou mortelles.

Avertissement: avant d'ouvrir le
capot ou d'exécuter toute procédure d'entretien ou de réparation, serrez le frein de stationnement, passez à la position de stationnement (P), coupez le contact et retirez la clé. Si vous ne coupez pas le contact, le moteur pourrait redémarrer à tout moment. Le non-respect de cette consigne pourrait entraîner des blessures graves ou mortelles.

Avertissement: lorsque le témoin
Auto-Start-Stop s'allume en vert ou clignote en jaune, un redémarrage automatique du moteur peut s'avérer nécessaire. Le fait de ne pas tenir compte de ces précautions accroît les risques de blessures.
Le système contribue à réduire la consommation de carburant en coupant et en redémarrant automatiquement le moteur lorsque le véhicule est à l'arrêt. Le moteur redémarre automatiquement lorsque vous relâchez la pédale de frein. Dans certains cas, le moteur peut redémarrer automatiquement, par exemple :
Pour maintenir le niveau de confort de l'habitacle. Pour recharger la batterie.
Note: La direction assistée électrique se désactive lorsque le moteur est arrêté.
L'état du système Auto-Start-Stop peut être vérifié en jetant un coup d'œil à l'écran d'information. Voir Affichage d'information (page 140).
Activation du système auto-start-stop
Le système est automatiquement activé à chaque démarrage du véhicule si les conditions suivantes sont réunies :
Le bouton Auto-Start-Stop n'est pas enfoncé (feu du bouton éteint). Le véhicule dépasse une vitesse initiale de 5 km/h (3 mph) après le premier démarrage. Le véhicule est arrêté. - Notre pied est sur la pédale de frein. La boîte de vitesses est en position de marche avant (D). La porte du conducteur est fermée. La dépression du circuit de freinage est ajustée. L'habitacle a été refroidi ou réchauffé à un niveau de confort acceptable. La fonction de dégivrage de pare-brise est désactivée. Le volant de direction n'est pas tourné rapidement ou n'est pas à un angle de braquage important. Le véhicule ne se trouve pas sur une pente raide. - Les conditions de fonctionnement de la batterie sont optimales (état de charge et température de la batterie dans la plage prévue).
Caractéristiques de conduite uniques
Le liquide de refroidissement du moteur est à sa température de fonctionnement. Le véhicule n'est pas conduit en haute altitude. La température ambiantе est modérée.

Le témoin Auto-Start-Stop vert du tableau de bord s'allume pour indiquer qu'un arrêt automatique se produit.

Si le tableau de bord est équipé d'un témoin gris Auto-Start-Stop, il s'allume lorsque l'arrêt
L'automatique du moteur n'est pas disponible en raison de l'une des conditions ci-dessus qui n'est pas satisfaite.
Redémarrage automatique du moteur
L'une des conditions suivantes provoque un redémarrage automatique du moteur :
- Vous avez retiré le pied de la pédale de frein.
- Vous appuyez sur la pédale d'accélérateur.
- éhicule se déplace. Le niveau de comportement de l'habitacle ne correspond pas à celui souhaité lorsque la climatisation ou le chauffage est activé.
- Les glaces peuvent devenir embuées et la climatisation est en fonction.
- Les conditions de fonctionnement optimales de la batterie ne sont pas réunies. Le temps d'arrêt maximal du moteur est dépassé.
- Vous appuyez sur le bouton
- Auto-Start-Stop alors que le moteur s'est arrêté automatiquement. Le pare-brise chauffant est activé.
Le moteur peut démarrer automatiquement si l'une des conditions suivantes survient :
La vitesse du ventilateur est augmentée ou la température de climatisation est changée. - Un accessoire électrique est mis en marche ou branché.

Caractéristiques de conduite uniques
Appuyez sur le bouton situé sur la planche de bord pour accéder à la fonction de démarrage-arrêt automatique à l’écran tactile. Désactivez la fonction sur l’écran tactile. La fonction demeure désactivée pendant un cycle d’allumage seulement. Utilisez l’écran tactile pour rétablir la fonction de démarrage-arrêt automatique.
Consignes de sécurité

AVERTISSEMENT: Ne replissez
pas excessivement le réservoir de carburant. La pression dans un réservoir trop plein peut causer des fuites, faire gicler le carburant et causer un incendie.

AVERTISSEMENT: Le circuit
d'alimentation peut être sous pression. Si vous percevez un sifflement après l'orifice de remplissage de carburant, ne procédez pas au ravitaillement tant que le sifflement persiste. Sinon, de l'essence pourrait gicler et provoquer de graves blessures.

AVERTISSEMENT: Les carburants
peuvent causer des blessures graves ou voire mortelles s'ils sont mal utilisés ou manipulés sans prendre les précautions nécessaires.

AVERTISSEMENT: Le carburant peut
dontir du benzène, lequel est un produit cancérigène.

AVERTISSEMENT: Lorsque vous
procédez au ravitaillagement, arrêtez toujours le moteur et n’approchez aucune source possible d’étincelles ou de flammes du goulot de remplissage du réservoir de carburant. Ne fume pas et n’utilisez pas de téléphone cellulaire pendant que vous procédez au ravitaillagement. Dans certaines conditions, les vapeurs de carburant peuvent être extrêmement dangereuses. Évitez d’inhaler des vapeurs de carburant en quantité excessive.
Lors du ravitaillement, respectez les consignes suivantes :
ne fumez pas et évitez les flammes et les étincelles au moment de faire le plein; - arrêtez toujours le moteur avant de procéder au ravitaillement;
- L'ingestion de carburant automobile peut désigner des risques graves ou mortels; Les carburants sont extrêmement toxiques et peuvent, en cas d'ingestion, entraîner la mort ou causer des lésions permanentes; En cas d'ingestion, consultez immédiatement un médecin, même si les effets ne sont pas immédiatement apparents; Les effets toxiques du carburant peuvent prendre plusieurs heures avant de se manifester;
- Évitez d'inhaler des vapeurs de carburant; l'inhalation des vapeurs de carburant peut provoquer l'irritation des yeux et des voies respiratoires; l'exposition prolongée à des vapeurs de carburant peut provoquer des malaises graves et des lésions permanentes;
- faites attention à ne pas recevoir de carburant liquide dans les yeux; En cas d'éclaboussures dans vos yeux, retirez immédiatement vos verres de contact si vous en portez, rincez-vous les yeux à grande eau pendant 15 minutes et consultez un médecin; Si ces directives ne sont pas suivies, vous encourrez des risques de lésions permanentes.
Les carburants peuvent être nocifs lorsqu'ils sont absorbés par la peau; En cas d'éclaboussures sur votre peau ou vos vêtements, enlevez les vêtements souillés; lavez-vous le plus possible à l'eau et au savon; Le contact répété ou prolongé avec la peau peut provoquer de l'irritation; les personnes qui suivent un traitement antialcoolique, avec des médicaments comme "Antabuse" ou autre médicament similaire, doivent être particulièrement prudentes; L'inhalation de vapeurs de carburant peut provoquer des effets secondaires, des lésions graves ou des maladies; en cas d'effets indésirables, consultez un médecin immédiatement.
Choix du carburant approprié
E161513
Votre véhicule est conçu pour consommer de l'essence ordinaire sans plomb d'un indice minimal d'octane (R + M) / 2 de 87.
Certaines stations-service, en particulier celles situées en altitude élevée, offrent des carburants dits essence sans plomb ordinaire ayant un indice d'octane inférieur à 87. L'utilisation de ces carburants peut causer des dommages sur le moteur qui ne sont pas couverts par la garantie du véhicule.
Pour des performances optimales du véhicule et du moteur, il est recommandé d'utiliser du supercarburant avec un indice d'octane de 91 ou plus. Le gain de performances dû à l'usage de supercarburant est plus évident par temps chaud et dans d'autres conditions comme lors de la traction d'une remorque. Voir Remorquage (page 328).
Ne vous inquiétez pas de légers cognements occasionnels du moteur. Cependant, si le moteur cogne fortement alors que vous employez un carburant à l'indice d'octane recommandé, contactez un concessionnaire autorisé afin de prévenir tout dommage.
Nous recommandons le détergent Top Tier pour minimiser les dépôts du moteur et développer les performances maximales du moteur et du véhicule. Pour plus de détails, se reporter au site www.toptiergas.com.
Carburant et remplissage
Note: L'utilisation d'un type de carburant autre que celui recommandé peut endommager le groupe motopropulseur, nuire au bon fonctionnement du système antipollution, ou provoquer des pannes du moteur. Les réparations peuvent alors ne pas être couvertes par la garantie.
N'utilisez pas :
du carburant diesel ; de carburants contenant du kérosène ou de la paraffine ; de carburants contenant plus de 15% d'éthanol ou du carburant E85 ; de carburants contenant du méthanol ; - de carburant contenant des additifs à base de métal, y compris les composants à base de manganèse ; - de carburant contenant du méthylcyclopentadiényle tricarbonyle de manganèse (MMT), additif rehausseur d'octane ; carburant au plomb, l'utilisation de carburants au plomb est interdite par la loi.
L'utilisation de carburants contenant des éléments métalliques comme le méthylcyclopentadiényle tricarbonyle de manganèse (MMT), qui est un additif pour carburant à base de manganèse, nuira au rendement du moteur et affectera le dispositif antipollution.
Emplacement de l'entonnoir de remplissage de réservoir de carburant
L'entonnoir pour carburant est situé sous le couvre-plancher du coffre à bagages.
PANNE de carburant
Évitez de tomber en panne sèche car cela peut provoquer des dommages non couverts par la garantie du véhicule.
En cas de panne sèche :
- ajoutez un minimum de 5 L (1,3 gal) de carburant pour redémarrer le moteur;
- après le ravitaillement, vous devrez peut-être établir puis couper le contact plusieurs fois afin de permettre au circuit d'alimentation de pomper le carburant du réservoir au moteur; Au redémarrage, la durée de lancement est légèrement supérieure à la normale.
Note: Si votre véhicule se trouve sur une pente raide, davantage de carburant peut être nécessaire.
Remplissage d'un bidon de carburant

AVERTISSEMENT: L'écoulement de carburant dans un pistolet de distribution peut créer de l'électricité statique. Cette dernière peut provoquer incendie si vous remplissez un contenant qui n'est pas mis à la masse.
Respectez les consignes suivantes pour prévenir l'accumulation d'électricité statique, qui pourrait produire une étincelle, lors du remplissage d'un contenant qui n'est pas mis à la terre :
utilisez uniquement des bidons de carburant approuvés pour transvaser du carburant dans votre véhicule; posez le bidon par terre pour le remplir; ne remplissez pas le bidon de carburant lorsqu'il se trouve dans le véhicule (y compris dans l'aire de chargement); - lors du remplissage, gardez le pistolet de distribution d'essence en contact avec le contenant; n'utilisez pas d'objet pour bloquer la gâchette du pistolet de distribution d'essence en position de remplissage.

Avertissement: n'insérez pas
l'embout d'un bidon de carburant ou un entonnoir du commerce dans le goulot de remplissage de carburant. Vous pourriez endommager le goulot de remplissage du circuit d'alimentation ou son joint, et répandre du carburant sur le sol.

Avertissement: ne tentez pas de
forcer l'ouverture du système de remplissage sans bouchon en faisant levier ou en poussant à l'aide d'un objet quelconque. Vous pourriez endommager le système et le joint de l'orifice et causer de graves blessures.

Avertissement: ne mettez pas
au rebut du carburant dans les déchets ménagers ou dans les canalisations publiques. Déposez-les dans un centre de traitement des déchets autorisé.
Utilisez l'entonnoir de replissage fourni avec votre véhicule si vous devez compléter le réservoir de carburant au moyen d'un bidon de carburant. Voir Emplacement de l'entonnoir de replissage de réservoir de carburant (page 219).
Note: Ne vous servez pas d'un entonnoir du commerce car il peut ne pas être compatible avec le circuit d'alimentation sans bouchon et il pourrait l'endommager.
Pour ravitailler le véhicule à partir d'un bidon de carburant, procédez comme suit :
- Ouvrez complètement la trappe de carburant.
- Insérez complètement l’entonnoir du goulot de replissage d’essence dans l’orifice d’entrée du système de replissage.
Carburant et remplissage

- Ajoutez du carburant dans votre véhicule au moyen du bidon de carburant.
- Déposez l'entonnoir du goulot de remplissage d'essence.
- Fermez complètement la trappe de replissage de carburant.
- Nettoyez l'entonnoir de replissage et replacez-le dans votre véhicule ou jetez-le comme il se doit.
Note: Si vous préférez vous débarrasser de l'entonnoir, vous pouvez vous en procurer d'autres auprès d'un concessionnaire autorisé.
Ravitaillement
Vue d'ensemble du système de ravitaillement

A Trappe de remplissage de carburant. B Obturateur de goulotte de remplissage de réserve de carburant. C Tuyau de remplissage du réservoir de carburant.
Votre véhicule ne comporte pas de bouchon de replissage de réserve de carburant.
Carburant et remplissage


A Côté gauche. Pour ouvrir la trappe de carburant, appuyez brièvement au centre de son bord arrière. B Côté droit. Pour ouvrir la trappe de carburant, appuyez brièvement au centre de son bord arrière.
C Côté gauche. Tirez sur l'arrière de la trappe de replissage de carburant pour l'ouvrir. D Côté droit. Tirez sur l'arrière de la trappe de replissage de carburant pour l'ouvrir.
Remplir le réservoir de votre véhicule
AVERTISSEMENT: Lorsque vous procédez au ravitallement, arrêtez toujours le moteur et n’approchez aucune source possible d’étincelles ou de flammes du goulot de remplissage du réservoir de carburant. Ne fumez pas et n’utilisez pas de téléphone cellulaire pendant que vous procédez au ravitallement. Dans certaines conditions, les vapeurs de carburant peuvent être extrêmement dangereuses. Évitez d’inhaler des vapeurs de carburant en quantité excessive.
! AVENTISSEMENT: Le circuit d'alimentation peut etre sous pression. Si vous percevez un sifflement pres de l'orifice de replissage de carburant, ne procededaspuar ravitattement tant que le sifflement persiste. Sinon, de I'essence pourrait gicler et provoquer de graves blessures. AVERTISSEMENT: Ne tentez pas de forcer l'obturateur de goulotte de replissage de réserve de carburant. Ceci pourrait endommager le circuit d'alimentation. Tout manquement à cet égard pourrait entraîner un incendie, des blessures, voir la mort. AVERTISSEMENT: Laissez le pistolet de distribution d'essence complètement enforcé lors du ravitationnement.

Avertissement: arrêtez le
ravitonnement après la première coupure automatique du pistolet de distribution d'essence. En cas de non-respect de cette directive, la chambre d'expansion du réservoir de carburant sera remplie, ce qui pourrait entrainer un débordement du carburant.

Avertissement: Ne replissez
pas excessivement le réservoir de carburant. La pression dans un réservoir trop plein peut causer des fuites, faire gicler le carburant et causer un incendie.

Avertissement: patientez au
moins cinq secondes avant de retirer le pistolet de distribution d'essence pour permettre au carburant résiduel de s'écouler dans le réservoir.
- Ouvrez complètement la trappe de carburant.
- Sélectionnez le pistolet de pompe à carburant de votre véhicule.

- Insérez le pistolet de distribution d'essence jusqu'au premier cran sur le pistolet A. Maintenez le pistolet de pompe à carburant en appui sur le tuyau de remplissage de réservoir de carburant.

- Maintenez le pistolet de distribution d'essence en position B pendant le ravitaillement. Le fait de maintenir le pistolet de distribution d'essence en position A peut affecter le débit du carburant et fermer le pistolet avant que le réservoir de carburant soit plein.


Carburant et remplissage
- Actionnez le pistolet de distribution d'essence dans la zone indiquée.
E119081
- Une fois le plein fait, soulevez légèrement le pistolet de distribution d'essence, puis retirez-le lentement.
- Fermez complètement la trappe de remplissage de carburant.
Ne tentez pas de démarrer le moteur si vous avez rempli le réservoir avec le mauvais carburant. L'utilisation du mauvais carburant peut entraîner des dommages qui ne sont pas couverts par la garantie du véhicule. Faites immédiatement contrôler votre véhicule.
Avertissement du système de ravitaillement (selon l'équipement)
Si l'obturateur de goulotte de remplissage de réservoir de carburant ne se ferme pas totalement, un message d'avertissement s'affiche sur l'écran d'information.
Message
Vérifier goulot de remplissage carburant
Si le message s'affiche, procédez comme suit:
- Arrêtez le véhicule dès que vous pouvez le faire de façon sécuritaire, puis arrêtez le moteur.
- Passez en position de stationnement (P) ou au point mort (N).
- Serrez le frein de stationnement.
- Ouvrez complètement la trappe de carburant.
- éventuels débris pouvant générer son mouvement.
- Éliminez toute obstruction de l'obturateur de goulotte de replissage de réservoir de carburant.
- Insérez entièrement le pistolet de distribution ou l'entonnoir de replissage fourni avec votre véhicule dans le tuyau de replissage de réservoir de carburant. Voir Emplacement de l'entonnoir de replissage de réservoir de carburant (page 219). Cette opération devrait déloger les débris qui empêchent l'obturateur de goulotte de replissage de réservoir de carburant de se fermer complètement.
- Retirez le pistolet de pompe à carburant ou l'entonnoir de remplissage du tuyau de remplissage de réservoir de carburant.
- Fermez complètement la trappe de remplissage de carburant.
Nota: Le message ne s'efface pas immédiatement. Si un témoin reste allumé et le message affiché, faites vérifier votre véhicule le plus tôt possible.
Capacité annihilée
La capacité annihilée correspond à la quantité de carburant maximum que vous pouvez ajouter au réservoir de carburant lorsque la jauge de carburant indique qu'il est vide. Voir Capacités et spécifications (page 444).
De plus, le réservoir de carburant comprend une réserve à vide. La réserve à vide correspond à une quantité de carburant non précisée qui demeure dans le réservoir de carburant lorsque la jauge de carburant indique que le réservoir est vide.
Note: Le volume de carburant de la réserve à vide varie et vous ne devez pas vous y fier pour prolonger l'autonomie.
Remplissage du réservoir de carburant
Pour obtenir des résultats fiables lors du ravitaillement :
Coupez le contact avant de remplir le réservoir de carburant, car la lecture sera erronée si le moteur est en marche. - Remplissez le réservoir au même débit de remplissage (lent, moyen ou rapide) chaque fois que vous faites le plein. - Limitez à un nombre de déclenchements automatiques du pistolet lors du remplissage.
Les résultats sont plus précis si vous êtes constant dans votre manière de faire le plein.
Calcul de la consommation de carburant
Votre véhicule calcule les données de consommation de carburant par le biais de la fonction de consommation de carburant moyenne de l'ordinateur de bord. Voir Affichage d'information (page 140).
Les premiers 1500 km (1000 mi) de conduite constituent la période de rodage du moteur. Vous obtiendrez des résultats plus précis après 3000 km (2000 mi).
- Remplissez complètement le réservoir de carburant et notez le kilométrage initial au compteur. Voir Ravitallement (page 221).
- Chaque fois que vous faites le plein, notez la quantité de carburant ajoutée dans le réservoir.
- Après avoir fait le plein au moins trois fois, remplissez le réservoir de carburant et notez le kilométrage actuel.
- Soustrayez le kilométrage initial au compteur du kilométrage actuel.
Pour calculer la consommation en L/100 km (litres aux 100 kilomètres), multipliez le nombre de litres consommés par 100, puis divisez ce résultat par le nombre de kilomètres parcourus. Pour calculer la consommation en mi/gal (miles au gallon), divisez le nombre de miles parcourus par le nombre de gallons consommés.
Carburant et remplissage
Tenez un registre pendant au moins un mois et notez le type de conduite, par exemple en ville ou sur autoroute. Vous obtiendrez ainsi une estimation plus précise de la consommation de carburant de votre véhicule dans les conditions de conduite courantes. De plus, la tenue d'un registre durant l'été et durant l'hiver vous donne une idée de l'effet de la température sur la consommation.
- La consommation de carburant peut augmenter lors de courts trajets.
- Notre consommation de carburant sera plus faible si vous roulez sur un terrain plat plutôt que valonné.
Situations
L'économie de carburant est réduite si le véhicule est lourdement chargé. - Transporter des charges superflues dans votre véhicule peut augmenter la consommation de carburant. - Évitez d'ajouter des accessoires qui augmentent les frottements aérodynamiques sur votre véhicule (pare-insectes, galerie porte-bagages, portes-skis ou porte-vélos). L'utilisation d'un carburant mélangé à de l'alcool augmente la consommation. La consommation de carburant peut augmenter à basse température.
Norme démission

modifiez pas les couvre-planchers ou les matériaux isolants logés entre ceux-ci et la tôle du plancher du véhicule. Les couvre-planchers et les matériaux isolants protègent les occupants du véhicule de la chaleur et du bruit du moteur et de l'échappement. Si le véhicule n'est pas équipé d'origine d'isolant de couvre-plancher, ne transportez pas de passagers d'une manière permettant un contact prolongé de la peau avec la tôle du plancher. Le non-respect de ces instructions accroît les risques d'incendie et de blessures corporelles.
Les lois fédérales des États-Unis et certaines lois régionales interdisent de retarder ou de rendre inopérantes les composantes du système de contrôle des émissions. Des lois similaires, fédérales ou provinciales, peuvent s'appliquer au Canada. Nous n’approvons aucune modification de véhicule sans d’abord déterminer les lois applicables.

L'altération des systèmes de contrôle des émissions, y compris les capteurs associés ou le
système d'échappement diesel, peut entraîner une réduction de la puissance du moteur et un allumage rapide du moteur de service.
Modifications du dispositif antibruit
Les lois fédérales interdisent les actes suivants :
retirer ou rendre inopérant par toute personne autre que pour fins d'entretien ; - réparation ou remplacement de tout dispositif ou élément de la conception incorporé dans un nouveau véhicule aux fins de contrôle du bruit avant sa vente ou sa livraison à l'acheteur final ou pendant son utilisation ; - l'utilisation du véhicule après que toute personne ait enlevé ou rendu inopérant tout dispositif ou élément de la conception.
Selon l'agence américaine pour la protection de l'environnement, les actions pouvant être considérées comme des modifications interdites sont les suivantes :
- retrait du panneau insonorisant de capot, des matériaux absorbants de doublure d'aile, des écrans de doublure d'aile, des écrans d'insonorisation de soubassement ou des matériaux acoustiques;
- altérer ou rendre inopérant le régulateur de vitesse du moteur pour permettre au moteur de dépasser les spécifications du fabricant.
Si vous ne parvenez pas à démarrer le moteur, s'il présente un fonctionnement irrégulier ou une baisse des performances, une consommation de carburant trop élevée ou si la fumée d'échappement est excessive, vérifiefs les points suivants :
flexible du circuit d'admission d'air obstrué ou désaccouplé; - élément filtrant du moteur obstrué; - eau dans le filtre à carburant et dans le décanteur d'eau; - filtre à carburant obstrué;
carburant contaminé; air dans le circuit d'alimentation, en raison de raccordements desserrés; flexible de capteur désaccouplé ou pince; niveau d'huile moteur incorrect; - mauvais carburant selon les conditions climatiques; mauvais indice de viscosité de l'huile moteur selon les conditions climatiques.
Nota: Certains véhicules comportent un filtre à carburant à vie, intégré dans le réservoir de carburant. Ce filtre ne nécessite aucun entretien périodique et n'a jamais besoin d'être remplacé.
Nota: Si ces vérifications ne vous aident pas à corriger le problème, faites vérifier le véhicule dès que possible.
Garantie relative aux émissions de bruit, actes de loi pour les modifications interdites et entretien
Le 1er janvier 1978, la réglementation fédérale est devenue en vigueur en ce qui concerne l'émission de bruit pour les camions dont le poids brut du véhicule (PTAC) dépasse 4536 kg (10 000 lb). Les instructions précédentes concernant les actes de manipulation et l'entretien interdits, ainsi que la garantie relative au bruit figurant dans le Guide de garantie, s'appliquent aux chassis-cabinés complets d'un PTAC au-delà de 4536 kg (10 000 lb).
Convertisseur catalytique
! AVENTISSEMENT: Ne stationnez pas le vehicule, ne faites pas tournier le moteur au ralenti et ne conduisez pas sur du gazon sec ou tout autre revetement de sol sec. Les dispositifs antipollution rechauffent le compartmente moteur et le systeme d'échéppement, créé un risque d'incendie.
AVERTISSEMENT: La température normale de fonctionnement de l'échappement est très élevée. N'intervenez jamais près du système d'échappement ou ne tentez pas de réparer un de ses composants lorsqu'il est encore chaud. Prendre des précautions particulières pour travailler sur le réacteur catalytique. Le catalyseur chauffe à une température très élevée après une courte période de fonctionnement du moteur et reste chaud après la mise hors tension du moteur.
d'échappement peuvent entraîner la déterioration de gaz nocifs, voire mortels, dans l'habitacle. Si vous percevez une odeur de gaz d'échappement dans l'habitacle, faites immédiatement vérifier votre véhicule. Ne conduisez pas votre véhicule si vous percevez des gaz d'échappement.
Dispositif antipollution
Votre véhicule est equipped de divers dispositifs antipollution et d'un catalyseur qui permettent d'assurer sa conformité aux normes antipollution en vigueur.
Pour assurer le bon fonctionnement du catalyseur et des dispositifs antipollution, respectez les conseils suivants :
ne lancez pas le moteur pendant plus de 10 secondes à la fois; ne faites pas fonctionner le moteur avec un fil de bougie déconnecté; - ne poussez pas et ne faites pas tracter votre véhicule pour le faire démarrer. Utilisez des câbles de démarrage; voir Démarrage-secours du véhicule (page 342). N'utilisez que le type de carburant préconisé; ne coupez pas le contact lorsque le véhicule roule; - évitez de tomber en panne sèche; - faites effectuer les interventions d'entretien aux intervalles prescrits dans le Calendrier d'entretien périodique.
Nota : Des dommages aux composants qui en résultent et qui pourraient ne pas être couverts par la garantie du véhicule;
Les entretiens périodiques indiqués dans le calendrier d'entretien sont essentiels pour assurer la longévité et le bon fonctionnement de votre véhicule et de ses dispositifs antipollution.
Si vous utilisez des pièces autres que des pièces Ford, Motorcraft ou homologues par Ford pour le remplacement ou la réparation d'éléments impliquant les dispositifs antipollution, ces pièces doivent être équivalentes aux pièces d'origine Ford en termes de performances et de durabilité.
L'illumination du témoin d'anomalie du moteur, du témoin du circuit de charge ou du témoin de température du moteur ou des fuites de liquides, des odeurs insolites, de la fumée ou une perte de puissance du moteur peuvent indiquer une anomalie des dispositifs antipollution.
Un système d'échappement défectueux ou endommagé peut laisser pénétrer des gaz d'échappement dans le véhicule. Faites inspecter et réparer immédiatement un système d'échappement défectueux ou endommagé.
N'apportez aucune modification non autorisée au véhicule ou au moteur. La loi interdit à quiconque possède, construit, répare, entretient, vend, loue, échange des véhicules ou exploite un parc de véhicules d'enlever sciemment un dispositif antipollution ou de l'empêcher de fonctionner. Les renseignements sur les dispositifs antipollution de votre véhicule figurent sur l'étiquette de contrôle des émissions du véhicule, apposée sur le moteur ou à proximité. Cette étiquette précise aussi la cylindrée du moteur.
Pour obtenir de plus amples renseignements, veuillez consulter votre Livret de garantie.
Système de diagnostic embarqué (obd-ii)
Votre véhicule est équipé d'un ordinateur connu sous le nom de système d'autodiagnostic embarqué (OBD-II) qui surveille les dispositifs antipollution du moteur. Ce système protège l'environnement en veillant à ce que les dispositifs antipollution de votre véhicule fonctionnent toujours conformément aux normes gouvernementales. Le système OBD-II de diagnostic embarqué aide également le technicien à réparer correctement votre véhicule.

Lorsque le témoin d'anomalie du moteur s'allume, le circuit d'autodiagnostic OBD-II a détecté
une anomalie. Le témoin d'anomalie du moteur peut s'allumer en cas d'anomalie intermittente. Par exemple :
- Notre véhicule tombe en panne sèche — le moteur peut produire des ratés ou tourner irrégulièrement.
- Le carburant est de piètre qualité ou contient de l'eau — le moteur peut avoir des ratés ou tourner irrégulièrement.
- L'orifice de replissage du réservoir de carburant n'est peut-être pas correctement fermé. Voir Ravitallement (page 221).
- Conduite en eau profonde — de l'eau s'est peut-être infiltrée dans le circuit électrique.
Vous pouvez corriger ces anomalies intermittentes en faisant le plein de carburant de bonne qualité, en fermant correctement l'orifice de remplissage du réservoir de carburant ou en laissant sécher le circuit électrique. Après trois cycles de conduite en l'absence de ces anomalies ou d'autres anomalies intermittentes, le témoin d'anomalie du moteur devrait demeurer éteint au démarrage suivant du moteur. Un cycle de conduite consiste en un démarrage à froid, suivi d'un trajet combiné en ville et sur autoroute. Aucune intervention supplémentaire n'est nécessaire.
Si le témoin d'anomalie du moteur reste allumé, faites réparer votre véhicule dès que possible. Bien que certaines anomalies détectées par le système OBD-II puissent ne pas présenter de symptômes visibles, si vous continuez de conduire alors que le témoin
d'anomalie du moteur est allumé, ceci peut causer une augmentation des émissions et de la consommation de carburant, un fonctionnement irrégulier du moteur et des à-coups de la boîte de vitesses pouvant entraîner des réparations coûteuses.
Préparation pour les contrôles d'inspection et d'entretien (i/m)
Certaines autorités locales, provinciales et des États peuvent avoir prévu des programmes d'inspection et d'entretien (I/M) pour la vérification des dispositifs antipollution de votre véhicule. Si le véhicule ne réussit pas cette inspection, l'immatriculation pourrait vous être refusée.

Si le témoin d'anomalie du moteur est allumé ou si l'ampoule ne fonctionne pas, vous devez
peut-être faire réparer votre véhicule.
Consultez la section qui traite des autodiagnostics embarqués.
Dispositif antipollution
Votre véhicule peut ne pas réussir les contrôles d'inspection et d'entretien si le témoin d'anomalie du moteur est allumé ou s'il ne fonctionne pas correctement (l'ampoule est grillée), ou si le circuit OBD-II détermine que certains des dispositifs antipollution n'ont pas été correctement vérifiés. Dans ce cas, votre véhicule n'est pas prêt pour les contrôles d'inspection et d'entretien.
Si le moteur ou la boîte de vitesses du véhicule a récemment fait l'objet d'un entretien ou si la batterie a récemment été déchargée ou remplacée, le circuit OBD-II peut indiquer que le véhicule n'est pas prêt pour les contrôles d'inspection et d'entretien. Pour déterminer si le véhicule est prêt pour les contrôles d'inspection et d'entretien, établissez le contact durant 15 secondes sans lancer le moteur. Si le témoin d'anomalie du moteur clignote huit fois, le véhicule n'est pas prêt pour les contrôles d'inspection et d'entretien; si le témoin d'anomalie du moteur demeure allumé en permanence, votre véhicule est prêt pour les contrôles d'inspection et d'entretien.
Le système OBD-II surveille les dispositifs antipollution pendant la conduite normale. Une vérification compte peut demander plusieurs jours.
Si le véhicule n'est pas pris pour les contrôles d'inspection et d'entretien, vous pouvez effectuer le cycle de conduite suivant en roulant en ville et sur autoroute :
- 15 minutes de conduite soutenue sur autoroute, suivies d'au moins 20 minutes de conduite avec arrêts fréquents en zone urbaine au cours desquelles vous laisserez le moteur tourner au ralenti pendant 30 secondes à au moins quatre reprises;
- Laissez reposer votre véhicule pendant au moins huit heures avec le contact coupé. Puis démarrez le véhicule et effectuez le cycle de conduite ci-dessus. Le véhicule doit se réchauffer jusqu'à sa température normale de fonctionnement. N'arrêtez pas le véhicule avant d'avoir terminé le cycle de conduite décrit ci-dessus.
Si le véhicule n'est always pas prêt pour les contrôles d'inspection et d'entretien, vous devez répéter le cycle de conduite ci-dessus.
Boite de votesses automatique

AVERTISSEMENT: Serrez toujours
fermement le frein de stationnement et assurez-vous de passer à la position de stationnement (P). Le non-respect de cette consigne pourrait entraîner des blessures graves ou mortelles.

AVERTISSEMENT: Lorsque le
véhicule est à l'arrêt, gardez la pédale de frein complètement enfoncée pour passer un rapport. Le non-respect de cette consigne pourrait entraîner des dommages matériels ou des blessures ou mortelles.
Note: Il est parfois impossible de quitter la position de stationnement (P), sauf si la clé d'accès intelligent se trouve dans le véhicule.

Pour sélectionner ou quitter un rapport :
- Enlevez complètement la pédale de frein.
- Sélectionnez le rapport souhaité sur le sélecteur de la boîte de vitesses.
- Une fois arrivé, arrêtez complètement le véhicule.
- Appuyez sur le bouton de stationnement (P) sur le sélecteur de la boîte de vitesses.
Le tableau de bord affiche également la position de gamme sélectionnée.
Stationnement (p)
Lorsque la boîte de vitesses est en position de stationnement (P), celle-ci se bloque et empêche la rotation des roues avant. Immobilisez toujours complètement le véhicule avant de passer à ou de quitter la position de stationnement (P). Une tonalité retentit lorsque vous sélectionnez la position de stationnement (P).
Le frein de stationnement électrique pourrait se serrer si vous passez en position de stationnement (P) sans enfoncer complètement la pédale de frein. Le frein de stationnement électrique se serre lorsque vous passez en position de stationnement (P) sur des pentes prononcées. La fonction de désselage au démarrage permet de desserer le frein de stationnement électrique. Voir Frein de stationnement électronique (page 246).
Retour automatique en position de stationnement
Note: Cette fonction est inopérante lorsque le véhicule est en mode de maintien de point mort ou de remorquage au point mort.
Ce véhicule est muni d'un dispositif qui engage automatiquement la position de stationnement (P) dans les cas suivants :
- Vous coupez le contact.
- Vous ouvrez la porte conducteur avec la ceinture de sécurité détachée après l'arrêt du véhicule.
- Vous détachez votre ceinture de sécurité quand la porte conducteur est ouverte après l'arrêt du véhicule.
Vous coupez le contact pendant que votre véhicule se déplace, il passe d'abord au point mort (N) jusqu'à l'arrêt, pour passer ensuite automatiquement en position de stationnement (P).
Note: Si vous avez attendu un certain temps (2 à 15 minutes) avant de faire démarrer le moteur, le débouclage de votre ceinture de sécurité peut entraîner l'activation de cette fonction, même avec la porte conducteur fermée.
Note: Cette fonction pourrait ne pas s'activer correctement si le contacteur d'ouverture de porte est défectueux. Si le témoin de porte ouverte ne s'allume pas lorsque vous ouvrez la porte conducteur, ou si le témoin s'allume alors que la porte conducteur est fermée, consultez un concessionnaire autorisé.
Marche arrêt (R)
Lorsque le sélecteur est en position de marche arrière (R), le véhicule recule. Immobilisez toujours complètement le véhicule avant de passer ou de quitter la position de marche arrière (R).
Point mort (N)

AVERTISSEMENT: Le véhicule peut être librement en position de point mort. Dans ce cas, lorsque vous quittez le véhicule, serrez correctement le frein de stationnement.
Au point mort (N), les roues motrices ne sont pas entraînées mais la boîte de vitesses n'est pas verrouillée. Vous pouvez démarrer le moteur lorsque la boîte de vitesses se trouve dans cette position.
Mode de maintien du point mort
Note: Le mode de maintien de point mort est un état temporaire du véhicule avec le contact coupé. Une fois dans ce mode, une tension de batterie suffisante doit être maintenue ou votre véhicule repasse en mode stationnement. L'utilisation prolongée du mode de maintien de point mort pourrait entraîner une diminution de la tension de la batterie au point de ne plus pouvoir faire démarrer le véhicule. Ne remorquez pas le véhicule dans ce mode.
Note: Utilisez toujours la position de point mort (N) lorsque vous entrez dans un poste de lavage. Si vous sortez du véhicule avant le lavage, le mode de maintien de point mort est disponible. Le non-respect de cette consigne pourrait causer des dommages au véhicule qui ne seraient pas couverts par la garantie.
Le mode de maintien de point mort permet de conserver la position de point mort lorsque vous quittez le véhicule. Le véhicule doit être immobile pour passer à ce mode.
Pour entrer en mode de maintien de point mort:
- Appuyez sur le bouton de point mort (N) sur le sélecteur de la boîte de vitesses.
- Appuyez de nouveau sur le bouton de point mort (N) pour passer en mode de maintien de point mort.
Un message s'affiche à l'écran d'information lorsque le véhicule est passé en mode de maintien de point mort.
Pour sortir du mode maintenance de point mort, appuyez sur le frein et sélectionnez un autre rapport.
Marche avant (d)
La position de marche avant (D) est la position normale de conduite pour optimiser la consommation de carburant. La fonction de surmultipliée permet le passage automatique des rapports entre la première et la dixième vitesse et vice-versa.
Boîte de vitesses automatique selectshift™
Ce véhicule est equipped'une boite de vitesses automatique SelectShift. La boite de vitesses automatique SelectShift permet de monter ou de descendre les rapports sans embrayage.
Pour éviter que le moteur tourne à un régime trop bas et qu'il cale, la boîte de vitesses SelectShift rétrograde automatiquement si elle a déterminé que vous n'avez pas rétrogradé à temps. Bien que la boîte de vitesses SelectShift rétrograde automatiquement, elle laisse tout de même au conducteur la possibilité de rétrograder manuellement lorsqu'elle déterminé qu'aucune détérioration ne sera causée par un surrégime du moteur.
Note: Le moteur peut être endommagé s'il est maintenu en surrégime sans passer au rapport supérieur.
La boîte de vitesses SelectShift ne monte pas automatiquement les rapports, même si le moteur approche de sa limite de régime (tr/min). Elle doit être manuellement déplacée en appuyant sur la palette (+).
Tirez la palette (+) au volant pour activer le sélecteur bifonction selectshift.
- Tirez la palette de droite (+) pour passer au rapport supérieur. Tirez la palette gauche (-) pour rétrograder.
Pour désactiver le mode SelectShift :
Boîte de vitesses
- Maintenez brièvement la palette (+).
- Si les palettes ne sont pas utilisées pendant quelques secondes, la boîte de vitesses retourne en mode de changement de vitesse automatique.
Sélecteur bifonction selectshift en position de marche avant (d):
Fournit un mode manuel temporaire pour effectuer des manoeuvres plus exigeantes lorsqu'un meilleur contrôle de la sélection de rapport est requis (par exemple, lors d'un remorquage, en descendant ou lors d'un dépassement). Ce mode maintient temporairement un rapport sélectionné en fonction des actions du conducteur, p. ex. sur la direction ou la pédale d'accélérateur.
En mode SelectShift, le tableau de bord affiche le rapport sélectionné. Si vous demandez un rapport, mais qu'il n'est pas disponible en raison des conditions du véhicule (basse vitesse, régime moteur trop élevé pour la sélection du rapport requis), le rapport actuel clignote rapidement.
Note: Lorsque la pédale d'accélérateur est complètement enfoncée, la boîte de vitesses rétrograde pour bénéficier des performances optimales.
Note: Dans des conditions de faible traction, vous pouvez démarrer en deuxième à l'aide du sélecteur bi-fonction SelectShift. Pour effectuer cette opération, sélectionnez la position de marche avant (D) et appuyez sur la pédale (+) jusqu'à ce que le chiffre 2 s'affiche sur le tableau de bord. Notre véhicule peut maintenant être conduit en 2e.

Avertissement: en suivant cette
procédure, vous devez désengager la position de stationnement (P) de sorte que le véhicule puisse rouler librement. Pour éviter un déplacement inopiné du véhicule, serrez toujours le frein de stationnement avant d'exécuter cette procédure. Utilisez des cales de roue au besoin.

AVERTISSEMENT: Si le témoin reste allumé lorsque le frein de stationnement est complètement desserré, les freins peuvent être défectueux. Vérifier le véhicule dans les plus brefs délais.

AVERTISSEMENT: Ne conduisez nicule avant d'avoir vérifié le bon fonctionnement des feux stop.
Utilisez la procédure de déverrouillage manuel de la position de stationnement (P) pour quitter la position de stationnement (P) dans l'éventualité d'une anomalie électrique.
Activation du câble de déverrouillage manuel de la position de stationnement
- Serrez le frein de stationnement. Voir Frein de stationnement électronique (page 246).
Boîte de vitesses
Note: Si la tension de la batterie est insuffisante, p. ex., aucune alimentation électrique disponible, une source d'alimentation externe pourrait être nécessaire pour serrer le frein de stationnement.
- Repérez le couvercle d'accès du câble de déverrouillage manuel de la position de stationnement (P) sur la planche de bord inférieure, en bas à gauche de la colonne de direction.

- À l'aide d'un outil ou d'un panneton, retirez avec précaution le couvercle d'accès. Note: Ne tirez pas sur le cable avant de vous être assis sur le siège conducteur.
- Établissez le contact sans faire démarrer le moteur.
- Une fois que vous êtes assis sur le siège conducteur, enfonsez complètement la pédale de frein et maintenez-la enfoncée. Ne la relâchez pas. Tirez sur le câ aissez le câble.
- En position de déverrouillage, le câble doit rester déployé.
- Si le cable est bien bloqué, le tableau de bord affiche Position de stationnement non disponible, Boîte de vitesses hors position de stationnement ou Anomalie du système de changement de vitesse.
Note: La position de stationnement (P) est maintenant désengagée de sorte que le véhicule puisse rouler librement.
Boîte de vitesses
- Avec la pédale de frein toujours enfoncée, desserrez le frein de stationnement. Voir Frein de stationnement électronique (page 246).
- La boîte de vitesses restera en position de point mort (N) aux fins de remorquage.
- Coupez le contact.
- Dès que vous pouvez le faire en toute sécurité et que le véhicule ne risque pas de rouler, débranchez le câble de batterie (noir) de la borne négative de la batterie.
Retour au mode normal
- Dès que vous pouvez le faire en toute sécurité, rebranche le câble de batterie (noir) à la borne négative de la batterie.
- Serrez le frein de stationnement. Voir Frein de stationnement électronique (page 246).
Note: Si la tension de la batterie est insuffisante, p. ex., aucune alimentation électrique disponible, une source d'alimentation externe pourrait être nécessaire pour serrer le frein de stationnement.
- Maintenez la pédale de frein complètement enfoncée. Tirez sur le cable orange de déverrouillage pour le délogger de la rainure de blocage.
- Le câble se dégage et se rétracte à sa position initiale.
- Rangez le câble de déverrouillage manuel de la position de stationnement (P) dans le trou de la planche de bord, remettez le couvercle d'accès en place en l'enfonçant.
- Avec la pédale de frein toujours enfoncée, faites démarrer le moteur. Vérifiez que la boîte de vitesses est en position de stationnement (P) et que le tableau de bord affiche la position P.
- Si le tableau de bord n'affiche pas la position de stationnement (P) ou s'il affiche le message Position de stationnement non disponible, Boîte de vitesses hors position de stationnement ou Anomalie du système de changement de vitesse, serrez le frein de stationnement avant de quitter le véhicule. Consultez un concessionnaire/agréé pour la réparation.
Apprentissage adaptatif de la boîte automatique
Cette fonction peut accroître la durabilité de la boîte de vitesses et garantir une qualité constante des changements de rapport pendant toute la durée de vie du véhicule. Les changements de rapport d'une boîte de vitesses neuve ou d'un véhicule neuf pourraient être plus ou moins secs. Cette situation est normale et ne nuit ni au fonctionnement ni à la longévité de la boîte de vitesses. Avec le temps, la stratégie d'apprentissage adaptative réactualise entièrement le fonctionnement de la boîte de vitesses.
Si vousvez que s'enlise dans la boue ou dans la neige
Nota: N'utilisez pas la méthode de va-et-vient si le moteur n'a pas atteint sa température normale de fonctionnement, car la boîte de vitesses pourrait être endommagée.
Boîte de vitesses
Note: Ne continuez pas cette manœuvre pendant plus d'une minute, car la boîte de vitesses et les pneus risqueraient d'être endommagés et le moteur pourrait surchauffer.
Si vous véhicule s'enlise dans la boue ou dans la neige, il est possible de le dégager en passant successivement de la marche avant à la marche arrière pour effectuer un mouvement de va-et-vient régulier tout en marquant une pause entre chaque position de gamme. Appuyez légèrement sur la pédale d'accélérateur dans chaque rapport.
Utilisation de la traction integrale
Nota: Lorsqu'une anomalie de système est présente, un message d'avertissement s'affiche sur l'écran d'information. Voir Messages d'information (page 145). Cela signifie que le système ne fonctionne pas correctement et que seul le mode de traction avant est disponible. Faites vérifier votre véhicule par un concessionnaire autorisé.
Note: Lorsque le système présente une surchauffe et passe au mode de traction avant, un message d'advertissement s'affiche sur l'écran d'information. Cela peut être le cas lorsque vous conduisez votre véhicule dans des conditions de charge élevée extrêmes ou en cas de patinage excessif des roues (par exemple dans le sable profond). Pour rétablir la fonction de traction intégrale, arrêtez votre véhicule dans un endroit sécuritaire et coupez le contact. Une fois le système refroidi, la fonction de traction intégrale se rétablit.
Note: Lors de l'utilisation d'un pneu de secours, un message d'advertissement peut s'afficher sur l'écran d'information. Ce message s'efface une fois que le pneu réparé ou remplace a été remis en place et que vous avez établi le contact.
Note: Remontez le pneu réparé ou remplacez le pneu le plus tôt possible. Des pneus de tailles différentes sur les essieux avant et arrière peuvent endommager le système et entraîner la mise hors fonction du mode de traction intégrale.
Ce système anticipe le patinage des roues et transfère la puissance aux roues arrière avant qu'il ne se produise. Même s'il n'y a pas de patinage, le système régule en permanence la répartition de puissance aux roues pour tenter d'améliorer la tenue de route en ligne droite et dans les virages, sur route pavée ou hors route.
Le système se met automatiquement en fonction chaque fois que vous établissez le contact.
Le système de traction intégrale ne nécessite aucune intervention d'entretien.
Votre véhicule à transmission intégrale n'est pas conçu pour une utilisation hors route. La fonction AWD donne à votre véhicule certaines possibilités limitées pour la conduite hors route, à condition que la surface soit plane, exemple d'obstacles et qu'elle présente des conditions de conduite semblables à celles que l'on trouve sur route. La conduite de votre véhicule dans des conditions différentes pourrait imposer un stress excessif à votre véhicule qui risquerait de causer des dommages non couverts par la garantie de votre véhicule.
E142669
L'écran d'information indique la répartition de la puissance entre les roues avant et arrière. Plus la zone est remplie, plus la puissance est dirigée vers la roue en question.
Conduite dans des conditions particulières avec une traction intégrale
La fonction de traction intégrale présente des caractéristiques de fonctionnement qui diffèrent légèrement de celles des véhicules à deux roues motrices, aussi bien sur et hors autoroute.
Note: Il peut parfois s'avérer utile de désactiver le dispositif antipatinage. Cela permet davantage de patinage des roues et de couple moteur dans certaines conditions tout-terrain ou lorsque votre véhicule est enlisé.
Lorsque vous roulez à basse vitesse hors route dans des conditions de charge élevées, utilisez la gamme basse autant que possible. L'utilisation de la gamme basse permet de refroidir davantage le moteur et la boîte de vitesse.
En conditions rigoureuses, le climatisation pourrait s'arrêter puis redémarrer plusieurs fois pour éviter de surchauffer le moteur.
Principes de fonctionnement de base
Conduisez moins vite en cas de forts vents latéraux, car ceux-ci peuvent compromettre la tenue de route habituelle de votre véhicule. - Soyez vigilant lorsque vous conduisez votre véhicule sur des surfaces rendues glissantes par le sable, l'eau, le gravier, la neige ou la glace.
Si vous vivez quitter la route
Si vous véhicule quitte la route, réduisez la vitesse de votre véhicule et évitez tout freinage brusque. Après avoir ralenti, tentez de réintégrer en douceur la route. Ne tournez pas le volant brusquement lorsque vous ramenez votre véhicule sur la route.
Il peut être plus sûr de rester sur l'accotement de la route et de ralentir progressivement avant de revenir sur la route. Vous risquez de perdre la maîtrise du vehicule si vous ne ralentissez pas ou si vous tournez le volant brusquement.
Il peut parfois s'avérer moins risqué de heurter certains petits objets, tels que des balises réfléchissantes, et de subir des dommages mineurs au véhicule, plutôt que de tenter un changement de direction brusque et dangereux. N'oubliez pas que votre sécurité et celle des autres passagers du véhicule doivent constituer votre préoccupation première.
Manœuvres d'urgence
Si vous devez effectuer un changement soudain de direction en situation d'urgence, évitez les excès inutiles. Tournez le volant uniquement aussi vite et aussi loin qu'il le faut pour pallier la situation d'urgence. Exercez une pression modérée sur la pédale d'accélérateur ou de frein comme la situation l'exige. Évitez tout changement brusque de direction, d'accélération et de freinage. Ils risquent de faire capoter le véhicule, de vous faire perdre la maîtrise du véhicule ou de causer des blessures aux personnes. Utilisez toute la surface de route dont vous disposez pour reprendre la maîtrise de votre véhicule.
En cas d'arrêt d'urgence, évitez de faire patiner les roues et essayez de ne pas donner de coups de volant.
Votre véhicule réagit différemment en termes de direction, d'accélération et de freinage selon les différents revêtements de la route, lorsque vous passez d'un type de revêtement à un autre.
Conduite sur le sable
Lorsque vous conduisez sur le sable, évitez les vitesses trop élevées. L'inertie du véhicule jouera en votre défaveur. Notre véhicule risque de s'enliser et il vous faudra faire appel à un tiers pour vous dégager. N'oubliez pas qu'il vous est toujours possible de vous tirer d'affaire en reculant avec précaution.
Ne roulez pas dans le sable profond sur de grandes distances. Le système de traction intégrale risquerait de surchauffer. Vous verrez s'afficher un message d'avertissement sur l'écran d'information. Voir Messages d'information (page 145).
Pour reprendre la conduite, coupez le contact et laissez le système refroidir pendant au moins 15 minutes. Une fois le système refroidi, un court message s'affiche sur l'écran d'information. Voir Messages d'information (page 145).
Si vous conduisiez à basse vitesse dans le sable profond par une température très élevée, utilisez la gamme basse autant que possible. L'utilisation de la gamme basse permet de refroidir davantage le moteur et la boîte de vitesse.
Conseils pour la conduite sur le sable :
- Conservez les quatre roues sur la partie la plus ferme de la piste.
- Passez à un rapport bas.
- Enfoncez progressivement la pédale d'accélérateur.
- Maintenez une vitesse régulière sur le terrain.
- Évitez tout patinage excessif des roues.
- Évitez de réduire la pression des pneus.
Conduite dans la boue
Dans la boue, évitez les changements brusques de vitesse ou de direction. Même les véhicules à traction intégrale peuvent perdre leur adhésion dans la boue. En cas de dérapage, tournez le volant dans le sens du dérapage pour retrouver la maîtrise de votre véhicule.
Après avoir conduit dans la boue, nettoyez tout excès de boue présent sur les arbres rotatifs et les roues. L'accumulation de boue sur les roues et les arbres rotatifs crée un déséquilibre susceptible d'endommager les éléments de la transmission.
Conduite dans l'eau
Conduisez à basse vitesse dans l'eau profonde. L'adhérence et le freinage peuvent être limités.
Avant de traverser un plan d'eau, déterminez-en la profondeur et évitez de rouler dans l'eau si le niveau dépasse la partie inférieure des jantes. Si de l'eau atteint le circuit d'allumage, le moteur peut caler.
Après avoir traversé un plan d'eau, essayez toujours les freins. Des freins humides ne sont pas aussi efficaces que des freins secs. Pour sécher les freins, exercez une légère pression à la pédale de frein en conduisant lentement le véhicule.
Note: La conduite en eau profonde peut endommager la boîte de vitesses. Si l'essieu avant ou arrêté est submergé dans l'eau, faites réparer la boîte de transfert (PTU) ou l'essieu arrêté par un concessionnaire autorisé.
Conduite sur terrain valonné ou en pente
Bien que certains obstacles naturels puissent rendre la conduite en diagonale nécessaire sur une pente très abrupte, essayez toujours de conduire le plus droit possible face à la pente, que ce soit en montée ou en descente.
Note: Pour conserver l'adhérence et éviter un capotage de votre véhicule, évitez de tourner sur les pentes ou les sommets très raides. Lorsque vous abordez un sommet, déterminez au préalable la trajectoire que vous souhaitez emprunter. Ne franchissez jamais le sommet sans savoir ce qui se trouve de l'autre côté. Ne franchissez pas un sommet en marche arrière sans l'aide d'une personne qui puisse vous guider de l'extérieur du véhicule.
Entamez la montée d'une pente raide ou d'un sommet dans un rapport bas plutôt que de rétrograder d'un rapport plus élevé après être déjà engagé sur la pente. De cette façon, les contraintes imposées au moteur et les risques qu'il cale seront réduits.
Si votre véhicule cale, ne tentez pas de faire demi-tour. Le fait de tourner pourrait entraîner le capotage de votre véhicule. Tentez plutôt de reculer jusqu'à un emplacement plus sûr.
Appliquez juste assez de puissance aux roues pour arriver à gravir la pente. Une puissance excessive peut provoquer le patinage des roues et la perte d'adhérence, et pourrait vous faire perdre la maîtrise de votre véhicule.

Pour éviter une surchauffe des freins, descendez la pente dans le même rapport que lors de la montée. Ne descendez pas une pente au point mort. Placez le levier sélecteur de la boîte de vitesses sur un rapport bas. Lorsque vous descendez une pente raide, évitez tout freinage brusque et soudain, de sorte que les roues avant restent en rotation continue et que votre véhicule conserve sa tenue de route.
Si votre véhicule est équipé de freins antiblocage. Appuyez sur la pédale de frein de façon constante. Ne pompez pas sur la pédale de frein.

Avertissement: si vous conduisez
Dans des conditions de chaussée glissante qui nécessitent des chaînes à neige ou des câbles antidérapants, il est impératif de conduire avec précaution. Gardez la vitesse réduite, prévoyez des distances de freinage plus longues et évitez les manœuvres brusques au volant pour réduire les risques de perte de maîtrise du
vécuule qui peuvent entraîner des blessures graves, voire mortelles. Si l'arrière de votre véhicule dérape dans un virage, tournez le volant dans le sens du dérapage jusqu'à ce que vous reprenez la maîtrise du véhicule.
Note: Un patinage excessif des roues peut endommager la boîte de vitesses.
Sur la neige et la glace, les véhicules à traction intégrale sont plus efficaces que les véhicules à deux roues motrices, mais ils sont tout de même susceptibles de glisser. En cas de glissement sur la neige ou la glace, tournez le volant dans la direction du glissement pour reprendre la maîtrise du véhicule.
Sur la neige et sur la glace, évitez tout changement brusque de vitesse ou de direction. Pour démarrer lorsque le véhicule est à l'arrêt, appuyez sur la pédale d'accélérateur lentement et graduellement.
Évitez tout freinage brusque. Sur la neige et la glace, l'accélération d'un véhicule à traction intégrale sera plus efficace que celle d'un véhicule à deux roues motrices. Toutefois, la distance de freinage d'un véhicule à traction intégrale ne sera pas raccourcie, car il freine aux quatre roues. Ne vous montrez jamais trop confiant par rapport aux conditions de la route.
Prévoyez toujours une distance suffisante entre votre véhicule et celui qui le précède pour pouvoir vous arrêter sans risque. Sur la glace et la neige, conduisez plus lentement qu'à l'habitude et pensez à utiliser un rapport plus bas. Dans des situations d'arrêt d'urgence, freinez de façon constante. Votre véhicule est équipé du freinage antiblocage aux quatre roues; ne pompez pas sur la pédale de frein. Voir Conseils sur la conduite à l'aide de freins antiblocage (page 246).
Si vous véhicule s'enlise dans la boue ou dans la neige
Si votre véhicule s'enlise dans la boue ou dans la neige, effectuez un mouvement de va-et-vient en passant successivement en marche avant et en marche arrière de façon uniforme et avec un arrêt entre chaque cycle. Appuyez légèrement sur la pédale d'accélérateur à chaque changement de vitesse. Ce mouvement de va-et-vient pourrait être dégager votre véhicule.
Nota : N'utilisez pas cette méthode de va-et-vient si le moteur n'a pas atteint sa température normale de fonctionnement, car la boîte de vitesses pourrait être endommagée.
Nota: Ne continuez pas cette manœuvre pendant plus d'une minute, car la boîte de vitesses et les pneus risqueraient d'être endommagés, et le moteur pourrait surchauffer.
Entretien et modifications
La suspension et la direction de votre véhicule offrent des performances constantes que votre véhicule soit chargé ou à vide. Pour cette raison, nous vous recommandons de ne pas apporter de modifications sur votre véhicule (p. ex. nécessaires de levage ou barres stabilisatrices) et de ne pas utiliser de pièces de rechange non conformes aux pièces d'origine.
Nous vous recommandons de prendre toutes les précautions nécessaires lorsque votre véhicule transporte un chargement ou des accessoires en hauteur (comme une échelle ou une galerie porte-bagages). Les modifications qui décalent le centre de gravité de votre véhicule vers le haut peuvent entraîner le basclement du véhicule en cas de perte de contrôle.
La négligence de l'entretien recommandé du véhicule peut annuler la garantie, augmenter le coût des réparations, réduire le rendement du véhicule et nuire à la sécurité du conducteur et des passagers. Nous vous recommandons d'inspecter fréquemment les éléments du châssis de votre véhicule lorsque celui-ci est utilisé en conditions hors route.
Généralités
Nota: Les bruits de frein occasionnels sont normaux. Si un grincement métallique ou un sifflement continu se fait entendre pendant le freinage, les garnitures de frein sont peut-être complètement usées. Faites-les vérifier par un concessionnaire autorisé. Si des vibrations ou des secousses continues se font sentir dans la colonne de direction lors du fre freinage, faites vérifier votre vehicule par un concessionnaire autorisé.
Nota: De la poussière de frein peut s'accumuler sur les roues, même en conditions normales de conduite. La poussière est inévitable en raison de l'usure des freins, mais elle ne constitue pas une source de bruit de freinage. Des freins humides procurent un freinage moins efficace. Appuyez doucement sur la pédale de frein à quelques reprises en sortant d'un lave-auto ou après avoir franchi de l'eau stagnante pour assécher les freins.
Voir Nettoyage des roues (page 399).
Freinage en cas d'accélérateur coincé
Si l'accélérateur est coincé, maintenez une pression constante et ferme sur la pédale de frein pour ralentir le véhicule et réduire le régime du moteur. Si cette situation survient, appuyez sur la pédale de frein et immobilisez votre véhicule en toute sécurité. Arrêtez le moteur, placez le levier sélecteur sur la position de stationnement (P), et serrez le frein de stationnement. Inspectez la pédale d'accélérateur et ses environnements à la recherche de toute pièce ou débris pouvant générer son déplacement. Si aucune interférence n'est décelée et que le problème persiste, faites remorquer votre véhicule jusqu'au concessionnaire autorisé le plus proche.
Assistance au freinage d'urgence
L'assistance au freinage d'urgence détecte si vous freinez brusquement en mesurant la force avec laquelle vous enfoncerez la pédale de frein. Il assure l'efficacité de freinage maximale tant que vous appuyez sur la pédale. L'assistance au freinage d'urgence peut réduire la distance de freinage en situation critique.
Freins antiblocage
Ce système vous aide à garder la maîtrise de la direction lors de freinages d'urgence en empêchant le blocage des freins.

Ce témoin s'allume brièvement lorsque le contact est établi. Si le témoin ne s'allume pas au
démarrage, demeure allumé ou clignote, cela peut indiquer que le système de freinage antiblocage est désactivé. Faites vérifier le circuit par un concessionnaire agréé. Si le système de freinage antiblocage est désactivé, le freinage normal continue de fonctionner.
Voir Témoins et indicateurs (page 134).
Note: Les témoins peuvent varier selon la région.

Ce témoin s'allume également quand vous mettez le contact pour confirmer qu'il fonctionne bien. S'il ne s'allume pas à l'établissement du contact ou s'il commence à clignoter, faites vérifier le système.
par un concessionnaire/agréé. Si le témoin des freins s'allume une fois le frein de stationnement desserré, faites vérifier immédiatement le système de freinage.
Conseils sur la conduite à l'aide de FREINS antiblocage
Le système de freins antiblocage n'élimine pas les risques lorsque :
- vous conduisiez trop près du véhicule qui vous précède;
- votre véhicule est en situation d'aquaplanage;
- vous négociez des courbes à une vitesse trop élevée; la chaussé est irrégulière.
Note: Lorsque le système est activé, des pulsations peuvent se manifester dans la pédale de frein et sa course peut se prolonger. Maintenez la pédale de frein enfoncée. Vous pouvez aussi entendre des bruits. Cette situation est normale.
FREIN de stationnement électronique

AVERTISSEMENT: Serrez toujours
fermement le frein de stationnement et assurez-vous de passer à la position de stationnement (P). Le non-respect de cette consigne pourrait entraîner des blessures graves ou mortelles.

AVERTISSEMENT: Si vous parcourez
de longues distances lorsque le frein de stationnement est serré, car cela pourrait endommager le circuit de freinage.

AVERTISSEMENT: Le frein de
Le frein de stationnement électrique ne fonctionne pas si la batterie du véhicule est trop faible.
Votre véhicule est équipée d'un frein de stationnement électrique. Vous pouvez le commander à l'aide d'un contacteur à la place d'un levier. Le contacteur est situé sur la console centrale ou sur le côté gauche du volant de direction, sur la partie inférieure de la planche de bord.
Note: Le frein de stationnement électrique produit des bruits pendant le fonctionnement. Cette situation est normale.
Serrage du frein de stationnement électrique

Tirez le contacteur vers le haut.

Le témoin rouge clignote pendant le fonctionnement et s'allume lorsque le frein de stationnement
est serre.

Nota: Le témoin reste allumé pendant quelques instants après la coupure du contact.
S'il continue de clignoter ou ne s'allume pas, le système est défectueux. Faites vérifier le véhicule dans les plus brefs délais.
Note : Vous pouvez serrer le frein de stationnement électrique quand le contact est coupé.
Nota : Le frein de stationnement électrique pourrait être serré automatiquement lorsque vous placez le levier sélecteur en position de stationnement. Voir Boîte de vitesses (page 232).
Utilisation du frein de stationnement électrique en situation d'urgence
Note: Ne serrez pas le frein de stationnement électrique lorsque votre véhicule roule, sauf en situation d'urgence. Si vous utilisez plusieurs fois le frein de stationnement électrique pour faire ralentir ou pour arrêter votre véhicule, ceci peut endommager le circuit de freinage.
Vous pouvez vous servir du frein de stationnement électrique en cas d'urgence pour ralentir ou arrêter votre véhicule.

Tirez sur le contacteur et maintenez-le ainsi.

Le témoin rouge s'allume, un carillon avertisseur retentit et les deux stop s'allument.

Le frein de stationnement électrique continue à ralentir votre véhicule jusqu'à ce que vous relâchiez le contacteur.
Desserrage manuel du frein de stationnement électrique
Établissez le contact.
Appuyez sur la pédale de frein et maintenez-la enfoncée.

Poussez le contacteur vers le bas.

Le témoin rouge s'éteint.

S'il reste allumé ou continue de clignoter, le système est défectueux. Faites vérifier le véhicule dans les plus brefs délais.
Démarrage en pente lors de la traction d'une remorque
Appuyez sur la pédale de frein et maintenez-la enfoncée.

Tirez sur le contacteur et maintenez-le ainsi.
Engagez un rapport.
Enlevez la pédale d'accélérateur jusqu'à ce que le moteur ait développé un couple suffisant pour éviter que le véhicule descende la côte.

Relâchez le contacteur et démarrez normalement.
Desserrage automatique du frein de stationnement électrique
Fermez la porte conducteur.
Engagez un rapport.
Engagez la pédale d'accélérateur et démarrez normalement.

Le témoin rouge s'éteint.

S'il reste allumé ou clignote, le frein de stationnement électrique n'est pas desserré. Desserrage manuel du frein de stationnement.
Desserrage du frein de stationnement électrique si la batterie du véhicule est trop faible
Branchez une batterie d'appoint à la batterie du véhicule pour desserrer le frein de stationnement électrique si la batterie du véhicule est trop faible. Voir
Démarrage-secours du véhicule (page 342).
AVERTISSEMENT: Ce système ne lace pas le frein de stationnement.
Lorsque vous quittez le véhicule, serrez toujours le frein de stationnement et placez la boîte de vitesses en position de stationnement (P) pour la boîte de vitesses automatique ou en première pour la boîte de vitesses manuelle.

AVERTISSEMENT: Vous devez êtreستر
Dans votre véhicule quand le système s'active. Vous êtes à tout moment tenu de maîtriser votre véhicule, de superviser le système et d'intervenir au besoin. La négligence peut entraîner une perte de maîtrise du véhicule et des blessures graves, voire mortelles.
Note: Le système se désactive en cas de surrégime du moteur ou si une anomalie est détectée.
Le système permet de faciliter le démarrage du véhicule en côte, sans utiliser le frein de stationnement.
Lorsque le système est actif, votre véhicule reste immobile sur la pente pendant deux à trois secondes après que vous avez relâché la pédale de frein. Ce délai vous permet de déplacer votre pied de la pédale de frein à la pédale d'accélérateur. Les freins se desserrent automatiquement dès que le moteur a pris suffisamment de puissance pour éviter que le véhicule ne roule en direction descendante. Ceci est un avantage lorsque vous démarrez sur une pente, par exemple à partir d'une rampe de stationnement, des feux de circulation ou en reculant sur une pente ascendante dans un espace de stationnement.
Le système s'active automatiquement sur une pente qui pourrait entraîner un recul important du véhicule. Sur les véhicules équipés d'une boîte de vitesses manuelle, vous pouvez désactiver cette fonction à partir de l'écran d'information. Voir
Affichage d'information (page 140). Le système reste activé ou désactivé en fonction du dernier réglage effectué.
Nota : Aucun témoin n'indique si le système est activé ou désactivé.
Freins
Note: Si votre véhicule est équipé du système Auto Hold, l'aide au démarrage en côte ne sera pas disponible en même temps que la fonction Auto Hold.
Utilisation du système d'aide au démarrage en côte
- Immobilisez votre véhicule. Gardez la pédale de frein enfoncée et engagez une vitesse de montée (par exemple, la marche avant (D) ou la première (1) lorsque le véhicule fait face à une pente ascendante ou la marche arrière (R) lorsque le véhicule fait face à une descente).
- Si les capteurs détectent que votre véhicule se trouve sur une pente, le système s'active automatiquement.
- Lorsque vous retirez votre pied de la pédale de frein, votre véhicule demeure immobile sur la pente pendant environ deux à trois secondes. Ce délambda est automatiquement prolongé si vous êtes sur le point de démarrer.
- Démarrez de manière normale. Les freins se desserrent automatiquement.
Activation et désactivation du système
Vous pouvez activer et désactiver cette fonction si votre véhicule est muni d'une boîte de vitesses manuelle et d'un écran d'information. Voir Généralités (page 140). Le système utilise le dernier réglage lorsque vous démarrez le véhicule.
Si votre véhicule n'est pas équipé d'une boîte de vitesses manuelle et ne compte pas d'écran d'information, vous ne pouvez pas activer ou désactiver le système. Lorsque vous établissez le contact, le système s'active automatiquement.
Maintien AUTO

AVERTISSEMENT: Ce système ne
remplace pas le frein de stationnement. Lorsque vous quittez le véhicule, serrez toujours le frein de stationnement.

AVERTISSEMENT: Vous devez rester
Dans votre véhicule quand le système s'active. Vous êtes à tout moment tenu de maîtriser votre véhicule, de superviser le système et d'intervenir au besoin. La négligence peut entraîner une perte de contrôle du véhicule et des blessures graves ou mortelles.

AVERTISSEMENT: Le système se
désactive en cas de dysfonctionnement ou si vous faites tourner le moteur à un régime excessif.
Le système est conçu pour serrer les freins afin de maintenir votre véhicule immobile une fois que vous l'avez arrêté et que vous avez relâché la pédale de frein. Cela peut être utile dans certaines situations, par exemple lorsque vous attendez en haut d'une côte ou dans un embouteillage.
Activation et désactivation de la retenue automatique

Appuyez sur le bouton situé sur la planche de bord pour accéder à la fonction de retenue automatique
Nota : Vous ne pouvez activer le système que si vous avez fermé la porte conducteur, bouclé votre ceinture de sécurité et démarré le moteur.
Nota : Le système mémorise votre dernier réglage lorsque vous faites démarrer le moteur.
Assurez-vous que le contact est coupé avant de remorquer votre véhicule ou d'utiliser un lave-auto automatique.
Utilisation de la fonction de retenue automatique
- Utilisez la pédale de frein pour immobiliser complètement votre véhicule. Le témoin Auto Hold actif s'allume sur l'écran.
- Relâchez la pédale de frein. Le système maintient votre véhicule à l'arrêt. Le témoin Auto Hold actif reste allumé sur l'écran.
Nota: Le système ne s'active que si vous appuyez suffisamment sur la pédale de frein. Sur une pente abrupte, vous devez appuyer davantage sur la pédale de frein pour activer le système.
Nota: Dans certaines circonstances, le système peut serrer le frein de stationnement électrique. Le témoin du circuit de freinage s'allume alors. Le frein de stationnement électrique se desserre lorsque vous enfoncer la pédale d'accélérateur. Voir Frein de stationnement électronique (page 246).
Nota: Si le système d'arrêt-démarrage automatique du moteur arrête le moteur, la retenue automatique demeure active.
Nota: Le système est désactivé si vous engagez la marche arrière (R) et si vous appuyez sur la pédale de frein.
- Démarrez comme à l'habitude. Le système desserre les freins et le témoin de retenue automatique s'éteint.
Témoin de retenue automatique

Le témoin de retenue automatique s'allume à l'écran d'information lorsque le système est en fonction, actif ou indisponible.

Ce témoin s'allume lorsque le système est actif. Une fois que vous avez relâché la pédale, ce véhicule reste immobile.
Le témoin s'allume lorsque le système est activé mais indisponible pour maintenir le véhicule immobile.
Le système peut être indisponible dans les situations suivantes :
- Vous effectuez une manœuvre de stationnement actif.
- Voiture véhicule est en mode de maintien de point mort. La porte conducteur est ouverte.
- Vous n'avez pas bouclé votre ceinture de sécurité.
- Vous engagez la marche arrêté (R) avant que le système ne soit actif.
À PROPOS de l'aide au freinage en MARCHE arrière
E205199
Le système est conçu pour réduire les dommages dus à un impact ou éviter carrément qu'une collision puisse survenir en utilisant les capteurs installés à l'arrière de votre véhicule. Le système fonctionne lorsque le véhicule roule en marche arrière (R) à une vitesse de 1,5-12 km/h (1-7 mph).
Si un obstacle est détecté derrière votre véhicule, le système vous avertit par l'intermédiaire du système d'aide au stationnement arrêté ou d'alerte de circulation transversale.
Precautions relatives à LAIDE au freinage en MARCHE arrière

AVERTISSEMENT: Vous êtes tenu
en tout temps de maîtriser votre véhicule. Le système est une aide au conducteur et ne vous dégage pas de votre responsabilité de conduire avec l'attention et les précautions qui s'imposent. Si vous ignorez cette directive, cela pourrait entraîner une perte de maîtrise du véhicule et des blessures graves ou mortelles.

AVERTISSEMENT: Pour éviter des
blessures, soyez toujours vigilant lorsque vous faites marche arrêtée (R) et que vous utilisez le système de détention.

AVERTISSEMENT: Le système peut ne pas fonctionner correctement dans des conditions météorologiques défavorables, comme la neige, la glace, la pluie forte et les embruns. Conduisez toujours avec prudence et en étant attentif. La vigilance risque de causer une collision.

AVERTISSEMENT: Les systèmes de ration de la circulation, les conditions météorologiques défavorables, les freins manuels, les moteurs et ventilateurs peuvent affecter le bon fonctionnement du sonar de recul, ce qui peut réduire les performances du me ou générer de fausses alertes.

AVERTISSEMENT: Le rendement du
système pourrait être réduit lorsque la capacité de détection de la caméra est limitée. Ces situations comprennent, sans s'y limiter : Lumière du soleil directe ou faible, véhicules qui roulent la nuit sans feux arrêt, types de véhicule non conventionnels, piétons avec arrière-plans
complexes, piétons qui courent, piétons partiellement obscurcis, piétons ne pouvant pas être distingués d'un groupe. La négligence peut entraîner une perte de contrôle du véhicule et des blessures graves ou mortelles.
Note: Certains accessoires rajoutés autour du pare-chocs ou du bouclier peuvent provoquer de fausses alertes. Par exemple, de grands attelages de remorques, des supports à bicyclettes ou à planches de surf, des supports de plaque d'immatriculation, des revêtements de pare-chocs ou d'autres dispositifs peuvent bloquer la zone de détection du sonar de recul. Pour éviter les fausses alertes, enlevez les accessoires ajoutés.
Nota: Le système ne détecte pas les petits obstacles ou les objets en mouvement, en particulier ceux qui se trouvent au ras du sol.
Nota: Le système ne fonctionne pas en pleine accélération ou dans les virages à grande vitesse.
Lorsqu'un événement survient, le système applique seulement les freins pendant une courte période. Pour garder la maîtrise du véhicule, le conducteur doit prendre des mesures dès qu'il remarque que les freins ont été automatiquement appliqués.
Note: Si vous subissez des dommages qui décentrent ou déforment le pare-chocs ou le bouclier, la zone de détection peut être modifiée, ce qui pourrait causer une estimation erronée des distances ou de fausses alertes.
Note: Le chargement du véhicule et les changements de suspension peuvent modifier l'angle des capteurs et par conséquent la zone normale de détection du système, ce qui peut entraîner une estimation erronée de la distance des obstacles ou de fausses alertes.
Note: Quand vous attelez une remorque, le système peut détecter la remorque et transmettre une alerte, ou le système est automatiquement désactivé. Si le système n'est pas désactivé automatiquement, désactivez-le manuellement après avoir attelé la remorque.
Note: Les performances du système peuvent être réduites sur les chaussées sur lesquelles la décélération est limitée. Par exemple, sur les routes couvertes de glace, gravier, boue ou sable.
Activation et désactivation de l'aide au freinage en MARCHE arrière
Vous pouvez activer ou désactiver le système à l'écran tactile. Voir Paramètres (page 528).
Note: Le système est indisponible quand l'aide au stationnement arrêté ou l'alerte de circulation transversale sont désactivées.
Annulation de l'aide au freinage en MARCHE arrière
Vous pouvez neutraliser le système en enfonçant fermement la pédale d'accélérateur.
Nota: Dans certains cas, un freinage automatique peut survenir de façon imprévue ou indésirable. Dans un tel cas, neutralisez le système ou désactivez-le.
Témoins de l'aide au freinage en MARCHE arrière
Si le système détermine qu'une collision avec un obstacle peut se produire, toute la force de freinage peut être appliquée. Immobilisez votre véhicule à une distance sécuritaire de l'obstacle.

Quand le système applique les freins automatiquement, un message s'affiche à l'écran et un
témoin s'allume.
Aide au freinage en marche arrêté - messages d'information
Le fonctionnement du système nécessite plusieurs conditions initiales. Si ces conditions ne sont pas remplies ou en cas d'anomalie, un message s'affiche lorsque le véhicule roule en marche arrière (R) pour vous avertir que le système est désactivé ou indisponible. Voir Messages d'information (page 145).
Aide au freinage en marche arrêté - foire aux questions
Note: Si les réponses aux questions souvent posées indiquées dans le tableau suivant ne vous permettent pas de réactiver le système, consultez votre concessionnaire autorisé pour faire vérifier le fonctionnement du système.
| Pourquoi le système est-il désactivé? | Assurez-vous que le système a été activé. Voir Activation et désactivation de l'aide au freinage en marche arrière (page 252). |
| Pourquoi le système est-il indisponible? | Assurez-vous que le hayon et toutes les portes sont fermés. |
| Assurez-vous que le système d'alerte de circulation transversale est activé. Voir Alerte de circulation transversale (page 305). | |
| Assurez-vous que le système d'aide au stationnement arrêté est activé. Voir Aide au stationnement arrêté (page 260). | |
| Assurez-vous que l'antipatinage est activé. Voir Utilisation de l'antipatinage (page 255). | |
| Une collision s'est produit par l'arrêté du vehicule. Communique avec un concessionnaire autorisé pour faire vérifier la couverture et le fonctionnement des capteurs. | |
| Le système ABS, l'antipatinage ou le contrôle de stabilité est peut-être intervenu. Le système se réactive lorsque cette intervention est terminée. | |
| Assurez-vous que laamera de recul et laamera à 360° ne sont pas sales ou obstruées. Nettoyez les camères si elles sont souillées. Voir Caméra de recul (page 271). Voir Caméra de recul (page 271). Si le message reste affché après avoir nettoyé les camères, attendez quelques instants, le message devrait disparaître. Si le message ne disparait pas, communique avec votre concessionnaire autorisé. | |
| Assurez-vous que les capteurs ne sont pas obstrués ou défectueux. Voir Alerte de circulation transversale (page 305). Voir Aide au stationnement arrêté (page 260). | |
| Vous avez récemment fait vérifier votre vehicule ou débranché la batterie. Conduisez sur une petite distance pour rétablier le fonctionnement du système. | |
| Pourquoi le système se désactive-t-il lorsque j'attelle une remorque? | Le système ne fonctionne pas lorsque vous attelez une remorque. Le fonctionnement du système se rétablit quand vous détachez la remorque. |
Principes de fonctionnement
Le dispositif antipatinage contribue à prévenir le patinage des roues motrices et la perte d'adhérence.
Si votre véhicule commence à glisser, le système serre les freins de roues individuelles puis, au besoin, réduit simultanément la puissance du moteur. Si les roues patinent en accélérant sur des chaussées glissantes ou meubles, le système réduit la puissance du moteur pour augmenter la traction.
Utilisation de l'antipatinage

contrôle de stabilité et de l'antipatinage s'allume si le système détecte un échec. Assurez-vous que vous n'avez pas manuellement désactivé la fonction d'antipatinage au moyen des commandes de l'écran d'information ou du contacteur. Si le témoin de l'antipatinage et du contrôle de stabilité est encore allumé en continu,
faites immédiatement réparer le système par un concessionnaire autorisé. La conduite de votre véhicule alors que l'antipatinage est désactivé peut augmenter les risques de perte de maîtrise ou de capotage du véhicule, ainsi que les risques de blessures graves ou mortelles.
Le dispositif se met automatiquement en fonction chaque fois que vous établissez le contact.
Si vous véhicule s'enlise dans la boue ou la neige, il peut être utile de désactiver l'antipatinage car cela permettra aux roues de tourner.
Note : Lorsque vous désactivez l'antipatinage, le contrôle de stabilité reste totalement actif.
Désactivation du système
Lorsque vous activez ou désactivez le système, un message s'affiche à l'écran d'information pour indiquer l'état du système.
Vous pouvez désactiver le système au moyen des commandes de l'écran d'information ou du contacteur.
Utilisation des commandes de l'écran d'information
Vous pouvez activer ou désactiver cette fonction à partir de l'écran d'information. Voir Généralités (page 140).
Utilisation d'un contacteur (selon l'équipement)
Utilisez le contacteur de désactivation de l'antipatinage sur la planche de bord pour désactiver ou activer le système.
Témoins et messages des systèmes

Le témoin du contrôle de stabilité et de l'antipatinage clignote :
- il s'allume temporairement au démarrage du moteur;
- il clignote lorsqu'une situation de conduite provoque l'activation de l'un des systèmes;
- il s'allume en cas d'anomalie de l'un des systèmes.
Antipatinage

Le témoin de désactivation du contrôle de stabilité et de l'antipatinage s'allume
temporairement au démarrage du moteur et reste allumé lorsque la fonction antipatinage est désactivée.

Avertissement: toute
modification du véhicule concernant le freinage, les galleries porte-bagages de deuxième monte, la suspension, la direction ou le type et la taille des jantes et pneus peut compromettre la tenue de route de votre véhicule et nuire au fonctionnement du dispositif de contrôle électronique de stabilité. L'ajout de haut-parleurs peut également générer et perturber le fonctionnement du dispositif de contrôle électronique de stabilité. Afin de réduire les risques de perturbation des capteurs du dispositif de contrôle électronique de stabilité, il est conseillé d'éloigner le plus possible les haut-parleurs de deuxième monte de la console centrale avant, du tunnel de plancher et des sièges avant. Une réduction de l'efficacité du dispositif de contrôle électronique de stabilité peut augmenter les risques de perte de maîtrise ou de capotage du véhicule, ainsi que les risques de blessures graves ou mortelles.

Avertissement: n'oubliez pas que
Même la technologie la plus sophistiquée ne peut déroger aux lois naturelles de la physique. Une perte de maîtrise du véhicule causée par une manoeuvre du conducteur inadaptée aux conditions est toujours possible. Une conduite sportive, quelles que soient les conditions routières, peut causer une perte de maîtrise du véhicule augmentant les risques de blessures graves et de dommages. L'activation du dispositif de contrôle électronique de stabilité est une indication que la capacité d'adhérence d'un ou de plusieurs pneus a été dépassée et que, par conséquent, les risques de perte de maîtrise ou de capotage du véhicule ainsi que de blessures graves ou mortelles sont accrus. Si votre dispositif de contrôle électronique de stabilité s'active, RALENTISSEZ.
Le dispositif se met automatiquement en fonction chaque fois que vous établissez le contact.
Si une anomalie du contrôle de stabilité ou de l'antipatinage se produit, il se peut que vous rencontriez les situations suivantes :
Le témoin de contrôle de stabilité et d'antipatinage reste allumé. - Les systèmes de contrôle de stabilité et d'antipatinage n'améliorent pas la capacité de votre véhicule à développer la traction des roues.
Si une condition de conduite active le contrôle de stabilité ou le système antipatinage, il se peut que vous rencontriez les situations suivantes :
Le témoin du contrôle de stabilité et de l'antipatinage clignote. - Votre véhicule ralentit. Puissance moteur réduite. Vibration dans la pédale de frein. La pédale de frein est plus dure que d'habitude. - Dans des conditions de conduite extrêmes, si votre pied n'est pas sur la pédale de frein, celle-ci pourrait s'enfoncer automatiquement pour freiner davantage.
Le contrôle de stabilité dispose de plusieurs fonctions intégrées pour vous aider à garder le contrôle de votre véhicule :
Contrôle électronique de stabilité
Le dispositif améliore la capacité de votre véhicule à empêcher les dérapages ou les glissades latérales en serrant les freins d'une ou de plusieurs roues individuellement et, au besoin, en réduisant la puissance du moteur.
Contrôle de stabilité antiretournement
Le dispositif améliore la capacité de votre véhicule à empêcher les capotages en détectant le mouvement de roulis de votre véhicule ainsi que le taux de variation d'amplitude en serrant les freins d'une ou de plusieurs roues individuellement.
Antipatinage
Le dispositif améliore la capacité de votre véhicule à développer la traction des roues en détectant et commandant le patinage des roues. Voir Utilisation de l'antipatinage (page 255).
E72903
A Véhicule sans contrôle de stabilité sortant en dérapage de trajectoire. B Véhicule avec contrôle de stabilité gardant le contrôle sur une surface glissante.
Utilisation du controle de stabilité
Le dispositif se met automatiquement en fonction chaque fois que vous établissez le contact.
Vous ne pouvez pas mettre le contrôle de stabilité et le contrôle de stabilité antiretournement hors fonction, mais il se désactive automatiquement lorsque vous engagez la marche arrière (R).
Il vous est possible de désactiver ou d'activer l'antipatinage. Voir Utilisation de l'antipatinage (page 255).
Principes de fonctionnement

AVERTISSEMENT: Pour éviter des
blessures, soyez toujours vigilant lorsque vous faites marche arrêté (R) et que vous utilisez le système de détention.

AVERTISSEMENT: Le système peut
ne pas détecter des objets dont les surfaces absorbent les réflexions.
Conduisez toujours avec prudence et en étant attentif. La négligence risque de causer une collision.

AVERTISSEMENT: Les systèmes de
régulation de la circulation, les conditions météorologiques défavorables, les freins pneumatiques, les moteurs et ventilateurs extérieurs peuvent affecter le bon fonctionnement du sonar de recul, ce qui pourrait réduire les performances du système ou générer de fausses alertes.

AVERTISSEMENT: Le système peut
ne pas détecter de petits obstacles ou des objets en mouvement, en particulier ceux qui se trouvent au ras du sol.
Note: Si votre véhicule est doté du dispositif MyKey™, le sonar ne pourrait être désactivé sans la présence d'une clé MyKey™. Voir Principes de fonctionnement (page 76).
Nota: Veillez à ce que les capteurs sur le pare-chocs ou le bouclier ne soient pas obstrués par de la neige, de la glace ou des accumulations importantes de saleté. Si les capteurs sont obstrués, la précision du système peut être compromise. Ne nettoyez pas les capteurs au moyen d'objets tranchants.
Nota: Si vous vécique subit des dommages qui décentrent ou déforment le pare-chocs ou le bouclier, la zone de détection peut être altérée, ce qui peut entraîner une estimation erronée de la distance des obstacles ou de fausses alertes.
Nota: Certains accessoires rajoutés installés autour du pare-chocs ou du bouclier arrière peuvent provoquer de fausses alertes. Par exemple, de grands attelages de remorques, des supports à bicyclettes ou à planches de surf, des supports de plaque d'immatriculation, des revêtements de pare-chocs ou d'autres dispositifs peuvent bloquer la zone de détection du sonar de recul. Pour éviter les fausses alertes, enlevez les accessoires ajoutés.
Nota: Quand vous attelez une remorque à votre véhicule, le sonar de recul peut détecter la remorque et transmettre une alerte. Désactivez le sonar de recul quand vous attelez une remorque, ceci afin d'éviter ces alertes.
Le système de détection avertit le conducteur de la présence d'obstacles se trouvant à une certaine distance de votre véhicule. Le système s'active automatiquement dès que vous établissez le contact.
Vous pouvez désactiver le système à partir de l'écran tactile ou du message contextuel qui s'affiche lorsque vous engagez la marche arrière (R). Voir Paramètres (page 528). Si votre véhicule dispose d'un bouton d'aide au stationnement, vous pouvez désactiver le système en appuyant sur le bouton.
Lorsqu'une anomalie de système est présente, un message d'avertissement s'affiche sur l'écran d'information. Voir Messages d'information (page 145).
AVERTISSEMENT: Le système peut
ne pas détecter des objets dont les surfaces absorbent les réflexions. Conduisez toujours avec prudence et en étant attentif. La négligence risque de causer une collision.

AVERTISSEMENT: Le système peut ne pas détecter des petits obstacles ou des s en mouvement, en particulier ceux qui se trouvent au ras du sol.

AVERTISSEMENT: Pour éviter des rouures, soyez toujours vigilant lorsqu'elles faites marche arrière (R) et que vous netz le système de détention.

AVERTISSEMENT: L'aide au
L'aide au stationnement peut uniquement vous aider à détecter des objets lorsque votre véhicule se déplace lentement pour le stationnement. Pour réduire les risques de blessures, soyez prudent lorsque vous utilisez l'aide au stationnement.
Nota: Veillez à ce que les capteurs ne soient pas gênés par la présence de neige, de glace et d'accumulations importantes de saleté.
Nota: Ne recouvrez pas les capteurs.
Nota: Ne nettoyez pas les capteurs au moyen d'objets tranchants.
Nota: Si l'alignement des capteurs n'est plus exact en raison de dommages subis par le véhicule, cela pourrait provoquer des erreurs de mesure ou de fausses alertes.
Nota: Certains accessoires, tels que des attelages de remorque de grande taille, des porte-velos, des supports de planche de surf, peuvent réduire les performances et entraîner de fausses alertes.
Les capteurs sont situés sur le pare-chocs arrière.
Les capteurs sont actifs lorsque la boîte de vitesses est en marche arrière (R) et que le véhicule se déplace à moins de 5 km/h (3 mph). Lorsque l'aide au stationnement émet une tonalité, le système audio peut réduire le volume défini.
Un carillon d'avertissement retentit lorsque véhicule approche d'un objet. La tonalité augmente au fur et à mesure que véhicule s'approche d'un objet. Lorsque l'objet se trouve à 30 cm (12 po) ou moins du centre du pare-chocs arrière, le carillon retentit de manière continue.
Note: Elle est réduite au niveau des angles extérieurs.
Aides au stationnement

E130178
La zone de couverture du capteur va jusqu'à 180 cm (70 po) du pare-chocs arrière.
Si le système détecte une anomalie, un message d'avertissement s'affiche sur l'écran d'information.
Le système détecte les objets de grande dimension lorsque vous passez en marche arrière (R) et que :
- Voiture véhicule se déplace en marche arrière à faible vitesse.
- Voiture véhicule est immobile mais un objet se rapproche à faible vitesse par l'arrière.
- Voiture véhicule se déplace en marche arrière à faible vitesse et un objet s'approche de votre véhicule, par ex. un autre véhicule à faible vitesse.
Le carillon cesse de détecter si votre véhicule reste immobile pendant deux secondes. Si le véhicule reprend son déplacement en marche arrière, le carillon retentit à nouveau.
Note: Si l'objet détecté est à 30 cm (12 po) ou moins du pare-chocs arrêté, l'alarme ne se déclenche pas.
Indicateur de distance d'objet (Selon
I'equipement)

E190459
Le système donne une indication de distance d'objet sur l'écran d'information.
- À mesure que l'objet se rapproche, les segments indicateurs s'allument et se déplacent vers l'icone du véhicule. Si aucun objet n'est détecté par le système, les segments de l'indicateur de distance sont grisés.
Lorsque vous passez en marche arrière (R), le système émet des signaux sonores et une indication visuelle si votre véhicule roule et que l'objet détecté se déplace vers votre véhicule. Lorsque le véhicule s'immobilise, les signaux sonores s'arrêtent au bout de deux secondes. Cette indication reste affichée lorsque la marche arrière (R) est engagée.
AVERTISSEMENT: Le système peut ne pas détecter des objets dont les surfaces absorbent les réflexions. Conduisez toujours avec prudence et en étant attentif. La négligence risque de causer une collision. AVERTISSEMENT: Le système peut ne pas détecter de petits obstacles ou des objets en mouvement, en particulier ceux qui se trouvent au ras du sol. AVERTISSEMENT: Pour éviter des blessures, soyez toujours vigilant lorsque vous faites marche arrière (R) et que vous utilisez le système de détention.
AVERTISSEMENT: L'aide au stationnement peut uniquement vous aider à détecter des objets lorsque le vehicle se déplace lentement pour le stationnement. Pour réduire les risques de blessures, soyez prudent lorsque vous utilisez l'aide au stationnement.
Nota: Veillez à ce que les capteurs ne soient pas gênés par la présence de neige, de glace et d'accumulations importantes de saleté.
Nota: Ne recouvrez pas les capteurs.
Nota: Ne nettoyez pas les capteurs au moyen d'objets tranchants.
Nota: Si l'alignement des capteurs n'est plus exact en raison de dommages subis par le véhicule, cela pourrait provoquer des erreurs de mesure ou de fausses alertes.
Nota: Certains accessoires, tels que des attelages de remorque de grande taille, des porte-velos, des supports de planche de surf, peuvent réduire les performances et entraîner de fausses alertes.
Aides au stationnement
Les capteurs sont situés sur le pare-chocs avant.
Les capteurs sont activés lorsqu'une position autre que la position de stationnement (P) est sélectionnée. Lorsque l'aide au stationnement émet une tonalité, le système audio peut réduire le volume défini.
Un carillon d'annonce retentit lorsque voiture véhicule approche d'un objet. La tonalité augmente au fur et à mesure que voiture véhicule s'approche d'un objet. Lorsque l'objet se trouve à 30 cm (12 po) ou moins du pare-chocs avant, le carillon retentit de manière continue.
Note: Elle est réduite au niveau des angles extérieurs.
Le système s'éteint quand la vitesse du véhicule atteint 8 km/h (5 mph).
E187330
La zone de couverture du capteur va jusqu'à 70 cm (28 po) à partir du centre du pare-chocs.
Si la marche arrière (R) est engagée, le système détecte les objets lorsque votre véhicule se déplace lentement ou quand un objet se déplace vers l'avant de votre véhicule, comme par exemple un autre véhicule à faible vitesse. Lorsque vous arrêtez votre véhicule, le signal sonore s'arrête au bout de deux secondes.
Si une marche avant est engagée, le système produit des signaux sonores lorsque votre véhicule se déplace et qu'un objet se trouve dans la zone de détection. Lorsque vous arrêtez le véhicule, le signal sonore s'arrête au bout de deux secondes et le signal visuel disparaît après quatre secondes.
Si le système détecte une anomalie, un message d'avertissement s'affiche sur l'écran d'information.
Aides au stationnement
Indicateur de distance d'objet (Selon l'équipement)

E190459
Le système donne une indication de distance d'objet sur l'écran d'information.
- À mesure que l'objet se rapproche, les segments indicateurs s'allument et se déplacent vers l'icone du véhicule.
- Si aucun objet n'est détecté, les segments indicateurs de distance sont grisés.
Lorsque vous passez en marche avant, le système émet des avertissements sonores et une indication visuelle quand le véhicule se déplace à une vitesse inférieure ou égale à 8 km/h (5 mph) environ et qu'un objet est détecté dans la zone de détection. Lorsque vous arrêtez le véhicule, les avertissements sonores s'arrêtent au bout de deux secondes et le témoin visuel disparaît au bout de quatre secondes.
Note: Si les objets détectés se trouvent à une distance de 30 cm (12 po) ou moins, le témoin visuel reste affiché.
Lorsque vous passez en position neutre (N), le système fournit uniquement une indication visuelle si le véhicule se déplace à une vitesse égale ou inférieure à 8 km/h (5 mph) environ, par exemple si le véhicule se déplace sur une pente et que le système détecte un objet en direction du véhicule. Lorsque le véhicule s'immobilise, le témoin visuel s’arrête au bout de quatre secondes.
SONAR lateral (SELON l'équipement)
AVERTISSEMENT: Le système peut ne pas détecter des objets dont les surfaces absorbent les réflexions. Conduisez toujours avec prudence et en étant attentif. La négligence risque de causer une collision.
AVERTISSEMENT: Le système peut ne pas détecter de petits obstacles ou des objets en mouvement, en particulier ceux qui se trouvent au ras du sol.
Aides au stationnement

AVERTISSEMENT: Pour éviter des
blessures, soyez toujours vigilant lorsque vous faites marche arrêté (R) et que vous utilisez le système de détention.

AVERTISSEMENT: L'aide au
L'aide au stationnement peut uniquement vous aider à détecter des objets lorsque votre véhicule se déplace lentement pour le stationnement. Pour réduire les risques de blessures, soyez prudent lorsque vous utilisez l'aide au stationnement.
Nota: Veillez à ce que les capteurs ne soient pas gênés par la présence de neige, de glace et d'accumulations importantes de saleté.
Nota: Ne recouvrez pas les capteurs.
Nota: Ne nettoyez pas les capteurs au moyen d'objets tranchants.
Nota: Si l'alignment des capteurs n'est plus exact en raison de dommages subis par le véhicule, cela pourrait provoquer des erreurs de mesure ou de fausses alertes.
Nota: Si vous désactivez l'antipatinage, vous désactivez aussi le système de détection latérale.
Nota: Certains accessoires, tels que des attelages de remorque de grande taille, des porte-velos, des supports de planche de surf, peuvent réduire les performances et entraîner de fausses alertes.
Nota: Le système ne détecte pas les objets qui se rapprochent du côté du véhicule, par exemple un autre véhicule arrivant à basse vitesse, si ce dernier ne passe pas devant un capteur avant ou arrière.
Le système utilise les capteurs d'aide au stationnement avant et arrière les plus à l'extérieur pour détecter les objets proches des côtés du véhicule. Le système affiche ces objets sur une carte virtuelle sur l'écran d'information lorsque le véhicule passe à proximité.
Les capteurs sont situés sur les pare-chocs avant et arrière.
Le système peut ne pas fonctionner si :
- Vous établissez le contact, le coupez et le rétablissez en l'espace de quelques secondes.
- Voiture véhicule reste à l'arrêt pendant plus de deux minutes. Le freinage antiblocage est activé. L'antipatinage est activé.
Pour réinitialiser le système, vous pourriez devoir conduire le véhicule sur environ 3 m (10 ft).
E190458
La zone de détection maximale du capteur est de 60 cm (24 po) à partir du côté de votre véhicule.
Lorsque le système détecte un objet dans la zone de détection et sur la trajectoire du véhicule, un signal sonore retentit. Plus l'objet se rapproche du véhicule, plus l'intervalle entre les tonalités diminue.
Indicateur de distance d'objet (selon)
I'equipement)

E190459
Le système donne une indication de distance d'objet sur l'écran d'information.
- À mesure que l'objet se rapproche, les segments indicateurs s'allument et se déplacent vers l'icone du véhicule. Si l'object n'est pas detected, les segments indicateurs distance sont grisés.
Lorsque vous passez en position de marche arrière (R), le système émet des avertissements sonores et une indication visuelle si des objets sont détectés dans un rayon de 60 cm (24 po) et se trouvent sur la trajectoire du véhicule. Lorsque vous arrêtez votre véhicule, les avertissements sonores s'arrêtent après deux secondes.
Lorsque vous passez en marche avant, le système émet des avertissements sonores et une indication visuelle quand le véhicule se déplace à une vitesse inférieure ou égale à 8 km/h (5 mph) environ et qu'un objet est détecté dans la zone de détection. Lorsque vous arrêtez le véhicule, les avertissements sonores s'arrêtent après deux secondes et l'indication visuelle disparaît après quatre secondes.
Aides au stationnement
Lorsque vous passez au point mort (N), le système émet une indication visuelle quand le véhicule se déplace à une vitesse inférieure ou égale à 8 km/h (5 mph) environ. Par exemple, si votre véhicule se déplace sur une pente et que le système détecte un objet en direction du véhicule. Lorsque vous arrêtez le véhicule, l'indication visuelle disparaît après quatre secondes.
Si le système est indisponible, les segments indicateurs de distance latérale ne s'affichent pas.
AVERTISSEMENT: Vous devez rester
Dans votre véhicule quand le système s'active. Vous êtes à tout moment tenu de maîtriser votre véhicule, de superviser le système et d'intervenir au besoin. La négligence peut entraîner une perte de contrôle du véhicule et des blessures graves ou mortelles.

AVERTISSEMENT: Les capteurs
peuvent ne pas détecter des objets lors de fortes précipitations ou dans d'autres conditions pouvant causer des interférences.

AVERTISSEMENT: Vous êtes tenu
en tout temps de maîtriser votre véhicule. Le système est une aide au conducteur et ne vous dégage pas de votre responsabilité de conduire avec l'attention et les précautions qui s'imposent. Si vous ignorez cette directive, cela pourrait entraîner une perte de maîtrise du véhicule et des blessures graves ou mortelles.
Le système dirige le véhicule lors de manœuvres de stationnement et de sortie de stationnement. Des capteurs sont utilisés pour détecter les espaces de stationnement. Le système veille ensuite à la direction, à l'accélération, au freinage et aux changements de vitesse nécessaires pour entrer dans un espace de stationnement ou en sortir.
Utilisation du stationnement actif

Le bouton de stationnement est situé au-dessus du sélecteur de la boîte de vitesses, juste en dessous de l'écran d'affichage.
Appuyez sur le bouton de stationnement puis touchez l'icone de stationnement actif sur l'écran pour afficher les notifications à l'écran. Appuyez sur les touches programmables à l'écran d'affichage pour sélectionner les modes de stationnement parallèle, stationnement perpendiculaire ou sortie de stationnement parallèle.
Entrer dans un espace de stationnement
- Appuyez sur le bouton de stationnement actif.
Note: Le système recherche automatiquement des espaces de stationnement parallèle du côté passager. Appuyez de nouveau sur le bouton de stationnement actif pour chercher un espace de stationnement perpendiculaire.
- Utilisez le levier de clignotant pour rechercher un espace de stationnement sur le côté passager ou conducteur de votre véhicule.
- Conduisez le véhicule en parallèle aux autres véhicules stationnés en laissant un espace d'environ 1 m (3 ft) lorsque vous recherchez un emplacement de stationnement.
Note : Une tonalité retentit et un message s'affiche sur l'écran d'information lorsque le système de stationnement actif détecte un espace de stationnement convenable.
- Appuyez sur la pédale de frein et maintenez-la enfonnée.
- Lâchez le volant et passez au point mort (N).
- Maintenez le bouton de stationnement activé.
- Relâchez la pédale de frein pour laisser le véhicule se stationner.
Nota: Vous pouvez ralentir le véhicule en tout temps en appuyant sur la pédale de frein.
Nota: Lorsque le véhicule est stationné, il passe en position de stationnement (P).
Sortir d'un espace de stationnement
Le système vous aide uniquement à sortir d'un espace de stationnement parallèle.
- Appuyez sur le bouton de stationnement actif.
- Utilisez le levier de clignotant pour désigner quel côté sortir.
- Appuyez sur la pédale de frein et maintenez-la enfoncée.
- Lâchez le volant et passez au point mort (N).
- Desserrez le frein de stationnement;
- Maintenez le bouton de stationnement actif enfoncé.
- Relâchez la pédale de frein pour laisser le véhicule se déplacer.
Nota : Vous pouvez ralentir le véhicule en tout temps en appuyant sur la pédale de frein.
Nota: Lorsque le système déplace votre véhicule dans une position à partir de laquelle vous pouvez quitter l'espace de stationnement en marche avant, un message vous invite à reprendre le contrôle de votre véhicule.
Annulation du stationnement actif
Pour annuler le stationnement actif en tout temps, quittez le point mort (N).
Note: L'aide au stationnement est également désactivée si vous tournez le volant ou ouvrez la porte conducteur.
Mise en pause du stationnement actif
Pour permettre le stationnement actif en pause en tout temps, relâchez le bouton de stationnement actif.
Aides au stationnement
Le véhicule s'immobilise jusqu'à ce que vous mainteniez de nouveau le bouton de stationnement actif.
Note: L'aide au stationnement se met également en pause si la porte passager ou les portes arrière sont ouvertes.
Dépannage du stationnement actif
| Symptôme | Cause possible |
| Le système ne recherche pas d'emplacement de stationnement. | Vous avez peut-être désactivé le système antipatinage. |
| La marche arrière (R) est engagée. Vote vécicule doit se déplacer en marche avant pour pouvoir détecter un emplacement de stationnement. | |
| Le système ne propose pas d'emplacement de stationnement. | Les capteurs peuvent être bloqués. Par exemple, en raison d'une accumulation importante de neige, de glace ou de débris. Des capteurs bloqués peuvent nuire au fonctionnement du système. |
| Les capteurs sur les pare-chocs avant ou arrière peuvent être endommagés. | |
| L'espace de stationnement n'est pas suffisamment grand pour garantir un stationnement sur du vehicule. | |
| Il n'y a pas suffisamment d'espace du côte opposé à l'emplacement de stationnement pour manœuvrer le vehicule. | |
| L'emplacement de stationnement se trouve à une distance de plus de 1,5 m (5 ft) ou de moins de 0,5 m (2 ft). | |
| La vitesse du vehicule est supérieure à 35 km/h (22 mph) pour un stationnement en parallèle, ou supérieure à 30 km/h (19 mph) pour un stationnement perpendicular. |
Aides au stationnement
| Symptôme | Cause possible |
| Vous avez récemment débranché ou remplace la batterie. ÀpRES avoir rebranché de la batterie, vousdezvez rouler brièvement sur une route droite. | |
| Le système ne place pas le vehicule dans un espace de stationnement. | L'espace de stationnement présente un bord de trottoir irrégulier qui empêche le système d'aligner correctement le vehicule. |
| Les vehicules ou les objets bordant l'emplacement pourraient ne pas être stationnés correctement. | |
| Votrec vehicule s'est arrêté trop loin et a dépasse l'emplacement de stationnement. | |
| Les pneus poursaient ne pas être installés ou entretenus correctement. Par exemple, des pneus mal gonflés, de dimensions différentes ou inappropriées pour le vehicule. | |
| Une réparation ou une modification alterse la fonction de détention. | |
| Un des vehicules stationnés est doté d'un accessoire en hauteur. Par exemple, une saleuse, un chasse-neige ou une caisse surélevée de camion de déménagement. | |
| La longueur de l'emplacement de stationnement ou la position des objets présents change après que le vehicule a dépasse l'emplacement. | |
| Vosutilisez un pneu de secours ou un pneu beaucoup plus usé que les autres. | |
| La température autour du vehicule change rapidement. Par exemple, lorsque vous passez d'un garage chauffé au froid extérieur, ou lorsque le vehicule quitte un lave-auto. |
Caméra de RECUR

AVERTISSEMENT: Le système de
caméra de marche arrêté est un dispositif supplémentaire d'aide au recul qui exige néanmoins que le conducteur utilise les rétroviseurs extérieurs et intérieur pour optimiser la couverture.

AVERTISSEMENT: D'autres objets
près des coins du pare-chocs ou sous le pare-chocs peuvent ne pas apparaître à l'écran à cause de la couverture limite du système de caméra de marche arrière.

AVERTISSEMENT: Reculez aussi
lentement que possible. Si vous ignorez cette directive, cela peut entraîner une perte de contrôle du véhicule et des blessures graves ou mortelles.

AVERTISSEMENT: Faites preuve de
prudence lorsque la porte de chargement arrêté est entrouverte. Si la porte de chargement arrêté est entrouverte, laamera ne sera pas bien positionné et l'image vidéo sera incorrecte. Aucune ligne de guidage ne s'affiche lorsque la porte de chargement arrêté est entrouverte. Le fait de ne pas tenir compte de ces précautions accroît les risques de blessures.

AVERTISSEMENT: Soyez prudent si
Vous activez ou désactivez les fonctions de camera alors que la boîte de vitesses n'est pas en position de stationnement (P). Assurez-vous que le véhicule est immobile.
La caméra de recul offre une image vidéo de la zone à l'arrière du véhicule.
Durant le fonctionnement, des lignes s'affichent à l'écran qui représentent la projection empruntée par le véhicule et sa proximité par rapport aux objets situés derrière.

La caméra est installée sur le couvercle du coffre à bagages.
Utilisation du système de recul
Le système de caméra de recul affiche la zone qui se trouve derrière le véhicule lorsque vous engagez la marche arrière (R).
Nota: Le sonar de recul n'est pas efficace à des vitesses supérieures à 5 km/h (3 mph), et il peut ne pas détecter certains obstacles angulaires ou mobiles.
Aides au stationnement
Le système utilise trois types de guidages pour vous aider à voir ce qui se trouve derrière le véhicule :
- Lignes de guidage actives (selon l'équipement) : ces lignes indiquent le parcours prévu pendant la marche arrêtée du véhicule. Lignes de guidage fixes : ces lignes indiquent la trajectoire réelle du véhicule pendant la marche arrière en ligne droite. Cette option peut aider le conducteur à reculer dans une place de stationnement ou à aligner le véhicule avec un objet qui se trouve derrière. Ligne centrale : cette ligne aide le conducteur à aligner le centre du véhicule sur un objet (par exemple une remorque).
Nota: Si la marche arrière (R) est engagée et que le couvercle du coffre à bagages ou le hayon est ouvert, aucune fonction de la caméra de marche arrière ne s'affiche.
Nota : Lors du remorquage, laamera ne couvre que ce qui est remorqué. Le rayon de couverture peut se révéler inférieur à celui de la couverture habituelle et certains objets peuvent ne pas être détectés. Sur certains véhicules, les lignes de guidage peuvent disparaître une fois que vous branchez le connecteur de remorque.
Laamera peut ne pas fonctionner correctement dans les conditions suivantes :
- De nuit ou dans des endroits sombres, si un ou les deux phares de recul ne fonctionnent pas. Le champ visuel de laamera est obstrué par de la boue, de l'eau ou des débris. Nettoyez la lentille au moyen d'un chiffon doux non pelucheux et un nettoyant non abrasif. La partie arrière du véhicule a subi une collision ou est endommagée, faussant ainsi l'alignement de laamera.
Lignes de guidage de la lama
Nota: Les lignes de guidage actives ne s'affichent que lorsque la marche arrière (R) est engagée.
Nota: À chaque débranchement de la batterie ou remplacement de la batterie par une nouvelle, vous devrez conduire le véhicule sur une courte distance à une vitesse supérieure à 20 km/h (12 mph) pour que le système puisse réétalonner les données d'angle de braquage afin de réactiver les lignes de guidage actives.
Aides au stationnement


E142436
A Lignes de guidage actives B Ligne centrale C Ligne de guidage fixe: Zone verte
D Ligne de guidage fixe: Zone jaune E Ligne de guidage fixe: Zone rouge F Pare-chocs arrière
Les lignes de guidage actives sont indiquées seulement avec les lignes de guidage fixes. Pour utiliser les lignes de guidage actives, tournez le volant pour orienter les lignes vers une trajectoire prévue. Si vous modifiez la position du volant de direction pendant la marche arrêtée, le véhicule pourrait dévier de sa trajectoire initiale.
Les lignes de guidage fixes et actives apparaissent et disparaissent selon la position du volant de direction. Lorsque le volant de direction est centré, les lignes de guidage actives ne s'affichent pas.
Soyez toujours vigilant lors des manœuvres de recul. Les objets dans la zone rouge sont les plus près du véhicule et ceux dans la zone verte sont les plus éloignés. Les objets se rapprochent du véhicule lorsqu'ils se déplacent de la zone verte à la zone jaune ou rouge. Utilisez les rétroviseurs extérieurs et intérieur pour mieux couvrir les deux côtés et l'arrière du véhicule.
Zoom manuel

AVERTISSEMENT: Lorsque le zoom est activé, la zone située derrière l'objectif ne s'affiche pas entièrement. Soyez conscient de la zone à proximité de l'objectif lorsque vous utilisez la fonction zoom manuel.
Nota: Le zoom manuel n'est disponible que lorsque la marche arrêté (R) est engagée.
Nota: Seule la ligne centrale s'affiche lorsque le zoom manuel est activé.
Les réglages pouvant être sélectionnés pour cette fonction sont Zoom avant (+) et Zoom arrêté (-). Appuyez sur le symbole à l'écran de la caméra pour changer l'affichage. Le réglage par défaut est DÉSACTIVÉ.
Cette fonction permet de faire un gros plan sur un objet situé derrière le véhicule. L'image rapprochée affiche également le pare-chocs comme repère. Le zoom est actif uniquement lorsque la marche arrière (R) est engagée.
Réglages de la caméra
Il est possible de modifier les paramètres de la caméra de recul à l'écran d'affichage. Voir Paramètres (page 528).
Aide au stationnement ou guide de stationnement amélioré
Les réglages possibles pour cette fonction sont ACTIVÉ et DÉSACTIVÉ.
Lorsqu'ils détectent un objet, les sonars affichent des indicateurs colorés rouges, jaunes et vertes en haut de l'image vidéo.
Temporisation de la caméra de recul
Les réglages possibles pour cette fonction sont ACTIVÉ et DÉSACTIVÉ.
La fonction de temporisation de la caméra de recul est désactivée par défaut.
Après avoir quitté la position de marche arrière (R) pour toute position autre que la position de stationnement (P), l'image de laamera demeure affichée jusqu'à ce que :
La vitesse du véhicule soit suffisante. - Vous sélectionniez la position de stationnement (P).

Avertissement: le système de
caméras à 360 degrés ne dispense pas le conducteur de regarder à travers les glaces et de jeter un coup d'œil dans les rétroviseurs extérieurs et intérieur pour une visibilité optimale de l'environnement du véhicule.

Avertissement: d'autres objets
près des extrémités du pare-chocs ou sous le pare-chocs pourraient ne pas apparaître à l'écran en raison de la couverture limitée du système de caméra de recul.

Avertissement: soyez prudent si
activez ou désactivez les fonctions de la caméra alors que le levier sélecteur n'est pas en position de stationnement (P). Assurez-vous que le véhicule est immobile.

Avertissement: vous êtes tenu
en tout temps de maîtriser votre véhicule. Le système est une aide au conducteur et ne vous dégage pas de votre responsabilité de conduire avec l'attention et les précautions qui s'imposent. Si vous ignorez cette directive, cela pourrait entraîner une perte de maîtrise du véhicule et des blessures graves ou mortelles.
Note: Utilisez la vue à 360 degrés avec prudence lorsque une porte est entrouverte. Si une porte est entrouverte, la caméra ne sera pas bien positionnée et l'image vidéo sera incorrecte.
Le système de caméras à 360 degrés se compose de caméras avant, latérales et arrière. Le système :
- vous permet de voir ce qui se trouve directement devant ou derrière votre véhicule;
- vous permet de voir le traffic transversal devant et derrière votre véhicule;
Aides au stationnement
Procure une vue de haut en bas de la zone située en dehors de votre véhicule, y compris les angles morts. - Permet une visibilité autour du véhicule lors de manœuvres pour :
- Centrer le véhicule dans un emplacement de stationnement. Voir les obstacles près du véhicule. Le stationnement en parallèle.

Le bouton d'activation de la caméra avant est situé près de l'écran d'affichage et active la
caméra avant lorsque votre véhicule est dans une position autre que la marche arrière (R). Cette caméra est disponible seulement lors des manœuvres de stationnement à basse vitesse.
Utilisation du système
Note : Le système de caméras à 360 degrés est désactivé lorsque le véhicule se déplace à vitesse réduite, sauf en marche arrière (R).
Les caméras avant et arrière représentent plusieurs écrans comptant : Une vue normale 360, une vue normale et un vue à double affichage. En position de stationnement (P), de point mort (N) ou de marche avant (D), seules des images de l'avant apparaisent lorsque vous appuyez sur le bouton. En marche arrière (R), seules les images arrière s'affichent.

Appuyez pour accéder aux différentes vues caméra.

Vue normale + 360 : Contient la vue caméra normale après d'une vue caméra à 360 degrés.

Vue normale : Fournit une image de ce qui se trouve directement devant ou derrière votre véhicule.

Double affichage : Fournit une vue étendue de ce qui se trouve devant ou derrière votre véhicule.

Zoom avant sur l'image.
Zone à éviter E225016
La zone à éviter est représentée par les lignes jaunes en pointillés parallèles au véhicule. Elle donne une indication au sol de la position des rétroviseurs complètement déployés.
Caméra avant

AVERTISSEMENT: Le système de sera avant ne dispense pas le conducteur de regarder vers l'avant du véhicule.
Aides au stationnement
Nota: Le système désactive l'image vidéo avant lorsque votre véhicule se déplace à vitesse réduite, sauf en marche arrêté (R).

La caméra vidéo avant est montée sur la calandre. Elle fournit une image vidéo de la zone à l'avant de votre véhicule. Il s'agit d'une aide supplémentaire pour le conducteur en marche avant à vitesse réduite. Pour utiliser le système de caméra vidéo avant, passez un rapport autre que la
marche arrière (R). Une image s'affiche une fois que vous appuyez sur le bouton d'activation de la caméra avant. L'image affichée sur l'écran peut varier en fonction de l'orientation de votre véhicule ou des conditions routières.
Caméra latérale
Caméra latérale, place dans le rétroviseur extérieur, fournit une image vidéo de la zone située sur les côtés de votre véhicule à l'aide des affichages 360 + Normal avant et 360 + Normal arrêté. Elle peut vous être utile lors des manœuvres de stationnement vers l'avant ou l'arrière.
À PROPOS du régulateur de vitesse
Le régulateur de vitesse permet de conserver une vitesse déterminée sans poser votre pied sur la pédale d'accélérateur. Vous pouvez utiliser le régulateur de vitesse lorsque votre véhicule roule à plus de 30 km/h (20 mph).
Activation et désactivation du régulateur de vitesse

AVERTISSEMENT: N'utilisez pas le régulateur de vitesse lorsque la circulation est dense ou sur des routes sinueuses ou glissantes. Vous risqueriez de perdre le contrôle du véhicule et de subir des blessures graves ou mortelles.
Les commandes du régulateur de vitesse sont situées sur le volant de direction. Voir Programmateur de vitesse (page 103).
Activation du régulateur de vitesse

Appuyez sur ce bouton pour placer le système en mode d'attente.
Désactivation du régulateur de vitesse

Appuyez sur ce bouton lorsque le système est en mode d'attente.
Le système se désactive aussi lorsque vous coupez le contact.
Nota: La vitesse programmée s'efface lorsque vous désactivez le système.
Programmation de la vitesse du régulateur de vitesse

AVERTISSEMENT: Lorsque vous
descendez une pente, la vitesse du véhicule pourrait dépasser la vitesse programmée. Le système n'applique pas les freins.
Conduisez à la vitesse voulue.
SET+
Appuyez sur un des boutons pour programmer la vitesse courante.
SET-
Relâchez la pédale d'accélérateur.
Note: Le témoins change de couleur sur l'écran d'information.
Changement de la vitesse programmée
SET+
Appuyez brièvement sur ce bouton pour augmenter la vitesse programmée par petits increments.
Appuyez sur ce bouton et maintenez-le enfoncé pour accélérer. Relâchez le bouton lorsque la vitesse voulue est atteinte.
SET-
Appuyez brièvement sur ce bouton pour réduire la vitesse programée par petits incrémentss.
Appuyez sur ce bouton et maintenez-le enfoncé pour décélérer. Relâchez le bouton lorsque la vitesse voulue est atteinte.
Nota: Si vous accélérez en appuyant sur la pédale d'accélérateur, la vitesse programmée ne change pas. Si vous relâchez la pédale d'accélérateur, le véhicule revient à la vitesse que vous avez précédemment programmée.
Annulation de la vitesse programmee

Appuyez brièvement sur ce bouton ou enlevez très légèrement la pédale de frein pour annuler la
vitesse programmée.
Nota: Le système mémorise la vitesse programmée.
Nota: Le système se désengage si la vitesse de votre véhicule diminue de plus de 16 km/h (10 mph) en dessous de la vitesse programmée lorsque vous gravissez une pente.
Reprise de la vitesse programmee

Appuyez sur le bouton.
Témoins de régulateur de vitesse

Ce témoin s'allume lorsque vous mettez le système en fonction.
À PROPOS du régulateur de vitesse adaptatif avec arrêt-démarrage
Le régulateur de vitesse adaptatif avec arrêt-démarrage utilise un capteur radar et un capteur caméra pour régler la vitesse de votre véhicule de façon à développer un écart programmé avec le véhicule qui vous précède dans la même voie lorsque vous le suivez jusqu'à l'arrêt complet. Vous pouvez également activer le système pour suivre un véhicule qui vous précède puis régler la vitesse programmée lorsque votre véhicule est à l'arrêt.
À PROPOS du régulateur de vitesse adaptatif avec maintien de VOIE
Le régulateur de vitesse adaptatif avec maintien de voie utilise un capteur radar et un capteur camera pour maintenir votre véhicule au centre de la voie en appliquant un couple continu sur le volant pour diriger le véhicule vers le centre de la voie d'autoroute.
Note: Le réglage de la distance de suivi du régulateur de vitesse adaptatif fonctionne normalement.
À PROPOS du régulateur de vitesse adaptatif intelligent
Le régulateur de vitesse adaptatif intelligent associé à la reconnaissance des panneaux indicateurs de vitesse au régulateur de vitesse pour régler la vitesse programmée selon la limite de vitesse détectée par le système de reconnaissance. Par exemple, si le système de reconnaissance des panneaux indicateurs de vitesse détecte une limite de vitesse de 80 km/h (50 mph), la vitesse programmée est mise à jour à 80 km/h (50 mph).
Note: Le réglage de la distance de suivi du régulateur de vitesse adaptatif fonctionne normalement.
Régulateur de vitesse adaptatif - precautions - vehicules avec : régulateur de vitesse adaptatif avec maintien de VOIE
Les précautions relatives au régulateur de vitesse adaptatif s'appliquent au système de maintien de voie sauf indication contraire ou si des précautions contradictoires s'appliquent au système de maintien de voie. Voir Régulateur de vitesse adaptatif - Précautions (page 280).

AVERTISSEMENT: N'utilise pas le lorsque le véhicule tracte une torque. Si vous ignorez cette directive, il pourrait entraîner une perte de sec du véhicule et des blessures ces ou mortelles.
Régulateur de vitesse adaptatif - precautions - vehicules avec : régulateur de vitesse adaptatif avec arrêt-démarrage

AVERTISSEMENT: Le système n'est
pas un système d'avertissement ou d'évitement de collisions.

AVERTISSEMENT: Soyez attentifs
Attentif aux variations des conditions de circulation lorsque vous utilisez le système. Il ne remplace pas la vigilance au volant. Le non-respect de cette consigne pourrait entraîner des blessures graves ou mortelles.

AVERTISSEMENT: N'utilise pas le me lorsque le vehicule tracte une torque avec des commandes de usagelectronique de deuxieme monte. Si vous ignorez cette directive, cela peut entrainer une perte de maîtrise du vehicule et des blessures graves ou mortelles.

AVERTISSEMENT: N'installez pas de ses dont les dimensions différent des recommandations, car cela pourrait affecter le fonctionnement normal du jour. Vous risqueriez de plus de perdre le contrôle du véhicule et de subir des blessures.

AVERTISSEMENT: N'utilisez pas le me sur les bretelles d'accès et des autoroutes, sur les routes provenant des croisements et des 3-points ou des voies non réservées aux véhicules, sur des routes sinueuses, pentues, non goudronnées ou en pente.

AVERTISSEMENT: N'utilisez pas le me avec une lame de chasse-neige.

AVERTISSEMENT: N'utilisez pas le
système lorsque la visibilité est réduite, particulièrement par temps de brouillard, de pluie ou de neige, ou lorsque les projections de la route sont abondantes.
Lorsque vous suivez un véhicule

AVERTISSEMENT: Lorsque vous
suivez un véhicule qui freine, votre véhicule ne ralentira pas automatiquement assez rapidement pour éviter une collision sans votre intervention. Soyez prêt à freiner au besoin. Le non-respect de cette consigne pourrait entraîner des blessures graves ou mortelles.
Utilisation en terrain montagneux
Vous devez sélectionner un rapport inférieur lorsque le système est en fonction dans de longues descentes sur des pentes abruptes, par exemple, en terrain montagneux. Le système a besoin d'un surcroît de frein moteur dans de telles situations pour réduire la charge sur le circuit de freinage de base du véhicule et en prévenir la surchauffe.
Note : Une alarme sonore retentit et le système se désactive s'il a freiné pendant une période prolongée. Ceci permet aux freins de refroidir. Le système fonctionne de nouveau normalement lorsque les freins se sont refroidis.
Limitations du régulateur de vitesse adaptatif - véhicules avec : régulateur de vitesse adaptatif avec maintien de VOIE
Les restrictions qui s'appliquent au régulateur de vitesse adaptatif s'appliquent au système de maintien de voie sauf indication contraire ou si des restrictions contradictoires s'appliquent à ce système. Voir Limitations du régulateur de vitesse adaptatif (page 282).
Le système risque de ne pas fonctionner correctement dans les conditions suivantes :
Le véhicule n'est pas centré dans la voie. La voie est trop étroite ou trop large. Le système ne détecte pas au moins un marquage de voie, ou la voie se sépare ou se fusionne. - Vous activez le clignotant. - Un couple limite est appliqué sur le volant.
- Les zones de construction ou contenant des infrastructures neuves. Lorsque des modifications sont apportées au circuit de direction. Lors de l'utilisation d'un PNUE de secours.
Nota: Ce couple sur le volant est limité et pourrait ne pas suffire dans toutes les situations de conduite.
Nota: Dans des cas exceptionnels, le système pourrait dévier de la ligne centrale.
LIMITATIONS DU RÉGULATEUR DE VITESSE ADAPTATIF - VÉHICULES AVEC : RÉGULATEUR DE VITESSE ADAPTATIF AVEC ARRÊT- DEMARRAGE
Limites du capteur
AVERTISSEMENT: En de rares occasions, une anomalie de détection peut survenir en raison des infrastructures routières, par exemple un pont, un tunnel ou des barrières de sécurité. Dans de tels cas, le système peut freiner de manière tardive ou inattendue. Vous êtes à tout moment tenu de maîtriser votre véhicule, de superviser le système et d'intervenir au besoin.
AVERTISSEMENT: Si le système est défaillant, faites vérifier le véhicule dès possible.
! AVENTISSEMENT: Les forts contrastes lumineux à l'extérieur peuvent limiter les performances du capteur. AVERTISSEMENT: Le système avertit uniquement de la presence d'autres vehicules détectés par le capteur radar. Dans certains cas, le système peut ne pas avertir le conducteur, ou l'avertir tardivement. Soyez prét à freiner au besoin. Le non-respect de cette consigne pourrait entraîner des blessures graves ou mortelles. AVERTISSEMENT: Le système ne détecte pas les vehicules immobiles ou qui roulent à moins de 10 km/h (6 mph). AVERTISSEMENT: Le système ne déetecte pas les piétons ni les obstacles sur la route. AVERTISSEMENT: Le système ne détecte pas les vehicules arrivant en sens inverse sur la même voie.
AVERTISSEMENT: Le système peut ne pas bien fonctionner si le capteur est bloqué. Maintenez le pare-brise libre d'obstructions.
! AVENTISSEMENT: Il arrive que le capteur detecte incorrectly des marquages de voie, comme d'autres structures ou objets. Cela peut se traduire par des avertissements manquants ou erreés.

La caméra est montée sur le pare-brise, derrière le rétroviseur intérieur.

Le capteur radar se trouve sur la calandre inférieure.
Nota: Vous ne pouvez pas voir le capteur. Il se trouve derrière le bouclier.
Nota: Gardez l'avant du véhicule propre et n'y montez aucun monogramme ou accessoire en métal. Ceci comprend les protecteurs avant et les yeux de deuxième monte qui pourraient obstruer le capteur.
Si un objet obstrue la caméra ou le capteur, un message s'affiche à l'écran. Le système ne peut pas détecter un véhicule qui vous précède et ne fonctionne pas quand des éléments obstruent le capteur. Voir Régulateur de vitesse adaptatif - Messages d'information (page 291).
Le champ de vision du capteur du radar est limité. Dans certaines situations, il pourrait ne pas détecter un véhicule ou le détecter tardivement. L'image du véhicule qui précède ne s'affiche pas si le système ne détecte un véhicule devant vous.
Des anomalies de détection peuvent survenir dans les cas suivants :



E71621
A Vous roulez dans une voie
différente de celle du véhicule qui précède.
Des véhicules s'engagent dans votre voie. Le système ne peut détecter ces véhicules que lorsqu'ils sont entièrement dans votre voie de circulation. Lorsque la détection des véhicules qui précèdent s'effectue à la sortie d'un virage ou d'une courbe de la route.
Dans de tels cas, le système peut freiner de manière tardive ou inattendue.
Si l'avant de votre véhicule subit un choc ou s'il est endommagé, la zone de détection du radar pourrait changer. La détection peut donc être erronée ou ne pas se produire.
Pour que le système fonctionne de façon optimale, la caméra installée sur le pare-brise doit avoir une bonne visibilité de la route.
Un fonctionnement optimal peut s'avérer impossible si :
- la télécommande est obstruée; la visibilité ou l'éclairage font défaut; les conditions météorologiques sont mauvaises.
Activation et désactivation du régulateur de vitesse adaptatif
Les commandes du régulateur de vitesse sont situées sur le volant de direction. Voir Programmateur de vitesse (page 103).
Activation du régulateur de vitesse adaptative

Appuyez sur ce bouton pour placer le système en mode d'attente.
Le témoin, le réglage de distance actuel et la vitesse programmée s'affichent à l'écran d'information.
Déactivation du régulateur de vitesse adaptative

Appuyez sur cette touche lorsque le système est en mode d'attente ou coupez le contact.
Note: La vitesse et la distance de sécurité programmes s'effacent lorsque vous désactivez le système.
Annulation ou désactivation automatique
Le système peut s'annuler si :
Les roues patinent; - vous serrez le frein de stationnement.
Le système peut s'annuler et serrer le frein de stationnement si :
- vous déblochez la ceinture de sécurité et ouvrez la porte conducteur après l'arrêt de votre véhicule;
- vous maintenez le véhicule à l'arrêt en continu pendant plus de trois minutes.
Le système peut se désactiver ou son activation peut être empêchée si :
- un capteur est obstrué;
- la température des freins est trop élevée;
- le système, ou un système connexe, présente une défaillance.
Réglage de la vitesse du régulateur de vitesse adaptatif
Conduisez à la vitesse voulue.
SET+
Appuyez sur un des boutons pour programmer la vitesse courante.
SET-
Relâchez la pédale d'accélérateur.
Le témoin, le réglage de distance actuel et la vitesse programmée s'affichent à l'écran d'information.

Une image du véhicule s'affiche si un véhicule est détecté devant vous.
Note: Lorsque le régulateur de vitesse adaptatif est actif, la vitesse programmée affichée à l'écran d'information peut être légèrement différente de celle de l'indicateur de vitesse.
Programmation de la vitesse du régulateur adaptatif à partir d'un arrêt complet
SET+
Appuyez, puis relâchez l'un des boutons tout en maintenant la pédale de frein complètement enfoncée.
La vitesse programmée passe à 30 km/h (20 mph).
Le témoin, le réglage de distance actuel et la vitesse programmée s'affichent à l'écran d'information.
Changement manuel de la vitesse programmée

Appuyez brièvement sur ce bouton pour augmenter la vitesse programmée par petits incréments.

Appuyez brièvement sur ce bouton pour diminuer la vitesse programmée par petits incrémentss.
Maintenez l'un de ces boutons enfoncé pour changer la vitesse programmée par grands incréments. Relâchez le bouton lorsque la vitesse voulue est atteinte.
Appuyez sur la pédale d'accélérateur ou sur la pédale de frein jusqu'à l'obtention de la vitesse voulue. Appuyez sur l'un des boutons pour définir la vitesse actuelle comme vitesse programmée.
Le système peut serrer les freins pour ralentir le véhicule à la nouvelle vitesse programmée. Lorsque le système est actif, la vitesse programmée reste affichée à l'écran d'information.
Réglage de la distance des SUIVI du régulateur de vitesse adaptatif

Appuyez sur le bouton pour basculer entre les quatre réglages d'écart.

La distance sélectionnée s'affiche sur l'écran d'information comme indiqué par les barres de l'image.
Nota : Le réglage de la distance est basé sur plusieurs secondes de séparation entre les deux véhicules et, par conséquent, la distance s'ajuste en fonction de la vitesse de votre véhicule.
Nota : Vous devez sécuriser une distance de sécurité correspondant aux conditions de la circulation.
Réglages de distance du régulateur de vitesse adaptatif
| Affichage graphique, barres indi-quant l'espace entre les vehicules | Distance entre vehicules | Comporte-ment dyna-mique |
| 1 | Plus près | Sport |
| 2 | Près | Normale. |
| 3 | Moyen | Normale. |
| 4 | Loin | Comfort |
Chaque fois que vous activez le système, il sélectionne le dernier réglage de distance choisi.
Lorsque vous suivez un véhicule
Lorsqu’un véhicule qui précède s’engage dans votre voie ou si le véhicule qui précède roule plus lentement, la vitesse de votre véhicule est réglée afin de conserver la distance programmée.
Note: Lorsque vous suivez un véhicule et que vous activez un clignotant, le régulateur de vitesse adaptatif peut produire une légère accélération temporaire pour vous aider à dépasser le véhicule.
Votre véhicule maintient une distance constante avec le véhicule qui vous précède jusqu'à ce que:
- le véhicule qui précède accélère et dépasse la vitesse programmée ; le véhicule qui précède quitte votre voie ;
- vous programmez une nouvelle distance entre véhicules.
Le système freine pour ralentir votre véhicule et conserver une distance de sécurité par rapport au véhicule qui vous précède. Le système applique seulement une force de freinage limitée. Vous pouvez neutraliser le système en freinant.
Note: Les freins peuvent être bruyants lorsqu'ils sont actionnés par le système.
Si le système considère que son niveau de freinage maximum est insuffisant, un avertissement sonore retentit, un message s'affiche sur l'écran d'information et un témoin clignote pendant que le système continue de freiner. Intervenir immédiatement.
Annulation de la vitesse programmee

Appuyez brièvement sur le bouton ou enoncez très légèrement la pédale de frein.
La vitesse programmée ne s'efface pas.
Reprise de la vitesse programmee
Appuyez sur le bouton.
Votre véhicule revient à la vitesse et à la distance de sécurité programmées précédemment. Lorsque le système est actif, la vitesse programmée reste affichée à l'écran d'information.
Note: N'utilisez la touche de reprise que si vous vous souvenez de la vitesse programmée et si vous souhaitez la reprendre.
Reprendre la vitesse programmée à partir d'un arrêt complet
Si vous véhicule en suit un autre jusqu'à l'arrêt complet et reste immobile pendant moins de trois secondes, il accélère de la position stationnaire pour suivre le véhicule qui précède lorsque vous relâchez la pédale de frein.

Si vous véhicule en suit un autre jusqu'à l'arrêt complet et reste immobile pendant plus de trois
seconds, appuyez brièvement sur le bouton ou appuyez sur la pédale d'accélérateur pour suivre le véhicule devant.
Neutralisation de la vitesse programmee

AVERTISSEMENT: Si vous
neutralisez le système en appuyant sur la pédale d'accélérateur, les freins ne sont pas automatiquement appliqués pour maintenir une distance avec un véhicule qui précède.
Lorsque vous enfoncez la pédale d'accélérateur, vous neutralisez la vitesse et la distance de sécurité programmées.
Utilisez la pédale d'accélérateur comme à l'habitude pour dépasser intentionnellement la limite de vitesse programmée.
Lorsque vous neutralisez le système, le témoin vert s'allume et le graphique du véhicule ne s'affiche pas à l'écran d'information.
Le système se réactive lorsque vous relâchez la pédale d'accélérateur. Le véhicule ralentit jusqu'à la vitesse programmée ou à une vitesse inférieure s'il est précédé d'un véhicule plus lent.
Témoins du régulateur de vitesse adaptatif - véhicules avec : régulateur de vitesse adaptatif avec maintien de VOIE

Ce témoin s'allume lorsque vous activez le maintien de voie. La couleur du témoin change pour
indiquer l'état du système.
Gris - le système est en marche, mais inactif.
Vert - le système est actif et applique un couple sur le volant pour maintenir votre véhicule au centre de la voie.
Témoins du régulateur de vitesse adaptatif - véhicules avec : régulateur de vitesse adaptatif avec arrêt-démarrage

Ce témoin s'allume lorsque vous mettez le système en fonction. La couleur du témoin change pour
indiquer l'état du système.
Blanc - le système est en marche, mais inactif.
Vert - le système est actif et la vitesse a été programmée.
Témoins du régulateur de vitesse adaptatif - véhicules avec : régulateur de vitesse adaptatif intelligent
E292490
La vitesse programmée et la limite de vitesse détectée apparaissent entre parenthèses à l'écran d'information.
Messages d'avertissement
Si la vitesse programmée dépasse la limite de vitesse ou cette limite augmentée d'une valeur de tolérance positive, le témoin de vitesse programmée clignote.
Cet avertissement ne se produit pas si :
- Neutralisez la vitesse programmée en appuyant sur la pédale d'accélérateur;
- La vitesse du véhicule dépasse la vitesse programmée en descendant une pente.
Passage du régulateur de vitesse adaptatif au régulateur de vitesse standard

AVERTISSEMENT: Le régulateur de
vitesse conventionnel ne freine pas le véhicule à l'approche de véhicules qui roulent plus lentement. N'oubliez jamais le mode que vous avez sélectionné et freinez si nécessaire.
Sélectionnez l’une des fonctions suivantes sur l’écran tactile :
- Sélectionnez Réglages. Voir Paramètres (page 528).
- Sélectionnez Assist. conduc..
- Sélectionnez Régul. vitesse.

Le témoin de régulateur de vitesse remplace le témoin de régulateur de vitesse adaptatif si vous
sélectionnez le régulateur de vitesse conventionnel. Le réglage de distance ne sera pas affiché et le système ne réagira pas aux véhicules qui vous précédent. Le freinage automatique demeure actif pour maintenir la vitesse programmée. Le système mémorise votre dernier réglage lorsque vous faites démarrer le moteur.
Activation et désactivation du système de maintien de VOIE
Les commandes du régulateur de vitesse sont situées sur le volant de direction. Voir Programmateur de vitesse (page 103).

Appuyez sur le bouton.
Le témoin s'affiche à l'écran d'information. Lorsque le système est activé, la couleur du témoin change pour indiquer l'état du système. Voir Témoins du régulateur de vitesse adaptatif (page 288).
Nota: Le régulateur de vitesse adaptatif doit être activé avant de pouvoir activer l'aide au maintien de voie.
Activation de l'aide au maintien de voie
Le système s'active uniquement lorsque toutes les conditions suivantes sont réunies :
- Vous avez un régulateur de vitesse adaptatif avec arrêt-démarrage activé. Vos mains sont sur le volant. Le système détecte les deux marquages de voie.
Note: Si aucun marquage n'est détecté, le système demeure inactif jusqu'à ce que de tels marquages soient détectés.
Vous pouvez neutraliser le système à tout moment en dirigeant le véhicule.
Alertes du système et annulation automatique
Vous devez maintenir les mains sur le volant en tout temps.
Lorsque le système est actif et qu’il ne détecte aucune activité sur le volant après une période prédéterminée, il vous signale de mettre les mains sur le volant. Si vous ne réagissez pas aux avertissements, le système se désactive et ralentit votre véhicule tout en assurant la maîtrise.
Le système vous avertit également lorsque le véhicule franchit un marquage de voie sans qu'il y ait d'activité sur le volant.
Note: Si vous ne faites qu'effleurer le volant ou ne vous en saisissez que très légèrement, le système pourrait interpréter cela comme une absence de mains au volant.
Quand des conditions externes annulent le système (par exemple, aucun marquage de voie), une tonalité retentit et un message s'affiche à l'écran d'information.
Si vous véhicule commence à ralentir, vous devez reprendre la commande du volant, puis appuyer
brièvement sur le bouton pour réactiver pleinement le système.
L'annulation automatique peut également se produire si :
- la voie devient trop étroite ou trop large;
- le système ne peut pas détecter au moins un marquage de voie; les marquages de voie se croisent.
Note: Le système sera désactivé jusqu'au prochain cycle de mise en marche du véhicule si vous véhicule ralentit deux fois dans un cycle de conduite en raison de l'inactivité du conducteur.
Activation et désactivation du mode intelligent
Sélectionnez l'une des fonctions suivantes sur l'écran tactile :
- Sélectionnez Réglages. Voir Paramètres (page 528).
- Sélectionnez Assist. conduc.
- Sélectionnez Régul. vitesse.
Modification de la vitesse programmée avec le régulateur de vitesse adaptatif intelligent
Lorsque le mode intelligent est activé, le système règle la vitesse programmée à la limite de vitesse détectée par le système de reconnaissance des panneaux indicateurs de vitesse.
Note: La vitesse programmée se règle lorsque le système détecte une autre limite de vitesse maximale.
Si le système ne détecte aucune limite de vitesse, le véhicule continue à rouler à la vitesse programmée actuelle.
Nota : Vous pouvez neutraliser la vitesse programmée à tout moment.
Nota: Le système peut ne pas détecter et signaler les panneaux indicateurs de vitesse avec des informations conditionnelles comme un panneau clignotant, pendant certaines périodes, ou lorsque des enfants sont présents.
Nota: Dans certaines conditions, le système peut ne régler la vitesse de votre véhicule que lorsque celui-ci a dépassé le panneau de limite de vitesse.
Note: Le système vous alerte si la vitesse programmée dépasse la limite de vitesse. Voir Témoins du régulateur de vitesse adaptatif (page 288).
Réglage de la tolerance de la vitesse programmée
Vous pouvez programmer une tolérance de vitesse supérieure ou inférieure à la limite de vitesse détectée.
Sélectionnez l’une des fonctions suivantes sur l’écran tactile :
- Sélectionnez Réglages. Voir Paramètres (page 528).
- Sélectionnez Assist. conduite.
- Sélectionnez Régul. vitesse.
- Sélectionnez Tolérance.
- Utilisez les boutons + et - pour régler la tolérance.
Note: Vous ne pouvez pas programmer une tolérance supérieure ou inférieure de plus de 30 km/h (20 mph) à la limite de vitesse détectée.
Régulateur de vitesse adaptatif - dépannage
Régulateur de vitesse adaptatif - Messages d'information - Véhicules avec : Régulateur de vitesse adaptatif avec maintien de voie
Nota : Selon les options et le type de tableau de bord de votre véhicule, certains messages ne s'affichent pas ou ne sont pas disponibles.
Nota : Certains messages peuvent être abrégés ou raccourcis selon le type de tableau de bord dont vous disposez.
Régulateur de vitesse adaptatif (selon l'équipement)
| Message | Mesure à prendre |
| Garder les mains sur le volant | You’vedez remetre les mains sur le volant de direction et reprendre le contrôle de la direction. |
| Assistance au maintient voie Non dispos-nible | Dans certains cas le système est indisponible. |
| Activer le régulateur de vitesse adaptatif pour activer l'assistance au maintient voie | Le régulateur de vitesse adaptatif doit être activé avant de pouvoir activer l'aide au maintainen de voie. |
Régulateur de vitesse adaptatif (second l'équipement)
Régulateur de vitesse adaptatif - Messages d'information - Véhicules avec : Régulateur de vitesse adaptatif avec arrêt-démarrage
Nota : Selon les options et le type de tableau de bord de votre véhicule, certains messages ne s'affichent pas ou ne sont pas disponibles.
Nota : Certains messages peuvent être abrégés ou raccourcis selon le type de tableau de bord dont vous disposez.
| Message | Mesure à prendre |
| Régulateur de vitesse adaptatif défectueux | Une anomalie empêche l'engagement du régulateur de vitesse adaptatif. |
| Capteur avant non aligné | Communiquez avec un concessionnaire autorisé pour faire vérifier la couverture et le fonctionnement du radar. |
| Régulateur de vitesse adaptatif non disponible | Une anomalie fait que le régulateur de vitesse adaptatif ne peut pas fonctionner correctement. |
| Régulateur de vitesse adaptatif Capteur bloqué Voir le manuel | Le radar est obstrué pour cause de mauvaise visibilité en raison de mauvaises conditions météo ou d'une accumulation de glace, de boue ou d'eau devant le radar. Vous pouvez normalement nettoyer le capteur pour y.Remédier.En raison de la nature de la technologie radar, il est possible que le système signale un avertissement d'obstruction sans que le capteur soit pour autant obstrué. Ceci peut se produit, par exemple, lors de la conduite en zone rurale clairsemée ou dans le désert. Une fausse condition de blocage s'annule d'elle-même ou après le redémarrage du vehicule. |
| Freinage auto. régul. vitesse arrêté | S'affiche lorsque le freinage automatique est désactivé. |
| Régul. vitesse adaptatif Cond. reprend le contrôle | S'affiche lorsque le régulateur de vitesse adaptatif va s'annuler et que vousdezreprene le contrôle. |
| Régul. vitesse adaptatif Vit. trop basse pour activer | S'affiche lorsque la vitesse du vehicule est trop bajo pour activer le régulateur de vitesse adaptatif et qu'il n'y a aucun vehicule à portée devant vous. |
Régulateur de vitesse adaptatif (selon l'équipement)
Régulateur de vitesse adaptatif - Messages d'information - Véhicules avec : Régulateur de vitesse adaptatif intelligent
Nota : Selon les options et le type de tableau de bord de votre véhicule, certains messages ne s'affichent pas ou ne sont pas disponibles.
Nota : Certains messages peuvent être abrégés ou raccourcis selon le type de tableau de bord dont vous disposez.
| Message | Mesure à prendre |
| Régulateur de vitesse intelligent Recon- nais. panneaux vitesse non disponible | S'affiche lorsque les conditions actuelles empêchent le régulateur de vitesse adaptatif intelligent de fonctionner correctement. |

Avertissement: vous êtes tenu
en tout temps de maîtriser votre véhicule. Le système est une aide au conducteur et ne vous dégage pas de votre responsabilité de conduire avec l'attention et les précautions qui s'imposent. Si vous ignorez cette directive, cela pourrait entraîner une perte de maîtrise du véhicule et des blessures graves ou mortelles.

Avertissement: le système peut
ne pas fonctionner si le capteur est obstrué.

Avertissement: faites
régulièrement des pauses si vous ressentez de la fatigue. N'attendez pas que le système vous avertisse.

Avertissement: certains styles
de conduite peuvent déclencher un avertissement du système, même si vous ne ressentez pas de fatigue.

AVERTISSEMENT: Par temps froid, des conditions météorologiques orables, le système pourrait ne pas fonctionner. La pluie, la neige et les actions de la route peuvent limiter les demandes du capteur.

Avertissement: le système ne
fonctionne pas si le capteur n'est pas en mesure de détecter les marquages de voie.

Avertissement: si les environnements
immédiats du capteur sont endommagés, faites vérifier le véhicule dès que possible.

Avertissement: le système peut
ne pas fonctionner correctement si le véhicule est équipé d'une trousse de suspension non approuvée par Ford.
Note: S'il est activé dans le menu, le système s'active à des vitesses supérieures à 64 km/h (40 mph). En dessous de la vitesse d'activation, l'écran d'information informe le conducteur que le système est indisponible.
Nota: Retirez toute obstruction du pare-brise. Par exemple, les fientes d'oiseaux, les insectes, la neige ou la glace.
Nota: Le système pourrait ne pas fonctionner correctement si l'objet de la caméra n'est bien dégagé ou si le pare-brise est endommagé.
E249505
Le système surveille automatiquement votre comportement au volant à l'aide de différentes données d'entrée, notamment celles du capteur deamera avant.
Si le système détecte que votre vigilance au volant est réduite sous un seuil limite, il vous alerte en émettant un signal sonore et en affichant un message à l'écran d'information.
Activation et désactivation du système
Vous pouvez activer ou désactiver le système à l'écran d'information. Voir Généralités (page 140). Lorsqu'il est actif, le système peut suivre l'évolution de votre niveau de vigilance en se fondant sur les données concernant la position du véhicule par rapport aux marquages de voie et sur autres données.
Note: Le système n'émet aucun avertissement à une vitesse inférieure à environ 64 km/h (40 mph).
Le système d'avertissement comprend deux niveaux. Il émet d'abord un avertissement temporaire incitant le conducteur à prendre du repos. Ce message n'apparaît que quelques instants. Ensuite, si le système détecte que votre vigilance au volant a encore baissé, il peut émettre un autre avertissement qui restera affiché plus longtemps à l'écran d'information. Appuyez sur la touche OK du volant de direction pour annuler l'avertissement.
Affichage du système
Lorsque le système est activé, il s'exécute automatiquement en arrêté-plan et émet un avertissement uniquement lorsque c'est nécessaire. Voir Généralités (page 140).
Nota: Si vous recevez un avertissement, vous devez envisager un repos, même si l'évaluation actuelle est dans la zone normale.
Nota: Si le capteur de laamera ne peut désigner le marquage de voie ou si la vitesse du véhicule chute à moins de 64 km/h (40 mph) environ, le niveau de vigilance s'affiche en gris pendant un court instant et l'écran d'information vous informe que le système n'est pas disponible.
Réinitialisation du système
Vous pouvez réinitialiser le système comme suit :
en coupant puis en rétablissant le contact ; en immobilisant le véhicule et en ouvrant et refermant la porte du conducteur.

Avertissement: vous êtes tenu
en tout temps de maîtriser votre véhicule. Le système est une aide au conducteur et ne vous dégage pas de votre responsabilité de conduire avec l'attention et les précautions qui s'imposent. Si vous ignorez cette directive, cela pourrait entraîner une perte de maîtrise du véhicule et des blessures graves ou mortelles.

Avertissement: conduisez
toujours avec prudence et faites attention lorsque vous actionnez les commandes ou utilisez les fonctions du véhicule.

Avertissement: par temps froid
et dans des conditions météorologiques défavorables, le système pourrait ne pas fonctionner. La pluie, la neige et les projections de la route peuvent limiter les performances du capteur.

Avertissement: les forts
contrastes lumineux à l'extérieur peuvent limiter les performances du capteur.

Avertissement: le système ne
fonctionne pas si le capteur n'est pas en mesure de détecter les marquages de voie.

Avertissement: il arrive que le
capteur détecte incorporement des marquages de voie, comme d'autres structures ou objets. Cela peut se traduire par des avertissements manquants ou erronés.

Avertissement: le système peut
ne pas bien fonctionner si le capteur est bloqué. Maintenez le pare-brise libre d'obstructions.

Avertissement: si les environnements
immédiats du capteur sont endommagés, faites vérifier le véhicule dès que possible.

Nota: Le système fonctionne à une vitesse supérieure à 64 km/h (40 mph).
Nota : Laamera doit pouvoir détecter le marquage de voie pour que le système puisse fonctionner.
Nota : Lorsque le mode Aide ou le mode Aide et alerte est sélectionné et que le système ne détecte aucune action au volant pendant une courte période, il vous alerte pour que vous gardiez les mains sur le volant. Le système peut détecter une prise trop légère sur le volant, par exemple lorsque le conducteur retire les mains du volant.
Nota: Le système peut ne pas fonctionner correctement si l'objet de la caméra n'est pas dégagé ou si le pare-brise est endommagé ou sale.
Aides à la conduite
E249505
Le système vous signale que vous devez rester dans votre voie au moyen du système de direction et de l'écran d'affichage dans les cas où la caméra avant détecte un possible déport involontaire vers l'extérieur de la voie. En mode Alerte, le système transmet un avertissement en faisant vibrer le volant de direction. En mode Aide, le système agit sur la direction en contrebraquant légèrement pour ramener le véhicule dans la voie de circulation.
Lorsque le système fonctionne en mode combiné (mode Alerte et mode Aide), il agit sur la direction en contrebraquant légèrement pour ramener le véhicule dans la voie de circulation, puis il fait vibrer le volant si le véhicule est toujours hors des marquages de voie.
Activation et désactivation du système
Nota: Le système enregistre le réglage de marche ou d'arrêt jusqu'à ce que vous le changiez manuellement, à moins qu'il ne détecte une clé MyKey. Lorsqu'une clé MyKey est détectée, le système s'active par défaut et le mode Alerte est activé.
E288067
Appuyez sur le bouton du levier des clignotants pour activer ou désactiver le système.
Paramètres du système
Le système utilise des menus de paramétrage optionnels. Le système mémorise votre dernière sélection connue pour chacun de ces paramètres. Il n'est pas nécessaire de modifier les paramètres à chaque réactivation du système.
Mode : Ce paramètre permet de sélectionner les fonctions du système que vous souhaitez activer.
E165515
Alerte seulement - Fait vibrer le volant lorsqu'un changement de voie involontaire est détecté.
E165516
Aide seulement - Agit sur la direction pour ramener le véhicule vers le centre de la voie lorsqu'un changement de voie involontaire est détecté.

A Alerte.
B Aide.
Alerte et Aide - Agit sur la direction pour ramener le véhicule vers le centre de la voie.
Si votre véhicule continue de dévier hors de la voie après rectification du système d'aide au maintien de la trajectoire, le système fait également vibrer le volant.
Si le véhicule reste d'un côté de la voie après l'intervention du système d'aide au suivi de voie, puis dévie de sa voie de nouveau, le système vous alerte seulement en agissant sur le volant de direction.
Note: Les schémas d'alerte et d'aide représentent la zone de couverture globale. Ils ne fournissent pas les paramètres de zone exacte.
Intensité: Ce paramètre permet de régler l'intensité des vibrations au volant utilisées pour les modes d'alerte et d'aide.
Ce paramètre n'a aucun effet sur le mode Aide.
- Faible Normale Élevée
Affichage du système


E272890
Lorsque vous mettez le système en fonction, l'image graphique des marquages de voie s'affiche à l'écran d'information.
Lorsque vous désactivez le système, les marquages de voie ne s'affichent pas.
Lorsque le système est activé, la couleur des marquages de voie change pour indiquer l'état du système. Les couleurs utilisées ont la signification suivante :
Gris : Indique que le système est temporairement dans l'impossibilité d'émettre un avertissement ou d'intervenir sur le côté indiqué. Raison possible :
- Voiture véhicule se déplace à une vitesse inférieure à la vitesse d'activation. Le clignotant est activé.
- Voiture véhicule effectue une manœuvre dynamique. La route ne comporte pas de marquages de voie ou ceux-ci n'apparaissent pas assez distinctement dans le champ visuel de la caméra. Le champ visuel de la caméra est masqué ou la caméra est incapable de détecter les marquages de voie en raison des conditions ambiantes, des conditions de circulation ou de l'état du véhicule. Par ex. ombres, angles solaires importants, neige, pluie abondante ou brouillard, conduire derrière un gros véhicule qui bloque la voie ou y projette de l'ombre, faible éclairage des phares.
Consultez la section Dépannage pour obtenir de plus amples renseignements.
Vert : Indique que le système est disponible ou prêt à fournir un avertissement ou une intervention sur le côté indiqué.
Graphique animé : Indique que le système d'aide au suivi de voie intervient ou vient d'intervenir.
Rouge: Indique que le système d'aide au suivi de voie émet ou vient d'émettre un avertissement.
Le système peut se désactiver temporairement à tout moment dans les cas suivants:
Freinage brusque - Accélération rapide Utilisation d'un clignotant - Maneuvre d'évitement Le véhicule roule trop près des marquages de voie.
Aides à la conduite
Dépannage
| Pourquoi la fonction n'est-elle pas disponible (marquages de voie en gris) alors que je désigne les marquages sur la voie? |
| La vitesse du vehicule n'est pas dans la plage de fonctionnement du dispositif. |
| Le soleil frappe directement la lentille de laamera. |
| Un changement de voie intentionnel rapide s'est produit. |
| Le vehicule roule trop pres des marquages de voie. |
| Le vehicule roule à grande vitesse dans les courbes. |
| La dernière alerte ou intervention a eu lieu il y a peu de temps. |
| Les marquages de voie sont ambigus, par exemple dans les zones de construction. |
| La luminosité ambiente change rapidement de claire à foncée ou de foncée à claire. |
| Décalage prononcé et soudain des marquages de voie. |
| ABS ou AdvanceTrac™ sont activités. |
| Laamera est obstruée par le brouillard ou la présence de saleté, de souillures, de givre ou d'eau sur le pare-brise. |
| Vous roulez trop pres du vehicule qui précède. |
| Passage d'une voie avec marquages à une voie sans marquages, ou inversement. |
| De l'eau stagnante se trouve sur la route. |
| Marquages de voie à peine visibles, par ex. les marquages de voie jaunes partiels sur les routes de béton. |
Aides à la conduite
| Pourquoi la fonction n'est-elle pas disponible (marquages de voie en gris) alors que je désigne les marquages sur la voie? |
| Voie trop étroite ou trop large. |
| Laamera n'a pas été étaconnée après le remplacement du pare-brise. |
| La route est étroite ou la chaussée est accidentée. |
| Pourquoi le vehicule, en mode Aide ou Alerte et aide, ne revient-il pas au milieu de la voie comme il le devrait? |
| Présence de forts vents latéraux |
| Chaussée fortement bombée |
| Chaussée en mauvais état, rainures ou dénivellation entre la chaussée et l'accotement |
| Répartition inégale du chargement du vehicule ou gonflage inadéquat des pneus |
| Les pneus ont été changés ou la suspension a été modifiée. |
Système d'information sur les ANGLES MORTS

AVERTISSEMENT: N'utilisez pas le
système d'information sur les angles morts en remplacement des rétroviseurs extérieurs et intérieur, ni pour éviter de regarder par dessus l'épaule avant de changer de voie de circulation. Le système d'information sur les angles morts ne remplace en aucun cas la prudence au volant.

AVERTISSEMENT: Le système peut
ne pas fonctionner correctement dans des conditions météorologiques défavorables, telles que la neige, la glace, la pluie forte et les embruns. Conduisez toujours avec prudence et en étant attentif. La négligence risque de causer une collision.
E255695
Le système est conçu pour détecter les véhicules dans la zone d'angle mort. La zone de détection se trouve des deux côtés de votre véhicule, s'étendant vers l'arrière, à partir des rétroviseurs extérieurs, jusqu'à environ 4 m (13 ft) au-delà du pare-chocs arrière. La zone de détection s'étend environ sur 18 m (59 ft) au-delà du pare-chocs arrière lorsque la vitesse du véhicule est supérieure à 48 km/h (30 mph) pour vous alerter lorsque des véhicules s'approchent.
Note: Le système n’empêche pas le véhicule de toucher d’autres véhicules. Il n’est pas conçu pour détecter les véhicules stationnés, les piétons, les animaux ou d’autres infrastructures.
Véhicules à boîte automatique
Le système s'active lorsque toutes les conditions ci-après sont réunies :
- vous démarrez votre véhicule;
- vous passez en mode marche avant (D) ; Le véhicule roule à une vitesse supérieure à 10 km/h (6 mph).
Note: Le système ne fonctionne pas en mode stationnement (P) ou marche arrêté (R).
Véhicules à boîte de vitesses manuelle
Le système s'active lorsque toutes les conditions ci-après sont réunies :
- vous démarrez votre véhicule; Le véhicule roule à une vitesse supérieure à 10 km/h (6 mph).
Note: Le système ne fonctionne pas en mode marche/arrêté (R).
Indicateurs et messages du système
Lorsque le système détecte un véhicule, un témoin d'alerte s'allume dans le rétroviseur extérieur du côté où le véhicule approche. Si vous allumez le clignotant correspondant à ce côté de votre véhicule, le témoin d'alerte clignote.
Note: Le système peut ne pas vous alerter si un véhicule traverse rapidement la zone de détection.
Capteurs obstrués E205199
Les capteurs se trouvent derrière le pare-chocs arrière sur les deux côtés de votre véhicule.
Nota: Veillez à ce que les capteurs ne soient pas gênés par la présence de neige, de glace et d'accumulations importantes de saleté.
Nota: Ne couvrez pas les capteurs avec des autocollants de pare-chocs, un matériel de réparation ou d'autres objets.
Note: Des capteurs obstrués peuvent nuire au rendement du système.
Si les capteurs deviennent obstrués, un message peut également apparaître sur l'affichage d'information. Voir Messages d'information (page 145). Les témoins d'alerte restent allumés mais le système ne vous alerte pas.
Anomalies du système
Si le système détecte une panne, un témoin d'avertissement s'allume et un message s'affiche. Voir Messages d'information (page 145).
Activation et désactivation du système
Le système peut être désactivé à l'aide de l'affichage d'information. Voir Généralités (page 140). Lorsque vous désactivez le système, un témoin s'allume et un message s'affiche. Lorsque vous activez ou désactivez le système, les témoins d'alerte clignotent à deux reprises.
Nota: Le système mémorise votre dernier réglage lorsque vous faites démarrer le moteur.
Nota: Le système peut ne pas fonctionner correctement lorsque le véhicule tracte une remorque. Pour les véhicules dotés d'un module de remorquage et d'une barre d'attelage approuvés par Ford, le système se désactive lorsque vous attelez une remorque. Pour les véhicules équipés d'un module de remorquage ou d'une barre de remorquage de deuxième monte, nous vous recommandons de désactiver le système lorsque vous attelez une remorque.
Pour désactiver le système définitivement, contactez un concessionnaire autorisé.

Avertissement: n'utilisez pas
l'alerte de circulation transversale à la place des rétroviseurs intérieurs et extérieurs ou pour éviter de regarder par-dessus votre épaule avant de reculer pour sortir d'une place de stationnement. Le système d'alerte de circulation transversale ne remplace en aucun cas la prudence au volant.

Avertissement: le système peut
ne pas fonctionner correctement dans des conditions météorologiques défavorables, telles que la neige, la glace, la pluie forte et les embruns. Conduisez toujours avec prudence et en étant attentif. La négligence risque de causer une collision.
Le système vous alerte lorsque des véhicules s'approchent sur les côtés derrière vous véhicule lorsque vous passez en marche arrière (R).
Utilisation de la fonction d'alerte de circulation transversale
Le système détecte les véhicules qui s'approchent à une vitesse comprise entre 6 km / h (4 mph) et 60 km / h (37 mph). La zone de couverture du système diminue lorsque les capteurs sont partiellement ou totalement obstrués. Le fait de reculer lentement contribue à augmenter la zone de couverture ainsi que l'efficacité de la détection.
Le système s'active lorsque vous démarrez le moteur et que vous engagez la marche arrière (R). Le système se désactive lorsque vous quittez le mode marche arrière (R).

E142440
Le capteur gauche n'est que partiellement obstrué, et la zone de couverture du côté droit est maximisée.
Aides à la conduite
E142441
La zone de couverture diminue également lors de stationnements à des angles étroits. Le capteur Gauche est presque entièrement obstrué, et la zone de couverture sur ce côté est très réduite.
Capteurs du système d'alerte de circulation transversale

E205199
Les capteurs se trouvent derrière le pare-chocs arrière sur les deux côtés de votre véhicule.
Nota: Veillez à ce que les capteurs ne soient pas gênés par la présence de neige, de glace et d'accumulations importantes de saleté.
Nota: Ne couvrez pas les capteurs avec des autocollants de pare-chocs, un matériel de réparation ou d'autres objets.
Note: Des capteurs obstrués peuvent nuire au rendement du système.
Si les capteurs sont obstrués, un message peut également apparaître sur l'affichage d'information lorsque vous passez en mode marche arrêté (R).
Limites du système d'alerte de circulation transversale
Le système risque de ne pas fonctionner correctement dans les conditions suivantes :
Les capteurs sont obstrués; des véhicules en stationnement ou des objets obstruent les capteurs; les véhicules s'approchent à des vitesses inférieures à 6 km/h (4 mph) ou supérieures à 60 km/h (37 mph); - le véhicule roule à une vitesse supérieure à 12 km/h (7 mph); - vous sortez en marche arrêté d'une place de stationnement oblique.
Comportement du système d'alerte de circulation transversale lorsqu'une remorque est attelée
Note: Le système peut ne pas fonctionner correctement lorsque le véhicule tracte une remorque. Pour les véhicules dotés d'un module de remorquage et d'une barre d'attelage approvés, le système se désactive en accrochant une remorque. Pour les véhicules équipés d'un module de remorquage ou d'une barre de remorquage de rechange, nous vous recommandons de désactiver le système lorsque vous attelez une remorque.
Lorsqu'une remorque est attelée à un véhicule équipé du système d'information sur les angles morts avec fonction de remorquage, l'alerte de circulation transversale demeure activée dans les conditions suivantes :
Aides à la conduite
- Vous attelez une remorque; La remorque est un porte-velos ou un porte-bagages équipé de feux d'une longueur maximale de 1 m (3 ft);
- Vous saisissez une longueur de la remorque de 1 m (3 ft) à l'écran d'information.
Voir Système d'information sur les angles morts (page 303).
Activation et désactivation du système
Ajustez le réglage pour activer ou désactiver le système. Selon les options de votre véhicule, le réglage est effectué à l'écran suivant :
- Écran d'information. Voir Généralités (page 140). Écran tactile. Voir Paramètres (page 528).
Note: Le système se met en fonction chaque fois que vous établissez le contact. Pour désactiver le système définitivement, contactez un concessionnaire autorisé.
Témoin d'alerte de circulation transversale

Lorsque le système détecte un véhicule en approche, une tonalité retentit, un témoin s'allume dans
le rétroviseur extérieur correspondant et des flèches apparaissent à l'écran d'information pour indiquer de quel côté le véhicule approche.
Note: Si aucune flèche n'apparaît, un message s'affiche sur l'affichage d'information.
Si le système ne fonctionne pas correctement, un témoin s'allume au tableau de bord et un message s'affiche à l'écran d'information. Faites vérifier le véhicule dans les plus brefs délais.
Note: Dans des cas exceptionnels, le système pourrait vous alerter même si rien ne se trouve dans la zone de détection (par exemple, un véhicule plus éloigné).
Aides à la conduite
Messages d'information du système d'alerte de circulation transversale
| Message | Mesure à prendre |
| Alerte Circulation transversale | S'affiche à la place des flèches d'indication lorsque le système détecte un vehicule. Vérifiez le traffic à proximité. |
| Circul. transv. non disponible Capteur bloqué Voir le manuel | Indique que les capteurs du système d'alerte de circulation transversale sont obstrués. Nettoyez les capteurs. Si le message persististe, faites vérifier votre vehicule)dès que possible. |
| Défaillance syst. de circulation transvers-sale | Le système est défectueux. Faites vérifier le vehicule dans les plus brefs délais. |
| Alerte Circulation transversale désactivée Remorque attachée | S'affiche quand vous attelez une remorque à votre vehicule. |

Avertissement: la direction
L'assistance à commande électrique effectue des contrôles de diagnostic qui surveillent continuellement le système. Si une anomalie est détectée, un message s'affiche sur l'écran d'information. Arrêtez votre véhicule dès que c'est possible en toute sécurité. Coupez le contact. Après un délai d'au moins 10 secondes, remettez le contact, puis vérifiez si un message d'avertissement de direction assistée apparaît sur l'écran d'information. Si le message s'affiche de nouveau, faites vérifier le système dès que possible.

AVERTISSEMENT: Si le système est une anomalie, sans qu'aucune cause dans la direction ne soit entière, un problème sérieux peut exister. Faites vérifier le véhicule dans les plus brefs délais. Il y a un risque de perte de direction.
Votre véhicule est équipéd'un système de direction assistée à commande électrique. Il n'y aucun réservoir de liquide à vérifier ou à remplir.
Si vous véhicule perd l'assistance électrique pendant la conduite (ou si le contact est coupé), le véhicule peut être conduit en mode manuel, mais il faudra exercer un effort plus important. Une utilisation extrême prolongée de la direction peut augmenter l'effort nécessaire pour tourner le volant. Cela se produit afin de prévenir la surchauffe interne et les dommages permanents au système de direction. Le cas échéant, le
Le véhicule peut encore être conduit en mode manuel et aucun dommage permanent ne sera causé. Des manœuvres types de direction et de conduite permettent au système de se refroidir, puis la direction assistée revient à la normale.
Conseils au sujet de la direction
Si la direction tend à dévier ou à tirer, vérifier les éléments suivants :
Un pneu mal gonflé. Une usure inégale des pneus. - Des éléments de la suspension desserrés ou usés. - Des éléments de la direction desserrés ou usés. - Un mauvais réglage de la géométrie du véhicule.
Une chaussée fortement bombée ou de forts vents latéraux peuvent également laisser croire que la direction dévie ou tire.
Assistance pre-collision

AVERTISSEMENT: Vous êtes tenu
en tout temps de maîtriser votre véhicule. Le système est une aide au conducteur et ne vous dégage pas de votre responsabilité de conduire avec l'attention et les précautions qui s'imposent. Si vous ignorez cette directive, cela pourrait entraîner une perte de maîtrise du véhicule et des blessures graves ou mortelles.

AVERTISSEMENT: Le système ne
déTECTE pas les cyclistes, les animaux, les piétons pendant la nuit ou les véhicules roulant dans une autre direction. La négligence peut entraîner une perte de maître du véhicule et des blessures graves, voire mortelles.

AVERTISSEMENT: Le système ne
fonctionne pas en pleine accélération ou dans les virages à grande vitesse. Le fait de ne pas tenir compte de ces précautions pourrait entraîner une collision et des blessures.

AVERTISSEMENT: Le système
pourrait ne pas fonctionner ou ne fonctionner que partiellement par temps froid et dans des conditions météorologiques défavorables. La neige, la glace, la pluie, les projections de la route et le brouillard peuvent nuire au fonctionnement du système. Maintenez la caméra avant et le radar exempts de neige et de glace. La négligence peut entraîner une perte de maîtrise du véhicule et des blessures graves, voire mortelles.

AVERTISSEMENT: Le rendement du
système pourrait être réduit lorsque la capacité de détection de la caméra est limitée. Ces situations comprennent, sans s'y limiter : Lumière du soleil directe ou faible, véhicules qui roulent la nuit sans feux arrière, types de véhicule non conventionnels, piétons avec arrière-plans complexes, piétons partiellement obscurs, piétons ne pouvant pas être distingués d'un groupe. La négligence peut entraîner une perte de maîtrise du véhicule et des blessures graves, voire mortelles.

AVERTISSEMENT: Le système ne peut pas prévenir toutes les collisions. Ce système ne remplace pas le bon jugement du conducteur ni le besoin de maintenir une distance et une vitesse sécuritaires.
Utilisation du système d'avertissement de collision
Le système est actif à des vitesses supérieures à environ 5 km/h (3 mph) et la détection des piétons est active à des vitesses allant jusqu'à 80 km/h (50 mph).
E156130
Si vous véhicule s'approche rapidement d'un véhicule immobile, d'un véhicule se déplaçant dans le même sens que vous ou d'un piéton dans votre voie, le système est conçu pour fournir les trois fonctionnalités suivantes :
- Alerte
- Assistance au freinage
3. Freinage actif

E255268
Alerte : Au moment de l'activation, une alerte visuelle clignote et un signal sonore retentit.
Assistance au freinage: Le système aide le conducteur à réduire la vitesse de collision en préparant le système de freinage pour un freinage rapide. L'assistance au freinage n'a applique pas automatiquement les freins. Si vous appuyez sur la pédale de frein, le système pourrait freiner davantage jusqu'à la force de freinage maximal, même si vous n'appuyez que légèrement sur la pédale de frein.
Freinage actif: Le freinage actif peut s'activer si le système détermine qu'une collision est imminente. Le système peut aider le conducteur à réduire les dommages dus à l'impact ou à éviter complètement la collision.
Note: Si vous estimez que les alertes d'avertissement de collision sont trop fréquentes ou dérangeantes, vous pouvez réduire le niveau de sensibilité d'alerte, bien que nous recommandions d'utiliser le réglage de sensibilité le plus élevé lorsque cela est possible. Un réglage inférieur du niveau de sensibilité produit des avertissements moins fréquents et plus tardifs.
Note: L'assistance au freinage et le freinage actif sont actifs à des vitesses allant jusqu'à 120 km/h (75 mph). Si votre véhicule est équipé d'un capteur radar, lequel fait partie du régulateur de vitesse adaptatif, l'assistance au freinage et le freinage actif sont actifs jusqu'à la vitesse maximale du véhicule.
Indication de la distance et alerte (selon l'équipement)
Les fonctions d'indication de la distance et d'alerte indiquent graphiquement au conducteur l'intervalle de temps qu'il y a entre le véhicule et les autres véhicules qui précèdent et qui se déplacent dans la même direction. L'écran d'indication de la distance et d'alerte affiche l'un des graphiques suivants.
Aides à la conduite


E254797
Si l'intervalle de temps entre votre véhicule et celui qui précède est court, un graphique rouge s'affiche.
Nota: Lorsque le régulateur de vitesse adaptatif est actif, les fonctions d'indication de la distance et d'alerte sont désactivées et les graphiques ne s'affichent pas.
| Vitesse | Sensibilité | Graphiques | Distance entre vehicules | Intervalle de temps |
| 100 km/h (62 mph) | Normale | Gris | >25 m (82 ft) | >0.9sec |
| 100 km/h (62 mph) | Normale | Jaune | 17–25 m (56–82 ft) | 0.6sec — 0.9sec |
| 100 km/h (62 mph) | Normale | Rouge | <17 m (56 ft) | <0.6sec |
Assistance aux manœuvres d'événement (selon l'équipement)
Si votre véhicule s'approche rapidement d'un autre véhicule immobile ou qui roule dans le même sens, le système est créé pour vous aider à contourner ce véhicule.
Le système s'active uniquement lorsque toutes les conditions suivantes sont réunies :
- Le système détecte un véhicule qui vous précède et commence à appliquer le freinage actif.
- Vous tournez le volant pour tenter de contourner un véhicule.
Après avoir tourné le volant, le système fournit une assistance supplémentaire à la direction pour vous aider à contourner le véhicule. Après avoir contourné le véhicule, le système fournit une assistance supplémentaire à la direction dans le sens opposé pour vous inciter à retourner dans votre voie. Le système se désactive automatiquement après avoir dépassé complètement le véhicule.
Note: Le système ne contourne pas automatiquement un véhicule. Le système ne s'active pas si vous ne tournez pas le volant.
Nota: Le système ne s'active pas si la distance entre le véhicule qui précède est trop courte et qu'une collision est inévitable.
Réglage des paramètres du système d'avertissement de collision
Vous pouvez régler les paramètres du système au moyen des commandes de l'écran d'information. Voir Généralités (page 140).
- Vous pouvez choisir parmi trois niveaux de sensibilité d'alerte et de distance.
- Vous pouvez activer ou désactiver les fonctions d'alerte et de distance. Au besoin, vous pouvez activer ou désactiver le freinage actif. Au besoin, vous pouvez activer ou désactiver l'assistance aux manoeuvres d'évitement.
Nota: Le freinage actif et l'assistance aux manoeuvres d'évitement s'activent automatiquement chaque fois que le contact est établi.
Nota: Si vous désactivez le freinage actif, l'assistance aux manoeuvres d'évitement se désactive.
Capteurs obstrués

1 Caméra 2 Capteur radar (selon l'équipement)
Aides à la conduite
Si un message concernant un capteur ou une caméra obstrué s'affiche à l'écran d'information, les signaux radar ou les images de la caméra sont obstrués. Si le véhicule est équipé d'un capteur radar, celui-ci est situé derrière un cache du bouclier, au centre de la calandre inférieure.
Si une caméra ou un capteur est obstrué, le système d'avertissement de collision pourrait ne pas fonctionner ou ne fonctionner que partiellement. Le tableau suivant répertorie la liste des causes pouvant provoquer l'affichage de ce message ainsi que les mesures correctives à prendre.
Diagnostic de la caméra
| Cause | Mesure à prendre |
| Le pare-brise devant laamera est sale ou obstrué. | Nettoyez l'extérieur du pare-brise devant laamera. |
| Le pare-brise devant laamera est propre, mais le message reste affchéé à l'écran. | Patientez quelques instants. Quelques minutes peuvent être nécessaires pour que laamera puisse détecter l'absence d'obstruction. |
Diagnostic du radar (selon l'équipement)
| Cause | Mesure à prendre |
| La surface du radar dans la calandre n'est pas propre ou est obstruée. | Nettoyez la surface de la calandre devant le radar ou retirez l'objet causant l'obstruction. |
| La surface du radar logé dans la calandre est propre, mais le message reste affché. | Patientez quelques instants. Quelques minutes peuvent être nécessaires pour que le radar puisse détecter l'absence d'obstruction. |
| Une forte pluie, des projections de la route, de la neige ou du brouillard perturbent les signaux radar. | Le système d'advertissement de collision est temporairement désactivé. Il devrait se réactiver automatiquement peu après l'amélioration des conditions météorologiques. |
| L'eau tourbillonnante, la neige ou la glace sur la chaussée peuvent perturber les signaux radar. | Le système d'advertissement de collision est temporairement désactivé. Il devrait se réactiver automatiquement peu après l'amélioration des conditions météorologiques. |
| Le radar n'est pas aligné en raison d'un impact à l'avant du vehicule. | Communique avec un concessionnaire agrée pour faire vérifier la couverture et le fonctionnement du radar. |
Nota: Pour que le système puisse fonctionner correctement, la camera doit avoir une bonne visibilité de la route. Faites réparer tout dommage du pare-brise dans le champ visuel de la camera.
Nota: Si l'avant de votre véhicule subit un choc ou s'il est endommagé, la zone de détection du radar pourrait changer. La détection peut donc être erronée ou ne pas se produire. Communiquez avec un concessionnaire/agréé pour faire vérifier la couverture et le fonctionnement du radar.
À PROPOS de la commande du mode marché avant
Le système améliore l'agrément de conduite grâce à un ensemble de systèmes électroniques sophistiqués. Ces systèmes optimisent la direction, le comportement routier et la réactivité du groupe motopropulseur. Ainsi, plusieurs paramètres de performance des systèmes sont commandés en un seul point.
Le changement de mode de conduite modifie la fonctionnalité des systèmes suivants :
La direction assistée à commande électronique ajuste l'effort et la sensation que procure la direction en fonction du mode sélectionné. Voir Direction (page 311). Le contrôle électronique de stabilité et l'antipatinage qui vous aident à conserver la maîtrise du véhicule dans les conditions difficiles ou pendant la conduite haute performances. Voir Contrôle de stabilité (page 257).
La commande électronique de l'accélérateur améliore la réponse du groupe motopropulseur à vos interventions de conduite. - Les commandes de boîte de vitesses, optimisées grâce à une programmation de changement de rapport adaptée à chaque mode. - Les réglages de transmission intégrale (AWD) sont optimisés pour chaque mode.
Le système ajuste automatiquement la configuration de votre véhicule pour chaque mode sélectionné.
Nota: Tous les paramètres ne sont pas forcément disponibles.
Nota: Le système effectue des vérifications de diagnostic qui surviennent continuellement pour le bon fonctionnement du système. Si un mode est indisponible en raison d'une anomalie du système, le mode normal est rétabli par défaut.
Selection d'un mode de conduite
Note: Il peut ne pas être possible de changer de mode de conduite lorsque le contact est coupé.

Pour modifier le mode de conduite, tournez le sélecteur de mode sur la console centrale.
Conserver
Permet une conduite efficace. Ce mode permet d'augmenter les économies de carburant et contribue à prolonger l'autonomie.
Conditions profondes (selon l'équipement)
Pour les terrains dont les surfaces sont déformées et bosselées, notamment avec de la boue, de la neige ou du sable profond. Ne l'utilise pas sur des chaussées dures et sèches.
Exalter
Pour une conduite sportive sur route. Ce mode augmente la réactivité de l'accélérateur et procure une sonorité plus sportive de l'échappement, une sensation de conduite plus sportive ainsi que des passages de rapports plus rapides. La suspension se raidit pour améliorer la
tenue de route et la maîtrise du véhicule (selon l'équipement). Pour donner au véhicule une meilleure accélération, la boîte de vitesses reste plus longtemps dans le même rapport avant de passer au rapport supérieur.
Si votre véhicule est équipé d'une suspension pneumatique, il s'abaisse d'environ 15 mm (0,6 po) pour augmenter ses performances aérodynamiques.
Normal
Pour la conduite quotidienne. Ce mode normal est un parfait compromis entre le CLS, le confort et la commodité. Ce mode est activé par défaut chaque fois que le contact est établi.
Glissant
Pour les conditions de route non idéales, comme une chaussée enneigée ou couverte de glace. Le mode patinage renforce la confiance sans pour autant nuire au plaisir de conduite. Le mode patinage réduit la réactivité de l'accélérateur et optimise les changements de rapport pour les surfaces glissantes.
Rangement sous le plancher arrière
Système de casiers de rangement
E142445
Le système se trouve dans le plancher de l'aire de chargement. Soulevez la poignée pour l'ouvrir.
Cache-bagages (SELON l'équipement)
! AVENTISSEMENT: Ne placez aucun objet sur le couvre-bagages. Le non respect de cette consigne pourrait entrainer des blessures, voir la mort en cas d'arrêt brusque ou de collision. ! AVENTISSEMENT: Assurez-vous de bien attacher le couvre-bagages. Le non-respect de cette instruction pourrait entraîner des blessures en cas d'arrêt brusque ou d'accident.
Utilisez le couvre-bagages pour dissimuler les articles dans l'aire de chargement du véhicule.

Pour fixer le couvre-bagages :
- Alignez le montant du panneau de garniture arrêté sur le clip du couvre-bagages.
- Appuyez fermement sur le dessus du couvre-bagages jusqu'au déclic. Assurez-vous que les deux côtés sont bien fixés.
Note: Pour retirer le couvre-bagages, poussez sur la partie inférieure du couvre-bagages jusqu'à ce qu'il se dégage du montant du panneau de garniture.

Avertissement: nous
recommandons, au moment du chargement, de distribuer la charge uniformément sur le porte-bagages et de prendre le centre de gravité aussi bas que possible. Lorsqu'un véhicule à centre de gravité élevé est chargé, ses caractéristiques de maniabilité différent de celles d'un véhicule non chargé. Exercez une vigilance accrue lorsque vous conduisez un véhicule lourdement chargé, par exemple, conduisez plus lentement et prévoyez une distance de freinage supérieure.
Placez les charges directement sur les barres transversales fixées aux longerons pour une utilisation correcte du porte-bagages. Nous vous recommandons également d'utiliser les barres transversales Lincoln d'origine, conçues pour votre véhicule, avec votre galerie porte-bagages.
Note: N'utilise pas de barres transversales si votre véhicule est équipé d'un toit ouvrant. Les barres transversales gênent le fonctionnement du toit ouvrant. L'utilisation de barres transversales sur un véhicule équipé d'un toit ouvrant pourrait annuler la garantie du véhicule.
E291748
Assurez-vous d'arrimer solidement la charge. Vérifiez si la charge est correctement arrimée avant de prendre la route ainsi qu'à chaque ravitaillement.
Nota: Ne placez aucune charge directement sur le pavillon. Le pavillon n'est pas conçu pour supporter directement une charge.
Charges maximales recommandées
Note: La charge maximale recommandée est basée sur la charge répartie uniformément sur les barres transversales.
| Description | Charge maximale recommendsé |
| Véhicules avec toit ouvrant | 0 kg (0 lb) |
| Véhicules sans toit ouvrant | 36 kg (80 lb) |
Chargement du véhicule - avec ou sans remorque
Ce chapitre vous indique la bonne façon de charger votre véhicule, remorque, ou les deux. Maintenez le poids de votre véhicule chargé dans sa capacité de charge maximale, avec ou sans remorque. Un véhicule correctement chargé fournira une meilleure performance. Avant de charger votre véhicule, il est important de connaître la signification des termes suivants, afin de déterminer sur l'étiquette des pneus et d'information sur la charge ou sur l'étiquette d'homologation de sécurité du véhicule la capacité de charge de ce dernier, avec ou sans remorque.
Exemple de renseignements de l'étiquette des pneus et d'information sur la charge :

The combined weight of occupants and cargo should never exceed. Le poids total des occupants et du chargement ne doit jamais dépasser.
| 396 | kg | 805 | 175 |
| kg | ou | lb. |
| TIRE PMEU | SIZE DIMENSIONS | COLD TIRE PRESSURE PRESSION DES PMEU A FROID |
| FRONT AVANT | 235/40R19 96V | 255 KPA, 37 PSI |
| REAR ARRÈRIÉ | 235/40R19 96V | 255 KPA, 37 PSI |
| SPARE DE SECOURS | T125/80R16 97M | 415 KPA, 60 PSI |
SEE OWNER'S
MANUAL FOR
ADDITIONAL
INFORMATION
VOIR LE MANUEL
DE L'USAGER
POUR PLUS DE
RENSEIGNEMENTS
E198719
Charge utile
La charge utile est le poids combiné des bagages et des occupants que le véhicule transporte. La charge utile maximale de votre véhicule apparaît sur l'étiquette des pneus et d'information sur la charge. L'étiquette se trouve soit sur le pédalier, soit sur le rebord de la porte du conducteur. Les véhicules exportés hors des É.-U. et du Canada peuvent ne pas comporter d'étiquette de pneus et d'information sur la charge. Recherchez la mention "Le poids combiné des occupants et du chargement ne doit jamais dépasser xxx kg ou xxx lb" afin de respecter la charge utile maximale. La charge utile inscrite sur l'étiquette d'information sur les pneus et la charge est la charge utile maximale de votre véhicule à sa sortie d'usine. Si vous installez un équipement supplémentaire quelconque sur votre véhicule, vous devez déterminer la nouvelle charge utile. Soustrayez le
poids de l'équipement de la charge utile indiquée sur l'étiquette d'information sur les pneus et la charge. Si vous tirez une remorque, le poids du timon de la remorque ou du pivot d'attelage fait également partie de la charge utile.

Avertissement: la capacité
de charge correcte de votre véhicule peut être limitée par le volume de chargement (espace disponible) ou par la charge utile (la charge que le véhicule doit transporter). Lorsque la charge utile maximale de votre véhicule est atteinte, n’ajoutez pas de charge même si de l’espace est encore disponible. La surcharge ou le chargement incorrect de votre véhicule peut causer la perte de maîtrise du véhicule ou son capotage.
PMAE (poids maximal autorisé sur essieu)
PMAE est le poids maximal autorisé qu'un seul essieu (avant ou arrière) peut supporter. Ces chiffres sont indiqués sur l'étiquette d'homologation de sécurité. L'étiquette se trouve sur le pied de charnière de porte, le montant de serrure de porte, ou le rebord de porte qui rejoint le montant de serrure de porte, à côté du siège conducteur.
La charge totale sur chaque essieu ne doit jamais dépasser son poids maximal autorisé à l'essieu.
PTAC (poids total autorisé en charge)
PTAC est le poids maximal permis d'un véhicule complètement chargé. Ceci comprend toutes les options, les équipements, les occupants et le chargement. Il figure sur l'étiquette d'homologation de sécurité. L'étiquette se trouve sur le pied de charnière de porte, le montant de serrure de porte, ou le rebord de porte qui rejoint le montant de serrure de porte, à côté du siège conducteur.
Le poids total en charge ne doit jamais dépasser le poids total autorisé en charge.
Exemple d'étiquette d'homologation de sécurité :


E198828

Avertissement: un
dépassement du poids total autorisé en charge inscrit sur l'étiquette d'homologation de sécurité peut nuire au rendement et à la tenue de route du véhicule, endommager le véhicule et provoquer une perte de maîtrise du véhicule ainsi que des blessures graves, voire mortelles.
Poids en charge maximale de remorque
Le poids en charge maximal de remorque est le poids maximal possible d'une remorque complètement chargée que le véhicule peut remorquer.
Consultez un concessionnaire autorisé (ou le Guide de remorquage de loisir et de traction d'une remorque disponible chez un concessionnaire autorisé) pour des renseignements plus détaillés.
PTRA (poids total roulant autorisé)
PTRA est le poids maximal permis du véhicule et de la remorque complètement chargés, incluant tout le chargement et tous les occupants que le véhicule peut transporter sans risque de dommages. (Important : le système de freinage du véhicule tracteur est conçu en fonction du poids total autorisé en charge, et non du poids total roulant autorisé). Pour remorquer en toute sécurité un véhicule ou une remorque dont le poids total roulant du véhicule tracteur et de la remorque dépasse le poids total autorisé en charge du véhicule tracteur, il faut prévoir des circuits de frein séparés.
Le poids total roulant ne doit jamais dépasser le poids total roulant autorisé.
Nota : Pour plus de renseignements concernant la traction d'une remorque, consultez le Guide de remorquage pour véhicules de loisir et de traction d'une remorque disponible chez un concessionnaire autorisé.

Avertissement: ne dépassez
jamais le poids total autorisé en charge (PTAC) ni le poids maximal autorisé à l'essieu (PMAE) qui figure sur l'étiquette d'homologation.

Avertissement: ne vous
servez pas de pneus de rechange d'une limite de charge inférieure à celle des pneus d'origine, car ils pourraient réduire le PTAC ou le PMAE du véhicule. Le montage de pneus ayant des limites de charge plus élevées que celles des pneus d'origine n'augmente pas le PTAC ni le PMAE.

Avertissement: tout
dépassement du poids total nominal autorisé en charge peut nuire au rendement et à la tenue de route du véhicule, endommager le véhicule et provoquer une perte de maîtrise du véhicule ainsi que des blessures graves, voire mortelles.
Observe les étapes suivantes pour déterminer la limite de charge appropriée :
- Recherche la mention "Le poids combiné des occupants et du chargement ne doit jamais dépasser XXX kg ou XXX Ib" sur l'étiquette du véhicule.
- Déterminez le poids combiné du conducteur et des passagers qui prendront place dans le véhicule.
- Soustrayez le poids combiné du conducteur et des passagers des valeurs XXX kg ou XXX lb.
- Le résultat donne la charge disponible pour le chargement ou les bagages. Par exemple, si la valeur "XXX" est égale à 1 400 lb, et si le vé
- Déterminez le poids combiné du chargement et de l'équipement qui sera chargé dans le véhicule. Pour ne pas compromet ape 4.
- Si vous devez tirer une remorque, la charge de la remorque sera transférée à votre véhicule. Consultez ce guide pour déterminer comment ce facteur peut réduire la capacité de charge des bagages et de l'équipement pour votre véhicule.
Exemples utiles pour le calcul de la charge disponible pour le chargement ou les bagages
Supposons que votre véhicule possède une capacité de 1 400 lb (635 kg) pour le chargement et les bagages. Vous décidez d'aller jouer au golf. La capacité de charge est-elle suffisante pour vous transporter (le conducteur et quatre amis) ainsi que tous les sacs de golf ? Vous et vos amis pesez en moyenne 220 lb (99 kg) chacun et les sacs de golf
pèsent environ 30 lb (13,5 kg) chacun. Le calcul s'établit comme suit : 1 400 - (5 x 220) - (5 x 30) = 1 400 - 1 100 - 150 = 150 livres. Oui, la capacité de charge de votre véhicule est suffisante pour transporter quatre de vos amis et les sacs de golf. En unités métriques, le calcul s'établit comme suit : 635 kg - (5 x 99 kg) - (5 x 13,5 kg) = 635 - 495 - 67,5 = 72,5 kg.
Supposons que votre véhicule possède une capacité de 1 400 lb (635 kg) pour le chargement et les bagages. Vous et l'un de vos amis décidez d'aller chercher du ciment pour terminer cette terrasse toujours en chantier après deux ans. En mesurant l'intérieur du véhicule lorsque les sièges arrière sont rabattus, vous constatez que vous pouvez y placer douze sacs de ciment de 100 lb (45 kg). La capacité de charge est-elle suffisante pour transporter le ciment jusqu'à votre domicile ? Si vous et votre ami pesez chacun 220 lb (99 kg), le calcul s'établit comme suit : 1 400 - (2 x 220) - (12 x 100) = 1 400 - 440 - 1 200 = -240 livres. La réponse est négative. Vous ne pourrez
Pas transporter tout ce ciment. En unités métriques, le calcul s'établit comme suit: 635 kg - (2 x 99 kg) - (12 x 45 kg) = 635 - 198 - 540 = -103 kg. Vous devez réduire le poids total d'au moins 240 livres (104 kg). Si vous retirez trois sacs de ciment de 100 livres (45 kg), le calcul de la charge s'établit comme suit: 1 400 - (2 x 220) - (9 x 100) = 1 400 - 440 - 900 = 60 livres. À présent, vous pouvez transporter cette nouvelle charge incluant votre ami. En unités métriques, le calcul s'établit comme suit: 635 kg - (2 x 99 kg) - (9 x 45 kg) = 635 - 198 - 405 = 32 kg.
Les calculs ci-dessus supposent aussi que les charges sont placées dans votre véhicule de manière à ne pas dépasser le poids maximal autorisé à l'essieu avant ou arrêté précisé pour votre véhicule sur l'étiquette d'homologation de sécurité.
Transport de charge
Directives spéciales concernant le chargement du véhicule à l'intention des propriétaires de camionnettes et de véhicules utilisaires

Avertissement: nous
recommandons, au moment du chargement, de distribuer la charge uniformément sur le porte-bagages et de maintenir le centre de gravité aussi bas que possible. Lorsqu'un véhicule à centre de gravité élevé est chargé, ses caractéristiques de maniabilité diffèrent de celles d'un véhicule non chargé. Faites preuve d'une grande prudence lorsque vous conduisez un véhicule lourdement chargé, par exemple, conduisez plus lentement et prévoyez une distance de freinage supérieure.

Avertissement: la traction
d'une remorque dont le poids dépasse le poids maximal autorisé de la remorque excède les limites du véhicule et peut endommager le moteur, la boîte de vitesses, le châssis et augmenter les risques de perte de maîtrise ou de renversement du véhicule et de blessures.

Avertissement: ne dépassez
jamais le poids total autorisé en charge (PTAC) ni le poids maximal autorisé à l'essieu (PMAE) qui figurent sur l'étiquette d'homologation.
Votre véhicule peut compter des dispositifs électriques, comme des fusibles ou des relais, dédiés à la traction d'une remorque. Voir Fusibles (page 356).
La capacité de charge de votre véhicule se fonde sur le poids et non sur le volume. Il est donc possible que vous ne puissiez pas utiliser tout l'espace disponible pour le chargement d'un véhicule ou d'une remorque.
La traction d'une remorque impose des contraintes supplémentaires au moteur, à la boîte de vitesses, aux essieux, aux freins, aux pneus et à la suspension du véhicule. Inspectez ces composants régulièrement pendant et après chaque utilisation du véhicule avec une remorque.
Répartition de la charge
Pour contribuer à minimiser les effets du mouvement de la remorque sur votre véhicule pendant la conduite :
- chargez les articles les plus lourds le plus près possible du plancher de la remorque;
- chargez les articles les plus lourds pour qu'ils soient centrés entre les roues gauche et droite de la remorque;
- éhicule et la remorque chargées sont accouplés, le cadre de la remorque doit être de niveau ou s'incliner légèrement vers le bas à l'arrière du véhicule, vu de côté.
Lorsque vous tractez une remorque ou que le véhicule est chargé, une vibration ou une légère secousse au démarrage peut se produire en raison du poids additionnel de la charge; Des renseignements supplémentaires
Remorquage
concernant le chargement approprié d'une remorque ainsi que la préparation de votre véhicule en vue du remorquage se trouvent dans un autre chapitre du présent manuel. Voir Limite de charge
(page 322).
Vous trouverez également des renseignements dans le Guide de remorquage de loisir et de traction d'une remorque, disponible chez votre concessionnaire autorisé, ou en ligne.
| Guide de remorquage de loisir et de traction d'une remorque en ligne | |
| Site Web | http://www.fleet.ford.com/towing-guides/ |

Avertissement: la désactivation
de la fonction de stabilisation de la remorque accroit le risque de perte de maîtrise du véhicule et de blessures graves, voire mortelles. Ford déconseille de désactiver cette fonction sauf dans les situations où une réduction de la vitesse
serait nuisible (si vous devez gravir une pente raide, par exemple), et que le conducteur est très expérimenté en matière de remorquage et est capable de maîtriser le roulis de la remorque et d'assurer une conduite sécuritaire.
Nota: Ce dispositif n'est pas conçu pour prévenir le louvoiement de la remorque, mais plutôt de le réduire lorsqu'il s'amorce.
Nota : Ce dispositif ne peut empêcher toutes les remorques de louvoyer.
Nota : Dans certains cas, si la vitesse de votre véhicule est trop élevée, le système peut s'activer plusieurs fois et réduire graduellement la vitesse de votre véhicule.
La fonction serre les freins de chaque roue et réduit le couple moteur afin de permettre la stabilisation du véhicule. Si la remorque commence à louvoyer, le témoin de contrôle de stabilité clignote et un message s'affiche sur l'écran d'information. Voir Messages d'information (page 145). Ralentissez, immobilisez le véhicule avec précaution en bordure de route et vérifiez la répartition correcte de la charge. Voir Transport de charge (page 320).
Vous pouvez désactiver cette fonction à l'écran d'information. Lorsque vous établissez le contact, le système s'active automatiquement.
Poids de remorquage recommandés

AVERTISSEMENT: La traction de remorque dont le poids dépasse le poids maximal autorisé de la force excédera les limites du véhicule. Elle risquera d'endommager le tuyau, la boîte de vitesses et le visa et de causer une perte de contrôle du véhicule, son carnement et des blessures.
Note: Ne dépassez pas le poids de la remorque indiqué dans le tableau ci-dessous correspondant à la configuration du véhicule.
Nota: Assurez-vous de prendre en compte la surface frontale de la remorque. Ne dépassez pas 30 pi² (2,79 m²) si votre véhicule est équipé d'un ensemble de remorquage.
Nota: Pour une conduite en haute altitude, réduisez le poids total roulant de 2% par tranche de 300 m (1 000 ft) à partir du point d'élevation de 300 m (1 000 ft).
Nota: Certains États ou provinces exigent l'utilisation de freins de remorque électriques pour des remorques dont le poids dépasse une valeur définie. Assurez-vous de consulter les réglementations de l'État ou de la province pour ce poids particulier. Les poids maximums de la remorque indiqués peuvent être limités à ce poids particulier, car le circuit électrique du véhicule pourrait ne pas comprendre le connecteur de câblage nécessaire pour activer les freins de remorque électriques.
Votre véhicule peut tracter une remorque à condition que son poids maximal ne dépasse pas le poids maximal de remorque indiqué pour votre configuration de véhicule dans le tableau suivant:
Remorquage
| Groupe motopropulseur | PTAC maximal | Poids maximal de la remorque1 |
| 2.0L GTDi à traction avant | 3 230 kg (7 120 lb) | 1 361 kg (3 000 lb) |
| 2.0L GTDi à traction intégrale | 3 306 kg (7 290 lb) | |
| 2.3L GTDi à traction intégrale | 3 310 kg (7 295 lb) |
1 Calculé avec la méthode SAE J2807.
Vérifications de remorquage essentielles
Pour un remorquage en toute sécurité, respectez les consignes suivantes :
- ne tractez pas une remorque avant d'avoir parcouru au moins 1600 km (1000 mi) avec le véhicule;
- Renseignez-vous sur les règlements du code de la sécurité routière en vigueur dans votre région concernant la traction d'une remorque;
- consultez les directives de pose et de réglage fournies avec les accessoires de remorquage; effectuez plus souvent les opérations d'entretien de votre véhicule si vous tractez une remorque; Consultez votre calendrier d'entretien périodique pour obtenir de plus amples renseignements;
- Si vous utilisez une remorque louée, suivez les directives fournies par l'agence de location.
Les définitions des termes relatifs à la capacité de charge apparaissant sur l'étiquette des pneus et l'étiquette d'homologation de sécurité ainsi que les directives sur le calcul de la charge de votre véhicule figurent dans le chapitre Transport de charge. Voir Limite de charge (page 322).
Lors du calcul du poids total du véhicule, n'oubliez pas d'inclure le poids du timon de la remorque chargée.
Attelages
N'utilisez aucun attelage qui se fixe au pare-chocs ou à l'essieu du véhicule.
Répartissez la charge de la remorque de telle sorte que 10 à 15% de son poids total reposent sur le timon.
Châines de sécurité
Nota: N'attachez jamais les chaînes de sécurité au pare-chocs.
Raccordez toujours les chaînes de sécurité aux dispositifs de fixation de l'attelage de votre véhicule.
Pour attacher les chaînes de sécurité, croisez-les sous le timon de la remorque et laissez suffisamment de jeu pour permettre les virages serrés. Ne laissez pas les chaînes trainer au sol.
Freins de remorque
AVERTISSEMENT: Ne raccordez pas le circuit de freinage hydraulique d'une remorque directement au circuit de freinage du véhicule. La puissance de freinage du véhicule pourrait être insuffisante, ce qui augmenterait fortement les risques de collision.
AVERTISSEMENT: Ne tractez pas une remorque équipée de freins électriques, sauf si votre véhicule est équipé d'une commande électronique de frein de remorque de deuxième monte compatible. Si vous ignorez cette directive, cela pourrait entraîner une perte de
maître du véhicule et des blessures graves ou mortelles. Pour plus de renseignements et pour obtenir une assistance, Ford vous recommande de communiquer avec un concessionnaire autorisé.
Vous pouvez aussi utiliser des freins électriques ou des freins à inertie, mécaniques ou automatiques, à condition de les installer et de les réguler conformément aux directives du fabricant. Les freins de la remorque doivent être conformes aux réglementations locales et fédérées.
La valeur retenue pour le fonctionnement du système de freinage du véhicule tracteur correspond au poids total autorisé en charge, et non le poids total roulant autorisé.
Des circuits de freinage distincts et en bon état sont essentiels pour bien manoeuvrer les véhicules remorqués et les remorques qui pèsent plus de 1500 lb (680 kg) une fois chargées.
Feux de remorque

A VARIATION: Ne branchez les faisceau de câblage des feuels remorque aux circuits des feuels du vehicule, car vous pourriez appuyager les circuits électriques et accuper un incendie. Contactez un sessionnaire autorisé dès que possible à obtenir de l'aide sur l'installation du titre des feuels de remorque. Consultation de ces feuels peut exiger un moment électrique supplémentaire.
Des feux des remorques sont requis sur la plupart des véhicules remorqués. Assurez-vous que tous les feux des jour, les feux stop, les clignotants et les feux de détresse fonctionnent.
Avant de tracter une remorque
Avant de prendre la route, entraînez-vous à tourner, à vous arrêter et à reculer afin de vous familiariser avec la conduite et les réactions de votre combinaison véhicule-remorque. Pour tourner, prenez les virages plus larges, de façon que les roues de la remorque ne heurtent pas les bordures de trottoir ou d'autres obstacles.
Pendant la traction d'une remorque
- Ne roulez pas à plus de 113 km/h (70 mph) lors des premiers 800 km (500 mi).
- Ne démarrez pas en accélérant brusquement.
- Après avoir parcouru 80 km (50 mi), vérifiez minutieusement l'attelage, les branchements électriques et le serrage des écrous de roue de la remorque.
Remorquage
- En cas d'arrêts dans un embouteillage ou en circulation dense par temps chaud, placez la boîte de vitesses en position de stationnement (P) pour faciliter le refroidissement du moteur et de la boîte de vitesses, et rehauser le rendement du climatiseur.
- Désactivez le régulateur de vitesse avec de lourdes charges ou en région montagneuse. Si vous tractez une remorque, il est possible que le programmeur de vitesse se désactive automatiquement dans les montées longues et prononcées.
- Passez un rapport inférieur lorsque vous conduisez en descente sur une pente longue et prononcée. Ne freinez pas continuellement, car les freins pouraient surchauffer et perdre de leur efficacité.
- mode procure davantage de frein moteur et évite les changements de rapport trop fréquents afin d'optimiser la consommation de carburant et le refroidissement de la boîte de vitesses.
- Prévoyez une distance de freinage plus longue lorsque vous tractez une remorque. Anticipez les arrêts et freinez graduellement.
- Évitez le stationnement en pente. Toutefois, si vous devez stationner en pente :
- tournez le volant pour orienter les roues de votre véhicule dans le sens contraire à la circulation;
- Serrrez le frein de stationnement de votre véhicule;
- Placez la boîte de vitesses en position de stationnement (P).
- Placez des cales devant et derrière les roues de la remorque. Les cales ne sont pas fournies avec votre véhicule.
Mise à l'eau ou sortie de l'eau d'un bateau ou d'une motomarine (PWC)
Nota: Débranchez le câblage électrique de la remorque avant de la reculer dans l'eau.
Nota: Rebranche le câblage électrique de la remorque après l'avoir sortie de l'eau.
Lorsque vous reculez sur une rampe en vue de mettre un bateau à l'eau ou de le hisser :
ne laisses pas le niveau de l'eau atteindre le bord inférieur du pare-chocs arrière; ne laisses pas les vagues dépasser de plus de 15 cm (6 po) le bord inférieur du pare-chocs arrière.
Si ces directives ne sont pas respectées, l'eau risque de pénétrer dans certains organes importants du véhicule et :
causer des dommages internes aux composants; - nuire à la conduite, aux dispositifs antipollution et au bon fonctionnement du véhicule.
Remorquage
Remplacez le lubrifiant du pont arrière chaque fois que ce dernier est immergé dans l'eau. L'eau peut contaminer l'huile de pont arrière, qui ne constitue pas un élément d'inspection d'entretien normal à moins qu'une fuite puisse être présente ou que la réparation d'un autre pont soit nécessaire.
Remorquage du vehicule les quatre ROUES au SOL
Remorquage d'urgence

AVERTISSEMENT: Si votre véhicule
est équipé d'un verrou de direction, assurez-vous que la clé de contact est en position accessoire ou marche lors d'un remorquage.
Si votre véhicule est en panne (lorsqu'un chariot porte-roues ou un véhicule à plateforme ne sont pas disponibles), il peut être remorqué à plat avec les quatre roues au sol, peu importe la configuration de groupe motopropulseur ou de boîte de vitesses, dans les conditions suivantes :
- Vehicule est orienté vers l'avant en vue du remorquage roulant vers l'avant.
- Reportez-vous à la procédure de déverrouillage manuel de la position de stationnement. Voir Boîte de vitesses automatique (page 232). Sinon, la boîte de vitesses risque d'être endommagée. La vitesse maximale est de 56 km/h (35 mph). La distance maximale est de 80 km (50 mi).
Véhicules à traction avant
Vous ne pouvez pas remorquer votre véhicule derrière un véhicule de loisir avec toutes les roues au sol, car cela pourrait endommager le véhicule ou la boîte de vitesses. Placez les roues avant sur un chariot porte-roues. Si vous utilisez un chariot porte-roues, suivez les directives précises par le fournisseur.
Véhicules à traction intégrale
Vous ne pouvez pas remorquer votre véhicule derrière un véhicule de loisir avec toutes les roues au sol, car cela pourrait endommager le véhicule ou la boîte de vitesses. Ford recommande de remorquer votre véhicule avec les quatre roues soulevées du sol, par exemple sur une remorque prévue à cet effet. Sinon, vous ne pouvez pas remorquer votre véhicule derrière un véhicule de loisir.
RODAGE
Vous devez rodeter les pneus neufs pendant environ 480 km (300 mi). Votre véhicule pourrait démontrer des comportements inhabituels durant cette période.
Évitez de conduire trop vite pendant les premiers 1600 km (1000 mi). Variez fréquemment votre vitesse et passez l'ensemble des rapports dès que possible. Ne sollicitez pas le moteur excessivement.
Ne remorquez pas le véhicule durant les premiers 1600 km (1000 mi).
Conduite économique
La consommation de carburant dépend de plusieurs facteurs comme votre style de conduite, les conditions de conduite et l'entretien du véhicule.
Voici certains aspects à garder à l'esprit pour améliorer la consommation de carburant :
- Accélérez et ralentissez en douceur.
- Roulez à une vitesse uniforme.
- Essayez de prévoir les arrêts, puis ralentissez pour tenter d'éliminer certains arrêts.
- Groupez vos sorties pour faire vos courses et évitez la conduite exigeant des arrêts fréquents. (Lorsque vous faites vos emplettes, rendez-vous d'abord à l'endroit le plus éloigné, puis revenez vers votre domicile).
- Fermez les glaces pendant la conduite à grande vitesse. Conduisez à vitesse raisonnable.
- Maintenez les pneus gonflés à la pression préconisée et n'utilisez que des pneus de dimensions appropriées.
- Servez-vous de l'huile moteur recommandée. Effectuez chacune des interventions d'entretien périodique.
Voici de plus certaines manœuvres à éviter pour ne pas augmenter la consommation de carburant :
- Évitez les accélérations soudaines ou brusques.
- Évitez d'augmenter excessivement le régime du moteur avant de couper le contact.
- Évitez les périodes de ralenti prolongé.
- Ne réchauffez pas votre véhicule partant froid. Réduisez l'utilisation de la climatisation et du chauffage.
- Évitez d'utiliser le régulateur de vitesses dans les régions montagneuses.
- Ne laissez pas votre pied reposer sur la pédale de frein pendant la conduite.
- Évitez de transporter des charges inutiles.
- Évitez d'ajouter certains accessoires sur votre véhicule (p. ex., pare-insectes, arceaux de sécurité ou bandeaux lumineux, marchepieds, portes-skis).
- Évitez de rouler lorsque la géométrie des roues est déréglée.
Conduite dans l'eau

AVERTISSEMENT: Ne pas traverser
de cours d'eau ou d'eau profonde, vous risqueriez de perdre le contrôle du véhicule.
Nota: Traverser des eaux stagnantes peut causer des dégâts au véhicule.
Nota: Vous risquez d'endommager le moteur si de l'eau pénétre dans le filtre à air.
Avant de traverser des eaux stagnantes, vérifie la profondeur. Ne traversez jamais d'eau dont le niveau est plus élevé que la partie inférieure du bas de caisse avant de votre véhicule.

Lorsque vous traversez une zone d'eau stagnante, conduisez très lentement et n’arrêtez pas votre véhicule. La performance des freins et de l’antipatinage peut être limitée. Après avoir conduit dans l’eau et lorsque il est prudent de le faire :
Appuyer légèrement sur la pédale de frein pour sécher les freins et pour vérifier qu'ils fonctionnent. - Vérifiez que l'avertisseur sonore fonctionne. - Vérifiez que l'éclairage extérieur fonctionne. - Tournez le volant pour vérifier que la direction assistée fonctionne.
Couvre-plancher

AVERTISSEMENT: Utilisez un tapis ou tateur adapté au contour du plancher et de votre véhicule et qui n'obstrue pas l'espace pour les pédales. Si vous négligez cette directive, cela peut entraîner perte de contrôle du véhicule et des séquences graves, voire mortelles.

AVERTISSEMENT: Les pédales qui ne peuvent pas se déplacer librement ont causé la perte de maîtrise du véhicule et augmenté le risque de blessures graves.

AVERTISSEMENT: Fixez le tapis aux dispositifs de retenue de sorte qu'il ne glisse pas et interfère avec les les. Si vous ignorez cette directive, cela peut entrainer une perte de contrôle vehicule et des blessures graves, voir celles.
Conseils de conduite
AVERTISSEMENT: Ne placez pas de tapis ou autres couvre-planchers supplémentaires au-dessus des tapis d'origine. Ceci pourrait provoquer l'interférence du tapis avec l'actionnement des pédales. Si vous ignorez cette directive, cela peut entrainer une perte de contrôle du véhicule et des blessures graves, voire mortelles.
AVERTISSEMENT: Assurez-vous toujours que des objets ne puissent tomber dans l'espace pour les jambes du conducteur en cours de route. Les objets qui ne sont pas fixés peuvent se loger sous les pédales et entraîner une perte de maîtrise du véhicule.

Pour poser les tapis, placez l’œillet du tapis par-dessus la tige de fixation et appuyez pour le bloquer en place.
Effectuez les mêmes opérations dans l'ordre inverse pour enlever le tapis.
Note: Vérifiez régulièrement les tapis pour s'assurer qu'ils sont bien fixés.
Véhicules vendus aux états-unis : comment faire appel à l'assistance dépannage
Pour vous fournir toute l'aide dont vous pouvez avoir besoin concernant votre véhicule, Lincoln a mis sur pied un programme d'assistance dépannage gratuite. Ce service, indépendant de votre Garantie limitée de véhicule neuf,
est disponible :
- pendant la durée de vie du véhicule pour le propriétaire d'origine ; six ans ou 110 000 km (70 000 mi) (selon la première éventualité) pour les propriétaires suivants.
L'assistance dépannage couvre :
- la pose d'une roue de secours en bon état en cas de crevaison (sauf pour les véhicules équipés d'un nécessaire de gonflage de pneu) ; le démarrage-secours ;
- le service de déverrouillage (les frais de remplacement des clés incombent au client);
- la livraison de carburant : Les fournisseurs de services indépendants, si la réglementation de l'État ou de la province, ou les lois locales et municipales le permettent, livreront jusqu'à 8 L (2 gal) de carburant à un véhicule en panne sèche. L'assistance dépannage limite la livraison de carburant à deux livraisons sans frais au cours d'une période de 12 mois;
- le treuillage — disponible jusqu'à 30 m (100 ft) d'une route revêtue ou d'un chemin rural entretenu, pas de dépannage;
- le remorquage - Les fournisseurs de services indépendants, si la réglementation de l'état ou de la province, ou les lois locales et municipales le permettent, remorqueront les véhicules Lincoln admissibles jusqu'au concessionnaire vendeur ou préfééré du client situé dans un rayon de 160 km (100 mi) du lieu de la panne, ou chez le concessionnaire Lincoln autorisé le plus proche. Si un client demande de faire remorquer son vé éhicule en panne y ayant droit nécessite les services du concessionnaire autorisé le plus proche. Si le véhicule tracteur est en état de marche, mais pas la remorque, la remorque n'a pas droit aux services de dépannage.
Véhicules vendus aux états-unis : faire appel à l'assistance dépannage
Pour bénéficier de l'assistance dépannage aux États-Unis, veuillez composer le 1-800-521-4140 ou communiquer avec l'assistance dépannage en utilisant l'application mobile Lincoln Way.
Si vous nevez vous-meme faire le nécessaire pour obtenir l'assistance dépannage, Lincoln vous rembourse un montant raisonnable pour le remorquage jusqu'à la concession Lincoln la plus proche dans un rayon de 160 km (100 mi). Pour obtenir des renseignements relatifs au remboursement, les clients américains doivent composer le 1800 521-4140. Les clients doivent soumettre les factures d'origine.
Véhicules vendus au canada : faire appel à l'assistance dépannage
Pour vous fournir toute l'aide dont vous pouvez avoir besoin concernant votre véhicule, Lincoln a mis sur pied un programme d'assistance dépannage gratuite. Ce programme est offert au Canada et aux États-Unis continentaux.
Ce service est disponible en tout temps (24 heures sur 24, 7 jours sur 7).
Ce programme est indépendant de la garantie limitée de véhicule neuf. Il prend effet à la date du début de la garantie d'origine et est valable pour toute la durée de vie du véhicule pour le propriétaire d'origine. Les propriétaires subséquents ont droit à une couverture qui coïncide avec celle de la couverture du groupe motopropulseur de 6 ans ou 110 000 km (70 000 mi) (selon la première éventualité).
Note: La couverture et les avantages offerts par le service de dépannage au Canada peuvent varier de ceux offerts aux É.-U.
Pour obtenir des détails complets sur la couverture, consultez notre guide de garantie, contactez notre concessionnaire, appelez-nous au Canada en composant le 1800 387-9333 ou visitez notre site Web : www. lincoln canada. com.
Si vous avez acheté votre véhicule au Canada et désirez bénéficier de l'assistance dépannage, veuillez composer le 1-800-387-9333 ou communiquer avec l'assistance dépannage en utilisant l'application mobile Lincoln Way.
Note: Remplissez la carte d'identification de l'assistance dépannage qui se trouve dans la boîte à gants de votre véhicule et gardez-la dans votre portefeuille afin de pouvoir vous y référer rapidement en cas de besoin.
FEUX de détresse
Nota: Les feux de détresse fonctionnent dans toutes les positions du commutateur d'allumage. Ils fonctionnent aussi lorsque la clé n'est pas dans le commutateur. En cas d'utilisation lorsque le véhicule est arrêté, la batterie se décharge. Par conséquent, il se peut que l'alimentation ne soit pas suffisante pour redémarrer le véhicule.
Dépannage

La commande des feux de détresse est située sur la planche de bord. Utilisez vos feux de détresse lorsque vous
véhicule est en panne et qu'il présente des dangers pour les autres usagers de la route.
- Appuyez sur la commande des feux de détresse pour activer tous les clignotants avant et arrêté.
- Appuyez de nouveau sur le bouton pour les éteindre.
Coupure de carburant

AVERTISSEMENT: Si votre véhicule
est impliqué dans une collision, faites vérifier le circuit d'alimentation. Tout manquement à cet égard pourrait entraîner un incendie, des blessures, voir la mort.
Note: Lorsque vous tentez de redémarrer votre véhicule après une coupure d'alimentation, le véhicule s'assure que divers systèmes sont prêts à redémarrer en toute sécurité. Une fois que le véhicule détermine que les systèmes peuvent être utilisés, le véhicule vous autorise alors à redémarrer.
Note: Si vous n'y parvenez toujours pas après trois tentatives, contactez un technicien autorisé.
La pompe d'alimentation coupe l'alimentation en carburant du moteur en cas de collision frontale de moyenne à forte intensité. La coupure d'alimentation ne se produit pas à chaque impact.
Si le moteur est coupé après une collision, vous pouvez redémarrer votre véhicule.
Si vous vérouillerez un système de clé :
- Coupez le contact.
- Mettez le contact en position de démarrage.
- Coupe le contact.
- Établissez le contact pour réamorcer la pompe d'alimentation.
- Si le véhicule ne démarre pas, répétez les étapes 1 à 4. Si votre véhicule est équipé d'un système de démarrage à bouton-poussoir :
- Appuyez sur le bouton START/STOP pour arrêter votre véhicule.
- Enfoncez la pédale de frein et appuyez sur le START/STOP bouton pour démarrer votre véhicule.
- Retirez le pied de la pédale de frein et appuyez sur la touche START/STOP pour arrêter votre véhicule.
- Vous pouvez tenter de démarrer le véhicule en, enfonçant la pédale de frein et en appuyant sur la touche START/STOP, ou appuyez sur le bouton START/STOP sans enfoncer la pédale de frein.
- Si le véhicule ne démarre pas, répétez les étapes 1 à 4.

Avertissement: les batteries
produisent des gaz explosifs qui peuvent causer des blessures. Par conséquent, tenez toute flamme, étincelle ou substance allumée à distance des batteries. Protégez-vous toujours le visage et les yeux lorsque vous travaillez près de la batterie. Prévoyez toujours une aération suffisante.

Avertissement: gardez les
batteries hors de la portée des enfants. Les batteries contiennent de l'acide sulfurique. Évitez tout contact avec la peau, les yeux ou les vêtements. Protégez vos yeux de la solution acide quand vous effectuez une intervention à proximité de la batterie. En cas d'éclaboussures
d'acide sur la peau ou dans les yeux, rincez immédiatement à grande eau pendant au moins 15 minutes et consultez un médecin dans les plus brefs délais. En cas d'ingestion d'acide, consultez un médecin immédiatement.

Avertissement: utilisez
uniquement des câbles de calibre approprié avec des pinces isolées.
Nota: Ne tentez pas de pousser votre véhicule équipé d'une boîte automatique pour faire démarrer le moteur. Toute tentative de pousser un véhicule équipé d'une boîte automatique pour faire démarrer le moteur risque d'endommager la boîte de vitesses.
Nota: Ne débranchez pas la batterie déchargée de votre véhicule au risque d'endommager le circuit électrique du véhicule.
Préparation du véhicule
Note: N'utilisez qu'une alimentation de 12 volts pour faire démarrer votre véhicule.
Placez le véhicule de secours près du capot du véhicule en panne en veillant à ce que les deux véhicules ne se touchent pas.
Branchement des câbles de démarrage

AVERTISSEMENT: Ne branchez pas le volant négatif sur le véhicule. Utilisez la prise de masse.
Nota: En cas d'utilisation d'un ensemble démarrage-secours ou d'une batterie d'appoint, suivez les instructions du fabricant de l'appareil utilisé.
Nota: Dans l'illustration qui suit, le véhicule du bas est le véhicule de secours.
Dépannage
E281345
- Branchez le câble volant positif (+) à la borne d'accès positive (+) du vé
- Branchez l'autre extrémité du câble positif de dépannage (+) à la borne positive (+) de la batterie d'appoint.
- Branchez le câble de dépannage négatif (-) à la borne négative (-) de la batterie d'appoint.
- Effectuez la connexion finale du câble de dépannage négatif (-) sur une partie en métal exposée du moteur calé et éloigné de la batterie et du système d'injection de carburant comme indiqué sur l'illustration suivante, ou branchez le câble de dépannage négatif (-) au point de connexion de masse, si disponible.

Démarrage du moteur
- Démarrez le moteur du véhicule de secours et faites-le tourner à un régime modéré ou appuyez légèrement sur l'accélérateur pour conserver le régime du moteur entre 2000 et 3000 tr/min, comme l'indique le compte-tours.
Dépannage
- Faites démarrer le moteur du véhicule en panne.
- Une fois le véhicule en panne démarré, faites tourner les moteurs des deux véhicules pendant environ trois minutes supplémentaires avant de retirer les câbles de démarrage.
Débranchement des câbles de démarrage
Débranchez les câbles de démarrage dans l'ordre inverse de leur branchement.
E281345
- Débranche le cable volant négatif (-) de la batterie du véhicule en panne.
- Débranchez le câble volant de la borne négative (-) de la batterie d'appoint.
- Débranchez le câble volant de la borne positive (+) de la batterie d'appoint.
- Débranchez le câble volant de la borne positive (+) de la batterie du véhicule en panne.
- Laissez le moteur tourner au ralenti pendant au moins une minute.
Systeme d'alerte apres IMPACT
Le système allume les clignotants et fait retentir l'avertisseur sonore (par intermittence) après une collision suffisamment grave pour déployer un sac gonflable (airbag avant, latéral, rideau gonflable latéral ou système Safety Canopy) ou pour déclencher les tendeurs de ceinture de sécurité.
L'avertisseur sonore et les clignotants s'éteignent lorsque :
- vous appuyez sur le bouton des feux de détresse;
- vous appuyez sur la touche de détresse de la télécommande d'entrée sans clé (selon l'équipement);
- la batterie de votre véhicule est déchargée;
- L'avertisseur sonore n'est disponible que sur certains marchés.
Transport du véhicule


E143886
Si vous nevez faire remorquer votre véhicule, faites appel à un service professionnel de remorquage ou appelez le service d'assistance routière, le cas échéant.
Nous recommandons l'utilisation d'une dépanneuse à cadre de levage avec chariots porte-roues ou d'une dépanneuse à plateau pour remorquer votre véhicule. Ne faites pas remorquer votre véhicule au moyen d'une sangle de levage. Aucune procédure de remorquage au moyen d'une sangle de levage n'est approuvée par Lincoln Motor Company. Vous pourriez endommager votre véhicule s'il est remorqué d'une manière inappropriée, ou par tout autre moyen.
Lincoln Motor Company met à la disposition des services de remorquage un manuel de directives pour le remorquage des véhicules. Demandez au conducteur de la dépanneuse de s'y référer pour connaître la procédure d'attelage et de remorquage qui convient à votre véhicule.
Dépannage
Un véhicule à traction avant peut être remorqué par l'avant si les roues avant sont soulevées à l'aide d'une dépanneuse à cadre de levage appropriée. Dans ce cas, les roues arrière peuvent rester au sol.
Les roues avant des véhicules à traction avant doivent être placées sur un chariot porte-roues si votre véhicule est remorqué par l’arrière au moyen d’un cadre de levage. Cela prévient les dommages à la boîte de vitesses.
Pour remorquer un véhicule à traction intégrale, aucune roue ne doit toucher le sol. Il faut utiliser, par exemple, une dépanneuse à cadre de levage avec chariots porte-roues ou une dépanneuse à plateau. Cela évite d'endommager la boîte de vitesses, la traction intégrale et le véhicule.
Pour obtenir les services nécessaires
Les réparations sous garantie de votre véhicule doivent être effectuées par un concessionnaire autorisé. Bien que tout concessionnaire autorisé qui vend la gamme à laquelle appartient votre véhicule fournisse le service sous garantie, nous vous recommandons de retourner chez le concessionnaire autorisé qui vous a vendu le véhicule, car celui-ci peut s'assurer de votre satisfaction continue.
Notez que certaines réparations couvertes par la garantie requièrent une formation et un équipement spécifique. Ainsi, les concessionnaires autorisés ne sont pas tous habilités à exécuter toutes les réparations couvertes par la garantie. Par conséquent, selon la nature de la réparation sous garantie requise, il pourrait être nécessaire de confier votre véhicule à un autre concessionnaire autorisé.
Accordez un délai raisonnable au concessionnaire autorisé pour effectuer votre réparation une fois que vous lui aurez apporté votre véhicule. Les réparations sont effectuées à l'aide de pièces Lincoln ou Motorcraft, de pièces remises à neuf ou autres pièces autorisées par Lincoln.
Si vous n'êtes pas à votre domicile et qu'une intervention s'impose sur votre véhicule, contactez le Centre des relations avec la clientèle Lincoln ou visitez le site Web suivant pour trouver le concessionnaire autorisé le plus proche.
Aux États-Unis :
Adresse postale
1-800-521-4140 Appareil de télécommunications pour les malentendants [ATME] : 1-800-232-5952
Adresse web
Certains des articles suivants peuvent être trouvés en ligne :
- Outil de recherche d'un concessionnaire aux É.-U. ; classement par raison sociale, ville, État ou code postal.
- Manuels du propriétaire.
- Calendriers d'entretien. Rappels. Programmes d'entretien prolongé Lincoln.
- Accessoires d'origine Lincoln Tarifs de réparation et d'entretien spéciaux et promotionnels.
Au Canada :
Adresse postale
Centre des relations avec la clientèle Lincoln Lincoln du Canada Limitée P. O. Box 2000 Oakville, Ontario L6K 1C8
Téléphone
1-800-387-9333
Adresse web
www.LincolnCanada.com
Ressources en ligne
@LincolnMotorCA
@LincolnQC
LincolnMotorCA
Assistance supplémentaire
Si vous avez des questions ou si vous n'êtes pas satisfait du service que vous recevez, procédez de la manière suivante :
- Prenez contact avec votre vendeur ou avec votre conseiller technique chez le concessionnaire autorisé qui vous a vendu le véhicule.
- Si vous n'obtenez pas satisfaction, contactez le Directeur du service des ventes, le Directeur du service technique ou le Directeur des relations avec la clientèle.
- Pour obtenir de l'aide ou des renseignements détaillés concernant les politiques de Lincoln, veuillez communiquer avec le Centre des relations avec la clientèle Lincoln.
Pour nous permettre de vous servir, veuillez avoir en main les renseignements suivants lorsque vous communiquez avec le Centre des relations avec la clientèle :
Le numéro d'identification du véhicule. - Numéro de téléphone (au travail et à domicile). La raison sociale du concessionnaire autorisé et la ville où il se trouve. Le kilométrage indiqué au compteur de votre véhicule.
Selon les lois sur la garantie en vigueur dans certains États des États-Unis, vous devrez aviser Lincoln directement et par écrit avant d'entamer un recours en justice. Lincoln peut avoir droit, dans certains États ou provinces, à une dernière tentative de réparation de votre véhicule.
Aux États-Unis, un litige relatif à la garantie doit être soumis au programme AUTO LINE du BBB avant que le client puisse recourir au "Magnuson-Moss Warranty Act" ou, dans les limites permises par les lois de l'État, avant qu'il puisse faire appel aux mesures de remplacement ou de rachat prévues par les lois de certains États. Il n'est pas nécessaire d'appliquer cette procédure de traitement des litiges avant d'exercer les droits constitués par un État ou d'autres droits indépendants du "Magnuson-Moss Warranty Act" ou des lois d'État régissant le remplacement ou le rachat.
La section 1793.2(d) du Code civil de Californie exige que, lorsqu'un fabricant ou son représentant n'est pas en mesure de réparer un véhicule en se conformant à la garantie applicable au véhicule après un nombre raisonnable de tentatives, le fabricant doit remplacer le véhicule par un autre sensiblement identique ou racheter le véhicule et rembourser l'acheteur pour un montant égal au prix réel payé ou payable par le client (moins une déduction raisonnable pour l'utilisation du véhicule par le client). Le client a le droit de choisir le remboursement ou le remplacement du véhicule.
La section 1793.22(b) du Code civil de Californie présume que le fabricant a tenté à plusieurs reprises de se conformer aux garanties applicables au véhicule si, dans les 18 mois ou les 29 000 km (18 000 mi) suivant l'achat d'un nouveau véhicule, selon la première éventualité :
- Deux tentatives ou plus de réparations d'une même non-conformité pouvant causer la mort ou des blessures graves ont été effectuées, OU
- Quatre tentatives ou plus de réparations d'une même non-conformité (une défectuosité ou une condition nuisant considérablement à l'utilisation, à la valeur ou à la sécurité du véhicule) ont été effectuées OU
- Le véhicule ne peut être utilisé pendant une période de plus de 30 jours civils (pas nécessairement consécutifs) à cause de la réparation de non-conformités.
Dans les situations 1 et 2 mentionnées ci-dessus, le client doit également aviser le fabricant du besoin de réparation de la non-conformité à l'adresse suivante :
Vous devez formuler votre plainte relative à la garantie au programme AUTO LINE du BBB avant d'exercer vos droits ou recours conférés par la section 1793.22(b) du Code civil de Californie devant les tribunaux. Vous devez également utiliser le programme AUTO LINE du BBB avant de faire valoir vos droits ou avant de recourir au "Magnuson-Moss Warranty Act", 15 U. S. C. section 2301 et suivantes. Si vous choisissez de chercher un règlement en exerçant des droits et des recours non créés par la section 1793.22(b) du Code civil de Californie ou du "Magnuson-Moss Warranty Act", ces statuts n'exigent aucun recours auprès du programme AUTO LINE du BBB.
Votre satisfaction est importante pour Ford Motor Company et votre concessionnaire. Si un problème relatif à la garantie n'a pas été résolu au moyen de la méthode en trois étapes décrite ci-dessus dans ce chapitre à la section Pour obtenir les services dont vous avez besoin, vous pouvez être admissible au programme AUTO LINE du BBB.
Le programme AUTO LINE du BBB est constitué de deux parties : la médiation et l'arbitrage. Durant la médiation, un représentant du BBB communiquera avec les deux parties, vous et Ford Motor Company, pour tenter de trouver des solutions au règlement de la demande. À défaut d'une entente durant la phase de médiation, ou si vous ne souhaitez pas participer à la médiation, vous pouvez participer au processus d'arbitrage si vous
demande est admissible. Une audience d'arbitrage est planifiée pour que vous puissiez présenter vos cas devant une personne impartiale dans un cadre informel. L'arbitre étudie le témoignage et rend une décision après l'audience.
Une décision au sujet des litiges soumis au programme AUTO LINE du BBB est habituellement rendue moins de quarante jours après la soumission de votre demande au BBB. Vous n'êtes pas lié par la décision et vous pouvez la rejeter et entreprendre un recours devant les tribunaux où toutes les conclusions du programme AUTO LINE du BBB relatives à la plainte, et la décision, sont admissibles lors d'une poursuite en justice. Si vous acceptez la décision du programme AUTO LINE du BBB, Ford devra se soumettre à la décision rendue et devra s'y conformer dans les 30 jours suivant la réception d'une dette indiquant votre acceptation de la décision.
Présentation d'une demande au programme AUTO LINE du BBB : Au moyen des renseignements ci-dessous, appelez ou écrivez pour demander un formulaire de demande. Vous devrez fournir votre nom et votre adresse, certains renseignements au sujet de toute nouvelle véhicule, des renseignements sur les désaccords concernant la garantie et une description des démarches déjà entreprises en vue de résoudre le problème. Vous recevez ensuite un formulaire de demande de règlement du client que vous devrez remplir, signer et renvoyer au BBB en prenant soin de joindre une preuve de propriété du véhicule. À la réception, le BBB étudiera l'admissibilité de la demande en vertu des lignes directrices du programme.
Vous pouvez obtenir de plus amples renseignements en communiquant avec le programme AUTO LINE du BBB au 1-800-955-5100 ou en écrivant à l'adresse :
BBB AUTO LINE 3033 Wilson Boulevard, Suite 600 Arlington, Virginia 22201
Vous pouvez également présenter une commande d'admissibilité au programme AUTO LINE du BBB en appelant le Centre des relations avec la clientèle Ford Motor Company au 1-800-392-3673.
Pour plus de renseignements, consultez le site Web Better Business Bureau.
Note: Ford Motor Company se réserve le droit de modifier les critères d'admissibilité et les procédures ou de mettre fin au processus en tout temps sans préavis et sans obligation.
Utilisation du programme de médiation et d'arbitrage (CANADA seulement)
Dans le cas des véhicules livrés aux concessionnaires canadiens autorisés. Si les efforts déployés par Ford Canada et le concessionnaire autorisé pour résoudre un problème de service lié à un défaut de matériel ou de fabrication vous semblent insatisfaisants, Ford Canada participe à un programme de médiation et d'arbitrage impartial indépendant géré par le Programme d'arbitrage pour les véhicules automobiles du Canada (PAVAC).
Ce programme d'arbitrage constitue un moyen simple et relativement rapide pour résoudre un différend quand tous les autres efforts visant à obtenir un règlement ont échoué. Cette procédure sans frais pour vous a été mise sur pied dans le but d'éliminer le recours aux poursuites judiciaires longues et coûteuses.
Dans le cadre du programme du PAVAC, des arbitres indépendants impartiaux tiennent des audiences dans un contexte informel à des dates et des endroits qui conviennent aux différentes parties. Les arbitres impartiaux examinent les positions des parties, prenant des décisions et, le cas échéant, rendent un jugement pour résoudre les litiges. Les décisions du PAVAC sont rapides, équitables et définitives, et la sentence de l'arbitre lie le plaignant et Ford Canada.
Les services du PAVAC sont offerts dans tous les territoires et toutes les provinces du Canada. Pour obtenir de plus amples renseignements, sans frais ni obligation, appelez directement l'administrateur provincial du PAVAC au 1800 207-0685, ou visitez le site www.camvap.ca.
Pour obtenir de l'aide hors des etats-unis et du CANADA
Avant d'exporter votre véhicule dans un pays étranger, contactez l'ambassade ou le consulat de ce pays. Ces représentants pourront vous renseigner sur les lois locales régissant l'immatriculation des véhicules et sur les endroits où vous pourrez vous procurer de l'essence sans plomb ou du carburant diesel à teneur en soufre ajustée.
Si vous ne pouvez pas trouver le carburant commandé pour votre véhicule, contactez notre Centre de relation avec la clientèle.
L'utilisation d'un carburant inapproprié sans conversion dans votre véhicule peut réduire l'efficacité de vos dispositifs antipollution, provoquer des salissures ou des dommages graves au moteur. Ford du Canada ou Ford Motor Company décline toute responsabilité en cas de dommages provoqués par l'utilisation d'un carburant inapproprié.
L'utilisation d'un carburant inapproprié peut également rendre plus difficile le démarrage de votre véhicule aux É.-U.
Si une intervention s'impose sur votre véhicule quand vous voyagez ou résidez dans les régions de l'Asie-Pacifique, l'Afrique du Sud du Sahara, les Îles Vierges américaines, Puerto Rico, l'Amérique centrale, les Caraïbes, Israël et le Moyen-Orient, contactez le concessionnaire autorisé le plus proche. Si le concessionnaire autorisé ne peut pas vous aider, consultez le Centre d'aide à la clientèle Ford correspondant.
Centre de relation avec la clientèle dans :
| Centre de relation avec la clientèle | Téléphone | Télécopieur | Adresse électronique |
| Asie-Pacifique | s.o. | s.o. | apemcrc@ford.com |
| Caraïbes et Amérique du Sud | +1 313 594 4857 | - | expcac@ford.com |
| Moyen-Orient | Ford80004443673 | 971 4 3327 266 | menacac@ford.com |
| Lincoln80004441067 | |||
| EAU80004441066 |
Assistance à la clientèle
| Centre de relation avec la clientèle | Téléphone | Télécopieur | Adresse électronique |
| Arabie Saoudite8008443673 | |||
| Utilisateurs de cellulaires et cellu-laires Zain en Arabie saoudite800850078 | |||
| Koweit22280384 | |||
| Afrique du Nord | s.o. | s.o. | nafcrc@ford.com |
| Porto Rico et É.-U. Îles vierges | +1-800-841-3673 | s.o. | prcac@ford.com |
| Afrique du Sud du Sahara | s.o. | s.o. | ssacrc@ford.com |
| Corée du Sud | +82-02-1600-6003 | s.o. | infokr1@ford.com ou infokr@lincoln.com |
Si vous achetez votre véhicule en Amérique du Nord et que vous déménagez par la suite à l'un des endroits enumerés précédemment, signalez le numéro d'identification de votre véhicule (NIV) et votre nouvelle adresse à Ford Motor Company Trade Services par courriel à l'adresse : expcso@ford.com.
Si vous vous trouvez dans un autre pays, contactez le concessionnaire autorisé le plus proche. Si vous n'obtenez pas satisfaction, adressez-vous au directeur des ventes, au directeur du service technique ou au directeur des relations avec la clientèle de la concession. Si vous avez besoin d'une assistance ou de précisions supplémentaires, veuillez communiquer avec le Centre de relations avec la clientèle pertinent figurant dans la liste ci-dessus.
Les clients aux États-Unis doivent composer le 1800 392-3673.
Commande d'un GUIDE du propriétaire additionnel
Pour commander les publications présentes dans cette pochette, veuillez communiquer avec HELM Inc. à:
HELM, INCORPORATED
47911 Halyard Drive
Plymouth, Michigan 48170 (États-Unis)
Attention: Service à la clientèle
ou appelez sans frais au 1800 782-4356 pour recevoir un catalogue gratuit des publications offertes
Ouvert du lundi au vendredi, de 8 h à 18 h HNE
Veuillez joindre HelmInc. sur son site Web
www.helminc.com
(L'achat d'articles figurant dans le catalogue peut se faire par carte de crédit, chèque ou mandat.)
Pour obtenir une copie du guide du propriétaire en français
Vous pouvez obtenir un guide du propriétaire en français chez votre concessionnaire autorisé ou en communiquant avec HELM, Inc. à l'aide des renseignements de contact indiqués précédemment dans cette section.
Déclaration des défauts compromettant la sécurité (É.-U. seulement)
Si vous croyez que votre véhicule présente une défectuosité qui pourrait causer un accident ou des blessures graves ou mortelles, informez immédiatement l'Agence fédérale américaine des États-Unis chargée de la sécurité routière (NHTSA) et Ford Motor Company.
Si l'Agence fédérale américaine des États-Unis chargée de la sécurité routière (NHTSA) reçoit d'autres plaintes similaires, elle peut ouvrir une enquête et ordonner le lancement d'une campagne de rappel et de réparation lorsqu'elle détermine qu'un défaut compromettant la sécurité touche un groupe de véhicules. Toutefois, l'Agence
Assistance à la clientèle
l'administration fédérale américaine des États-Unis chargée de la sécurité routière (NHTSA) ne peut pas intervenir dans le cas d'un différend entre le client, son concessionnaire et Ford Motor Company.
Pour communiquer avec la NHTSA, appelez le service d'assistance en matière de sécurité automobile au numéro sans frais 1-888-327-4236 (ligne directe : 1-800-424-9153) ; consultez le site http://www.safercar.gov ; ou écrivez à l'adresse suivante :
Administrator
Vous pouvez également obtenir d'autres renseignements relatifs à la sécurité automobile sur le site http://www.safercar.gov.
Déclaration DES DéfautS COMPROMETTANT LA SECURITE (CANADA SEULEMENT)
Si vous craignez qu'une défectuosité de votre véhicule puisse entraîner un accident, des blessures ou la mort, informez-en immédiatement Transport Canada et Ford Canada.
| Coordonnées de Transport Canada | |
| Site Web | http://www.tc.gc.ca/eng/motorvehiclesafety/reporting-defects-motor-vehicles.html (Anglais) |
| Site Web | http://www.tc.gc.ca/fra/securiteautomobile/signaler-defaults-vehicles-automobiles.html (Français) |
| Téléphone | 1-800-333-0510 |
| Coordonnées de Lincoln du Canada | |
| Site Web | www.LincolnCanada.com |
| Téléphone | 1-800-387-9333 |
Tableau de specifications des fusibles
Boîte à fusibles du compartiment moteur

AVERTISSEMENT: Débranchez
toujours la batterie avant de remplacer des fusibles à haute intensité.

AVERTISSEMENT: Afin de réduire
les risques d'électrocution, remettez toujours le couvercle du boîtier de distribution électrique en place avant de rebrancher la batterie ou de remplir les réservoirs de liquide.
La boîte à fusibles du compartiment moteur est située dans le compartiment moteur. Il renferme les fusibles à haute intensité qui protègent les principaux circuits électriques du véhicule contre les surcharges.
Si vous débranchez puis rebranchez la batterie, vous devez réinitialiser certaines fonctions. Voir Remplacement de la batterie de 12 V (page 384).
Soulevez le levier de dégagement sur la partie arrière du couvercle pour le retirer.
Note: Remplacez les fusibles par des fusibles de même type et de même calibre. Voir Remplacement d'un fusible (page 367).

Fusibles
| Emplacement des fusibles | Intensité | Composant protégé |
| 1 | — | Non utilisé. |
| 2 | 30 A | Lunette arrêtée chauffante. |
| 3 | 10 A | Réroviseurs extérieurs chauffants. |
| 4 | 50 A | Pompe à eau électrique (hybride). |
| 5 | — | Non utilisé. |
| 6 | — | Non utilisé. |
| 7 | 40 A | Module de commande de transmission. |
| 8 | — | Non utilisé. |
| 9 | 30 A | Déverrouillage de siège de deuxieme rangée. |
| 10 | — | Non utilisé. |
| 11 | 15 A | Module de commande du groupe motopropulseur. |
| 12 | 15 A | Module de commande du groupe motopropulseur. |
| 13 | 15 A | Module de commande du groupe motopropulseur. |
| 14 | 15 A | Module de commande du groupe motopropulseur. |
| 15 | — | Non utilisé. |
Fusibles
| Emplacement des fusibles | Intensité | Composant protégé |
| 16 | - | Non utilisé. |
| 17 | 15 A | Position de repos d'essuie-glaces chauffants. |
| 18 | 10 A | Embrayage de climatisationur. |
| 19 | - | Non utilisé. |
| 20 | 5 A | Convertisseur CC/CC (hybride). |
| 21 | 10 A | Module de commande de charge de la batterie (hybride). |
| 22 | 5 A | Régulateur de vitesse adaptatif. |
| 23 | 5 A | Anneau lumineux de port de charge (hybride). |
| 24 | 5 A | Module de commande électronique de la batterie (hybride). |
| 25 | 25 A | Module d'éclairage extérieur amélioré gauche. |
| 26 | 25 A | Module d'éclairage extérieur amélioré droit. |
| 27 | 5 A | Module de commande de groupe motopropulseur (hybride). |
| 28 | 10 A | Module de freinage antiblocage. |
| 29 | 10 A | Module de commande du groupe motopropulseur. |
| 30 | 10 A | Contrôle électronique de stabilité.Pompe à huile de boîte de vitesse. |
Fusibles
| Emplacement des fusibles | Intensité | Composant protégé |
| 31 | 5 A | Direction assistée à commandelectronique. |
| 32 | 30 A | Module de commande sur carrosserie. |
| 33 | 10 A | Caméra d'aide au stationnement avant. Caméra de recul. Système de surveillance des angles morts. Actionneur de levier de vitesses. Module de régulateur de vitesse Module de traitement d'image B. |
| 34 | 10 A | Mise à niveau des phares |
| 35 | 15 A | Volant de direction chauffant. |
| 36 | 10 A | Module de commande de groupe motopropulseur (hybride). |
| 37 | 20 A | Avertisseur sonore. |
| 38 | 40 A | Moteur de soufflerie. |
| 39 | — | Non utilisé. |
| 40 | 10 A | Contacteur des yeux de freinage. |
| 41 | 20 A | Amplificateur. |
| 42 | 30 A | Siège à réglage électrique du conducteur. |
Fusibles
| Emplacement des fusibles | Intensité | Composant protégé |
| 43 | 40 A | Soupapes de commande du système de freinage antiblocage. |
| 44 | 40 A | Module de remorquage. |
| 45 | 30 A | Siège à réglage électrique du passager. |
| 46 | 20 A | Pompe à huile de boîte de vitesses. Température d'huile de boîte de vitesses. |
| 47 | 20 A | Sièges chauffants. |
| 48 | 30 A | Hayon à commande électrique. |
| 49 | 60 A | Pompe de commande du système de freinage antiblocage. |
| 50 | 60 A | Ventilateur de refroidissement. |
| 51 | 30 A | Toit ouvrant transparent. |
| 52 | 5 A | Port de charge USB - console arrière. |
| 53 | 5 A | Port de charge USB - console arrière. |
| 54 | 20 A | Module de siège chauffant arrière. |
| 55 | 30 A | Démarreur. |
| 56 | 20 A | Amplificateur. |
| 57 | 10 A | Prise de diagnostic. |
Fusibles
| Emplacement des fusions | Intensité | Composant protégé |
| 58 | 30 A | Module de siège à régulation de température. |
| 59 | 40 A | Module de commande sur carrosserie. |
| 60 | — | Non utilisé. |
| 61 | — | Non utilisé. |
| 62 | — | Non utilisé. |
| 63 | — | Non utilisé. |
| 64 | — | Non utilisé. |
| 65 | — | Non utilisé. |
| 66 | — | Non utilisé. |
| 67 | — | Non utilisé. |
| 68 | 5 A | Sonde de température d'air d'admission et de début d'air massique. |
| 69 | 15 A | Injecteurs d'admission. |
| 70 | 20 A | Prise de courant de chargement arrêtè. |
| 71 | 20 A | Prise de courant de la console arrêtè. |
| 72 | 20 A | Essuie-glace de lunette arrêtè. |
Fusibles
| Emplacement des fusibles | Intensité | Composant protégé |
| 73 | - | Non utilisé. |
| 74 | 30 A | Moteur d'essuie-glace de pare-brise. |
| 75 | 20 A | Blocage de colonne de direction. |
| 76 | - | Non utilisé. |
| 77 | - | Non utilisé. |
| 78 | 15 A | Sièges multicontours. |
| 79 | 10 A | Lave-phares. |
| 80 | 20 A | Pompe d'alimentation. |
| 81 | 10 A | Pompe de lave-glace de lunette arrête. |
| 82 | 40 A | Convertisseur de tension. |
| 83 | - | Non utilisé. |
| 84 | 40 A | Boîtier de distribution électrique auxiliaire (hybride). |
| 85 | 5 A | Capteur de plue. |
| 86 | - | Non utilisé. |
Fusibles
| Emplacement des fusions | Intensité | Composant protégé |
| 87 | — | Non utilisé. |
| 88 | — | Non utilisé. |
Nota : L'intensité du fusible de rechange peut varier.
Boîte à fusibles de l'habitacle
La boîte à fusibles se trouve sous la boîte à gants.

Fusibles
| Emplacement des fusions | Intensité | Composant protégé |
| 1 | 5 A | Non utilisé. |
| 2 | 5 A | Sièges arrêtè chauffants. |
| 3 | 10 A | Signal sonore pour piétons. |
| 4 | 10 A | Commutateur d'allumage. |
| 5 | 20 A | Verrouillage. Déverrouillage. |
| 6 | 10 A | Toit ouvrant transparent. Convertisseur continu-alternatif. |
| 7 | 30 A | Module de porte passager. |
| 8 | 5 A | Module de commande d'aide au stationnement. |
| 9 | 5 A | Module de traitement d'image A Rétroviseur àelectrochrome. |
| 10 | 10 A | Module d'alimentation prolongée. |
| 11 | 5 A | Hayon à commande électrique. Module d'activation du hayon mains libres. Module d'unité de commande télématique. |
| 12 | 5 A | Contacteur de clavier d'entrée sans clé. |
Fusibles
| Emplacement des fusions | Intensité | Composant protégé |
| 13 | 15 A | Serrure de porte conductor. |
| 14 | 30 A | Module de porte conductor. |
| 15 | 15 A | Module d'alimentation prolongée. |
| 16 | 15 A | Module des fonctions dynamiques du vehicule. |
| 17 | 15 A | SYNC Module d'émetteur récepteur. Bloc de commande multifonction. |
| 18 | 7,5 A | Contacteur de siège conducteur à réglage électrique. Contacteur de siège passager à réglage électrique. Module de charge d'accessoires sans fil. Commande de mode de conduite sélectionnable. |
| 19 | 7,5 A | Bloc de commande d'éclairage. Module d'unité de commande télématique. Module Bluetooth faible consommation. |
| 20 | 10 A | Non utilisé (libre). |
| 21 | 7,5 A | Chauffage-climatisation Module de sélecteur électronique. |
| 22 | 7,5 A | Tableau de bord. Module de passerelle. |
Fusibles
| Emplacement des fusions | Intensité | Composant protégé |
| Module de commande de colonne de direction. | ||
| 23 | 20 A | Chaine audio. |
| 24 | 20 A | Affichage tête haute. |
| 25 | 30 A | Non utilisé (libre). |
Note: L'intensité du fusible de rechange peut varier.
toujours un fusible par un fusible de même intensité nominale. L'utilisation d'un fusible d'intensité nominale supérieure peut causer de graves dommages au câblage et provoquer un incendie.

E217331
Si certains accessoires électriques de votre véhicule ne fonctionnent pas, il se peut qu'un fusible soit grillé. La présence d'un fil métallique rompu à l'intérieur du fusible indique que ce fusible est grillé. Vérifiez les fusibles appropriés avant de replacer des composants électriques.
Types de fusibles

A. Micro 2 B. Micro 3 C. Maxi D. Mini E. M Case
Fusibles
Fusible J Case G J Case à profil bas H M Case à fente
Généralités
Faites vérifier régulièrement votre véhicule pour en réserver la sécurité et la valeur de revente. Un grand réseau de concessionnaires autorisés est disponible pour vous offrir leur compétence professionnelle en matière d'entretien. Nous croyons que leurs techniciens spécialement formés sont les plus compétents pour effectuer l'entretien de votre véhicule avec professionalisme. Ils doivent sur tous les outils spécialisés nécessaires précisés mis au point pour l'entretien de votre véhicule.
Si votre véhicule exige les soins d'un expert, un concessionnaire autorisé peut vous fournir les pièces et la main-d'œuvre dont vous avez besoin. Consultez les renseignements sur la garantie pour déterminer quelles sont les pièces et interventions couvertes.
N'utilisez que des carburants, des lubrifiants, des liquides et des pièces de rechange recommandés conformes aux normes. Les pièces Motorcraft® sont conçues pour optimiser la performance de votre véhicule.
Précautions
- Ne travailliez jamais sur un moteur chaud. Assurez-vous qu'aucun article ne se coince dans les pièces mobiles.
- Ne travailliez pas sur un véhicule dont le moteur tourne dans un espace clos, à moins d'être certain que l'espace est suffisamment aéré.
- N'approchez jamais une flamme nue ni une matière en combustion (comme des cigarettes) de la batterie ou des pièces du circuit d'alimentation.
Exécution de travaux lorsque le moteur est coupé
- Serrez le frein de stationnement et mettez le sélecteur de vitesse à la position de stationnement (P).
- Arrêtez le moteur.
- Calez les roues.
Exécution de travaux lorsque le moteur tourne
AVERTISSEMENT: Pour réduire les risques de brûlures ou de dommages au véhicule, ne faites pas démarrer le moteur lorsque le filtre à air est déposé et ne retirez pas le filtre à air lorsque le moteur tourne.
- Serrez le frein de stationnement et mettez le sélecteur de vitesse à la position de stationnement (P).
- Calez les roues.
Ouverture et fermeture du CAPOT
Ouverture du capot
E263274
- Ouvrez la porte avant gauche.
- Tirez entièrement le levier d'ouverture du capot et laissez-le se rétracter complètement.
Nota : Cela déverrouille le loquet de capot.
- Tirez entièrement le levier d'ouverture du capot une deuxième fois. Nota : Cela déverrouille entièrement le capot.
- Ouvrez le capot.
Nota: Il n'y a pas de loquet secondaire sous le capot.
Fermeture du capot
- Abaissez le capot et laissez-le tomber sous son propre poids les derniers 25-35 cm (10-14 po).
Nota : Assurez-vous que le capot est correctement fermé.
Apéçu sous le CAPOT
A B CD E F G
A Réservoir de liquide de lave-glace. Voir Vérification du liquide de lave-glace (page 383). B Réservoir de liquide de refroidissement. Voir Vérification du liquide de refroidissement (page 376). C Jauge d'huile moteur. Voir Jauge d'huile moteur (page 373).
Entretien
D Bouchon de remplissage d'huile moteur. Voir Vérification de l'huile moteur (page 373). E Réservoir de liquide de frein. Voir Vérification du liquide de frein (page 382). F Batterie. Voir Remplacement de la batterie de 12 V (page 384). G Boîtier de distribution physique. Voir Tableau de spécifications des fusibles (page 356). H Filtre à air. Voir Remplacement du filtre à air (page 390).
JAUGE d'huile moteur

E250320
A Minimum. B Nominal. C Maximum.
Verification de l'huile moteur

AVERTISSEMENT: Ne travaillez pas sur un moteur chaud.
Observez la procédure suivante afin d'obtenir une lecture précise et régulière du niveau d'huile moteur :
- Assurez-vous que le frein de stationnement est serré. Assurez-vous que le levier de vitesses est à la position de stationnement (P) ou au point mort (N).
- Laissez le moteur tourner jusqu'à ce qu'il atteigne sa température normale de fonctionnement.
- Stationnez le véhicule sur une surface plane.
- Coupez le contact et attendez 15 minutes, le temps que l'huile se dépose dans le carter d'huile. Une vérification du niveau d'huile moteur trop tôt après avoir arrêté le moteur peut altérer la lecture.
- Ouvrez le capot. Voir Ouverture et fermeture du capot (page 371).
- Retirez la jauge et essuyez-la avec un chiffon propre et non pelucheux. Voir Aperçu sous le capot (page 372).
Entretien
- Remettez la jauge en place, retirez-la de nouveau et vérifiez le niveau d'huile. Voir Jauge d'huile moteur (page 373).
- Vérifiez que le niveau d'huile se situe entre les repères minimum et maximum. S'il est au repère minimal, faites l'appoint immédiatement. Voir Capacités et specifications (page 444).
- Si le niveau d'huile est correct, remettez la jauge en place et assurez-vous qu'elle est bien insérée.
Nota: Ne retirez pas la jauge lorsque le moteur est en marche.
Nota: Si le niveau d'huile se trouve entre les repères minimum et maximum, il est acceptable. N'ajoutez pas d'huile.
Nota: Sur les moteurs neufs, la consommation d'huile atteint un niveau normal au bout de 5 000 km (3 000 mi) environ.
Ajout d'huile moteur

AVERTISSEMENT: Ne retirez pas le bouchon de remplissage lorsque le moteur est en marche.

AVERTISSEMENT: N'ajoute pas le moteur lorsque le moteur est chaud. Et de ne pas tenir compte de ces solutions accroît les risques de surès.
N'utilisez pas d'additifs supplémentaires dans l'huile moteur car ils sont inutiles et pourraient causer au moteur des dommages non couverts par la garantie du véhicule.

E142732
Utilisez uniquement une huile moteur homologuée pour les moteurs à essence par l'American Petroleum Institute (API). Une huile portant ce symbole commercial est conforme aux normes de protection en vigueur relatives aux moteurs, aux systèmes antipollution, ainsi qu'aux exigences de consommation de carburant du comité international de normalisation et d'homologation des lubrifiants (ILSAC).
Pour faire l'appoint d'huile moteur, procédez comme suit :
- Nettoyez les environs du bouchon de remplissage d'huile moteur avant de le retirer.
Entretien
- Retirez le bouchon de replissage d'huile moteur. Voir Aperçu sous le capot (page 372). Tournez-le dans le sens inverse des aiguilles d'une montre et retirez-le.
- Ajoutez de l'huile moteur répondant à nos spécifications. Voir Capacités et specifications (page 444). Il vous faudra peut-être un entonnoir pour verser l'huile moteur dans l'orifice;
- Vérifiez à nouveau le niveau d'huile.
- Si le niveau d'huile est correct, remettez la jauge en place et assurez-vous qu'elle est bien insérée.
- Remettez le bouchon de replissage d'huile moteur. Tournez-le dans le sens des aiguilles d'une montre jusqu'à sentir une forte résistance.
Nota: N'ajoutez pas d'huile au-delà du repère maximal. Si le niveau d'huile dépasse le repère maximal, le moteur risque de subir des dommages.
Nota: Veillez à installer le bouchon de remplissage d'huile correctement.
Nota: Épongez immédiatement tout déversement à l'aide d'un chiffon absorbant.
Réinitialisation du témoin de vidange d'huile
Utilisez les commandes de l'écran d'information sur le volant de direction pour réinitialiser le témoin de vidange d'huile.
À partir du menu principal, faites défiler jusqu'à :
| Message | Mesure à prendre et description |
| Réglages | Appuyez sur la flèche de droite, puis à partir de ce menu faites défilé jusqu'au message suivant. |
| Véhicule | Appuyez sur la flèche de droite, puis à partir de ce menu faites défilé jusqu'au message suivant. |
| Durée d'huile | Appuyez sur la flèche de droite, puis à partir de ce menu faites défilé jusqu'au message suivant. |
| Tenir OK pr réinitial. | Maintenez le bouton OK,enforcé jusqu'à ce que le tableau de bord affiche le message suivant.Réinitial. réussie |
Entretien
| Message | Mesure à prendre et description |
| Lorsque le témoin de vidange d'huile se réinitialise, le tableau de bord affiche 100 %.Durée de vie huile restante [00] % | |
| Si le tableau de bord affiche l'un des messages suivants, repétez la procédure.Non réinitialiséeRéinitial. annulée |
Vérification du liquide de refroidissement

AVERTISSEMENT: Ne retirez pas le chon du réservoir du liquide de dissemment quand le moteur tourne le système de refroidissement est d. Attendez dix minutes pour que le et de refroidissement se refroidisse.
Couvre le capuchon du réservoir du liquide de refroidissement avec un tissu épais pour éviter la possibilité de brûlures et retirez le capuchon lentement. Le non-respect de ces précautions accroît les risques de blessures. AVERTISSEMENT: Ne versez pas du liquide de refroidissement dans le réservoir du lave-glace de pare-brise. Si du liquide de refroidissement est projeté sur le pare-brise, la visibilité risque d'être grandement réduite. AVERTISSEment: Pour réduire les risques de blessures, assurez-vous que le moteur a refroidi avant de dévisser le bouchon de sûreté du réservoir de liquide de refroidissement. Le circuit de refroidissement est sous pression. De la vapeur et du liquide brûlant peuvent jaillir lorsque le bouchon est légèrement desserré. AVERTISSEMENT: N'ajoutez pas de liquide de refroidissement au-delà du repère MAX.
Une fois le moteur refroidi, vérifie la concentration et le niveau du liquide de refroidissement aux intervalles indiqués dans le calendrier d'entretien périodique. Voir Entretien de votre véhicule (page 554).
Nota: Assurez-vous que le niveau de liquide de refroidissement se situe entre les repères MIN et MAX du réservoir de liquide de refroidissement.
Nota: Le liquide de refroidissement se dilate lorsqu'il est chaud. Le niveau peut dépasser le repère MAX.
Maintenir la concentration de liquide de refroidissement entre 48% et 50%, ce qui équivaut à un point de gel compris entre -34°C (-29^) et -37°C (-35^). La concentration de liquide de refroidissement doit être vérifiée avec un refractomètre. Nous recommendons de ne pas utiliser de densimétres ou de bandelettes de test du liquide de refroidissement pour en mesurer la concentration.

Avertissement: ne retirez pas le
capuchon du réservoir du liquide de refroidissement quand le moteur tourne ou que le système de refroidissement est chaud. Attendez dix minutes pour que le circuit de refroidissement se refroidisse. Couvrez le capuchon du réservoir du liquide de refroidissement avec un tissu épais pour éviter la possibilité de brûlures et retirez le capuchon lentement. Le non-respect de ces précautions accroît les risques de blessures.

liquide de refroidissement pour moteur quand le moteur tourne ou que le système de refroidissement est chaud. Le non-respect de ces précautions accroît les risques de blessures.
Note: Les liquides pour véhicules automobiles ne sont pas interchangeables. Veillez à ne pas verser de liquide de refroidissement dans le réservoir de lave-glace de pare-brise ou du lave-glace de pare-brise dans le réservoir de liquide de refroidissement.
Note: N'utilisez pas de pastilles antifuite, de produits d'obturation ou d'additifs pour circuit de refroidissement, sous peine d'endommager le circuit de refroidissement du moteur ou le circuit de chauffage. Les dommages aux composants qui en résultent peuvent ne pas être couverts par la garantie du véhicule.
Il est très important d'utiliser du liquide de refroidissement prédilué conforme aux spécifications afin d'éviter de boucher les petits conduits de passage du circuit de liquide de refroidissement du moteur. Voir Capacités et spécifications (page 436). Ne mélangez pas différentes couleurs ou différents types de liquide de refroidissement dans votre véhicule. Un mélange de liquides
de refroidissement ou l'utilisation d'un liquide de refroidissement incorrect peut causer un endommagement du moteur ou des composants du circuit de refroidissement qui pourrait ne pas être couvert par la garantie du véhicule.
Nota: En l'absence de liquide de refroidissement prédilué, utilisez le liquide de refroidissement concentré approuvé en le diluant à 50/50 avec de l'eau distillée. Voir Capacités et specifications (page 436). L'utilisation d'eau qui n'a pas été désionisée peut contribuer à la formation de dépôts, à la corrosion et au colmatage des petites voies du circuit de refroidissement.
Note: Les liquides de refroidissement génériques compatibles toutes marques et modèles peuvent ne pas être conformes à nos prescriptions et endommager le circuit de refroidissement. Les dommages aux composants qui en résultent peuvent ne pas être couverts par la garantie du véhicule.
Si le niveau de liquide de refroidissement est au repère minimal ou en dessous, faites l'appoint immédiatement.
Entretien
Pour faire l'appoint du liquide de refroidissement, procédez comme suit :
- Desserrez le bouchon lentement. Toute pression présente s'échappe lors du desserrage du bouchon.
- Ajoutez du liquide de refroidissement du moteur prédilué conforme aux specifications. Voir Capacités et specifications (page 436).
- Ajoutez suffisamment de liquide de refroidissement du moteur prédilué pour atteindre le niveau correct.
- Remettez le bouchon du réservoir de liquide de refroidissement en place. Tournez le bouchon dans le sens des aiguilles d'une montre jusqu'à ce qu'il entre en contact avec la butée.
- Contrôlez le niveau de liquide de refroidissement dans le réservoir de liquide de refroidissement les prochaines fois que vous conduirez votre véhicule. Au besoin, ajoutez du liquide de refroidissement de moteur prédilué jusqu'au niveau approprié.
Si vous constatez qu'il vous faut ajouter plus de 1 L (1,1 pte) de liquide de refroidissement du moteur par mois, faites contrôler votre véhicule le plus tôt possible. L'utilisation d'un moteur dont le niveau de liquide de refroidissement est insuffisant peut entraîner une surchauffe du moteur et causer d'éventuels dommages au moteur.
En cas d'urgence, vous pouvez ajouter une grande quantité d'eau ne contenant pas de liquide de refroidissement de manière à pouvoir vous rendre à un centre d'entretien et de réparation des véhicules. Dans ce cas, le personnel qualifié doit:
- Vidanger le circuit de refroidissement.
- Nettoyer chimiquement le circuit de liquide de refroidissement.
- Remplir de liquide de refroidissement le plus tout possible.
L'utilisation d'eau (sans liquide de refroidissement) risque d'entraîner des dommages au moteur par la corrosion, la surchauffe ou le gel.
N'utilisez pas les produits suivants en tant que substituts du liquide de refroidissement :
alcool; méthanol; - saumure; - tout liquide de refroidissement mélangé à de l'antigel à base d'alcool ou de méthanol;
L'alcool et les autres liquides peuvent endommager le moteur par surchauffe ou gel.
N'ajoutez ni inhibiteurs ni additifs au Liquide de refroidissement du moteur. Ces produits sont néfastes et risquent de compromettre la protection anticorrosion du liquide de refroidissement du moteur.
Liquide de refroidissement recyclé
Nous recommandons de ne pas utiliser un liquide de refroidissement recyclé, car aucun procédé de recyclage n'a encore été homologué.
Entretien
Mettez au rebut le liquide de refroidissement usagé de façon appropriée. Consultez les centres locaux de recyclage pour tout renseignement sur le recyclage et la récapitulation de ces liquides.
Conditions climatiques rigoureuses
Si vous conduisez par temps très froid :
- Il peut s'avérer nécessaire d'augmenter la concentration de liquide de refroidissement à plus de 50%;
- Une concentration du liquide de refroidissement de 60% assure une protection améliorée contre le gel; une concentration supérieure à 60% diminue les caractéristiques de protection du liquide de refroidissement contre les surchauffes du moteur et peut endommager le moteur.
Si vous conduisiez par temps très chaud :
- vous pouvez baisser la concentration de liquide de refroidissement à 40%;
- une concentration inférieure à 40 % réduit les caractéristiques antigel et anticorrosion du liquide de refroidissement et pourrait endommager le moteur.
Les véhicules conduits toute l'année dans des climats tempérés doivent utiliser un liquide de refroidissement prédilué pour obtenir une protection optimale du circuit de refroidissement et du moteur.
Vidange du liquide de refroidissement
Conformément au Calendrier d'entretien périodique, le liquide de refroidissement doit être remplacé à des intervalles de kilométrage précis. Ajoutez du liquide de refroidissement du moteur prédilué conforme aux specifications. Voir Capacités et spécifications (page 436).
Circuit de refroidissement à protection totale
La fonction de protection totale vous permet de conduire temporairement votre véhicule avant l'apparition de dommages plus importants. Les distances que le "circuit à protection totale" permet de parcourir varient en fonction de la température ambianté, de la charge du véhicule et des conditions routières.
Fonctionnement du circuit de refroidissement à protection totale

Si le moteur commence à surchauffer, l'indicateur de température de liquide de
refroidissement se déplace dans la zone rouge :

Un témoin d'avertissement s'allume et un message d'avertissement peut s'afficher sur
L'écran d'information.
Entretien
Si le moteur atteint une température de surchauffe prédéterminée, il passe automatiquement à un mode de fonctionnement avec alternance des cylindres. Chaque cylindre inopérant agit alors comme une pompe à air et refroidit le moteur.
Dans un tel cas, le véhicule fonctionne encore mais :
- La puissance du moteur est limitée; le système de climatisation se coupe.
La conduite prolongée fait monter la température du moteur au point de causer l'arrêt complet du moteur. Dans ce cas, l'effort demandé pour la direction et le freinage est plus important.
Une fois le moteur refroidi, vous pouvez redémarrer. Faites vérifier votre véhicule dans les plus brefs délais pour minimiser les dégâts sur le moteur.

Avertissement: le mode de
protection totale du moteur doit être utilisé uniquement en cas d'urgence. Roulez avec votre véhicule en mode de protection totale seulement pendant la durée nécessaire à l'immobilisation du véhicule dans un endroit sûr et faites réparer le véhicule immédiatement. En mode de protection totale, votre véhicule aura une puissance limitée, ne pourrait pas rouler à vitesse élevée et pourrait s'arrêter sans avertissement, étant ainsi privé de la puissance du moteur ainsi que de l'assistance des freins et de la direction, ce qui pourrait accroître les risques d'accident et de blessures graves.

Avertissement: ne retirez pas le
capuchon du réservoir du liquide de refroidissement quand le moteur tourne ou que le système de refroidissement est chaud. Attendez dix minutes pour que le circuit de refroidissement se refroidisse.
Couvre le capuchon du réservoir du liquide de refroidissement avec un tissu épais pour éviter la possibilité de brûlures et retirez le capuchon lentement. Le non-respect de ces précautions accroît les risques de blessures.
En mode de protection totale, la puissance de votre moteur est limitée ; il est donc important de conduire avec précaution. Le véhicule ne peut maintenir une vitesse élevée et le moteur ne fonctionne pas correctement.
Gardez à l'esprit que le moteur peut s'arrêter automatiquement pour éviter les dommages. Dans cette situation :
- Quittez la route dès qu'il est possible et prudent de le faire et arrêtez le moteur.
- Si vous êtes membre d'un programme d'assistance routière, nous vous recommandons de contacter votre fournisseur de service d'assistance routière.
- Si ce n'est pas possible, laissez le moteur refroidir.
Entretien
- Vérifiez le niveau de liquide de refroidissement. Si le niveau de liquide de refroidissement est au repère minimal ou en dessous, faites l'appoint immédiatement.
- Une fois le moteur refroidi, vous pouvez redémarrer. Faites vérifier votre véhicule dans les plus brefs délais pour minimiser les dégâts sur le moteur.
Note: Si vous conduisiez votre véhicule sans effectuer de réparation, vous augmentez le risque d'endommagement du moteur.
Gestion de la température du liquide de refroidissement du moteur
I'equipement)

AVERTISSEMENT: Pour réduire le
risque d'accident et de blessure, soyez prêt à ce que la vitesse du véhicule diminue et que ce dernier ne puisse pas accélérer à sa pleine puissance tant que la température du liquide de refroidissement n'a pas baissé.
Lors de la traction d'une remorque, la température du moteur peut temporairement atteindre un niveau élevé lorsque les conditions de fonctionnement sont difficiles, par exemple dans une montée raide ou longue ou lorsque la température ambianté est élevée.
Dans ce cas, vous remarquerez peut-être que l'aiguille de l'indicateur de température de liquide de refroidissement se déplace vers la zone rouge et un message peut s'afficher à l'écran d'information.
Vous pouvez remarquer une réduction de la vitesse du véhicule causée par une puissance de moteur réduite afin de gérer la température du liquide de refroidissement du moteur. Notre véhicule pourrait passer dans ce mode dans certaines conditions de température ou de charge élevées. La réduction de la vitesse dépendra de la charge du véhicule, de la pente et de la température ambiant. Si cela se produit, il n'est pas nécessaire d’arrêter le véhicule. Vous pouvez continuer à rouler.
La climatisation peut s'activer puis se désactiver automatiquement plusieurs fois dans des conditions d'utilisation rigoureuses afin de protégerr le moteur contre toute surchauffe. Lorsque la température du liquide de refroidissement retombe à une température de fonctionnement normale, la climatisation s'active.
Si l'indicateur de température du liquide de refroidissement moteur se déplace complètement dans la zone rouge, ou si un avertissement indiquant une température élevée du liquide de refroidissement ou un message d'entretien du moteur s'affiche sur l'écran d'information, procédez comme suit :
- Arrêtez votre véhicule dès que vous pouvez le faire en toute sécurité. Serrez complètement le frein de stationnement et amenez le levier sélecteur en position stationnement (P) ou point mort (N).
- Laissez le moteur tourner jusqu'à ce que l'aiguille de l'indicateur de température du liquide de refroidissement revienne en position normale. Si après plusieurs minutes la température ne diminue pas, suivez les autres étapes.
Entretien
- Arrêtez le moteur et attendez qu'il refroidisse. Vérifiez le niveau de liquide de refroidissement.
- Si le niveau de liquide de refroidissement est au repère minimal ou en dessous, faites l'appoint immédiatement.
- Si le niveau du liquide de refroidissement est normal, redémarrez le moteur et poursuivez votre route.
Vérification de l'huile de boite de vitesses automatique
La boîte de vitesses automatique n'a pas de jauge d'huile.
La boîte de vitesses automatique ne consomme pas d'huile. Le niveau d'huile doit toutefois être vérifié si la boîte de vitesses ne fonctionne pas correctement, par exemple si elle patine, si le passage des vitesses est lent ou si vous remarquez des traces de fuite.
Nota: Le niveau d'huile de la boîte de vitesses doit être vérifié par un concessionnaire autorisé. Si nécessaire, l'huile devra être ajoutée par un concessionnaire autorisé.
N'utilisez pas d'additifs supplémentaires d'huile de boîte de vitesses, ni de produits de traitement de l'huile ou de nettoyage du moteur. Ces produits peuvent modifier le fonctionnement de la boîte de vitesses et causer des dommages aux composants internes de la boîte de vitesses.
Vérification du liquide de FREIN
AVERTISSEMENT: N'utilise pas de liquide de frein autre que le produit recommandé car ceci réduirait l'efficacité des freins. L'utilisation d'un liquide inadapté pourrait entraîner une perte de contrôle du véhicule et des blessures graves voire mortelles.
AVERTISSEMENT: N'utilise que du liquide de frein provenant d'un contenant scellé. La contamination par de la saleté, de l'eau, des produits pétroliers ou d'autres substances peut endommager le circuit de freinage, voire entraîner sa défaillance. Le non-respect de cet avertissement pourrait entraîner une perte de contrôle du véhicule et des blessures graves voire mortelles. AVERTISSEMENT: Ne laissez pas le liquide entrer en contact avec la peau ou les yeux. Si cela se produit, rincez immédiatement les zones concernées à grande eau et contactez votre médecin. AVERTISSEMENT: Si le niveau de liquide de frein se situe sous le repère MIN ou au-dessus du repère MAX du réservoir de liquide de frein, le système de freinage pourrait être affecté.
Entretien
E170684
- Stationnez votre véhicule sur une surface plane.
- Inspectez le réservoir de liquide de frein pour déterminer où le niveau de liquide se situe par rapport aux repères MIN et MAX du réservoir.
Nota: Si le niveau de liquide de frein se trouve entre les repères MIN et MAX du réservoir, il est acceptable.
Nota: Si le niveau de liquide de frein se situe sous le repère MIN ou au-dessus du repère MAX, faites vérifier votre véhicule dès que possible.
Nota: Pour éviter toute contamination du liquide, le bouchon du réservoir doit rester en place et serré à moins que vous n'ajoutiez du liquide.
Utilisez uniquement des liquides conformes à nos spécifications. Voir Capacités et spécifications (page 436).
Intervalle de vidange du liquide de frein
Avec le temps, le liquide de frein absorbe de l'eau, ce qui réduit son efficacité. Remplacez le liquide de frein aux intervalles prescrits pour éviter une dégradation des performances de freinage. Pour des renseignements détaillés sur les intervalles de vidange, consultez le chapitre Entretien périodique de votre manuel du propriétaire ou votre guide d'entretien local.
Vérification du liquide de direction assistée
Votre véhicule est équipé d'un système de direction assistée à commande électrique (EPS). Il n'y a aucun réservoir de liquide à vérifier ou à remplir.
Vérification du liquide de lave-glace
AVERTISSEMENT: Si vous utilisez leur véhicule lorsque la température est inférieure à 5°C (41,0^), utilisez du liquide de lave-glace avec protection antigel. Si vous omettez d'utiliser ce type de liquide de lave-glace par temps froid, la visibilité du pare-brise en sera affectée et les risques de blessures ou d'accidents seront accrus.
Note : Les lave-glaces avant et arrière s'approvisionnent au même réservoir.
Entretien
Remplissez le réservoir de liquide de lave-glace lorsque le niveau est bas. Utilisez uniquement un liquide de lave-glace conforme à nos normes. Voir Capacités et spécifications (page 436).
Il se peut que des règlements relatifs aux composés organiques volatils en vigueur dans votre région ou dans votre province restreignent l'usage du méthanol, qui est un antigel de lave-glace couramment utilisé. Les liquides de lave-glace à antigel sans méthanol ne doivent être utilisés que s'ils sont efficaces par temps froid et s'ils n’endommagent pas le fini de la peinture, des balais d’essuie-glace et du circuit des essuie-glaces.
Filtré à carburant
Votre véhicule est équipée d'un filtre à carburant permanent qui est intégré au réservoir de carburant. Ce filtre ne nécessite aucun entretien périodique et n'a jamais besoin d'être remplacé.

Avertissement: les batteries
produisent des gaz explosifs qui peuvent causer des blessures. Par conséquent, tenez toute flamme, étincelle ou substance allumée à distance des batteries.
Protégez-vous toujours le visage et les yeux lorsque vous travaillez près de la batterie. Prévoyez toujours une aération suffisante.

Avertissement: lorsque vous
soulevez une batterie à bac en plastique, n'exercez pas une pression excessive sur les parois pour éviter de faire gicler l'électrolyte par les bouchons d'aération et causer des blessures et des dommages au véhicule ou à la batterie. Soulevez la batterie au moyen d'un porte-batterie ou saisissez le bac en plaçant vos mains à des coins diagonalement opposés.

Avertissement: gardez les
batteries hors de la portée des enfants. Les batteries contiennent de l'acide sulfurique. Évitez tout contact avec la peau, les yeux ou les vêtements. Protégez vos yeux de la solution acide quand vous effectuez une intervention à proximité de la batterie. En cas d'éclaboussures d'acide sur la peau ou dans les yeux, rincez immédiatement à grande eau pendant au moins 15 minutes et consultez un médecin dans les plus brefs délais. En cas d'ingestion d'acide, consultez un médecin immédiatement.

AVERTISSEMENT: Les bornes de rie, les cosses de câbles et les soies connexes contiennent du o et des composés de plomb, des substances chimiques qui sont reconnus dans la Californie comme cause de cancer et lésions de l'appareil reproducteur. Lavez-vous les mains après manipulation.

Avertissement: ce véhicule peut
être équipé de plus d'une batterie. La dépose des câbles de batterie d'une seule batterie ne débranche pas le système électrique de votre véhicule. Lorsque vous coupez l'alimentation électrique, assurez-vous de débrancher les câbles de batterie. Sinon, cela pourrait occasionner des blessures graves ou des dommages matériels.

Avertissement: sur les véhicules
équipés d'un système d'arrêt/démarrage automatique, les exigences imposées à la batterie sont différentes. Vous devez remplacer la batterie par une batterie de spécification identique.
Votre véhicule est équipé d'une batterie sans entretien Motorcraft qui n'exige normalement aucun ajustement d'eau.
Lorsque la batterie doit être remplacée, remplacez-la par une batterie recommandée qui correspond aux exigences électriques du véhicule.
Note: Veillez à remettre en place le couvercle ou l'écran de protection et le tube de mise à l'air libre de la batterie une fois le nettoyage ou le remplacement de la batterie effectué.
Pour prolonger la vie utile de la batterie, veillez à ce que le dessus du boîtier soit toujours propre et sec.
Si vous remarquez de la corrosion sur la batterie ou sur les bornes, débranchez les câbles des bornes et éliminez la corrosion avec une brosse métallique. Vous pouvez neutraliser l'acide avec une solution de bicarbonate de soude et d'eau.
Étant donné que le moteur de votre véhicule est commandé par un processeur électronique, l'alimentation électrique de la batterie maintient certaines conditions de commande. Lorsque vous débranchez la batterie ou installez une nouvelle batterie, le moteur doit réapprendre ses paramètres de fonctionnement au ralenti et sa stratégie
d'alimentation avant de retrouver son rendement optimal. Dans le cas des véhicules à carburant mixte (FFV), il faut aussi reprogrammer la teneur en éthanol du carburant afin d'optimiser la conduite et le rendement.
Pour rétablir les paramètres, procédez ainsi :
- Serrez le frein de stationnement.
- Mettez le levier de vitesse en position de stationnement (P) ou au point mort (N).
- Mettez tous les accessoires hors tension.
- Enforcez la pédale de frein et démarrez le véhicule.
- Laissez le moteur tourner jusqu'à ce qu'il atteigne sa température de fonctionnement. Pendant que le moteur se réchauffe, effectuez les procédures suivantes : réinitialisez l'horloge ; réinitialisez la fonction d'inversion en cas d'obstruction des glaces électriques. Voir Glaces, miroirs et rétroviseurs (page 121). Réinitialisez les stations programmées. Voir Chaîne audio (page 472).
Entretien
- Laissez le moteur tourner au ralenti pendant au moins une minute.
- Roulez sur au moins 16 km (10 mi) pour que le moteur réapprenne toute la stratégie de réglage du ralenti et du carburant.
Nota: Si vous ne laissez pas le moteur réapprendre la stratégie de réglage du ralenti et du carburant, la qualité du ralenti sera compromise jusqu'à ce que l'ordinateur du moteur apprenne de nouveau cette stratégie.
Nota : Dans le cas des véhicules à carburant mixte alimentés avec de l'éthanol E85, le moteur pourrait démarrer difficilement ou ne pas démarrer et des problèmes de comportement du moteur pourraient survenir jusqu'à la réacquisition des paramètres d'ajustement du carburant et de teneur en éthanol.
Assurez-vous de vous débarrasser des piles et batteries usagées d'une manière écocompatible. Renseignez-vous auprès des autorités locales au sujet du recyclage des piles et batteries usagées.
Si vous entreposez votre véhicule pendant plus de 30 jours sans recharger la batterie, nous recommandons de débrancher les câbles négatifs de la batterie pour assurer le maintien de sa charge et un démarrage rapide.
L'équipement
Le système de gestion de batterie surveille l'état de la batterie et prend les mesures nécessaires pour prolonger sa durée de vie utile. Si une décharge excessive de la batterie est détectée, le système désactive temporairement certains systèmes électriques afin de protéger la batterie.
Les systèmes compris sont les suivants :
Lunette arrière chauffante. Sièges chauffants. - Régulation de la température. - Volant de direction chauffant. - Chaîne audio. - Système de navigation.
Un message peut s'afficher à l'écran d'information pour vous avertir que les mesures de protection de la batterie sont actives. Ces messages servent uniquement à indiquer qu'une action est en cours et ne sont pas destinés à indiquer un problème électrique ou que la batterie doit être remplacée.
Après le remplacement de la batterie, ou dans certains cas après avoir chargé la batterie à l'aide d'un chargeur externe, le système de gestion de batterie exige huit heures de temps de sometime du véhicule pour réapprendre l'état de charge de la batterie. Pendant ce temps, votre véhicule doit rester entièrement verrouillé avec le contact coupé.
Note: Avant de réapprendre l'état de charge de la batterie, le système de gestion de batterie peut temporairement désactiver certains systèmes électriques.
Installation des accessoires électriques
Pour préserver le bon fonctionnement du système de gestion de batterie, ne branche pas la masse d'un appareil électrique directement sur la borne négative de la batterie. Ceci peut fausser les mesures de diagnostic de l'état de la batterie et provoquer le mauvais fonctionnement du système.
Note: Si vous ajoutez des accessoires ou composants électriques sur votre véhicule, cela peut nuire aux performances et à la longévité de la batterie. En outre, cela peut également nuire aux performances d'autres systèmes électriques du véhicule.
Vérification des BALAIS d'essuie-glace
E142463
Gillez la pointe de vos doigts sur le bord du balai pour en vérifier la rugosité.
Nettoyez les balais d'essuie-glace à l'aide d'une éponge douce ou d'un chiffon imbibé de liquide lave-glace ou d'eau.
Reemplacement des BALAIS d'essuie-glace
Nettoyer le pare-brise et les balais d'essuie-glaces pour améliorer les performances des essuie-glaces.
Note: Ne pas déplacer le bras d'essuie-glace lorsque le contact est établi, le moteur d'essuie-glace pourrait être endommagé.
Pour de meilleures performances, replacer les balais d'essuie-glaces au moins une fois par an.
Balais d'essuie-glaces de pare-brise

- Soulever le bras d'essuie-glace puis presser l'un contre l'autre les boutons de verrouillage du balai d'essuie-glace.
Note: Ne pas tenir le balai d'essuie-glace en soulevant le bras d'essuie-glace.
Entretien
Nota: S'assurer que le bras d'essuie-glace ne se rabat pas contre le pare-brise lorsque le balai d'essuie-glace n'y est plus accroché.
- Faire légèrement pivoter le balai d'essuie-glace.
- Retirer le balai d'essuie-glace.
- Pour la reprise, procéder dans l'ordre inverse de la dépose.
Nota: S'assurer que le balai d'essuie-glace est bien bloqué.
Balai d'essuie-glace de lunette arrière

- Lever le bras d'essuie-glace.
Nota: Ne pas tenir le balai d'essuie-glace en soulevant le bras d'essuie-glace.
Nota: S'assurer que le bras d'essuie-glace ne se rabat pas contre le pare-brise lorsque le balai d'essuie-glace n'y est plus accroché.
- Retirer le balai d'essuie-glace.
Nota: S'assurer que le balai d'essuie-glace est bien bloqué.
Réglage vertical
Les phares de votre véhicule ont été correctement réglés en usine. Si votre véhicule a été accidenté, faites vérifier le réglage des phares par un concessionnaire autorisé.

À 2,4 mètres (8 pieds) B Hauteur du centre du phare au sol
Entretien
C 7,6 mètres (25 pieds) D Ligne de repère horizontale
- Immobilisez le véhicule directement à l'avant d'un mur ou d'une grille sur une surface plane en l'éloignant d'environ 7,6 m (25 ft).
- Mesurez la hauteur entre le centre de l'ampoule du phare et le sol, puis tracez un repère horizontal à 2,4 m (8 ft) sur le mur ou l'écran vertical à cette hauteur.
Note: Pour mieux voir le faisceau de lumière lors du réglage d'un phare, vous pouvez masquer le phare opposé. 3. Allumez les phares en mode feu des croisements pour éclairer le mur ou l'écran et ouvrez le capot.
E142465
- Sur le mur ou l'écran, vous remarquerez une zone lumineuse de haute intensité en haut à droite du faisceau lumineux. Si le rebord supérieur de la zone lumineuse de haute intensité ne se trouve pas au niveau de la ligne de repère horizontale, vous devrez régler le phare.
E171165
- Repérez le régleur vertical de chaque phare. Tournez le régleur dans l'une ou l'autre direction pour régler le phare.
- Fermez le capot et éteignez les phares.
Réglage horizontal
Le réglage horizontal n'est pas nécessaire pour ce véhicule et n'est pas modifiable.
Dépose d'un PHARE
Pour accéder aux boulons de fixation du phare et pour retirer le boîtier de phare, retirez tout d'abord le bouclier et le pare-chocs avant. Il est recommandé de faire appel à un concessionnaire autorisé.
Remplacement des ampoules
Faites remplacer les ampoules par votre concessionnaire autorisé.
Reemplacement du filtré à air

AVERTISSEMENT: Pour réduire les
risques de brûlures ou de dommages au véhicule, ne faites pas démarrer le moteur lorsque le filtre à air est déposé et ne retirez pas le filtre à air lorsque le moteur tourne.
Remplacez l'objet du filtre à air uniquement par un élément qui satisfait à nos exigences ou les surpassent.
Lors de l'entretien du filtre à air, il est important qu'aucun corps étranger ne pénétre dans le circuit d'admission d'air. Même les petites particules sont susceptibles d'endommager le moteur et le turbocompresseur.
Remplacez l'objet de filtrage à air aux intervalles appropriés. Voir Entretien de votre véhicule (page 554).
Note: L'emploi d'un élément de filtré à air inapproprié risque de provoquer de graves dommages au moteur. La garantie du client risque d'être annulée en cas de dommages au moteur dus à l'utilisation d'un filtré à air inapproprié.
Moteurs à essence

- À l'aide d'un tournevis, desserrez le collier du couvercle du boîtier de filtre à air.
- Séparez doucement la gaine du couvercle de boîtier de filtré à air.
- Desserrez les deux agrafes qui fixent le couvercle du boîtier de filtre à air.
- Retirez le couvercle du boîtier de filtré à air.
- Retirez l'élément filtrant du boîtier de filtré à air.
Entretien
- Essuyez les saletés ou débris sur le boîtier du filtre à air afin de vous assurer qu'aucune saleté ne pénétre dans le moteur et de produire un joint étanche.

- Installez un élément filtrant neuf. Prenez soin de ne pas coincer les rebords de l’élé ’entrée d’air non filtré dans le moteur si le filtre n’était pas bien en place.
- Posez le couvercle du boîtier de filtre à air.
- Engagez les clips pour fixer le couvercle du boîtier de filtre à air sur le boîtier de filtre à air.
- Rebranche la gaine sur le couvercle du boîtier de filtre à air, puis serrez à fond.
Généralités
Vous pouvez vous procurer, après de votre concessionnaire, une vaste sélection de produits de nettoyage et de protection pour le fini de votre véhicule.
Produits
Pour obtenir plusieurs résultats, utilisez les produits suivants ou des produits de qualité équivalente :
| Nom | Spécification |
| Dissolvant de goudron et éliminateur d'insectes Motorcraft®, ZC-42 (É.-U. et Canada) | |
| Nettoyant pour métal brillant spécial Motorcraft®, ZC-15 (É.-U. et Canada) | ESR-M5B194-B |
| Shampooing superfin Motorcraft®, ZC-3-A (É.-U. et Canada) | ESR-M14P4-A |
| Shampooing et dégraissant pour moteur Motorcraft®, ZC-20 (É.-U.) | ESR-M14P3-A |
| Shampooing pour moteurs Motorcraft®, CXC-66-A (Canada) | |
| Nettoyant pour cuir et vinyle de première qualité Motorcraft®, ZC-56 (É.-U. et Canada) | |
| Nettoyant tout usage Motorcraft®, CXC-101 (Canada) | |
| Concentré de lave-glace de première qualité Motorcraft®, ZC-32-B2 avec agent amésistant (É.-U.) | WSS-M14P19-A |
| Liquide lave-glace de qualité supérieure Motorcraft®, CXC-37-A/B/D/F (Canada seulement) | WSS-M14P19-A |
| Nettoyant Motorcraft® professionnel pour moquettes et tissus, ZC-54 (É.-U. et Canada) | |
| Nettoie-glaces Motorcraft® Premium, CXC-100 (Canada) | ESR-M14P5-A |
Entretien du véhicule
| Nom | Spécification |
| Détachant Motorcraft®, ZC-14 (É.-U.) | |
| Nettoie-glaces Motorcraft® Ultra-Clear en aérosol, ZC-23 (É.-U.) | ESR-M14P5-A |
| Nettoyant pour roues et pneus Motorcraf®, ZC-37-A (É.-U. et Canada) |
Nettoyage de l'extérieur
Lavez régulièrement votre véhicule à l'eau froide ou tiède à l'aide d'un produit à pH neutre, comme le Shampooing superfin Motorcraft.
- N'utilise jamais de détergent ou de savon domestique puissant tel que le savon pour lave-vaiselle ou le détergent à lessive liquide. Ces produits peuvent décolorer et tacher les surfaces peintes.
- Ne lavez jamais votre véhicule lorsqu'il est chaud au toucher ou lorsqu'il se trouve en plein soleil.
- Séchez votre véhicule à l'aide d'un tissu en peau de chamois ou d'un tissu-éponge doux afin d'éliminer les taches d'eau.
- éhicule. Nous recommandons d'utiliser le dissolvant de goudron et éliminateur d'insectes Motorcraft.
- Avant de pénétrer dans un lave-auto, enlevez tous les accessoires extérieurs tels que les antennes.
- Les traces de liquide AdBlue® doivent immédiatement être éliminées des surfaces peintes.
Note: Les lotions solaires et les répulsifs à insectes peuvent endommager les surfaces peintes. En cas de contact de ces produits avec votre véhicule, nettoyez la zone affectée dans les plus brefs délais.
Nettoyage des phares
Nota: Ne grattez pas les glaces de phares et n'utilisez pas de matières abrasives, de solvants à base d'alcool ou de solvants chimiques pour les nettoyer.
Nota: N’essuyez pas les phares lorsqu’ils sont secs.
Éléments extérieurs chromés
- Appliquez un produit nettoyant de qualité supérieure sur les pare-chocs et autres éléments chromés. Respectez les directives du fabricant. Nous recommandons d'utiliser le nettoyant pour métal brillant Motorcraft.
- N'appliquez pas de produits nettoyants sur les surfaces chaudes. Ne laissez pas le produit nettoyant sur les surfaces chromées au-delà du temps recommandé. L'utilisation d'autres produits nettoyants non recommandés peut causer des dommages cosmétiques graves et permanents.
Nota: N'utilisez pas de produits abrasifs, tels qu'une laine d'acier ou des tampons à recycler en plastique, car ils rayent les surfaces chromées.
Nota: N'utilisez pas de produit de nettoyage pour chrome, de nettoyant pour métal ou de produit à polir sur les roues ou les enjoliveurs.
Éléments extérieurs en plastique
Pour le nettoyage courant, nous recommandons d'utiliser le shampooing superfin Motorcraft. En présence de taches de goudron ou de graisse, nous recommandons d'utiliser le dissolvant de goudron et éliminateur d'insectes Motorcraft.
Bandes décoratives ou graphismes (selon
I'equipement)
Bien que le lavage à la main soit la méthode de nettoyage privilégiée, un nettoyeur haute pression peut être utilisé dans les conditions suivantes :
n'utilisez pas une pression d'eau supérieure à 14 000 kPa (2 000 lb/po²) ; n'utilisez pas de l'eau d'une température supérieure à 82°C (179°F) ; utilisez un pulvérisateur d'une forme de jet de - maintenez la buse à une distance de 305 mm (12 po) et à un angle de de la surface de votre véhicule.
Note: Le maintien de la buse du nettoyeur haute pression à un angle différent par rapport à la surface du véhicule peut endommager les graphismes et décoller les bords du film de la surface du véhicule.
Soubassement de carrosserie
Nettoyez régulièrement à l'eau le soubassement du véhicule. Assurez-vous de retirer les débris et les corps étrangers accumulés dans les orifices de drainage de la carrosserie et des portes.
Compartment moteur
Pour éliminer les traces de caoutchouc noir sous le capot, nous recommandons le nettoyant pour jantes et pneus Motorcraft ou le dissolvant de goudron et éliminateur d'insectes Motorcraft.
CIRAGE
Un cirage régulier est nécessaire pour protégerr la peinture de votre véhicule contre les éléments. Nous vous recommandons de laver et de cirer la surface peinte une ou deux fois l'an.
Stationnez votre véhicule à l'ombre, à l'écart de la lumière directe du soleil pour le laver et le cirer. Lavez toujours votre véhicule avant de le cirer.
Utilisez une cire de qualité qui ne contient pas de produits abrasifs. Suivez les instructions du fabricant pour appliquer et retirer la cire. - Appliquez une petite quantité de cire en un mouvement de va-et-vient, et non en un mouvement circulaire.
- Ne laïsez pas la cire entrer en contact avec des garnitures colorées (brillant peu élevé) qui ne font pas partie de la carrosserie. La cire décolore ou tache les pièces au fil du temps.
- Porte-bagages.
- Pare-chocs.
- Poignées de porte grenues. Moulures latérales. Bouchons de miroirs.
- Secteur de l'auvent du pare-brise.
- N'appliquez aucune cire sur les surfaces en verre.
- Appliquez un cirage, la peinture de votre véhicule devrait être lisse et exempte de traînées et de marques.
Nettoyage du moteur
Un moteur propre est plus efficace car les accumulations de graisse et de poussière agissant comme un isolant qui empêche le refroidissement du moteur.
Lors du nettoyage du moteur :
soyez vigilant lorsque vous utilisez un appareil de lavage à pression pour nettoyer le moteur; Le liquide sous pression pourrait pénétrer dans les pièces scellées et causer des dommages; ne pulvérisez pas d'eau froide sur un moteur chaud pour éviter de fissurer le bloc-moteur ou d'autres composants du moteur; - pulvérisez le shampoing et dégraissant pour moteur Motorcraft® sur toutes les pièces qui doivent être nettoyées et rincez avec de l'eau sous pression; Au Canada, utilisez le Shampooing pour moteurs Motorcraft;
Note: Si votre véhicule est équipé d'un couvercle de moteur, déposez le couvercle avant d'appliquer le shampoing et dégraissant pour moteur Motorcraft. Rincez immédiatement tout excès de projection.
- ne lavez et ne rincez jamais un moteur chaud ou un moteur qui tourne. L'infiltration d'eau pourrait causer des dommages internes;
- ne lavez ou ne rincez jamais une bobine d'allumage, un câble de bougie d'allumage ou un puits de bougie d'allumage, ni la zone à proximité de ces emplacements;
- couvrez la batterie, le boîtier de distribution électrique et le filtre à air pour prévenir les dommages causés par l'eau lors du nettoyage du moteur.
Nettoyage des GLACES et des BALAIS d'essuie-glace
Les produits chimiques utilisés dans les lave-autos et les retombées atmosphériques peuvent souiller le pare-brise et les balais d'essuie-glaces. Si le pare-brise et les essuie-glaces sont sales, les essuie-glaces ne fonctionnent pas correctement. Gardez le pare-brise et les balais d'essuie-glaces propres afin de maintenir les performances des essuie-glaces.
Pour nettoyer le pare-brise et les balais d'essuie-glaces :
- nettoyez le pare-brise avec un nettoie-vitres non abrasif; Lorsque vous nettoyez l'intérieur du pare-brise, évitez d'appliquer du nettoie-vitres sur la planche de bord ou les panneaux de porte. Essuyez immédiatement toute trace de nettoie-vitres sur ces surfaces;
- pour les pare-brises souillés par de la sève d'arbre, des produits chimiques, de la cire ou des insectes, nettoyez le pare-brise entier avec de la paille de fer (d'une grosseur maximale de 0000) en un mouvement circulaire et rincez à l'eau;
- nettoyez les balais d'essuie-glaces avec de l'alcool isopropylique à friction ou du concentré de liquide lave-glace.
Note: N'utilisez pas une lame de rasoir ou tout autre objet tranchant pour nettoyer l'intérieur de la lunette arrière chauffante ou pour enlever des autocollants qui s'y trouveraient. La garantie du véhicule ne couvre pas les dégâts causés à la résistance chauffante de la lunette arrière chauffante.
Nettoyage de l'habitacle
AVERTISSEMENT: N'utilise pas de solvants de nettoyage, d'agents de blanchiment ou de colorants pour nettoyer les ceintures de sécurité, car ils pourraient affaiblir les sangles.
AVERTISSEMENT: N'utilise pas de solvants chimiques ni de puissants détergents sur les véhicules dotés de sacs gonflables latéraux. Ces produits peuvent contaminer le sac gonflable létal et nuire au fonctionnement du sac en cas de collision.
Nota: Suivez la même procédure de nettoyage que pour la sellerie cuir lors du nettoyage d'un habitacle en cuir. Voir Nettoyage des sièges en cuir (page 398).
Nota: N'utilise pas de produits nettoyants domestiques ou de nettoyants à vitre, car ils risquent de tacher et de décolorer les tissus et de réduire les propriétés ignifuges du revêtement des sièges.
Entretien du véhicule
Pour les garnitures intérieures, les tapis, les sièges en tissu, les ceintures de sécurité et les sièges munis de sacs gonflables latéraux, faites ce qui suit :
Enlever la poussière et la saleté au moyen d'un aspirateur; enlevez les taches et les salissures légères au moyen du Nettoyant professionnel pour tapis et tissus Motorcraft®.
Pour les taches de graissé:
- Nettoyez la zone avec un détachant Motorcraft®. Au Canada, utilisez le nettoyant multiusage Motorcraft®. Si une tache se forme sur le tissu après le détachage, nettoyez immédiatement la zone entière (sans la sursaturer) sinon la tache restera.
Nettoyage de la planche de BORD et des lentilles du tableau de BORD

AVERTISSEMENT: N'utilisez pas de
solvants chimiques ni de détergents puissants pour nettoyer le volant ou le tableau de bord afin d'éviter de contaminer le système de sacs gonflables.
Note: Suivez la même procédure de nettoyage que pour la sellerie cuir lors du nettoyage des surfaces en cuir de planche de bord ou de garniture intérieure. Voir Nettoyage des sièges en cuir (page 398).
Nettoyez la planche de bord et le verre du tableau de bord à l'aide d’un chiffon doux, propre et humide, puis séchez avec un chiffon doux et sec.
- Évitez les nettoyants ou les produits à polir qui augmentent le lustre de la partie supérieure du tableau de bord. Le fini mat de cette zone aide à vous protéger des reflets nuisibles du pare-brise.
- N'utilisez pas de produit de nettoyage pour l'entretien ménager ni de nettoye-vitres car ils pourraient endommager le fini de la planche de bord, de la garniture intérieure et du verre du tableau de bord.
- Lavez ou essuyez vos mains si vous avez touché à des produits comme des lotions solaires et insectifuges, afin d’éviter d’endommager les surfaces peintes de l’habitacle. Veillez à ne pas renverser des purificateurs d’air et des assainisseurs à mains sur les surfaces intérieures. En cas de déversement, nettoyez la surface touchée immédiatement. Notre garantie peut ne pas couvrir ces dommages.
Si vous avez répandu sur la planche de bord ou sur les garnitures intérieures un liquide qui laisse des taches, par exemple du café ou du jus de fruits :
- Essuyez aussi vite que possible le liquide répandu avec un chiffon doux et propre.
- Utiliser le nettoyant pour cuir et vinyle de haute qualité Motorcraft ou un nettoyant pour cuir du commerce pour intérieurs d'automobiles. Testez le nettoyant ou le détergent sur une surface peu visible.
- Sinon, frotte la surface à l'aide d'un chiffon doux et propre, et d'une solution d'eau savonneuse douce. Séchez la surface avec un chiffon doux;
- Au besoin, utilisez une solution d'eau savonneuse ou un produit de nettoyage et un chiffon doux et propre que vous pressez sur la zone souillée. Laissez cela à la température ambiante pendant 30 minutes.
- Retirez le chiffon imbibé, puis à l'aide d'un chiffon humide et propre, frottez la surface souillée d'un mouvement circulaire pendant 60 secondes.
- Séchez la surface avec un chiffon doux.
Nettoyage des sièges en CUIR
Note: Suivez la même procédure de nettoyage que pour la sellerie cuir lors du nettoyage des surfaces en cuir de planche de bord ou de garniture intérieure.
Pour le nettoyage d'entretien, frottez la surface à l'aide d'un chiffon doux et humide, et d'une solution d'eau savonneuse douce. Séchez la surface avec un chiffon doux et propre.
Note: Testez le nettoyant ou le détachant sur une surface peu visible.
Vousdevez:
Enlevez la poussière et la saleté au moyen d'un aspirateur. Nettoyer les liquides renversés et les taches dès que possible.
Ne pas utiliser les produits suivants, car ils peuvent endommager le cuir :
Revitalisants pour cuir à base d'huile et de pétrole ou de silicone. Produits de nettoyage domestiques.
- Solutions à base d'alcool.
- Solvants ou produits conçus pour le nettoyage du caoutchouc, du vinyle ou des matières plastiques.
Réparation de dommages mineurs à la peinture
De la peinture de retouche identique à la couleur de votre véhicule est disponible chez les concessionnaires autorisés. Le code de couleur de votre véhicule est imprimé sur une étiquette apposée sur le montant de la porte avant gauche. Prenez your code de couleur lorsqu vous vous rendez chez cette concessionnaire autorisé pour garantir d'obtenir la couleur correcte.
Avant de procéder à la réfection de petits défauts de peinture, utilisez un produit de nettoyage Motorcraft comme le dissolvant de goudron et éliminateur d'insectes, de sève d'arbres, de traces d'insectes, de taches de goudron, de sel d'épandage et de retombées industrielles.
Assurez-vous de lire les instructions avant d'utiliser les produits de nettoyage.
Nettoyage des ROUES
Nota: N'appliquez aucun produit de nettoyage chimique sur des jantes et des enjoliveurs chauds ou tièdes.
Nota: Les nettoyants industriels (pour service dur) ou autres produits de nettoyage utilisés avec une brosse pour enlever la poussière des freins et la saleté peuvent user l'enduit de finition lustré des jantes au fil du temps.
Nota: N'utilise pas un nettoyant pour roues à l'acide fluorhydrique ou hautement corrosif, de la laine d'acier, de l'essence ou un détergent domestique puissant.
Nota: Si vous prévoyez de stationner votre véhicule durant une période prolongée après le nettoyage des roues avec un produit de nettoyage pour les roues, conduisez d'abord libre la véhicule durant quelques minutes. Ceci réduit le risque de corrosion accrue des disques, des plaquettes et des garnitures de frein.
Note: Certains lave-autos automatiques pourraient endommager l'enduit de finition lustré des jantes et des enjoliveurs de votre véhicule.
Les jantes en alliage et les enjoliveurs sont recouverts d'un enduit de finition lustré. Respectez les consignes suivantes pour en préserver l'état :
- Nettoyez-les chaque semaine avec le nettoyant pour roues et pneus recommandé.
- Servez-vous d’une éponge pour éliminer les accumulations tenaces de saleté et de poussière de frein. Rincez-les soigneusement à l’aide d’un jet d’eau sous pression une fois le nettoyage terminé.
Nous vous recommandons d'utiliser notre produit de nettoyage pour la surface des roues. Assurez-vous de lire et suivre les instructions du fabricant.
L'utilisation de produits nettoyants non recommandés peut causer des dommages graves et permanents.
Entreposage du véhicule
Si vous prévoyez d'entreposer votre véhicule pendant au moins 30 jours, consultez les recommandations d'entretien suivantes pour vous assurer que votre véhicule demeure toujours en bon état de fonctionnement.
Nous construisons et testons tous les véhicules automobiles et leurs composants pour vous garantir une conduite fiable et régulière. Dans diverses conditions, le remisage à long terme peut entraîner une dégradation des performances du moteur ou une panne si vous ne prenez pas des précautions spécifiques pour protéger les organes du moteur.
Généralités
- Entreposerez tous les véhicules dans un lieu sec et ventilé.
- Protégez le véhicule de la lumière du soleil, si possible.
- Un véhicule entrepries à l'extérieur exige un entretien régulier pour le protéger contre la rouille et les dommages.
Carrosserie
Lavez votre véhicule à fond pour enlever la saleté, la graisse, l'huile, le goudron ou la boue des surfaces extérieures, des passages de roues arrière et du dessous des ailes avant. Lavez périodiquement votre véhicule s'il est entreposé dans les endroits exposés. - Retouchez le métal exposé ou recouvert d'une couche d'après pour prévenir la rouille. Recouvrez les parties chromées et en acier inoxydable d'une épaisse couche de cire automobile pour éviter la décoloration. Appliquez à nouveau de la cire, au besoin, lorsque vous lavez votre véhicule. Lubrifiez les charnières du capot, des portes et du coffre ainsi que les loquets avec une huile légère. Recouvrez les garnitures internes pour éviter leur décoloration. - Évitez tout contact des pièces en caoutchouc avec de l'huile ou des solvants.
Moteur
L'huile moteur et le filtre doivent être changés avant l'entreposage, car l'huile moteur usée contient des contaminants qui peuvent endommager le moteur. - Faites tourner le moteur tous les 15 jours pendant au moins 15 minutes. Faites-le tourner au ralenti accéléré avec les commandes de climatisation réglées sur dégivrage jusqu'à ce qu'il atteigne sa température normale de fonctionnement. - Avec votre pied sur le frein, effectuez les changements de vitesses en passant par tous les rapports alors que le moteur tourne. - Nous recommandons de vidanger l'huile moteur avant de réutiliser votre véhicule.
Circuit d'alimentation
- Remplissez le réservoir avec du carburant de haute qualité jusqu'à ce que le premier système d'arrêt automatique de la pompe à carburant s'active.
Circuit de refroidissement
- Protégez-le contre le gel. En sortant votre véhicule de l'entreposage, vérifiez le niveau de liquide de refroidissement. Confirmez qu'il n'y a aucune fuite dans le circuit de refroidissement et qu'il est au niveau recommandé.
Débranchement de la batterie 12 volts
- Vérifiez et rechargez, au besoin. Les bornes doivent être propres.
- Si vous entreposez votre véhicule pendant plus de 30 jours sans recharger la batterie, nous recommandons de débrancher les câbles de la batterie pour assurer le besoin de sa charge et un démarrage rapide.
Note: Si vous débranchez les câbles de la batterie, les fonctions de mémoire devront être réinitialisées.
Freins
- Les freins, y compris le frein de stationnement, doivent être desserrés.
Pneus
- Maintenez la pression d'air recommandée.
Divers
Assurez-vous que toutes les tringleries, les câbles, les leviers et les goupilles sous votre véhicule sont couverts avec de la graisse pour empêcher la rouille de se propager. Déplacez les véhicules d'au moins 7,5 m (25 ft) tous les 15 jours pour lubrifier les parties mobiles et prévenir la corrosion.
Sortir le véhicule de l'entreposage
Quand votre véhicule est prêt à sortir de l'entreposage, faites comme suit :
- Lavez votre véhicule pour enlever les saletés ou les accumulations de graisse sur les surfaces vitrées;
- vérifie l'etat des essuie-glaces; verifiez sous le capot qu'aucun corps étranger ne s'y est accumulé pendant l'entreposage, par exemple des nids de souris ou d'ecureuil;
- vérifiez l'échappement pour repérer tout corps étranger qui pourrait s'être infiltré lors de l'entreposage; vérifiez la pression de gonflage des pneus et gonflez les pneus à la pression recommandée sur l'étiquette des pneus; vérifiez le fonctionnement de la pédale de frein; conduisez votre véhicule sur 4,5 m (15 ft) en avançant d'abord, puis en reculant pour éliminer l'accumulation de rouille; vé
- Si vous déposez la batterie, nettoyez les extrémités de câble de batterie et vérifiez si elle est endommagée.
Contactez un concessionnaire autorisé pour tout problème.
Trousses de carrosseire
La distance entre le soubassage de votre véhicule et le sol est inférieure à celle d'autres modèles. Conduisez avec prudence pour éviter d'endommager le véhicule.
Généralités
Les pressions de gonflage des pneus recommandées par Ford figurent sur l'étiquette des pneus, apposée sur le pédalier milieu ou le rebord de la porte du conducteur. Ces renseignements figurent aussi sur l'étiquette d'homologation de sécurité du véhicule, apposée sur le pédalier avant de porte, le montant de verrou de porte ou le rebord de porte qui rejoint le verrou de porte, près du siège du conducteur.
Nous recommandons fortement de respecter en permanence ces pressions de gonflage. Le non-respect de la pression de gonflage recommandée peut causer une usure inégale de la bande de roulement, une augmentation de la consommation de carburant, et ainsi modifier le comportement routier du véhicule.
Nota: Contrôlez et régalez la pression de gonflage à la température ambienre à laquelle vous allez conduire le véhicule et lorsque les pneus sont froids.
Nota: Contrôlez la pression de gonflage des pneus au moins une fois par mois.
Si votre véhicule est doté d'une roue de secours, réglez la pression à la valeur maximale donnée pour le véhicule et la combinaison de dimension des pneus.
Utilisez uniquement les dimensions de jantes et de pneus autorisées, car l'utilisation d'autres dimensions pourrait endommager le véhicule.
Si vous utilisez un diamètre de pneus différent de celui posé à l'usine, l'indicateur de vitesse peut ne pas afficher précisément la vitesse. Confiez votre véhicule à un concessionnaire autorisé pour y faire reprogrammer le système de gestion moteur.
Si vous avez l'intention de remplacer les roues par des roues de dimensions différentes de celles d'origine, demandez si cela est possible à un concessionnaire/agréé.
Plus de renseignements liés à la fonctionnalité et à l'entretien des pneus figurent plus loin dans le chapitre Roues et pneus. Voir Entretien des pneus (page 404).
Avis aux propriétaires de camionnettes et de véhicules utilisaires
AVERTISSEMENT: La conduite des véhicules qui ont un centre de gravité élevé (véhicules utilitaires et à quatre roues motrices) est différente de celle des véhicules qui ont un centre de gravité plus bas (voitures). Évitez les virages brusques, les vitesses excessives et les manœuvres abruptes avec de tels véhicules. Une conduite dangereuse accroît les risques de perte de maîtrise du véhicule, de capotage ainsi que de blessures graves ou mortelles aux occupants.
AVERTISSEMENT: En cas de capotage du véhicule, une personne qui ne porte pas sa ceinture de sécurité risque davantage de subir des blessures mortelles.
Jantes et pneus
La conduite d'un véhicule utilitaire ou d'une camionnette dont le centre de gravité est élevé diffère de celle de véhicules de tourisme dans les différentes conditions de conduite rencontrées sur route, sur autoroute et hors route. Les véhicules utilitaires et les camionnettes ne sont pas conçus pour prendre des virages à haute vitesse comme peuvent le faire les véhicules de tourisme, au même titre que les voitures de sport surbaissées ne sont pas conçues pour la conduite hors route.
Reportez-vous à votre Manuel du propriétaire et à tout supplément pour obtenir des renseignements pertinents sur les caractéristiques de l'équipement, des instructions pour la conduite sécuritaire et d'autres mesures permettant de réduire les risques d'accident ou de blessures graves.

Avertissement: ne vous montrez
jamais trop confiant quant aux capacités des véhicules à quatre roues motrices. Bien qu'un véhicule à quatre roues motrices puisse maîtriser qu'un véhicule à deux roues motrices lorsque l'adhérence est faible, il ne s'arrête pas plus vite. Conduisez toujours à une vitesse sécuritaire.
Un véhicule à traction intégrale peut utiliser la traction des quatre roues. L'adhérence est ainsi accrue, ce qui peut vous permettre de conduire sur des terrains ou dans des conditions routières que les véhicules à 2 roues motrices doivent généralement éviter.
Pour les véhicules à traction intégrale, ne remplacez jamais une des roues d'origine par une roue de secours de dimension différente. Une roue de secours de dimension différente (autre que la roue de secours fournie) ou une différence importante entre les roues avant et arrière pourrait entraîner la mise hors fonction du système de traction intégrale et le rétablissement par défaut du mode de traction avant.
Différences entre votre véhicule et les autres véhicules
Les véhicules utilisés sport et les camions peuvent différer de certains autres véhicules de plusieurs façons notables. Notre véhicule peut être :
- Plus haut - Pour offrir une plus grande capacité de charge et lui permettre de rouler sur un terrain accidenté sans endommager les éléments du soubassement.
- Plus court - Pour pouvoir aborder des pentes abruptes et franchir des crêtes sans frotter ni endommager les éléments du soubassement. Si toutes les conditions sont identiques, un véhicule avec un empattement court peut réagir plus rapidement aux manœuvres du volant.
- Plus étroit - Pour améliorer sa maniabilité dans les passages étroits, particulièrement en conduite hors route.
En raison des différences de dimensions indiquées ci-dessus, les véhicules utilitaires sport et les camionnettes ont souvent un centre de gravité plus élevé et une différence de centre de gravité plus grande entre l'état charge et l'état decharge. Ces caractéristiques, qui rendent notre véhicule plus polyvalent qu'un véhicule classique, peuvent aussi rendre sa maniabilité très différente de celle d'une voiture conventionnelle.
Entretien des PNEUS
Information sur l'indice de qualité uniforme des pneus
E142542
Les indices de qualité des pneus concernent les pneus neufs dédiés aux voitures de tourisme. L'indice de qualité se trouve, le cas échéant, sur le flanc du pneu, entre l'épaulement et la largeur de section maximale. Par exemple : Indicateur d'usage 200 Adhérence AA Température A.
Ces indices de qualité sont conformes à des normes établies par le Ministère des Transports des États-Unis.
Les indices de qualité des pneus concernent les pneus neufs dédiés aux voitures de tourisme. Ces indices ne concernent pas les pneus à sculptures profondes, les pneus d'hiver, les pneus de secours à encombrement réduit ou temporaires, les pneus de camionnettes ou de type LT, les pneus avec un diamètre nominal de jante de 10 à 12 pouces, ni les pneus de production limitée, définis selon la Partie 575.104 (c)(2) du Titre 49 du Code des règlements fédéraux.
Ministère des transports des États-Unis – Indices de qualité des pneus : Le Ministère des transports des États-Unis exige que nous fournissions aux acheteurs les données suivantes au sujet des indices des pneus exactement comme ils sont écrits par le gouvernement.
Usure de la bande de roulement
L'indice d'usure de la bande de roulement est une cote comparative qui indique le taux d'usure d'un pneu obtenu lors d'essais sur piste, sous contrôle gouvernemental. Par exemple, un pneu d'indice 150 s'utilise une fois et demie moins vite qu'un pneu d'indice 100 sur cette piste. Le rendement relatif d'un pneu dépend des conditions réelles d'utilisation, qui peuvent différer des conditions fixées par la norme en raison des habitudes de conduite, de l'entretien, de l'état des routes et du climat.

L'indice d'adhérence d'un pneu est basé sur des essais de freinage effectués en ligne droite et ne se rapporte aucunement à l'adhérence en accélération, en virage, en cas d'aquplanage ou lors de conditions d'adhérence exceptionnelles.
Les indices d'adhérence, du plus élevé au plus bas, sont AA, A, B et C. Ils représentent l'aptitude d'un pneu à s'arrêter sur une chaussée mouillée, évaluée en conditions contrôlées sur des surfaces d'essai d'asphalte ou de béton précisées par le gouvernement. Un pneu avec un indice C peut avoir une faible adhérence.

Avertissement: l'indice de
température pour ce pneu est établi pour un pneu correctement gonflé et qui n'est pas surcharge. Une vitesse excessive, un sous-gonflage ou une surcharge du pneu, séparément ou ensemble, peuvent causer une surchauffe et la détérioration du pneu.
Les indices de température sont A (le meilleur), B et C. Ils représentent l'aptitude d'un pneu à résister à l'échauffement et à dissiper la chaleur lors d'essais effectués dans diverses conditions contrôlées en laboratoire à
L'aide d'une roue témoin. Une utilisation continue à haute température peut entraîner la déterioration du pneu et en réduire la durée, tandis qu'une température excessive peut entraîner une crevaison du pneu. L'indice C correspond au niveau de rendement minimal de tous les pneus de véhicules de tourisme en vertu de la norme n° 139 de la Federal Motor Vehicle Safety Standard (FMVSS). Les indices B et A indiquent que le pneu a démontré en laboratoire un rendement supérieur au minimum exigé par la loi.
Terminologie du pneu
*Étiquette de pneu : Étiquette qui indique la taille des pneus d'origine, la pression de gonflage recommandée et la charge maximale que le véhicule peut transporter.
Jantes et pneus
*Numéro d'identification de pneu (NIV): Numéro apparaisant sur le flanc de chaque pneu qui renseigne sur la marque, l'usine de fabrication, les dimensions et la date de fabrication du pneu. Ce numéro d'identification s'appelle également code DOT.
*Pression de gonflage : Mesure de la quantité d'air dans un pneu.
*Charge standard : Pneus de classe P-métrique ou métrique conçus pour transporter une charge maximale à une pression définie. Par exemple, pour les pneus de classe P-métrique 2,4 bar (35 lb/po²) et pour les pneus en dimensions millimétriques 2,5 bar (36
*Charge supplémentaire : Pneus de classe P-métrique ou pneus métriques concus pour transporter une charge maximale plus lourde à 2,9 bar (42 lb/po²
^*kPa : Kilopascal, unité métrique de pression d'air.
^*lb / in^2 : Livres par pouce carré, unité de mesure de pression d'air anglo-saxonne.
*Pression de gonflage des pneus à froid : Pression des pneus quand le véhicule est à l'arrêt et à l'abri des rayons du soleil depuis au moins une heure et avant qu'il n'ait roulé 1,6 km (1 mi).
*Pression de gonflage recommandée: Pression de gonflage à froid inscrite sur l'étiquette d'homologation de sécurité du véhicule (apposée sur le pied de charnière de porte, le montant de verrou de porte ou le rebord de porte qui rejoint le montant de verrou de porte, près du siège du conducteur) ou sur l'étiquette des pneus apposée sur le pied milieu ou le rebord de la porte du conducteur.
- Pied milieu : Élément structurel latéral du véhicule situé derrière la porte avant.
- Talon du pneu : Partie du pneu adjacente à la jante.
- Flanc du pneu: Partie du pneu située entre le talon et la bande de roulement.
*Bande de roulement du pneu : Périmètre du pneu en contact avec la route lorsqu'il est monté sur le véhicule.
*Jante : Support métallique (roue) d'un pneu ou d'un ensemble pneu-chambre à air sur lequel prennent place les talons du pneu.
Renseignements moulés sur le flanc du pneu
La réglementation fédérale du Canada et des États-Unis exige que le fabricant de pneus inscrive des renseignements normalisés sur le flanc du pneu. Ces renseignements identifient et décrivent les caractéristiques du pneu en plus de fournir un numéro d'identification DOT du Ministère des Transports des États-Unis relatifs aux normes de sécurité, lequel peut être utilisé en cas de rappel du pneu.
Renseignements sur les pneus de type p
E142543
Prenons par exemple un pneu de taille, de capacité de charge et de code de vitesse P215/65R15 95H. La signification de ces caractères est donnée ci-après. (La taille, la capacité de charge et le code de vitesse des pneus du véhicule peuvent différer de cet exemple.)
A. P: Indique, selon la Tire and Rim Association, que ce pneu peut être utilisé sur une voiture de tourisme, un véhicule utilitaire sport, une fourgonnette ou une camionnette. Nota: Si le marquage des pneus ne débute pas par une lecture, sa désignation pourrait être celle de l'Organisation technique européenne du pneumatique et de la jante ou de l'Association japonaise des producteurs de pneumatiques. B. 215: Indique la largeur nominale du pneu en millimètres, d'un rebord de flanc à l'autre. En général, plus le nombre est grand, plus le pneu est large. C. 65: Indique le rapport de profil entre la hauteur et la largeur du pneu. D. R: Indique qu'il s'agit d'un pneu de type radial. E. 15: Indique le diamètre de la roue ou de la jante en pouces. Si vous remplacez une jante par un modèle d'un autre diamètre, vous devrez vous procurer de nouveaux pneus qui correspondent à ce diamètre.
F. 95: Indique la capacité de charge du pneu. Cet indice renseigne sur la charge qu'un pneu peut transporter. Votre Guide du propriétaire pourrait inclure ces renseignements. Sinon, vous pouvez consulter votre détaillant de pneus.
Nota: Ces renseignements, qui ne sont pas régis par la loi fédérale, peuvent ne pas figurer sur tous les pneus.
G. H: Indique la cote de vitesse du pneu. La cote de vitesse donne la vitesse à laquelle le pneu peut rouler sur une période prolongée, dans des conditions de charge et pressions de gonflage normales. Les pneus du véhicule peuvent remplir des conditions de charge et pressions de gonflage différentes. Ces valeurs peuvent être ajustées en fonction des différentes conditions d'utilisation. Les vitesses varient entre 130 km/h (81 mph) et 299 km/h (186 mph). Les différents codes de vitesse figurent dans le tableau qui suit.
Jantes et pneus
Nota: Ces renseignements, qui ne sont pas régis par la loi fédérale, peuvent ne pas figurer sur tous les pneus.
| Code de vitesse | Indice de vitesse |
| M | 130 km/h (81 mph) |
| N | 140 km/h (87 mph) |
| Q | 159 km/h (99 mph) |
| R | 171 km/h (106 mph) |
| S | 180 km/h (112 mph) |
| T | 190 km/h (118 mph) |
| U | 200 km/h (124 mph) |
| H | 210 km/h (130 mph) |
| V | 240 km/h (149 mph) |
| Code de vitesse | Indice de vitesse |
| W | 270 km/h (168 mph) |
| Y | 299 km/h (186 mph) |
Nota : Pour les pneus dont la vitesse maximale est supérieure à 149 mi/h (240 km/h), les fabricants de pneus utilisent parfois les lettres ZR. Pour les pneus dont la vitesse maximale est supérieure à 186 mi/h (299 km/h), les fabricants de pneus utilisent toujours les lettres ZR.
H. Numéro d'identification DOT : Cette inscription débute par les lettres DOT et indique que le pneu est conforme à toutes les normes fédérales. Les deux caractères suivants constituent le code de l'usine de fabrication, les deux autres indiquent la taille du pneu et les quatre derniers chiffres représentant la semaine et l'année de fabrication. Par exemple, 317 signifie la 31e semaine de 1997. APRÈS 2000, les nombres comptent quatre chiffres. Par exemple,
2501 signifie la 25e semaine de 2001. Les chiffres au centre sont des codes d'identification utilisés aux fins de traçabilité. Ces données sont utilisées pour communiquer avec un client en cas de rappel du pneu.
I. M + S ou M / S : Boue et neige, ou
AT : Tout terrain, ou
AS: Toutes saisons.
J. Composition des nappes et des matières utilisées : Indique le nombre de nappes ou de couches de tissu caoutchoute qui composent la bande de roulement et le flanc du pneu. Le fabricant doit également préciser le type de matériel utilisé pour fabriquer les plis de la carcasse et des flancs, par exemple l'acier, le nylon, le polyester, etc.
Jantes et pneus
K. Charge maximale : Indique la charge maximale en kg et en livres pouvant être transportée par le pneu. Consultez l'étiquette d'homologation de sécurité apposée sur le montant de charnière de porte, le montant de loquet de porte ou sur le rebord de la porte près du montant de loquet de porte, à proximité du siège du conducteur, pour connaître la pression de gonflage appropriée des pneus du véhicule.
L. indices d'usure, d'adhérence et de température :
*Usure: L'indice d'usure est une cote comparative qui indique le taux d'usure du pneu obtenu lors d'essais sur piste, sous contrôle gouvernemental. Par exemple, un pneu d'indice 150 doit s'user une fois et demie moins rapidement qu'un pneu d'indice 100 sur ce circuit.
*Adhérence: Les indices d'adhérence, du plus élevé au plus bas, sont AA, A, B et C. Ils représentent l'aptitude d'un pneu à s'arrêter sur une chaussée mouillée, évaluée en conditions contrôlées sur des surfaces d'essai d'asphalte ou de béton précisées par le gouvernement. Un pneu avec un indice C peut avoir une faible adhérence.
*Température: Les indices de température sont A (le plus élevé), B et C. Ils représentent l'aptitude d'un pau à résister à l'échauffement et à dissiper la chaleur lors d'essais effectués dans diverses conditions contrôlées en laboratoire à l'aide d'une roue témoin.
M. Pression de gonflage maximale: Indique la pression maximale stipulée par le fabricant ou la pression correspondant à la charge maximale du pneu. Cette pression est habituellement supérieure à la pression de gonflage à froid recommandée par le fabricant du véhicule indiquée sur l'étiquette d'homologation de sécurité du véhicule (apposée sur le montant de charnière de porte, le montant de loquet de porte)
ou sur le rebord de la porte près du montant de loquet de porte, à proximité du siège du conducteur), ou sur l'étiquette d'homologation des pneus se trouvant sur le pédalier milieu ou sur le rebord de la porte du conducteur. La pression de gonflage à froid ne doit jamais être inférieure à la pression préconisée sur l'étiquette du véhicule.
Le fabricant de pneu peut fournir d'autres marquages, remarques ou avertissements concernant la charge normale du pneu, le type de carcasse radiale sans chambre, etc.
Autres renseignements figurant sur le flanc des pneus de type LT
Nota : Les indices de qualité des pneus ne concernent pas ce type de pneu.
Jantes et pneus
E142544
Les pneus de type "LT" comportent des renseignements additionnels par rapport aux pneus de type "P". Ces différences sont décrites ci-dessous.
A. LT : Indique, selon la Tire and Rim Association, que ce pneu est conçu pour une camionnette.
B. Charge nominale et limites de pression de gonflage : Indique les capacités de charge du pneu et ses limites de pression de gonflage. C. Charge maximale en roues jumelées à une pression kPa (lb/ po^2) à froid : Indique la charge maximale et la pression de gonflage pour des roues jumelées, ce qui signifie quatre pneus sur l'essieu arrêté (total de six pneus ou plus sur le véhicule). D. Charge maximale (kg) en roues simples à une pression kPa (lb / po^2) à froid : Indique la charge maximale et la pression de gonflage pour des roues simples, ce qui signifie deux pneus sur l'essieu arrêté.
Prenons par exemple un pneu de taille T145/80D16.
Nota: Les dimensions du pneu de la roue de secours-temporaire du véhicule peuvent différer de l'exemple donné. Les indices de qualité des pneus ne concernent pas ce type de pneu.
Jantes et pneus
E142545
Les pneus de type "T" comportent des renseignements supplémentaires par rapport aux pneus de type "P". Ces différences sont décrites ci-après :
A. T: Indique, selon la Tire and Rim Association, que ce pneu peut être temporairement utilisé sur une voiture de tourisme, un véhicule utilitaire sport, une fourgonnette ou une camionnette. B. 145: Indique la largeur nominale du pneu en millimètres, d'un rebord de flanc à l'autre. En général, plus le nombre est grand, plus le pneu est large. C. 80: Indique le rapport de profil entre la hauteur et la largeur du pneu. Les nombres 70 ou moins indiquent une hauteur de flanc plus basse. D. D: Indique qu'il s'agit d'un pneu de type à carcasse diagonale. R: Indique qu'il s'agit d'un pneu de type radial. E. 16: Indique le diamètre de la roue ou de la jante en pouces. Si vous remplacez une jante par un modèle d'un autre diamètre, vous devrez vous procurer de nouveaux pneus qui correspondent à ce diamètre.
Emplacement de l'étiquette des pneus
L'étiquette des pneus, apposée sur le pied milieu ou sur le rebord de la porte du conducteur, présente les pressions de gonflage par taille de pneu et d'autres renseignements importants.
Gonflage des pneus
Une pression de gonflage des pneus adéquate est essentielle à une conduite sécuritaire. N'oubliez pas que la pression d'un pneu peut chuter de moitié sans qu'il paraisse à plat.
Chaque jour avant de prendre la route, vérifiez tous les pneus. Si l'un d'eux parait moins gonflé que les autres, vérifiez la pression de tous les pneus à l'aide d'un manomètre pour pneus et gonflez-les au besoin.
Jantes et pneus
Au moins une fois par mois et avant de longs trajets, vérifie la pression de gonflage des pneus avec un manomètre (y compris la pression de la roue de secours, selon l'équipement). Gonflez tous les pneus à la pression que nous recommandons.
Il est fortement conseillé de vous procurer un manomètre pour pneus précis, car les manomètres utilisés dans une station-service sont souvent imprecis. Nous vous recommandons d'utiliser un manomètre pour pneus à affichage numérique ou à cadran qu'un manomètre à tirette.
Observez la pression de gonflage à froid préconisée afin d’assurer le rendement et la longévité que vous attendez de vos pneus. Un gonflage insuffisant ou excessif peut causer une usure inégale de la bande de roulement.
AVERTISSEMENT: Un gonflage insuffisant est la cause la plus fréquente de défaillance d'un pneu. En effet, cet état peut provoquer de graves fissures, une séparation de la semelle ou l'éclatement du pneu, ce qui risque d'entraîner une perte de maîtrise du véhicule et de causer de graves blessures. Le sous-gonflage augmente le fléchissement des flancs et la résistance de roulement. Ces facteurs élivent la température du pneu et causent des dommages internes. Le sous-gonflage fatigue inutilement le pneu et engendre une usure irrégulière. Il risque d'entraîner une perte de maîtrise du véhicule et de causer un accident. La pression d'un pneu peut chuter de moitié sans qu'il ne paraisse à plat!
Gonflez toujours vos pneus à la pression de gonflage recommandée, même si elle est inférieure à la pression de gonflage maximale indiquée sur le pneu. La pression de gonflage que nous recommandons est inscrite sur l'étiquette d'homologation de sécurité (apposée sur le pied de charnière de porte, le montant de serrure de porte ou le rebord de porte qui rejoint le montant de serrure de porte, près du siège du conducteur) ou sur l'étiquette des pneus apposée sur le pied milieu ou sur le rebord de la porte du conducteur. Le non-respect de la pression de gonflage recommandée peut causer une usure inégale de la bande de roulement et ainsi ALTERER le comportement de votre véhicule.
La pression de gonflage maximale est la pression maximale précisée par le fabricant, correspondant à la charge maximale du pneu. Cette pression est habituellement supérieure à la pression de gonflage à froid recommandée par le fabricant indiquée sur l'étiquette d'homologation de sécurité du véhicule.
Jantes et pneus
(apposée sur le montant de la charnière de porte, le montant du loquet de porte ou sur le rebord de la porte près du montant du loquet de la porte, à côté du siège du conducteur), ou sur l'étiquette d'homologation des pneus se trouvant sur le montant de porte ou sur le rebord de la porte du conducteur. La pression de gonflage à froid ne doit jamais être inférieure à la pression recommandée sur l'étiquette d'homologation de sécurité ou sur l'étiquette des pneus.
La pression des pneus varie également selon la température ambience. Une chute de température de 11°F (6°C) peut faire baisser la pression de gonflage de 7kPa (1lb/in²). Vérifiez fréquemment la pression des pneus et réglez-la en fonction de la valeur précisée sur l'étiquette d'homologation de sécurité ou sur l'étiquette des pneus.
Pour contrôler la pression de vos pneus :
- Assurez-vous que les pneus sont froids, c'est-à-dire qu'ils n'ont même pas roulé sur un mile.
Note: Si vous vérifiez la pression des pneus lorsqu'ils sont chauds, par exemple après avoir roulé sur plus de 1,6 km (1 mi), ne réduisez jamais la pression. Après avoir roulé, les pneus se sont échauffés et il est normal que la pression augmente au-delà des pressions de gonflage préconisées. Un pneu chaud qui affiche une pression de gonflage normale ou sous la normale risque d'être considérablement sous-gonflé.
Note: Si vous devez rouler une certaine distance pour atteindre une station-service, notez la pression de vos pneus avant de partir, et n'ajoutez que le volume d'air nécessaire à la pompe. Il est normal que les pneus s'échauffent et que la pression augmente lorsque vous roulez.
- Retirez le capuchon de valve de l'un des pneus, appliquez fermement le manomètre sur la valve et mesure la pression.
- ez la pression en, enfonçant la petite tige métallique au centre de la valve. Vérifiez de nouveau la pression des pneus à l'aide du manomètre.
- Remettez le capuchon de valve en place.
- Recommencez ces opérations pour chaque pneu, sans oublier celui de la roue de secours.
Jantes et pneus
Note: La pression de gonflage de certains pneus de secours est plus élevée que celle des autres pneus. Dans le cas de mini-roues de secours de type T, consultez les renseignements au sujet des roues de secours de taille différente. Rangez la roue et maintenez une pression de 4,15 bar (60 lb/ po^2). Dans le cas de roues de secours conventionnelles et de taille différente, consultez les renseignements au sujet des roues de secours de taille différente. Rangez la roue et maintenez-la à la pression de gonflage avant ou arrêté (la plus élevée des deux) précisé sur l'étiquette des pneus.
- Assurez-vous visuellement de l'absence de clous ou autres objets logés dans le pneu qui pourraient percer le pneu et causer une fuite d'air.
- Vérifiez aussi la présence d'entailles, de coupures ou de gonflements sur les flancs.
Vérification des pneus et des tiges de valve
Vérifiez périodiquement les sculptures des pneus à la recherche d'usure inégale ou excessive et retirez-en les objets tels que des cailloux, des clous ou des morceaux de verre qui auraient pu s'y logger. Vérifiez la présence de truchs, fissures ou entailles dans les pneus et les tiges, car cela peut permettre les fuites d'air. Donc, il faut réparer ou remplacer les pneus et les tiges de valve, au besoin. Vérifiez également que les flancs des pneus ne comportent aucune déchirure, coupure, boursouflure ou autre évidence de déterioration ou d'usure excessive. Si vous soupçonnez des dommages internes, faites démonter et vérifier les pneus pour déterminer si une intervention ou le remplacement est nécessaire. Pour votre sécurité, ne conduisez pas le véhicule si les pneus sont endommagés ou montrent des signes d'usure excessive, en raison du risque accru de crevaison ou d'éclatement pouvant en résulter.
Un entretien mal effectué ou inadéquat peut également causer une usure inégale des pneus. Contrôlez régulièrement l'état de tous les pneus et remplacez-les si vous constatez l'une des situations suivantes :
Usure des pneus
Jantes et pneus
Lorsque la profondeur des sculptures atteint le minimum de 1/16 pouce (2 mm), les pneus doivent être remplacés pour réduire les risques de dérapage ou d’aquaplanage. Des indicateurs d’usage, ou témoins d’usage, qui ressemblent à de minces bandes de caoutchouc couplées intégrées à la bande de roulement, apparaisent lorsque la profondeur des sculptures atteint le minimum de 1/16 pouce (2 mm).
Lorsque les sculptures du pneu sont usées à tel point que ces bandes d’usure affleurent, le pneu est usé et doit être remplacé.
Dommages
Contrôlez régulièrement sur la bande de roulement et les flancs des pneus l'absence de dommages tels que des gonflements de la bande de roulement ou des flancs, des fissures sur la sculpture ou une déchirure de la bande de roulement ou des flancs. Si vous
constatéz ou soupçonnez des dommages, faites inspecter le pneu par un professionnel. Les pneus risquent plus d'être endommagés en conduite hors route. Il est donc recommandé de les inspecter après ce genre d'utilisation.
Vieillissement
AVERTISSEMENT: Les pneus se dégradent au fil du temps, en fonction de divers facteurs qu'ils subissent au cours de leur durée de vie utile, tels que la température, les conditions d'entreposage ou l'utilisation (charge, vitesse, pression de gonflage, etc.). En général, les pneus doivent être remplacés tous les six ans, peu importe l'usage de la bande de roulement. Toutefois, la chaleur des climats chauds ou les chargements lourds et fréquents peuvent accélérer la détérioration et nécessiter le remplacement plus fréquent des pneus.
Vous devez remplacer le pneu de la roue de secours lorsque vous remplacez les pneus normaux ou après six ans en raison de l'âge du pneu, même s'il n'a pas été utilisé.
La réglementation fédérale du Canada et des États-Unis exige que le fabricant de pneus inscrive des renseignements normalisés sur le flanc du pneu. Ces renseignements identifient et décrivent les caractéristiques du pneu en plus de fournir un numéro d'identification DOT du Ministère des transports des États-Unis relatifs aux normes de sécurité, lequel peut être utilisé en cas de rappel du pneu.
Cette inscription débute par les lettres "DOT" et indique que le pneu est conforme aux normes fédérales. Les deux caractères suivants constituent le code de l'usine de fabrication, les deux autres indiquent la taille du pneu et les quatre derniers chiffres représentent la
semaine et l'année de fabrication. Par exemple, 317 signifie la 31e semaine de 1997. Avant 2000, les nombres comptent quatre chiffres. Par exemple, 2501 signifie la 25e semaine de 2001. Les chiffres au centre sont des codes d'identification utilisés aux fins de traçabilité. Ces données sont utilisées pour communiquer avec un client en cas de rappel du pneu.
Remplacement des pneus
Votre véhicule est muni de pneus destinés à assurer la sécurité et la tenue de route.

Avertissement: ne vous
servez pas de pneus de rechange d'une limite de charge inférieure à celle des pneus d'origine, car ils pourraient réduire le PTAC ou le PMAE du véhicule. Le montage de pneus d'une limite de charge plus élevée que celles des pneus d'origine n'augmente pas le PTAC ni le PMAE.
AVERTISSEMENT: Remplacez les jantes et pneus par des articles de mêmes marque, dimensions et structure que ceux fournis d'origine avec le véhicule. Si vous utilisez toute autre combinaison de jantes ou de pneus, même de taille identique, les pneus pourraient ne plus avoir assez d'espace, frotter et finir par se pincer. Tout défaut d'observation des recommandations de remplacement des pneus peut entraîner une défaillance des pneus, une perte de maîtrise du véhicule et des blessures graves ou mortelles.
AVERTISSEMENT: L'utilisation de pneus et de jantes non recommandés peut endommager la direction, la suspension, les essieux, la boîte de transfert ou le groupe de transfert. Pour obtenir de plus amples renseignements sur le remplacement des pneus, consultez un concessionnaire autorisé dès que possible.
! AVENTISSEMENT: Pour prévenir les risques de blessures graves lorsque vous montez des pneus et des roues de remplacement, vous ne doivent pas dépasser la pression maximale indiquée sur le flanc du pneu pour logger les talons sans prendre les mesures additionnelles ennumérées ci-dessous. Si les talons ne se positionnent pas correctement à la pression maximale précisé, lubrifiez les talons de nouveau et réessayez.
AVERTISSEMENT: Lorsque vous gonflez le pneu à une pression de montage qui dépasse de 1,38 bar (20 lb/po^2) la pression maximale indiquée sur le flanc du pneu, prenez les mesures suivantes pour protéger la personne qui monte le pneu :
Jantes et pneus
Assurez-vous que la taille du pneu et de la roue est appropriée. Lubrifiez de nouveau le talon du pneu et la zone de logement du talon sur la roue. - Demeurez à au moins 12 pieds (3,66 mètres) de l'ensemble jante et pneu. - Portez des lunettes de protection et un protecteur antibruit.

Avertissement: gonflez
toujours les pneus à carcasse d'acier avec un appareil de gonflage à distance et éloignez-vous d'au moins 3,66 m (12 ft) de l'ensemble jante et pneu.
Important: Assurez-vous de remplaner les tiges de valve lorsque vous remplacez les pneus du véhicule.
Il est conseillé de remplacer en principe les deux pneus avant ou les deux pneus arrière en même temps.
Les capteurs de surveillance de la pression des pneus montés dans les jantes (les jantes d'origine du véhicule) ne sont pas conçus pour être utilisés sur les jantes de deuxième monte.
L'utilisation de jantes et pneus que nous ne recommendons pas peut nuire au fonctionnement du système de surveillance de la pression des pneus.
Si le témoin du système de surveillance de la pression des pneus clignote, le système ne fonctionne pas correctement. Le pneu de rechange est peut-être incompatible avec le système de surveillance de la pression des pneus ou un composant du système est peut-être endommagé.

Avertissement: si vous
véhicule s'enlise dans la neige, la boue ou le sable, ne faites pas patiner rapidement les pneus, car ils pourraient se déchirer et éclater. Un pneu peut éclater en l'espace de trois à cinq secondes.

AVERTISSEMENT: Ne faites pas sur les roues à plus de 55 km/h (mph). Les pneus pourraient éclater l'origine des blessures à un passager une personne se trouvant à moitié.
*Respectez les limites de vitesse sur les panneaux routiers
*Évitez les démarages, arrêts et virages brusques
Jantes et pneus
*Contournez les nids-de-poule ou autres obstacles présents sur la route
*Ne franchissez pas ou ne heurtez pas des cordures de trottoir en vous stationnant
Dangers potentiels sur l'autoroute
Quelle que soit votre prudence au volant, la possibilité d'une crevaison ne peut être écartée. Roulez doucement vers une zone sécuritaire, à l'écart de la circulation. Vous devez assurer toute sécurité, malgré le risque d'endommager le pneu crevé.
Si vous ressentez une vibration soudaine ou une condition anormale de conduite, ou si vous croyez que l'un de vos pneus ou que le véhicule a subi des dommages, réduisez votre vitesse sur-le-champ. Roulez prudemment jusqu'à ce que vous puissiez quitter la chaussée. Arrêtez-vous et inspectez les pneus pour savoir s'ils sont endommagés. Si l'un des pneus est sous-gonflé ou endommagé, dégonflez-le et remplacez la roue en
question par la roue de secours. Si vous ne pouvez pas déterminer la cause de l'anomalie, faites remorquer le véhicule chez le concessionnaire ou le détaillant de pneus le plus proche afin de faire inspecter le véhicule.
Réglage de la géométrie des roues
Le fait de heurter une courture de trottoir ou un nid-de-poule secoue le train avant et peut fausser la géométrie des roues ou endommager les pneus. Si le véhicule semble tirer d'un côté en roulant, la géométrie des roues est peut-être incorrecte. Faites périodiquement vérifier la géométrie des roues par un concessionnaire autorisé.
Un train avant ou arrière décentré peut causer une usure rapide et prématurée des pneus. Faites corriger ce problème par un concessionnaire autorisé. Les véhicules à traction avant et ceux dotés d'une suspension arrière indépendante (selon l'équipement) devront peut-être faire l'objet d'un réglage de la géométrie au niveau des quatre roues.
De plus, les pneus doivent être rééquilibrés régulièrement. Une roue mal équilibrée peut occasionnellement une usure inégale du pneu.
Permutation des pneus
Nota: Si vos pneus présentent une usure inégale, rendez-vous à un concessionnaire autorisé de vérifier si les roues sont décentrées, déséquilibrées ou endommagées et de corriger les problèmes au besoin avant de permuter les pneus.
Nota: Il est possible que le véhicule soit muni d'un ensemble jante et pneu de secours différent des autres roues du véhicule. Un ensemble jante et pneu de secours différent signifie que la marque, la taille ou l'apparence du pneu ou de la jante différent de ceux fournis en première monte. Si le véhicule est équipé d'un ensemble jante et pneu de secours différent des autres roues, il est destiné uniquement à un usage temporaire et ne doit pas être utilisé pour la permutation des pneus.
Jantes et pneus
Note : Une fois les pneus permutés, la pression de gonflage doit être vérifiée et corrigée selon les valeurs prescrites pour le véhicule.
La permutation des pneus aux intervalles recommandés (selon le Calendrier d'entretien périodique) assure une usure plus uniforme et une durée de vie optimale des pneus. Il est parfois possible de corriger une usure irrégulière des pneus par la permutation des pneus.
Pneus non-directionnels E142547
Pneus directionnels


E70415
Utilisation de châines à NEIGE

AVERTISSEMENT: La taille, l'indice
de charge et l'indice de vitesse des pneus d'hiver doivent être les mêmes que ceux des pneus d'origine montés par Ford sur votre véhicule. L'utilisation d'un pneu ou d'une jante qui n'est pas recommandé par Ford peut compromettre la sécurité et la performance de votre véhicule, ce qui pourrait occasionner une perte de maîtrise ou un capotage du véhicule, de même que des blessures graves, voire mortelles. De
De plus, l'utilisation de pneus et de jantes non recommandés peut endommager la direction, la suspension, les essieux ou la boîte de transfert (PTU). Observez la pression de gonflage recommandée par Ford. Vous la trouvez sur l'étiquette d'homologation du véhicule (apposée sur le pilier avant de porte, le montant de verrou de porte ou sur le rebord de porte qui joint le montant de verrou de porte, près du siège du conducteur), ou sur l'étiquette des pneus placée sur le pilier milieu ou sur le rebord de la porte du conducteur. Le non-respect de la pression de gonflage recommandée peut causer une usure inégale de la bande de roulement et ainsi ALTERER le comportement de votre véhicule.
Jantes et pneus
Les pneus de votre véhicule comportent une bande de roulement quatre saisons qui assure une bonne adhérence, qu'il pleuve ou qu'il neige. Cependant, dans certaines régions, des pneus d'hiver et des câbles antidérapants peuvent s'avérer nécessaires. Si vous devez utiliser des câbles antidérapants, il est recommandé d'utiliser des roues en acier de même taille et de même type, car les câbles risquent d'endommager les roues en aluminium.
Respectez les consignes suivantes lorsque vous utilisez des pneus d'hiver et des dispositifs antidérapants :
- Dans la mesure du possible, évitez de charger votre véhicule au maximum.
- âbles ou des chaînes de 10 mm uniquement sur les essieux avant équipés de pneus 225/60R18.
- Les câbles antidérapants ou les chaînes à neige de catégorie S ne répondent pas tous à ces restrictions. Les chaînes répondant à cette restriction de taille sont dotées d'un dispositif tendeur.
- Les chaînes à neige ou les câbles antidérapants doivent être montés par paires sur l'essieu avant. N'utilisez pas de chaînes à neige ou de câbles antidérapants avec des pneus 225/55R19 ou 245/45R20. Fixez les câ âbles antidérapants, ne roulez pas à plus de 30 mi/h (48 km/h) ou ne dépassez pas la vitesse maximale recommandée par le fabricant des chaînes, selon la plus basse des deux valeurs.
- Conduisez prudemment. Si vous entendez les câbles frotter ou cogner contre la carrosserie, arrêtez le véhicule et resserrez-les. S'ils continuent de frotter ou de cogner, retirez-les pour éviter tout dommage au véhicule.
- Retirez les câbles dès qu'ils ne sont plus nécessaires. N'utilisez pas de câbles sur des chaussées sèches.
Si vous avez des questions concernant les chaînes à neige ou les câbles antidérapants, consultez votre concessionnaire autorisé.

Avertissement: le système de
surveillance de la pression des pneus ne remplace pas les vérifications manuelles de la pression des pneus. Vérifiez régulièrement la pression des pneus au moyen d'un manomètre. Les risques de défaillance d'un ou de plusieurs pneus, de perte de contrôle et de capotage du véhicule et donc de blessures augmentent lorsque la pression des pneus n'est pas maintenue à la pression ajustée.
Nota: Utilisez uniquement les scellants anticrevaison en cas d'urgence, car ils peuvent endommager le capteur du système de surveillance de la pression des pneus.
Nota: Si le capteur du système de surveillance de la pression des pneus est endommagé, il se pourrait qu'il ne fonctionne pas.

La pression de gonflage des pneus, y compris celle de la roue de secours (selon l'équipement du)
véhicule), doit être contrôlé à froid tous les mois, selon les valeurs du constructeur indiquées sur l'étiquette du véhicule ou sur l'étiquette de pression de gonflage des pneus. Si votre véhicule est doté de pneus de dimensions différentes de celles qui sont indiquées sur l'étiquette du véhicule ou sur l'étiquette de pression de gonflage des pneus, vous devez déterminer la pression de gonflage appropriée de ces pneus.
Par mesure de sécurité additionnelle, ce véhicule est doté d'un système de surveillance de la pression des pneus (TPMS) qui allume un témoin de sous-gonflage lorsqu'au moins un pneu est nettement sous-gonflé. Par conséquent, lorsque le témoin de sous-gonflage s'allume, immobilisez le véhicule et vérifiez les pneus dès que possible, puis gonflez-les à la pression appropriée. La conduite avec un pneu nettement sous-gonflé produit un échauffement excessif et peut provoquer
une défaillance du pneu. De plus, un pneu sous-gonflé augmente la consommation de carburant, réduit la durée de vie utile de la bande de roulement et peut compromettre le comportement routier et la capacité de freinage du véhicule.
Veuillez noter que le système de surveillance de la pression des pneus (TPMS) ne remplace pas l'entretien adéquat des pneus, et qu'il incombe toujours au conducteur de maintenir les pneus correctement gonflés, même si le sous-gonflage n'est pas assez prononcé pour allumer le témoin de basse pression du système de surveillance de la pression des pneus (TPMS).
Votre véhicule est aussi doté d'un témoin d'anomalie du système TPMS qui signale un mauvais fonctionnement du système. Le témoin d'anomalie TPMS est combiné au témoin de sous-gonflage. Lorsque le système détecte une anomalie, le témoin clignote pendant environ une minute, puis demeure allumé. Cette séquence se poursuit lors des démarrages du moteur suivants, tant que l'anomalie persiste.
Jantes et pneus
Lorsque le témoin d'anomalie est allumé, le système peut ne pas être en mesure de détecter ou de signaler la basse pression d'un pneu. Des anomalies du système TPMS peuvent survenir pour diverses raisons, y compris le montage de pneus ou de roues de remplacement ou de rechange qui empêchent le système TPMS de fonctionner correctement. Vérifiez toujours le témoin d'anomalie TPMS après avoir replacé un ou plusieurs pneus ou jantes afin de vous assurer que les pneus et les jantes de remplacement ou de rechange permettent au système TPMS de fonctionner correctement.
Ce dispositif est conforme aux normes de la section 15 des règles de la FCC des États-Unis et aux normes RSS concernant l'exploitation de dispositifs exempts de licence d'Industrie Canada. Son utilisation est soumise aux deux conditions suivantes :
- Ce dispositif ne doit pas causer d'interférences nocives;
- Ce dispositif doit accepter toutes les interférences reçues, y compris celles qui pourraient l'activer inopinément.
AVERTISSEMENT: Tout changement apporté au dispositif sans l'approbation expresse de la partie responsable de la conformité peut révoquer le droit de l'utilisateur d'en faire usage. Le terme "IC" avant le numéro de certification radio signifie seulement que les normes techniques d'Industrie Canada ont été respectées.
Remplacement d'un pneu avec un système de surveillance de la pression des pneus

Note: Chaque pneu est muni d'un capteur de pression des pneus situé dans la cavité de la roue. Le capteur de pression est fixé au corps de soupape. Le capteur de pression est couvert par le pneu et n'est pas visible, à moins d'enlever le pneu. Veillez à ne pas endommager le capteur lors du remplacement d'un pneu.
Confiez toujours le remplacement de vos pneus à un concessionnaire autorisé.
Vérifiez régulièrement la pression des pneus (au moins une fois par mois) au moyen d’un manomètre pour pneus précis. Consultez la section Gonflage des pneus du présent chapitre.
Fonctionnement du système de surveillance de la pression des pneus

Le système de surveillance de la pression des pneus mesure la pression des pneus et transmet les valeurs de pression au véhicule. Vous pouvez visualiser les relevés de pression des pneus sur l'écran d'information. Voir Généralités (page 140). Le témoin de
basse pression des pneus s'allume si la pression des pneus est trop basse. L'allumage du témoin indique que vos pneus sont sous-gonflés et qu'ils doivent être gonflés à la pression recommandée par le fabricant. Même si le témoin s'allume et s'éteint peu après, il convient de vérifier la pression des pneus.
Lorsque la roue de secours-temporaire est utilisée
Lorsqu'une des roues doit être remplacée par la roue de secours temporaire, le système continue de signaler un problème pour vous rappeler de faire réparer le pneu endommagé et de remettre la roue en place sur le véhicule.
Pour rétablir toutes les fonctions du système de surveillance de la pression des pneus, faites replacer le pneu endommagé et remettez la roue en place sur le véhicule.
Si vous pensez que votre système ne fonctionne pas correctement
La principale fonction du système de surveillance de la pression des pneus consiste à signaler le sous-gonflage d'un ou de plusieurs pneus. Le système peut aussi vous aviser s'il n'est plus en mesure de fonctionner correctement. Consultez le tableau suivant pour obtenir des renseignements sur le système de surveillance de pression des pneus.
Jantes et pneus
| Témoin de sous-gonflage | Cause possible | Solution |
| Témoin allumé en permanence | Pneus sous-gonflés | Assurez-vous que les pneus sont gonflés à la pression recommenda. Consultez la section Gonflage des pneus du précisé chapitre. Une fois les pneus gonflés à la pression de gonflage recommandée précisée sur l'étiquette des pneus (apposée sur le rebord de la porte du conducteur ou sur le pied millieu), le vehicule doit rouler pendant au moins deux minutes à plus de 32 km/h (20 mph) avant que le témoin s'éteigne. |
| Roue de secours utilisée | Faites réparer et réinstaller la roue sur le vehicule pour rétablier le fonctionnement du système. Consultez la section Lorsque la roue de secours-temporaire est utilisé dans le précisé chapitre pour obtenir une description du fonctionnement du système. | |
| Anomalie du système TPMS | Si les pneus sont correctement gonflés, que la roue de secours n'est pas utilisée et que le témoin demeure allumé, communiquez avec un concessionnaire autorisé)dés que possible. | |
| Témoin qui clignote | Roue de secours utilisée | Faites réparer et réinstaller la roue sur le vehicule pour rétablier le fonctionnement du système. Consultez la section Lorsque la roue de secours-temporaire est utilisé dans le précisé chapitre pour obtenir une description du fonctionnement du système. |
| Anomalie du système TPMS | Si les pneus sont correctement gonflés, que la roude de secours n'est pas utilisée et que le témoin demeure allumé, communiquez avec un concessionnaire autorisé)dés que possible. |

Avertissement: n'utilisez pas
L'écran d'affichage de la pression des pneus comme manomètre pour pneus. Le non-respect de cette consigne pourrait entraîner des blessures graves ou mortelles.
Lorsque vous gonflez les pneus (à une station-service ou dans votre garage, par exemple), le système de surveillance de la pression des pneus peut ne pas réagir immédiatement.
Il faut parfois jusqu'à deux minutes de conduite à plus de 32 km/h (20 mph) pour que le témoin s’éteigne après que vous avez gonflé les pneus à la pression de gonflage recommandée.
Incidence de la température sur la pression des pneus
Le système de surveillance de la pression des pneus surveille la pression de chaque pneu. Pendant la conduite normale, la pression normale de gonflage de pneus de voiture peut augmenter d'environ 14-28 kPa (2 - 4lb / po^2) après un démarrage à froid. Si le véhicule est stationné toute la nuit et que la température de l'air y est considérablement plus BASSE que la température du jour, la pression des pneus peut diminuer d'environ 21 kPa (3lb / po^2) si la température ambiant diminue de 30°F (17^). Le système peut déterminer que cette pression est considérablement inférieure à la pression de gonflage recommandée et activer le témoin de basse pression des pneus du système. Si le témoin de sous-gonflage s'allume, inspectez visuellement chaque pneu pour vous assurer qu'aucun n'est dégonflé. Si un pneu ou plus est dégonflé, procédez à la réparation qui
s'impose. Vérifiez la pression de gonflage des pneus. Si un pneu est sous-gonflé, conduisez prudemment jusqu'à l'endroit le plus proche où vous pourrez le regonfler. Gonflez tous les pneus à la pression recommandée.
Reemplacement d'une ROUE

AVERTISSEMENT: Le système de surveillance de la pression des pneus ne dispense pas des vérifications manuelles. Pression des pneus. Vérifie l'écart entre la pression des pneus au moyen d'un manomètre. Les risques de défaillance d'un ou de plusieurs pneus, de perte de maîtrise et de capotage du véhicule et donc de blessures augmentent si la pression des pneus n'est pas ramenée à la pression adéquate.

AVERTISSEMENT: Un capteur de pression de pneu endommagé pourrait ne fonctionner.
Jantes et pneus
Nota : Utilisez uniquement les produits d'étanchéité pour pneus en cas d'urgence, car ils peuvent endommager le capteur du système de surveillance de la pression des pneus.
Nota: Le témoin du système de surveillance de la pression des pneus s'allume lorsque la roue de secours est utilisée. Pour rétablir toutes les fonctions du système de surveillance de la pression des pneus, les quatre roues du véhicule munies d'un capteur de pression doivent être montées sur celui-ci.
Si une crevaison se produit en cours de route, ne freinez pas brusquement. Freinez peu pour ralentir progressivement. Tenez fermement le volant et dirigez-vous lentement et avec prudence sur l'accotement.
Pour éviter d'endommager les capteurs du système de surveillance de la pression des pneus, faites réparer les pneus par un concessionnaire autorisé. Voir Système de surveillance de la pression des pneus (page 421). Remplacez la roue de secours par une roue normale dès que possible. Lors de la réparation ou du remplacement du pneu, demandez à votre concessionnaire agréé de vérifier l'état du capteur de pression du pneu.
Renseignements au sujet des roues de secours de taille différente
AVERTISSEMENT: Le non-respect de ces directives peut accroître les risques de perte de maîtrise du véhicule et de blessures graves ou mortelles.
Si votre véhicule est équipé d'une roue de secours de diamètre différent des autres roues, elle est destinée à un usage temporaire uniquement. Cela signifie qu'en cas d'utilisation, il faut la replacer dès que possible par un ensemble jante et pneu de même taille et de même type que ceux fournis à l'origine avec le véhicule. Lorsqu'une roue de secours de taille différente est endommagée, remplacez-la plutôt que d'envisager sa réparation.
Une roue de secours de taille différente signifie que la marque, la taille ou l'apparence du pneu et de la jante diffère de celle fournie en première monte. Elle peut appartenir à l'une des trois catégories suivantes :
- Mini-roue de secours type T : Le marquage des dimensions de cette roue de secours commence par la lettre T et peut aussi comporter l'inscription "Temporary Use Only" moulée dans le flanc.
Jantes et pneus
- Roue de secours de dimensions normales, mais différente avec étiquette : Ce type de roue de secours porte une étiquette qui indique : THIS WHEEL AND TIRE ASSEMBLY FOR TEMPORARY USE ONLY.
Lorsque vous roulez avec l'une des roues de secours différentes ci-dessus, il ne faut pas :
dépasser 80 km/h (50 mph); dépasser la charge maximale du véhicule indiquée sur l'étiquette d'homologation; - tracter une remorque; utiliser des chaînes à neige sur le pneu de la roue de secours; utiliser plus d'une roue de secours différente à la fois; - utiliser les services d'un lave-auto; tenter de réparer la roue de secours.
L'utilisation d'une des roues de secours détaillées différentes décrites ci-dessus à l'un ou l'autre des emplacements de roue peut avoir un effet néfaste sur les facteurs suivants :
- la tenue de route, la stabilité et la capacité de freinage ; le confort et le bruit ; la garde au sol et le stationnement le long d'un trottoir ; la conduite en hiver ; la conduite par temps pluvieux ; la conduite d'un véhicule à traction intégrale.
- Roue de secours de dimensions normales mais différente sans étiquette
Lorsque vous roulez avec une roue de secours de dimensions normales mais différente, il ne faut pas :
dépasser 113 km/h (70 mph); monter plus d'une roue de secours différente à la fois;
- utiliser les services d'un lave-auto; monter des chaînes à neige sur l'essieu équipé de la roue de secours de dimension différente.
L'utilisation d'une roue de secours de dimensions normales mais différentes peut avoir un effet négatif sur les facteurs suivants :
- la tenue de route, la stabilité et la capacité de freinage ; le confort et le bruit ; la garde au sol et le stationnement le long d'un trottoir ; la conduite en hiver ; la conduite par temps pluvieux ; la conduite d'un véhicule à traction intégrale.
Jantes et pneus
Lorsque vous roulez avec une roue de secours de dimensions normales mais différente, il faut porter une attention particulière aux facteurs suivants :
la traction d'une remorque; - la conduite d'un véhicule équipé d'une carrosserie de camping; - la conduite d'un véhicule avec une charge sur le porte-bagages.
Conduisez prudemment lorsque vous roulez avec une roue de secours de dimensions normales mais différente, et remédiez à la situation dès que possible.
Procédure de remplacement d'une roue

AVERTISSEMENT: Ne placez jamais
d'objets entre le cric du véhicule et le sol.

AVERTISSEMENT: Ne placez jamais
d'objets entre le cric du véhicule et votre véhicule.

AVERTISSEMENT: Pour éviter que
le véhicule ne roule pas lorsque vous changez une roue, placez la boîte de vitesses en position de stationnement (P), serrez le frein de stationnement et utilisez une cale appropriée pour bloquer la roue diamétralement opposée à la roue à changer. Par exemple, si vous changez la roue avant gauche, placez une cale appropriée contre la roue arrière droite.

AVERTISSEMENT: Il est
recommandé de caler les roues du véhicule et d’évacuer tous les occupants du véhicule lorsque celui-ci est mis sur le cric.

AVERTISSEMENT: Utilisez toujours
le cric fourni en équipement d'origine avec le véhicule. Si vous utilisez un cric autre que celui fourni, assurez-vous que sa capacité est suffisante pour supporter le poids du véhicule, y compris le chargement ou tout autre accessoire ajouté. Si vous n'êtes pas certain que la capacité du cric est adéquate, consultez un concessionnaire agréé.

AVERTISSEMENT: Le cric fourni avec
ce véhicule est conçu uniquement pour changer les roues. Ne vous servez pas du cric du véhicule pour un usage autre que le remplacement d'une roue en cas d'urgence.

AVERTISSEMENT: Assurez-vous que
le filetage de la vis est ajusté et lubrifié avant de l'utiliser.

AVERTISSEMENT: Vérifiez que le
cric du véhicule n'est ni endommagé ni déformé, et que son filetage est graissé et exempt de corps étrangers.
Jantes et pneus

AVERTISSEMENT: Si possible,
utilisez le cric sur une surface ferme et plane.

AVERTISSEMENT: N'utilisez que les
points de levage indiqués. L'utilisation d'autres points de levage peut causer des déteriorations de la caisse, de la direction, de la suspension, du moteur, du système de freinage et des canalisations d'alimentation en carburant.

AVERTISSEMENT: Coupez le contact
et engagez à fond le frein de stationnement avant de soulever le véhicule.

AVERTISSEMENT: Stationnez votre
véhicule de façon à ne pas entraver le flux de la circulation et à ne pas vous placer en situation dangereuse, puis mettez en place un triangle de présignalisation.

AVERTISSEMENT: Ne vous placez
pas sous un véhicule soutenu uniquement par un cric.
E166722
Nota: Le cric ne nécessite aucune opération d'entretien ou de lubrification supplémentaire pendant toute la durée de vie de votre véhicule.
- Stationnez le véhicule sur une surface plane, serrez le frein de stationnement et allumez les feux de détresse.
- Placez la boîte de vitesses en position de stationnement (P) et arrêtez le moteur.
- Ouvrez le hayon et retirez le plancher de l'aire de chargement recouvert de moquette pour accéder à la roue de secours et au cric.
- Retirez l'écrou à oreilles qui fixe la roue de secours en le tournant dans le sens inverse des aiguilles d'une montre.
- Retirez la roue de secours et le cric du logement de la roue de secours.
- Retirez le cric et la sangle de retenue prévue pour la roue à changer de la base du cric.

- Tournez la vis d'entraînement d'écrou hexagonal du cric dans le sens contraire des aiguilles d'une montre pour détacher le démonte-roue du cric. Cela permet d'abaisser le cric et de desserrer le verrou mécanique.
Jantes et pneus

8. Dépliez le démonte-roue. E181744
- Bloquez la roue diagonalement opposée à la roue qui doit être changée.
E142551
- Desserrez les écrous de roue d'un demi-tour dans le sens contraire des aiguilles d'une montre, mais ne les enlevez pas avant d'avoir décollé la roue du sol.
Note: Ne soulevez le véhicule qu'en plaçant le cric aux endroits précisés afin de prévenir les dommages au véhicule.
- Les points de levage du véhicule qui sont indiqués ici sont également présents sur l'étiquette d'avertissement apposée sur le cric. Les points de levage sont indiqués par de petites flèches frappées sur le bas de caisse.

- Tournez la clé dans le sens des aiguilles d'une montre pour lever le véhicule jusqu'à ce que le pneu crevé soit complètement soulevé du sol.

Jantes et pneus
- Enlevez les écrous de roue au moyen du démonte-roue.
Note: Si votre véhicule est équipé d'enjoliveurs grand format maintenus par des écrous de roue apparents, retirez d'abord les écrous avant d'enlever l'enjoliveur pour ne pas l'endommager. 14. Remplacez la roue à changer par la roue de secours, en vous assurant que la tige de valve est orientée vers l'extérieur. Remettez en place les écrous de roue et vissez-les jusqu'à ce que la roue soit bien appuyée contre le moyeu. Ne serrez pas complètement les écrous de roue tant qu'elle ne touche pas le sol. 15. Abaissez la roue en tournant le levier de manœuvre du cric dans le sens antihoraire. 16. Retirez le cric et effectuez le serrage final des écrous de roue dans l'ordre indiqué sur l'illustration. Voir Spécifications techniques (page 434).

Rangement de la roue au pneu dégonflé
- Pour ranger le cric, repliez le cric et la poignée de la clé et enclenchez-les dans le support de la base du cric avec le démonthe-roue.
- En attachant le démonte-roue replié sur le cric, faites pivoter le démonte-roue vers le haut et ajustez la hauteur du cric jusqu'à ce que l'ergot du démonte-roue s'insère dans le trou du cric. Tournez l'écrou hexagonal dans le sens hora jusqu'à ce que l'ensemble soit correctement fixé.

- Remettez l'ensemble cric dans son emplacement d'origine dans le véhicule et fixez le tout à l'aide de l'écrou à oreilles en plastique. Assurez-vous que le cric est solidement fixé avant de prendre la route.
- Retirez les cales de roue.
Jantes et pneus
- Déposez la roue au pneu dégonflé sur le plancher de l'aire de chargement. Arrimez la roue au moyen de la sangle de retenue prévue à cet effet en observant les étapes suivantes :
E142906
- Trouvez le crochet d'arrimage à proximité du dossier de siège. Glissez la boucle de la sangle de retenue dans le crochet d'ancrage. Enfilez l'autre extrémité de la sangle à travers la boucle.

- Faites passer la sangle par les ouvertures de la roue.
- Repérez le point d'ancrage antérieur dans le coin de l'aire de chargement opposé à celui de l'ancrage utilisé à l'étape 4. Enfilez la sangle de retenue dans le crochet d'ancrage et tirez bien.
- Attachez la sangle en faisant deux nœuds de feston simples.
Jantes et pneus
E143746


Specifications techniques
Couple de serrage des écrous de roues

AVERTISSEMENT: Lors de la pose d'une roue, éliminez toute trace de corrosion, toute saleté ou tout corps étranger logé sur les fentes de montage de la roue ou sur les surfaces du moyeu, du tambour de frein ou du disque de frein qui entrent en contact avec la roue. Assurez-vous que toutes les attaches entre le disque et le moyeu sont bien serrées pour qu'elles ne perturbent pas les surfaces de contact de la roue. L'installation de roues sans contact métal à métal approprié au niveau des surfaces de montage peut entraîner le desserrage des écrous de roue et la perte de la roue lorsque le véhicule est en mouvement et provoquer la perte de la maîtrise de votre véhicule, des blessures graves, voire mortelles.
| Taille de boulon | lb/pi (N.m) |
| M12 x 1,5 | 100 (135) |
Ces couples de serrage sont pour des boulons et des écrous dont les filets sont propres (ni huile, ni saletés) et sans rouille. Utilisez seulement des éléments de fixation de rechange recommandés par Ford.
Après une intervention sur une roue (permutation, remplacement d'un pneu à plat, retrait, etc.), resserrez les écrous de roue au couple précisé après avoir parcouru environ 160 kilomètres (100 mi).
Jantes et pneus

A. Trou pilote de roue.
Vérifiez l'alésage pilote et la surface de montage de la roue avant la pose. Retirez toute trace visible de corrosion et tout débris.
Spécifications du moteur - 2.0L
| Mateur | Spécification |
| Cylindrée (po3) | 122 |
| Carburant requis. | Indice d'octane minimal de 87 |
| Ordre d'allumage. | 1-3-4-2 |
| Allumage. | Bobine intégrée à la bougie |
| Écartement des électrodes. | 0,7–0,8 mm (0,028–0,031 po) |
| Taux de compression. | 10:1 |
Capacités et spécifications
Cheminement de la courroie d'entraînement
A. La courroie d'entraînement longue se trouve sur la première gorge de poulie, proche du moteur. B. La courroie d'entraînement courte se trouve sur la deuxième gorge de poulie, éloignée du moteur.
SPÉCIFICATIONS DU MOTEUR - 2.3L
| Mateur | Spécification |
| Cylindrée (po3) | 138 |
| Carburant requis. | Indice d'octane minimal de 87 |
| Ordre d'allumage. | 1-3-4-2 |
Capacités et spécifications
| Mateur | Spécification |
| Allumage. | Bobine intégrée à la bougie |
| Écartement des électrodes. | 0,7–0,8 mm (0,028–0,031 po) |
| Taux de compression. | 10:1 |
Capacités et spécifications
Cheminement de la courroie d'entraînement
A. La courroie d'entraînement longue se trouve sur la première gorge de poulie à proximité du moteur. B. La courroie d'entraînement courte se trouve sur la deuxième gorge de poulie, éloignée du moteur.
E161383
| Composant | Numéro de piece Motorcraft |
| Élement de filtré à air | FA-1939 |
| Filtre à huile¹ | FL-910-S |
| Batterie | BAGM-94RH7-800 |
| Bougie d'allumage² | SP-578 |
Capacités et spécifications
| Composant | Numéro de piece Motorcraft |
| Filtre à air d'habitacle | FP-89 |
| Balai d'essuie-glace de pare-brise | WW-2765 (côté conducteur)WW-1814 (côté passager)WW-1003 (lunette arrête) |
1 Dans le cas où un filtre à huile Motorcraft ne serait pas disponible, utilisez un filtre à huile conforme à la spécification de performance de l'industrie SAE/USCAR-36. 2 Adressez-vous à votre concessionnaire autorisé pour faire remplacer les bougies d'allumage. Faites remplacer les bougies d'allumage selon les intervalles recommandés. Voir Entretien de votre véhicule (page 554).
Nous recommandons l'utilisation de pièces Motorcraft® offertes chez les concessionnaires autorisés. Ces pièces sont spécialement conçues pour votre véhicule et sont conformes ou supérieures aux spécifications. L'utilisation d'autres pièces pourrait avoir une incidence sur les performances, les niveaux d'émissions et la longévité du véhicule. La garantie de votre véhicule pourrait être annulée en cas de dommages liés à l'utilisation d'autres pièces.
Capacités et spécifications
| Composant | Numéro de pièce Motorcraft |
| Élément de filtré à air | FA-1939 |
| Filtre à huile1 | FL-910-S |
| Batterie | BAGM-94RH7-800 |
| Bougie d'allumage2 | SP-578 |
| Filtre à air d'habitacle | FP-89 |
| Balai d'essuie-glace de pare-brise | WW-2765 (côté conducteur)WW-1814 (côté passager)WW-1003 (lunette arrêté) |
1 Dans le cas où un filtre à huile Motorola ne serait pas disponible, utilisez un filtre à huile conforme à la spécification de performance de l'industrie SAE/USCAR-36. 2 Adressez-vous à votre concessionnaire autorisé pour faire remplacer les bougies d'allumage. Faites remplacer les bougies d'allumage selon les intervalles recommandés. Voir Entretien de votre véhicule (page 554).
Nous répondons de l'utilisation de pièces Motorcraft offertes chez les concessionnaires autorisés. Ces pièces sont spécialement conçues pour tout véhicule et sont conformes ou supérieures aux spécifications. L'utilisation d'autres pièces pourrait avoir une incidence sur les performances, les niveaux d'émissions et la longévité du véhicule. La garantie de ce véhicule pourrait être annulée en cas de dommages liés à l'utilisation d'autres pièces.
NUMERO D'identification du vehicule
Le numéro d'identification du véhicule se trouve sur le côté gauche de la planche de bord.

Veuillez noter que la mention XXXX reprend le numéro d'identification de votre véhicule dans le graphique.
Le numéro d'identification du véhicule comprend les renseignements suivants :
E142477
A identification mondiale du constructeur B système de freinage, poids total autorisé en charge, dispositifs de retenue et emplacement de ces dispositifs C marque, gamme de véhicule, série, type de carrosserie D type de moteur E chiffre de contrôle F année-modèle
Étiquette d'homologation du véhicule
E167469
Capacités et spécifications
Les règlements de la L'Agence fédérale américaine des États-Unis chargée de la sécurité routière (NHTSA) exigent qu'une étiquette d'homologation de sécurité soit apposée sur le véhicule et précisé également l'emplacement prévu pour cette étiquette. L'étiquette d'homologation de sécurité doit être apposée sur le montant de la charnière de porte, le montant du loquet de porte ou le rebord de la porte près du loquet de la porte, à côté du siège du conducteur.
Désignation du code de boite de vitesses
E167814
Le code de la boîte de vitesses est inscrit sur l'étiquette d'homologation de sécurité du véhicule. Le tableau suivant indique le code de la boîte de vitesses et la description de la boîte de vitesses.
| Description | Code |
| Boîte de vitesses automatique à huit rapports 8F35 | 8 |
| Boîte de vitesses automatique à huit rapports 8F40 | P |
Capacités et specifications - 2.0L
Utilisez de l'huile et des liquides conformes aux spécifications et viscosités prescrites.
Si vous n'utilisez pas , vous risquez de voir apparaitre les problèmes suivants :
des dommages aux composants non couverts par la garantie du véhicule; des durées de lancement du moteur plus longues;
des niveaux d'émissions accrus; - un rendement réduit du moteur; - une augmentation de la consommation de carburant; - une réduction de la capacité de freinage.
Système de climatisation
AVERTISSEMENT: Le circuit de frigorigène de climatisation contient du frigorigène sous haute pression. Seul du personnel qualifié est habilité à intervenir sur le circuit de frigorigène de climatisation. L'ouverture du circuit de frigorigène de climatisation peut causer des blessures.
Contenances
| Type | Réfrigérant | Huile pour compréseur |
| Tous. | 0,55 kg (19,4 oz) | 100 ml (3,4 fl oz) |
Capacités et spécifications
Matériaux
| Appellation | Spécification |
| R-1234yf Refrigerant / Frigorigène R-1234yf HS7Z-19B519-BA | WSS-M17B21-A |
| Motorcraft® R-1234yf Refrigerant PAG Oil / Huile PAG pour frigorigène R-1234yf Motorcraft® YN-35 | WSS-M2C300-A2 |
Boîte de vitesses automatique
Nota: Les boîtes de vitesses automatiques conçues pour utiliser un liquide pour boîte de vitesses ULV MERCON® ne doivent être remplies qu'avec ce liquide. L'utilisation de toute autre huile peut provoquer des dommages à la boîte de vitesses.
Contenances
| Type | Quantité |
| Tous. | 11 L (11,6 pte)¹ |
1 Contenance approximative à vide. La quantité réelle pourrait varier lors des vidanges.
Capacités et spécifications
Matériaux
| Appellation | Spécification |
| Motorcraft® MERCON® ULV Automatic Transmission Fluid / MERCON® ULV huile pour boîtes automatique Motorcraft® XT-12-QULV | WSS-M2C949-AMERCON® ULV |
Liquide de refroidissement
Contenances
| Type | Quantité |
| Tous. | 8,2 L (8,7 pte) |
Matériaux
| Appellation | Spécification |
| Motorcraft® Orange Prediluted Antifreeze/Coolant / Antigel/liquide de refroidissement prédilué orange Motorcraft®CVC-3DIL-B | WSS-M97B44-D2 |
Huile moteur

E142732
E276075
Une huile affichant ce symbole est conforme aux normes en vigueur relatives aux moteurs, aux systèmes antipollution, ainsi qu'aux exigences de consommation de l'ILSAC.
Pour votre véhicule, nous recommandons l'utilisation d'une huile moteur Motorcraft. En cas d'indisponibilité d'huile Motorcraft, utilisez une huile moteur ayant une viscosité conforme aux exigences API SN PLUS et portant la marque de certification API pour moteurs à essence.
N'utilisez pas d'additifs supplémentaires dans l'huile moteur, car ils sont inutiles et peuvent causer au moteur des dommages non couverts par la garantie du véhicule.
Contenances
| Type | Filtre à huile inclus |
| Tous. | 5,2 L (5,5 pte) |
Capacités et spécifications
Matériaux
| Appellation | Spécification |
| Engine Oil - SAE 5W-30 - Super Premium Motor Oil / Huile moteur de très haute qualité SAE 5W-30 Motorcraft® CXO-5W30-LSP6 | WSS-M2C946-B1 |
Huile moteur de rechange pour froids extrêmes
Pour améliorer les démarrages du moteur par temps froid, nous recommandons l'utilisation de l'huile moteur de rechange pour froids extrêmes suivante lorsque la température ambiant atteint -30°C (-22,0°F) ou moins.
Matériaux
| Appellation | Spécification |
| Huile moteur - SAE 0W-30 | WSS-M2C953-B1 |

Réservoir de carburant
Contenances
| Type | Quantité |
| Tous. | 61,2 L (16,2 gal) |
Capacités et spécifications
Matériaux
| Appellation | Spécification |
| Motorcraft® Multi-Purpose Grease Spray / Graisse tout usage en aérosol Motorcraft® XL-5-A | ESB-M1C93-B |
Circuit de freins hydrauliques
Matériaux
| Appellation | Spécification |
| Motorcraft® DOT 4 LV High Performance Motor Vehicle Brake Fluid / Liquide de frein automobile haute performance DOT 4 LV Motorcraft® PM-20 | WSS-M6C65-A2 |
Capacités et spécifications
Note : Nous recommandons d'utiliser le liquide de frein haute performance DOT 4 à basse viscosité (LV) ou équivalent conforme à la norme WSS-M6C65-A2. L'utilisation d'un liquide autre que celui recommandé peut réduire les performances du circuit de freinage et ne pas répondre à nos exigences de performances. Maintenez le liquide de frein propre et exempt d'humidité. La contamination par les impuretés, l'eau, les produits pétroliers ou autres matières peut endommager le circuit de freinage et causer des défaillances.
Serrures
Matériaux
| Appellation | Spécification |
| Motorcraft® Penetrating Fluid / Liquide dégrippant Motorcraft® CXC-51-A | - |
Boîte de transfert
Contenances
| Type | Quantité |
| Sans refroidisseur. | 0,33–0,43 L (0,35–0,45 pte) |
| Avec refroidisseur. | 0,41–0,51 L (0,43–0,54 pte) |
Matériaux
| Appellation | Spécification |
| Motorcraft® SAE 75W-85 Premium Synthetic Hypoid Gear Lubricant / Huile synthé-tique de haute qualité pour engrenages hypoïdes SAE 75W-85 Motorcraft®XY-75W85-QL | WSS-M2C942-A |
Essieu arrêt
Contenances
| Type | Quantité |
| Tous. | 0,75 L (25,4 fl oz) |
Capacités et spécifications
Matériaux
| Appellation | Specification |
| Motorcraft® Disconnect Rear Drive Unit Fluid / Déconnecter le liquide du pont arrêté Motorcraft® XY-75W-QL | - |
Réservoir de lave-glace
Contenances
| Type | Quantité |
| Tous. | Faire le plein au besoin. |
Matériaux
| Appellation | Spécification |
| Motorcraft® Premium Quality Windshield Washer Fluid / Liquide lave-glace de haute qualité Motorcraft® CXC-37-A/B/D/F | WSS-M14P19-A |
Capacités et specifications - 2.3L
Utilisez de l'huile et des liquides conformes aux spécifications et viscosités prescrites.
Si vous n'utilisez pas , vous risquez de voir apparaitre les problèmes suivants :
des dommages aux composants non couverts par la garantie du véhicule; des durées de lancement du moteur plus longues;
des niveaux d'émissions accrus; - un rendement réduit du moteur; - une augmentation de la consommation de carburant; - une réduction de la capacité de freinage.
Système de climatisation
AVERTISSEMENT: Le circuit de frigorigène de climatisation contient du frigorigène sous haute pression. Seul du personnel qualifié est habilité à intervenir sur le circuit de frigorigène de climatisation. L'ouverture du circuit de frigorigène de climatisation peut causer des blessures.
Contenances
| Type | Réfrigérant | Huile pour compréseur |
| Tous. | 0,55 kg (19,4 oz) | 100 ml (3,4 fl oz) |
Capacités et spécifications
Matériaux
| Appellation | Spécification |
| R-1234yf Refrigerant / Frigorigène R-1234yfHS7Z-19B519-BA | WSS-M17B21-A |
| Motorcraft® R-1234yf Refrigerant PAG Oil / Huile PAG pour frigorigène R-1234yfMotorcraft®YN-35 | WSS-M2C300-A2 |
Boîte de vitesses automatique
Nota: Les boîtes de vitesses automatiques conçues pour utiliser un liquide pour boîte de vitesses ULV MERCON® ne doivent être remplies qu'avec ce liquide. L'utilisation de toute autre huile peut provoquer des dommages à la boîte de vitesses.
Contenances
| Type | Quantité |
| Tous. | 11 L (11,6 pte)¹ |
1 Contenance approximative à vide. La quantité réelle peut varier lors des vidanges.
Capacités et spécifications
Matériaux
| Appellation | Spécification |
| Motorcraft® MERCON® ULV Automatic Transmission Fluid / MERCON® ULV huile pour boîtes automatique Motorcraft® XT-12-QULV | WSS-M2C949-AMERCON® ULV |
Liquide de refroidissement
Contenances
| Type | Quantité |
| Tous. | 8,2 L (8,7 pte) |
Matériaux
| Appellation | Specification |
| Motorcraft® Orange Prediluted Antifreeze/Coolant / Antigel/liquide de refroidissement prédilué orange Motorcraft®CVC-3DIL-B | WSS-M97B44-D2 |
Huile moteur

E142732
E276075
Une huile affichant ce symbole est conforme aux normes en vigueur relatives aux moteurs, aux systèmes antipollution, ainsi qu'aux exigences de consommation de l'ILSAC.
Pour votre véhicule, nous recommandons l'utilisation d'une huile moteur Motorcraft. En cas d'indisponibilité d'huile Motorcraft, utilisez une huile moteur ayant une viscosité conforme aux exigences API SN PLUS et portant la marque de certification API pour moteurs à essence.
N'utilisez pas d'additifs supplémentaires dans l'huile moteur, car ils sont inutiles et peuvent causer au moteur des dommages non couverts par la garantie du véhicule.
Contenances
| Type | Filtre à huile inclus |
| Tous. | 5,2 L (5,5 pte) |
Capacités et spécifications
Matériaux
| Appellation | Spécification |
| Engine Oil - SAE 5W-30 - Super Premium Motor Oil / Huile moteur de très haute qualité SAE 5W-30 Motorcraft® CXO-5W30-LSP6 | WSS-M2C946-B1 |
Huile moteur de rechange pour froids extrêmes
Pour améliorer les démarrages du moteur par temps froid, nous recommandons l'utilisation de l'huile moteur de rechange pour froids extrêmes suivante lorsque la température ambiant atteint -30°C (-22,0°F) ou moins.
Matériaux
| Appellation | Spécification |
| Huile moteur - SAE 0W-30 | WSS-M2C953-B1 |

Réservoir de carburant
Contenances
| Type | Quantité |
| Tous. | 61,2 L (16,2 gal) |
Capacités et spécifications
Matériaux
| Appellation | Spécification |
| Motorcraft® Multi-Purpose Grease Spray / Graisse tout usage en aérosol Motorcraft® XL-5-A | ESB-M1C93-B |
Circuit de freins hydrauliques
Matériaux
| Appellation | Spécification |
| Motorcraft® DOT 4 LV High Performance Motor Vehicle Brake Fluid / Liquide de frein automobile haute performance DOT 4 LV Motorcraft® PM-20 | WSS-M6C65-A2 |
Capacités et spécifications
Note : Nous recommandons d'utiliser le liquide de frein haute performance DOT 4 à basse viscosité (LV) ou équivalent conforme à la norme WSS-M6C65-A2. L'utilisation d'un liquide autre que celui recommandé peut réduire les performances du circuit de freinage et ne pas répondre à nos exigences de performances. Maintenez le liquide de frein propre et exempt d'humidité. La contamination par les impuretés, l'eau, les produits pétroliers ou autres matières peut endommager le circuit de freinage et causer des défaillances.
Serrures
Matériaux
| Appellation | Spécification |
| Motorcraft® Penetrating Fluid / Liquide dégrippant Motorcraft® CXC-51-A | - |
Boîte de transfert
Contenances
| Type | Quantité |
| Sans refroidisseur. | 0,33–0,43 L (0,35–0,45 pte) |
| Avec refroidisseur. | 0,41–0,51 L (0,43–0,54 pte) |
Matériaux
| Appellation | Spécification |
| Motorcraft® SAE 75W-85 Premium Synthetic Hypoid Gear Lubricant / Huile synthé-tique de haute qualité pour engrenages hypoïdes SAE 75W-85 Motorcraft®XY-75W85-QL | WSS-M2C942-A |
Essieu arrêt
Contenances
| Type | Quantité |
| Tous. | 0,75 L (25,4 fl oz) |
Capacités et spécifications
Matériaux
| Appellation | Specification |
| Motorcraft® Disconnect Rear Drive Unit Fluid / Déconnecter le liquide du pont arrêté Motorcraft® XY-75W-QL | - |
Réservoir de lave-glace
Contenances
| Type | Quantité |
| Tous. | Faire le plein au besoin. |
Matériaux
| Appellation | Spécification |
| Motorcraft® Premium Quality Windshield Washer Fluid / Liquide lave-glace de haute qualité Motorcraft® CXC-37-A/B/D/F | WSS-M14P19-A |
Tableau de specifications des ampoules
Les ampoules de rechange requises sont indiquées dans le tableau ci-dessous. Utilisez des ampoules de phare portant la mention d'homologation D. O. T. (Department of
Transportation) pour l'Amérique du Nord, qui est l'assurance d'un rendement ajusté du phare, de la puissance et de la forme du faisceau lumineux, et d'une bonne visibilité. Les ampoules appropriées n'endommagent pas le bloc optique, ne risquent pas d'annuler la garantie de celui-ci et offrent un éclairage ajusté de longue durée.
| Fonction | Numéro commercial |
| Feu de croisement et feu de route.1 | DEL. |
| Feu de position latéral - avant.1 | DEL. |
| Feu de stationnement - avant.1 | DEL. |
| Clignotant - avant.1 | DEL. |
| Lampe de rétroviseur extérieur avec clignotant.1 | DEL. |
| Éclairage d'accueil.1 | DEL. |
| Lampe d'approche.1 | DEL. |
| Feu arrêté et feu de freinage.1 | DEL. |
Capacités et spécifications
| Fonction | Numéro commercial |
| Clignotant – arrêté.1 | DEL. |
| Feu de recul.1 | DEL. |
| Lampe d'éclairage de plaque d'immatriculation.1 | DEL. |
| Troisième feu de frein.1 | DEL. |
| Éclairage interieur.1 | DEL. |
Pour remplacer ces lampes, consultez votre concessionnaire autorisé. Note : Faites remplacer les ampoules du tableau de bord par votre concessionnaire autorisé.
Connexion du vehicule à un réseau MOBILE
Le modem vous permet de connecter votre véhicule à Internet et de l'utiliser quand vous êtes sur la route.
Si vous activez le modem à l'aide de l'application Lincoln Way, vous pouvez accéder aux services suivants:
- Localisation et démarrage à distance, verrouillage et déverrouillage de votre véhicule. Consultez les renseignements disponibles dans l'application Lincoln Way.
- Mises à jour automatiques du système.
Note : Nous pourrions devoir mettre à jour le système d'exploitation de votre véhicule pour assurer le fonctionnement à jour des services connectés, et ce, sans préavis.
Activation du modem avec the lincoln way
- Ouvrez l'application Lincoln Way sur votre appareil et connectez-vous.
- Sélectionnez votre véhicule.
- Sélectionnez l'option des informations du véhicule.
- Sélectionnez l'option pour activer notre véhicule.
- Établissez le contact.
- Assurez-vous que le nom qui s'affiche à l'écran correspond à celui qui apparait dans votre compte Lincoln Way.
- Vérifiez que votre véhicule est associé à votre compte Lincoln Way.
Activation du modem avec l'écran tactile

Sélectionnez l'option des paramètres dans la barre de fonctions.
- Sélectionnez Lincoln Connect.
- Sélectionnez Réglages de connectivité.
- Activez les fonctions de connexion.
Connectivite réseau - dépannage
Réseau Wi-Fi
| Symptôme | Cause et solution possible |
| Je ne peux pas me connecter à un réseau Wi-Fi. | - Erreur de mot de passer. • Entrez le mot de passer correct du réseau. - Signal du réseau faible. • Rapprochez votre vehicule du point d'accès Wi-Fi ou placez-le à un endroit où le signal du réseau n'est pas obstrué. - Plusieurs points d'accès à portée avec le même SSID. • Utilisez un nom unique pour votre SSID. N'utilisez pas le nom par défaut sauf s'il contient un identifient unique, par exemple une partie de l'adresse MAC. |
| La connexion Wi-Fi se déconnecte après une connexion réussie. | - Signal du réseau faible. • Rapprochez votre vehicule du point d'accès Wi-Fi ou placez-le à un endroit où le signal du réseau n'est pas obstrué. |
| Mon vehicule se trouve前几天 un point d'accès Wi-Fi mais la force du signal du réseau est faible. | - Signal du réseau obstrué. • Si votre vehicule est équipé d'un pare-brise chauffant, positionnez le vehicule de sorte que le pare-brise ne soit pas orienté face au point d'accès Wi-Fi. • Si les glaces de votre vehicule sont de teinte métallique, sauf le pare-brise, positionnez le vehicule de sorte que le pare-brise soit orienté face au point d'accès Wi-Fi, ou ouvrez les glaces qui sont orientées face au point d'accès. |
Connectivité réseau
| Symptôme | Cause et solution possible |
| • Si les glaces et le pare-brise de votre vehicule sont de teinte métallique, ouvrez les glaces qui sont orientées face au point d'accès. • Si votre vehicule se trouve dans un garage dont la porte est fermée, ouvrez la porte du garage. | |
| Le réseau que je recherche n'apparait pas dans la liste des réseaux disponibles. | - Réseau caché. • Définissez le réseau comme visible et réessayez. |
| Je ne vais pas le nom du réseau Wi-Fi lorsque je recherche des réseaux Wi-Fi depuis mon téléphone ou un autre apparueil. | - Fonction du système limitée. • Assurez-vous que le paramètre de visibilité du point d'accès Wi-Fi est activé. • Le système n'offre aucun point d'accès Wi-Fi actuellément. |
| Les téléchargesements de logiciel prennten trop de temps. | - Signal du réseau faible • Rapprochez votre vehicule du point d'accès Wi-Fi ou placez-le à un endroit où le signal du réseau n'est pas obtrué. - Point d'accès Wi-Fi en force demande ou connexion Internet lente. • Utilisez un point d'accès Wi-Fi plus friable. |
| Le système semble se connecter à un point d'accès Wi-Fi et la force du signal est excé-lente, mais le logiciel ne se met pas à jour. | - Aucune mise à jour du logiciel n'est disponible. - Le réseau Wi-Fi nécessite un abonnement ou l'acceptation des conditions d'utilisation. • Testez la connexion avec un autre apparueil. Si le réseau nécessite un abonnement ou l'acceptation des conditions d'utilisation, communiquez avec le prestataire de service de réseau. |
Connectivité réseau
Réseau mobile
| Symptôme | Cause et solution possible |
| Je ne peux pas confirmer l'association avec Lincoln Way lorsque j'essaye d'activer le modem. | - Le modem n'est pas activé. • Activez le modem avec Lincoln Way. - Signal du réseau faible. • Rapprochez votre vehicule d'un endroit où le signal du réseau n'est pas obstrué. |
Vous pouvez un point d'accès Wi-Fi dans voiture véhicule, afin de connecter des appareils pour accéder à Internet.

Appuyez sur le bouton pour accéder au menu des paramètres.
- Sélectionnez Lincoln Connect.
- Sélectionnez Point d'accès du véhicule.
Nota : Le point d'accès du véhicule est activé par défaut.
Trouver le nom et le mot de passe du point d'accès wi-fi

Appuyez sur le bouton pour accéder au menu des paramètres.
- Sélectionnez Lincoln Connect.
- Sélectionnez Point d'accès du véhicule.
- Sélectionnez Réglages.
Nota: Le SSID est le nom du point d'accès. 4. Sélectionnez Afficher le mot de passe.
Connexion d'un appareil au point d'accès wi-fi
- Activez la fonction Wi-Fi de votre appareil puis sélectionnez le point d'accès dans la liste des réseaux Wi-Fi disponibles.
Achat d'un forfait de données
- Connexion d'un appareil au point d'accès. Note: Le portail du fournisseur réseau du véhicule s'ouvre sur votre appareil.
- Si le portail ne s'ouvre pas sur votre appareil, ouvrez un site Web ; vous êtes alors redirigé vers le portail du fournisseur réseau du véhicule.
Note: Vous ne serez pas redirigé si vous ouvrez un site Web sécurisé.
- Pour acheter un forfait, suivez les instructions sur le portail du fournisseur.
Note: Si vous avez un forfait actif, le système ne vous redirige pas vers le portail du fournisseur réseau du véhicule lorsque vous connectez un appareil. Pour acheter davantage de données, visitez le site Web du fournisseur réseau de votre véhicule.
Note: Les renseignements sur l'utilisation des données disponibles dans le menu du point d'accès du véhicule sont approximatives.
Note: Si vous effectuez une réinitialisation générale, le système ne supprime pas votre véhicule du compte du fournisseur réseau. Pour supprimer votre véhicule de ce compte, communiquez avec le fournisseur réseau.
Note: Le fournisseur réseau du véhicule fournit les services de point d'accès du véhicule, selon votre contrat de fournisseur réseau, la couverture et la disponibilité du service.
Modification du nom ou du MOT de PASSE du point d'accès wi-fi

Appuyez sur le bouton pour accéder au menu des paramètres.
- Sélectionnez Lincoln Connect.
- Sélectionnez Point d'accès du véhicule.
- Sélectionnez Réglages.
- Sélectionnez Modifier.
- Sélectionnez Changer le nom SSID.
- Saisissez votre SSID requis.
- Sélectionnez Fini.
- Sélectionnez Changer le mot de passe.
- Saisissez votre mot de passe requis.
- Sélectionnez Fini.
Facteurs de réception des fréquences radio

AVERTISSEMENT: La distraction au
volant peut causer une perte de maîtrise du véhicule, un accident et des blessures. Ford recommande fortement aux
conducteurs de faire preuve d'une vigilance de tous les instants lorsqu'ils utilisent un dispositif qui pourrait nuire à leur concentration sur la route. Avant tout, vous devez vous assurer de conduire votre véhicule en toute sécurité. Nous vous conseillons de ne pas utiliser un appareil portatif lorsque vous conduisez et nous vous recommandons d'utiliser des
systèmes à commande vocale dans la mesure du possible. Assurez-vous de connaître toutes les réglementations locales en vigueur concernant l'utilisation d'appareils électroniques durant la conduite.
Note: Il est déconseillé d'écouter la chaîne audio à un volume élevé pendant de longues périodes.
| Facteurs pouvant avoir un impact sur la réception radio | |
| Distance et intensité | Plus vous vous éloignez d'une station AM ou FM, plus le signal et la réception sont faibles. |
| Terrain | Les collines, les montagnes, les grands immeubles, les Ponts, les tunnels, les viaducs, les parcs de stationnement couverts, le feuillage dense des arbres et les orages peuvent nuir à la réception. |
| Réception de signaux puis-sants avec surcharge | Lorsque vous croisez un relais de diffusion terrestre, un signal plus puissant peut interférer avec un signal plus faible, puis la chaîne stéréo est mise en sourdine. |
Autoradio

volant peut causer une perte de maîtrise du véhicule, un accident et des blessures. Ford recommande fortement aux conducteurs de faire preuve d'une vigilance de tous les instants lorsqu'ils utilisent un dispositif qui pourrait nuire à leur concentration sur la route. Avant tout, vous devez vous assurer de conduire votre véhicule en toute sécurité. Nous vous déconseillons l'utilisation d'un appareil portatif lorsque vous conduisez et nous vous recommandons d'utiliser des systèmes à commande vocale dans la mesure du possible. Assurez-vous de connaître toutes les réglementations locales en vigueur concernant l'utilisation d'appareils électroniques pendant la conduite.
E286905
Nota : Selon les options de votre véhicule, les commandes peuvent avoir une apparence différente de celle présente ici.
Nota: Certaines fonctions, comme la radio satellite, peuvent ne pas être disponibles dans notre région. Consultez un concessionnaire autorisé.
Nota: Le système à écran tactile commande la plupart des fonctions audio.
Réglage du volume
Tournez la commande pour régler le volume.
Changement des stations de radio

En mode radio, tournez pour parcourir manuellement la bande de radiofréquences.
En mode radio satellite, tournez pour couvrir la station disponible précédente ou suivante de la radio satellite.
Sélection des modes audio

Appuyez brièvement sur ce bouton pour accéder à divers modes audio tels que AM, FM et CD.
Activation et désactivation de la chaîne audio

Appuyez brièvement sur le bouton.
Activation et désactivation de l'écran
(Selon l'équipement)

Appuyez brièvement sur le bouton.
Recherche automatique, avance et retard rapides

En mode radio, CHOISSEZ une bande de fréquences et appuyez, puis relâchez un des boutons. Le système s'arrête à la première station qu'il capte dans cette direction.
En mode radio satellite, appuyez, puis relâchez pour sélectionner la prochaine ou la précédente station satellite disponible. Si vous sélectionnez une catégorie particulière, p. ex., jazz, rock ou informations, appuyez sur ce bouton pour couvrir la prochaine ou la précédente station dans cette catégorie.
L'ÉQUIPEMENT)
Nota : Les émissions HD Radio ne sont pas offertes pour tous les marchés.
La technologie HD Radio est l'évolution de la radio analogique AM-FM vers la technologie radiophonique numérique. Notre système est doté d'un récepteur spécial qui permet de recevoir des émissions numériques (si elles sont disponibles) en plus des émissions analogiques qu'il reçoit déjà. Les émissions numériques fournissant une meilleure qualité sonore que les émissions
Chançaudio
analogiques en diffusant un signal audio libre de parasites et de distorsion. Pour de plus amples renseignements et pour consulter le guide des stations et de la programmation disponibles, veuillez visiter le site www.hdradio.com.
Lorsque le système HD Radio est activé et que vous synchronisez une station qui diffuse du contenu HD Radio, vous pourrez remarquer le logo HD Radio à l'écran. Lorsque ce logo est affiché, les champs Titre et Artiste peuvent également s'afficher à l'écran.
S'il s'agit d'une station multidiffusion numérique, l'indicateur de multidiffusion s'affiche en mode FM seulement. Les nombres en surbrillance indiquent les stations numériques disponibles avec du contenu nouveau ou différent. HD1 signifie que l'état de la programmation principale est disponible sous forme d'émissions analogiques et numériques. Les autres stations multidiffusion, HD2 à HD7, ne sont diffusées qu'en mode numérique.
Lorsque les diffusions HD Radio sont actives, vous pouvez accéder aux fonctions suivantes :
- Les touches de préselection permettent d'enregistrer une station active comme station programmée. Touchez et maintenez enfoncée une touche de préréglage jusqu'à ce que le son revienne. Le son est brièvement
interrompu pendant la mémorisation de la station. Le son est rétabli au terme de la mémorisation. Lors du passage à une touche de préréglage HD2 ou HD3, le son est interrompu avant que le son numérique ne soit rétabli, car le système doit accéder de nouveau au signal numérique.
Nota: Comme pour toute autre station de radio mémorisée, il n'est pas possible de capter la station mémorisée si le véhicule est hors de portée du signal.
Chaîne audio
Réception et stations HD Radio - Dépannage
| Problèmes de réception possibles | |
| Zone de réception | Si vous écoutez une station multidiffusion et que vous étés à la limite de la zone de réception, le son peut être interrompu en raison de la faiblesse du signal. |
| Si vous écoutez la station HD1, le système passée en mode analogue jusqu'à ce que la diffusion numérique soit de nouveau disponible. Toutefois, si vous écoutez une des stations multidiffusion HD2 à HD7, le son est interrompu et ne se rétablit que lorsque le signal numérique est de nouveau disponible. | |
| Passage en alternance de station | Lors de la réception initiale d'une station, sauf pour les stations multidiffusion HD2 à HD7, le système traite d'abord la diffusion en mode analogue. Si le récepteur confirme qu'il s'agit d'une station HD Radio, il passes en mode numérique. Selon la qualité du signal reçu, le son peut changer légèrement lorsque la station passé du mode analogue au mode numérique. Le passage en alternance correspond au transfert du mode analogique au mode numérique ou vice versa. |
Dans le but d'offrir la meilleure expérience qui soit, utilisez le formulaire de communication pour signaler tous les problèmes relatifs aux stations repérés durant l'écoute d'une station diffusée à l'aide de la technologie HD Radio. Chaque station est détenue et exploitée de façon indépendante. Ces stations sont responsables de l'exactitude de la diffusion audio en continu et des champs de données.
Chançaudio
| Problèmes possibles relatifs aux stations | ||
| Problème | Cause | Mesure à prendre |
| Écho, coupures, sauts ou répetitions de l'audio. Augmentation ou diminution du volume sonore. | Mauvaise synchronisation du diffuseur radio-phonique. | Aucune intervention n'est nécessaire. Ceci est un problème de diffusion. |
| Atténuation du son ou augmentation et diminution du son en alternance. | La radio passe du mode analogue au mode numérique. | Aucune intervention n'est nécessaire. Le problème de réception peut se résoudre de lui-même à mesure que vous roulez. |
| Le son est interrompu lorsque vous sélectionnez HD2 ou HD3, une touche de préseLECTION multidiffusion ou Syntonisation directe. | La station multidiffusion n'est pas disponible jusqu'à ce que la diffusion HD Radio soit décodée. Une fois la diffusion décodée, le son se rétablit. | Aucune intervention n'est nécessaire. Il s'agit d'une situation normale. Il suffit d'attendre que le son revienne. |
| Impossible d'accéder à la chaîne de multidiffusion HD2/HD3 lorsqu'une touche de préselection est sélectionnée ou à partir de la synto-nisation directe. | La station relative à la touche de préselection ou à la syntonisation directe n'est pas disponible dans la zone de couverture que vous traversez. | Aucune intervention n'est nécessaire. La station n'est pas disponible dans votre zone courante. |
Chaîne audio
| Problèmes possibles relatifs aux stations | ||
| Problème | Cause | Mesure à prendre |
| L'information textuelle ne correspond pas à la diffusion audio actuelle. | Problème de traitement de données par le diffuseur radio. | Remplissez le formulaire de contact disponible sur le site Web mentionné ci-après.1 |
| Aucune information textuelle n'est affichée pour la fréquence sélectionnée. | Problème de traitement de données par le diffuseur radio. | Remplissez le formulaire de contact disponible sur le site Web mentionné ci-après.1 |
1 http://hdradio.com/stations/feedback
La technologie du système HD Radio est fabriquée sous licence de iBiquity Digital Corporation et de brevets étrangers. HD Radio et les logos de HD et HD Radio sont des marques déposées de DTS. Ford Motor Company et DTS ne sont pas responsables du contenu diffusé à l'aide de la technologie HD Radio. Le contenu est susceptible d'être modifié, ajouté ou supprimé à tout moment à la discrétion du propriétaire de la station.
L'équipement
La radio satellite SiriusXM® diffuse une variété de chaînes de radio satellite de musique, de nouvelles, de sports, de météo, de circulation et de variétés. Pour obtenir plus de renseignements et une liste complète des chaînes de la radio satellite SiriusXM, visitez le site www.siriusxm.com aux États-Unis, le site www.siriusxm.ca au Canada, ou appelez SiriusXM au 1888 539-7474.
Nota: Ce récepteur comprend le système d'exploitation en temps réel eCos. Le système eCos est publié sous licence d'eCos.
Chançaudio
Facteurs relatifs à la réception radio satellite
| Problèmes potentiels de réception de radio satellite | |
| Obstructions de l'antenne | Pour obtenir une réception optimale, ne laissez pas la neige et la glace s'accumuler sur l'antonne et placez les bagages et tout autre article aussi loin que possible de l'antenne. |
| Relief | Les collines, les montagnes, les grands immeubles, les Ponts, les tunnels, les viaducs, les parcs de stationnement couverts, le feuillage dense des arbres et les orages peuvent nuire à la réception. |
| Réception de signaux puis-sants avec surcharge | Lorsque vous croisez une tour de répétition de diffusion terrestre, un signal plus puissant peut interférer avec un signal plus faible, et le système audio peut être mis en sourdine. |
| Interférence du signal radio satellite | L'affichage peut indiquer ACQUISITION EN COURS... pour indiquer l'intéréference et la chaîne audio peut être mise en sourdine. |
Service de radio satellite siriusxm
Note: SiriusXM se réserve le droit absolu de modifier, réorganiser, ajouter ou supprimer des chaînes, y compris d'annuler, déplacer ou ajouter des chaînes données et de modifier des tarifs, à tout moment et avec ou sans préavis. Ford n'est aucunement responsable de ces changements de programmation.

E208625
La radio satellite SiriusXM est un service de radio satellite par abonnement qui diffuse de la musique, des sports, des nouvelles, des prévisions météorologiques, de l'information routière et du divertissement. Le système de radio satellite SiriusXM installé en usine comprend le matériel et une période d'abonnement limitée qui commence à la date de vente ou du crédit-bail du véhicule. Consultez un concessionnaire autorisé pour connaître la disponibilité du service.
Chaîne audio
Pour plus de renseignements sur les modalités d'abonnement prolongées (des frais de service sont exigés), le lecteur multimédia en ligne et une liste complète de chaînes de la radio satellite SiriusXM ainsi que d'autres caractéristiques, visitez le site www.siriusxm.com aux États-Unis, www.siriusxm.ca au Canada, ou appelez SiriusXM au 1888 539-7474.
Nombre de série électronique (ESN) de la radio satellite
Vous avez besoin de votre numéro de série électronique ESN pour activer, modifier ou consulter votre compte de radio satellite.
Localisation de votre numéro de série électronique (ESN)
En utilisant la radio satellite comme source, sélectionnez l'une des fonctions suivantes sur l'écran tactile :
- Sélectionnez Réglages. Voir Paramètres (page 528).
- Sélectionnez SiriusXM.
- Sélectionnez Information sur SiriusXM.
Dépannage
| Message | Anomalie | Mesure à prendre |
| Acquisition... | La radio prend plus de deux secondes pour produire les donnéesées audio de la chaîne sélectionnée. | Aucune intervention n'est nécessaire. Le message devrait disparaître sous peu. |
| Défaut d'antenne sat. Défaillance syst SIRIUS | Défaillance d'un module interne ou d'un système. | Si ce message ne disparaît pas sous peu ou lorsque le contact est coupé et rétabli, votre récepteur est peut-être défectueux. Consultez votre concessionnaire autorisé pour la réparation. |
| Canal non valide | La chaîne n'est plus disponible. | Syntonisez une autre station ouCHOISSEZ une autre touche de préréglage. |
Chaîne audio
| Message | Anomalie | Mesure à prendre |
| Dé Instructions canal | Cette station n'est pas comprise dans votre abonnement. | Contactez SiriusXM au 1-888-539-7474 pour vous abandonner au canal ou syntonisez un autre canal. |
| Pas de signal | Perte de signal entre le satellite SiriusXM ou la tour SiriusXM et l'antenne du vehicule. | Le signal est bloqué. Le signal devrait revenir lorsque la zone redevient dégagée. |
| Mise à jour en cours... | La mise à jour de la programmation de la châine est en cours. | Aucune intervention n'est nécessaire. Le processus peut prendre jusqu'à trois minutes. |
| Quest? Appelez 1-888-539-7474 | Votrue service de radio satellite n'est plus disponible. | Communiquez avec SiriusXM au 1 888 539-7474 pour résoudre les problèmes d'abonnements. |
| Aucune station detect. Vérif. guide canaux | Toutes les stations dans la catégorie sélectionnée sont sautées ou verrouillées. | Servez-vous du guide des stations pour désactiver la fonction de verrouillage ou de saut pour cette station. |
| Abonnement mis à jour | SiriusXM a mis à jour les canaux disponibles pour votre vehicule. | Aucune intervention n'est nécessaire. |
PORT USB

AVERTISSEMENT: La distraction au
volant peut causer une perte de maîtrise du véhicule, un accident et des blessures. Ford recommande fortement aux conducteurs de faire preuve d'une vigilance de tous les instants lorsqu'ils utilisent un dispositif qui pourrait nuire à leur concentration sur la route. Avant tout, vous devez vous assurer de conduire votre véhicule en toute sécurité. Nous vous déconseillons l'utilisation d'un appareil portatif lorsque vous conduisez et nous vous recommandons d'utiliser des systèmes à commande vocale dans la mesure du possible. Assurez-vous de connaître toutes les réglementations locales en vigueur concernant l'utilisation d'appareils électroniques pendant la conduite.
USB A


Les ports USB permettent de brancher différents lecteurs multimédias et des cartes mémoire flash et de charger des dispositifs.
Note : Nous vous recommandons d'utiliser uniquement des câbles et adaptateurs USB-IF certifiés. Les câbles et adaptateurs non certifiés peuvent ne pas fonctionner.
Localisation des ports USB
Des ports USB peuvent être disponibles aux endroits suivants :
- Dans la console centrale Sur la planche de bord inférieure
Nota: Le nombre et le type de ports USB peuvent varier en fonction du véhicule.
Nota: Tous les ports USB de votre véhicule n'ont pas les capacités de transfert des données. Voir Prises de courant auxiliaires (page 201).
Généralités

Volant peut causer une perte de maîtrise du véhicule, un accident et des blessures. Nous vous recommendons fortement de faire preuve d'une extrême prudence lorsque vous utilisez un dispositif qui pourrait nuir à votre concentration sur la route. Avant tout, vous devez vous assurer de conduire votre véhicule en toute sécurité. Nous vous déconseillons l'utilisation d'un appareil portatif lorsque vous conduisez et nous vous recommandons d'utiliser des systèmes à commande vocale dans la mesure du possible. Prenez bien connaissance de toutes les réglementations locales en vigueur concernant l'utilisation d'appareils électroniques pendant la conduite.
Le système vous permet d'interagir avec les systèmes de divertissement, d'information et de communication du véhicule à l'aide de commandes vocales et d'un écran tactile. Ce système offre un accès facile à votre chaîne audio, votre téléphone, votre système de navigation, vos applications mobiles et vos paramètres.
Nota : Vous pouvez activer le système et l'utiliser pour un maximum d'une heure sans établir le contact.
Nota : Vous pouvez utiliser le système pendant un maximum de 10 minutes après avoir coupé le contact, ou jusqu'à ce que vous ouvriez une porte.
Nota: Pour votre sécurité, certaines fonctions sont asservies à la vitesse. Elles sont inaccessibles lorsque la vitesse de votre véhicule dépasse 5 km/h (3 mph).
Utilisation de l'écran tactile

A Barred'état. B Écran d'accueil. C Horloge Voir Paramètres (page 528). D Température extérieure. E Barred fonctions.

Microphone du téléphone cellulaire en sourdine.

Système audio en sourdine.

Mise à jour du logiciel installé.

Wi-Fi connecté.

Téléphone cellulaire en itinérance.

Message texte reçu.

Système de notification de collision automatique désactivé.

Puissance du signal du réseau cellulaire.
Barre de fonctions

Sélectionnez cette option pour utiliser la radio, une clé USB, un lecteur multimédia ou un appareil. Voir Divertissement (page 497).

Sélectionnez cette option pour régler les paramètres de chauffage et de climatisation. Voir
Climatisation (page 511).

Sélectionnez cette option pour passer des appels et accéder au répertoire téléphonique de votre cellulaire. Voir Téléphone (page

Selectionnez cette option pour utiliser le système de navigation. Voir Navigation (page 517).

Sélectionnez cette option pour détecter et utiliser des applications compatibles sur votre appareil iOS. Voir Applications (page 525).

Sélectionnez cette option pour régler les paramètres du système. Voir Paramètres (page 528).
Nettoyage de l'écran tactile
Voir Nettoyage de l'habitacle (page 396).
Téléchargement d'une mise à jour
- Allez à la page de mises à jour SYNC sur le site Web du concessionnaire Ford de votre région.
- Téléchargez la mise à jour.
Nota : Le site Web vous avertit si une mise à jour est disponible.
- Insérez une clé USB dans un port USB de votre ordinateur. Nota: La clé USB doit être vide et répondre aux exigences minimales indiquées sur le site Web.
- Suivez les instructions fournies pour télécharger la mise à jour sur la clé USB.
Installation d'une mise à jour
Note : Vous pouvez utiliser le système lorsqu'une installation est en cours.
- Débranche tous les autres appareils USB des ports USB.
- Branchez la clé USB contenant la mise à jour dans un port USB.
Note: L'installation commence automatiquement après quelques minutes.
Activation des mises à jour automatiques du système

Sélectionnez l'option des paramètres dans la barre de fonctions.
- Sélectionnez Mises à jour automatiques.
- Activez Mises à jour automatiques système.
Le système est maintenant configuré pour vérifier et recevoir les mises à jour du système lorsqu'il est connecté à un réseau Wi-Fi.
Note : Vous pouvez utiliser le système lorsqu'un téléchargement est en cours.
Note: Si le système est déconnecté du réseau Wi-Fi lorsqu'un téléchargement est en cours, le téléchargement reprendra à la prochaine connexion à un réseau Wi-Fi.
Connexion à un réseau wi-fi
Voir Point d'accès Wi-Fi (page 470).
Renseignements et aides supplémentaires
Pour obtenir plus de renseignements et de l'assistance, Ford vous recommande de communiquer avec un concessionnaire agréé ou de consulter le site Web du concessionnaire Ford de votre région.
Utilisation de la reconnaissance VOCALE
Le système vous permet d'interagir avec les systèmes de divertissement, d'information et de communication du véhicule à l'aide de commandes vocales. Cela vous permet de garder les mains sur le volant et de rester concentré sur ce qui se passe devant vous.

Appuyez sur le bouton de commande vocale du volant de direction et attendez le message
vocal.
Nota: Appuyez de nouveau sur le bouton de commande vocale pour interrompre les instructions vocales et commencer à parler.
Note: Pour régler le volume, tournez la commande de volume lorsqu'une invite vocale est en cours.
Note: Appuyez sur le bouton de commande vocale situé sur le volant de direction et maintenez-le, enfoncé pour utiliser Siri sur votre appareil iOS.
Les commandes vocales suivantes sont conçues pour vous aider sur n'importe quel écran :
- Liste de commandes
Aide
Les tableaux suivants doivent les commandes vocales les plus fréquemment utilisées. Pour obtenir la liste complète des commandes vocales, consultez notre site Web.
Généralités
| Commande vocale | Description |
| — liste de commandes | Obtenir une liste de commandes vocales pour une fonction particulière.1 |
| Annuler | Annuler une session vocale active. |
| — aide | Obtenir une liste de commandes vocales pour une fonction particulière.1 |
| Retourner | Retourner à l'écran précédent. |
| Menu principal | Accéder au menu principal. |
| Page suivante | Accéder à la page suivante. |
| Page précédente | Accéder à la page précédent. |
1. Ajouter le nom de la fonction à la commande.
Divertissement
Source audio
| Commande vocale | Description |
| Radio | Utiliser la radio. |
| CD | Utiliser le lecteur de CD. |
| Stéréo Bluetooth | Utiliser un apparéil Bluetooth. |
| USB | Utiliser un dispositif USB ou un lecteur multimédia. |
Autoradio
| Commande vocale | Description |
| AM | Écouter la radio AM. |
| AM — | Syntoniser une fréquence AM particulière.1 |
| Sirius canal — | Écouter la radio SiriusXM.2 |
SYNCTM 3
| Commande vocale | Description |
| FM | Écouter la radio FM. |
| FM — | Syntoniser une fréquence FM particulière.1 |
Ajouter la fréquence radio à deux décimales à la commande. Vous pouvez enoncer le nom du canal Sirius ou le numéro comme "Canal Sirius 16" ou "Canal Sirius The Pulse".
USB et lecteur multimédia
| Commande vocale | Description |
| Lire l'album _ | Écouter votre musique par catégorie.1 |
| Jouer artiste _ | |
| Jouer genre _ | |
| Jouer liste d'écoute _ | |
| Jouer chanson _ | |
| Jouer livre audio _ | |
| Jouer balado _ | |
| Rechercher tous les albums | Parcourir la musique sur un dispositif USB. |
| Rechercher tous les artistes | |
| Rechercher tous les livres audio | |
| Rechercher tous les genres | |
| Rechercher toutes les listes d'écoute | |
| Rechercher tous les balados | |
| Rechercher toutes les chansons | |
| Rechercher album _ | Parcourir votre musique par catégorie sur un dispositif USB.1 |
| Rechercher artiste _ | |
| Rechercher livre audio _ | |
| Rechercher genre _ | |
| Rechercher liste d'écoute _ | |
| Rechercher balado _ |
1 Ajoutez un nom d'album, d'artiste, de livre audio, de genre, de liste de lecture, de balado ou de piste à la commande. Prononcez le nom exactement comme il apparaît sur votre appareil
Climatisation (selon l'équipement)
Vous pouvez régler la température du véhicule à l'aide des commandes vocales.
est une liste dynamique, en ce sens qu'elle peut afficher pour les commandes vocales du système de chauffage et de climatisation les degrés désirés pour le réglage de la température.
Pour régler la température, dites :
| Commande vocale | Description |
| Régler température à ____ degrés | Régler la température entre 15,5–29,5°C (60–85°F). |
Telephone
| Commande vocale | Description |
| Coupler téléphone | Jumeler un téléphone cellulaire ou un apparéil Bluetooth. |
| Recomposer | Recomposer le dernier numéro composé. |
| Composer _ | Composer un numéro.1 |
| Appeler _ | Appeler un contact à partir de votre répertoire.2 |
| Appeler _ _ | Appeler un contact de votre répertoire à un emplacement particulier.3 |
| Écouter message | Écouter un message sexte. |
| Écouter message texte numéro _ | Écouter un message texte particulier dans une liste. |
| Répondre au message | Répondre au dernier message texte. |
1 Ajoutez le numéro que vous souhaitez composer à la commande. 2 Ajoutez le nom d'un contact de votre réseau à la commande. Prononcez le nom et le prénom de votre contact exactement tel qu'il est affiché sur votre appareil. 3 Ajoutez le nom d'un contact et l'emplacement de votre répertoire à la commande. Prononcez le nom et le prénom de votre contact exactement tel qu'il est affiché sur votre appareil.
Navigation (seion l'équipement)
Définir une destination
| Commande vocale | Description |
| Trouver une adresse | Entrez une adresse de destination. Lorsque vous y étés invite, indiquez le numéro de la maison, la rue et la ville. |
| Trouver une destination | Recherche un point d'intérêt par nom ou par catégorie. |
| Trouver le ____ le plus-Proche | Recherche un point d'intérêt proche par catégorie.1 |
| Trouver une catégorie de PDI | Recherche une catégorie de points d'intérêt.1 |
| Destination mon domicile | Définissez l'adresse enregistrée de votre domicile comme destination. |
| Destination mon travaux | Définissez l'adresse enregistrée de votre lieu de travail comme destination. |
| Trouver une destination precedente | Affichez et sélectionnez dans la liste des destinations précédentes. |
| Destinations favorites | Affichez et sélectionnez dans la liste des destinations favorites. |
1 Ajoutez une catégorie de point d'intérêt ou le nom d'une marque ou chaîne connue à la commande.
Guidage routier
| Commande vocale | Description |
| Annuler itinéraire | Annuler l'itinétaire actuel. |
| Détour | Sélectionner un autre itinéraire. |
| Répéter instruction | Répéter la dernière invite de guidage. |
| Afficher itinéraire | Afficher un aperçu de l'itinéraire. |
| Afficher circulation routière | Afficher la liste des événements de circulation sur votre itinéraire. |
| Afficher carte | Afficher la carte sur l'écran tactile. |
| Montrer nord vers le haut | Afficher une carte bidimensionnelle avec le nord vers le haut de l'écran tactile. |
| Montrer végicule direction croit devant | Afficher une carte bidimensionnelle avec la direction de déplacement vers le haut de l'écran tactile. |
| Afficher mode 3D | Afficher une carte tridimensionnelle avec la direction de déplacement vers l'avant. |
Applications
Généralités
| Commande vocale | Description |
| Applications mobiles | Démarrer une application. Le système vous demande le nom de l'application. |
| Liste des applications | Obtenir la liste des applications executées sur votre apparéil. |
| Trouver des applications | Rechercher et se connecter à des applications executées sur votre apparéil. |
Application active
| Commande vocale | Description |
| — aide | Obtenir une liste de commandes vocales pour une application particulière.1 |
| Quitter — | Fermer une application.1 |
Ajoutez le nom d'une application à la commande.
SiriusXM Traffic et Travel Link (Selon l'équipement)
| Commande vocale | Description |
| Afficher circulation routière | Affiche une liste d'accidents de circulation. |
| Afficher carte météorologique | Affiche la carte météorologique actuelle. |
| Afficher prix du carburant | Affiche une liste de prix de carburant. |
| Prévisions météorologiques 5 jours | Affiche les prévisions météorologiques pour les cinq prochains jours. |
Paramètres vocaux
| Commande vocale | Description |
| Paramètres vocaux | Accéder au menu des paramètres vocaux. |
| Mode d'interaction standard | Activer les invites vocales longues. |
| Mode d'interaction avancée | Activer les invites vocales courtes. |
| Confirmation de téléphone Activée | Activer la confirmation d'appoint. Le système vous demande de confirmer avant de faire unappoint. |
| Confirmation de téléphone Désactivée | Désactiver la confirmation d'appoint. Le système ne vous demande pas de confirmier avant de faire unappoint. |
| Liste de Commandes Vocales Activée | Activer l'affichage des commandes vocales. |
| Liste de Commandes Vocales Désactivée | Désactiver l'affichage des commandes vocales. |
Diminution automatique de la vitesse du moteur de soufflerie
Si nécessaire, le système diminue la vitesse du moteur de soufflerie quand vous utilisez les commandes vocales afin de réduire les bruits de fond dans le véhicule. La vitesse normale est rétablie quand vous avez terminé.
Désactivation de la diminution automatique de la vitesse du moteur de soufflerie
Appuyez simultanément sur le bouton A/C et sur le bouton d'air recirculé.
Divertissement
A B
A Source audio. Permet de choisir une autre source audio. B Prééglages. Balayez vers la gauche pour voir d'autres prééglages.
Vous pouvez accéder à ces options au moyen de l'écran tactile ou des commandes vocales.
Sources
Appuyez sur ce bouton pour sélectionner la source multimédia que vous souhaitez écouter.
| Élément de menu | |
| AM | |
| FM | |
| SIRIUS | |
| CD | |
| USB | Le nom du pérophérique USB branché s'affiche ici. |
| Bluetooth stéréo | |
| Applications | Si votre téléphone intelligent connecté est équipé d'applications compatibles SYNC 3, ces dernières s'affichent ici comme des sources individuelles. |
Syntonisation d'une station
Vous pouvez utiliser les commandes de syntonisation ou de recherche automatique sur l'écran de la radio pour sélectionner une station.
Pour synchroniser une station à l'aide de l'écran tactile, sélectionnez :
| Élément de menu |
| Syntoniser |
Une fenêtre contextuelle s'affiche et vous permet de saisir la fréquence de la station. Vous pouvez uniquement saisir une station valide pour la source que vous écoutez.
Le bouton de retour en arrêté permet de supprimer le chiffre précédemment saisi.
Une fois les numéros d'appel de la station saisis, vous pouvez sélectionner :
| Élément de menu | Mesure à prendre et description |
| Entrer | Appuyez pour diffuser la station saisie. |
| Annuler | Appuyez pour quitter sans changer de station. |
Préréglages
Pour définir un nouveau préréglage, synchronisez la station de radio désirée, puis maintenez l'un des boutons de mémorisation enfoncé. Le son est brièvement mis en sourdine pendant que le système enregistre la station, puis il est rétabli.
Vous pouvez ajouter des pages de préréglage supplémentaires en utilisant l'option Réglages sur la barre de fonctions.
Radio satellite siriusxm® (si l'abonnement est actif)
Note: Cette fonctionnalité peut ne pas être disponible sur tous les marchés ou peut nécessiter un abonnement actif.

E234451
La radio satellite SiriusXM est un service de radio satellite par abonnement qui diffuse de la musique, des sports, des nouvelles, des prévisions météorologiques, de l'information routière et du divertissement. Le système de radio satellite SiriusXM installé en usine comprend le matériel et une période d'abonnement limitée qui commence à la date de vente ou du crédit-bail du véhicule. Consultez un concessionnaire autorisé pour connaître la disponibilité du service.
Pour plus de renseignements sur les modalités d'abonnement prolongées (des frais de service sont exigés), le lecteur multimédia en ligne et une liste complète de stations de radio satellite SiriusXM, ainsi que d'autres spécifications, consultez le site www.siriusxm.com aux États-Unis, le site www.siriusxm.ca au Canada, ou communiquez avec SiriusXM au 1888 539-7474.
Note: SiriusXM se réserve le droit absolu de modifier, de réorganiser, d'ajouter ou de supprimer la programmation. Cela comprend l'annulation, le déplacement ou l'ajout de canaux disponibles et la modification des tarifs, à tout moment, avec ou sans préavis. Nous ne pouvons être tenus responsables de ce genre de changement de programmation.
Note: Ce récepteur comprend le système d'exploitation en temps réel eCos. Le système eCos est publié sous licence d'eCos.
Les touches suivantes sont disponibles pour SiriusXM :
| Éléments de menu | Mesure à prendre et description | |
| Naviguer | Appuyez sur cette touche pour afficher la liste des stations disponibles. | |
| Syntoniser | Une fenêtre contextuelle s'affiche et vous permit de saisir les numérios d'appoint de la station. Une fois les numérios d'appoint des stations saisis, vous pouvez sélectionner : | |
| Entrer | Le système se symponise sur la station sélectionnée. | |
| Annuler | Vous quitterz la fenêtre contextuelle, et la diffusion de la station en cours continue. | |
| Le bouton de return en arrêté permet de supprimer le numéro précédent. | ||
| Rejourer | Vous permet d'effectuer la relecture audio sur la station actuelle. Vous pouvez effectuer la relecture audio pendant environ 45 minutes, pourvu que la station actuelle ait été syntonisée sans interruption. Le changement de station efface la diffusion audio de la chaine précédent. | |
| En direct | En mode relecture, vous ne pouvez plus sélectionner un autre préréglage sans returner à l'audio en direct. Ce bouton permet de returner à la diffusion en direct. | |
| Alerte | Permet de mémoriser le morceau, l'artiste ou l'équipe actuel en tant que favorsi. Le système vous avertit lors de la relecture de la chanson sur une des chaînes. Ce bouton permet d'activer et de modifier les alertes. Voir Paramètres (page 528). | |
Préreglages en mémoire
Pour définir un préréglage, synchronisez la station de radio désirée, puis maintenez l'un des boutons de mémorisation enfoncé. Le son est brièvement mis en sourdine pendant que le système enregistre la station, puis il
est établi une fois la station enregistrée.
Vous pouvez ajouter des pages de préréglage supplémentaires en utilisant l'option Réglages sur la barre de fonctions.
Numéro de série électronique (ESN) de la radio satellite
Vous avez besoin de votre numéro de série électronique (ESN) pour activer, modifier ou consulter votre compte de radio satellite. Voir Paramètres (page 528).
Facteurs de réception de la radio satellite SiriusXM et dépannage
| Problèmes potentiels de réception | |
| Obstructions de l'antenne | Pour obtenir une réception optimale, ne laisssez pas la neige et la glace s'accumuler sur l'antenne et placez les bagages et tous autres articles aussi loin que possible de l'antenne. |
| Relief | Les collines, les montagnes, les grands immeubles, les Ponts, les tunnels, les viaducs, les parcs de stationnement couverts, le feuillage dense des arbres et les orages peuvent nuire à la réception. |
| Réception de signaux puissants avec surcharge | Lorsque vous croisez une tour de répétition de diffusion terrestre, un signal plus puissant peut interférer avec un signal plus faible, et le système audio peut être mis en sourdine. |
| Interférence du signal radio satellite | L'affichage peut indiquer ACQUISITION EN COURS... pour indiquer que l'interférence et la chaîne audio peut être mise en sourdine. |
| Conseils de dépannage | ||
| Message | Cause | Mesure à prendre |
| Acquisition signal | La radio prend plus de deux secondes pour produire les donnéesées audio de la chaîne sélectionné. | Aucune intervention n'est nécessaire. Le message devrait disparaitre sous peu. |
| Défaillance antenna satelliteDéfaillance du système SIRIUS | Défaillance d'un module interne ou d'un système. | Si ce message ne disparait pas sous peu ou lorsque le contact est coupé et rétabli, votre récepteur est peut-être défectueux. Consultez votre concessionnaire autorisé pour la réparation. |
| Station introuvable | La chaîne n'est plus disponible. | Syntonisez une autre station ouCHOISSEZ une autre touche de préréglage. |
| Désinscription station | Cette station n'est pas comprise dans votre abonnement. | Contactez SiriusXM au 1-888-539-7474 pour vous abandonner au canal ou syntonisez un autre canal. |
| Acquisition signal satellite | Perte de signal entre le satellite SiriusXM ou la tour SiriusXM et l'antenne du vehicule. | Le signal est bloqué. Le signal devrait revenir lorsque la zone redevient dégagée. |
| Mise à jour en cours... | La mise à jour de la programmation de la chaîne est en cours. | Aucune intervention n'est nécessaire. Le processus peut demander jusqu'à trois minutes. |
| Questions? Appelez: | Votre service de radio satellite n'est plus disponible. | Communique avec SiriusXM au 1 888 539-7474 pour résoudre les problèmes d'abonnement. |
| Pas trouvée. Vérifier guide chaines | Toutes les stations dans la catégorie sélectionnée sont sautées ou verrouillées. | Servez-vous du guide des canaux ou de la vignette des réglages Sirius XM pour désactiver la fonction Verrouillage ou Saut pour cette station. |
| Mise à jour abonnement SIRIUS... | SiriusXM a mis à jour les canaux disponibles pour votre vehicule. | Aucune intervention n'est nécessaire. |
Renseignements sur le système HD radio (selon l'équipement)
Pour activer HD Radio, consultez les Paramètres de la radio dans le chapitre Paramètres. Voir Paramètres (page 528).
Note: Les émissions HD Radio ne sont pas offertes pour tous les marchés.
La technologie HD Radio est l'évolution de la radio analogique AM-FM vers la technologie radiophonique numérique. Votre système est doté d'un récepteur spécial qui permet de recevoir des émissions numériques (si elles sont disponibles) en plus des émissions analogiques qu'il reçoit déjà. Les émissions numériques fournissant une meilleure qualité sonore que les émissions analogiques en diffusant un signal audio libre de parasites et de distorsion. Pour obtenir de plus amples renseignements et pour consulter le guide des stations et de la programmation disponibles, veuillez visiter :
| Site Web |
| www.hdradio.com |
Lorsque le système HD Radio est activé et que vous sélectionnez une station qui diffuse du contenu HD Radio, vous remarquerez les indications suivantes à l'écran :

E142616
Le logo HD est gris lors de la réception d'une station numérique, puis passé à l'orange lorsque le signal audionumérique est diffusé. Lorsque ce logo est accessible, les champs Titre et Artiste peuvent également s'afficher à l'écran.
L'indicateur de multidiffusion s'affiche en mode FM seulement s'il s'agit d'une station multidiffusion numérique. Les nombres en surbrillance indiquent les stations numériques disponibles avec du contenu nouveau ou différent. HD1 signifie que l'état de la programmation principale est disponible sous forme d'émissions analogiques et numériques. Les autres stations multidiffusion (HD2 à HD7) ne sont diffusées qu'en mode numérique.
Note: Il existe par ailleurs une fonction supplémentaire pour les stations qui disposent de plus d'une multidiffusion HD (par exemple, HD1 ou HD2). Le logo et le texte HD Radio s'affichent sous forme de bouton. Ce bouton vous permet de faire défilé toutes les stations HD sur cette fréquence donnée. Par exemple, si vous êtes sur 101.1 et que HD1, HD2 et HD3 sont disponibles, l'appui répété sur ce bouton enclenche le défilé des stations HD dans un ordre croissant cyclique.
Lorsque les diffusions HD Radio sont actives, vous pouvez accéder aux fonctions suivantes :
| Message | Mesure à prendre et description |
| PréRéglag. | Vous permet d'enregistrer une station active comme préréglage. Appuyez sur un bouton de préréglage et maintenez-le,enforcé jusqu'à ce que le son revienne. Le son est brivement inter-rompu pendant la mémorisation de la station. Le son est rétabli une fois la station enregistrée.Lors du passage à une touche de préréglage HD2 ou HD3,le son est interrompu avant que le son numérique ne soit rétabli,car le système doit accérir de nouveau le signal numérique; |
Note : À l'instar de toute station mémorisée, vous ne pouvez pas capter la station mémorisée si votre véhicule se trouve hors de la zone de réception de la station.
Réception et stations HD Radio - Dépannage
| Problèmes potentiels de réception | |
| Zone de réception | Si vous écoutez une station multidiffusion et que vous étés à la limite de la zone de réception, le son peut être interrompu en raison de la faiblesse du signal. |
| Si vous écoutez le canal HD1, le système passée en mode analogue jusqu'à ce que la diffusion numérique soit de nouveau disponible. Toutefois, si vous écoutez une des stations multidiffusion HD2 à HD7, le son est interrompu et ne se rétablit que lorsque le signal numérique est de nouveau disponible. | |
| Passage en alternance de station | Lors de la réception initiale d'une station (sauf pour les stations multidiffusion HD2 à HD7), le système traite d'abord la diffusion en mode analogue. Si le récepteur confirme qu'il s'agit d'une station HD Radio, il passes en mode numérique. Selon la qualité du signal reçu, le son peut changer légèrement lorsque la station passée du mode analogue au mode numérique. Le passage en alternance correspond au transfert du mode analogique au mode numérique ou vice versa. |
Dans le but d'offrir la meilleure expérience qui soit, utilisez le formulaire de communication pour signaler tous les problèmes relatifs aux stations reprises durant l'écoute d'une station diffusée à l'aide de la technologie HD Radio. Chaque station est détenue et exploitée de façon indépendante. Ces stations sont responsables de la diffusion audio en continu et de l'exactitude des champs de données.
| Problèmes de station potentiels | ||
| Problème | Cause | Mesure à prendre |
| Écho, coupures, sauts ou répetitions de l'audio. Augmentation ou diminution du volume sonore. | Il s'agit d'une mauvaise synchronisation de la part du diffuseur radiophonique. | Aucune intervention n'est nécessaire. Ceci est un problème de diffusion. |
| Atténuation du son ou augmentation et diminution du son en alternance. | La radio passe du mode analogue au mode numérique. | Aucune intervention n'est nécessaire. Le problème de réception peut se résoudre de lui-même à mesure que vous roulez. |
| Le son est interrompu lorsque vous sélectionnez HD2 ou HD3, une touche de préseLECTION multidiffusion ou Syntonisation directe. | La station multidiffusion n'est pas disponible jusqu'à ce que la diffusion HD Radio soit décodée. Une fois la diffusion décodée, le son se rétablit. | Aucune intervention n'est nécessaire. Il s'agit d'une conséquence normale. Il suffit d'attendre que le son revienne. |
| Impossible d'acceder à la chaîne de multidiffusion HD2 ou HD3 lorsqu'un bouton de préselection est sélectionné ou à partir de la syntonisation directe. | La station relative au bouton de préselection ou à la syntonisation directe n'est pas disponible dans la zone de couverture que vous traversez. | Aucune intervention n'est nécessaire. La station n'est pas disponible dans votre zone courante. |
| L'information textuelle ne correspond pas à la diffusion audio actuelle. | Problème de traitement de données par le diffu-seur radio. | Remplissez le formulaire relatif aux problèmes de station radiophonique. |
| Aucune information textuelle n'est affichée pour la fréquence sélectio-nnée. | Problème de traitement de données par le diffu-seur radio. | Remplissez le formulaire relatif aux problèmes de station radiophonique. |
| Formulaire Problèmes de station |
| http://hdradio.com/stations/feedback |
La technologie du système HD Radio est fabriquée sous licence de iBiquity Digital Corporation et de brevets étrangers. HD Radio et les logos HD et HD Radio sont des marques de commerce de DTS. Le constructeur de véhicule et DTS Inc ne sont pas responsables du contenu diffusé à l'aide de la technologie HD Radio. Le contenu est susceptible d'être modifié, ajouté ou supprimé à tout moment à la décision du propriétaire de la station.
CD (selon l'équipement)
Une fois cette option sélectionnée, le système vous ramène à l'écran audio principal.
Les informations audio en cours s'affichent à l'écran.
Les touches suivantes sont également disponibles :
| Bouton | Fonction |
| Naviguer | Vous pouvez utiliser la touche de navigation pour sélectionner une piste. |
| étalonnés | Si vous appuyez sur cette touche, le chiffre un s'affiche en petit pour indiquer que la piste va être répétée.Pour les CD MP3, cette touche permet de changer d'etat entre Répéter désactivé, Répéter une piste (le chiffre un s'affiche en petit) et Répéter le dossier en cours (un petit dossier apparait). |
| Lecture aléatoire | Sélectionnez la lecture aléatoire pour dire les pistes audio sur le disque de façon aléatoire. |
Vous pouvez utiliser les boutons d'avance, de recul, de pause ou de lecture pour commander la lecture audio.
Bluetooth audio ou USB
Les options Bluetooth Audio et USB vous permettent d'accéder au média stocké sur votre périphérique Bluetooth ou USB (musique, livres audio ou podcasts).
Les touches suivantes sont disponibles pour Bluetooth et USB :
| Bouton | Fonction |
| étalonnés | Une pression sur le bouton de répétition permet de basculer entre trois modes : Répéter désactivé (touche éteinte), Répéter activé (touche en surbrillance) et Rejouer chanson (touche en surbrillance avec le chiffre un en petit). |
| Lecture aléatoire | Permet de jourer les pistes dans un ordre aléatoire. |
Vous pouvez utiliser les boutons d'avance, de recul, de pause ou de lecture pour commander la lecture audio.
Pour obtenir plus de renseignements sur la piste actuellement lue, appuyez sur la couverture d'album ou sur le bouton Info.
Pour certains appareils, SYNC 3 permet de définir une option Sauter de 30 secondes lorsque vous écoutez des livres audio ou balados. Ces boutons permettent d'avancer ou de reculer au sein d'une piste.
Tout en lisant un matériel audio depuis un périphérique USB, vous pouvez rechercher une musique donnée à l'aide des options ci-après.
| Bouton | Fonction |
| Naviguer | Si disponible, affiche la liste des pistes dans la liste d'écoute en cours. |
| Nouv. rech. | Cette option disponible dans la navigation permet de dire toutes les pistes ou de filtrer les medias disponibles dans l'une des catégories ci-dessous. |
| Lire tout | |
| Listes d'écoute | |
| Artiste | |
| Albums | |
| Pistes | |
| Genres | |
| Balados | |
| Livres audio | |
| Compositeurs | |
| Sauter A - Z | Ce bouton permet deCHOISIR unelette particulière à afficher dans la catégorie consultée. |
| Exploration de l'appareil | Si elle est disponible, cette option permet de parcourir les dossiers et les fichiers sur votre péripérisque USB. |
Ports USB E285280
Les ports USB se trouvent soit dans la console centrale, soit derrière un petit volet d'accès dans la planche de bord.
Cette fonction permet de brancher des appareils multimédias USB, des cartes mémoire, des lecteurs flash ou des clés USB, et de recharger des appareils si cette fonction est prise en charge.
Sélectionnez cette option pour activer la lecture audio depuis votre périphérique USB.
Applications
Le système prend en charge l'utilisation de certaines applications audio, comme iHeartRadio, par l'intermédiaire d'appareils USB ou compatibles Bluetooth.
Chaque application vous offre différentes options à l'écran, en fonction de son contenu. Voir Applications (page 525).
Information sur les lecteurs multimédia, les formats et les métadonnées pris en charge
Le système est compatible avec presque tous les lecteurs multimédia numériques, y compris les iPod, les iPhone et la plupart des périphériques USB.
Formats audio pris en charge : MP3, WMA, WAV, AAC et FLAC.
Extensions de fichiers audio prises en charge: MP3, WMA, WAV, M4A, M4B, AAC et FLAC.
Systèmes de fichiers USB pris en charge : FAT, exFAT et NTFS.
SYNC 3 permet également d'organiser les médias de votre périphérique USB en fonction des étiquettes de métadonnées. Les étiquettes de métadonnées, qui sont des identificateurs logiciels intégrés dans vos fichiers multimédia, fournissent des renseignements sur les fichiers.
Si les étiquettes intégrées dans vos fichiers multimédias indexés ne renferment aucune donnée, SYNC 3 peut classer les étiquettes de métadonnées vides sous "inconnu".
SYNC 3 permet d'indexer jusqu'à 50 000 pistes par périphérique USB, pour un maximum de 10 périphériques.
Climatisation
Appuyez sur le bouton de climatisation à l'écran tactile pour accéder aux fonctions de chauffage et climatisation.
Note: Vous pouvez avoir le désir d'afficher la température en degrés Fahrenheit ou Celsius. Voir Paramètres (page 528).
Accès au menu de commande de chauffage et de climatisation

Appuyez sur le bouton pour accéder à des commandes supplémentaires du système de
chauffage et de climatisation avant.
Orientation de l'écoulement de l'air

Appuyez sur le bouton pour diriger l'écoulement d'air aux poches d'air et de désembuage du
pare-brise.

Appuyez sur le bouton pour diriger l'air vers les bouches d'air de la planche de bord.

Appuyez sur le bouton pour diriger l'air vers les bouches d'air du plancher avant.
Vous pouvez orienter l'air au moyen de toute combinaison de ces bouches d'air.
Réglage de la vitesse du ventilateur d'habitacle

Appuyez sur la flèche vers le haut ou vers le bas pour augmenter ou diminuer le volume d'air qui circule
Dans l'habitacle.
Réglage de la température
Appuyez sur la flèche vers le haut ou vers le bas de la commande de chauffage et de climatisation gauche pour régler la température du côté gauche.
Note: Cette commande permet égressément de régler la température du côté droit lorsque vous désactivez la fonction de régulation à deux zones.
Appuyez sur la flèche vers le haut ou vers le bas de la commande de chauffage et de climatisation droite pour régler la température du côté droit.
Activation et désactivation du mode AUTO

Appuyez sur le bouton pour activer le mode automatique, puis régalez la température.
Le système règle la vitesse du moteur de soufflerie, la répartition de l'air, le fonctionnement de la climatisation et l'admission d'air extérieur ou la recirculation de l'air pour atteindre la température sélectionnée et la sélectionner.
Activation/désactivation du système de climatisation

Un message contextuel s'affiche à l'écran pour partager les options de climatisation.
A/C maxi: Appuyez sur ce bouton pour activer et maximiser le refroidissement. La température des côtes conducteur et passager est réglée au niveau le plus bas (LO), l'air recirculé est diffusé par les bouches d'air de la planche de bord, la climatisation se met automatiquement en fonction et le ventilateur se règle automatiquement à la vitesse maximale.
A/C: Appuyez sur ce bouton pour activer ou désactiver la climatisation. Utilisez la climatisation avec l'air recirculé pour améliorer le rendement et l'efficacité du refroidissement.
Note : Dans certaines conditions, comme le dégivrage maximal, le compresseur de climatisation peut continuer à fonctionner même si la climatisation est désactivée.
Activation et désactivation de la commande de chauffage et de climatisation

Appuyez sur le bouton.
Activation et désactivation des sièges à régulation de température

Appuyez sur le bouton pour accéder aux divers réglages de sièges à régulation de température hors fonction.
Activation et désactivation du mode de régulation à deux zones

Appuyez sur le bouton pour activer la commande de température du côté droit du véhicule.
Activation/désactivation des rétroviseurs extérieurs chauffants

Appuyez sur le bouton.
Activation et déactivation du pare-brise chauffant

Appuyez sur le bouton pour dégivrer et désembuer le pare-brise. Le pare-brise chauffant s'allume au bout de quelques instants.
Activation/désactivation de la lunette arrière chauffante

Appuyez sur le bouton pour éliminer le givre et la buée de la lunette arrière.
Activation et désactivation des sièges chauffants

Appuyez sur le bouton pour accéder aux divers réglages de chauffage et à la mise hors
fonction.
Activation/désactivation du volant de direction chauffant

Appuyez sur le bouton.
Activation et désactivation de la climatisation au maximum

Appuyez sur ce bouton pour activer la climatisation maximale.
L'air recyclé est diffusé par les bouches d'air de la planche de bord, la climatisation se met en marche et le moteur de soufflerie se règle à la vitesse maximale.
Activation et déactivation du dégivrage maximal

Appuyez sur ce bouton pour activer le dégivrage maximal.
L'air est diffusé par les bouches d'air du pare-brise et le moteur de soufflerie se règle à la vitesse maximale.
Vous pouvez utiliser aussi ce réglage pour désembuer le pare-brise et éliminer une mince couche de glace.
Nota: Pour éviter l'embuage des glaces, il n'est pas possible de sélectionner l'air recirculé lorsque le dégivrage maximal est activé.
Nota: La lunette arrière chauffante s'active aussi lorsque vous sélectionnez le dégivrage maximal.
Activation et désactivation de l'air recirculé

Appuyez sur ce bouton pour basculer entre l'air extérieur et l'air recirculé.
L'air dans l'habitacle est recirculé. Cela peut ainsi réduire le temps de refroidissement de l'habitacle (de concert avec A/C) et minimiser l'infiltration des odeurs indésirables.
Note: L'air recirculé peut se désactiver (ou ne pas s'activer) dans tous les modes sauf MAX A/C afin de réduire le risque de formation de buée. Par très forte chaleur, le recyclage de l'air peut aussi être automatiquement activé/désactivé dans diverses combinaisons de commande de répartition d'air pour améliorer l'efficacité de refroidissement.
Activation et désactivation des sièges ventilés

Appuyez sur le bouton pour accéder aux divers réglages de siège ventilé et à la mise hors
fonction.
Accès aux commandes de chauffage et de climatisation arrière

Appuyez sur le bouton pour accéder à des commandes supplémentaires du système de
chauffage et de climatisation arrière.
Témoin de verrouillage de la commande de climatisation arrêté

Appuyez sur le bouton.
Lorsque ce témoin est allumé, les réglages de chauffage et de
climatisation arrière s'effectuent à l'aide des commandes avant.
Activation et désactivation du mode auto-arrêter

Appuyez sur le bouton pour activer le mode automatique arrêté, puis réglez la température.
Activation et désactivation des sièges à régulation de température arrière

Appuyez sur le bouton pour accéder aux divers réglages de siège à régulation de température
et à la mise hors fonction.
Activation/désactivation des sièges chauffants

Appuyez sur le bouton pour accéder aux divers réglages de chauffage et à la mise hors
fonction.
Activation/désactivation des sièges ventilésarrêté

Appuyez sur le bouton pour accéder aux divers réglages de siège ventilé et à la mise hors
fonction.
Telephone

AVERTISSEMENT: La distraction au
volant peut causer une perte de maîtrise du véhicule, un accident et des blessures. Nous vous recommandons fortement de faire preuve d'une extrême prudence lorsque vous utilisez un dispositif qui pourrait nuir à votre concentration sur la route. Avant tout, vous devez vous assurer de conduire votre véhicule en toute sécurité. Nous vous déconseillons l'utilisation d'un appareil portatif lorsque vous conduisez et nous vous recommandons d'utiliser des systèmes à commande vocale dans la mesure du possible. Assurez-vous de connaître toutes les lois sur l'utilisation d'appareils électroniques pendant la conduite.
Vérifiez la compatibilité de votre appareil sur le site Web de votre région.
Jumelage initial de votre téléphone cellulaire
Accédez au menu des paramètres de votre téléphone cellulaire et activez Bluetooth.

Sélectionnez l'option téléphone sur la barre de fonctions.
- Sélectionnez Ajouter tel..
Nota: Un message vous signale de rechercher véhicule sur votre téléphone portable.
- Sélectionnez votre véhicule sur votre téléphone portable.
Note: Un numéro apparait sur votre téléphone et sur l'écran tactile.
- Confirmez que le numéro sur votre téléphone portable correspond au numéro de l'écran tactile.
Note: L'écran tactile indique que vous avez jumelé votre téléphone cellulaire avec succès.
- Lorsque vous y êtes invité, téléchargez votre répertoire à partir de votre téléphone cellulaire.
Note: Si vous jumelez plus d'un téléphone cellulaire, utilisez les paramètres du téléphone pour indiquer le téléphone principal. Vous pouvez modifier ce réglage à tout moment.
Appels récents
Affichez et sélectionnez une entrée dans une liste d'appels antérieurs.
Contacts
Affichez un formulaire de recherche intelligent pour consulter vos contacts. Utilisez le bouton pour trier vos contacts dans l'ordre alphabétique.
Changer l'appareil
Affichez la liste des appareils jumelés et connectés que vous pouvez sélectionner.
Réglages du téléphone
Modifiez les sonneries, les alertes ou jumelez un autre téléphone.
Ne pas déranger
Refusez les appels entrants et désactivez les sonneries et alertes.
Clavier tel.
Composez directement un numéro.
Sourdine
Mettez le microphone en sourdine.
Paramétrage de notification de message texte
- Accédez au menu des paramètres de votre téléphone cellulaire.
- Sélectionnez Bluetooth.
- Sélectionnez l'icône d'information à droite de votre véhicule.
- Activez les notifications de message texte.
SYNCTM 3
- Accédez au menu des paramètres de votre téléphone cellulaire.
- Sélectionnez Bluetooth.
- Sélectionnez l'option Profils.
- Sélectionnez le profil du téléphone.
- Activez les notifications de message texte.
Utilisation de la messagerie texte
| Élement de menu | Description |
| Écouter | Écoutez le message texte. |
| Voir | Affichez le message/texte. |
| Appeler | Appelez l'expéditeur. |
| Répon. | Répondez au message/texte par un message/texte standard. |
Apple carplay (selon l'équipement)
- Connectez votre appareil à un port USB.
- Suivez les instructions sur l'écran tactile.
Note: Certaines fonctions du système ne sont pas disponibles lorsque vous utilisez Apple CarPlay.
Détection d'apple carplay

Sélectionnez l'option des paramètres dans la barre de fonctions.
- Sélectionnez Préférences d'Apple CarPlay.
- Désactivez Apple CarPlay.
Android auto (selon l'équipement)
- Connectez votre appareil à un port USB.
- Suivez les instructions sur l'écran tactile.
Note: Vous devrez peut-être activer Android Auto dans le menu des paramètres.
Note: Certaines fonctions du système ne sont pas disponibles lorsque vous utilisez Android Auto.
Désactivation d'android auto

Sélectionnez l'option des paramètres dans la barre de fonctions.
- Sélectionnez Android Auto.
- Désactivez Android Auto.
Navigation (SELON l'équipement)
Note : Consultez notre site Web pour en savoir plus.

Sélectionnez l'option de navigation dans la barre de fonctions.
A Menu Vue de la carte. B Zoom arrière.
C Zoom avant. D Menu de guidage routier. E Menu d'entrée de destination.
Définir une destination
Menu d'entrée de destination
| Élément | Description |
| Rechercheer | Entrez une adresse de destination. |
| Destinations précédentes | Affichez et sélectionnez dans la liste des destinations précédentes. |
| Maison | Définissez l'adresse enregistrée de votre domicile comme destination. |
| Bureau | Définissez l'adresse enregistrée de votre lieu de travail comme destination. |
| Favoris | Affichez et sélectionnez dans la liste des destinations favorites. |
Définition d'une destination à l'aide de l'écran d'entrée de texte

A Champ d'entrée de texte. B Suggestions automatiques basées sur le texte que vous entrez. C Icône d'information.
D Recherche. E Paramètres du clavier.
Note: Sélectionnez l'une des suggestions pour copier les détails dans le champ d'entrée de texte.
Vous pouvez effectuer une recherche en entrant un élément ou tous les éléments de la destination, comme l'adresse, la catégorie ou le nom du PDI, l'intersection, la ville, la latitude et la longitude, etc. Conseils: Si vous ne spécifiez pas d'emplacement, le système utilise l'emplacement actuel du véhicule. Vous pouvez spécifier un emplacement par adresse, ville, province ou code postal. Pour obtenir plus d'aide à la recherche, veuillez consulter: owner.lincoln.com.
Note: Appuyez sur le bouton situé dans le coin supérieur droit de la carte principale pour afficher l'heure prévue d'arrivée, le temps de trajet restant ou la distance jusqu'à votre destination.
Définition d'une destination à l'aide de l'écran de carte

A Recentrer la carte. B Emplacement sélectionné. C Rotation de la carte 3D. Glissement vers la gauche ou la droite. D Nom de la destination. E Démarrer le guidage routier.
Sélectionnez l'emplacement sur la carte.
Sélectionnez Commencer pour lancer le guidage.
Modification du format de la carte
Affichez la carte dans l'un des formats suivants :
- Carte bidimensionnelle avec la direction de déplacement vers le haut de l'écran.
- Carte bidimensionnelle avec le nord vers le haut de l'écran.
- Carte tridimensionnelle avec la direction de déplacement vers l'avant.
Zoom
Afficher plus ou moins de détails sur la carte.
Nota: Vous pouvez effectuer un zoom avant ou arrière à l'aide de gestes de pincement. Placez deux doigts sur l'écran et écartez-les pour effectuer un zoom avant. Placez deux doigts sur l'écran et rapprochez-les pour effectuer un zoom arrière.
Guidage routier

Indicateur de virage.
Sélectionnez-le pour entendre la thématique invite vocale.
B Point d'intérêt.
C Heure prévue d'arrivée, distance jusqu'à votre destination ou temps de trajet restant. D Nom de la rue dans laquelle vous vous trouvez. E Mise en sourdine des invites vocales.
Note: Pour modifier le volume des invitations vocales, tournez la commande de volume lorsqu'une invitation vocale est diffusée.
Menu de guidage routier
| Élément de menu | Description |
| Affichage | Réglez vos préférences de carte pour le guidage routier. |
| Carte complête | Affichez la carte en mode plein écran pendant le guidage routier. |
| Info sortie d'autoroute | Affichez les informations de sortie d'autoroute pour l'itinéraire en cours. |
| Liste virages | Affichez la liste des changements de direction pour l'itinéraire en cours. Sélectionnez une route à éviter. |
| Liste circulation | Appuyez sur ce bouton pour accéder à l'information SiriusXM Traffic et Travel Link. Un abonnement à SiriusXM Traffic et Travel Link valable est nécessaire pour avoir accès à cette information. Lorsqu'un itinéraire n'est pas actif, une liste d'accidents de la circulation à proximité s'affiche. Lorsqu'un itinéraire est actif, vous pouvez afficher une liste de circulation à proximité ou sur l'itinéraire. |
| Réglages de navigation | Réglez les paramètres de navigation. Voir Paramètres (page 528). |
| Où suis-je? | Affichez des informations sur votre position actuelle. |
| Annuler itinéraire | Annulez le guidage routier. |
| Visionner itinéraire | Affichez la totalité de l'itinéraire en cours sur la carte. |
| Détour | Affichez un autre itinéraire que celui en cours. |
| Modifier points de passage | Modifiez l'ordre ou supprimez des points de cheminement. |
| Optimiser ordre | Le système déterminé pour vous l'ordre des points de cheminement. |
| Aller | Accédez à l'écran suivant et commencez un nouvel itinéraire. |
Réglage du volume des invitations vocales
Pour régler le volume, tournez la commande de volume lorsqu'une invite vocale est diffusée.
Note: Si vous avez réglé par inadvertance le volume à zéro, appuyez sur le bouton d'indication de virage pour réécouter la dernière invite vocale, puis régalez le volume au niveau souhaité.
Mise en sourdine des invitations vocales

Sélectionnez l'option de mise en sourdine à l'écran pour couper le son des invites vocales.
Note: Le système met en sourdine toutes les invitations ultérieures.
Ajout de points de cheminement
Vous pouvez ajouter un point de cheminement à votre itinéraire de navigation comme destination sur votre itinéraire. Vous pouvez ajouter jusqu'à cinq points de cheminement.
- Sélectionnez l'option de recherche sur la carte.
- Définissez une destination.
- Sélectionnez Ajout. Pt pass..
- Sélectionnez Aller.
Annulation du guidage routier

Sélectionnez l'option de menu de guidage routier dans l'écran de guidage actif.
Sélectionnez Annuler itin.
Note: L'option de menu de guidage routier se trouve toujours dans le coin inférieur droit de la carte principale.
Cityseeker (selon l'équipement)
Nota: Les renseignements relatifs aux points d'intérêt du service cityseeker se limitent à environ 1110 villes, soit 1049 villes américaines, 36 villes canadiennes et 15 villes mexicaines.

Lorsqu'il est disponible, cityseeker est un service qui fournit plus de renseignements sur certains points d'intérêt comme les restaurants, les hôtels et les attractions.
Lorsque vous avez sélectionné un point d'intérêt, sa situation géographique et les renseignements s'y rapportant, comme l'adresse, le numéro de téléphone et le classement, s'affichent.
Appuyez sur Renseignements supplémentaires pour obtenir une photo, des commentaires, la liste des services et des installations, le prix moyen de la salle ou du repas ainsi que l'adresse du site Web. Cet écran affiche les icônes des points d'intérêt.
Pour les restaurants, cityseeker peut fournir des renseignements tels que le nombre d'étoiles, le prix moyen, les commentaires, l'accès pour les handicapés, les heures d'ouverture et l'adresse du site Web.
Pour les hôtels, cityseeker peut fournir des renseignements tels que le nombre d'étoiles, la catégorie de prix, les commentaires, les heures d'arrivée et de départ, les icônes de services de l'hôtel et l'adresse du site Web. Les icônes des services de l'hôtel complètent :
Restaurant - Centre d'affaires - Aménagements pour les handicapés - Blanchisserie - Réfrigérateur - Service à l'étage 24 heures
centre de conditionnement physique accès à Internet piscine Wi-Fi
Le système calcule l'itinéraire qui assure la plus grande économie de carburant en fonction des limitations de vitesse, de la circulation et des conditions routières. Vous connaissiez peut-être un raccourci qui s'est avéré plus économique à une certaine heure que l'itinéraire fourni par SYNC 3. Ce dernier indiquera alors une différence de quelques minutes ou quelques kilomètres.
Guide touristique michelin (selon l'équipement)
Le guide touristique Michelin est un service qui fournit des informations supplémentaires à propos de certains points d’intérêt tels que des restaurants, des hôtels et des sites touristiques. Les points d’intérêt pour lesquels le guide touristique Michelin propose des renseignements supplémentaires sont signalés par un bouton. Appuyez sur ce bouton pour consulter les renseignements supplémentaires. Si vous avez jumelé votre téléphone au système, vous pouvez appuyer sur le bouton Téléphone pour appeler directement le point d’intérêt sélectionné.
Précision et mises à jour des cartes de navigation
HERE est le fournisseur de cartes numériques pour l'application de navigation. Si vous trouvez des erreurs de données de carte, vous pouvez les signaler directement à HERE en allant à l'adresse www.here.com. HERE évalue toutes les erreurs de carte rapportées et communique le résultat de ses investigations par courriel.
Les données de carte du système de navigation peuvent contenir des renseignements inexacts ou incomplets en raison du passage du temps, de l'évolution des circonstances, des sources utilisées et de la nature exhaustive de la collecte de données géographiques, de tout ce qui peut conduire à des résultats incorrectly. Des renseignements inacts sur les limites de vitesse, les restrictions de virages et autres caractéristiques routières pourraient influer sur l'itinéraire calculé et le guidage associé.
Des mises à jour cartographiques annuelles du système de navigation sont disponibles à l'achat par l'entremise de votre concessionnaire. Selon cette entente d'achat, vous pourriez être admissible à une mise à jour gratuite de la carte. Vous pouvez désirer de télécharger la mise à jour des données de carte sur une clé USB, de commander une clé USB ou d'utiliser le réseau Wi-Fi pour obtenir les mises à jour automatiques. Pour effectuer la mise à jour des données de carte par réseau Wi-Fi, votre véhicule doit se trouver à portée d'un point d'accès Wi-Fi. Les fichiers de données de carte sont très lourds. Pour éviter des frais de données élevés, nous recommandons d'effectuer la mise à jour lorsque vous avez accès à un réseau Wi- Fi gratuit. Pour en savoir plus sur les mises à jour par clé USB, l'admissibilité à la mise à jour gratuite ou d'autres détails, communiquez avec les détaillants au 1866 462-8837 aux États-Unis et au Canada ou au 01 800 557-5539 au Mexique. Vous pouvez également visiter notre site Web local.
Applications
Le système vous permet d'interagir avec certaines applications mobiles sans quitter la route des yeux. Avec les commandes vocales, les boutons au volant de direction ou un léger appui sur votre écran tactile, vous pouvez contrôler les applications mobiles compatibles. Vous pouvez aussi diffuser vos musiques ou balados favoris, partager votre heure d'arrivée avec vos amis et rester connecté en toute sécurité.
La première fois que vous démarrez une application au moyen du système, le système pourrait vous demander d'accorder certaines autorisations. Vous pouvez consulter et modifier les autorisations accordées à tout moment lorsque le véhicule n'est pas en mouvement. Nous vous recommandons de vérifier votre forfait de données avant d'utiliser vos applications au moyen du système. Leur utilisation pourrait engendrer des frais supplémentaires. Avant d'utiliser une application, nous vous recommandons également de consulter les conditions générales de son fournisseur et sa politique de confidentialité. Vérifiez que vous
possédez un compte actif pour les applications que vous souhaitez utiliser au moyen du système. Certaines applications peuvent fonctionner sans configuration. D'autres exigent de configurer certains paramètres personnels avant de les utiliser.
Note: Pour de plus amples renseignements sur les applications disponibles, visitez le site catalog.ford.com.
Utilisation d'applications sur un appareil ios

Sélectionnez l'option Applications dans la barre de fonctions.
- Notre appareil est connecté par USB, désactiver CarPlay. Voir Téléphone (page 514).
- Connectez votre appareil à un port USB ou jumelez-le et connectez-le à l'aide de Bluetooth.
- Si un message vous invite à activer CarPlay, sélectionnez Désact..
- Sur votre appareil, démarrez les applications que vous souhaitez utiliser avec SYNC.
Note: Si vous fermez les applications sur leur appareil, vous ne pourrez pas les utiliser sur le système.
- Sélectionnez l'application que vous voulez utiliser sur l'écran tactile.
Note: Connectez votre appareil à un port USB si vous souhaitez utiliser une application de navigation. Lorsque vous utilisez une application de navigation, laissez votre appareil déverrouillé et l'application ouverte.
Utilisation d'applications sur un appareil android

Sélectionnez l'option Applications dans la barre de fonctions.
- Notre appareil est connecté par USB, désactivez Android Auto. Voir Téléphone (page 514).
- Jumelez votre appareil. Voir Téléphone (page 514).
- Sur votre appareil, démarrez les applications que vous souhaitez utiliser avec SYNC.
Note: Si vous fermez les applications sur leur appareil, vous ne pourrez pas les utiliser sur le système.
- Sélectionnez Trouver des applis mobiles.
Note: Le système recherche les applications compatibles présentes sur votre appareil, puis se connecte.
- Sélectionnez l'application que vous voulez utiliser sur l'écran tactile.
Note: Les applications mobiles installées sur votre appareil utilisent le port USB pour établir une connexion avec SYNC. Lorsque des applications mobiles sont activées, certains appareils peuvent perdre la capacité de jouer de la musique par connexion USB.
Utilisation d'une application de navigation mobile sur un appareil android
- Connectez votre appareil à un port USB.
- Désactivez Android Auto. Voir Téléphone (page 514).
- Activez Applis mobiles par USB dans la vignette Paramètres des applications mobiles.
- Sélectionnez l'option Applications dans la barre de fonctions.
- Sélectionnez l'application de navigation que vous pouvez utiliser sur l'écran tactile.
Nota: Lorsque vous utilisez une application de navigation, laissez votre appareil déverrouillé et l'application ouverte.
volant peut causer une perte de maîtrise du véhicule, un accident et des blessures. Nous vous recommandons fortement de faire preuve d'une extrême prudence lorsque vous utilisez un dispositif qui pourrait nuire à votre concentration sur la route. Avant tout, vous devez vous assurer de conduire votre véhicule en toute sécurité. Nous vous déconseillons l'utilisation d'un appareil portatif lorsque
vous conduisiez et nous vous recommandons d'utiliser des systèmes à commande vocale dans la mesure du possible. Assurez-vous de connaître toutes les lois sur l'utilisation d'appareils électroniques durant la conduite.
Note: SiriusXM Traffic et Travel Link peuvent ne pas être disponibles pour tous les marchés.
Nota : Pour pouvoir utiliser SiriusXM Traffic et Travel Link, votre véhicule doit être équipé de la navigation.
Nota: Un abonnement payant est exigé pour accéder à ces fonctions et les utiliser. Visitez le site www.siriusxm.com/travellink pour obtenir plus de renseignements.
Nota: Visitez le site
www.siriusxm.com/traffic et cliquez sur la carte de zone de couverture pour obtenir la liste complète des secteurs couverts par SiriusXM Traffic et Travel Link.
Note: Sirius et Ford déclinent toute responsabilité en ce qui concerne les erreurs ou les imprécisions des services SiriusXM Traffic et Travel Link ou leur utilisation dans les véhicules.
Lorsque vous y êtes abonné, les services SiriusXM Traffic et Travel Link permettent de couvrir le meilleur prix pour l'essence, les films à l'affiche, les alertes sur la circulation en vigueur, les cartes météorologiques en vigueur, les conditions des pistes de ski et le pointage des matches en cours.
| Éléments de menu | Action et description | |
| Circulat. sur itinéraire | Appuyez sur ces boutons pour repérer les incidents de la circulation sur votre itinéraire, à proximité de l'emplacement actuel de votre vehicule ou pres d'un de vos emplacements favoris, si cette option est programmée. | |
| Circulation près d'ici | ||
| Prix carburant | Appuyez sur ce bouton pour afficher les prix de l'essence dans les stations à proximité de votre vehicule ou sur un itinéraire de navigation actif. | |
| Films à l'affiche | Appuyez sur ce bouton pour afficher les cinemas à proximité et les horaires des films, si cette option est disponible. | |
| Météo | Appuyez sur ce bouton pour afficher la météo à proximité, la météo actuelle ou les prévisions pour les cinq prochains jours dans une région可以选择. | |
| Carte | Sélectionnez cette option pour afficher la carte météo indiquant les orages/tempêtes, l'information radar, les tableaux et les vents. | |
| Élément de menu | Action et description | |
| Région | Faites votrechoix dans une liste d'emplacements de prévisions météorologiques. | |
| Info sports | Appuyez sur ce bouton pour afficher les résultats et les calendriers d'une multitude de sports. Vous pouvez également enregistrer jusqu'à 10 équipes favorites pour y acceder plus facilement. Le pointage est automatiquement actualisé lorsqu'une partie est en cours. | |
| Conditions ski | Appuyez sur ce bouton pour consulter les conditions des pistes de ski dans une zone spécifique. | |
Paramètres

Appuyez sur le bouton pour accéder au menu des paramètres.

Lorsque vous sélectionnez une vignette, appuyez sur le bouton à côté de l'élément de menu pour explication de la fonction ou du
Son
Sélectionnez cette vignette pour régler les paramètres audio.
Montre
Sélectionnez cette vignette pour régler les paramètres de montre.
Bluetooth
Sélectionnez cette vignette pour activer et désactiver Bluetooth, puis pour régler les paramètres.
Téléphone
Sélectionnez cette vignette pour connecter, déconnecter les appareils connectés et pour gérer leurs paramètres.
Audio
Sélectionnez cette vignette pour régler les paramètres audio.
Assistance conducteur (selon l'équipement)
Sélectionnez cette vignette pour régler les fonctions d'aide à la conduite, comme les aides au stationnement, le système d'aide au suivi de voie, la détection des piétons et le système de démarrage-arrêt automatique.
Véhicule
Sélectionnez cette vignette pour régler les paramètres du véhicule, comme les glaces, l'alarme, l'éclairage, le mot de passe de démarrage de secours et les paramètres MyKey.
Sélectionnez cette vignette pour régler les paramètres Lincoln Way.
Généralités
Sélectionnez cette vignette pour régler les paramètres, comme la langue et les unités de mesure, ou pour réinitialiser le système.
Sélectionnez cette vignette pour activer et désactiver la fonction 911 Assist.
Mises à jour automatiques
Sélectionnez cette vignette pour régler les paramètres de mises à jour automatiques.
Sélectionnez cette vignette pour modifier les permissions, pour activer et désactiver les applications mobiles ou pour en effectuer la mise à jour.
Affichage
Sélectionnez cette vignette pour régler les paramètres d'affichage, comme la luminosité et l'atténuation automatique.
Paramètres de charge (selon l'équipement)
Sélectionnez cette vignette pour régler les paramètres de charge de véhicule électrique.
Commande vocale
Sélectionnez cette vignette pour régler les paramètres des commandes vocales, comme les confirmations de commande et les listes affichées.
Navigation (selon l'équipement)
Sélectionnez cette vignette pour régler les paramètres de navigation, comme les préférences de carte et le guidage routier.
Sièges multicontours (selon l'équipement)
Sélectionnez cette vignette pour régler la position et les fonctions de massage de vos sièges multicontours.
Sièges (selon l'équipement)
Sélectionnez cette vignette pour régler la fonction de réglage lombaire de votre siège.
Ordinateur de bord (selon l'équipement)
Sélectionnez cette vignette pour afficher les messages du véhicule.
Profils personnalisés (selon l'équipement)
Sélectionnez cette vignette pour régler les fonctions de rappels mémorisés lors de l'utilisation de profils personnalisés.
Mode voiturier (selon l'équipement)
Sélectionnez cette vignette pour activer et désactiver le mode voiturier.
Éclairage ambiant (Selon l'équipement)
Sélectionnez cette vignette pour modifier la couleur ou l'intensité de l'éclairage intérieur.
| Symptôme | Cause et solution possible |
| Le système ne comprend pas ce que je dis. | - Vous n'utilisez pas les bonnes commandes vocales. · Voir Utilisation de la reconnaissance vocale (page 485). · Pour obtenir la liste complète des commandes vocales, consultez notre site Web. -若您 parlez trop tôt. · Attendeez l'invite du système avant de parler. |
| Le système ne comprend pas le nom d'unepiece musicale ou d'un artiste. | - Limitation relative à l'appareil. Bluetooth ne prend pas en charge les commandes vocales. • Connectez votre appleil à un port USB. • Si vous utilisez un appleil iOS, appuyez sur le bouton de commande vocaleitué surle volant de direction et maintenez-le enforcé afin d'utiliser Siri pour生存 une piecemusicale précise. - Vous n'utilisez pas les bonnes commandes vocales. • Voir Utilisation de la reconnaissance vocale (page 485). • Pour obtenir la liste complète des commandes vocales, consultez notre site Web. - Vous n'énonze pas le nom exactement tel qu'il est affiché sur toute appleil. • Prononcez le nom de la chanson ou de l'artiste exactement tel qu'il est affiché survotrecurreuil. Épelez les abréviations dans le nom. Le nom de l'artiste ou de la piece musicale peut composer des caractères spéciaux qui n ont pas été reconnus par le système. - Le nom contient des caractères spéciaux, comme *, - ou +. • Renommez les fichiers sur toute appleil ou utilisez l'écran tactile pour selectionneret écouter la pieceusicale. |
| Le système ne comprend pas le nom d'uncontact du réseau téléphonique de monappareil et compose le numéro du mauvaiscontact. | |
| - Vous n'énonze pas le nom exactement tel qu'il est affiché sur votre appareil. • Prononcez le prénom et le nom du contact exactement tel qu'il est affiché sur votre appareil. Épelez les abréviations dans le nom. - Le nom contient des caractères spéciaux, comme *, - ou +. • Renommez le contact sur votre appareil ou utilisez l'écran tactile pour sélectionner le contact et l'appeler. | |
| Le système ne comprend pas les noms étrangers des contacts du réseau téléphonique de mon appareil. | - Vous n'énonze pas le nom exactement tel qu'il est affiché sur votre appareil. • Prononcez le prénom et le nom du contact exactement tel qu'il est affiché sur votre appareil. Le système applique les règles de pronunciation phonétique de la langue sélectionnée aux noms des contacts enregistrés dans le réseau téléphonique de votre appareil. Sélectionnez le nom du contact à l'écran tactile, puis utilisez l'options Écouter pour savoir à quoi s'attend le système comme pronunciation. |
| Les invites vocales du système et la pronunciation de certains mots ne semble pas être très précis. | - Limitation relative à l' appareil. • Le système utilise la technologie de synthèse texte-parole et a recours à une voix généraee synthétiquement只不过 qu'une voix humaine préenregistrée. |
Modes USB et Bluetooth Audio
| Symptôme | Cause et solution possible |
| Je ne peux pas connecter mon apparéil. | - Anomalie de l' apparéil. · Débranchez votre apparéil. DésactiverEZ votre apparéil, réinitialisEZ-le, puis essayez de nouveau. - Problème de raccordement de cable. · Branchez correctement le cable sur votre apparéil et dans le port USB du vehicule. - Câble incompatible. · UtiliseZ le cable recommendé par le fabricant de votre apparéil. |
| - Paramètres de l'appareil incorrents. · Assurez-vous que votre appareil ne compte pas un programme d'installation automatique ou des paramètres de sécurité actifs. · Assurez-vous que votre appareil n'est pas en mode de charge. - Verrouillage d'écran de l'appareil activé. · Déverrouillez votre appareil avant de le connecter. | |
| Le système ne reconnaît pas mon apparéil. | - Limitation relative à l'appareil. · Ne laissez pas votre apparéil dans le vehicule durant des journées très chaudes ou très froides. - Problème de raccordement de cable. · Branchez correctement le cable sur votre apparéil et dans le port USB du vehicule. - Câble incompatible. · Utilisez le cable recommendé par le fabricant de votre apparéil. |
| Le système ne comprend pas le nom d'unepiece musicale ou d'un artiste. | - Limitation relative à l'appareil. Bluetooth ne prend pas en charge les commandes vocales. · Connectez votre apparéil à un port USB. · Si vous utilisez un apparéil iOS, appuyez sur le bouton de commande vocaleitué sur le volant de direction et maintenez-le,enforcéafin d'utiliser Siri pour生存 une piece musicale précise. |
| Je ne peux pas diffuser de la musique en continu à partir de mon apparéil Bluetooth | - Appareil incompatible. • Vérifiez la compatibilité de votre apparéil sur notre site Web. - L' apparéil n'est pas connecté. • Jumelez votre apparéil. Voir Téléphone (page 514). - Le lecteur multimédia ne fonctionne pas • Lancez le lecteur multimédia de votre apparéil. |
| Le système ne reconnaît pas la musique sur mon apparéil. | - Des métadonnées de fichier audio, comme l'artiste, le titre de la chanson ou de l'album, ou le genre musical, sont incorrectes ou manquantes. • Réparez les fichiers sur votre apparéil. - Fichiers corrompus. • Réparez les fichiers sur votre apparéil. - Fichiers protégés par des droits d'auteur. • Utilisez un apparéil qui ne contient pas de fichiers protégés par des droits d'auteur. - Format de fichier non pris en charge. • Réparez ou convertissez les fichiers à un format pris en charge. Voir Divertissement (page 497). - Indexation de l' apparéil requis. • Réindexez votre apparéil. Voir Paramètres (page 528). - Verrouillage d'écran de l' apparéil activé. • Déverrouillez votre apparéil avant de le connecter. |
| Il arrive parfois que je ne puisse entendre unepiece musicale sur mon apparéil. | - Anomalie de l'appareil.Débranchez votre apparéil. DésactiverEZ votre apparéil, réinitialiseZ-le, puis essayez de nouveau. |
| Lorsque je débranché mon apparéil iOS, levolume est réglé au maximum. | - Limitation relative à l' apparéil.RéduiseZ le volume de votre apparéil. |
| Le système ne lit pas les pieces musicales demon lecteur USB dans le bon ordre. | Si le système ne lit pas les pieces musicales de votre lecteur USB dans le bon ordre, ces renseignements pourraient vous aider :- Si vous sélectionnez USB comme source audio alors que le système est en coursd'indexation, SYNC lit les pieces musicales par ordre alphabetique selon les noms delfichier du réseau racine.- Si vous sélectionnez USB comme source audio après l'indexation du système, SYNC littoutes les pieces musicales par ordre alphabetique selon le titre de l'étiquette ID3, peuimprime où se trouve le fichier. Si l'étiquette ID3 n'existe pas, SYNC utilise le nom delfichier.- Si vous sélectionnez l'option de lecture de toutes les pieces musicales depuis le menude navigation, SYNC lit toutes les pieces musicales par ordre alphabetique selon le titrede l'étiquette ID3, peu importe où se trouve le fichier. Si l'étiquette ID3 n'existe pas, SYNCutilise le nom delfichier.- Si vous sélectionnez une piece musicale au moyen de l'options Explorer l' apparéil, SYNClit les pieces musicales par ordre alphabetique dans le dossier sélectionné. SYNC litensuite les pieces musicales des sous-dossiers du dossier sélectionné. |
Telephone
| Symptôme | Cause et solution possible |
| Durant un appel, j'entends un bruit ambient excessif. | - Mauvais réglages du téléphone cellulaire. • Vérifiez et réglez les paramètres audio de votre téléphone cellulaire. Reportez-vous au manuel d'utilisation de votre téléphone cellulaire. |
| Pendant un appel, j'entends l'autre personne, mais elle ne m'entend pas. | - Anomalie du téléphone cellulaire. • Désactivez votre téléphone cellulaire, réinitialisez-le, puis essayez de nouveau. - Microphone du téléphone cellulaire en sourdine. • Annulez la mise en sourdine du microphone du téléphone cellulaire. |
| Pendant un appel, je ne peux pas entendre l'autre personne et elle ne peut pas m'ente-ndre. | - Redémarrage du système requis. • Redémarrez le système. Coupez le contact, puis ouvrez la porte. Fermez la porte et verrouillez le vehicule. Attendez que l'écran tactile et les ports USB illuminés s'éteignent. Déverrouillez le vehicule, établissez le contact et essayez de nouveau. |
| Je ne peux pas télécharger mon réseau téléphonique. | - Téléphone cellulaire incompatible. • Vérifiez la compatibilité de votre téléphone cellulaire sur notre site Web. - Mauvais réglages du téléphone cellulaire. • Laissez le système récapucérer les contacts de votre téléphone. Reportez-vous au manuel d'utilisation de votre téléphone cellulaire. |
| - Paramètres système incorrectly. · Activez le téléchargement automatique du réseau. Voir Paramètres (page 528). - Anomalie du téléphone cellulaire. · Désactivez votre téléphone cellulaire, réinitialisez-le, puis essayez de nouveau. | |
| Un message s'affiche indiquant que le téléchar-gement de mon réseau est terminé, mais le réseau est vide ou des contacts y sont manquants. | - Mauvais régages du téléphone cellulaire. · Laissez le système recupérer les contacts de votre téléphone. Reportez-vous au manuel d'utilisation de votre téléphone cellulaire. · Vérifiez l'emplacement des contacts manquants sur votre téléphone cellulaire. S'ilts sont stockés sur la carte SIM, déplacez-les dans la mémoire de votre téléphone cellulaire. - Paramètres système incorrects. · Activez le téléchargement automatique du réseau. Voir Paramètres (page 528). |
| Je ne peux pas connecter mon téléphone cellulaire. | - Téléphone cellulaire incompatible. · Vérifiez la compatibilité de votre téléphone cellulaire sur notre site Web. - Anomalie du téléphone cellulaire. · Désactivez votre téléphone cellulaire, réinitialisez-le, puis essayez de nouveau. · Installes le plus récent micrologiciel sur votre téléphone cellulaire. · Supprimez votre apparil du système, puis supprimez SYNC de votre apparil et essayez de nouveau. · Désactivez le téléchargement automatique du réseau. Voir Paramètres (page 528). |
| La messagerie texte ne fonctionne pas. | - Vous n'avez pas activé les notifications de message texte. · Activez les notifications de message/texte. Voir Téléphone (page 514). - Téléphone cellulaire incompatible. · Vérifiez la compatibilité de votre téléphone cellulaire sur notre site Web. - Anomalie du téléphone cellulaire. · Désactivez votre téléphone cellulaire, réinitialisez-le, puis essayez de nouveau. |
| Je n'entends pas les messages/texte. | - Le partage de messages de l' apparil n'est pas activé. · Vérifiez les autorisations définies sur votre apparil pour vous assurer que le partage de messages/texte est activé. - Téléphone cellulaire incompatible. · Vérifiez la compatibilité de votre téléphone cellulaire sur notre site Web. |
Navigation (Selon l'équipement)
| Symptôme | Cause et solution possible |
| Je ne peux pas entraître un nom de rue lorsque je suis à l'étranger. | - Méthode de saisie incorrecte. • Entrez le nom de la rue avec le pays. |
| Le système ne reconnaît pas les coordonnées. | - Vous n'utilise pas le bon format de coordonnées. • Utilisez le format #: ##. # # # # ##, ##. # # # # # (pour N/S, E/O). Ajoutez un moins (-) avant les coordonnées si la direction est à l'ouest et gardez une valeur positive si la direction est à l'est. Par exemple, 12,5412 se trouve à l'est et -12,5412 se trouve à l'ouest. |
Applications
| Symptôme | Cause et solution possible |
| Le système ne déetecte aucune application. | - Appareil incompatible. • Vous avez besoin d'un appleil Android OS 4.3 ou une version supérieure ou un appleil iOS 8.0 ou une version supérieure. Jumelez et connectez votre appleil Android pour déctector des applications compatibles AppLink. Connectez votre appleil iOS à un port USB ou jumelez-le et connectez-le à l'aide de Bluetooth. |
| J'ai un appleil compatible et il est correctement connecté, mais le système ne déetecte toujours aucune application. | - Les applications compatibles AppLink ne sont pas installées sur votre appleil. • Téléchargez et installez la plus récente version de l'application. - Les applications compatibles AppLink ne sont pas exécutées sur votre appleil. • Lancez les applications pour permettre au système de les déctector et assurez-vous de vous connecter à toute application qui l'exige. - Réglages d'application incorrects. • Vérifiez et réglez les réglages de l'application sur votre appleil et autorisez SYNC à y accéder, le cas échéant. |
| J'ai un appleil compatible, il est correctement connecté et mes applications sont exécutées, mais le système ne déetecte toujours aucune application. | - Les applications ne se sont pas complètement fermées. • Redémarrez les applications, puis essayez de nouveau. • Sur un appleil Android, si les applications ont une option "Quitter", sélectionnez-la puis redémarrez les applications. Vous pouvez également forcer l'arrêt des applications au moyen du menu des paramètres de votre appleil. • Si vous avez un appleil iOS 7.0 ou une version ultérieure, appuyez deux fois sur le |
| bouton Accueil de votre apparéil, puis faites glisser l'application vers le haut pour la fermer. | |
| J'ai un apparéil Android correctement connecté. J'ai redémarré mes applications et elles s'exçutent, mais le système ne les déetecte toujours pas. | - Un problème associé à certaines anciennes versions du système d'exploitation Android pourrait faire en sorte que les applications ne sont pas trouvées.Désactivez, puis réactivez Bluetooth pour forcer la reconnexion de votre apparéil. |
| J'ai un apparéil iOS correctement connecté. J'ai redémarré mes applications et elles s'exçutent, mais le système ne les déetecte toujours pas. | - Problème de raccordement de cable.Débranchez le cable de votre apparéil, attendez un instant, puis branchez-le de nouveau pour forcer la connexion du système à votre apparéil. |
| J'ai un apparéil Android qui exécute une application multimédia trouvée par le système, mais je n'entends aucun son ou le son est très faible. | - Le volume de l' apparéil est bas.Augmentez le volume de votre apparéil. |
| J'ai un apparéil Android exécutant un certain nombre d'applications compatibles, mais le système ne les déetecte pas toutes. | - Limitation relative à l' apparéil. Certains dispositifs Androidprésentent un nombre limité de ports Bluetooth utilisables par les applications pour se connecter. Si votre apparéil exécoute plus d'applications qu'il y a de ports Bluetooth disponibles, le système ne peut pas toutes les déctector.Fermez certaines des applications pour permettre au système de détecter celles que vous poulez utiliser. |
Connectivité Wi-Fi
| Symptôme | Cause et solution possible |
| Je ne peux pas me connecter à un réseau Wi-Fi. | - Erreur de mot de passer. • Entrez le mot de passer correct du réseau. - Signal du réseau faible. • Rapprochevez-vous vehicule du point d'accès Wi-Fi ou placez-le à un endroit où le signal du réseau n'est pas obstrué. - Plusieurs points d'accès à portée avec le même SSID. • Utilisez un nom unique pour votre SSID. N'utilisez pas le nom par défaut sauf s'il contient un identifiant unique, par exemple une partie de l'adresse MAC. |
| La connexion Wi-Fi se déconnecté après une connexion réussie. | - Signal du réseau faible. • Rapprochevez-vous vehicule du point d'accès Wi-Fi ou placez-le à un endroit où le signal du réseau n'est pas obstrué. |
| Mon vehicule se trouve前几天'un point d'accès Wi-Fi mais la force du signal du réseau est faible. | - Signal du réseau obstrué. • Si vous vehicule est équipé d'un pare-brise chauffant, positionnez le vehicule de sorte que le pare-brise ne soit pas orienté face au point d'accès Wi-Fi. • Si les glaces de votre vehicule sont de teinte métallique, sauf le pare-brise, positionnez le vehicule de sorte que le pare-brise soit orienté face au point d'accès Wi-Fi, ou ouvrez les glaces qui sont orientées face au point d'accès. • Si les glaces et le pare-brise de votre vehicule sont de teinte métallique, ouvrez les glaces qui sont orientées face au point d'accès. |
| • Si votre vehicule se trouve dans un garage dont la porte est fermée, ouvrez la portedu garage. | |
| Le réseau que je recherche n'apparait pas dans la liste des réseaux disponibles. | • Réseau caché.• Définissez le réseau comme visible et réessayez. |
| Je ne vais pas SYNC lorsque je recherche des réseaux Wi-Fi sur mon téléphone cellulaire ou sur un autre appariel. | • Fonction du système limitée.• SYNC n'offre aucun point d'accès Wi-Fi actuellément. |
| Les téléchargesements de logiciel prennt trop de temps. | • Signal du réseau faible• Rapprochez votre vehicule du point d'accès Wi-Fi ou placez-le à un endroit où le signaldu réseau n'est pas obstrué.• Point d'accès Wi-Fi en forte demande ou connexion Internet lente.• Utilisez un point d'accès Wi-Fi plus friable. |
| Le système semble se connecter à un pointd'accès Wi-Fi et la force du signal est excelente, mais le logiciel ne se met pas à jour. | • Aucune mise à jour du logiciel n'est disponible.• Le réseau Wi-Fi nécessite un abonnement ou l'acceptation des conditions d'utilisation.• Testez la connexion avec un autre appariel. Si le réseau nécessite un abonnementou l'acceptation des conditions d'utilisation, communique avec le prestataire deservice de réseau. |
Profils personnalisés (Selon l'équipement)
| Symptôme | Cause et solution possibles |
| Je ne peux pas creator un profil. | Vous n'avez pas configuré de profils personalisés. |
| Vous avez entré un profil non valide. | |
| Vous n'avez pas sélectionné de touche de mémorisation lorsque vous y avez été invité. | |
| Le contact n'était pas établi ou le vehicule n'était pas en position de stationnement (P), ou vous avez quitté la position de stationnement (P) lors de la création d'un profil. | |
| Les profils personalisés ont été désactivés. | |
| Je n'arrive pas à synchroniser une télécom-mande. | Vous n'avez pas sélectionné le bouton de verrouillage sur la télécommande. |
| La télécommande sélectionnée était déjà associée à un autre profil et le système a refusé de le replacer. | |
| Le système a exécuté un rappel de profil en effectuant la synchronisation d'une télécom-mande. | |
| Le contact n'était pas établi ou le vehicule n'était pas en position de stationnement (P), ou vous avez quitté la position de stationnement (P) lors de la création d'un profil. | |
| Vous utilisez l'ancienne méthode de synchronisation. | |
| Mes réglages personalisés ne sont pas enregistrrés. | Les profils personalisés ne prennant pas en charge vos réglages non enregistrrés. |
| Un profil personalisé différent est actif. | |
| Un autreUtilisateur a changé les réglages du mauvais profil personnalisé. | |
| Mon profil ne peut être rappelé. | Vous n'avez pas créé un profil personnalisé. |
| Les profils personalisés sont désactivés. | |
| Le profil que vous avez demandé est déjà activé. | |
| Vous n'avez pas synchronisé la touche de mémorisation que vous utilisez à un profil. | |
| Vous n'avez pas synchronisé la télécommande que vous utilisez à un profil. | |
| Vous n'utilisez pas la bonne télécommande. | |
| Vous n'appuyez pas sur le bouton de déverrouillage ou de démarrage à distance sur une télécommande synchronisée. | |
| Vous avez supprimé le profil personnalisé. | |
| Mes positions prérégliées sont rappelées, mais pas mon profil. | Vous avez désactivé les profils personalisés. |
| Mon profil est rappelé mais pas mes positions prérégliées. | Le vehicule roule. |
| Les positions prérégliées sont identiques à celles de l'invite ou du profil précédemment activé. | |
| J'ai perdu une télécommande. | Synchronisez et désynchronisez votre télécommande dans le menu des profils personnalisés. Il se peut que vous deviez consulter un concessionnaire agréé. |
| J'ai perdu tous les profils. | Vous avez effacé et reprogrammé les télécommandes. Cela peut se produit quand vous laissez le concessionnaire ajouter une nouvelle télécommande pour en remplaçer une perdue. |
| Une personne a procédé à une réinitialisation générale sans votre consentement. |
Réinitialisation du système
- Maintenez enfoncés simultanément les boutons de recherche avant et d'alimentation de la chaîne audio jusqu'à ce que l'écran passe au noir.
- Patientez trois minutes pour permettre au système de terminer la réinitialisation.
- Appuyez sur le bouton d'alimentation du système audio pour activer le système.
Note : Vous pouvez réinitialiser le système pour rétablir les fonctions qui ont cessé de fonctionner. La réinitialisation du système est donc pour rétablir les fonctions et non pour supprimer les données que vous avez enregistrées.
Renseignements et aides supplémentaires
Pour obtenir plus de renseignements et de l'assistance, Ford vous recommande de communiquer avec un concessionnaire/agréé ou de consulter notre site Web.
Accessoires
Pour obtenir une liste complète des accessoires disponibles pour votre véhicule, veuillez contacter un concessionnaire autorisé ou visiter la boutique d'achat en ligne à l'adresse suivante :
Adresse Web (États-Unis)
www.accessories.lincoln.com
Adresse Web (Canada)
www.LincolnCanada.com
Pendant la période de garantie, nous réparerons ou remplacerons tout accessoire d'origine Lincoln, correctement installé par le concessionnaire autorisé, qui présenterait une défectuosité liée aux matériaux fournis en usine ou à la main-d'œuvre, ainsi que tout composant endommagé par des accessoires défectueux.
Nous garantirons votre accessoire d'origine Lincoln avec la garantie qui vous offre le plus d'avantages :
24 mois, kilométrage illimité. - La partie restante de votre garantie limitée de véhicule neuf.
*Accessoire sous licence Lincoln. Le fabricant d'accessoires créé, développé et par conséquent garantit les accessoires Lincoln autorisés sous licence, et ne crée pas ou ne teste pas ces accessoires par rapport aux exigences techniques de Lincoln du Canada. Communiquez avec un concessionnaire Lincoln autorisé pour obtenir les détails sur la garantie limitée du fabricant et, dans le cas des accessoires sous licence Lincoln, pour Broker une copie de la garantie limitée du produit offerte par le fabricant d'accessoires.
Accessoires
Pour obtenir un rendement optimal du véhicule, considérez les renseignements suivants lorsque vous y ajoutez des accessoires ou de l'équipement :
Si vous transportez des passagers ou des bagages, et si vous ajoutez des accessoires ou de l'équipement à votre véhicule, ne dépassez jamais le poids total autorisé en charge ou le poids maximal autorisé à l'essieu avant ou arrière (PTAC ou PMAE sur l'étiquette d'homologation du véhicule). Demandez des renseignements supplémentaires à ce sujet à un concessionnaire autorisé.
- La commission fédérale des communications des États-Unis et le Conseil (FCC) de la radiodiffusion et des télécommunications canadiennes, réglement l'utilisation des appareils de communication mobiles tels que les émetteurs-recepteurs radio, les téléphones et alarmes antivol qui comportent des émetteurs radio. Si vous équiperez votre vehicule d'un apparéil de ce type, celui-ci doit être conforme aux réglements de la commission fédérale des communications des États-Unis (FCC) et du Conseil de la radiodiffusion et des télécommunications canadiennes (CRTC), et il doit être posé par un concessionnaire autorisé uniquement.
- Les systèmes de communication mobiles peuvent nuir au fonctionnement de votre véhicule, particulièrement si le constructeur ne les a pas spécifiquement conçus pour une utilisation automobile.
- Si vous ajoutez, ou si un concessionnaire autorisé Lincoln ajoute des accessoires ou composants électriques ou électroniques autres que des accessoires ou composants Lincoln à votre véhicule, ceci risque de compromettre le rendement et la durée de vie utile de la batterie. En outre, ceci risque aussi de compromettre le rendement d'autres appareils électriques dans le véhicule.
PROTEGEZ-VOUS CONTRE LA HAUSSE DES FRAIS DE RÉPARATION EN SOUSCRIVANT AU PROGRAMME D'ENTRETIEN PROLONGÉ LINCOLN PROTECT.
Programmes d'entretien prolongé Lincoln Protect (États-Unis seulement)
Lincoln Protect est synonyme de sérénité. Il s'agit du programme d'entretien prolongé appuyé par la Compagnie automobile Lincoln, et il offre une protection accrue qui va au-delà de cette offre par la garantie limitée de véhicule neuf. Lorsque vous vous rendez chez votre concessionnaire Lincoln, exigez les programmes authentiques d'entretien prolongé Lincoln Protect!
Le programme d'entretien prolongé Lincoln Protect devient très rapidement rentable.
Une visite au centre d'entretien pourrait facilement vous revenir plus cher que votre programme d'entretien prolongé Lincoln Protect. Avec Lincoln Protect, vous minimisez les risques de coûts de réparation imprévus, lesquels sont toujours à la hausse.
Jusqu'à 1000 composants du véhicule sont couverts
Il existe quatre différences programmes d'entretien prolongé Lincoln Protect, chacun offrant des couvertures différentes. Communiquez avec votre concessionnaire autorisé pour obtenir des précisions.
- PEP Protection étendue - Notre couverture la plus complète. Couvrant plus de 1000 composants, ce programme est tellement complet qu'il est sûrement plus facile d'énumérer ce qui n'est pas couvert.
- PEP Extra - 113 composants couverts, dont de nombreux à la pointe de la technologie.
- PEP de base - 84 composants couverts.
- PEP Groupe motopompe - 29 composants essentiels couverts.
Les programmes d'entretien prolongé Lincoln Protect sont honorés par tous les concessionnaires autorisés Lincoln des États-Unis, du Canada et du Mexique.
Vous avez droit à ce qui suit :
- Un service fiable et de qualité chez n'importe quel concessionnaire Lincoln ou Ford.
- Des réparations réalisées par des techniciens formés en usine et avec des pièces d'origine.
Remboursement de la voiture de location.
Véhicule de location le 1er jour.
Si vous emmenez votre voiture chez votre concessionnaire pour l'entretien, nous vous donnerons un véhicule de remplacement pour la journée.
Véhicule de location pour une durée prolongée.
Si votre véhicule reste à l'atelier jusqu'au lendemain pour des réparations sous garantie, vous avez droit à la couverture du véhicule de location, ce qui comprend les réparations au titre de la garantie intégrale et les programmes après-vente spéciaux.
Assistance routière
Vous bénéficiez d'un service d'assistance, routière jour et nuit exclusif, ce qui comprend :
Le remorquage, le remplacement d'un pneu à plat et les démarrages-secours. L'assistance en cas de panne d'essence et le service de déverrouillage des portes. - Le remboursement des frais de voyage afférents à l'hébergement, aux repas et aux véhicules de location. L'assistance en ce qui concerne les services de taxi et de navette, la couverture du véhicule de location et autres transports.
Garantie transférable
Si vous vendez votre véhicule avant la date d'expiration de votre programme d'entretien prolongé Lincoln Protect, vous pouvez céder toute partie restante de la garantie au nouveau propriétaire. Ceci devrait vous apporter, à vous et à votre acheteur potentiel, un peu plus de sérénité.
Coûts réduits pour le bon entretien de votre véhicule
Le programme d'entretien prolongé Lincoln Protect offre également un programme d'entretien Premium qui couvre tout l'entretien périodique et certaines pièces d'usure. Cette couverture est comprise dans le prix, ce qui peut dire que vous n'avez plus à vous soucier du prix de l'entretien de votre véhicule.
L'entretien couvert comprend :
Balais d'essuie-glace Bougies - Disque d'embrayage (le cas échéant). - Plaquettes et garnitures de freins - Amortisseurs et jambes de suspension Durites de refroidissement du moteur, colliers et joints toriques Courroies du moteur - Appendice de liquide d'échappement diesel (le cas échéant).
Options de financement sans intérêts
Un versement initial de 10% vous permettra de bénéficier d'un programme de paiement abordable, sans intérêt et sans frais vous offrant toute la sécurité et tous les avantages du programme d'entretien prolongé Lincoln Protect tout en échelonnant vos paiements. Vous êtes approuvé d'avance sans aucune vérification de crédit, ni aucune complication! Pour en savoir plus, appelez nos spécialistes du programme d'entretien prolongé Lincoln au 800 367-3377.
Complétez le formulaire ci-dessous et envoyez-le à l'adresse suivante :
Programme d'entretien prolongé Lincoln Protect
P. O. Box 321067
Detroit, MI 48232
Lincoln protect (CANADA seulement)
Vous pouvez obtenir une protection supplémentaire pour votre véhicule en achetant un programme d'entretien prolongé Lincoln Protect. Le programme d'entretien prolongé Lincoln Protect est le seul contrat d'entretien pris en charge par Lincoln du Canada Limitée. Selon le programme choisi, le programme d'entretien prolongé Lincoln Protect offre des avantages tels que:
- Remboursement de location.
- Prise en charge de certains éléments d'entretien et d'usure. Protection contre le coût des réparations après expiration de votre Garantie limitée de véhicule neuf. Avantages de l'Assistance dépannage.
Il existe différents programmes d'entretien prolongé Lincoln Protect offrant diverses combinaisons de durée, de kilométrage et de franchise. Chaque programme a ses particularités propres, conçues pour répondre aux différents besoins des conducteurs, y compris le remboursement des frais de remorquage et de location.
Lorsque vous souscrivez au programme d'entretien prolongé Lincoln Protect, vous obtenez la tranquillité d'esprit partout au Canada, aux États-Unis et au Mexique, grâce au réseau de concessionnaires autorisés de Lincoln Motor Company participants.
Note: Les réparations effectuées à l'extérieur du Canada, des États-Unis et du Mexique ne sont pas couvertes par le programme d'entretien prolongé Lincoln Protect.
Cette information n'est donnée qu'à titre indicatif. Pour obtenir plus de renseignements, visitez votre concessionnaire local Lincoln du Canada ou visitez le site www.LincolnCanada.com pour le programme d'entretien prolongé personnalisé de Lincoln qui vous convient.
Entretien USUEL - généralités
Pourquoi assurer l'entretien de votre véhicule?
Si vous respectez le calendrier d'entretien de votre véhicule, vous évitez des réparations coûteuses découlant de la négligence ou d'un entretien insuffisant, en plus d'augmenter sa valeur de revente ou d'échange. Conservez tous les reçus d'entretien de votre véhicule.
Nous avons établi des intervalles d'entretien périodiques pour votre véhicule sur la base d'essais rigoureux. Il est important d'effectuer l'entretien de votre véhicule aux intervalles appropriés. Ces intervalles remplissent deux objectifs : développer la fiabilité de votre véhicule et en minimiser les coûts d'utilisation.
Il vous incombe de faire exécuter tous les travaux d'entretien périodique et de vous assurer que les pièces utilisées sont conformes aux normes énoncées dans le Manuel du contrôle. Voir Capacités et spécifications (page 436).
Le non-respect de l'entretien périodique annule la garantie sur les pièces touchées par un manque d'entretien.
Pourquoi assurer l'entretien de votre véhicule chez votre concessionnaire?
Techniciens formés en usine
Les techniciens participent à des programmes de formation approfondie parrainés par l'usine qui les aident à développer des experts sur le fonctionnement de votre véhicule. Renseignez-vous auprès de votre concessionnaire sur la formation et les accréditations reçues par ses techniciens.
Pièces de rechange Ford et Motorcraft® d'origine
Les concessionnaires conservent en stock des pièces Ford et Motorcraft ainsi que des pièces remises à neuf approuvées par Ford. Ces pièces satisfont à nos exigences ou les surpassent. Les pièces installées chez votre concessionnaire sont couvertes par une garantie nationale limitée de 24 mois ou kilométrage illimité sur les pièces et la main-d'œuvre.
Les pièces non approuvées par Ford peuvent ne pas satisfaire à nos exigences et risquent de nuire à la conformité aux normes antipollution.
Commodité
Plusieurs concessionnaires proposent des horaires prolongés en semaine ou le samedi afin de mieux vous accommoder et de vous offrir un emplacement unique pour l'entretien et vos achats. Ils peuvent effectuer toutes les interventions requises sur votre véhicule, que ce soit un entretien général ou des réparations à la suite d'une collision.
Nota : Les concessionnaires n'offrent pas tous des heures d'ouverture prolongées ou des ateliers de carrosserie. Consultez votre concessionnaire pour plus de détails.
Protégez votre investissement
Un bon entretien est synonyme d'investissement, et ses dividendes sont : la fiabilité, la durabilité et la valeur de revente. Pour assurer un rendement optimal de votre véhicule et de ses dispositifs antipollution, assurez-vous de faire exécuter l'entretien périodique aux intervalles recommandés.
Votre véhicule est équipée d'un système de contrôle d'huile intelligent qui affiche un message indiquant les intervalles appropriés de vidange d'huile à l'écran d'information. Cet intervalle peut s'étendre jusqu'à un an ou 16 000 km (10 000 mi), les véhicules hybrides peuvent dépasser 16 000 km (10 000 mi).
Lorsque le message de vidange d'huile s'affiche à l'écran d'information, la vidange d'huile est arrivée à échéance. Assurez-vous d'effectuer la vidange d'huile dans les deux semaines ou 800 km (500 mi) après l'apparition du message. Veillez à réinitialiser le système Intelligent Oil Life Monitor après chaque vidange d'huile. Voir Réinitialisation du témoin de vidange d'huile (page 375).
Si votre écran d'information est réinitialisé prématurément ou devient inopérant, vous ne voyez vidanger l'huile six mois ou 8 000 km (5 000 mi) après votre dernière vidange d'huile. Ne dépassez jamais un an ou 16 000 km (10 000 mi) entre chaque intervalle de vidange d'huile.
Votre véhicule est très perfectionné et intègre de multiples systèmes performants et complexes. Tous les constructeurs mettent ces systèmes au point selon divers critères de performance et différentes spécifications. C'est pourquoi il est important de vous fier à votre concessionnaire qui effectuera les diagnostics et les réparations appropriées sur votre véhicule.
Nous avons recommandé des intervalles d'entretien pour divers systèmes et pièces en fonction d'essais techniques. Nous nous basons sur ces essais pour déterminer le kilométrage le mieux approprié pour le remplacement des huiles et des liquides de votre véhicule et ce, dans un souci de longévité et d'économie. Nous déconseillons les intervalles d'entretien autres que ceux stipulés dans le Calendrier d'entretien périodique de votre véhicule.
Ford recommande fortement d'utiliser exclusivement des pièces d'origine Ford et Motorcraft ou des pièces remises à neuf approuvées par Ford, car elles ont été conçues spécialement pour votre véhicule.
Produits chimiques et additifs
Les produits chimiques et les additifs recommandés sont indiqués dans le présent Manuel du propriétaire et dans le Manuel de réparation Ford. Nous ne recommendons pas d'utiliser des produits chimiques et des additifs non approuvés pour l'entretien normal de votre véhicule. Consultez notre livre de garantie.
Huiles, liquides et rinçage
Dans de nombreux cas, la décoloration d'un liquide est une caractéristique normale de fonctionnement et n'indique pas nécessairement un problème ou n'impose pas le remplacement du liquide. Toutefois, un expert qualifié, comme les techniciens formés en usine de votre concessionnaire, doit vérifier immédiatement une décoloration qui révèle également une condition de surchauffe ou de contamination par des matières étrangères.
Assurez-vous de vidanger les huiles et les liquides de votre véhicule aux intervalles précisés ou de pair avec une réparation. Le rinçage est une méthode efficace pour le remplacement des liquides de nombreux sous-systèmes du véhicule durant l'entretien périodique. Il est important que les systèmes soient rincés en utilisant uniquement un liquide neuf et identique à celui utilisé pour le remplissage et le fonctionnement du système, ou en utilisant un produit chimique de rinçage approuvé par Ford.
Vérifications et procédures d'entretien par le propriétaire
Assurez-vous d'effectuer les vérifications et les inspections d'entretien de base mensuellement ou tous les six mois.
| À vérifier tous les mois |
| Niveau d'huile moteur. |
| Fonctionnement de tous les feu et phares et de toutes les lampes interieures. |
| Usure et pression de gonflage des pneus (y compris le pneu de secours). |
| Niveau de liquide lave-glace. |
| Décanteur d'eau. Vidangez au besoin (ou si l'écran d'information vous y invite). |
| Trous et fentes du tuyau arrêté pour s'assurer qu'ils sont opérationnels et exempts de débris. |
Entretien de votre véhicule
| À vérifier tous les six mois |
| Connexions de batterie. Nettoyer au besoin. |
| Obstruction des orifices de drainage des portes et de la carrosserie. Nettoyer au besoin. |
| Niveau de liquide du circuit de refroidissement et concentration du liquide de refroidissement. |
| Usure des joints d'étanchéité de porte. Lubrifier au besoin. |
| Fonctionnement correct des charnières, loquets et serrures extérieures. Lubrifier au besoin. |
| Fonctionnement ajustat du frein de stationnement. |
| Usure et fonctionnement ajustat des ceintures de sécurité et des verrous de siège. |
| Fonctionnement des témoins liés à la sécurité (freins, freins ABS, sacs gonflables et ceintures de sécurité). |
| Fonctionnement des gicleurs de lave-glace et des essuie-glaces. Nettoyer ou replacer les balais au besoin. |
Entretien de votre véhicule
Afin de maintenir votre véhicule en bon état de fonctionnement, il est important de faire vérifier les systèmes de votre véhicule régulièrement. Cela peut aider à déterminer
tout problème potentiel avant qu'il ne survienne. Nous recommandons de faire effectuer l'inspection multipoint suivante à chaque entretien périodique pour assurer un fonctionnement optimal de votre véhicule.
| Inspection multipoint | |
| Courroie(s) d'entrainment des accessoires | Fonctionnement des feu de détresse |
| Rendement de la batterie | Fonctionnement de l'avertisseur sonore |
| Filtre à air du moteur | Flexibles du radiateur, du refroidisseur, du réchauffeur et de la climatisation |
| Échépement | Éléments de suspension (fuites ou dommages) |
| Fonctionnement des feu extérieurs | Direction et tringlerie |
| Niveau de liquide1; replir au besoin | Usure des pneus (y compris le pau de secours) et pression de gonflage2. |
| Fuites d'huile et de liquides | Fissures, gravillonnages et piquères au pare-brise |
| Soufflets pare-poussière de demi-arbre | Fonctionnement des gicleurs de lave-glace et des essuie-glaces |
Freins, vase d'expansion, boîte automatique et lave-glace. Si votre véhicule comporte une trousse de gonflage de secours, vérifiez la date d'expiration du scellant anticrevaison sur le contenant. Remplacez-le au besoin.
Entretien de votre véhicule
Assurez-vous de demander au conseiller technique de l'établissement concessionnaire ou au technicien des renseignements à propos de l'inspection multipoint du véhicule. Il s'agit d'une procédure exhaustive pour l'inspection de votre véhicule. Notre liste de vérification fournit des indications immédiates sur l'état général de votre véhicule.
Entretien périodique NORMAL
Votre véhicule est équipé d'un indicateur de durée de l'huile intelligent qui détermine les intervalles de vidange d'huile moteur en fonction des conditions d'utilisation du véhicule. En utilisant plusieurs facteurs importants dans ses calculs, le système contribue à réduire les coûts associés à l'utilisation de votre véhicule et à diminuer les déchets en même temps.
Ainsi, vous n'aurez pas à vous soucier de vidanger l'huile en fonction de la distance parcourue. Votre véhicule vous avertit quand une vidange est nécessaire en affichant un message sur l'écran d'information.
Le tableau suivant présente des exemples d'utilisation du véhicule et leur incidence sur les intervalles de vidange d'huile. Il est fourni à titre indicatif seulement. Les intervalles réels de vidange d'huile dépendent de plusieurs facteurs et diminuent généralement en présence de conditions défavorables.
| Quand s'attendre au message VIDANGE HUILREQUIRE | |
| Intervalle1 | Utilisation du vehicule et exemple |
| 12 000–16 000 km (7 500–10 000 mi) | Normale |
| Conduite normale avec trajets sur autorouteCharge/remorquage modéré ou nulRoutes plates à modérément valonnéesPas de fonctionnement prolongé au ralenti | |
| 8 000–12 000 km (5 000–7 500 mi) | Rigoureux |
| Charge/remorquage modéré à lourdConditions montagneuses ou hors route | |
Entretien de votre véhicule
| Quand s'attendre au message VIDANGE HUILE REQUISE | |
| Intervalle1 | Utilisation du vehicule et exemple |
| Fonctionnement prolongé au ralenti Fonctionnement prolongé dans des conditions chaudes ou froides | |
| 5 000–8 000 km (3 000–5 000 mi) | Service extrête |
| Charge ou remorquage maximal Fonctionnement dans des conditions très chaudes ou très froides Ralenti prolongé du moteur | |
1 Il est possible que les véhicules hybrides puissent parcourir de plus longues distances entre les vidanges d'huile, mais ne dépassez pas l'intervalle maximal de vidange d'huile d'un an. Vous pouvez consulter la durée d'huile restante à l'écran d'information. Voir Affichage d'information (page 140).
Intervalles d'entretien
| À chaque intervalle de vidange d'huile, comme indiqué sur l'écran d'information1 |
| Vidangez l'huile moteur et remplacez le filtré à huile.2 |
| Permutez les pneus. |
| Effectuez une inspection multipoint (recommendée). |
| Vérifiez le niveau d'huile de la boîte de vitesses automatique. Consultez votre concessionnaire pour connaître les exigences. |
Entretien de votre véhicule
| À chaque intervalle de vidange d'huile, comme indiqué sur l'écran d'information1 |
| Vérifiez les plaquettes de frein, les disques, les flexibles et le frein de stationnement. |
| Vérifiez la concentration et le niveau du liquide de refroidissement du moteur et les flexibles. |
| Vérifiez le circuit d'échémpement et les boucliers thermiques. |
| Pour les vehicules à traction intégrale, vérifiez l'essieu arrêté et les joints de cardan. |
| Vérifiez l'état des soufflets d'arbres de roue. |
| Inspectez la timonerie de direction, les rotules, la suspension, les embouts de biellette de direction, l'arbre de transmission et les joints de cardan. |
| Inspectez les pneus et l'usure des pneus et mesurez la profondeur de sculpture de la bande de roulement. |
| Recherchez un bruit, une usure, un jeu ou un frottement anormal des roues et composants connexes. |
Ne dépassez pas un intervalle d'entretien d'un an ou 16 000 km (10 000 mi). L'indicateur de durée d'huile intelligent doit être remis à zéro après chaque vidange d'huile et chaque remplacement du filtre. Voir l'initialisation du témoin de vidange d'huile (page 375).
Entretien de votre véhicule
| Entretien du liquide de frein1 | |
| Tous les trois ans | Remplacez le liquide de frein.2 |
1 Exécutez cette opération d'entretien tous les trois ans. Ne dépassez pas la durée désignée pour l'intervalle. La vidange du liquide de frein nécessite l'utilisation d'un équipement spécial disponible chez votre concessionnaire autorisé.
| Autres interventions d'entretien1 | |
| Tous les 32 000 km (20 000 mi) | Remplacez le filtré à air d'habitacle. |
| Tous les 48 000 km (30 000 mi) | Remplacez le filtré à air du moteur. |
| À 160 000 km (100 000 mi) | Vidangez le liquide de refroidissement du moteur.2 |
| Tous les 160 000 km (100 000 mi) | Remplacez les bougies d'allumage. |
| Inspectez l'état des courroies d'entrainment des accessoires.3 | |
Entretien de votre véhicule
| Autres interventions d'entretien1 | |
| Tous les 240 000 km (150 000 mi) | Vidangez l'huile pour boîte de vitesses automatique. |
| Remplacez la ou les courroies d'entrainment des accessoires.4 | |
1 Effectuez ces interventions d'entretien dans les 4 800 km (3 000 mi) suivant la dernière vidange d'huile et le dernier remplacement du filtre. Ne dépassez pas la distance indiquée pour l'intervalle. 2 Remplacement initial au bout de six ans ou 160 000 km (100 000 mi), puis tous les trois ans ou 80 000 km (50 000 mi). 3 A p i t. ^4 Si non remplacée au cours des derniers 160 000 km (100 000 mi).
Entretien périodique — conditions de conduite rigoureuses
Si vous utilisez vos véhicules principalement dans certaines des conditions suivantes, vous devez effectuer un entretien supplémentaire comme indiqué. Si vous utilisez vos véhicules de temps en temps dans une de ces conditions, il n'est pas nécessaire d'effectuer l'entretien supplémentaire. Pour obtenir des conseils spécifiques, consultez le conseiller technique de votre établissement concessionnaire ou
un technicien.
Exécutez les interventions indiquées dans les tableaux suivants au moment précisé ou dans les 4 800 km (3 000 mi) après l'affichage du message de vidange d'huile requise à l'écran d'information.
Exemple 1: Le message apparait à 46 270 km (28 750 mi). Effectuez la vidange d'huile de boîte de vitesses automatique des 48 000 km (30 000 mi). - Exemple 2: Le message n'apparait pas à, mais l'odomètre affiche 48 000 km (30 000 mi) (par exemple, le système Intelligent Oil Life Monitor a été réinitialisé à 40 000 km (25 000 mi). Remplacez le filtre à air du moteur.
Entretien de votre véhicule
| Traction d'une remorque ou utilisation d'une galerie porte-bagages | |
| Au besoin | Vidangez l'huile moteur et remplacez le filtre à huile comme indiqué par l'écran d'information, puis effectuez l'entretien en fonction du calendrier d'entretien périodique normal. |
| Inspectez liéquement, réparez au besoin | Vérifiez le pont arrière et les joints de cardan (traction intégrale). |
| Tous les 48 000 km (30 000 mi) | Vidangez l'huile de boîte de vitesses automatique. |
| Tous les 96 000 km (60 000 mi) | Remplacez les bougies. |
| Mateur tournant souvent au ralenti ou conduite à basse vitesse sur de longues distances, comme c'est le cas pour les vehicules de livreaison, taxis ou vehicules de patrouille. | |
| Au besoin | Vidangez l'huile moteur et replaceze le filtré à huile comme indiqué par l'écran d'information, puis effectuez l'entretien en fonction du calendrier d'entretien périodique normal. |
| Inspectez liéquement, réparez au besoin | Remplacez le filtré à air d'habitacle . |
| Remplacez le filtré à air du moteur. | |
Entretien de votre véhicule
| Mateur tournant souvent au ralenti ou conduite à BASSE VITESSE sur de longues distances, comme c'est le cas pour les véhicules de livreaison, taxis ou vignicules de patrouille. | |
| Tous les 48 000 km (30 000 mi) | Vidangez l'huile de boîte de vitesses automatique. |
| Tous les 96 000 km (60 000 mi) | Remplacez les bougies. |
Il s'agit d'une fonction en option.
| Conduite dans des conditions poussièresuses ou sableuses, par ex. sur des routes non revêtres ou poussièresuses | |
| Inspectez également, remplacez au besoin | Remplacez le filtrtre à air d'habitacle1. |
| Remplacez le filtrtre à air du moteur. | |
| Tous les 8 000 km (5 000 mi) | Recherche un bruit, une usure, un jeu ou un frottement anormal(e) des roues et composants connexes. |
| Permutez les pneus, vérifiez l'usure des pneus et mesurez la profondeur de sculpture de la bande de roulement. | |
| Tous les 8 000 km (5 000 mi) ou six mois | Vidangez l'huile moteur et remplacez le filtrtre.2 |
Entretien de votre véhicule
| Conduite dans des conditions poussièresuses ou sableuses, par ex. sur des routes non revêtres ou poussièresuses | |
| Effectuez l'inspection multipoint. | |
| Tous les 48 000 km (30 000 mi) | Vidangez l'huile de boîte de vitesses automatique. |
Il s'agit d'une fonction en option.
Réinitialisez le système de contrôle d'huile après chaque remplacement de l'huile et du filtre. Voir Réinitialisation du témoin de vidange d'huile (page 375).
Exceptions
Le programme d'entretien normal comporte plusieurs cas d'exceptions :
Entretien du pont et de la boîte de transfert
La boîte de transfert et le pont arrêté (traction intégrale seulement) de votre véhicule n'exigent pas d'entretien périodique normal, sauf si le véhicule a connu des périodes prolongées d'utilisation dans des conditions extrêmes/difficiles ou si la boîte
de transfert ou le pont arrêté ont été submergés dans l'eau. Il n'est pas nécessaire de vérifier l'huile de boîte de transfert ou de pont arrêté, à moins qu'une fuite ne se manifeste. Contactez un concessionnaire autorisé pour la réparation.
Remplacement du filtre à carburant en californie
Si votre véhicule est immatriculé en Californie, l'agence californienne de gestion des ressources en air (California Air Resources Board) a stipulé que la non-exécution de cette opération d'entretien n'annulait pas la garantie antipollution ou ne limitait pas la responsabilité en matière de
rappel avant l'expiration de la durée de vie utile de votre véhicule. Cependant, nous vous recommandons fortement d'exécuter les services d'entretien périodiques selon les intervalles spécifiés et d'enregistrer toutes réparations effectuées sur le véhicule.
Remplacement du filtre à air du moteur et du filtre à air de l'habitacle
La durée de vie du filtre à air du moteur et du filtre à air d'habitacle dépend du degré d'exposition à des conditions sales et poussiéreuses. Dans ces conditions, vérifiez fréquemment le filtre à air du moteur et le filtre à air d'habitacle et remplacez-les au besoin.
Dossier d'entretien périodique
Après avoir effectué les opérations
d'entretien périodique, enregistrez le numéro de l'ordre de réparation, la distance et les heures de fonctionnement du moteur dans les cases prévues à cet effet.




















Compatibilité electromagnétique

AVERTISSEMENT: Ne placez aucn
objet et n'installez aucune équipement qui pourrait entraver le déploiement du sac gonflable sur le couvercle du sac gonflable ou à proximité de celui-ci, sur le côté des dossiers des sièges avant ou près des sièges avant. Le non-respect de ces précautions peut augmenter les risques de blessures en cas de collision.

AVERTISSEMENT: Ne fixez pas les
câbles d'antenne sur le câblage d'origine du véhicule ou sur les conduites de carburant ou de frein.

AVERTISSEMENT: Garder les câbles
d'antenne et d'alimentation à au moins 10 cm (4 po) de tout module électronique et airbag.
Note : Notre véhicule a été testé et certifié conforme aux législations relatives à la compatibilité électromagnétique (Règlement 10 ONU ECE ou tout autre législation locale applicable). Il est de notre responsabilité de veiller à ce que tout équipement installé par un concessionnaire agréé sur votre véhicule soit conforme à la législation locale en vigueur et autres exigences.
Note: Les équipements de transmission radiofréquence de votre véhicule (comme un téléphone cellulaire et émetteur de radio-amateur) doivent être conformes aux paramètres figurant dans le tableau ci-dessous. Aucune condition particulière n'est donnée pour l'installation ou l'utilisation.
Voiture E239120
Fourgonnette

E239122
Camion

E239121
| Bandes de fréquences MHz | Puisance de sortie maximale en Watt (puissance RMS maximale) | Positions d'antenne |
| 1-30 | 50 | 1 |
| 50-54 | 50 | 2.3 |
| 68-88 | 50 | 2.3 |
| Bandes de fréquences MHz | Puisance de sortie maximale en Watt (puissance RMS maximale) | Positions d'antenne |
| 142-176 | 50 | 2.3 |
| 380-512 | 50 | 2.3 |
| 806-870 | 10 | 2.3 |
Note: Vous devez effectuer une série de contrôles après l'installation de ces dispositifs pour détecter la présence d'interférences en provenance et en direction de tous les équipements électriques de votre véhicule en mode de veille et de transmission.
Contrôlez tous les équipements électriques :
- avec contact établi;
- avec le moteur qui tourne;
- pendant un essai sur route à des vitesses différentes.
Les champs électromagnétiques générés par l'émetteur à l'intérieur de l'habitacle ne doivent pas dépasser les limites d'exposition humaine applicables.
Contrat de licence de l'utilisateur FINAL du logiciel de vehicule (CLUF)
- Vous avez acquis un véhicule ayant plusieurs appareils, y compris SYNC® et différents modules de commande ("APPAREILS"), qui comprennent des logiciels sous licence ou détenus par Ford Motor Company et ses sociétés associées ("FORD MOTOR COMPANY"). Ces logiciels installés provenant de FORD MOTOR COMPANY, ainsi que les médias associés, les documents imprimés, la documentation électronique ou sur Internet ("LOGICIEL") sont protégés par des lois et des traités internationaux sur la propriété intellectuelle. Le LOGICIEL est concédé sous licence, il n'est pas vendu. Tous droits réservés.
Le LOGICIEL peut interfacer ou communiquer, ou encore être mis à niveau de manière être en interface avec, et (ou) à communiquer avec des logiciels et (ou) des systèmes additionnels fournis par FORD MOTOR COMPANY.
SI VOUS N'ACCEPTEZ PAS CE CONTRAT DE LICENCE DE L'UTILISATEUR FINAL ("CLUF"), N'UTILISEZ PAS LES APPAREILS ET NE COPIEZ PAS LE LOGICIEL. TOUTE UTILISATION DU LOGICIEL, Y COMPRIS, SANS TOUTEFOIS S'Y LIMITER, L'UTILISATION SUR LES APPAREILS, CONSTITUERA VOTRE ACCEPTATION DE CE CLUF (OU RATIFICATION DE TOUT ACCORD PREALABLE).
CONCESSION D'UNE LICENCE DE LOGICIEL : Ce CLUF vous accorde la licence suivante :
- Vous êtes autorisé à utiliser le LOGICIEL tel qu’il est installé sur les APPAREILS et tel qu’il interface avec des systèmes et (ou) des services fournis par FORD MOTOR COMPANY ou par son intermédiaire, ou par des fournisseurs de logiciels et de services tiers.
Description des autres droits et limitations
- Reconnaissance vocale : Si le LOGICIEL comprend des composants de reconnaissance vocale, vous devez comprendre que la reconnaissance vocale est un procédé fondamentalement statistique et que les erreurs de reconnaissance sont inhérentes à ce procédé. Ni FORD MOTOR COMPANY ni ses fournisseurs ne doivent être tenus responsables de chaque dommage que
ce soit qui pourrait avoir été causé par des erreurs dans le procédé de reconnaissance vocale. Vous devez toujours être attentif aux fonctions de reconnaissance vocale de votre système et prévoir les erreurs possibles.
- Limitations concernant l'ingénierie inverse, la décompilation et le désassemblage: Vous ne pouvez pas désosser, décompiler, traduire, désassembler ou tenter de découvrir le code source ou les idées ou algorithmes sous-jacents du LOGICIEL, ni permettre à d'autres d'effectuer l'ingénierie inverse, de décompiler ou de désassembler le LOGICIEL, sauf et seulement dans la mesure où cette activité
- Limitations concernant la distribution, la copie, la modification et la création d'œuvres dérivées : Vous ne pouvez pas distribuer, copier, faire des modifications ou créer des travaux dérivés basés sur le LOGICIEL, sauf dans la mesure où cette activité est expressément autorisé
- CLUF simple: La documentation destinée à l'utilisateur final concernant cet APPAREIL et les systèmes et services connexes peut contenir plusieurs CLUF, tels que des traductions ou versions média multiples (p. ex., dans la documentation de l'utilisateur et dans le logiciel). Même si vous recevez plusieurs CLUF, toute licence ne vous autorise à utiliser qu'une seule copie (1) du LOGICIEL.
- Transfert du LOGICIEL : Vous pouvez transférer de manière permanente tous vos droits en vertu de ce CLUF, uniquement dans le cadre d'une vente ou du transfert des APPAREILS, à condition que vous n'en gardiez aucune copie, que vous transfériez le LOGICIEL dans son intégralité
- Résiliation : Sous réserve de tout autre droit, FORD MOTOR COMPANY peut résilier ce CLUF si vous ne vous conformez pas à ses conditions.
- Composants de services sur Internet : Le LOGICIEL peut contenir des composants qui permettent et facilitent l'utilisation de certains services sur Internet. Vous reconnaissez et acceptez que FORD MOTOR COMPANY, des fournisseurs de logiciels et services tiers,
ses sociétés associées et ses représentants autorisés peuvent vérifier automatiquement la version et (ou) les composants du LOGICIEL que vous utilisez et peuvent fournir des mises à jour ou des suppléments au LOGICIEL automatiquement téléchargeables dans vos APPAREILS.
- Logiciels et services supplémentaires : Le LOGICIEL peut permettre à FORD MOTOR COMPANY, à des fournisseurs de logiciels et de services tiers, à ses sociétés associées et (ou) représentants autorisés de vous fournir ou de vous donner accès à des mises à jour du LOGICIEL, des suppléments, des composants additionnels ou des composants de services sur Internet du LOGICIEL après la date à laquelle vous obtenez votre copie initiale du LOG_ILE ("Composants supplémentaires"). Les mises à jour du LOGICIEL peuvent vous occasionner des frais supplémentaires de votre fournisseur de services mobiles. Si FORD MOTOR COMPANY ou des fournisseurs de logiciels et de services tiers vous fournissant ou rendent disponibles des composants
supplémentaires et qu'aucune autre condition relative à la licence n'a été fournie avec ces composants, les conditions de ce CLUF s'appliquent. FORD MOTOR COMPANY, ses sociétés affiliées et ses représentants autorisés se réservent le droit de cesser d'offrir, sans responsabilité d'aucune sorte, tout service sur Internet qui vous est fourni ou auquel on vous donne accès par l'utilisation du LOGICIEL.
- Liens à des sites de tiers : Le LOGICIEL peut vous offrir la possibilité de créer un lien vers des sites de tiers. Les sites de tiers ne sont pas sous le contrôle de FORD MOTOR COMPANY, de ses sociétés associées et de ses représentants autorisés. Ni FORD MOTOR COMPANY ni ses sociétés associées et ses représentants autorisés ne sont responsables (i) des contenus de sites de tiers, de tout lien contenu dans les sites de tiers, ou de tout changement apporté ou mis à jour à des sites de tiers, ou (ii) de la diffusion sur le Web ou de toute autre forme de transmission reçue de sites de tiers. Si le LOGICIEL fournit des liens vers des sites de tiers, ces liens ne sont fournis qu'à des fins pratiques et l'inclusion de tout lien n’implique aucune homologation du site de tiers par FORD MOTOR COMPANY, ses sociétés associées et ses représentants autorisés.
- Obligation de conduire de manière responsable : Vous reconnaissez votre obligation de conduire de manière responsable et de vous concentrer sur la route. Vous lirez et respecterez les directives d'utilisation des APPAREILS,
en particulier lorsque celles-ci se rapportent à la sécurité, et acceptez tous les risques associés à l'utilisation des APPAREILS.
MISES À Niveau ET SUPPORT DE RÉCUPÉRATION : Si le LOGICIEL est fourni séparément des APPAREILS par FORD MOTOR COMPANY sous forme de puce de mémoire morte, de CD, par téléchargement à partir d'Internet ou par tout autre moyen, et qu'il est identifié par la mention "À seules fins de mise à niveau" ou "À seules fins de récupération", vous pouvez alors installer une (1) copie dudit LOGICIEL sur les APPAREILS à titre de copie de remplacement du LOGICIEL existant et l'utiliser conformément à ce CLUF, y compris toute condition supplémentaire à ce CLUF accompagnant la mise à niveau du LOGICIEL.
DROITS DE PROPRIÉTÉ INTELLECTUELLE : Tout droit de titre et de propriété intellectuelle relatif au LOGICIEL (y compris, mais sans s'y limiter, toute illustration, photographie, animation, vidéo, audio, musique, texte et "applet" intégré au LOGICIEL), les documents imprimés l'accompagnant et toute copie du LOGICIEL
dont la propriété de FORD MOTOR COMPANY, de ses sociétés associées ou fournisseurs. Le LOGICIEL est concédé sous licence, il n'est pas vendu. Vous n'êtes pas autorisé à copier les documents imprimés qui accompagnent le LOGICIEL. Tous droits de titre et de propriété intellectuelle relatifs au contenu accessible par l'utilisation du LOGICIEL sont la propriété de son détenteur respectif et peuvent être protégés par des droits d'auteur applicables ou par d'autres lois et traités de propriété intellectuelle. Ce CLUF ne vous accorde aucun droit sur un tel contenu en dehors de son utilisation prévue. Tous les droits qui ne sont pas spécifiquement accordés en vertu de ce CLUF sont réservés par FORD MOTOR COMPANY, ses sociétés associées et les fournisseurs et prestataires de logiciels et de services de tiers. L'utilisation de services en ligne auxquels il est possible d'accéder par le LOGICIEL peut être réglementée par les conditions d'utilisation respectives afférentes à de tels services. Si ce LOGICIEL contient de la documentation fournie uniquement sous forme électronique, vous êtes autorisé à imprimer une copie de cette documentation électronique.
RESTRICTIONS À L'EXPORTATION : Vous reconnaissez que le LOGICIEL est assujetti aux juridictions américaines et européennes quant à l'exportation. Vous acceptez de vous conformer à toutes les lois internationales et nationales applicables au LOGICIEL, y compris les règlements américains sur l'administration des exportations et, en tant qu'utilisateur final, avec les restrictions d'utilisation finale et de destination émises par les États-Unis et d'autres gouvernements.
MARQUES DE COMMERCE: Ce CLUF ne vous concède aucun droit concernant toute marque de commerce ou marque de service de FORD MOTOR COMPANY, ses sociétés associées et les fournisseurs et prestataires de logiciels et de services tiers.
Soutien produit: Reportez-vous aux instructions de FORD MOTOR COMPANY fournies dans la documentation pour le soutien produit des APPAREILS, tels que le manuel de l'utilisateur.
Pour toute question concernant ce CLUF, ou si vous désirez communiquer avec FORD MOTOR COMPANY pour toute autre raison, reportez-vous aux coordonnées fournies dans la documentation des APPAREILS.
Déni de responsabilité pour certains dommages: SAUF DANS LE CAS OU CELA EST PROHIBÉ PAR LA LOI, FORD MOTOR COMPANY, TOUT FOURNISSEUR DE LOGICIELS OU DE SERVICES TIERS, ET SES SOCIÉTÉS AFFILIÉES NE SONT RESPONSABLES D'AUCUN DOMMAGE INDIRECT, SPECIAL, CONSÉCUTIF OU ACCESSOIRE SURVENANT DE OU EN RAPPORT AVEC L'UTILISATION OU LA PERFORMANCE DU LOGICIEL. CETTE LIMITATION S'APPLIQUE MÈME SI TOUS LES RECOURS ONT ÉTE ÉPUISÉS SANS SUCESS. IL N'Y A AUCUNE GARANTIE AUTRE QUE CELLES QUI SONT EXPRESSEMENT FOURNIES POUR VOTRE VEHICULE NEUF.
SYNC® Automotive - Informations importantes relatives à la sécurité – Lire et respecter les instructions :
- Avant d'utiliser votre système SYNC®, lisez et observez toutes les instructions et les informations relatives à la sécurité fournies dans ce manuel de l'utilisateur final ("Guide du contrôle"). Le non-respect des précautions contenues dans ce Guide du contrôle peut provoquer un accident ou d'autres conséquences graves.
Principes de fonctionnement de base
- Commandes vocales : Certaines fonctions dans le système SYNC® peuvent être complétées en utilisant des commandes vocales. L'emploi de commandes vocales rend possible l'utilisation du système pendant la conduite tout en gardant les mains sur le volant et sans quitter la route des yeux.
- Consultation prolongée de l'écran d'affichage : Pendant la conduite, ne tentez pas d'accéder à une fonction qui nécessiterait une consultation prolongée de l'écran d'affichage. Arrêtez-vous de façon légale dans un endroit sûr si vous devez utiliser une fonction qui demande une attention prolongée de votre part.
- éntuelles. Si vous ne pouvez entendre ces bruits lorsque vous conduisez, vous risquez un accident.
- Fonctions du système de navigation : Toutes les fonctions du système de navigation du système ont pour but de fournir des directives détaillées pour vous guider jusqu'à votre destination. Assurez-vous que toute personne susceptible d'utiliser le système de navigation mise attentivement et observe les directives d'utilisation et de sécurité du système.
- Danger de distraction : Toute fonction du système de navigation peut nécessiter une configuration manuelle (non verbale). Le fait de procéder à une telle configuration ou d'entrer des données dans le système ûr en respectant la réglementation.
- mplacer un bon jugement. Les suggestions d'itinéraires de ce système ne doivent en aucun cas vous faire ignorer la réglementation de la circulation locale de même que les pratiques de conduite que vous jugez sécuritaires.
- Sécurité routière: N'empruntez pas les itinéraires suggérés s'ils impliquent des manoeuvres illégales ou dangereuses ou s'ils vous entraînant dans des situations dangereuses ou dans des endroits que vous estimez dangereux. Le conducteur demeure l'unique responsable de la sécurité de conduite de son véhicule et doit donc étudier l'itinéraire suggéré afin d'en évaluer la sécurité.
- Imprecision eventuelle des cartes : Les cartes utilisées par le système de navigation peuvent être inexactes en raison de changements apportés aux routes, à la signalisation routière ou aux conditions de conduite. Les itinéraires suggérés doivent être interprétés avec jugement et bon sens.
- Services d'urgence: Ne vous fiez pas au système de navigation pour localiser des services d'urgence. Renseignez-vous auprès des autorités locales ou des organismes de services d'urgence. Les cartes du système de navigation peuvent ne pas inclure tous les services tels que la police, les pompiers, les hôpitaux ou les cliniques.
Vos responsabilités et hypothèses de risques
- Vous acceptez chacun des éléments suivants: (a) L'utilisation du LOGICIEL tout en conduisant une voiture ou un autre véhicule en violation de la loi applicable ou en conduisant autrement de manière dangereuse présente un risque important de distraction au volant et ne doit être tentée en aucune circonstance; (b) L'utilisation du LOGICIEL à un volume excessif pose un risque important de lésions auditives et ne doit être entreprise en aucune circonstance; (c) Le LOGICIEL peut ne pas être compatible avec les nouvelles versions ou les différentes versions d'un système d'exploitation, les logiciels ou services de tiers et le LOGICIEL peut potentiellement causer la défaillance critique d'un système d'exploitation, d'un LOGICIEL ou d'un service de tiers. (d) Tout service de tiers accessible par le LOGICIEL (i) ou logiciel tiers utilisé avec celui-ci peut facturer des frais supplémentaires pour en obtenir l'accès; (ii) peut ne pas fonctionner correctement, de façon ininterrompue ou sans erreur; (iii) peut changer les formats de transmission ou interrompre le
fonctionnement, (iv) peut contenir du contenu vulgaire ou offensant, réservé aux adultes; (v) peut proposer des informations inexactes, fausses ou trompeuses sur la circulation, la météo, les données financières ou de sécurité, ou tout autre contenu; (e) l'utilisation du LOGICIEL peut vous amener à engager des frais supplémentaires auprès de votre fournisseur de services mobiles (WSP) et tout calculateur de données de minutes qui peut être inclus dans le programme du logiciel est donné à titre indicatif seulement, n'est en aucune façon garanti et ne doit en aucune manière être invoqué.
Lorsque vous utilisez le LOGICIEL, vous acceptez d'être responsable et d'assumer la totalité des risques pour les éléments énoncés à l'article (a) - (e) ci-dessus.
Exonération de garantie
VOUS RECONNAISSEZ EXPRESSEMENT ET ACCEPTEZ QUE L'UTILISATION DES APPAREILS ET DU LOGICIEL EST À VOS PROPRES RISQUES ET QUE VOUS PRENEZ À VOITRE CHARGE LA TOTALITE DES RISQUES DE QUALITE SATISFAISANTE, DE PERFORMANCES, D'EXACTITUDE ET D'EFFORT. DANS TOUTE LA MESURE PERMISE PAR LA LEGISLATION APPLICABLE, LE LOGICIEL ET TOUT LOGICIEL OU SERVICE DE TIERS EST FOURNI"TEL QUEL" ET "TEL QUE DISPONIBLE", AVEC TOUS SES DÉFAUTS ET SANS GARANTIE D'AUCUNE SORTE, ET FORD MOTOR COMPANY REJETTE TOUTE GARANTIE ET CONDITION CONCERNANT LE LOGICIEL, LE LOGICIEL ET LES SERVICES DE TIERS, DE FAÇON EXPLICITE OU IMPLICITE, Y COMPRIS, MAIS SANS S'Y LIMITER, LES GARANTIES IMPLICITES ET (OU) LES CONDITIONS DE QUALITE MARCHANDE, DE QUALITE SATISFAISANTE, D'ADOQUATION À UN BUT PARTICULIER, D'EXACTITUDE, DE JOUISSANCE PAISIBLE ET DE NON-VIOLATION DES DROITS DE TIERS. FORD MOTOR COMPANY NE FOURNIT PAS DE GARANTIE (a) CONTRE LES PERTURBATIONS LORS DE VOTRE
UTILISATION DU LOGICIEL, DU LOGICIEL OU DE SERVICES DE TIERS, ET NE GARANTIT PAS (b) QUE LE LOGICIEL, LE LOGICIEL OU LES SERVICES DE TIERS REPONDROUT À VOS BESOINS, (c) QUE LE LOGICIEL, LE LOGICIEL OU LES SERVICES DE TIERS FONCTIONNERONT DE FAÇON ININTERROMPUE OU SANS ERREUR, (d) OU QUE LES DÉFAUTS DU LOGICIEL, DU LOGICIEL OU DES SERVICES DE TIERS SERONT CORRIGÉS. AUCUNE INFORMATION OU AUCUN CONSEIL VERBAL OU PAR ÉCRIT PAR FORD MOTOR COMPANY OU SON REPRESENTANT AUTORISÉ NE CONSTITUE UNE GARANTIE. SI LE LOGICIEL, LE LOGICIEL OU LES SERVICES DE TIERS S'AVÉRAIENT DÉFECTUEUX, VOUS ASSUMEZ L'INTÉGRALITÉ DU COÛT DE TOUT DÉPANNAGE, TOUTE RÉPARATION OU CORRECTION. CERTAINES JURIDICTIONS N'AUTORISENT PAS L'EXCLUSION DE GARANTIES TACITES NI LES LIMITATIONS POUR LES DROITS EN VIGUEUR DES CONSOMMATEURS. AINSI, L'EXCLUSION DE GARANTIE CI-DESSUS PEUT NE PAS S'APPLIQUER PLEINEMENT À VOTRE CAS. LA SEULE GARANTIE FOURNIE PAR FORD
MOTOR COMPANY SE TROUVE DANS LES INFORMATIONS DE GARANTIE QUI ACCOMPAGNENT VOTRE GUIDE DU PROPRIÉTAIRE. EN CAS DE CONFLIT ENTRE LES TERMES DE CETTE SECTION ET LE LIVRET DE GARANTIE, LE LIVRET DE GARANTIE PRÉVAUDRA.
Droit applicable, lieu, compétence
- Les lois de l'État du Michigan régissant ce CLUF et votre utilisation du LOGICIEL. Notre utilisation du LOGICIEL peut également être soumise à d'autres lois locales, régionales, nationales, ou internationales. Tout litige découlant du présent CLUF ou y étant lié sera porté et exclusivement devant un tribunal de l'État du Michigan situé dans le comté de Wayne ou à la cour de district des États-Unis pour le District Est du Michigan. Vous consentez par les présentes à vous soumettre à la
compétence personnelle d'un tribunal de l'État du Michigan situé dans le comté de Wayne et de la cour de district des États-Unis pour le District Est du Michigan pour tout litige découlant de ou lié au present CLUF.
Arbitrage exécutaire et renonciation à un recours collectif
(a) Application. CET ARTICLE S'APPLIQUE À TOUT DIFFÉREND À L'EXCEPTION DE DIFFÉRENDS LIÉS À LA VIOLATION DU DROIT D'AUTEUR OU À L'APPLICATION OU À LA VALIDITE DE VOS DROITS DE PROPRIÉTÉ INTELLECTUELLE, DE CEUX DE FORD MOTOR COMPANY OU DE TOUT CONCÉDANT DE FORD MOTOR COMPANY. Différend signifie tout litige, action, ou autre controverse entre vous et FORD MOTOR COMPANY, autre que les exceptions énumérées ci-dessus, concernant le LOGICIEL (y compris son prix) ou du présent CLUF, que ce soit dans le contrat, la garantie, un délit, une loi, un règlement, une ordonnance ou toute autre base juridique ou équitable.
(b) Avis de contestation. En cas de différend, vous ou FORD MOTOR COMPANY devez zipper à l'autre partie un "Avis de contestation", c.-à-d. une déclaration écrite avec le nom, l'adresse et les coordonnées de la partie qui la remet, les faits qui ont donné lieu au litige et le redressement demandé. Vous et FORD MOTOR COMPANY tenterez de résoudre tout différend par négociation informelle dans un délai de 60 jours à partir de la date à laquelle l'avis de contestation est envoyé. Après 60 jours, vous ou FORD MOTOR COMPANY pouvez commercer l'arbitrage.
(c) Cour des petites créances. Vous pouvez également plaider tout litige dans une cour des petites créances de votre pays de résidence ou l'établissement principal de l'entreprise FORD MOTOR COMPANY, si le litige respecte toutes les exigences du droit d'être entendu dans la cour des petites créances. Vous pouvez plaider dans une cour des petites créances que vous ayez ou non engagé des négociations informelles en premier lieu.
(d) Arbitrage exécutoire. Si vous et FORD MOTOR COMPANY ne résolvez pas tout différend par voie de négociation informelle ou dans une cour des petites créances, tout autre effort pour résoudre ce différend sera mené exclusivement par arbitrage exécutoire. Vous abandonnez le droit de plaider (ou de participer en tant que partie ou membre du recours collectif) tous les litiges en cours devant un juge ou un jury. Au lieu de cela, tous les différends seront résolus devant un médiateur neutre, dont la décision sera finale, sauf pour un droit d'appel limité en vertu de la loi fédérale sur l'arbitrage. Tout tribunal ayant compétence sur les parties peut faire appliquer la décision du médiateur.
(e) Renonciation à un recours collectif. Toute procédure pour résoudre des litiges éventuels ou dans un forum sera effectuée uniquement sur une base individuelle. Ni vous ni FORD MOTOR COMPANY ne recherchez à faire entendre un différend en tant que recours collectif, en tant que recours général devant avocat privé, ou dans toute autre instance dans laquelle une partie agit
ou propose d'agir en tant que représentant. Aucun arbitrage ou procédure ne sera combiné avec un autre sans le consentement écrit préalable de toutes les parties à tous les arbitrages ou procédures touchés par l'instance.
(f) Procédure d'arbitrage. Tout arbitrage sera effectué par l'Association française d'arbitrage ("AAA"), en vertu de ses règles d'arbitrage commercial. Si vous êtes un particulier et utilisez le LOGICIEL pour un usage personnel ou sur un véhicule, ou si la valeur du litige est de 75 000 ou moins, si vous êtes ou non un particulier ou selon la façon dont vous utilisez le LOGICIEL, les Procédures AAA complémentaires pour les litiges en matière de consommation s'appliqueront également. Pour commencer l'arbitrage, soumettez une demande de règles d'arbitrage commercial pour la forme d'arbitrage à l'AAA. Vous pouvez demander une audience par téléphone ou en personne en suivant les règles AAA. Dans un différend chiffré à 10 000 ou moins, l'audience se fera par téléphone à moins que le médiateur ne trouve de bonnes raisons de tenir cette audience en personne. Pour plus
d'informations, reportez-vous à adr.org ou composez le 1800 778-7879. Vous acceptez de ne commencer l'arbitrage que dans votre pays de résidence ou l'établissement principal de l'entreprise FORD MOTOR COMPANY. Le médiateur peut vous accorder les mêmes dommages à vous individuellement comme peut le faire un tribunal. Le médiateur peut rendre un jugement de constatation ou des mesures injonctives uniquement pour vous et seulement dans la mesure nécessaire pour répondre à votre demande individuelle.
(Frais d'arbitrage et incitations.)
i. Litiges chiffrés à 75 000 $ ou moins. FORD MOTOR COMPANY remboursera rapidement vos frais de dépôt et paiera les frais et les dépenses de l'AAA et du médiateur. Si vous rejetez la dernière offre de règlement écrite de FORD MOTOR COMPANY faite avant que le médiateur n'ait été nommé ("dernière offre écrite"), que votre différend suit tout le parcours jusqu'à la décision d'un médiateur (appelée "sentence") et que le médiateur vous attribue plus que la dernière offre écrite, FORD MOTOR
COMPANY vous avez trois options : (1) payer la somme la plus élevée de la sentence ou 1000 $; (2) régler deux fois les frais raisonnables de votre avocat, le cas échéant; et (3) rembourser les frais (y compris les honoraires et les frais de témoins experts) que votre avocat accumule raisonnablement pour enquêter, préparer et poursuivre toute demande en arbitrage. Le médiateur déterminera les montants.
ii. Litiges chiffrés à plus de 75000 $. Les règles de l'AAA régiront le paiement des taxes de dépôt et les honoraires et frais de l'AAA et du médiateur. iii. Litiges sans égard au montant. Dans tout arbitrage que vous commencez, FORD MOTOR COMPANY cherchera à récapituler les honoraires et frais de AAA ou du médiateur, ou vos frais de dossier que l'entreprise a remboursés, seulement si le médiateur juge l'arbitrage frivole ou présenté dans un but illégitime. Dans tout arbitrage entamé par FORD MOTOR COMPANY, l'entreprise paiera tous les frais de dossier et dépenses de l'AAA, et
du médiateur. Elle ne cherchera pas à réclamer les honoraires ou les frais de son avocat auprès de vous dans quelconque arbitrage. Les frais et les dépenses ne sont pas comptabilisés pour déterminer le montant d'un litige.
(h) Les réclamations ou contestations doivent être déposées dans un début d'un an. Dans la mesure permise par la loi, toute réclamation ou tout différend en vertu du présent CLUF auquel cet article s'applique doit être déposé dans l'année à la cour des petites créances (Article C) ou en arbitrage (Article D). La période d'un an commence lorsque la première revendication ou contestation peut être déposée. Si une telle réclamation ou un tel litige n'est pas déposé dans l'année, il est interdit de façon permanente.
(i) Divisibilité. Si la renonciation à un recours collectif [Article (e)] est jugée illégale ou inapplicable, pour l'intégralité ou des parties d'un différend, la partie de l'article (e) ne s'applique pas à ces parties. Au lieu de cela, ces parties seront divisées et traitées dans
Un tribunal, les autres parties procédant à l'arbitrage. Si toute autre disposition de la partie article (e) est jugée illégale ou non exécutable, cette disposition sera divisée, le reste de l'article (e) demeurant en vigueur et de plein effet.
Contrat de licence d'utilisateur final du logiciel telenav
Veuillez lire ces modalités et conditions attentivement avant d'utiliser le logiciel TeleNav. Notre utilisation du logiciel TeleNav indique que vous acceptez ces modalités et conditions. Si vous n'acceptez pas ces modalités et conditions, ne brisez pas le sceau de l'emballage, ne lancez pas, ni autrement n'utilisez le logiciel TeleNav. TeleNav peut modifier ce contrat ainsi que la politique de confidentialité à n'importe quel moment, avec ou sans préavis. Vous consentez à visiter le site http://www.telenav.com périodiquement pour consulter la version plus récente de ce contrat et la politique de confidentialité.
1. Utilisation sécuritaire et légale
Vous reconnaissez que l'utilisation du logiciel TeleNav durant la conduite peut poser un risque de blessures ou de mort pour vous et d'autres personnes dans des situations qui exigent autrement votre attention exclusive, et vous consentez donc à vous conformer aux directives suivantes lorsque vous utilisez le logiciel TeleNav :
(a) respectez toutes les lois de la circulation et autrement conduisez de façon sécuritaire; (b) utilisez votre propre jugement pendant la conduite. Si vous estimez que l'itinéraire suggéré par le logiciel TeleNav vous invite à accomplir une manœuvre dangereuse ou illégale, vous place dans une situation dangereuse, ou vous oriente dans une zone que vous considérez comme dangereuse, ne suivez pas ces instructions.
(c) n'entrez pas de destinations, ou autrement ne manipulez pas le logiciel TeleNav, à moins que votre véhicule ne soit à l'arrêt et en stationnement.
(d) n'utilisez pas le logiciel TeleNav à des fins illégales, non autorisées, involontaires, peu sûres, dangereuses ou illégales, ou de toute manière incompatible avec le présent contrat;
(e) organisez tous les GPS et les appareils sans fil et les cables nécessaires pour l'utilisation du logiciel TeleNav de manière sécurisée dans votre véhicule afin qu'ils n'interfèrent pas avec votre conduite et n'empêchent pas le fonctionnement de tout dispositif de sécurité (comme un coussin de sécurité gonflable);
Vous consentez à indemniser TeleNav contre toutes les réclamations découlant de l'utilisation dangereuse ou autrement inappropriée du logiciel TeleNav dans tout véhicule en mouvement, y compris en raison de votre non-conformité aux directives mentionnées ci-dessus.
2. Données relatives au compte
Vous acceptez : (a) lorsque vous enregistrez le historique TeleNav, de fournir à TeleNav de l'information exacte, précise, à jour et complète sur vous, et (b) d'informer TeleNav sans tarder de tout changement relatif à telle information, en vous assurant qu'elle soit exacte, précise, à jour et complète.
3. Licence de logiciel
- En conformité avec les modalités de ce contrat, TeleNav vous accorde par la présente une licence personnelle, non exclusive et non transférable (excepté dans les cas expressément autorisés ci-dessous concernant votre transfert permanent de la licence du TeleNav), sans droit de sous-licence, d'utiliser le TeleNav (sous forme de code-object seulement) afin d'accéder au TeleNav et de son utilisation. Cette licence prendra fin lors de toute
résiliation ou expiration de ce contrat. Vous consentez à utiliser le calculiciel TeleNav seulement pour votre usage personnel d'affaire ou d'agrément, et à ne pas fournir de services de navigation commerciale à d'autres parties.
3.1 Limitations de licence
(a) ingénierie inverse, décompilation, désassemblage, traduction, modification, altération ou autre changement du logiciel TeleNav ou d'une partie de celui-ci; (b) tentative d'extraire le code source, la bibliothèque d'audio ou la structure du logiciel TeleNav, sans le consentement écrit, exprès et préalable de TeleNav; (c) suppression du logiciel TeleNav, ou modification, de toute marque de commerce, nom commercial, logo, brevet ou mention de droits d'auteur ou autre avis ou marque de TeleNav ou de ses fournisseurs; (d)
distribution, accord de sous-licence ou autrement transfert du logiciel TeleNav à d'autres, sauf dans le cadre de votre transfert permanent du logiciel TeleNav; ou (e) utilisation du logiciel TeleNav d'une manière qui
i. porte atteinte à propriété intellectuelle ou aux droits de propriété, droits de publicité ou de confidentialité ou à d'autres droits de toute partie,
ii. viole des lois, statuts, ordonnances ou règlements, y compris, sans s'y limiter, les lois et règlementations relatives aux pourriels, à la vie privée, à la protection des consommateurs et des enfants, à l'obscénité ou à la diffamation, ou
iii. est à caractère nuisible, menaçant, abusif, harcelant, tortueux, diffamatoire, vulgaire, obscène, calomnieux ou autrement répréhensible ; et (f) cédé à crédit-bail, loué, ou autrement permet l'accès non autorisé par des tiers au logiciel TeleNav sans autorisation écrite préalable de TeleNav.
4. Avis de non-responsabilité
- Dans la pleine mesure où le permet la loi, en aucun cas TeleNav, ses concédants de licence et fournisseurs, ou agents ou employés ne seront tenus responsables de ce qui précède, de toute décision prise ou action effectuée par vous ou par une autre personne en se fiant à l'information fournie par le logiciel TeleNav. TeleNav ne garantit pas également l'exactitude de la carte ou d'autres données utilisées pour le logiciel TeleNav. De telles données peuvent ne pas toujours refléter la réalité en raison de divers facteurs, en outre, les fermetures de route, la construction, les conditions météorologiques, les nouvelles routes et d'autres conditions changeantes. Vous êtes responsable du risque entier qui résulte de votre utilisation du logiciel TeleNav. Par exemple, mais sans s'y limiter, vous consentez à ne pas compter sur le logiciel TeleNav pour la navigation critique dans les secteurs où votre bien-être ou votre survie, ainsi que le bien-être et la survie des autres, dépend.
de l'exactitude de la navigation, dans la mesure ou les cartes ou la fonctionnalité du logiciel TeleNav ne sont pas conçues pour soutenir de telles applications à risque élevé, sur tout dans des régions géographiquement plus éloignées. - TELENAV DÉCLINE EXPLICITÉMENT ET EXCLUT TOUTES LES GARANTIES À PROPOS DU LOGICIEL TELENAV, QU'ELLES SOIENT STATUIARES, EXPRESSES OU TACITES, Y COMPRIS TOUTES LES GARANTIES QUI POURRAIENT RÉSULTER DE TRANSACTIONS COMMERCIALES, DE PRATIQUES COMMERCIALES COURANTES OU DE L'USAGE DU COMMERCE ET Y COMPRIS, MAIS SANS S'Y LIMITER, LES GARANTIES IMPLICITES DE QUALITÉ MARCHANDE, D'ADEQUATION À UN BUT PARTICULIER ET D'ABSENCE DE CONTREFAÇON DE DROITS DE TIERS PAR RAPPORT AU LOGICIEL DE TELENAV. - Certaines juridictions ne permettent pas l'avis de non-responsabilité de certaines garanties. Cette limitation peut donc ne pas s'appliquer à votre cas.
5. Limitation de responsabilité
DANS LA MESURE OU LA LOI LE PERMET, EN AUCUN CAS TELENAV OU SES CONCÉDANTS DE LICENCE ET FOURNISSEURS NE SERONT TENUS RESPONSABLES ENVERS VOUS OU ENVERS DES TIERS DES DOMMAGES INDIRECTS, ACCESSOIRETS, CONSEQUENTS, SPEÇAUX OU EXEMPLAIRES (Y COMPRIS DANS CHAQUE CAS, MAIS SANS S'Y LIMITER, LES DOMMAGES POUR L'INCAPACITÉ D'UTILISER L'ÉQUIPEMENT OU D'ACCÉDER AUX DONNÉES, LA PERTE DE DONNÉES, LA PERTE D'AFFAÎRES, LA PERTE DE PROFITS, LA PERTE D'EXPLOITATION OU SIMILAIRE) RÉSULTANT DE L'USAGE OU DE L'IMPOSSIBILITÉ D'UTILISER LE LOGICIEL TELENAV, MÉME SI TELENAV A ÉTÉ AVISEE DE LA POSSIBILITÉ DE TELS DOMMAGES. NONOBSTANT TOUT DOMMAGE QUE VOUS POURRRIEZ SUBIR POUR QUELQUE RAISON QUE CE SOIT (Y COMPRIS, SANS S'Y LIMITER, TOUS LES DOMMAGES MENTIONNÉS AUX PRESENTES ET TOUT DOMMAGE
DIRECT OU GÉNÉRAL EN VERTU DU CONTRAT, D'UN DÉLIT CIVIL [Y COMPRIS LA NÉGLIGENCE] OU AUTREMENT), LA RESPONSABILITÉ ENTIÈRE DE TELENAV ET DE TOUS LES FOURNISSEURS DE TELENAV SERA LIMITÉE AU MONTANT QUE VOUS AVEZ RÉELLEMENT PAYÉ POUR LE LOGICIEL TELENAV. CERTAINS ÉTATS ET (OU) CERTAINES JURIDICTIONS NE PERMETTENT PAS L'EXCLUSION OU LA LIMITATION DE DOMMAGES ACCESSOIRES OU CONSEQUENTS. LES LIMITATIONS OU LES EXCLUSIONS MENTIONNÉES CI-DESSUS PEUVENT DONC NE PAS S'APPLIQUER À VOTRE CAS.
6. Arbitrage et loi applicable
- Vous consentez que toute dispute, réclamation ou controverse qui résulte ou est connexe à ce Contrat ou au Logiciel TeleNav sera résolue par un arbitrage indépendant impliquant un médiateur neutre et sera gérée par l'Association américaine d'arbitrage dans le comité de Santa Clara, en Californie.
Le médiateur appliquera les Règles d'arbitrage commerciales de l'Association américaine d'arbitrage, et le jugement concernant la sentence arbitrale rendue par le médiateur pourra être enregistré auprès de n'importe quel tribunal compétent. Notez qu'il n'y a aucun juge ni jury dans un processus d'arbitrage et que la décision du médiateur liera les deux parties. Vous consentez expressément à renoncer à votre droit à un procès devant jury. Ce contrat et son exécution seront gouvernés et interprétés conformément aux lois de l'État de la Californie, sans donner effet à ses stipulations en matière de conflit de lois. Dans la mesure où une action légale est nécessaire concernant l'arbitrage à caractère exécutoire, TeleNav et vous-même consentez à vous soumettre à la juridiction exclusive des tribunaux du comité de Santa Clara, en Californie. La Convention des Nations Unies sur les contrats de vente internationale de marchandises ne s'applique pas.
7. Cession
- Vous ne pouvez pas revendre, céder ou transférer ce Contrat ou aucun de vos droits ou obligations, sauf dans leur intégralité, en connexion avec votre transfert permanent du logiciel TeleNav, et expressément assujetti à l'acceptation des modalités et des conditions de ce contrat par l'utilisateur du logiciel de TeleNav. Les ventes, cessions ou transferts qui ne sont pas expressément permis en vertu de ce paragraphe entraîneront la résiliation immédiate de ce contrat, sans aucune responsabilité de la part de TeleNav, auquel cas vous et les autres parties devrez cesser immédiatement d'utiliser le logiciel TeleNav. Nonobstant les stipulations précédentes, TeleNav peut céder ce contrat à toute autre partie, en tout temps et sans préavis, à condition que le cessionnaire reste lié par ce contrat.
8.1
Ce contrat constitue l'accord entier entre TeleNav et vous relativement à l'objet des générées.
8.2
Sauf pour ce qui est des licences limitées expressément accordées dans ce contrat, TeleNav retient tout droit, titre et intérêt dans et au logiciel TéléNav, y compris, mais sans s'y limiter, tous les droits de propriété intellectuelle connexe. Aucune licence ni autres droits qui ne sont pas expressément accordés dans ce contrat, sont conçus, ou le seront, pour être accordés ou conférés par implication, par statut, incitation, estoppel ou autre, et TeleNav et ses fournisseurs ainsi que ses concédants de licence se réservent par la présente tous les droits respectifs autres que les licences accordées explicitement dans ce contrat.
8.3
En utilisant le logiciel TeleNav, vous consentez à recevoir électroniquement de TeleNav toutes les communications, y compris les avis, les accords, les divulgations juridiques requises ou les autres renseignements à propos du Logiciel de TeleNav (collectivement, les "Avis"). TeleNav peut fournir de tels avis en les affichant sur le site Web de TeleNav ou en téléversant de tels avis sur votre appareil sans fil. Si vous désirez retirer votre consentement pour recevoir électroniquement ces avis, vous devez discontinuer l'utilisation du logiciel TeleNav.
8.4
Le manquement de TeleNav ou le vôtre d'exiger l'exécution de toute stipulation ne compromettra à aucun moment le droit de cette partie par la suite, et aucune renonciation par une partie à un défaut aux termes de ce contrat ne constituera un abandon de violation suivante ou un défaut ou un abandon de la stipulation même.
8.5
Si une disposition quelconque dans la présente est inexécutable, cette disposition sera alors modifiée pour refléter l'intention des parties, et les dispositions restantes de ce contrat resteront en vigueur et exécutoires.
8.6
Les titres de ce contrat sont disponibles en référence uniquement, ne seront pas considérés comme faisant partie de ce contrat et ne seront pas utilisés comme référence en rapport avec la rédaction ou l'interprétation de ce contrat. Comme ils sont utilisés dans ce contrat, les mots "inclus" et "y compris", et les variations, ne seront pas considérés comme étant des termes de limitation, mais seront suivis par les mots "sans limitation".
9. Modalités et conditions relatives aux autres fournisseurs
Le logiciel Telenav utilise la carte et les autres données concédées à Telenav par des fournisseurs tiers pour votre bénéfice et celui d'autres utilisateurs finaux. Le présent contrat inclut les modalités de l'utilisateur final applicables à ces entreprises (et sont inclues à la fin de ce contrat), si bien que votre utilisation du logiciel Telenav est aussi assujettie à ces modalités. Vous consentez à vous conformer aux modalités et conditions additionnelles suivantes, qui sont applicables aux tiers concédants de licence de fournisseur de Telenav :
9.1 Modalités de l'utilisateur final requises par HERE North America, LLC
Les données ("Données") sont fournies uniquement pour votre utilisation personnelle et non à des fins de revente. Elles sont protégées par des droits d'auteur, et sont assujetties aux modalités ainsi qu'aux conditions qui sont convenues par vous, d'une part, et Telenav ("Telenav") et ses concédants de licence (y compris leurs concédants de licence et fournisseurs), d'autre part.
© 2013 HERE. Tous droits réservés.
Les données concernant les régions du Canada incluent l'information obtenue avec la permission des autorités canadiennes, parmi lesquelles : © Sa Majesté la reine du chef du Canada, © Imprimeur de la reine pour l'Ontario, © Société canadienne des postes, GeoBase© Ministère des ressources naturelles du Canada.
HERE détant une licence non exclusive de l'United States Postal Service® pour publier et vendre l'information ZIP+4®.
© United States Postal Service® 2014. Les prix ne sont pas établis, contrôlés ou approuvés par l'United States Postal Service®. Les marques de commerce et enregistrements de marques suivants sont la propriété de USPS : United States Postal Service, USPS et ZIP+4.
Les données pour le Mexique comprennent les données de l'Instituto Nacional de Estadística y Geografía.
9.2 Modalités de l'utilisateur final requis par NAV2 (shanghai) co., ltd
Les données ("Données") sont fournies uniquement pour votre utilisation personnelle et non à des fins de revente. Elles sont protégées par des droits d'auteur et soumises aux modalités suivantes, que vous et NAV2 (Shanghai) Co., Ltd ("NAV2"), et ses concédants de licence (y compris leurs concédants de licence et fournisseurs), acceptez. 20xx. Tous droits réservés.
Modalités
Utilisation autorisée. Vous convenez d'utiliser ces données avec votre logiciel Telenav exclusivement à des fins d'affaires et personnelles à l'interne pour lesquelles vous détenez une licence et non pour des sociétés de service, un temps partagé ou d'autres objectifs similaires. Par conséquent, mais sous réserve des restrictions mentionnées dans les paragraphes suivants, vous convenez de ne pas autrement reproduire, copier, modifier, décompiler, désassembler, créer tout travail dérivé, ni procéder à une ingénierie inverse de ces données, et de ne pas les transférer ni les distribuer sous quelleconque forme ou pour chaque usage que ce soit, sauf dans la mesure où les lois obligatoires le permettent.
Restrictions. Sauf si vous détenez une licence spécifique à cette fin concédée par Telenav, et sans limiter le paragraphe précédent, vous ne pouvez pas utiliser ces données (a) avec des produits, des dispositifs ou des applications installés ou autrement branchés ou en communication avec des véhicules, afin d'effectuer la navigation, le positionnement, la répartition, le guidage en
temps réel, la gestion de parc ou d'utiliser des applications semblables ; ou (b) avec, ou en communication avec, un système de positionnement ou un système électronique ou informatique mobile ou sans fil, y compris, sans s'y limiter, les téléphones cellulaires, les ordinateurs de poche, les téléviseurs et les assistants numériques personnels.
Avertissement. Ces données peuvent contenir des renseignements inexacts ou incomplets en raison du passage du temps, de l'évolution des circonstances, des sources utilisées et de la nature exhaustive de la collecte de données géographiques, de tout ce qui peut conduire à des résultats incorrects.
Non-garantie. Les présentes données vous sont fournies "telles quelles" et vous consentez à les utiliser à vos propres risques. Telenav et ses concédants de licence (y compris leurs propres concédants de licence et leurs fournisseurs) ne consentent aucune garantie, déclaration ou garantie de quelque sorte, explicite ou implicite, découlant de la loi ou autre, incluant, sans s'y limiter, le
contenu, la qualité, la précision, l'intégralité, l'efficacité, la fiabilité, l'adéquation à un usage particulier, l'utilité, l'utilisation ou les résultats obtenus de ces données, ou que les données ou le serveur seront accessibles en tout temps ou sans erreur.
Exonération de garantie : TELENAV ET SES CONCÉDANTS DE LICENCE (Y COMPRIS LEURS PROPRES CONCÉDANTS DE LICENCE ET LEURS FOURNISSEURS) DéCLINENT TOUTE GARANTIE, EXPLICITE OU IMPLICITE, DE QUALITÉ, DE PERFORMANCE, DE VALEUR MARCHANDE, D'ADOQUATION À UN USAGE PARTICULARIER OU D'ABSENCE DE CONTREFAÇON. Certainés États, territorières et pays ne permétent pas d'exclure certaines garanties. Ainsi, dans cette mesure, la garantie ci-dessus peut ne pas s'appliquer à votre cas.
Exonération de responsabilité : TELENAV ET SES CONCÉDANTS DE LICENCE (Y COMPRIS LEURS PROPRES CONCÉDANTS DE LICENCE ET LEURS FOURNISSEURS) NE DOIVENT PAS ÉTRE TENUS RESPONSABLES ENVERS VOUS À L'EGARD DE : TOUTE RECLAMATION, DEMANDE OU ACTION,
QUELLE QUE SOIT LA NATURE DE LA CAUSE DE LA RECLAMATION, DEMANDE OU ACTION ALLÉGUANT Toute PERTE, BLESSURE OU TOUS DOMMAGES, DIRECTS OU INDIRECTS, QUI POURRAIENT RÉSULTER DE L'UTILISATION OU DE LA POSSESSION DE CES INFORMATIONS, OU TOUTE PERTE DE BENÉFICES, REVENUS, CONTRATS OU ÉCONOMIES OU TOUT AUTRE DOMMAGE DIRECT, INDIRECT, ACCESSOIÈRE, PARTICULIER OU CONSÉCUTIF DÉCOULANT DE VOTRE UTILISATION OU DE L'IMPOSSIBILITÉ D'UTILISER CES INFORMATIONS, DE TOUT D'AUT DANS CES INFORMATIONS, OU DE LA VIOLATION DE CES MODALITÉS OU CONDITIONS, QUE CE SOIT DANS UN ACTION EN RESPONSABILITÉ CONTRACTUELLE OU DÉLICTUELLE, OU QUE CE SOIT FONDED SUR UNE GARANTIE, MÉME SI TELENAV OU SES CONCÉDANTS DE LICENCE ONT ETÉ AVISES DE LA POSSIBILITÉ DE TELS DOMMAGES. Certains États, territoires et pays n'autorisent pas certaines exclusions de responsabilité ou limitations des dommages-intérêts, et, dans cette mesure, l'exclusion ci-dessus peut ne pas vous concerner.
Restriction à l'exportation. Vous ne devez exporter aucune partie de ces données ainsi que des produits directs qui en découlent, sauf en conformité avec toutes les licences et tous les accords requis en vertu des lois et des règlements en vigueur sur l'exportation, incluant sans s'y limiter, les lois, les règles et les réglementations générées par le Bureau du contrôle des avoirs étrangers du Département du commerce des États-Unis du Bureau de l'industrie et de la sécurité du Département du Commerce des États-Uni. Dans la mesure où de telles lois, règles et réglementations interdisent à HERE de respecter quelconque de ses obligations en vertu du présent contrat de livre ou de distribuer les données, un tel manquement sera excusé et ne constituera pas une violation du présent contrat.
Exhaustivement du Contrat. Ces modalités et conditions constituent l'intégralité de l'accord entre Telenav (et ses concédants de licence, y compris leurs concédants de licence et leurs fournisseurs) et vous relativement à l'objet du présent document et remplacent intégralement tout accord écrit ou verbal déjà conclu concernant l'objet du présent document.
Loi applicable. Les modalités et conditions ci-dessus sont régies par les lois de l'État de l'Illinois [insérer "Pays-Bas" lorsque les données européennes de HERE sont utilisées], sans donner effet (i) à ses stipulations en matière de conflit de lois, ou (ii) à la Convention des Nations Unies sur les contrats de vente internationale de marchandises, qui est explicitement exclue. Vous convenez de vous soumettre à la juridiction de l'État de l'Illinois [insérer "Pays-Bas" lorsque les données européennes de HERE sont utilisées] pour tout litige, réclamation et action découlant des Données fournies en vertu des générées.
Utilisateurs finaux du gouvernement. Si les données sont acquises par ou au nom du gouvernement des États-Unis ou de toute autre entité sollicitant ou applicant des droits similaires à ceux habituellement revendiqués par le gouvernement des États-Unis, ces données constituent un "article commercial" au sens défini au 48 C. F. R. ("FAR") 2.101, concédé sous licence conformément aux conditions générales de l'utilisateur final, et chaque copie des données remise ou autrement fournie de toute autre manière sera marquée et gravée de l'"Avis d'utilisation" suivant et sera traitée conformément audit avis :
Avis d'utilisation
NOM DU CONTRACTANT (FABRICANT OU FOURNISSEUR) : HERE ADRESSE DU CONTRACTANT (FABRICANT OU FOURNISSEUR) : c/o Nokia, 425 West Randolph Street, Chicago, Illinois 60606 Ces données constituent un article commercial au sens défini dans le FAR 2.101 et sont assujetties aux modalités d'utilisateur final en vertu desquelles ces données ont été fournies. © 1987 - 2014 HERE - Tous droits réservés.
Si l'agent de négociation des contrats, l'organisme du gouvernement fédéral ou un fonctionnaire fédéral refuse d'utiliser la légende fournie ici, l'agent de négociation des contrats, l'organisme du gouvernement fédéral, ou le fonctionnaire fédéral doit en aviser HERE avant de rechercher à obtenir des droits supplémentaires ou autres droits relatifs aux données.
I. Territoire des États-Unis/Canada
A. Données des États-Unis. Les modalités de son utilisation finale pour toute application complétant des données pour les États-Unis doivent comprendre les avis suivants :
"HERE détient une licence non exclusive de l'United States Postal Service pour publier et vendre l'information ZIP+4."
United States Postal Service® 20XX. Les prix ne sont pas établis, contrôlés ou approuvés par l'United States Postal Service®. Les marques de commerce et enregistrements de marques suivants sont la propriété de USPS: United States Postal Service, USPS et ZIP+4.
B. Données du Canada. Les dispositions suivantes s'appliquent aux données pour le Canada, lesquelles peuvent inclure ou reprendre les données des concédants de licence tiers ("Données de tierce partie"), incluant Sa Majesté la reine aux droits du Canada ("Sa Majesté"), la Société canadienne des postes ("Postes Canada") et le Ministère des Ressources naturelles du Canada ("RNCan") :
- Avis de non-responsabilité et limitation : Le client consent à ce que son utilisation des données de tierces parties soit assujettie aux dispositions suivantes :
a. Avis de non-responsabilité : Les données de tierces parties sont proposées sous forme de licence "en l'état". Les concédants de licence de telles données, incluant Sa Majesté, Postes Canada et RNCan, ne conse-
aucun engagement, déclaration ou garantie de quelconque sorte, explicite ou implicite, découlant de la loi ou autre, y compris, sans se limiter, l'efficacité, l'intégralité, la précision ou l'adéquation à un usage particulier.
b. Limitation de responsabilité : Les concédants de licence de données de tierces parties, incluant Sa Majesté, Postes Canada et RNCan, ne peuvent être tenus responsables : (i) à l'égard de toute réclamation, demande ou action, quelle que soit la nature de la cause de la réclamation, demande ou action alléguant toute perte, blessure ou dommages, directs ou indirects, qui pourrait résulter de l'utilisation ou la possession de ces données ; ou (ii) de toute perte de bénéfices, revenus, contrats ou de toute autre perte accessoire découle de l'impossibilité d'utiliser ces données.
- é avec la copie, comme les manuels d'utilisateur ou les accords de licence d'utilisateur final: "Les données incluent les renseignements pris avec la permission des autorités canadiennes notamment: © Sa Majesté la Reine aux droits du Canada, © l'Imprimeur de la Reine pour l'Ontario, © la Société canadienne des postes, GéoBase®, © le Ministère des Ressources naturelles du Canada. Tous droits réservés."
- Modalités de l'utilisateur final : Sauf accord contraire entre les parties, reli-vement à la fourniture de toute partie des données pour le territoire du Canada aux utilisateurs finaux pouvant être autorisés en vertu du contrat, le client doit fournir aux utilisateurs finaux,
de manière bien visible, avec les modalités (établies avec les autres modalités d'utilisateur final à fournir en vertu du contrat, ou autrement fournies, par le client) qui doivent inclure les dispositions suivantes au nom des concédants de licence de données de première partie, incluant Sa Majesté, Postes Canada et RNCan :
Les données peuvent inclure ou refléter les données des concédants de licence, incluant Sa Majesté la reine aux droits du Canada ("Sa Majesté"), la Société canadienne des postes ("Postes Canada") et le Ministère des Ressources naturelles du Canada ("RNCan"). Ces données sont proposées sous forme de licence "en l'état". Les concédants de licence, incluant Sa Majesté, Postes Canada et RNCan, ne consentent aucun engagement, déclaration ou garantie relativement à ces données, qu'ils soient explicites ou implicites, découlant de la loi ou autrement, y compris, mais sans s'y limiter, l'efficacité, l'intégralité, la précision ou
l'adéquation à un usage particulier. Les concédants de licence, incluant Sa Majesté, Postes Canada et RNCan, ne peuvent être tenus responsables à l'égard de toute réclamation, demande ou action, quelle que soit la nature de la cause de la réclamation, demande ou action alléguant toute perte, blessure ou dommages, directs ou indirects, qui pourrait résulter de l'utilisation ou la possession des données ou de ces données. Les concédants de licence, incluant Sa Majesté, Postes Canada et RNCan, ne peuvent être tenus responsables, sous quelque forme que ce soit, pour toute perte de revenus ou de contrat, ou toute perte consécutive de chaque sorte que ce soit, qui pourrait résulter de tout défaut dans les données ou ces données.
L'utilisateur final indemnisera et dégagera de toute responsabilité les concédants de licence, incluant Sa Majesté, Postes Canada et RNCan, et leurs officiers, employés et agents contre toute réclamation, demande
ou action, quelle que soit la nature de la cause de la réclamation, demande ou action, alléguant des pertes, coûts, dépenses, dommages ou blessures (incluant les blessures entraînant le décès) survenant de l'utilisation ou de la possession des données ou des données.
- Dispositions additionnelles : Les modalités contenues dans le présent article constituent un ajustement à tous les droits et obligations des parties en vertu du contrat. Dans la mesure où toutes dispositions du présent article ne sont pas en contradiction ou en conflit avec aucune autre disposition du contrat, les dispositions du présent article doivent prévaloir.
II. Mexique. La disposition suivante s'applique aux données pour le Mexique, qui comprend certaines données de l'Instituto Nacional de Estadística y Geografía ("INEGI") :
A. Toute copie des données ou de l'emballage contenant les données pour le Mexique doit contenir l'avis suivant : "Fuente : INEGI (Instituto Nacional de Estadística y Geografia)"
III. Territoire de l'Amérique latine
A. Avis de pièce partie. Toute copie des données ou de l'emballage connexe doit contenir l'avis de pièce partie mentionné ci-dessous et utiliser comme décrit ci-dessous correspondant au territoire (ou une partie de celui-ci) inclus dans une telle copie :
Territoire Avis
Argentine IGN "INSTITUTO GEOGRAFICO NACIONAL ARGENTINO"
Équateur "INSTITUTO GEOGRAFICO MILITAR DEL ECUADOR AUTORIZACION N° IGM-2011-01-PCO-01 DEL 25 DE ENERO DE 2011" "source:© IGN 2009-BD TOPO"
Guadeloupe, Guyane Française et Martinique "Fuente: INEGI (Instituto Nacional de Estadística y Geografía)"
IV. Territoire du Moyen-Orient
A. Avis de pièce partie. Toute copie des données ou de l'emballage connexe doit contenir l'avis de pièce partie mentionné ci-dessous et utilisé comme décrit ci-dessous correspondant au territoire (ou une partie de celui-ci) inclus dans une telle copie :
Pays Avis
Jordanie "Royal Jordanian Geographic Centre". L'exigence d'avis précédent pour les données de la Jordanie est une clause substantielle du contrat. Si un client ou l'un de ses titulaires de sous-licence autorisés (le cas échéant) ne satisfait pas à cette exigence, HERE a le droit de résilier la licence du client relativement aux données de la Jordanie.
B. Données de la Jordanie. Le client et ses titulaires de sous-licence autorisés (le cas échéant) ne peuvent octroyer ou autrement distribuer la base de données de HERE pour la Jordanie ("Données de la Jordanie") aux fins d'utilisation dans des applications d'entreprise aux (i) entités non jordaniennes pour l'utilisation des données de la Jordanie uniquement en Jordanie ou (ii) clients basés en Jordanie. De plus, le client, ses titulaires de sous-licence autorisés (le cas échéant) et les utilisateurs finaux ne peuvent utiliser les
données de la Jordanie dans les applications d’entreprise si une telle partie est (i) une entité non jordanienne utilisant les données de la Jordanie uniquement en Jordanie, ou (ii) un client basé en Jordanie. Aux fins des générées, "Applications d’entreprise" signifie les applications de géomarketing, les applications GIS, les applications de gestion d’actifs commerciaux mobiles, les applications de centre d’appel, les applications télématiques, les applications Internet pour organisation publique ou pour offrir des services de géocodage.
V. territoire de l'europe
A. Utilisation de certains codes de la circulation en Europe
- Restrictions générales applicables aux codes de la circulation. Le client reconnaît et consent que dans certains pays du territoire de l'Europe, le client devra obtenir des droits directement des fournisseurs de code RDS-TMC tiers pour recevoir et utiliser les codes de circulation des données et fournir des transactions
transactions aux utilisateurs finaux de toute manière dérivée ou basée sur de tels codes de circulation. Pour ces pays, HERE doit livrer les données en incluant les codes de circulation au client, seulement après avoir reçu la certification du client ayant obtenu de tels droits.
- Affichage des légendes des droits de cette partie pour la Belgique. Le client doit, pour chaque transaction où il utilise les codes de circulation pour la Belgique, fournir l'avis suivant à l'utilisateur final : "Les codes de circulation pour la Belgique sont fournis par le Ministerie van de Vlaamse Gemeenschap et le Ministère de l'Equipement et des Transports."
B. Cartes papier. En ce qui concerne toute licence octroyée au client relativement à la fabrication, la vente ou la distribution de cartes papier (c.-à-d. une carte imprimée sur papier ou support similaire au papier) : (a) une telle licence relative aux données pour le territoire de la Grande-Bretagne est assujettie à la condition que le client conclue, et se
conforme à, un contrat écrit distinct avec l'Ordnance Survey aux fins de créer et vendre des cartes au format papier, que le client paie à l'Ordnance Survey toutes redevances applicables aux cartes papier, et que le client se conforme aux exigences de l'Ordnance Survey en matière d'avis de droits d'auteur; (b) une telle licence pour la vente ou la distribution à titre onéreux relative aux données pour le territoire de la République tchéque est assujettie à la condition que le client obtienne préalablement le consentement écrit de la part de Kartografia a. s.; (c) une telle licence pour l'utilisation ou la distribution relative aux données pour le territoire de la Suisse est assujettie à la condition que le client obtienne un permis auprès du Bundesamt für Landestopografia of Switzerland; (d) le client ne peut utiliser des données pour le territoire de la France pour créer des cartes au format papier avec une échelle variant entre 1:5 000 et 1:250 000; et (e) le client ne peut utiliser des données pour créer, vendre ou distribuer des cartes papier, semblables ou très similaires, en termes de contenu des
C. Application de l'Ordnance Survey. Sans restreindre l'article IV (B) ci-dessus, en ce qui a trait aux données pour le territoire de la Grande-Bretagne, le client reconnait et consent que l'Ordnance Survey puisse engager une action directement à l'encontre du client pour faire respecter la conformité avec l'avis de droits d'auteur de l'Ordnance Survey (voir la Section IV(D) ci-dessous) et les exigences de la carte papier (voir la Section IV(B) ci-dessus) dans le présent contrat.
D. Avis de copyright. Toute copie des données ou de l'emballage connexe doit contenir l'avis de copyright mentionné ci-dessous et utilisé comme décrit ci-dessous correspondant au territoire (ou une partie de celui-ci) inclus dans une telle copie :
Pays Avis
Croatie, Chypre, Estonie, Lettonie, Lituanie, Moldavie, Pologne, Slovénie ou Ukraine
E. Distribution dans le pays respectif. Le client reconnaît que HERE n'a pas obtenu les approbations pour distribuer les données cartographiques pour les pays suivants dans ces pays respectifs : Albanie, Biélorussie, Kirghizistan, Moldavie et Ouzbekistan. HERE peut mettre à jour cette liste de temps à autre. Les droits de licence accordés au client en vertu de cette TL relativement aux données pour de tels pays dépendent du respect par le client de toutes les lois et tous les règlements en vigueur, incluant, mais sans limitation, toute licence ou autorisation requise pour distribuer l'application incorporant de telles données dans ces pays respectifs.
VI. territoire de l'australie
A. Avis de pierce partie. Toute copie des données ou de l'emballage connexe doit contenir l'avis de pierce partie mentionné ci-dessous et utilisé comme décrit ci-dessous correspondant au territoire (ou une partie de celui-ci) inclus dans une telle copie :
B. Avis de piège partie pour l'Australie. En plus de ce qui précède, les modalités de l'utilisateur final pour toute application contenant les codes de circulation RDS-TMC pour l'Australie doivent contenir l'avis suivant : "Product incorporates traffic location codes which is © 20XX Telstra Corporation Limited and its licensors."
Divulgation du système télématique de réseau véhicule att&t
DANS CETTE SECTION, L'UTILISATEUR FINAL SIGNIFIE VOUS ET VOS BENEFICIaires, EXECUTANTS, REPRESENTANTS PERSONNELS LÉGAUX ET PERSONNES AUTORISEES. AUX FINS DE LA PRESENTE SECTION, LE "PRESTATAIRE DE SERVICES SANS FIL SOUS-JACENT" INCLUS SES AFFILIÉS ET FOURNISSEURS ET LEURS RESPONSABLES, DIRECTeurs, EMPLOYÉS, SUCESSUEURS ET PERSONNES AUTORISEES. L'UTILISATEUR FINAL N'A PAS DE RELATIONCONTRACTUELLE AVEC LE PRESTATAIRE DE SERVICES SANS FIL SOUS-JACENT ET L'UTILISATEUR FINAL N'EST PAS LE BENÉFICIAIRE TIERS D'UN ACCORD ENTRE FORD ET LE PRESTATAIRE SOUS-JACENT. L'UTILISATEUR FINAL COMPREND ET ACCEPTE QUE LE PRESTATAIRE SOUS-JACENT N'A PAS DE RESPONSABILITÉ JURIDIQUE, ÉQUICTABLE OU AUTRE EN LIEN AVEC L'UTILISATEUR FINAL. EN AUCUN CAS, QUELLE QUE SOIT LA FORME DE L'ACTION, QUE CE SOIT POUR MANQUEMENT UN CONTRAT, UNE GARANTIE, UNE NÉLGENCE, UNE
RESPONSABILITÉ STRICTE DANS LA RESPONSABILITÉ CIVILE OU AUTRE, LE RECOURS EXCLUSIF DE L'UTILISATEUR FINAL POUR TOUTES RÉCLAMATIONS DÉCOULANT DE CE CONTRAT, Y COMPRIS, MAIS SANS S'Y LIMITER, TOUTE DÉFAILLANCE OU INTERRUPTION DU SERVICE FOURNI CI-DESSUS, EST LIMITÉ AU PAIEMENT DES DOMMAGES POUR UN MONTANT NE DÉPASSANT PAS LE MONTANT PAYÉ PAR L'UTILISATEUR FINAL POUR LES SERVICES DANS LES DEUX MOIS QUI PRÉCÉDENT LA DATE DE LA RÉCLAMATION.
L'UTILISATEUR FINAL ACCEPTE D'INDEMNISER ET DÉGAGER TOUTE RESPONSABILITÉ DU PRESTATAIRE DE SERVICE SANS FIL SOUS-JACENT ET SES DIRIGEANTS, EMPLOYÉS ET AGENTS CONTRE TOUTES LES RECLAMATIONS, Y COMPRIS, SANS S'Y LIMITER, LES RECLAMATIONS POUR DIFFAMATION, CALOMNIE, OU TOUT DOMMAGE MATÉRIEL, BLESSURE CORPORELLE OU DÉCÈS, DIRECTEMENT OU INDIRECTEMENT, EN RELATION AVEC CE CONTRAT OU L'UTILISATION, LE NON
RESPECT D'UTILISATION OU L'IMPOSSIBILITE D'UTILISER L'APPAREIL SAUF SI LES RECLAMATIONS RÉSULTENT DE LA NÉGLIGENCE OU FAUTE INTENTIONNELLE DU PRESTATAIRE SOUS-JACENT. CETTE INDEMNITÉ SERA MAINTENUE SUITE À LA RÉSILIATION DE L'ACCORD.
(iii) L'UTILISATEUR FINAL N'A AUCUN DROIT DE PROPRIÉTÉ SUR UN NUMÉRO ATTRIBUÉ À L'APPAREIL
(iv) L'UTILISATEUR FINAL COMPREND QUE FORD ET LE PRESTATAIRE SOUS-JACENT NE PEUVENT GARANTIR LA SÉCURITÉ DES TRANSMISSIONS SANS FIL ET NE SONT PAS RESPONSABLES D'UN MANQUE DE SÉCURITÉ RELATIF À L'UTILISATION DES SERVICES.
LE SERVICE EST DESTINÉ À L'USAGE DE [L'UTILISATEUR FINAL] UNIQUÉMENT ET L'UTILISATEUR FINAL NE DOIT PAS REVENDRE LE SERVICE À TOUTE AUTRE PARTIE. L'UTILISATEUR FINAL COMPRENDE QUE LE PRESTATAIRE SOUS-JACENT NCOUVRE AUCUNE GARANTIE OU INTERRUPTION DE SERVICE. LE
PRESTATAIRE SOUS-JACENT NE GARANTIT PAS QUE LES UTILISATEURS FINAUX PEUVENT OU SERONT LOCALISÉES EN FONCTION DU SERVICE. LE PRESTATAIRE SOUS-JACENT N'OFFRE AUCUNE GARANTIE, EXPRESSE OU IMPLICITE, SUR LA QUALITÉ MARCHANDE OU L'ADOQUATION À UN USAGE PARTICULIER, D'ADAPTATION OU DE PERFORMANCE À L'EGARD DE TOUS SERVICES OU MARCHANDISES, ET EN AUCUN CAS AT&T NE POURRA ÉTRE TENU POUR RESPONSABLE, QU'IL S'AGISSE OU NON DE SA PROPRE NÉLIGENCE DE : (A) L'ACTE OU DE L'OMISSION D'UN TIERS; (B) DES ANOMALIES, OMISSIONS, INTERRUPTIONS, ERREURS, DÉFAILLANCES DE TRANSMISSION, RETARDS OU DÉFAUTS DANS LE SERVICE FOURNI PAR OU VIA LE PRESTATAIRE SOUS-JACENT; (C) DES DOMMAGES OU BLESSURES CAUSES PAR LA SUSPENSION OU LA CESSATION PAR LE PRESTATAIRE SOUS-JACENT; OU (D) DOMMAGE OU BLESSURE CAUSE PAR UN DÉFAILLANCE OU UN DÉLAI DE CONNEXION D'UN APPEL À UNE ENTITÉ, Y COMPRIS AU 911 OU TOUT AUTRE SERVICE D'URGENCE. DANS LES LIMITES
PERMISES PAR LA LOI, L'UTILISATEUR FINAL ACCEPTE D'INDEMNISER ET DÉGAGE TOUTE RESPONSABILITÉ DU PRESTATAIRE DE SERVICE SANS FIL SOUS-JACENT CONTRE TOUTE RÉCLAMATION D'UNE PERSONNE OU D'UNE ENTITE POUR DES DOMMAGES DE NATURE DE QUELQUE NATURE QUE CE SOIT, DIRECTEMENT OU INDIRECTEMENT, DES SERVICES FOURNIS PAR LE PRESTATAIRE SOUS-JACENT OU DE LEUR UTILISATION, Y COMPRIS LES RÉCLAMATIONS DÉCOULANT ENTIÈRÉMENT OU EN PARTIE DE LA NÉGLIGENCE DU PRESTATAIRE SOUS-JACENT.
VII. territoire de la chine
Vous convenez d'utiliser ces données avec [insérer le nom de l'application du client] exclusivement à des fins personnelles et non commerciales pour lesquelles vous détenez une licence et non pour des sociétés de service, le temps partagé ou d'autres objectifs. Par conséquent, tout en tenant compte des restrictions des paragraphes suivants, vous pouvez copier au besoin ces
données pour votre usage personnel afin de (i) les consulter et (ii) les sauvegarder, tant que vous ne supprimez pas les avis de droits d'auteur et ne modifiez pas les données, de chaque manière que ce soit. Vous convenez de ne pas autrement reproduire, copier, modifier, décompiler, désassembler ni procéder à une ingénierie inverse de ces données et de ne pas les transférer ni les distribuer, sous aucune forme et pour aucun usage, sauf dans la mesure où les lois contraignantes le permettent.
Restrictions
Sauf si vous détenez une licence spécifique à cette fin accordée par NAV2 et sans limiter le paragraphe précédent, vous ne pouvez pas utiliser ces données (a) avec des produits, des dispositifs ou des applications installés ou autrement connectés ou en communication avec des véhicules en mesure d'effectuer la navigation, le positionnement, la répartition, le guidage en temps réel, la gestion de parc ou des applications semblables ; ou (b) avec ou en communication avec un dispositif de positionnement ou un système électronique
ou informatique mobile ou sans fil connecté, y compris, sans s'y limiter, les téléphones cellulaires, les ordinateurs de poche, les téléviseurs et les assistants numériques personnels. Vous acceptez de cesser d'utiliser ces données si vous ne respectez pas ces modalités.
Garantie limitée
NAV2 garantit que (a) les données fonctionneront correctement avec les contenus écrits associés pour une période de quatre-vingt-dix (90) jours à compter de la date de réception, et (b) tout service d'assistance fourni par NAV2 doit être essentiellement tel que décrit dans les documents écrits applicables offerts par NAV2, et les ingénieurs de support de NAV2 feront les efforts commercialement raisonnables pour résoudre tout problème.
Recours du client
La responsabilité entière de NAV2 et de ses fournisseurs et votre recours exclusif doivent être, à l'entière discrétion de NAV2, soit (a) un remboursement du prix payé, le cas échéant, ou (b) une réparation ou un remplacement des données qui ne satisfont pas à la garantie limitée de NAV2, lesquelles sont retournées à NAV2 avec une copie de votre reçu. La présente garantie limitée est nulle si la défaillance des données résulte d'un accident, d'un abus ou d'une mauvaise application. Toutes données de remplacement seront garanties pour le reste de la période de garantie originale ou trente (30) jours, la période la plus longue prévalant. Aucun de ces recours ni aucun service d'assistance produit offert par NAV2 n'est disponible sans preuve d'achat auprès d'une source internationale autorisée.
Aucune autre garantie :
À L'EXCEPTION DE LA GARANTIE LIMITÉ MENTIONNée PLUS HAUT ET DANS LA MESURE PERMISE PAR LA LÉGISLATION EN VIGUEUR, NAV2 ET SES CONCÉDANTS DE LICENCE (INCLUANT LEURS PROPRES CONCÉDANTS DE LICENCE ET FOURNISSEURS) DECLINENT TOUTE GARANTIE, EXPlicitE OU IMPLICITE, DE QUALITÉ, DE PERFORMANCE, DE VALEUR MARCHANDE, D'ADOQUATION À UN USAGE PARTICULIER, DE TITULARITE OU D'ABSENCE DE CONTREFAÇON. Certaines exclusions de garantie peuvent ne pas être autorisées en vertu de la loi en vigueur et, dans cette mesure, l'exclusion ci-dessus pourrait ne pas s'appliquer à votre cas.
Responsabilité limitée:
DANS LA MESURE AUTORISÉE PAR LA LÉGISLATION EN VIGUEUR, NAV2 ET SES CONCÉDANTS DE LICENCE (INCLUANT LEURS PROPRES CONCÉDANTS DE LICENCE ET FOURNISSEURS) NE DOIVENT PAS ÉTRE TENUS RESPONSABLES ENVERS VOUS DE : TOUTE RÉCLAMATION, DEMANDE OU ACTION, QUELLE QUE SOIT
LA NATURE DE LA CAUSE DE LA RéCLAMATION, DEMANDE OU ACTION ALLEGUANT Toute PERTE, BLESSURE OU TOUS DOMMAGES, DIRECTS OU INDIRECTS, QUI POURRAIENT RÉSULTER DE L'UTILISATION OU DE LA POSSESSION DE CES INFORMATIONS, OU DE TOUT PERTE DE BÉNÉFICES, REVENUS, CONTRATS OU ÉPARGNE OU DE TOUT AUTRE DOMMAGE DIRECT, INDIRECT, ACCESSÔRÉ, PARTICULIER OU CONSEÇUTIF DÉCOULANT DE VOTRE UTILISATION OU DE L'IMPOSSIBILITÉ D'UTILISER CES INFORMATIONS, DE TOUT DéFAUT DANS CES INFORMATIONS, OU DE LA VIOLATION DE CES MODALITÉS OU CONDITIONS, QUE CE SOIT DANS UNE ACTION EN RESPONSABILITÉ CONTRACTUELLE OU DÉLICTUELLE, OU QUE CE SOIT FONDED SUR UNE GARANTIE, MÈME SI NAV2 OU SES CONCÉDANTS DE LICENCE ONT ETÉ AVISÉS DE LA POSSIBILITÉ DE TELS DOMMAGES. EN AUCUN CAS LA RESPONSABILITÉ DE NAV2
OU DE SES FOURNISSEURS NE DOIT EXCÉDER LE PRIX PAYÉ. Certaines exclusions de responsabilité peuvent ne pas être autorisées en vertu de la loi en vigueur et, dans cette mesure, l'exclusion ci-dessus pourrait ne pas s'appliquer à votre cas.
Restriction de l'exportation
Vous acceptez de n'exporter, vers aucune destination, aucune partie des données qui vous sont fournies ou aucun produit direct qui en découle, sauf en conformité avec toutes les licences et toutes les autorisations requises en vertu des lois et des règlements en vigueur sur l'exportation.
Protection IP
Les données sont la propriété de NAV2 ou de ses fournisseurs et sont protégées par le droit d'auteur en vigueur et autres lois et traités relatifs à la propriété intellectuelle. Les données sont fournies uniquement sur la base d'une licence d'utilisation, et à la vente.
Exhaustivité du contrat
Ces conditions générales constituent l'intégralité du contrat entre NAV2 (et ses concédants de licence, y compris leurs propres concédants de licence et fournisseurs) et vous-même relativement à l'objet des générales, et remplacent dans leur intégralité tous les accords écrits ou oraux préexistants entre nous à l'égard de tels sujets.
Loi applicable
Les conditions générales ci-dessus sont régies par les lois de la République populaire de Chine, sans donner effet (i) à ses stipulations en matière de conflit des lois ou (ii) à la Convention des Nations Unies sur les contrats de vente internationale de marchandises, qui est explicitement exclue. Tout litige découlant des données fournies en vertu des générées ou y étant lié doit être soumis à la Commission d'arbitrage pour l'économie et le commerce international de Shanghai.
Disque compact et musique - données connexes de Gracenote, Inc., copyright ©
2000-2007 Gracenote. Logiciel Gracenote, copyright © 2000-2007 Gracenote. Ce produit et ce service peuvent respecter un ou plusieurs des brevets américains suivants : Brevets 5 987,525; 6 061,680; 6 154,773; 6 161,132; 6 230,192; 6 230,207; 6 240,459; 6 330,593 et autres brevets délivrés ou en instance. Certains services sont fournis sous licence de Open Globe, Inc. pour les États-Unis Brevet 6 304 523.
Gracenote et CDDB sont des marques déposées de Gracenote. Le logo et le logotype Gracenote, ainsi que le logo "Powered by Gracenote™" sont des marques de commerce de Gracenote.
Contrat de licence d'utilisation gracenote® (CLUF)
Cet appareil contient un logiciel de Gracenote, Inc. de 2000 Powell Street Emeryville, Californie 94608 ("Gracenote").
Le logiciel de Gracenote (le "Logiciel Gracenote") permet à cet appareil d'identifier un fichier de disque et de musique et d'obtenir de l'information connexe, y compris de l'information sur le nom, l'artiste, le morceau et le titre ("données Gracenote") de serveurs en ligne ("serveurs Gracenote") et d'effectuer certaines autres fonctions. Vous ne pouvez utiliser les données Gracenote que par les fonctions destinées à l'utilisateur de cet appareil. Cet appareil peut contenir de l'information appartenant aux fournisseurs de Gracenote. Dans ce cas, toutes les restrictions stipulées dans le présent contrat relatives aux données Gracenote s'appliquent aussi à un tel contenu et de tels fournisseurs de contenu auront également droit à tous les avantages et protections stipulés dans le présent contrat dont jouit Gracenote. Vous acceptez d'utiliser le contenu de Gracenote ("contenu Gracenote"), les données Gracenote, le logiciel Gracenote et les serveurs Gracenote pour votre usage personnel et non commercial uniquement. Vous acceptez de ne pas attribuer, copier, transférer ou transmettre le contenu Gracenote, le logiciel Gracenote ou toute donnée Gracenote (sauf
Dans une étiquette associée à un fichier de musique) à un tiers. VOUS ACCEPTEZ DE NE PAS UTILISER ET DE NE PAS EXPLOITER LE CONTENU GRACENOTE, LES DONNÉES GRACENOTE, LE LOGICIEL GRACENOTE OU LES SERVEURS GRACENOTE À D'AUTRES FINS QUE CELLES EXPRESSEMENT PERMISES AUX PRESENTES.
Vous acceptez que vos licences non exclusives d'utilisation du contenu Gracenote, des données Gracenote, du logiciel Gracenote et des serveurs Gracenote soient immédiatement révoquées si vous violez ces restrictions. Si vos licences arrivent à échéance, vous acceptez de cesser toute utilisation du contenu Gracenote, des données Gracenote, du logiciel Gracenote et des serveurs Gracenote.
Gracenote, respectivement, se réserve tous les droits des données Gracenote, du logiciel Gracenote, des serveurs Gracenote et du contenu Gracenote, y compris les droits de propriété. En aucune circonstance, Gracenote ne sera tenue responsable de tout paiement qui vous est dû pour toute information que vous fournissez, y compris
tout matériel protégé par droits d'auteurs ou information de fichier musical. Vous acceptez que Gracenote fasse valoir ses droits respectifs, collectivement ou individuellement, en vertu de ce contrat, contre vous, directement au nom de chaque société.
Gracenote utilise un identifiant unique afin de faire le suivi des demandes à des fins statistiques. Le but d'un identifiant numérique attribué de manière aléatoire est de permettre à Gracenote de compter les demandes tout en protégeant votre anonymat. Pour obtenir de plus amples renseignements, consultez la page Web sur la politique de protection de la vie privée sur le site www.gracenote.com.
LE LOGICIEL GRACENOTE, CHAQUE ÉLÉMENT DES DONNÉES GRACENOTE ET LE CONTENU DE GRACENOTE VOUS SONT ACCORDÉS "TELS QUELS" SOUS LICENCE. GRACENOTE NE FORMULE AUCUNE DÉCLARATION OU GARANTIE, EXPRESSE OU IMPLICITE, QUANT À L'EXACTITUDE DES DONNÉES GRACENOTE ISSUES DES SERVEURS GRACENOTE OU DU CONTENU GRACENOTE. GRACENOTE SE RÉSERVE LE
DROIT, COLLECTIVEMENT ET INDIVIDUELLEMENT, DE SUPPRIMER DES DONNÉES ET (OU) LE CONTENU DES SERVEURS DES SOCIÉTÉS RESPECTIVES OU, DANS LE CAS DE GRACENOTE, DE MODIFIER DES CATÉGORIES DE DONNÉES POUR TOUT MOTIF JUGÉ SUFFISANT PAR GRACENOTE. GRACENOTE NE GARANTIT PAS QUE LE CONTENU GRACENOTE, LE LOGICIEL GRACENOTE OU LES SERVEURS GRACENOTE NE CONTIENNENT PAS D'ERREUR OU QUE LE FONCTIONNEMENT DU LOGICIEL GRACENOTE OU DES SERVEURS GRACENOTE NE SERA PAS INTERROMPU. GRACENOTE N'EST NULLEMENT TENUE DE VOUS FOURNIR DES TYPES DE DONNÉES AMÉLIORÉS OU D'AUTRES TYPES DE DONNÉES QUE GRACENOTE PEUT CHOISIR DE FOURNIR À L'AVENIR, ET EST LIBRE D'INTERROMPRE EN TOUT TEMPS SES SERVICES EN LIGNE. GRACENOTE REJETTE Toute GARANTIE EXPRESSE OU IMPLICITE, Y COMPRIS, MAIS SANS S'Y LIMITER, LES GARANTIES DE VALEUR MARCHANDE, D'ADEQUATION À UN USAGEPARTICULAR, DE TITRE ET D'ABSENCE DE CONTREFAÇON. GRACENOTE NE GARANTIT PAS LES
RÉSULTATS OBTENUS EN UTILISANT LE LOGICIEL OU TOUT SERVEUR GRACENOTE. EN AUCUNE CIRCONSTANCE GRACENOTE NE SERA TENUE RESPONSABLE DES DOMMAGES CONSECUTIFS OU ACCESSOIRES OU DE Toute PERTE DE PROFIT OU DE REVENU POUR UN MOTIF QUELCONQUE. © Gracenote 2007.
Énoncé relatif aux fréquences radio
Identifiant du FCC: ACJ-SYNCG3-L
Industrie Canada : 216B-SYNCG3-L
Ce dispositif est conforme aux normes de la section 15 des règles de la FCC des États-Unis et aux normes RSS-210 d'Industrie Canada. Son utilisation est soumise aux deux conditions suivantes :
(1) ce dispositif ne doit pas causer d'interférences nuisibles; (2) ce dispositif doit accepter toutes les interférences reçues, y compris celles qui pourraient l'activer inopinément.

AVERTISSEMENT: Tout changement
ou modification apportée au dispositif sans l'approbation expresse des autorités d'homologation compétentes peut annuler le droit de l'utilisateur d'en faire usage. Le terme "IC" avant le numéro de certification radio signifie seulement que les normes techniques d'Industrie Canada ont été respectées.
L'antenne utilisée pour cet émetteur ne doit pas être située au même endroit ou fonctionner conjointement avec une autre antenne ou un autre émetteur.
Remarque: Conformément à l'approche de gestion des moteurs à rayonnement radioélectrique de faible puissance :
Article 12 : Pour les modèles approuvés et homologues de moteurs à rayonnement de faible puissance, les compagnies, les entreprises ou les utilisateurs ne doivent pas modifier la fréquence, augmenter la puissance ou modifier les caractéristiques et les fonctions de la conception originale sans autorisation.
Article 14: L'utilisation de moteurs radioélectriques de faible puissance ne doit pas affecter la sécurité aérienne et nuire aux télécommunications légales. Si des interférences sont détectées, cessez immédiatement d'utiliser l'appareil et ne reprenez l'utilisation qu'après avoir vérifié qu'il n'y a plus d'interférences. Pour les télécommunications légales et la télécommunication sans fil de la société de télécommunications, le moteur à radiofréquence de faible puissance doit être capable de tolérer les limites légales d'interférences provenant d'équipements de télécommunication, industriels, scientifiques et d'ondes radio.
SUNA Traffic channel - conditions générales
Pour activer, utiliser ou accéder à SUNA Traffic Channel, SUNA Predictive ou tout autre contenu ou matériel fourni par Intelematics (ensemble, les Produits ou Services SUNA), vous devez en accepter les conditions générales. Voici un résumé des conditions générales applicables. Pour connaître l'ensemble des conditions générales relatives à votre utilisation des Produits ou Services SUNA, veuillez consulter :
Site web
Si vous utilisez les produits ou services SUNA, vous serez réputé avoir accepté et convenu de respecter les conditions générales stipulées en totalité à :
2. Propriété intellectuelle
Les produits ou services SUNA sont destinés à votre usage personnel. Vous ne devez pas enregistrer, ni en transmettre le contenu, ni l'utiliser en association avec tout autre service d'information de traffic ou de guidage routier ni avec un dispositif non agréé par Intelematics. Vous n'êtes titulaire d'aucun droit de propriété intellectuelle (droit d'auteur inclus) sur les données utilisées pour fournir les produits ou services SUNA.
3. Usage ajustat
Les produits ou services SUNA sont destinés à aider aux déplacements motorisés et à la planification-voyage; ils ne seront pas une information complète ou précise en toutes situations. Vous pourrez parfois constater une latence due à l'utilisation de
Produits ou services SUNA. Vous convenez que ce n'est pas prévu ou adapté à une utilisation dans des applications où l'heure d'arrivée ou les instructions de conduite peuvent avoir un effet sur la sécurité du public ou la vente.
4. Utilisation des produits ou services SUNA pendant la conduite
Vous ou tout autre conducteur autorisé du véhicule dans lequel les produits ou services SUNA sont disponibles ou installés et activés demeurez en tout temps responsables de respecter la législation en vigueur et les règles de conduite sécuritaires. En particulier, vous convenez de n'utiliser activement les produits ou services SUNA que lorsque le véhicule est immobilisé et que cette pratique est sûre.
5. Continuité du service et réception de SUNA traffic channel
Nous déployons des efforts raisonnables pour assurer la fourniture de SUNA Traffic Channel 24 heures sur 24, 365 jours par an. SUNA Traffic Channel peut parfois être indisponible pour des raisons techniques ou de maintenance programmée. Nous essaierons de réaliser les opérations de maintenance à des heures où la circulation est fluide. Nous nous réservons le droit de retarder des produits ou services SUNA à tout moment.
De plus, nous ne pouvons garantir la réception ininterrompue du signal RDS-TMC de SUNA Traffic Channel en tout lieu.
6. Limitation de responsabilité
Ni Intelematics (ni ses fournisseurs ou le fabricant de votre appareil [les "Fournisseurs")] ne seront tenus responsables envers vous ou tout autre tiers en cas de dommages, qu'ils soient directs, indirects, accessoires ou autres, résultat de l'utilisation ou de l'impossibilité d'utiliser les produits ou services SUNA, même si Intelematics ou un fournisseur a été averti de la possibilité de tels dommages. Vous convenez également que ni Intelematics ni
aucun fournisseur ne s'engage ou ne garantit la disponibilité, la précision et l'exhaustivité des produits ou services SUNA et, dans les limites fixées par la législation, Intelematics et les fournisseurs excluent toute garantie pouvant autrement être induite par toute loi fédérale ou d'un État à propos des produits ou services SUNA.
7. Note
La préparation de ce manuel a fait l'objet d'une grande attention. Le développement continu de produits peut signifier que certains renseignements ne sont pas parfaitement à jour. Les renseignements contenus dans ce document sont modifiables sans préavis.
Déclaration de CONFORMITE
Il est possible que votre véhicule soit équipé de composants qui transmettent et reçoivent des ondes radio et sont par conséquent soumis à des règlementations gouvernementales.
Ces composants doivent accepter toute interférence reçue, y compris les interférences susceptibles de provoquer un fonctionnement indésirable. Pour consulter
Les étiquettes d'homologation et les déclarations de conformité, visitez le site www.wirelessconformity.ford.com.
Déclaration de conformité - véhicules avec : SYNC 3
Énoncé relatif aux fréquences radio
| Version SYNC | Numero d'identification de pneu FCC | Numero d'identification IC |
| 3.0 | ACJ-SYNCG3-L | 216B-SYNCG3-L |
| 3.1 | ACJ-FA-170-BCARHS | 216B-FA170BCARHS |
| 3.2 | ACJ-FG-185-SG32MH | 216B-FG185SG32MH |

Avertissement: tout changement
apporté au dispositif sans l'approbation expresse de la partie en charge de la conformité peut révoquer le droit de l'utilisateur d'en faire usage. Le terme "IC" avant le numéro de certification radio signifie seulement que les normes techniques d'Industrie Canada ont été respectées.
Ces dispositifs sont conformes aux normes de la section 15 des règles de la FCC des États-Unis et aux normes RSS-210 d'Industrie Canada. Son utilisation est soumise aux deux conditions suivantes :
- Le dispositif ne cause pas d'interférences nuisibles.
- L'appareil accepte toute interférence reçue, y compris les interférences susceptibles de provoquer un fonctionnement indésirable.
911 Assist. 64
A/C
Voir : Climatisation. 171
ABS
Voir : Freins. 245
Accessoires. 549
Accessoires
Voir: Pièces de rechange recommandées....18
Activation et désactivation de l'aide au freinage en marche arrêté............252
Activation et déactivation des feux de route automatiques. 119
Activation des feux des route automatiques. 119
Activation et désactivation du mode intelligent. 290
Modification de la vitesse programmée avec le régulateur de vitesse adaptatif intelligent. 291
Activation et désactivation du régulateur de vitesse. 277
Activation du régulateur de vitesse. 277
Désactivation du régulateur de vitesse......277
Activation et désactivation du régulateur de vitesse adaptative. 284
Activation du régulateur de vitesse adaptative. 284
Annulation ou désactivation automatique. 285
Désactivation du régulateur de vitesse adaptative. 285
Activation et déactivation du système de maintien de voie. 289
Activation de l'aide au maintien de voie. 290
Alertes du système et annulation automatique. 290
Affichage d'informations. 140
Généralités. 140
Affichage tête haute. 167
Configuration de l'affichage tête haute......167
Entretien du système d'affichage tête haute. 170
Vue d'ensemble de l'affichage tête haute. 168
Afficheur de messages. Voir : Affichage d'informations. 140
AFS
Voir : Phares adaptatifs. 114
Aide au démarrage en côte. 248
Activation et désactivation du système......249
Utilisation du système d'aide au démarrage en côte. 249
Aide au freinage en marche arrière.....251
Aide au freinage en marche arrêtée - Dépannage. 253
Aide au freinage en marche arrière - Dépannage. 253
Aide au freinage en marche arrêtée - Foire aux questions. 253
Aide au freinage en marche arrêtée - Messages d'information. 253
Aide au stationnement arrêté............260
Indicateur de distance d'objet. 261
Aide au stationnement avant. 262
Indicateur de distance d'objet. 264
Aides à la conduite. 295
Aides au stationnement. 259
Principes de fonctionnement. 259
Alarme
Voir : Alarme antivol. 98
Alarme antivol. 98
Activation de l'alarme. 99
Désactivation de l'alarme. 99
Alerte conducteur. 295
Utilisation de l'alerte conducteur. 296
Alerte de circulation transversale. 305
Activation et désactivation du système......309
Capteurs du système d'alerte de circulation transversale. 308
Comportement du système d'alerte de circulation transversale lorsqu'une remorque est attelée. 308
Limites du système d'alerte de circulation transversale. 308
Messages d'information du système d'alerte de circulation transversale. 310
Témoin d'alerte de circulation transversale. 309
Utilisation de la fonction d'alerte de circulation transversale. 305
Annulation de l'aide au freinage en marche arrière. 252
Annulation de la vitesse programmée. 278
Antipatinage 255 Principes de fonctionnement 255
Aperçu 22
Aperçu sous le capot. 372
Appendices. 588
Utilisation d'applications sur un appareil Android. 525
Utilisation d'applications sur un appareil iOS............525
Utilisation d'une application de navigation mobile sur un appareil Android....526
Appuie-tête 179
Abaissement de l'appuie-tête. 180 Inclinaison de l'appuie-tête de siège avant. 180
Installation de l'appuie-tête. 181 Relevage de l'appuie-tête. 180
Repliage de l'appuie-tête de siège arrière le plus à l'extérieur. 181 Retrait de l'appuie-tête. 181
Appuie-tête Voir: Appuie-tête. 179
À propos de l'aide au freinage en marche arrêtée. 251
À propos du régulateur de vitesse adaptatif avec arrêt-démarrage. 279
À propos du régulateur de vitesse adaptatif avec maintien de voie............279
À propos du régulateur de vitesse adaptatif intelligent. 279
À propos du téléphone en tant que clé............74
Assistance à la clientèle. 347
Assistance dépannage 339 Véhicules vendus au Canada : Faire appel à l'assistance dépannage 340
Véhicules vendus aux États-Unis : Comment faire appel à l'assistance dépannage......339
Véhicules vendus aux États-Unis : Faire appel à l'assistance dépannage. 340
Assistance pré-collision 312 Assistance aux manœuvres d'évitement 315
Capteurs obstrués 315
Indication de la distance et alerte. 313
Réglage des paramètres du système d'avertissement de collision. 315
Utilisation du système d'avertissement de collision. 312
Autoradio. 473
Activation et déactivation de l'écran. 474
Activation et déactivation de la chaîne audio. 474
Changement des stations de radio. 474
Recherche automatique, avance et retour rapides. 474
Réglage du volume. 473
Sélection des modes audio. 474
Auto-Start-Stop. 214
Activation du système Auto-Start-Stop.214
Désactivation du système Auto-Start-Stop. 215
Avertisseur sonore. 105
Avis spéciaux. 18
Avis aux propriétaires de camionnettes ou de véhicules utilitaires. 19
Directives spéciales. 18
Garantie limitée de véhicule neuf. 18
Prise de diagnostic embarqué. 19
Utilisation du véhicule comme ambulance. 20
Utilisation du véhicule comme chasse-neige. 19
AWD Voir : Transmission intégrale. 239
Balais d'essuie-glace Voir : Vérification des balais d'essuie-glace 387
Batterie Voir : Remplacement de la batterie de 12V 384
Voir: Système d'information sur les angles morts. 303 Boîte de vitesses automatique. 232 Apprentissage adaptatif de la boîte automatique. 237 Boîte de vitesses automatique SelectShift 234 Déverrouillage manuel de la position de stationnement. 235 Positions du levier sélecteur de la boîte automatique. 232 Si vous véhicule s'enlise dans la boue ou dans la neige. 237 Boîte de vitesses. 232 Boîte de vitesses Voir: Boîte de vitesses. 232
Cache-bagages. 320 Caméra à 360 degrés. 274 Caméra avant. 275 Caméra latérale. 276 Utilisation du système. 275 Caméra de recul. 271
Utilisation du système de recul. 271
Caméra de recul Voir: Caméra de recul. 271 Capacités et spécifications - 2.0L.........444 Boîte de transfert. 452 Boîte de vitesses automatique. 445 Circuit de freins hydrauliques. 450 Essieu arrière. 452 Graisse. 449 Huile moteur. 447 Huile moteur de rechange pour froids extrêmes. 448 Liquide de refroidissement. 446 Réserveau de carburant. 449 Réserveau de lave-glace. 453 Serrures. 451 Système de climatisation. 444 Capacités et spécifications - 2.3L.........454 Boîte de transfert. 462 Boîte de vitesses automatique. 455 Circuit de freins hydrauliques. 460 Essieu arrière. 462 Graisse. 459 Huile moteur. 457 Huile moteur de rechange pour froids extrêmes. 458 Liquide de refroidissement. 456 Réserveau de carburant. 459 Réserveau de lave-glace. 463
Serrures. 461
Système de climatisation. 454
Capacités et spécifications. 436
Capteur de poids du passager avant.....55
Caractéristiques de conduite uniques. 214
Carburant et remplissage. 217
Ceintures de sécurité 41
Principes de fonctionnement. 41
Chaîne audio 472
Généralités. 472
Châines à neige Voir : Utilisation de châines à neige. 419
Charge d’accessoires sans fil. 203
Chauffage. Voir : Climatisation. 171
Chauffe-moteur 211
Utilisation du chauffe-moteur. 212
Cirage. 395
Clés et commandes à distance. 67
Clignotants. 116
Signalement de changement de voie............116
Climatisation. 511
Accès au menu de commande de chauffage et de climatisation. 511
Accès aux commandes de chauffage et de climatisation arrêté............514
Activation/désactivation de la lunette arrête-chauffante.513
Activation/désactivation des rétroviseurs extérieurs chauffants.512
Activation/désactivation des sièges chauffants. 514
Activation/désactivation des sièges ventilés arrière............514
Activation/désactivation du système de climatisation. 512
Activation/désactivation du volant de direction chauffant. 513
Activation et déactivation de la climatisation au maximum. 513
Activation et désactivation de la commande de chauffage et de climatisation.512
Activation et désactivation de l'air recirculé. 513
Activation et désactivation des sièges à régulation de température. 512
Activation et désactivation des sièges à régulation de température arrêté............514
Activation et désactivation des sièges chauffants. 513
Activation et désactivation des sièges ventilés. 513
Activation et déactivation du dégivrage maximal. 513
Activation et désactivation du mode AUTO. 512
Activation et déactivation du mode Auto arrêt. 514
Activation et déactivation du mode de régulation à deux zones. 512
Activation et déactivation du pare-brise chauffant. 512
Orientation de l'écoulement de l'air. 511
Réglage de la température. 511
Réglage de la vitesse du ventilateur d'habitacle. 511
Témoin de verrouillage de la commande de climatisation arrêté............514
Climatisation. Voir : Climatisation. 171
Combiné des instruments. 129
Commande audio. 102 La commande permet d'exécuter les fonctions suivantes : 102
Commande automatique de la température. 171
Accès au menu de commande de chauffage et de climatisation. 171
Accès aux commandes de répartition de l'air. 171
Activation/désactivation du système de climatisation. 173
Activation et déactivation de la climatisation au maximum. 173
Activation et déactivation de la commande de chauffage et de climatisation. 173
Activation et déactivation de l'air recirculé. 173
Activation et déactivation du dégivrage maximal. 173
Activation et désactivation du mode Auto. 171
Réglage de la température. 171
Réglage de la vitesse du moteur de soufflerie. 171
Commande d'éclairage. 110
Activation et déactivation des feux de route. 111
Appel de phares. 111
Sélection de la commande d'éclairage......110
Commande d'éclairage du tableau de bord. 112
Commande d'un Guide du propriétaire additionnel. 354
Pour obtenir une copie du Guide du propriétaire en français. 354
Commande de l'affichage d'information. 104
Commande du mode de conduite. 318
Modes de conduite 319
Commande vocale. 102
Compatibilité électromagnétique.588
Conduite dans l'eau. 337
Conduite économique. 336
Connectivité réseau. 466
Connexion du véhicule à un réseau mobile. 466
Connectivité réseau - Dépannage......467
Connexion du véhicule à un réseau mobile. 466
Activation du modem avec l'écran tactile. 466
Activation du modem avec The Lincoln Way. 466
Conseils de conduite avec l'ABS. Voir: Conseils sur la conduite à l'aide de freins antiblocage. 246
Conseils de conduite. 336
Conseils sur la conduite à l'aide de freins antiblocage. 246
Conseils sur la régulation de la température dans l'habitacle. 174
Chauffage rapide de l'habitable. 174
Conseils généraux. 174
Désembuage des glaces latérales par temps froid. 175
Refroidissement rapide de l'habitacle. 175
Réglages de chauffage recommandés.174
Réglages de refroidissement recommandés. 175
Consignes de sécurité 217
Console de pavillon 205
Consommation de carburant. 225
Calcul de la consommation de carburant. 225
Capacité annulée 225
Remplissage du réservoir de carburant.....225
Contournement des feux de route automatiques. 120
Contrat de licence de l'utilisateur final 593
CONTRAT DE LICENCE DE L'UTILISATEUR FINAL DU LOGICIEL DE VEHICULE (CLUF) 593
Contrôle de stabilité 257
Principes de fonctionnement. 257
Convertisseur catalytique. 228
Préparation pour les contrôles d'inspection et d'entretien (I/M). 230
Système de diagnostic embarqué (OBD-II). 230
Coupure de carburant. 341
Couvre-plancher. 337
Création d'un point d'accès Wi-Fi.....470
Connexion d'un appareil au point d'accès Wi-Fi. 470
Trouver le nom et le mot de passe du point d'accès Wi-Fi. 470
Création d'un dispositif MyKey............78
Programmation et modification des réglages configurables. 79
Crevaison
Voir : Remplacement d'une roue. 425
Déclaration de conformité 627
Déclaration de conformité - Véhicules avec : SYNC 3.628
Énoncé relatif aux fréquences radio.628
Déclaration des défauts compromettant la sécurité (Canada seulement). 355
Déclaration des défauts compromettant la sécurité (É.-U. seulement). 354
Démarrage à distance. 176 Réglages automatiques. 176
Démarrage d'un moteur à essence.207 Arrêt automatique du moteur.209
Arrêt du moteur lorsque votre véhicule est immobile. 210
Arrêt du moteur lorsque votre véhicule se déplace. 210
Démarrage impossible. 209
Information importante concernant la ventilation. 211
Précautions contre les gaz d'échappement 211
Redémarrage rapide. 208
Véhicules utilisant un téléphone en tant que clé. 208
Démarrage et arrêt du moteur. 206
Généralités. 206
Démarrage sans clé. 206
Modes d'allumage. 207
Démarrage-secours du véhicule.342
Branchement des câbles de démarrage. 342
Débranchement des câbles de démarrage 344
Démarrage du moteur. 343
Préparation du véhicule. 342
Dépannage 339
Dépannage de SYNC™ 3............531
Applications. 542
Connectivité Wi-Fi. 544
Modes USB et Bluetooth Audio. 534
Navigation. 541
Profils personnalisés. 546
Reconnaissance vocale. 531
Réinitialisation du système. 548
Renseignements et aides supplémentaires. 548
Telephone. 538
Dépose d'un phare. 390
Dépose du phare Voir : Dépose d'un phare............390
Désignation du code de boîte de vitesses. 443
Détecteurs d'impact et témoin de sac gonflable. 62
Direction. 311
Direction assistée à commande électrique. 311
Dispositif antipollution. 227
Dispositifs de retenue supplémentaires. 52
Principes de fonctionnement. 52
Divertissement. 497
Applications. 510
Bluetooth Audio ou USB. 508
CD (selon l'équipement). 507
Information sur les lecteurs multimédia, les formats et les métadonnées pris en charge. 510
Ports USB. 510
Radio AM/FM. 498
Radio satellite SiriusXM® (si l'abonnement est actif) 499
Renseignements sur le système HD Radio (selon l'équipement) 503
Sources. 497
Dossier d'entretien périodique. 568
Voir : Feux de jour - Véhicules avec : Feux de jour. 113
Voir : Feux de jour - Véhicules avec : Feux de jour configurables. 112
Éclairage ambiant. 118
Changement de couleur. 118
L'éclairage ambiant s'allume. 118
L'éclairage ambiant s'éteint. 118
Réglage de la luminosité. 118
Éclairage d'accueil. 116
Activation et désactivation de l'éclairage d'accueil. 117
Éclairage. 110
Généralités 110
Éclairage intérieur. 117
Éclairage intérieur avant. 117
Plafonniers arrière. 118
Écrous de roue Voir : Remplacement d'une roue. 425
Écrous de roue Voir : Remplacement d'une roue. 425
Effacement de la programmation de tous les dispositifs MyKey. 79
Emplacement de l'entonnoir de remplissage de réservoir de carburant. 219
En Californie (États-Unis seulement)......349
Enregistrement de données. 12 Avis de confidentialité relatif à la fonction 911 Assist. 16
Données d'entretien. 13
Données d'événement. 13
Données pratiques, de confort et de divertissement. 14
Services proposés. 15
Services proposés par des tiers. 15
Véhicules avec SYNC. 16
Véhicules avec un modem. 15
Enregistrement des données d'événement. Voir : Enregistrement de données 12.
Entree sans clé. 88 CLAVIER D'ENTREE SANS CLÉ SECURICODE™ 88
Entreposage du véhicule. 399 Carrosserie. 400
Circuit d'alimentation. 400
Circuit de refroidissement. 400
Débranchement de la batterie 12 volts....400
Divers. 401
Freins. 400
Généralités 399
Moteur. 400
Pneus. 401
Sortir le véhicule de l'entreposage. 401
Entretien des ceintures de sécurité et des dispositifs de retenue pour enfants... 49
Entretien des pneus. 404
Adhérence AA A B C. 405
Information sur l'indice de qualité uniforme des pneus. 404
Renseignements moulds sur le flanc du pneu. 406
Température A B C. 405
Terminologie du pneu. 405
Usure de la bande de roulement. 405
Entretien de votre véhicule. 554
Entretien du véhicule 392 Généralités 392
Entretien 370 Généralités 370
Entretien périodique - conditions de conduite rigoureuses. 564
Exceptions. 567
Entretien périodique normal. 559
Indicateur Intelligent Oil-Life Monitor TM 559
Intervalles d'entretien. 560
Entretien usuel - Généralités. 554
Pourquoi assurer l'entretien de votre véhicule? 554
Pourquoi assurer l'entretien de votre véhicule chez votre concessionnaire?............554
Protégez votre investissement. 555
Vérifications et procédures d'entretien par le propriétaire. 556
Environnement 21
EPB
Voir : Frein de stationnement électronique. 246
Équipement de communication mobile. 20
Espaces de rangement. 205
Essuie-glace et lave-glace de lunette arrière. 109
Essuie-glace arrière 109
Lave-glace de lunette arrière. 109
Nettoyeur de caméra arrière. 109
Essuie-glaces automatiques. 107
Désactivation des essuie-glaces par temps froid. 108
Réglages des essuie-glaces automatiques. 107 Essuie-glaces. 106 Balayage intermittent. 106 Essuie-glaces asservis à la vitesse. 106 Essuie-glaces et lave-glaces. 106 Étiquette d'homologation du véhicule. 442 Exigences des appels d'urgence. 64
Feux de détresse. 340 Feux de jour - Véhicules avec : Feux de jour configurables. 112 Feux de jour - Véhicules avec : Feux de jour. 113 Feux de route automatiques. 119 Filtre à air d'habitacle. 175 Filtre à air Voir : Remplacement du filtre à air 390 Filtre à carburant. 384 Fonction de mémorisation. 186
Enregistrement d'une position prééglée. 187 Fonction d'entrée et de sortie faciles. 187 Profils personnalisés. 187
Synchronisation d'une position de prééglage avec votre télécommande. 187 Fonction de stabilisation de la remorque. 329 Frein de stationnement électronique 246 Desserrage automatique du frein de stationnement électrique. 247 Desserrage du frein de stationnement électrique si la batterie du véhicule est trop faible. 248 Desserrage manuel du frein de stationnement électrique. 247 Serrage du frein de stationnement électrique. 246 Freins. 245 Généralités 245 Fusibles. 356
Glaces, miroirs et rétroviseurs. 121 Glaces à commande électrique............121
Alimentation prolongée des accessoires. 122 Fermeture par commande à impulsion......121 Fonction d'inversion en cas d'obstruction. 121
Ouverture par commande à impulsion......121
Verrouillage des glaces arrière. 121
Glossaire des symboles. 9

Hayon à commande électrique. 91
Activation et désactivation du hayon à commande électrique. 94 Détection d'obstacles. 94 Fonction mains libres. 94 Interruption de la course du hayon. 93 Ouverture et fermeture du hayon. 92 Réglage de la hauteur d'ouverture du hayon. 93 Hayon. 91

Indicateurs et avertisseurs sonores.139 Alerte entrée sans clé. 139 Carillon avertisseur de frein de stationnement serré. 139 Carillon avertisseur de rappel des phares allumés. 139 Installation de sièges d'enfant. 27 Dispositifs de retenue pour enfant. 27 Utilisation des ceintures-baudrier. 27
Utilisation des points d'ancrage inférieurs et des sangles de retenue (LATCH). 31 Utilisation des sangles de retenue. 32 Introduction. 9

Jantes et pneus. 402 Généralités 402 Spécifications techniques. 434 Jauge d'huile moteur. 373 Jauges - Véhicules avec : Écran du système d'information et de divertissement de 12,3 po............131 Barredet. 133 Groupe d'information gauche et droit.133 Jauge de carburant. 133 Thermomètre du liquide de refroidissement du moteur. 133 Jauges - Véhicules avec: Écran du système d'information et de divertissement de 6,5 po............129 Barredinformation. 130 Écran d'information. 130 Jauge de carburant. 130 Thermomètre du liquide de refroidissement du moteur. 130

Lavage automatique Voir: Nettoyage de l'extérieur. 393 Lave-glaces Voir : Essuie-glaces et lave-glaces. 106 Lave-glaces. 108
Nettoyeur de caméra avant. 108 Voir : Nettoyage de l'extérieur. 393
Limitations des appels d'urgence. 65 Limitations du régulateur de vitesse adaptatif - Véhicules avec : Régulateur de vitesse adaptatif avec arrêt-démarrage. 282 Limites du capteur. 282 Limitations du régulateur de vitesse adaptatif - Véhicules avec : Régulateur de vitesse adaptatif avec maintien de voie. 281 Limite de charge. 322
Chargement du véhicule - avec ou sans remorque. 322
Directives spéciales concernant le chargement du véhicule à l'intention des propriétaires de camionnettes et de véhicules utilitaires. 327
Lincoln Protect. 551
Lincoln Protect (CANADA SEULEMENT). 553 Programmes d'entretien prolongé Lincoln Protect (ÉTATS-UNIS SEULEMENT). 551 Lunette arrière chauffante. 175
Maintien Auto. 249 Activation et déactivation de la retenue automatique. 250 Témoin de retenue automatique. 250 Utilisation de la fonction de retenue automatique. 250 Messages d'information. 145 AdvanceTrac et antipatinage. 147 Aide au démarrage en côte. 154 Aide au stationnement. 158 Alarme. 147 Alerte conducteur. 153 Arrêt automatique du moteur. 148 Avertissement de collision. 161 Batterie et circuit de charge. 149 Boîte de vitesses. 165 Carburant. 153 Circuit de démarrage. 163 Clés et accès intelligents. 154
Démarrage à distance. 162 Direction assistée. 161 Dispositif MyKey. 157 Entretien. 156 Frein de stationnement. 159 Phares adaptatifs. 146 Portes et serrures. 152 Régulateur de vitesse adaptatif. 146 Remorque. 164 Sièges 162 Stationnement actif. 145 Système de suivi de voie. 155 Système de surveillance de la pression des pneus. 163 Systèmes d'information sur les angles morts et d'alerte de circulation transversale....151 Traction intégrale (AWD). 148 Mise au rebut de l'airbag. 63 Modes de conduite. 319 Conditions Profondes. 319 Conserver. 319 Exalter. 319 Glissant. 319 Normal. 319 Modification du nom ou du mot de passe du point d'accès Wi-Fi. 471 MyKey - Dépannage. 80
MyKeyTM 76
Principes de fonctionnement. 76
Navigation. 517 cityseeker 523 Définir une destination 518 Guidage routier. 520 Guide touristique Michelin. 524 Modification du format de la carte. 520 Précision et mises à jour des cartes de navigation. 524 SiriusXM Traffic et Travel Link. 523 Zoom. 520 Nettoyage de l'extérieur. 393 Bandes décoratives ou graphismes. 394 Compartiment moteur. 394 Éléments extérieurs chromés. 394 Éléments extérieurs en plastique. 394 Nettoyage des phares 393 Soubassement de carrosserie 394 Nettoyage de l'habitacle. 396 Nettoyage de la planche de bord et des lentilles du tableau de bord. 397 Nettoyage des glaces et des balais d'essuie-glace. 396 Nettoyage des roues. 399
Nettoyage des sièges en cuir. 398
Nettoyage du moteur. 395
Neutralisation de la vitesse programmée. 288
Normes d'émission. 227
Garantie relative aux émissions de bruit, actes de loi pour les modifications interdites et entretien. 228
Modifications du dispositif antibruit. 227
Numéro d'identification du véhicule....442
Options uniques d'exportation. 20
Ouverture et fermeture du capot. 371
Fermeture du capot. 371
Ouverture du capot. 371
Ouverture et fermeture globales. 122
Fermeture des glaces. 123
Ouverture des glaces. 123
Ouverture-porte de garage. 196
Ouvre-porte de garage universel...196
Ouvre-porte-de-garage universel.196
Système de commande sans fil d'ouverture-porte de garage universel HomeLink.196
Panne de carburant. 219
Ajout de carburant au moyen d'un bidon de carburant. 220
Remplissage d'un bidon de carburant. 219
Paramètres. 528
911 Assist. 529
Affichage. 529
Assistance conducteur. 528
Audio. 528
Bluetooth. 528
Commande vocale. 529
Éclairage ambiant. 530
Généralités. 529
Lincoln Way. 529
Mises à jour automatiques. 529
Mode voiturier. 529
Montre. 528
Navigation. 529
Ordinateur de bord. 529
Paramètres de charge. 529
Profils personnalisés. 529
Sièges. 529
Sièges multicontours. 529
Son. 528
Telephone. 528
Vehicule. 529
Pare-brise chauffant. 175
Dégivreur d'essuie-glace de pare-brise......175
Pare-soleil. 126
Miroir de courtoisie du pare-soleil. 126
Passage du régulateur de vitesse adaptatif au régulateur de vitesse standard. 289
Voir : Système antivol passif. 97
Perchlorate. 17
Perforation
Voir : Remplacement d'une roue. 425
Personal Safety System™ 51
Fonctionnement du système de sécurité personnalisé. 51
Phares adaptatifs. 114
Activation et désactivation des phares adaptatifs. 116
La caméra détecte des marquages de voie. 115
La caméra détecte des panneaux de circulation. 116
Le véhicule effectue un virage. 115
Phares à extinction temporisée............112
Phares antibrouillards avant.113
Activation/désactivation des antibrouillards avant. 113
Témoin d'antibrouillards avant. 114
Phares antibrouillards avant
Voir : Phares antibrouillards avant............113
Phares automatiques. 111
Phares activés par les essuie-glaces............112
Pièces de rechange recommandées.18
Entretien périodique et réparations mécaniques. 18
Garantie sur les pièces de rechange. 18
Réparations suite à une collision. 18
Pièces Motorcraft - 2.0L............439
Pièces Motorcraft - 2.3L................................441
Planche de bord. 22
Pneus
Voir : Jantes et pneus. 402
Poids de remorquage recommandés. 330
Point d'accès Wi-Fi. 470
Porte-bagages
Voir : Porte-charge et porte-bagages de toit. 321
Porte-charge et porte-bagages de toit. 321
Charges maximales recommandées. 321
Portes et serrures. 82
Port USB. 482
Localisation des ports USB. 482
Positionnement des sièges de sécurité enfants. 37
Positions assises appropriées.178
Pour obtenir de l'aide hors des États-Unis et du Canada. 352
Pour obtenir les services nécessaires. 347
Précautions relatives à l'aide au freinage en marche arrêtée. 251
Prises de courant auxiliaires. 201
Localisation de la prise de courant et du port USB. 201
Prise de courant de 110 volts c.a. 202
Prise de courant de 12 V c.c. 201
Produits de nettoyage 392
Produits 392
Programmateur de vitesse 277
Programmateur de vitesse. Voir : Programmateur de vitesse. 277
Programmateur de vitesse - Véhicules avec : Programmateur de vitesse......103
Programmateur de vitesse - Véhicules avec: Régulateur de vitesse adaptatif avec maintien de voie. 103
Programmation de la vitesse du régulateur de vitesse 277
Changement de la vitesse programmée. 277
Programmation de votre téléphone.....74
Programme Auto Line du Better Business Bureau (É.-U. seulement). 350
Protection de l'environnement. 21
Protège-genoux conducteur et passager. 60
Qualité du carburant. 218
Choix du carburant approprié. 218
Radio numérique. 474
Réception et stations HD Radio - Dépannage. 476
Radio par satellite. 478
Dépannage. 480
Facteurs relatifs à la réception radio satellite. 479
Numéro de série électronique (ESN) de la radio satellite. 480
Service de radio satellite SiriusXM. 479
Rallonges de ceinture de sécurité. 49
Rangement sous le plancher arrière.....320
Système de casiers de rangement. 320
Rappel de bouclage des ceintures de sécurité 47
État de la ceinture de sécurité. 48
Ravitation 221
Avertissement du système de ravitaillement. 224
Remplir le réservoir de votre véhicule.....222
Vue d'ensemble du système de ravitaillement. 221
Réglage de la distance de suivi du régulateur de vitesse adaptative. 286
Lorsque vous suivez un véhicule. 287
Réglage de la tolérance de la vitesse programmée. 291
Réglage de la vitesse du régulateur de vitesse adaptative. 285
Changement manuel de la vitesse programmée. 286
Programmation de la vitesse du régulateur adaptatif à partir d'un arrêt complet....285
Réglage des phares. 388
Réglage horizontal. 389
Réglage vertical. 388
Réglage des phares Voir : Réglage des phares 388
Réglage du volant - Véhicules avec : Colonne de direction à réglage électrique. 100
Fonction de rappel des réglages mémorisés. 101
Position de fin de course. 101
Réglage du volant - Véhicules avec : Colonne de direction à réglage manuel. 100
Réglages personnalisés. 144 Information sur demande. 144
Réglage de hauteur de ceinture de sécurité. 46
Régulateur de vitesse adaptatif - Dépannage. 291
Régulateur de vitesse adaptatif - Messages d'information. 291
Régulateur de vitesse adaptatif - Précautions - Véhicules avec : Régulateur de vitesse adaptatif avec arrêt-démarrage. 280
Lorsque vous suivez un véhicule. 281
Utilisation en terrain montagneux. 281
Régulateur de vitesse adaptatif - Précautions - Véhicules avec: Régulateur de vitesse adaptatif avec maintien de voie. 280
Régulateur de vitesse adaptatif. 279
Régulateur de vitesse adaptatif - Dépannage. 291
Rehausseurs. 34
Types de rehausseur. 35
Réinitialisation du témoin de vidange d'huile. 375
Remorquage du véhicule les quatre roues au sol. 335
Remorquage d'urgence. 335
Remorquage derrière un véhicule de loisirs 335
Remorquage. 328
Remplacement d'une ampoule. 390
Remplacement des ampoules. 390
Remplacement d'une commande à distance ou d'une clé perdue. 73
Remplacement d'une roue. 425 Procédure de remplacement d'une roue. 428
Renseignements au sujet des roues de secours de taille différente. 426
Remplacement d'un fusible 367 Fusibles 367
Remplacement de la batterie de 12 V. 384
Système de gestion de batterie. 386
Remplacement des balais
d'essuie-glace 387
Balai d'essuie-glace de lunette arrière.....388
Balais d'essuie-glaces de pare-brise. 387
Remplacement du filtre à air. 390
Moteurs à essence. 390
Renseignements généraux sur les
radiofréquences. 67
Clé d'accès intelligente. 67
Réparation de dommages mineurs à la
peinture. 398
Reprise de la vitesse programmée
Reprendre la vitesse programmée à partir
d'un arrêt complet. 287
Rétroviseur intérieur.
Rétroviseur à électrochrome.126
Rétroviseurs extérieurs chauffants. 175
Rétroviseurs extérieurs. 123
Eclairage d'accueil Lincoln. 125
Rétroviseur à électrochrome. 125
Rétroviseurs à clignotant. 125
Rétroviseurs à mémoire. 125
Rétroviseurs extérieurs à commande
électrique. 123
Rétroviseurs extérieurs chauffants. 125
Rétroviseurs extérieurs rabattables. 124
Rétroviseurs extérieurs repliables
automatiquement. 124
Système d'information sur les angles
morts. 125
Rétroviseurs
Voir : Glaces, miroirs et rétroviseurs. 121
Rodage. 336
Rodage
Voir : Rodage. 336
Roude secours
Voir : Remplacement d'une roue. 425
Sacs gonflables du conducteur et du
passager. 53
Enfants et sacs gonflables. 55
Position assise appropriée pour le conducteur
et le passager avant. 54
Sacs gonflables latéraux. 58
Safety Canopy TM 60
Sécurité enfants. 25
Généralités. 25
Sécurité 97
Sélection d'un mode de conduite. 318
Services financiers automobiles de
Lincoln. 17
Sièges à commande électrique. 181
Commandes de siège 10 positions. 181
Commandes de siège 24 positions.183
Réglage des sièges avant multicontours avec
Active Motion. 186
Sièges à régulation de température......193
Sièges à régulation de température
Automatique. 194
Sièges chauffants. 193
Sièges ventilés. 194
Sièges arrêtés 190
Déplacement des sièges vers l'arrière et vers
l'avant. 190
Rabattre le dossier de siège. 191
Rabatte le dossier de siège à réglage
Électrique. 191
Réglage de l'inclinaison. 191
Relever le dossier de siège 191
Sièges chauffants. 192
Sièges arrière. 192
Sièges avant. 192
Sièges 178
Sonar latéral. 264
Indicateur de distance d'objet. 266
Spécifications du moteur - 2.0L.........436
Cheminement de la courroie
d'entraînement. 437
Spécifications du moteur - 2.3L.........437
Cheminement de la courroie
d'entraînement 439
Voir : Capacités et spécifications. 436
Stationnement actif. 267
Utilisation du stationnement actif............267
SYNC 3. 483
Généralités. 483
Système antidémarrage
Voir : Système antivol passif. 97
Système antivol passif. 97
SecuriLock 97
Système d'information sur les angles morts. 303
Activation et désactivation du système......304
Anomalies du système. 304
Utilisation du système d'information sur les angles morts. 303
Système de maintien de trajectoire....297
Activation et désactivation du système......298
Système de surveillance de la pression des pneus. 421
Fonctionnement du système de surveillance de la pression des pneus. 423
Remplacement d'un pneu avec un système de surveillance de la pression des pneus. 422
Système d'alerte après impact. 344
Tableau des spécifications des ampoules. 464
Tableau des spécifications des fusibles. 356
Boîte à fusibles de l'habitacle. 364
Boîte à fusibles du compartiment moteur 356
Télécommande. 68
Clé d'accès intelligente. 68
Déclenchement de l'alarme de détresse... 71
Démarrage à distance. 71
Localisateur de véhicule. 71
Remplacement de la batterie. 69
Téléphone en tant que clé - Dépannage. 75
Téléphone en tant que clé - Foire aux questions. 75
Téléphone en tant que clé. 74
Téléphone en tant que clé - Dépannage......75
Telephone. 514
Android Auto. 516
Apple CarPlay. 516
Jumelage initial de votre téléphone cellulaire...515
Messagerie texte. 515
Utilisation de votre téléphone cellulaire......515
Témoin et carillon de ceinture de sécurité. 46
Conditions de fonctionnement. 46
Témoins de feu des doutes automatiques. 120
Témoins de l'aide au freinage en marche arrière. 253
Témoins de régulateur de vitesse. 278
Témoins du régulateur de vitesse adaptative - Véhicules avec : Régulateur de vitesse adaptative avec arrêt-démarrage. 288
Témoins du régulateur de vitesse adaptatif - Véhicules avec : Régulateur de vitesse adaptatif avec maintainien de voie. 288
Témoins du régulateur de vitesse adaptative - Véhicules avec : Régulateur de vitesse adaptative intelligent. 289
Messages d'avertissement 289
Témoins et indicateurs. 134
Alerte de distance. 136
Anomalie du groupe motopropulseur. 138
Antibrouillards avant. 137
Avertissement de basse pression des pneus. 137
Bas niveau de carburant. 137
Bas niveau de liquide lave-glace. 137
Batterie. 135
Bouclage de ceinture de sécurité. 136
Bouclage de ceinture de sécurité arrêté. 136
Capot moteur ouvert. 137
Clignant. 136
Commande de feu des routes automatiques. 134
Contrôle de stabilité. 138
Contrôle de stabilité désactivé. 138
Démarrage-arrêt automatique. 135
Entretien recommandé du moteur. 138
Feux de route. 137
Frein de stationnement électronique......136
Hayon ouvert. 137
Huile moteur. 136
Phares allumés. 137
Porte-mal-fermé. 136
Régulateur de vitesse. 135
Régulateur de vitesse adaptatif. 134
Retenue automatique active. 134
Retenue automatique non disponible. 135
Sac gonflable avant. 137
Système d'information sur les angles morts. 135
Système de freins antiblocage. 134
Témoin d'antibrouillards arrêté 138
Témoin de feu de croisement. 137
Témoin de mode de traction. 138
Témoin du système de freinage. 135
Température du liquide de refroidissement du moteur. 136 Toit ouvrant. 126 Fonction de rebond. 128 Toit ouvrant Voir : Toit ouvrant. 126 Traction d'une remorque. 328 Répartition de la charge. 328 Transmission intégrale. 239 Transport de charge. 320 Transport du véhicule. 345 Trousses de carrosserie. 401
Utilisation de chaînes à neige. 419 Utilisation de l'antipatinage. 255 Désactivation du système. 255 Témoins et messages des systèmes. 255 Utilisation d'un contacteur. 255 Utilisation des commandes de l'écran d'information. 255 Utilisation de la reconnaissance vocale. 485 Applications. 494 Climatisation. 489 Diminution automatique de la vitesse du moteur de soufflerie. 496
Divertissement. 487 Généralités 486 Navigation. 492 Paramètres vocaux. 495 SiriusXM Traffic et Travel Link. 495 Téléphone. 490
Utilisation de la traction intégrale.........239
Conduite dans des conditions particulières avec une traction intégrale. 240 Utilisation de MyKey à l'aide d'un démarreur à distance. 80 Utilisation des ceintures de sécurité......42
Extraction des ceintures de sécurité au niveau des places latérales arrêté. 45 Modes de blocage des ceintures de sécurité. 44 Utilisation d'un clip coulissant. 43 Utilisation des ceintures de sécurité pendant la grossesse. 43 Utilisation du contrôle de stabilité............258 Utilisation du mot de passe de démarrage-secours. 74 Utilisation du programme de médiation et d'arbitrage (Canada seulement). 351
Ventilation. Voir : Climatisation. 171
Vérification de l'état du dispositif MyKey. 79
Distance MyKey. 80
Nombre de clés Admin. 80
Nombre de MyKey : 80
Vérification de l'huile de boîte de vitesses automatique. 382
Vérification de l'huile moteur. 373 Ajout d'huile moteur. 374
Vérification de l'huile moteur Voir: Vérification de l'huile moteur............373
Vérification des balais d'essuie-glace 387
Vérification du liquide de direction assistée. 383
Vérification du liquide de frein. 382 Intervalle de vidange du liquide de frein. 383
Vérification du liquide de lave-glace......383
Vérification du liquide de refroidissement. 376
Ajout de liquide de refroidissement. 377
Circuit de refroidissement à protection totale. 379
Conditions climatiques rigoureuses. 379
Gestion de la température du liquide de refroidissement du moteur. 381
Liquide de refroidissement recyclé 378
Vidange du liquide de refroidissement....379
Vérification du liquide de refroidissement
Voir : Vérification du liquide de refroidissement 376
Vérifications de remorquage essentielles. 332
Attelages. 332
Avant de tracter une remorque. 333
Chaînes de sécurité. 332
Feux de remorque. 333
Freins de remorque. 332
Mise à l'eau ou sortie de l'eau d’un bateau ou d’une motomarine (PWC). 334
Pendant la traction d'une remorque. 333
Verrou du capot Voir: Ouverture et fermeture du capot......371
Voir: Ouverture et fermeture du capot......371
Verrouillage électrique des portes Voir: Verrouillage et déverrouillage.82
Verrouillage et déverrouillage. 82
Activation de l'accès intelligente. 84
Clé mécanique. 83
Déverrouillage automatique. 86
Déverrouillage intelligent. 85
Éclairage à l'entrée. 86
Eclairage à la sortie. 86
Éclairage d'accueil. 87
Ouverture d'une porte arrêtée depuis l'intérieur du véhicule. 84
Protection antidécharge de la batterie......87
Télécommande. 82
Verrouillage automatique. 85
Verrouillage électrique des portes. 82
Verrouillage de sécurité enfants. 40
Côté droit 40
Côté gauche. 40
VIN Voir: Numéro d'identification du vehicule....442
Volant chauffant. 104
Volant. 100
Notice Facile