ADP1002S - Lave-vaisselle AMICA - Notice d'utilisation et mode d'emploi gratuit
Retrouvez gratuitement la notice de l'appareil ADP1002S AMICA au format PDF.
| Type de produit | Lave-vaisselle encastrable |
| Capacité | 9 couverts |
| Classe énergétique | A+ |
| Consommation d'eau | 9 litres par cycle |
| Consommation d'énergie | 0,83 kWh par cycle |
| Niveaux de bruit | 49 dB |
| Programmes de lavage | 5 programmes (intensif, normal, éco, rapide, délicat) |
| Options supplémentaires | Départ différé, fonction demi-charge |
| Dimensions approximatives | 82 x 60 x 55 cm |
| Poids | 40 kg |
| Alimentation électrique | 220-240 V |
| Puissance | 1800 W |
| Entretien et nettoyage | Filtres à nettoyer régulièrement, utilisation de détergents adaptés |
| Pièces détachées et réparabilité | Disponibilité des pièces détachées à vérifier auprès du fabricant |
| Sécurité | Système de sécurité anti-débordement, verrouillage de porte |
| Informations générales | Garantie de 2 ans, service après-vente disponible |
FOIRE AUX QUESTIONS - ADP1002S AMICA
Questions des utilisateurs sur ADP1002S AMICA
Le programme éco du lave-vaisselle AMICA ADP1002S est conçu pour optimiser la consommation d'énergie et d'eau tout en assurant un nettoyage efficace. La durée de ce programme est généralement plus longue que les programmes standards afin de réduire la consommation globale.
Pour ce modèle, la durée typique du programme éco est d'environ 2 heures à 2 heures 30 minutes. Cette durée peut varier en fonction de plusieurs facteurs :
- La température de l'eau d'arrivée
- Le niveau de salissure de la vaisselle
- La charge et la répartition de la vaisselle dans le lave-vaisselle
En résumé, attendez-vous à une durée d'environ 2h à 2h30 pour le programme éco sur l'AMICA ADP1002S, ce qui permet de réaliser des économies d'énergie tout en maintenant une bonne qualité de lavage.
Téléchargez la notice de votre Lave-vaisselle au format PDF gratuitement ! Retrouvez votre notice ADP1002S - AMICA et reprennez votre appareil électronique en main. Sur cette page sont publiés tous les documents nécessaires à l'utilisation de votre appareil ADP1002S de la marque AMICA.
MODE D'EMPLOI ADP1002S AMICA
Cette notice comporte des chapitres relatifs aux consignes de sécurité, aux consignes d'utilisation, aux consignes d'installation et aux conseils de dépannage. Une lecture attentive de cette notice avant d'utiliser de votre nouveau lave-vaisselle vous aidera à utiliser et à entretenir le lave-vaisselle correctement.
NOTE:
Le fabricant, conformément à une politique de développement permanent de mise à jour du produit, peut effectuer toute modification nécessaire sans donner de notification préalable.
SOMMAIRE
| Consignes de sécurité | Page 3 |
| Caracteristique techniques et énergétiques Présentation de l'appareil | Page 10 |
| Page 11 | |
| Fonctionnement du bandeau de commande | Page 12 |
| Utilisation de votre lave-vaisselle | Page 14 |
| Entretien et nettoyage | Page 25 |
| Consignes d'installation | Page 29 |
| Chargement des paniers conformément à la norme EN60436 | Page38 |
| Guide d'utilisation rapide | Page 39 |
| Programmation du lave-vaisselle | Page 40 |
| Guide de dépannage | Page 42 |
| Code d'erreur | Page 45 |
| Garantie | Page 45 |
Déclaration du fabricant
Le fabricant déclare par la présente que ce produit satisfait aux exigences des directives européennes suivantes :
- Directive basse tension (LVD) 2014/35/EU,
- Directive compatibilité electromagnétique (EMC) 2014/30/EU,
- Directive écoconception (ERP) 2009/125/CE.
- Directive RoHS 2011/65/CE
Elle est ainsi marquee du symbo le CE et est assortie d'une déclaration de conformité rendue accessible aux réguleurs de marché
CONSIGNES DE SECURITE

IMPORTANT! LIRE TOUTES LES CONSIGNES AVANT UTILISATION
Pour la sécurité des biens et des personnes ainsi que pour le respect de l'environnement, vous devez d'abord dire impératifement les préconisations suivantes avant toute utilisation de votre apparéil.
En ce qui concerne les informations pour installer, brancher, manipuler, entretenir etmettre au rebut l'appareil, se reférer aux paragraphs ci-après de cette notice.
MISE EN GARDE!
Pour éviter toute erreur ou accident, assurez-vous que les utilisateurs de cet apparéil aient pris parfaitement connaissance de son fonctionnement et des mesures à observer en matière de sécurité.
Conservez cette notice d'utilisation avec votre apparéil. Si l' apparéil avait été vendu ou cédé à une autre personne, assurez-vous que la notice d'utilisation l'accompagne. Le nouvel utilisateur pourra alors être informé du fonctionnement de celui-ci et des averissements s'y rapportant.

Pour éviter tout risque de détérioration de l'appareil, transportez-le dans sa position d'utilisation muni de ses cales de transport. Au déballage de celui-ci, et pour empêcher des risques d'asphyxie et corporel, tenez les matériaux d'emballage hors de la portée des enfants.

Pour éviter tout risque (mobilier, immobilier, corporel,...), l'installation, les raccordements (eau, électricité, évacuation), la mise en service et la maintenance de votre apparéil doivent être effectuels par un professionneliel qualifié.

Cet apparéil est destiné à être utilisé dans des applications domestiques (cadre privé) mais pas dans les applications analogues telles que:
-les coins cuisines réservés au personnel des magasins, bureaux et autres environnementes professionnels
-les fermes ;
- l'utilisation par les clients des hôtels, motels et autres environnements à caractère résidentiel
-les environnements du type chambres d'hôtes

Débranchez votre apparéil avant toute opération de nettoyage manuel. N'utilisez que des produits du commerce non corrosifs ou non inflammables. Tout projection d'eau ou de vapeur est proscrite pour écarter le risque d'électrocution.

Afin d'empêcher des risques d'explosion et d'incendie, ne placez pas de produits inflammables ou déléments imbibés de produits inflammables à l'intérieur, à proximité ou sur l'appareil.

Lors de la mise au rebut de votre apparéil, et pour écarter tout risque corporel, mettez hors d'usage ce qui pourrait présenter un danger : coupez le cable d'alimentation au ras de l' apparéil. Informez-vous auprès des services de votre commune des endroits autorisés pour la mise au rebut de l' apparéil.
Sécurité générale
-
Il est interdit de modifier les caractéristiques techniques ou de tenter de modifier l'appareil de chaque façon que ce soit. -Assurez-vous que vos animaux domestiques ne puissant pas pénétrer dans le tambour du lave-linge. Pour éviter cela, vérifie l'intérieur du tambour avant chaque utilisation de l'appareil.
-
Débranchez toujours la prise de courant et fermez le robinet d'arrivée d'eau après chaque utilisation et avant le nettoyage et l'entretien de l'appareil. Assurez-vous, après avoir installé l'appareil, qu'aucun tuyau ou raccord ne fuit.
-Si l'appareil est installé dans un endroit exposé au gel, veuilles lire attentivement le chapitre “Protection contre le gel”.
-Ne confiez les travaux hydrauliques nécessaires à l'installation de l'appareil qu'à un plombier qualifié.
-Si l'installation électrique de votre habitation nécessite une modification pour le branchement de votre appareil, faites appel à un électricien qualifié.
-Si le cordon d'alimentation est endommagé, il doit être remplacec par le fabricant, son ServiceAprès-Vente ou une personne de qualification similaire, afin d'eviter un danger. -Instruction de mise à la Terre : Cet apparéil doit être mis à la terre. Dans le cas d'un dysfonctionnement ou d'une coupure, la mise à la terre permet de réduire le risque de chocolélectrique en fournissant un accès au courant électrique de plus faible résistance. Cet apparéil est équipé d'un cordon pourvu d'un conducteur de mise à la terre et d'une prise de mise à la terre. La prise doit être branchée dans une prisemurale appropriée installée et mise à la terre en accord avec tous les codes et règles locaux.
Utilisation
- Notre apparéil est destiné à un usage domestique exclusivement. Ne l'utilise pas à des fins commerciales ou industrielles ou pour d'autres buts que celui pour lequel il a été créé.
- Lavez en machine uniquement les articles pouvant supporter ce traitement.
- Ne surchargez pas l'appareil. Voir le chapitre correspondant dans cette notice d'utilisation.
- Le cable d'alimentation ne doit jamais être tiré au niveau du cable, mais toujours au niveau de la prise.
- Ne pas enlever la prise de courant les mains humides.
- Protégéz le panneau de commande de tout déversement d'eau.
- La porte ne doit pas laissée en position ouverte dans la mesure où cela pourrait présenter un danger de bascurement.
- N'utilisez jamais l'appareil si le cable d'alimentation, le bandeau de commande, le plan de travail ou le socle sont endommagés de manière telle que l'intérieur de l'appareil est accessible.
- N'essayez jamais de réparer l'appareil vous-même. Les réparations effectuees par du personnel non qualifié peuvent provoquer des blessures ou le mauvais fonctionnement de l'appareil. Contactez le service après-vente de votre magasin vendeur. Exigez des pieces de rechange certifiées Constructeur.
- A la fin de chaque cycle. Remetre le selecteur de programme sur la position 'STOP' ou le bouton 'MARCHE/ARRÊT' sur 'ARRÊT' avant d'ouvrir la porte.
- Ne touchez jamais le cable d'alimentation ni la fiche avec les mains mouillées.
- Àprous chaque utilisation, veiliez à débrancher la prise de l'appareil et à couper l'alimentation d'eau.
- MISE EN GARDE: Les couteaux et les autres ustensiles pointus doivent être placés dans le panier pointe vers le bas ou en position horizontale.
- La pression d'eau minimale à l'entrée autorisée est de 0,04 MPa (0,4 Bar)
- La pression d'eau maximale à l'entrée autorisée est de 1 MPa (10 Bars)
Installation
- Cet apparéil est lourd. Faites attention lors de son déplacement.
- N'installez pas votre apparéil dans une piece dans laquelle la température est susceptible de descendre au-dessous de 0^ . Les tuyaux gelés peuvent éclater sous l'action de la pression. La fiabilité de l'unité de commande électronique peut être alterée à des températures inférieures à 0^ et supérieures à 50^ .
- Installez la machine dans une piece pourvue d'une ventilation adaptée. Évitez les pieces sans fenêtre. L'arrête de la machine doit être situé au moins à 100 mm du mur.
- Lors du déballage, vérifie que l'appareil n'est pas endommagé En cas de doute, ne l'utilisez pas et contactez le magasin vendeur.
- Protégez la machine de l'exposition directe au soleil ou à la pluie.
- L'appareil doit être raccordé au réseau de distribution d'eau en utilisant les ensembles de raccordement neufs fournis avec l'appareil, il convient de ne pas réutiliser des ensembles de raccordement usages.
Assurez-vous, après avoir installé l'appareil, que celui-ci ne repose pas sur le tuyau d'alimentation ou le tuyau de vidange ou sur le cable d'alimentation.
- Le lave-vaisse n'est pas conscience pour être raccordé à une alimentation en eau chaude.
- Ne pas brancher l'appareil à une prise de courant non protégée contre les surcharges (fusible).
- Ne jamais utiliser de prises multiples ou de rallonge pour brancher l'appareil.
- Cet apparéil n'est pas destiné à être mis en fonctionnement au moyen d'une minutesie extérieure ou par un système de commande à distance séparé ou tout autre dispositif qui met l' apparéil sous tension automatiquement.
-Une fois que la machine est en place et bien a plat, vous nevez vous assurer que chacun des quatre pieds est dans une position stable.
- Ne branchez la fiche d'alimentation sur la prise de courant qu'à la fin de l'installation. Assurez-vous que la prise de courant est accessible une fois l'appareilinstalled.
-Si la machine est placée sur une moquette, ajustez les pieds afin de permettre à l'air de circuler librement autour de l'appareil. De même les ouvertures de ventilation ne doivent pas'être obstruées par un tapis.
Sécurité des enfants
- Cet apparéil peut être utilisé par des enfants âgés d'au moins 8 ans et par des personnes ayant des capacities physiques, sensorielles ou mentales réduites ou dénuées d'expérience ou de connaissance, s'ilts (si elles) sont correctement surveillé(e)s ou si des instructions relatives à l'utilisation de l' apparéil en toute sécurité leur ont été données et si les risques encourus ont été appréhendés.
- Les enfants ne doivent pas jouer avec l'appareil.
- Il convient de maintainir à distance les enfants de moins de 3 ans, à moins qu'ils ne soient sous une surveillance continue.
- Le nettoyage et l'entretien par l'usage ne doit pas être effectuels par des enfants sans surveillance.
- Les matériaux d'emballage (par ex. les films plastiques, les polystyrenes) représentent un danger pour les enfants - risque d'asphyxie! Conservez-les hors de portée des enfants
- Conservez tous les détergents dans un endroit sur hors de portée des enfants.
- Assurez-vous que les enfants ou vos animaux domestiques ne puissant pas pénétrer dans l'appareil.
Mise au rebut
Produit
Mise au rebut

Cet apparéil est marqué du symbole du tri sélectif relatif aux déchets d'équipements électriques et électroniques. Cela signifie que ce produit doit être pris en charge par un système de collecte sélectif conformément à la directive europeenne 2012/19/EU afin de pouvoir soit être recyclé soit demantélé afin de réduire tout impact sur l'environnement.
Pour plus de renseignements, vous pouvez contacter votre administration locale ou régionale.
Les produits électroniques n'ayant pas fait l'objet d'un tri sélectif sont potentiellement dangereux pour l'environnement et la santé humaine en raison de la présence de substances dangereuses.

FR
Cet apparéil, ses accessoires et cordons se recyclant
REPRISE
A LA LIVRAISON
A DEPOSER
EN MAGASIN EN DECHETERI

= 12BO

Points de collecte sur www.quefairedemesdechets.fr
Privilégiez la réparation ou le don de votre apparéil!
Emballage
Tous les éléments de l'emballage doivent être jetés séparément dans les poubelles de tri afin de facilititer et de participer au recyclage de ces emballages.

FR
LETRI

FACILE
Éléments
d'emballage
- Notice

Séparez les éléments avant de trier
CHARACTERISTIQUES TECHNIQUES ET ENERGETIQUES
| Modèle | Marque : AMICARéférence : ADP1002S |
| Voltage/fréquence | 220-240~/50Hz |
| Puisance | 1760-2100W |
| Pression de l'eau | 0.04-1.00MPa = 0.4-10bar |
| Dimension (L*P*H) | 448 x 610 x 845 mm |
| Nombre de couverts | 10 |
| Type d'installation | Pose libre |
La fiche d'information sur le produit selon le règlement 2019/2017/UE est disponible via
| Modèle | Site web | QR-code |
| ADP1002S | https://eprel.ec.europa/qr/389186 |
Données techniques
| Hauteur (H) | 845 mm |
| Largeur (W) | 448 mm |
| Profondeur (D1) | 610 mm (avec porte fermée) |
| Profondeur (D2) | 1175 mm (avec porte ouverte à 90°) |

PRESENTATION DE L'APPAREIL
Important :
Pour obtenir des performances optimales de votre lave-vaisselle, lisez toutes les consignes d'utilisation avant de l'utiliser pour la première fois.


REMARQUE:
Les illustrations sont utilisées uniquement pour référence, les modèles peuvent différer. À titre indicatif seulement.
FONCTIONNEMENT DU BANDEAU DE COMMANDE

Liste des touches
| 1 Marche/Arrêt | Appuyer sur ce bouton pour allumer ou éteindre l'appareil. |
| 2 Départ différé | Permet de lancer le programme dans 3, 6, 9 ou 12 heures. L'indicateur correspondant à la sélection s'allume. |
| 3 Programmes | Permet de sélectionner les programmes de lavage. L'indicateur correspondant à la sélection s'allume. IntensifPour la vaisselle très sale, les marmites, les casseroles, les plats, etc. normalement sales avec des alimentés incrustés.UniversalPour les couverts normalement sales tels que, les marmites, les assiettes, les verres et les casseroles légèrement sales. ÉCO ÉCO C'est le programme standard approprié pour les charges normalement sales, telles que les casseroles, les assiettes, les verres et les casseroles légèrement sales. VerrePour la vaisselle légèrement sale et les verres. 90 minPour les couverts normalement sales qui nécessitate un lavage rapide.RapideUn lavage plus court pour les couverts légèrement sales qui n'ont pas besoin d'être séchés. |
| 4 Demie-charge | Appuyer simultanément les boutons '90 min' et 'Rapide' pour activer l'options 'Demie-charge' avant de démarrer le programme. (Cette option est utile lorsque vous n'avez que 5 couverts complets au maximum à laver. Ce programme permet de diminuer la consommation d'eau et d'énergie lors du cycle. Cette option ne fonctionne qu'avac les programmes Intensif, Universal, Eco, Fragile et 90min) LED Indicator |
Afficheur
| 5 Indicateurs | Voyant du produit de rinçage " " indique quand le compartment correspondant doit être rempli. Voyant du sel " S indique quand le compartment correspondant doit être rempli. Voyant d'acciviée d'eau Si levoyant " " s'allume, l'eau n'arrive pas dans le lave-vaiselle. Vérifier le robinet d'acciviée d'eau. |
| 6 Départ différé | Indique lorsque le programme démarrera (3h/6h/9h/12h) |
UTILISATION DE VOTRE LAVE-VAISSELE
Avant l'utilisation de votre lave-vaiselle :

- Ajustez l'adoucisseur d'eau
- Ajoutez du sel dan l'adoucisseur
- Remplissez les paniers
- Ajoutez le détergent
Veuillez consultier la partie "Réglage de la consommation de sel" dans le chapitre "Adoucisseur d'eau" (page 40)
Remplissage du sel dans l'adoucisseur

REMARQUE :
Si vous modèle n'est pas équipé d'un adoucisseur d'eau, vous pouvez ignorer ce chapitre.
Utilisez toujours du sel conçu spécialément pour lave-vaisse.
Le réservoir de Sel se trouve sous le panier inférieur et doit être rempli comme suit :

AVERTISSEMENT
Utilisez uniquement du sel conçu spécialément pour lave-vaissette!
Tous les autres types de sels non spécifique conçus pour une utilisation dans un lave-vaisselle, en particulier le sel de table, pourraient endommager l'adoucisseur d'eau. En cas de dommages causés par l'utilisation d'un sel de type incorrect, le fabricant n'assumera aucune garantie ni responsabilité pour les dommages causés.
- Ajoutez du sel uniquement avant de démarrer l'un des programmes de lavage.
Cela empêchera toute corrosion due à préstance de grains de sel ou d'eau salée ayant légèrement débordée au fond de l'appareil.
Veuillez suivre les étapes suivantes pour ajouter le sel de lave-vaissette :

- Retirez le panier inférieur puis devissez et enlevez le bouchon du réservoir.
- Placez le bout de l'entonneir (fourni) dans l'orifice et versez 1,5 kg de sel environ.
- Remplissez complètement le réservoir de sel avec de l'eau. Il est normal qu'une petite quantité d'eau déborde du réservoir de sel.
- Une fois le réservoir rempli, revissez fermement le bouchon.
- Le voyant d'advertisement du niveau de sel s'éteindra une fois le réservoir rempli de sel.
- Immédiatement après avoir rempli le réservoir de sel, un programme de lavage doit être démarré (nous conseillons d'utiliser un programme court). Autrement, le système de filtrage, la pompé ou d'autres pieces importantes de la machine pourrait être endommagés par l'eau salée. Ceci ne serait pas couvert par la garantie.

REMARQUE:
- Le réservoir de sel ne doit être rempli que lorsque voyant () signalant qu'il n'y a plus de sel s'allume sur le panneau de commande. Il se peut que le voyant reste allumé un certain temps alors que le réservoir est plein, cela dépend de la vitesse à laquelle le sel se dissout.
Si vous lave-vaisselle ne compte pas de voirant d'advertissement du niveau de sel sur le panneau de commande (sur certains modèles), vous pouvez savoir à peu après qu'il moment vous devez remettre du sel dans l'adoucisseur à partir du nombre de cycles de lavage effectués.
- Si le Sel a un peu débordàrs du replissage, lancez un programme court ou de rinceage pour éliminer l'excess de sel.
Adoucisseur d'eau
L'adoucisseur d'eau doit etre regle manuellement a l'aide du cadran de durete de I'eau.
L'adoucisseur d'eau est conçu pour éliminer les minéraux et les sels de l'eau, ce qui aurait un effet néfaste ou négatif sur le fonctionnement de l'appareil.
Plus il y a de minéraux, plus votre eau est dure.
L'adoucisseur d'eau doit être régé
en fonction de la durée de l'eau de votre région. L'autorité locale en charge de la distribution de l'eau peut vous donner des conseils sur la durée de l'eau dans votre région.
Réglage de la consommation de sel
Le lave-vaisselle est conçu de façon à permettre le réglage de la quantité de sel consommée en fonction de la durée de l'eau utilisée. L'objectif est d'optimiser et de personneliser le niveau de consommation de sel.
Veuillez suivre les étapes ci-après pour régler la consommation de sel :
- Mettez l'appareil sous tension.
- Appuyez sur le bouton ECO pendant plus de 5 secondes pour démarrer la fonction de réglage de l'adoucisseur d'eau dans les 60 secondes suivant la mise sous tension de l'appareil.
- Appuyez sur le bouton ECO pour désirir le réglage adapte à votre région. L'ordre de modification des réglages est le suivant :
H1 -> H2 -> H3 -> H4 -> H5 -> H6.
4. Appuyez sur le bouton Marche/Arrêt pour quitter le mode de réglage.
| DURETÉ DE L'EAU | Dépréde l'adoucisseur d'eau | Consommation de sel (gramme/cycle) | |||
| Allemand :dH | François :fH | Britannique :Clarke | Mmol/l | ||
| 0 - 5 | 0- 9 | 0 - 6 | 0 - 0.94 | H1> Indicateur RAPIDE flashe | 0 |
| 6 - 11 | 10 - 20 | 7 - 14 | 1.0 - 2.0 | H2 > Indicateur 90mns flashe | 9 |
| 12 - 17 | 21 - 30 | 15 - 21 | 2.1 - 3.0 | H3 > Indicateur 90mns, RAPIDE flashe | 12 |
| 18 - 22 | 31 - 40 | 22 - 28 | 3.1 - 4.0 | H4 > Indicateur VERRES flashe | 20 |
| 23 - 34 | 41 - 60 | 29 - 42 | 4.1 - 6.0 | H5 > Indicateur VERRES, RAPIDE flashe | 30 |
| 35 - 55 | 61 - 98 | 43 - 69 | 6.1 - 9.8 | H6 > Indicateur 90mns, VERRE flashe | 60 |
1^ = 1,25^ = 1,78^ = 0,178mmol / l
Le réglage d'usine : H3
Contactez notre service local de distribution d'eau pour obtenir les informations relatives au degré de durée d'eau.
Pour plus de renseignement, veuillez consulter la section 3 « Remplissage du sel dans l'adoucisseur »

REMARQUE :
Si vous modèle n'est pas équipé d'un adoucisseur d'eau, vous pouvez annorer cette section.
Adoucisseur d'eau
La dureté de l'eau varie d'une zone à une autre. Si vous utilisez de l'eau dure dans le lave-vaiselle, des dépôts se forment sur la vaiselle et les ustensiles. L'appareil est équipé d'un adoucisseur spécial qui utilise un réservoir de sel spécialément conçu pour eliminer le calcaire et les minéraux de l'eau.
Préparation et chargement de la vaiselle
Privilégiez l'achat d'ustensiles portant la mention «lavable au lave-vaissette »
- Pour les ustensiles fragiles, Sélectionnez un programme fonctionnant à la température la plus)basse possible.
- Ne retirez pas vos verres et vos couverts du lave-vaisselle immédiatement après la fin du programme pour éviter tout risque d'endommagement.
Types de matériaux
Ne sont pas compatibles
Couverts aanse en bois, en porcelain ou en nacre
- Objets en plastique qui ne résistant pas à la chaleur
- Couverts anciers dotés d'éléments collés qui ne résistant pas aux haute températures
Couverts ou plats avec colle
- Éléments en étain ou en cuivre
- Verres en cristal
- Objects en acier pouvant rouiller
Plateaux en bois
- Objects en fibres synthétiques
Sont compatibles mais avec événuels impacts à long terme
- Certains types de verres peuvent se ternir au bout d'un certain nombre de lavages
- Les éléments en argent et en aluminium ont tendance àse décolorer au lavage
- Les motifs vitrés peuvent s'estomper s'ils sont féquement lavés au lave-vaissele
Recommendations pour le chargement du lave-vaiselle
Grattez les grandes quantités de résidus d'aliments. Faites ramollir les résidus d'aliments brûlés dans vos poêles et casseroles. Il n'est pas nécessaire de rincer la vaisse à l'eau courante. Pour garantir une performance optime du lave-vaisselle, respectez les directives de chargement suivantes.
(Les fonctionnalités et l'apparace des paniers peuvent varier selon les modèles.) Placez les objets dans le lave-vaisse de la manière suivante :
- Les articles tels que les tasses, les verres, casseroles/marmites, etc. doivent être orientés vers le bas.
- Les articles incuvés ou encastrés doivent être disposés en biais pour que l'eau puisse s'écouler.
- Tous les ustensiles sont empilés en toute sécurité et ne peuvent pas basculer.
- Tous les ustensiles sont positionnés de façon àpermettre la libre rotation des bras d'aspersion durant le lavage.
- Dispossez les articles creux tels que les tasses, les verres, les cassetoles, etc. avec l'ouverture vers le bas, pour éviter une accumulation d'eau dans le écipient ou la base profonde.
- Les plats et les éléments de couvert ne doivent pas'être posés l'un dans l'autre ou couchés les uns sur les autres.
Pour éviter tout dommage, les verres ne doivent pas se toucher.
Le panier supérieur est concu pour contir des articles plus delicats et plus légers tels que des verres, des tasses à café et à thé. - Les couteaux alongue lame rangés en position verticale constituent un danger potentiel !
- Les éléments de couvert longs et/ou tranchants tels que les couteaux àdécouper doivent être positionnés horizontally dans le panier supérieur.
- Veuillez éviter de surcharger votre lave -vaisselle. Cette consigne est importante pour obtenir debons résultats et assurer une consommation énergétique raisonnable.

REMARQUE :
Vous ne devez pas laver les articles de très petite taille dans le lave - vaiselle, car ils pourraient facilement tomber du panier.
RETRAIT DE LA VAISSELE!
Pour éviter l'écoulement d'eau du panier supérieur vers le panier inférieur, nous vous recommendons de vider le panier supérieur avant le panier supérieur.

AVERTISSEMENT

La vaisse peut être chaude! Ne sortez pas vos verres et vos couverts du lavevaisselle dans les 15 minutes suivant la fin du programme pour éviter tout risque d'endommagement.
Chargement du panier supérieur
Le panier supérieur est conçu pour contenir des articles plus délicats et plus légers tels que des verres, des tasses à café et à thé, des soucoupes, ainsi que des plats, des petits bols et des casseroles peu profondes (à condition qu'elles ne soient pas trop sales). Positionné les plats et ustensiles de cuisine de façon à empêcher leur déplacement par la pulverisation d'eau.
Chargement du panier inférieur
Nos you suggestons de placer de gros articles et les articles les plus difficiles à nettoyer dans le panier inférieur. Il s'agit des marmites, des casseroles, des couvercles, des plats et bolds de service, comme l'illustrtre la figure ci-dessous. Il est préferable de placer les plats de service et les couvercles sur le (:oté des étagères afin d'eviter de bloquer la rotation du bras d'aspersion supérieur.
Le diamètre maximal conseillé pour les plats placés devant le distributeur de détérgent est de 19 cm, ceci pour ne pas bloquer son ouverture.


Chargement du panier à couverts
Les couverts doivent être placés correctement dans le porte -couverts séparément les uns des autres. Assurez-vous que les ustensiles ne s'emboitent pas les uns dans les autres, cela peut conduire à de mauvais résultats de lavage.

AVERTISSEMENT

Ne laissezaucun article déborder atravers la partie inférieure. Chargez toujours les ustensiles tranchants avec la pointe effilée orientée vers le bas !
Pour un meilleur résultat de lavage, veuillez charger les paniers conformément aux indications du chapitre « Chargement des paniers »
Rôle du produit de rinceage et du détergent
Le produit de rinceage est libérélors du rinceage final pour éviter que l'eau ne forme des gouttelettes sur vos plats, ce qui peut laisser des taches et des stries. Il améliore également le séchage en permettant à l'eau de moins s'écouler des plats. Notre lave-vaissele est conçu pour fonctionn er avec un produit de rinceage liquide.

AVERTISSEMENT
Utilisez uniquement les produits de rincege pour lave -vaisselle. Ne replissez jamais le distributeur de produit de rincege d'autres substances (par ex.liquide vaisselle). Ils peuvent endommager l'appareil.
Intervalle de replissage du distributeur de liquide de rençage
À moins que levoyant d'advertisement de rincege ( ) sur le panneau de commande ne soit allumé, vous pouze toujours estimer la quantite requise partir de la couleur de l'indicateur optique de niveau situé a cote du bouchon. Lorsque le réservoir de produit de rincege est plein, l'indicateur passe complètement au noir. La taille du point noir diminue au fur et à mesure quele niveau du produit de rincege baisse. Ne laissez jamais le produit de rincege descendre en dessous des 1/4 du réservoir.
Lorsque le niveau du liquide de rinceage baisse, la taille du point noir sur l'indicateur de niveau du liquide de rinceage change, tel qu'illustré ci-dessous.

Plein

Plein au 3/4

Plein au 1/2

Plein au 1/4

Vide
- Utilisation appropriée du détérgent
Utilisez uniquement les détergents spécialement conçus pour les lave -vaisselle. Gardez votre détermagent au frais et au sec. Ajoutez le détermgent en poudre dans le distributeur dédiéjuste avant le démarrage du cycle de lavage.

AVERTISSEMENT
Rôle du détergent
Les ingréductents chimiques qui compose le dédTergent sont nécessaires au retrait, au broyage et à la distribution de toute la saleté du lave -vaisselle. La majorité des dédTergents de qualité commerciale e convennent acette fin.

Les détergents pour lave-vaisselle sont corrosifs! Tenez le détermgent pour lave-vaisselle hors de la portée des enfants.
Remplissage du réservoir du liquide de rinçage


Pour ouvrir le distributeur, tournez le capuchon sur la flèche «ouverte» (gauche) et souvezez-le.


Versez soigneusement le produit de rinceage dans son distributeur, en évitant qu'il déborde.


Remettez le capuchon en place en l'alignant sur la flèche «ouverte» et en le tournant vers la flèche fermée (droite).

REMARQUE :
Nettoyez le liquide de rincege déversé à l'aide d'un chiffon absorbant pour éviter la formation excessive de mousse au cours du prochain lavage.
Réglage du réservoir du liquide de rinçage

Le réservoir du liquide de rinceage possède six degrés. Le réglage d'usine recommandé est «4 ». Si la vaisse l'est mal séchée ou présente des taches, réglez le cadran sur le chiffre supérieur jusqu'à ce que vos plats neprésent plus de taches.
Réduisez le niveau si vos platsprésent des taches blanches collantes ou si vos verres ou vos couteauxprésentent une pellicule bleutée.
Remplissage du distributeur de détergent

1 Appuyez sur le loquet d'ouverture du distributeur de détergent pour ouvrir lecocouvercle.

Fermez le couvercle et appuyez dessus jusqu'ace qu'il s'enclenche.

2 Ajoutez du détergent dans la grande cavité(A) pour le cycle de lavage principal. Pour la vaiselle très sale, ajoute également un peu de détergent dans la petite cavité(B) pour le cycle de prélavage.

REMARQUE:
- Notez que le réglage peut varier selon l'encrassement de l'eau.
- Veuillez observer les recommendations du fabricant indiquées sur l'emballage de votre détergent.
Astuces pour bien utiliser le panier
Réglage du panier supérieur
Type 1:
La hauteur du panier supérieur peut être facilement ajustée pour accueillir des plats plus grands dans le panier supérieur ou inférieur.
Pour régler la hauteur du panier supérieur, suivez les étapes suivantes :

1 Retirez le panier supérieur.

3 Fixez le panier supérieur sur les rouleaux supérieurs ou inférieurs.
Type 2 :

Pour soulever le panier supérieur en position plus haute, soulevez-le jusqu'à ce que les deux côtés soient à la même hauteur. Le panier se fixera en place.

2 Enlevez le panier supérieur.

4 Remettez le panier supérieur.

Pour abaiser le panier, poussez la poignée vers le bas et relâchéz.
Replier les étagères pour tasses
Pour faire de la place pour les articles plus grands dans le panier du lave-vaisselle, soulevez le panier vers le haut. Vous pouvez alors y poser les grands verres. Vous pouvez également l'enlever lorsque vous ne l'utilisez pas.

Replier les supports des étagères
Les pointes sont utilisées pour tener les assiettes et un plateau. Elles peuvent être rabaisées pour faire de la place pour les grands ustensiles de grande dimension.

ENTRETIEN ET NETTOYAGE
Entretien de l'extérieur de l'appareil
La porte et le joint de la porte
Nettoyez régulièrement les joints de la porte avec un doux chiffon humide afin d'éliminer les dépôts alimentaires.
Lors du chargement du lave-vaisselle, des résidus alimentaires et de boissons peuvent degouliner sur les côtes de la porte du lave-vaisselle. Ces surfaces sont situées en dehors de la cuve de lavage et ne peuvent donc pas être atteintes par l'eau des bras d'aspersion. Tout dépôt doit être essuyé avant de fermer la porte.
Le panneau de commande
Si le nettoyage est nécessaire, le panneau de commande doit être essuyé avec un chiffon légèrement humide UNIQUEMENT.

AVERTISSEMENT
- N'utilise jamais de produits nettoyants en aérosol pour nettoyer la porte, car cela pourrait endommager le dispositif de verrouillage de la porte et les composants électriques.
- N'utilise jamais de produits de nettoyage abrasifs ou des tampons à récurer sur les surfaces extérieures qui risqueraient de laisser des marques ou des rayures sur la surface en inox. Certains essue-tout en papier peuvent également égratigner les surfaces ou laisser des rayures.
Entretien de l'intérieur de l'appareil
Système de filtrage
Le système de filtrage à la base de la cuve de lavage retient les gros débris du cycle de lavage. Les gros débris recueillis peuvent bloquer les filtres. Vérifiez l'etat des filtres régulierement et nettoyez-les sous l'eau du robinet si nécessaire. Suivez les étapes cédssous pour nettoyer les filtres de la cuve de lavage.

REMARQUE :
Les illustrations sont utilisées uniquement pour référence, les modèles de système de filtrage et de bras d'aspersion peuvent différer. À titre indicatif seulement.

1 Tenez le filtrtre dégrossissant et tournez-le dans le sens inverse des aiguilles d'une montre pour le déverrouiller. Soulevez le filtrtre vers le haut et hors du lave-vaisse.

2 Le microfiltre peut etre retiredu bas du
système de filtrres. Le filtré dégrossissant peut etre détachédu
filtrtre principal en pressant légèrement les
languettes sur la partie supérieure et en
tirant dessus.

3 Les gros résidus alimentaires peuvent être nettoyés en nettoyant le filtré sous l'eau du robinet.
Pour un nettoyage plus en profondeur, utilisez une Brosse couple de nettoyage.

4 Assemblez les filtrres dans l'ordre inverse du démontage, replacez l'insert du filtrtre et tournez-le dans le sens des aiguilles d'une montre en direction de la flèche.

AVERTISSEMENT
- Ne serrez pas trop les filtres. Remettez les filtres en place correctement, sinon des débris grossiers pourrait pénétrer dans le système et le bloquer.
- N'utilisez JAMAIS le lave-vaisselle sans les filtres. Veillez à ce qu'ils soient correctement remis en place pour garantir de bons résultats de lavage et ne pas abimer la vaisselle et les ustensiles.
Bras d'aspersion
Il est nécessaire de nettoyer les bras d'aspersion régulierement pour retarder les produits chimiques présents dans l'eau dure qui peuvent empêcher le bon fonctionnement des jets d'eau et des roulements à billes.
Pour nettoyer les bras d'aspersion, veuillez suivre les consignes suivantes :

Pour enlever le bras d'aspersion supérieur, maintenez l'écrou du centre et faites tournier le bras d'aspersion dans le sens des aiguilles d'une montre pour l'ôter.

3 Nettoyez les bras au savon et à l'eau chaude et utilisez une Brosse douce pour nettoyer les orifices des jets. Remettez-les en place après les avoir bien rincés.

Pour enlever le bras d'aspersion inférieur, tirez vers le haut pour le dévisser.
Entretien du lave-vaisse
Précautions contre le gel
Veuillez prendre des mesures contre le gel pour protégger votre lave-vaisselle en hiver. Avec chaque utilisation de votre lave-vaisselle, veuillez suivre la procédure suivante :
- Debranchez le courant électrique alimentant le lave-vaisselle.
- Fermez l'arrivée d'eau et débranche le tuyau correspondant du robinet d'arrivée d'eau.
- Évacuez l'eau du tuyau d'arrivée d'eau et du robinet d'adduction d'eau. (Utilisez une bassine pour recupérer l'eau).
- Rebranche le tuyau d'arrivée d'eau sur le robinet.
- Retirez le filtré dans le fond de la cuve et retirez l'eau du faisard avec une éponge.
Après chaque lavage
Après chaque lavage, fermez le robinet d'arrivée d'eau et laissez la porte entrouverte pour éviter la formation de moisissures et d'odeurs désagréables à l'intérieur de l'appareil.
Retrait de la fiche de la prise secteur
Débranche toujours l'appareil avant de procéder à son nettoyage ou à son entretien.
Éviter les solvants et les produits abrasifs
N'utilisez enaucun cas de produits abrasifs ou de solvants pour nettoyer l'habillage et les éléments en caoutchouc. Utilisez uniquement un chiffon humidifié à l'aide d'une solution d'eau chaude savonneuse.
Pour éliminer les traces ou les taches de la surface interieure, utilisez un chiffon humidifié à l'aide d'une solution d'eau légèrement vinaigrée, ou à l'aide d'un produit de nettoyage spécial pour lavevaisselle.
En cas de non-utilisation pendant une longue période
Il est conseilé d'effectuer un cycle complet à vide, de débrancher l'appareil, de fermer le robinet d'arrivée d'eau et de laisser la porte légèrement entrouverte. Cela permettra de conserver les joints en bon état plus longtemps et empêchera toute formation d'odeurs désagréables à l'intérieur de l'appareil.
Déplacement de l'appareil
Si l'appareil doit être déplaced, essayez de le maintainir en position verticale. Si cela s'avère absolument nécessaire, couchez-le sur l'arrière.

AVERTISSEMENT

Danger d'électrocution
Débranche l'alimentation du secteur avant de procéder à l'installation du lave-vaisselle.
Le non-respect de cette consigne peut provoquer une électrocution, voir la mort.

Attention
L'installation des tuyaux et les branchements électriques doivent être réalisés par des professionnels qualifiés.
Au sujet du raccordement électrique

AVERTISSEMENT
Pour votre sécurité personnelle :
- N'utilise pas de rallonge ou d'adaptateur électrique avec cet appariel.
- En aucune circstance, vous ne devez couper ou detacher la branche de mise à la terre du cordon d'alimentation.
Exigences électriques
Veuillez dire les indications figurant sur la plaque signalétique pour connaître la tension nominale. Branchez le lave-vaisselle sur une alimentation appropriée. Utilisez un fusible de 10A/13A/16A. La présence d'un fusible temporisé ou d'un disjoncteur est préconisée, de même que la présence d'un circuit d'alimentation indépendant pour cet apparéil.
Raccordements électriques
Assurez-vous que la tension et la fréquence d'alimentation correspondant à celles indiquées sur la plaque signalétique. Branchez la fiche uniquement sur une prise secteur correctement reliée à la terre. Si la prise électrique à laquelle l'appareil doit être raccordé'est pas appropriée pour la prise, remplacez la prise,只不过 que d'utiliser un adaptorateur ou un autre apparéil similaire, car cela pourrait provoquer une surchauffe et des brûlures.

Avant d'installer l'appareil, vérifie que la mise à la terre est effectue correctement.
Approvisionnement en eau et vidange
Raccordement d'eau froide
Branchez le tuyau d'arrivée d'eau froide sur un embout fileté de 19 mm et assurez-vous que le branchement est fermement serré. Si les tuyaux sont neufs ou s'ils n'ont pas ete utilisés pendant un certain temps, laissez l'eau couler pour vérifier que l'eau est propre. Cette precaution est nécessaire pour éviter le blocage de I'entrée d'eau et endommager I'appareil.

tuyau d'arrivée
d'eau ordinaire

tuyau d'arrivée
d'eau de sécurité
Au sujet du tuyau d'arrivée d'eau de sécurité
Le tuyau d'arrivée d'eau de sécurité est à double paroi. Le système du tuyau garantit son intervention en bloquant le début d'eau en cas de rupture du tuyau d'arrivée d'eau et lorsque l'espace d'air entre le tuyau d'arrivée d'eau et le tuyau ondulé extérieur est rempli d'eau.

AVERTISSEMENT
Un tuyau fixe une douchette peut exploser s'il est installé sur le même conduit d'alimentation en eau que le lave-vaiselle. Si vous évier en est doté, il est recommendé de disconnecter le tuyau et d'obturer le trou.
Comment raccorder le tuyau d'arrivée d'eau de sécurité
- Sortez complètement le tuyau d'arrivée d'eau hors du compartment de stockage situé à l'arrière du lave-vaisselle.
- Serrez les vis du tuyau d'arrivée d'eau au robinet filtré de 19 mm.
- Ouvrez complètement l'arrivée d'eau avant d'utiliser le lave-vaisselle.
Comment débrancher le tuyau d'arrivée d'eau de sécurité
- Coupe l'arrivée d'eau.
- Retirez le tuyau d'arrivée d'eau du robinet.
Branchement des tuyaux d'évacuation
Insérez le tuyau d'évacuation d'eau dans une conduite d'évacuation, d'un diamètre d'au moins 4 cm, ou laissez couler dans l'évier. Assurez-vous que le tuyau n'est pas tordu ou plié. La hauteur du tuyau d'évacuation doit être inférieure à 1000 mm. L'extrémité ouverte du tuyau ne doit pas être submergé dans l'eau pour éviter les reflux.
Veuillez bien fixer le tuyau d'évacuation en position A ou en position B.

Comment drainer l'excès d'eau des tuyaux
Si l'évier est placé à une hauteur de 1 m du sol, il n'est pas possible de vider l'excess d'eau des tuyaux directement dans l'évier. Il sera dans ce cas nécessaire de recueillir l'eau dans un bol ou tout autre recipient approupié situé à l'extérieur et à une hauteur inférieure à celle de l'évier.
Évacuation de l'eau
Raccordez le tuyau d'évacuation. Vérifiez qu'il est installé correctement pour éviter toute fuite eventuelle. Veillez à ce que le tuyau d'évacuation d'eau ne soit pas pié ou écrasé
Rallongedetuyau
Si vous avez besoin d'une rallonge de tuyau, veillez à utiliser un tuyau d'évacuation du même type.
Celui-ci ne devra pas dépasser 4 mètres, sous peine de réduire les performances de nettoyage du lave-vaisselle.
Raccordement au siphon
Le branchement d'évacuation doit être à une hauteur inférieure à 100 cm (maximum) au-dessus du fond du lave-vaisselle. Le tuyau d'évacuation doit être bien fixéen place.
Mise en place de l'appareil
Placez le lave-vaisselle dans la position désirée. Sa face arrière doit toucher le mur derrière lui et les côtés se placent le long du mur ou des meubles contigus. Le lave-vaisselle est équipé de tuyaux d'alimentation et d'évacuation d'eau qui peuvent être positionnés soit sur le côtédroit soit sur le côté gauche pour facilitier une installation correcte.
Mise à niveau de l'appareil
Une fois que vous avez mis le lave-vaisselle en place, la hauteur du lave-vaisselle peut etre modifiée en ajustant le niveau de vissage des pieds.


REMARQUE :
S'apliquent uniquement aux lave-vaisselle en pose libre.
Pose libre
Juxtaposition entre des meubles existants
Le lave-vaisselle a etétudié avec une hauteur standard de 845 mm et peut être ainsi placéentre des meubles de cuisine moderne de même hauteur. Pour obtenir un alignement parfait, agissez sur les pieds réglables.
Le plan supérieur laminate la machine ne requiert pas d'entretien particulier, car il est résistant à la chaleur, aux rayures et aux taches.

Sous un plan de travail existant
installation sous un plan de travail)
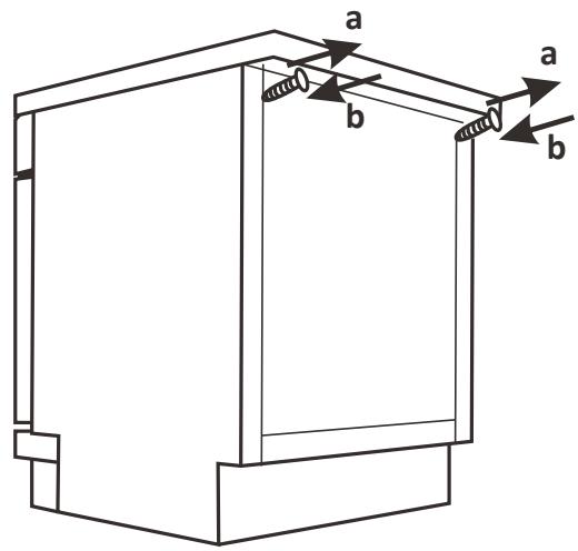
Les cuisines modernes disposent d'un plan de travail unique sous lequel viennent s'insérer les meubles de base et les apparciels menagers. Dans ce cas, il suffit de retarder le plan de travail en dévissant les vis qui se trouvent à l'arrête (a).


Attention
Après avoir retirené plan de travail, les vis DOIVENT être visées de nouveau (b). La hauteur est ainsi réduite à 815 mm comme prévu dans la norme internationale (ISO), et le lavevaisselle vient s'intégrer parfaitement sous le plan de travail.
Installation encastrable (pour les modèles intégrés)
Étape 1 : Choisir le meilleur endroit pour le lave-vaissette
Le lave-vaisselle doit être installé à proximé d'un robinet d'arrivée d'eau, d'un tuyau d'évacuation et d'une prise d'alimentation déjà existants.
Illustrations des dimensions du meuble et de position d'installation du lave-vaiselle.
- L'espace compris entre le plan supérieur du lave-vaisselle et la partie supérieur du meuble doit être inférieur à 5 mm; la porte doit être alignée par rapport aux parois laterales du meuble.

- Si le lave-vaisse est installé dans un meuble angulaire, vérifie qu'il y a suffisamment d'espace disponible pour ouvrir la porte.


REMARQUE :
Vou aurez peut-être besoin de percer un autre trou dans le meuble situéen face en fonction de l'emplacement de votre prise électrique.
Étape 2 : Dimensions et installation du panneau décoratif
Pour la fixation du panneau d'habillage sur la porte du lave-vaiselle, veuillez-vous reférer aux explications et au schéma d'installation ci-dessous.
Modèle semi-intégrable
Séparez les deux bandes velcro A et B, apposez la bande velcro A sur le panneau décoratif en bois et la bandes velcro feutrée B sur la porte extérieure du lave-vaisselle (voir figure A). Une fois le panneau positionné, fixez-le sur la face extérieure de la porte à l'aide de vis et de boulons (voir figure B).


Modèle tout-intégrable
Installes le crochet sur le panneau décoratif en bois, puis insérez-le dans la fente de la face extérieure de la porte du lave-vaisselle (voir figure A). Une fois le panneau positionné, fixez-le sur la face extérieure de la porte à l'aide de vis et de boulons (voir figure B).


Étape 3 : Réglage de la tension des ressorts de la porte
- La tension correcte des ressorts de la portee est reglee en usine. Si vous installez un panneau decoratif, il sera nécessaire de régler anouveau la tension des ressorts. Tournez la vis de réglage de façon à desserrer ou à relâcher la tension du cable d'acier. La tension du ressort de la porte est correcte lorsque la porte reste horizontal en position complètement ouverte, et qu'elle se ferme en la poussant légèrement.

Veuillez consultier les étapes d'installation spécifiquees sur les dessins d'installation.
- Apposez la bande de condensation sous la surface de travail du meuble. Veuillez vous assurer que la bande de condensation affleure le bord de la surface de travail. (Étape 2)
- Connectez le tuyau d'arrivée à l'alimentation en eau froide.
- Branchez le tuyau d'évacuation.
- Branchez le cable d'alimentation.
- Mettez le lave-vaisselle en place. (Étape 4)
- Nivelez le lave-vaisselle. Le côtéarrière peut être réglé à partir de l'avant du lave-vaisselle en tournant la vis qui se trouve au milieu de la base du lave-vaisselle. Pour régler les pieds avant, utilisez un tournevis plat et tournez les pieds avant jusqu'à ce que le lave-vaisselle soit nivélé. (Étape 5 à Étape 6)
- Installé la porte du meuble sur la porte extérieure du lave-vaisselle. (Étape 7 à Étape 10)
- Réglez la tension des ressorts de la porte en tournant une cléAllen dans le sens des aiguilles d'une montre pour serrer les ressorts à gauche et à droite de la porte. Ne pas le faire pourrait endommager votre lave-vaiselle. (Étape 11)
- Le lave-vaiselle doit être bien fixé. Il a deux manières de procéder :
A. Plan de travail normal : Insérez le crochet d'installation dans la fente du plan latorial et fixez-le au plan de travail avec les vis à bois .
B. Plan de travail en marbre ou en granit : Fixez le côté avec une vis.

Étape 5 : Niveler le lave-vaisselle
Le lave-vaisse doit être nivelepour assurer un fonctionnement correct du panier et une performance optimale de lavage.
- Placez un niveau à bulle sur la porte et sur l'étagère dans le lave-vaisselle comme illustré pour vérifier que le lave-vaisselle est nivélé.
- Nivelez le lave-vaisse en ajustant les trois pieds de nivellement individuellement.
- Lorsque vous nivelez le lave-vaiselle, veuillez faire attention à ne pas faire basculer le lave-vaiselle.
Vérifiez la mise à niveau de l'avant vers l'arrière
Vérifiez la mise à niveau d'un côté à l'autre


REMARQUE :
La hauteur maximale de réglage des pieds est de 50 mm.
CHARGEMENT DES PANIERS CONFORMÉMENT À LA NORME EN60436
1. Panier supérieur :

| Numéro | Élément |
| 1 | Tasses |
| 2 | Mugs |
| 3 | Verres |
| 4 | Petit bol de service |
| 5 | Bol de service moyen |
2. Panier inférieur :

| Numéro | Élément |
| 6 | Saucière |
| 7 | Assiette à dessert |
| 8 | Assiette plate |
| 9 | Assiette creuse |
| 10 | Assiette à dessert en mélaminé |
| 11 | Plat en mélaminé |
| 12 | Plat ovale |
| 13 | Bol |
3. Porte-couverts :


Informations pour les tests de comparabilité conformément ala norme EN 60436
Capacité 10 couverts
Position du panier inférieur: position inférieure
Programme: ÉCO
Réglage du produit de rençage: Max
Réglage de l'adoucissant: H3
| Nombre | Éléments |
| 1 | Cuillères àSoupe |
| 2 | Fourchettes |
| 3 | Couteaux |
| 4 | Cuillères àcafé |
| 5 | Cuillère àdessert |
| 6 | Cuillères deservice |
| 7 | Fourchettes àservir |
| 8 | Louches |
GUIDE D'UTILISATION RAPIDE
Pour connaître le mode d'emploi en détail, veuilles dire le contenu correspondant dans le manuel d'utilisation.

1 Installation du lave-vaiselle
(Veuillez consultier la section 5 « INSTRUCTIONS D'INSTALLATION » de la PARTIE I : version générique.)

2 Élimination de gros résidus sur les couverts

3 Chargement des paniers

4 Chargement du distributeur

5 Sélection d'un programme et fonctionnement du lave-vaissette
PROGRAMMATION DU LAVE-VAISSELL
Tableau de cycle de lavage
Le tableau ci-dessous indique les programmes qui convennent le mistraux niveaux de résidus alimentaires et la quantité de détermagent nécessaire. On y trouve également diverses informations sur les programmes.
(●) indique la nécessité d'ajouter le liquide de rinçage dans le distributeur de liquide de rinçage.
| Programme | Description du cycle | Détergent de prélavage/lavage | Durée de fonctionnement (min) | Énergie (kWh) | Eau (L) | Liquide de rinçage |
| Intensif | Prélavage(50 C) | |||||
| Lavage (65 °C) | 4/14 g | |||||
| Rinçage | (1 pièce) | 205 | 1,378 | 15.3 | ● | |
| Rinçage | ||||||
| Rinçage (65 °C) | ||||||
| Séchage | ||||||
| Universel | Prélavage(45 °C) | |||||
| Lavage (55 °C) | 4/14 g | |||||
| Rinçage | (1 pièce) | 175 | 1,287 | 13.1 | ● | |
| Rinçage (65 °C) | ||||||
| Séchage | ||||||
| ÉCO (* EN60436) | Lavage (45 °C) | |||||
| Rinçage | 18 g | |||||
| Rinçage (60 °C) | (1 pièce) | 235 | 0,755 | 9 | ● | |
| Séchage | ||||||
| Verre | Prélavage | |||||
| Lavage (40 °C) | 4/14 g | |||||
| Rinçage | (1 pièce) | 120 | 0,934 | 13.1 | ● | |
| Rinçage (60 °C) | ||||||
| Séchage | ||||||
| 90' 90 min | Lavage (65 °C) | |||||
| Rinçage | 18g | 90 | 1,234 | 10.2 | ● | |
| Rinçage (65 °C) | (1 pièce) | |||||
| Séchage | ||||||
| Rapide | Lavage (45 °C) | 12 g | 30 | 0,611 | 10 | ○ |
| Rinçage (50 °C) | ||||||
| Rinçage (55 °C) |

REMARQUE :
EN 60436: Ce programme est le cycle de test. Informations pour le test de comparabilité conformément à la norme EN 60436.
Démarrage du cycle de lavage
- Sortez les paniers inférieur et supérieur, chargez la vaisselle et remettez -les. Il est recommendé le charger d'abord le panier inférieur, puis le panier supérieur.
- Ajoutez le détergent.
- Branchez la fiche à la prise. Pour des informations relatives à alimentation électrique, reférez-vous à la première page «Fiche produit ». Assurez -vous que l'alimentation en eau est réglée sur la pression maximale.
- Fermez la porte, et appuyez sur le bouton Alimentation pour allumer l'appareil.
- Choisissez un programme, le témoinde réponse s'allume, puis appuyez sur le bouton Démarrer/ Pause, le lave-vaisselle démarreson cycle.
Changement du programme au cours d'un cycle
Un cycle de lavage ne peut être changé que s'il fonctionne depuis peu de temps, sinon le détergent peut déjà avoir été libéré et le lave-vaisselle peut déjà avoir drainé l'eau de lavage. Dans ce cas, vous doivent redémarrer le lave-vaisselle et replinouveau le distributeur de détergent. Pour redémarrer le lave -vaisselle, suivez les instructions ci-dessous :
- Appuyez sur le bouton Programme pendant plus de 3 secondes, le programme sera annulé.
- Appuyez sur le bouton Départ / Pause. Au bout de 10 secondes, le lave-vaisse se mettra en marche.
Vous souhaitez ajouter un plat ?
Vous pouvez ajouter un plat oublie à tout moment avant l'ouverture du distributeur de détergent. Dans ce cas, suivez les instructions ci-dessous :
- Appuyez de nouveau sur le bouton Démarrer/Pause pourmettre le cycle de lavage en pause.
- Attendez 5 secondes, puis ouvre la porte.
- Ajoutez les plats oublies.
- Fermez la porte.
- Àpès 10 secondes, appuyez sur le bouton Marche/Pause, le lave-vaisse démarre.

A VERTISSEMENT

Il est dangereux d'ouvrir la porte du lave-vaisselle lorsqu'un cycle est en cours, la vapeur chaleur pourrait vous brûler.
GUIDE DE DÉPANNAGE
Avant de faire appel à un technicien
Consultez les tableauxprésentés sur les pages suivantes, cela pourra vous éviter de faire appel à un technicien.
| Problème | Causes possibles | Solution |
| Le lave-vaiselle ne marche pas | Fusible grillé ou disjoncteur enclenché. | Remplacez le fusible ou réenclenchez le disjoncteur. Débranchez tout autre apparéil partageant le même circuit avec le lave-vaiselle. |
| L'alimentation électrique n'est pas activée. | Assurez-vous que le lave-vaiselle est sous tension et la portecorrectement fermée. Assurez-vous que le cordon d'alimentation est correctement branché à la prise murale. | |
| La pression d'eau est BASSE | Vérifiez que l'alimentation en eau est correctement raccordée et que l'arrivée d'eau est ouverte. | |
| La portec du lave-vaiselle n'est pas correctement fermée. | Assurez-vous d'avoir fermé la portec entièrement. | |
| L'eau n'est pas correctement vidangée du lave-vaiselle | Tuyau de vidange plie ou coincide. | Vérifiez le tuyau de vidange. |
| Filtre bouché. | Vérifiez le filtre grossier. | |
| L'évier de cuisine est bouché. | Vérifiez l'évier de cuisine pour vous assurer qu'il se vide correctement. Lorsque l'évier de cuisine est bouché, il est nécessaire de contacter un plombierplatz où qu'un agent de service. | |
| Présence de mousse dans la cuve | Détergent inapproprié. | Utilisez uniquement un détergent spécial lave-vaiselle pour éviter la formation de mousse. Le cas échéant, ouvrez le lave-vaiselle et laissez la mousse s'évaporer. Ajoutez environ 3.5 litres d'eau froide au fond du lave-vaiselle.Fermez la portec du lave-vaiselle, puis sélectionné un cyclequelconque. Au début, le lave-vaiselle vidange l'eau. Ouvrez la portec une fois l'étape de vidange terminée et vérifiez si la mousse a disparu.Répétez l'opération si nécessaire. |
| Déversement du produit de rinçage. | Nettoyez toujours immédiatement le produit de rinçage lorsqu'il se déverse. | |
| Présence de taches à l'intérieur de la cuve | Un détergent coloré à probablement été utilisé | Assurez-vous d'utiliser un détergent ne contenant pas de colorant. |
| Traces de film blanc sur la surface interieure | Présence de minéraux durs dans l'eau. | Pour nettoyer la surface intérieure de l'appareil, utilisez une éponge humide imbibée de détergent spécial lave-vaisse et portez des gants en caoutchoc. N'utilise jamais un nettoyant autre que le détergent spécial lave-vaisse pour éviter tout risque de formation de mousse. |
| Présence de taches de rouille sur les couverts | Les articles affectés ne sont pas résistant à la corrosion. | Évitez de laver les articles n'était pas résistants à la corrosion dans le lave-vaisse. |
| Un programme n'a pas été démarré après l'avout de sel. Traces de sel incrustées lors du cycle de lavage. | Lancez toujours un programme après avoir ajouté du sel, évienttement à vide. Ne sélectionné pas la fonction Express (si disponible) après avoir ajouté du sel. | |
| Le couvercle de l'adoucisseur est desserré. | Vérifie que le couvercle de l'adoucisseur est correctement fixé. | |
| Bruit de cognement dans le lave-vaisse | Un bras d'aspersion heute les couverts contenus dans le panier. | Arrêtez le programme et réorganisez les articles qui bloquent le mouvement du bras de lavage. |
| Bruit de cliquetis dans le lave-vaisse | La vaisse est en vrac dans le lave-vaisse. | Interrompez le programme et réorganisez la vaisse. |
| Bruit de cognement dans les conduits d'eau | Cela peut être dû à une installation sur site ou à la section transversale de la tuyauterie. | Ceci n'a aucune influence sur le fonctionnement du lave-vaisse. En cas de doute, contactez un plombier qualifié. |
| La vaisse n'est pas propre | La vaisse n'a pas été correctement chargée. | Voir PARTIE II : «Préparer et charger la vaisse » |
| Le programme selectionné n'était pas assez puissant. | Sélectionnez un programme plus intensif. | |
| Une quantitésuffisante de détergent a été distribué. | Utilisé plus de détergent ou changez de détergent. | |
| Des articlesBloquent le mouvement des bras de lavage. | Disposez anouveau les articles de manière à ce que les bras pivotent librement. | |
| Le système de filtration n'est pas propre, ou n'est pas correctement installédans la cave du lave-vaisse. Cela peut cause le blocage des bras de lavage. | Nettoyez/fixez correctement le filtré. Nettoyez les bras de lavage. | |
| Opacité des articles en verre. | Combinaison d'eau douce et d'une quantité exagérée de détergent. | Lorsque l'eau est douce, utilisez moins détergent et selectionné un cycle plus court pour laver les articles en verre et obtenir un résultat satisfaisant. |
| Des taches blanches apparaisent sur la vaiselle et les verres. | L'eau trop dure peut provoquer des dépôts de calcaires. | Ajoutez davantage de détergent. |
| Taches noires ou grises sur la vaiselle | Les ustensiles en-aluminium se frottent contre la vaiselle. | Utilisez un nettoyant abrasif doux pour nettoyer ces taches. |
| Des résidus de détergent dans le distributeur | La vaiselle bloque le distributeur de détergent. | Rechargez correctement la vaiselle. |
| La vaiselle ne sèche pas. | Mauvais chargement | Chargez le lave-vaisselle en respectant le sens de chargement. |
| Retrait de la vaiselle plus tout que prévu. | Ne videz pas votre lave-vaisselle immédiatement après le lavage. Ouvrez légèrement la porte de sorte que la vapeur s'échappe. Sortez la vaiselle et ne la remettez que lorsque la température interieure ne présente aucun danger. Déchargez d'abord le panier inférieur pour empêcher l'eau de se déverser du panier supérieur. | |
| La vaiselle ne sèche pas. | Le mauvais programme a été sélectionné. | Avec un programme court, la température de lavage est plus BASSE, ce qui diminue les performances de nettoyage. Sélectionnez un programme avec un long cycle de lavage. |
| Ustensiles /vaisselle en plastique. | Le séchage des ustensiles /de la vaiselle en plastique est plus difficile. Les ustensiles /la vaiselle de ce type ne sont pas /moins adaptés au lave-vaisselle. |
CODES D'ERREUR
En cas de dysfonctionnement, le lave-vaisse affichera des codes d'erreur permettant de les identifier :
| CODES | RAISON | CAUSES POSSIBLES |
| L'indicateur 'Rapide' clignote rapidement | Arrivée d'eau top longue | Le robinet n'est pas ouvert, le tuyau est piée, la pression d'eau est insuffisante |
| Levoyant 'Fragile' clignote rapidement | Débordement | Des éléments de l'ordinateil fuient |

AVERTISSEMENT
- En cas de débordement, coupez le système d'approvisionnement en eau principal avant de contacter le service après-vente.
- Si la base de la cuve contient de l'eau en raison d'un débordement ou de fuites mineures, retirez l'eau avant de remettre le lave-vaissele en marche.
GARANTIE
Réparations et pieces de rechange disponibles
La garantie du fabricant est applicable pour cet apparéil pendant une période de 2 ans. En cas de dysfonctionnement pendant cette période, toute demande de prise en charge doit être faite auprès du service après-venture de votre revendeur.
Hors période de garantie, toute information concernant des services de réparation professionnelles ou la commande de pieces de rechange d'origine pourrait être obtenue en contactant votre revendeur Conformément au règlement sur l'écoconception, les pieces de rechange seront disponibles pendant au moins 11 ans à compter de la date d'achat de votre apparéil.
La liste des pieces de rechange et la procédure de commande sont disponibles sur les sites web du fabricant. En cas de nécessité, veuillez contacter votre revendeur.

Distribué par SIDEME SA
71 rue Paul-Vaillant-Couturier
F-92306 Levallois-Perret Cedex
www.amica-group.fr
Notice Facile