TTB904TCH - Coupe-carreaux TITAN - Notice d'utilisation et mode d'emploi gratuit
Retrouvez gratuitement la notice de l'appareil TTB904TCH TITAN au format PDF.
| Puissance | 650 W |
| Type d'appareil | Coupe carreaux |
| Alimentation | Électrique |
| Profondeur de coupe | Non précisé |
| Longueur de coupe | Non précisé |
| Diamètre de disque | Non précisé |
| Vitesse de rotation | Non précisé |
| Poids | Non précisé |
| Dimensions | Non précisées |
| Matériau du corps | Non précisé |
| Type de lame | Diamantée (supposé) |
| Utilisation recommandée | Découpe de carreaux |
| Garantie | Non précisée |
| Accessoires inclus | Non précisés |
| Normes de sécurité | Conforme aux normes en vigueur |
FOIRE AUX QUESTIONS - TTB904TCH TITAN
Questions des utilisateurs sur TTB904TCH TITAN
0 question sur cet appareil. Repondez a celles que vous connaissez ou posez la votre.
Poser une nouvelle question sur cet appareil
Téléchargez la notice de votre Coupe-carreaux au format PDF gratuitement ! Retrouvez votre notice TTB904TCH - TITAN et reprennez votre appareil électronique en main. Sur cette page sont publiés tous les documents nécessaires à l'utilisation de votre appareil TTB904TCH de la marque TITAN.
MODE D'EMPLOI TTB904TCH TITAN
AVERTISSEMENT ! Lisez ce mode d'emploi avant d'utiliser l'appareil !
BX220IM
Pour
commencer…
Ces instructions sont destinées à votre sécurité. Veuillez les dire attentivement avant toute utilisation et conservez-les pour référence ultérieure.

Mise en route... 02
Votre produit 03
Informations techniques et legales 05
Avant de démarrer 13

Plus en détaill... 23
Fonctions du produit 24
Entretien et maintenance 28
Dépannage 33
Recyclage et mise au rebut 34
Garantie 35
Déclaration de Conformité CE 37
Votreproduit


- Carter de protection supérieur
- Disque de coupe
- Guide vertical
- Échelle
- Table de travail
- Interrupteur Marche/Arrêt
- Bouton de verrouillage (pour guide de coupe parallèle)
- Bouton de verrouillage (pour blocage de l'allge)
- Allonge (de la table)
-
Guide de coupe d'onglet
-
Guide de coupe parallele
- Bouton de verrouillage (pour guide de coupe d'onglet)
- Support métallique
- Bouton de verrouillage (pour carter de protection supérieur)
- Coussinet d'amortissement
- Bouchon du réservoir d'eau
- Carter de protection inférieur
- Poignée de transport
Dispositifs de sécurité
Support métallique
Le support métallique (13) empêche la piece d'êtreAttrapée par le disque de coupe (2) et projetée vers l'opérateur.
Le support métallique doit toujours être en place pendant l'utilisation.
Carter de protection supérieur
Le carter de protection supérieur (1) évite les contacts accidentels avec le disque de coupe (2) et bloque le passage de l'eau de refroidissement ou de morceaux provenant de la pierce.
Le carter de protection supérieur doit toujours être en place pendant l'utilisation et peut être abaisseé sur la piece.
Carter de protection inférieur
Le carter de protection inférieur (17) évite les contacts accidentels avec le disque de coupe (2) et bloque le passage de l'eau de refroidissement ou de morceaux provenant de la pierce.
Le cache inférieur du disque de coupe doit toujours être en place pendant l'utilisation.
techniques
Généralités
Tension nominale
: 220-240V~50Hz
Puissance nominale
: 650W
Vitesse à vide
: 5500min
Classe de protection
:Classe I
Taille du disque diamant
: 0180mmx2,4mmx022,2mm
Taille de la table
: 345x345mm
Taille de la table (avec rallonge)
: 400x640mm
Largeur de l'allge
: 120mm
Plage d'extension maximale
: 150mm
Plage d'inclinaison de la table
: 0^ / 15^ / 30^ / 45^
Profondeur de coupe maximum
: 30mm (90°) / 23mm (15°)
17mm (30^) / 10mm(45^)
Poids net
: 7,6kg
BRUIT
Niveau de pression acoustique L_DA 93dB(A)
Niveau de puissance acoustique L_WA 106dB(A)
Incertitude 3dB(A)
Le niveau d'intensité sonore pour l'opérateur peut dépasser 85 dB(A) et il est nécessaire de porter des protections auditives.
Information:
-
La ou les valeurs déclarées d'émission sonore ont été mesurées conformément à une méthode d'essai normalisée et peuvent être utilisées pour comparer des outils;
-
La ou les valeurs déclarées d'émission sonore peuvent aussi être utilisées dans une évaluation préliminaire de l'exposition.
Mise en garde:
-
l'émission sonore pendant l'utilisation de l'outil électrique peut être différente des valeurs déclarées selon les façon d'utiliser l'outil, en particulier le type de piece à usiner; et
-
il est nécessaire d'identifier les mesures de sécurité destinées à protéger l'opérateur qui sont basées sur une estimation de l'exposition dans les conditions réelles d'utilisation (en prénant en compte toutes les parties du cycle de manoeuvres, telles que les moments où l'outil est hors tension et où il fonctionne à vide, en plus du temps d'actionnement de la manette).
Remarque importante
Avant toute intervention de réglage ou d'entretien,steroler la fiche de la prise secteur.
Assurez-vous que la tension d'alimentation secteur est la même que celle qui figure sur la plaque signalétique de la machine.
AVERTISSEMENT DE SECURITE RELATIF À LA POUSSIÈRE DE CONSTRUCTION
La silice est un minéral naturel créé en grandes quantités dans les éléments tels que le sable, le grès et le granit. Elle est également souvent présente dans de nombreux matérieliaux de construction tels que le béton et le mortier. La silice est pulvérisée en une poussière très fine (égalément connue sous le nom de silice
cristalline alvêlaire) lors de nombreuses tâches courantes telles que la découpe, le perçage et le meulage. L'inhalation de très fines particules de silice cristalline peut entraîner le développement :
Afin de protégger les poumons, la loi relative à la maitrise des substances dangereuses pour la santé (COSHH) définit une limite pour la quantité de ces poussières que vous pouze respirer (appelee Limite d'exposition sur le lieu de travail ou WEL) en moyenne sur une journée de travail normale. Cette limite de quantité de poussières est très faible : en comparaison, elle est plus petite qu'un centime, aussi petite qu'une pincée de sel.
Cette limite est la quantité maximalé légale, le maximum pouvant être respiré après application des contrôles adéquats.
Comment réduire la quantité de poussière ?
- Réduire la quantité de coupe en utilisant les valeurs tailles de produits de construction.
- Utiliser un outil moins puissant, par exemple un coupe-bloc au lieu d'une meuleuse d'angle.
- À l'aide d'une méthode de travail complètement différente, par exemple en utilisant une clôuse pour fixer directement les chemins de câbles au lieu de percer des trous d'abord.
Toujours veiller à travailler avec un équipement de sécurité agréé, tel que les masques anti-poussière spécialement conçus pour filtrer les particules microscopiques, et utiliser systématiquement le système d'extraction de la poussière.
Avertissement : certaines particules de poussiè creées par le ponçage mécanique, le sciage, le meulage, le perçage et d'autres travaux de construction contiennent des produits chimiques réputés cancérigènes et entrainant des malformations congénitales ou d'autres effets nocifs pour la reproduction. Quelques exemples d'éléments chimiques :
- Le plomb issu de peintures au plomb.
- La silice cristalline issue de briques, de ciment et d'autres produits de maconnerie.
L'arsenic et le chrome issus du bois traité chimiquement.
Le risque provenant de l'exposition à ces produits varie en fonction de la fréquence d'exécution de ce type de travaux. Pour réduire l'exposition à ces produits chimiques :
- Travailler dans une zone bien ventilée.
- Travailler avec un équipement de sécurité agréé, comme un masque anti-poussière spécialement concu pour filtrer les particules microscopiques.
VIBRATION
La directive européenne sur les agents physiques (vibrations) a été introduite pour réduire les blessures dues au syndrome des vibrations main-bras occasionnées aux utilisateurs d'outils électriques. La directive oblige les fabricants et fournisseurs d'outils électriques à fournir des résultats de test de vibrations à titre indicatif pour permettre aux utilisateurs de prendre des décisions éclairées quant à la durée pendant laquelle un outil électrique peut être utilisé quotidiennement en toute sécurité et quant au besoin de l'outil.
VOIR LES SPECIFICATIONS TECHNIQUES DANS LE MANUEL D'INSTRUCTIONS POUR LES NIVEAUX DE VIBRATIONS DE VOTRE OUTIL.
Les valeurs d'émissions de vibrations déclarées doivent être utilisées comme un niveau minimum et ne doivent pas été utilisées avec les recommendations actuelles sur les vibrations.
Les émissions de vibrations déclarées ont été mesurées conformément au test standard mentionné ci-dessus et peuvent être utilisées pour comparer un outil à un autre outil.
La valeur d'émission de vibrations déclarée peut également être utilisée lors d'une évaluation préliminaire d'exposition.

Avertissement : la valeur d'émission de vibrations lors de l'utilisation réelle de l'outil électrique peut différer de la valeur déclarée selon la manière
dont l'outil est utilisé. Voici des exemples de conditions pouvant occasionner une différence :
La façon dont l'outil est utilisé et dont les matérielles sont coupés ou percés.
L'etat et le bon entretien de l'outil.
L'utilisation de l'accessoire adapté à l'outil et le maintien de l'affutage et du bon état de l'outil.
La force de la prise sur les poignées.
L'utilisation de l'outil conformément à l'usage auquel il est destiné et à ces instructions.
Lors du travail avec cet outil électrique, des vibrations au niveau des mains et des bras sont ressenties. Adopter des pratiques de travail correctes afin de réduire l'exposition aux vibrations. Cet outil peut occasionally le Syndrome des vibrations main-bras s'il n'est pas utilisé correctement.

Avertissement : identifier des mesures de sécurité pour protégger l'opérateur, basées sur une estimation de l'exposition dans des conditions réelles
d'utilisation (en tenant compte de toutes les parties du cycle de fonctionnement, par exemple, lorsque l'outil est eteint et lorsqu'il fonctionne en mode ralenti en plus du temps de déclenchement). Remarque : l'utilisation d'autres outils réduit le temps de travail total des utilisateurs sur cet outil.
Contribution à la diminution du risque d'exposition aux vibrations. TOUJOURS utilise des burins, forets et lames aiguisés.
Entretenir cet outil conformément à ces instructions et le conserver bien lubrifié (le cas échéant).
Éviter d'utiliser des outils à des températures de 10^ ou inférieures. Planifier votre employé du temps pour répartir toute utilisation d'un outil à fortes vibrations sur un certain nombre de jours.
Surveillance medicale
Tous les employés doivent suivre un programme de surveillance Médicale de l'employeur pour permettre d'identifier à un stade précocce les éventuelles affections liées aux vibrations, et ainsi empêcher l'évolution de la maladie et aider les employés à poursuivre leur travail.
Symboles
Sur l'appareil, sur la plaque signalétique et dans le mode d'emploi, vous trouvezez entre autres les symboles et abréviations suivants. Familiarisez-vous avec leur signification afin de réduire les risques de dommages corporels et matériels.
V~ Volt
Hz Hertz
W Puissance d'entrée
kg Kilogramme
min-1 Par minute
dB(A) Decibel (pondéré A)
yyWxx Code de la date de fabrication : année de fabrication (20yy) et semaine de fabrication (Wxx);

Avertissement / Danger

Porter des protections auditives.

Lire le mode d'emploi.

Porter des protections oculaires.

Porter des gants.

Porter un masque antipoussière.

Danger, risque de coupure.

Utiliser uniquement des disques non segmentés.

Éteindre et déconnecter l'appareil de la source d'alimentation avant de le ranger, de le transporter et d'effectuer toute manipulation de montage, de nettoyage, de réglage et d'entretien.

Ce produit est conforme aux directives européennes applicables et a subi un test de conformité avec les directives en question.

Terre de protection.
IPX4
Degré de protection contre les infiltrations d'eau.

Symbole DEEE. Les produits électriques usages ne doivent pas être jetés avec les ordures menagères. Apportez le produit à un endroit où il pourrait être recyclé. Pour plus d'informations sur le recyclage, adressez-vous au magasin d'achat ou aux autorités de votre commune.
TTB904TCH
Désignation de l'outil (TTB - TITAN, TCH - Coupe carreaux, 904 - Numéro de version)
Mises en garde
Avertissements de sécurité généraux pour l'outil électrique

AVERTISSEMENT! Lire tous les averissements de sécurité, les instructions, les illustrations et les specifications fournis avec cet outil électrique.
Ne pas suivre les instructions énumérées ci-dessous peut provoquer un chocolélectrique, un incendie et/ou une blessure sérieue.
Conserver tous les avertissements et toutes les instructions pour pouvoir s'y reporter ultérieurement. Le terme "outil électricque" dans les avertissements fait reférence à votre outil électricque alimenté par le secteur (avec cordon d'alimentation) ou votre outil électricque fonctionnant sur batterie (sans cordon d'alimentation).
- Sécurité de la zone de travail
a) Conserver la zone de travail propre et bien éclairée. Les zones en désordre ou certains sont propices aux accidents.
b) Ne pas faire fonctionner les outils électriques en atmophère explosive, par exemple en présence de liquides inflammables, de gaz ou de poussières. Les outils électriques produits des étincelles qui peuvent enflammer les poussières ou les fumées.
c) Maintenir les enfants et les personnes représentes à l'écart pendant l'utilisation de l'outil électrique. Les distractions peuvent vous faire perdre le contrôle de l'outil.
- Sécurité électrique
a) Il faut que les fiches de l'outil électrique soient adaptées au socle. Ne jamais modifier la fiche de chaque façon que ce soit. Ne pas utiliser d'adaptateurs avec des outils électriques à branchement de terre. Des fiches non modifiées et des socles adaptés réduisent le risque de chocoléctrique.
b) Éviter tout contact du corps avec des surfaces reliées à la terre telles que les tuyaux, les radiateurs, les cusinières et les réfrigérateurs. Il existe un risque accru de chic électrique si votre corps est relié à la terre.
c) Ne pas exposer les outils électriques à la pluie ou à des conditions humides. La pénétration d'eau à l'intérieur d'un outil électrique augmente le risque de chic électrique.
d) Ne pas maltraiter le cordon. Ne jamais utiliser le cordon pour porter, tirer ou débrancher l'outil électrique. Maintenir le cordon à l'écart de la chaleur, du lubrifiant, des arêtes vives ou des parties en mouvement. Des cordons endommagés ou emmélés augmentent le risque de chic électrique.
e) Lorsqu'on utilise un outil électricque à l'extérieur, utiliser un prolongateur adapté à l'utilisation extérieur. L'utilisation d'un cordon adapte à l'utilisation extérieur réduit le risque de chocolélectricque.
f) Si l'usage d'un outil électrique dans un emplacement humide est inévitable, utiliser une alimentation protégée par un dispositif à courant différentiel résiduel (RCD). L'usage d'un RCD réduit le risque de chocolélectrique.
- Sécurité des personnes
a) Rester vigilant, regarder ce que vous etes en train de faire et faire preuve de bon sens dans votre utilisation de l'outil electrique. Ne pas utiliser un outil electrique lorsque vous etes fatigued ou sous l'emprise de drogues, de l'alcool ou de medicaments. Un moment d'inattention en cours d'utilisation d'un outil electrique peut entraîner des blessures graves.
b) Utiliser un équipement de protection individuelle. Toujours porter une protection pour les yeux. Les équipements de protection individuelle tels que les masques contre les poussières, les chaussures de sécurité antidéraptantes, les casques ou les protections auditives utilisés pour les conditions appropriées réduisent les blessures.
c) Éviter tout démarrage intempestif. S'assurer que l'interrupteur est en position arrêt avant de brancher l'outil au secteur et/ou au bloc de batteries, de le ramasser ou de le porter. Porter les outils électriques
en ayant le doigt sur l'interrupteur ou brancher des outils électriques dont l'interrupteur est en position marche est source d'accidents.
d) Retirer toute clé de réglage avant demettre l'outil électricque en marche. Une clé laissée fixée sur une partie tournante de l'outil électricque peut donner lieu à des blessures.
e) Ne pas se précipiter. Garder une position et un équilibre adaptés à tout moment. Cela permet un meilleur contrôle de l'outil électrique dans des situations inattendues.
f) S'habiller de manière adaptée. Ne pas porter de vêtements amples ou de bijoux. Garder les cheveux et les vêtements à distance des parties en mouvement. Des vêtements amples, des bijoux ou les cheveux longs peuvent être pris dans des parties en mouvement.
g) Si des dispositifs sont fournis pour le raccordement d'équipements pour l'extraction et la récapération des poussières, s'assurer qu'ils sont connectés et correctement utilisés. Utiliser des collecteurs de poussière peut réduire les risques dus aux poussières.
h) Rester vigilant et ne pas néglier les principales de sécurité de l'outil sous prétexte que vous avez l'habitude de l'utiliser. Une fraction de seconde d'inattention peut provoquer une blessure grave.
4. Utilisation et entretien de l'outil électrique
a) Ne pas forcer l'outil electrique. Utiliser l'outil electrique adapte à votre application. Ne pas forcer l'outil electrique. Utiliser l'outil electrique adapte à votre application.
b) Ne pas utiliser l'outil électrique si l'interrupteur ne permet pas de passer de l'état de marche à arrêt et inversement. Tout outil électrique qui ne peut pas être commandé par l'interrupteur est dangereux et il faut le réparer.
c) Débrancher la fiche de la source d'alimentation et/ou enlever le bloc de batteries, s'il est amovible, avant tout réglage, changement d'accessoires ou avant de ranger l'outil électrique. De telles mesures de sécurité préventives réduisent le risque de démarrage accidentel de l'outil électrique.
d) Conserver les outils électriques à l'arrêt hors de la portée des enfants et ne pas permettre à des personnes ne connaissant pas l'outil électrique ou les générantes instructions de le faire fonctionner. Les outils électriques sont dangereux entre les mains d'utilisateurs novices.
e) Observer la maintenance des outils électriques et des accessoires. Vérifier qu'il n'y a pas de mauvais alignement ou de blocage des parties mobiles, des pièces cassées ou toute autre condition pouvant affecter le fonctionnement de l'outil électrique. En cas de dommages, faire réparer l'outil électrique avant de l'utiliser. De nombreux accidents sont dus à des outils électriques mal entretenus.
f) Gardner affués et propres les outils permettant de couper. Des outils destinés à couper correctement entretenus avec des pièces coupantes tranchantes sont moins susceptibles de bloquer et sont plus facies à contrôle.
g) Utiliser l'outil électrique, les accessoires et les lames etc., conformément à ces instructions, en tenant compte des conditions de travail et du travail à réaliser. L'utilisation de l'outil électrique pour des opérations différentes de celles prévues peut donner lieu à des situations dangereuses.
h) Il faut que les poignées et les surfaces de préhension restent séches, propres et dépourvues d'huiles et de graisses. Des poignées et des surfaces de préhension glissantes rendent impossibly la manipulation et le contrôle en toute sécurité de l'outil dans les situations inattendues.
5. Maintenance et entretien
a) Faire entretenir l'outil électrique par un réparateur qualifié utilisant uniquement des pieces de rechange identiques. Cela assure le maintain de la sécurité de l'outil électrique.
SURVEILLANCE MÉDICALE

Avertissement! Les travaux de perçage, ponçage, sciage ou meulage produit des particules de poussière. Dans certains cas, selon les matériaux
travaillés, cette poussière peut être particulièrement dangereuse pour la santé (p. ex. le plomb liént dans une ancienne peinture laquée). Nous vous conseillons de tener compte des risques liés aux matérieliaux avec lesquels vous travailliez et de réduire le risque d'exposition. Vous devriez :
- Travailler dans un endroit bien ventilé.
- Travailler avec un équipement de sécurité agréé, par exemple en portant l'un de ces masques antipoussière, qui sont spécialement conçus pour filtrer les particules microscopiques.
CONSIGNES DE SECURITE ADDITIONNELLES POUR VOTRE MACHINE
Ne pas utiliser de disques diamant endommagés ou déformés.
Remplacer l'insert de la table lorsqu'il est usé.
Utiliser uniquement les disques diamant recommandés par le fabricant.
Veiller àCHOISIR des disques adaptés au matériel a couper.
Porter un équipement de protection individuelle approprié si nécessaire ; cet équipement peut notamment inclure une protection auditive visant à réduire le risque de perte d'audition, une protection respiratoire visant à réduire le risque d'inhalation de poussières nocives, ainsi que des gants lors de la manutention des disques diamant et de matérielux rugueux.
Ne jamais utiliser de lames sur cette machine.
Utiliser uniquement des disques diamant dont la vitesse maximale possible n'est pas inférieure à la vitesse de broche maximale de la machine et ce en fonction du matériel à couper.
Tout défaut de la machine, y compris les défauts concernant les dispositifs de protection ou les disques diamant, doit être signaléès qu'il a été détecté. Ne jamais utiliser la machine lorsque les dispositifs de protection ne sont pas en place.
La taille maximum de la pièce à découvert doit être de 1m^2
L'usage de ce coupe-carreaux est restreint par des limitations liées aux conditions environnantes (entre 15^ et 30^ ).
Cette machine doit être alimentée par l'intermédiaire d'un dispositif différentie à courant résiduel (DDR).
Porter des lunettes
Porter un casque antibruit
Porter un masque filtrant
Déballage
Déballez toutes les pieces et posez-les sur une surface plane et solide.
Enlevez tous les matériaux d'emballage et dispositifs d'expédition le cas échéant.
Assurez-vous que le contenu est complét et ne présente aucun dommage. Si vous apercevez que des pieces sont manquantes ou présente des dommages, n'utilise pas le produit mais contactez votre revendeur. Utiliser un apparil incomplet ou endommagé représenté un danger pour les personnes et les biens.
Assurez-vous que vous disposez de tous les accessoires et les outils requis pour l'assemblage et le fonctionnement. Cela concerne également l'équipment de protection individuelle approprié.
Vous aurez besoin de
(articles non fournis)
Equipement de protection individuelle approprié
Tournevis cruciforme
(articles fournis)
Clé pour disque de
13 mm x 5,9 mm (2 pc)

AVERTISSEMENT : risque de blessure !
Toujours débrancher la fiche secteur (déconnecter le produit de son alimentation électrique) avant d'entreprenevre un travail sur le produit.
Installation du disque de coupe

AVERTISSEMENT : risque d'endommager le produit !
Veiller à bien respecter le sens de rotation du disque de coupe lors du montage! Veiller à respecter le sens de rotation naturel (roue libre) du disque de coupe lors du montage!

REMARQUE : Lors de l'installation, assurez-vous que le disque de coupe est correctement positionné sur la bride interieure. La bride interieure peut bouger librement sur l'arbre du moteur et une partie est destinée à receivevoir le trou interieur du disque de coupe. Le trou de la bride extérieure n'est pas rond ; il sert comme dispositif d'interverrouillage avec l'arbre moteur.
Debranchez le coupe-carreaux de l'alimentation secteur.
Soulevez le guide vertical (3) de 45^ environ et retirez-le.

Fig. 1
Dévissez les vis à tête cruciforme (19) à l'aide du tournevis Cruciforme (non fourni) et retirez le carter de protection inférieur (17).

Fig. 2
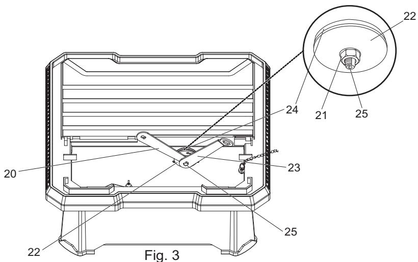
Placez la clé droite (20) (fournie) sur l'écrou hexagonal (21).
A l'aide de la clé coudée (23) (fournie), bloquez l'arbre moteur (25) afin d'eviter qu'il tourne.
Tournez l'écrou hexagonal (21) dans le sens inverse des aiguilles d'une montre.
Retirez l'écrou hexagonal (21) et la bride extérieure (22).

Positionnéz le disque de coupe (2) sur la bride interieure (24).
Replacez la bride extérieure (22).
Vissez l'écrou hexagonal (21) sur l'arbre moteur (25), en tournant dans le sens des aiguilles d'une montre.
Placez la clé droite (20) sur l'écrou hexagonal (21).
A l'aide de la clé coudée (23), bloquez l'arbre moteur (25) afin d'éviter qu'il tourne.
Serrez l'écrou hexagonal (21) avec la clé droite (20), en tournant dans le sens des aiguilles d'une montre.
Remettez en place le carter de protection inférieur (17) et serrez les vis à tête cruciforme (19).
Remettez en place le guide vertical (3).


Montage/ajustage du support métallique

AVERTISSEMENT : risque d'endommager le produit !
Le support métallique doit toujours être aligné parallèment au disque de coupe.
Débranchez le coupe-carreaux de l'alimentation secteur.
Soulevez le guide vertical (3) de 45^ environ et retirez-le.

Dévissez la vis à tête cruciforme (26) à l'aide du tournevis cruciforme (non fourni).
Appliquez le trou oblong du support métallique (13) sous la vis à tête cruciforme (26).
Serrez légèrement la vis à tête cruciforme (26).
Alignez le support métallique (13) avec le disque de coupe (2).
Serrez la vis à tête cruciforme (26) avec un tournevis Cruciforme (non fourni).
Remettez en place le guide vertical (3).

Montage du carter de protection supérieur sur le support métallique

AVERTISSEMENT : risque d'endommager le produit !
Ne pas serrer trop fort la vis à tête creuse (27) et le bouton de verrouillage (14). Le carter de protection supérieur (1) doit être libre de monter et de descendre à mesure que la piece est poussaee en direction du disque de coupe.
Debranchez le coupe-carreaux de l'alimentation secteur.
Emboîtez le carter de protection supérieur (1) sur le support métallique (13).
Passez la vis à tête creuse (27) à travers le carter de protection supérieur (1) et le support métallique (13).
Placez la rondelle plate (28) sur la vis à tête creuse (27).
Vissez et serrez le bouton de verrouillage (14) sur la vis à tête creuse (27).
Couvrez le disque de coupe avec le carter de protection supérieur (1).
Assurez-vous que le carter de protection supérieur (1) rouge librement et qu'il ne peut pas toucher le disque.

Fig. 7
Montage de l'allonge
Debranchez le coupe-carreaux de l'alimentation secteur.
Desserrez les vis à tête cruciforme (29).
Insérez les rails de guidage de l'allange (9) dans les logements (30), de chaque côté de la machine.
Revissez les vis à tête cruciforme (29).
> Mettez en place le bouton de verrouillage (8).



Fig. 8
Réglage de l'allonge
Débranchez le coupe-carreaux de l'alimentation secteur.
Desserrez le bouton de verrouillage (8).
Reglez l'allge (9) à la distance désirée par rapport au disque de coupe.
Serrez le bouton de verrouillage (8).
Montage du guide de coupe parallèle
Debranchez le coupe-carreaux de l'alimentation secteur.
Montez l'extrémité arrêté du guide de coupe parallele (11) sur la face arrière de la table de travail (5).
Placez le dessort (31), la pince (32) et la rondelle (33) sur le filetage (34).
Vissez et serrez le bouton de verrouillage (7) sur le filetage (34).

Fig. 9
Réglage du guide de coupe parallèle
Desserrez légèrement le bouton de verrouillage (7).
Poussez le guide de coupe parallèle (11) jusqu'à la position désirée.
Serrez le bouton de verrouillage (7).
Montage/réglage du guide de coupe d'onglet

REMARQUE: le guide de coupe d'onglet peut être régle à un angle voulu (0° à 45°). Le guide de coupe d'onglet ne peut être utilisé que lorsque le guide de coupe parallèle est monté.
Placez le guide de coupe d'onglet (10) sur le guide de coupe parallele (11).
Desserrez le bouton de verrouillage (12).
Reglez le guide de coupe d'onglet (10) à l'angle désiré.
Serrez le bouton de verrouillage (12).

Réglage du produit pour les coupes Jolly

REMARQUE: le guide vertical peut être régle à un angle voulu (0^, 15^, 30^ ou 45^) .
> Soulevez le guide vertical (3) de 45^ environ.
Dépliez le support (35) et positionnez-le dans les logements (36) selon l'angle désiré.
Avant de travailler, assurez-vous que le guide vertical (3) est correctement fixé.

Fig. 11
Remplissage du produit avec de l'eau

REMARQUE : risque d'endommager le produit !
Ne verser de l'eau dans le produit que jusqu'à ce que celle-ci puisse s'écouler par l'orifice du bouchon.
Pendant l'utilisation, le niveau d'eau ne doit jamais descendre en dessous du repère « MIN ».

REMARQUE : risque d'endommager le produit !
Ne verser que de l'eau claire dans le produit. Ne jamais utiliser de produits chimiques ou nettoyants. Cela provoquerait des dommages irréparables sur le produit.
Videz l'eau de refroidissement une fois le travail terminé (voir le chapitre « Remplacement de l'eau de refroidissement »).
Débranchez le coupe-carreaux de l'alimentation secteur.
Soulevez le guide vertical (3) de 45^ environ et retirez-le.
Introduisez le bouchon du réservoir d'eau (16) dans l'orifice de vidange.
Remplissez le réservoir avec de l'eau jusqu'à ce que celle-ci puisse s'écouler par l'orifice du bouchon.
Veillez à ce que l'eau couvre à peine la tranche du disque (pas plus de 14 du disque est immergé dans l'eau).
Lorsque vous avez terminé vos découvertes, retirez le bouchon du réservoir d'eau (16) afin de vidanger l'eau.

Fig. 12
Contrôles avant de commencer !

Avertissement : risque de blessure !
Le produit doit être installé dans une position stable, c'est-à-dire sur un établi, un sous chassin universel ou autre chose de ce genre.

Avertissement : risque de blessure !
Dès qu'un dysfonctionnement survient, appuyer sur le bouton rouge 0 de l'interrupteur Marche/Arrêt et débrancher la fiche secteur.

Avertissement : risque de blessure !
Le produit ne peut être mis en service que si aucune anomalie ouaucun defaut n'est detecté. Veiller à ce que toute piece défectueuse soit remplaquee avant d'utiliser à nouveau le produit.
Avant de brancher le cable d'alimentation, vérifie que le produit est en état de fonctionner en toute sécurité :
Vérifiez qu'il n'y a pas d'anomalies ou de défauts apparents.
Vérifiez que toutes les parties du produit sont solidement fixées.Vérifiez que les dispositifs de sécurité sont dans un état irréprochable.
Vérifiez que le disque de coupe peut tournier librement.
Vérifiez qu'il y a suffisamment d'eau de refroidissement dans le produit.
Raccordement à l'alimentation électrique
Avant de mettre le produit en marche, vérifie que la tension de l'alimentation secteur correspond à celle qui est indiquée sur la plaque signalétique. Ce produit est concu pour fonctionner sur 220-240 V~ 50 Hz. Le raccordement à toute autre source d'alimentation peut entraîner des dommages.
Cet apparéil doit être mis à la terre. En cas de doute, renseignez-vous auprès d'un électricien qualifié. L'alimentation secteur doit être assurée par l'intérimédiaire d'un fusible de 10 ampères minimum.
Cette machine doit être alimentée par l'intérimédiaire d'un dispositif différentiel à courant résiduel (DDR).

Plus en détails…
Fonctions du produit 24
Entretien et maintenance 28
Dépannage 33
Recyclage et mise au rebut 34
Garantie 35
Déclaration de conformité CE 37

AVERTISSEMENT! Avant demettre le coupe-carreaux en marche, assurez-vous d'avoir lu et compris toutes les consignes de sécurité. Assurez-vous également que la machine a eté montée et réglee correctement. Veilze à ce que le coupe-carreaux soit débranché lorsqu'il n'est pas utilisé ou lorsque des régages sont en cours.

AVERTISSEMENT! Risque de blessure!
Garder une distance suffisante par rapport au disque durant la coupe.

AVERTISSEMENT! Risque de blessure!
Ne pasmettre lesmainsa portede du disque de coupe en mouvement lorsquelproduit fonctionne.

REMARQUE : risque d'endommager le produit !
Contrôler attentivement la piece qui doit être coupée. La présence de corps étrangers tels que des clous, vis ou autres choses de ce genre peut endommager gravement le produit.

REMARQUE : risque d'endommager le produit ! Le produit n'est pas adapté pour couper des matériaux tels que le marbre, le grès cérame fin et le granite. Ne pas couper de carrelage fabriqué dans ces matériaux.

REMARQUE : risque d'endommager le produit !
Attendre que le disque de coupe atteigne sa vitesse maximale avant de commencer à travailler.

REMARQUE : risque d'endommager le produit !
Vérifier qu'il y a suffisamment d'eau de refroidissement dans le produit avant de commencer à travailler.

REMARQUE : dans le cas des coupes compliquées (onglet ou « Jolly »), nous recommendons d'effectuer un essai préalable.

AVERTISSEMENT! Cette machine doit être alimentée par l'intermédiaire d'un dispositif différentiel à courant résiduel (DDR).

AVERTISSEMENT : le disque continue de tourner pendant quelques secondes après que la machine a eté mise hors tension. Attendre que le disque s'immobilise avant desterolir la piece ou d'entreprenevre des réglages.
Arrêter la machine immédiatement en cas de vibrations anormales ou de tout autre défaut. Si le défaut perdure, contrôle la machine afin d'en couver l'origine.
Usage prévu
Ce coupe-carreaux doit uniquement servir à couper des carreaux à la forme et à la dimension voulues. Il ne doit pas être utilisé pour couper des matières inflammables, explosives ou toxiques. Ce produit ne doit pas être utilisé sur d'autres matérieliaux ou sur des matérieliaux dangereux pour la santé.
Tout autre usage de la machine entraînera des dommages sur celle-ci et engendérer toute une série de dangers pour l'opérateur. Cet apparéil est réservé à un usage domestique privé ; il n'est pas destiné à un usage professionnel ou industririel. Seuls les accessoires identiques à ceux qui sont fournis avec le coupe-carreaux sont autorisés. Ne jamais utiliser l' apparéil sous la pluie ou dans un environnement humide.
Pour des raisons de sécurité, il est essentiel de dire le mode d'emploi en entier avant la première utilisation et de respecter toutes les consignes qui y sont mentionnées.
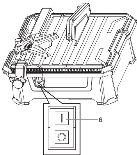
Bouton Marche/Arrêt

AVERTISSEMENT : risque de blessure !
Toujours débrancher la fiche secteur en cas de coupure de courant (déconnecter le produit de son alimentation électrique). Le produit demarrera automatiquementès que le courant sera rétabli.
Allumer:
Le produit se met en marche en appuyant sur le bouton vert I de l'interrupteur Marche/Arrêt (6).
Attendez que le disque de coupe atteigne sa vitesse maximale avant de commencer à travailler.
Eteindre:
Le produit s'eteint en appuyant sur le bouton rouge 0 de l'interrupteur Marche/ Arrêt (6).

Fig. 13
Réalisation d'une coupe droite
Réglez le guide de coupe parallele (11) à la largeur désirée. Utilisez le bouton de verrouillage pour desserrer ou régler le guide. Tenez le carreau fermement contre le guide de coupe parallele (11) et faites-le passer à travers le disque de coupe dans un mouvement régulier.
Tenez le carreau par les bords et appuyez fermement vers le bas afin d'eviter qu'il ne se soulève pendant la coupe.

Fig. 14
Réalisation d'une coupe d'onglet ou en diagonal
Suivez la même procédure que pour une coupe droite, mais utilisez le guide de coupe d'onglet (10) conjointement avec le guide de coupe parallele (11). Le guide de coupe d'onglet (10) se clipse tout simplement sur le guide de coupe parallele (11).
Assurez-vous que le carreau est maintainu fermement dans le guide avant de
commencer la coupe.

Fig. 15
Réalisation d'une coupe d'angle ou en biseau
Pour effectuer une coupe d'angle ou en biseau sur la tranche du carreau, utilisez le guide vertical (3). Soulevez le guide vertical (3) de 45^ environ.
Dépliez le support et positionnez-le dans les logements selon l'angle désiré. Puis, faites la coupe comme indiqué précédemment.
Les coupes en biseau à l'intérieur ou à l'extérieur se font en tournant le carreau face vers le haut ou face vers le bas (angle interieur : p. ex. un coin de mur ; angle extérieur : p. ex. une embrasure de fenêtre).

Les règles d'or de l'entretien

AVERTISSEMENT! Arrêtez toujours l'appareil, débranchez-le de l'alimentation électrique et laissez l'appareil refroidir avant d'effectuer l'inspection, la maintenance et les travaux de nettoyage.
Gardez l'appareil propre. Enlevez les copeaux de celui-ci après chaque utilisation et avant stockage.
Un nettoyage régulier et approprié contribue à garantir un fonctionnement en toute sécurité et prolonge la durée de vie du produit.
Inspectez l'appareil avant chaque utilisation pour les pieces usées et endommagées.
Ne l'utilisez pas si vous trouvez des pieces cassées et usées.

AVERTISSEMENT! Effectuez uniquement les travaux de réparations et d'entretien conformément à ces instructions! Tous les autres travaux doivent être effectuels par un spécialiste qualifié!
Nettoyage général

DANGER: risque de décharge électrique!
Ne jamais asperger le produit avec de l'eau ni l'exposer à l'eau.
Ne jamais utiliser de déterments ou de solvants pour le nettoyage.
Cela occasionnerait des dommages irréparables pour le produit.
Les produits chimiques peuvent ronger les pieces en plastique.
Un maniement soigneux et un nettoyage régulier permettent au produit de rester opérationnel et efficace pendant longtemps.
Eliminez toute saleté à l'aide d'unerosse.
Essuyez le produit avec un chiffon légèrement humide.
Maintenez les fentes de ventilation propres et exemples de poussière.
Remplacement de l'eau de refroidissement

DANGER: risque de blessure!
Les dépôts de saleté peuvent avoir des arêtes coupantes. Utilisez de l'eau claire pour éliminer les dépôts.
Soulevez le guide vertical (3) de 45^ environ et retirez-le.
Placez un écipient approprié sous l'orifice de vidange du produit.
Retirez le bouchon du réservoir d'eau (16) et faites couler toute l'eau de refroidissement sale.
Versez de l'eau dans le produit (voir le chapitre "Remplissage du produit avec de l'eau" aux pages 19-20).
Remplacement du disque de coupe

AVERTISSEMENT : risque de blessure !
Ne jamais utiliser de disques de coupe segmentés.

AVERTISSEMENT : risque de blessure !
Toujours porter des gants de protection lors du remplacement du disque.

AVERTISSEMENT : risque de blessure !
Le support métallique doit toujours être parallèle au disque de coupe.
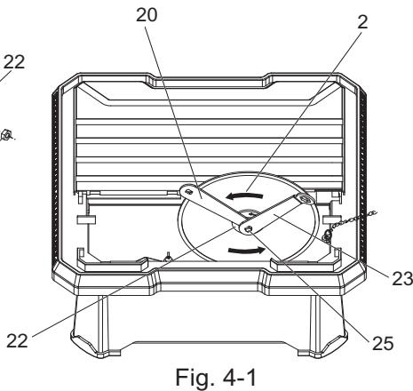
Démontage du disque de coupe:
Soulevez le guide vertical (3) de 45^ environ et retirez-le.

Fig. 17
Dévissez les vis à tête cruciforme (19) et retirez le carter de protection inférieur (17).

Fig. 18
Placez la clé droite (20) sur l'écrou hexagonal (21).
A l'aide de la clé coudée (23), bloquez l'arbre moteur (25) afin d'éviter qu'il tourne.
Desserrez l'écrou hexagonal avec la clé droite (20), en tournant dans le sens inverse des aiguilles d'une montre.
Retirez l'écrou hexagonal et la bride extérieure (22).
Détachez le disque de coupe (2) de la bride intérieure.
Nettoyez soigneusement les brides extérieure et intérieure ainsi que l'arbre moteur.

Fig. 19
Installation du disque de coupe : (voir le chapitre « Installation du disque de coupe » aux pages 11-13).
Câble d'alimentation
Si le cable d'alimentation est endommagé, il doit être remplaced par le fabricant ou son service après-vente ou par une personne de qualification similaire pour éviter un danger.
Réparation
Cet apparéil ne contient aucune piece pouvant être réparée par l'utilisateur. Faites examiner et réparer l' apparéil par un spécialiste qualifié.
En dehors des disques diamant, ce coupe- carreaux ne contient aucune autre piece qui puisse etre réparée par l'utilisateur. Adressez-vous à du personnel qualifié lorsque des opérations de maintenance interne sont nécessaires. Toute piece usée ou endommagée doit etre remplacemente immediatement par du personnel qualifié. Maintenez les disques en bon état. Des disques usés ou en mauvais état peuvent accroître le niveau sonore du produit.
S'il est abîné, le cable d'alimentation doit être remplace par un cable du même type que celui qui est fourni et commande par le fabricant (H05 VV-F 3G0,75 mm²). Le cable d'alimentation de la machine et la rallonge évientuellement utilisée doivent être contrôlés féquèment afin de s'assurer qu'ils ne sont pas endommagés.
S'il est endommagé, faites replacer le cable par un atelier d'entretien agrée. Remplacez la rallonge si nécessaire.
Stockage

Avertissement : risque de blessure !
Ranger le produit de manière à ce qu'il ne puisse pas être mis en marche par des personnes non autorisées.
Veiller à ce que personne ne risque de se blesser avec le produit lorsqu'il est immobilisé.

REMARQUE : risque d'endommager le produit !
Ne pas ranger le produit dans un environnement humide.
Rangez l'appareil et ses accessoires dans un endroit sec et à l'abri du gel.
L'appareil doit toujours être rangé dans un endroit hors de portée des enfants. Dans l'idéal, la température de la pierce dans laquelle l'appareil est rangé doit être comprise entre 10^ et 30^ .
Nous vous recommendons de ranger l'appareil dans son emballage d'origine ou de le recouvrir avec un tissu afin de le protégger contre la poussière.
Transport
Démontez tous les composants qui dépassent du produit.
Dans la mesure du possible, utilisez l'emballage d'origine ou la poignée (située sur le côte gauche du coupe-carreaux) pour le transport.
Protégéz l'appareil contre les risques de chocs ou de fortes vibrations auxquels il pourrait être soumis lors d'un déplacement en vehicule.
Maintenez l'appareil bien en place de manière à ce qu'il ne puisse ni glisser ni tomber.
Dépannage
Les dysfonctionnements supposés sont souvent liés à des causes que l'utilisateur peut éliminer par lui-même. Il est donc recommendé de consulter cette section en cas de besoin. Dans la plupart des cas, le problème peut être résolurapidement.

AVERTISSEMENT! N'essayez pas d'effectuer autres manipulations que celles décrites dans le mode d'emploi! Si vous n'arrivez pas à résoudre le problème par vous-même, toutes les autres manipulations de contrôle, d'entretien et de réparation devront être effectuées par un centre de réparation agrée ou par un spécialiste de qualification équivalente!
| Problème | Cause possible | Solution |
| 1. Le moteur ne tourne pas. | 1. Absence d'alimentation. | 1. Contrôler le cable, la fiche, la prise et le fusible. |
| 2. Le moteur tourne et le disque de coupe reste immobile alors qu'il est soumis à une charge. | 2. L'écrou de la bride est desserré. | 2. Vérifier que la bride est correctement positionnée et serrer si nécessaire. |
| 3. Le disque de coupe tourne irregularément/vibre. | 3.1 Disque de coupe Voilé. 3.2 Disque de coupe mal installé. | 3.1 Remplacer le disque de coupe. 3.2 Installer le disque de coupe correctement. |
| 4. Disque de coupe décoloré. | 4.1 Il n'y a pas assez d'eau de refroidissement. 4.2 Frottement latéral dû à un désignement. | 4.1 Mettre de l'eau dans la machine. 4.2 Guider la pièce plus lentement à travers le disque de coupe. |
Recyclage et mise au rebut

Les ancients produits sont potentiellement recyclables sous la directive DEEE et n'appartiennent donc pas la catégorie des ordures menagères. Vous étes prié de nous aider, nous et notre contribution, à l'économie des ressources et à la protection de l'environnement, en remettant cet apparéil à un centre de collecte équipé (s'il en existe à votre disposition).
Garantie
Nous veillons tout particulièrement à selectionner des matériaux de haute qualité et à utiliser des techniques de fabrication qui nous permettent de creator des produits à la fois design et durables. Ce produit TITAN Coupe carreaux 650W bénéficia d'une garantie fabricant de 2 ans couvrant les défauts de fabrication à compter de la date d'achat (en cas d'achat en magasin) ou de la date de livreaison (en cas d'achat sur Internet), sans coût supplémentaire pour une utilisation domestique normale (non commerciale ni professionnelle).
Pour déposer une réclamation au titre de cette garantie, vous doivent désigner toute prévue preuve d'achat (ticket de caisse, facture d'achat ou toute autre prévue receivable en vertu de la loi en vigueur). Conservez cette prévue d'achat dans un endroit sur. Pour que cette garantie soit applicable, le produit que vous achemé doit être neuf. La garantie ne s'applique pas aux produits d'occasion ou aux modèles d'exposition. Sauf indication contraire prévue par la loi en vigueur, tout produit de remplacement fourni au titre de la présente garantie ne sera garanti que jusqu'à expiration de la période de garantie initiale.
Cette garantie couvre les défaillances et dysfonctionnements du produit, sous réserve que le produit ait eté utilisé conformément à l'usage pour lequel il a été concu, qu'il ait eté installé, nettoyé et entretenu conformément aux informations contenues dans les prsentes conditions générales ainsi que dans le manuel d'utilisation, et conformément à la pratique, sous réserve que celles-ci n'aillent pas à l'encontre du manuel d'utilisation.
Cette garantie ne couvre pas les défauts et dommages causés par l'usure normale ni les dommages pouvant résultat d'une utilisation non conforme, d'une installation ou d'un assemblage défectueux, ou d'une négligence, d'un accident, d'une mauvaise utilisation ou d'une modification du produit. Sauf indication contraire prévue par la loi en vigueur, cette garantie ne couvre enaucun cas les coûts accessoires (expédition, transport, frais de désinstallation et réinstallation, main d'oeuvre, etc.), ni les dommages directs et indirects.
La presente garantie ne couvre pas les defaults ou dommages causés par ou résultat de :
Usure normale, y compris l'usage des accessoires
Utilisation excessive ou abusive, néligence
Réparation tentée par une personne autre qu'un agent autorisé
Dommages esthétiques
Dommages causés par des substances ou objets étrangers, ou par des accidents
Dommages ou modifications accidentels
Non-respect des instructions du fabricant
Perte d'usage des biens
Si le produit est défectueux, nous nous engageons à le réparer ou le remplacer, dans un-delai raisonnable.
Cette garantie est valable dans le pays où vous avez acheté ce produit. Toute demande au titre de la garantie doit être adressée au magasin où vous avez acheté ce produit.
Cette garantie s'ajoute à vos droits au titre de la loi, sans les affecter.
Si vous avez acheté ce produit en France, en plus de cette garantie commercia e, le vendeur reste tenu de respecter la garantie legale de conformité prévue par les articles L217-4 à L217-14 du Code de la consommation et aux articles qui concernent les vices cachés de la chose vendue dans les conditions prévues aux articles 1641 à 1648 et 2232 du Code civil. Le distributeur auprès duquel vous avez acheté ce produit repond de tout défaut de conformité ou vice caché du produit, conformément aux générantes dispositions.
En vertu de l'article L217-16 du Code de la consommation, lorsque l'acheteur demande au vendeur, pendant la durée de la garantie commerciale qui lui a été consentie lors de l'acquisition ou de la réparation d'un bien meuble, une remise en état couverte par la garantie, toute période d'immobilisation d'au moins sept jours vient s'ajouter à la durée de la garantie qui reste à courir. Cette période court à compter de la demande d'intervention de l'acheteur ou de la mise à disposition pour réparation du bien en cause, si cette mise à disposition est postérieure à la demande d'intervention. Garantie légale de conformité (extrait du Code de la consommation): Article L217-4 du Code de la consommation - Le vendeur doit livrer un bien conforme au contrat et répond des défauts de conformité existant lors de la livraison. Il répond également des défauts de conformité resultant de l'emballage, des instructions de montage ou de l'installation lorsque celle-ci a été mise à sa charge par le contrat ou a été réalisée sous sa responsabilité. Article L217-5 du Code de la consommation - Le bien est conforme au contrat : 1. S'il est adapté à l'objectif généralement prévu pour des biens similaires et, le cas échéant : s'il correspond à la description donnée par le vendeur et possède les qualités représentées par le vendeur à l'acheteur sous forme d'échantillon ou de modèle ; s'il présente des qualités que l'acheteur peut légitimement attendre au regard des déclarations publiques faites par le vendeur, par le fabricant ou par son représentant, notamment dans la publicité ou l'étiquetage; 2. Ou s'il présente les caractéristiques définies d'un commun accord par les parties ou est propre à tout usage spécial rechnché par l'acheteur, porté à la connaissance du vendeur et que ce dernier a accepté. Article L217-12 du Code de la consommation - Toute réclamation suite à un défaut de conformité est limitée à deux ans à compter de la livraison du bien. Garantie légale sur les vices cachés (extrait du Code de la consommation): Article 1641 du Code civil - Le vendeur est tenu de la garantie en cas de défauts cachés de la chose vendue qui la rendent impropre à l'usage auquel on la destiné, ou qui diminuents tellement cet usage que l'acheteur ne l'aurait pas acquise, ou n'en aurait donné qu'un moindre prix, s'il les avait connus. Article 1648 du Code civil (alinéa 1) - Toute réclamation resultant de vices cachés doit être faite par l'acheteur dans un-delai de deux ans à compter de la découverte du vice.
Déclaration de conformité CE
| CE (EN) EU DECLARATION OF CONFORMITY (FR) DECLARATION UE DE CONFORMITE (PL) DEKLARACJA ZGODNOSCJI UE (RO) DECLARATIONIA DE CONFORMITATE UE (ES) DECLARATIONUE DE CONFORMIDAD (PT) DECLARATIONDE CONFORMIDADE UE | ||
| Product/Produit/Produkt/Producto/Produto | ||
| • 650W Tile Cutter / Coupe carreaux 650W / Przecinarka do plytek 650 W / 650W Maşină de tăiat plăci ceramicce / Cortadora de azulejos 650 W / Cortador de azulejos 650 W • TTB904TCH • Serial number: from 000001 to 999999 | ||
| Name and address of the manufacturer or his authorised representative: Nom et adresse du fabricant ou de son mandataires: Nazwa i adres producenta lub是我国 upopawznionego przdstawiciela: Denumirea și adresa produçătorului sau a representantului są autorizat: Nombre y direccion del fabricante o de su representante autorizzato: Nome e endereço do fabricante ou do respetivo mandatório: | ||
| Kingfisher International Products B.V., Rapenburgerstraße 175E, 1011 VM Amsterdam, The Netherlands | ||
| This declaration of conformity is issued under the sole responsibility of the manufacturer. La presente déclaration de conformité est établie sous la seule responsabilité du fabricant. Niniejsza declaraciţa zgodnosci wydana zostaje na wylączna odpowiedzialnosć produktu. Prezenta declaratie de conformitate este emisă pe răspunderea exclusivă a produçătorului. La presente declarescnación de conformidad se expide bajo la exclusiva responsabilitad del fabricante. A presente declarescnación de conformidad é emitida sob a exclusiva responsabilitad do fabricante. | ||
| Object of the declaration/Objet de la declaration/Przedmiot déclaraciţi/Objectet de la declaración/ Objeto da declaração | ||
| Product/Produit/Produkt/Producto/Produto | Model/Modèle/Model/ Modelul/Modelo/Modelo | EAN |
| 650W Tile Cutter Coupe carreaux 650W Przecinarka do plytek 650 W 650W Maşină de tăiat plăci ceramicce Cortadora de azulejos 650 W Cortador de azulejos 650 W | TTB904TCH | 5059340252650 5059340252667 |
| The object of the declaration described above is in conformity with the relevant Union harmonisation legislation: L'objet de la déclaration précit ci-dessus est conforme à la législation d'harmonisation de l'Union applicable: Wymiony powyzej przedmiot niniejszej déclaraciţi jest zgodny z odnosnymi wymaganiymi unijnégo prawodawstwa harmonizacynyego: Obiectul declaresajieiopsis describris mai sus este în conformitate cu legislata relevantà de armonizare a Uniunii: El objeto de la declaración descriita anteriorsente es conforme con la legislación de armonizacion pertinente de la Unión: O objerto da declaración acima descriito está em conformidade com alegislação de harmonização da União aplicável: | ||
| 2006/42/EC as amended | Machinery Directive | |
| 2014/30/EU as amended | Directive Electromagnetic compatibility | |
| 2011/65/EU as amended | Directive Restriction of the use of certain hazardous substances in electrical and electronic equipment | |
| 2006/42/CE en tant que directive modifiée sur les machines 2014/30 / UE telle que modifiée Directive Compatibilité electromagnétique Directive 2011/65 / UE telle que modifiée Limitation de l'utilisation de certaines substances dangereuses dans les éléments électriques et déductibles | ||
| 2006/42/WE wzmienionej dyrektywie maszynowej 2014/30 / UE zezmianami Dyrektywa Kompatybilinosć elektromagnetyczna 2011/65 / UE zezmianami Dyrektywa Ograniczenia stosowania niedtórchyich nebezpiecznych substantenci w spręcie elektrycznym i elektronicznym | ||
| 2006/42/CE, astfel a fost modificató Direiva privind echipamentele | ||
| 2014/30/UE, astfel a fost modificató Direiva privind compatibilitatea electromagnética | ||
| 2011/65/UE, astfel a fost modificató Direiva privind limitareautilizáriainanumitorsubastaentepericuloseainchipamentele | ||
| electrice sitilectronice | ||
| Direiva sobre maquinaria modificada 2006/42/CE | ||
| 2014/30/UE modificada Direiva Compatiblelegadecromagnetica | ||
| 2011/65/UE modificada Direiva Restrición del uso de determinadas sustancias peligrosas en equipois electricos yelectrónicos | ||
| 2006/42/CE como diretiva de máquinas alteradas | ||
| 2014/30/UE como alteração da compatibilidade eletromagnetic | ||
| 2011/65/UE como restruição diretiva alterada da utilização de certas substâncias perigosas em equipamentos electrolyticos eeletrónicos | ||
| References to the relevant harmonised standards used or references to the other technical specifications in relation to which conformity is declared: | ||
| Références des normes harmonises pertinentes appliquées, y compris la date de celles-ci, ou des autres specifications techniques, y compris la date de celles-ci, par rapport auxquelles la conformité est déclarée: | ||
| Odwolania do odnosnych norm zharmonizowanych, ktore zastosowano, wraz z data normy, lub do innych specyfikacietchinichych, wraz z data specyfikaci, w odiesieniu do ktorch deklarowana jest zgodnošć: | ||
| Trimiteri la standardèle armonizate relevante folosite, inclusiv data standardului, sau trimiteri la celealte specificaţijtehnice, inclusiv data specificaţiilor, în legătură cu care se declarà conformitatea: | ||
| Referencias à las normas armonizadas pertinentes realizadas, incluidas las fechas de las normas, o referencingias à lasoraspecificações tícnicas, incluidas las fechas de las espécificações, respecto a las cuales se declares la conformidade: | ||
| Referências às normas harmonizadas aplicáveis realizadas, incluindo a data da norma, ou às outras espécificações tícnicas, incluindo a data da espécificação, em relação às quais é declarada a conformidade: | ||
| EN 62841-1:2015EN ISO 12100:2010EN 55014-1:2017+A11:2020EN 55014-2:2015EN IEC 61000-3-2:2019EN 61000-3-3:2013+A1:2019 | ||
| Authorised signatory and technical file holder/signatitaire et responsable de la documentation technique autorisé/podmiot uprawnióny do wystawienia i adres prezechowyywania Dokumentaci TECHNICNZJI/semnatar autorizat.si detínatoral dosarului tehnic/firmante autorizzato y titular del expediente tecnico/ signatário autorizzato e detentor da ficha técnica:Kingfisher International Products B.V.,Rapenburgerstraat 175E,1011 VM Amsterdam,The Netherlands | ||
| David AweGroup Quality DirectorOn 01/01/2022 | ||

Manufacturer · Fabricant · Producers
Pour consulter les manuels d'instructions en ligne, rendez-vous sur le site www.kingfisher.com/products
Notice Facile