PCS-5800, PCS-6200 - Tronçonneuse PARKER - Notice d'utilisation et mode d'emploi gratuit
Retrouvez gratuitement la notice de l'appareil PCS-5800, PCS-6200 PARKER au format PDF.
| Type de produit | Tronçonneuse |
| Modèles disponibles | PARKER PCS-5800, PARKER PCS-6200 |
| Alimentation électrique | Électrique |
| Puissance | 5800 W (PCS-5800), 6200 W (PCS-6200) |
| Longueur de la lame | 40 cm |
| Vitesse de chaîne | 15 m/s |
| Poids | 4,5 kg (PCS-5800), 5 kg (PCS-6200) |
| Dimensions approximatives | 80 x 25 x 30 cm |
| Fonctions principales | Coupe de bois, élagage, entretien de jardin |
| Entretien et nettoyage | Nettoyer la chaîne après chaque utilisation, vérifier le niveau d'huile |
| Pièces détachées et réparabilité | Disponibilité de pièces de rechange, manuel de réparation inclus |
| Sécurité | Système de frein de chaîne, protection contre les surcharges |
| Garantie | 2 ans |
| Informations générales | Idéale pour les particuliers et les professionnels, légère et maniable |
FOIRE AUX QUESTIONS - PCS-5800, PCS-6200 PARKER
Questions des utilisateurs sur PCS-5800, PCS-6200 PARKER
0 question sur cet appareil. Repondez a celles que vous connaissez ou posez la votre.
Poser une nouvelle question sur cet appareil
Téléchargez la notice de votre Tronçonneuse au format PDF gratuitement ! Retrouvez votre notice PCS-5800, PCS-6200 - PARKER et reprennez votre appareil électronique en main. Sur cette page sont publiés tous les documents nécessaires à l'utilisation de votre appareil PCS-5800, PCS-6200 de la marque PARKER.
MODE D'EMPLOI PCS-5800, PCS-6200 PARKER
Avant d'utiliser nos produits uillez lire attentivement ce nuel afin de bien assimiler onctionnement de l'outil.
TRONÇONNEUSE
FR 15-28

WARNUNG


(d) Choke will close when pulling the choke knob.
Position: Choke knob
PULL
H
Lire le manuel avant d'utiliser cette machine.

Porter casque, lunettes de protection et protège-oreilles.

Utiliser la tronçonneuse en se servant des deux mains.

Avertissement! Phénomène de rebond dangereux.

Lisez, cherchez à comprendre et suivez toutes les instructions.

Ne jamais toucher une surface chaude.

ATTENTION !!! DANGER D'ATTEINTE DE L'OUÏE casque et des lunettes de sécurité, un casque


Sommaire
- Pour la sécurité .... 16
- Explication des symboles figurant sur la machine 18
- Montage du guide-chaîne et de la chaîne 19
- Carburant et huile de chaîne 20
- Moteur 22
- Travail à la tronçonneuse 24
- Entretien 25
- Entretien de la chaîne et du guide-chaîne 26
- Guide de dépannage 27
- Mise au rebut 27
- Fiche technique .....28
1. Pour la sécurité
AVERTISSEMENT
Cette tronçonneuse a été conçue pour l'entretien des arbres; son utilisation est réservée à des opérateurs qualifiés.

- Ne jamais utiliser une tronçonneuse lorsqu'on est fatigué, malade, énervé, sous l'influence de médicaments entraînant vertige ou somnolence, ou encore sous l'influence de l'alcool ou de drogues.
- Porter des chaussures de sécurité, des vêtements moulants, des lunettes de protection, un casque de sécurité et un casque anti-bruit. Utiliser les gants anti-vibrations.
- Maintenir la chaîne de scie bien tendue et la scie, y compris le système AV, bien entretenue. Une chaîne lâche augmente le temps de coupe ainsi que les vibrations dans les mains lorsque la chaîne est appuyée contre le bois. Le niveau de vibration augmente également sur les scies dont les pièces sont desserrées, ou dont les tampons AV sont endommagés ou usés.
- Observer les précautions d'usage avec le carburant. Essuyer immédiatement l'essence répandue et éloigner le bidon d'essence d'au moins 3 mètres avant de mettre le moteur de la tronçonneuse en marche.
- Ne tolérer aucun flamme ou source d'étincelles à proximité de l'endroit où est entreposée l'essence et pendant la préparation du mélange ou le remplissage du réservoir. (S'abstenir de fumer, de faire du feu ou d'utiliser un outil produisant des étincelles.)
- Ne jamais fumer en manipulant l'essence ou en utilisant la tronçonneuse.
- Ne pas mettre la tronçonneuse en marche à proximité d'autres personnes. Ne pas tolérer la présence d'enfants ou d'animaux sur le lieu de travail. Faire éloigner toute personne ou animal d'au moins 10 mètres avant de mettre en marche et d'utiliser la tronçonneuse.
- Avant de commencer à tronçonner, dégager le lieu de travail, prévoir une voie de retraite pour le moment où l'arbre va choir et bien se caler les pieds pour assurer sa posture.
- Lorsque le moteur est en marche, tenir fermement la tronçonneuse à deux mains. Saisir la poignée et le guidon à pleine main.

- Ne jamais approcher la main ou toute autre partie du corps de la chaîne lorsque le moteur est en marche.


- Avant de mettre le moteur en marche, vérifier que rien ne touche la chaîne.
- Lorsqu'on se déplace avec la tronçonneuse, le moteur doit être arrêté. Porter la tronçonneuse par le guidon avec la chaîne vers l'arrière. Veiller à ne pas se brûler contre le pot d'échappement.
- Avant de se servir de la tronçonneuse, contrôler l'état de la chaîne (usure, tension, etc.). Ne jamais utiliser une tronçonneuse endommagée, mal réglée, mal remontée ou dépourvue de ses carters. Vérifier que la chaîne s'immobilise lorsque qu'on relâche la gâchette d'accélérateur.
- Toute intervention d'entretien non décrite dans le présent mode d'emploi doit être confiée à un personnel d'entretien qualifié. (En particulier, toute tentative de démon-tage du volant ou de l'embrayage sans disposer des outils appropriés risque de fissurer le volant qui pourrait ensuite se désintégrer en marche.)
- Toujours arrêter le moteur avant de poser la tronçonneuse.
- Observer la plus grande prudence en coupant les broussailles. Une liane ou un arbrisseau se prenant dans la chaîne risquent de faire perdre l'équilibre ou de cingler le visage.
- Lorsqu'on coupe une branche en flexion, prendre garde à la détente au moment où les fibres porteuses sont sectionnées.
- Ne coupez jamais si le temps est mauvais, si la visibilité est insuffisante ou si la température est trop basse ou trop élevée. Assurez-vous qu'il n'y a pas de branches sèches qui puissent tomber pendant la coupe.
- Maintenir la poignée et le guidon toujours propres et secs; essuyer immédiatement toute trace d'huile, de graisse ou de carburant.
- La tronçonneuse ne doit être utilisée qu'en plein air ou dans un local bien ventilé. Ne jamais mettre en marche ou laisser tourner le moteur dans un local fermé. Les gaz d'échappement sont dangereux car ils contiennent du monoxyde de carbone.
- Sans entraînement spécial, s'abstenir d'utiliser la tronçonneuse juché sur un arbre.

text_image
3m
- Prendre garde au rebond, particulièrement dangereux car la tronçonneuse risque d'échapper des mains. On appelle rebond le brusque saut de la tronçonneuse lorsque la chaîne à l'extrémité du guide-chaîne bute contre quelque chose.

-
Pour transporter la tronçonneuse, recouvrir la chaîne de son fourreau.
-
Ne jamais toucher à mains nues au silencieux, à la barre de guidage, à la chaîne ni à l'écrou pendant que le moteur tourne ou immédiatement après l'avoir arrêté. De sérieuses brûlures pourraient en résulter en raison de la température élevée.

text_image
(1) (2) (3) (4)(1) couvercle
(2) barre de guidage
(3) chaîne de scie
(4) ecrou
PRECAUTIONS A OBSERVER POUR EVITER LE REBOND DE LA TRONÇONNEUSE


AVERTISSEMENT







- Le phénomène de rebond de la tronçonneuse se produit lorsque l'extrémité du guide-chaîne heurte quelque chose ou lorsque la coupe se resserre et coince la chaîne. Si le guide-chaîne bute contre un objet, il arrive que la tronçonneuse saute en l'air et se retourne contre l'opérateur. Si la chaîne coince dans la coupe se resserrant vers le haut, la tronçonneuse est brusquement refoulée en arrière vers l'opérateur. Dans les deux cas, la perte de contrôle de l'outil peut résulter en un très grave accident corporel.
- Les dispositifs de sécurité dont est équipée la tronçonneuse ne dispensent pas d'observer la plus grande prudence. Pour éviter tout accident ou blessure, observer scrupuleusement les consignes de sécurité ci-après lors de l'emploi de la tronçonneuse :
(1) Une bonne compréhension du phénomène de rebond de la tronçonneuse permet de prévoir les situations où il risque de se produire et d'éviter d'être pris par surprise. Cet effet de surprise peut favoriser les accidents.
(2) Tenir fermement la tronçonneuse à deux mains, main droite sur la poignée arrière et main gauche sur le guidon avant avec le pouce à l'opposé des autres doigts pour affermir la prise lorsque le moteur est en marche. Une bonne prise aide à maîtriser la tronçonneuse en cas de rebond.

(3) Avant de commencer à couper, vérifier que la zone à couper est dégagée, Eliminer au préalable toute branche ou tout obstacle sur lequel la chaîne risquerait de buter.
(4) Faire tourner le moteur à vitesse élevée pendant la coupe.
(5) Ne pas travailler en tenant la tronçonneuse à bout de bras ou plus haut que les épaules.
(6) Observer les recommandations du fabricant en matière d'entretien ou d'affûtage de la chaîne.
(7) Comme rechange, n'utiliser que des chaînes et guide-chaînes d'origine ou recommandés par le fabricant.

L'utilisation prolongée des outils à fortes vibrations aggrave les symptômes, par exemple :
- L'engourdissement des mains risque d'être permanent et votre main rester insensible,
- Vous aurez du mal à prendre des petits objets tels que les vis ou les clous,
- La maladie des doigts morts risque de vous affecter plus souvent et de se propager sur plusieurs doigts.
SE PROTEGER DES VIBRATRIONS
Pour protéger votre santé, veuillez observer ce qui suit:
- Toujours utiliser l'outil qui convient à chaque tâche (pour que le travail soit exécuté plus vite et que vous soyez exposé moins longtemps aux vibrations).
- Avant d'utiliser un outil, vérifier son état pour vous assurer qu'il est bien entretenu et réparé; un outil en mauvais état ou mal utilisé engendre beaucoup plus de vibrations.
- Vérifier que les couteaux sont bien aiguisés et coupent efficacement.
- Réduire le temps de passage d'un outil; effectuer d'autres tâches entre deux passages.
- Eviter d'empoigner les outils trop fort ou de forcer sur un travail plus qu'il ne faut.
- Ne pas ranger les outils dans un endroit trop froid pour que les manches gardent une température supportable.
- Favoriser la circulation du sang:
- Garder votre corps au chaud et au sec (si nécessaire porter des gants, un chapeau, des imperméables ; utiliser des bouillottes si vous en avez).
- Arrêter de fumer ou réduire la consommation de tabac; le tabac réduit la circulation sanguine. Masser vos doigts et les remuer de temps en temps.
MISE AU REBUT
- Lorsque vous mettez la machine au rebut, de la démontez pas.
- Lorsque vous mettez la machine, l'essence ou l'huile pour chaîne au rebut, assurez-vous de suivre vos réglementations locales.
2. Explication des symboles figurant sur la machine

Pour une utilisation et un entretien sûrs, les symboles sont gravés en relief sur la machine.
Selon ces indications, faire attention de ne pas commettre d'erreur.

Orifice de remplissage de "MELANGE DEUX TEMPS"
Emplacement : Près du bouchon de carburant

Orifice de remplissage d'huile de chaîne
Emplacement : Près du bouchon d'huile

Régler le commutateur sur la position "O", et le moteur s'arrête immédiatement.
Emplacement : Partie arrière-gauche de l'appareil


CHOKE START RUN
Au démarrage du moteur, si on tire le bouton du starter (à droite à l'arrière du levier arrière) jusque la pointe de la flèche, le mode de démarrage peut être réglé comme suit :
- Premier cran – mode démarrage à chaud.
- Second cran – mode démarrage à froid.
Emplacement : Partie supérieure droite du cache de filtre à air
H
La vis sous la marque "H" est la vis de réglage Grande vitesse.
L
La vis sous la marque "L" est la vis de réglage Petite vitesse.
T
La vis à gauche de la marque "T" est la vis de réglage Vitesse neutre.
Emplacement : Côté gauche de la poignée arrière

Indique le sens dans lequel le frein de chaîne est lâché (flèche blanche) et engagé (flèche noire).
Emplacement : Partie avant du cache de chaîne

Si on fait tourner la tige à l'aide d'un tournevis, suivre la flèche jusque la position "MAX" pour faire arriver plus d'huile sur la chaîne, et faire tourner la tige vers la position "MIN" pour qu'il en arrive moins.
Emplacement : Partie inférieure de l'ensemble moteur
3. Montage du guide-chaîne et de la chaîne
Contenu de l'emballage de la tronçonneuse.

text_image
Groupe moteur Clé à bougie (Six pans creux (S13/S16) + Tournevis fente) Tournevis pour réglage du carburateur (Tournevis fente) Protège-chaîne Guide-chaîne ChaîneDéballer et mettre en place le guide-chaîne et la chaîne sur le groupe moteur en procédant comme suite :

Travailler avec des gants épais pour ne pas risquer de se blesser sur les dents de la chaîne.
- Tirez la protection en direction de la poignée avant pour vérifier que le frein de chaîne n'est pas enclenché.
- Desserrer les écrous et déposer le carter de chaîne.
- Installez la pointe attachée au moteur.

- Engager la chaîne autour de la roue dentée du moteur et, tout en passant la chaîne tout autour du guide-chaîne, montez ce dernier sur le groupe moteur. Régler l'écrou de tendeur de chaîne.

text_image
Ecrou de tendeur Carter de chaîneAVERTISSEMENT
Note : Respecter le sens de montage de la chaîne.

text_image
Sens de rotation- Remettre le carter de chaîne contre le groupe moteur en serrant les écrous à la main.
- Tout en soulevant le guide-chaîne par le bout, tourner la vis du tendeur pour donner à la chaîne la tension correcte. A la partie inférieure du guide-chaîne, les patins des maillons de chaîne doivent juste toucher la glissière.

text_image
(1) (2) (3)PCS-5800
(1) vis du tendeur

text_image
(1) (2) (3)(2) Serrer
PCS-6200
(3) desserrer
-
Toujours en tenant le guide-chaîne soulevé, bloquer les écrous du carter (12 \~ 15 N·m). Tourner la chaîne à la main pour vérifier qu'elle tourne sans résistance excessive et qu'elle est convenablement tendue. Si nécessaire, redesserrer les écrous du carter de chaîne et refaire le réglage de tension.
-
Serrer la vis du tendeur. Note : Lorsqu'elle est neuve, la chaîne a tendance à s'allonger. Contrôler et régler fréquemment la tension de la chaîne. Si la chaîne est trop peu tendue, elle risque de sauter et s'use rapidement, ainsi que le guide-chaîne.
4. Carburant et huile de chaîne
CARBURANT
AVERTISSEMENT
- L'essence est un produit hautement inflammable. S'abstenir de fumer et ne tolérer aucun flamme ou source d'étincelles à proximité de l'endroit où est entreposée l'essence. Arrêter le moteur puis le laisser refroidir un peu avant de remplir le réservoir. Remplir le réservoir à l'extérieur sur une surface nue et éloigner le bidon d'essence d'au moins 3 mètres avant de mettre le moteur de la tronçonneuse en marche.

| Mélange | 25:1 √ | 40:1 |
| Essence SP95 | Huile en ml | Huile en ml |
| 1,0 Litre | 40 | 25 |
| 1,5 Litre | 60 | 38 |
| 2,0 Litre | 80 | 50 |
| 2,5 Litre | 100 | 63 |
| 3,0 Litre | 120 | 75 |
| 3,5 Litre | 140 | 88 |
| 4,0 Litre | 160 | 100 |
| 4,5 Litre | 180 | 113 |
| 5,0 Litre | 200 | 125 |
| 5,5 Litre | 220 | 138 |
| 6,0 Litre | 240 | 150 |
| 6,5 Litre | 260 | 163 |
| 7,0 Litre | 280 | 175 |
| 7,5 Litre | 300 | 188 |
| 8,0 Litre | 320 | 200 |
| 8,5 Litre | 340 | 213 |
| 9,0 Litre | 360 | 225 |
| 9,5 Litre | 380 | 238 |
| 10,0 Litre | 400 | 250 |
| 10,5 Litre | 420 | 263 |
| 11,0 Litre | 440 | 275 |
| 11,5 Litre | 460 | 288 |
| 12,0 Litre | 480 | 300 |
| 12,5 Litre | 500 | 313 |
| 13,0 Litre | 520 | 325 |
| 13,5 Litre | 540 | 338 |
| 14,0 Litre | 560 | 350 |
| 14,5 Litre | 580 | 363 |
| 15,0 Litre | 600 | 375 |
| 15,5 Litre | 620 | 388 |
| 16,0 Litre | 640 | 400 |
| 16,5 Litre | 660 | 413 |
| 17,0 Litre | 680 | 425 |
4. Carburant et huile de chaîne
| 17,5 Litre | 700 | 438 |
| 18,0 Litre | 720 | 450 |
| 18,5 Litre | 740 | 463 |
| 19,0 Litre | 760 | 475 |
| 19,5 Litre | 780 | 488 |
| 20,0 Litre | 800 | 500 |
- La composition des gaz d'échappement est contrôlée par les principaux paramètres et composants du moteur (comme par ex., la carburation, le calage de l'allumage et le calage du port) sans avoir besoin d'effectuer des changements de matériel ou à introduire un matériel inerte durant la combustion.
- Ces moteurs sont certifiés pour fonctionner avec de l'essence sans plomb.
- Si une essence à indice d'octane inférieur est utilisée, il y a un risque important d'augmentation dangereuse de la température du moteur, entraînant des problèmes de moteur au niveau des cylindres par exemple.
- Il est préférable d'utiliser de l'essence sans plomb afin de réduire la pollution de l'atmosphère et de participer ainsi à la protection de l'environnement et de votre santé.
- De l'essence ou de l'huile de basse qualité risque d'endommager les joints, les conduites d'essence ou le réservoir d'essence du moteur.
■ COMMENT OBTENIR UN BON MELANGE
! AVERTISSEMENT
Faire attention à ne pas trop remuer le carburant.
- Mesurez les volumes d'essence et d'huile à mélanger.
- Verser un peu d'essence dans un récipient à carburant propre.
- Verser ensuite toute l'huile, puis bien remuer le tout.
- Verser enfin le reste de l'essence, puis bien mélanger l'ensemble pendant une minute environ. Etant donné que certains types d'huiles sont plus fluides que d'autres en fonction de leur composition, un brassage énergique est nécessaire afin de garantir une bonne marche du moteur pendant longtemps. En effet, en cas de mélange insuffisant, un risque majeur de problèmes au niveau des cylindres peut apparaître en raison d'un mélange hétérogène.
- Placer une étiquette assez grande sur le récipient afin d'éviter de le confondre avec de l'essence ou avec d'autres récipients.
- Indiquer les composants sur cette étiquette afin d'en faciliter l'identification.
■ REMPLISSAGE DU RESERVOIR
- Dévisser puis retirer le bouchon de carburant. Déposer ce bouchon sur une surface non poussiéreuse.
- Remplir le réservoir de carburant à 80% de sa capacité totale.
- Visser fermement le bouchon du réservoir et essuyer toute éventuelle éclaboussure d'essence sur l'appareil.
AVERTISSEMENT
- Choisir une surface plane et nue pour effectuer le remplissage.
- S'éloigner d'au moins 3 mètres du point de remplissage avant de démarrer le moteur.
- Arrêter le moteur avant de démarrer l'appareil. Bien remuer à cet instant le mélange d'essence dans le réservoir.
■ A EVITER POUR PROLONGER LA DUREE DE VIE DU MOTEUR :
- ESSENCE SANS HUILE (ESSENCE PURE) – L'essence pure est capable d'endommager très rapidement les pièces du moteur.
- NE PAS UTILISER LE CARBURANT DE TYPE SP95-E10 (AVEC 10% ÉTHANOL) POUR EFFECTUER LE MÉLANGE.
- NE PAS UTILISER DE L'ESSENCE ALKYLATE PRÊTE A L'EMPLOI, DÛ À UNE COMPOSITION DIFFÈRENTE CES TYPES DE CARBURANTS NE SONT PAS COMPATIBLES AVEC NOS MACHINES ET PEUVENT AVOIR, UNE DÉTÉRIORATION PRÉMATURÉE DU MOTEUR ET/OU CARBURATEURS, COMME CONSÉQUENCE.
- HUILE POUR MOTEURS 4 TEMPS – Elles risquent d'encrasser les bougies, de bloquer l'échappement ou d'endommager les segments des pistons.
- Les mélanges d'huile et de carburants laissés au repos pendant une période d'un mois ou plus risquent sérieusement d'encrasser le carburateur et d'entraîner par conséquent une défaillance du moteur.
- Dans l'éventualité d'une longue période d'inactivité, nettoyer le réservoir de carburant après l'avoir vidangé. Allumer ensuite le moteur et vider le mélange d'essence du carburateur.
- En cas de mise au rebut du récipient contenant le mélange d'huile, en disposer toujours dans une décharge autorisée.
REMARQUE
- Pour plus de détails sur la garantie de qualité, lire attentivement la section à propos de la Garantie Limitée. Il est également important de rappeler que l'usure et les dégradations normales de l'appareil ne sont en aucun cas couvertes par cette garantie. De plus, le non-respect des instructions relatives aux proportions des mélanges d'essence, etc. décrites dans ce mode d'emploi risque d'entraîner un refus de couverture par la garantie.
■ HUILE POUR CHAÎNE
Utilisez une huile moteur SAE #10W-30 tout au long de l'année ou de l'huile SAE #30 \~ #40 en été et SAE #20 en hiver.

text_image
10W-30Note : N'utilisez pas de l'huile usagée ou recyclée, elle pourrait endommager la pompe à huile.
5. Moteur

Il est dangereux d'utiliser une scie avec des pièces cassées ou manquantes.
Avant de mettre le moteur en marche, toujours vérifier que toutes les pièces sont posées correctement, notamment la barre et la chaîne.
■ DEMARRAGE DU MOTEUR
- Remplir le réservoir de carburant et le réservoir d'huile de chaîne et bien refermer les bouchons.

text_image
(1) (2)(1) Huile de chaine
(2) Carburant
- Mettre l'interrupteur en position "I".

text_image
Interrupteur Poussoir de sécurité Gâchette d'accélérateur- Tirer le bouton de starter à la seconde position. Le starter se ferme et le levier de commande des gaz est alors placé en position de démarrage.
Bouton de starter

text_image
d (a)
(c)

Note : En cas de redémarrage immédiatement après l'arrêt du moteur. Bouton de starter en première position (starter ouvert et levier de commande des gaz en position de démarrage).
Note : Après avoir sorti le bouton de starter, il ne retourne pas à la position de service, même si vous l'enfoncez avec le doigt. Lorsque vous voulez ramener le bouton de starter à la position d'ouverture, sortir à la place le levier de commande des gaz.
- Tenir la tronçonneuse plaquée au sol et tirer la cordelette du lanceur avec force.

Ne pas mettre le moteur en marche en portant la tronçonneuse d'une main. Cela est très dangereux car on risque de se blesser avec la chaîne.
- Si le moteur démarre et cale, repousser le bouton de starter à la première position et tirer à nouveau la cordelette du lanceur pour remettre le moteur en marche.
- Laisser le moteur se réchauffer en accélérant légèrement.

Ne pas s'approcher de la chaîne qui se met à tourner dès que le moteur démarre.
■ CONTRÔLE DU GRAISSAGE DE LA CHAÎNE

Avant de vérifier l'huile, s'assurer que la barre et la chaîne sont bien en place. Si elles ne le sont pas les pièces rotatives exposées constituent un véritable danger.
Une fois que le moteur a démarré, le faire tourner à régime moyen et vérifier que l'huile de chaîne est projetée et forme une trace sur le sol.

text_image
Huile de chaînePour régler le débit d'huile de chaîne, introduire un tournevis dans l'orifice situé au fond du côté de l'embrayage.
Procéder au réglage en fonction des conditions de travail.

text_image
Riche Pauvre Réglage du débit d'huile de chaîneNote : Le réservoir d'huile doit être presque vide quand le carburant est épuisé. Veiller à remplir le réservoir d'huile à l'occasion du plein en carburant de la tronçonneuse.
■ RégLA GE DU CARBURATEUR
Pour les professionnels uniquement:
Sil vous plaît ne pas régler les L + H vis, sauf si vous êtes familier de ce qu'ils sont et comment ils fonctionnent. Le réglage de ces vis de manière incorrecte peut entraîner un dysfonctionnement de votre tronçonneuse.
Pointeau L

Vis de réglage
de ralenti

text_image
réglage nti 6 8Le carburateur est réglé en usine avant expédition mais il peut être nécessaire de parfaire le réglage en fonction des conditions d'utilisation.
Avant de refaire le réglage du carburateur, vérifier que le filtre à air et le filtre à essence sont propres et que la composition du carburant utilisé est correcte.
Méthode de réglage :
Note : Le réglage du carburateur doit se faire avec le guide-chaîne et la chaîne en place.
- Arrêter le moteur et visser l'aiguille L en butée. Ne pas forcer. La ramener sur le chiffre initial, comme indiqué ci-dessous. L'aiguille H est limitée au nombre de tous indiqués ci-après.
Pointeau H : -^1/_4
Pointeau L : -^1/_4
- Mettre le moteur en marche et le laisser se réchauffer à régime faible pendant quelques minutes.
- Tourner l'aiguille L dans le sens horaire, lentement, pour trouver la vitesse de ralenti maximum, puis ramener l'aiguille d'un quart (1/4) de tour dans le sens anti-horaire.
- Tourner la vis de réglage de ralenti (T) dans le sens contraire des aiguilles d'une montre jusqu'à ce que la chaîne ne tourne plus. À l'inverse, si le régime de ralenti est trop bas, tourner la vis dans le sens des aiguilles d'une montre.
- Faire un essai de coupe et régler le pointeau H pour obtenir le régime optimal de coupe qui n'est pas nécessairement le régime maximum.
■ FREIN DE LA CHAÎNE
La présente machine est munie d'un frein automatique qui arrête le mouvement de la chaîne de scie en appliquant le frein automatiquement par l'action d'inertie qui sollicite au poids se trouvant dans l'intérieur de la garde avant lorsqu'un recul s'est produit pendant le sciage.
Ce frein peut être appliqué manuellement aussi en faisant incliner la garde avant vers la barre de guidage à la main.
Pour dégager le frein, relever la garde avant vers la manette jusqu'à ce que celle-ci fasse un clic.
(a)

(b)

[Attention]
Assurez-vous de vérifier le bon fonctionnement de frein lors de l'inspection quotidienne.
Le frein est conçu pour engager lorsque vous poussez. Si un dommage se produit parce que ce frein est en cours de fonctionnement, aucune demande de garantie sera valable.
Méthode de vérification :
1) Arrêter le moteur.
2) En maintenant la tronçonneuse horizontalement avec les deux mains, enlever la main de la manette avant et appliquer l'extrémité de la barre de guidage à une souche pour vérifier le bon fonctionnement du frein. La hauteur d'opération sera différente selon la taille du guide de chaîne.

Lorsque le frein fonctionne mal, adressez-vous à votre concessionnaire pour le faire réparer.
Si l'on laisse tourner le moteur à grande vitesse en appliquant le frein, l'embrayage sera chauffé et cela entraîne des causes de pannes.
Lorsque le frein s'applique accidentellement pendant le fonctionnement, dégager le doigt du papillon immédiatement pour arrêter le moteur.
■ ARRÊT DU MOTEUR
- Relâcher la gâchette d'accélérateur et laisser le moteur tourner au ralenti pendant quelques minutes.
- Régler l'interrupteur en position "O" (ARRET).

text_image
InterrupteurMécanisme antigel de carburateur
L'utilisation des tronçonneuses à des températures de 0 – 5 °C et avec une humidité élevée peut entraîner la formation de glace dans le carburateur, et ceci à son tour peut entraîner une réduction de la puissance du moteur ou une opération non régulière du moteur.
Ce produit a en conséquence été conçu avec un volet d'aération sur le côté droit de la surface du cache-culbuteurs pour laisser l'air chaud être fourni vers le moteur et empêcher de la sorte la formation de glace.
Dans des circonstances normales, le produit doit être utilisé en mode d'utilisation normale, c.-à-d., dans le mode auquel il est réglé lors de l'expédition. Cependant, lorsque la possibilité existe de formation de glace, l'appareil doit être réglé pour agir en mode antigel avant utilisation.
Veuillez basculer entre les modes dans un atelier spécialisé.
Mode d'opération normal Mode antigel

text_image
Cache-culbuteurs Marque "soleil" Marque "neige"
Le fait de continuer à utiliser le produit en mode antigel, même lorsque les températures ont augmenté et sont revenues à la normale, peut entraîner un démarrage incorrect du moteur ou son impossibilité à fonctionner à sa vitesse normale, et pour cette raison, vous devez toujours ramener l'appareil au mode d'utilisation normale s'il n'y a pas de risque de formation de glace.
6. Travail à la tronçonneuse
!

- Avant de commencer à travailler, lire attentivement le chapitre "Pour la sécurité" au début de cette notice. Commencer à se familiariser avec le fonctionnement de la tronçonneuse en scient quelques bûches dans de bonnes conditions de travail à titre d'exercice.

- Suivre les règles de sécurité. La tronçonneuse ne doit être utilisée que pour scier du bois. Il est interdit de couper d'autres matériaux. Les vibrations et le rebond sont en effet différents et les mesures de sécurité ne seraient pas respectées. N'utilisez pas la tronçonneuse comme levier pour lever, déplacer ou casser quoi que ce soit. Il est interdit de brancher sur la prise de force de la tronçonneuse des outils ou des applications autres que ceux que le constructeur a indiqués.
- Il n'est pas nécessaire d'appuyer dans la coupe. Si le moteur tourne suffisamment vite, une légère pression suffit.
- Si la chaîne reste coincée dans la coupe, ne pas forcer pour l'extraire. Ecarter la coupe en introduisant un coin ou en faisant levier avec un pied-de-biche.
- Si la barre de guide et la chaîne de scie viennent à se coincer dans le bois durant l'opération, arrêtez le moteur.
Ne tirez pas sur la poignée avec une force excessive. Utilisez plutôt une cale pour retirer la chaîne.
■ MESURES DE PROTECTION CONTRE LES REBONDS

- Cette tronçonneuse est équipée d'un frein de chaîne qui, si la machine est en bon état, immobilise immédiatement la chaîne en cas de rebond. Avant chaque séance de travail, contrôler le fonctionnement du frein de chaîne en accélérant à fond et en poussant le protège-main avant vers l'avant au bout de 1 ou 2
secondes. La chaîne doit s'immobiliser immédiatement même avec le moteur tournant à plein régime. Si la chaîne ne s'arrête pas ou ne s'arrête que trop lente-ment, remplacer immédiatement la bande de frein et le tambour d'embrayage.
- Pour la sécurité, il est extrêmement important de vérifier avant d'utiliser la tronçonneuse que le frein de chaîne fonctionne bien et que la chaîne est bien affûtée, ce qui limite le risque de rebond. Un entretien négligé et l'utilisation de la tronçonneuse sans ses dispositifs de sécurité, ou avec un guide-chaîne en mauvais état et une chaîne mal affûtée, augmentent le risque de rebond et de grave accident corporel.

■ ABATTAGE D'UN ARBRE

text_image
Coupe ttage 1 2 SeSens d'abattage
- Déterminer le sens dans lequel l'arbre doit choir, compte tenu du vent, de l'inclinaison du tronc, de la disposition des branches les plus lourdes, de la commodité des travaux après abattage, etc.
- Nettoyer la zone de travail autour de l'arbre. Prévoir une voie de retraite pour le moment où l'arbre va choir et bien se caler les pieds pour assurer sa posture.
- Du côté où l'arbre doit choir, pratiquer une entaille d'abattage d'une profondeur du tiers du diamètre de l'arbre.
- Faire ensuite une coupe horizontale de l'autre côté, légèrement plus haut que le fond de l'entaille d'abattage.

Avant d'abattre un arbre, faire évacuer toutes les personnes présentes et surveiller la zone de travail.
Débitage et ébranchage

- Toujours bien se caler les pieds. Ne pas monter sur le tronc.
- Prendre garde au fait que le tronc risque de se retourner ou de rouler. Si le terrain est en pente, toujours se tenir plus haut que le tronc sur la pente.
- Pour éviter le rebond de la tronçonneuse, respecter les consignes du chapitre "Pour la sécurité".
Avant de couper une branche ou un tronc en flexion, observer le sens de la flexion et finir la coupe à l'opposé du côté en flexion pour éviter que le guide-chaîne ne soit coincé dans la coupe.
Tronc reposant sur le sol

Couper à moitié, retourner le tronc et finir la coupe par l'autre côté.
Tronc en surélévation

text_image
B A ① ② ② ①Commencer par couper au tiers par en dessous dans la zone A et finir la coupe par-dessus. Dans la zone B, couper au tiers par-dessus et finir la coupe par en dessous.
Ebranchage d'un arbre abattu

Avant toute intervention de nettoyage, d'inspection ou de démontage, arrêter le moteur et attendre qu'il refroidisse. Débrancher le fil de la bougie pour éviter que le moteur ne démarre accidentellement.
■ ENTRETIEN APRES CHAQUE UTILISATION
1. Filtre à air
Enlever la poussière sur la surface du filtre en tapant le coin du filtre sur une surface dure. Pour nettoyer la poussière prise dans les mailles, séparer le filtre en deux et le brosser avec de l'essence. Si on utilise de l'air comprimé, souffler par l'intérieur.

Pour remonter le filtre, appuyer sur les bordures jusqu'à encliquetage.
Note : En remettant le filtre principal, introduire les languettes du bord du filtre dans les renfoncements du cache culbuteur.
2. Orifice de sortie d'huile
Déposer le guide-chaîne et vérifier que l'orifice de sortie d'huile n'est pas obstrué.

text_image
Orifice de sortie d'huileObserver d'abord le sens de flexion de la branche. Faire une première entaille du côté en flexion et finir la coupe du côté opposé.

Attention au saut de la branche au moment où elle se détache du tronc.
Elagage d'un arbre

Commencer par entailler par en dessous et finir la coupe par-dessus.

- Ne jamais travailler sur un échafaudage ou une échelle instable.
- Ne pas travailler à bout de bras trop loin de soi.
- Ne pas couper plus haut que le niveau des épaules.
- Toujours tenir la tronçonneuse à deux mains.
3. Guide-chaîne
Après la dépose du guide-chaîne, éliminer la sciure dans la rainure et l'orifice de sortie d'huile. Injecter de la graisse dans l'orifice de graissage de la roue dentée à l'extrémité du guide-chaîne.

text_image
Orifice de sortie d'huile
text_image
Orifice de graissage Roue dentée4. Divers
Vérifier que le carburant ne fuit pas et que la boulonnerie est bien serrée. En particulier, contrôler l'état et le serrage de la poignée, du guidon et du guide-chaîne. En cas d'anomalie, ne pas réutiliser la tronçonneuse avant de l'avoir réparée.
■ ENTRETIEN PERIODIQUE
1. Ailettes du cylindre
Vérifiez et nettoyez régulièrement les ailettes du cylindre dans un atelier spécialisé.
2. Filtre à essence
(a) A l'aide d'un fil de fer recourbé, sortir le filtre à essence de l'orifice de remplissage.

text_image
Filtre à essence(b) Démonter le filtre et le laver avec de l'essence, ou remplacer le filtre par un neuf si nécessaire.
Note :
- Après dépose du filtre, immobiliser le tuyau d'aspiration à l'aide d'une pince.
- Au remontage, veiller à ne pas introduire de la poussière ou des impuretés dans le tuyau d'aspiration.
3. Bougie

text_image
0,6 ~ 0,7 mmNettoyer les électrodes et, si nécessaire, régler l'écartement à 0,65 mm.
4. Roue dentée

text_image
0.5mmVérifier que la roue dentée n'est pas ébréchée et que la denture n'est pas usée au point de patiner sur la chaîne. Remplacer la roue dentée si elle est endommagée ou très usée. Ne pas utiliser une chaîne neuve avec une roue dentée usée ou bien une chaîne usée avec une roue dentée neuve.
8. Entretien de la chaîne et du guide-chaîne
Chaîne

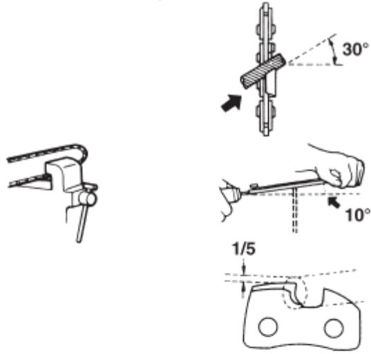
Pour la sécurité et le rendement dans le travail, les dents de la chaîne doivent toujours être bien affûtées.
Les dents de chaîne doivent être affûtées lorsque :
• La sciure produite est poudreuse.
- Il faut appuyer excessivement pour faire mordre la chaîne dans le bois.
• La coupe n'est pas droite.
• La tronçonneuse vibre fortement.
- La consommation de carburant augmente.
Méthode et critères d'affûtage :

Porter des gants de sécurité.
Poser la lime sur la dent et pousser bien droit. Maintenir l'orientation de la lime indiquée ci-contre.

text_image
Gabarit d'affûtage Arrondir l'arête
text_image
Voie standard
Arrondir le bord d'attaque des dents pour réduire le risque de rebond ou de rupture des maillons.
Vérifier que toutes les dents présentent les longueurs et angles de tranchant indiqués sur l'illustration.
Longueur de tranchant


Angle d'affûtage

Angle de tranchant latéral

Angle de tranchant supérieur
■ Guide-chaîne
- Retourner le guide-chaîne de temps à autre pour éviter l'usure inégale.
9. Guide de dépannage
Cas 1. Défaut de démarrage

flowchart
graph TD
A["Veiller à ce que le système de prévention contre la congélation ne soit pas en fonctionnement."] --> B["Vérifier s'il y a de l'eau dans le combustible ou si le mé-lange n'est pas approprié."]
B --> C["Vérifier si le moteur est inondé."]
C --> D["Inspector l'allumage de la bougie."]
D --> E["Remplacer par un combustible approprié."]
E --> F["Enlever et sécher la bougie d'allumage. Puis tirer de nouveau le démarreur sans starter."]
F --> G["Remplacer par une nouvelle bougie."]
Cas 2. Manque de puissance/Accélération insuffisante/Marche au ralenti approximative

flowchart
graph TD
A["Vérifier si le combustible contient de l'eau ou présente un mélange non approprié."] --> B["Remplacer par un mélange approprié."]
A --> C["Vérifier si le filtre à air et le filtre à combustible sont bouchés."]
C --> D["Nettoyer."]
C --> E["Vérifier si le carburateur présente un réglage non approprié."]
E --> F["Régler de nouveau les aiguilles de vitesse."]
- Le rail du guide-chaîne doit maintenir la chaîne d'aplomb. Poser une règle contre le rail et contre l'extérieur d'une dent. Il doit subsister un interstice entre le guide-chaîne et la règle. Si ce n'est pas le cas, cela signifie que le rail est usé. Il faut alors réparer ou remplacer le guide-chaîne.

text_image
Règle Interstice Pas d'interstice La chaîne est penchéeCas 3. L'huile ne sort pas

flowchart
graph TD
A["Vérifier si l'huile est de mauvaise qualité."] --> B["Remplacer l'huile."]
C["Vérifier si les orifices et passages d'huile sont bouchés."] --> D["Nettoyer."]
Cas 4. Le couvercle de frein ne correspond pas
Vérifiez si le frein est activé.
Si votre machine nécessite un entretien ultérieur, consultez le centre de service agréé le plus proche.
Se il vous plaît visitez www.parkerbrand.co.uk des pièces de rechange et consommables.
10. Mise au rebut
- Lorsque vous mettez la machine au rebut, de la démontez pas.
- Lorsque vous mettez la machine, l'essence ou l'huile pour chaîne au rebut, assurez-vous de suivre vos réglementations locales.
11. Fiche technique
Groupe moteur :
Cylindrée (cm³) :
PCS-5800 58,0
Carburant : Mélange
(Essence/Huile moteur 2-temps : 25/1)
Contenance du réservoir de carburant (cm³) : .....550
Huile de chaîne : ...... Huile moteur 2 temps
Contenance du réservoir d'huile (cm³) : 260
Carburateur : Type à membrane
Allumage : Sans contact
Bougie : ....LD L7T
Alimentation en huile : ...... Pompe automatique
Puissance 2,3/8.500 (kw/min ^-1 )
Vitesse maximum 12.000 (min ^-1 )
Vitesse de ralenti 3000 (min ^-1 )
Roue dentée (Nombre de dents x Pas) : ...... 7T x 0,325"
Dimensions (Long. x Larg. x Haut.) (mm) : ..... 380 x 250 x 275
Poids à vide
Groupe moteur seulement (kg) : 5,8
Tête de coupe :
Guide-chaîne
Type : .... Extrémité à roue dentée
Taille (pouces (mm)): 18 (450), 20 (500)
Chaîne
Longueur des maillons (pouces (mm)) : ...... 0,325 (8,26)
Largeur (pouces (mm)): 0,058 (1,5)
Les caractéristiques peuvent être modifiées sans préavis.
Groupe moteur :
Cylindrée (cm³) :
PCS-6200 62,0
Carburant : Mélange
(Essence/Huile moteur 2-temps : 25/1)
Contenance du réservoir de carburant (cm³) : .....550
Huile de chaîne : ...... Huile moteur 2 temps
Contenance du réservoir d'huile (cm³) : 260
Carburateur :.... Type à membrane
Allumage : Sans contact
Bougie : ....LD L7T
Alimentation en huile : ...... Pompe automatique
Puissance 2,6/8.500 (kw/min ^-1 )
Vitesse maximum 12.000 (min ^-1 )
Vitesse de ralenti 3000 (min ^-1 )
Roue dentée (Nombre de dents x Pas) : ...... 7T x 0,325"
Dimensions (Long. x Larg. x Haut.) (mm) : ..... 380 x 250 x 275
Poids à vide
Groupe moteur seulement (kg) : 6,5
Tête de coupe :
Guide-chaîne
Type : .... Extrémité à roue dentée
Taille (pouces (mm)) : 18 (450), 20 (500)
Chaîne
Longueur des maillons (pouces (mm)) : ...... 0,325 (8,26)
Largeur (pouces (mm)) : 0,058 (1,5)
Les caractéristiques peuvent être modifiées sans préavis.
Antibevriezingsmechanisme van de carburateur
Carburateur: ...... Membraamtype
Carburateur: ...... Membraamtype
Notice Facile