PGEA-5200 - Tarière thermique PARKER - Notice d'utilisation et mode d'emploi gratuit
Retrouvez gratuitement la notice de l'appareil PGEA-5200 PARKER au format PDF.
| Type de moteur | Moteur thermique 2 temps |
| Capacité du réservoir | Non précisé |
| Puissance | Non précisé |
| Vitesse de rotation | Non précisé |
| Type de carburant | Essence sans plomb |
| Capacité du cylindre | Non précisé |
| Poids | Non précisé |
| Type de transmission | Transmission par engrenage |
| Diamètre de la tarière | Non précisé |
| Longueur de la tarière | Non précisé |
| Type de démarrage | Démarrage manuel par lanceur |
| Utilisation recommandée | Forage de trous dans la terre |
| Poignée | Poignée ergonomique |
| Accessoires inclus | Tarière spiralée |
| Normes de sécurité | Conforme CE |
FOIRE AUX QUESTIONS - PGEA-5200 PARKER
Questions des utilisateurs sur PGEA-5200 PARKER
0 question sur cet appareil. Repondez a celles que vous connaissez ou posez la votre.
Poser une nouvelle question sur cet appareil
Téléchargez la notice de votre Tarière thermique au format PDF gratuitement ! Retrouvez votre notice PGEA-5200 - PARKER et reprennez votre appareil électronique en main. Sur cette page sont publiés tous les documents nécessaires à l'utilisation de votre appareil PGEA-5200 de la marque PARKER.
MODE D'EMPLOI PGEA-5200 PARKER
Avant d'utiliser nos produits veuillez lire attentivement ce manuel afin de bien assimiler le fonctionnement de l'outil.

WARNUNG

Les instructions contenues dans les mises en garde de ce mode d'emploi portant le symbole ▲ concernent les points critiques qui doivent être pris en considération pour éviter les blessures graves, c'est pourquoi ces précautions doivent être rigoureusement suivies.
AVERTISSEMENTS DE CE MODE D'EMPLOI
AVERTISSEMENT
Les instructions signalées par ce symbole doivent être rigoureusement suivies afin d'éviter tout accident pouvant entraîner des blessures corporelles graves ou la mort.
IMPORTANT
Les instructions signalées par ce symbole doivent être suivies afin d'éviter tout incident mécanique, panne ou endommagement de la débroussailleuse.
REMARQUE
Remarques utilisées dans les instructions ou conseils supplémentaires pour l'utilisation de cette débroussailleuse.
Table des matières
- Emplacement des pièces 13
- Caractéristiques .... 14
- Etiquettes d'avertissement situées sur la machine 14
- Symboles utilisés sur la machine ..... 14
- Consignes de sécurité.... 15
- Assemblage 18
- Carburant.... 19
- Fonctionnement ...... 21
- Entretien 22
- Rangement 24
- Guide de localisation de pannes....24
- Mise au rebut 24
1. Emplacement des pièces

(1) Poignée gauche
(2) Transmission d'angle
(3) Moteur
(4) Réservoir de carburant
(5) Poignée de démarrage
(6) Gâchette de la commande de vitesse
(7) Poignée droite
(8) Mèche (option)
(9) Chassis
(10) Interrupteur de démarrage
(11) Câble d'accélérateur
(12) D'amorçage
(13) Levier du starter
(14) Capot du filtre à air
2. Caractéristiques
| Model | PGEA-5200 | |
| Engine Cylindrée | cm^3 | 52 |
| Puissance maximale | kW | 2,2 à 7500 rpm |
| Carburateur | Diaphragme | |
| Dispositif d'allumage | CDI | |
| Bougie | LD BM6A | |
| Démarreur | Demarreur a recul | |
| Carburant | Mélange essence-huile spécial 2 temps (40:1) | |
| Contenance du réservoir de carburant | L | 1.2 |
| Transmission | Embrayage centrifuge, engrenage à vis sans fin | |
| Lubrifiant pour boîte d'engrenages | Huile pour engrenages SAE#80-90 | |
| Rapport de réduction | 30:1 | |
| Dimensions (encombrement) Longueur | mm | 660 |
| Largeur | mm | 374 |
| Hauteur (sans foret) | mm | 309 |
| Poids net (sans foret) | kg | 10,4 |
| Taille du foret amovible Diamètre | mm | 100 à 200 |
Ces spécifications peuvent être modifiées sans préavis.
3. Etiquettes d'avertissement situées sur la machine

(2) Lire le mode d'emploi avant d'utiliser cette machine.

(3) Porter un casque et des lunettes de sécurité, un casque antibruit.

Si les étiquettes d'avertissement se décollent, deviennent sales ou impossibles à lire, commander de nouvelles étiquettes auprès du revendeur pour les remplacer.

Ne pas modifier votre machine.
La garantie sera annulée si la débroussailleuse a été modifiée ou utilisée de manière non conforme aux instructions de ce mode d'emploi.
4. Symboles utilisés sur la machine
Des symboles en relief ont été placés sur la machine pour assurer la sécurité à l'usage et faciliter l'entretien. Prendre soin d'observer les indications suivantes afin d'éviter les erreurs.

Emplacement de remplissage du "ME-LANGE"
Emplacement : BOUCHON DU RESER- VOIR DE CARBURANT

Position fermée du starter
Emplacement : CAPOT DU FILTRE A AIR

Position ouverte du starter
Emplacement : CAPOT DU FILTRE A AIR
▲ 5. Consignes de sécurité

- Lire ce manuel attentivement jusqu'à une compréhension totale et suivre toutes les instructions de sécurité et d'utilisation.
- Conserver ce mode d'emploi à portée de la main pour le consulter au moindre doute. Si une question reste sans réponse, contacter le revendeur où vous avez acheté la débroussailleuse.
- Ne pas oublier de donner le manuel avec la machine en cas de revente ou de prêt.
- Ne pas laisser des enfants ou toute personne incapable de comprendre les instructions, utiliser cette machine.
CONDITIONS DE TRAVAIL
- Lors de l'utilisation de cette machine, il est nécessaire de porter des vêtements appropriés et des équipements de sécurité.
(1) Casque
(2) Casque antibruit
(3) Lunettes ou masque de protection
(4) Gants de travail épais
(5) Chaussures de sécurité à se-melle antidérapante
- Les objets suivants doivent être emportés sur le lieu de travail.
(1) Les outils fournis avec la machine
(2) Une réserve de carburant
(3) Une lame de rechange
(4) Matériel pour délimiter la zone de travail
(5) Un sifflet (pour collaborateur ou en cas d'urgence)
(6) Une hache ou une scie (pour enlever les obstacles)
- Ne pas porter de vêtements larges, de short, de bijoux, de sandales ou travailler pieds nus. Ne pas porter quoi que ce soit pouvant être happé par les pièces en mouvement de la machine. Porter les cheveux longs noués au-dessus des épaules.

- Ne jamais mettre la machine en marche à l'intérieur d'une pièce ou d'un bâtiment. Les gaz d'échappement contiennent du monoxyde de carbone dangereux.
- Ne jamais utiliser la machine dans les conditions suivantes :

a. Lorsque le sol est glissant ou lorsqu'il est impossible de se maintenir dans une position correcte.
b. La nuit, par temps de brouillard ou lorsque la visibilité ou le champ de vision empêche de voir clairement la zone de travail.
c. Pendant les averses, les orages avec éclairs, par grands vents ou toute autre condition climatique rendant l'utilisation de la machine dangereuse.
PLAN DE TRAVAIL
- Ne jamais utiliser la machine sous l'influence de l'alcool ou en état de faiblesse due à la fatigue, au manque de sommeil, à la prise de médicament ou à tout autre moment où l'on n'est pas réellement capable de l'utiliser correctement et en toute sécurité.
- Lors de l'élaboration du plan de travail, prévoir suffisamment de temps de repos. Limiter la durée des périodes pendant lesquelles la machine est utilisée sans interruption entre 30 et 40 minutes. Se reposer de 10 à 20 minutes entre ces périodes. Autant que possible, essayer de limiter ce genre de travail à 2 heures par jour.
AVERTISSEMENT
- Si ce plan de travail et cette méthode de travail ne sont pas respectés, un accident dû au stress répétitif peut se produire (voir "UTILISATION DE LA MACHINE").
Si l'on ressent un malaise ou si les doigts ou tout autre membre rougissent et enflent, consulter un docteur avant que cela ne s'aggrave. - Pour éviter les problèmes de bruit avec le voisinage, utiliser de préférence la machine entre 8 et 17 heures pendant la semaine et de 9 à 17 heures les fins de semaine.
REMARQUE
Vérifier et suivre la réglementation locale sur le niveau de bruit et les horaires d'utilisation de ce type de machine.
▲ 5. Consignes de sécurité

-
La zone dans un rayon de 15 mètres autour de l'utilisateur est considérée comme dangereuse et personne ne doit s'y trouver. Si nécessaire, délimiter le périmètre de la zone de travail avec du ruban de marquage (rouge fluorescent et blanc par exemple) et poser des panneaux d'avertissement. Lorsque deux ou plusieurs personnes travaillent ensemble ou à proximité, chacune doit constamment faire attention et garder ses distances par rapport aux autres pour assurer une sécurité satisfaisante.
-
Vérifier constamment l'état de la zone de travail pour éviter tout accident dû aux impacts avec des obstacles tels que les souches, les pierres, les boîtes de conserves ou débris de verre.
IMPORTANT
Retirer tout obstacle avant de commencer le travail.
- Vérifiez que tous les éléments de l'unité sont bien serrés et qu'il n'existe aucune fuite de carburant. Vérifiez que le foret est correctement monté et bien serré.
DEMARRAGE DU MOTEUR
-
Empêcher toute personne ou animal de s'approcher à moins de 15 mètres. Si quelqu'un s'approche trop près, arrêter aussitôt le moteur.
-
Ce produit est équipé d'un embrayage centrifuge, de sorte que le foret commence à tourner dès que le levier d'accélération est activé. Pour démarrer le moteur, posez et maintenez fermement la machine à plat sur le sol dans un endroit dégagé où aucun obstacle ne peut entrer en contact avec le foret ou le levier d'accélération.

Ne jamais mettre la manette de l'accélérateur à fond lors de la mise en marche.
- Une fois que le moteur tourne, vérifiez que le foret n'est plus en mouvement lorsque le papillon est complètement ramené sur sa position de départ. S'il continue à tourner après avoir remis le papillon en position initiale, coupez le moteur et faites réparer votre appareil par votre distributeur agréé.
UTILISATION DE LA MACHINE
IMPORTANT
Ne percez que les matériaux recommandés par le fabricant et n'utilisez l'appareil que pour les travaux décrits dans le présent manuel.
- Tenir les poignées de la machine fermement des deux mains. Ecarter légèrement les jambes (pour que les pieds reposent sur une largeur un peu plus importante que celle des épaules), avoir une posture de travail stable et répartir le poids du corps également sur chaque jambe.
- Faites tourner le moteur à la vitesse appropriée au perçage sans accélérer inutilement au-dessus du niveau nécessaire.
- Si la machine se met à vibrer ou à créer des secousses, arrêter le moteur et procéder à une vérification totale de la machine. Ne pas utiliser la machine avant que la panne ne soit réparée.
- Ce produit est équipé d'un embrayage centrifuge, de sorte que l'accessoire de coupe se met en marche dès que le moteur démarre.
- Ne jamais toucher le silencieux, la bougie ou toute autre partie métallique du moteur pendant le fonctionnement ou aussitôt après son arrêt. Dans ces circonstances, les risques de brûlures ou d'électrocution sont importants.

text_image
15m▲ 5. Consignes de sécurité
• SI QUELQU'UN S'APPROCHE
- Il faut se préserver des situations dangereuses à tout moment. Avertir les adultes de maintenir les enfants et les animaux à distances car le risque de recevoir des projections d'objets est important.
- Si quelqu'un appelle ou interrompt le travail d'une manière ou d'une autre, arrêter le moteur avant de se tourner vers la personne.

- De manière à conserver la machine en parfait état de marche, effectuer à intervalles réguliers les opérations et les vérifications d'entretien décri-tes dans le mode d'emploi.
- Toujours arrêter le moteur avant d'effectuer les vérifications ou opérations d'entretien.
AVERTISSEMENT
Les pièces métalliques atteignent leur plus haute température aussitôt après l'arrêt de la machine.
- Lors du remplacement du foret ou tout autre pièce, de l'huile ou un lubrifiant quelconque, veillez à n'utiliser que des produits certifiés.
- Pour toute pièce devant être remplacée ou pour toute opération d'entretien ou de réparation non décrite dans ce manuel, contacter le centre de SAV le plus proche pour de mander assistance.
- Ne pas utiliser d'accessoires ou d'outils de marque non agréés.
- Ne jamais démonter ou modifier la machine, quelles que soient les circonstances. Dans le cas contraire, la machine risque d'être endommagée en cours d'utilisation ou de ne pas fonctionner correctement.

text_image
Refinsse le pleas après avon laissé refoudir le motionMANIPULATION DU CARBURANT
- Le moteur est conçu pour fonctionner avec du mélange contenant de l'essence hautement inflammable. Ne jamais entreposer de bidon de carburant ou refaire le plein de la machine dans un local où se trouve une chaudière, un poêle, un feu ouvert, des étincelles, un poste à souder électrique ou toute autre source de chaleur ou d'étincelles pouvant enflammer le carburant.
- Ne jamais fumer pendant l'utilisant de la machine ou son remplissage en carburant.
- Avant de refaire le plein de carburant, toujours arrêter le moteur et laisser refroidir la machine. Vérifier aussi l'absence de flammes ou d'étincelles à proximité avant de faire le plein.
- Essuyer avec un chiffon toute trace de carburant renversé lors du remplissage.
- Une fois le plein effectué, bien resserrer le bouchon du réservoir et éloigner la machine à plus de 3 mètres de l'endroit où le plein a été fait avant de la remettre en marche.
TRANSPORT
- Pour transporter la machine, recouvrez le foret si besoin est, soulevez la machine et transportez-la en faisant attention au foret.
- Ne jamais transporter la machine sur mauvaise route et sur une grande distance sans vider complètement le réservoir de carburant. Sinon le carburant pourrait s'échapper du réservoir pendant le trajet.

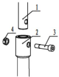
Un paquet contient les éléments illustrés.

INSTALLATION DU FORET
- Insé rer la mè che sur l'arbre de transmission.
l'é crou.

text_image
1 2 3 4- L'essence est un produit hautement inflammable. S'abstenir de fumer et ne tolérer aucun flamme ou source d'étincelles à proximité de l'endroit où est entreposée l'essence. Arrêter le moteur puis le laisser refroidir un peu avant de remplir le réservoir. Remplir le réservoir à l'extérieur sur une surface nue et éloigner le bidon d'essence d'au moins 3 mètres avant de mettre le moteur de la tronçonneuse en marche.

| Mélange | 25:1 | 40:1 √ |
| Essence SP95 | Huile en ml | Huile en ml |
| 1,0 Litre | 40 | 25 |
| 1,5 Litre | 60 | 38 |
| 2,0 Litre | 80 | 50 |
| 2,5 Litre | 100 | 63 |
| 3,0 Litre | 120 | 75 |
| 3,5 Litre | 140 | 88 |
| 4,0 Litre | 160 | 100 |
| 4,5 Litre | 180 | 113 |
| 5,0 Litre | 200 | 125 |
| 5,5 Litre | 220 | 138 |
| 6,0 Litre | 240 | 150 |
| 6,5 Litre | 260 | 163 |
| 7,0 Litre | 280 | 175 |
| 7,5 Litre | 300 | 188 |
| 8,0 Litre | 320 | 200 |
| 8,5 Litre | 340 | 213 |
| 9,0 Litre | 360 | 225 |
| 9,5 Litre | 380 | 238 |
| 10,0 Litre | 400 | 250 |
| 10,5 Litre | 420 | 263 |
| 11,0 Litre | 440 | 275 |
| 11,5 Litre | 460 | 288 |
| 12,0 Litre | 480 | 300 |
| 12,5 Litre | 500 | 313 |
| 13,0 Litre | 520 | 325 |
| 13,5 Litre | 540 | 338 |
| 14,0 Litre | 560 | 350 |
| 14,5 Litre | 580 | 363 |
| 15,0 Litre | 600 | 375 |
| 15,5 Litre | 620 | 388 |
| 16,0 Litre | 640 | 400 |
| 16,5 Litre | 660 | 413 |
| 17,0 Litre | 680 | 425 |
7. Carburant
| 17,5 Litre | 700 | 438 |
| 18,0 Litre | 720 | 450 |
| 18,5 Litre | 740 | 463 |
| 19,0 Litre | 760 | 475 |
| 19,5 Litre | 780 | 488 |
| 20,0 Litre | 800 | 500 |
- La composition des gaz d'échappement est contrôlée par les principaux paramètres et composants du moteur (comme par ex., la carburation, le calage de l'allumage et le calage du port) sans avoir besoin d'effectuer des changements de matériel ou à introduire un matériel inerte durant la combustion.
- Ces moteurs sont certifiés pour fonctionner avec de l'essence sans plomb.
- Si une essence à indice d'octane inférieur est utilisée, il y a un risque important d'augmentation dangereuse de la température du moteur, entraînant des problèmes de moteur au niveau des cylindres par exemple.
- Il est préférable d'utiliser de l'essence sans plomb afin de réduire la pollution de l'atmosphère et de participer ainsi à la protection de l'environnement et de votre santé.
- De l'essence ou de l'huile de basse qualité risque d'endommager les joints, les conduites d'essence ou le réservoir d'essence du moteur.
■ COMMENT OBTENIR UN BON MELANGE
! AVERTISSEMENT
Faire attention à ne pas trop remuer le carburant.
- Mesurez les volumes d'essence et d'huile à mélanger.
- Verser un peu d'essence dans un récipient à carburant propre.
- Verser ensuite toute l'huile, puis bien remuer le tout.
- Verser enfin le reste de l'essence, puis bien mélanger l'ensemble pendant une minute environ. Etant donné que certains types d'huiles sont plus fluides que d'autres en fonction de leur composition, un brassage énergique est nécessaire afin de garantir une bonne marche du moteur pendant longtemps. En effet, en cas de mélange insuffisant, un risque majeur de problèmes au niveau des cylindres peut apparaître en raison d'un mélange hétérogène.
- Placer une étiquette assez grande sur le récipient afin d'éviter de le confondre avec de l'essence ou avec d'autres récipients.
- Indiquer les composants sur cette étiquette afin d'en faci-liter l'identification.
■ REMPLISSAGE DU RESERVOIR
- Dévisser puis retirer le bouchon de carburant. Déposer ce bouchon sur une surface non poussièreuse.
- Remplir le réservoir de carburant à 80% de sa capacité totale.
- Visser fermement le bouchon du réservoir et essuyer toute éventuelle éclaboussure d'essence sur l'appareil.
AVERTISSEMENT
- Choisir une surface plane et nue pour effectuer le remplissage.
- S'éloigner d'au moins 3 mètres du point de remplissage avant de démarrer le moteur.
- Arrêter le moteur avant de démarrer l'appareil. Bien remuer à cet instant le mélange d'essence dans le réservoir.
■ A EVITER POUR PROLONGER LA DUREE DE VIE DU MOTEUR :
- ESSENCE SANS HUILE (ESSENCE PURE) – L'essence pure est capable d'endommager très rapidement les pièces du moteur.
- NE PAS UTILISER LE CARBURANT DE TYPE SP95-E10 (AVEC 10% ÉTHANOL) POUR EFFECTUER LE MÉLANGE.
- NE PAS UTILISER DE L'ESSENCE ALKYLATE PRÊTE A L'EMPLOI, DÛ À UNE COMPOSITION DIFFÈRENTE CES TYPES DE CARBURANTS NE SONT PAS COMPATIBLES AVEC NOS MACHINES ET PEUVENT AVOIR, UNE DÉTÉRIORATION PRÉMATURÉE DU MOTEUR ET/OU CARBURATEURS, COMME CONSÉQUENCE.
- HUILE POUR MOTEURS 4 TEMPS – Elles risquent d'encrasser les bougies, de bloquer l'échappement ou d'endommager les segments des pistons.
- Les mélanges d'huile et de carburants laissés au repos pendant une période d'un mois ou plus risquent sérieusement d'encrasser le carburateur et d'entraîner par conséquent une défaillance du moteur.
- Dans l'éventualité d'une longue période d'inactivité, nettoyer le réservoir de carburant après l'avoir vidangé. Allumer ensuite le moteur et vider le mélange d'essence du carburateur.
- En cas de mise au rebut du récipient contenant le mélange d'huile, en disposer toujours dans une décharge autorisée.
8. Fonctionnement
MISE EN MARCHE DU MOTEUR
AVERTISSEMENT
Le foret commence à tourner au démarrage du moteur.
- Remplir le réservoir de carburant et bien resserrer le bouchon.
- Posez la machine sur une surface plane et solide. Le foret ne doit pas toucher le sol ni être entouré d' objets car il commence à tourner au démarrage du moteur.
- Appuyer plusieurs fois sur la pompe d'amorçage jusqu'à ce que de l'essence s'écoule par le tuyau de trop-plein.

text_image
(1) (1) Pom(1) Pompe d'amorçage
- Placer le starter en position fermée.

text_image
(1)
(1) Levier du starter
(2) Fermé
(3) Ouvert
- Positionner le contacteur d'arrêt sur "RUN". Posez l'unité sur une surface plane et solide. Ne laissez aucun objet autour de la tête de coupe.

(1) Contacteur d'arrêt
- Tout en maintenant fermement la machine, tirer la corde de démarrage rapidement jusqu'à ce que le moteur démarre.

(a) Tenez la poignée droite à l'aide de votre main gauche.
(b) Soutenez la poignée gauche à l'aide de votre bassin.
(c) N' appuyez pas le foret sur le sol.
IMPORTANT
Eviter de tirer à fond sur la corde de démarrage ou de relâcher brutalement la poignée. Ces opérations risquent d'endommager le système de démarrage.
- Ramener le levier du starter vers le bas pour le remettre en position ouverte. Et redémarrer le moteur.
- Laisser le moteur chauffer pendant plusieurs minutes avant de commencer à travailler.
REMARQUE
- Pour redémarrer le moteur aussitôt après l'avoir arrêté, laisser le starter en position ouverte.
- Trop tirer sur le starter risque de rendre le moteur difficile à démarrer à cause de l'excès de carburant. Si le moteur refuse de démarrer après plusieurs tentatives infructueuses, placer le starter en position ouverte et tirer à nouveau plusieurs fois la corde de démarrage ou enlever et sécher la bougie.
ARRET DU MOTEUR
- Relâcher la manette d'accélérateur et laisser tourner le moteur pendant encore 30 secondes.
- Positionner le contacteur d'arrêt sur STOP.
IMPORTANT
Sauf en cas d'urgence, ne jamais couper le contact lorsqu'on accélére.
FORAGE
- Tenir toujours fermement la mèche à une certaine distance en tenant la poignée avec les deux mains.
- Un mouvement de réaction risque de se produire sur la mèche lorsque le foret tournant frappe des pierres ou des racines d'arbre sous le sol. Toujours tenir fermement la mèche afin de contrôler un tel mouvement.
- Commencer le forage avec le levier de commande de gaz à mi-course de façon à ce que le foret puisse entrer facilement dans le sol.
- Lorsque le foret est coincé dans le sol et ne peut plus être sorti, verrouiller le foret et faire tourner la mèche dans le sens contraire des aiguilles d'une montre.

| Système/composants | Procédure | Avant utilisation | Toutes les 25 heures | Toutes les 50 heures | Toutes les 100 heures | Remarque | |
| MOTEUR | fuites d'essence, éclaboussures d'essence | essuyer | √ | ||||
| réservoir d'essence, filtre à air, filtre à essence | inspecter/nettoyer | √ | √ | remplacer si nécessaire | |||
| vis de réglage de ralenti | voir réglage ralenti | √ | remplacer le carburateur si nécessaire | ||||
| bougie d'allumage | nettoyer et réajuster jeu de prise | √ | JEU : 0,65 mm remplacer si nécessaire | ||||
| prise d'air de refroidissement | nettoyer | √ | |||||
| UNITÉ PRINCIPALE | levier d'accélération, démarreur | vérifier le fonctionnement | √ | ||||
| foret | remplacer si un problème survient | √ | |||||
| boîte d'engrenages | huile | √ | |||||
| vis/écrous/boulons | serrer/remplacer | √ | √ | pas des vis de réglage |
- S'assurer avant tout nettoyage, contrôle ou réparation de la machine que le moteur soit arrêté et froid.
- Utilisez toujours des gants de protection pour inspecter, retirer ou installer le foret.
AVERTISSEMENT
- Avant d'entreprendre une opération d'entretien sur la machine, veillez à ce que le moteur soit bien arrêté et refroidi. Vous risquez de vous blesser si vous touchez le silencieux quand il est encore chaud.
- Ne modifiez pas le foret et ne démontez pas le moteur.
- Lors du remplacement des pièces, utiliser des pièces d'origine Zenoah ou des pièces désignées.
FILTRE A AIR
- Si le filtre à air est encrassé, les performances du moteur en seront réduites.
- (1) Elément de filtre : Vérifier et nettoyer l'élément de filtre avec de l'eau savonneuse tiède. Le sécher complètement avant de le réinstaller.
• (2) Elément en papier : Contrôler et nettoyer l'élément en papier en insufflant de l'air comme requéri. - Si l'élément de filtre est cassé ou rétréci, le remplacer par un neuf.

(1) Elément de filtre
IMPORTANT
- Si l'élément du filtre à air est colmaté, le rendement du moteur sera réduit. De plus, l'intérieur du moteur subira une usure anormale s'il est utilisé sans l'élément ou s'il est utilisé en continu avec un élément déformé ou endommagé.
FILTRE à CARBURANT
Au bout de 50 heures de fonctionnement, vider le réservoir à carburant, détacher le filtre à carburant du réservoir, et retirer toute la saleté. Si le filtre est trop colmaté, le remplacer par un filtre neuf.

- Si le filtre à carburant est colmaté, la vitesse du moteur peut être limitée ou des variations de vitesse risquent de se produire.
- Si le moteur est utilisé sans filtre à carburant, la saleté s'accumulera dans le carburateur et provoquera un mauvais fonctionnement.
9. Entretien
BOUGIES
AVERTISSEMENT
- Ne pas toucher les bougies à mains nues immédiatement après l'utilisation du pulvérisateur, car il y a risque de brûlures dues à une température élevée.

- Au bout de 50 heures de fonctionnement, enlever les bougies et retirer la saleté des électrodes avec une brosse métallique ou une brosse similaire.
- L'espacement correct entre les électrodes est de 0,6\~0,7 mm.
- Lors du remplacement des bougies, utiliser des bougies ayant les spécifications désignées.

text_image
0,65 mmIMPORTANT
- Si trop de carburant est absorbé, ou si une huile de mauvaise qualité est utilisée, les électrodes des bougies deviennent sales, rendant le démarrage du moteur plus difficile.
- Prendre note que l'utilisation d'un type de bougie différent peut causer des pannes, la surchauffe du moteur et même des dégâts internes.
- Lors de la mise en place d'une nouvelle bougie, la serrer complètement à la main et terminer en serrant un quart de tour à la clé.
SILENCIEUX
AVERTISSEMENT
- Inspectez périodiquement le pot d'échappement pour détecter toute fixation lâche, tout endommagement ou corrosion. Si un signe de fuite d'échappement est repéré, cessez d'utiliser la machine et procédez immédiatement à sa réparation dans un magasin de réparation spécialisé.
- Si l'on continue d'utiliser la machine dans ces conditions, le moteur risque de prendre feu.
OUÏE DU REFROIDISSEMENT PAR AIR
AVERTISSEMENT
- Vérifiez la prise d'air de refroidissement toutes les 25 heures d'utilisation pour détecter toute obstruction, et retirez les déchets fixés sur la débrousailleuse.
IMPORTANT
- Si des déchets se sont coincés et forment une obstruction autour de la prise d'air de refroidissement, le moteur risque de surchauffer, pouvant causer ainsi une défaillance mécanique sur la partie de la débrousailleuse.

text_image
(1)(1) Ouïe d'entrée d'air de refroidissement (arrière)
■ POINTS D'ENTRETIEN PÉRIODIQUES AILETTES CYLINDRES
Vérifiez et nettoyez périodiquement les ailettes cylindres dans votre magasin de réparation spécialisé.
9. Entretien
MÈCHE
Vérifier que le foret est bien affûté.
Remplacer l'embout ou la lame interchangeable s'ils sont usés, car la pénétration sera difficile.
INTERVALLE DE REMPLACEMENT RECOMMANDÉ
1ère fois: Après 50 heures de fonctionnement 2ème fois et suivantes: Toutes les 100 heures de fonctionnement.
- Débrancher le moteur de la boîte de vitesses et vérifier l'état de l'embrayage toutes les 100 heures de fonctionnement. Essuyer l'huile sur le tambour et les patins, et remplacer les pièces usées par des pièces neuves.
10. Rangement
- Vidanger le réservoir à carburant et enfoncer la bulle de l'amorceur jusqu'à ce qu'elle ne contienne plus de carburant.
- Retirer la bougie et faire tomber une cuillère d'huile 2 temps dans le cylindre.
Lancer le moteur plusieurs fois et remettre la bougie en place. - Brosser la saleté de la surface du foret et appliquer une huile anti-rouille
- Ranger l'outil dans un endroit sec, exempt de poussières.
11. Guide de localisation de pannes
1er cas : défaut de démarrage
| VERIFICATION | CAUSES PROBABLES | ACTION |
| réservoir de carburant | →carburant incorrect | →vidanger et remplacer le carburant |
| filtre à carburant | →filtre à carburant encrassé | →nettoyer |
| vis de réglage du carburateur | →déréglé | →refaire le réglage |
| allumage (pas d'allumage) | →bougie sale/noyée | →nettoyer/sécher |
| →jeu d'électrode incorrect | →régler le jeu (JEU : 0,65 mm) | |
| bougie d'allumage | →débranchée | →resserrer |
2e cas : le moteur démarre mais ne reste pas en marche ou est difficile à redémarrer
| VERIFICATION | CAUSES PROBABLES | ACTION |
| réservoir de carburant | →carburant incorrect ou vieux | →vidanger et remplacer le carburant |
| vis de réglage du carburateur | →déréglé | →refaire le réglage |
| silencieux, cylindre (échappement) | →dépôt de calamine | →consultez votre magasin de réparation spécialisé |
| filtre à air | →encrassé de poussière | →Jet d'air ou lavage à l'air |
| ailette de cylindre, flasque de ventilateur | →encrassé de poussière | →consultez votre magasin de réparation spécialisé |
Si la machine nécessite des opérations d'entretien plus élaborées, contacter le service après-vente le plus proche.
12. Mise au rebut
- Lorsque vous mettez la machine au rebut, de la démontez pas.
- Lorsque vous mettez la machine, l'essence ou l'huile pour chaîne au rebut, assurez-vous de suivre vos réglementations locales.
Notice Facile