EMIS254C - Scie à onglet THOMSON - Notice d'utilisation et mode d'emploi gratuit
Retrouvez gratuitement la notice de l'appareil EMIS254C THOMSON au format PDF.
| Type d'appareil | Scie à onglets |
| Alimentation | Électrique |
| Puissance | Non précisé |
| Vitesse de rotation | Non précisé |
| Diamètre de la lame | Non précisé |
| Capacité de coupe à 90° | Non précisé |
| Capacité de coupe à 45° | Non précisé |
| Angle de coupe réglable | Oui |
| Type de lame | Non précisé |
| Poids | Non précisé |
| Dimensions | Non précisé |
| Accessoires inclus | Non précisé |
| Utilisation recommandée | Découpe de bois et matériaux similaires |
| Garantie | Non précisé |
| Normes de sécurité | Non précisé |
FOIRE AUX QUESTIONS - EMIS254C THOMSON
Questions des utilisateurs sur EMIS254C THOMSON
0 question sur cet appareil. Repondez a celles que vous connaissez ou posez la votre.
Poser une nouvelle question sur cet appareil
Téléchargez la notice de votre Scie à onglet au format PDF gratuitement ! Retrouvez votre notice EMIS254C - THOMSON et reprennez votre appareil électronique en main. Sur cette page sont publiés tous les documents nécessaires à l'utilisation de votre appareil EMIS254C de la marque THOMSON.
MODE D'EMPLOI EMIS254C THOMSON
Description du produit 17

Assemblage 20

Utilisation 24


Entretien et maintenance 30

Garantie 34

Déclaration de conformité 36


AVERTISSEMENT! Veuillez tire soigneusement tous les avertissements de sécurité et assurez-vous de leur comprhension avant d'utiliser l'outil.








1








FR
G

H

0
J


K
L







AVERTISSEMENTS DE SECURITE GENÉRAUX POUR L'OUTIL ÉLECTRIQUE

AVERTISSEMENT: Lire tous les avertissements de sécurité, les instructions, les illustrations et les specifications fournis avec cet outil électrique. Ne pas suivre les instructionsénémérées ci-dessous peut provoquer un chocoléctrique, un incendie et/ou une blessure sérieuse.
Conserver tous les averissements et toutes les instructions pour pouvoir s'y reporter ultérieurement.
Le terme "outil électrique" dans les avertissements fait reférence à votre outil électrique alimenté par le secteur (avec cordon d'alimentation) ou votre outil électrique fonctionnant sur batterie (sans cordon d'alimentation).
1) SÉCURITÉ DE LA ZONE DE TRAVAIL
a) Conserver la zone de travail propre et bien éclairée. Les zones en désordre ou certains sont propices aux accidents.
b) Ne pas faire fonctionner les outils électriques en atmophère explosive, par exemple en présence de liquides inflammables, de gaz ou de poussières. Les outils électriques produits des étincelles qui peuvent enflammer les poussières ou les fumées.
c) Maintenir les enfants et les personnes représentes à l'écart pendant l'utilisation de l'outil. Les distractions peuvent vous faire perdre le contrôle de l'outil.
2) SÉCURITÉ ÉLECTRIQUE
a) Il faut que les fiches de l'outil électrique soient adaptées au socle. Ne jamais modifier la fiche de chaque façon que ce soit. Ne pas utiliser d'adaptateurs avec des outils à branchement de terre. Des fiches non modifiées et des socles adaptés réduiront le risque de chocoléctrique.
b) Éviter tout contact du corps avec des surfaces reliées à la terre telles que les tuyaux, les radiateurs, les cusinières et les réfrigerateurs. Il existe un risque accru de chic électrique si votre corps est relié à la terre.
c) Ne pas exposer les outils à la pluie ou à des conditions humides. La pénetration d'eau à l'intérieur d'un outil augmentera le risque de chocolélectrique.
d) Ne pas maltraiter le cordon. Ne jamais utiliser le cordon pour porter, tirer ou débrancher l'outil. Maintenir le cordon à l'écart de la chaleur, du lubrifiant, des arêtes ou des parties en mouvement. Des cordons endommagés ou emmélés augmentent le risque de chic électrique.
e) Lorsqu'on utilise un outil à l'extérieur, utiliser un prolongateur adapté à
l'utilisation extérieur. L'utilisation d'un cordon adapté à l'utilisation extérieur réduit le risque de chic électrique.
f) Si l'usage d'un outil dans un emplacement humide est inévitable, utiliser une alimentation protégée par un dispositif à courant différentiel résiduel (RCD). L'usage d'un RCD réduit le risque de chic électrique.
3) SÉCURITÉ DES PERSONNES
a) Rester vigilant, regarder ce que vous estes en train de faire et faire preuve de bon sens dans votre utilisation de l'outil electrique. Ne pas utiliser un outil electrique lorsque vous estes fatigued ou sous I'emprise de drogues, de I'alcohol ou de medicaments. Un moment d'inattention en cours d'utilisation d'un outil electrique peut entrainer des blessures graves.
b) Utiliser un équipement de protection individuelle. Toujours porter une protection pour les yeux. Les équipements de protection individuelle tels que les masques contre les poussières, les chaussures de sécurité antidéraptantes, les casques ou les protections auditives utilisés pour les conditions appropriées réduisent les blessures.
c) Éviter tout démarrage intempestif. S'assurer que l'interrupteur est en position arrêt avant de brancher l'outil au secteur et/ou au bloc de batteries, de le ramasser ou de le porter. Porter les outils électriques en ayant le doigt sur l'interrupteur ou brancher des outils électriques dont l'interrupteur est en position marche est source d'accidents.
d) Retirer toute clé de réglage avant demettre l'outil électrique en marche. Une clé laissée fixée sur une partie tournante de l'outil électrique peut donner lieu à des blessures.
e) Ne pas se précipiter. Garder une position et un équilibre adaptés à tout moment. Cela permet un meilleur contrôle de l'outil électrique dans des situations inattendues.
f) S'habiller de manière adaptée. Ne pas porter de vêtements amples ou de bijoux. Garder les cheveux et les vêtements à distance des parties en mouvement. Des vêtements amples, des bijoux ou les cheveux longs peuvent être pris dans des parties en mouvement.
g) Si des dispositifs sont fournis pour le raccordement d'équipements pour l'extraction et la récapération des poussières, s'assurer qu'ils sont connectés et correctement utilisés. Utiliser des collecteurs de poussière peut réduire les risques dus aux poussières.
h) Rester vigilant et ne pas négler les principes de sécurité de l'outil sous prétexte que vous avez l'habitude de l'utiliser. Une fraction de seconde d'inattention peut provoquer une blessure grave.
4) UTILISATION ET ENTRETIEN DE L'OUTILÉLECTRIQUE
a) Ne pas forcer l'outil electrique. Utiliser l'outil electrique adapté à votre application. L'outil electrique adapté réalise比较好 le travail et de manière plus sure au régime pour lequel il a été construit.
b) Ne pas utiliser l'outil électrique si l'interrupteur ne permet pas de passer de l'état de marche à arrêt et inversement. Tout outil électrique qui ne peut pas être commandé par l'interrupteur est dangereux et il faut le réparer.
c) Débrancher la fiche de la source d'alimentation et/ou enlever le bloc de batteries, s'il est amovible, avant tout réglage, changement d'accessoires ou avant de ranger l'outil électrique. De telles mesures de sécurité préventives réduisent le risque de démarrage accidentel de l'outil électrique.
d) Conserver les outils électriques à l'arrêt hors de la portée des enfants et ne pas permettre à des personnes ne connaissant pas l'outil électrique ou les Presents instructions de le faire fonctionner. Les outils électriques sont dangereux entre les mains d'utilisateurs novices.
e) Observer la maintenance des outils électriques et des accessoires. Vérifier qu'il n'y a pas de mauvais alignement ou de blocage des parties mobiles, des pieces cassées ou toute autre condition pouvant affecter le fonctionnement de l'outil électrique. En cas de dommages, faire réparer l'outil électrique avant de l'utiliser. De nombreux accidents sont dus à des outils électriques mal entretenus.
f) Garder affués et propres les outils permettant de couper. Des outils destinés à couper correctement entretenus avec des pièces coupantes tranchantes sont moins susceptibles de bloquer et sont plus facies à contröler.
g) Utiliser l'outil électrique, les accessoires et les lames, etc., conformément à ces instructions, en tenant compte des conditions de travail et du travail à réaliser. L'utilisation de l'outil électrique pour des opérations différentes de celles prévues peut donner lieu à des situations dangereuses.
h) Il faut que les poignées et les surfaces de préhension restent sèches, propres et dépourvues d'huiles et de graisses. Des poignées et des surfaces de préhension glissantes rendent impossibly la manipulation et le contrôle en toute sécurité de l'outil dans les situations inattendues.
5) MAINTENANCE ET ENTRETIEN
a) Faire entretenir l'outil électrique par un réparateur qualifié utilisant uniquement des pieces de rechange identiques. Cela assure le maintain de la sécurité de l'outil électrique.
CONSIGNES DE SECURITE POUR SCIE À ONGLET
a) Les scies à onglet sont destinées à couper le bois et les produits similaires. Elles ne peuvent pas été utilisées avec des meules à tronçonnner afin de couper des matériaux ferreux tels que des barres, des tiges, des goujons, etc. Les poussières abrasives entraîment le blocage des parties mobiles telles que le carter inférieur. Les étincelles produit lors de la découvert à l'abrasif font brûler le carter inférieur, l'insert de coupe et d'autres pieces en plastique.
b) Dans la mesure possible, maintenez la pièce à l'aide d'un serre-joint. Si vous maintenez la pièce à la main, cette dernière doit toujours se trouver à une distance minimale de 100 mm d'un côté ou de l'autre de la lame. N'utilisez pas cette scie pour couper des pieces qui sont trop petites pour être correctement fixées ou maintainues à la main de manière sure. Si votre main est positionnée trop pres de la lame, le risque de blessure liée à un contact avec la lame est accru.
c) La pièce à travailler doit être immobile et fixée ou maintainue à la fois contre le guide et la table. Vous ne devez enaucun cas guider la pièce
sur la lame ou effectuer une découvert « à main levée ». Les pièces qui ne sont pas attachées ou les pièces qui sont laissées libres peuvent être projétées à grande vitesse et provoquer des blessures.
d) Ne posez jamais votre main en travers de la ligne de coupe prévue, que ce soit devant ou derrière la lame. Il est extrémement dangereux deMAINIR la pièce « en croix», c'est-à-dire de tener la pièce sur la droite de la lame avec votre main gauche ou inversement.
e) Ne passes pas les mains derrière le guide dans le but de dégager des copeaux ou pour toute autre raison à moins de 100 mm d'un côté ou de l'autre de la lame pendant qu'elle tourne. Il se peut que la lame en mouvement ne vous semble pas si proche de votre main et vous pourriez être gravement blessé.
f) Examinez la pièce à découvert avant de commencer. Si elle est courbée ou gauchie, fixez-la de manière à ce que la face extérieure arquée soit tournée vers le guide. Veillez toujours à ce qu'il n'y ait pas d'espace entre la pièce, le guide et la table le long de la ligne de coupe. Les pièces courbées ou gauchies peuvent tourner ou bouger et généra rotation de la lame. Il ne doit y avoir aucun clou ou corps étranger dans la pièce à couper.
g) N'utilise pas la scie tant que la table n'est pas débarrassée de tous les outils, copeaux, etc., et qu'il ne reste plus dessus que la piece à découvert. Les débris et morceaux de bois de petite taille ou d'autres objets qui viendraient à entraer en contact avec la lame en mouvement pourrait être projétés à grande vitesse.
h) Découpez une seule piece à la fois. Il n'est pas possible de fixer ou d'attacher de manière appropriée plusieurs pieces qui sont empilées ; celles-ci risquent de s'accrocher sur la lame ou de bouger pendant la découpe.
i) Assurez-vous avant utilisation que la scie à onglet est montée ou installée sur une surface de travail plane et solide. Le fait de travailler sur une surface solide et horizontalé réduit les risques que la scie soit déséquilibrée.
j) Planifiez votre travail. ÀpRES chaque modification du réglage de l'angle de biseau ou d'onglet, vérifie que le guide est convenable régèle pour maintainir la pièce et qu'il ne risque pas de génér le fonctionnement de la lame ou du système de protection. Faites faire à la lame un mouvement de coupe complet sansmettre l'outil en marche et sans y avoir installé aucune pièce afin de vous assurer qu'il n'y a aucune géné ni aucun risque de couper le guide.
k) Si la pièce est plus large ou plus longue que la table, veillez àmettre en place des supports adéquats tels que des rallonges, des chevalets de sciage, etc. Lorsqu'elles sont plus longues ou plus larges que la table de la scie à onglet, les pièces risquent de basculer si elles ne sont pas soutenues par un appui solide. Si la pièce ou la chute bascule, elle risque de soulever le carter inférieur ou d'être projetée par la lame en mouvement.
l) Ne demandez pas à une autre personne de se substituer à une rallonge et de journé le contrôle de support. Si la pièce est posée sur un support instable, la lame risque de se coincer ou la pièce pourrait bouger pendant la coupe en
vous attirant, ainsi que la personne qui vous aide, vers la lame en rotation.
m) La pièce coupée ne doit pas être bloquée ou appuyée de chaque manière que ce soit contre la lame en rotation. Si elle est enserrée, par exemple par des butées de longueur, la chute risque de se trouver plaquée contre la lame et d'être projetée violament.
n) Utilisez toujours un serre-joint ou un dispositif de serrage conçu pour maintainir correctement les matériaux rônds tels que les baguettes ou les tubes. Les baguettes ont tendance à rouler pendant la coupe. Par conséquent, la lame se met à « mordre » et la pièce ainsi que votre main sont entrainées vers la lame.
o) Attendez que la lameatteigne sa vitesse maximale avant de la mettre en contact avec la piece. Vous réduirez ainsi le risque que la piece soit projetée.
p) Si la pièce ou la lame se coince, éteignez la scie à onglet. Attendez que toutes les pièces en mouvement s'immobilisent puis débranchez la fiche de la prise d'alimentation électrique et/ou enlevez la batterie. Vous pouze ensuite dégager les morceaux coincés. Le fait de poursuivre le travail alors que la pièce est coincée peut occasionally une perte de contrôle ou endommager la scie à onglet.
q) Une fois la coupe terminée, relâchéz l'interrupteur, maintenez la tête de scie enforcée et attendez que la lame s'immobilise avant dePTRirer la piece coupée. Il est dangereux d'approcher les mains de la lame tant qu'elle continue de tourner en roue libre.
r) Tenez la poignée fermement lorsque vous effectuez une coupe partielle ou lorsque vous relâchez l'interrupteur avant que la tête de la scie soit complètement en position basse. Le freinage de la scie peut avoir pour effet de tirer brusquement la tête de scie vers le bas, ce qui entraînerait un risque de blessure.
AVERTISSEMENTS DE SECURITE SUPPLEMENTaires POUR SCIE A ONGLET
a) Utilisez uniquement des lames pour le bois et les matériaux similaires recommandées par le fabricant.
b) Tenez compte des capacités de coupe indiquées dans les caractéristiques techniques.
c) Tenez compte des valeurs maximales indiquées dans les caractéristiques techniques pour les angles de biseau et d'onglet.
d) Utilisez uniquement des lames dont le diamètre est conforme aux marquages figurant sur la scie et aux informations relatives au diamètre d'alésage et au trait de coupe maximal de la lame.
e) Utiliser uniquement des lames qui portent un marquage indiquant une vitesse égale ou supérieure à la vitesse qui figure sur l'outil.
f) Lors du changement de lame, la flèche indiquant le sens de rotation sur la lame doit correspondre à celle qui figure sur le couvre-lame supérieur fixe.
g) Faites attention aux dispositifs de réglage et de verrouillage mentionnés dans les opérations de réglage en ce qui concerne les angles de biseau et d'onglet.
h) Faites tourner le couvre-lame inférieur escamotable à la main, afin de vérifier qu'il tourne librement.
i) Tenez compte de la façon de raccorder les systèmes d'extraction de poussière qui est indiquée pour le montage.
j) Veillez à ce que la scie à onglet soit toujours stable et bien fixée.
k) Installez et utilisez toujours la rallonde durant le fonctionnement.
I) Si nécessaire, utilisez un support supplémentaire afin d'assurer la stabilité de la pièce travaillée.
m) L'outil électrique ne doit pas être mouillé ni utilise dans un environnement humide.
n) Vérifier avant chaque utilisation que l'outil, son cable d'alimentation, y compris la fiche, ainsi que les accessoires ne sont pas endommages. Ne pas utiliser l'outil s'il est abîné ou présente des signes d'usure.
o) Effectuez une double vérification afin de vous assurer que les accessoires et équipements annexes sont correctement fixés.
p) Tenez toujours l'outil par la poignée. Celle-ci doit rester sèche afin d'assurer une bonne prise en main.
q) Veiller à ce que les orifices d'aération soient toujours bien dégagés. Si nécessaire, nettoyez ceux-ci avec une Brosse douce. Si les orifices d'aération sont obstrués, l'outil risque une surchauffe et peut se couver endommagé.
r) Éteignez immédiatement l'appareil si vous attention est détournée par des tiers qui pénétre dans la zone de travail. Attendez toujours l'arrêt complet de l'appareil avant de le poser.
s) Ne vous surmenez pas. Faites des pauses régulières afin d'être en mesure de vous concentrer sur votre travail et d'avoir la maïtrise totale de l'appareil.
AVERTISSEMENTS DE SECURITE SUR LE LASER


a) Ne regardez pas directement dans le faisceau laser. Un risque peut exister si vous regardez délibérément dans le faisceau.
b) Le laser doit être utilisé et entretenu conformément au mode d'emploi du fabricant.
c) Ne dirigez jamais le faisceau sur des personnes ou objets autres que la pièce à travailler.
d) Le faisceau laser ne doit pas etre deliberelement dirigé sur une personne et il est nécessaire d'eviter que le faisceau soit dirigé vers les yeux d'une personne pendant plus de 0,25 seconde.
e) Assurez-vous toujours que le faisceau laser est dirigé vers une piece à travailler solide sans surfaces réfléchissantes, par exemple du bois ou des surfaces enduites rugueuses sont admises. Une plaque d'acier à forte réflexion ou similaire ne convient pas aux applications avec laser car la surface réfléchissante peut renvoyer le faisceau laser vers l'opérateur.
f) Ne remplacez pas le dispositif laser par un type différent. Les réparations doivent
etre effectuées par le fabricant ou un agent agréé.
g) PRUDENCE : L'utilisation de commandes ou d'adaptations autres que celles décrites ici peuvent provoquer une exposition dangereuse aux radiations.
Les informations suivantes ne concernent que les utilisateurs professionnels mais sont de bonnes pratiques pour tous les utilisateurs :
AVERTISSEMENT DE SECURITE SUPPLEMENTaire RELATIF À LA POUSSIÈRE DE CONSTRUCTION
La silice est un minéral naturel représent en grandes quantités dans les éléments tels que le sable, le grès et le granit. Elle est également souvent présente dans de nombreux materiaux de construction tels que le béton et le mortier. La silice est pulvérisée en une poussière très fine (également connue sous le nom de silice cristalline alveolaire) lors de nombreuses tâches courantes telles que la découverte, le perçage et le meulage. L'inhalation de très fines particules de silice cristalline peut entraîner le développement :
- du cancer du poumon
de la silicose - de la bronchopneumopathie chronique obstructive (BPCO)
De plus, l'inhalation de particules fines de poussière de bois peut entraîner le développement de l'asthme. Le risque de maladie pulmonaire concerne les personnes qui respirent régulièrement de la poussière de construction sur une période prolongée, et non lors d'occasions isolées.
Afin de protégier les poumons, la loi relative à la maitrise des substances dangereuses pour la santé (COSHH) définit une limite pour la quantité de ces poussières que vous pouvez respirer (appelee Limité d'exposition sur le lieu de travail ou WEL) en moyenne sur une journée de travail normale. Cette limite de quantite de poussieres est tres faible : en comparaison, elle est plus petite qu'un centime, aussi petite qu'une pincée de sel. Cette limite est la quantite maximale legale, le maximum pouvant etre respiré apres application des contrôles adequats.
Comment réduire la quantité de poussière ?
- RÉduire la quantité de coupe en utilisant les valeurs tailles de produits de construction.
- Utiliser un outil moins puissant, par exemple un coupe-bloc au lieu d'une meuleuse d'angle.
- À l'aide d'une méthode de travail complètement différente, par exemple en utilisant une clôuse pour fixer directement les chemins de câbles au lieu de percher des trous d'abord.
Toujours veiller à travailler avec un équipement de sécurité/agréé, tel que les masques anti poussière spécialement conçus pour filtrer les particules microscopiques, et utiliser systématiquement le système d'extraction de la poussière.

Avertissement: Certaines particules de poussiè creées par le ponçage mécanique, le sciage, le meulage, le perçage et d'autres travaux de construction contiennent des produits chimiques réputés cancérigènes et entrainant des malformations congenitales ou d'autres effets nocifs pour la reproduction. Quelques exemples d'éléments chimiques :
- le plomb issu de peintures au plomb.
- la silice cristalline issue de briques, de ciment et d'autres produits de maconnerie.
- l'arsenic et le chrome issus du bois traité chimiquement.
Le risque provenant de l'exposition à ces produits varie en fonction de la fréquence d'exécution de ce type de travaux. Pour réduire l'exposition à ces produits chimiques :
- Travailler dans une zone bien ventilée.
- Travailler avec un équipement de sécurité agréé, comme un masque anti-poussière spécialement concu pour filtrer les particules microscopiques.
BRUIT
VOIR LES SPECIFICATIONS TECHNIQUES DANS LE MANUEL D'INSTRUCTIONS POUR LES NIVEaux DE BRUIT DE VOTRE OUTIL.
Les valeurs d'émission de bruit déclarées ont été mesurées en conformité avec EN 62841-1 et EN 62841-3-9 et peuvent être utilisées pour la comparaison d'outils. La valeur d'émission de bruit déclarée peut également être utilisée lors d'une évaluation préliminaire d'exposition.

Avertissement : La valeur d'émission de bruit lors de l'utilisation réelle de l'outil électrique peut différer de la valeur déclarée selon la manière dont l'outil est utilisé, en particulier suivant le type de piece à usiner.

Avertissement : Identifier des mesures de sécurité pour protégger l'opérateur, basées sur une estimation de l'exposition dans des conditions réelles d'utilisation (en tenant compte de toutes les parties du cycle de fonctionnement, par exemple, lorsque l'outil est étant et lorsqu'il fonctionne en mode ralenti en plus du temps de déclenchement).
Surveillance Médicale
Tous les employés doivent suivir un programme de surveillance Médicale de l'employeur pour permettre d'identifier à un stade précocce les éventuelles affections liées aux
vibrations, et ainsi empêcher l'évolution de la maladie et aider les employés à poursuivre leur travail.
RéDUCTION DU BRUIT ET DES VIBRATIONS
Afin de réduire l'impact négatif des vibrations et du bruit, limitez la durée des séances de travail, travailliez en mode de bruit et de vibrations réduits, et portez des équipements de protection individuelle.
Afin de minimiser l'exposition aux vibrations et au bruit, tenez compte des points suivants :
- Utilisez seulement l'outil d'une maniere conforme à son design et aux instructions.
- Faites en sorte que l'outil reste en bon et correctement entretenu.
- Utilisez les outils adéquats avec l'outil, et faites en sorte qu'ils restent en bon état.
- Gardez toujours une bonne prise sur les poignées / surface de préhension.
- Cet outil doit être correctement entretenu de la manière décrite dans cette notice d'utilisation. Faites en sorte qu'il soit suffisammentGRAISSÉ (le cas échéant).
- Si vous devez travailler avec un outil à fortes vibrations, étalez le travail sur plusieurs jours.
- L'utilisation prolongée de l'util exposé l'utilisateur à des vibrations pouvant provoquer une série de symptômes collectivement connus en tant que syndrome vibratoire mains-bras, par exemple blanchiment des doigts ; ainsi que des maladies spécifiques telles que le syndrome du canal carpien. Pour réduire ce risque lors de l'usage de l'util, portez toujours des gants de protection et gardez vos mains au chaud.
RISQUES RÉSIDUELS
Mème si vous utilisez cet outil en conformité avec toutes les consignes de sécurité, des risques évientuels de blessures et de dommages persistent. Les dangers suivants peuvent survenir en lien avec la structure et la conception de l'outil:
- Des atteintes à la santé resultant de l'émission vibratoire si l'outil est utilisé sur une période prolongée ou n'est pas géré d'une manière adaptée ou s'il n'est pas entretenu correctement.
- Blessures et dégats matériels liés aux accessoires cassés ou à l'impact soudain pendant l'utilisation avec des objets cachés.
- Risque de blessure et de dégât matériel provoqué par la projection d'objets ou des accessоires de mauvaise qualité.

AVERTISSEMENT! Cet outil émet un champ electromagnetique pendant le fonctionnement! Ce champ peut dans certaines circonstances interférer avec des implants médicaux actifs ou passifs! Pour réduire le risque de blessures sérieues ou fatales, nous conseillons aux personnes porteuses d'implants Médicaux de consulter leur médecin et le fabricant de l'implant Médical avant d'utiliser cet outil!
Listedespièces
La liste ci-dessous fait reférence à l'image 1 de la page 4.
- Poignée de manoeuvre
- Bouton de verrouillage de sécurité croit
- Poignée de transport
- Sac à poussière
- Boulon de verrouillage
- Échelle de biseau
- Levier de verrouillage de l'angle de biseau
- Dispositif de serrage de la pièce
- Trou de fixation (x 4)
- Guide (gauche et droit)
- Rallonge (gauche et droite)
- Levier de verrouillage de la rallonge (gauche et droite)
- Échelle d'onglet
- Insert de table
- Bouton de verrouillage du levier de réglage de l'angle d'onglet
- Poignée de verrouillage de la table tournante
-
Levier de réglage de l'angle d'onglet
-
Table tournante
- Lampe LED*
- Bouton de verrouillage de la broche
- Interrupteur du laser
- Interrupteur de la lampe LED
- Interrupteur marche/arrêt
- Bouton de verrouillage de sécurité gauche
- Courve-lame supérieur fixe
- Laser*
- Couvre-lame inférieur escamtable
- Plaque de montage du couvre-lame*
- Lame*
- Levier de verrouillage du guide (gauche et droit)
- Support du dispositif de serrage de la pièce (gauche et droit)
- Socle
- Bouton de verrouillage de l'angle de biseau
- Embout d'évacuation de la poussière
- Outil multifonction (clé hexagonale 6 mm/tournevis cruciforme)

REMARQUE : Les éléments marqués d'un astérisque * ne sont pasprésent dans cet aperçu. Référez-vous à la section correspondante de ce mode d'emploi.
Symboles
Sur l'outil, l'étiquette signalétique et dans ces instructions, vous trouvez entre autres les symboles et abréviations suivants. Familiarisez-vous avec pour réduire les risques tels que des blessures corporelles ou des dommages aux biens.

Toujours porter une protection oculaire.

Toujours porter une protection auditive.

Porter un masque anti poussière.

Porter des gants de protection.

Bloquer / pour serrer ou fixer.

Débloquer / pour desserrer.

Remarque.

Attention / Avertissement.

Rayonnement laser.

Ne pas regarder dans le faisceau.
dB(A)
Décibel (pondéré A)
n0
Vitesse à vide

Garder les mains à l'écart!

Lame pour la coupe du bois.

Pour réduire le risque de blessure, l'utilisateur doit dire le mode d'emploi.

Éteindre le produit et le débrancher de l'alimentation avant l'assemblage, le nettoyage, les réglages, l'entretien, le rangement et le transport.

Cet outil fait partie de la classe de protection II. Cela signifie qu'il est équipé d'une isolation renforcée ou double.

L'outil satisfait aux directives européennes en vigueur et une méthode d'évaluation de conformité de ces directives a été effectue.

Symbole DEE. Les produits électriques usages ne doivent pas être jetés avec les déchets menagers. Recycler dans des installations existantes. Vérifiez auprès de votre autorité locale ou de votre magasin local pour obtenir des conseils sur le recyclage.
yyWxx
Code de la date de fabrication ; année de production (20yy) et semaine de production (Wxx).

Guide laser intégré
Longueur du cable d'alimentation : 3 mètres
éristiques techniques
| Tension nominale, fréquence | : 220 - 240 V~, 50 Hz |
| Puisance nominale d'entrée | : 1800 W |
| Vitesse nominale à vide n0 | : 4500 min-1 |
| Dimensions de la lame | : Ø254 mm x Ø30 mm x 2,4 mm 48 T |
| Capacité de coupe (biseau/onglet) | : 0° / 0°: 75 x 130 mm 0° / 45° (gauche/droit): 75 x 90 mm 45° (gauche) / 0°: 40 x 130 mm 45° (gauche) / 45° (gauche/droit): 40 x 90 mm |
| Capacité d'onglet | : gauche 52° - droit 52° |
| Capacité de biseau | : gauche 45° |
| Classe de protection | : Il ☐ |
| Poids | : 15,9 kg |
| Niveau de pression acoustique LpA | : 92 dB(A) |
| Niveau de puissance acoustique LWA | : 103 dB(A) |
| Incertitude KpA, KWA | : 3 dB(A) |
Les valeurs acquistiques ont ete déterminées conformément au code d'essai acoustique des normes EN 62841-1 et EN 62841-3-9. La pression acoustique pour l'opérateur peut depasser les 80 dB(A), il est nécessaire de porter une protection auditive.
Explication de la plaque signalétique
EMIS254C = Modèle
E = Erbauer
MIS = Scie à onglet
254= Lame de 254 mm
C=Mixte(combinée)
01
Déballage
- Deballez toutes les pieces et place-les sur une surface plate et stable.
- Retirez tous les matériaux d'emballage et les disposits d'expédition, le cas échéant.
- Assurez-vous que le contenu livre est complèt et intact. Si vous constatiez des pieces manquantes ou endommagées, n'utilise pas l'outil, mais contactez votre revendeur. L'utilisation d'un outil incomplet ou endommagé représenté un risque pour les personnes et les biens.
- Assurez-vous que vous avez tous les accessoires et outils nécessaires au montage et à l'utilisation. Cela inclut également un équipement de protection individuelle adapté.

AVERTISSEMENT ! L'outil doit être entièrement monté avant l'utilisation !
N'utilisez pas un outil s'il est uniquement monté partiellement ou assemblé avec des pieces endommagées!

Portez des gants de protection pour les travaux d'assemblage et posez toujours l'outil sur une surface plate et stable pendant le montage.
Suivez les instructions d'assemblage étape par étape et utilisez les imagesfournies comme guide visuel pour assembler facilement l'outil !

Ne branche pas l'outil à l'alimentation électrique avant qu'il ne soit complètement monté!

AVERTISSEMENT! L'outil et l'emballage ne sont pas des jouets! Les enfants ne doivent pas jourer avec des sacs en plastique, les films et les petites pièces! Il existe un danger d'étouffement et de suffocation!
02
Position de travail (Image A)
- Poussez la poignée de manoeuvre (1) (étape 1) vers le bas et dégagez le boulon de verrouillage (5) de sa position de verrouillage (étape 2).
- Relevez complètement la poignée de manoeuvre (1) (étape 3).
03
Dispositif de serrage de la pièce (Image B)
Le dispositif de serrage de la piece (8) est prémonté. Si nécessaire, introduisez la colonne de réglage de la hauteur (8 b) dans le support du dispositif de serrage de la piece (31), d'un côté ou de l'autre du socle.
04
Remplacement du guide (Images C, D)
Démontage :
- Desserrez le levier de verrouillage du guide (30) (Image C étape 1).
- Faites glisser le guide (10) jusqu'à l'extrémité de la fente (Image C étape 2) et sortez-le de la fente (Image C étape 3).
Montage :
- Desserrez le levier de verrouillage du guide (30) (Image D étape 1).
- Alignez les trouss prsentes sur le guide (10a) avec les vis (30a). Introduisez le guide (10) dans la fente (Image D étape 2).
- Faites glisser le guide jusqu'à la position désirée (Image D étape 3).
- Serrez le levier de verrouillage du guide (30) (Image D étape 4).
05
Remplacement de lame (Images E, F, G)

AVERTISSEMENT ! Utilisez toujours une lame appropriée en fonction du travail à réaliser ! Respectez les exigences techniques de ce produit lors de l'achat et de l'utilisation de nouvelles lames !

Utilisez uniquement des lames dont la vitesse maximale possible est supérieure à la vitesse maximale de la broche de l'outil.
Les lames de scie sont extrémement tranchantes et elles chauffent pendant l'utilisation! Manipuez-les avec précaution! Portez des gants de sécurité afin d'eviter brûlures et coupures lorsque vous manipuez les lames!

La flèche indiquant le sens de rotation sur la lame (29) doit correspondre à cette qui figure sur le couvre-lame supérieur fixe (25)!
Procedez de la maniere suivante pour replacer une lame usée ou endommagée :
- Ouvrez le couvre-lame inférieur escamtable (27) à la main afin d'acceder à la vis de blocage (28a) de la plaque de montage du couvre-lame (28) (Image E étape 1).
- Desserrez la vis de blocage (28a) à l'aide de l'outil multifonction (35) (Image E étape 2) jusqu'à ce que vous puissiez faire glisser la plaque de montage du couvre-lame (28) sur le côte (Image E étape 3).
- Appuyez à fond sur le bouton de verrouillage de la broche (20) et maintenez-le dans cette position. (Image F)
- Tournez légèrement la vis de serrage (29a) à l'aide de l'outil multifonction fourni jusqu'à ce que la broche soit bloquée.
- Desserrez la vis de serrage (29a) en tournant dans le sens des aiguilles d'une montre puis retirez celle-ci ainsi que la rondelle (29 b), la bride extérieure (29c) et la lame (29). N'otez pas la bride interieure (29e) de la broche (29d) (Image G).
- Installez une lame neuve sur la broche en veillant à ce que l'alésage de la lame s'engage correctement sur la bride interieure (29e). Assurez-vous que le sens de rotation indiqué sur la lame est identique à celui qui figure sur le couvre-lame supérieur fixe (25).
- Fixez la lame (29) avec la bride extérieure (29c), la rondelle (29 b) et la vis de serrage (29a). Serrez la vis de serrage en tournant dans le sens inverse des aiguilles d'une montre à l'aide de l'outil multifonction tout en appuyant sur le bouton de verrouillage de la broche (20).
- Faites tourner la lame (29) à la main afin de vérifier qu'elle tourne librement. Elle ne doit pas flotter.
- Poussez le couvre-lame inférieur escamtable pour faire glisser la plaque de montage du protège-lame (28) vers le bas et serrez la vis de blocage (28a) à l'aide de l'outil multifonction.
- Refermez ensuite le couvre-lame inférieur escamtable (27).

Montage à l'établi
4 trous de montage (9) sont situés à chaque coin du socle (32) afin de facilititer le montage sur établi.
- Positionnez la scie à onglet sur le plateau de l'établi et marquez sur celui-ci l'emplacement des quatre trous de fixation.
- Percez quatre troughs (Ø11 mm) aux emplacements marqués sur l'établi.
- Positionnez la scie à onglet sur l'établi en alignant les trous de fixation qui se trouvent
sur le socle avec les trouss percés dans l'établi.
- Fixez solidement la scie à onglet sur le plateau de l'établi avec 4 boulons (non fournis).
- Contrôlez soigneusement l'établi une fois le montage terminé afin de vous assurer que la scie ne risque pas de bouger pendant l'utilisation. Si vous notez une tendance à basculer, à glisser ou à se déplacer, fixez l'établi au sol avant utilisation.
07
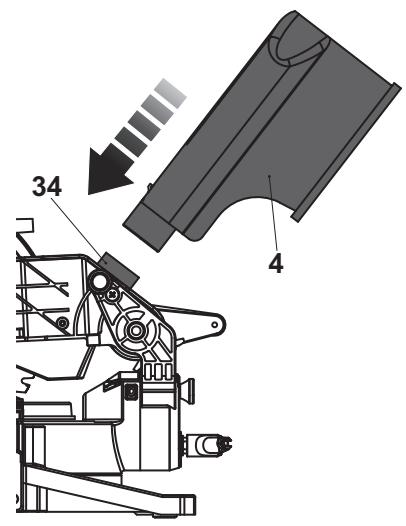
Extraction de poussière (Images H, I, J)

AVERTISSEMENT! Raccordez l'util à un dispositif d'extraction de poussière lorsque vous l'utilisez afin de garder propre la zone de travail! Portez un masque anti poussière durant l'utilisation de cet outil! La poussière peut être nocive pour la santé!
L'outil peut être utilisé avec le sac à poussière (4) ou avec un dispositif externe d'extraction de poussière.
Sac à poussière
- Installez le sac à poussière (4) sur l'embout d'évacuation de la poussière (34) (Image H).
- Tirez sur le sac à poussière pour le detacher de l'appareil.
- Pour vider le sac à poussière, ouvre-le en tirant sur la barrette de fermeture (4a) (Image I).
Dispositif externe d'extraction de poussière
Raccordez un dispositif d'extraction de poussière, par exemple un aspirateur approprié (Ø35 mm), sur l'embout d'évacuation de la poussière (34) (Image J).
Usage prévu
Cet outil est destiné à être une machine fixe destinée à réaliser des coupes longitudinales et transversales dans le bois et les matériaux similaires (par exemple le contreplaqué, les panneaux de fibres de moyenne densité et l'aggloméré).
Ce produit ne doit pas etre utilise sur d'autres materiaux ou sur des matieres qui sont dangereux pour la sante. Il doit uniquement fonctionner a sec, sans eau ou autres liquides de refroidissement.
Pour des raisons de sécurité, il est important de dire le mode d'emploi dans sa totalité avant la première utilisation et de respecter toutes les instructions qu'il contient.
Avant de commencer

Protection




Commandes

AVERTISSEMENT! Éteignez l'outil et débranchez-le toujours de l'alimentation électrique avant toute opération de réglage!

01 Réglage de l'angle d'onglet (Images K, L)
- Desserrez la poignée de verrouillage de la table tournante (16) (Image K étape 1).
- Poussez le levier de réglage de l'angle d'onglet (17) vers le bas et maintenez-le dans cette position. (Image K étape 2).
- Saisissez la poignée de verrouillage de la table tournante (16) et faites pivoter la table tournante (18) jusqu'à ce que l'aiguille (13a) soit pointée sur l'angle désiré sur l'échelle d'onglet (13) (Image K étape 3). Relâchéz le levier de réglage de l'angle d'onglet (17).
- Poussez vers le bas afin de bloquer la poignée de verrouillage de la table tournante (16) (Image K étape 4).

Certaines positions sont déjà réglées par défaut pour la coupe d'onglet à 0^ , ± 15^ , ± 22,5^ , ± 31,6^ et ± 45^ .
Le levier de réglage d'angle d'onglet (17) peut être bloqué en position enforcée pour des raisons de commodité.
- Poussez le levier de réglage de l'angle d'onglet (17) vers le bas et maintenez-le dans cette position (Image L étape 1).
- Poussez le bouton de verrouillage du levier de réglage de l'angle d'onglet (15) vers la gauche afin de bloquer le levier (Image L étape 2).
- Poussez à nouveau le levier de réglage de l'angle d'onglet (17) vers le bas pour libérer le bouton de verrouillage (15) (Image L étape 3).
02 Réglage de l'angle de biseau (Image M)
- Desserrez le levier de verrouillage de l'angle de biseau (7) (étape 1).
- Tirez sur le bouton de verrouillage de l'angle de biseau (33) pour permettre le réglage d'un angle de biseau >45^ si nécessaire (etape 2). Au besoin, déplacez un peu la poignée de manoeuvre (1) avant de tirer sur le bouton de verrouillage de l'angle de biseau.
- Déplacez la poignée de manoeuvre (1) jusqu'à ce que l'aiguille de l'angle de biseau (6a) soit pointée sur l'angle désiré sur l'échelle de biseau (6) (étape 3).

AVERTISSEMENT! Assurez-vous toujours que la lame n'interfère pas avec le guide ou tout autre élément. Retirez le guide si nécessaire.
- Serrez le levier de verrouillage de l'angle de biseau (etape 4).

AVERTISSEMENT! Vérifiez toujours le levier de verrouillage de l'angle de biseau (7) avant de commencer à travailler. Un levier de verrouillage desserré peut entraîner des blessures graves.
03 Réglage de la pallonne (Image N)
Utilisez la rallonge pour soutenir les pieces longues. Si nécessaire, utilisez un support supplémentaire pour les pieces particulièrement longues.
- Desserrez le levier de verrouillage de la ballonne (12) (etape 1).
- Tirez la rallonge (11) jusqu'à la longueur désirée (etape 2).
- Sortez le petit guide (11a) si nécessaire (etape 3).
- Serrez le levier de verrouillage de la rallonge (12) (étape 4).
04 Réglage du guide (Image O)
- Desserrez le levier de verrouillage de guide (30) (etape 1).
- Faites glisser le guide (10) jusqu'à la position désirée (étape 2).
- Serrez le levier de verrouillage du guide (30) (etape 3).

Assurez-vous que la lame n'interfère pas avec le guide en faisant un essai, la tête de coupe étant réglée sur les angles de biseau et d'onglet désirés.
05 Réglage du dispositif de serrage de la pièce (Image P)
Le dispositif de serrage de la pièce (8) peut être monté d'un côté ou de l'autre du socle. Utilisez-le pour maintainir des pièces de différentes épaisseurs en réglient la hauteur du serre-joint (8d) et de la plaque (8c).

Ne fixez le dispositif de serrage de la piece (8) du côté droit que si l'angle de biseau et l'angle d'onglet sont régles de manière à ce que le carter du moteur ne risque pas d'interférer avec celui-ci.
-
Desserrez la molette de verrouillage (8a) (étape 1) située sur la colonne de réglage de la hauteur (8b) et positionné le serre-joint (8d) à la hauteur désirée (étape 2). Serrez la molette de verrouillage afin de bloquer le serre-joint dans cette position (étape 3).
-
Appuyez sur le bouton de verrouillage (8e) et maintenez-le dans cette position (étape 4). Réglez la hauteur de la plaque (8c) à la surface de la pierce (étape 5).
- Tournez la molette de réglage de la hauteur (8f) dans le sens des aiguilles d'une montre en serrant bien, afin d'immobiliser la piece avant de commencer à travailler (étape 6).

Placez une petite chute de contreplaqué mince entre le dispositif de serrage et la pierce pour éviter de marquer celle-ci.
06 Lampe LED (Images Q, R)
- La lampe LED (19) s'allume en appuyant sur le symbole « lampe » (light) de l'interrupteur de la lampe LED (22).
- La lampe LED s'eteint en appuyant sur « OFF», sur l'interrupteur de la lampe.
07 Laser (Image Q, R)
Utilisez le laser pour vous guider pendant la coupe.
- Le laser (26) s'allume en appuyant sur le symbole « laser » de l'interrupteur du laser (21).
- Le laser s'eteint en appuyant sur « OFF », sur l'interrupteur du laser.
La ligne du laser doit être alignée avec la trajectorye de coupe de la lame. L'ajustement du laser doit toujours etre effectue par le fabricant de l'outil ou son prestataire de service.
08 Mise en marche/Arrêt (Image Q)
- Poussez le bouton de verrouillage de sécurité gauche (24) ou droit (2) vers le bas pour déverrouiller l'interrupteur marche/arrêt (23) (étape 1).
- Appuyez sur l'interrupteur marche/arrêt (23) pourmettre l'outil en marche (étape 2).
- Relâchez l'interrupteur marche/arrêt (23) pour éteindre l'outil.
Utilisation

AVERTISSEMENT! Vérifiez la tension d'alimentation avant de brancher. Elle doit être conforme aux indications figurant sur la plaque signalétique!
Réalizez des coupes d'onglet, en biseau ou mixtes.
- Placez l'outil en « position de travail »
- Posez la pièce à plat sur la table tournante (18) avec un bord plaqué contre le guide (10).

Si la pièce est gauchie, placez le côté convexe contre le guide. Si le côté concave de la pièce est placé contre le guide, celle-ci risque de casser et de bloquer la lame.
- Fixez solidement la piece a couper a l'aide du dispositif de serrage (8).

AVERTISSEMENT! Faites tourner le couvre-lame inférieur escamotable (27) à la main, afin de vérifier qu'il tourne librement. Veillez toujours à ce qu'il ne flotte pas et ne soit pas entré.

AVERTISSEMENT! Assurez-vous toujours que la lame n'interfère pas avec le guide ou tout autre élément. Œtez le guide si nécessaire.

Tenez compte de l'épaissur du trait de scie lorsque vous effectuez des coupes le long de lignes tracées. Ne foupez pas directement sur la ligne, mais juste à côté de cette-ci.
- Tenez fermement la poignée de manoeuvre et mettez l'outil en marche. Attendeze que la lame atteigne sa vitesse maximale.
- Abaissez doucement la lame en direction de la pierce.
- Exercez juste la force nécessaire pour faire avancer l'outil. Une pression importante n'augmente pas les performances de l'outil. Au contraire, elle les réduit, provoque une surchauffe des pointes de la lame et donne un résultat avec une qualité de surface/ Coupe médiocre.
- Éteignez l'outil et attendez l'arrêt complet de la lame avant de la dégager de la pièce.
02 Coupe d'onglet
La coupe d'onglet est identique à la découpe simple, hormis le fait que l'angle d'onglet est régle sur une position différente de 0^ .
- Réglez la table tournante selon l'angle d'onglet désiré. Assurez-vous que la poignée de verrouillage de la table tournante (16) est bien serrée.
- Suivez les mêmes consignes que dans le paragraphe « Utilisation - Découpe »
03 Coupe en biseau
La coupe en biseau est identique à la découpe simple, hormis le fait que la lame est réglée sur un angle de biseau différent de 0^ .
- Réglez la lame selon l'angle de biseau désiré. Assurez-vous que le levier de verrouillage de l'angle de biseau (7) est bien serré.
- Suivez les mêmes consignes que dans le paragraphe « Utilisation - Découpe »
04 Coupe mixte biseau et onglet
Cette coupe consiste simultanément à un angle d'onglet et un angle de biseau.
- Réglez la table tournante selon l'angle d'onglet désiré. Assurez-vous que la poignée de verrouillage de la table tournante (16) est bien serrée.
- Réglez la lame selon l'angle de biseau désiré. Assurez-vous que le levier de verrouillage de l'angle de biseau (7) est bien serré.
- Suivez les mêmes consignes que dans le paragraphe « Utilisation - Découpe »
Après usage
- Éteignez l'outil, attendez l'arrêt complet, débranchez-le de l'alimentation électrique et laissesez-le refroidir.
- Vérifiez, nettoyez et rangez l'outil comme décrit ci-dessous.

Entretien et maintenance


AVERTISSEMENT! Éteignez toujours l'outil, débranchez-le de l'alimentation électrique et laissez-le refroidir avant d'effectuer le contrôle, l'entretien et le nettoyage!
Réalisez des réparations et l'entretien uniquement en conformité avec ce mode d'emploi! Toutes autres interventions doivent être réalisées par un spécialiste qualifié!
Nettoyage
- Nettoyez l'outil avec un chiffon sec. Utilisez une Brosse pour les zones difficiles d'accès.
- Nettoyez plus particulièrement après chaque utilisation les interrupteurs et les orifices d'aération avec un chiffon et une Brosse.
- Retirez la saleté tenace avec de l'air sous haute pression (max. 3 bars).
- Vérifiez la présence de pieces usées ou endommagées. Remplacez les pieces usées si nécessaire ou contactez un centre après-vente agrée pour la réparation avant de réutiliser l'outil.

N'utilisez pas de détergents ou des désinfectants chimiques, alcalins, abrasifs ou autrement agressifs pour nettoyer cet outil, car ils peuvent endommager les surfaces.
Entretien
Votre outil electrique ne nécessite aucune lubrification ou entretien supplémentaire. Il n'y a aucune piece pouvant etre entretenue par l'utiliser au sein de l'outil. Avant et après chaque utilisation, vérifie la presence d'usure et de dommages sur l'outil et les accessoires (ou fixations). Si nécessaire, replacez-les par des neufs tel que decrit dans ce mode d'emploi. Respectez les caractéristiques techniques.
01 Câble d'alimentation
Si le remplacement du cable d'alimentation est nécessaire, il faut que cela soit réalisé par le fabricant ou son agent pour éviter un danger.
Transport

AVERTISSEMENT! Portez toujours l'outil par sa poignée de transport. N'utilisez jamais le cable pour porter l'outil.
- Éteignez l'outil et débranchez-le de l'alimentation électrique.
- Procedez dans l'ordre inverse du paragraphe « Assemblage - Position de travail » pourmettre l'outil en position de verrouillage.
- Portez toujours l'outil en le tenant par la base et la poignée de transport.
- Protégéz l'outil de tout impact important ou de toute vibration forte pouvant apparaitrependant le transport dans des vehicules.
- Sécurisez l'outil pour l'empêcher de glisser ou de se renverser.
Rangement
- Éteignez l'outil et débranchez-le de l'alimentation électrique.
- Nettoyez l'outil comme décrit ci-dessus.
- Procedez dans l'ordre inverse du paragraphe « Assemblage - Position de travail » pourmettre l'outil en position de verrouillage.
- Stockez l'outil et ses accessoires dans un endroitASF, sec, a I'abri du gel et bien aere.
- Stockez toujours l'outil dans un endroit inaccessible aux enfants. La température ideale de stockage se situe entre 10^ et 30^ .
- Nous recommendons d'utiliser l'emballage d'origine pour le stockage ou de couvir l'outil avec un chiffon adapté ou une bache pour le protégger de la poussière.
Dépannage
Des dysfonctionnements évventuels sont souvent dus à des causes que les utilisateurs peuvent corriger eux-mêmes.Par conséquent,vérifiez l'outil enutilisant ce chapitre. Dans la plupart des cas,le problème peut être résolurapidement.

AVERTISSEMENT! RÉalisér unquivalent les étapes décrites dans ce mode d'emploi! Tout autre travail d'inspection, d'entretien et de réparation doit être réalisé par un centre après-venture agrée ou un spécialiste aux qualifications similaires si vous ne pouvez résoudre le problème vous-même!
| Problème | Cause possible | Solution |
| 1. L'outil ne démarre pas | 1.1.Alimentation électrique non connectée1.2.Câble d'alimentation ou fiche défectueux1.3.Autre défaut électrique sur l'outil | 1.1.Brancher à l'alimentation électrique1.2.Faire vérifier par un électricien professionnel1.3.Faire vérifier par un électricien professionnel |
| 2. L'outil n'atteint pas sa pleine puissance | 2.1.La rallonge n'est pas adaptée à l'utilisation avec cet outil2.2.La source électrique (par exemple générateur) est dotée d'une tension trop faible2.3.Orifices d'aérationbloqués | 2.1 UTILISER une rallongeadaptée2.2.Brancher à une autre source d'alimentation2.3.Nettoyer les orifices d'aération |
| 3. L'outil ne coupe pas | 3.1.II n'est pas raccordé à l'alimentation électrique3.2.La lame est émoussée ou abîmée3.3.L'angle de biseau et l'angle d'onglet sont mal régliés | 3.1.Brancher à l'alimentationelectrique3.2.Remplacer par une lame neuve3.3.Contrôler et régler conformément au mode d'emploi |
| 4. Résultat insatisfaisant | 4.1.La lame est émoussée/ abîmée | 4.1.Remplacer par une lame neuve |
| 4.2.L'angle de coupe est incorrect | 4.2.Ajuster l'angle de biseau et/ou l'angle d'onglet | |
| 4.3.La lame n'est pas adaptée au matériel du la pierce à couper | 4.3 Utiliser une lame appropriée | |
| 4.4.Surchauffe de la lame | 4.4.Laisser refroidir avant d'utiliser à nouveau. | |
| 4.5.La pierce n'est pas convenablement fixée/ positionnée | 4.5.Fixer/positionner correctement la pierce avant de couper | |
| 5. Vibration ou bruit excessif | 5.1.La lame est émoussée/ abîmée | 5.1.Remplacer par une lame neuve |
| 5.2.Boulons/écrous desserrés | 5.2.Serrer les boulons/écrous |
Recyclage et mise au rebut

Les produits électriques usages ne doivent pas être jetés avec les déchets menagers. Recyclez dans des installations existantes. Vérifiez auprès de votre autorité locale ou de votre magasin local pour obtenir des conseils sur le recyclage.
Chez Erbauer, nous prenons soin de sélectionner des matériaux de haute qualité, et nos techniques de fabrication nous permettent de creator des gâmes de produits mélant design et durabilité. C'est la raison pour laquelle nos outils électriques Erbauer sont couverts par une garantie commerciale de 2 ans contre les défauts de fabrication.
Cet outil électrique est garanti pour une durée de 2 ans à compter de la date d'achat s'il est achété dans un magasin, livre ou achété en ligne. Toute demande de garantie nécessite la presentation du ticket de caisse ou de la facture. Veuillez garder votre preuve d'achat en lieu sur.
Cette garantie couvre les défaillances et les dysfonctionnements du produit, à condition que l'outil électrique Erbauer ait est utilisé aux fins pour lesquelles il est conçu et soumis à l'installation, au nettoyage, aux soins et à l'entretien conformément aux pratiques courantes et aux informations contenues ci-dessus et dans le mode d'emploi. La présente garantie ne couvre pas les défauts ou dommages causés par ou résultat de :
- Usure normale, y compris l'usure des accessoires
- Utilisation excessive ou abusive, négligence
- Réparation tentée par une personne autre qu'un agent autorisé
Dommages esthétiques - Dommages causés par des substances ou objets étrangers, ou par des accidents
- Dommages ou modifications accidentels
- Non-respect des instructions du fabricant
- Perte d'usage des biens
Cette garantie est limitée aux pieces reconnues comme défectueuses. Elle ne couvre enaucun cas les coûts accessoires (mouvements, travail) et les dommages directs et indirects.
Si l'outil électrique Erbauer s'avere defectieux pendant la période de garantie, nous nous réservons le droit, à notre gré, de rembourse r'article ou de le replacer par un produit de qualité et de fonctionnalités équivalentes.
Cette garantie ne s'applique qu'au pays d'achat ou de livraison, et n'est pas transférable à d'autres pays. Cette garantie n'est pas transférable à une autre personne ou un autre produit. Cette garantie est soumise aux lois locales applicables.
Toute question relative à la garantie doit être adressée à un magasin lié ou distributeur chez lequel l'outil electrique Erbauer a été acheté.
Cette garantie s'ajoute à vos droits légaux de consommateur en matière de biens défectueux, sans les affecter.
Le distributeur chez qui vous avez acheté la Scie à onglet 1800W est responsable de la conformité ou des vices cachés dans la Scie à onglet 1800W conformément aux dispositions suivantes:
Article L217-4 du code de la consommation
Le vendeur doit livrer les marchandises conformément au contrat et est responsable des défauts de conformité existants au moment de la livraison.
Il est également responsable des défauts de conformité résultat de l'emballage, des instructions de montage et d'installation lorsqu'il en est responsable en vertu du contrat ou lorsqu'il a été réalisé sous sa responsabilité.
Article L217-5 du code de la consommation
Les marchandises sont conformes au contrat :
-
Si elles sont propres à l'usage habituèlement escompté pour des produits similaires et, le cas échéant :
-
si elles correspondant à la description donnée par le vendeur et possèdent les qualités représentées par le vendeur à l'acheteur sous la forme d'un échantillon ou d'un modèle;
-
si ellesprésentent les qualités auxquelles un acheteur peut légitimement s'attendre en ce qui concerne les déclarations publiques faites par le vendeur, par le fabricant ou par son représentant, notamment dans la publicité ou l'étiquetage;
-
Ou si ellesprésentent les caractéristiques définies d'un commun accord par les Parties ou sont propres à tout usage spécial rechné par l'acheteur, porté à la connaissance du vendeur et que ce dernier en a convenu.
Article L217-12 du code de la consommation
Les actions résultat des défauts de conformité sont limitées à deux ans après la livraison des marchandises. Article L217-16 du Code de la consommation Lorsque l'acheteur demande au vendeur, au cours de la garantie de vente qui lui a été accordée au moment de l'achat ou de la réparation du bien meuble, la restauration couverte par la garantie, toute période d' indisponibilité d'au moins sept jours est ajoutée à la période de garantie restante.
Ce délambda commence à partir de la demande d'intervention de l'acheteur ou de la disponibilité pour la réparation de la marchandise en question, si cette disponibilité intervient après la demande d'intervention.
Article 1641 du code civil
Le vendeur est lié par la garantie à la suite de vices cachés dans l'article vendu qui le rendent impropre à l'usage auquel il était destiné, ou qui réduit tellement cette utilisation que l'acheteur ne l'aurait pas acheté, ou aurait payé un prix inférieur s'il en avait eu connaissance. Article 1648 du code civil.
Toute action resultant de vices cachés doit être intentée par l'acheteur dans un-delai de deux ans à compter de la découverte du vice.
Erbauer
Nos
Déclarons que le produit
Scie à onglet 1800W, EMIS254C
Numéro de série : de 000001 à 999999
Satisfait aux exigences de santé et de sécurité essentielles des directives suivantes:
RÉGLEMENT (CE) No 1907/2006 concernant l'enregistrement, l'évaluation
et l'autorisation des substances chimiques, ainsi que les restrictions
applicable à ces substances (REACH)
Les normes et specifications techniques font reference à:
EN 62841-1:2015
EN 62841-3-9:2015+A11:2017
EN 55014-1:2006+A1+A2
EN 55014-1:2017
EN 55014-2:2015
EN 61000-3-2:2014
EN 61000-3-3:2013
Signataires autorisé et titulaire du dossier technique
Signé par et au nom de:
Directrice Qualité Groupe
fai Davi
le: 18/08/2018
Erbauer
Manufacturer • Fabricant • Producent
Hersteller · Producador · Fabricante:
30-32 rue de la Tourelle
91310 Longpont-sur-Orge France
www.bricodepot.com
Pour consulter les manuels d'instructions en ligne, rendez-vous sur le site www.kingfisher.com/products
Notice Facile