TRIO SIAMP - WC suspendu SIAMP - Notice d'utilisation et mode d'emploi gratuit

Retrouvez gratuitement la notice de l'appareil TRIO SIAMP SIAMP au format PDF.

📄 24 pages Français FR 💬 Question IA 8 questions ⚙️ Specs
Notice SIAMP TRIO SIAMP - page 1
Type de produit Chasse d'eau à double commande
Caractéristiques techniques principales Système de chasse d'eau à 3/6 litres, mécanisme silencieux, compatible avec les cuvettes standard
Alimentation électrique Non applicable (système mécanique)
Dimensions approximatives Hauteur : 300 mm, Largeur : 200 mm, Profondeur : 150 mm
Poids 1,5 kg
Compatibilités Compatible avec la plupart des cuvettes de WC standard
Type de batterie Non applicable
Tension Non applicable
Puissance Non applicable
Fonctions principales Chasse d'eau efficace, réduction de la consommation d'eau
Entretien et nettoyage Vérifier régulièrement le mécanisme, nettoyer avec des produits non abrasifs
Pièces détachées et réparabilité Disponibles auprès des revendeurs agréés
Sécurité Installation conforme aux normes de plomberie, éviter les produits corrosifs
Informations générales utiles Garantie de 2 ans, installation recommandée par un professionnel

FOIRE AUX QUESTIONS - TRIO SIAMP SIAMP

Comment installer le SIAMP TRIO SIAMP ?
Pour installer le SIAMP TRIO, commencez par couper l'eau. Suivez le guide d'installation fourni, qui inclut des illustrations. Fixez le mécanisme dans le réservoir et assurez-vous que tous les joints sont bien en place.
Le produit fuit, que faire ?
Vérifiez les joints d'étanchéité et assurez-vous qu'ils sont correctement installés. Si la fuite persiste, il peut être nécessaire de remplacer certaines pièces. Consultez le manuel pour les instructions sur le remplacement.
Comment régler le niveau d'eau dans le réservoir ?
Pour régler le niveau d'eau, localisez la vis de réglage sur le flotteur. Tournez-la dans le sens des aiguilles d'une montre pour augmenter le niveau ou dans le sens inverse pour le diminuer.
Mon WC ne se vide pas complètement, que faire ?
Assurez-vous que le mécanisme de chasse fonctionne correctement. Vérifiez si le flotteur est bloqué ou si le clapet de chasse ne se ferme pas complètement. Un nettoyage peut également être nécessaire.
Comment nettoyer le mécanisme du SIAMP TRIO ?
Pour nettoyer le mécanisme, démontez-le délicatement en suivant les instructions du manuel. Utilisez un chiffon doux et de l'eau savonneuse pour enlever les dépôts et les impuretés.
Où trouver des pièces de rechange pour le SIAMP TRIO ?
Les pièces de rechange peuvent être commandées auprès de votre revendeur local ou directement sur le site du fabricant. Assurez-vous de vérifier le numéro de modèle pour obtenir les bonnes pièces.
Le bruit du remplissage est trop fort, que faire ?
Si le bruit est trop fort, vérifiez que le robinet d'arrivée d'eau est complètement ouvert. Un bruit excessif peut également être causé par un problème de pression d'eau. Consultez un plombier si le problème persiste.
Comment dépanner un problème de chasse d'eau ?
Commencez par vérifier le mécanisme de chasse pour tout blocage ou usure. Assurez-vous que le réservoir est rempli d'eau et que le flotteur fonctionne correctement. Si nécessaire, consultez le manuel pour des instructions spécifiques.

Téléchargez la notice de votre WC suspendu au format PDF gratuitement ! Retrouvez votre notice TRIO SIAMP - SIAMP et reprennez votre appareil électronique en main. Sur cette page sont publiés tous les documents nécessaires à l'utilisation de votre appareil TRIO SIAMP de la marque SIAMP.

MODE D'EMPLOI TRIO SIAMP SIAMP

Le Bâti-chasse et la cuvette du pack WC TRIO ont été testés pour fonctionner efficacement avec une grande chasse régée à 4 litres et une petite chasse à 2,5 litres. Toutefois, Siamp ne peut être tenu responsable de la qualité du système d'évacuation des eaux usées du bathtub dans lequel ses produits sont installés.

ENTRETIEN DU ROBINET :

  • Testez toujours votre solution de nettoyage sur une zone peu visible du produit avant de l'appliquer sur toute la surface du produit
  • Utilisez une éponge ou, de préférence un chiffon en coton doux pour nettoyer, ne l'humidifiez que si le nettoyage à sec n'est pas suffisant, n'utilise jamais de matériel abrasif comme une Brosse à poils, un tampon à recycler ou un chiffon microfibre.
  • En cas de résidu calcaire, utilisez un détergent doux (comme du savon à vaisse l ou une base d'acide citrique à très faible concentration). N'utilise pas de nettoyants abrasifs.
  • Rincez et assurez-vous d'essayer toute la surface à sec.
  • N'utilisez pas de nettoyants contenant de l'ammoniaque, de l'eau de Javel, de l'acide ou de solvant. La plupart des produits de nettoyage des WC ont une teneur élevé en acide qui peut endommager

la finition chromée, ils ne doivent donc pas etre utilisés pour nettoyer la finition chromée.
- Pour un écoulement parfait de l'eau, le mousseur doit être nettoyés régulièrement. En cas de résidu calcaire, faire tremper le mousseur pendant 10 minutes dans un détergent doux ( comme du savon à vaisselle ou une base d'acide citrique à très faible concentration). Le rincer à la suite.

ENTRETIEN DE LA VASQUE :

Lors du nettoyage du produit en ceramique après l'installation, n'utilise pas de nettoyants abrasifs, car ils peuvent endommager la surface en ceramique. Utilisez de l'eau tiède et un détergent liquide pour nettoyer la surface en ceramique. Ne laissiez pas les nettoyants contenant des distillats de petrole rester en contact avec la surface en ceramique pendant de longues périodes. N'utilise pas d'outils métalliques ou de brosses métalliques pour retirer le plâtre. Utilisez un détergent en poudre sur un chiffon humide pour fournir une action abrasive douce à tout plâtre résiduel ou ciment / mastic blanc. Nettoyez la surface extérieure du produit en porcelaine vitrifiée avec du savon doux et de l'eau chaude. Essuyez toute la surface complètement sèche avec un chiffon propre et doux.

SIAMP TRIO SIAMP - ENTRETIEN DE LA VASQUE : - 1
M12 (x4)
M10 (x4)
8x22 (x8)

SIAMP TRIO SIAMP - ENTRETIEN DE LA VASQUE : - 2

SIAMP TRIO SIAMP - ENTRETIEN DE LA VASQUE : - 3

SIAMP TRIO SIAMP - ENTRETIEN DE LA VASQUE : - 4

1 - INSTALLATION DU BATICHASSE

SIAMP TRIO SIAMP - - INSTALLATION DU BATICHASSE - 1

SIAMP TRIO SIAMP - - INSTALLATION DU BATICHASSE - 2

SIAMP TRIO SIAMP - - INSTALLATION DU BATICHASSE - 3

SIAMP TRIO SIAMP - - INSTALLATION DU BATICHASSE - 4

1 - INSTALLATION DU BATICHASSE

SIAMP TRIO SIAMP - - INSTALLATION DU BATICHASSE - 1

SIAMP TRIO SIAMP - - INSTALLATION DU BATICHASSE - 2

SIAMP TRIO SIAMP - - INSTALLATION DU BATICHASSE - 3

SIAMP TRIO SIAMP - - INSTALLATION DU BATICHASSE - 4

1 - INSTALLATION DU BATICHASSE

SIAMP TRIO SIAMP - - INSTALLATION DU BATICHASSE - 1
IV-a

SIAMP TRIO SIAMP - - INSTALLATION DU BATICHASSE - 2
IV-b

1 - INSTALLATION DU BATICHASSE

SIAMP TRIO SIAMP - - INSTALLATION DU BATICHASSE - 1
V-a

SIAMP TRIO SIAMP - - INSTALLATION DU BATICHASSE - 2
V-b

VI-a

SIAMP TRIO SIAMP - VI-a - 1

SIAMP TRIO SIAMP - VI-a - 2

SIAMP TRIO SIAMP - VI-a - 3

L'habillage doit être impé-rativement solidaire de la structure du bâti-support. Il doit être positionné au contact de la structure de ce dernier.

2 - INSTALLATION DU LAVE MAINS

1-a

SIAMP TRIO SIAMP - - INSTALLATION DU LAVE MAINS - 1

1-b

SIAMP TRIO SIAMP - - INSTALLATION DU LAVE MAINS - 2

1-c

SIAMP TRIO SIAMP - - INSTALLATION DU LAVE MAINS - 3

1-d

SIAMP TRIO SIAMP - - INSTALLATION DU LAVE MAINS - 4

2 - INSTALLATION DU LAVE MAINS

SIAMP TRIO SIAMP - - INSTALLATION DU LAVE MAINS - 1
II-a

SIAMP TRIO SIAMP - - INSTALLATION DU LAVE MAINS - 2
II-b

SIAMP TRIO SIAMP - - INSTALLATION DU LAVE MAINS - 3
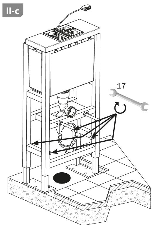
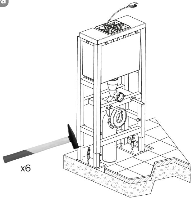
II-c

SIAMP TRIO SIAMP - - INSTALLATION DU LAVE MAINS - 4
II-d

SIAMP TRIO SIAMP - - INSTALLATION DU LAVE MAINS - 5
2 - INSTALLATION DU LAVE MAINS

SIAMP TRIO SIAMP - - INSTALLATION DU LAVE MAINS - 6

SIAMP TRIO SIAMP - - INSTALLATION DU LAVE MAINS - 7

2 - INSTALLATION DU LAVE MAINS

IV-a

SIAMP TRIO SIAMP - IV-a - 1

IV-b

SIAMP TRIO SIAMP - IV-b - 1

SIAMP TRIO SIAMP - IV-b - 2

IV-c

SIAMP TRIO SIAMP - IV-c - 1

SIAMP TRIO SIAMP - IV-c - 2

2 - INSTALLATION DU LAVE MAINS

V-a

SIAMP TRIO SIAMP - V-a - 1

V-b

SIAMP TRIO SIAMP - V-b - 1

V-c

SIAMP TRIO SIAMP - V-c - 1

2 - INSTALLATION DU LAVE MAINS

V-d

SIAMP TRIO SIAMP - - INSTALLATION DU LAVE MAINS - 1

V-e

SIAMP TRIO SIAMP - - INSTALLATION DU LAVE MAINS - 2

3 - INSTALLATION DE LA CUVETTE & TEST

SIAMP TRIO SIAMP - - INSTALLATION DE LA CUVETTE & TEST - 1

SIAMP TRIO SIAMP - - INSTALLATION DE LA CUVETTE & TEST - 2
1

SIAMP TRIO SIAMP - - INSTALLATION DE LA CUVETTE & TEST - 3
1

SIAMP TRIO SIAMP - - INSTALLATION DE LA CUVETTE & TEST - 4
11
IV

SIAMP TRIO SIAMP - - INSTALLATION DE LA CUVETTE & TEST - 5

SIAMP TRIO SIAMP - - INSTALLATION DE LA CUVETTE & TEST - 6

SIAMP TRIO SIAMP - - INSTALLATION DE LA CUVETTE & TEST - 7
V

SIAMP TRIO SIAMP - - INSTALLATION DE LA CUVETTE & TEST - 8

SIAMP TRIO SIAMP - - INSTALLATION DE LA CUVETTE & TEST - 9
VI

3 - INSTALLATION DE LA CUVETTE & TEST

SIAMP TRIO SIAMP - - INSTALLATION DE LA CUVETTE & TEST - 1

SIAMP TRIO SIAMP - - INSTALLATION DE LA CUVETTE & TEST - 2

SIAMP TRIO SIAMP - - INSTALLATION DE LA CUVETTE & TEST - 3

SIAMP TRIO SIAMP - - INSTALLATION DE LA CUVETTE & TEST - 4

SIAMP TRIO SIAMP - - INSTALLATION DE LA CUVETTE & TEST - 5

SIAMP TRIO SIAMP - - INSTALLATION DE LA CUVETTE & TEST - 6

SIAMP TRIO SIAMP - - INSTALLATION DE LA CUVETTE & TEST - 7

SIAMP TRIO SIAMP - - INSTALLATION DE LA CUVETTE & TEST - 8

SIAMP TRIO SIAMP - - INSTALLATION DE LA CUVETTE & TEST - 9

SIAMP TRIO SIAMP - - INSTALLATION DE LA CUVETTE & TEST - 10

SIAMP TRIO SIAMP - - INSTALLATION DE LA CUVETTE & TEST - 11

3 - INSTALLATION DE LA CUVETTE & TEST

SIAMP TRIO SIAMP - - INSTALLATION DE LA CUVETTE & TEST - 1
VI-a

"TEST"

SIAMP TRIO SIAMP - - INSTALLATION DE LA CUVETTE & TEST - 2
VI-b

SIAMP TRIO SIAMP - - INSTALLATION DE LA CUVETTE & TEST - 3

SIAMP TRIO SIAMP - - INSTALLATION DE LA CUVETTE & TEST - 4

SIAMP TRIO SIAMP - - INSTALLATION DE LA CUVETTE & TEST - 5

SIAMP TRIO SIAMP - - INSTALLATION DE LA CUVETTE & TEST - 6

4 - FINITIONS DE LA VASQUE

SIAMP TRIO SIAMP - - FINITIONS DE LA VASQUE - 1
VI-a
VI-b

SIAMP TRIO SIAMP - - FINITIONS DE LA VASQUE - 2

SIAMP TRIO SIAMP - - FINITIONS DE LA VASQUE - 3
VI-b

5 - MAINTENANCE

SIAMP TRIO SIAMP - - MAINTENANCE - 1
1-a

SIAMP TRIO SIAMP - - MAINTENANCE - 2
1-b

1-c
l-d
SIAMP TRIO SIAMP - - MAINTENANCE - 3
Réf.: 34 9513 20

SIAMP TRIO SIAMP - - MAINTENANCE - 4

5 - MAINTENANCE

SIAMP TRIO SIAMP - - MAINTENANCE - 1
II-a

SIAMP TRIO SIAMP - - MAINTENANCE - 2
II-b

SIAMP TRIO SIAMP - - MAINTENANCE - 3
II-c

SIAMP

Monaco

Assistant notice
Powered by ChatGPT
En attente de votre message
Informations produit

Marque : SIAMP

Modèle : TRIO SIAMP

Catégorie : WC suspendu