PER 2430 BI - Pergola HABRITA - Notice d'utilisation et mode d'emploi gratuit
Retrouvez gratuitement la notice de l'appareil PER 2430 BI HABRITA au format PDF.
| Type d'appareil | Pergola bio climatique |
| Surface couverte | 7,20 m² |
| Matériau | Aluminium |
| Couleur | Non précisé |
| Dimensions (L x P x H) | Non précisé |
| Type de lames | Lames orientables |
| Protection solaire | Oui |
| Résistance aux intempéries | Oui |
| Fixation | Au sol et murale |
| Évacuation des eaux | Intégrée |
| Utilisation | Extérieur |
| Montage | Notice fournie |
| Accessoires inclus | Non précisé |
| Poids | Non précisé |
| Garantie | Non précisé |
FOIRE AUX QUESTIONS - PER 2430 BI HABRITA
Questions des utilisateurs sur PER 2430 BI HABRITA
0 question sur cet appareil. Repondez a celles que vous connaissez ou posez la votre.
Poser une nouvelle question sur cet appareil
Téléchargez la notice de votre Pergola au format PDF gratuitement ! Retrouvez votre notice PER 2430 BI - HABRITA et reprennez votre appareil électronique en main. Sur cette page sont publiés tous les documents nécessaires à l'utilisation de votre appareil PER 2430 BI de la marque HABRITA.
MODE D'EMPLOI PER 2430 BI HABRITA
- Il est formellement interdit de monter sur le toit de la pergola
- En cas de chute de neige importante, supérieure à 10 cm, vousdezobligatoirement déneiger la pergola afin d'eviter une surcharge importante et le risque de cette-ci. La société FORESTA sera dégagée de toute responsabilité en cas de litige lié à une surcharge due à la neige.
IMPORTANT
La pergola ne peut être installée dans les zones dont l'altitude est supérieure à 500 m.
IMPORTANT

ATTENTION :
- Cette pergola est fabriquée avec des matériaux qualitats. Les pergolas HABRITA proposent un espace de détente et représentant une protection contre les dommages causés par l'ensoleillement, la pluie légère, la sève et un peu de neige. Veiller à ancreer correctement la structure de la pergola HABRITA. Consulter le guide pour connaître les détails sur son ancrage. Il incombe à l'utilisateur d'assurer un ancrage ajustat et de garder le toit correctement posé et exempt de neige et de débris. Il est important de facilitier l'écoulement de l'eau/neige sur et à travers la structure, les poteaux et les pieds en vue d'empêcher toute stagnation qui pourrait endommager le produit. Veiller à dire et à vous assurer de bien comprendre les détails de l'installation, les avertissements et les mises en garde avant d'entreprenevre l'installation des pergolas HABRITA.
SECURITE :
- Certaines pièces peuvent être coupantes. Il faut être prudent lors de la manipulation des éléments.
- Toujours porter des gants, des lunettes de protection et des vêtements à manches longues lors de l'assemblage ou pendant toute opération de maintenance sur votre produit.
- Ne pas tenter de construire le produit dans des conditions venteuses ou humides. Pour éviter les blessures, ne pas laisser les enfants jouer autour ou a proximé de la zone d'assemblage du produit.
- Ne pas grimper ou ne pas se tenirABOUT sur le toit du produit.
DANGER :
- Avant d'entreprenevre l'installation, vérifier les autorisations nécessaires et les règlementations auprès de cette mairie concernant les abris temporaires.
- Choisir correctement l'emplacement où placer votre pergola.
- Placer le produit à l'abri des vents dominants.
- Choiser votre emplacement avant de commencer le montage. Vous assurer que la surface de montage est nivelée et qu'il n'y a pas d'objets pointus afin d'éviter tous risques de rayures ou de dommages sur le produit.
VOUS TENIR ELOIGNNE DES FILS ELECTRIQUES. - Eviter les lignes électriques, les branches d'arbres et les autres types de structures. Avant de creuser, vérifier la présence de tuyaux ou de fils enfouis. Ne pas installer la pergola HABRITA à proximé d'un mur, d'un toit ou de toute autre structure pouvant empêcher l'écoulement du vent, stopper l'évacuation de la neige, de la glace ou des débris. Ne Suspendre AUCUN objet au toit.
- Attention, en cas de non-respect des recommandations de montage, la garantie ne pourrait pas etre appliquée.
IMPORTANT
ATTENTION :
- Ne pas fumer et n'utiliser aucun dispositif produit des flammes (barbecue, foyer, friteuse, bougie, lanterne) à proximé de la pergola. Ne pas ranger des liquides inflammbables (essences, huiles, kerosène, petrole lampant, etc..) à proximé de la pergola. Ne pas exposer le dessus de la pergola au feu ou à toute source d'incendie.
- Ne pas laisser de produits salins ou ayant ete en contact avec de l'eau saline toucher la structure de la pergola.
- Ne pas enterrer ou placer de charges sur ou en appui sur les pieds de la pergola.
- Ne pas placer d'objet en appui sur la structure de la pergola et sur ses lattes.
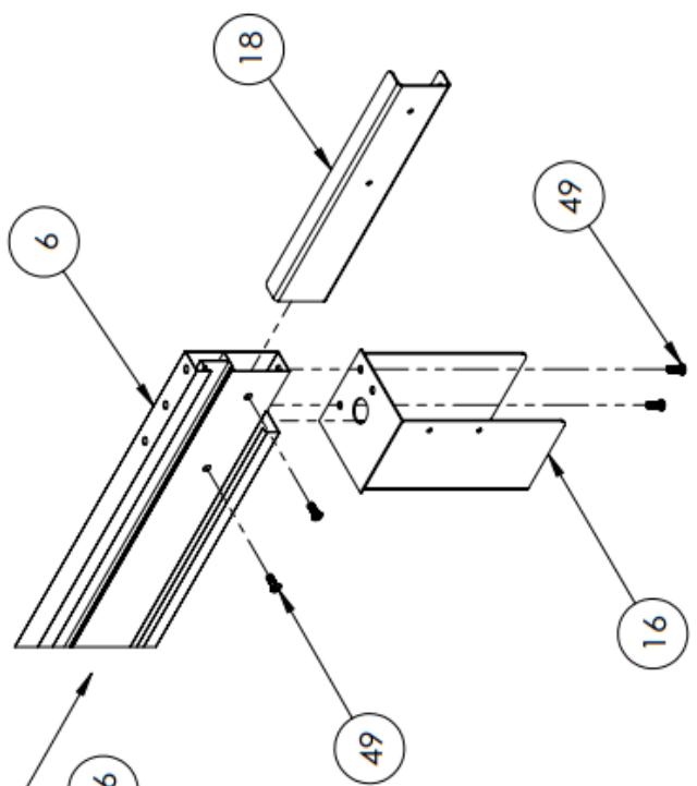
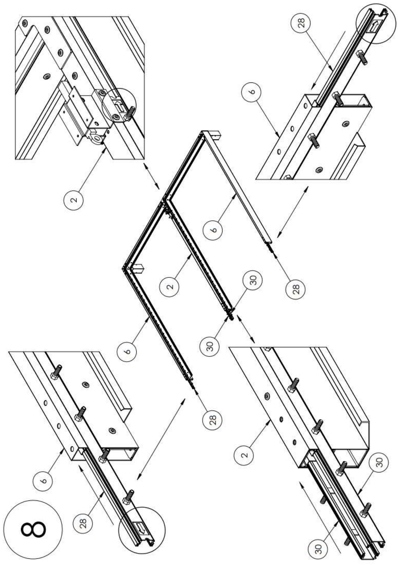
ANCRAGE ET INSTALLATION DE L'ARMATURE :
- IL INCOMBE A L'UTILISATEUR D'ASSURER L'ANCRAGE ADEQUAT DE L'ARMATURE.
- Le fabricant n'assume aucune responsabilité pour les dommages causés à la pergola ou à son contenu par les catastrophes naturelles ou événements particuliers. Toute pergola n'était pas ancreé solidement risque de se déplacer et de cause des dommages, qui ne seront pas imputables au fabricant.
- Vérifier périodiquement les ancrages pour assurer la stabilité de la vergola.
- Le fabricant ne peut être tenu pour responsable si le produit occasionne des dégats chez son propriétaire ou à l'extérieur de la propriété de celui-ci.
- Dès l'achat de votre pergola, penser à faire la déclaration d'achat auprès de votre assurance afin d'être couvert en cas de tempête ou autres conditions météorologiques aboutissant à une détérioration de la pergola et d'être couvert lors d'une intempérie majeure déclarée « catastrophe naturelle ».
- Nous garantissons la fourniture des pieces détachées durant 2 ans à compter de l'achat du produit.
INFORMATIONS COMPLEMENTAIRES
LA GARANTIE NE CONCERNE PAS :
- Les griffes, empreintes, éclats, coups ou brûlures - les défauts ou déteriorations provoqués par un usage différent de celui pour lequel le produit a été créé, par une mauvaise utilisation ou par le non-respect de la notice de montage, guide de pose ou des conseils d'utilisation et d'entretien;
- Les déteriorations ou défauts provoqués lors de la livraison, de l'installation ou du montage, par le distributeur, l'installeur ou le consommateur;
- Les défauts d'aspect visibles lors de la livraison du produit et non signalés à ce moment précis;
- Les modifications d'aspect du produit consécutives à l'utilisation, en particulier pour les éléments soumis à l'utilité;
- Les pieds enterrés ou sur lesquels on aura place une charge dessus ou à proximité,
- toutes déformations, enforcements ou griffures dus à l'appui d'un corps extérieur à la pergola sur la structure ou le toit de cette-ci
- les modifications de fixation et d'installation ne respectant pas les recommandations de la notice de montage ;
- Les produits qui ont été entreprises dans des conditions inadaptées.
Délais de la garantie :
- La garantie prend effet le jour d'achat par le consommateur.
- La garantie couvre les pieces reconnues defectueuses par FORESTA, comme les vices de fabrication matieres-premières.
Demande de garantie :
- Toute demande de garantie doit être formulée au revendeur uniquement ;
- Accompagner votre demande d'une description écrite et claire de l'avarie constatée, ainsi que de photos claires, précises et détaillées.
INFORMATIONS COMPLEMENTAIRES
Au moment de la livraison du produit :
- Proceder à l'inventaire complet des pieces avant de commencer le montage.
- En cas de doute sur l'etat d'une piece, ne pas commencer le montage et solliciter une prestation de garantie par écrit en recommendé avec.accusé de réception, dans les 10 jours maximum qui suivant la réception du colis.
Le montage du produit doit etre realised 1 mois maximum apres la livraison du produit.
A NOTER :
Pour assurer une protection maximale des pieces mécaniques contre la corrosion, la rouille et l'usure, il faut, impératifement, appliquer systématiquement de laGRAisse universelle pour l'ensemble des pieces et pour la quincaillerie en contact avec celles-ci.
- En cas d'une pluie importante, il peut arriver que la pergola laisse échapper de l'eau des gouttières laterales.
Le fabricant ne peut etre tenu pour responsable de cet etat de fait et des degats engendres chez son propriete au a lextérieur de la propriete de celui-ci.



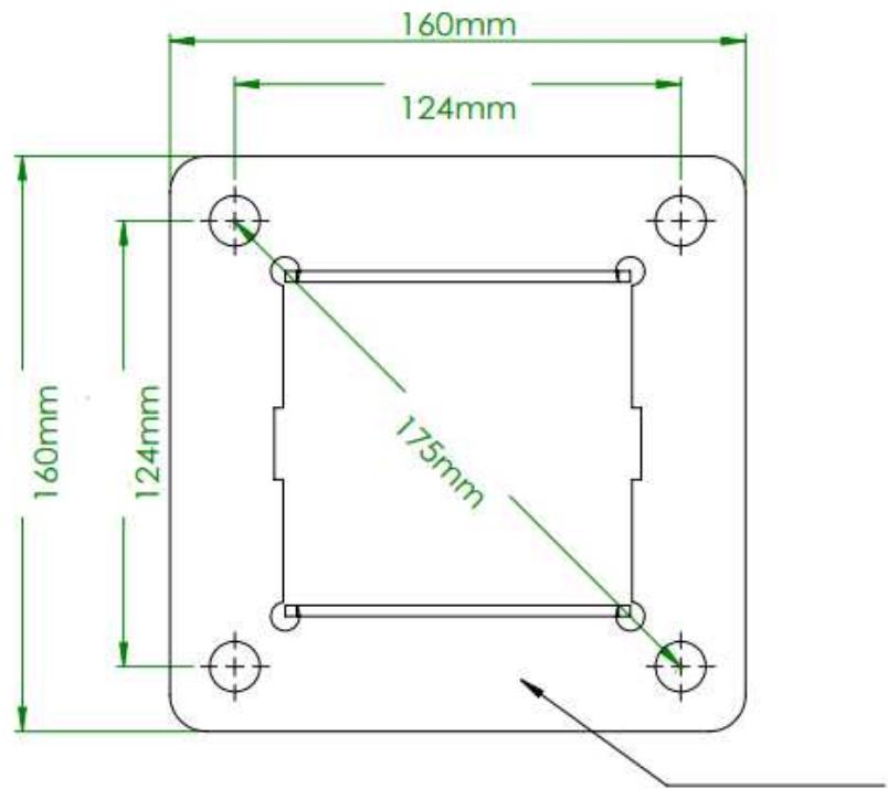
PLAN DE SOUBASSEMENT
Dimensions

Fichier Mere
Dimensions de la platine

Emplacement des pieces dans les cartons
| CARTON N°1 | ||||||||
| NO. | QT | NO. | QT | NO. | QT | |||
| 1 | 2190mm | 4 | 4 | 1472mm | 2 | 5 | 1472mm | 2 |
| 58 | 1 | |||||||
Emplacement des pieces dans les cartons
| CARTON N°2 | ||||||||
| 2 | 2367mm | 1 | 6 | 2417mm | 2 | 28 | 2417mm | 2 |
| 30 | 2367mm | 2 | 39 | 2293mm | 1 | 40 | 2293mm | 1 |
Emplacement des pieces dans les cartons
| CARTON N°3 | ||||||||
| NO. | QT | NO. | QT | NO. | QT | |||
| 10 | 1420mm | 52 | ||||||
Emplacement des pieces dans les cartons
CARTON N°4
| 11 | 4 | 12 | 8 | 13 | 4 | |||
| 14 | 2 | 15 | 104 | 16 | 2 | |||
| 17 | 2 | 18 | 2 | 19 | 2 | |||
| 20 | 2 | 21 | 2 | 22 | 2 |
Emplacement des pieces dans les cartons CARTON N°4
| NO. | QT | NO. | QT | NO. | QT | |||
| 23 | 2 | 24 | 2 | 25 | 2 | |||
| 26 | 2 | 27 | 2 | 34 | 2 | |||
| 35 | 1 | 36 | 1 | 37 | 2 | |||
| 38 | 1 | 42 | 2 | 44 | 1 | |||
| 45 | 1 | 46 | 1 | 47 | 214 | |||
| 48 | 10 | 49 | 120 | 50 | 52 |
Emplacement des pieces dans les cartons
CARTON N°4
| NO. | QT | NO. | QT | NO. | QT | |||
| 51 | 104 | 52 | 1 | 53 | 110 | |||
| 54 | 107 | 56 | 52 | 57 | 1 | |||
| 59 | 16 | 60 | 1 | 61 | 2 |
Emplacement des pieces dans les cartons
CARTON N°4
| NO. | QT | NO. | QT | NO. | QT | |||
| 1 | 2190mm | 4 | 11 | 4 | 17 | 2 | ||
| 2 | 2367.5mm | 1 | 12 | 8 | 18 | 2 | ||
| 4 | 1472mm | 2 | 13 | 4 | 19 | 2 | ||
| 5 | 1472mm | 2 | 14 | 2 | 20 | 2 | ||
| 6 | 2417.5mm | 2 | 15 | 104 | 21 | 2 | ||
| 10 | 1420mm | 52 | 16 | 2 | 22 | 2 |
Emplacement des pieces dans les cartons
CARTON N°4
| NO. | QT | NO. | QT | NO. | QT | |||
| 23 | 2 | 30 | 2367.5mm | 2 | 39 | 2300mm | 1 | |
| 24 | 2 | 34 | 2 | 40 | 2300mm | 1 | ||
| 25 | 2 | 35 | 1 | 42 | 2 | |||
| 26 | 2 | 36 | 1 | 44 | 1 | |||
| 27 | 2 | 37 | 2 | 45 | 1 | |||
| 28 | 2417.5mm | 2 | 38 | 1 | 46 | 1 |
Emplacement des pieces dans les cartons CARTON N°4
| NO. | QT | NO. | QT | NO. | QT | |||
| 47 | 10 | 214 | 53 | 6 | 110 | 60 | 7 | 1 |
| 48 | 10 | 10 | 54 | 6 | 107 | 61 | 8 | 2 |
| 49 | 120 | 56 | 6 | 7 | 52 | |||
| 50 | 52 | 57 | 6 | 7 | 1 | |||
| 51 | 104 | 58 | 6 | 7 | 1 | |||
| 52 | 1 | 59 | 6 | 7 | 16 |
Listedespièces
| NO. | QT | NO. | QT | NO. | QT | |||
| 1 | 2190mm | 4 | 11 | 4 | 17 | 2 | ||
| 2 | 2367.5mm | 1 | 12 | 8 | 18 | 2 | ||
| 4 | 1472mm | 2 | 13 | 4 | 19 | 2 | ||
| 5 | 1472mm | 2 | 14 | 2 | 20 | 2 | ||
| 6 | 2417.5mm | 2 | 15 | 104 | 21 | 2 | ||
| 10 | 1420mm | 52 | 16 | 2 | 22 | 2 |
Listedespièces
| NO. | QT | NO. | QT | NO. | QT | |||
| 23 | 2 | 30 | 2367.5mm | 2 | 39 | 2300mm | 1 | |
| 24 | 2 | 34 | 2 | 40 | 2300mm | 1 | ||
| 25 | 2 | 35 | 1 | 42 | 2 | |||
| 26 | 2 | 36 | 1 | 44 | 1 | |||
| 27 | 2 | 37 | 2 | 45 | 1 | |||
| 28 | 2417.5mm | 2 | 38 | 1 | 46 | 1 |
Listedespièces
| NO. | QT | NO. | QT | NO. | QT | |||
| 47 | M4×10mm | 214 | 53 | 1/4" | 110 | 60 | 1 | 1 |
| 48 | 1/4"×12mm | 10 | 54 | 1/4" | 107 | 61 | 1/4"×50mm | 2 |
| 49 | 1/4"×15mm | 120 | 56 | 52 | ||||
| 50 | 1/4"×13mm | 52 | 57 | M4×20mm | 1 | |||
| 51 | 1/4"×25mm | 104 | 58 | 1 | ||||
| 52 | 1/4"×70mm | 1 | 59 | 16 |

ATTENTION : veiller à serrer parfaitement les pieces n°15 à lavantelle n°10




| 4 | 1472mm | 2 | 20 | 2 | 26 | 2 | ||
| 5 | 1472mm | 2 | 21 | 2 | 27 | 2 | ||
| 49 | 24 | 2 | 48 | 1/4"×12mm | 4 | |||
| 25 | 2 | 49 | 1/4"×15mm | 20 | ||||




| 28 | 2417.5mm | 2 | 51 | 1/4"×25mm | 104 |
| 30 | 2367.5mm | 2 | 53 | 1/4" | 104 |






Pour maximiser l'étanchéité des gouttières, appliquer un mastic d'étanchéité d'extérieur (non fourni) à toutes les pieces en contact.

| 1 | 2190mm | 4 | 12 | 8 | |
| 11 | 4 | 49 | 1/4"×15mm | 40 |

12
Etape : 1
54
| 39 | 2300mm | 1 | 54 | 1/4" | 52 | |
| 50 | 1/4"×13mm | 26 | 56 | 26 |

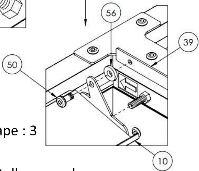
Etape :2




Etape : 3
Attention : veiller à serrer parfaitement les vantelles au cadre
13
Etape : 1

| 40 | 2300mm | 1 | 54 | 1/4" | 52 | |
| 50 | 1/4"×13mm | 26 | 56 | 26 |

Etape : 2

10
54


Attention : veiller à serrer parfaitement les vantes au cadre

15
Test ouverture










| 1. | 2. |
| 3. | 4. |
IL INCOMBE A L'UTILISATEUR D'ASSURER L'ANCRAGE ADEQUAT DE L'ARMATURE.
Le fabriquant n'assume aucune responsabilité pour les dommages causés à la pergola ou à son contenu par les catastrophes naturelles ou événements particuliers. Toute pergola, n'excepts pas anétoïde solidament rique de s'envelopper, et de causeurs des
porgada, qui ne seront pas imputables au fabricant.
Vérifier périodiquement les ancrages pour assurer la stabilité de votre pergola.
Le fabriquant ne peut etre tenu pour responsable d'une pergola qui s'envole.
IMPORTANT
Protection des vantes :
Afin de maintainir la qualité des vantelles, nous vous conseillons, à l'approche de la neige de :
Décrocher celles-ci de leurs emplacements selon la procEDURE qui suit,
Nettoyer celles-ci,
Protéger celles-ci,
- Stocker celles-ci dans un endroit sec et à l'abri de la poussière,
- Stocker les pieces d'assemblage dans un endroit sec et isolé,
- Stocker toute la quincaillerie d'assemblage dans une boite à l'abri de l'humidité,
- Protégger la structure et veiller à ce que la neige ne reste pas.
Au moment de la reconstruction de la pergola, veiller à :
- Nettoyer la structure avant toute installation,
Nettoyer une à une les vantelles,
Graisser toutes les parties en mouvement et la quincaillerie,
Vérifier que l'ouverture et la fermeture se réalisent parfaitement.
Démontage des vantes

Démontage des vantes

Démontage des vantes

IMPORTANT
Le fabricant decline toute responsabilité dans les dégats éventuels causés par le non-respect des instructions d'installation du present document, decline toutes responsabilités en cas de modification arbitraire des pieces d'origine.
CONSIGNES D'ENTRETIEN
- Nettoyer à l'eau claire ou avec des produits au PH neutre,
- Déblayer les feuilles qui peuvent obstruer les lattes.

Notice Facile