THO 3562 VVT - Pergola HABRITA - Notice d'utilisation et mode d'emploi gratuit
Retrouvez gratuitement la notice de l'appareil THO 3562 VVT HABRITA au format PDF.
| Type d'appareil | Pergola |
| Dimensions totales (L x P x H) | 6140 mm x 3410 mm x 2172 mm |
| Largeur par section | 3070 mm |
| Profondeur par section | 2890 mm |
| Hauteur latérale | 2172 mm |
| Espacement entre poteaux | 1030 mm |
| Matériau principal | Non précisé |
| Type de couverture | Non précisé |
| Fixation | Vis et pré-perçage recommandé |
| Outils nécessaires | Perceuse, marteau, échelle (non fournis) |
| Conseil d'utilisation | Laisser les vantelles ouvertes en cas de non utilisation |
| Poids | Non précisé |
| Couleur | Non précisé |
| Garantie | Informer l'assureur en cas d'installation |
| Installation | Montage manuel avec outils |
FOIRE AUX QUESTIONS - THO 3562 VVT HABRITA
Téléchargez la notice de votre Pergola au format PDF gratuitement ! Retrouvez votre notice THO 3562 VVT - HABRITA et reprennez votre appareil électronique en main. Sur cette page sont publiés tous les documents nécessaires à l'utilisation de votre appareil THO 3562 VVT de la marque HABRITA.
MODE D'EMPLOI THO 3562 VVT HABRITA
Si le produit est implanté pres d'un mur, d'une haie ou d'un arbre il est nécessaire de l'eloigner des éléments extérieurs afin de pouvoir facilement le monter et l'entreténir. Nous nous dégaugeons de toute responsabilité en cas de mauvaise interpretation des dimensions de la dalle.
En cas de non utilise du produit, veillez à laisser les vantes en position ouverte pour limiter la prise au vent et l'accumulation de neige.
Outils nécessaires pour réaliser le montage.
NON FOURNIS



5mm




ATTENTION!!!.
pour éviter d'abimer vos pièces de bois, il faut les pré-percer avant de visser




Penser à prévenir votre assureur de l'existence de votre produit pour garantie en cas de sinistre.
NOTICE DE MONTAGE de la pergola THERMAUVENT
Référence: TH0 3562 VVT

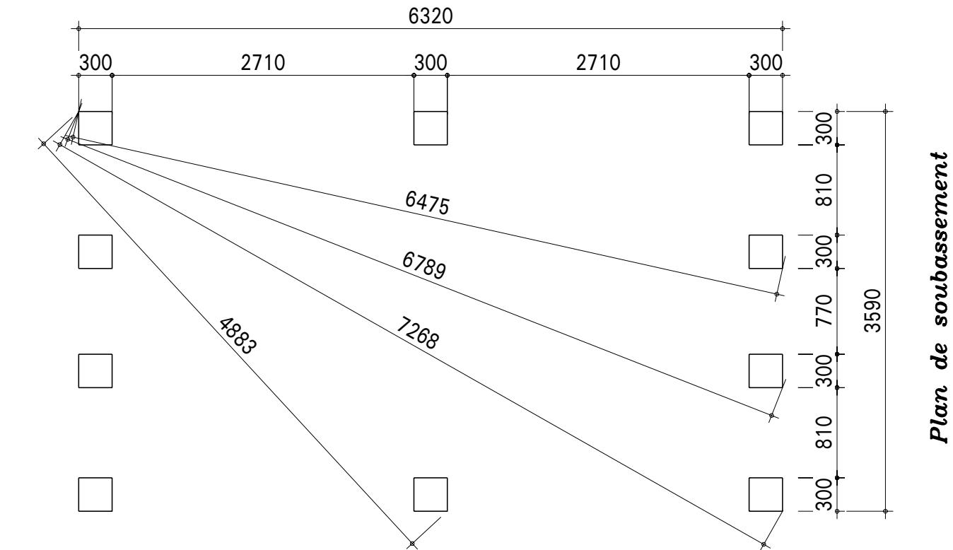
Dimensions en mm

Les dimensions données sur le plan de soubassement sont les dimensions de la dalle béton à réaliser sur un sol parfaitement plat sans aucun autre objecteur type mur, clôture ou arbre dans l'entourage de la dalle. Si le produit est implanté pres d'un mur, d'une haie ou d'un arbre il est nécessaire de l'éloigner des éléments extérieurs afin de pouvoir facilement le monter et l'entretenir. Nous nous dégageons de toute responsabilité en cas de mauvaise interprétation des dimensions de la dalle.
Vérifier que vous avez bien toutes les pieces avant d'effectuer le montage
| Réf. | Qtê. | Dessin piece | Dimensions(en mm) | Observation | Qtê. | ||
| 1 | 12 | 40 | 120 | 2030 | |||
| 2 | 4 | 40 | 120 | 2150 | |||
| 3 | 4 | 40 | 120 | 3250 | |||
| 4 | 2 | 40 | 120 | 3330 | |||
| 5 | 8 | 40 | 120 | 2890 | |||
| 6 | 4 | 40 | 120 | 3070 | |||
| 7 | 4 | 40 | 120 | 763 | |||
| 8 | 4 | 40 | 120 | 848 | |||
| 9 | 4 | 40 | 120 | 430 | |||
| 10 | 14 | 40 | 120 | 120 | |||
| 11 | 16 | 40 | 120 | 142 | |||
| 12 | 2 | 40 | 120 | 370 | |||
| 13 | 2 | 40 | 120 | 643 | |||
A compléter impératifement pour toute demande SAV et à envoyer par mail à
sav@foresta.fr + photo des pieces abimées
| TH0 3562 VVT Colis n°: | NOM DU MAGASIN (ou le produit a été achété) | |
| NOM DU CLIENT | ||
| PRENOM DU CLIENT | ||
| N° de téléphone |
Vérifier que vous avez bien toutes les pieces avant d'effectuer le montage
| Réf. | Qté. | Dessin piece | Dimensions(en mm) | Observation | Qté. | ||
| A | 232 | →→→→→→ | ∅6 | 70 | |||
| B | 42 | →→→→→→ | ∅5 | 80 | |||
| C | 664 | →→→→→ | ∅4 | 40 | |||
| D | 36 | →→→→→ | ∅5 | 60 | |||
| E | 300 | 20 | 95 | 995 | |||
| F | 6 | →→→→→ | 22 | 120* | 120* | ||
| G | 4 | →→→→→ | 22 | 40* | 120* | ||
| H | 8 | →→→→→ | 50 | 90 | 50 | ||
| I | 60 | →→→→→→ kit | 477 | ||||
A compléter impératifement pour toute demande SAV et à envoyer par mail à
sav@foresta.fr + photo des pieces abimées
| TH0 3562 VVT Colis n°: | NOM DU MAGASIN (ou le produit a été achété) | |
| NOM DU CLIENT | ||
| PRENOM DU CLIENT | M.P. | |
| N° de téléphone | MAJ 15.01.2020 |
x4

ETAPE 1 / pièces nécessaires
| Réf. | Qté. | Dimensions (mm) | ||
| 1 | 4 | 40 | 120 | 2030 |
| 8 | 4 | 40 | 120 | 848 |
| 9 | 4 | 40 | 120 | 430 |
| 11 | 8 | 40 | 120 | 142 |
| D | 24 | ø5 | 60 | |
x4

ETAPE 2 / pieces nécessaires
| Réf. | Qtê. | Dimensions (mm) | ||
| 1 | 4 | 40 | 120 | 2030 |
| A | 64 | ø6 | 70 | |
x4

ETAPE 3 / pieces nécessaires
| Réf. | Qtéd. | Dimensions (mm) | ||
| F | 4 | 22 | 120 | 120 |
| B | 16 | ø5 | 80 | |
| Réf. | Qtéd. | Dimensions (mm) | ||
| F | 2 | 40 | 120 | 2030 |
| B | 8 | Φ5 | 80 | |


ETAPE 7 / pieces nécessaires
| Réf. | Qté. | Dimensions (mm) | ||
| 6 | 4 | 40 | 120 | 3070 |
| 10 | 8 | 40 | 120 | 120 |
| A | 16 | ø6 | 70 | |

ETAPE 8 / pieces nécessaires
| Réf. | Qtré. | Dimensions (mm) | ||
| 4 | 2 | 40 | 120 | 3330 |
| 10 | 4 | 40 | 120 | 120 |
| 11 | 2 | 40 | 120 | 142 |
| A | 16 | ø6 | 70 | |

x2

x4
ETAPE 9 / pieces nécessaires
| Réf. | Qtê. | Dimensions (mm) | ||
| 2 | 4 | 40 | 120 | 2150 |
| B | 8 | ø5 | 80 | |
| G | 4 | 22 | 40 | 120 |

| Rét. | Qt'é. | Dimensions (mm) | ||
| 3 | 4 | 40 | 120 | 3250 |
| C | 32 | Φ4 | 40 | |
| H | 8 | 50 | 90 | 50 |

ETAPE 12 / pièces nécessaires
| Réf. | Qtré. | Dimensions (mm) | ||
| P2 | 2 | |||
| P3 | 1 | |||
| B | 10 | Ø5 | 80 | |
ETAPE 13 / pièces nécessaires
| Réf. | Qtê. | Dimensions (mm) | ||
| P1 | 4 | |||
| 6 | 4 | 40 | 120 | 3070 |
| A | 32 | ø6 | 70 | |


ETAPE 14 / pièces nécessaires
| Réf. | Qtê. | Dimensions (mm) | ||
| 4 | 2 | 40 | 120 | 3330 |
| A | 16 | ø6 | 70 | |
ETAPE 15 / pièces nécessaires
| Réf. | Qtré. | Dimensions (mm) | ||
| 2 | 4 | 40 | 120 | 2150 |
| A | 4 | ø6 | 70 | |


ETAPE 16 / pieces nécessaires
| Réf. | Qtê. | Dimensions (mm) | ||
| 3 | 2 | 40 | 120 | 3250 |
| A | 8 | ø6 | 70 | |
ETAPE 17 / pieces nécessaires
| Réf. | Qtê. | Dimensions (mm) | ||
| 5 | 8 | 40 | 120 | 2890 |
| A | 24 | ∅6 | 70 | |
| C | 32 | ∅4 | 40 | |

ETAPE 18 / pieces nécessaires
ETAPE 19 / pièces nécessaires
| Réf. | Qtré. | Dimensions (mm) | ||
| E | 300 | 20 | 95 | 995 |


Notice Facile