HFBE8T55 - Fendeur de bûches HYUNDAI - Notice d'utilisation et mode d'emploi gratuit
Retrouvez gratuitement la notice de l'appareil HFBE8T55 HYUNDAI au format PDF.
| Type d'appareil | Fendeur de bûches électrique |
| Puissance | Non précisé |
| Force de fendage | Non précisé |
| Longueur maximale des bûches | Non précisé |
| Vitesse de fendage | Non précisé |
| Alimentation | Électrique |
| Tension | Non précisé |
| Poids | Non précisé |
| Dimensions (L x l x H) | Non précisé |
| Matériau du châssis | Acier |
| Type de moteur | Électrique |
| Protection de sécurité | Présente |
| Roues pour déplacement | Oui |
| Mode de fonctionnement | Vertical |
| Garantie | Non précisé |
| Utilisation recommandée | Usage domestique et semi-professionnel |
FOIRE AUX QUESTIONS - HFBE8T55 HYUNDAI
Questions des utilisateurs sur HFBE8T55 HYUNDAI
0 question sur cet appareil. Repondez a celles que vous connaissez ou posez la votre.
Poser une nouvelle question sur cet appareil
Téléchargez la notice de votre Fendeur de bûches au format PDF gratuitement ! Retrouvez votre notice HFBE8T55 - HYUNDAI et reprennez votre appareil électronique en main. Sur cette page sont publiés tous les documents nécessaires à l'utilisation de votre appareil HFBE8T55 de la marque HYUNDAI.
MODE D'EMPLOI HFBE8T55 HYUNDAI
FENDEUR DE BUCHES ÉLECTRIQUE
HFBE8T55
INSTRUCTIONS ORIGINALES

| i | Lire le manuel d'instructions |
| Portez des chaussures de protection | |
| Porter des gants de protection | |
| Porter une protection oculaire | |
| Porter une protection auditive | |
| Ne pas traverser dans la zone de travail | |
| Ne pas fumer sur le lieu de travail | |
| La fendeuse de bûches doit toujours être manipulée par une seule personne. Les autres personnes doivent rester à une distance de sécurité de la zone de travail, en particulier lorsque la fendeuse de bûches est en opération. | |
| Gardez votre espace de travail bien rangé! Le désordre peut entraîner des accidents | |
| D'autres personnes ne doivent pas aider à libérer une bûche coincée. |
Pour vous sécurité.
Lisez et comprendez l'intégrality du manuel avant d'utiliser la machine. Conservez ce manuel pour référence future.

1- Compartiment de droite
2- Support de droite
3- Table de travail
4- Coin de fendage
5- Protection main gauche
6- Poignée de transport
7- Interrupteur K0A7
8- Support buche gauche
9-Moteur
10-Jauge d'huile
11-Roué
12-Axe
13- arbre de liaison
Informations techniques
| Mateur | Mateur électrique | |
| Puisance (P1) | kW | 3.0 |
| Tension | V | 230V~75Hz |
| Vitesse | Min-1 | 2800 |
| Mode d'opération | S6/40% | |
| Force de coupe | ton | 8 |
| Poids | kg | 112 |
| Longueur de coupe | mm | 550 |
| Taille des buches | mm | 70-400 |
| Nombre IP | IP54 | |
| Pression hydraulique | MPa | 24 |
| Niveau de puissance sonore | dB | 91 |
Diagramme hydraulique


Scheme de câblage
Vue explosée

AVERTISSEMENTS DE SECURITE
Conservez ces instructions pour futures références.
- La fendeuse de bûches doit toujours être utilisée par un seul opérateur.
- Personne ne doit être autorisé à utiliser la fendeuse de buches à moins d'avoir lu le manuel d'instructions et d'avoir été instruit à propos des réglementations à suivre pour une utilisation correcte et en toute sécurité.
- La machine ne doit être utilisée que par des adultes. L'utilisation de la fendeuse debuches par les apprentices âgés d'au moins 16 ans doit être supervisee par un adulte autorisé à utiliser la machine.
- Ne portez jamais de vêtements amples et déboutonnés qui pouraient se coincer dans les pièces mobiles.
- Vérifiez que les bûches à couper sont exemples de clous ou de fils, qui pouraient voler ou endommager la machine, les extrémités des bûches doivent être coupées en carré, les branches doivent être coupées à ras.
- N'essayez jamais de fendre des bûches plus grosses que celles indiquées dans les spécifications techniques. Cela pourrait être dangereux et endommager la machine.
- Coupez la bùche dans le sens du grain, ne placez pas de bùche sur la fendeuse de bùches et ne laissez-la pas dans cette position pour la fendre; cela peut être dangereux et endommager sérieusement la machine.
- N'essayez jamais de fendre deux bûches à la fois, la bûche pourrait s'envoler et vous frapper.
- Si la bùche s'éloigne de la lame, retirez-la et tournez-la sur 90^ .
- N'essayez pas de charger la bùche dans la fendeuse de bùches lorsque la lame est en mouvement, vous pourriez être coincé et vous blesser.
- Gardez vos mains à l'écart des fissures et des fentes qui s'ouvrent dans la bùche; ceux-ci peuvent se fermer soudainement et écraser ou amputer vos doigts.
- Ne forcez jamais la fendeuse de bûches pendant plus de 5 secondes en maintainant le cylindre sous pression pour tenter de fendre du bois excessivement dur. Àpès cet intervalle de temps, l'huile sous pression est surchauffée et la machine peut être endommagée. Il est donc préféable d'arrêté et de faire pivoter la bûche de 90^ pour voir si elle peut être fendu dans une position différente. Dans tous les cas, si vous ne parvenez pas à fendre la bûche, cela signifie que sa durée dépasse la capacité de la machine. Il ne faut donc pas fendre cette buche afin de ne pas endommager la fendeuse.
- Ne forcez pas la lame en poussant la bûche sur la partie supérieure, car cela pourrait casser ou endommager le corps de la machine. Mettez la bûche sur les guides.
- Ne laissez jamais la machine sans surveillance pendant son fonctionnement. Si vous quittez la machine, même pour une courte période, coupez l'alimentation électrique.
- La fendeuse de bùches ne doit jamais être utilisée par un opérateur sous l'influence d'alcool, de drogues, de médicaments ou par des personnes fatigues. Un esprit clair est essentiel pour la sécurité.
- Ne demandez jamais l'aide d'une autre personne pour vous aider à retarder une bùche coincée.
- N'utilisez pas cette machine en présence de gaz naturel, de vapeurs d'essence ou d'autres vapeurs inflammbables.
- Vérifiez que le circuit électrique est correctement protégé et qu'il correspond à la puissance, à la tension et à la fréquence du moteur, vérifiez qu'il existe une connexion à la terre et un commutateur différentiel de régulation en amont.
- Vérifiez le fonctionnement de la machine.
- N'ouvre jamais le boîtier de commande sur le moteur. Si cela est nécessaire, contactez un électricien qualifié.
- Assurez-vous que la machine et le cable n'entrent jamais en contact avec de l'eau.
- Traitez le cable d'alimentation avec précaution, n'essayez pas de déplacer la machine en tirant sur le cable, ne tirez pas sur le cable pour le débrancher; Éloignez le cable de la
GB
chaleur excessive, de l'huile et des objets coupants.
- Ne laissez jamais la machine sans surveillance avec l'alimentation "sous tension", débranchez également le cable d'alimentation lorsque vous ne l'utilise pas, lors de travaux de maintenance, de changement d'accessoire ou de déplacement de la machine.
- Avant de commencer les travaux, les tuyaux et les flexibles hydrauliques doivent être inspectés et les dispositifs d'arrêt doivent être testés.
- Arrêtez la machine avant de proceder au nettoyage ou à des réglages.
- Les dangers peuvent restuer de caractéristiques particulières du bois lorsqu'il est fendu (par exemple, des noèuds, des buches de forme irrégulière, etc.).
- L'opérateur doit receivevoir une formation et des instructions nécessaires d'une personne qualifiée avant de manipuler l'outil.
- Utilisez l'outil uniquement pour l'usage prévu. Une mauvaise utilisation (telle que l'utilisation d'un matériel autre que le bois) peut endommager l'outil et provoquer des accidents et des blessures.
- La machine est conçue pour être utilisée par une seule personne. Il est possible que d'autres opérateurs travaillent avec la machine (par exemple, pour le chargement et le déchargement), mais un seul opérateur doit activer les opérations de fendage.
- La machine ne doit pas etre utiliser par des enfants.
- Portez un équipement de protection individuelle approprié complément des chaussures de sécurité, des vêtements ajustés et des gants de travail appropriés, une protection pour les yeux et une protection auditive.
- Testez les dispositifs de sécurité de la machine avant d'utiliser l'outil. Si les dispositifs de sécurité ne fonctionnent pas correctement, n'utilisez pas l'outil et confiez-le à un technicien qualifié pour inspection et réparation.
- La zone de travail ne doit pas etre obstruée; avant l'installation et l'utilisation, degagez la zone de travail. Gardez la zone de travail libre de toute obstruction, par exemple les buches, le bois fendu, etc.
- Ne mettez pas les mains dans la zone de coupe.
ATTENTION! Vérifiez toujours que l'alimentation correspond à la tension indiquée sur la plaque signalétique.
ATTENTION! Connectez les câbles principaux à une alimentation électrique standard de 230V ± 10% (50Hz ± 1Hz) dotée de dispositifs de protection contre les sous-tensions, les surtensions, les surintensités et un différentiel (RCD) 30mA.
Remplacement des câbles et prises
Si le cordon d'alimentation est endommagé, il doit être remplace par le fabricant, son agent de service ou des personnes qualifiées afin d'éviter tout risque.
Jetez les ancients câbles ou les anciennes fiches lorsqu'elles ont été replacées par de nouvelles. Il est dangereux d'insérer la fiche d'un cable lâche dans la prise murale.
Utilisation de rallonges
- Pour cette machine, utilisez toujours un cable et / ou une rallonge avec un conducteur d'au moins 2,5mm^2 et protégée par un fusible de 20A. Assurez-vous que cette rallonge ne dépasse pas 10 mètres. Des cables excessivement longs ou une section inadéquate peuvent provoquer des chutes de tension qui empêchent le moteur de développer sa pleine puissance.
- Ne branchez votre machine et / ou la rallonge qu'a une prise de courant mise à la terre.
Mise à la terre
En cas de court-circuit électrique, la mise à la terre réduit le risque de chocoléctrique. La machine doit être toujours branchée à la terre.
UTILISATION PREVUE
Cette fendeuse de bûches est uniquement destinée à être utilisé pour fendre de bûches. Des blessures graves peuvent survenir si cette fendeuse de bûches est utilisé à d'autres fins.
RISQUES RESIDUELS
La machine est construite conformément à l'état actuel de la technologie et aux normes de sécurité généralement reconnues. Cependant, des risques résiduels individuels peuvent survenir lors de l'utilisation de la machine.
Risque de blessure aux doigts et aux mains par le fendoir en cas de guidage ou de soutien inapproprié du bois.
Risque de blessures dû à l'éjection de la pierce en cas de support ou de guide inapproprié.
Exposition au courant électrique lors de l'utilisation de cables de connexion électriques inappropriés.
De plus, des risques non apparents peuvent subsister malgré toutes les mesures prises.
Les risques résiduels peuvent être minimisés si les consignes de sécurité, l'utilisation correcte et le mode d'emploi sont observés.
INSTRUCTIONS POUR LE TRANSPORT
Transport à la main, Fig. 1
Pour transporter la fendeuse de buches, retractez complètement la lame du fendoir.
- Inclinez légèrement le séparateur sur la colonne du fendoir à l'aide de la poignée jusqu'à ce que la machine bascule sur les roues et puisse ainsi être déplacée.
Transport par grue:
Ne jamais soulever la machine par la lame du couperet!
Observe les conditions suivantes pendant le stockage:
Endroit sec et interieur
Max. Humidité 80%
Plage de température - 20 °C à +60 °C
Utilisez la machine uniquement dans les conditions ambiantes suivantes:
Minimum
maximum
recommandé
Température 5^
40^ C
16^ C
Humidité
95%
70%
Relâchez les commandes.
- Une fois que le pouvoir de la bûche recule et s'arrête complètement à sa position de départ, insérez une cale en bois sous la bûche coincée.
Démarrez la fendeuse de bùches pour pousser le bois de la cale à fond sous celui coincide.
Recommencez l'opération avec des cales de plus en plus grosses jusqu'à extraction de la bùche coincée.
REGLAGE
Préparez l'emplacement d'installation de la machine. Prévoyez un espace suffisant pour assurer des conditions de travail sûres et sans problèmes.
Retirez soigneusement toutes les pièces du carton. Placez la fendeuse de bûches sur une surface de travail plane et élevée, de sorte que les actionneurs de commande se trouvent à une hauteur du sol comprise entre 850 mm et 1650 mm (hauteur recommandée: 880 mm).

Fig.1

Fig.2

Fig.3

Fig.4

Fig.5
ASSEMBLAGE
Pour des raisons d'emballage, votre fendeuse de Buches n'est pas complètement assemblée.
Monter les roues, Fig.2
Insérez l'axe de roue avec la pédale (A) dans les deux trous du réservoir d'huile.
Insérez la vis à six pans creux M6 (B) dans l'axe de roue et la serrer sur la patte (C) à l'aide d'un écrou de sécurité.
Ensuite, montez une roue de chaque côté et fixez-les tous les deux avec une goupille fendue (D). Pliez légèrement la goupille fendue pour l'empêcher de tomber.
Montage des bras de commande, Fig.3
Insérez le bras de commande (A) dans l'interrupteur à bascule (B) et vissez-le à l'aide du boulon à tête hexagonale (C), de la rondelle et de l'écrou de sécurité. Serrez le contre-écrou pour que le bras de commande puisse toujours être déplaced.
Maintenant, montez le bras de commande sur la droite en suivant la méthode décrite cédessus.
Montez les arceaux de protection (D) sur les deux bras de suspension, en utilisant respectivement 2 vis cruciformes (E). Pour référence, suivez les étapes suivantes:





Montage du compartment gauche / droite Fig.4
Insérez le compartment de gauche (D) dans les deux troughs de la colonne du corps principal et verrouillez-le avec deux boutons M6 (C). De la même manière, montez le compartment de droite.
Pour reférence, selon les étapes suivantes:





Montage de la table, Fig. 4
En fonction de la longueur du bois à fendre, la table (A) peut être montée à une hauteur de 55 cm. Les leviers de verrouillage (B) sont disponibles en position d'installation. Maintenant, fixez la table avec le levier de verrouillage des deux côtés.
Montage de l'interrupteur, Fig.5
Montez l'interrupteur (C) sur la table (B) et fixez-le à l'aide du boulon à tête cylindrique 4-M4 * 60 (D), de la rondelle et des écrous 4-M4.
Test fonctionnel
Un test fonctionnel doit être effectué avant chaque utilisation.
Appuyez sur les deux poignées. La lame du couperet descend à env. 10 cm au-dessus de la table. Relâchéz une poignée à la fois. La lame du couperet reste dans la position selectionnée.
Relâchez les deux poignées simultanément; La lame de couperet revient en position haute.
Vérifiez le niveau d'huile avant chaque utilisation, voir le chapitre «Maintenance».
Fendre
Placez la bùche sur la table de la fendeuse de bûches, tenez la bùche fermement avec les deux poignées de commande, appuyez simultanément sur les deux poignées de commande, une fois que la lame du couperet pénétre dans la bùche, poussez les poignées vers l'extérieur avec une pression simultanée vers le bas. Ceci empêche toute pression exercée sur les plaques de retenue.
Ne coupez que des bûches sciées.
Fendez la buche verticallement.
Ne jamais diviser horizontally ou en travers.
Portez des gants de sécurité lors de la fente des buches.
Opération efficace
Position haute env. 5 cm au-dessus du tronc
Positionasseenv.10cmau-dessusudtronc
Démarrage
Assurez-vous que la machine est assemblée complètement et correctement. Avant chaque utilisation, vérifiez:
Les câbles de raccordement pour les défauts (coupures, coupures, etc.),
La machine pour tout dommage,
Que toutes les vis sont serrées,
Pour toute fuite éventuelle dans le système hydraulique et le niveau d'huile
Purgez le système hydraulique avant demettre la fendeuse de buches en marche.

Fig.6

Fig.7
Desserrez la jauge (E) de quelques tours afin que l'air puisse s'échapper du réservoir d'huile. Laissez le capuchon ouvert pendant le fonctionnement.
Refermez le capuchon avant de déplacer le fendeur, sinon de l'huile pourrait couler.
Si le système hydraulique n'est pas ventilé, l'air emprisonné endommagera les joints et donc le fendoir!
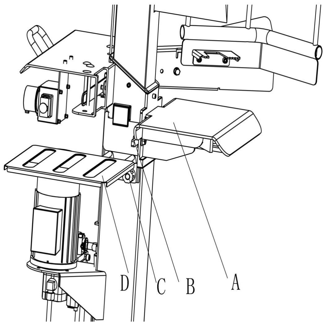
Allumer / éteindre - Fig. 6/7
Ouvrez le capuchon de protection (C).
Appuyez sur le bouton vert (A) pour allumer l'appareil. Appuyez sur le bouton rouge (B) pour eteindre l'appareil. Appuyez sur l'arrêt d'urgence (D) en cas d'urgence.
Remarque: Avant chaque utilisation, vérifiez le fonctionnement de l'interrupteur marche / arrêt en allumant et en éteignant l'appareil. Redémarrage de la protection en cas de panne de courant (commutateur de déclenchement sans tension)
L'équipement s'éteindra automatiquement en cas de panne de courant, de retrait accidentel de la fiche ou de déclenchement d'un fusible. Appuyez sur le bouton vert du commutateur pour redémarrer la machine.
Finir le travail
Amenez la lame du couperet en position basse.
Relâchez l'un des bras de contrôle.
Éteignez la machine et débranchez-la.
Serrez la vis de purge.
Suívez les instructions générales de maintenance.
Connexionélectrique
Vérifiez régulièrement que les cables de connexion électriques ne sont pas endommagés. Lors du contrôle des cables de connexion, assurez-vous qu'ils ne sont pas connectés au secteur. Les cables de raccordement électrique doivent être conformes aux règlementations VDE et DIN en vigueur.
Utilisez uniquement des cables de connexion etiquetés H 07 RN.
La désignation du type doit obligatoirement être imprimée sur le cable de raccordement. Utilisez un interrupteur de sécurité portable (PRCD), si un dispositif de protection différentiel (RCD) avec un courant résiduel nominal de max. 0,03 A n'est pas fourni dans le réseau d'alimentation.
Câbles électriques défectueux
Les câbles de connexion subissant souvent des dommages d'isolation. Les causes sont: Marques de pression, lorsque les câbles de connexion passent à travers des fenêtres ou des interstices de portes. Entortillagement, dus à un montage ou à un cablage incorrect des cables de connexion.
Coupe venant du croisement des câbles de raccordement.
Dommages causés par l'isolation en tirant les câbles hors de la prise murale.
Fissures dues au vieillissement de l'isolant.
De tels câbles de raccordement électriques défectueux ne doivent pas être utilisés etprésentent un danger de mort par leur isolation endommagée!
Moteur monophasé 230 V / 50 Hz Tension d'alimentation 230 V / 50 Hz
La connexion au secteur et les rallonges doivent être à 3 fils = P + N + SL (L / N / PE).
Les rallonges doivent avoir une section minimale de 1,5mm^2 et une longueur maximale de 20 m. La connexion au secteur est protégée par fusible pour un maximum de 16 A.
MAINTENANCE ET REPARATION
Effectuez les travaux de maintenance, de réglage et de nettoyage uniquement lorsque la machine est éteinte.
Débranchez l'appareil.
Des mécaniciens qualifiés peuvent effectuer de petites réparations sur la machine.
Les travaux de réparation et d'entretien du système électrique ne doivent être effectués que par desElectriciens qualifiés.
Tous les dispositifs de protection et de sécurité doivent être immédiatement replacés après les travaux de réparation et de maintenance.
Nettoyez soigneusement la machine après chaque utilisation!
Lame du couperet
La lame du couperet est une piece d'usure qui doit être réaffutée ou remplaçée par une nouvelle lame, si nécessaire.
Protection à deux mains
Le dispositif de serrage et de commande combiné doit rester. Bon fonctionnement. Lubrifiez de temps en temps avec quelques gouttes d'huile.
Pèces mobiles
Gardez les guides de la lame du couperet propres. (Saleté, copeaux de bois, écorces, etc.) Lubrifiez les glissières avec de l'huile pulverisé ou de la graisse lubrifiante
Vérifiez le niveau d'huile hydraulique.
Vérifiez les raccords hydrauliques et les connexions pour les fuites et l'usure. Si nécessaire, serrez les connexions boulonnées.

Fig. 8

Vérification du niveau d'huile
Le système hydraulique est un système fermé avec réservoir d'huile, pompe à huile et vanne de régulation. Vérifiez régulièrement le niveau d'huile avant chaque utilisation. Un niveau d'huile trop bas peut endommager la pompe à huile. Le niveau d'huile doit se situer à l'intérieur des marques sur la jauge. La colonne du couperet doit être rétractée avant de vérifier l'huile; la machine doit être sur une surface plane.
Quand devrais-je changer I'huile?
La première vidange doit être effectuee après 50 heures d'utilisation, puis toutes les 500 heures.
Changement de I'huile - Fig. 9
Déplacez la colonne du couperet complètement.
Placez un écipient d'au moins 6 litres sous la fendeuse de bûches.
Desserrez le bouchon de ventilation A.
Ouvrez le bouchon de vidange B situé sous le réservoir d'huile pour permettre à l'huile de s'écouler.
Refermez le bouchon de vidange B.
Versez 4 litres d'huile hydraulique neuve à l'aide d'un entonnoir.
Replacez le bouchon de ventilation.
Éliminez les huiles usées de manière appropriée dans un point de dépôt local. Les huiles usées ne doivent pas été déversées dans le sol ou mélangées avec d'autres déchets.
Nous recommendons les huiles hydrauliques suivantes ou leurs équivalents:
Aral Vitam gf 22
BP Energol HLP-HM 22 Mobil DTE 11
Shell Tellus 22
N'utilisez pas d'autres types d'huile!
L'utilisation de tout autre type d'huile affectera négativement le fonctionnement du vérin hydraulique.
Lame de fente
La lame doit être légèrement lubrifiée avant la mise en service.
Cette procédure doit être répétiée toutes les 5 heures d'utilisation. Appliqué légarement de laGRAISSSE ou de l'huile de pulverisation.
La lame ne doit pas fonctionner à sec.
Système hydraulique
Le système hydraulique est un système fermé avec réservoir d'huile, pompe à huile et vanne de régulation. Ne modifiez pas et ne modifies pas le système installé en usine.
Vérifiez le niveau d'huile régulièrement.
Un niveau d'huile trop bas endommagera la pompe à huile.
Vérifiez régulièrement si les raccords hydrauliques et les raccords à vis neprésent pas de fuites. Serrez-les si nécessaire.
Nettoyez la zone de travail et conservez les outils appropriés en bon état avant de commencer tout travail de maintenance ou d'inspection.
Les intervalles de temps indiqués ici se rapportent à une utilisation normale; par conséquent, si la machine est exposée à de lourdes charges, réduisez ces temps en conséquence.
Nettoyez les carters de la machine, les capots et les leviers de commande uniquement avec un chiffon doux et sec ou humidifiez-le légèrement avec un détergent neutre; N'utilisez pas des solvants, tels que de l'alcool ou de l'essence, car ils pourraient endommager les surfaces.
Conservez les huiles et les lubricifants hors de portée du personnel non autorisé. Lisez attentivement les instructions figurant sur les conteneurs et respectez-les scrupuleusement; évitez le contact direct avec la peau et bien rincer après utilisation.
Prévention d'accident
La machine ne doit être utilisée que par du personnel qualifié connaissant le contenu de ce manuel.
Veuillez vérifier que les dispositifs de sécurité sont entiers et fonctionnent correctement avant d'utiliser la machine. Vous doivent également vous familiariser avec les mécanismes de contrôle de l'appareil en lisant le mode d'emploi.
Les performances indiquées de la machine ne doivent pas'être dépassées.
La machine ne doit jamais être utilisée à des fins autres que celle à laquelle elle est destinée. Conformément à la législation en vigueur dans le pays d'utilisation de la machine, le personnel doit également porter des vêtements de travail comme prescrit dans ce pays. C'est-à-dire ne portez pas de vêtements, de ceintures, de bagues et de colliers amples et flottants; les cheveux longs doivent de préférence être attachés. La zone de travail doit toujours être maintainue aussi propre et net que possible, et les outils, accessoires et clés à vis doivent toujours être facilement accessibles.
Lors des travaux de nettoyage et d'entretien, la machine ne doit jamais être branchée sur le secteur. N'utilisez jamais la machine sans les dispositifs de sécurité ou avec les mécanismes de sécurité désactivés. N'enlevez jamais ou modifier les dispositifs de sécurité. N'effectuez aucune opération de maintenance ou de réglage avant d'avoir lu attentivement ce manuel.
Le plan de maintenance périodique spécifique dans ce manuel doit être respecté, à la fois pour des raisons de sécurité et pour un fonctionnement efficace de la machine.
Veillez à ce que les étiquettes de sécurité restent propres et lisibles et faites attention à elles pour éviter les accidents. Si les étiquettes de sécurité sont endommagées ou perdues, ou font
partie des pieces qui ont eté remplacées, elles doivent etre remplacées par de nouvellesétiquettes originales et etre apposoées à l'emplacement spécifique; vous pouvez obtenir de nouvellesétiquettes auprès du fabricant.
En cas d'incendie, n'utilisez que des extincteurs à poudre.
N'eteignez pas les incendies dans la machine avec de l'eau; sinon, il y a un risque de court-circuit. Si le feu ne peut pas etre eteint immediatement, faites attention aux fuites de liquide. En cas d'incendie plus long, le reservoir d'huile ou les conduites sous pression peuvent exploer. Veillez donc a ne pas enter en contact avec des fuites de liquide.
Démontage et élimination
La machine ne contient aucune substance nocive ou polluante, car elle est constituée de matériaux entièrement recyclables ou de matérielux pouvant être éliminés normalement. Pour la mise au rebut, adressez-vous à des sociétés spécialisées ou à du personnel qualifié connaissant bien les dangers potentiels, ayant lu et respectant scrupuleusement les Presents instructions d'utilisation.
Lorsque la machine n'est plus utilisée, procédez comme suit en respectant toutes les normes de prévention des accidents:
Débranche la machine de l'alimentation (électrique ou prise de force).
Retirez tous les cables d'alimentation et apportez-les à un point de collecte spécialisé, conformément aux dispositions en vigueur dans le pays concerné.
Videz le réserve d'huile; transporte z'huile dans des recipients scellés jusqu'à un point de collecte, conformément aux dispositions en vigueur dans le pays concerné.
Rapportez toutes les pieces restantes de la machine à un point de collecte de ferraille, conformément aux dispositions en vigueur dans le pays concerné.
Assurez-vous que chaque partie de la machine est éliminée conformément aux dispositions en vigueur dans le pays concerné.

Les produits électriques ne doivent pas être mis au rebut avec les produits menagers. Selon la Directive Européenne 2012/19/UE pour le rebut des matériels électriques et électroniques et de son exécution dans le droit national, les produits électriques usages doivent être collectés séparément et disposés dans des points de collecte prévus à cet effet. Adressez-vous auprès des autorités locales ou de votre revendeur pour obtenir des consails sur le recyclage.
Déclaration de conformité CE
BUILDER SAS
ZI, 32 rue Aristide Bergès - 31270 Cugnaux - France
Tel: +33 (0)5.34.502.502 Fax: +33 (0)5.34.502.503
Nous déclarons par la présente que la machine désrite ci-dessous, en raison de sa conception et de sa construction, ainsi que du modele que nous avons commercialisé, est conforme aux réglementations en vigueur des directives CE enumeratedées ci-dessous. En cas de modification de la machine, la présente déclaration perd sa validité.
Nom de la machine: FENDEUSE DE BUCHES
ELECTRIQUE
Modèle: HFBE8T55
S/N:
Directives européennes:
Philippe MARIE / PDG
Notice Facile