MODE D'EMPLOI Remix SENSEA
Mentions Legales & Consignes de Sécurité


Preparation


Utilisation


Entretien


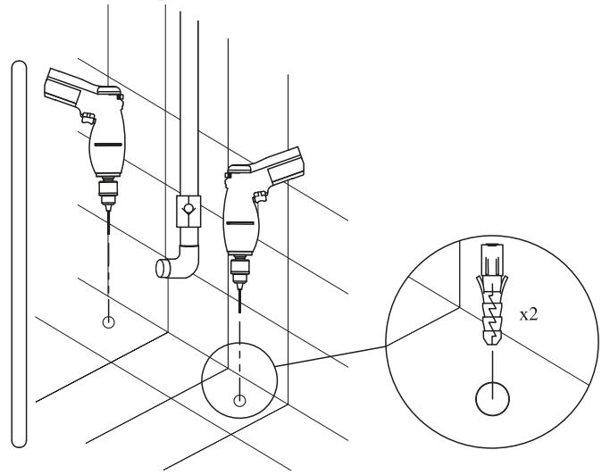
Montage

1
Généralités :
Cet apparéil n'est pas destiné aux personnes (y compris les enfants de moins de 8 ans) dont les capacities physiques, sensorielles ou mentalles sont limitées, ou auxquelles l'expérience et les connaissances font défaut, excepté si elles sont sous surveillance et reçoivent les instructions nécessaires pour utiliser ou effectuer la maintenance de l' apparéil, avec l'aide d'une personne responsable de leur sécurité. Surveiller les enfants et veiller à ce qu'ils ne jouent pas avec l' apparéil.
Votre apparéil utilise un procédé d'évacuation par pompe à effet Vortex.
L'action mécanique de la centrifuge désagrége papiers et déchets organiques.
Son système est installé dans une cuvette en céramique sans réservoir de chasse.
Le WC monobloc à pompe incorporee est un apparéil développementné conformément aux règes de l'art et soumis à un contrôle de qualité permanent.
3

ATTENTION

NE BRANCHER L'APPAREIL ÉLECTRIQUÉMENT QU'APRès SON INSTALLATION COMPLÉTE.
L'installation doit être réalisée par une personne qualifiée et les règles d'installations électriques dans une salle de bains (NF C 15100) doivent être respectées.
- Si le cable de cet apparéil est endommagé, il doit être remplace par le fabricant ou son Service Àpres Vente afin d'éviter un danger.
- Raccorder vous appeareil à une prise de courant 10-16 A, 2 pôles = (Classe II)
- La prise de courant doit servir exclusivement à l'alimentation de l'appareil et doit être raccordée à un disjoncteur différentiel calibré à 30 mA et protégé par un fusible ou disjoncteur de 5 A.
- Afin d'eviter tout danger du au réarmement intempestif du coupe-circuit thermique, cet apparéil ne doit pas être alimenté par l'intermédiaire d'un interrupteur externe, comme une minuterie, ou est connecté à un circuit qui est régulièrement mis sous tension et hors tension par le fournisseur d'électricité.
2
Application :
Votre apparéil permet le releavage des eaux usées dans une canalisation de Ø 32mm ou 40mm .
Cet apparéil est réservé à un usage exclusivement domestique.
Il bénéficia d'un haut niveau de performance, de sécurité et de fiabilité dans la mesure ou toutes les règles d'installation et d'entretien décrites dans cette notice sont respectées.
4
Raccordement et évacuation :
Le Raccordement de l'alimentation en eau doit obligatoirement etre réalisé à l'aide d'un tuyau flexible (type machine à laver).
Ne pas serrer trop fort l'écrou du flexible d'alimentation en eau sur l'électrovanne.
L'alimentation en eau sera obligatoirement munie d'un robinet d'arrêt. La pression doit être de 1.5 bar minimum et 5 bar maximum.
La tuyauterie d'évacuation doit avoir un diamètre de 32 mm mini et 40 mm maxi. En cuivre, per, ou multicouche.
Il convient d'éviter les points bas dans la canalisation d'évacuation, et de respecter une pente de descente de 1% .
Les coudes doivent avoir le rayon le plus grand possible.
D'une manière générale, les parcours tortueux sont à procrire.
En cas de siphonage, prévoir une soupape casse vide sur l'évacuation de la pompe. A monter le plus pres possible de la sortie.
En cas de releavage :
L'appareil peut relever les effluents à une hauteur de 3 mètres maximum. Le releavage doit se faireès la sortie de la pompe. Il est nécessaire de monter un second clapet anti-retour sur la canalisation verticala à sa partie la plus BASSE, si vous effectuez un releavage supérieur à 50cm (un clapet à battant est intégré au produit).
Il faut installer un robinet purgeur au bas de la partie verticale de la canalisation afin de permettre la vidange en cas d'intervention.
Il est conseilé, en cas de trop basse pression d'alimenter l'appareil avec une canalisation en 16/18 et de poser un robinet d'arrêt type machine à laver.
5
Utilisation et précautions :
L'appareil s'utilise comme un WC classique et demande un entretien minimum. Privilégiez le cycle long pour l'élimination des matières fécales. L'appareil démarreès l'impulsion sur le bouton. L'effet de chasse est obtenu par une électrovanne équipée d'un contrôle et d'un régulateur de début pour une pression de 1,5 à 3 bars.
Fonctionnement et programmation :

Programmation par défaut du cycle long :
Pompage / Remplissage / Pompage / Remplissage
Programmation par défaut du cycle court :
Pompe et Pompage ( sur niveau de réglage Max uniquement)/ Remplissage / Pompage
En fonction du débit de votre installation d'eau, il est possible d'augmenter ou diminuer le temps de replissage de plus ou moins 2 secondes pour chaque cycle.
Pour modifier la programmation :
Au repos, maintenez la touche «cycle court» enforcée 5 secondes, le moteur démarre 2 fois.
Augmenter et diminuier le volume d'eau :
Chaque appui sur la touche «Cycle long» de plus de 5 secondes augmente le temps de replissage de 2 secondes.
Chaque appui sur la touche «Cycle court» de plus de 5 secondes réduit le temps de replissage de 2 secondes.
A chaque augmentation ou diminution le moteur démarre une seconde pour valider le changement. La pompe ne démarre plus lorsque le seuil de réglage est atteint.
Au bout de 7 secondes d'inactivité, le moteur démarre 2 fois. L'appareil sort du mode de programmation, les réglages restent mémorisés même après une coupure de courant.
ATTENTION !!!
L'appareil ne doit pas etre utilise pour evacuer des corps etrangers tels que les tampons periodiques, preservatifs, chiffons, coton, solvants, huile, lingettes etc... qui risqueraient de le metre en panne. Ne jeter que du papier toilette.
NE JAMAIS UTILISER L'APPAREIL EN CAS DE PANNE DE COURANT
Toute application commerciale ou industrielle est à proscire. Il est commandé de prévoir une entrée possible sur l'évacuation de

l'appareil (bouchon dévissable non fourni) pour intervention eventuelle.
La tuyauterie doit déboucher au dessus du niveau de reflux (niveau de l'égout...) même si la celle-ci est équipée d'un ou plusieurs clapets anti-retour.
6
Montage de l'abattant :
Selon le modele, l'appareil est always livre avec un abattant. Cependant sa cuvette est prevue pour receivevoir un abattant standard. Nous conseillons de monter un abattant avec inserts permettant d'être monté ou démonté facilement sans déplacer votre cuvette (accès facile).

7
Maintenance :
AVANT TOUTE INTERVENTION SUR L'APPAREIL, DEBRANCHER L'ALIMENTATION ELECTRIQUE
L'appareil ne nécessite pas de maintenance particulière. En cas de panne, toute intervention sur l'appareil devra être effectuee par un dépanneur agrée ou autorisé par le service technique de l'usine.
Détartrer le produit en mettant 1 litre de vinaigre blanc dans sa cuvette, laisser agir 30min, faire 2 cycles long.
8
Le fonctionnement de votre apparéil est garanti 3 ans, sous réserve de ne l'utiliser que pour les matières et papiers hygieniques et à condition que l'installation soit correcte.

En cas de blocage de la pompe :
ATTENTION !!!
Bien vérifier en cas de non fonctionnement, que l'alimentation électrique est correcte, et que le tuyau d'évacuation n'est ni écrasé, ni plié. En cas de sollicitation trop importante, l'appareil est muni d'un système de protection thermique.
NB: Débrancher la prise électrique pour désarmer la sécurité. Attendre environ 2 heures avant de rebrancher et d'utiliser de nouveau l'appareil.
Si vous devez démonter l'appareil qui se trouve bloqué par un corps étranger :
1- Debrancher la prise de courant,
2-Fermer le robinet d'arrivee d'eau,
3- Dévisser l'écrou du flexible d'alimentation en eau de l'électrovanne,
4- Debrancher l'évacuation,
5- Devisser les 4 vis du corps de pompe,
6- Deboiter le corps de pompe,
7- Enlever les corps étrangers pouvant obstruer l'évacuation.
8- Contrôler l' état de la turbine
Le remontage s'opere de maniere inverse.



DONNEES TECHNIQUES :
Installation conforme à la Norme EN 12056-4
Déclaration CE de conformité
Répondant à la directive CE basse tension
(2014/35/CEE) et
la directive compatibilité
électromagnétique(2014/30/CEE)




1




2

3

4

Fixation au sol


5
6

Condition de garantie :
L'appareil est garanti 3 ans à compter de sa date d'achat sous réserve d'une installation conforme et une utilisation normale : évacuation de papiers hygieniques et matieres fécales uniquement.
La garantie se borne au remplacement ou à la réparation en nos ateliers des pièces reconnues défectueuses.
Eneldomcas,la garantie n'implique la possibilited'une demandede dommages et intérêts ou d'indemnité.
Les frais de port et d'emballage, les frais de déplacement, ne sont pas couverts par notre garantie.
La garantie ne s'applique pas au remplacement ou aux réparations qui résultataisent de l'usure normale du matériel, de déterminération ou d'accident, provenant de néligence, de défaut de surveillance ou d'entretien d'installation défectueuse et tous autres défats échépondant à notre contrôle.
Notre garantie disparaît imédiatement et complètement si le client modifie ou fait réparer sans notre accord le matériel fourni.
La réparation, la modification ou le remplacement des pièces pendant la période de garantie ne peuvent avoir effet de prolonger le délai de garantie du matériel.
Si néanmoins notre responsabilité avait se trouver engagée, elle serait limitée pour tous dommages à la valeur de la marchandise fournie par nous et mise en oeuvre par nos soins.
La garantie prend effet à compter de la date d'acquisition portée sur la facture du distributeur.
Cette facture sera exigée par toute mise en jeu de la garantie.





*Garantie 3 ans
| CE
0679 |
| Adeo Services - 135 rue Sadi Carnot
CS 00001- 59790 RONCHIN - France
16 |
| Produit type : 69588876
N° DOP : S38620-69588876-2016 |
| EN 12050-3 : 2000 |
| Stations de relevage automatique DN32 ou
DN40 à application limitée pour effluents
contenant des matières fécales des équip-
ments sanitaires raccordés au dessus du niveau
de reflux |
| Etanchéité à l'eau : non applicable |
| Etanchéité aux odeurs: non applicable |
| Performance de relevage : satisfaisant |
| Résistance mécanique : satisfaisant |
| Niveau de bruit : PND |
| Durabilité : satisfaisant |
Si vous souhaitez plus d'informations :
Assistance technique consommateurs :
ADEO SERVICES
135 rue Sadi Carnot CS00001
59790 RONCHIN - France
TéI:0442715600
(Prix d'un appel local)
De 8h30 à 12h15
et de 13h30 à 17h30 (du lundi au vendredi)